海因里希·克劳斯特曼的空气等离子引擎
本帖最后由 能量海 于 2017-8-10 13:45 编辑
第八章:无燃油引擎
海因里希·克劳斯特曼的空气等离子引擎
约瑟夫·帕普(Josef Papp)和罗伯特·布里特(Robert Britt)都规定用惰性气体运行,但海因里希·克劳斯特曼(Heinrich Klostermann)指出,普通空气就够了。这里是他的视频:
美国专利7,076,950 2006年7月18日 发明人:海因里希·克劳斯特曼
使用不可燃气体的内爆引擎和发电机
摘要:
一种内爆引擎和发电机,具有一个燃烧室,一个构成该室一个壁的可移动构件,气密密封在该燃烧室内的不可燃气体装料,用于以爆炸方式重复点燃气体去驱动从最小容积位置到最大容积位置的装置,用于将可移动构件从最大容积位置返回到最小容积位置的装置,该可动构件该可动构件的装置,以及连接到可移动构件以提供电能响应气体爆炸的装置。在一个公开的实施例中,可移动构件是连接到曲轴的活塞,并且它通过曲轴上的飞轮返回到最小容积的位置。在另一个实施例中,两个活塞在全气密密封室中背靠背连接,以防止爆炸气体的损失。在一个实施例中,电能由连接到曲轴的发电机产生,并且在另一个实施例中,它由位于靠近与活塞一起移动的磁体的线圈产生。
其它参考文献:
美国新罕布什尔州,康科德公司新能源基金会,卷标9,51号,2003年9月/10月,无限能源,莫洛夫等。
描述:
本发明背景
1.发明领域
本发明一般涉及发动机和发电机——而更具体地说,涉及到一种使用不可燃气体的内爆发动机和发电机。
本发明目的和概述
一般来说,本发明的目的是提供一种新的和改进的内爆引擎和发电机。本发明的另一个目的是提供一种具有上述特征的内爆引擎和发电机,它克服了此前的发动机和发电机才有的限制和缺点。根据本发明,通过提供一种内爆引擎和发电机来实现这些和其它目的,它具有一个燃烧室,一个构成该室一个壁的可移动构件,气密密封在该燃烧室内的非爆炸性气体的装料,用于以爆炸方式重复点燃气体去驱动从最小容积位置到最大容积位置的装置,用于将可移动构件从最大容积位置返回到最小容积位置的装置,该可动构件该可动构件的装置,以及连接到可移动构件以提供电能响应气体爆炸的装置。在一个公开的实施例中,可移动构件是连接到曲轴的活塞,并且它通过曲轴上的飞轮返回到最小容积的位置。在另一个实施例中,两个活塞在全气密密封室中背靠背连接,以防止爆炸气体的损失。在一个实施例中,电能由连接到曲轴的发电机产生,并且在另一个实施例中,它由位于靠近与活塞一起移动的磁体的线圈产生。
图示简介
图.1是根据本发明的内爆引擎和发电机的一个实施例的俯视图。
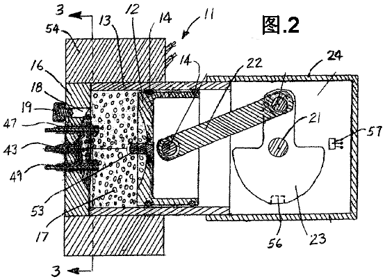
图.2是沿图.1中2-2线的剖视图。
图.3是沿图.2中的3-3线截取的截面图。
图.4是图.1的实施例的电路图。
图.5是结合本发明的内爆引擎和发电机的另一个实施例的中心线剖视图。
图.6A和图.6B是沿图.5中的6A-6A线和6B-6B线截取的横截面图。
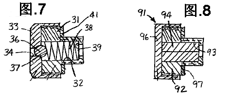
图.7和图.8是图.1和图.5的实施例中的气体加载口的阀和阀塞组件的放大的中线剖视图。
详述
所示实施例中,阀组件19是单向止回阀,它让气体进入但不通过进气口18流出燃烧室。阀组件在图.7显示得更详细,还包括主体或具有轴向孔或通道32的衬套31。阀身内端攻有到端口中的螺纹,而帽33螺纹连接到主体的增大的外端部。帽包括通道34,那个通道和通道32之间的连通由球36控制,它被收纳在盖内侧上的座37中。球通过弹簧38被推向紧靠着座的关闭位置,它被限制在球和阀体内端的肩部39之间。垫圈41在主体的外部部分和头部之间提供一个气密密封。
安装在头部中的电极用于点燃燃烧室内的气体。高频电极43置于室的轴向位置,并连接到射频发生器44,用于电离气体以形成等离子体。电极46-49绕电极43间隔,以电极46连接到火花线圈51的次级绕组50,而电极47-49连接到电容器52。接触销53从与电极43对齐的活塞的表面突出来。
活塞12和端板或头16由诸如416级不锈钢的铁磁材料制成,而气缸13由诸如303级不锈钢的非铁材料制成。线圈54绕缸体外部放置,并与活塞磁耦合,以形成磁阻发电机。
当活塞处于其上死点或最小容积位置时,提供装置用于检测。这个装置包括安装在曲轴21的配重或飞轮部分23上的磁体56,和安装在曲轴箱中一个静止位置中的霍尔效应开关57,并且当其接近开关时由磁体致动。
使发电机27作为电动机起动引擎的电力由电池59提供,它在所示的实施例中安装在发电机61的控制器的壳体内。电池通过常开启动开关62连接到电动机。
电池还为射频发生器44和为点燃室中气体的电极46-49供电,通过继电器63控制这些电极的通电。电力对射频发生器的应用通过通/断开关64控制,而继电器线圈65的通电由通/断开关以及由连接在通/断开关和继电器线圈之间的霍尔效应开关57控制。
继电器有一个在电源和电极47-49之间切换电容器52的第一组触点66,和把火花线圈51的初级绕组68连接到电源的第二组触点67。电池由磁阻发电机在线圈54中产生的电流充电。那个线圈连接到电力整流器69的输入,而整流器的输出连接到电池。
运行前,装载的空气通过止回阀19和进气口18被引入燃烧室。为启动引擎,通/断开关64关闭,从而激励射频发生器44和火花线圈51的初级绕组,并向电容器52施加充电电流,而启动器开关62闭合以激励作为起动电动机的发电机27。燃烧室内的气体由射频功率电离施加到电极43的以形成等离子体。
当活塞进行其向上的冲程时,空气被压缩和加热,并朝向上死点,空气被施加到电极43的射频功率电离形成等离子体。当活塞处于或接近上死点时,霍尔效应开关57闭合,激励继电器线圈65。当继电器线圈通电时,触点66将在电容器52上积聚的电荷施加到电极47-49,而触点67打开以中断火花线圈51的初级绕组中的电流,在火花电极46和活塞上的接触销53之间产生高压放电电极46的火花和电极47-49的电流流过电离的空气而点燃空气,使其爆炸并产生一个带紫外辐射、臭氧和热的类似雷电的压力波。那个压力波驱动活塞下行,转动曲轴21和发电机27,在飞轮中存储机械能,并从发电机产生电能。
在活塞到达其最大容积或下死点位置后,把机械能存储在飞轮中,使曲轴继续旋转,由此驱动活塞返回上死点。相同装载的空气一次又一次地被点燃一段延续的时间段,而对于任何通过活塞环损失的空气,由空气通过止回阀进入燃烧室自动补充。因此,随着活塞的下冲程,如果燃烧室内的压力下降到弹簧38设定的水平以下,则球36移离其座,让空气通过入口进入燃烧室内。上行冲程期间,燃烧室内压力把球保持紧密地抵靠着座,密封室内的空气。
图.5的实施例包括自由活塞式发动机71,它在气缸74的相对两端有一对燃烧室72、73。这个引擎与图.1的实施例的不同之处在于它没有曲轴。然而,功率产生机制是一样的,而相同的附图标记表示两个实施例中的相应元件。气缸外端由端板或头16封闭,而两个室的容积随着双端活塞组件76在气缸内来回驱动以相反或互补的方式变化。
活塞组件包括一对活塞12,它们通过套筒77以背靠背的方式连接在一起,以环14在活塞和气缸之间提供气密密封。活塞具有中心接触销53,而每个燃烧室有一个入口18和用于电离和点燃气体的电极43、46-49。
如在图.1的实施例中,活塞12和端板16是由铁磁性材料制成的,而气缸74由非铁材料——如非铁不锈钢或镀镍铝制成。套筒77由诸如铝的非铁材料制成。线圈54放置在缸体外部周围,并与活塞磁耦合以形成磁阻发电机。
套筒77承载激励安装在气缸74外部的霍尔效应开关57的磁体56,以确定何时活塞处于或接近其上死点位置。由套筒77承载的接地触点78与气缸壁构成滑动接触,以维持活塞和接触销53处于地电势。
活塞组件还包括一个相当大型的永磁体81,它由在活塞中间的套筒77承载。铁磁芯结构82提供磁体81和定子线圈83、84之间的磁通耦合,它们位于缸的外部。
磁芯的结构包括一对大致C形的磁芯86、87,每个磁芯有一对相对短的内臂86a、87a,它抵靠在气缸74的上表面和下表面上,而外臂86b、87b与气缸横向隔开。紧靠气缸的内臂端部有一个与气缸外壁的凸曲率匹配的凹曲率,而线圈83、84绕磁芯外臂缠绕。磁芯由两个部分构成,有一个横跨外臂的裂口88以便于组装。
钢叠片89嵌入在气缸壁中,与芯的短臂接触以完成磁路。叠片被密封到气缸壁中,而在一个当前优选的实施例中,它们是厚度为0.005英寸的硅钢叠片的堆叠和小于0.001英寸厚镍镀层的密封堆叠。
定子线圈可以用作电机绕组启动发动机,并且其后用作发电机的绕组,当活塞组件在汽缸内来回振荡时产生电流。
由于气缸是气密密封的,通过活塞环泄漏的任何气体将保留在发动机内,而不是像图.1的实施例中那样损失到外部环境中。除了空气,图.5的实施例中使用的合适的气体包括惰性气体、氧气和这些气体的混合物。
栓塞组件91包括一个主体或具有填充了橡胶添入物94的中空内部93的衬套92,阀体内端旋入入口,并且帽96旋拧到主体扩大的外端上,以将添入物保留在栓塞中。垫圈97在塞体的扩大部分和端板或头16之间提供密封。
图.5的实施例的运行和使用类似于上面有关图.1的实施例所描述的。爆炸性气体的装载通过进气口被引入燃烧室,而定子绕组83、84被通电以驱动磁体81和活塞组件的其余部分在汽缸内来回运动。当每个活塞接近其上死点位置时,燃烧室内的气体被压缩,然后被电离和点燃,使得它爆炸并驱动活塞组件返回到气缸的另一端。当由活塞组件承载的磁体在芯结构中的间隙内来回移动时,它产生的交变磁通耦合到线圈83、84以在发电机绕组中产生输出电流。
本发明有许多重要的特征和优点。它可以使用爆炸性燃料混合物——例如空气、惰性气体和其它不可燃气体,可以快速膨胀和收缩多次,以将动能转化为电和/或机械功率。发动机可以有一个或多个带活塞以形成可移动壁、用于改变每个容积的燃烧室。
运行气体被预载到室中,入口被密封,而引擎可以在相同的气体装载下长周期运行,并在不同频率下多次爆炸性扩张和收缩——如,每秒30-60个循环或更多,而无需向燃烧室内添加气体。
在一个公开的实施例中,由于泄漏而导致的气体损失通过将引擎封装在气密密封的外壳中来防止。另一方面,燃烧室内压力下降到预定水平以下时,入口中的止回阀让室内气体自动补充。如果引擎在诸如太空或水下的环境中运行,其补充气体可能不容易获得,则气密密封是特别重要和期望的。
本发明允许广泛的设计灵活性,并可提供容量范围从几千瓦到多兆瓦的的紧凑型电源,并可广泛用于各种各样的应用中。
前述显而易见的是,提供了一种新的和改进的内爆引擎和发电机。虽然已经详细描述了某些目前优选的实施例,但显而易见的将是,对于那些熟悉技术的人来说,在不脱离由所附声明限定的本发明的范围的情况下,可以进行某些改变和修改。
声明:
本发明声明:
1.一种内爆引擎和发电机,包括一个燃烧室、一个形成室的一个壁的可移动部件、密封在燃烧室内的装载空气、一个与室连通的单向阀——如果室内压力下降到预定水平以下用于接纳增加的空气到室里,用于反复点燃室内空气以爆炸方式驱动可移动件从最小容积的位置到最大容积的位置的装置,用于使可移动件从最大容积位置返回到最小容积位置的装置,以及耦合到可移动构件用于提供电能响应空气爆炸。
2.声明1的引擎和发电机,其可移动部件是活塞。
3.声明2的引擎和发电机,其用于返回可移动件到最小容积位置的装置包括一个连接到活塞的曲轴上的飞轮。
4.声明3的引擎和发电机,其用于提供电能的装置包括连接到曲轴的发电机。
5.声明1的引擎和发电机,其用于将可移动件返回到最小容积位置的装置包括一个有着连接到第一指定组件的可移动部件的第二燃烧室,密封在第二个燃烧室内部的装载空气,以及以爆炸方式点燃第二室中的空气的装置。
6.声明1引擎和发电机,包括气密密封的外壳封装的燃烧室,而防止该室的空气损失。
7.声明1的引擎和发电机,其可移动构件是由铁磁材料焊接的,而用于提供电能的装置包括一个磁耦合到可移动构件的线圈。
8.声明1的引擎和发电机,其用于点燃空气的装置包括用于向室施加射频能量以电离空气并形成等离子体的装置,以及用于点燃等离子体的装置。
9.声明8的引擎和发电机,包括燃烧室内用于加热电离空气的电极。
10.一种内爆引擎和发电机,包括气缸、气缸内以形成可变容积的燃烧室的可移动活塞、密封在燃烧室内的装载空气、燃烧室内压力下降低于预定水平时让大气进入燃烧室内的装置、用于周期爆炸性地点燃室中空气以在最小和最大容积的位置之间驱动活塞的装置、由活塞驱动的曲轴、以及连接到曲轴用于响应活塞运动而提供电能的发电机。
11.声明10的引擎和发电机,包括曲轴上的飞轮。
12.声明10的引擎和发电机,其用于点燃空气的装置包括用于施加射频能量电离空气并形成等离子体的装置,以及用于点燃等离子体的装置。
13.声明12的引擎和发电机,包括响应活塞位置的磁致动开关,用于当活塞处于或接近最小容积位置时输送火花。
14.声明10的引擎和发电机,其用于让大气进入燃烧室内的装置包括止回阀。
15.声明10的引擎和发电机,其活塞是由铁磁材料焊接的,并与定位在气缸外面的线圈磁耦合。
16.声明10的引擎和发电机,包括用于使发电机通电作为电机用于运动活塞以起动引擎的装置。
17.一种内爆引擎和发电机,包括气缸、连接在一起的一对活塞——用于在气缸内共同运动以构成一对可变体积的燃烧室、封闭在每个燃烧室内装载的不可燃气体、用于室内压力下降到预定水平以下时让补充气体进入室内的止回阀、用于以爆炸方式交替点燃两个室中的不可燃气体以驱动最小和最大室容积位置之间的活塞的装置、耦合到活塞以与活塞一起运动的磁体、以及位于气缸外靠近磁体用于产生电能响应活塞运动的线圈。
18.声明17的引擎和发电机,其不可燃气体选自的类由空气、惰性气体、和由此的组合。
19.声明17的引擎和发电机,其中用于点燃每个室内气体的装置包括用于向燃烧室内施加射频能量以电离气体并形成等离子体的装置,以及用于点燃等离子体的装置。
20.声明19的引擎和发电机,包括响应活塞位置用于当活塞处于或接近最小容积位置时点燃等离子体的开关。
21.声明19的引擎和发电机,包括燃烧室内用于加热电离气体的电极。
第八章:无燃油引擎
海因里希·克劳斯特曼的空气等离子引擎
约瑟夫·帕普(Josef Papp)和罗伯特·布里特(Robert Britt)都规定用惰性气体运行,但海因里希·克劳斯特曼(Heinrich Klostermann)指出,普通空气就够了。这里是他的视频:
他的专利是:
美国专利7,076,950 2006年7月18日 发明人:海因里希·克劳斯特曼
使用不可燃气体的内爆引擎和发电机
摘要:
一种内爆引擎和发电机,具有一个燃烧室,一个构成该室一个壁的可移动构件,气密密封在该燃烧室内的不可燃气体装料,用于以爆炸方式重复点燃气体去驱动从最小容积位置到最大容积位置的装置,用于将可移动构件从最大容积位置返回到最小容积位置的装置,该可动构件该可动构件的装置,以及连接到可移动构件以提供电能响应气体爆炸的装置。在一个公开的实施例中,可移动构件是连接到曲轴的活塞,并且它通过曲轴上的飞轮返回到最小容积的位置。在另一个实施例中,两个活塞在全气密密封室中背靠背连接,以防止爆炸气体的损失。在一个实施例中,电能由连接到曲轴的发电机产生,并且在另一个实施例中,它由位于靠近与活塞一起移动的磁体的线圈产生。

其它参考文献:
美国新罕布什尔州,康科德公司新能源基金会,卷标9,51号,2003年9月/10月,无限能源,莫洛夫等。
描述:
本发明背景
1.发明领域
本发明一般涉及发动机和发电机——而更具体地说,涉及到一种使用不可燃气体的内爆发动机和发电机。
2.相关技术
内爆引擎原则上与内燃机类似——除了它用的是不可燃气体——例如空气、氧气、氮气或惰性气体来代替在内燃机中使用的可燃气体。运行前,用于运行内爆发动机的气体被置于发动机的燃烧室中,而且这个室是气密密封的。运行期间,燃烧室中的气体被反复压缩、离子化、爆炸性膨胀和收缩去一忍运动活塞或转子或其它可移动装置,以将动能转换为机械能或电能。一旦气体已经装载到燃烧室中,引擎可以待续运行一段时间而无需补充燃料。在每个运行周期不需要燃料吸入——如在内燃机中,并且没有排气装置。现有技术的内爆引擎的范例可在美国专利号3,670,494和4,428,193中找到。
内爆引擎原则上与内燃机类似——除了它用的是不可燃气体——例如空气、氧气、氮气或惰性气体来代替在内燃机中使用的可燃气体。运行前,用于运行内爆发动机的气体被置于发动机的燃烧室中,而且这个室是气密密封的。运行期间,燃烧室中的气体被反复压缩、离子化、爆炸性膨胀和收缩去一忍运动活塞或转子或其它可移动装置,以将动能转换为机械能或电能。一旦气体已经装载到燃烧室中,引擎可以待续运行一段时间而无需补充燃料。在每个运行周期不需要燃料吸入——如在内燃机中,并且没有排气装置。现有技术的内爆引擎的范例可在美国专利号3,670,494和4,428,193中找到。
本发明目的和概述
一般来说,本发明的目的是提供一种新的和改进的内爆引擎和发电机。本发明的另一个目的是提供一种具有上述特征的内爆引擎和发电机,它克服了此前的发动机和发电机才有的限制和缺点。根据本发明,通过提供一种内爆引擎和发电机来实现这些和其它目的,它具有一个燃烧室,一个构成该室一个壁的可移动构件,气密密封在该燃烧室内的非爆炸性气体的装料,用于以爆炸方式重复点燃气体去驱动从最小容积位置到最大容积位置的装置,用于将可移动构件从最大容积位置返回到最小容积位置的装置,该可动构件该可动构件的装置,以及连接到可移动构件以提供电能响应气体爆炸的装置。在一个公开的实施例中,可移动构件是连接到曲轴的活塞,并且它通过曲轴上的飞轮返回到最小容积的位置。在另一个实施例中,两个活塞在全气密密封室中背靠背连接,以防止爆炸气体的损失。在一个实施例中,电能由连接到曲轴的发电机产生,并且在另一个实施例中,它由位于靠近与活塞一起移动的磁体的线圈产生。
图示简介

图.1是根据本发明的内爆引擎和发电机的一个实施例的俯视图。

图.2是沿图.1中2-2线的剖视图。

图.3是沿图.2中的3-3线截取的截面图。

图.4是图.1的实施例的电路图。

图.5是结合本发明的内爆引擎和发电机的另一个实施例的中心线剖视图。

图.6A和图.6B是沿图.5中的6A-6A线和6B-6B线截取的横截面图。

图.7和图.8是图.1和图.5的实施例中的气体加载口的阀和阀塞组件的放大的中线剖视图。
详述


如图.1至图.3所示,引擎11包括气缸13中的活塞12,以环14提供活塞和气缸内壁之间的气密密封。气缸的上部或上部末端由端板或头16密封,并且在气缸头和活塞之间形成燃烧室17。在气缸头中形成用于将气体引入燃烧室中的进气口18,而气体通过入口的接纳由阀组件19控制。活塞通过连杆22连接到曲轴21,而曲轴包括配重或飞轮23。运行中,活塞通过室中的气体的爆炸被向下驱动,然后通过存储在飞轮中的能量返回到点火位置。气缸13的下端由曲轴箱24封闭。曲轴通过联轴器28连接到位于曲轴箱外部的发电机27的轴26。如下文中更充分讨论的,发电机也可以被驱动作为一台马达用于起动引擎。
所示实施例中,阀组件19是单向止回阀,它让气体进入但不通过进气口18流出燃烧室。阀组件在图.7显示得更详细,还包括主体或具有轴向孔或通道32的衬套31。阀身内端攻有到端口中的螺纹,而帽33螺纹连接到主体的增大的外端部。帽包括通道34,那个通道和通道32之间的连通由球36控制,它被收纳在盖内侧上的座37中。球通过弹簧38被推向紧靠着座的关闭位置,它被限制在球和阀体内端的肩部39之间。垫圈41在主体的外部部分和头部之间提供一个气密密封。
安装在头部中的电极用于点燃燃烧室内的气体。高频电极43置于室的轴向位置,并连接到射频发生器44,用于电离气体以形成等离子体。电极46-49绕电极43间隔,以电极46连接到火花线圈51的次级绕组50,而电极47-49连接到电容器52。接触销53从与电极43对齐的活塞的表面突出来。
活塞12和端板或头16由诸如416级不锈钢的铁磁材料制成,而气缸13由诸如303级不锈钢的非铁材料制成。线圈54绕缸体外部放置,并与活塞磁耦合,以形成磁阻发电机。

当活塞处于其上死点或最小容积位置时,提供装置用于检测。这个装置包括安装在曲轴21的配重或飞轮部分23上的磁体56,和安装在曲轴箱中一个静止位置中的霍尔效应开关57,并且当其接近开关时由磁体致动。
使发电机27作为电动机起动引擎的电力由电池59提供,它在所示的实施例中安装在发电机61的控制器的壳体内。电池通过常开启动开关62连接到电动机。
电池还为射频发生器44和为点燃室中气体的电极46-49供电,通过继电器63控制这些电极的通电。电力对射频发生器的应用通过通/断开关64控制,而继电器线圈65的通电由通/断开关以及由连接在通/断开关和继电器线圈之间的霍尔效应开关57控制。
继电器有一个在电源和电极47-49之间切换电容器52的第一组触点66,和把火花线圈51的初级绕组68连接到电源的第二组触点67。电池由磁阻发电机在线圈54中产生的电流充电。那个线圈连接到电力整流器69的输入,而整流器的输出连接到电池。
运行前,装载的空气通过止回阀19和进气口18被引入燃烧室。为启动引擎,通/断开关64关闭,从而激励射频发生器44和火花线圈51的初级绕组,并向电容器52施加充电电流,而启动器开关62闭合以激励作为起动电动机的发电机27。燃烧室内的气体由射频功率电离施加到电极43的以形成等离子体。
当活塞进行其向上的冲程时,空气被压缩和加热,并朝向上死点,空气被施加到电极43的射频功率电离形成等离子体。当活塞处于或接近上死点时,霍尔效应开关57闭合,激励继电器线圈65。当继电器线圈通电时,触点66将在电容器52上积聚的电荷施加到电极47-49,而触点67打开以中断火花线圈51的初级绕组中的电流,在火花电极46和活塞上的接触销53之间产生高压放电电极46的火花和电极47-49的电流流过电离的空气而点燃空气,使其爆炸并产生一个带紫外辐射、臭氧和热的类似雷电的压力波。那个压力波驱动活塞下行,转动曲轴21和发电机27,在飞轮中存储机械能,并从发电机产生电能。
在活塞到达其最大容积或下死点位置后,把机械能存储在飞轮中,使曲轴继续旋转,由此驱动活塞返回上死点。相同装载的空气一次又一次地被点燃一段延续的时间段,而对于任何通过活塞环损失的空气,由空气通过止回阀进入燃烧室自动补充。因此,随着活塞的下冲程,如果燃烧室内的压力下降到弹簧38设定的水平以下,则球36移离其座,让空气通过入口进入燃烧室内。上行冲程期间,燃烧室内压力把球保持紧密地抵靠着座,密封室内的空气。

图.5的实施例包括自由活塞式发动机71,它在气缸74的相对两端有一对燃烧室72、73。这个引擎与图.1的实施例的不同之处在于它没有曲轴。然而,功率产生机制是一样的,而相同的附图标记表示两个实施例中的相应元件。气缸外端由端板或头16封闭,而两个室的容积随着双端活塞组件76在气缸内来回驱动以相反或互补的方式变化。
活塞组件包括一对活塞12,它们通过套筒77以背靠背的方式连接在一起,以环14在活塞和气缸之间提供气密密封。活塞具有中心接触销53,而每个燃烧室有一个入口18和用于电离和点燃气体的电极43、46-49。
如在图.1的实施例中,活塞12和端板16是由铁磁性材料制成的,而气缸74由非铁材料——如非铁不锈钢或镀镍铝制成。套筒77由诸如铝的非铁材料制成。线圈54放置在缸体外部周围,并与活塞磁耦合以形成磁阻发电机。
套筒77承载激励安装在气缸74外部的霍尔效应开关57的磁体56,以确定何时活塞处于或接近其上死点位置。由套筒77承载的接地触点78与气缸壁构成滑动接触,以维持活塞和接触销53处于地电势。
活塞组件还包括一个相当大型的永磁体81,它由在活塞中间的套筒77承载。铁磁芯结构82提供磁体81和定子线圈83、84之间的磁通耦合,它们位于缸的外部。
磁芯的结构包括一对大致C形的磁芯86、87,每个磁芯有一对相对短的内臂86a、87a,它抵靠在气缸74的上表面和下表面上,而外臂86b、87b与气缸横向隔开。紧靠气缸的内臂端部有一个与气缸外壁的凸曲率匹配的凹曲率,而线圈83、84绕磁芯外臂缠绕。磁芯由两个部分构成,有一个横跨外臂的裂口88以便于组装。
钢叠片89嵌入在气缸壁中,与芯的短臂接触以完成磁路。叠片被密封到气缸壁中,而在一个当前优选的实施例中,它们是厚度为0.005英寸的硅钢叠片的堆叠和小于0.001英寸厚镍镀层的密封堆叠。
定子线圈可以用作电机绕组启动发动机,并且其后用作发电机的绕组,当活塞组件在汽缸内来回振荡时产生电流。
由于气缸是气密密封的,通过活塞环泄漏的任何气体将保留在发动机内,而不是像图.1的实施例中那样损失到外部环境中。除了空气,图.5的实施例中使用的合适的气体包括惰性气体、氧气和这些气体的混合物。

把气体密封在引擎内,不必像引擎未密封时那样频繁地补充气体,而如果需要,入口18可以用图.8的栓塞组件91——而不是图.7的阀组件19关闭。或者,气源可以经由阀组件19连接到入口,用于如图.1的实施例中的室中气体的自动补充。
栓塞组件91包括一个主体或具有填充了橡胶添入物94的中空内部93的衬套92,阀体内端旋入入口,并且帽96旋拧到主体扩大的外端上,以将添入物保留在栓塞中。垫圈97在塞体的扩大部分和端板或头16之间提供密封。
图.5的实施例的运行和使用类似于上面有关图.1的实施例所描述的。爆炸性气体的装载通过进气口被引入燃烧室,而定子绕组83、84被通电以驱动磁体81和活塞组件的其余部分在汽缸内来回运动。当每个活塞接近其上死点位置时,燃烧室内的气体被压缩,然后被电离和点燃,使得它爆炸并驱动活塞组件返回到气缸的另一端。当由活塞组件承载的磁体在芯结构中的间隙内来回移动时,它产生的交变磁通耦合到线圈83、84以在发电机绕组中产生输出电流。
本发明有许多重要的特征和优点。它可以使用爆炸性燃料混合物——例如空气、惰性气体和其它不可燃气体,可以快速膨胀和收缩多次,以将动能转化为电和/或机械功率。发动机可以有一个或多个带活塞以形成可移动壁、用于改变每个容积的燃烧室。
运行气体被预载到室中,入口被密封,而引擎可以在相同的气体装载下长周期运行,并在不同频率下多次爆炸性扩张和收缩——如,每秒30-60个循环或更多,而无需向燃烧室内添加气体。
在一个公开的实施例中,由于泄漏而导致的气体损失通过将引擎封装在气密密封的外壳中来防止。另一方面,燃烧室内压力下降到预定水平以下时,入口中的止回阀让室内气体自动补充。如果引擎在诸如太空或水下的环境中运行,其补充气体可能不容易获得,则气密密封是特别重要和期望的。
本发明允许广泛的设计灵活性,并可提供容量范围从几千瓦到多兆瓦的的紧凑型电源,并可广泛用于各种各样的应用中。
前述显而易见的是,提供了一种新的和改进的内爆引擎和发电机。虽然已经详细描述了某些目前优选的实施例,但显而易见的将是,对于那些熟悉技术的人来说,在不脱离由所附声明限定的本发明的范围的情况下,可以进行某些改变和修改。
声明:
本发明声明:
1.一种内爆引擎和发电机,包括一个燃烧室、一个形成室的一个壁的可移动部件、密封在燃烧室内的装载空气、一个与室连通的单向阀——如果室内压力下降到预定水平以下用于接纳增加的空气到室里,用于反复点燃室内空气以爆炸方式驱动可移动件从最小容积的位置到最大容积的位置的装置,用于使可移动件从最大容积位置返回到最小容积位置的装置,以及耦合到可移动构件用于提供电能响应空气爆炸。
2.声明1的引擎和发电机,其可移动部件是活塞。
3.声明2的引擎和发电机,其用于返回可移动件到最小容积位置的装置包括一个连接到活塞的曲轴上的飞轮。
4.声明3的引擎和发电机,其用于提供电能的装置包括连接到曲轴的发电机。
5.声明1的引擎和发电机,其用于将可移动件返回到最小容积位置的装置包括一个有着连接到第一指定组件的可移动部件的第二燃烧室,密封在第二个燃烧室内部的装载空气,以及以爆炸方式点燃第二室中的空气的装置。
6.声明1引擎和发电机,包括气密密封的外壳封装的燃烧室,而防止该室的空气损失。
7.声明1的引擎和发电机,其可移动构件是由铁磁材料焊接的,而用于提供电能的装置包括一个磁耦合到可移动构件的线圈。
8.声明1的引擎和发电机,其用于点燃空气的装置包括用于向室施加射频能量以电离空气并形成等离子体的装置,以及用于点燃等离子体的装置。
9.声明8的引擎和发电机,包括燃烧室内用于加热电离空气的电极。
10.一种内爆引擎和发电机,包括气缸、气缸内以形成可变容积的燃烧室的可移动活塞、密封在燃烧室内的装载空气、燃烧室内压力下降低于预定水平时让大气进入燃烧室内的装置、用于周期爆炸性地点燃室中空气以在最小和最大容积的位置之间驱动活塞的装置、由活塞驱动的曲轴、以及连接到曲轴用于响应活塞运动而提供电能的发电机。
11.声明10的引擎和发电机,包括曲轴上的飞轮。
12.声明10的引擎和发电机,其用于点燃空气的装置包括用于施加射频能量电离空气并形成等离子体的装置,以及用于点燃等离子体的装置。
13.声明12的引擎和发电机,包括响应活塞位置的磁致动开关,用于当活塞处于或接近最小容积位置时输送火花。
14.声明10的引擎和发电机,其用于让大气进入燃烧室内的装置包括止回阀。
15.声明10的引擎和发电机,其活塞是由铁磁材料焊接的,并与定位在气缸外面的线圈磁耦合。
16.声明10的引擎和发电机,包括用于使发电机通电作为电机用于运动活塞以起动引擎的装置。
17.一种内爆引擎和发电机,包括气缸、连接在一起的一对活塞——用于在气缸内共同运动以构成一对可变体积的燃烧室、封闭在每个燃烧室内装载的不可燃气体、用于室内压力下降到预定水平以下时让补充气体进入室内的止回阀、用于以爆炸方式交替点燃两个室中的不可燃气体以驱动最小和最大室容积位置之间的活塞的装置、耦合到活塞以与活塞一起运动的磁体、以及位于气缸外靠近磁体用于产生电能响应活塞运动的线圈。
18.声明17的引擎和发电机,其不可燃气体选自的类由空气、惰性气体、和由此的组合。
19.声明17的引擎和发电机,其中用于点燃每个室内气体的装置包括用于向燃烧室内施加射频能量以电离气体并形成等离子体的装置,以及用于点燃等离子体的装置。
20.声明19的引擎和发电机,包括响应活塞位置用于当活塞处于或接近最小容积位置时点燃等离子体的开关。
21.声明19的引擎和发电机,包括燃烧室内用于加热电离气体的电极。
上一篇
罗伯特·布里特惰性气体发动机
下一篇
迈克尔·爱斯科里的涡轮机
上一篇:罗伯特·布里特惰性气体发动机
下一篇:迈克尔·爱斯科里的涡轮机