Patente Aplicación
EP0405919 1 de febrero 1991 Inventor: Juan C. Aguero
SISTEMA DE MOTOR DE COMBUSTIÓN AGUA-PROPULSADO
Por favor note que este es un extracto expresado
con otras palabras de esta aplicación evidente. Esto describe un método que es
reclamado es capaz de hacer funcionar un motor de combustión interno de una
mezcla de vapor y gas de hidrógeno.
EXTRACTO
Este es un sistema que transforma energía para la
conducción, por ejemplo, un motor de combustión interno que usa el gas de
hidrógeno como su combustible. El gas es obtenido por electrolysing agua a
bordo y es inyectado entonces en las cámaras de combustión. La electrólisis es
realizada en un tanque electrolítico 15, activada con la corriente eléctrica
generada por el motor. El hidrógeno pasa
de un embalse 23, vía el cilindro de coleccionista 29, al dispositivo de
carburador 39. El hidrógeno es alimentado entonces en el motor juntos con el
vapor saturado seco y al menos la parte del hidrógeno puede ser calentada 51
antes de la admisión. Un refrigerador y la combustión más controlada son
conseguidos con el vapor y las cantidades además relativamente menores de
hidrógeno son requeridas. Este es probablemente causado por el vapor que
interpreta como un asesor de temperaturas durante admisión y combustión del
hidrógeno y además ampliándose durante el golpe de extensión.
CAMPO DE LA INVENCIÓN
La invención presente se refiere a sistemas de
convertidor de energía, en particular relacionados con un motor de combustión
interno abastecido de combustible por el gas de hidrógeno, es decir en donde el
propulsor principal se confesó culpables de las cámaras de combustión es el
hidrógeno. Más en particular de todos modos, la invención presente se refiere
al método y significa para obtener el gas de hidrógeno en una manera eficiente
y razonablemente económica, y para suministrar el gas a las cámaras de
combustión en condiciones para ignición controlada y conversión de energía
óptima. La invención presente también se refiere a medios y método para dirigir
un sistema de motor de combustión de un disponible, barato e hidrógeno de no
contaminante que contiene la materia como agua como un suministro de
combustible.
En general, la invención puede encontrar la aplicación en cualquier sistema que
emplea principios de combustión internos, en los límites de instalaciones
grandes como trabajos de electricidad a sistemas de coche relativamente más
pequeños como locomotoras, camiones, automóviles, barcos y motonaves. En la
descripción consiguiente, la invención es generalmente revelada para la
aplicación en el campo automotor, sin embargo también puede pensarse que su
adaptación y aplicación en otros campos es dentro del articulado de la
invención presente.
FONDO
Los recursos naturales menguantes, los niveles de contaminación peligrosos,
aumentando precios y dependencia no fiable en otros países lo hacen cada vez
más necesario de buscar una alternativa a combustibles fósiles como el petróleo
(hidrocarbonos) y derivados del aceite como la fuente de energía primaria en
coches. Hasta ahora, ninguna de las alternativas intentadas parece haber
demostrado su valor como un sustituto de la gasolina, debido a inconvenientes
inherentes en cuanto a contaminación, seguridad, coste, etc. o porque el hombre
ha sido todavía capaz de encontrar un modo práctico de aplicar las formas de
energía alternativas a coches domésticos.
Por ejemplo, la electricidad es una alternativa buena en el sentido ecológico,
tanto por medios químicos como acústicamente, sin embargo parece ser la forma
menos eficiente de la energía conocida, que juntos con el coste alto de la
fabricación de motores eléctricos y las limitaciones de almacenamiento severas
en la medida la capacidad y el tamaño lo han parado de entrar en el mercado al
menos por el momento. El mismo es generalmente verdadero aun cuando la energía
solar está preocupada.
Energía nuclear está eficiente, disponible y relativamente barata, pero muy
peligrosa. Los combustibles sintéticos pueden ser ciertamente la respuesta en
lo venidero, sin embargo parece que ninguno bastante práctico ha sido
desarrollado. El uso de gases como metano o propano, o del alcohol destilado de
la caña de azúcar, también ha sido intentado, pero por una razón u otra su
mercadotecnia ha sido limitada con pequeñas regiones. El metanol por ejemplo es
un combustible sintético prometedor, pero es muy difícil encenderse en el
tiempo frío y tiene un contenido de energía bajo (aproximadamente mitad aquella
de gasolina).
El uso de gas de hidrógeno como un sustituto de la gasolina ha sido
experimentado últimamente. El investigador de química Derek P. Gregory es
citado como creyendo que el hidrógeno es el combustible ideal en no sólo un
sentido. La combustión de hidrógeno produce el vapor como su único residuo, una
ventaja decisiva sobre la contaminación de combustibles convencionales como
gasolina y carbón. Lamentablemente, el hidrógeno apenas existe en la tierra en
su forma libre natural, pero sólo combinado en compuestos químicos, de los
cuales debe ser extraído usando complicado, caro y procesos industriales a
menudo arriesgados. Además, si este
obstáculo fuera vencido, todavía sería necesario transportar y almacenar el
hidrógeno con estaciones de servicio y además encontrar un modo seguro y
práctico de cargar y almacenarlo en automóviles. El Mercedes-Benz por su parte
experimenta con un vehículo equipado con un tanque especial para almacenar el
gas de hidrógeno y quiere decir para suministrar el gas al sistema de
inyección, en vez del tanque de la gasolina convencional y recorrido, sin
conseguir sin embargo aún un grado satisfactorio de seguridad y eficacia de
coste. El uso de gas de hidrógeno seco como un propulsor ha sido encontrado
antes para producir una ignición generalmente incontrolada, una excursión de
temperaturas grande hacia arriba que demostró demasiado destructiva para las
paredes de cámara. La vida de motor fue limitada con menos de 10,000 kilómetros
(aproximadamente 6,000 millas).
REVELACIÓN DE LA INVENCIÓN
La invención está basada en el descubrimiento de un
sistema de convertidor de energía para dirigir un motor de combustión interno y
en particular está basada en el descubrimiento de un método y significa para de
fuentes fidedignas, económicamente, sin peligro y limpiamente abastecer de
combustible un motor de combustión interno con hidrógeno, y obtención del
hidrógeno en una forma utilizable a este final de una sustancia barata y
abundantemente disponible como agua. El hidrógeno puede ser generado en
condiciones óptimas para ser alimentadas en el motor.
Según la invención, el hidrógeno es obtenido a bordo de una fuente hydrogenous
disponible en el acto como agua ionizado que es sujetado a la electrólisis, de
donde el hidrógeno es inyectado en cada cilindro del motor en el golpe de
admisión. El gas de hidrógeno es mezclado con el vapor agua (vapor en la
temperatura atmosférica) y rodeando el aire, y cuando esta mezcla es encendida
dentro de la cámara de combustión, el vapor (vapor) parece actuar como un
asesor de temperaturas primero y luego asistir en el golpe de extensión.
Preferentemente, el vapor es el vapor saturado seco que, como un asesor, limita
la temperatura máxima de la combustión, así ayudando a conservar el cilindro,
válvula y elementos de pistón; y en la asistencia de la extensión, el vapor se amplía
rápido para contribuir la presión suplementaria en la cabeza de pistón,
aumentando el poder de salida mecánico del motor. En otras palabras, la
inclusión de vapor en el propulsor de hidrógeno como sugerido por la invención
presente modera los efectos negativos de hidrógeno y realza el aspecto positivo
efectúa de eso en el ciclo de combustión.
A consecuencia de este descubrimiento, la cantidad de hidrógeno requerido
conducir el motor es inferior que fue esperado antes, de ahí la electrólisis no
tiene que producir más de 10 centrimetros cúbicos/segundo (por ejemplo, para un
1,400 motor de centrimetros cúbicos). Así la cantidad de electricidad requerida
para la electrólisis, un escollo en tentativas más tempranas, es inferior,
tanto tan, que la producción de hidrógeno de a bordo es factible ahora.
La invención incluye un aparato que comprende un primer sistema para generar el
hidrógeno y un segundo sistema para condicionar y suministrar el hidrógeno a
las válvulas de admisión en las gorras de cilindro. El sistema que genera
hidrógeno básicamente consiste en un dispositivo de electrólisis que recibe
electrolitically adaptado (es decir al menos parcialmente ionizado) agua o un
poco de otra sustancia hydrogenous conveniente. Un suministro de energía eléctrica
está relacionado con los electrodos del dispositivo de electrólisis para
generar el hidrógeno, y las exigencias de electricidad y las dimensiones de
dispositivo son diseñadas para un rendimiento de hidrógeno máximo de
aproximadamente 10 centrimetros cúbicos/segundo para una aplicación automotor
típica.
El segundo sistema comprende medios como una bomba neumática o el gustar para
sacar el hidrógeno del primer sistema, medios para suministrar el gas de
hidrógeno a las válvulas de admisión, medios para condicionar el contenido de
humedad del hidrógeno, medios de carburador o el parecido para mezclar el
hidrógeno con el aire atmosférico o alguna otra combustión que permite a la
sustancia, y piensa controlar y mantener una válvula de presión de gas especificada
o la variedad para el hidrógeno suministrado a los medios que se mezclan.
El aparato fue probado y trabajó sorprendentemente bien. Fue descubierto que
este pareció ser el resultado del contenido de vapor en el gas de hidrógeno
electrolítico que vence los escollos encontrados en los sistemas de arte
previos que inyectaron el gas relativamente seco en las cámaras de cilindro, o
a lo más con una relativamente pequeña proporción de la humedad que viene del
aire sí mismo.
En la encarnación preferida, el sistema de electrólisis es conducido con una
señal de alimentación de CC pulsada de hasta 80 Amperios en entre 75 y 100
voltios. El electrólito es destilado agua salado con el cloruro de sodio con
una concentración de aproximadamente 30 gramos de la sal por litro de agua, a
150 gramos de la sal en 10 litros de agua. Otras concentraciones son posibles
según la clase de motor, combustible y consumo de electricidad etc. El precio
máximo de la producción de hidrógeno requerida para un motor del automóvil
doméstico típico ha sido estimado en 10 centrimetros cúbicos/segundo. Este
hidrógeno es sacado por una bomba que genera una cabeza de presión de alrededor
2 Kg/cm2 alimentar el hidrógeno generado que contiene vapor a un
receptáculo proveído de medios para quitar el exceso indeseado de humedad del
gas. El gas es así mezclado con el contenido deseado del vapor cuando esto
entra en el carburador o el dispositivo que se mezcla.
En caso de que el hidrógeno generado no tenga bastante contenido de vapor, el
vapor saturado seco puede ser añadido al hidrógeno cuando esto procede al
motor. Este puede hecho cómodamente, antes de que esto entre en el carburador y
sea mezclado con el aire de consumo. La parte del gas puede ser desviada vía un
intercambiador de calor serpentino relacionado con el distribuidor de gases de
combustión. Este calienta un poco del gas antes de que sea inyectado en la base
del carburador. Esta inyección de gas acalorada funciona como un
sobrealimentador. La corriente de hidrógeno no acalorada principal es piped
directamente en el sistema venturi del carburador, donde esto se mezcla con el
aire dibujado en por el vacío de golpe de admisión.
BREVE DESCRIPCIÓN DE LOS DIBUJOS
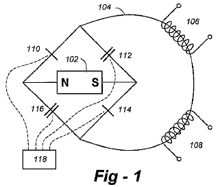
Fig.1 es una
disposición esquemática de los primeros y segundos sistemas y muestra el
dispositivo de electrólisis para obtener el hidrógeno, y los medios de
recorrido para inyectar el hidrógeno cargado por vapor en las cámaras de
combustión de un motor del automóvil, según una encarnación de esta invención.

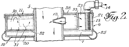
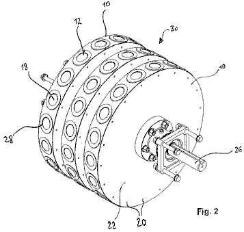
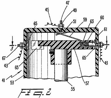
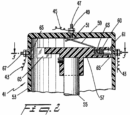
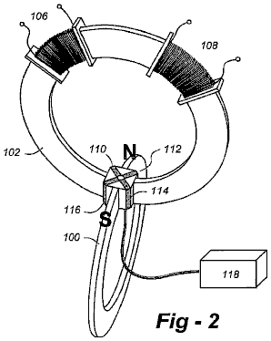
Fig.2 es una vista elevational del
dispositivo de electrólisis de Fig.1.

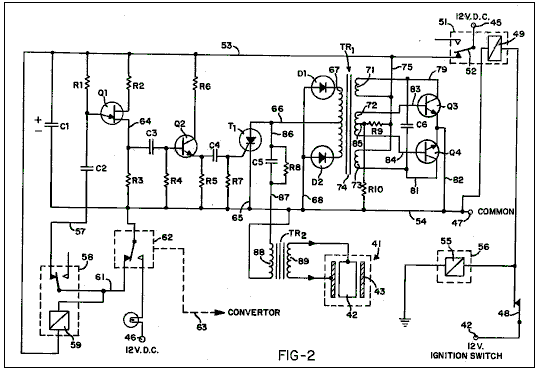
DETAILED ACCOUNT OF AN EMBODIMENT
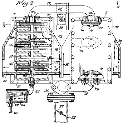
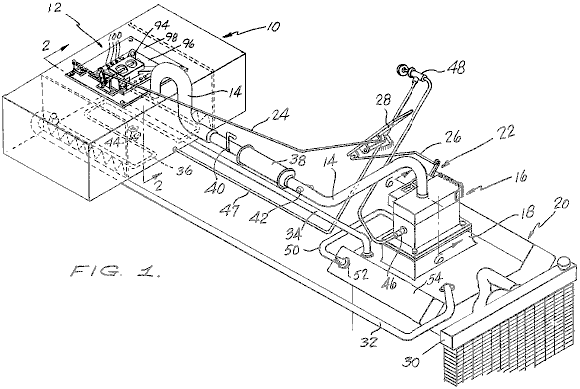
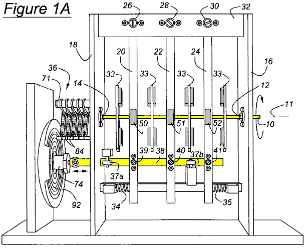
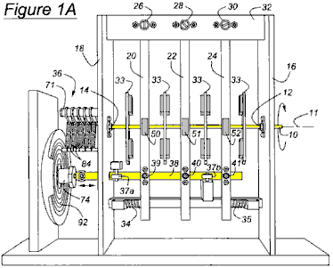
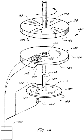
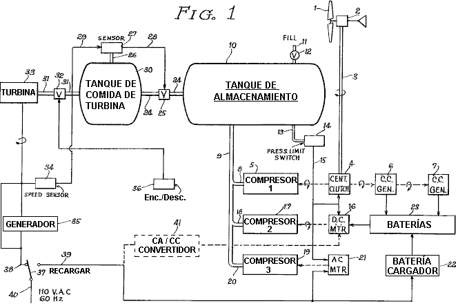
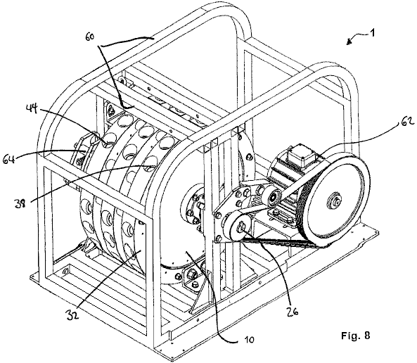
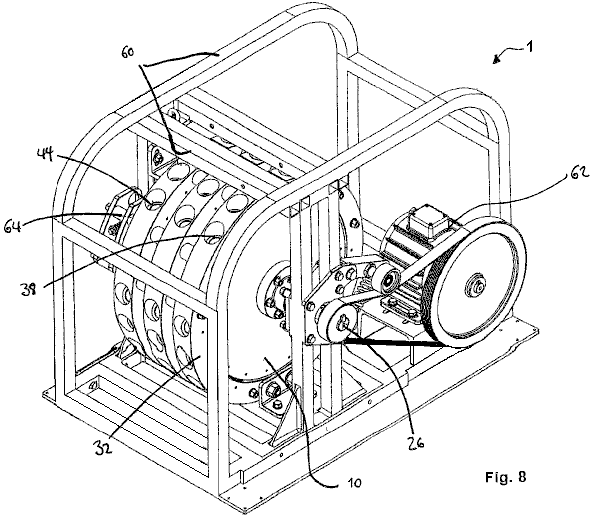
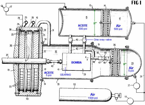
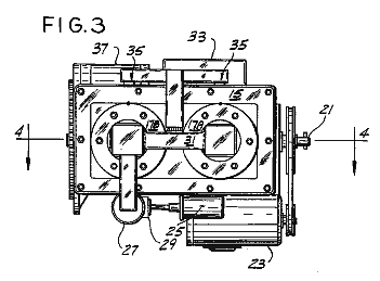
Fig.1 muestra que un sistema 11 para obtener
hidrógeno presenta agua piped de un embalse o tanque (no ilustrado) a 13 de
admisión de una célula de electrólisis 15. El agua es salado añadiendo el
cloruro de sodio para ionizarlo y permitir la electrólisis cuando la energía
eléctrica es aplicada a un par de terminales 17. Como revelado más
detalladamente más tarde, el poder aplicado a los terminales 17 está en la
forma de una señal de pulso de corriente continua de 65 Amperios en 87 voltios,
generados vía un convertidor conveniente de, en caso de que el sistema presente
sea aplicado a un coche, el nivel de corriente continua de 12 voltios automotor
estándar. El dispositivo 15 tiene varias salidas, uno de las cuales es la
salida de gas de hidrógeno 19 que está relacionado por una válvula de solenoide
21 a un acumulador o cilindro de embalse 23. Otras salidas del dispositivo de
electrólisis 15 son para quitar aguas residuales de electrólisis como hidróxido
de sodio y gas de cloro, al cual la referencia adicional es hecha abajo.
Una bomba neumática 25 o similar, extrae el gas del embalse 23 y lo canaliza
por un sistema de recorrido de hidrógeno 27. Así el embalse 23 actos como un
parachoques de presión de un interfaz de sistemas entre el dispositivo de
electrólisis 15 y la bomba 25. El embalse 23 puede ser una 2,000 capacidad de
centrimetros cúbicos, cilindro inoxidable de acero con la válvula 21 medición
del paso de gas por ello, de modo que el embalse esté al principio lleno de
aproximadamente 1,500 centrimetros cúbicos de hidrógeno en la presión y
temperatura normal (NPT) condiciones. A este final, el cilindro 23 puede ser
proveído de una medida 28V que controla el estado de la válvula 21
electrónicamente. La válvula 21 puede ser un Modelo de Jefferson válvula de
solenoide de SPS, disponible de OTASI, Santa Rosa 556, Córdoba, Argentina. La
bomba neumática 25 es una bomba de diafragma con un paseo de polea y es
conectado por medio de un cinturón de transmisión a la salida de cigüeñal del
motor. Tal dispositivo 25 puede ser un modelo de Bosch disponible en Alemania.
El paseo de polea es desacoplado por un embrague electromagnético cuando la
presión leída por una medida 28P atornillado en el lado de salida de la bomba
25 excede 2Kg/sq. cm.
Bomba 25 envía el hidrógeno por la tubería 26, que también incluye una
carretera de circunvalación 24 aseguró inspección y objetivos de seguridad
juntos con una válvula de doble sentido 28, y en un segundo cilindro 29 que
contiene medios 31 que causan una turbulencia o un movimiento labyrinthine en
el gas, a fin de condensar la mezcla pesada, esquemáticamente mostrada como
gotitas 32, presente en la corriente de gas. La mezcla condensada se reúne en
la forma de agua destilado 33 en el fondo del cilindro 29. Cerca de la cumbre
del cilindro, hay una salida 35 por que el gas de hidrógeno, cargado de una
cantidad buena del vapor, es transportado al mezclador 37. También en lo alto
del cilindro de coleccionista 29, hay un sensor de temperaturas 38 que está
relacionado con un recorrido de termómetro digital electrónico (no mostrado).
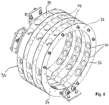
Mezclador 37 comprende un dispositivo de carburador 39 para mezclar el
hidrógeno con el aire antes de la alimentación de la mezcla a las cámaras de
combustión. El hidrógeno es piped por un 3/8" tubo de diámetro 41 del
cilindro de secador 29 y luego en la sección 43 venturi del carburador 39 por
un par de 5/16" tubos de diámetro o hidrógeno que inyecta inyectores 45.
La sección 43 venturi es una sección del paso de aire de consumo que se
estrecha para aumentar la velocidad de aire en el punto donde el hidrógeno es
sacado para la mezcla. El consumo
venturi 42 puede ser cubierto por una malla 46. Sin embargo, parece que ningún
filtro de aire es necesario para el mezclador para funcionar bien. El
dispositivo de carburador 39 puede ser una forma simplificada de un carburador
convencional, ya que el propulsor, es decir gas de hidrógeno, es alimentado
directamente al venturi 43. Una válvula de mariposa, o el parecido, relacionado
con un pedal de acelerador (no ilustrado) del automóvil, controlan el precio de
toma de aire y por lo tanto la velocidad del motor. Este dispositivo de
mezclador 39 es montado como es un carburador convencional, tal que su salida
en el fondo se comunica con las válvulas de admisión en las gorras de cilindro.
En la parte de fondo del carburador hay un consumo de hidrógeno suplementario
47 relacionado con otro 3/8" tubo de diámetro 49 que desvía la parte del
hidrógeno por un calentador 51. Este calentador comprende un tubo serpentino 51
de una aleación de cromo/cobalto, montada en la relación de cambio de calor
cercana con el cuerpo del distribuidor de gases de combustión 50
(esquemáticamente ilustrado) a fin de añadir una porción de gas acalorado a la
mezcla de combustible antes de que sea hecho entrar en las cámaras de
combustión por las válvulas de admisión correspondientes en las gorras de
cilindro. Esta pre-admisión que calienta el paso, toma la mezcla de hidrógeno a
un cerca de la temperatura crítica para la detonación. Ha sido encontrado esto
este mejora la interpretación (p.ej la suavidad de motor) en algunas variedades
de velocidad, y esto trabaja como un sobrealimentador.
En la práctica, el motor de la invención presente ha mostrado una eficacia alta
usando enchufes de chispazo de tres electrodos y un sistema de ignición
electrónico (no ilustrado).
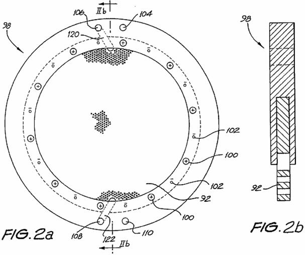
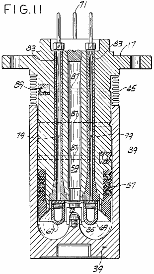
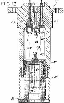
Fig.2 muestra la célula de electrólisis 15 perfilado en Fig.1 más
detalladamente. Esto consiste de un embalse de prisma rectangular 53 con un par
de electrodos verticales espaciados aparte 55. El embalse puede medir, por
ejemplo, 24 cm de largo por 20 cm de ancho y 28 cm de alto. Tanto el ánodo como
el cátodo 55 pueden comprender cada uno dobles electrodos de carbón que tiene
un espaciado entre los electrodos 55 de la misma polaridad de aproximadamente
10 cm. O bien, el ánodo 55A puede ser un anillo hecho del carbón mientras el
cátodo 55C es una malla de hierro electrodo cilíndrico. Cada electrodo 55 tiene
un terminal 57 encima para introducir la energía eléctrica como mencionado
antes. En cada lado externo de los
electrodos 55 hay una membrana porosa 59 hecha de una hoja del amianto
(amianto) para aguantar la solución 61 agua al mismo tiempo dejando a los productos
de electrólisis, es decir hidrógeno y oxígeno, pasar. Así, el gas de hidrógeno
pasa por la membrana 59 en una cámara de coleccionista de gas 56 y salidas por
el tubo 19 para abastecer de combustible el motor de combustión. El tubo de
hidrógeno 19 puede tener una válvula que proporciona 62 para regular el flujo
de hidrógeno. El oxígeno por otra parte puede ser expresado en la atmósfera por
una salida 63.
Hay un elemento de calentador 64, sumergido en agua salado 61 alimentado por
una resistencia relacionada con un suministro de corriente continua de 12
voltios. Este calienta el agua a aproximadamente 85 grados C (185 grados F)
para realzar la acción galvánica de la electrólisis corriente en la solución 61
acuosa. Un termostato con un sensor termal de silicio estatal sólido puede ser
usado para controlar la temperatura agua vía un umbral comparator conducción de
un relevo que controla la corriente en el elemento de calentador 64.
La electrólisis de la solución 61 agua salada acalorada adelante produce, como
aguas residuales, gas de cloro (Cl2) e hidróxido de sodio (NaOH). El gas de
cloro puede ser expresado por una apertura 65 en lo alto del embalse 53 o sea
almacenado en un tanque de disposición apropiado (no mostrado). El hidróxido de
sodio precipita y puede ser quitado periódicamente por el grifo 67 en el fondo
de la célula de electrólisis.
Es importante notar que la práctica de la invención presente no requiere
prácticamente ningunas modificaciones en el motor sí mismo. Es decir los
motores de gasolina existentes pueden ser usados con apenas cualquier ajuste.
La ignición es iniciada en la cumbre muerta del golpe de compresión o con un
1.5 retraso de grado a lo más, y ha sido encontrado conveniente de ensanchar
los huecos de la admisión y empujadores de válvula de escape y bujías de
tri-electrodo de uso. Sin embargo es aconsejable usar unos resistentes de
herrumbre compuesto como plásticos para el tubo de escape y silenciador,
teniendo en cuenta que el residuo de combustión es el vapor caliente.
Fig.1 también espectáculos esquemáticamente, el suministro de energía eléctrica
71 relacionado con los terminales 17 del cubo 15. La corriente eléctrica es
obtenida en la corriente continua de 12 voltios del sistema de
batería/alternador de coche 73 y tratada por un dispositivo de inversor 75 para
generar pulsos de corriente continua de 65 Amperios en 87 voltios. Palpite
energisation de la electrólisis parece maximizar la proporción del rendimiento
de hidrógeno a la entrada de energía eléctrica.
RECLAMACIONES
1. Un método de proporcionar a propulsor a un motor de combustión interno en
donde la combustión es abastecida de combustible sobre la base del gas de
hidrógeno admitido en al menos una cámara de combustión del motor durante el
golpe de consumo, caracterizó en que el hidrógeno es inyectado en la cámara de
combustión juntos con vapor.
2. El método de la reclamación 1, caracterizada en esto el aire circundante
entra en la cámara de combustión, juntos con el hidrógeno y vapor.
3. El método de la reclamación 2, caracterizada en esto el gas de hidrógeno es
obtenido de agua que es continuamente sujetado a la electrólisis activada por
el motor.
4. El método de la reclamación 2 o 3, caracterizada en que el hidrógeno es
generado en un precio de no más de 10 centrimetros cúbicos/segundo.
5. El método de cualquiera de las reclamaciones precedentes, caracterizadas en
que el motor conduce un automóvil.
6. El método de cualquiera de reclamaciones precedentes, caracterizadas en que
el vapor es añadido al hidrógeno antes de la entrada en la cámara de combustión.
7. El método de cualquiera de reclamaciones 1 a 5, caracterizado en que el
vapor está contenido en el hidrógeno cuando generado.
8. El método de cualquiera de las reclamaciones precedentes, caracterizadas en
que el vapor es el vapor saturado seco.
9. Un método de conducir un motor de combustión interno con agua como su fuente
primaria de energía, caracterizada por los pasos de sujetar el agua a
hidrólisis que así produce hidrógeno gaseoso, y con control, suministro del
hidrógeno producido por la hidrólisis a las cámaras de combustión de motor
durante el golpe de admisión de cada cilindro juntos con una proporción de
vapor.
10. El método de la reclamación 9, caracterizada en que el vapor es el vapor
saturado seco.
11. El método de cualquiera de las reclamaciones 9 o 10, caracterizadas en esto
la hidrólisis conducida por energía eléctrica para producir no más de 10
centrimetros cúbicos/segundo del gas de hidrógeno.
12. El método de cualquiera de reclamaciones 9 a 11, caracterizado en que el
motor conduce un automóvil incluso un tanque agua como su suministro de
propulsor principal.
13. El método de cualquiera de reclamaciones 9 a 12, caracterizado en aquel al
menos parte del hidrógeno es calentado antes de inyectarlo en la cámara.
14. El método de cualquier reclamación de 9 a 13, caracterizado en aquel vapor
es obtenido juntos con el gas de hidrógeno de la electrólisis y luego sujetado
a un ciclo secante hasta un punto predeterminado de la saturación antes de ser
pasado en las cámaras.
15. El método de la reclamación 11, caracterizada en que la hidrólisis
significa es suministrado del poder eléctrico pulsado de aproximadamente 5 kW.
16. Un método de inyectar a propulsor en un cilindro de motor de combustión interno
conducido por hidrógeno durante la admisión acaricia de eso, caracterizado en
aquel vapor seco es pasado en el cilindro dicho durante el golpe de consumo
para moderar la generación de temperaturas de la ignición de hidrógeno y
realzar la extensión después de que la ignición ha comenzado a aumentar el
poder de los pistones.
17. Un método de obtener hidrógeno capaz de estar acostumbrado abastece de
combustible un motor de combustión interno, caracterizado disociando el gas de
hidrógeno de un compuesto de hydrogenous, y admitiendo el gas de hidrógeno en
cada cilindro del motor dicho juntos con una cantidad del vapor seco.
18. Se confiesan culpable del método de la reclamación 17, caracterizada en
esto el gas de hidrógeno los cilindros de motor en un precio de no más que 10
cc/sec.
19. El método de la reclamación 17 o 18, caracterizada en que el compuesto es
agua ligeramente salado y el vapor es el vapor saturado.
20. Un sistema para obtener y proporcionar a propulsor de hidrógeno a un motor
de combustión interno incluso al menos un cilindro que contiene un pistón que
es sujetado a ciclos de combustión sucesivos y medios de inyección para admitir
el combustible en el cilindro en el consumo o golpe de admisión del ciclo,
caracterizado comprendiendo: abastezca de combustible medios de la fuente para
contener un compuesto de hydrogenous, medios de electrólisis (15) teniendo al
menos un par de electrodos (55) para recibir energía eléctrica y medios de
consumo (13) relacionado con la fuente para suministrar el compuesto a los
medios de electrólisis, un medio (27, 37) para extraer el gas de hidrógeno de
uno de los electrodos y suministrarlo a los medios de inyección de cilindro, y
controle medios (25, 28, 29) para controlar el suministro de gas de hidrógeno a
los medios de inyección de cilindro por lo cual el precio del consumo de gas en
el motor no es más que 10 cc/sec.
21. El sistema de la reclamación 20, caracterizada en esto que el medio que
suministra el gas de hidrógeno a la inyección de cilindro significa adelante
incluye medios (37) para mezclarse dijo el gas de hidrógeno con el vapor.
22. El sistema de la reclamación 20 o 21, caracterizada en que el compuesto es
agua y los medios de la fuente incluye un tanque agua, el agua incluso la sal
para facilitar la electrólisis.
23. El sistema de la reclamación 20, 21 o 22, caracterizado en que los medios
de control incluyen medios (29) para quitar la humedad excesiva del gas de
hidrógeno extraído de los medios de hidrólisis.
24. El sistema de cualquiera de reclamaciones 20 a 23, caracterizado en que la
electrólisis significa es activado por el motor.
25. Un motor de combustión interno que hace funcionar en hidrógeno y tiene un
tanque agua como su fuente primaria de combustible de combustión, un bloque de
cilindro que contiene al menos una cámara de cilindro, cada cámara, teniendo un
pistón asociado, medios de consumo de combustible, medios de ignición, y medios
de gases de combustión, y medios de cigüeñal conectados para ser conducido por
los pistones para proporcionar poder de salida mecánico del motor, y
caracterizado por comprensión adicional: el medio de electrólisis (15)
relacionado con el tanque agua para electrolysing agua para obtener hidrógeno,
medios eléctricos (17) relacionado para suministrar energía eléctrica a al
menos un par de electrodos (de 55) de la electrólisis significa para realizar
la electrólisis del agua, y medios de recorrido de hidrógeno (27) para extraer
el gas de hidrógeno de los medios de electrólisis y pasarlo en medios de
consumo dichos en una manera que permite a ignición controlada y extensión del
combustible en la cámara.
26. El motor de la reclamación 25, caracterizada en aquel medio de recorrido de
hidrógeno dicho pasa el gas de hidrógeno a los medios de consumo en un precio
de no más que 10 cc/sec.
27. El motor de la reclamación 25 o 26, caracterizada por la comprensión
adicional significa para añadir el vapor en cada cámara antes de la ignición
del hidrógeno.
28. El motor de la reclamación 27, caracterizada en esto el medio de víbora de
vapor comprende medios (25) para extraer el vapor de los medios de
electrólisis, y significa (29) para sujetar dijo el vapor a un proceso secante
hasta un punto predeterminado.
29. El motor de cualquiera de reclamaciones 25 a 28, caracterizado por medios
de comprensión adicionales (49, 51) para calentar al menos parte del gas de
hidrógeno antes de que sea pasado en las cámaras.
30. El motor de la reclamación 29, caracterizada en esto dijo que la
calefacción significa es un serpentino (51) insertado en desviar (de 49) de los
medios de recorrido de hidrógeno y montado en la relación de cambio de calor en
unos gases de combustión diversos del motor.
31. El motor de cualquiera de reclamaciones 25 a 30, caracterizado en aquel
medio eléctrico dicho incluye medios de generador de pulso para suministrar
pulsos eléctricos a dicho al menos un par de electrodos.
32. El motor de la reclamación 31, caracterizada en aquel medio de generador de
pulso dicho suministra pulsos de corriente continua eléctricos de entre 50 y 75
Amperios en entre 60 y 100 voltios.
33. El motor de cualquiera de reclamaciones 25 a 32, caracterizado en aquel
medio de recorrido de hidrógeno dicho incluye medios secantes (33) para quitar
la humedad de exceso del hidrógeno extraído de los medios de electrólisis.
34. El motor de cualquiera de reclamaciones 25 a 33, caracterizado en aquel
medio de cigüeñal dicho conduce un coche agua-abastecido-de-combustible.
35. El motor de cualquiera de reclamaciones 25 a 34, caracterizado en que la electrólisis
significa es conducido por la electricidad sacada del motor.
Patente US 3,980,053 14 de septiembre 1976 Inventor: Stephen Horvath
REPOSTE SUMINISTRAN APARATO PARA MOTORES DE COMBUSTIÓN INTERNOS
Por favor note que este es un extracto expresado
con otras palabras de esta patente. Esto describe el procedimiento
agua-división de Stephen Horvath.
EXTRACTO
Un aparato de suministro de combustible genera el
hidrógeno y el oxígeno por la electrólisis de agua. Allí es proporcionado una
célula electrolítica que hace rodear un ánodo circular por un cátodo con una
membrana porosa entre ellos. El ánodo es estriado y el cátodo es ranurado para
proporcionar áreas de cátodo y ánodo del área superficial considerablemente igual.
Una corriente eléctrica pulsada es proporcionada entre el ánodo y cátodo para
la generación eficiente de hidrógeno y oxígeno.
La célula electrolítica es equipada con un
flotador, que descubre el nivel de electrólito dentro de la célula, y agua es
añadido a la célula como necesario sustituir el agua perdido por el proceso de
electrólisis. El hidrógeno y el oxígeno son coleccionados en cámaras que son
una parte integrante de la célula electrolítica, y estos dos gases son
suministrados a una cámara que se mezcla donde ellos son mezclados en la
proporción de dos hidrógeno de partes a un oxígeno de parte. Esta mezcla de
hidrógeno y oxígeno fluye a otra cámara de mezcla en donde es mezclado con el
aire de la atmósfera.
El sistema es revelado como instalado en un coche,
y un sistema de control dual, que es actuado por el regulador de coche,
primeros metros la mezcla de oxígeno e hidrógeno en la cámara en donde es
combinado con el aire y luego mide la mezcla combinada en el motor del
automóvil. El calor de combustión de una mezcla de oxígeno e hidrógeno pura es
mayor que aquella de una gasolina y la mezcla de aire del volumen comparable, y
el aire es por lo tanto mezclado con el hidrógeno y oxígeno para producir una
mezcla compuesta que tiene un calor de combustión que se acerca aquella de una
mezcla de aire de gas normal. Esta mezcla compuesta de aire, hidrógeno y
oxígeno entonces puede ser suministrada directamente a un motor de combustión
interno convencional sin recalentarse y sin la creación de un vacío en el
sistema.
FONDO DE LA INVENCIÓN
Esta invención está relacionada con motores de
combustión internos. Más en particular está preocupado por un aparato de
suministro de combustible por medio del cual un motor de combustión interno
puede ser dirigido en un combustible comprendido de gases de oxígeno e
hidrógeno generados a petición por la electrólisis de agua.
En la electrólisis una diferencia de potencial es aplicada entre un ánodo y un
cátodo en el contacto con un conductor electrolítico para producir una
corriente eléctrica por el conductor electrolítico. Muchas sales fundidas y los
hidróxidos son conductores electrolíticos pero por lo general el conductor es
una solución de una sustancia que se disocia en la solución de formar iones. El
término "electrólito" será usado aquí para referirse a una sustancia
que se disocia en iones, al menos hasta cierto punto, cuando disuelto en un
solvente conveniente. La solución que resulta se mencionará como "una
solución de electrólito".
Las Leyes de Faraday de la Electrólisis disponen que en cualquier electrólisis
tratan la masa de sustancia liberada en un ánodo o el cátodo es de acuerdo con
la fórmula
m = z q
donde m es la masa de sustancia liberada en gramos, el z es el equivalente
electroquímico de la sustancia, y q es la cantidad de electricidad pasada, en
coulombs. Una consecuencia importante de las Leyes de Faraday es que el precio
de descomposición de un electrólito es el dependiente en corriente y es
independiente del voltaje. Por ejemplo, en una electrólisis convencional tratan
en cual corriente constante amperios fluyo a segundos t, q = It y la masa de
material depositado o disuelto dependerán de mí sin tener en cuenta el voltaje,
a condición de que el voltaje exceda mínimo necesario para la electrólisis de
proceder. Para la mayor parte de electrólitos, el voltaje mínimo es muy bajo.
Hubo ofertas anteriores dirigir motores de combustión internos en un
combustible comprendido del gas de hidrógeno. Los ejemplos de tales ofertas son
revelados en U.S. Pat. Nos. 1,275,481, 2,183,674 y 3,471,274 y especificaciones
británicas Nos., 353,570 y 364,179. Se ha propuesto adelante para sacar el
hidrógeno de la electrólisis de agua, como ejemplificado por Estados Unidos.
Acariciar. No 1,380,183. Sin embargo, ninguna de las construcciones de arte
previas es capaz de producir el hidrógeno en un precio tal que puede ser
alimentado directamente a motores de combustión internos sin el almacenamiento
intermedio. La invención presente permite un combustible comprendido de gases de
oxígeno e hidrógeno ser generado por la electrólisis de agua en tal precio que
esto puede sostener la operación de un motor de combustión interno. Esto
consigue este resultado por el uso de un proceso de electrólisis mejorado del
tipo generalmente propuesto en la aplicación paternal.
Como revelado en mi aplicación paternal arriba mencionada el arte previa
también muestra reacciones electrolíticas que emplean la corriente continua o
la corriente alterna rectificada que necesariamente tendrá un componente de
ondulación; un ejemplo del antiguo mostrado por ejemplo en Kilgus U.S. Pat. No.
2,016,442 y un ejemplo de éste mostrado en Emich et al. U.S. Pat. No.
3,485,742. Será notado que la Patente de Kilgus también revela la aplicación de
un campo magnético a su electrólito, qué campo es dicho aumentar la producción
de gas en los dos electrodos.
RESUMEN DE LA INVENCIÓN
El aparato de la invención aplica una pulsación
corriente a una solución electrolítica de un electrólito en agua. Expresamente,
esto permite pulsos altos de valor corriente completamente alto y voltaje
apropiadamente bajo ser generados en la solución de electrólito por un
suministro de entrada directo para producir una producción de productos de
electrólisis tal que estos productos pueden ser alimentados directamente al
motor de combustión interno. La pulsación corriente generado por el aparato de
la invención presente debe ser distinguida de variaciones normales que ocurren
en la rectificación de la corriente alterna corriente y como más adelante empleado
el término palpitó corriente será tomado para significar tener corriente un
ciclo de deber de menos que 0.5.
Esto es un objeto específico de esta invención de proporcionar un aparato de
suministro de combustible para un motor de combustión interno por el cual el
hidrógeno y los gases de oxígeno generados por la electrólisis de agua son
mezclados juntos y alimentados directamente al motor de combustión interno.
Un objeto todavía adicional de la invención es
proveer, ya que el uso con un motor de combustión interno que tiene la entrada
piensa recibir un combustible combustible, aparato de suministro de combustible
que comprende:
Un buque para sostener una solución de electrólito
del electrólito se disolvió en agua;
Un ánodo y un cátodo para ponerse en contacto con
la solución de electrólito dentro del buque;
Suministro eléctrico piensa aplicarse entre el diodo dicho y dijo pulsos de
cátodo de la energía eléctrica de inducir una pulsación corriente en la
solución de electrólito así a generar por el gas de hidrógeno de electrólisis
en el cátodo y gas de oxígeno en el ánodo;
La colección de gas y la entrega piensan
coleccionar los gases de oxígeno e hidrógeno y dirigirlos a los medios de
admisión de motor; y
Admisión de agua piensa para la admisión de agua al buque dicho arreglar la
pérdida debido a la electrólisis.
A fin de que la invención pueda ser más totalmente
explicada un ejemplo particular de un coche el motor de combustión interno
encajado con el aparato de suministro de combustible de acuerdo con la
invención será descrito ahora detalladamente en cuanto a los dibujos de
acompañamiento.
BREVE DESCRIPCIÓN DE LOS DIBUJOS
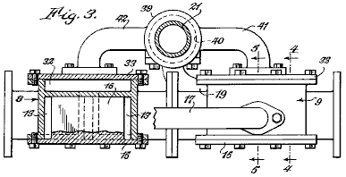
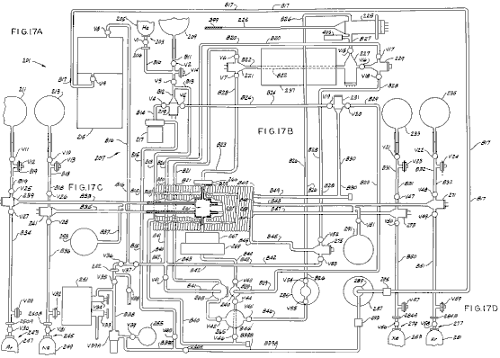
Fig.1 es una vista de
plan de la parte del coche con su bahía de motor expuesta para mostrar la
disposición del aparato de suministro de combustible y la manera en la cual
está relacionado con el motor del automóvil;

Fig.2 es un diagrama de recorrido
del aparato de suministro de combustible;

Fig.3 es una vista de plan de un
alojamiento que lleva componentes eléctricos del aparato de suministro de
combustible;

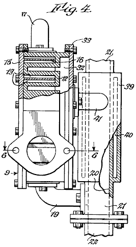
Fig.4 es una vista de elevación del
alojamiento mostrado en Fig.3;

Fig.5 es un corte transversal en la
línea 5 - 5 en Fig.3;

Fig.6 es un corte transversal en la
línea 6 - 6 en Fig.3;
Fig.7 es un corte transversal en la
línea 7 - 7 en Fig.5;

Fig.8 es una vista de perspectiva de
un disipador térmico de diodo incluido en los componentes ilustrados en Fig.5 y
Fig.7;
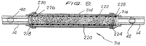
Fig.9 ilustra un transformador
bobina asamblea incluida en los componentes eléctricos montados dentro del
alojamiento;

Fig.10 es un corte transversal en la
línea 10 - 10 en Fig.4;
Fig.11 es un corte transversal en la
línea 11 - 11 en Fig.5;

Fig.12 es un corte transversal por
un bloque terminal montado en el suelo de la cubierta;

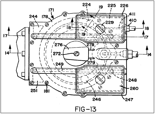
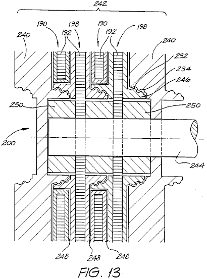
Fig.13 es una vista de plan de una
célula electrolítica incorporada al aparato de suministro de combustible;

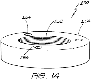
Fig.14 es un corte transversal en la
línea 14 - 14 en Fig.13;

Fig.15 es un corte transversal
generalmente en la línea 15 - 15 en Fig.14;

Fig.16 es un corte transversal en la
línea 16 - 16 en Fig.14;

Fig.17 es un corte transversal en la
línea 17 - 17 en Fig.13;

Fig.18 es un corte transversal en la
línea 18 - 18 de Fig.13;
Fig.19 es un corte
transversal vertical por una válvula de gas tomada generalmente en línea 19 -
19 en Fig.13;

Fig.20 es una vista de perspectiva
de una asamblea de la membrana dispuesta en la célula electrolítica;
Fig.21 es un corte transversal por
la parte de la asamblea de la membrana;
Fig.22 es una vista de perspectiva
de un flotador dispuesto en la célula electrolítica;

Fig.23 es una ampliación de parte de
Fig.14;
Fig.24 es un corte transversal
ampliado en la línea 24 - 24 en Fig.16;
Fig.25 es una vista de perspectiva
de un miembro de válvula de admisión agua incluido en los componentes mostrados
en Fig.24;

Fig.26 es un corte transversal en
línea 26 - 26 en Fig.16;
Fig.27 es una vista hecha explotar y
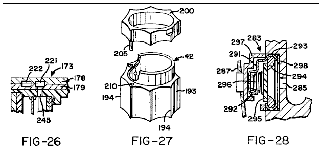
en parte rota de un cuello de cátodo y cátodo encajado al final superior del
cátodo;
Fig.28 es un corte transversal
ampliado mostrando a algunos componentes de Fig.15;

Fig.29 es una vista de perspectiva
de un miembro de tapa de válvula;
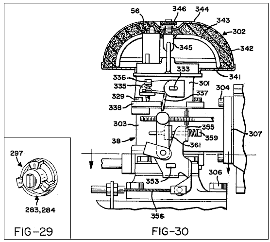
Fig.30 muestra una mezcla de gas y
la unidad de entrega del aparato generalmente en la elevación de lado, pero con
una asamblea de filtro de aire incluida en la unidad mostrada en sección;

Fig.31 es un corte transversal
vertical por la mezcla de gas y unidad de entrega con la asamblea de filtro de
aire quitada;
Fig.32 es un corte transversal en la
línea 32 - 32 en Fig.31;

Fig.33 es una vista de perspectiva
de una asamblea de inyector de avión a reacción y válvula incorporada a la
mezcla de gas y unidad de entrega;
Fig.34 es un corte transversal
generalmente en la línea 34 - 34 en Fig.31;
Fig.35 es un corte transversal por
una asamblea de solenoide;

Fig.36 es un corte transversal en la
línea 36 - 36 en Fig.32;
Fig.37 es una elevación trasera de
la parte de la mezcla de gas y unidad de entrega;

Fig.38 es un corte transversal en la
línea 38 - 38 en Fig.34;
Fig.39 es una vista de plan de la
sección inferior de la mezcla de gas y unidad de entrega, que es separada de la
sección superior a lo largo del interfaz 39 - 39 de Fig.30;

Fig.40 es un corte transversal en la
línea 40 - 40 en Fig.32; y
Fig.41 es un plan de una parte de
cuerpo inferior de la mezcla de gas y unidad de entrega.

DESCRIPCIÓN DE LA
ENCARNACIÓN PREFERIDA
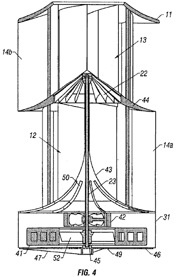
Fig.1 muestra una asamblea denotada generalmente
como 31 tener una bahía de motor 32 en que un motor de combustión interno 33 es
montado detrás de un radiador 34. El motor 33 es un motor convencional y, como
ilustrado, esto puede tener dos bancos de cilindros en "V" formación.
Expresamente, esto puede ser un motor V8. Es generalmente de la construcción
convencional y Fig.1 muestra el ventilador habitual 34, correa del ventilador
36 y generador o alternador 37.
De acuerdo con la invención el motor no corre en el combustible de petróleo
habitual, pero es equipado con el aparato de suministro de combustible que lo
suministra de una mezcla de gases de oxígeno e hidrógeno generados como
productos de un proceso de electrólisis agua realizado en el aparato de
suministro de combustible. Los componentes principales del aparato de
suministro de combustible son una célula electrolítica denotada generalmente
como 41 y una mezcla de gas y la unidad de entrega 38 para mezclar los gases de
oxígeno e hidrógeno generados dentro de la célula 41 y entregarlos al motor 33. La célula electrolítica 41 recibe agua por
una línea de entrega agua 39 para arreglar la solución de electrólito dentro de
ello. Esto tiene un ánodo y un cátodo que se ponen en contacto con la solución
de electrólito, y en la operación de los pulsos de aparato de la energía
eléctrica son aplicados entre el ánodo y cátodo para producir pulsos del flujo
corriente alto por la solución de electrólito. Algunos componentes eléctricos
necesarios de producir los pulsos de la energía eléctrica aplicada entre el
ánodo y cátodo son llevados en un alojamiento 40 montado en un lado de la bahía
de motor 32. La batería de coche 30 es montada en el otro lado de la bahía de
motor.
Antes de que la construcción física del aparato de entrega de combustible sea
descrita detalladamente los principios generales de su operación serán en
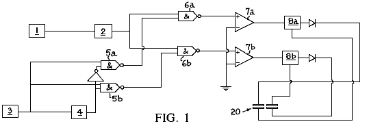
primer lugar descritos en cuanto al diagrama de recorrido eléctrico de Fig.2.
En los terminales de recorrido ilustrados 44, 45, 46 están todos relacionados
con el terminal positivo de la batería de coche 30 y el terminal 47 está
relacionado con el terminal negativo de aquella batería. El interruptor 48 es
el interruptor de ignición habitual del coche y el cierre de este interruptor
provee corriente al bobina 49 de un relevo 51. El contacto móvil que 52 del
relevo 51 reciben corriente en 12 voltios del terminal 45, y cuando el relevo
es hecho funcionar por el cierre del interruptor de ignición 48 corriente es
suministrado por este contacto para rayar 53 de modo que la línea 53 pueda ser
considerada como la recepción de una entrada positiva y la línea 54 del
terminal 47 puede ser considerada como una negativa común para el recorrido. El
cierre de la ignición cambia 48 también provisiones corrientes a un lado del
bobina 55 de un solenoide 56. El otro lado del solenoide bobina 55 es earthed
por una unión al cuerpo de coche dentro de la bahía de motor. Como será
explicado debajo del solenoide 56 debe ser activado para abrir una válvula que
controla el suministro de gases de oxígeno e hidrógeno al motor y los finales
de válvula para cortar aquel suministro tan pronto como el interruptor de
ignición 48 es abierto.
La función de relevo 51 debe unir la línea de
recorrido 53 directamente al terminal positivo de la batería de coche de modo
que esto reciba una señal positiva directamente más bien que por el interruptor
de ignición y alambrado.
El recorrido comprende la circuitería de generador de pulso que incluye el
transistor unijunction Q1 con resistencias asociadas R1, R2 y R3 y
condensadores C2 y C3. Esta circuitería produce pulsos que son usados para
provocar un transistor de poder de silicio NPN Q2 que por su parte provee vía
C4 condensador que provoca pulsos para un thyristor T1.
La Resistencia R1 y C2 condensador está
relacionada en serie en una línea 57 ampliación a uno de los contactos fijos de
un relevo 58. El bobina 59 del relevo 58 están relacionados entre la línea 53 y
una línea 61 que se extiende del contacto móvil del relevo a la línea negativa
común 54 vía una presión normalmente cerrada hizo funcionar el interruptor 62
La función de relevo 51 debe unir la línea de
recorrido 53 directamente al terminal positivo de la batería de coche de modo
que esto reciba una señal positiva directamente más bien que por el interruptor
de ignición y alambrado. La línea de
control de presión 63 del interruptor 62 están relacionados en una manera para
ser descrita abajo a una cámara de colección de gas de la célula electrolítica
41 a fin de proporcionar una unión de control por lo cual el interruptor 62 es
abierto cuando el gas en la cámara de colección alcanza una cierta presión. Sin
embargo, a condición de que el interruptor 62 permanezca cerrado, transmitir 58
funcionará cuando el interruptor de ignición 48 está cerrado para proporcionar
una unión entre líneas 57 y 61 así para unir C2 condensador a la línea negativa
común 54. El objetivo principal del relevo 58 es proporcionar una tardanza leve
de esta unión entre C2 condensador y la línea negativa común 54 cuando el
recorrido es primero activado. Este retrasará la generación de provocar pulsos
a thyristor T1 hasta que una condición eléctrica requerida haya sido conseguida
en la circuitería de transformador para ser descrita abajo. El relevo 58 es
herméticamente sellado y tiene una armadura equilibrada de modo que esto pueda
funcionar en cualquier posición y puede resistir el choque sustancial o la
vibración cuando el coche está en el uso.
Cuando la unión entre C2 condensador y línea 54 es hecha vía el relevo 58,
unijunction transistor Q1 actuará como un oscilador para proporcionar pulsos de
salida positivos en la línea 64 en un precio de pulso que es controlado por la
proporción de R1:C1 y en una fuerza de pulso determinada por la proporción de
R2:R3. Estos pulsos cobrarán C3 condensador. C1 condensador electrolítico está
relacionado directamente entre la línea positiva común 53 y la línea negativa
común 54 para filtrar la circuitería de todo el ruido estático.
La Resistencia R1 y C2 condensador son elegidos tal que en la entrada al
transistor Q1 los pulsos serán de vio la forma de diente. Este controlará la
forma de los pulsos generados en la circuitería subsecuente y el vio que la
forma de pulso de diente es elegida ya que se cree que esto produce la
operación más satisfactoria de la circuitería que palpita. Debería ser
acentuado, sin embargo, que otro pulso formas, como pulsos de onda cuadrados,
podría ser usado. C3 condensador descarga por una resistencia R4 para
proporcionar señales de provocación para el transistor Q2. La Resistencia R4
está relacionada con la línea negativa común 54 para servir como una puerta
dispositivo restrictivo corriente para el transistor Q2.
Las señales de provocación producidas por el transistor Q2 vía la red de C3
condensador y una resistencia R4 estarán en la forma de pulsos positivos de la
forma bruscamente clavada. El coleccionista de transistor Q2 está relacionado
con la línea de abastecimiento positiva 53 por la resistencia R6 mientras el
emisor de aquel transistor está relacionado con la línea negativa común 54 por
la resistencia R5. Este R5 de resistencias y R6 controlan la fuerza de pulsos
corrientes aplicados a C4 condensador, que descarga por una resistencia R7 a la
línea negativa común 54, así aplicar señales de provocación a la puerta de
thyristor T1. La puerta de thyristor T1 recibe una tendencia negativa de la
línea negativa común vía la resistencia R7 que así sirve para prevenir la
provocación del thyristor por corrientes de irrupción.
Los pulsos de provocación aplicados a la puerta de thyristor T1 serán puntos
muy agudos que ocurren en la misma frecuencia que el vio pulsos de forma de onda
de diente establecidos por el transistor unijunction Q1. Es preferido que esta
frecuencia es de la orden de 10,000 pulsos por minuto y detalles de componentes
de recorrido específicos que conseguirán este resultado son puestos en una
lista abajo. Q2 de Transistor sirve como un interfaz entre el transistor
unijunction Q1 y thyristor T1, previniendo atrás el flujo de emf de la puerta
del thyristor que podría interferir por otra parte con la operación de
transistor Q1. A causa de las altas tensiones manejadas por el thyristor y emf
trasero alto aplicado al transistor Q2, el transistor último debe ser montado
en un disipador térmico.
El cátodo de thyristor T1 está relacionado vía una línea 65 a la línea negativa
común 54 y el ánodo está relacionado vía una línea 66 al centro de bobina
secundario 67 de un primer transformador de etapa TR1. Los dos finales del
transformador bobina 67 están relacionados vía diodos D1 y D2 y una línea 68 a
la línea negativa común 54 para proporcionar la rectificación de onda llena de
la salida de transformador.
El primer transformador de etapa T1 tiene tres primaria bobinas 71, 72, 73
herida juntos con bobina secundario 67 sobre unos 74 principales. Este
transformador puede ser de la mitad convencional la construcción de taza con un
corazón de ferrita. Bobina secundario puede ser la herida en un antiguo bobina
dispuesto sobre el corazón y la primaria bobinas 71 y 73 puede ser la herida en
la manera de bifilar sobre bobina secundario. La otra primaria bobina 72 puede
ser entonces la herida sobre el bobinas 71, 73. La primaria bobinas 71 y 73
está relacionada en un lado por una línea 75 al potencial positivo uniforme de
la línea de recorrido 53 y en sus otros lados por líneas 79, 81 a los
coleccionistas de transistores Q3, Q4. Los emisores de transistores Q3, Q4
están relacionados permanentemente vía una línea 82 a la línea negativa común
54. C6 condensador está relacionado entre líneas 79, 81 para actuar como un
filtro que previene cualquier diferencia de potencial entre los coleccionistas
de transistores Q3, Q4.
Los dos finales de la primaria bobina 72 están relacionados por líneas 83, 84 a
las bases de transistores Q3, Q4. Este bobina es el centro dado un toque por
una línea 85 relacionado vía la resistencia R9 a la línea positiva 53 y vía la
resistencia R10 a la línea negativa común 54.
Cuando el poder es primero aplicado a los transistores de recorrido Q3 y Q4
estarán en sus estados de no conducción y no habrá ninguna corriente en la
primaria bobinas 71, 73. Sin embargo, la corriente positiva en la línea 53
proporcionará vía la resistencia R9 que una señal de provocación aplicada al
grifo de centro de bobina 72 y esta señal hace funcionar para provocar la
oscilación de frecuencia alta alterna de transistores Q3, Q4 que causará pulsos
de alternancia rápidos en la primaria bobinas 71, 73. La señal de provocación
aplicada al grifo de centro de bobina 72 es controlada por la red de
resistencia proporcionada por resistencias R9 y R10 tal que su magnitud no es
suficiente para permitirlo provocar Q3 y Q4 simultáneamente, pero es suficiente
para provocar uno de aquellos transistores. Por lo tanto sólo uno de los
transistores es encendido por la inicial que provoca la señal hacer que una
corriente fluyera por la primaria respectiva bobina 71 o 73. La señal requerida
sostener el transistor en el estado de conducción es mucho menos que esto
requerido provocarlo al principio, de modo que cuando el transistor se hace
propicio un poco de la señal aplicada al grifo de centro de bobina 72 sea divertido
al transistor de no conducción para provocarlo. Cuando el segundo transistor es
así encendido para hacerse propicio, corriente fluirá por la otra de la
primaria bobinas 71, 73, y ya que los emisores de los dos transistores están
directamente relacionados juntos, la salida positiva del segundo transistor
hará que el transistor primero encendido sea cerrado. Cuando la corriente
dibujada por el coleccionista de las gotas de resistencia encendidas por
segundo, la parte de la señal en el grifo de centro de bobina 72 es divertida
atrás al coleccionista del primer transistor que es encendido de nuevo. Se verá
que el ciclo repetirá entonces indefinidamente de modo que transistores Q3, Q4
sean alternativamente encendidos y cerrados en la secuencia muy rápida. Los pulsos
así corrientes fluyen en la secuencia alterna por la primaria bobinas 71, 73 en
una frecuencia muy alta, esta frecuencia que es la constante e independiente de
cambios del voltaje de entrada al recorrido. Los pulsos rápidamente
alternadores en la primaria bobinas 71 y 73, que seguirá para mientras que el
interruptor de ignición 48 permanece cerrado, generarán señales de voltaje más
altas en la misma frecuencia en el transformador bobina secundario 67.
C5 condensador vaciado tendido un puente por una resistencia R8 está
relacionado por una línea 86 a la línea 66 de bobina secundario del
transformador TR1 y proporciona la salida de aquel transformador que es
alimentado vía la línea 87 a un segundo transformador de etapa TR2.
Cuando thyristor T1 es provocado para hacerse propicio el precio lleno de C5
condensador vaciado es liberado al segundo transformador de etapa TR2. Al mismo
tiempo la primera etapa del transformador TR1 deja de funcionar debido a este
cortocircuito momentáneo colocado a través de ello y por consiguiente thyristor
T1 liberaciones, es decir se hace no propicio. Este permite a precio ser
aumentado otra vez en C5 condensador vaciado para la liberación cuando el
thyristor es provocado después por una señal del transistor Q2. Así durante cada uno de los intervalos cuando
el thyristor está en su no conducción declaran los pulsos rápidamente
alternadores en la primaria bobinas 71, 73 del transformador TR1 producido por
los transistores continuamente oscilantes Q3, productos de Q4, vía el enganche
de transformador, pulsos de salida de relativamente alta tensión que aumentan
un precio alto en C5 condensador, y este precio es liberado de repente cuando
el thyristor es provocado. En un aparato típico usando unos pulsos de batería
de suministro de corriente continua de 12 voltios de la orden de 22 amperios en
300 voltios puede ser producido en la línea 87.
Cuando el relevo antes mencionado 58 es proporcionado en el recorrido para
proporcionar una tardanza de la unión de C2 condensador a la línea negativa
común 54. Esta tardanza, aunque muy corto, es suficiente para permitir a
transistores Q3, Q4 para comenzar a oscilar para hacer transformador que TR1
aumentara un precio en el vertido de C5 condensador antes de que la primera
señal de provocación sea aplicada a thyristor T1 para causar la descarga del
condensador.
TR2 de transformador es un transformador de disminución gradual que produce
pulsos del flujo corriente muy alto en el voltaje bajo. Es incorporado en el
ánodo de la célula electrolítica 41 y comprende una primaria bobina 88 y bobina
secundario 89 herida sobre unos 91 principales. Bobina secundario 89 es formado
del alambre pesado a fin de manejar la corriente grande inducida en ello y sus
finales están relacionados directamente con el ánodo 42 y cátodo 43 de la
célula electrolítica 41 en una manera para ser descrita abajo.
En un aparato típico, la salida del primer transformador de etapa TR1 sería
pulsos de 300 voltios de la orden de 22 amperios en 10,000 pulsos por minuto y
un ciclo de deber de ligeramente menos de 0.006. Este puede ser conseguido de
12 voltios uniformes y 40 suministro de corriente continua de amperios usando
los componentes de recorrido siguientes:
Componentes:
R1 2.7K ohmios 1/2 resistencia de 2 % de vatio
R2 220 ohmios 1/2 resistencia de 2 % de vatio
R3 100 ohmios 1/2 resistencia de 2 %
de vatio
R4 22K ohmios 1/2 resistencia de 2 %
de vatio
R5 100 ohmios 1/2 resistencia de 2 %
de vatio
R6 220 ohmios 1/2 resistencia de 2 %
de vatio
R7 1K ohmios 1/2 resistencia de 2 %
de vatio
R8 10M ohmios 1/2 resistencia de 2 %
de vatio
R9 100 ohmios 1/2 resistencia de 2 %
de vatio r
R10 5.6 ohmios 1/2 resistencia de 2
% de vatio
C1 2200 μF 16v
electrolytic capacitor
C2 2.2 μF 100v 10 % capacitor
C3 2.2 μF 100v 10 % capacitor
C4 1 μF 100v 10 %
capacitor
C5 1 μF 1000v ducon
paper capacitor 5S10A
C6 0.002 μF 160v capacitor
Q1 2N2647 PN transistor de unijunction
Q2 2N3055 NPN transistor de poder de
silicio
Q3 2N3055 NPN transistor de poder de
silicio
Q4 2N3055 NPN transistor de poder de
silicio
T1 btw 30-800 rm rápido interruptor
- thyristorr
D1 A14P diodo
D2 A14P diodo
L1 lámpara de indicador
Sv1 solenoide de poder continuo
Rl1 pw5ls relevo herméticamente
sellado
Ps1 p658a-10051 presión hizo
funcionar el interruptor micro
Tr1 mitad de corazones de transformador de taza
36/22-341
Corazón de bobina 4322-021-30390 enrollar para proveer 18:1
Secundario bobina 67 = 380 turns
Primaria bobina 71 = 9 turns
Primaria bobina 73 = 9 turns
Primaria bobina 72 = 4 turns
La instalación de los susodichos componentes de
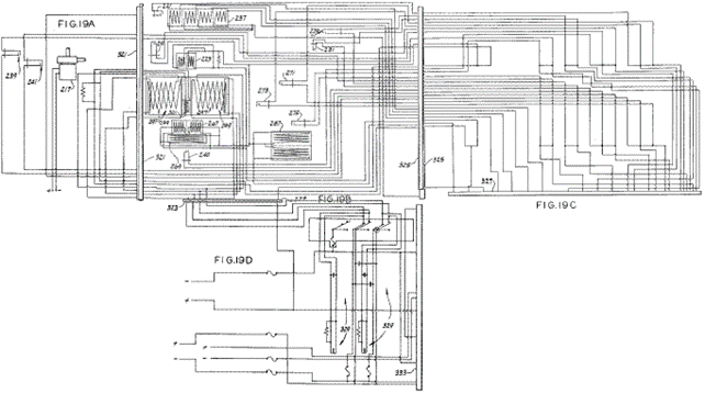
recorrido es ilustrada en Fig.3 a Fig.13.
Ellos son montados dentro de y en un alojamiento que es denotado
generalmente como 101 y que es sujetado a una pared lateral de la bahía de
motor del automóvil 32 vía un soporte de montaje 102. El alojamiento 101, que
puede ser formado como echar de aluminio, tiene una pared delantera 103, cumbre
y paredes de fondo 104, 105 y paredes laterales 106, 107. Todas estas paredes
tienen aletas de refrigeración externas. La espalda de alojar 101 está cerrada
por una tarjeta de circuitos impresa 108 que es sostenido sujetado con
abrazaderas en la posición por un marco periférico 109 formado de un material
de plásticos aislado sujetado con abrazaderas entre la tarjeta de circuitos y
soporte de montaje 102. Una hoja de aislamiento 111 del corcho es sostenida
entre el marco 109 y soporte de montaje 102.
La tarjeta de circuitos impresa 108 lleva todos los susodichos - componentes de
recorrido puestos en una lista excepto C5 condensador y transistores Q3 y Q4.
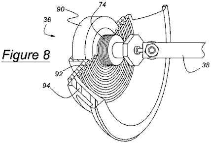
El Fig.5 ilustra la posición en cual transistor Q2 y la asamblea bobina 112 del
transformador TR1 son montados en la tarjeta de circuitos impresa. Transistor
Q2 debe resistir la generación de calor considerable y es por lo tanto montado
en un disipador térmico especialmente diseñado 113 sujetado con abrazaderas a
la tarjeta de circuitos 108 sujetando con abrazaderas tornillos 114 y 115 chiflados.
Como el más claramente ilustrado en Fig.7 y Fig.8, el disipador térmico 113
tiene una porción de placa base llana 116 que es generalmente el diamante
formado y una serie de la vara como aletas refrescantes 117 proyecto a un lado
de la placa base alrededor de su periferia. Esto tiene un par de agujeros
avellanados que 118 de los tornillos de ajuste y un par similar de agujeros 119
para recibir el conector fijan 121 que unen el transistor Q2 a la tarjeta de
circuitos impresa. Los agujeros 118, 119 son rayados con arbustos de nilón 122
y una hoja Formica 123 es encajada entre el transistor y el disipador térmico
de modo que el fregadero sea eléctricamente aislado del transistor.
La asamblea bobina 112 del transformador TR1 (Ver Fig.9) consiste de una cubierta
124 que contiene el transformador bobinas y el principal asociado y antiguo y
está cerrado por un plástico que cierra el plato 125. El plato 125 es sostenido
en la posición por un clavo de ajuste 126 y es encajado con los alfileres de
conector eléctricos 127 que son simplemente empujados por agujeros en la
tarjeta de circuitos 108 y son soldados para asignar las tiras humorísticas de
conductor de cobre 128 en la cara externa del bordo.
Para la claridad los otros componentes de recorrido montados en la tarjeta de
circuitos impresa 108 no son ilustrados en los dibujos. Éstos son pequeños
componentes de tamaño estándares y la manera en la cual ellos pueden ser
encajados a la tarjeta de circuitos es completamente convencional.
C5 condensador es montado dentro de la cubierta 101. Más expresamente es
sujetado con abrazaderas en la posición entre un reborde 131 que se levanta del
suelo que 105 de la cubierta y un ajuste rellenan 132 contratado por un
tornillo de ajuste 133, que es montado en un agujero enhebrado en la pared
lateral de cubierta 106 y es puesto en la posición por un tornillo de cerradura
134. El reborde 131 tiene dos agujeros 135 (Ver Fig.6) en que los 136 de jefes
de terminal de C5 condensador son localizados. El terminal fija 137 proyección de
jefes 136 están relacionados con el bordo terminal 108 por alambres (no
mostrado) y asignan alfileres de conector que son ampliados por agujeros en la
tarjeta de circuitos y soldados a las tiras humorísticas de conductor
apropiadas en la otra cara de aquel bordo.
Q3 de Transistores y Q4 son montados en la pared delantera 103 de la cubierta
101 de modo que la cubierta finned sirva como un disipador térmico ampliado
para estos dos transistores. Ellos son montados en la pared de cubierta y
eléctricamente relacionados con la tarjeta de circuitos impresa en la manera
idéntica y este es ilustrado por Fig.10 que muestra el montaje de transistor
Q3. Como mostrado en aquella figura el transistor es sujetado con abrazaderas
en la posición sujetando con abrazaderas tornillos 138 y 139 chiflados que
también sirven para proveer uniones eléctricas a los conductores apropiados de
la tarjeta de circuitos impresa vía el conductor pone instalación eléctrica
141. La tercera unión del emisor del transistor al conductor negativo común del
recorrido impreso es hecha por el conductor 142. Los tornillos 130 y el
conductor 142 se extienden por tres agujeros en la pared de frente de cubierta
103 y estos agujeros son rayados con aislar eléctricamente arbustos de nilón
143, 144. Una hoja Formica 145 es intercalada entre el plato de cubierta 103 y
el transistor que es por lo tanto eléctricamente aislado de la cubierta. Dos
arandelas 146 son colocadas bajo los finales de los alambres de conductor 141.
Presión funcionó microinterruptor 52 es montado en un soporte 147 proyección
interiormente de la pared delantera 103 de la cubierta 101 adyacente la pared
superior 104 de la cubierta y la presión que siente que la unidad 148 para este
interruptor es instalada en una apertura 149 por la pared superior 104. Como el
más claramente visto en Fig.11, la presión que siente la unidad 148 consiste de
dos miembros de cuerpo generalmente cilíndricos 150, 151 entre que un diafragma
flexible 152 es sujetado con abrazaderas para proporcionar una cámara de
diafragma 153. La presión de gas sentir tubo 63 es aplicada a la cámara 153 vía
un pequeño paso de diámetro 154 en el miembro de cuerpo 150 y un paso más
grande 155 en un miembro de gorra 156. El miembro de gorra y los miembros de
cuerpo son sujetados juntos y sujetados con abrazaderas al plato de cumbre de
cubierta 104 por medio del ajuste de tornillos 157. La detección del tubo 63
está relacionada con el paso 155 en el miembro de gorra 156 por un conector de
hilo afilado 158 y el interfaz entre el miembro de gorra 156 y el miembro de
cuerpo 150 es sellado por un O-anillo 159.
La parte inferior del miembro de cuerpo que 151 de la presión que siente la
unidad 148 tienen un internamente tornillo apertura enhebrada que recibe un
tornillo 161 que en su parte inferior es formado como una rueda de ajuste por
fuera dentada 162. Un interruptor que actúa al émbolo 163 se extiende por una
ánima central en la rueda que se adapta 162 de modo que esto contrate a un
final el diafragma flexible 152 y al otro final el miembro de accionador 164
del microinterruptor 62. El final de émbolo 163 que contrata el diafragma tiene
un reborde 165 para servir como una almohadilla de presión y una primavera de
compresión helicoidal 167 rodea al émbolo 163 para actuar entre el reborde 165
y la rueda que se adapta 162 para influir en el émbolo arriba contra la acción
de la presión de gas que actúa en el diafragma 152 en la cámara 153. La presión en la cual el diafragma 152
obligará al émbolo 163 abajo contra la acción de la primavera 167 a causar la
impulsión del interruptor 62 puede ser variada haciendo girar el tornillo 161 y
el ajuste de este tornillo puede ser sostenido por un tornillo que se pone 168
montado en un agujero enhebrado en la parte superior de la pared de frente de
cubierta 103 y proyectando interiormente para caber entre dientes sucesivos de
la rueda que se adapta 162. Después de que el ajuste correcto del tornillo 161
es conseguido el tornillo de juego 168 será cerrado con llave en la posición
cerrando con llave el tornillo 169 que es sellado entonces por un sello
permanente 170 para prevenir tampering. El microinterruptor 62 también está
eléctricamente relacionado con los conductores apropiados de la tarjeta de
circuitos impresa vía alambres dentro de alfileres de conector y el alojamiento.
Las uniones eléctricas son hechas entre los conductores de la tarjeta de
circuitos impresa 108 y el alambrado interno del recorrido vía un bloque
terminal 150 (Fig.12) juego en una apertura de alojar el suelo 105 por
tornillos 160 y encajadas con platos terminales 140.
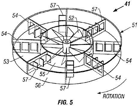
La construcción física de la célula electrolítica 41 y el segundo transformador
de etapa TR2 es ilustrada en Fig.13 a Fig.29.
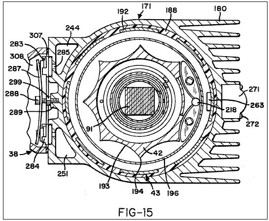
La célula comprende una cubierta externa 171 tener una pared periférica
tubular 172 y cumbre y cierres de fondo 173, 174. El cierre de fondo 174
consiste de una tapa abovedada 175 y un disco eléctricamente aislado 176 que
son sostenidos al fondo de la pared periférica 172 por clavos de ajuste
espaciados circumferentially 177. El cierre superior 173 consiste de un par de
platos superiores 178, 179 dispuesto cara a cara y sostenido por clavos de
ajuste espaciados circumferentially 181 atornillado en agujeros dados un toque
al final superior de la pared periférica 172.
La pared periférica de la cubierta es proveída de aletas refrescantes
180.
El ánodo 42 de la célula es de la formación generalmente tubular. Es dispuesto
verticalmente dentro de la cubierta externa y es sujetado con abrazaderas entre
aislantes superiores e inferiores 182, 183. El aislante superior 182 tiene una
porción de jefe central 184 y un reborde periférico anular 185 porción el borde
externo de que es sujetado con abrazaderas entre el plato de cierre superior
179 y el final superior de la pared periférica 172. El aislante inferior 183
tiene una porción de jefe central 186, una porción de reborde anular 187
alrededores de la porción de jefe y una porción tubular externa 188
levantamiento del margen externo de la porción de reborde 187. Los aislantes
182, 183 son moldeados de un material eléctricamente aislador que es también el
álcali resistente. El Polytetrafluoroethylene es un material conveniente.
Cuando mantenido unido por los cierres superiores e inferiores, los aislantes
182, 183 forman un recinto dentro de cual ánodo 42 y el segundo transformador
de etapa TR2 son dispuestos. El ánodo 42 es de la formación generalmente
tubular y es simplemente sujetado con abrazaderas entre aislantes 182, 183 con
su periferia interior cilíndrica localizada en las porciones de jefe 184, 186 de
aquellos aislantes. Esto forma una cámara de transformador que está cerrada por
las porciones de jefe de los dos aislantes y que está llena de un petróleo de
transformador conveniente. El O-anillo sella 190 son encajados entre los jefes
centrales de los platos de aislante y el ánodo para prevenir la pérdida del
petróleo de la cámara de transformador.
El corazón de transformador 91 es formado como una barra de acero suave
laminada de la sección cuadrada. Esto se extiende verticalmente entre las
porciones de jefe de aislante 184, 186 y sus finales son localizados dentro de
huecos en aquellas porciones de jefe. El transformador primario que gira 88 es
la herida en unos primeros antiguos 401 tubulares encajados directamente en 91
principales mientras que la cuerda secundaria 89 es la herida en unos segundos
antiguos 402 tubulares para ser espaciada en apariencia de la cuerda primaria
dentro de la cámara de transformador llena del petróleo.
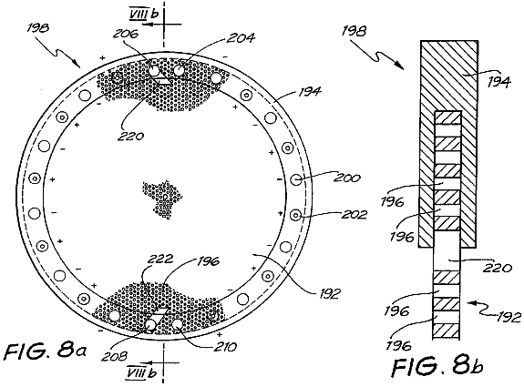
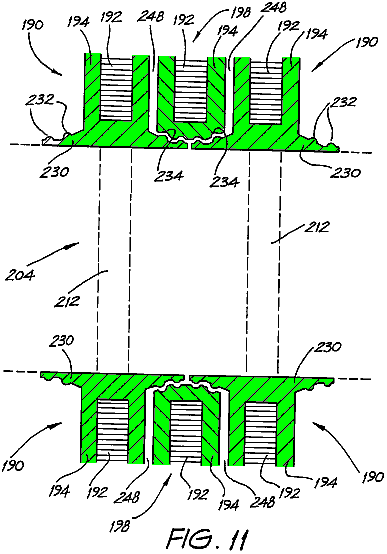
El cátodo 43 en la forma de un tubo longitudinalmente ranurado que es empotrado
en la porción de la pared periférica 183, este conseguido moldeando el aislante
alrededor del cátodo. El cátodo tiene ocho ranuras longitudinales igualmente
espaciadas 191 de modo que esto esencialmente consista de las ocho tiras
humorísticas de cátodo 192 dispuesto entre las ranuras y relacionado juntos en
cumbre y fondo sólo, las ranuras llenadas del material de aislamiento del
aislante 183.
Tanto el ánodo como el cátodo son hechos del acero suave plateado del níquel.
La periferia externa del ánodo es trabajada a máquina para formar ocho flautas
espaciadas circumferentially 193 que tienen raíces arqueadas que se encuentran
en crestas agudas o cantos 194 definido entre las flautas. Las ocho crestas de
ánodo 194 son radialmente alineadas centralmente del cátodo despoja 192 y el
perímetro del ánodo medido a lo largo de su superficie externa es igual a las
anchuras combinadas de las tiras humorísticas de cátodo medidas en las
superficies internas de estas tiras humorísticas, de modo que sobre la parte
principal de sus longitudes el ánodo y el cátodo tengan áreas eficaces iguales.
Esta compensación de áreas generalmente no estaba disponible en arreglos de
ánodo/cátodo cilíndricos de arte previos.
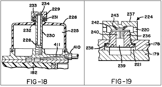
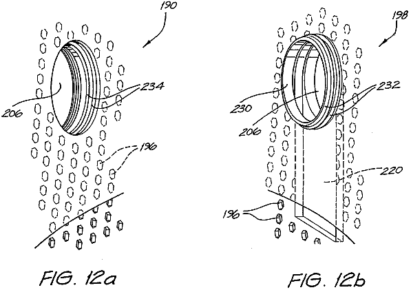
Como el más claramente visto en Fig.27 el final superior del ánodo 42 es
aliviado y encajado con un cuello anular 200 la periferia externa de que es
formada para formar una extensión de la superficie periférica externa del ánodo
estriado. Este cuello es formado de un material de plásticos eléctricamente
aislado como cloruro de polivinilo o teflón. Un alfiler de localización 205 se
extiende por el cuello 200 para proyectar arriba en una apertura en el plato de
aislamiento superior 182 y extenderse abajo en un agujero 210 en el cátodo. El
cuello es así localizado en la alineación anular correcta con relación al ánodo
y el ánodo es correctamente alineado con relación al cátodo.
Los espaciales anulares 195 entre el ánodo y cátodo sirven como la cámara de
solución de electrólito. Al principio esta cámara está llena aproximadamente 75
% lleno con una solución de electrólito del hidróxido de potasio de 25 % en
agua destilado. Cuando los gases de oxígeno e hidrógeno de progresos de
reacción de electrólisis se reúnen en la parte superior de esta cámara y se
confiesan culpable de agua mantienen el nivel de la solución de electrólito en
la cámara. El aislamiento del cuello 200 escudos el cátodo en la región
superior de la cámara donde el hidrógeno y los gases de oxígeno se reúnen para
prevenir cualquier posibilidad de formar un arco por estos gases entre el ánodo
y cátodo.
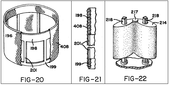
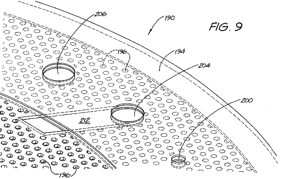
Cámara de electrólito 195 es dividida en una membrana tubular 196 formado por
el nilón material de malla tejido 408 estirado sobre unos antiguos 197
tubulares formados del acero de hoja muy delgado. Como el más claramente
ilustrado en fig.0 y Fig.21 antiguos 197 tiene porciones de borde superiores e
inferiores 198, 199 relacionado por porciones de tira humorística espaciadas
circumferentially 201. El material de malla de nilón 408 puede ser simplemente
doblado alrededor de los aislantes superiores e inferiores 182, 183 de modo que
el antiguo sea eléctricamente aislado de todos otros componentes de la célula. Material 408 tiene un tamaño de malla que es
tan pequeño que las aperturas de malla no pasarán burbujas de mayor que el
diámetro de 0.004 pulgadas y el material pueden servir por lo tanto como una
barrera contra la mezcla de hidrógeno y oxígeno generado en el cátodo y ánodo
respectivamente permitiendo al flujo electrolítico de corriente entre los electrodos.
La porción de borde superior 198 de los antiguos 197 de la membrana son
bastante profundos para constituir una barrera sólida por la profundidad de la
cámara de colección de gas encima del nivel de solución de electrólito de modo
que no haya ninguna mezcla de hidrógeno y oxígeno dentro de la parte superior
de la cámara.
Agua fresco es admitido en la sección externa de la cámara 195 vía un inyector
de admisión 211 formado en el plato de cierre superior 178. La solución de
electrólito pasa del externo a las secciones interiores de la cámara 195 por la
membrana de malla 408.
Inyector 211 tiene un paso de flujo 212 ampliación a una válvula de entrada de
electrólito 213 controlado por un flotador 214 en la cámara 195. La válvula 213
comprende un bushing 215 montado dentro de una apertura que se extiende abajo
por el plato de cierre superior 179 y el reborde periférico 185 del aislante
superior 182 y proporciona un asiento de válvula que coopera con la aguja de
válvula 216. Aguja 216 restos en una almohadilla 217 durante el final superior
del flotador 214 de modo que cuando la solución de electrólito está en el nivel
requerido el flotador levante la aguja con fuerza contra el asiento de válvula.
El flotador desliza verticalmente en un par de varas de diapositiva de sección
cuadradas 218 ampliación entre los aislantes superiores e inferiores 182 y 183.
Estas varas, que pueden ser formadas de polytetrafluoroethylene se extienden
por agujeros apropiados 107 por el flotador.
La profundidad de flotador 214 es elegida tal que la solución de electrólito
llena sólo aproximadamente 75 % de la cámara 195, dejando la parte superior de
la cámara como un espacio de gas que puede acomodar la extensión del gas
generado debido a la calefacción dentro de la célula.
Como la electrólisis de la solución de electrólito dentro de la cámara 195
beneficios, el gas de hidrógeno es producido en el cátodo y el gas de oxígeno
es producido en el ánodo. Estos gases burbujean arriba en la parte superior de
la cámara 195 donde ellos permanecen separados en los compartimentos interiores
y externos definidos por la membrana y debería ser notado que la solución de
electrólito entra en aquella parte de la cámara que está llena de oxígeno más
bien que hidrógeno así no hay ninguna posibilidad de la salida de hidrógeno
atrás por el inyector de entrada de electrólito.
Las caras contiguas del cierre superior platean 178, 179 tienen la
correspondencia de surcos anulares que se forman dentro del cierre superior
pasos de colección de gas interiores y externos 221, 222. El paso externo 222
es la circular y esto se comunica con el compartimento de hidrógeno de la
cámara 195 vía ocho puertos que 223 ampliación abajo por el cierre superior
platea 179 y el reborde periférico del aislante superior 182 adyacente el
cátodo se desnuda 192. Los flujos de gas de hidrógeno arriba por puertos 223 en
el paso 222 y de allí arriba por una válvula de dirección única 224 (Fig.19) en
un embalse 225 proporcionado por un plástico que aloja 226 echado el cerrojo
para exceder cierre platean 178 vía un clavo de centro 229 y sellado por una
junta 227. La parte inferior de alojar 114 es acusada de agua. Clavo 229 es el hueco y su parte inferior
tiene un puerto transversal 228 de modo que, en el retiro de una gorra de caza
de focas 229 a partir de su final superior pueda ser usado como un filtro abajo
cual verter agua en el embalse 225. La gorra 229 cabe sobre una tuerca 231 que
proporciona la acción de ajuste en el plástico que aloja 226 y las juntas
resistentes 232, 233 y 234 son encajadas entre la tuerca y tapa, entre la gorra
y la tuerca y entre la gorra y el final superior del clavo 229.
Válvula de dirección única 224 comprende un bushing 236 que proyecta abajo en
el paso de hidrógeno anular 221 y hace que una válvula encabece al miembro 237
tornillo encajado a su final superior para proporcionar la acción de ajuste
encima el plato de cierre 178 entre el miembro principal y un reborde 238 en el
fondo termina bushing 236. El Bushing 236 tiene una ánima central 239, el final
superior de que recibe el tallo de corte transversal de diamante de un miembro
de válvula 240, que también comprende una porción de plato de válvula 242
influido contra el final superior del bushing antes de la primavera de
compresión 243. El miembro de válvula 240 es levantado contra la acción de la
primavera 243 por la presión de gas de hidrógeno dentro del paso 221 para
permitir que el gas para pasar en el interior de la válvula se dirija 237 y
luego por puertos 220 en aquel miembro en el embalse 225.
Hidrógeno es retirado del embalse 225 vía un tubo torcido de acero inoxidable
241 que se une con un paso 409. El paso 409 se extiende a un puerto 250 que se
extiende abajo por la cumbre y el cierre de fondo platea 178, 179 y aislante
superior 182 en un conducto de hidrógeno 244 ampliación verticalmente dentro de
echar de la cubierta 171. El conducto 244 es del corte transversal triangular.
Como será explicado abajo, los pases de hidrógeno de este conducto en una
cámara que se mezcla definida en la mezcla de gas y unidad de entrega 38 sobre
que echan el cerrojo a la cubierta 171.
Oxígeno es retirado de la cámara 195 vía el paso anular interior 221 en el
cierre superior. El paso 221 no es la circular, pero tiene una configuración
festoneada para extenderse alrededor de la entrada agua. El oxígeno entra esto
por ocho puertos 245 ampliado por el cierre superior platea 179 y la porción de
reborde anular del aislante superior 182. El oxígeno fluye arriba del paso 222
por una válvula de dirección única 246 y en un embalse 260 proporcionado por un
plástico que aloja 247. El arreglo es similar a esto para la retirada de
hidrógeno y no será descrito en el gran detalle. Baste para decir que el fondo
de la cámara es acusado de agua y el oxígeno es retirado por un tubo torcido 248,
un paso de salida 249 en el cierre superior platea 178, y un puerto que se
extiende abajo por el cierre platea 178, 179 y aislante superior 182 en un
conducto de oxígeno de corte transversal triangular 251 ampliación
verticalmente dentro de la cubierta 171 conducto de hidrógeno de enfrente
dispuesto 244. El oxígeno también es entregado al gas que mezcla la cámara de
la mezcla y unidad de entrega 38.
La presión que siente el tubo 63 para el
interruptor 62 está relacionada vía un conector de hilo afilado 410 y un paso
411 en el cierre superior platean 178 directamente al paso de hidrógeno anular
222. Si la presión dentro de las subidas
de paso encima de un nivel predeterminado, cambie 62 es hecho funcionar para
desconectar C2 condensador de la línea negativa común 54. Este quita la señal
negativa de C2 condensador que es necesario para mantener la operación continua
del pulso que genera la circuitería para generar los pulsos de provocación en
thyristor T1 y estos pulsos de provocación por lo tanto se cesan. El
transformador que TR1 sigue permaneciendo en la operación para cobrar el
condensador de vertido C5, pero porque thyristor T1 no puede ser provocado
vertiendo C5 condensador permanecerá simplemente cobrado hasta la presión de
hidrógeno en el paso 222, y por lo tanto en la cámara 195 caídas debajo del
nivel predeterminado y pulsos provocadores son aplicadas una vez más a
thyristor T1
La presión que siente el tubo 63 para el
interruptor 62 está relacionada vía un conector de hilo afilado 410 y un paso 411
en el cierre superior platean 178 directamente al paso de hidrógeno anular 222. Presión actuó interruptor 62 así mandos el
precio de la producción de gas según el precio en el cual es retirado. La
rigidez de las primaveras de control para válvulas de escape de gas 224, 246
debe ser por supuesto elegida para permitir la fuga del hidrógeno y oxígeno en
las proporciones en las cuales ellos son producidos por la electrólisis, es
decir en las proporciones 2:1 por el volumen.
Embalses 225, 260 son proporcionados como una
medida de seguridad. Si una espalda-presionaré repentina fuera desarrollada en
los tubos de entrega este sólo podría romper los alojamientos plásticos 226,
247 y no podía ser transmitido atrás en la célula electrolítica. Interruptor 62
funcionaría entonces para parar la generación adicional de gases dentro de la
célula.
Las uniones eléctricas del transformador secundario bobina 89 al ánodo y el
cátodo son mostradas en Fig.14. Un final de bobina 89 es ampliado como un
alambre 252 que se extiende en un agujero ciego en la cara interior del ánodo
donde es agarrado por un tornillo de comida 253 atornillado en un agujero
enhebrado ampliado verticalmente en el ánodo debajo del cuello 200. Un nilón
afilado tapa 254 es encajado encima del tornillo 253 para sellar contra la
pérdida del petróleo del interior del ánodo. El otro final de bobina 89 es
ampliado como un alambre 255 para transmitir por un arbusto de cobre 256 en el
aislante de fondo 183 y luego horizontalmente dejar la cubierta 171 entre el fondo
que aísla el disco 176 y el aislante 183.
Como el más claramente mostrado en Fig.23, el arbusto de cobre 256 tiene un
reborde principal 257 y es encajado en su parte inferior con una tuerca 258 por
lo cual es firmemente sujetado con abrazaderas en la posición. Las juntas 259,
261 son dispuestas bajo el reborde principal 257 y encima de la tuerca 258
respectivamente.
En la posición donde el alambre 255 es ampliado horizontalmente para dejar la
cubierta la cara superior del disco 176 y la cara inferior del aislante 183 es
acanalada para recibir y sujetar con abrazaderas en el alambre. El disco 176 y
el aislante 183 también es ampliado radialmente en apariencia en esta posición
para formar etiquetas que se extienden bajo la cubierta 171 y aseguran el aislamiento
apropiado del alambre por a la periferia externa de la cubierta.
Fuera de la cubierta, ponga instalación eléctrica 255 está relacionado con un
cerrojo de terminal de cátodo 262. El cerrojo terminal 262 tiene una cabeza que
es recibida en un enchufe en el pedazo principal separado 263 formado para
satisfacer la periferia interior cilíndricamente curva del cátodo y níquel
plateado para resistir al ataque químico por la solución de electrólito. El
tallo del cerrojo terminal amplía por aperturas en el cátodo y porción de la
pared periférica 188 de aislante 183 y aire que aísla el arbusto encajado en
una apertura alineada en la pared de cubierta 172. La cabeza 263 del cerrojo terminal son
dibujados contra la periferia interior del cátodo apretándose de una tuerca de
ajuste 265 y el final del alambre 255 tiene un ojo que es sujetado con
abrazaderas entre la tuerca 265 y una arandela 266 apretando una tuerca de
final terminal 267. Una arandela 268 es proporcionada entre tuerca 265 y
cepillo 264 y un O-anillo de caza de focas 269 es encajado en un surco anular
en el tallo de cerrojo para contratar la periferia interior del arbusto a fin
de prevenir la fuga de la solución de electrólito. La unión terminal es
cubierta por un plato de tapa 271 sostenido en el lugar fijando tornillos 272.
Los dos finales del transformador primario bobina 88 están relacionados para
quitar a conductores 273, 274 que se extienden arriba por la porción central
del aislante superior 183. Los finales superiores de conductores 273, 274
proyecto arriba como alfileres dentro de un enchufe 275 formado en la cumbre de
aislante superior 183. La cumbre de enchufe 275 está cerrada por una tapa 276
que es sostenido por un clavo de centro 277 y por que los alambres 278, 279 del
recorrido externo son ampliados y relacionados con conductores 273, 274 por
siguen adelante conectores 281, 282.
Las uniones de transformador mostradas en Fig.14 son de acuerdo con el
recorrido de Fig.2, es decir los finales de bobina secundario 89 están
relacionados directamente entre el ánodo y el cátodo. El transformador TR2 es
un transformador de disminución gradual y, asumiendo una entrada de pulsos de
22 amperios en 300 voltios y una proporción bobina entre el primario y
secundario de 10:1 la salida aplicada entre el ánodo y el cátodo será pulsos de
200 amperios en un voltaje bajo de la orden de 3 voltios. El voltaje está bien
superior a esto requerido para la electrólisis proceder y los productos
conseguidos corrientes muy altos un precio alto de la producción de hidrógeno y
oxígeno. La descarga rápida de la energía que produce el flujo corriente grande
será acompañada por una liberación de calor. Esta energía no es completamente
perdida en esto la calefacción consiguiente de la solución de electrólito
aumenta la movilidad de los iones que tiende a aumentar el precio de
electrólisis.
La configuración del arreglo de cátodo y ánodo de la célula electrolítica 41
tiene la importancia significativa. La periferia externa estriada del ánodo
causa una concentración del flujo corriente que produce una mejor producción de
gas sobre un área de electrodo dada. Esta configuración particular también hace
que el área superficial del ánodo sea ampliada y permite un arreglo en el cual
el ánodo y el cátodo tienen áreas superficiales iguales que es el más deseable
a fin de reducir al mínimo pérdidas eléctricas. Es también deseable que el
ánodo y el cátodo emerjan en que el gas es producido ser puesto áspero, por
ejemplo por la voladura de arena. Este promueve la separación de las burbujas
de gas del electrodo reviste y evita la posibilidad de sobrevoltajes.
El arreglo del transformador secundario en el cual el ánodo central es rodeado
por el cátodo es también de gran importancia. El ánodo, construido de un
material magnético, es interpretado en por el campo magnético de transformador
TR2 para hacerse, durante el período de energisation de aquel transformador, un
conductor fuerte del flujo magnético. Este por su parte crea un campo magnético
fuerte en el espacio de interelectrodo entre el ánodo y el cátodo. Se cree que
este campo magnético aumenta la movilidad de los iones en la solución a la baja
del mejoramiento de la eficacia de la célula.
El calor generado por el transformador TR2 es conducido vía el ánodo a la
solución de electrólito y aumenta la movilidad de los iones dentro de la
solución de electrólito como arriba mencionada. Las aletas refrescantes 180 son
proporcionadas en la cubierta 171 para asistir en la disipación del calor
generado del exceso. La posición del transformador dentro del ánodo también
permite las uniones de bobina secundario 89 al ánodo y cátodo ser hechas de
corto, conductores bien protegidos.
Como mencionado encima del gas de oxígeno e hidrógeno generado en la célula
electrolítica 41 y coleccionado en conductos 244, 251 es entregado a un gas que
mezcla la cámara de la mezcla y unidad de entrega 38. Más expresamente, estos
gases son librados de conductos 244, 251 vía válvulas de escape 283, 284 (Fig.15)
que son sostenidos en la posición sobre puertos de descarga 285, 286 de los
conductos por medio de una primavera de hoja 287. Los finales externos de la
primavera 287 contratan las válvulas 283, 284 y la parte de centro de la
primavera es doblada interiormente por un clavo de ajuste 288 atornillado en un
agujero dado un toque en un jefe 289 formado en la cubierta de célula 171.
Válvula 283 es mostrada detalladamente en Fig.28 y Fig.29 y válvula 284 es de
la construcción idéntica. La válvula 283 incluye un cuerpo de válvula interior
291 tener una porción de gorra 292 y una porción de anillo de final anular 293
que cree que una válvula anular asienta 294. Influyen en un disco de válvula
295 contra el asiento de válvula antes de una primavera de válvula 296 reacción
contra la porción de gorra 292. Una válvula externa cubre 297 cabe alrededor
del miembro interior 291 y es contratado antes de la primavera 287 para forzar
al miembro interior firmemente en un enchufe en la pared de la cubierta de
célula tan cubrir el puerto de descarga de hidrógeno 285. La porción de anillo
de final 293 de las camas de miembro de cuerpo interiores en una junta 298
dentro del enchufe.
Durante la operación normal de las válvulas de aparato 283, 284 acto cuando las
válvulas de dirección única simples por movimientos de su primavera cargaron platos
de válvula. Sin embargo, si una presión de gas excesiva debería levantarse
dentro de la célula electrolítica estas válvulas serán hechas retroceder contra
la acción de sostener la primavera 287 para proporcionar el alivio de presión.
El gas de exceso que se escapa entonces fluye a la atmósfera vía la mezcla y
unidad de entrega 38 como descrito abajo. La presión en la cual las válvulas
283, 284 levantarán lejos para proporcionar el alivio de presión puede ser
ajustada por el ajuste apropiado del clavo 288, qué ajuste es sostenido por una
tuerca 299.
La construcción de la mezcla de gas y unidad de entrega 38 es mostrada en Fig.30
y Fig.40. Esto comprende una porción de cuerpo superior 301 que lleva una
asamblea de filtro de aire 302, una porción de cuerpo intermedia 303, sobre que
echan el cerrojo a la cubierta de la célula electrolítica 41 seis clavos 304, y
porciones de cuerpo inferiores sucesivas 305, 300, sobre éste de que echan el
cerrojo al distribuidor de admisión del motor cuatro clavos 306.
La unión echada el cerrojo entre la porción de cuerpo intermedia 303 y la
cubierta de la célula electrolítica es sellada por una junta 307. Esta unión
rodea válvulas 283, 284 que entregan gases de oxígeno e hidrógeno directamente
en una cámara que se mezcla 308 (Fig.34) definido por la porción de cuerpo 303.
Se permite que los gases se mezclen juntos dentro de esta cámara y la mezcla de
oxígeno e hidrógeno que resulta hace pasar el pequeño diámetro callejón
horizontal 309 dentro de la porción de cuerpo 303 qué callejón es cruzado por
un miembro de válvula rotatorio 311. El miembro de válvula 311 es cónicamente
afilado y es sostenido dentro de un alojamiento de válvula proporcionalmente
afilado antes de una primavera 312 (Fig.38) reaccionando contra un arbusto 313
que es atornillado en la porción de cuerpo 303 y sirve cuando un montaje para
la válvula rotatoria proviene 314. El miembro de válvula 311 tiene un puerto de
válvula diametral 315 y puede ser hecho girar para variar el grado al cual este
puerto es alineado con el callejón 309 así para variar el corte transversal
eficaz para el flujo por aquel callejón. Como será explicado abajo, las
posiciones rotatorias del miembro de válvula es controlado con relación a la
velocidad de motor.
Paso 309 amplía a la parte inferior de un diámetro más grande el callejón
vertical 316 que se extiende arriba a la válvula liberada de un solenoide 310
incorporado a una asamblea de avión a reacción y válvula denotada generalmente
como 317.
La asamblea 317 comprende un cuerpo principal 321
(Fig.32) cerrado encima por una gorra 322 cuando la asamblea es sujetada con
abrazaderas a la porción de cuerpo 303 por dos clavos de ajuste 323 para formar
una cámara de gas 324 de que el gas debe ser dibujado por inyectores de avión a
reacción 318 en dos ánimas verticales o gargantas 319 (Fig.31) en porción de
cuerpo 303. La parte oculta de cuerpo 321 tiene una apertura dada un toque en
la cual es encajado un por fuera tornillo asiento de válvula enhebrado 325 de
la válvula 310. Influyen en un miembro de válvula 326 abajo contra el asiento
325 antes de una primavera 327 que reacciona contra la gorra 322. La primavera
327 rodea un tallo cilíndrico 328 del miembro de válvula 326 que contienen
proyectos arriba por una apertura en la gorra 322 de modo que pueda ser
interpretado en por el solenoide 56 que es montado inmediatamente encima de la
válvula en la porción de cuerpo superior 301.
Solenoide 56 consiste de una cubierta de aislamiento externa 366 que tiene dos
rebordes que montan 367. Esta cubierta aloja las cuerdas de cobre que
constituyen bobina 55. Éstos son la herida en un carrete plástico 369 dispuesto
sobre unos 371 principales de acero suaves centrales. El corazón tiene un
reborde de fondo 372 y el carrete y bobinas son sostenidos sujetados con
abrazaderas en la cubierta por el aislamiento del cierre 373 interpretado en
por el reborde 372 en el apretamiento de una tuerca de ajuste 374 que es
encajado al otro final del corazón.
La porción de cuerpo superior 301 de la unidad 38 son tubulares, pero en un
lado esto tiene una cara interna formada para satisfacer el perfil exterior de
cubierta de solenoide 366 y rebordes que montan 367. Dos tornillos que montan
375 tornillo en agujeros en esta cara y contrata ranuras 376 en los rebordes
que montan 367 de modo que la altura del solenoide encima de la válvula 310
pueda ser ajustada. Los dos terminales 377 están relacionados en el recorrido
eléctrico por alambres (no mostrado) que puede ser ampliado en la unidad 38 vía
la asamblea de filtro de aire.
Cuando el solenoide 56 es activado su corazón magnetizado atrae el tallo de
válvula 328 y el miembro de válvula 326 es levantado hasta que el tallo 328
esté contiguo el reborde inferior 372 del corazón de solenoide. Así la válvula
310 es abierta cuando el interruptor de ignición está cerrado y se cerrará bajo
la influencia de la primavera 327 cuando el interruptor de ignición es abierto.
El ajuste vertical de la posición de solenoide controla el levantamiento del
miembro de válvula 326 y por lo tanto el rendimiento de combustible máximo por
la unidad 38.
La célula de electrólito 41 hidrógeno de productos en la proporción 2:1 para
proporcionar una mezcla que es por sí mismo completamente combustible. Sin
embargo, como usado en relación a motores de combustión internos existentes el
volumen de hidrógeno y oxígeno requerido para la operación normal es menos que
aquella de una mezcla de aire de combustible normal. Así una aplicación directa
a tal motor de sólo hidrógeno y oxígeno en la cantidad requerida encontrar
demandas de poder causará una condición de vacío dentro del sistema. A fin de
vencer esta provisión de condición de vacío es hecho para hacer entrar el aire
de maquillaje en gargantas 319 vía la asamblea de filtro de aire 302 y porción
de cuerpo superior 301.
La porción de cuerpo superior 301 tiene un paso interior solo 328 por que el
aire de maquillaje es entregado a las gargantas duales 319. Es sujetado a la
porción de cuerpo 303 sujetando con abrazaderas clavos 329 y una junta 331 es
intercalada entre las dos porciones de cuerpo. La cantidad del aire de
maquillaje admitido es controlada por una tapa de válvula de aire 332 dispuesto
a través del paso 328 y rotatably montado en un eje 333 a que es atado por
tornillos 334. Hacen una muesca en la tapa de válvula para caber alrededor de
la cubierta de solenoide 366. Eje 333 se
extiende por la pared de la porción de cuerpo 301 y fuera de aquella pared es
encajado con un soporte 335 que lleva un tornillo de ajuste ajustable 336 y una
primavera influyente 337. La primavera 337 proporciona una tendencia rotatoria
en el eje 333 y durante el correr normal del motor esto simplemente sostiene la
tapa 332 en una posición determinada por el compromiso del tornillo que se pone
336 con un reborde 338 de la porción de cuerpo 301. Esta posición es el que en
el cual la tapa casi completamente cierra el paso 328 para permitir sólo que
una pequeña cantidad del aire de maquillaje entrara, esta pequeña cantidad
siendo ajustable por el ajuste apropiado del tornillo 336. El tornillo 336 es
encajado con una primavera 339 de modo que esto sostenga su ajuste.
Aunque las tapas 332 normalmente sirvan sólo para adaptarse la cantidad del
aire de maquillaje se confesó culpable de la unidad 38, esto también sirve como
una válvula de alivio de presión si las presiones excesivas son aumentadas,
debido a la generación excesiva de gases de oxígeno e hidrógeno o debido a la
incineración de gases en el distribuidor de admisión del motor. En cualquiera
de los dos casos la presión de gas aplicada a tapas 332 hará que ello gire para
abrir el paso 328 y permita que gases se escaparan atrás por el filtro de aire.
Será visto en Fig.32 aquella tapa que monta el eje 333 es compensada del centro
del paso 328 tal que la presión interna tenderá a abrir la tapa y así
exactamente el revés de la válvula de aire en un carburador de gasolina
convencional.
La asamblea de filtro de aire 302 comprende una
cazuela de fondo anular 341 que cabe cómodamente en la cumbre de porción de
cuerpo superior 301 y elemento con filtro abovedado 342 sostenido entre un
marco interior 343 y una malla de acero externa que cubre 344. La asamblea es
sostenida en la posición por un alambre y eyebolt prueba 345 y ajuste de la
tuerca 346.
La porción de cuerpo 305 de la unidad 38 (Fig.31), que es sujetado a la porción
de cuerpo 303 sujetando con abrazaderas clavos 347, lleva el aparato de válvula
de regulador para controlar la velocidad de motor. Esto tiene dos ánimas
verticales 348, 349 porción como continuaciones de las gargantas duales que
comenzaron en la porción de cuerpo 303 y éstos son encajados con las tapas de
válvula de regulador 351, 352 fijado a un eje de válvula de regulador común 353
fijando tornillos 354. Ambos finales del eje 353 son ampliados por la pared de
la porción de cuerpo 305 para proyectar en apariencia de allí. Un final de este
eje es encajado con un soporte 355 vía que está relacionado cuando en un
carburador convencional a un regulador cablegrafían 356 y también a un
encadenamiento de control de patada abajo de transmisión automático 357. Una
primavera influyente 358 actos en el eje 353 para influir en regulador se agita
hacia posiciones cerradas como determinado por el compromiso de un tornillo que
se pone 359 llevado por el soporte 355 con un plato 361 proyección de la
porción de cuerpo 303.
El otro final del eje de válvula de regulador 353 lleva una palanca 362 el
final externo de que está relacionado con un eslabón de alambre 407 por medio
de que una unión de control es hecha a los 314 de tallo de válvula del miembro
de válvula 311 vía una palanca adicional 406 relacionada con el final externo
del tallo de válvula. Esta unión de control es tal que el miembro de válvula
311 es siempre colocado para pasar una cantidad de mezcla de gas apropiada para
la velocidad de motor como determinado por el ajuste de regulador. El ajuste
inicial del miembro de válvula 311 puede ser ajustado por la selección entre
dos agujeros de unión 405 en la palanca 406 y doblándose del eslabón 407.
La porción de cuerpo 303 es sujetada a la porción de cuerpo de fondo 300 de la
unidad 38 por cuatro clavos de ajuste 306. La porción de cuerpo de fondo tiene
dos agujeros 364, 365 que forman continuaciones de las gargantas duales y que
divergen en la dirección hacia abajo para dirigir el hidrógeno, el oxígeno y la
mezcla de aire entregada por estas gargantas en apariencia hacia los dos bancos
de entradas de cilindro. Ya que este combustible es seco, una pequeña cantidad
del vapor del aceite le es añadida vía un paso 403 en la porción de cuerpo 305
para proporcionar alguna lubricación de cilindro superior. El paso 403 recibe
el vapor del aceite por un tubo 404 relacionado con un golpeado en la tapa dada
un toque del motor. Esto descarga el vapor del aceite abajo en una parte 368 de
cara superior aliviada de la porción de cuerpo 300 entre agujeros 364, 365. El
vapor afecta a la parte de cara aliviada y es desviado en los dos agujeros para
ser dibujados con los gases en el motor.
En la mezcla de gas ilustrada y unidad de entrega 38, se verá que el callejón
309, callejón vertical 316, cámara 324 e inyectores 318 constituye medios de
paso de transferencia vía los cuales el pase de mezcla de hidrógeno a los
medios de conducto de flujo de gas comprendió de las gargantas duales vía las
cuales esto pasa al motor. El medio de paso de transferencia tiene un gas que
mide la válvula comprendida del miembro de válvula 311 y el solenoide funcionó
la válvula es dispuesta en los medios de paso de transferencia entre la válvula
de medición y los medios de conducto de flujo de gas. Se pone que el gas que
mide la válvula dé el rendimiento máximo por los medios de paso de
transferencia en el ajuste de regulador lleno de las tapas de regulador 351,
352. El solenoide hizo funcionar actos
de válvula como un con./desc. válvula de modo que cuando el interruptor de
ignición es abierto el suministro de gas al motor sea positivamente el límite
que así previene cualquier posibilidad de la combustión espontánea en los
cilindros que hacen el motor "correr en". Esto también actúa para
atrapar el gas en la célula electrolítica y dentro de la cámara que se mezcla
de la mezcla y unidad de entrega de modo que el gas esté disponible
inmediatamente en reanudar el motor.
El vertido de C5 condensador determinará una proporción de cargar el tiempo
para descargar el tiempo que será en gran parte independiente del precio de
pulso y el precio de pulso determinado por el transistor de oscilación Q1 debe
ser elegido de modo que el tiempo de descarga no sea mientras que producir el
sobrecalentamiento del transformador bobinas y más en particular bobina
secundario 89 del transformador TR2. Los experimentos indican que los problemas
que se recalientan son encontrados en precios de pulso debajo de
aproximadamente 5,000 y que el sistema se comportará mucho como un sistema de
corriente continua, con la interpretación por consiguiente reducida en precios
de pulso mayores que aproximadamente 40,000.
Un precio de pulso de aproximadamente 10,000 pulsos por minuto será casi
óptimo. Con el vio la entrada de onda de diente y bruscamente clavó pulsos de
salida del recorrido de oscilador preferido el ciclo de deber de los pulsos
producidos en una frecuencia de 10,000 pulsos por minuto era aproximadamente
0.006. Esta forma de pulso ayuda a reducir al mínimo problemas de
sobrecalentamiento en los componentes del recorrido de oscilador en los precios
de pulso altos implicados. Un ciclo de deber de hasta 0.1, como puede resultar
de una entrada de onda cuadrada, sería factible pero en un precio de pulso de
10,000 pulsos por minuto se requeriría entonces que algunos componentes del
recorrido de oscilador resistieran entradas de calor excepcionalmente altas. Un
ciclo de deber de aproximadamente 0.005 sería mínimo que podría ser obtenido
con el tipo ilustrado de la circuitería de oscilador.
De la descripción anterior se puede ver que la célula electrolítica 41
convierte agua a hidrógeno y oxígeno siempre que el interruptor de ignición 44
esté cerrado para activar el solenoide 51, y este hidrógeno y oxígeno son
mezclados en la cámara 308. El cierre del interruptor de ignición también
activa el solenoide 56 para permitir la entrada de la mezcla de oxígeno e
hidrógeno en la cámara 319, cuando esto se mezcla con el aire admitido en la
cámara por la tapa de válvula de aire 332. Como descrito encima, puede ponerse
que la tapa de válvula de aire 332 reconozca que el aire en una cantidad como
requerido evitaba una condición de vacío en el motor.
En la operación el cable de regulador 356 soporte de causas 355 para girar
sobre el eje de válvula de regulador 353, que hace girar la tapa 351 para
controlar la cantidad de mezcla de aire de oxígeno de hidrógeno que entra en el
motor. Al mismo tiempo eje 353 actos vía el encadenamiento mostrado en Fig.37 controlar
la posición de eje 314, y eje 314 ajusta la cantidad de mezcla de oxígeno de
hidrógeno asegurada mezclándose con el aire. Como mostrado en Fig.30, soporte
355 también puede ser unido para un eje 357, que está relacionado con la
transmisión de coche. El eje 357 es un tipo común del eje usado para cambiar
abajo en una marcha que pasa cuando el regulador ha sido avanzado más allá de
un punto predeterminado. Así allí es proporcionado un sistema de generación de
combustible compacto que es compatible con motores de combustión internos existentes
y que ha sido diseñado para caber en un coche de pasajeros estándar.
Mientras la forma de aparato aquí descrito
constituye una encarnación preferida de la invención, debe ser entendido que la
invención no es limitada con esta forma precisa del aparato, y que los cambios
pueden ser hechos allí sin marcharse del alcance de la invención.
RECLAMACIONES
1. Ya que un motor de combustión interno que tiene
la entrada piensa recibir un combustible combustible, aparato de suministro de
combustible que comprende:
un buque para sostener una solución de electrólito
acuosa;
un ánodo y un cátodo para ponerse en contacto con
la solución de electrólito dentro del buque;
el suministro eléctrico piensa aplicarse entre el
ánodo dicho y dijo pulsos de cátodo de la energía eléctrica de inducir una
pulsación corriente en la solución de electrólito así a generar por gases de
oxígeno e hidrógeno de electrólisis;
Colección de gas y la entrega piensan coleccionar los gases de oxígeno e
hidrógeno y dirigirlos a los medios de admisión de motor; y
la admisión de echar agua piensa admitir agua al
buque dicho;
el suministro eléctrico dicho significa la
comprensión de una fuente de la energía eléctrica corriente directa del voltaje
considerablemente uniforme y el convertidor corriente y eléctrico piensa
convertir aquella energía a pulsos dichos, dijo que el convertidor significa
que la comprensión de un transformador significa la primaria que tiene bobina
medios activados por la energía corriente directa de fuente dicha y medios de
bobina secundarios inductivamente conectados a la primaria bobina medios; un
condensador vaciado relacionado con los medios de bobina secundarios del
transformador significa para ser cobrado por la salida eléctrica de esto medios
de bobina; el oscilador piensa sacar pulsos eléctricos de la energía corriente
directa de la fuente dicha; un dispositivo de conmutación que puede ser
cambiado de una no conducción declara a un estado de conducción en respuesta a
cada uno de los pulsos eléctricos sacados por los medios de oscilador y
relacionado con los medios de bobina secundarios de los medios de transformador
y el condensador vaciado tal que cada conmutación de su estado de no conducción
a su estado de conducción hace que el condensador vaciado descargue y también
cortocircuitos el transformador piensa causar los medios de conmutación de
volver a su estado de no conducción; y la conversión eléctrica piensa recibir
las descargas de pulso del condensador vaciado y convertirlos a pulsos dichos
de la energía eléctrica que son aplicados entre el ánodo y cátodo.
2. El suministro de combustible como reclamado en la reclamación 1, en donde el
medio de suministro eléctrico se aplica dijo pulsos de la energía eléctrica en
una frecuencia de variación entre aproximadamente 5,000 y 40,000 pulsos por
minuto.
3. El aparato de suministro de combustible como
reclamado en la reclamación 2, en donde el medio de suministro eléctrico se
aplica dijo pulsos de la energía eléctrica en una frecuencia de aproximadamente
10,000 pulsos por minuto.
4. El aparato de suministro de combustible como
reclamado en la reclamación 2, en donde el medio de suministro eléctrico
comprende una fuente de la energía eléctrica corriente directa de voltaje
considerablemente uniforme y convertidor corriente y eléctrico piensa convertir
aquella energía a pulsos dichos.
5. El aparato de suministro de combustible como reclamado en la reclamación 1,
en donde la conversión eléctrica significa es un transformador de disminución
gradual de voltaje que comprende una primaria bobina para recibir la descarga
de pulso del condensador vaciado dicho y bobina secundario eléctricamente
relacionado entre el ánodo y cátodo e inductivamente conectado a la primaria
bobina.
6. El aparato de suministro de combustible como reclamado
en la reclamación 5, en donde dijo el cátodo cerca el ánodo.
7. El aparato de suministro de combustible como
reclamado en la reclamación 1, en donde el cátodo cerca el ánodo que es el
hueco y bobinas primario y secundario de los segundos medios de transformador
es dispuesto dentro del ánodo.
8. El aparato de suministro de combustible como reclamado en la reclamación 1,
en donde el ánodo es tubular y sus finales está cerrado para formar una cámara
que contiene bobinas primario y secundario de los segundos medios de
transformador y que es acusada del petróleo.
9. En la combinación con un motor de combustión
interno que tiene una entrada para el combustible combustible, abastezca de
combustible el aparato de suministro que comprende:
a. una célula electrolítica para sostener a un
conductor electrolítico;
b. un primer electrodo cilíndrico hueco dispuesto
dentro de célula dicha y proporcionado sobre su superficie externa por una
serie de flautas circumferentially espaciadas y que se extienden longitudinalmente;
c. un segundo electrodo cilíndrico hueco que rodea dijo el ánodo y segmentó en
una serie de la tira humorística eléctricamente relacionada que se extiende
longitudinalmente; tiras humorísticas dichas siendo iguales en el número al
número de flautas dichas, dijo que las tiras humorísticas que tienen un área
superficial activa total aproximadamente igualan al área superficial activa
total de flautas dichas, y dijeron tiras humorísticas que están en la
alineación radial con las crestas de flautas dichas;
d. la generación corriente significa para generar
un flujo de la corriente electrolysing entre primeros y segundos electrodos
dichos;
e. la colección de gas y la entrega piensan
coleccionar gases de oxígeno e hidrógeno de la célula y dirigirlos a la entrada
de combustible dicha del motor; y
f. la admisión de agua piensa admitir agua a la célula.
10. La combinación reclamó en la reclamación 9, en
donde dijo que el medio de generación corriente comprende un transformador
situado dentro del primer electrodo dicho.
11. La combinación reclamó en la reclamación 10,
en donde la cuerda secundaria del transformador dicho está relacionada por lo
cual dijo que el primer electrodo funciona como un ánodo y dijo que el segundo
electrodo funciona como un cátodo.
12. La combinación reclamó en la reclamación 11,
en donde dijo que la generación corriente significa adelante la comprensión de
medios de generar una corriente pulsada en la cuerda primaria del transformador
dicho.
13. La combinación reclamó en la reclamación 9, en
donde las raíces de flautas dichas son cilíndricamente encorvadas.
14. La combinación reclamó en la reclamación 10, en donde dijo que el medio de
generación corriente comprende una fuente de la corriente directa; un
transformador significa la primaria que tiene bobina medios activados por la
energía corriente directa de fuente dicha y medios de bobina secundarios
inductivamente conectados a la primaria bobina medios; un condensador vaciado
relacionado con los medios de bobina secundarios del transformador significa
para ser cobrado por la salida eléctrica de esto medios de bobina; el oscilador
piensa sacar pulsos eléctricos de la energía corriente directa de la fuente
dicha, un dispositivo de conmutación switchable de un estado de no conducción a
un estado de conducción en respuesta a cada uno de los pulsos eléctricos
sacados por los medios de oscilador y relacionado con los medios de bobina
secundarios de los medios de transformador y el condensador vaciado tal que
cada conmutación de su estado de no conducción a su estado de conducción hace
que el condensador vaciado descargue y también cortocircuitos el transformador
piensa causar los medios de conmutación de volver a su estado de no conducción;
y la conversión eléctrica piensa recibir las descargas de pulso del condensador
vaciado y convertirlos a pulsos dichos de eléctrico eléctrico que son aplicados
entre primeros y segundos electrodos dichos.
15. La combinación reclamó en la reclamación 10, en donde el medio de
conversión eléctrico comprende un transformador de disminución gradual de
voltaje que tiene una primaria bobina para recibir la descarga de pulso del
condensador vaciado dicho y bobina secundario eléctricamente relacionado entre
primeros y segundos electrodos dichos.
16. La combinación de un motor de combustión
interno que tiene una entrada para recibir un aparato de suministro de
combustible y de combustible combustible que comprende:
un buque para sostener una solución de electrólito
acuosa;
un primer electrodo cilíndrico hueco dispuesto
dentro de buque dicho y proporcionado sobre su superficie externa por una serie
de flautas circumferentially espaciadas y que se extienden longitudinalmente;
un segundo electrodo cilíndrico hueco que rodea el primer electrodo y
segmentado en una serie de tiras humorísticas eléctricamente relacionadas que
se extienden longitudinalmente; tiras humorísticas dichas siendo iguales en
número al número de flautas dichas y están en alineación radial con las crestas
de flautas dichas;
la generación corriente significa para generar una
pulsación corriente entre primeros y segundos electrodos dichos para producir
gases de oxígeno e hidrógeno dentro del buque;
la colección de gas y la entrega piensan
coleccionar los gases de oxígeno e hidrógeno y dirigirlos a los medios de
admisión de motor; y
la admisión de echar agua piensa admitir agua al
buque.
17. La combinación reclamó en la reclamación 26, en donde dijo que el medio de
generación corriente comprende una fuente de la corriente directa; un primer transformador
significa la primaria que tiene bobina medios activados por la energía
corriente directa de fuente dicha y medios de bobina secundarios inductivamente
conectados a la primaria bobina medios; un condensador vaciado relacionado con
los medios de bobina secundarios del primer transformador significa para ser
cobrado por la salida eléctrica de esto medios de bobina; el oscilador piensa
sacar pulsos eléctricos de la energía corriente directa de la fuente dicha; un
dispositivo de conmutación switchable de no conducir estado a un estado de
conducción en respuesta a cada uno de los pulsos eléctricos sacados por los
medios de oscilador y relacionado con los medios de bobina secundarios de los
primeros medios de transformador y el condensador vaciado tal que cada
conmutación de su estado de no conducción a su estado de conducción hace que el
condensador vaciado descargue y también cortocircuitos el primer transformador
piensa hacer que un segundo transformador recibiera las descargas de pulso del
condensador vaciado y los transformara a pulsos de la energía eléctrica que son
aplicados entre primeros y segundos electrodos dichos.
18. La combinación reclamó en la reclamación 26, en donde el segundo medio de
transformador tiene la primaria bobina medios activados por las descargas de
pulso del condensador vaciado y medio de bobina secundario que es
inductivamente conectado a la primaria bobina medios y está relacionado con los
primeros y segundos electrodos tal que el primer electrodo funciona como un
ánodo y el segundo electrodo funciona como un cátodo.
Patente Aplicación UK 2,324,307 21 de octubre 1998 Inventor: Christopher R. Eccles
CÉLULA DE FRACTURA
Por favor note que este es un extracto expresado
con otras palabras de la patente y los diagramas han sido adaptados
ligeramente. Esto describe un dispositivo para partir agua en hidrógeno y
oxígeno gasses vía la electrólisis usando electrodos que son colocados por fuera de la célula.
EXTRACTO
Aparato de célula de fractura incluso una célula
de fractura capacitiva 20 comprensión de un contenedor 21 paredes que tienen
21a, y 21b hecho de no eléctricamente para conducir material para contener un
dieléctrico líquido 26, y espaciado aparte electrodos 22 y 23 colocado fuera de
contenedor 21 con el dieléctrico líquido 26 entre los electrodos, y un
mecanismo (8a y 8b en Fig.1 y Fig.2) para aplicar voltaje positivo y negativo
palpita a cada uno de los electrods 22 y 23. En el uso, siempre que uno de un
pulso de voltaje positivo y un pulso de voltaje negativo sea aplicado a uno de
los dos electrodos, el otro de un pulso de voltaje positivo y un pulso de
voltaje negativo es aplicado a los otros de los dos electrodos, así creando un
campo eléctrico alternador a través del dieléctrico líquido para causar la
fractura del dieléctrico líquido 26. El aparato puede ser usado para generar el
gas de hidrógeno.
APARATO DE CÉLULA DE FRACTURA
Esta invención está relacionada con un aparato de
célula de fractura y con un método de generar el gas de combustible de tal
aparato de célula de fractura. En particular, pero no exclusivamente, la
invención está relacionada con un aparato y método para proporcionar el gas de
combustible de agua.
Convencionalmente, los métodos principales de
partir una especie molecular en sus componentes atómicos componentes han sido
puramente químicos o puramente electrolíticos:
Las reacciones puramente químicas siempre implican
reactivo "de tercero" y no implican la interacción (de l) una
influencia eléctrica externa aplicada, (y 2) una sustancia simple. La
electrólisis convencional implica el paso de una corriente eléctrica por un
medio (el electrólito), tal corriente que es el producto de tránsitos de ión
entre los electrodos de la célula. Cuando los iones son atraídos hacia el
cátodo o hacia el ánodo de una célula electrolítica convencional, ellos reciben
o donan electrones en el contacto con el electrodo respectivo. Tales cambios de
electrones constituyen la corriente durante la electrólisis. No es posible
efectuar la electrólisis convencional a cualquier grado útil sin el paso de
esta corriente; esto es un rasgo del proceso.
Varios dispositivos han sido descritos
recientemente que pretenden efectuar la "fractura" de, en particular,
agua por medio de fenómenos electrostáticos resonantes. En particular un
dispositivo conocido y proceso para producir oxígeno e hidrógeno de agua son
revelados en US 4,936,961. En este
dispositivo conocido una llamada célula de combustible agua "condensador"
es proporcionada en que dos concentrically arreglaron espaciado aparte los
platos "condensador" son colocados en un contenedor de agua, el agua
que poniéndose en contacto, y sirve como el dieléctrico entre, los platos
"condensador". El
"condensador" es en efecto una resistencia dependiente de precio que
comienza a conducir después de que un pequeño desplazamiento corriente comienza
a fluir. El condensador" forma la parte de un recorrido de cobro resonante
que incluye una inductancia en serie "con el "condensador". El "condensador"
es sujetado a una pulsación, voltaje de cobro eléctrico unipolar que sujeta las
moléculas agua dentro "del condensador" a un campo eléctrico que
pulsa entre los platos condensador. El "condensador" permanece
cobrado durante la aplicación de la pulsación que cobra el voltaje que causa la
vinculación eléctrica covalent de los átomos de oxígeno e hidrógeno dentro de
las moléculas agua hacerse desestabilizado, causando hidrógeno y átomos de
oxígeno liberados de las moléculas como gases elementales.
Tales dispositivos de fractura conocidos siempre
figuraban, hasta ahora, como la parte de sus características, el contacto
físico de un juego de electrodos con el agua, u otro medio para ser fracturado.
El método primario para limitar flujo corriente por la célula es la provisión
de una red de suministro de energía de impedancia alta, y la confianza pesada
en la interpretación de dominio temporal de los iones dentro del agua (u otro
medio), el voltaje aplicado con eficacia "apagado" en cada ciclo
antes de que el tránsito de ión pueda ocurrir a cualquier grado significativo.
En el uso de un sistema tan conocido, hay
obviamente un límite superior al número de migraciones de ión, capturas de
electrones, e interrupciones de molécula a átomo consiguientes que pueden
ocurrir durante cualquier aplicación momentánea dada de un voltaje externo. A
fin de funcionar con eficacia, tales dispositivos requieren limitación
corriente sofisticada y mecanismos de conmutación muy precisos.
Una característica común de todos tales
dispositivos de fractura conocidos describió encima, que hace que ellos se
comporten como si ellas fueran células de electrólisis convencionales en algún
punto a tiempo después de la aplicación del voltaje externo, es que ellos
tienen electrodos en el contacto actual con el agua u otro medio.
La invención presente procura proporcionar un
método alternativo de producir la fractura de ciertas especies moleculares
simples, por ejemplo agua.
Según un aspecto de la invención presente allí es
proporcionado un aparato de célula de fractura incluso una célula de fractura
capacitiva que comprende un contenedor que hace hacer paredes de no
eléctricamente conducir el material para contener un dieléctrico líquido
Una característica común de todos tales
dispositivos de fractura conocidos describió encima, que hace que ellos se
comporten como si ellas fueran células de electrólisis convencionales en algún
punto a tiempo después de la aplicación del voltaje externo, es que ellos
tienen electrodos en el contacto actual con el agua u otro medio, y espaciado
aparte los electrodos colocados fuera del contenedor con el dieléctrico líquido
entre los electrodos, y un mecanismo para aplicar voltaje positivo y negativo
palpitan a cada uno de los electrodos de modo que, siempre que uno de un pulso
de voltaje positivo y un pulso de voltaje negativo sea aplicado a uno de los
dos electrodos, el otro pulso de voltaje sea aplicado al otro electrodo, así
creando un campo eléctrico alternador a través del dieléctrico líquido para
causar la fractura del dieléctrico líquido.
En el aparato de esta invención, los electrodos no se ponen en contacto con
el dieléctrico líquido que debe ser fracturado o interrumpido. El líquido para
ser fracturado es el dieléctrico simple de un condensador. No puramente el
elemento de ohmic de la conductancia existe dentro de la célula de fractura y,
en el uso, ningunos flujos corrientes debido a un mecanismo de portador de ión
dentro de la célula. La fractura requerida o la interrupción del dieléctrico
líquido son efectuadas por el campo eléctrico aplicado mientras sólo un
desplazamiento simple corriente ocurre dentro de la célula.
Preferentemente el dieléctrico líquido comprende agua, p.ej destiló agua,
grifo agua o deuterated agua.
Cómodamente cada electrodo comprende un electrodo bipolar.
El mecanismo para aplicar alternativamente pulsos
positivos y negativos, proporciona voltajes de paso alternativamente a los dos
electrodos con un período corto del tiempo durante cada ciclo de voltaje de
precio en el cual ningún voltaje de paso es aplicado al uno o el otro
electrodo. Típicamente, los voltajes de paso superior a 15 kV, típicamente
aproximadamente 25 kV, a ambos lados de un potencial de referencia, p.ej
tierra, son aplicados a los electrodos. En efecto, los trenes de pulsos valores
positivos y negativos alternadores que tienen son aplicados a los electrodos,
los pulsos aplicados a los electrodos diferentes que son "la fase
cambiada". En el caso donde cada electrodo comprende un electrodo bipolar,
cada electrodo bipolar que comprende primero y segundo electrodo
"platos" eléctricamente aislados el uno del otro, se queda que un
tren de pulsos positivos sea aplicado a un plato de electrodo de cada electrodo
bipolar y se queda que un tren de pulsos negativos sea aplicado al otro plato de
electrodo de cada electrodo bipolar. Un
plato de electrodo de un electrodo bipolar forma un primer juego con un plato
de electrodo del otro electrodo bipolar y el otro plato de electrodo de un
electrodo bipolar forma un segundo juego con el otro plato de electrodo del
otro electrodo bipolar. Para cada juego, un pulso positivo es aplicado a un
plato de electrodo y un pulso negativo es aplicado simultáneamente al otro
plato de electrodo. Por alternativamente cambiando la aplicación de pulsos
positivos y negativos de un al otro juego de platos de electrodo, un campo
eléctrico "alternador" es generado a través del material dieléctrico
contenido en el contenedor. Los trenes de pulso son sincronizados de modo que
haya un intervalo de tiempo corto entre el retiro de pulsos de un juego de
plato de electrodo y la aplicación de pulsos al otro juego de plato de
electrodo.
Según otro aspecto de la invención presente, allí
es proporcionado un método de generar la comprensión de gas, aplicación de
pulsos de voltaje positivos y negativos alternativamente a los electrodos
(colocado el uno o el otro lado de, pero no en el contacto con, un dieléctrico
líquido), los pulsos de voltaje aplicados de modo que, siempre que uno de un
pulso de voltaje positivo y un pulso de voltaje negativo sea aplicado a uno de
los dos electrodos, el otro de un pulso de voltaje positivo y un pulso de
voltaje negativo sea aplicado a los otros de los dos electrodos, los pulsos de
voltaje aplicados que generan un campo eléctrico alternador a través del
dieléctrico líquido que causa la fractura del dieléctrico líquido en medios
gaseosos. Preferentemente, los voltajes de al menos 15 kV, p.ej 25 kV, el uno o
el otro lado de un valor de referencaia, p.ej tierra, son aplicados a través
del dieléctrico líquido para generar el campo eléctrico alternador.
Una encarnación de la invención será descrita
ahora por vía del ejemplo sólo, con la referencia particular a los dibujos de
acompañamiento, en cual:

Fig.1 es un diagrama de recorrido del aparato
de célula de fractura según la invención;

Fig.2 espectáculos más detalladamente una parte
del diagrama de recorrido de Fig.1;

Fig.3 muestra las formas de onda diferentes en
varias partes del diagrama de recorrido de Fig.1;

Fig.4 es un diagrama esquemático de una célula
de fractura para el uso en el aparato de célula de fractura según la invención,

Fig.5 trenes de espectáculos de pulsos
aplicados a electrodos del aparato de célula de fractura según la invención.
Si un campo eléctrico grande es aplicado a través
de un par de platos de electrodo colocados el uno o el otro lado de una célula
que contiene agua, la interrupción de las moléculas agua ocurrirá. Tal
interrupción cede núcleos de hidrógeno e iones HO-. Una interrupción tan
molecular es de poco interés en términos de obtención de un resultado
utilizable de la célula. Una zona de protón rica existe mientras el campo
existe y rápidamente restablece el producto de ión de equilibrio cuando el
campo es quitado.
Un efecto secundario sensible, sin embargo, es que
los iones hydroxyl (que emigrará al ve el plato cobrado) son despojados de
electrones cuando ellos se acercan al límite de célula. Cualquier ión
negativamente cargado expondrá este comportamiento en un potencial bastante
fuerte bien, pero el OH iones tienen una tendencia fuerte a tal disolución.
Este resulta, momentáneamente, en una región de precio negativo cerca del
límite de célula positivo. Así, en lados opuestos de la célula activa, hay
núcleos de hidrógeno (libere la zona de protón) y los electrones desplazados
(-ve zona de precio), ambos tendiendo a aumentar en la densidad más cerca a los
platos cargados.
Si, en este punto, el precio es quitado de los
platos, hay una tendencia para las zonas de precio para moverse, aunque muy
despacio, hacia el centro de la célula activa. Los precios de tránsito de ión
de electrones libres y de núcleos de hidrógeno son, sin embargo,
aproximadamente dos órdenes de la magnitud mayor que iones H30 o que OH iones.
Si los gastos son sustituidos ahora en los platos,
pero con la polaridad de enfrente, el aspecto interesante y potencialmente útil
del proceso es revelado. La migración de núcleo de hidrógeno es acelerada en
dirección del nuevo plato de-ve y la migración de electrones libre ocurre hacia
el nuevo plato de ve. Donde hay una concentración suficiente de ambas especies,
incluso las acumulaciones debido a cambios de polaridad anteriores, monatomic
hidrógeno es formado con la liberación de alguna energía calórica. La
asociación molecular normal ocurre y burbujas de gas H2 lejos de la
célula.
También existencia OH radicales son despojados
adelante de núcleos de hidrógeno y contribuyen al proceso. Activo, naciente 0-
iones rápidamente pierden su espacio electrónico cargan al campo de ve y formas
de oxígeno monatomic, formando la molécula diatomic y de manera similar
burbujeando lejos de la célula.
Así, la aplicación continua de un campo eléctrico
fuerte, que se cambia de la polaridad cada ciclo, es suficiente para
interrumpir agua en sus elementos gaseosos constituyentes, utilizando una
pequeña fracción de la energía requerida en electrólisis convencional o
sustancias químicas energetics, y cediendo la energía calórica de la entalpía
de formación de los bonos de diatomic en el hidrógeno y oxígeno.

El aparato para realizar el susodicho proceso es
descrito aquí. En particular, la circuitería electrónica para efectuar la
invención es mostrada en el diagrama de bloque simplificado de Fig.1. En Fig.1 una frecuencia de repetición de
pulso (PRF) el generador 1 comprende un reloj de multivibrador astable que
corre en una frecuencia que es predeterminada para cualquier aplicación, pero
capaz de ser variado a través de una variedad de aproximadamente 5-30 kHz. El generador 1 paseos, provocando con el
borde rastreador de su forma de onda, una anchura de pulso (PW) temporizador 2.
La salida del temporizador 2 es un tren de pulsos
regulares cuya anchura es determinada por el ajuste del temporizador 2 y cuya
frecuencia de repetición es puesta por el generador PRF 1.
Un reloj de puerta 3 comprende un recorrido de 555
tipos simple que producen una forma de onda (ver Fig.3a) tener un período de 1
a 5 Sra., p.ej 2 Sra. como mostrado en Fig.3a.
El ciclo de deber de esta forma de onda es la variable del 50 % a
alrededor del 95 %. La forma de onda es aplicada a una entrada de cada uno de
un par de Y puertas 5a y 5b y también a un contador binario "se dividen
por dos" 4. La salida del contador 4 es mostrada en Fig.3b.
La señal del contador "se divide por
dos" 4 es aplicado directamente AL y puerta 5b sirviendo la fase 2
circuitería de chofer 7a, pero es invertido antes de aplicación AL y puerta 5a
sirviendo la circuitería de chofer de fase-l 7a. La salida DEL y puerta 5a es
por lo tanto ((PULSO DE RELOJ (Y NO (PULSO DE RELOJ)/2)) y la salida DEL y la
puerta 5b es ((PULSO DE RELOJ) (Y PULSO/2 DE RELOJ)), las formas de onda, que
son aplicadas a puertas de tren de pulso 6a y 6b, siendo mostrado en Fig.3c y
Fig.3d.
Una serie de pulsos de 5-30 kilohercios es
aplicada para conducir amplificadores 7a y 7b alternativamente, con un pequeño
"lejos" - período durante el cual ningunos pulsos son aplicados al
uno o el otro amplificador. La duración de cada uno "de" el período
es el dependiente sobre el ciclo de deber original del temporizador de reloj 3.
La razón del pequeño "de" el período en las formas de onda de chofer
es prevenir el arco de corona local como el paso a un enlace de reserva de
fases cada ciclo.
Los amplificadores de paseo 7a y 7b cada uso un
transistor BC182L 10 (ver Fig.2), pequeño toroidal 2:1 transformador de pulso
11 y un poder-MOSFET BUZ11 12 y aplican paquetes de pulso a través de las
cuerdas primarias de sus 25 transformadores de salida de línea kV respectivos
8a y 8b para producir un EHT ac voltaje de la frecuencia alta en sus cuerdas
secundarias. Las cuerdas secundarias son 'levantadas' del sistema dan buenos
conocimientos y proveen, después de la rectificación de medio onda simple, el
campo aplicado para la aplicación a la célula 20 (ver Fig.4).
Célula 20 comprende un contenedor 21 paredes que
tienen 21a, 21b de eléctricamente aislar el material, p.ej un material
thermoplastics, como el metacrilato de polimetilo, aproximadamente 5 mm
típicamente espaciados aparte, y los electrodos de célula bipolares generalmente
designaban 22 y 23 y típicamente construían del papel de aluminio, colocado
fuera de las paredes 21a y 21b. Cada electrodo de célula bipolar comprende un
par de platos de electrodo 22a y 22b (o 23a y 23b) para cada lado de la célula
20 separado el uno del otro por una capa eléctricamente aisladora 24 (o 25),
p.ej del material de plásticos de policarbonato de aproximadamente 0.3 mm de
espesor.
Los platos de electrodo 22a y 23a se forman juego
del que (ponga A) de platos de electrodo colocados en lados opuestos del
contenedor 21 y los platos de electrodo 22b y 23b forman otro juego de platos
de electrodo colocados en lados opuestos del contenedor 21. Una capa de
aislamiento 25, p.ej del material de policarbonato, similar a las capas de
aislamiento 24a o 24b puede ser colocada entre cada electrodo de célula bipolar
22 (o 23) y su pared de contenedor adyacente 21a (o 21b). Un electrólito
líquido, preferentemente agua, es colocado en el contenedor 21.
En uso, una secuencia de pulsos positivos es
aplicada a los platos de electrodo 22a y 23b y un tren de pulsos negativos es
aplicado a los platos de electrodo 23a y 22b. El cronometraje de los pulsos es
mostrado esquemáticamente en Fig.5, que ilustra esto, para el juego un (o para
el juego B), siempre que un pulso positivo sea aplicado al plato de electrodo
22a (o 23b), un pulso negativo también es aplicado al plato de electrodo 23a (o
22b). Sin embargo los pulsos aplicados al plato de electrodo se ponen A son
"desfasados" con los pulsos aplicados a B de juego de plato de
electrodo. En cada tren de pulsos, la duración de cada pulso es menos que el
hueco entre pulsos sucesivos.

Haciendo los arreglos para los pulsos del plato de
electrodo ponen B ser aplicado en los períodos cuando ningunos pulsos son
aplicados a A de juego de plato de electrodo, la situación se levanta donde los
pares de pulsos son aplicados sucesivamente a los platos de electrodo de juegos
diferentes de platos de electrodo, allí siendo un intervalo corto del tiempo
cuando ningunos pulsos son aplicados entre cada aplicación sucesiva de pulsos a
pares de platos de electrodo. En otras palabras, mirar Fig.5, P1 de pulsos y Q1
es aplicado al mismo tiempo a los platos de electrodo 22a y 23a. Los pulsos P1
y Q1 son de la misma longitud de pulso y, al final de su duración, hay un
período de tiempo corto t antes de pulsos R1 y S1 son aplicados a los platos de
electrodo 23b y 22b.
Los pulsos R1 y S1 son de la misma longitud de
pulso que los pulsos P1 y Q1 y, al final de su duración, hay un tiempo adicional
t antes de los siguientes pulsos P2 y Q2 son aplicados a los platos de
electrodo 22a y 23a. Será apreciado que siempre que un pulso de un signo sea
aplicado a uno de los platos de electrodo de un juego, un pulso del signo de
enfrente es aplicado al otro plato de electrodo de aquel juego.
Además, cambiando de un al otro plato de electrodo
se ponen las polaridades aplicadas a través del contenedor son repetidamente
cambiadas causando un campo eléctrico "alternador" creado a través
"del dieléctrico líquido" agua en el contenedor.
Patente WO 9528510 26 de octubre 1995 Inventor: Spiro Ross Spiros
MEJORAS DE SISTEMAS DE ELECTRÓLISIS Y
LA DISPONIBILIDAD DE ENERGÍA DE SOBREUNIDAD
Esta aplicación evidente muestra los detalles de
un sistema electrolyser que es reclamado, la mayor salida de los productos que
el poder de entrada tenía que hacerlo funcionar.
EXTRACTO
Un sistema de energía looped para la generación de
energía de exceso disponible hacer trabajo es revelado. El sistema comprende
una unidad de célula de electrólisis 150 recepción de un suministro de agua
para liberar el gas de hidrógeno separado 154 y el oxígeno 156 por la
electrólisis conducida por un voltaje de corriente continua 152 aplicado a
través de ánodos respectivos y cátodos de la unidad de célula 150. Un receptor
de gas de hidrógeno 158 recibe y almacena el gas de hidrógeno liberado por la
unidad de célula 150, y un receptor de gas de oxígeno 160 recibe y almacena el
gas de oxígeno liberado por la unidad de célula 150. Un dispositivo de extensión de gas 162 amplía
los gases almacenados para recuperar el trabajo de extensión, y un dispositivo
de combustión de gas 168 mezclas y quema el gas de oxígeno y gas de hidrógeno
ampliado para recuperar el trabajo quemado. Una proporción de la suma del
trabajo de extensión y el trabajo de combustión sostiene la electrólisis de la
unidad de célula para retener la presión de gas operacional en los receptores
de gas 158, 160 tal que el sistema de energía es autónomo, y hay energía de
exceso disponible de la suma de energías.
CAMPO TÉCNICO DE LA INVENCIÓN
La invención presente está relacionada con la
generación de gas de oxígeno y gas de hidrógeno de agua, como una adición o
como gases separados, por el proceso de electrólisis, y está relacionada
adelante con aplicaciones para el uso del gas liberado. Las encarnaciones de la
invención están relacionadas en particular con el aparato para la generación
eficiente de estos gases, y al uso de los gases en un motor de combustión
interno y una bomba de implosión. La invención también revela un sistema de
generación de energía de cerrar-lazo donde la energía molecular latente es
liberada como una forma 'de energía libre' entonces el sistema puede ser
autónomo.
Referencia es hecha al No de aplicación evidente
Internacional comúnmente poseído PCT/AU94/000532, teniendo la fecha de
clasificación Internacional del 6 de septiembre de 1994.
Arte de Fondo
La técnica de electrolysing agua en la presencia
de un electrólito como el hidróxido de sodio (NaOH) o hidróxido de potasio
(KOH) para liberar gas de oxígeno e hidrógeno (H2, 02) es
conocida. El proceso implica aplicar una diferencia de potencial de corriente
continua entre dos o más pares de electrodo de ánodo/cátodo y entregar la energía
mínima requerida romper los bonos de H-O (es decir 68.3 kcals por topo STP)..
Referencia puede ser hecha a los textos siguientes:
"Modern Electrochemistry, Volume 2, John O'M. Bockris and Amulya K.N. Reddy, Plenum Publishing Corporation",
"Electro-Chemical Science, J. O'M. Bockris and D.M. Drazic, Taylor and Francis Limited" and
"Fuel Cells, Their Electrochemistry, J. O'M. Bockris and S. Srinivasan, McGraw-Hill Book Company".
Una discusión del trabajo experimental con
relación a procesos de electrólisis puede ser obtenida de "Hydrogen
Energy, Part A, Hydrogen Economy Miami Energy Conference, Miami Beach, Florida,
1974, corregido por T. Nejat Veziroglu, Plenum Press". Los papeles presentados por J. O'M. Bockris en
páginas 371 a 379, por F.C. Jensen y F.H. Schubert en páginas 425 to 439 y por
John B. Pangborn y John C. Sharer en páginas 499 a 508 son de la importancia
particular.
Por una macroescala, la cantidad de gas producido
depende de varias variables, incluso el tipo y la concentración de la solución
electrolítica usada, el área de superficie de par de electrodo de ánodo/cátodo,
la resistencia electrolítica (comparando con la conductividad iónica, que es
una función de temperatura y presión), la densidad corriente alcanzable y la
diferencia de potencial de ánodo/cátodo. La energía total entregada debe ser
suficiente para disociar los iones agua para generar gases de oxígeno e
hidrógeno, aún evitar platear (la oxidación/reducción) de los materiales no
metálicos metálicos o propicios de los cuales los electrodos son construidos.
REVELACIÓN DE LA INVENCIÓN
La invención revela un sistema de looped-energía
para la generación de energía de exceso disponible para hacer el trabajo, dicha
comprensión de sistema de:
Una célula de electrólisis unidad que recibe un suministro de agua para liberar gas de oxígeno y gas
de hidrógeno separado por electrólisis debido a un voltaje de corriente
continua aplicado a través de ánodos respectivos y cátodos de la célula;
Un contenedor de gas de hidrógeno recibir y almacenar el gas de hidrógeno liberado por la célula de
electrólisis;
Un receptor de gas de oxígeno recibir y almacenar el gas de oxígeno liberado por la célula de
electrólisis;
Una cámara de extensión de gas permitir que la extensión de los gases almacenados recuperara trabajo de
extensión; y
Un mecanismo de combustión de gas para mezclarse y quemar los gases de oxígeno e
hidrógeno ampliados para recuperar trabajo de combustión; y en donde una
proporción de la suma del trabajo de extensión y el trabajo de combustión
sostiene la electrólisis de la célula de electrólisis a fin de retener la
presión de gas operacional en los receptores de gas de oxígeno e hidrógeno de
modo que el sistema de energía sea autónomo y hay energía de exceso disponible.
La invención adelante revela un método para la
generación de energía de exceso disponible para hacer el trabajo por el proceso
de electrólisis, dijo el método que comprende los pasos de : electrolysing agua
por un voltaje de corriente continua para liberar gas de oxígeno y gas de
hidrógeno separado; por separado recibiendo y almacenando los gases de oxígeno
e hidrógeno en una manera para autopresionar; por separado ampliando el gas
almacenado para recuperar energía de extensión; la incineración de los gases ampliados
para recuperar energía de combustión; y aplicando una porción de la suma del
trabajo de extensión y el trabajo de combustión como el voltaje de corriente
continua para retener presiones de gas operacionales y sostener la
electrólisis, allí siendo energía de exceso disponible hacer este.
La invención también revela un motor de combustión
interno impulsado por la comprensión de oxígeno e hidrógeno de:
Al menos un cilindro y
Al menos un pistón que
corresponde dentro del
cilindro;
Un puerto de entrada de gas de hidrógeno en comunicación con el cilindro para recibir un
suministro de hidrógeno presurizado;
Un puerto de entrada de gas de oxígeno en comunicación con el cilindro para recibir un
suministro de oxígeno presurizado; y
Un puerto de gases de combustión en la comunicación con el cilindro y en donde el motor puede ser hecho
funcionar en una manera de dos tiempos por lo cual, en lo alto del golpe, el
gas de hidrógeno es suministrado por el puerto de admisión respectivo al
cilindro que conduce el pistón hacia abajo, el gas de oxígeno entonces es
suministrado por el puerto de admisión respectivo al cilindro para conducir el
cilindro adelante hacia abajo, después el cual la autodetonación de tiempo
ocurre y los movimientos de pistón al fondo del golpe y hacia arriba otra vez
con el puerto de gases de combustión abierto para arrancar a la fuerza el vapor
agua que resulta de la detonación.
La invención también revela una comprensión de bomba de implosión de;
Una cámara de combustión interpuesto, y en comunicación con,
Un embalse superior y un embalse inferior separado por una distancia vertical a través la
cual agua debe ser bombeado, esta cámara que recibe el hidrógeno mezclado y el
oxígeno en una presión suficiente para levantar un volumen de agua la distancia
desde allí al embalse superior, el gas en la cámara entonces encendida para
crear un vacío en la cámara para dibujar agua del embalse inferior para llenar
la cámara, con lo cual un ciclo de bombeo es establecido y puede ser repetido.
La invención también revela el arreglo apilado de
una paralela de platos de célula para una unidad de electrólisis agua, los
platos de célula alternativamente formación de un ánodo y el cátodo de la
unidad de electrólisis, y el arreglo incluso puertos de salida de gas de
oxígeno y gas de hidrógeno separados respectivamente unidos para los platos de
célula de ánodo y los platos de célula de cátodo y ampliación longitudinalmente
a lo largo de la pila de plato. Estos puertos de salida son arreglados para ser
aislado de los platos de cátodo y ánodo.
DESCRIPCIÓN DE LOS DIBUJOS
Figs.1 1a-16 del No de aplicación Internacional célebre de PCT/AU94/000532
son reproducidos para ayudar a la descripción de la invención presente, pero
aquí denotados como Figs.la-6:
Fig.1A y Fig.1B muestre una encarnación de un plato de célula:

Fig.2A y Fig.2B muestre un plato de célula complementario a aquel de Fig.lA
y Fig1B:

Fig.3 detalle de
espectáculos de las perforaciones y virar a babor de los platos de célula de Figs.
lA,lB, 2A y 2B:

Fig.4 muestra un arreglo apilado hecho explotar
de los platos de célula de Figs. lA,lB, 2A y 2B:

Fig.5A muestra una vista esquemática del sistema
de separación de gas de Fig.4:

Fig.5B muestra una representación estilizada de
Fig.5a:

Fig.5C muestra un recorrido equivalente
eléctrico de Fig.5A y

Fig.6 muestra un
sistema de colección de gas para el uso con el sistema de separación de banco
de célula de Figs. 4 y 5a.

Los dibujos restantes son:
Fig.7A y Fig.7B
son vistas de un primer plato de célula:

Fig.8A y Fig.8B son vistas de un segundo plato
de célula:

Fig.9 detalle de espectáculos del margen de
borde del primer plato de célula:

Fig10 muestra un arreglo apilado hecho explotar
de los platos de célula mostrados en Fig.7A y Fig.8A:

Fig.11 es una vista
enfadada seccional de tres de los platos de célula apilados mostrados en Fig.10
en los alrededores de un puerto de gas:

Fig.12A y Fig.12B
respectivamente muestre el detalle de los primeros y segundos platos de célula
en los alrededores de un puerto de gas:

Fig.13 es una vista
enfadada seccional de una unidad de célula de cuatro platos de célula apilados
en los alrededores de un eje que interconecta:

Fig.14 muestra una vista de perspectiva de una
tuerca que se cierra usada en el arreglo de Fig.13:

Fig.15 muestra un sistema de electrólisis
idealizado:

Figs.16-30 son gráficos que apoyan el sistema de Fig.15 y la disponibilidad de energía
de sobreunidad:















Figs. 31a a 31e muestre a un hidrógeno/oxígeno el motor
de combustión interno conducido por gas:



Figs. 32a-32c muestre
una bomba de implosión conducida por gas:

DESCRIPCIÓN DETALLADA Y EL MEJOR MODO DE
INTERPRETACIÓN
Fig.lA y Fig.2A las encarnaciones de espectáculo
de un primer y segundo tipo de la célula platean 90, 98 como una vista de
final. Fig.1B y Fig.2B son vistas
enfadadas seccionales parciales a lo largo del mediados respectivo de líneas
como mostrado. Los números de referencia comunes han sido usados donde
asignado. Los platos 90, 98 pueden tener la función de cualquiera un ánodo () o
un cátodo (-), como se hará aparente. Cada uno comprende un disco de electrodo
92 que es perforado con agujeros hexagonalmente formados 96. El disco 92 es
hecho del material de polímero de carbón o propicio de acero o avalado de
resina. El disco 92 es alojado en un borde circular o manga 94. La función de
las perforaciones 96 debe maximizar el área superficial del disco de electrodo
92 y reducir al mínimo el peso sobre construcciones sólidas en el 45 %.
Por vía del ejemplo, para un disco de diámetro 280
mm, el grosor del disco debe ser 1 mm a fin de permitir la densidad corriente
(que se extiende de 90 A / 2,650 cm2 - 100 A / 2,940 cm2 del ánodo o cátodo)
para ser óptimo. Si el diámetro del plato es aumentado, que por consiguiente
aumenta el área superficial, es necesario aumentar el grosor del plato a fin de
mantener la uniformidad de la conductancia para la densidad corriente deseada.
Las perforaciones hexagonales en un disco de 1 mm
tienen una distancia de 2 mm entre los pisos, dos veces el grosor del plato a
fin de mantener la misma área superficial total antes de la perforación, y ser
1 mm de distancia de la siguiente perforación adyacente para permitir que la
densidad corriente fuera óptima. (Apartamento a apartamento) la distancia de 1
mm entre las perforaciones hexagonales es requerida, porque una distancia más
pequeña causará pérdidas termales y una distancia más grande añadirá al peso
total del plato.
La manga 94 es construida del material de cloruro
de polivinilo e incorpora varios agujeros de eje igualmente espaciados 100,102.
Los agujeros son para el paso de interconectar ejes proporcionados en un
arreglo apilado de los platos 90, 98 formación del conductor común para los
platos de cátodo y ánodo respectivos. Los dos agujeros superiores adicionales
104,106 cada apoyo un conducto respectivamente para la efusión de oxígeno y
gases de hidrógeno. Los agujeros adicionales 108,110 en el fondo de la manga 94
son proporcionados para la entrada de agua y el electrólito a la célula
respectiva platea 90, 98.
Fig.3 muestra que una vista ampliada de una
porción de la célula platea 90 mostrado en Fig.lA. El agujero de puerto 104 está relacionado con
las perforaciones hexagonales 96 dentro de la manga 94 por un canal interno
112. Un arreglo similar está en el lugar para el otro agujero de puerto 106, y
para los agujeros de suministro de agua/electrolyte 108, 110.
Si esto es el caso que los gases de oxígeno e
hidrógeno liberados deben ser guardados separados (es decir no ser formado como
una adición), entonces es necesario separar aquellos gases cuando ellos son
producidos. En el arte previa este es conseguido por el uso de diafragmas que
bloquean el paso de gases y con eficacia aíslan el agua/electrolyte en cada
lado del diafragma. La transferencia iónica así es facilitada en la naturaleza
propicia del material de diafragma (es decir un agua - diafragma - agua
camino). Este resulta en un aumento de la resistencia iónica y de ahí una
reducción de la eficacia.
Fig.4 muestra un arreglo apilado hecho explotar de
cuatro platos de célula, siendo un amontonamiento alternativo de dos (ánodo)
que la célula platea 90 y dos (cátodo) la célula platea 98. Los dos finales del
arreglo apilado de platos de célula delinean una unidad de célula sola 125.
Interpuesto entre cada célula adyacente platean
90, 98 es una separación PTFE 116. Aunque no mostrado en Fig.4, la unidad de
célula incluya conductos de gas de oxígeno e hidrógeno separados que
respectivamente pasan por el arreglo apilado de platos de célula vía los
agujeros de puerto 106, 104 respectivamente. De un modo similar, los conductos
son proporcionados para el suministro de agua/electrolyte, respectivamente
pasando por los agujeros 108, 110 en el fondo de los platos respectivos 90, 98.
Sólo dos pares de platos de célula de ánodo/cátodo son mostrados. El número de
tales platos puede ser enormemente aumentado por unidad de célula 125.
También no mostrado son los ejes propicios que
interconectan que eléctricamente interconectan platos de célula comunes
alternativos. La razón de tener un agujero de diámetro grande en una célula
plato adyacente a un agujero de diámetro más pequeño en el siguiente plato de
célula, es de modo que un eje que interconecta pase por el agujero de diámetro
más grande, y no hará una unión eléctrica (es decir aislado con la tubería de
cloruro de polivinilo) bastante sólo formación de una unión eléctrica entre
platos de célula (comunes) alternos.
Fig.4 es una vista esquemática de una unidad de
célula 125 arreglo. Cuando totalmente construido, todos los elementos son
apilados en el contacto íntimo. El cerrojo mecánico es conseguido por el uso de
uno de dos pegamentos como (a) "PUR-FECT LOK" (TM) 34-9002, que es un
Caliente Reactivo Urethane Derriten el pegamento con un ingrediente principal
del Metileno Bispheny/Dirsocynate (MDI), y (b) "MY-T-BOND" (TM) que
es un solvente de cloruro de polivinilo pegamento basado. Ambos pegamentos son
el Hidróxido de Sodio resistente, que es necesario porque el electrólito
contiene el Hidróxido de Sodio del 20 %. En este caso el agua/electrolyte sólo
reside dentro del área contenida dentro de la manga de plato de célula 94. Así
el único camino para la entrada de agua/electrolyte es por los canales de fondo
118, 122 y la única salida para los gases es por los canales de cumbre 112,
120. En un sistema construido y probado por el inventor, el grosor de la célula
platea 90, 98 es 1 mm (2 mm en el borde debido a la manga de cloruro de
polivinilo 94), con un diámetro de 336 mm. La unidad de célula 125 es
segmentada de la siguiente célula por un disco de segmentación de cloruro de
polivinilo de aislamiento 114. Un disco de segmentación 114 también es colocado
al principio y final del banco de célula entero. Si no debe haber ninguna
separación de los gases liberados, entonces las membranas PTFE 116 son omitidas
y la manga 94 no es requerida.
La membrana PTFE 116 es fibrosa y tiene 0.2 a 1.0
intersticios de micrón. Un tipo conveniente es el Código de Catálogo de tipo J,
suministrado por el Tokyo Roshi International Inc (Advantec). El
agua/electrolyte llena los intersticios y flujos corrientes iónicos sólo vía el
agua - no hay ninguna contribución del flujo iónico por el material PTFE sí
mismo. Este conduce a una reducción de la resistencia al flujo iónico. El
material PTFE también tiene 'un punto de burbuja' que es una función de
presión, de ahí controlando las presiones relativas en el lado de las hojas de
separación PTFE, los gases pueden ser 'obligados' por los intersticios a formar
una adición, o en por otra parte guardados separados. Otras ventajas de este
arreglo incluyen un coste menor de la construcción, mejoró la eficacia
operacional y la mayor resistencia a faltas.
Fig.5A es una vista estilizada, y hecha explotar,
esquemática de una serie lineal de tres unidades de célula unidas por serie
125. Para la claridad, sólo seis ejes que interconectan 126-131 son mostrados.
Los ejes 126-131 pasan por los agujeros de eje respectivos 102,100 en varios
platos de célula 90,98 en el arreglo apilado. La polaridad atada a cada uno de
los ejes de final expuestos, con los cuales el suministro de corriente continua
está relacionado también es indicada. Los ejes 126-131 no dirigen la longitud
llena de los tres bancos de célula 125. La representación es similar al arreglo
mostrado en Fig.7A y Fig.8. Un tercero
el voltaje de fuente de corriente continua lleno aparece a través de cada plato
de célula de ánodo/cátodo se aparea 90,98.
Adelante, los conductos de gas 132,133,
respectivamente para hidrógeno y oxígeno, que pasan por los agujeros de puerto
104,106 en la célula platean 90,98 también son mostrado. De un modo similar,
agua/electrolyte conductos 134,135, pasando por los agujeros de puerto agua
108,110 en los platos de célula también son mostrado.
Fig.5B en particular espectáculos como la
diferencia de potencial relativa en el banco de célula medio 125 cambios. Es
decir el electrodo de plato 90a ahora funciona como un cátodo (es decir
relativamente más negativo) para generar el hidrógeno, y el electrodo de plato
98a ahora funciona como un ánodo (es decir relativamente más positivo) para
generar el oxígeno. Es así para cada unidad de célula alterna. Las saetillas
mostradas en Fig.5B indique el electrón y el recorrido corriente iónico. Fig.5C es una representación de recorrido
equivalente eléctrica de Fig.5B, donde los elementos resistivos representan la
resistencia iónica entre platos de ánodo/cátodo adyacentes. Así se puede ver
que las unidades de célula están relacionadas en serie.
A causa del cambio de función de los platos de
célula 90a y 98a, los gases complementarios son liberados en cada uno, de ahí
los canales respectivos 112 están relacionados con el conducto de gas de
enfrente 132,133. Prácticamente, este puede ser conseguido por la inversión
simple de los platos de célula 90,98.
Fig.6 muestra a las tres unidades de célula 125 de
Fig.5A relacionado con un arreglo de colección de gas. Las unidades de célula
125 son localizadas dentro de un tanque 140 que está lleno de agua/electrolyte
al nivel indicado h. El agua es consumido cuando los beneficios de proceso de
electrólisis, y rellenando el suministro son proporcionados vía los 152 de
admisión. H de nivel de agua/electrolyte puede ser visto vía el cristal de
vista 154. En la operación normal, las corrientes diferentes de hidrógeno y
oxígeno son producidas y pasadas de las unidades de célula 125 a columnas
crecientes respectivas 142,144. Es decir la presión de electrólito en lados
opuestos de las membranas PTFE 116 es igualada, así los gases no pueden
mezclarse.
Las columnas 142,144 también están llenas del
agua/electrolyte, y cuando es consumido en los platos de electrodo, rellenando
el suministro del electrólito es proporcionado por vía de la circulación por
los conductos agua/electrolyte 134,135. La circulación es causada por
entrainment por los gases liberados, y en la naturaleza de inducción
circulatoria de los conductos y columnas.
El grado superior del tanque 140 formas dos torres
que friegan bien 156,158, respectivamente para la colección de oxígeno y gases
de hidrógeno. Los gases renuncian una columna respectiva 142,144, y de las
columnas vía aperturas allí en un punto dentro de las deflectors intercaladas
146. El punto donde la salida de gases las columnas 142,144 es bajo el agua
nivela h, que sirve para colocar cualquier flujo turbulento y subió al tren el
electrólito. Las deflectors 146 localizado encima del nivel h friegan el gas de
cualquier electrólito subido al tren, y el gas fregado entonces sale por
columnas de salida de gas respectivas 148,150 y tan a un receptor de gas. El
nivel h dentro del tanque 140 puede ser regulado por cualquier medio
conveniente, incluso un interruptor de flotador, otra vez con el relleno agua
ser suministrado por el tubo de admisión 152.
Los gases liberados siempre se separarán de la
solución agua/electrolyte en virtud de la diferencia en densidades. A causa de
la altura relativa del juego respectivo de deflectors, y debido al diferencial
de densidad entre los gases y el agua/electrolyte, no es posible para los gases
de oxígeno e hidrógeno liberados para mezclarse. La presencia del volumen lleno
de agua dentro del tanque 140 mantiene los platos de célula en un estado
sumergido, y adelante sirve para absorber el choque de cualquier detonación
interna deberían ellos ocurrir.
En caso de que se requiera una adición de gas,
entonces en primer lugar las dos válvulas de flujo 136,137 respectivamente
localizado en el conducto de salida de gas de oxígeno 132 y puerto de admisión
agua/electrólito 134 están cerradas. Este bloquea el camino de salida para el
gas de oxígeno y obliga la entrada agua/electrólito a pasar al conducto de
admisión 134 vía una válvula de control de dirección única 139 y pisar
repetidamente 138. El agua/electrólito dentro del tanque 140 está bajo la
presión en virtud de su profundidad (volumen), y la bomba 138 funciona para
aumentar la presión de agua/electrólito que ocurre sobre los platos de célula
de ánodo 90,98a para estar en una presión aumentada con respecto al
agua/electrólito al otro lado de la membrana 116.
Este diferencial de presión es suficiente para
hacer que el gas de oxígeno emigrara por la membrana, el oxígeno así mezclado y
el hidrógeno son liberados vía el conducto de salida de gas 133 y columna 144.
Ya que no hay ningún camino de vuelta para el agua/electrólito suministrado por
la bomba 138, la presión sobre los platos de célula 90,98a aumentará adelante,
y a un punto donde la diferencia es suficiente tal que el agua/electrólito
también puede pasar por la membrana 116. Típicamente, se requiere que el
diferencial de presión en la variedad de 1.5 - 10 psi permita el paso de gas, y
un diferencial de presión en la variedad de 10 - 40 psi para agua/electrólito.
Mientras sólo tres unidades de célula 125 son
mostradas, claramente cualquier número, relacionado en serie, puede ser puesto
en práctica.
Las encarnaciones de la invención presente ahora
serán descritas. Donde aplicable, como números de referencia han sido usados.
Fig.7A y Fig.7B muestre que un primer tipo de la
célula platea 190 respectivamente como una vista de final y como una vista
enfadada seccional ampliada a lo largo de la línea VIIb-VIIb. El plato de célula
190 se diferencia del plato de célula anterior 90 mostrado en Fig.1A y Fig.1B en
varios aspectos importantes. La región del disco de electrodo 192 recibido
dentro de la manga 194 ahora es perforada. La función de estas perforaciones
debe reducir adelante el peso del plato de célula 190. Los agujeros de eje
200,202 otra vez pasan por el disco de electrodo 192, pero tan también hacen
los agujeros superiores 204,206 por que los conductos para la efusión de gases
de oxígeno e hidrógeno liberados pasan. Los agujeros de fondo 208,210, aseguró
la entrada de agua y electrólito, ahora también son localizados en la región de
la manga 194 coincidente con el margen de borde perforado del disco de
electrodo 192. Los canales 212,218 respectivamente comunicación con el agujero
de puerto 204 y el agujero de suministro 210 también son mostrados.
Fig.8A y Fig.8B muestre que un segundo tipo de la
célula platea 198 cuando un compañero a la primera célula platea 190, y como
las mismas vistas respectivas. La segunda célula platea 198 es algo similar al
plato de célula 98 antes mostrado en Fig.2A y Fig.2B. Las diferencias entre ellos son el mismo como
las diferencias respectivas entre el plato de célula mostrado en Fig.1A y
Fig.1B y el un mostrado en Fig.7A y Fig.7B. El arreglo de los canales
respectivos 220,222 con respecto al puerto 206 y el agujero de suministro de
agua 208 también es mostrado.
En la fabricación de los platos de célula 190,198,
la manga 94 es la inyección moldeada del material de plásticos de cloruro de
polivinilo formado sobre el margen de borde del disco de electrodo 192.
El proceso de moldura de inyección causa la
formación ventajosa de interconectar sprues que forma dentro de las
perforaciones 196 en la región del disco 192 sostenido dentro de la manga 194,
así firmemente anclando la manga 194 al disco 192.
Fig.9 es una vista similar a Fig.3, pero para el
arreglo modificado que vira a babor y perforaciones (mostrado en fantasma donde
cubierto por la manga) de la región del disco 192 dentro de e inmediatamente
fuera de la manga 194.
Fig.10 muestra que una unidad de célula 225 en la
forma de un amontonamiento de alternancia hecho explotar de la primera y
segunda célula platea 190,198, mucho en la misma manera que Fig.4. Sólo dos pares del ánodo / los platos de
célula de cátodo son mostrados, sin embargo el número de tales platos puede ser
enormemente aumentado por unidad de célula 225. La membrana 216 preferentemente
es el tipo fibra de sílice de QR-HE con la alternativa que es PTFE. Ambos están
disponibles de Tokyo Roshi International Inc. (Advantec) de Japón. Escriba a
máquina QR-HE es un material hydrophobic que tiene 0.2 a 1.0 intersticios de
micrón, y es capaz de la operación en temperaturas hasta 1,0000C. Célula 225 puede ser combinada con otras tales
unidades de célula 225 para formar un banco de célula interconectado en la
misma manera que mostrado en Fig.5A, Fig.5B y Fig.5C.
Además, las unidades de célula pueden ser puestas
para usar en un arreglo de colección de gas como esto mostrado en Fig.6. La
operación del sistema de separación de gas que utiliza la nueva célula platea
190,198 está en la misma manera que antes descrito.
Fig.11 es una vista enfadada seccional ampliada de
tres platos de célula en los alrededores del puerto de oxígeno 204. Los platos
de célula comprenden dos del primer tipo del plato 190 mostrado en Fig.7A la
constitución de un plato positivo, y solo del segundo tipo de plato 198
mostrado en Fig.8A la representación de un plato negativo. La posición de los
canales respectivos 212 para cada una de la célula positiva platea 190 es
mostrado como una representación rota. Las mangas respectivas 194 de los tres
platos de célula son formados de plásticos de cloruro de polivinilo moldeados
como antes descrito, y en la región que forma el perímetro del puerto 204
tienen una configuración particular a si un plato de célula es positivo o
negativo. En el caso presente, la célula positiva platea 190 tienen un pie
flanged 230 que, en la construcción reunida, forman el límite contiguo del puerto
de gas 204. Cada pie 230 tiene dos costillas circumferential 232 que engranan
correspondencia el circumferential acanala 234 en la manga 194 del plato
negativo 198.
El resultado de este arreglo es que el área
metálica expuesta de la célula negativa platea 198 siempre son aislados del
flujo de gas de oxígeno liberado de los platos de célula positivos 190, así
evitando la posibilidad de la explosión espontánea por la mezcla de los gases
de oxígeno e hidrógeno separados. Este arreglo también vence la producción no
deseada de gas de oxígeno o de gas de hidrógeno en el puerto de gas.
Para el caso del puerto de gas 206 transporte del
gas de hidrógeno, el arreglo relativo de los platos de célula es invertido tal
que un equilibrio flanged ahora es formado en la manga que 194 del otro tipo de
la célula platean 198. Este representa el arreglo opuesto a esto mostrado en
Fig.11.
Fig.12A y Fig.12B vistas laterales de perspectiva
de espectáculo de platos de célula adyacentes, con Fig.12A la representación de
una célula positiva platea 190 y Fig.12B la representación de una célula
negativa platea 198. El puerto de gas 206 así formado debe llevar el gas de
hidrógeno. La relación de acoplamiento entre el pie flanged 230 y el margen de
final de la manga que 194 de la célula positiva platean 192 puede ser vista, en
particular la interacción entre las costillas 232 y los surcos 234.
Fig.13 está una vista enfadada seccional de cuatro
platos de célula formados en un arreglo apilado delimitado por los dos platos
de segmentación 240, juntos formando una unidad de célula 242. Así hay los dos
platos de célula positivos 190 y dos platos de célula negativos 198 en el
arreglo alternador. El corte transversal es tomado en los alrededores de un
agujero de eje 202 por cual un eje propicio negativo 244 pases. El eje 244 por
lo tanto está en el contacto íntimo con los discos de electrodo que 192 de la
célula negativa platean 198. Los discos de electrodos que 192 de la célula
positiva platean 190 no amplían al contacto el eje 244. La manga que 194 de la célula negativa
alternadora platean 198 otra vez tiene una forma del pie flanged 246, aunque en
este caso las costillas complementariamente formadas y los surcos sean formados
sólo en la manga de los platos de célula negativos 198, y no en la manga que
194 de la célula positiva platean 190. La segmentación platea 240 sirven para
delimitar los platos apilados que forman una unidad de célula sola 242, con de
las unidades de célula 242 apilado en una serie lineal para formar un banco de
célula como ha sido mostrado en Fig.5A.
Una tuerca de eje enhebrada 250 actos como un
espaciador entre electrodos adyacentes que se unen con el eje 244. Fig.14 es
una vista de perspectiva de la tuerca de eje 250 exposición del hilo 252 y tres
huecos 254 para sujetar loco, tornillos o el parecido.
En todos Figs 11 a 13, el material de membrana de
separación 216 no es mostrado, pero es localizado en los espacios 248 entre los
platos de célula adyacentes 190,198, extendiéndose a los márgenes de los discos
de electrodo 192 en los alrededores de los puertos de gas 204,206 o los
agujeros de eje 200,202.
Un sistema de gas de oxígeno e hidrógeno de
electrólisis que incorpora un sistema de separación de gas, como ha sido
descrito encima, puede ser por lo tanto hecho funcionar para establecer tiendas
de presión altas respectivas de gas. Es decir los gases de oxígeno e hidrógeno
separados liberados por el proceso de electrólisis son almacenados en
receptores de gas separados o buques de presión. La presión en cada uno aumentará
con la afluencia persistente de gas.
Fig.15 muestra un sistema de electrólisis
idealizado, comprendiendo una célula de electrólisis 150 que recibe un
suministro de agua para ser consumido. El proceso de electrólisis es conducido
por un potencial de corriente continua (Es) 152. La diferencia de potencial
aplicada a la célula 150 por lo tanto debe ser suficiente a electrolyse el agua
en el dependiente de gas de oxígeno e hidrógeno sobre, inter alia, el ordenador
personal de presión agua y la presión trasera de PB de gas que interpreta en la
superficie del agua, juntos con Tc de temperaturas agua. Los gases de oxígeno e
hidrógeno liberados separados, por una función de preparación, son presurizados
a un valor alto por el almacenamiento en buques de presión respectivos 158,160,
siendo llevado por líneas de gas 154,156.
La tienda presurizada de gases entonces es pasada
a un dispositivo de conversión de energía que convierte el flujo de gas bajo la
presión a la energía mecánica (p.ej un dispositivo de gota de presión 162).
Esta energía mecánica se recuperó WM está disponible para ser utilizado para
proporcionar el trabajo útil. La energía mecánica WM también puede ser
convertida en la forma eléctrica, otra vez estar disponible para el uso.
Los gases agotados del resultado son pasados vía
líneas 164,166 a una cámara de combustión 168. Aquí, los gases son quemados
para generar el calor QR, con el desecho que es agua vapor. El calor recuperado
QR puede ser reciclado a la célula de electrólisis para asistir en el mantenimiento
de la temperatura de operaciones ventajosa de la célula.
La cámara de combustión antes descrita 168 puede
ser o bien una célula de combustible. El tipo de la célula de combustible puede
variar de células de combustible ácidas fosfóricas por a células de combustible
de carbonato fundidas y células de óxido sólidas. Una célula de combustible
genera tanto calor (QR) como la energía eléctrica (NOSOTROS), y así puede
suministrar ambo calor a la célula 150 o complementar o sustituir el suministro
de corriente continua (Es) 152.
Típicamente, estas células de combustible pueden
ser del tipo la TM de LaserCell tan desarrollada por doctor Roger Billings, la
Célula PEM como disponible de Ballard Power Systems Inc. Canadá o la Célula de
Combustible de Cerámica (óxido sólido) como desarrollado por Ceramic Fuel Cells
Ltd., Melbourne, Australia.
Es, por supuesto, necesario de rellenar la tienda
presurizada de gases, así requiriendo el consumo persistente de la energía
eléctrica. La energía eléctrica recuperada somos superior a la energía
requerida conducir la electrólisis en la temperatura elevada y somos usados
para sustituir la fuente de energía eléctrica externa 152, así completando el
lazo de energía después de que el sistema es al principio primed y comenzado.
El inventor presente ha determinado que hay
algunas combinaciones de la presión y temperatura donde la eficacia del proceso
de electrólisis se hace ventajosa en términos de energía total recuperada, como
la energía mecánica en virtud de un flujo de gas en la presión alta o como la
energía termal en virtud de la combustión (o por medio de una célula de
combustible), con respecto a la energía eléctrica consumida, hasta el punto de
la energía recuperada que excede la energía requerida sostener la electrólisis
en la presión y temperatura operacional. Este ha sido justificado por la
experimentación. Esta noción ha sido llamada "la sobreunidad".
Los sistemas "de
sobreunidad" pueden ser categorizados como ampliamente cayéndose en tres
tipos de fenómenos físicos:
(i) Un dispositivo
eléctrico que produce 100 Vatios de la energía eléctrica como la salida después
de 10 Vatios de la energía eléctrica es introducido así proporcionando 90
Vatios de la sobreunidad energía (eléctrica).
(ii) Un dispositivo electroquímico como un
dispositivo de electrólisis donde 10 Vatios de la energía eléctrica es
introducido y 8 Vatios es la salida que es el valor termal de la salida de gas
de oxígeno e hidrógeno. Durante este proceso, 2 Vatios de la energía eléctrica
convertida a la energía termal son perdidos debido a ineficiencias específicas
del sistema de electrólisis. La presión - como la energía de sobreunidad - es
irrefutablemente producida durante el proceso de la generación de gas de
oxígeno e hidrógeno durante la electrólisis. La presión es un producto de la
contención de los dos gases separados. La Ley de Conservación de Energía (como
referido en "Chemistry Experimental Foundations", corregido por
Parry, R.W.; Steiner, L.E.; Tellefsen, R.L.; Dietz, P.M. Chap. 9, pp. 199-200,
Prentice-Hall, New Jersey" y "An Experimental Science", corregido
por Pimentel, G.C., Chap. 7, pp. 115-117, W.H. & Freeman Co. San Francisco)
está en el equilibrio donde los 10 vatios de la entrada igualan los 8 vatios
salida de energía termal más los 2 vatios de pérdidas. Sin embargo, esta Ley se
termina en este punto. La invención presente utiliza la energía adicional
aparente que es la presión que es un subproducto del proceso de electrólisis
para conseguir la sobreunidad.
(iii) Un dispositivo electroquímico que produce un
exceso de la energía termal después de una entrada de la energía eléctrica en
tales dispositivos utilizados en "la fusión fría" p.ej 10 vatios de
la energía eléctrica tan entrada y 50 vatios de la energía termal como la
salida.
La invención presente representa el descubrimiento
de quiere decir que el segundo fenómeno antes mencionado puede ser encarnado
para causar "la sobreunidad" y la realización de la energía 'libre'.
Como antes notado, este es el proceso de liberar la energía molecular latente.
La secuencia siguiente de acontecimientos describe la base de la disponibilidad
de la energía de sobreunidad.
En un dos plato simple (ánodo/cátodo) célula de
electrólisis, un diferencial de voltaje aplicado de 1.57 Voltios de corriente
continua dibuja 0.034 Amperios por cm2 y causa la liberación de gas de oxígeno e
hidrógeno del plato de electrodo relevante. El electrólito es guardado en una
temperatura constante de 40oC, y está abierto a la presión atmosférica.
La ineficiencia de una célula electrolítica es
debido a su resistencia iónica (aproximadamente el 20 %), y produce un
subproducto de la energía termal. La resistencia reduce, como hace el voltaje
de corriente continua mínimo requerido conducir la electrólisis, como los
aumentos de temperaturas. La energía total requerida disociar los electrones de
vinculación de la molécula agua también se disminuye como los aumentos de
temperaturas. En efecto, la energía termal actúa como un catalizador para
reducir las exigencias de energía en la producción de gases de oxígeno e
hidrógeno de la molécula agua. Las mejoras de la eficacia son asequibles por
vía de una combinación de la energía termal sí mismo y el electrólito NaOH amba
interpretación para reducir la resistencia del flujo iónico de corriente.
Se conoce 'que el agrietamiento' termal de la
molécula agua ocurre en 1,500oC, por lo cual los electrones de vinculación son
disociados y posteriormente 'separan' la molécula agua en sus elementos
constituyentes en la forma gaseosa. Este agrietamiento termal entonces permite
la energía termal de hacerse un bien consumible. El aislamiento puede ser
introducido para conservar la energía termal, sin embargo siempre habrá algunas
pérdidas de energía termales.
En consecuencia, la energía termal es tanto
catalizador como un bien consumible (en el sentido que la energía termal excita
electrones de vinculación a un estado enérgico más alto) en el proceso de
electrólisis. Un resultado neto del proceso anterior es que el hidrógeno está
siendo producido de la energía termal porque la energía termal reduce las
exigencias de energía totales del sistema de electrólisis.
Respecto al gráfico titulado "Flow Rate At A
Given Temperature" mostrado en Fig.16, ha sido calculado esto en una
temperatura de 2,000oC, 693 los litros de hidrógeno / mezcla de gas de
oxígeno (proporción 2:1) serán producidos. El contenido de hidrógeno de este
volumen es 462 litros. En un contenido de energía de 11 UNIDADES CALORÍFICAS
BRITÁNICAS por litro de hidrógeno, este entonces da una cantidad de energía de
5,082 UNIDADES CALORÍFICAS BRITÁNICAS (11 x 462). Usando el factor de
conversión BTU:kilowatt de 3413:1, 5,082 UNIDADES CALORÍFICAS BRITÁNICAS del
gas de hidrógeno comparan con 1.49 kWs. Compare este con el kW l para producir
693 litros de hidrógeno / oxígeno (incluso 463 litros de hidrógeno). El uso de
este aparato por lo tanto identifica aquella energía termal, por el proceso de
electrólisis, está siendo convertido en el hidrógeno. Estas ineficiencias, es
decir temperatura aumentada y electrólito NaOH, reducen con la temperatura a un
punto en aproximadamente 1000oC donde la resistencia iónica reduce al cero, y la
cantidad volumétrica de gases producidos por aumentos de kWh.
La bajada del voltaje de corriente continua
necesario de conducir electrólisis por vía de temperaturas más altas es
demostrada en el gráfico en Fig.17 titulado "The Effect of temperature on
Cell Voltage".
Los datos en Fig.16 y Fig.17 tienen dos fuentes.
Voltajes de célula obtenidos de 0oC hasta e incluso 100oC estaban aquellos
obtenidos por un sistema de electrólisis como descrito encima. Voltajes de
célula obtenidos de 150oC hasta 2,000oC son cálculos teóricos presentados por
unas autoridades reconocidas en este campo, Prof. J. O'M. Bockris. Expresamente, estas conclusiones fueron
presentadas en "Hydrogen Energy, Part A, Hydrogen Economy, Miami Energy
Conference, Miami Beach, Florida, 1974, corregido por T. Nejat Veziroglu,
Plenum Press, pp. 371-379. Estos cálculos aparecen en la página 374.
Por inspección de Fig.17 y Fig.18 ("Rendimiento
titulado de Hidrógeno y Oxígeno en 2:1"), se puede ver que como aumentos
de temperaturas de la célula, el voltaje necesario de disociar la molécula agua
es reducido, como es la exigencia de energía total. Este entonces causa un
flujo de gas más alto por kWh.
Como obligado por la limitación de los materiales
dentro del sistema, la temperatura operacionalmente aceptable del sistema es 1000oC. Este nivel de temperaturas no debería ser,
sin embargo, considerado como una restricción. Esta temperatura está basada en
las limitaciones de los materiales actualmente commercialemente disponibles.
Expresamente, este sistema puede utilizar el material como la Fibra de Sílice
comprimida para la manga alrededor del plato de electrólisis y Fibra de Sílice
hydrophobic (separe el No QR-100HE suministrado por el Tokyo Roshi
International Inc, también conocido como "Advantec") para el
diafragma (como antes hablado) que separa los platos de disco de electrólisis.
En el proceso de reunir las células, el material de diafragma y electrólisis
sleeved platea 190,198 son adheridos el uno al otro usando la temperatura alta
resistente pegamento de sílice (p.ej el producto "Aremco"
"Ceramabond 618" que tiene una especificación de tolerancia
operacional de 1,000oC).
Para la célula de electrólisis descrita encima,
con el electrólito en 1,000oC y utilizando la energía eléctrica a razón de 1
kWh, 167 litros de oxígeno y 334 litros de hidrógeno por hora serán producidos.
El diafragma de fibra de sílice 116 antes hablado
separa el oxígeno y corrientes de gas de hidrógeno por el mecanismo de
separación de densidad, y productos una tienda separada de oxígeno e hidrógeno
en la presión. La presión de los gases producidos puede extenderse de 0 a
150,000 Atmósferas. En presiones más altas, la separación de densidad puede no
ocurrir. En este caso, las moléculas de gas pueden ser magnetically separado
del electrólito de ser requerido.
En referencia a los experimentos conducidos por
señores Hamann y Linton (S.D. Hamann y M. Linton, transacción Faraday Soc.
62,2234-2241, expresamente, la página 2,240), esta investigación ha demostrado
que las presiones más altas pueden producir el mismo efecto que temperaturas
más altas en las cuales la conductividad aumenta como aumentos de presión y/o
temperatura. En presiones muy altas, la molécula agua se disocia en
temperaturas bajas. La razón de este es que el electrón de vinculación es más
fácilmente quitado cuando bajo la presión alta. El mismo fenómeno ocurre cuando
los electrones de vinculación están en una temperatura alta (p.ej. 1,500oC) pero en
presiones bajas.
Como mostrado en Fig.15, el hidrógeno y los gases
de oxígeno son separados en corrientes de gas independientes que fluyen en
buques de presión separados 158,160 capaz de resistir presiones hasta 150,000
Atmósferas. La separación de los dos gases así elimina la posibilidad de la
detonación. También debería ser notado que las presiones altas pueden facilitar
el uso de temperaturas altas dentro del electrólito porque la presión más alta
eleva el punto de ebullición de agua.
La experimentación muestra que 1 litro de agua
puede ceder 1,850 litros de hidrógeno/oxígeno (en una proporción de 2: 1)
mezcla de gas después de la descomposición, este diferencial significativo
(1:1,850) es la fuente de la presión. El desnudamiento de los electrones de
vinculación de la molécula agua, que posteriormente convierte el líquido en un
estado gaseoso, libera la energía que puede ser utilizada como la presión
cuando este ocurre en un espacio encajonado.
Una discusión del trabajo experimental con
relación a los efectos de presión en procesos de electrólisis puede ser
obtenida "de Energía de Hidrógeno, Parte A, Economía de Hidrógeno
Conferencia de Energía de Miami, Playa de Miami, Florida, 1974, corregida por
T. Nejat Veziroglu, Prensa de Pleno". Los papeles presentados por F.C.
Jensen y F.H. Schubert en páginas 425 a 439 y por John B. Pangborn y John C. La
persona dadivosa en páginas 499 a 508 es de la importancia particular.
La atención debe ser llamada hacia el susodicho
material publicado; expresamente en la página 434, el tercer párrafo, donde la
referencia es hecha "Fig.7 muestra el efecto de presión en el voltaje de
célula ...". Fig.7 en la página 436 ("el Efecto de la Presión en la
Célula Sola SFWES") indica que si la presión es aumentada, entonces tan
también hace el voltaje de corriente continua mínimo.
Estas citas fueron aseguradas objetivos
familiarisation sólo y no como el hecho demostrable y empírico. La
experimentación por el inventor objetivamente indica que la presión aumentada
(hasta 2,450 psi) de hecho baja el voltaje de corriente continua mínimo.
Este ahora hecho demostrable, por lo cual la
presión aumentada realmente baja el voltaje de corriente continua mínimo, es
ejemplificado adelante por las conclusiones de señores Nayar, Ragunathan y
Mitra en 1979 que puede ser referido en su papel: "Development and
operation of a high current density high pressure advanced electrolysis
cell".
Nayar, M.G.;
Ragunathan, P. and Mitra, S.K. International Journal of Hydrogen Energy
(Pergamon Press Ltd.), 1980, Vol. 5, pp. 65-74.
Su Mesa 2 en la página 72
expresamente destaca este como sigue: "en una densidad Corriente (ASM) de
7,000 y en una temperatura de 80oC, la mesa muestra voltajes de Célula
idénticos en ambas presiones de 7.6 kg/cm2 y 11.0 kg/cm2. Pero
en densidades Corrientes de 5,000, 6,000, 8,000, 9,000 y 10,000 (en una
temperatura de 80oC), los voltajes de Célula eran inferiores en una presión de 11.0 kg/cm2 que en una
presión de 7.6 kg/cm2". La
invención presente así considerablemente mejora el aparato empleado por Sr.
M.G. Los Nayar, y Al-, al menos en las áreas de célula platean materiales,
densidad corriente y configuración de célula.
En la forma preferida los discos de electrodo 192
son perforados el acero suave, el polímero propicio o la resina perforada
unieron platos de célula de carbón. El diámetro de los agujeros perforados 196
es elegido para ser dos veces el grosor del plato a fin de mantener la misma
área superficial total antes de la perforación. El níquel fue utilizado en el
sistema de arte previo célebre. Aquel material tiene una resistencia eléctrica
más alta que acero suave o carbón, proveyendo la invención presente de una
capacidad de voltaje inferior por célula.
El sistema de arte previo antes mencionado cotiza
una densidad corriente mínima (después de que conversión de ASM a Amperios por
cm cuadrado.) en 0.5 Amperios por cm2. La
invención presente funciona en la densidad corriente ideal, establecida por la
experimentación, reducir al mínimo el voltaje de célula que es 0.034 Amperios
por cm2.
Comparando con el sistema ya mencionado, una
encarnación de la invención presente funciona más eficazmente debido a una
mejora de densidad corriente por un factor de 14.7, la utilización de la mejor
célula de conducción platean el material que además baja el voltaje de célula,
un voltaje de célula inferior de 1.49 en 80oC a diferencia de 1.8 voltios en 80oC, y una
configuración de célula compacta y eficiente.
A fin de investigar adelante las conclusiones de
señores M.G. Nayer, y Al-, el inventor condujo experimentos que utilizan
presiones mucho más altas. Para Nayer, y Al-, las presiones eran 7.6 kg/cm2 a 11.0 kg/cm2, mientras que las
presiones del inventor eran 0 psi a 2,450 psi en un sistema de electrólisis de
adición de hidrógeno/oxígeno.
Este sistema de electrólisis fue dirigido de
bobina secundario de un juego de transformador aproximadamente en el máximo 50
Amperios y con un voltaje de recorrido abierto de 60 voltios. Además, este
sistema de electrólisis es diseñado con el área superficial reducida a fin de
que pueda ser alojado en un contenedor hidráulico para probar objetivos. El
área superficial reducida posteriormente hizo que la eficacia de producción de
gas se cayera comparando con anterior (es decir más eficiente) prototipos. Se
observó que el rendimiento de gas era aproximadamente 90 litros por hora en 70oC en este sistema
a diferencia de 310 litros por hora en 70oC obtenido de prototipos anteriores. Todos
los datos siguientes y gráficos han sido tomados del tabla mostrado en Fig.19.
Respecto a Fig.20 (titulado "Volts Per
Pressure Increase"), puede ser visto esto en una presión de 14.7 psi (es
decir 1 Atmósfera), el voltaje medido como 38.5V y en una presión de 2,450 psi,
el voltaje medido como 29.4V. Este confirma las conclusiones de Nayar y Al-que
aumentó la presión baja el voltaje del sistema. Además, estos experimentos
contradicen la conclusión sacada por F.C. Jensen y F.H. Schubert
("Hydrogen Energy, Part A, Hydrogen Economy Miami Energy Conference, Miami
Beach, Florida, 1974, corregido por T. Nejat Veziroglu, Plenum Press", pp
425 a 439, expresamente Fig. 7 en la página 434) siendo esto "... como la
presión del agua que es electrolysed aumentos, luego tan también hace el
Voltaje de corriente continua mínimo. Cuando los experimentos del inventor son
corrientes y demostrables, el inventor ahora presenta sus conclusiones como la
corriente de tecnología avanzada y no las conclusiones antes aceptadas de
Schubert y Jensen.
Respecto a Fig.21 (titulado "Amps Per
Pressure Increase"), se puede ver que en una presión de 14.7 psi (es decir
1 Atmósfera que es la Prueba el No 1 Dirigido), la corriente fue medida como
47.2A y en una presión de 2,450 psi (Prueba el No 20 Dirigido), la corriente
fue medida como 63A
Respecto a Fig.22 (titulado "Kilowatts Per
Pressure Increase"), el examen del poder de la Prueba el No 1 Dirigido (de
1.82 kWs) por Probar el No 20 Dirigido (de 1.85 kWs) indica que no había ningún
aumento principal de la entrada de energía requerida en presiones más altas a
fin de mantener el flujo de gas adecuado.
Respecto a Fig.23 (titulado "Resistance
(Ohms) Per Pressure Increase"), la resistencia fue calculada de la Prueba
el No 1 Dirigido (0.82 ohmios) para Probar el No 20 Dirigido (0.47 ohmios).
Estos datos indican que las pérdidas debido a la resistencia en el sistema de
electrólisis en presiones altas son insignificantes.
La convención actualmente aceptada lo tiene que
disolvió el hidrógeno, debido a presiones altas dentro del electrólito,
causaría un aumento de la resistencia porque el hidrógeno y el oxígeno son
conductores malos del flujo iónico. El resultado neto de que sería que este
disminuiría la producción de gases.
Estas pruebas indican que los iones encuentran su
camino alrededor del H2 y moléculas O2 dentro de la
solución y que en presiones más altas, la separación de densidad siempre hará
que los gases se separen del agua y faciliten el movimiento de los gases de los
platos de electrólisis. Una analogía muy descriptiva de este fenómeno es donde
el ión es sobre el tamaño de un fútbol y las moléculas de gas son cada uno
sobre el tamaño de un campo de fútbol así permiso del ión un área de maniobra
grande para rodear la molécula.
Respecto a Fig.24 (titulado "Pressure
Differential (Increase)"), se puede ver que la adición de
hidrógeno/oxígeno hizo un aumento de presión significativo en cada prueba
sucesiva dirigida de la Prueba que No 1 Dirigido Probara No 11 Dirigido. Las
Carreras de Prueba a partir de entonces indicaron que la adición de
hidrógeno/oxígeno dentro de la solución de electrólito implosionó en el punto
de concepción (estando en la superficie del plato).
La referencia otra vez al tabla de Fig.19, puede
ser notado el tiempo tomado de la temperatura inicial a la temperatura final en
la Prueba el No 12 Dirigido era aproximadamente la mitad el tiempo tomado en la
Prueba el No 10 Dirigido. El partido por la mitad pasó el tiempo (de
La referencia otra vez al tabla de 40oC a 70oC) era debido a la
presión más alta que hace la adición de hidrógeno/oxígeno detonar que
posteriormente implosionó dentro del sistema que así libera la energía termal.
Respecto al tabla mostrado en Fig.25 (titulado
"Flow Rate Analysis Per Pressure Increase"), estas conclusiones
fueron causadas de las pruebas de rendimiento hasta 200 psi y datos de
Fig.24. Estas conclusiones causan los
datos de Fig.25 acerca de rendimiento de gas por aumento de presión. Respecto a
Fig.25, se puede ver que en una presión de 14.7 psi (1 Atmósfera) un precio de
producción de gas de 88 litros por kWh está siendo conseguido. En 1,890 psi, el
sistema produce 100 litros por kWh. Estas conclusiones señalan a la conclusión
que las presiones más altas no afectan el precio de producción de gas del
sistema, el precio de producción de gas permanece la constante entre presiones
de 14.7 psi (1 Atmósfera) y 1,890 psi.
Deduciendo de todos los datos anteriores, la
presión aumentada no afectará negativamente la interpretación de célula (precio
de producción de gas) en sistemas de separación donde el hidrógeno y los gases
de oxígeno son producidos por separado, ni como una adición combinada. Por lo tanto, en un sistema de electrólisis
incluido que encarna la invención, puede permitirse que la presión construya
hasta un nivel predeterminado y permanezca en este nivel por continuo (a
petición) relleno. Esta presión es la energía de sobreunidad porque ha sido
obtenido durante el curso normal de la operación de electrólisis sin la entrada
de energía adicional. Esta energía de sobreunidad (es decir la presión
producida) puede ser utilizada para mantener el suministro de energía eléctrico
necesario al sistema de electrólisis así como proporcionar el trabajo útil.
Las fórmulas siguientes y los datos subsecuentes
no tienen la eficiencia aparente en cuenta ganada por el aumento de presión de
este sistema de electrólisis como los factores de eficacia ganados destacados
por la investigación de Linton y Hamann antes cotizada. En consecuencia, la
energía de sobreunidad debería ser por lo tanto considerada como reclamaciones
conservadoras y que tal energía de sobreunidad reclamada ocurriría de hecho en
presiones mucho inferiores.
Esta energía de sobreunidad puede ser formalizada
por vía de la utilización de una fórmula de presión como sigue: E = (P - PO)
V que es la energía (E) en el Joule por segundo que puede ser extraído de un
volumen (V) que es metros cúbicos de gas por segundo en una presión (P) medido
en Pascals y donde P0 es la presión ambiental (es decir 1 Atmósfera).
A fin de formular la energía de sobreunidad
disponible total, usaremos primero la susodicha fórmula, pero no tendremos
pérdidas de eficacia en cuenta. La fórmula está basada en un rendimiento de 500
litros por kWh a 1,000oC. Cuando
los gases son producidos en el sistema de electrólisis, les permiten
autocomprimir hasta 150,000 Atmósferas que producirán entonces un volumen (de
V) de 5.07 x 10-8 m3/sec.
Trabajo [Joules/sec] = ((150-1) x 108) 5.07 x 10-8 m3/sec = 760.4 Watts
Los gráficos en Figs.27-29 (La sobreunidad en
horas de vatio) indican la energía de sobreunidad pérdidas de eficacia de
exclusión disponibles. Sin embargo, en un ambiente de trabajo normal, las
ineficiencias son encontradas cuando la energía es convertida de una forma al
otro.
Los resultados de estos cálculos indicarán la
cantidad de exceso - energía de sobreunidad después de que el sistema de
electrólisis ha sido suministrado de su 1 kWh requerido para mantener su
operación de producir 500 lph de hidrógeno y oxígeno (por separado en una proporción
de 2:1).
Los cálculos siguientes utilizan la fórmula
declarada encima, incluso el factor de eficacia. Las pérdidas que
incorporaremos serán la pérdida del 10 % debido al dispositivo de conversión de
energía (convirtiéndose la presión a la energía mecánica, que es representada
por el dispositivo 162 en Fig.15) y la pérdida del 5 % debido al generador de
corriente continua Nosotros proporcionando un total de 650 horas de vatio que
resulta de los gases presurizados.
Volviendo a 1 kWh, que es requerido para la
operación de electrólisis, este 1 kWh es convertido (durante la electrólisis) a
hidrógeno y oxígeno. 1 kWh de hidrógeno y oxígeno es alimentado en una célula
de combustible. Después de la conversión a la energía eléctrica en la célula de
combustible, nos abandonan con 585 horas de vatio debido a un factor de
eficacia del 65 % en la célula de combustible (las pérdidas termales del 35 %
son alimentadas atrás en la unidad de electrólisis 150 vía Qr en Fig.15).
Fig.30 indica gráficamente la energía de
sobreunidad total combinación disponible de una célula de combustible con la
presión en este sistema de electrólisis en una variedad de 0 kAtmospheres a 150
kAtmospheres. Los datos en Fig.30 han sido compilados utilizando las fórmulas
antes cotizadas donde las conclusiones de horas de vatio están basadas en la
incorporación de 1 kWh requerido conducir el sistema de electrólisis, tener en
cuenta todas las ineficiencias en el sistema de electrólisis idealizado
(complete el lazo) y luego añadir la energía de salida del sistema de
electrólisis presurizado con la salida de la célula de combustible. Este
gráfico así indica el punto de equilibrio de energía (en aproximadamente 66
kAtmospheres) donde el sistema de electrólisis idealizado se hace autónomo.
A fin de aumentar este sistema para aplicaciones
prácticas, como centrales eléctricas que producirán 50 MW de la energía
eléctrica disponible (como un ejemplo), la energía de entrada requerida al
sistema de electrólisis será 170 MW (que es continuamente looped).
Las tiendas de gases de presión altos pueden ser
usadas con un hidrógeno/oxígeno motor de combustión interno, como mostrado en Figs. 31A a 31E. Las tiendas de gases de presión altos pueden
ser usadas con las unas o las otras formas de motores de combustión que tienen
un golpe de extensión, incluso turbinas, rotonda, Wankel y motores orbitales.
Un cilindro de un motor de combustión interno es representado, sin embargo es
por lo general, pero no necesariamente siempre el caso, que habrá otros
cilindros en la compensación de motor el uno del otro en el cronometraje de su
golpe. El cilindro 320 casas un pistón encabeza 322 y arranca con la manivela
324, con la parte inferior de la manivela 324 relacionado con un eje 326. La
cabeza de pistón 322 tiene anillos convencionales que 328 caza de focas de la
periferia del pistón encabeza 322 a la ánima del cilindro 320.
Una cámara 330, localizado encima de la cumbre del
pistón cabeza 322, recibe un suministro de gas de oxígeno y gas de hidrógeno
separado regulado vía puertos de admisión respectivos 332,334. Hay también un
puerto de gases de combustión 336 gas de descarga de la cámara 330.
El ciclo operacional del motor comienza como
mostrado en Fig.31A, con la inyección de gas de hidrógeno presurizado,
típicamente en una presión de 5,000 psi a 30,000 psi, sourced de un embalse de
aquel gas (no mostrado). El puerto de gas de oxígeno 334 está cerrado en esta
etapa, como es el puerto de gases de combustión 336. Por lo tanto, como
mostrado en Fig.31B, la presión de gas fuerza la cabeza de pistón 322 hacia
abajo, así conduciendo el eje 326. El golpe es mostrado como la distancia
"A".
En este punto, la entrada de oxígeno 334 es
abierta a un flujo de oxígeno presurizado, otra vez típicamente en una presión
de 5,000 psi a 30,000 psi, el rendimiento volumétrico que es una mitad del
hidrógeno ya inyectado, de modo que el gas de oxígeno e hidrógeno dentro de la
cámara 330 sea la proporción 2:1.
Las expectativas convencionales inyectando un gas
en un espacio encajonado (p.ej como un cilindro cerrado) consisten en que los
gases tendrán un efecto refrescante en sí y posteriormente su ambiente
inmediato (p.ej sistemas de refrigeración / refrigeración). No es así con
hidrógeno. El inverso se aplica donde el hidrógeno, cuando está siendo
inyectado, se calienta y posteriormente calienta sus alrededores inmediatos.
Este efecto, siendo el inverso de otros gases, añade a la eficacia de la
ecuación de energía total produciendo la energía de sobreunidad.
Como mostrado en Fig.31C, la cabeza de pistón 322
ha movido un golpe adicional, mostrado como la distancia "B", en cual
tiempo allí es la autodetonación de la mezcla de oxígeno e hidrógeno. Las
entradas de oxígeno e hidrógeno 332,334 están cerradas en este punto, como es
los gases de combustión 336.
Como mostrado en Fig.31D, la cabeza de pistón es
conducida adelante hacia abajo por un golpe adicional, mostrado como la
distancia "C", a un golpe total representado por la distancia
"D". El desplazamiento de pistón añadido ocurre en virtud de la detonación.
Como mostrado en Fig.31E, el puerto de gases de
combustión 336 es abierto ahora, y en virtud de la energía cinética del eje 326
(o debido a la acción de otros de los pistones relacionados con el eje), el
pistón se dirigen 322 es conducido hacia arriba, a la baja del agotamiento del
vapor de desecho por el puerto de gases de combustión 336 hasta cuando la
situación de Fig.31E es conseguido de modo que el ciclo pueda repetir.
Una ventaja particular de un motor de combustión
interno construido de acuerdo con el arreglo mostrado en Figs.31A a 31E no es
aquel ningún golpe de compresión es requerido, y ninguno es un sistema de
ignición requerido encender los gases trabajadores, mejor dicho los gases
presurizados espontáneamente se queman cuando proporcionado en la proporción de
corrección y en condiciones de la presión alta.
La energía mecánica útil puede ser extraída del
motor de combustión interno, y ser utilizar para hacer el trabajo. Claramente
el suministro de gas presurizado debe ser rellenado por el proceso de
electrólisis a fin de permitir que el trabajo mecánico siguiera siendo hecho.
Sin embargo, el inventor cree que debería ser posible impulsar un vehículo con
un motor de combustión interno del tipo descrito en Figs.31A a 31E, con aquel
vehículo que tiene una tienda de los gases generados por el proceso de
electrólisis, y todavía ser posible para emprender viajes de longitud regulares
con el vehículo que lleva un suministro de los gases en buques de presión (algo
de un modo similar a, y el tamaño de, tanques de la gasolina en motores de
combustión internos convencionales).
Aplicando la energía de sobreunidad en la forma de
gases de oxígeno e hidrógeno presurizados a este motor de combustión interno
para el suministro de la variación aceptable (es decir distancia viajó), los
gases almacenados presurizados como mencionado anteriormente pueden ser
necesarios para vencer el problema de la apatía de masas (p.ej conducción de
principio de parada). La inclusión de los gases presurizados almacenados también
facilita la variación (es decir la distancia viajó) del vehículo.
La energía de sobreunidad (como reclamado en esta
sumisión) para el vehículo de pasajeros puesto la talla de un promedio será
suministrada en un precio continuo de entre 20 kWs y 40 kWs. En caso de una
sobreunidad la energía suministró el vehículo, un suministro de agua (p.ej
similar a un tanque de la gasolina en la función) debe ser llevado en el
vehículo.
Claramente, eléctrica energía es consumida en la
generación de los gases. Sin embargo también es reclamado por el inventor que
un sistema de energía de sobreunidad puede proporcionar la energía necesaria
que así vence el problema del consumo de combustibles fósiles en motores de
combustión internos convencionales o en la generación de la electricidad para
conducir el proceso de electrólisis por carbón, generadores de gas del aceite o
naturales.
La experimentación por el inventor muestra que si
1,850 litros de la mezcla de gas de hidrógeno/oxígeno (en una proporción de
2:1) es hecho detonar, el producto consiguiente es 1 litro de agua y 1,850
litros del vacío si el valor termal de la mezcla de gas de oxígeno e hidrógeno
es disipado. En la presión atmosférica, 1 litro de hidrógeno/oxígeno mezclado
(2:1) contiene 11 BTU de la energía termal. Sobre la detonación, esta cantidad
del calor es fácilmente disipada en un precio medido en microsegundos que
posteriormente causa una implosión (diferencial inverso de 1,850:1). Las
pruebas conducidas por el inventor en 3 atmósferas (gas de hidrógeno/oxígeno en
una presión de 50 psi) han demostrado que la implosión completa no ocurre. Sin
embargo, aun si el contenedor de implosión es calentado (o se hace calentado) a
400oC, la implosión total todavía ocurrirá.
Este ahora la función disponible de la implosión
idiosincrásica puede ser utilizado por un aprovechamiento de bomba de esta
acción. Tal bomba necesariamente requiere un sistema de gas de electrólisis
como esto descrito encima, y en particular mostrado en Fig.6.
Figs. 32A-32C muestre el uso de implosión y sus
ciclos en un dispositivo de bombeo 400. La bomba 400 es al principio primed de
unos 406 de admisión agua. Los 406 de admisión agua entonces están cerrados -
lejos y la entrada de gas de hidrógeno/oxígeno 408 es abierta.
Como mostrado en Fig.32B, el gas de
hidrógeno/oxígeno mezclado fuerza el agua hacia arriba por la válvula de
control de dirección única 410 y tubo de salida 412 en el embalse superior 414.
Las válvulas de control de dirección única 410,416 no permitirán que el agua se
caiga atrás en el cilindro 404 o el primer embalse 402. Esta fuerza compara con
el levantamiento del agua sobre una distancia. La válvula de admisión de gas
408 entonces está cerrada, y la bujía 418 hace detonar la mezcla de gas que
causa una implosión (vacío). La presión atmosférica fuerza el agua en el
embalse 402 por el tubo 420.
Fig.32C muestra el agua que ha sido transferido en
el cilindro de bomba 404 por la acción anterior. La implosión por lo tanto es
capaz 'de levantar' el agua del embalse de fondo 402 sobre una distancia que es
aproximadamente la longitud del tubo 420.
La capacidad que levanta de la bomba de implosión
es por lo tanto aproximadamente el total de las dos distancias mencionadas.
Este completa el ciclo de bombeo, que puede ser repetido entonces después de
que el embalse 402 ha sido rellenado.
Las ventajas significativas de esta bomba
consisten en que esto no tiene ningún diafragma, aspas, ni pistones así
esencialmente que no tienen ninguna parte de movimiento (además de solenoides y
válvulas de control de dirección única). Como tal, la bomba es
considerablemente el mantenimiento libre cuando comparado a la tecnología de
bomba corriente.
Es previsto que esta bomba con los atributos
positivos anteriores obvios y ventajas en fluidos de bombeo, semifluidos y
gases puede sustituir todas las bombas generales actualmente conocidas y bombas
neumáticas con beneficios significativos al usuario final de esta bomba.
RECLAMACIONES
1. Un sistema de
energía looped para la generación de energía de exceso disponible hacer
trabajo, dijo el sistema que comprende:
Una unidad de célula de electrólisis que
recibe un suministro de agua y para liberar gas de oxígeno y gas de hidrógeno
separado por electrólisis debido a un voltaje de corriente continua aplicado a
través de ánodos respectivos y cátodos de unidad de célula dicha;
El receptor de gas de hidrógeno quiere
decir para recibir y almacenar el gas de hidrógeno liberado por la unidad de
célula dicha;
El receptor de gas de oxígeno quiere decir
para recibir y almacenar el gas de oxígeno liberado por la unidad de célula
dicha;
Los medios de extensión de gas para
ampliarse dijeron que gases almacenados recuperaban el trabajo de extensión; y
Los medios de combustión de
gas para mezclarse y quemarse dijeron que el gas de oxígeno y gas de hidrógeno
ampliado recuperaba el trabajo de combustión; y en que una proporción de la
suma del trabajo de extensión y el trabajo de combustión sostiene la
electrólisis de la unidad de célula dicha para retener la presión de gas operacional
en el receptor de gas de oxígeno e hidrógeno dicho significa tal que el sistema
de energía es autónomo y hay energía de exceso disponible de la suma dicha de
energías.
2. Un sistema de energía looped para la generación
de energía de exceso disponible hacer trabajo, dijo el sistema que comprende:
Una unidad de célula de electrólisis que recibe un suministro de agua y
para liberar gas de oxígeno y gas de hidrógeno separado por electrólisis debido
a un voltaje de corriente continua aplicado a través de ánodos respectivos y
cátodos de unidad de célula dicha;
El receptor de gas de hidrógeno quiere decir para recibir y almacenar el
gas de hidrógeno liberado por la unidad de célula dicha;
El receptor de gas de oxígeno quiere decir para recibir y almacenar el gas
de oxígeno liberado por la unidad de célula dicha;
Los medios de extensión de gas para ampliarse dijeron que gases almacenados
recuperaban el trabajo de extensión; y
La célula de combustible
significa para recuperar el trabajo eléctrico del gas de oxígeno y gas de
hidrógeno ampliado dicho; y en donde una proporción de la suma del trabajo de
extensión y el trabajo eléctrico recuperado sostiene la electrólisis de la
unidad de célula dicha para retener la presión de gas operacional en el
receptor de gas de oxígeno e hidrógeno dicho significa tal que el sistema de
energía es autónomo y hay energía de exceso disponible de la suma dicha de
energías.
3. Un sistema de
energía como reclamado en la Reclamación 1 o la Reclamación 2 que adelante
comprende medios de conversión de energía mecánicos a eléctrico conectados a la
extensión de gas dicha piensa convertir el trabajo de extensión al trabajo de
extensión eléctrico para ser suministrado como el voltaje de corriente continua
dicho a la unidad de célula dicha.
4. Un sistema de
energía como reclamado en cualquiera de las reclamaciones precedentes en donde
dijo agua en la unidad de célula dicha es mantenido encima de una presión
predeterminada por el efecto de la presión trasera de medios de receptor de gas
dichos y encima de una temperatura predeterminada que resulta del calor de
entrada que proviene de trabajo de combustión dicho y/o trabajo de extensión
dicho.
5. Un método para la generación de energía de exceso
disponible hacer trabajo por el proceso de electrólisis, dijo el método que
comprende los pasos de :
Electrolysing agua por un voltaje de corriente continua para liberar gas de
oxígeno y gas de hidrógeno separado;
Por separado la recepción y el almacenaje dijeron que el gas de oxígeno y
gas de hidrógeno en una manera autopresionaba;
Tiendas dichas por separado crecientes de gas para recuperar trabajo de
extensión;
Quemar dijo que gases
ampliados juntos recuperaban el trabajo de combustión; y
Aplicando una porción de la
suma del trabajo de extensión y el trabajo de combustión cuando el voltaje de
corriente continua dicho para retener presiones de gas operacionales y sostener
dijo el paso de electrolysing, allí así siendo la energía de exceso de la suma
dicha disponible.
6. Un método para la
generación de energía de exceso disponible hacer trabajo por el proceso de
electrólisis, dijo el método que comprende los pasos de :
Electrolysing agua por un
voltaje de corriente continua para liberar gas de oxígeno y gas de hidrógeno
separado;
Por separado la recepción y
el almacenaje dijeron que el gas de oxígeno y gas de hidrógeno en una manera
autopresionaba;
Tiendas dichas por separado
crecientes de gas para recuperar trabajo de extensión;
El paso dijo que gases
ampliados juntos por una célula de combustible recuperaban el trabajo
eléctrico; y
Aplicando una porción de la
suma del trabajo de extensión y el trabajo eléctrico recuperado cuando el
voltaje de corriente continua dicho para retener presiones de gas operacionales
y sostener dijo el paso de electrolysing, allí así siendo la energía de exceso
de la suma dicha disponible.
7. Un motor de
combustión interno impulsado por hidrógeno y oxígeno que comprende:
Al menos un cilindro y al
menos un pistón que corresponde dentro del cilindro;
Un puerto de entrada de gas
de hidrógeno en comunicación con el cilindro para recibir un suministro de
hidrógeno presurizado;
Un puerto de entrada de gas
de oxígeno en comunicación con el cilindro para recibir un suministro de
oxígeno presurizado; y
Un puerto de gases de
combustión en la comunicación con el cilindro y en donde el motor es operable
en una manera de dos tiempos por lo cual, en lo alto del golpe, el gas de
hidrógeno es suministrado por el puerto de admisión respectivo al cilindro que
conduce el pistón hacia abajo, gas de oxígeno entonces es suministrado por el
puerto de admisión respectivo al cilindro para conducir el cilindro adelante
hacia abajo, después el cual la autodetonación de tiempo ocurre y los
movimientos de pistón al fondo del golpe y arriba otra vez con el puerto de
gases de combustión dicho abierto para agotar el vapor agua que resulta de la
detonación.
8. Un motor como
reclamado en la Reclamación 7, en donde hay una pluralidad del cilindro dicho y
una pluralidad igual de pistones dichos, dijo pistones comúnmente relacionados
con un eje y relativamente compensó en el cronometraje de golpe para cooperar
en la conducción del eje.
9. Una bomba de
implosión que comprende una cámara de combustión interpuesta, y en la
comunicación con, un embalse superior y un embalse inferior separado por una
distancia vertical a través la cual agua debe ser bombeado, cámara dicha que
recibe el hidrógeno mezclado y el oxígeno en una presión suficiente para
levantar un volumen de agua la distancia de allí al embalse superior, dijo que
el gas en la cámara entonces quemada para crear un vacío en la cámara dicha
para dibujar agua del embalse inferior dicho para llenarse dijo la cámara, con
lo cual un ciclo de bombeo es establecido y puede ser repetido.
10. Una bomba de
implosión como reclamado en la Reclamación 9, adelante comprendiendo el
conducto unión media de un embalse respectivo con cámara dicha y medios de
válvula de flujo de dirección única localizados en cada conducto piensa
rechazar el flujo inverso de agua del embalse superior dicho a la cámara dicha
y de la cámara dicha al embalse inferior dicho.
11. Una paralela
apiló el arreglo de platos de célula para una unidad de electrólisis agua, los
platos de célula alternativamente formación de un ánodo y el cátodo de la
unidad de electrólisis dicha, y dijo el arreglo incluso medios de puerto de
salida de gas de oxígeno y gas de hidrógeno separados respectivamente en la
comunicación con platos de célula de ánodo dichos y dijo platos de llamada de
cátodo y ampliación longitudinalmente de platos apilados dichos, dijo que los
platos de célula apilados configurados en la región de conductos dichos para
aparear en una manera complementaria para formarse dijeron conductos tal que un
plato de célula de cátodo o plato de célula de ánodo respectivo es aislado del
conducto de gas de hidrógeno o el conducto de gas de oxígeno.
12. Un arreglo de
célula platea como reclamado en la Reclamación 11, en donde dijo que la
configuración está en la forma de un pie flanged que se extiende a un pie
flanged del siguiente gustar-tipo adyacente del plato de célula de cátodo o
ánodo respectivamente.
Este es una patente muy interesante que describe
un sistema simple para vencer el problema difícil de almacenar la mezcla de gas
de hidrógeno/oxígeno producida por la electrólisis de agua. Normalmente esta
mezcla de gas hydroxy es demasiado peligrosa para ser comprimido y almacenado
como el propano y butano son, pero esta patente declara que el gas hydroxy
puede ser convertido a una forma más benigna simplemente por burbujear ello por
un líquido de hidrocarbono. Henry automáticamente habla del aguarrás en la
patente, que fuertemente sugiere que él lo usara él mismo, y por consiguiente,
esto sería probablemente una opción buena para cualquier prueba del proceso.
Esta patente tiene más de 120 años y ha sido usada
por David Quirey durante aproximadamente treinta años ahora. Debería ser
acentuado que el gas hydroxy está muy el explosivo, con una velocidad de frente
de llama lejos demasiado rápido para estar contenido por el retroceso comercial
convencional arrestors. Es siempre esencial usar un bubbler para contener
cualquier ignición casual del gas que sale de la célula electrolyser, como
mostrado aquí:

Una desventaja de gas HHO es que esto requiere un
muy pequeño orificio en el inyector usado para mantener una llama continua y la
temperatura de llama depende de lo que esto toca. Si esta patente es correcta,
entonces el gas modificado producido por el proceso debería ser capaz de ser
usado en cualquier hornillo de gas convencional.
Cartas Patente US 308,276 18 de noviembre 1884 Inventor: Henry M. Paine
PROCESO DE FABRICAR GAS DE ILUMINACIÓN
A todos a quien esto puede concernir:
Esté ello conocido que, Henry M. Paine, un
ciudadano de los Estados Unidos, residiendo en Newark, en el condado de Essex y
el Estado de Nueva Jersey, he inventado ciertas Mejoras nuevas y útiles del
Proceso de Gas de iluminación Industrial; y declaro realmente por este medio
que el siguiente para ser una descripción llena, clara, y exacta de la
invención, como permitirá a otros expertos en el arte a la cual esto se
relaciona, hacer y usar el mismo, referencia tenida al dibujo de
acompañamiento, y a cartas o figuras de la referencia marcada sobre eso, que
forman una parte de esta especificación.
La invención presente está relacionada con los
procesos para el gas de iluminación industrial, como explicado y puesto
adelante aquí. Hasta ahora, siempre era encontrado necesario de guardar los
gases constituyentes de agua separado el uno del otro del punto de producción
al punto de ignición, como hidrógeno y oxígeno siendo presente en las
proporciones apropiadas para un reencuentro completo, formar una mezcla muy
explosiva. Por consiguiente, los dos
gases han sido o conservados en tenedores separados y sólo juntados en el punto
de la ignición, o sea el hidrógeno solo ha sido salvado y el oxígeno para
apoyar combustión ha sido dibujado del aire libre, y el gas de hidrógeno así
obtenido ha sido carburetted por sí mismo pasando por un hidrocarbono líquido,
que imparte la luminosidad a la llama.
He descubierto que los gases variados obtenidos
por la descomposición de agua por la electrólisis pueden ser usados con la
seguridad absoluta de ser pasada un hidrocarbono volátil; y mi invención
consiste en el nuevo gas así obtenido, y el proceso descrito aquí para tratar
la mezcla de gas por lo cual es dado la caja fuerte para uso y almacenamiento
en las mismas condiciones que prevalece en el uso de gas de hulla ordinario, y
es transformado en un muy-luminiferous gas.

En el dibujo de acompañamiento, que muestra en la
elevación seccional, un aparato adaptado para realizar mi invención, G es un
productor para generar los gases variados, preferentemente por la
descomposición de agua por una corriente eléctrica. A es un tanque en parte
lleno del aguarrás, camphene u otro fluido de hidrocarbono como indicado por B.
Los dos buques están relacionados por el tubo C, el final de que se termina
debajo de la superficie del aguarrás, y tiene una amplia boquilla C, con
numerosas pequeñas perforaciones, de modo que el gas se eleve por el aguarrás
en corrientes finas o burbujas a fin de que pueda ser traído íntimamente en el
contacto con el hidrocarbono.
Encima de la superficie del aguarrás puede haber
un diafragma E, de redes de alambre o metal de hoja perforado, y encima de
este, una capa de lana u otra fibra embalada suficientemente fuertemente para
agarrar todas las partículas del fluido de hidrocarbono que puede ser
mecánicamente sostenido en la suspensión, pero bastante suelto para permitir el
paso libre de los gases. El tubo F, conduce los gases variados lejos
directamente a los quemadores o a un tenedor.
Soy consciente que los hidrocarbonos han sido
usados en el fabricante de agua-gas del vapor, y, como declarado encima, el gas
de hidrógeno solo ha sido carburetted; pero no soy consciente de ninguna
tentativa hecha para tratar los gases mezclados del explosivo en esta manera.
Los experimentos han demostrado que la cantidad de
aguarrás u otro hidrocarbono volátil tomado por los gases en este proceso es
muy pequeña y que el consumo del hidrocarbono no parece llevar cualquier
proporción fija al volumen de los gases variados pasó por ello. No intento, sin
embargo, explicar la acción del hidrocarbono en los gases.
Lo que reclamo como mi invención y deseo asegurar
por la Patente de Cartas, es -
El proceso describió aquí del gas industrial, que
consiste en la descomposición agua por la electrólisis y conjuntamente paso de
los gases constituyentes variados de agua así obtenido, por un hidrocarbono
volátil, considerablemente como y para el juego de objetivo adelante.
Patente US 642,434 12 de noviembre 1932 Inventor: Charles N. Pogue
CARBURADOR
Esta patente describe un diseño de carburador que
era capaz de producir figuras de millas por galón muy altas usando la gasolina
disponible en los EE. UU en los años 1930, pero que está ya no disponible
cuando la industria petrolera no quiere que carburadores de millas por galón
altos funcionales estén disponibles al público.
DESCRIPCIÓN
Esta invención está relacionada con un dispositivo
para obtener un contacto íntimo entre un líquido en un estado vaporoso y un
gas, y en particular a tal dispositivo que puede servir como un carburador para
motores de combustión internos.
Los carburadores comúnmente usados para
suministrar una mezcla combustible de aire y combustible líquido a motores de
combustión internos, comprenda un tazón en el cual un suministro del
combustible es mantenido en la fase líquida y un avión a reacción de
combustible que se extiende del combustible líquido en un paso por el cual el
aire es dibujado por la succión de los cilindros de motor. En la succión, o el golpe de consumo de los
cilindros, el aire es dibujado y alrededor del avión a reacción de combustible
y un precio del combustible líquido es dibujado en, roto y parcialmente
vaporizado durante su paso a los cilindros de motor. Sin embargo, he encontrado
que en tales carburadores, una cantidad relativamente grande del combustible
líquido atomizado no es vaporizada y entra en el cilindro de motor en la forma
de gotitas microscópicas. Cuando tal
precio es encendido en el cilindro de motor, sólo que la porción del
combustible líquido que ha sido convertido en el estado (molecular) vaporoso,
se combina con el aire para dar una mezcla explosiva. La porción restante del
combustible líquido que es hecho entrar en los cilindros de motor y permanece
en la forma de pequeñas gotitas, no hace explotar e imparte el poder con el
motor, pero se quema con una llama y levanta la temperatura del motor encima de
esto en el cual el motor funciona el más eficazmente, es decir. 160O
to 180O F.
Según esta invención, un carburador para motores
de combustión internos es proporcionado en que considerablemente todo el
combustible líquido que entra en el cilindro de motor estará en la fase de
vapor y por consiguiente, capaz de la combinación con el aire de formar una
mezcla que hará explotar e impartirá una cantidad máxima del poder con el
motor, y que no quemará y excesivamente levantará la temperatura del motor.
Una mezcla de aire y combustible líquido en
realmente el vapor introduce el cilindro de motor progresivamente es obtenido
vaporizando todos, o una porción grande del combustible líquido antes de que
sea introducido en el distribuidor de consumo del motor. Este es
preferentemente hecho en una cámara que se vaporiza, y el combustible vaporoso
"seco" es dibujado de la cumbre de esta cámara en el distribuidor de
consumo en el consumo o el golpe de succión del motor. El término
"seco" usado aquí se refiere al combustible en la fase vaporosa que
es al menos considerablemente libre de gotitas del combustible en la fase
líquida, que en la ignición se quemaría más bien que explotaría.
Más en particular, la invención comprende un
carburador que encarna una cámara que se vaporiza en el fondo de que, un cuerpo
constante del combustible líquido es mantenido, y en la cumbre de la cual allí
siempre es mantenido un suministro del combustible vaporizado "seco",
listo para la admisión en el distribuidor de consumo del motor. El suministro
del combustible líquido vaporizado es mantenido dibujando el aire por el
suministro del combustible líquido en el fondo de la cámara que se vaporiza, y
por constantemente atomizando una porción del combustible líquido de modo que
esto pueda pasar más fácilmente en la fase de vapor. Este es preferentemente llevado a cabo por
una bomba de succión de doble efecto hecha funcionar del distribuidor de consumo,
que fuerza una mezcla del combustible líquido y aire contra un plato localizado
dentro de la cámara. Para obtener vaporisation más completo del combustible
líquido, la cámara que se vaporiza y el aire entrante son preferentemente
calentados por los gases de combustión gasses del motor. El carburador también
incluye medios para suministrar al principio una mezcla de aire y combustible
vaporizado de modo que el comienzo del motor no sea el dependiente en la
existencia de un suministro de vapores de combustible en la cámara que se
vaporiza.
La invención será descrita adelante en relación a
los dibujos de acompañamiento, pero esta revelación adicional y descripción
deben ser tomadas como un exemplification de la invención y el mismo no es
limitado así excepto como es indicado en las reclamaciones.
Fig.1 es una vista de elevational de un carburador
que encarna mi invención.

Fig.2 es una vista enfadada seccional vertical por
el centro de Fig.1

Fig.3 es una vista seccional
horizontal en línea 3 - 3 de Fig.2.

Fig.4 es una vista seccional vertical ampliada por
uno de los cilindros de bomba y las partes adyacentes del carburador.

Fig.5 es una vista ampliada por la bomba de doble
efecto completa y exposición de la válvula de distribución asociada.

Fig.6 es una vista seccional vertical ampliada por
el inyector que atomiza para suministrar un precio inicial para el motor.

Fig.7 y Fig.8 son el detalle las vistas
seccionales de las partes 16 y 22 de Fig.6

Fig.9 y Fig.10 son el detalle vistas seccionales
mostrando a la entrada y salida a los cilindros de la bomba que atomiza.

Respecto a los dibujos, el número 1 indica una
cámara de evaporación combinada y el tazón de combustible en el cual el
combustible líquido es mantenido en el nivel indicado en Fig.1 por una válvula
de flotador 2 control del flujo del combustible líquido por el tubo 3 que
conduce del tanque de vacío u otro embalse de combustible líquido.
La cámara que se vaporiza 1 es rodeada por una
cámara 4 por cuales gases de combustión calientes gasses del motor, entran por
el tubo 5 localizado en el fondo de la cámara. Estos gasses pasan alrededor de
la cámara que se vaporiza 1 y calor la cámara, que acelera el vaporisation del
combustible líquido. Los gasses entonces pasan por el tubo de salida superior 6.
Cámara 4 para los gases de combustión calientes
gasses, es por su parte rodeado por la cámara 7 en que el aire para vaporizar
parte del combustible líquido en la cámara 1 entra por un tubo de consumo
inferior 8. Este aire pasa hacia arriba por la cámara 4 por cuales gases de
combustión calientes gasses pase, y entonces el aire se hace calentado. Una
porción del aire acalorado entonces pasa aunque tubo 9 en un aerador 10,
localizado en el fondo de la cámara que se vaporiza 1 y sumergido en el
combustible líquido en ello. El aerador
10 consiste de una cámara relativamente llana que se extiende sobre una porción
sustancial del fondo de la cámara y tiene un número grande de pequeños
orificios 11 en su pared superior. El aire acalorado que entra en el aerador
pasa por los orificios 11 como pequeñas burbujas que entonces pasan hacia
arriba por el combustible líquido. Estas burbujas, juntos con el calor
impartido a la cámara que se vaporiza por los gases de combustión calientes
gasses, causan un vaporisation de una porción del combustible líquido.
Otra porción del aire de la cámara 7 pasa por una
unión 12 en el paso 13, por que el aire es dibujado directamente de la
atmósfera en el distribuidor de consumo. El paso 13 es proveído de una válvula
14 que es normalmente sostenido cerrado antes de la primavera 14a, la tensión
de que puede ser ajustada por medio del enchufe enhebrado 14b. Paso 13 tiene una extensión ascendente 13a,
en que es localizado una válvula de estárter 13b para asistir en el comienzo
del motor. Paso 13 pasa por la cámara
que se vaporiza 1 y tiene su final interior comunicándose con el paso 15 vía el
conector 15a que es asegurado al distribuidor de consumo del motor. Paso 15 es proveído de la válvula de mariposa
habitual 16 que controla la cantidad del combustible se confesó culpables de
los cilindros de motor, y por consiguiente, regula la velocidad del motor.
La porción de paso 13 que pasa por la cámara que
se vaporiza tiene una apertura 17 normalmente cerrado por la válvula 17a que es
sostenido contra su asiento antes de la primavera 17b, la tensión de que puede
ser ajustada por un enchufe enhebrado 17c. Cuando el aire es dibujado por
delante de la válvula 14 y por el paso 13 en el consumo o golpe de succión del
motor, la válvula 17a será levantada de su asiento y una porción del vapor de
combustible seco de la porción superior de la cámara que se vaporiza será
sorbida en el paso 13 por la apertura 17 y mezclarse con el aire en ello antes
de entrar en el paso 15 consequently, regula la velocidad del motor.
A fin de regular la cantidad de aire que pasa de
la cámara 7 al aerador 10 y en el paso 13, el tubo 9 y la unión 12 es proveído
de válvulas convenientes 18 y 19 respectivamente. La válvula 18 en el tubo 9 es
sincronizada con la válvula de mariposa 16 en el paso 15. La válvula 19 es
ajustable y preferentemente sincronizada con la válvula de mariposa 16 como
mostrado, pero este no es esencial.
El fondo de paso 15 es hecho en la forma de un
venturi 20 y un inyector 21 para el combustible líquido atomizado y el aire es
localizado en o adyacente al punto de la mayor restricción. Inyector 21 es preferentemente suministrado
del combustible del suministro del combustible líquido en el fondo de la cámara
que se vaporiza, y a tal efecto, un miembro 22 es asegurado dentro de la cámara
que se vaporiza por un enchufe enhebrado desprendible 23 tener una parte
inferior flanged 24. Enchufe 22 se extiende por una apertura en el fondo de la
cámara 1, y es enhebrado en el fondo del miembro 22. Este hace que la pared de
fondo de la cámara 1 sea bien sujetada con abrazaderas entre la parte inferior
de miembro 22 y reborde 24, así bien reteniendo al miembro 22 en el lugar.
Enchufe 23 es proveído de un tazón de sedimento 24
y ampliando del tazón 24 son varios pequeños pasos 25 ampliación lateralmente,
y un paso vertical central 26. Los pasos laterales 25 registro con pasos
correspondientes 27 localizado en la parte inferior del miembro 22 en un nivel
más abajo que esto en el cual el combustible está de pie en la cámara 1, por lo
cual el combustible líquido es libre de pasar en el tazón 24.
Paso vertical 26 se comunica con un inyector
vertical 28 que se termina dentro de la parte inferior que llamea del inyector
21. El diámetro externo del inyector 26 es menos que el diámetro interior del
inyector 21 de modo que un espacio sea proporcionado entre ellos para el paso
de aire o y mezclas de vapor. El inyector 26 también es proveído de una serie
de entradas 29, para aire o aire y mezclas de vapor, y unos 30 de admisión de
combustible. Reposte 30 de admisión se comunica con una cámara 31 localizado en
el miembro 22 y alrededores del inyector 28. La cámara 30 es suministrada del
combustible líquido por medio de un paso 32 que es controlado por una válvula
de aguja 33, el tallo de cual, se extiende al exterior del carburador y es
proveído de una tuerca knurled 34 para ajustar objetivos.
El final superior del miembro 22 es hecho el hueco
para proporcionar unos 35 alrededores espaciales de los inyectores 21 y 28. La
pared inferior del paso 13 es proveída de una serie de aperturas 35a, permitir
que vapores entraran en 35 espaciales por ellos. Los vapores pueden pasar
entonces por entradas 29 en el inyector 28, y alrededor del final superior del
inyector 28 en la parte inferior del inyector 21.
Ampliando de la cámara 31 en el lado paso de
enfrente 32, es un paso 36 que se comunica con un conducto 37 que se extiende
hacia arriba por el paso 13, y se une por una extensión lateral 39, con el paso
15 sólo encima de la válvula de mariposa 16. La porción de conducto 37 que se
extiende por el paso 13 es proveída de un orificio 39 por que el aire o el aire
y el vapor de combustible pueden ser hechos entrar en el conducto 37 se mezclan
con y atomizan el combustible líquido dibujado por el conducto. Para asistir
adelante en esta atomización del combustible líquido que pasa por el conducto
37, el conducto es restringido en 40 sólo debajo del orificio 39.
El final superior del conducto 37 está en la
comunicación con la atmósfera por la apertura 41 por que el aire puede ser
dibujado directamente en la porción superior del conducto. La proporción de
aire a vapores combustibles que atraviesan el conducto 37 es controlada por la
válvula de aguja 42.
Cuando el inyector 21 entra directamente en la
parte inferior del paso 15, la succión en el distribuidor de admisión creará,
por su parte, una succión en el inyector 21 que causará una mezcla del
combustible atomizado y se aireará para ser dibujado directamente en el
distribuidor de consumo. Este es encontrado para ser deseable comenzando el
motor, en particular en el tiempo frío, cuando no podría haber un suministro
adecuado del vapor en la cámara que se vaporiza, o la mezcla de aire y vapor
que pasa por el paso 13 podría deber "inclinarse" para causar un
comienzo de plazo límite del motor. En
tales tiempos, cerrando la válvula de estárter 13b hará que la succión máxima
sea ejercida en el inyector 21 y la cantidad máxima del aire y atomizó el
combustible para ser dibujado directamente en el distribuidor de consumo.
Después de que el motor ha sido comenzado, sólo una pequeña porción del aire
combustible y mezcla de vapor necesaria para la operación apropiada del motor
es dibujada por el inyector 21 cuando la válvula de estárter estará abierta
entonces a un mayor grado y considerablemente todo el aire y mezcla de vapor
necesaria para la operación del motor será dibujado por la parte inferior 20
del paso 15, alrededor del inyector 21.
Conducto 37 ampliación de la cámara de combustible
31 a un punto encima de la válvula de mariposa 16 proporciona un suministro
adecuado del combustible cuando el motor funciona en vacío con el valle 16
cerrado o casi cerrado.
Las cubiertas que forman cámaras 1, 4 y 7, serán
proveídas de las aperturas necesarias, estar posteriormente cerrado, de modo
que varias partes puedan ser reunidas, y posteriormente ajustadas o reparadas.
El golpe de consumo del motor crea una succión en
el distribuidor de consumo, que por su parte hace que el aire sea dibujado la
primavera pasada válvula 14 en el paso 13 y simultáneamente una porción del
vapor de combustible seco de la cumbre de la cámara que se vaporiza 1 es
dibujada por la apertura de 17 válvula pasada 17a para mezclarse con el aire
que se mueve por el paso. Esta mezcla entonces pasa por el paso 15 al
distribuidor de consumo y cilindros de motor.
El dibujo del vapor de combustible seco en el paso
13 crea un vacío parcial en la cámara 1 que hace que el aire sea hecho entrar
en la cámara 7 alrededor de la cámara acalorada 4 de donde esto pasa por unión
12 y válvula 19, en el paso 13 y por tubo 9 y válvula 18 en el aerador 10, de
que esto burbujea por el combustible líquido en el fondo de la cámara 1 para
vaporizar más combustible líquido.
Para asistir en el mantenimiento de un suministro
del vapor de combustible seco en la porción superior de la cámara que se
vaporiza 1, el carburador es proveído de medios para atomizar una porción del
combustible líquido en la cámara que se vaporiza 1. Este medio que atomiza preferentemente
consiste de una bomba de doble efecto que es hecha funcionar por la succión que
existe en el distribuidor de consumo del motor.
La bomba de doble efecto consiste de un par de
cilindros 43 que hacen localizar sus partes inferiores en la cámara que se
vaporiza 1, y cada uno de los cuales tiene un pistón de bomba que corresponde
44 montado en ello. Los pistones 44 tienen varas 45 ampliación a partir de sus
finales superiores, pasando por cilindros 46 y tienen pistones 47 montado en
ellos dentro de los cilindros 46.
Cilindros 46 están relacionados a cada final con
una válvula de distribución V que une los cilindros alternativamente al
distribuidor de consumo de modo que la succión en el distribuidor haga que los
dos pistones 44 funcionen como una bomba de succión de doble efecto.
La válvula de distribución V consiste de un par de
discos 48 y 49 entre que es localizado un hueco oscillatable cámara 50 que es
constantemente sujetado a la succión que existe en el distribuidor de consumo
por la unión 51 tener una válvula 52 en ello. La cámara 50 tiene un par de
aperturas superiores y un par de aperturas inferiores. Estas aperturas son tan
arregladas con respecto a los conductos que conducen a los extremos opuestos de
cilindros 46 que la succión del motor simultáneamente fuerza un pistón 47 hacia
arriba forzando el otro hacia abajo.
La cámara oscillatable 50 tiene un T- formada
extensión 53. Las armas de esta extensión son contratadas alternativamente
antes de los finales superiores de las varas de pistón 45, para hacer que la
válvula V uniera cilindros 46 en la secuencia al distribuidor de consumo.
Resorte 54 causas una apertura rápida y cierre de
los puertos que conducen a los cilindros 46 de modo que en ningún tiempo vayan
a la succión del motor ser ejercida en ambos de los pistones 47. La tensión
entre discos 48 y 49 y la cámara oscillatable 50 puede ser regulada por el
tornillo 55.
La forma particular de la válvula de distribución
V no es reclamada aquí entonces una descripción adicional de la operación no es
necesaria. Por lo que la invención presente está preocupada, cualquier forma de
medios para impartir movimiento a pistones 47 puede ser substituida por la
válvula V y sus partes asociadas.
Los cilindros 43 son cada uno proveídos de
entradas y salidas 56 y 57, cada uno localizado debajo del nivel de combustible
en la cámara 1. Las entradas 56 están relacionadas con conductos
horizontalmente y que se extienden arriba 58 que pasan por el carburador al
exterior. Los finales superiores de estos conductos son ampliados en 59 y son
proveídos de una ranura que se extiende verticalmente 60. Los finales ampliados
59 son enhebrados en el interior para aceptar enchufes 61. La posición de estos
enchufes con respecto a ranuras 60 determina la cantidad del aire que puede
pasar por las ranuras 60 y en el cilindro 43 en el golpe de succión de los
pistones 44.
Las paredes superiores de las porciones
horizontales de conductos 58 tienen una apertura 62 para el paso del
combustible líquido de la cámara 1. El grado al cual el combustible líquido
puede pasar por estas aperturas es controlado por válvulas de aguja 63, cuyos
tallos 64 pase por y del carburador y termina en knurled el ajuste de 65
chiflados.
La porción horizontal de cada conducto 58 también
es proveída de una válvula de control 66 (mostrado en Fig.10) que permite que
el aire sea hecho entrar en los cilindros por conductos 58, pero impide al
combustible líquido ser forzado hacia arriba por los conductos en el abajo
golpe de pistones 44.
Salidas 57 se unen con tubos horizontales 67 que
se combinan en un tubo sin límites determinados solo 68 que se extiende hacia
arriba. El final abierto superior de este tubo termina aproximadamente la mitad
camino la altura de la cámara que se vaporiza 1 y es proveído de una fianza 69
que lleva un plato que se desvía 70 colocado directamente durante el final
abierto del tubo 68.
Los tubos horizontales 67 son proveídos de
válvulas de control 71 que permiten el aire mezclado y el combustible ser
forzado de cilindros 43 por los pistones 44, pero que impiden al vapor de
combustible ser dibujado de la cámara 1 en cilindros 43.
Haciendo funcionar, pistones 44 en golpes, dibujan
un precio de aire y combustible líquido en cilindros 43, y en 'el abajo' golpe,
descargan el precio en una condición atomizada por tubos 67 y 68, contra el
plato que se desvía 70 que adelante atomises las partículas del combustible
líquido de modo que ellos se vaporizen fácilmente. Cualquier porción del
combustible líquido que no se vaporiza, cáigase en el suministro del
combustible líquido en el fondo de la cámara que se vaporiza donde ellos son
sujetados a la influencia que se vaporiza de las burbujas del aire acalorado
que viene del aerador 10, y pueden pasar otra vez en los cilindros 43.
Como antes declarado, el combustible vaporizado
para la introducción en el distribuidor de consumo del motor, es tomado de la
porción superior de la cámara que se vaporiza 1. Asegurar que el vapor en esta
porción de la cámara no contendrá, o considerablemente no, subió al tren
gotitas del combustible líquido, la cámara 1 es dividida en porciones
superiores e inferiores por las paredes 71 y 72 que convergen de todas las
direcciones para formar una apertura central 73. Con la cámara que se vaporiza
así dividida en porciones superiores e inferiores que están relacionadas sólo
por la relativamente pequeña apertura 73, cualquier gotita subió al tren por
las burbujas que se elevan del aerador 10, entrará en el contacto con la pared
inclinada 72 y desviará atrás en el cuerpo principal del combustible líquido en
el fondo de la cámara. Igualmente, las
gotitas del combustible atomizado forzado a partir del final superior del tubo
68, golpeando el plato 70, serán desviadas atrás en el cuerpo de combustible
líquido y no pase en la porción superior de la cámara.
A fin de que la velocidad de operación de la bomba
que atomiza pueda ser gobernada por la velocidad en la cual el motor corre, y
adelante, que la cantidad de aire admitido de la cámara 7 al aerador 10, y al
paso 13 por la unión 12, puede ser aumentada como la velocidad de los aumentos
de motor, las válvulas 18, 19 y 52 y válvula de mariposa 16 están todas
relacionadas por un encadenamiento conveniente L de modo que cuando la válvula
de mariposa 16 sea abierta para aumentar la velocidad del motor, las válvulas
18, 19 y 52 también serán abiertas.
Como mostrado en Fig.2, el paso de los gases de
combustión gasses del motor a la cámara calentador 4, localizado entre la
cámara que se vaporiza y la cámara de aire 7, es controlado por la válvula 74.
La apertura y el cierre de la válvula 74 son controlados por un termostato de
acuerdo con la temperatura dentro de la cámara 4, por medio de una vara
metálica ajustable 75 tener un coeficiente alto de la extensión, por lo cual la
temperatura óptima puede ser mantenida en la cámara que se vaporiza,
independientemente de la temperatura circundante.
De la descripción anterior, será entendido que la
invención presente proporciona un carburador para suministrar a motores de
combustión internos, una mezcla comingled de aire y vapor de combustible
líquido libre de gotitas microscópicas del combustible líquido que se quemaría
más bien que explotaría en los cilindros y que un suministro de tal combustible
vaporizado seco es constantemente mantenido en el carburador.
Patente US 1,997,497 9 de abril 1935 Inventor: Charles N. Pogue
CARBURADOR
Esta patente describe un diseño de carburador que
era capaz de producir figuras de millas por galón muy altas usando la gasolina disponible
en los EE. UU en los años 1930, pero que está ya no disponible cuando la
industria petrolera no quiere que carburadores de millas por galón altos
funcionales estén disponibles al público.
DESCRIPCIÓN
Esta invención está relacionada con un dispositivo
para obtener un contacto íntimo entre un líquido en un estado realmente
vaporoso y un gas, y en particular a tal dispositivo que puede servir como un
carburador para motores de combustión internos y es una mejora en la forma de
dispositivo mostrado en el mi No 1,938,497 Evidente, concedido el 5 de
diciembre de 1933.
En carburadores comúnmente usados para suministrar
una mezcla combustible de aire y combustible líquido a motores de combustión
internos, una cantidad relativamente grande del combustible líquido atomizado
no es vaporizada y entra en el cilindro de motor más o menos en la forma de
gotitas microscópicas. Cuando tal precio es encendido en el cilindro de motor,
sólo que la porción del combustible líquido que ha sido convertido en el vaporoso,
y estado por consiguiente molecular, se combina con el aire para dar una mezcla
explosiva. La porción restante del
combustible líquido que es hecho entrar en los cilindros de motor permanece en
la forma de pequeñas gotitas y no hace explotar el poder de impartición con el
motor, pero en cambio se quema con una llama y levanta la temperatura de motor
encima de esto en el cual el motor funciona el más eficazmente, es decir de 160O
F. a 180O F.
En mi patente más temprana, allí es mostrado y
describió una forma de carburador en el cual el combustible líquido es
considerablemente completamente vaporizado antes de su introducción en los
cilindros de motor, y en que, los medios son proporcionados para mantener un
suministro inverso del vapor "seco" disponible para la introducción
en el cilindro de motor. Tal carburador ha sido encontrado superior al tipo
estándar del carburador mandado a susodicho, y dar una mejor interpretación de
motor con mucho menos consumo del combustible.
Esto es un objeto de la invención presente de
proporcionar un carburador en el cual el combustible líquido es roto y listo
antes de e independiente de la succión del motor y en que un suministro de la
reserva del vapor seco será mantenido bajo la presión, lista para la
introducción en el cilindro de motor siempre. Esto es también un objeto de la
invención de proporcionar un carburador en el cual el vapor seco es calentado a
un grado suficiente antes de ser mezclado con el suministro principal del aire
que lo lleva en el cilindro de motor, hacer que ello se ampliara de modo que
sea relativamente ligero y se hará más íntimamente mezclado con el aire, antes
de la explosión en los cilindros de motor.
He encontrado que cuando el suministro de la
reserva del vapor seco es calentado y ampliado antes de ser mezclado con el
aire, una mayor proporción de la energía potencial del combustible es obtenida
y la mezcla de aire y el vapor de combustible explotará en los cilindros de
motor sin cualquier incineración aparente del combustible que resultaría en
levantar excesivamente la temperatura de operaciones del motor.
Más en particular, la invención presente comprende
un carburador en el cual el vapor de combustible líquido es pasado de una
cámara de evaporación principal bajo al menos una presión leve, en y por una
cámara acalorada donde se hace que ello se amplíe y en que las gotitas del
combustible líquido son o vaporizadas o separadas del vapor, de modo que el
combustible finalmente introducido en los cilindros de motor esté en la fase de
vapor verdadera. La cámara en la cual el
vapor de combustible líquido es calentado y hecho ampliarse, preferentemente
consiste de una serie de pasos por cual vapor y gases de escape del pase de
motor en caminos tortuosos en tal manera que los gases de combustión los gasses
son traídos en la relación de intercambio de calor con el vapor y dejan una
parte de su calor al vapor, así causando la calefacción y la extensión del
vapor.
La invención será descrita adelante en relación a
los dibujos de acompañamiento, pero esta revelación adicional y descripción
deben ser tomadas simplemente como un exemplification de la invención y la
invención no es limitada con la encarnación tan descrita.
DESCRIPCIÓN DE LOS DIBUJOS
Fig.1 es una vista enfadada seccional vertical por
un carburador que encarna mi invención.

Fig.2 es una vista seccional horizontal por la
evaporación principal o atomizar la cámara, tomada en línea 2 - 2 de Fig.1

Fig.3 es una
elevación de lado del carburador.

Fig.4 es un detalle
la vista seccional de uno de los inyectores que atomizan y sus partes asociadas

Fig.5 es un detalle
vista enfadada seccional mostrando a los medios para controlar el paso de
gasses del vapor que amplía la cámara en el distribuidor de consumo del motor.

Fig.6 es una vista de
perspectiva de una de las válvulas mostradas en Fig.5

Fig.7 es una vista
enfadada seccional mostrando a un método para ajustar las válvulas mostradas en
Fig.5
Fig.8 es una vista
enfadada seccional en línea 8 - 8 de Fig.7
Refiriéndose ahora a los dibujos, el número 1
indica una evaporación principal y atomizar la cámara para el combustible
líquido localizado en el fondo, y comunicar con, un vapor cámara calentador y
creciente 2.
La cámara que se vaporiza es proveída de un doble
fondo perforado 3 y está normalmente llena del combustible líquido al nivel x.
El aire entra en el espacio debajo del doble fondo 3 vía conducto 4 y pases
hacia arriba por perforaciones 5 en el doble fondo y luego burbujea por el
combustible líquido, vaporizando una porción de ello.
Para mantener el nivel de combustible x en la
cámara 1, el líquido abastece de combustible pases del depósito de combustible
habitual (no mostrado) por el tubo 8 en y por un par de inyectores 9 que hacen
localizar sus salidas en la cámara 1, sólo encima del nivel del combustible
líquido en ello. La bomba 7 puede ser de cualquier forma aprobada, pero es
preferentemente del tipo de diafragma, cuando tales bombas de combustible son
ahora el equipo estándar en la mayor parte de coches.
Los inyectores 9 son por fuera enhebrados en sus
partes inferiores para facilitar su asamblea en la cámara 1 y permitirles ser
quitados fácilmente, debe la limpieza ser necesaria.
Los finales superiores de inyectores 9 son
rodeados por tubos venturi 10, teniendo una confusión 11, localizados a sus
finales superiores frente a las salidas de los inyectores. El combustible líquido forzado a partir de
los finales de inyectores 9 en las porciones restringidas de los tubos Venturi,
causa una circulación rápida del aire y vapor en la cámara por los tubos 10 y
trae el aire y el vapor en el contacto íntimo con el combustible líquido, con
la consecuencia de que una porción del combustible líquido es vaporizada. La
parte del combustible líquido que no es vaporizado, golpea las deflectors 11 y
es rota adelante y desviada hacia abajo en la corriente ascendente suelta de
aire y vapor.
Bomba 7 es regulada para suministrar una mayor
cantidad del combustible líquido a los inyectores 9 que será vaporizado. El
exceso pasa por la casa la cámara 1 y hace que el líquido sea mantenido en el
nivel indicado. Cuando el combustible líquido se eleva encima de aquel nivel,
una válvula de flotador 12 es levantada, permitiendo al combustible de exceso
salirse por el tubo de desbordamiento 13 en el tubo 14 que conduce atrás al
tubo 6 en el lado de consumo de la bomba 7. Tal arreglo permite que una
cantidad grande del combustible líquido para ser puesto en circulación por la
bomba 7 sin más combustible retirado del depósito de combustible que realmente
sea vaporizada y consumida en el motor. Cuando
la válvula de flotador 12 se pondrá durante el final del tubo de salida 13 tan
pronto como el nivel líquido se cae debajo del nivel indicado, no hay ningún
peligro del vapor que pasa en el tubo 14 y desde allí en la bomba 7 e
interferir con su operación normal.
El final superior de la evaporación y atomizar la
cámara 1 está abierto y vapor formado por avión burbujeando por el combustible
líquido en el fondo de la cámara y esto formado como el resultado de la
atomización en inyectores 9, pase en la calefacción y ampliación de la cámara
2. Como es claramente mostrado en Fig.1, la cámara 2 comprende una serie de
pasos tortuosos 15 y 16 conducción del fondo a la cumbre. El vapor de
combustible pasa por pasos 15 y los gases de combustión gasses del motor pasan
por pasos 16, una entrada conveniente 17 y salida 18 proporcionado para aquel
objetivo.
El vapor que pasa hacia arriba en un camino de
zigzag por pasos 15, será traído en la relación de intercambio de calor con las
paredes calientes de los pasos 16 cruzado por los gases de combustión calientes
gasses. La longitud total de los pasos
15 y 16 es tal que un suministro de la reserva relativamente grande del
combustible líquido siempre es mantenido en la cámara 2, y manteniendo el vapor
en la relación de intercambio de calor con los gases de combustión calientes
gasses durante un período sustancial, el vapor absorberá el calor suficiente
para hacer que ello se ampliara, con la consecuencia de que cuando es retirado
de la cumbre de la cámara 2, estará en la fase de vapor verdadera, y debido a
la extensión, relativamente ligera.
Cualquier gotita de minuto del combustible líquido
subió al tren por el vapor en la cámara 1 precipitará en los pasos inferiores
15 y fluirá atrás en la cámara 1, o sea vaporizará por el calor absorbido de
los gases de combustión gasses durante su paso por la cámara 2.
El final superior del paso de vapor 15 se comunica
con aperturas 19 adyacente al final superior de un tubo de aire abajo preliminar
20 conducción al distribuidor de consumo del motor. Las válvulas 21 son
interpuestas en aperturas 19, de modo que el paso del vapor por ellos en el
tubo de aire pueda ser controlado. Las válvulas 21 son preferentemente del
enchufe rotatorio escriben a máquina y son controlados como descrito abajo.
Los medios convenientes son asegurados hacer el
vapor ser mantenido en la cámara 2, bajo una presión mayor que atmosférico, de
modo que cuando las válvulas 21 son abiertas, el vapor sea forzado en el tubo de
aire 20 independiente de la succión de motor. Tales medios pueden comprender
una bomba de aire (no mostrado) para forzar el aire por el tubo 4 en la cámara
1 bajo el doble fondo 3, pero prefiero simplemente proporcionar el tubo 4 por
un final de admisión en forma de chimenea 22 y colocación sólo detrás del
abanico de motor habitual 23. Este hace
que aire pase por el tubo 4 con la fuerza suficiente para mantener la presión
deseada en la cámara 2, y el aire dibujado por el radiador por el abanico será
precalentado antes de su introducción en la cámara 1 y de ahí vaporizará
mayores cantidades del combustible líquido. De ser deseado, el tubo 4 puede ser
rodeado por un calentador eléctrico u otro, o los gases de combustión gasses
del motor pueden ser pasados alrededor de ello para precalentar adelante el
aire que pasa por ello antes de su introducción en el combustible líquido en el
fondo de la cámara 1.
Tubo de aire 20 es proveído de una válvula de
regulador de mariposa 24 y una válvula de estárter 24a, como es acostumbrado
con carburadores usados para motores de combustión internos. El final superior
del tubo de aire 20 se extiende encima de la cámara 2 una distancia suficiente
para recibir un filtro de aire y/o el silenciador, de ser deseado.
Una velocidad baja o el avión a reacción que
funciona en vacío 25 tienen su final superior comunicándose con el paso por el
tubo de aire 20 adyacente a la válvula de estrangulación 24 y su parte inferior
que se extiende en el combustible líquido en el fondo de la cámara 1, para
suministrar el combustible al motor cuando las válvulas están en una posición
como cerrar los pasos 19. Sin embargo, el paso por el avión a reacción que
funciona en vacío 25 es tan pequeño que en operaciones normales, la succión en
ello no es suficiente para levantar el combustible del fondo de la cámara 1.
Para impedir al motor salir el tiro por la culata
en la cámara de vapor 2, los finales de los pasos 19 son cubiertos de una
pantalla de malla fina 26 que, funcionando en el principio de la lámpara del
minero, prevendrá el vapor en la cámara 2 de hacer explotar en caso de un
petardeo, pero que no interferirá considerablemente con el paso del vapor de la
cámara 2 en el tubo de aire 20 cuando las válvulas 21 están abiertas. El tubo
de aire 20 está preferentemente en la forma de un venturi con la mayor
restricción que está en aquel punto donde las aperturas 19 son localizadas, de
modo que cuando las válvulas 21 son abiertas, haya una fuerza que tira en el
vapor causado por la velocidad aumentada del aire en la porción restringida del
tubo de aire 20 parte de enfrente las aperturas 19, así como una fuerza de
expulsión en ellos debido a la presión en la cámara 2.
Como mostrado en Fig.3, el mecanismo de
operaciones de válvulas 21 está relacionado con el mecanismo de operaciones
para la válvula de regulador 24, de modo que ellos sean abiertos y cerrados
simultáneamente con la apertura y cierre de la válvula de regulador, asegurando
que la cantidad del vapor suministrado al motor estará, siempre, en la proporción
a las demandas colocadas sobre el motor. A tal efecto, cada válvula 21 tiene
una extensión, o haciendo funcionar el tallo 27, sobresaliendo por una de las
paredes laterales de la calefacción de vapor y ampliando la cámara 2. Embalando
glándulas 28 de la construcción ordinaria, rodee tallos 27 donde ellos pasan
por la pared de cámara, prevenir la salida del vapor en aquellos puntos.
Armas de operaciones 29 son rígidamente aseguradas
a los finales externos de tallos 27 y extienden el uno hacia el otro. Las armas
son fundamentalmente y adjustably relacionado con un par de eslabones 30 que,
en sus partes inferiores están fundamentalmente relacionados con un eslabón de
operaciones 31, que por su parte, está fundamentalmente relacionado para armar
32 que es rígidamente asegurado en una extensión externa 33 del tallo de la
válvula de regulador 24. La extensión 33 también se ha unido rígidamente a
ello, brazo 34 a que está relacionado haciendo funcionar el eslabón 35
conducción de los medios para acelerar el motor.
El medio para ajustar la unión a partir de los
finales superiores de eslabones 30 a la válvula contiene 27 de válvulas 21, de
modo que la cantidad del vapor librado de la cámara 2 pueda ser regulada para
causar la operación más eficiente del motor particular al cual el carburador es
atado, comprende diapositivas angulares 36, a que los finales superiores de
eslabones 30 son sujetados, y que no puede girar, pero puede deslizarse en
guideways 37 localizado en armas 29. Las diapositivas 36 han enhebrado agujeros
por cual tornillos 38 pase. Tornillos 38
son rotatably montado en armas 29, pero son sostenidos contra el movimiento
longitudinal de modo que cuando ellos son hechos girar, se deslice 36 será
hecho moverse a lo largo del guideways 37 y cambiarse la posición relativa de
eslabones 30 a la válvula proviene 27, de modo que un mayor o menos movimiento,
y por consiguiente, un mayor o menos apertura de los puertos 19 ocurran cuando
la válvula de regulador 24 es hecha funcionar.
Para la seguridad, y para la operación más
eficiente del motor, el vapor en la cámara 2 no debería ser calentado o
ampliado más allá de una cantidad predeterminada, y a fin de controlar el grado
al cual el vapor es calentado, y por consiguiente, el grado al cual esto se
amplía, una válvula 39 es localizada en el paso de gases de combustión 16
adyacente a 17 de admisión. La válvula 39 es preferentemente theromstatically
controlada, en cuanto al ejemplo, por un termostato de vara creciente 40, que
se extiende por la cámara 2. Sin embargo, cualquier otro medio puede ser
asegurado reducir la cantidad de gases de combustión calientes gasses entrada
en el paso 16 cuando la temperatura del vapor en la cámara alcanza o excede el
grado óptimo.
El carburador ha sido descrito detalladamente en
relación a un tipo abajo preliminar del carburador, pero debe ser entendido que
su utilidad no debe ser restringida a aquel tipo particular del carburador, y
que la manera en la cual la mezcla de aire y vapor es introducida en los
cilindros de motor es inmaterial por lo que las ventajas del carburador están
preocupadas.
El término vapor seco es usado para definir el
estado físico del vapor de combustible líquido después del retiro de gotitas
líquidas o la niebla que es con frecuencia subida al tren en lo que es
generalmente llamado un vapor.
De la descripción anterior se verá que la
invención presente proporciona un carburador en el cual la rotura del
combustible líquido para el uso subsecuente es independiente de la succión
creada por el motor, y que después de que el combustible líquido es roto, es
mantenido bajo la presión en un espacio acalorado durante un tiempo suficiente
para permitir a todas las partículas líquidas subidas al tren ser separado o
vaporizado y permitir al vapor seco ampliarse antes de su introducción en y
adición con el volumen principal del aire que pasa en los cilindros de motor.
Patente US 2,026,798 7 de enero 1936 Inventor: Charles N. Pogue
CARBURADOR
Esta patente describe un diseño de carburador que
era capaz de producir figuras de millas por galón muy altas usando la gasolina
disponible en los EE. UU en los años 1930, pero que está ya no disponible
cuando la industria petrolera no quiere que carburadores de millas por galón
altos funcionales estén disponibles al público.
DESCRIPCIÓN
Esta invención está relacionada con carburadores
convenientes para uso con motores de combustión internos y es una mejora en los
carburadores mostrados en mis Patentes Número 1,938,497, concedidas el 5 de
diciembre de 1933 y 1,997,497 concedido 9 de abril de 1935.
En mis patentes más tempranas, un contacto íntimo
entre como el combustible usado para motores de combustión internos, y un gas
como el aire, es obtenido haciendo el gas burbujear por un cuerpo del líquido.
El líquido vaporizado pasa en una cámara de vapor que preferentemente es
calentada, y cualquier gotita líquida es devuelta al cuerpo del líquido, con la
consecuencia de que el combustible introducido en las cámaras de combustión es
sin partículas líquidas, y en el estado molecular de modo que una mezcla íntima
con el aire sea obtenida para dar una mezcla explosiva de la cual más cerca la
energía máxima contenida en el combustible líquido es obtenida. Además, como no
hay ningunas partículas líquidas introducidas en las cámaras de combustión, no
habrá ninguna incineración del combustible y por consiguiente, la temperatura
del motor no será aumentada encima de esto en el cual esto funciona el más
eficazmente.
En mi No 1,997,497 Evidente, el aire que debe
burbujear por el cuerpo del combustible líquido es forzado en y por el
combustible bajo presión y el vapor de combustible y pase de aire en una cámara
donde ellos son calentados y hechos ampliarse. La introducción del aire bajo la
presión y la extensión de la mezcla vaporosa asegura una presión suficiente
mantenida en el vapor cámara calentador y creciente, hacer que al menos una
porción de ello fuera expulsada de ello en el distribuidor de consumo tan
pronto como la válvula controlándole el paso es abierta.
De acuerdo con la invención presente, los medios
mejorados son proporcionados para mantener la mezcla vaporosa en la cámara que
calienta vapor bajo una presión predeterminada, y para regular tal presión de
modo que esté en el grado óptimo para las condiciones particulares en las
cuales el motor debe funcionar. Tal medio preferentemente comprende una bomba
que corresponde hecha funcionar por un motor actuado por vacío para forzar el
vapor en y por la cámara. La bomba es proveída de una válvula conveniente que
regula presión de modo que cuando la presión en la cámara que calienta vapor
excede la cantidad predeterminada, una porción de la mezcla de vapor sea
evitada del lado de salida al lado de admisión de la bomba, y tan ser circular
de nuevo.
La invención será descrita adelante en relación a
los dibujos de acompañamiento, pero tal revelación adicional y descripción
deben ser tomadas simplemente como un exemplification de la invención, y la
invención no es limitada con aquella encarnación de la invención.
DESCRIPCIÓN DE LOS
DIBUJOS
Fig.1 es una
elevación de lado de un carburador que encarna la invención.

Fig.2 es una vista
superior del carburador.

Fig.3 es una vista de
sección vertical ampliada.

Fig.4 es una vista
seccional transversal en línea 4 - 4 de Fig.3

Fig.5 es un detalle
vista seccional en línea 5 - 5 de Fig.3

Fig.6 es una vista
seccional transversal por la bomba y motor de actuación, tomado en línea 6 - 6
de Fig.2

Fig.7 es una vista
seccional longitudinal por la bomba tomada en línea 7 - 7 de Fig.2

Fig.8 es una vista
seccional longitudinal por una parte del cilindro de bomba, mostrando al pistón
en elevación.

En los dibujos, una evaporación y atomizar la
cámara 1 es localizado en el fondo del carburador y tiene una salida en su
cumbre para el paso de vapor de combustible y aire en una cámara primaria que
calienta vapor 2.
La cámara que se vaporiza 1 es proveída de un
doble fondo perforado 3 y está normalmente llena del combustible líquido al
nivel indicado en Fig.1. Aire es
introducido vía el conducto 4 en el espacio debajo del doble fondo 3, y luego
por las perforaciones 5 en el doble fondo que lo rompe en una miríada de
burbujas finas, que pasan hacia arriba por el combustible líquido encima del
doble fondo.
Combustible líquido para mantener el nivel
indicado en la cámara 1 pases del depósito de combustible habitual (no
mostrado) por el tubo 6, y es forzado por la bomba 7 por el tubo 8 por un par
de inyectores 9 localización de sus salidas en la cámara 1, sólo encima del
nivel del combustible líquido en ello.
Bomba 7 puede ser de cualquier forma aprobada, pero es preferentemente
del tipo de diafragma, cuando tales bombas de combustible son ahora el equipo
estándar en la mayor parte de coches.
Los inyectores 9 son por fuera enhebrados en sus
partes inferiores para facilitar su asamblea en la cámara 1 y permitirles para
ser fácilmente quitado deberían limpiando hacerse necesario.
Los finales superiores de inyectores 9 son
rodeados por tubos venturi que 10 deflectors que tienen 11 localizado a sus
finales superiores frente a las salidas de los inyectores, como son mostradas y
descritas detalladamente en el mi No 1,997,497 Evidente. El combustible líquido
forzado a partir de los finales de inyectores 9 en las porciones restringidas
de los tubos venturi, causa una circulación rápida del aire y vapor en la
cámara por tubos 10 y trae el aire y el vapor en el contacto íntimo con el
combustible líquido, con la consecuencia de que una porción del combustible
líquido es vaporizada. Las porciones no vaporizadas del combustible líquido
golpean las deflectors 11 y son rotas así adelante y desviadas hacia abajo en
la corriente ascendente suelta de aire y vapor.
Bomba 7 es regulada para suministrar una mayor
cantidad del combustible líquido a inyectores 9 que será vaporizado. El
combustible de líquido de exceso pasa por la casa la cámara 1 que hace que el
líquido allí sea mantenido en el nivel indicado. Cuando el combustible líquido
se eleva encima de aquel nivel, la válvula de flotador 12 se abre y los flujos
de combustible de exceso por el tubo de desbordamiento 13 en el tubo 14 que
conduce atrás al tubo 6 en el lado de consumo de la bomba 7. Tal arreglo
permite una cantidad grande del combustible líquido para ser puesto en
circulación por la bomba 7 sin más combustible retirado del depósito de
combustible que realmente es vaporizada y consumida por el motor. Cuando la
válvula de flotador 12 se pondrá durante el final del tubo de salida 13 tan
pronto como el nivel líquido se cae debajo del nivel indicado, no hay ningún
peligro del vapor que pasa en el tubo 14 y de allí en la bomba 7 para
interferir con su operación normal.
La cantidad del combustible líquido vaporizado por
inyectores 9 y por el paso del aire por el cuerpo de líquido, es suficiente
para proporcionar una mezcla vaporosa apropiadamente enriquecida para
introducir en el paso que conduce al distribuidor de consumo del motor, por el
cual el volumen principal del aire pasa.
Vapor formado por avión burbujeando por el
combustible líquido en el fondo de cámara 1 y esto formado por la atomización
en los inyectores 9, pase de la cumbre de aquella cámara en la cámara de
calefacción primaria 2. Como es claramente mostrado en Fig.1, Cámara 2
comprende un paso espiral relativamente largo 15 por que la mezcla vaporosa
gradualmente pasa hacia adentro a una salida central 16 a que está relacionado
un conducto 17 conducción con una bomba que corresponde 18 que fuerza la mezcla
vaporosa bajo la presión en el conducto 19 conducción a 20 de admisión
centrales de una cámara de calefacción secundaria 21, que como la cámara de
calefacción primaria, comprende una espiral relativamente larga. La mezcla
vaporosa gradualmente pasa hacia fuera por la cámara espiral 21 y entra en un
tubo de aire de downdraft 22, conduciendo al distribuidor de consumo del motor,
por una salida 23 controlado por una válvula de enchufe rotatoria 24.
Para impedir al motor salir el tiro por la culata
en la cámara de vapor 2, los finales del paso 19 son cubiertos de una pantalla
de malla fina 25, que, funcionando en el principio de la lámpara de un minero,
prevendrá el vapor en la cámara 2 de explotar en caso de un petardeo, pero no
interferirá considerablemente con el paso del vapor de la cámara 21 en el tubo
de aire 22 cuando la válvula 24 está abierta.
El tubo de aire 22 está preferentemente en la
forma de un venturi con el mayor estrangulamiento que está en aquel punto donde
la salida 23 es localizada, de modo que cuando la válvula 24 es abierta, haya
una fuerza que tira en la mezcla vaporosa debido a la velocidad aumentada del
aire en la porción restringida del tubo de aire la salida de enfrente 23, así
como una fuerza de expulsión en ello debido a la presión mantenida en la cámara
21 por la bomba 18.
Tanto la espiral primaria como secundaria que
calienta cámaras 15 y 21, y la porción central del tubo de aire 22 es encerrada
por una cubierta 26 tener unos 27 de admisión y una salida 28 para un medio de
calefacción conveniente como el gasses que viene del distribuidor de gases de
combustión.
Bomba 18, solía forzar la mezcla vaporosa de la
cámara de calefacción primaria 2 en y por la cámara secundaria 21, incluye una
cámara trabajadora 29 para el pistón hueco 30, proveído de unos 31 de admisión
controlados por la válvula 32, y una salida 33 controlado por una válvula 34.
El final de la cámara trabajadora 29 a que es el conducto relacionado 17, que
conduce la mezcla vaporosa de la cámara de calefacción primaria 2, tiene una
válvula de admisión 35, y el extremo opuesto de la cámara trabajadora tiene una
salida 36 controlado por la válvula 37 colocado en una cámara auxiliar 38, a
que es el tubo de salida relacionado 19 que conduce la mezcla vaporosa bajo la
presión a la cámara de calefacción secundaria 21. Cada una de las válvulas 32,
34, 35 y 37 es del tipo de dirección única. Les muestran como actuado por
gravedad válvulas de tapa, pero será entendido que los tipos de muelles u otros
de válvulas de dirección única pueden ser usados de ser deseado.
Un lado del pistón 30 es formado con un estante de
marcha 39 que es recibido en un surco 39a de la pared que forma el cilindro de
la bomba. El estante de marcha 39 engrana con una marcha de espuela de
actuación 40 continuó un final de eje 41 y funcionamiento en un alojamiento 42
formado en el cilindro de bomba. El otro final del eje 41 lleva una marcha de
espuela 43, que engrana y es hecho funcionar por un estante de marcha 44
continuó un pistón 46 de un motor de doble efecto 47. La construcción
particular del motor de doble efecto 47 no es el material, y puede ser de un
tipo de vacío comúnmente usado para limpiaparabrisas de operaciones en coches,
en cuyo caso una manguera flexible 48 estaría relacionada con el distribuidor
de consumo del motor para proporcionar el vacío necesario para hacer funcionar
el pistón 45.
Bajo la influencia del motor de doble efecto 47,
el pistón 30 de la bomba tiene un movimiento reciprocatory en la cámara
trabajadora 29. El movimiento del pistón hacia el izquierdo en Fig.7 tiende a
comprimir la mezcla vaporosa en la cámara trabajadora entre el final del pistón
y la entrada de tubo 17, y válvula de causas 35 para ser forzado fuertemente
contra la apertura de admisión. Del
mismo modo, las válvulas 32 y 34 son forzadas abiertas y la mezcla vaporosa en
aquella porción de la cámara trabajadora es forzada por los 31 de admisión al
final del pistón 30, en el interior del pistón, donde esto desplaza la mezcla
vaporosa allí y lo fuerza en el espacio entre el final derecho del pistón y el
final derecho de la cámara trabajadora. El paso de la mezcla vaporosa en el
final derecho de la cámara trabajadora es complementado por el vacío parcial
creado allí cuando el pistón se mueve a la izquierda. Durante tal movimiento
del pistón, la válvula 37 es mantenida cerrada y previene cualquier chupar
atrás de la mezcla vaporosa de la cámara de calefacción secundaria 21.
Cuando el motor 47 reveses, pistón 30 movimientos
a la derecha y la mezcla vaporosa al final derecho de la cámara trabajadora es
forzado por delante de la válvula 37 por el tubo 19 en la cámara de calefacción
secundaria 21. Al mismo tiempo, un vacío es creado detrás del pistón 30 que
causa el final izquierdo de la cámara trabajadora llenada otra vez de la mezcla
vaporosa de la cámara de calefacción primaria 2.
Cuando la operación de bomba 47 varía de acuerdo
con la succión creada en el distribuidor de consumo, debería ser regulado de
modo que la mezcla vaporosa sea bombeada en la cámara de calefacción secundaria
en un precio suficiente para mantener que una mayor presión allí que es
necesaria. A fin de que la presión en la cámara trabajadora pueda ser siempre
mantenida en el grado óptimo, un tubo 50 tener una válvula ajustable que regula
presión 51 está relacionado entre la entrada y tubos de salida 17 y 19. La
válvula 51 permitirá una porción de la mezcla vaporosa descargada de la bomba
ser evitada a 17 de admisión de modo que una presión predeterminada por los
asientos de la válvula 51 sea siempre mantenida en la segunda cámara de
calefacción 21.
Tubo de aire 22 es proveído de una válvula de
regulador de mariposa 52 y una válvula de estárter 53, como es habitual con
carburadores adaptados para el uso con motores de combustión internos. El
funcionamiento de tallos 54, 55 y 56 para válvulas 52, 53 y 24 respectivamente,
se extiende por la cubierta 26. Un brazo de operaciones 57 es rígidamente
asegurado al final externo del tallo 55 y está relacionado con una vara 58 que
se extiende al tablero de instrumentos del coche, o algún otro lugar
conveniente al chofer. El final externo del tallo 56 de la válvula 24 que
controla la salida 23 de la cámara de calefacción secundaria 21 tiene un final
de un brazo de operaciones 59 fijado bien a ello. El otro final está fundamentalmente
relacionado para unir 60 que se extiende hacia abajo y fundamentalmente se une
a un final de una palanca de palanca angular 61, rígidamente atado al final del
tallo 54 de la válvula de regulador 52. El otro final de la palanca de palanca
angular está relacionado con una vara de operaciones 62 que, como la vara 58,
amplía a un lugar conveniente al chofer. Las válvulas 24 y 52 están
relacionadas para la operación simultánea de modo que cuando la válvula de
regulador 52 es abierta para aumentar la velocidad del motor, la válvula 24
también sea abierta para admitir una cantidad más grande de la mezcla vaporosa
acalorada de la cámara de calefacción secundaria 21.
Mientras la succión creada por la bomba 18
generalmente creará un vacío suficiente en la cámara de calefacción primaria 2
para hacer que el aire fuera dibujado en y hacia arriba por el cuerpo del
combustible líquido en el fondo de la cámara que se vaporiza 1, en algunos
casos puede ser deseable proporcionar medios suplementales para forzar el aire
en y por el líquido, y en tales casos una bomba auxiliar puede ser
proporcionada para aquel objetivo, o el conducto de aire 4 puede ser proveído
de un consumo en forma de chimenea que es colocado detrás del abanico de motor
63 que es por regla general colocado detrás del radiador de motor.
La descripción anterior ha sido dada en relación a
un tipo de downdraft del carburador, pero debe ser entendido que la invención
no es limitada para usar con tal tipo de carburadores y que la manera en la
cual la mezcla de aire y vapor es introducida en los cilindros de motor es
inmaterial por lo que las ventajas del carburador están preocupadas.
Antes de que el carburador sea puesto en el uso,
la válvula que regula presión 51 en el tubo de carretera de circunvalación 50
será ajustada de modo que la presión mejor satisfecha a las condiciones en las
cuales el motor debe ser hecho funcionar, sea mantenida en la cámara de
calefacción secundaria 21. Cuando la válvula 51 ha sido así puesta y el motor
comenzado, la bomba 18 creará un vacío parcial en la cámara de calefacción
primaria 2 y hará que el aire sea dibujado por el conducto 4 para burbujear
hacia arriba por el combustible líquido en el fondo de la evaporación y
atomizar la cámara 1 con vaporisation que resulta de una parte del combustible
líquido. Al mismo tiempo, la bomba 7
será puesta en la operación y el combustible líquido será bombeado del depósito
de combustible por los inyectores 9 que causa una cantidad adicional del
combustible vaporizado. El vapor que resulta de tal atomización del combustible
líquido y el paso de aire por el cuerpo del líquido, pasará en y por la cámara
espiral 1 donde ellos serán calentados por los productos de la combustión en la
cámara circundante formada por la cubierta 26. El vapor de combustible y el
aire pasarán gradualmente hacia adentro por la salida 16 y por el conducto 17
para pisar repetidamente 18 que los forzará en la cámara de calefacción
secundaria 21 en que ellos serán mantenidos en la presión predeterminada por la
válvula que regula presión 51. La mezcla vaporosa es calentada adelante en
cámara 21 y pases en espiral externos a la salida controlada por válvula 23 que
se abre en el tubo de aire 22 que conduce el volumen principal del aire al
distribuidor de consumo del motor.
La calefacción de la mezcla vaporosa en las cámaras
calentadores 2 y 21, tiende a hacer que ellos se ampliaran, pero la extensión
en la cámara 21 es prevenida debido a la presión que regula la válvula 51. Sin
embargo, tan pronto como la mezcla vaporosa acalorada pasa la válvula 24 y es
introducida en el aire que fluye por el tubo de consumo 22, es libre ampliarse
y hacerse así relativamente ligero de modo que una mezcla más íntima con el
aire sea obtenida antes de la mezcla hecha explotar en los cilindros de motor.
Así se verá que la invención presente no sólo proporciona medios en donde la
mezcla vaporosa de calentar cámara 21 es forzada en el aire que pasa por el
tubo de aire 22 por una fuerza positiva, pero también es calentado hasta tal
punto que después de que esto deja la cámara 21 esto se ampliará hasta tal
punto para tener una densidad menos que esto de ser introducido directamente de
la evaporación y atomizar la cámara 1 en el tubo de aire 22.
La mayoría de las partículas líquidas subió al
tren por la mezcla vaporosa que deja la cámara 1 será separado en la primera
mitad de la espiral más extrema de la cámara de calefacción primaria 2 y drenó
atrás en el cuerpo del combustible líquido en el tanque 1. Cualquier partícula
líquida que no es así separada, será continuada con la mezcla vaporosa y debido
a la circulación de aquella mezcla y la aplicación de calor, será vaporizado
antes de que la mezcla vaporosa sea introducida en el tubo de aire 22 de la
cámara de calefacción secundaria 21. Así sólo el vapor "seco" es
introducido en los cilindros de motor y cualquier incineración en los cilindros
de motor de partículas líquidas del combustible, que tendería a levantar la
temperatura de motor encima de su nivel más eficiente, es evitado.
Mientras los beneficios más llenos de la invención
son obtenidos usando tanto una cámara de calefacción primaria como secundaria,
la cámara de calefacción primaria, de ser deseada, puede ser eliminada y la
mezcla vaporosa bombeada directamente de la evaporación y atomizar la cámara 1
en la espiral que calienta la cámara 21.
De la descripción anterior se verá que la
invención presente proporciona una mejora sobre el carburador revelado en el mi
No 1,997,497 Evidente, en el cual es posible mantener la mezcla vaporosa en la
cámara calentador 21 bajo una presión predeterminada, y que tan pronto como la
mezcla vaporosa es introducida en el suministro principal del aire que pasa al
distribuidor de consumo del motor, esto ampliará y alcanzará una densidad en la
cual esto formará una mezcla más íntima con el aire. Además, la introducción de
la mezcla vaporosa en la corriente de aire en el tubo 22, causa una cierta
cantidad de la turbulencia que también tiende a dar una mezcla más íntima de
moléculas de vapor con el aire.
Patente US 2,218,922 22 de octubre 1940 Inventor: Ivor B. Newberry
VAPORIZER PARA MOTORES DE
COMBUSTIÓN
Esta patente describe un diseño de carburador que
era capaz de producir figuras de millas por galón muy altas usando la gasolina
disponible en los EE. UU en los años 1930, pero que está ya no disponible
cuando la industria petrolera no quiere que carburadores de millas por galón
altos funcionales estén disponibles al público.
DESCRIPCIÓN
Esta invención está relacionada con el combustible
que vaporiza dispositivos para motores de combustión y más en particular, está
preocupada por mejoras de dispositivos de la clase donde la provisión es hecha
para usar los gases de combustión gasses de los motores como un medio
calentador para ayudar en el vaporisation del combustible.
Un objeto de la invención es proporcionar un
dispositivo que condicionará el combustible en tal manera que su energía
potencial puede ser totalmente utilizada, así asegurando la mejor
interpretación de motor y un ahorro en consumo de combustible, y prevención de
la formación de depósitos de carbón en los cilindros del motor y la producción
de monóxido de carbono y otro gasses desagradable.
Un objeto adicional es proporcionar un dispositivo
que es tan diseñado que el combustible es entregado a los cilindros del motor
en un estado muy vaporizado, seco y ampliado, este objeto que contempla un
dispositivo que está disponible cuando unos gases de combustión embalan que el
vaporisation y la extensión de los componentes líquidos son efectuados en
presiones subatmosféricas y antes del que son mezclados con el componente de
aire.
Un objeto todavía adicional es proporcionar un
dispositivo que condicionará los componentes del combustible en tal manera que
ellos ser uniformemente e íntimamente mezclado sin el uso de un carburador.
Un objeto todavía adicional es proporcionar un
dispositivo que permitirá el uso de vario inferior y los grados baratos del
combustible.
DESCRIPCIÓN DE LOS
DIBUJOS
Fig.1 es una vista de
elevational del dispositivo aplicado al motor de un automóvil.

Fig.2 es una vista
ampliada del dispositivo, parcialmente en la elevación y parcialmente en la
sección.

Fig.3 es una sección
tomada a lo largo de la línea 3 - 3 de Fig.2

Fig.4 es una sección
tomada a lo largo de la línea 4 - 4 de Fig.3

Fig.5 es una sección
fragmentaria tomada a lo largo de la línea 5 - 5 de Fig.3

Fig.6 es una sección
tomada a lo largo de la línea 6 - 6 de Fig.4

DESCRIPCIÓN
El dispositivo como ilustrado, incluye cubiertas
similares 8 y 9 que son asegurados juntos como una unidad y que son formados
para proporcionar cámaras que se vaporizan 10 y 11, respectivamente, ello
entendido que el número de cubiertas puede ser variado. Dos series de costillas
12 son formadas en cada una de las cámaras que se vaporizan, las costillas de
cada serie siendo espaciada el uno del otro para proporcionar pasos de rama 13
y espaciada de las costillas de la serie adyacente para proporcionar pasos
principales 14 con que los pasos de rama se unen.
Las cámaras que se vaporizan están cerradas por
los platos de tapa 15. Los platos de tapa llevan deflectors 16 que son apoyados
en los espacios entre las costillas 12. Las deflectors se extienden a través de
los pasos principales 14 y en, pero salvo los finales de los pasos de rama 13
para proporcionar caminos tortuosos. La salida 10a de la cámara 10 está
relacionada por el conducto 17 a la entrada 11a de la cámara 11. Salida 18 de
la cámara 11, está relacionado por el conducto 19 con la cámara que se mezcla
20 que es localizado en la parte inferior del tubo 21 que por su parte está
relacionado con y extensión 22 del distribuidor de consumo 22a del motor. La
extensión 22 contiene una válvula 23 que está relacionado por una palanca 23a
(Fig.1) y vara 23b a un regulador convencional (no mostrado).
El combustible líquido es introducido en la cámara
que se vaporiza 10 por el inyector 24 que está relacionado por el tubo 25 a un
embalse 26 en que el nivel de combustible es mantenido por la válvula
controlada por flotador 27, el combustible suministrado al embalse por el tubo
28.
De acuerdo con la invención, las costillas 12 son
el hueco, cada uno formado para proporcionar una célula 29. Las células en una
serie de costillas se abren en un lado en una cámara de admisión 30, mientras
las células de la serie de compañero se abren en un lado en una cámara de
salida 31. Las células de ambas series de costillas se abren en sus espaldas en
una cámara conectadora 32 que es localizado detrás de las costillas y que está
cerrado por un plato de tapa 33. Las cubiertas 8 y 9 son arregladas de punta a
punta de modo que la cámara de salida de 9 se comunique con la cámara de
admisión de 8, el gasses del distribuidor de gases de combustión 34 introducido
en la cámara de admisión de la cubierta 9 por la extensión 34a. Los gases de combustión gasses entran en la
serie de células en la derecha de la cubierta, pasan por las células en la
cámara conectadora en el reverso y luego entran en la cámara de admisión de la
cubierta 8. Ellos pasan sucesivamente por las dos series de células y entran en
el tubo de escape 35. Los gases de combustión gasses dejan la cámara de salida
31, y el camino a lo largo el cual ellos viajan es claramente mostrado por las
flechas en Fig.6. Cuando los gasses pasan por cubiertas 8 y 9, su velocidad es
reducida a tal grado que una caja de gases de combustión (silenciador) u otro
dispositivo que hace callar es dada innecesaria.
Será aparente que cuando el motor hace funcionar
una temperatura normal, el combustible líquido introducido en la cámara 10 será
vaporizado inmediatamente por el contacto con las paredes calientes de
costillas 12. El vapor así producido es dividido en dos corrientes, se causa
uno de cual entrar en cada uno de los pasos de rama en un lado de la cubierta y
el otro es hecho entrar en cada uno de los pasos de rama en el lado opuesto de
la cubierta. Las dos corrientes del vapor se combinan cuando ellos pasan
alrededor de la confusión final y entran en el conducto 17, pero son otra vez
divididos y calentados en una manera similar cuando ellos fluyen por la
cubierta 9. Cada una de las corrientes
de vapor está constantemente en el contacto con las paredes muy acaloradas de
costillas 12. Este paso del vapor por las cubiertas hace que el vapor sea
calentado a tal grado que un gas muy vaporizado seco es producido. En esta
unión, será notado que las cámaras que se vaporizan son mantenidas bajo un
vacío y que vaporisation es efectuado en ausencia del aire. La conversión del
líquido en el vapor muy ampliado es así asegurada. El flujo de los gases de
combustión gasses por cubiertas 8 y 9 es en dirección contraria al flujo del
vapor. El vapor es calentado por etapas y es introducido en la cámara 20 en su
temperatura más alta.
El aire que es mezclado con el vapor de
combustible, entra en el tubo 21 después de pasar por un filtro convencional
36, la cantidad del aire regulado por la válvula 37. La invención también
contempla la calefacción del aire antes de su entrada en la cámara que se
mezcla 20. A este final, una chaqueta 39 es formada alrededor del tubo 21. La
chaqueta tiene una cámara 40 que comunica con la cámara 32 de la cubierta 9 por
el tubo de admisión 41 y con la cámara correspondiente de la cubierta 8 por el
tubo de salida 42. Se hace así que una porción de los gases de combustión gasses
pase por la cámara 40 para calentar el aire cuando esto pasa por el conducto 21
en su camino a la cámara que se mezcla. Válvula 37 está relacionada con la válvula 23
a armas 43 y 43a y eslabón 44 de modo que el volumen del aire se confesara
culpable de la cámara que se mezcla es aumentado proporcionalmente cuando el
volumen del vapor es aumentado. Cuando el vapor de combustible y el aire son
tanto calentados a una temperatura alta y están en un estado muy ampliado
cuando ellos entran en la cámara que se mezcla, ellos fácilmente se unen para
proporcionar una mezcla uniforme, el uso de un carburador o dispositivo similar
para este fin siendo innecesario.
Del anterior será aparente que los componentes de
la mezcla de combustible son por separado calentados antes de su entrada en la
cámara que se mezcla 20. Cuando el vapor que es producido es seco (no
conteniendo ningunas gotitas del combustible líquido) y la combustión muy
ampliada, completa es asegurada. La energía potencial representada por el vapor
puede ser así totalmente utilizada, así asegurando la mejor interpretación de
motor y un ahorro en el consumo de combustible. Al mismo tiempo, la formación
de depósitos de carbón en las cámaras de combustión y la producción de monóxido
de carbono y otros gases de combustión desagradables gasses es prevenida. El
dispositivo tiene la ventaja adicional que, debido a la temperatura alta a la
cual el combustible es calentado antes de su admisión en las cámaras de
combustión, vario inferior y los grados baratos del combustible pueden ser
usados con resultados satisfactorios.
Patente US 2,982,528 2 de mayo 1940 Inventor: Robert S. Shelton
SISTEMA DE COMBUSTIBLE DE VAPOR
Esta patente describe un diseño de carburador que
era capaz de producir figuras de millas por galón muy altas usando la gasolina
disponible en los EE. UU en los años 1930, pero que está ya no disponible
cuando la industria petrolera no quiere que carburadores de millas por galón
altos funcionales estén disponibles al público.
DESCRIPCIÓN
Esta invención está relacionada con mejoras de
sistemas de combustible de vapor que deben ser usados para motores de
combustión internos.
Un objeto de esta invención es proporcionar un
sistema de combustible de vapor que proporcionará un gran ahorro en el
combustible desde aproximadamente ocho veces el kilometraje que es obtenido por
el motor de combustión convencional, es proporcionado por el uso de este
sistema.
Otro objeto de la invención es proporcionar un
sistema de combustible de vapor que es proveído de un embalse para contener el
combustible líquido que es calentado para proporcionar el vapor del cual el
motor de combustión interno funcionará.
Con los objetos susodichos y otros y ventajas en
mente, la invención consiste en los detalles nuevos de construcción, arreglo y
combinación de partes más totalmente descritas abajo, reclamado e ilustrado en
los dibujos de acompañamiento.
DESCRIPCIÓN DE LOS DIBUJOS
Fig.1 es una vista de
elevational de un sistema de combustible de vapor que encarna la invención.

Fig.2 es una vista
ampliada, en parte en la sección, mostrando al carburador que forma la parte
del sistema mostrado en Fig.1.

Fig.3 es una vista
seccional transversal en línea 3 - 3 de Fig.2

Fig.4 es una vista
seccional transversal en línea 4 - 4 de Fig.2

Fig.5 es una vista
seccional transversal en línea 5 - 5 de Fig.2

Los números de referencia usados en los dibujos
siempre se refieren al mismo artículo en cada uno de los dibujos. El sistema de
combustible de vapor 10 incluye un conducto 11 que está relacionado con el
depósito de combustible a un final y a un carburador 12 en el extremo opuesto.
En el conducto 11 hay un filtro de combustible 13 y una bomba de combustible
eléctrica 14. Ponga instalación eléctrica 15 tierras la bomba y ponga
instalación eléctrica 16 une la bomba a una medida de combustible 18 en que es
montado un interruptor 17 que está relacionado con una batería 19 del motor por
el alambre 20.
La medida/interruptor de combustible es de la
construcción convencional y es del tipo revelado en Patentes estadounidenses el
No 2,894,093, el No 2,825,895 y el No 2,749,401. El interruptor es tan
construido que un flotador en el líquido en la medida, abre un par de contactos
cuando las subidas líquidas y este cortan de la bomba eléctrica 14. Cuando el
flotador baja debido al consumo del combustible líquido en el cuerpo, las
caídas de flotador, cerrando los contactos y comenzando la bomba 14 que rellena
el combustible líquido en el cuerpo.
Carburador 12 incluye un tazón circular en forma
de cúpula o el embalse 21 que es proporcionado por flanged centralmente
localizado la apertura 22 por lo cual el embalse 21 es montado en una garganta
tubular 23. Un cuello apratured 24 en la parte inferior de la garganta 23 es
colocado en el distribuidor de consumo 25 de un motor de combustión interno 26
y cerrojos 27 aseguran el cuello al distribuidor en una posición fija.
Una válvula de mariposa de control de vapor 28 es
fundamentalmente montada en la parte inferior de garganta 23 y válvula 28
mandos la entrada del vapor en el motor y tan mandos su velocidad.
Una bomba de combustible 29, teniendo unos 30 de
admisión, es montada en el fondo del embalse 21 de modo que los 30 de admisión
se comuniquen con el interior del embalse. Un tubo de comida o chorro 31
relacionado para pisar repetidamente 29 se extiende en la garganta 23 de modo
que por medio de un encadenamiento 32 que está relacionado para pisar
repetidamente 29 y a un encadenamiento para la válvula de control 28 y el
regulador de pie del motor, el combustible crudo pueda ser forzado en la
garganta 23 para comenzar el motor cuando es frío.
El final superior de la garganta 23 es volcado
sobre sí para proporcionar una porción hueco protuberante 33 dentro del embalse
21. Un calentador de inmersión 34 es colocado en el fondo del embalse y alambre
35 tierras el calentador. Un termostato 36 es montado en la pared del embalse y
se extiende en ello. El alambre 37 une el termostato al calentador 34 y el
alambre 38 se une el termostato al termostato controlan 39. El alambre 40 se
une el control a la ignición cambian 41 que por su parte está relacionado con
la batería 19 vía alambres 20 y 42.
Un par de la paralela relativamente espaciada
perforó platos de confusión 43 y 44, están relacionados con la porción
protuberante 33 durante el final superior de la garganta 23, y un segundo par
de la confusión perforada platea 45 y 46 amplían hacia adentro de la pared del
embalse 21 paralela el uno al otro y paralela para aturdir platos 43 y 44.
Los platos de confusión son arreglados en la
relación asombrada el uno al otro de modo que el plato de confusión 45 esté
entre los platos de confusión 43 y 44 y confusión platean 46 se extiende sobre
el plato desconcertadas 44.
Desconcertadas platean 45 tiene una apertura
central 47 y desconcertadas platean 46 tiene una apertura central 48 que tiene
un mayor diámetro que la apertura 47. Primeros 49 abovedados del embalse 21, se
extiende en una toma de aire tubular 50 que se extiende hacia abajo en la
garganta 23 y unos 51 de toque que montan es colocado en el exterior de la
cumbre abovedada, verticalmente alineada con el consumo 50. Un filtro de aire
52 es montado en los 51 de toque que montan por un enganche 53 como es el procedimiento
habitual, y una araña 54 es montada al final superior de 51 de toque que montan
para romper el aire cuando esto entra los 51 de toque del aire filtran 52.
En la operación, con el carburador 12 montado en
el motor de combustión interno en vez de un carburador convencional, el
interruptor de ignición 41 es encendido. Corriente de la batería 19 hará que la
bomba 14 mueva el combustible líquido en el embalse 21 hasta que el flotador
cambie 18 cortes la bomba lejos cuando el combustible líquido A ha alcanzado el
nivel B en el embalse. El control 39 es ajustado de modo que el termostato 36
haga funcionar el calentador 34 hasta que el combustible líquido haya alcanzado
una temperatura de 1050 F en que el calentador de tiempo 34 será
cortado. Cuando el combustible líquido ha alcanzado la temperatura apropiada,
el vapor estará disponible para seguir el curso indicado de las flechas en
Fig.2.
El motor es comenzado entonces y si el control de
pie es actuado, la bomba 29 hará que el combustible líquido crudo entre en el
distribuidor de consumo 25 hasta que el vapor del carburador sea hecho entrar
en el distribuidor para hacer que el motor funcionara. Cuando el combustible es
consumido, la bomba 14 será otra vez hecha funcionar y el calentador 34 será
hecho funcionar por el termostato 36. Así, la operación como descrito seguirá
mientras el motor funciona y la ignición cambian 41 es encendido. El embalse 21
sostendrá de 4 a 6 pintas (2 a 4 litros) del combustible líquido y desde sólo
el vapor del combustible acalorado hará que el carburador 12 dirija el motor,
el motor funcionará durante mucho tiempo antes de que más combustible sea hecho
entrar en el embalse 21.
Desconcertadas platean 43, 44, 45 y 46 son quedado
en la relación asombrada prevenir salpicar del combustible líquido dentro del
carburador. El nivel B del combustible en el embalse 21 es mantenido constante
por el interruptor 18 y con todos los elementos correctamente sellados, el
sistema de combustible de vapor 10 hará funcionar el motor eficazmente.
Válvula 28 control de la entrada del vapor en el
distribuidor de consumo 25, controla la velocidad del motor en la misma manera
que la válvula de control en un carburador convencional.
Allí ha sido así descrito un sistema de
combustible de vapor que encarna la invención y se cree que la estructura y la
operación de ello serán aparentes a aquellos expertos en el arte. También debe
ser entendido que los cambios de los detalles menores de construcción, arreglo
y combinación de partes pueden ser recurridos a a condición de que ellos se
caigan dentro del espíritu de la invención.
Patente US 3,294,381 27 de diciembre 1966 Inventor: Harold Schwartz
CARBURADOR
Esta patente describe un diseño de carburador que
era capaz de producir figuras de millas por galón muy altas usando la gasolina
disponible en los EE. UU entonces, pero que está ya no disponible cuando la
industria petrolera no quiere que carburadores de millas por galón altos
funcionales estén disponibles al público.
DESCRIPCIÓN
Esta invención está relacionada con una
construcción de carburador. Un objeto de la invención presente es proporcionar
un carburador en el cual el combustible es tratado por los gases de escape
calientes de un motor antes de ser combinado con el aire y ser alimentado en el
motor.
Otro objeto de la invención es proporcionar un
carburador como caracterizado encima, que pone en circulación el combustible
cargado por humo en una manera para liberarlo de glóbulos excesivamente grandes
del combustible, así asegurando que sólo sutilmente dividido y precalentó el
combustible del consecuencia parecido a una niebla es alimentado al
distribuidor de consumo del motor.
El carburador presente, cuando usado para
alimentar el motor de seis cilindros de un coche popular, mejoró el litros por
100 kilómetros interpretación en condiciones de conducción normales usando un
grado común del combustible, en más del 200 %. Esta eficacia aumentada fue
conseguida de la precalentación del combustible y cuidado de ello bajo la
presión baja impuesta por la succión aplicada al carburador para el
mantenimiento del nivel de combustible durante la operación del motor. Esta
presión baja en las causas de carburador aumentó vaporisation del combustible
en el carburador y levanta la eficacia de operación.
Esta invención también tiene para sus objetos;
proporcionar un carburador que es positivo en la operación, conveniente para
usar, fácilmente instalado en su posición trabajadora, fácilmente quitada del
motor, económico para fabricar, del diseño relativamente simple y de
superioridad general y utilidad.
La invención también comprende detalles nuevos de
construcción y combinaciones nuevas y arreglos de partes, que aparecerán más
totalmente en el curso de la descripción siguiente y que están basadas en los
dibujos de acompañamiento. Sin embargo, los dibujos y después de descripción
simplemente describen una encarnación de la invención presente, y sólo son
dados como una ilustración o ejemplo.
DESCRIPCIÓN DE LOS DIBUJOS
En los dibujos, todos los números de referencia se
aplican a las mismas partes en cada dibujo.
Fig.1 es una vista de
plan en parte rota de un carburador construido de acuerdo con la invención
presente, mostrada con un suministro de combustible, alimentándose y sistema de
vuelta.

Fig.2 es una vista
seccional vertical del carburador tomado el avión de línea 2 - 2 en Fig.1

Fig.3 es una
elevación de lado parcial y la vista seccional parcial del carburador,
mostrando a detalles estructurales adicionales

El carburador es preferentemente montado en el
tubo de aire de downdraft habitual 5 que recibe un flujo del aire por el filtro
de aire. El tubo 5 es proveído de un regulador o válvula de mariposa que
controla el flujo e incorpora un aumento de flujo venturi paso. Estos rasgos
comunes de la comida de combustible al distribuidor de consumo de motor no son
mostrados ya que estos rasgos son conocidos y ellos también son revelados en el
mi No 182,420 Consecutivo de aplicación Evidente pendiente ahora abandonó. El
carburador presente encarna mejoras sobre la revelación de la aplicación más
temprana.
El carburador presente comprende un alojamiento 6
montado en el tubo de aire 5, y diseñado para sostener un fondo playo del
combustible 7, una 8 terminación de admisión de combustible en un pulverizador
9, un distribuidor de gas de escape 10 para conducir gases de combustión
calentados gasses para la descarga en el spray del combustible que sale del
inyector 9 y para calentar el fondo del combustible 7 superficie inferior ello.
Los medios 11 para fregar la mezcla de vapores de combustible para eliminar
gotitas grandes del combustible de la mezcla (las gotitas se caen en el fondo 7
superficie inferior), un tubo de inyector 12 para recibir la mezcla fregada y
pasar la mezcla en la acción venturi en el tubo de aire 5 donde es combinado
con el aire y preparado a la inyección en el distribuidor de consumo del motor.
El tubo de recogida 13 está relacionado con una salida 14 para dibujar el
combustible de exceso del fondo 7 durante la operación del carburador.
El sistema relacionado con el carburador es
mostrado en Fig.1, y comprende un depósito de combustible 15, una bomba de
combustible generalmente convencional 16 para dibujar el combustible del tanque
y dirigirlo a 8 de admisión, un filtro de combustible 17, y una bomba 18
relacionado en serie entre el depósito de combustible y salida 14 para colocar
el tubo 13 bajo la succión y dibujar el combustible de exceso del carburador
atrás al tanque 15 para la recirculación a 8 de admisión.
El carburador que aloja 6 puede ser la circular,
como mostrado y completamente llano comparado a su diámetro, para tener un
fondo llano grande 20 que, con la pared cilíndrica 21, sostiene el fondo de
combustible 7. La tapa 22 encierra la cumbre del alojamiento. El fondo 20 y
tapa 22 ha alineado aperturas centrales por las cuales el tubo downdraft 5 se
extiende, este tubo que forma el interior del alojamiento, creando unos 23
espaciales interiores anulares.
Los admisión de combustible 8 son atados para cubrir
22 por una unión desprendible. Pulverizador 9 se extiende por la tapa. Mientras
el dibujo muestra que los agujeros que emiten spray 24 quedaron en proporcionar
un spray alrededor del inyector 7, el inyector puede ser formado de modo que el
spray sea direccional como deseado conseguir el intercompromiso más eficiente
del combustible rociado con la calefacción gasses suministrado por los 10
diversos
Carburador que aloja 6 puede ser la circular, como
mostrado y completamente llano comparado a su diámetro, para tener un fondo
llano grande 20 que, con la pared cilíndrica 21, sostiene el fondo de
combustible 7. La tapa 22 encierra la cumbre del alojamiento. El fondo 20 y
tapa 22 ha alineado aperturas centrales por las cuales el tubo downdraft 5 se
extiende, este tubo que forma el interior del alojamiento, creando unos 23
espaciales interiores anulares.
El distribuidor es mostrado como un tubo 25 que
tiene y final 26 ampliación de la cámara de madrugador de calor convencional
(no mostrado) del motor, la flecha 27 flujo de gas de escape de indicación en
el tubo 25. El tubo puede rodear la porción inferior del alojamiento 6,
calentar el fondo del combustible 7 por transferencia del calor por la pared
del alojamiento. El tubo diverso es mostrado con un final de descarga 28 que se
extiende en el alojamiento en una dirección inteririz y ascendente hacia el
inyector 9 de modo que los gases de combustión gasses fluyendo en el tubo se
entremezclen con el combustible rociado y lo calienten cuando esto deja el
inyector.
El fregado de combustible significa 11 es mostrado
cuando una cámara curva 29 localizado dentro del alojamiento 6, proveyó de una
serie de paredes de confusión 30 que hacen que la niebla de combustible
acalorada de vapores siga un camino tortuoso e intercepte las gotitas más
pesadas del combustible que entonces agotan las caras de las paredes de
confusión, por aperturas 31 en la pared de fondo 32 de la cámara que friega
bien 29 en 23 espaciales interiores de alojar 6 encima del nivel del fondo de
combustible 7.
Tubo de recogida 13 también es mostrado como
llevado alojando la tapa 22 y puede ser ajustado de modo que su final abierto
inferior sea tan espaciado del fondo de alojamiento 20 para regular la
profundidad del fondo 7, que es preferentemente debajo de la pared de fondo 32
de la cámara que friega bien 29. Ya que este tubo es sujeto a la succión de
bomba 18 por salida 14 y filtro 17, el nivel del fondo 7 es mantenido por el
combustible de exceso devuelto al tanque 15 por la bomba 16.
Se verá que la superficie de fondo 7 es el sujeto
no sólo a la acción venturi en el tubo 5, sino también a la succión de la bomba
18 cuando esto retira el combustible de exceso al depósito de combustible 15.
Así, la superficie del fondo está bajo algo menos que la presión atmosférica
que aumenta el precio de vaporisation de la superficie de fondo, el vapor que
resulta se y combina con el flujo de la cámara que friega bien al tubo
downdraft 5.
.
Patente US 3,653,643 4 de abril 1972 Inventor: Oliver M. Tucker
CARBURADOR
Esta patente describe un diseño de carburador que
era capaz de producir figuras de millas por galón muy altas usando la gasolina
disponible en los EE. UU entonces, pero que está ya no disponible cuando la
industria petrolera no quiere que carburadores de millas por galón altos
funcionales estén disponibles al público.
EXTRACTO
Un carburador incluso un alojamiento que tiene un
embalse fluido en el fondo, una toma de aire en lo alto del alojamiento, un
tubo de entrega coaxialmente montó dentro del alojamiento y terminación salvo
la cumbre del alojamiento, y un filtro de evaporación poroso considerablemente
relleno del embalse. Una desconcertadas
es concentrically montado dentro del alojamiento y se extiende parcialmente en
la evaporación se filtran el embalse para desviar el aire entrante por el
filtro. El nivel del combustible líquido en el embalse es guardado encima del
fondo de la confusión, de modo que el aire que entra en el carburador por la
entrada debiera pasar por el combustible líquido y evaporación se filtran el
embalse antes de la descarga por la salida. Una toma de aire secundaria es
proporcionada en la cumbre del alojamiento para controlar la proporción de aire
de combustible del combustible vaporizado que pasa en el tubo de entrega.
FONDO DE LA INVENCIÓN
Es generalmente conocido que el combustible
líquido debe ser vaporizado a fin de obtener la combustión completa. La
combustión incompleta del combustible en motores de combustión internos es una
causa principal de la contaminación atmosférica. En un carburador automotor
típico, el combustible líquido es atomizado e inyectado en la corriente de aire
en un distribuidor de aproximadamente 3.14 pulgadas cuadradas en el área
enfadada seccional. En un ocho cilindro 283 motor de pulgada cúbico que dirige
en aproximadamente 2,400 revoluciones por minuto requiere 340,000 pulgadas
cúbicas del aire por minuto. La
velocidad de aire en el distribuidor de consumo en esta velocidad de motor será
aproximadamente 150 pies por segundo y esto tomará por lo tanto aproximadamente
0.07 segundos para una partícula del combustible para moverse del carburador a
la cámara de combustión y el combustible permanecerá en la cámara de combustión
durante aproximadamente 0.0025 segundos.
Es concebible que en este período corto del
tiempo, vaporisation completo del combustible no es conseguido y como una
consecuencia, la combustión incompleta ocurre, causando adelante airea la
contaminación. Las partículas de combustible líquidas si no vaporizado, pueden
depositar en las paredes de cilindro y diluir la película de aceite lubricante
allí, promoviendo la incineración parcial del aceite lubricante y adición
adelante al problema de contaminación. La destrucción de la película de aceite
lubricante por la combustión también puede aumentar la ropa mecánica tanto de
cilindros como de aros del émbolo.
RESUMEN DE LA INVENCIÓN
El carburador de esta invención asegura la
combustión completa del combustible líquido en un motor de combustión interno,
con una disminución correspondiente del contaminador de aire en los gases de
combustión gasses. Este es conseguido suministrando el gas completamente
vaporizado o seco a la cámara de combustión. El aire primario es al principio
filtrado antes de pasar por un filtro que se vaporiza que es sumergido en el
combustible líquido dibujado de un embalse en el carburador. El filtro que se
vaporiza continuamente rompe el aire primario en pequeñas burbujas a la baja
del aumento del área superficial disponible para la evaporación del combustible
líquido. El aire secundario es añadido a
la mezcla de aire de combustible enriquecida por un filtro de aire secundario
antes de la admisión de la mezcla de aire de combustible en las cámaras de
combustión del motor. La filtración inicial tanto del aire primario como de
secundario quita cualquier partícula extranjera que puede estar presente en el
aire, y que podría causar la ropa aumentada dentro del motor. El carburador
también asegura la entrega de un gas seco limpio al motor debido a la
separación de gravedad de cualquier líquido o partículas de suciedad del aire
primario enriquecido por combustible.
Otros objetos y ventajas se harán aparentes de la
descripción detallada siguiente cuando leído junto con el dibujo de acompañamiento,
en el cual la figura sola muestra a una perspectiva la vista enfadada seccional
del carburador de esta invención.

DESCRIPCIÓN DE LA INVENCIÓN
El carburador 40 revelado aquí es adaptado para el
uso con un motor de combustión interno donde el aire es dibujado por el
carburador para vaporizar el combustible en el carburador antes de su admisión
al motor.
En este aspecto, el flujo de combustible líquido,
gas o petróleo, al carburador es controlado por medio de una asamblea de
válvula de flotador 10 relacionado con una fuente del combustible líquido por
la línea de combustible 12 y al carburador 40 por un tubo conectador 14. El
flujo del combustible líquido por la asamblea de válvula de flotador 10 es
controlado por un flotador 16, fundamentalmente montado dentro de una cámara de
flotador 18 y vigentemente relacionado con una válvula de flotador 20.
De acuerdo con la invención, el combustible
líquido se confesó culpable del carburador 40 por el tubo 14, es completamente
evaporado por el aire primario para el motor dentro del carburador y mezclado
con el aire secundario antes de la admisión en un tubo de entrega 100 que está
relacionado con 102 diversos del motor. Más expresamente, el carburador 40
incluye un alojamiento cilíndrico o la cazuela 42, teniendo una pared de fondo
44 que forma un embalse de combustible y con filtro líquido 46. Un filtro que
se vaporiza 48 es colocado dentro del embalse 46 y amplía hacia arriba para una
distancia de la pared de fondo 44 del alojamiento 42. El filtro que se vaporiza 48 es usado
continuamente para romper el aire primario en un número grande de pequeñas
burbujas cuando esto pasa por el combustible líquido en el embalse 46. Este
aumenta el área superficial por volumen del aire disponible para la evaporación
del combustible líquido, como descrito más detalladamente abajo. Este filtro 48
es formado de un material esquelético tridimensional que es lavable y no es
sujeto a la avería bajo las condiciones de funcionamiento dentro del
carburador. Un filtro de poliuretano plástico celular echado espuma que tiene
aproximadamente 10 a 20 poros por pulgada ha sido usado con éxito en el
carburador.
Alojamiento 42 está cerrado encima por una capucha
o tapa 50 que puede ser asegurado en el lugar por cualquier medio apropiado. La
capucha tiene un diámetro más grande que el diámetro de alojar 42 e incluye un
reborde inclinado 52 y una confusión inclinada 54. El reborde 52 es
concentrically arreglado y proyecta hacia fuera más allá de los lados de alojar
42 para formar una toma de aire primaria 56. La confusión 54 es concentrically
colocado dentro del alojamiento 42 para crear una cámara de aire primaria 58 y
una cámara de mezcla central 60.
Aire primario es hecho entrar en el alojamiento 42
por la toma de aire 56 y es filtrado por el filtro de aire primario 62 que es
removably montado en el espacio entre el reborde 52 y el exterior de la pared
de alojar 42 por medio de una pantalla 64. El aire primario filtra 62 puede ser
hecho del mismo material de filtración que el filtro que se vaporiza 48.
Cuando el aire primario entra en la cámara de aire
primaria 58 es desviado por el combustible líquido en el embalse 46 por medio
de la confusión cilíndrica 54. Esta confusión se extiende abajo de la capucha
50 bastante lejos para penetrar la porción superior del filtro que se vaporiza
48. El aire primario debe pasar alrededor del fondo de confusión 54 y tanto por
el combustible líquido como por el filtro que se vaporiza 48 antes de la
entrada en la cámara que se mezcla 60.
El nivel del combustible líquido en el embalse 46
es mantenido encima del borde de fondo de la confusión 54 por medio de la
asamblea de válvula de flotador 10. La operación de la asamblea de válvula de
flotador 10 es conocida. La cámara de flotador 18 es localizada en aproximadamente
el mismo nivel que embalse 46 y flotador 16 pivotes en respuesta a una gota en
el nivel del combustible líquido en la cámara de flotador y abre la válvula de
flotador 20.
Cuando el aire primario entra en la cámara de aire
primaria 58 es desviado por el combustible líquido en el embalse 46 por medio
de la confusión cilíndrica 54. Esta confusión se extiende abajo de la capucha
50 bastante lejos para penetrar la porción superior del filtro que se vaporiza
48. El aire primario debe pasar alrededor del fondo de confusión 54 y tanto por
el combustible líquido como por el filtro que se vaporiza 48 antes de la
entrada en la cámara que se mezcla 60.
Uno de los rasgos importantes de la invención
presente es la eficacia de evaporación del combustible líquido por el flujo del
número grande de burbujas por el embalse. Se cree que este es causado por la
ruptura continua de las burbujas cuando ellos pasan por el filtro que se
vaporiza 48. Es conocido que el precio de evaporación causada por una burbuja
de aire que pasa tranquilo por un líquido, es relativamente lento debido a la
tensión superficial de la burbuja. Sin embargo, si la burbuja está
continuamente rota, la tensión superficial de la burbuja es reducida y un
proceso de evaporación continuo ocurre. Se cree que este fenómeno es la causa
del precio de evaporación alto del combustible líquido en el carburador de esta
invención.
Otro rasgo del carburador de esta invención es su
capacidad de suministrar el gas seco a la cámara de mezcla central 60 en el
alojamiento 42. Ya que el flujo del aire primario en la cámara de mezcla
central 60 es verticalmente hacia arriba, la fuerza de la gravedad prevendrá
cualquier gotita del combustible líquido de elevarse bastante alta en el
carburador para entrar en el tubo de entrega 100. La entrega de gas seco al
tubo de entrega aumenta la eficacia de combustión y a la baja de reduce la
cantidad de gasses no quemado o contaminadores que son agotados en el aire por
el motor.
Medios son proporcionados para reconocer que el
aire secundario en la cámara de mezcla central 60 conseguía la proporción de
aire de combustible apropiada requerida para la combustión completa. Tal medio
está en la forma de una asamblea de filtro de aire secundaria 80 montado en un
tubo de admisión 82 proporcionado en la apertura 84 en la capucha 50. La
asamblea de filtro de aire secundaria 80 incluye un plato superior 86, un plato
inferior 88, y un aire secundario filtra 90 colocado entre platos 86 y 88. El aire secundario filtra 90 es impedido ser
hecho entrar en el tubo de admisión 82 por medio de una pantalla cilíndrica 92
que forma una continuación del tubo 82. El aire secundario pasa por la
periferia externa del filtro de aire secundario 90, por la pantalla 92 y en el
tubo 82. El flujo del aire secundario por el tubo 82 es controlado por medio de
una válvula de mariposa 94 como es generalmente entendido en el arte.
La mezcla completa del aire primario enriquecido
por gas seco con el aire secundario entrante dentro del alojamiento 42, es
conseguido por medio de deflector 96 colocado al final de tubo 82. El Deflector
96 incluye varios veletas 98 que son enroscados para proporcionar un flujo de
aire circular en apariencia desviado en la cámara de mezcla central 60 y así
creación de un aumento de la turbulencia del aire secundario cuando esto se
combina con el aire primario enriquecido por combustible. El deflector impide a
cavitation ocurrir al final superior del tubo de salida 100.
El flujo de mezcla de aire de combustible al motor
es controlado por medio de una válvula de regulador 104 proporcionado en la
salida o tubo de entrega 100. La operación de la válvula de regulador 104 y
válvula de mariposa 94 es amba controlada en una manera convencional.
LA OPERACIÓN DEL CARBURADOR
Aire primario es hecho entrar en el alojamiento 42
por la toma de aire primaria 56 y los pases hacia arriba por el aire primario
filtran 62 donde considerablemente todas las partículas extranjeras son
quitadas del aire primario. El aire primario filtrado entonces fluye hacia
abajo por la cámara de aire primaria 58, bajo la confusión 54, por el embalse
con filtro de combustible 46, y hacia arriba en la cámara de mezcla central 60.
Todo el aire primario pasa por el filtro que se vaporiza 48 proporcionado en el
embalse 46. El filtro que se vaporiza 48 continuamente rupturas la corriente de
aire primaria en miles de pequeñas burbujas, reduciendo tensión superficial y
aumentando la superficie de aire disponible para evaporación del combustible
líquido. Ya que la superficie externa de
cada burbuja está siendo constantemente rota por el filtro que se vaporiza 48 y
está en el contacto constante con el combustible líquido cuando la burbuja pasa
por el filtro que se vaporiza 48, hay una mayor oportunidad de la evaporación
del combustible antes de la entrada en la cámara de mezcla central 60. El flujo
ascendente vertical del aire primario enriquecido por combustible en la cámara
de mezcla central, asegura que ningunas gotitas de combustible líquidas serán
llevadas en el tubo de entrega 100.
El aire primario enriquecido por combustible es a
fondo mezclado con el aire secundario que entra por el tubo 82 por medio del
sistema deflector 96 que aumenta la turbulencia del aire primario y secundario
dentro de la cámara de mezcla central e impide a cavitation ocurrir en el tubo
de entrega 100. El aire primario enriquecido por combustible completamente
variado y el aire secundario entonces pasan por el tubo de entrega 100 en el
distribuidor de admisión del motor.
Patente US 4,177,779 11 de diciembre 1979 Inventor: Thomas H. Ogle
SISTEMA DE ECONOMÍA DE COMBUSTIBLE PARA UN MOTOR DE COMBUSTIÓN INTERNO
Esta patente describe un diseño de carburador que
era capaz de producir figuras de millas por galón muy altas usando la gasolina
disponible en los EE. UU entonces, pero que está ya no disponible cuando la
industria petrolera no quiere que carburadores de millas por galón altos
funcionales estén disponibles al público.
EXTRACTO
Un sistema de economía de combustible para un motor
de combustión interno que, cuando instalado en un automóvil, vence la necesidad
de un carburador convencional, bomba de combustible y depósito de combustible.
El sistema funciona usando el vacío de motor para dibujar vapores de
combustible de un tanque de vapor por un conducto de vapor a una igualada de
vapor que es colocada directamente sobre el distribuidor de consumo del motor.
El tanque de vapor es construido del acero de trabajo pesado, o el parecido,
resistir la presión de vacío grande e incluye una válvula de toma de aire
conectada para el control al pedal de acelerador. La igualada de vapor asegura
la distribución de la mezcla correcta de aire y vapor a los cilindros del motor
para la combustión, y también incluye su propia válvula de toma de aire
conectada para el control al pedal de acelerador. El sistema utiliza la
retardación de vapor se filtra el conducto de vapor, el tanque de vapor y la
igualada de vapor para entregar la mezcla de vapor/aire correcta para la
operación apropiada. El tanque de vapor y el combustible contenido en ello, son
calentados dirigiendo el refrigerante de motor por un conducto dentro del
tanque. Debido a las mezclas de combustible muy delgadas usadas por la
invención presente, el kilometraje de gas superior a cien litros por 100
kilómetros puede ser conseguido.
FONDO DE LA INVENCIÓN
1. Campo de la Invención
La invención presente está relacionada con motores
de combustión internos y, más en particular, es dirigida hacia un sistema de
economía de combustible para un motor de combustión interno que, cuando
aplicado a un automóvil, vence la necesidad de carburadores convencionales,
bombas de combustible y depósitos de combustible, y permite a consumo de
combustible inmensamente mejorado ser conseguido.
2. Descripción del Arte Previa
Pruebas de arte previas muchos acercamientos
diferentes al problema de aumentar la eficacia de un motor de combustión
interno. Debido al precio creciente del combustible, y la popularidad de
automóviles como un modo de transporte, la mayor parte del esfuerzo en este
área es generalmente dirigido hacia el consumo de combustible que mejora para
automóviles. Junto con el kilometraje aumentado, mucho trabajo ha sido hecho
con una vista hacia reducir emisiones de contaminador de automóviles.
Soy consciente de las patentes de los Estados
Unidos siguientes que son generalmente dirigidas hacia sistemas para mejorar la
eficacia y/o reducir las emisiones de contaminador de motores de combustión
internos:
______________________________________
Chapin 1,530,882
Crabtree et al 2,312,151
Hietrich et al 3,001,519
Hall 3,191,587
Wentworth 3,221,724
Holzappfel 3,633,533
Dwyre 3,713,429
Herpin 3,716,040
Gorman, Jr. 3,728,092
Alm et al 3,749,376
Hollis, Jr. 3,752,134
Buckton et al 3,759,234
Kihn 3,817,233
Shih 3,851,633
Burden, Sr. 3,854,463
Woolridge 3,874,353
Mondt 3,888,223
Brown 3,907,946
Lee, Jr. 3,911,881
Rose et al 3,931,801
Reimuller 3,945,352
Harpman 3,968,775
Naylor 4,003,356
Fortino 4,011,847
Leshner et al 4,015,569
Sommerville 4,015,570
______________________________________
Los Estados Unidos Chapin. Acariciar. No 1,530,882
revela un depósito de combustible rodeado por una chaqueta agua, éste de que es
incluido en un sistema de circulación con el radiador del coche. Agua acalorado
en el sistema de circulación hace que el combustible en el depósito de
combustible se vaporize fácilmente. La succión del distribuidor de admisión
hace que el aire sea hecho entrar en el tanque para burbujear el aire por el
combustible para ayudar a formar el vapor deseado que es dibujado entonces al
distribuidor para la combustión.
El Buckton et al y Estados Unidos.
Acariciar. No 3,759,234 avanza un
sistema de combustible que proporciona vapores suplementarios para un motor de
combustión interno por medio de una lata que contiene una cama de gránulos de
carbón. El Wentworth y Hietrich et al y Estados Unidos Acariciar. Número
3,221,724 y 3,001,519 también enseñan sistemas de recuperación de vapor que
utilizan filtros de gránulos de carbón o el parecido.
Los Estados Unidos Dwyre. Acariciar. No 3,713,429
usa, además del depósito de combustible normal y carburador, un tanque auxiliar
que tiene una cámara en el fondo que es diseñado para recibir el refrigerante
del sistema de refrigeración de motor para producir vapores de combustible,
mientras el Paseante Estados Unidos. Acariciar. No 3,395,681 revela un sistema
de evaporador de combustible que incluye un depósito de combustible querido
para sustituir el depósito de combustible normal, y que incluye un conducto de
aire fresco para hacer entrar el aire en el tanque.
Los Estados Unidos Fortino. Acariciar. No
4,011,847 enseña un sistema de suministro de combustible en donde el
combustible es vaporizado principalmente por el aire atmosférico que es
liberado debajo del nivel del combustible, mientras el Crabtree y Estados
Unidos Al-. Acariciar. No 2,312,151
enseña un sistema vaporisation que incluye un gas y el puerto de toma de aire
localizado en una cámara que se vaporiza y que incluye un juego de deflectors
para efectuar una mezcla del aire y vapor dentro del tanque. Los Estados Unidos
Mondt. Acariciar. No 3,888,223 también revela una lata de control de
evaporative para mejorar operación de arranque en frío y emisiones, mientras
Estados Unidos Sommerville. Acariciar. No 4,015,570 enseña un combustible
líquido vaporiser que es querido para sustituir la bomba de combustible
convencional y el carburador que es diseñado para cambiar mecánicamente el
combustible líquido a un estado de vapor.
Mientras las patentes anteriores evidencian una
proliferación de tentativas de aumentar la eficacia y/o reducir emisiones de
contaminador de motores de combustión internos, ningún sistema práctico ha
encontrado aún su camino al mercado.
OBJETOS Y RESUMEN DE LA INVENCIÓN
Esto es por lo tanto un objeto primario de la
invención presente de proporcionar un sistema de economía de combustible nuevo
y mejorado para un motor de combustión interno que enormemente mejora la
eficacia del motor.
Otro objeto de la invención presente es
proporcionar un sistema de economía de combustible único para un motor de
combustión interno que proporciona un medio práctico, vigente y fácilmente
realizable para aumentar dramáticamente el kilometraje de gas de automóviles
convencionales.
Un objeto adicional de la invención presente es
proporcionar un sistema de economía de combustible mejorado para motores de
combustión internos que también reduce las emisiones de contaminador.
Los objetos anteriores y otros son alcanzados de
acuerdo con un aspecto de la invención presente por la provisión de un sistema
de vapor de combustible para un motor de combustión interno que tiene un
distribuidor de consumo, que comprende un tanque para contener el vapor de
combustible, una igualada de vapor montada en y en la comunicación fluida con
el distribuidor de consumo del motor, y un conducto de vapor que unen el tanque
a la igualada de vapor para librar el vapor de combustible del antiguo a éste.
La igualada de vapor incluye una primera válvula relacionada con ello para
controlar la admisión de aire a la igualada de vapor, mientras el tanque le
hace unir una segunda válvula para controlar la admisión de aire al tanque. Un
regulador controla las primeras y segundas válvulas de modo que la apertura de
la primera válvula preceeds y exceda la apertura de la segunda válvula durante
la operación.
De acuerdo con otros aspectos de la invención
presente, un filtro es colocado en el conducto de vapor para retardar el flujo
del vapor de combustible del tanque a la igualada de vapor. En una forma
preferida, el filtro comprende partículas de carbón y puede incluir una
colección parecida a una esponja de, por ejemplo, neoprene fibras. En una
encarnación preferida, el filtro comprende un alojamiento considerablemente
tubular colocado en serie en el conducto de vapor, el alojamiento que contiene
una porción central que comprende una mezcla de carbón y neoprene, y porciones
de final que comprenden el carbón, colocado en cada lado de la porción central.
De acuerdo con otro aspecto de la invención
presente, un segundo filtro es colocado en la igualada de vapor para retardar
otra vez el flujo del vapor de combustible al distribuidor de consumo de motor.
El segundo filtro es colocado río abajo de la primera válvula y en una forma
preferida, incluye partículas de carbón montadas en un par de huecos formados
en un miembro de apoyo poroso. El miembro de apoyo poroso, que puede comprender
neoprene, incluye una primera porción prorrogada parte de enfrente colocada un
puerto de entrada de vapor en la igualada de vapor con la cual el conducto de
vapor está relacionado, mientras un segundo se prorrogó la porción es colocada
frente al distribuidor de consumo del motor.
De acuerdo con todavía otros aspectos de la
invención presente, un tercer filtro es colocado en el tanque para controlar el
flujo del vapor de combustible en el conducto de vapor en la proporción al
grado de vacío en el tanque. El filtro más en particular comprende un mecanismo
para reducir la cantidad del vapor de combustible entregado al conducto de
vapor cuando el motor funciona en vacío y cuando el motor ha alcanzado una
velocidad estable. El regulador actúa para cerrar la segunda válvula cuando el
motor funciona en vacío y cuando el motor ha alcanzado una velocidad estable,
aumentar así la presión de vacío en el tanque. En una forma preferida, el
tercer filtro comprende un marco fundamentalmente montado dentro del tanque y
movible entre primeras y segundas posiciones de operaciones. La primera
posición de operaciones corresponde a una condición abierta de la segunda
válvula, mientras la segunda posición de operaciones corresponde a una
condición cerrada de la segunda válvula. El tanque incluye un puerto de salida
de vapor con el cual el final del conducto de vapor está relacionado, tal que
la segunda posición de operaciones de los sitios de marco el tercer se filtra
la comunicación con el puerto de salida de vapor.
Más en particular, los terceros se filtran una
forma preferida incluye partículas de carbón intercaladas entre dos capas de un
material con filtro parecido a una esponja, que puede comprender neoprene, y
pantallas para apoyar la composición acodada dentro del marco de pivotable. Un
conducto es colocado en el tercer filtro para colocarlo en la comunicación
fluida directa con el puerto de salida de vapor cuando el marco está en su
segunda posición de operaciones.
De acuerdo con aún otros aspectos de la invención
presente, un conducto está relacionado entre la tapa de válvula del motor y la
igualada de vapor para dirigir el golpe del aceite - por a la igualada de vapor
a fin de reducir al mínimo el ruido de válvula. El tanque también
preferentemente incluye un conducto de cobre colocado en el fondo de ello, que
está relacionado en serie con el sistema de refrigeración del automóvil, para
calentar el tanque y generar más vapor. Un subproducto beneficioso del sistema
circulante reduce el motor temperatura de operaciones para mejorar adelante la
eficiencia operativa.
BREVE DESCRIPCIÓN DE LOS DIBUJOS
Varios objetos, los rasgos y las ventajas
asistentes de la invención presente serán más totalmente apreciados cuando el
mismo se hace mejor entendido de la descripción detallada siguiente de la
invención presente cuando considerado en relación a los dibujos de
acompañamiento, en cual:
Fig.1 es una vista de
perspectiva que ilustra varios componentes que juntos comprenden una
encarnación preferida de la invención presente como instalado en un automóvil;

Fig.2 es una vista enfadada seccional de uno de
los componentes de la encarnación preferida ilustrada en Fig.1 tomado a lo
largo de la línea 2 - 2

Fig.3 es una vista
seccional del tanque de vapor ilustrado en Fig.2 tomado a lo largo de la línea
3 - 3

Fig.4 es una ilustración de vista seccional
ampliada en el mayor detalle un componente del tanque de vapor mostrado en
Fig.3 tomado a lo largo de la línea 4 - 4

Fig.5 es una
perspectiva, vista parcialmente seccional que ilustra un componente con filtro
del tanque de vapor ilustrado en Fig.2

Fig.6 es una vista enfadada seccional de otro
componente de la encarnación preferida de la invención presente ilustrada en
Fig.1 tomado a lo largo de la línea 6 - 6

Fig.7 es un lado
parcial, la vista seccional parcial de la igualada de vapor ilustrada en Fig.6
tomado a lo largo de la línea 7 - 7

Fig.8 es una vista lateral que ilustra el
encadenamiento de regulador de la igualada de vapor mostrada en Fig.7 tomado a
lo largo de la línea 8 - 8

Fig.9 es una vista seccional longitudinal de
otro componente con filtro de la encarnación preferida ilustrada en Fig.1

Fig.10 es una vista de otro componente de la
invención presente

Fig.11 es un hecho explotar, vista de
perspectiva que ilustra los componentes principales de la porción con filtro de
la igualada de vapor de la invención presente.

DESCRIPCIÓN DETALLADA DE LA ENCARNACIÓN
PREFERIDA
La referencia ahora a los dibujos, donde las
partes son numeradas el mismo en cada dibujo, y más en particular a Fig.1 que
ilustra una encarnación preferida de la invención presente como instalado en un
automóvil.
La encarnación preferida incluye como sus
componentes principales un tanque de vapor de combustible 10 en que el vapor de
combustible es almacenado y generado para la entrega subsecuente al motor de
combustión interno 20. En la cumbre del tanque de vapor de combustible 10 es
montado una válvula de control de toma de aire 12 cuya estructura y la
operación serán descritas en el mayor detalle abajo.
El motor de combustión interno 20 incluye un
distribuidor de consumo estándar 18. Montado sobre el distribuidor de consumo
18 es una cámara de igualada de vapor 16. Relacionado entre el tanque de vapor
de combustible 10 y la cámara de igualada de vapor 16 es un conducto de vapor o
la manguera 14 para conducir los vapores desde dentro el tanque 10 a la cámara
16.
Número de referencia 22 indica generalmente una
válvula de control de toma de aire que es montada en la cámara de igualada de
vapor 16. Así, el sistema es proveído de dos válvulas de control de toma de
aire separadas 12 y 22 que son respectivamente conectados vía cables 24 y 26 al
control de regulador para el automóvil que puede tomar la forma de un pedal de
acelerador estándar 28. Las válvulas de control de toma de aire 12 y 22 son
sincronizadas en tal manera que la apertura de la válvula de control de toma de
aire 22 de la igualada de vapor 16 siempre preceden y exceden la apertura de la
válvula de control de toma de aire 12 del tanque de vapor de combustible 10,
por motivos que se harán más claros más tarde.
El sistema de refrigeración del vehículo
convencionalmente incluye un radiador 30 para almacenar el refrigerante líquido
que es puesto en circulación por el motor 20 en la manera conocida. Un par de
mangueras 32 y 34 es preferentemente conectado en las líneas de calentador
normales del motor 20 para dirigir el refrigerante líquido calentado del motor
20 a un recalentamiento bobina 36, preferentemente construido del cobre, que es
colocado dentro del tanque de vapor 10. He encontrado que el sistema de
circulación agua que consiste en mangueras 32, 34 y 36 sirve tres funciones
distintas. En primer lugar, esto impide
al tanque de vapor alcanzar las temperaturas frías a las cuales sería por otra
parte sujetado a consecuencia de presión de vacío alta y flujo de aire por
ello. En segundo lugar, el refrigerante acalorado sirve para realzar
vaporisation del combustible almacenado dentro del tanque 10 levantando su
temperatura. En tercer lugar, el refrigerante líquido, después del tanque que
se marcha 10 vía el conducto 34, ha sido refrescado al punto donde el motor 20
puede ser dirigido entonces en temperaturas considerablemente más abajo de
operaciones para aumentar adelante la eficacia y prolongar la vida del motor.
Incluido en serie con el conducto de vapor 14 es
una unidad con filtro 38 que es diseñado para retardar el flujo del vapor de
combustible del tanque 10 a la igualada de vapor 16. La estructura precisa de
la unidad con filtro 38 será descrita en el mayor detalle abajo. Una válvula de
ajuste de empuje 40 es colocada río arriba de la unidad con filtro 38 en el
conducto 14 y actúa como un ajuste fino para la velocidad que funciona en vacío
del vehículo. Colocado al otro lado de la unidad con filtro 38 en el conducto
14 es una válvula de cierre de seguridad 42 que comprende una válvula de dirección
única. El comienzo del motor 20 abrirá la válvula 42 para permitir a la presión
de vacío de motor ser transmitido al tanque 10, pero, por ejemplo, un petardeo
cerrará la válvula para prevenir una explosión posible. El tanque 10 también
puede ser proveído de un desagüe 44 colocado en el fondo del tanque.
Colocado en el lado de la cámara de igualada de
vapor 16 es una unión de cartilla 46 que puede ser controlado por el botón de
control de cartilla montado de una carrera 48 relacionado con el tanque 10 vía
el conducto 47. Un conducto 50 se extiende de la gorra de respiro del aceite
que abre 52 en unos 54 de tapa de válvula del motor 20 a la igualada de vapor
16 para alimentar el golpe del aceite - por al motor como un medio para
eliminar el ruido de válvula. Creen este necesario debido a la mezcla delgada
extrema de vapor de combustible y aire alimentado a los cilindros de combustión
del motor 20 de acuerdo con la invención presente.
Referencia ahora a Fig.2 y Fig.3, el tanque de
vapor de combustible 10 de la invención presente son ilustradas en el mayor
detalle en vistas seccionales ortogonales y son vistas incluir un par de
paredes laterales 56 y 58 que preferentemente consisten del plato de acero de
trabajo pesado (p.ej 1/2" grueso) a fin de resistir las presiones de vacío
altas desarrolladas dentro de ello. El tanque 10 adicional comprende pared
superior 60 y pared de fondo 62, y paredes delanteras y traseras 64 y 66,
respectivamente.
En la pared delantera 64 del tanque 10 son
colocados un enganche 68 para aparear el calentador limpia con una manga 32 con
el conducto de cobre interno 36. El tanque 10 también es proveído de un par de
los platos de apoyo planos verticalmente orientados 70 y 72 que son colocados
algo dentro de las paredes laterales 56 y 58 y son considerablemente la
paralela a ellos. El apoyo platea 70 y 72 prestan la integridad estructural al
tanque 10 y también son proveídos de una pluralidad de aperturas 74 (Fig.2) en
el fondo de ellos para permitir la comunicación fluida por ello. El fondo de
tanque 10 está generalmente lleno de unlos a cinco galones del combustible, y
las paredes del tanque 10 junto con platos 70 y 72 definen tres cámaras de
tanque 76, 78 y 80 que son, en virtud de aperturas 74, en la comunicación
fluida el uno con el otro.
En la pared superior 60 del tanque 10 es formado
una apertura 82 para colocar un final del conducto de vapor 14 en la
comunicación fluida con la cámara interior 76 del tanque 10. Un segundo
abriendo 84 es colocado en la pared superior 60 del tanque 10 sobre que la
válvula de control de toma de aire 12 es colocada. La asamblea de válvula 12
comprende un par de válvulas de mariposa convencionales 86 y 88 que son
conectados vía una vara de control 90 a un brazo de control 92. El brazo de
control 92 es, por su parte, girado en el control de un cable 24 y es movible
entre una posición de línea sólida indicada en Fig.2 por el número 92 de
referencia y una posición de línea de puntos indicada en Fig.2 por el número 92
de referencia.
La vara 90 y las válvulas 86 y 88 es journaled en
un alojamiento de 94 tener una placa base 96 que es montado en una tapa 98.
Como visto en Fig.1, la placa base 96 incluye varios pequeños puertos de toma
de aire o aberturas 100 formado a ambos lados de las válvulas de mariposa 86 y
88, que son utilizados para un objetivo de hacerse más claros más tarde.
La vara 90 es también journaled en un reborde 102
que es montado para cubrir 98, mientras una primavera de vuelta 104 para el
brazo de control 92 es journaled para cubrir 98 vía el reborde 106.
La ampliación por la confusión y apoyo platea 70 y
72 de las cámaras de lado 78 y 80 del tanque 10 para estar en la comunicación
fluida con aberturas 100 son un par de conductos de aire 108 y 110 cada uno
teniendo una válvula de caña 112 y 114 colocado a los finales, para controlar
el aire y el flujo de vapor por ello. Las válvulas de caña 112 y 114 tonelería
con las pequeñas aberturas 100 formado en la placa base 96 para proporcionar la
cantidad apropiada del aire en el tanque 10 mientras el motor funciona en vacío
y las válvulas de mariposa 86 y 88 están cerradas.
Montado a la pared delantera 64 del tanque 10 son
un miembro de apoyo de pivote 132 para recibir fundamentalmente un elemento con
filtro que es indicado generalmente por el número 134 de referencia y es
ilustrado en una perspectiva, parcialmente corte la vista en Fig.5. El único,
pivotable elemento con filtro 134 comprende a un miembro de marco 136 tener un
trozo que recibe alfiler 138 ampliación a lo largo de un miembro de lado de
ello. El material con filtro actual contenido dentro del marco 136 comprende
una capa de partículas de carbón 148 que es intercalado entre un par de capas
del material con filtro parecido a una esponja que puede ser, por ejemplo,
hecho de neoprene. Las capas neoprene
144 y 146 y partículas de carbón 148 son mantenidas en el lugar por la cumbre y
el fondo protege 140 y 142 que se extienden dentro de, y son asegurados por,
enmarcan al miembro 136., una manguera de goma gruesa amurallada que 150 tener annulus
central 151 es asegurado a la cumbre de la pantalla 140 para aparear con la
apertura de 82 de la pared superior 60 (ver Fig.2) cuando la asamblea con
filtro 134 está en su línea sólida la posición vigente ilustrada en Fig.2. En
la posición última, puede ser apreciado que el conducto de vapor 14 vapor de
empates echa humo directamente del elemento con filtro 134, más bien que de la
porción interior 76 del tanque 10. En la contraposición, cuando el elemento con
filtro 134 está en su posición vigente alterna, indicada por líneas de puntos
en Fig.2, el conducto de vapor 14 vapores de empates principalmente de las
porciones interiores 76, 78 y 80 del tanque 10.
Fig.4 es una vista ampliada de una de las
asambleas de válvula de caña 114 que ilustra la manera en la cual la válvula se
abre y se cierra en respuesta a la presión de vacío particular creada dentro
del tanque 10. Las válvulas 112 y 114 son diseñadas para reconocer sólo que
bastante aire al tanque 10 de las aberturas 100 en el motor ocioso impedía al
motor pararse.
Referencia ahora a Fig.6, Fig.7 y Fig.8, se ve que
la cámara de igualada de vapor 16 de la invención presente incluye paredes
delanteras y traseras 152 y 154, respectivamente, una pared superior 156, una
pared lateral 158, y otra pared lateral 160. La cámara de igualada de vapor 16
es asegurada a los 18 diversos como por una pluralidad de cerrojos 162 bajo que
puede ser colocado una junta convencional 164.
En la pared superior 156 de la igualada de vapor
16 es formado una apertura 166 para comunicar el final de salida del conducto
de vapor 14 con una mezcla e igualación de la cámara 168. Adyacente a la mezcla
e igualación de la cámara 168 en la pared 154 es formado otra apertura 170 que
se comunica con el aire exterior vía la apertura 178 formado en la porción
superior de alojar 176. La cantidad de aire admitido por aperturas 178 y 170 es
controlada por una válvula de mariposa convencional 172. La válvula de mariposa
172 es hecha girar por una vara de control 180 que, por su parte, es conectado
a un brazo de control 182. Cable 26 está
relacionado con el final del brazo de control 182 más lejos del centreline y
actúa contra la tendencia de vuelta de la primavera 184, éste de que es
journaled a 152 de plato de lado de la igualada de vapor 16 vía un reborde
fuerte 188. Número de referencia 186
indica generalmente una válvula de mariposa encadenamiento de operaciones, como
ilustrado más claramente en Fig.8, y que es del diseño convencional como puede
ser apreciado por una persona experta en el arte.
Colocado debajo de mezcla e igualación de la
cámara 168 es una unidad con filtro que es indicada generalmente por el número
188 de referencia. La unidad con filtro 188, que es ilustrado en una vista
esquemática en Fig.11, comprende una tapa estriada plástica superior 190 y un
plástico de fondo tapa estriada 192. Colocado adyacente a la cumbre y fondo
cubre 190 y 192 es un par de elementos de malla de pantalla 194 y 196,
respectivamente. Colocado entre los elementos de malla de pantalla 194 y 196 es
un miembro de apoyo 198 que es preferentemente formado de un material con
filtro parecido a una esponja, como, por ejemplo, neoprene. El miembro de apoyo
199 se ha formado en sus superficies superiores e inferiores, un par de
receptáculos 200 y 202, cuyos diámetros son puestos la talla de manera similar
a la apertura 166 en el plato superior 156 y las aperturas formadas en el
distribuidor de consumo 18 que son respectivamente indicados por los números
210 y 212 de referencia en Fig.6.
Colocado en receptáculos 200 y 202 son partículas
de carbón 204 y 206, respectivamente, para el retraso de vapor y controlan
objetivos.
Referencia ahora a Fig.9, la unidad con filtro 38
montado en el conducto de vapor 14 es ilustrada en una vista seccional
longitudinal y es vista comprender una manguera cilíndrica flexible externa 214
que es adaptado para unirse con la manguera 14 a ambos finales por un par de
elementos de adaptador 216 y 218. Contenido dentro de la manguera flexible
externa 214 es un contenedor cilíndrico 220, preferentemente del plástico, qué
casas, en su centro, una mezcla de carbón y neoprene filtran fibras 222. A
ambos finales de la mezcla 222 son depositados partículas de carbón 224 y 226,
mientras la unidad de filtración entera es sostenida dentro del contenedor 220
por las pantallas de final 228 y 230 que permiten el paso de vapores por ello
sosteniendo las partículas de carbón 224 y 226 en el lugar.
Fig.10 ilustra una forma de la válvula de ajuste
de empuje 40 que es colocado dentro de la línea 14. Esta válvula simplemente
controla la cantidad de fluido que puede pasar por el conducto 14 vía un
miembro de válvula rotativo 41.
En la operación, la válvula de ajuste de empuje 40
es al principio ajustada para conseguir tan liso un ocioso como posible para el
automóvil particular en el cual el sistema es instalado. La válvula de cierre
de emergencia 42, que está cerrado cuando el motor es desconectado,
generalmente atrapa bastante vapor entre ello y la igualada de vapor 16 para
comenzar el motor 20. Al principio, las válvulas de consumo traseras 12 en el
tanque 10 están totalmente cerradas, mientras las válvulas de toma de aire 22
en la igualada 16 están abiertas para admitir un precio del aire a la igualada
de vapor antes del vapor del tanque, así forzando el vapor preexistente en la
igualada de vapor en el distribuidor. Las pequeñas aberturas 100 formado en la
placa base 96 en el tanque 10 reconocen sólo que bastante aire actúa las
válvulas de caña para permitir el vapor suficiente y el aire ser dibujado por
conducto de vapor 14 e igualada 16 al motor 20 para proporcionar funcionar en
vacío liso. Las válvulas de aire delanteras 22 siempre son puestas delante de
las válvulas de aire traseras 12 y los encadenamientos 24 y 26 son conectados
para estrangular el pedal 28 tal que el grado de la apertura de válvulas
delanteras 22 siempre excede el grado de la apertura de las válvulas traseras
12.
Sobre el comienzo inicial del motor 20, debido a
la condición cerrada de válvulas traseras 12, una presión de vacío alta es
creada dentro del tanque 10 que hace que la asamblea con filtro 134 colocado en
el tanque 10 se eleve a su posición vigente indicada por el contorno sólido en
Fig.2. En esta manera, una relativamente pequeña cantidad del vapor será
dibujada directamente del filtro 134 por el conducto de vapor 14 al motor para
permitir a éste correr en una mezcla muy delgada.
Sobre la aceleración inicial, la válvula de toma
de aire delantera 22 se abrirá adelante, mientras la asamblea de mariposa
trasera 12 comenzará a abrirse. La acción última reducirá la presión de vacío
dentro del tanque 10 por lo cual la asamblea con filtro 134 será bajada a su
suplente posición de operaciones ilustrada en el contorno punteado en
Fig.2. En esta posición, la parte
inferior de la asamblea con filtro 134 realmente puede descansar en el
combustible líquido contenido dentro del tanque 10. En consecuencia, sobre la
aceleración, la asamblea con filtro 134 es movida de la comunicación fluida
directa con la apertura de 82 tal que el conducto de vapor 14 entonces los
empates abastecen de combustible el vapor y el aire del tanque entero 10 para
proporcionar una mezcla de combustión richer al motor, que es necesario durante
la aceleración.
Cuando el automóvil alcanza una velocidad estable,
y el operador se alivia el pedal de acelerador 28, la asamblea de válvula de
mariposa trasera 12 finales, pero la toma de aire delantera 22 permanece
abierta a un cierto grado. El cierre de
la toma de aire trasera 12 aumentos la presión de vacío dentro del tanque 10 al
punto donde la asamblea con filtro 134 es levantada hasta su inicial posición
de operaciones. Como ilustrado, en esta posición, la apertura 82 está en la
alineación sustancial con la abertura 151 de la manguera 150 para colocar la
unidad con filtro 134 en la comunicación fluida directa con el conducto de
vapor 14, a la baja de la disminución de la cantidad de vapor y mezcla de aire
alimentada al motor. Cualquier vapor se alimentó por el conducto 14 mientras el
filtro 134 está en esta posición es creído ser dibujado directamente de la
unidad con filtro sí mismo.
He sido capaz de obtener figuras de millas por
galón muy altas con el sistema de la invención presente instalada en un motor
v-8 de 1971 convencional coche americano. De hecho, los precios de kilometraje
superior a cien millas por galón estadounidense han sido conseguidos con la
invención presente. La invención presente elimina la necesidad de bombas de
combustible convencionales, carburadores, y depósitos de combustible, así más
que la compensación en absoluto los componentes de la invención presente
podrían añadir por otra parte al coste de un coche. El sistema puede ser
construido con componentes disponibles en el acto y tecnología, y puede ser
suministrado en forma de equipo así como equipo original.
Obviamente, las numerosas modificaciones y las
variaciones de la invención presente son posibles en la luz de las susodichas
enseñanzas. Por ejemplo, aunque descrito en relación a la operación de un
automóvil, la invención presente puede ser universalmente aplicada a cualquier
motor de cuatro tiempos para el cual su operación depende de la combustión
interna de combustibles fósiles. Por lo tanto, debe ser entendido que dentro
del ámbito de las reclamaciones añadidas la invención puede ser practicada por
otra parte que como expresamente descrito aquí.
RECLAMACIONES
1. Un sistema de
vapor de combustible para un motor de combustión interno que tiene un
distribuidor de consumo, que comprende:
(a) Un tanque para contener vapor
de combustible;
(b) Una igualada de vapor montó en y en la
comunicación fluida con el distribuidor de consumo del motor;
(c) Un conducto de vapor que une el tanque a
la igualada de vapor para librar vapor de combustible del antiguo a éste;
(d) Una igualada de vapor que le une una
válvula para controlar la admisión de aire a la igualada de vapor;
(e) Un tanque que le une una segunda válvula
para controlar la admisión de aire al tanque;
(f) Un regulador para controlar las primeras
y segundas válvulas de modo que la apertura de la primera válvula preceda y
exceda la apertura de la segunda válvula.
2. El sistema de
vapor de combustible como puesto adelante en la reclamación 1, adelante
comprendiendo un filtro colocado en el conducto de vapor para retardar el flujo
de vapor de combustible del tanque a la igualada de vapor.
3. El sistema de
vapor de combustible como puesto adelante en la reclamación 2, donde el filtro
comprende partículas de carbón.
4. El sistema de
vapor de combustible como puesto adelante en la reclamación 2, donde el filtro
comprende partículas de carbón y fibras neoprene.
5. El sistema de
vapor de combustible como puesto adelante en la reclamación 2, donde el filtro
comprende un alojamiento considerablemente tubular colocado en serie en el conducto
de vapor, el alojamiento que contiene una porción central que comprende una
mezcla de carbón y neoprene y porciones de final que comprenden el carbón
colocado en cada lado de la porción central.
6. El sistema de
vapor de combustible como puesto adelante en la reclamación 1, adelante
comprendiendo un filtro colocado en la igualada de vapor, para retardar el
flujo del vapor de combustible al distribuidor de consumo de motor.
7. El sistema de
vapor de combustible como puesto adelante en la reclamación 6, donde el filtro
es colocado río abajo de la primera válvula.
8. El sistema de
vapor de combustible como se establece en la reivindicación 7, en el que el
filtro comprende partículas de carbono.
9. El sistema de
vapor de combustible como puesto adelante en la reclamación 8, donde el filtro
adelante comprende a un miembro de apoyo poroso que tiene primero y el segundo
se prorrogó porciones para contener las partículas de carbón, el primer se
prorrogó la porción colocada frente a un puerto de entrada de vapor en la
igualada de vapor con la cual el conducto de vapor está relacionado, el segundo
se prorrogó la porción colocada frente al distribuidor de consumo del motor.
10. El sistema de
vapor de combustible como puesto adelante en la reclamación 9, donde el miembro
de apoyo poroso consiste de neoprene.
11. El sistema de
vapor de combustible como puesto adelante en la reclamación 1, con un filtro
adicional colocado en el tanque para controlar el flujo de vapor de combustible
en el conducto de vapor en proporción al grado de vacío en el tanque.
12. El sistema de
vapor de combustible como puesto adelante en la reclamación 11, donde el filtro
incorpora un método para reducir la cantidad del vapor de combustible entregado
al conducto de vapor cuando el motor funciona en vacío y cuando el motor ha
alcanzado una velocidad estable.
13. El sistema de
vapor de combustible como puesto adelante en la reclamación 12, donde el
regulador actúa para cerrar la segunda válvula cuando el motor funciona en
vacío y cuando el motor ha alcanzado una velocidad estable para aumentar así la
presión de vacío en el tanque.
14. El sistema de
vapor de combustible como puesto adelante en la reclamación 13, donde el filtro
comprende un marco fundamentalmente montado dentro del tanque y movible entre
primeras y segundas posiciones de operaciones, la primera posición de
operaciones correspondiente a una condición abierta de la segunda válvula, dijo
la segunda posición de operaciones correspondiente a una condición cerrada de
la segunda válvula.
15. El sistema de
vapor de combustible como puesto adelante en la reclamación 14, donde el tanque
incluye un puerto de salida de vapor con el cual el final del conducto de vapor
está relacionado, y donde la segunda posición de operaciones del marco coloca
el filtro en la comunicación fluida directa con el puerto de salida de vapor.
16. El sistema de
vapor de combustible como puesto adelante en la reclamación 15, donde el filtro
incluye partículas de carbón.
17. El sistema de
vapor de combustible como puesto adelante en la reclamación 16, donde el filtro
incluye neoprene filtra el material.
18. El sistema de
vapor de combustible como puesto adelante en la reclamación 17, donde el filtro
comprende una capa de partículas de carbón intercaladas entre dos capas de
neoprene filtra el material, y una pantalla para apoyarlos dentro del marco de
pivotable.
19. El sistema de
vapor de combustible como puesto adelante en la reclamación 18, adelante
comprendiendo un mecanismo colocó en el filtro para colocar el filtro en la
comunicación fluida directa con el puerto de salida de vapor cuando el marco
está en la segunda posición de operaciones.
20. Un sistema de
vapor de combustible para un motor de combustión interno que tiene un
distribuidor de consumo, que comprende:
(a) Un tanque para contener
vapor de combustible;
(b) Una igualada de vapor
montó en, y en la comunicación fluida con, el distribuidor de consumo del
motor;
(c) Un conducto de vapor
que une el tanque a la igualada de vapor para librar vapor de combustible del
antiguo a éste;
(d) Una igualada de vapor
que le une una primera válvula para controlar la admisión de aire a la igualada
de vapor;
(e) Un
tanque que le une una segunda válvula para controlar la admisión de aire al
tanque;
(f) Un
filtro colocado en el conducto de vapor para retardar el flujo del vapor de
combustible del tanque a los medios de igualada de vapor.
21. El sistema de
vapor de combustible como puesto adelante en la reclamación 20, donde el filtro
comprende un alojamiento considerablemente tubular colocado en serie en el
conducto de vapor, el alojamiento que contiene una porción central que
comprende una mezcla de carbón y neoprene y porciones de final que comprenden
el carbón colocado en cada lado de la porción central.
22. Un sistema de vapor de combustible para un motor de combustión interno que
tiene un distribuidor de consumo, que comprende:
(a) Un tanque para contener vapor de
combustible;
(b) Una igualada de vapor montó en y en la
comunicación fluida con el distribuidor de consumo del motor;
(c) Un conducto de vapor que une el tanque
a la igualada de vapor para librar vapor de combustible del antiguo a éste;
(d)
La igualada de vapor que le une una primera válvula para controlar la admisión
de aire a la igualada de vapor;
(e) El tanque que le une una segunda válvula para controlar la admisión
de aire al tanque;
(f) Un filtro colocado en la igualada de vapor para retardar el flujo
del vapor de combustible al distribuidor de consumo de motor.
23. El sistema de
vapor de combustible como puesto adelante en la reclamación 22, donde el filtro
es colocado río abajo de la primera válvula, el filtro comprende partículas de
carbón y un miembro de apoyo poroso que tiene primero y el segundo se prorrogó
porciones para contener las partículas de carbón, el primer se prorrogó la
porción colocada frente a un puerto de entrada de vapor en la igualada de vapor
con la cual el conducto de vapor está relacionado, el segundo se prorrogó la
porción colocada frente al distribuidor de consumo del motor, y donde el
miembro de apoyo poroso consiste de neoprene.
Patente US 7,151,332 19 de diciembre 2006 Inventor: Stephen Kundel
MOTOR INTERCAMBIAR QUE TIENE Y GIRO DE IMANES PERMANENTES
Esta patente describe un motor impulsado
principalmente por imanes permanentes. Este sistema usa un marco que se mece
para colocar los imanes móviles de modo que ellos proporcionen una fuerza de
bocacalle continua en el eje de salida.
EXTRACTO
Un motor que hace apoyar un rotor para la rotación
sobre un eje, y al menos un par de imanes de rotor angulosidad espaciada sobre
el eje y apoyado en el rotor, al menos un imán que corresponde, y un accionador
para mover el imán que corresponde cíclicamente hacia y lejos del par de imanes
de rotor, y por consiguiente hacer girar los imanes de rotor con relación al
imán que corresponde.
Referencias Evidentes
estadounidenses:
0561144 June, 1896 Trudeau
1724446 August, 1929
2790095 April, 1957 Peek et al.
3469130 September, 1969 Jines et al.
3703653 November, 1972
3811058 May, 1974 Kiniski
3879622 April, 1975 Ecklin
3890548 June, 1975 Gray
3899703 August, 1975 Kinnison
3967146 June, 1976 Howard
3992132 November, 1976 Putt
4011477 March, 1977 Scholin
4151431 April, 1979 Johnson
4179633 December, 1979 Kelly
4196365 April, 1980 Presley
4267647 May, 1981 Anderson et al.
4629921 December, 1986 Gavaletz
4751486 June, 1988 Minato
5402021 March, 1995 Johnson
5594289 January, 1997 Minato
5634390 June, 1997 Takeuchi et al.
5751083 May, 1998 Tamura et al.
5925958 July, 1999 Pirc
6169343 January, 2001 Rich, Sr.
6343419 February, 2002 Litman et al.
6841909 January, 2005 Six
20020167236 November, 2002 Long
20040140722 July, 2004 Long
FONDO DE LA INVENCIÓN
Esta invención está relacionada con el campo de
motores. Más en particular, esto pertenece a un motor cuyo rotor es conducido
por la atracción mutua y la repulsión de imanes permanentes localizados en el
rotor y un oscilador.
Varias clases de motores son usadas para conducir
una carga. Por ejemplo, los motores hidráulicos y neumáticos usan el flujo de
líquido presurizado y gas, respectivamente, conducir un rotor relacionado con
una carga. Tales motores deben ser continuamente suministrados del fluido
presurizado de una bomba conducida por la energía convertida al poder rotativo
por una máquina motriz, como un motor de combustión interno. Varios procesos de
conversión de energía, las pérdidas de flujo y las pérdidas de bombeo
disminuyen la eficiencia operativa de sistemas de motor de este tipo.
Los motores eléctricos convencionales emplean la
fuerza aplicada a un conductor de transporte corriente colocado en un campo
magnético. En un motor de corriente continua el campo magnético es
proporcionado por imanes permanentes o por el campo el bobinas se abrigó
alrededor de postes de campaña claramente definidos en un estator. Los
conductores en los cuales la fuerza es desarrollada son localizados en un rotor
y suministrados de la corriente eléctrica. La fuerza inducida en el bobina es
usada para aplicar la torsión de rotor, cuya magnitud varía con la magnitud de
la corriente y la fuerza del campo magnético. Sin embargo, la salida de flujo,
los huecos de aire, los efectos de temperaturas, y la contrafuerza
electromotriz reducen la eficacia del motor.
Los imanes de dipolo permanentes tienen un Polo
Norte magnético, un polo sur magnético, y campos magnéticos que rodean cada
poste. Cada poste magnético atrae un poste de la polaridad magnética de
enfrente. Dos postes magnéticos de la misma polaridad repelen el uno al otro.
Se desea que un motor es desarrollado tal que su rotor es conducido por la
atracción mutua y la repulsión de los postes de imanes permanentes.
RESUMEN DE LA INVENCIÓN
Un motor según la invención presente incluye un
rotor apoyado para la rotación sobre un eje, un primer par de imanes de rotor
incluso primeros y segundos imanes de rotor espaciados angularmente sobre el
eje y apoyado en el rotor, un imán que corresponde, y un accionador para mover
el imán que corresponde cíclicamente hacia y lejos del primer par de imanes de
rotor, y cíclicamente hacer girar el primer par de imanes de rotor con relación
al imán que corresponde. Preferentemente el motor incluye un segundo par de
imanes de rotor apoyados en el rotor, espaciado axialmente del primer par de
imanes de rotor, el segundo par incluso un tercer imán de rotor y un cuarto
imán de rotor espaciado angularmente sobre el eje del tercer imán de rotor. El
imán que corresponde es localizado axialmente entre los primeros y segundos
pares de imán de rotor, y el accionador cíclicamente mueve el imán que
corresponde hacia y lejos de los primeros y segundos pares de imanes de rotor.
Los imanes son imanes de dipolo preferentemente
permanentes. Los postes del imán que corresponde son arreglados tal que ellos
se vuelven en direcciones laterales de enfrente.
El motor puede ser comenzado por a mano haciendo
girar el rotor sobre su eje. La rotación sigue usando el accionador para mover
el imán que corresponde hacia el primer par de imán de rotor y lejos del
segundo par de imán de rotor cuando la rotación de rotor trae el poste de
referencia del primer imán de rotor más cerca al poste de enfrente del imán que
corresponde, y el poste de enfrente del segundo imán de rotor más cerca al
poste de referencia del imán que corresponde. Entonces el accionador mueve el
imán que corresponde hacia el segundo par de imán de rotor y lejos del primer
par de imán de rotor cuando la rotación de rotor trae el poste de referencia
del tercer imán de rotor más cerca al poste de enfrente del imán que
corresponde, y el poste de enfrente del cuarto imán de rotor más cerca al poste
de referencia del imán que corresponde.
Un motor según esta invención requiere que ninguna
fuente de alimentación active un campo bobina porque los campos magnéticos del
rotor y oscilador son producidos por imanes permanentes. Una batería de
corriente continua de nueve voltios ha sido aplicada a un accionador que cambia
el mecanismo para alternar la polaridad de un solenoide en la frecuencia de
rotor. El solenoide es suspendido sobre un imán permanente del mecanismo de
accionador tal que la rotación de rotor y la polaridad alternadora de un
solenoide hacen que el accionador oscile el imán que corresponde en una
relación de fase y frecuencia que es la más eficiente con relación a la
rotación de rotor.
El motor es ligero y portátil, y requiere sólo d.
portátil commercialemente disponible c. que la batería impulse un accionador
para el oscilador. Ninguna electrónica de paseo de motor es requerida. La
operación del motor es prácticamente silenciosa.
Varios objetos y las ventajas de esta invención se
harán aparentes a aquellos expertos en el arte de la descripción detallada
siguiente de la encarnación preferida, cuando leído en la luz de los dibujos de
acompañamiento.
BREVE DESCRIPCIÓN DE LOS DIBUJOS
Estos y otros ventajas de la invención presente se
harán aparentes a aquellos expertos en el arte de la descripción detallada
siguiente de una encarnación preferida cuando considerado en la luz de los
dibujos de acompañamiento en cual:

Fig.1A es una vista lateral de un motor según
esta invención;

Fig.1B es una vista de perspectiva del motor de
Fig.1A

Fig.2 es una vista
superior del del motor de Fig.1A y Fig.1B mostrando a los imanes de rotor
dispuestos horizontalmente y los imanes que corresponden localizados cerca de
un final de su variedad de viajes

Fig.3 es una vista
superior del motor de Fig.2 mostrando que los imanes de rotor hicieron girar
una mitad revolución de la posición mostrada en Fig.2, y los imanes que
corresponden localizados cerca del extremo opuesto de su variedad de viajes

Fig.4 es un diagrama esquemático de un primer
estado del accionador que cambia la asamblea del motor de Fig.1

Fig.5 es un diagrama esquemático de un segundo
estado del accionador que cambia la asamblea del motor de Fig.1

Fig.6 es la vista
seccional enfadada de un eje de manga alineado con el eje de rotor mostrando a
un dedo de contacto y los platos de contacto de puente de la asamblea de
conmutación

Fig.7 es una vista
isométrica mostrando a los dedos de contacto de conmutación asegurados en el
giro de armas y asentado en los conectores de puente de la asamblea de
conmutación

Fig.8 es la vista
seccional enfadada isométrica mostrando a un chofer que incluye un solenoide y
el imán permanente para oscilar el brazo de accionador en respuesta a la
rotación del eje de rotor.

Fig.9 es una vista
superior de un arreglo alterno de los imanes de rotor, en donde ellos son
dispuestos horizontalmente e hicieron girar noventa grados de la posición
mostrada en Fig.2, y los imanes que corresponden son localizados cerca de un
final de su variedad del desplazamiento

Fig.10 es una vista
superior mostrando que el arreglo de imán de rotor de Fig.9 hizo girar una
mitad revolución de la posición mostrada en Fig.9, y los imanes que
corresponden localizados cerca del extremo opuesto de su variedad del
desplazamiento; y

Fig.11 es una vista
superior del motor mostrando a un tercer arreglo de los imanes de rotor, que
son inclinados con respecto al eje y los imanes que corresponden.

Fig.12 es un gráfico
mostrando al desplazamiento angular del eje de rotor 10 y desplazamiento lineal
de los imanes que corresponden.

Fig.13 es una vista
superior de un par de imanes de rotor imanes dispuestos horizontalmente y que
corresponden localizados cerca de un final de su variedad de viajes.

Fig.14 es una vista
superior del motor de Fig.13 mostrando que los imanes de rotor hicieron girar
una mitad revolución de la posición mostrada en Fig.13, y los imanes que
corresponden localizados cerca del extremo opuesto de su variedad de viajes; y

Fig.15 es la vista
seccional enfadada de una perspectiva de aún otra encarnación del motor según
esta invención.
DESCRIPCIÓN DETALLADA DE LA ENCARNACIÓN
PREFERIDA

Un motor según esta invención, ilustrada en Fig.1A
y Fig.1B incluye un eje de rotor 10 apoyado para la rotación sobre el eje 11 en
portes 12 y 14 localizado en apoyos verticales 16 y 18 de un marco. Un
mecanismo de oscilador incluye armas de oscilador 20, 22 y 24 fundamentalmente
apoyado en portes 26, 28 y 30 respectivamente, asegurado a un apoyo horizontal
32, que es asegurado a cada final axial a los apoyos verticales 16 y 18. Las
armas de oscilador 20, 22 y 24 son formadas con por agujeros 15 alineado con el
eje 11 del eje de rotor 10, los agujeros que permiten a la rotación del eje de
rotor y giran la oscilación de armas sin producir la interferencia entre el
rotor y las armas.
La ampliación en la parte de enfrente diametric
direcciones del eje de rotor 11 y asegurado al eje de rotor 10 es cuatro platos
33, axialmente espaciado mutuamente a lo largo del eje de rotor, cada plato que
apoya imanes permanentes asegurados al plato y gira con el eje de rotor.
Cada brazo de oscilador de giro 20, 22 y 24 del
mecanismo de oscilador apoya imanes permanentes localizados entre los imanes
del eje de rotor. Las primaveras de vuelta de compresión bobinaed helicoidales
34 y 35 aplican fuerzas opuestamente dirigidas a armas de oscilador 20 y 24
cuando ellos giran sobre sus apoyos fundamentales respectivos 26 y 30,
respectivamente. Del punto de vista de Fig.1A y Fig.1B, cuando la primavera 34
es comprimida por el desplazamiento del brazo de oscilador, la primavera aplica
una fuerza a la derecha al brazo de oscilador 20 que tiende a devolverlo a su
posición neutra, inicial. Cuando la primavera 35 es comprimida por el
desplazamiento del brazo 24, la primavera aplica una fuerza a la izquierda para
armar 24 tendiendo a devolverlo a su posición neutra, inicial.
Las armas de oscilador 20, 22 y 24 oscilan sobre
sus portes apoyados 26, 28 y 30, cuando ellos se mueven en respuesta a un
accionador 36, que incluye un brazo de accionador 38, asegurado por portes en
39, 40 y 41 a las armas de oscilador 20, 22 y 24, respectivamente. Accionador
36 brazo de accionador de causas 38 para corresponder en línea recta a la
izquierda y hacia la derecha de la posición mostrada en Fig.1A y Fig.1B. Los portes 39, 40 y 41, permiten que las
armas de oscilador 20, 22 y 24 giren y el puntal para traducir sin la
interferencia mutua. Los pares de las ruedas de guía 37a y 37b espaciado a lo
largo del brazo de accionador 38, cada uno incluye una rueda localizada en un
lado opuesto del brazo de accionador 38 de otra rueda del par de rueda, para
dirigir el movimiento lineal del puntal y mantener las armas de oscilador 20,
22 y 24 considerablemente en un avión vertical como ellos oscilan. O bien, las
armas de oscilador 20, 22 y 24 pueden ser sustituidas por un mecanismo que
permite que los imanes a las armas de oscilador correspondan en línea recta del
brazo de accionador 38 en vez de girar encima del eje de rotor 10 en 26, 28 y
30.

Fig.2 muestra un primer arreglo de los imanes de
rotor permanentes 42 49 que giran sobre el eje 11 y son asegurados al eje de
rotor 10, y los imanes permanentes que corresponden 50 52 que se mueven a lo
largo del eje 11 y son asegurados a las armas oscilantes 20, 22 y 24. Cada imán
tiene un poste de la polaridad de referencia y un poste de la polaridad de
enfrente de aquella de la polaridad de referencia. Por ejemplo, imanes de rotor
42, 44, 46 y 48, localizado en un lado del eje 11, cada uno tiene un del norte,
positivo o se refiere al poste 54 accionador que se vuelve 36 y un poste del
sur, negativo o de enfrente 56 forro lejos del accionador. Del mismo modo,
imanes de rotación 43, 45, 47 y 49, localizado diametralmente enfrente de
imanes de rotor 42, 44, 46 y 48, cada uno tiene un polo sur que se vuelve hacia
el accionador 36 y un Polo Norte que se vuelve lejos del accionador. Los Polos
Norte 54 de los imanes que corresponden 50 52 cara a la derecha del punto de
vista visto en Fig.2 y Fig.3 y su polo sur 56 cara hacia el izquierdo.

Fig.4 muestra una asamblea de interruptor
localizada en la región del final izquierdo del eje de rotor 10. Un cilindro,
58, preferentemente formado del cloruro de polivinilo, es asegurado al eje de
rotor 10. El cilindro 58 tiene los platos de contacto 59 y 60, preferentemente
del latón, localizado en su superficie externa, alineada angularmente, y
ampliación de aproximadamente 180 grados sobre el eje 11, como mostrado en
Fig.5. El cilindro 58 tiene los platos
de contacto 61 y 62, preferentemente hecho del latón, localizado en su
superficie externa, alineada angularmente, ampliando aproximadamente 180 grados
sobre el eje 11, y la compensación axialmente con respecto al contacto platea
59 y 60.
Un suministro de alimentación de CC 64, tiene sus
terminales positivos y negativos relacionados eléctricamente por los dedos de
contacto 66 y 68, ponerse en contacto con platos 61 y 62, respectivamente. Un tercer contacto dedo 70, mostrado
poniéndose en contacto con el plato 61, une el terminal 72 de un solenoide 74
eléctricamente al terminal positivo del suministro de energía 64 por el
contacto manosea 66 y se pone en contacto con el plato 61. Un cuarto contacto
dedo 76, mostrado poniéndose en contacto con el plato 62, une el terminal 78
del solenoide 74 eléctricamente al terminal negativo del suministro de energía
64 por el contacto manosea 68 y se pone en contacto con el plato 62. Un quinto
contacto manosea 80, axialmente alineado con el contacto platean 59 y compensan
axialmente del plato de contacto 61, también está relacionado con el terminal
78 del solenoide 74.
Preferentemente la alimentación de CC suministra
64 es una batería de nueve voltios, o un adaptador de alimentación de CC, cuya
entrada puede ser 120 voltios convencionales, la fuente de alimentación de 60
Hz. El mecanismo de conmutación y suministro de alimentación de CC descrito en
cuanto en Figs.4 a 7, puede ser sustituido por una fuente de alimentación de
corriente alterna relacionada directamente a través de los terminales 72 y 78
del solenoide 74. Como la entrada ciclos corrientes, la polaridad de solenoide
74 suplentes, el brazo de accionador 38 movimientos con relación a un imán
permanente toroidal 90 (mostrado en Fig.8), y los imanes que corresponden 50
52 corresponden a las armas oscilantes 20, 22 y 24 que son conducidos al brazo
de accionador 38.

Fig.5 muestra el estado de la asamblea de
interruptor cuando el eje de rotor 10 ha hecho girar aproximadamente 180 grados
de la posición mostrada en Fig.4. Cuando la asamblea de interruptor está en el
estado mostrado en Fig.5, el suministro de alimentación de CC 64 tiene sus
terminales positivos y negativos relacionados eléctricamente por el contacto
manosea 66 y 68 para ponerse en contacto con platos 59 y 60, respectivamente.
Póngase en contacto con el dedo 70, mostrado poniéndose en contacto con el
plato 60, une el terminal 72 del solenoide 74 eléctricamente al terminal
negativo del suministro de energía 64 por el contacto manosean 68 y se ponen en
contacto con el plato 60. Póngase en contacto con el dedo 80, mostrado
poniéndose en contacto con el plato 59, une el terminal 78 del solenoide 74
eléctricamente al terminal positivo por el contacto manosean 66 y se ponen en
contacto con el plato 59. Póngase en contacto con el dedo 76, axialmente
alineado con el contacto platean 62 y compensan axialmente del plato de
contacto 60, permanece relacionado con el terminal 78 del solenoide 74. De esta
manera, la polaridad del solenoide 74 cambios cíclicamente como el rotor 10
hace girar por cada una mitad la revolución.

Fig.6 los espectáculos en el corte transversal, el
cilindro 58 que es alineado con y conducido por el eje de rotor 10, un dedo de
contacto 70, y el contacto platean 59 62 de la asamblea de conmutación, que
giran con el eje de rotor y cilindro sobre el eje 11 .

Cuando Fig.7 ilustra, las armas axialmente
espaciadas 82 son apoyadas en un eje de trozo 71, preferentemente hechas del
Teflón u otro material autolubricante, facilitar el giro de las armas sobre el
eje del eje 71. Cada dedo de contacto 66, 68, 70, 76 y 80 es localizado al
final de brazo 82, y primaveras de tensión 84, asegurado a cada brazo 82,
impulsar que el contacto manosee 66, 68, 70, 76 y 80 continuamente hacia el
compromiso con el contacto platea 59 62.

Fig.8 ilustra el accionador 36 para intercambiar
el brazo de accionador 38 en respuesta a la rotación del eje de rotor 10 y la
polaridad alternadora del solenoide 74. El accionador 36, incluye el solenoide
74, el imán permanente toroidal 90, una araña flexible elástica 92 para apoyar
el solenoide encima del avión del imán, y una cesta o marco 94, a que la araña
es asegurada. El brazo de accionador 38 es asegurado al solenoide 74. La
polaridad del solenoide 74 cambios como el eje de rotor 10 gira, causar el
solenoide y brazo de accionador 38 para corresponder debido a la polaridad
alternadora del solenoide con relación a aquel del imán permanente toroidal 90.
Como los cambios de polaridad de solenoide, el brazo de accionador 38
corresponde en línea recta debido a las fuerzas alternadoras de atracción y
repulsión del solenoide 74 con relación a los postes del imán 90. El brazo de
accionador 38 es asegurado a las armas de oscilador 20, 22 y 24 hacerlos girar,
y los imanes que corresponden 50 52, asegurado a las armas de oscilador, corresponder.
O bien, los imanes que corresponden 50 52 pueden ser asegurados directamente
al brazo 38, de modo que los imanes 50 52 intercambien sin la necesidad de un
intermediario el componente oscilante.
Es importante notar en este punto en la descripción
que, cuando dos imanes acercan el uno al otro con sus postes del enfrentamiento
de polaridad parecido, pero ligeramente compensan, hay una tendencia para los
imanes para girar al poste de enfrente del otro imán. Por lo tanto, en la
encarnación preferida de la invención inmediata, la posición angular en cual la
asamblea de interruptor del accionador 36 cambios entre los estados de Fig.4 y
Fig.5 es ligeramente desfasado con la posición angular del eje de rotor 10 para
ayudar a lanzar o propulsar el brazo de accionador 38 en la dirección inversa
en la posición preferida del eje de rotor. La compensación de fase óptima es
aproximadamente 5-8 grados. Está aquí, la ventaja es tomada de la cada
tendencia de imán de rotor de girar sobre su propio campo magnético cuando
ligeramente compensado del imán respectivo que corresponde, y la fuerza
repulsiva entre postes parecidos de los imanes que corresponden y los imanes de
rotor es optimizada para propulsar el imán de rotor sobre el eje de rotor 11, a
la baja del aumento de la eficacia total del motor.

Fig.12 es un gráfico mostrando al desplazamiento
angular 96 del eje de rotor 10 y desplazamiento lineal 98 de los imanes que
corresponden 50 52. Punto 100
representa el final de la variedad del desplazamiento de los imanes que
corresponden 50 52 mostrado en Figs.2 y 9, y el punto 102 representa el
extremo opuesto de la variedad del desplazamiento de los imanes que
corresponden 50 52 mostrado en Fig.3 y Fig.10. Punto 104 representa la posición angular de
los imanes de rotor 42 49 cuando en el plano horizontal mostrado en Fig.2 y
Fig..9, y punto 106 representa la posición angular de los imanes de rotor 42
49 cuando hecho girar una mitad rotación al plano horizontal mostrado en Fig.3
y Fig.10. Preferentemente, los imanes que corresponden 50 52 e imanes de
rotor 42 49 son desfasados: los imanes que corresponden conducen y el retraso
de imanes de rotor por varios grados. Los imanes que corresponden 50 52
alcanzan los extremos respectivos de su variedad de viajes antes de que la
rotación de rotor mueva los imanes de rotor 42 49 en el plano horizontal.
Cuando arreglan como mostrado en los postes de
referencia 54 y postes de enfrente 56 de los imanes de rotor 42 49 e imanes
que corresponden 50 52 Fig.2 y Fig.3, la posición de rotor es estable cuando
los imanes de rotor están en un plano horizontal. La posición de rotor es
inestable en cualquier otra posición angular, y esto se mueve hacia la
estabilidad horizontal de cualquier posición inestable, y es lo menos estable
cuando los imanes de rotor 42 49 están en un avión vertical. El grado de
estabilidad del eje de rotor 10 es una consecuencia de la atracción mutua y
repulsión de los postes de los imanes de rotor 42 49 e imanes que
corresponden 50 52 y la proximidad relativa entre los postes. En Fig.2, los
imanes que corresponden 50 52 son localizados en un primer extremo de viajes.
En Fig.3, los imanes que corresponden 50 52 han correspondido al extremo de
enfrente de viajes, y los imanes de rotor han hecho girar una mitad revolución
de la posición mostrada en Fig.2.
Cuando el rotor es parado, su rotación puede ser
fácilmente comenzada a mano aplicando la torsión en la una o la otra dirección.
El accionador 36 sostiene la rotación de rotor después de que esto se une a su
fuente de alimentación. A la rotación del eje de rotor 10 sobre el eje 11 le
ayuda el movimiento cíclico de los imanes que corresponden 50 52, su posición
axial entre el imán de rotor se aparea 42 43, 44 45, 46 47 y 48 49, la
disposición de sus postes con relación a los postes de los imanes de rotor, y
la relación de fase y frecuencia de su correspondencia con relación a rotación
de los imanes de rotor. El accionador 36 mantiene el rotor 10 giro y brazo de
accionador 38 oscilación en la misma frecuencia, la relación de fase como
descrita en cuanto a Fig.12.
Con los imanes de rotor 42 y 49 como mostrado en Fig.2,
cuando visto desde encima, los Polos Norte 54 de los imanes de rotor a la
izquierda del eje 11 afrontan una primera dirección axial 110, es decir, hacia
el accionador 36, y los Polos Norte 54 de los imanes de rotor en el lado
derecho del eje 11 cara en la dirección axial de enfrente 112, lejos del
accionador 36. Cuando los imanes de rotor 42 49 son localizados como en
Fig.2, los Polos Norte 54 de imanes que corresponden 50 52 son adyacentes el
polo sur 56 de imanes de rotor 45, 47 y 49, y el polo sur 56 de imanes que
corresponden 50 52 son adyacentes los Polos Norte 54 de imanes de rotor 44,
46 y 48.

Además, cuando el eje de rotor 10 gira a la
posición mostrada en Fig.2, los imanes que corresponden 50 52 son localizados
en, o cerca, un extremo de sus viajes axiales, de modo que los Polos Norte 54
de imanes que corresponden 50 52 sean localizados cerca del polo sur 56 de
imanes de rotor 45, 47 y 49, respectivamente, y relativamente más distantes de
los Polos Norte 54 de imanes de rotor 43, 45 y 47, respectivamente. Del mismo
modo, el polo sur 56 de imanes que corresponden 50 52 es localizado cerca de
los Polos Norte del imán de rotor 44, 46 y 48, respectivamente, y relativamente
más distante del polo sur de imanes de rotor 42, 44 y 46, respectivamente.
Con los imanes de rotor 42 y 49 hecho girar en un
plano horizontal una mitad de revolución de la posición de Fig.1B, cuando visto
desde encima como mostrado en Fig.3, los Polos Norte 54 de imanes que
corresponden 50 52 son localizados adyacentes el polo sur de imanes de rotor
42, 44 y 46, y el polo sur 56 de imanes que corresponden 50 52 son localizados
adyacentes los Polos Norte 54 de imanes de rotor 43, 45 y 47, respectivamente.
Cuando el rotor 10 eje es localizado como mostrado en Fig.3, los imanes que
corresponden 50 52 es localizado en o cerca del extremo de enfrente de sus
viajes axiales de aquel de Fig.2, tal que los Polos Norte 54 de imanes que
corresponden 50 52 son localizados cerca del polo sur 56 del imán de rotor
42, 44 y 46, respectivamente, y relativamente más distantes de los Polos Norte
de imanes de rotor 44, 46 y 48, respectivamente. Del mismo modo, cuando el eje de rotor 10 es
localizado como mostrado en Fig.3, el polo sur 56 de imanes que corresponden 50
52 son localizados cerca de los Polos Norte del imán de rotor 43, 45 y 47,
respectivamente, y relativamente más distantes del polo sur de imanes de rotor
45, 47 y 49, respectivamente.
En la operación, la rotación del eje de rotor 10
en la dirección angular es comenzada a mano o con un accionador de juez de
salida (no mostrado). Accionador 36 causas que intercambian imanes 50 52 para
oscilar o corresponder en la misma frecuencia que la frecuencia rotacional del
eje de rotor 10, es decir un ciclo de correspondencia por ciclo de rotación,
preferentemente con la relación de fase ilustrada en Fig.12. Cuando los imanes
que corresponden 50 52 son localizados como mostrado en Fig.2, el eje de rotor 10 habrá completado aproximadamente una
mitad revolución de la posición de Fig.3 a la posición de Fig.2.
A la rotación del rotor 10 le ayuda la atracción
mutua entre los Polos Norte 54 de los imanes que corresponden 50 52 y el polo
sur 56 de los imanes de rotor 43, 45, 47 y 49 que son los más cercanos entonces
respectivamente a aquellos Polos Norte de imanes que corresponden 50 52, y
atracción mutua entre el polo sur de imanes que corresponden 50 52 y los
Polos Norte de los imanes de rotor 42, 44, 46 y 48 que son los más cercanos
entonces respectivamente a los Polos Norte de los imanes que corresponden.
Asuma que el eje de rotor 10 gira en contrario
cuando visto del accionador 36, y los imanes de rotor 42, 44, 46 y 48 son
localizados encima de imanes de rotor 43, 45, 47 y 49. Con el eje de rotor 10
colocado de modo que los imanes que corresponden 50 52 estén aproximadamente
a mitad del camino entre las posiciones mostradas en Fig. 2 e Fig. 3 y moviendo
hacia la posición mostrada en Fig. 2, como beneficios de rotación, el polo sur
de cada imán que corresponde 50 52 aplica una atracción hacia abajo por el
Polo Norte 54 de los más cercanos de los imanes de rotor 44, 46 y 48, y el Polo
Norte 54 de cada imán que corresponde 50 52 atraen hacia arriba el polo sur
56 del imán de rotor más cercano 45, 47 y 49. Esta atracción mutua de los
postes hace que el rotor siga girando en contrario a la posición de Fig. 2.
Entonces los imanes que corresponden 50 52
comienzan a moverse hacia la posición mostrada en Fig. 3, y la apatía de rotor
vence la fuerza constantemente decreciente de la atracción entre los postes
cuando ellos se mueven mutuamente aparte, permitiendo al eje de rotor 10 seguir
su en contrario rotación en el avión vertical donde los imanes de rotor 43, 45,
47 y 49 son localizados encima de imanes de rotor 42, 44, 46 y 48. Cuando el eje de rotor 10 gira por delante
del avión vertical, los imanes que corresponden 50 52 siguen moviendo hacia
la posición dFig. 3, el polo sur 56 de cada imán que corresponde 50 52 atraen
hacia abajo el Polo Norte del imán de rotor más cercano 43, 45 y 47, y el Polo
Norte que 54 de cada imán que corresponde 50 52 atraen hacia arriba el polo
sur 56 del imán de rotor más cercano 42, 44 y 46, causando el rotor 10 hacer
girar en contrario a la posición dFig. 3. La apatía de rotor mantiene el en
contrario rotación, los imanes que corresponden 50 52 comienzan a moverse
hacia la posición mostrada en Fig. 2, y el eje de rotor 10 vueltas al avión
vertical donde los imanes de rotor 43, 45, 47 y 49 son localizados encima de
imanes de rotor 42, 44, 46 y 48, así completando una revolución llena.

Fig. 9 y Fig. 10 muestran un segundo arreglo del
motor en el cual los postes de los imanes de rotor 142 149 son la paralela a,
y afrontan la misma dirección que aquellos de los imanes que corresponden 50
52. La operación del motor arreglado como mostrado en Fig. 9 e Fig. 10 es
idéntica a la operación descrita en cuanto a Fig. 2 e Fig. 3. En la encarnación
de Fig. 9 e Fig. 10, los postes de los imanes que corresponden 50 52 cara más
directamente los postes de los imanes de rotor 142 149 en el arreglo de Fig.
2 e Fig. 3. Las fuerzas de atracción y repulsión entre los postes son mayores
en la encarnación de Fig. 9 e Fig. 10, por lo tanto, la mayor torsión es
desarrollada. La magnitud de torsión es una función de la magnitud de las
fuerzas magnéticas, y la distancia por la cual aquellos fuerzan funciona.

Fig.11 muestra una tercera encarnación del motor
en el cual la porción externa radial del rotor platea 33 son sesgados con
relación al eje 11 tal que los postes de los imanes de rotor 42 49 son
inclinados con relación a los postes de los imanes que corresponden 50 52. La
operación del motor arreglado como mostrado en Fig. 11 es idéntica a la
operación descrita en cuanto a Fig. 2 e Fig. 3.

Fig. 13 y Fig. 14 muestran una cuarta encarnación
del motor en el cual cada uno de dos imanes que corresponden 50 y 51 es
localizado en un axialmente el lado opuesto de un imán de rotor se aparea 44 y
45. La operación del motor arreglado como mostrado en Fig. 13 e Fig. 14 es
idéntica a la operación descrita en cuanto a Fig. 2 e Fig. 3..
El motor puede producir la salida que corresponde
al brazo de accionador 38 en vez de la salida rotatoria descrita encima para
desconectar el brazo de accionador 38 del accionador 36, y unir a una manivela,
o un dispositivo funcionalmente similar, en el camino de paseo entre el
accionador y el eje de rotor 10. La manivela convierte la rotación del eje de
rotor 10 a la correspondencia del accionador 30. En este caso, el eje de rotor
10 es conducido rotatably en la una o la otra dirección por la fuente de
alimentación, y la salida es tomada al brazo que corresponde 38, que permanece
driveably relacionado con las armas oscilantes 20, 22 y 24. Los imanes que
corresponden 50, 51 y 52 conducen las armas oscilantes 20, 22 y 24.

En la vista seccional enfadada de la perspectiva
mostrada en Fig. 15, una cubierta externa 160 contiene un motor según esta
invención que funciona esencialmente el mismo como la encarnación del motor más
eficiente mostrado en Fig. 1A e Fig. 1B, pero tiene un aspecto comercial. El
rotor incluye discos 162 y 164, que están relacionados por un tambor externo
166 del material no magnético. La superficie superior 167 de tambor 166 formas
un escudo magnético que rodea el rotor. Montado en el disco inferior 164 son
imanes de rotor encorvados 168 y 170, que se extienden angularmente sobre un
eje de rotor 172, que es asegurado al rotor. Montado en el disco superior 162,
son imanes de rotor encorvados 174 y 176, que se extienden angularmente sobre
el eje de rotor 172. Los postes de referencia son 178, y los postes de enfrente
son 180. Un bushing 182 gira con el rotor.
Un pistón que corresponde 184, que se mueve
verticalmente, pero no gira, apoyos que intercambian el imán 186, cuyo poste de
referencia 188 y poste de enfrente 190 se extiende angularmente sobre el eje
del pistón 184.
Un imán de solenoide 192, comparable para el imán
90 del accionador 36 ilustrado en Fig. 8, es localizado adyacente un solenoide
194, comparable para el solenoide 74 de Fig. 4 e Fig. 5. La polaridad de
solenoide 194 suplentes como el rotor gira. Simplemente declarado, como una
consecuencia de la polaridad alternadora del solenoide 194, el pistón que
corresponde 184 corresponde que, por su parte, sigue avanzando el rotor más
eficazmente, usando la atracción y fuerzas de repulsión entre los imanes que
corresponden 186 e imanes de rotor 168, 170, 174 y 176 como descrito encima y
mostrado en cualquiera de las encarnaciones diferentes usando Fig. 2, Fig. 3, Fig.
9, Fig. 10, Fig. 11, Fig. 13 e Fig. 14. Por supuesto, como la polaridad
alternadora del solenoide puede poner el motor en el movimiento, tan puede la
bocacalle del rotor, como descrito encima. Un fotosensor 196 y sensor suena 198
puede ser usado, como una alternativa a la encarnación mecánica descrita en Fig.
4 al Fig. 7, determinar la posición angular del rotor para alternar la
polaridad del solenoide 194 con el rotor para corresponder a la fase y el ciclo
mostrado en Fig.12.
De acuerdo con las provisiones de los estatutos
evidentes, la invención presente ha sido descrita en lo que es pensado
representar su encarnación preferida. Sin embargo, debería ser notado que la
invención puede ser construida por otra parte que como expresamente ilustrado y
descrito sin marcharse de su espíritu o alcance. Es querido que todas tales
modificaciones y modificaciones ser incluido en tanto que ellos vienen dentro
del ámbito de las reclamaciones añadidas o sus equivalentes.
RECLAMACIONES
1. Una comprensión de
motor: un rotor apoyado para rotación sobre un eje; un primer par de imanes de
rotor apoyó en el rotor, incluso un primer imán de rotor y un segundo imán de
rotor espaciado angularmente sobre el eje en una dirección radial de enfrente
del primer imán de rotor tal que el primer par de imanes de rotor gira sobre el
eje a lo largo de un camino que tiene el perímetro circumferential más extremo;
un primer imán que corresponde apoyado para movimiento hacia y lejos de los
primeros y segundos imanes de rotor, el primer imán que corresponde y
axialmente dispuesto en un primer espacio dentro de un límite definido por
longitudinalmente ampliando el perímetro circumferential más extremo del primer
par de imanes de rotor, y el primer imán que corresponde es un imán de dipolo
permanente que tiene un poste de referencia que se vuelve lateralmente del eje
y un poste de enfrente que se vuelve en una dirección lateral de enfrente del
poste de referencia; y un accionador para mover el primer imán que corresponde
cíclicamente hacia y lejos del primer par de imanes de rotor sin pasar por un
centro de rotación del primer par de imanes de rotor para crear simultáneamente
repulsión y atracción fuerza con el primer par de imanes de rotor para hacer
girar cíclicamente el primer par de imanes de rotor con relación al primer imán
que corresponde en una dirección rotatoria.
2. El motor de la
reclamación 1 que adelante comprende: un segundo imán que corresponde
axialmente dispuesto en un segundo espacio dentro del límite definido por
longitudinalmente ampliando el perímetro circumferential más extremo del primer
par de imanes de rotor en un lado opuesto axial del primer par de imanes de
rotor, y apoyado para movimiento hacia y lejos de los primeros y segundos
imanes de rotor sin pasar por el centro de rotación del primer par de imanes de
rotor.
3. El motor de la
reclamación 1 que adelante comprende: un segundo par de imanes de rotor
apoyados en el rotor, espaciado axialmente del primer par de imanes de rotor,
el segundo par incluso un tercer imán de rotor y un cuarto imán de rotor
espaciado angularmente sobre el eje en una dirección radial de enfrente del
tercer imán de rotor; y en donde el primer imán que corresponde es localizado
en el primer espacio dicho dispuesto axialmente entre los primeros y segundos
pares de imán de rotor, y el accionador cíclicamente mueve el primer imán que
corresponde hacia y lejos de los primeros y segundos pares de imanes de rotor
sin pasar por un centro de rotación del segundo par de imanes de rotor.
4. El motor de la
reclamación 1 que adelante comprende: un segundo par de imanes de rotor
apoyados en el rotor, espaciado axialmente del primer par de imanes de rotor,
el segundo par incluso un tercer imán de rotor y un cuarto imán de rotor
espaciado angularmente sobre el eje en una dirección radial de enfrente del
tercer imán de rotor; un tercer par de imanes de rotor apoyados en el rotor,
espaciado axialmente de los primeros y segundos pares de imanes de rotor, el
tercer par incluso un quinto imán de rotor y un sexto imán de rotor espaciado
angularmente sobre el eje en una dirección radial de enfrente del quinto imán
de rotor; y un segundo imán que corresponde dispuesto en un segundo espacio
localizado axialmente entre los segundos y terceros pares de imán de rotor y
dentro del límite definido por longitudinalmente ampliando el perímetro
circumferential más extremo del primer par de imanes de rotor, y el segundo
imán que corresponde y apoyado para movimiento hacia y lejos de los segundos y
terceros pares de imán de rotor; y en donde el primer imán que corresponde
dispuesto en el primer espacio todavía es localizado adelante axialmente entre
los primeros y segundos pares de imán de rotor, y el accionador cíclicamente
mueve el primer imán que corresponde hacia y lejos de los primeros y segundos
pares de imanes de rotor sin pasar por un centro de rotación del segundo par de
imanes de rotor, y el segundo imán que corresponde hacia y lejos de los
segundos y terceros pares de imanes de rotor sin pasar por el centro de
rotación del segundo par de imanes de rotor y por un centro de rotación de un
tercer par de imanes de rotor.
5. El motor de la
reclamación 1 que adelante comprende: un brazo apoyado para oscilación
fundamental considerablemente paralela al eje, el primer imán que corresponde y
apoyado al brazo adyacente los primeros y segundos imanes de rotor; y en donde
el accionador es driveably relacionado con el brazo.
6. El motor de la
reclamación 1 en donde: los primeros y segundos imanes de rotor son imanes de
dipolo permanentes, el primer imán de rotor que tiene un poste de referencia
que afronta axialmente lejos del primer imán que corresponde y un poste de
enfrente que se vuelve axialmente hacia el primer imán que corresponde, el
segundo imán de rotor que tiene un poste de referencia que se vuelve axialmente
hacia el primer imán que corresponde y un poste de enfrente que afronta axialmente
lejos del primer imán que corresponde.
7. El motor de la
reclamación 1 en donde: los primeros y segundos imanes de rotor son el imán es
un imán de imanes de dipolo permanente, el primer imán de rotor que tiene un
poste de referencia que afronta axialmente lejos del primer imán que
corresponde y un poste de enfrente que se vuelve axialmente hacia el primer
imán que corresponde, el segundo imán de rotor que tiene un poste de referencia
que se vuelve axialmente hacia el primer imán que corresponde y un poste de
enfrente que afronta axialmente lejos del primer imán que corresponde; y el
motor adelante comprensión: un segundo par de imanes de rotor apoyados en el
rotor, espaciado axialmente del primer par de imanes de rotor, el segundo par
incluso un tercer imán de rotor de dipolo permanente que tiene un poste de
referencia que afronta axialmente hacia el primer imán que corresponde y un
poste de enfrente que afronta lejos del primer imán que corresponde, y un
cuarto imán de rotor de dipolo permanente espaciado angularmente sobre el eje
en una dirección radial de enfrente del tercer imán de rotor, el cuarto imán de
rotor de dipolo permanente que tiene un poste de referencia que afronta
axialmente lejos del primer imán que corresponde y un poste de enfrente que
afronta hacia el primer imán que corresponde; y en donde el primer imán que
corresponde dispuesto en el primer espacio dicho todavía es localizado adelante
axialmente entre los primeros y segundos pares de imán de rotor, y el
accionador cíclicamente mueve el primer imán que corresponde hacia y lejos de
los primeros y segundos pares de imanes de rotor sin pasar por un centro de
rotación del segundo par de imanes de rotor.
8. El motor de la
reclamación 1 en donde: los primeros y segundos imanes de rotor son imanes de
dipolo permanentes, cada imán de rotor que tiene un poste de referencia que se
vuelve en una primera dirección lateral con relación al poste de referencia del
primer imán que corresponde y un poste de enfrente que se vuelve en una segunda
dirección lateral frente a la primera dirección lateral del imán de rotor
respectivo.
9. El motor de la
reclamación 1 en donde: los primeros y segundos imanes de rotor son imanes de
dipolo permanentes, cada imán de rotor que tiene un poste de referencia que se
vuelve en una primera dirección lateral con relación al poste de referencia del
primer imán que corresponde y un poste de enfrente que se vuelve en una segunda
dirección lateral frente a la primera dirección lateral del imán de rotor
respectivo; y el motor adelante comprensión: un segundo par de imanes de rotor
apoyados para rotación en el rotor sobre el eje, el segundo par de imanes de
rotor siendo espaciados axialmente del primer par de imanes de rotor, el
segundo par incluso un tercer imán de rotor de dipolo permanente y un cuarto
imán de rotor de dipolo permanente, los terceros y cuartos imanes de rotor cada
uno teniendo un poste de referencia que afronta en la segunda dirección lateral
y un poste de enfrente que afronta en la primera dirección lateral, y en donde
el primer imán que corresponde dispuesto en el primer espacio todavía es
localizado adelante axialmente entre los primeros y segundos pares de imán de
rotor, y el accionador cíclicamente mueve el primer imán que corresponde hacia
y lejos de los primeros y segundos pares de imanes de rotor sin pasar por un
centro de rotación del segundo par de imanes de rotor.
10. El motor de la
reclamación 3 que adelante comprende: un tercer par de imanes de rotor apoyados
en el rotor, espaciado axialmente de los primeros y segundos pares de imanes de
rotor, el tercer par incluso un quinto imán de rotor y un sexto imán de rotor
espaciado angularmente sobre el eje en una dirección radial de enfrente del
quinto imán de rotor; un segundo imán que corresponde localizado en un segundo
espacio dentro del límite definido por longitudinalmente ampliando el perímetro
circumferential más extremo del primer par de imanes de rotor y axialmente
entre los segundos y terceros pares de imán de rotor, y el segundo imán que corresponde
y apoyado para movimiento hacia y lejos de los segundos y terceros pares de
imán de rotor; un primer brazo apoyado para oscilación fundamental
considerablemente paralela al eje, el primer imán que corresponde y apoyado al
brazo adyacente los primeros y segundos pares de imanes de rotor; y un segundo
brazo apoyado para oscilación fundamental considerablemente paralela al eje, el
segundo imán que corresponde y apoyado al brazo adyacente los segundos y
terceros pares de imanes de rotor; y en donde el accionador es driveably
relacionado con las primeras y segundas armas.
11. Una comprensión
de motor: un rotor apoyado para rotación sobre un eje; un primer par de imanes
de rotor apoyó en el rotor, incluso un primer imán de rotor y un segundo imán
de rotor espaciado angularmente sobre el eje del primer imán de rotor tal que
el primer par de imanes de rotor gira sobre el eje a lo largo de un camino
circumferential que tiene el perímetro más extremo; un primer brazo apoyado
para oscilación fundamental a lo largo del eje, localizado adyacente los
primeros y segundos imanes de rotor; un primer imán que corresponde, apoyado al
primer brazo para movimiento hacia y lejos de los primeros y segundos imanes de
rotor, el primer imán que corresponde y dispuesto axialmente dentro de un
primer espacio dentro de un límite definido por longitudinalmente ampliando el
perímetro más extremo del primer camino circumferential del primer par de
imanes de rotor; un segundo par de imanes de rotor apoyados en el rotor,
espaciado axialmente del primer par de imanes de rotor, el segundo par incluso
un tercer imán de rotor, y un cuarto imán de rotor espaciado angularmente sobre
el eje del tercer imán de rotor; un tercer par de imanes de rotor apoyados en
el rotor, espaciado axialmente de los primeros y segundos pares de imanes de
rotor, el tercer par incluso un quinto imán de rotor, y un sexto imán de rotor
espaciado angularmente sobre el eje del quinto imán de rotor; un segundo brazo
apoyado para oscilación fundamental a lo largo del eje entre los segundos y
terceros pares de imanes de rotor; un segundo imán que corresponde localizado
axialmente entre el segundo y tercer imán de rotor se aparea y apoyado al
segundo brazo para el movimiento hacia y lejos de los segundos y terceros pares
del imán de rotor; y un accionador para mover el primer imán que corresponde
cíclicamente hacia y lejos del primer par de imanes de rotor sin pasar por un
centro de rotación del primer par de imanes de rotor para crear simultáneamente
repulsión y atracción fuerza con el primer par de imanes de rotor para hacer
girar cíclicamente el primer par de imanes de rotor con relación al primer imán
que corresponde en una dirección rotatoria; y en donde el primer imán que
corresponde dispuesto en el primer espacio todavía es localizado adelante
axialmente entre los primeros y segundos pares de imán de rotor, y el
accionador cíclicamente mueve el primer brazo y el imán que corresponde primero
hacia y lejos de los primeros y segundos pares de imanes de rotor sin pasar el
primer imán reciprocator por un centro de rotación del segundo par de imanes de
rotor, y mueve el segundo brazo y el segundo imán que corresponde hacia y lejos
de los segundos y terceros pares de imanes de rotor sin pasar el segundo imán
reciprocator por el centro de rotación del segundo par de imanes de rotor y por
un centro de rotación del tercer par de imanes de rotor.
12. más de una
segunda variedad angular sobre el eje; un suministro de energía eléctrica
incluso primeros y segundos terminales; un primer contacto que une el primer
terminal de suministro de energía alternativamente al primer plato de puente y
el tercer plato de puente como el rotor gira; un segundo contacto que une el
segundo terminal de suministro de energía alternativamente al segundo plato de
puente y el cuarto plato de puente como el rotor gira; un imán permanente
toroidal; un solenoide apoyado encima de un poste del imán permanente toroidal,
incluso primeros y segundos terminales; un tercer contacto que une el primer
terminal de solenoide alternativamente a los primeros y segundos terminales de
suministro de energía por los primeros y cuartos platos de puente y primero se
pone en contacto cuando el rotor gira; un cuarto contacto que alternativamente
une y y desconecta el segundo terminal de suministro de energía y el segundo
terminal de solenoide como el rotor gira; y un quinto contacto que
alternativamente une y y desconecta el primer terminal de suministro de energía
y el segundo terminal de solenoide como el rotor gira.
13. El motor de la
reclamación 11 en donde el accionador adelante comprende: un imán permanente
toroidal; una fuente de alimentación de corriente alterna; y un solenoide
apoyado para desplazamiento adyacente un poste del imán permanente toroidal,
incluso primeros y segundos terminales eléctricamente relacionados con la
fuente de alimentación.
14. Una comprensión
de motor: un rotor apoyado para rotación sobre un eje; un primer imán de rotor
apoyado para rotación sobre el eje a lo largo de un primer camino circumferential
que tiene el perímetro más extremo y un centro en el eje, el primer imán de
rotor que tiene un primer poste de referencia permanente que se vuelve
lateralmente hacia el eje y un primer poste de enfrente permanente que se
vuelve en una dirección lateral de enfrente hacia el primer poste de
referencia; un par de imanes que corresponden apoyados para movimiento hacia y
lejos del imán de rotor, incluso un primer imán que corresponde y un segundo
imán que corresponde espaciado axialmente del primer imán de rotor, cada imán
que corresponde y al menos parcialmente dispuesto dentro de un primer espacio
axial que define un límite por longitudinalmente ampliando el perímetro más
extremo del primer camino circumferential del primer imán de rotor, en donde el
imán de rotor es localizado axialmente entre los primeros y segundos imanes que
corresponden; y un accionador para mover el par de imanes que corresponden
cíclicamente hacia y lejos del imán de rotor sin pasar por el centro del primer
camino circumferential para crear simultáneamente repulsión y atracción fuerza
con el primer imán de rotor para hacer girar cíclicamente el imán de rotor con
relación al par de imanes que corresponden en una dirección rotatoria.
15. El motor de la
reclamación 14 en donde los primeros y segundos imanes que corresponden son
imanes de dipolo permanentes con cada uno teniendo un poste de referencia que
se vuelve lateralmente del eje y un poste de enfrente que se vuelve en una
dirección lateral de enfrente de su poste de referencia correspondiente.
16. El motor de la
reclamación 15 que adelante comprende: un segundo imán de rotor espaciado
axialmente del primer imán de rotor, el segundo imán de rotor apoyado para
rotación sobre el eje a lo largo de un segundo circumferential camino que tiene
el perímetro más extremo sobre el centro, el segundo imán de rotor incluso un
segundo poste de referencia permanente que se vuelve lateralmente hacia el eje
y un segundo poste de enfrente permanente que se vuelve en una dirección
lateral de enfrente hacia el segundo poste de referencia; y en donde el segundo
imán que corresponde es localizado axialmente entre los primeros y segundos
imanes de rotor y al menos parcialmente dentro de un segundo espacio axial que
define un límite por longitudinalmente ampliando el perímetro más extremo del
segundo camino circumferential del segundo imán de rotor, y el accionador
cíclicamente aleja el segundo imán que corresponde de y hacia el segundo imán
de rotor.
Patente US 5,455,474 3 de octubre 1995 Inventor: Charles
Flynn
CONSTRUCCIÓN DE MOTOR MAGNÉTICA
Esta patente da detalles de un motor de imán
permanente que usa el electroimán protector para conseguir la rotación
continua. El poder de entrada es muy pequeño con hasta una batería de 9 voltios
siendo capaz de hacer funcionar el motor. El poder de salida es sustancial y
operación hasta 20,000 revoluciones por minuto son posibles. La construcción es
también muy simple y bien dentro de las capacidades de los manitas medios.
Debería ser realizado que el poder de este motor viene de los imanes
permanentes y no de la pequeña batería la entrada solía prevenir la cerradura
de los campos magnéticos.
EXTRACTO
La invención presente es un motor con imanes
permanentes colocados de modo que haya interacción magnética entre ellos. Un
bobina colocado en el espacio entre los imanes permanentes es usado para
controlar la interacción magnética. Este bobina está relacionado con una fuente
del potencial eléctrico y controló la conmutación de modo que el cierre del
interruptor coloque un voltaje a través del bobina y afecte la interacción
magnética entre los imanes permanentes para producir el movimiento rotatorio
del eje de salida.
Referencias Evidentes estadounidenses:
3096467 Brushless d. c. motor with permanent magnet rotor July, 1963 Angus et al. 318/138
3569806 Starting Arrangement for Solid-State Motor March, 1971 Brailsford 318/254
3670189 Gated Permanent Magnet Motor June, 1972
3796039 Electric Micromotor March, 1974 Lucien 310/268
3883633 Commutatorless Motor May, 1975 Kohler 310/152
4151431 Permanent Magnet Motor April, 1979 Johnson 310/12
4187441 High-power-density Brushless DC Motor February, 1980 Oney 310/112
4758756 Vernier-type Electrodynamic Machine July, 1988 Pouillange 310/152
4875110 Rotary-head Apparatus with Motor Magnet October, 1989 Kazama 310/268
4972112 Brushless DC Motor November, 1990 Kim 310/181
5179307 Direct Current Brushless Motor January, 1993 Porter 310/268
Referencias Extranjeras:
DE210005 July,
1960 310/181
JP0025153 February,
1982 310/181
JP01521078 September,
1982 310/152
JP0002840 January,
1987 310/152
FONDO DE LA INVENCIÓN
La invención presente es una mejora sobre las
invenciones reveladas en aplicaciones evidentes 07/322,121 y 07/828,703. Los
dispositivos revelados en aquellas aplicaciones están relacionados con medios
de producir la energía útil usando imanes permanentes como la fuente conductor.
Este es también verdadero de la invención presente que representa una mejora
importante sobre las construcciones conocidas y uno que es más simple de
construir, puede ser hecho para ser mí comienzo, es más fácil para adaptarse, y
con menor probabilidad saldrá del ajuste.
La construcción presente es también relativamente fácil para controlar,
es relativamente estable y produce una cantidad asombrosa de la energía de
salida que considera la fuente de la energía conductor que es usada. La
construcción presente hace el uso de imanes permanentes como la fuente de la
energía conductor, pero muestra un medio nuevo de controlar la interacción
magnética entre los miembros de imán en una manera que es relativamente rugosa,
produce una cantidad sustancial de energía de salida y torsión, y en un
dispositivo capaz de estar acostumbrado generan cantidades sustanciales de la
energía que es útil para muchos objetivos diferentes.
La invención presente reside tiene una estructura
de apoyo fija con uno o varios imanes permanentes fijos como un imán permanente
anular montado en ello con las caras de poste del imán permanente en caras de
enfrente del imán. El dispositivo tiene uno o varios bobinas relativamente
llanos colocados alrededor del borde de una de las caras del imán, y un eje se
extiende por el imán permanente con uno o varios otros imanes permanentes
atados a ello. Los imanes permanentes espaciados y el imán permanente fijo
hacen quedar sus polaridades en producir una interacción magnética entre ellos. El dispositivo también incluye un recorrido
para la selectivamente y secuencialmente activación del bobinas para controlar
la interacción magnética entre los imanes en tal manera para producir la
rotación entre ellos. Varios métodos pueden ser usados para controlar la
aplicación de energía al bobinas incluso un temporizador o un mecanismo de
control montado en el eje rotativo. Este diseño puede ser hecho para
autocomenzar o ser comenzado con alguna inicial ayudan a establecer la rotación.
OBJETOS DE LA INVENCIÓN
Esto es un objeto principal de la invención
presente de enseñar la construcción y la operación de un dispositivo
relativamente simple, parecido a un motor usando imanes permanentes en una
manera única generar formas rotatorias u otras del movimiento.
Otro objeto es enseñar la construcción y la
operación de un dispositivo relativamente simple, parecido a un motor que tiene
medios nuevos para conectar y/o desacoplar imanes permanentes relativamente
movibles para producir el movimiento.
Otro objeto es proporcionar medios nuevos para
controlar el enganche y el desenganche de imanes permanentes relativamente
movibles.
Otro objeto es hacer la generación de energía
rotatoria menos cara y más confiable.
Otro objeto es enseñar un modo nuevo de generar la
energía variando fuerzas de interacción magnéticas entre imanes permanentes.
Otro objeto es proporcionar un modo barato de
producir la energía.
Otro objeto es proporcionar una fuente de
sustituto de la energía para el uso en sitios donde los motores convencionales,
los generadores y los motores son usados.
Estos y otros objetos y ventajas de la invención
presente se harán aparentes después de considerar de la especificación
detallada siguiente de encarnaciones preferidas junto con los dibujos de
acompañamiento.
BREVE DESCRIPCIÓN DE LOS DIBUJOS

Fig.1 es una vista
lateral del dispositivo impulsado de un magnetically construido según la
invención presente.

Fig.2 es una vista
esquemática del dispositivo mostrado en Fig.1.

Fig.3 es una vista
lateral fragmentaria de uno de los imanes movibles y el imán fijo,
en una posición del dispositivo.

Fig.4 es una vista
similar a Fig.3, pero exposición de la relación entre los otros imanes movibles
y el imán fijo en la misma posición
rotatoria del dispositivo.

Fig.5 es una vista
fragmentaria similar a Fig.3, pero exposición de una interacción de repulsión
entre los imanes permanentes relativamente
movibles.

Fig.6 es una vista
similar a Fig.4 para la condición mostrada en Fig.5.

Fig.7 es una vista
lateral mostrando a otra encarnación que es capaz
de producir aún mayor energía y torsión.

Fig.8 es una vista de
elevational fragmentaria similar a Fig.3 para el dispositivo of Fig7.

Fig.9 es una vista
similar a Fig.4 para la construcción mostrada en Fig.7.

Fig.10 es una vista
similar a Fig.3 para el dispositivo mostrado en e Fig.7, pero
con la polaridad de uno de los imanes
permanentes fijos invertidos.

Fig.11 es una vista
fragmentaria similar a Fig.4 para el dispositivo como mostrado en Fig.7 y
Fig.10.

Fig.12 es un lado
elevational la vista de otra encarnación del dispositivo.

Fig.13 es un diagrama
de recorrido esquemático del recorrido para los dispositivos de Figs. 1, 7 y
12.

Fig.14 es una vista
de perspectiva de otra encarnación.

Fig.15 es una
encarnación simplificada del dispositivo mostrando al uso de un imán de giro y
un bobina colocado en el avión entre el giro e imanes inmóviles.

Fig.16 es una
encarnación simplificada del dispositivo mostrando al uso de un imán movible y
tres bobinas quedaron en estar en un avión entre el giro e imanes inmóviles.

Fig.17 es una vista
lateral de un aire bobina con un voltaje aplicado a través de ello y mostrando
en el contorno punteado el campo del bobina.

Fig.18 es una vista
similar a Fig.17 pero exposición del aire el bobina colocó adyacente a un lado
de una exposición de imán permanente en el contorno punteado el campo magnético
del imán permanente sin el potencial eléctrico aplicado a través del aire
bobina.

Fig.19 es una vista
lateral similar a la Fig.18 con un potencial eléctrico aplicado a través de la
bobina de aire, mostrando en puntos esbozar las formas del campo eléctrico de
la bobina de aire y el campo magnético del imán permanente.

Fig.20 es una vista
lateral similar a Fig.19, pero exposición de un segundo imán permanente
colocado encima del primer imán permanente y exposición en el contorno punteado
los campos magnéticos de los dos imanes permanentes cuando ningún potencial
eléctrico está relacionado a través del aire bobina.

Fig.21 es una vista
similar a Fig.20, pero con los imanes permanentes en una posición relativa
diferente y con un voltaje aplicado a través del aire bobina, dijo la vista
mostrando a las formas del campo electromagnético del aire bobina y las formas
modificadas de los campos magnéticos de los dos imanes permanentes; y



Fig.22 a Fig.25 son similares a Fig.21 y muestran
el campo electromagnético del aire bobina y los campos magnéticos de los imanes
en cuatro posiciones relativas diferentes de los imanes permanentes.
DESCRIPCIÓN DETALLADA
En los dibujos, el número 10 se refiere a un
dispositivo construido según la invención presente. El dispositivo 10 incluye
una estructura baja inmóvil incluso un plato superior 12, un plato inferior 14,
y postes espaciados 16-22 relacionado entre ellos.

Montado en el plato superior 12 es un imán
permanente fijo 24 mostrado anular en la forma que tiene su Polo Norte
adyacente a la superficie superior del plato 12 y su Polo sur que se vuelve
lejos de plato 12.

Respecto a Fig.2, el imán permanente 24 es mostrado
teniendo siete bobinas 26-38 apartamento montado en su superficie superior.
Siete bobinas son mostrados, y los bobinas 26-38 hacen hacer uniones eléctricas
por el plato 12 a otros miembros de recorrido que serán descritos más tarde en
relación a Fig.13. Otro miembro 40 es montado en la superficie superior del
plato inferior 14 y un miembro similar 42 es montado en la parte oculta de
plato 12.
Un eje 44, (mostrado orientado verticalmente para
la conveniencia) se extiende por agujeros alineados en los miembros 42, 12 y
24. La parte inferior de eje 44 está relacionada con el disco 46 que tiene un
par de aperturas curvas 48 y 50 mostrado diametralmente el uno enfrente del
otro, un poco en del borde del disco 46. El objetivo de estas aperturas 48 y 50
será explicado más tarde.
Eje 44 también está relacionado con otro disco 52
que es localizado en el eje para ser colocado adyacente al bobinas 26-38. El
disco 52 tiene un par de imanes permanentes 54 y 56 montado en o en ello
colocado diametralmente el uno enfrente del otro. Los imanes 54 y 56 tienen su
norte y polo sur orientado como mostrado en e Fig.2, que es con Polos Norte
mostrados en sus lados inferiores y su polo sur en los lados superiores. Este
es hecho de modo que haya atracción magnética mutua y conectando entre los
imanes 54 y 56 y el imán fijo 24. La polaridad de los imanes 54 y 56 y/o del
imán 24 también puede ser invertida de ser deseado para algunos objetivos de
producir la repulsión magnética relativa entre ellos.
Referencia otra vez a Fig.2, el plato inferior 40
es mostrado teniendo una serie de fototransistores 58-70 montado en su
superficie superior y espaciado como mostrado. Estos fototransistores son colocados
bajo los centros del bobinas 26-38 que son montados en el imán 24. Un número
igual de emisores rojos infra 72-84 es montado en el bajo la superficie del
miembro 42 alineado con los fototransistores. Hay siete emisores rojos infra
72-84 mostrados, cada uno de los cuales es en línea con respectivo de los siete
fototransistores 58-70 y con uno de siete bobinas 26-38. Este arreglo es tal que cuando el eje 44 y
los componentes atados a ello, incluso discos 46 y 52, gira con relación a los
otros miembros incluso el imán 24, las aperturas curvas 48 y 50 pase bajo los
emisores rojos infra y hace que los fototransistores enciendan para un
intervalo de tiempo predeterminado. Este establece una secuencia del recorrido
activado que poderes bobinas 26-38, uno por uno, que por su parte, causa una
interrupción momentánea de la interacción magnética entre uno de los imanes
permanentes 54 y 56 e imán 24.
Cuando un bobina es montado encima de un imán
permanente como el imán permanente 24 y activó esto actúa para concentrar el
flujo en un campo magnético simétrico que causa un campo asimétrico cuando otro
imán permanente está encima del bobina en el imán 24. Este resulta en fuerzas
desiguales o no uniformes producidas cuando el bobina es activado y este causa
una torsión entre los dos imanes permanentes, que trata de mover uno de los
imanes permanentes con relación al otro.

Fig.3 muestra la posición cuando uno de los imanes
54 es localizado inmediatamente encima de uno de los bobinas, supongamos,
bobina 26. En esta posición habría enganche magnético entre los imanes 54 y 24
mientras que no hay ningún voltaje a través del bobina 26. Sin embargo, si un
voltaje es colocado a través del bobina 26 esto interrumpirá el enganche
magnético entre los imanes 54 y 24 donde el bobina es localizado. Este
significa que si hay alguna torsión desarrollada, será desarrollado al uno o el
otro lado del bobina 26. Sin activar el bobina 26 habrá atracción llena entre
los imanes 24 y 54 y ninguna fuerza rotatoria será producida.

Respecto a Fig.4 allí es mostrado las posiciones
relativas de los imanes movibles 54 y 56 para una posición del disco 52. Por
ejemplo, el imán 54 es mostrado localizado inmediatamente encima del bobina 26
mientras el imán 56 es mostrado sentándose a horcajadas sobre porciones del
bobinas 32 y 34. Si, en esta posición, bobina 32 es activado pero bobinas 34 y
26 no son activados, entonces el enganche magnético entre imán 56 e imán 24
será orientado en un ángulo mostrado ilustrado por la flecha en Fig.4, y este
enganche atractivo tenderá a mover el disco 52 a la derecha. Desde bobina 26 no
es impulsado, hay enganche lleno entre imán 54 e imán 24 pero este no tiene
ningún efecto ya que esto no tiene una fuerza direccional. Al mismo tiempo,
bobina 38 que es siguiente bobina sobre el cual el imán 54 se moverá, también
no es impulsado y entonces esto no tendrá ningún efecto rotatorio en el disco
52.
Cuando el disco 52 sigue girando, bobinas diferente
en el grupo 26-38 será activado en la secuencia para seguir produciendo una
fuerza de enganche magnética rotatoria entre disco 52 e imán 24. Debería ser
notado, sin embargo, que toda la fuerza rotatoria es producida por la
interacción entre los imanes permanentes y ninguna de la fuerza rotatoria es
producida por el bobinas o por cualquier otro medio. Los bobinas son
simplemente activados en la secuencia para controlar donde la interacción
magnética ocurre, y este es hecho en una manera para hacer que el disco 52
girara. También debería ser entendido que un, dos, o más de dos, imanes
permanentes como los imanes permanentes 54 y 56 pueden ser montados en el disco
rotativo 52, y la forma y el tamaño del disco rotativo 52 pueden ser ajustados
en consecuencia para acomodar el número de imanes permanentes montados en ello.
También, el disco 52 puede ser construido de un material no magnético, la única
exigencia que es que estructura suficiente ser proporcionado para apoyar los
imanes permanentes durante la rotación. Este significa que el disco 52 no
necesariamente tiene que ser construido para ser redondo como mostrado en el
dibujo.

Fig.5 y Fig.6 son similares a Fig.3 y Fig.4 pero
muestran una construcción donde los imanes permanentes 54 y 56 son volcados de
modo que en vez de tener sus Polos Norte que afrontan el imán 24 ellos tengan
su polo sur que afronta el imán 24, pero en el lado opuesto del bobinas como
bobinas 26-38. La construcción y la operación del dispositivo modificado
ilustrado por fig.5 y Fig.6 son similares a esto descrito encima salvo que en
vez de producir fuerzas de atracción magnéticas entre los imanes 54 y 56 y el
imán 24, las fuerzas de repulsión magnéticas son producidas, y estas fuerzas de
repulsión pueden ser igualmente usadas en una manera similar para producir la
rotación del miembro 52, independientemente de su construcción.

Fig.7 muestra una encarnación modificada que
incluye todos los elementos mostrados en Fig.1 y Fig.2 pero además tiene un
segundo imán permanente inmóvil 102 que es montado encima del disco rotativo 52
y tiene a sus miembros bobina como miembros bobina 26A-38A montados en su parte
oculta. El imán 102 funciona con los imanes 54 y 56 de manera similar al imán
24 y puede funcionar en exactamente la misma manera, que es produciendo la
fuerza de atracción entre los miembros de imán o produciendo fuerzas de
repulsión entre ellos, cada pariente de productos que está acostumbrado
movimiento rotatorio entre el rotor y el estator. También es contemplado para
hacer la construcción mostrada en Fig.7 para producir atracción fuerza entre
los imanes 54 y 56 en un lado de eso y fuerzas de repulsión asistentes que
añaden a la rotación que genera fuerzas producidas en el lado opuesto.

Fig.8 y Fig.9 son similares a Fig.3 y Fig.4 pero
espectáculo la relación entre los imanes 54 y 56 y los miembros 24 y 102
localizado en lados opuestos. Estas figuras muestran una forma de la
interacción entre los imanes rotativos 54 y 56 y los imanes inmóviles 24 y 102
localizado como mostrado en Fig.7. En
esta construcción, el dispositivo produce la fuerza de giro atractiva sólo.

Fig.10 y Fig.11 son similares a Fig.8 y Fig.9 salvo
que en estas figuras tanto la atracción como las fuerzas de repulsión son
mostradas siendo producido conjuntamente con los imanes inmóviles en lados
opuestos de los imanes rotativos. Note también que los bobinas activados en
lados opuestos del disco 52 son activados en un arreglo diferente.

Fig.12 es una vista lateral similar a Fig.7 pero
mostrando al camino del cual varios miembros magnéticos inmóviles y rotativos
como los discos 24 y 102 pueden ser montados en el mismo eje, en casi cualquier
número de grupos que repiten para aumentar la cantidad de la torsión producida
por el dispositivo. En Fig.12, la misma
fuente de alimentación y el mismo arreglo de recorrido pueden ser usados para
activar los fototransistores y los emisores rojos infra. Sin embargo, según o
atracción o fuerzas de repulsión son usado para producir la rotación o alguna
combinación de ellos, dependerá de la orden en la cual los bobinas asociados
con los miembros magnéticos inmóviles son activados.

Fig.13 es un diagrama de recorrido para el
dispositivo mostrado en Fig.1 y Fig.2, la exposición de las uniones de
recorrido para el bobinas 26-38 y para los elementos de recorrido asociados con
ellos. Un recorrido similar puede ser usado para la construcción mostrada en
Fig.7 y Fig.12. El recorrido también
incluye uniones a varios fototransistores y emisores rojos infra.
En Fig.13, el recorrido 120 es mostrado incluso un
suministro de energía 122 que puede ser un suministro de energía de batería, un
suministro de energía de corriente alterna rectificado o una corriente alterna
o el suministro de energía pulsado. El lado positivo 124 del suministro de
energía 122 es mostrado relacionado con un lado de cada uno de los bobinas
26-38, bobina 26 y el recorrido asociado con ello mostrado en el contorno
valiente e incluso uniones a un lado de una resistencia 128 y a un lado de los
transistores de foto 58-70. El lado opuesto del bobina 26 está relacionado con
un terminal de MOSFET 126. El lado opuesto de la resistencia 128 está
relacionado con un lado del emisor rojo infra 72, así como a los lados
correspondientes de todos los otros emisores rojos infra 74-84. Los lados
opuestos de los emisores rojos infra 72-84 están relacionados por el plomo 130
al lado terminal negativo 132 del suministro de energía 122. Con el recorrido como mostrado, los emisores
rojos infra 72-84 son todos continuamente activados y producen la luz que puede
ser descubierta por los fototransistores respectivos 58-70 cuando una de las
aperturas 48 o 50 pases entre ellos. Cuando este pasa, el fototransistor
respectivo 58 conducirá y haciéndolo así aplicará el voltaje positivo en MOSFET
asociado 126, encendiendo el MOSFET, y causando el voltaje de la fuente 122 ser
también aplicado a través del bobina 26. El recorrido para este es de la fuente
122 por el bobina 26, por el MOSFET 126 a y por el plomo 134 al lado opuesto de
la fuente 122. Cuando el voltaje de suministro es aplicado a través del bobina
26, esto funciona para limitar o prevenir la comunicación magnética entre
cualquiera uno de los imanes 54 o 56 resulta ser colocado adyacente al bobina
26 que está en el espacio entre aquel imán 54 o 56 y el imán 24. Este recorrido es mostrado en valiente en
Fig.13. Por correctamente calculando y controlando la aplicación de voltaje a
vario bobinas 26-38 en la manera descrita, el enganche magnético entre los
imanes 54 y 56 y el imán 24 puede ser exactamente controlado y causar la
atracción magnética angular entre el imán 54 (o 56) e imán 24, en que la
atracción angular (o repulsión) está en una dirección para causar la rotación
de las partes rotativas de la estructura mostrada Figs. 1, 2, 7 y 12. Debería
ser entendido que cada uno de los bobinas 26-38 será controlado en la misma
manera, es decir tendrá un voltaje que aparece a través de ello en el tiempo
apropiado controlar la dirección del enganche magnético en una manera para
producir la rotación. Las porciones rotativas seguirán girando y la velocidad
de rotación puede ser mantenida en cualquier velocidad deseada. Varios medios
pueden ser usados para controlar la velocidad de rotación como controlando el
cronometraje de la corriente continua u otro voltaje aplicado a vario bobinas,
como usando una alternancia o fuente corriente pulsada en vez de una fuente
corriente directa o cargando el dispositivo para limitar su velocidad rotatoria.
Es sobre todo importante notar que la energía
requerida hacer funcionar el dispositivo sustancial es mínima ya que muy poca
energía eléctrica es dibujada cuando el voltaje es aplicado a través de vario
bobinas cuando ellos son activados.
Una ecuación conocida usada para el arte de motor
convencional, es:
Poder
(en vatios) = Velocidad x Torsión / 9.55
De ahí,
W
= S x T / 9.55
Esta ecuación ha limitado la aplicación con el
dispositivo presente porque en el dispositivo presente se cree que la torsión
es la constante mientras la velocidad es la variable. La misma ecuación puede
ser vuelta a escribir:
T
= 9.55 x W / S o S = 9.55 X W / T
Estas ecuaciones, de ser aplicable, significan que
como los aumentos de velocidad, los vatios divididos en la torsión también
deben aumentar, pero en un factor de 9.55. Así si la torsión es la constante o
casi constante, cuando aumentos de velocidad, la salida de poder debe aumentar
y en un precio muy rápido.
Debería ser entendido que el dispositivo presente
puede ser hecho para tener cualquier número de imanes inmóviles y rotativos
quedados en la relación apilada en aumentar la salida de poder, (ver Fig.12) y
es también posible usar cualquier número deseado de bobinas montado en varios
imanes inmóviles. En las construcciones mostradas en Figs. 1, 7, y 12 siete
bobinas son mostrados montados en cada uno de los imanes inmóviles, pero más o
menos bobinas podrían ser usados en cada uno del imán inmóvil según el poder y
otras exigencias del dispositivo. Si el número de bobinas es cambiado el número
de fuentes de la luz y fotodetectores o transistores se cambiará en
consecuencia. Es también importante notar que el cronometraje de la conexión de
varios fototransistores es importante. El cronometraje debería ser como esto
ilustrado en Fig.4, por ejemplo, cuando uno de los bobinas como bobina 32 es
activado para prevenir el enganche en una dirección entre imán 56 e imán 24,
bobina adyacente 34 no será activado. Los motivos de este han sido explicados ya.

Fig.14, espectáculos otra encarnación 140 de este
motor. Este incluye un imán permanente inmóvil 142 que tiene una superficie
superior llana 144 y una superficie inferior 146 que es circumferentially
helicoidal de modo que el miembro 142 varíe en el grosor de una posición del
grosor máximo en 148 a una posición del grosor mínimo en 150. El grosor del
miembro 142 es mostrado variando uniformemente. Cerca de la posición de la
porción más gruesa 148 del imán permanente 142 y adyacente a la superficie 144
es un aire bobina 152 mostrado formado por una pluralidad de cuerdas. Un
miembro de eje 154 es journaled por el porte 156 para permitir la rotación con
relación al imán permanente inmóvil 142 y está relacionado con un disco
rotativo 158. El disco incluye cuatro imanes permanentes espaciados 160, 162,
164 y 166 montado en o en ello. Los imanes permanentes 160-166 son colocados
para girar cerca del imán permanente inmóvil 142, pero con el bobina 152
colocado entre ellos. el bobina 152 está relacionado en un recorrido similar a
esto mostrado en Fig.13 y entonces el recorrido no será descrito otra vez.
Los principales de operación del dispositivo 140 mostrado
en Fig.14 son similares a aquellos descritos encima en relación a Fig.1 y otras
figuras. Es importante notar, sin embargo, que los imanes permanentes 160-166
giran con relación al imán permanente 142 debido al aumento que se aparea entre
ellos y el imán permanente debido al grosor periférico creciente del imán
permanente. Así el miembro 158 girará en un en contrario dirección como
mostrado, y cada vez uno de los imanes 160-166 movimientos en una posición
adyacente a la porción más gruesa 148 del imán permanente fijo 142 el bobina
152 hará aplicar el voltaje a través de ello, por otra parte habría una
tendencia para el miembro 158 para pararse o reducir la fuerza rotatoria. A fin de vencer este el bobina 152 es
activado cada vez que uno de los imanes permanentes 160-166 está en la posición
mostrada. El disco rotativo 158 está relacionado por el eje 154 al disco
rotativo 168 que tiene cuatro aperturas 170, 172, 174 y 176 correspondiente a
las posiciones de los imanes permanentes 160-166 de modo que cada vez uno de
los movimientos de imanes permanentes a una posición adyacente a la porción más
gruesa 148 del imán permanente inmóvil 142 el bobina 152 sea activado y este
reducirá o eliminará el enganche entre el giro e imanes inmóviles que harían
más lentas por otra parte las porciones rotativas.
El recorrido relacionado con el bobina 152 incluye
los mismos elementos básicos descritos encima en relación a Fig.13 incluso
variación de una fotocélula 178, un emisor rojo infra 180 y un MOSFET 182
relacionado en un recorrido como esto mostrado en Fig.13. El cronometraje de la activación del bobina
152 es importante y debería ser tal que el bobina será activado como los imanes
permanentes respectivos 160-166 movimiento a una posición en alineación o
alineación sustancial con la porción espesada 148 del imán permanente inmóvil
142.

Fig.15 muestra a una forma simplificada básica 190
del dispositivo presente que incluye a un miembro rotatorio 52A tener una
porción de imán permanente sola 54A montado en ello. El dispositivo también
tiene un imán permanente inmóvil 24A con un aire solo bobina 26A colocado en el
espacio entre los miembros 52A y 24A en la manera ya descrita. La construcción
190 no autocomienza como son las encarnaciones preferidas como la encarnación
10 pero las porciones rotatorias girarán continuamente una vez que el
dispositivo es comenzado como por a mano haciendo girar las porciones
rotatorias. La construcción 190 tendrá otras porciones como descrito encima
pero la salida de la construcción será menos que la salida producida por las
otras construcciones.
Fig.16 los espectáculos la otra versión 200
simplificada del dispositivo en donde el miembro 52B es similar a la
correspondencia que hace girar al miembro 52A mostrado en Fig.15. Sin embargo, la estructura fija incluso el
imán permanente 24B tiene tres cuerdas 26B, 28B y 30B localizado en intervalos
espaciados adyacentes a la superficie superior de ello. La construcción
mostrada en Fig.16 producirá más salida que la construcción mostrada en Fig.15 pero
menos que aquella de las otras construcciones como esto mostrado en Figs. 1, 2,
7 y 12. Obviamente, muchas otras
variaciones de las construcciones mostradas en la aplicación son también
posibles incluso construcciones que tienen más o menos bobinas, más o menos
porciones magnéticas rotativas, más o menos miembros rotativos como el disco 52
y más o menos miembros inmóviles como imanes 24 y 142.
ilustre algunos principios subrayarás de la
invención presente.

Fig.17 muestra un aire bobina 210, colocado en el
espacio, con un potencial eléctrico aplicado a través de ello. Con el voltaje
de activación aplicado, el campo electromagnético del aire bobina 210 se
extiende considerablemente igualmente en el espacio encima y debajo del bobina
como mostrado en punteado perfilado.

Fig.18 muestra que el aire bobina 210 colocó
adyacente a un lado (el lado del norte) del imán permanente 212. En Fig.18 ningún
voltaje es aplicado a través del aire bobina 210 y por lo tanto el bobina no
produce un campo electromagnético como en Fig.17. En estas circunstancias, el aire bobina 210
no tiene ningún efecto en el campo magnético del imán permanente 212 y el campo
del imán permanente es considerablemente como mostrado por los contornos punteados
en Fig.18.

Fig.19 es similar a Fig.18 salvo que en Fig.19 el
corazón de aire bobina 210 tiene un potencial eléctrico aplicado a través de
ello y por lo tanto tiene un campo electromagnético establecido mostrado otra
vez por el contorno punteado.
El campo electromagnético del aire bobina 210
modifica el campo magnético del imán permanente 212 en la manera mostrada. Si
bobina 210 es colocado en el contacto con, o cerca de la superficie de, el imán
permanente y es activado de modo que su polaridad sea enfrente de aquel del
imán permanente entonces el campo producido es similar a esto mostrado en
Fig.19. Note que el campo de bobina 210
y el campo del imán permanente 212 directamente bajo el aire bobina 210 está en
la oposición y por lo tanto actúa para anular el uno al otro. el bobina 210
sería definido para producir una fuerza de counter-magnetomotive que actúa para
anular el campo del imán permanente 212 en la región donde el aire bobina 210
existe y la cantidad del campo en aquella región del imán permanente 212 que es
anulado es el resto de la diferencia en la fuerza de magnetomotive entre la
región del imán permanente 212 y el contador magnetomotive fuerza del aire
bobina 210. Note que, ya que el campo del imán permanente 212 sólo es cambiado
en la región del aire bobina 210, las características de campo magnético
geométricas del imán permanente 212 pueden ser cambiadas selectivamente basadas
sobre el tamaño del bobina 210, el número del aire bobinas 210 y la cantidad
del contador magnetomotive fuerza producida por el aire bobina 210.

Fig.20 es similar a Fig.19 salvo que un segundo
imán permanente 214 es colocado en una posición espaciada encima del aire
bobina 210. En Fig.20 ningún voltaje es aplicado a través del aire bobina 210 y
por lo tanto el aire bobina 210 no tiene un campo electromagnético. Así Fig.20 los
espectáculos sólo el combinado afectan de los campos de los imanes permanentes
212 y 214. Ya que los imanes permanentes 212 y 214 son colocados de modo que su
norte respectivo y polo sur sean cercanos juntos, habrá una fuerza atractiva
fuerte entre ellos en la posición del aire bobina 210.

Fig.21 es una vista similar a aquel de Fig.20 pero
con un potencial eléctrico aplicado a través del aire bobina 210 y con el imán
permanente superior 214 desplazado a la izquierda con relación a su posición en
Fig.20. Note esto en Fig.21 la forma del
campo electromagnético del aire bobina 210 es concentrada y cambiada algo a la
derecha y hacia arriba. Este cambio del campo electromagnético concentra el
enganche magnético entre los imanes 212 y 214 a la izquierda a la baja del
aumento de la tendencia del imán permanente superior 214 para moverse a la
izquierda. Un enganche magnético mucho más pequeño ocurre entre el final
derecho de los imanes permanentes 212 y 214 y así la fuerza que tiende a mover
el imán permanente 214 a la derecha es mucho menos que la fuerza que tiende a
moverlo a la izquierda. Este es ilustrado por el tamaño de las flechas
mostradas en Fig.21.



Figs. 22-25 muestre cuatro posiciones diferentes
del imán permanente superior 214 con relación al imán permanente inferior 212.
En Fig.22 debido a la posición del imán permanente superior 214 con relación al
aire bobina 210 hay una concentración de la fuerza de enganche magnética que
tiende a mover el imán permanente superior Fig.23 y Fig.24 hasta el imán
permanente superior los 214 alcances la posición mostrada en Fig.25 donde todo
el enganche magnético es dirigido considerablemente verticalmente entre los
imanes permanentes 212 y 214 y en esta posición hay poca o ninguna torsión a
consecuencia de la energía que se aparea entre los imanes permanentes 212 y 214
tendiendo a moverlos el uno con relación al otro.
Los principios
ilustrados en Figs. 17-25 están en
el corazón de la invención presente y explican donde la energía viene de
producir el movimiento relativo entre los imanes permanentes.
El dispositivo presente
tiene la aplicación para muchos objetivos diferentes y aplicaciones incluso
casi cualquier objetivo donde un paseo de motor o de motor es requerido y donde
la cantidad de la energía disponible y/o requerida producir la fuerza impulsora
puede variar poco a la nada. El candidato ha producido dispositivos del tipo
descrito aquí capaz del giro en la muy alta velocidad en la orden de magnitud
de 20,000 RPMs y con la torsión sustancial. Otras velocidades menores también
pueden ser producidas, y el dispositivo sustancial puede ser hecho para ser mí
comenzando como es verdadero de las construcciones mostradas en Figs. 1, 2, 7 y
12. A causa del poder bajo requerido
hacer funcionar al candidato de dispositivo ha sido capaz de hacer funcionar
misma utilización de una batería commercialemente disponible como una batería
de nueve voltios.
RECLAMACIONES
1. Un dispositivo
para controlar la interacción magnética entre imanes permanentes espaciados que
comprenden:
un primer imán permanente que tiene superficies de
enfrente con norte y polo sur respectivamente,
un segundo imán permanente espaciado de y movible
con relación al primer imán permanente y teniendo superficies de enfrente con
norte y polo sur respectivamente, uno de que es colocado en el final bastante
proximidad a una de las superficies del primer imán permanente para producir la
interacción magnética entre ellos,
un bobina de metal propicio colocado en el espacio
entre los primeros y segundos imanes permanentes,
una fuente de energía eléctrica e interruptor se
unió en serie a través del bobina por lo cual cuando el interruptor está
cerrado la energía eléctrica de la fuente es aplicada a través del bobina por
lo cual la interacción magnética entre los primeros y segundos imanes
permanentes es cambiada, y
medios de controlar la apertura y cierre del
interruptor.
2. Un dispositivo
para producir movimiento rotatorio y torsión que comprende:
un miembro journaled para movimiento rotatorio
sobre un eje de rotación, el miembro rotativo que tiene al menos una porción
adyacente la periferia de eso formado de un material permanentemente
magnetizado,
un miembro inmóvil se formó del material
permanentemente magnetizado montado adyacente a la porción periférica del
miembro rotativo axialmente espaciado de ello por lo cual una interacción
magnética es producida entre el inmóvil y los miembros rotativos en posiciones
predeterminadas del miembro rotativo,
al menos un bobina colocó la ampliación en el
espacio entre los miembros inmóviles y rotativos,
una fuente de potencial eléctrico y un interruptor
relacionado en serie a través del bobina, y
los medios a predeterminately controlan la apertura
y el cierre del interruptor durante la rotación del miembro rotativo para
variar la interacción magnética en un modo de producir la rotación del miembro
rotativo.
3. Los medios a
predeterminately varían la interacción magnética entre primeros y segundos
miembros de imán permanentes espaciados que comprenden a un primer miembro de
imán permanente que tiene el norte y el polo sur, un segundo miembro de imán
permanente que tiene el norte y el polo sur espaciado del primer miembro de
imán permanente por un hueco entre ellos, un bobina colocó la ampliación en el
hueco entre los primeros y segundos miembros de imán permanentes, medios que
unen el bobina a través de un recorrido que incluye una fuente de voltaje y
medios de interruptor relacionados en serie con lo mismo de modo que cuando la
fuente de voltaje está relacionada a través del bobina esto efectúe la
interacción magnética entre los primeros y segundos miembros de imán
permanentes, y signifique para montar al primer miembro de imán permanente para
el movimiento con relación al segundo miembro de imán permanente y con relación
al bobina en el hueco entre ellos.
4. El dispositivo de
la reclamación 3 en donde los primeros y segundos miembros de imán permanentes
son montados para producir la atracción magnética entre ellos.
5. El dispositivo de
la reclamación 3 en donde los primeros y segundos miembros de imán permanentes
son montados para producir la repulsión magnética entre ellos.
6. El dispositivo de
la reclamación 3 en donde el medio que monta al primer miembro de imán
permanente incluye medios que montan al primer miembro de imán permanente para
el movimiento rotatorio con relación al segundo miembro de imán permanente y
los medios de interruptor incluye medios ópticos cooperativos que montan una primera
porción para el movimiento con el primer miembro de imán permanente y una
segunda porción asociada con el segundo miembro de imán permanente.
7. El dispositivo de
la reclamación 6 en donde el medio de interruptor incluye una fuente de la luz
y un miembro sensible ligero asociado respectivamente con los primeros y
segundos miembros de imán permanentes, y medios de control para ellos montado
para el movimiento con el primer imán permanente.
8. El dispositivo de
la reclamación 3 en donde el segundo miembro de imán permanente es un miembro
de imán permanente anular que tiene uno de sus postes en un lado del hueco y
los otros de sus postes enfrente además, medios que montan al primer miembro de
imán permanente para el movimiento rotatorio con relación al segundo miembro de
imán permanente, dijo al miembro de imán primero permanente que tiene uno de
sus postes en un lado del hueco, y una pluralidad de bobinas espaciado
circumferentially montado en el hueco entre el primer y segundo miembro de imán
permanentes.
9. El dispositivo de
la reclamación 8 en donde el primer miembro de imán permanente incluye dos
porciones espaciadas circumferentially.
10. Medios para
producir movimiento rotatorio que comprende:
una estructura de apoyo que tiene un primer imán permanente
montó sobre eso, dijo el imán primero permanente que tiene un Polo Norte
adyacente una superficie y un polo sur adyacente a la superficie de enfrente,
el medio para montar un segundo imán permanente
para el movimiento rotatorio en una paralela plana al primer imán permanente,
el segundo imán permanente que ocupa una porción curva del montaje dicho
significa menos que la circunferencia entera de medios de montaje dichos y
tener un Polo Norte adyacente a la superficie de enfrente y colocado de modo
que haya una interacción magnética entre los primeros y segundos imanes
permanentes espaciados a través de un hueco entre ellos en al menos una
posición de eso,
al menos un aire bobina colocado en el hueco entre
los primeros y segundos imanes permanentes,
una fuente de potencial eléctrico e interruptor
significa para controlar la aplicación del potencial eléctrico de la fuente
dicha a través del aire bobina, la aplicación de voltaje a través del aire
bobina efectuación de la interacción magnética entre los primeros y segundos
miembros de imán permanentes en ciertas posiciones del segundo imán permanente
con relación al primer imán permanente y en tal manera para producir el
movimiento rotatorio del segundo imán permanente.
11. El dispositivo
para producir el movimiento rotatorio de la reclamación 10 en donde un tercer
imán permanente es montado en la estructura de apoyo en el lado opuesto del
segundo imán permanente del primer imán permanente para establecer un segundo
hueco entre ellos y de modo que haya interacción magnética entre los segundos y
terceros imanes permanentes, y al menos un segundo bobina montada en el hueco
entre los segundos y terceros imanes permanentes a predeterminately efectúa la
interacción magnética entre ellos en ciertas posiciones del segundo imán
permanente con relación al tercer imán permanente así para contribuir a la
producción del movimiento rotatorio del segundo miembro de imán permanente con
relación a los primeros y terceros imanes permanentes.
12. El dispositivo
para producir movimiento rotatorio definió en la reclamación 11 en donde el
medio de interruptor para aplicar voltaje de la fuente a través del bobinas
incluye una fuente de la luz y el sensor ligero un montado en la estructura de
apoyo y otro en los medios rotativos de producir una acción de conmutación para
aplicar y quitar el voltaje desde más allá del bobinas en posiciones
predeterminadas del segundo imán permanente con relación a los primeros y
terceros imanes permanentes.
13. Medios para
producir movimiento rotatorio usando energía magnética de imanes permanentes
que comprenden:
un imán permanente fijo que tiene superficies de
enfrente con norte y polo sur respectivamente adyacente además,
un eje que tiene un eje y medios journaling el eje
para rotación en una posición que se extiende normal a las superficies de
enfrente del imán permanente fijo,
un imán permanente movible y los medios que montan
el imán permanente movible en el eje para la rotación con lo mismo, el imán
permanente movible que ocupa una porción curva del montaje dicho significan
menos que la circunferencia entera de medios de montaje dichos y tener
superficies de enfrente con norte asociado y polo sur respectivamente, un poste
del imán permanente movible dicho colocado para mover en el final bastante
proximidad a una de las superficies de enfrente del imán permanente fijo para
producir la interacción magnética entre ellos,
al menos un bobina montó en el espacio entre el
imán permanente fijo y el imán permanente movible, activación del bobina
efectuación de la interacción magnética entre el fijo y los imanes permanentes
movibles cuando colocado entre ellos, y
medios que unen el bobina a una fuente de activar
potencial en posiciones seleccionadas del imán permanente movible con relación
al imán permanente fijo.
14. El dispositivo
para producir el movimiento rotatorio de la reclamación 13 en donde una
pluralidad de bobinas es montada en una relación coplanar en el espacio entre
el imán permanente fijo y el imán permanente movible, los medios que unen el
bobinas a una fuente de activar el potencial incluso medios para activar
bobinas respectivo en una secuencia predeterminada.
15. El dispositivo
para producir el movimiento rotatorio de la reclamación 13 incluso un segundo
imán permanente movible montado en los medios que montan el imán permanente
movible para el movimiento con lo mismo, dijo el segundo imán permanente
movible que es circumferentially espaciado del imán permanente movible arriba
mencionado.
16. El dispositivo
para producir el movimiento rotatorio de la reclamación 13 en donde un segundo
imán permanente fijo tiene superficies de enfrente con norte y polo sur
respectivamente adyacente además y es montado en el lado opuesto del imán
permanente movible del imán permanente fijo arriba mencionado y al menos un
bobina montado en el espacio entre el segundo imán permanente fijo, y el imán
permanente movible.
17. Un dispositivo
para producir movimiento rotatorio definió en la reclamación 13 en donde el
medio que une el bobina a una fuente de activar potencial incluye una fuente de
la luz fija y un miembro sensible ligero fijo montado en la relación espaciada
y significa en los medios que montan para el imán permanente movible para
predeterminately el control de la comunicación entre la fuente de la luz y el
miembro sensible ligero durante la rotación del imán permanente movible.
18. Un dispositivo
parecido a un motor magnético que comprende:
una estructura de apoyo fija que tiene un miembro
de imán permanente montó sobre eso, dijo el miembro que tiene caras de lado
opuesto con un poste magnético del norte adyacente una cara de lado y un poste
magnético del sur adyacente la cara de lado opuesto,
una pluralidad de bobinas montó adyacente a y
arregló sobre una de las caras de lado opuesto,
un orificio por el miembro de imán permanente en
un intermedio de posición el bobinas,
un eje que se extiende por el orificio para
rotación sobre el eje de eso,
un miembro ató al eje para la rotación con lo
mismo y espaciado de caras de lado de imán de enfrente,
al menos un miembro de imán ató a un segmento del
miembro de giro dicho para la rotación con lo mismo, cada uno de miembros
magnéticos rotativos dichos que tienen una cara de poste magnética colocada en
la relación espaciada a una cara de lado de poste de enfrente del miembro de
imán permanente fijo, la pluralidad de bobinas que está en el espacio formado
por y entre el miembro de imán permanente fijo y el al menos un miembro de imán
rotativo, y
los medios a selectivamente y secuencialmente
activan el bobinas cuando el eje hace girar al control de predeterminately la
interacción magnética entre el al menos un miembro magnético y esto fijó al
miembro de imán permanente.
19. El dispositivo
magnético de la reclamación 18 en donde hay un número raro de bobinas montado
en el espacio entre el miembro de imán permanente y al menos un membe magnético
rotativor.
20. El dispositivo
magnético de la reclamación 18 en donde el al menos un miembro magnético ató al
miembro rotativo para la rotación con lo mismo incluye dos porciones de imán de
giro espaciadas circumferentially.
21. Un dispositivo
para producir movimiento rotatorio que comprende:
una estructura de apoyo que tiene un miembro de la
pared,
un eje y medios journaling el eje para rotación en
el miembro de la pared sobre su eje,
un miembro de imán permanente montó en el miembro
de la pared que se extiende sobre al menos una porción del eje, dijo el miembro
de imán permanente que tiene un poste adyacente al miembro de la pared y un
poste de enfrente espaciado de allí,
un miembro montó en el eje que orienta a al menos
dos miembros magnéticos para producir la interacción magnética con el miembro
de imán permanente,
una pluralidad de bobinas montó en la relación
coplanar que se extiende en el espacio formado por y entre el miembro de imán
permanente y los al menos dos miembros magnéticos y
los medios de aplicar secuencialmente un voltaje a
través de bobinas respectivo para variar la interacción magnética entre el
miembro de imán permanente montaron en el miembro de la pared y los
seleccionados de los al menos dos miembros magnéticos.
22. Un dispositivo
para producir movimiento rotatorio usando energía magnética de comprensión de
imanes permanente
un imán permanente fijo que tiene superficies de
enfrente con norte y polo sur respectivamente adyacente además,
un eje y medios para journaling el eje para
rotación que se extiende normal a las superficies de enfrente del imán
permanente fijo,
al menos dos imanes permanentes rotatable y medios
que montándolos para rotación con el eje, los imanes permanentes rotatable que
tienen superficies de enfrente con norte asociado y polo sur respectivamente,
un poste de cada imán permanente rotatable colocado bastante cerca a una de las
superficies de enfrente del imán permanente fijo para producir interacción
magnética entre ellos,
una pluralidad de bobinas espaciado quedó en ser
coplanar y colocado en el espacio formado por y entre el imán permanente fijo y
los imanes permanentes rotatable, y
los medios de aplicar un voltaje a través de
respectivos del bobinas en una secuencia para a predeterminately afectan la
interacción entre el imán permanente fijo y los imanes permanentes rotatable en
una manera para producir la rotación de los al menos dos imanes permanentes.
23. Un dispositivo
para producir movimiento rotatorio usando energía magnética de comprensión de
imanes permanente:
un imán permanente anular fijo que tiene una
superficie llana en un lado y una superficie de enfrente de forma helicoidal
que amplía therearound de una posición de grosor mínimo a una posición de
grosor máximo aproximadamente adyacente además, el imán permanente anular que
tiene uno de sus postes adyacentes a la superficie llana y su poste de enfrente
adyacente a la superficie de enfrente helicoidal,
un eje y medios para journaling el eje para
rotación que amplía considerablemente normal a la superficie llana del imán
permanente fijo,
un imán permanente y medios que montándolo en el
eje para la rotación con lo mismo, dijo el imán permanente que tiene caras de
poste de enfrente y colocado de modo que haya interacción magnética entre el
imán permanente dicho y el imán permanente anular fijo,
al menos un aire bobina colocado en el espacio
entre los imanes permanentes fijos y rotatable, y
los medios
de aplicar un voltaje a través del aire cored bobina cuando el imán permanente
rotatable es adyacente a la porción más gruesa del imán permanente fijo para
cambiar la interacción magnética entre ellos, los medios de apellido incluso
una fuente de voltaje y un interruptor en serie con la fuente para controlar la
aplicación de voltaje a través del corazón de aire bobina.
24. El dispositivo
para producir el movimiento rotatorio de la reclamación 23 en donde una
pluralidad de imanes permanentes rotatable es montada en posiciones espaciadas
circumferentially sobre el eje para la interacción magnética con el imán
permanente anular fijo, los medios de interruptor controlando la aplicación de
voltaje de la fuente al corazón de aire bobina cuando uno de los imanes
permanentes rotatable es colocado adyacente a la porción más gruesa del imán
permanente anular fijo.
25. Los medios para
producir el movimiento rotatorio de la reclamación 23 en donde el medio de
interruptor incluye medios ópticos cooperativos que asocian una primera porción
con el imán permanente anular fijo y una segunda porción asociada con el imán
permanente anular rotatable.
Patente
CENTRAL ELÉCTRICA PARA REMOLQUE QUE ACAMPA
Nota: Esta patente no es una patente de energía
libre, pero esto proporciona realmente una sugerencia para un sistema integrado
y práctico para proporcionar el poder para la gente que vive en una caravana
que es con frecuencia fuera de rejillas, pero que de vez en cuando es colocada
donde el poder de conducto principal eléctrico está disponible. Esto describe
un sistema práctico para almacenar la energía de viento para el suministro de
energía eléctrico de gran potencia, y tan es del interés.
EXTRACTO
Una central eléctrica para viviendas móviles,
remolques que acampan, y otros por el estilo, capaz de capturar energía de
viento de poca potencia, almacenando la energía en la forma de aire comprimido,
y entregándolo a petición en la forma de unidad familiar corriente eléctrica.
El dispositivo comprende una turbina de viento que conduce un compresor de aire
que alimenta un tanque de almacenamiento. Cuando requerido, el aire comprimido
conduce una turbina conectada a un generador eléctrico. Varios reguladores de
presión son usados para controlar la velocidad del generador. La turbina de
viento también es conectada a un alternador que guarda un banco de baterías
cobradas. Un motor de corriente continua que dirige en las baterías, es usado
cuando necesario, incrementar el paseo del compresor de aire durante períodos
del consumo de corriente pesado o largo. La provisión es hecha para recargar
rápidamente la central eléctrica de un suministro del aire comprimido o de una
fuente de alimentación de corriente alterna.
Referencias de Patente estadounidenses:
2230526 Wind power plant February, 1941 Claytor 290/44
2539862 Air-driven turbine power plant January, 1951 Rushing 290/44
3315085 Auxiliary power supply for aircraft April, 1967 Mileti et al. 290/55
3546474 Electrohydraulic Transmission of Power December, 1979 DeCourcy et al. 290/1
4150300 Electrical and thermal system for buildings April, 1979 VanWinkle 290/55
FONDO DE LA INVENCIÓN
La escasez
corriente de combustible fósil y
preocupación pública por la calidad del ambiente ha provocado una búsqueda
apresurada para formas alternas de la energía. La captura y el uso de energía
solar, y su derivado, poder de viento, son el objeto de muchas nuevas
invenciones. Debido a la ineficiencia del dispositivo de coleccionista y medios
de almacenamiento, el uso de estas formas de la energía ha sido limitado con
aplicaciones de papel de escribir de poder bajo. Aún el poder de viento debería
ser adecuado para cualquier aplicación que requiere el poder muy bajo o un
corto, ocasional bajo al suministro de energía medio de la energía. Estas circunstancias son encontradas, por
ejemplo, en un coche de ferrocarril refrigerado donde se requiere que estallidos
ocasionales del poder dirijan el sistema de refrigeración a fin de mantener una
temperatura baja dentro del coche. Las circunstancias similares son encontradas
en algunas unidades de alojamiento móviles como un remolque que acampa. Allí,
otra vez, un suministro de unidad familiar corriente podría ser necesario
durante un tiempo corto entre períodos largos de viajes. En tales casos, un
sistema puede ser ideado para acumular la energía generada por una turbina de
viento impulsada por el viento o por el esbozo de aire creado por el movimiento
del vehículo. Es deseable adelante que la red eléctrica ''es capaz de ser
rellenado de fuentes de energía no contaminantes que pueden ser encontradas a
lo largo de la ruta de viajes.
RESUMEN DE LA INVENCIÓN
Esto es en consecuencia un objeto de la invención
inmediata de proporcionar una central eléctrica nueva para viviendas móviles, y
otros por el estilo, que captura la energía de viento, lo almacena en la forma
del aire comprimido, y lo entrega a petición en la forma de unidad familiar
corriente eléctrica.
Otro objeto de esta invención es proporcionar una
central eléctrica que no descarga aguas residuales de contaminación en la
atmósfera.
Todavía otro objeto de la invención es
proporcionar una central eléctrica que puede ser recargada capturando el efecto
del viento, o el efecto de la corriente de aire creada por el movimiento del
vehículo.
Un objeto adicional de la invención es
proporcionar una central eléctrica que puede ser recargada de una unidad
familiar toma eléctrica corriente.
Esto es también un objeto de esta invención de
proporcionar una central eléctrica que puede ser rellenada de una fuente del
aire comprimido como aquellos encontrados con estaciones de servicio
automotores.
Un objeto adicional de la invención es
proporcionar una central eléctrica que es sensible a un nivel muy bajo de la
energía de viento durante un período corto del tiempo.
Estos y otros objetos son conseguidos por una
central eléctrica que comprende una turbina de viento que conduce un compresor
de aire. El abastecimiento por aire del compresor es almacenado en el tanque y
usado a petición para activar una turbina. La turbina, por su parte, es
conectada a un generador que crea la unidad familiar corriente. La turbina de
viento también es conectada a generadores que cobran una serie de baterías
eléctricas. En ocasiones cuando el consumo de corriente de corriente alterna lo
requiere, un motor que corre en las baterías es usado para incrementar la
salida del compresor de aire. La provisión es hecha para expulsar del compresor
de una fuente de alimentación de corriente alterna exterior. El tanque de aire
tiene una entrada separada por la cual puede ser rellenado de una fuente del
aire comprimido.
LOS DIBUJOS

Fig.1 es el diagrama
de bloque general de la central eléctrica entera;

Fig.2 es una
elevación delantera de la turbina de viento y de su enganche mecánico al árbol
motor;

Fig.3 es una vista
enfadada seccional tomada a lo largo de línea 3 - 3 de Fig.2 la exposición del
mecanismo de encadenamiento de hélice en la posición ocupada;

Fig.4 es una vista
similar al que ilustrado en Fig.3 pero mostrando al mecanismo de encadenamiento
de hélice en la posición soltada.
DESCRIPCIÓN DE LA
ENCARNACIÓN PREFERIDA DE LA INVENCIÓN

Referencia ahora a Fig.1, allí es mostrado una
representación diagramatic de la encarnación preferida de la invención. Una
turbina de viento que comprende una hélice 1 y una asamblea de enganche
ortogonal 2 paseos un eje 3 relacionado con un embrague centrífugo 4. Este tipo
del embrague es diseñado para contratarse cuando la velocidad del árbol motor
los 3 alcances cierto mínimo límite predeterminado. El plato del embrague está
primero relacionado con un compresor 5 y segundo a dos generadores de corriente
continua 6 y 7. El bloque 5 representa un compresor adiabatic que requiere un
paseo de entrada de aproximadamente un cuarto caballo de vapor.
La salida de los compresores 5 es protegida por
una válvula de control y conduce a un tubo 8 relacionado con un tubo de entrada
de tanque 9. El tubo de admisión 9 comidas en un tanque de posesión 10 capaz de
sostener sesenta galones de aire comprimido bajo una presión máxima de 200
libras por pulgada cuadrada. Los generadores de corriente continua 6 y 7 suministran
una serie de baterías eléctricas 23. Las baterías alimentan un motor de
corriente continua 16. El motor de corriente continua está por su parte
relacionado con un segundo compresor 17. El segundo compresor 17 es similar al
primer compresor 5 y está relacionado por con el tubo 18 al tubo de entrada de
tanque 9. Un tercer compresor 19 similar a los primeros y segundos compresores
también está relacionado con el tubo de entrada de tanque 9 por el tubo 20. El
tercer compresor 19 es impulsado por un motor de corriente alterna 21.
Un límite de presión cambia la asamblea 14
sentidos la presión en el tanque de posesión por un tubo 13. Un interruptor de
presión alto dentro de la asamblea 14 es activado cuando el tanque de posesión
alcanza la presión bien aceptable máxima. Este interruptor por la línea 15
causas la retirada del embrague 4 y apaga el motor de corriente continua 16 y
el motor de corriente alterna 21. Un segundo interruptor dentro de la asamblea
14 es activado cuando la presión de posesión se cae debajo de un límite
predeterminado.
Este segundo interruptor por línea 15 vueltas en
el motor de corriente continua 16. Se puede ver ahora que cuando la presión de
tanque es debajo del límite más bajo, tanto primeros como segundos compresores
15, 17 será activado. Cuando la presión de tanque va encima del límite
predeterminado más bajo, sólo el primer compresor 5 será activado. Si la
presión de tanque de posesión alcanza el límite tolerable máximo todos los
compresores serán desactivados. La velocidad de compromiso del embrague
centrífugo 4 es puesta a un nivel correspondiente al poder mínimo necesario de
conducir el primer compresor 5 y los generadores de corriente continua 6 y 7.
Si la velocidad de las caídas de viento debajo de aquel nivel, el eje 3 será el
correr libre.
El tanque de almacenamiento 10 tiene unos 11 de
admisión separados protegidos por una válvula de control 12. El tanque de
posesión está relacionado con un tanque de comida de turbina 30 por el tubo 24
controlado por la válvula 25. El tanque de comida de turbina 30 está
relacionado con la entrada de una turbina 33 por el tubo 31 controlado por la
válvula 32. La turbina 33 es impulsada por la extensión del aire comprimido
suministrado por el tanque de comida de turbina 30. La turbina 33 es similar a
los motores de aire comprimidos usados en cierto impactors y taladradoras. La
turbina conduce un generador de corriente alterna 35 diseñó suministrar
aproximadamente cinco kilovatios de la unidad familiar corriente en 60 Hz y 110
voltios. La turbina es encendida por
medio de la válvula 32 controlado por de un interruptor 36. La velocidad de la
turbina 33 es determinada por la presión del aire acumulado en el tanque de
turbina 30. La presión es supervisada por el sensor 27 relacionado con el tanque
de comida de turbina 30 por el tubo 26. El sensor 27 contiene un juego de
límites altos y bajos. Cuando la presión de tanque de comida de turbina se cae
debajo del límite bajo, la válvula 25 es abierta por la línea de control 28.
Cuando la presión en el tanque de comida de turbina los 30 alcances el límite
alto, la válvula 25 está cerrada. El límite alto y bajo de sensores 27 no es
fijado, pero sujeto a variaciones menores en respuesta a la velocidad de la
turbina 33.
La velocidad de la turbina 33 y del generador 35
es supervisada por el sensor de velocidad 34. La salida del sensor de velocidad
34 está inversamente proporcional a la velocidad de la turbina 33. La señal 29
de sensor de velocidad es alimentada al sensor 27. Si la frecuencia de salida del
generador 35 se desvía de 60 Hz requerido, los límites altos y bajos del sensor
27 son o aumentados o disminuidos. Si la velocidad del generador es hecha más
lenta por un aumento de la carga corriente, los límites altos y bajos del
sensor 27 son levantados a fin de levantar la presión en el tanque de comida de
turbina 30. La turbina 33 responderá al cambio de presión aumentando su
velocidad rotatoria. La salida del generador 35 es puesta a disposición para el
uso por líneas 38 y 40 controlado por un interruptor 37.
La presión en el tanque de posesión 10 puede ser
incrementada de dos fuentes externas. Primero, el aire comprimido puede ser
introducido por 11 de admisión. Segundo, el motor de corriente alterna 21 puede
estar relacionado con una fuente externa de la energía eléctrica por líneas 39
y 40 controlado por el interruptor 37. La fuente eléctrica externa también
puede ser aplicada a un cargador de baterías 22 que suministra la serie de
baterías 23. En una versión alterna de la encarnación preferida, se sugiere que
un convertidor de CA/CC 41 es usado para conducir el motor de corriente
continua 16 del suministro eléctrico externo. En tal caso, el motor de
corriente alterna 23 y el tercer compresor 19 no es necesario.
La central eléctrica sólo describió es diseñado
principalmente para ser instalado a bordo un remolque que acampa. Esta central
eléctrica acumulará el viento ("eólico") energía durante los períodos
cuando el viento sopla o el remolque está en el movimiento. La energía es
almacenada en dos formas. Primero, es almacenado en la forma del aire
comprimido en el tanque de posesión 10. Segundo, es almacenado en la forma de
corriente continua corriente en la serie de baterías 23. Ambos medios de
almacenamiento son ecológicamente limpios. Además, el sistema eléctrico puede
incrementar el poder del sistema de aire comprimido durante períodos del
consumo de corriente pesado o mucho tiempo usar. Para la conveniencia añadida, el sistema
puede ser puesto carburante de una fuente externa de la energía eléctrica como
una salida de unidad familiar o de una fuente externa del aire comprimido como
aquellos encontrados con estaciones de servicio para el uso por choferes de
vehículo. Debería ser notado también que esta central eléctrica es versátil en
esto puede ser conducido no sólo del movimiento de fluidos como el aire o agua,
sino también del movimiento del vehículo. En el caso posterior, el eje 3 sería
conectado directamente a la rueda del vehículo.

Referencia ahora a Fig.2, Fig.3 y Fig.4, allí es
mostrado los detalles de la hélice 1 y conectando la caja 2. La hélice es
sensible por el hecho que es protegido contra estallidos del viento que podría
dañar el equipo. El cubo 45 de la hélice 1 es montado en un eje 46 por medio de
un huso cónico 46. El cubo tiene una cavidad central 51 correspondencia del
contorno del huso 47. El cubo 45 es sostenido contra el huso por medio de una
primavera bobina 48 descanso contra una parada ajustable 49. Un exceso de
presión del viento contra la hélice 1 hará que el cubo 45 sea retirado contra
la primavera 48, soltándolo del huso 47. En aquel punto la hélice 1 girará
libremente sin conducir el eje 46. La presión de la primavera bobina 48 puede
ser ajustada girando los 50 de toque alrededor de la base enhebrada de la
parada 49.
Varios componentes mecánicos y electromecánicos de
la central eléctrica como el embrague centrífugo, compresores, generadores,
turbinas, válvulas e interruptores activados por presión son conocidos a
aquellos expertos en el arte.
El sensor de velocidad 34 puede ser puesto en
práctica con un integrador electrónico cuya amplitud de la señal 29 de salida
es proporcional a la frecuencia del generador de corriente alterna 35. La señal
29 es usada entonces para modular la sensibilidad de los interruptores de
sensor 27. Esta técnica es también conocida a aquellos expertos en las artes
electromecánicas.
Las modificaciones, además de aquellos sugeridos,
pueden ser hechas a la encarnación de la invención sólo descrita sin marcharse
del espíritu de la invención y el alcance de las reclamaciones añadidas.
RECLAMACIONES
1. Una central
eléctrica que comprende:
(a) primero rotativo significa sensible al
movimiento de un fluido;
(b) primer compresor fluido conducido por los
primeros medios de giro;
(c) primero el medio para conectar el primer giro
significa al primer compresor fluido;
(d) generador de energía primero eléctrico
conducido por los primeros medios de giro;
(e) el segundo medio para conectar el primer giro
significa al primer generador;
(f) medios para acumular energía eléctrica
generada por el primer generador;
(g) el segundo giro significa sensible a la
energía acumulada;
(h) segundo compresor fluido conducido por los
segundos medios de giro;
(i) medios para almacenar fluido comprimido;
(j) el conducto fluido significa para unir las
salidas de los primeros y segundos compresores fluidos a los medios para el
almacenaje;
(k) significa sensible a la presión fluida dentro
de los medios para almacenar para controlar la operación de los primeros y
segundos compresores fluidos;
(l) el tercer giro significa sensible a la
extensión de fluido comprimido;
(m) medios para unir los medios para almacenar a
los terceros medios de giro;
(n) segundo generador de energía eléctrico
conducido por terceros medios de giro; y
(o) el medio para conectar el tercer giro
significa al segundo generador de energía eléctrico.
2. La central
eléctrica reclamó en la reclamación 1 en donde los medios para controlar la
operación de los primeros y segundos compresores fluidos comprenden:
(a) primero el interruptor significa sensible a la
presión alta para apagar los segundos medios de giro y para inhibir el primer
compresor fluido; y
(b) el segundo interruptor significa sensible para
bajar la presión para encender los segundos medios de giro.
3. La central eléctrica reclamó en la reclamación 2 en donde los medios para
almacenar fluido comprimido comprenden:
(a) un tanque de presión
alto;
(b) un tanque de presión
bajo;
(c) la primera válvula
significa sensible a la presión fluida en el tanque de presión bajo para
regular el flujo de fluido del tanque de presión alto al tanque de presión
bajo; y
(d) los medios para unir
los medios para almacenar a los terceros medios de giro comprenden medios de
conducto fluidos y segundos medios de válvula para controlar el flujo de fluido.
4. La central
eléctrica reclamó en la reclamación 3 en donde los medios para almacenar
adelante comprenden medios sensibles a la velocidad rotativa de los terceros
medios de giro para controlar la primera válvula.
5. La central
eléctrica reclamó en la reclamación 4 que adelante comprende:
(a) el cuarto giro significa sensible a la energía
eléctrica;
(b) tercer compresor fluido conducido por los
cuartos medios de giro;
(c) el medio para conectar el cuarto giro
significa al tercer compresor fluido;
(d) medios para unir el tercer compresor fluido a
los medios para almacenaje; y
(e) el medio para unir el cuarto giro significa a
una fuente de energía eléctrica externa.
6. La central
eléctrica reclamó en la reclamación 4 en donde los medios para la acumulación
comprenden al menos un acumulador eléctrico;
un cargador de baterías relacionado con la
batería; y
medios para unir la batería a una fuente de
alimentación eléctrica externa.
7. La central eléctrica
reclamó en la reclamación 1 en donde los primeros medios de giro comprenden:
(a) un eje rotativo;
(b) un huso cónico a un final del eje;
(c) una hélice tener en su cubo un agujero cónico
que contrata el huso;
(d) los medios para sostener resistentemente la
hélice engranaron alrededor del huso; y
(e) medios para ajustar la presión de los medios
para tener en cuenta la hélice.
8. La central
eléctrica reclamó en la reclamación 4 en donde los primeros medios para el
enganche comprenden un embrague centrífugo.
9. La central
eléctrica reclamada en la reclamación 7 instalada en un vehículo.
10. La central
eléctrica reclamó en la reclamación 9 en donde el tanque de presión alto
comprende un medio para unir el tanque a una fuente exterior del aire
comprimido;
Un medio para acumular energía eléctrica comprende
al menos un acumulador eléctrico;
Un segundo giro significa comprenden un motor de
corriente continua;
Un tercer giro significa comprenden una turbina
impulsada por la extensión del aire comprimido;
Un segundo generador de energía eléctrico
comprende un generador de la corriente alterna de unidad familiar; y
Un medio para distribuir la unidad familiar
corriente a los electrodomésticos de vehículo.
Esta aplicación evidente cubre un dispositivo que
es reclamado para tener un considerablemente mayor poder de salida que el poder
de entrada requerido dirigirlo y esto no tiene ningunas partes de movimiento.
Patente Aplicación WO2009065210 (A1) 28 de mayo 2009 Inventor: Richard Willis
GENERADOR ELÉCTRICO
EXTRACTO
Un generador eléctrico que comprende una inducción
bobina con un primer imán colocó adyacente al primer final de la inducción
bobina para estar en la influencia electromagnética de la inducción bobina
cuando es activado, y para crear un campo magnético alrededor de al menos el
primer final de la inducción bobina. Hay también un segundo imán colocado cerca
del segundo final de la inducción bobina para estar en el campo
electromagnético de la inducción bobina cuando la inducción bobina es activada,
y para crear un campo magnético alrededor de al menos el segundo final de la
inducción bobina. Un recorrido de entrada de poder impulsa la inducción bobina.
Un temporizador es colocado en el recorrido de entrada de poder a fin de crear
pulsos eléctricos y control de su cronometraje. Un recorrido de salida de poder
recibe el poder de la inducción bobina.
CAMPO DE
LA INVENCIÓN
La invención presente está relacionada con un generador de poder eléctrico, y
más en particular a "una sobreunidad" generador de poder eléctrico.
FONDO DE LA INVENCIÓN
Electricidad convencionalmente se genera en un número de
maneras, incluyendo generadores electromecánicos de combustible fósil powered,
carbón powered generadores electromecánicos, generadores electromecánicos de
agua-aire alimentado, generadores del tipo de reactor nuclear y así
sucesivamente. En cada caso, hay una serie de inconvenientes con estos métodos,
especialmente ineficiencia y también la escasez de una fuente de alimentación.
Recientemente, se han desarrollado generadores magnéticos
que producen energía eléctrica desde el campo magnético de la tierra.
Básicamente, un campo magnético rápidamente se enciende y se apaga, o como
alternativa más de un campo magnético es selectivamente enciende y se apaga, de
forma alterna, para influir en un campo magnético más grande en un aparato
electromagnético que selectivamente está conectado a un circuito de salida de
corriente eléctrica. Se produce una corriente eléctrica resultante en el
circuito de salida.
Hay circuitos de generador magnético incluso que producen
más energía eléctrica que la que se aplica al circuito. Si bien esto parece
contradecir las leyes de la física, docs no, de lo contrario, dichos circuitos
de generador magnético no funcionaría. Estos circuitos de generador magnético
funcionan, en el principio básico que el continuo espacio-tiempo es muy
enérgico, incluyendo los campos de energía, como el campo magnético de la
tierra.
Debe entenderse que los campos eléctricos y campos
magnéticos no tienen una existencia independiente. Un campo puramente
electromagnético en un sistema de coordenadas puede aparecer como una mezcla de
campos eléctricos y magnéticos en otro sistema de coordenadas. En otras
palabras, un campo magnético puede girar al menos parcialmente en un campo
eléctrico, o viceversa.
También es bien sabido que un sistema que está lejos de
equilibrio en su intercambio de energía con su entorno puede constantemente y
libremente recibir energía ambiental y disipar la en cargas externas. Este
sistema, puede tener un coeficiente de rendimiento ("CP") mayor que
1. Para un COP superior a 1, un sistema de alimentación eléctrica debe tomar
parte o toda su energía de entrada, de su entorno externo activo. En otras
palabras, el sistema debe ser abierto para recibir y convierten la energía de
su entorno externo, en lugar de simplemente convertir energía de una forma a
otra.
El nos patente 6.362.718 emitida el 26 de marzo de 2002 a
Patrick et en., revela un generador electromagnético sin piezas móviles. Este
generador electromagnético incluye un imán permanente montado en un rectangular
en forma de anillo magnético núcleo tener una ruta magnética a un lado del imán
permanente y una segunda magnético al otro lado del imán permanente. Una
primera entrada bobina y una bobina de salida primera extienden alrededor de
las porciones de la primera ruta magnética, con la primera bobina de entrada
por lo menos parcialmente se posiciona entre el imán y la bobina de salida primera.
Una segunda bobina de entrada y una segunda bobina de salida se extienden
alrededor de las porciones de la segunda ruta magnética, con la segunda bobina
de entrada por lo menos parcialmente se posiciona entre el imán y la bobina de
salida segundo. Las bobinas de entrada son alternativamente pulsados por un
circuito de conmutación y control y proporcionar pulsos de corriente inducidas
en las bobinas de salida. Conducción de corriente eléctrica a través de cada
una de las bobinas de entrada reduce un nivel de flujo del imán permanente
dentro de la ruta de imán alrededor de la cual se extiende la bobina de
entrada.
En una encarnación alternativa del generador
electromagnético Patrick et al, el núcleo magnético incluye placas
separadas-apart circulares, con puestos y los imanes permanentes extender de
manera alternada entre las placas. Una bobina de salida se extiende alrededor
de cada uno de estos puestos. Bobinas entradas extiende alrededor de las
porciones de las placas son pulsados para provocar la inducción de corriente en
las bobinas de salida.
Los problemas aparentes con el generador eléctrico
magnético se revelará en nosotros patente 6.362.718 parecen ser doble. En
primer lugar, es más caro producir lo necesario, ya que tiene cuatro bobinas.
En segundo lugar, mientras que al parecer alcanza un coeficiente de rendimiento
de más de 3.0, un mayor coeficiente de rendimiento mucho es fácilmente
realizable. Se cree que se debe a la configuración física específica de las
rutas de acceso magnéticos.
Es un objeto de la invención presente para proporcionar
un generador eléctrico que tiene un coeficiente de rendimiento
significativamente mayor que 1.
RESUMEN DE LA INVENCIÓN
De acuerdo con un aspecto de la invención presente
allí es revelado un generador eléctrico nuevo que comprende una inducción
bobina. Hay un primer imán colocado al lado del primer final de la inducción
bobina para estar en el campo electromagnético de la inducción bobina cuando la
inducción bobina es activada, y para crear un campo magnético alrededor de al
menos el primer final de la inducción bobina. Hay también un segundo imán
colocado cerca del segundo final de la inducción bobina para estar en el campo
electromagnético de la inducción bobina cuando la inducción bobina es activada,
y para crear un campo magnético alrededor de al menos el segundo final de la
inducción bobina. Un recorrido de
entrada de poder proporciona el poder con la inducción bobina. Un dispositivo
de cronometraje es colocado en el recorrido de poder de entrada a fin de crear
pulsos eléctricos y para controlar el cronometraje de aquellos pulsos
eléctricos pasados a la inducción bobina. Un recorrido de salida de poder
recibe el poder de la inducción bobina.
Otras ventajas, rasgos y características de la
invención presente, así como los métodos de la operación y las funciones de los
elementos relacionados de la estructura, y la combinación de partes y las
economías de la fabricación, se harán más aparentes sobre la consideración de
la descripción detallada siguiente y las reclamaciones añadidas en cuanto a los
dibujos de acompañamiento que son descritos aquí:
BREVE DESCRIPCIÓN DE LOS DIBUJOS
Los rasgos nuevos que son creídos estar la característica del generador
eléctrico según la invención presente, en cuanto a su estructura, organización,
uso y método de la operación, juntos con esto es objetivos adicionales y
ventajas, será mejor entendido de los dibujos siguientes en los cuales una
encarnación preferida de la invención será ilustrada ahora por vía del ejemplo.
Es expresamente entendido, sin embargo, que los dibujos son para ilustración y
descripción sólo, y no son queridos como una definición de los límites de la
invención. En los dibujos de acompañamiento:

Fig.1 es una esquemática eléctrica
de la primera encarnación preferida del generador eléctrico.

Fig.2 es un diagrama de bloque
esquemático de la primera encarnación preferida del generador eléctrico de
Fig.I.

Fig.3 es una forma de onda de osciloscopio
tomada en el recorrido de poder de entrada después del mecanismo de
cronometraje.

Fig.4 es una forma de onda de osciloscopio
tomada en el recorrido de poder de salida antes del primer juego de diodos
inmediatamente después del bobina.

Fig.5 es una forma de onda de osciloscopio
tomada en el recorrido de poder de salida en la carga; y,
Fig.6 es una esquemática eléctrica de la
segunda encarnación preferida del generador eléctrico.
DESCRIPCIÓN DETALLADA DE
LAS ENCARNACIONES PREFERIDAS
Respecto a Fig.1 a Fig.6 de los dibujos, será
notado que Fig.1 a Fig.5 ilustra una primera encarnación preferida del
generador eléctrico de la invención presente, y Fig.6 ilustra una segunda
encarnación preferida del generador eléctrico de la invención presente.

Referencia será hecha ahora a Fig.1 a Fig.5, que
muestran una primera encarnación preferida del generador eléctrico de la
invención presente, como indicado por el número 20 de referencia general. El
generador eléctrico 20 comprende una inducción bobina 30 tener un primer final
31 y un segundo final 32. La inducción bobina 30 preferentemente incluye unos
34 principales que es hecho de cualquier tipo conveniente del material, como
ferrita, mumetal, permalloy, cobalto, cualquier material metálico no permeable,
o cualquier otro tipo conveniente del material. El bobina 30 es la herida con
el alambre de cobre que puede ser un tamaño solo o tamaños múltiples según el
tamaño del corazón de ferrita 34.
Hay un primer imán 40 colocó adyacente a la
inducción bobina 30, preferentemente al primer final 31 para ser dentro del
campo electromagnético de la inducción bobina 30 cuando la inducción bobina 30
es activada. El primer imán 40 es un imán permanente que tiene su Polo Norte
que afronta el primer final 31 de la inducción bobina 30. En la primera encarnación
preferida, el primer imán 40 es inmóvil con respecto a la inducción bobina 30,
y aún más preferentemente está en el contacto con, o es hasta asegurado a, el
primer final 31 de la inducción bobina 30. El tamaño del bobina y el alambre de
cobre solía serpentear los bobina también dependen del tamaño del primer imán
40. El primer imán 40 debe crear allí un campo magnético alrededor de al menos
el primer final 31 del primer imán 30.
Hay también un segundo imán 50 colocó adyacente a
la inducción bobina 30, preferentemente al segundo final 32 de la inducción
bobina 30, pero a una distancia de aproximadamente 1.0 cm o tan de los 34
principales bobina, pero dentro del campo electromagnético de la inducción
bobina 30 cuando la inducción bobina 30 es activada. El hueco entre el segundo
final 32 de la inducción bobina 30 y el segundo imán 50 pueden ser un hueco de
aire o pueden ser un vacío.
El segundo imán 50 es un imán permanente que tiene
esto es el Polo Norte que afronta el segundo final 32 de la inducción bobina
30. En la primera encarnación preferida, el segundo imán 50 es inmóvil con
respecto a la inducción bobina 30. El tamaño del bobina y el alambre de cobre
solía girarlo también depende del tamaño del segundo imán 50. El segundo imán
50 está allí a fin de crear un campo magnético alrededor de al menos el segundo
final 32 de la inducción bobina 30.
Como puede ser visto en Fig.1, el primer imán 40
es colocado así esto es el Polo Norte afronta el primer final 31 de la
inducción bobina y su Polo sur afrontan lejos a partir del primer final 31 de
la inducción bobina 30. El primer final 31 de la inducción bobina 30 crean un
campo magnético del Sur cuando es activado. En esta manera, el Polo Norte del
primer imán 40 y el Polo sur del primer final 31 de la inducción bobina atraen
el uno al otro.
Del mismo modo, pero opuestamente, el segundo imán
50 es colocado de modo que esto sea el Polo Norte afronta el segundo final 32
de la inducción bobina y su Polo sur afrontan lejos a partir del segundo final
32 de la inducción bobina 30. El segundo final 32 de la inducción bobina 30
crean un campo magnético del Norte cuando la inducción bobina 30 es activada.
En esta manera, el Polo Norte del segundo imán 50 y el Polo Norte del segundo
final 32 de la inducción bobina repelen el uno al otro.
Un poder introdujo la sección de recorrido, como
indicado por el número 60 de referencia general, es para proporcionar el poder
con la inducción bobina y consiste de una fuente del poder eléctrico 62. En la
primera encarnación preferida, como ilustrado, la fuente de entrada del poder
eléctrico 62 comprende una fuente de alimentación de CC, expresamente una
batería 62, pero además u o bien puede comprender un condensador (no mostrado).
La fuente del poder eléctrico puede extenderse de menos de 1.0 voltios a más de
1,000,000 de voltios, y puede extenderse de menos de 1.0 amperio a más de 1
millón de amperios. O bien, es contemplado que la fuente de entrada del poder
eléctrico podría ser una fuente de alimentación de corriente alterna (no
mostrado).
Un rectificador de entrada 64 que es
preferentemente, pero no necesariamente, un rectificador de onda llena 64,
tiene una entrada 66 eléctricamente relacionado con la fuente del poder
eléctrico 62 y también tiene una salida 68. Un primer diodo 70 está relacionado
a su final positivo 70a a un terminal 68a de la salida 68 del rectificador 62.
Un segundo diodo 72 está relacionado a su final negativo 72a al otro terminal
68b de la salida 68 del rectificador 62.
Hay también un mecanismo de cronometraje 80 en la
sección 60 de recorrido de poder de entrada, que como mostrado, está
eléctricamente relacionado en serie con el primer diodo 70. Este mecanismo de
cronometraje tanto crea pulsos eléctricos como controla el cronometraje de
aquellos pulsos eléctricos que son alimentados a la inducción bobina 30. Los
pulsos son formas de onda básicamente serradas, como puede ser visto en Fig.3.
En la primera encarnación preferida, el
dispositivo de cronometraje 80 es un temporizador manual en la forma de un
juego "de puntos" del sistema de ignición de un vehículo, cuando
ellos pueden resistir alta tensión y niveles corrientes altos. O bien, es
contemplado que el mecanismo de cronometraje podría ser un recorrido de
cronometraje electrónico. También es contemplado que una unidad TGBT de un
soldador MIG podría ser usada como la base del dispositivo de cronometraje 80.
Ha sido encontrado esto un dispositivo de cronometraje que proporciona un robo
físico su "de" trabajos de configuración bien cuando las corrientes
vagas no pueden desandar por el recorrido entonces. El mecanismo de
cronometraje puede ser de cualquier diseño conveniente mientras que esto puede
responder a la colocación de los imanes 50 en el rotor 52 en la segunda
encarnación preferida mostrada en Fig.6.
Cuando el dispositivo está en el uso, los campos
magnéticos creados por el primer imán 40 y el segundo imán 50 junto con el
bobina 30, son cada uno algo se multiplica formado, y oscila de acá para allá,
con respecto a su tamaño, en una manera correspondiente al cronometraje de los
pulsos eléctricos del recorrido de entrada de poder 60, como controlado por el
mecanismo de cronometraje 80.
El poder introdujo el recorrido 60 tiene un
interruptor 88 para permitir la desconexión de la comida de poder a la
inducción bobina 30. El interruptor 88 puede ser o bien localizado en cualquier
otro lugar conveniente en el recorrido de entrada de poder 60.
Una sección de recorrido de salida de poder,
indicada por el número 90 de referencia general, es para recibir el poder de la
inducción bobina y comprende una carga eléctrica 92, que, en la primera
encarnación preferida es una batería 92, pero puede comprender además u o bien
un condensador (no mostrado), o cualquier otro dispositivo de carga eléctrico
conveniente.
La porción de recorrido de salida de poder 90
también tiene un rectificador de salida 94 tener una entrada 96 una salida 98
eléctricamente relacionado con la carga eléctrica 92 vía un par de diodos
influidos avanzados 100a, 100b que previenen la carga eléctrica 92 de impulsar
la inducción bobina 30. Un primer diodo 102 está eléctricamente relacionado a
su final positivo 102a a un terminal 94a de la entrada del rectificador 94 y
está eléctricamente relacionado a su final negativo 102b a un final de la
inducción bobina 30. Un segundo diodo 104 está relacionado a su final negativo
104a al otro terminal 94b de la entrada del rectificador 94 y está
eléctricamente relacionado a su final positivo 104b al otro final de la
inducción bobina 30. La salida del bobina, tomado antes de los diodos 102,104
es mostrada en Fig.4.
La salida a la carga eléctrica 92 del recorrido de
salida de poder 90 pueden extenderse de menos de 1 voltio a más de 1,000,000 de
voltios, y pueden extenderse de menos de un amperio a más de 1 millón de
amperios. Como puede ser visto en Fig.5, la salida a la carga eléctrica 92
comprende pulsos generalmente en forma de punto que tienen tanto componentes
negativos como positivos.
Como puede ser fácilmente visto en Fig.1 y Fig.2,
el recorrido de poder de entrada 60 está eléctricamente relacionado en la
paralela con la inducción bobina 30 y la porción de recorrido de poder de
salida 90 está eléctricamente relacionada en la paralela con la inducción
bobina 30.
Varios diodos y los rectificadores en el generador
eléctrico 20 pueden ser de cualquier voltaje conveniente de aproximadamente 12
voltios a más de 1,000,000 de voltios, y pueden tener la recuperación lenta o
la recuperación rápida, como deseado. Adelante, varios diodos y los rectificadores
pueden ser configurados en otros formatos convenientes. Allí pueden haber
condensadores adicionales añadidos en el recorrido de salida de poder adyacente
a la carga eléctrica 92 a fin de aumentar el poder de salida antes de la
descarga.
I Ha sido encontrado aquel ajuste el cronometraje
a seiscientos pulsos por minuto (10 Hz) proporciona una forma de onda en la
porción de recorrido de salida de poder 90 que comprende pulsos generalmente en
forma de punto con un período de aproximadamente 20 nanosegundos. Se cree que
el flujo de los pulsos de poder que son introducidos en la inducción bobina 30
cambia rápidamente el campo magnético de acá para allá en la inducción bobina
30, que es parecido al flujo de los pulsos de poder que crean su propio eco.
Varias oscilaciones electromagnéticas en el bobina proporcionan una frecuencia
mucho más alta en el recorrido de salida de poder 90 que en la porción de
recorrido de entrada de poder 60.

Referencia será hecha ahora a Fig.6, que muestra
una segunda encarnación preferida del generador eléctrico de la invención
presente, como indicado por el número 220 de referencia general. El generador
eléctrico de la segunda encarnación preferida es similar a la primera
encarnación preferida el generador eléctrico 20 salvo que el segundo imán
comprende varios imanes móviles 250, típicamente ocho imanes permanentes 250.
Estos imanes son montados en una rueda 252, que es libre de girar. Idealmente,
estos imanes son montados de un modo idéntico el uno al otro en el disco de rotor
252. De ser deseado, puede haber
cualquier número conveniente de imanes montados en el rotor. En consecuencia,
al menos un imán de rotor 250 será dentro del campo electromagnético de la
inducción bobina 230 cuando el bobina es activado. Los imanes de rotor pueden
ser de cualquier fuerza conveniente y cualquier tipo conveniente del imán, y
ellos pueden ser montados en la pieza rotatoria por cualquier medio
conveniente, como un pegamento conveniente, o moldeados en el disco si el rotor
es hecho del plástico. En la práctica, el disco de rotor es conducido por ahí
por el campo magnético de la inducción bobina cuando es activado. Es también
posible para el primer imán a un imán de rotor en la misma manera que descrito
para el segundo imán 250.
Como puede ser entendido de la susodicha
descripción y de los dibujos de acompañamiento, la invención presente
proporciona un generador eléctrico que tiene un Coeficiente de Interpretación
mayor que 1.0. y más expresamente, un generador eléctrico que tiene un
Coeficiente de Interpretación considerablemente mayor que 1.0. Un generador
eléctrico que tiene un Coeficiente de Interpretación considerablemente mayor
que 1.0 es actualmente, desconocido en el arte previa.
Otras variaciones de los susodichos principios
serán aparentes a aquellos que son entendidos en el campo de la invención, y se
piensa que tales variaciones son dentro del ámbito de la invención presente.
Adelante, otras modificaciones y modificaciones pueden ser usadas en el diseño
y la fabricación del generador eléctrico de la invención presente sin marcharse
del espíritu y el alcance de las reclamaciones siguientes:
RECLAMACIONES
1. Un generador
eléctrico comprensión:
una inducción bobina tener un primer final
y un segundo final;
un primer imán colocó el primer final dicho
adyacente de la inducción dicha bobina para estar en el campo electromagnético
de la inducción dicha bobina cuando la inducción dicha bobina es activada, y
para crear un campo magnético alrededor del primer final al menos dicho de la inducción
dicha bobina,
un segundo imán colocó el segundo final dicho adyacente de la inducción dicha
bobina para estar en el campo electromagnético de la inducción dicha bobina
cuando la inducción dicha bobina es activada, y para crear un campo magnético
alrededor del segundo final al menos dicho de la inducción dicha bobina;
un poder introdujo la porción de recorrido para
proporcionar el poder con la inducción dicha bobina;
un cronometraje significa en la porción de recorrido de entrada de poder dicha
para crear pulsos eléctricos y controlar el cronometraje de pulsos eléctricos
dichos a la inducción dicha bobina; y,
una porción de recorrido de salida de poder para
recibir poder de inducción dicha bobina.
2. El generador
eléctrico de la reclamación 1, en donde dijo el primer imán es inmóvil con
respecto a la inducción dicha bobina.
3. El generador eléctrico de la reclamación 2, en
donde dijo el primer imán comprende un imán permanente.
4. El generador eléctrico de la reclamación 2, en
donde dijo la inducción bobina incluye un corazón.
5. El generador
eléctrico de la reclamación 4, en donde dijo el primer imán está en el contacto
con el corazón dicho.
6. El generador
eléctrico de la reclamación 4, en donde dijo el corazón es hecho de un material
elegido del grupo de ferrita, mumetal, permalloy, y cobalto.
7. El generador
eléctrico de la reclamación 4, en donde dijo el corazón es hecho de un material
metálico no permeable.
8. El generador
eléctrico de la reclamación 3, en donde dijo el segundo imán es inmóvil con
respecto a la inducción dicha bobina.
9. El generador eléctrico de la reclamación 8, en
donde dijo el segundo imán comprende un imán permanente.
10. El generador
eléctrico de la reclamación 1, en donde dijo el segundo imán comprende al menos
un imán movible.
11. El generador
eléctrico de la reclamación 10. en donde dijo que al menos un imán movible es
montado en un rotor.
12. El generador
eléctrico de la reclamación 11, en donde dijo al menos un imán movible
comprende una pluralidad de imanes montados en el rotor dicho.
13. El generador
eléctrico de la reclamación 1, en donde dijo la porción de recorrido de entrada
de poder comprende una fuente del poder eléctrico, un rectificador de entrada
que tiene una entrada eléctricamente relacionada con la fuente dicha del poder
eléctrico y una salida, un primer diodo relacionado a su final positivo con un
terminal del rectificador de entrada dicho, un segundo diodo relacionado a su
final negativo con el otro terminal del rectificador de entrada dicho.
14. El generador
eléctrico de la reclamación 13, en donde dijo el cronometraje significa está
eléctricamente relacionado en serie con el primer diodo dicho.
15. El generador
eléctrico de la reclamación 14, en donde dijo la porción de recorrido de salida
de poder que comprende una carga eléctrica, un rectificador de salida que tiene
una salida eléctricamente relacionada con la carga eléctrica dicha vía un par
de diodos influidos avanzados y una entrada, un primer diodo relacionado a su
final negativo con un terminal del rectificador de salida dicho, un segundo
diodo relacionado a su final positivo con el otro terminal del rectificador de
salida dicho.
16. El generador
eléctrico de la reclamación 15, en donde dijo la porción de recorrido de poder
de entrada está eléctricamente relacionado en la paralela con la inducción
dicha bobina y la porción de recorrido de poder de salida dicha está
eléctricamente relacionada en la paralela con la inducción dicha bobina.
17. El generador
eléctrico de la reclamación 1, en donde dijo la fuente de entrada del poder
eléctrico comprende una fuente de alimentación de CC.
18. El generador
eléctrico de la reclamación 17, en donde dijo la fuente de alimentación de CC
comprende una batería.
19. El generador
eléctrico de la reclamación 17, en donde dijo la fuente de alimentación de CC
comprende un condensador.
20. El generador
eléctrico de la reclamación 1, en donde dijo la fuente de entrada del poder
eléctrico comprende una fuente de alimentación de corriente alterna.
21. El generador
eléctrico de la reclamación 1 donde el rectificador de entrada es un
rectificador de puente de Wheatstone.
22. El generador
eléctrico de la reclamación 1, en donde dijo el cronometraje de medios
comprende un recorrido de cronometraje electrónico.
23. El generador
eléctrico de la reclamación 1, en donde dijo el cronometraje de medios
comprende un temporizador manual.
24. El generador eléctrico de la reclamación 1, en
donde dijo el primer imán comprende un imán permanente.
25. (Parece haber sido omitido de la copia archivada)
26. El generador
eléctrico de la reclamación 12, en donde dijo la pluralidad de imanes movibles
es cada uno montado de manera similar un al otro en la rueda de rotatable dicha.
27. El generador eléctrico de la reclamación 1, en
donde dijo la carga eléctrica comprende una batería.
28. El generador
eléctrico de la reclamación 1, adelante comprendiendo un interruptor
eléctricamente relacionado en el poder dicho introdujo la porción de recorrido.
El Generador Eléctrico Transistorizado de Graham Gunderson es mostrado en la Aplicación Evidente
estadounidense 2006/0163971 A1 de 27 de julio de 2006. Los detalles son como
sigue:
Extracto
Un generador eléctrico transistorizado incluso al
menos un imán permanente, magnetically conectado a un corazón ferromagnético
proveído de al menos un agujero que penetra su volumen; el agujero (s) e imán
(anes) colocado de modo que el agujero (s) intercepte el flujo del imán (anes)
permanente conectado en el corazón ferromagnético. Un primer alambre bobina es
la herida alrededor del corazón ferromagnético para el movimiento del flujo de
imán permanente conectado dentro del corazón ferromagnético. Un segundo alambre es derrotado por el
agujero (s) que penetra el volumen del corazón ferromagnético, para la
interceptación de este flujo magnético móvil, así induciendo una fuerza
electromotriz de salida. Un voltaje que se cambia aplicado al primer alambre
bobina causas conectó el flujo de imán permanente para moverse dentro del
corazón con relación al agujero (s) que penetra el volumen principal, así
induciendo la fuerza electromotriz a lo largo del alambre (s) que pasa por el
agujero (s) en el corazón ferromagnético. La acción mecánica de un generador
eléctrico es por lo tanto sintetizada sin el uso de mover partes.
Fondo
Esta invención está relacionada con un método y
dispositivo para generar el poder eléctrico usando medios estatales sólidos.
Se ha conocido mucho tiempo que el movimiento de
un campo magnético a través de un alambre generará una fuerza electromotriz
(EMF), o voltaje, a lo largo del alambre. Cuando este alambre está relacionado
en un recorrido eléctrico cerrado, una corriente eléctrica, capaz de la
realización del trabajo, es conducida por este recorrido cerrado por la fuerza
electromotriz inducida.
También se ha conocido mucho tiempo que esta
corriente eléctrica que resulta hace que el recorrido cerrado se haga rodeada
con un campo magnético secundario, inducido, cuya polaridad se opone al campo
magnético primario que primero indujo el EMF. Esta oposición magnética crea la
repulsión mutua cuando un imán móvil se acerca a un recorrido tan cerrado, y
una atracción mutua como que alejar el imán se mueve del recorrido cerrado.
Ambas estas acciones tienden a reducir la marcha o causar "la rastra"
en el progreso del imán móvil, haciendo el generador eléctrico actuar como un
freno magnético, cuyo efecto está en la proporción directa hasta un total de la
corriente eléctrica producida.
Históricamente, los motores de gas, las presas
hidroeléctricas y las turbinas alimentadas por vapor han sido usados para
vencer esta acción magnética que frena que ocurre dentro de generadores
mecánicos. Se requiere que una cantidad grande del poder mecánico produzca una
cantidad grande del poder eléctrico, ya que el frenado magnético es
generalmente proporcional hasta un total del poder eléctrico generado.
Allí ha sido mucho tiempo sentido la necesidad de
un generador que reduce o elimina la interacción magnética conocida que frena,
sin embargo generando la energía eléctrica útil. La necesidad de fuentes
convenientes, económicas y poderosas de la energía renovable permanece urgente.
Cuando se hace que los campos magnéticos dentro de un generador se muevan y se
relacionen por medios además de la fuerza mecánica aplicada, la energía
eléctrica puede ser suministrada sin la necesidad de consumir limitó recursos
naturales, así con la mucho mayor economía.
Resumen de la Invención
Se ha conocido mucho tiempo que la fuente del
magnetismo dentro de un imán permanente es una corriente eléctrica que gira
dentro de átomos ferromagnéticos de ciertos elementos, persistiendo
indefinidamente de acuerdo con reglas cuánticas bien definidas. Esta corriente
atómica rodea cada átomo, así haciendo cada átomo emitir un campo magnético,
como un electroimán en miniatura.
Esta corriente atómica no existe en imanes solos.
Esto también existe en el hierro metálico ordinario, y en cualquier elemento o
aleación metálica que puede ser "magnetizada", es decir cualquier
material que expone el ferromagnetismo. Todos los átomos ferromagnéticos y
metales magnéticos contienen tales electroimanes atómicos cuánticos.
En materiales ferromagnéticos específicos, el eje
de orientación de cada electroimán atómico es flexible. La orientación de flujo
magnético tanto interno como externo al material, pivotes fácilmente. Tales
materiales se mencionan magnetically "suave", debido a esta
flexibilidad magnética.
Los materiales de imán permanentes son
magnetically "con fuerza". El eje de orientación de cada uno es
fijado en el lugar dentro de una estructura de cristal rígida. El campo
magnético total producido por estos átomos no puede moverse fácilmente. Esta
coacción alinea el campo de imanes ordinarios permanentemente, de ahí el nombre
"permanente".
El eje del flujo corriente circular en un átomo
ferromagnético puede dirigir el eje de magnetismo dentro de otro átomo
ferromagnético, por un proceso conocido como cambio de vuelta. Este da un
material magnético suave, como el hierro crudo, la capacidad útil de apuntar,
enfocar y desviar el campo magnético emitido de un magnetically imán con fuerza
permanente.
En la invención presente, el campo rígido de un
imán permanente es enviado en un material magnético "suave" flexible
magnetically. la posición aparente del imán permanente, observada de puntos
dentro del material suave magnetically, se moverá con eficacia, vibrará, y
parecerá cambiar la posición cuando la magnetización del material magnético
suave es modulada por medios auxiliares (mucho como el sol, visto mientras bajo
el agua, parece moverse cuando el agua es agitado). Por este mecanismo, el
movimiento requerido para la generación de electricidad puede ser sintetizado
dentro de un material magnético suave, sin requerir el movimiento físico o una
fuerza mecánica aplicada.
Las síntesis de invención presentes el movimiento
virtual de imanes y sus campos magnéticos, sin la necesidad de acción mecánica
o partes móviles, para producir el generador eléctrico descrito aquí. La
invención presente describe un generador eléctrico donde el frenado magnético
conocido como expresiones de la Ley de Lenz, no opóngase a los medios por los
cuales se hace que la energía de campo magnético se mueva. El movimiento
magnético sintetizado es producido sin la resistencia mecánica o sin eléctrica. A este movimiento magnético sintetizado le
ayudan las fuerzas generadas de acuerdo con la Ley de Lenz, a fin de producir
la aceleración del movimiento magnético sintetizado, en vez del "frenado
magnético físico común a generadores eléctricos mecánicamente actuados. A
causa de esta interacción magnética nueva, el generador estático
transistorizado de la invención presente es un generador robusto, requiriendo
sólo una pequeña fuerza eléctrica de funcione.
Breve Descripción de los Dibujos
Los dibujos añadidos ilustran encarnaciones sólo
típicas de esta invención y no deben ser por lo tanto considerados limitando de
su alcance, cuando la invención cerca otras encarnaciones igualmente eficaces.

Fig.1 es una vista
esquemática del generador de esta invención.

Fig.2 es una
elevación enfadada seccional del generador de esta invención.

Fig.3 es un diagrama
esquemático de la acción magnética que ocurre dentro del generador de Fig.1 y Fig.2.

Fig.4 es un diagrama
de recorrido, ilustrando un método de hacer funcionar el generador eléctrico de
esta invención.
Descripción Detallada de la Invención
Fig.1 representa una parcialmente vista
esquemática de una encarnación de un generador eléctrico de esta invención. Los
números de parte también se aplican en Fig.2 y Fig.3.

Número 1 representa un imán permanente con esto es
el Polo Norte que señala hacia dentro hacia el corazón ferromagnético suave del
dispositivo. Del mismo modo, el número 2 indica imanes permanentes
(preferentemente del mismo tamaño, forma y composición), con su Polo sur
apuntado hacia dentro hacia el lado opuesto, o la superficie de enfrente del
dispositivo. Las cartas S y "N" denotan estos postes magnéticos en
los dibujos. Otras polaridades magnéticas y configuraciones pueden ser usadas
con el éxito; el modelo mostrado simplemente ilustra un método eficiente de
añadir imanes al corazón.
Los imanes pueden ser formados de cualquier
material magnético polarizado. Por orden de la eficacia inclinada, los
materiales de imán permanentes más deseables son Neodymium-Iron-Boron ("NIB"),
Cobalto de Samarium, aleación de AlNiCo, o Bario de estroncio "de
cerámica" o Ferrita de plomo. Un factor primario que determina la
composición de material de imán permanente es la fuerza de flujo magnética del
tipo material particular. En una encarnación de la invención, estos imanes
también pueden ser substituidos con uno o varios electroimanes que producen el
flujo magnético requerido. En otra encarnación de la invención, una corriente
continua sobrepuesta la tendencia corriente puede ser aplicada al alambre de
salida para generar el flujo magnético requerido, sustituyendo o aumentando los
imanes permanentes.
Número 3 indica el corazón magnético. Este corazón
es un componente crítico del generador. El corazón determina la capacidad de
poder de salida, el tipo de imán óptimo, la impedancia eléctrica y la variedad
de frecuencia de operaciones. El corazón puede ser cualquier forma, formada de
cualquier material ferromagnético, formado por cualquier proceso
(sinterización, echar, vinculación adhesiva, cuerda de cinta, etc.). Una amplia
variedad de formas, materiales y procesos es conocida en el arte de hacer
corazones magnéticos. Los materiales
comunes eficaces incluyen aleaciones metálicas amorfas (como vendido bajo la
marca registrada Metglas por el Metglas Inc, Conway, S.C.), nanocrystalline
aleaciones, manganeso y zinc ferrites así como ferrites de cualquier elemento
conveniente incluso cualquier combinación de magnetically ferrites
"difícil" "y suave", metales en polvos y aleaciones
ferromagnéticas, laminaciones de cobalto y/o acero eléctrico de hierro y de
silicio de hierro. Esta invención con éxito utiliza cualquier material
ferromagnético, funcionando como reclamado. En una encarnación de la invención,
y para la ilustración, una circular toroid corazón es ilustrada. En una
encarnación de la invención, la composición puede ser unida polvo de hierro,
comúnmente disponible de muchos fabricantes.
Sin tener en cuenta el tipo principal, el corazón
está listo con agujeros, por los cuales, los alambres pueden pasar. los
agujeros son taladrados o formados para penetrar el volumen ferromagnético del
corazón. Los 3 principales toroidal mostrados, incluyen agujeros radiales que
señalan hacia un centro común. Si, por ejemplo, las varas de alambre tiesas
debieran ser insertadas por cada uno de estos agujeros, estas varas se
encontrarían en el punto de centro del corazón, producción de un aspecto
similar a una rueda con spokes. Si un corazón cuadrado o rectangular (no
ilustrado) es usado, entonces estos agujeros son preferentemente orientados la
paralela a los lados llanos del corazón, causando varas tiesas pasó por los
agujeros para formar un modelo de rejilla cuadrado, cuando las varas cruzan el
uno al otro en el área "de ventana" interior enmarcada por el
corazón. Mientras en otras encarnaciones de la invención, estos agujeros pueden
tomar cualquier orientación posible o modelos de la orientación, una fila
simple de agujeros radiales es ilustrada como un ejemplo.
N úmero 4 representa un alambre, o el bulto de
alambres que recogen y llevan el poder de salida del generador. Típicamente,
este alambre es formado del cobre aislado, aunque otros materiales como
aluminio, hierro, material dieléctrico, polímeros y materiales de
semiconducción puedan ser substituidos. Puede ser visto en Fig.1 y Fig.2, que
ponen instalación eléctrica 4 pases alternativamente por agujeros vecinos
formados en 3 principales. El camino
tomado por el alambre 4 ondula cuando esto pasa en el sentido contrario por
cada agujero adyacente. Si un número par de agujeros es usado, el alambre
surgirá en el mismo lado del corazón en el cual esto primero entró. Una vez que
todos los agujeros están llenos, el par que resulta del rastreo conduce puede
ser enroscado juntos o de manera similar terminado, formando los terminales de
salida del generador mostrado en el número 5. Alambre de salida 4, también
puede hacer pases múltiples por cada agujero en el corazón. Aunque el modelo
tortuoso no necesariamente sea ondulatorio, esta forma básica es mostrada como
un ejemplo. Muchos estilos de unión eficaces existen. Esta ilustración muestra
el más simple.

Numeral 6
in Fig.1, Fig.2 y Fig.3, puntos a una ilustración parcial de la cuerda de
entrada, o bobina inductivo solían cambiar los campos de los imanes
permanentes, dentro del corazón. Típicamente, este alambre bobina rodea el
corazón, que se abriga alrededor de ello. Para el corazón toroidal mostrado, la
entrada bobina 6 se parece a las cuerdas externas de un inductor toroidal
típico - un componente eléctrico común. Por la claridad, sólo unas vueltas de
bobina 6 son mostradas en cada of Fig.1, Fig.2 y Fig.3. En práctica, este bobina
puede cubrir el corazón entero, o secciones específicas del corazón, incluso, o
no incluso los imanes.
Fig.2 muestra el mismo generador eléctrico de Fig.1,
mirando claramente "abajo" por ello desde encima, de modo que las
posiciones relativas de los agujeros principales (mostrado como líneas de
puntos), el camino de la salida ponga instalación eléctrica 4, y la posición de
los imanes (áreas incubadas blancas para imanes bajo las áreas incubadas
principales y verdes para imanes encima del corazón) es aclarada. Las pocas
vueltas representativas de la entrada bobina 6 son mostradas en rojo en Fig.2.
El generador ilustrado, usa un corazón con 8
agujeros radialmente taladrados. El espaciado entre estos agujeros es igual.
Como mostrado, cada agujero es desplazado por 45 grados de cada uno de esto
linda con agujeros. Los centros de todos los agujeros mienten en un avión común
que está a mitad de camino abajo el grosor vertical del corazón. Los corazones
de cualquier forma o tamaño pueden tener solamente dos o tantos como cientos de
agujeros y un número similar de imanes. Otras variaciones existen, como
generadores con filas múltiples de agujeros, zigzag y modelos diagonales, o la
salida pone instalación eléctrica 4 moldeado directamente en el material
principal. En cualquier caso, la interacción magnética básica mostrada en Fig.3
ocurre para cada agujero en el corazón como descrito abajo.

Fig.3 muestra el mismo diseño, visto del lado. La
curvatura del corazón es mostrada aplanada en la página para la ilustración.
Los imanes son representados esquemáticamente, sobresaliendo de la cumbre y el
fondo del corazón, e incluso flechas que indican la dirección del flujo
magnético (el punto de cabezas de flecha al Polo Norte del imán).
En práctica, los finales polares libres, libres de
los imanes del generador pueden ser dejados cuando - es en el aire libre, o
ellos pueden ser proveídos de un camino ferromagnético común que une el Norte
libre y Polo sur juntos como una "tierra" magnética. El camino de
vuelta común es típicamente hecho de acero, material de hierro o similar,
tomando la forma de un recinto ferroso que aloja el dispositivo. Esto puede
servir el objetivo adicional de un chasis de protección. La vuelta magnética
también puede ser otro corazón ferromagnético de un generador eléctrico similar
apilado encima del generador ilustrado. Puede haber una pila de generadores,
compartiendo imanes comunes entre los corazones de generador. Cualquier tal
adición es sin tener que ver directo con el principio funcional del generador
sí mismo, y ha sido por lo tanto omitida de estas ilustraciones.
Dos diagramas de flujo de ejemplo son mostrados en
Fig.3. Cada ejemplo es mostrado en un espacio entre la entrada parcial
esquemáticamente representada bobinas 6. Un jalón de polaridad positivo o
negativo indica la dirección de entrada corriente, aplicada por la entrada
bobina. Estos productos corrientes aplicados "que modulan" el flujo
magnético, que es usado para sintetizar el movimiento aparente de los imanes
permanentes, y es mostrado como una flecha horizontal doble rabuda (a) a lo
largo de los 3 principales. Cada ejemplo muestra esta flecha doble rabuda (a)
señalando a la derecha o a la izquierda, según la polaridad de la corriente
aplicada.
En el uno o el otro caso, el flujo vertical que
entra en el corazón (b, 3) de los imanes permanentes externos (1,2) es barrido
a lo largo dentro del corazón, en dirección de la flecha doble rabuda (a),
representando el flujo magnético de la entrada bobina. Estas flechas curvas (b)
en el espacio entre los imanes y los agujeros, puede ser visto cambiar o
doblarse (a -> b), como si ellos eran corrientes o aviones a reacción del
aire sujeto a un viento que se cambia.
El movimiento arrollador que resulta de los campos
de los imanes permanentes, hace que su flujo (b) cepille de acá para allá sobre
los agujeros y ponga instalación eléctrica 4 que pasa por estos agujeros. Como en un generador mecánico, cuando los
cepillos de flujo magnéticos "o cortes" de lado a través de un
conductor de esta manera, el voltaje es inducido en el conductor. Si una carga
eléctrica está relacionada a través de los finales de este conductor de alambre
(el número 5 en Fig.1 y Fig.2), unos flujos corrientes por la carga vía este
recorrido cerrado, entregando el poder eléctrico capaz de realizar el trabajo.
La entrada de una corriente alterna a través de la entrada bobina 6, genera un
campo magnético alternador (a) causar los campos de imanes permanentes 1 y 2
para cambiar (b) dentro de los 3 principales, induciendo el poder eléctrico por
una carga (atado a terminales 5), como si los imanes fijos (1,2) ellos mismos
se movían físicamente. Sin embargo, ningún movimiento mecánico está presente.
En un generador mecánico, impulso corriente
inducido de una carga eléctrica, las vueltas por la salida ponen instalación
eléctrica 4, creando un campo magnético inducido secundario, ejerciendo fuerzas
que considerablemente se oponen al campo magnético original que induce EMF
original. Ya que las corrientes de carga inducen sus campos magnéticos propios,
secundarios que se oponen al acto original de la inducción de esta manera, la
fuente de la inducción original requiere la energía adicional de restaurarse y
seguir generando la electricidad. En
generadores mecánicos, el movimiento que induce energía de los campos
magnéticos del generador está siendo físicamente actuado, requiriendo una
máquina motriz fuerte (como una turbina de vapor) para restaurar el movimiento
de los campos magnéticos de EMF-generación contra el efecto que frena de los
campos magnéticos inducidos por salida (el campo inducido el c y la inducción
presentan b), destructivamente en la oposición mutua, que debe ser por último
vencida por la fuerza física, que es comúnmente producida por el consumo de
otros recursos de energía.
El generador eléctrico de la invención presente no
es actuado por la fuerza mecánica. Hace el uso del campo magnético secundario
inducido de tal modo en cuanto a no causan la oposición, pero en cambio, la
adición y la aceleración que resulta del movimiento de campo magnético. Como la
invención presente no es mecánicamente actuada, y porque los campos magnéticos
no actúan para destruir el uno al otro en la oposición mutua, la invención
presente no requiere el consumo de recursos naturales a fin de generar la
electricidad.
El campo magnético inducido del generador
presente, que resulta de la corriente corriente eléctrica por la carga y
devolver por la salida alambre 4, es el de un lazo cerrado que rodea cada
agujero en el corazón. Los campos magnéticos inducidos crean el flujo magnético
en la forma de lazos cerrados dentro del corazón ferromagnético. El campo
magnético "rodea" cada agujero en el corazón que lleva el alambre de
salida 4. Este es similar a los hilos de un tornillo "que rodea" el
eje del tornillo.
Dentro de este generador, el campo magnético de la
salida pone instalación eléctrica 4 inmediatamente rodea cada agujero formado
en el corazón (c). Ya que el alambre 4 puede tomar una dirección contraria por
cada agujero vecino, la dirección del campo magnético que resulta será
igualmente de enfrente. La dirección de flechas (b) y (c) es, en cada agujero,
oposición, encabezada en sentidos contrarios, ya que (b) es el flujo de
inducción y (c) es el flujo inducido, cada oposición el uno al otro generando
la electricidad.
Sin embargo, esta oposición magnética es con
eficacia dirigida contra los imanes permanentes que inyectan su flujo en el
corazón, pero no la fuente de la entrada magnética alternadora paran y
devuelven la pelota 6. En el generador transistorizado presente, se ordena que
el flujo de salida inducido (4, c) se oponga a los imanes permanentes (1,2) no
la fuente de flujo de entrada (6, a) que sintetiza el movimiento virtual de
aquellos imanes (1,2) por esto magnetiza la acción en 3 principales.
El generador presente emplea imanes como la fuente
de la presión de motivo que conduce el generador, ya que ellos son la entidad
opuesta o empujado contra por la reacción contraria inducida por la salida
corriente que impulsa una carga. Los experimentos muestran que los imanes
permanentes de alta calidad pueden ser magnetically empujado contra de esta
manera durante mucho tiempo los períodos del tiempo, antes de hacerse
demagnetised o gastado".
Fig.3 ilustra flechas de flujo de representante de
inducción (b) dirigido opuestamente contra el flujo representativo inducido
(c). En materiales típicamente usados para formar 3 principales, los campos que
fluyen en mutuamente sentidos contrarios tienden a anular el uno al otro, como
números positivos y negativos de la suma de magnitud igual al cero.
En el lado restante de cada agujero, frente al
imán permanente, ninguna oposición mutua ocurre. Flujo inducido (c) causado por el generador
carga corriente permanece presente; sin embargo, induciendo el flujo de los imanes
permanentes (b) no está presente ya que ningún imán está presente, en este
lado, proporcionar el flujo necesario. Este deja el flujo inducido (c) rodeo
del agujero, así como flujo de entrada (a) de la entrada bobinas 6, siguiendo
su camino a lo largo del corazón, a ambos lados de cada agujero.
En el lado de cada agujero en el corazón donde un
imán está presente, la acción (b) y la reacción (c) flujo magnético
considerablemente anula el uno al otro, siendo dirigido en sentidos contrarios
dentro del corazón. Al otro lado de cada agujero, donde ningún imán está
presente, el flujo de entrada (a) y el flujo de reacción (c) comparte una
dirección común. El flujo magnético añade juntos en estas zonas, donde inducido
el flujo magnético (c) ayuda al flujo de entrada (a). Este es el revés de la
acción de generador típica, donde el flujo inducido (c) es típicamente
contrario el flujo "de entrada" que origina la inducción.
Ya que la interacción magnética es una combinación
de oposición de flujo magnética y aceleración de flujo magnética, hay ya no un
frenado magnético total o efecto de oposición total. El frenado y la oposición
son compensados por una aceleración magnética simultánea dentro del corazón. Ya
que el movimiento mecánico es ausente, las variedades de efecto eléctricas
equivalentes de funcionar en vacío, o la ausencia de la oposición, a un
refuerzo y la aceleración total de la señal de entrada eléctrica (dentro de
bobinas 6). La selección apropiada del
imán permanente (1,2) el material y la densidad de flujo, 3 características
magnéticas materiales principales, el modelo de agujero principal y el
espaciado, y la técnica de unión de medio de salida, crean encarnaciones donde
el generador presente mostrará una ausencia de la carga eléctrica en la entrada
y/o una amplificación total de la señal de entrada. Este por último hace que la
menos energía de entrada sea requerida a fin de trabajar el generador. Por lo
tanto, cuando las cantidades crecientes de la energía son retiradas del
generador como el poder de salida realizando el trabajo útil, se requiere
generalmente que cantidades decrecientes de la energía lo hagan funcionar. Este
proceso sigue, trabajando contra los imanes permanentes (1,2) hasta que ellos
sean demagnetised.

En una encarnación de esta invención, Fig.4
ilustra un recorrido de operaciones típico que emplea el generador de esta
invención. Una señal de entrada de onda cuadrada de un transistor que cambia el
recorrido, es aplicada en los terminales de entrada (S), a la primaria (a) de
un transformador de disminución gradual 11. La cuerda secundaria (b) del
transformador de entrada puede ser una vuelta sola, en serie con un condensador
12 y el generador 13 introdujo bobina (c), formando una serie recorrido
resonante. La frecuencia de la onda cuadrada aplicada (S) debe hacer juego o, o
ser un subarmónico integral de la frecuencia resonante de este recorrido de
entrada de inductor condensador de transformador de 3 elementos.
Generador 13 salida que gira (d) está relacionado
con la carga resistiva L por el interruptor 14. Cuando el interruptor 14 está
cerrado, el poder generado es disipado en L, que es cualquier carga resistiva,
por ejemplo, y lámpara incandescente o calentador resistivo.
Una vez la resonancia de entrada es conseguida, y
la frecuencia de onda cuadrada aplicada en S es tal que la impedancia reactiva
combinada de la inductancia total (b c) es igual en la magnitud a la impedancia
reactiva contraria de la capacitancia 12, las fases eléctricas de corriente
por, y voltaje a través, el generador 13 introdujo bobina (c) fluirá 90 grados
aparte en la cuadratura resonante. El poder dibujado de la fuente de energía de
entrada de onda cuadrada aplicada a S será ahora a mínimo.
En esta condición, el presente de energía
resonante en la entrada de generador puede ser medido uniendo una sonda de
voltaje a través de los puntos de prueba (v), situado a través de bobina de
entrada de generador, juntos con una sonda corriente alrededor del punto (I),
situado en serie con el generador introducen bobina (c). El producto de vector
instantáneo de estas dos medidas indica la energía que circula en la entrada
del generador, por último cambiando los campos de los imanes permanentes a fin
de crear la inducción útil. Esta situación persiste hasta que los imanes sean
ya no magnetizados.
Será aparente a aquellos expertos en el arte que
un cuadrado (u otro) onda puede ser aplicado directamente a los terminales de
entrada de generador (c) sin el uso de otros componentes. Mientras este
permanece eficaz, los efectos de regeneración ventajosos no pueden ser realizados
a su grado más lleno con tal excitación directa. El uso de un recorrido
resonante, en particular con la inclusión de un condensador 12 como sugerido,
facilita la recirculación de la energía dentro del recorrido de entrada,
generalmente produciendo la excitación eficiente y una reducción del poder de
entrada requerido cuando las cargas son aplicadas.
Introduzca .... La Conexión de Mallory Mark McKay, PE 3/2/06

E.V. Gray Versión 2.0 Tipo de motor EMA6
1977 - Cortesía de Dr. Peter Lindemann
Considere el ahora foto de 1977 de clásico
(encima) de Sr. E.V. Gray que demuestra su motor EMA6 a inversionistas en la
Portería de Deportista en Burbank, CA. Esta foto fue tomada por Tom Valentino,
que escribió una serie de artículos informativos sobre la saga Gray EV. Doctor
Peter Lindemann recibió esta película original de Sr. Valentino para apoyar la
investigación de Peter para su libro The Free Energy Secrets of Cold
Electricity.
En una tentativa fructuosa de extraer información técnica adicional de esta foto histórica doctor Lindemann quedó en hacerlo realzar digitalmente. Uno de los objetivos de este esfuerzo era descifrar la escritura en el condensador de almacenamiento gris grande directamente bajo el motor. Esto leyó:
MALLORY
MADE IN
TYPE TVC-606
5.0 MFD 5000 V CC
Mallory es un nombre conocido en el campo de electrónica. Cuando uno piensa en Mallory hoy ellos generalmente piensan en los condensadores con filtro electrolíticos azules grandes superiores que dominaron el final alto mercado de suministro de energía lineal en los años 70 y años 80. En su pico, el P.R. La Compañía de Mallory era una casa de poder de los componentes eléctricos hechos de EE.UU. No sólo ellos hicieron varias líneas de condensadores pero ellos también hicieron Cargadores de Baterías, Resistencias, Reóstatos, Rectificadores, Interruptores, Convertidores de UHF, Filtros Del ruido, Puntas de Soldador, y Componentes de Televisión Especiales. Su Catálogo de 1955 era 60 páginas de largo.
Sr. P.G. Mallory comenzado en 1916 con la
invención de la Batería de Mercurio. Hacia 1965 la compañía desarrolló
la batería Alcalina Duracell conocida.

La Compañía de
Condensador de Norteamérica (NACC) tiene la sede en Indianapolis, Indiana. Hoy,
NACC sigue fabricando y mercado condensadores de Mallory en su fabricación
moderna e instalaciones de depósito localizadas en Greencastle, Indiana y
Glasgow, Kentucky

Condensadores
de Mallory y Baterías Duracell de la Reserva de Partes Experimental del Autor
Otra invención Mallory importante, muy con
relación a la tecnología de EV Gray, era el desarrollo de los años 1920 del
"Elkonode", mejor conocido atrás entonces como simplemente "el
vibrador". Hoy este dispositivo es apenas conocido en absoluto. En su
tiempo esto sirvió como un subsistema vital en convertidores de corriente
continua tempranos. Éstos fueron usados para levantar los niveles de voltaje
bajos de acumuladores a los niveles de operaciones requeridos por tubos de
vacío, que era 200 a 500 VCC. Este ahora componente electromecánico olvidado
era el equivalente funcional de dos transistores de poder de tirón de empuje en
un suministro de energía de modo de interruptor moderno. Entonces, cuando esto
vino a la electrónica móvil había dos opciones. 1) un vibrador convertidor de
poder basado, o 2) un convertidor bajo de motor de dínamo pesado. Para aplicaciones
bajo 30 vatios el acercamiento de vibrador era más pequeño, más ligeramente,
más barato, y más eficiente que la alternativa. Por lo tanto, los militares
tenían un interés serio esta tecnología, pero esto estaba en la demanda de
mercado de masas de pequeñas radioes de coche de tubo de vacío donde el
verdadero dinero fue hecho.
El P.G. Mallory Co. casi completamente dominó el
mercado de vibrador de poder de final superior durante 40 años y era
responsable de casi todas las mejoras de interpretación durante los años 40 y
los años 50. Pero, todas las cosas buenas deben terminarse. Esta línea de
productos lucrativa vino a un alto que chilla en 1957 con el desarrollo de
señal de voltaje baja y transistores de poder. Pero Mallory todavía lograba
guardar un filo en muchas de sus otras áreas de mercado durante varios años
después de esto.

De este modo, esto no es ninguna sorpresa grande cuando uno lee en el
Scagnetti 1973 artículo sobre EV Gray:
El Motor que
Se dirige
Por Jack Scagnetti de ` Sonde el Desconocido ' en juno 1973.
Mallory Electric Corporation de la Ciudad
Carson, Nevada, también ha hecho un comandante
contribución hacia el diseño del sistema
de pulsación electrónico.
Es todo bastante obvio que Sr. Gray tenía una
inversión enorme en componentes de tipo de Mallory. Si su invención se hiciera
realmente la corriente principal entonces el Mallory Co. habría disparado
primero un nuevo mercado automotor enorme. Cada nuevo vehículo necesitaría
entre 300 dólares - el valor de 600 dólares de condensadores de almacenamiento
HV rugosos, sin contar una inversión de dos veces tan mucho para convertidores
de poder de vibrador o sus reemplazos estatales sólidos equivalentes, que
Mallory hizo también.
Es verdadero fácil para ver como Sr. Gray podría
haber convencido a unos ejecutivos en Mallory como estaría en sus mejores
intereses para echarle una mano económicamente, o al menos proveerlo de poca
donación de hardware de su división Vibrapack en Irvine CA. Se conoció que las
demostraciones "prácticas" impresionantes de Sr. Gray eran muy
eficaces en profesionales técnicos convincentes que él estaba en algo grande,
disponiendo que le permitieron alguna vez la oportunidad de hacer tal
presentación a un verdadero fabricante de decisión. Con la mayor probabilidad
alguna 3a persona de personal de nivel inspirada y profunda logró arreglarlo
con una carga de recogida de convertidores de vibrador de sobra que eran, o
serían, completamente obsoletos.

Ejemplos de el P.R. Mallory línea de Vibrapacks
(Convertidores de corriente continua) del Catálogo 1955
Todos los modelos tienen una 30 posición de poder de Vatio
excepto el que en el derecho lejano que es tasado en 60 Vatios
Pero esta
historia tiene una torcedura importante en ello
..
La Compañía Mallory que dio a Sr. Gray bastante
dinero para hacer mención de ello en el susodicho artículo de revista no era el
P. G. Mallory and Company Inc pero la Compañía Eléctrica Mallory de Ciudad
Carson, Nevada, diseñadores y fabricaciones de OEM múltiple y
después-de-que-mercado sistemas de ignición automotores.



Una Pequeña Muestra de marca registrada Mallory moderna
Después de Productos de Ignición de Mercado 2006
Sr. Marion Mallory era la clase rara del individuo
independiente que comenzaría una compañía el viernes el 13o en el febrero de
1925. Él era un inventor autohecho con una 4a educación de grado que no era
sólo brillante en su arte sino también tenía lo que esto toma para manejar un
negocio. Si él alguna vez encontrara a Sr. Gray cara a cara los dos hombres
habrían tenido mucho en común, sobre todo de un punto de vista de energía
creativo "práctico". Sr. Mallory hizo su dinero en una variedad de
automotor, motocicleta y sistemas de ignición marítimos. Durante años él era el
proveedor principal a la Compañía de Motor de Ford para distribuidores de
ignición y sus mejoras. Él recibió aproximadamente 30 EE.UU y 10 patentes
internacionales para mejoras significativas múltiples de la tecnología de
ignición, tanto de sistemas eléctricos como mecánicos. Él era el zurcido bien
en el negocio, pero su debilidad personal era la carrera de automóviles de
automóvil de interpretación alta. El mercado para partes de coche de carreras
no es muy grande, pero la actividad que esto apoya es muy adictiva. Marion
patrocinó no menos de tres equipos por año en varias clases de la carrera de
automóviles automática profesional. También es sido dijo que Sr. Mallory buscó
y alquiló como ingenieros creativos dispuestos y técnicos. Él también despreció
la mentalidad de trabajador de unión que se había hecho así adversarial en el
área de Detroit entre el 50s y 60s.
Sr. Mallory finalmente se hizo harto de las
demandas que se sofocan y contraproducentes de la Unión de Trabajadores
Automática Unida. En un acto raro del individualismo él decidió hacer
preparativos para mover su compañía entera, cerradura, reserva y, ignición
bobinas a la Ciudad Carson, NV. En este tiempo Marion se ponía a lo largo
durante años y lamentablemente nunca hizo el movimiento. Él murió en 1968 a la
edad de 70 años. Dieron entonces a su hijo 'Bota' Mallory las rienda de esta
compañía privada. 'Bota' terminó todo el trabajo de Unión y guardó a 10 de los
ingenieros más productivos y técnicos que quisieron trasladarse a la nueva
fábrica. Esta instalación fue abierta en 1969. De todas las cuentas "el
heredero forzoso" y sólo el hijo fue muy motivado, técnicamente
competente, inteligente en el negocio, y como su padre sin esperanzas enviciado
a la carrera de automóviles de automóvil de interpretación alta.
Considerando el cronometraje de acontecimientos es
más probable que Sr. Gray nunca encontró a Marion Mallory. Está casi seguro que
la unión a la Compañía Mallory estaba completamente entre Sr. Gray 'y Bota'
Mallory. A este también le ayudó el hecho que estos dos hombres eran sobre la
misma edad con Sr. Gray que es 5 años más viejos.
Para sus carreras comerciales enteras Marion 'y
Bota' Mallory estaban siempre en la mirada para sistemas de ignición mejorados,
tanto para la práctica comercial buena como, por supuesto, un deseo al deporte
los coches más rápidos en la pista de carreras. Su conocimiento experiencia
baja y de campaña cubrió todos los acercamientos al diseño de sistema de
ignición, tanto en las áreas eléctricas como mecánicas. Es interesante notar
que ellos desarrollaron y fabricaron sistemas de magneto así como sistemas de
distribuidor tradicionales. Entienda que estas dos tecnologías son inmensamente
diferentes el uno al otro.


En el automóvil que compite con círculos siempre
se conocía que el sistema de igniciones de descarga capacitivo es mucho
superior a las limitaciones del sistema de inducción de Kettering estándar,
sobre todo en RPM altas. Doctor Tesla patentó el primer sistema de ignición de
Descarga Condensador tan pronto como 1898 pero nunca fue producido debido a
diseño serio y limitaciones componentes. Marion Mallory y sus ingenieros
consiguieron realmente un sistema de descarga capacitiva trabajador finalmente
relacionado con un motor de coche de carreras en 1948. Este primer diseño fue
construido empleando una circuitería de tubo de vacío y tubo de gas thyratron.
Como consiguiente, era costoso, abultado, y pesado, sin contar frágil y económico
impracticable. Pero a pesar de todos sus defectos los Sistemas de Descarga
Capacitivos (CD) claramente mostraron su interpretación superior en el
laboratorio y en la pista. No había sido para el fracaso arbitrario y repentino
de estas unidades de prueba alfa (debido a la vibración) ellos todavía podrían
haber sido usados en la carrera de automóviles automática profesional, sin
tener en cuenta su coste de unidad.

Thyratrons de
hidrógeno de cristal de los años 40
De Laboratorio
de Radiación de Generadores de Pulso MIT 1948
Dos nuevas tecnologías fueron necesarias para
conseguir sistemas de CD de la tierra.
1) Algún método de incrementar el 6 o 12 voltaje de acumulador de corriente continua V a la variedad de 400-500 voltios con una corriente disponible de al menos 100 mA. (40-50 Vatios)
2) Un componente o técnica que sustituiría el
abultado, frágil, y el poder thyratron hambriento que actuó como el maestro que
calcula el interruptor de control.

Mallory
modernos 2006 Condensador Descargan Componente de Ignicións
Ambas soluciones vinieron sobre el mismo tiempo.
Los transistores de poder se hicieron disponibles a la industria aeroespacial
en 1954. Éstos permitieron que el desarrollo del tirón de empuje temprano cambiara
suministros de energía de modo cuya salida eran el camino más allá lo que un
vibrador de poder mecánico podría entregar (hasta 90 Vatios al principio). Los
convertidores de transistor completos estaban disponibles al aficionado a
principios de 1958. Entonces podemos asumir que los transistores de poder de
prototipo estaban disponibles a la industria aproximadamente en 1955.



El anuncio
temprano para un 90 Vatio (pulsó) al Aficionado 12V a 450V Convertidor de
corriente continua
A partir de
enero de 1958 de revista QST
(Reducción de
tamaño de aviso cuando comparado a 60 Watt Vibrapack)
La segunda brecha crítica vino con la invención
del Thyristor o Rectificador Controlado de Silicio (SCR) por Laboratorios de
Campana en 1957. El General Electric rápidamente compró los derechos para esta
tecnología prometedora y no gastó ningún tiempo en traerlo en la producción. La
fabricación de rectificadores de poder estatales sólidos y transistores, tan,
construía bien en marcha ya un SCR la utilización del equipo de producción
existente era mojar golpe. Según el GE SCR Guía 1964 3a edición, C35 modelo
había estado ya en el campo desde 1958.

Rectificador
Controlado de Silicio disponible a Industria y Militares en 1958
Con estos nuevos componentes estatales sólidos a
mano Marion 'y Bota' Mallory eran desconectados y correr. Su primer sistema de
ignición de CD de pista de carreras de prueba de beta fue introducido en
cantidades limitadas en la caída 1961. Su primer después de modelos de serie de
mercado no alcanzó a distribuidores hasta 1964. Esto tomó 3 años del desarrollo
detallado y esperando el mercado SCR a instalarse antes de decidir un diseño de
producción final. Mientras los principios de operaciones básicos de un
recorrido de ignición de CD son la adquisición honrada de un recorrido de larga
duración que funcionará bien cuando expuesto a la temperatura, voltaje, y los
extremos de vibración son una materia diferente. Entonces en la herencia
industrial de nuestro país los nuevos productos no eran generalmente
apresurados, incompleto, a los revendedores debido a alguna fecha límite
imaginaria impuesta por los mostradores de frijol en el departamento de
marketing.

¿De este modo, en el margen de tiempo de 1960 a 1970 dónde podría Sr. Gray haber ido cuando él necesitó un poco de maestría técnica aplicada rara en la batería hizo funcionar sistemas de pulso de Alta Tensión? La solución parece casi obvia.
Tenemos sin duda que Sr. Gray 'e Inicializa'
Mallory eran en una base de nombre. Ellos pueden haber desarrollado ya una
especie de relación mientras la compañía estaba todavía en Detroit, no sabemos
cuando ellos primero se reunieron. Sabemos realmente que Sr. Gray fue proveído
de algún capital aventurado significativo junto con las frutas de 10 y tanto
años de la tecnología de CD estatal sólida probada del campo patentado.
Ha sido indicado, por fuentes entendidas, que todo
Mallory después de sistemas de ignición de mercado usó transistores de poder
para el 6-12V a 450V sección de convertidor. ¿De este modo, nos preguntamos,
por qué todavía usaba Sr. Gray paquetes de vibrador obsoletos en 1973? 'Bota'
habría suministrado ciertamente a Sr. Gray del equipo más moderno, junto con el
SCR y componentes de Bobina de encendido en un pequeño, mí contenido, costumbre
tramada, y eliminó fallos del paquete.
Sospechamos que 'Bota' proveyó realmente éstos
completan sistemas de CD transistorized y que Sr. Gray pensaba con mucha
ilusión con impaciencia en el tamaño reducido, el tiempo de vida aumentado, y
mejoró la eficiencia que los nuevos dispositivos estatales sólidos prometidos.
Sobre todo después de necesidad de luchar constantemente con vibradores que no
dejaron pasar la incineración durante sus carreras de proceso. Pero, la Energía
Radiante (RE) generación tiene sus propios desafíos especiales para tratar con.
Un comandante que trama la cuestión es que hacer con el Pulso Magnético Electro
(EMP) como el efecto que pasa cuando un recorrido RE alcanza un cierto nivel de
poder. Si todo lo que la energía de exceso no es correctamente desviada al
sistema común (con esperanza después hacer un poco de trabajo serio) esto se
escapa de los conductores de recorrido para cobrar cada objeto metálico dentro
de 20 pies o tan del generador. Las chispas azules blancas múltiples harán
erupción de cada objeto metálico en un cuarto, debido a la alta tensión
inducida. Este es ciertamente un espectáculo ligero interesante, con las luces
apagadas, pero devastando a cualquier transistor cercano o IC que tiene
cualquier cantidad del alambre relacionado con ello. Los transistores y el IC'S
que son almacenados en bolsos protectores metalised o cajas parecen sobrevivir.

Si era así, entonces podemos imaginar como Sr.
Gray decepcionado podría haber sentido cuando sus nuevos convertidores
transistorized comenzaron a fallar, quizás hasta catastróficamente. Por suerte,
y realmente queremos decir muy por
suerte, los SCRs eran capaces de sobrevivir el impacto RE. Si este no había
sido el caso la tecnología de EV Gray, debido al fracaso de sistema constante,
se habría caído seriamente en su nariz hacia 1965 y nunca haber sido capaz de
producir los niveles de poder demostrados que nos tan gustaría muy recrear.
Transistores, falle porque ellos son construidos con estructuras bajas delgadas
súper que son sensibles para moderar diferencias de voltaje. Los SCRs son
construidos con capas de silicio gruesas que son relativamente más rugosas. Sin
embargo, un circuito de disparo mal diseñado en una aplicación RE todavía
destruirá un trabajo pesado SCR, si la puerta apropiada métodos de protección
pasajeros no es empleada. A causa de esta primera experiencia de mano Sr. Gray
continuó a instalar muchos dispositivos de protección contra sobrevoltaje en su
futuro recorrido. Este es muy aparente en el diseño del suministro de energía
mostrado en su Patente de Tubo de Conversión #4,595,975.
Parece que Sr. Gray fue obligado a volver y usar
el fracaso paquetes de vibrador obsoletos propensos con los cuales él comenzó.
Según la primera patente éstos fueron usados para la conversión de voltaje de
corriente continua primaria. Sospechamos que los ingenieros en Mallory fueron
alistados para ayudar a Sr. Gray a casarse con el paquete de vibrador con el
sistema SCR. La adición SCR ayudó realmente a solucionar el problema de fracaso
reduciendo el arqueo corriente a través de los contactos de vibrador. Este no
es un interfaz honrado y esto requiere algún know-how electrónico con experiencia.
El desafío equilibra la capacidad corriente limitada del vibrador a la
impedancia baja del condensador de almacenamiento SCR.

Diagramas de
Cableado Esquemáticos para dos P.R. Mallory Vibrapacks
60 Vatio modela
a la izquierda 30 modelo de Vatio a la derecha
Otros investigadores sostienen que Sr. Gray nunca
tuvo la intención de usar transistores en primer lugar. Este es porque una
teoría RE declara que el proceso no clásico comienza en los arcos de minuto
formados durante la fabricación y la rotura de los contactos de vibrador. Este
asunto técnico está todavía abierto para debate y verificación experimental.

Sin embargo, estamos de acuerdo que el recorrido
de CD SCR es todavía un subsistema vital a la tecnología Gray EV, pero esto no
es la historia entera para un completo Sobre la Unidad (OU) proceso. Adelante
creemos que Sr. Gray no reveló el grano de su "secreto" 'de
Inicializar' o a alguien más en la Compañía Eléctrica Mallory. Parecería que 'Bota',
debido a su educación individualista única, respetó el derecho de Sr. Gray a
sus propias creaciones. Bota fue obviamente lejos visto bastante para ver un
poco de mayor potencial comercial en esta empresa, sin contar una nueva clase
entera de futuras máquinas de carrera de automóviles. Una razón principal de
esta actitud culta era que 'Bota' no tuvo que competir con una junta directiva
gobernante miope cuyos miembros estuvieron más preocupados sobre siguientes
cuartos precio de reserva que la toma de posibilidades arriesgadas en la edad
que cambia tecnologías.
El subsistema de CD del motor Gray no fue revelado
en la patente *3,890,548. Sr. Gray mencionó realmente el uso de ignición
bobinas en el texto evidente, pero no les mostró en el diagrama esquemático. La
solución más simple de ayudar a proteger su "secreto" era eliminar
sólo el subsistema de CD del esquemático. Ya que Sr. Gray sólo intentaba
revelar un nuevo tipo del motor de pulso en esta primera patente. La omisión de
un suministro de energía "menor" "rasgo" no iba a
significar algo a los revisores evidentes. Pero, el diablo está en los
detalles, sobre todo intentando reconstruir esta tecnología perdida 30 años más
tarde.
Hay una posibilidad buena por la cual Sr. Gray
devolvía un favor para 'Inicializar' no revelando los diseños de recorrido de
CD patentados. Ellos muy bien podrían haber tenido un pacto de caballeros y un
negocio en participación en esta cuestión. 'La bota' no tuvo que saber la
Energía Libre de Sr. Gray "Secreto". Su pedazo de margen alto de la
acción fue garantizado la tasa porque cada nuevo motor de EV Gray necesitaría
18 o más suministros de energía de CD completos, incluso los detalles de
construcción patentados de la ignición Mallory bobinas. El éxito de Sr. Gray
iba a ser 'la Bota' el éxito de Mallory TIEMPO GRANDE. Una situación de
triunfo de triunfo clásica. No es sorprendente lo que 'Inicializa' controles
con mucho gusto distinguidos a este inventor desconocido e inculto de
California. Mientras el P.R. La Compañía de Mallory iba inconscientemente a
cosechar alguna ventaja de esta brecha Mallory la Compañía Eléctrica iba a
sacarse el gordo.
Como una observación puramente especulativa, esto
puede haber sido 'Bota' Mallory a quién Sr. Gray clued en en como escribir
patentes e intentar proteger propiedad intelectual de alguien forman a los
abogados de comercio en gran escala. Que mostrar y no que mostrar, que dibujar
y no que dibujar y que decir el resto del tiempo. Con esta tecnología esto iba
ser un frenesí alimenticio como pronto antes de que la primera prueba de beta
golpee la calle y 'Bota' lo sabía. Sr. Gray probablemente recibió un tiempo de
vida de la información interior en como guardar secretos, hacer el dinero, y
cubrir activos de alguien de un hombre que había estado allí y había visto de
que tamaño el negocio realmente trabaja.
Sabemos que Sr. Gray sufrió un revés principal
cuando su instalación de investigación fue asaltada en 1974 por los agentes de
la Oficina de Fiscales del Distrito de anglos Los para el fraude de valores
sospechado. Pero, hacia 1977, como mostrado en la foto encima, Sr. Gray se
había recuperado bastante para recibir su primera patente, construir, ajuste, y
demostrar su segundo motor de generación. Lo que no es generalmente conocido,
en círculos de Energía Libre, es que Sr. Gray sufrió una mucho mayor pérdida
cuando 'la Bota' Mallory fue matada en una ruina de coche en 1978 a la edad de
48 años. Siempre se conoció que él era algo de un pie de plomo.
Ido era el financiero, técnico y el apoyo
de morilla. Por lo que podemos observar que parece que el motor de EV Gray no
se desarrolló considerablemente mucho más allá del modelo de EMA6 (encima). La
sobrevivencia mujeres de Mallory vendió la compañía a Tiendas Súper de Irvine,
California en 1979. Sr. Gray siguió buscando un nivel apropiado de la capital
de inversión de modo que él pudiera controlar y fabricar sus motores de
combustible menos interiores. Él también mejoró su demostración de
hacer-reventar-rollo y lo actualizó a un proceso continuo que insinuó a posibilidades
de antigravedad, muy impresionantes. También ha sido rumoreado que Sr. Gray
casi coleccionó bastante dinero para comenzar la producción.
Lamentablemente, también sabemos que diez
años más tarde Sr. Gray murió en circunstancias no resueltas en Chispas, NV en
el abril de 1989. Las chispas son sólo Al este de No, NV que es aproximadamente
50 millas Al norte de la Ciudad Carson, NV. Algunos investigadores sostienen
que la razón principal por qué Sr. Gray estableció uno de sus laboratorios
múltiples en esta ciudad era debido a la experiencia técnica inestimable de
algunos técnicos Mallory jubilados que todavía viven en el área.

También hemos sido el plomo para creer que
esto era 'Bota' Mallory quién hizo las primeras introducciones formales entre
Sr. Gray y el inventor de coche alterno Sr. Paul M. Lewis, creador "de la
Fascinación". Usted puede imaginar la energía creativa posible que podría
haber fluido entre estos tres individuos únicos mientras ellos holgazaneaban la
mesa que comparte a un anfitrión de sueños de gran alcance y esquemas.
Hoy, los fragmentos vendidos y revendidos
del P.R. El Mallory y la Compañía Eléctrica Mallory han sufrido, como tantos
negocios estadounidenses, del ahora plaga común e insidiosa de la
globalización. Ambas organizaciones externalizan sus operaciones industriales a
China, sus departamentos de ingeniería a India, y sus esfuerzos de
Investigación y construcción experimental a Canadá.
Para concluir todo que podemos decir es
que esta saga es realmente una oportunidad perdida vital del mundo, ellos eran
así el zurcido cerca. Si esta historia había sido diferente con la mayor
probabilidad no llevaríamos a la bancarrota nuestro país en una tentativa vana
de asegurar reservas del aceite en Iraq. Podríamos haber tenido fácilmente
colonias permanentes en Marte y no preocupar sobre los efectos en curso de la
Casa Verde Gasses. Este gran país podría haber invertido de nuevo los billones
de nuestros dólares del aceite en nuestra propia economía más bien que
proporcionar estilos de vida en exceso exuberantes para unos líderes de clan
del Medio Oriente privilegiados.
Note: Este documento es un en una serie
producida por Sr. McKay como la parte de su investigación del trabajo del mayor
de Edwin Gray y él invita a lectores a ponerse en contacto con él si ellos
tienen algún comentario constructivo o preguntas acerca del trabajo de Sr.
Gray. La dirección de correo electrónico de Sr. McKay es mmckay@tycoint.com
La toma de una Mirada más
cercana al Equipo de Demostración
24 de octubre 2006
Este es la foto clásica de E.V. Gray Haciendo
reventar bobina aparato de Demostración. Este puede ser encontrado en el sitio
Web de Peter Lindemann. Esta foto fue tomada por Tom Valentino en 1973. Sr.
Gray es el hombre en el centro y la Lente Fritz (su nuevo suegro) está a la
derecha. El hombre a la izquierda es no identificado (Richard Hackenburger más
probable VP de la Ingeniería).

Durante años, sobre todos uno podría decir sobre
esta foto era que había una buena cantidad de equipo implicado en estas
demostraciones. La fuente de energía parece ser una batería de 12 voltios
automotor grande común. Los componentes identificables son el transformador de
aire hecho a la medida y el multímetro 630-A Triplett, todo el resto del
detalle técnico es escondido por las cajas de instrumento Plexiglas negras. Por
sí mismo esta foto no cede mucha información.
En 2004 un antiguo
inversionista de EV Gray vino adelante y presentó a Peter Lindemann y John
Bedini con una colección de período de fotos históricas. Cinco de estas fotos
eran del mismo aparato que fue mostrado a Sr. Valentino en la susodicha foto.
La posición era diferente, pero el equipo y la disposición parece ser el mismo.
Es asumido que estas nuevas fotos de inversionista fueron tomadas en la tienda
de Sr. Grays en Van Nuys, CA. Estas fotos fueron desarrolladas en enero y junio
de 1974 entonces ellos podrían haber sido tomados unos meses después de la foto
de 1973 de Valentino. Observando estas fotos alguna información técnica
adicional sobre esta tecnología nueva puede ser extraída.
Las Fotos de Inversionista:

Foto de Inversionista #013C
General Vista
Este es una fotografía agradable del aparato de
demostración entero a partir de un final de la mesa mostrando a la batería de
suministro, dos bobinas que revientan y una vista de final del transformador de
aire. A pesar del foco limitado, esta foto muestra que bobinas que revientan
están relacionados en la paralela ya que el blanco conduce a la izquierda son
ambos terminados en el terminal negativo de la batería. También relacionado con
la batería es un componente que parece ser un análogo que mide corriente
desvían - un valor bajo dispositivo de resistencia corriente alto. Sin embargo,
no hay ningún metro relacionado con este componente cuando habría en una
aplicación normal. Este sugiere que esté siendo usado simplemente como un valor
bajo resistencia restrictiva corriente. Es dudoso que este componente fuera
querido alguna vez para ser usado en una capacidad de medición. Su salida
habría sido un pulso de voltaje muy corto que no podía ser registrado u observado
en cualquiera de la instrumentación de prueba mostrada en cualquiera de estas
fotos.
Se cree que los dos negros conducen a la derecha
del transformador de aire son desconectados y ejecución en la horca
directamente abajo al suelo. Compare esta situación a la foto de Tom Valentino
donde estos pesados negros conducen están relacionados con dos de las cajas
negras.
Parecen haber cuatro alambres negros relacionados
con el lado derecho de los electroimanes. Se piensa que los dos alambres negros
más grandes se unen al paco del interruptor de cuchillo de Tiro solo de Doble
Polo. No es conocido seguro donde los pequeños alambres negros restantes se
unen, pero con la mayor probabilidad a un juego adicional de electroimanes
aparcados bajo el transformador de aire como mostrado en la foto #013B. De ser
así, entonces probablemente había una demostración de acompañamiento que mostró
lo que pasaría si la carga adicional fue añadida al recorrido.

Foto de Inversionista #012D
Hacer reventar un bobina con el segundo
sistema de demostración en "el Derecho"
Esta foto es tomada en la misma posición algún
tiempo antes donde las circunstancias eran ligeramente diferentes. La pequeña
mesa blanca y su equipo de asistencia que es mostrado en lo venidero junio 74
fotos no son predeterminados. Esta foto (enero 74) fue desarrollada 6 meses
antes de la Foto #013C. El equipo en la mesa grande parece estar en las mismas
posiciones relativas. Lo que esta foto revela es que hay un segundo Haciendo
reventar bobina demostración que ocurre al otro final (la derecha) de la mesa.
Se propone que esta asamblea total de Cajas
Negras (una docena o más de subsistemas) realmente apoya dos demostraciones
diferentes e independientes, bobina que revienta demostración a la izquierda
y el otro bobina similar que revienta demostración a la derecha. Las fotos
disponibles permiten para un mejor análisis técnico del equipo de demostración
en el lado izquierdo de la mesa. Es desconocido en cuanto a cuales las diferencias
actuales entre estas dos demostraciones eran, sin embargo es aparente que los
bobinas ser hecho reventar tienen diferencias de tamaño obvias. En la foto
#012D el bobina al mediados del aire es sobre dos veces el tamaño de los
electroimanes mostrados al otro final de la mesa en la foto #013C. La foto de
Tom Valentino muestra un juego de electroimanes (en reposo en la esquina de
mano derecha inferior) que son al menos cuatro veces el tamaño del bobinas
usado para la demostración que fue establecida en el lado izquierdo de la mesa.
Sin embargo, bobina lanzado mostrado encima no es el mismo (ser 50 % más) como
el bobina mostrado en la fotografía de Tom Valentino, aunque esté siendo
impulsado por el mismo equipo.
Se piensa que la demostración a la derecha tuvo
algo que ver con un nivel de poder más alto o un método más avanzado de la
recuperación de energía. Con la mayor probabilidad, la demostración a la
izquierda fue querida para hacer la introducción técnica inicial a la idea
básica de un concepto de motor de repulsión, mientras la demostración a la
derecha tenía un poco de progreso de ingeniería importante para mostrar.
La foto #012D es oscura pero esto ayuda a
espectáculos que los dos alambres blancos del interruptor de cuchillo DPST para
la demostración izquierda unen a las dos cajas de tamaño iguales en medio de la
mesa, un alambre por caja.

Foto de Inversionista #013B
120VAC Fuente de Alimentación explorada
Este junio de 1974 la foto es un agradable sobre
la vista del equipo de demostración "izquierdo". La cuestión
principal aquí es el equipo adicional en la pequeña mesa blanca. Aquí vemos
algunos artículos identificables, un transformador de neón, un
autotransformador de Variac de 2 kws, un magnetófono de cassette y una regleta de
conexión de tipo de barrera. La pregunta es: ¿Cuál es esta materia
suplementaria para?
Parece que este sistema es una variación de la
demostración de equipo normal como visto en la foto de Tom Valentino. Parece
que el Transformador de Aire es desconectado del sistema y ha sido sustituido
por el poder proporcionado por el equipo en la mesa blanca. Con la mayor
probabilidad este era una tentativa de manifestarse aquel poder de línea de
corriente alterna podría ser convertido a la Electricidad Fría. Es importante
notar las variaciones en esta disposición de recorrido particular cuando esto
proporciona algunas pistas en cuanto a la función de varias Cajas Negras.
Primero, note que los dos alambres blancos que van
al interruptor de cuchillo DPST han estado relacionados ahora con un terminal
de la caja negra, mientras un saltador rojo se une al punto de unión anterior
de los alambres blancos. Compare este a como estos alambres blancos están
relacionados en la foto de Tom Valentino.
No es todo juntos se despeja como el transformador
de Neón y el Autotransformador están relacionados pero un acercamiento estándar
debería hacer que el Variac controlara el voltaje de línea de entrada al
transformador de Neón. Este Variac tiene la capacidad de aumentar su voltaje de
salida por el 25 % encima de su entrada. Si este transformador de Neón fuera un
común 15KV 30 unidad mA entonces el voltaje de salida RMS podría haber sido
ajustado a un máximo de 18 KV. Este es comparable para la salida de una
ignición automática bobina. El potencial de voltaje de corriente continua
máximo habría sido sobre 25KV. Sin embargo son improbables que ellos
funcionaban en este alto del voltaje durante mucho tiempo debido al tamaño,
disposición y construcción de los conductores temporales.
Desde un par solo de conductores (saltadores
amarillos y negros) se caen debajo de la cumbre de la mesa blanca se propone
que hay una pila de diodo de alta tensión debajo de la mesa en un anaquel que
funciona en el modo de medio onda. El modo de si onda llena había sido usado
entonces cuatro alambres serían vistos dejando la cumbre de la mesa (que es
todavía una posibilidad).
La utilización de pulsos de corriente continua
está muy clara en la patente de motor de Gray. A menudo era preguntado por qué
Sr. Gray no usó la rectificación de onda llena en su suministro de energía para
aprovechar la eficacia aumentada. Por lo visto este equipo no tiene un gusto al
voltaje de corriente continua directo. Este concepto es reforzado por el uso
del suministro de energía de rectificación de medio onda mostrado en la foto
#013B. Esta situación apoya la idea que Sr. Gray puede haber hecho unir
condensadores en serie, sin resistencias de igualación, la corriente continua
que pulsa así habría sido necesaria para cobrarlos.
Foto #013B muestra la mejor vista del equipo de
demostración para la demostración "Derecha". Parece ser formado de
cinco cajas Negras, dos pequeños, dos grandes, y un pequeño apartamento un. Si
un interruptor de cuchillo fuera usado para lanzar bobina que revienta no es visible
en estas fotos. Un transformador de aire parece fallar de esta colección de
equipo. Sin embargo, considere el objeto cilíndrico visto bajo la mesa grande
en fotos #012D y #013D. Este es sobre el tamaño de una pintura de galón puede y
tener la cinta amarilla encima. Tres alambres negros (y posiblemente un cuarto)
pueden ser vistos conduciendo a este dispositivo. Se propone que este es el
transformador de aire usado para este equipo. Esto tiene un diámetro más grande
(8) que el transformador de aire que es usado para la demostración
"Izquierda" (4). Se cree que la batería automotor vista al final
izquierdo de la mesa grande es la fuente principal del poder para ambas
demostraciones. Un multímetro 630-A Triplett puede ser visto posando en el
derecho lejano de la mesa.
Examinar el transformador de aire en su
configuración deshilvanada. Note como los dos conductores negros ruedan del
bobina al suelo. Este sólo puede ser conseguido con dos capas separadas. El
conductor más cercano es la parte de la primera capa. De esta observación la
polaridad relativa del transformador de aire puede ser determinada.
El corazón del transformador de aire parece ser
aproximadamente 4 en el diámetro, cuando comparado a los 2 x4 bloques de
apoyo. Parece ser de una construcción de capa dual como una clase del tubo fue
resbalado sobre el otro. El tubo interior se parece al cloruro de polivinilo
eléctrico gris, pero thinner (podría ser el tubo de la lista 20). El tubo
externo es un material marrón oscuro que no es un material de construcción
moderno común. Es más cercano a un material compuesto de fibra más viejo que
fue usado para el tubo de alcantarilla en los 1950s. ¿Por qué la necesidad de dos anidó corazones?
¿Es la avería dieléctrica del corazón que grande de una cuestión para un tan
pequeño transformador de aire? La fuerza de aislamiento del alambre de bujía
(asumido) está cerca 50KV y debería ser la abundancia para los voltajes de
operaciones esperados. Además parece haber una capa fuerte de la cinta negra
eléctrica entre el corazón y las cuerdas pesadas.
Se ha propuesto que la cinta negra cubre una capa
sola de #16 alambre de imán AWG que forma una cuerda de 3-4 veces más largas
que la bujía observada pone instalación eléctrica "primarias". Se
piensa que este rasgo (si esto existe) es un subsistema de recuperación de
energía adicional.

Foto de Inversionista *013C
Sesión de Foto de Grupo
Esta foto es demasiado rizada para extraer mucho
detalle adicional, (comparando con la foto #013C) sin embargo la cámara de 35
mm que está siendo sostenida por el señor a la derecha está bastante clara.
También, note la cámara de foto de Cubo de Destello que se sienta al lado del
autotransformador. Las cámaras están en la abundancia en este retrato. Este
sugiere que esta colección particular de fotos (junio 74) fuera el resultado de
un acontecimiento planeado donde permitieron a inversionistas seleccionados
toman todas las fotos que ellos quisieron. Se cree que este era un
acontecimiento raro. Por lo tanto podemos ser asegurados que el equipo mostrado
en este tiempo había sido personalmente esterilizado por Sr. Gray para asegurar
que ninguno de los elementos necesarios de su "Secreto" sería
revelado.
El señor bien vestido, a la izquierda, parece
sostener otro magnetófono de cassette con un micrófono plástico negro sostenido
en sus dedos.

Foto de Inversionista #013D
Cuente las Vueltas en el Transformador de
aire
Este es sobre la mejor foto la exposición
disponible de la disposición total de ambos bobina demostraciones que
revientan. Muchos detalles esenciales son escondidos en esta presentación pero
algunas interconexiones de subsistema pueden ser determinadas.
El anaquel inferior de la mesa blanca muestra lo
que parece ser un HV condensador de perilla de puerta que está relacionado
con saltadores Amarillos y Negros. Es más probable que este es un diodo HV.
Note: Este documento es un en una serie
producida por Sr. McKay como la parte de su investigación del trabajo del mayor
de Edwin Gray y él invita a lectores a ponerse en contacto con él si ellos
tienen algún comentario constructivo o preguntas acerca del trabajo de Sr.
Gray. La dirección de correo electrónico de Sr. McKay es mmckay@tycoint.com
Secretos del EMA4 y
Conmutadores de Control de EMA5 (Todavía No resuelto) Mark McKay, PE
Mientras las revelaciones técnicas proporcionadas por el desmontaje de los
electroimanes de encargo de Sr. Gray son importantes, las observaciones
coleccionadas del EMA4 y conmutadores de control de EMA5 son aún más
interesantes (y dejando perplejo).
Antes de la
recuperación del EMA4 y EMA5 se pensaba que el dispositivo cilíndrico blanco
adjunto en los servicios de fondo del EMA6 era un dispositivo de conmutador de
cronometraje posicional rotatorio simple. Según la patente 4,595,975 un
conmutador como el dispositivo fue incluido en el diagrama esquemático. Pareció
ser una especie de interruptor rotatorio mecánico que controla pulsos
calculados del poder de fluir por los ánodos del CSET. Tan cuando la patente y
las fotos son examinadas juntos el arreglo parece plausible.


El EMA6 con Conmutador de
Control en extremo Izquierdo Quitado abajo motor de EMA4 en mesa trasera
Cuando esto resulta el
EMA4 y EMA5 motores revelaron un componente mucho más complejo para
investigadores para considerar. Estos conmutadores fueron construidos de tal
modo que ellos contuvieron el camino más contactos que lo que sería necesario
para la reacción posicional simple. Las unidades que vinieron con cada motor
fueron diseñadas para ser más o menos el mismo, sin embargo ellos fueron
puestos instalación eléctrica diferentemente. Más alambres de control fueron utilizados
con el EMA5 que con el EMA4. Este sería consecuente con el hecho que el EMA4
sólo tenía un par de electroimán para pulsar mientras el EMA5 tenía tres. El
conmutador EMA5 usó 9 de sus 15 contactos y estuvo relacionado con 7 alambres
de control. El conmutador EMA4 también usó 9 de sus contactos, pero sólo estuvo
relacionado con 3 alambres de control.

Un examen para la ropa
en las superficies de contacto de conmutador, de formar un arco posible y
calefacción, no mostró casi ningunos signos de la degradación. La conclusión
alcanzada de esta observación era que independientemente de la energía pasó por
estos dispositivos debe haber estado en un nivel muy bajo. Este siendo al menos
dos o tres órdenes de la magnitud menos que lo que sería necesario para pulsar
todo el estator y el rotor bobinas inmediatamente. Los niveles corrientes
clásicos estimados de menos de 1 mA en 200 voltios han sido propuestos como
siendo un límite superior. Sr. Wooten examinó estos motores de un punto de
vista mecánico, usando su maestría profesional, y relató que cada motor pareció
haber registrado al menos varios cientos de horas de la operación. Aún, usted
nunca concluiría tanto uso mirando las superficies de contacto solas. Es
posible que los conmutadores puedan haber sido sustituidos, antes de ser tomado
del servicio, pero es un riesgo.

Norman Wooten que
muestra las Complejidades No reveladas del Conmutador de Cronometraje del motor
de Gray EMA5 en KeelyNet 2001 Conference5 Cortesía doctor Peter Lindemann

Observando la carencia
de ropa, la nueva creencia es que los conmutadores proporcionaban tanto
cronometraje de control como señales posicionales al convertidor de energía de
Sr. Gray. Ellos no cambiaban de modo provocativo directamente el poder
principal que fue al estator y rotor bobinas. Adelante más, estas señales de
cronometraje eran más complejas que alguna vez el pensamiento. En los motores
recuperados la sección de conmutador y los electroimanes de motor fueron
puestos instalación eléctrica independientemente.
Observando la carencia
de ropa, la nueva creencia es que los conmutadores proporcionaban tanto
cronometraje de control como señales posicionales al convertidor de energía de
Sr. Gray. Ellos no cambiaban de modo provocativo directamente el poder
principal que fue al estator y rotor bobinas. Adelante más, estas señales de
cronometraje eran más complejas que alguna vez el pensamiento. En los motores
recuperados la sección de conmutador y los electroimanes de motor fueron
puestos instalación eléctrica independientemente.
Hay 15 contactos y dos
anillos de resbalón de aluminio independientes en cada subasamblea de
conmutador. Tres de estos contactos son rectangulares (1/4 x ¾) barras de cobre
que son tres veces más amplias que el restante ¼ contactos de vara de cobre de
diámetro. Para ambos motores parecen haber dos modelos de cronometraje
generales que surgen mirando las relaciones de espaciado angulares de estos
contactos.
1.) Los tres contactos rectangulares grandes y 6 de los contactos más
pequeños son 40 ° igualmente espaciados el uno aparte del otro alrededor de la
circunferencia del anillo que monta. Éstos proporcionarían un juego de tren
continuo regularmente espaciado de pulsos de cronometraje cortos,
proporcionales a la velocidad del motor, con cada tercer pulso que tiene tres
veces la anchura de pulso de los demás. Pero, este no es lo que ha sido puesto
instalación eléctrica para ir al convertidor de energía.
2.) Hay también un modelo repetido con tres contactos arracimados. Este
grupo es formado de dos pequeño y un contacto grande. Éstos parecen estar
relacionados "con el tiroteo" de los electroimanes cuando el paco es
aproximadamente 6 ° por delante TDC.


El limpiador rotatorio
del eje de aluminio aloja un resorte metálico "cepillo" que conecta
cada contacto para el anillo de deslizamiento en un orden secuencial. Se
instaló un segundo anillo de deslizamiento de aluminio, pero no se utilizó en
el EMA4. Si el anillo de deslizamiento se considera un circuito común entonces
el patrón de tiempos mostrada en el Diagrama 01 sería el resultado. De nuevo,
no todos los contactos se utilizaron en cualquier motor. Este es de hecho
desconcertante. Al parecer se estaban planeando diferentes configuraciones de
circuito que podrían haber utilizado todos estos contactos.

Cronometraje
del Diagrama 01 para Conmutadores de Control para el EMA4 y EMA5 EV Gray
Motores
Sr. Gray usó una técnica
de construcción que no es generalmente vista en el equipo rotatorio. Hay tres
asambleas de anillo de resbalón usadas en cada uno de estos dos motores. Una
asamblea es usada en la subasamblea de conmutador y tiene dos anillos de
resbalón que comparten a un paco común. Las otras dos asambleas de anillo de
resbalón son usadas para conducir el poder de pulso por los electroimanes de
rotor. Uno está en el frente y el otro es detrás del motor. Todas las tres de
estas asambleas de anillo de resbalón tienen un diseño interno poco común. Este
es porque el paco "y el cepillo" giran alrededor del interior de un
anillo de resbalón inmóvil. Este es sólo el enfrente del 98 % de todas otras
máquinas industriales en el mundo aquellos anillos de resbalón de uso. Casi siempre,
los anillos de resbalón son atados al eje rotativo y los contactos "o los
cepillos" son inmóviles. La ventaja obvia de este acercamiento común
consiste en que esto permite que los cepillos sean fácilmente sustituidos
cuando ellos se gastan. Otra ventaja importante consiste en que "los
cepillos" pueden acomodar fácilmente algunas imperfecciones en la redondez
de los anillos de resbalón que rozan contra ellos. Este es porque los cepillos
son montados en primavera cargó a tenedores que permiten que ellos se muevan de
acá para allá. Sin embargo, en el diseño de Sr. Gray, un cepillo o el reemplazo
de paco requerirían el camino más desmontaje. También, no parece que este
diseño podría tener casi tanta desviación en cuenta de la tolerancia como el
cepillo estándar y resbalar el arreglo de toque puede. Sólo no sabemos lo que
la razón específica de aplicación era esto promovió esta clase de la solución;
ciertamente no es obvio de mirar los motores solos. Sr. Wooten sostiene que él
podría haber diseñado un mucho mejor sistema para conseguir el poder en el
rotor así como varias otras mejoras de sistema mecánicas principales. Hasta
ahora nadie ha disputado su reclamación.
Es interesante notar
que el Centro Muerto Superior (TDC), la posición donde los electroimanes son
directamente alineados el uno con el otro, ocurre cuando el paco está en el
primer pequeño contacto redondo en el racimo de tres contactos, mejor dicho que
el contacto rectangular más grande. Sr. Gray designó esta posición como 0 °. Se
ha propuesto que una cierta cantidad del desplazamiento angular es necesaria
entre electroimanes contrarios haciendo funcionar en el modo de repulsión para
asegurar que las fuerzas generadas son enfocadas en una dirección. Quizás Sr.
Gray determinó que el ángulo óptimo, para este motor de tamaño, está alrededor
de 6 °. El desplazamiento angular trabajador actual podría ser ajustado. Quizás
este era sólo un punto de referencia conveniente y no tuvo nada que ver con la
función del motor.

Según la información de
chaqueta los conductores de control que empiezan de los conmutadores son
tasados en 25KV. Aún, su diámetro total es el equivalente con *14 AWG comunes
THHN alambre de unidad familiar (.12 diámetro). Este es mucho más pequeño que
el alambre de alta tensión electrónico típico que tiene esta clase de la
posición de voltaje. Este alambre era probablemente un cable de especialidad
caro en su tiempo.
El pequeño espaciado
entre el paco y los contactos en los racimos de tres sugiere que Sr. Gray no
utilizara ningún voltaje de control clásico que tenía un diferencial mayor que
200V. Si el flujo de electrones clásico estuviera implicado entonces voltajes
más alto que este habría causado formar un arco en la conducción como en
rastreo de bordes de los contactos como el paco acercado y retrocedió de ellos.
Otra vez formar un arco no fue observado. ¿Entonces cuál era el objetivo del
cable de alta tensión caro? Una oferta es que todos los voltajes de control
relacionados con los comentaristas fueron elevados a algún valor alto y sus
diferencias era menos de 200 voltios. Este significa que el conmutador entero
"flotaba" en un poco de potencial alto debajo de la tierra. La
construcción de nilón total de la asamblea de comentarista sugiere que esto
pudiera tener fácilmente han apoyado esta clase de la operación de alta tensión
(5KV a 20KV). Los conmutadores en el EMA4, EMA5, y EMA6 son todos montados casi
independientemente y externos del motor apropiado. Este rasgo de construcción
podría implicar una necesidad de un grado alto del aislamiento entre el motor y
el conmutador. De ser así, entonces esto es una posibilidad distinta que el
conmutador hizo funcionar realmente en algún voltaje flotante alto.
Han hablado del
objetivo de varias señales de cronometraje dentro de la comunidad de Energía
Libre pero hasta ahora ningunas conclusiones generales han sido ofrecidas lo
que explicaría como ellos afectaron la operación de recorrido del convertidor
de energía.
Parece que el
convertidor de energía necesitó al menos dos corrientes de datos, sólo una
porción de que era la información posicional simple. Se asume que el resto de
estos cierres de contacto cortos es señales que podrían preparar el convertidor
de energía para su siguiente pulso o a, quizás, facilitar una especie de ciclo
de recuperación de energía. Hay cuatro contactos entre cada posición TDC; por
lo tanto hay provisiones para no menos de cuatro cambios del estado por cada
pulso de poder. No todos ellos fueron usados entonces estos motores fueron
tomados del servicio, pero ellos podrían haber sido.
Sr. Wooten, en su vídeo
de 2001, afirma que los compartimentos de conmutador estuvieron llenos de
"Luberplate". Este es el nombre comercial para la calidad superior
grasa de máquina de litio blanca. Considerando que Sr. Gray no pareció ahorrar
cualquier gasto en la construcción de esta asamblea de suscripción, entonces lo
que la Norma podría haber observado podría haber sido un compuesto de
aislamiento de Teflón/Silicio de Alta Tensión especial que es usado en el
negocio de RAYO X. Este tendría la ayuda para ampliar el diferencial de voltaje
de las señales de control de Sr. Gray a tal vez 500 voltios más o menos. Sin
embargo untar la grasa de aislamiento (o cualquier clase de la grasa) en el
movimiento de contactos eléctricos es un negocio arriesgado. Este es porque es
difícil construir un sistema que limpiará de fuentes fidedignas toda la grasa
de los contactos sólo antes del contacto y todavía proporcionará una unión de
resistencia baja consecuente.
Ambos conmutadores
fueron construidos de modo que los contactos sean alojados en un anillo de
nilón movible. Este anillo fue instalado en un ahuecado más grande cilindro que
actuó como un alojamiento de modo que la colección entera de 15 contactos
pudiera ser ajustada juntos con relación a la posición de eje. Un tornillo de
juego de máquina tuvo una amplia variedad en cuenta de calcular ajustes de
ángulo (-40 ° a 40 °). En un ajuste de-16 °, según notas escritas en el conmutador,
el motor de pulso correría hacia atrás. Probablemente no en la torsión llena,
pero este muestra que estos motores eran reversibles.
Después de la
recuperación del EMA4 y motores EMA5 la idea que los convertidores de energía
de Sr. Gray eran la suciedad simple ha venido para ser preguntado. El
pensamiento revisado es que la tecnología de energía baja de Sr. Gray puede
haber sido simple, pero la tecnología de poder más alta ahora parece ser más
compleja.

Vista de Reverso
de EMA4 Vista de Frente de EMA4
Fotos de EMA4 y
motores EMA5 son la cortesía de Sr. Norman Wooten vía KeelyNet
Note: Este documento es
un en una serie producida por Sr. McKay como la parte de su investigación del
trabajo del mayor de Edwin Gray y él invita a lectores a ponerse en contacto
con él si ellos tienen algún comentario constructivo o preguntas acerca del
trabajo de Sr. Gray. La dirección de correo electrónico de Sr. McKay es mmckay@tycoint.com
E. V. Gray Serie
Histórica
Comienzo con el Motor de
Principio Mark McKay, PE

El Motor de Principio como Encontrado en
2000 EMA4 y EMA5 Motores como
Encontrado en 2000
E. V. El Gray una vez comentó a John Bedini que
sus experimentos de energía libre tempranos fueron conducidos con modificado
del anaquel motores industriales. Es asumido que cuando Sr. Gray finalmente
consiguió la financiación adecuada él continuó a construir una serie de motores
hechos a la medida que podrían tomar la mejor ventaja de las propiedades únicas
de su Electricidad Fría no clásica. Estos diseños experimentales fueron
sellados con EMA1 de números de modelo por EMA6. El EMA4-E2 y el EMA6 son su el
más bien saben construcciones y siempre tienen que ver con el trabajo de Sr.
Gray. Sin embargo, había otros modelos de transición construidos.
Puede haber el ejemplo recuperado del que de un
motor de serie de preAcuerdo Monetario Europeo que podría haber servido como
una cama de prueba funcional y muy posiblemente un modelo de demostración de
inversionista temprano (hacia 1963 a 1969).
En 2000 los amigos de Norman Wooten descubrieron
dos original EV Gray motores en una tienda en algún sitio en Texas (con la
mayor probabilidad Pradera de Grande, Texas donde Sr. Gray había establecido
una tienda en 1986). Éstos eran el EMA4 y los prototipos EMA5. Sr. Wooten
adquirió estos pedazos de la historia del dueño de edificio. Él entonces los
tomó a su tienda donde ellos fueron con cuidado desmontados. Más tarde él
produjo un vídeo muy recomendado de sus observaciones para la conferencia Keely
2001 en Florida. Esta cinta informativa está disponible de la Tecnología clara
en http://www.free-energy.cc/index.html en DVD y formatos de VHS. Entonces el Motor de
Principio fue considerado insignificante y por lo tanto no mirado muy
estrechamente.
Después del análisis mecánico considerable del
EMA4 y EMA5, Sr. Wooten llegó a la conclusión que este equipo no contuvo
ningunos secretos de energía libre obvios. Los convertidores de energía vitales
que habían impulsado estos motores únicos no fueron encontrados. Unos años más
tarde él decidió vender esta colección.

Reborde de Adaptador de Encargo
Añadido a Frente de Motor
Sr. Allan Francoeur de Penticton,
A.C., un investigador de energía libre de mucho tiempo e inventor, compró la
parte entera para EE.UU de 5,000 dólares en 2003. Este paquete incluyó los dos
motores de evaluación de prototipo (EMA4 y EMA5), uno de Sr. Gray ha avanzado
bobina sistemas que revientan (parciales), y unos años 1940 modificados no
descript motor industrial. Fue asumido, entonces, que esta máquina de aspecto
humilde era una alta tensión (5KV) generador usado por Sr. Gray para cobrar sus
condensadores de almacenamiento para experimentos de motor. Más tarde se proponía que esto era un motor de
corriente continua usado para arrancar los motores experimentales grandes de
Sr. Gray, así finalmente se hizo conocido como simplemente el Motor de
Principio. También podría haberse pensado que el Motor de Principio era un
dyno-motor. En esta capacidad esto podría haber actuado como una carga dinámica
para evaluar la interpretación de los convertidores de energía de Sr. Gray.
Por varios motivos este autor sostiene que este pedazo del equipo era un
funcionamiento actual EV Gray pulsan el motor antes de la construcción de los
modelos de Acuerdo Monetario Europeo de encargo.
Teatralidad
Dice Todos
Sr. Gray gastado un poco de dinero serio para
tener este motor simple disfrazó el camino más allá de cualquier necesidad de
cumbre de banco práctica. Si él quisiera ocultar los detalles de su alambrado
interno de la visita de inversionista ocasional, entonces algún metal de hoja de
medida pesado habría sido una solución rentable. Aún, este Motor de Principio
fue equipado con una costumbre construida tres pedazo tres color (Rojo, Blanco,
y Azul) aluminio anodizado cowling juego. La sección roja grande fue equipada
con una docena de pequeñas ranuras de ventilación trabajadas a máquina. Estos
tres pedazos del caramelo de ojo no funcional probablemente le cuestan 50 veces
lo que el motor mereció, pero puede haber sido pensado bastante importante,
entonces, ayudar a avanzar sus esfuerzos de desarrollo comerciales tempranos.
Como esto resulta, el Motor de Principio no es un
motor pero un generador de excitador de corriente continua de 5 KWS, hacia
1940, solía proporcionar el campo bobina poder para un generador más grande (75
KWS A 150 KWS). El estator saliente de 4 postes es equipado con el campo dual
bobinas que función en una configuración de herida compuesta. Esto también
tiene un juego independiente de anillos de resbalón que están relacionados con
la armadura bobinas y así tienen la regulación externa en cuenta. Parece raro,
cuando comparado a generadores modernos, porque esto tiene un conmutador, como
un motor de corriente continua, más dos anillos de resbalón adicionales como un
motor de corriente alterna. Con el advenimiento de rectificadores de poder
estatales sólidos los anillos de resbalón y las barras de conmutador en
pequeños generadores han sido completamente eliminados, entonces usted rara vez
(si alguna vez) ve esta clase de la construcción. Los excitadores por fuera
montados también han sido eliminados de los juegos de generador más grandes
también por motivos más o menos iguales. Este mismo diseño también fue llamado
un Tres Generador de Alambre. Éstos fueron usados en los años 20 para
proporcionar tres alimentación de CC de alambre desequilibrada para motor de
combinación y cargas que se encienden.

Detalles de Modificación
Sr. Gray hizo una costumbre retro-cabe al final
delantero de este motor. Esta modificación fue querida para ser un plato de
adaptador que permitiría que el reborde diferente montara cajas de marcha para
ser atadas. Él también instaló una sonda magnética simple en medio dos del
estator bobinas. El Motor de Principio también fue configurado de nuevo para
recibir su poder por un *4 cable de AWG (ver la discusión sobre el cable usado
para el EMA4). Hay 2 ohmios 100 reóstato de vatio atado al lado del Motor de
Principio que tiene un *14 cable de AWG que va a un anillo de resbalón y el
otro yendo en otra parte (no relacionado). ¿La vuelta cable rojo grande (tierra?)
estuvo relacionado directamente con el marco de generador una vez que se puso
dentro del caso. Tener viajes de poder principales por el marco de un generador
o motor no es de modo provocativo una práctica eléctrica tradicional. Excepto
el recableado del estator bobinas, la sonda, y el cowling el resto del motor
parece ser "la reserva". Había dos condensadores de supresor
asociados con los anillos de resbalón que son similares a los años 50
condensadores de distribuidor automotores. Éstos parecieron ser el equipo
original y no habían sido sustituidos. Uno de los cepillos de anillo de
resbalón parece haber sido sustituido una vez.

La recuperación y el análisis simple del Motor de
Principio sólo refuerzan lo que ha sido sospechado ya sobre la tecnología de
Sr. Gray:
1.) No hay ningún proceso
de sobreunidad obvio para ser encontrado en este convertidor rotatorio. (Pero
esto no significa que no hay ninguno).
2.) Este dispositivo fue
diseñado para tener todo el estator y el rotor bobinas pulsado inmediatamente.
Este es un rasgo operacional que parece común en los sistemas de motor de Sr.
Gray.
3.) Consideraciones de
Voltaje Aplicadas: el potencial de voltaje clásico eficaz de la energía que
pasó por este dispositivo ciertamente no excedió 600 voltios y con la mayor
probabilidad no se puso más allá de 300 voltios. Si Sr. Gray había excedido
estos parámetros, considerando la edad de estas cuerdas de generadores de
excitador, él habría arriesgado un fracaso de aislamiento. La operación clásica
típica de un generador de excitador como este era típicamente 120 VCC en 50
Amperios.
Pensamientos
Interesantes:
¿Por qué todavía colgaba Sr. Gray en este motor de
demostración de prototipo temprano (durante aproximadamente 15 años) en primer
lugar? Técnicamente, parecería que esto era una reliquia de su desarrollo por
delante, cuando comparado a EMA4 avanzado y motores de evaluación EMA5. Él
ciertamente pagó el dinero bueno para hacer transportar este equipo de su Van
Nuys, tienda de CA a Texas, entonces debe haber sido de algún valor. El Motor
de Principio pesa aproximadamente 75 libras. La mejor especulación hasta ahora
consiste en que Sr. Gray salvaba probablemente sus pedazos de jalón más
importantes del equipo para un futuro objeto expuesto en algún museo técnico
nacional. Si este es parcialmente verdadero entonces que la importancia del
Motor de Principio no debería ser sobre parecido.
El esquemático para el Motor de Principio abajo
es la mejor tentativa del autor, con desmontar el motor completamente, mostrar
el alambrado interno modificado.

Al Francoeur ha tomado el cuidado muy bueno de
este ejemplo de sobrevivencia más temprano de la tecnología de Sr. Gray. Ha
sido reparado, lubricado, limpiado y ahora deportes un nuevo trabajo de
pintura. Todo que es necesario es una reproducción convertidor de energía de
pulso de EV Gray para devolver el Motor de Principio a la vida.
Si una brecha es descubierta de nuevo alguna vez
lo que abre los secretos de los métodos usados para crear Electricidad Fría
entonces este motor de excitador modificado podría terminar bien como un objeto
expuesto presentado en el Smithsonian. Este podría haber sido lo que Sr. Gray
quiso desde el principio.


Una Compilación de la correspondencia de correo electrónico de Sr. Tad
Johnson y otro compañero investiga acerca de experimentos con el dispositivo de
conversión de energía de "Ed Gray"
De : Tad Johnson <h2opowered@c...>
Sujeto: ERE Producido por casualidad
Fecha: Thu 13 de febrero 2003 a 14h18
(Tad Johnson) Echa un vistazo en el fondo de la página que explica "los
problemas" que Jochen ha encontrado encendiendo este 300KV generador de
Marx. Las miradas para ser lo que somos después de que desde entonces él no
puede parecer eliminarlo por la base y otros medios. También la mirada a los
tiempos de conducción totales (64uS) con tiempos de caída y subida
considerablemente baja posiblemente en la variedad 5-10uS.
http://www.kronjaeger.com/hv/hv/pro/marx/index.html
La descarga parece inducir el
voltaje enorme transients en la tierra y/o el conducto principal conduce. Este
ha causado un interruptor de la red eléctrica quemado y un interruptor de falta
de tierra destruido. La base del generador Marx por separado y desacoplando la
tierra de voltaje de acusación con una resistencia ayuda algo. Este puede
resultar ser un problema principal, cuando el generador Marx naturalmente
produce un paso de voltaje enorme con un tiempo de subida probablemente en la
variedad de microsegundo, y la descarga subsecuente produce un pulso corriente
escarpado de manera similar que podría ser kA o más.

(Tim Martin) D¿Tiene usted un plan de tener en cuenta
fácilmente el ajuste de la frecuencia de los impulsos? Pienso que será
importante templar exactamente el dispositivo para discernir efectos
específicos.
(Tad
Johnson) La frecuencia es ajustable a un grado por el ajuste de la distancia de
hueco de chispa y tamaño de gorra. Las gorras que uso son 500pF entonces la
frecuencia debería estar en la variedad de kHz según por cuanto amperaje el
suministro de energía cobra la pila. Sólo consiguió las resistencias HV hoy.
Todo que he dejado para hacer es construyen el CSET y entienden el recorrido de
cobro. El hidrógeno o el hueco apagado de magnetically en la salida podrían ser
añadidos más tarde para la frecuencia aún más alta y más protección contra
inversiones corrientes.
Sujeto: carpeta añadió Hola
amigos, Fecha: Sábado,
15 febrero 2003 a las 11h52
(Jani V.) Pensé que le gustaría ver mi versión en el recorrido de
Ed Gray En la carpeta "romisrom" sólo creé, son algunos cuadros de
ello, añadiré completo esquemático con datos componentes tan pronto como soy
capaz de dibujarlo...
Tad, Espero del cuadro "convtube" usted encontrará
algunas indirectas para su CSET. -Jani-

Sujeto: CSET diseño Fecha: Domingo,
16 febrero 2003 a las 20h28
(Tad
Johnson) Gracias por la información. Yo iba a construido ello de manera similar
aunque yo fuera a usar 1.250" acrílico tengo que centrar ya el tubo de
cobre. Tengo alguna nueva información en mi suministro de energía que fijaré
pronto. Parece al tiempo de subida será sobre 10nS con una anchura de pulso de
50uS y un tiempo de caída de 40uS sin un recorrido tailbiter o carga resistiva
de aproximadamente .1Ohm para afilar el tiempo de caída. Puedo añadir este más
tarde. La frecuencia debería ser aproximadamente 25 kHz como es.
Sujeto: Tesla/Gray actualización de dispositivo Fecha: Thu 27
de febrero 2003 a las 19h08
(Tad
Johnson) Mi dispositivo Gray es operacional ahora aunque yo tenga un par de
transformadores de signo de neón tontamente fritos en el proceso del tratar de
conectar en bucle la energía de rejilla de colección al suministro de energía
sin alguna forma de la circuitería de aislamiento. Parezco que estoy ahora en
el punto que Gary Magratten era tratando de tratar con un pulso grande de la
energía y luego medirlo. Los parámetros de recorrido
2000VAC
19.2 kilohercios 20mA en una onda llena 12KV/40mA/100nS tienden un puente en
una 2 etapa marx sobre el generador usando 400pF/30KV gorras "de
manija" de cerámica en un magnetically hueco de chispa apagado usando
puntos de aguja del latón en el CSET de pelotas de acero inoxidables en varas
de cobre enhebradas. La rejilla de colección es 316 2" tubo de diámetro
inoxidable.
Pulso de salida total es 54uS amplio con subida de ~10nS
y caída de ~42nS.
Pienso
dirigir la energía de salida en el secundario de un 3KV transformador
microondas para impulsar una carga de voltaje inferior aunque yo no esté seguro
como el transformador secundario se manejará esta entrada, sobre todo
considerando la frecuencia. Otra opción debería aumentar el tamaño de gorra en
la porción de generador marx del recorrido para bajar la frecuencia a algo
alrededor 60-120Hz y luego usarlo en una forma más convencional.
Cuadros
y schematics para venir pronto. Cualquier idea es muy apreciada.
Tad



Fecha: Fri 28 de febrero 2003 a las 20h25
(Tim
Martin) Tengo unas preguntas.
¿Es
posible medir sin peligro el voltaje y la frecuencia de la salida CSET?
(Tad Johnson) Sí, conseguí los datos abajo haciendo un 50
Megaohm resistencia para medirlo, aunque yo esté poco dispuesto a conectarle el
alcance de 3500 dólares desde aún. Consigo más tripas para hacer así después de
que compruebo la información de garantía en ello. Todos los datos hasta ahora
fueron tomados en RMS verdadero LCR metro.
¿Cuál
es la corriente alterna el empate corriente del transformador de signo de neón?
(Tim
Martin)
Debería
ser 1.5 Amperio por gafas. Pero lo comprobaré con mi metro de poder RMS
verdadero (5amp máximo en el metro).
(Tim Martin) ¿Sería posible verter la salida CSET en un
acumulador ácido de plomo grande?
(Tad Johnson) Sí, aunque me digan esto va "a agua
hirviendo fría" en aquel voltaje. Parece ser duro con la batería pero no
tengo mucho conocimiento en ello. Me gustaría andar el voltaje abajo antes de
unirlo a la batería para evitar el fracaso prematuro.
(Tim Martin) ¿Firmaría el neón el trabajo de
transformador correctamente de estar relacionado a un pequeño inversor de CC/CA
en la batería de 12 voltios?
(Tad Johnson) Sí.
Sujeto: Gray Imágenes de Recorrido Fecha: Sábado, 1
de marzo 2003 a las 22h19
(Tad
Johnson) Nuevas imágenes cargaron la exposición de la persecución de recorrido
Gray de ser templado. Teniendo cuestiones con carreras largas porque las
resistencias no son tasadas para más que 10watt en el generador Marx, ellos
comienzan a hacerse un poco calientes. Las imágenes muestran un transformador
de neón 120VAC/60HZ/1.5A que lo impulsa desde mis dos otro 12VCC los inversores
fueron fumados debido al juicio malo. Ninguna unión a la rejilla CSET estaba
presente durante esta prueba dirigida ya que yo templaba sobre todo la pila de
Marx al 120V suministro de neón. La frecuencia era 0.5-1Khz en esta prueba.
Nuevo suministro de energía se puso aquí hoy entonces
intentaré el 12VCC versión que cobra la pila de Marx en frecuencias más altas
(20 kilohercios).
Destello
en la cámara lo hace con fuerza para ver el arco a través de huecos, pero está
allí.
Coste
total del dispositivo entero es ahora dólares americanos de aproximadamente 145
dólares.
Sujeto: Re: [ElectroRadiantResearch] Date: Domingo, 2 de
marzo 2003 a las 16h36
(Tim
Martin) Noté en sus cuadros que usted no hace que una alta tensión grande airee
el corazón como Gray y Magratten usado en su recorrido. ¿Este es innecesario?
(Tad Johnson) Me dicen que el corazón de aire era un paso hacia abajo
para dirigir lámparas 120VAC/60HZ y otras cargas resistivas ya que las cargas
resistivas no se preocupan por la frecuencia. No he construido un paso hacia
abajo de corazón de aire aún, pero yo podría si no puedo construir un motor pronto.
(Tim Martin) ¿También, qué dijo usted el material
"Plexiglas" claro es? El Verdadero Plexiglas (tm) en aquellas
dimensiones es bastante costoso.
(Tad
Johnson) Acrílico. Resiste sobre 50KV en aquella dimensión 1-1/8" grueso.
Muy barato. 1.5'X 1.5X el cuadrado es 20 dólares. Usé a aproximadamente la
mitad de uno.
Sujeto: Energía de Rejilla Fecha: Domingo, 2 de marzo 2003
a las 23h02
(Tad
Johnson) Conclusiones interesantes después de dirigir el recorrido Gray durante
unas horas de pareja:
ANTES
no se manifiesta si no hay ninguna resistencia durante el final de hueco de
chispa del CSET. No repita el PODER CERO si ninguna resistencia en el lugar.
Más resistencia, más el efecto parece manifestarse.
Con 300 ohmios o más de la resistencia la rejilla
comienza a aplazar una cantidad ESPANTOSA del poder. Bastante fumar un 50watt,
resistencia de 500 ohmios en menos de 30 segundos. Mi entrada era 12 vatios
total
de la pared. La salida de la rejilla CSET es INMENSURABLE. La base también se
hace una cuestión ya que no puedo dirigir el final del CSET atrás para dar
buenos conocimientos con una resistencia en medio. También,
la
energía que se cae de la rejilla parece ser dañosa hasta con tiempos de caída y
subida rápidos al contrario de otra información ahí.
Si alguien tiene alguna idea brillante en la medición de
este amperaje alto, energía de alta tensión yo sería muy feliz. Necesitamos la
potencia en vatios exacta en este punto. Me siento confidente ya con mis
medidas de entrada
la
energía que se cae de la rejilla parece ser dañosa hasta con tiempos de caída y
subida rápidos al contrario de otra información ahí.
Sujeto: Re: [ElectroRadiantResearch] Fecha: Mon el 3
de marzo 2003 a las 11h05
(Tim
Martin) Parece como si Lindemann fuera correcto en el refrán que uno de Gray de
problemas tenía trataba con la abundancia de poder.
(Tad
Johnson) Sí, pero veremos cuanto poder. Este es lo que soy después. Si es
posible para un 12 pequeño suministro de energía de vatio para ver una ganancia
de al menos dos veces que, entonces haciendo el recorrido para la aplicación
estoy interesado en será fácil (pequeño poder de motivo, scooter, etc.).
(Tim
Martin) ¿piensa usted la salida CSET se comporta diferente que la electricidad
"normal"? Sobre qué soy curioso es su declaración en cuanto a la
resistencia adicional que aumenta el efecto.
(Tad Johnson) Parece como si DEBIERA haber resistencia al final de CSET
para la rejilla CSET para hacer el poder. este parece ser el
"bunching" efectúan Lindemann hablaba de, y que Tesla había
experimentado. Puede ser que cuando este pulso de HV golpea la resistencia
parece a ello golpea una pared de ladrillo y explota externo en la rejilla (el
camino de la resistencia mínima).
(Tim
Martin) También, creo que la frecuencia gobernará si el efecto es dañoso.
¡Tenga cuidado!
(Tad
Johnson) tengo como cuidado cuando puedo, pero he tenido ya un pequeño
incidente.
(Tim
Martin) Otra cosa que usted podría intentar coloca un 100 vatio normal bulbo
incandescente en la salida del CSET sin cerrar el recorrido. La transmisión de
poder de alambre sola es un fenómeno relacionado.
(Tad
Johnson) Sí, este trabaja con un bulbo de neón, he dirigido ya bulbos de neón
de la energía de rejilla. ellos brillan maravillosamente al resplandor lleno.
Sujeto: Re: [alfenergy] Energía de Rejilla Fecha: Domingo,
2 de marzo 2003 a las 23h35
(Willard) Puedo
aconsejar reunir una cuerda de bombillas en serie como una carga. 5 bulbos de
100 vatios cada uno por ejemplo.
(Tad
Johnson) intentaré esto aunque yo realmente tenga que conseguir de alguna
manera un metro de amperio en ello y el alcance. Tuve que dejar caer el voltaje
abajo de 2920 a 1460 sólo entonces yo podría disminuir el efecto bastante para
trabajar con los componentes uso sin ello destruyéndolos. El metro sobrecarga
tratando de medir el voltaje de rejilla en el ajuste doblado del generador
Marx.
Uso
un 100Megaohm, 100watt sonda de HV que debería ser más que suficiente para
estos voltajes. Muy extraño.
Sujeto: Re: [alfenergy] magnetically apagó hueco Fecha: Tue
4 de marzo 2003 a las 11h35
(Peer)
El hueco apagado magnético es necesario para prevenir continuamente formar un
arco. Es
¿este derecho?
(Tad
Johnson) No, esto ayuda a apagar el arco, y devolver los tiempos de caída a
algo más normal. La forma de onda según cálculos es la subida de ~10nS, 50uS
amplio, con un tiempo de caída largo, este es como los generadores Marx
trabajan. Devolver el tiempo de caída en ~20nS se extienden tenemos que prender
el final del pulso. Usted puede hacer este matando el arco prematuramente o
usted puede poner una carga de resistencia baja sobre la salida del hueco de
chispa (recorrido de cola-biter), o usted puede hacer a ambos. Mi objetivo era
la subida de ~10nS, 20uS pulso, ~20nS caída, con una pausa de 500uS entre
pulsos.
Sujeto: Re: [alfenergy] for Tad Fecha:
Wed Mar 5, 2003 11:44 am
(Miembro
Desconocido) trato de reconstruir su recorrido a fin de entender mejor el
funcionamiento del CSET. El recorrido original construido por Gray él mismo
tenía una entrada poderosa. Las baterías pesadas fueron usadas para impulsar el
recorrido. Usted sólo usa pequeño und corriente una resistencia mucho más alta
en el CSET.
(Tad
Johnson) Sí, mi idea es guardar el uso de poder tan bajo como posible, pero
todavía ver
el efecto.
Y lo he visto realmente con un 9-12 suministro de energía de vatio, entonces
ESTÁ allí. Enciendo ahora bulbos de neón de la energía de rejilla sola, este no
debería ser posible ya que esto significaría una ganancia de energía de al
menos el 100 %, o unos 9 vatios adicionales para hacer un total de 18watts para
el recorrido entero.
http://www.amazing1.com/voltage.htm
En el fondo de la página usted verá el suministro de
energía que uso actualmente
(MINIMAX2)
¡ATENCIÓN! Experimentadores de Alta tensión
Transformadores de Alta tensión
|
Bajo el pulgar de coste módulos puestos la talla
puede ser la batería impulsada y usada para la investigación experimental en:
Armas Plasma, Varitas de Choque, Antigravedad, Hidrodeslizador, Tesla
bobinas, Armas de Ión, Campos de Fuerza, Pirotecnia Eléctrica, Atontan Armas,
etc... |
|
MINIMAX5
- 7000 Volt Con IOG9
Plans..............................$29.95
MINIMAX4
- 4000 Volt Con IOG9 Plans..............................$19.95
MINIMAX3
- 3000 Volt Con IOG9 Plans..............................$17.95
MINIMAX2
- 2000 Volt Con IOG9 Plans..............................$14.95
MINIMAX1
- 1000 Volt...........................................................$9.95
Bolso de cinco unidades un poco de 2 a 3000 voltios que requieren
reparación menor, otros más.
MINIBAG1
- Incluye
Básico Esquemático............................$19.95
(Miembro Desconocido) Trato de copiar su recorrido, usando un
tamaño medio 6,5kV suministro HeNe LÁSER.
La
salida (poder de rejilla) que consigo, es sin embargo diminuto pequeño.
(Tad
Johnson) Esto está bien, mi suministro que uso ahora es sólo 1460V 8mA!! Pero
este voltaje es doblado en el generador Marx. El generador Marx es usado en vez
del condensador grande e interruptor de tubo de vacío en las patentes de Gray.
Este elimina la necesidad de técnicas de conmutación caras y complicadas ya que
el generador Marx enciende en menos que 50nS y lejos en esto
misma
cantidad del tiempo a menos que usted dirija condensadores más grandes. 400pF
gorras 1460V 8mA me da 500 HZ. Pero 1900pF en aquel mismo suministro sólo me da
sobre el pulso de amperaje 1-2HZ, pero mucho más alto cuando el hueco enciende.
Si más amperaje en el suministro de energía (como 20mA) entonces este precio
sería
obviamente mucho más alto y mucho más controlable.
http://home.earthlink.net/~jimlux/hv/marx.htm [Appendix 1]
http://members.tm.net/lapointe/MarxMain.html [Appendix 2]
http://www.kronjaeger.com/hv/hv/src/marx/index.html [Appendix 3]
(Tad Johnson) Los condensadores provienen de:
http://www.alltronics.com/capacito.htm
El 400pF 30KV los son EE.UU 12.50 dólares cada uno. El
6.5KV 1500pF son 99 centavos cada uno. ¡Los más baratos trabajan menos mal si
no mejor! Si usted realmente quiere que un pulso de poder grande compre el
14uF, 20KV, 2800 joule condensador.

ALTA TENSIÓN TRANSMITE CONDENSADOR DE CERÁMICA
400pF @
30KV, TC N4700. Hecho por TDK.
20P007 $12.50
SANGAMO CONDENSADOR DE DESCARGA
DE ENERGÍA
14 uF 20KV
2800 Joule 14" x 8" x 24" --- El petróleo mineral se llenó
20P002 $250.00
(Miembro Desconocido) Tal vez hay un secreto que no he visto
aún. Mi CSET no es un tubo, pero a
jaula
redonda hecha por alambre de cobre soldado juntos. Si una energía radiante
mensurable es hecha, éste adivino debería ser notado por la pequeña rejilla
CSET que tengo.
(Tad
Johnson) sin tener en cuenta el que Usted verá la energía en aquella rejilla
esto es el diseño. Uso un tubo inoxidable, pero cualquier cobre, aluminio o
algo más debería trabajar también. Capas múltiples de metales diferentes (cobre
dentro, el aluminio fuera debería aumentar el poder también) .Also, muévase el
hueco de chispa de CSET en el tubo como Se saltan dijo. Yo debería haber hecho
este también, pero yo era perezoso. Este debería maximizar la energía en la
rejilla. Uso unos alumbrados de neón de pareja para escaparse la rejilla.
220VAC 10mA es cuales mis bulbos son, uso dos en serie y ellos se encienden al
resplandor lleno de la energía de rejilla sola. Un plomo a rejilla, un para dar
buenos conocimientos. Ellos encienden a la mitad el resplandor que sólo toca la
rejilla y no basados. Trato de entender lo que yo hacía cuando corrí el 50watt
resistencia a través de la salida de rejilla a fin de conseguirlo tan caliente
como se ponía. Esta salida de rejilla de recorrido varía enormemente según como
es templado así hay muchas cosas de probar todavía.
Realmente quiero intentar un suministro de energía de
transformador flyback pronto aunque. http://www.electronicsic.com/fly.htm

(Miembro Desconocido) Tal vez mi hueco de chispa apagado
no trabaja. ¿Cómo
es lo suyo aumentó?
(Tad
Johnson) usé un bloque de plástico a ambos lados y usé un trozo de Forstner
(1/2") al corazón un agujero en el plástico, entonces usé el pegamento
para pegar el imán de cerámica en el agujero en ambos pedazos de plástico.
Entonces usé un gestor de tráfico para hacer una ranura entonces yo podría ajustar
la distancia de imán de los electrodos de hueco. Los imanes ENROSCAN el arco y
lo cortan temprano, Este nos da un tiempo de caída más rápido.
(Miembro Desconocido) ¿Ha encerrado usted el R4 dentro del
tubo CSET o fuera? ¿Esto es un tipo de alta tensión o uno normal?
(Tad
Johnson) Fuera y esto es 10 kilobyte normal, 3 resistencia de vatio, hecha por
Panasonic, pedido de Digikey. Las mismas resistencias son usadas en la pila de
Marx. También he intentado un HVR-1X, 12KV/550mA diodo (THV512T es el nuevo
número de parte). Este
trabaja bien también. http://www.electronicsic.com/diode.htm
DIODOS DE
PODER (Usado en un MICROONDAS)
![]()
X
|
THV512T 12KV - 550mA $3.20 each |
|
|
|
|
|
Replacement For : |
HVR-1X-3 12KV - 550mA |
|
HVR-1X-4 9KV - 550mA |
|
Otros
diodos que compré eran VG3, VG6 y VG12 de
http://www.amazing1.com/parts.htm
|
22KV HV Diode For KILOVOLT MAGNIFIERS |
$3.95 |
|
|
3KV HV Diode - Used LGU4, IOG3, etc. |
$1.95 |
Sujeto: Gray Modificaciones de Recorrido Fecha: Wed 5
de marzo 2003 a las 23h18
(Tad Johnson) Terminé mis modificaciones de recorrido según
sugerencias. Triplicé la capacitancia en el banco Marx, instalé el hueco CSET
en el centro de la rejilla de colección y añadí un 25nF gorra en la salida de
la rejilla CSET de acuerdo con la carga. Las lámparas brillan al menos tan dos
veces tan brillantes como ellos hicieron antes. Pero lo que es realmente
emocionante a mí era que yo iba a trabajar en el hueco Marx entonces fui a
corto el banco de gorra. En el instante I shorted este banco de gorras sentí
"la onda de la energía" que realmente empujó mi camisa en dirección
de la ráfaga.
¿Ha
visto alguien más este descargando un banco de gorra y siendo de la proximidad
cercana? Anomalía muy extraña. Me hace creer que Tesla debe haber estado
trabajando con voltaje mucho más alto y capacidad mucho más alta que este
recorrido a fin de sentir esta onda constantemente en cada tiroteo de hueco.
Este es obviamente lo que miramos para reproducir.
Sujeto: Re: [alfenergy] Hueco apagado por un imán Fecha:
Thu 6 de marzo 2003 a las 9h16
(Alan
Francoeur) He probado la función de un hueco apagado magnético. Usé un
generador Marx para crear pulsos de HV cortos. El hueco de chispa era simple
dos finales de un alambre de cobre que está uno enfrente del otro con una
distancia de aproximadamente 2 mm. Usé un vicio y puse un imán Neodymium fuerte
en cada lado de la mandíbula de torno de banco. El hueco entre los dos imanes
era aproximadamente 17 mm. (los imanes atraían el uno al otro) el arreglo consistía
en de modo que usted pudiera quitar fácilmente el vicio con imanes sin cambiar
el hueco de chispa.
Sin
imanes un arco ocurrió muchas veces después de una chispa y la frecuencia de la
chispa cambiaba todos los tiempos y había un pequeño intervalo sin una chispa,
parcialmente. De aquella vista puedo concluir que el hueco de chispa sin el
imán tan no funciona bien debido a la frecuencia de chispa inferior y los arcos
que ocurren.
(Tad Johnson) Sí, he encontrado este yo mismo también. Este es por qué me
gusta el hueco magnético tanto.
(Alan
Francoeur) con los imanes, la frecuencia de la chispa era más alta, y no había
ningún arco permanente en absoluto. Cada vez que a un arco le gustó ocurrir que
el arco fue apagado como una vela en el viento.
¡Cuándo
yo unía un pequeño (8 Vatio) bulbo de neón entre el vicio, que fue hecho del
acero y de alguna manera sirvió como rejilla, y tierra el alumbrado de neón
encendió el semanario y la frecuencia de refugio cambió un poco también el
ruido de refugio cambiado! Y este aunque no haya ningún contacto galvánico
entre el generador Marx y el bulbo de neón.
(Tad Johnson) No entiendo por qué frecuencia cambia cuando se conecta
una carga a la red, pero he visto esto también.
(Alan Francoeur) Pero también he medido la corriente que
fluye de vuelta a tierra después de la separación de encendido mencionado. Esto
se hizo por un resistor 50 Ohm un HV-sonda y un osciloscopio.
(Tad Johnson) Estoy haciendo una nueva sonda HV, 1G Ohm será el tamaño.
Un poco alto, pero tengo muchos problemas con el 100M Ohm ahora uso.
(Alan Francoeur) Sin imanes: la duración de tiempo de la
chispa podría ser apenas medida, pero parecida para ser> 500 ns.
Con
imanes: la duración de tiempo de la chispa era definitivamente más corta y el
cuadro en el alcance estaba más claro. La duración de tiempo era 100 nosotros a
200 ns.
(Tad
Johnson) ¡Grande! Este es lo que somos después.
(Alan Francoeur) En ambos casos, usted ve un pulso de
alta tensión positivo que excede la capacidad de la pantalla del alcance.
Entonces un pequeño pulso negativo, como la mitad de una onda sinusoidal,
sigue. Después de esto hay oscilaciones rápidas. Tal vez este cuadro no muestra
el flujo corriente verdadero, debido a capacidades parásitas de la resistencia
usada.
(Tad
Johnson) el toque es lo que ha estado estropeando mi contador de frecuencia que
pienso. Yo no podría conseguir la frecuencia correcta de pulsos medidos. Los
inductores pueden ser usados en el lugar de las resistencias para reducir la
pérdida, aunque la salida sea obviamente diferente y tendrá que ser rectificada
o afilado.
(Alan Francoeur) Otra investigación no era, aquella
utilización de ningún imán, una multidescarga podría ocurrir (muchas descargas
diminutas). Con el imán había siempre una descarga. Tal vez usted tiene la
misma experiencia.
(Tad
Johnson) Sí, exactamente. Este es por qué Tesla también usó estos imanes
alrededor del hueco. Él aspiraba a una descarga más pequeña y más apretada de
la energía.
(¿Alan
Francoeur) Tad, ha tratado usted de poner imanes dentro del tubo de Gray? Por
lo tanto usted no tendría que tener un hueco de chispa separado y tal vez más
poder dentro del tubo de Gray.
(Tad
Johnson) no he intentado este aún, pero puedo haz la prueba pronto.
Sujeto: Informe sobre la marcha Fecha:
Thu 13 de marzo 2003 a las 22h42
(Tad
Johnson) Ningún progreso en el recorrido De Gray esta semana cuando he estado
trabajando en la adquisición de un torno para hacer partes y hacer el mejor
trabajo de calidad entonces no he sido económicamente capaz de comprar la
resistencia HV para medida, ni Thyratron, o tubos de chispa.
Saqué
mi dispositivo de realce de combustión de Hidrógeno de la tienda ya que los
precios de combustible se hacen ridículos. El coche ya se pone 33mpg, pero
38-40 sería mejor.
Pondré
cuadros de ello cuando lo consigo corriendo otra vez.
Trabajaré
en el recorrido De Gray otra vez dentro de una semana o dos aunque. La
permanencia sintonizó,
Sujeto: Re: [ElectroRadiantResearch] ¿Éxito?
Fecha: Viernes 21 de marzo 2003 a las 21h17
(Jani V.) El
fin de semana pasado finalmente conseguí una posibilidad para probar mi máquina
de Gray de Editor y pienso el Electro-Radiant-Event manifestado una vez. Cuando
dirigí la prueba, 40 bombilla W dirigida antes del manojo entero del precio,
que fue coleccionado a las rejillas, descarga aunque el hueco de chispa de
seguridad (Test1a esquemático, mirada mi carpeta romisrom). Traté de duplicar
el Acontecimiento radiante pero esto no se manifestó otra vez. ¡¡Pienso la vara
que hace girar interruptor quemada de alguna manera porque esto es la
resistencia levantada cerca de dos meg-ohmios!!! También tengo que hacer la
resistencia de carbón diferente porque no es muy estable, variedad de
resistencia entre 50 - 500 ohmios que dependen la temperatura. También he
añadido en el hueco de chispa un imán de NIB fuerte para cortar el arco más más
rápido. Pienso este magnetically que la chispa apagada es muy importante para
producir ERE. De todos modos, la prueba debe ser hecha otra vez para asegurarse
que era ERE de aquella manifestación ninguna un poco de otra descarga .......
lamentablemente mis pruebas son muy lentas porque vivo en otro lugar debido a
mi trabajo y mi equipo de prueba son otro lugar. De este modo, esto puede
llevar un rato.
(Tad Johnson) ¡Felicitaciones!, suena a una prueba acertada dirigida.
Usted debería conseguir el corte de energía constante la rejilla una vez que el
recorrido es templado y estabilizado. 300 ohmios durante el final del CSET
parecen ser perfectos en mi última prueba dirigida.
Mantenga
el trabajo bueno, no importa como lento esto va, lo merece a la humanidad.


Sujeto: Progreso Fecha: Domingo,
30 de marzo 2003 a las 17h21
Hola
gente,
No
he tenido ganas de hacer mucho en el dispositivo De Gray durante unas semanas
de pareja ya que he visto que una relación mía se deshace después de 8 años de
ser con esta mujer.
Estoy
excitado para ver el progreso ser hecho por Jani y Par en su recorrido y
encontraré con esperanza algún "paseo" trabajando en mi sistema otra
vez pronto.
Felicidades,
Tad
Note: Este documento es un en una serie
producida por Sr. McKay como la parte de su investigación del trabajo del mayor
de Edwin Gray y él invita a lectores a ponerse en contacto con él si ellos
tienen algún comentario constructivo o preguntas acerca del trabajo de Sr.
Gray. La dirección de correo electrónico de Sr. McKay es mmckay@tycoint.com
Conversación
entre Mark Gray y Mark McKay en 5/19/07
Mark Gray es E.V. El 6o
niño de Gray nacido in1958 en California del sur. Durante varios años pasados
él ha sido un gerente de cuarto de partes para una tienda de reparación de
distrito escolar que mantiene más de 200 autobuses. Él es un padre solo que
actualmente vive con sus tres niños adultos jóvenes. (Dos hijas y un hijo).
Mark Gray fue empleado
por su padre, E.V. Gray, para la mayoría del tiempo entre 1979 y a principios
de 1988. En este período de tiempo, él sirvió en la capacidad de un ayudante
general. Él viajó y trabajó en siete posiciones diferentes, incluso un viaje de
dos semanas de largo a Israel.
Bajo la dirección de su
padre él asistió en el edificio de la mayoría de los Carros más Bien cuidados
(los sistemas de convertidor bajo los motores de pulso) que son mostrados en el
vídeo de promoción ZTEX 1896. Él también asistió en asegurar partes de
vendedores de encargo, el vídeo grabó la tecnología, asistida con varias
demostraciones, condujo el camión de compañía, y escribió acuerdos
licenciativos. Éstos son sólo algunas de la multitud de tareas que él hizo
durante su tenencia del servicio.
La señal se separó en
términos buenos de su padre a principios de 1988 cuando la financiación salió
corriendo debido a diferencias entre E.V. Gray y ciertos inversionistas, sobre
el control y futuro de la tecnología. Estas diferencias fueron aumentadas
cuando un contacto del gobierno presunto, interesado en un programa R&D
posible en el aspecto de conmutación/provocación de la tecnología, entró en el
cuadro el 1987 último a principios de 1988.
Mientras la Señal tenía
una exposición tremenda a la tecnología posterior de su padre (1979-1988), su
entendimiento detallado de los principios subyacentes que funcionan casi es
ido. Él hizo lo que él fue dicho hacer y fue compensado apropiadamente para sus
servicios, pero nunca estuvo profundamente implicado con los funcionamientos de
la tecnología. Durante los veinte años pasados la Señal ha sido completamente
divorciada de la tecnología de su padre y ha olvidado casi todo que él sabía
sobre ello. Él lamenta no habiendo prestado más atención y no habiendo tomado
un verdadero interés al loco y cerrojos de los procesos.
La señal más quiso
compartir estas Exquisiteces técnicas anecdóticas que podrían tener tener que
ver con el nuevo descubrimiento de esta tecnología perdida.
La Señal 1 (Convertidor
que Cambia Tubo de Elemento)

El recinto de
cristal cilíndrico es una tapa de linterna de gas Colman
● COMENTARIO: Este realmente limita la magnitud de la presión interna
de lo que alguna vez el gas puede haber estado presente. El tamaño de las
gorras de final podría apoyar presiones hasta 6000 psi. Con un cristal tan
delgado envuelven algo que más de 3 psi serían difíciles. Él no quiso pagar el
precio alto para un recinto trabajado a máquina
● todas las uniones eléctricas fueron hechas
de la cumbre
COMENTARIO: Sólo veo
dos uniones eléctricas en lo alto de este dispositivo (el conductor de centro
negro y el conductor blanco con el conector de alfiler solo amarillo grande.
Por lo tanto "la Rejilla" no está relacionada con nada, a menos que
esté relacionado con uno de los electrodos.
● el hueco era ajustable
● se supuso que el gas interno era el
Nitrógeno de una casa de suministro de soldar
COMENTARIO: Mr. E.V.
Gray era muy familiar con la soldadura gasses. Él no se hizo implicado con
algo que exótico (Respecto a S6F)
● Objetivo de las Rejillas: ¿posiblemente
para cubrir algo él no quiso que la gente viera?
COMENTARIO: ¿Como un componente de serie adicional,
quizás un RF HV bobina?
● ¿Había una unión eléctrica "a las
Rejillas"? No recuerdo
● los electrodos fueron hechos de Tungsteno
o Titanio. De que Rusia alguna vez material es famosa. [Titanio]
Ignitrons
instaló en el Carro de Motor Rojo
La Señal 2 Cilindro de
Plata (Ignitron)
● Este
era un del dispositivo de publicidad de anaquel que era un cilindro metálico
aproximadamente 2 en el diámetro y 6 mucho tiempo.
● Los aislantes terminales eran el cristal.
● Esto era un dos dispositivo terminal sólo,
con alambres relacionados con la cumbre y el fondo.
● Los rebordes redondos eran pedazos de final hechos a la medida para
asegurar disipadores térmicos de aluminio finned adicionales que fueron atados
alrededor de la periferia.
● La
cinta en el centro era una abrazadera de radiador para mantener todo esto
unido. A veces dos abrazaderas fueron usadas.
● Estas
unidades se desgastaron realmente de vez en cuando o fallaron. Las nuevas
unidades fueron abastecidas en el anaquel
● Estos
dispositivos contuvieron el Mercurio y por lo tanto se retiraron las unidades
fueron tratadas con el respeto en el almacenamiento.
● Cuando estas unidades formaron un arco
dentro de usted podría ver un destello azul por el cristal terminal.
COMENTARIO: Parece que
estos dispositivos son la Clase un Ignitrons. Ellos son el tamaño derecho, el
factor de forma derecho y contienen el Mercurio. Sin embargo un Ignitron es
unos tres, o más, el dispositivo terminal. Esto funciona mucho como thyratron
corriente muy alto. Si no hubiera ningunas uniones de control para el
encendedor, entonces un uso podría haber sido un hueco de chispa de distancia
fija y sólo overvoltaged hasta que esto encendiera. Una ventaja de este
acercamiento sería una superficie de Mercurio limpia después de cada pulso. El
precio de pulso observado en el vídeo 1986 está en la orden de 2 Hz.
Es confuso se marchitan
estos ignitrons eran un reemplazo para el CSET o componentes además del CSET.
Hasta ahora, la mejor explicación apoya la idea que el ignitrons sustituyó la
función de los huecos de chispa rotativos que estaban en la sección de conmutador
de E.V. Los diseños de motor tempranos de Gray. El vídeo de Promoción 1986
mostrará a esto E.V. Gray usó varios de estos dispositivos para sus motores
(hasta seis por carro). E.V. Gray probablemente desarrolló un nuevo sistema
donde la complejidad de la vieja serie de hueco de chispa de rotonda de final
delantera fue ya no necesaria, así enormemente reduciendo los gastos de
fabricación por motor.
Alambre de imán para bobinas que revienta:
● Todo el alambre para la construcción del
proyectil bobinas era el alambre de imán de cobre estándar
● Una
compañía fue contratada para trabajar a máquina el aluminio o el plástico
bobinas formas (Normalmente Nilón). Otra compañía fue alquilada para girar el
bobinas. Intentamos girar algunos de nuestros propios bobinas. Pero no muchos
Alambre usado en sitios especiales:
Aquel alambre había
silicona cara alambre lleno que tuvo que ser usado en aquella unión señalando
a la foto del convertidor de cargador de baterías y los alambres que se caen
del condensador de almacenamiento.
COMENTARIO: En la
Entrevista de Cannady fue notado como la Electricidad Fría destruiría el
aislamiento en conductores. Por lo visto E.V. Gray encontró realmente una
solución provisional con este problema usando el alambre especial en las posiciones
donde fue requerido.
Un Viaje al Vendedor Condensador
Mark Gray contado una
experiencia él tenía cuando él fue instruido de devolver algunos condensadores
defectuosos a un proveedor de encargo en California del Sur.
La unión interna entre
el terminal condensador externo y los platos internos se había abierto porque
la medida de alambre era demasiado pequeña, así haciéndolo fallar. Explorar
esta queja primero dan, el vendedor abrió una unidad defectuosa con el abridor
de una lata. Ya que la unión había sido separada en este punto había todavía un
precio sustancial todavía dejado en la unidad. Había un casual inesperado
descargado lo que causó un golpe fuerte. Por lo visto el vendedor rápidamente
hizo modificaciones de reparación a todos los condensadores devueltos gratis.
La señal relata que los platos eran grises con capas de un material blanco en
medio ellos. La unidad entera estuvo llena de un gel claro grueso. Mark Gray
afirma que él recuerda valores de 500 mF en 5 KV.
COMENTARIO: Este tipo
de la construcción implica que una inductancia baja platea el condensador mejor
dicho que la inductancia más alta hizo rodar diseños. El precio almacenado
residual implica una construcción de pérdida baja. No sé sobre el dieléctrico,
esto podría haber sido un estándar poly material. Otras autoridades reclaman
E.V. E.V. Gray usó la Mica. No sé lo que la mica en color está cuando instalado
en un condensador grande. La electricidad fría también es conocida para sus
descargas fuertes.
El Carro más Bien cuidado


Mark Gray reclamaciones
que el corazón y alma del E.V. La tecnología de Gray es el Carro más Bien
cuidado. Este es el suministro de energía que era la fuente de la energía
anómala para todas las demostraciones de proyectil. Lo que es interesante sobre
este sistema, es que esto funciona de 220 corriente alterna V, contador a todos
E.V. Los motores anteriores de Gray y recorrido.
COMENTARIO: Algunos
investigadores han propuesto que el E.V. La tecnología de Gray requirió el uso
de baterías de plomo de célula mojadas para la generación de Electricidad
Fría. Por lo visto no es así con la existencia de este carro. Sin embargo, las
calidades OU totales de esta tecnología pueden ser perjudicadas con el uso de
alimentación para servicios auxiliares. Pero entonces, E.V. Gray buscaba a
clientes militares que podrían beneficiarse de los rasgos de propulsión de este
equipo.
Operación de Carro más
Bien cuidada: 'despacio arranque el Autotransformador con la manivela hasta que
los tubos comenzaran a encender, mirar luego el metro de voltio. Cuando se puso
a 5,000 voltios yo bajaría rápidamente el Autotransformador y encendería el
proyectil.'
COMENTARIO: En el fondo
el sonido del vídeo de demostración oímos aproximadamente 20 música pop antes
del proyectil está listo para el lanzamiento. Esto parece E.V. Gray descargaba
un condensador en otro condensador. Una vez que esta operación de cobro era
completa él descargaría la energía anómala tranquila por su oposición bobinas
para lanzar un proyectil. No sé lo que él usó para un interruptor de descarga.
Si Mark Gray leyera un
metro de voltaje análogo entonces podemos estar bastante seguros que la
"electricidad Fría anómala, cuando almacenado en un condensador, puede
ser observada como un voltaje clásico positivo. Este es muy consecuente con la
descripción de Tom Bearden de la Energía de misa Negativa - si los dos
fenómenos son en absoluto relacionados. Las fotos más tempranas muestran E.V. Gray
usando Triplett análogo multímetro 630-A para medir el voltaje de Cajas
Negras que son asumidas ser condensadores de almacenamiento en su bobina
temprano que revienta demostraciones (1973).
Si la Música pop que
oímos (20 y tanto por lanzamiento) es de cuatro Ignitrons encima del carro,
entonces es razonable asumir que el voltaje de suministro de corriente continua
de la fuente era superior a 5 KV. Si el Ignitrons estuvieron relacionados de
modo que ellos autoprovocaran uniendo el encendedor al ánodo, entonces habría
una ruptura repentina - sobre el pulso cada vez la diferencia de voltaje entre
el ánodo y cátodo alcanzó aproximadamente 1500 corriente continua V. Este
implicaría que el voltaje de suministro de la fuente era al menos no más abajo
que
8 KV.
Ya que había un
esfuerzo concertado para bajar el autotransformador después de alcanzar 5 KV,
yo adivinaría esto E.V. El Gray cargaba su derecho de condensadores de encargo
a sus límites de diseño.
Condensadores Auxiliares:

COMENTARIO: En esta
foto, note el Carro de Proyectil a la izquierda. Seis tipos diferentes del
proyectil son lanzados de esta plataforma de demostración. El fondo de este
carro contiene una serie bancaria condensador bastante sustancial. Usted puede
ver sólo el 70 % del carro. Este implicaría que hay aproximadamente 9
condensadores grandes en la primera fila. Si dos filas son empleadas, entonces
un total de 18 condensadores es necesario. Supongo que esta clase de la energía
almacenada fue necesaria para apoyar las demostraciones de Planeo" o el
lanzamiento de 71 libras grande.
Mark Gray afirma que
este carro estaba en E.V. La posesión de Gray en el momento de su muerte. Él
planea preguntar entre miembros de familia en cuanto a donde este pedazo del
equipo fue.
COMENTARIO: Esto es mi
opinión que si este carro fuera salvado de un camino viaje al revendedor de
sobra, entonces quién alguna vez lo consiguió no podía hacerlo operacional.
Según Gray de Señal, su padre gastó sus días anteriores desmontando este
equipo. Este sistema sería alto a la lista de cosas de hacer primero.
¿Parta
el Aspecto positivo?
Cuando preguntado si su
padre alguna vez le dijera sobre Gray de Señal de proceso de conversión de
energía fundamental recordó una experiencia donde su padre le dijo las
ventajas de energía del terminal positivo [del condensador/dipolo de
almacenamiento] entonces la parte de ello vuelve a la batería de suministro y
la parte de ello va a la carga.
COMENTARIO: Este tipo de la topología es mostrado
en la patente 4,595,975, pero el sentido técnico actual es la conjetura de
alguien.
El Proyectil Inalámbrico
Mark Gray reclamaciones
que algunos inversionistas potenciales preguntarían ¿Qué bueno es este sistema
si usted tiene que tener alambres relacionados con el proyectil? Esto no va a
trabajar. Entonces él desarrolló este aparato de demostración para mostrar que
los proyectiles realmente no necesitaron alambres. Realmente, ellos son
necesarios para sólo una distancia corta, más allá la cual la magnitud de las
fuerzas repulsivas deja rápidamente. El susodicho sistema proporcionó un
contacto corredizo que está en la pequeña torre blanca y negra a la izquierda
del cilindro negro más grande. Este arreglo tiene aproximadamente 6-8 en
cuenta de viajes antes de que el contacto eléctrico esté roto. Antes de aquel tiempo, la masa de viaje ha
recibido la mayor parte del impulso de choque que esto va a conseguir. Bobinas
negros que rechazan son formados del alambre de imán de cobre que es
aproximadamente 2 profundamente. El exterior es cubierto de la cinta de
electricistas de vinilo negra. La señal también dijo que era difícil unir de
nuevo el contacto corredizo debido a la rotación después de un tiro. Por lo
visto esto tomó un palo de escoba y una escala para seguir la demostración.
COMENTARIO: Se dijo que
el voltaje mensurable de la energía que propulsó el pequeño cilindro negro
encima con el (platillo plástico blanco en el fondo) era 5KV. Ahora la mirada a
la longitud del arco arrastra [aproximadamente 12 pulgadas] de la pequeña torre
de contacto (en el izquierdo) después del despegue. Considere que tipo de
voltaje estaba siendo generado en este punto.
El Estado de los
Acumuladores antes de una prueba o demostración para un Carro de Motor
Cuando un carro de motor estuvo listo para una
prueba (o demostración) ambos juegos de baterías fueron totalmente cobrados
COMENTARIO: Tanto para
la idea de necesidad de comenzar con una batería muerta. Esta teoría viene de
la idea que el plomo-sulphite era el medio que podría haber convertido un pulso
de la electricidad clásica en Electricidad Fría
Otra Demostración de Electricidad Fría utilización del
Motor de Principio

El instrumento de disco
blanco redondo que se sienta encima del Motor de Principio en el Carro de
Multidemostración es un termómetro. El otro instrumento de disco redondo que se
acuesta en la mesa sólo debajo del reóstato redondo es un indicador de RPM
mecánico. [Metro Biddle]
La Importancia del Hueco
de Chispa
E.V. Gray dijo a Mark Gary que el hueco de chispa
era muy importante.
COMENTARIO: Muchos
otros investigadores piensan tan también.

El Motor
Purpúreo

Una Foto de Grupo de Familia
Nombres de Motor:
Los motores E.V. Gray
más viejos fueron numerados, pero las versiones newer en los años 80 fueron
llamadas según un color. Había Motor Rojo, el Motor Azul, el Motor Purpúreo, el
Motor Blanco y el Motor Negro. Cada uno fue querido para demostrar algún
aspecto particular de esta tecnología o atajar cualquier pregunta común que se
levantaba continuamente durante los años.
Deje perplejo el Tiempo Experto:
Una vez, a un
investigador profesional, de MIT, le permitieron examinar el equipo mientras el
desarrollo ocurría en el País de Cañón, CA, (Posiblemente para alguna revisión
de inversionista). Él tenía arreglos de vuelo de marcharse el lunes siguiente y
tenía el fin de semana entero más un día para su investigación. Por lo visto no
había ningunas restricciones colocadas en lo que él podría mirar. Este hombre
fue alegado para ser uno del co-inventers quién desarrolló los primeros
repelentes de insectos de antitiburón. Él examinó y observó durante al menos un
día entero y luego hizo un comentario al efecto, Si no puedo entender este,
entonces toda mi formación académica es sin valor. Él trabajó hasta el final
del fin de semana y se marchó el lunes siguiente sin la explicación clásica
provisional.
COMENTARIO: Esto seguro
ser agradable para ver si este individuo concedería una entrevista telefónica.
Estoy seguro que él no habló una parte entera de su experiencia cuando él
volvió a Boston. ¿Me pregunto si él ahora?
Otras Preguntas hechas por correo
electrónico:
¿A su
conocimiento hizo su padre (o sus ayudantes) posee o usa cualquiera de estos
instrumentos de tienda de electrónica comunes?
Osciloscopio
Radiofrecuencia (RF) Generador
Generador de Señal General
Generador de Pulso
Probador de Transistor
Q-metro
Metro de Pendiente de Rejilla
Metro de Frecuencia
Contador digital
Probador Condensador
Probador de Batería
Analizador de Espectro
Suministro de
alimentación de CC
Por supuesto cualquier información
sobre una descripción general, quizás Hacer y número Modelo, y una idea en
cuanto a para qué el instrumento fue usado. Cuando fue usado y por quien.
La respuesta
1) Allí era algunos metros implicados, pero no recuerdo que metros podrían
haber sido usados o ya que ellos habrían sido usados para.
2) El "grano" de la tecnología parece residir en los bordos de
gatillo de recorrido y el alambrado específico al de componentes de bordo. De
las fotos sabemos que los transistores de poder grandes fueron usados. Es
bastante obvio que otros componentes de bordo fueron usados también.
¿Resulta
usted saber qué clases de componentes principales estaban en estos bordos? Podemos asumir que había varias
resistencias de apoyo y pequeños condensadores
Silicio controló el Rectificador (SCR)
Relevos de Control
Resistencias de Poder Grandes
Transformadores
Inductores o Estárteres
Radiofrecuencia bobinas
Tubos de Vacío
Diodos
Rectificadores
Poder MOSFETS
Varisters
Potenciómetros -
Resistencias Variables
Otros
¿Número modelo de Transistores de Poder?
Por supuesto una descripción general,
la cuenta aproximada, y cualquier idea en cuanto a su función serían
provechosas.
La respuesta
2) el más entendido en las tarjetas de circuitos puede ser Nelson 'Rocky
Shlaff' (o Schlaff) del área de Los Ángeles. Recuerdo realmente que las
tarjetas de circuitos fueron desarrolladas en el País de Cañón y para un rato
los servicios de una electrónica un asesor fue adquirido para ayudar al
desarrollo un poco de esta circuitería. No recuerdo el nombre del asesor.
3) Sabemos que usted hizo una mayoría del trabajo en este equipo.
¿Había allí
alguna parte específica de estos "Carros" qué su padre reservó para
él para trabajar en exclusivamente?
Respuesta 3)
Realmente, mi padre no protegió ninguna área específica de cualquiera de la
tecnología que puedo recordar. Muchas personas habían echado sus ojos en y por
todas partes de la tecnología que fue construida. Nelson Schlaff y mí hicieron
el más la asamblea de la tecnología. Había otros de vez en cuando que
estuvieron implicados con la tecnología construida.
4) Acerca "del Carro más Bien
cuidado". Usted dijo que durante su operación usted cargaría un cierto
condensador a 5,000 voltios antes de lanzar un proyectil. Usted también dijo
que la entrada de voltaje era 220V corriente alterna.
Aquí están algunas preguntas generales
sobre el sobre toda la construcción del carro.
¿Qué
Cortacircuitos de Tamaño fue necesario para impulsar "el Carro más Bien
cuidado" 30 Amperio, 40 Amperio, 50 Amperio, más alto?
¿Debía un
uso de transformador levantar el voltaje de 220V corriente alterna a un voltaje
más alto?
¿Si
5,000 voltios fueran el voltaje de salida mensurable final, entonces estuvieran
allí un voltaje más alto usado en otra parte en el recorrido del cual usted
sabe?
¿Fueron
incluidos inductores "o Estárteres" en este Carro?
¿Tuvo
que alguna vez usted hacer reparaciones en "el Carro más Bien
cuidado", si tan qué fue sustituido y con qué frecuencia?
Hay
4 "Ignitrons" en el Carro más Bien cuidado. ¿Fueron usados todos
éstos siempre, o usaron las demostraciones diferentes un número diferente de
estos dispositivos?
¿¿La
respuesta 4) la única cosa que recuerdo sobre el voltaje cobraba los
condensadores a 5,000v?? para una descarga antigua (la propulsión de un imán),
sin embargo, cernerse de imanes fue conseguido por un tiroteo constante de los
tubos.
5) Acerca de los orígenes y naturaleza de
las tarjetas de circuitos de transistor usadas para los
"convertidores".
¿Fue hecho
este recorrido en la casa o se contrajo? ¿Los hizo usted? ¿Cambió el diseño los
años? ¿Si estos bordos fallaran quién los reparó? ¿Fueron guardados los
reemplazos a mano?
Respuesta 5) no recuerdo mucho, si
alguno fuera necesario, mantenimiento en las tarjetas de circuitos, tampoco
recuerdo hacer arreglar alguno como piezas pieza. Creo que toda la
Investigación y construcción experimental y las construcciones de la tecnología
pasaron interiores.
Edwin Vincent Gray
(1925-1989)
Edwin Gray
nació en Washington, DC en 1925. Él era uno de 14 niños. A la edad de once
años, él se hizo interesado en el campo emergente de la electrónica, cuando él
miró algunas primeras demostraciones del radar primitivo probado a través del
Río Potomac. Él se marchó a casa en 15 y se afilió al Ejército, pero fue
rápidamente descargado para ser menor de edad. En 18 él se afilió a la Marina y
sirvió tres años del deber de combate en el Océano Pacífico. Él por poco evitó
la muerte cuando una bomba explotó en la cubierta de su barco durante un
ataque. Él recibió una descarga médica honorable después de dedicar algún
tiempo en un hospital de ombligo con heridas principales.
Después de la
Guerra Mundial 2, él se casó con su primera esposa, Geraldine, y comenzó una
familia en Maryland. Él trabajó cuando un autocuerpo y la defensa reparan al
hombre. En 1956 él movió su familia a Venecia, California. Unos meses más tarde
él se movió a Santa Mónica donde él comenzó su primer negocio llamado Colisión
de Broadway. Un par de años más tarde, él abrió una segunda tienda en Los
Ángeles de Oeste. Ambas posiciones falladas a principios de 1960 debido a un
descenso económico. Él se trasladó a Prescott Arizona, y luego a Littleton,
Colorado en 1961. De 1962 a 1964, él trabajó en Las Vegas, Nevada, siempre en
el negocio de reparación de autocuerpo.
Hacia 1965, él
se había trasladado a California del sur otra vez, y había establecido una
sociedad con George Watson. El Watson era un pintor de coche de maestro con una
clientela establecida de famosos de Hollywood. Una nueva posición fue
establecida en Van Nuys, California en la Calle Calvert llamada la Tienda de
Cuerpo. Esto era un autocuerpo de encargo universal, de alta cualidad y la
tienda que pinta. Este negocio prosperó bien durante los próximos tres años
hasta que un conflicto de intereses románticos terminara su primer matrimonio
(con siete niños) a principios de 1968. Un divorcio siguió en 1969.
(En 1971, él se
casó con Renate Lenz, la hija de Fritz Lenz. Ellos tenían a tres niños. Esta
relación duró 7 años. Él se casó con más tres veces después de esto).
Hacia el final
de 1969, él terminó su negocio de autocuerpo, a nunca lo practican otra vez. Él
vendió 2/3rds de Van Nuys que construye a su sobrino y equipó de nuevo la
porción restante para construir y promover su siguiente empresa comercial. De
alguna manera, él hizo un cambio repentino y dramático del negocio de
autocuerpo a un inventor independiente con una tecnología extraordinaria, con apenas
cualquier fondo anterior en la electrónica.
Los miembros de
su familia todavía son aturdidos por la transición rápida. Unos dicen que
golpeaban de vez en cuando a su padre con destellos de la inspiración profunda.
Otros investigadores dicen que él debe haber estado trabajando en secreto en
los motores durante años, pero los miembros de familia disputan este. Gray él
mismo dijo a uno de sus compañeros que él recibió esta información de un
inmigrante ruso llamado a doctor Popov, que lo había conseguido de Nikola Tesla. Pero otra vez, los miembros de familia no
reclaman ningún conocimiento de estos acontecimientos supuestos. Mientras hay
semejanzas entre tecnología de Gray a partir de 1970 y Método de Tesla de la
Conversión tecnología a partir de 1893, no hay ningún linaje conocido para
remontar la unión entre estos dos procesos. Nadie alguna vez vio Gray estudiar
el trabajo de Tesla, o dirigir cualquier experimento preliminar. Nadie que está
todavía vivo, quién tuvo que ver con estos acontecimientos, sabe de donde la
tecnología vino o como esto se desarrolló.
En 1971, él se
formó una sociedad limitada llamó e EVGRAY Enterprises, Ltd. Hacia 1972, Gray había juntado bastante
inversión y la maestría de desarrollo de construir un motor de prototipo de 10
CV. Esta unidad fue presentada a Laboratorios de Investigación de Crosby para
la evaluación en la Cal-tecnología. El Instituto de Investigación de Crosby fue
poseído por Bing Crosby y dirigido por su hermano, Larry Crosby. Este motor
demostró una salida de 10 CV (7460 vatios de la energía mecánica) para la
entrada eléctrica muy baja de 26.8 vatios. ¡Este es una ganancia de energía
aparente de 278 veces la entrada! Este abandonó a los científicos de Cal-Tech
muy incómodos. El informe declara el motor hecho funcionar en la eficacia de
más del 99 %, pero el resto de los datos es un poco confuso.
En virtud de
este informe, Bing el Crosby vino a bordo como un inversionista principal. Tan
'Inicializó' Mallory, de la Compañía Eléctrica Mallory, que hizo la ignición de
alta tensión bobinas usada en el recorrido de Gray. Antes de principios de
1973, el EVGRAY Enterprises, Inc había completado un motor de prototipo de 100
CV llamado el EMA4-E2. Quince inversionistas privados estuvieron implicados
ahora. Él también recibió "un Certificado del Mérito" de Ronald
Reagan, entonces el Gobernador de California, durante este período.
Antes del
verano 1973, él hacía demostraciones de su tecnología y recibía alguna prensa
muy positiva. Más tarde ese año, él formó un equipo con el diseñador de coche
Paul M. Lewis, construir el primer combustible menos, coche eléctrico en
América. Pero el problema se preparaba cuando un ex-empleado descontento hizo
una serie de quejas infundadas a las autoridades locales.
El 22 de julio
de 1974, la Oficina del Fiscal del Distrito de Los Ángeles asaltó la oficina y
la tienda de Empresas EVGRAY, y confiscó todos sus archivos comerciales y
prototipos trabajadores. Durante 8 meses, el Fiscal del Distrito trató de
conseguir a sus accionistas para archivar gastos contra él, pero ninguno. Ya
que él sólo tenía a 15 inversionistas, muchos del reglamento o reglamentación
de SEC no se aplicaron. Hacia el marzo de 1976, Gray se declaró culpable a dos
violaciones de SEC menores, fue multado, y el caso cerrado. Después de que esta
investigación se terminó, la oficina del DA nunca devolvió ninguno de sus
prototipos trabajadores.
A pesar de
estos problemas, varias cosas buenas pasaban. Su primera Patente
estadounidense, en el diseño de motor, publicado en el junio de 1975, y hacia
el febrero de 1976, él fue denominado por "el Inventor del Año" por
la Asociación del Abogado de Patente de Los Ángeles, para "descubrir y
demostrar una nueva forma de la energía eléctrica". A pesar de este apoyo,
él guardó un perfil mucho inferior después de este tiempo.
Pero había
también otros reveses. Paul Lewis sacó de su trato con Gray en 1975 cuando Gray
no podía entregar un motor de producción para el coche de Fascinación de Lewis.
El Gray hizo un último esfuerzo de zanja para asegurar la capital necesaria
para conseguir su motor en la producción llamando una rueda de prensa en 1976 y
demostrando su motor de 100 CV de generación casi completo, segundo, el Acuerdo
Monetario Europeo 6. Lamentablemente, este acontecimiento no aseguró ningún
fondo adicional de la compañía. Dentro de poco a partir de entonces, Bing el
Crosby murió en 1977, seguido 'Bota' Mallory en 1978. Este lo abandonó sin sus
dos partidarios más fuertes.
En 1979 él se
reorganizó en el ZETEX and EVGRAY Enterprises, Inc cesado para existir. En el
proceso de esta reestructuración corporativa, todos sus accionistas más
tempranos perdieron todo su dinero. Él entonces movió sus operaciones de
desarrollo a Kalona, Iowa donde los nuevos inversionistas apoyaban su investigación.
Esta relación trabajadora también falló cuando estos nuevos compañeros
intentaron un hostil asumen. En un vuelo de medianoche repentino, en medio del
invierno, Gray cargó la tecnología por todas sus pertenencias y se dirigió a
San Diego, CA donde quedado durante 18 meses.
En 1982, él trasladó
sus operaciones al País de Cañón, California donde él alquiló a tres ayudantes
para ayudar a construir varios carros de demostración grandes. Después de un
año de trabajo, Gray se hizo sospechoso hacia la lealtad de sus empleados. Él
repentinamente encendió todos ellos cuando ellos hicieron un informe para el
trabajo una mañana. Él entonces se movió a una segunda posición en el País de
Cañón y siguió con la construcción hasta principios de 1984. Más tarde ese año,
él movió su operación hacia atrás a Las Vegas donde él se quedó hasta la
primavera 1985. En el verano de aquel año, él se movió a la ciudad casi
abandonada del Consejo, tarjeta de identidad (población de 816), donde su hijo
más viejo Eddie se había instalado.
En Consejo, él terminó
la construcción de cinco prototipos de motor diferentes y varias otras clases
del equipo de demostración. Él entonces comenzó a producir videos promocional e
invitó estaciones de TV locales a hacer un informe en su trabajo. Él entonces
buscó los servicios de un abogado de exploración de petróleo de Gato Salvaje y
encontró Sr. Joe Gordon de Texas que hace el trabajo en Montana. Los dos
hombres formaron una sociedad bajo el Petróleo de Estados Occidental comercial
establecido de Sr. Gordon. Ellos también establecieron un holding de rama en
las Islas Caimán para vender la reserva en la nueva empresa. El Gray decidió
moverse otra vez, esta vez a la Magnífica Pradera, Texas para mejorar su
exposición a inversionistas internacionales.
En virtud de su solo
videos, la operación de Isla de Caimán vendía la reserva y levantaba la capital
rápidamente. Los inversionistas interesados de Israel lo convencieron de gastar
dos semanas en la Tierra Santa donde una serie de negociaciones de grupo
emocionales ocurrió. Un acuerdo nunca fue alcanzado. Ellos concedieron que la
tecnología sostuvo mucha promesa, pero no era bastante maduro ser
inmediatamente empleado en el campo de batalla. Además el Gray insistió en el
mantenimiento de un interés dominante en lo que alguna vez trata fue cortado.
Por cualesquiera motivos, Gray volvió con mucha actitud diferente.
Mientras tanto los
agentes que habían estado vendiendo su reserva en las Islas Caimán decidieron
darse comisiones grandes, más lo que otros fondos ellos tenían el control de, y
rápidamente mover a Israel ellos mismos. Por lo visto, ellos también habían
sobreestimado la emisión de acciones original antes de aproximadamente tres
veces.
El sentimiento se
estafó, Gray hizo un final, tentativa desesperada de conseguir el
reconocimiento apropiado para sus logros. Él realmente escribió cartas a cada
congresista, Senadores y Representantes, así como al presidente,
Vicepresidente, y cada miembro del Gabinete, ofreciendo al Gobierno
estadounidense su tecnología para el programa "de Guerras de las
Galaxias" de Reagan. ¡Notablemente, en respuesta a esta campaña de
correspondencia, Gray no recibió una respuesta sola o hasta un reconocimiento!
En 1987, una persona
llamó Reznor Orr se presentó, reclamando para ser un Contacto del Gobierno.
Sr. Orr primero hizo sinceramente ofertas de comprar toda al contado la
tecnología de Gray para un precio modesto. Estas ofertas iniciales no se
encontraron con la aprobación de Gray, y él giró a todos ellos abajo. En aproximadamente
en este tiempo, la corriente de ingresos de Gray de las Islas Caimán se paró.
Las siguientes ofertas de Sr. Orr eran mucho menos amistosas, y se mezclaron
con ciertas amenazas veladas. Cuando Sr. Orr dejó la ciudad, dejar a Sr. Gray
pensar en ello, Gray realizó que él tenía un problema serio. Sin dinero y bajo
la amenaza, él rápidamente sostuvo una venta de liquidación masiva, incluso
bienes personales y mobiliario de familia que él había tenido durante años.
Sólo el equipo y los materiales él podría llenar en su Ford la furgoneta de
caja de F-700 fueron ahorrados. Gray condujo a Portland, Oregon y se escondió
durante seis meses.
Algún tiempo durante
1987 - 1988, él enfermó con un caso serio de la pulmonía y fue hospitalizado.
Él había sido un fumador pesado toda su vida. Él nunca totalmente se repuso de
esta enfermedad y requirió el Oxígeno de este punto en. Su capacidad pulmonar
reducida hizo mucho más difícil de seguir su trabajo.
De Portland él se movió
a Chispas, Nevada. Él alquiló una residencia de combinación y el espacio de
tienda en un área industrial ligera. Él descargó su camión y comenzó a
desmontar todos sus carros de demostración. Él vivía con Dorothy McKellips
entonces que afirma que él todavía hacía experimentos durante el día pero por
la tarde todos los componentes fueron otra vez desmontados y mezclados con
otras partes. Temprano, una mañana en el
abril de 1989, a las 2h00, alguien de repente comenzó a golpear con fuerza en
uno de los escaparates. en su condición de salud comprometida, él sacó su arma
y bajó la escalera para espantar al intruso con un disparo de advertencia. El
arma dejó de encender. Unos minutos más tarde, Dorothy lo encontró en el suelo.
Es supuesto que la tensión que resulta hizo que él sufriera un ataque cardíaco
fatal, aunque la causa exacta de la muerte nunca fuera determinada. Él tenía 64
años. La identidad de última hora de invitado de la noche no es conocida.
Su hijo más viejo
Eddie voló a Chispas, Nevada para identificar el cuerpo de su padre. Más tarde,
él gastó varios meses intentando ayudar a un grupo de Kansas a recuperar la
tecnología. Pero, Dorothy no liberaría ninguno del equipo hasta que ella
hubiera recibido un pago grande para ella. El grupo de Kansas entonces
consiguió una orden judicial para tomar posesión de la tecnología. Pero el
documento era mal redactado y no definió exactamente lo que "la
tecnología" realmente significó. La orden declaró realmente que ellos
tenían derechos a todos los motores. Dorothy
notó este hecho y les dio sólo los motores desnudos, guardando todos los
convertidores de poder y otras cosas en su posesión. Dorothy entonces decidió
tener la última risa antes de que esta batalla legal que surge pudiera
intensificarse mucho adelante. Ella tenía todo el equipo restante, videos,
partes, dibujos, y notas de laboratorio arrastradas lejos y vertió en la tierra
local se llenan. Por lo visto ninguno de los sistemas restantes que el grupo de
Kansas tenía a mano era bastante completo para reconstruir. Mientras tanto, los
millones restantes de dólares de la capital de inversionista en la cuenta de
banco de Islas Caimán fueron corrompidos por el fraude de la sobreventa de la
reserva. Por último, estos fondos fueron o confiscados por la administración
municipal en penalidades o simplemente ingeridos por el banco, ya que nadie
podría retirar los fondos sin ser detenido.
[Esta cuenta de la vida
y los tiempos de Edwin V. Gray fue compilada por Mark McKay, de Spokane,
Washington, después de numerosas entrevistas con los niños de sobrevivencia de
vario Edwin Gray. Esta cuenta está una tentativa al pedazo juntos volver a
contar más exacto de la historia de Edwin Gray alguna vez puesta a disposición
al público. Muchos de los detalles en esta cuenta están en la contradicción
directa de cuentas más tempranas como relatado en los recortes de periódico de
periódico a partir de los años 1970. Debería pensarse ahora que estas cuentas
más tempranas están equivocadas].
Evaluación de Energía libre Común Sistemas de
Inductor Conectados
en términos de Parámetros de Línea de Tardanza

Inductores Conectados
son un componente central en varias tecnologías de Energía Libre establecidas.
Ellos han sido usados por Robert Prentice, Marvin Cole (E.V. Gray), Eric
Dollard, John Bedini, Stan Meyer, y posiblemente Lester Hendershot. Este es
además de la serie enorme de inductores conectados que doctor Tesla empleó en
sus décadas de la investigación. Generalmente, los investigadores
independientes modernos se acercan a estos dispositivos del punto de vista de
la teoría de transformador clásica y tienden a ver su operación de esta manera.
Propongo que, en muchos casos, estos dispositivos fueran queridos para ser
usado como Líneas de Transmisión o líneas de Tardanza para aprovechar los
rasgos únicos disponibles con esta topología. Este es sobre todo importante
cuando las características de una energía alta chispean están siendo tramados
para conseguir rápido tiempos de caída y subida (<10 nS).
Inductores Conectados
son un componente central en varias tecnologías de Energía Libre establecidas.
Ellos han sido usados por Volúmenes de libros técnicos detallados son dedicados
a este sujeto complejo. Las aplicaciones específicas son numerosas porque tanto
poder y las señales de información son llevados por líneas de transmisión de
una clase o el otro. Sin embargo, en el reino de Energía Libre la función de
una línea de Tardanza parece ser relativamente honrada. Su objetivo común es
actuar cuando una clase especial de la corriente continua cobró el condensador
que entregará rápidamente una cantidad fija de la energía perjudicial a un
hueco de chispa. En aplicaciones que no implican una chispa, como el motor de
John Bedini, es usado (entre otros objetivos) para la formación de pulso de
transición aguda usando los mismos principios de la operación.
Hay dos parámetros
mensurables de una línea de Tardanza que son la fundación de la mayor parte de
análisis de ingeniería que implicará estos dispositivos.
1) El tiempo de voltaje eficaz tarda a partir de un
final al otro, abreviado como Td
medido en segundos
2) La impedancia característica Zo medido
en Ohmios
Ambos de estos valores
pueden ser fácilmente medidos con el equipo de electrónica estándar. Este papel
utilizará un LeCroy 9361 Osciloscopio de 300 MHz de canal dual con dos estándar
10:1 10 Meg sonda y un Tektronix PG 501 generador de pulso. Una Platija 87 VOM
será usada para determinar la resistencia de ajustes de potenciómetro.
Un lugar bueno para
comenzar este sujeto debe observar como una línea de Tardanza comercial
funciona. En este ejemplo un 465 viejo plomo de gemelo de osciloscopio
Tektronix la línea de Tardanza de entrada vertical es evaluada. Para ver mejor
su operación, el PG 501 fue puesto al pulso más estrecho que esto podría
producir (25 nS) y aplicó directamente a la entrada de línea de Tardanza. Un
potenciómetro de 100 ohmios fue puesto a 50 ohmios y se unió a la salida de
línea de Tardanza. La segunda sonda de osciloscopio estuvo relacionada en
desvían con el potenciómetro de terminación.


El rastro de dos
canales del osciloscopio (encima) claramente muestra el pulso de entrada
(rastro Superior en el Canal 2) y el pulso de salida (más Abajo el rastro
Canaliza 1) retrasado por 120 nS. Mientras este acercamiento franco determinará
fácilmente el tiempo de tardanza en una línea de Tardanza de instrumento de
pérdida muy baja, el establecimiento de tiempos de tardanza en inductores
conectados hechos en casa requiere un acercamiento diferente. Si este método
presente fuera aplicado a la mayoría de los inductores conectados verdaderos
mundiales, el pulso de salida se hará tan atenuado que será apenas visible. La
degradación de los aumentos de pulso de entrada como el bobina en la prueba se
hace más grande.
Como esto resulta, la
energía en un 25 pulso de nS es demasiado débil sólo para ser observado en
cualquier inductor conectado hecho en casa. Este es porque la capacitancia
parásita elimina todos los componentes de frecuencia altos. Los pulsos cortos
son tragados sólo en las pérdidas inevitables inherentes en inductores de
herida de mano. Sin embargo, otro método simple, usando el mismo equipo, puede
ser empleado para vencer estas limitaciones. Si el pulso de entrada de prueba
es ensanchado a alguna longitud conveniente (para aumentar la energía aplicada)
entonces las formas de onda de pulso reflejadas pueden ser vistas. El tiempo de
tardanza actual será ½ del tiempo observado entre el emplomado del pulso
aplicado y el cambio de la respuesta que es causada por la resistencia de
terminación.
Un ejemplo bueno
debería hacer medidas en Bedini típico SG motor bobina. El bobina ser medido es
un diseño de bifilar usando *19 alambre de imán AWG para la Cuerda de Poder y
*24 alambre de imán AWG para el Gatillo que Serpentea con 420 herida de
vueltas en un carrete de alambre de Choza de Radio. Las varas de soldar de
hierro suaves usadas para el corazón fueron quitadas.

El primer paso debe establecer el valor de una resistencia de carga RL
esto emparejará estrechamente el eficaz Zo del inductor conectado en
prueba. Este es hecho aplicando un pulso conveniente a la entrada de la línea
de Tardanza (en este ejemplo usamos unos 10 nosotros pulso) y luego almacenamos
tres rastros:
a) Rastro superior: la Línea de Tardanza está abierta al final de salida
b) Rastro Medio: la Línea de Tardanza es terminada
a un potenciómetro ajustado para hacer juego Zo Ajustado para
cuadratura máxima
c) Más abajo Rastro: la Línea de Tardanza es
shorted a su final de salida
Lo que la cuadratura
máxima medios es una materia del gusto personal ya que allí siempre suena y se
pasa para tener que tratar con. Sin embargo, cuando el potenciómetro está cerca
del valor óptimo, las pequeñas variaciones harán una diferencia grande en la
forma observada.
Cuando el potenciómetro
es marcado en, es quitado entonces de la cama de prueba y su valor de
resistencia medido con un VOM. En este ejemplo el resultado era 40.6 ohmios.
Si las varas de soldar
de hierro son insertadas en el corazón, ningún cambio observable es notado en
esta serie de medidas.
El siguiente paso debe
ampliar nuestra base de tiempo en el susodicho pulso y tienda otros tres
rastros, después de mismos procedimientos que encima.

Emplomado de un
pulso aplicado a un Bedini SG inductor conectado en tres condiciones de carga
Aquí, la base de tiempo
ha sido ampliada por un factor de 10X para ver el emplomado del pulso aplicado
en 200 nS/div. El rastro superior es la condición abierta. El rastro medio es
hecho con emparejado Zo la carga y el rastro inferior son la
condición de shorted. Todas las tres de estas formas de onda convergen en
cierta ocasión. Este punto establece cuanto esto toma el emplomado de pulso
aplicado para viajar al final del inductor conectado y vuelta. La clase de
carga que esto encuentra atado al final, luego determina como esto responderá
desde allí en.
Midiendo el tiempo
entre el emplomado y esta intersección, entonces dividiendo en 2 llegamos a un
camino Tiempo de Tardanza para el inductor conectado en la prueba. Para este
Bedini bobina medimos a Td de 415.5 nS.
Con este procedimiento podemos continuar a evaluar
otras clases de los sistemas de inductor conectados de FE:
El Trifilar
Lindemann bobina 1000 Vueltas

Zo
= 108 Ohms Td of 885 nS.

Mike Motor
bobina 100 #22 Alambre de Altavoz

Zo = 112 Ohms Td of 293 nS.

50 KV 8 Prototipo Cole FFF

Zo
= 180 Ohms Td of 52 nS.
Patente Aplicación WO 2006/045333 A1 4 de mayo 2006 Inventor: Mike Brady
MÁQUINA DE IMÁN PERMANENTE
EXTRACTO
La invención proporciona un motor repelente
magnético que comprende: un eje (26) que puede girar alrededor esto es el eje
longitudinal, un primer juego (de 16) de imanes (14) arreglado alrededor del
eje (26) en un rotor (10) para la rotación con el eje, y un segundo se puso (de
42) de imanes (40) arreglado en un estator (32) alrededores del rotor. El
segundo juego de imanes se relaciona con el primer juego de imanes, y los
imanes de ambos juegos son al menos parcialmente protegidos para concentrar su
fuerza de campo magnético en dirección del hueco entre el rotor (10) y el
estator (32).
FONDO
Esta invención está relacionada con un motor
repelente magnético, o mecanismo de paseo. Tal mecanismo puede ser útil para
conducir un generador eléctrico, un vehículo, un barco, un avión, o el
parecido.
Las fuentes de alimentación convencionales confían
en combustibles fósiles o fuentes de alimentación secundarias como energía
nuclear, o electricidad sacada por cualesquiera medios, para su fuente del
poder conductor. Todas estas fuentes del poder sufren de desventajas como ser
la causa de contaminación, requerir el transporte o la transmisión sobre
distancias largas al punto de uso, y ser costoso para comprar. Así, hay una
necesidad de una fuente de alimentación que es considerablemente sin
contaminación en la operación, no requiriendo considerablemente ningún poder
externo, y que es simple de mantener.
RESUMEN
Esta invención proporciona un motor repelente
magnético que comprende: un eje que puede girar sobre su eje longitudinal, un
primer juego de imanes que son arreglados alrededor del eje y que giran con el
eje, y un segundo juego de imanes arreglados en un estator que rodea el rotor,
donde el segundo juego de imanes reacciona con el primer juego de imanes, ambos
juegos que son parcialmente protege magnetically a fin de dirigir su campo
magnético en un hueco entre los dos juegos de imanes. Así, la interacción de al
menos algunos imanes de los primeros y segundos juegos impulsan el eje a girar.
La interacción puede ser la fuerza neta de postes
magnéticos parecidos que repelen el uno al otro así impulsando los imanes lejos
el uno del otro, sin embargo, ya que sólo los imanes de rotor pueden ser
movidos por esta fuerza de incitación, se impulsa que el eje gire en una
posición donde la fuerza de rechazo es menos.
El rotor puede ser considerablemente en forma de
disco y el primer juego de imanes puede ser localizado en una región periférica
del rotor que gira con el eje. El estator puede estar en la forma de un par de
armas alineadas con el rotor. Estas armas de estator pueden ser movidas el uno
con relación al otro y lejos del rotor, a fin de permitir que el hueco entre el
rotor y el estator fuera puesto selectivamente. El hueco puede ser puesto a
mano, por ejemplo, por una rueda de mano, o automáticamente, por ejemplo por un
sistema de pesos que se mueven centrífugamente y tan la forma un control de
velocidad rotatorio que actúa automáticamente, es decir más pequeño el hueco,
mayor la repulsión fuerza entre los imanes del rotor y estator.
Tanto el rotor como el estator pueden tener más de
un juego de imanes. Los imanes pueden ser colocados en enchufes que se
extienden hacia la circunferencia del rotor. Estos enchufes pueden ser
considerablemente cilíndricos y arreglados en un avión que es el perpendicular
al eje longitudinal del eje de rotor. Estos enchufes también pueden ser
arreglados en un ángulo agudo con relación a la tangente a la circunferencia
del disco de rotor donde la boca del enchufe cilíndrico es localizada. Del
mismo modo, los enchufes de imán de estator pueden ser angulados con relación a
la circunferencia interior del estator. Estos ángulos pueden estar entre 18
grados y 40 grados, pero preferentemente entre 30 grados y 35 grados.
Estos enchufes pueden tener un forro de enchufe
que consiste al menos parcialmente en un material de proyección magnético. El
forro de enchufe puede rayar el grado entero de los enchufes de modo que sólo
la apertura al exterior permanezca no rayada. En otra encarnación de la
invención, el forro de pantalla magnético puede cubrir un porcentaje sustancial
del todo el forro de enchufe, p.ej el 50 % del forro de enchufe.
Los imanes pueden ser Nd-Fe-B de dimensiones que
caben cómodamente dentro de los forros de los enchufes. Estos imanes pueden ser
cilíndricos en la forma y tener un diámetro de 37 mm, una longitud de 75 mm y
una fuerza magnética de 360,000 gauss. El forro de enchufe, el escudo magnético
y el imán pueden tener todos un agujero por ellos para recibir un alfiler que
asegura, preferentemente colocado de modo que esto sea la paralela al eje
longitudinal del eje.
El número de enchufes en el rotor y el estator
correspondiente puede diferenciarse de modo que no haya una relación de uno a
uno entre los enchufes en el rotor y los enchufes en el estator
correspondiente. Del mismo modo, el número de imanes en cualquier juego de
rotor/estator adicional puede diferenciarse de los primeros juegos de
rotor/estator a fin de que los dos juegos sean fuera del registro en cualquier
tiempo dado. Algunos enchufes pueden ser dejados vacíos en el rotor o en el
estator correspondiente, o ambos. El motor puede tener uno o varios pares de
rotor/estator de este tipo arreglado en una pila. Es preferible para los imanes
de rotores adyacentes ser fuera del registro, es decir asombrado o compensar el
uno con relación al otro.
DESCRIPCIÓN
DE LOS DIBUJOS

Fig.1 es una vista de perspectiva que muestra
un disco de rotor.

Fig.2 es una vista de perspectiva mostrando a
una pila de los rotores Fig.1 en un arreglo reunido.

Fig.3 es una vista de perspectiva mostrando a
un brazo izquierdo de un estator.

Fig.4 es una vista de perspectiva mostrando a
un brazo derecho de un estator

Fig.5 es una vista de perspectiva mostrando a
una pila de los estatores o Fig.3 y Fig.4 en un arreglo reunido.

Fig.6 es una vista de perspectiva mostrando a
un forro de enchufe de un estator o un rotor.

Fig.7 es una vista de perspectiva mostrando a
uno de los imanes.

Fig.8 es una vista de
perspectiva mostrando a una encarnación del motor de rechazo magnético
conectado a un generador eléctrico.
DESCRIPCIÓN DE ENCARNACIONES PREFERIDAS
Respecto a Fig.1, un rotor considerablemente en forma de disco 10, es hecho
de un material no magnético. El rotor 10 tiene una pluralidad del imán que
recibe zonas 12, proporcionado en ello para recibir imanes 28 (mostrado en
figuras posteriores)

de un primer juego 16 de imanes. Las zonas de
recepción 12 están en la forma de ampliación de circumferentially, espaciada
aparte, y enchufes considerablemente cilíndricos 18 que son localizados en un
avión que es el perpendicular al eje rotatorio 10 del rotor y en una región
periférica del disco.
En la región de los enchufes 18, el rotor 10
también tiene por agujeros 20 en esto es las superficies de lado 22, ampliando
la paralela al eje rotatorio del rotor. El rotor 10, también hace que un centro
agujeree 24, reciba el eje 28 que es mostrado en figuras posteriores. Los
enchufes 18, son preferentemente angulados en un ángulo agudo con relación a la
tangente a la circunferencia del disco de rotor 10, en la apertura de boca de
los enchufes 18. Idealmente, este ángulo está entre 18 y 40 grados, y
preferentemente entre 30 y 35 grados. En una encarnación en particular
preferida, el ángulo es 34 grados.

Como mostrado en Fig.2, los enchufes 18, reciben
(o incorpore) un enchufe que raya 28 (mostrado más detalladamente en figuras
posteriores) que es al menos parcialmente hecho de un material de proyección
magnético, o metálico o no metálico, por ejemplo, grafito. El enchufe que raya
28, cubre el grado entero de los enchufes 18, de modo que sólo la apertura al
exterior permanezca destapada.
En la asamblea de rotor 30 de Fig.2, tres discos
de rotores 10, han sido apilados en fila en el eje 26. La unión entre los
discos de rotor 10 y eje 26, así como entre los discos de rotor ellos mismos,
puede ser establecida vía la unión de medios que son extensamente conocidos. En
general, el motor puede tener cualquier número de discos de rotor 10, y los
estatores correspondientes 32, desde el efecto de usar varios discos de rotor
10 en la paralela, son acumulativos. Sin embargo, puede ser útil para la
operación lisa del motor 1, arreglar los discos de rotor 10 de modo que los
imanes de discos de rotor adyacentes sean asombrados, o compensados el uno con
relación al otro.

Respecto a Fig.3 y Fig.4, un estator 32 es
mostrado. Este estator es hecho de un material no magnético. El brazo izquierdo
34, y el brazo derecho 36, se combina para formar el estator 32. Cada una de
las armas, 34 y 36, tiene una forma considerablemente semicircular y es puesta
la talla para encerrar el disco de rotor correspondiente 10 en la dirección
radial, todavía dejando un hueco entre el estator 32 y el disco de rotor 10.
Las armas 34 y 36 de un estator 32, puede ser movido el uno con relación al
otro y su disco de rotor correspondiente 10, de modo que el hueco entre las
armas y el disco de rotor pueda ser puesto en valores diferentes.
El estator 32 tiene vario imán que recibe zonas
38, listo a aceptar los imanes 40, (que son mostrados en una figura posterior)
del juego de imán 42. Estas zonas de recepción están otra vez en la forma de la
ampliación de circumferentially, enchufes considerablemente cilíndricos 44 que
son colocados en un avión que es el perpendicular al eje longitudinal del eje
26. En la región de los enchufes 44, el estator 32 tiene por agujeros 46
arreglado en esto es las superficies de lado 48, estos agujeros que amplían la
paralela al eje longitudinal del eje 26.
Estos enchufes 44 son otra vez angulados en un
ángulo agudo con relación a una tangente a la circunferencia interior del
estator 32 en la apertura de boca de los enchufes 44. Este ángulo está
preferentemente entre 18 y 40 grados y más preferentemente, entre 30 y 35
grados. El ángulo de los enchufes 18 y 44, y la colocación relativa entre
ellos, tiene que ser ajustado para tener una interpretación buena en cuenta del
motor.

Fig.5 sel hows una asamblea de estator que
consiste en tres estatores diseñó encajar la asamblea de rotor de Fig.2. Como
descrito en cuanto a los enchufes 18 de Fig.2, los enchufes 44 reciben (o
incorpore) un enchufe que raya 50 (mostrado más detalladamente en figuras
posteriores), que es al menos parcialmente hecho de un material de proyección
magnético. El enchufe que raya 50, cubre el grado entero de los enchufes 44 de
modo que sólo la apertura al exterior permanezca destapada.

Respecto a Fig.6, un enchufe que raya 28, 50 del
disco de rotor 10, o el estator 32, son mostrados más detalladamente. El
enchufe que raya 28, 50 es formado para caber en los enchufes 18, 44 y puede
ser hecho completamente de un material que tiene propiedades de proyección
magnéticas. En una encarnación preferida, el enchufe que raya 28, 50 es hecho
del grafito diamagnetic y es parcialmente rodeado por un escudo adicional 52 de
un material que tiene propiedades de proyección magnéticas fuertes, acero p.ej
inoxidable. En la encarnación mostrada en Fig.6, el escudo 52 rodea
aproximadamente el 50 % del enchufe que raya la superficie.
Así, por al menos parcialmente cubriendo los
enchufes 18, 44 con un material de proyección magnético, el campo magnético de
los imanes insertados 14, 40 es, tan decir, focussed axialmente con el enchufe
18, 44, más bien que disipado sobre los imanes.
Adelante, los agujeros 54 por los forros de
enchufe 28, 50 son proporcionados y éstos corresponden a los 20 por agujeros y
46 en el disco de rotor 10 y el estator 32, respectivamente. Así, un alfiler
que retiene 56 puede ser insertado después de que el imán 14, 40 ha sido puesto
en el enchufe 18, 44 para hacer una fijación desmontable para el imán 14, 40 al
enchufe que raya 28, 50 y el enchufe 18, 44 para prevenir la expulsión de las
fuentes magnéticas durante la operación.

Fig.7 muestra
una fuente magnética típica 14,40 usado en este diseño de motor. Las fuentes
magnéticas 18, 40 pueden ser imanes naturales, imanes inducidos o
electroimanes. La fuente magnética por ejemplo, es un imán Nd-fe-B que hace
necesitar las dimensiones necesarias para caber con esmero en enchufe 18, 44 y
enchufe que raya 28, 50, respectivamente. En una encarnación preferida, la
fuente magnética 18, 44 es un imán considerablemente cilíndricamente formado
con un diámetro de 37 mm, una longitud de 75 mm y proporciona 360,000 gauss.
Sin embargo, la fuente magnética 18, 44 puede ser formada diferentemente a
cilíndrico y puede tener características diferentes. En cualquier caso, la fuente
magnética 18, 44 debe tener unos 58 por agujero para recibir el alfiler que
retiene 56.

El motor de imán mostrado en e Fig. 8 es montado
en el marco 60 y es conectado a un generador eléctrico 62. En esta encarnación
específica, el motor tiene tres discos de rotor 10 del tipo ya descrito. Éstos
son montados en un eje de giro solo 26 y son conducidos por tres estatores 32,
como ya descrito, causando el eje 26 para girar sobre esto es el eje
longitudinal. El eje 26 puede estar relacionado con una caja de cambios a fin
de ganar una ventaja mecánica. Las armas de estator pueden ser movidas por un
motor stepper 64.
El número de enchufes en los discos de rotor 10 y
sus estatores correspondientes 32 puede diferenciarse de modo que no haya una
relación de uno a uno entre los enchufes 18 en el disco de rotor 10 y enchufes
44 en el estator correspondiente 32. Del mismo modo, el número de fuentes
magnéticas en el estator 32 y el disco de rotor 10 puede diferenciarse de modo
que una proporción de las fuentes magnéticas 14, 40 sean fuera del registro en
cualquier tiempo dado. Algunos enchufes pueden ser vacíos, es decir sin una
fuente magnética, en el disco de rotor 10 o en el estator 32, o ambos.
Los enchufes 18 de los discos de rotor 10 pueden
ser asombrados, es decir compensados con relación a los enchufes de rotores
adyacentes, o ellos pueden alinearse en el registro. Así, el motor de imán
puede ser templado por tiempo por la colocación relativa de las fuentes
magnéticas 14 de discos de rotor adyacentes 10.
Así, la interacción de al menos algunas fuentes
magnéticas 14, 40 del primer y segundo juego 16, 42 impulsos el eje 26 para
girar. Una vez que el eje comienza a girar, la pluralidad de interacciones
simultáneas hace que el eje 26 siga girando.
Como mencionado antes, el motor puede tener
cualquier disco de rotor de número 10 y el estator correspondiente se pone 32.
Aunque el ajuste preciso de los elementos de motor sea importante, uno puede
imaginar otras encarnaciones cubiertas por esta invención.
Patente US 4,179,633 18 de diciembre 1979 Inventor: Donald A. Kelly
UNIDAD DE DISCO MAGNÉTICA
EXTRACTO
Esta unidad de disco de imán permanente consiste
en dos componentes magnéticos básicos, un disco llano conducido grande que
contiene una serie uniforme de segmentos de imán idénticos, y una segunda
conducción magnética significa la comprensión de pares magnéticos oscilantes
múltiples de segmentos de imán idénticos de enfrente. El mecanismo magnético
simula la acción de un mecanismo de escape de reloj en esto los pares de imán
oscilantes uniformemente oscilan entre los segmentos de imán de disco para
inducir la rotación de disco continua. Todos pares de imán oscilantes múltiples
son oscilados por un motor, o motores, que proporcionan un movimiento
excéntrico por una unidad de reducción de marcha conveniente. Los pequeños
motores de corriente continua son impulsados por series múltiples de células
photovoltaic solares de silicio en alguna posición de azotea conveniente.
4,082,969 Magnetic torque converter April, 1978 Kelly 310/103
4,100,441 Magnetic transmission July, 1978 Landery 310/103
FONDO DE LA INVENCIÓN
En este momento la unidad de disco magnética ha
alcanzado la etapa de desarrollo donde los pares de imán oscilantes harán girar
el disco segmentado magnético cuando las oscilaciones son hechas a mano. La
rotación de disco es lisa y continua cuando la oscilación manual es uniforme y
continua, y la velocidad de disco puede ser aumentada cuando el precio de
oscilación es aumentado.
Ya que el funcionamiento adecuado del concepto magnético/mecánico-conversión
ha sido probado ahora con un prototipo trabajador, un práctico y económico mí
y/o medios de oscilación externos para los pares magnéticos oscilantes debe ser
desarrollado ahora. La unidad de disco magnética fue al principio diseñada para
ser autoactuado por medio de una leva de multilóbulo y arreglo de vara de
empuje, pero este acercamiento no ha sido probado acertado hasta ahora.
Una desventaja para el tipo autoactuado de la
unidad de disco magnética es que el disco es garantizado la tasa con una salida
de velocidad baja, fija que es la persona a cargo en la interacción de campo
magnético natural entre los segmentos de imán complicados que se relacionan.
Un mediados del diámetro la leva de multilóbulo de
desplazamiento directa fue usada para el primer prototipo, pero este no trabajó
debido a la resistencia rotatoria alta impuesta por los ángulos de lóbulo de
leva altos. Una leva de multilóbulo de desplazamiento periférica, directa
también fue intentada pero este no era acertado debido a la resistencia de
lóbulo de leva moderada y suficiente para empujar el desplazamiento de vara.
Otras configuraciones de lóbulo de leva están
siendo planeadas y desarrolladas para asegurarse que ninguna compensación
posible a la oscilación mecánica autoactuada es pasada por alto. Otro
acercamiento posible a la autoimpulsión para la unidad de disco magnética es
por la aplicación del conmutador magnético del nivel de un gemelo que está
directamente relacionado con el eje de unidad de disco. Los segmentos de
conmutador magnéticos alternativamente atraen imanes radiales correspondientes
en varas de tirón que son giradas en cada uno de los platos de oscilación de
los pares magnéticos.
Mientras la impulsión automática de las unidades
de disco magnéticas puede ser deseable para algunas aplicaciones de poder
autónomas, la salida de velocidad baja, fija no es considerada atractiva y
prometedora para una amplia variedad de aplicaciones de poder de unidad
familiar. A causa de la inflexibilidad de la salida de velocidad del tipo
autoactuado de la unidad el, el desarrollo de una velocidad variable, por fuera
osciló se requiere que el tipo de la unidad de disco satisfaga el exigencia
creciente para medios de poder alternos y auxiliares para muchas aplicaciones.
La correspondencia de una unidad de disco
magnética grande y pequeña corriente continua impulsada solar los motores
eléctricos son un arreglo casi ideal desde un solo o la serie de pequeños
motores de corriente continua de precisión puede ser fácilmente impulsada por
series modestas de silicio photovoltaic células localizadas en alguna posición
de azotea conveniente. Pequeña eficacia alta, los motores de corriente continua
de cojinete están disponibles que, cuando relacionado a paseos de reducción de
marcha convenientes, puede hacer girar un mecanismo excéntrico simple con poder
suficiente y velocidad variable, causar la oscilación de una serie de cuatro a
seis pares oscilantes magnéticos de imanes de estator.
Esta serie de pares oscilantes magnéticos estará
toda relacionada juntos con el encadenamiento directo para transmitir el
movimiento que corresponde de la conducción eje oscilante a los otros ejes
oscilantes de la serie. Este es arreglo de conducción múltiple más deseable más
bien que pequeños motores de corriente continua separados ya que el sincronismo
es automáticamente asegurado, más bien que exigencias de sincronización
eléctricas más complejas y menos confiables. Como no hay garantizó la tasa el
sincronismo para este tipo de medios de oscilación externos, pares de
oscilación magnéticos múltiples deben ser del tipo de interferencia mínimo, en
el cual ellos no deben hacerse atestados en los segmentos de imán de disco.
Aunque el funcionamiento apropiado de la unidad de disco magnética requiera que
los pares de imán oscilantes debieran entrar en el círculo de interferencia de
segmento de imán del disco, los medios de desviación deben ser añadidos a todos
los platos de oscilación para asegurar que el disco continuamente giratorio
evitará fácilmente todos los pares de imán oscilantes.
La unidad de disco magnética grande consistirá en
un disco circular no magnético básico, en cual energía alta múltiple los segmentos
de imán permanentes son igualmente espaciados alrededor del borde del disco. El
árbol motor del disco gira en cojinetes de precisión y puede ser elegido para
girar en un horizontal o en un avión vertical. El disco es el componente
conducido de la asamblea de paseo magnética, y puede estar relacionado con la
carga o un generador eléctrico.
Pares de imán oscilantes múltiples son el
componente conductor de la unidad de unidad de disco y consisten en platos de
oscilación llanos, no magnéticos, en los cuales los imanes permanentes de gran
energía idénticos son asegurados a cada final de estos platos oscilantes. Los
segmentos de imán son colocados con postes de enfrente expuestos en los lados,
el uno con relación al otro de modo que una pareja de polo sur del norte afecte
los segmentos de imán del disco. La dirección del disco conducido de la
rotación depende de la polaridad de los imanes del disco con relación a los
pares magnéticos oscilantes.
Los pares magnéticos oscilantes harán un lleno de
acá para allá oscilación entre dos segmentos de imán de disco locales
adyacentes de modo que un "tirón alterno y empuje" efecto es inducido
en el disco segmentado magnético. El sincronismo básico entre los segmentos de
imán del disco y pares de imán oscilantes múltiples estrechamente simula la
acción de un reloj o mecanismo de escape de reloj con respecto a la acción
"cogging" natural entre los componentes que funcionan.
Este arreglo de unidad de disco magnético general
asegura la rotación lisa y continua para el disco conducido con un grado óptimo
del intercambio de energía magnético entre las estaciones de oscilación y el
disco magnético debido a cerca de la cara de poste a la exposición de cara de
poste. Se cree ahora que este tipo presente de la unidad de disco magnética se
acerca a un máximo teórico de la interpretación de conversión posible, sobre
todo comparando con otros tipos de arreglos magnéticos/mecánicos como gusano
magnético y discos de gusano, parejas de espuela, parejas de inglete, y todos
los tipos de inferior, dispositivos magnéticos lineales.
El atractivo del disco magnético básico y pares
oscilantes consiste en que un factor de apalancamiento casi ideal es
introducido en arreglos de conversión magnéticos/mecánicos. Simplemente
declarado, bastante menos energía es necesaria para oscilar los pares
oscilantes que son producidos del cerca de la cara de poste a la interacción
magnética de la cara del poste entre los componentes magnéticos que funcionan.
La alternancia y el "tirón uniforme y el
empuje" fuerza impuesta por los pares de imán oscilantes a los segmentos
de imán de disco no producen ninguna reacción de fuerza trasera o contraria
directa en la conducción segmentos de imán oscilantes que es la llave maestra
para un paseo de conversión magnético/mecánico útil y práctico. La fuerza
trasera o que contrareacciona en los pares de imán oscilantes es tomada
directamente por los pivotes fijos de los platos de oscilación, con mínimo de
la pena de carga impuesta al paseo de los pares de imán oscilantes.
Todos otros tipos de dispositivos de conversión
magnéticos/mecánicos rotatorios, con la excepción posible del gusano y tipo de
disco de gusano, producen una fuerza de reacción trasera indeseable en el
componente conductor e interpretación ineficaz que resulta. El gusano magnético
y las unidades de disco de gusano no han resultado ser suficientemente que vale
la pena para aplicaciones comerciales debido a la energía magnética permanente
muy alta necesaria y debida a la salida de velocidad baja de estos mecanismos.
Cuando las comparaciones de configuración son
hechas de todos los tipos de dispositivos de conversión magnéticos/mecánicos
posibles será notado que la combinación de un disco magnético conducido por
pares de imán oscilantes múltiples se destacará como un arreglo de conversión
magnético permanente práctico y útil. El incentivo para el desarrollo de esta
unidad de disco magnética era la consecuencia directa de la interpretación
decepcionante total de esfuerzos de conversión de energía solares y las frustraciones
encontradas con gastos componentes, eficacia de conversión y una carencia de
medios de almacenamiento de energía convenientes. Mientras la energía solar
está siendo extensamente aclamada para su futuro potencial como una fuente de
energía alterna viable, relativamente pocos ingenieros hablan claro sobre el
coste/eficacia total relativamente pobre debido a días en final de cielos
nublados durante los meses de invierno cuando la energía es más necesaria,
sobre todo en latitudes del norte.
A causa del "menos que la " perspectiva
de conversión de energía solar adecuada para la gran mayoría de propietarios
americanos, otro suplente, pequeña escala, se descentralizó, las fuentes de
energía deben ser exploradas y desarrolladas en una base de programa intensivo.
Si este no es hecho dentro de próximas varias décadas debemos aceptar la
alternativa de un nivel de vida enormemente reducido debido a la subida
alarmante del precio de gastos de energía.
Esta unidad de disco magnética representa una
solución práctica en la aplicación del magnetismo permanente en el desarrollo y
la comercialización de una red eléctrica alterna descentralizada, silenciosa,
sin combustible, clasificada de unidad familiar. Mientras la salida de poder de
una unidad de disco magnética individual puede ser pequeña, la salida de poder
es la constante y no depende generalmente de la intensidad de una fuente de
energía externa, como presente sistemas de energía solares.
RESUMEN DE LA INVENCIÓN
La unidad de unidad de disco magnética consiste de
un disco de conducción grande hecho del metal no magnético en el cual varios
imanes permanentes son igualmente espaciados alrededor del borde. El eje de
unidad de disco gira en el muñón apoyó cojinetes y puede girar en casi
cualquier posición convencional, y puede ser construido con cualquier diámetro
grande práctico.
Los pares de imán oscilantes idénticos son el
componente conductor de la unidad de disco y consisten en platos llanos, no
magnéticos en los cuales, los pares de imanes permanentes idénticos son
asegurados en ambos lados de los platos de oscilación. Estos pares de imán
tienen el enfrentamiento de caras de poste de enfrente. La dirección del disco
de la rotación es determinada por la polaridad de los imanes de todo el disco
con relación a la polaridad de los pares de imán oscilantes.
El par oscilante de imanes hace un lleno de acá
para allá oscilación mientras cada imán de disco de rotor pasa. Este produce un
tirón en el imán de disco cuando esto se acerca al imán de oscilador y luego
cuando el oscilador aleja aquel imán, una fuerza de empuje es aplicada al imán
en el disco rotativo por el segundo imán del par oscilante de imanes. El
synchronisation del disco y los pares de imán oscilantes debe ser mantenido
para la rotación continua y lisa del disco. Este movimiento es similar a la
acción de un mecanismo de escape de reloj.
El método de mover los pares oscilantes de imanes
es uno o varios motores de corriente continua con la energía solar. Estos
motores conducen varas de empuje que están en el contacto con cojinetes
montados en los platos de oscilación. Ya que los excéntricos deben moverse en
velocidades relativamente lentas, las unidades de reducción de marcha
convenientes deben ser usadas entre los motores y las armas de rockero.
A fin de mantener synchronisation apropiado de
todos los componentes oscilantes, los eslabones directos son usados para unir
todos los ejes de oscilación conducidos al eje de oscilación conductor. Pueden
expulsar de cuatro o cinco estaciones de oscilación de un eje de oscilación de
chofer de modo que una unidad de disco con un número grande de estaciones de
oscilación requiera que varios motores de corriente continua conduzcan todos
los otros ejes de oscilación.
Es importante que oscilación múltiple, idéntica
platee y sus pares de imán ser ligeramente más corta de ancho que el espacio
entre dos segmentos de imán de disco adyacentes, de modo que se induzca una
fuerza de empuje y tirón óptima en los segmentos de imán de disco locales. Un
lado de la pareja de imán oscilante "tira" en el imán permanente del
disco y luego el otro imán de oscilador "empuja" el imán permanente
del disco adelante cuando ha sido movido en el lugar por la oscilación.
Todos los pares de imán oscilantes oscilan en
varas inmóviles, o ejes, y todos los excéntricos y paseos de motor de corriente
continua permanecen fijados en una placa base. Los otros finales de las varas
oscilantes o ejes deben ser apoyados por alguna forma del soporte para
conservarse la oscilación platea la paralela a los segmentos de imán de disco.
Cada excéntrico que mueve un cojinete atado a armas en los platos de oscilación
debe hacer una 360 revolución de grado llena dentro del arco de desplazamiento
angular entre dos segmentos de imán de disco de rotor adyacentes. Dos pequeños
soportes de pivote son atados a los finales extremos, no magnéticos de los
platos de oscilación para permitir que estos platos oscilaran libremente con
mínimo de la fricción.
La relación rotatoria básica entre los pares
oscilantes magnéticos, y el disco segmentado magnético, tendrá tener que ver
con la proporción de reducción de marcha requerida para la unidad de paseo de
marcha conectada a los pequeños motores de corriente continua. La oscilación
bastante rápida es necesaria para mantener una velocidad de disco
razonablemente aceptable que será requerida para la mayor parte de aplicaciones
de poder. El tamaño de los excéntricos que oscilan los pares de imán oscilantes
será determinado por el arco oscilante lleno necesario y la ventaja mecánica
requerida por el plato de oscilación a fin de causar la rotación óptima de la
unidad de unidad de disco magnética.
El funcionamiento de unidad de disco magnético
apropiado requiere que los imanes que tiran de los pares de imán oscilantes
entren en el círculo de interferencia del disco dentro de la zona de campo
magnético mutua entre los dos imanes locales que se relacionan en el borde del
disco. Ya que el disco girará continuamente, la fase que se retira de los
imanes "que tiran" trae los imanes "que empujan" de la
pareja en el círculo de interferencia del disco dentro de la zona de campo
magnético mutua, para la interacción eficaz con el segmento de imán de disco
adyacente.
Todo el imán segmenta en los platos de oscilación
que se forman las parejas magnéticas deben estar de acuerdo con los segmentos
de imán de disco correspondientes a fin de mantener una interacción óptima
entre ellos.
Como allí no es natural, garantizar la tasa el
sincronismo para este tipo de la unidad de disco magnética, pares de imán
oscilantes magnéticos múltiples deben ser del tipo de interferencia mínimo, que
consiste en añadir el plástico deflectors a los platos de oscilación para
prevenir los imanes que tiran de la pareja de atrancarse en los segmentos de
imán de disco. Ya que los pares de imán oscilantes nunca deben atrancarse en el
disco y parar su rotación, el plástico deflectors permitirá que los platos de
oscilación y pares de imán sean desviados lejos de todos los segmentos de imán
de disco.
Los imanes permanentes seleccionados para ambos
componentes de la unidad de disco deben ser uniformemente idénticos y tener el
producto de energía más alto posible o la inducción magnética más coercivity.
Ambos de estas propiedades magnéticas desempeñarán un papel significativo en la
determinación del valor verdadero de la unidad de unidad de disco magnética. En
este momento los imanes permanentes rare-earth/cobalt ofrecen las propiedades
magnéticas más altas posible para esta aplicación, pero su coste es muy alto y
actualmente no considerado rentable para la unidad de disco magnética. Ya que
los gastos también desempeñarán un papel principal en el valor competitivo de
la unidad de disco, los imanes seleccionados deben mostrar la proporción de
coste/eficacia más alta posible, junto con la vida de operaciones larga.
Imanes permanentes de cerámica rectangulares con
caras de poste llanas grandes son preferidos para los prototipos de unidad de
disco, y no hay ningún límite teórico al tamaño de ambos componentes que se
relacionan. Un límite práctico al tamaño actual de los componentes es impuesto
por peso y restricciones de coste materiales más el espacio disponible, pero
casi cualquier número práctico y tamaño de imanes uniformemente idénticos
pueden ser usados para arreglar la unidad de disco magnética.
Será ventajoso aumentar cada estación de imán de
disco en racimos de hasta aproximadamente doce a veinticuatro imanes
individuales que son arreglados en longitudes de cuatro o cinco unidades y
anchuras dobles o triples según el diámetro de disco. Una unidad de disco de
diámetro grande es siempre deseable ya que la salida de torsión para la unidad
de disco depende de la fuerza magnética tangencial producida por todas las
estaciones de pareja de imán oscilantes multiplicadas por el radio de disco.
La velocidad de disco de diámetro grande será
relativamente lenta, en los 20 a 30 r.p.m. variedad, de modo que la velocidad
de salida de disco debiera ser andada hasta unos 750 a 1200 útiles r.p.m.
variedad de velocidad, por un arreglo de paseo de cinturón. La salida de unidad
de disco magnética es mejor adaptada para dirigir un generador eléctrico o el
alternador para producir el poder eléctrico para varios objetivos de unidad
familiar.
Una ventaja a la utilización del silicio
photovoltaic células solares en una posición de azotea expuesta como una fuente
de alimentación, es que ellos son capaces de proporcionar E.M.F. parcial en
condiciones de cielo non-sunlight/overcast. Con la exposición de luz del sol
llena la energía eléctrica producida dirigirá la unidad de disco magnética en
su velocidad posible máxima, con niveles de luz del sol reducidos que producen
una reducción proporcionada correspondiente de la velocidad de salida de disco.
Una opción realizable existe para usar un mayor
número de fotocélulas de silicio que sería normalmente necesario para la
operación de luz del sol llena. El número de células seleccionadas sería capaz
de dirigir la unidad de disco magnética en la velocidad llena en condiciones de
cielo nubladas, con cualquier exceso luz del sol llena corriente evitado a
acumuladores. Esta opción es un arreglo deseable ya que el disco será asegurado
del poder de entrada eléctrico lleno cada día, con el poder de batería
disponible para arreglar la pérdida de cualquier condición de cielo de día
oscura.
El objeto principal de la invención es
proporcionar la salida de torsión más alta para el disco expulsado grande de la
entrada de torsión más baja posible para pares de imán oscilantes múltiples,
cuando un aumento de poder útil significa para aplicaciones de generación
eléctricas.
Otro objeto de la invención es proporcionar una
fuente de alimentación de aumento que puede ser producida en gastos
competitivos, no requiere ningún combustible combustible y es no contaminante
dirigiendo silenciosamente y continuamente.
Esto es un objeto adicional de la invención de
proporcionar una fuente de energía natural que tiene una vida de operaciones
muy larga, con un máximo de la eficacia de operaciones, resistencia componente
a la degradación, con mínimo de reemplazo de partes y mantenimiento.
Varios rasgos de la invención con su geometría de
diseño básica serán más aparentes de la descripción siguiente y dibujos que
ilustran la encarnación preferida. Debería ser entendido que las variaciones
pueden ser hechas en los componentes específicos, sin marcharse del espíritu y
el alcance de la invención como descrito e ilustrado.
Respecto a los
Dibujos:

Fig.1 es una vista superior, externa de la
unidad de disco magnética.

Fig.2 es una vista lateral externa de la unidad
de disco magnética.

Fig.3 es una vista superior ampliada de una
pareja de imán oscilante.

Fig.4 está una cumbre, la vista de ruptura de
varios pares de imán oscilantes relacionados juntos con el encadenamiento.
DESCRIPCIÓN DE LA ENCARNACIÓN PREFERIDA
La invención 1, consiste de dos componentes
básicos: un disco conducido grande 2, e imán oscilante múltiple se aparea 3,
que son estrechamente interrelacionados y montados en una placa base común 4.

Imanes permanentes múltiples, idénticos 2a, son
igualmente espaciados alrededor de la periferia del disco conducido grande 2,
por medio de ángulos de apoyo 2b, y corchetes angulares 2c, que son asegurados
al disco 2, con el hardware estándar.
Un árbol motor 5, es sujetado al disco 2, por medio
de un cubo 2o, y apoyado por dos cojinetes 6. Uno de los cojinetes 6, es
encajado en una ánima dentro de la placa base 4, mientras el otro cojinete 6,
es encajado en una base de caja 7, que es sujetado a la placa base 4, con el
hardware estándar.

Imán oscilante múltiple pares 3, son un plato
llano, no magnético 3a, con segmentos de imán de poste de enfrente 3b y 3c,
respectivamente, atado al lado del plato de oscilación llano 3a. Dos soportes
de pivote 3os, son atados a la cumbre y fondo del plato llano 3a, que giran el
plato de oscilación 3a, en la vara de pivote 8. Un final de la vara de pivote
8, es encajado en la placa base 4, y el extremo opuesto es apoyado por un
soporte Z-shaped alargado 8a.

Un brazo 9, es sujetado a una cara llana del plato
llano 3a, que apoya el alfiler 10a, que lleva el cojinete 10, cuando esto rueda
en el disco excéntrico 11. El disco fuera de centro 11, es sujetado al eje de
velocidad lento de la unidad de reducción de marcha 12, que es conducido por el
pequeño motor de corriente continua 13. Una primavera de tensión de vuelta 14,
está relacionado con el plato de oscilación 3a, por el ojal 3e. El extremo
opuesto de la primavera de tensión de vuelta 14, es retenido por el poste 15,
que es presionado en la placa base 4. Motores 13, son impulsados por series
múltiples de silicio photovoltaic células solares 16. Eléctrico conduce 16a,
conducir la electricidad convertida solar a los motores 13, con cualquier
exceso corriente almacenado en las baterías 16b.
Las estaciones de oscilación conducidas del motor
se hacen las estaciones de maestro para la esta invención 1, de la cual tres a
cinco estaciones de oscilación de esclavo son conducidas. El movimiento que
corresponde es transmitido por eslabones directos 17, que son fijados a las
armas de eslabón 18, que por su parte son asegurados a los platos llanos 3a.
Todas las estaciones de oscilación de esclavo
deben ser exactamente ajustadas a exactamente la misma posición angular que el
maestro que conduce la estación de oscilación de modo que todas las estaciones
sean sincronizadas para permitir el funcionamiento apropiado del disco rotativo
2.
Para discos muy grandes 2, con muchos imanes de
disco, varias estaciones de oscilación de maestro, con un número fijo de
estaciones de oscilación de esclavo serán requeridas. Todas las estaciones de
conducción de oscilación de maestro tendrán que ser eléctricamente
sincronizadas para mantener en general synchronisation, con todos los
excéntricos 11, ponerse en el mismo ángulo en el arranque del disco.
El uno o el otro final del árbol motor 5, puede
estar relacionado con un arreglo de paseo de cinturón de aumento de velocidad,
que no es mostrado aquí.
Plástico deflectors 19, son añadidos al uno o el
otro lado de los platos de oscilación 3a, adyacente a los segmentos de imanes
de enfrente 3b, y 3c, su posición exacta según la dirección de la rotación del
disco 2. Éstos actúan como un dispositivo que se antiatranca para los imanes.
Ángulos de tendencia de campo magnético 3f y 3g
(Fig.3), son requerido para los lados de platos 3a, a fin de asegurar una
secuencia "de empuje de tirón" óptima en el disco de paseo grande 2,
cuando la oscilación magnética pares 3, son actuados. El ángulo de tendencia
3f, es emparejado al segmento de imán 3b, mientras el ángulo de tendencia 3g es
emparejado al segmento de imán 3c.
Ninguno de los componentes de carga que son
externos al dispositivo, como un generador eléctrico o alternador, es mostrado
como una parte de esta invención, ya que una variedad de dispositivos de carga
y arreglos es posible para la unidad de disco magnética
El uno o el otro final del árbol motor 5, puede
estar relacionado con un arreglo de paseo de cinturón de aumento de velocidad,
que no es mostrado aquí.
Plástico deflectors 19, son añadidos al uno o el
otro lado de los platos de oscilación 3a, adyacente a los segmentos de imanes
de enfrente 3b, y 3c, su posición exacta según la dirección de la rotación del
disco 2. Éstos actúan como un dispositivo que se antiatranca para los imanes.
Patente US 2,030,759 11
de febrero 1936 Inventor: Bob Neal
UNIDAD DE COMPRESOR
Esta invención está relacionada con la
construcción de un compresor, y más en particular a un motor hecho funcionar
por fluido combinado y compresor.
El objeto primario de la invención, es la
provisión de un compresor de este carácter, en donde allí es arreglado un
cigüeñal automáticamente compensado e igualadas fluidas dentro de un tanque de
almacenamiento, que lo hace posible para el motor de funcionar en la presión de
tanque de la reserva constante, para actuar el equipo adicional, los pistones
para el motor también automáticamente equilibrado y suspendido cuando el motor
funciona.
Otro objeto de la invención es la provisión de un
motor que es hecho funcionar por avión bajo la presión, el aire suministrado
por compresores que están en un banco con la construcción de motor.
Un objeto adicional de esta invención es la
provisión de un motor de este tipo de la construcción nueva como el motor y los
compresores son hechos funcionar del mismo cigüeñal, que es del tipo
automáticamente equilibrado, de modo que la eficacia alta sea alcanzada.
Un objeto todavía adicional de la invención es la
provisión de un motor de este carácter que es relativamente simple en la construcción,
a fondo confiable y eficiente en su operación, fuerte, duradera, y barata para
fabricar.
Con estos y otros objetos en mente, la invención
consiste en los rasgos de construcción, la combinación y el arreglo de partes
como serán descritos más totalmente aquí, ilustrados en los dibujos de
acompañamiento que revelan la encarnación preferida de la invención, e indicado
en la Reclamación añadida.

Fig.1 es una vista de
perspectiva del motor construido de acuerdo con la invención.

Fig.2 es una vista de
corte transversal transversal vertical por la parte de compresor del motor.

Fig.3 es una vista
enfadada seccional vertical por la parte de poder del motor.

Fig.4 es una
elevación de detalle del cigüeñal del motor.

Fig.5 es una vista enfadada
seccional ampliada por uno de los radiadores eléctricos para el motor.

Fig.6 es una vista
vertical, longitudinal, enfadada seccional por el tanque de almacenamiento de
aire, incluso la igualada.
Los mismos números de referencia son usados para
cada parte individual en cada vista en cada dibujo.

Respecto a los dibujos detalladamente, el motor en
su totalidad, forma un bloque de cilindro 10 tener dentro de ello, la serie de
cilindros de compresor 11 y los cilindros de poder 12. El bloque 10 es del
V-tipo y los finales superiores de los cilindros son cerrados por las cabezas
desprendibles 13 y 14 que son sostenidos en el lugar por los cerrojos de cabeza
convencionales 15. Bajo el bloque 10 es el caso de manivela 16, que tiene
platos desmontables 17 en lados opuestos, sostenidos en el lugar por
sujetadores 18, y asentado para ser la prueba de agujero. El bloque 10 es
chambered para proporcionar una chaqueta agua 19 alrededores de los cilindros,
mientras al final avanzado del bloque son las bombas de agua 20, circulando
agua por el tubo de admisión 21 que conduce a la chaqueta y las salidas de agua
de la chaqueta por el tubo de salida 22. Al lado de las bombas 20, es un
abanico 23 que es hecho funcionar del mismo cinturón 24 que conduce las bombas.
Trabajando dentro de los cilindros 11, son los
pistones que corresponden 25, sus varas 26 deslizamiento por glándulas que
hacen las maletas 27 y fijado a crossheads 28 que se deslizan en sus guías de
montaje 29 que son asegurados a las paredes del caso de manivela 16. Estos
crossheads 28 son encajados con los alfileres de muñeca 30, formando una unión
de giro con las bielas 31, que están relacionados con sus manivelas 33 por sus
portes 32. Las manivelas 33 parte de forma de un contador equilibró el cigüeñal
34, que es montado en apoyos 35 atado al caso de manivela 16, el eje proveído
de los portes requeridos 36.

Los finales interiores de los cilindros 11 son encajados con las cabezas de final interiores 37, que son proveídos de puertos de toma de aire 38 encajado con los controles de entrada de pelota de primavera 39, el aire que entra por pasos 40 que se abren fuera del bloque 10. Las glándulas 27 son montadas en las cabezas 37.
Las cabezas 13 y 37 son proveídas de las salidas
de aire comprimidas 41 y 42, que son encajados con los controles de pelota de
primavera 43. Las cabezas 13 también son proveídas de las tomas de aire
centrales 44, que son encajados con los controles de primavera 45. Los
enganches 46 atan las salidas de aire 41 y 42 a sus tubos de comida de salida
47 y 48. Estos tubos conducen a un conducto principal 49 que es localizado en
los 50 de canal de centro del bloque 10.

En el trasero del bloque 10, montado en el eje 36,
hay un volante convencional 51.

El funcionamiento dentro de los cilindros 12 es
los pistones 52, con sus varas de pistón 53 deslizamiento por glándulas que
hacen las maletas 54 y fijado en crossheads 55 que se deslizan a lo largo de
sus guías de montaje 56, montado en las paredes interiores del caso de manivela
16. Los crossheads 55 tienen los alfileres de muñeca 57 que proporcionan una
unión de giro para las bielas 58 que están relacionados por sus portes 59 a sus
manivelas 60 del eje de manivela 34, los finales interiores de los cilindros 12
cerrado por las cabezas interiores 61 y sus glándulas asociadas 54.
En los cilindros 12 son pechos de válvula de
diapositiva 62 en que son las válvulas de diapositiva 63, éstos hechos
funcionar por varas de tiro 64 actuado por levas 65 y las válvulas controlando
la admisión y gases de combustión del aire en y de los cilindros 12, por los
puertos 66 y 67, y estas válvulas 63 son proveídas de puertos 68 para la
entrega del aire bajo la presión de los pasos de admisión 69 común a un tubo 70
llegada de un tanque de almacenamiento de aire comprimido 71.
El fondo del caso de manivela 16 es encajado con
un plato desprendible 72 que es asegurado en el lugar por sujetadores 73, y
cuando este plato es quitado, esto proporciona el acceso al eje de manivela 34
y los portes para el motor, así como otras partes dentro del caso de manivela.

comprimido 71 tiene dentro de ello un inyector de
descarga de comprobación minuciosa 75, apoyado por el miembro 76. La conducción
a esta igualada es un tubo de toma de aire 77 que se une por la su sección 78
valved al embalse de aire comprimido 79. En la igualada 75, son los controles
de pelota de primavera espaciados 80 y 81, un siendo para el lado de admisión y
otro para el lado de salida de la igualada. Este tubo 77 está relacionado con
el conducto principal 49, mientras un tubo 82 se une al tubo 70. El tanque
también es encajado con una válvula de alivio automática 83 y esta válvula
puede ser de cualquier tipo aprobado.

Colocado alrededor de los tubos 70 que se unen a
los pasos de aire 69 (Fig.3) son unidades de calefacción eléctricas 84 para
calentar el aire presurizado a la susodicha temperatura glacial cuando librado
del tanque 71 a los cilindros 12. Apoyado en el bloque 10 es un generador
eléctrico 85 de que expulsan del eje 34 (Fig.2) por un cinturón 24 (Fig.1) y
este generador es incluido en un recorrido eléctrico que también tiene los
calentadores 84 de modo que éstos funcionen de corriente suministrado por el
generador.
El tanque de almacenamiento de aire comprimido 71
con la igualada es construido de modo que sea posible bombear el aire en ello
mientras esto contiene una presión atmosférica de 200 libras por pulgada
cuadrada mientras los compresores sólo pisan repetidamente contra 15 libras por
pulgada cuadrada de la presión (atmosférica). Una fuente de presión atmosférica
exterior puede ser conectada con el tanque para aumentar aquella presión sacada
de los cilindros 11 del motor.
RECLAMACIONES
Lo que es reclamado es:
En una estructura de la clase descrita, un bloque
de cilindro V-shaped proveyó de cilindros arriba divergentes, cabezas de final
encajadas a cilindros dichos en extremos opuestos de eso, cada cabeza que tiene
valved entradas y salidas, un plomo de salida principal entre los cilindros del
bloque para un tanque de almacenamiento y tiene ramas laterales a las salidas
en los lados interiores de cabezas dichas, una entrada localizada en el centro
de cada cabeza a los finales externos de cilindros dichos mientras las entradas
restantes están en los lados externos de las cabezas a los finales interiores
de cilindros dichos, un considerablemente caso de manivela de V-formado encajado al bloque bajo los
cilindros, un eje de manivela compensado journaled en el caso de manivela,
pistones que funcionan en los cilindros y amplían varas en el caso de manivela,
crosshead guías encajadas a los lados interiores de caso dicho, crossheads
unión de las varas con las guías y deslizamiento en ellos y bielas hechas
funcionar por el eje de manivela y girado en el crossheads a fin de permitir
correspondencia de los pistones.
Patente US 4,292,804 6 de octubre 1980 Inventor: Leroy K. Rogers
MÉTODO Y APARATO PARA
FUNCIONAMIENTO
UN MOTOR EN GAS COMPRIMIDO
EXTRACTO
La invención presente está relacionada con un
método y aparato para hacer funcionar un motor que tiene un cilindro que
contiene un pistón que corresponde conducido por un gas comprimido. El aparato
comprende una fuente de gas comprimido relacionado con un distribuidor que
comunica el gas comprimido al cilindro. Una válvula es proporcionada para
admitir el gas comprimido al cilindro cuando el pistón está en una posición de
Centro Muerta aproximadamente Superior.
En una encarnación de la invención presente, el
cronometraje de la apertura de la válvula es avanzado de modo que se confiesen
culpable del gas comprimido el cilindro cada vez más adelante antes de la
posición de Centro Muerta Superior del pistón como la velocidad de los aumentos
de motor.
En una encarnación adicional de la invención
presente, un accionador de válvula es proporcionado que aumenta el tiempo
durante el cual la válvula permanece abierta para admitir el gas comprimido al
cilindro como la velocidad de los aumentos de motor.
Una encarnación todavía adicional de la invención presente está relacionada
con un aparato para adaptar un motor de combustión interno convencional para la
operación en el gas comprimido.
Referencias Evidentes estadounidenses:
3,881,399 May., 1975 Sagi et al. 91/187.
3,885,387 May., 1975 Simington 60/407.
4,018,050 Apr., 1977 Murphy 60/412.
DESCRIPCIÓN
FONDO Y RESUMEN DE LA INVENCIÓN PRESENTE
La invención presente es un método y el aparato
para hacer funcionar un motor usando un gas comprimido como el fluido de
motivo. Más en particular, la invención presente está relacionada con un
aparato para adaptar un motor de combustión interno preexistente para la
operación en un gas comprimido.
La contaminación de aire es uno de los problemas
más serios que afrontan el mundo hoy. Uno de los donantes principales para
airear contaminación es el motor de combustión interno ordinario que es usado
en la mayor parte de automóviles hoy. Varios dispositivos, incluso muchos
artículos requeridos por la legislación, han sido propuestos en una tentativa
de limitar los contaminadores que un motor de combustión interno agota al aire.
Sin embargo, la mayor parte de estos dispositivos se han encontrado con el
éxito limitado y son a menudo tanto prohibitivamente caros como complejos. Una
alternativa limpia al motor de combustión interno es necesaria para impulsar
vehículos y otra maquinaria.
Un gas comprimido, preferentemente airéese,
proporcionaría un fluido de motivo ideal para un motor, ya que esto eliminaría
los contaminadores habituales agotados de un motor de combustión interno. Un
aparato para convertir un motor de combustión interno para la operación en el
aire comprimido es revelado en Estados Unidos. Acariciar. El No 3,885,387
resultó el 27 de mayo de 1975 a Simington. La patente de Simington revela un
aparato incluso una fuente del aire comprimido y un accionador de válvula
rotativo que abre y cierra una pluralidad de válvulas poppet mecánicas. Las
válvulas entregan el aire comprimido en la secuencia calculada a los cilindros
de un motor por adaptadores localizados en los agujeros de bujía. Sin embargo,
la velocidad de salida de un motor de este tipo es limitada por la velocidad de
las válvulas mecánicas y el hecho que el tiempo durante el cual cada una de las
válvulas permanece abierta no puede ser variado como la velocidad de los
aumentos de motor.
Otro aparato para convertir un motor de combustión
interno para la operación en vapor o aire comprimido es revelado en Estados
Unidos. Acariciar. El No 4,102,130 resultó el 25 de julio de 1978 a Stricklin.
La patente de Stricklin revela un dispositivo que cambia el cronometraje de
válvula de un cuatro motor de golpe convencional tal que el consumo y las
válvulas de escape se abren una vez para cada revolución del motor en vez de
una vez cada otra revolución del motor. Una válvula que pone marcha atrás es
proporcionada que entrega el vapor vivo o el aire comprimido a las válvulas de
consumo y es invertido posteriormente para permitir que las válvulas de escape
entregaran el vapor ampliado o el aire a la atmósfera. Una válvula que pone
marcha atrás de este tipo sin embargo no proporciona un aparato confiable para
variar la cantidad de fluido de motivo inyectado en los cilindros cuando se
desea para aumentar la velocidad del motor.
Adelante, un dispositivo del tipo revelado en la patente de Stricklin
requiere el uso de válvulas de inversión múltiples si los cilindros en un motor
de multicilindro debieran ser encendidos secuencialmente.
Por lo tanto, esto es un objeto de la invención
presente de proporcionar un método confiable y el aparato para hacer funcionar
un motor o convertir un motor para la operación con un gas comprimido.
Un objeto adicional de la invención presente es
proporcionar un método y el aparato que es eficaz para entregar una cantidad
constantemente creciente de gas comprimido a un motor como la velocidad de los
aumentos de motor.
Un objeto todavía adicional de la invención
presente es proporcionar un método y el aparato que hará funcionar un motor
usando el gas comprimido en una velocidad suficiente para conducir un coche
convencional en velocidades de carretera.
Esto es todavía un objeto adicional de la
invención presente de proporcionar un método y el aparato que es fácilmente
adaptable a un motor de combustión interno estándar, convertir el motor de
combustión interno para la operación con un gas comprimido.
Otro objeto de la invención es proporcionar un
método y el aparato que utiliza el gas ampliado chulo, agotado de un motor de
gas comprimido, hacer funcionar una unidad de aire acondicionado y/o un
refrigerador del aceite.
Estos y otros objetos son realizados por el método
y el aparato de la invención presente para hacer funcionar un motor que tiene
al menos un cilindro que contiene un pistón que corresponde y usa el gas
comprimido como el fluido de motivo. El aparato incluye una fuente de gas
comprimido, un distribuidor lo unió para comunicar el gas comprimido al
cilindro o cilindros. Una válvula es proporcionada para admitir el gas
comprimido al cilindro cuando el pistón está en una posición de Centro Muerta
aproximadamente Superior dentro del cilindro. Unos gases de combustión son
proporcionados para agotar el gas ampliado del cilindro cuando el pistón vuelve
a aproximadamente la posición de Centro Muerta Superior.
En una encarnación preferida de la invención
presente, un dispositivo es proporcionado para variar la duración de cada ciclo
de motor sobre el cual la válvula permanece abierta para admitir el gas
comprimido al cilindro, dependiente sobre la velocidad del motor. En una
encarnación preferida adicional de la invención presente, se queda un aparato
para avanzar que el cronometraje de la apertura de la válvula admita el gas
comprimido al cilindro cada vez más adelante y adelante antes de la posición de
Centro Muerta Superior del pistón, como la velocidad de los aumentos de motor.
Adelante los rasgos de la invención presente
incluyen una válvula para controlar la cantidad de gas comprimido se confesó
culpable del distribuidor. También, una porción del gas que ha sido ampliado en
el cilindro y agotado por la válvula de escape, es entregada a un compresor
para ser comprimido otra vez y devuelto a la fuente de gas comprimido. Un tren
de marcha puede ser contratado para conducir el compresor selectivamente en
velocidades de operaciones diferentes, según la presión mantenida en la fuente
del aire comprimido y/o la velocidad del motor. Todavía adelante, una segunda
porción del gas de escape es usada para refrescar un fluido lubricante para el
motor o hacer funcionar una unidad de aire acondicionado.
En una encarnación preferida de la invención
presente, la válvula para admitir gas comprimido al cilindro es hecha funcionar
eléctricamente. El dispositivo para variar la duración de cada ciclo de motor,
sobre el cual la válvula de consumo permanece abierta, como la velocidad de los
aumentos de motor, comprende un elemento rotativo cuya longitud eficaz aumenta
como la velocidad de los aumentos de motor, causando un primer contacto en el
elemento rotativo estar eléctricamente relacionado con un segundo contacto en
el elemento rotativo, durante un período más largo de cada ciclo de motor. El
segundo contacto hace funcionar la válvula que lo hace permanecer en un puesto
vacante durante un período más largo de cada ciclo de motor, como la velocidad
de los aumentos de motor.
Los rasgos todavía adicionales de la invención
presente incluyen un plato de adaptador para apoyar al distribuidor encima del
distribuidor de consumo de un motor de combustión interno convencional después
de que un carburador ha sido quitado para permitir que el aire entrara en los
cilindros del motor por el consumo válvulas de consumo diversas y
convencionales. Otro plato de adaptador es quedado sobre un callejón de gases
de combustión del motor de combustión interno reducir el área enfadada
seccional del callejón de gases de combustión.
BREVE DESCRIPCIÓN DE LOS DIBUJOS
Las encarnaciones preferidas de un método y
aparato para hacer funcionar un motor según la invención presente serán
descritas en cuanto a los dibujos de acompañamiento en los cuales los
componentes tienen los mismos números de referencia en cada dibujo.
Fig.1 es una
representación esquemática de un aparato según la invención presente arreglada
en un motor:

Fig.2 es una vista lateral de una encarnación
de un accionador de válvula según la invención presente.

Fig.3 es una vista enfadada seccional tomada a
lo largo de la línea 3 - 3 en Fig.2.

Fig.4 es una vista
enfadada seccional de una segunda encarnación de un accionador de válvula según
la invención presente.

Fig.5 es una vista tomada a lo largo de la
línea 5 - 5 en Fig.4.

Fig.6 es una vista enfadada seccional de una
tercera encarnación de un accionador de válvula según la invención presente;

Fig.7 es una vista tomada a lo largo de la
línea 7 - 7 en Fig.6.

Fig.8 es una vista enfadada seccional de una
unidad que engrana para conducir un compresor según la invención presente.

DESCRIPCIÓN DETALLADA DE
LA ENCARNACIÓN PREFERIDAS
En cuanto a Fig.1, un bloque de motor 21 (mostrado
en el fantasma) tener dos bancos de cilindros con cada banco incluso cilindros
20 pistones que tienen 22 que corresponden en ellos en una manera convencional
(sólo uno de los cuales es mostrado en el fantasma). Mientras el motor
ilustrado es un motor v-8, será aparente que la invención presente es aplicable
a un motor que tiene cualquier número de pistones y cilindros con el motor v-8
utilizado para objetivos de ilustración sólo. Un tanque de gas comprimido 23 es
proporcionado para almacenar un gas comprimido en la presión alta. También
puede ser deseable incluir un pequeño compresor eléctrico o de gas para
proporcionar el gas comprimido para complementar el gas comprimido sostenido en
el tanque 23. En una encarnación preferida, el gas comprimido es el aire que
puede ser obtenido de cualquier fuente conveniente.

Una línea 25 transportes el gas retirado del
tanque 23 cuando una válvula de cierre convencional 27 está abierta. Además,
una válvula de solenoide 29 preferentemente hecho funcionar por un interruptor
de motor hecho funcionar por llave conveniente (no mostrado) también es
colocada en la línea 25. En la operación normal, la válvula 27 es mantenida
abierta siempre con la válvula de solenoide 29 funcionamiento como una válvula
cerrada selectiva para comenzar y parar el motor 21.
Una válvula de regulación conveniente 31 es
arreglada río abajo de la válvula de solenoide 29 y está relacionada por un
encadenamiento 33 a un encadenamiento de regulador 35 que es actuado por
operador por cualquier aparato conveniente como un pedal de pie (no mostrado).
La línea 25 entra en un final de un distribuidor 33 y está relacionada con un
final de un tubo 35 que está cerrado al otro final. Una pluralidad de agujeros,
que son iguales al número de cilindros en el motor 21, es proporcionada a ambos
lados del tubo 35 a lo largo del tubo 35.
Cuando la invención presente es usada para adaptar
un motor de combustión interno convencional para la operación en el gas
comprimido, un plato de adaptador 36 es proporcionado para apoyar al
distribuidor 33 en la relación espaciada del consumo habitual que se abre en el
distribuidor de consumo del motor después de que un carburador convencional ha
sido quitado. De esta manera, se permite que el aire entre en el motor de
combustión interno por los callejones habituales y sea confesado culpable los
cilindros por válvulas de consumo convenientes (no mostrado). El plato de
adaptador 36 es atado al bloque de motor 21 y el distribuidor 33 por cualquier
aparato conveniente, p.ej, cerrojos.
Los Cada uno de los agujeros tubo en el-35 está
relacionado en la manera fluida apretada engañan a una línea sola 37. Cada
línea 37 gas el-lleva comprimido un cilindro solo 20. En una encarnación
preferida, cada una de las líneas 37 es la pulgada 1/2 tubería de plástico de
presión alta atada por conectores convenientes distribuidor Al-33 tubo el-y 35.
Cada una de las líneas 37 está relacionada engaña a una válvula 39 que es
asegurado en una apertura proporcionada cerca de la cumbre de cada uno de los
cilindros 20. En caso de una conversión de un motor de combustión interningún
estándar, las válvulas 39 pueden ser cómodamente atornilladas en un agujero
dado un toque en el-cilindro 20 típicamente aseguraba una bujía del motor de
combustión no. En una encarnación preferida, las válvulas 39 hijo las válvulas
actuadas del solenoide una aleta de proporcionar una apertura rápida y
confiable y cierre el-de las válvulas 39.
Cada una de las válvulas 39 es activada por un
accionador de válvula 41 por una de una pluralidad de alambres 43. El
accionador de válvula 41 es conducido por un eje del motor similar al paseo
para un distribuidor convencional de un motor de combustión interno. Es decir
un eje 55 del accionador de válvula 41 es conducido en el sincronismo con el motor
21 en una mitad la velocidad del motor 21.

Una primera encarnación del accionador de válvula
41 (Fig.2 y Fig.3), recibe el poder eléctrico por un alambre 45 que es activado
en una manera conveniente por una batería, y un bobina si es necesario (no
mostrado) como es convencional en un motor de combustión interno. El alambre 45
es atado a un poste central 47 por una tuerca 49. El poste 47 está relacionado
con un plato de conducción 51 arreglado en un alojamiento 53 para el accionador
de válvula 41. Dentro del alojamiento 53, el eje 55 tiene un elemento de
aislamiento 57 asegurado a un final del eje 55 y gira con ello cuando el eje 55
es conducido por el motor 21. Influyen continuamente en un primer final de un
contacto flexible 59 contra el plato de conducción 51 para recibir la
electricidad de la batería u otra fuente conveniente. El otro final del
contacto 59 está relacionado con una manga de conducción 60 que está en el
contacto constante con el contacto influido de una primavera 61 que es arreglado
dentro de la manga 60. El contacto 61 es presionado antes de una primavera 63
que empuja el contacto 61 hacia una pared lateral del alojamiento 53.

En cuanto a Fig.3, una pluralidad de contactos 65
es espaciada el uno del otro y es arreglada alrededor de la periferia del
alojamiento 53 en el mismo nivel que la primavera influyó en el contacto 61.
Cada contacto 65 está eléctricamente relacionado con un poste 67 que se
extiende fuera del alojamiento 53. El número de contactos 65 es igual al número
de cilindros en el motor 21. Uno de los alambres 43, que actúan las válvulas
39, es asegurado a cada uno de los postes 67.
In operación, cuando el eje 55 gira en el
sincronismo con el motor 21, el elemento de aislamiento 57 gira y la
electricidad es por último entregada a pares sucesivos de los contactos 65 y
pone instalación eléctrica 43 en la primavera contacto cargado 61 y el contacto
flexible 59. De esta manera, cada una de las válvulas eléctricas 39 es activada
y abierta en la secuencia calculada apropiada para reconocer que el gas
comprimido a cada uno de los cilindros 20 conducía los pistones 22 en un golpe
hacia abajo.
La encarnación ilustrada en Fig.2 y Fig.3 es
eficaz en causar cada una de las válvulas 39 para permanecer abierto durante un
período de bastante mucho tiempo del tiempo para reconocer que el gas
comprimido suficiente a cada uno de los cilindros 20 del motor 21 conducía el
motor 21. La longitud de cada uno de los contactos 65 alrededor de la periferia
del alojamiento 53 es suficiente para permitir a la velocidad del motor ser
aumentada cuando deseado por el operador moviendo el encadenamiento de
regulador 35 que actúa el encadenamiento 33 para abrir adelante la válvula de
regulación 31 para admitir el gas más comprimido del tanque 23 al distribuidor
33. Sin embargo, ha sido encontrado esto la cantidad de aire admitido por las
válvulas 39 usando la primera encarnación del accionador de válvula 41 (Fig.2 y
Fig.3) es considerablemente más que requerido hacer funcionar el motor 21 en
una velocidad que funciona en vacío. Por lo tanto, puede ser deseable
proporcionar un accionador de válvula 41 que es capaz de variar la duración de
cada ciclo de motor sobre el cual las válvulas de solenoide 39 son actuadas, es
decir, permanecen abiertas para admitir el gas comprimido, cuando la velocidad
del motor 21 es variada.

Una segunda encarnación de un accionador de
válvula 41 que es capaz de variar la duración de cada ciclo de motor sobre el
cual cada una de las válvulas 39 permanece abierta para admitir el gas
comprimido a los cilindros 20 dependiente sobre la velocidad del motor 21 será
descrita en cuanto a Fig.4 y Fig.5 en donde los miembros correspondiente a
aquellos de Fig.2 y Fig.3 llevan como números de referencia. El alambre 45 de
la fuente de electricidad es atado al poste 47 por la tuerca 49. El poste 47
hace que un contacto anular suene 69 eléctricamente relacionado con un final
del poste 47 y arreglado dentro del alojamiento 53. El eje 55 hace girar en una
mitad la velocidad del motor como en la encarnación de Fig.2 y Fig.3.

A un final superior del eje 55, una sección 71
splined recibe un deslizamiento que aísla al miembro 73. La sección 71 splined
del eje 55 asimientos el miembro de aislamiento 73 bien cuando esto gira con el
eje 55, pero permite al miembro de aislamiento 73 deslizarse axialmente a lo
largo de la sección 71 splined. Cerca del eje 55, se arregla una manga propicia
72 en una ánima 81 en una superficie superior del elemento de aislamiento 73
generalmente paralela a la sección 71 splined. Se arregla un contacto 75,
influido hacia el contacto anular anillo 69 antes de una primavera 77, dentro
de la manga propicia 72 y en el contacto con ello. La manga propicia 72 también
contactos un conductor 79 en una base de la ánima 81.
El conductor 79 se extiende a la superficie
superior del elemento de aislamiento 73 cerca de una periferia externa del
elemento de aislamiento 73 donde el conductor 79 está eléctricamente
relacionado con un contacto flexible 83. El contacto flexible 83 se une, uno
tras otro, con una serie de contactos radiales 85 que son colocados en una
superficie interior superior del alojamiento 53. Una primavera débil 87
arreglado alrededor de la sección 71 splined contrata a un miembro de parada 89
asegurado en el eje 55 y el elemento de aislamiento 73 para influir ligeramente
en el elemento de aislamiento 73 hacia la superficie interior superior del
alojamiento 53 para asegurar contacto entre el contacto flexible 83 y la
superficie interior superior del alojamiento 53. Como mejor visto en Fig.5, la
cubierta radial se pone en contacto 85 en la superficie interior superior del
alojamiento 53 son arreglado generalmente en la forma de la cubierta radial
spokes ampliando del centro del alojamiento 53 con el número de contactos siendo
iguales al número de cilindros 20 en el motor 21. El número de grados cubiertos
por cada una de la cubierta radial se pone en contacto 85 gradualmente aumentos
como la distancia del centro de la superficie interior superior del alojamiento
de 53 aumentos.
En operación del dispositivo de Fig.4 y Fig.5, cuando
el eje 55 gira, flujos de electricidad a lo largo de un camino por el alambre
45 abajo por el poste 47 al miembro de contacto anular 69 que está en el
contacto constante con el contacto influido de la primavera 75. Los pases
corrientes eléctricos por la manga propicia 72 al conductor 79 y luego al
contacto flexible 83. Cuando el contacto flexible 83 gira junto con el miembro
de aislamiento 73 y el eje 55, la punta del contacto flexible 83 sucesivamente
engrana cada una de la cubierta radial se pone en contacto 85 en el interior
superior del alojamiento 53. Como la
velocidad del eje 55 aumentos, el miembro de aislamiento 73 y el contacto
flexible 83 atado a ello, se mueven hacia arriba a lo largo de la sección 71
splined del eje 55 debido al componente radial del splines en dirección de la
rotación bajo la influencia de la fuerza centrífuga. Como el miembro de
aislamiento 73 movimientos hacia arriba, el contacto flexible 83 es doblado de
modo que la punta del contacto 83 se extienda adelante hacia fuera radialmente
del centro del alojamiento 53 (como visto en líneas de fantasma en Fig.4). En
otras palabras, la longitud eficaz del contacto flexible 83 aumentos como la
velocidad del motor 21 aumentos.
Cuando el contacto flexible 83 es doblado y la
punta del contacto 83 movimientos hacia fuera, la punta permanece en el
contacto con cada uno de los contactos de cubierta radial 85 durante un período
más largo de cada ciclo de motor debido a la anchura angular aumentada de los
contactos radiales con la distancia creciente del centro del alojamiento 53. De
esta manera, el tiempo durante el cual cada una de las válvulas 39 permanece
abierta es aumentado cuando la velocidad del motor es aumentada. Así, una cantidad más grande de gas
comprimido o aire es inyectada en los cilindros como los aumentos de velocidad.
A la inversa, como las disminuciones de velocidad y el miembro de aislamiento
73 movimientos hacia abajo a lo largo de la sección 71 splined, una cantidad
mínima del aire es inyectada en el cilindro debido a la longitud más corta del
contacto de cubierta radial individual 85 que está en el contacto con el
contacto flexible 83. De esta manera, la cantidad de gas comprimido que es
usado durante funcionar en vacío del motor 21 es a mínimo mientras que la
cantidad de gas comprimido que es requerido aumentar la velocidad del motor 21
a un nivel conveniente de conducir un vehículo en una carretera es disponible
en el acto.

Mostrado en Fig.6 y Fig.7, es una tercera
encarnación de un accionador de válvula 41 según la invención presente. Esta
encarnación incluye un elemento de aislamiento curvo 91 tener que esto es el
primer final capaz de girar, siendo asegurado por cualquier dispositivo
conveniente como el tornillo 92 al eje 55 para la co-rotación con el eje 55. El
tornillo 92 es atornillado en un agujero dado un toque en el elemento de
aislamiento 91 de modo que una etiqueta 94 a un final del tornillo 92 contrate
un surco 96 proporcionado en el eje 55. De
esta manera, el elemento de aislamiento 91 gira positivamente con el eje 55.
Sin embargo, cuando el eje 55 gira más rápido, el otro final que se permite que
98 del elemento de aislamiento 91 giren hacia fuera bajo la influencia de la
fuerza centrífuga debido al surco 96 proporcionado en el eje 55. Una primavera
93, relacionado entre el segundo final 98 del elemento 91 y el eje 55 impulsos
el segundo final del elemento 91 hacia el centro del alojamiento 53.

A póngase en contacto 99 similar al contacto 59
(Fig.2) es arreglado de modo que un final del pedazo de contacto 99 esté en el
contacto constante con el plato de conducción 51 localizado centralmente dentro
del alojamiento 53. El otro final del contacto 99 contrata una manga propicia
101 arreglado en la ánima 102. Se arregla un elemento de contacto 95 en la
manga propicia 101 en el contacto constante con la manga 101. La ánima 102 es
arreglada generalmente paralela al eje 55 cerca del segundo final del elemento
de aislamiento curvo 91. Influyen en el contacto 95 antes de una primavera 97
hacia la superficie interior superior del alojamiento 53 para el contacto
selectivo con cada una de la pluralidad de contactos radiales 85 que aumentan
en la longitud de arco hacia la superficie periférica externa del alojamiento
53 (Fig.6).
Cuando el dispositivo mostrado en Fig.6 y Fig.7 funciona,
cuando el eje 55 gira el elemento de aislamiento curvo 91 gira con el eje 55 y
el segundo final que 98 del elemento de aislamiento 91 tienden a girar sobre el
eje 55 debido a la fuerza centrífuga. Así, como la longitud eficaz del contacto
95 aumentos, es decir, cuando el elemento de aislamiento curvo 91 pivotes
adelante hacia fuera, el número de grados de la rotación sobre la cual el
contacto 95 está en el contacto con cada una de la cubierta radial contactos 85
en la superficie interior superior del alojamiento de 53 aumentos que así
permiten a cada una de las válvulas 39 permanecer abierto durante un período
más largo de cada ciclo de motor, que por su parte, permite que el gas más
comprimido entre en el cilindro respectivo 20 para aumentar adelante la
velocidad del motor 21.
En cuanto a Fig.1, un encadenamiento de avance
mecánico 104 que está relacionado con el encadenamiento de regulador 35, avanza
la iniciación de la apertura de cada válvula 39 tal que el gas comprimido es
inyectado en el cilindro respectivo adelante antes del pistón 22 en el cilindro
respectivo los 20 alcances una posición de Centro Muerta Superior cuando la
velocidad del motor es aumentada moviendo el encadenamiento de regulador 35. El encadenamiento de avance 104 es similar a
un avance mecánico estándar convencional empleado en un motor de combustión
interno. En otras palabras, el encadenamiento 104 varía la relación entre las
posiciones angulares de un punto en el eje 55 y un punto en el alojamiento de
53 contener los contactos. O bien, un avance de vacío convencional también
podría ser empleado. Avanzando el cronometraje de la apertura de las válvulas
39, la velocidad del motor puede ser más fácilmente aumentada.
La operación del ciclo de motor según la invención
presente será descrita ahora. El gas comprimido inyectó en cada cilindro del
motor 21 paseos el pistón respectivo 22 hacia abajo para hacer girar un
cigüeñal convencional (no mostrado). El movimiento del pistón hacia abajo hace
que el gas comprimido se amplíe rápidamente y chulo. Cuando el pistón 22 comienza a moverse hacia
arriba en el cilindro 20 una válvula de escape conveniente (no mostrado),
quedado en cerrar un callejón de gases de combustión, es abierta por cualquier
aparato conveniente. El gas ampliado es expulsado entonces por el callejón de
gases de combustión. Cuando el pistón 22 comienza a moverse hacia abajo otra
vez, una válvula de consumo conveniente se abre para admitir el aire ambiental
al cilindro. Los finales de válvula de consumo y el aire ambiental son
comprimidos por el movimiento ascendente subsecuente del pistón hasta los
alcances de pistón aproximadamente la posición de Centro Muerta Superior en
cual tiempo el gas comprimido es otra vez inyectado en el cilindro 20 para
conducir el pistón 22 hacia abajo y el ciclo comienza otra vez.
En caso de la adaptación de un motor de combustión
interno convencional para la operación en el gas comprimido, se arregla una
pluralidad de platos 103, preferentemente durante un final de los callejones de
gases de combustión, a fin de reducir el tamaño de salida de los callejones de
gases de combustión del motor de combustión interno convencional. En la
encarnación ilustrada, echan el cerrojo sobre un plato solo que tiene una
apertura en el centro al callejón de gases de combustión exterior en cada banco
del motor v-8, mientras otro plato solo que tiene dos aperturas en ello, es
arreglado con una apertura sobre cada uno de los callejones de gases de combustión
interiores en cada banco del motor v-8. Una
línea 105 es apropiadamente atada a cada uno de los platos de adaptador para
llevar los gases de combustión a una posición apropiada. En una encarnación
preferida, las líneas de gases de combustión 105 son hechas de 1.5"
tubería plástica.
En una encarnación preferida, las líneas de gases
de combustión 105 de un banco del motor v-8 son coleccionados en una línea 107
y alimentados a una entrada de un compresor 109. La presión del gas de escape
que emana del motor 21 según la invención presente es aproximadamente 25 p.s.i.
De esta manera, el compresor 109 no tiene que tirar los gases de combustión en
el compresor ya que el gas agotó del motor 21 está en una presión positiva. La
presión positiva del fluido entrante aumenta la eficacia y reduce la ropa en el
compresor 109. El gas de escape es comprimido en el compresor 109 y devuelto
por una línea 111 y una válvula de control 113 al tanque de almacenamiento de
gas comprimido 23. La válvula de control 113 previene el flujo de gas
comprimido almacenado en el tanque 23 atrás hacia el compresor 109.
Un sensor de presión conveniente 115 es arreglado
a un final superior del tanque 23 y envía una señal a lo largo de una línea 117
cuando la presión excede un nivel predeterminado y cuando la presión se cae
debajo de un nivel predeterminado. La línea 117 mandos un embrague
eléctricamente activado 119 colocado al final delantero del compresor 109. El
embrague 119 es hecho funcionar para contratar y soltar el compresor 109 de una
polea de paseo 121. También, la señal llevada por la línea 117 activa una
válvula conveniente 123 arreglado en el compresor que aloja 125 para agotar el
aire que entra en el compresor que aloja 125 de la línea 107 cuando el embrague
119 ha soltado el compresor 109 de la polea de paseo 121.
En una encarnación preferida, cuando la presión es
el tanque aproximadamente 600 p.s.i de los 23 alcances., el embrague 119 es
soltado y el compresor 109 es desactivado y la válvula 123 es abierta para
agotar el gas ampliado entregado al compresor 109 de la línea 107 a la
atmósfera. Cuando la presión dentro del tanque 23 gotas debajo de
aproximadamente 500 p.s.i., el sensor 115 envía una señal contratar el embrague
119 y cerrar la válvula 123, así haciendo funcionar el compresor 109 para
suministrar el tanque 23 del gas comprimido.
La polea 121 que conduce el compresor 109 por el
embrague 119 es conducida por un cinturón 127 que es conducido por una polea
129 que funciona por una caja de marcha 131. En cuanto a Fig.1 y Fig.8, una
segunda polea 133 en la caja de marcha es conducida por un cinturón 135 de una
polea 137 arreglado en un árbol motor 139 del motor 21. La polea 137 paseos un
eje splined 140 que tiene una primera velocidad 141 y la marcha de un segundo más
143 colocado en ello, que gira con el eje splined 140. El eje splined 140
permisos movimiento axial de las marchas 141 y 143 a lo largo del eje 140.

En la operación normal (como visto en Fig.8), la
primera velocidad 141 contrata una tercera marcha 145 arreglado en un eje 147
que conduce la polea 129. Los ejes 140 y 147 son arreglados en portes
convenientes 149 colocado a cada final de ello. Cuando la velocidad del motor
21 gotas debajo de un nivel predeterminado, un sensor conveniente 151 sensible a
la velocidad del árbol motor 139 del motor 21 generan una señal que es
transmitida por una línea 153 a un accionador de solenoide 155 arreglado dentro
de la marcha pone en una caja 131. El
accionador de solenoide 155 movimientos las primeras y segundas marchas 141,
143 axialmente a lo largo del eje splined 140 a la derecha como visto en Fig.8
de modo que la marcha segunda, más grande 143 contrate una cuarta marcha más
pequeña 157 que es arreglado en el eje 147. La proporción de la segunda marcha
143 a la cuarta marcha 157 es preferentemente aproximadamente 3 a 1.
De esta manera, cuando la velocidad del motor 21
gotas debajo del nivel predeterminado como sentido por el sensor 151 (que
predeterminó el nivel es insuficiente para llevar el compresor 109 en una
velocidad suficiente a generar 500-600 libras de la presión que está
preferentemente en el tanque 23), el accionador de solenoide 155 es activada
para deslizar las marchas 143, 141 axialmente a lo largo del eje splined 140 de
modo que la marcha segunda, más grande 143 contrate la marcha cuarta, más
pequeña 157 para conducir la polea 129 y de ahí el compresor 109 en un precio
más alto, generar la presión deseada. Cuando la velocidad del motor aumenta
encima del nivel predeterminado, que, en una encarnación preferida es
aproximadamente 1500 revoluciones por minuto, el accionador de solenoide 155 es
desactivado por el sensor 151 así movimiento de las marchas 143 y 141 a la
izquierda como visto en Fig.8 de modo que la primera velocidad 141, engrane
otra vez con la tercera marcha 145 para efectuar 1 a 1 proporción entre el eje
de salida 139 del motor 21 y la polea 129.
El otro banco del motor v-8 hace arreglar sus
puertos de gases de combustión con los platos de adaptador 103 similar a
aquellos en el primer banco. Sin embargo, los gases de combustión de este banco
del motor 21 no son coleccionados y puestos en circulación por el compresor
109. En una encarnación preferida, una porción de los gases de combustión es
coleccionada en una línea 159 y alimentada a una cámara ampliada 161. Un
segundo fluido es alimentado por una línea 163 en la cámara 161 para ser
refrescado por los gases de combustión chulos que emanan del motor 21 en la
línea 159. El segundo fluido en la línea
163 puede ser fluido de transmisión contenido en una transmisión asociada con
el motor 21 o una porción del petróleo solía lubricar el motor 21. Una segunda
porción de los gases de combustión del segundo banco del motor v-8 es quitada
de la línea 159 en una línea 165 y usada como un fluido trabajador en un
sistema de aire acondicionado o para cualquier otro uso conveniente.
Debería ser notado que el arreglo particular
utilizado para reunirse y distribuir el gas agotó del motor 21 sería
determinado por el uso para el cual el motor es empleado. En otras palabras,
puede ser ventajoso reajustar la tubería de gases de combustión tal que un
porcentaje más grande o más pequeño de los gases de combustión es derrotado por
el compresor 109. También debería ser notado que ya que las líneas de gases de
combustión 105 son la tubería plástica, un cambio de lugar de las líneas para
un objetivo diferente es tanto simple como barato.
En la operación del motor de la invención
presente, el motor 21 es comenzado activando la válvula de solenoide 29 y
cualquier dispositivo inicial conveniente (no mostrado), p.ej, un juez de
salida eléctrico convencional como usado en un motor de combustión interno. El
gas comprimido del tanque lleno se confiesan culpables de 23 flujos por la
línea 25 y una cantidad variable del gas comprimido el distribuidor 33
controlando la válvula de regulador 31 por el encadenamiento 33 y el operador
actuó el encadenamiento de regulador 35. El gas comprimido es distribuido a
cada una de las líneas 37 que conducen a los cilindros individuales 20. Se confiesan
culpable del gas comprimido cada uno de los cilindros 20 en la relación
calculada a la posición de los pistones dentro de los cilindros abriendo las
válvulas 39 con el accionador de válvula 41.
Cuando se desea para aumentar la velocidad del
motor, el operador mueve el encadenamiento de regulador 35 que simultáneamente
admite una cantidad más grande de gas comprimido al distribuidor 33 del tanque
23 por la apertura adicional de la válvula de regulador 31. El cronometraje del
accionador de válvula 41 también es avanzado por el encadenamiento 104. Todavía
adelante, como la velocidad del motor 21 aumentos, la longitud eficaz del
contacto rotativo 83 (Fig.4) o 95 (Fig.6) aumentos que así eléctricamente se
ponen en contacto con una porción más amplia de una de la cubierta radial
inmóvil se pone en contacto 85 para hacer que cada una de las válvulas 39
permaneciera abierta durante un período más largo de cada ciclo de motor para
admitir una cantidad más grande de gas comprimido a cada uno de los cilindros
20.
Como puede ser visto, la combinación de la válvula
de regulación 31, el avance mecánico 104, y el accionador de válvula 41,
combinarse para producir un motor de gas comprimido que es rápidamente y
eficazmente adaptable a varias velocidades de operaciones. Sin embargo, todos
los tres de los mandos no tienen que ser empleados simultáneamente. Por
ejemplo, el avance mecánico 104 podría ser utilizado sin la ventaja de uno de
los accionadores de válvula variantes 41 pero la operación de alta velocidad del
motor puede no ser como eficiente. Aumentando la duración de cada ciclo de
motor sobre el cual cada una de las válvulas 39 permanece abierta para admitir
el gas comprimido a cada uno de los cilindros 20 como los aumentos de
velocidad, la conservación de gas comprimido durante operación de velocidad
baja y operación de alta velocidad eficiente es ambos posible.
Después de que el gas comprimido se confesó
culpable del cilindro 20 ha obligado el pistón 22 hacia abajo dentro del
cilindro a conducir el eje 139 del motor, el pistón 22 movimientos hacia arriba
dentro del cilindro 20 y arranca a la fuerza el gas ampliado por una válvula de
escape conveniente (no mostrado) por el plato de adaptador 103 (de ser
empleado) y en la línea de gases de combustión 105. Los gases de combustión
chulos pueden ser coleccionados entonces en cualquier arreglo conveniente para
ser comprimido y devuelto al tanque 23 o usado para cualquier objetivo deseado
incluso el uso como un fluido trabajador en un sistema de aire acondicionado o
como un refrigerante para el petróleo.
Usando el aparato y el método de la invención
presente para adaptar un motor de combustión interno ordinario para la
operación con el gas comprimido se puede ver que los ahorros considerables en
el peso son conseguidos. Por ejemplo, el sistema de refrigeración ordinario
incluso un radiador, abanico, mangueras, etc. puede ser eliminado ya que el gas
comprimido es refrescado cuando esto se amplía en el cilindro. Además, no hay
ningunas explosiones dentro del cilindro para generar el calor. Las reducciones
adicionales del peso son obtenidas empleando la tubería plástica para las
líneas que llevan el gas comprimido entre el distribuidor y los cilindros y
para las líneas de gases de combustión. Otra
vez, la tubería pesada no es requerida ya que hay poco o ningún calor generado
por el motor de la invención presente. Además, el ruido generado por un motor
según la invención presente es bastante menos que esto generado por un motor de
combustión interno ordinario ya que no hay ningunas explosiones que ocurren
dentro de los cilindros.
Los principios de encarnaciones preferidas de la
invención presente han sido descritos en la especificación anterior. Sin
embargo, la invención que es querida para ser protegido no debe ser interpretada
como limitado con las encarnaciones particulares reveladas. Las encarnaciones
deben ser consideradas como ilustrativas más bien que restrictivas. Las
variaciones y los cambios pueden ser hechos por otros sin marcharse del
espíritu de la invención. En consecuencia, es expresamente querido que todas
tales variaciones y cambios que se caen dentro del espíritu y el alcance de la
invención presente como definido en las reclamaciones añadidas ser abrazado así.
Patente
US 3,744,252 10 de
julio 1973 Inventor: Eber Van
Valkinburg
RED ELÉCTRICA DE MOTIVO CERRADA
UTILIZACIÓN DE FLUIDOS
COMPRIMIDOS
EXTRACTO
La energía almacenada en un fluido elástico
comprimido es utilizada en una manera controlada para presurizar un fluido
inelástico y mantener tal pressurisation. El fluido inelástico presurizado es
estrangulado a la aspa de una máquina motriz. Sólo una porción de la energía de
salida de la máquina motriz es utilizada para poner en circulación el fluido
inelástico para mantener un saldo volumétrico casi constante en el sistema.
DESCRIPCIÓN
El objetivo de la invención es proporcionar una
red eléctrica de cerrar-lazo que utiliza la energía expansiva de un fluido
elástico comprimido, como el aire, presurizar y mantener presurizado en todas
partes del ciclo operacional del sistema un segundo fluido no elástico y no
comprimible, como el petróleo. El fluido no elástico presurizado es liberado en
una manera controlada por un regulador a la aspa rotatoria de una turbina o el
parecido, teniendo un eje de salida. Este eje es conectado a una bomba para el
fluido no elástico que automáticamente mantiene la circulación necesaria
necesaria para la operación de la máquina motriz, y mantiene un cerca del saldo
volumétrico en el sistema entre los dos fluidos que son separados autoajustando
dispositivos de pistón libres. La bomba para el fluido no elástico incluye una
carretera de circunvalación automática para el fluido no elástico que elimina
la posibilidad de privar de comida la bomba que depende de la descarga del
fluido no elástico en la presión baja de los gases de combustión de la turbina.
Otros rasgos y ventajas de la invención se harán aparentes durante el curso de
la descripción detallada siguiente.
BREVE DESCRIPCIÓN DE DIBUJAR FIGURAS
Fig.1 es una vista enfadada seccional en parte
esquemática de una red eléctrica de motivo cerrada que encarna la invención.

Fig.2 es una vista de perspectiva fragmentaria
de una máquina motriz rotatoria utilizada en el sistema.

Fig.3 es una sección vertical fragmentaria ampliada por la máquina motriz tomada
perpendicularmente a su eje rotatorio.

Fig.4 es una sección vertical fragmentaria
ampliada tomada en línea 4 - 4 de Fig.1.

Fig.5 es una sección similar tomada en línea 5
- 5 de Fig.4.
DESCRIPCIÓN
DETALLADA

Respecto a los dibujos detalladamente, en los
cuales los mismos números se refieren a las mismas partes en cada dibujo, el
número 10 designa una botella de suministro o el tanque para un fluido elástico
comprimido, como el aire. Preferentemente, el aire en la botella 10 es
comprimido a aproximadamente 1,500 p.s.i. El aire comprimido de la botella 10
es entregado por una presión conveniente que regula la válvula 11 a la cámara
12 de un tanque de presión alto 13 en un lado de un pistón libre 14 en la ánima
de tal tanque. El pistón libre 14 separa
la cámara 12 para el aire comprimido de una segunda cámara 15 para un fluido
inelástico, como el petróleo, en el lado opuesto del pistón libre. El pistón
libre 14 puede moverse axialmente dentro de la ánima del tanque cilíndrico 13 y
se autoadapta constantemente allí para mantener un saldo volumétrico apropiado
entre los dos fluidos separados del sistema. El pistón libre tiene la capacidad
de mantener los dos fluidos, el aire y el petróleo, completamente separado
durante la operación del sistema.
La válvula de regulador 11 entrega el aire
comprimido a la cámara 12 bajo una presión de aproximadamente 500 p.s.i. El
fluido inelástico trabajador, petróleo, que llena la cámara 15 del tanque de
presión alto 13 es mantenido bajo 500 presión p.s.i. por la fuerza expansiva
del aire comprimido del elástico en la cámara 12 en el pistón libre 14. El
petróleo en la cámara 15 es entregado a una máquina motriz 16, como una turbina
del aceite, por una regulación de suministro conveniente o válvula de regulador
17 que controla el volumen de petróleo presurizado entregado a la máquina
motriz.
La turbina 16 encarna un estator que consiste en
un anillo de cubierta 18 y la tapa de final platea 19 afiliado a ello en un
fluido - manera apretada. Esto adelante encarna una aspa de etapa sola o plural
o el rotor que tiene ruedas aplanadas 20, 21 y 22 en la encarnación ilustrada.
Las láminas periféricas 23 de estas ruedas de turbina reciben el fluido de
motivo de la cámara presurizada 15 por inyectores en serie relacionados 24, 25
y 26, relacionado generalmente tangencialmente por el estator suenan 18, como
mostrado en Fig.3. El primer inyector 24 mostrado esquemáticamente en Fig.1
está relacionado directamente con la salida de la válvula de regulador 17. Los
inyectores sucesivos 25 y 26 entregan el fluido trabajador presurizado en serie
a las láminas que 23 de la turbina hacen girar 21 y 22, todas las ruedas de
turbina apropiadamente conectadas a una salida axial central o eje trabajador
27 de la turbina 16.

La presión trasera que sella bloques 28, hecho de
la fibra, está contenida dentro de huecos que 29 de la cubierta tocan 18 para
prevenir la co-mezcla del fluido trabajador y gases de combustión en cada etapa
de la turbina. Realmente sólo se requiere una espalda-presionaré que sella el
bloque 28 en la tercera etapa entre 26 de admisión y gases de combustión 31,
debido a la distribución de presión, pero tal bloque puede ser incluido en cada
etapa como mostrado en Fig.1. La superficie superior, incluso una porción de
cara inclinada 30 en cada bloque 28, reacciona con el fluido presurizado para
guardar el bloque de fibra sellado contra la rueda de turbina adyacente,
aplanada; y más largo la cuesta en el bloque para aumentar esto es el área
superficial superior, mayor será la presión de caza de focas que lo empuja
contra la periferia de la rueda.
La conducción de la etapa final de la turbina 16
es un inyector de gases de combustión fluido trabajador de baja presión 31 que
entrega el fluido trabajador, el petróleo, en una cámara de suministro del
aceite o embalse 32 de un tanque de presión bajo 33 sobre que pueden echar el
cerrojo a las 19 de plato de tapa de final adyacentes de la turbina, como indicado
en 34. El petróleo que entra en la cámara de embalse 32 de la etapa de gases de
combustión de la turbina está en una presión de aproximadamente 3-5 p.s.i. En una segunda cámara 35 del tanque de
presión bajo 33 separado de la cámara 32 por un automáticamente movimiento o
autoajuste del pistón libre 36, el aire comprimido en una presión de equilibrio
de 3-5 p.s.i. es mantenido por una segunda presión que regula la válvula 37. La
presión que regula la válvula 37 está relacionada con la línea de abastecimiento
por aire comprimida 38 que se extiende de la válvula de regulación 11 a la
cámara de presión alta 12 para el aire comprimido.
Dentro de la cámara 32 es una bomba de marcha 39 o
la unión parecida de su eje de entrada por un enganche 40 con el eje de turbina
27. La reducción conveniente que engrana 41 para la bomba puede ser
proporcionada internamente, como mostrado, o en cualquier otra manera
convencional, engranar abajo la velocidad rotatoria sacada del eje de turbina.
La bomba 39 es suministrada del petróleo en la cámara llena 32 entregado por el
inyector de gases de combustión o conducto 31 de la turbina. La bomba, como
ilustrado, tiene salida de gemelo o conductos de entrega 42 cada uno teniendo
una válvula de control de espalda-presionaré 43 relacionado allí y cada entrega
de un volumen parecido de petróleo presurizado atrás a la cámara de presión
alta 15 en una presión de aproximadamente 500 p.s.i. La bomba 39 también tiene entradas de
fluido de gemelo. La bomba empleada es preferentemente del tipo conocido en el
mercado como "Bomba de Marcha de Tándem de Hydreco," el No 151515
Modelo, L12BL, o equivalente. En algunos modelos, otros tipos de bombas podrían
ser empleados incluso bombas que tienen una entrada sola y salida. La bomba
ilustrada funcionará dextrórsum o en contrario y entregará 14.1 g.p.m. en 1,800
r.p.m. y 1,500 p.s.i. Por lo tanto, en la aplicación presente de la bomba 39,
esto funcionará en bastante menos que la capacidad y no estará bajo ninguna
tensión excesiva.


Ya que la bomba depende para su suministro de
fluido en la entrega del petróleo en la presión baja de la turbina 16 en la
cámara 32, un dispositivo de válvula de manga de carretera de circunvalación
automáticamente de operaciones 44 para el petróleo es proporcionado como
indicado en Fig.1, Fig.4 y Fig.5. Este dispositivo comprende una manga exterior
o el tubo 45 tener un final directamente rígidamente asegurado como en 46 al
pistón libre movible 36. Esta manga 45 es proveída de ranuras 47 intermedio sus
finales. Una manga interior co-interpretadora 48 contrata telescopically y
slidably dentro de la manga 45 y tiene una pared de final cerrada 49 y puertos
o ranuras 50 intermedio sus finales, como mostrado. La manga 48 se comunica con
uno de los conductos de entrega 42 por vía de un codo 51, y la manga 48 también
está relacionada con el final adyacente de la bomba 39, como mostrado.
Mientras la cámara 32 está llena del petróleo de
presión bajo suficiente para equilibrar la presión atmosférica baja en la
cámara 35 en el lado opuesto del pistón libre 36, tal pistón será colocado como
mostrado en Fig.1 y Fig.4 de modo que las ranuras 47 y 50 de las dos mangas 45
y 48 sean fuera del registro y por lo tanto ningún camino de flujo existe por
ellos. En tales circunstancias, el petróleo de la cámara 32 entrará en la bomba
y será entregado por los dos conductos 42 en la presión requerida a la cámara
15. Si el suministro del petróleo de la turbina 16 a la cámara 32 disminuye de
modo que la bomba 39 no pudiera ser suficientemente suministrada, entonces
resultar pasa a la presión en la cámara 32 hará que el pistón libre 36 se mueva
a la izquierda en Fig.1 y traiga las ranuras 47 en registro o registro parcial
con las ranuras 50, como representado en Fig.5. Este establecerá al instante
una carretera de circunvalación para el petróleo de un conducto 42 atrás por el
codo 51 y tubos 48 y 45 y sus ranuras de registro a la cámara del aceite 32
para mantener esta cámara llena y correctamente presurizado siempre. El arreglo
de carretera de circunvalación es completamente automático y responde a un
suministro disminuido del petróleo de la turbina en la cámara 32, mientras que
la presión atmosférica comprimida requerida de 3-5 p.s.i. es mantenida en la
cámara 35.
Brevemente, en el resumen, el sistema funciona
como sigue. El fluido inelástico y no comprimible presurizado, petróleo, de la
cámara 15 es estrangulado en la turbina 16 utilizando la válvula de regulador
17 con una estación de control. La rotación que resulta del eje 27 productos la
energía mecánica requerida o trabajo para impulsar un concurso dado, como una
hélice. Un relativamente pequeño componente de esta energía de trabajo es
utilizado por el enganche 40 para conducir la bomba 39 que mantiene el flujo
volumétrico necesario del petróleo de la turbina atrás en la cámara de presión
alta 15, con la carretera de circunvalación automática 44 entrada en la
operación siempre que necesario.
La fuente última de la energía para la red
eléctrica cerrada es el fluido elástico comprimido, el aire, en el tanque o
botella 10 que por las válvulas de regulación 11 y 37 mantiene una presión
atmosférica constante en el grado requerido en cada una de las cámaras 12 y 35.
Como descrito, la presión atmosférica en la cámara de presión alta 12 será aproximadamente
500 p.s.i. y en la cámara de presión baja 35 será aproximadamente 3-5 p.s.i.
Puede ser observado en Fig.1 que el tanque 33 es
ampliado con relación al tanque 13 para compensar el espacio ocupado por la
bomba y componentes asociados. Los volúmenes utilizables de los dos tanques son
aproximadamente iguales.
En una encarnación vigente de la invención, los
dos pistones libres 14 y 36 y las ánimas de tanque que los reciben son 8
pulgadas en el diámetro. Los diámetros aproximados de las ruedas de turbina
aplanadas son 18 pulgadas. La bomba 39 es aproximadamente 10 pulgadas de largo
y 5 pulgadas en el diámetro. El tanque 13 es aproximadamente 21 pulgadas de
largo entre sus paredes de final coronadas. El tanque 33 es 10 pulgadas en el
diámetro adyacente a la bomba 39.
Los términos y las expresiones que han sido
empleadas aquí son usados como términos de la descripción y no de la
limitación, y no hay ninguna intención, en el uso de tales términos y
expresiones, de la exclusión de ningún equivalente de los rasgos mostrados y
descritos o porciones de eso pero es reconocido que varias modificaciones son
posibles dentro del ámbito de la invención reclamada.
Patente US 4,428,193 31 de enero 1984 Inventor: Josef Papp
COMBUSTIBLE DE GAS INERTE, ABASTEZCA DE COMBUSTIBLE APARATO DE PREPARACIÓN
Y SISTEMA PARA EXTRAER TRABAJO ÚTIL DEL COMBUSTIBLE
EXTRACTO
Un combustible de gas inerte que consiste
esencialmente en una mezcla precisa, homogénea de helio, neón, argón, criptón y
xenón. El aparato para preparar el combustible incluye una cámara que se
mezcla, tubería para permitir el movimiento de cada gas inerte en y por varias
etapas del aparato, una pluralidad de bobinas eléctrico para producir campos magnéticos,
una medida de ión, ionises, tubos de rayos catódicos, filtros, polarizar y un
generador de frecuencia alto. Un motor para extraer trabajo útil del
combustible tiene al menos dos cilindros cerrados para el combustible, cada
cilindro definido por una cabeza y un pistón. Una pluralidad de electrodos se
extiende en cada cámara, algún nivel bajo que contiene material radiactivo. La
cabeza tiene una depresión generalmente cóncava que afronta un generalmente
semi-toroidal depresión en la superficie del pistón. El pistón es axialmente
movible con respecto a la cabeza de una primera posición a una segunda posición
y atrás, qué movimiento lineal es convertido al movimiento rotatorio por un
cigüeñal. El sistema eléctrico del motor incluye bobinas y condensadores que
círculo cada cilindro, un generador eléctrico, y circuitería para controlar el
flujo de corriente dentro del sistema.
FONDO DE LA INVENCIÓN
Esta invención está relacionada con motores
cerrados que corresponden, es decir, que no requieren un abastecimiento por
aire y no emitir gases de escape, y más en particular a tales motores que usan
gases inertes como el combustible. Esto también concierne tales combustibles de
gas inertes y aparato para preparar mismo.
Los motores de combustión internos actualmente disponibles sufren de varias
desventajas. Ellos son ineficaces en su utilización del presente de energía en
sus combustibles. El combustible sí mismo es generalmente un derivado de
petróleo con un precio creciente y disponibilidad a veces limitada. La
incineración de tal combustible normalmente causa contaminadores que son
emitidos en la atmósfera. Estos motores requieren el oxígeno y, por lo tanto,
son en particular inadecuados en ambientes, como submarino o espacio exterior,
en el cual el oxígeno gaseoso es relativamente no disponible. Los motores de
combustión internos presentes son, además, relativamente complejos con un gran
número de mover partes. Las unidades más grandes, como plantas de energía
eléctrica de combustible fósil, evitan algunas desventajas del motor de
combustión interno presente, pero no, inter alia, aquellos de la contaminación,
el precio de combustible y disponibilidad del combustible.
Varias fuentes de energía alternativas han sido propuestas, como el sol (por
dispositivos de energía solar directos), fisión nuclear y fusión nuclear.
Debido a la carencia de aceptación pública, coste, otros contaminadores,
problemas técnicos, y/o carencia del desarrollo, estas fuentes no han
solucionado totalmente el problema. Además, la preparación de combustible para
fisión nuclear y reactores de fusión nucleares ha sido antes un proceso
complicado que requiere el aparato caro.
RESUMEN
DE LA INVENCIÓN
Entre varios objetos de la invención presente
puede ser notado la provisión de un motor que es eficiente; la provisión de un
motor que no requiere el reabastecimiento de combustible frecuente; la
provisión de un motor que no desarrolla ningunos contaminadores en la
operación; la provisión de un motor que es en particular satisfecho para el uso
en ambientes carentes del oxígeno libre; la provisión de un motor que no
requiere ningún oxígeno en la operación; la provisión de un motor que tiene un
relativamente pequeño número de mover partes; la provisión de un motor de una
construcción relativamente simple; la provisión de un motor que puede ser usado
en aplicaciones ligeras y resistentes; la provisión de un motor que es
relativamente barato para hacer y funcionar; la provisión de un combustible que
usa componentes extensamente disponibles; la provisión de un combustible que es
relativamente barato; la provisión de un combustible que no es un derivado de
petróleo; la provisión de aparato relativamente simple y barato para preparar
gases inertes para uso como un combustible; la provisión de tal aparato que
mezcla gases inertes en proporciones precisas, predeterminadas; y la provisión
de tal aparato que elimina contaminantes de la mezcla de gas inerte. Otros
objetos y rasgos serán en parte aparentes y en parte indicados más adelante.
Brevemente, en un aspecto el motor de la invención presente incluye una cabeza
que tiene una depresión generalmente cóncava en ello, la cabeza que define un
final de una cámara, un pistón que tiene un generalmente semi-toroidal
depresión en su superficie superior, el pistón que define el otro final de la
cámara, y una pluralidad de electrodos que se extienden en la cámara para
excitar y encender el fluido trabajador. El pistón puede moverse a lo largo de
su eje hacia y lejos de la cabeza, causando el volumen de la cámara cambiar,
según la posición del pistón con relación a la cabeza.
En otro aspecto, el motor de la invención presente incluye una cabeza que
define un final de la cámara, un pistón que define el otro final de la cámara,
una pluralidad de la herida de bobinas magnética alrededor de la cámara para
generar campos magnéticos dentro de la cámara, y al menos cuatro electrodos que
se extienden en la cámara para excitar y encender el fluido trabajador. Bobinas
magnéticos son generalmente coaxiales con la cámara. Los electrodos son
generalmente equidistantemente espaciados del eje de la cámara y son cada uno
normalmente colocados 90 grados de los electrodos adyacentes. Las líneas entre
pares opuestos de electrodos se cruzan generalmente en el eje de la cámara para
definir un foco.
En un aspecto adicional, el motor de la invención presente incluye una cabeza
que define un final de una cámara, un pistón que define el otro final de la
cámara, al menos dos herida de bobinas eléctrica alrededor de la cámara para
generar campos magnéticos dentro de la cámara, y una pluralidad de electrodos
que se extienden en la cámara para excitar y encender el fluido trabajador.
Bobinas eléctricos son generalmente coaxiales con la cámara. Y el fluido
trabajador incluye una mezcla de gases inertes.
El aparato de la invención presente para preparar una mezcla de gases inertes
para el uso como un combustible incluye una cámara, bobinas eléctrico para
generar campos magnéticos predeterminados dentro de la cámara, tubería adaptada
para estar relacionado con fuentes de gases inertes preseleccionados para el
flujo de los gases de las fuentes a la cámara, e ionisers para la ionización
los gases.
El combustible de la invención presente incluye una mezcla de gases inertes
incluso helio aproximadamente del 36 %, neón aproximadamente del 26 %, argón
aproximadamente del 17 %, criptón aproximadamente del 13 %, y xenón
aproximadamente del 8 % por el volumen.
BREVE DESCRIPCIÓN DE LOS DIBUJOS
Fig.1 es una elevación de lado de un motor de esta invención:
Fig.2 es una elevación trasera de un motor de
esta invención:

Fig.3 es una vista superior de un motor de esta
invención:

Fig.4 es una vista enfadada seccional
generalmente a lo largo de la línea 4 - 4 de Fig.3 de un motor de esta
invención:

Fig.5 es una vista
enfadada seccional de un cilindro de un motor de esta invención:

Fig.6 es un plan de la base de una culata de un
motor de esta invención:

Fig.7 es una elevación de una vara de electrodo
de un motor de esta invención:

Fig.8 es una elevación, con partes separadas,
de un tipo del electrodo usado en un motor de esta invención:

Fig.9 es una vista tomada
generalmente a lo largo de la línea 9 - 9 de Fig.8:

Fig.10 es una vista enfadada
seccional de un segundo tipo del electrodo usado en un motor de esta invención:

Fig.11 es una vista enfadada seccional similar a
Fig.5 mostrando al pistón en su posición más alta:

Fig.12 es una vista
enfadada seccional similar a Fig.5 mostrando a un cilindro alternativo usado en
un motor de esta invención:

Fig.12A es una vista enfadada
seccional similar a Fig.5 y Fig.12, pero por una escala reducida y con partes
separadas, mostrando a una encarnación adicional de una culata usada en un
motor de esta invención:

Fig.13A y Fig.13B son diagramas esquemáticos de la circuitería eléctrica
para un motor de esta invención:

Fig.14 es un diagrama esquemático de
un sistema de ignición de alta tensión alternativo para un motor de esta
invención:

Fig.15 es un diagrama esquemático de una unidad
de conmutación electrónica para un motor de esta invención:
Fig.16 es un diagrama esquemático de una unidad
de conmutación de regulador / unidad de conmutación electrónica para un motor
de esta invención:

Figs.17A-17D son
diagramas esquemáticos de un mezclador de combustible de la invención presente:




Fig.18 es un diagrama esquemático de
la porción de cámara que se mezcla del mezclador de combustible mostrado en
Figs.17A-17D:

Figs.19A-19E son
diagramas esquemáticos de una porción de la circuitería eléctrica del mezclador
de combustible mostrado en Figs.17A-17D:





Figs.20A-20F son
diagramas esquemáticos del resto de la circuitería eléctrica del mezclador de
combustible mostrado en Figs.17A-17D:






Notar: Los carácteres
de referencia correspondientes indican partes correspondientes en todas partes
de todas las vistas de los dibujos.
DESCRIPCIÓN DE UNA ENCARNACIÓN
PREFERIDA

Respecto a los dibujos, allí es mostrado en Fig.1 un motor de dos cilindros 11
comprensión de un bloque 13 preferentemente de un material no magnético como el
aluminio, una cabeza no magnética 15, y un par de culatas 17A y 17B de un
material magnetisable como el acero de carbón del 0.1-0.3 %. También mostrado
en Fig.1 es un volante 19 atado a un cigüeñal 21, un generador 23, una alta
tensión bobina 25, un distribuidor 27 atado por un arreglo de marcha mostrado
en parte en 29 al cigüeñal, y un cable eléctrico 31 que está relacionado con el
distribuidor y con ambos cilindros. Cablegrafíe 31 (ver Fig.2) también está
eléctricamente relacionado con una unidad de conmutación 33 que preferentemente
comprende una pluralidad de los rectificadores controlados de silicio (SCRs) o
transistores. También mostrado en Fig.2 es una segunda unión eléctrica del
cable a los cilindros, qué unión es indicada generalmente en 35. Girando a
Fig.3, allí es mostrado un arranque 37 así como una vista más clara de las
uniones 35 a cada cilindro.

Un corte transversal del motor es mostrado en
Fig.4. Las culatas se han asociado con ellos, los pistones marcados 39A y 39B,
respectivamente, las cabezas y los pistones definen extremos opuestos de un par
de cámaras o cilindros 41A y 41B respectivamente. Los pistones son hechos de un
material magnetisable. Aunque sólo dos cámaras sean mostradas, el motor puede
incluir cualquier número. Es preferido, sin embargo, para el juego de motivos
adelante abajo, que allí ser un número par de cilindros. Los pistones 39A y 39B
se mueven axialmente con respecto a sus cabezas correspondientes de una primera
posición (la posición de pistón 39A en Fig.4) a una segunda posición (la
posición de pistón 39B) y atrás, cada pistón apropiadamente relacionado con
cigüeñal 21. Como mostrado en Fig.4, esta unión conveniente puede incluir una
biela CR, un alfiler de muñeca WP, y una porción de pistón inferior o LP de
pistón de poder. Las bielas y/o los pistones de poder deben ser del material
non-magnetisable. Cuando un pistón de hendidura es usado, los pistones 39A y
39B están apropiadamente relacionados para bajar el LP de porciones de pistón
escapándose, la prueba de prensa de muelles, o el parecido. Los pistones 39A y
39B son atados 180 grados el uno aparte del otro con respecto al cigüeñal de
modo que cuando un pistón está en el centro muerto superior (TDC) el otro esté
en el fondo el centro muerto (BDC) y viceversa. Los pares adicionales de
cilindros pueden ser añadidos como deseado pero los pistones de cada par
deberían ser atados al cigüeñal 180 grados el uno del otro. Por supuesto, la
posición relativa de cada pistón con respecto a su cabeza respectiva determina
el volumen de su cámara.

La integral con los cuerpos de pistón es paredes
43 que forman las paredes de las cámaras. Preferentemente, un juego de fuelle
hermético 45, de construcción similar a esto vendido bajo la designación MÍ
197-0009-001 por la Compañía Belfab de Playa Daytona, Fla., son apropiadamente
asegurados entre paredes 43 y culatas 17A y 17B respectivamente para formar un
sello hermético entre cada pistón y su culata.
Mientras las paredes 43 y el pistón 39 pueden ser hechas de un pedazo
magnetisable, una construcción preferible y más eficiente tiene paredes 43
separado del pistón 39 y hecho de un material non-magnetisable. El tiempo que
un motor dado dirigirá es una función de la eficacia de su sistema de caza de
focas. Los medios, como el fuelle 45, para sellar herméticamente los cilindros
optimizarán dijo el tiempo. Un sello tan hermético debería ser asegurado entre
paredes 43 y culatas 17 para formar un sello hermético entre ellos. Este sello
podría ser el sistema de fuelle hermético mostrado o un poco de otro sistema de
caza de focas como un sistema de sellado de aceite.
Los cuerpos de cilindro 47 (ver Fig.4), hecho del material no magnético como el
acero inoxidable, se extienden del punto del accesorio de cada fuelle a su
culata a la base de los pistones correspondientes, formando mangas para cada
pistón en el cual cada pistón se mueve. Tres juegos de bobinas eléctrico 49A,
49B, 51A, 51B, y 53A, 53B, son la herida alrededor de mangas 47, y de ahí
alrededor de cámaras 41A y 41B, respectivamente, para generar campos magnéticos
en las cámaras, aquellos bobinas que son generalmente coaxial con sus cámaras
respectivas. Cada uno de estos bobinas tiene una inductancia de aproximadamente
100 mH. Es preferido que 14-19 alambre de medida es usado para girar estos
bobinas y que el bobinas ser cubierto de una capa conveniente, como #9615 endurecedor
de Furane Plastics, Inc, de Los Ángeles, California, o la capa vendida por el
Corp. Epoxylite de Monte El-del Sur, California bajo la designación comercial
Epoxylite 8683. Cada cámara también es rodeada por un par de condensadores,
C1A, C1B y C2A, herida de C2B alrededor de ello, condensadores C1A, C1B que
tiene una capacitancia de aproximadamente 1.3 microfaradios y condensadores
C2A, C2B que tiene una capacitancia de aproximadamente 2.2 microfaradios. El
bobinas y los condensadores son en conserva en el epoxi endurecido del material
de fibra de vidrio 55. La resina de epoxi y hardener vendieron bajo las
designaciones el Bono 121 de EPI y #9615 endurecedor por Furane Plastics, supra,
son material de epoxi satisfactorio, pero otro que permanecerá estable en
temperaturas hasta 200 grados F también serían probablemente aceptables. Es
preferido que una pequeña cantidad del grafito como esto vendido bajo la
designación comercial Asbury 225 por el Asbury Graphite, Inc del Rodeo,
California., sea incluido en el epoxi potting para prevenir partículas
nucleares se formó en la cámara de escaparse del aparato. Diez al grafito del
15 % al epoxi por el peso es más que bastante.

Un cilindro típico es mostrado en la sección en
Fig.5, mostrando al pistón en su posición totalmente ampliada con respecto a la
cabeza y mostrando a muchos detalles por una escala algo más grande que aquel
de Fig.4. Un juego de sellos 57, hecho de un material como esto vendido bajo el
Teflón de designación comercial por la Compañía DuPont de Delaware, es colocado
entre la culata y pared 43 para prevenir la fuga del fluido trabajador de la
cámara 41. Un tubo de relleno 59 con una válvula de pelota en su parte inferior
es usado en el relleno de la cámara con el fluido trabajador, pero está cerrado
durante la operación del motor.
La culata tiene una depresión generalmente cóncava allí, indicado en 61, que
define el final superior de la cámara. Una pluralidad de electrodos para
excitar y encender el fluido trabajador se extiende por la culata en la cámara.
Dos de aquellos electrodos, mostrados en la sección en Fig.5 y etiquetado 63 y
65, tienen los puntos de tungsteno 75, mientras los otros dos, etiquetados 67 y
69 (ver Fig.6 para el electrodo 69) son contenedores llamados, respectivamente,
el ánodo y el cátodo. Los electrodos son generalmente equidistantemente
espaciados de las hachas de sus cámaras y son generalmente coplanar el uno al
otro, su avión mutuo que es el perpendicular a las hachas de sus cámaras. Cada electrodo es colocado 90 grados de
electrodos adyacentes en esta encarnación y es generalmente colocado de modo
que una línea del ánodo al cátodo y una línea entre los otros dos electrodos se
cruce en un foco generalmente en el eje de la cámara. La distancia radial de
cada electrodo del foco es fijada por una razón hablada abajo. La construcción
general de electrodos 63 y 65 es mostrada en Fig.6 a Fig.9. Estos electrodos
incluyen una vara propicia 71 (ver Fig.7) preferentemente de latón o cobre; un
propicio, plato generalmente rectangular 73 (ver Fig.6, Fig.8 y Fig.9); y el
tungsteno señala 75 montado en una base propicia 77 generalmente
perpendicularmente al plato (ver Fig.8 y Fig.9).

La construcción del ánodo y cátodo es mostrada en Fig.10. Cada uno incluye una
vara propicia 79 y un contenedor 81. El contenedor de cátodo es el aluminio
considerablemente puro. De ser deseado, las aleaciones de aluminio con, p.ej,
el cobre de menos del 5 %, el manganeso del 1 % y el magnesio del 2 % pueden
ser usadas. En una encarnación, el contenedor de cátodo contiene aproximadamente
cuatro gramos de thorium-232 y está lleno del argón. En esta misma encarnación
el contenedor de ánodo es el cobre o el latón y contiene aproximadamente dos
gramos de rubidium-37 y aproximadamente tres gramos de fósforo 15
herméticamente sellado en el petróleo mineral. En una segunda encarnación, el
cátodo es todavía el aluminio, pero esto contiene al menos dos gramos de
rubidium-37 además de aproximadamente cuatro gramos de thorium-232 en argón o
en petróleo mineral. En esta segunda encarnación, el ánodo es también el
aluminio y contiene al menos 4 gramos de fósforo 15 y al menos 2 gramos de
thorium-232 en argón o petróleo mineral. O bien, el mesothorium puede ser usado
para el thorium, el estroncio 38 puede ser usado para el rubidium, y el azufre
16 puede ser usado para el fósforo. Las varas 71 y 79 se extienden por la
culata 17 al exterior donde las uniones eléctricas son hechas a los electrodos.
Cada vara es rodeada por una de cuatro mangas de aislamiento 83, la porción
inferior de cada uno de cual siendo llameado hacia fuera para asentar
firmemente en la culata.

El pistón tiene un generalmente semi-toroidal
depresión en su superficie superior (ver Fig.4, Fig.5 y Fig.11) y lleva unos 85
de punto de descarga propicios de cobre, latón o bronce generalmente a lo largo
del eje de la cámara. Cuando el pistón es generalmente ampliado, el punto de
descarga es una distancia sustancial de los electrodos. Pero cuando el pistón
está en su posición superior (ver Fig.11), el punto de descarga es colocado
generalmente entre cuatro electrodos y cerca de ellos, allí siendo huecos entre
los electrodos y el punto de descarga. Cuando el pistón está en esta posición
superior, los electrodos se extienden algo en la depresión semi-toroidal en la
superficie superior del pistón y la cámara es generalmente toroidal en la
forma. El volumen de la cámara mostrada en Fig.11 puede ser de aproximadamente
6.0 pulgadas cúbicas (100 centrimetros cúbicos) o más grande. Considerando el
presente de tecnología avanzada, 1500 pulgadas cúbicas (25,000 centrimetros
cúbicos) parecen ser el límite superior. Una pluralidad de puertos 87 y
válvulas de dirección única 89 vuelta que trabaja el fluido que se escapa de la
cámara atrás en ello, mientras que un sistema de caza de focas como el fuelle
45 es usado.
Una culata alternativa / arreglo de pistón es mostrada en Fig.12. La diferencia
principal entre este arreglo y aquel de Fig.5 es que las paredes de cámara,
aquí etiquetadas 43' son integralmente formadas con la cabeza. Por lo tanto los
sellos 57 son llevados por el pistón más bien que por la cabeza, el accesorio
del fuelle 45 es algo diferente, y las válvulas que vuelven fluido y los
puertos son la parte del pistón más bien que de la cabeza. Por otra parte estos
arreglos son considerablemente el mismo. Preferentemente, los cilindros de
ambos arreglos son herméticamente sellados.

Una encarnación adicional de una culata / arreglo
de pistón usado en la invención presente es mostrada en Fig.12A. En este
arreglo, una manga afilada 17C compañeros entre culata 17 y pistón 39, una
pluralidad de sellos 57 es proporcionada, y los electrodos 67 y 69 tienen una
forma algo diferente. También, en esta encarnación, una cámara 90 es
proporcionada en la culata 17 para almacenar el fluido trabajador adicional, es
decir, el objetivo de la cámara 90 es ampliar el tiempo de operaciones entre el
reabastecimiento de combustible poniendo en circulación el fluido trabajador,
viz. la mezcla de gases inertes descritos, entre cilindro 41 y cámara 90 como
necesario de modo que las reacciones en el cilindro 41 no sean negativamente
afectadas. Para llevar a cabo este, esta encarnación adelante incluye una
válvula de circulación de doble sentido 90B, una válvula de alivio 90C, y
conducto o callejón 90 para evacuar y llenar la cámara 90, un conducto o el
callejón 90E para evacuar y llenar el cilindro 41, un callejón 90F entre cámara
90 y cilindro 41 en que la válvula de doble sentido 90B es dispuesta, un sensor
90G y una pluralidad de pequeños agujeros de alivio de presión 90. Los agujeros
de alivio 90 sirven para aliviar la presión en el fuelle 45 como los
movimientos de pistón de BDC a TDC.
En agujeros de motores más grandes 90 debería ser
sustituido por un camino válvulas. La válvula de doble sentido 90B es o
controlada por el sensor 90G o es a mano hecha funcionar, como deseado,
permitir la circulación de gases entre cámara 90 y cilindro 41. El sensor sí
mismo descubre una condición que requiere la apertura o el cierre de la válvula
90B y señala que condición a la válvula. Por ejemplo, el sensor 90G puede medir
la presión en el cilindro 41 mientras el pistón está en el centro muerto
superior. Una presión de cilindro predeterminada puede hacer que una primavera
comprima, haciendo la válvula abrirse o se cierre como apropiado. Un cambio subsecuente de la presión de
cilindro causaría entonces otro cambio de la válvula. Otro sensor (no mostrado)
podría medir la posición física del pistón por un interruptor de viaje físico o
una célula fotoeléctrica, o esto podría medir la distancia angular del centro
muerto superior en el distribuidor o el cigüeñal. El sensor debe guardar la
presión de gas en la cámara 90 en una atmósfera, más o menos el 5 %, y en el
centro muerto superior, el cilindro 41 también debería estar en aquella presión. Si gas es perdido del sistema, es más
importante mantener la presión apropiada en el cilindro 41. O bien, un pequeño
paso entre cilindro 41 y cámara 90 podría funcionar en una manera pasiva para
llevar a cabo satisfactoriamente el mismo resultado. Del susodicho, se puede
ver que esta encarnación utiliza el ahuecado el centro de la culata para
almacenar el fluido trabajador adicional, que el fluido es puesto en
circulación entre cámara 90 y cilindro 41 por un sistema de válvula que
comprende la válvula 90B y el sensor 90G con el pistón móvil que hace los gases
poner en circulación.
La circuitería eléctrica para el motor 11 incluye (ver Fig.13A) una 24 batería
V B1, un interruptor de ignición SW1, un interruptor de juez de salida SW2,
arranque 37, un interruptor de recorrido principal SW4, un transformador de
disminución gradual 93 (p.ej, 24 V a 3.5 transformador V), un interruptor SW6
para suministrar poder con la ignición bobina 25 (mostrado en Fig.13A y Fig.13B
como dos ignición separada bobinas 25A y 25B), y varios diodos de desenganche.
La circuitería de Fig.13A también incluye una
fuente de voltaje de frecuencia alta o el oscilador 95 para suministrar el
voltaje rápidamente variante por dos reguladores electrónicos 97A, 97B (ver
Fig.13B para el regulador 97B) a los electrodos de cátodo y ánodo de cada
cilindro, y un distribuidor de alta tensión 99 para distribuir pulsos de 40,000
voltios a los cilindros. El distribuidor 99 tiene a dos pacos 99A y 99B y
suministra tres pulsos a cada cilindro por ciclo. Los pacos 99A y 99B son 180
grados desfasados el uno con el otro y cada uno funciona para suministrar
pulsos a su cilindro respectivo de TDC a 120 grados a partir de entonces. Más pulsos son deseables y por lo tanto un
mejor arreglo de distribuidor (mostrado en Fig.14) puede ser usado. El arreglo
mostrado en Fig.14 incluye dos ignición bobinas 101, 103, un distribuidor
simple 105 y un par del recorrido de ignición magnético 107 y 109, descrito
abajo. Por supuesto muchos otros sistemas de ignición también podrían ser
desarrollados. Por ejemplo, un recorrido solo podría ser usado en el lugar del
recorrido 107, 109, la inducción adicional bobinas podría ser añadida a la
ignición bobinas para asistir en el comienzo o una resistencia podría ser
añadida a la ignición bobinas para asegurar una salida de 40,000 voltios
constante sin tener en cuenta revoluciones por minuto de motor. También, un
distribuidor transistorizado podría ser usado en vez del distribuidor mecánico
etiquetado 99.

Mandando atrás a Fig.13A, para motores de más de 1000 hp una fuente de
frecuencia alta 95 podría ser usada para controlar RPM de motor. La frecuencia
de salida es controlada por un pedal de pie similar a un pedal de acelerador en
un vehículo convencional. La frecuencia de salida varía por una variedad de
aproximadamente 2.057 MHz a aproximadamente 27.120 MHz con una salida corriente
de aproximadamente 8.4 amperios. La velocidad de motor 11 es controlada por la
frecuencia de salida de la fuente 95. La
frecuencia alta corriente, como descrito abajo, es dirigida a cada cilindro por
su parte por la circuitería descrita abajo. Para la producción de motores de
300 a 1000 hp (no mostrado), una fuente de frecuencia alta que tiene una salida
constante de 27.120 MHz con una corriente constante de 3.4 amperios que es
continuamente suministrada a todos los cilindros podría ser usada. En este caso
un autotransformador, como esto vendido bajo la designación comercial Variac
por la Compañía de Radio General, controlada por un pedal de pie varía el voltaje
a cada cilindro de la corriente continua de 5 a 24 voltios en 4.5 amperios,
usando el poder de las baterías o el alternador. La corriente continua corriente del Variac es
cambiada del cilindro al cilindro por dos pequeñas unidades de conmutación
electrónicas que por su parte son controladas por unidades de conmutación
electrónicas más grandes. Para los motores más pequeños (no mostrado), un
generador de frecuencia alto podría suministrar una salida constante de 27.120
MHz con una corriente constante de 4.2 amperios a los cilindros durante el
comienzo sólo. El control de velocidad sería conseguido por un Variac como
descrito encima cuales mandos el voltaje de corriente continua suministró a los
cilindros por su parte dentro de una variedad de 5 a 24 voltios en una
corriente de 5.2 amperios. En este caso, una vez el motor corre, el voltaje
lleno tenía que encenderse la cantidad (más pequeña) de gases es obtenida de
los electrodos en el otro cilindro del par.
La circuitería de Fig.13A también incluye el generador, un regulador de voltaje
y el relevo 111, cinco unidades de conmutación electrónicas 113, 115, 117, 119
y 121, electrodos 63 y 65 asociado con la cámara 41A (más adelante la cámara
41A es a veces mandada a como cilindro A y la cámara 41B son a veces
referidos como el cilindro "B"), el ánodo 67, cátodo 69, bobinas
magnético 49A, 51A y 53A, condensadores C1A y C2A, y varios diodos de
desenganche. Las unidades de conmutación electrónicas pueden tomar una variedad
de formas. Por ejemplo, una forma simple (ver Fig.15) incluye un par de SCRs
123 y 125. La unidad de conmutación está
relacionada en el terminal EN a la línea correspondiente en el lado de entrada
y en el terminal a la línea correspondiente en el lado de salida. Cuando un
voltaje de 3.5 voltios es suministrado de la batería por un distribuidor, por
ejemplo, al EN el terminal, SCR 125 conductas, así completando un recorrido por
la unidad de conmutación. A la inversa, cuando 3.5 voltios son aplicados AL del
terminal, SCR 123 conductas y el recorrido están rotos. Igualmente, el
recorrido para reguladores 97A y 97B (ver Fig.16) incluye dos SCRs 127 y 129 y
un transistor PNP 131. En este recorrido
cuando SCR 127 es gated en, esto fuerza el transistor 131 en la conducción, así
completando el recorrido por el regulador. Cuando SCR 129 es gated en, el
recorrido por el transistor 131 está roto. Varias otras configuraciones pueden
ser usadas en el lugar de aquellos de Fig.15 y Fig.16 y no todos usaría SCRs.
Por ejemplo, un triode podría ser usado para sustituir dos SCRs principales, o
los transistores podrían ser usados en vez de SCRs.
Un par de distribuidores de voltaje bajo 135 y 137 también es mostrado en
Fig.13A. Los distribuidores 135 y 137 proporcionan pulsos de compuerta para las
unidades de conmutación electrónicas de Fig.13A y Fig.13B. Por supuesto, los
distribuidores transistorizados también podrían sustituir a distribuidores
mecánicos 135 y 137.
Además, la circuitería de motor incluye (ver
Fig.13B) cinco unidades de conmutación electrónicas 143, 145, 147, 149 y 151
correspondiente a unidades 113, 115, 117, 119 y 121 de Fig.13A, electrodos 63 y
65 del cilindro "B", ánodo 67, cátodo 69, bobinas eléctrico 49B, 51B
y 53B, condensadores C1B y C2B, y varios diodos de desenganche. La circuitería
de Fig.13B es generalmente el mismo como las porciones correspondientes de
Fig.13A, entonces la descripción de uno en su mayor parte se aplica a ambos.
Por supuesto, si más de dos cilindros son usados, cada par de cilindros se
habría asociado con ellos, circuitería como aquel mostrado en Fig.13A y
Fig.13B. La circuitería de Fig.13A está relacionada con aquel de Fig.13B por
las líneas L1-L17.
El fluido trabajador y el combustible para el motor son mismos y consisten en
una mezcla de gases inertes, qué mezcla consiste esencialmente en helio, neón,
argón, criptón y xenón. Es preferido que la mezcla contiene el helio del 35.6
%, el neón del 26.3 %, el argón del 16.9 %, el criptón del 12.7 %, y el xenón
del 8.5 % por el volumen, ello habiendo sido calculado que esta mezcla
particular da el tiempo de operación máximo sin el reabastecimiento de
combustible. Generalmente, la mezcla inicial puede contener, por volumen, helio
aproximadamente del 36 %, neón aproximadamente del 26 %, argón aproximadamente
del 17 %, criptón aproximadamente del 13 %, y xenón aproximadamente del 8 %. Esta
mezcla resulta de un cálculo que iguala el precio total para cada uno de los
gases usados después de compensar para el hecho que un gas inerte, viz. radon,
no es usado. El anterior es confirmado por un centelleo de spectroscopic,
descrito abajo, que ocurre durante el proceso de mezcla. Si uno de los gases en
la mezcla tiene menos que el porcentaje prescribido, se hará sobreexcitado. Del
mismo modo, si uno de los gases tiene más que el porcentaje prescribido, aquel
gas estará bajo - excitado. Estos porcentajes no varían con el tamaño del
cilindro.
La operación del motor es como sigue: En la temperatura ambiente, cada cilindro
está lleno de un precio de atmósfera de la mezcla de combustible de aproximadamente
6 pulgadas cúbicas (100 centrimetros cúbicos) / cilindro (en caso del motor más
pequeño) por medio del tubo de relleno 59. Los tubos de relleno son tapados
entonces y los cilindros son instalados en el motor como mostrado en Fig.4, un
pistón que está en la posición totalmente ampliada y el otro estando en la
posición totalmente retraída. Comenzar el motor, la ignición y los
interruptores de juez de salida están cerrados, como es el interruptor SW6. Este hace que el arranque arranque con la manivela
el motor, que por su parte hace que las armas de paco de los distribuidores
giren. El proceso inicial comienza, por ejemplo, cuando los pistones están en
las posiciones mostradas en Fig.4. La ignición bobina 25 y el distribuidor 99
(ver Fig.13A) genera un pulso de 40,000 voltios que es suministrado al
electrodo 65 de la cámara 41A. Por lo tanto, un potencial alto momentáneo
existe entre electrodos 63 y 65 y los platos en cada uno. El punto de descarga
en el pistón 39A es adyacente estos electrodos en este tiempo y chispas ocurren
entre uno o varios de los electrodos y el punto de descarga para excitar
parcialmente, ionizarse p.ej, la mezcla de combustible gaseosa.
La mezcla de combustible gaseosa en el cilindro 41A está excitada adelante por
campos magnéticos establecidos en la cámara por bobina 49A. Este bobina está
relacionado con el lado de salida de la unidad de conmutación electrónica 121
y, por la conmutación de la unidad 113, a la batería y el generador. En este
tiempo, es decir, entre aproximadamente 5 grados antes de TDC y TDC, el
distribuidor 135 suministra una señal de compuerta a la unidad 121. Cualquier
presente corriente en el lado de entrada de la unidad 121, por lo tanto, pasa
por la unidad 121 para activar bobina 49A.
Además, la frecuencia alta corriente del oscilador 95 es suministrada
vía el regulador 97A a bobina 49A. Estos pases corrientes por regulador y
relevo 97A porque la señal de compuerta suministrada del distribuidor 135 a la
unidad 121 también es suministrada para transmitir 97A. La corriente de cambiar
unidad 121 y del oscilador 95 también es suministrada al ánodo y el cátodo. Es
calculado que este hace que rayos radiactivos (rayos X) fluyan entre el ánodo y
el cátodo, así adelante excitando la mezcla gaseosa.
Cuando el arranque sigue arrancando con la manivela, el pistón 39A comienza a
moverse hacia abajo, el pistón 39B comienza a moverse hacia arriba, y las armas
de paco de los distribuidores giran. (Huelga decir que, un distribuidor
transistorizado no giraría. El distribuidor podría utilizar células de foto,
luz o reflejó la luz, más bien que ponerse en contacto con puntos). Después de
45 grados de rotación, distribuidor 135 provisiones un pulso de compuerta a
unidad de conmutación electrónica 119, así completando un recorrido por unidad
119. La entrada a la unidad 119 está relacionada con las mismas líneas que
suministran corriente a bobina 49A. La finalización del recorrido por unidad
119, por lo tanto, causas bobina 51A para ser activado en la misma manera que
bobina 49A. Después de unos 45 grados adicionales de la rotación, distribuidor
135 puertas en la unidad de conmutación electrónica 117 que completa un
recorrido a las mismas líneas. El terminal de salida de la unidad 117 está
relacionado con bobina 53A, y entonces este bobina es activado cuando la unidad
117 es gated en. Tres bobinas del cilindro "A" permanecen activados
y, por lo tanto, generando campos magnéticos en la cámara 41A hasta el pistón
39A los alcances BDC.
Como el pistón 39A movimientos de TDC a BDC, dos pulsos de 40,000 voltios
adicionales (para un total de tres) son suministrados del distribuidor 99 al
cilindro "A". Estos pulsos son espaciados aproximadamente 60 grados
aparte. Si más pulsos son deseados, el aparato mostrado en Fig.14 puede ser
usado. En este caso, los solenoides indicados generalmente en 107A, 107B y
109A, 109B son activados para crear vario rápido, pulsos de alta tensión que
son suministrados como indicado en Fig.14 a los cilindros, distribuidor 105
funcionamiento para suministrar pulsos a sólo uno del par de cilindros a la vez.
Cuando el pistón 39A alcanza BDC, el distribuidor 135 envía un pulso AL de
terminales de unidades de conmutación electrónicas 121, 117 y 119,
respectivamente, causando tres bobinas 49A, 51A y 53A ser de activado. En
aproximadamente el mismo tiempo, es decir, entre aproximadamente 5 grados antes
de TDC y TDC para pistón 39B, distribuidor 137 provisiones un pulso de
compuerta al EN terminales de unidades de conmutación electrónicas 113 y 115.
Las entradas de poder a unidades 113 y 115 vienen del generador por el
regulador 111 y de la batería, y las salidas están directamente relacionadas
con bobinas 49A y 53A. Por lo tanto,
cuando las unidades 113 y 115 son gated en, bobinas 49A y 53A son activados de
nuevo. Pero en esta parte del ciclo, los bobinas son activados con la polaridad
de enfrente, causando una inversión en el campo magnético en la cámara 41A.
Note que bobina 51A no es activado en absoluto durante esta porción del ciclo.
Los Condensadores C1A y C2A también son cobrados durante el BDC a la porción
TDC del ciclo. (Durante el TDC a la porción BDC del ciclo, estos condensadores
son cobrados y/o descargados por las mismas corrientes que son suministrados al
ánodo y cátodo ya que ellos les están directamente relacionados).
Como el pistón 39A movimientos hacia arriba, los electrodos 63 y 65 sirven como
puntos de recogida a fin de conducir un poco de la corriente de la cámara 41A,
esta corriente generada por los gases excitados en la cámara. Esta corriente es
transferida vía la línea L7 a la unidad de conmutación electrónica 151. El
mismo pulso de compuerta qué gated en unidades 113 y 115 también fue
suministrado del distribuidor 137 vía la línea L12 a la puerta en la
conmutación de la unidad 151, entonces la corriente de los electrodos de la
cámara 41A pasa por la unidad 151 al ánodo, cátodo y condensadores de cámara
41B, así como por conmutación de unidades 147 y 149 a bobinas 49B, 51B y 53B.
Así se puede ver que la electricidad generada en un cilindro durante una
porción del ciclo es transferida al otro cilindro para asistir en la excitación
de la mezcla gaseosa en éste. Note que esta electricidad es regulada para
mantener una corriente en motor constante. Debería ser notado, esto
veinticuatro voltios del generador están siempre presentes en electrodos 63 y
65 durante la operación para asegurar el preentusiasmo de los gases.
Del susodicho se puede ver que los distribuidores 135 y 137 junto con unidades
de conmutación electrónicas 113, 115, 117, 119, 121, 143, 145, 147, 149 y 151
constituyen los medios para activar individualmente bobinas 49A, 49B, 51A, 51B,
53A y 53B. Más en particular, ellos constituyen los medios de activar todo el
bobinas de un cilindro dado del otro cilindro cuando el pistón del primer cilindro
se mueve de TDC a BDC y funcione para activar sólo dos (es decir, menos que
todos) del bobinas del alternador cuando aquel pistón se mueve de BDC a TDC.
Además, estos componentes constituyen los medios para activar el bobinas con
una polaridad dada cuando el pistón de aquel cilindro se mueve de TDC a BDC y
para activar primer y tercer bobinas con la polaridad de enfrente cuando aquel
pistón se mueve de BDC a TDC.
Como también puede ser visto, cambiando unidades 121 y 151 juntos con
distribuidores 135 y 137 constituye los medios para cerrar un recorrido para el
flujo de corriente de la cámara 41A a la cámara 41B durante el BDC a la porción
TDC del ciclo de la cámara 41A y para cerrar un recorrido para el flujo de
corriente de la cámara 41B a la cámara 41A durante el TDC a la porción BDC del
ciclo de la cámara 41A. El oscilador 95
constituye los medios para suministrar un tiempo variando el voltaje eléctrico
a los electrodos de cada cilindro, y oscilador 95, distribuidores 135 y 137, y
los reguladores 97A y 97B juntos constituyen los medios para suministrar el
tiempo variando el voltaje durante una porción predeterminada del ciclo de cada
pistón. Además, el distribuidor 99 juntos con la ignición bobinas 25A y 25B
constituye los medios para suministrar pulsos de alta tensión a los cilindros
en tiempos predeterminados durante el ciclo de cada pistón.
El ciclo de pistón 39B es exactamente el mismo como aquel del pistón 39A
excepto la 180 diferencia de fase de grado. Para cada cilindro, es calculado
que la excitación como descrito encima de causas los gases para separar en
capas, el gas de peso atómico más bajo en la mezcla, a saber helio, siendo
dispuesto generalmente en el centro de cada cámara, neón que forma la siguiente
capa, etcétera hasta que alcancemos el xenón que está en el contacto físico con
las paredes de cámara. La entrada corriente (poder) de hacer este es el
potencial deliberado de la mezcla de gas.
Ya que el helio es localizado en el centro de la cámara, el foco de las
descargas de electrodo y las descargas entre el ánodo y el cátodo está en la
capa de helio cuando el pistón está cerca de TDC. Como los movimientos de
pistón ligeramente debajo de TDC, los electrones de electrodos 63 y 65
golpearán ya no la punta del pistón, pero mejor dicho se cruzarán en el centro
del cilindro (este es llamado "electrón de foco y colisión de
partícula") como van a la alfa, beta y rayos gama del ánodo y cátodo. Por
supuesto, el helio está en este punto exacto y es pesadamente ionizado
entonces. Así los electrodos juntos con la fuente del poder eléctrico
relacionado además constituyen los medios para la ionización el gas inerte.
Es calculado que a consecuencia de todas las
interacciones ya mencionadas, una descarga de ignición ocurre en que el helio
se divide en el hidrógeno en un volumen no más grande que 2 o 3 x 10-6 milímetros
cúbicos en una temperatura de aproximadamente 100,000,000 de grados F. Por
supuesto esta temperatura es encajonada a un muy pequeño espacio y el layering
de los gases aísla las paredes de cilindro de ello. Tal calor excita el helio
adyacente de modo que un plasma ocurra. Por consiguiente, hay una reacción de
fusión de minuto en el helio que consiste en la conversión de energía de un
átomo de helio solo, que libera la energía suficiente de conducir el pistón en
aquella cámara hacia BDC con una fuerza similar en magnitud a esto generado en
un cilindro de un motor de combustión interno convencional. Los electrodos 63 y
65 se extienden en la capa de argón mientras cada pistón está en su BDC al golpe
de TDC para recoger un poco de la corriente corriente en aquella capa. Esto
puede tomar un ciclo o dos para los gases en los cilindros para hacerse
suficientemente excitado a la ignición para ocurrir.
Una vez que la ignición ocurre realmente, la operación eléctrica del motor
sigue como antes, sin la operación del arranque. El distribuidor 99 provisiones
tres pulsos por ciclo (o más si el sistema de ignición magnético de Fig.14 es
usado) a cada cilindro; y los distribuidores 135 y 137 siguen suministrando
"en" "y" "de" pulsos de compuerta a las unidades
de conmutación electrónicas. Las revoluciones por minuto del motor están, como
explicado encima, gobernadas por la frecuencia de la corriente del oscilador 95
(o en caso de unidades de caballo de vapor más pequeñas, por el voltaje de
corriente continua suministrado a los cilindros del Variac).
A causa de la cantidad de minuto del combustible consumido en cada ciclo, es
calculado que un cilindro puede dirigir en 1200 revoluciones por minuto
aproximadamente 1000 horas, si no más, en un precio solo de gas. Note que hasta
en 1200 revoluciones por minuto, habrá calor intenso que ocurre sólo el 0.002 %
del tiempo. Este significa que el poder de entrada tiene que ser aplicado sólo
esporádicamente. Este poder puede ser suministrado a un cilindro del otro
cilindro de su par por medio de unidades de conmutación electrónicas que, en
caso de SCRs, son provocadas por el voltaje bajo (p.ej 3.5 V) corriente. Así,
ya que el poder eléctrico generado en un cilindro es usado para excitar los
gases en el otro cilindro de un par, es práctico que los cilindros son
emparejados como hablado encima. Los condensadores son, por supuesto, usados
para almacenar tal energía para el uso durante la porción apropiada del ciclo
de cada cilindro.
Del susodicho, debería ser apreciado que el motor de esta invención tiene
varias ventajas actualmente propuso reactores de fusión, como tamaño más
pequeño, exigencias de energía inferiores, etc. ¿Pero cuáles son las bases de
estas ventajas? Por su parte los reactores de fusión actualmente propuestos
usan el hidrógeno y sus isótopos como un combustible en vez de gases inertes. Probablemente este es porque el hidrógeno
requiere menos poder de entusiasmo. Mientras este es verdadero, el poder de
entrada que es requerido a fin de hacer reactores de hidrógeno funcionar hace
el poder de excitación casi insignificante. Por ejemplo, para guardar un
reactor de hidrógeno de circuiting corto, el gas de hidrógeno tiene que ser
separado de las paredes de reactor mientras esto está en el estado plasma. Esta
separación es llevada a cabo por el mantenimiento de un cerca del vacío en el
reactor y por la concentración del gas en el centro del reactor (típicamente un
toroid) por un campo magnético continuo, intenso. En consecuencia, la
separación requiere una cantidad grande de la energía de entrada.
En la invención presente, por otra parte, la mayor energía de excitación del
combustible es más que compensada para por el hecho que la energía de entrada
para la operación puede ser reducida al mínimo por la manipulación de las
características únicas de los gases inertes. Primero, el helio es el gas inerte
usado para la fusión en la invención presente. El helio es aislado
principalmente de las paredes del contenedor por el layering de los otros gases
inertes, qué layering es causado por el potencial de excitación diferente
(debido a los pesos atómicos diferentes) de los gases inertes diferentes,
excitación dicha causada por la acción de los electrodos, ánodo y cátodo en un
campo magnético. Esta excitación hace los gases que cada uno esté excitado en
la proporción inversa a sus números atómicos, los gases ligeros excitados
proporcionalmente más. El helio, por lo
tanto, forma el corazón central con los otros cuatro gases que forman capas, a
fin de, alrededor del helio. El helio es secundariamente aislado de las paredes
del contenedor por un vacío modesto (en comparación con el vacío en reactores
de hidrógeno) que es causado parcialmente por el efecto "sofocante"
del bobinas y parcialmente por la ampliación de la cámara de combustión como
los movimientos de pistón de TDC a BDC. (No excitado, los gases están en una
atmósfera en TDC). Segundo, el argón, el gas medio de los cinco, es un
conductor eléctrico bueno y se hace un conductor excelente cuando (como
explicado abajo) es polarizado durante el proceso de mezcla. Colocando los
electrodos tal que ellos están en la capa de argón, la energía eléctrica puede
ser dada un toque de un cilindro para el uso en el otro. Durante el movimiento
de un pistón de BDC a TDC, se hace que los gases circulen en el cilindro por el
cambio de la polaridad del bobinas, que ocurre en BDC.
Durante tal circulación, los gases permanecen
acodados, haciendo los átomos de argón estar relativamente el uno cerca del
otro, así optimizando la conductividad del argón. Esta optimización de
conductividad es realzada adelante por un efecto de ahogamiento suave que es
debido a los campos magnéticos. La circulación del argón muy propicio causa un
recorte continuo de las líneas magnéticas de la fuerza de modo que los flujos
corrientes por los electrodos. Esta producción de la electricidad es similar al
alambre de cobre rotativo que corta las líneas magnéticas de la fuerza en un
generador convencional salvo que el alambre de cobre rotativo es sustituido por
el giro, argón muy propicio. La cantidad de electricidad que puede ser
producida en esta manera es una función de cuantas líneas de campo magnético
están disponibles para ser cortado. Si uno de los bobinas, o todos los tres de
los bobinas o dos bobinas adyacentes fuera activado, habría sólo un campo con
la electricidad producida a cada final. Activando la cumbre y el fondo bobina,
dos campos separados son producidos, con la electricidad producida en cuatro
puntos.
Un cinco sistema bobina, si hubiera espacio
suficiente, produciría tres campos con la cumbre, fondo y medio bobinas
activado. Seis puntos para la producción de electricidad resultarían. El número
de bobinas que puede ser instalado en un cilindro dado es una función de
limitaciones espaciales. La nueva combinación de átomos de gas durante el BDC a
la fase de TDC causa la radiación de la energía eléctrica que también
proporciona una porción menor de la electricidad que el electrodo recoge. Los electrodos no basados adicionales en cada
cilindro causarían más electricidad dada un toque lejos. Debería ser notado que
durante el BDC a la fase de TDC, el ánodo y el cátodo están también en la capa
de argón y, como los electrodos, ellos recogen la electricidad, que cobra los
condensadores alrededor del cilindro. Los gases terceros, inertes permanecen
una mezcla y no se combinan debido al completo de las cáscaras de electrones.
Ellos son por lo tanto bien satisfechos a un ciclo por lo cual ellos son
continuamente organizados y reorganizados. Cuarto, cuando los átomos de helio
son consumidos, los otros gases tienen la capacidad para absorber el precio del
gas consumido de modo que el precio total de la mezcla permanezca el mismo.
La segunda base de estas ventajas del motor presente sobre reactores de fusión
propuestos concierne el hecho que los reactores de hidrógeno desarrollan el
calor que genera el vapor para girar turbinas a fin de generar el poder
eléctrico. Este requiere la energía de entrada tremenda en una base continua.
La invención presente funciona en un ciclo cerrado, utilizando pistones y un
cigüeñal que no requiere un plasma continuo, pero mejor dicho una duración
infrecuente, corta (10-6 segundo) plasma que por lo tanto requiere mucho
menos energía de entrada. En la invención presente, un plasma que dura más
largo que 10-6 segundo no es necesario porque la presión suficiente es generada en aquel
tiempo para girar el motor. Un plasma de la duración más larga podría dañar el
motor si el calor fuera suficientemente intenso para ser transmitido por las
capas de gas inertes a las paredes de cilindro. Una concentración de calor
similar en el motor puede ocurrir si el precio de repetición es aumentado. Tal
aumento puede ser usado para aumentar el caballo de vapor por tamaño de motor,
pero a costa de la adición de un sistema de refrigeración, utilización de
componentes de motor más caros, y aumento del consumo de combustible. Note que
aunque las capas de gases inertes aíslen las paredes de cilindro, podría haber
un poco de aumento leve de la temperatura de las capas de gas después de varios
ciclos, es decir, después de varias igniciones.
Mientras que los reactores de fusión de hidrógeno no pueden producir
directamente el poder conduciendo un pistón (debido al vacío requerido), la
invención presente usa los gases inertes acodados para transmitir el poder del
plasma a cada gas por su parte hasta que el poder sea aplicado a un pistón, que
puede ser fácilmente traducido en el movimiento rotatorio. Los gases acodados
también amortiguan el pistón de la fuerza llena de la ignición. Además, los
campos dentro del cilindro que se somete a la extensión hacen que los gases se
encojan, así tomando un poco de la presión generada por la explosión y
previniendo el rompimiento de las paredes de cilindro.
Girando ahora a Fig.17A a Fig.17D, allí es mostrado el aparato 201 para
preparar la mezcla de combustible para el motor 11. Para el aparato de
conveniencia 201 es llamado un mezclador aunque debiera ser entendido que el
aparato no sólo mezcla los gases que forman el combustible sino también realiza
muchas otras funciones vitales también. Los cinco gases inertes constituyentes
son introducidos en proporciones precisas, predeterminadas. Los extractos de
mezclador, filtros y neutralizan los gases no inertes y otros contaminantes que
pueden ser encontrados en la mezcla de gas. Esto también aumenta la capacidad
potencial de átomos de gas, descarga el criptón y gases de xenón, polariza los
gases de argón, ionises los gases en una manera tal que la ionización es
mantenida hasta que el gas haya sido utilizado y por otra parte los prepare
para el uso como un combustible en el motor 11.
En particular, el mezclador hace los gases más fáciles para excitar
durante la operación del motor. La mezcla no significa una combinación atómica
o molecular o la unificación de gases porque los gases inertes no pueden
combinarse por medios químicos, en general, debido al completo de la cáscara
externa de electrones. Durante la mezcla, varios gases forman una mezcla homogénea.
La mezcla de los cinco gases inertes en el aparato 201 es algo análoga a la
preparación de un cinco líquido de parte la mezcla química por la titulación.
En tal mezcla, las proporciones de los productos químicos diferentes son
exactamente determinadas por visualmente observando el punto de final de cada
reacción durante la titulación. En el aparato 201, un visible, spectroscopic
destello de la luz acompaña el punto de final deseado de la introducción de
cada nuevo gas cuando esto alcanza su proporción apropiada, predeliberada. (Cada gas tiene su propio distintivo,
característico, spectroscopic demostración). Los puntos de finales son
teóricamente calculados y son determinados por voltajes predeterminados en cada
uno de un grupo de cabezas de ionización en el aparato, como descrito abajo.

El mezclador 201 incluye (ver Fig.17A) un puerto de consumo, indicado
generalmente en 203, que durante la operación está relacionado con una fuente
205 de gas de helio, una medida 206, tubería de cristal 207 comprensión de una
pluralidad de ramas B10-B25 para el flujo de los gases por el mezclador, una
pluralidad de válvulas V1-V11 en las ramas, qué válvulas pueden ser abiertas o
cerradas si es necesario, tres embalses de gas 209, 211 y 213 para almacenar
pequeñas cantidades de helio, argón y gas de neón respectivamente, una
ionización y filtrar la unidad 215 para filtrar gases no inertes indeseados y
contaminantes de la mezcla de combustible, para regular el precio de electrón
de átomo de gas y absorber los electrones sueltos libres, una bomba de
circulación de flujo de gas 217, dos ionización se dirige 219 y 221, y tres
control de la calidad y válvulas de escape V12-V14. El mezclador también
comprende (ver Fig.17B) un tubo de descarga de frecuencia alto 225, un tubo de
rayos catódicos no dirigido 227, más dos ionización se dirige 229 y 231, dos
embalses de gas adicionales 233 y 235 para almacenar pequeñas cantidades de
xenón y criptón, bobina magnético cuádruple 237, un grupo de válvulas V15-V24,
válvulas V23 y V24 que es control de la calidad y válvulas de escape, y una
pluralidad de ramas de tubería de cristal adicionales B26-B32.
Bocacalle a Fig.17C, el mezclador 201 también
incluye las cabezas de ionización adicionales 239, 240 y 241, válvulas
adicionales V25-V46, V39A y V40A, válvulas V29 y V32 que es control de la
calidad y válvulas de escape y válvula V39A que es una válvula de control, un
vacío y manómetro 242 entre válvulas V35 y V36, ramas de tubería B34-B49 (rama
B39 que consiste en las dos partes B39A y B39B), un par de puertos de consumo
243 y 245 que durante la operación están relacionados con fuentes 247 y 249 de
argón y gas de neón respectivamente, medidas 250A y 250B, una cámara de chispa
251, una cámara de retención de oxígeno e hidrógeno el 253 No 650 que contiene
de polvo de acero en un filtro de seda, una medida de ión 255 (que puede ser 75
kilobyte RG escriben a máquina la Medida de Ión del Glass Instruments, Inc de
Pasadena, California.) para quitar exceso gases inertes de la mezcla, bobinas
interior y externo de tubería de cristal 257 y 259 alrededores de una cámara
que se mezcla 261, un tubo de rayo X enfocado 263 para sujetar la mezcla que
fluye por ello a 15-20 radiación alfa millirem y 120-125 radiación de beta
millirem, un tubo de rayos catódicos dirigido 265, dos paralela de gemelo
bobinas magnético 266 y 267, y bobina magnético que se concentra 269. Es
importante que bobinas 266 y 267 ser la cámara de mezcla inmediatamente
adyacente 261. (Y ver Fig.17D) el mezclador también comprende las más tres
cabezas de ionización 271, 273 y 275, dos puertos de entrada 277 y 279 que
durante la operación están relacionados con fuentes 281 y 283 de criptón y
xenón respectivamente, medidas 284A y 284B, un tubo de descarga de frecuencia
alto 285, una paralela de gemelo bobina magnético 287 alrededores de un
polariser 289 para polarizar el argón, dijo polarizan partículas de acero finas
que contienen que son polarizadas por bobinas 287 y que por su parte polarizan
el argón, una segunda cámara de retención de hidrógeno 291, un par de ramas de
tubería B50 y B51, dos filtros 293 y 295 y una pluralidad de válvulas V47-V59,
válvulas V57 y V59 que es control de la calidad y válvulas de escape.
La tubería de cristal interior y externa bobinas 257 y 259 y la cámara que se
mezcla 261 es mostrada en el corte transversal en Fig.18. El cristal intermedio
bobinas 257 y 259 es dos bobinas magnéticos 297 y 299 tener una inductancia de
aproximadamente 130 mH. Un yugo bobina 301 es colocado en un semicírculo
alrededor de la cámara que se mezcla 261. Dentro de la cámara que se mezcla 261
son localizados un par de pantallas 303 y 305, aislantes 307 y 309, y un par de
huecos de chispa indicados generalmente en 311 y 313. La fuente modulada de la
amplitud de una frecuencia alta provee 120 V AC, 60 Hz, 8.4 ampios, 560 vatios,
27,120 a 40,000 MHz más o menos corriente de 160 kHz vía alambres pesadamente
aislados 315 y 317 a la cámara. Estos alambres son aproximadamente doce medida,
como aquellos usados como alambres de bujía en motores de combustión internos.
Además 95 voltios Dirigen Corriente es suministrado vía un más pequeño (p.ej
dieciséis a dieciocho medida) alambre aislado 319. Como descrito abajo, los
gases para ser mezclados y prepararon el flujo por la cámara 261 y son apropiadamente
tratados allí por la acción de vario presente de campos en la cámara.

Bobinas magnético, las cabezas de ionización, y la bomba 217, junto con las
interconexiones eléctricas requeridas, son esquemáticamente mostrados en
Fig.19A a Fig.19E. Más en particular, cabezas 239 y 241 son mostradas en
Fig.19A, como es la bomba 217. Cada cabeza de ionización tiene dos electrodos
con un hueco entre ellos para causar la ionización de gases que fluyen por la
cabeza, los electrodos relacionados con una fuente del poder eléctrico. La
bomba 217 está directamente relacionada con una fuente del poder (corriente
alterna o corriente continua como requerido por la bomba particular usada). Las
uniones entre la circuitería en Fig.19A y lo que en Fig.19B es mostrado como un
enchufe 321, ello entendido de que este enchufe representa una unión de uno a
uno conveniente entre las líneas de Fig.19A y aquellos Fig.19B.
Las cabezas de ionización restantes y todo bobinas magnético son mostrados en
Fig.19B. Para la claridad, los bobinas son mostrados en una forma poco
convencional. Cuadruplíquese bobina 237 (mostrado en lo alto de Fig.19B) tiene
un lado de cada cuerda relacionada en común pero los otros lados están
relacionados con líneas diferentes. el bobina 223 consiste en dos cuerdas en la
paralela. los bobinas 297 y 299, estos alrededor de la cámara que se mezcla,
son mostrados superponiéndose, ello entendido esto bobina 297 es realmente
interior de bobina 299. El yugo bobina 301, como mostrado, se extiende a mitad
de camino del fondo a la cumbre de bobinas 297 y 299. La paralela de gemelo bobinas magnético 267
está relacionada en la paralela el uno con el otro, ambos lados de enfocar
bobina 269 relacionado con un nodo de bobinas 267. Igualmente los bobinas 287
están relacionados en la paralela. Las uniones entre las líneas de Fig.19B y
muestran aquellos de Fig.19C y Fig.19D como enchufes 323 y 325, aunque otras
uniones de uno a uno convenientes pudieran ser ciertamente hechas. El Fig.19C
muestra las líneas que interconectan entre Fig.19B y Fig.19E. Un enchufe 327 u
otras uniones de uno a uno convenientes une las líneas de Fig.19C y Fig.19E.
Una pluralidad de fuentes de alimentación, como Variacs arriba mencionado, de
voltajes convenientes y corrientes así como una pluralidad de relevos 329, y
enchufes 331 es mostrada en Fig.19D y Fig.19E. Las uniones entre estas dos
Figuras son mostradas como un enchufe 333. Debería ser apreciado que el Variacs
puede ser ajustado por el operador si es necesario para suministrar los
voltajes deseados a bobinas ya mencionado y cabezas de ionización. También
debería ser realizado que los relevos deseados pueden estar cerrados o abierto
como necesario uniéndose o desconectando las dos partes del enchufe
correspondiente 331. Es decir por el uso de enchufes 331, el operador puede
controlar la activación de las cabezas de ionización y bobinas magnético como
deseado. Los enchufes 331 son también una ayuda en la comprobación para
asegurar que cada componente está en la condición de funcionamiento sólo antes de
su uso. Por supuesto, la manipulación de las fuentes de alimentación y los
relevos no tiene que ser realizada a mano; podría ser automatizado.

La circuitería restante para el mezclador es mostrada en Fig.20A a Fig.20F.
Para la conveniencia, enchufes 335, 337, 339, 341, 343, 345 y 347 son mostrados
como la unión de la circuitería mostrada en varias Figuras, aunque otras
uniones de uno a uno convenientes puedan ser usadas. El chasis del aparato es
mostrado en estas Figuras en el fantasma y es basado. El suministro de energía
para el aparato es mostrado en parte en Fig.20A y Fig.20D e incluye una entrada
349 (ver Fig.20D) que está relacionado con 120 voltios, poder de 60 Hz durante
la operación y una entrada 351 que está relacionado con el generador de frecuencia
alto ya mencionado o alguna otra fuente conveniente de la corriente de
aproximadamente 27,120 MHz. El
suministro de energía incluye un par de sintonizadores 353, numeroso recorrido
RLC, un triode 355, un pentode 357 con una pantalla de ZnS, un transformador
variable 359, un control de entrada 361, un segundo transformador variable 363
(ver Fig.20A) que juntos con un filtro 365 formas 2.0 voltios (pico a pico)
suministro de energía 367, un pentode 369, un transformador variable 371, y una
red de resistencia indicada generalmente en 373. Los voltajes ejemplares en el
suministro de energía durante la operación son como sigue: el ánodo de triode
355 está en 145 V, la rejilla de control en 135 V y el cátodo en -25 V. El voltaje en lo alto de la cuerda derecha
del transformador 359 es -5 V. El ánodo de pentode 357 está en 143 V, la
rejilla superior es basada (como es la pantalla de ZnS), la rejilla de fondo
está relacionada con el transformador 359, y el electrodo de control está en
143 V. La entrada para suministrar 367 es la corriente alterna de 143 voltios
mientras su salida, como declarado encima, es 2 V (pico a pico). El ánodo de
pentode 369 está en 60 V, las rejillas en-1.5 V, el electrodo de control en 130
V, y el cátodo está considerablemente en la tierra. La salida de
resistencia red 373, etiquetado 375, está en 45 V.
También mostrado en Fig.20D es la cámara de chispa 251. La cámara de chispa 251
incluye una pequeña cantidad de thorium, indicado en 377, y una pluralidad de
placas de latón paralelas 379. Cuando los gases en el mezclador alcanzan la
ionización apropiada, las partículas alfa emitidas por el thorium revelado como
destellos de la luz en la cámara de chispa.
Dando vuelta ahora a Fig.20B, la ionización y filtrando la unidad 215 incluye
un par de apoyos propicios 381 para una pluralidad de conductores 383, dijeron
los apoyos y los conductores relacionados con una fuente de voltaje, un apoyo
de aislamiento 385 para conductores adicionales 387, y un ZnS protege 388 que
emite la luz cuando las impurezas son quitadas de la mezcla de combustible
gaseosa. La unidad 215 también incluye un segundo juego de conductores
intercalados indicados generalmente en 389, un tubo de cátodo frío 391, y un
tubo de rayo X indicado generalmente en 393. También mostrado en Fig.20B es una
red de RLC 395 que tiene una salida en una línea 397 que está en 35 V, este
voltaje suministrado al tubo de rayo X.
El tubo de descarga de frecuencia alto 255 (ver
Fig.20C) tiene un electrodo propicio 399 a un final al cual la frecuencia alta
corriente es aplicada para excitar los gases en el mezclador, y un arreglo 401
de electrodo/calentador ante el otro, un voltaje de 45 V aplicados a una
entrada 402 del tubo. Es deseable que una pequeña cantidad de mercurio,
indicado en 403, ser incluido en el tubo 225 para promover la descarga del gas
de helio. Bobinas magnéticos 237 han dispuesto allí un par de conductores
generalmente paralelos 405 a que una señal de frecuencia alta es aplicada. Cuando el gas fluye por bobinas 237 y entre
conductores paralelos 405, por lo tanto, es sujetado a la combinación de un
campo magnético de corriente continua del bobina y ondas de frecuencia altas de
los conductores, que los conductores interpretan como la transmisión de
antenas. El campo magnético de frecuencia alto que resulta hace que los átomos
se hagan inestable, que permite que el motor para cambiar el nivel cuántico de
un átomo dado con mucho menos poder de entrada que fuera normalmente requerido. El volumen de cada átomo de gas también será
más pequeño. También mostrado en Fig.20C es el tubo de rayos catódicos no
dirigido 227. Las rejillas de tubo 227 están en 145 V, el electrodo de control
está en la tierra, mientras el ánodo está en 35 V a 80 V (pico a pico). El
objetivo del tubo de rayos catódicos no dirigido 227 es añadir fotones a la
mezcla de gas. Para generar estos fotones, el tubo 227 tiene una dos capa ZnS
capa indicado generalmente en 407. La cámara 261, descrito encima, también es
mostrada esquemáticamente en Fig.20C, junto con una red de RLC 409.
El suministro de energía para el mezclador (ver las mitades inferiores de
Fig.20E y Fig.20F) también incluye dos pentodes 411 y 413, un transformador
415, y un tubo de diodo 417. El electrodo de control de pentode 411 está en 5 V
a 40 V (pico a pico), las rejillas están en 145 V, el ánodo está en 100 V, y el
cátodo está en 8 V a 30 V (pico a pico). El electrodo de control de pentode 413
está en 115 V, mientras sus rejillas y cátodo están en-33 V. El ánodo de tubo
413 está relacionado con el transformador 415. También mostrado en Fig.20E son
un relevo 419 asociado con la medida de ión 255, y el tubo de rayo X enfocado
263 asociado con la ionización se dirige 240. La entrada superior al tubo 263
está en 45 V a 80 V (pico a pico).
Girando a Fig.20F, allí es mostrado tubos 265 y 285. El tubo de rayos catódicos
dirigido 265 es un pentode relacionado como el tubo 227. El tubo de descarga de
frecuencia alto 285 incluye una pantalla de fósforo y está relacionado con una
fuente de frecuencia alta. También mostrado en Fig.20F es un triode 421 con su
ánodo en 30 V, su cátodo en la tierra, y su rejilla de control en-60 V; un
pentode 423 con su ánodo en 135 V a 1000 V alcanza su punto máximo para
alcanzar su punto máximo, su cátodo en la tierra, su electrodo de control en
143 V, sus rejillas en 20 V; y un transformador 425. Debería ser entendido que
varios arreglos de componentes eléctricos además de aquellos descritos encima
podrían ser diseñados para realizar las mismas funciones.
La operación del mezclador es mejor entendida en cuanto a Fig.17A a Fig.17D y
es como sigue: Antes y durante la operación, el mezclador, y en particular la
cámara 261 es guardada herméticamente sellada y evacuada. Para comenzar el
proceso de mezcla, el helio es admitido en el mezclador vía el puerto de
consumo 203. Entonces un vacío es otra vez dibujado, por una bomba neumática
(no mostrado) relacionado con la válvula V38, limpiar con agua la cámara. Esta limpieza con agua es repetida varias
veces para limpiar completamente las ramas de tubería del mezclador. El
mezclador está listo ahora. Las cabezas de ionización al lado de la cámara que
se mezcla 261 están relacionadas con un voltaje correspondiente a
aproximadamente el 36 % del voltaje de ionización total deliberado, se permite
que la corriente continua corriente fluya por bobinas magnético 297 y 299
alrededor de la cámara 261, y se permite que la frecuencia alta corriente pase
por la cámara que se mezcla. El helio es despacio admitido entonces, vía el
puerto 203, en el mezclador. Del puerto 203, el helio pasa por la cabeza de
ionización 219 en la tubería de cristal bobina 259. Este cristal bobina, siendo fuera de bobinas
magnético 297 y 299, está en la porción que diverge de un campo magnético. El
helio de una manera lenta suelto por el cristal bobina 259 está suavemente
excitado. De bobina 259, los flujos de helio por la rama B45 a la ionización se
dirigen 275 y desde allí, vía la rama que B28, a la ionización encabezan 229
(ver Fig.17B). De la cabeza 229, el gas fluye por el tubo de rayos catódicos no
dirigido 227 a discharger de alta frecuencia 225. La frecuencia alta discharger
225, con elemento calentador, descargas, separa o completamente neutraliza el
precio de cualquier partícula radiactiva y/o cósmica que está en el átomo de
helio además de los protones, neutrones y electrones.
El gas sale discharger 225 vía la rama B26 y pases
a discharger de alta frecuencia 285. La frecuencia alta discharger 285, sin
calentar elemento, molesta la frecuencia de la oscilación que liga los átomos
de gas juntos. Este prepara los átomos de helio de modo que los electrones
puedan ser más fácilmente partidos del núcleo durante la excitación y proceso
de ignición en el motor. El Discharger 285 incluye una pantalla de fósforo o el
depósito (similar a la capa en un tubo de rayos catódicos) que hace descargas
en el tubo visibles. De discharger 285, el helio pasa por tubo de rayos
catódicos dirigido 265 y tubo de rayo X enfocado 263. Tubo de rayos catódicos
dirigido 265 rayos de cátodo de productos que oscilan de acá para allá
longitudinalmente debajo y a lo largo del gas que lleva el tubo. Después de
esto, los pases de helio sucesivamente por la rama B21, la ionización se dirige
221, rama B23, paralela de gemelo bobina magnético 266, y rama B25 en la cámara
que se mezcla 261. El helio fluye despacio en y por el aparato 201. Los átomos
de helio se hacen ionizados a consecuencia de la excitación por fuerza
magnética, vibraciones de frecuencia altas y precio adquirido de las cabezas de
ionización. Cuando el helio suficiente ha entrado en el aparato, la energía de
ionización (que es aproximadamente el 36 % del total) es totalmente absorbido. Un destello de spectroscopic de la luz en la
cámara que se mezcla señala que se ha permitido que la cantidad precisa,
apropiada de helio entre. La entrada de helio es inmediatamente parada entonces
por el cierre de válvula V3.
El siguiente paso en la preparación del
combustible debe añadir el neón a la mezcla. El potencial en las cabezas de
ionización relevantes, en particular diríjasse 241 (ver Fig.17C), es levantado
por la adición aproximadamente del 26 % que causa un total aproximadamente del
62 % de potencial calculado del total y válvula V31 es abierto, así permitiendo
al neón entrar despacio en el mezclador vía el puerto 245. Este gas pasa por la
rama B36, la ionización se dirige 241, y rama B35 directamente en la cámara que
se mezcla. Ya que el helio antes admitido es totalmente cobrado, el neón
absorbe todo el potencial de ionización aumentado. Tan pronto como el neón
adquiere el precio adicional, un destello de spectroscopic de la luz ocurre y
la válvula de finales de operador V31.
En la misma manera, el potencial en las cabezas de ionización es aumentado por
la adición aproximadamente del 17 % para un total aproximadamente del 79 % del
potencial calculado del total y luego válvula V30 es abierto para admitir el
argón en el mezclador vía el puerto 243. Este gas pasa por la rama B34, la
ionización se dirige 239, y rama B33 en la cámara que se mezcla 261. Otra vez,
cuando la cantidad apropiada de argón ha sido admitida, esto emite un destello
de spectroscopic de la luz y la válvula de finales de operador V30. Después, el
potencial en las cabezas de ionización es aumentado por la adición
aproximadamente del 13 % para causar un total aproximadamente del 92 % de
potencial calculado del total y válvula V58 (ver Fig.17D) es abierto para
admitir el criptón en el sistema. El gas de criptón pasa por la rama B51, la
ionización se dirige 271 y rama B48 en la cámara 261. Sobre la emisión de un
destello de spectroscopic de la luz por el gas, el operador cierra la válvula
V58. Finalmente, el potencial en las cabezas de ionización es aumentado por la
adición aproximadamente del 8 % que trae al potencial de ionización al máximo
el 100 % del voltaje de ionización deliberado y válvula V56 es abierto para
admitir el xenón en el mezclador vía el puerto 279. Este gas pasa por la rama B50, la ionización
se dirige 273 y rama B47 a la cámara que se mezcla. Cuando la cantidad apropiada
de gas ha sido admitida, un destello de spectroscopic de la luz ocurre
señalando al operador para cerrar la válvula V56. Note que hay dos unidades de
filtro/amortiguador, etiquetadas 253 y 291. La unidad 253 está relacionada con
las ramas de entrada de argón y neón B33 y B35 mientras la unidad 291 está
relacionada con el criptón y ramas de entrada de xenón B47 y B48. Estas dos
unidades absorben el residuo de hidrógeno e inmovilizan el vapor agua creado
cuando la bomba pone en circulación los gases y genera estados de vacío.
Después de que todos los gases son admitidos en las proporciones deseadas,
todas las válvulas están cerradas. (La mezcla en la cámara que se mezcla y en
la tubería adyacente está en una presión de atmósfera en este tiempo). Una vez que
este es hecho, las válvulas de intervalo del sistema son todas abiertas (pero
la entrada y las válvulas de salida permanecen cerradas) permitir la mezcla
para circular en todas partes de la tubería como sigue: bifúrquese B44, bobinas
magnético 267 y 269, la ionización se dirige 240, rama B29, la ionización se
dirige 231, rama B24, la ionización se dirige 219, pisa repetidamente 217, ramas
B15 y B39A, medida de ionización 255, ramas B38 y B42, la ionización se dirige
275, rama B28, la ionización se dirige 229, tubo de rayos catódicos no dirigido
227, cuadruplica bobina magnético 272, ionización se dirigen 221, rama B23,
paralela de gemelo bobina magnético 266, rama B25 y cámara que se mezcla 261.
Cuando este recorrido es al principio abierto, la presión de la mezcla deja
caer el 40-50 % porque un poco de la tubería había estado antes bajo el vacío.
La bomba 217 es comenzada entonces para hacer que los gases fueran despacio y
regularmente mezclados.
A causa del espacio muerto en la tubería y el tiempo de reacción del operador,
esto puede ocurrir que las proporciones de los gases no están exactamente
aquellos puestos adelante encima. Este es remediado durante el paso de
circulación. Cuando los flujos de gas por la ionización calibran 255, el gas de
exceso es quitado de la mezcla de modo que las proporciones correctas sean
obtenidas. Para hacer este la rejilla de medida 255 es sujetada a la energía de
ionización del 100 % y es calentada a aproximadamente 165 grados F. Esta
temperatura de 165 grados F está relacionada con el punto de ebullición del
xenón de-165 grados F en la magnitud, pero es de enfrente en el signo. El xenón
es el más pesado de los cinco gases inertes en la mezcla. Cuando los flujos de
mezcla de gas por la ionización calibran 255, los átomos de gas que son
superior a sus porcentajes prescribidos son quemados de la mezcla y su precio
es adquirido por los átomos de gas restantes de la rejilla de la medida de
ionización. Como los gases están bajo un vacío parcial, la medida de ionización
es capaz de ajustar los porcentajes de gas muy exactamente. (Nota: los pasos
descritos en los dos últimos párrafos son repetidos si los gases terminados son
rechazados en el paso de control de la calidad final descrito abajo).
El siguiente paso implica purificar la mezcla de modo que sólo los cinco gases
inertes permanezcan, absorbiendo cualquier electrón libre y regulando el precio
eléctrico en la mezcla. Para hacer este, el recorrido que consiste en los
componentes siguientes es abierto: Rama B44, bobina magnético 267, bobina
magnético 269, la ionización se dirige 240, rama B29, la ionización se dirige
231, rama B24, la ionización se dirige 219, pisa repetidamente 217, ramas B15 y
B39, bobina magnético 287 (ver Fig.17D) polariser 289, rama B17, ionización y
unidad de filtración 215, ramas B16, B42, y B41, tubo de rayo X 263, rama B21,
la ionización se dirige 221, rama B23, bobina magnético 266, rama B25, y mezcla
de la cámara 261. Los gases deberían completar este recorrido al menos tres
veces.
El último paso requerido preparar la mezcla para el embotellamiento es
polarisation del argón. El recorrido requerido hacer este consiste en los
componentes siguientes: mezclando la cámara 261, la rama que B44, bobina
magnético 267, bobina magnético 269, ionización encabezan 240, tubo de rayos
catódicos 265, rama B40, tubería bobina 257, ramas B49 y B30, ionización se
dirige 231, rama B24, la ionización se dirige 219, pisa repetidamente 217,
ramas B15 y B39, paralela de gemelo bobina magnético 287 (ver Fig.17D),
polariser 289, rama B17, ionización y unidad de filtración 215, ramas B16, B42
y B20, ionización se dirigen 229, tubo de rayos catódicos 227, bobina magnético
237, cabeza de ionización 221, bifúrquese B23 y bobina magnético 266. Este
también es repetido al menos tres veces. La llave al polarisation de argón es
polariser 289 y la paralela de gemelo bobina magnético 287 que lo rodea. El
Polariser 289 es una botella de cristal que está llena del hierro suave
sutilmente en polvo que puede ser fácilmente magnetizado. La botella llena es,
en efecto, el corazón de hierro del bobinas. Las partículas de hierro se
alinean con las líneas magnéticas de la fuerza, que las líneas irradian del
centro hacia el norte y polo sur. La mezcla de gas ionizada es forzada por el
polvo de hierro magnetizado por medio de presión de bomba y vacío, así
polarizando el gas de argón. Los filtros 293 y 295 son dispuestos como mostrado
a fin de filtrar partículas metálicas del gas.
La mezcla es verificada dos veces ahora por medio de la cámara de chispa 251 en
la presión atmosférica ya que la reacción de fusión en el motor es comenzada en
una atmósfera. Como los gases en el aparato que se mezcla 201 están en un vacío
parcial, los gases suficientes deben ser bombeados en la cámara de chispa 251
para alcanzar la presión atmosférica. Para hacer este válvulas V33, V36 y V40A
están cerrados y poniendo en circulación la bomba 217 bombas los gases en el
aparato que se mezcla vía ramas B15 y B39A, por la válvula de control V39A en
la cámara de chispa 251 hasta el vacío y manómetro 242 indica que los gases
dentro de la cámara de chispa 251 están en la presión atmosférica. Válvula V34 está cerrada entonces. La cámara
de chispa es similar a una cámara de nube. Seis o más platos de condensador de
latón de capacidad altos son 1/8 espaciado" a 1/4" aparte en la
cámara. Un pequeño contenedor plástico sostiene el thorium 232. Un lado de la
cámara es equipado con una ventana de cristal gruesa por la cual las chispas en
la cámara pueden ser observadas. Un potencial es colocado en las placas de
latón en la cámara y la corriente corriente entre los platos es medida. Si esta
corriente exactamente corresponde a la ionización corriente, la mezcla es
aceptable. Una diferencia de los mayores que el 5 % no es aceptable. Una diferencia menor puede ser corregida
poniendo en circulación de nuevo el gas en el mezclador y en particular por la
ionización calibran 255 como antes descrito en el paso de circulación. Una
segunda prueba es dada entonces los gases que pasan la primera prueba. Una
frecuencia alta deliberada corriente es gradualmente impuesta a los platos de
condensador de cámara de chispa. Esta excitación hace que neutrones sean
emitidos del thorium 232 que, si la mezcla es satisfactoria, puede ser
fácilmente visto como un hilo delgado de la luz en la cámara. Si la mezcla no
es descargas satisfactorias, ligeras no puede ser visto y el recorrido de
frecuencia alto va a corto y apagar antes de que la frecuencia deseada sea
alcanzada.
Para embotellar la mezcla, válvula V33 es abierto y válvulas V36 y V40 están
cerrados. Durante el embotellamiento polariser 289, paralela de gemelo bobina
magnéticos 287, unidad de ionización 215 e ión calibran 255 son eléctricamente
activados (todo el recorrido eléctrico es antes de activado) mejorar la
estabilidad de la mezcla. Los gases listos son retirados del aparato que se
mezcla vía ramas B24 y B16, la unidad de ionización 215, rama B17, filtra 293 y
295, polariser 289, paralela de gemelo bobina magnético 287, rama B39, medida
de ión 255, comprobar la válvula V39A, rama B38 y cámara de chispa 251. De ser
deseado, después de embotellar el mezclador puede ser agotado abriendo válvulas
V12, V13, V14, V23, V24, V29, V32, V57 y V59. Por supuesto, uno también puede
automatizar el proceso de preparación de combustible para ser continuo de modo
que nunca fuera necesario agotar el gas.
En operación del aparato que se mezcla 201, los ciertos factores operacionales
deben ser considerados. Por su parte ningunos dispositivos eléctricos pueden
ser conectados sin la bomba que está en la operación porque un dispositivo
eléctrico que está en puede dañar el gas adyacente que no circula. Para el
otro, debería ser notado que el tubo de rayos catódicos dirigido 265, tubo de
rayos catódicos no dirigido 227 y tubo de rayo X enfocado 263 sirve funciones
diferentes en puntos diferentes en el proceso de mezcla. En un modo, ellos proporcionan la radiación
de cátodo caliente, que puede ocurrir sólo en un vacío. Cuando los gases fluyen
por estos dispositivos, ellos proporcionan una descarga de cátodo fría. Por
ejemplo, durante el argón polarisation y el paso de circulación, se concentró
el tubo de rayo X 263 está bajo el vacío y afecta los gases que fluyen por la
cabeza de ionización 240 por vía de la radiación de cátodo caliente. Durante la
introducción de los gases diferentes en el aparato que se mezcla 201 y durante
el paso de recirculación, los gases fluyen por el tubo de rayo X enfocado 263,
que afecta los gases por vía de una descarga de cátodo fría.
Es preferido que cada componente eléctrico switchable en el aparato que se
mezcla 201 ser puesto instalación eléctrica en un recorrido separado a pesar de
que uno de los postes de cada uno podría ser comúnmente puesto instalación
eléctrica. En un recorrido de puntos en común si un dispositivo es encendido,
todas las otras unidades también pueden encender porque los gases en el
dispositivo son propicios. Además, si una unidad en un recorrido común fuera
activada con la frecuencia alta corriente, los demás también serían afectados.
En la misma vena, la frecuencia alta corriente no puede ser usada cuando los
tubos de rayos catódicos, los tubos de rayo X o el dischargers son calentados y
bajo el vacío porque los filamentos de calentador se consumirán.
Finalmente, la fuente corriente, los rectificadores variables y los
instrumentos de medida eléctricos deben ser localizados más de diez pies de
mezclar el aparato 201 porque la frecuencia alta corriente es dañosa a los
rectificadores, haciéndolos consumirse o corto.
Es esperado que un breve resumen de los conceptos usados por el inventor en el
desarrollo de la susodicha invención será provechoso al lector, ello entendido
que este resumen es de ninguna manera querido para limitar las reclamaciones
que siguen o afectar su validez. El primer concepto es el de la utilización de
una mezcla de gas inerte en aproximadamente una atmósfera en TDC (en la
ignición) como un combustible en un proceso de producción de energía
termonuclear. El segundo concepto es el layering de varios gases inertes, qué
layering es diseñado para encajonar la energía de entrada en las capas íntimas
durante preentusiasmo e ignición, proporcionar el aislamiento termal para las
paredes de contenedor durante y después de la ignición, transmitir el poder que
resulta de la ignición por las capas por su parte al pistón, absorber la
presión generada durante la ignición para proteger las paredes de cilindro, y
proporcionar una colocación ordenada, previsible de la capa de argón durante el
BDC a la porción TDC del ciclo de motor. El tercer concepto de esta invención
implica utilizar la corriente eléctrica producida en un cilindro de un par para
realizar funciones en el otro cilindro de aquel par. Este concepto incluye los
subconceptos de generar la corriente eléctrica por la nueva combinación atómica
y de la generación eléctrica en el lugar que resulta de la rotación de gases
inertes acodados dentro de cada cilindro debido a la polaridad cambiada del
rodeo bobinas en BDC, de la colocación juiciosa de bobinas que producen líneas
de campo magnético que son cortadas por un cerca del conductor perfecto (argón
polarizado), y del movimiento de dicho cerca del conductor perfecto por el
campo magnético.
Los cuartos y quintos conceptos de esta invención son la transformación de la
duración rápida, intensa, pero corta reacciones termonucleares en la presión
que es transmitida del gas inerte al gas inerte hasta que esto cree la energía
cinética lineal en el pistón, qué energía es convertida en la energía cinética
rotatoria por un cigüeñal, y el uso de un generador conducido por eje para
proporcionar el poder con el campo espaciado bobinas durante el BDC a la
porción TDC del ciclo de cada cilindro.
El sexto concepto concierne el preentusiasmo adecuado del combustible de gas
inerte y más en particular implica los subconceptos de preexcitar el
combustible en el proceso de mezcla, de la manipulación de las corrientes en el
bobinas que rodea cada cilindro, de descargar los condensadores que rodean cada
cilindro en tiempos predeterminados en los ciclos, de hacer que una corriente
de partículas eléctricas fluyera entre electrodos y un punto de descarga
propicio en el pistón, de emitir la alfa, la beta y los rayos gama de un ánodo
y un cátodo que contiene bajo nivelan el material radiactivo al punto de descarga
del pistón, de acelerar la alfa, beta y rayos gama por la aplicación de un
campo de alta tensión, y de situar condensador platea 90 grados del ánodo y
cátodo para reducir la marcha y reflejar neutrones generados durante la
ignición. El séptimo concepto implica la provisión de un minuto, ignición de
fisión de tipo de bolita, el calor de cuales causas una fusión de minuto como
el resultado de la cámara de ignición forman y arreglo, a consecuencia de la
colisión de la alfa, beta y rayos gama y las partículas eléctricas en un foco
junto con la descarga de los condensadores que rodean el cilindro por los
electrodos, y a consecuencia del aumento del campo magnético en dirección del
movimiento de cada pistón.
Patente US 3,977,191 31 de agosto 1976 Inventor: Robert G. Britt
FUENTE DE ALIMENTACIÓN DE ÓPTICA DE REFLEJO
DE EXTENSIÓN ATÓMICA
("AEROPS") MOTOR
EXTRACTO
Un motor es proporcionado que reducirá enormemente
la contaminación atmosférica y el ruido proporcionando una fuente de
alimentación de motor de sistema sellada que no tiene ningunos gases de
combustión, ni puertos de consumo. El motor incluye una cámara de presión hueco
esférica que es proveída de una superficie de espejo reflectante. Una mezcla de
gas noble dentro de la cámara es activada por electrodos y el trabajo es sacado
de la extensión de la mezcla de gas contra un pistón.
RESUMEN DE LA INVENCIÓN
Una fuente de alimentación de óptica de reflejo de
extensión atómica (AEROPS) motor, rodeando un cigüeñal central por un cárter
del motor. El cárter del motor tiene varios cilindros y varios pistones
localizados dentro de los cilindros. Los pistones están relacionados con el
cigüeñal por varias bielas. Como las vueltas de cigüeñal, los pistones se
mueven en un movimiento que corresponde dentro de los cilindros. Una asamblea que consiste en varias cámaras
de presión esféricas huecos, teniendo varios electrodos y tubos huecos, con
aletas de refrigeración por aire, es montada en la cumbre de cada cilindro. Las
juntas necesarias son proporcionadas como necesario sellar las asambleas de
motor completas de la presión atmosférica. Un medio es proporcionado para
cobrar la asamblea de cámara de presión esférica hueco y el cárter del motor de
motor con mezclas de gas nobles por una serie de válvulas y tubos. Una fuente
de pulsos de voltaje medio es aplicada a dos de los electrodos que se extienden
en cada una de las cámaras de presión esféricas huecos.
Cuando una fuente de pulsos de alta tensión es aplicada
de un interruptor de distribuidor rotatorio eléctrico a otros electrodos que se
extienden en cada una de las cámaras de presión esféricas huecos en una orden
de tiroteo continua, las descargas eléctricas ocurren periódicamente en varias
cámaras de presión esféricas huecos. Cuando las descargas eléctricas ocurren,
los fotones de energía altos son liberados en muchas frecuencias
electromagnéticas diferentes. Los fotones golpean los átomos de varios gases
variados, p.ej, xenón, criptón, helio y mercurio, en frecuencias
electromagnéticas diferentes a las cuales cada uno es selectivamente sensible,
y los átomos se hacen excitados. Los
primeros fotones emitidos son reflejados atrás en la masa de átomos excitados
por una superficie de espejo reflectante en la pared interior de cualquier
cámara de presión esférica hueco particular, y este provoca más fotones para
ser liberados por estos átomos. Ellos son reflejados igualmente y golpean otros
átomos en excitación y liberación de energía de fotón. Los electrones que están
en órbita alrededor de los protones de cada átomo excitado en cualquier cámara
de presión esférica hueco aumentan en la velocidad y se amplían externo del
centro vía la fuerza centrífuga que hace los átomos ampliarse en el tamaño. Por
consiguiente, una onda de presión es desarrollada, los gases se amplían y la
presión de los aumentos de gas.
Cuando los gases se amplían, la presión aumentada
es aplicada a la cumbre de los pistones en varios cilindros encendidos
selectivamente por el distribuidor eléctrico. La fuerza periódicamente aplicada
a los pistones es transmitida a las bielas que giran el cigüeñal para producir
el poder rotatorio. Las válvulas de control de regulador y los tubos
conectadores forman una carretera de circunvalación entre cámaras de presión
esféricas huecos contrarias de cada sección de motor que así proporciona un
medio de controlar la velocidad de motor y el poder. El medio por lo cual los átomos excitados son
devueltos a estado de tierra de energía mínimo normal y nivel de presión
mínimo, es proporcionado interrumpiendo la descarga eléctrica entre los
electrodos de voltaje medio, refrescando los átomos cuando ellos pasan por una
asamblea de transferencia de calor, y por el aumento del área de volumen encima
de los pistones en el fondo de su golpe de poder. El motor AEROPS como descrito
encima proporciona una fuente de alimentación de unidad sellada que no tiene
ninguna toma de aire atmosférica, ni emisión de gases de combustión. El motor
AEROPS es por lo tanto la contaminación libre.
INFORME OBJETIVO DE LA INVENCIÓN
Esta invención relaciona con el desarrollo de una
fuente de alimentación de óptica de reflejo de extensión atómica (AEROPS) el
motor, teniendo las ventajas de mayor seguridad, economía y eficacia sobre
aquellos revelados en el arte previa. El objeto principal de esta invención es
proporcionar una nueva tecnología de poder de motor que reducirá enormemente la
contaminación atmosférica y el ruido, proporcionando una fuente de alimentación
de motor de sistema sellada que no tiene ningunos gases de combustión, ni
puertos de consumo.
El poder de motor es proporcionado ampliando los
átomos de varias mezclas de gas nobles. La presión de los gases aumenta
periódicamente para llevar los pistones y el cigüeñal en el motor a producir el
poder rotatorio seguro. Los objetos y otras ventajas de esta invención se harán
mejores entendido a aquellos expertos en el arte cuando visto en la luz de los
dibujos de acompañamiento.
BREVE DESCRIPCIÓN DE LOS DIBUJOS
Fig.1 es una vista de
elevational de la asamblea de cámara de presión esférica hueco, incluso fuentes
de mezclas de gas y suministro eléctrico:

Fig.2 es una vista de
elevational del golpe de poder de motor primario:

Fig.3 es una vista de
elevational del golpe de compresión de motor primario:

Fig.4 es un reverso
elevational la vista de un seis cilindro motor de AEROPS:

Fig.5 es una vista
superior del seis cilindro motor de AEROPS:

Fig.6 es una
esquemática eléctrica de la fuente de voltaje medio:

Fig.7 es una
esquemática eléctrica de la fuente de alta tensión:

DESCRIPCIÓN DETALLADA

Respecto a Fig.1 de los dibujos, el motor AEROPS
comprende una cámara de presión esférica hueco 1 tener un electrodo de alta
tensión aislado 2 montado en la cumbre, un electrodo de voltaje medio aislado 3
montado a la derecha, y un electrodo de puntos en común aislado 4 montado a la
izquierda, como mostrado en esta vista particular.
Electrodos 2, 3 y 4 se extienden por la pared de
la cámara de presión esférica hueco 1 y cada electrodo forma un sello de
presión. Una pluralidad de tubos huecos 5 arreglado en un modelo cilíndrico se
extiende por la pared de la cámara de presión esférica hueco 1, y cada tubo
hueco es soldado a la cámara de presión para formar un sello de presión. Los
extremos opuestos de tubos huecos 5 se extienden por la placa de montaje MP y
son soldados para formar un sello de presión.
Varias aletas de transferencia de calor 6 son soldadas a intervalos a lo
largo de tubos huecos dichos 5. Un espejo de reflejo brillante emerge 7 es
proporcionado en la pared interior de la cámara de presión esférica hueco 1.
Una fuente de alta tensión 8 está periódicamente relacionada con los electrodos
de alta tensión aislados 2 y 4. Una fuente de voltaje medio 9 de un condensador
de descarga está relacionada con los electrodos de voltaje medio aislados 3 y
4. Una fuente de mezclas de gas nobles 10, p.ej, xenón, criptón, helio y
mercurio es aplicada bajo la presión en la cámara de presión esférica hueco 1
por válvula de regulador de presión 11 y válvula de control 12.

Refiriéndose ahora a Fig.2 de los dibujos, la
asamblea completa 13 mostrado en Fig.1 es montada en la cumbre del cilindro 14
vía de placa de montaje MP. Las juntas necesarias u otros medios son
proporcionados para sellar el motor y prevenir la pérdida de gases en la
atmósfera. El pistón 15 localizado dentro del cilindro 14 tiene varios anillos
16 que sellan contra la pared interior del cilindro. El pistón 15 está
relacionado con el cigüeñal 17 por la biela 18. La fuente de mezclas de gas
nobles 10 es aplicada bajo la presión en el cárter del motor 21 por la válvula
de regulador de presión 11, comprobar la válvula 12 y el tubo capilar 19. El pistón 15 es equilibrado ahora entre
presiones de gas iguales. Asumir que el motor corre y el pistón 15 pasa sólo el
Centro muerto superior (TDC), una fuente del voltaje medio de un sistema de
descarga condensador 9 (Fig.6, una sección condensador típica sola) es aplicada
a electrodos 3 y 4. Una fuente de pulsos de alta tensión de una ignición
estándar bobina 8 (como mostrado en Fig.7) es aplicada a electrodos 2 y 4 y los
gases dentro de la cámara de presión esférica hueco 1 son ionizados y hechos
eléctricamente propicios. Una descarga eléctrica ocurre entre electrodos 3 y 4
por los gases en la cámara de presión esférica hueco 1.
La descarga eléctrica libera fotones de energía
altos en muchas frecuencias electromagnéticas diferentes. Los fotones golpean
los átomos de varios gases, p.ej, xenón, criptón, helio y mercurio en
frecuencias electromagnéticas diferentes a las cuales cada átomo es
selectivamente sensible y los átomos de cada gas se hacen excitados. Los
primeros fotones emitidos son reflejados atrás en la masa de átomos excitados
por la superficie de espejo reflectante 7.
Este provoca más fotones para ser liberados por estos átomos, y ellos
son reflejados igualmente del espejo revisten 7 y golpean otros átomos en la
excitación y más fotones son liberados como los progresos de reacción en cadena.
Los electrones que están en órbita alrededor de los protones de cada átomo
excitado aumentan en la velocidad y se amplían externo en un nuevo modelo
orbital debido a un aumento de la fuerza centrífuga. Por consiguiente, una onda
de presión es desarrollada en los gases cuando los átomos se amplían y la
presión total de los gases dentro de la cámara de presión esférica hueco 1
aumentos. Cuando los gases se amplían ellos pasan por los tubos huecos 5 y
aplican la presión en la cumbre del pistón 15.
La presión empuja el pistón 15 y la fuerza y el movimiento del pistón es
transmitido por la biela 18 al cigüeñal 17 giro de ello en un dextrórsum
dirección. En este punto de la operación, el golpe de poder es completado y el
condensador en el sistema de descarga de condensador de voltaje medio 9 es
descargado. Los átomos excitados vuelven al estado de tierra normal y los gases
vuelven al nivel de presión normal. El condensador en el sistema de descarga de
condensador de voltaje medio 9 es recargado durante el período de tiempo entre
golpes de poder (TDC).

Refiriéndose ahora a Fig.3 de los dibujos, el
golpe de compresión del motor es mostrado. En este ciclo de motor los gases
encima del pistón son hechos retroceder en la cámara de presión esférica hueco
por los tubos de la asamblea de transferencia de calor. Los gases son
refrescados cuando el calor es conducido en las aletas de la asamblea de
transferencia de calor y llevado por una ráfaga de aire que pasa por las
aletas. Un ejemplo es mostrado en Fig.4, la bomba de aire centrífuga P
suministro de una ráfaga de aire sobre aletas parecidas.

Algunos elementos básicos de la invención como
puesto adelante en Fig.1, Fig.2, y Fig.3 son mostrados ahora en Fig.4 y Fig.5
que muestran detalles completos de un seis cilindro horizontalmente opuesto al
motor de AEROPS.
La referencia ahora a Fig.4 y Fig.5 de los dibujos. Fig.4 es una vista de la sección trasera del
motor mostrando al cigüeñal, eje de centro y dos de los cilindros
horizontalmente opuestos. En tanto como el reverso el R, el M medio y el frente
F las secciones del motor poseen rasgos idénticos, sólo el reverso R sección de
motor será elaborado sobre detalladamente a fin de prevenir la repetición y en
el interés de simplificación. El cigüeñal 17A consiste en tres manivelas 120
grados espaciados aparte en un 360 círculo de grado como mostrado. Ambas bielas
18A y 18B están relacionadas con la misma manivela. Sus extremos opuestos se
unen a pistones 15A y 15B, localizado en cilindros 14A y 14B respectivamente. Cada
pistón tiene la presión que sella anillos 16A y 16B. Las asambleas de cámara de presión esféricas
huecos que consisten en 1A y 1r son montadas en cilindros 14A y 14B vía placas
de montaje MP. Las juntas necesarias son proporcionadas como necesario sellar
las asambleas de motor completas de la presión atmosférica.

La fuente de mezclas de gas 10A es aplicada bajo
la presión para presionar válvula de regulador 11A y flujos por la válvula de
control 12A, por la válvula de control 12B a la cámara de presión esférica
hueco 1A, y por la válvula de control 12C a la cámara de presión esférica hueco
1a. La red de flujo de gas que consiste en tubos capilares debajo del punto 19A
representa el flujo de gases a la sección trasera R del motor. La sección media el M y la sección delantera
F ambos tienen el flujo de gas conecta a la red idéntico a esto consistiendo en
tubos capilares debajo del punto 19A, mientras la red de flujo de gas encima es
común a todas las secciones de motor. La válvula de regulador 20A y la tubería
conectadora forma una carretera de circunvalación variable entre cámaras de
presión esféricas huecos 1A y 1r para controlar la velocidad de motor y el
poder. Secciones de motor R, M y F cada uno tiene esta red de regulador de
carretera de circunvalación. Las tres válvulas de regulador tienen sus ejes de
control organizados una banda juntos. Una fuente de pulsos de voltaje medio 9A
está relacionada con electrodos de voltaje medio 3A y 3a. En una encarnación
particular el voltaje medio es 500 voltios. Una fuente de pulsos de alta
tensión 8A está relacionada con el electrodo 2A por el distribuidor como
mostrado. El electrodo 4A está relacionado con puntos en común. El aire
centrífugo bombea el aire de fuerza de P por aletas de transferencia de calor 6A
y 6B para refrescar los gases que fluyen en los tubos 5A y 5B.
Fig.5 es una vista superior del motor AEROPS
mostrando a los seis cilindros y arreglo de cigüeñal que consiste en el reverso
R, M medio y frente F secciones. El cigüeñal 17A es montado en portes B, y S de
sello de eje múltiple es proporcionado así como los sellos necesarios en otros
puntos para prevenir la pérdida de gases en la atmósfera. Las cámaras de
presión esféricas huecos 1A, 1B, 1C, 1r, 1E y 1F son mostradas detalladamente
con electrodos de alta tensión 2A, 2B, 2C, 2as, 2E, 2F y electrodos de voltaje
medio 3A, 3B, 3C, 3E y 3F. Los electrodos de puntos en común 4A, 4B, 4C, 4o,
4E, 4F no son mostrados en Fig.5 pero son típicos de los electrodos de puntos
en común 4A y 4o mostrado en Fig.4. Debería ser notado que a las manivelas en
el cigüeñal 17A tan las quedan proporcionar cilindros directamente contrarios
más bien que un diseño de cilindro asombrado convencional.

Fig.6 es una esquemática eléctrica de la fuente de
voltaje medio 9A. La operación completa del convertidor es explicada como
sigue: el voltaje de batería 12 VDC son aplicados al transformador T1, que hace
que corrientes pasen por resistencias R1, R2, R3 y R4. Ya que no es posible
para estos dos caminos para ser exactamente igual en la resistencia, una mitad
de la cuerda primaria de T1 tendrá un flujo corriente algo más alto. La
asunción que la corriente por la mitad superior de la cuerda primaria es
ligeramente más alta que la corriente por la mitad inferior, los voltajes desarrollados
en las dos cuerdas de reacción (los finales relacionados con R3 y R2) tienden a
girar el transistor Q2 en y transistor Q1 lejos. La conducción aumentada de Q2
hace que la corriente adicional fluya por la mitad inferior de la cuerda de
primaria de transformador. El aumento de corriente induce voltajes en las
cuerdas de reacción que adelante conduce Q2 en la conducción y Q1 en el límite,
simultáneamente transfiriendo la energía al secundario de T1. Cuando la
corriente por la mitad inferior de la cuerda primaria de T1 alcanza un punto
donde esto puede aumentar ya no debido a la resistencia del recorrido primario
y la saturación del corazón de transformador, la señal aplicada al transistor
de la reacción que gira gotas al cero, así girando Q2 lejos. La corriente en esta porción de las gotas
tortuosas primarias inmediatamente, causando un colapso del campo sobre las
cuerdas de T1. Este colapso en el flujo de campaña, que corta a través de todas
las cuerdas en el transformador, desarrolla voltajes en las cuerdas de
transformador que son de enfrente en la polaridad a los voltajes desarrollados
por el campo original. Este nuevo voltaje ahora conduce Q2 en el límite y
conduce Q1 en la conducción. El campo que sufre un colapso simultáneamente
entrega el poder con las cuerdas secundarias L1, L2, L3, L4, L5 y L6. El
voltaje de salida de cada cuerda está relacionado por resistencias R5, R6 y R7
y rectificadores de diodo D1, D2, D3, D4, D5 y D6, respectivamente, por lo cual
los condensadores C1, C2, C3, C4, C5 y C6 son acusados de un potencial de
voltaje medio de la polaridad mostrada. El voltaje de salida es puesto a
disposición en puntos 3A, 3B, 3C, 3r, 3E y 3F que están relacionados con los
electrodos de voltaje medio respectivos en el motor mostrado en Fig.4 y Fig.5.

Refiriéndose ahora a Fig.7 de los dibujos, un
sistema de ignición "Kettering" convencional proporciona una fuente
de pulsos de alta tensión 8A de aproximadamente 40,000 voltios a un
distribuidor, que proporciona la salida de voltaje selectiva en 2A, 2B, 2C, 2o,
2E y 2F, que están relacionados con los electrodos de alta tensión respectivos
en el motor mostrado en Fig.4 y Fig.5. El distribuidor es conducido por el
cigüeñal de motor 17A (Fig.5) en un a una proporción entre plato y piñón
mecánica.
Referencia otra vez a Fig.4 y Fig.5 de los
dibujos, la operación del motor es como sigue: Asumiendo que una fuente de
mezclas de gas nobles, p.ej, xenón, criptón, helio y mercurio es aplicada bajo
la presión a las cámaras de presión esféricas huecos 1A, 1B, 1C, 1r, 1E y 1F e
internamente al cárter del motor 21A por válvula de regulador de presión 11A y
válvulas de control 12A, 12B y 12C; y la fuente de voltaje medio 9A es aplicada
a electrodos 3A, 3B, 3C, 3r, 3E y 3F; y una fuente del pulso de alta tensión 8A
es aplicada al electrodo 2A por el distribuidor de cronometraje, las mezclas de
gas en la cámara de presión esférica hueco 1A es ionizado y una descarga
eléctrica ocurre inmediatamente entre electrodos 3A y 4A.
Los fotones de gran energía son liberados en
muchas frecuencias electromagnéticas diferentes. Los fotones golpean los átomos
de varios gases, p.ej, xenón, criptón, helio y mercurio en frecuencias
electromagnéticas diferentes a las cuales cada uno es en particular sensible y
los átomos de cada gas se hacen excitados. Los primeros fotones emitidos son
reflejados atrás en la masa de átomos excitados por la superficie de espejo de
reflejo interna en la pared interior de la cámara de presión esférica hueco 1A. Este provoca más fotones para ser liberados
por estos átomos y ellos son reflejados igualmente del espejo revisten y
golpean otros átomos en la excitación y más fotones son liberados como los
progresos de reacción en cadena. Los electrones que están en órbita alrededor
de los protones de cada átomo excitado en la cámara de presión esférica hueco
1A aumentan en la velocidad y se amplían externo en un nuevo modelo orbital
debido a un aumento de la fuerza centrífuga. Por consiguiente, una onda de
presión es desarrollada en los gases cuando los átomos se amplían y la presión
total de los gases dentro de la cámara de presión esférica hueco 1A aumentos.
Cuando los gases se amplían ellos pasan por los
tubos huecos 5A aplicación de la presión en la cumbre de pistón 15A. La presión
aplicada al pistón 15A es transmitida por la biela 18A al cigüeñal 17A giro de
ello en un dextrórsum dirección. Cuando el cigüeñal 17A gira esto empuja el
pistón 15B vía la biela 18B en dirección de un golpe de compresión, forzando
los gases en la cumbre del pistón por tubos huecos 5B en la cámara de presión
esférica hueco 1D. Cuando los gases
pasan por los tubos huecos 5A y 5B el calor contenido en los gases es conducido
en las aletas de transferencia de calor 6A y 6B, donde es disipado por una
ráfaga de aire que pasa por aletas dichas de P de bombas de aire centrífugo. En
este punto de la operación el golpe de poder del pistón 15A es completado y el
condensador en el sistema de descarga de condensador de voltaje medio 9A es
descargado. Los átomos excitados vuelven al estado de tierra normal y los gases
vuelven al nivel de presión normal. El condensador en el sistema de descarga de
condensador de voltaje medio 9A es recargado durante el período de tiempo entre
los golpes de poder del pistón 15A.
El susodicho ciclo de golpe de poder ocurre
exactamente el mismo en los cilindros restantes como la alta tensión que
enciende progresos de orden con respecto a la posición del interruptor de
distribuidor. En tanto como el motor AEROPS entrega seis golpes de poder por
revolución de cigüeñal sola, el cigüeñal conduce el rotor de distribuidor en un
a una proporción de eje. La alta tensión completa que enciende la orden es 1,
4, 5, 2, 3, 6, mientras que, la alta tensión es aplicada a electrodos 2A, 2B,
2C, 2o, 2E y 2F respectivamente. Un medio
de controlar velocidad de motor y poder es proporcionado por una pluralidad de
válvulas de control de regulador y tubos conectadores que forman una carretera
de circunvalación entre cámaras de presión esféricas huecos contrarias de cada
sección de motor.
El motor AEROPS como descrito encima proporciona
una fuente de alimentación de unidad sellada que no tiene ninguna toma de aire
atmosférica, ni emisión de gases de combustión y es por lo tanto la
contaminación libre.
Recientemente, alguna información adicional en el
dispositivo de Floyd Sweet, ha sido liberado en público por un socio de Floyd
que va sólo por su nombre de "Maurice" y a quién, habiendo alcanzado
la edad de setenta ha decidido que esto es el tiempo para liberar esta
información adicional.
Maurice dice: Después de observar los comentarios hizo durante el año
pasado en cuanto al Dispositivo de Energía Dulce-VTA, decidí "salir del
maderaje" y explicar lo que básicamente no es conocido en cuanto a Floyd
Sweet ("Sparky") y su dispositivo de energía.
Tenga presente que tengo 70 años, completamente analfabeto de computadora,
mi fondo que Es principalmente Ciencias Políticas (Grado de Graduado); la
consulta con Legislaturas Estatales; Salud Mental (antiguo Director Ejecutivo
de cinco clínicas); y, adquiriendo Capital Aventurado para Alta Tecnología.
Equipo (como equipo médico) y varios Proyectos. ¡Mi historia es muy extraña y
extraña, pero, sin embargo VERDADERA! En mi edad no tengo nadie para
impresionar por lo que estoy a punto de decirle. ¡Mi único interés debe
corregir el error dónde posible y hacer la cierta información conocida!
Recuerde, que nunca he tenido ninguna educación en la electrónica. Este era
una verdadera ventaja para mí porque yo no tenía ningún principio eléctrico que
tuve que NO APRENDER en algo que Floyd nos dijo. Lamentablemente, uno de mis
hermanos que se entrenaron durante 35 años en la electrónica fue
"llevado" cuando Floyd le dijo que "él tenía que invertir los
conceptos que lo enseñaron sobre la acción de un electrón y convite como ello
era positivo". Por lo tanto, para el modelado de Sparky, los electrones
fluían y actuaban en dirección contraria a lo que era normalmente modelado por
un físico entrenado. ¿Ver qué quiero decir? El Deán de la Escuela de Ciencia de
MIT que verificó que Sparky tenía un grado MSEE y vino el tercero a su clase de
más de doscientos.
Los investigadores Esperamos que sinceros serán capaces de obtener alguna
información útil en lo que intento explicar en lo venidero que les ayudará a
duplicar lo que Floyd tenía. A este respecto, un día después de que Floyd me
preguntaba repetidamente: ¿"cuál es este dispositivo Maurice?" y yo
repetidamente le daba la respuesta incorrecta, diciendo que esto era un
dispositivo de energía, finalmente realicé que lo que era importante para él
era que él pensó que el dispositivo era una MÁQUINA DE TIEMPO - su énfasis no
estaba en la energía. Él me dijo olvidar nunca que la cosa más importante
consistía en que el dispositivo era "una Máquina de Tiempo".
Maurice llama la atención hacia el hecho que Floyd Sweet se graduó como un
M.S.E.E. del Instituto de Massachusetts de la Tecnología en 1969 y su tesis
"la Dinámica de Esferas Magnéticas" es pensada por la comunidad
científica M.I.T. ser incomparable en conceptos magnéticos. Él recibió el
Premio del Deán codiciado para su investigación científica y su nivel académico
en el logro de Ingeniería Eléctrica clasifica el tercero en la historia del
M.I.T. Escuela de Ciencia. Él tiene un talento extraordinario en el área de
Tramar Matemáticas para no mencionar su concepto de electromagnético y
relacionó fenómenos eléctricos y entender del extracto el intangibles tenía que
predecir el imprevisto.
Maurice dice:
aproximadamente en 1988 John, con que mis dos hermanos y yo estuvimos
implicados en el campo de Alta Tecnología realizó que mi hermano, que era un
Doctor (hermano de Doctor), estuvo interesado en dispositivos de energía
negativos para el tratamiento del cuerpo físico (similar a Máquinas de
Frecuencia Rife/Tesla). John había sido empleado antes en la NASA con Floyd
Sweet. John vivió en California cerca de Floyd (Robles de Sherman).
Mi hermano de doctor y yo fuimos presentados
en Floyd por John y esperamos con paciencia para el tiempo cuando podríamos ver
el dispositivo VTA. Lo vimos en la mesa en su casa durante varias visitas pero
esto no funcionaba. Floyd pareció a muchos inventores que jugaron a juegos con
usted. Cada vez que llevaríamos 13 horas a verlo pensar que podríamos ver el
dispositivo funcionar, pero él tendría un poco de excusa para no encenderlo, o
él no haría caso sólo del objetivo de nuestra visita.
En una visita, revisé en Floyd y él era
"la jactancia" su imán de barra de Ferrita de Bario. El imán era
aproximadamente 1/2 grueso, 7 mucho tiempo y 3 amplio. Él tenía un chiringo
de metal que estaba de pie en la cumbre del imán en un 45 ángulo de grado.
Cuando recuerdo, él afirmó que el 45 ángulo de grado fue necesario en el
tratamiento del imán de modo que esto pudiera capturar ondas Escalares. Los
imanes funcionaban principalmente como "una puerta" para las ondas
Escalares. Además, si usted colocara un pedazo de delgado flexible (tipo de
cinta) apartamento metálico en la cumbre del imán, el medio del metal de
cinta sería sorbido abajo apartamento en el medio del imán y ambos finales
del metal de cinta serían doblados a cada final del imán. ¿También, vine para entender de otro inventor
que introdujimos más tarde en Floyd que la figura ocho diseño (funden el
flujo?) en la cumbre del imán jugó una parte importante en el funcionamiento
del imán - realmente no sé sobre el concepto y no puedo transmitir ninguna
información adicional.
En otra visita, Floyd demostró el flujo suelto
del imán. Él tenía un monitor de TV y él colocaría el imán por la pantalla y
usted podría ver todos los colores hermosos del flujo cuando esto se movió a
través de la pantalla de monitor. Mi hermano de electrónica me dijo que Floyd
le había dicho que él tenía un modo de tratar el imán calibrando el ángulo de
onda Escalar que viene a la utilización del monitor de TV. Una nota de lado es
que Floyd se deleitó con la gente reveladora, cuando ellos preguntaron como él
trató sus imanes, ellos deberían conseguir los imanes verdaderos caliente primero.
¡Este por lo visto "atornilló" el magnetismo y él disfrutó haciendo
este por alguna razón extraña!
Finalmente, después de 12 viajes a través del
Desierto de California, Floyd consintió en mostrarnos el Dispositivo en la
operación. En su defensa, Floyd afirmó realmente que en algún antes planeó
demostraciones que sus imanes habían sido "pulverizados" por
terremotos artificiales que suben por México. Él diseñó algún tipo del
parachoques en el Dispositivo que eliminó el problema, pero, esto era un problema
en curso durante un período verdadero del tiempo. ¿Este me recuerda ahora que
debo desviarme porque tengo que decirle sobre el Gobierno (o quién?)
participación con nosotros.
Cuando primero comenzamos a visitar a Floyd,
nuestros teléfonos fueron todos "dados un toque" - no sé por quien.
Mi hermano de electrónica trabajó de jornada completa con el Aire la Guardia
Nacional y su especialidad eran la Seguridad electrónica, Crypto, etc.
relacionado con bases de SACO en nuestra área y los Estados circundantes.
Además, él tenía el sistema el cuarto limpio para el presidente de los
Estados Unidos cuando él visitó nuestro Estado. Menciono este porque hasta mi
hermano de electrónica era dudoso al principio que estábamos siendo todos
supervisados. En una ocasión, mi hermano de doctor tenía su conversación
telefónica previa completa puesta a él cuando él contestó al teléfono (veinte
minutos más tarde) - pienso que esto era probablemente algún tipo "de
atornillan" por quienquiera supervisaba nuestros teléfonos. Mi queja más
grande era el consecuente temprano en la mañana 3am llamada y luego "un
complejo" cuando usted contestó - por que razón no sé además de para
objetivos de acoso.
Le doy la susodicha información de modo que
usted pueda entender la seriedad de con qué estuvimos implicados.
El Dispositivo de Energía de Floyd era
principalmente tres cosas:
(1) Esto era un dispositivo que se cura -
electricidad negativa - tiempo negativo. En la teoría, usted podría
reinicializar la plantilla en su ADN con esta fuente de energía y por lo tanto
limpiar el cuerpo de todas las impurezas que sus antepasados habían adquirido
con el tiempo. Además, usted podría matar la enfermedad corriente
(virus/bacterias) en el cuerpo usando las frecuencias derechas, y este no
molestó ninguna otra célula de cuerpo. Este es por qué Floyd necesitó a mi
hermano de doctor para ayudarle a llegar al protocolo médico apropiado para
usar su tecnología. Además, si usted nota en el accesorio de Gastos de Nómina
de este correo electrónico, un artículo de una sola línea del gasto es para
materiales relacionados con el SIDA a los cuales Floyd y mi hermano de doctor
tenían un verdadero interés. Mi hermano de doctor tenía un acuerdo con Floyd
para construir tres interferometers médicos que tendrían todos un plasma de gas
noble dentro de ellos. Realmente
atestigué uno de estos dispositivos en la operación. Al final del
(aproximadamente 20 pulgadas de largo) estructura parecida a un tubo usted
podría sentir una pulsación emitida al final de tubo en cualquier parte del
cuerpo que usted quiso trató. Mi hermano de doctor había pedido dos
Interferometers de Floyd que eran aproximadamente 4 pies de largo.
(2) El dispositivo de energía VTA es
probablemente el arma del mundo peor. Floyd afirmó que como Nicola Tesla, usted
podría causar terremotos artificiales - además de la destrucción de
edificios. Cuando entendí de la gente en el mundo de inteligencia, que
interrogamos después de que vimos el dispositivo funcionar, tres países tienen
lo que es llamado el Cañón de Tesla; Rusia, América y yo nunca averiguamos a
quién el tercer país era. Como mencionado antes, esta fuente de energía es que
el equipo VTA de Floyd incapacitado durante muchos meses hasta que él
incorporara su "parachoques" en su dispositivo. Adelante, este es por
qué el Gobierno Federal tenía tal interés a lo que hacíamos con Floyd durante
el tiempo que gastamos con él.
(3) El dispositivo era una fuente de Energía
para el de casa (podría cambiar la energía negativa a la energía positiva). Esto
era también una fuente de energía para el coche y muchos otros objetivos. ¡El
coste de construir uno de estos dispositivos de energía era sólo sobre EE.UU
200.00 dólares - increíble!
Descripción del dispositivo VTA:
Durante el día que finalmente conseguimos ver
el dispositivo hacer funcionar, mi hermano de doctor y yo habíamos convencido
finalmente a mi hermano de electrónica de acompañarnos a Robles Sherman,
California para ver la demostración. Mi hermano de doctor y yo habíamos hecho
TODOS los viajes preliminares para ver a Floyd menos nuestro hermano de
electrónica porque él era literalmente Thomas incrédulo, estando pesadamente
implicado en el campo de electrónica y lleno de las Teorías de Maxwell de la
electrónica, etc. Sí, usted podría decir que él era una persona de electrónica
tradicional. Pero, por esta razón, necesitamos a mi hermano de electrónica para
ser nuestro DEBUNKER por si el dispositivo no fuera lo que fue retratado para
ser. Teníamos a un otro testigo "Gary", un socio mío quién debía
hacer entrar la financiación de capital aventurado si el dispositivo resultara
estar tan bien como reclamado.
El día cuando atestiguamos el funcionamiento
de dispositivo VTA es un día que nunca olvidaré. Ver realmente un dispositivo
trabajar, que cuestan dólares sólo de 200 dólares para hacer y que podrían
crear toda la energía limpia que usted necesitaría alguna vez, era
"imponente". Sé que he sido "cambiado" después de saber que
tal dispositivo existió. Ahora para una breve descripción del Dispositivo:
Éstos no son medidas exactas, pero sólo
aproximaciones. El dispositivo era conectado lo que creo para ser "cristal
de Plexi" (acrílico). Nada fue escondido. Usted podría ver todo, la cumbre
y profundizar por el plástico. La estructura de cristal Plexi era
aproximadamente 18 cuadrado. Fuimos permitidos a la recogida el dispositivo y
lo llevamos alrededor de la sala de estar de Floyd entonces usted podría ver
que no había ningunas otras uniones eléctricas a ello.
Encima de la vitrina Plexi había tres toroidal
bobinas la herida con cuerdas delgadas del alambre de cobre barnizado. Había
dos imanes de barra de ferrita de bario (aprox. 7 pulgadas x 3 pulgadas x 1/2
pulgada). El presente era un metro de voltio que mostró 120v cuando el
dispositivo fue encendido. También, había un metro de amperio que midió la
corriente de corrientes eléctrica cuando Floyd cambió cosas diferentes
periódicas durante la demostración. Los artículos usados para la demostración
de carga incluyeron la parte de quemador de la estufa, un secador de pelo, un
abanico, y cinco cien luces de globo de vatio. La cosa fascinante a mí sobre la
demostración ligera consistía en que las luces tenían un brillo como las luces
elevadas en su cocina - un aspecto muy suave, CHULO. No la mirada de una
bombilla brillante tradicional como usted tienen en su lámpara en una mesita de
noche tradicional.
Olvidé de mencionar que el dispositivo fue
comenzado atando una batería de 9 voltios que, entiendo, comenzó el flujo
magnético en el movimiento. Floyd uniría entonces "la coleta" en el
dispositivo y esto se haría sólo una unidad de energía circular.
Cuando Floyd pone más carga sobre el
dispositivo, la temperatura ambiental alrededor del dispositivo (rollos)
comenzaría a hacerse inferior. Además, según cuanta carga usted añadió, el
dispositivo comenzaría a perder un poco de su peso y usted entonces tenía la
levitación que comienza a ocurrir. Yo
debería notar en este punto que en una reunión con Floyd, su esposa Rose, usó
algún expletives diciendo como un día, Floyd siguió añadiendo cada vez más la
carga al dispositivo y él casi "rebajó" el Edificio de Apartamentos
en el que él vivió en Robles Sherman. ¡Él apagó el equipo, salió en su patio y
fingió que esto era un Terremoto de California! Sus vecinos nunca sabían lo que
él tenía en su apartamento. A este respecto, nunca averigüé lo que el pedazo
grande del equipo estaba en su dormitorio. Esto literalmente se estiró del
techo al suelo. Era tan pesado que el suelo fue doblado - en y hundido y que
el imbécil grande tenía un ruido que gruñe cuando esto estaba en - nunca
averigüé cual era. Era grande como una especie de transformador.
El Resto de la Historia:
Usted se pregunta probablemente sobre qué el
artículo en Ron Brandt es. Esto es una historia larga, pero después de que moví
a Ron y su laboratorio en todo de la boca del Parque Nacional de Zion a Oregon
someplace para esconderlo - él usaba Rayos de Tachyon" con su equipo
médico y después de sólo un par de minutos que los Helicópteros Negros revelarían
- soooo en la mi petición de hermano de doctor moví a Ron a Oregon. Entonces
pensé que Ron era una verdadera escama porque cuando le ayudé a expedir su
correo de una pequeña ciudad en Utah del Sur, él me preguntó como deletrear la
palabra "eléctrica" entonces él podría poner en la dirección llena
de Brandt Eléctrico. ¡Adelante, Ron dijo que él estaba sólo aquí en esta
Tierra hasta 2012 - era ahora 1987-88 - y luego él tuvo que marcharse para ir a
otro planeta! ¡Ahora quise pegar un tiro a mi hermano de doctor que me
consiguió en esta cosa de movimiento-Ron entera! ¡Mi hermano de doctor me dijo
que Ron tuvo que moverse rápido porque Ron le había dicho que un terremoto
venía en los pocos días siguientes - Derecho!
¿Bien, adivine qué pasó unos días más tarde?
El terremoto más grande en muchos años en los cuales la posición particular
ocurrió y ello hasta borró las primaveras calientes en los Recursos a lo largo
del Río Virgen que traspasa el Parque Nacional de Zion y por la pequeña ciudad
de la Virgen donde Ron vivió. Yo desde averiguado que Ron había inventado el
equipo de terremoto junto con Philo T. ¡Farnsworth (el Inventor de la
Televisión) nieto y seis meses delante, ellos realmente habían predicho el gran
terremoto anterior en California y su predicción era desconectada antes de sólo
seis minutos! El Gobierno insiste que ellos quieran el equipo, de modo que sea
uno de los motivos de cada uno escondiendo.
¿Ahora, por qué le doy toda esta información
preliminar en cuanto a Ron Brandt? Bien parece que Ron tiene un Motor de Imán
que pesa sólo 75 libras y que puede generar el equivalente de poder con que de
un 300 caballo de vapor motor de combustión interno. También, el motor puede
ser un retro-adecuado en cualquier coche existente sin la necesidad de diseñar
un nuevo coche entero. ¡Este es la unión que explicaré posterior en cuanto a
Ron que no podía saber escribir correctamente hasta "eléctrico" y
Floyd que fue colocado 3r en todas las invenciones en salir alguna vez de MIT -
Todo que puedo decir es WOW!
ACONTECIMIENTOS QUE RODEAN LA MUERTE DE FLOYD:
Lo dejaré ahora hasta usted para decidirme si
Floyd murió de causas naturales o fue "sacado" por alguna persona,
grupo, o algún Gobierno.
En el verano 1994, mi hermano de doctor de
repente pasado en una de nuestras reuniones de Capital Aventurado y fue
apresurado al hospital. Después de una MRI de su cabeza, fue descubierto que él
tenía un tumor cerebral y era de la clase peor (muy rápido cultivando). Este
pareció imposible cuando mi hermano de doctor siempre supervisaba su cuerpo
diariamente cuando él hizo un experimento ocasional en él con ciertas
medicinas. Hacia el 11 de noviembre de 1994, mi hermano de doctor había muerto. ¿Él nos dijo antes de la muerte que
"ellos" (a quienquiera "ellos" eran) habían tenido éxito en
la colocación del tumor de cáncer de crecimiento más rápido en su cerebro -
Cómo? ¡-no tengo ni idea! Nunca averigüé. Lo que es importante para el campo de
energía libre era que mi hermano de doctor estaba en el contacto diario con
Floyd y sus Socios en cuanto a los dispositivos de energía. Yo no era que
importante y básicamente sólo acompañó a mi hermano de doctor a reuniones y la
clase de fue perdida en el maderaje. Intelectualmente, yo realmente no era
una amenaza para alguien. Yo estaba sólo allí en reuniones para ayudar a
adquirir el capital aventurado.
Durante el mismo día que mi hermano de doctor
murió, mi hermano de electrónica y yo estábamos en la casa de John, (el Socio
de Floyd de la NASA) quién por alguna razón extraña había seguido a mis
hermanos y yo a nuestra ciudad de casa donde vivimos, compramos una casa y
tomamos la residencia allí. No nos quejamos cuando él era nuestro intermediario
con Floyd. Pero el movimiento todavía me parecía extraño. La razón mi hermano
de electrónica y yo éramos con John es que John había arreglado una
teleconferencia con Floyd y nosotros, ver si había una posibilidad para Floyd
para hacer algún tipo del dispositivo de energía que podría impulsar el motor
de imán que Ron Brandt tenía. Mis hermanos y yo teníamos todos los derechos
contractuales al Motor de Imán de Ron que podría ser usado en cualquier coche.
Pensé a mí que ahora realmente puedo averiguar como "verdadero" Ron
(quién no podía saber escribir correctamente hasta "eléctrico") era
cuando lo comparé con Floyd de MIT. ¿Yo no podía creer qué oí como Floyd y Ron
dialogó en los niveles electrónicos más altos - "a quién 'el infierno' es
Ron?" Pensé. Floyd estuvo de acuerdo que él tendría no hay problema haciendo
el prototipo para el Motor de Imán de Ron para impulsar el coche.
Floyd principalmente trabajó con mi hermano de
electrónica en este proyecto cuando Floyd necesitó viejos tubos de vacío que mi
hermano de electrónica tuvo que adquirir para el dispositivo y mi hermano de
electrónica era una verdadera persona "de banco" que Floyd pareció
favorecer sobre Ingenieros Electrotécnicos académicos.
Durante la Primavera 1995, mientras Floyd
trabajaba en nuestro dispositivo de energía para el coche, John (de la NASA) y
Floyd fue regocijado que allí fue supuesto ser un anuncio de la Casa Blanca en
cuanto al Dispositivo de Energía VTA de Floyd.
Parece que Floyd era un amigo pasado del Senador John Glen (el antiguo
astronauta de NASA) y él había dado a Cañada uno de los dispositivos de
energía. Lamentablemente, la Cañada dio el dispositivo al Ministerio de
Energía, que, según Floyd, pasó el dispositivo al General Motors. Floyd estaba
furioso y cuando entendí que Floyd iba entonces a demandar la General Motors
para doscientos millón de dólares. Que yo sepa Floyd nunca recuperó el
dispositivo. Siempre recordaré la desilusión extrema en las caras de Floyd y
John cuando ellos realizaron que el viaje a la corriente continua de Washington
para el anuncio, no iba a ocurrir.
En julio de 1995, Floyd nos deja saber que el
Dispositivo de Energía fue terminado y debíamos tomar posesión de ello. Floyd
ahora vivió en Palmas de Desierto, California y es donde lo recogeríamos.
Después muy pensado, decidimos que mejor no alojamos un avión con el
dispositivo cuando no estábamos seguros de ningún efecto magnético en los
instrumentos del avión en el transporte de ello - esto era la nueva tecnología
que todavía tenía muchas preguntas para ser contestadas. En cambio, decidimos
llevar nuestro coche a Abandonar Palmas y traer el dispositivo atrás nosotros
mismos.
Floyd nos llamó el día antes de que debiéramos
marcharnos y nos preguntáramos si él pudiera guardar el dispositivo durante un
par de días suplementarios. Él dijo que él tenía "a alguien" llegada
(pensé que él dijo China) y quiso mostrarles el dispositivo. Dijimos
okey, planearíamos recogerlo cuando él fue hecho.
Un día más tarde, aproximadamente a las 7h00
tiempo Pacífico, había una llamada frenética de la esposa Violet de Floyd (la
esposa Rose de Floyd había muerto y él había vuelto a casarse) a la mi casa de
hermano de electrónica. Mi hermano de electrónica no estaba en casa y mi
cuñada, su esposa, tomó la llamada de Violado.
Violado era muy traumatizados cuando ella dijo a mi cuñada que Floyd
estaba muerto. Había mucho de gritar continuando en el fondo. La gente que fue
allí reclamada ellos eran de la Brigada de Investigación Criminal y que el
equipo de Floyd les perteneció. Se elevó fue sumamente aturdido con la muerte
de Floyd y la gente que ella nunca había visto antes de tomar todo el equipo de
su casa a la espera de furgonetas. ¡Ella preguntó a mi cuñada qué hacer y mi
cuñada no tuvo ni idea cuando ella no era consciente de lo que mis hermanos y
yo teníamos continuando!
Violado también dijo que a las 17h00 la noche
anterior, dos hombres que ella nunca había visto antes, mostraron hasta ver a
Floyd. Floyd estaba con ellos para el periodo del tiempo y luego ellos se
marcharon. Aproximadamente a las 20h00, Floyd tenía una taza de café cuando él
se cayó de la silla en el suelo. Ella pidió una ambulancia y cuando ellos
llegaron ellos no dejarían a su paseo con ellos. Violado tenía 75 años y no
condujo. ¡¡Aproximadamente veinte minutos más tarde la ambulancia llamada de
nuevo a Violado y le dijo que ellos no pensaron que Floyd iba a hacerlo!!
Cuando lo entiendo, el cuerpo de Floyd fue cremado. Para cuando después, no sé.
¿El resultado final para mis hermanos y soy que TODO nuestro equipo de energía
que Floyd hecho para nosotros fue tomado - Por Quien?
¿Quiénes eran los dos hombres que se
encontraron con Floyd unas horas antes de su muerte? ¿Fue puesto algo en el
café de Floyd por estos hombres? ¡Violet dijo que ella nunca los había visto
antes y ellos parecieron extraños! ¿Por
qué podría Violado no ir con su marido en la ambulancia? ¡Lo he visto pasar
muchas veces cuándo permiten la familia, sobre todo donde la edad está
preocupada!
¿Cómo hizo la Brigada de Investigación
Criminal (si es a quién ellos eran) saben que Floyd estaba muerto y revelar muy
temprano por la mañana (a las 6h00) sólo horas después de que él murió tarde
por la noche?
¡¡USTED SER EL JUEZ - TODO que SÉ ES
QUE TODOS NUESTROS DISPOSITIVOS DE ENERGÍA (MÉDICO Y MOTOR DE IMÁN DE COCHE)
SON IDOS!!! ¿DÓNDE ESTÁN ELLOS Y A QUIÉN ESTOS SON RESPONSABLES DE TOMARLOS?
Aquí están algunos hechos conocidos sobre el
dispositivo de energía de Floyd:
La invención es un unificado - dispositivo de campaña y tan combina tanto
efectos electromagnéticos como gravitacionales en la misma unidad. Para una
entrada de poder diminuta de sólo 0.31 milliwatt, la unidad produce más de 500
vatios del poder de salida, que es una ganancia de energía de más de 1,500,000.
El prototipo, no tiene ningunas partes de movimiento, es aproximadamente 6
pulgadas x 6 pulgadas x 4 pulgadas en el tamaño y da un toque a una fuente
inagotable de la energía. Hasta ahora, hasta un kilovatio del poder ha sido
producido en pruebas actuales que requirieron el poder de entrada sólo diminuto
de hacer el dispositivo funcionar.
Nuestra energía cotidiana normal es "energía positiva". La
energía producida por el dispositivo de Floyd es "energía negativa",
pero a pesar de este, esto impulsa el equipo ordinario, produciendo la luz y el
calor como normal. Un dispositivo como este tiene que tener un impacto
principal en el mundo cuando lo sabemos, porque:
1. Puede ser fácilmente construido. Los componentes
son completamente ordinarios y el coste de los materiales en el prototipo de
demostración era sólo unos cientos de dólares americanos y fue construido en
sólo unas horas, usando instrumentos simples y equipo.
2. Los resultados de prueba son tan impresionantes
que no puede haber ninguna pregunta de errores de la medida cuando la ganancia
de energía es de la orden de 1,500,000 veces.
3. Esto se manifiesta con la precisión de
laboratorio que 'la ley' de Conservación de la Energía no parece aplicar
durante la operación de este dispositivo, que es algo que la mayor parte de
científicos tienen la dificultad en la aceptación.
El dispositivo tiene la interpretación muy alta. Cuando una onda sinusoidal
de 60 Hz 1-milliwatt es alimentada en ello, los poderes puestos 500 vatios de
bombillas de voltaje de conducto principal estándares, produciendo tanto el
calor como la luz. El dispositivo tiene un bucle de realimentación positivo
entonces esto es la ganancia es depende directamente de la carga de salida y el
poder de entrada permanece sin alterar. Tan aumentar el poder de salida, todo
que es necesario debe unir bombillas suplementarias o equipo a través de la
salida.
Cuando un motor estuvo relacionado además de las bombillas, el motor corrió
perfectamente bien bajo la carga y las bombillas permanecieron tan brillantes
como alguna vez. Como esto es "una electricidad fría" dispositivo,
los alambres que alimentan la carga pueden ser muchísimo más pequeños en el
diámetro que sería normal para la carga y estos alambres el frío dirigido
siempre. Cuando el poder golpea la resistencia de los filamentos de las
bombillas, esto se convierte en la "electricidad caliente
convencional" y los filamentos funcionan de exactamente el mismo modo que
ellos hacen cuando impulsado por "la electricidad caliente".
En 1988, Floyd produjo un papel que él consideró
para ser muy importante. El texto siguiente es una tentativa de reproducir el
contenido su estilo muy matemático de la presentación. Si usted no está en
presentaciones matemáticas complicadas, entonces sólo circulan por delante y no
se preocupe sobre el material técnico siguiente, u o bien, toman un descremado
rápido por ello y no se molestan con el maths. Floyd dice:
De que piensan cuando "el espacio vacío" realmente contiene casi
todo en el universo. Es de casa a todas las clases de campos de energía
invisibles y es el hervor con todas las clases de muy verdaderas fuerzas.
Cada clase de la materia produce un campo de energía y estos campos de
energía relacionan el uno con el otro de muchos modos complicados, produciendo
todas las clases de efectos adicionales. Estos campos de energía son "la materia"
de espacio, o cuando es a veces descrito, "el vacío virtual". El espacio es embalado lleno de todas las
clases de cosas, pero porque esto no contiene el aire, tendemos a pensar que no
hay nada en absoluto en ello. La mayor parte de personas piensan que "el
vacío" significa "sin el aire", pero cuando los científicos
hablan del espacio como "el vacío" ellos no significan que en
absoluto, y ellos usan la palabra "vacío" para describir para
describir (sueltamente diciendo) el lugar que está entre las estrellas y
planetas del universo, y Floyd se refiere a aquel lugar enorme como "el
vacío", tan por favor no piense que esto tiene algo que ver con el aire,
cuando esto definitivamente no hace.
Floyd dice: pensamos que sabemos cual la luz es, pero la realidad consiste
en que una partícula de luz no es nada más que una interferencia grande en el
campo electromagnético. A menos que esto se relacione con la materia o con otro
campo, cualquier campo electromagnético con no ser cambiado de cualquier modo
por el vacío. Los campos electromagnéticos son una parte fundamental de la
estructura del vacío sí mismo. El universo entero es impregnado por un campo
magnético constante. Aquel campo es arreglado de números innumerables de imanes
de Polo sur y Norte en un completamente arbitrario se dispersan.
Einstein ha indicado esto E = mC2 (actually, it was Oliver Heaviside decades
before Einstein)
que es un modo de decir que la energía y la materia son intercambiables (o son
dos caras diferentes de la misma cosa). La energía en todas partes en el
universo es tan grande que las nuevas partículas de la música pop de materia en
existencia y gota atrás en su energía forman muchos billones de tiempos por
segundo. Realmente, ellos existen para un tiempo tan muy corto que la vocación
de ellos "las partículas" no son realmente apropiadas, tan quizás
"partículas virtuales" podría ser una mejor descripción.
Sin embargo, si generamos un campo magnético móvil, esto cambia la
naturaleza arbitraria de esta energía en la parte diminuta del vacío donde
resultamos ser, y la energía de vacío se hace mucho menos arbitraria y permite
que una cantidad muy grande de la energía de vacío sea hecha entrar en nuestro
equipo y haga en qué pensamos como "trabajo útil" - produciendo el
calor y la luz, impulsando motores y vehículos, etc. Este fue probado en
experimentos de laboratorio durante la semana del 19 de junio de 1988 y esto es
el principio de operaciones subyacente de mi "Vacío Conjugado por fase
Triode" dispositivo.
La energía producida por este dispositivo es "energía negativa"
que es el revés de la energía con la cual somos familiares. La chispa causada
por poner en cortocircuito en un sistema de energía negativo es en exceso
brillante y fría y esto produce un silbido apenas audible sin la fuerza
explosiva. La fundición de alambres no ocurre y este tipo de pases corrientes
negativos por el cuerpo humano con sólo el sentimiento de una frialdad.
Los alambres que llevan mucha energía negativa permanecen chulos siempre y
entonces los alambres diminutos pueden alimentar el equipo por cientos de
vatios del poder. Este ha sido demostrado en el laboratorio y la fuente de
energía es ilimitada cuando esto es el vacío virtual del espacio sí mismo.
La Naturaleza de Espacio:
El espacio sí
mismo es la capacidad de acomodar la energía. Considere un momento, la
ilustración siguiente:
Una señal
(energía) es transmitida del punto "A" para señalar "B" que
son separados por una distancia finita. Considere tres períodos del tiempo:
1. La señal es
lanzada del punto A.
2. La señal
reside en el espacio entre punto A y punto B.
3. La señal llega
al punto B.
Si 3. ocurre simultáneamente con 1. decimos que la señal ha viajado en la
velocidad infinita. Si fuera el caso, entonces la señal nunca residió en el
espacio intermedio y por lo tanto no debe haber ningún espacio entre el punto A
y señalar B y tan ambos puntos A y B debe estar en la misma posición. Para el
verdadero espacio para existir entre los dos puntos, es necesario que una señal
que se mueve entre ellos no tuviera que ser "perdida" a ambos puntos,
es decir al corriente con ambos puntos durante un período finito del tiempo.
Ahora, sabemos que para el verdadero espacio para existir entre dos puntos,
una señal que pasa entre ellos tiene que moverse en una velocidad finita entre
ellos y si esto no puede hacer esto, entonces no puede haber ningún espacio
entre ellos. Si el espacio no puede acomodar una señal que pasa entre dos
puntos, entonces esto no tiene ninguna función y ninguna realidad. Nos
abandonan entonces con el único verdadero espacio, la casa del vacío verdadero
y virtual - espacio que apoya una velocidad de señal finita, distinta a cero.
Un argumento similar se aplica a la impedancia de espacio. Un medio sólo
puede acomodar la energía positiva si el medio resiste a ello a un grado
razonable. Ni una primavera infinitamente fuerte ni una primavera infinitamente
débil pueden absorber la energía siendo comprimido. Ni una masa infinitamente
grande ni una infinitamente pequeña masa pueden absorber o acomodar la energía
impartida por una colisión y los mismos asimientos verdaderos para el espacio.
La energía no puede entrar en un espacio de la impedancia cero más que una
fuerza puede tener que ver con una masa de la magnitud cero. Del mismo modo, la
energía no podía entrar en el espacio que tiene una impedancia infinita. Esto
sigue por lo tanto, que el verdadero espacio debe tener:
1. Velocidad de propagación finita
y
2. Impedancia finita.
Otro modo de mirar este es en vez de considerar la velocidad actual de la
propagación de una señal por el espacio, considerar el tiempo "t" que
esto toma la señal pasar por aquella parte del espacio. Podemos pensar en una
sección de espacio que como es, supongamos, 1 nanosegundo de ancho si esto toma
una señal 1 nanosegundo para cruzarlo. Es decir la energía o la señal que entra
en aquella parte del espacio, lo dejan otra vez 1 nanosegundo más tarde. La
velocidad de propagación de señal en el espacio en el cual vivimos está en la
velocidad de luz.
Descripción
General de Transferencia de Energía:
Considere la energía que fluye directamente y nivele abajo una línea de
transmisión. La energía "no sabe" la anchura del canal por el cual
esto pasa. Si el flujo de energía alcanza un punto donde la conductividad del
canal baja, pero el tamaño y la forma del canal permanecen el mismo, entonces
no tan mucha energía puede fluir y unos se hacen reflejados atrás a lo largo
del canal. La energía corriente "no sabrá" si (a) que la
conductividad ha cambiado o (b) la geometría se haya cambiado. La energía
corriente puede cambiar la dirección muy fácilmente y para lejos cuando está
preocupado, el cambio causado por (a) es el equivalente con el cambio causado
por (b).
El canal por cuales flujos de energía tiene la anchura y la altura y la
anchura dividida en la altura es llamado "la proporción de aspecto"
del canal. La energía corriente tiene una proporción de aspecto y si se obliga
que aquella proporción de aspecto se cambie, entonces un poco de la energía
suelta reflexionará para guardar la proporción de aspecto total sin alterar.
La proporción de aspecto de la energía corriente mucho parece a la
proporción de aspecto del espacio sí mismo. Mientras la proporción de aspecto
del espacio sí mismo puede cambiarse, esto es la velocidad fundamental de
"C" que la velocidad de luz en el espacio realmente no puede cambiar.
Aquella velocidad es sólo nuestro modo de visualizar la tardanza de tiempo
cuando la energía reside en una región de espacio. El espacio uniforme tiene sólo dos parámetros:
(1) Proporción de aspecto y
(2) Tardanza de tiempo
La proporción de aspecto define la forma (pero no la magnitud) de cualquier
flujo de energía que entra en una región dada del espacio. La velocidad o la
longitud definen el tiempo durante el cual aquella energía puede ser acomodada
en una región de espacio.

¿Fluye una energía viajes libres por un interfaz, o se separa un grande de
ello son reflejados? Espacio tiene zonas tranquilas por las cuales la energía
se desliza prácticamente no reflejada. Esto también tiene zonas ruidosas donde
la energía corriente se hace incoherente, saltos alrededor y se divide aparte.
Estas zonas ruidosas en el espacio cualquiera tiene geometría que se cambia
rápidamente o la impedancia que se cambia rápidamente.
Energía electromagnética:
El precio de flujo de la energía por una superficie puede ser calculado
usando "E" el campo Eléctrico, y "H" la intensidad de Campo
magnético. El flujo de energía por el espacio es E x H por área de unidad (de
esto es el área enfadada seccional "del conducto") y la densidad de
energía es E x H / C donde C es la velocidad de luz en el espacio.
Si resultan haber dos señales de exactamente la misma fuerza, pasando el
uno por el otro en sentidos contrarios de tal modo que sus campos de
"H" anulan, entonces si cada uno tiene una fuerza de E/2 y H/2, la
densidad de energía será E x H / 2C y esto tendrá el aspecto de un E-campo
estable. Del mismo modo, si los campos de E anulan, el resultado parecerá ser
un campo de "H" estable.
La física moderna está basada en la asunción defectuosa que
electromagnetics contiene dos clases de la energía: eléctrico y magnético. Este
conduce a la vista Barroca de la realidad física. En aquella vista, la energía
parece tener que ver con el cuadrado de la intensidad de campaña, más bien que
una vista más razonable que es directamente a la intensidad de campaña. Vale la
pena recordar que ni Einstein ni los físicos más modernos eran, o están,
familiares con el concepto "de la energía corriente" descrito aquí.
Sin embargo, su trabajo todavía sobrevive no haciendo caso de la energía
concepto corriente, escalar electromagnetics, los trabajos de Tom Bearden,
kaluza-Klein y otros que disputan las interpretaciones de Heaviside de las
ecuaciones de Maxwell.
El Error de
Desplazamiento Corriente:
La teoría electromagnética convencional propone que cuando una corriente
eléctrica fluya abajo un alambre en un condensador, esto se extiende a través
del plato, produciendo una carga eléctrica en el plato que por su parte,
conduce a un campo eléctrico entre los platos del condensador. El concepto
valioso de la continuidad es retenido entonces postulando un desplazamiento
corriente "después de Maxwell". Esta corriente es una manipulación
del campo eléctrico "E" entre los platos del condensador, el campo
que tiene las características de corriente eléctrica, así completando el flujo
de electricidad en el recorrido. Este acercamiento permite que las leyes de
Kirchoff y otros conceptos valiosos sean retenidas aunque superficialmente,
parezca que en el condensador hay una ruptura en el flujo continuo de corriente
eléctrica.
El defecto en este modelo aparece cuando notamos que notamos que la
corriente entró en el condensador en sólo un punto en el plato condensador. Nos
abandonan entonces con la dificultad principal para explicar como la carga
eléctrica que fluye abajo el alambre de repente se distribuye uniformemente a
través del plato condensador entero en una velocidad superior a la velocidad de
luz. Esta situación paradójica es creada por un defecto en el modelo básico. El
trabajo en la lógica rápida realizada por Ivor Catt ha mostrado que el modelo
de la capacitancia lumped es defectuoso y el desplazamiento corriente es un
artefacto del modelo defectuoso. Ya que cualquier condensador se comporta de un
modo similar a una línea de transmisión, no es más necesario postular un
desplazamiento corriente para el condensador que es necesario hacer así para
una línea de transmisión. El retiro
"del desplazamiento corriente" de la teoría electromagnética ha estado
basado en argumentos que son independientes de la disputa clásica terminada si
la corriente eléctrica causa el campo electromagnético o vice versa.
El Movimiento
del E-campo:
De todos los campos conocidos; E-campo eléctrico, magnético, gravitacional
y motor, los únicos incapaces de ser protegido contra son el E-campo motor
inducido y el campo gravitacional. La naturaleza del campo eléctrico
motrizmente inducido es completamente única. A fin de entenderlo más
totalmente, debemos comenzar desechando unas ideas de engaño. Cuando el flujo
magnético es movido perpendicularmente a través de un conductor, una fuerza
electromotriz ("e.m.f".) es electromagnético inducido
"dentro" "de" el conductor.
"Dentro" es una frase que viene de la idea común de comparar
el flujo de corriente eléctrica dentro de un alambre al flujo de agua en un
tubo. Este es la mayor parte de comparación de engaño. Han pensado poco del
fenómeno verdadero que ocurre cuando la implicación de la producción de
espacialmente - distribuyó el campo eléctrico. Podemos ver que los orígenes del
modelo probablemente tendrán proviniendo de la operación llamada "recorte
de flujo" que es la mayor parte de término de engaño. Un mejor término
"modulación de flujo que varía tiempo" no implica ninguna separación
de líneas del flujo. Realmente, las líneas del flujo siempre forman lazos
cerrados y son expresadas matemáticamente como integrales de línea.
Esto es un error para usar el término "recorte" que implica la
separación que varía tiempo que no ocurre alguna vez de hecho. Un E-campo
motrizmente inducido realmente es creado dentro del espacio ocupado por el
flujo magnético móvil descrito encima. El campo está allí si un conductor está
presente en el espacio. En términos de definición, podemos decir que cuando el
flujo magnético de la B-barra de intensidad de vector es movido a través de una
región de espacio con la V-barra de velocidad de vector, un vector de campaña
eléctrico electromagnético inducido B x V aparece en el espacio
perpendicularmente tanto a B-barra como a V-barra. Por lo tanto:
E
= B-barra x V-barra . . . . . . . . . . . . . . . . . . . (1)
Esto es este campo que está relacionado con la gravedad y que es
prácticamente unshieldable. Este campo puede
ser llamado el E-campo Motor. Según Tom Bearden, Parece que las
partículas cargadas en el acto de átomo como imanes diminutos y su movimiento
en el espacio que rodea el átomo crearían este E-campo motor. Los campos creados
tanto por los gastos positivos como por negativos anularían a algún grado, pero
debido a la velocidad orbital alta del electrón negativo con relación a aquel
del protón positivo, el campo inducido del electrón dominaría el campo que
resulta. El campo producido a consecuencia de estos gastos variaría en la
proporción al cuadrado inverso de la distancia cuando la gravedad hace. El
campo producido por el movimiento de translación de los gastos variaría
inversamente como el cubo de distancia. Este concepto totalmente une las
teorías de campaña electromagnéticas y gravitacionales y explica la fuerza
fuerte y débil dentro del átomo.
Superposición
de Campaña y el Vacío Triode:
Inducción electromagnética sin el campo magnético mensurable no es nueva.
Es conocido que en el espacio que rodea un correctamente herida toroidal
bobina, no hay ningún campo magnético. Este es debido a la superposición de los
campos. Sin embargo, cuando la corriente alterna se levanta por un
transformador, un campo eléctrico lo rodea. Cuando aplicamos el principio de
superposición al vacío triode, se hace más obvio como el dispositivo funciona.
El principio de superposición declara que "a fin de calcular la
intensidad consiguiente de campos sobrepuestos, cada campo debe ser tratado con
individualmente como si los demás no estuvieran presentes" el resultado es
producido por la adición de vector de cada uno de los campos considerados solo.
Considere un momento, la construcción del triode que incluye dos bi-filar
bobinas localizado dentro de los campos de dos imanes condicionados. Cuando la corriente en una mitad de los
conductores en el bobinas (es decir sólo un hilo de las cuerdas de gemelo en
cada bobina) aumenta, tanto la corriente como el campo magnético siguen la
regla derecha. El E-campo motor que resulta sería vertical a ambos y dirigido
hacia adentro. Al mismo tiempo, la corriente en el otro hilo de cada cuerda se
disminuye y tanto la corriente como el campo magnético también siguen la regla
derecha. El E-campo motor que resulta es otra vez vertical a ambos, y dirigido
hacia adentro. De este modo, el resultado se combinó la intensidad de campaña
es doble la intensidad producida por el uno o el otro de los conductores
consideró solo. Expresado matemáticamente, este es:
E
= (B x V) + (-B x -V) o
E = 2 (B x V) . . . . . . . . . . . . . . . . . . . . . . .
(2)
Donde: E es la intensidad de campaña
eléctrica
B es la intensidad de campo magnético y
V es la velocidad de movimiento de electrones
(B x V), el primer término en la ecuación, representa el flujo del campo
magnético cuando los electrones se mueven en una dirección, mientras (-B x -V), el segundo término en la ecuación, define el flujo del campo
magnético cuando los electrones se mueven en la otra dirección. Este indica que
la intensidad de campaña es directamente proporcional al cuadrado de la
corriente requerida por la carga colocada en el dispositivo. Este es debido a
esto es la relación proporcional con el valor virtual del campo magnético que
la teoría declara es proporcional a la corriente. Las lecturas de Electrometer
estaban siempre cerca de parabólico, indicando que la fuente era de la
capacidad infinita. Fue determinado
adelante por el experimento, que el campo magnético no cambia con la
temperatura. También, no hay ninguna razón aún identificada, que conduciría a
creer que la velocidad de movimiento de electrones se cambia. Ha sido
encontrado notable que el vacío triode corre aproximadamente 20OF abajo
ambiental.
Fuerza
Electromotriz Inducida - Energía Positiva:
Cuando un e.m.f. ("fuerza electromotriz") es aplicado a un
recorrido metálico cerrado, flujos corrientes. El e.m.f. a lo largo de un
camino cerrado "C" en el espacio es definido como el trabajo por
precio de unidad (es decir W / Q) hecho por los campos electromagnéticos en un
pequeño precio de prueba movido a lo largo del camino C. Ya que el trabajo es
la integral de línea de la Fuerza ("F"), el trabajo por precio de
unidad es la integral de línea de la fuerza por precio de unidad (en Newtons
por Coulomb) tenemos:

El producto escalar "(F/Q) x dtdl" es el producto (de F/Q) x
Compañías θ x dl donde θ denota el ángulo entre los
vectores F/Q y dl.
La fuerza eléctrica por precio de unidad es la intensidad de campaña
eléctrica ("E") en voltios por metro. La fuerza magnética por precio
de unidad es V x B donde "V" denota la velocidad del precio de prueba
en metros por segundo y "B" denota la densidad de flujo magnética en
webers por metro cuadrado. En términos de ángulo más pequeño θ entre V y B, el producto
enfadado de V y B es un vector que tiene la magnitud VBSinθ.
La dirección de vector V x B es perpendicularmente al avión que contiene
vectores V y B de acuerdo con la regla derecha (es decir V x el B es en
dirección del pulgar mientras los dedos se rizan por el ángulo θ de V hacia B). Ya que la fuerza total por precio de unidad es E VB, el
total e.m.f. en términos de campos es:

Parece de la ecuación (4) que el e.m.f. depende de la velocidad avanzada
con la cual el precio de prueba se mueve a lo largo del camino C. Este, sin
embargo, no es el caso. Si V y dl en la ecuación (4) tienen la misma dirección,
entonces su producto escalar asociado es el cero. De este modo, sólo el
componente de V que no es alineado con dl (es decir con θ = 0), puede contribuir al
e.m.f. Este componente tiene el valor sólo si la longitud de camino diferencial
dl tiene un movimiento lateral. De este modo, V en la ecuación (4), representa
el movimiento lateral de dl, si hay alguno. Los campos E y B en la ecuación (4)
podrían ser bien representados como funciones de tiempo así como funciones de
las coordenadas espaciales. Además, la velocidad V de cada longitud de camino
diferencial dl, puede variar con el tiempo. Sin embargo, ecuación (4)
correctamente expresos el e.m.f. o caída de voltaje a lo largo de camino C como
una función de tiempo. Aquel componente
del e.m.f. que consiste en la integral de línea V x B es el E-campo motor ya
que esto tiene el valor sólo cuando el camino C es, moviéndose por un campo magnético,
cruzando líneas del flujo magnético. Para caminos inmóviles, no hay ningún
E-campo motor y la caída de voltaje es simplemente la integral del campo
eléctrico "E". Los dispositivos que separan gastos, generan e.m.f.s y
un ejemplo familiar de este es una batería que utiliza fuerzas químicas para
separar el precio. Otros ejemplos incluyen la calefacción de un termopar, la
exposición de una célula photovoltaic a la luz de incidente o el frotamiento
juntos del material diferente para producir la separación de precio
electrostática. Los campos eléctricos también son producidos por campos
magnéticos que varían tiempo. Este principio es explotado ya extensivamente en
la producción del poder eléctrico por las compañías de utilidad.
La integral de línea de la intensidad de campaña eléctrica "E"
alrededor de cualquier camino cerrado "C" iguala -dφ/dt donde φ representa el flujo magnético sobre cualquier superficie "S"
tener el camino cerrado "C" cuando esto es el contorno. El lado
positivo de la superficie S y la dirección de la integral de línea alrededor
del contorno C, están relacionados por la regla derecha (los dedos rizados son
orientados para señalar alrededor del lazo en dirección de la integración y el
pulgar ampliado indica el lado positivo de la superficie S). El flujo magnético
φ está la integral superficial de
la densidad de flujo magnética "B" como mostrado aquí:

En Ecuación (5), el diferencial de vector emerge "ds" tiene un
área de ds y en la dirección, esto es el perpendicular al avión de ds, que
proyecta del lado positivo de aquella superficie. El derivado de tiempo parcial
de φ es definido como:

Este se menciona como la corriente magnética por la superficie S.
Para una superficie móvil S, los límites de la integral superficial en la
ecuación (6) son funciones del tiempo, pero la ecuación todavía se aplica. Es
importante clarificar en este punto, que cuando evaluamos el valor de dφ/dt sobre una superficie que se
mueve en la proximidad a la actividad de campo magnético, tratamos la
superficie como si fuera inmóvil para el instante en la consideración. El
derivado de tiempo parcial de φ, es el precio de tiempo del cambio del
flujo por la superficie S, sólo gracias a la densidad de campo magnético que se
cambia B. Cualquier aumento de φ debido al movimiento de la
superficie en el B-campo, no es incluido en aquel cálculo.
La continuación de esta discusión nos
conduce a notar que un campo eléctrico debe estar presente en cualquier región
que contiene un campo magnético que varía tiempo. Este es mostrado por la
ecuación siguiente:

En esta ecuación, φ es el flujo magnético en webers
del lado positivo de cualquier superficie que tiene el camino C como su
contorno. Combinando ecuaciones (7) (y 4), somos capaces de calcular el e.m.f.
sobre un camino cerrado C como mostrado aquí:

o en otra forma:

De este modo, el e.m.f. alrededor de un camino cerrado consiste en el
general de dos componentes. El componente dφ/dt es el variational e.m.f. y el segundo componente es el E-campo motor.
En la ecuación (9), (V x B) el dl, por medio de una identidad de vector, puede
ser sustituido por B x (V x dl) A. El V es la velocidad lateral de d: el vector
V x dl tiene la magnitud Vdl y una dirección normal a la superficie ds barrido
por la longitud móvil dl a tiempo dt. Piso de laquiler del Mil millones denotar
el componente de los B normal a este área, podemos ver que la cantidad-B x (V x
dl) se hace-BnVdl y la ecuación 9 puede ser vuelta a escribir como:

Claramente, la integral de BnV alrededor del contorno cerrado C con la
velocidad lateral de la magnitud V para cada longitud dl cruzado, es
simplemente el precio de tiempo del cambio del flujo magnético por la
superficie saltada por C. Este cambio es directamente debido al paso de camino
C por líneas del flujo magnético. De ahí, la expresión completa para e.m.f. en
la ecuación (10) es el precio de tiempo del cambio del flujo magnético sobre
cualquier superficie S, saltó por el camino cerrado C, debido al campo
magnético que se cambia y el movimiento del camino por el campo magnético. La ecuación (10) puede ser escrita:
![]()
Nota: el diferencia entre ecuaciones (7) y (11) es que la ecuación (7)
contiene sólo el variational e.m.f. mientras la ecuación (11) es la suma del
variational y valores de e.m.f. motores. En la ecuación (7), el derivado de
tiempo parcial del flujo magnético φ es el precio del cambio de flujo sólo gracias al campo magnético que varía
tiempo, mientras la ecuación (11) incluye el derivado de tiempo total del
precio del cambio de flujo debido al campo magnético que varía tiempo y camino
el paso de C por el campo magnético. Si el camino cerrado C no pasa por líneas
del flujo magnético, entonces la ecuación (7) y la ecuación (11) es el
equivalente.
Es también importante indicar esto dφ/dt en la ecuación (11) no
necesariamente significa el precio de tiempo total del cambio del flujo φ sobre la superficie S. Por ejemplo, el flujo sobre la superficie S es
saltado por el contorno cerrado C de la porción izquierda del recorrido
eléctrico mostrado en Fig.1.

El flujo se cambia cuando el bobina es desenrollado por la rotación del
cilindro, como ilustrado. Sin embargo, ya que el B es estático, no hay ningún
variational e.m.f. y ya que los conductores no modulan líneas del flujo, no hay
ningún e.m.f motor. Así, dφ/dt en la ecuación (11) es el cero,
aunque el flujo se cambie con el tiempo. Note esto dφ/dt fue
definido como la representación de la parte de mano derecha de la expresión en
la ecuación (10) y dφ/dt no debe ser interpretado más
ampliamente que esto.
En la aplicación de las ecuaciones
presentes, es requerido que todas las densidades de flujo y los movimientos
sean mandados a un sistema de coordenada solo, especificado. En particular, las
velocidades serán todas con respecto a este sistema solo y no interpretadas
como velocidades relativas entre conductores o líneas móviles del flujo. El
sistema de coordenada es seleccionado arbitrariamente y las magnitudes de
variational y los campos motores dependen de la selección.
Ejemplo 1:
Un generador eléctrico fundamental es mostrado en Figura 2:

La paralela, conductores inmóviles, separados por la distancia
"l", hace unir un voltímetro inmóvil a través de ellos. El recorrido
es completado por un conductor móvil relacionado con los conductores paralelos
por medio de dos contactos corredizos. Este conductor está relacionado en y = 0
en el tiempo t = 0, y esto se mueve a la derecha en una velocidad constante V =
Vay. El flujo aplicado B es representado por puntos en Fig.2 y tiene una
magnitud de B = BO CosBy Coswt ax.
Los vectores de unidad en dirección de las hachas de coordenada son el
hacha, sí y az respectivamente.
Solución: Deje a S denotar que la superficie rectangular plana saltó por el
recorrido eléctrico cerrado, con un lado positivo seleccionado como el lado que
le afronta. En contrario e.m.f. alrededor del recorrido es dφ/dt con φ la
significación del flujo magnético del lado positivo de S (Como ds = 1 hacha de
dy). El producto escalar B x ds es BO l CosBy, Coswt dy; integración
de y = 0 to a = y da:
![]()
Con y1 la denotación de la posición e instantánea del alambre
móvil. En contrario el e.m.f. es encontrado sustituyendo y con vt y evaluación dφ/dt.
El resultado es:
![]()
El variational (transformador) el componente es determinado con la ayuda de
la ecuación (12) y es wBOl/BsinBy
sinwt donde y = vt. Este está el primer
componente a la derecha de la ecuación (13).
Nota: y1 fue tratado como una constante evaluando el derivado de
tiempo parcial de φ.
El E-campo motor es la integral de línea
de V x B a lo largo del camino del conductor móvil. Como V x B es -BO
vcosBy1 coswt ax y As dl es dz ax, evaluación de la integral -BO
vcosBy1 coswt dz de Z = 0 a Z = 1 causa un E-campo motor de -BO
lv cos Bv1 cos wt. Este
componente resulta de la modulación de las líneas de flujo por el conductor
móvil. Si el voltímetro no dibuja ninguna corriente, no puede haber ninguna
fuerza electromagnética en los electrones libres del alambre. Por lo tanto, el
e.m.f. a lo largo del camino de los conductores metálicos incluso el conductor
móvil, es el cero.
Ejemplo 2:
Suponga que el conductor con los grifos
corredizos es inmóvil (V = 0) y es localizado en y = y1. También, suponga que
el campo magnético B es producido por un sistema de conductores móviles que no
son mostrados en Fig.2 y aquellos conductores viajan con una velocidad
constante V = Vay. En el tiempo t = 0, el campo magnético B es BO
sin By ax. Determine el voltaje a través del voltímetro.
Solución: no hay ningún E-campo motor
porque los conductores en Fig.2 están en reposo (inmóviles) con respecto a
nuestro sistema de coordenada seleccionado. Sin embargo, el campo magnético en
puntos fijados con respecto al sistema de coordenada se cambia con el tiempo y
como consiguiente, hay un variational e.m.f. Ya que el B-campo en el tiempo t =
0 es BO sin By ax y tiene una velocidad de V = Vay, puede ser
calculado que el B-campo como una función de tiempo es BOsin[B(y-vt)]
ax. Este es verificado notando que un
observador localizó en el tiempo t = 0 quién viaja en la velocidad constante (V
= Vay) del movimiento corriente, tendría una coordenada de y de y = y Vt y una
expresión en consecuencia diferente para B. Él observaría un campo constante
donde la densidad corriente magnética es:
![]()
En contrario el e.m.f. puede ser llegado
tomando la negativa de una integral de la susodicha expresión para la superficie
rectangular saltada por el recorrido eléctrico con el lado positivo que le
afronta, con los límites de cero y y. E.m.f. que resulta iguala:
![]()
que es el voltaje a través del metro.
Campo Motor
Inducido - Energía Negativa:
La teoría convencional dice que los
campos eléctricos y los campos magnéticos son cosas diferentes. Considere un
momento, un precio con un campo eléctrico alrededor de ello. Si el precio es
movido, entonces un campo magnético se desarrolla y el precio móvil constituye
una corriente. Si un observador debiera moverse junto con el precio, entonces
él no vería ningún movimiento relativo, ninguna corriente y ningún campo
magnético. Un observador inmóvil vería el movimiento, corriente y un campo
magnético. Parecería que un campo
magnético es un campo eléctrico observado de un marco de referencia motor. Del
mismo modo, si tomamos una masa con un campo de gravedad alrededor de ello, y
movemos la masa y creamos una corriente de masas, un nuevo campo también es
creado. Esto es una clase diferente del campo de gravedad sin la fuente y
ningún fregadero. Es llamado "el campo de Protational" y también es
conocido como "el Efecto de Lense-Thirring". Este campo y ello
gobiernan principios formará la base para futuros dispositivos antigravitacionales
(ver figuras 1 a 4).

Dentro del encajonado son del Vacío la
caja de Triode, la serie continua de tiempo espacial es invertida por los
campos que son producidos en la presencia de quántums de flujo espaciales
coherentes excitados. Estos quántums han sido atraídos forma, y por último
extraídos del vacío virtual, el Mar Diac infinitamente no agotable. Ya que un
formato matemático más detallado ver el papel de Tom Bearden "la Fase
Vacío Conjugado Triode" (23 de abril de 1987). La mayor parte de la teoría
que probablemente se aplica al vacío triode ha sido desarrollada en el campo de
la óptica conjugada de fase.
En cuanto a fenómenos de sobreunidad, es
importante notar que mientras que la energía positiva está presente en un
régimen de tiempo positivamente suelto, entonces la unidad y las ganancias de
poder de sobreunidad no son posibles. La adición de las pérdidas debido a
resistencia, impedancia, fricción, histéresis magnética, corrientes de remolino
y pérdidas windage de la maquinaria rotativa siempre reducirá la eficacia total
debajo de la unidad para un sistema cerrado. Las leyes de conservación de la
energía siempre se aplican a todos los sistemas. Sin embargo, el E-campo motor inducido cambia
el sistema sobre el cual aquellas leyes tienen que ser aplicadas. Ya que el
vacío triode funciona en más de cuatro dimensiones y proporciona un eslabón
entre la realidad multidimensional del estado cuántico y el Mar Dirac, tratamos
ahora con un sistema sin límites determinados y no "el sistema
cerrado" dentro del cual toda la conservación y las leyes termodinámicas
fueron desarrolladas.
Para conseguir la unidad, la adición de
todas las pérdidas magnéticas y ohmic debe igualar el cero. Conseguir esta
energía estatal, negativa y tiempo negativo tiene que ser creado. Cuando este
es conseguido, toda la resistencia ohmic se hace el cero y toda la energía
entonces fluye a lo largo del exterior de conductores en la forma de un campo
espacial especial. La energía negativa es totalmente capaz de encender luces
incandescentes, dirigiendo motores y realizando todas las funciones de la
energía positiva probada hasta ahora. Cuando dirigido en la paralela con la
energía positiva sin embargo, la cancelación (la aniquilación) de tipos de
poder contrarios ocurre. Este ha sido totalmente probado en el laboratorio.
Una vez que la unidad ha sido conseguida
y la puerta al mar Dirac abierta, la sobreunidad es afectada cargando la puerta
abierta cada vez más, que lo abre adelante al punto donde la comunicación
directa / interacción con el núcleo del átomo sí mismo es conseguida. La salida
del vacío triode no es proporcional a la entrada de excitación cuando la salida
producida por el dispositivo es directamente proporcional a la carga que es
colocada en ello. Aquella carga es la
única variable dependiente para la salida de dispositivo. El voltaje de salida
del triode y la frecuencia siempre permanecen la constante debido al
acondicionamiento del E-campo motor en los imanes permanentes y la pequeña
señal de excitación regulada que es proporcionada por un pequeño oscilador. La
regulación permanece la constante y la salida triode examina una condición en
fase (cosθ=1 Kvar=1) conforme a todas las
características de carga.
El vacío triode es un dispositivo
transistorizado que consiste en imanes permanentes condicionados capaces de
producir un campo motor. Este campo abre la puerta al Mar Dirac de donde la
energía negativa fluye en el triode's que recibe bobinas. Los bobinas son la
herida con muy el alambre de pequeño diámetro, pero a pesar de que, ellos son
capaces de producir más de 5 kilovatios del poder útil. Este en sí mismo, es un
indicador claro que el tipo de la energía eléctrica coleccionada por el
dispositivo no es la energía eléctrica convencional. Los tamaños de alambre
usados en la construcción del dispositivo no serían capaces de llevar tales
corrientes grandes sin la ganancia de calor excesiva, sin embargo, bobinas del
triode refrigerador realmente dirigido cuando cargado en 5 kilovatios.
Los imanes fundamentales han sido
liberados de las fuerzas obligatorias que los obligaron para ser el uniforme de
poste solo estable dispositivos de flujo magnéticos. Ellos son capaces ahora de
apoyar simplemente la masa, como demostrado con la ilustración de acero de
transformador. Ellos pueden ser fácilmente hechos ahora para adoptar un campo
motor dinámico aplicando una cantidad diminuta de la excitación. Expresamente,
1 milliamp en 10 voltios (10 milliwatts) de la excitación en 60 Hz permite al
bobinas del triode recibir del Mar Dirac, más de 5,000 vatios de la energía
negativa utilizable. Ha sido todavía determinado cuanto más la energía puede
ser sin peligro quitada.
Hay una aplicación evidente que tiene algunas
ideas muy interesantes y reclamaciones. Ha estado alrededor durante mucho
tiempo pero no ha sido notado hasta hace poco. Personalmente, consigo la
impresión que esto es más un concepto más bien que un dispositivo demostrado
por prototipo firmemente basado, pero es sólo mi impresión y usted tiene que
decidir en la materia.
Patente Aplicación GB 2130431A 31 de mayo 1984 Inventor: Meguer Kalfaian
Método y medios para producir movimiento perpetuo con
poder alto
EXTRACTO
Las energías estáticas perpetuas, conforme al electrón (mí vuelta) y el imán
permanente (empuje y tirón) son combinadas para formar una función dinámica.
Los electrones emitidos de bobina acalorado F son atrapados permanentemente
dentro del campo magnético central de un imán cilíndrico M5. Un segundo imán
M6, en la polaridad de enfrente a los postes de los electrones causa la
inclinación polar, y la precesión. Esta precesión irradia un campo
electromagnético poderoso a un bobina L colocado entre el imán cilíndrico y una
cámara de vacío C - hieren en un perpendicular de dirección a las hachas
polares de los electrones. O bien, la radiación electromagnética es emitida
como la luz coherente. La fuente original de electrones es cerrada después
atrapamiento.
ESPECIFICACIONES
Método y medios para producir movimiento perpetuo con poder alto. Esta
invención está relacionada con métodos y medios para producir el movimiento
perpetuo. Un objeto de la invención es producir, por lo tanto, el movimiento
perpetuo útil para objetivos de utilidad.
Los Método y medios párrafo producir movimiento perpetuo engañan el alto poder.
Los Esta invención está relacionada engañan métodos y medios párrafo producir
movimiento el-perpetuo. Un objeto de la invención es producir, por lo tanto,
movimiento el-perpetuo útil párrafo objetivos de utilidad.
El electrón ha adquirido mí vuelta a partir del muy principio de su nacimiento
durante el tiempo de creación de la materia, y representa una energía perpetua.
Pero mí la vuelta sola, sin el movimiento polar no es funcional, y por lo
tanto, la energía útil no puede ser sacada de ello. Del mismo modo, el imán
permanente representa una fuente de la energía perpetua, pero ya que sus postes
son inmóviles, la energía útil no puede ser sacada de ello.
Sin embargo, las características de estos dos tipos de energías estáticas se
diferencian un del otro, y por lo tanto los dos tipos de energías pueden ser
combinados en tal manera que, la salida combinada puede ser convertida en el
movimiento polar perpetuo.
En un modo ejemplar, una cámara de vacío cilíndrica que tiene un filamento y un
cátodo dentro, es encerrado dentro del campo magnético central de un imán
permanente cilíndrico, la magnetización de que puede estar en una dirección a
lo largo del eje longitudinal, o del centro a la superficie externa
circumferential del cilindro. Cuando corriente es pasado por el filamento, los
electrones emitidos del cátodo son comprimidos en una viga en el centro de la
cámara cilíndrica por el campo magnético del imán cilíndrico. Así, cuando la
corriente por el filamento es cerrada, los electrones en la viga permanecen
permanentemente atrapados dentro del campo magnético.
En tal arreglo, los postes de los electrones son alineados uniformemente.
Cuando un segundo imán permanente es sostenido contra la viga en el rechazo de
la polaridad, los postes de los electrones son empujados e inclinados de sus
hachas polares longitudinales normales. En tales orientaciones inclinadas, los
electrones ahora comienzan a tambalearse (precessing) en movimientos de
gyroscopic, justo como una peonza cuando es inclinado a un lado. La frecuencia
de este bamboleo (precessional resonancia) depende de las fuerzas de campaña de
los dos imanes, similares a la resonancia de la cuerda de violín con relación a
su extensión de tensional. Los movimientos polares de los electrones irradian
un campo electromagnético, que puede ser coleccionado por un bobina y luego
convertido en cualquier tipo deseado de la energía. A causa de los electrones
uniformemente alineados, el campo de salida es coherente, y el poder de salida
es alto.
Ejemplos observados sobre los cuales la
invención está basada:
El aparato puede ser mejor descrito por ejemplos de una peonza en el movimiento
que se tambalea. Así, mandando a la ilustración de Fig.1, asuma que la peonza T
es hecha del material magnético, como indicado por sus signos de poste (S y N).
Incluso aunque la cumbre sea magnética, el movimiento de vuelta no irradia
ningún tipo del campo, que puede ser recibido y convertido en un tipo útil de
la energía. Este es debido al hecho conocido que, la radiación es creada sólo
cuando los postes del imán están en el movimiento, y en este caso, los postes
son inmóviles.

Cuando un imán M1 es sostenido de un perpendicular
de dirección al eje polar longitudinal de la cumbre, como mostrado en Fig.2, el
eje polar de la cumbre será inclinado como mostrado, y seguir girando en
aquella dirección inclinada. Cuando el imán M1 es quitado, sin embargo, la
cumbre tratará de recobrar su postura vertical original, pero en hacer así,
esto se tambaleará en el movimiento de gyroscopic, como mostrado en Fig.3. Más
rápido las vueltas superiores, entonces más rápido el movimiento que se
tambalea será.

La razón que la cumbre se inclina angularmente, pero no se tambalea cuando el
imán M1 es sostenido de la dirección horizontal, es que, el tirón unilateral
impide a la cumbre alejar del campo magnético para el bamboleo circular libre.
En vez de sostener el imán M1 del lado de la cumbre, también podemos sostener
el imán de una dirección encima de la cumbre, como mostrado en Fig.4. En este
caso, sin embargo, los signos polares entre el imán y la cumbre son orientados
en signos parecidos, de modo que en vez de tirar acción, allí empuje la acción
entre el imán y la cumbre - causar la inclinación angular de la cumbre, como
mostrado en Fig.4. La acción que empuja del campo magnético de encima de la
cumbre es igualada ahora dentro de un área circular, de modo que la cumbre
encuentre la libertad de tambalearse en la rotación gyroscopic.
El punto importante en la susodicha explicación dada es que, la cumbre trata de
ganar su posición vertical original, pero es impedido hacer así por el empuje
hacia abajo estable del campo magnético estático del imán M2. De este modo,
mientras la cumbre gira, esto se tambaleará en un estado estacionario. Ya que
hay ahora, el movimiento polar en el movimiento que se tambalea de la cumbre,
este movimiento que se tambalea puede ser fácilmente convertido en la energía
útil. Para hacer esta conversión en la energía perpetua, sin embargo, la cumbre
debe girar permanentemente. La naturaleza ha proporcionado ya una cumbre
magnética que gira permanentemente, que es llamada, "el electrón" -
garantizó girar para siempre, en un precio de 1.5 x 1023 (ciento
cincuenta mil mil millones de mil millones de revoluciones por segundo).
BREVE DESCRIPCIÓN DE LOS DIBUJOS

Fig.1 ilustra una peonza magnética,
usada para describir los principios básicos de la invención.

Fig.2 ilustra una cumbre controlada
para describir los principios básicos de la invención.

Fig.3 yd Fig.4 ilustre peonzas en estados que se tambalean para describir
los principios básicos de la invención.

Fig.5 los espectáculos como un
electrón puede ser conducido en un estado que se tambalea en el control de imanes
permanentes.

Fig.6 es un arreglo práctico para
obtener el movimiento perpetuo.

Fig.7 muestra un arreglo atómico
natural para obtener la resonancia precessional.

Fig.8 muestra un tipo diferente del
electrón que atrapa el imán permanente, a esto usado en Fig.6.

Fig.9 es una modificación de Fig.6; y

Fig.10 es una modificación del
electrón que atrapa imanes, usados en Fig.6.
EL MEJOR MODO DE REALIZAR LA
INVENCIÓN
Respecto a la ilustración ejemplar de Fig.4, la peonza T es girada a la base B
por la gravedad.

En caso del electrón, sin embargo, debe ser sostenido fuertemente entre algunas
fuerzas magnéticas. De este modo, mandando a la ilustración de Fig.5, asuma que
un electrón e es colocado en el centro de un imán cilíndrico M4. La dirección de

la magnetización del imán M4, y la orientación
polar del electrón e es marcada en el dibujo. En este caso, cuando un imán
permanente M3 es colocado al final abierto del imán cilíndrico M4, el electrón
e va a precess, en una manera, como descrito por vía de la peonza. La
dificultad en este arreglo es que, los electrones no pueden ser separados en el
aire libre, y se requiere una cámara de vacío, como en el siguiente:

Fig.6 muestra una cámara de vacío C, que contiene un cilíndricamente filamento
de herida F, relacionado con la batería B1 por vía del interruptor S1. Así,
cuando el interruptor S1 es encendido, el filamento F es encendido, y esto
libera electrones. Externo a la cámara de vacío el C es montado un imán permanente
cilíndrico M5, que comprime los electrones emitidos en una viga en el centro de
la cámara.
Cuando la viga es formada, el interruptor es apagado, de modo que la viga de
electrones sea permanentemente atrapada en el centro de la cámara.
Atrapar permanente de los electrones en la cámara
C representa un almacenamiento permanente de la energía estática. Así, cuando
un imán permanente M6 es colocado para inclinar las orientaciones polares del
uniformemente poled electrones en la viga, ellos comienzan precessing
permanentemente en una frecuencia resonante, como determinado por las fuerzas
de campaña de los imanes M5 y M6.
Los electrones precessing en la viga irradiarán la cuadratura dividió en fases
el campo electromagnético en un perpendicular de dirección a las hachas polares
de los electrones.
Así, un bobina L puede ser colocado entre el imán
M5 y la cámara de vacío C, recibir el campo irradiado de la viga. La salida
puede ser utilizada entonces en modos diferentes para objetivos prácticos, por
ejemplo, rectificada para el uso de alimentación de CC.
El imán cilíndrico de electrones que forma viga M5, que también puede ser
llamado un imán que se concentra, es mostrado para ser bipolar a lo largo del
eje longitudinal. La dirección de magnetización, sin embargo, puede ser de la
apertura central a la periferia externa del imán, como mostrado por el imán M7,
en Fig.8, pero el imán precessing M6 será necesario en el uno o el otro caso.

En el arreglo de Fig.6, he incluido una rejilla de control corriente G.
Mientras no es esencial para la operación del arreglo mostrado, puede estar
relacionado con B2 potencial negativo alto por el interruptor S2 justo antes de
la conmutación del S1 en de la posición, de modo que durante el período
refrescante del filamento, allí no ocurra ninguna fuga de cualquier electrón de
la viga al cátodo. También, la rejilla G puede ser encendida durante el período
calentador del cátodo, de modo que los electrones no sean a la fuerza liberados
del cátodo durante el período calentador, y así no causando ningún daño al
cátodo, o filamento.
Resonancia precessional biológica
Electrón precessional resonancia ocurre en la materia de tejido viva, como
observado en procedimientos analíticos. Este es llamado ESR (Electrón Hacen
girar la Resonancia) o PMR (Resonancia Paramagnética). En la materia de tejido,
sin embargo, el electrón precessing es entrampado entre dos electrones, como
mostrado en Fig.7, y las orientaciones polares son indicadas por los signos
polares y sombreados, para la claridad del dibujo.

Simulación
El arreglo de Fig.7 puede ser simulado artificialmente en una manera como
mostrado en Fig.9, en donde, el electrón que atrapa el imán es un par de imanes
espaciados paralelos M8. En la práctica actual, sin embargo, la estructura de
este par de imanes M8 puede ser modificado. Por ejemplo, un segundo par de
imanes M8 puede ser dispuesto entre los dos pares, de modo que las direcciones
de los campos transversales entre los dos pares se crucen mutuamente
perpendicular en el eje longitudinal central de la cámara de vacío. El campo
interior que irradia superficies de estos dos pares de imanes puede ser formado
circular, y los dos pares pueden ser reunidos, por el contacto físico el uno al
otro, o separados el uno del otro.
Modificaciones
Respecto a los arreglos de Fig.6, Fig.9 y Fig.10, cuando el electrón está en
precessional gyroscopic el movimiento, el campo irradiado en una paralela de
dirección al eje polar del electrón, es una forma de onda de sacacorchos
gradual sola, que cuando precessed en la frecuencia ligera, la radiación
produce el efecto de luz.

Mientras que, el campo en un perpendicular de dirección al eje del electrón
produce la radiación electromagnética dividida en fases de una cuadratura. Así,
en vez de utilizar la salida de la precesión de electrones para objetivos de
energía, puede ser utilizado para la radiación de campaña de ondas ligeras o de
electromagnéticas, como indicado por las flechas en Fig.9. En este caso, la
salida será la radiación de campaña coherente.
En la referencia al arreglo de Fig.6, la emisión de electrones es mostrada para
ocurrir dentro del campo magnético central del imán que se concentra M5. Puede
ser prácticamente deseado, sin embargo, que estos electrones son inyectados en
el campo central del imán cilíndrico de una asamblea de arma, como mostrado en
un arreglo ejemplar de Fig.10. En este caso, la cámara de vacío C es flanged en
la derecha, para montar un electrón que emite el cátodo 1 (el filamento no
siendo mostrado), y un arma curvo que acelera electrón 2. La parte central de este reborde es
prorrogada para la conveniencia de montar un imán que inclina electrón (tan
mostrado), como cerca como posible a la viga de electrones. En la operación,
cuando corriente es pasado por el filamento, y un voltaje positivo es aplicado
(no mostrado) al arma 2, los electrones emitidos del cátodo son acelerados e
inyectados en el campo central del imán 11. Asumiendo que el final abierto del
arma 2 traslapos ligeramente el final abierto del campo central cilíndrico del
imán M1, y el voltaje de aceleración positivo aplicado al arma 2 es muy bajo,
los electrones acelerados entrarán en el campo central del imán M1, y viajarán
al otro final del campo. Debido a la aceleración de velocidad baja de los electrones,
sin embargo, ellos no pueden derramarse del campo, y hacerse permanentemente
entrampados allí.
En cuanto a la dirección en la cual el bobina L1 es colocado, su cuerda debería
estar en un perpendicular de dirección al eje longitudinal de la viga a la cual
las hachas polares de los electrones son alineadas uniformemente en la
paralela. En un modo práctico, el bobina L1 puede ser la herida en forma de una
superficie que serpentea alrededor de una forma tubular encajada sobre la
cámara de vacío cilíndrica.
En cuanto al operability del aparato como revelado aquí, la ilustración en
Fig.7 muestra que la salida de campaña en una paralela de dirección al eje
polar del electrón es singular dividido en fases, y esto produce el efecto de
luz cuando la frecuencia precessional está en una frecuencia ligera. Mientras
que, la salida en un perpendicular de dirección al eje polar del electrón es la
cuadratura dividida en fases, que es manifestado en la transmisión de campaña
electromagnética experta.
En cuanto a referencias experimentales, un artículo autorizó "Resonancia
Magnética en la Presión alta" en "el americano Científico" por
George B. Benedek, la página 105 ilustra un núcleo precessing, e indica la
dirección de la radiación de campaña electromagnética por el núcleo precessing.
La misma técnica también es usada en el aparato médico "resonancia
magnética Nuclear" ahora usado en numerosos hospitales para la
representación que aflige tejidos (ver noviembre "de Tecnología
Avanzada". Diciembre de 1982. Refiérase también a la técnica de descubrir
la Resonancia de Vuelta de Electrón, en cuales electrones (llamado
"liberan a radicales") son precessed por la aplicación del campo
magnético externo a la materia de tejido. En todas estas prácticas, el campo electromagnético
que descubre bobinas es dirigido perpendicular a las hachas polares de los
electrones precessing o los núcleos.
En cuanto a la producción de luz por un electrón precessing, en una paralela de
dirección al eje polar del electrón precessing, ven una referencia experimental
los "electrones Libres autorizados hacen el nuevo láser poderoso"
publicado en febrero "de tecnología avanzada" 1983 páginas 69.
En cuanto al aspecto de producción y almacenaje de
los electrones en una cámara de vacío, esto es un hecho conocido por la
práctica que los electrones son entrampados dentro del campo central de un imán
permanente cilíndrico, y ellos permanecerán entrampados mientras el imán
permanece en la posición.
En cuanto a la interpretación de obtener la resonancia precessional del
electrón, el ejemplo simple de una cumbre que se tambalea es suficiente, como
la prueba de operability.
Habiendo descrito las encarnaciones preferidas de
la invención, y en vista de las sugerencias de numerosas posibilidades de
modificaciones, adaptaciones, ajustes y substituciones de partes, debería ser
obvio hacia el experto en artes relacionadas que otras posibilidades son dentro
del espíritu y el alcance de la invención presente.
US Patente Aplicación 20090096219 16 de abril 2009 Inventors: Theodore Annis & Patrick
Eberly
APARATO DE GENERACIÓN DE
ENERGÍA Y MÉTODOS
BASADO SOBRE CONMUTACIÓN DE
FLUJO MAGNÉTICA
EXTRACTO
Los métodos y el aparato generan la electricidad
por la operación de un recorrido basado en un camino de flujo magnético solo.
Un miembro magnetisable proporciona el camino de flujo. Uno o varios bobinas
eléctricamente propicios son la herida alrededor del miembro, y una renuencia o
el aparato que cambia flujo son usados para controlar el flujo. Cuando hecho
funcionar, el aparato de conmutación causa una inversión de la polaridad (la
dirección) del flujo magnético del imán permanente por el miembro, así
induciendo la alternancia de la corriente eléctrica en cada bobina. El aparato que cambia flujo puede ser inmóvil
o rotatorio. En las encarnaciones inmóviles, dos o cuatro interruptores de
renuencia son hechos funcionar de modo que el flujo magnético de uno o varios
imán (anes) permanente inmóvil sea invertido por el miembro magnetisable. En
encarnaciones alternativas, el aparato que cambia flujo comprende un cuerpo
formado de materiales de permeabilidad baja y permeabilidad alta, tal que
cuando el cuerpo es hecho girar, el flujo del imán es secuencialmente invertido
por el miembro magnetisable.
CAMPO DE LA INVENCIÓN
La invención presente está relacionada con métodos
y aparato en donde el flujo magnético de uno o varios imanes permanentes es
invertido repetidamente en la polaridad (dirección) por un camino de flujo solo
alrededor el cual hay herida una conducción bobina o bobinas para la inducción
de la electricidad en el bobinas.
FONDO DE LA INVENCIÓN
Los métodos electromecánicos y electromagnéticos
implicados en generadores eléctricos motores y alternadores son conocidos. Los
alternadores y los generadores a menudo emplean imanes permanentes y por lo
general tienen un rotor y un estator y un bobina o bobinas en el cual se induce
un EMF (fuerza electromotriz). La física implicada para producir electricidad
es descrita por la ecuación de generador V = ∫(vxB).dl.
Los imanes permanentes hicieron de materiales que
tienen un alto coercitivamente, una densidad de flujo magnética alta una fuerza
de motivo magnética alta (mmf), y ningún empejoramiento significativo de la
fuerza magnética con el tiempo es común ahora. Los ejemplos incluyen imanes de
ferrita de cerámica (Fe2O3); cobalto de samarium (SmCO5);
combinaciones de hierro, neodymium, y boro; y otros.
Los caminos magnéticos para transformadores a
menudo son construidos de materiales ferrosos laminados; los inductores a
menudo emplean materiales de ferrita, que son usados para la operación de
frecuencia más alta para ambos dispositivos. Interpretación alta los materiales
magnéticos para el uso como los caminos magnéticos dentro de un recorrido
magnético están disponibles ahora y son bien satisfechos para la conmutación
(rápida) del flujo magnético con mínimo de corrientes de remolino. Un ejemplo
es el FINEMET ® nanocrystalline material principal hecho por Hitachi de Japón.
Según Moskowitz, "pueden pensar de Diseño de
Imán Permanente y Guía de Aplicación" 1995, la página 52, flujo magnético
como líneas de flujo que siempre dejan y entran en las superficies de
materiales ferromagnéticos perpendicularmente, que nunca pueden hacer vueltas de
ángulo recto verdaderas, que viajan sólo en caminos directos o curvos, que
siguen el.
"Un interruptor de renuencia" es un
dispositivo que puede aumentar considerablemente o disminuir (típicamente
aumento) la renuencia (resistencia a la fuerza de motivo magnética) de un
camino magnético en una manera directa y rápida y posteriormente restaurarlo a
su original (típicamente más abajo) valor en una manera directa y rápida. Un
interruptor de renuencia típicamente tiene características análogas. Por vía
del contraste, un de/en el interruptor eléctrico típicamente tiene una
característica digital, cuando no hay ninguna electricidad "sangran -
por". Con la corriente de tecnología avanzada, los interruptores de
renuencia hacen que el flujo magnético sangre - por. Los interruptores de
renuencia pueden ser puestos en práctica mecánicamente, como hacer que el
movimiento de encargado creara un hueco de aire, o eléctricamente por varios
medios, o por otros medios. Un medio eléctrico es el de la utilización del
control bobinas herida alrededor de los caminos de flujo.
Otro medio eléctrico es la colocación dentro del
camino de flujo de ciertas clases de materiales que cambian (típicamente
aumento) su renuencia sobre la aplicación de electricidad. Otro medio eléctrico
es saturar una región del material de interruptor de modo que la renuencia
aumente a aquel del aire por insertar alambres eléctricos que conducen en el
material como descrito por Konrad y Brudny en "un Método Mejorado para el
Cálculo de Longitud de Hueco de Aire Virtual," en Transacciones IEEE en
Magnetics, volumen 41, el No 10, octubre de 2005.
La literatura evidente describe vario construye lo
que ha sido ideado para variar las cantidades del flujo magnético en caminos de
flujo alternos por desproporcionadamente dividiendo el flujo de un imán
permanente inmóvil o imanes entre o entre caminos de flujo alternos
repetidamente para la generación de la electricidad. El aumento de flujo en un
camino magnético y la disminución correspondiente en el otro camino (s) proporciona
la base para inducir la electricidad cuando bobinas son la herida alrededor de
los caminos. La física implicada para producir electricidad por éstos construye
es descrito por la ecuación de transformador V = -∫dB/dt.ds. Una variedad
de renuencia que cambia medios ha sido empleada para hacer que el flujo fuera
aumentado/disminuido por un camino alterno particular con una
disminución/aumento correspondiente en el otro camino e hiciera tan
repetidamente.
Un medio de cambiar flujo a lo largo de caminos
alternos entre los postes de enfrente de un imán permanente ha incluido el
principio de transferencia de flujo descrito por R. J. Radus, Engineers'
Digest, July, 1963.
Un resultado de caminos de flujo alternos que
proveen de geometría generalmente similar y permeabilidad es que, en
condiciones particulares, el camino alterno primero seleccionado o el camino
seleccionado para la mayoría del flujo permanecerá "un camino
preferido" en el cual esto retendrá más flujo y el otro camino, a pesar de
los caminos que tienen la renuencia igual. (No hay una igualación automática
del flujo entre caminos similares.)
Moskowitz, "Permanent Magnet Design and
Application Handbook" 1995, página 87 habla de este efecto en cuanto al
uso industrial de imanes permanentes para levantar y liberar el hierro y el
acero encendiendo el imán permanente (y casi) lejos vía la renuencia que cambia
que consiste en la pulsación eléctrica de la herida de bobinas alrededor de los
caminos de flujo magnéticos (los interruptores de renuencia).
Los resultados experimentales con cuatro barras
rectangulares de hierro (permeability=1000 relativo) colocado juntos en un
cuadrado con una barra el imán permanente (densidad de flujo medida en un
pole=5000 Gauss) entre dos de las barras contrarias aproximadamente en una
posición de centro mostró que el retiro y el reemplazo de la que de las barras
de final que es la paralela a el imán de barra resultará en aproximadamente el
80 % del flujo que permanece en la barra que permaneció en el contacto. Los resultados
adelante mostraron que el camino preferido debe experimentar un aumento de
renuencia sobre IOx de aquel del camino alterno disponible antes de que su
condición de flujo desproporcionada ceda y se trasladará al camino alterno.
Flynn
RESUMEN DE LA INVENCIÓN
La invención presente está relacionada con métodos
y aparato para la producción de electricidad por la operación de un recorrido
basado sobre un camino de flujo magnético solo. Un miembro magnetisable
proporciona el camino de flujo. Uno o varios bobinas eléctricamente propicios
son la herida alrededor del miembro, y una renuencia o el flujo que cambia el
aparato son usados para controlar el flujo. Cuando hecho funcionar, el aparato
de conmutación causa una inversión de la polaridad (la dirección) del flujo
magnético del imán permanente por el miembro, así induciendo la alternancia de
la corriente eléctrica en cada bobina.
Según la invención, el flujo que cambia el aparato
puede ser inmóvil o rotatorio. En las encarnaciones inmóviles, cuatro
interruptores de renuencia son hechos funcionar por una unidad de control que
hace que un primer par de interruptores se abra (renuencia creciente), mientras
otro par de interruptores cerca (disminuyéndose la renuencia). El par inicial
está cerrado entonces cuando el otro par es abierto, etcétera. Este 2x2 el
ciclo que se abre y de cierre repite y, como esto hace, el flujo magnético del
imán (anes) permanente inmóvil es invertido en la polaridad por el miembro
magnetisable, haciendo la electricidad ser generado en la conducción bobinas.
Una encarnación inmóvil alternativa usa dos interruptores de renuencia y dos
huecos del aire u otros materiales.
En encarnaciones alternativas, el flujo que cambia
el aparato comprende un cuerpo formado de materiales de permeabilidad baja y
permeabilidad alta, tal que cuando el cuerpo es hecho girar, el flujo del imán
es secuencialmente invertido por el miembro magnetisable. En la encarnación
preferida el cuerpo es tener cilíndrico un eje central, y el cuerpo gira sobre
el eje. El cilindro es formado de un material de permeabilidad alta excepto la
sección del material de permeabilidad baja que dividió el cilindro en dos mitad
cilindros. Al menos un bobina eléctricamente propicio es la herida alrededor
del miembro magnetisable, tal que cuando el cuerpo gira se induce una corriente
eléctrica en el bobina. El cuerpo puede ser hecho girar por fuerzas mecánicas,
electromecánicas u otras.
Un método de generar corriente eléctrica,
comprende los pasos de proveer a un miembro magnetisable de therearound de
herida de bobina eléctricamente propicio, y secuencialmente invertir el flujo
de un imán permanente por el miembro, así induciendo la corriente eléctrica en
el bobina.
BREVE
DESCRIPCIÓN DE LOS DIBUJOS

Fig.1 es un diagrama esquemático de un
recorrido magnético según la invención.

Fig.2 es una vista de perspectiva de una
encarnación de la invención basada sobre interruptores de flujo magnéticos
inmóviles.

Fig.3 es un dibujo de detalle de un interruptor
de flujo inmóvil según la invención.

Fig.4 es un dibujo de detalle de un interruptor
de renuencia según la invención.

Fig.5 es un dibujo de detalle de un flujo
inmóvil alternativo cambian según la invención que utiliza huecos del aire u
otros materiales.

Fig.6 es un diagrama esquemático de un sistema
usando un interruptor de flujo rotatorio según la invención.

Fig.7 es un dibujo de detalle de un interruptor
de flujo rotatorio según la invención.

Fig.8 es un diagrama esquemático de un
recorrido según la invención que utiliza dos imanes permanentes y un camino de
flujo solo.

Fig.9 muestra una encarnación física posible
del aparato con los componentes de Fig.8, incluso una unidad de control de
interruptor de renuencia.

Fig.10 espectáculos y serie de generadores
eléctricos interconectados según la invención.
DESCRIPCIÓN DETALLADA DE
LAS ENCARNACIONES PREFERIDAS

Fig.1 es un diagrama esquemático de un recorrido
magnético según la invención que utiliza un interruptor de flujo inmóvil. El
recorrido incluye los componentes siguientes: un imán permanente 102, camino de
flujo solo 104, conduciendo bobinas 106, 108, y cuatro renuencia cambia 110,
112, 114, 116. En el control de unidad 118, la renuencia cambia 110, 114
abierto (renuencia creciente), mientras interruptores 112, 116 cercano (renuencia
decreciente). La renuencia cambia 110, 114 entonces cerca, mientras
interruptores 112, 116 abierto, etcétera. Este 2x2 el ciclo que se abre y de
cierre repite y, como esto hace, el flujo magnético del imán permanente inmóvil
102 es invertido en la polaridad por el camino de flujo solo 104, haciendo la
electricidad ser generado en la conducción bobinas 106, 108.
Una forma eficiente del imán permanente 102 es un
"C" en el cual los postes están en la proximidad cercana el uno al
otro y engranan con el interruptor de flujo. El flujo solo es llevado por un
miembro magnetisable 100, también en una forma de "C" con finales que
están en la proximidad cercana el uno al otro y también engranan con el
interruptor de flujo. En este, y en otras encarnaciones, el 2x2 la conmutación
del ciclo es realizada simultáneamente. Como tal, el recorrido de control 118
es preferentemente puesto en práctica con un reloj controlado por cristal que
alimenta mostradores digitales, chanclas, paquetes de puerta, o el parecido,
ajustar tiempo de subida, tiempo de caída, sonando y otros efectos parásitos.
La etapa de salida del recorrido de control puede usar FET (interruptores de
Transistor de Efecto de campaña) a la ruta formas de onda análogas o digitales
a los interruptores de renuencia como requerido.

Fig.2 es una perspectiva de una encarnación física
posible del aparato usando los componentes de Fig.1, mostrando a sus posiciones
relativas el uno al otro. La renuencia cambia 110, 112, 114, 116 puede ser
puesto en práctica diferentemente, como descrito abajo, pero ocupará por lo
general la misma posición relativa dentro del aparato.

Fig.3 es un dibujo de detalle del interruptor de
flujo inmóvil. La unión de segmentos 120, 122, 124, 126 debe ser hecha de un
material de ferromagnético de permeabilidad alta. El volumen central 128 puede
ser un por agujero, proporcionando un hueco de aire, o puede estar lleno de
cristal, material de permeabilidad baja de cerámica u otro. Un superconductor u
otra estructura que expone el efecto de Meissner pueden ser o bien usados.
En la encarnación representada en Fig.2 y Fig.3,
la renuencia cambia 110, 112, 114, 116 son puestos en práctica con una
estructura transistorizada que facilita la operación inmóvil. El interruptor de
renuencia inmóvil actualmente preferido es descrito por Toshiyuki Ueno y
Toshiro Higuchi, en la "Investigación de papel en Propiedades Dinámicas
del Dispositivo de Control de Flujo Magnético formado de la Laminación del
Material Piezoeléctrico Material Magnetostrictive," la Universidad de
Tokio 2004, la totalidad de que es incorporada aquí por la referencia. Como
mostrado en Fig.4, este interruptor es hecho de un laminado de un GMM (Material
de Gigante Magnetostrictive 42), una aleación TbDyFe, unida a ambos lados por
un PZT material (Piezoeléctrico) 44, 46 a que la electricidad es aplicada. La
aplicación de electricidad al PZT crea la tensión en el GMM, que hace que su
renuencia aumente.

Otros arreglos son aplicables, incluso aquellos
revelados en el No 2006/0012453 Consecutivo de Aplicación Evidente
estadounidense pendiente, el contenido entero de que es incorporado aquí por la
referencia. Estos interruptores revelados en esta referencia están basados
sobre el magnetoeléctrico (MÍ) efectos de materiales de cristal líquidos en la
forma de magnetorestrictive y efectos piezoeléctricos. Las propiedades de MÍ
materiales son descritas, por ejemplo, en Ryu y Al-, "Efecto
Magnetoeléctrico en Compuestos de Magnetorestrictive y Materiales
Piezoeléctricos," el Diario de Electroceramics, Vol. 8, 107-119
Filipov et al, "Magnetoelectric Effects at
Piezoresonance in Ferromagnetic-Ferroelectric Layered Composites," Extracto,
Sociedad Física americana que Se encuentra (marzo de 2003) y Chang et al.,
"Cinta de magneto de Cintas Nanographite Apiladas," Extracto,
Sociedad Física americana que Se encuentra (marzo de 2003). El contenido entero
de cada uno de estos papeles también es incorporado aquí.
Las alternativas adicionales incluyen materiales
que pueden secuencialmente calentado y permitido enfriarse (o refrescado y
permitido calentar o activamente calentado y refrescado) encima y debajo de la
temperatura Currie, así modulando la renuencia. El Gadolinium es un candidato
ya que su punto de Currie está cerca de la temperatura ambiente. Los superconductores
altos de temperaturas son otros candidatos, con el material refrescado en una
cámara aislada en una temperatura considerablemente en o cerca del punto de
Currie. La microonda u otras fuentes de energía pueden ser usadas junto con la
unidad de control para efectuar esta conmutación. Según como rígidamente los
interruptores están contenidos, los `yugos restrictivos de extensión
adicionales pueden o poder no ser necesarios alrededor del bloque mejor visto
en Fig.4.

Fig.5 es un dibujo de detalle de un interruptor de
flujo inmóvil alternativo según la invención que utiliza huecos del aire u
otros materiales. Esta encarnación usa dos interruptores de renuencia
eléctricamente hechos funcionar 110, 114, y dos huecos 113, 115, tal que cuando
los interruptores son activados en una manera prescribida, el flujo del imán
102 es bloqueado a lo largo de los segmentos de interruptor que contienen los
interruptores y forzado por los segmentos que contienen hueco, así invirtiendo
el flujo por el miembro magnetisable 100.
Sobre la activación de la dos renuencia cambia 110, 114, el flujo,
buscando un camino de la renuencia considerablemente inferior, capirotazos
atrás al camino original que contiene el (no desactivado) interruptores de
renuencia, así invirtiendo el flujo por el miembro 100. Note que los
interruptores de flujo también pueden ser electromagnéticos para saturar
regiones locales del interruptor tal que la renuencia aumenta a esto del aire
(o material de hueco), creando un hueco virtual como descrito por Konrad y
Brudny en el fondo de la Invención.
Más en particular, el flujo que cambia el aparato
según esta encarnación usa un imán permanente que tiene un Polo Norte 'N' y un
polo sur `S' en la relación contraria a través de un hueco que define un volumen.
Un miembro magnetisable con finales `'un' 'y' B' es apoyado en la relación
contraria a través de un hueco que comparte el volumen, y un interruptor de
flujo comprende un bloque inmóvil en el volumen que tiene cuatro lados, 1-4,
con dos lados contrarios interafrontados a N y S, respectivamente y con los
otros dos lados contrarios interafrontados a A y B, respectivamente. El bloque
es formado de un material magnetisable segmentado por dos interruptores de
flujo magnéticos eléctricamente hechos funcionar y dos huecos llenos del aire u
otro material (es). Una unidad de control en la comunicación eléctrica con los
interruptores de flujo es vigente a:
a) pasivamente permita un camino de flujo de falta por lados 1-2 y 3-4,
entonces
b) activamente establezca un camino de flujo por lados 2-3 y 1-4, y
c) repetir a) y b) en una base secuencial.

Como una alternativa a un interruptor de flujo
inmóvil, un interruptor de flujo rotatorio puede ser usado para poner en
práctica el 2x2 secuencia alternadora. Respecto a Fig.6 y Fig.7, el cilindro
130 con el hueco de flujo 132 es hecho girar por unos medios de motivo 134.
Este hace que las mitades de cilindro 130 provean dos concurrente y separen
puentes de flujo magnéticos (es decir, una condición de interruptor de renuencia
"cerrada"), en que un final dado del miembro magnetisable 136 es
emparejado con uno de los postes del imán permanente inmóvil 138.
Simultáneamente, el otro final del portador de camino de flujo solo 136 es
emparejado con el poste de enfrente del imán permanente inmóvil 138.
Fig.7 es una vista de detalle del cilindro. Cada 90° rotación del cilindro hace que los
primeros puentes de flujo estén rotos (una renuencia "abierta" cambia
la condición) y un segundo juego de puentes de flujo para ser creados en que
tienden un puente entonces sobre el final dado del miembro 136 con el poste de
enfrente del imán permanente inmóvil 138. Una rotación llena de cilindro 130
causas cuatro tales inversiones. Cada inversión de flujo dentro de camino de
flujo solo 2 causas una corriente eléctrica para ser inducida en conducción
bobina (s) 140, 142. En esta encarnación, es importante guardar un espaciado
preciso, consecuente entre cada una "de las mitades" del cilindro
(rotativo) 130 con relación a los postes del imán permanente 138 y los finales
del portador de camino de flujo 136 cuando los puentes de flujo magnéticos son
proporcionados por el cilindro 130 como esto gira.
Giro cilindro 130 es hecho del material de
permeabilidad magnético alto que es dividido completamente por el hueco de
flujo 132. Un material preferido es un material nanocrystalline como FINEMET ®
hecho por Hitachi. El hueco de flujo 132 puede ser el aire, el cristal, de
cerámica, o cualquier material que expone la permeabilidad bajo magnética. Un superconductor
u otra estructura que expone el efecto de Meissner pueden ser o bien usados.
Una forma eficiente del miembro magnetisable 136
es un "C" en el cual sus finales contrarios son encorvados con un
mismo radio que el cilindro 130 y están en la proximidad más cercana posible
con el cilindro rotativo 130. El imán permanente 138 es también preferentemente
C - formado en que los postes contrarios son encorvados con un mismo radio que
el cilindro 130 y están en la proximidad más cercana posible con el cilindro
rotativo 130. La fabricación y las consideraciones de asamblea pueden dictar
otras formas.

Mientras las encarnaciones describieron hasta ahora el uso un imán
permanente solo, otras encarnaciones son posibles según la invención que
utiliza una pluralidad de imanes permanentes sin embargo generando un camino de
flujo solo. Fig.8 representa un
recorrido usando dos imanes permanentes y un camino de flujo solo. Fig.9 muestra una encarnación física posible
del aparato basado sobre los componentes de Fig.8, incluso una unidad de
control de interruptor de renuencia 158.

En el control de unidad 158, la renuencia cambia
150, 152 abierto (renuencia creciente), mientras interruptores 154, 156 cercano
(renuencia decreciente). La renuencia cambia 150, 152 entonces cerca, mientras
interruptores 154, 156 abierto, etcétera. Este 2x2 el ciclo que se abre y de
cierre repite y, como esto hace, el flujo magnético de imanes permanentes
inmóviles 160, 162 es invertido en la polaridad por el miembro magnetisable, haciendo
la electricidad ser generado en la conducción bobinas 166, 168.
En la realización preferida de esta encarnación,
los imanes son arreglados con su N y postes S invertidos. El miembro
magnetisable es dispuesto entre los dos imanes, y hay cuatro interruptores de
flujo, SW1-SW4, dos entre cada final del miembro y los postes de cada imán. Los
interruptores de renuencia son puestos en práctica con las estructuras
descritas encima en cuanto a Figs. 1 a 3.
Para la particularidad añadida, asuma que el primer
imán tiene el norte y el polo sur, N1 y S1, el segundo imán tiene el norte y el
polo sur, N2 y S2 y el miembro tiene dos finales A y B. La asunción de SW1 es
situada entre N1 y A, SW2 está entre A y S2, SW3 está entre N2 y B, y SW4 está
entre B y S1, la circuitería de control vigente para activar SW1 y SW4, luego
activar SW2 y SW3, y repetir este proceso en una base secuencial. Como con las
otras encarnaciones descritas aquí, por motivos de la eficacia, la conmutación
es realizada simultáneamente.
En todas las encarnaciones descritas aquí el
material usado para el imán (anes) permanente puede ser asamblea magnética o
una unidad magnetizada sola. Los materiales preferidos son imanes de ferrita de
cerámica (Fe203), samarium cobalto (SmCO5), o
combinaciones de hierro, neodymium, y boro. El camino de flujo solo es llevado
por un material que tiene una permeabilidad magnética alta y construido para
minimizar corrientes de remolino. Tal material puede ser una asamblea de hierro
o de acero laminada o el corazón de ferrita como usado en transformadores. Un
material preferido es un material nanocrystalline como FINEMET ®. La conducción
bobina o bobinas es la herida alrededor del material que lleva el camino de
flujo solo tantas vueltas como requerido para encontrar el voltaje, corriente u
objetivos de poder. El alambre de imán ordinario, estándar, aislado, de cobre
(alambre de motor) es suficiente y aceptable. La superconducción de materiales
también puede ser usada. Al menos un poco de la electricidad inducida en la
conducción bobinas puede ser alimentada atrás en la unidad de control de
interruptor. En este modo de la operación, comenzando pulsos de la electricidad
puede ser proporcionado de una batería química o solar, como requerido.

Aunque en las encarnaciones de Fig.2 y Fig.6 el
imán y los materiales que llevan flujo sean elementos llanos que están en
aviones ortogonales con el material que lleva flujo y está fuera del volumen
descrito por el imán, el camino de flujo puede ser dispuesto 'dentro' 'de' el
volumen de imán o configurado en un ángulo. La escala física de los elementos
también puede ser variada para aprovechar técnicas industriales u otras
ventajas. Fig.10, por ejemplo, muestra
una serie del recorrido magnético, cada uno teniendo uno o varios bobinas que
pueden ser en serie, paralela, o combinaciones paralelas de serie, según
voltaje o exigencias corrientes. En cada caso los imanes pueden ser colocados o
fabricaron técnicas de utilización comunes a la industria de microelectrónica.
Si los interruptores de flujo mecánicos son usados ellos pueden ser fabricados
usando técnicas de MEMs-tipo. Si los interruptores inmóviles son usados, los
materiales pueden ser colocados y/o depositados. Los caminos son
preferentemente la herida de antemano entonces picoteada y colocada en la
posición como mostrado. La encarnación mostrada en Fig.9 es también dócil con
miniaturización y replicación.
Patente US 6,800,955 5 de octubre 2004 Inventor: William McDavid jnr.
Dispositivo de conversión de
energía impulsado por fluido
Nota: La expresión de esta patente ha sido cambiada para
hacer más fácil para entender. Una copia inalterada puede ser descargada de www.freepatentsonline.com. En esta patente, Guillermo relaciona secciones
de su diseño según la dirección de flujo por el alojamiento y entonces él llama
la primera sección la cámara "río abajo" y la cámara siguiente como
"el río arriba" cámara. Aunque el echar agua pudiera ser usado, esta
patente esencialmente describe una eficacia alta generador impulsado por
viento. Para dimensiones: una pulgada = 25.4 mm.
EXTRACTO
Un dispositivo de
conversión de energía impulsado por fluido que convierte la energía en un
fluido móvil en la energía mecánica. Un marco cilíndrico rígido de deflectors
de toroidal forma una cámara "río arriba" anular o de forma anular y
una cámara anular "río abajo", cada una de las cámaras que tienen
lados abiertos para permitir la entrada del fluido. Las deflectors de toroidal
crean un río arriba vórtice de paseo
en una cámara de vórtice río arriba central, y un vórtice de extracción río abajo el giro en
dirección contraria en una cámara de vórtice central río abajo. Un juego de
persianas de bisagra rodea las cámaras de vórtice y éstos permiten que el
fluido entre en cada cámara sólo en dirección de la rotación de vórtice, e
impida al fluido salir por los lados del dispositivo. El vórtice conductor
pasa, y gira, una turbina colocada en una abertura central entre las dos
cámaras. Las láminas de turbina son hechas girar por el ímpetu rotatorio del
vórtice fluido conductor, más el levantamiento generado por cada lámina de
turbina, más el ímpetu adicional impartido por la inversión de vórtice.
McDavid, Jr. US 6,710,469
McDavid, Jr. US 6,518,680
Walters
Descripción:
ANTECEDENTES DE LA
INVENCIÓN
1. Campo Técnico de la Invención
La invención
presente está relacionada generalmente con generación eléctrica y dispositivos
de conversión de energía, y más en particular a un dispositivo de conversión de
energía impulsado por fluido que convierte la energía de viento o echar agua
suelto en la energía mecánica o eléctrica.
2. Descripción de Arte
Relacionada
El uso de viento
o echar agua suelto para proporcionar poder para varios usos se remonta muchos
siglos. En tiempos modernos, el viento y el echar agua han sido usados para
generar la electricidad. Las plantas de generación hidroeléctricas han sido
usadas para generar cantidades grandes de la energía eléctrica para la
distribución extendida. Sin embargo, este requiere cambios ambientales
permanentes principales en las áreas donde las presas son construidas y subida
de embalses. Los dispositivos impulsados
por viento, en general, han sido usados para realizar el trabajo mecánico, o
generar la electricidad, sólo por una escala limitada. Con la demanda creciente
de fuentes de energía adicionales, o alternativas, todas las fuentes posibles
están siendo dadas más escrutinio. Este es en particular verdadero para fuentes
que son no contaminantes e inagotables. Los sistemas hidroeléctricos e
impulsados por viento libres sueltos proporcionan tales fuentes, y la captura
de la energía aumentada de viento y echar agua ha recibido mucha consideración.
Sin embargo,
los dispositivos de generación eléctricos hidroeléctricos e impulsados por
viento comerciales que están actualmente en el uso tienen varias desventajas.
Los dispositivos impulsados por viento, en particular, son caros, ineficaces,
peligrosos, ruidosos, y desagradables de estar alrededor. Para capturar un
volumen grande del viento, los dispositivos impulsados por viento existentes
son muy grandes. Como consiguiente, ellos no pueden ser distribuidos en todas
partes de centros demográficos, pero deben ser instalados alguna distancia
lejos. Entonces, como presas con generadores hidroeléctricos, la energía
eléctrica que ellos generan debe ser transmitida, en el coste considerable y
con la pérdida de energía considerable, a los centros demográficos donde la
energía es necesaria.
Sería deseable
distribuir unidades echar agua impulsadas e impulsadas por viento más pequeñas
en todas partes de los centros demográficos. Por ejemplo, sería deseable tener
una unidad impulsada por viento para cada estructura de edificio, así
distribución de la capacidad de generación sobre el área entera, y fabricación
de la energía suministrar menos vulnerable a acontecimientos locales como
tormentas o terremotos. Tal generación distribuida también solucionaría la
objeción más común y válida al poder de viento, a saber, que el viento no hace
volar todo el tiempo. En un área geográfica grande, sin embargo, el viento casi
siempre sopla en algún sitio. Por lo
tanto, con generadores impulsados por viento que son distribuidos en todas
partes del área, el poder podría ser generado en las áreas donde el viento
sopla, y luego transmitido al resto de la rejilla de poder. Sin embargo, con la
tecnología existente, las unidades más pequeñas convenientes para distribuir en
todas partes de un área demográfica no son bastante eficientes para
proporcionar una cantidad suficiente de la energía de impulsar una estructura
como una casa o edificio de oficina. Además, tales unidades son visualmente
molestas y ruidosas, haciéndolos inadecuado para el uso en ajustes
residenciales u otros muy poblados.
Los
dispositivos de generación eléctricos impulsados por viento existentes
comúnmente utilizan una hélice montada en el eje horizontal de un generador
que, por su parte, es montado en lo alto de una torre. Este es un diseño
ineficaz porque la energía es extraída del viento reduciendo la velocidad de
viento cuando esto pasa por la hélice. Este crea un bolsillo del aire lento
cantered detrás de la hélice, que el viento ambiental hace volar alrededor. Por
lo tanto, sólo la porción externa de las láminas de hélice usa el viento
eficazmente.
Para responder
a este efecto, los diseños de molino de viento modernos utilizan láminas de
hélice muy largas. El uso de tales láminas masivas, sin embargo, tiene sus
propias desventajas. En primer lugar, se conoce que las hélices matan o hieren
a miles de aves grandes cada año. En segundo lugar, las láminas masivas pueden
ser peligrosas si el dispositivo falla estructuralmente y las rupturas de hélice
sueltas. En este caso, la hélice puede
volar una distancia considerable y causar el daño serio o la herida a algo o
alguien en su camino. En tercer lugar, el diseño de hélice contiene un
desequilibrio gravitacional inherente. Las láminas crecientes en un lado del
cubo de la hélice se oponen a la gravedad, mientras las láminas inclinadas al
otro lado del cubo se caen con la gravedad. Este desequilibrio crea mucha
vibración y tensión en el dispositivo. Por consiguiente, el dispositivo debe
ser estructuralmente realzado, en el gran gasto, resistir la vibración y la
tensión, y así evitar el mantenimiento frecuente y/o el reemplazo.
Sería por lo
tanto ventajoso tener un dispositivo de conversión de energía impulsado por
fluido que vence los defectos de dispositivos existentes. Tal dispositivo
podría utilizar la energía de viento o la energía de echar agua suelto de
proporcionar la energía mecánica o la energía eléctrica. La invención presente
proporciona tal dispositivo.
RESUMEN DE LA INVENCIÓN
Un aspecto, la
invención presente es un dispositivo de conversión de energía impulsado por
fluido para convertir la energía en un fluido móvil en la energía mecánica. El
dispositivo incluye un marco cilíndrico rígido que tiene una cámara (de forma
anular) "río arriba" anular y una cámara anular "río
abajo". Cada una de las cámaras tiene lados que están abiertos para
permitir la entrada del fluido móvil. Un primer juego de deflectors es montado
longitudinalmente en el río arriba cámara, y éstos crean un vórtice conductor
que gira en una primera dirección cuando el fluido móvil entra el río arriba
cámara por los lados abiertos de la río arriba cámara. Un juego de persianas de
bisagra es colocado en las aperturas entre estas deflectors, creando una cámara
de vórtice central centrada en el eje longitudinal del dispositivo.

Este primer
juego de la persiana agita la entrada de permisos del fluido móvil en la cámara
de vórtice río arriba central sólo cuando el fluido gira en la primera
dirección. Ellos también impiden al fluido salir de la cámara de vórtice río
arriba central por los lados del dispositivo. El dispositivo también incluye un
suelo de la cámara río arriba anular que se inclina hacia arriba hacia la
cámara río abajo cuando el suelo se acerca al eje longitudinal central del
dispositivo.

Este suelo
inclinado hace que el vórtice de paseo fluya "río abajo" (hacia
arriba para el aire) por la cámara de vórtice río arriba central y pase por una
abertura central localizada entre la cámara río arriba anular y la cámara
anular río abajo. Un árbol motor longitudinal es montado centralmente en la
abertura central, y una turbina es montada en el árbol motor en la abertura
central. La turbina es hecha girar por el vórtice de paseo cuando el vórtice de
paseo pasa por la abertura central.

El dispositivo
también puede incluir un segundo juego de deflectors longitudinalmente montadas
en "el río abajo" (superior para el aire) cámara que funcionan para
crear un vórtice de extracción que gira en dirección contraria cuando el fluido
móvil entra en la cámara río abajo por los lados abiertos de la cámara río
abajo. Además, un segundo juego de persianas de bisagra puede ser colocado en
las aperturas entre el segundo juego de deflectors, rodeando una cámara de
vórtice central río abajo. El segundo
juego de persianas permite la entrada del fluido móvil en la cámara de vórtice
central río abajo sólo cuando el fluido gira en la dirección enfrente de la
dirección de flujo en "el río arriba" comba. Estas persianas también
impiden al fluido salir la cámara de vórtice central río abajo por los lados
del dispositivo. En esta manera, la turbina es hecha girar por el vórtice de
paseo cuando el vórtice de paseo pasa por la turbina e invierte la dirección
para emparejar la dirección del vórtice de extracción.
Para
condiciones de viento fuerte o cuando impulsado por el flujo de echar agua, el
vórtice conductor y el vórtice de extracción pueden girar en la misma
dirección. El primer juego de persianas de bisagra forma la cámara de vórtice
río arriba central, y el segundo juego de persianas de bisagra forma la cámara
de vórtice central río abajo. El primer juego de persianas permite la entrada
del viento o echar agua en la cámara de vórtice río arriba central sólo cuando
el fluido gira en la primera dirección.
BREVE DESCRIPCIÓN DE LOS DIBUJOS
La invención
será mejor entendida y sus numerosos objetos y las ventajas se harán más
aparentes a aquellos expertos en el arte en cuanto a los dibujos siguientes,
junto con la especificación de acompañamiento, en cual:

FIG.1 es una vista de perspectiva de una primera encarnación
de la invención presente que convierte la energía de viento a la energía
mecánica o eléctrica;

FIG.2 es una vista de plan superior de la encarnación de Fig.1

FIG.3 es un lado elevational la vista de la encarnación de
Fig.1

FIG.4 es una vista enfadada seccional de la encarnación de Fig.1
tomado a lo largo de la línea 4 4 de Fig.3 con un generador eléctrico
instalado para producir la energía eléctrica;

FIG.5 es una vista de perspectiva de un volante llenado por
fluido conveniente para el uso con la invención presente;

FIG.6 es una vista de plan superior del volante llenado por
fluido de Fig.5

FIG.7 es una vista enfadada seccional de una encarnación de la
invención presente que convierte la energía de agua suelto a la energía eléctrica;

FIG.8 es una vista de perspectiva de la encarnación de Fig.1
con las deflectors longitudinales dibujadas en el fantasma de modo que el
separator central anular (mediados de cubierta) y turbina pueda ser visto

FIG.9 es una vista enfadada seccional horizontal de la
encarnación de Fig.1 tomado a lo largo de la línea 9 9 de Fig.8

FIG.10 es una vista de perspectiva de una segunda encarnación
de la invención presente que convierte la energía de viento a la energía
mecánica o eléctrica, con las deflectors longitudinales dibujadas en el
fantasma de modo que un juego de persianas longitudinales de bisagra pueda ser
visto; y

FIG.11 es una vista enfadada seccional horizontal de la
encarnación de Fig.10 tomado a lo largo de la línea 11 11 .
En los dibujos,
como o elementos similares son designados con números de referencia idénticos
en todas partes de varias vistas, y varios elementos mostrados no
necesariamente son dibujados para escalar.
DESCRIPCIÓN DETALLADA DE ENCARNACIONES

Fig.1 es una vista de perspectiva de una encarnación de la
invención presente que convierte la energía de viento a la energía mecánica o
eléctrica. El dispositivo de conversión de energía 10 incluye cowling inmóvil
11 alrededores de una cámara de forma anular o en forma de rosquilla río arriba
(inferior) 12 y una cámara de forma anular (superior) río abajo 13. El cowling
puede ser construido de cualquier material rígido conveniente como madera,
plástico, metal, o similar. El cowling puede ser construido de un material
transparente, haciendo el dispositivo visualmente discreto. En la encarnación
preferida de la invención presente, el cowling es cilíndrico y es construido de
un plástico de calidad superior, ultravioleta-protegido.
El cowling 11
incluye un juego de deflectors longitudinales que son encorvadas y arregladas
en un modelo toroidal. Río arriba las deflectors 14a son montadas en la cámara
río arriba anular 12, y río abajo aturde 14b son montados en la cámara anular
río abajo 13. En la encarnación preferida de la invención presente,
aproximadamente seis deflectors longitudinales toroidal son montadas en cada
cámara. Las deflectors funcionan para dirigir el viento en cada cámara. El área
enfadada seccional que se estrecha entre las deflectors hace que el aire
acelere cuando esto se mueve hacia el centro del dispositivo, creando dos
velocidad alta vortices (río arriba conducen el vórtice y un vórtice de
extracción río abajo). Aunque la invención sea descrita aquí principalmente
como un cilindro verticalmente orientado, debería ser entendido que el
dispositivo puede ser instalado en otras posiciones, como una orientación
horizontal, que causa el dispositivo que tiene una cámara río arriba anular y
una cámara anular río abajo que están en la misma altura. O bien, como notado
abajo en relación a Fig.7, el dispositivo puede ser invertido cuando usado en
el echar agua desde el echar agua vortices movimiento más fácilmente hacia
abajo más bien que hacia arriba.
En la
encarnación ilustrada en Fig.1, en el cual el viento de velocidad baja está la
fuente de energía de entrada, el río arriba las deflectors 14a y las deflectors
río abajo 14b son encorvadas en sentidos contrarios. Las deflectors por lo
tanto crean dos velocidad alta vortices que giran en sentidos contrarios. Como
descrito abajo en relación a Fig.4, la dirección del flujo de vórtice es
invertida en una turbina localizada entre la cámara río arriba anular 12 y la
cámara anular río abajo 13, así añadiendo el poder rotatorio adicional con la
turbina. En la encarnación
hidroeléctrica en la cual el echar agua suelto es la fuente de energía de
entrada, y en condiciones de viento rápidas como cuando el dispositivo es
montado en un vehículo, el río arriba las deflectors y las deflectors río abajo
pueden ser encorvadas en la misma dirección. En aquellas encarnaciones
particulares, por lo tanto, las deflectors crean dos velocidad alta vortices
que giran en la misma dirección. El dispositivo puede ser convertido de un
dispositivo de viento bajo a un dispositivo de viento fuerte quitando la cámara
anular río abajo contrarotatoria 13 y sustituyéndolo con una cámara anular río
abajo que crea un vórtice que gira en la misma dirección que el vórtice de
paseo.
En la
encarnación preferida de la invención presente, la malla plástica (no mostrado)
puede rodear la entrada y aperturas de salida del cowling 11 para prevenir a
aves, animales, o escombros de entrar en el dispositivo 10. Además, debe el dispositivo
fallar estructuralmente, cualquier parte rota está contenida por la malla en
vez de irse en avión en las cercanías y causar daño o herida.

Fig.2 es una vista de plan superior de la encarnación de
Fig.1. La cumbre del cowling 11 incluye una abertura central 21 por que el aire
en el vórtice de extracción sale el dispositivo. En la encarnación preferida,
el vórtice de extracción sale el dispositivo que gira en una dirección
contraciclónica (dextrórsum en el Hemisferio Norte) de modo que esto se disipe
más bien que crear torbellinos potencialmente perjudiciales. La turbina 22 es
visible por la abertura. La turbina gira alrededor de un árbol motor central 23.

Fig.3 es una vista de lado-elevational de la encarnación de
Fig.1 que ilustra el perfil del cowling 11, la cámara río arriba anular 12, la
cámara anular río abajo 13, y las deflectors 14a y 14b. El cowling puede ser
montado en una base 31 y la base 31 también puede ser usada para encerrar
asambleas mecánicas adicionales como un volante y/o un generador eléctrico.

Fig.4 es una
vista enfadada seccional de la encarnación de Fig.1 tomado a lo largo de línea
4 4 de Fig.3 con un volante 41 instalado en la base 31 junto con un generador
eléctrico 42 para producir electricidad. El viento ambiental fluye
simultáneamente en la cámara río arriba anular 12 por río arriba deflectors
14a, y en la cámara anular río abajo 13 por las deflectors río abajo 14b por
los lados del cowling 11. Las deflectors dirigen el viento ambiental hacia el
centro del dispositivo 10. Un suelo
parabólico inclinado (adorna) 43 de la cámara río arriba anular 12 causas el
viento para fluir río abajo en la turbina centralmente montada 22 que gira en
el árbol motor central 23. El dispositivo 10 poder de productos dirigiendo el
viento ambiental fluye en dos velocidad alta vortices arreglado río arriba y
río abajo de la turbina que convierte los flujos de viento a la energía
mecánica girando el árbol motor 23. Las RPM altas y la torsión alta son
producidas por la turbina debido a tres factores primarios:
(1) cada lámina de la turbina es
formada como una pala que captura el ímpetu rotatorio del vórtice de paseo;
(2) cada lámina de la turbina
tiene una forma enfadada seccional de una superficie de sustentación que genera
el levantamiento en dirección de la rotación de la turbina; y
(3) en
condiciones de viento bajas, la inversión de la dirección de la rotación de
vórtice añade la fuerza adicional a la turbina en dirección de la rotación.
El volante
grande 41 puede ser atado al árbol motor de turbina rotativo 23. En una
encarnación, el volante puede ser un imán permanente, rodeado por cuerdas de
cobre. El volante puede servir tanto como un dispositivo de almacenamiento de
energía interna debido a su ímpetu angular, como como un dínamo para el
generador 42 montado bajo la cubierta 43 de la cámara río arriba anular 12. Un
regulador electrónico transistorizado (no mostrado) puede ser utilizado para
controlar la carga corriente eléctrica. El regulador mantiene una carga cero
hasta que una velocidad rotatoria predeterminada (RPM) sea alcanzada. La carga
es aumentada entonces a fin de generar la electricidad manteniendo las RPM de
la turbina en un nivel preseleccionado.

es mostrado una
vista de perspectiva de otra encarnación del volante 41. En esta encarnación,
el volante (mostrado en el fantasma) incluye una cáscara en forma de disco
hueco 51 que está lleno de un fluido como el echar agua. El diseño mostrado
también incluye un ventilador 52 en el cubo del volante que gira con el árbol
motor 23 y el volante para producir un flujo del aire refrescante que es usado
para refrescar el generador adyacente 42 (Fig.4 y Fig.7). La colocación del abanico en el cubo del
volante crea una cámara anular 53 whicht sostienen el fluido. Dentro de la
cámara, hay un juego de mamparos radiales 54 ampliación de la pared interior 55
a la pared exterior 56 de la cámara. Cada uno de los mamparos radiales incluye
puertas engoznadas o incuba 57. En la versión de ejemplo mostrada aquí, cada
mamparo radial tiene tres puertas de bisagra.
Durante
aceleración del volante 41, estas puertas 57 abierto en dirección contraria de
rotación. Este permite que el fluido fluya por los mamparos radiales 54,
reduciendo la apatía de arranque. El fluido entonces despacio sube para
apresurarse debido a la fricción con las paredes interiores y exteriores 55 y
56 de la cámara anular, y debido al movimiento de los mamparos radiales por el
fluido. Durante la desaceleración del volante, las puertas se cierran debido al
ímpetu avanzado del fluido. Este crea mamparos radiales sólidos y hace que el
volante funcione como un volante sólido. El ímpetu angular del volante entonces
ayuda a mantener la velocidad angular del árbol motor 23 cuando el poder de
entrada del viento deja.

Fig.6 es una vista superior del volante llenado por
fluido 41 de Fig.5, mostrando a las láminas del ventilador 52 en el cubo del
volante, la cámara anular 53, los mamparos radiales 54, y las puertas 57 en la
posición cerrada (que decelera).
Así, el volante llenado por fluido 41 es en
particular bien satisfecho para el uso con este dispositivo de conversión de
energía 10 de la invención presente. El volante llenado por fluido permite la
vuelta rápida del árbol motor 23 reduciendo la apatía de arranque, pero resiste
a la desaceleración como un volante sólido. Estos rasgos pueden incrementar
considerablemente la eficacia de un dispositivo impulsado por viento o echar
agua impulsado que funciona con la variación de niveles de poder de entrada.
Por simplemente invirtiendo el volante, el volante llenado por fluido puede ser
usado con sistemas que giran dextrórsum o en contrario. Como un rasgo
adicional, transportando el peso es enormemente reducido porque el fluido puede
ser añadido en el punto de uso.

Refiriéndose
otra vez a Fig.4, un separator central anular (mediados de la cubierta) 44
divide la cámara río arriba anular 12 de la cámara anular río abajo 13. La
cumbre del mediados de la cubierta se inclina lejos de la turbina, causando el
viento ambiental que entra en la cámara anular río abajo derramarse de la
turbina. Este crea un área de la presión atmosférica reducida en el lado río
abajo de la turbina 22 que aumenta el flujo del aire de la cámara río arriba
anular 12 por la turbina. Cada lámina de la turbina 22 es una superficie de
sustentación curva que recibe el ímpetu rotatorio de la rotación del vórtice de
paseo, la inversión de la dirección de vórtice, y levantamiento aerodinámico
que es generado por la superficie de sustentación en dirección de la rotación
de la turbina.
En la
encarnación preferida de la invención presente, la turbina 22 y volante 41
puede ser hecha del metal. Adelante, todas las partes metálicas pueden ser
cubiertas de, por ejemplo, plástico, cromo, o pintura para prevenir la corrosión.
Como hablado encima, el volante puede ser un imán permanente o puede ser un
volante llenado por fluido. Todos los portes como el porte 45 pueden ser portes
de levitación de repulsión magnética de modo que no haya ningún contacto físico
entre el movimiento y elementos inmóviles del dispositivo. La base 31 puede ser
montada en un plato de apoyo 46 y/o un apoyo vigorizan 47, según la estructura
en la cual el dispositivo es montado y la orientación del dispositivo.
El árbol motor
central 23 también puede conducir el ventilador 52 que dibuja el aire
refrescante por aberturas 49 en el plato de apoyo y dirige el aire por el
generador 42. El aire acalorado puede salir por persianas 50 en la cubierta
parabólica 43 de la cámara río arriba anular 12 donde esto entonces se mezcla
con el corriente de aire conductor en la cámara río arriba anular para
descongelar el interior del dispositivo y la turbina 22.
El dispositivo
10 puede variar en sus dimensiones, según la aplicación específica para la cual
es utilizado. Por ejemplo, las dimensiones de un dispositivo impulsado por
viento que es montado en la azotea de una casa pueden estar entre 40 pulgadas y
48 pulgadas en el diámetro, y entre 60 pulgadas y 78 pulgadas en la altura. En
esta configuración, la turbina 22 tiene un diámetro aproximadamente una mitad
el diámetro del exterior del cowling 11 (es decir aproximadamente 20 a 24
pulgadas en el diámetro). Las versiones
más grandes pueden ser utilizadas para edificios más grandes como fábricas o
edificios de oficina con economías aumentadas de la escala. Por ejemplo, un
edificio de oficina puede usar un dispositivo que es 20 pies en el diámetro y
20 pies altos con una turbina que es 10 pies en el diámetro. Un dispositivo
montado por vehículo (por ejemplo, para un coche de pasajeros), diseñado para
condiciones de viento fuerte, puede ser aproximadamente 24 pulgadas en el
diámetro y 6 pulgadas en la altura. El generador y el volante, si alguno,
pueden ser montados dentro del contorno del vehículo, o en un portaequipajes. Una
pequeña versión hidroeléctrica del dispositivo que es colocado en una corriente
que corre o río puede tener dimensiones similares al dispositivo montado por
vehículo. Además, ya que la efusión de la versión hidroeléctrica es dirigida
hacia abajo, un deflector puede ser utilizado en cuerpos playos del echar agua
para prevenir la erosión de la cama de corriente.
Debería ser
notado que cuando la invención presente es orientada verticalmente, la turbina
22, el generador 42, y el volante 41 gira alrededor de un eje vertical. Por lo
tanto, las estructuras de apoyo no son sujetas a la vibración y acentúan
producido por efectos de gravedad en dispositivos de arte previos en los cuales
las hélices giran alrededor de un eje horizontal. Además, la eficacia de conversión
de viento excepcional es realizada de la invención presente como esto divierte
y acelera el flujo de viento ambiental en vortices que tienen varias veces la
velocidad del flujo de viento ambiental cuando ellos alcanzan la turbina. Además, la aceleración del flujo de aire en
las cámaras río arriba y río abajo anulares crea un área de presión baja que
tira el aire en el dispositivo de un área enfadada seccional eficaz que es
mayor que el área enfadada seccional física del dispositivo. Como consiguiente,
la invención presente proporciona un dispositivo de conversión de poder de
viento nuevo y mejorado que es quieter, safer, más eficiente, y más rentable
que dispositivos existentes.

Mandando ahora
a Fig.7, allí es mostrado una vista enfadada seccional de una versión de la
invención presente que convierte la energía de echar agua suelto a la energía
eléctrica (es decir un dispositivo hidroeléctrico). Hay tres diferencias claves
entre la encarnación hidroeléctrica de la encarnación impulsada del viento bajo
de Figs. 1 a 4. En primer lugar, río
arriba aturde 14a y las deflectors río abajo 14b curva en la misma dirección.
Las deflectors por lo tanto crean dos velocidad alta vortices que giran en la
misma dirección. Este es un diseño más eficiente cuando el fluido que fluye por
el dispositivo es un fluido incomprensible como el echar agua. En segundo
lugar, el dispositivo funciona más eficazmente cuando es invertido y montado
verticalmente desde el echar agua los vortices se mueven hacia abajo debido a la
fuerza de gravedad. La tercera diferencia es la proporción de la altura del
dispositivo al diámetro del dispositivo. Como notado encima, la encarnación
hidroeléctrica del dispositivo puede tener una altura que es más corta cuando
comparado a su diámetro, y puede tener una altura que es igual a o menos que su
diámetro.

Fig.8 es una vista de perspectiva de la encarnación
de Fig.1 con las deflectors longitudinales toroidal 14a y 14b dibujado en el
fantasma de modo que el separator central anular (mediados de cubierta) 44 y
turbina 22 pueda ser visto.

Fig.9 es una
vista enfadada seccional horizontal de la encarnación de Fig.1 tomado a lo
largo de la línea 9 9 de Fig.8. En esta vista, se puede ver que la cámara río
arriba anular 12 es dividida en un juego de cámaras más pequeñas 12a por 12f
por las deflectors longitudinales toroidal 14a. Los finales interiores de las deflectors
longitudinales definen una cámara de vórtice central 12g (ilustrado por un
círculo roto) en que río arriba el vórtice es formado, y de que río arriba el
vórtice entra en la turbina 22. La cámara de vórtice central 12g hace que un
diámetro aproximadamente iguale al diámetro de la turbina.

Fig.10 es una
vista de perspectiva de una segunda encarnación de la invención presente que
convierte la energía de viento a la energía mecánica o eléctrica, con
deflectors longitudinal 14a y 14b dibujado en el fantasma de modo que un juego
de persianas longitudinales de bisagra 61a y 61b pueda ser visto. Las persianas
de bisagra son montadas en las aperturas entre deflectors longitudinal. Las
persianas pueden ser montadas en una configuración circular en todas partes del
borde exterior de deflectors longitudinal al borde interior del deflectors. En la versión mostrada, las persianas son longitudinalmente
montadas en el borde interior del deflectors, alrededor del perímetro de la
cámara de vórtice central 12g. Cada una de las persianas es engoznada en un
lado (es decir, el lado windward cuando el viento entra por el deflectors) de
modo que la persiana pueda ser abierta hacia la cámara de vórtice central por
la fuerza del viento entrante. La anchura de cada persiana es ligeramente mayor
que la distancia entre persianas de modo que cada persiana ligeramente traslape
el borde de bisagra de la siguiente persiana. Este impide a las persianas abrirse
externas.

En Fig.11 allí
es mostrado una vista enfadada seccional horizontal de la encarnación de Fig.10
tomado a lo largo de la línea 11 11. Durante la operación, el viento que
sopla en la dirección mostrada del exterior del dispositivo de conversión de
energía es canalizado por deflectors longitudinal toroidal 14a en río arriba
cámaras 12a y 12b. Los deflectors bloquean el viento de entrar en las otras
cámaras 12c a 12f. El viento fluye por cámaras
12a y 12b, y entra en la cámara de vórtice central 12g abriendo las persianas
longitudinales de bisagra 61a que son montados entre el deflectors en las
aperturas que definen cámaras 12a y 12b. Las persianas restantes permanecen
cerradas, impidiendo al viento salir por los lados del dispositivo. Así, las
persianas activadas por viento son, en efecto, válvulas de dirección única que
permiten al viento fluir en la cámara de vórtice central por los lados del
dispositivo, pero sólo permitiendo al viento salir por la cumbre de la cámara,
y por la turbina 22.

Refiriéndose
otra vez a Fig.10, se puede ver que las persianas longitudinales 61a montado en
río arriba cámara 12 son engoznadas en el lado opuesto de las persianas 61b
montado en la cámara río abajo 13. Este es porque el vórtice en la cámara río
abajo gira en dirección contraria del vórtice en el río arriba cámara, y
toroidal río abajo deflectors 14b canalizan el viento en las persianas 61b en
dirección contraria. Como las persianas 61a en río arriba cámara 12, las
persianas 61b en la cámara río abajo 13 acto como válvulas de dirección única
que permiten al viento fluir en la cámara de vórtice central por los lados del
dispositivo, pero sólo permitiendo al viento salir por la cumbre de la cámara, y
del dispositivo. Esta configuración ayuda a mantener la fuerza tanto del río
arriba como vortices río abajo durante la operación del dispositivo.
Debería ser
reconocido que algún grado de la interpretación de conversión de energía
mejorada puede ser obtenido en una configuración en la cual hay toroidal
deflectors 14a y persianas engoznadas 61a sólo en la cámara río arriba anular
12 porque este asegura que todo el viento u otro fluido que entra en los lados
de río arriba cámara fluye por la turbina.
La adición de toroidal deflectors 14b en la cámara anular río abajo 13
proporciona la interpretación mejorada adicional, en particular cuando la
dirección de la rotación del vórtice río abajo está frente a la dirección del
río arriba vórtice. La interpretación de conversión de energía óptima es
proporcionada por un dispositivo habiendo que configurado opuestamente toroidal
deflectors 14a y 14b, y persianas opuestamente de bisagra 61a y 61b, tanto para
la cámara río arriba anular 12 como para la cámara anular río abajo 13.
Reclamaciones:
1. Un dispositivo de conversión de energía impulsado por fluido para convertir
energía en un fluido móvil en la energía mecánica, dijo el dispositivo que
comprende: un marco cilíndrico rígido que tiene una cámara río arriba anular y
una cámara anular río abajo, cada una de cámaras dichas que tienen lados que
están abiertos para permitir la entrada del fluido móvil; un primer juego de
deflectors longitudinalmente montó en el río arriba cámara que funcionan para
crear en el río arriba cámara, un río arriba vórtice de paseo que gira en una
primera dirección cuando el fluido móvil entra el río arriba cámara por los
lados abiertos de la río arriba cámara y por aperturas entre el deflectors; un
primer juego de persianas de bisagra colocadas en las aperturas entre el primer
juego de deflectors y rodeando una cámara de vórtice río arriba central
cantered alrededor de un eje longitudinal central del dispositivo, dijo primero
puesto de persianas siendo operables permitir la entrada del fluido móvil en la
cámara de vórtice río arriba central sólo cuando el fluido gira en la primera
dirección, e impedir al fluido salir la cámara de vórtice río arriba central
por los lados del dispositivo; un suelo de la cámara río arriba anular que se
inclina hacia la cámara río abajo como el suelo se acerca al eje longitudinal
central del dispositivo, dijo el suelo que hace el vórtice de paseo fluir río
abajo por la cámara de vórtice río arriba central y pasar por una abertura
central localizada entre la cámara río arriba anular y la cámara anular río
abajo; un árbol motor longitudinal centralmente montó en la abertura central; y
una turbina montada en el árbol motor en la abertura central, dijo la turbina
hecha girar por el vórtice de paseo cuando el vórtice de paseo pasa por la
abertura central.
2. El dispositivo de conversión de energía impulsado por fluido de la
reclamación 1 que adelante comprende un segundo juego de deflectors
longitudinalmente montó en la cámara río abajo que funcionan para crear en la
cámara río abajo, un vórtice de extracción río abajo que gira en una dirección
enfrente de la primera dirección cuando el fluido móvil entra en la cámara río
abajo por los lados abiertos de la cámara río abajo y por aperturas entre el
deflectors, por lo cual la turbina es hecha girar por el vórtice de paseo
cuando el vórtice de paseo pasa por la turbina e invierte la dirección para
emparejar la dirección del vórtice de extracción.
3. El dispositivo de conversión de energía impulsado por fluido de la reclamación
2 que adelante comprende un separator central anular entre río arriba cámara y
la cámara río abajo, dijo el separator que tiene una superficie río abajo que
las cuestas río abajo cuando esto se acerca al eje longitudinal central del
dispositivo, dijo río abajo la superficie que hace el vórtice de extracción
fluir río abajo, así creando un área de la presión fluida reducida río abajo de
la turbina.
4. El dispositivo de conversión de energía impulsado por fluido de la
reclamación 2 que adelante comprende un segundo juego de persianas de bisagra
colocadas en las aperturas entre el segundo juego de deflectors y rodea una
cámara de vórtice central río abajo cantered alrededor del eje longitudinal
central del dispositivo, dijo el segundo juego de persianas siendo operables
permitir la entrada del fluido móvil en la cámara de vórtice central río abajo
sólo cuando el fluido gira en la dirección enfrente de la primera dirección, e
impedir al fluido salir la cámara de vórtice central río abajo por los lados del
dispositivo.
5. El dispositivo de conversión de energía impulsado por fluido de la
reclamación 4 en donde dijo primero puesto de deflectors es encorvado para
formar un modelo toroidal en la primera dirección, y dijo que el segundo juego
de deflectors es encorvado para formar un modelo toroidal en la dirección
enfrente de la primera dirección.
6. El dispositivo de conversión de energía impulsado por fluido de la
reclamación 5 en donde dijo la turbina comprende un juego de láminas rotativas,
cada una de láminas dichas que tienen una forma enfadada seccional de una
superficie de sustentación curva que genera una fuerza de levantamiento, dijo
la fuerza de levantamiento dirigida en dirección de la rotación de la turbina.
7. El dispositivo de conversión de energía impulsado por fluido de la
reclamación 1 que adelante comprende un volante montado en el árbol motor, dijo
el volante que tiene la masa suficiente funcionar como un dispositivo de
almacenamiento de energía interna debido a su ímpetu angular.
8. El dispositivo de
conversión de energía impulsado por fluido de la reclamación 7 en donde dijo el
volante es un imán permanente.
9. El dispositivo de conversión de energía impulsado por fluido de la
reclamación 7 en donde dijo el volante es un volante llenado por fluido que
gira con el árbol motor en una dirección de rotación, dijo el volante llenado
por fluido que comprende: una cáscara en forma de disco hueco se llenó del
fluido; y un juego de mamparos radiales que separan el interior de la cáscara
en secciones separadas, cada uno de mamparos dichos que tienen al menos una
puerta fundamentalmente montada sobre eso para abrirse en una dirección
enfrente de la dirección de la rotación, dijo la puerta que cubre una abertura
en el mamparo cuando la puerta es girada a una posición cerrada, y puerta dicha
que abre la abertura cuando la puerta es girada a un puesto vacante; por lo
cual las puertas son abiertas por el fluido cuando el volante acelera en
dirección de la rotación, así permitiendo al fluido fluir por las aberturas en
los mamparos y reducir la apatía de arranque del volante, y por lo cual las
puertas están cerradas por el fluido cuando el volante decelera, así impidiendo
al fluido fluir por las aberturas, y hacer que el volante mantuviera el ímpetu
angular como un volante sólido.
10. El dispositivo de conversión de energía impulsado por fluido de la
reclamación 9 en donde la cáscara en forma de disco hueco incluye: un
compartimento anular se llenó del fluido; y un ventilador montó en una sección
de cubo central de la cáscara.
11. El dispositivo de conversión de energía impulsado por fluido de la
reclamación 1 que adelante comprende un generador eléctrico montado en el árbol
motor, dijo el generador que convierte la energía mecánica de la rotación del
eje en la energía eléctrica.
12. El dispositivo de conversión de energía impulsado por fluido de la
reclamación 11 que adelante comprende un ventilador montado en el árbol motor,
dijo el ventilador que dirige refrescando el aire por el generador.
13. Un dispositivo de conversión de energía impulsado por viento para convertir
energía de viento en la energía mecánica, dijo el dispositivo que comprende: un
marco cilíndrico rígido que tiene una cámara río arriba anular, una cámara
anular río abajo, y un separator central anular entre río arriba cámara y la
cámara río abajo, cada una de cámaras dichas que tienen lados que están
abiertos para permitir la entrada del viento ambiental, y dijeron el separator
central anular que tiene una abertura central allí y tiene una superficie río
abajo que cuestas río abajo cuando esto se acerca a un eje longitudinal central
del dispositivo; un primer juego de deflectors longitudinalmente montó en el
río arriba cámara y encorvado para formar un modelo toroidal esto funciona para
crear en una cámara de vórtice río arriba central cantered alrededor de un eje
longitudinal central del dispositivo, un río arriba vórtice de paseo que gira
en una primera dirección cuando el viento ambiental entra el río arriba cámara
por los lados abiertos de la río arriba cámara y por aperturas entre el
deflectors; un primer juego de persianas de bisagra colocadas en las aperturas
entre el primer juego de deflectors y rodeo de la cámara de vórtice río arriba
central, dijo primero puesto de persianas siendo operables permitir la entrada
del viento en la cámara de vórtice río arriba central sólo cuando el viento
gira en la primera dirección, e impedir al viento salir la cámara de vórtice
río arriba central por los lados del dispositivo; un segundo juego de deflectors
longitudinalmente montó en la cámara río abajo y encorvado para formar un
modelo toroidal operable para crear en una cámara de vórtice central río abajo
cantered alrededor del eje longitudinal central del dispositivo, un vórtice de
extracción río abajo que gira en una dirección enfrente de la primera dirección
cuando el viento ambiental entra en la cámara río abajo por los lados abiertos
de la cámara río abajo y por aperturas entre el deflectors; un segundo juego de
persianas de bisagra colocadas en las aperturas entre el segundo juego de
deflectors y rodeo de la cámara de vórtice central río abajo, el segundo juego
dicho de persianas siendo operables permitir la entrada del viento en la cámara
de vórtice central río abajo sólo cuando el viento gira en la dirección
enfrente de la primera dirección, e impedir al viento salir la cámara de
vórtice central río abajo por los lados del dispositivo; un suelo de la cámara
río arriba anular que se inclina río abajo como el suelo se acerca a un eje
longitudinal central del dispositivo, dijo el suelo que hace el vórtice de
paseo fluir río abajo y pasar por la abertura central en el separator central
anular; un árbol motor longitudinal centralmente montó en la abertura central; y
una turbina montada en el árbol motor en la abertura central, dijo la turbina
que comprende un juego de láminas rotativas, cada una de láminas dichas que
tienen una forma enfadada seccional de una superficie de sustentación curva que
genera una fuerza de levantamiento, dijo la fuerza de levantamiento dirigida en
dirección de la rotación de la turbina, dijo la turbina hecha girar por el
vórtice de paseo cuando el vórtice de paseo pasa por la turbina e invierte la
dirección para emparejar la dirección del vórtice de extracción.
14. El dispositivo de conversión de energía impulsado por viento de la
reclamación 13 que adelante comprende un volante montado en el árbol motor,
dijo el volante que tiene la masa suficiente funcionar como un dispositivo de
almacenamiento de energía interna debido a su ímpetu angular.
15. El dispositivo de conversión de energía impulsado por viento de la
reclamación 13 que adelante comprende un generador eléctrico montado en el
árbol motor, dijo el generador que convierte la energía mecánica de la rotación
del eje en la energía eléctrica.
16. El dispositivo de conversión de energía impulsado por viento de la
reclamación 13 en donde el vórtice de extracción gira en una dirección
contraciclónica de modo que el vórtice de extracción se disipe después de que
esto sale la cámara río abajo.
17. Un dispositivo de conversión de energía impulsado por viento para convertir
energía de viento rápida en la energía mecánica, dijo el dispositivo que
comprende: un marco cilíndrico rígido que tiene una cámara río arriba anular y
una cámara anular río abajo, cada una de cámaras dichas que tienen lados que
están abiertos para permitir la entrada del viento rápido; un primer juego de
deflectors longitudinalmente montó en el río arriba cámara que crean en una
cámara de vórtice río arriba central, un río arriba vórtice de paseo que gira
en una primera dirección cuando el viento rápido entra el río arriba cámara por
los lados abiertos de la río arriba cámara y por aperturas entre el deflectors;
un primer juego de persianas de bisagra colocadas en las aperturas entre el
primer juego de deflectors y rodeo de la cámara de vórtice río arriba central,
dijo primero puesto de persianas siendo operables permitir la entrada del
viento en la cámara de vórtice río arriba central sólo cuando el viento gira en
la primera dirección, e impedir al viento salir la cámara de vórtice río arriba
central por los lados del dispositivo; un segundo juego de deflectors
longitudinalmente montó en la cámara río abajo que crean en una cámara de
vórtice central río abajo, un vórtice de extracción río abajo que gira en la
primera dirección cuando el viento rápido entra en la cámara río abajo por los
lados abiertos de la cámara río abajo y por aperturas entre el deflectors; un
segundo juego de persianas de bisagra colocadas en las aperturas entre el
segundo juego de deflectors y rodeo de la cámara de vórtice central río abajo,
dijo el segundo juego de persianas siendo operables permitir la entrada del
viento en la cámara de vórtice central río abajo sólo cuando el viento gira en
la primera dirección, e impedir al viento salir la cámara de vórtice central
río abajo por los lados del dispositivo; un suelo de la cámara río arriba
anular que se inclina río abajo como los acercamientos de suelo un eje
longitudinal central del dispositivo, dijo el suelo que hace el vórtice de
paseo fluir río abajo y pasar por una abertura central localizada entre la
cámara río arriba anular y la cámara anular río abajo; un árbol motor
longitudinal centralmente montó en la abertura central; y una turbina montada
en el árbol motor en la abertura central, dijo la turbina hecha girar por el
vórtice de paseo cuando el vórtice de paseo pasa por la turbina.
18. El dispositivo de conversión de energía impulsado por viento de la
reclamación 17 que adelante comprende un volante llenado por fluido montó en el
árbol motor que gira con el árbol motor en una dirección de rotación, dijo el
volante llenado por fluido que comprende: una cáscara en forma de disco hueco
se llenó del fluido; y un juego de mamparos radiales que separan el interior de
la cáscara en secciones separadas, cada uno de mamparos dichos que tienen al
menos una puerta fundamentalmente montada sobre eso para abrirse en una
dirección enfrente de la dirección de la rotación, dijo la puerta que cubre una
abertura en el mamparo cuando la puerta es girada a una posición cerrada, y
dijo la puerta que abre la abertura cuando la puerta es girada a un puesto
vacante; por lo cual las puertas son abiertas por el fluido cuando el volante
acelera en dirección de la rotación, así permitiendo al fluido fluir por las
aberturas en los mamparos y reducir la apatía de arranque del volante, y por lo
cual las puertas están cerradas por el fluido cuando el volante decelera, así
impidiendo al fluido fluir por las aberturas, y hacer que el volante mantuviera
el ímpetu angular como un volante sólido.
19. Un dispositivo de conversión de energía echar agua impulsado para convertir
energía en una corriente móvil del echar agua en la energía mecánica, dijo el
dispositivo que comprende: un marco cilíndrico rígido que tiene una cámara río
arriba anular y una cámara anular río abajo, cada una de cámaras dichas que
tienen lados que están abiertos para permitir la entrada de la corriente del
echar agua; un primer juego de deflectors longitudinalmente montó en el río
arriba cámara que crean en una cámara de vórtice río arriba central, un río
arriba vórtice de paseo que gira en una primera dirección cuando la corriente
del echar agua entra el río arriba cámara por los lados abiertos de la río
arriba cámara y por aperturas entre el deflectors; un primer juego de persianas
de bisagra colocadas en las aperturas entre el primer juego de deflectors y
rodeo de la cámara de vórtice río arriba central, dijo primero puesto de
persianas siendo operables permitir la entrada del echar agua en la cámara de
vórtice río arriba central sólo cuando el echar agua gira en la primera
dirección, e impedir al echar agua salir la cámara de vórtice río arriba
central por los lados del dispositivo; un segundo juego de deflectors
longitudinalmente montó en la cámara río abajo que crean en una cámara de
vórtice central río abajo, un vórtice de extracción río abajo que gira en la
primera dirección cuando la corriente del echar agua entra en la cámara río
abajo por los lados abiertos de la cámara río abajo y por aperturas entre el
deflectors; un segundo juego de persianas de bisagra colocadas en las aperturas
entre el segundo juego de deflectors y rodeo de la cámara de vórtice central
río abajo, dijo el segundo juego de persianas siendo operables permitir la
entrada del echar agua en la cámara de vórtice central río abajo sólo cuando el
echar agua gira en la primera dirección, e impedir al echar agua salir la
cámara de vórtice central río abajo por los lados del dispositivo; un suelo de
la cámara río arriba anular que se inclina río abajo como el suelo se acerca a
un eje longitudinal central del dispositivo, dijo el suelo que hace el vórtice
de paseo fluir río abajo y pasar por una abertura central localizada entre la
cámara río arriba anular y la cámara anular río abajo; un árbol motor
longitudinal centralmente montó en la abertura central; y una turbina montada
en el árbol motor en la abertura central, dijo la turbina hecha girar por el
vórtice de paseo cuando el vórtice de paseo pasa por la turbina.
20. El dispositivo de conversión de energía echar agua impulsado de la
reclamación 19 que adelante comprende un volante llenado por fluido montó en el
árbol motor que gira con el árbol motor en una dirección de rotación, dijo el
volante llenado por fluido que comprende: una cáscara en forma de disco hueco
se llenó del fluido; y un juego de mamparos radiales que separan el interior de
la cáscara en secciones separadas, cada uno de mamparos dichos que tienen al
menos una puerta fundamentalmente montada sobre eso para abrirse en una
dirección enfrente de la dirección de la rotación, dijo la puerta que cubre una
abertura en el mamparo cuando la puerta es girada a una posición cerrada, y
dijo la puerta que abre la abertura cuando la puerta es girada a un puesto
vacante; por lo cual las puertas son abiertas por el fluido cuando el volante
acelera en dirección de la rotación, así permitiendo al fluido fluir por las
aberturas en los mamparos y reducir la apatía de arranque del volante, y por lo
cual las puertas están cerradas por el fluido cuando el volante decelera, así
impidiendo al fluido fluir por las aberturas, y hacer que el volante mantuviera
el ímpetu angular como un volante sólido.
21. Un dispositivo de conversión de energía impulsado por fluido para convertir
energía en un fluido móvil en la energía mecánica, dijo el dispositivo que
comprende: un marco cilíndrico rígido que tiene una cámara río arriba anular y
una cámara anular río abajo cantered alrededor de un eje longitudinal, cada una
de cámaras dichas que tienen lados que están abiertos para permitir la entrada
del fluido móvil en una dirección aproximadamente perpendicular al eje
longitudinal, dijo río arriba y cámaras río abajo separadas por un separator
anular que tiene una abertura central allí; un árbol motor longitudinal
centralmente montó a lo largo del eje longitudinal y pasando por la abertura
central; una turbina montó en el árbol motor en la abertura central; medios
para crear en río arriba la cámara río arriba conduce el vórtice que gira en
una primera dirección cuando el fluido móvil entra el río arriba cámara por los
lados abiertos de la río arriba cámara: los medios para crear en la cámara río
abajo, un vórtice de extracción río abajo que gira en una segunda dirección
enfrente de la primera dirección cuando el fluido móvil entra en la cámara río
abajo por los lados abiertos de la cámara río abajo; termine medios para hacer
que el vórtice de paseo fluyera río abajo y pasara por la turbina, dijera la
turbina hecha girar por el vórtice de paseo cuando el vórtice de paseo pasa por
la turbina e invierte la dirección para emparejar la dirección del vórtice de
extracción.
22. El dispositivo de conversión de energía impulsado por fluido de la
reclamación 21 en donde el medio para crear río arriba vórtice de paseo en río
arriba cámara incluye un primer juego de deflectors longitudinalmente montado
teniendo aperturas entre ellos por los cuales el fluido móvil entra el río
arriba cámara, dijo primero puesto de deflectors encorvado formar un modelo
toroidal en la primera dirección.
23. El dispositivo de conversión de energía impulsado por fluido de la
reclamación 22 en donde el medio para crear río arriba vórtice de paseo en río
arriba cámara incluye un primer juego de persianas de bisagra colocadas en las
aperturas entre el primer juego de deflectors y rodeo el río arriba cámara,
dijo primero puesto de persianas siendo operables permitir la entrada del
fluido móvil en el río arriba cámara sólo cuando el fluido gira en la primera
dirección, e impedir al fluido salir el río arriba cámara por los lados del
dispositivo.
24. El dispositivo de conversión de energía impulsado por fluido de la
reclamación 23 en donde el medio para crear un vórtice de extracción río abajo
en la cámara río abajo incluye un segundo juego de deflectors longitudinalmente
montado teniendo aperturas entre ellos por los cuales el fluido móvil entra el
río arriba cámara, dijo el segundo juego de deflectors encorvado formar un
modelo toroidal en la segunda dirección.
25. El dispositivo de conversión de energía impulsado por fluido de la
reclamación 24 en donde el medio para crear un vórtice de extracción río abajo
en la cámara río abajo incluye un segundo juego de persianas de bisagra
colocadas en las aperturas entre el segundo juego de deflectors y rodeo de la
cámara río abajo, dijo el segundo juego de persianas siendo operables permitir
la entrada del fluido móvil en la cámara río abajo sólo cuando el fluido gira
en la segunda dirección, e impedir al fluido salir la cámara río abajo por los
lados del dispositivo.
26. El dispositivo de conversión de energía impulsado por fluido de la
reclamación 25 en donde el medio para causar el vórtice de paseo para fluir río
abajo incluye medios para crear un diferencial de presión en el cual la presión
fluida en la cámara río abajo está menos que la presión fluida en el río arriba
cámara.
27. El dispositivo de conversión de energía impulsado por fluido de la
reclamación 26 en donde el medio para crear un diferencial de presión incluye
una superficie río abajo del separator anular que se inclina río abajo cuando
esto se acerca al eje longitudinal central del dispositivo, dijo río abajo la
superficie que hace el vórtice de extracción fluir río abajo, así creando un
área de la presión fluida reducida río abajo de la turbina.
28. El dispositivo de conversión de energía impulsado por fluido de la
reclamación 27 en donde el medio para causar el vórtice de paseo para fluir río
abajo incluye un suelo de la cámara río arriba anular que se inclina hacia la
cámara río abajo como el suelo se acerca al eje longitudinal central del
dispositivo, dijo el suelo que hace el vórtice de paseo fluir río abajo y pasar
por la turbina.
29. El dispositivo de conversión de energía impulsado por fluido de la
reclamación 21 que adelante comprende un volante llenado por fluido que gira
con el árbol motor en una dirección de rotación, dijo el volante llenado por
fluido que comprende: una cáscara en forma de disco hueco se llenó del fluido:
y un juego de mamparos radiales que separan el interior de la cáscara en
secciones separadas, cada uno de mamparos dichos que tienen al menos una puerta
fundamentalmente montada sobre eso para abrirse en una dirección enfrente de la
dirección de la rotación, la puerta que cubre una abertura en el mamparo cuando
la puerta es girada a una posición cerrada, y puerta dicha que abre la abertura
cuando la puerta es girada a un puesto vacante; por lo cual las puertas son
abiertas por el fluido cuando el volante acelera en dirección de la rotación,
así permitiendo al fluido fluir por las aberturas en los mamparos y reducir la
apatía de arranque del volante, y por lo cual las puertas están cerradas por el
fluido cuando el volante decelera, así impidiendo al fluido fluir por las
aberturas, y hacer que el volante mantuviera el ímpetu angular como un volante
sólido.
http://www.free-energy-info.tuks.nl/Barbosa3.pdf
Aquí están las
instrucciones completas paso a paso para hacer un diseño muy simple refuerzo de
una sola célula de "HoTsAbI" - un miembro de 'watercar' grupo de
Yahoo foro. Esta es una unidad de refuerzo electrólisis muy limpio y sencillo
que ha elevado el mpg promedio del 18 al 27 (50% de aumento) en su 1992 de 5
litros Chevy Caprice.

Precaución:
Esto no es un juguete. Si usted hace y
utiliza uno de estos más pequeños, lo hace bajo su propio riesgo. Ni el
diseñador de la dosis de refuerzo, el autor de este documento o el proveedor de
la pantalla de Internet son de ninguna manera responsables en caso de sufrir
cualquier pérdida o daño a través de sus propias acciones. Si bien se cree que
es completamente seguro para realizar y utilizar un refuerzo de este diseño, a
condición de que las instrucciones de seguridad que se muestran abajo son
seguidas, se hace hincapié en que la responsabilidad es suya y sólo suya.
La unidad trazará 15
amperios que es fácilmente manejados por el alternador del vehículo existente.
La construcción utiliza ABS (Acrilonitrilo Butadieno Estireno) tubo de plástico
con un electrolito que contiene hidróxido de sodio (NaOH - vendido en Estados
Unidos como la lejía "Red Devil", 1 cucharadita de mezclado en 8
litros de agua destilada) y la mezcla de gas producido se alimenta directamente
en el filtro de entrada de aire del motor de un coche. Los electrodos son de
acero inoxidable con el electrodo negativo que forma un cilindro alrededor del
electrodo positivo.
El circuito es cable de
modo que sólo se enciende cuando el interruptor de encendido del automóvil está
cerrado. Un relé alimenta de energía al electrolizador que es tres pulgadas (75
mm) de diámetro y aproximadamente 10 pulgadas (250 mm) de altura. El circuito
electrolizador está protegida por un interruptor de circuito de 30 amperios. El
electrolizador tiene varias pantallas de malla de alambre de acero inoxidable
por encima de la superficie del agua:

La salida del
electrolizador se alimenta a una trampa de vapor, también equipado con varias
pantallas de malla de alambre de acero inoxidable, y luego en medio de una
válvula de una sola vía en un borboteador de seguridad. El burbujeador también
tiene pantallas de malla de alambre de acero inoxidable que el gas tiene que
pasar antes de que salga del pelele. El gas se hace pasar a continuación a
través de una trampa de agua estilo compresor de aire para eliminar cualquier
resto de humedad, y se inyecta en la entrada de aire del vehículo. Aunque no se
muestra en el diagrama, los contenedores están protegidos por accesorios de
pop-out que proporcionan una protección adicional en el caso extremadamente
improbable de cualquiera de los pequeños volúmenes de gas que se está encendida
por cualquier medio que sea.

El amperímetro
se utiliza para indicar cuando se debe añadir agua al electrolizador, que es
típicamente, después de aproximadamente 80 horas de conducción y se realiza a
través de un tapón de rosca de plástico en la parte superior de la tapa del
electrolizador (muestra claramente en la primera fotografía). Esta unidad
utiliza para estar disponible en el mercado, pero el diseñador es ahora
demasiado ocupado para hacerlas, por lo que ha publicado generosamente los
planes libres, como se muestra aquí.
El diseñador
dice: por favor, lea todas estas instrucciones cuidadosamente y completamente
antes de comenzar su proyecto. Este proyecto es la construcción de una unidad
de electrolizador que está destinada a mejorar el funcionamiento de un vehículo
mediante la adición de gases producidos por la electrólisis del agua, para el
aire aspirado en el motor cuando está funcionando. No hay magia en esto. El gas
'HHO' producido por la electrólisis actúa como un dispositivo de encendido para
el combustible normal utilizado por el vehículo. Esto produce una mejor calidad
de grabación, extracción de energía extra del combustible normal, dando una
mejor potencia de tiro, funcionamiento más suave, el funcionamiento del motor
más fresco, la limpieza de los depósitos antiguos de carbono en el interior del
motor y por lo general se extienden la vida útil del motor.
LISTA DE PIEZAS
electrolizador
1. Uno de 7 pulgadas de
largo x pieza 3 pulgadas de diámetro de la tubería ABS cortar con extremos
cuadrados - de-rebabas de los bordes
2. Uno de 3 pulgadas
(75 mm) Diámetro del enchufe ABS - limpiar el tapón roscado
3. Un adaptador roscado
DWV 3 pulgadas (75 mm) de diámetro HXFPT tapón de rosca ("DWV" y
"HXFPT" son las tapas de plástico roscadas macho y hembra de tipo
alcantarilla)
4. Un (75 mm) de
diámetro tapa de ABS 3 pulgadas
5. Uno de 4 pulgadas
(100 mm) de acero inoxidable tornillo 1/4 x 20
6. Dos de acero
inoxidable de 1 pulgada de largo (25 mm) de tornillo 1/4 x 20 tapa
7. Una 10/32 pulgadas x
1/4 pulgadas tornillo de acero inoxidable
8. Cinco arandelas y
ocho tuercas de acero inoxidable 1/4 x 20
9. Una pieza de acero
inoxidable shimstock 11 pulgadas x 6 pulgadas 0,003 pulgada de espesor
10. Un trozo de alambre
de acero calibre 14 de acero de malla de 8 pulgadas x 3 pulgadas
11. Un tapón de nylon
de 3/8 pulgada
12. Uno de ¼ pulgadas x
¼ pulgada NPT (Pipe Tap Nacional) conector dentado
13. Plomeros Cinta
HERRAMIENTAS DE LISTA
1. Mano Taladro
2. estaño
Tijeras (para cortar la malla de acero y shimstock)
3. 0.25 pulgada NPT y 5.16 pulgadas broca
4. 3/8 pulgada
NPT y 0.5 pulgadas broca
5. 10/32 grifo pulgadas y 1/8 pulgadas broca
6. Una abrazadera y una pieza de 1 pulgada x 1 tira
de madera pulgadas
7. llave hexagonal "mango en T" llave
para ajustar el tornillo
8. destornillador Philips
9. llave ajustable Pequeño

Corte y ajuste shimstock
en tubos ABS,
11 pulgadas funciona
bien ya que esto da un
solapamiento de 1 pulgada.

Para taladrar, use una
tira de madera. Asegúrese de que el shimstock quede al ras con al menos un
borde del tubo. Utilice el borde ras como la parte inferior del electrolizador.

Sujete firmemente y perforar dos agujeros
de 0,165 pulgadas, una a cada lado, perpendiculares entre sí,
lo mejor que pueda. Estos agujeros
se aprovecharán 1/4 pulgadas x 20

Los agujeros shimstock necesitan ser escariado a aceptar el tornillo.

Nota: Esta es la razón por 2 agujeros
son perforados (para facilitar
el montaje). A continuación, conecte el
electrodo dentro del barril. Es
importante para
nosotros una tuerca de acero
inoxidable en el interior para
asentar el tornillo de cabeza.

Tenga en cuenta que la
shimstock esté al ras con la parte inferior del tubo. El montaje final de los
electrodos. Tenga en cuenta que los tornillos tienen cada uno tuercas de acero
inoxidable en el interior del barril para que se siente a la shimstock. El
tornillo de la izquierda se utiliza como conexión negativo de la batería de la
célula mientras que el tornillo a la derecha sólo tiene capacidad para la
shimstock.

El componente superior
es un roscada Adaptador
DWV 3 pulgadas
HXFPT. El componente inferior es un Plug ABS de 3 pulgadas, limpiar el tapón de rosca. Prepare
la tapa superior y el enchufe:
Taladro y pulse un NPT de 3/8 de pulgada de diámetro en el centro de la tapa
roscada (este es el enchufe
principal de llenado). Perforar y
roscar un NPT de 1/4 de pulgada en el lado (para tomar la conexión
con picos).

Preparar la tapa
inferior: Taladro y pulse 1/4 pulgadas x 20 agujero en el centro. Instale el
tornillo con una tuerca de acero inoxidable. Apriete e instalar una tuerca
arandela y acero inoxidable exterior.

Esta es la
conexión de la batería positivo.

Esta es la celda final
se muestra aquí al revés. Montar la unidad utilizando pegamento ABS.

A continuación, preparar la malla de acero
inoxidable. Cortar con cuidado para caber dentro de la tapa roscada. Utilice al menos 3 piezas.

Después de montar la
malla firmemente en la tapa, montarlo con un tornillo de acero inoxidable 10/32
pulgadas en el lado opuesto a la rosca de 1/4 de pulgada para la pieza. Este es
un supresor de llama, así que asegúrese de que todo el interior está cubierto
con fuerza. Tenga en cuenta que los laterales envuelven. Girar cada capa para
cruzar el grano de la malla en las capas sucesivas.

Utilice blanco
"cinta de plomero" en todos los roscados.
Esta unidad ha elevado
el promedio de rendimiento de millas por galón de mi 1992 5 litros Chevy
Caprice del 18 al 27 mpg que es un aumento del 50%. Permite una instalación muy
limpia, de aspecto profesional que funciona muy bien:


Todos los accesorios de
plástico de 3/8 pulgadas incluyendo válvulas unidireccionales, vienen de
Ryanherco y están hechos de Kynar para soportar el calor. La trampa de agua es
de un compresor de aire. El tubo de 3/16 pulgadas o manguera es también el tipo
de alta temperatura de las líneas de refrigerante de transmisión automática. Yo
uso corriente continua y limitada con un interruptor térmico y ajuste de mezcla
de la lejía. Si necesita ayuda para entonces e-mail hotsabi (arroba) gmail
(punto) com (poner "e-celda" en el título de su correo).
Comentarios de Patrick Kelly:
Este diseño es
muy sencillo de construir, pero ya que es sólo una sola célula con toda la
tensión del vehículo colocada a través de ella, una buena parte de la energía
eléctrica va en el calentamiento del electrolito en lugar de hacer que el gas
hidroxi querido.
Si no hay
espacio suficiente para adaptarse a las dos de, a continuación, utilizando dos
le permite usar la mitad de la actual y que las mitades del calor generado en
las unidades y se duplica el espacio de tiempo entre el relleno de la unidad
con agua:

Por favor,
no da la impresión si una pequeña cantidad de gas HHO produce un efecto muy
beneficioso sobre el funcionamiento de un vehículo, que al sumar mucho más gas
HHO dará resultado incluso mejor, ya que no es el caso. Cada vehículo es
diferente y tendrá un caudal óptimo diferente de gas HHO y si esa tasa óptima
se excede, entonces aunque la mejora del mpg puede realmente reducida más que
aumentar. Si tiene alguna duda, comienzo será una baja corriente (con más
diluir electrolito) que producirá menos gas y ver cuáles son los resultados de
mpg. Luego pruebe una mezcla ligeramente más fuerte y revisar el mpg de varios
litros de combustible. Esto le permitirá determinar el aumentador de presión
actual en el que su vehículo particular funciona mejor. Esto no es una
competencia para ver quién puede producir la salida del gas más alta, en
cambio, es un proceso para averiguar qué más alto mpg su vehículo puede dar
cuando se utiliza este diseño simple del aumentador de presión.
Mezclar el electrólito:
Recuerde que el hidróxido de sodio o "lejía" (tienda Lowes: abridor
de drenaje de cristal Roebic 'Heavy Duty') es una sustancia fuertemente
cáustica que debe tratarse con cuidado.
Guárdela
siempre en un recipiente hermético resistente que es claramente etiquetado
"¡ peligro! -Hidróxido de sodio ". Mantenga el envase en un lugar
seguro, que no puede ser alcanzado por los niños, mascotas o personas que no
haga caso de la etiqueta. Si su suministro de hidróxido de sodio se encuentra
en una bolsa de plástico fuerte, entonces una vez que abres la bolsa, puede
transferirle todo su contenido a un resistente, hermético, envase de plástico,
que puede abrir y cerrar sin arriesgarse a derramar el contenido. Las
ferreterías venden baldes plásticos con tapas herméticas de aire que pueden
utilizarse para este propósito.
Cuando se
trabaja con escamas secas o gránulos, use gafas de seguridad, guantes de goma,
una camisa de manga larga, medias y pantalones largos. También, no use su ropa
favorita cuando maneje hidroxi solución ya que no es lo mejor para conseguir
ropa. También es aconsejable usar una máscara que cubre la boca y la nariz. Si
están mezclando hidróxido de sodio sólido con agua, siempre agregar el
hidróxido en el agua y no al revés y utilice un recipiente de plástico para la
mezcla, preferiblemente uno que tiene doble la capacidad de la mezcla acabada.
La mezcla debe realizarse en un área bien ventilada que no es con corrientes de
aire como las corrientes de aire pueden soplar el hidróxido seco alrededor.
Al mezclar
el electrólito, nunca utilice agua tibia. El agua debe ser fresco debido a la
reacción química entre el agua y el hidróxido genera mucho calor. Si es
posible, lugar el recipiente de mezcla en un recipiente más grande lleno de
agua fría, ya que ayudará a mantener la temperatura baja, y si la mezcla debe
"hervir" lo contendrá el derrame. Añadir solamente una pequeña
cantidad de hidróxido en un momento, removiendo continuamente y si dejas de
agitación por cualquier motivo, poner las tapas en todos los contenedores.
Si, a pesar
de todas las precauciones, obtienes una solución de hidróxido en su piel,
lavarlo con abundante agua fría y aplicar un poco de vinagre sobre la piel.
Vinagre es ácida y ayudará a equilibrar la alcalinidad del hidróxido. Puede
utilizar el jugo de limón si no tienes vinagre a mano - pero siempre es
recomendable tener a mano una botella de vinagre.
El
potenciador ó generador Smack es un dispositivo que incrementa el rendimiento
por galón de combustible en carros y motocicletas. Lo consigue empleando parte
de la corriente proveniente de la batería del carro para disociar agua en sus
componentes hidrógeno y oxigeno, los cuales se mezclan con el aire que alimenta
el motor y que ingresa al mismo por el múltiple de admisión. Este gas,
denominado hidroxi, mejora la combustión del combustible dentro del motor,
reduce las emisiones de gases contaminantes y mejora el rendimiento por galón
de combustible bajo las más variadas condiciones.
Este generador es fácil de construir y sus componentes no cuestan mucho. El
rendimiento técnico de la unidad es muy bueno ya que produce alrededor de 1,7
litros de gas hidroxi por minuto empleando una cantidad de corriente razonable.
Este documento explica como construirlo y usarlo.
Precaución:
este generador no es un juguete. Si Usted fabrica y usa uno de estos
generadores lo hace bajo su exclusiva responsabilidad. Nadie, ni el diseñador
del generador, ni el autor de este documento son de ninguna manera responsables
si se sufre cualquier pérdida, daño o lesión personal por el uso o mal uso del
mismo. Se recalca que la responsabilidad es de Usted y sólo suya.
APAREJO DE SEGURIDAD
Antes de
entrar en los detalles de cómo construir el generador, debe saber y ser
consciente de lo que debe hacer cuando use un generador de cualquier tipo.
Primero que todo el gas hidroxi es altamente explosivo. Si no fuera así, no
serviría para la tarea de mejorar la explosión dentro del motor. El hidroxi
necesita entonces ser manejado con precaución especial. Es importante
asegurarse de que vaya al interior del motor y no a ningún otro lugar. Así
mismo, es importante que haga ignición dentro del motor y no en otra parte.
Para conseguir esto, se necesita aplicar algunos pasos guiados por el sentido
común. Primero, el potenciado no debe generar gas hidroxi cuando el motor no
este en funcionamiento. La mejor manera de controlar esto es cortar la
corriente que alimenta el generador cuando el motor este apagado. No es
suficiente con colocar un interruptor en el tablero del vehículo para cortar la
corriente manualmente, algún día nos bajaremos del carro y olvidaremos hacerlo.
En lugar de esto, es mejor que la corriente pase por el switch de ignición del
vehículo; de esta manera cuando se apague el motor y se retire la llave de
encendido, estaremos seguros que el generador ha sido apagado.
Para no pasar demasiada corriente por el switch de ignición, en lugar de tender
el cableado del generador directamente hacia el switch de arranque, es
preferible que éste le dé poder a un relay que porte la corriente hacia el
generador. Un arreglo extra de seguridad puede hacerse para evitar la
posibilidad de un corto circuito dentro del generador ó en sus cables de
electricidad. Puede en este caso instalarse un fusible o un breaker de contacto
entre la batería y el nuevo circuito tal como se muestra a continuación:

Si elige
usar un breaker de contacto, se debe instalar también un LED con una
resistencia que limite la corriente a unos 680 ohmios, en serie con el LED, que
puede ser conectado directamente atraves de los contactos del breaker. El LED
puede montarse en el tablero del vehículo. Cuando los contactos están
normalmente cerrados, cierran el paso de corriente al LED y éste no emite
ninguna luz. Si el breaker se dispara, el LED se enciende señalando que el
breaker se ha activado. La corriente del LED es tan baja que el generador de
hidroxi es apagado sin problema. No es algo que sea necesario, simplemente un
dispositivo extra muy útil:

En el
primer diagrama se nota que el generador contiene un grupo de placas de metal y
que la corriente que circula atraves del líquido (electrolito) dentro del
generador y en el espacio entre la placas, causa que la molécula de agua de
rompa en la mezcla deseada de gases que componen el hidroxi. Un dispositivo de
seguridad muy importante es el burbujeador, que es simplemente un recipiente
que contiene agua. El burbujeador recibe el gas por el fondo y lo burbujea
atraves del agua que contiene hasta la superficie, allí se colecta y es
succionado hacia el motor atraves de un tubo de salida ubicado por encima de la
superficie del agua. Para prevenir que el agua se devuelva hacia el generador
cuando éste este apagado y en enfriamiento, se dispone una válvula
unidireccional entre el generador y el burbujeador.
Si llega a suceder que el motor prendiera fuego a la mezcla de gases hidroxi
fuera de él, el burbujeador bloquearía la flama y evitaría que ésta pasara por
el tubo alcanzando el gas dentro del generador. Si el generador se construye
con una tapa de cierre hermético que se pega en lugar de tapa roscada, la
explosión simplemente soltaría la tapa del burbujeador aliviando la presión
explosiva del gas. Un burbujeador es una cosa muy sencilla y económica de
instalar.
Habrá notado que los cables que hacen conexión en las placas del generador, lo
hacen a un nivel bastante por debajo del nivel de electrolito. La razón de ello
es evitar la posibilidad de que una conexión quede suelta con la vibración del
motor y cause una chispa en la región llena de gas que queda sobre la superficie
del líquido, superficie que también a manera de precaución, se mantiene lo más
baja posible.
EL DISEÑO
El refuerzo está hecho
de una longitud de tubo de 4 pulgadas de diámetro PVC, dos tapas, varias placas
de metal, un par de correas de metales y algunos otros bits de menor
importancia y piezas.
Esto no es ciencia de
cohetes, y este refuerzo puede ser construido por nadie. Una característica
adicional inteligente es el tubo de plástico transparente añadido a un lado de
la dosis de refuerzo, para mostrar el nivel del líquido en el interior del
aumentador de presión sin tener que desenroscar el tapón. Otra característica
interesante es el burbujeador transparente muy compacto que en realidad está
unido a la dosis de refuerzo y que muestra el flujo de gas procedente de la
dosis de refuerzo. El PVC longitud principal tubo de refuerzo se puede ajustar
para adaptarse al espacio disponible al lado del motor.

Conexiones pelele de cerca:

Este refuerzo utiliza interruptor de pared de acero barato, estándar
eléctrico inoxidable cubre desde los locales de ferretería y
acero inoxidable correas cortadas
de las asas de una amplia gama de
cucharones de preparación de alimentos
de acero inoxidable:
Las placas de cubierta
eléctricos se sujetan juntos en una matriz de ocho pares espaciados de forma
cercana de cubiertas. Las placas se mantienen en un tornillo de banco y los
agujeros taladrados para el tamaño más grande sea necesario. Las cubiertas se
trataron adicionalmente al ser sujetado a un banco de trabajo y abollado usando
un centro de punzón y un martillo. Estas muescas aumentan la producción de gas
de 1,5 lpm a 1,7 lpm como el tanto aumentan el área de superficie de la
cubierta y proporcionan puntos desde los que las burbujas de gas puede dejar la
cubierta más fácilmente. Los
más muescas mejor.
Las superficies activas
de las placas - es decir, las superficies que son 1,6 mm uno de otro, tienen
que estar preparados cuidadosamente. Para ello, estas superficies se puntúan en
un patrón X-36 usando papel de lija de grado grueso. Esto crea protuberancias
afiladas con cresta en miniatura que cubren toda la superficie de cada una de
estas placas. Este tipo de superficie ayuda a que las burbujas se rompen
hidroxi lejos de la superficie tan pronto como se forman. También aumenta el
área de superficie efectiva de la placa alrededor de un 40%. Sé que puede
parecer un poco exigente, pero se ha encontrado que las huellas dactilares en
las placas de cualquier electrolizador obstaculizan gravemente la producción de
gas, ya que reducen de forma sustancial la zona de trabajo de la placa. Es
importante, entonces, ya sea evitar todas las huellas digitales (usando guantes
de goma limpios) o terminar las placas limpiando toda la grasa y la suciedad de
las superficies de trabajo con un buen disolvente, que se lava después con agua
destilada. El uso de guantes de goma limpios es de lejos la mejor opción, ya
que los productos químicos de limpieza no son una buena cosa que se aplicaba a
estas superficies importantes.


Arriba se muestran las
herramientas propias de la mano que se utilizan para crear las muescas en las
placas. Las superficies de las placas activas - es decir, las superficies que
son 1,6 mm de distancia - son sangría, además de ser lijada.
Un conjunto de estas
placas preparadas se suspende dentro de un recipiente hecho a partir de 4
pulgadas (100 mm) diámetro de la tubería de PVC. El tubo se convierte en un
recipiente mediante el uso de pegamento PVC para conectar un tapón terminal en
un extremo y un conector en el otro tapón de rosca. El recipiente tiene
entonces la instalación de tuberías de suministro de gas unido a la tapa, que
se perfora con dos orificios para permitir que las correas de conexión para la
matriz de la placa que se atornillan a la tapa, como se muestra aquí:


A fin de asegurar que
las correas de acero inoxidable están estrechamente conectados al cableado
eléctrico, los pernos de la tapa están ubicados en la superficie robusta,
horizontal de la tapa, y se sujetan de forma segura dentro y por fuera. Una
junta de arandela de goma o caucho se utiliza para mejorar el sello en la parte
exterior de la tapa. Si está disponible, una arandela de acero con
revestimiento de goma integrada se puede utilizar.

A medida que la correa de acero
inoxidable que conecta las placas
de refuerzo al lado negativo del suministro eléctrico se conecta a la sección central de la matriz de la placa, es necesario doblar
hacia dentro. El ángulo utilizado para ello es de ninguna manera
importante, pero la correa debe ser perfectamente vertical cuando alcanza las placas.

La imagen de arriba
muestra claramente las placas de pared que se utiliza y cómo el pelele está
unido al cuerpo del refuerzo con súper pegamento. También muestra las diversas
conexiones de las tuberías. Las placas de acero inoxidable interruptor de
cobertura son 2,75 pulgadas x 4,5 pulgadas (70 mm x 115 mm) de tamaño y sus
orificios de montaje existentes se perforan a 5/16 pulgadas (8 mm) de diámetro
a fin de tener los pernos de plástico utilizados para contener las placas
juntos para hacer un arreglo. Después de un año de uso continuo, estas placas
son todavía brillante y sin corrosión de ninguna manera.
Tres correas de acero
inoxidable se utilizan para conectar la placa de la matriz juntos y conectarlo
a la tapa roscada de la dosis de refuerzo. Estas correas se toman de los mangos
de utensilios de cocina y que se conectan a las dos placas exteriores en la
parte superior y las carreras tercera correa a través de la parte inferior de
la placa de matriz, clara de las placas, y se conecta a ambas placas externas
como puede verse en los diagramas.
Las placas se mantienen
en posición mediante dos pernos de plástico que se ejecutan a través de los
orificios de montaje en las placas originales. La disposición es tener un
pequeño espacio de separación 1,6 mm entre cada uno de ocho pares de placas.
Estos vacíos se producen poniendo arandelas de plástico en los pernos de
plástico entre cada par de placas.
La separación más
importante aquí es la brecha 1,6 mm entre las placas como esta separación se ha
encontrado ser muy eficaz en el proceso de electrólisis. La forma en que se
conecta la batería es inusual en que deja la mayor parte de las placas
aparentemente inconexas. Estos pares de placas se denominan
"flotantes" y lo hacen producir gas a pesar de ver como si no están
conectados eléctricamente (que están conectados a través del electrolito).
Tuercas de acero
inoxidable se utilizan entre cada par de placas y éstas forman una conexión
eléctrica entre placas adyacentes. La matriz de placa hecha de esta manera es
barato, fácil de construir y a la vez compacto y robusto. Las correas
eléctricos están atornillados a la tapa roscada en la parte superior de la
unidad y esto ambas posiciones de la matriz de placa de forma segura y
proporciona pernos de conexión eléctrica en el exterior de la tapa mientras se
mantiene un sello hermético para los orificios en la tapa.

Otro punto muy práctico
es que las correas de acero inoxidable que van desde el tapón de rosca a la
matriz de la placa, necesitan ser aisladas para que la corriente no se escapa
directamente entre ellos a través del electrolito. Lo mismo se aplica a la
correa que se extiende por debajo de las placas. Este aislamiento se hace mejor
con retractilado. Alternativamente, dip herramienta de buena calidad (McMaster
Carr número de pieza 9560t71) es un método eficaz, pero si ninguno de estos
métodos se pueden utilizar, a continuación, el aislante se puede hacer
envolviendo las correas en la cinta de aislamiento eléctrico. Usando ese
método, la cinta se envuelve apretadamente alrededor de las correas, se estira
ligeramente a medida que se envuelve. La sección que corre por debajo de las
cubiertas está aislada antes de armar la matriz.

La carcasa de PVC para
el refuerzo tiene dos conexiones de tubo de ángulo pequeño diámetro unidos a él
y un trozo de tubo de plástico transparente colocado entre ellos de modo que el
nivel del electrolito se puede comprobar sin necesidad de retirar el tapón de rosca.
El tubo de blanco en el otro lado de la dosis de refuerzo es un burbujeador
compacto que se pega directamente al cuerpo de la dosis de refuerzo usando
super-pegamento con el fin de producir una unidad de refuerzo / burbujeador
combinado individual. La disposición de burbujeo se muestra aquí, se extendió a
cabo antes de pegar en su lugar ya que esto hace que el método de conexión más
fácil de ver.

Los codos media pulgada
de diámetro en los extremos del tubo burbujeador de una pulgada de diámetro tienen
sus hilos recubiertos con silicona antes de ser empujado en su lugar. Esto
permite a ambos a actuar como accesorios de alivio de presión pop-out en el
caso improbable de que el gas que se enciende. Esta es una característica de seguridad adicional del diseño.
Este refuerzo se
acciona con una solución de hidróxido de potasio también llamado KOH o potasa
cáustica que se pueden comprar de varios surtidores tales como:
http://www.essentialdepot.com/servlet/the-13/2-lbs-Potassium-Hydroxide/Detail
http://www.organic-creations.com/servlet/the-653/caustic-potassium-hydroxide-KOH/Detail
http://www.aaa-chemicals.com/pohy2posa.html
or
http://www.nuscentscandle.com/PHFLAKES.html
Para obtener la
cantidad adecuada en la dosis de refuerzo, lleno el refuerzo a su nivel normal
de líquido con agua destilada y añadir el hidróxido de un poco a la vez, hasta
que la corriente a través del refuerzo es de 4 amperios por debajo de mi
elegido corriente de trabajo de 20 amperios. Esto permite que la unidad de
calentamiento cuando se está trabajando y el dibujo más actual porque el
electrolito está caliente. La cantidad de KOH es típicamente 2 cucharaditas. Es
muy importante la utilización de agua destilada ya que el agua del grifo tiene
impurezas en lo que hacen un lío que va a tapar el refuerzo. Además, tenga
mucho cuidado de hidróxido de potasio manejo, ya que es extremadamente
cáustico. Si alguno consigue en usted, lavar inmediatamente con grandes cantidades
de agua, y si es necesario, use un poco de vinagre, que es ácido y compensará
las salpicaduras cáusticos.
El refuerzo completado
por lo general se ve así:

Pero, puede ser
construido utilizando diferentes materiales para darle un aspecto fresco:

Y unido a una bicicleta
fresco:

La última cosa
importante es cómo la dosis de refuerzo se conecta al motor. El montaje normal
para el refuerzo está cerca del carburador o cuerpo del acelerador de manera
que una longitud corta de tubería puede ser utilizado para conectar el impulsor
a la admisión del motor. La conexión puede ser a la caja de aire que alberga el
filtro o en el tubo de admisión. Cuanto más cerca de la válvula de mariposa,
mejor, porque por razones de seguridad, queremos reducir el volumen de gas
hidroxi dando vueltas en el sistema de admisión. Usted puede taladrar y
taladrar un ¼ de pulgada (6 mm) NPT en el tubo de entrada de plástico con un
extremo de púas para conectar el ¼ de pulgada (6 mm) de la manguera.
Cuanto más corto el
recorrido de tubo a la red de conductos de aire del motor, mejor. Una vez más,
por razones de seguridad, queremos limitar la cantidad de gas hidroxi
desprotegido. Si una larga racha de 3 pies (1 metro) o más debe ser utilizado
debido a las limitaciones de espacio, entonces sería una buena idea para
agregar otro pelele en el extremo del tubo, para protección adicional. Si usted
hace esto, entonces es mejor usar una manguera de salida de diámetro más
grande, digamos 3/8 pulgada o 5/16 de pulgada (10 mm o 8 mm).
Alimentación del Booster
Utilice alambre y
material eléctrico capaz de manejar 20 amperios de corriente continua, no
menos. Overkill no está mal en esta situación, por lo que recomiendo que
utilizan componentes que pueden manejar 30 amperios. Ejecute su poder a través
de su circuito de encendido, por lo que sólo se ejecuta cuando el vehículo está
encendido. Un relé de 30 amperios se debe utilizar para evitar daños en el
circuito de encendido que puede no estar diseñado para un extra de sorteo de 20
amperios. Asegúrese de utilizar un fusible nominal adecuado, 30 amperios es
ideal. Puede utilizar un interruptor de palanca si te gusta para su posterior
control. Como una característica de seguridad adicional, a algunos les gusta
correr un interruptor de presión de aceite en el relé, así, por lo que la
unidad funciona sólo cuando el motor está funcionando realmente. Es muy
importante que todas las conexiones eléctricas sean sólido y seguro. La
soldadura es mejor que prensar. Las conexiones sueltas pueden provocar el
calentamiento y posiblemente un incendio, por lo que depende de usted para
asegurarse de que esas conexiones son de alta calidad. Deben estar limpios y
apretados, y deben ser revisados de vez en cuando a medida que utiliza la
unidad sólo para estar seguro de que el sistema es seguro.
Ajuste del Electrolito
Llene su refuerzo con
agua destilada y NaOH (hidróxido de sodio) o KOH (hidróxido de potasio)
solamente. No hay agua corriente, agua salada o agua de lluvia! Sin sal de mesa o bicarbonato de sodio! Estos materiales pueden dañar permanentemente
el recuerdo!
En primer lugar, llenar
el refuerzo con agua destilada aproximadamente 2 "de la parte superior.
Añadir una cucharadita de KOH o NaOH al agua y luego deslice la tapa en su
lugar. No lo apriete por ahora, pero deje la parte superior suelta y
descansando en su lugar. Conecte su fuente de alimentación de 12V a los
conductores y controlar el consumo de corriente de la unidad. ¿Quieres 16
amperios fluyendo cuando el refuerzo es frío. a medida que el agua se calienta
con el tiempo, el consumo de corriente se incrementará en alrededor de 4
amperios hasta que alcanza alrededor del 20 amperios, y es por eso que se está
buscando sólo 16 amperios con un sistema de frío.
Si la corriente es
demasiado alta, volcar algunos electrolito y añadir agua destilada justo. Si la
corriente es demasiado bajo, agregue una pizca o dos a la hora de su
catalizador hasta alcanzar los 16 amperios. Si sobrecarga su refuerzo hará que
algunos de los electrolitos que se vieron obligados por el tubo de salida, por
lo que se añadió un tubo de nivel de líquido para controlar el nivel del
electrolito.
El refuerzo en general
necesita ser rematado una vez a la semana, dependiendo de cuánto tiempo está en
funcionamiento. Añada agua destilada, a continuación, comprobar su consumo de
corriente de nuevo. Usted puede observar una caída de la corriente en el
transcurso de unas pocas recargas, y esto es normal. Algunos de catalizador
escapa la celda suspendida en las gotas de vapor de agua, por lo que de vez en
cuando puede que tenga que añadir una pizca o dos. El agua en el burbujeador
actúa para fregar este contaminante fuera del gas también. Le recomiendo
instalar un amperímetro para controlar el consumo de corriente mientras conduce
su refuerzo.
Montaje del Booster
Elija un área bien
ventilada en el compartimiento del motor para montar su refuerzo. Puesto que
cada diseño del vehículo es diferente, se lo dejo a usted para averiguar el
mejor método para montarlo. Debe montarse con la parte superior orientada hacia
arriba. Grandes 5 "abrazaderas de manguera de diámetro funcionan bien,
pero no apriete demasiado ellos o el PVC pueden deformar. Recomiendo montar el
refuerzo detrás del parachoques delantero en la zona suele estar presente entre
ella y el radiador. Apoyar el peso de la unidad de la parte inferior con un
soporte de su diseño, a continuación, utilizar dos abrazaderas para asegurar la
unidad, uno cerca de la parte superior y otra en la parte inferior. Nunca
instale la unidad en el compartimiento de pasajeros por motivos de seguridad.
Manguera de salida y pelele
El pelele en el lado de
la unidad se debe llenar 1/3 y 1/2 lleno de agua - agua del grifo está muy bien
para el burbujeador. La válvula de retención antes de que el burbujeador está
ahí para evitar que el agua burbujeador sea aspirado de nuevo en la dosis de
refuerzo cuando se enfría y los gases del interior de contrato. Asegúrese de que el nivel de burbujeo se
mantiene en todo momento. El no hacerlo podría resultar en una explosión
petardeo no deseado. Que el agua
dentro del burbujeador es su escudo físico entre el volumen hidroxi almacenada
en el generador y el consumo de su motor. Instalar la manguera de salida lo más
cerca del cuerpo del carburador / acelerador lo más cerca posible al hacer una
conexión en el tubo de admisión / filtro de aire. Trate de hacer que la
manguera lo más corto posible para reducir la cantidad de volumen de gas que
contiene. Yo recomiendo usar el mismo tipo de manguera de polietileno de 1/4 de
pulgada que se utiliza en la unidad.
Aquí está una lista de
las piezas necesarias para construir el refuerzo y pelele si decide construir
por sí mismo en lugar de la compra de una unidad prefabricada:
Las Piezas Principales
Necesarios

Ahora, después de haber
mostrado cómo se construyen este refuerzo y pelele muy eficaz, hay que señalar
que si lo usa con un vehículo equipado con una unidad de control electrónico
que controla la inyección de combustible en el motor, entonces la sección de
combustible-equipo compensará el ganancias y beneficios de usar este o
cualquier otro, de refuerzo. La solución no es difícil, ya que la computadora
de combustible se puede controlar mediante la adición de una pequeña placa de
circuito para ajustar la señal del sensor alimentado al equipo desde el sensor
de oxígeno incorporado en el tubo de escape del vehículo. Unidades que ya están
construidos están disponibles para este o usted puede hacer su propio.
Toda una cantidad de
pruebas y experimentación se ha llevado a cabo por muchas de las personas que
han hecho copias de este refuerzo y dos variaciones que se han encontrado para
ser útil se muestra a continuación:
En primer lugar, a
pesar del espacio muy restringido dentro de la carcasa, es posible introducir
dos placas de pared adicionales, uno en cada extremo de la pila de placas.
Estas placas están separadas 1,6 mm entre sí utilizando arandelas de plástico y
este grupo de triple placa provoca una caída de tensión adicional a través de
la sub-conjunto de tres platos. La
construcción es entonces como se muestra aquí:

La segunda modificación
es envolver la matriz placa en retractilado de 4 pulgadas. Esta envoltura se
extiende alrededor de los lados de las placas y ayuda mediante la reducción de
algunos de los caminos de fuga eléctrica no deseados a través del electrolito. Esta disposición se muestra aquí:

Disfrute de utilizar este refuerzo y hacer su parte
en la reducción de las emisiones de gases de efecto invernadero.
Eletrik
Booster de Smack es un
nombre de marca registrada, y el diseño es patente pendiente pero sigue
plenamente revelada para uso público.
Fecha de
lanzamiento de esta copia del documento: 03 de julio 2008
Antecedentes
Muchas personas
encuentran la disposición de placa de Booster de Smack, algo difícil de
entender, por lo que esta sección adicional es sólo para tratar de explicar el
funcionamiento de la célula. Esto no tiene nada que ver con la realidad la
construcción o el uso de refuerzo de un tortazo, por lo que sólo puede saltarse
esta sección sin perder nada.
Booster disposición de
placa del Smack tiene un aspecto confuso. Esto es principalmente porque Eletrik
ha exprimido dos conjuntos idénticos de placas en un contenedor como se muestra
aquí:

Esta disposición es de
dos juegos idénticos de placas colocadas espalda con espalda. Para que sea más
fácil de entender el funcionamiento, vamos a considerar sólo uno de los dos
juegos de placas.
Aquí, usted tiene sólo
la eléctrica Plus vinculado a la Minus eléctrica por un conjunto de cuatro
pares de placas en una conexión en cadena (el término técnico es: conectado
"en serie" o "conectado en serie"). Fácilmente la forma más
eficiente eléctricamente para hacer esto es para excluir todas las posibles
trayectorias de flujo de corriente a través del electrolito cerrando alrededor
de los bordes de todas las placas y obligando a la corriente fluya a través de
las placas y sólo a través de las placas.
Por desgracia, esto es
muy difícil de hacer en un recipiente cilíndrico y tiene el inconveniente de
que es difícil mantener la unidad reponía con agua y difíciles de mantener el
nivel de electrolito justo debajo de la parte superior de las placas.

Así, se llegó a un
compromiso en el que el flujo de corriente alrededor y más allá de las placas
se combate por espacio estratégico de las placas:

Este diagrama muestra
la forma en que las placas están conectadas. Las líneas rojas muestran
trayectorias de flujo de corriente no deseada que producen casi ningún gas.
Esto desperdicia flujo de corriente se opone por el flujo de corriente a través
de la separación útil "A" en el diagrama.
Para favorecer el flujo
a través de la brecha de 1,6 mm "A",
se hace un intento de hacer que los flujos de residuos tanto como sea posible
en comparación. Esto se hace por la brecha "B" está hecha tan grande como sea posible, limitado sólo por
el tamaño de la carcasa de refuerzo.
El voltaje aplicado a
la celda (13.8 voltios cuando el motor está en marcha) se divide por igual
entre los cuatro pares de placas, por lo que habrá una cuarta parte de ese
voltaje (3,45 voltios) a través de cada par de placas.
Si nos fijamos de nuevo
en el diagrama original, verá que hay dos de estos conjuntos de cuatro pares de
placas, colocadas espalda con espalda en el contenedor. Cada uno de estos actos
por separado, excepto por el hecho de que hay caminos de fuga de corriente
adicionales a través del electrolito entre las placas de un conjunto y las
placas del segundo conjunto.
Hay una tensión
constante de la gota progresivamente a través del conjunto de placas. Recuerde
que ellos están conectados en pares en el medio debido a la conexión de metal a
metal creado por las tuercas de acero entre las placas:

A menudo es difícil
para la gente entender cómo cae el voltaje a través de una cadena de
resistencias (o matriz de placas). Los voltajes son con relación al otro, de
manera que cada par de placas cree que tiene una conexión eléctrica negativa en
un plato y una conexión positiva en la otra placa.

Por ejemplo, si estoy
de pie en la parte inferior de una colina y mi amigo está de pie diez pies de
la colina, entonces él es de tres metros por encima de mí.
Si los dos nos subimos
a unos treinta metros de la montaña y él está a una altura de 110 pies y estoy
a una altura de 100 pies, que todavía está a tres metros por encima de mí.
Si los dos nos subimos
otros cien pies de la montaña y él está a una altura de 210 pies y estoy a una
altura de 200 pies, que todavía está a tres metros por encima de mí. Desde su
punto de vista, siempre estoy a tres metros por debajo de él.
Lo mismo se aplica a
estos voltajes de placa. Si una placa está a una tensión de 3 voltios y la
placa de 1,6 mm de distancia de ella es a una tensión de 6 voltios, entonces la
placa de 6 voltios es 3 voltios más positiva que la placa 3 voltios, y hay un 3
diferencia voltios a través de la brecha entre las dos placas. La primera placa
parece ser 3 voltios negativos a la placa de 6 voltios cuando se "ve"
de nuevo en ella.
También se puede decir
que la placa de 3 voltios es 3 voltios inferior a la placa de 6 voltios, por lo
que desde el punto de vista de la placa de 6 voltios, la placa de 3 voltios es
3 voltios más abajo que él, y por lo tanto, "ve" la otra placa como a
-3 voltios con relación a la misma.
De la misma manera, mi
amigo me ve como a -10 metros en relación con él, no importa qué altura estamos
en la montaña. Es todo una cuestión de ser "más arriba", ya sea en
términos de altura sobre el nivel del mar en una montaña o en términos de más
arriba en la tensión dentro de un refuerzo.
Ahora, después de haber
mostrado cómo se construyen este refuerzo y pelele, cabe señalar que si lo usa
con un vehículo equipado con una unidad de control electrónico que controla la
inyección de combustible en el motor, entonces la sección de combustible-equipo
compensará las ganancias del mpg y beneficios de usar este o cualquier otro, de
refuerzo. La solución no es difícil, ya que la computadora de combustible se
puede controlar mediante la adición de una pequeña placa de circuito para ajustar
la señal del sensor alimentado al equipo desde el sensor de oxígeno incorporado
en el tubo de escape del vehículo, para permitir la mejora de la calidad de la
combustible que se quema en el motor. Esto es necesario porque los gases de
escape será mucho más limpio de lo que solía ser, que el equipo va a pensar que
el motor está siendo privado de combustible (que definitivamente no lo es. Con
una dosis de refuerzo, el motor funciona más limpio, más fresco y más
suavemente y se ha mejorado la potencia de tiro llamado "par".
unidades que ya están construidos están disponibles para la corrección de la
señal del sensor de oxígeno para la mejora de la situación, o,
alternativamente, usted puede hacer su propio.
Cuando un mpg. mejorar dispositivo como un electrolizador está instalado en
un vehículo, el resultado no siempre produce mejor mpg. figuras. Los vehículos
más antiguos que están equipados con un carburador verán una mejora inmediata.
Este no es el caso para los vehículos más recientes que vienen con control por
ordenador del combustible enviado al motor.
Cuando un electrolizador está unido al motor, hace que el consumo de
combustible dentro de los cilindros que se mejora en gran medida, con la
correspondiente mejora en el rendimiento del motor. Desafortunadamente, la
computadora de combustible está a la espera de la misma cantidad de oxígeno sin
quemar al salir del motor, y cuando no lo detecta, el equipo se aumenta el
caudal de combustible en un intento de volver a ella es normal método
ineficiente de funcionamiento . Esa acción cancela la mejora mpg producido por
el electrolizador a menos que se haga algo para ajustar el funcionamiento de la
computadora.
En los términos más simples, la mayoría de los vehículos que tienen una
unidad de control electrónica ("ECU") para controlar el flujo de
combustible están equipados con uno de los dos tipos de sensor de gases de
escape. La mayoría tiene un sensor de "banda estrecha", mientras que
el resto tienen una "banda ancha" sensor. La mezcla ideal de aire a
combustible se considera que es 14,7 a 1. Un sensor de banda estrecha sólo
responde a las mezclas de aproximadamente 14,2 a 1 a través de 14,9 a 1. El
sensor opera mediante la comparación de la cantidad de oxígeno en el gas de
escape a la cantidad de oxígeno en el aire fuera del vehículo y que genera una
tensión de salida que se mueve rápidamente entre 0,2 voltios cuando la mezcla
es demasiado pobre, y 0,8 voltios cuando pasa por debajo del punto de mezcla /
combustible 14,7-1 aire cuando la mezcla es demasiado rica (como se indica por
el gráfico se muestra a continuación). La ECU aumenta la alimentación de
combustible cuando el nivel de la señal es de 0,2 voltios y disminuye cuando el
voltaje de la señal es de 0,8 voltios. Esto hace que el voltaje de la señal
para cambiar regularmente de mayor a menor y de nuevo a alta de nuevo como el
equipo intenta igualar la cantidad de tiempo "demasiado pobre" para
la cantidad de tiempo "demasiado rica".

Una placa de circuito de control simples pueden
agregarse a alterar la señal del sensor y empujones a la computadora de
combustible en la producción de mezclas de aire/combustible un poco mejores.
Por desgracia, hay un grave inconveniente que haciendo esto. Si, por cualquier
razón, la mezcla de combustible se establece demasiado alta durante un periodo
prolongado, entonces el exceso de combustible se quema en el convertidor
catalítico puede elevar la temperatura allí lo suficientemente alto para
derretir los componentes internos del convertidor. Por otro lado, si el
circuito está conectado a una mezcla que es muy pobre, entonces la temperatura
del motor se puede empujar suficientemente alta como para dañar las válvulas,
que es un error costoso.
Lean excesiva corriente puede ocurrir en
diferentes velocidades y cargas. Joe Hanson recomienda que si cualquier
dispositivo para hacer la mezcla delgado está instalado en el vehículo, luego
el siguiente procedimiento debe llevarse a cabo. Comprar un termopar "tipo
K" con un mango de rosca de acero inoxidable de 3 pulgadas, personalizado
construido por Avtozavodets al suroeste de San Diego. Este sensor de
temperatura puede medir temperaturas de hasta 1.800 grados Fahrenheit (980
grados centígrados). Monte el termopar en el tubo de escape por la perforación
y golpeando ligeramente el tubo cerca del colector de escape, justo al lado de
la Junta de la brida. Tome un cable desde el termopar en área del conductor y
use un multímetro para mostrar la temperatura.
Conducir el vehículo lo suficiente para alcanzar
la temperatura normal de funcionamiento y luego en coche a toda velocidad en
una carretera. Tenga en cuenta la temperatura a esta velocidad. Cuando se
utiliza una mezcla más magra, asegúrese de que la lectura en exactamente las
mismas condiciones de la temperatura no exceda 180 grados Fahrenheit (100
grados centígrados) por encima de la temperatura previa modificación.
David Andruczyk recomienda un método alternativo
de evitar daños al motor a través de las mezclas de aire/combustible demasiado
magra, es decir, reemplazar el sensor de oxígeno de banda estrecha con un
sensor de banda ancha y el controlador. Un sensor de oxígeno de banda ancha Lee
las proporciones de una gama muy amplia de aire/combustible, de aproximadamente
9 a 1 a 28 a 1. Motor de un automóvil normal puede funcionar de 10 a 1 (muy
rico) a aproximadamente 17,5 a 1 (muy magra). Potencia máxima del motor se
desarrolla en una proporción de mezcla de alrededor de 12,5 a 1. Combustión
completa lleva a cabo con una mezcla de alrededor de 14,7 a 1, mientras que la
combinación que da es ligeramente más delgado que el mínimo de emisiones.
A diferencia de los sensores de banda estrecha,
sensores de banda ancha necesitan su propio controlador para funcionar. Hay
muchas de estas unidades se ofrecen a la venta para el acondicionamiento de
vehículos existentes que tienen sólo sistemas de sensor de banda estrecha
oxígeno. Recomendación personal de David es el innovar Motorsports LC-1 que es
pequeño y utiliza el sensor LSU-4 un precio muy razonable. Este controlador de
banda ancha puede programarse. Mayoría de los controladores tiene la capacidad
de dos señales de salida, la señal de banda ancha adecuada para correr con un
calibrador o nuevo ECU, además de una señal sintetizada de banda estrecha que
puede alimentar una ECU existente. El truco es instalar un sensor de banda
ancha, con el controlador de LC-1 y luego reprogramarlo para cambiar la banda
estrecha salida para lograr una mezcla más magra como se muestra aquí:
|
Mezcla aire/ combustible real |
Salida de banda ancha |
Salida de banda estrecha original |
Desplazado salida de banda estrecha |
|
9 a 1 |
9 a 1 |
Mezcla es demasiado Rica |
Mezcla es demasiado Rica |
|
10 a 1 |
10 a 1 |
Mezcla es demasiado Rica |
Mezcla es demasiado Rica |
|
11 a 1 |
11 a 1 |
Mezcla es demasiado Rica |
Mezcla es demasiado Rica |
|
12 a 1 |
12 a 1 |
Mezcla es demasiado Rica |
Mezcla es demasiado Rica |
|
13 a 1 |
13 a 1 |
Mezcla es demasiado Rica |
Mezcla es demasiado Rica |
|
14 a 1 |
14 a 1 |
Mezcla es demasiado Rica |
Mezcla es demasiado Rica |
|
14,6 a 1 |
14,6 a 1 |
Mezcla es demasiado Rica |
Mezcla es demasiado Rica |
|
14,8 a 1 |
14,8 a 1 |
Mezcla es demasiado Fina |
Mezcla es demasiado Rica |
|
15 a 1 |
15 a 1 |
Mezcla es demasiado Fina |
Mezcla es demasiado Rica |
|
15,5 a 1 |
15,5 a 1 |
Mezcla es demasiado Fina |
Mezcla es demasiado Fina |
|
16 a 1 |
16 a 1 |
Mezcla es demasiado Fina |
Mezcla es demasiado Fina |
|
18 a 1 |
18 a 1 |
Mezcla es demasiado Fina |
Mezcla es demasiado Fina |
Este sistema le permite establecer el "punto
de palanca" de banda estrecha con mucha precisión en una relación aire /
combustible exacto elegido. Esto es algo que es casi imposible de hacer con
precisión con una placa de circuito que sólo cambia una señal de oxígeno de
banda estrecha como usted simplemente no sabe lo que la relación aire /
combustible realmente es con un sensor de banda estrecha.
Sin embargo, para cualquier persona que quiera
intentar agregar una placa de circuito para alterar una señal del sensor de
banda estrecha para producir una mezcla más pobre en un vehículo, la siguiente
descripción puede ser de ayuda. Es posible comprar una placa de circuito ya
hecho, aunque utilizando una técnica de operación completamente diferente,
desde el Águila muy buena reputación de Investigación, a través de su página
web: http://www.eagle-research.com/products/pfuels.html
donde el tema correspondiente, se muestra como este:

Esta unidad genera un pequeño voltaje, usando un
chip temporizador 555 como un oscilador, rectificando la salida para obtener un
pequeño voltaje ajustable que luego se añade a cualquier voltaje que está
siendo generada por el sensor de oxígeno. Esta tensión se ajusta al tiempo de
instalación y luego se deja permanentemente en ese ajuste. Eagle Research
también ofrecen para la venta, un folleto que muestra cómo construir esta
unidad desde cero si prefiere hacerlo.
Entiendo que en la actualidad, el precio de compra
de este dispositivo es de aproximadamente US $50, pero que necesita ser
comprobada si usted decide comprar uno. Alternativamente, las instrucciones
para la construcción de una placa de circuito equivalente adecuado se
proporcionan más adelante en este documento.
Si desea utilizar una placa de circuito con un
sensor de oxígeno de banda estrecha, por favor, tenga en cuenta que hay varias
versiones de este tipo de sensor. La versión está indicado por el número de
hilos de conexión:
Aquellos con 1 alambre, donde el cable lleva la
señal y el caso es de tierra (cero voltios)
Aquellos con 2 cables, donde un cable lleva la
señal y el otro cable es de tierra.
Aquellos con 3 alambres, donde 2 hilos
(normalmente un poco más gruesas) son para un calentador del sensor y
1 para la señal, mientras que el caso es de
tierra.
Aquellos con 4 cables (los más comunes en los
coches modelo actual), donde hay
2 (un poco más pesado) para el calentador del
sensor,
1 para la señal, y
1 para la tierra de señal.
(Sensores con 5 hilos son normalmente dispositivos
de banda ancha.)
Mira en el compartimiento del motor y localice el sensor de oxígeno. Si tiene dificultades para encontrarlo, obtener una copia del Manual Clymer o Haynes Mantenimiento de su vehículo como que le mostrará la posición. Tenemos que identificar el cable del sensor que lleva la señal de control a la computadora de control de combustible. Para ello, asegúrese de que el coche está apagado, entonces
Para 3 y 4 sensores de cuerda:
Desconecte el mazo de cables del sensor de
oxígeno,
Establecer un multímetro a un CC rango de medición
de tensión de al menos 15 voltios,
Encienda la ignición y sondear la toma en busca de
los dos cables que proporcionan 12 voltios.
Estos son los hilos de la resistencia, por lo que
hacer una nota de la que son,
Apague el encendido, y vuelva a conectar el sensor
de oxígeno.
Los dos cables restantes ahora pueden ser tratados
igual que los cables de un sensor de 2 hilos, uno llevará la señal del sensor y
uno será la tierra de señal (para un solo sensor de alambre, la tierra de la
señal será el bloque del motor). Jesper Ingerslev señala que el Ford Mustang
construido desde 1996 tiene 2 sensores de oxígeno por convertidor catalítico,
uno antes del convertidor y una después. Algunos otros vehículos también tienen
esta disposición. Con un vehículo de este tipo, la placa de circuito descrito
aquí debe estar unido al sensor más cerca del motor.
Encuentre un lugar conveniente a lo largo de los
cables. No corte estos alambres, se le corte el cable del sensor en un momento
más tarde, pero no ahora. En lugar de ello, pele una pequeña cantidad del
aislamiento en cada cable. Tenga cuidado de evitar los cables en cortocircuito
entre sí o con el cuerpo del vehículo. Conecte el voltímetro de CC a los cables
(los hilos de la resistencia no). Arranque el motor y ver las lecturas de los
contadores. Cuando el motor está caliente, si el sensor de oxígeno está
funcionando como debería (es decir, no hay ninguna luz de revisión del motor
en), la tensión en el medidor debe comenzar alternar entre un valor bajo, cerca
de cero voltios y un alto valor de alrededor de 1 voltio. Si la lectura del
medidor va negativo, invierta los cables. El plomo multímetro negro está
conectado a la "tierra" de la señal (cero voltios) y el cable rojo se
conecta al cable que lleva la señal del sensor. Conecte un trozo de cable
aislado hasta el punto del cable del sensor despojado y tomar el cable a la
entrada de su tarjeta de circuito controlador de mezcla. Conecte un segundo
cable con aislamiento entre el cable de señal de "tierra", o en el
caso de un sensor de 1-wire, el bloque del motor, y la placa de circuito con
cero voltios línea. Aislar todos los cables pelados para evitar cualquier
posibilidad de un cortocircuito:


Los Detalles más Específicos
Sin embargo, la situación es de ninguna manera una
simple que permite que un solo adaptación sencilla que trabajará en cada
vehículo durante muchos años. Les Pearson ha estado investigando esta situación
en profundidad durante tres años junto con un amigo que es ingeniero
electrónico. Tener EFIEs construidos y probados, el circuito del sensor de
oxígeno se muestra a continuación, varias versiones de controladores MAP, hacks
refrigerante de temperatura / aire, sistemas profesionales, etc., y descubrió
que muchos ECU del vehículo ("Unidades de Control Electrónico")
aprendieron a adaptarse a las nuevas condiciones y volver a la condición de
exceso de inyección de combustible altamente ineficiente. Este retorno a la
inyección inicial de combustible es diferente para cada diseño de ecus y hay
muchos diseños diferentes.
Les dice: "Para entender la solución, primero
hay que entender el dilema con todos los otros trucos de control ECU Los EFIEs,
ajustadores del PAM, hacks temporales etc. no obtener buenos resultados por un
corto tiempo, y entonces el rendimiento se deteriora de nuevo.. ¿Por qué debe
ser esto? es porque la ECU aprende a hacer frente a la nueva situación con
ellos en su lugar. esto se debe a la ECU sabe que la retroalimentación de la
mayoría de que es controles, y de los sensores no son lineales, ni deben ser.
Todo la electrónica, y los métodos de ajuste utilizados por el hidrógeno Bajo
Demanda personas son lineales, y eso no es una forma adecuada de tratar el
problema.
Por ejemplo, podemos añadir un par de cientos de
milivoltios al oxígeno ("lambda") la señal del sensor con el fin de
devolver una señal excesivamente rica a la ECU, y así hacer que responda con un
menor nivel de inyección de combustible. Esto hace que la ECU creo que la
relación aire / combustible es decir, 15: 1 o 20: 1. Ahora los mapas aéreos
masivos están mal, tenemos que mostrar menos aire para que el ECU añade menos
combustible con el fin de que coincida con los ajustes de combustible. Ahora
tenemos que ajustar el tiempo de encendido para aprovechar este cambio de
combustión. El problema es que todos los EFIEs, MAP / MAF ajustadores, y los
intentos de cambiar el tiempo mediante la manipulación de la temperatura del
aire son una estática desplazamiento fijo, la producción de un solo cambio.
Una relación aire / combustible de 20: 1 no es
apropiado en aceleración moderada o fuerte cuando no lo hacen, y por lo general
no puede, añadir una cantidad suficiente de gas hidroxi para permitir estas
condiciones. Un conjunto de ajuste 15% a 20% más delgado a través de todo el
mapa de combustible no es apropiado en todas las cargas y velocidades del
motor. Adición de 50 a 75 grados F a la temperatura del aire no es adecuada
cuando el aire exterior está ya a 110 grados F. La ECU sabe y hace los cambios
apropiados para su configuración a largo plazo, y por lo que anula los cambios
que nuestras adiciones electrónicos han hecho.
Si bien puede estar bien para un experimentador, y
el mecánico con todas las herramientas a su disposición para jugar con estas
técnicas, y resintonizar sus motores cada semana o así con el fin de obtener un
gran rendimiento, no es realista esperar que la persona promedio para hacer
esto. El costo de los equipos solo, socavaría cualquier ahorro de combustible.
Además, la mayoría de la gente ni siquiera cambian su aceite a intervalos
apropiados.
Esta fue mi línea de pensamiento mientras meditaba
una solución, y comenzó a buscar. Mi búsqueda fue para una solución de control
que podría en primer lugar, alterar las lecturas de flujo de aire, lecturas
lambda, y el tiempo de encendido y en segundo lugar, responder a cambios en la
velocidad del motor y la carga del motor. Para mi sorpresa me encontré con
varios productos que ya están en el mercado que son capaces de hacer esto, y
que han estado disponibles desde hace bastante tiempo. La gente en la industria
de la puesta a punto del motor han estado utilizando durante años. Son
costumbre programable, chips de piggy-back. Varias compañías a tomar, y aunque
la mayoría no hacen publicidad de O2 ("lambda") de control
del sensor, muchos son muy capaces de alterarlo.
Nos convertimos en un distribuidor para una marca
que parecía ser la mejor opción para nuestros propósitos, y comenzamos las
pruebas. Los resultados son perfectos. Empezamos con un Saturn SL 2002. El mpg
promedio para este coche comenzó a las 26 mpg (carretera y ciudad combinado).
Hemos instalado el chip, probamos varios métodos de ajuste, y encontramos el
uno que funcionaba mejor. El coche tiene un promedio de 44 a 46 mpg. Esto no es
especial "conducción de la abuela para tratar y convencer a un par de
millas adicionales por galón. Se trata de un vehículo de mensajería para una
impresora local, y es conducido a diario como si hubiera sido robado. Tenemos
todos los mismos beneficios de un mayor torque (fuerza de tracción), mejorar la
respuesta del acelerador, etc. El coche ha sido conducido alrededor de tres
meses ahora con nuestro chip programado instalado, y que alcanza a mediados de
los años 40 en mpg todo el tiempo. no hay cambios de código necesarios, no hay
problemas de puesta en marcha, no hay problemas de conducción de cualquier
tipo. Si no se les dijo, que nunca se sabe que se está añadiendo gas hidroxi,
excepto por el hecho de que se puede ir a más de 500 millas en un solo tanque
de combustible.
El único problema es que esto no es
definitivamente una solución del hágalo usted mismo. Usted necesita una
computadora portátil con el software propietario para sintonizar el chip, y la
exploración y equipos de diagnóstico para saber cuando lo tienes sintonizado
correctamente. Sin embargo, he pensado en una solución del hágalo usted mismo.
Todavía le requiere para comprar un par de kits electrónicos, y que necesita
una gran cantidad de conocimientos técnicos, pero estamos eludiendo una
arquitectura de control altamente sofisticado, así que cualquiera que cree que
va a ser fácil, es delirante. El elemento principal es un ajustador de
Combustible Digital o kit "DFA" de la electrónica Jaycar con sede en
Australia. Su página web es http://www.jaycar.com.
El número de kit de ajuste es KC5385, y
usted tiene que tener el controlador manual para programarlo, ese número kit es
KC5386. En la actualidad, el kit Ajustador cuesta USD $ 49.50, y el kit del
Controlador es de USD $39.50. El
ajustador no tiene un recinto suministra, pero el controlador hace. Es
necesario un controlador y dos ajustadores. El controlador se puede volver a
utilizar para programar múltiples ajustadores. Una vez que tenga los kits, que
tomará varios días de soldadura para construirlas, y definitivamente no es el
proyecto por primera vez de un principiante.
Después de los dos ajustadores y el controlador se
han construido, el primero está conectado a la señal del sensor de MAP / MAF,
como se muestra en la guía de instrucciones. A continuación, el segundo DFA se
utiliza en la señal del sensor de oxígeno. Si hay dos sensores de oxígeno,
entonces la DFA está conectado a través de la base común para los sensores de
corriente arriba SOLAMENTE. Esto coloca a las compensaciones de tensión en
paralelo, lo que hace innecesario el uso de dos DFA (o EFIEs para el caso) para
el control de "lambda". Ahora el control se ha establecido sobre los
mapas de combustible, y un control "lambda", que es sensible a la
carga del motor se ha logrado. Creo que estos kits también vienen con una
opción para que puedan responder a rpm.
Para el tiempo de encendido, probablemente
seguiría siendo necesario los desplazamientos de temperatura, pero ahora tiene
un control de combustible que si se ajusta finamente, la ECU no aprenderá su
camino alrededor. He encontrado que los mapas de control "lambda" son
muy simples. Tune para los más magros de aire / combustible proporción adecuada
a cargas muy bajas, y aumentar la riqueza de combustible un poco en incrementos
como aumenta la carga. A medida que se acerca a todo gas, pero antes de cambiar
al funcionamiento de bucle abierto, el lambda desfase debe ser cero (el ajuste
de valores). Para sintonizar los mapas de flujo de aire o de combustible,
observe el indicador de escaneo OBD II, y disminuir la señal de MAP para que su
corto plazo del combustible trim ("STFT" en un escáner) no es mayor
que alrededor de ± 7% en cada intervalo de carga. Conduzca durante unos 20
minutos, y compruebe que su largo plazo de combustible trim ("LTFT")
nunca va más allá de los "7s" tampoco. Ahora, la ECU no puede
"ver" los cambios porque lecturas mapa de combustible, y lambda
"están de acuerdo" en cada rango de carga.
Los kits Jaycar no son tan sofisticados como los
conjuntos de chips, pero son aproximadamente el 20% del costo, si usted quiere
poner el tiempo y esfuerzo en ellos. El ajustador de sí mismo simplemente se
añade a, o se resta de, cualquiera que sea la tensión corre a través de ellos,
y se puede configurar para cambiar ese valor de desplazamiento en
correspondencia a cualquier tensión de valor está presente en la patilla de
entrada de señal. Se podría, por supuesto, poner su señal TPS a la clavija de
entrada de señal. El dispositivo en sí es muy versátil, y podría ser utilizado
para muchas aplicaciones diferentes. Si quisieras utilizar uno para controlar
un modulador de ancho de pulso unido a una célula, entonces eso sería posible y
sería proporcionar una velocidad de gas variable que responde a los cambios en
la carga del motor. Espero que usted puede poner este en buen uso, y no dude en
correr la voz. Quizás usted conoce a alguien que podría construir un
dispositivo similar o darnos un esquema para construir uno, después de mirar un
kit Jaycar. El único inconveniente de los kits es que el muestreo rpm pone un
poco complejo, y aunque no creo que sea absolutamente necesario, sería
beneficioso. Aunque los kits tienen sólo 125 puntos de datos entre las
posiciones del acelerador "cerrados" y "totalmente
abierta", y no interpolar entre puntos de datos, que parecen funcionar muy
bien. Los conjuntos de chips profesionales tienen 96.000 puntos de datos entre
CT ("Mariposa cerrada"), y WOT ("Regulador completamente
abierto"), y ellos lógicamente interpolar entre puntos de datos conjunto.
Los conjuntos de chips profesionales corren unos USD $650 programados, e instalados.
Tengo la intención de comercializar un chip
preprogramado capaz de hacer cualquier trabajo sistema hidroxi. Mientras que
planea tener una empresa rentable con la arquitectura pre-programado
profesional, también creo en la fuente abierta do-it-yourself comunidad, que es
donde me inicié. Las patatas fritas que planea vender serán un 'plug and play'
dispositivo. Usted me envía la información sobre el tipo de vehículo que usted
está modificando, y los datos de eficiencia de su celda, y yo seré capaz de
enviarle un chip que hará su trabajo ECU con esas condiciones. La versión de
Hágalo-Usted-Mismo sería bastante tiempo pero, trabajaría por menos de una
cuarta parte del precio.
Creo que el "más es mejor" idea gas
hidroxi que mucha gente se ha quedado atascado en, está viciada en serio.
Definitivamente hay un punto de rendimiento decreciente. Sintonizar la mayoría
de los sistemas de I para entregar alrededor de 1 lpm. Cuanto menor sea el
amperaje que puede hacer esto en, por supuesto, el mejor. He descubierto que no
sólo se tarda más amperaje para producir mayores volúmenes a un ritmo menos
eficaces de retorno, pero no añadir mucho a la eficiencia del
"impulso". Con las células que construyo tengo 1 lpm de gas hidroxi
en unos 8 a 10 amperios. Estoy usando CC directo con una célula 5, 6 placa de
matriz, similar a una "Booster de Smack", pero con un mejor
aislamiento placa en el baño. Hemos gastado miles en desarrollo más elaborado,
y las células ligeramente más eficientes. Hemos utilizado PWMs para obtener una
mejor producción, y ser capaz de atenuar la producción de gas con ciclo de
trabajo. Teníamos un sistema muy, muy avanzado. Luego apliqué la navaja de
Occam a ella. Podemos hacer que el gas suficiente para apoyar la combustión
ultra-delgado encima de las condiciones de carga bastante bajas - ¿y qué bueno
es ser capaz de disminuir cuando apenas gana suficiente ya? El PWM sí ayuda, y
es relativamente barato así que dejamos ese componente si el cliente quiere,
pero no cambia el ciclo de trabajo.
La célula estilo 6 plato "traineras"
funciona bien. Es pequeño, fácil de construir, y es lo suficientemente
eficiente para la producción que necesitamos. Control del motor era el mayor
problema. Puedo conseguir un gran rendimiento con sólo un poco de gas hidroxi,
si puedo controlar lo que la mesa de combustible se ve el ECU en cada intervalo
de carga y rpm. El problema con EFIEs y MAP / MAF ajustadores es que le dicen a
la computadora para buscar en tablas de combustible inapropiados en rangos de
carga superior. La ECU recoge en eso, ajusta es ajustes de combustible a largo
plazo, y se remonta a un estado no modificado. Si puedo hacer que el aspecto de
ecus en mesas muy magras en crucero, y luego las tablas más o menos sin
modificar en cargas más altas que nunca "ve" el truco. Ya que sólo
hacemos suficiente gas hidroxi afectar cargas bajas de todas formas, esto es
todo lo que necesito para estar preocupados con. Usted podría pensar en él como
un modo de crucero ultra-delgado: cuando usted no está en baja crucero no va a cambiar
nada. Cuando se circula está ejecutando en una relación aire-combustible muy
magra. Hasta el momento, funciona muy bien.
El sistema es muy lujoso que utiliza un PWM con un
ciclo de trabajo controlado por nuestro chip, y se completó hasta 3 lpm en 20Amps
habría costado más de USD $ 2,500 sólo para las partes, y el equipo para cubrir
los costes de producción y obtener una ganancia, y sólo nos ganó la eficiencia
de aproximadamente 10%. El sistema que estamos trabajando ahora debe ser
inferior a USD $ 1,500 como un sistema "llave en mano". Nuestro
pequeño Saturno acaba de regresar a 88mpg en una carrera cuidadosamente
impulsada con este sistema. Por lo general consigue altos 40s hasta mediados de
los años 50 en mpg en condiciones normales de conducción.
He intentado agregar sólo 0,6 lpm o así, y dejar
que el ECU recortar a cabo para compensar. Esto me ha dado resultados mixtos. A
veces puedo conseguir un 25% a 30% de reducción en el consumo, y en ocasiones
no hace ninguna diferencia en absoluto. Tiene mucho que ver con la programación
de la ECU, y los hábitos del conductor. Yo realmente no sé por qué no funciona
todo el tiempo teóricamente debería. El gas hidroxi hace que la gasolina más
volátil por lo que debería estar recibiendo más energía por gramo de
combustible. Eso debería correlacionarse con temperaturas de los gases de
escape más altos, y la ECU debería ver eso y tomar un poco de combustible, pero
a veces se hace todo lo contrario. La ECU ve una condición pobre debido al
aumento de la temperatura del gas de escape en el colector, y la temperatura
más baja en el convertidor catalítico, y por lo que Richens la mezcla
aire-combustible.
Otra opción posible que no he explorado sería un
EFIE diseñado para cambiar su salida a un voltaje conjunto controlado por el
sensor de posición del acelerador del vehículo. El reto aquí es que no es un
cambio lineal. Los pasos entre los sitios de carga no serían iguales. Ellos
tendrían que ser capaces de ajustar manualmente por lo que la aplicación
necesita. La DFA le permite hacer esto, y puede añadir tensión al igual que un
EFIE. Puede utilizar uno de DFA para MAP / MAF de control, y uno para el
control del sensor de oxígeno. Así que incluso con un EFIE modificado que se
necesita un DFA o algo similar para proporcionar MAP no lineal / MAF de control
". Puede ponerse en contacto en Les lespearson (arroba) hotmail (punto)
com.
Construcción
Si usted desea construir un circuito controlador del sensor de oxígeno,
entonces aquí es una sugerencia en cuanto a cómo podría hacerlo. Esta
descripción asume muy poco conocimiento por parte del lector, así que ofrezco
mis disculpas a aquellos de ustedes que ya son expertos en estos asuntos. Hay
muchas maneras diferentes para diseñar y construir cualquier circuito
electrónico y cada experto en electrónica tendrán su manera preferida. En mi
opinión, la forma en que se muestra aquí es el más fácil para un recién llegado
a entender y construir con el mínimo de herramientas y materiales.
El circuito que se muestra aquí, se toma de la página web http://better-mileage.com/memberadx.html,
y se discute aquí con mayor detalle. Este circuito puede construirse sobre una
placa de circuito impreso o puede ser construido sobre una sencilla stripboard
de una sola cara, como se muestra aquí:

Stripboard (a menudo llamado "Veroboard"), tiene tiras de cobre
conectados a un lado del tablero. Las tiras de cobre pueden dividirse donde es
conveniente para la construcción del circuito. Cables de componentes se cortan
a la longitud, se limpian, insertado desde el lado de la placa que no tiene las
tiras de cobre, y los cables unidos a las tiras de cobre utilizando una unión
de soldadura. De soldadura no es una habilidad difícil de aprender y el método
se describe más adelante en este documento.
Cuando todos los componentes se han unido a la stripboard y el circuito de
la prueba, a continuación, la junta está montada en una pequeña caja de
plástico como se muestra aquí:

Aislante postes de montaje se puede hacer de un
corto de piezas de varilla de plástico con un agujero perforado a través de su
longitud. El perno de montaje puede auto-TAP en un agujero perforado en el
caso, si el orificio es ligeramente más pequeño que el diámetro de las roscas de
los pernos. Alternativamente, los agujeros se pueden perforar ligeramente más
grande y las cabezas de los tornillos situados fuera el caso con las tuercas
utilizados para sujetar la placa en su sitio. Este estilo de montaje que tiene
el tablero de circuito de forma segura en su lugar y le da un poco de espacio
entre el tablero y el caso.

Usted necesitará el equipo de construcción, es
decir, un soldador, una fuente de alimentación de 12 voltios, como una batería
y un voltímetro digital precisa para este proyecto. Si el suministro de 12
voltios es una unidad de potencia principal, entonces tiene que ser una unidad
de tensión estabilizada bien filtrada. Por último, se necesita una fuente de
tensión variable que puede ir de 0 a 1 voltio a imitar a la salida del sensor
de oxígeno del vehículo al probar la placa de circuito completo. Esto es
bastante sencillo de hacer, mediante una resistencia y una resistencia variable.

Se necesitará una serie de componentes para el propio circuito. Estos se
pueden comprar a partir de un número de diferentes proveedores y los detalles
de pedido se muestran más adelante en este documento. Arriba se muestra una
resistencia. El valor de la resistencia se indica mediante un conjunto de tres
bandas de color en un extremo del cuerpo. La razón para hacer esto en lugar de
sólo escribir el valor de la resistencia, es que cuando la resistencia se
suelda en su lugar, su valor se puede leer desde cualquier ángulo y desde
cualquier lado. La lista de componentes muestra las bandas de color para cada
una de las resistencias utilizadas en este circuito. Si desea más información
sobre la electrónica básica, a continuación, lea el tutorial de Electrónica que
se pueden encontrar en http://www.free-energy-info.co.uk /Chapter12.pdf.
Otros componentes que va a utilizar, se ven así:

El MPSA14 y los dispositivos BC327 son
transistores. Cada una tiene un "Collector", una "base" y
un alambre "Emisor" que sale de ellos. Por favor note que los dos
paquetes no son idénticos, y cuidar de que el cable de la derecha se coloca en
el agujero correcto en el stripboard antes de soldar en su lugar.
El diodo 1N4007 tiene un anillo de marcado en un
extremo del cuerpo. El anillo indica la barra plana a través del símbolo como
se muestra en el diagrama del circuito, y de esa manera se identifica qué
camino alrededor del diodo se coloca en el stripboard.
El diodo emisor de luz (el "LED") será
familiar para la mayoría de la gente ya que se utiliza tan ampliamente en los
equipos de todos los tipos.
El conmutador tiene seis contactos - tres en cada
lado. El contacto central está conectado a uno de los dos contactos exteriores
en su lado, que uno, depende de la posición de la palanca del interruptor.
Los dos condensadores (que se llaman
"condensadores" en la literatura muy antigua) se ven muy diferentes
entre sí. El condensador electrolítico tiene su cable marcado en el cuerpo del
condensador +, mientras que la cerámica tiene un valor pequeño tal que no
importa que forma redonda que está conectado.
El componente principal del circuito, es un circuito integrado o "chip". Este es un pequeño paquete que contiene un circuito electrónico entero en su interior (resistencias, condensadores, diodos, lo que sea, ....). Chips de circuitos integrados generalmente se ven así:

Una versión muy común de este paquete tiene dos filas de siete pines cada uno y
que se conoce con el pomposo nombre de "Dual
In Line", que simplemente significa que hay dos filas
de pines, teniendo cada fila las
clavijas en línea recta. En nuestro circuito particular, el chip tiene dieciocho alfileres, en dos filas
de nueve.
Ahora, para el propio circuito. Si le resulta difícil de seguir, a
continuación, echar un vistazo a la guía
de aprendizaje de la electrónica en
el sitio web, ya que muestra el
símbolo de diagrama de circuito para cada componente y explica cómo funciona
cada dispositivo.
El circuito consta de tres condensadores, resistencias ocho, dos diodos, un
LED, un chip IC, dos transistores, un interruptor de palanca y dos tipos de
componentes aún no descrita,
a saber: dos resistencias preestablecidos
y un interruptor giratorio.

La resistencia preestablecido es muy pequeño y se
ajusta con un destornillador de punta plana. Se utiliza para la fabricación de
un marco ajustable que se deja entonces sin cambios durante un largo tiempo. El
interruptor giratorio tiene un contacto central que está conectado a una fila
de contactos externos a su vez cuando el eje se hace girar desde la posición a
la posición. El eje del interruptor está hecho de plástico y así se puede
cortar fácilmente a la longitud necesaria para hacer una instalación limpia, y
el mando está bloqueado en su lugar apretando su tornillo de presión contra la
cara plana del eje, aunque algunos mandos están diseñados sólo para empujar
firmemente en el eje. Hay una amplia gama de estilos de mando que se pueden
utilizar con este interruptor, por lo que la elección de mando está dictada por
el gusto personal.
Este es el esquema de conexiones:

Los circuitos electrónicos están normalmente
"leer" de izquierda a derecha, por lo que se verá en este circuito de
esa manera. Los primeros componentes son el 100 microfaradios, el condensador
35 voltios electrolítico con el pequeño condensador de 100 nF a través de ella.
Estos se ponen allí para ayudar a limar cualquier variación en la tensión de
alimentación. El diodo zener BZX85C es un tipo de 24 voltios y protege el
circuito integrado de picos de tensión que viene a lo largo de la línea de + 12
voltios de otros equipos en el vehículo, evitando el circuito de ser alimentado
a más de 24 voltios, incluso para una fracción de segundo, ya que ello dañará
el circuito integrado.
El siguiente punto es el / Off interruptor del
salpicadero On. Cuando se cambia a su
posición como se muestra aquí:

la conexión del sensor de oxígeno se pasa
directamente a través de la computadora de combustible del vehículo, sin pasar
por la placa de circuito completo. Este interruptor permite todo el circuito se
desconecte en caso de que desee hacer esto por cualquier razón.
En está en posición, como se muestra en el
diagrama del circuito, la señal de tensión variable procedente del sensor de
oxígeno se pasa en el circuito, y la tensión de salida del circuito se pasa de
nuevo a la computadora de combustible, en lugar de la tensión original del
sensor. Esto permite que el circuito de manipular el voltaje enviado a la
computadora de combustible.
El siguiente conjunto de componentes (cuatro
resistencias, un condensador cerámico y una resistencia preestablecida) se
muestra aquí:

son necesarios para alimentar el voltaje del
sensor de entrada al chip de circuito integrado, y hacer que el chip funcione
de la manera que queremos, (el fabricante de chips permite que más de una forma
para el chip al trabajo). Usted puede simplemente ignorar estos componentes por
ahora, sólo entender por qué están allí.
El chip de circuito integrado tiene diez salidas,
saliendo a través de las clavijas 1 y 10 a 18 inclusive:

Si la tensión de entrada procedente del sensor de
oxígeno es baja, entonces todas estas diez salidas se tienen bajas tensiones en
ellos. Cuando la tensión de entrada se eleva un poco, el voltaje en el pin 10
se eleva de repente a un valor alto, mientras que los otros pines de salida
todavía tienen bajas tensiones.
Si la tensión de entrada se eleva un poco más
arriba, y de repente la tensión en el pin 11 se eleva a un valor alto. En este
punto, tanto Pin 10 y Pin 11 tienen alta tensión en ellos y los otros ocho
pines de salida se mantienen en baja tensión.
Si la tensión de entrada se eleva un poco más
arriba de nuevo, y de repente la tensión en el pin 12 se eleva a un valor alto.
En este punto, Pin 10, Pin 11 y Pin 12 todos tienen alta tensión en ellos y los
otros siete pines de salida se mantienen en baja tensión.
Lo mismo le sucede a cada uno de los pines de
salida diez, con la tensión en el pin 1 es el último de conseguir un alto
voltaje. El circuito está dispuesto de manera que el pasador 10 proporciona la
señal de salida para la mezcla más rica de aire / combustible para el vehículo,
y la mezcla se vuelve progresivamente más delgado como la salida de las
patillas 11, 12, ... etc. se seleccionan para ser alimentado a la computadora
de combustible.
Como existe la posibilidad de daños en el motor si
la mezcla de combustible es demasiado pobre, sólo seis de las salidas se toman
en en el circuito. Sin embargo, si el motor está siendo alimentado gas hidroxi
de un electrolizador para mejorar tanto las millas por galón el rendimiento y
reducir las emisiones a cero, entonces es probable que el motor funcionará más
fresco que antes y daños en el motor es más probable que ocurra. Es bastante
seguro para dejar los pines de salida restantes del chip de circuito integrado
sin conectar. Sin embargo, si esta unidad se va a utilizar con la célula de
Nitrógeno Hidróxido se describe en el documento D18.pdf, entonces es bastante
seguro para conectar los pines 16, 17, 18 y 1 y ajuste el selector giratorio en
diez posiciones.
El pin de salida para ser utilizada por el resto
del circuito es seleccionado por el conmutador giratorio montado en el tablero
de instrumentos:

Un interruptor de oblea giratorio de un solo polo estándar tiene doce
posiciones, pero la operación del interruptor puede ser restringido a cualquier
menor número de posiciones mediante la colocación de la orejeta de tope final
del interruptor justo después de la última posición del interruptor requerido.
Este estirón viene de serie, se ajusta alrededor del eje del final como una
lavadora, y se mantiene en su lugar cuando la tuerca de bloqueo se aprieta en
el eje para mantener el interruptor en su lugar. Los proyectos del estirón
hacia abajo en el mecanismo interruptor y forma un tope final para evitar que
el eje del final se volvieron más. Con seis posiciones de interruptor, el
circuito proporciona cinco niveles de más delgado mezcla de aire / combustible
que se pueden seleccionar. Esto debería ser más que suficiente para todos los
propósitos prácticos.
La siguiente sección del circuito es la etapa de amplificador de transistor
BC327 que proporciona la corriente de salida para la computadora de combustible:

Aquí, el interruptor "SW1" se conecta a
uno de los pines de salida del circuito integrado. Cuando el voltaje en el pin
que pasa a nivel bajo, hace que una corriente fluya a través de la unión base
transistor / emisor, limitado por el 2.7K (2700 ohm). Esta corriente provoca
que el transistor para cambiar duro On, que a su vez altera la tensión en su
colector desde cerca de 0 voltios a cerca de 12 voltios. La resistencia de 2.7K
sólo está allí para limitar la corriente a través del transistor y para evitar
la carga excesiva en el pin de salida del IC.
El transistor ahora alimenta corriente al LED a
través de los dos diodos 1N4007 y el 1K (1000 ohm). Esto hace que el diodo
emisor de luz para iluminar brillantemente. La resistencia de 1K está ahí para
limitar la cantidad de corriente que fluye a través de esta sección del
circuito.
Parte de la tensión a través del LED es alimentado
de nuevo a la computadora de combustible:

Al mover el contacto deslizante en el resistor
preset "VR2", cualquier voltaje de salida se puede alimentar a la
computadora de combustible. Esta tensión puede ser cualquier cosa de la
totalidad de la tensión a través del LED, abajo casi a cero voltios. Usaremos
VR2 para ajustar la tensión de salida cuando estamos estableciendo el circuito
hasta para su uso. En este circuito, VR2 está actuando como un "divisor de
tensión" y es allí para permitir el ajuste de la tensión de salida que va
desde el circuito a la computadora de combustible.
La última sección del circuito es la MPSA14
transistor y sus componentes asociados:

Este circuito es un temporizador. Cuando el
circuito se enciende por primera vez (por la llave de contacto del vehículo se
encienda), el 470 microfaradios condensador "C1" se descargue por
completo (si no lo es, entonces el sensor de oxígeno ya estará caliente). Como
es descargada y un lado se conecta a la línea de 12 voltios, entonces el otro lado
(el punto "A") parece que también es a 12 voltios. Esto proporciona
una corriente pequeña de la unión base / emisor del transistor MPSA14, a través
de la 470K resistencia alta (470.000 ohm). El MPSA14 transistor tiene una
ganancia muy alta y por lo que esta pequeña corriente hace que se cambie duro,
cortocircuitando el LED y la prevención de cualquier voltaje desarrollo a
través del LED.
A medida que pasa el tiempo, la pequeña corriente
que fluye a través del transistor MPSA14, junto con la pequeña corriente por el
3.9M (3.900.000 ohm) "R1", causan una tensión que se acumule en el
condensador "C1". Esto a su vez, obliga a la tensión en el punto
"A" inferior e inferior. Eventualmente, la tensión en el punto
"A" consigue tan bajo que el transistor se MPSA14 hambre de la
corriente y se desconecta, lo que permite que el LED se encenderá y el circuito
para iniciar el suministro de una tensión de salida a la computadora de
combustible. El propósito de la sección del circuito es para apagar la salida a
la computadora de combustible hasta que el sensor de oxígeno ha alcanzado su
temperatura de 600 grados Fahrenheit trabajo. Puede que sea necesario para
adaptar este retraso a su vehículo alterando el valor de cualquiera de
"R1" o "C1". El aumento de una o ambas alargará el retraso
al tiempo que reduce el valor de uno o ambos, se acortará la demora.
Queremos que el tiempo de retraso que se produzca
si el motor está apagado durante algún tiempo, pero no se produce si el motor
se apaga brevemente. Para que esto suceda, se sugiere que un diodo se coloca a
través del resistor de temporización. Esto no tendrá ningún efecto cuando el
circuito está encendido, pero va a descargar el condensador cuando el circuito
está apagado. Podemos retrasar la velocidad de descarga, poniendo una resistencia
de alto valor en serie con el diodo de descarga y que haría que el circuito:
Operación del circuito:
Ahora que hemos visto en cada parte del circuito
por separado, vamos a ver de nuevo en la forma en que opera el circuito. El
componente principal es el circuito integrado LM3914. Este dispositivo está
diseñado para encender una fila de diodos emisores de luz ("LED"). El
número de LEDs encendidos es proporcional a la tensión de entrada de llegar a
ella a través de su Pin 5. En este circuito, el circuito integrado se utiliza
para proporcionar un voltaje reducido a ser alimentados a la computadora de
combustible, en lugar de a la luz de una fila de LEDs. Cuando el interruptor de
funcionamiento se encuentra en que es en la posición ON, el voltaje del sensor
se alimenta al pin 5 a través de una resistencia de 1 megaohmio.
La sensibilidad de este circuito se ajusta, de
manera que cuando 500 milivoltios (0,5 voltios) se aplica a la clavija 5, la
salida en el pin 10 es sólo activa. Esto se hace mediante el ajuste de la 10K
resistencia preestablecido lineal "VR1", mientras que la colocación
de una tensión de prueba de 500 milivoltios en Pin 5. Este circuito integrado
LM3914 normalmente se ajusta para que muestrea el voltaje del sensor. El chip
LM3914 ofrece diez niveles de voltaje de salida separadas, y el circuito está
dispuesto de manera que uno cualquiera de varios de éstos se pueden seleccionar
mediante el conmutador rotativo "SW1". Estas tensiones de salida van
desde 50 milivoltios en el pin 1 a 500 milivoltios en Pin 10, con cada posición
de salida que tiene una salida de 50 milivoltios mayor de lo que está vecina
pin. Esto permite una amplia gama de control sobre la alimentación de sensor
pasa a la computadora de combustible.
El circuito de resistencia / condensador de
entrada proporciona un filtrado de la señal de sensor. Debido a que este
circuito toma muy poca corriente, se golpea fácilmente fuera de servicio
correcto a través de su línea de entrada recogiendo pulsos eléctricos
callejeros producidos por el motor, particularmente circuito de encendido del
vehículo. Cuando el sensor de escape se calienta, la señal se vuelve más limpio
y luego el circuito comienza a funcionar correctamente. El circuito incluye un
retardo de manera que después del arranque, la salida se mantiene baja durante
unos minutos para simular un sensor frío. El sensor debe funcionar
correctamente antes de enviar señales a la computadora. El problema más común,
si no tenemos este retraso, es que la salida será alta simplemente del ruido en
la línea de señal. El ordenador pensará que el sensor está funcionando, porque
es alto, y reducir el combustible para hacer la señal de ir bajo. Si eso
llegara a suceder, nos encontramos con una entrada de combustible excesiva
inclinación a la del motor, produciendo muy mala aceleración.
El indicador LED del panel frontal no es sólo para
mostrar que el dispositivo está funcionando, sino que forma un regulador de
voltaje simple para la señal de salida a la computadora. Cuando el motor está
caliente y funcionando normalmente, el LED se enciende cuando la salida es
alta, y no se enciende cuando la salida es baja, por lo que este LED debe
parpadear y se apaga.
La conexión a tierra para el sensor de oxígeno es
el sistema de escape, que está firmemente atornillada al motor. La tierra del
ordenador es la carrocería del vehículo. Una diferencia de apenas 0.5 voltios
puede hacer una gran diferencia a la mezcla. Si el motor no está puesto a
tierra de forma segura a la carrocería del vehículo, a continuación, una
diferencia de tensión puede existir entre los dos, y en esta situación una
diferencia de tensión de sólo 0,5 voltios normalmente pasaría desapercibida. No
podemos darnos el lujo de tener ese tipo de diferencia de tensión cuando se
trata de controlar la mezcla de precisión, así que se necesita un poco de
investigación y el ajuste.
Para ello, arranque el motor, cambiar las luces
encendidas para luz de carretera, y mida la tensión entre el motor y el cuerpo.
Utilice un voltímetro digital. Cualquier más de 50 milivoltios (0,05 voltios)
significa que hay una toma de tierra mal que necesitan limpieza y apriete. Los
coches modernos suelen tener más de una conexión de modo mirar alrededor. Si
tiene problemas para lograr una buena conexión, entonces la tierra tu tarjeta
de circuito directamente en el motor en lugar de conectarse a un punto de la
carrocería del vehículo. El elemento más importante es tener una buena calidad
de tensión de la señal procedente del sensor, ya que el rango de operación
consta de voltajes muy bajos. Los componentes y las herramientas necesarias
para la construcción de este circuito se muestran más adelante, pero por ahora,
consideran que la creación y prueba de la unidad con el fin de entender mejor
lo que se necesita.
Ajuste en el Banco
Cuando el circuito se ha construido para la fase
de pruebas, es decir, con todos los componentes en su lugar excepto por el
condensador de temporización "C1", y antes de que la alimentación
está conectada, conecte el chip de circuito integrado en el zócalo montado en
el tablero. Tenga mucho cuidado de hacer esto como el chip puede ser destruido
por la electricidad estática recogido por su cuerpo. Los profesionales usan una
correa de muñeca eléctrica tierra al manipular estos dispositivos, por lo que
sería una buena idea de tocar un buen punto de la tierra, tales como un sistema
de agua fría de metal-pipe justo antes de tocar el chip.
Es vital que se instala el chip IC, en la posición
correcta o se puede dañar. El diseño de la placa de circuito muestra qué manera
redonda va. El chip tiene una muesca semicircular en un extremo para mostrar
qué extremo es que, así que ten cuidado de que la muesca se posiciona como se
muestra en el diseño de la placa en la sección que muestra cómo se construye el
tablero. Algunos fabricantes utilizan un punto en lugar de una muesca
semicircular para marcar el final de la ficha que tiene el Pin 1 en ella.

Completar el dispositivo de tensión de prueba.
Necesitamos algo que nos dé una tensión ajustable en el rango de 0 a 1 voltio.
Una forma muy fácil de conseguir esto es utilizar una resistencia de 10K y una
resistencia variable 1K (llamada "potenciómetro" por algunas
personas) y conectarlos a través de la batería de 12 voltios, como se muestra
aquí:

Esto nos da un voltaje en el rango correcto cuando
el eje de la resistencia variable está activada. Encienda la placa de circuito
cambiando la batería de 12 voltios a través de la junta. Ajuste la fuente de
prueba de tensión a 500 milivoltios (0,5 voltios) y aplicarlo a la entrada de
la tarjeta (donde se hará la conexión del sensor cuando se instala en el
vehículo). Ajuste el interruptor en la posición "más rico", es decir,
con el interruptor conectado al pin 10 del chip.
Ahora, con un destornillador de punta plana,
ajuste la resistencia preestablecido control de sensibilidad "VR1"
para que el LED de salida es sólo lit. Deja la resistencia preestablecido en
esa posición y ajustar la tensión de ensayo más baja y más alta para probar que
el LED se enciende y apaga en respuesta a la variación de voltaje en la entrada
al circuito. El LED debe encenderse en 0.5 voltios, y se van justo por debajo
de 0,5 voltios. Las otras salidas, que pueden ser seleccionados por el
conmutador giratorio "SW1", será de unos 50 milivoltios más baja para
cada posición del interruptor lejos de su ajuste "más rico" en el Pin
10.
Ahora, con la salida de alta y el LED de
encendido, utilice un destornillador de punta plana para ajustar la resistencia
de preset "VR2" para ajustar la tensión de salida se envía a la
computadora a aproximadamente 1,0 voltios. Cuando esto se ha establecido, baje
el voltaje de entrada para que el LED se apaga. La tensión de salida debería
ser ahora en cero voltios. Si esto es lo que sucede, entonces se muestra que el
circuito está funcionando correctamente.
Si esta junta no está en su lugar, el sensor hará
que el equipo de combustible para hacer la mezcla más rica de combustible a fin
de mantener un voltaje de 500 milivoltios del sensor. Con el circuito en su
lugar y se puso a su entorno "más rico", exactamente lo mismo que
sucede. Sin embargo, si el interruptor giratorio se mueve a su posición
siguiente, la computadora de combustible mantendrá la alimentación de
combustible para mantener una salida de 450 milivoltios, que es una mezcla más
pobre-combustible-aire. Un paso más en todo y la computadora de combustible
hará que la mezcla aún más delgado para mantener una salida de 400 milivoltios
de la placa de circuito, que la computadora de combustible cree que viene del
sensor de oxígeno de escape.
Si su tarjeta de circuito no funciona como se
describe, a continuación, apagarlo y examinar la placa de circuito de nuevo, en
busca de lugares donde las conexiones de soldadura no son perfectos. Puede
haber algún lugar donde la soldadura se realiza un puente entre dos de las
tiras de cobre, o puede haber un conjunto que parece que no es un conjunto de
buena calidad. Si encuentra uno, no suelde ni de lejos el chip IC ya que el
calor puede dañar el chip. Si es necesario, la tierra a ti mismo de nuevo,
quite el chip y poner de nuevo en el embalaje antiestático que vino adentro,
antes de reparar el tablero. Si los componentes se colocan todos los datos
correctamente, las pistas de cobre rotos en todos los lugares correctos y todas
las juntas de soldadura en buen estado y bien hecho pero la junta aún no está
funcionando correctamente, entonces es probable que el chip IC es defectuoso y
necesita ser reemplazado .
A continuación, instale el condensador demora
"C1". Ajuste la tensión de prueba por encima de 500 milivoltios y
encender la cámara de nuevo. Se debe tomar alrededor de tres minutos para que
el LED se enciende. Si desea acortar este retraso, a continuación, cambie la
resistencia de tiempo "R1" para una resistencia de un valor inferior.
Para alargar la demora, reemplazar el condensador de temporización
"C1" con un condensador de valor mayor. Si usted encuentra que el
sensor de oxígeno se calienta rápidamente, entonces usted puede reducir la
duración de la demora. Tener una excesiva demora no es ideal, ya que el equipo
va a añadir combustible adicional para hacer la mezcla más rica.
Se sugiere que el conmutador giratorio se debe
ajustar con sólo seis posiciones de interruptor (moviendo es parar fin de
arandela de lengüeta), por lo que inicialmente, conecte los pines de salida de
chip IC del 10 al 15 en el conmutador. Usted puede elegir para conectar los
cables al interruptor para que la mezcla se enriquece cuando se gira el mando
hacia la derecha, o si lo prefiere, puede conectar en el orden inverso, de modo
que la mezcla se enriquece cuando se gira el mando hacia la izquierda.
Las Pruebas en el Vehículo
Ahora puede probar el dispositivo en el vehículo,
pero no instalarlo todavía. Mira en el compartimiento del motor y localice el
sensor de oxígeno. Si tiene dificultades para encontrarlo, obtener una copia
del Manual Clymer o Haynes Mantenimiento de su vehículo como que le mostrará la
posición. Si su vehículo tiene dos sensores, a continuación, seleccione la más
cercana al motor. Si su sensor tiene cinco cables que van a la misma, entonces
es un sensor de "banda ancha", que mide tanto el contenido de oxígeno
y la cantidad de combustible no quemado, y por desgracia, el tipo de circuito
descrito aquí no controlarlo.
Arrancar el vehículo y deje que el sensor de
oxígeno se caliente durante un par de minutos. Recuerde que hay un retraso
integrado en el circuito, por lo que después de unos minutos usted debe ver el
LED empezará a parpadear. Acelera el motor y el LED permanecerá encendido. Al
soltar el acelerador, el LED se apagará durante un tiempo. Un parpadeo es lo
que quieres ver. La tasa de parpadeo será en algún lugar entre el 1 y 10 veces
por segundo, lo más probable es que alrededor de 2 por segundo. Confirme que el
LED se apaga al apagar la placa de circuito de encendido / apagado montado en
el salpicadero.
Ahora viene la parte emocionante, cortando el
cable del sensor de oxígeno y la inserción de la controladora. Apague el motor
y cortar el cable en un lugar conveniente. Utilice engarzado conectores en los
extremos de los cables. Use un par de juego en el cable que acaba de cortar, en
caso de que necesite volver a conectarlo, como se muestra aquí:

Cuando se configura así, el más lejano conector
macho de la izquierda podría ser enchufado en el más lejano conector hembra a
la derecha y la placa de circuito eliminado. Asegúrese de aislar las conexiones
del sensor y la computadora de combustible conector macho / hembra para hacer
muy seguro de que ninguno de ellos puede provocar un cortocircuito a cualquier
parte del cuerpo. No hay necesidad de aislar la conexión a tierra, ya que ya
está conectado a la carrocería del vehículo. Aunque no se muestra en el
diagrama, también puede poner un par de conectores macho y hembra engarzado en
el cable de tierra. Si su sensor sólo tiene un cable que viene de él, entonces
usted mejor toma de tierra es a un conector de soldadura sin etiqueta colocada
bajo un perno en el motor. Si lo hace, asegúrese de limpiar toda la grasa,
suciedad, óxido, etc. de la parte inferior de la cabeza del perno y la zona
alrededor del orificio del perno. Empuje una toalla de papel en el orificio del
perno antes de hacer esto para asegurarse de que ningún material no deseado
termina en el orificio del perno y utilizar papel húmedo y seco para realmente
limpiar las superficies. El objetivo aquí es asegurarse de que hay una muy
buena conexión eléctrica con rostros brillantes de metal sujeta firmemente
juntos.
Instalación del Controlador
Ahora, instale la placa de circuito en el
vehículo. Para la alimentación de 12 voltios, encontrar una conexión que se
enciende y se apaga con el interruptor de encendido del vehículo. No conduzca
el coche, sin embargo, hacer esta prueba en el camino de entrada. Con el
interruptor del panel frontal en su posición "Off", arrancar el coche
y comprobar que funciona normalmente. Ajuste el panel de interruptor giratorio
frontal en la posición más rico (conectado al pin de la IC 10) y encienda el
interruptor de la tarjeta de circuitos de conmutación a él es posición
"On". El coche ya está funcionando con una señal del sensor de
oxígeno modificado a pesar de la mezcla sigue siendo el mismo. El rendimiento
del vehículo debe estar completamente normal. Conducir el vehículo con este
ajuste por un tiempo para demostrar que el sistema funciona de forma fiable
antes de cambiar cualquiera de los ajustes más bajos. Cuando esté satisfecho de
que todo está en orden, intente lo siguiente ajuste más magro del interruptor
giratorio y ver cómo funciona.
Es importante que no debe haber ninguna duda en el
rendimiento del motor y no golpear o "picado" ya que es una
indicación de que la mezcla es demasiado pobre y el motor es peligro de un
sobrecalentamiento. Este circuito está diseñado para su uso con un
electrolizador, por lo que su electrolizador debe establecerse y trabajar para
estas pruebas. El electrolizador tenderá a hacer que el motor funcione más frío
y contrarrestar cualquier tendencia hacia el sobrecalentamiento.
Construcción de la Placa de Circuito
Aunque la información anterior se ha presentado como si la tarjeta ya se ha
construido, los detalles reales de la construcción se han quedado hasta ahora,
para que usted ya tendrá una comprensión de lo que el circuito está destinado a
hacer y cómo se utiliza.
Es probable que usted conoce a alguien (vecino, amigo, familiar, ...), que
cuenta con el equipo y las habilidades necesarias. Si es así, pedir prestado el
equipo, o mejor aún, contratar a la persona para ayudar con la construcción. Es
muy probable que cualquier persona que posee el equipo estaría muy interesado
en su proyecto y más que dispuesto a ayudar.
Sin embargo, el resto de este documento se escribirá en el supuesto de que
no se puede encontrar a alguien para ayudar y han tenido que comprar todo el
equipo necesario. Este proyecto no es difícil de construir, por lo que es casi
seguro que será un éxito directamente fuera.
Las herramientas que necesitarás son:
1. Un
soldador con una punta cónica cónica fina (probablemente 15 vatios potencia
nominal)
2. Algunos
de soldadura de resina "multinúcleo". Esta es la soldadura especial
para los trabajos de construcción de la electrónica y es muy diferente de la
soldadura de plomero que no es adecuado para este trabajo.
3. Un par
de alicates de nariz larga (para la celebración de los cables de componentes al
soldar en su lugar)
4. Algo
para el corte y alambres de limpieza y despojarse de revestimientos aislantes.
Yo personalmente prefiero un par de tijeras "uñas" para este trabajo.
Otros prefieren un par de cortadores de alambre y un poco de papel de lija.
Usted consigue lo que usted siente que sería la mejor herramienta para hacer
estas tareas.
5. Un 1/8
de pulgada (3 mm) broca (para hacer agujeros de los tornillos en el stripboard
y por romper las tiras de cobre cuando sea necesario) y una (9 mm) taladro de
3/8 de pulgada y poco para el montaje de los interruptores en el plástico caja.
6. Un
afrontamiento-sierra o sierra pequeña similar para cortar el eje selector
giratorio en la longitud óptima.
7. Un
destornillador pequeño (para apretar tornillos prisioneros perilla).
8. Una
herramienta que prensa y algunos conectores de crimpado.
9. Un
multímetro (preferiblemente uno digital) con un rango de medición de voltaje CC
de 0 a 15 voltios o menos.
10.
(Opcional) una lupa de x4 o mayor aumento (de muy cerca el examen de la
soldadura)
Soldadura
Muchos de los componentes electrónicos podrían
dañarse por las altas temperaturas que sufren también cuando está soldado en su
lugar. Yo personalmente prefiero usar un par de alicates de punta larga para
sujetar el componente lleva en la parte superior de la placa al tiempo que la
unión de soldadura en la parte inferior del tablero. El calor corriendo por el
componente de plomo a continuación, se desvía en el gran volumen de metal en el
par de alicates y el componente está protegido del calor excesivo. En el mismo
principio, yo siempre uso un enchufe de circuito integrado al soldar una placa
de circuito, de esa manera, el calor se ha disipado por completo antes de la IC
está enchufado a la toma de corriente. También tiene la ventaja de que la IC
puede ser sustituida sin ninguna dificultad si éste se daña.
Si está utilizando circuitos integrados CMOS en
cualquier construcción, es necesario para evitar la electricidad estática.
Niveles muy altos de tensión se acumulan en su ropa a través de cepillado
contra objetos. Esta tensión está en los miles de gama voltios. Se puede
suministrar tan poca corriente que no te molesta y es probable que no lo nota.
Dispositivos CMOS operan en tales cantidades bajas de corriente que pueden ser
fácilmente dañados por la electricidad estática. Profesionales de hardware
informáticos llevan una ventaja de puesta a tierra atada a sus muñecas al
manipular circuitos CMOS. No hay necesidad de que te vayas tan lejos.
Dispositivos CMOS se suministran con sus cables embebidos en un material
conductor. Dejarlos en el material hasta que esté listo para conectarlos al
circuito y sólo mantener el cuerpo de plástico de la caja y no toque ninguna de
las patas. Una vez en su lugar en el circuito, los componentes del circuito
evitará la acumulación de cargas estáticas en el chip.
La soldadura es una habilidad adquirida
fácilmente. Soldadura de múltiples con núcleo se utiliza para la soldadura de
circuitos electrónicos. Este alambre de soldadura ha de resina fundente
contenido dentro de ella y cuando se funde sobre una superficie metálica, el
fundente elimina la capa de óxido sobre el metal, lo que permite una unión
eléctrica y mecánica adecuada a realizar. En consecuencia, es importante que la
soldadura se coloca en el área de la articulación y el soldador colocado sobre
ella cuando ya está en posición. Si se hace esto, el flujo puede limpiar el
área de la articulación y la articulación será bueno. Si la soldadura se coloca
en el soldador y entonces el hierro se trasladó a la articulación, el flujo se
habrá quemado de distancia antes de alcanzar el área de la articulación y la
articulación resultante no será bueno.
Una buena unión de soldadura tendrá una superficie
lisa y brillante y tirando de cualquier cable que va dentro de la articulación
no tendrá ningún efecto ya que el cable se ha incorporado firmemente en la
articulación. Hacer una buena unión de soldadura dura aproximadamente medio
segundo y luego no más de un segundo. ¿Quieres eliminar el soldador de la
articulación antes de ejecutar una cantidad excesiva de calor en la
articulación. Se recomienda que una buena unión mecánica hacerse antes de
soldar al conectar un cable a algún tipo de terminal (esto a menudo no es
posible).
La técnica que yo uso, es ponerse de pie la
soldadura para arriba en la mesa de trabajo y doblar el extremo de manera que
está en pendiente hacia abajo, hacia mí. El cable del componente a soldar se
coloca en el orificio de la stripboard y agarrado justo por encima de la placa
con un alicate de nariz larga. La junta se pone patas arriba y el pulgar
izquierdo utiliza para sujetar el tablero contra los alicates. La junta
directiva y pinzas se mueven entonces debajo de la soldadura y colocadas de
manera que la soldadura se encuentra en la banda de cobre, tocando el
componente de plomo. La mano derecha se utiliza ahora para colocar el soldador
brevemente en la soldadura. Esta se funde el material de soldadura sobre la
articulación, lo que permite el flujo para limpiar el área y la producción de
una buena unión. Después de que se hizo la junta, el consejo se sigue
celebrando con las pinzas hasta que la unión se haya enfriado.
Hoy en día, los orificios de la stripboard son
sólo un décimo de pulgada (2,5 mm) de separación y así los huecos entre tiras
de cobre adyacentes es muy pequeña. Si la soldadura con cuidado, no debería
haber ningún problema. Sin embargo, yo recomendaría que cuando se complete la
placa de circuito, que utiliza una lupa para examinar el lado tira de la junta
para hacer muy seguro de que todo está perfectamente bien y que la soldadura no
puente entre las tiras de cobre en cualquier lugar. Antes de encender el
circuito, compruebe que todas las roturas en las tiras de cobre se han hecho
correctamente. Aquí es un posible diseño para los componentes en el stripboard:

Si este tablero es entregado en horizontal, la
parte inferior se verá así:

Esto muestra dónde están los saltos en las tiras
de cobre deben hacerse usando un 1/8 de pulgada (3 mm) broca.
Para construir este circuito, corte un pedazo de
stripboard que cuenta con 18 tiras, cada uno con 32 hoyos. Es un tamaño de
junta de cerca de dos pulgadas (50 mm) por algo más de tres pulgadas (85 mm).
Montar los componentes en la placa, trabajando desde un extremo que la
instalación es más fácil si usted tiene un tablero claro para trabajar a
través. Si usted es diestro, a continuación, iniciar en el lado izquierdo del
tablero y trabajar hacia la derecha, la instalación de todos los componentes a
medida que avanza. Si está zurdo, a continuación, montar los componentes
empezando por el lado derecho de la placa y el trabajo hacia el lado izquierdo.
Una vez dicho esto, es probablemente más fácil si
pones todos los puentes de alambre en su lugar como el primer paso. La mejor
alambre de esto es el alambre de núcleo sólido del tipo usado en el cableado
del teléfono, ya que es fácil de cortar, fácil de quitar el aislamiento y que
quede plana en el tablero, clara de todos los otros agujeros. Por lo tanto,
comenzar con los puentes de alambre y luego instalar los componentes
electrónicos que trabajan en todos los ámbitos.
![]()
Los cables de puente se acueste en el tablero, y
al igual que los otros componentes, tiene alrededor de 2 mm de alambre limpio
proyecta a través de la lámina de cobre antes de realizar la unión de
soldadura.
Los cables que salen de la junta deben ser del
tipo que tiene varios alambres delgados en el interior del aislamiento, ya que
estos son más flexibles y resisten la vibración de un vehículo en movimiento,
mejor que el alambre de núcleo sólido. Si usted tiene sólo un carrete de
alambre, entonces asegúrese de etiquetar el otro extremo de cada pieza montada
en el tablero, el momento en que se han soldado en su lugar. Estas etiquetas le
ayudará a evitar errores al montar en el caso, si usted no tiene cables de
diferentes colores.
La placa de circuito completado puede ser montado
en una pequeña caja de plástico del tipo que tiene una tapa en su lugar por
tornillos. Puede ser conveniente para tornillo o perno el caso a la parte
inferior del salpicadero y luego atornille la tapa en su lugar, que cubre los
tornillos de montaje:

Los componentes de este circuito no son críticas y alternativas a corto partidos pueden ser utilizados. En el caso de que el MPSA14 Darlington-par de transistores no está disponible, a continuación, dos de propósito general de alta ganancia transistores de silicio como el BC109 o 2N2222A pueden ser sustituidos. Sólo tiene que conectar como esto:

El emisor del primer transistor está conectado a
la base de la segunda y los dos colectores están conectados entre sí. Si los
transistores tienen cajas de metal, entonces asegúrese de que la conexión del
emisor / base no puede tocar a cualquiera de los casos como los casos a menudo
están conectados internamente para los coleccionistas. Si cada transistor tiene
una ganancia de sólo 200, entonces el par tendrá una ganancia combinada de
40.000 veces. Esto significa que la corriente de base sólo necesita ser 40.000
veces menor que la corriente de colector del segundo transistor.
El transistor BC327 puede ser sustituido por casi
cualquier otro transistor PNP silicio en este circuito como la ganancia no
necesita ser grande y la potencia es muy pequeña. La siguiente es una lista de
los principales componentes electrónicos necesarios para la construcción de
este circuito como se describe aquí. Hay varios proveedores que son capaces de
suministrar todos estos componentes y el más adecuado depende de donde usted se
encuentre. Si hay alguna dificultad, intentar una búsqueda en Internet, y si
eso no funciona, pida ayuda en uno o más de los grupos del entusiasta Yahoo
como 'watercar "," hidroxi "o cualquiera de los grupos de
electrónica.
|
Componente |
Ctd. |
USA Proveedor |
Código |
|
Caja de plástico negro con tapa 100 x 75 x 50 mm |
1 |
Radio Shack |
270-1803 |
|
Stripboard: 18 tiras, 32 hoyos |
1 |
Electronix Express |
0302PB16 |
|
Doble Pole Interruptor de Palanca Doble Tiro |
1 |
Radio Shack |
275-636 |
|
Portafusibles, montaje en panel 30 mm |
1 |
Radio Shack |
270-364 |
|
Fuse, 2 amp fusión lenta 30 mm |
1 |
Radio Shack |
270-1262 ?? (3 A) |
|
Interruptor giratorio, 12 vías de un solo polo |
1 |
Electronix Express |
17ROT1-12 |
|
Mando para el interruptor giratorio |
1 |
Radio Shack |
274-424 |
|
LED, cualquier color, diámetro 5 mm |
1 |
Radio Shack |
276-041 |
|
IC zócalo, 18 pines DIL |
1 |
Radio Shack |
276-1992 |
|
Resistencia preestablecido miniatura, 10K lineal |
2 |
Radio Shack |
271-282 |
|
LM3914 LED bar driver Integrated Circuit |
1 |
Electronix Express |
LM3914 |
|
BC327 Transistor PNP |
1 |
Electronix Express |
2N2905 |
|
MPSA14 Darlington par transistor |
1 |
Electronix Express |
MPSA14 |
|
Diodo 1N4007 o equivalente |
3 |
Radio Shack |
276-1103 (2 pack) |
|
BZX85C diodo Zener, la versión de 24 voltios |
1 |
Electronix Express |
1N5359 |
|
470 microfaradios, 35 voltios de plomo axial
condensador de papel de aluminio |
1 |
Radio Shack |
272-1018 |
|
100 microfaradios, 35 voltios de plomo axial
condensador de papel de aluminio |
1 |
Radio Shack |
272-1016 |
|
100 nF condensador de disco de cerámica |
2 |
Radio Shack |
272-135 (2 pack) |
|
10 M Resistor de carbono 1/4 watt (Bands: Brown,Black,Blue) |
1 |
Radio Shack |
271-1365 (5 pack) |
|
1 M Resistor de carbono 1/4 watt (Bands: Brown,Black,Green) |
3 |
Radio Shack |
271-1356 (5 pack) |
|
470K Resistor de carbono 1/4 watt (Bands: Yellow,Purple,Yellow) |
1 or 1 |
(Radio Shack) Radio Shack |
use two 1M in parallel or 271-1133 (5 pack 1/2 watt) |
|
10K Resistor de carbono 1/4 watt (Bands: Brown,Black, |
1 |
Radio Shack |
271-1335 (5 pack) |
|
2.7K Resistor de carbono 1/4 watt (Bands: Red,Purple,Red) |
1 |
Radio Shack |
271-1328 (5 pack) [use 3.3K] |
|
1K Resistor de carbono 1/4 watt (Bands: Brown,Black,Red) |
2 |
Radio Shack |
271-1321 (5 pack) |
|
100 ohm Resistor de carbono 1/4 watt (Bands: Brown,Black,Brown) |
1 |
Radio Shack |
271-1311 (5 pack) |
|
Alambre de conexión: núcleo sólido y en desuso |
|
Proveedor local |
|
Electronix Express
http://www.elexp.com/index.htm
Radio Shack http://www.radioshack.com/home/index.jsp
Mientras que los
componentes mencionados anteriormente son las piezas necesarias para construir
la placa electrónica, pueden ser necesarios los siguientes elementos además al
probar e instalar la placa en un vehículo:
|
Componente |
Uso |
|
Caucho o plástico ojales |
Para proteger los cables del roce contra los
bordes de los agujeros en el cuadro |
|
Crimp conectores "bala" |
Macho y hembra, un par para cada corte del cable
del sensor |
|
Montaje de pernos, tuercas y espaciadores |
Para mantener la placa de circuito segura, libre
de la caja. |
|
Cinta adhesiva de doble cara |
Para el montaje de la caja en el tablero. Alternativamente,
elementos de hardware para esto. |
|
Conector del fusible de la caja |
Para conectar a la caja de fusibles para dar una
alimentación de 12V de encendido por conmutación |
|
Resistencia de 10K y 1K Lineal resistencia
variable |
Para banco de pruebas con voltajes de hasta 1
voltio, si estos componentes no están ya en mano |
|
Multímetro |
Para la comprobación general de tensiones,
continuidad, etc. |
Me gustaría expresar mi más sincero agradecimiento
a los distintos miembros del 'watercar' el Grupo de Yahoo que proporcionaron la
información técnica y apoyo a los pacientes, que hizo posible este documento.
Una alternativa: A medida que la señal procedente del sensor de oxígeno a la computadora de
combustible ECU del vehículo necesita ser ligeramente elevado para permitir el
escape mucho más limpio produce cuando se utiliza un refuerzo, una solución
alternativa ha sugerido y probado. La idea es añadir un pequeño voltaje,
ajustable a la señal ya que viene del sensor de oxígeno. Esta tensión puede ser
desde una sola batería de célula seca 'y ajustado con una resistencia variable:

El circuito mostrado aquí permite una tensión en
cualquier parte de cero a 0,5 voltios que se añade a la señal del sensor de
oxígeno. Esto no debe hacerse a menos que un booster está funcionando. Su uso
sin un refuerzo es susceptible de provocar un sobrecalentamiento del motor y el
posible daño de la válvula. Esto, por supuesto, se aplica al sensor de oxígeno
de circuito de ajuste de señal anterior también.
Nota: Este documento ha sido
preparado únicamente con fines informativos y no debe interpretarse como un
estímulo para construir cualquier nuevo dispositivo ni adaptar cualquier
dispositivo existente. Si usted realiza cualquier tipo de trabajo de
construcción, entonces usted lo hace bajo su propio riesgo. Usted y sólo usted,
es responsable de sus propias acciones. Este documento no debe ser visto como
una aprobación de este tipo de adaptación ni de ofrecer ningún tipo de garantía
de que una adaptación de este tipo podría funcionar para usted personalmente.
Este documento se limita a describir lo que se ha logrado por otras personas y
que no debe considerarla como un plan infalible para la replicación por nadie
más.
Hay dos tipos principales de electrolizador que
son de uso generalizado en este momento. El más común es el electrolizador CC,
por lo general se ejecutan en el mismo voltaje que la batería del vehículo. El
otro tipo son diseños sophiscated que son alimentados con una tensión continua
pulsante.
Las Células Simples CC
Si bien hay muchos estilos
diferentes de construcción, hay algunas cosas que son comunes a todos:
1. La célula de
electrolizador no está conectado directamente a la batería. En cambio, su poder
viene a través de un relé que es operado por el interruptor de encendido. Esto
es importante, ya que olvidarse de cambiar un electrolizador directamente por
cable cuando el vehículo llega a su destino, deja la generación de gas continua
mientras el vehículo está estacionado. Este gas adicional se acumula y podría
convertirse en un peligro, mientras la batería se está agotando sin ningún
beneficio que se obtuvo. La conexión del relé hace que el electrolizador de
desconexión automática y mientras eso suena como una cosa menor, que sin duda
no lo es. Una mejor conexión para el relé es conectar a través de la bomba de
combustible eléctrica como que se apaga automáticamente si el motor se para,
incluso con el encendido a la izquierda en.
2. El suministro de energía
eléctrica al electrolizador a continuación pasa a través de un interruptor
automático rearmable. Esta es también una característica importante porque, en
caso de producirse cualquier fallo de funcionamiento en la célula de
electrolizador que provoca una corriente en continuo aumento para ser dibujado
(tales como el sobrecalentamiento indebida de la célula), entonces el disyuntor
se desconecta la tensión y evita cualquier problema grave derivado. Un diodo
emisor de luz con una resistencia limitadora de corriente de, por ejemplo, 680
ohmios en serie con él, se puede conectar directamente a través de los
contactos del interruptor de circuito. El diodo emisor de luz se puede montar
en el salpicadero. A medida que los contactos están normalmente cerrados, que
un cortocircuito en el LED y así que no hay espectáculos de luz. Si se dispara
el interruptor, el LED se encenderá para indicar que el interruptor ha operado.
La corriente a través del LED es tan baja que el electrolizador se desconecta
efectivamente apagado.
3. Tanto el electrolizador
y el "pelele" tienen tapas herméticamente cerradas 'pop-off'. Esto es
muy importante. Si el gas HHO por encima de la superficie del líquido llegara a
encenderse y la unidad fueron fuertemente sellado, entonces la acumulación de
presión dentro de la unidad sería muy rápido y que iba a explotar como una
granada. Sin embargo, si se instalan tapas 'pop-off', a continuación, ya que la
presión comienza a acumularse, el tapón se desplaza, el mantenimiento de la
integridad de la unidad, y la prevención de la excesiva acumulación de presión.
Una vez dicho esto, es un objetivo importante para evitar la ignición de gas en
el primer lugar.
4. Los cables que van a las
placas en el interior del electrolizador están conectados muy por debajo de la
superficie del líquido. Esto es para evitar la posibilidad de una conexión
suelta de trabajo con la vibración del vehículo y provocando una chispa en la
región llena de gas.
5. El volumen por encima de
la superficie del líquido se mantiene tan baja como sea posible para minimizar
el tamaño de una explosión en el improbable caso de que ocurra uno, a pesar de
todas las precauciones tomadas para evitar que eso suceda. Algunos
experimentadores como para reducir el volumen por encima de la superficie del
líquido llenándolo de poliestireno "granos". No estoy contento con
ese arreglo como el poliestireno es un material con grandes propiedades
electrostáticas. Cargas masivas se acumulan rápidamente en poliestireno, y
mientras las condiciones de humedad en el interior del electrolizador no son
especialmente adecuados para las chispas electrostáticas, que consideran que el
riesgo de explosión es mayor con piezas de poliestireno en movimiento dentro de
la célula.
6. Finalmente, el gas de
HHO se pasa a través de un "burbujeo 'antes de ser alimentado al motor. Un
burbujeador es sólo un recipiente grande de agua con el gas que se alimenta en
ella cerca del fondo, y obligado a subir a través del agua antes de continuar
es viaje al motor. Si, por cualquier razón, el gas en el tubo de alimentación
del motor se enciende, entonces se encendió el gas por encima del agua en el
burbujeador. Que soplará la tapa del burbujeador, restringir la explosión de
una pequeña cantidad de gas, y la columna de agua en el burbujeador evita que
el gas en el electrolizador de ser encendido. La gente se ha sugerido el uso de
supresores de flashback de equipos de gas-soldadura pero éstos son demasiado
lento para trabajar con gas HHO alta calidad en el frente de llama se mueve a
miles de metros por segundo. Así que la mejor práctica es utilizar uno, o más,
peleles, ya que son fáciles de hacer y de instalar y son muy fiables.
Estos electrolyers CC son los más simples de
construir y pueden utilizar cualquier tamaño y la forma del recipiente que es
conveniente para el montaje en el compartimiento del motor del vehículo. Muchas
personas optan por un recipiente cilíndrico ya que estos están ampliamente
disponibles y son más fáciles de montar, posiblemente, como se muestra aquí:

Encontrar espacio en el compartimiento del motor
es una de las tareas más difíciles con los coches europeos como sus diseños
tienden a empacar la zona del motor fuertemente para reducir el tamaño del
vehículo a un mínimo.
La tasa de producción de gas depende de un número
de factores:
1. El líquido
utilizado para la electrólisis. Si se usa agua destilada, a continuación, casi
ninguna corriente fluirá a través de la célula como el agua destilada tiene una
resistencia muy alta al flujo de corriente, y casi no se producirá ningún gas. Es
una práctica normal añadir alguna otra sustancia al agua para aumentar la tasa
de producción de gas.
Si la sal se añade al agua, la tasa de
electrólisis aumenta enormemente. Sin embargo, eso no es una buena opción de
aditivos como la sal forma una mezcla corrosiva y gas cloro se produce junto
con la mezcla de gas de hidrógeno y oxígeno. Lo mismo ocurre con el ácido de la
batería; que funciona pero es una opción muy pobre que causa problemas
prácticos en un período de tiempo. Otros aditivos crearán el aumento de la
producción de gas, pero tienen efectos indeseables similares.
Dos aditivos se destacan por ser las mejores
opciones. El primero es el hidróxido de sodio (NaOH química símbolo), a veces
llamado "lejía". La mejor elección es hidróxido de potasio (KOH
símbolo químico) que está disponible en forma de gránulos. Tanto Hidróxido de
Sodio y Potasio Hidróxido acto como un verdadero catalizador en el proceso de
electrólisis en que promueven la producción de gas, pero no se acostumbran en
el proceso.
2. El espaciamiento
de las placas de electrodo. Cuanto más cerca juntos que se colocan las placas,
mayor es la tasa de producción de gas. Hay un límite práctico para esto, como
se forman burbujas de gas entre las placas y tienen que ser capaces de escapar
y subir a la superficie del electrolito. La separación óptima se considera
generalmente que es de 3 mm o 1/8 de pulgada, aunque algunas personas prefieren
tener un espacio de 5 mm entre las placas. Estas placas se hacen típicamente de
acero inoxidable 316 grado.
3. El área de las
placas de electrodo y la preparación de la superficie de la placa son a la vez
muy importante. Cuanto mayor es el área de la placa, mayor es la tasa de
producción de gas. Parte de este efecto puede ser debido a la mejora en las
posibilidades de burbujas que escapan de las placas y no bloquea algo de la
superficie de la placa. Se recomienda que cada cara de cada placa de electrodo
tiene un área de entre dos y cuatro pulgadas cuadradas (13 y 25 centímetros
cuadrados) por amperio de corriente que fluye a través de la célula.
La preparación de la superficie de las placas
tiene un efecto importante en la tasa de producción de gas. Una gran mejora se
consigue si los dos lados de cada placa se lijan en un patrón cruzado (esto
produce un aumento de superficie con miles de picos microscópicos que ayudan a
formar burbujas y, a continuación, salir, la placa). Las placas se ensamblan y
se sumergieron en la solución de electrolito durante unos tres días. Esto crea
una capa blanca protectora en la superficie de las placas que ayuda a mejorar
la electrólisis. Las placas se enjuagaron después con agua destilada y la
célula se vuelve a llenar con una solución fresca de electrolito.
4. La corriente que
fluye a través de la célula. Este es un factor absolutamente clave en la
producción de gas, y uno de los más difíciles de controlar con precisión y
económicamente. Cuanto mayor es la corriente, mayor será la tasa de producción
de gas. La corriente es controlada por la concentración de hidróxido de potasio
en el electrolito (agua más KOH) y el voltaje a través de la célula. El voltaje
a través de la célula ha limitado efecto a medida que alcanza una velocidad
máxima de producción de gas a tan sólo 1,24 voltios. Hasta ese punto, un
incremento en el voltaje provoca un aumento en la tasa de producción de gas.
Una vez que la tensión se pone más de 1,24 voltios, lo que aumenta aún más
produce ningún aumento adicional en la tasa de producción de gas.
Si el voltaje aumenta por encima de 1,24 voltios,
el voltaje adicional va a calentar el electrolito. Supongamos que la corriente
a través de la celda es de 10 amperios. En ese caso, la energía utilizada para
producir gas es 10 amperios x 1,24 voltios = 12,4 vatios. Cuando el motor está
en marcha, la tensión en los terminales de la batería será de unos 13,8 voltios
como el alternador proporciona el voltaje extra para conducir corriente en la
batería. El exceso de tensión aplicada a la célula es de aproximadamente 1,24 a
menos de que, por ejemplo 12,5 voltios. La potencia que calienta el electrolito
es de unos 12,5 voltios x 10 amperios = 125 watts. Eso es diez veces la
potencia que se utiliza para producir gas. Esto es muy, muy ineficiente. El
siguiente diagrama puede ayudarle a entender la situación:

El mejor material para las placas de electrodo es
de acero inoxidable 316L grado. Es difícil de creer, pero hay una caída de
tensión en la placa, lo que hace necesario aplicar alrededor de 2 voltios a las
placas en cada lado de la célula. Así que, si está ejecutando fuera de 12
voltios, luego de seis celdas de una fila a través de la batería da la máxima
unidad posible. Con el motor funcionando y proporcionando casi 14 voltios,
siete células da la mayor unidad posible.
El calentamiento hasta electrolito es una cosa
totalmente malo como impulsa una buena cantidad de vapor de agua del
electrolito y esto se mezcla con el gas y se alimenta al motor. La inyección de
niebla de agua, que es una fina pulverización de gotitas de agua, en un motor
aumenta su rendimiento debido a la expansión del agua cuando se calienta. Esto
mejora tanto la potencia del motor y las millas por galón, y hace que el motor
funcione más frío, lo que mejora la vida útil del motor. Pero el vapor de agua
caliente es una cosa mala ya que se encuentra totalmente expandido y sólo se
interpone en el camino del gas HHO, diluyéndolo y bajar la potencia del motor
sin ningún beneficio en absoluto.
Como la tensión aplicada a la célula es más o
menos fijo, el flujo de corriente puede ser controlada por la concentración de
hidróxido de potasio en el electrolito y el área de la placa. Una vez que se
construye la celda, el área de la placa es fija, por lo que la corriente se
ajusta mediante el control de la cantidad de KOH añadido al agua.
Hay una ligera límite, en que aumenta la
producción de gas con la concentración de KOH hasta que la concentración
alcanza 28% (en peso). Después de ese punto, cualquier aumento en la
concentración produce una reducción en la tasa de producción de gas. La
práctica general es tener un bastante baja concentración de KOH que se
encuentra por ensayo. Bob Boyce de América, que tiene mucha experiencia en este
campo, dice que cuando la mezcla de electrolitos, nunca se debe añadir agua a
NaOH o KOH. Comience siempre con agua y añadir el producto químico al agua
lentamente, revolviendo bien y dejar que la mezcla se enfríe entre adiciones.
La vida útil depende de lo bien que el KOH o NaOH se sella de la atmósfera. El
carbono es un enemigo de este proceso. Ya sea que el KOH es en forma seca o
líquida, se absorben carbono de CO2 en la atmósfera, o cualquier
otra fuente de carbono libre. Mientras esto sucede, el efecto catalítico se ve
disminuida. El más carbono se absorbe, menor es la eficacia catalítica del
electrolito. Por lo tanto, si desea mantener el máximo rendimiento, es crucial
para mantener el aire de los recipientes de almacenamiento de productos
químicos secos o líquidos, y lejos de los electrolitos en las células.
5. La temperatura del
electrolito. Cuanto más caliente el electrólito, mayor es la corriente que pasa
a través de él. Esto puede ser un inconveniente. Supongamos que se decide que
la corriente a través de la célula es ser 10 amperios y la concentración de
electrolito ajustado para dar que la corriente cuando se arranca el motor. A
medida que pasa el tiempo, los 125 vatios de exceso de energía proveniente de
la batería, calienta el electrolito, que a su vez provoca un aumento en la
corriente que fluye a través de la célula, lo que hace aún mayor de
calentamiento, que ..... El resultado es la retroalimentación positiva que
puede causar un efecto de la temperatura fuera de control.
Este efecto se ve agravado por el agua en la
célula que se utiliza como el vehículo conduce a lo largo. Esto plantea la
concentración del electrolito debido a que la cantidad de KOH sigue siendo el
mismo, mientras que la cantidad de agua se reduce.
Hay diferentes maneras de lidiar con este
problema. Una de ellas es reducir la concentración de KOH de modo que la
corriente elegido sólo se alcanza cuando el electrolito ha alcanzado su
temperatura máxima de trabajo. Esta es una solución simple con la ligera
desventaja de que la tasa de producción de gas cuando se inicia es menor de lo
que podría ser. Sin embargo, la potencia de calentamiento es tan alta que no pasará
mucho tiempo hasta que la célula está funcionando a su temperatura máxima.
Una forma diferente de manejar el problema es usar
un circuito electrónico para limitar la corriente a través de la celda al valor
elegido por dejar caer el voltaje aplicado a la célula. Esto tiene la
desventaja de que la potencia extra está siendo disipada en la electrónica que
luego tiene un problema de calor menor. Además, esta solución no mejora la
eficiencia global del proceso.
La mejor manera de todos es para reducir el
voltaje aplicado a la célula mediante el uso de más de una celda conectado en
una conexión en cadena a través de la batería. Con dos células, cada uno
recibirá unos siete voltios a través de ella y la producción de gas se
duplicará. Si el espacio en el compartimiento del motor permite, una cadena de
seis celdas se puede utilizar lo que significa que cada uno recibe cerca de dos
voltios y los poderes residuales se reduce a unos 10,6 vatios por celular,
mientras que la producción de gas es seis veces mayor. Con la mayor tasa de
producción de gas, probablemente sería posible reducir la corriente que fluye a
través elegido la célula. También, con seis células, la cantidad de agua es
seis veces mayor y así habrá menos concentración del electrolito debido al agua
que se utiliza para arriba. Esto se conoce como un acuerdo de
"Serie-Cell".
6. El número de
burbujas que se pegan a la superficie de las placas de electrodo. Esto se
considera generalmente que es un problema significativo. Muchos métodos se han
utilizado para tratar con él. Algunas personas utilizan imanes, otros bombean
el electrolito alrededor para desalojar las burbujas, otros utilizan zumbadores
a vibrar las placas y algunos de pulso del voltaje a la célula de sólo la
frecuencia correcta para que vibre la célula. Una vez que las placas se han
convertido completamente "acondicionado" burbujas se rompen lejos de
ellos muy fácilmente y no hay necesidad de ningún mecanismo de desprendimiento.
Los electrolizadores discutidos anteriormente se
utilizan para mejorar el rendimiento y la eficiencia de los motores de
combustión interna que funcionan con combustibles fósiles. La situación óptima
sería que el combustible fósil original se puede prescindir por completo y el
motor en marcha en el agua sola. Esto no es fácil de hacer. No es imposible de
hacer. Unas pocas personas lo han hecho. El electrolizador se describe a
continuación es capaz de ejecutar un motor de combustión interna adecuada.
Excluyendo los combustibles fósiles por completo no causa la roya adicional en
el sistema de escape o en el vehículo en otro lugar ya que los motores que
están quemando combustibles fósiles produce justo cuando toda el agua que se
están ejecutando de manera efectiva en el hidrógeno de todos modos (por lo que
el combustible fósil se denomina 'combustible de hidrocarburo ', que se compone
de hidrógeno y carbono).
Para aumentar la cantidad de gas producido por un
electrolizador de CC, es necesario aumentar la corriente a través de las
células por una cantidad mayor o aumentar el número de células en el
electrolizador, o ambos.

Bob Boyce es un diseñador de células series más
experimentado y bien informado y sincero agradecimiento se deben a él para
compartir su diseño libremente con todo el mundo y por su ayuda continua, asesoramiento
y apoyo de los constructores de electrolizadores. Bob logra un aumento de la
tasa de producción masiva de gas mediante el uso de un electrolizador con un
gran número de células en el mismo. Electrolizador de Bob es sin duda el más
eficaz disponible en este momento. Se utiliza un centenar de células (101
placas) y se aplica una forma de onda pulsante sofisticado que eleva la
eficiencia operativa muy por encima de la prevista por los libros de texto
científicos disponibles hoy en día. Las unidades con sólo 60 células se
inclinan más por fuerza bruta electrólisis CC, que tiende a enmascarar las
ganancias producidas por pulsación. Como hay una caída de tensión a través de
cada placa de electrodo de acero inoxidable, es habitual para permitir
aproximadamente 2 voltios a través de cada célula para la operación de CC. Sin
embargo, Bob encuentra que para pulsos de alta eficiencia, el voltaje óptimo
para cada celda con 316L grado de acero inoxidable placas de electrodo es de
aproximadamente 1,5 voltios. Esto significa que se necesita un voltaje de
alrededor de 1,5 x 100 = 150 voltios para alimentar a su salida máxima de
impulsos.
Para obtener este voltaje más alto, Bob utiliza un
inversor de 110 voltios. Un inversor es un circuito electrónico común,
disponible en el mercado que por lo general tiene una entrada de CC de 12
voltios y genera una salida de 110 voltios de corriente alterna. Estos están
disponibles para la compra, ya que se utilizan para ejecutar (US) equipos de
alimentación de las baterías de coche. La salida del inversor se convierte de
corriente alterna a corriente directa pulsante pasando la salida a través de
cuatro diodos en lo que se llama un "puente de diodos. Estos están
disponibles a muy bajo costo de los proveedores de componentes electrónicos.
Obviamente, no sería práctico usar un centenar de
células autónomas en cadena, para actuar como célula electrolizador conectado
en serie. No habría suficiente espacio físico en el compartimiento del motor
para eso, así que se necesita un estilo diferente de construcción de la célula.
La vista mirando hacia abajo en varias células electrolizador separado podría
representarse algo como esto:

Aquí el lado positivo de cada celda está conectado
al lado negativo de la siguiente célula para proporcionar un conjunto de seis
celdas interconectadas que actúan en serie. La corriente que fluye a través del
electrolizador pasa a través de cada celda de vuelta y por lo que cada célula
recibe exactamente la misma corriente que las otras células. Este es el mismo
tipo de acuerdo como el uso de seis celdas independientes en una conexión en
cadena. Para reducir el tamaño físico de la unidad, es posible construir el
electrolizador como se muestra aquí:

En esta disposición, las células individuales
tienen sólo una placa positiva y una placa negativa. La ranura de placas en los
lados y la parte inferior de la caja de modo que el electrolito está atrapada
entre las placas y un espacio de aire se forma entre la placa de más de una
célula y la placa de menos de la siguiente celda.
Estos espacios de aire se desperdician espacio.
Ellos no contribuyen en nada a la operación del electrolizador. Cada uno consta
de una placa de metal, un hueco, y una conexión de cable a la placa metálica
siguiente. Desde el punto de vista eléctrico, las dos placas de metal en los
extremos opuestos de estas lagunas, siendo conectadas por un puente de alambre,
son efectivamente la misma placa (es sólo un plato muy grueso, hueco). Estos
espacios de aire puede ser que también se eliminen lo que ahorraría una placa
de metal y un puente de alambre por célula. Esto puede ser difícil de
visualizar, pero produce una disposición como la que se muestra aquí:

Los únicos espacios de aire restantes se
encuentran en los extremos de la electrolizador. Las placas en el medio están
teóricamente en contacto entre sí. Las placas positivas se marcan en rojo y las
placas negativas se muestran en azul. En realidad, sólo hay una placa de metal
entre cada celda y la celda de al lado - el único un dispositivo teórico rojo y
azul que marca es tratar de hacer que sea más fácil ver que el diagrama muestra
realmente seis celdas separadas en una sola carcasa. Son células separadas
porque las placas de electrodo de metal se extienden en la base y los lados de
la carcasa, aislando así los seis cuerpos de electrolito de la otra. Es muy
importante que los diferentes cuerpos de electrolito están completamente
aisladas unas de otras, de lo contrario el electrolizador no actuará como una
unidad conectada en serie y la mayor parte de la corriente, se salta más allá
de las placas intermedias y simplemente correr desde la primera placa a la
última la placa alrededor de los lados de las otras placas. Así, las placas
deben ser un ajuste sin holgura bastante estrecho en ranuras cortadas en los
lados y la base de la carcasa. El nivel de electrolito debe estar siempre por
debajo de la parte superior de las placas como se muestra aquí:

Un electrolizador con un centenar de células,
construida en este estilo tendrá 101 placas de metal y 100 cuerpos separados de
electrolito. A pesar de estos grandes números, el tamaño de la unidad global no
tiene por qué ser excesivo. La separación entre las placas está configurado
para, por ejemplo, 3 mm (1/8 de pulgada) y el espesor de la placa puede ser de
calibre 16 (1/16 pulgadas), por lo que el ancho de un electrolizador 100 de
células es de aproximadamente 20 pulgadas. En la práctica real, los huecos en
el extremo del electrolizador también pueden contener electrolito aunque
electrolito que no toma parte en el proceso de electrólisis.
El tamaño de las placas puede ser determinado por
el espacio disponible en el compartimiento del motor. Si hay una gran cantidad
de espacio libre, entonces el tamaño de la placa puede ser seleccionado por
permitiendo de dos a cuatro pulgadas cuadradas de área en ambos lados de cada
placa, por amperio de corriente. Cada lado de cada plato está en una celda de
electrólisis diferente por lo que una de 6 pulgadas por placa de 6 pulgadas
tendrá 36 pulgadas cuadradas en cada cara y así llevaría entre 36/4 = 9 a 18
amperios de corriente. La elección de la corriente es hecha por el constructor
del electrolizador y se verá influido por el tamaño y el costo del inversor
elegido para conducir el electrolizador y el consumo de corriente permisible de
la batería. Esto es para la electrólisis CC recta donde la batería se conecta
directamente a través del electrolizador. Uso de triple oscilador tarjeta de
generador de impulsos electrónicos de Bob, el nivel de electrolito tiene que
ser mantenido a alrededor de tres pulgadas de la parte superior de la placa de
seis pulgadas debido a que la tasa de producción de gas es tan alta que tiene
que haber francobordo sustancial para detener el electrolito ser salpicado por
todo el lugar.
Bob generalmente utiliza una de 6 pulgadas x 6
pulgadas de tamaño del plato. Es esencial que cada artículo que contiene gas
HHO se encuentra fuera del compartimiento de pasajeros de cualquier vehículo.
Bajo ninguna circunstancia debe el electrolizador o pelele estar ubicados en la
zona de pasajeros del vehículo, incluso si se proporcionan tapones pop-off y se
proporciona una segunda carcasa protectora externa, como la fuerza explosiva es
tan grande que el daño permanente de la audición sería un grave posibilidad.
Para el funcionamiento recta CC de un
electrolizador de este tipo, el sistema de circuitos es muy sencillo. El
inversor debe ser montado de forma segura, preferiblemente en la corriente de
aire aspirado para enfriar el radiador. El uso de un "puente" diodo
de cuatro diodos convierte la salida de CA intensificado del inversor nuevo en CC
pulsante y produce la disposición eléctrica que se muestra aquí:

Como la tensión de red es citado una cifra media
("raíz cuadrada media") tiene un voltaje máximo de 41% más que eso.
Esto significa que el pulso CC tiene un pico de tensión de poco más de 150
voltios para la salida de corriente alterna de 110 voltios nominal del
inversor.
La válvula de una vía se muestra entre las dos
burbujeadores, es evitar que el agua en el burbujeador montado al lado del
electrolizador, siendo impulsado en el electrolizador en el caso de una
explosión en el burbujeador montado al lado del motor. Los burbujeadores y el
filtro de partículas eliminar todos los rastros de humos de electrolitos del
gas así como la protección contra cualquier ignición accidental del gas causada
por el fallo de encendido del motor.
El muy famoso Michael Faraday, que era un
experimentador excepcionalmente dotado, colocó dos electrodos en agua y se
determina cómo se produjo mucho gas por amperio de corriente. El uso de un
electrolito y tenchology reciente cuando se ejecuta en CC, Bob Boyce no
consideraría un electrolizador construido adecuadamente, limpiado y
acondicionado hasta que se estaba produciendo más de la tasa de producción de
gas de dos de Faraday. Un electrolizador de trabajo típico hecho por Bob
tendría aproximadamente 216% del resultado de Faraday. Las personas que se
enseñan en las universidades e inconscientes de la tecnología actual, utilice
resultado de Faraday en los cálculos y los cálculos indican que se necesitaría
más energía para producir gas HHO que podría ser producido por el entonces
quemar el hidrógeno producido. Sus cálculos están equivocados. La energía en el
gas HHO recién hecho es típicamente cuatro veces más energética que el
hidrógeno es y por lo que los cálculos son demasiado bajos por un factor de más
de ocho veces. Además, la mayoría de la energía de la quema de HHO viene de
"grupos de agua cargadas" (véase el capítulo 10), y no a partir del
hidrógeno, y la mayoría de estas buenas personas que hacen los cálculos ni
siquiera han oído hablar de grupos de agua cargadas, y así, aceptan el "no
se puede hacer" veredicto sin pensar en ello.
Pulsada Operación
Si ya has leído el capítulo 10, usted sabrá que el
siguiente paso hacia adelante en el aumento de la producción de HHO es aplicar
una forma de onda de energía adecuada a los terminales electrolizador en lugar
de sólo una tensión continua recta. Hacer esto con el diseño de Bob Boyce eleva
la eficiencia de las células de alrededor de diez veces el resultado producido
por Michael Faraday. Sistema de electrólisis de pulsos de alta eficiencia de
Bob Boyce ha sido muy generosamente compartido libremente por Bob para que
quien lo desee puede construir uno para su propio uso sin el pago de un canon o
regalías. Justo antes de la presentación de los detalles, hay que destacar que
a fin de obtener un rendimiento de Bob de hasta 1,000% de la Faraday (supuesta)
de salida máxima del gas, cada paso tiene que ser llevado a cabo cuidadosamente
exactamente como se describe. Gran parte del texto que sigue es citado de
mensajes en el foro de Bob y así deben ser considerados como sus derechos de
autor, a no ser reproducidas sin su permiso.
Su Responsabilidad:
Si usted decide construir un
electrolizador de esta, o cualquier otro diseño, lo hace enteramente bajo su
propia responsabilidad, y nadie es de ninguna manera responsable de cualquier
pérdida o daño, ya sea directo o indirecto, como resultado de sus acciones. En
otras palabras, usted es completamente responsable de lo que decida hacer.
Repito, este documento no debe ser interpretado como un estímulo para que usted
construya este o cualquier otro electrolizador.
Electrolizador de Bob divide el agua en
una mezcla de gases, principalmente hidrógeno y oxígeno. Esa mezcla de gas, que
se conoce como "HHO" es altamente explosivo y debe ser tratado con
respeto y precaución. Un bastante pequeño volumen de gas HHO explotó en el aire
es muy susceptible de causar la pérdida permanente de la audición o deterioro
debido a las ondas de choque causadas por la explosión. Si el gas HHO se
enciende dentro de un contenedor sellado, luego la explosión resultante es
susceptible de romperse el recipiente y propulsar fragmentos de metralla, como
en todas las direcciones. Estos fragmentos pueden causar lesiones graves y
todas las precauciones deben ser tomadas para asegurar que una explosión de esa
naturaleza nunca sucede. Bob utiliza dos peleles y una válvula de una manera de
protegerse contra este fenómeno, y los detalles de éstos se dan en este
documento.
Para hacer que el agua en el interior
del electrolizador llevar la corriente necesaria, se añade hidróxido de potasio
(KOH) a agua destilada. Este es el mejor electrolito para un electrolizador de
este tipo. Hidróxido de potasio también se conoce como "potasa
cáustica" y es altamente cáustico. En consecuencia, debe ser manejado con
cuidado y mantenido lejos del contacto con la piel, y aún más importante, los
ojos. Si las salpicaduras entran en contacto con usted, que es muy importante
en efecto que la zona afectada Lave inmediatamente con grandes cantidades de
agua corriente y de ser necesario, el uso de vinagre es ácido.
Este diseño electrolizador utiliza un
transformador toroidal para interconectar la electrónica a las células
electrolizador. Es vital que este transformador puede utilizar con mucho
cuidado. En ningún caso, este transformador se enciende por la electrónica
cuando se conecta a otra cosa que no sea las células electrolizador llenos, ya
que actúan como un colchón de seguridad. Cuando impulsado por la electrónica de
Bob, este transformador extrae energía adicional del ambiente. Si bien esto es
muy útil para la electrólisis, a veces hay oleadas de energía imprevisibles que
pueden generar hasta 10.000 amperios de corriente. Si uno de estos debe ocurrir
cuando el transformador no está conectado al electrolizador que es capaz de
absorber este exceso, las condiciones eléctricas resultantes pueden ser muy
graves. Si tiene suerte, se acaba de quemar componentes caros. Si no tienes
suerte, puede causar caída de un rayo y que pueda golpearte. Por esa razón, es
absolutamente esencial que el transformador toroidal nunca se enciende con el
devanado secundario conectado a otro que el electrolizador llena nada.
Patentamiento:
Debe entenderse claramente que Bob Boyce, ha
publicado esta información en el dominio público y se ha mostrado en público
desde principios de 2006. No es posible para cualquier parte de esta
información se ponga a parte de cualquier solicitud de patente en cualquier
parte del mundo . Esta revelación pública antes de la información impide que se
patentó. Es la intención de Bob que esta información sea de libre acceso a
personas en todo el mundo. También hay que destacar que todas las citas de las
palabras de Bob, que es una parte muy extensa de este documento, son propiedad
de Bob y no pueden ser reproducidos para la exhibición o venta sin su
consentimiento previo por escrito.
El Objetivo:
Este es un sistema ("HOD") "HHO en
demanda". Es muy difícil para generar gas HHO lo suficientemente rápido
como para alimentar un motor de combustión interna del vehículo en todas las
condiciones de la carretera. Moverse desde parado hasta una rápida aceleración
provoca un requisito repentina tan masivo con volúmenes adicionales de gas HHO,
que es difícil prever que el volumen al instante.
Una mejor solución es utilizar un motor eléctrico
para el vehículo. Esto puede ser un vehículo eléctrico que fue diseñado desde
cero como tal, o puede ser un vehículo estándar que ha sido adaptado para el
uso del motor eléctrico. Estos vehículos eléctricos están generalmente
limitados en lo lejos que pueden viajar, pero una buena solución a esto es usar
un generador eléctrico para cargar las baterías, tanto cuando el vehículo está
en uso y cuando está estacionado. Este electrolizador se puede utilizar para
ejecutar un generador de este tipo sobre el agua, como se muestra en el
capítulo 10. Con esta disposición, no hay emisiones de CO2 y el vehículo
es muy ecológico. Las baterías proporcionan las demandas de aceleración
repentinos necesarias y el generador de recarga las baterías durante la
conducción normal.
Información General:
Sistema de impulsos de Bob tiene los siguientes componentes:
1. La conexión
eléctrica con el sistema eléctrico del vehículo (con características de
seguridad incorporada).
2. Un
"inversor" que eleva el voltaje electrolizador a cerca de 160
voltios.
3. placa de circuito
especialmente diseñado de Bob que genera una forma de onda de reparto de agua
complicado.
4. transformador
toroidal especialmente diseñado de Bob que une placa de circuito de Bob al
electrolizador.
5. preparado
especialmente conectado en serie electrolizador de 101 platos de Bob.
6. Un sistema de
protección dual para unir el electrolizador de forma segura al motor de
combustión interna.
Ninguno de estos elementos es particularmente
difícil de lograr, pero cada uno tiene que hacerse con cuidado y exactamente
como se describe, prestando especial atención a las instrucciones detalladas.
La Construcción de la Caja:
El caso tiene que tener ranuras muy precisas
cortados en ella. Si usted no tiene una máquina de fresado, entonces usted
podría considerar la obtención de un taller de fabricación de molino de las ranuras
para usted. El caso tiene dos extremos, dos lados, una base y una tapa. De
estos, los dos lados y la base necesitan 101 ranuras precisas cortadas en
ellos. Las ranuras están ahí para sujetar las placas de electrodo firmemente en
su posición, y tiene que ser cortado extremadamente precisa. El ancho de la
ranura se fija en 0,0003 "menos que el espesor de la plancha, medida. Esto
impide cualquier flujo eléctrico alrededor de las placas. Si usted no tiene el
equipo para hacer esto, entonces no es un entusiasta que está dispuesto a hacer
el corte para personas en los EE.UU. (y posiblemente en otros lugares) a un
precio razonable. en contacto con él para precios y detalles de entrega, envíe
un e-mail a eholdgate@tampabay.rr.com.
Mucha gente se pregunta acerca de moldear los
lados ranurados pero esto es físicamente imposible hacerlo con la precisión
necesaria y el rendimiento de la célula depende de distancia de la base de muy
alta precisión y la anchura de la ranura para una mayor precisión. Esto no es
un trabajo de calidad en la construcción del patio trasero y hay muy, muy pocas
personas con el equipo y la habilidad para completar la construcción de este
grado de precisión.

La base y dos lados de la célula podría tener
ranuras cortadas en ellos para tomar las placas. Esto no es una buena idea por
varias razones, incluyendo el hecho de que las placas de acero se expanden
cuando se calientan y son susceptibles de resolver el caso de acrílico a menos
que las ranuras se cortan más profundo de lo normal. Además, es difícil de
cortar ranuras muy precisas en acrílico debido al calor de la cuchilla de corte
haciendo que el acrílico para deformarse en el área inmediata. Acrílico
acanalado es mucho más débil y se rompe fácilmente, debido a los planos de
debilidad introducidos en el material.
Uso de Etileno Ultra Alto Peso Molecular Poli o
alta densidad de etileno Poli (alimento material picado a bordo) tiras es una
técnica mucho mejor que ese material no tiene el mismo problema del calor de
corte y también puede tomar la expansión plato mucho mejor, por lo que es el
método de construcción de elección. También es un material más barato.
Las ranuras que se cortan para las placas deben
ser 3/1000 de una pulgada más ancho que el espesor de las placas. Un buen
espesor de la placa es plancha de calibre 16 que es un dieciseisavo de pulgada
de espesor o 1,5875 mm, por lo que el ancho de la ranura recomendada para que
sea 0,0655 pulgadas, que no es una fracción conveniente alrededor de cuatro y
quinto sesenta cuartos de una pulgada. Los surcos tienen 3 mm de profundidad.
El proveedor de la hoja de acrílico necesaria para
tomar el caso, será capaz de suministrar "pegamento" diseñado
específicamente para unir las hojas de acrílico juntos. Este pegamento
realmente suelda las placas juntos para que las hojas se convierten en una
pieza continua de acrílico a lo largo de la articulación. Comience por el
apareamiento de los lados y la base. Inserte dos o tres placas en las ranuras
para estar completamente seguro de que la alineación está en el lugar durante
el proceso de unión. Línea de la termina durante la colocación, unión para
asegurarse de que los lados son completamente cuadrado cuando está unido a la
base.
Se han expresado preocupaciones sobre la fortaleza
de la caja de acrílico en condiciones de tráfico graves. Así, se ha sugerido
que los componentes acrílicos pueden construir a partir de lámina que es 18 mm
a 25 mm y las esquinas reforzadas con hierro de ángulo se fija con pernos
roscados en el acrílico como se muestra a continuación.


Aquí está una fotografía de una vivienda de 101
platos construido por Ed Holdgate que trabaja a un nivel muy alto de precisión
y que prepara y vende estas carcasas para cualquier persona que está en el
proceso de construcción de un electrolizador de Bob Boyce (sitio web de Ed
acepta pedidos de estas carcasas electrolizador preparadas y que está en http://www.holdgateenterprises.com/Electrolyzer/index.html) :

Esta carcasa se ve muy simple y directo, pero esto
es muy engañoso y los materiales son muy caros, por lo que cualquier error es
costoso. La precisión de la construcción necesita es muy alto con muchas
oportunidades para un desastre total y costoso. Ed Holdgate ha construido
varios accesorios personalizados para facilitar la construcción, pero la
construcción sigue siendo muy difícil, incluso con estos accesorios
especializados y sus años de experiencia. "Sikaflex 291" o
"Marine Goop" compuesto de la ropa de cama marino puede ser utilizado
para sellar entre los dos lados ranurados y la base ranurada, y entre los lados
ranurados y los dos insertos de extremo, con el fin de evitar cualquier fuga
entre el acrílico y cualquiera de estas inserciones.
La precisión requerida para las ranuras para
sujetar las placas de acero inoxidable es 0,0003 pulgadas y las placas se
cónica con una lijadora de banda en ambos lados a lo largo de los cuatro bordes
de manera que cuando se ven obligados en las ranuras que no se corte en los
lados de las ranuras . Esto produce excelentes características de fuga, pero no
pierde de vista la gran precisión del corte ranura necesaria para ello. Los
bordes de los insertos ranurados reciben un cordón de Sikaflex compuesto ropa
de cama marino uniéndolos a la caja de acrílico y el compuesto se dejaron curar
antes de que se continuó la construcción.
Las placas de los extremos con las correas de
acero inoxidable soldadas a ellos se utilizan para conectar el suministro
eléctrico a las placas, manteniendo cualquier conexión que pudiera posibles
trabajos sueltos y provocar una chispa, completamente fuera de la vivienda. A
pesar de que las correas están soldados y no hay probabilidad de que se afloje,
las soldaduras se mantienen todavía por debajo de la superficie del electrolito.
Obtención y preparación de las placas:
Se necesita un conjunto de 101 placas para el
electrolizador. El material utilizado al hacer las placas es muy importante.
Debe ser de acero inoxidable de calibre 16 316L grado, ya que contiene una
mezcla de níquel y molibdeno en las proporciones correctas para que sea un muy
buen catalizador para la técnica de pulsación. Puede probar su almacenistas de
acero locales para ver si pueden suministrar y cuáles serían sus cargos. Un
proveedor de acero inoxidable satisfactoria que Bob ha utilizado es Intertrade
Steel Corp., 5115 Mt. Vernon Rd SE, Cedar Rapids, IA 52406. No comprar a eBay
como no tienes remontada real si las placas suministradas se repartió por haber
sido corte con soplete.
Es muy importante de hecho que al pedir una
cotización que se asegure de que el proveedor está al tanto de la precisión que
usted requiere. Las placas tienen que ser plana con una tolerancia de +/- 0,001
pulgadas después del corte y este es el factor más importante. Ese nivel de
exactitud excluye cualquier tipo de corte con llama, ya que produce una
distorsión de calor inevitable. Con la esquila, esperar +/- 0,015 pulgadas en
las cortes y +/- 0,001 pulgadas en planitud. Corte por láser produce una
precisión mucho mayor y se puede esperar tan bueno como +/- 0,005 pulgadas en
los recortes y no hay ninguna especificación necesaria para planitud desde el
corte por láser no distorsiona los bordes como esquila hace.
Las placas son cuadrados: 6 pulgadas por 6
pulgadas, pero que no representa 36 pulgadas cuadradas de área de superficie
activa como algunos área de la placa se encuentra dentro de las ranuras y
algunos de cada placa está por encima de la superficie del electrolito. Otro
punto a recordar es que 101 placas de acero de este tamaño pesan una cantidad
considerable y el electrolizador completado con electrolito en pesará aún más.
Por tanto, es esencial contar con un caso que está fuertemente construido con
materiales resistentes, y si un soporte de montaje se va a utilizar, luego de
que el soporte tiene que ser muy robusto y bien asegurado en su lugar.
La preparación de las placas es uno de los pasos
más importantes en la producción de un electrolizador que funciona bien. Esta
es una tarea larga, pero es vital que no es escatimado o apresurada de ninguna
manera. Sorprendentemente, nuevo brillante de acero inoxidable de la marca no
es particularmente adecuado para uso en un electrolizador y tiene que recibir
un tratamiento cuidadoso y preparación antes de que producirá el nivel esperado
de salida de gas.
El primer paso es tratar ambas superficies de cada
placa para alentar a las burbujas de gas de romper la superficie de la placa.
Esto podría hacerse por medio de chorro de arena, pero si se elige este método,
gran se debe tener cuidado de que el grano utilizado no contaminar las placas.
Placas de acero inoxidable no son baratos y si te dan granallado mal, entonces
las placas serán inútiles en cuanto a la electrólisis se refiere. Un método
seguro que Bob prefiere mucho es marcar la superficie de la placa con papel de
lija grueso. Esto se hace en dos direcciones diferentes para producir un patrón
de trama cruzada. Esto produce picos y valles afilados microscópicos en la
superficie de la placa y los puntos agudos y las crestas son ideales para
ayudar a que se formen burbujas y liberarse de la placa.

Bob Boyce usa una
lijadora de banda de 48 pulgadas especialmente ampliado que es bueno para la
preparación de los platos utilizando 60 o 80 granos. Sin embargo, la mayoría de
la gente no tiene este equipo y hacer el lijado a mano. Bob subraya que cuando
se hace el papel de lija de lijado a mano se dibuja a través de las placas en una sola dirección y no hacia atrás y
hacia adelante, como la carrera hacia atrás siempre destruye las crestas
perfectamente buenos creados en la carrera de avance. Además, sólo se necesita
dos golpes en una dirección antes de girar la placa a través de noventa grados
y completar el lijado de la cara de la placa con sólo dos golpes más (otra vez,
sin espalda). La mayoría de la gente
quiere lijar las palas demasiado y si es exagerado en un grado importante, que
pueden reducir el espesor de la chapa y causar fugas de electrolito a través de
las ranuras alrededor de las placas. Así que, para decirlo de nuevo, a la arena
una cara de una placa, utilice sólo dos golpes en una dirección, gire la placa
a través de noventa grados y terminar esa cara con sólo dos golpes más, tanto
en la misma dirección.
Siempre use guantes de
goma para manipular las placas para evitar marcas de los dedos en los platos.
El uso de estos guantes es muy importante ya que las placas deben mantenerse
tan limpio y tan libre de grasa posible, listo para las próximas etapas de su
preparación.
Cualquier partículas
creadas por el proceso de lijado ahora deben ser lavados de las placas. Esto se
puede hacer con agua limpia del grifo (no agua de la ciudad, sin embargo,
debido a todo el cloro y otros químicos añadidos), pero sólo utiliza agua
destilada para el enjuague final.
Un punto que se olvida
a menudo por la gente construir electrolizadores es el hecho de que la
electrólisis no es sólo un proceso eléctrico, pero también es un proceso
magnético. Es importante para la máxima eficiencia operativa que las placas
están alineadas magnéticamente. En teoría, el acero inoxidable no es magnético,
pero gran parte del acero inoxidable realmente suministrado a los constructores
es ligeramente magnético. Cuando las placas llegan del proveedor de cada placa
puede tener características magnéticas aleatorios. La forma más fácil para
hacer frente a esta situación es tratar de dar a las cajas una orientación
magnética suave. Esto se puede hacer simplemente envolviendo unas cuantas
vueltas de alambre alrededor de la pila de placas y pasando algunos breves
pulsos de corriente CC a través del alambre.

Obviamente, las placas deben mantenerse en la
misma dirección cuando está ranurado en el caso. El siguiente paso en el
proceso de preparación es para compensar una solución débil de hidróxido de
potasio. Esto se hace mediante la adición de pequeñas cantidades de hidróxido
de potasio al agua contenida en un recipiente. El envase no debe ser de vidrio
ya que no es un material adecuado en el que mezclar el electrolito.
El hidróxido de potasio, también llamado KOH o
"potasa cáustica", que se puede comprar a diferentes proveedores como:
http://www.essentialdepot.com/servlet/the-13/2-lbs-Potassium-Hydroxide/Detail
http://www.organic-creations.com/servlet/the-653/caustic-potassium-hydroxide-KOH/Detail
http://www.aaa-chemicals.com/pohy2posa.html o
http://www.nuscentscandle.com/PHFLAKES.html
Mientras que el hidróxido de potasio (KOH) e
hidróxido de sodio (NaOH) son los mejores electrolitos, tienen que ser tratados
con cuidado. El manejo para cada uno es el mismo:
Siempre guárdelo en un recipiente hermético
resistente que está claramente marcado como "PELIGRO - Hidróxido de
potasio". Mantener el envase en un lugar seguro, donde no se puede llegar
por las personas, mascotas o niños que no tomarán ninguna notificación de la
etiqueta. Si el suministro de KOH se entrega en una bolsa de plástico fuerte,
entonces una vez que abra la bolsa, debe transferir todos sus contenidos, a,
recipientes de almacenamiento robustos herméticos de plástico, que se puede
abrir y cerrar sin correr el riesgo de derramar el contenido. Las ferreterías
venden grandes cubos de plástico con tapas herméticas que se pueden utilizar
para este propósito.
Cuando se trabaja con las escamas de KOH secos o
gránulos, usar gafas de seguridad, guantes de goma, una camisa de manga larga,
calcetines y pantalones largos. También, no use su ropa favorita al manejar una
solución de KOH, ya que no es la mejor que se puede conseguir en la ropa.
También hay daño al usar una mascarilla que cubre la boca y la nariz. Si usted
está mezclando KOH sólido con agua, agregar siempre el KOH al agua, y no al
revés, y el uso de un recipiente de plástico para la mezcla, preferiblemente
uno que tiene el doble de capacidad de la mezcla final. La mezcla se debe hacer
en un área bien ventilada y que no es con corrientes de aire ya que las
corrientes de aire pueden soplar el KOH seca alrededor.
Al mezclar el electrolito, nunca utilice agua tibia. El agua debe estar fría porque la
reacción química entre el agua y el KOH genera una gran cantidad de calor. Si
es posible, coloque el recipiente de mezcla en un recipiente grande lleno de
agua fría, ya que esto ayudará a mantener la temperatura baja, y si su mezcla
debe "hervir" que contendrá el derrame. Añadir una pequeña cantidad
de KOH a la vez, revolviendo continuamente, y si deja de agitar por cualquier
razón, ponga la tapa de nuevo en todos los contenedores.
Si, a pesar de todas las precauciones, usted
consigue alguna solución KOH en su piel, lávese con abundante agua fría y
aplicar un poco de vinagre a la piel. El vinagre es ácido, y ayudará a
equilibrar la alcalinidad de la KOH. Usted puede usar jugo de limón si usted no
tiene el vinagre a mano - pero siempre se recomienda mantener una botella de
vinagre a mano.
Placa Limpiadora:
La limpieza de la placa se realiza siempre con NaOH. Preparar un 5% a un
10% (en peso) de solución de NaOH y deje que se enfríe. Una solución al 5% 'en
peso' es 50 gramos de NaOH en 950 cc de agua. Una solución 10% 'en peso' es 100
gramos de NaOH en 900 cc de agua. Como se mencionó antes, nunca manipule las
placas con las manos desnudas, pero siempre use guantes de goma limpios. Poner
las placas lijadas y enjuagados en las ranuras en el caso electrolizador,
manteniendo todos ellos de la misma forma redonda para que queden
magnéticamente igualados. Llene el electrolizador con la solución de NaOH hasta
que las placas están sólo cubiertos.
Una tensión se aplica ahora a través de todo el
conjunto de placas por conectar los cables a las dos placas más exteriores.
Esta tensión debe ser de al menos 2 voltios por celda, pero no debe exceder de
2,5 voltios por célula. Mantener esta tensión a través del conjunto de placas
durante varias horas a la vez. La corriente es probable que sea 4 amperios o
más. Como este proceso continúa, la acción de ebullición se aflojará partículas
de los poros y superficies de metal. Este proceso produce gas HHO, lo que es
muy importante que el gas no se le permite recoger en ningún lugar cerrado
(como en techos).
Después de varias horas, desconecte el suministro
eléctrico y vierta la solución electrolítica en un recipiente. Enjuagar las
células a fondo con agua destilada. Filtrar la solución diluida de NaOH a
través de toallas de papel o filtros de café para eliminar las partículas.
Vierta la solución diluida de nuevo en el electrolizador y repetir este proceso
de limpieza. Puede que tenga que repetir el proceso de electrólisis y aclarado
muchas veces antes de las placas se detienen extinción de partículas en la
solución. Si lo desea, puede utilizar una nueva solución de NaOH cada vez que
limpies, pero por favor, darnos cuenta de que se puede ir a través de una gran
cantidad de solución justa en esta etapa de limpieza si decide hacerlo de esa
manera. Cuando la limpieza haya finalizado (normalmente de 3 días de limpieza),
hacer un enjuague final con agua destilada limpia. Es muy importante que
durante la limpieza, durante el acondicionamiento y durante el uso, que la
polaridad de la energía eléctrica es siempre la misma. En otras palabras, no
intercambiar las conexiones de la batería sobre como que destruye todo el
trabajo de preparación y requiere los procesos de limpieza y acondicionamiento
que se llevarán a cabo de nuevo.
Placa Acondicionado:
Utilizando la misma concentración de la solución
como en la limpieza, llenar el electrolizador con solución diluida de hasta 12
mm por debajo de las copas de los platos. No llene en exceso las celdas.
Aplicar unos 2 voltios por celda y deje que la unidad funcione. Recuerde que
muy buena ventilación es esencial durante este proceso. las células pueden
desbordarse, pero esto está bien por ahora. a medida que se consume el agua,
los niveles bajarán. Una vez que las células se estabilizan con el nivel de
líquido en la parte superior de la placa o justo por debajo, controlar la
corriente dibujar. Si la corriente es bastante estable, continúe con esta fase
de acondicionamiento de forma continua durante dos o tres días, añadiendo agua
destilada suficiente para reemplazar lo que se consume. Si la solución cambia
de color o se desarrolla una capa de porquería en la superficie del electrolito
, entonces la pila de célula necesita etapas más limpieza. no permita que las
células se llene en exceso y desbordamiento en este punto. Después de dos o
tres días de tiempo de ejecución, derraman la solución KOH diluido y enjuagar
el electrolizador a fondo con agua destilada.
Operación de la Célula:
Mezclar hasta una solución de fuerza completa casi
de hidróxido de potasio (280 gramos de KOH añaden a 720 cc de agua), ya que es
20% más eficaz en uso que es hidróxido de sodio. El llenado del electrolizador
depende de si la electrólisis recta CC se va a utilizar, o electrólisis
resonante es para ser utilizado.
Para recta electrólisis CC, llenar el electrolizador de aproximadamente una pulgada por debajo de la parte superior de las placas. La tensión de CC aplicada al electrolizador será de aproximadamente 2 voltios por celda o un poco menos, por lo que este electrolizador 100 de células tendrá 180 a 200 voltios aplicados a la misma. Esta tensión se generará con un inversor.
Para la operación resonante, llenar el
electrolizador a sólo la mitad de la altura de la placa porque la producción de
gas HHO es tan rápida que la habitación tiene que ser dejado para el gas que
sale de las placas. Con la operación resonante, se utiliza alrededor de 1,5
voltios por celda.
Solución De Problemas:
1. Anormalmente baja
actual es causado por placa preparación inadecuada o contaminación grave. Tome
las placas del electrolizador y empezar de nuevo desde la preparación del plato.
2. Anormalmente alta
corriente es causado por las altas fugas entre las células. Para ello será
necesario el fomento de la re o re-sellado del caso electrolizador.
3. Si comienza
corriente más alta luego cae, esto significa que las placas están contaminados.
Tome las placas del electrolizador y empezar de nuevo desde la preparación del
plato.
La Construcción de los Electrónica:
El funcionamiento de resonancia del electrolizador
requiere el uso de un sistema pulsante CC. Bob ha diseñado un sistema avanzado
para esto, que consiste en una placa electrónica sofisticada y un transformador
toroidal afinada que esté en interfaz y coincide con la electrónica al
electrolizador. Estos están disponibles en forma de kit de El Garaje de
Hidrógeno en América: http://hydrogengarage.com/home.html y estos tableros electrónicos
producen tres frecuencias diferentes que se combinan entre sí para dar una
forma de onda de salida rica y compleja modificado aún más por el transformador
toroidal:

En construcción electrolizador de Bob, esas frecuencias
estaban a punto 42.8 KHz, 21,4 KHz y 10,7 KHz, pero por favor no reciben la
impresión equivocada aquí, no existe una única frecuencia exacta o conjunto de
frecuencias que se deben utilizar. El tamaño y la forma de tu celular, las
separaciones de electrodos, la densidad del electrolito, la temperatura del
electrolito y la presión operativa, son todos factores que afectan a la puesta
a punto de la electrónica. Con grandes células marino para trabajo de Bob con
placas cuadrado de doce pulgadas, encontró el punto de resonancia de base
utilizando su, inversor modificado original, para ser por lo menos 100 Hz
inferior a la de los prototipos con tamaños de placas más pequeñas. La junta de
triple oscilador puede sintonizarse con un osciloscopio, pero si uno no está
disponible, entonces las resistencias preestablecidos se establece en su punto
medio y luego la frecuencia de 42.800 Hz se ajusta muy lentamente para
encontrar el punto de salida máxima de gas. Este es un punto muy preciso y es
esencial utilizar resistencias de preajuste de alta calidad que varían su
resistencia con mucha precisión. El objetivo es ajustar la frecuencia por tan
poco como 1 Hz a la vez. Cuando se encuentra el punto óptimo, entonces el
procedimiento se repite con el generador de frecuencia 21400 Hz, y finalmente
el ajuste de frecuencia de 10.700 Hz. Por último, los presets de relación Señal
/ Espacio se ajustan para dar el ancho de pulso más bajo que no reduce la
velocidad de generación de gas.
Cuando trató de células inundadas separados conectados en
serie, no fue capaz de conseguir algo más que un aumento marginal en el
rendimiento en un rango más amplio. En su opinión, esto se debió a cada célula
en el conjunto que tiene un punto de resonancia ligeramente diferente que no se
corresponde muy bien con las otras células. Bob tuvo que ir a la construcción
de placa serie con el espaciamiento preciso y tolerancia estrecha en las
franjas horarias y las placas con el fin de obtener las respuestas resonantes a
alinearse en todas las células. Además, se encontró que algunas opciones de
electrolito no producen resonancia a cualquier frecuencia, aunque no es seguro
por qué. Algunos trabajaban bien, mientras que otros trabajaron marginalmente,
por lo que Bob pegado con lo que funcionó mejor para él - hidróxido de sodio
(NaOH) e hidróxido de potasio (KOH).
Es necesario destacar aquí, que cada generación
electrolizador es ligeramente diferente de todos los demás, a pesar de que
pueden haber sido destinado a ser exactamente lo mismo. Habrá pequeñas
diferencias entre las placas en un electrolizador y las placas en otros
electrolizadores. La concentración de electrolitos será ligeramente diferente,
la preparación placa será un poco diferente y las características magnéticas
generales será único para cada construcción actual. Por esa razón, la puesta a
punto de la placa electrónica completado y la construcción de la mejor
transformador posible para que coincida con la electrónica a un electrolizador,
es siempre diferente para cada electrolizador construido.
La junta Boyce tercera generación completado ve así :

No es demasiado difícil de montar este tablero como el
tablero de circuito impreso se puede comprar ya hecho y un conjunto completo de
componentes se pueden pedir mediante el sistema de pedido creado en el foro
WorkingWatercar.

Usted debe notar aquí, que el conjunto de la caja de
aluminio se utiliza como un método de disipación de calor para irradiar el
calor generado en los transistores de excitación de FET. Estos transistores
están atornillados al caso y cada uno tiene su propio rectángulo de mica
"lavadora" entre el transistor y el caso. Estas piezas de calor pase
mica muy fácilmente en el caso, mientras que al mismo tiempo, aislar
eléctricamente los transistores de modo que no interfieran entre sí. Observe
también, las columnas de soporte de plástico en cada esquina de la placa de
circuito impreso. Estos se utilizan para montar la placa de circuito impreso de
forma segura, mientras lo mantiene lejos de la caja de metal y así prevenir
cualquier posibilidad de las conexiones en la parte inferior del tablero de ser
cortocircuitados por el propio caso.
En algunas de las compilaciones de la electrónica de a
bordo, se ha encontrado que a veces es difícil de conseguir la mayor frecuencia
del oscilador funciona correctamente en alrededor de 42,8 KHz debido a algunos
chips NE556 estar fuera de especificación. A pesar de que ellos deberían ser
los mismos, chips de diferentes fabricantes, e incluso el mismo chip de marca
de diferentes proveedores, puede tener algo diferente especificaciones reales.
Tanto en el PWM3E y tableros PWM3F, C4 ahora se ha cambiado de 0,1
microfaradios de nuevo a 0.047 microfaradios para dar cabida a las
características corregidas del chip de Texas Instruments NE556N más reciente
(el marcado con MALASIA en la parte superior). Las versiones anteriores del
chip NE556N habían requerido un cambio de 0,1 microfaradios para corregir las
especificaciones que se encontraban por debajo del estándar. En función de la
ficha que utiliza realmente en el "U1 - U3" posiciones de la junta,
es posible que tenga que ajustar el valor de C1, C3 y C4 para compensar las
variaciones de las especificaciones originales 556 chips, o ajustar algunos de
los otros componentes de temporización tolerancias. El TAIWAN y otros chips
Texas Instruments marcados seguirá funcionando bien en el "U2" y
ubicaciones "U3", pero no ha sido un gran problema de abastecimiento
fichas que llegarán a 43 kHz en la ubicación "U1". Los chips MALASIA
probado hasta ahora han sido satisfactorios.
Preparando la placa completado:
Jumper J1: Si esto se
cortocircuita deshabilita las tres de ancho de pulso moduladores, por sólo
salidas del oscilador.
Jumper J2: Si esta es
cortocircuito-conecta el MOSFET Puerta Supply TB3 a + CC para una sola oferta.
Jumper J3: Si esta es
cortocircuito-conecta el MOSFET Fuente de -CC para un terreno común.
Jumper J4: Si esta es
cortocircuitado que permite la entrada de los auxiliares TTL entradas 1, 2 y 3.
Se trata de un punto de prueba conveniente para la medición de los resultados
de cada una de las tres fases del generador de señales.
Para habilitar las entradas auxiliares, los generadores de a bordo deben
desactivarse con SW1 interruptores 1, 2 y 3 como se muestra aquí:
Interruptor SW1:
Conmutación 1 en desactiva la modulación de ancho de
pulso del oscilador 1
Conmutación 2 en desactiva la modulación de ancho de
pulso del oscilador 2
Conmutación 3 en desactiva la modulación de ancho de
pulso del oscilador 3
Conmutación de 4 en desactiva la modulación de ancho de
pulso de los tres osciladores

Esta placa ha sido sustituida
Bloque de Terminales TB1: es la entrada de corriente CC y MOSFET Fuente Ground
Bloque de Terminales TB2: es el drenaje MOSFET / Entrada salidas PWM y MOSFET
Puerta de Suministro

Esta placa ha sido sustituida
En más detalle:
J1 es para la
conexión de un dispositivo de control o desconexión de seguridad externo
opcional, tal como un interruptor de límite de presión o la temperatura. J1 es
cortocircuitado a cerrar la generación de forma de onda. Para el funcionamiento
normal, J1 se deja abierta.
J2 y J3 son para el apoyo modificación de
tensión opcional. Para el funcionamiento normal, tanto J2 y J3 están en corto
con 2 posiciones de los puentes bloques de cortocircuito.
J4 es para la conexión
de las entradas auxiliares opcionales. Para un funcionamiento normal, no hay
nada conectado a J4. J4 también se puede utilizar para conectar un osciloscopio
para ver las formas de onda del generador de ancho de pulso del modulador de
los canales 1, 2 y 3.
SW1 es para
desactivar los canales del generador PWM 1, 2, y 3 a través de los
interruptores 1, 2 y 3. El interruptor 4 es un bloqueo maestro que apaga los 3
canales. Para el funcionamiento normal, los 4 interruptores están apagados.
Bloque de terminales TB1 tiene 4 conexiones de la siguiente manera;
1. Entrada de CC +
está conectado a la conexión positiva de 13,8 V CC fuente de alimentación a
través de un fusible de 2 amperios o disyuntor.
2. Entrada CC - se
conecta a la conexión negativa de 13,8 V CC. Si una clavija de cortocircuito se
instala en J3, este cable es opcional.
3. y 4. Poner a tierra está conectado a la
conexión negativa de 13,8 V CC fuente de alimentación a través del cable de
calibre grueso. Hay dos terminales de conexión de cables disponibles de modo
que los dos cables de igual longitud se pueden usar para reducir las pérdidas
de resistencia de alambre.
Bloque de terminales TB2 tiene 4 conexiones que se conectan de la siguiente manera:
Puerta + no se conecta
normalmente cuando una clavija de cortocircuito se ha instalado en el puente J2.
Salida 1 está conectada al
lado "frío" del primario del transformador 1 toroidal.
Salida 2 está conectado al
lado "frío" de primaria 2 del transformador toroidal.
Salida 3 está conectado al
lado "frío" del primario 3 del transformador toroidal.
Los lados "calientes" de las primarias 1, 2 y 3
se juntan, y se conectan a la conexión de 13,8 V CC fuente de alimentación
positiva mediante transferencia de grueso calibre y un fusible de 60 amperios o
CC interruptor automático.
Nota: Estos fusibles son para la protección de cortocircuito, y no son una
indicación del consumo de energía del sistema.
Prueba de la tarjeta terminada:
NO conecte las salidas PWM3F a un transformador de
potencia hasta después de las pruebas unitarias muestran que sea completamente
funcional. Usted puede sacar el fusible de 60 amperios a cabo, o disparar el
interruptor de CC, mientras que las pruebas y puesta a punto.
Alimente la tarjeta PWM3F y compruebe los indicadores LED
para su correcto funcionamiento:
LED 1 - la salida del
Canal 1 - debe estar iluminado en funcionamiento normal, si fuera deshabilitado.
LED 2 - la salida del
canal 2 - debe estar iluminado en funcionamiento normal, si fuera deshabilitado.
LED 3 - la salida del
canal 3 - debe estar iluminado en funcionamiento normal, si fuera deshabilitado.
LED 4 - el PWM canal 1
desactivar - debe estar apagado durante el funcionamiento normal, en caso de
estar desactivado.
LED 5 - el PWM canal 2
deshabilitar - debe estar apagado durante el funcionamiento normal, en caso de
estar desactivado.
LED 6 - el PWM canal 3
desactivar - debe estar apagado durante el funcionamiento normal, en caso de
estar desactivado.
LED 7 - la alimentación
de 12 voltios - debe estar iluminado en funcionamiento normal, cuando apagado.
LED 8 - la alimentación
de 8 voltios - debe ser encendido cuando la alimentación está conectado y
cuando apagado.
Si todos los indicadores de la salida y luego iniciar el
procedimiento de ajuste. Si todo sale bien, excepto los indicadores de
producción, entonces pruebe a sintonizarla primero y luego probar de nuevo. Las
fallas pueden indicar problemas de componentes o para soldadura blanda.
Sintonizar la Pizarra:
Ajuste todos los 3 de la "CC" marcado
("Ciclo de Trabajo") resistencias variables (R25, R27, R29)
completamente hacia la derecha, para ancho de pulso mínimo.
Conecte un contador de frecuencia o un osciloscopio para
alfiler Jumper J4 1 (Aux Input 3) y ajustar el canal 3 "Hz"
potenciómetro marcado (R28) para una lectura de 10,7 KHz.
Conecte un contador de frecuencia o un osciloscopio para
alfiler Jumper J4 2 (Aux Input 2) y ajustar el canal 2 "Hz"
potenciómetro marcado (R26) para una lectura de 21,4 KHz.
Conecte un contador de frecuencia o un osciloscopio para
alfiler Jumper J4 3 (Aux Input 1) y ajustar el canal 1 "Hz"
potenciómetro marcado (R24) para una lectura de 42,8 KHz..
Nota: Si el canal 1 se apaga mientras se acostumbre
a 42,8 KHz, reemplace U1 con una marca diferente de chip de tipo temporizador NE556.
Muchos de estos chips, como los marcados como hecho en Taiwán, no cumplen
plenamente las especificaciones NE555 y se cerrará con la salida activada
sólido. Si esto ocurre mientras se carga, el FET de salida para ese canal se
puede destruir rápidamente. Los Texas Instruments 556 fichas marcadas como hizo
en Malasia típicamente han sido probados para trabajar bien en hasta 45 KHz.
Una vez que la junta ha sido adaptado como se describió
anteriormente, verificar de salida a las salidas del bloque de terminales TB2
con un osciloscopio. Sin conectado un transformador, los indicadores LED sólo
cargan a la ligera los FET, pero lo suficiente para verificar su funcionamiento
durante la prueba. Si todas las comprobaciones salió bien hasta este punto,
usted debe estar listo para conectar los transformadores de primario y aplicar
el poder.
Nota: Si tiene problemas de calefacción con cualquiera de
los varistores de óxido metálico M1, M2 y M3, que se pueden retirar y se dejan
fuera, o reemplazados con MOV tensión ligeramente más altos de forma segura. Ha
habido algunos Varistores de Óxido Metálico que trabajan correctamente, y
algunos que no lo hacen. Parece ser un problema relacionado lote.
Bob también dice: El error más común que veo hecho es que cuando se sintoniza por el angosto
(aproximadamente 2,5 uS) de ancho de pulso común en todos los canales, la
mayoría tiende a sintonizar para impulsos de signo positivo estrechas en las
salidas FET. Eso es totalmente inversa a la polaridad del pulso adecuado para
las tablas de la serie PWM3. Estas placas usan N FET de canal, por lo que los
impulsos adecuados son pulsos de tendencia negativa estrechas. FET fuera
condición resulta en un estado positivo en cada una de las salidas, la
conmutación FET adecuada tira ese estado positivo a tierra pulsos muy
estrechos.
El
resultado de la inversa de sintonía puede ser sobrecalentamiento extremo de las
556 fichas, sobrecalentamiento extremo del regulador de 8V y primarias
excesivas actual en el toroide. Esto puede sobrecalentar el toroide, quemar
restos en el tablero, y / o destruir los FET, ect.
Si
el canal entra en división de frecuencia cuando se ajusta el ancho de pulso,
entonces usted ha ido demasiado lejos en su ajuste. Estas placas no están
utilizando el acoplamiento típico 555 (556) PWM dual porque eso limita el
ajuste del ancho de pulso y el 10% - 90%. Esta aplicación requiere mucho menos
que 10% de ancho de pulso.
Por
favor recuerde que J1, J2, y J3, sólo se utilizan para tirar de los FET de alta
a través de los indicadores LED durante el ajuste preliminar. Durante la
operación, los puentes deben ser removidos para prevenir la interferencia con
el funcionamiento primarias.
Devanado del Transformador:
El transformador en el sistema de Bob es un componente
muy importante. Se trata de un inductor, un transformador, y una fuente de
conversión de forma de energía, todo en uno. El transformador se ha duplicado y
utilizada por otros, impulsados con junta de triple oscilador de Bob, para
lograr una unidad de resonancia a las células que se traduce en un rendimiento
que es mucho más allá del máximo establecido por Faraday con éxito.
La razón no hay instrucciones paso a paso para la
construcción del transformador es porque debe ser enrollado para que coincida
con la carga / impedancia de las células que se conduce. No hay una solución
"one-transformador única para todos" para esto. Bob utiliza un núcleo
de hierro en polvo de 6,5 "de diámetro para unidades de hasta 100 células.
Cuanto mayor sea el diámetro, mayor es la energía. Ferrita está bien para
frecuencias más bajas, pero para esta aplicación, un núcleo toroidal de hierro
en polvo es esencial. El núcleo MicroMetals , número de parte
"T650-52" es un núcleo adecuado y está disponible de http://www.micrometals.com/pcparts/torcore7.html y
se puede comprar en pequeñas cantidades a través de sus "muestras
solicitudes", que pueden ser sometidos a http://www.micrometals.com/samples_index.html

El primario del transformador es de 3 fases, mientras que
el secundario es de una sola fase. Como la mayoría de la corriente fluye a lo
largo de la parte exterior de los cables en lugar de a través de la parte media
del alambre, la elección y el tamaño del alambre elegido para enrollar el
transformador es más importante. Bob utiliza alambre de cobre plateado con
teflón cubierta sólida. Es muy importante que este alambre de núcleo
es sólido y no hebra como cable
trenzado no funciona aquí (debido a la generación de inter-cadena, la fase
diferencial de corrientes de Foucault inducidas). En este momento, un proveedor
de este cable es http://www.apexjr.com. Antes de cualquier bobinado se hace, el toroide se le
da una capa de cinta. Y los materiales que se utilizarán se agrupan, a saber,
la cinta, el cable, la cera de abejas y la pistola de calor:

De suma importancia con el toroide es que a diferencia de
diseño tradicional transformador, el secundario se enrolla primero, y los
devanados deben ser espaciados de manera uniforme en el que se abren en abanico
desde el centro del núcleo. Esto significa que incluso a pesar de que están más
apretadas hasta uno contra el otro en el agujero del centro, no deben ser
enrollados para que se amontonen y la brecha abierta en torno a la periferia.
Errores aquí causarán errores de campo que reducirán la eficiencia global.

Como se puede ver aquí, Bob utiliza longitudes cortas de
cable strimmer plástico como espaciadores para el exterior del toroide, aunque
anteriormente se ha tomado la imagen para mostrar lo que un parcialmente
preparados miradas devanado secundario como cuando sus bobinados se mueven en
posiciones muy precisas .
Usted se dará cuenta de que Bob ha envuelto el toroide en
cinta antes de comenzar el devanado secundario:

Bob también utiliza un frasco para ayudar en la
aplicación de la cera de abejas a las vueltas posicionado con precisión del
transformador toroidal:

Cuando se hayan completado los bobinados, espaciados y encerrado en la cera de abejas correctamente, cada capa se completa con una capa de cinta. Bob dice: "Yo uso una sola envoltura de cinta aislante de PVC se extendía muy estrechamente sobre el devanado secundario. Pero tenga en cuenta, que la tensión en la cinta tiene una tendencia a hacer que desenvolver. Una capa de la cinta amarilla 1P802 bobinado asegura la cinta aislante y lo mantiene firmemente en su lugar, cerrando las brechas triangulares entre vueltas adyacentes. Gran advertencia aquí !!!! NO UTILICE CINTA DE FIBRA DE VIDRIO BOBINA !!!!!! Una gran caja de 3M cinta tortuosa fue ordenada por accidente, así que probé para ver si iba a funcionar. No sólo suprime la respuesta acústico-resonancia de todo el núcleo toroidal de la herida, pero por alguna extraña razón que también provocó la respuesta de pulso electrostática del secundario para invertir la polaridad y la reducción de la amplitud de la señal a un mero 10% de lo que era !! Es totalmente negado el beneficio de la aislamiento de teflón. Tuve que desenvolverlo y envuelva con la cinta tortuosa amarilla 1P802. Tuvimos que volver una caja entera de este 3M cinta y pedir más de la "materia derecha" en grandes cantidades a Lodestone Pacífico bobinado. Así que ten cuidado, la fibra de vidrio 3M cinta sinuosas arruinar totalmente el comportamiento de las bobinas toroidales ". Así, para recapitular, el toroide está envuelto en cinta, la herida secundaria se extiende todo el camino alrededor de la toroide, los devanados espaciados cuidadosamente de manera que los huecos alrededor del borde exterior del toroide son exactamente iguales, el devanado encerrado en cera de abejas, y entonces la cera de abeja cubierta con una gruesa capa de cinta:

Para la gran mayoría de los sistemas, el devanado secundario es firmemente
una herida, de una sola capa, wrap-llenado completo de calibre 16, de un solo
núcleo,, alambre de cobre con aislamiento de teflón plateado. Habrá alrededor
de 133 vueltas en este bobinado, aunque puede variar desde 127 hasta 147 gira
debido a las tolerancias de fabricación en el aislamiento. Esto tendrá una
longitud de cable de unos 100 metros, y el conjunto del toroide está cubierto
por el presente 'secundaria' bobinado. Cuente el número exacto de vueltas en su
real sinuosas y tome nota de ello. Este arrollamiento secundario se mantiene en
su lugar con cera de abeja derretida, y cuando eso ha endurecido, la
liquidación se envuelve firmemente con una cinta de buena calidad. Esta es una
buena base para el bobinado primario que se enrollan en la parte superior de la
capa de cinta.

Tenga en cuenta que cada bobina se inicia por pasar sobre
el toroide, procede en sentido contrario a las agujas del reloj, y acabados,
pasando por debajo del toroide. Cada
devanado está creado de esta manera y la calidad de mano de obra es muy
importante en efecto al hacer estos devanados. Cada necesidades sinuosas sean
apretados y colocados exactamente con giros en contacto entre sí en el centro
del toroide y colocado en el borde exterior con espacios exactamente iguales
entre cada turno. Su trabajo de construcción tiene que ser mejor que la de un proveedor comercial y tiene que
llegar a la calidad exigida por los militares, que costaría miles de dólares
por cada toroide si fuera a ser hecho para usted por los profesionales.
Los tres primarios necesitan ser de la herida en la parte
superior de la envoltura de cinta que cubre el devanado secundario. Estos tres
devanados están espaciados por igual alrededor del toroide, es decir, en 120
centros de grado y los cables de la salida del arrollamiento secundario a
través de la brecha entre dos de los devanados primario y no en el medio de un
devanado secundario. Los arrollamientos primarios se mantienen en su lugar con
cera de abejas, y luego herméticamente con cinta adhesiva. Las primarias pueden
necesitar más de una sola capa, y están heridas con la misma dirección de los
vientos como la secundaria, y el mismo cuidado para incluso sinuoso separación
que el secundario sea necesario. Cinta de todo el núcleo bien con bien estirada
cinta aislante de PVC después de enrollar, para garantizar que los arrollamientos
primarios no se mueven y luego añadir una capa exterior de la cinta de
arrollamiento. Bob utiliza el tipo 1P802YE a las tiradas de 3 pulgadas, tanto
el ancho de 1 pulgada y 2 pulgadas de: http://www.lodestonepacific.com/distrib/pdfs/tape/1p802.pdf
Aquí es donde
termina la información genérica. Los detalles exactos de los devanados
primarios deben ser determinados a partir de las características operativas de
las células. Esto significa que usted debe construir, limpiar y acondicionar
sus células antes de realizar las mediciones operacionales. Esto se hace de la
siguiente manera: Después de limpiar la placa completa tal como se describe
anteriormente, condicionan las placas hasta que la pila de células de alcance,
al menos el 150% pero lo ideal es 200% o más de eficiencia de potencia máxima
de Faraday (2.34 vatios-hora por litro por hora). Entonces, permita que la pila
de células se enfríe a temperatura ambiente. La pila de células es luego
alimentado con una fuente de alimentación de voltaje variable y la tensión
ajustada hasta que la corriente de la célula es exactamente 2 amperios. Anote
la tensión necesaria para dar este 2 amp flujo de corriente, y hacerlo sin
demora ante la célula comienza a calentarse de nuevo.
El objetivo
aquí es tener la forma de onda compleja generada por la electrónica, producir
tensiones de alrededor del 25% de esta tensión medida, por lo que dividir su
tensión medida por cuatro. La salida de la tarjeta electrónica es de unos 12,5
voltios, así que dividir de nuevo en un 12,5 para obtener el turno-ratio para
el transformador toroidal. Esto está normalmente en el intervalo de 3,0 a 3,5 y
que significa que las necesidades devanado secundario tienen a veces que como
muchas vueltas en ella como cada devanado primario hace.
Por ejemplo, (y
sólo ejemplo) Digamos que su tensión
medida pasa a ser de 155 voltios. Entonces la relación de vueltas 155 se divide
por 4, que es 38.75, y luego dividir esa 12,5 por que da 3.1, que es la
relación de vueltas. Si su devanado secundario tiene, digamos, 134 vueltas en
el mismo, entonces el número de vueltas en cada uno de los tres devanados
primarios serían 134 / 3,1 que es 43,23 vueltas. Alrededor de este hacia arriba
para dar 44 vueltas.
Si el número de
vueltas que usted utiliza está desajustada una vez, entonces la puesta a punto
de la electrónica de a bordo puede compensar por ello. Si el número de vueltas
en el primario es de dos vueltas, entonces es posible que usted podría ser
capaz de compensar el error sintonizando el tablero, pero es poco probable que
se quiere. Si el número de vueltas es de tres o más lejos del número óptimo
calculado, entonces la impedancia de las bobinas primarias será demasiado lejos
para el tablero para afinarlo.
Normalmente, el
diámetro del alambre utilizado en las primarias será mayor que la de la
secundaria, ya que será impulsado por un voltaje mucho menor y por lo tanto
necesitará una corriente mucho mayor, pero que no es el caso aquí. Ahora que ha
limpiado y acondicionado las placas en su electrolizador, encender el inversor
con el motor de su vehículo funcionando a 2000 rpm o menos, y medir la
corriente continua tomada por el inversor. Este es el nivel de corriente que
los devanados primarios tienen que llevar, por lo que el tamaño del cable se
puede seleccionar de esta medición. Cada devanado primario es pulsado, por lo
que no se llevan corriente todo el tiempo, también, la corriente primaria final
es la suma de las tres señales pulsantes, por lo que una reducción se puede
permitir por ello. Mientras que el diámetro del alambre para los devanados
primarios de cada transformador toroidal necesita ser calculada de forma
separada, un diámetro común resulta ser AWG # 20 (21 SWG). La longitud del
cable para las primarias será mayor por turno como los giros ahora se están
haciendo sobre el devanado secundario. Cuarenta y ocho vueltas de alambre # 20
es probable que necesiten al menos treinta y cinco pies y que es para cada uno
de los tres bobinados, suponiendo que todos los giros se pueden colocar de lado
a lado plano. Si es necesario para hacer que cada una de dos capas de bobinado,
entonces la longitud del hilo aumentará aún más.
Si desea una
plantilla de 360 grados para marcar las posiciones de los arrollamientos
primarios, entonces hay una disponible en http://www.thegsresources.com/files/degree_wheel.pdf

Límites de Potencia:
En la
actualidad, la mayor toroide de polvo de hierro disponible comercialmente
disponible es la unidad Micrometals 6,5 pulgadas. Esto establece el límite de
potencia superior para un electrolizador diseño Bob Boyce a las 32 pulgadas
cuadradas de área de la placa. Presente diseño de Bob utiliza placas cuadradas
de seis pulgadas, pero el nivel de electrolito se mantiene en sólo tres
pulgadas y una cierta área se pierde efectivamente donde las placas entran en
las paredes y la base de la carcasa. Esta unidad de 101 platos, cuando se
construye con precisión y condicionada y ajustado correctamente, puede generar
50 lpm continua y explosiones cortas de hasta 100 lpm. Esto es aproximadamente
un litro por minuto de gas HHO por célula. Esto debería ser suficiente para
ejecutar un motor de combustión interna con una capacidad del motor de un litro
pero los motores de variar tanto, que no puede haber ninguna regla de oro para
la tasa de producción de gas necesaria para un tamaño de motor dado.
La
tensión de funcionamiento óptima para su placa de 101-electrolizador ha sido
establecido por Bob como 1,5 voltios por célula. Sin embargo, la limitación de
la potencia del toroide 6,5 pulgadas no impide que el voltaje que se crió. Así
pues, si se opta por el uso de un inversor de 220 voltios en lugar de la de 110
voltios ya se ha descrito, a continuación, el número de células se puede
duplicar. Esto extiende el caso de unos veinte centímetros de longitud de unos cuarenta
centímetros. Esto podría ser adecuado para su uso con vehículos de hasta dos
litros de cilindrada del motor y la unidad puede ser situado en la superficie
plana de un camión o el maletero (tronco) de un coche o al lado de un generador
de si está siendo utilizada para alimentar un generador eléctrico. Motores de
los generadores eléctricos son generalmente muy ineficiente con una eficiencia
global de tan poco como 10% cuando se considera el generador. En consecuencia,
la ejecución de un generador de gas HHO solo es de ninguna manera tan fácil
como parece en la superficie. Si un electrolizador está instalado en un
vehículo, es muy importante que no tubería que transporta gas HHO se enruta a
través de cualquier zona de pasajeros y un burbujeador de posicionado cerca del
motor. La prioridad número uno siempre debe ser la seguridad.
El
aumento de la producción de gas se puede conseguir mediante el aumento de la
anchura de las placas mientras se mantiene el área de la placa cubierta por el
electrolito. Una posibilidad es hacer que las placas de nueve pulgadas de ancho
y mantener el electrolito a una profundidad de cuatro pulgadas, dando treinta y
seis pulgadas cuadradas de área de la placa. El tamaño de la placa sería
entonces 9 pulgadas x 6 pulgadas o cualquier otra altura de hasta 9 pulgadas x
9 pulgadas.
La
razón por un electrolizador de Boyce puede dar 1,200% de la producción máxima
posible de gas determinado por Michael Faraday, es que esta unidad tira en
grandes cantidades de energía adicional del ambiente. Así, el sistema eléctrico
del vehículo se utiliza sobre todo para alimentar el circuito toroidal pulsada
que golpea ligeramente esta energía, y la conversión de agua a gas HHO se
realiza principalmente por la energía extraída del medio ambiente.
Preparación
de la superficie de la placa es muy importante y se describe en detalle. Sin
embargo, la forma en que las placas de funcionar cuando se usa para la
electrólisis CC recta es bastante diferente de la forma en que funcionan cuando
se utiliza en modo pulsado de alta eficiencia:

Con
recta CC-electrólisis, las burbujas de gas HHO forma en la cara de las placas y
se separan, ayudado por los miles de montañas microscópicos, con aristas tocado
techo creados en el rostro de cada placa por el marcador de dos direcciones con
papel de lija. Con la técnica de impulsos, la HHO se forman burbujas en el
propio electrolito, entre las placas y dar la impresión visual de la ebullición
del electrolito.
Debe
tenerse en cuenta que, con los grandes volúmenes de gas producidos con los 101
y 201 de placa-placa electrolizadores, que se necesita un considerable diámetro
de la tubería para llevar el gas, y aún más importante, los dos burbujeadores
utilizados necesidad de ser de un tamaño considerable. Es importante que las burbujas
que fluyen a través del agua en el burbujeador no forman una columna continua
de gas HHO ya que ello podría llevar a una llama directamente a través del
burbujeador y derrotar a la protección que ofrece normalmente. Una buena
técnica para combatir este y mejorar la depuración de los humos de electrolitos
fuera del gas, es poner un gran número de pequeños agujeros en los lados de la
tubería que transporta el gas hacia abajo en el agua en el burbujeador. Esto
crea un gran número de burbujas más pequeñas y es mucho más eficaz.
Conexión de las Eléctricas:
Bob ha especificado que los arrollamientos
primarios están conectados entre las salidas de mesa y la alimentación positiva
de la junta como esta:

Es importante incluir bobinas de carga pesada en ambos
lados de la fuente de alimentación de alta tensión y en el cable positivo de
13,8 voltios procedente de los electricidad del automóvil. Los núcleos de
estrangulamiento recomendados son el MicroMetals T157-45 y estos se enrollan
con 15 vueltas de AWG # 16 (SWG 18) Alambre de cobre esmaltado, a través de
ella está perfectamente bien, para cerrar estas atraganta con piezas de hierro
laminado tomadas de un marco de transformador de potencia de red antiguas . Los
quince vueltas de alambre producen un reductor de 29.5 microhenrios.
Si todo está bien y el de 20 amperios contacto
automático (o fusible) no se haya disparado, la energía eléctrica pasa a través
del interruptor de presión de gas montado en el electrolizador. Si la tasa de
producción de gas es mayor que el requisito de motor y, como resultado, la
presión del gas en el interior del electrolizador sube por encima de 5 psi. a
continuación, el interruptor de presión de gas se desconecta la alimentación
eléctrica que a su vez, corta la generación de más gas hasta que la presión en
el interior del electrolizador cae de nuevo como el motor utiliza el gas. Si
todo va bien, el interruptor de presión de gas se cerrará y la energía
eléctrica se pasa a los contactos del interruptor del relé. El relé está cableado
de tal manera que el relé se enciende si, y sólo si, el motor está funcionando.
Si todo está bien y los contactos del relé están cerrados, entonces el poder se
pasa a través tanto al inversor y la placa electrónica. La salida del inversor
es de 110 voltios AC por lo que se pasó a través de un puente de diodos que
convierte a CC pulsante con un valor de pico de alrededor de 155 voltios. Este
voltaje y la salida del transformador toroidal electrónica de a bordo se pasan
al electrolizador para descomponer el agua y generar gas HHO. El cable que
conecta el vehículo negativa a la placa electrónica debe ser muy resistente ya
que está llevando a una gran corriente.
Hay una gran cantidad de energía almacenada en una
batería cargada. Es importante, por lo tanto, para proteger contra los
cortocircuitos en cualquier nuevo cableado que se añade a un vehículo, si este
electrolizador es para ser utilizado con un vehículo. La mejor protección
general es tener un interruptor automático o fusible conectado en el nuevo cableado
inmediatamente después de la batería. Si cualquier carga inesperado se produce
en cualquier lugar en el nuevo circuito, el circuito se desconectará
inmediatamente.
También es importante que el electrolizador sólo
está conectado y operativo cuando el motor está funcionando. Mientras el
interruptor de presión de gas debe lograr esto, no hay daño para tener una
protección adicional en forma de un relé de automoción normal en la línea de
alimentación como se muestra en el diagrama anterior. Esta bobina de relé se
puede conectar a través de la bomba eléctrica de combustible, o,
alternativamente, conectada de modo que es alimentado por el interruptor de
encendido se encienda.
Posicionamiento de los Electrónica
Las descripciones y diagramas se han presentado
con el objetivo de ayudar a comprender a grandes rasgos, lo que electrolizador
de Bob Boyce es y hablando a grandes rasgos, cómo funciona. Hay detalles
prácticos que usted debe discutir en el foro WorkingWatercar ya que hay gente
experimentada ahí que va a ayudar a los constructores reciben los detalles de
la derecha.
Debe tenerse en cuenta que las fuertes corrientes
pulsantes, rápidamente generados por la electrónica, causar que los campos
magnéticos muy potentes. Estos campos magnéticos pueden interrumpir el
funcionamiento de la circuitería. Estos campos de flujo en el interior del
núcleo toroidal y esto crea un área de actividad magnética muy reducida en el
espacio en el centro del toroide. Por esa razón, sería ideal si la placa de
circuito se colocaron en esa zona con el toroide que lo rodea. Sin embargo, el
tamaño de la placa electrónica no lo permite en la actualidad, así que en vez,
Bob coloca el toroide dentro de una costumbre, alojamiento circular, algo así
como una caja de galletas de aluminio que funciona como una "jaula de
Faraday" para proteger contra la magnética campos producían:

El Suministro del Agua
El hidróxido de potasio no se utiliza cuando se
acciona el electrolizador. Una pequeña cantidad sale del electrolizador en
forma de vapor pero esto se elimina por lavado del gas en el primer
burbujeador. Se utilizan dos burbujeadores, el primero está situado junto al
electrolizador y conectado a éste a través de una válvula de una vía. El
segundo burbujeador se encuentra cerca del motor. De vez en cuando, el agua en
los burbujeadores se vierte de nuevo en el electrolizador y que evita la
pérdida de cualquier hidróxido de potasio. Esto no sólo conservar el hidróxido
de potasio, sino que también protege el motor como hidróxido de potasio tiene
un efecto muy malo en el interior del propio motor.
El sistema global de agua es como esto a grandes
rasgos, la omisión de los dispositivos de seguridad eléctrica:

Una sonda dentro del electrolizador detecta cuando
el nivel medio del electrolito ha caído y se enciende la bomba de agua para
inyectar más agua en el electrolizador. La tasa de producción de gas es tan
alta con el sistema de impulsos que el nivel de electrolito es el lugar en
alrededor de la mitad de la altura de la placa. Es decir unos tres centímetros
por debajo de la parte superior de las placas. Debido a esta acción violenta,
el sensor de nivel de agua necesita ser operado desde el electrolito fuera de
las placas donde la superficie del electrolito no se mueve tan violentamente.
Un problema grave con un electrolizador de este
tipo está tratando con la pérdida de agua. Como las placas tienen que estar
espaciadas estrechamente juntos y el ya que el electrolito entre las células es
aislado eficazmente del electrolito en las otras células, la conducción de un
millas por la carretera es responsable para bajar el nivel de agua por medio de
una pulgada (por ejemplo, un centímetro ). Es esencial para mantener la
sustitución del agua que se utiliza.
Dos cosas tienen que ser tratados con:
1. Sensing cuando el nivel del electrolito ha
caído, y
2. La creación de algún dispositivo para obtener
más agua en cada celda
Electrónica simple proporciona la respuesta a la
detección del nivel del electrolito, y una bomba de agua de lavaparabrisas se
pueden utilizar para inyectar el agua adicional.
Un sensor para el agua en las células puede ser en
una sola célula. Si el nivel del agua de cualquier célula cae por debajo del
nivel en las otras células, entonces el gas producido en esa célula será
ligeramente menor que las otras células, por lo que se perderá menos agua hasta
que los niveles de agua se ajustan de nuevo. También, Bob recomienda el corte
de las ranuras que sujetan las placas, 3 milésimas de pulgada (0,003 pulgada o
0,075 mm) más grande que el espesor real de las placas de metal. Esta fuga
eléctrica bloquea eficazmente entre las células adyacentes, pero permite una
migración muy gradual de agua entre las células para ayudar a mantener una
superficie uniforme de agua a través de la célula.
El sensor de nivel de agua puede ser sólo una
rígida alambre de acero inoxidable correr por cada lado de cualquier célula.
Estos cables deben estar aislados para asegurarse de que no hacen cortocircuito
a uno (o ambos) de las placas a cada lado de ellos. Ellos deben fijarse de
manera que sus puntas se encuentran en el nivel de la superficie prevista del
electrolito.
Si el nivel de electrolito cae por debajo de la punta de los sensores de alambre, entonces la resistencia entre los cables caerá, lo que indica que se necesita más agua. Esto puede cambiar la bomba de agua, lo que elevará el nivel de agua hasta que el nivel del electrolito alcanza la punta del alambre de nuevo. Un posible circuito para hacer esto se muestra aquí:

Cuando el nivel de las caídas de los electrolitos,
los cables de los sensores vienen clara del líquido y el voltaje al punto 'A'
se eleva. A condición de que esta situación se mantiene durante un segundo o
dos, carga el condensador C2 hacia arriba y el voltaje en la base del
transistor Tr1 se eleva, haciendo que se enciende. Los transistores Tr1 y Tr2
están cableados como un disparador Schmitt, por lo transistor Tr2 cambia de
estado con rapidez, elevando el voltaje en su colector, y causando transistor
Tr3 para alimentar el relé. Los contactos del relé cambian la bomba de agua, lo
que eleva el nivel del electrolito hasta que alcanza los cables del sensor de
nuevo. Este voltea el circuito de nuevo en su estado de espera, apagar la bomba
de agua. La resistencia R1 alimenta condensador C1 para reducir los efectos de
las variaciones de tensión que llega el circuito sensor. Los componentes que se
muestran aquí no son críticos y no deben ser mayores de veinte diseños
alternativos para este circuito.


Para luchar contra las salpicaduras de electrolito,
una capa de esteras acuario se coloca sobre la parte superior de las placas. En
el diagrama anterior, sólo unos pocos de los 101 placas se muestran, con el fin
de mantener el dibujo lo suficientemente estrecha como para que quepa en la
página. Las placas en cada extremo tienen una correa de acero inoxidable
soldada a ellos a fin de permitir conexiones eléctricas simples y robustos para
ser realizado a través del caso.
El suministro de agua está dispuesto para
alimentar a la misma cantidad de agua a cada célula. El diseño de esta tubería
de suministro ha mejorado recientemente por Ed Holdgate y Tom Thayer y Ed ahora
suministra uno junto con los alojamientos de precisión que se hace para el
diseño de Bob. El nuevo diseño tiene una tubería de suministro de agua con
ranuras cortadas con mucha precisión en el mismo. Las longitudes de las franjas
estén directamente relacionadas a lo lejos a lo largo del tubo que se colocan.
El objetivo es tener la misma cantidad de agua que sale de cada ranura pesar de
que la presión del agua disminuye el más largo de la tubería de la ranura se
encuentra.
Ese tubo de suministro de agua se encuentra
entonces en un tubo exterior que tiene un agujero perforado en ella exactamente
por encima de cada uno de los cuerpos de electrolito atrapados entre las placas
(en 3/16 pulgada espaciamiento):

Este arreglo de tubería de suministro de agua
funciona bien en la práctica y parece sorprendentemente a gas despegue tubería
que tiene una serie de agujeros perforados en la parte superior de la misma:

Esta disposición funciona bien, ya que permite el
flujo de gas de gran volumen fuera de la célula y sin embargo hace que sea
difícil para cualquier salpicadura de electrolito para que sea en el tubo de.
Conexión con el Motor :
El sistema de gas Bob
Boyce HHO produce una salida de gas muy alta de tal manera que se necesitan (25
mm) de una pulgada tuberías para llevar el gas desde el electrolizador al
motor. Debido a la velocidad de la onda de presión causado si se enciende el gas
HHO, sin pop-off o romper-disco del sistema tiene el tiempo suficiente para
operar. Además, el sistema de Bob produce el grado superior de gas HHO y como
que tiene el nivel de energía más alto posible, explota de forma espontánea a
una presión de sólo 15 psi. Para hacer frente a esta situación, y la muy alta
tasa de flujo de gas que tiene que ser manejado, dos burbujeadores muy robusto
y un filtro de partículas necesitan ser utilizado en la salida del
electrolizador, como se muestra aquí:

Para aquellas personas que viven en Estados Unidos,
Bob recomienda el uso de este bubbler:

Este es un bubbler construido a partir de unidades
de "Whole Hogar prefiltración" suministrados por Home Depot, que por
desgracia, puede costar más de US $100 cada uno.

Estas unidades vienen con una tapa en forma de
cúpula que necesita ser perforado con un gran número de orificios de 1,5 mm
como este:

Un punto importante con esta unidad es que el flujo
a través del burbujeador es en la dirección opuesta a las flechas moldeadas en
el exterior de la unidad:

Además, la presión a la
que opera necesidades que se cayó de la presión normal de agua del hogar al 0,5
psi. presión de gas necesaria para el uso como un burbujeador. Esto se logra
mediante la sustitución de la válvula de bola dentro de la unidad con una
versión mucho más débil disponible de la compañía KBI, código de referencia KC1000
y cuesta alrededor de US $10. Si usted
consigue uno, asegúrese de especificar una versión 0,5 psi de presión, ya que
tienen más de un tipo.
Es importante que el
capuchón de extremo ser una variedad de cúpula como se muestra arriba. Esto es
necesario ya que impide que las burbujas de unirse juntos antes de la
transmisión hacia arriba a través del agua.
La carcasa del filtro
de partículas es una unidad de fabricación francesa vendido por Home Depot con
el nombre de "SmartWater" y el número de referencia GXWH04F y cuesta
menos de US $20. A medida que el filtro
suministrado con el equipo no es lo suficientemente fina, por lo que un filtro
de 1 micra necesita ser comprado a Ace Hardware para reemplazar el filtro de 4
micras estándar suministrado con la caja del filtro. Este filtro adaptado 1
micrones también actúa como bloqueador de flash back:

Cuestiones
Prácticas
No importa que se utiliza variedad de células electrolizador, es esencial para poner un burbujeador entre ella y la admisión del motor. Esto es para prevenir cualquier contacto accidental del gas de llegar a la célula de electrólisis. Además, no hay electrolizador debe ser operado o probado en interiores. Esto es porque el gas es más ligero que el aire por lo que cualquier fuga de gas hará que el gas para recoger en el techo donde puede causar una gran explosión cuando se activa por la menor chispa (como se genera cuando un interruptor de la luz se enciende o se apaga ). El gas hidrógeno se escapa fácilmente de hecho, como sus átomos son muy, muy pequeña y se puede obtener a través de cualquier pequeña grieta e incluso directamente a través de muchos materiales aparentemente sólidas. Electrolizadores las pruebas deben hacerse al aire libre o por lo menos, en lugares bien ventilados. Uso de al menos un burbujeador es una medida de seguridad absolutamente vital. Un pelele es de esta manera:

Construcción bubbler es realmente muy simple.
Puede ser de cualquier tamaño o forma, siempre que la salida del tubo de
entrada tiene al menos cinco pulgadas (125 mm) de agua por encima de ella. El
plástico es una opción común para el material y los accesorios son fáciles de
encontrar. Es muy importante que las buenas juntas selladas se hacen donde
todos los tubos y cables entran en cualquier recipiente que tiene gas HHO en
ella. Esto, por supuesto, incluye el burbujeador. Unidades de 101 platos de Bob
Boyce producen hasta 100 lpm de gas, por lo que estos necesitan tuberías de gas
de gran diámetro para llevar a que un alto volumen y los peleles necesitan ser
grandes también. También es una buena idea para perforar agujeros adicionales
en el tubo de entrada de medio camino hacia abajo por debajo de la superficie
del agua, con el fin de crear un mayor número de burbujas más pequeñas
El relleno anti-chapoteo o un deflector en la tapa
es para evitar que el agua en el burbujeador salpique hacia arriba en el tubo
de salida y dejarnos llevar por el motor. Diversos materiales se han utilizado
para el llenado incluida la lana de acero inoxidable y estropajos maceta de
plástico. El material necesita para prevenir, o al menos minimizar, cualquier
agua que pasa a través de él, mientras que al mismo tiempo que permite que el
gas fluya libremente a través de él.
Quiero subrayar una vez más, que este documento no
recomienda que usted realmente construir cualquiera de los elementos de
equipamiento discutidos aquí. El gas 'HHO' producido por electrólisis del agua
es extremadamente peligroso, explota al instante y no se puede almacenar de
forma segura, por lo que este documento es estrictamente para fines
informativos únicamente.
Sin embargo, para entender el proceso de forma más
completa, habría que considerar cuidadosamente si alguien decidió construir
realmente uno de estos dispositivos de células serie de alta tensión los
siguientes detalles.
Hay una gran diferencia entre una mezcla de gases
de hidrógeno y oxígeno ('HHO') y el petróleo (gasolina) de vapor. Mientras
tanto pueden servir como combustible para un motor de combustión interna, que
tienen diferencias considerables. Una diferencia importante es que se quema el
gas de HHO mucho más rápido que los vapores de gasolina. Eso no sería un
problema si el motor fue diseñado originalmente para quemar gas HHO. Sin
embargo, la mayoría de los motores existentes están dispuestos para operar de
los combustibles fósiles.
Si se usa gas HHO para mejorar la calidad de la
quemadura y mejorar el mpg de un vehículo, no hay ajustes de temporización son
normalmente necesario. Sin embargo, todos los coches recientes en los EE.UU.
están equipados con un controlador de mezcla electrónica y si no se hace nada
al respecto, una disminución en mpg en realidad puede ocurrir como Contralor
podrán comenzar a bombear más combustible en el motor cuando se ve un cambio en
la calidad de los gases de escape. Una buena información sobre cómo hacer
frente a este problema se puede encontrar en el sitio web http://better-mileage.com/memberadx.html
que incluye detalles de cómo lidiar con el controlador o en el documento
anterior en este apéndice.
Si un motor se ejecuta sin cualquier combustible
fósil en absoluto, entonces los ajustes de temporización deben hacerse.
Combustibles de hidrocarburos tienen moléculas grandes que no se queman lo
suficientemente rápido para ser eficiente en el interior del cilindro de un
motor. Lo que pasa es que, por primera fracción de segundo después de los
incendios de las bujías, las moléculas en el interior del cilindro divididos en
partículas mucho más pequeñas, y luego estas partículas más pequeñas queman tan
rápido que puede ser descrito como una explosión:

Debido al retraso necesario para la conversión de
las moléculas de hidrocarburo a partículas más pequeñas, la chispa está
dispuesta para producirse antes del punto Muerto Superior. Mientras que las
moléculas se están separando, el pistón pasa a su punto más alto y el cigüeñal es
algunos grados más allá Muerto
Superior antes de colocar la presión de la conducción en la cabeza del pistón.
Esta fuerza impulsora entonces refuerza el giro a la derecha del cigüeñal se
muestra en el diagrama anterior y el motor funciona sin problemas.
Eso no va a suceder si una mezcla de gas / aire
HHO es sustituido por los vapores de gasolina. Gas HHO tiene tamaños muy pequeños de
moléculas que no necesitan ningún tipo de descomposición y que se queman al
instante con fuerza explosiva. El resultado es como se muestra aquí:

Aquí, la explosión es casi instantánea y la
explosión intenta forzar el pistón hacia
abajo. Por desgracia, el cigüeñal está tratando de impulsar el pistón hacia arriba más allá del Punto Muerto
Superior ("TDC") punto, por lo que la explosión no ayudará a que el
motor funcione. En cambio, la explosión se detendrá el cigüeñal en rotación,
sobrecargar el cigüeñal y biela y producir una presión excesiva en la pared del
cilindro.
No queremos que eso suceda. La solución es
retrasar la chispa hasta que el pistón ha alcanzado la posición en su rotación,
donde queremos que la explosión tenga lugar - es decir, exactamente en el mismo
lugar que lo hizo cuando se utiliza gasolina como combustible.
En el ejemplo anterior, la chispa sería retraso
(retraso) a partir de 8 grados antes del PMS a 10 grados después de TDC, o 18
grados en general. La chispa se 'retardada' porque tiene que ocurrir más tarde
en la rotación del cigüeñal. La cantidad de retardo puede variar de motor a
motor, pero con gas HHO, la chispa nunca debe ocurrir antes del PMS y es
preferible que el cigüeñal ha girado algunos grados últimos TDC de manera que
la mayor parte del empuje desde el pistón va a girar el cigüeñal y tan poco
como sea posible en la compresión del cigüeñal.
Motores Diesel
Los motores diesel no tienen bujías y en
consecuencia carece de sincronización alteraciones necesarias con ellos.
Cualquier volumen de refuerzo de HHO gas hasta el 80% del contenido del
cilindro se puede añadir en el aire que entra en un motor diesel y que ayuda de
forma automática el rendimiento mpg. Si se dispone de un muy gran volumen de
gas HHO, entonces el motor diesel se establece que marcar sobre el diesel y se
añade entonces el gas de HHO para revolucionar el motor y proporcionar la
energía. La cantidad de gas HHO no debe exceder de cuatro veces la cantidad de
diesel como sobrecalentamiento del motor se producirá si lo hace.
Roy McAlister ha estado funcionando motores de
combustión interna de hidrógeno y muchas mezclas de hidrógeno y otros
combustibles durante cuarenta años. Él aconseja a cualquier persona interesada
en la aplicación de un sistema como este, para comenzar con un motor
monocilíndrico de cinco caballos de fuerza o menos. De esa manera, las técnicas
se aprenden fácilmente y se adquiere experiencia en afinar un motor sencillo
que se ejecuta en el nuevo combustible. Así, supongamos que vamos a convertir
un pequeño motor generador. ¿Cómo lo hacemos al respecto?
En primer lugar, obtenemos nuestro suministro del
nuevo combustible. En este caso, supongamos que vamos a producir gas HHO
utilizando una serie electrolizador de alta tensión de varias celdas como se
describió anteriormente. Esta unidad tiene un corte eléctrico operado por un
interruptor de presión que opera a digamos, cinco libras por pulgada cuadrada.
Suponiendo que el electrolizador es capaz de producir un volumen suficiente de
gas, esto es más o menos equivalente a una botella de hidrógeno con sus
reguladores de presión.
En líneas generales, el suministro de gas se vería
así:

La conexión física con el motor es a través de un
tubo de acero inoxidable de 6 mm (1/4 pulgadas), equipado con una válvula de
aguja perilla-funcionado estándar. El carburador se elimina por completo para
permitir el máximo flujo de aire en el motor, (o en su defecto, la válvula de
mariposa del carburador se abre amplia y se asegura en esa posición). El tubo
de gas de acero inoxidable tiene su diámetro reducido aún más por el uso de una
boquilla con un diámetro interno de 1 mm o menos (1/16 de pulgada o menos), del
tamaño de una aguja hipodérmica usada por un veterinario. Gas HHO tiene
moléculas muy pequeñas y fluirá muy libremente a través de pequeñas aberturas.
La punta de la boquilla se empuja cerca de la válvula de admisión y la tubería
de alimentación de gas está asegurado en su lugar para asegurar que no hay
movimiento:

Cuando el motor está a punto de comenzar, la
válvula de aguja puede ser para dar un adecuado nivel de flujo de gas para
mantener la garrapata-over ajustado a mano, pero antes de que esto suceda, la
sincronización de la chispa necesita ser ajustado
Hay dos formas principales para ajustar el tiempo.
El primero es mecánico, donde se hace un ajuste al mecanismo que desencadena la
chispa. Algunos motores pequeños así no pueden tener una forma conveniente para
ajustar la temporización por tanto como se necesita para esta aplicación. La
segunda manera es retrasar la chispa por un circuito electrónico regulable (por
ejemplo, un NE555 monoestable la conducción de un FET). Esto bien puede ser
construido o comprado ya hecha. Un proveedor que ofrece un control manual
unidad de retardo de encendido listo construido montado en el salpicadero es http://www.msdignition.com/1timingcontrols.htm
y hay otros.
Chispa de Residuos.
Como ya se ha discutido en el capítulo 10, hay
otra consideración muy importante con pequeños motores, y que es la forma en
que se genera la chispa. Con un motor de cuatro tiempos, el cigüeñal gira dos
veces por cada carrera de trabajo. La bujía de encendido sólo necesita para
disparar cada segunda vez que el pistón se acerca a su posición más alta en el
cilindro. Esto no es particularmente conveniente para los fabricantes de
motores, por lo que algunos asuntos simplificar mediante la generación de una
chispa en cada revolución. No es necesaria la chispa extra, no contribuye en
nada a la operación del motor y así se llama la "chispa de residuos".
La chispa de residuos no importa para un motor de vapor de combustible fósil,
pero importa mucho si el combustible se cambia a gas HHO.
Como se ha mostrado en los diagramas anteriores,
es necesario para retardar (delay) la chispa por unos dieciocho grados o menos
cuando se usa gas HHO, debido a su tasa de encendido mucho más rápido. Retrasar
el punto HHO ignición del combustible hasta después Muerto Superior ordena a la
situación de una manera totalmente satisfactoria para la carrera de trabajo del
motor. Sin embargo, si el motor genera una espuria "chispa residuos"
esa chispa de residuos provoca un grave problema.
En el caso de que el combustible fósil, cualquier
chispa de residuos se producirá hacia el final de la carrera de escape y no
tendrá ningún efecto real (aparte de desperdiciar energía eléctrica). En el
caso del combustible HHO, el motor se haya completado la carrera de escape, la
válvula de salida se ha cerrado, la válvula de admisión se ha abierto y el gas
está siendo trazada a través de la válvula de entrada abierta en el cilindro en
la carrera de admisión. En ese instante, hay un paso abierto de la bujía, a
través del cilindro, a través de la válvula de admisión abierta, a la tubería
de suministro de gas y a través de ella para el burbujeador entre el
electrolizador y el motor. Si una chispa residuos se realice, será encender el gas:

El encendido de gas es altamente probable si hay
una chispa de residuos en un motor de combustible usando HHO y (el necesario)
de encendido retardado. Tratando de eliminar la chispa no deseada mediante el
uso de un circuito contador electrónico 'de división por dos "no es
probable que tenga éxito a menos que haya alguna mecánicamente de cierta manera
de desencadenar el circuito contador en el arranque. La mejor manera de superar
una chispa de residuos, si el motor tiene una, es utilizar un 2: 1 disposición
de engranajes en el eje de salida del motor y con el eje más lento para
desencadenar la chispa. Motores de varios cilindros no suelen tener una chispa
de residuos. También es posible operar un contacto de o bien el árbol de levas
o directamente de uno de los vástagos de válvula. También se ha sugerido que el
uso de un interruptor de presión que funciona en el sistema de escape sería
eficaz, y Otra sugerencia es para retrasar el tiempo de apertura de la válvula
de admisión hasta después de haberse producido la chispa de residuos, aunque
esto puede crear una buena cantidad más el ruido del motor .
Una vez un poco de experiencia ha sido adquirida
en el funcionamiento de un motor monocilíndrico de gas HHO, el cambio a un
motor de tamaño completo no es muy difícil. Cada cilindro del motor grande es
más o menos el mismo que el pequeño motor. En lugar de ejecutar un pequeño tubo
en la entrada del carburador de cada cilindro, es más conveniente y económica
de utilizar el colector de admisión existente, deje el acelerador abierto y
ejecutar la tubería de gas de HHO en el colector. Una sección de tubo flexible
de acero inoxidable se debe utilizar para absorber la vibración del motor en
relación con el electrolizador. Roy McAlister sugiere el uso de una válvula de
aguja perilla-funcionado para ajustar la velocidad de ralentí a aproximadamente
1.000 rpm y la colocación de una válvula de palanca del acelerador que funciona
en paralelo con él para aplicar más potencia al motor:
No es inmediatamente claro por qué se recomienda
este arreglo como el uso de la válvula de aguja perilla-funcionado para
establecer la velocidad de ralentí parece ser redundante. No parece haber
ninguna razón en particular por un ajuste de tornillo no se podría utilizar en
la válvula de palanca vinculado al pedal del acelerador del vehículo. Si esto
se hiciera, a continuación, el tornillo del acelerador podría utilizarse para
establecer la velocidad de ralentí y el tornillo de bloqueo en posición. De esta
manera, la válvula de aguja y dos conectores en Y podrían ser dispensados con.
La única razón posible que sugiere en sí es que hay un poco menos de la
construcción física necesaria para el método recomendado se muestra aquí:

Un
proveedor de tubo flexible adecuado para este tipo de trabajo es
http://www.titeflexcommercial.com pero habrá muchos otros.
Los limites del tamaño del motor
Un
electrolizador Boyce 101 platos construido con precisión, adecuadamente
limpiado y acondicionado, produce alrededor de 50 litros por minuto de gas HHO
continuamente, cuando se sintonice adecuadamente y pueda sostener breves
ráfagas de 100 lpm. Realmente no es posible decir qué se necesita mucho gas HHO
para operar cualquier motor como el requerimiento de energía varía mucho de un
motor a otro a pesar de que pueden tener la misma cilindrada. Sin embargo, es
cifras bola-parque muy difíciles, no sería raro que un motor de 2 litros de
capacidad para funcionar satisfactoriamente en 100 lpm de gas HHO. Por favor,
recuerde que cuando las tasas de flujo como 100 lpm o más están siendo
tratados, que es imprescindible el uso de un tubo de gran diámetro (por
ejemplo, una pulgada de diámetro) del electrolizador en adelante. Además, los
peleles necesitan estar físicamente más grande. Es esencial para evitar
cualquier posibilidad de grandes burbujas de gas HHO que forman un camino
continuo a través del agua en el burbujeador como que permita una llama por
adelantado para pasar directamente a través del agua en el burbujeador que es
exactamente lo que el burbujeador está ahí para prevenir, así que no escatiman
en el tamaño de los peleles, especialmente en lo que sólo serán a medio llenar
cuando el caudal de gas es muy alto. Bob Boyce explica los límites actuales de
la producción de gas de la siguiente manera:
La
impedancia de la "MicroMetals T650" núcleo toroidal alcanza un máximo
a las 36 pulgadas cuadradas por placa, es posible utilizar una larga
electrolizador 201 de placa, accionado con el doble de la tensión. El problema
es que no podemos aumentar la densidad de corriente, ya que aumentaría la
temperatura toroide que haría que la permeabilidad a disminuir. Sin embargo,
podemos aumentar la tensión sin preocuparse por el aumento de la toroide temperatura,
por lo que va a 240 voltios de CA no es un problema.
Un
electrolizador 201 de placa podría alcanzar 200 lpm que sería capaz de
alimentar un motor de 3 a 4 litro. Idealmente, un electrolizador de ese tipo
tendría una placa de circuito controlador del microprocesador, ya que debe generar
velocidades de transición de pulso más rápido que la placa de circuito actual.
Un electrolizador de ese tipo tendría un diseño de casos revisado para tener
placas de acero inoxidable, que son 9 pulgadas de ancho y 6 pulgadas de alto.
El nivel de electrolito entonces se establecerá a una profundidad de 4
pulgadas, dando los mismos 36 pulgadas cuadradas de área de la placa activa.
Un
electrolizador de 101 platos mide unos 20 centímetros de longitud. Una unidad
201 de placa sería de unos 40 centímetros de largo y así cabría en el maletero
(baúl) de un coche o la parte trasera de un pick-up. Esto significa que todavía
hay más potencial que queda en el toroide "T650" antes de que haya
necesidad de encontrar un toroide más grande.
Un
toroide de 8 pulgadas con una unidad de 101 platos podría alimentar un motor de
capacidad de hasta 4 litros. Un toroide 10 pulgadas conducir una unidad 101 de
placa podría alimentar un motor de 5 litros. En estos casos, las áreas de la
placa serían mayores que 6 "x 6" porque con un toroide más grande, la
corriente se puede aumentar sin sobrecalentamiento del toroide y descenso es la
permeabilidad.
La
información de Micrometals es que su prensa hidráulica puede hacer toroides
hasta 8 pulgadas de diámetro, pero la tasa de éxito disminuye a medida que
aumenta el diámetro. Como es, la tasa de éxito para hacer que el diámetro de
6.5 pulgadas es su mejor tarifa económica. Para diámetros mayores, el coste del
aumento de la tasa de fallo se transmite a los compradores.
Hay
palabra de un pequeño conjunto canadiense privada que está trabajando con
cubetas de 5 galones de residuos mineros para extraer materiales de alta
permeabilidad que se puede utilizar para hacer toroides más grandes. Se
trituran los residuos en polvo fino con una enorme piedra de molienda, luego
pase el polvo bajo un imán para recoger el material magnético. Ellos hacen esto
varias veces y luego se mezclan el material restante con un aglutinante para
formar un toroide.
Cada
compañía en la industria de fabricación de toroide tiene su propia fórmula
patentada para hacer toroides. Toroide 6,5 pulgadas de esta empresa en
particular canadiense coincide con el Micrometals T650 bastante bien. Si hay
suficiente interés, pueden ofrecer una tarifa de sobra para un toroide mayor.
Aplicaciones estacionarias
Algunas personas desean probar aplicaciones en el
hogar con un electrolizador de este tipo, y se preguntan acerca de la
alimentación de la unidad directamente de la red, en lugar de desde el sistema
eléctrico de un vehículo. Esta es una propuesta práctica y tiene la ventaja de
que el tamaño y el peso ya no de cualquier gran importancia son. El circuito
alteraría muy poco para esta aplicación, como se muestra aquí:

Aquí, en lugar de un inversor para crear 110
voltios de corriente alterna, un cargador de batería de coche o de red fuente
de alimentación se necesita para proporcionar la misma tensión que el sistema
eléctrico del vehículo habrían proporcionado. Probablemente sería la pena poner
un condensador de valor grande a través de la salida del cargador de batería
del automóvil para ayudar a suavizar el rizado de la tensión que se va a
producir. No se olvide que tiene que ser capaz de suministrar corriente
considerable y por lo que se clasifica como un cargador de batería "para
trabajo pesado". Si una unidad de 200 celdas se va a utilizar, a
continuación, a 1:2 de red también se necesitará transformador elevador para
elevar la tensión de red de 220 voltios.
En los países que tienen una red de alimentación de 220 voltios, entonces un 2: sería necesario paso hacia abajo transformador 1 red para una unidad de 100 celdas, pero no para una unidad de 200 celdas. El circuito sería entonces:

Experiencias de Bob Boyce:
Bob tenía un negocio de la electrónica en el sur
de Florida, donde era propietario y patrocinó un equipo pequeño barco a la
carrera a través de su empresa, a partir de 1988. Él tenía un taller mecánico
detrás de su negocio, donde se hizo el trabajo del motor. Trabajó en motores
para otros corredores y un equipo de investigación minisubmarino local que
estaba construyendo barcos de tipo drone-funcionamiento de superficie para la
DEA. Se profundizó en la investigación del hidrógeno y comenzó a construir
pequeñas electrolizadores con agua destilada mezclada con un electrolito. Luego
resonó las placas para mejorar la eficiencia de las unidades. Él descubrió que
con las frecuencias adecuadas, Él fue capaz de generar hidrógeno y oxígeno
"monoatómico"en lugar de las versiones más comunes diatómicas de
estos gases. Cuando se queman los gases monoatómicos, que producen cerca de
cuatro veces la salida de la energía producida por la quema de la versión
diatómico más común de estos gases.
Acerca de 4% de hidrógeno diatómico en el aire se
necesita para producir la misma potencia que la gasolina, mientras que se
necesita un poco menos de 1% de hidrógeno monoatómico en el aire para la misma
potencia. El único inconveniente es que cuando se almacena a presión, el
hidrógeno monoatómico vuelve a su forma diatómica más común. Para evitar esto,
el gas debe ser producido bajo demanda y utilizar de inmediato. Bob utiliza
carburadores licuado de petróleo modificados en los motores de los barcos para
hacerles ejecutan directamente en el gas producido por sus electrolizadores.
Bob también convirtió un coche Chrysler viejo con un motor de seis cilindros de
inclinación para ejecutarse en el hidrógeno set-up y lo probó en su taller.
Reemplazó el encendido de fábrica con un sistema de doble bobina de alta
energía y añade un lector óptico al cigüeñal en el accionamiento de la bomba de
aceite espiga para permitir el ajuste de tiempo de encendido externo. Él
utilizó la serie bujías Bosch Platinum.
Bob nunca publicó nada acerca de lo que él estaba
trabajando, y él siempre dijo que sus barcos estaban corriendo con combustible
de hidrógeno, que se dejó. Muchos años después de que se encontró con que había
tropezado con ya fue descubierto y conocido como "Browns Gas", y
había empresas que venden los equipos y planes para hacerla.
Electrolizador de Bob es bastante sencillo de
hacer pero requiere una gran cantidad de placas hechas de acero inoxidable 316
capaz de soportar los electrolitos más exóticos que sean más eficientes, una
caja de plástico para contener las placas, 3 mm espaciadores para mantener las
filas de placas aparte, el electrolito, y una frecuencia ajustable modificados
inversor de onda pseudo sinusoidal para la electrónica de guía. un total de 101
placas de 150 mm cuadradas se utilizan para dar una gran superficie. Estos han
rastreado sus superficies con papel de lija grueso en una "X" patrón
para dar un grano de rayado fino que sumado puntos agudos finos a las
superficies.
Esto se encuentra para mejorar la eficiencia de la
electrólisis. La caja tiene dos puertos roscados, uno pequeño para la inyección
de reemplazo de agua destilada, y una más grande para extraer el gas HHO. Bajo
la cubierta superior es una pieza de esteras de plástico para evitar chapoteo.
Es muy importante mantener el nivel del electrolito por debajo de las partes
superiores de las placas para evitar que la corriente sin pasar por las células
y la creación de vapor de agua excesivo.
Bob pone unas 5 libras por pulgada cuadrada
interruptor de corte en un tee en el puerto de inyección de agua que apaga la
electrónica de accionamiento hacia abajo cuando la presión en la unidad golpeó
5 PSI. Esto permite que la unidad sea capaz de suministrar la demanda sin
acumular demasiada presión en situaciones de baja demanda. Construye un pelele
de un tipo de cartucho casa vivienda-filtro de agua grande para evitar
cualquier petardeo de viajar de regreso hasta la tubería de alimentación de gas
al electrolizador. Sin algún tipo de burbujeador existe el riesgo de que el
electrolizador explote si un frente de llama desde el motor fluye de vuelta a
la misma.
Las pantallas de malla de cobre diseñados para
gases de soldadura no funcionarán como hidrógeno tiene una velocidad de
propagación de la llama mucho más alto que pasa directamente a través de la
malla de cobre. El burbujeador debe colocarse cerca del motor a fin de limitar
la cantidad de recombinación de los gases de monoatómico a las variedades
diatómicas. El gas HHO debe ser alimentado a la porción de vapor de un sistema
de carburador gas licuado de petróleo. El carburador tendrá que ser modificado
para uso de hidrógeno (diferente tasa de mezcla de propano) y ajustada para el
mejor rendimiento con el sistema en funcionamiento.
Bob encontró que los mejores electrolitos para
usar eran hidróxido de sodio (NaOH) e hidróxido de potasio (KOH). Mientras que
el hidróxido de sodio funciona bien y es mucho más fácil conseguir (lejía 'Red
Devil' encontró en la mayoría de los grandes almacenes) que el ligeramente más
eficiente Hidróxido de potasio. Cualquier cosa que se utiliza, tenga mucho
cuidado lo que la construcción se utilizan materiales. Asegurarse de que sean
compatibles con el electrolito elegido (hoja de acrílico Plexiglas era lo que
Bob utiliza). Nunca use envases de vidrio para mezclar o almacenar Hidróxido de
potasio.
Bob nunca tuvo la oportunidad de conducir la
prueba de Chrysler en el camino con este sistema. En su lugar, colocó el
extremo posterior hacia arriba en jack-gradas y corrió el motor bajo
condiciones sin carga en la unidad sólo para probar y ajustar el sistema y
tener una idea de lo bien que el motor alzó con el combustible de hidrógeno. El
vehículo se hizo funcionar durante una distancia registrada cuentakilómetros de
mil kilómetros en esta configuración con la hidrólisis está totalmente
accionado por el alternador del vehículo. Con el vehículo en marcha al ralentí,
la electrónica de accionamiento consumen aproximadamente 4-4,3 amperios @ 13,8
V CC. Con las ruedas traseras fuera de la tierra, y el motor en marcha con el
velocímetro del vehículo registrarse 60 mph, la electrónica de accionamiento
atrajeron aproximadamente 10.09 a 11.06 Amps @ 13,8 V CC.
La unidad no utiliza la electrólisis "fuerza
bruta normal" cuando se opera en modo de alta eficiencia. Se basa
principalmente en una reacción química que tiene lugar entre el electrolito
utilizado y de las placas de metal, que se mantiene por la energía eléctrica
aplicada y estimulado en una mayor eficiencia mediante la aplicación de
múltiples resonancias armónicas que ayudan a "cosquillas" las
moléculas de separación. Múltiples células en serie se utilizan para reducir la
tensión por célula y limitar el flujo de corriente con el fin de reducir la
producción de vapor de agua. Se basa en la gran superficie del número total de
células para obtener el volumen requerido de salida de vapor de combustible.
En el primer prototipo de este diseño, Bob utilizó
una costumbre construido controlador / controlador que permitió una gran
cantidad de ajuste de modo que el rendimiento puede ser probado utilizando
diferentes frecuencias, tensiones, y formas de onda de forma individual. El
resultado fue un patrón de ondas 3 entretejido cuadrados ricos en armónicos que
producen una eficiencia óptima. Cuando Bob tenía lo básico descubierto se dio
cuenta de que él sólo podría reemplazar la unidad de controlador personalizado
/ conductor con un inversor modificado (mucho más fácil que la construcción de
una unidad de cero). Él experimentó usando un inversor de onda pseudo-sine 300
vatios que había sido modificado de modo que la frecuencia de base podría ser
ajustado entre 700 y 800 Hz. La salida de onda sinusoidal escalonada se
alimenta a través de un rectificador de puente que resultó cada onda sinusoidal
escalonada en dos ondas medio escalonadas positivos. Cada una de estas ondas
media tenían 8 pasos, por lo que un solo ciclo se convirtió en 16 pasos. La
salida resultante, si bien no consta de ondas cuadradas entremezcladas, seguía
siendo rico en armónicos, y era mucho más fácil de ajustar el punto de
resonancia de tratar de sintonizar 3 frecuencias separadas. Tenga en cuenta que
estos inversores ya no están disponibles para su compra y que el diseño de
triple junta oscilador de Bob es muy superior, dando más del doble de la salida
producida por el antiguo inversor y es sin duda el consejo de usar con
electrolizador de Bob.
El rango de frecuencia puede cambiar en función
del número de pasos en la onda pseudo sinusoidal del inversor a elegir ya que
no todos los inversores son iguales. El efecto deseado es causada por las
múltiples resonancias armónicas en la salida del inversor a frecuencias más
altas. Usted sabrá cuando usted golpea resonancia por el dramático aumento de
la producción de gas. La frecuencia varía un poco dependiendo de lo electrolito
se utiliza, la concentración de la solución de electrolito, la temperatura del
electrolito, la pureza del agua, etc.
Tenga en cuenta que el tanque electrolizador de
Bob era lo suficientemente grande para contener 61 placas de acero inoxidable
de 316 grados que eran 150 x 150 mm cada uno, separación de 3 mm, para crear 60
células en serie, con la potencia de 130 V CC de la inversor, a través del
puente rectificador, aplicado a las placas finales sólo. Eso le dio 4.320
centímetros cuadrados de superficie, un montón de superficie para producir
suficiente combustible para un motor del vehículo. la mejor electrolito para la
eficiencia era hidróxido de potasio, y el nivel de electrolito debe mantenerse
por debajo de la parte superior de las placas para evitar cualquier corriente
de pasar por las placas y la creación de vapor de agua a través de exceso de
calentamiento. se utilizó agua destilada para evitar la contaminación del
electrolito que daría lugar a rendimiento y eficiencia reducida.
La unidad tenía alambres de acero inoxidable de
grado 316 soldados a la parte superior de las placas finales. Los otros
extremos de los cables se sueldan pernos de acero inoxidable 316-grado que
pasaron a través de los agujeros en los extremos del contenedor, con juntas de
goma de la junta tórica dentro y por fuera, que se encuentra por encima del
nivel del líquido.
Había una barra de pulverización de PVC adjunta en
el interior de la cámara al puerto de inyección de agua con pequeños agujeros
perforados a lo largo de su longitud en la parte inferior para suministrar agua
de reemplazo de manera uniforme a las células cuando la bomba de agua se
enciende. Se utilizó una válvula de reflujo de prevención de en la parte
superior de la T para mantener el gas fluya hacia las líneas de agua. Hubo una
estera de fibras de plástico entrelazadas (material de filtro del
acondicionador de aire) cortado y armarios en la parte superior de las placas
para ayudar a prevenir chapoteo. No utilice estera de fibra de vidrio, lo que
podría causar una reacción grave con algunos electrolitos, como el hidróxido de
potasio.
Es muy importante entender que a menos que un
motor está diseñado originalmente para, o más tarde modificado para, funcionar
con combustible de vapor como gas licuado de petróleo (gas natural), se añade
que la inyección de agua nebulizada. A menos que el motor tiene las válvulas
adecuadas para el combustible de vapor, las válvulas de valores no sobrevivirán
para tiempos de funcionamiento prolongados sobre el combustible de vapor de
cualquier tipo sin refrigeración adicional de algún tipo. Este es un tema de
diseño de la válvula por los fabricantes de vehículos, no es algo perjudicial
debido a la combustión de gas HHO. Los fabricantes quieren evitar que sus
coches sean adaptados a la operación un alto kilometraje y sin efectos
adversos, por lo que han diseñado las válvulas al fracaso si no se enfría por
exceso de combustible fósil en bruto.
El objetivo aquí es presentar los hechos
pertinentes que participan en la electrolisis CC y proporcionar sugerencias
prácticas para la construcción física, preparación y utilización de tales
dispositivos.
Renuncia
El contenido de este documento se
presentan únicamente con fines informativos. El autor, Patrick J. Kelly no
recomienda que alguien realmente construir cualquier dispositivo basado en esta
información y alguien debería hacerlo en contra de sus deseos, entonces debe
quedar claro que no se hace responsable atribuye a Patrick J. Kelly como
resultado de esas acciones . A modo de ejemplo, en caso de que alguien
decidiera construir un electrolizador con base en esta información y luego
dejar caer el electrolizador en un dedo del pie, a continuación, Patrick J.
Kelly es en ningún caso responsable de cualquier daño resultante o daños en el
electrolizador.
Antecedentes:
El muy famoso Michael Faraday que realizó la
experimentación meticulosa, investigó la electrólisis y determina qué corriente
se necesitaba para convertir cualquier cantidad dada de agua en hidrógeno y
oxígeno gases. Los maestros de la ciencia, resultados cita de Michael como ser
la última palabra sobre la electrólisis CC.
En los últimos años, Bob Boyce del EE.UU. ha
investigado electrólisis CC más allá y ha logrado resultados que han sido por
lo general, 216% las de Faraday. Esto no quiere decir que Faraday era malo,
sólo que sus resultados se aplican a las condiciones particulares en las que se
realiza sus pruebas. Esencialmente, colocó dos electrodos de metal en un
electrolito y se pasa corriente eléctrica entre ellos, medir el gas producido
durante cada uno de sus pruebas. A partir de esa información, que fue capaz de
deducir la relación entre la producción actual y de gas (en esas condiciones).
Bob Boyce tenía un objetivo diferente durante sus
investigaciones, es decir, para determinar si había alguna manera de aumentar
la producción de gas por amperio de corriente. Su primer paso fue probar varios
tipos de metales para los electrodos. Las investigaciones de laboratorio
tienden a recoger de platino para el uso del electrodo, pero de hecho, que es
el peor de metal posible utilizar ya que actúa como un catalizador para
recombinar los gases de hidrógeno y oxígeno, y por lo tanto tiene una oposición
incorporado a la electrólisis. Después de muchas pruebas, 317L-grado resultó ser
una excelente opción, pero debido a su limitada disponibilidad y alto costo,
316L-grado se utiliza generalmente en su lugar.
Los factores de pérdida involucrados en la electrólisis se examinaron a
continuación siguiendo el camino de la corriente. Estos son:
1. Resistencia al flujo de corriente a través de los electrodos de metal,
(típicamente en la forma de placas).
2. Resistencia al flujo entre el electrodo y el electrolito.
3. La resistencia a fluir a través de la propia
electrolito.
Estas pérdidas eléctricas producen calor, que en cantidades limitadas no es un problema que no sea a través de desperdicio de energía, pero si se deja sin control, causa problemas considerables, a saber, la producción de vapor y vapor de agua caliente, que diluyen el gas hidroxi y reducen el contenido de energía de la de salida, y en casos extremos, fusión o debilitar el material de la caja. El examen de cada uno de ellos, Bob encontró:

1. Resistencia al flujo de
corriente a través de las placas de metal es algo que no puede ser superado
fácilmente y económicamente, y así tiene que ser aceptado como una sobrecarga.
Generalmente hablando, el calentamiento de esta fuente es baja y no una
cuestión de gran preocupación.

2. Resistencia al flujo
entre el electrodo y el electrolito es una cuestión totalmente diferente, y los
principales avances se puede hacer en esta área. Después de extensas pruebas,
Bob descubrió que una mejora importante se puede hacer si una capa catalítica
se desarrolla sobre la superficie de la placa activa. Los detalles de cómo se
hace esto se proporcionan a continuación.

3. La resistencia a fluir a
través de la propia electrolito puede ser minimizado mediante el uso de el
mejor catalizador en su concentración óptima, y controlar el flujo de corriente
mediante el uso de un circuito electrónico. Las opciones aquí son el uso de un
modulador de ancho de pulso (o "PWM") del circuito o un circuito de
corriente constante. Un circuito PWM cambia la corriente de apagado para
cualquier porcentaje elegido del tiempo. Esto reduce la corriente media que
fluye a través del electrolito y así controla la tasa de salida de gas. Este
circuito está configurado y ajustado manualmente según sea necesario. El
circuito de corriente constante mantiene ninguna corriente elegido a través del
electrolito automáticamente. Otro factor es la distancia que la corriente tiene
que fluir a través del electrolito - mayor es la distancia, mayor es la
resistencia. La reducción de la brecha entre la placa al mínimo mejora la
eficiencia. Sin embargo, factores prácticos entrar en juego aquí como burbujas
tiene que tener espacio suficiente para escapar de entre las placas, y en un
electrolizador conectado en serie compacto, el volumen de electrolito entre las
placas sucesivas está severamente restringida si las placas son más cerca uno
del otro. Espaciamiento compromiso elegido de Bob es de 3 mm. o un octavo de
pulgada.
Estos factores permiten una duplicación de los
resultados de Faraday, o dicho de otra manera, dan la producción de gas de Faraday
por menos de la mitad de la corriente que se vio en la necesidad de su uso. El
mejor catalizador conocido en este momento es el hidróxido de potasio o KOH.
Esto es 20% más eficiente en el uso de la siguiente hidróxido de sodio
catalizan más adecuado o NaOH. Es muy posible que una mejor catalizador puede
descubrirse en el futuro, lo que reduciría el requisito actual para que
cualquier tasa de salida de gas requerida. El área de la placa es importante
para la larga vida del electrodo y un área de la placa de al menos 4 pulgadas
cuadradas por amperio de corriente dará vida plato extendido. Hay una ventaja
en tener las placas más amplia de lo que son altos ya que esto proporciona una
mayor área de superficie del electrólito
La creación de la capa de catalizador muy
importante en las caras de trabajo de las placas de electrodo es la siguiente:
El primer paso es tratar ambas superficies de cada
placa para alentar a las burbujas de gas de romper la superficie de la placa.
Esto podría hacerse por medio de chorro de arena, pero si se elige este método,
gran se debe tener cuidado de que el grano utilizado no contaminar las placas.
Placas de acero inoxidable no son baratos y si te dan granallado mal, entonces
las placas serán inútiles en cuanto a la electrólisis se refiere. Un método
seguro que Bob prefiere mucho es marcar la superficie de la placa con papel de
lija grueso. Esto se hace en dos direcciones diferentes para producir un patrón
de trama cruzada. Esto produce picos y valles afilados microscópicos en la
superficie de la placa y los puntos agudos y las crestas son ideales para
ayudar a que se formen burbujas y liberarse de la placa.

Bob utiliza una lijadora de banda x 48 pulgadas 6
pulgadas que es ideal para la preparación de los platos y lo usa todo el tiempo
ahora con 60 o 80 granos. Siempre use guantes de goma para manipular las placas
para evitar marcas de los dedos en los platos. El uso de estos guantes es muy
importante ya que las placas deben mantenerse tan limpio y tan libre de grasa
posible, listo para las próximas etapas de su preparación.
Cualquier partículas creadas por el proceso de
lijado ahora deben ser lavados de las placas. Esto se puede hacer con agua
limpia del grifo (no agua de la ciudad, sin embargo, debido a todo el cloro y
otros productos químicos añadidos), pero sólo agua destilada se utiliza para el
aclarado final.
El siguiente paso en el proceso de preparación es
para compensar una solución débil de hidróxido de sodio. Esto se hace mediante
la adición de pequeñas cantidades de hidróxido de sodio al agua contenida en un
recipiente. El envase no debe ser de vidrio como la mayoría de los recipientes
de vidrio están hechos de vidrio de calidad insuficiente para permitir la
mezcla de electrolitos en ellos. El hidróxido de sodio ("soda
cáustica" a menudo se vende como limpiador de cañerías) siempre se utiliza para la limpieza de
la placa.
Mientras tanto hidróxido de potasio (KOH) e
hidróxido de sodio (NaOH) son materiales excelentes, ambos son altamente
cáustico y así necesitan ser tratados con cuidado. En la siguiente sección, la
mezcla de KOH se describe, pero las mismas precauciones también se aplican
cuando se mezcla NaOH. Así que ser muy metódico y cuidadoso al hacer una
solución de cualquiera:
Guarde siempre el hidróxido en un recipiente
hermético resistente que está claramente marcado como "PELIGRO - Hidróxido
de potasio". Mantener el envase en un lugar seguro, donde no se puede
llegar por las personas, mascotas o niños que no tomarán ninguna notificación
de la etiqueta. Si el suministro de KOH se entrega en una bolsa de plástico
fuerte, entonces una vez que abra la bolsa, debe transferir todos sus
contenidos, a, recipientes de almacenamiento robustos herméticos de plástico,
que se puede abrir y cerrar sin correr el riesgo de derramar el contenido. Las
ferreterías venden grandes cubos de plástico con tapas herméticas que se pueden
utilizar para este propósito.
Cuando se trabaja con escamas de hidróxido secos o
gránulos, usar gafas de seguridad, guantes de goma, una camisa de manga larga,
calcetines y pantalones largos. También, no use su ropa favorita como una
solución de hidróxido no es el mejor que se puede conseguir en la ropa. También
es una buena práctica usar una mascarilla que cubre la boca y la nariz. Si
usted está mezclando hidróxido sólido con agua, agregar siempre el hidróxido
para el agua, y no al revés, y el uso de un recipiente de plástico para la
mezcla, preferiblemente uno que tiene el doble de capacidad de la mezcla final.
La mezcla se debe hacer en un área bien ventilada y que no es con corrientes de
aire ya que las corrientes de aire pueden soplar el hidróxido seca alrededor.
Al mezclar el electrolito, nunca utilice agua tibia. El agua debe ser fresco porque la
reacción química entre el agua y el hidróxido genera una buena cantidad de
calor. Si es posible, coloque el recipiente de mezcla en un recipiente grande
lleno de agua fría, ya que esto ayudará a mantener la temperatura baja, y si su
mezcla debe "hervir" que contendrá el derrame. Añadir una pequeña
cantidad de hidróxido a la vez, revolviendo continuamente, y si deja de agitar
por cualquier razón, ponga la tapa de nuevo en todos los contenedores.
Si, a pesar de todas las precauciones, usted
consigue una cierta solución de hidróxido en su piel, lávese con abundante agua
fría y aplicar un poco de vinagre a la piel. El vinagre es ácido, y ayudará a
equilibrar la alcalinidad del hidróxido. Usted puede usar jugo de limón si
usted no tiene el vinagre a mano - pero siempre se recomienda mantener una
botella de vinagre a mano.
Placa
Limpiadora:
La limpieza de la placa se realiza siempre con NaOH. Preparar un 5% a un 10% (en peso) de solución
de NaOH y deje que se enfríe. Una solución al 5% 'en peso' es 50 gramos de NaOH
en 950 cc de agua. Una solución 10% 'en peso' es 100 gramos de NaOH en 900 cc
de agua. Como se mencionó antes, nunca manipule las placas con las manos
desnudas, pero siempre use guantes de goma limpios. Ponga las placas lijadas y
enjuagados en las ranuras de la caja electrolizador. Llene el electrolizador
con la solución de NaOH hasta que las placas están sólo cubiertos.
Una tensión se aplica ahora a través de todo el
conjunto de placas por conectar los cables a las dos placas más exteriores.
Esta tensión debe ser de al menos 2 voltios por celda, pero no debe exceder de
2,5 voltios por célula. Mantener esta tensión a través del conjunto de placas
durante varias horas a la vez. La corriente es probable que sea 4 amperios o
más. Como este proceso continúa, la acción de ebullición se aflojará partículas
de los poros y superficies de metal. Este proceso produce gas hidroxi, lo que
es muy importante que el gas no se le permite recoger en ningún lugar cerrado
(como en techos).
Después de varias horas, desconecte el suministro
eléctrico y se vierte la solución electrolítica en un recipiente. Enjuagar las
células a fondo con agua destilada. Filtrar la solución diluida de NaOH a
través de toallas de papel o filtros de café para eliminar las partículas.
Vierta la solución diluida de nuevo en el electrolizador y repetir este proceso
de limpieza. Puede que tenga que repetir el proceso de electrólisis y aclarado
muchas veces antes de las placas de dejar de poner las partículas en la
solución. Si lo desea, puede utilizar una nueva solución de NaOH cada vez que
limpies, pero usted puede ir a través de una gran cantidad de solución justa en
esta etapa de limpieza si decide hacerlo de esa manera. Cuando la limpieza haya
finalizado (normalmente, después de tres días), hacer un enjuague final con
agua destilada limpia. Es muy importante que durante la limpieza, durante el
acondicionamiento y durante el uso, que la polaridad de la energía eléctrica es
siempre la misma. En otras palabras, no intercambiar las conexiones de la
batería sobre como que destruye todo el trabajo de preparación y requiere los
procesos de limpieza y acondicionamiento que se llevarán a cabo de nuevo.
Placa
Acondicionado:
Utilizando la misma concentración de la solución
de NaOH como en la limpieza, llenar el electrolizador con la solución diluida
de hasta 12 mm por debajo de las copas de los platos. No llene en exceso las
celdas. Aplicar unos 2 voltios por célula y deje que la unidad funcione.
Recuerde que muy buena ventilación es esencial durante este proceso. las
células pueden desbordarse, pero esto está bien por ahora. a medida que se
consume el agua, los niveles bajarán. Una vez que las células se estabilizan
con el nivel de líquido en la parte superior de la placa o justo por debajo, el
monitor el consumo de corriente. Si la corriente es bastante estable, continúe
con esta fase de acondicionamiento de forma continua durante dos o tres días,
añadiendo agua destilada suficiente para reemplazar lo que se consume. Si la
solución cambia de color o se desarrolla una capa de porquería en la superficie
de el electrolito, a continuación, la pila de célula necesita más etapas de
limpieza. no permita que las células se llene en exceso y desbordamiento en
este punto. Después de dos o tres días de tiempo de ejecución, derraman la
solución diluida de NaOH y enjuague el electrolizador a fondo con agua
destilada. Cuando las placas están condicionadas, las burbujas no se adhieren a
ellos sino que romper libremente. La capa catalítica hace que las placas para
asumir una coloración bronce.
Operación de
la Célula:
Mezclar hasta una resistencia completa 28% 'en
peso "solución de hidróxido de potasio, que es de 280 gramos de KOH añaden
a 720 cc de agua. Llene el electrolizador de este diseño a aproximadamente una
profundidad de 8 pulgadas, lo que deja unos 4 pulgadas de francobordo para
ayudar a contener las salpicaduras causadas por la alta tasa de electrólisis.
La tensión de CC aplicada al electrolizador será de aproximadamente 2 voltios
por celda, por lo que este electrolizador 150 de células tendrá alrededor de
300 voltios aplicados a la misma. Esta tensión se genera mediante la
rectificación de los 220 voltios de alimentación de CA.
Solución De
Problemas:
1. Anormalmente baja
actual es causado por placa preparación inadecuada o contaminación grave. Tome
las placas del electrolizador y empezar de nuevo desde la preparación del plato.
2. Anormalmente alta
corriente es causado por las altas fugas entre las células. Para ello será
necesario el fomento de la reutilización o el endurecimiento de la matriz caso
plato.
3. Si la corriente
comienza alta y después cae, esto significa que las placas están contaminados.
Tome las placas del electrolizador y empezar de nuevo desde la preparación del
plato.
4. Cada vez que hay tensión
de distribución desigual entre las células en una celda de la serie, esto
significa que o bien hay una gran variación en la preparación de la superficie
de célula a célula, o hay una fuga de iones entre las células. Cuestiones de
preparación de superficies tenderán a aparecer como una o más células que
tienen un voltaje más alto, pero no en un orden específico. Ion fuga (también
llamada fuga de derivación) se muestra la distribución de tensión como
irregular, típicamente más altos en las células de los extremos.
Distribución de voltaje debe ser uniforme, y dentro de unas pocas centésimas de
un voltio. Variación de décimas de voltios significa que hay un problema
importante. Asegúrese de que la matriz de la placa se sujeta firmemente.
Compruebe para cualquier lugar en absoluto para que el líquido fluya, ya que
esto permitirá la fuga de iones para eludir sus placas centrales
"flotantes".
El Gas Producido:
Los maestros le dirán que la electrólisis del agua
produce gas hidrógeno (H2) y oxígeno gaseoso (O2). Si bien esto puede ser
cierto, es sólo parte de la historia. El agua disuelve las cosas tan bien que
realmente no existe agua "pura". La lluvia que cae desde el cielo
habrá absorbido gases atmosféricos en su camino hacia abajo y ya no es
"puro" en el momento de llegar al suelo.
A medida que fluye a lo largo de la superficie de
la tierra ya través de la tela del paisaje, que absorbe los minerales de todo
tipo, y a medida que fluye hacia abajo arroyos salpicaduras hace que se absorba
más gases atmosféricos (que es igual de bien para los peces que viven en que el
agua). Si se llega a una planta de tratamiento de agua, se inyecta con cloro
para matar las bacterias en ella, y posiblemente flúor para "mejorar los
dientes" de las personas que la beben.
El agua del grifo es un electrolito, pero una de
las que no sabe lo que está en él. Muestras de agua del grifo tomadas en
diferentes ciudades contendrán una mezcla muy diferente de los aditivos
mientras que las muestras tomadas en diferentes países tendrán aún mayores
diferencias entre ellos.
La mayoría de la gente estaría inclinado a decir
"a quién le importa?", Pero este es un asunto importante cuando se
considera la electrólisis del agua. Si utiliza agua del grifo para la
electrólisis, a continuación, a medida que avanza la electrólisis, el agua
"pura" se retira como una mezcla de gas de hidrógeno y gas oxígeno.
Esto libera el aire disuelto en el agua, por lo que se mezcla con el gas
hidroxi es una cantidad desconocida de aire que es 78% de nitrógeno. Los
sólidos disueltos y los sólidos en suspensión en el agua, se quedan atrás y se
acumulan en el fondo del electrolizador. Como una gran proporción de origen
natural paisaje tiene sales de hierro en el mismo, una buena cantidad de éstos
puede acumularse en la parte inferior del electrolizador. Un elemento común es
óxido de hierro, comúnmente conocido como "óxido" y aunque no es el
mejor, es un conductor de la electricidad, por lo que ha sido conocido por
placas electrolizador para obtener un cortocircuito a cabo por un edificio capa
conductora entre las placas. Este corto-circuitos de las placas, corta la
producción de gas y genera el exceso de calor - en general, una condición que
debe evitarse.
Por esta razón, se recomienda encarecidamente que
el KOH electrolito de trabajo esté integrado, ya sea con agua destilada o agua
desionizada, y el agua que se utiliza para reemplazar el agua perdida a través
de la electrólisis también ser agua destilada o desionizada. Debe tenerse en
cuenta que, incluso cuando se utiliza agua destilada, el gas hidroxi producido
también se han disuelto de aire en el mismo.
El Suministro de Agua:
Sorprendentemente, el suministro de agua para
reemplazar la que se ha convertido a gas hidroxi, no es una tarea simple. En
primer lugar, hay una presión de gas 5 psi dentro del electrolizador y por lo
que una válvula de una vía tiene que ser colocado en la línea de suministro de
agua con el fin de evitar que la presión del gas empuja el agua y dejar que se
escape gas a través del aparato de suministro de agua.
Además, existe una considerable dificultad en
saber cuando se necesita agua y cuánto debe ser introducida en el
electrolizador y se añade a que es la dificultad en la adición de exactamente
la misma cantidad a cada una de las células 150 que son sólo 3 mm de ancho. Si
bien no es esencial que cada una de las células 150 tiene exactamente el mismo
nivel de electrolito, es muy importante que el agua añadida es exactamente la
misma cantidad para cada celda, de lo contrario los niveles de electrolitos de
células tendrán progresivamente fuera de paso. Hay un grado de equilibrio
automático de los niveles en que una célula completa es probable que produzca
un poco más de gas y así usar un poco más de agua, equilibrando así los
niveles, pero esta pequeña diferencia no puede ser invocada para compensar el
agua suministrada de manera desigual.
Recientemente, Ed Holdgate y Tom Thayer diseñaron un acuerdo de doble tubo para el suministro de agua y se dice para trabajar adecuadamente, así que usar una versión ligeramente más largo de su diseño puede muy bien ser una solución satisfactoria. Sin embargo, esta parte del diseño debe ser considerada como un área para el cuidado de la comprobación en condiciones de trabajo y la posible modificación futuro para proporcionar un funcionamiento mejorado. En general, la operación sería:

El problema de evaluar el nivel de electrolito
correcta se hace más difícil por el burbujeo grave causada por la electrólisis
que tendrá la superficie del líquido en el movimiento vertical constante. La
detección óptica no es probable que sea eficaz. El peso total del
electrolizador es una posible guía, pero es un enfoque inusual al problema y
así que probablemente no es la primera opción. El enfoque normal es utilizar
dos cables como un sensor como la conducción eléctrica se llevará a cabo cuando
están conectados por electrolito. Sin embargo, este ambiente con baja
conductividad del electrolito que es salpicado por todo el lugar hace que la
posibilidad de la operación un tanto errático, pero a pesar de eso, es
probablemente el mejor método.
Para este estilo de sensor un par de alambres de
acero inoxidable rígidas aisladas en una envoltura retráctil o un tubo de
plástico estrecho está dirigido hacia abajo entre dos de las placas centrales y
se coloca en lados opuestos de la brecha como se muestra aquí:

El circuito electrónico de ser alimentado por este
sensor tendrá un retraso de varios segundos para que burbujeo no causa una
falsa activación de la alimentación de agua. En otras palabras, el circuito
sensor electrónico sólo se enciende la bomba de agua si la conexión eléctrica a
través del electrolito entre los dos cables del sensor se pierde durante varios
segundos consecutivos.
Construcción Físico:
Para una mirada casual, la construcción física de
un electrolizador de alto rendimiento parece simple, pero la realidad es que es
cualquier cosa menos eso. Un electrolizador de bajo rendimiento puede tener la
construcción descuidada. Hay algunas dificultades que hay que superar con el
fin de obtener un rendimiento superior.
1. Es de vital importancia
para evitar tener cualquier tipo de trayectoria de derivación para la corriente
eléctrica que le permitiría fluya desde el terminal negativo a la terminal
positiva sin pasar a través de las placas de electrodo. Si bien esto parece fácil
de lograr, en realidad no es así.
2. Es importante para
extraer el gas hidroxi del electrolizador, dejando todo el electrolito atrás.
Esto suena obvio, pero en operaciones de alto volumen de gas que no es una cosa
trivial alcanzar.
3. Es importante que la
temperatura del electrolizador no se eleva a un nivel inaceptable, que podría
causar daños en el caso electrolizador o accesorios, o que podría generar vapor
o exceso de vapor de agua lo que diluiría el gas hidroxi y disminuir la
eficiencia de la combustible.
4. Es importante que no hay
posibilidad de una chispa que se genera en el interior del electrolizador por
una conexión eléctrica suelta.
El diseño electrolizador Bob Boyce es una
construcción muy conveniente para el usuario, pero que llama para la
construcción de precisión de 0,0003 "exactitud que es bien fuera del
alcance de los constructores aficionados. Una unidad de electrólisis CC no
tiene la necesidad de que este grado de precisión y así que yo sugeriría una
adaptación del estilo de Bob Boyce de construcción para los pequeños
propulsores. Esto se acumula una gran variedad de platos sujeta junto con
varillas roscadas y sostuvo además por espaciadores aislantes en forma de U.
Los espaciadores tienen que ser hecho de un
material que es ligeramente flexible, de modo que cuando sujeta entre dos
placas de acero que forma un sello completamente estanco. El material también
tiene que ser totalmente resistente a la solución de KOH fuertemente cáustica
se utiliza como un electrolito.
Esta matriz placa puede ser una unidad autónoma con las placas extremas reforzadas contra la flexión, ya sea con una gruesa pieza de plástico acrílico o haciéndolos de acero inoxidable de espesor. Todos los componentes de metal en el interior del electrolizador deben hacerse del mismo grado de metal, de lo contrario la erosión galvánica se llevará a cabo como todo el interior de la electrolizador tendrá un gas conductor húmedo en ella. El acuerdo podría ser como este:

Aquí un anillo uniformemente espaciadas de
agujeros de los tornillos para tomar 8 pernos mm se perfora alrededor de tres
bordes de cada una de las 151 placas. Los agujeros serán 8,5 mm de diámetro si
se utilizan 8 mm varillas de plástico roscados. El espaciamiento de los
agujeros es poco menos de dos centímetros como se necesita un espacio de 3 mm
en los bordes y las placas de acero inoxidable suministrados puede no ser
exactamente 2 pies por 1 pie pero un dieciseisavo de una placa de tamaño
métrico. El tamaño exacto de placa no es crítica ni es el espaciado exacto de
las varillas roscadas.
Puede ser preferible utilizar varillas de acero
inoxidable roscado en lugar de las varillas de plástico menos robustos, en cuyo
caso se aumentará el diámetro del agujero, probablemente a 10 mm o el diámetro
de la varilla roscada reducido a 6 mm como a toda la longitud de la varilla que
atraviesa las placas se encerradas en manguitos de plástico con el fin de
prevenir el contacto eléctrico entre las placas y las barras como se muestra
aquí:

Las 150 juntas coinciden con los bordes de las
placas y tienen un ancho de 6 mm mayor que el diámetro del agujero perforado
para las cañas que la matriz de la placa de la abrazadera juntos:

Usando este estilo de construcción produce una
variedad de placa compacta con la placa deseada espaciamiento y utilizando
componentes de precisión baja sólo pueden obtenerse muy fácilmente. Las
conexiones eléctricas de las placas de extremo son TIG soldado con autógena las
correas como se muestra aquí:

Un agujero rectangular se corta a través de la
placa de soporte de acrílico para permitir una soldadura TIG correa de acero
inoxidable de espesor para proyectar a través de él y ofrecer una buena
conexión eléctrica. La correa está atornillado a través de la caja exterior
usando un perno de acero inoxidable y una junta para asegurar que no va a
permitir que el gas se escape.
Un caso exterior de espesor de acrílico se puede
utilizar para alojar las placas, tuberías de abastecimiento de agua, etc., y
contener el gas hidroxi, forzándolo a entrar en el conducto de alimentación de
suministro de gas al motor del generador. La carcasa exterior nunca se hace de
cualquier tipo de metal no importa cuán atractiva la idea parece. Aunque es muy
poco probable la posibilidad de una explosión dentro del electrolizador, la
seguridad es la prioridad número uno y si una explosión tuviera lugar dentro de
un electrolizador con carcasa metálica, entonces sería actuar como una mina
terrestre, esparciendo metralla letal en todas las direcciones. Discos de
pop-off tapas, y romper parecen opciones atractivas para muchas personas, pero
éstas son inútiles con gas hidroxi que contiene las proporciones ideales de
combustible de hidrógeno y oxígeno, que cuando se encienden producir una onda
de choque tan rápido que estos dispositivos no tienen tiempo para operar. Un
electrolizador del tamaño y las proporciones se sugiere aquí contiene demasiado
hidroxi gas a ser contenida por cualquier tipo de carcasa de metal.
Sistema de Deflectores:
Se debe suponer que la alta tasa de producción de
gas se provocar salpicaduras e incluso con tener unas cuatro pulgadas de la
placa sobre la superficie del electrolizador, diminutas gotitas se proyectará
hacia arriba por encima de las placas. Es esencial que estas gotitas están
atrapadas y que cualquier vapor KOH mezclado con el gas hidroxi se retira antes
de que el gas se alimenta al motor.
Un sistema de deflectores por encima de las placas
puede utilizarse para interceptar cualquier gotitas y se los devolverá el
electrolito otra vez, y dos peleles pueden utilizarse para lavar cualquier
vapor KOH del gas hidroxi y proteger tanto el motor e impedir una explosión de
grave en el improbable caso de una avería del motor generador. Los deflectores
de acrílico se pueden hacer y podrían ser así:

Idealmente, el extremo inferior de la placa
deflectora menor está rebajado para que exista una cresta en la parte inferior
de la placa deflectora situada justo encima de cada cuerpo de electrolito para
que cualquier goteo de la tierra directamente donde deberían.
La Caja Externa:
Como este diseño electrolizador se acumula de los
componentes de la matriz de la placa, el par de tubería de abastecimiento de
agua y la matriz de la placa deflectora autónomos por separado, es necesario
incluir en una caja externa como se muestra arriba. Fácilmente podría pensarse
que este caso es de poca importancia y así pudiera construirse desde casi
cualquier material, pero esto no es así como el caso tiene que ser capaz de
soportar la exposición prolongada al electrolito fuerte de KOH y ser robusto
para no romper si una tentativa a recogerlo fuera el piso.
Una construcción de este tamaño general tendrá un
peso considerable que contiene unos 300 pies cuadrados de chapa de acero
inoxidable, además de más de tres pies cúbicos de electrolito pesa unos 248
libras o 113 Kg. Así que las placas y el electrolito pesará cerca de 1.000
libras o 460 kg y por lo tanto, si se pretende que el electrolizador es ser
recogidos y movido, será necesario colocarlo sobre una plataforma o utilice una
placa de acero en el caso con ángulo de hierro en las esquinas y una elevación
central punto de un polipasto.
Teniendo en cuenta estos hechos, el caso debe
construirse desde la hoja de acrílico 25 mm de espesor. Las hojas de acrílico
pueden ser conectadas junto con un solvente que puede proporcionar el proveedor
del acrílico. Esto no 'pegar' las hojas pero en realidad los combina en una
sola pieza integral con ninguna combinación. Sorprendentemente, en realidad se
requiere un alto grado de precisión en el corte de las hojas que están pegados
como es el requisito para un perfecto acoplamiento de las dos superficies antes
de aplica el disolvente. Se puede notar que Ed Holdgate que cuenta con máquinas
herramientas de alta calidad, años de experiencia y un alto nivel de habilidad
personal, subcontrata la articulación de los componentes de acrílico que
conforman un caso de Bob Boyce electrolyser.
Bubblers:
Un hecho que fácilmente se pasa por alto es el
volumen de gas que proviene de un electrolizador de este tamaño. Es una cosa
para calcular el diámetro de la tubería necesaria para llevar el flujo de gas,
pero otro para darse cuenta de que el mismo caudal de gas necesita pasar
continuamente a través de un grifo y el grifo diseño tiene que acomodar ese
volumen y aún asegurar que todo el gas entra en contacto íntimo con el agua.
Tal vez entonces el primer paso es establecer un
tamaño de tubería apropiado para el flujo del gas. En este momento no se sabe
exactamente qué eficiencia y el rendimiento se pueden esperar de este
particular diseño de 300 voltios y 30 amperios de corriente. Es probablemente
seguro predecir que la tasa de gas no excederá de 250 litros por minuto que es
4.2 litros por segundo.
Pasando a través de una tubería de diámetro 90 mm
estándar (3,5 pulgadas) de 63 cm. cuadrados superficie transversal que
requeriría un flujo tasa de 66 cm. por segundo o unos dos pies por segundo.
Mientras que es posible y 10 bar pipa de ese diámetro está disponible en £4,40
más IVA por metro.
El siguiente tamaño de tubería estándar es 110 mm
(4,3 pulgadas) que tiene una superficie transversal de 95 metros cuadrados cm.
que daría un caudal de 44 cm. / seg o menos 1.5 pies/seg, que es una tasa
razonable de flujo. El costo de esa tubería de 10 bar potencia es sólo £6 más
IVA por metro.
El siguiente tamaño de tubería estándar es de 160
mm (6,3) que tiene una superficie transversal de 201 metros cuadrados cm. que
daría un caudal de 21 cm. / seg o menos 0,8 ft/seg. y el costo de esa tubería
de 10 bar potencia es más £14,23 más IVA por metro.
Estas cifras indican que el costo no es un factor
importante y mientras se mueve de una tubería de diámetro 90 mm razonablemente
conveniente para el tamaño 160 mm mucho menos conveniente más que reduce a la
mitad la tasa de flujo, no parece que ninguna razón para repasar el tamaño 90
mm. La presión del gas real en el electrolizador se celebrará hasta 5 psi
(barra de 0,36) como comprimir hidroxi gas no es una cosa particularmente
segura. Debería prestarse atención al uso de la tubería que se construye
específicamente para llevar hidrógeno, pero parece poco probable que sea
fácilmente disponible en los tamaños más grandes necesitados.
Así, el arreglo del borboteador basando las
dimensiones del grifo en una tubería de diámetro 90 mm, podría ser así:

El ser objetivo asegurar que hay es un gran número
de pequeñas burbujas de streaming para arriba a través de una considerable
profundidad de agua. Las dimensiones más adecuadas son una cuestión de opinión,
pero como espacio no es un problema te sugiero lo siguiente:
El área transversal del diámetro interior de los
tubos de pequeño diámetro en la parte inferior del burbujeador debería superar
la superficie transversal de la tubería de entrada principal. Para mayor
claridad, el diagrama de arriba muestra sólo en seis de estas tuberías, pero no
hay razón por qué no debería haber un número mucho mayor. Si hubo sólo seis
pipas y un tubo de entrada de 90 mm de diámetro, entonces el diámetro de la
tubería pequeña sería 18 mm de diámetro interno o mayor.
También sería bueno si el área transversal de los
agujeros perforados en estos pequeños tubos excede el área transversal del tubo
pequeño. Como debe haber un gran número de pequeños agujeros, es altamente
probable que fácilmente se cumplirán objetivo deseable.
Me gustaría sugerir que la profundidad del agua
sobre la parte superior de los tubos de pequeños ser de ocho pulgadas o 200 mm
y que quizás la mitad de esa profundidad se permita entre la superficie del
agua y la parte superior del contenedor. El tubo de salida se muestra con un
deflector, pero con funcionamiento estacionario, flujo constante y las
dimensiones sugeridas, es poco probable que tendrá cualquier trabajo importante
que hacer.
La tubería entre el electrolizador y el pelele y
entre el borboteador primero y el segundo, debe ser lo más corta como es
razonable.
Controlar el Flujo de Corriente:
En un electrolizador CC como ésta, la tasa de
flujo de gas es directamente proporcional a la corriente que fluye a través del
electrólito. La cantidad de gas por amp de corriente es altamente dependiente
de la eficiencia eléctrica de la construcción (algo que no va a ver para el
espectador casual). Lo no hace ningún daño a subrayar de nuevo que la limpieza
y acondicionamiento de la placa son de gran importancia. Es muy difícil para la
mayoría de las personas a ser paciente durante las etapas de preparación que
están impacientes por ver la realización de su construcción, pero es de vital
importancia para la actuación que la construcción y preparación se llevan a
cabo plenamente y sin prisa, como con pintura de alta calidad, la calidad final
depende en gran medida el trabajo de preparación realizado antes de aplicación
las capas de acabado. Así también con electrolizadores, la eficacia de la salida
depende en gran medida la calidad de los trabajos de preparación.
Sin embargo, como el flujo de corriente es el
factor de control de la tasa de producción de gas, teniendo un circuito que
mantiene el flujo de corriente constante incluso si las condiciones como la
temperatura se alteran. Por supuesto, es vital tener dispositivos de seguridad
que cortaron el electrolizador si el generador deja de funcionar. La alta
potencia, alta tensión, prototipo de circuito de corriente constante se propone
para esta aplicación pretende utilizar la presión del aceite del generador como
una indicación de parada del motor. También se propone que un interruptor de
presión de 5 psi ser utilizado para cortar la alimentación eléctrica si la
presión interna se eleva por encima de su nivel de diseño. Sin embargo, el
interruptor de presión está obligado a ser ineficaces en este caso como el
potencial es tan alta tasa de producción de gas y el gas es alimentado en parte
al aire libre del filtro de aire que le permitirá escapar y eso puede ser
peligroso a menos que la entrada de aire se alimenta de una tubería que conecta
al aire libre, en cuyo caso, exceso de gas hidroxi escaparía inofensivamente en
el abierto donde rápidamente se dispersan y dejan de ser un peligro.
El arreglo propuesto suministro eléctrico es
entonces:

Aquí, el circuito de control electrónico está
recibiendo señales para indicar el funcionamiento del generador y el
electrolizador, lo que le permite ajustar en consecuencia la corriente de
entrada. Si no es posible conectar el interruptor de presión de aceite del
generador, el circuito de control de corriente constante puede hacerse
funcionar detectando la tensión producida por el generador y usarlo para
detectar la parada del generador.
Mejoras:
Ha sido comentado que altas temperaturas de
funcionamiento en el electrolizador no son bienvenidas por la producción de
vapor y el vapor de agua caliente. De paso, el electrolizador podría colocarse
en una chaqueta refrigerado por agua o baño para mantener la temperatura baja.
Esto no es probable que sea necesario como el diseño del electrolizador es muy
eficiente con dos voltios por celda, el mejor electrólito y catalizador
condicionada interfaz capas entre las placas y el electrolito.
Vapor y el vapor de agua caliente no son
bienvenidos y no son capaces de expandir aún más así que sólo ocupan espacio
interior de los cilindros del motor, espacio que se llenaría mucho mejor con un
combustible útil como gas hidroxi. Sin embargo, es un asunto muy diferente si
en lugar de vapor una atomización fina de gotitas de agua se introduce en su
lugar. Cuando la combustión tiene lugar dentro del cilindro, la temperatura se
eleva repentinamente y esas gotitas de agua instantáneamente a convertir
flash-vapor, creando mayor presión sobre el émbolo, elevando la potencia del
motor y hacerlo sin utilizar ningún combustible en absoluto. También disminuye
la temperatura de funcionamiento del motor que es generalmente beneficioso y
tiende a dar una vida más larga del motor.
Producir gotitas de agua fina no es
particularmente fácil, pero algunos acuario outlets, tiendas de animales y
centros de jardinería pueden suministrar a un "fogger estanque" que
hace exactamente eso a bajo costo y baja corriente de entrada. Es perfectamente
posible que la salida de uno o más de éstos en el aire que entra en el motor de
alimentación puede dar una mejora en el rendimiento y economía de combustible.

Uno de los desarrolladores más impresionantes de
dispositivos de energía libre es Don Smith, quien ha producido muchos
dispositivos espectaculares, generalmente con mayor potencia. Estos son el
resultado de su profundo conocimiento y comprensión de la manera en que
funciona el medio ambiente. Don dice que su comprensión de la obra de Nikola
Tesla como se registra en el libro de Thomas C. Martin "The Inventions,
Researches, and Writings of Nikola Tesla" ISBN 0-7873-0582-0 disponibles
de http://www.healthresearchbooks.com
y varios otros del libro de empresas. Este libro puede descargarse desde http://www.free-energy-info.tuks.nl
como un archivo pdf, pero una copia en papel es mucho mejor calidad y más fácil
de trabajar.
Don afirma que repetía cada uno de los
experimentos se encuentra en el libro y que le dio su entendimiento de lo que
él prefiere describir como el "fondo ambiental de energía" que se
llama el 'campo de la energía de punto cero' en otros lugares en este eBook.
Don comenta que ahora ha avanzado más allá de Tesla en este campo, en parte
debido a los dispositivos ya está disponibles para él y que no estaban
disponibles cuando Tesla estaba vivo.
Don hace hincapié en dos puntos clave. En primer
lugar, un dipolo puede causar una perturbación en el componente magnético de
fondo' ambiente' y ese desequilibrio le permite recopilar grandes cantidades de
energía eléctrica, usando los capacitores e inductores (bobinas). En segundo
lugar, usted puede recoger tantas salidas eléctricas potentes como quieres de
una perturbación magnética, sin agotar la perturbación magnética de ninguna
manera. Esto permite masivamente más potencia que la pequeña potencia
necesitada para crear la perturbación magnética en primer lugar. Esto es lo que
produce COP>1 dispositivo y Don ha creado casi cincuenta diferentes
dispositivos basados en ese entendimiento.
Aunque conseguir sacaron absolutamente con
frecuencia, hay un vídeo que definitivamente vale la pena ver si todavía está
allí. Se encuentra en http://www.metacafe.com/watch/2820531/don_smith_free_energy/
y fue grabado en 2006. Cubre buena parte de lo que ha hecho Don. En el video,
se hace referencia al sitio web de Don pero usted encontrará que ha sido tomado
por las grandes petroleras que se llenó de inofensivas similar sonido cosas sin
importancia, al parecer la intención de confundir a los recién llegados. Usted encontrará el único documento que me
podía ubicar, aquí http://www.free-energy-info.com/Smith.pdf
en formato pdf, y contiene la siguiente patente de un dispositivo más
interesante que parece no tener ningún límite determinado por la potencia de
salida. Esta es una copia ligeramente nuevamente redactada de esa patente como
patentes generalmente están redactadas de tal manera que hacen difícil de
entender.
Patente NL 02000035 20 de mayo de 2004 Inventor: Donald Lee Smith
GENERADOR DE TRANSFORMADOR RESONANCIA
MAGNÉTICA EN ENERGÍA ELÉCTRICA
EXTRACTO
La invención
presente se refiere a un Dispositivo de Dipolo Electromagnético y Método, donde
gastado la energía irradiada es transformada en la energía útil. Un Dipolo como
visto en Sistemas de Antena es adaptado para el uso con platos condensador de
tal modo que el Componente Corriente Heaviside se hace una fuente útil de la
energía eléctrica.
DESCRIPCIÓN
Campo Técnico:
Esta invención
está relacionada con Sistemas de Antena de Dipolo cargados y su radiación
Electromagnética. Cuando usado como un transformador con un sistema de
coleccionista de energía apropiado, esto se hace un transformador/generador. La
invención colecciona y convierte la energía que es irradiada y gastada por
dispositivos convencionales.
Arte de Fondo:
Una búsqueda de
la Base de datos Evidente Internacional para métodos estrechamente relacionados
no reveló ninguna arte previa con un interés en conservar irradiado y gastó
ondas magnéticas como la energía útil.
REVELACIÓN DE LA INVENCIÓN
La invención es una salida nueva y útil de la construcción de generador de
transformador, tal que irradió y gastó cambios de energía magnéticos en la
energía eléctrica útil. Los metros de Gauss muestran que tanta energía de
dispositivos electromagnéticos convencionales es irradiada en el fondo
ambiental y gastada. En caso de generadores de transformador convencionales, un
cambio radical de la construcción física permite el mejor acceso a la energía
disponible. Es encontrado aquella creación de un dipolo e insertando platos
condensador perpendicularmente al flujo corriente, permite que ondas magnéticas
se cambien atrás en la energía (coulombs) eléctrica útil. Las ondas magnéticas
que pasan por los platos condensador no degradan y tienen acceso al impacto
lleno de la energía disponible. Un, o tantos juegos de platos condensador como
es deseado, puede ser usado. Cada juego hace una copia exacta de la fuerza
llena y el efecto del presente de energía en las ondas magnéticas. La fuente
inicial no es mermada de degradado como es común en transformadores
convencionales.
BREVE DESCRIPCIÓN DE LOS DIBUJOS
El Dipolo perpendicularmente, permite que el flujo magnético que rodea ello
intercepte el plato condensador, o platos, perpendicularmente. El presente de
electrones es hecho girar tal que el componente eléctrico de cada electrón es
coleccionado por los platos condensador. Las partes esenciales son el
componente del Sur y del Norte de un Dipolo activo. Los ejemplos presentados
aquí existen como prototipos totalmente funcionales y eran el ingeniero
construido y totalmente probado en el uso por el Inventor. En cada uno de los
tres ejemplos mostrados en los dibujos, las partes correspondientes son usadas.

Fig.1 es una Vista del
Método, donde N es el Norte y S es el componente del Sur del Dipolo.
Aquí, 1 señales el Dipolo con sus componentes
del Norte y del Sur. 2 es un bobina
de inducción de alta tensión resonante. 3
indica la posición de la emisión de onda electromagnética del Dipolo. 4 indica la posición y la dirección de
flujo de la correspondencia Heaviside que el componente corriente del flujo de
energía causado por la inducción enrolla 2.
5
es el separador dieléctrico para los platos de condensador 7. 6 para los objetivos de este dibujo, indica un límite virtual para
el alcance de la energía de onda electromagnética.

Fig.2 tiene dos
partes A y B.
En Fig.2A, 1
es el agujero en los platos condensador por los cuales el Dipolo es insertado y
en Fig.2B esto es el Dipolo con su
Norte y Polo sur mostrado. 2 es el bobina de inducción de alta
tensión resonante que rodea la parte del Dipolo 1. El separador dieléctrico 5, es una hoja delgada de plástico colocado entre los dos platos de
condensador 7, el plato superior hecho
del aluminio y el plato inferior hecho del cobre. La unidad 8 es un sistema de batería de ciclo profundo que impulsa un
inversor de corriente continua 9 que
produce 120 voltios en 60 Hz (el voltaje de suministro de conducto principal
estadounidense y frecuencia, obviamente, un inversor de 50 Hz de 240 voltios
podría ser usado aquí como fácilmente) que está acostumbrado al poder
independientemente del equipo debe ser conducido por el dispositivo. La referencia el número 10 sólo indica alambres conectadores. La unidad 11 es una alta tensión que genera el dispositivo como un
transformador de neón con su suministro de energía oscilante.

Fig.3 es una Prueba
del Dispositivo Principal usando un Tubo Plasma como un Dipolo activo. En este
dibujo, 5 es el separador de
dieléctrico de hoja plástico de los dos platos 7 del condensador, el plato superior que es el aluminio y el cobre
de plato inferior. Los alambres
conectadores son marcados 10 y el
tubo plasma es designado 15. El tubo plasma es cuatro pies de largo (1.22
m) y seis pulgadas (150 mm) en el diámetro.
La fuente de energía de alta tensión para el dipolo plasma activo es
marcada 16 y hay una caja de
conector 17 mostrado cuando es un
método conveniente de unirse a los platos condensador dirigiendo pruebas sobre
el dispositivo.

Fig.4 muestra el
Prototipo de un Fabricante, construido y totalmente probado. 1
es una vara de Dipolo metálica y 2
el bobina de inducción de alta tensión resonante, relacionado por alambres 10 al conector se obstruye 17 que facilita la unión de esto es el
suministro de energía de alta tensión.
Las abrazaderas 18 creen que
el borde superior del paquete condensador en el lugar y 19 es la placa base con esto apoya soportes que sostienen el
dispositivo entero en el lugar. 20 es un alojamiento que contiene los
platos condensador y 21 es el punto
en el cual la salida de poder de los platos condensador es sacada y alimentada
al inversor de corriente continua..
EL
MEJOR MÉTODO DE REALIZAR LA INVENCIÓN
La invención es aplicable a alguno y todas las
exigencias de energía eléctricas. El pequeño tamaño y ello son la eficacia alta
lo hacen una opción atractiva, sobre todo para áreas remotas, casas, edificios
de oficina, fábricas, centros comerciales, sitios públicos, transporte, sistemas
de echar agua, trenes eléctricos, barcos, barcos y 'todas las cosas grande y
pequeño'. Los materiales de construcción están comúnmente disponibles y sólo se
moderan los niveles de habilidad son necesarios para hacer el dispositivo
****************
Esta patente no
deja claro que el dispositivo tiene que ser templado y que la afinación está
relacionada con su posición física. La afinación será llevada a cabo aplicando
una señal de entrada de frecuencia variable al transformador de neón y
ajustando que introducen la frecuencia para dar la salida máxima.
Para Donald Smith, este no es un dispositivo
excepcional. El un mostrado abajo es también físicamente completamente pequeño
y aún esto tiene una salida de 160 kilovatios (8000 voltios en 20 amperios) de
una entrada de 12 voltios 1 amperio (COP = 13,333):

Otra vez, este
es un dispositivo que puede ser colocado encima de una mesa y no es una forma
complicada de la construcción, teniendo una disposición muy abierta y
simplista. Sin embargo, algunos componentes no son montados en este bordo. La
batería de doce voltios y la unión conducen no son mostrado, ni es la unión de
tierra, el transformador de aislamiento de disminución gradual y el varistor
solían proteger la carga del sobrevoltaje absorbiendo cualquier punto de
voltaje arbitrario que podría ocurrir, pero más de estas cosas más tarde cuando
una descripción mucho más detallada de este dispositivo es dada. Otra vez, por
favor entienda que Donald no revela todos los detalles de cualquiera de sus diseños,
y él deliberadamente omite mencionar varios detalles importantes,
abandonándonos para deducir lo que falla de nuestro propio entendimiento de
como estos dispositivos trabajan.
El dispositivo
mostrado encima es un ejemplo típico de este con varios puntos sutiles
encubridos a pesar de este siendo un dispositivo que Donald dice que deberíamos
ser capaces de reproducirnos. Déjeme declarar aquí que la reproducción de este
diseño aparentemente simple de Donald no es una cosa fácil de hacer y no es
algo que puede ser lanzado juntos por un principiante que usa cualesquiera
componentes resultan estar a mano entonces. Habiendo dicho que, con estudio
cuidadoso y aplicación de sentido común de algunos hechos patentes, debería ser
posible hacer uno de estos dispositivos.
Otro de los
dispositivos de Donald son mostrados aquí:

Este es un
dispositivo más grande que usa un tubo plasma cuatro pies (1.22 m) mucho tiempo
y 6 pulgadas (150 mm) en el diámetro. La salida es 100 kilovatios masivos. Este
es el diseño mostrado como una de las opciones en la patente de Donald. Siendo
un Ingeniero Electrotécnico, ninguno de los prototipos de Donald está en la
categoría "de juguete". Si nada más es tomado del trabajo de Donald,
deberíamos realizar que las salidas de poder altas pueden ser tenidas de
dispositivos muy simples.
Hay un otro
breve documento "Resonate Electrical Power System" de Donald Smith
que dice:
La Energía
potencial está en todas partes siempre, haciéndose útil cuando convertido en
una forma más práctica. No hay ninguna escasez de energía, materia sólo gris.
Este potencial de energía es observado indirectamente por la manifestación del
fenómeno electromagnético, cuando interceptado y convertido, se hace útil. En
sistemas no lineales, la interacción de ondas magnéticas amplifica (conjugan)
la energía, proporcionando la mayor salida que la entrada. En la forma simple,
en el piano donde tres cuerdas son golpeadas por el martillo, el centro uno es
afectado y la resonancia activa las cuerdas de lado. La resonancia entre las
tres cuerdas proporciona un nivel sano mayor que la energía de entrada. El
sonido es la parte del espectro electromagnético y es sujeto a todo que es
aplicable a ello.
"La
energía útil" es definida como "el que que es además de
Ambiental". "El potencial Eléctrico" está relacionado con la
masa y esto es la aceleración. Por lo tanto, la misa de la Tierra y Velocidad
por el espacio, le da un potencial eléctrico enorme. La gente parece a la ave
que se sienta inconsciente en una línea de alta tensión. en la naturaleza, la
turbulencia trastorna ambiental y vemos demostraciones eléctricas. Manipulación
de ambiental, permite que la gente convierta ondas magnéticas en la
electricidad útil.
Poniendo este
en el foco, requiere una mirada a la Tierra en general. Durante cada uno de los
1,440 minutos de cada día, más de 4,000 demostraciones del relámpago ocurren.
Cada demostración cede más de 10,000,000 de voltios en más de 200,000 amperios
en el flujo electromagnético equivalente. Este es más de 57,600,000,000,000
voltios y 1,152,000,000,000 amperios del flujo electromagnético durante período
de cada 24 hora. Este ha estado continuando durante más de 4 mil millones de
años. Los USPTO insisten que el campo eléctrico de la Tierra sea insignificante
e inútil, y que la conversión de esta energía viola las leyes de naturaleza. Al
mismo tiempo, ellos publican patentes en las cuales, el flujo electromagnético
entrar del Sol es convertido por células solares en la energía de corriente
continua. El flujo de Aeromagnetic (en gammas) Traza un mapa por todo el Mundo,
incluye aquellos proporcionados por el Departamento estadounidense de la
Revisión Interior geológica, y éstos muestran claramente que hay presente, una
extensión de 1,900 gamma encima Ambiental, de leer instrumentos volados 1,000
pies encima de la fuente (superficial). La Ley de Coulomb requiere la
cuadratura de la distancia de la lectura remota, multiplicada por la lectura
registrada. Por lo tanto, aquella lectura de 1,900 gamma tiene un valor
corregido de 1,900 x 1,000 x 1,000 = 1,900,000,000 de gammas.
Hay una
tendencia de aturdir "el rayo gamma" "con la gamma".
"La gamma" es el flujo magnético ordinario, diario, mientras "el
rayo gamma" es la energía de impacto alto y no el flujo. Una gamma del
flujo magnético es igual a aquel de RMS de 100 voltios. Para ver este, tome un
Globo Plasma que emite 40,000 voltios. Cuando correctamente usado, un metro
gamma colocado cerca, leerá 400 gammas. Las 1,900,000,000 de gammas sólo
mencionados, son el equivalente ambiental magnético de 190,000,000 de voltios
de la electricidad. Este es durante "un " día Tranquilo Solar.
Durante "" días Activos Solares esto puede exceder cinco veces
aquella cantidad. La idea del Establecimiento que el campo eléctrico de la
Tierra es insignificante, va el camino de sus otras grandes ideas.
Hay dos clases
de la electricidad: 'potencial' 'y útil'. Toda la electricidad es 'el
potencial' hasta que sea convertido. El resonante fundiendo de electrones,
activa el potencial eléctrico que está presente en todas partes. La
INTENSIDAD/CPS del precio de flujo de frecuencia resonante, pone la energía
disponible. Este debe ser convertido entonces en las dimensiones físicas
requeridas del equipo usado. Por ejemplo, la energía que llega del Sol es el
flujo magnético, que las células solares convierten a la electricidad de
corriente continua, que es convertida entonces adelante para satisfacer el
equipo impulsado por ello. Sólo el flujo magnético se mueve del punto 'A' (el
Sol) para señalar 'B' (la Tierra). Todas las redes eléctricas eléctricas
trabajan de exactamente el mismo modo. El movimiento de Bobinas e Imanes en el
punto 'A' (el generador) electrones de flujos, que por su parte, excita
electrones en el punto 'B' (su casa). Ninguno de los electrones en el punto 'A'
es transmitido alguna vez para señalar 'B'.
En ambos casos, los electrones permanecen para siempre intactos y
disponibles para fundir adelante. Este no es permitido por la Física Newtoniana
(electrodinámica y las leyes de conservación). Claramente, estas leyes son
todas atornilladas e inadecuado.
En física
moderna, estilo de USPTO, todo el susodicho no puede existir porque esto abre
una puerta a la sobreunidad. Las noticias buenas son que el PTO ha publicado ya
cientos de Patentes relacionadas para Encender la Amplificación, todo de los
cuales es la sobreunidad. El Dynode usado para ajustar la contraventana
autoimpulsada en su cámara, recibe el flujo magnético de la luz que desaloja
electrones del cátodo, reflejando electrones por el puente de dynode al ánodo,
causando mil millones de más electrones que en. Hay actualmente, 297 patentes
directas publicadas para este sistema, y miles de patentes periféricas, todo de
las cuales apoya la sobreunidad. Otras más de mil Patentes que han sido
publicadas, pueden ser vistas por el ojo exigente ser dispositivos de
sobreunidad. ¿Qué indica este sobre la Honestidad Intelectual?
Cualquier
sistema de bobina, cuando fundido, hace que electrones hagan girar y produzcan
la energía útil, una vez que es convertido al estilo requerido por su uso.
Ahora que hemos descrito el método que es requerido, dejarnos ahora ver como
este nos concierne.
El Sistema
entero ya existe y todo lo que tenemos que hacer debe engancharlo en un camino
que es útil a nuestra manera requerida del uso. Déjenos examinar este hacia
atrás y comenzar con un transformador de salida convencional. Considere el que
que tiene el voltaje requerido y características de manejo corrientes y que
actúa como un transformador de aislamiento. Sólo el flujo magnético pasa de la
entrada que serpentea a la cuerda de salida. Ningunos electrones pasan del lado
de entrada al lado de salida. Por lo tanto, sólo tenemos que fundir el lado de
salida del transformador para tener una salida eléctrica. Mal el diseño por el
establecimiento, permitiendo a la histéresis de los platos metálicos, limita la
carga que puede ser conducida. Hasta este punto, sólo el potencial es una
consideración. El calor (que es la pérdida de energía) limita el amperaje de
salida. Corazones compuestos correctamente diseñados dirigidos chulo, no
caliente.
Un sistema de
factor de corrección de poder, siendo un banco condensador, mantiene un hasta
el flujo del flujo. Estos mismos condensadores, cuando usado con un sistema de
bobina (un transformador) se hacen un sistema que calcula frecuencia. Por lo
tanto, la inductancia del lado de entrada del transformador, cuando combinado
con el banco condensador, proporciona fundir requerido para producir la energía
eléctrica requerida (ciclos por segundo).
Con el sistema
río abajo en el lugar, todo que es necesario ahora es un sistema potencial.
Cualquier sistema de flujo será conveniente. Cualquier tipo de salida de
sobreunidad de amplificación es deseable. El sistema de entrada es el punto
"A" y el sistema de salida es el punto "B". Cualquier
sistema de entrada donde una cantidad menor de electrones molesta una mayor
cantidad de electrones - producción de una salida que es mayor que la entrada -
es deseable.
En este punto,
es necesario presentar la información actualizada sobre electrones y las leyes
de física. Una parte grande de este, proviene de mí (Donald Smith) y tan
probablemente trastornará a la gente que es rígidamente puesta en los modelos
de pensamiento de la ciencia convencional.
Electrones No - Iónicos
Como una fuente
de la energía eléctrica, los dobletes de electrones no iónicos existen en
cantidades inmensas en todas partes del universo. Su origen es de la emanación
de Plasma Solar. Cuando los electrones ambientales son molestados siendo hecho
girar o empujados aparte, ellos ceden tanto energía magnética como eléctrica.
El precio de perturbación (ciclismo) determina el nivel de energía conseguido.
Los métodos prácticos de molestarlos incluyen, moviendo bobinas imanes pasados
o viceversa. Un mejor camino es la pulsación (inducción resonante) con campos
magnéticos y ondas cerca de bobinas.
En sistemas de
bobina, magnéticos y amperaje son un paquete. Este sugiere que electrones en su
estado no iónico natural, exista como dobletes. Cuando empujado aparte por la
agitación, uno hace girar el derecho (cediendo la electricidad Potencial de
voltios) y las otras vueltas dejadas (cediendo la energía Magnética de
amperaje), un siendo más negativo que el otro. Este adelante sugiere que cuando
ellos se reúnan, tenemos (Voltios x Amperios = Vatios) la energía eléctrica
útil. Hasta ahora, esta idea ha sido totalmente ausente de la base de
conocimiento. La definición anterior del Amperaje es por lo tanto estropeada.
Energía Relacionada de Electrones

La vuelta de
mano izquierda de electrones causa la Energía Eléctrica y la vuelta de mano
derecha causa la Energía Magnética. Los electrones impactados emiten la Luz
visible y el calor.
Recorrido Útil, Sugerencias para Construir una Unidad
Operacional

1.
Substituir un Globo Plasma como la Choza de Radio "Illumna-tormenta"
para el sistema de inducción de la fuente resonante. Esto tendrá
aproximadamente 400 milligauss de la inducción magnética. Un milligauss es
igual al valor de 100 voltios de la inducción magnética.
2.
Construir un bobina usando 5 pulgadas al pedazo de diámetro (de 125 a 180 mm)
de 7 pulgadas de cloruro de polivinilo para el bobina antiguo.
3.
Conseguir aproximadamente 30 pies (10 m) del Cable de Altavoz gigante y separar
los dos hilos. Este puede ser hecho pegando un cuchillo de alfombra en un
pedazo de cartón o madera, y luego tirando el cable con cuidado por delante de
la lámina para separar los dos corazones aislados el uno del otro. (Nota de PJK: "el altavoz gigante Cablegrafía" es un término vago
cuando aquel cable viene a muchas variedades, con algo de unos cuantos, a más
de 500 hilos en cada corazón. Cuando Donald indica que el poder de salida
aumenta con cada vuelta del alambre, es claramente posible que cada uno de
estos hilos interprete el mismo cuando el individuo aisló vueltas que han
estado relacionadas en la paralela, entonces un cable de 500 hilos puede estar
bien mucho más eficaz que un cable con sólo unos hilos).
4.
Girar el bobina con 10 a 15 vueltas del alambre y dejar aproximadamente 3 pies
(1 m) de la pieza pieza de cable a cada final del bobina. Use un arma de
pegamento para sostener el principio y el fin del bobina.
5. Este
se hará el "L - 2" bobina mostrado en la página de Recorrido.
6.
Sentando encima del Globo Plasma (como una corona) usted tiene un sistema de
bobina principal de aire resonante de primera clase.
7.
Ahora, substituya dos o más condensadores (tasado en 5,000 voltios o más) para
el banco condensador mostrado en la página de Recorrido. Uso más de dos 34 condensadores
de microfaradio.
8. Fin
el recorrido como mostrado. ¡Usted está ahora en el negocio!
9.
Voltaje - el Amperaje resistencias restrictivas es requerido a través del lado
de salida del transformador de Carga. Éstos son usados para ajustar el nivel de
salida y los ciclos deseados por segundo.
Las
Sugerencias de Donald Smith:
Consiga una
copia " Handbook of Electronic Tables and Formulas ", publicado por Sams, ISBN
0-672-22469-0, también se requiere un metro de
Inductancia/Capacitancia/Resistencia. El capítulo 1 del documento pdf de Donald
tiene la constante de tiempo importante (frecuencia) información y un juego de
cartas reactance en el estilo de nomograph ("nomograph": un gráfico,
por lo general conteniendo tres balanzas paralelas se graduó para variables
diferentes de modo que cuando una línea recta une valores de cualesquiera dos,
el valor relacionado pueda ser leído directamente del tercer en el punto
cruzado por la línea) que hace el funcionamiento, y el acercamiento de las tres
variables (capacitancia, inductancia y resistencia) mucho más fácil. Si dos de
las variables son conocidas, entonces el tercer puede ser leído del nomograph.
Por ejemplo, si
el lado de entrada del transformador de aislamiento tiene que funcionar en 60
Hz, que es 60 ciclos positivos y 60 ciclos negativos, siendo un total de 120
ciclos. Lea de la inductancia en Henries usando el metro de Inductancia atado
al lado de entrada del transformador de aislamiento. Trace este valor en
(nomographic) reactance carta. Trace 120 Hz necesario en la carta y una estos
dos puntos con una línea recta. Donde esta línea cruza la línea de Faradios y
la línea de Ohmios, nos da dos valores. Elija un (resistencia) e inserte esto
entre los dos conduce de la cuerda de entrada de transformador.
El Condensador
de Factor de Corrección de Poder (o el banco de más de un condensador) ahora
necesita el ajuste. La fórmula siguiente es provechosa en el descubrimiento de
esta información ausente. La capacitancia es conocida, como es el potencial
deseado para pulsar el transformador de salida. Un Faradio de la capacitancia
es un voltio durante un segundo (un Coulomb). ¿Por lo tanto, si queremos
guardar el cubo lleno con una cierta cantidad, cuántos cucharones llenos son
necesarios? ¿Si el cubo necesita 120 voltios, entonces cuántos coulombs son
requeridos?
![]()
Ahora, vaya al
nomograph mencionado anteriormente, y encuentre el saltador de resistencia
requerido colocando entre los postes del Condensador de Factor de Corrección.
Una base de la
tierra es deseable, actuando tanto como limitador de voltaje como un control de
punto pasajero. Dos tierras separadas son necesarias, un en el Condensador de
Factor de Potencia y un en el lado de entrada del transformador de aislamiento.
La oleada disponible arrestors / huecos de chispa y varistors tener el
voltaje/potencial deseado y control de amperaje está comúnmente disponible. Los
Siemens, Citel América y otros, hacen una variedad llena de la oleada
arrestors, etc. Los Varistors parecen a condensadores llanos clasificados de
moneda. Cualquiera de estos limitadores de voltaje es marcado como "V -
1" en el texto siguiente.
Debería ser
obvio que vario recorrido cerrado separado está presente en la configuración
sugerida: el poder introdujo la fuente, el módulo de alta tensión, un banco de
condensador de factor de potencia combinado con el lado de entrada del
transformador de aislamiento. Finalmente, el lado de salida del transformador
de aislamiento y su carga. Ninguno de los electrones activos en la fuente de
alimentación (batería) es pasado por el sistema para el uso río abajo. En
cualquier punto, si el precio de flujo magnético debería resultar variar,
entonces el número de electrones activos también varía. Por lo tanto, el
control del precio de flujo controla la actividad (potencial) de electrones.
Los electrones activos en el punto "A" no son los mismos electrones
que son activos en el punto "B", o aquellos en el punto
"C", etcétera. Si el precio de flujo magnético (Hz de frecuencia) varía,
entonces un número diferente de electrones será molestado. Este no viola
ninguna Ley Natural y esto produce realmente más energía de salida que la
energía de entrada, debe esto ser deseable.
Un módulo de
alta tensión conveniente es un transformador de alumbrado de neón de corriente continua
de 12 voltios. Los Condensadores de Corrección de Factor de Potencia deberían
ser tantos microfaradios tan posibles como este permite una frecuencia de
operaciones inferior. El transformador de alumbrado de neón de 12 voltios
oscila en aproximadamente 30,000 Hz. En el banco de Condensador de Factor de
Corrección de Poder bajamos la frecuencia para emparejar el lado de entrada del
transformador de aislamiento.
Otras fuentes
de alta tensión convenientes son bobinas de encendido de coche, televisión flyback
transformadores, módulos de impresora láser, y varios otros dispositivos.
Siempre baje la frecuencia en el Condensador de Corrección de Factor de
Potencia y correcto, de ser necesario, en el lado de entrada del transformador
de aislamiento. El transformador de aislamiento se anima cuando pulsado. El
amperaje se hace una parte de la consideración sólo en el transformador de
aislamiento. El diseño defectuoso, causando la histéresis, crea el calor que se
autodestruye el transformador si es sobrecargado. Los transformadores que
tienen un corazón compuesto en vez de los corazones más comunes hechos de
muchas capas de hojas delgadas de suave de hierro, dirigido chulo y pueden
tolerar el amperaje mucho más alto.


La información mostrada
encima, está relacionada con el pequeño Modelo de Maleta demostrado en la
Convención Tesla 1996, presentada como el Taller de Don Smith. Esta unidad era una versión muy primitiva y
las versiones newer tienen baterías atómicas y variedades de salida de poder de
Gigawatts. La exigencia de batería es el nivel bajo y no es más dañosa que el
radio en el disco de un reloj. Las unidades comerciales del tamaño de Presa de
Canto rodado están siendo instaladas actualmente en varias posiciones
principales en todo el mundo. Por motivos de seguridad personal de Donald y
obligaciones de contrato, la información que él ha compartido aquí, es
incompleta.
No soy el más
definitivamente un experto en este área. Sin embargo, esto probablemente vale
la pena mencionar algunos quides que Donald Smith parece hacer. Hay algunos
puntos muy importantes hechos aquí, y agarrando éstos puede hacer una
diferencia considerable a nuestra capacidad de dar un toque en la energía de
exceso disponible en nuestro ambiente local. Hay cuatro mención de valor de
puntos:
1. Voltaje
2. Frecuencia
3. La relación entre poder Magnético y Eléctrico
4. Resonancia
1. Voltaje. Tendemos a ver cosas
con una vista 'intuitiva', generalmente basada en conceptos bastante simples.
Por ejemplo, automáticamente pensamos que es más difícil recoger un objeto
pesado que recoger uno ligero. ¿Cuánto más difícil? Bien, si es dos veces como
pesado, sería probablemente sobre dos veces más el esfuerzo para recogerlo.
Esta vista se ha desarrollado de nuestra experiencia de cosas que hemos hecho
en el pasado, más bien que en cualquier cálculo matemático o fórmula.
¿Bien, y pulsación de
un sistema electrónico con un voltaje? ¿Cómo el poder de salida de un sistema
ser afectado aumentando el voltaje? Nuestra inicial 'de improviso' la reacción
podría ser que la salida de poder podría ser aumentada un poco, pero entonces
agarrarse
acabamos de recordar que los Vatios = Voltios x Amperios, tan si
usted dobla el voltaje, entonces usted doblaría el poder en vatios. Entonces
podríamos conformarnos con la noción que si dobláramos el voltaje entonces
podríamos doblar el poder de salida. Si pensáramos esto, entonces nos
equivocaríamos.
Donald Smith indica que
como condensadores y enrolla la energía de tienda, si ellos están implicados en
el recorrido, entonces el poder de salida es proporcional al cuadrado del voltaje usado. Doble el voltaje, y el poder de
salida es cuatro veces mayor. Use tres veces el voltaje y el poder de salida
son nueve veces mayores. ¡Use diez veces el voltaje y el poder de salida son
cien veces mayores!

Donald dice que la
energía almacenada, multiplicada por los ciclos por segundo, es la energía
bombeada por el sistema. Los condensadores y los inductores (bobinas)
temporalmente almacenan electrones, y su interpretación es dada por:
Fórmula condensador: W = 0.5 x C x V2 x Hz donde:
W es la energía en Julios (Julios = Voltios x
Amperios x segundos)
C es la capacitancia en Faradios
V es el voltaje
Hz es los ciclos por segundo
Fórmula de inductor: W = 0.5 x L x A2 x Hz donde:
W es la energía en Julios
L es la inductancia en Henrys
A es la corriente en amperios
Hz es la frecuencia en ciclos por segundo
Usted notará que donde
los inductores (bobinas) están implicados, entonces el poder de salida sube con
el cuadrado de la corriente. Doble el voltaje y dóblese la corriente da a cuatro veces la salida de poder debido
al voltaje aumentado y esto la salida aumentada es aumentada en unas cuatro
veces adicionales debido a la corriente aumentada, dando a dieciséis veces el
poder de salida.
2. Frecuencia. Usted notará de las
fórmulas encima, que el poder de salida es directamente proporcional a la
frecuencia "el Hz". La frecuencia es el número de ciclos por segundo
(o palpita por segundo) aplicado al recorrido. Este es algo que no es intuitivo
para la mayor parte de personas. Si usted dobla el precio de pulsación,
entonces usted dobla la salida de poder. Cuando este se hunde en, usted de
repente ve por qué Nikola Tesla tendió a usar millones de voltios y millones de
pulsos por segundo.
Sin embargo, Donald
Smith declara que cuando un recorrido está en esto es el punto de la
resonancia, la resistencia en el recorrido se cae al cero y el recorrido se
hace con eficacia, un superconductor. La energía para tal sistema que está en
la resonancia es:
Recorrido resonante: W = 0.5 x C x V2 x (Hz)2 donde:
W es la energía en Julios
C es la capacitancia en Faradios
V es el voltaje
Hz es los ciclos por segundo
Si este es correcto,
entonces el levantamiento de la frecuencia en un recorrido que resuena tiene un
efecto masivo en la salida de poder del dispositivo. La pregunta entonces se
levanta: ¿por qué es el poder de conducto principal en Europa sólo cincuenta
ciclos por segundo y en América sólo sesenta ciclos por segundo? ¿Si el poder
sube con la frecuencia, entonces por qué no alimentar unidades familiares en un
millón de ciclos por segundo? Una razón principal es que no es fácil hacer
motores eléctricos que pueden ser conducidos con el poder entregado en aquella
frecuencia, entonces una frecuencia más conveniente es elegida a fin de
satisfacer los motores en aspiradoras, lavadoras y otro equipo de unidad
familiar.
Sin embargo, si
queremos extraer la energía del ambiente, entonces deberíamos ir para alta
tensión y frecuencia alta. Entonces, cuando el poder alto ha sido extraído, si
queremos una frecuencia baja satisfecha a motores eléctricos, podemos pulsar el
poder ya capturado en aquella frecuencia baja.
Podría ser especulado
que si un dispositivo está siendo conducido con pulsos agudos que tienen un
emplomado muy bruscamente creciente, que la frecuencia eficaz de la pulsación
realmente es determinada por la velocidad de aquel borde creciente, más bien
que el precio en el cual los pulsos realmente son generados. Por ejemplo, si
los pulsos están siendo generados en, supongamos, 50 kilohercios pero los
pulsos tienen un emplomado que sería satisfecho a un tren de pulso de 200
kilohercios, entonces el dispositivo podría ver bien la señal como una señal de
200 kilohercios con una proporción de Señal/Espacio del 25 %, el mismo
brusquedad del voltaje aplicado que tiene un equivalente de efecto espantoso
magnético con un tren de pulso de 200 kilohercios.
3. El relación Magnético / Eléctrica. Donald declara que la razón por qué nuestras
redes eléctricas presentes son tan ineficaces es porque nos concentramos en el
componente eléctrico del electromagnetismo. Estos sistemas son siempre COP<1
cuando la electricidad es 'las pérdidas del poder electromagnético. En cambio, si usted se concentra en el
componente magnético, entonces no hay ningún límite en la energía eléctrica que
puede ser extraída de aquel componente magnético. Al contrario de que usted
podría esperar, si usted instala un sistema de recogida que extrae la energía
eléctrica del componente magnético, usted puede instalar cualquier número de
otras recogidas idénticas, cada uno de las cuales extraen la misma cantidad de
la energía eléctrica de la entrada magnética, sin cargar la onda magnética de
cualquier modo. Salida eléctrica ilimitada para 'el coste' de crear un efecto
magnético solo.
El efecto magnético que
queremos crear es una ondulación en el campo de energía de punto cero, e
idealmente, queremos crear aquel efecto usando muy poco poder. La creación de
un dipolo con una batería que tiene un Más y un Menos el terminal o un imán que
tiene Norte y Polo sur, es un modo fácil de hacer crean un desequilibrio
electromagnético en el ambiente local. La pulsación de un bobina es
probablemente un aún mejor camino como los reveses de campo magnético
rápidamente si esto es un bobina principal de aire, como un Bobina de Tesla. La
utilización de un corazón ferromagnético al bobina puede crear un problema
cuando el hierro no puede poner marcha atrás esto es la alineación magnética
muy rápidamente, e idealmente, usted quiere palpitar que es al menos mil veces
más rápido que el hierro puede manejarse.

Donald llama la
atención hacia 'el Transmisor / Receptor' equipo educativo 'Recorrido Resonante
#10-416' que fue suministrado por la Fuente de Ciencia, Maine. Este equipo
demostró la generación de energía resonante y esto es la colección con un
recorrido de receptor. Sin embargo, si vario recorrido de receptor es usado,
entonces la energía coleccionada es aumentada varias veces sin cualquier aumento
de la energía transmitida. Este es similar a un transmisor de radio donde
cientos de miles de receptores de radio pueden recibir la señal transmitida sin
cargar el transmisor de cualquier modo. En el día de Donald, este equipo fue
conducido por una batería de 1.5 voltios y encendió un bulbo de 60 vatios que
fue suministrado. No sorprendentemente, aquel equipo ha sido discontinuado y un
equipo trivial substituido.
Si usted consigue la
Fuente de Ciencia equipo educativo, entonces hay algunos detalles con los
cuales usted tiene que tener cuidado. La unidad suministrada a mí tenía dos
bases de plástico de calidad muy agradables y dos muy con esmero enrollar
enrolla cada una de 60 vueltas del alambre de cobre esmaltado del diámetro de
0.47 mm en tubos acrílicos claros 57 mm (2.25) en el diámetro. Las tapas
tortuosas una sección de 28 mm del tubo. La disposición del transmisor y
módulos de receptor no empareja la hoja de instrucción de acompañamiento y
entonces el cuidado considerable tiene que ser tomado poniendo instalación
eléctrica cualquiera de su recorrido.
Los diagramas de
recorrido no son mostrados, sólo un diagrama de cableado, que no es grande de
un punto de vista educativo. Un
recorrido relevante es:

Antes de que usted
compre el equipo, no se menciona que a fin de usarlo, usted necesita un
generador de señal capaz de producir una señal de 10 voltios en 1 MHz. El bobina tiene una resistencia de corriente
continua de sólo 1.9 ohmios, pero en una frecuencia resonante de 1 MHz, el
poder de paseo necesario es completamente bajo.
Un condensador variable
es montado en el tubo de bobina de receptor, pero el que en mi equipo hecho
absolutamente ninguna diferencia a la afinación de frecuencia, tampoco mi metro
de capacitancia era capaz de determinar cualquier valor de capacitancia para
ello en absoluto, aunque esto no tuviera ningún problema en absoluto en la
medición del 101 condensador pF que era exactamente la capacitancia imprimida
en ello. Por esta razón, es mostrado en azul en el diagrama de recorrido
encima. Desconectar ello no hizo ninguna diferencia en absoluto.
En este equipo
particular, los conectores de tornillo estándares han hecho sustituir un
tornillo por el cerrojo encabezado de la llave de Allen que tiene una cabeza
bastante grande para permitir el apretamiento de dedo. Lamentablemente,
aquellos cerrojos hacen que un cuadrado corte la cabeza donde una cabeza
abovedada es esencial si los pequeños alambres de diámetro deben ser sujetados
con abrazaderas bien. Si usted consigue el equipo, entonces sugiero que usted
sustituya los conectores por una tira humorística de conector de tornillo
eléctrica estándar.
En pruebas, el LED se
enciende cuando los bobinas son alineados y dentro de aproximadamente 100 mm el
uno del otro, o si ellos son cercanos juntos lado al lado. Este inmediatamente
hace la primavera de dispositivo Hubbard para oponerse. El Hubbard tiene un
'transmisor electromagnético central' rodeado por un anillo 'de receptores'
estrechamente conectó magnetically al transmisor, cada uno de los cuales
recibirá una copia de la energía enviada por el transmisor:

Donald señala a un
acontecimiento aún más claramente demostrado de este efecto en el Bobina de
Tesla. En un Bobina de Tesla típico, el bobina primario es el diámetro mucho más
grande que el bobina secundario interior:
![]()
Si, por ejemplo, 8,000
voltios son aplicados al bobina primario que tiene cuatro vueltas, entonces
cada vuelta tendría 2,000 voltios del potencial. Cada vuelta del bobina
primario transfiere el flujo electromagnético a cada sola vuelta de la cuerda
secundaria, y el bobina secundario tiene un número muy grande de vueltas. Macizamente más poder es producido en el
bobina secundario que fue usado para activar el bobina primario. Un error común es creer que un Bobina de
Tesla no puede producir el amperaje serio.
Si el bobina primario es colocado en medio del bobina secundario tan
mostrado, entonces el amperaje generado será tan grande como el voltaje
generado. Una entrada de poder baja al
bobina primario puede producir kilovatios del poder eléctrico utilizable como
descrito en el capítulo 5.
4. Resonancia. Un factor importante en el recorrido apuntado
al golpeado de la energía externa es la resonancia. Puede ser difícil ver donde
este entra cuando esto es un recorrido electrónico que está siendo considerado.
Sin embargo, todo tiene esto es la propia frecuencia resonante, si esto es un
bobina o algún otro componente electrónico. Cuando los componentes están
relacionados juntos para formar un recorrido, el recorrido tiene una frecuencia
resonante total. Como un
ejemplo simple, considere una oscilación:

Si la oscilación es
empujada antes de que esto alcance el punto más alto en el lado de la madre,
entonces el empuje realmente quita mérito a la acción balanceadora. El tiempo
de una oscilación llena es la frecuencia resonante de la oscilación, y esto es
determinado por la longitud de las cuerdas de apoyo que sostienen el asiento y
no el peso del niño, ni poder con el cual el niño es empujado. A condición de que
el cronometraje sea exactamente correcto, un muy pequeño empuje puede conseguir
una oscilación que se mueve en un arco sustancial. El factor clave es,
emparejando los pulsos aplicados a la oscilación, a la frecuencia resonante de
la oscilación. Acierte en ello y un movimiento grande es producido. ¡¡Consígalo
incorrecto, y la oscilación no se pone yendo en absoluto (en cual punto, los
críticos dirían "ven, ven
swings sólo no trabajar - este lo
demuestra!!").
El establecimiento del
precio de pulsación exacto necesario para un recorrido resonante no es en
particular fácil, porque el recorrido contiene bobinas (que tienen la
inductancia, capacitancia y resistencia), condensadores (que tienen la
capacitancia y una pequeña cantidad de la resistencia) y las resistencias y los
alambres, ambos de los cuales tienen la resistencia y alguna capacitancia.
Estas clases del recorrido son llamadas el recorrido "LRC" porque
"L" es el símbolo usado para la inductancia, el "R" es el
símbolo usado para la resistencia y "C" es el símbolo usado para la
capacitancia.
He sido pasado
recientemente una copia del diagrama de recorrido de Donald para este
dispositivo, y es mostrado aquí:

El 4000V 30mA
transformador mostrado en este diagrama de recorrido, puede usar el transformador
del módulo de chofer de alumbrado de neón que aumenta el voltaje pero esto no
levanta la frecuencia cuando esto es claramente marcado en la corriente
continua pulsada de 120 Hz.
Por favor note que
cuando una unión de la tierra es mencionada en relación a los dispositivos de
profesor universitario Smith, hablamos de una unión de alambre actual a un
objeto metálico físicamente sepultado en la tierra, si esto es una vara de
cobre larga conducida en la tierra, o un viejo radiador de coche sepultado en
un agujero como usos de Tariel Kapanadze, o un plato metálico sepultado. Cuando
Thomas Henry Moray realizó su demostración solicitada profundamente en el campo
en una posición elegida por los escépticos, las bombillas que formaron su
demostración carga eléctrica, brillaron más alegremente con cada golpe de
martillo cuando una longitud del tubo de gas fue martillada en la tierra para
formarse su tierra los connectionPlease notan que cuando una unión de la tierra
es mencionada en relación a los dispositivos de Donald Smith, hablamos de una
unión de alambre actual a un objeto metálico físicamente sepultado en la
tierra, si esto es una vara de cobre larga conducida en la tierra, o un viejo
radiador de coche sepultado en un agujero como usos de Tariel Kapanadze, o un plato
metálico sepultado. Cuando Thomas Henry
Moray realizó su demostración solicitada profundamente en el campo en una
posición elegida por los escépticos, las bombillas que formaron su demostración
carga eléctrica, brillaron más alegremente con cada golpe de martillo cuando
una longitud del tubo de gas fue martillada en la tierra para formar su unión
de la tierra.
Donald también explica
una versión aún más simple de su dispositivo principal. Esta versión no
necesita un Variac (transformador de voltaje variable) o condensadores de alta
tensión. Aquí, una salida de corriente continua es aceptada el que significa
que la operación de transformador de disminución gradual de alta frecuencia
puede ser usada. Este pide un corazón de aire (o corazón de vara de ferrita)
transformador que usted giraría usted mismo del alambre de trabajo pesado en el
lado de salida. Las cargas de conducto principal serían impulsadas entonces
usando un inversor disponible estándar. En esta versión, es por supuesto,
necesario de hacer la longitud de alambre de vueltas de "L1"
exactamente un cuarto de la longitud de alambre de vueltas de "L2" a
fin de hacer los dos bobinas resonar juntos. La frecuencia de operaciones de
cada uno de estos bobinas es impuesta a ellos por la frecuencia de salida del
recorrido de chofer de alumbrado de neón. Aquella frecuencia es mantenida en
todas partes del recorrido entero hasta que sea rectificado por los cuatro
diodos que alimentan el condensador de almacenaje de voltaje bajo. El voltaje
de salida objetivo será sólo más de 12 voltios o sólo más de 24 voltios, según
la posición de voltaje del inversor que debe ser conducido por el sistema.
Cuando el recorrido es
capaz de recoger pulsos magnéticos adicionales, como aquellos generados por
otro equipo, huelgas de relámpago cercanas, etc. un componente electrónico
llamó un "varistor" marcado "V" en el diagrama, está
relacionado a través de la carga. Este dispositivo actúa como un supresor de
punto de voltaje cuando esto pone en cortocircuito cualquier voltaje encima de
su voltaje de diseño, protegiendo la carga de sobretensiones.
Este recorrido es con
eficacia dos Bobinas de Tesla de tú a tú y el diagrama de recorrido podría ser:

Ahora, usted, si usted
quiere, puede ser atascado en teoría y cálculos, el examen de 'el fondo
ambiental, el sentido de la vida o tal. Mí, estoy interesado sólo en tener
un dispositivo que me salva necesidad pagar para la electricidad. Una cosa muy
significativa que Donald indicó consiste en que la electricidad de conducto principal
disponible por el enchufe de la pared en mi casa, NO VIENE los alambres de la
central eléctrica. En cambio, la central
eléctrica influye en 'una subestación' local y los electrones que fluyen por mi
equipo realmente vienen de mi ambiente local debido a la influencia de mi
subestación local. Por lo tanto, si puedo crear una influencia similar en mi
casa, entonces ya no necesito que la subestación y pueda tener tanta energía
eléctrica como quiero, sin necesidad pagar alguien más para proporcionarlo para
mí. Es realmente, no que con fuerza para hacer cuando usted verá ahora.
Esta información de la frecuencia puede ser bastante difícil de entender en
la forma en que Don afirma ella. Puede que sea más fácil de seguir la
descripción dada por un desarrollador que dice:
Me he dado cuenta de que cualquier máquina puede hacer una máquina súper
simplemente añadiendo un condensador bipolar través de la bobina. No se
necesita nada más. Con el condensador correcta la bobina se convierte
Naturalmente Resonante y utiliza muy poco amperaje. Cada máquina utiliza un
condensador de diferente tamaño. El tamaño del condensador correcto se puede
calcular dividiendo la velocidad de la luz por la longitud del alambre de la
bobina de primera para obtener la frecuencia natural de la bobina y luego
dividiendo el voltaje para ser utilizado por esa frecuencia. El resultado es el
tamaño correcto para el condensador. Su máquina será entonces muy poderoso,
incluso trabajando desde una batería de coche de 12V, no hay otras adiciones necesarias.
Longitud del cable de mi bobina es 497.333 metros.
299000000 m / seg / 497.333 m = 600000 Hz.
12V / 600.000 = 0,00002 o 20 microfaradios. Un circuito tanque resonante
Naturalmente hermoso. Usted puede usar esto con cualquier bobina para overunity!
Una vez que tenemos una combinación natural de resonancia de la bobina /
condensador poder ofrecerte la frecuencia a 50 Hz mediante el cálculo de la
corrección del factor de potencia:
Hz = Resistencia x
faradios a continuación
50 Hz = R x 0.00002
así 50 / 0,00002 = 2500000
y R = 2500000 o 2.5 Meg Ohms.
A continuación, colocamos los tres componentes en paralelo y nuestra bobina
nosotros debemos dar una salida de 50 Hz.
Don ofrece toda una
cantidad de información sobre uno de sus dispositivos se muestra aquí:

Sin su descripción del dispositivo, sería difícil
de entender su construcción y funcionamiento. Según tengo entendido, el
circuito de lo que está montada en este tablero es como se muestra aquí:

Esta disposición se ha molestado a algunos
lectores recientemente ya que consideran que la separación de encendido debe
estar en serie con la bobina L1, como este:

Esto es comprensible, ya que siempre hay una
tendencia a pensar en el hueco de la chispa como un dispositivo que está ahí
para proteger contra tensiones excesivas en lugar de verlo como un componente
activo del circuito, un componente que se encuentra en uso continuo. En 1925,
Hermann Plauson se concedió una patente para toda una serie de métodos para la
conversión de la alta tensión producida por un sistema aéreo de altura en
utilizable, electricidad estándar. Hermann comienza explicando cómo de alta
tensión se puede convertir en una forma conveniente y que utiliza un generador
de electricidad estática Wimshurst como un ejemplo de una fuente constante de
alta tensión. La salida de un Bobina de Tesla rectificada, una máquina de
Wimshurst y una antena de altura son muy parecidos, y así los comentarios de
Hermann son muy relevantes aquí. Lo muestra como este:
Aquí, la salida de la máquina de Wimshurst se almacena en dos condensadores de alta tensión (botellas de Leyden) causando un voltaje muy alto para ser creado a través de los condensadores. Cuando el voltaje es lo suficientemente alto, una chispa salta a través de la separación de encendido, causando un aumento masivo de la corriente a través del devanado primario del transformador, que en su caso es un transformador reductor como él está dirigido a conseguir una tensión de salida inferior. Circuito de Don es casi idéntico:

Aquí la alta tensión viene de la batería /
inversor / neón-tubo conductor / rectificadores, en lugar de una máquina de
Wimshurst accionado mecánicamente. Tiene la misma acumulación de tensión en un
condensador con un hueco de chispa a través del condensador. El hueco de la
chispa se disparará cuando la tensión del condensador alcanza su nivel
diseñado. La única diferencia está en el posicionamiento del condensador, que
si coincide el arreglo de Hermann exactamente, sería como este:

que habría un acuerdo perfectamente viable en la
medida de lo que puedo ver. Usted recordará que Tesla, que siempre habla muy
bien de la energía liberada por la descarga muy fuerte producido por una
chispa, muestra una fuente de alta tensión de alimentación de un condensador
con el paso de energía a través de un hueco de chispa al devanado primario de
un transformador:

Sin embargo, con el arreglo de Don, que puede ser
un poco difícil ver por qué el condensador no está en cortocircuito por la muy
baja resistencia de las pocas vueltas de alambre grueso que forma la bobina L1.
Bueno, sería hacer que si estábamos operando con CC, pero definitivamente no
están haciendo eso como la salida del circuito controlador de alumbrado de neón
está pulsando 35.000 veces por segundo. Esto hace que la resistencia CC de la
bobina L1 a ser de casi ninguna consecuencia y en su lugar,
"impedancia" de la bobina o "reactancia" (efectivamente, es
CA resistencia) es lo que cuenta. En realidad, el condensador y la bobina L1
está conectado a través de uno al otro tienen una "reactancia"
combinado o resistencia a la corriente pulsante a esta frecuencia. Aquí es
donde el diagrama nomógrafo entra en juego, y hay una versión mucho más fácil
de entender de un par de páginas más adelante en este documento. Por lo tanto,
debido a la alta frecuencia de pulsación, la bobina L1 no hace corto circuito
el condensador y si la frecuencia de los impulsos coincide con la frecuencia de
resonancia de la bobina L1 (o un armónico de la frecuencia), a continuación, la
bobina L1 realmente tendrá un muy alta resistencia al flujo de corriente a
través de él. Así es como un cristal set receptor sintoniza la radio en una
emisora de radio en particular, la difusión en su propia frecuencia.

De todos modos, volviendo al dispositivo del Don
se muestra en la fotografía de arriba, la unidad eléctrica es de una batería de
12 voltios que no se ve en la fotografía. Curiosamente, Don observa que si la
longitud de los cables que conectan la batería al inversor son exactamente un
cuarto de la longitud de onda de la frecuencia del campo magnético oscilante
generada por el circuito, a continuación, la corriente inducida en los cables
de la batería se recargue la batería continuamente, incluso si la batería está
suministrando energía al circuito, al mismo tiempo.
La batería suministra una pequeña corriente a
través de un diodo de protección, a un estándar off-the-shelf "verdadera
de onda sinusoidal" inversor. Un inversor es un dispositivo que produce
corriente alterna de tensión de red de una batería de CC. Como Don quiere
voltaje ajustable, que alimenta la salida del inversor en un transformador
variable llamada un "Variac" aunque esto se hace a menudo como parte
del circuito de neón-conductor para permitir que el brillo de la tubo de neón
que ser ajustado por el usuario. Esta disposición produce una tensión de salida
de CA que es ajustable a partir de cero voltios hasta la tensión de red
completo (o un poco más alto, aunque Don no quiere utilizar un voltaje más
alto). El uso de este tipo de ajuste por lo general hace que sea esencial para
el inversor a ser un verdadero tipo senoidal. A medida que la demanda de
potencia del circuito controlador de alumbrado de neón es tan baja, el inversor
no debe costar mucho.
El circuito controlador de alumbrado de neón es un dispositivo off-the-shelf estándar utilizado para conducir tubo muestra de neón de los establecimientos comerciales. El que se utiliza por Don contiene un oscilador y un transformador elevador, que en conjunto producen una corriente alterna de 9.000 voltios a una frecuencia de 35.100 Hz (a veces escrito como 35,1 kHz). El término "Hz" significa "ciclos por segundo". Don reduce los 9.000 voltios mientras que él consigue una gran potencia a tensiones de entrada más bajos y el costo de los condensadores de salida es un factor significativo. El circuito particular controlador de alumbrado de neón que Don está usando aquí, tiene dos salidas separadas fuera de fase uno con el otro, por lo que los conecta Don juntos y utiliza un diodo de bloqueo en cada línea para evitar que cualquiera de ellos afecta a la otra. Que no se ve fácilmente en la fotografía, la línea de salida de alta tensión tiene un muy pequeño encapsulado, de descarga de gas brecha, chispa Tubo en ella y la línea también está conectado a tierra. El dispositivo se parece a esto:
![]()
Tenga en
cuenta que cuando una conexión a tierra se menciona en relación con los
dispositivos de Don Smith, estamos hablando de una conexión de cable real de un
objeto de metal enterrado físicamente en la tierra, si se trata de una larga
vara de cobre clavada en el suelo, o un viejo coche radiador enterrado en un
agujero como Tariel Kapanadze utiliza. Cuando Thomas Henry Moray realizó su
demostración solicitada profundamente en el campo, en un lugar elegido por los
escépticos, las bombillas que formaron su carga eléctrica de demostración,
brillaban con más intensidad con cada golpe de martillo como un trozo de tubo
de gas fue clavado en el suelo para formar su conexión a tierra.
Hay que
notar que desde que Don compró su módulo de controlador de alumbrado de neón
que los nuevos diseños en general se han apoderado por completo, especialmente
en Europa, y estos diseños han construido en si se detecta ninguna corriente
"Tierra corriente de fuga" de protección que al instante se desactiva
el circuito fugas a tierra. Esta característica hace que la unidad
completamente inadecuado para su uso en un circuito de Don Smith porque no, la
transferencia de corriente a tierra es totalmente intencional y vital para el
funcionamiento del circuito.
La salida
del circuito controlador de alumbrado de neón se utiliza para conducir el
"L1" devanado primario de un transformador de estilo bobina de Tesla.
Esto se ve siempre tan sencilla y directa, pero hay algunos detalles sutiles
que deben tenerse en cuenta.
La
frecuencia de operación de 35.1 kHz está establecido y mantenido por el
circuito controlador de alumbrado de neón, y por lo tanto, en teoría, no
tenemos que hacer ningún ajuste directo a nosotros mismos. Sin embargo,
queremos que la frecuencia de resonancia de la bobina L1 y el condensador a
través de ella para que coincida con la frecuencia de circuito de
neón-conductor. La frecuencia de la bobina "L1" bobinado inducirá
exactamente la misma frecuencia en el "L2" devanado secundario. Sin
embargo, tenemos que prestar especial atención a la relación de las longitudes
de los cables de las dos espiras de la bobina como queremos que estos dos
bobinados resuenen juntos. Una regla de oro seguido por la mayoría de los
constructores Tesla bobina es tener el mismo peso de cobre en las bobinas L1 y
L2, lo que significa que el alambre de la bobina L1 es generalmente mucho más
grueso que el alambre de la bobina L2. Si la bobina L1 es ser un cuarto de la
longitud de la bobina L2, entonces esperaríamos que el área de sección
transversal de la bobina L1 para ser cuatro veces mayor que la del alambre de
la bobina L2 y por lo que el alambre debe tener el doble de la de diámetro
(como el área es proporcional al cuadrado del radio, y el cuadrado de dos es
cuatro).

Don utiliza un tubo de plástico blanco como el
anterior por su "L1" bobina bobinado primario. Como se puede ver
aquí, el alambre se alimenta en la primera, dejando un espacio suficiente para
permitir que el antiguo se deslice hasta el fondo en la bobina externa. El
alambre se alimenta en el interior de la tubería y a través de otro agujero
para permitir que la bobina se vuelve a realizar en el exterior de la tubería.
Parece que hay cinco vueltas, pero Don no siempre va para un número completo de
vueltas, por lo que podría haber 4,3 vueltas o algún otro valor. El punto clave
aquí es que la longitud del cable en los "L1" espiras de la bobina
debe ser exactamente la cuarta parte de la longitud del cable en los
"L2" espiras de la bobina.
La bobina "L2" se utiliza aquí es una
unidad de 3 pulgadas de diámetro comercial de Barker & Williamson,
construido a partir de no aislado, sólido, de un solo filamento
"enlatada" alambre de cobre (cómo hacer en casa-construir versiones
se muestra más adelante). Don ha tomado esta bobina y desenrollado cuatro
vueltas en el centro de la bobina con el fin de hacer una toma central. A
continuación, mide la longitud exacta de cable en la sección restante y hizo
que la longitud de la bobina "L1" vuelve a ser exactamente un cuarto
de esa longitud. El cable utilizado para la bobina "L1" se parece a
favorito "Wire altavoz Jumbo" de Don que es un alambre muy flexible
con un gran número de cables no aislados extremadamente finas de cobre en su
interior.
Usted notará que Don ha colocado un collar de
plástico en cada lado de la liquidación, que coincide con el grosor del cable,
con el fin de crear una operación de deslizamiento segura dentro de la bobina
exterior "L2", y los collares de plástico adicionales posicionado más
a lo largo de la tubería proporcionar apoyo adicional a la bobina interna. Esta
acción de deslizamiento permite que la bobina primaria "L1" para ser
posicionado en cualquier punto a lo largo de la longitud de la "L2"
bobina secundaria, y que tiene un efecto de sintonización marcada sobre el
funcionamiento del sistema. La bobina externa "L2" no tiene ningún
tipo de soporte del tubo pero en cambio, la forma de la bobina se mantiene por
la rigidez del alambre sólido más cuatro tiras ranuradas. Este estilo de
construcción es el rendimiento de la bobina más alta posible en las frecuencias
de radio. Con una bobina de Tesla, es más común tener la bobina L1 de menor
diámetro que la bobina L2.

La bobina "L2" tiene dos secciones
separadas, cada una de las diecisiete vueltas. Un punto a tener en cuenta es
las vueltas están separados utilizando tiras ranurados para apoyar los cables y
mantener una separación precisa entre vueltas adyacentes. Hay que recordar que
el espaciamiento bobina gira pedazos como esto altera las características de la
bobina, el aumento es sustancialmente factor de "capacidad". Cada
bobina tiene una resistencia, inductancia y capacitancia, pero la forma de la
construcción de la bobina tiene un efecto importante sobre la relación de estas
tres características. El conjunto de la bobina se mantiene en su posición en el
tablero de base por dos bridas de plástico de color blanco apagado. El medio
más cerca de la bobina esté vinculada efectivamente a través de la más de la mitad
como se muestra en el esquema anterior.
Un punto que subraya Don, es que la longitud del
alambre en la bobina "L1" y la longitud del alambre en la bobina
"L2", debe ser una división o incluso múltiplo exacto de la otra (en
este caso, el "L2 "longitud de cable en cada mitad de la" L2
"bobina es exactamente cuatro veces más largo que el" L1
"longitud del cable de la bobina). Esto es probable que cause la bobina
"L1" para tener parte de una vez, debido a los diferentes diámetros
de bobina. Por ejemplo, si la longitud del cable de la bobina "L2" es
de 160 pulgadas y "L1" es ser un cuarto de esa longitud, es decir, 40
pulgadas. Entonces, si la bobina "L1" tiene un diámetro efectivo de
2,25 pulgadas, (lo que permite el espesor del alambre cuando se enrolla en un
diámetro de 2 pulgadas ex), entonces la bobina "L1" tendría 5,65 (o 5
y 2 / 3) resulta que hace que el giro final de "L2" a ser de 240
grados más en todo el cuerpo de bobina de la salida de la primera vez - es
decir, cinco vueltas completas y dos tercios de la sexta vuelta.
La disposición de bobina L1 / L2 es una bobina de
Tesla. El posicionamiento de la bobina "L1" a lo largo de la longitud
de la bobina "L2", ajusta la tensión de relación de corriente
producida por la bobina. Cuando la bobina "L1" es cerca de la mitad
de la bobina "L2", entonces la tensión amplificada y corriente
amplificada son aproximadamente las mismas. La relación de alambre exacta de
estas dos bobinas les da una afinación casi automática entre sí, y la
resonancia exacta entre ellos se puede conseguir mediante el posicionamiento de
la bobina "L1" a lo largo de la longitud de la bobina "L2".
Si bien este es un perfectamente buena manera de ajustar el circuito, en la
construcción se muestra en la fotografía, Don ha optado por conseguir la
afinación exacta conectando un condensador a través de "L1" tan
marcadas como "C" en el diagrama de circuitos. Don encontró que el
valor del condensador apropiado era alrededor del microfaradio (100 nF) marca
0.1. Se debe recordar que el voltaje a través de "L1" es muy alta,
por lo que si se utiliza un condensador en esa posición será necesario una
tensión nominal de al menos 9.000 voltios. Don comenta que los condensadores
reales observados en la fotografía de este prototipo se han valorado en quince
mil voltios, y fueron hechas a medida para él usando un estilo
"auto-curación" de la construcción. Como ya se ha señalado, este
condensador es un componente opcional. Don también optó por conectar un pequeño
condensador a través de la bobina "L2", también para ajuste fino del
circuito, y ese componente es opcional y por lo que no se muestra en el
diagrama del circuito. Como las dos mitades de la bobina "L2" se
conectan efectivamente a través de uno al otro, sólo es necesario disponer de
un condensador de sintonización precisa. Sin embargo, Don subraya que la
"altura" longitud de la bobina (cuando está de pie verticalmente)
controla el voltaje producido mientras que la bobina "ancho" (el
diámetro de las espiras) controla la corriente producida.
La relación de la longitud del alambre exacta de
las espiras en las bobinas "L2" "L1" y les da una afinación
casi automática síncrona entre sí, y la resonancia exacta entre ellos se puede
conseguir mediante el posicionamiento de la bobina "L1" a lo largo de
la longitud de la bobina "L2". Si bien este es un perfectamente buena
manera de ajustar el circuito, en la construcción 1994 se muestra en la
fotografía, Don ha optado por conseguir la afinación exacta conectando un
condensador a través de "L1" tan marcadas como "C" en el
diagrama de circuitos. Don encontró que el valor del condensador apropiado para
su constitución bobina particular, fue alrededor de 0,1 microfaradios (100 nF)
y por lo que conecta dos 47 condensadores de alta tensión nF en paralelo para
obtener el valor que él quería. Se debe recordar que el voltaje a través de
"L1" es muy alta, por lo que un condensador utilizado en esa posición
necesita una tensión nominal de al menos 9.000 voltios. Don comenta que los
condensadores reales observados en la fotografía de este prototipo se han
valorado en quince mil voltios, y fueron hechas a medida para él usando un
estilo "auto-curación" de la construcción.
Don también ha conectado un pequeño condensador a
través de la bobina "L2", y ese componente opcional está marcado como
"C2" en el diagrama de circuito y el valor utilizado por Don pasó a
ser una sola 47nF, condensador de alta tensión. Como las dos mitades de la
bobina "L2" se conectan de manera efectiva a través de uno al otro,
sólo es necesario disponer de un condensador de "L2":

Hay varias
maneras de tratar con la salida de la bobina "L2" con el fin de
obtener grandes cantidades de energía eléctrica convencional fuera del
dispositivo. El método que se muestra aquí utiliza los cuatro condensadores muy
grandes se ven en la fotografía. Estos tienen una calificación voltios 8000 o
9000 y una gran capacidad y que se utilizan para almacenar la energía del
circuito como CC antes de su uso en el equipo de carga. Esto se logra mediante
la alimentación de la batería de condensadores a través de un diodo que esté
clasificado para tanto alta tensión y alta corriente, como Don afirma que el
dispositivo produce 8,000 voltios a 20 amperios, en cuyo caso, este diodo
rectificador tiene que ser capaz de manejar ese nivel de poder, tanto en el
arranque cuando la batería de condensadores se descarga completamente y
"L2" está produciendo 8.000 voltios, y cuando se está elaborando la
plena carga de 20 amperios.
Este banco
de condensadores se alimenta a través de un diodo que esté clasificado para
tanto alta tensión y alta corriente, como Don establece que el dispositivo
produce 8,000 voltios a 20 amperios, en cuyo caso, este diodo rectificador
tiene que ser capaz de manejar ese nivel de potencia, tanto en el arranque
cuando la batería de condensadores se descargue por completo y "L2"
está produciendo 8.000 voltios, y cuando se está elaborando la plena carga de
20 amperios. Los diodos reales usados por Don pasan de tener una calificación
de 25 KV, pero que es una calificación mucho mayor de lo que realmente es
necesario.
De paso, se
podría notar que el usuario doméstico medio no tiene un consumo eléctrico de
algo remotamente parecido tan grande como éste, al ver que 10 kW es más que la
mayoría de la gente utiliza de manera continua, mientras que el 8 KV a 20 A es
un poder de 160 kilovatios. Como el tubo de neón circuito conductor puede
apagar 9.000 voltios y puesto que el sistema de bobina L1 / L2 es un
transformador elevador, si la tensión alimentada a la batería de condensadores
se debe mantener hasta 8000 voltios, a continuación, el ajuste debe ser Variac
usado para reducir el voltaje alimentado al circuito controlador de alumbrado
de neón, con el fin de bajar el voltaje alimentado a la par de bobinas L1 / L2,
típicamente, a 3.000 voltios.
Un miembro muy astuto y conocedor del foro EVGRAY Yahoo EVGRAY cuyo ID es "silverhealtheu" ha señalado recientemente que Don Smith dice con bastante libertad que él no da a conocer todos los detalles de sus diseños, y es su opinión de que un elemento importante que no ha sido dado a conocer es que los diodos en los diagramas de circuitos mostrados aquí son al revés y que Don opera sus tensiones en sentido inverso a la manera convencional. De hecho, el diagrama de circuito debe ser:

Comenta: "Los diodos
dejando al conductor de alumbrado de neón pueden necesitar ser revertido ya que
queremos recoger la polaridad negativa El hueco de chispa funcionará entonces
en la inversión ambiental y la chispa se verá y sonido totalmente diferente,
con una mucho más rápido agrietarse y produciendo muy poco calor e incluso
convertirse en cubierta de escarcha es posible.
La Variac debe ser levantado lo
suficiente para lograr una chispa luego retrocedió ligeramente. Cualquier
voltaje más alto es responsable de hacer el controlador de neón-tubo de pensar
que tiene una condición de cortocircuito, y los nuevos diseños electrónicos
después se apagará automáticamente y no funcione en absoluto si este método no
es seguido.
Cuando se ejecuta, C, L1 y L2 operan en
algún lugar en la banda de frecuencia de radio debido a que el controlador de
alumbrado de neón sólo actúa como un excitador tanque-circuito. La gran
condensador C3 colección, debe llenar a la polaridad invertida tierra como se
muestra arriba. La carga será entonces tirando de electrones de la tierra como
la tapa se vuelve a llenar de nuevo a cero en lugar de los julios en el
condensador están agotando.
Asimismo, recuerda que los sistemas de
Back-EMF de John Bedini y otros, crean un pequeño impulso positivo pero que
recogen un super gran pico polaridad negativa que dispara fuera de la parte
inferior de una pantalla del osciloscopio. Esto es lo que queremos, un montón
de esta almacenada en los condensadores, y luego vamos suministrar la energía
ambiental de fondo la corriente cuando se hace la corrección".
Este es un punto
muy importante y bien puede hacer una diferencia muy importante para el
funcionamiento de un dispositivo de esta naturaleza.

Un lector ha llamado la atención sobre el hecho de
que en el documento principal de Don indica que debe haber una resistencia
"R" en la bobina L1 y el condensador "C", y sugiere que el
circuito en realidad debería ser la indicada anteriormente, teniendo en cuenta
lo que Don dicho anteriormente acerca de su diseño "maleta". Otro
lector señala que el alambre en la bobina de salida se muestra en la fotografía
de abajo parece estar herida con alambre que es demasiado pequeño diámetro para
transportar las corrientes mencionadas por Don. Parece probable que no es necesario
un estrangulador en esa posición, excepto para suprimir posibles transmisiones
de frecuencia de radio desde el circuito, pero una más potente de
estrangulación puede ser fácilmente herida usando alambre de diámetro más
grande.
Cuando el circuito está en funcionamiento, la
batería de condensadores de almacenamiento se comporta como una batería de
8.000 voltios, que nunca se agota y que puede suministrar 20 amperios de
corriente durante todo el tiempo que quieras. Los circuitos para producir un
220 voltios 50 Hz de salida de CA o una de 110 voltios de salida de CA de 60 Hz
los condensadores de almacenamiento es la electrónica sólo estándar. De paso,
una opción para cargar la batería es utilizar el campo magnético causado por la
elaboración de la red de frecuencia pulsos de corriente a través de la salida
de "ahogar" la bobina, que se muestra aquí:

La corriente de salida fluye a través del devanado
en el cilíndrico marrón antigua de la mano izquierda, y cuando se tomó la
fotografía, la liquidación de la mano derecha ya no estaba en uso.
Anteriormente, se había utilizado para proporcionar potencia de carga a la
batería mediante la rectificación de la corriente eléctrica en la bobina,
causada por el campo magnético fluctuante causada por la pulsación de corriente
que fluye a través del devanado de la mano izquierda, como se muestra aquí:

La salida de CC producida por los cuatro diodos se
utilizó entonces para cargar la batería de conducción, y el nivel de potencia
producida es sustancialmente mayor que el drenaje de corriente de menor
importancia de la batería. En consecuencia, es una precaución sensata para
pasar esta corriente a la batería a través de un circuito que evita que el
voltaje de la batería aumento mayor de lo que debería. Un sensor de nivel de
voltaje sencilla se puede utilizar para apagar la carga cuando la batería ha
alcanzado su nivel óptimo. Otras baterías también se pueden cargar si lo que se
quería. Circuitería simple del tipo mostrado en el capítulo 12 se puede
utilizar para controlar y limitar el proceso de carga. Los componentes a bordo
del Don se presentan como este:

Don llama la atención sobre el hecho de que los
cables utilizados para conectar la salida de "L2" a la salida de la
junta, la conexión de los condensadores de almacenamiento en el camino, son
cables clasificados de muy alta tensión con múltiples revestimientos especiales
para garantizar que los cables siguen siendo sólidos en un período indefinido.
Hay que notar en este punto, que la bobina de diámetro exterior 3 "utilizado
por Don, no se enrolla sobre un antiguo, pero con el fin de obtener un mayor
rendimiento a altas frecuencias, las vueltas son compatibles con cuatro tiras
separadas unidas físicamente a las vueltas - la técnica descrita más adelante
en este documento como una manera excelente para la construcción de viviendas
de este tipo de bobinas.
Por favor, tenga en cuenta que las tensiones de aquí y sus niveles de
potencia asociados son literalmente letal y perfectamente capaz de matar a
cualquier persona que maneja el dispositivo sin cuidado cuando está encendido.
Cuando una réplica de este dispositivo está listo para el uso rutinario, debe
ser encerrado de manera que ninguna de las conexiones de alta tensión puede ser
tocado por nadie. Esto no es una sugerencia, pero es un requisito obligatorio,
a pesar del hecho de que los componentes mostrados en las fotografías se
establecen en lo que sería una manera más peligrosa fuera el circuito para
conectar la alimentación de tal y como está. En ningún caso, construir y probar
este circuito a menos que ya tiene experiencia en el uso de circuitos de alto
voltaje o puede ser supervisado por alguien que tenga experiencia en este
campo. Se trata de una "una mano en el bolsillo en todo momento" tipo
de circuito y tiene que ser tratado con gran cuidado y respeto en todo momento,
así que sea sensible.
El resto del circuito no está montado en el
tablero, posiblemente porque hay varias formas en las que el resultado final
requerido se puede lograr. El que se sugiere aquí es quizás la solución más
simple:

La tensión tiene que ser reducido, por lo que un
transformador reductor de la red de frecuencia con núcleo de hierro se utiliza
para hacer esto. Para obtener la frecuencia a la frecuencia de red estándar
para el país en el que el dispositivo se va a utilizar, un oscilador se utiliza
para generar esa frecuencia de la red particular. La salida del oscilador se
utiliza para accionar un dispositivo adecuado de semiconductores de alto
voltaje, ya sea un transistor FET, un dispositivo IGBT, o lo que sea. Este
dispositivo tiene que cambiar la corriente de trabajo a 8000 voltios, aunque
hay que reconocer, que será una corriente que será de al menos treinta y seis
veces menor que la corriente de salida final, debido a la tensión más alta en
el devanado primario del transformador. La potencia disponible estará limitada
por las capacidades de manejo actuales de este transformador de salida que
tiene que ser muy grande y caro.
Como el circuito es capaz de recoger impulsos
magnéticos adicionales, tales como los generados por otros equipos, rayos
cercanos, etc. un componente electrónico llamado un "varistor"
marcado "V" en el diagrama, está conectado a través de la carga. Este
dispositivo actúa como un supresor de pico de tensión ya que las cortocircuitos
cualquier voltaje por encima de su voltaje de diseño, la protección de la carga
de subidas de tensión.
Don también explica una versión aún más simple del
circuito como se muestra aquí:

Este circuito simplificado evita la necesidad de
condensadores caros y de las limitaciones de sus capacidades de voltaje, y la
necesidad de control electrónico de la frecuencia de salida. La longitud de
alambre en las vueltas de la bobina "L2" aún necesita ser exactamente
cuatro veces la longitud del hilo de las espiras de la bobina "L1",
pero sólo hay un componente que necesita ser introducido, y que es la
resistencia "R" colocado a través del devanado primario del
transformador de aislamiento reductor. Este transformador es un tipo de núcleo
de hierro laminado, adecuado para la frecuencia de la red bajo, pero la salida
de "L2" es mucho mayor frecuencia. Es posible tirar de la frecuencia
hacia abajo para adaptarse a la transformador reductor conectando el valor
correcto de la resistencia "R" a través del transformador de salida
(o una bobina y la resistencia, o una bobina y un condensador). El valor de la
resistencia necesaria se puede predecir a partir de la gráfica American Radio
Relay League (mostrado como Fig.44 en el documento pdf de don que se puede descargar
usando http://www.free-energy-info.com/Smith.pdf).
La sexta edición del libro de Howard Sams "Handbook of Electronics Tables
and Formulas" (ISBN-10: 0672224690 ISBN-13 o: 978-0672224690) tiene un
cuadro en el que se pone a 1 kHz y así no necesita ampliarse para llegar las
frecuencias utilizadas aquí. El valor de la resistencia correcta también podría
ser encontrado por experimentación. Usted se dará cuenta de que un hueco de la
chispa de doble toma de tierra se ha colocado a través de "L2" con el
fin de asegurarse de que los niveles de tensión siempre se mantienen dentro del
rango de diseño.
Don también explica una versión aún más simple que no necesita un Variac, condensadores de alto voltaje o diodos de alta tensión. Aquí, una salida de CC se acepta que significa que la operación del transformador de bajada de alta frecuencia puede ser utilizado. Esto requiere de un transformador de núcleo de aire que le viento a sí mismo de alambre de alta resistencia. Mains cargas entonces serían alimentados mediante el uso de un inversor de off-the-shelf estándar. En esta versión, es por supuesto, necesario para hacer que el "L1" se convierte la longitud del alambre exactamente un cuarto de la "L2" se convierte en la longitud del alambre con el fin de hacer que las dos bobinas resuenan juntos. Se impone la frecuencia de funcionamiento de cada una de estas bobinas en ellos por la frecuencia de salida del circuito controlador de alumbrado de neón. Esa frecuencia se mantiene durante todo el circuito hasta que se rectifica por los cuatro diodos que alimentan el condensador de almacenamiento de baja tensión. La tensión de salida objetivo será o bien un poco más de 12 voltios o un poco más de 24 voltios, en función de la tensión nominal del inversor que va a ser activado por el sistema. El esquema se:

Como mucha gente encontrará la tabla nomógrafo en
el documento pdf de don muy difícil de entender y usar, aquí es una versión más
fácil:

El objetivo aquí es determinar el
"reactancia" en ohmios y la forma de hacerlo es la siguiente:
Supongamos que el controlador de alumbrado de neón
está funcionando a 30 kHz y utiliza un condensador de 100 nF (que es el mismo
que 0,1 microfaradios) y usted quiere saber lo que es la resistencia de CA del
condensador es en esa frecuencia. Además, ¿qué inductancia de la bobina tendría
esa misma resistencia AC. A continuación, el procedimiento por el que a cabo es
el siguiente:

Dibuja una línea recta desde la 30 kHz de frecuencia
(línea morada) a través de su valor de condensador 100 nanofaradios y llevar la
línea en cuanto a la (azul) de la línea de inductancia como se muestra arriba.
Ahora puede leer la reactancia de la línea roja,
que se parece a 51 ohmios a mí. Esto significa que cuando el circuito está
funcionando a una frecuencia de 30 kHz, entonces el flujo de corriente a través
de su condensador de 100 nF será la misma como a través de una resistencia de
51 ohmios. Lectura de la línea azul "inductancia" que ocurriría mismo
flujo de corriente en esa frecuencia con una bobina que tiene una inductancia
de 0.28 milihenrios..
Recientemente me han pasado una copia del diagrama
del circuito de don para este dispositivo, y se muestra aquí:

El transformador 4000V 30mA se muestra en este
diagrama del circuito, puede utilizar un transformador con núcleo de ferrita de
un módulo de controlador de alumbrado de neón que intensifica la tensión pero
no elevar la frecuencia que está claramente marcada a 120 Hz CC pulsadas. Usted
se dará cuenta de que este esquema de conexiones se dibuja con Plus se muestra
a continuación Minus (que es más inusual).
Tenga en cuenta que cuando una conexión a tierra
se menciona en relación con los dispositivos de Don Smith, estamos hablando de
una conexión de cable real de un objeto de metal enterrado físicamente en la
tierra, si se trata de una larga vara de cobre clavada en el suelo, o un viejo
coche radiador enterrado en un agujero como Tariel Kapanadze utilizado, o una
placa de metal enterrado. Cuando Thomas Henry Moray realizó su demostración
solicitada profundamente en el campo, en un lugar elegido por los escépticos,
las bombillas que formaron su carga eléctrica de demostración, brillaban con
más intensidad con cada golpe de martillo como un trozo de tubo de gas fue
clavado en el suelo para formar su conexión a tierra.
Don también explica una versión aún más sencillo
de su dispositivo principal. Esta versión no necesita un Variac (transformador
de tensión variable) o condensadores de alto voltaje. Aquí, una salida de CC se
acepta que significa que la operación del transformador de bajada de alta
frecuencia puede ser utilizado. Esto exige en el lado de salida, para un núcleo
de aire (o núcleo de varilla de ferrita) transformador que le viento a sí mismo
de alambre de alta resistencia. Mains cargas entonces serían alimentados
mediante el uso de un inversor de fuera de la plataforma estándar. En esta
versión, es por supuesto, muy útil para hacer el "L1" vuelve longitud
del cable exactamente una cuarta parte de la "L2" vuelve longitud de
cable con el fin de hacer que los dos bobinas resonar automáticamente juntos.
Se impone la frecuencia de funcionamiento de cada una de estas bobinas en ellos
por la frecuencia de salida del circuito controlador de alumbrado de neón. Esa
frecuencia se mantiene durante todo el circuito hasta que se rectifica por los
cuatro diodos que alimentan el condensador de almacenamiento de baja tensión.
La tensión de salida objetivo será o bien un poco más de 12 voltios o un poco
más de 24 voltios, en función de la tensión nominal del inversor que va a ser
activado por el sistema.
Como el circuito es capaz de recoger impulsos
magnéticos adicionales, tales como los generados por otros equipos, rayos
cercanos, etc. un componente electrónico llamado un "varistor"
marcado "V" en el diagrama, está conectado a través de la carga. Este
dispositivo actúa como un supresor de pico de tensión que se produce un
cortocircuito cualquier voltaje por encima de su voltaje de diseño, la
protección de la carga de subidas de tensión. Un tubo de descarga de gas es una
alternativa eficaz a un varistor.
Este circuito es efectivamente dos bobinas Tesla
espalda con espalda y el diagrama del circuito podría ser:

Es de ninguna manera cierto que en este circuito,
los arrollamientos de color rojo y azul se enrollan en direcciones opuestas. El
hueco de chispa (o tubo de descarga de gas) en serie con el primario del primer
transformador altera el funcionamiento de una manera un tanto impredecible, ya
que causa la primaria a oscilar a una frecuencia determinada por que es la
inductancia y es auto-capacitancia, y que pueden resultar en frecuencias de
megahercios. El devanado secundario, de dicho transformador debe resonar con el primario y en este
circuito que no tiene condensadores de compensación de frecuencia, que la
resonancia está siendo producido por la longitud exacta de alambre en las
vueltas de la secundaria. Esto parece un circuito simple, pero es todo menos
eso. El exceso de energía se produce por la frecuencia elevada, la tensión
elevada, y la pulsación muy fuerte producida por la chispa. Esa parte es
sencilla. El resto del circuito es probable que sea muy difícil conseguir de
resonancia ya que tiene que estar en orden para entregar ese exceso de energía
a la salida del inversor.
Al considerar la "longitud" de alambre
en una bobina resonante, es necesario prestar atención a la onda estacionaria
creado en esas condiciones. La ola es causada por la reflexión de la señal
cuando se alcanza el extremo del cable o cuando hay un cambio repentino en el
diámetro del alambre como que cambia la capacidad de reflexión de la señal en
ese punto en la conexión. Usted debe prestar atención a la descripción muy
clara de Richard Quick de esto en la sección de su patente, que se incluye más
adelante en este capítulo. Además, recuerda lo que dijo Don Smith acerca de la
localización de los picos de la onda estacionaria mediante el uso de una
lámpara de neón de mano.
Una cosa muy importante que Don señalar es que la
electricidad disponible a través de la toma de la pared en mi casa de la red,
no viene a lo largo de los cables de la estación generadora. En cambio, la
central influye en un local "subestación" y los electrones que fluyen
a través de mi equipo en realidad provienen de mi entorno local debido a la
influencia de mi subestación local. Por lo tanto, si puedo crear una influencia
similar en mi casa, entonces yo ya no necesitan ese sub-estación y puedo tener
tanta energía eléctrica como quiera, sin tener que pagar a alguien para
proporcionar esa influencia para mí.
El objetivo en
este caso, es determinar cómo construir un generador eléctrico de energía libre
autoalimentado que no tiene partes móviles, no es demasiado caro para
construir, utilice las piezas fácilmente disponibles y que tiene una potencia
de algunos kilovatios. Sin embargo, en ningún caso se debe considerar este
documento para ser un estímulo para usted, o cualquier otra persona para
construir realmente uno de estos dispositivos. Este documento se presenta
únicamente con fines informativos y educativos, y como altos voltajes están
involucrados, debe ser considerado como un dispositivo peligroso inadecuado
para ser construido por aficionados sin experiencia. La siguiente sección es
sólo mi opinión y por lo que no se debe tomar como probada, la tecnología de
trabajo, pero en cambio, sólo la opinión de un escritor sin experiencia.
Sin embargo,
las preguntas de varios lectores diferentes indican que una breve descripción,
razonablemente específica de los pasos necesarios para intentar una replicación
de un dispositivo de Don Smith sería útil. Una vez más, este documento no debe
ser considerado como una recomendación que usted realmente construir uno de estos
de alta tensión, potencialmente dispositivos peligrosos. Esta información es
sólo la intención de ayudarle a entender lo que creo que está involucrado en
este proceso.
En líneas
generales, los pasos siguientes se utilizan en la versión más sencilla de la
disposición:
1. La
muy baja frecuencia y el voltaje de la alimentación de red locales se descarta
en favor de una alimentación eléctrica que funciona a más de 20.000 Hz (ciclos
por segundo) y tiene una tensión de nada de 350 voltios a 10.000 voltios. Los
voltajes más altos pueden dar una mayor potencia de salida total, pero implican
un mayor esfuerzo en conseguir la tensión hacia abajo de nuevo hasta el nivel
de la tensión de red local para que el equipo de red estándar que se utilizará.
2. Esta
alta tensión de alta frecuencia se utiliza para crear una serie de chispas muy
rápidos usando un hueco de chispa que está conectado a una conexión a tierra.
Hecho correctamente, la frecuencia de chispa es tan alta que no hay ningún
sonido audible causado por las chispas. Cada chispa provoca un flujo de energía
desde el medio ambiente local en el circuito. Esta energía no es la
electricidad estándar que hace las cosas en caliente cuando la corriente fluye
a través de ellos, sino que este flujo de energía hace que las cosas para
convertirse en frío cuando la energía fluye a través de ellos, y por lo que a
menudo se llama "frío" electricidad. Es difícil de usar esta energía
a menos que todo lo que quiero hacer es la luz una serie de bombillas (que
dicho sea de paso, dar a conocer una calidad diferente de la luz cuando se
activan con esta energía). Sorprendentemente, el circuito de ahora contiene
sustancialmente más energía que la cantidad de energía necesaria para producir
las chispas. Esto es porque la energía adicional fluye desde el suelo, así como
desde el entorno local. Si usted tiene la formación convencional y ha sido
alimentado el mito de los "sistemas cerrados", entonces esto va a
parecer imposible para ti. Así que, déjame hacerte una pregunta: si, como se
puede demostrar, toda la electricidad que fluye en el devanado primario de un
transformador, fluye de nuevo fuera de ese sinuoso, entonces ¿de dónde viene el
masivo flujo continuo de electricidad procedente de la secundaria bobinado
viene? Nada de esto proviene del circuito primario y, sin embargo millones de
electrones fluyen fuera de la secundaria en una corriente continua que se puede
suministrar indefinidamente. Así que, ¿de dónde estos electrones vienen? La
respuesta es 'del medio local circundante que está hirviendo de exceso de
energía ", pero sus libros de texto no le va a gustar este hecho, ya que
creen que el circuito del transformador es un" sistema cerrado "-
algo que probablemente no se puede encontrar en cualquier parte de este universo.
3. Esta
alta tensión, de alta frecuencia, la energía de alta potencia tiene que ser
convertido a la misma clase de electricidad caliente que sale de una toma de
corriente de red en la tensión y la frecuencia local. Aquí es donde la
habilidad y comprensión entran en juego. El primer paso es reducir la tensión y
aumentar la corriente disponible con un transformador resonante paso hacia
abajo. Esto suena muy técnico y complicado, y mirando a cara Barker &
Williamson bobina de Don Smith, hace que toda la operación parece ser uno sólo
experimentadores ricos. Este no es el caso y una solución de trabajo puede ser
barato y fácil. Generalmente no es conveniente para obtener el voltaje muy alto
hasta el fondo a niveles convenientes en un solo paso, y así, uno o más de esos
transformadores resonantes se puede utilizar para alcanzar el nivel de tensión
de destino. Cada transformador dimitir aumenta la corriente disponible más y
más alto.
4. Cuando
se ha alcanzado una tensión satisfactoria, tenemos que hacer frente a la muy
alta frecuencia. La forma más fácil de tratar con él es utilizar diodos de alta
velocidad para convertirlo a pulsante CC y alimentar a que en un condensador
para crear lo que es esencialmente, una batería eterna. La alimentación de esta
energía en un condensador convierte en electricidad "caliente"
convencional y un inversor estándar off-the-shelf puede ser usado para dar la
tensión exacta y la frecuencia de la red eléctrica local. En la mayor parte del
mundo, es de 220 voltios a 50 ciclos por segundo. En Estados Unidos es de 110
voltios a 60 ciclos por segundo. Inversores de bajo costo generalmente se
ejecutan en cualquiera de 12 voltios o 24 voltios con las unidades de voltios
más comunes 12 de ser más barato.
Por lo tanto,
vamos a echar un vistazo a cada uno de estos pasos con más detalle y ver si
podemos comprender lo que implica y cuáles son nuestras opciones:
1. Queremos
producir una alta frecuencia, la fuente de energía de baja corriente de alto
voltaje. Don Smith muestra un módulo transformador de neón-Sign. Su módulo
produce una tensión que era más alto que era conveniente y lo que utilizó un
transformador variable de CA o "Variac" como se le conoce comúnmente,
para bajar la tensión de entrada y así, reducir la tensión de salida. En
realidad no hay necesidad de un Variac como podemos manejar la tensión más alta
o, como alternativa, utilizar un módulo más adecuado transformador de
neón-Sign.
Sin embargo,
tenemos un problema con el uso de esta técnica. En los años desde que Don
compraron su módulo, que se han rediseñado para incluir circuitos que desactiva
el módulo si cualquier corriente fluye fuera de ella directamente en la tierra,
y como eso es exactamente lo que se desea utilizar para, por lo que la mayoría,
si no todos los módulos de transformador de neón-muestra disponibles en la
actualidad no son adecuados para nuestras necesidades. Sin embargo, me han
dicho que si el módulo dispone de un cable de tierra y cable de tierra que se
deja sin conectar, que desactiva el circuito de fuga a tierra, lo que permite
que la unidad se utiliza en un circuito Don Smith. Personalmente, yo no
recomendaría que si el módulo está encerrado en una caja de metal.
Una alternativa
mucho más barato se muestra aquí: http://www.youtube.com/watch?v=RDDRe_4D93Q
donde se utiliza un pequeño circuito globo de plasma para generar una chispa de
alta frecuencia. Parece muy probable que uno de los módulos se adaptaría a
nuestras necesidades:

Un método
alternativo es construir su propia fuente de alimentación a partir de cero.
Hacer eso no es particularmente difícil y si usted no entiende cualquier
electrónica, entonces tal vez, la lectura electrónica tutorial de principiantes
en el capítulo 12 (http://www.free-energy-info.com/Chapter12.pdf)
llenará adentro en todos los elementos básicos necesarios para entender (y,
probablemente, el diseño de sus propios) circuitos de este tipo. Aquí está un
diseño de frecuencia variable para el hogar-construcción:

Una ventaja de este circuito es que el transformador de salida es accionado a la frecuencia establecida por el temporizador 555 y que la frecuencia no se ve afectada por el número de vueltas en el devanado primario, ni es la inductancia, diámetro del alambre, o cualquier otra cosa que ver con el bobina. Si bien este circuito muestra el transistor IRF9130 bastante caro, espero que otros FET de canal P funcionarían satisfactoriamente en este circuito. El transistor IRF9130 ve así:

El circuito tiene un diodo y un condensador de
alimentación, lista para recibir la energía de la salida en una fecha
posterior, si eso es posible y deseada. El circuito 555 es estándar y ofrece un
índice de 50% de Mark / Space. El condensador de 10 nF está allí para mantener
la estabilidad de la 555 y la sección de sincronización consta de dos
resistencias variables, una resistencia fija y el condensador de 1 nF. Esta
disposición da resistencia de una resistencia variable de cualquier cosa de 100
ohmios a 51.8K y que permite un rango de frecuencia sustancial. El 47K (Linear)
resistencia variable controla la afinación principal y el 4.7K (Linear)
resistencia variable da una frecuencia más fácilmente ajustable para un ajuste
exacto. La resistencia de 100 ohmios está allí en caso tanto de las
resistencias variables se ponen a cero resistencia. La salida se alimenta a
través de una resistencia de 470 ohmios a la puerta de un muy potente
transistor FET de canal P que impulsa el devanado primario del transformador de
salida.
El transformador de salida puede ser enrollada en
un carrete aislante que cubre una varilla de ferrita, dando tanto un buen
acoplamiento entre los arrollamientos, y el funcionamiento de alta frecuencia
también. La relación de vueltas se establece en sólo 30: 1 debido al elevado
número de vueltas del devanado primario. Con un suministro de 12 voltios, esto
le dará una forma de onda de salida de 360 voltios, y mediante la reducción de
las espiras primarias progresivamente, permite que el voltaje de salida se
incrementa en pasos controlados. Con 10 vueltas en el primario, la tensión de
salida debe ser 3,600 voltios y con sólo 5 vueltas 7.200 voltios. Cuanto mayor
sea el voltaje utilizado, mayor es la cantidad de trabajo necesario más
adelante para obtener la tensión de la espalda hasta el nivel de salida que
queremos.
En cuanto a la tabla de especificación de alambre,
indica que bastante un pequeño diámetro del alambre podría ser utilizado para
el bobinado secundario del transformador de salida del oscilador. Si bien esto
es perfectamente cierto, no es toda la historia. Drivers tubo de neón son muy
pequeñas y el cable en sus cuerdas de salida es de hecho muy pequeño diámetro.
Esos módulos de los controladores son muy propensos al fracaso. Si el
aislamiento en cualquier una vuelta del devanado falla y una vez se convierte
en un cortocircuito, luego de que se detiene la liquidación de oscilación, y se
necesita un reemplazo. Como no hay restricciones de tamaño particulares para
este proyecto, podría ser una buena idea usar alambre de cobre esmaltado de
0,45 mm o más en un intento de evitar este peligro fallo de aislamiento.
Ninguna parte del carrete de bobina del transformador debe ser de metal y no
sería ningún daño para cubrir cada capa de arrollamiento secundario con una
capa de cinta aislante para proporcionar aislamiento adicional entre la bobina
se convierte en una capa y los giros de la capa en la parte superior de ella.
Un diseño de la placa plug-in puede ser:

Por favor, recuerde que usted no puede simplemente seguir su voltímetro promedio a través de un condensador de 4 kV (a menos que usted realmente quiere comprar otra metros), ya que sólo a la altura de unos mil voltios de corriente continua. Por lo tanto, si usted está usando alta tensión, entonces usted necesita para utilizar un par resistor-divisor y medir el voltaje en la resistencia inferior. Pero lo que los valores de resistencia se debe utilizar? Si pones una resistencia de 10 megaohmios a través de su 4 kV cargada condensador, la corriente que fluye a través de la resistencia sería 0,4 miliamperios. Suena pequeño, ¿no es así? Pero que 0,4 mA es de 1,6 vatios, que es un buen negocio más de la potencia que su resistencia puede manejar. Incluso el uso de esta disposición:

la corriente
será 0,08 mA y la potencia por resistencia será 64 mW. La lectura del medidor
será de aproximadamente 20% de la tensión del condensador que dará una lectura
del voltímetro de 800 voltios. La resistencia de entrada del medidor necesita
ser comprobada y, posiblemente, permitió que la resistencia en este circuito es
tan alto (véase el capítulo 12). Al hacer una medición de este tipo, el
condensador se descarga, la cadena de resistencias y metro adjunta, y entonces,
y sólo entonces, es el circuito de encendido, la lectura tomada, la potencia de
entrada desconectado, el condensador descargado, y las resistencias
desconectado . Los circuitos de alta tensión son muy peligrosos, sobre todo por
lo que, en un condensador está involucrado. La recomendación de usar guantes de
goma gruesa para este tipo de trabajo, no pretende ser humorístico. Circuitos
de este tipo son susceptibles de generar picos inesperados de alto voltaje, y
por eso, puede ser que sea una buena idea para conectar un varistor a través
del medidor para protegerla de esos picos. El varistor necesita ser ajustado a
la tensión que tiene la intención de medir y como varistores pueden no estar
disponibles por encima de un umbral de 300 V, dos o más puede necesitar ser
conectadas en serie, donde sólo se muestra una en el diagrama anterior. El
varistor no debería tener una tensión nominal superior a su medidor.
2. Ahora
tenemos que usar esta alta tensión para crear una chispa estratégicamente
posicionado para una conexión a tierra. Al realizar una conexión a tierra, a
veces se sugiere que la conexión a las tuberías de agua o radiadores es una
buena idea, ya que tienen grandes longitudes de tubería metálica que se
ejecutan en el suelo y haciendo un excelente contacto con él. Sin embargo, se ha
vuelto muy común para las tuberías de metal que será reemplazada por tuberías
de plástico barato y por lo que cualquier conexión de tubería propuesta
necesita una comprobación para asegurarse de que que se encuentra la tubería de
metal que se extiende hasta el final en el suelo.

Las vías de
chispas que se muestran pueden ser tubos de descarga de gas comerciales de alta
tensión, vías de chispas caseros ajustables con puntas de acero inoxidable de
aproximadamente 1 mm de separación, bujías de automóviles, o bombillas de neón
estándar, aunque éstos corren bastante caliente en esta aplicación. A 15 mm x 6
mm bombilla tamaño neón opera con sólo 90 o 100 voltios a través de ella, se
necesitaría un número considerable de ellos conectados en serie para crear un espacio
de chispa de alto voltaje, pero probablemente es un error pensar que las
necesidades de la brecha de chispa en sí un alto voltaje. Más adelante en este
capítulo, hay un ejemplo de un sistema muy exitoso en el que se utiliza sólo
una bombilla de neón para el hueco de la chispa y un campo magnético oscilante
más de un metro de ancho que se crea cuando se maneja con sólo un viejo 2500
voltios neon-sign transformador módulo. Si se utiliza una bombilla de neón para
el hueco de la chispa, y luego un desarrollador con experiencia recomienda una
resistencia de 22K se utiliza en serie con las luces de neón con el fin de
extender su vida útil de trabajo muy considerablemente.
Este circuito
es una manera de conectar el hueco de chispa y conexión a tierra:

Esta es una
adaptación de una disposición de circuito utilizado por el miembro del foro
"SLOW-'N-EASY" En el tema Don Smith en el energeticforum. Aquí, él
está utilizando un transformador de neón 'LowGlow' destinado a ser utilizado en
una bicicleta. Los diodos están ahí para proteger la fuente de alimentación de
alta tensión de los picos de tensión inesperados creados más tarde en el
circuito. El hueco de la chispa está conectado entre el devanado primario de un
transformador elevador y la conexión a tierra. No se utiliza ningún
condensador. Al ver este circuito, inmediatamente pensamos en bobinas grandes y
costosos de Don Smith, pero este experimentador no utiliza nada de eso. En
cambio, él va a su transformador en una simple ex plástico como este:

Y para hacer 'peor' el
alambre devanado primario asuntos está a sólo 9 pulgadas (228,6 mm) de largo y
las secundarias sólo 36 pulgadas (914,4 mm) de largo, el ser primario de la
herida directamente en la parte superior de la secundaria. No es exactamente
una construcción grande o caro y sin embargo uno que parece funcionar
adecuadamente en pruebas reales.
Esta es una forma muy
compacta de la construcción, pero no hay necesidad de utilizar exactamente el
mismo ex para las bobinas, ni hay nada mágico sobre la longitud de nueve
pulgadas de la bobina L1, como podría ser fácilmente cualquier longitud
conveniente, decir dos pies o 0.5 metros, o lo que sea. Lo importante es hacer
que la longitud de alambre L2 exactamente cuatro veces la longitud, el corte de
las longitudes de precisión. Es una práctica común para que coincida con el
peso de cobre en cada bobina y por lo que el cable más corto es generalmente
dos veces el diámetro del alambre más largo.
El circuito
anteriormente, produce una salida eléctrica en frío de alto voltaje y alta
frecuencia. La tensión no será la misma que la tensión del transformador de
neón, ni es la frecuencia de la misma tampoco. Las dos bobinas resonar en su
propia frecuencia natural, sin alterar por cualquier condensadores.
3. El siguiente paso es
conseguir que la alta tensión a un nivel más práctico, tal vez, como este:

Aquí, un transformador
de idéntica, la herida exactamente de la misma manera, se utiliza en sentido
inverso, para iniciar la secuencia de tensión de descenso. La relación de la
longitud del cable se mantiene para mantener los devanados del transformador
resonante entre sí.
Suponiendo que
estábamos para enrollar la bobina L2 de este segundo transformador en una sola
recta sinuoso y en vez de un solo devanado L1 bobina en el top de la misma, dos
o más devanados idénticos L1 se colocaron encima de él - ¿qué pasaría?:

Ahora, por un
comentario que parecer una herejía a las personas empapadas en el día actual
nivel (inadecuado) de la tecnología. El poder que fluye en estos
transformadores es electricidad fría que funciona de una manera totalmente
diferente a la electricidad caliente. El acoplamiento entre estas bobinas sería
inductivo si llevaban electricidad caliente y en ese caso, cualquier toma de
fuerza adicional de las bobinas L1 adicionales tendría que ser
"pagado" por el consumo de corriente adicional a través de la bobina
L2. Sin embargo, con la electricidad fría que estas bobinas están realizando
realmente, el acoplamiento entre las bobinas es magnético y no inductivo y que
da lugar a ningún aumento de la corriente L2, no importa cuántos bobina L1
despegues hay. Cualquier bobinas L1 adicionales serán impulsados de forma
gratuita. Sin embargo, la posición de las bobinas respecto a la otra tiene un
efecto sobre la puesta a punto, por lo que la bobina L1 debería estar en el
medio de la bobina L2, lo que significa que cualquier bobinas L1 adicionales
van a ser ligeramente fuera del punto de sintonización óptima.
4. De todos modos, siguiendo a través en una sola bobina L1, no es probable
que sea al menos otro transformador reductor necesario y, finalmente,
necesitamos conversión a electricidad caliente:

Probablemente la
conversión más fácil es por la alimentación de la energía en un condensador y
lo que es CC estándar. La frecuencia sigue siendo muy elevada, por lo que se
necesitan diodos de alta velocidad (como el 75-nanosegundo UF54008) aquí,
aunque el nivel de tensión es ahora lo suficientemente bajo como para ser
ningún problema. La salida de CC se puede utilizar para alimentar un inversor
de forma que el equipo de red estándar se puede utilizar. No es necesario usar
sólo una (caro) inversor de gran capacidad para alimentar todas las cargas
posibles, ya que es más barato tener varios inversores más pequeños, cada uno
de encender su propio conjunto de equipos. La mayoría del equipo se ejecutará
satisfactoriamente en inversores de onda cuadrada y que incluye una fuente de
alimentación para alimentar el circuito oscilador de entrada.
Tubería de PVC no es un
gran material al utilizar las señales de alto voltaje de alta frecuencia, y
tubería de PVC gris es una particularmente pobre bobina el material anterior.
El tubo de acrílico mucho más caro es excelente, pero si se utiliza el PVC, el
rendimiento será mejor si la tubería de PVC está recubierto con un barniz
aislante (o tenis de mesa disueltos en acetona como demostración en YouTube).
Sin embargo, hay
algunos otros factores que no se han mencionado. Por ejemplo, si la bobina L1
se enrolla directamente en la parte superior de la bobina L2, tendrá
aproximadamente el mismo diámetro y por lo tanto, siendo el alambre de cuatro
veces más largo, tendrá aproximadamente cuatro veces como muchas vueltas, dando
un paso hacia arriba o hacia relación -abajo de alrededor de 4: 1. Si, por otro
lado, los diámetros de bobina eran diferentes, la relación sería diferente que
las longitudes de alambre se fijan uno con respecto al otro. Si la bobina L2
eran la mitad del diámetro de la bobina L1, entonces la relación de vueltas
sería aproximadamente 8: 1 y en un tercer diámetro, 12: 1 y en un diámetro
trimestre 16: 1 lo que significa que un efecto mucho mayor podría ser tenido de
la misma longitud de cable mediante la reducción del diámetro de la bobina L2.
Sin embargo, el efecto magnético producido por una bobina está relacionada con
el área de la sección transversal de la bobina y así un diámetro pequeño no es
necesariamente en gran ventaja. Además, la longitud del cable de la bobina L1 y
el número de vueltas en el mismo, afecta a la resistencia de CC, y lo más
importante, la impedancia de CA que afecta a la cantidad de energía necesaria
para pulsar la bobina.
También se cree que
tienen el mismo peso de cobre en cada devanado da un mejor rendimiento, pero lo
que no se menciona a menudo es la opinión de que a mayor peso de cobre, mayor
será el efecto. Usted recordará que Joseph Newman (capítulo 11) utiliza grandes
cantidades de cable de cobre para producir efectos notables. Así, mientras que
9 pulgadas y 36 pulgadas de alambre trabajarán para L1 y L2, bien puede
mejorarse el rendimiento de mayores longitudes de cable y / o alambres más
gruesos.
Tampoco debemos olvidar
que Don Smith señaló que la tensión y la actual ley (fuera de fase y) en
direcciones opuestas a lo largo de la bobina L2, alejándose de la bobina L1:

Se ha sugerido que una potencia de salida mayor y
más eficaz se puede conseguir mediante la división de la bobina L2 debajo de la
posición de la bobina L1, enrollar la segunda parte de L2 en la dirección
opuesta, y apoyando la unión de los dos devanados L2. Don no lo considera
necesario para invertir la dirección de bobinado. El resultado es una L2
sinuoso que es dos veces más que antes y dispuestas como este:

Aquí, los diodos de alta tensión adicionales
permiten que el dos de devanados de fase que se conecta a través de uno al
otro.
Usted se dará cuenta de que este acuerdo contempla
dos polos a tierra separados, los cuales deben ser las conexiones de alta
calidad, algo así como un tubo o varilla impulsado profundamente en la tierra
húmeda o alternativamente, una placa de metal o un objeto de metal similar de
superficie considerable, enterrado profundamente en la tierra húmeda, y un
alambre de cobre o de cobre gruesa trenza utiliza para realizar la conexión.
Estos puntos de puesta a tierra deben ser bastante lejos, digamos, diez metros.
Una única conexión de tierra no se puede utilizar como que haría efectiva
cortocircuito a través del transformador L1 / L2 que usted realmente no quiere
hacer.
Con esta disposición, el circuito de contorno se
convierte:

El cableado de tierra gruesa es útil porque a fin
de evitar el cable de tierra está incluido en la longitud del cable de
resonancia, se necesita un cambio repentino en la sección de cable:

Estas son sólo algunas ideas que podrían ser
considerados por algunos desarrolladores con experiencia que puede estar
pensando en la investigación de circuitos estilo Don Smith.
Para que os hagáis una idea de la capacidad de
algunos cables disponibles comercialmente al transportar la electricidad
caliente, esta mesa puede ayudar:

Se recomienda que el cable tenga una capacidad de
transporte de corriente al menos 20% mayor que la carga real esperada, de modo
que no caliente mucho cuando está en uso. Los diámetros de alambre no incluyen el
aislamiento, aunque para alambre sólido de cobre esmaltado, esto puede ser
ignorado.
Hay un video impresionante en http://youtu.be/Q3vr6qmOwLw, donde una configuración muy simple del estilo de las usadas por Don Smith, funcione inmediatamente y de forma exitosa. El circuito parece ser el siguiente:

Aquí, un módulo de transformador de neón simple
señal que no tiene conexión a tierra, se utiliza para producir un voltaje de
2,5 kV con una frecuencia de 25 kHz y una capacidad de corriente de salida
máxima de 12 mA. No hay dificultad en la construcción del equivalente a la
unidad de fuente de alimentación. Las dos salidas del módulo se convierten a CC
por una cadena de cuatro diodos 1N4007 en serie en cada una de las dos salidas
(cada cadena de estar dentro de un tubo de plástico para el aislamiento).
Esta salida se alimenta a través de una
resistencia de 22K opcional a través de una lámpara de neón a un condensador de
microondas horno que pasa a ser 874 nF con una tensión nominal de 2100 voltios.
Usted puede sentir que la tensión nominal del condensador es demasiado bajo
para la tensión de salida del módulo de señal de neón, pero el neón tiene un
voltaje llamativo de sólo 90 voltios y por lo que el condensador no se va a
alcanzar la tensión de salida de la fuente de alimentación . Las resistencias
son exclusivamente para extender la vida de los neones como el gas dentro del
tubo consigue una sacudida considerable en el primer nanosegundo después de
encenderlo. Es poco probable que la omisión de esas resistencias tendría ningún
efecto significativo, pero luego, su inclusión es una cuestión trivial. El
segundo neón alimenta el primario del transformador resonante que sólo se
muestra en esquema nocional en el diagrama anterior como el desarrollador
sugiere que los actos primarios como un transmisor y que cualquier número de
bobinas de recepción se puede utilizar como secundarios individuales al ser
sintonizado a la frecuencia exacta de esa primaria resonando.

En el video que muestra este arreglo, el
desarrollador demuestra el campo fluctuante, de alta frecuencia que se extiende
por unos cuatro pies (1,2 m) alrededor de la bobina. También comenta que los
neones individuales en su arreglo podrían ser reemplazados cada dos neones en
serie. En la prueba que me encontré, me di cuenta de que necesitaba dos neones
en serie por delante del condensador con el fin de obtener la iluminación
continua de las luces de neón de salida. Además, uno de los diodos necesarios
para ser invertidos de manera que se enfrentó a la entrada y una distancia de
ella. No importaba que el diodo se revirtió ya que ambas configuraciones
trabajaron. Una vez más, tenga en cuenta que esta presentación es para fines
informativos solamente y NO ES una recomendación
de que en realidad se debe construir uno de estos dispositivos. Quiero subrayar
una vez más que se trata de un dispositivo de alta tensión hace aún más
peligroso por la inclusión de un condensador, y es bastante capaz de matar a
usted, así que, no construir uno. El promotor indica que se trata de una
aplicación de la sección "transmisor" de transmisor /
diseño-múltiples receptores de Don se muestra a continuación. Sin embargo,
antes de ver que el diseño, hay una pregunta que hace que una buena parte de la
discusión en los foros, a saber, si la toma central de la bobina secundaria L2
está conectado a tierra, entonces se debe considerar que la tierra-longitud del
cable de conexión para ser parte de la longitud del cuarto de la bobina L1?
Para examinar esta posibilidad en profundidad, la siguiente cita de muy clara
explicación de Richard rápida de resonancia en su patente de Estados Unidos
7.973.296 del 5 de julio 2011 es muy útil.
Sin embargo, la respuesta simple es que para que haya resonancia exacta entre dos trozos de alambre (sea o no parte, o la totalidad de los tramos de alambre pasar a ser enrollado en una bobina), entonces una longitud tiene que ser exactamente cuatro veces más siempre que la otra, e idealmente, la mitad del diámetro también. En ambos extremos de las dos longitudes de cable, es necesario que haya un cambio repentino en el diámetro del alambre y Richard explica por qué es. Pero, dejando que la explicación detallada por ahora, podemos usar ese conocimiento para explicar el sistema simplificado anteriormente con más detalle. Aquí está el circuito de nuevo:

Un punto muy importante a tener en cuenta es que
no se requiere conexión a tierra y, a pesar de que, el rendimiento mostrado en
el vídeo es muy impresionante. Mientras que una conexión a tierra puede
alimentar poder sustancial en el circuito, sin necesidad de una para la parte
delantera es una ventaja enorme y potencialmente, se abre el camino para un
dispositivo verdaderamente portátil. Otro punto muy importante es la absoluta
simplicidad de la disposición en la que se utilizan componentes sólo baratas,
fácilmente disponibles (y no muchos de los que se necesitan). Las resistencias
para extender la vida de las bombillas de neón no se muestran, pero pueden ser
incluidos si se desea y el funcionamiento del circuito no se altera
significativamente por tener allí. Si se desea una tensión de chispa mayor,
entonces dos o más lámparas de neón se pueden utilizar en serie en las que
estos diagramas de circuitos muestran sólo uno.
Un punto a destacar es que el diodo inferior
aparece invertido en comparación con el diagrama anterior. Esto es porque la
fuente de alimentación que se muestra es cualquier fuente de alimentación
genérica que acciona una bobina de salida simple que no tiene una toma central.
El suministro de neón del diagrama anterior parece tener dos salidas
independientes que, presumiblemente, estar fuera de fase entre sí, ya que es
una práctica común para los módulos de los controladores de neón de signo. Si
lo desea, los dos diodos se muestran aquí podrían ser reemplazados por un
puente de diodos de cuatro de alto voltaje, diodos de alta velocidad.
Las longitudes de alambre de L1 y L2 se miden de
forma muy precisa desde donde el diámetro del alambre cambia de repente, como
se indica por el rojo líneas discontinuas. La longitud del cable L2 es
exactamente cuatro veces más largo que la longitud del hilo L1 y L2 el diámetro
del alambre es la mitad del diámetro del alambre L1.
¿Por cuánto tiempo es el cable L1? Bueno, ¿cuánto tiempo
te gustaría que fuera? Puede ser cualquier longitud que desee y el radio de la
bobina L1 puede ser lo que quieras que sea. Los expertos de la teoría dirán que
la bobina L1 debe resonar en la frecuencia de la fuente de alimentación de la
misma. Bueno, bueno para ellos, digo, así que por favor dime qué frecuencia que
es. No va a ser la frecuencia de la fuente de alimentación como que será
cambiado por al menos una de las bombillas de neón. Entonces, ¿qué frecuencia
producirá la bombilla de neón? Ni siquiera el fabricante podría decir que como
hay una gran variación entre las bombillas individuales que son supuestamente
idénticos.
En realidad, no importa en absoluto, porque la
bobina L1 (y la bobina L2 si se mide con precisión) tiene una frecuencia de resonancia
de todos los suyos y que vibrarán en esa frecuencia no importa lo que la
frecuencia de la alimentación pasa a ser . Una bobina resuena en mucho la misma
manera que suena una campana cuando es golpeado. No importa lo duro que golpea
la campana o la rapidez con que se le golpea - la campana sonará en su propia
frecuencia natural. Así que la bobina L1 resonará a su propia frecuencia
natural no importa lo que califica a los picos de voltaje llamativo que llegue,
y que la bobina L2 se ha construido cuidadosamente para tener exactamente la
misma frecuencia, también tendrá una respuesta en sincronización con la bobina
L1.
Esto significa que la longitud del alambre de la
bobina L1 es la elección del constructor, pero una vez que se elige que la
longitud determina la longitud del alambre de la bobina L2, ya que es
exactamente cuatro veces más largo, a menos que el constructor decide utilizar
una disposición que tiene la herida L2 en las direcciones hacia la derecha y
hacia la izquierda, en cuyo caso, cada medio de la bobina L2 será cuatro veces
la longitud del alambre en la bobina L1, como este:
Eso sí, hay otro factor a considerar al momento de
decidir cuál podría ser la longitud de alambre más conveniente para L1, y que
es el número de vueltas en la bobina L1. Cuanto mayor sea la relación entre las
vueltas en L1 y L2 en los giros, mayor es la elevación de tensión producida por
el transformador de L1 / L2, y recordar que la longitud de L2 es fija con
relación a la longitud de L1.
Por lo tanto, un posible circuito de estilo puede
ser:

Hay algunos puntos importantes para recordar. Una
de ellas es que debe haber un cambio repentino de diámetro del alambre en ambos
extremos de cada bobina L1 y en los extremos de cada bobina L2. Si no es así,
entonces la longitud del cable de conexión formará parte de la bobina y si hay
algún cambio en el diámetro, pero no mucho, entonces es cualquiera de adivinar
cuál será la longitud del hilo resonante para esa bobina. Puede haber muchos
transformadores de aislamiento de disminución gradual con núcleo de aire L1 /
L2 como se desee y éstos no tienen que ser especialmente grande o caro.
El constructor de este circuito lo puso juntos en
tan sólo unos minutos, el uso de componentes que estaban a mano, incluyendo el
condensador horno microondas marcado "C" en los diagramas anteriores.
Que el condensador está aislado en ambos lados por las vías de chispas de bulbo
de neón y por lo que no tendrá ningún efecto modificador sobre la frecuencia de
resonancia de cualquiera de las bobinas en este circuito. Pero es vital
entender que la energía almacenada en el condensador que puede, y será, que
mata al instante si usted fuera a tocarlo, así que permítanme subrayar una vez
más que esta información no es una recomendación que usted realmente construir
este circuito. La salida de CC del circuito está destinado a alimentar un
inversor estándar, que a su vez, sería perfectamente capaz de suministrar
energía a la alta tensión, el oscilador de alta frecuencia de entrada.
Un punto final es que como se ha demostrado en el vídeo, el campo magnético oscilante producido por la bobina L1 puede alimentar varias bobinas L2 idénticas, dando varias salidas de potencia adicionales para ningún aumento en la potencia de entrada, debido a que el acoplamiento es magnético y no inductiva como se mencionó anteriormente en este capítulo. Tenga en cuenta que ni la bobina L1 ni la bobina L2 tiene un condensador conectado a través de ella, por lo que la resonancia se debe únicamente a la longitud del cable y no se necesitan condensadores de alta tensión caros para conseguir cada par de bobinas L1 / L2 resonando juntos. Una disposición posible podría ser como este:

Cuando se muestran dos de las bobinas L2
conectados entre sí para dar una mayor potencia de salida. Esta disposición
utiliza componentes de bajo costo de baja tensión para las etapas de salida y
no hay límite obvio a la cantidad de potencia de salida que podría ser
proporcionada. A medida que el circuito funciona a alta frecuencia a lo largo,
no hay ninguna necesidad particular de bobinas L2 adicionales para ser colocado
físicamente dentro de la bobina L1:

Sin embargo, puede ser una ventaja a esta
disposición en la que la longitud del alambre de la bobina L1 es mayor, que a
su vez hace que la longitud del hilo de cada bobina L2 mayores (siendo cuatro
veces más tiempo). Esto da una mayor flexibilidad en la planificación de la
relación de vueltas del transformador L1 / L2. La tensión de paso a paso hacia
arriba o hacia abajo del transformador que pasa a ser en la relación de las
vueltas, a pesar del hecho de que este no es el acoplamiento inductivo y la
tecnología de transformador de modo norma no se aplica.
Al elegir el número de vueltas y diámetro de la
bobina de L1, que también da la longitud del cable L2. Con el fin de obtener la
tensión de salida deseada, si acaso, se necesita la relación de reducción de
ser una cantidad de 46: 1, entonces usted necesita 46 veces el número de L1 se
activa la bobina L2. Eso significa que usted sabe tanto la longitud del cable y
el número de vueltas querían en la bobina L2. Pero, ya que cada vez tendrá una
longitud de 3,14159 veces el diámetro, se sigue entonces que el diámetro
deseado es la longitud del hilo por turno, dividido por 3,14159. El alambre se
asienta en la parte superior del tubo sobre el que se enrolla y así tiene un
diámetro mayor por un grosor del alambre, por lo que el diámetro del tubo
calculado necesita ser reducido en un diámetro de alambre. Por ejemplo, si la
longitud por turno es de 162 mm y el diámetro de alambre de 0,8 mm, entonces el
diámetro del tubo sería 162 / 3,14159 a 0,8 que es 50,766 mm (poco más de dos
pulgadas).
Por lo tanto, si tenemos tensiones de onda
estacionaria resonantes en nuestra bobina L2 y un poco de esa señal pasa a
través del cable de conexión de un extremo de la bobina a la tierra, entonces,
¿qué va a pasar? La mejor manera de comprobarlo es probar la manera que un
prototipo se comporta, sin embargo, si se me permite expresar una opinión, me
permito sugerir que la señal que pasa por el cable de tierra será absorbida
cuando llega a la tierra y que voy a evitar que la señal que se refleja de
nuevo a la bobina L2 trastornar su operación.
Otro dispositivo de Don es particularmente
atractivo porque se necesita casi ningún hogar-construcción, todos los
componentes que está disponible comercialmente, y la potencia de salida es
adaptable a cualquier nivel que desea. Don particularmente le gusta este
circuito porque demuestra COP>1 tan bien y él comenta que el emisor central
Bobina de Tesla por sí es suficiente para alimentar una casa.

La bobina en el centro del tablero es un
transmisor de energía a partir de una bobina de Tesla construido a partir de
dos bobinas ya hechas Williamson y Barker. Tres más de la bobina interna también
se utilizan como receptores de energía. La bobina externa, de mayor diámetro
está un par de vueltas tomado de una de sus bobinas estándar y organizado de
tal manera que la longitud de cable de la bobina es un cuarto de la longitud de
cable de la bobina de la bobina interna ("L2").
Como antes, un módulo de controlador de alumbrado
de neón comercial se utiliza para alimentar el "L1" bobina exterior
con alto voltaje y alta frecuencia. Se debe entender que a medida que la
energía se extrae del medio ambiente local cada vez que la potencia de
accionamiento de los ciclos de la bobina del transmisor "L1", que la
potencia disponible es mucho mayor a frecuencias más altas. La potencia a la
frecuencia de red de menos de 100 Hz es mucho, mucho menor que la potencia
disponible a 35.000 Hz, por lo que si se enfrentan con la opción de comprar un
módulo de 25 kHz de alumbrado de neón controlador o un módulo de 35 kHz,
entonces el módulo 35 kHz es probable que tenga una mejor potencia de salida en
todos los niveles de tensión.

El "L1" bobina externa de corto se
mantiene en una posición elevada por la sección de la tubería de plástico
blanco con el fin de colocarlo correctamente en relación con el diámetro
"L2" más pequeño bobina secundaria.

Las bobinas secundarias se construyen utilizando
Barker y Williamson método normal de uso de tiras ranuradas para sostener el
estañado, hilo de cobre sólido se convierte en el lugar.

Como hay muy ligeras diferencias en las bobinas
fabricadas, cada uno se sintoniza en la frecuencia exacta transmisor y un neón
en miniatura se utiliza para mostrar cuando la sintonía se ha establecido
correctamente.
La característica principal de este dispositivo es
el hecho de que cualquier número de bobinas receptoras se puede colocar cerca
del transmisor y cada uno recibirá un pico eléctrico completo desde el entorno
local, sin alterar la potencia necesaria para impulsar el transmisor Tesla Coil
- más y más de salida sin aumentar la potencia de entrada - valores de COP
ilimitadas, todos los cuales son más de 1. La energía adicional fluye desde el
medio ambiente local donde hay cantidades casi ilimitadas de exceso de energía
y que la afluencia es causada por el campo magnético generado por vibración
rápida el centro de bobina de Tesla. Mientras que las bobinas adicionales
parecen sólo estar dispersos por el tablero base, este no es el caso. El video
de YouTube http://www.youtube.com/watch?v=TiNEHZRm4z4&feature=related
demuestra que la recogida de estas bobinas se ve afectado en un grado importante
por la distancia desde el campo magnético de la radiación. Esto tiene que ver
con la longitud de onda de la señal de conducción de la bobina de Tesla, por lo
que las bobinas se muestran arriba son todos posicionada exactamente a la misma
distancia de la bobina de Tesla. Usted todavía puede tener tantas bobinas de
captación como quieras, pero serán montadas en anillos alrededor de la bobina
de Tesla y las bobinas en cada anillo estará a la misma distancia de la bobina
de Tesla en el centro.
Cada una de las bobinas de captación hasta actúan
exactamente el mismo que el "L2" bobina secundaria de la bobina de
Tesla transmisor, cada uno de recoger el mismo nivel de potencia. Así como con
la bobina real "L2", cada uno necesitará una disposición de circuito
de salida como se ha descrito para el dispositivo anterior. Presumiblemente,
las salidas de bobina podrían estar conectados en paralelo para aumentar la
intensidad de corriente de salida, ya que todos están resonando a la misma
frecuencia y en fase con la otra. Cada uno tendrá su propio circuito de salida
separado con un transformador de aislamiento de disminución gradual y ajuste de
la frecuencia como antes. Si cualquier salida es ser una salida de corriente
continua rectificada, entonces no es necesario ajustar la frecuencia, sólo
diodos rectificadores y un condensador de filtrado tras el transformador
reductor que se necesita para ser un núcleo de aire o escribe el núcleo de
ferrita debido a la alta frecuencia. Condensadores de alta tensión son muy caros.
El sitio web muestra http://www.richieburnett.co.uk/parts.html distintas formas
de realizar sus propios condensadores de alta tensión y las ventajas y
desventajas de cada tipo.
Hay dos puntos prácticos que deben ser
mencionados. En primer lugar, como los dispositivos Don Smith se muestran
arriba formas de onda de frecuencia de radio de alimentación a las bobinas que
transmiten esas señales, puede ser necesario para encerrar el dispositivo en un
recipiente de metal puesto a tierra a fin de no transmitir señales de radio
ilegales. En segundo lugar, ya que puede ser difícil de obtener diodos de alta
corriente de alta tensión, pueden ser construidos a partir de varios diodos de
potencia más bajos. Para aumentar la capacidad de tensión, los diodos pueden ser
conectados en una cadena. Diodos adecuados están disponibles como artículos de
reparación de hornos de microondas. Estos suelen tener alrededor de 4.000
calificaciones voltios y pueden llevar a un buen nivel de corriente. Como habrá
diferencias de fabricación de menor importancia en los diodos, es una buena
práctica para conectar una resistencia de alto valor (en el rango de 1 a 10
megaohmio) a través de cada diodo como que asegura que hay una caída de
aproximadamente el mismo voltaje a través de cada uno de los diodos:
![]()
Si la calificación de diodo de estos diodos eran 4
amperios a 4000 voltios, entonces la cadena de cinco años podría manejar 4
amperios a 20.000 voltios. La capacidad de corriente se puede aumentar mediante
la conexión de dos o más cadenas en paralelo. La mayoría de los constructores
omiten las resistencias y descubren que parecen tener un desempeño
satisfactorio.
La impedancia de una bobina depende de su tamaño,
forma, el método de bobinado, el número de vueltas y material de núcleo. También
depende de la frecuencia de la tensión de CA que se aplica a ella. Si el núcleo
se compone de hierro o acero, capas generalmente finas de hierro que están
aislados uno del otro, entonces sólo pueden manejar frecuencias bajas. Usted
puede olvidarse de tratar de pasar 10.000 ciclos por segundo ("Hz") a
través de la bobina como el núcleo no puede cambiar su polos magnéticos
suficientemente rápido como para hacer frente a esa frecuencia. Un núcleo de
ese tipo está bien para los muy bajos de 50 Hz o 60 Hz frecuencias utilizadas
para la alimentación de la red, que se mantienen que baja de manera que los
motores eléctricos pueden usarlo.
Para frecuencias más altas, de ferrita puede ser
utilizado para un núcleo y es por eso que algunas radios portátiles utilizan
antenas de ferrita en forma de varilla, que son una barra de ferrita con una
bobina enrollada en él. Para frecuencias más altas (o eficiencias más altas) de
polvo de hierro encapsulados en resina epoxi se utiliza. Una alternativa es no
utilizar ningún material del núcleo y que normalmente se conoce como una bobina
de "núcleo de aire". Estos no están limitados en frecuencia por el
núcleo pero tienen una inductancia muy mucho menor para cualquier número dado
de vueltas. La eficiencia de la bobina se llama es "Q" (de
"Calidad") y el más alto es el factor Q, mejor. La resistencia del
cable reduce el factor Q.
Una bobina tiene inductancia y resistencia causada
por el alambre, y la capacitancia causada por las vueltas estar cerca uno del
otro. Sin embargo, una vez dicho esto, la inductancia es normalmente mucho más
grande que los otros dos componentes que tendemos a ignorar los otros dos. Algo
que puede no ser inmediatamente obvio es que la impedancia a la CA flujo de
corriente a través de la bobina depende de lo rápido que está cambiando el
voltaje. Si el voltaje CA aplicado a una bobina completa un ciclo cada diez
segundos, entonces la impedancia será mucho menor que si los ciclos de voltaje
de un millón de veces por segundo.
Si tuviera que adivinar, se podría pensar que la
impedancia aumentaría constantemente a medida que aumenta la frecuencia de AC.
En otras palabras, un tipo de gráfico de línea recta de cambio. Ese no es el
caso. Debido a una característica llamada resonancia, hay una frecuencia
particular a la que la impedancia de la bobina aumenta de forma masiva. Esto se
utiliza en el método de sintonización para los receptores de radio AM. En los
primeros días en que los componentes electrónicos eran difíciles de conseguir,
bobinas variables se utilizan a veces para la sintonización. Todavía tenemos
bobinas variables hoy, en general, para el manejo de grandes corrientes en
lugar de señales de radio, y los llamamos "reóstatos" y algunas se
ven como este:

Estos tienen una bobina de alambre enrollada
alrededor de un ex hueco y un control deslizante puede ser empujado a lo largo
de una barra, la conexión de la barra de desplazamiento para diferentes vientos
en la bobina en función de su posición a lo largo de la barra de soporte. Las
conexiones de los terminales se hacen entonces a la corredera y a un extremo de
la bobina. La posición de la corredera cambia efectivamente el número de
vueltas de alambre en la parte de la bobina que se está utilizando en el
circuito. Cambiar el número de vueltas en la bobina, cambia la frecuencia
resonante de esa bobina. Corriente AC considera que es muy, muy difícil de
conseguir a través de una bobina que tiene la misma frecuencia de resonancia
como la frecuencia de la corriente AC. Debido a esto, puede ser utilizado como
un sintonizador de señal de radio:

Si la frecuencia resonante de la bobina se cambia
para que coincida con la de una estación de radio local deslizando el contacto
a lo largo de la bobina, a continuación, que en particular frecuencia de la
señal de CA desde el transmisor de radio encuentra casi imposible conseguir a
través de la bobina y por lo que (y sólo él) desvía a través del diodo y los
auriculares a medida que fluye desde el cable de la antena a la toma de tierra
y de la estación de radio se escucha en los auriculares. Si hay otras señales
de radio bajando el cable de la antena, pues, porque no están en la frecuencia
de resonancia de la bobina, que fluyen libremente a través de la bobina y no
pasan por los auriculares.
Este sistema se cambió pronto cuando se dispusiera
de condensadores variables, ya que son más baratos de fabricar y son más
compactos. Así, en lugar de utilizar una bobina variable para sintonizar la
señal de radio, un condensador variable conectado a través de la bobina de
sintonía hizo el mismo trabajo:

Mientras que el diagrama de circuito anterior está
marcado como "condensador de sintonía" que en realidad es bastante
engañoso. Sí, se sintoniza el receptor de radio mediante el ajuste de la configuración
del condensador variable, pero, lo que el condensador está haciendo es alterar
la frecuencia resonante de la combinación bobina / condensador y es la
frecuencia resonante de la combinación que está haciendo exactamente el mismo
trabajo como la bobina variable de sí por sí mismo.
Esto llama la atención sobre dos hechos muy
importantes en relación con las combinaciones de bobina / condensador. Cuando
un condensador se coloca a través de una bobina "en paralelo" como se
muestra en este circuito receptor de radio, entonces la combinación tiene una
impedancia muy alta (resistencia al flujo de corriente AC) a la frecuencia
resonante. Pero si el condensador se coloca "en serie" con la bobina,
entonces no es casi cero impedancia a la frecuencia resonante de la combinación:
![]()
Esto puede parecer algo de lo cual la gente práctica no se preocuparía, después de todo, ¿a quién le importa? Sin embargo, es un punto muy práctico en efecto. Recuerde que Don Smith a menudo utiliza una versión anterior, de módulo controlador de alumbrado de neón estándar, como una forma fácil de conseguir una fuente de CA de alto voltaje y alta frecuencia, por lo general, de 6.000 voltios a 30.000 Hz. Luego, él alimenta con esa potencia una bobina de Tesla que es en sí, un amplificador de potencia. La disposición es la siguiente:

La gente que
tratan de replicar los diseños de Don tienden a decir "Tengo grandes
chispas en el Salto de Chispa hasta que conecto la bobina L1 y luego, ya no hay
más chispas. Este circuito no puede funcionar porque la resistencia de la
bobina es demasiado baja".
Si la
frecuencia resonante de la bobina L1 no coincide con la frecuencia producida
por el circuito de control de alumbrado de neón, entonces, la baja impedancia
de la bobina L1 a esa frecuencia, sin duda bajará la tensión de salida del
controlador de alumbrado de neón a un valor muy bajo. Pero si la bobina L1
tiene la misma frecuencia de resonancia que la producida por el circuito de
control de alumbrado, entonces L1 (o la combinación de L1 con el condensador
que se muestra a la derecha), tendrá una muy alta resistencia al flujo de
corriente alterna a través de ella, y funcionará bien con la circuito de
control de alumbrado de neón. Así que, si no hay chispas, significa que la
bobina (o el conjunto Bobina-Condensador) no está sintonizada apropiadamente.
Esto es lo mismo que sintonizar un receptor de radio. Sintonícelo mal y no
escuchará radio.
Esto está muy
bien demostrado en el video de YouTube http://www.youtube.com/watch?v=kQdcwDCBoNY
mediante el uso de dos simples bombillas de linterna, dos circuitos LC
(bobina-condensador) y un generador de señal con una potencia muy pequeña.
Cuando se aplica una frecuencia cualquiera, el circuito LC deja pasar la señal
y la bombilla se enciende. Cuando se llega a la frecuencia de resonancia, la
bombilla se apaga por que el circuito LC
aumenta su impedancia y bloquea casi totalmente la corriente que circula. Luego
se conecta un segundo circuito LC que recibe la potencia del primero a través
del acople magnético y enciende la bombilla de este segundo circuito. Aunque solo se muestra un circuito LC
secundario, es posible utilizar muchos circuitos resonantes acoplados a un solo
transmisor.
En una bobina (llamada elegantemente "inductor"
y marcada como "L"), la operación de la CA es muy diferente a la
operación de la CC. La bobina tiene una resistencia de CC que puede medirse
usando el rango de ohmios de un multímetro, pero esa resistencia no se aplica
cuando se utiliza CA ya que el flujo de corriente CA no está determinado por la
resistencia de corriente continua de la bobina. Debido a esto, se tiene que
usar un segundo término para determinar el paso de corriente por la bobina, y
el término elegido es "impedancia", que es la oposición que ofrece la
bobina al paso de CA a través de ella.
Las bobinas Barker & Williamson utilizados por
Don en sus construcciones, son caras. Hace algunos años, en un artículo
publicado en una edición de 1997 de "QST" (una revista para radioaficionados),
Robert H. Johns mostraba como se podían construir bobinas similares sin gran
dificultad. El equipo de investigación de la Corporación Electrodyne, ha
declarado que las bobinas estándar hechas con alambre de cobre sólido y estañado,
producen tres veces más campo magnético que el producido por las de cobre
no-estañado, así que quizás hay que
tener en cuenta eso al elegir el alambre para la construcción de estas bobinas.

Estas bobinas
hechas en casa tienen un excelente factor de calidad "Q" factores,
algunas incluso mejor que el de las bobinas de alambre de cobre estañado de
Barker & Williamson, porque la mayoría del flujo eléctrico se produce en la
superficie del alambre y el cobre es mejor conductor de electricidad que el
material plateado que se usa para estañar.
La inductancia
de una bobina aumenta cuanto más juntas están sus espiras. La capacitancia de
una bobina disminuye cuanto más separadas estén sus espiras. Un buen compromiso
es que el espacio entre espiras sea igual al grosor del alambre que se usa para
construir la bobina. Un método de construcción común usado por los constructores de bobinas de Tesla es colocar
un hilo de nylon para pescar, o un serpentín de plástico entre las espiras para
crear la separación. El método utilizado por el Sr. Johns permite un
espaciamiento uniforme sin utilizar ningún material adicional. La clave es usar
un molde plegable y enrollar la bobina sobre el espaciando las vueltas de forma
uniforme. Luego se fija la posición de las espiras con resina epoxi, y cuando
se ha endurecido, se remueve la resina sobrante y el molde.
El Sr. Johns tuvo dificultades para mantener la
epoxi en su lugar, pero cuando se mezcla con las microfibras del West System, se
le puede dar a la epoxi cualquier consistencia y puede ser aplicada como una
pasta rígida sin ninguna pérdida de sus propiedades. Se evita que la epoxi se pegue
al molde cilíndrico colocando de una tira de cinta aislante a cada lado de este.

I suggest that the plastic pipe used as the coil former is twice the length of the coil to be wound as that allows a good degree of flexing in the former when the coil is being removed. Before the two slots are cut in the plastic pipe, a wooden spreader piece is cut and its ends rounded so that it is a push-fit in the pipe. This spreader piece is used to hold the sides of the cut end exactly in position when the wire is being wrapped tightly around the pipe.
Two or more small holes are drilled in the pipe beside where the slots are to be cut. These holes are used to anchor the ends of the wire by passing them through the hole and bending them. Those ends have to be cut off before the finished coil is slid off the former, but they are very useful while the epoxy is being applied and hardening. The pipe slots are cut to a generous width, typically 10 mm or more.
The technique is then to wedge the wooden spreader piece in the slotted end of the pipe. Then anchor the end of the solid copper wire using the first of the drilled holes. The wire, which can be bare or insulated, is then wrapped tightly around the former for the required number of turns, and the other end of the wire secured in one of the other drilled holes. It is common practice to make the turns by rotating the former. When the winding is completed, the turns can be spaced out more evenly if necessary, and then a strip of epoxy paste applied all along one side of the coil. When that has hardened, (or immediately if the epoxy paste is stiff enough), the pipe is turned over and a second epoxy strip applied to the opposite side of the coil. A strip of paxolin board or strip-board can be made part of the epoxy strip. Alternatively, an L-shaped plastic mounting bracket or a plastic mounting bolt can be embedded in the epoxy ready for the coil installation later on.
When the epoxy has hardened, typically 24 hours later, the coil ends are snipped off, the spreader piece is tapped out with a dowel and the sides of the pipe pressed inwards to make it easy to slide the finished coil off the former. Larger diameter coils can be wound with small-diameter copper pipe.
The coil inductance can be calculated from:
Inductance in micro henrys L = d2n2 / (18d + 40l)
Where:
d is the coil diameter in inches measured from wire centre to wire centre
n is the number of turns in the coil
l is coil length in inches (1 inch = 25.4 mm)
Using this equation for working out the number of turns for a given inductance in micro henrys:
![]()
He aquí un intento de traducir un documento de un autor desconocido en un
foro ruso:
Instrucciones de Ensamblaje de un Generador de Energía Libre
Parte 1: Accesorios y materiales
1) Fuente de Poder de Alta tensión: 3000V, 100 a 200 Vatios.
Es
posible utilizar transformadores de lámparas de neón o cualquier diseño
similar, del tipo usado por los radio aficionados, con una alta eficiencia de
transformación y con la estabilización de una corriente deseada. Este diseño
muestra una posible implementación usando el transformador de fly-back de un
viejo televisor:

2)
Sistema resonante de alta frecuencia L1/L2
La
bobina L1 se enrolla con un cable de alta calidad para altavoz, que tenga un
área de sección transversal de
Las
espiras se enrollan en un tubo de desagüe de plástico de

La
bobina secundaria L2 del circuito resonante, se enrolla utilizando un alambre
sólido de cobre no aislado con un diámetro de 2 a 3 mm, preferiblemente con
baño de plata (con baño de estañado no es tan bueno). La bobina secundaria está
enrollada con un diámetro de aproximadamente 75 mm. Esta bobina tiene una
conexión en el centro. Ambas mitades de la bobina se enrollan en la misma
dirección que giran las agujas del reloj (hacia la derecha).
El
número aproximado de vueltas de las dos mitades juntas es de 16 a 18 vueltas.
La bobina debe mantener su forma sin necesidad de un molde interno. En esta
implementación se usan tres láminas de plexiglas para mantener la forma y
mejorar le rigidez de la bobina L2.
Estas
bobinas deben montarse de tal manera que se impida el flujo de la alta tensión
a alta frecuencia, hacia otras partes del circuito o componentes. Los extremos
de los cables de la bobina se sujetan en las regletas de terminales montadas en
la placa base, quedando así listos para la conexión a los otros componentes del
circuito. La relación de las longitudes de los cables en las bobinas L1 y L2 es
de 1 a 4, incluyendo la longitud de los cables de conexión que llegan a los
otros componentes del circuito. A continuación se muestra una posible
implementación de la bobina secundaria:

Se pueden
comprar cadenas de diodos de alta tensión, ya hechas, o se pueden hacer a partir
de diodos individuales. Las cadenas de diodos resultantes deberían tener una
capacidad de corriente de al menos 10 amperios y un voltaje reverso de 25 a 30
kV. Puede ser necesario poner varias cadenas de diodo en paralelo a fin de
cumplir con este requisito. Estos son algunos ejemplos de estas cadenas de
diodos de alta tensión:

Los condensadores de resonancia (para las bobinas L1, L2)
del circuito primario, debe poder soportar al menos 4 kV, la capacitancia del
mismo depende de la frecuencia del circuito secundario (el autor usó una
capacitancia de 28 nF para una frecuencia resonante de 600 kilohercios). El
condensador debe ser de alta calidad con mínimas pérdidas dieléctricas y buena
retención la carga eléctrica.
Por lo general se usa un banco de condensadores compuesto
por condensadores de baja potencia. Los condensadores rusos mas apropiados para
ser usados son el K78-2, K78-15, K78-25 o tipos similares, ya que estos tipos
pueden manejar fácilmente las corrientes pulsantes de descarga.
Para el circuito secundario es mejor usar cualquiera de
los condensadores antes mencionados, pero sus especificaciones de voltaje deben
ser de al menos 10 kV. Los condensadores rusos que mejor sirven para este
trabajo son los del tipo KVI-3, o aún mejor del tipo K15-y2.
La bobina secundaria más un condensador forman un
circuito resonante. El condensador usado en el circuito secundario depende de
la frecuencia resonante deseada (el autor usó uno del tipo KVI-3 de 2200 pF y
10 kV).
Aquí está una fotografía del condensador usado en el
circuito secundario:

Ser usó una bobina de choque (choke) para suavizar la alta frecuencia. Esta bobina está enrollada de forma que tenga
la menor capacitancia parasita posible entre sus espiras. El rango de
inductancia de esta bobina es 100 a 200 micro-Henry. El uso de un devanado
compuesto por varias partes, ayuda a mantener baja la capacitancia parásita de
la bobina. El diámetro del alambre usado está entre 1,5 y 2,0 mm, y será
alambre de cobre esmaltado. Aquí hay una fotografía de la bobina de choque
usada:

Estos
devanados se pueden hacer en un tubo de PVC con un diámetro de 50 a 75 mm.
Para
el banco de condensadores de almacenamiento que pueden utilizar condensadores
con una tensión nominal de 5 kV a 15 kV con una capacidad total de alrededor de
2 microfaradios. Los condensadores rusos rellenos de aceite incluyen los tipos
K41-1, K75-53 y otros. Este
es el diagrama de circuito del dispositivo:

Diodos
VD1, VD2 cadenas de alta tensión.
El
diodo VD5 tiene que ser un tipo ultra-rápido tasado en 1200 V, 30 -150
Amperios.
El
bobina L3 puede ser de cualquier clase, con núcleo de aire, hecha con alambre
de al menos 6 mm cuadrados de sección y con una inductancia de 1,5 milli-Henry.
El carga (un inversor o un motor de corriente
continua) requiere un voltaje de entrada bajo de 12 a 110 voltios (Salida de
bajo voltaje y alta potencia)
Al construir el
circuito y experimentar con él, asegúrese de tomar todas las Medidas de
Seguridad, ya que esta trabajando con tensiones superiores a los 1000 voltios.
En los enlaces siguientes se muestran videos de este dispositivo
energizando un esmeril de mano y un motor eléctrico:
http://www.youtube.com/watch?v=NC3EYDYAXDU #
http://www.youtube.com/watch?v=-sckdMe3HCw#
http://www.youtube.com/watch?v=OaqZ52dGMn4#
El módulo
"SISG" se muestra en el circuito anterior es un intento de construir
una versión de estado sólido de un hueco de chispa. En esta versión de los
diseños de Don Smith por "Dynatron 'que quería que el equivalente de un
diac o una dinistor. Un dinistor es básicamente un tiristor o SCR fuera de la
puerta. Se inicia la realización de muy de repente si el voltaje en los
terminales de las que excede su valor de diseño y que se detenga la realización
de si el voltaje cae a casi cero o el circuito se desconecta, forzando a la
corriente a ser cero. Diacs o dinistors son difíciles de encontrar para
voltajes muy altos más de 5000V, así Dynatron trató de construir circuitos
equivalentes que podría ser utilizado en alta tensión y cualquiera de esos
diseños es lo que se indica mediante la casilla "SISG".
Los
experimentadores rusos han avanzado mucho en sus investigaciones de este tipo
de circuito. He aquí un intento de traducción del documento original en ruso,
hecho según creo por "Davi" de Georgia, un miembro del Foro
Energético (Energetic Forum). Aunque creo que esta traducción es razonablemente
precisa, dado que solo domino el ingles, no tengo forma de saberlo con total
exactitud. La información proviene de una entrevista con Sergei acerca de su
implementación de un circuito semejante al de Tariel Kapanadze:

Empezamos a dibujar el diagrama esquemático

Utilizamos un
transformador y el punto de contacto con diodos de línea de exploración.

Añadimos
en una toma de tierra, un condensador, un descargador, y un segundo devanado
del transformador.

Observe
este rectángulo.
En el transformador que tenemos
un ciclo de tensión alterna. Si tenemos un dispositivo -control tensión de
umbral, tal como un descargador, a continuación, las cargas positivas se bombea
desde la conexión de tierra-tierra, a través de los diodos. Este flujo es
primero, a través de un un diodo, y luego a través del otro diodo. Eso
significa que el devanado secundario del transformador se acumulará una carga
positiva. En consecuencia, no es necesario un condensador cargado. En lugar de
la brecha de chispa que Don Smith utiliza, usted puede poner una pequeña bobina
de choque de 100-200 milihenrios o una resistencia de 100 ohmios y cualquiera
de ellos trabajan muy bien. La brecha habitual chispa funcionará perfectamente
bien pero no tiene una larga vida útil. Una resistencia se puede utilizar y
funcionará. Los tubos de vacío o de descarga de gas funcionan bien. La tensión aquí es de alrededor de 1.000 voltios.
Mientras que usted puede eliminar
la brecha de chispa, pero cuando usted tiene uno, el bombeo de los cargos de la
planta que funciona mejor - resulta ser algo así como un plug Avramenko
tenedor. El devanado del transformador actúa sobre la carga de suelo con la
ayuda de los voltajes desarrollados en ella.

El devanado del transformador de
resonancia secundaria, destruye el dipolo, según Don Smith. Según ha explicado,
la placa superior del condensador se desarrolla un alto voltaje de las
acusaciones formuladas a través de la conexión a tierra. Esta alta tensión se
descarga entonces a través de un diodo o un hueco de chispa.

Lo mismo ocurre aquí.
La carga de suelo entra en el
devanado secundario, y debido a su auto-capacitancia, se acumula un alto
voltaje en el bobinado. Los diodos utilizados en esta ubicación deben ser
diodos de alta calidad que tienen una baja capacitancia. Por ejemplo, Don Smith
utiliza diodos que tienen una capacidad de sólo 4 pF.

En este punto, el esquema de bombeo se
verá así, y creo que no va a cambiar.

La segunda bobina es exactamente la misma que la
primera bobina.
Para el
tiempo de retardo se utiliza una bobina de asfixia. El condensador es un tipo
electrolítico y usamos un hueco de chispa para alimentar un transformador de
aislamiento. Para asegurarse de que no habrá votaciones de picos de tensión no
deseados, conectamos un 6 kV entre 20 y 50 A de alta tensión del diodo en
paralelo con bobinado primario del transformador de aislamiento. Esto se puede
arreglar mediante la conexión de tres puentes de diodo 1000V juntos de esta
manera:


Tres puentes de diodos 1000V se pueden conectar
para soportar una tensión de 6 kV.

El
hueco de chispa se inserta en el cable positivo, la misma que la primera
separación de chispa.
¿Por qué es esto?

Aquí
tenemos una separación de electrones.
Recopilamos
los electrones, tanto desde el aire y desde fuera de la tierra. Empujamos los
electrones de carga negativa en la tierra, y por lo tanto una carga positiva se
acumula en nuestro condensador.

El cable de tierra lleva las cargas negativas en
la tierra (que es un depósito de expansión).
Si conecta el espacio de chispa
entre la tierra y el extremo superior del transformador que está cargado positivamente,
entonces el alambre bobinado primario se calentará y la eficiencia cae. Cuando
esté conectada correctamente el devanado primario se puede construir con los
alambres que son 0,5 -1,0 mm de diámetro y los cables permanecen frío.

Si
hemos logrado la división del par electrón-positrón, entonces si los pones en
un descargador, o en un transistor, o lo que sea, sólo la radiación sigue
siendo. Sin embargo, el hecho realmente importante es que el componente
magnético pasa a través del devanado primario del transformador, y se induce un
campo magnético fuerte en el devanado secundario.
Don
Smith dijo que si se conectan dos pilas al mismo tiempo y uno es decir, 30
voltios, y los otros 10 voltios.
El 30
voltios paso batería de 10 voltios, los electrones en cada batería resistir el
uno al otro. Parece que no lo hacen "como sí" si se puede describir
de esa manera.
Lo
mismo sucede en un transformador de corriente. La corriente que fluye en el
devanado secundario resiste el flujo de corriente en el devanado primario -
volver EMF. Pero la siguiente pregunta es relevante: en el instante cuando los
iones electrones negativos sólo empiezan a fluir en el devanado primario, la
interacción entre los devanados primario y secundario está ausente. Debido a
esto se obtiene una gran capacidad de carga en el devanado secundario,
prácticamente sin cambiar la inductancia del devanado primario, así, si se
cambia a continuación, que será no más de 10% a 20%.

En general, la impedancia de
carga mínima matará la inductancia provocando que la frecuencia de cambio. Pero
esto no sucede aquí, porque el flujo de corriente primaria es de otro tipo, que
no se ve afectada por la corriente que fluye en el devanado secundario. Es
decir, se mueve un pequeño número de electrones en el primario puede causar un
gran número de electrones a fluir en el devanado secundario. Cuanto más grueso
es el alambre de la secundaria, los electrones excitados más habrá allí y así,
mayor será el flujo de corriente en el secundario.
La masa de los electrones
secundarios no depende de la masa de los electrones primarios.
El diámetro del arrollamiento
secundario no está limitado. Por ejemplo, si utiliza un 110 mm. tubo para el
secundario, entonces la velocidad de los electrones que fluyen a través del
devanado será el mismo como si estuviera herida con un diámetro de alambre de
tan sólo 1 mm o 2 mm. Esto es porque el flujo de corriente no se vea
obstaculizada por la resistencia.
El campo magnético de la bobina
secundaria no interactúa con el campo magnético del arrollamiento primario. Sin
embargo, el campo magnético primario acelera el electrón que se mueve en el
devanado secundario, es decir, Esto produce una transformación asimétrica.

Naturalmente, aquí tenemos muy buen aislamiento.
En
términos generales, si hay un pequeño agujero en el aislamiento del cable,
entonces los electrones en forma de vapor en el devanado primario contendrá los
electrones en forma de vapor equivalentes en el devanado secundario, y que
apretar los pesados electrones en el devanado secundario. Por consiguiente,
debe haber una pantalla anti-estático en forma de una bobina, o papel de
aluminio que está conectado a tierra.

Así, todas las partículas con carga positiva debe ir en
el suelo
Si desea poner a tierra el transformador de salida, y
luego hacerlo a través de una resistencia conectada a un punto de tierra que es
al menos 10 metros de distancia desde el primer punto de conexión a tierra en
el circuito. El más separados los puntos de puesta a tierra son, mejor, por
ejemplo, de 10 a 30 metros de distancia. En principio, la longitud de la tierra
entre las dos conexiones a tierra puede ser considerada como un condensador de
aislamiento entre estos dos puntos en el circuito de.

La
gran pregunta es, por supuesto, lo que debería ser la relación entre el
bobinado primario
convierte
a las vueltas de bobinado secundarias - 1: 4? pero aquí es un buen consejo:
Medir
con precisión la longitud total del devanado secundario y hacer que la longitud
del hilo devanado primario exactamente un cuarto de la longitud de alambre del
devanado secundario. Los cables de conexión no se consideran en esta medición,
y es mejor para hacerlos más delgada. Si, por ejemplo, el alambre principal
tiene un área de sección transversal de 8 sq. Mm, a continuación, hacer que los
cables de conexión 2.5 sq. Mm. en el área de la sección transversal.

En
otras palabras, aquí están los terminales del devanado secundario.

Los aumentos de amplitud de
oscilación masivamente a la frecuencia resonante. Porqué es eso?

Debido al cambio en la impedancia en la unión entre los
dos cables, la conexión se hace
un nodo y esto se refleja en los anti-nodos, y la forma
de onda primaria sigue siendo una onda estacionaria.

Usted recordará que Don Smith utilizó un cable muy
grueso, pero lo redujo a convertirse en una conexión delgada en cada extremo.
Eso gruesa a fina cambio provoca una reflexión de la onda. El arrollamiento
secundario tiene resonancia LC pero el inductor depende de su longitud de onda
de resonancia.

De hecho, lo que tenemos aquí es un transformador
de Tesla, es decir, voltaje, corriente.
Usted
recordará que incluso en la caja verde de Tariel Kapanadze con él es serpentín
de espesor, que alambres finos van de la tubería para el hueco de la chispa. Cambio
de la impedancia del cable en la unión entre las dos áreas transversales
diferentes - Eso es todo! Eso aumenta la eficiencia, por lo que el espacio de
chispa funciona mejor.

Ideally,
you want to use a vacuum spark gap.
Desafortunadamente,
nuestra chispa no se dispersa en el devanado secundario. La chispa podría
desencadenarse en cualquier cosa, desde 50 kV hasta 100 kV. Tenemos una gran
'Q-factor "(bobina de factor de Calidad) en nuestro sinuoso! Sin embargo,
una vez se ha producido la chispa obtenemos un retroceso del movimiento actual
en la dirección inversa a través de la liquidación, aunque siempre es menos
potente que la acción a seguir. Este pulso inverso también pasa a través del
espacio de chispa, la derivación de manera efectiva, el circuito de entrada y
por lo tanto, la disminución de la salida Q del circuito. Se reduce la tensión
de salida del circuito. Las derivas de frecuencia resonante y por lo que la
potencia de salida de gotas. Aunque este efecto puede ser visto cuando se utiliza
un espacio de aire, es mucho mejor usar o bien un hueco de chispa de vacío o un
hueco de chispa que está encerrada en un tubo lleno de gas de hidrógeno.

Usted puede poner un diodo en serie con el
hueco de la chispa.
Si eso
se hace, entonces la corriente inversa no pasará. El diodo debe ser capaz de
soportar una tensión inversa de 10 a 20 kV. Pedimos un diodo de hidrógeno con
capacidad de manejo de potencia de 120 vatios. Es tiempo de activación es de
0,1 ms, tiempo de apagado es inferior a 1 ms. Conectamos el transformador de
corriente usando 24 ohm. El resultado fue un transformador de corriente pura de
la carga, y sin ninguna interferencia. Vamos a ver lo que hemos hecho en el
descargador. Echa un vistazo - la separación de encendido se ilumina con un
color azul.


En el osciloscopio, vemos oscilaciones
humedecidas.
Sólo
debe haber una oscilación, y el exceso restante. Los 5 vibraciones adicionales
de cortocircuito el arrollamiento secundario, y evitar que se funcionando
normalmente.

Ideally,
this should be simple.
Al hacer clic en el inductor -
condensador de recarga, pero la corriente no volver. (se detiene en cero)
Tensión de Imagen
"U".
Imagen actual "I".
Así es como debe ser un proceso
de este tipo, pero por lo demás - buffeting vibración. (se necesita un diodo de
hidrógeno)

Transformador de aislamiento.
El
transformador de aislamiento se compone de anillos. El devanado primario es de
2 capas bifilares heridas en una dirección. El devanado secundario es con
alambre que tiene 10 metros cuadrados. Mm. Superficie transversal, pero hoy
vamos a rebobinar. La pantalla está hecha de lámina - cinta Scotch ordinaria.
Pero la proyección no debe formar una vuelta completa, ya que no debe ser un
bucle cerrado. En este caso, se utiliza cinta adhesiva de aluminio. Ahora
cortocircuito el arrollamiento secundario, y permitir que el dispositivo.


Comprobamos con un
destornillador, y prácticamente no hay salida. Si agrega una barrera
anti-estática, es decir, la junta entre el primario y el escudo. Debe hacerse a
partir de un buen aislante, tal como PTFE. Es posible utilizar celofán que,
siendo como acrílico es también un muy buen aislante. I en cortocircuito
salidas, a fin de no estrépito. Si retira el puente, la bobina está estallando
sin carga como este. (Oímos un accidente, y después de 3 segundos que se
detenga) Sergey: Vamos a ver lo que era. (Bobina
de chispa azul perforó).

Eso es todo! De terminado el
experimento. Blown puente de diodos - Accidente. Accidentalmente cortocircuito
a tierra. Bueno, eso es todo. Es deseable, por supuesto, tener una buena
conexión a tierra. El dispositivo de
umbral de limitación es un estrangulador.

¿Qué puedo decir?
En principio, se puede utilizar
el módulo de CISC en lugar de un hueco de chispa. En este circuito, el tiempo
de subida muy fuerte de los frentes de conducción de impulsos de forma de onda
no es necesario, porque la inductancia es grande.

Si el
transformador tiene un núcleo de hierro, entonces la tasa de carga del
condensador será muy rápido, en, por ejemplo, 50 Hz. A ese ritmo bajo, se puede
omitir el descargador. En el diseño de Don Smith donde se utiliza un
controlador de tubo de neón, un diodo y hasta un diac se pueden utilizar en
lugar de un espacio de chispa. Se va a trabajar incluso con una conexión directa.

A continuación, los
impulsos son a menudo, pero con menor amplitud. Naturalmente, el mejor, cuando
se divide la frecuencia, es decir, para dos de los impulsos primaria carga el
condensador de la secundaria.

A continuación se resume la
cantidad de energía en los impulsos.

Aquí
se superponen uno sobre el otro, de una manera lineal.
C = Q/U y U =
Q/C
La
capacitancia es una constante. Si aumentamos el número de pulsos por segundo
para la carga, debido a que la bobina secundaria en la resonancia aumenta la
amplitud de los pulsos, se obtiene una mayor potencia. En 5 veces más potencia,
porque no son 5 veces el número de pulsos que se pasan al condensador de carga,
se obtiene una elevación al cuadrado de la energía de tensión. Esto supone un incremento de
energía de 25 veces.

El
aumento de la frecuencia de chispa por, digamos un factor de 10, le dará una
ganancia de energía de un factor de 100.

Bueno, te lo digo,
coloque un hueco de chispa aquí con el fin de: - interrumpe. De lo contrario,
el inductor no será capaz
de acelerar y pasar más pulsos en el condensador.

Señores!
Hazlo y probarlo.
Desde hace
muchos años, las personas que estudian temas relacionados con la ciencia en las
universidades de todo el mundo, han dicho las cosas que son, en el mejor, fuera
de fecha, y en el peor, deliberadamente incorrecta. Por ejemplo, un punto de
partida común para el análisis es asumir "un sistema cerrado" aunque
es perfectamente claro que no hay tal cosa en el planeta.
Con pocas
excepciones, los cálculos se basan generalmente en la suposición de que la
energía no fluye en un sistema o un dispositivo desde el exterior. La
influencia de la luz solar es uno de los pocos insumos externos reconocidos, y
su efecto en los paneles solares, produciendo precipitaciones, provocando
vientos, etc., están admitidas porque estas cosas son tan evidentes para la
persona promedio que no se puede negar ellos.
Estas mismas
personas luchan con uñas y dientes para persuadir a la gente que el
"espacio" está vacío y que no hay nada en ella. Esto es, por
supuesto, ridículo, ya que la luz pasa a través del espacio, al igual que las
ondas de radio, rayos X, partículas cósmicas, y otras cosas. Sin duda, es una
noción extraña de que los objetos distantes se afectan unos a otros si no hay
absolutamente nada entre ellos. Sería un buen truco para explicar el efecto de
la gravedad, si no hay absolutamente nada en el espacio entre ellos.
El asunto ha
dejado mucho que el reino de sentido común como el científico británico Harold
Aspden ha demostrado con las mediciones de laboratorio, la presencia de un
campo "desconocido", que actúa como un gas incompresible. Lo que su
trabajo ha demostrado ahora que se conoce como "el efecto Aspden" y
los resultados experimentales son los siguientes:
Harold estaba
ejecutando pruebas no relacionadas con este tema. Comenzó un motor eléctrico
que tenía una masa del rotor de 800 gramos y grabó el hecho que tomó una entrada
de energía de 300 julios para llevarlo hasta su velocidad de funcionamiento de
3.250 revoluciones por minuto cuando no estaba manejando la carga.
El rotor que
tiene una masa de 800 gramos y girando a esa velocidad, su energía cinética,
junto con la del motor de accionamiento no es más de 15 julios, contrastando
con la energía excesiva de 300 julios necesarios para conseguir que gira a esa
velocidad. Si el motor se deja correr durante cinco minutos o más, y luego se
apaga, se trata de descansar después de unos segundos. Pero, a continuación, el
motor se puede arrancar de nuevo (en la misma u opuesta dirección) y trajo al
día con sólo 30 julios con tal de que el lapso de tiempo entre detener y
reiniciar no es más que un minuto más o menos. Si hay un retraso de varios
minutos, entonces se necesita una entrada de energía de 300 julios para
conseguir el giro del rotor de nuevo.
Este no es un
fenómeno calentamiento transitorio. En todo momento, las cajas de cojinetes
siente fresco y cualquier calefacción en el motor del paseo implicaría un
aumento de la resistencia y una acumulación de poder a una condición de estado
estacionario superior. La evidencia experimental es que hay algo que no se ve,
que se pone en movimiento por el rotor de la máquina. Ese "algo"
tiene una densidad de masa eficaz 20 veces la del rotor, pero es algo que se
puede mover de forma independiente y tomar varios minutos para deteriorarse,
mientras que el motor se detiene en pocos segundos.
Dos máquinas de
diferente tamaño rotor y la composición revelan el fenómeno y las pruebas
indican variaciones con el tiempo del día y la brújula orientación del eje de
rotación. Una máquina, la incorporación de los imanes más débiles, mostró
evidencia de ganar fuerza magnéticamente durante las pruebas que se repitieron
durante un período de varios días. Esto muestra claramente que hay un medio
invisible que interactúa con los objetos y las acciones cotidianas.
Bob Boyce del
EE.UU. desarrolló un sistema de pulsación transformador toroidal que utiliza
para la electrólisis del agua. Su sistema es notable por el hecho de que él
consigue niveles de eficiencia más de 1,000% de la de Michael Faraday quien
estableció el estándar para la docencia universitaria en la materia. Una de las
explicaciones más probables para esta superando aparentemente masiva de máximos
resultados de salida de gas de Faraday posibles es que Faraday era
perfectamente correcta y el exceso de energía está fluyendo en el sistema de
Bob desde el exterior.
Hay evidencia
muy fuerte de que esto es así, porque cinco experimentadores independientes han
demostrado que esta energía fluya hacia el interior, utilizando transformador
toroidal de Bob para cargar las baterías. Un hombre que vive en Sudáfrica tiene
una hija joven que conduce su pequeño coche eléctrico alrededor de cada día. El
coche está propulsado por uno de 18 amperios-hora de batería de automóvil de
plomo-ácido. No hay nada inusual en esto ya que estos coches en miniatura están
disponibles en todo el mundo. Tampoco hay nada inusual que el padre del niño
cobra hasta la batería durante la noche, por lo que la niña puede conducir al
día siguiente. Lo que es más inusual es el hecho de que la carga de la batería
es alimentado por la batería que está siendo cargada. De acuerdo a la docencia
universitaria, la carga es un "sistema cerrado" y lo que no es
físicamente posible para que eso suceda.
La niña no sabe
esto y unidades alrededor feliz cada día. La batería en su coche se ha
recargado de esta manera más de treinta veces. Esto parece ser una evidencia
directa de la energía que fluye en el sistema de carga desde el exterior.
Lograr esto no es una cosa fácil de hacer, aparte del hecho de que las personas
más sensibles son muy reacios a que la salida de cualquier sistema realimentado
a la entrada de ese mismo sistema que es la retroalimentación positiva que
fácilmente conduce a fugitivo poder. La preferencia es tener una sola carga de
la batería de doce voltios a cuarenta y ocho baterías voltios separado porque
hacer que evita cualquier posibilidad de retroalimentación excesiva.
Al igual que
con la mayoría de los sistemas, los detalles prácticos son una característica
clave. En este caso, el toroide es un toroide hierro-polvo MicroMetals 6,5
pulgadas que es la precisión de cuerda manual con tres devanados separados de,
alambre de cobre chapado en plata maciza con una cubierta de teflón. Estos tres
devanados se pulsan a su vez con una señal de forma de onda compleja, creando
un campo magnético giratorio que no tiene partes móviles de alta velocidad. Un
campo magnético giratorio como que hace tiempo se sabe que producen exceso de
energía con un sistema RotoVerter construido a partir de dos motores de 3 pahse
off-the-shelf, que tiene una potencia de salida muy por encima de la entrada de
energía necesaria para hacer que se ejecute.
Esta entrada de
alimentación exterior es una característica del sistema de calefacción de
Rosemary Ainslie. Romero ha diseñado y probado en laboratorio un sistema de
calefacción que puede tener sustancialmente más potencia de salida, entonces la
potencia de entrada necesaria para ejecutarlo. Ella lo consigue mediante la
pulsación de un elemento de calefacción de una manera inusual usando este
circuito:

La mayoría de
los circuitos que se basan en la energía del medio local, por lo general
necesitan ser sintonizado para lograr una operación resonante. También se
comprueba que se necesita una forma de onda rica en armónicos para producir los
mejores resultados. Por ejemplo, Ronald Classen producido recientemente un
análisis del funcionamiento del toroide electrolizador pulsante de Bob Boyce.
Circuito de Bob genera tres formas de onda separadas, una a aproximadamente
42,8 kHz, y dos armónicos, uno a alrededor de 21,4 kHz y el otro a
aproximadamente 10,7 kHz. Examinó la operación con los dos armónicos
esclavizado exactamente a la frecuencia principal y luego con los dos armónicos
de libre funcionamiento y no del todo sincronizados, por lo que se generó un
patrón aleatorio de pulsos armónicos. Sorprendentemente, se encontró que la
disposición al azar dio ganancias mucho mayores que el circuito de
"precisión".
El mismo tipo
de situación se encuentra aquí en el circuito Ainslie como un ajuste muy
preciso de la "Puerta" resistencia preestablecido "R1"
tiene un efecto importante sobre el funcionamiento del circuito, mientras que
los otros dos, R4 y R7, se utilizan para ajustar la frecuencia de las legumbres
y la relación de "On" cuando en cuando "Off". Al igual que
casi todos los demás circuito que produce una potencia mayor que la potencia de
entrada necesaria para que pueda funcionar, es necesario un ajuste muy
cuidadoso. Las características de la "carga" resistencia
"R3" también son muy importantes. Con algunas configuraciones, no hay
exceso de energía generada, mientras que con otros hay un incremento muy
marcado en el poder y el aparato prototipo salidas de energía producidos en más
de cuatro veces la potencia de entrada.
Un rápido
vistazo al diagrama del circuito hace que parezca que no hay una conexión
significativa entre el chip temporizador NE555 y el transistor FET IRFPG50.
Este no es el caso ya que la disposición como se muestra genera transitorios
que modifican la oscilación del chip NE555. Esto es debido presumiblemente a la
naturaleza de la llamada de corriente por la puerta del FET o por medio de
corrientes inducidas causadas por la pulsación de la bobina de calentador de
carga inductiva "R3". Tendemos a pensar en transistores FET como
tener al lado de ninguna corriente que fluye hacia la puerta, pero el IRFPG50
FET podemos sacar hasta un masivo 6 amperios por la Puerta de origen del flujo
de corriente. El chip NE555N suministro de que la corriente de puerta (sin
resistencia limitadora de corriente entre los dos dispositivos) puede
suministrar un máximo de sólo 200 mA (o, posiblemente, 300 mA en un empuje) que
es sólo el 5% de la posible extracción de corriente por el FET. El circuito del chip es NE555N:
De esto se
desprende que el acoplamiento directo de la salida podría permitir una cierta
modificación de la forma de onda de temporización chip y si la salida de
corriente es muy por encima del valor de diseño, las resistencias internas que
impiden la destrucción del chip y la reducción del efecto de modo que sólo
modifica el funcionamiento del chip.
Esto también es
sugerido por el hecho de que el ajuste de la "cuadrícula" resistencia
variable, que controla el consumo de corriente NE555N, es el ajuste más crítico
del circuito. En apoyo de esta idea es el hecho de que la operación de chip requerido
no tiene lugar si el ajuste de resistencia "Grid" es demasiado alto o
demasiado bajo. Presumiblemente, el ajuste tiene que ser una cantidad exacta
para que se altera el funcionamiento de chip NE555N para que sea generar formas
de onda no previstas por los diseñadores de chips. La separación física de la
resistencia "Load" y la placa de circuito también puede ser
importante, ya que es casi seguro que un elemento de retroalimentación
magnética también.
Me encantaría
decirles que el circuito funciona de la manera que el diagrama del circuito
sugeriría, con los valores de tiempo y Mark-espacio controlado como se esperaba
por los 555 diseñadores de chips. Sin embargo, eso no es definitivamente el
caso. Si la batería de 24 V está desconectada, entonces la sección de viruta
NE555 del circuito realiza exactamente como se esperaba. Si la resistencia GATE
"R1" está en la posición correcta y la batería de 24 V se conecta
entonces, el resultado es que el funcionamiento normal del chip NE555 es
anulado y el circuito cambia inmediatamente en un tipo completamente diferente
de la operación. La relación marca-espacio es forzado en un entorno de
aproximadamente 55% y la tasa de pulsos se despide a más de 500 kHz (mucho más
allá de la capacidad del chip NE555, tantas fichas reales ni siquiera pueden
llegar a 45 kHz en la práctica) con esta forma de onda:
que se dará
cuenta de que ha de repetir pares de impulsos, ninguno de los cuales es una
onda cuadrada. El circuito global claramente no está funcionando como un chip circuito
NE555 por más tiempo pero está oscilando de una manera inesperada. Esta alta
pulsante de radio-frecuencia produce ondas electromagnéticas que irradian hacia
fuera de la resistencia de carga, un efecto que se ve en un aparato de
televisión cercano. Esto no es realmente sorprendente, ya que el circuito
realmente debería presentarse como este:
Esto es porque
el 10 ohm "resistencia R3" es en realidad una bobina de alambre. La
especificación para este componente muestra que tiene una longitud de 150 mm,
un diámetro de 32 mm y es una bobina de núcleo de aire, enrolla con 48 vueltas
de alambre de resistencia con una separación de 1 mm entre cada girar. La falta
de un núcleo, permite que la bobina oscile a esta alta frecuencia, y cualquier
bobina impulsado a esa frecuencia irradia ondas de radio.
Es casi seguro
que estas ondas electromagnéticas están induciendo tensiones en el cableado que
rodea el chip circuito NE555, causando que se ejecute violentamente fuera de su
diseño. Las resistencias de ajuste de alambre enrollado son pequeñas bobinas
que tienen el potencial para captar ondas transmitidas. Este mecanismo de
captación está fuertemente apoyada por el hecho de que sólo un chip NE555N
funcionará de esta manera y otras tres marcas de 555 fichas que se ensayaron,
no logró producir esta acción fuera de control. La frecuencia más alta fuera de
control es importante para lograr la ganancia de potencia. Don Smith afirma que
la potencia extra está dibujado en un circuito es proporcional al cuadrado de la
frecuencia de pulsación. Si esto es correcto, entonces mover el pulso hasta más
de 500.000 por segundo tendrá un efecto importante de energía y explicar por
qué el ajuste del circuito en este modo de alta velocidad es importante.
El método
práctico de sintonizar el circuito en su modo no simétrico,-ganar poder
auto-oscilante es mediante el control de la tensión de la batería de 24V
"V1". Cuando el circuito está fuera de tono, el voltaje de la batería
se bajó bastante notable. Cuando el circuito está sintonizado correctamente,
hay un ligero aumento en el voltaje de la batería. Si el circuito se ha
construido como se describe, mediante un chip temporizador NE555N y una bobina
de carga alta inductancia "resistencia", a continuación, ajuste el circuito
se realiza de la siguiente manera: Conecte un voltímetro digital a través de la
fuente de alimentación de 24 voltios y anote la lectura exacta. Ajuste
"ON" resistencia preestablecido a su valor mínimo de cero ohmios.
Ajuste el "OFF" resistencia preestablecido a su valor máximo de 10K
ohmios. Estas resistencias, se suele dejar en estos entornos de todo.
La resistencia
de "GATE" se ajusta ahora con mucho cuidado, observando la lectura
del voltímetro. Como el circuito llega a su mejor adaptación posible, la tensión
de la batería se elevará. Escoja el ajuste de la resistencia que da la lectura
más alta de la batería. El aumento de la tensión de la batería es causada por
la entrada de energía externa. Algo de esto fluye a través de la
"LOAD" que causan efectos de calentamiento que puede ser 17 veces
mayor que normalmente se esperaría. Parte de la energía entrante fluye de
vuelta a la fuente de alimentación, y que el flujo disminuye el consumo de
corriente de la batería de 24V, que a su vez, permite que se muestre una
lectura de voltaje más alto. Este mecanismo es exactamente el mismo que el
descrito por Tom Beardon la hora de explicar el funcionamiento de los circuitos
de impulsos de carga de baterías de John Bedini - parte en la carga y parte de
nuevo en la fuente de alimentación.
Aunque no se
menciona en la lista de piezas, es muy importante para montar el transistor FET
en un disipador de calor como la corriente que fluye a través de él provoca que
se caliente. También es importante utilizar una junta de mica entre el FET y el
disipador de calor. Una junta de mica es una fina capa de mica que aísla
eléctricamente el FET del disipador de calor mientras que todavía actúa como un
muy buen conductor del calor FET al disipador de calor. Esto es necesario
porque la "fuga" pin de la FET está conectado eléctricamente a la
tira de montaje de metal de la FET y si el FET no está aislado del disipador de
calor, a continuación, los actos del disipador de calor como una antena de
radio y irradia un nivel embarazosamente grande de las ondas de radio. El
disipador de calor puede ser una simple hoja de aluminio, o puede ser un diseño
de aletas comercial de los cuales hay muchos entre los que elegir. A
disposición física sugerida para este circuito se da hacia el final de este
documento, y se puede utilizar si se encuentra inclinado de modo de hacer.
Este es un
circuito que clama por la replicación y la investigación por parte de ambos
experimentadores con y sin experiencia. No hay componentes caros en el circuito
y la circuitería difícilmente podría ser más sencillo de lo que es. Si este
circuito se puede escalar para funcionar como un calentador de hogar que
significaría que los costos de calefacción eléctricos podrían reducirse a una
pequeña fracción de lo que son en el momento actual. Ese tipo de reducción de
costos haría una gran diferencia a un gran número de personas, lo que hace que
este circuito muy interesante.
Un sitio web
que tiene una cantidad considerable de información interesante sobre este
diseño y la historia que lo rodea se puede encontrar en: http://www.free-energy.ws/rosemary-ainslie.html.
Los métodos
operativos que se utilizan en este tipo de circuitos se describen en
considerable detalle en una solicitud de patente (WO 99/38247) ha sido
presentada para este sistema. Leyendo esas descripciones puede ser útil, por lo
que aquí es un resumen de una parte de esa patente:
Patente:
WO 99/38247 22 de enero
1999 Inventor: Rosemary A.
Ainslie
APROVECHAR
UN EMF TRASERO
RESUMEN
Un método de
lograr una alta eficiencia del uso de energía que incluye el paso de corriente
a través de un inductor, haciendo que la corriente se interrumpe repetidamente,
generando así una fuerza contraelectromotriz en el inductor y después de ello,
el aprovechamiento de la fuerza contraelectromotriz así generada, para
suministrar energía a una energía recibir o dispositivo de procesamiento. La
frecuencia de las interrupciones debe ser de 40 Hz o más y es alcanzable
mediante la rectificación de la corriente. La invención se extiende a un
aparato para el aprovechamiento de tales EMF atrás y de generación de energía
significa que comprende un inductor y un interruptor de corriente conectado a
un dispositivo de recepción de energía.
CAMPO DE LA INVENCIÓN
La invención se
refiere a un método para el aprovechamiento de la espalda EMF para su uso en la
alimentación de una carga o la reposición de una fuente de energía no renovable
y se extiende a los aparatos utilizados en la realización del método.
ANTECEDENTES DE LA INVENCIÓN
Circuitos de
conmutación convencionales son bien conocidos en la tecnología de conversión de
energía eléctrica, y los sistemas de modo de conmutación se han empleado para
mejorar la eficiencia de utilización de la energía. El concepto de absorción de
energía eléctrica liberada por el colapso de las emisiones de automóviles
electrónico a partir de un tubo de descarga se describe en US 5.449.989. Este
documento describe un circuito que incluye un puerto de salida conectado a un
sumidero de corriente que es capaz de absorber al menos una parte sustancial de
tales emisiones. El sumidero de corriente puede ser un motor eléctrico o una
batería secundaria.
El concepto de
aplicar un EMF atrás en el circuito eléctrico también se conoce. Por ejemplo,
en el documento US 5.521.476 se describe un circuito de control para un motor
de accionamiento de disco, en el que una copia de circuitos de bloqueo de EMF
se emplea para evitar la disipación de un EMF atrás a través de una fuente de
alimentación. Por el contrario, la publicación WO 9613892 describe el uso de
una parte posterior EMF para desencadenar una respuesta en un sistema de
control para un sistema mecánico, de modo que se generan impulsos de activación
para llevar a cabo un movimiento de desplazamiento deseado.
En la presente
invención, para lograr la eficiencia de alta energía, mayor que la unidad en
relación con un circuito de prueba convencional, un EMF posterior que se genera
en un inductor, se aprovecha con el fin de devolver la energía asociada con la
EMF, a una fuente de energía no renovable que es el suministro de un circuito
de este tipo, o a una carga incluidos en el mismo circuito primario como fuente
de energía. Se prevé que una amplia gama de fuentes de alimentación eléctrica
será obtener beneficios de la invención descrita a continuación.
Un primer
aspecto de la invención es un método para el aprovechamiento de la espalda EMF
en un circuito eléctrico con el fin de aumentar la eficiencia del uso de
energía de 90% o más, (en comparación con un circuito de calibración v Potencia
Resistencia-temperatura). Esto se hace mediante la disposición del circuito de
manera que contiene un inductor y un dispositivo de recepción de energía
configurado de modo que la corriente que fluye a través del inductor genera una
fuerza contraelectromotriz cuya energía se utiliza para proporcionar tanto
energía adicional para el propio circuito, y la parte posterior EMF energía
para el dispositivo de recepción de energía.
En una forma
preferida del método, el EMF de nuevo se genera al interrumpir el flujo de
corriente a través del inductor, idealmente, interrumpiendo y restaurar el
flujo de corriente en varias ocasiones y la rectificación de la corriente. La
tasa de interrupciones debe ser al menos 40 veces por segundo y preferiblemente
50 o más veces por segundo. El ciclo de trabajo de la interrupción debe ser de
al menos el 50% e idealmente ser del 75%. Es decir, el flujo de corriente a
través del inductor es "On" para 50% a 95% del tiempo y
"Off" de 50% a 5% del tiempo.
En una forma
preferida adicional de la invención, un EMF se genera de nuevo que es lo
suficientemente grande como para causar la eficiencia energética comparativa
para ser por lo menos la unidad. Esto se puede lograr mediante el
establecimiento y el control de un valor adecuado para una variable
seleccionada a partir de uno o más de:
La frecuencia de las interrupciones de la
rectificador de onda;
El ciclo de trabajo;
El espesor del cableado en el circuito;
La eficiencia del núcleo inductor,
el valor que se
fija de acuerdo con las necesidades de funcionamiento de la aplicación deseada.
En otra forma
preferida de la invención, el dispositivo de recepción de energía es o bien una
carga que requiere energía, y / o un dispositivo de almacenamiento de energía,
idealmente una fuente renovable de cualquiera de CC o CA de energía eléctrica.
Idealmente, el método también incluye proporcionar al menos una carga inductiva
asociado con cada dispositivo de recepción. El inductor puede ser un
transformador u otro dispositivo inductivo adecuado.
Un segundo
aspecto de la invención es un método de restaurar la energía eléctrica a una
fuente, que se realiza proporcionando un circuito cerrado que contiene una
fuente de energía eléctrica que pasa corriente a través del inductor, la
creación de un campo magnético extruido alrededor del inductor, qué campo es
luego se derrumbó, creando un EMF posterior que se alimenta entonces a la
fuente con un factor de eficiencia de uso de energía de 1 o más en comparación
con una temperatura de la resistencia Versus circuito de calibración Potencia.
Esta
retroalimentación de la energía puede ser a una carga que requiere energía o a
un dispositivo de almacenamiento de energía.
En una forma
preferida adicional de la invención, el mecanismo de cambio de sesgo es un
rectificador de onda y el método de uso es para que la salida del rectificador
de onda interrumpir la corriente eléctrica.
Idealmente, el
inductor usado debe tener un núcleo sólido que es capaz de inducir un momento
magnético asociado con un campo magnético colapso.
El método
utilizado en esta invención incluye la selección de un valor para:
La frecuencia de las interrupciones de la
rectificador de onda;
El ciclo de trabajo;
El espesor del cableado en el circuito;
La eficiencia del núcleo inductor,
de manera que
la magnitud de la fuerza contraelectromotriz generada cuando el campo magnético
colapsa, está en un rango predeterminado que se adapte a los requisitos del
dispositivo de recepción de energía y su uso previsto.
En una forma
preferida de la invención, el inductor es un transformador con un devanado
primario de potencia lo suficientemente grande como para crear suficiente
tensión de la parte posterior EMF, para alimentar de nuevo en el circuito. Si
la alimentación de corriente del inductor es AC, entonces el interruptor de
corriente puede ser un diodo o un triac.
Un aspecto
adicional de la invención es un aparato que comprende un inductor que tiene un
núcleo adecuado para la generación de la espalda EMF colapso de los campos
magnéticos, y un circuito eléctrico que contiene ese inductor, una fuente de
energía renovable, y dispositivo de energía de recepción y medios para cambiar
orbital sesgo de un campo magnético creado en el uso y asociada con el
inductor, tanto ella como la fuente con frecuencia variable y la relación de
marca-espacio variable está configurado para operar en el inductor, y dispuesto
de manera que el campo magnético de la bobina se hace colapsar y ser restaurado
varias veces, generando así energía eléctrica, el circuito de ser capaz de
conducir la energía y proporcionar al dispositivo de recepción de energía.
BREVE DESCRIPCIÓN DE LOS DIBUJOS
Fig.1 ilustra
esquemáticamente, un circuito al que se puede aplicar la invención.
Fig2. ilustra
un generador eléctrico que puede usarse con esta invención.
Fig.3A ilustra
un circuito de control que se describe en el Ejemplo 1 a continuación, y la Fig.3B
ilustra un circuito de prueba, el rendimiento de la cual se compara con el
circuito mostrado en la Fig.3A.
Fig.4 ilustra
el circuito de prueba descrito en el Ejemplo
2 a continuación.
Fig.5 ilustra
el circuito mencionado en el Ejemplo 3
a continuación.
DESCRIPCIÓN DETALLADA DE LA
INVENCIÓN
Mediante la
conexión de un inductor en un circuito de carga y provocando de nuevo EMF que
se establecerá en el inductor, puede crearse una tensión de magnitud suficiente
para restaurar la energía a la fuente del circuito de potencia y así reducir su
tasa de agotamiento. No se sugiere que la carga consumiría menos energía, pero
que la energía adicional de la EMF de espalda puede ser suministrada a la carga
o la fuente de suministro de energía que carga.
El circuito se
puede suministrar ya sea con CC o alimentación de CA y mientras que el inductor
puede ser cualquier inductor adecuado, se prefiere el uso de un transformador.
Una alternativa es un devanado o un estrangulador, que contiene preferiblemente
un núcleo capaz de inducir un momento magnético asociado con un campo magnético
colapso - típicamente un núcleo de hierro, pero podría ser cualquier líquido
adecuado o medio gaseoso o su combinación con o sin sólidos adicionales.
Para generar FCEM,
la corriente que fluye a través del inductor tiene que ser interrumpido en
varias ocasiones que se puede hacer por cualquier medio adecuado. Un método
preferido es el uso de un helicóptero ciclo de trabajo variable. Si la
corriente es CA, a continuación, la interrupción puede ser causada por el uso
de un rectificador de onda tal como un diodo o un triac. Si la corriente es CC,
entonces la interrupción de la corriente se consigue mediante el uso de un
oscilador, MOSFET o un equivalente medio por el cual un campo magnético
fluctuante en el inductor puede ser creado.
El método de reciclaje de energía que
es la sustancia de esta invención tiene los siguientes pasos:
(1)
Configuración de un circuito que contiene un inductor que tiene un campo
magnético extruido y que está dispuesto de tal manera como para permitir que la
energía eléctrica que se pasa hacia y desde el inductor, y
(2)
Cambio de la sesgo orbital del campo magnético alrededor de la bobina, causando
el colapso del campo magnético y la creación de la espalda EMF actual.
Estos dos pasos
se repiten en sucesión rápida y cuando la corriente que fluye a través del
inductor se interrumpe, un circuito alternativo se proporciona con el fin de
dirigir la parte de atrás EMF actual hasta el destino deseado. Materiales de
núcleo inductor preferidos son hierro y otros materiales ferrosos.
El circuito no
tiene que ser complicado pero tiene que ser capaz de interrumpir o bien
invertir la corriente a través del inductor como ya se ha descrito. La
invención se describirá ahora con mayor detalle haciendo referencia a los
diagramas:
En la Fig.1, la onda diodo de rectificación 14 se coloca en serie con un inductor
primario 12, y actúa como un
interruptor de la corriente eléctrica suministrada al circuito. Si se aplica una onda sinusoidal o forma de
onda de onda cuadrada en el circuito a través de los puntos 16 y 18, una forma de onda CC pulsante
se crea en el bobinado del inductor 12.
La interrupción de cada ciclo de forma
de onda en el devanado inductor 12,
induce un campo magnético fluctuante en el núcleo de hierro 20 en el interior del inductor.
Se cree que la
parte posterior EMF provoca una forma de onda inversa en el devanado inductor 12, que es una onda sinusoidal completa
en el caso de una corriente alterna alimentado circuito, o una onda cuadrada
completa si el circuito es alimentado por pulsos de corriente continua. El inductor 12, puede estar conectado con una carga (no mostrado) en serie o en
paralelo en cualquiera de los puntos marcados 18.
Dependiendo de
la frecuencia de las interrupciones, el ciclo de trabajo, el espesor del
cableado y la eficiencia del núcleo, el voltaje a través del inductor 12 puede ser conducida a través de un
circuito cerrado para ser utilizado en la alimentación de la carga o devuelto a
la fuente de alimentación. Es deseable,
aunque no esencial, que la frecuencia de las interrupciones debe ser no menos
de 40 Hz a pesar de 500 Hz o superior es más apropiado para algunas
aplicaciones.
Un ejemplo de
un circuito cerrado adecuado el empleo de un sistema de este tipo es una
batería de alimentación de una lámpara. Un
transformador puede estar conectado en serie con la lámpara junto con un
chopper de corriente que tiene un ciclo de trabajo variable. La salida del transformador puede ser enrutado
a través de un diodo, una resistencia de alto valor y un condensador todos en
serie. Aquí, cuando el servicio de
helicóptero está encendido, la corriente fluye a través de la carga y el
transformador. Apertura y cierre repetidos del actual sistema-chopper provoca
la generación de corriente eléctrica en el secundario del transformador y que
la corriente se pasa de nuevo a la batería, superando el consumo de corriente.
Fig.2 muestra
otra variación del circuito en el bobinado primario 30, que tiene, por ejemplo, 220 vueltas alrededor de un núcleo
cilíndrico 32, hecho de un metal
ferroso tal como hierro o una aleación de hierro, se asocia con un devanado
secundario 34 de aproximadamente el
mismo número de vueltas. El devanado
secundario está arrollado alrededor del núcleo adyacente a, o en la parte
superior del arrollamiento primario 30,
produciendo un acoplamiento magnético entre los arrollamientos, reforzada por
el núcleo 32. La entrada del circuito 36 está conectado a una fuente de CA 38, típicamente un 50Hz 220V suministro de la red. La salida del circuito se toma del
arrollamiento secundario 40. Un diodo 42
está conectado en serie con el devanado primario 30, haciendo que la entrada de corriente alterna de onda completa
para convertirse en una entrada pulsante a ese devanado primario.
En cada medio
ciclo positivo en marcha, el devanado primario induce una corriente
correspondiente en el devanado secundario 34.
Sin embargo, cuando, debido al efecto de
bloqueo del diodo 42, el campo
magnético resultante de la corriente en el devanado primario 30 se colapsa, el resultante FCEM en el
devanado primario induce una forma de onda con pendiente negativa
correspondiente en el devanado secundario 34.
Por lo tanto la salida 40 de la devanado secundario es una
forma de onda de CA de onda completa.
Aunque esta
descripción es para un circuito con un inductor, es claro que los inductores
adicionales podrían ser utilizados para lograr aún mayores mejoras en el
rendimiento del sistema. Por ejemplo,
dos o más devanados primarios podrían ser conectados en paralelo en el que sólo
se muestra uno en la Fig.2 anterior,
cada uno proporciona una salida de corriente alterna de onda completa separada,
independiente. Alternativamente, más de
un devanado secundario se pueden colocar en el núcleo del transformador,
utilizando el acoplamiento magnético del núcleo.
Ejemplo 1: Se realizaron
dos pruebas en dos hilos enrollados, resistencias 10 vatios fabricados por
Philips. Las resistencias tienen áreas superficiales idénticos. El objeto de la prueba fue comparar la tasa de
consumo de corriente de una "temperatura de la resistencia Versus circuito
de calibración Potencia" estándar (el "control") se indica en la
Fig.3A:
a una prueba
usando un dispositivo de conmutación y un inductor como se indica en la Fig.3B. La misma batería se utilizó en ambas pruebas. La prueba de control mostrado en la Fig.3A, tenía un thermocoupled 68
ohmios resistencia 40 y una
resistencia de detección 42, colocado
en serie con los terminales de la batería 44.
Todas las mediciones se realizaron
después de la temperatura de la resistencia 42 había alcanzado su valor máximo de 95OC. La corriente
se midió como 196 mA y como el voltaje de la batería era 12,28 voltios que
representa un nivel de potencia de 2.406 vatios.
El circuito de
prueba se muestra en la Fig.3B,
tenía un transistor MOSFET de conmutación de circuitos 56 impulsado por una señal de onda cuadrada (se muestra en verde)
cuyas Mark / Space relación se ajustó hasta que la resistencia de carga 42 alcanzó su valor más alto de 93OC
y todas las medidas citadas eran hecho después de ese tiempo. La señal pulsante corría a 5 kHz con una
"A" tiempo de 22.87% y un tiempo de "Off" de 77,13% de las
veces. El flujo de corriente se midió
como 171,8 mA que representa una entrada de potencia de 2.109 vatios. La temperatura ambiente se mantuvo la misma
durante todo el período de prueba.
Teniendo en
cuenta un error de 5% en las mediciones, este resultado muestra una producción
de energía que es 8,6% mayor que la potencia de entrada, o COP = 1,086.
Ejemplo 2: Se llevaron a
cabo las siguientes pruebas para demostrar que depende de la configuración de
circuitos específicos, un inductor es capaz de mejorar la eficiencia energética
a niveles más allá de las capacidades estándar de una fuente de suministro de
energía eléctrica. Las pruebas también
indican que si una resistencia se coloca en serie con una fuente de
alimentación y un inductor como se muestra en el circuito de prueba, entonces
el análisis de potencia correcta de que la energía se puede calcular como la
tensión de la fuente de energía multiplicada por el amperaje (V x I ) y que I2R
ya no tiene como base de cálculo de la potencia y la potencia generada en este
sistema particular.
Con referencia
a la Fig.4, el circuito de prueba 60 comprendía un vatio 47 ohmios, 10, Philips resistencia de bobinado 62, colocado en serie con dos baterías
de 6 voltios, 64 y 66 conectados en
paralelo. Un inductor 68, fue colocado en serie con la
resistencia de carga 62. Un diodo polarizado positivamente 72, fue colocado en paralelo con el
inductor 68 y por encima de un
transistor MOSFET de canal n dispositivo de conmutación, 74. Este hilo fue entonces llevado de vuelta al positivo terminal
de las baterías. El voltaje de la
batería se midió a 6,12 voltios.
El ciclo de
trabajo se ajustó a una relación de Mark-espacial 50:50, dando tiempos iguales
para la condición On y la condición Off. La resistencia de carga alcanzó una temperatura
de 30OC y la temperatura ambiente de la habitación era 22OC.
Las formas de onda para el SR1 tres
resistencias de detección, SR2 y SR3
se muestran en la Fig.4 a
continuación el diagrama del circuito.
La forma de
onda de tensión en la resistencia de detección SR1 en serie con la resistencia de carga 62, es más o menos triangular, pero siguió a un aumento exponencial
y la caída durante los periodos de encendido y apagado de cada ciclo. La tensión no cayó por debajo de cero. El pico de voltaje positivo se midió como
0.006 voltios que corresponde a aproximadamente 0.169 vatios que es menos de lo
que cabría esperar de la temperatura de la resistencia de carga. Sería de esperar que se necesitarían 0.375
vatios para producir el 30OC medido de la resistencia de carga 62.
La forma de
onda de tensión en la resistencia de detección SR2 colocado en serie con la batería 1, marcado 64, era más o menos triangular en forma
con cierta curvatura exponencial como se muestra. El
consumo de corriente promedio de la batería se midió y se calculó que 0.025
amperios, que es un consumo de energía de 0.153 vatios.
La forma de
onda de tensión en la resistencia de detección SR3 colocado en serie con la batería 2, marcado 66, mostró una forma de onda con
cantidades equivalentes encima y por debajo del nivel de voltaje cero. El pico El voltaje era 0,0055 voltios y el
pico de tensión Off fue -0,0055 voltios (es decir, por debajo de cero voltios).
No hay alimentación estaba siendo
extraída de esta batería y, de hecho, la forma de las dos secciones de la forma
de onda indica que no era en realidad un ligero grado de carga en esta batería
aunque esto fue ignorado por ser demasiado pequeño como para ser significativo.
La conclusión
ineludible de estas pruebas es que para lograr calefacción idéntica de la
resistencia de carga, el circuito estándar requiere 0,0612 amperios, mientras
que el circuito de prueba requiere sólo 0.025 amperios. Esto significa que el
circuito pulsante es más de 100% más eficiente que el circuito convencional. Estas medidas representan un coeficiente de
rendimiento de 2,45 como la potencia de salida es de 2,45 veces la potencia de
entrada.
Estos dos
ejemplos muestran aquí no representan necesariamente valores optimizados y
mayores ganancias se pueden lograr mediante el uso de dos o más inductores, dos
o más fuentes de energía o de almacenamiento de energía y su sistema de
circuitos de conmutación, y otras medidas.
Ejemplo 3: Un conjunto de ensayos se llevó a cabo para
investigar la relación entre la potencia suministrada por la batería marcado
como 82 y la potencia disipada por
una resistencia R1 en el circuito de
la Fig.5.
Esto es para
probar la eficiencia de la conversión de energía como el ciclo de trabajo de la
Q1 interruptor de FET se ajusta. Este circuito incluye un inductor 84, que tiene igual bobinados primario
y secundario y un núcleo nominal de 350 VA. El circuito también contiene un diodo
polarizado positivamente 86 y otros
componentes mencionados a continuación. Las pruebas se realizaron con
"On" tiempos de 90%, 80%, 70%, 60% y 50% y los resultados se muestran
en esta tabla:
|
Ciclo de Servicio |
V1-3 Promedio |
Promedio Corriente |
V1-2 CC |
Batteria Energía |
V1-3 rms |
RMS Corriente |
V3-4 rms |
Carga Energía |
Pload / Pbatt |
|
% |
mV |
A |
V |
W |
mV |
A |
V |
W |
proporción |
|
90 |
69.5 |
1.390 |
12.57 |
17.46 |
102.5 |
2.05 |
10.02 |
20.54 |
1.176 |
|
80 |
38.2 |
0.764 |
12.64 |
9.657 |
73.1 |
1.462 |
7.58 |
11.08 |
1.148 |
|
70 |
20.9 |
0.418 |
12.69 |
5.304 |
51.1 |
1.022 |
5.36 |
5.478 |
1.033 |
|
60 |
7.9 |
0.158 |
12.73 |
2.011 |
34.1 |
0.682 |
3.19 |
2.176 |
1.082 |
|
50 |
1.2 |
0.024 |
12.76 |
0.306 |
15.9 |
0.318 |
0.94 |
0.299 |
0.976 |
**************************
La cosa
importante a observar a partir de estas figuras es la forma en que la relación
de la potencia de salida a la potencia de entrada (que es el coeficiente de
rendimiento o "COP"), que se muestra en la columna final, varía con
la relación de marca-espacio se muestra en la la primera columna. Por todo En proporciones de tiempo de más de
60% en este mismo circuito simple, la COP es mayor que 1, que jura la ciencia
convencional es "imposible" a pesar de que se demostró una y otra vez
por diferentes personas y diferentes estilos de aparato.
Técnicas de
Rosemary Ainslie mostrados aquí donde los pulsos de fuerza electromotriz se
aprovechada y utilizada para llevar a cabo funciones útiles, alcanzar valores
COP de 4 a 17 en las pruebas realizadas hasta la fecha.
Circuitos de
carga de baterías de fuerza electromotriz capturados de John Bedini se han
replicado con bancos de baterías de alta tensión que se pagan por una batería
de 12V y rendimiento COP = 11 resultados.
El diseño del
motor de impulso de Robert Adams, que utiliza los pulsos de fuerza
electromotriz y otras técnicas, alcanza cifras de la COP = 8 o superior,
dependiendo de la calidad de la construcción y la exactitud de los ajustes.
Thane C. Heins
demuestra en el vídeo http://www.youtube.com/watch?v=RbRPCt1-WwQ&feature=channel
un acuerdo transformador muy simple que
produce COP = 3.77 un resultado que se puede comprobar fácilmente por ti mismo.
Técnica
ordenada de Rosemary que produce este aumento de energía tiene toda la
apariencia de ser un método ajustado con mayor facilidad de la producción de
las conquistas de la Interruptor de Tesla que tiene que tener una carga
inductiva sustancial con el fin de obtener su COP> 1 rendimiento y que es
muy difícil de ajustar .
Cabe destacar
en este punto que es físicamente imposible sacar más energía de un circuito de
la energía que fluye en ese circuito. La
energía no puede ser destruida o creada y usted no puede tener más de 100% de
cualquier cosa, en cualquier lugar ya cualquier hora. Pero Romero Ainslie y otros han demostrado
circuitos muy claramente que cuidadosamente diseñados y operados
definitivamente poner más energía que el usuario pone en el circuito. No sé de ninguna manera de demostrar dónde
viene esa energía extra de, pero que sin duda viene de alguna parte, que fluye
en el circuito desde el exterior. Sin
embargo, no vamos a preocuparnos por tratar de descubrir la fuente de esta
energía adicional y, en cambio, sólo aprender a capturar y utilizarlo para
nuestro propio beneficio.
Por lo tanto,
vamos a recapitular sobre cómo los circuitos de Rosemary está configurado y
utilizado. El circuito básico inicial
que da una ganancia de energía es:
Aquí, una
bombilla de luz alimentados por la red tiene dos componentes conectados en su
circuito normal. El primer componente es un diodo "D" y el segundo un
transformador "T":
El diodo tiene
una muy baja resistencia al flujo de corriente en una dirección y una
resistencia muy alta al flujo de corriente en la otra dirección. No tendemos a
pensar en ello, pero los platos principales corrientes actuales que fluyen a
través de una bombilla de luz cambia su dirección de flujo de decenas de veces
por segundo - en realidad, sesenta veces por segundo en los EE.UU. y cincuenta
veces por segundo en la mayoría de otras partes del mundo .
Si ponemos un
diodo en el circuito como se muestra en el diagrama anterior, se pone en el
camino de cada segundo oleada de corriente a través de la bombilla. Esto hace
que el flujo de corriente para estar en una sola dirección y hay cincuenta o
sesenta lagunas por segundo en el flujo de corriente a través de la bombilla.
Este flujo de corriente pulsante pasa a través del transformador de la mano
izquierda de bobinado (se muestra en azul en el diagrama), llamado el
"primario" de bobinado, y que genera una tensión y flujo de corriente
en el otro devanado del transformador (mostrado en negro en el diagrama y
llamado el "secundario" devanado).
Las dos líneas
dibujadas entre los dos devanados indicar que el transformador tiene algún tipo
de núcleo magnético. Tener un núcleo en un transformador puede ser una
bendición muy variadas. Se trabaja muy bien si no hay material de núcleo -
generalmente llamado un transformador "de núcleo de aire". Ganancias
de energía en un circuito como este, aumentan con el aumento de la tensión y
más aún con el aumento de la frecuencia de pulsación (llamada la
"frecuencia" de la señal). Una bobina de núcleo de aire o del
transformador funcionan a frecuencias muy altas, limitados principalmente por
el diámetro del alambre. La mayoría de los transformadores de gran alcance se
suministran normalmente con un núcleo de hierro como que mejora su acoplamiento
magnético en las muy bajas tasas de pulsos utilizados con la red eléctrica. Ese
núcleo de hierro tiene un rendimiento de frecuencia muy limitada, ya que está
limitada por la rapidez con que el hierro puede alterar su dirección de
magnetización. Es poco probable que se podrían obtener buenos resultados
incluso a la baja frecuencia de un millar de pulsos por segundo ("1 kHz").
Como cada uno de estos pulsos se alimenta un pequeño paquete de energía extra
en el circuito, obviamente, que le gustaría tanto como sea posible por segundo,
por lo que el flujo de energía es muy grande. Usted se dará cuenta en la
patente de Rosemary, que menciona el aumento de la frecuencia del pulso a
quinientos por segundo para aumentar la ganancia de potencia.
Sin embargo,
eso no importa aquí como estamos usando una red eléctrica de alimentación que
se acaba arrastrando a lo largo de por lo bien bajo cien pulsaciones por
segundo con el fin de explicar la técnica en una forma simple. De todos modos,
la tensión generada en el devanado secundario del transformador es una forma de
onda de voltaje de onda completa al igual que la forma de onda de corriente originales
sin huecos en el mismo. Esta energía en el devanado secundario se podría
utilizar para una amplia gama de propósitos diferentes. El que se muestra aquí
es la carga de una batería o un banco de baterías dispuestas a trabajar en casi
cualquier tensión. Contrariamente a la creencia popular, el voltaje utilizado
para cargar una batería no es particularmente importante siempre y cuando sea
lo suficientemente alto, pero lo que es muy importante es el flujo de corriente
en la batería, y que necesita ser controlada cuidadosamente. Ed Gray demostró
que la carga con una alta tensión era un buen método perfectamente y que
utiliza un condensador para controlar el flujo de corriente en la batería.
Finalmente, renunció a hacer eso y utiliza un alternador de coche normal para
cargar la batería, ya que era difícil obtener el valor del condensador apenas a
la derecha para alcanzar la corriente deseada.
Romero utiliza
la misma técnica pero añade en una resistencia "R" para asegurarse de
que la corriente de carga nunca llega a ser excesiva. El diodo "D" convierte la tensión
alterna en el devanado del transformador de impulsos positivos, es decir,
pulsos donde el voltaje se eleva por encima de cero voltios y nunca cae por
debajo de cero voltios. Este es el tipo
de voltaje que necesitamos para alimentar al terminal positivo de una batería.
De paso,
mientras que el condensador "C" actúa como un dispositivo de
limitación de corriente, también puede actuar como un dispositivo de conversión
como energía adicional que fluye en el circuito desde el exterior puede ser de
un tipo algo diferente a la corriente eléctrica extraída de la red eléctrica, y
un condensador es un método bien probada de convertir la energía entrante en la
forma convencional más familiar.
Así, mirando en
el circuito de nuevo, la red se convierte en un 50% la relación de
marca-espacio flujo de corriente pulsante a través del devanado primario del
transformador de "T". Cuando que el flujo se corta de repente, hay un
flujo de entrada de energía en el devanado desde fuera del circuito, formando
lo que se llama un "EMF inversa" breve pulso de tensión en la
dirección opuesta. Esto llena los vacíos pulso en el devanado secundario,
dándole una forma de onda de onda completa a pesar del ser primario alimentado
sólo la mitad de esa forma de onda.
La potencia
secundaria tiene los pulsos negativos (por debajo de cero voltios) picadas
fuera por el diodo en el lado de la batería, dando una serie de impulsos
positivos a la misma frecuencia como la red eléctrica. El condensador
"C" y la resistencia "R" controlan la alimentación de
corriente a la batería y permita que se cargue a una velocidad adecuada.
Por lo tanto,
ese es el circuito básico - simple y elegante y muy eficaz en uso. Pero no se
detiene allí, ya que la idea básica se puede utilizar de varias otras maneras.
Por ejemplo, como este:
Este es el
mismo circuito, pero dos devanados primarios del transformador están conectados
a través de cada otra (llamada está cableada "en paralelo"). El funcionamiento es exactamente el mismo que
antes excepto que dos copias de la forma de onda de corriente son tomadas por
el acoplamiento magnético de los devanados del transformador. Cada una está "rectificado" en
impulsos positivos curso y se alimenta a la batería, la creación de una
corriente de carga más grande. Una versión alternativa de esto es:
En esta
variación, el transformador se enrolla con un dos bobinados primario y
secundario. El acoplamiento magnético del núcleo del transformador genera
copias de la forma de onda de corriente en los dos devanados secundarios. Cada
se rectifican y se alimenta de la batería como antes.
Si este
circuito se estaba construyendo utilizando transformadores off-the-shelf
estándar, podría ser más fácil de utilizar dos transformadores separados
conectados "en serie". Esto dependerá de la aplicación y los
bobinados de los transformadores de particulares que se utilizará.
Los diagramas
muestran hasta ahora tienen todos sugerido carga una o más baterías, pero esto
sólo ha sido para la conveniencia de presentar una aplicación sencilla. Como es
señalado por Rosemary, es perfectamente posible conducir alguna otra carga,
como un calentador o un motor usando estas fuentes adicionales conexiones de
despegue. Sin embargo, para nuestra descripción continua de las opciones de
circuito, nos quedaremos con la carga de la batería. Así, utilizando dos
transformadores estándar, el circuito podría ser como se muestra aquí:
Todos los
circuitos Ainslie mencionados hasta ahora han utilizado la red, pero queda muy
considerable para los circuitos y sistemas que no utilizan la red en absoluto.
Es cierto, se necesita una cierta cantidad de trabajos de construcción
electrónicos, pero los resultados pueden ser muy gratificante. Por ejemplo, en
lugar de cobrar un banco de baterías, es muy posible para cargar la batería que
está impulsando el propio circuito.
Ahora, antes de
empezar a decir que esto es una imposibilidad, por favor recuerde la niña y su
pequeña batería de coche eléctrico. Su padre encontró que si dejaba el circuito
de carga por mucho tiempo que necesitaba para poner una bombilla en forma de
carga con el fin de evitar el exceso de carga de la batería, y que la batería
(parece ser) lo que alimenta el proceso de carga. En todos estos sistemas, por
favor recuerde que la energía adicional fluye en el circuito del medio local,
por lo que la carga de una batería que está impulsando el circuito es
perfectamente posible. Por ejemplo, Robert Adams, de Nueva Zelanda se pasó
motor para una prueba de diez horas y el voltaje de la batería era exactamente
la misma después de la prueba, ya que estaba antes de que comenzara la prueba.
Si usted piensa que es espectacular, y luego considerar motor de auto-carga de
John Bedini. John corrió que sin parar en su taller durante más de tres años !!
Así que por favor no trates de decirme que este tipo de cosas es imposible
porque eso es lo que le han dicho. Auto-carga definitivamente se puede lograr
si usted sabe lo que está haciendo.
Aquí hay un
circuito de autoalimentación Ainslie:
En este caso,
el generador de señales, que es probablemente sólo un simple circuito
temporizador 555, produce un tren de pulsos con una relación marca-espacio de
más de 50% en el tiempo. Esa señal se utiliza para cambiar un transistor y
desconexión en rápida sucesión. El tipo de transistor deliberadamente no se
muestra ya que puede ser un transistor NPN de silicio, un tipo de transistor
FET, un par Darlington, o uno de esos nuevos dispositivos IGBT de fantasía. Sea
cual sea el tipo elegido, la lámpara se enciende y se apaga tan rápidamente que
se iluminará. La corriente fluctuante a través del transformador "T"
producirá un voltaje alterno en su devanado secundario y que pasará a través del
diodo, resistencia "R" y el condensador "C" para cargar la
batería a pesar del hecho de que la batería esté enchufado al circuito
generador de señales y la lámpara.
Obviamente,
todas las otras opciones y variaciones discutidas anteriormente en relación con
una versión alimentados por la red de la circuitería se aplicará igualmente
bien a una versión con batería. Si se ejecuta de una batería o un banco de
baterías y de alta tensión se quiere, a continuación, un inversor off-the-shelf
se puede utilizar para generar el alto voltaje que se utiliza para la
alimentación de red.
Si a usted le
gustaría probar el funcionamiento del circuito y el diseño en general, aquí es
un diseño stripboard que pueda utilizarse:
Las
resistencias preseleccionadas son unidades de alta potencia que buscan como
este:
Estos se
ajustan con un destornillador plano insertada en la ranura en el extremo del
eje, aunque podrían tener una perilla adjunto. Lleva diez vueltas completas del
eje para moverse a través de toda la gama de la resistencia. Si está ajustando
la relación marca-espacio y la proporción sube al girar el eje de la izquierda,
pero quiere que eso suceda cuando se gira el eje hacia la derecha, a
continuación, sólo cambio en los cables que van a los terminales externos de la
resistencia y que va a invertir el efecto cuando se gira el eje. Usted puede
pegar la base de la resistencia a la stripboard usando "Impacto"
Evostick o cualquier adhesivo similar y que se mantenga de forma segura, pero
todavía le permitirá a valorarlo fuera del tablero en una fecha posterior si
usted debe necesitar.
No hay
necesidad de usar las perillas ya que el circuito se estableció, ajustada para
el mejor rendimiento y luego a la izquierda sin tocar. El circuito se puede construir
utilizando stripboard como este:
La vista de
arriba es de la parte inferior del tablero a medida que muestra las tiras de
cobre que se ejecutan horizontalmente entre los agujeros. La banda de cobre es
muy delgada y puede romperse fácilmente usando la punta de una broca o,
alternativamente, un cuchillo de modelado. El espaciamiento de los agujeros
está dispuesta para que coincida con el espacio entre pines de circuitos
integrados estándar, tales como el chip temporizador NE555 utilizado en este
circuito. El único lugar en el que hay que romper en el diseño de las tiras de
arriba son entre los pines del chip NE555 y si no lo haces, entonces los cuatro
pares de pines sería cortocircuitados juntos, evitando que el chip funcione. Es
una buena idea usar una conexión de 8 pines IC soldado a la placa como que
impide cualquier daño por calor para el chip NE555N durante la soldadura, el IC
está enchufado después de la soldadura se haya enfriado. También tiene la
ventaja de que si el chip siempre se daña, entonces conectando otro en en es
una cosa muy fácil de hacer. Una vez completada la tabla, también es
probablemente vale la pena correr una capa de soldadura a lo largo de las tiras
de cobre que llevan algo de corriente, que es el más y menos tiras y la franja
entre el pin 3 del NE555N y el punto en el que la conexión con la resistencia
variable está hecho. Usted se dará cuenta de que la disposición de la tarjeta
incluye cuatro agujeros para tomar los pernos de montaje. Cuando éstos se
perforan, las tiras dependientes de la junta deben ser limpiado para asegurarse
de que no puedan producirse cortocircuitos cuando los tornillos están en su
lugar. El montaje a bordo es como este:
Supongamos que
queremos replicar y probar este circuito:
Tenemos que
recordar que esto es solo el esquema de un circuito práctico y que no muestra
los elementos normales y extras como interruptor de encendido / apagado y un
fusible o disyuntor que son esenciales para cualquier circuito que contiene una
batería de gran alcance. Por favor, recuerde que usted no puede ver el flujo de
corriente y si hay un cortocircuito accidental, la primera sepáis de que es
humo !! Eso tiende a ser costoso, especialmente si algunos de los componentes
son caros y / o difíciles de conseguir.
Si trabajamos
con el circuito pulsante Ainslie se indica al comienzo de este documento, a
continuación, una disposición física conveniente para experimentar podría ser:
El
"disipador de calor" que se muestra en el diagrama anterior, es sólo
un pedazo de aluminio doblada para elevar la sección central levemente y
permitir una buena circulación del aire y despacho a la tuerca de seguridad de
la FET. El FET está atornillado a esta placa con el fin de permitir que la
placa de aluminio para deja pasar el FET más fresco de lo que debería. La
lámpara sería un tipo de coche de 12V y mientras muchas personas simplemente se
sueldan directamente a la bombilla como se muestra aquí, no hay ninguna razón
por qué no se debe utilizar un casquillo de la bombilla. Tiendas de accesorios
de coches suelen tener bajo costo "luces de marcha atrás", que son
una caja pequeña de plástico, un casquillo de la bombilla, una bombilla y dos
pedazos de alambre ya conectados al portalámparas - muy conveniente, sobre todo
porque es muy fácil de cambiar a bombillas de diferentes calificaciones de las
diferentes pruebas y las propias bombillas son baratos.
Este
circuito es, por supuesto, el mismo que el circuito controlador para el
circuito del elemento calefactor. El cable de conexión verde se muestra en el
diagrama anterior se reemplaza con el 30-watt 0,25 ohmios resistencia y la
resistencia debe colocarse de manera que está en el aire, bien lejos de todo lo
demás, ya que puede calentarse durante el funcionamiento a pesar de su muy bajo
valor de resistencia.
Descargo de responsabilidad: Se debe entender que este
documento se presenta únicamente con fines informativos y no debe interpretarse
como una forma de alentar a construir o experimentar con este o cualquier otro
circuito. Las personas que han investigado, diseñados, construidos o que se
describen estos circuitos son de ninguna manera responsables por cualquier
pérdida o daño causado por sus acciones, si usted decide experimentar con este
o cualquier otro circuito. Si decide hacerlo, la responsabilidad de sus
acciones es responsabilidad exclusiva de usted solo. Este documento, en tanto
que se presenta de buena fe, no se garantiza que todos los intentos de
repeticiones de los circuitos descritos en ella definitivamente realizar de la misma
manera que los que fueron objeto de investigación durante las pruebas que
constituyen la base para esta descripción.
por Vladimir
Utkin u.v@bk.ru
PRIMER SECRETO
Todos los secretos de Tesla están basados en
REACCIÓN
ELECTROMAGNÉTICA
EXPLICACIÓN: Un sistema de energía ordinario
comprende un generador y el motor (vista común), y puede ser completado con una
reacción corriente eléctrica como mostrado aquí en el recorrido eléctrico (a)

Por si (a), el sistema una vez comenzó, reduzca la velocidad y se parará
debido a la fricción, resistencia etc. Nikola Tesla arregló un bucle de
realimentación para el campo electromagnético: caso (b), y él dijo:
REACCIÓN DE
CAMPAÑA ELECTROMAGNÉTICA DESTRUYE LA SIMETRÍA DE INTERACCIÓN
Este significa que una acción ya no tiene una reacción
igual y de enfrente
Por si (b), una vez comenzado, el sistema
acelere a pesar de la fricción, resistencia etcétera (a condición de que la
fase de la reacción electromagnética sea positiva y sea suficientemente
grande). Para un campo electromagnético para existir en un motor, debe haber un
poco de entrada de energía, y Tesla dijo:
GENERACIÓN DE ENERGÍA POR ESTO ES PROPIA
APLICACIÓN
PREGUNTA: ¿Cómo
puede usted producir la reacción de campaña electromagnética positiva?
Una RESPUESTA: Tél el ejemplo más simple y
conocido es el motor unipolar de Michael Faraday, como modificado por Nikola
Tesla:

(a)
(b)
Un motor
unipolar ordinario consiste en un disco magnetizado, y un voltaje aplicado
entre el eje y un punto en la circunferencia del disco como mostrado en (a)
encima. Pero un motor unipolar ordinario puede también consistir en un imán
externo y un disco metálico con un voltaje aplicado entre el eje y un punto
periférico en el disco como en (b) encima. El Tesla decidió modificar esta
versión del motor unipolar. Él cortó el disco metálico en secciones
helicoidales como mostrado aquí:

En este caso, el
consumo de productos corrientes un campo magnético adicional a lo largo del eje
del disco. Cuando los alambres corriente que llevan son inclinados en una
dirección, su campo magnético aumenta el campo magnético externo principal.
Cuando los alambres son inclinados en la otra dirección, su campo magnético
reduce el campo magnético externo principal. De este modo, el flujo corriente
puede aumentar o reducir el campo magnético externo del motor unipolar.
Amplificación no es
posible sin aplicar el poder
Si es posible arreglar un
bucle de realimentación de campo magnético para dispositivos mecánicos,
entonces es probablemente posible arreglarlo para dispositivos transistorizados
como bobinas y condensadores.
Los demás se separan de
este artículo son dedicados a dispositivos que usan bobinas y
condensadores. Todos los ejemplos en
este artículo sólo son queridos para ayudar a su entendimiento de los
principios implicados. El entendimiento
sería hecho más fácil si prestamos la atención a proteger ferromagnético del
segundo bobina en el transformador inventado por Nikola Tesla:

En este caso,
el escudo ferromagnético separa los primeros y segundos bobinas en el
transformador el uno del otro, y aquel escudo puede ser usado como el bucle de
realimentación de campo magnético. Este hecho será útil para entender la parte
final de este artículo.
Ahora venimos al primer secreto:
SECRETO 1
La fuente de alimentación en el dispositivo de energía libre
de Nikola
Tesla, el transformador de
amplificación, es a
RECORRIDO
de L-C AUTOIMPULSADO
EXPLICACIONES:

¿CÓMO
CONSEGUIMOS ESTE RESULTADO?
Una RESPUESTA:
Usted tiene que cobrar el
condensador usando el componente eléctrico del campo electromagnético del
inductor (usando el desplazamiento corriente de las ecuaciones de Maxwell).

EXPLICACIÓN
Cuando el campo eléctrico en el
condensador C decae, debido a la alimentación de la corriente eléctrica en un
inductor (no mostrado), el campo eléctrico externo generado por el inductor
trata de acusar este condensador del desplazamiento del inductor corriente.
Como consiguiente, el condensador dibuja la energía en del campo
electromagnético circundante, y el ciclo de subidas de voltaje del condensador
por el ciclo.
REALIZACIÓN A un condensador central es usada:

REALIZACIÓN B ningún
condensador es usado:

En este caso en vez de usar un
condensador, la capacitancia entre las dos secciones del inductor L proporciona
la capacitancia necesaria.
¿CÓMO COMIENZA USTED EL PROCESO?
En la realización A, usted
debe cobrar el condensador y unirlo al inductor para comenzar el proceso.
En la realización B,
usted debe usar una pulsación adicional "o dar una patada" al bobina,
que comienza el proceso proporcionando un pulso en el campo eléctrico o en el
campo magnético (mostrado más tarde).
¿CÓMO PARA USTED EL PROCESO?
El proceso de la energía de
bombeo puede seguir ininterrumpido durante un tiempo ilimitado y entonces la
pregunta se levanta; ¿cómo para usted el dispositivo si usted debería querer
a? Este puede ser hecho uniendo un hueco
de chispa a través del bobina L y el chispazo que resulta será suficiente para
parar el proceso.
EL PROCESO "QUE DA PATADAS"
CON UN CAMPO ELÉCTRICO
Use un bobina especial adicional
"que da patadas", que puede generar pulsos magnéticos poderosos
cortos, e instalar una amplificación bobina de Tesla a lo largo del vector
eléctrico del campo electromagnético de este bobina.

El campo eléctrico del pulso conductor
"o dando una patada" al bobina cobrará los condensadores de extensión
del inductor, y el proceso será comenzado. El uso palpita tan corto como
posible en el bobina "que da patadas", porque el desplazamiento
corriente depende de la velocidad de los cambios del campo magnético.
EL PROCESO "DE PULSACIÓN" CON
UN CAMPO MAGNÉTICO
No es posible "pulsar" el
proceso por el desplazamiento de la amplificación bobina de Tesla en el campo
magnético de cambio uniforme del bobina "que palpita", porque el
voltaje de salida durante los finales del Tesla que amplifica el bobina será
igual al cero en este caso. De este modo, usted debe usar un campo magnético no
uniforme. Para esto usted debe instalar un bobina "que palpita", no
en el centro de la amplificación bobina de Tesla, pero colocado lejos del
centro.

¿ES TODO QUE VERDADERO, Y ESTO ES LA MEJOR TÉCNICA
PARA USAR?
¡No,
no es! ¡El Nikola Tesla encontró más método sutil y más poderoso su bobina de
panque bi-filar!
EL BOBINA DE PANQUE BI-FILAR PUEDE
SER EL MEJOR MÉTODO
El voltaje entre vueltas adyacentes en
un bobina ordinario es muy bajo, y entonces su capacidad de generar energía
adicional no está bien. Por consiguiente, usted tiene que levantar el voltaje
entre vueltas adyacentes en un inductor.
Método: divida el
inductor en partes separadas, y coloque las vueltas de la primera parte en
medio las vueltas de la segunda parte, y luego una el final del primer bobina
al principio del segundo bobina. Cuando
usted hace esto, el voltaje entre vueltas adyacentes será el mismo como el
voltaje entre los finales del bobina entero !!!
Después el paso reajusta la posición
de los campos magnéticos y eléctricos en el camino necesario para aplicar la
energía de amplificación (como descrito encima). El método para hacer este es
el bobina de panque llano donde los campos magnéticos y eléctricos son
arreglados de exactamente el modo necesario para amplificar la energía.

Ahora, está claro por qué Tesla siempre decía que
su bobina de panque bi-filar era un bobina que amplifica energía !!!
COMENTARIO: para
el mejor cobro de la autocapacitancia natural del bobina, usted tiene que usar
pulsos eléctricos que son tan cortos tan posibles, porque el desplazamiento
corriente como mostrado en la ecuación de Maxwell, depende a un grado principal
de la velocidad del cambio del campo magnético.
LA CAPA DUAL BOBINA de BI-FILAR
CILÍNDRICO
En vez del
estándar bobina de bi-filar al lado cilíndrico, la cuerda de Bobina también
puede ser arreglada en dos capas separadas, un encima del otro:
REALIZACIONES
MODERNAS
de recorrido L-C autoimpulsado
EJEMPLO 1
La
utilización de un bi-filar bobina como el bobina primario
en un
transformador Tesla resonante
Donald Smith

Explicación: el bobina primario bi-filar es usado como la primaria
para la amplificación de energía, y es pulsado por el hueco de chispa.

EJEMPLO 2
Presentado por Mislavskij
Consiste de dos platos
condensador que encierran un corazón de anillo de ferrita con una herida de
bobina en ello:
EXPLICACIÓN
Cuando un condensador culpa
(o descarga), este "desplazamiento" el flujo corriente genera un
campo magnético en el vacío en una forma circular (las ecuaciones de Maxwell).
Si un bobina es la herida en una ferrita toroid colocado entre los platos del
condensador, entonces un voltaje es generado en las vueltas de aquel bobina:

También, si una
corriente alterna es aplicada a la herida de bobina en la ferrita toroid,
entonces el voltaje es generado en los platos condensador.
Si un inductor y un
condensador son combinados en un recorrido L-C, entonces hay dos casos dentro de
un recorrido tan L-C:
a) amplificación de energía y b)
destrucción de energía
La situación depende de como los bobinas y el condensador están
relacionados juntos

Generación de Energía
Destrucción de Energía
COMENTARIO: Si la dirección de
las vueltas en la herida de bobina en el corazón de ferrita es invertida,
entonces los alambres que unen el bobina a los platos condensador tienen que
ser cambiados también.
Los primeros
experimentos con un corazón de ferrita dentro de un condensador fueron hechos
en 1992 por Mislavskij (un alumno del 7o año de la escuela de Moscú), y
entonces es conocido como el transformador de Mislavskij.
TRANSFORMADOR DE PROTOTIPO: 
¿EL MISMO
ACERCAMIENTO?
Por Donald Smith
En este arreglo, el condensador
es cobrado por chispas y el desplazamiento poderoso corriente es producido. El transformador con el
corazón ferromagnético colecciona esta corriente.

COMENTARIO: Este diagrama esquemático es muy áspero, y careciendo en
detalles. Esto no funcionará correctamente sin la supresión de fuerza atrás
electromagnética de alguna clase (véase abajo).
SECRETO 1.1
Supresión trasera-EMF en una resonación bobina de Tesla
Versión 1
Los bobinas primarios y
secundarios, y la unión de tierra en este bobina de Tesla son arreglados en la
manera especial:

Explicación: La excitación (que
conduce) corriente y la carga corriente en un campo electromagnético, está el
perpendicular el uno al otro como mostrado aquí:

COMENTARIO: A fin de conseguir una ganancia de energía, la
frecuencia de excitación del bobina primario debe ser la frecuencia resonante
del bobina secundario.
COMENTARIO: Excitación con sólo una chispa sola es
posible.
COMENTARIO: En
la terminología de Sr. Tesla, este bombea gastos o canalización de precio, el
precio viene de la tierra (que es una fuente de energía).
DISTRIBUCIÓN DE VOLTAJE A TRAVÉS DEL BOBINA


EXPLICACIÓN: La tarea del recorrido oscilante es crear un campo
electromagnético local con un componente eléctrico grande. En la teoría, sólo sería necesario cobrar el
condensador de alta tensión sólo una vez y luego un recorrido lossless
mantendría las oscilaciones indefinidamente sin necesitar alguna otra entrada
de poder. En realidad, hay algunas
pérdidas y entonces un poco de entrada de poder adicional es necesaria.
ESTE ACTO DE
OSCILACIONES COMO "UN CEBO", ATRAYENDO AFLUENCIA DE PRECIO DEL
AMBIENTE LOCAL. Casi ninguna energía es necesaria a fin de
crear y mantener tal "cebo"...
El siguiente
paso debe moverse a este "cebo" a un lado del recorrido, cerca de la
fuente de los gastos que es la Tierra. En esta pequeña separación, la avería
ocurre y la capacitancia parásita inherente del recorrido será recargada al
instante con la energía que fluye en el recorrido desde fuera.
A los finales
del recorrido habrá una diferencia de voltaje, y así habrá oscilaciones falsas.
La dirección de este campo electromagnético es el perpendicular al campo
original "del cebo" y entonces esto no lo destruye. Este efecto es
debido a que el bobina consiste en dos mitades contrarias. Las oscilaciones
parásitas gradualmente mueren, y ellos no destruyen el campo "de
cebo".
El proceso es repetido chispa por la chispa para
cada chispa que ocurre. Por consiguiente, más a menudo chispea ocurren, mayor
la eficacia del proceso será. La energía en las experiencias "de
cebo" casi ninguna disipación, proporcionando una mucho mayor salida de
poder que el poder tenía que guardar el funcionamiento de dispositivo.
TESLA
SCHEMATICS
COMENTARIO: Donald
Smith llamó esta tecnología Ave en el alambre. La ave es segura en el alambre
hasta que una chispa ocurra.

COMENTARIO: Sr. Tesla llamado esta tecnología un
embudo de precio o el precio pisa repetidamente.
EL
PRINCIPIO EN EL CUAL LA TECNOLOGÍA ESTÁ BASADA
1. Este dispositivo de Energía libre genera una CA voltaje eléctrico en el
espacio ambiental ("cebo" para electrones),
2. Electrones que fluyen por la carga, fluya en del ambiente, atraído por
este "cebo" (bombeado en).
NI UN SOLO ELECTRÓN USADO PARA EXCITAR ESPACIO AMBIENTAL TIENE QUE FLUIR
POR LA CARGA

DISEÑO POSIBLE PARA LA
BOMBA DE PRECIO O EMBUDO DE PRECIO
COMENTARIO: Este está basado en schematics de Tesla

COMENTARIO: Primero,
usted tiene que arreglar una barrera de asesino de voltaje en un lado del
bobina de Tesla. Este debe crear un sistema de cobro "CIEGO" que no
puede "ver" el precio en el condensador (véase abajo para más detalle
contra "la ceguera").

COMENTARIOS: Condensador muy grande, ordinario medios tanta
capacitancia ordinaria como posible.
La eficacia depende de voltaje y frecuencia de bobina, y corriente en el
nodo.
La eficacia depende también de la frecuencia en la cual la chispa de
excitación ocurre.
Es muy similar a los dispositivos de Donald Smith.
REGENERACIÓN DE ENERGÍA POR
L/4 BOBINA
COMENTARIO: Este sistema está basado en la transmisión
de energía inalámbrica por la tierra

COMENTARIO: La energía irradiada al espacio
ambiental baja la eficacia de este proceso.
COMENTARIO: Los bobinas de Transmisor y Receptor
deben tener la misma frecuencia resonante.

COMENTARIO: Aquí está un arreglo alternativo posible:

COMENTARIO: Una hoja de metal puede ser usada en vez de un
alambre largo.
Los finales "FRÍOS"
"Y CALIENTES" de un Bobina de Tesla
por Donald Smith
COMENTARIO: Si el bobona de excitación L1
es colocado en el centro de bobina L2, entonces el Bobina deTesla tendrá un
final "frío" y un final "caliente". Un
hueco de chispa sólo puede estar relacionado con el final "caliente". Usted no puede conseguir una chispa buena si
el hueco de chispa está relacionado con el final "frío".

COMENTARIO: Este es muy importante para aplicaciones prácticas,
entonces leen el documento de profesor universitario Smith para más detalles.

COMENTARIO: Es fácil entienden los finales "Calientes"
"y Fríos", si un final del Bobina de Tesla es basado





Explicación:
En vez de una salida de
lado, dos salidas fueron usadas y se unieron al transformador disminución.
1. Entre chispas:
No hay ninguna corriente en
el transformador disminución y entonces los dos finales de L2 están en el mismo
voltaje.
2. Durante una chispa:
Los condensadores parásitos (no
mostrado) de L2 (es de arriba abajo partes) son descargados a la tierra, y
corriente es producido en el transformador disminución. Un final de L2 está en
el potencial de toma de tierra. Pero, el campo magnético de esta corriente en
L2 es el perpendicular al campo que resuena y tan no tiene ninguna influencia
en ello. A consecuencia de este, usted tiene el poder en la carga, pero la
resonancia no es destruida.
COMENTARIOS: En mi opinión,
estos schematics tienen errores en la sección de excitación. Encuentre aquellos
errores.
La excitación por una chispa sola es posible.
En la terminología de Sr. Tesla, este es una bomba de precio o 'embudo
de precio. Los gastos eléctricos vienen de la Tierra que es la fuente de la
energía.
Hay más
secretos en las partes siguientes.
SECRETO 1.1
Supresión de Inversa-EMF en un Bobina de Resonancia
Versión
2
Los bobinas primarios y
secundarios son colocados en un corazón de vara. Todos los bobinas son
arreglados en la manera especial. El bobina primario es colocado en medio del
corazón. El bobina secundario está en dos partes que son colocadas a los
finales de la vara. Todos los bobinas son la herida en la misma dirección.

Explicación:
Los campos electromagnéticos
producidos por el resonante (excitación) corriente y la carga corriente son el
perpendicular el uno al otro:

De este modo, aunque usted tenga el
poder en la carga, la resonancia no es destruida por aquel poder de salida.
Comentarios: La carga debe ser elegida para conseguir la cantidad máxima del poder que
fluye en ello. Muy bajo las cargas y las cargas muy altas ambas tendrán cerca
de la energía cero que fluye en ellos.
El bobina secundario desvía
el bobina primario, y entonces esto tiene una corriente corriente en ello aun
si ningunas cargas están relacionadas.
El bobina secundario puede
ser ajustado para la resonancia también.
El bobina puede tener un núcleo de aire, u otros materiales pueden ser
usados.
SECRETO 1.1
Supresión
de Inversa-EMF en un Bobina de Resonancia
Versión
3
(la utilización de
un alambre largo o un bobina bi-filar)
EXPLICACIÓN: Muchísimo parece a la Versión 1, pero aquí, los dos bobinas son combinados
en un bobina solo.

ES IMPOSIBLE!
(Sin
supresión inversa-EMF)
Por Don Smith

Sistema
de bobina múltiple para multiplicación de energía
COMENTARIO: Usted se decide como usted piensa que fue hecho.
Quizás los bobinas cortocircuito serán útiles
Lea las partes siguientes para descubrir más
secretos
OPCIONES MODERNAS?
Para supresión
inversa-EMF
Versión
3
Utilización de un bobina Bi-filar
Por Tariel Kapanadze



UTILIZACIÓN DE UN
BOBINA BI-FILAR
Por Timothy Trapp
COMENTARIO: Ver los sitios de Trapp para más detalles
CONFIGURACIÓN
CORAZÓN POSIBLE
Para supresión
inversa-EMF
TOROIDAL CORAZÓN

COMENTARIOS: Una bobina de excitación ordinaria se
enrolla todo el camino alrededor de un corazón toroidal.
Un arrollamiento de salida bifilar se enrolla alrededor de la totalidad de
un corazón toroidal.
Recuerde sobre los finales "Calientes" "y Fríos" de un
bobina bi-filar.

COMENTARIO: Recuerde sobre los finales
"Calientes" "y Fríos" del bobina de salida

LA BASE DE SUPRESIÓN INVERSA-EMF
(Tesla patente)

SECRETO 1.2
El Generador Emocionante de Chispa (SEG)
(Entrega de Precio
Eléctrica a un Recorrido L-C)


COMENTARIO:
La chispa entrega
el precio eléctrico al recorrido L-C
El precio "Q" en un condensador
"C" con el voltaje "U" es:
Q = U x C o U = Q / C
Donde 'Q' es el precio entregado por una
chispa.
Durante la excitación del
recorrido L-C por las chispas, la capacitancia "C" es constante.
Después N excitaciones, el
voltaje Un en C será Un = N x Q / C y
la energía En será N2.
En otras palabras, Si el recorrido L-C está
excitado por gastos, hay amplificación de energía.

COMENTARIO: Usted tiene que
entender que un bucle de realimentación en el campo electromagnético es un
nivel de voltaje que se cambia en el condensador de recorrido L-C, un
transformador de alta tensión está relacionado para coleccionar la energía de
exceso..
SIN SYNCHRONISATION

El Generador Emocionante de Chispa
Por Donald Smith


¡
MANTENGA LA RESONANCIA Y CONSIGA LA ENERGÍA LIBRE !
EXPLICACIÓN: Parece que tenemos que cargar el recorrido condensador a
un nivel de energía que es mayor que aquella de la energía de la fuente sí
mismo. A primera vista, este parece ser una tarea imposible, pero el problema
realmente es solucionado completamente simplemente.
El sistema de cobro es protegido, "o
cegado", usar la terminología de Sr. Tesla, de modo que esto no pueda
"ver" la presencia del precio en el condensador. Para llevar a cabo
este, un final de un condensador está relacionado con la tierra y el otro final
está relacionado con el bobina de gran energía, el segundo final de que es
libre. Después de unir a este nivel de energía más alto del bobina de
activación, los electrones de la tierra pueden cargar un condensador a un nivel
muy alto.
En este caso, el sistema de cobro "no ve" que
precio está ya en un condensador. Cada pulso es tratado como si esto estaba el
primer pulso alguna vez generado. Así,
el condensador puede alcanzar un nivel de energía más alto que de la fuente sí
mismo.
Después de la acumulación de la energía, es
descargado a la carga por el hueco de chispa de descarga. Después de esto, el
proceso es repetido una y otra vez indefinidamente ...
COMENTARIO: La frecuencia de las chispas de
excitación, debe emparejar la frecuencia resonante del bobina de salida. (los
condensadores 2 y 14 son usados para conseguir este objetivo). Este es la
excitación de multichispa.
COMENTARIO: Los cargadores pisan repetidamente de la
tierra a 11-15 recorrido, este precio de extractos de dispositivo del espacio
ambiental. A causa de este, esto no trabajará correctamente sin una unión de
tierra.
Si usted necesita la frecuencia de Conducto principal, o no quiere el uso
una chispa de salida, entonces leen las partes siguientes
Los transformadores asimétricos pueden ser usados
(lea las partes siguientes).
ARREGLO "SEG" POSIBLE
(De un foro
Ruso)

COMENTARIO: El Bobina de Tesla L1 mostrado encima, es
activado por la chispa f1. Resonante, transformador de disminución L2 está
relacionado con el Bobina de Tesla L1 por la salida provocan f2. La
frecuencia de f1 es mucho más rápida que aquel de f2.
SEG SIN SYNCHRONISATION
Por Donald Smith


EL PRINCIPIO "DE LA CEGUERA"
EL COBRO DE SISTEMA EN el "SEG"

EXPLICACIÓN: El bobina "corto" no es capaz de ver las oscilaciones en el
bobina "largo", porque el número total de líneas magnéticas del
bobina "largo" que pasa por el bobina "corto" está cerca
del cero (porque una mitad está en una dirección y una mitad está en el sentido
contrario).
COMMENTARIO: Este
un caso particular de un transformador asimétrico, para más detalles leyó la
parte sobre transformadores asimétricos.

COMENTARIOS SOBRE el "SEG":
Todo Revés-EMF esquemáticos puede ser usado en el
'SEG'




COMENTARIO: Ninguna corriente será producida en la carga a menos que haya una unión de
tierra en cualquiera de este recorrido. ¿La excitación es posible con sólo una
chispa sola?
¿MÁS ASIMETRÍA EN el 'SEG'?
¿UNA EXCITACIÓN DE CHISPA EN el 'SEG'?
Por Donald Smith



COMENTARIO: Este arreglo se hace más
asimétrico después de la excitación.
EXPLICACIÓN
Simetría es destruida por una chispa
Si las impedancias de Ra y Rc son el mismo en la
frecuencia producida por el generador de señal F1, entonces el voltaje que
resulta en puntos A y B también será idéntico el que significa que habrá salida
cero.

Si el recorrido
está excitado por el muy agudo, positivo único, punto de voltaje de corriente
continua producido por una chispa, entonces las impedancias de Ra y Rc no son
el mismo y hay una salida distinta a cero.
Aquí está una alternativa posible. Por favor note que la posición del
bobina de salida debe ser ajustada, esto es la mejor posición según el valor de
la resistencia Rc y la frecuencia producida por el generador de señal F1.

Aquí está otro arreglo
posible. Aquí, la posición del bobina de salida depende de L1 y L2:

Un NOMOGRAPH

Utilización de un nomograph: Dibuje una línea recta de su frecuencia de 30 kilohercios elegida (línea
purpúrea) por su elegido 100 condensador de nanofaradio valora y continúa la
línea por lo que la línea de inductancia (azul) como mostrado encima.
Usted puede leer ahora el reactance de la línea
roja, que me parece a 51 ohmios. Este significa que cuando el recorrido corre
en una frecuencia de 30 kilohercios, entonces el flujo corriente por su 100
condensador nF será el mismo como por una resistencia de 51 ohmios. La lectura
de la línea "de Inductancia" azul que mismo flujo corriente en
aquella frecuencia ocurriría con un bobina que tiene una inductancia de 0.28
mH.
VERSIONES MODERNAS del "SEG"
Supresión
inversa-EMF en el bobina de resonancia
Versión 3
Por Donald Smith

COMENTARIO: Por favor note que un alambre largo es usado y la excitación
de un chispa, donde los condensadores adicionales son usados para crear la no
simetría (???)
Versión???
Por Donald Smith

Sistema
de bobinas para multiplicación de energía
Versión???
Por Tariel Kapanadze

No hay ninguna descripción, entonces leen la sección siguiente
PROCESO de KAPANADZE
El proceso requiere
sólo 4 pasos:
PASO
1
Un L-C (bobina-condensador) el recorrido es pulsado y
esto es la frecuencia resonante determinada (posiblemente alimentándolo
impulsan por un hueco de chispa y ajuste de un bobina cercano para la colección
de poder máxima).

PASO
2
El proceso de "SEG" hace que
el nivel de energía en el recorrido L-C se eleve. El poder es alimentado vía un
hueco de chispa que produce una señal de onda cuadrada muy aguda que contiene
cada frecuencia en ello. El recorrido L-C automáticamente resuena en esto es la
propia frecuencia del mismo modo que una campana siempre produce la misma
frecuencia musical cuando golpeado, no importa como es golpeado.

PASO
3
La forma de onda de salida del
recorrido L-C es manipulada entonces para proporcionar una salida que oscila en
la frecuencia en el suministro de conducto principal local (50 Hz o 60 Hz
típicamente).

PASO
4
Finalmente, las oscilaciones son
alisadas filtrando para proporcionar el poder de salida de frecuencia de
conducto principal.

COMENTARIO: Todos estos procesos son descritos en las
patentes de Kapanadze y tan, ninguna información confidencial estatal o privada
es mostrada aquí. El proceso de Kapanadze es el proceso de SEG.
COMENTARIO: Cuando lo veo, la
diferencia principal entre los diseños de Donald Smith y Tariel Kapanadze es el
inversor o el modulador en el recorrido de salida. En la frecuencia de conducto
principal usted necesita un corazón de transformador enorme en un inversor
poderoso.
Lea las partes siguientes para descubrir más secretos
OPCIÓN
MODERNA
La bajada de la
frecuencia L-C a frecuencia de conducto principal (Modulación)

COMENTARIOS: Es posible usar ondas cuadradas en vez de ondas sinusoidales para aliviar
la carga en los transistores. Este es
muy similar a las secciones de salida de las patentes de Tariel Kapanadze. Este método no requiere un transformador
poderoso con un corazón enorme a fin de proporcionar 50 Hz o 60 Hz.
La opción de Donald Smith (conjeturado por Patrick Kelly)

COMENTARIO: No
hay ningún transformador de disminución gradual de alta tensión de alta
frecuencia, pero un transformador de disminución gradual es usado para la
frecuencia de conducto principal el que significa que esto necesitará un corazón
muy grande.
PARA AMBOS ESQUEMÁTICOS:
Usted debe
elegir la carga a fin de conseguir la salida de poder máxima. Muy bajo, y las
cargas muy altas no pasarán casi ninguna energía a la carga (porque la
corriente corriente en el recorrido de salida es restringida por la corriente
corriente en el recorrido resonante).
GANANCIA DE
ENERGÍA
(COMENTARIOS EN LOS SECRETOS 1.1 Y 1.2)
Debemos considerar dos opciones:
1. Supresión de
Inversa-EMF . . . . . (1.1)
2. Excitación por una chispa . . . . . (1.2)
ESTAS OPCIONES
SON DIFERENTES
Sin embargo, en ambos
casos, un aumento de la energía ocurre debido a los gastos bombeados en de la
tierra. En la terminología de Sr. Tesla un embudo de precio o en
terminología moderna una bomba de precio.
1. En el primer
caso, el problema para el recorrido oscilante es "crear" un campo
electromagnético que tiene una intensidad alta componente eléctrico en el
espacio ambiental. (Idealmente, es sólo necesario para el condensador de alta
tensión ser totalmente cobrado una vez. Después de esto, si el recorrido es
lossless, entonces la oscilación será mantenida indefinidamente sin la
necesidad de más lejos el poder de entrada).
ESTE ES "UN CEBO" PARA ATRAER GASTOS DEL
ESPACIO AMBIENTAL.
Sólo una cantidad diminuta de la energía es necesaria para crear tal
"cebo"...
Después, mueva "el cebo" a un lado del
recorrido, el lado que es la fuente de los gastos (Tierra). La separación entre
"el cebo" y los gastos es tan pequeña ahora que la avería ocurre. La
capacitancia parásita inherente del recorrido será cobrada al instante, creando
una diferencia de voltaje en los extremos opuestos del recorrido, que por su
parte causa oscilaciones falsas. La energía contenida en estas oscilaciones es
la ganancia de energía que queremos capturar y usar. Esta energía impulsa la
carga. Este campo electromagnético muy útil que contiene nuestro poder de
exceso oscila en una dirección que es el perpendicular a la dirección de
oscilación del campo "de cebo" y debido a esta diferencia muy importante,
las oscilaciones de poder de salida no lo destruyen. Este factor vital pasa
porque el bobina es la herida con dos mitades contrarias. Las oscilaciones
parásitas gradualmente mueren, pasando toda su energía a la carga.
Este proceso que gana energía es repetido, chispa
por la chispa. Más a menudo una chispa ocurre, más alto la salida de poder de
exceso será. Es decir más alto la frecuencia de chispa (causado por un voltaje
más alto a través del hueco de chispa), más alto la salida de poder y el mayor
la eficacia del proceso. Apenas cualquier energía "de cebo" adicional
es requerida alguna vez.
2. En el segundo
caso debemos cargar el recorrido condensador a un nivel de energía más alto que
aquella de la energía de la fuente sí mismo. A primera vista, este parece ser
una tarea imposible, pero el problema es solucionado completamente fácilmente.
El sistema de cobro es protegido, "o cegado",
usar la terminología de Sr. Tesla, de modo que esto no pueda "ver" la
presencia del precio en el condensador. Para llevar a cabo este, un final de un
condensador está relacionado con la tierra y el otro final está relacionado con
el bobina de gran energía, el segundo final de que es libre. Después de unir a
este nivel de energía más alto del bobina de activación, los electrones de la
tierra pueden cargar un condensador a un nivel muy alto.
En este caso, el sistema de cobro "no ve" que
precio está ya en un condensador. Cada pulso es tratado como si esto estaba el
primer pulso alguna vez generado. Así, el condensador puede alcanzar un nivel
de energía más alto que aquella de la fuente sí mismo.
Después de la acumulación de la energía, es
descargado a la carga por el hueco de chispa de descarga. Después de esto, el
proceso es repetido una y otra vez indefinidamente ...
ESTE PROCESO NO REQUIERE LA SUPRESIÓN DE REVÉS-EMF
3. Debería ser notado, aquella opción 1 y opción 2 encima podría ser
combinada.
SECRETO 2
CONMUTACIÓN
DE LA INDUCTANCIA
La inductancia consiste de
dos bobinas que son colocados el uno cerca del otro. Sus uniones son
mostradas en el frente.

CONSTRUCCIÓN: Construyendo este arreglo hay muchas opciones diferentes debido a varios
tipos del corazón que puede ser usado para los bobinas:
1.
Corazón de aire
2. Un
corazón que es un cilindro ferromagnético
3. Un
corazón que es un ferromagnético toroid
4. Un
estilo de transformador de corazón ferromagnético.

PROPIEDADES: (probado
muchas veces con una variedad de corazones)
El valor de la inductancia
total Ls no se cambia si usted corto de los inductores L1 o L2
(Este puede haber sido
probado por primera vez por Sr. Tesla atrás en el 19o siglo).
TÉCNICA DE APLICACIÓN:
Esta generación de energía está basada
en el proceso asimétrico:
1. Alimente la inductancia total Ls por
una corriente I
2. Entonces póngase en cortocircuito
uno de los inductores (diga, L1)
3. Drene la energía del inductor L2 en
un condensador
4. Después de drenar L2, luego quite
poner en cortocircuito de L1, ponga en cortocircuito L2 y luego drene la
energía de L1 en un condensador
PREGUNTA: ¿Es posible,
usando este método, conseguir dos veces la cantidad de energía debido a la
asimetría del proceso, y si no, entonces qué pasa?
Una RESPUESTA: Tenemos que comenzar a girar
bobinas y realizar pruebas.
EJEMPLOS DE BOBINAS REALMENTE CONSTRUIDOS

Un bobina era la herida en
un corazón de ferromagnético de transformador (el tamaño no es importante) con
la permeabilidad 2500 (no importante) que fue diseñado como un transformador de
suministro de energía. Cada medio bobina era 200 vueltas (no importante), del
alambre de diámetro de 0.33 mm (no importante). La inductancia total Ls es
aproximadamente 2 mH (no importante).

Un bobina era la herida en un
corazón ferromagnético toroidal con la permeabilidad 1000 (no importante). Cada
medio bobina era 200 vueltas (no importante), del alambre de diámetro de 0.33
mm (no importante). La inductancia total Ls es aproximadamente 4 mH (no importante).

Un transformador principal
de hierro laminado ordinario querido para el uso de suministro de energía de
50-60 Hz (el tamaño no es importante) era la herida con un bobina colocado en
cada uno de esto es dos mitades. La inductancia total Ls es aproximadamente 100
mH (no importante).
EL OBJETIVO
DE LAS PRUEBAS
Para hacer pruebas para
confirmar las propiedades de los bobinas, y luego hacer medidas de la
inductancia Ls tanto con el bobina L2 se puso en cortocircuito como bobina que
L2 no pusieron en cortocircuito, y luego comparan los resultados.
COMENTARIO: Todas las pruebas pueden ser hechas con sólo
el bobina de toroidal cuando los otros bobinas han sido mostrados para tener
las mismas propiedades. Usted puede repetir estas pruebas y confirmar este para
usted.
OPCIÓN
1
Estas medidas de
inductancia simples pueden ser realizadas con la ayuda de RLC ordinario (Resistencia
/ Inductancia / Capacitancia) metro, como el un mostrado aquí:

Las medidas tomadas:
La inductancia de bobina
total Ls fue medido sin bobinas puestos en cortocircuito, la figura fue
registrada. El bobina de L2 fue puesto en cortocircuito entonces y la
inductancia Ls medido otra vez y el resultado registrado. Entonces, los
resultados de las dos medidas fueron comparados.
El resultado: La inductancia
Ls era sin alterar (a una exactitud de aproximadamente un por ciento).
OPCIÓN 2
Un sistema especial fue
usado, consistiendo en un osciloscopio análogo, un voltímetro digital y un
generador de señal, medir un voltaje en la inductancia que Ls sin L2 puesto en
cortocircuito y luego con L2 puso en cortocircuito.

Después de que las medidas fueron
hechas, todos los resultados fueron comparados.
Esquemático

La orden en la cual las medidas fueron
tomadas
El voltaje en la
resistencia fue medido usando el osciloscopio y el voltaje en el inductor fue
medido usando el voltímetro. Las lecturas fueron tomadas antes y después de
poner en cortocircuito L2.
El resultado: Los voltajes permanecieron sin alterar (a una
exactitud de aproximadamente un por ciento).
Medidas adicionales
Antes de que las susodichas
medidas fueran tomadas, los voltajes a través de L1 y L2 fueron medidos. El
voltaje en ambas mitades era medio del voltaje en el inductor total Ls.
COMENTARIO: La frecuencia de aproximadamente 10 kilohercios fue elegida porque el
bobina no tenía resonancias parásitas en esta frecuencia o en frecuencias
bajas. Todas las medidas fueron repetidas usando un bobina con un corazón de
transformador de E-shaped ferromagnético. Todos los resultados eran el mismo.
OPCIÓN 3
Condensador
recarga.
El objetivo era emparejar
voltajes en un condensador, tanto antes como después de que ello recargado por
la interacción con un inductor que podría estar relacionado en el recorrido vía
un interruptor.

Las
condiciones de experimento
Un condensador es cobrado
de una batería y está relacionado con el inductor por el primer diodo (incluido
para dar la protección contra oscilaciones). En este momento de la reacción, la
mitad del inductor es desviada por el segundo diodo (debido a esto es la
polaridad), mientras la inductancia debe permanecer sin alterar. Si después de
recargar el condensador el voltaje condensador es el mismo (pero con la
polaridad invertida), entonces la generación habrá ocurrido (porque media de la
energía permanece en la mitad desviada del inductor).
En la teoría, es imposible, para un
inductor ordinario que consiste en dos bobinas para hacer este.
El resultado:

El resultado confirma la predicción la energía restante consiste más en que el condensador
da al bobina (con una exactitud del 20 %).
Componentes de prueba: Condensador 47 Faradios nano, inductor Ls es aproximadamente 2 mH, diodos
de silicio de Shotky BAT42, voltaje usado: 12 V.
LA VERIFICACIÓN DE RESULTADO PARA
OPCIÓN 3
Para la verificación de
estos resultados y a fin de mejorar la exactitud, todas las medidas fueron
repetidas usando componentes alternativos.
Componentes de prueba: Condensador: 1.5 Faradios nano; inductancia total: 1.6 mH, germanium
diodos: D311 (ruso), cobrando voltaje: 5V.
El resultado: Confirmación
de las medidas anteriores (a) mostrado abajo:

(a)
(b)
La exactitud que recarga fue mejorada al 10 %.
También, una medida de control fue hecha sin el segundo diodo. El resultado era esencialmente el mismo como
la medida que usó el diodo de maniobras. El 10 % ausente del voltaje puede ser
explicado como pérdidas debido a la inductancia del condensador de extensión y
en esto es la resistencia.
PRUEBAS CONTINUADAS
El diodo de maniobras fue
invertido y la prueba realizada otra vez:

El resultado: Parece
que el precio es exactamente lo que fue esperado
Adelante pruebas
Un osciloscopio estuvo
relacionado con el bobina en vez de al condensador, a fin de evitar la
influencia del primer diodo entonces las oscilaciones vistas estaban basadas en
la inductancia de los condensadores de extensión.


El resultado: La exactitud de recargar condensador fue mejorada al 5 % (debido al retiro de la influencia del primer diodo).
Después de que el condensador principal fue apagado (por el diodo), usted puede
ver oscilaciones causadas por la capacitancia de extensión de los inductores.
Basado en la frecuencia de las oscilaciones que eran 4 a 5 veces más alto que
aquel del condensador principal, uno puede estimar la capacitancia de extensión
que como es 16 a 25 veces más abajo que el condensador principal.
Todavía adelante pruebas
Pruebas de las maniobras de
recorrido de oscilación, con los dos casos combinados (y sin el primer diodo):

El resultado: Un contorno
(recorrido de oscilación) no es destruido, pero es desviado mucho. Uno puede
explicarlo considerando los momentos cuando ambos diodos conducen y tan,
desvían el recorrido. Como una adición, el voltaje en abajo el diodo es
mostrado (la escala de tiempo es estirada). El voltaje negativo está cerca

Todavía adelante pruebas
El cobro de un condensador
desviando corriente en modo de oscilación.


Condiciones: La
adición de un condensador de cobro de 47 nF.
El resultado: Un condensador culpa sin desviar el recorrido. El voltaje final en ello es
0.8 V, y se eleva unas caídas del voltaje dependen del valor del condensador.
LOS RESULTADOS TOTALES DE LAS PRUEBAS
(OPCIONES 1, 2 y 3)
La simetría de interacción
en sistemas con la reacción de campaña electromagnética (como con la
inductancia cambiada) parece ser violada, y este implica que este arreglo
podría ser usado para generar la energía.
COMENTARIO: Usted tiene que elegir la
carga a fin de conseguir la salida de poder máxima. Muy bajo,
y cargas muy altas, no enviará casi ninguna energía a la carga.
ILUSTRACIÓN

EXPLICACIÓN: El recorrido tiene dos clases de corrientes: la
corriente principal y las maniobras corrientes.

El principal y las corrientes de
maniobras traspasan el mismo condensador de salida en una dirección, si el
condensador de salida es descargado.

No hay ningunas maniobras corrientes, si el condensador de salida es
cobrado.
¿OPCIONES MODERNAS?
En inductancia cambiada
Versión
1
Un bobina tiene más inductancia cuando un poco de
esto es partes son puestos en cortocircuito:

EXPLICACIÓN: La sección central del bobina y esto es
dos secciones de final son la herida en sentidos contrarios.
COMENTARIO: El bobina mostrado en el cuadro encima
tiene dos veces la inductancia, cuando
esto es secciones de final son puestos en cortocircuito (medidas hechas con el
metro de prueba de RLC construido por chino mostrado aquí:
Versión 2
Por Donald Smith
For
shunting, not for resonance
Pero, este parece a la resonancia en un
transformador asimétrico ?????
Versión 3
Por Tariel Kapanadze

Ninguna descripción
???
Lea en para detalles adicionales
.
LA BASE PARA INDUCTORES PUESTOS EN
CORTOCIRCUITO
(Tesla patente)

SECRETO 3
EL
TRANSFORMADOR ASIMÉTRICO
Con un bucle de realimentación de campo magnético (evolución del segundo
secreto)
LEY de LENZ
ES VIOLADA EN UN TRANSFORMADOR ASIMÉTRICO
(Por
lo tanto no es posible usarlo como un transformador ordinario)
Un transformador asimétrico puede tener
dos bobinas: L2 y Ls. L2 de bobina es la herida en un lado del corazón toroidal
mientras Ls es la herida de modo que esto encierre tanto toroid como el bobina
L2 como mostrado aquí:

Opcionalmente, este arreglo
puede ser puesto en práctica con una amplia variedad de estilos del corazón de
transformador:

Una opción debe usar el
susodicho (inductor cambiado) arreglo y añadir uno más bobina:

Ahora que usted entiende
los principios operacionales de este sistema, usted puede usar cualquier
configuración que usted necesita. Por ejemplo:

ILUSTRACIÓN PARA UN TRANSFORMADOR ASIMÉTRICO DE ALGUNA
CLASE

EL EQUIVALENTE
MECÁNICO DE UN TRANSFORMADOR ASIMÉTRICO
Este ejemplo muestra un
transformador ordinario, herida en un E-corazón más un imán de excitación
externo:

En
otras palabras: el L2 todavía es usado, pero en vez de Ls un imán de excitación
es usado.
El resultado:
1. El voltaje desarrollado a través del bobina L2 depende
del número de vueltas en L2, pero poner en cortocircuito corriente por L2 no
depende del número de vueltas en el bobina L2.
2. Usted tiene que elegir la carga relacionada con L2 a fin
de conseguir la salida de poder máxima. Muy
bajo, y cargas muy altas, no dará casi ninguna salida de poder.
RESONANCIA EN UN
TRANSFORMADOR ASIMÉTRICO
El primer bobina es usado
como un transmisor de energía, y el segundo bobina como un receptor de energía.

Muy parece a la
difusión de radio, donde el receptor es localizado lejos del transmisor, y no
tiene ninguna reacción. El primer bobina trabaja en resonancia paralela
y el segundo bobina trabaja en resonancia consecutiva (aunque
los dos diagramas esquemáticos miren igualmente).

POR CONSIGUIENTE: Usted puede conseguir mucho más voltaje en L2 que en Ls
Un experimento:

Condiciones:
La frecuencia de resonancia
es aproximadamente 10 kHz. La inductancia total Ls es 2.2 mH, la inductancia L2
(mismo como la inductancia L1) es 100 mH, la proporción que Ls:L2 es 1:45 con
un corazón de E-forma, la permeabilidad es 2500.
El resultado:
En la frecuencia de resonancia, puede
haber un voltaje que es 50 veces más en cualquier parte (L1 o L2)
emparejado con el bobina total Ls, y los cambios de voltaje en R son no
más que 15 %.
El cambio de
fase en el voltaje es aproximadamente 90 grados entre Ls y L2.
(The amplitudes were equalised)
También:
LD de bobina de disminución
adicional era la herida alrededor de L2, proporción de vueltas 50:1 (emparejado
con L2), y la resistencia de carga RL = 100 ohmios le estuvieron relacionados.
El resultado:
Los cambios del
consumo corriente (estimado midiendo el voltaje a través de R) no exceden 15 %.
OPCIONES MODERNAS EN EL USO DE UN TRANSFORMADOR ASIMÉTRICO
Por Donald Smith
El esquemático parece a
este:

COMENTARIOS: Entre chispas, L2 tiene un
voltaje en esto es finales. Si RL está relacionado directamente con L2 entonces
no habrá ninguna salida corriente sin la resonancia y no habrá ninguna salida
corriente sin una chispa.
Más EXACTO:

COMENTARIO: L2 no tiene ningún
voltaje en esto es finales (sin una chispa). Este es la supresión inversa-EMF
ordinaria, inventada por Nikola Tesla.
Más ÚTIL

COMMENTARIO: L2 no tiene ningún
voltaje en esto es finales (si no hay ninguna chispa).
SECRETO
3.1
EL TRANSFORMADOR ASIMÉTRICO BASADO
EN EL BOBINA PUESTO EN CORTOCIRCUITO
INTRODUCCIÓN
COMENTARIO: La distribución de
voltaje en el bobina puesto en cortocircuito depende de la posición del bobina
de excitación.
DESCRIPCIÓN
CASO 1 El bobina de excitación está en el centro:
Resultado: Tenemos el período lleno de la
distribución de voltaje en el bobina puesto en cortocircuito

CONSTRUCCIÓN DEL TRANSFORMADOR ASIMÉTRICO
basado en el
bobina puesto en cortocircuito
CASO 1
El bobina puesto en
cortocircuito es enrollar en una dirección.

Resultado: La salida no
influye en la entrada de ningún modo.
Explicación: La señal del
bobina de salida genera la diferencia de voltaje cero en el bobina de entrada.
Comentario: La posición de los bobinas debería ser ajustada a fin de dar el mejor
resultado.
CASO 2: El bobina cortocircuito es
enrollar en sentidos contrarios del centro hacia fuera, y sólo la mitad del
bobina es cortocircuito:

Resultado: La salida no
tiene ninguna influencia en el bobina de entrada.
Explicación: La señal del
bobina de salida genera la diferencia de voltaje cero en el bobina de entrada.
Comentario: La posición del bobina de entrada tiene que ser
ajustada para conseguir el mejor resultado.
Comentario: La
posición del bobina depende de la permeabilidad del corazón. Más permeabilidad
significa más parecido con la distribución señalada al principio.
Mejor
Posición: Para encontrar
la mejor posición de bobina, una el generador de señal a la salida, y luego
encuentre la posición de bobina que muestra el cero en los terminales de
entrada. O bien, use un metro RLC relacionado con los terminales de entrada y
luego encuentre la posición de bobina que no da ningún cambio de la lectura
cuando los terminales de salida son puestos en cortocircuito.
APLICACIONES
MODERNAS PARA
BOBINAS
PUESTOS EN CORTOCIRCUITO
Por Donald Smith
CASO 1

CASO 2

COMENTARIO: La posición de los bobinas debe ser ajustada hasta
que la salida tenga la influencia cero en la entrada.
RECORDAR: Ninguno (de entrada) energía usada para excitar
espacio ambiental debería aparecer en la carga.
UN
EJEMPLO DE CASO 2
Por Donald
Smith

COMENTARIOS: El bobina de
salida puede ser ajustado para resonar con el bobina de entrada, pero este no
es importante para entender el principio. La excitación con sólo una chispa es
posible (no en la resonancia), pero la frecuencia de las chispas influye en el
poder de salida directamente.

UN EJEMPLO DE
CASO 1
Por Tariel
Kapanadze


COMENTARIO: Ajuste las posiciones de los bobinas para conseguir el
mejor resultado.
UN EJEMPLO DE CASO 2
Por Steven Mark
TPU

COMENTARIO: Las posiciones de los bobinas deben ser
ajustadas, a fin de no tener ninguna reacción de transmisión de la salida a la
entrada. Para entender este mejor, lea la parte que es dedicada a la
inductancia cambiada.
EXPLICACIÓN:

UN
EJEMPLO DE CASO 2
Por Tariel
Kapanadze
Dispositivo
mecánico

LA BASE DE TPU DE STEVEN MARK
(Tesla Patente)


RECORDAR:
La posición de los bobinas debe ser ajustada.
El modo más fácil de hacer este es añadir
o quitar
vueltas a los finales de losbobinas.
USO MODERNO DE BOBINAS PUESTOS
EN CORTOCIRCUITO
Por
Cherepanov Valera (SR193 en un foro Ruso)

COMENTARIO:
Este arreglo no tiene
un efecto de OU, pero puede ser usado para la supresión inversa-EMF en la
resonancia (chispa excitada) modo para conseguir un efecto de láser (efectos de
adición muy emocionantes).

COMENTARIO: Este es la base para desviar una mitad
del bobina en el cuadro superior.
Don Smith

COMENTARIO: Sr. Tesla dijo: la relación óptima para el bobina principal y adicional es 3/4L y L/4. ¿Es usada aquella proporción aquí?
EL
TRANSFORMADOR ASIMÉTRICO (BASADO EN UN BOBINA PUESTO EN CORTOCIRCUITO)
¿COMBINADO CON UN TRANSFORMADOR DE DISMINUCIÓN?
Don Smith

ANÁLOGO
MECÁNICO DE el TRANSFORMADOR ASIMÉTRICO
CASO 2
Por Donald Smith

Esquemático:

RECORDAR:
Cualquier transformador asimétrico debe ser ajustado.
COMENTARIO: Donald Smith colocó imanes dentro de los bobinas, pero no es importante
para entender el proceso cuando su dispositivo no empareja el esquemático.
ALGUNOS COMENTARIOS EN UNIÓN EN FRENTE
ASIMÉTRICA
(Comentarios útiles)
Algunas vueltas fueron añadidas en una mitad del bobina, y algunas vueltas
fueron quitadas de la otra mitad. Un campo magnético adicional H3 fue creado, con la inductancia - LD.

RESULTADO: Una parte grande de los
actos de inductancia totales como un inductor, y un pedazo actúa como un
condensador. Este es un hecho conocido (libros leídos). El
voltaje total en el bobina es menos que en esto es mitades.
Amarillo El voltaje en el
bobina total
Rojo El voltaje en la
sección grande de aquel bobina
RESULTADO: El voltaje
en esto es mitades es 4 veces el voltaje en el bobina total
Las medidas fueron hechas en la banda de
frecuencia 10 kHz a 100 kHz.
Aquí está el resultado de un condensador que
descarga en este bobina:

SECRETO 4
AMPLIFICACIÓN DE
CORRIENTE
Si muchos transformadores
asimétricos son colocados con un flujo que fluye por ellos, entonces ellos no
tendrán ninguna influencia en este flujo de flujo, porque cualquier
transformador asimétrico no tiene ninguna influencia en el flujo de flujo. Si
bobinas L2 de transformador secundarios están relacionados entonces en la
paralela, este produce la amplificación corriente.


POR LO TANTO
Usted hace arreglar un transformador
asimétrico en una pila:

Conseguir (un uniforme) llano presentan dentro Ls, puede
ser proveído de vueltas adicionales en esto es finales.

EJEMPLOS DE BOBINAS QUE REALMENTE FUERON CONSTRUIDOS

Los bobinas son construidos de
5 secciones, hechas del corazón de ferrita de E-tipo con una permeabilidad de
2500, y herida usando el alambre cubierto por plástico. Las secciones centrales
L2 tienen 25 vueltas, y secciones de borde tienen 36 vueltas (para igualar el
voltaje en ellos). Todas las secciones están relacionadas en la paralela. El
bobina en el que Ls tiene vueltas que aplanan campo esto es finales, y una capa
sola que gira Ls fue usada, el número de vueltas según el diámetro del alambre
usado.
La amplificación corriente para
estos bobinas particulares es 4 veces la corriente original.
El cambio de la
inductancia Ls es el 3 % (si L2 es puesto en cortocircuito).
SECRETO 5
La fuente de alimentación en el Flecha Roja" de Nikola Tesla coche es
RESONANCIA FERROMAGNÉTICA

COMENTARIO: Para
entender la reacción electromagnética, usted debe pensar que la acción parece a
aquella de esferas que tienen un comportamiento de grupo, u o bien, ondas de
vuelta (como una fila de poner dominos caerse donde cada uno es volcado por el
anterior que lo golpea).
LA BASE DE RESONANCIA FERROMAGNÉTICA
Cuando un material
ferromagnético es colocado en un campo magnético, esto puede absorber la radiación
electromagnética externa en un perpendicular de dirección a la dirección del
campo magnético, que causará la resonancia ferromagnética en la frecuencia
correcta.

Este es un
transformador que amplifica energía inventado por Sr. Tesla.
PREGUNTA: ¿Qué
uso es un corazón ferromagnético en dispositivos de Energía libre?
Una
RESPUESTA: Esto puede cambiar la magnetización del material a lo
largo de la dirección de campo magnético sin la necesidad de una fuerza externa
poderosa.
PREGUNTA:
¿Es verdadero que las frecuencias resonantes para ferromagnéticos están en
las decenas de la variedad de Gigahertz?
Una
RESPUESTA: Sí, es verdadero, y la frecuencia de la resonancia
ferromagnética depende del campo magnético externo (campo alto = frecuencia
alta). Pero con ferromagnéticos es posible conseguir la resonancia sin aplicar
cualquier campo magnético externo, este es la llamada resonancia
ferromagnética natural. En este caso, el campo magnético es definido por la
magnetización local de la muestra. Aquí, las frecuencias de absorción ocurren
en una banda ancha, debido a las variaciones grandes posibles en las
condiciones de magnetización, y entonces usted debe usar una banda ancha de
frecuencias para conseguir la resonancia ferromagnética.
UN PROCESO POSIBLE PARA
ADQUIRIR ENERGÍA LIBRE
1. Sujetando un ferromagnético a un pulso electromagnético
corto hasta sin un campo magnético externo, causa la adquisición de la
precesión de vuelta (las esferas tendrán el comportamiento de grupo, y entonces
los ferromagnéticos pueden ser fácilmente magnetizados).
2. La
magnetización de ferromagnéticos puede ser por un campo magnético externo.
3. La adquisición de energía puede ser a consecuencia de la
magnetización de muestra fuerte causada por un campo magnético externo de la
fuerza menor.
COMENTARIO: Usted debe
usar synchronisation para procesos de irradiación y magnetización de la
muestra.
COMENTARIO ÚTIL: Un escudo ferromagnético no destruirá la
inductancia de ningún bobina colocado dentro de ello, a condición de que los
finales de aquel bobina sean colocados en un lado del bobina.

Pero, este bobina puede magnetizar el escudo ferromagnético.
SECRETO 5 CONTINUACIÓN
DOS PERPENDICULAR BOBINAS EN UN EJE COMÚN
(Ondas permanentes,
ondas de vuelta, reacción en cadena,
efecto de láser,
resonador abren, etc
)
EXPLICACIÓN: Ondas permanentes pueden estar excitadas no sólo
en el imán "herradura" de Tesla, sino también en el transformador
ferromagnético de Tesla (excitado por chispas
)


COMENTARIO: Excitación
puede ser arreglada de modos diferentes, por la unión de bobinas. Las
frecuencias de oscilaciones en un bobina dependen del número de vueltas en ello
(una variación grande es posible debido a este factor).
BOBINAS
ACTUALES

COMENTARIO: Las posiciones de los bobinas en las varas dependen de cualquier material
ferromagnético está siendo usado, y de esto es el tamaño. El arreglo óptimo
tiene que ser determinado por la experimentación.
Un
transformador puede tener dos pares de bobinas: emocionante (tubos),
resonancia o
carga (dentro) ver el cuadro de Tesla
VERSIÓN de
TOROIDAL de un TRANSFORMADOR ASIMÉTRICAMENTE APILADO
Un inductor L2 es
colocado en el anillo central entre poner en cortocircuito del corazón, y el
bobina Ls (no mostrado) es la herida alrededor de tres anillos, cubriendo el
todo el toroid - este es un bobina de toroidal ordinario.

El número de cortocircuito
depende de sus exigencias, e influye la amplificación corriente.
SER
SEGUIDO
CONCLUSIONES
1. La Ley
de Conservación de Energía es un resultado (de y no la razón de) interacción
simétrica.
2. El modo más simple de destruir interacción simétrica es
usando la reacción de campaña electromagnética.
3. Todos los sistemas asimétricos son fuera del área
cubierta según la Ley de Conservación de Energía.
LA LEY DE
CONSERVACIÓN DE ENERGÍA NO PUEDE SER VIOLADA
(El campo
cubierto según esta ley es sólo
interacciones simétricas)
No Privado o
Secretos de Estado están contenidos en este documento.
No hay ningunos schematics listos a uso en este
documento, cuando todos los diagramas sólo son proporcionados como una ayuda al
entendimiento de los principios implicados.
Los eslabones siguientes se unen a varios papeles
científicos y los documentos del interés. Como el Internet los recursos basados
son muy propensos para cambiarse y desaparecer, si usted descarga a cualquiera
de éstos para leer, sugiero que usted los almacene en su paseo local por si
ellos se hagan no disponibles más tarde. Si, por alguna razón, el sitio Web www.free-energy-info.co.uk no
está disponible, entonces usted puede intentar www.free-energy-info.com o www.free-energy-devices.com que
son sitios de espejo.
http://www.free-energy-info.co.uk/CALC.XLS (una
hoja de cálculo de cálculo de electrónica)
http://www.free-energy-info.co.uk/P1.pdf 4
Mb Electrólisis de corriente
continua pulsada
http://www.free-energy-info.co.uk/P2.pdf
360 Kb bajo el agua explosiones de arco
http://www.free-energy-info.co.uk/P3.pdf
388 Kb Electrólisis plasma
http://www.free-energy-info.co.uk/P4.pdf
321 Kb Frío agua explosiones de
niebla
http://www.free-energy-info.co.uk/P5.pdf
151 Kb Operación de motor con
hidrógeno añadido al combustible
http://www.free-energy-info.co.uk/P6.pdf 63
Kb Burbujas y electricidad de vapor
http://www.free-energy-info.co.uk/P7.pdf
600 Kb La Célula de Combustible
de agua de Stan Meyer
http://www.free-energy-info.co.uk/P8.pdf
3.5 Mb La Célula de Combustible
de agua de Stan Meyer
http://www.free-energy-info.co.uk/P9.pdf
303 Kb agua como Combustible por Stan Meyer
http://www.free-energy-info.co.uk/P10.pdf 68
Kb Producción de Hidrógeno Solar
http://www.free-energy-info.co.uk/P11.pdf 328
Kb Refrigeración Pasiva
http://www.free-energy-info.co.uk/P13.pdf
347 Kb Un Fabricante de hielo
Solar
http://www.free-energy-info.co.uk/P14.pdf
711 Kb Piel elegante que Protege
Tecnología
http://www.free-energy-info.co.uk/P15.pdf
215 Kb Física para Ingenieros
http://www.free-energy-info.co.uk/P16.pdf
2.5 Mb Guía de Célula de
Combustible
http://www.free-energy-info.co.uk/P17.pdf 62
Kb La Electrólisis Baja corriente de
catedrático Kanarev
http://www.free-energy-info.co.uk/P18.pdf 8
Mb
Principios de Relatividad Extrema por Shinichi Seike
o http://www.megaupload.com/?d=ZPKEL2DX
http://www.free-energy-info.co.uk/P21.pdf
754 Kb La Teoría de Antigravedad
http://www.free-energy-info.co.uk/P22.pdf
13.3 Mb Física Sin Einstein por Dr.
Harold Aspden
o http://www.megaupload.com/?d=K92I58T0
http://www.free-energy-info.co.uk/P23.pdf 6.9 Mb Ciencia Aether Moderna por Dr Harold Aspden
o http://www.megaupload.com/?d=SPMZO1LT
http://www.free-energy-info.co.uk/P24.pdf 10
Mb Física
Unificada por Dr Harold Aspden
o http://www.megaupload.com/?d=IQ45U6NG
http://www.free-energy-info.co.uk/P25.pdf 1.5
Mb Diseño de Motor de Imán Permanente
http://www.free-energy-info.co.uk/P26.pdf
402 Kb El Mar de Energía por
Thomas Henry Moray
http://www.free-energy-info.co.uk/P31.pdf
14.5 Mb La Ciencia de Tesla de
Energía por Dr Thomas Valone
o http://www.megaupload.com/?d=SS0S3GH9
http://www.free-energy-info.co.uk/P32.pdf
605 Kb Alta tensión, Corrientes
Alternas de Frecuencia Altas
por Nikola Tesla
http://www.free-energy-info.co.uk/P33.pdf
632 Kb Genio Pródigo
biografía de Nikola Tesla
http://www.free-energy-info.co.uk/P34.pdf
488 Kb Ondas Mojadas por Nikola
Tesla
http://www.free-energy-info.co.uk/P41.pdf
3.2 Mb Sistemas de
Electrogravitics por Dr Thomas Valone
http://www.free-energy-info.co.uk/P42.pdf
2.5 Mb Extracción de Energía de
punto cero by Dr Thomas Valone
http://www.free-energy-info.co.uk/P63.pdf
181 Kb Ondas Escalares por Konstantin Meyl
http://www.free-energy-info.co.uk/P65.pdf
592 Kb www.EsotericScience.com Presentación
http://www.free-energy-info.co.uk/P66.pdf
450 Kb El Proyecto de Génesis
http://www.free-energy-info.co.uk/Lodge.pdf 27 Mb.
Vistas Modernas de
Electricidad por Sir Oliver Lodge
http://www.free-energy-info.co.uk/Lodge2.pdf 9 Mb. The Ether of Space by Sir Oliver Lodge
http://www.free-energy-info.co.uk/Lodge3.pdf 22 Mb.
La Naturaleza y Propiedades
de Electricidad Negativa
por Sir Oliver Lodge
http://www.free-energy-info.co.uk/TeslaBook.pdf 36
Mb. Las Invenciones, Investigaciones y Escrituras de Nikola
Tesla por Thomas Commerford Martin
http://www.free-energy-info.co.uk/DonKelly.pdf 13 Mb.
'El Manual de Dispositivos de Energía Libre y Sistemas
por
Donald A. Kelly
http://www.free-energy-info.co.uk/Blitz.pdf 30 Mb. Ultrasonics por Jack Blitz
http://www.free-energy-info.co.uk/Magnetos.pdf 9.5 Mb.
Magneto Simplemente Explicada
por F. H. Hutton
http://www.free-energy-info.co.uk/TeslaPatents/TeslaPatents.pdf
100 Mb. Todas las patentes publicadas de Tesla
http://www.free-energy-info.co.uk/Magnetic_Motor.pdf
511 Kb Motores Magnéticos por
Lawrence Tseung
http://www.free-energy-info.co.uk/Maxwell.pdf
2.2 Mb El Campo
Electromagnético por James Clerk Maxwell
http://www.free-energy-info.co.uk/Davson.pdf
46.7 Mb El libro de Davson en el
trabajo de Karl Schappeller
o http://www.megaupload.com/?d=IRBTBAO0
http://www.free-energy-info.co.uk/Newman.pdf 97
Mb La Máquina de Energía de Joseph
Newman
o http://www.megaupload.com/?d=5MF8ZFAJ
http://www.free-energy-info.co.uk/Combine.pdf
2.1 Mb Energía radiante y
Sobreunidad por Dan Combine
http://www.free-energy-info.co.uk/Rodin.pdf 3
Mb El Proyecto de Solución Rodin por
Marko Rodin
http://www.free-energy-info.co.uk/SEG.pdf
594 Kb Investigación de Gravedad
Magnética por Roschin y Godin
http://www.free-energy-info.co.uk/Stan_Meyer_Full_Data.pdf
3.8 Mb Informe Técnico por Stan
Meyer
http://www.free-energy-info.co.uk/LTseung.pdf
3.2 Mb Dispositivos de
Sobreunidad por Lawrence Tseung
http://www.free-energy-info.co.uk/Smith.pdf 2.0 Mb.
Métodos de Energía Resonantes
por Donald Lee Smith
http://www.free-energy-info.co.uk/Cottrell.pdf 2.8 Mb.
Como Trabajos de Gravedad por
Maurice Cottrell
http://www.free-energy-info.co.uk/Davidson.pdf 4.5 Mb. Poder de Forma por Dan Davidson
Videos
http://www.free-energy-info.co.uk/Meyer.wmv
4.6 Mb o http://www.megaupload.com/?d=977Z6MJA
http://www.free-energy-info.co.uk/Newman.avi 53 Mb
http://www.free-energy-info.co.uk/pyramid.avi 25 Mb
http://www.free-energy-info.co.uk/stage1.wmv 1.9 Mb
http://www.free-energy-info.co.uk/stage2.wmv 1.9 Mb
http://www.free-energy-info.co.uk/stage3.wmv 3.7 Mb
http://www.free-energy-info.co.uk/WFCrep2.wmv 1 Mb
http://www.free-energy-info.co.uk/stan.wmv
4.5 Mb o http://www.megaupload.com/?d=977Z6MJA
http://www.free-energy-info.co.uk/WFCrep.wmv
5.3 Mb o http://www.megaupload.com/?d=38G9MH1I
http://www.free-energy-info.co.uk/Bills.avi 17
Mb o http://www.megaupload.com/?d=KIQ793LU
http://video.google.com.au/videoplay?docid=-7365305906535911834
http://video.google.com.au/videoplay?docid=2650242262168838984&q=free+energy&total=5428&start=0&num=100&so=1&type=search&plindex=1
http://video.google.co.uk/videoplay?docid=3091681211753181299&q=Newman+car&total=119&start=0&num=10&so=0&type=search&plindex=1
http://video.google.com/videoplay?docid=-635987818295327978
http://video.google.com/videoplay?docid=-4298347669641896403
http://video.google.com/videoplay?docid=-8435800732540412467&hl=en
http://video.google.com/videoplay?docid=333661567309752927&hl=en
http://video.google.com/videoplay?docid=-5483558279656482347&hl=en
http://www.youtube.com/watch?v=-6MDHF39XmU&NR
http://video.google.com/videoplay?docid=-6461713170757457294
http://video.google.com/videoplay?docid=-721789270445596549
http://video.google.com/videoplay?docid=-2850891179207690407
http://video.google.com/videoplay?docid=-8635897559220353909
http://video.google.com/videoplay?docid=2229511748333360205