Apéndice
Cuando no puedo decir el español, esta
traducción intentada usa un programa de traducción y pido perdón por la calidad
mala de la traducción.
Los tamaños de alambre especificados para el uso en
algunos diseños son la Medida de Alambre americana ('AWG') tan una mesa de
comparación mostrando al Reino Unido ("SWG") Medida de Alambre
Estándar (con longitudes en un carrete de 500 gramos del alambre de cobre
esmaltado), y la Medida de Alambre americana es dada aquí:
|
AWG |
Dia mm |
Area sq. mm |
SWG |
Dia mm |
Area sq. mm |
Max Amps |
Ohms / metre |
Metres Per 500g |
Max Hz |
|
1 |
7.35 |
42.40 |
2 |
7.01 |
38.60 |
119 |
|
|
325 |
|
2 |
6.54 |
33.60 |
3 |
6.40 |
32.18 |
94 |
|
|
410 |
|
3 |
5.88 |
27.15 |
4 |
5.89 |
27.27 |
75 |
|
|
500 |
|
4 |
5.19 |
21.20 |
6 |
4.88 |
18.68 |
60 |
|
|
650 |
|
5 |
4.62 |
16.80 |
7 |
4.47 |
15.70 |
47 |
|
|
810 |
|
6 |
4.11 |
13.30 |
8 |
4.06 |
12.97 |
37 |
|
|
1,100 |
|
7 |
3.67 |
10.60 |
9 |
3.66 |
10.51 |
30 |
|
|
1,300 |
|
8 |
3.26 |
8.35 |
10 |
3.25 |
8.30 |
24 |
|
|
1,650 |
|
9 |
2.91 |
6.62 |
11 |
2.95 |
6.82 |
19 |
|
|
2,050 |
|
10 |
2.59 |
5.27 |
12 |
2.64 |
5.48 |
15 |
0.0042 |
|
2,600 |
|
11 |
2.30 |
4.15 |
13 |
2.34 |
4.29 |
12 |
0.0047 |
|
3,200 |
|
12 |
2.05 |
3.31 |
14 |
2.03 |
3.24 |
9.3 |
0.0067 |
17.5 m |
4,150 |
|
13 |
1.83 |
2.63 |
15 |
1.83 |
2.63 |
7.4 |
0.0085 |
|
5,300 |
|
14 |
1.63 |
2.08 |
16 |
1.63 |
2.08 |
5.9 |
0.0107 |
27 m |
6,700 |
|
15 |
1.45 |
1.65 |
17 |
1.42 |
1.59 |
4.7 |
0.0135 |
|
8,250 |
|
16 |
1.29 |
1.31 |
18 |
1.219 |
1.17 |
3.7 |
0.0148 |
48 m |
11 kHz |
|
17 |
1.15 |
1.04 |
|
|
|
2.9 |
0.0174 |
|
13 kHz |
|
18 |
1.024 |
0.823 |
19 |
1.016 |
0.811 |
2.3 |
0.020 |
|
17 kHz |
|
19 |
0.912 |
0.653 |
20 |
0.914 |
0.657 |
1.8 |
0.026 |
85 m |
21 kHz |
|
20 |
0.812 |
0.519 |
21 |
0.813 |
0.519 |
1.5 |
0.035 |
|
27 kHz |
|
21 |
0.723 |
0.412 |
22 |
0.711 |
0.397 |
1.2 |
0.043 |
140 m |
33 kHz |
|
22 |
0.644 |
0.325 |
23 |
0.610 |
0.292 |
0.92 |
0.056 |
|
42 kHz |
|
23 |
0.573 |
0.259 |
24 |
0.559 |
0.245 |
0.729 |
0.070 |
225 m |
53 kHz |
|
24 |
0.511 |
0.205 |
25 |
0.508 |
0.203 |
0.577 |
0.087 |
|
68 kHz |
|
25 |
0.455 |
0.163 |
26 |
0.457 |
0.164 |
0.457 |
0.105 |
340 m |
85 kHz |
|
26 |
0.405 |
0.128 |
27 |
0.417 |
0.136 |
0.361 |
0.130 |
|
107 kHz |
|
27 |
0.361 |
0.102 |
28 |
0.376 |
0.111 |
0.288 |
0.155 |
500 m |
130 kHz |
|
28 |
0.321 |
0.0804 |
30 |
0.315 |
0.0779 |
0.226 |
0.221 |
700 m |
170 kHz |
|
29 |
0.286 |
0.0646 |
32 |
0.274 |
0.0591 |
0.182 |
0.292 |
950 m |
210 kHz |
|
30 |
0.255 |
0.0503 |
33 |
0.254 |
0.0506 |
0.142 |
0.347 |
1125 m |
270 kHz |
|
31 |
0.226 |
0.0401 |
34 |
0.234 |
0.0428 |
0.113 |
0.402 |
1300 m |
340 kHz |
|
32 |
0.203 |
0.0324 |
36 |
0.193 |
0.0293 |
0.091 |
0.589 |
1900 m |
430 kHz |
|
33 |
0.180 |
0.0255 |
37 |
0.173 |
0.0234 |
0.072 |
0.767 |
2450 m |
540 kHz |
|
34 |
0.160 |
0.0201 |
38 |
0.152 |
0.0182 |
0.056 |
0.945 |
3000 m |
690 kHz |
|
35 |
0.142 |
0.0159 |
39 |
0.132 |
0.0137 |
0.044 |
1.212 |
3700 m |
870 kHz |
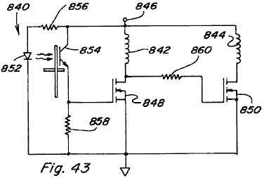
Patente estadounidense
6,867,514 B2 15 de
marzo 2005 Inventor:
Frank J. Fecera
MOTOR DE IMÁN PERMANENTE
Esta aplicación evidente muestra los detalles de
un motor de imán permanente. Debería ser notado que mientras en este texto,
Frank declara que los imanes permanentes almacenan una cantidad finita del
magnetismo, en realidad, los postes de imán forman un dipolo que causa un flujo
continuo de energía dibujada de la espuma cuántica de nuestro universo, y aquel
flujo sigue hasta cuando el dipolo sea destruido. La energía qué poderes cualquier motor de
imán permanente vienen directamente del campo de energía de punto cero y no
realmente del imán sí mismo. Un pedazo de hierro puede ser convertido en un
imán por un nanosegundo solo pulso magnético. Esto no tiene sentido que un
pulso de aquella duración podría proporcionar meses del poder continuo de algo
almacenado en el imán sí mismo, pero hace el sentido perfecto si aquel breve
pulso creara un dipolo magnético que actúa como una entrada para la afluencia
de la energía de punto cero del ambiente.
EXTRACTO
Un motor que proporciona el poder de motivo
rotatorio unidireccional es proporcionado. El motor tiene un estator
generalmente circular con un eje de estator, una superficie externa, y una
línea circumferential de la demarcación en aproximadamente un punto mediano de
la superficie externa. El motor también incluye uno o varios imanes de estator
atados a la superficie externa del estator. Los imanes de estator son
arreglados en un arreglo generalmente circular sobre el eje de estator y
generan un primer campo magnético. Una
armadura es atada al estator de modo que esto gire con ello, la armadura que
tiene una paralela de eje al eje de estator. Uno o varios rotores, son
espaciados de la armadura y conectado a ello por un árbol para permitir que
cada rotor girara alrededor de un eje, cada rotor que gira en un avión
generalmente alineado con el eje de la armadura. Cada rotor incluye uno o
varios imanes de rotor, con cada imán de rotor que genera un segundo campo
magnético. El segundo campo magnético
generado por cada imán de rotor se relaciona con el primer campo magnético,
hacer que cada rotor girara sobre el eje de rotor. Un paseo de asamblea de
encadenamiento une cada rotor al estator para hacer que la armadura girara
sobre el eje de armadura que así proporciona el poder de motivo rotatorio
unidireccional del motor.
FONDO DE LA INVENCIÓN
Esta invención relaciona con el dínamo estructuras
de motor eléctricas y más en particular a rotonda y motores de imán permanentes
lineales. Los motores eléctricos convencionales confían en la interacción de
campos magnéticos para producir una fuerza que causa movimiento rotatorio o
lineal. Los campos magnéticos en motores
eléctricos convencionales que proporcionan el poder rotatorio, son generados
pasando una corriente eléctrica por fuera proporcionada por conductores en
cualquiera un estator (es decir la porción inmóvil del motor), un rotor (es
decir porción rotatoria) o tanto estator como el rotor. El poder rotatorio del motor proviene de un
campo magnético rotativo que es creado por commutating la corriente eléctrica,
por una conmutación de la corriente por conductores diferentes, como en un
motor corriente directo o por una inversión de polaridad de la corriente eléctrica
como en un motor de corriente alterna.
Es conocido que una clase de materiales conocidos
como materiales ferromagnéticos es también capaz de generar un campo magnético
que tiene una vez sido activado. Los materiales ferromagnéticos con coercivity
alto son conocidos como imanes permanentes. Los imanes permanentes son capaces
de almacenar una cantidad finita de la energía y retener la capacidad de
generar un campo magnético sustancial hasta que la energía almacenada sea
mermada.
Hay motores eléctricos que usan imanes permanentes
en la porción de estator del motor o en la porción de rotor del motor. Estos
motores consiguen un pequeño tamaño para la cantidad de poder entregado por el
motor porque los motores evitan tener conductores de transporte corrientes para
producir el campo magnético que es por otra parte producido por los imanes
permanentes. Sin embargo, estos motores de imán permanentes convencionales
todavía requieren una fuente del poder externo de producir un campo magnético
rotativo.
Allí también han sido desarrollados motores de
imán permanentes que usan imanes permanentes tanto para el estator como para el
rotor. Por ejemplo, Estados Unidos. Acariciar. No 4,598,221 revela un motor de
imán permanente que confía en una fuente externa del poder de hacer girar los
campos magnéticos de un rotor por noventa grados con respecto a los campos
magnéticos de estator que se relacionan para eliminar la repulsión magnética
contraproducente y la atracción entre el rotor y los imanes de estator. En otro ejemplo, Estados Unidos. Acariciar.
No 4,882,509 revela un motor de imán permanente que confía en una fuente
externa del poder de colocar un escudo que no permite aparearse entre el rotor
y los imanes de estator a veces cuando la atracción o la repulsión arrastrarían
la fuerza del motor.
Hay muchos casos donde se requiere una acción de
motor y ninguna fuente del poder externo está disponible. En consecuencia, un
motor que confía únicamente en la energía almacenada en imanes permanentes
sería útil.
INFORME RESUMEN DE LA INVENCIÓN
Brevemente declarado, la invención presente
comprende un rotor para el uso en un motor de imán permanente y para
proporcionar el poder de motivo por la rotación del rotor sobre un eje de
rotor. El rotor comprende al menos un primer imán U shaped que tiene una parte
de atrás y genera un primer campo magnético.
La rotación del rotor sobre el eje de rotor es causada por una
interacción de una porción del primer campo magnético directamente adyacente al
reverso del al menos un imán U shaped con un segundo campo magnético inmóvil.
Otro aspecto de la invención presente comprende un
rotor que proporciona el poder de motivo por una rotación del rotor sobre el
eje de rotor y por una traducción del rotor en una dirección del eje de rotor.
El rotor comprende: un primer imán U shaped que tiene un Polo Norte, un polo
sur y una parte de atrás, el primer imán U shaped que genera un primer campo
magnético; un segundo imán de U shaped que tiene un Polo Norte y un polo sur,
el polo sur del segundo imán U shaped que está contiguo el Polo Norte del
primer imán U shaped; y un tercer imán de U shaped que tiene un Polo Norte y un
polo sur, el Polo Norte del tercer imán U shaped que está contiguo el polo sur
del primer imán U shaped. Una porción
del primer campo magnético generado por el primer imán U shaped directamente
adyacente al reverso del primer imán U shaped se relaciona con un cuarto campo
magnético inmóvil para hacer que el rotor girara. Un segundo campo magnético
generado por el Polo Norte del segundo imán U shaped y un tercer campo
magnético generado por el polo sur del tercer imán U shaped se relaciona con el
cuarto campo magnético para hacer que el rotor tradujera en dirección del eje
de rotor.
Un aspecto adicional de la invención presente
comprende un rotor incluso un eje de rotor, y un eje de cohete propulsor en un
avión del rotor y cruce del eje de rotor. El rotor proporciona el poder de
motivo por una rotación del rotor sobre el eje de rotor y por una traducción
del rotor en una dirección del eje de rotor.
El rotor comprende: un primer imán U shaped que tiene un Polo Norte y un
polo sur y una parte de atrás, el Polo Norte y el polo sur generalmente
alineado con el eje de cohete propulsor, el primer imán U shaped que genera un
primer campo magnético; un primer imán de cohete propulsor que tiene una
dirección de magnetización generalmente se alineó con el eje de imán de cohete
propulsor, el primer imán de cohete propulsor siendo próximo a y espaciado del
Polo Norte del primer imán U shaped; y un segundo imán de cohete propulsor que
tiene una dirección de magnetización generalmente se alineó con el eje de imán
de cohete propulsor, el segundo imán de cohete propulsor que está cerca de y
espaciado del polo sur del primer imán U shaped, el primer imán U shaped
interpuesto entre el primer y los segundos imanes de cohete propulsor. Una
porción del primer campo magnético generado por el primer imán U shaped
directamente adyacente a la parte de atrás del primer imán U shaped se
relaciona con un cuarto campo magnético inmóvil para hacer que el rotor girara,
un segundo campo magnético generado por el primer imán de cohete propulsor y un
tercer campo magnético generado por el segundo imán de cohete propulsor
respectivamente se relaciona con un quinto campo magnético inmóvil para hacer
que el rotor tradujera en dirección del eje de rotor.
Otro aspecto de la invención presente comprende un
rotor que proporciona el poder de motivo por la rotación del rotor sobre un eje
de rotor y la traducción del rotor en dirección del eje de rotor. El rotor
tiene al menos un imán de rotor que genera un primer campo magnético, el primer
campo magnético generado por el imán de rotor que se relaciona con al menos un
imán U shaped inmóvil, el imán U shaped que tiene una parte de atrás y genera
un segundo campo magnético. El poder de motivo rotatorio y de translación del
rotor es proporcionado por una interacción de una porción del segundo campo
magnético directamente adyacente al reverso del imán U shaped con el primer
campo magnético.
Un aspecto adicional de la invención presente
comprende un motor que proporciona el poder de motivo rotatorio unidireccional.
El motor incluye un estator generalmente circular que tiene un eje de estator,
una superficie externa, y una línea circumferential de la demarcación en
aproximadamente un punto mediano de la superficie externa; al menos un imán de
estator atado a la superficie externa del estator, el al menos un imán de
estator arreglado en un arreglo generalmente circular sobre el eje de estator y
genera un primer campo magnético; una armadura atada al estator para rotación
con ello; la armadura que tiene una paralela de eje al eje de estator; al menos
un rotor, el rotor siendo espaciado de la armadura y conectado a ello por un
árbol para permitir rotación sobre un eje del rotor, el rotor que gira en un
avión generalmente alineado con el eje de armadura, el rotor, incluso al menos
un imán que genera un segundo campo magnético, donde el segundo campo magnético
generado por el imán de rotor se relaciona con el primer campo magnético para
hacer que el rotor girara sobre esto es el eje; y una asamblea de
encadenamiento de paseo que une el rotor al estator para causar la armadura
para girar sobre esto es el eje cuando el rotor gira sobre esto es el eje, así
proporcionando el poder de motivo rotatorio unidireccional del motor.
En otro aspecto, la invención presente es dirigida
a un motor que proporciona el poder de motivo rotatorio unidireccional que
comprende: un estator generalmente circular que tiene un eje, una superficie
externa, y una línea circumferential de demarcación alrededor de la superficie
externa, la línea de demarcación que tiene una dirección predeterminada
alrededor del eje de estator y separa un primer lado de la superficie externa y
un segundo lado de la superficie externa, en donde al menos un par de imanes de
estator es atado a la superficie externa que genera un primer campo magnético,
el par de imanes que comprenden un primer imán de estator que tiene un Polo
Norte y un polo sur y un segundo imán de estator que tiene un Polo Norte y un
polo sur, el polo sur del primer imán de estator localizado en el primer lado
de la superficie externa y el Polo Norte del primer imán de estator siendo el
más cercano a la línea de la demarcación, el Polo Norte del segundo imán de
estator localizado en el segundo lado de la superficie externa y el polo sur
del segundo imán de estator siendo el más cercano a la línea de demarcación, en
donde el al menos un par de imanes de estator es espaciado a lo largo de la
línea de la demarcación de modo que una primera distancia de interimán medida a
lo largo de la línea de la demarcación entre el Polo Norte del primer imán de
estator y el polo sur del segundo imán de estator de un par adyacente del al
menos un par de imanes de estator sea generalmente igual a una segunda
distancia de interimán medida a lo largo de la línea de la demarcación entre el
polo sur del primer imán de estator y el Polo Norte del segundo imán de
estator; una armadura atada al estator, la armadura que tiene una paralela de
eje al eje de estator y atado al estator para rotación con lo mismo; y al menos
un rotor atado a la armadura, el al menos un rotor siendo espaciado de la
armadura y conectado a ello por un árbol para rotación sobre un eje del rotor, el
rotor que gira en un avión generalmente alineado con el eje de armadura, el
rotor que comprende al menos un imán de rotor, el imán de rotor que genera un
segundo campo magnético que se relaciona con el primer campo magnético para
hacer que el rotor oscilara rotatoriamente sobre el eje del rotor y generara
una fuerza en una dirección del eje de rotor, así haciendo la armadura girar en
la dirección predeterminada alrededor del eje de armadura para proporcionar el
poder de motivo rotatorio unidireccional del motor.
En un aspecto adicional, la invención presente es
dirigida a un motor que proporciona el poder de motivo lineal unidireccional
que comprende: un estator lineal que tiene un corte transversal generalmente
curvo y una línea longitudinal de perpendicular de demarcación al corte
transversal que se extiende en aproximadamente un punto mediano de una
superficie del estator entre un primer final y un segundo final del estator, el
estator incluso al menos un imán arregló entre el primer final y el segundo
final, el imán que tiene una dirección de la magnetización en aproximadamente
un ángulo recto a la línea de la demarcación y genera un primer campo
magnético, la magnitud del primer campo magnético que es generalmente uniforme
a lo largo de la línea de la demarcación excepto en un número predeterminado de
regiones nulas, en donde el primer campo magnético es considerablemente el cero
un carril relacionado con el estator, el carril que tiene un eje longitudinal
generalmente paralela a la línea de la demarcación y un surco helicoidal con un
tono predeterminado que corre alrededor de una periferia del carril; al menos
un rotor que alinea un eje de rotor con el eje del carril, el rotor relacionado
con el carril de modo que el rotor sea libre de girar sobre el eje del carril y
diapositiva a lo largo del carril, el rotor incluso al menos un imán U shaped
que tiene una parte de atrás y genera un segundo campo magnético, donde una
porción del segundo campo magnético directamente adyacente al reverso del imán U
shaped se relaciona con el primer campo magnético para hacer que el rotor
girara sobre el eje del carril; una asamblea que lleva y une el rotor al surco
helicoidal, la asamblea que lleva y convierte el movimiento rotatorio del rotor
sobre el eje del carril a movimiento lineal a lo largo del carril; y un eslabón
enfadado que une la asamblea que lleva de un primer rotor a un segundo rotor, así
añadiendo juntos el movimiento lineal a lo largo del carril del primer rotor y
el segundo rotor para proporcionar el poder de motivo lineal unidireccional.
En aún otro aspecto, la invención presente es
dirigida a un motor que proporciona el poder de motivo unidireccional que
comprende: un carril que tiene un eje longitudinal y al menos un surco
helicoidal que tiene un tono predeterminado que corre alrededor de una
periferia del carril; al menos un primer estator helicoidal concentrically
alrededores del carril, el primer estator helicoidal que tiene el tono
predeterminado del surco y un eje longitudinal generalmente paralela al eje del
carril, al menos un primer imán de estator atado al primer estator helicoidal,
el primer imán de estator que genera un primer campo magnético; al menos un
rotor que tiene un eje generalmente se alineó con el eje del carril, el rotor
relacionado con el carril de modo que el rotor sea libre de girar sobre el eje
del carril y diapositiva a lo largo del carril, el rotor que comprende al menos
un imán de rotor que genera un segundo campo magnético, el segundo campo
magnético que se relaciona con el primer campo magnético generado por el primer
imán de estator para causar el rotor para girar sobre el eje del carril; y una
asamblea que lleva y une el rotor al surco helicoidal alrededor de la periferia
del carril, la asamblea que lleva y convierte el movimiento rotatorio del rotor
sobre el carril a movimiento lineal unidireccional a lo largo del carril.
Un aspecto adicional de la invención presente es
dirigido a un motor que proporciona la fuerza de motivo unidireccional que
comprende: un carril que tiene un eje longitudinal y un surco helicoidal que
corre alrededor del carril, el surco que tiene un tono predeterminado; al menos
un primer estator helicoidal que comprende una pluralidad de los discontinuos
espaciado aparte primeras costillas, cada primera costilla que parcialmente
rodea el carril a una distancia generalmente uniforme del carril, el primer
estator helicoidal que tiene el tono predeterminado del surco y un eje
longitudinal generalmente se alineó con el carril, al menos un primer imán de estator
atado a cada costilla, cada primer imán de estator que genera un primer campo
magnético; al menos un rotor que tiene un eje generalmente se alineó con el eje
del carril, el rotor relacionado con el carril de modo que el rotor sea libre
de girar sobre el eje del carril y deslizarse a lo largo del carril, el rotor
que comprende al menos un imán de rotor que genera un segundo campo magnético,
el segundo campo magnético que se relaciona con el primer campo magnético
generado por el primer imán de estator para causar el rotor para girar sobre el
eje del carril; y una asamblea que lleva y une el rotor al surco helicoidal
alrededor del carril, la asamblea que lleva y convierte el movimiento rotatorio
del rotor sobre el carril a movimiento lineal a lo largo del carril.
BREVE DESCRIPCIÓN DE LOS DIBUJOS
El resumen anterior, así como la descripción detallada siguiente de encarnaciones preferidas de la invención, serán mejor entendidos cuando leído junto con los dibujos añadidos. Para la ilustración de la invención, allí son mostrado en las encarnaciones de dibujos que son preferidas actualmente. Debería ser entendido, sin embargo, que la invención no es limitada con los arreglos precisos y concursos mostrados. En los dibujos:

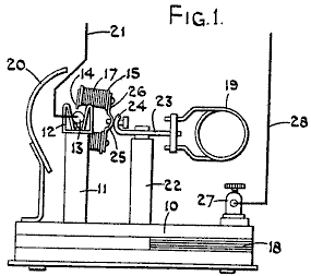
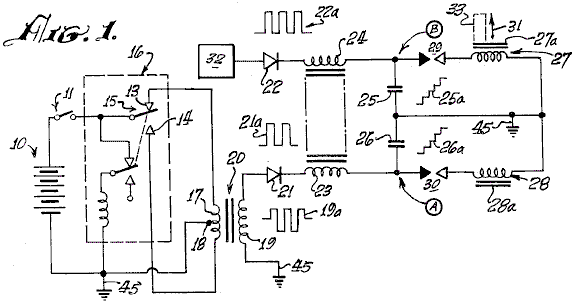
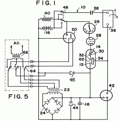
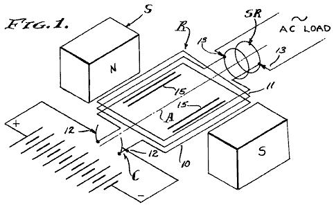
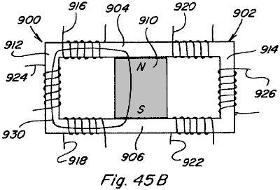
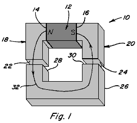
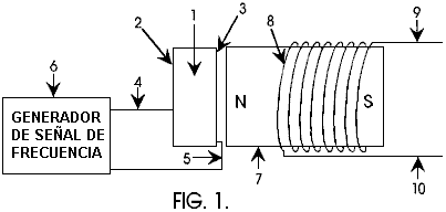
Fig.1A es un dibujo
de perspectiva esquemático de una primera encarnación preferida de un motor que
proporciona el poder de motivo unidireccional;

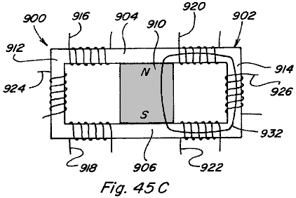
Fig.1B es un dibujo de perspectiva esquemático
de una segunda encarnación preferida del motor;

Fig.1C es un dibujo de perspectiva esquemático
de la encarnación preferida de un tercero del motor;

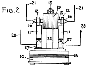
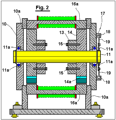
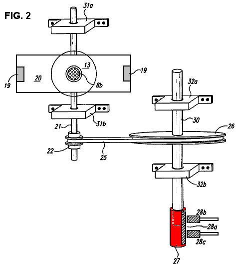
Fig.2 es una vista de plan esquemática de un
rotor que comprende tres par de imanes U shaped;

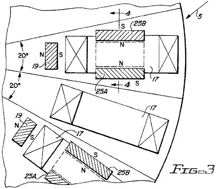
Fig.3 es una vista de
plan esquemática del estator que tiene una pluralidad de imanes de estator que
generan un campo magnético uniforme excepto en la región nula sola, presentó el
apartamento para la facilidad de la ilustración;

Fig.4 es una vista de
plan esquemática de un estator que tiene una pluralidad de imanes de estator
que giran sobre un eje magnético, presentó el apartamento para la facilidad de
la ilustración;

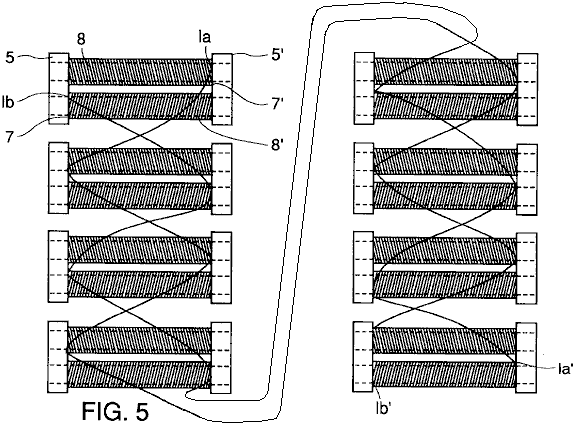
Fig.5 es una vista de
plan esquemática de un estator que tiene una pluralidad de imanes de estator
que son sinusoidally desplazado de una línea de demarcación, presentó el
apartamento para la facilidad de la ilustración;

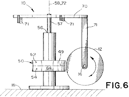
Fig.6 es una vista de perspectiva esquemática
de un cuarto por una séptima encarnación preferida del motor;

Fig.7A es una vista
de plan esquemática de un rotor usado en la cuarta encarnación preferida y en
una octava encarnación preferida del motor;
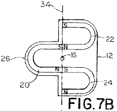
Fig.7B es una vista
de plan esquemática de un rotor usado en una quinta encarnación preferida y en
una novena encarnación preferida del motor;
Fig.7C es una vista
de plan esquemática de un rotor usado en una sexta encarnación preferida y en
una décima encarnación preferida del motor;
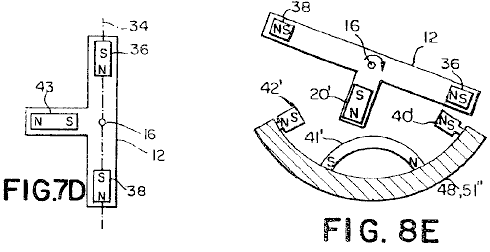
Fig.7D es una vista
de plan esquemática de un rotor usado en la séptima encarnación preferida y en
una undécima encarnación preferida del motor;

Fig.8A es una vista
de plan esquemática de un estator usado en las cuartas, quintas, octavas y
novenas encarnaciones preferidas del motor;

Fig.8B es una vista seccional esquemática del
estator mostrado en Fig.8A tomado a lo largo de la línea 8B-8B;

Fig.8C es una vista de plan esquemática de un
estator usado en el sexto y en las décimas encarnaciones preferidas del motor;

Fig.8D es una vista
de elevational esquemática del estator mostrado en Fig.8C tomado a lo largo de
la línea 8D-8D mostrado con el rotor mostrado en Fig.7C;
Fig.8E es una vista de elevational esquemática
de un estator alternativo mostrado con el rotor mostrado en Fig.7D;

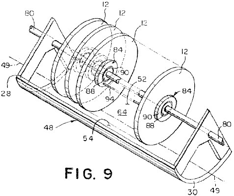
Fig.9 es una vista de perspectiva esquemática
del octavo por una undécima encarnación preferida del motor;

Fig.10 es una vista de perspectiva esquemática
de una duodécima encarnación preferida del motor;

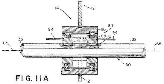
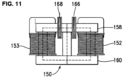
Fig.11A es una vista de plan de una asamblea de
rotor usada en el octavo por las undécimas encarnaciones preferidas;

Fig.11B es una vista de plan de una asamblea de
rotor usada en el duodécimo por una dieciséis encarnación preferida;

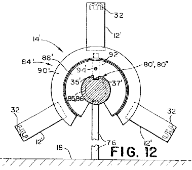
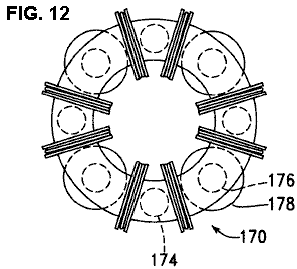
Fig.12 es un final elevational la vista de la
asamblea de rotor mostrada en Fig.11B, adelante incluso un poste de montaje
ferroviario;

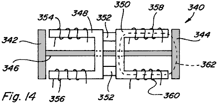
Fig.13 es una vista de elevational de una trece
encarnación preferida del motor;

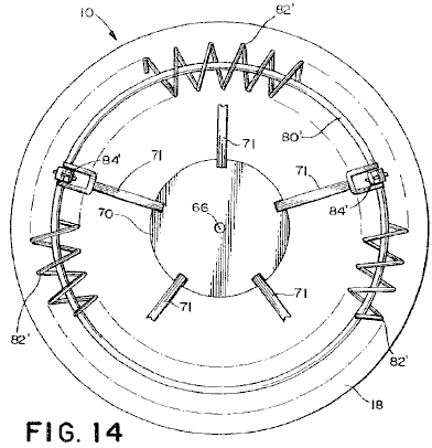
Fig.14 es una vista de plan de una configuración
rotatoria de la trece encarnación preferida;

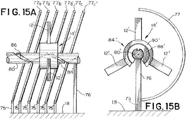
Fig.15A es una vista de elevational de una
porción de una catorce encarnación preferida que emplea espaciado aparte
costillas;

Fig.15B es un vista profil de la catorce
encarnación mostrada en Fig.15A;

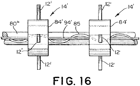
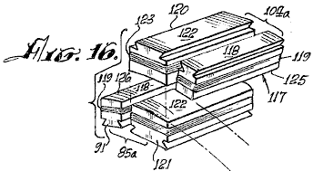
Fig.16 es una vista superior de una porción de
la quince encarnación preferida del motor;

Fig.17 es una vista delantera de la quince
encarnación preferida mostrada en Fig.16;

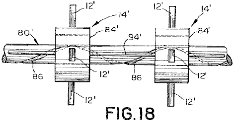
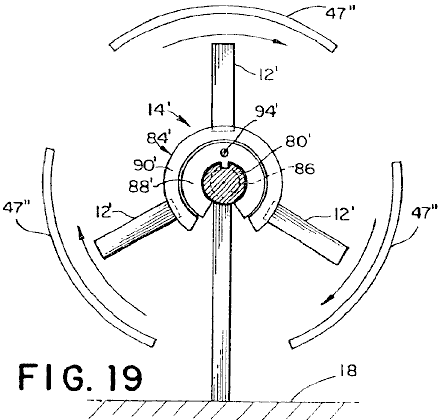
Fig.18 es una vista superior de una porción de
la dieciséis encarnación preferida del motor; y

Fig.19 es una vista lateral de la dieciséis
encarnación preferida del motor mostrado en Fig.18.
DESCRIPCIÓN DETALLADA DE LA INVENCIÓN
Será apreciado por aquellos expertos en el arte
que los cambios podrían ser hechos a las encarnaciones descritas encima sin
marcharse del amplio concepto inventivo de eso. Es entendido, por lo tanto, que
esta invención no es limitada con las encarnaciones particulares reveladas, pero
es querido para cubrir modificaciones dentro del espíritu y el alcance de la
invención presente como definido por las reclamaciones añadidas. También
debería ser entendido que los artículos "a" y el usado en las
reclamaciones de definir un elemento pueden referirse a un elemento solo o a
una pluralidad de elementos sin un límite en cuanto al número de elementos.
Las tentativas pasadas de construir un motor de
imán permanente trabajador se han encontrado con dificultades debido a las
características atractivas y repulsivas simultáneas de un imán permanente. Un
principio ha sido descubierto donde, usando un campo magnético en el reverso de
uno o varios imanes U shaped montados en un rotor con un segundo campo magnético
inmóvil, una torsión es creada lo que hace girar el rotor sobre un eje
rotatorio del rotor. Adelante, por correctamente formando el segundo campo
magnético, puede hacerse que el rotor traduzca también en dirección del eje de
rotor.

En consecuencia, usando el principio ya
mencionado, y refiriéndose al Fig.7A, un aspecto de la invención presente es
dirigido a un rotor 12 para el uso en un motor y que proporciona el poder de
motivo por una rotación del rotor 12 sobre un eje de rotor 16 y por una traducción
del rotor 12 en una dirección del eje de rotor 16. En un aspecto, el rotor 12
comprende un primer imán U shaped 20 en que el U imán 20 genera un primer campo
magnético. Una rotación del rotor 12
sobre el eje de rotor 16 es causada por una interacción de una porción del
primer campo magnético directamente adyacente a 26 traseros del U imán 20 con
un segundo campo magnético inmóvil. Una traducción del rotor 12 en dirección
del eje de rotor 16 es causada por una interacción del primer campo magnético
adyacente a un Polo Norte 23 y un polo sur 25 del U imán U 20 con el segundo
campo magnético inmóvil. Como será apreciado por aquellos expertos en el arte,
el diseño del rotor 12 no es limitado con un imán U shaped solo 12. Una
pluralidad de imanes U shaped 20, arreglado alrededor de una periferia del
rotor 12 es dentro del espíritu y alcance de la invención.
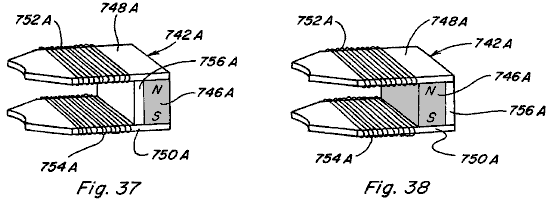
Otro aspecto de la invención presente, mostrada en
Fig.7B comprende un rotor 12 incluso un primer imán U que tiene un Polo Norte y
un polo sur que genera un primer campo magnético; un segundo imán de U shaped
24 tener un Polo Norte y un polo sur con el polo sur del segundo imán U 24
contiguo el Polo Norte del primer imán U 20;
y un tercero U imán formado 22 tener un Polo Norte y un polo sur con el Polo
Norte de tercer U formó el imán 22 contiguo el polo sur de primer U formó el
imán 20. Una porción del primer campo magnético generado por primer U formó el
imán 20 directamente adyacente a 26 traseros del imán formado de primeros U 20
se relaciona con un cuarto campo magnético inmóvil para hacer que el rotor 12
girara. Un segundo campo magnético
generado por el Polo Norte de segundo U formó el imán 24 y un tercer campo
magnético generado por el polo sur de tercer U formó el imán 22 respectivamente
se relacionan con el cuarto campo magnético para hacer que el rotor 12
tradujera en dirección del eje de rotor 16.
Un aspecto adicional de la invención presente,
mostrada en Fig.7C, comprende el imán formado de primer U 20 tener un Polo
Norte y un polo sur que genera un primer campo magnético. El Polo Norte y el
polo sur del U formaron el imán 20 son generalmente alineados con un eje de
cohete propulsor 34 que está en el avión del rotor 12 y cruza el eje de rotor
16. Un primer imán de cohete propulsor 36
es localizado próximo a y espaciado del Polo Norte de primer U formó el imán
con una dirección de magnetización generalmente alineada con el eje de imán de
cohete propulsor 34. Un segundo imán de cohete propulsor 38 es localizado
próximo a y espaciado del polo sur de primer U formó el imán 20 con una
dirección de la magnetización también generalmente alineada con el eje de imán
de cohete propulsor 34. Una porción del primer campo magnético generado por
primer U formó el imán 20 directamente adyacente a la parte de atrás 26 de
primeros U formaron el imán 20 se relaciona con un cuarto campo magnético
inmóvil para hacer que el rotor 12 girara. Un segundo campo magnético generado
tanto por el Polo Norte como por el polo sur del primer imán de cohete
propulsor 36 y un tercer campo magnético generado tanto por el Polo Norte como
por el polo sur del segundo imán de cohete propulsor 38 respectivamente se
relaciona con un quinto campo magnético para hacer que el rotor 12 tradujera en
dirección del eje de rotor 16. En un aspecto
adicional del rotor 12, como mostrado en Fig.7D, un imán de barra 43 puede ser
substituido por el imán formado del U 20 y el cuarto campo magnético es formado
por uno o varios imanes U shaped, donde el imán de barra 43 se relaciona con
una porción del cuarto campo magnético inmóvil adyacente al reverso del imán
formado de un U.
Como será apreciado por aquellos expertos en el arte, las polaridades de
los imanes mostrados en Figs. 7A, 7B, 7C y 7o pueden ser invertidas y todavía
ser dentro del espíritu y el alcance de la invención.


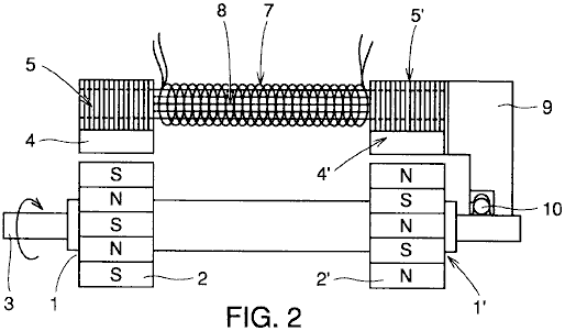
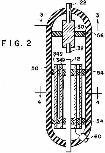
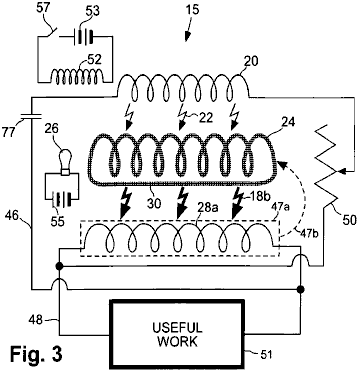
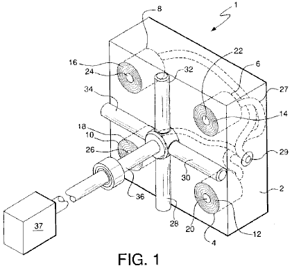
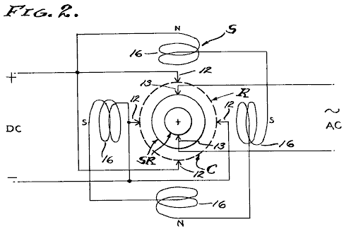
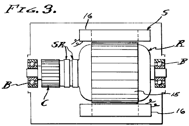
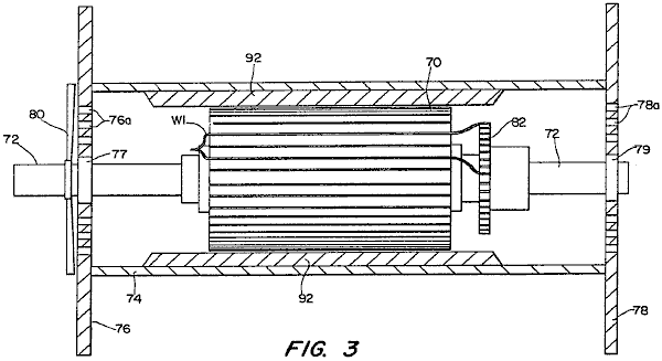
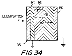
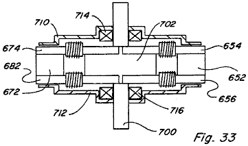
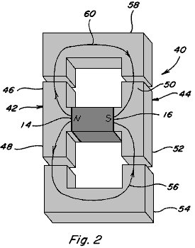
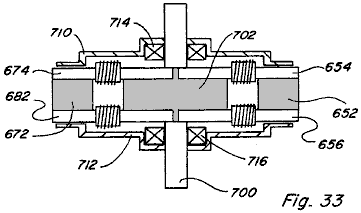
Referencia ahora a Fig.1A, Fig.2 y Fig.3 allí es mostrado una primera
encarnación preferida de un motor 10 utilización del rotor 12 y suministro del
poder de motivo rotatorio unidireccional. La primera encarnación preferida
comprende un estator generalmente circular que 50 tener un eje de estator 72 y
un circumferential reviste 64 montado a una base 18; una armadura 70, teniendo
un eje de armadura de rotación 58 coincidente con el eje de estator 72, atado
al estator 50 por un árbol de armadura 57 para rotación sobre el eje de
armadura de rotación 58; y cinco rotores 12 (sólo uno de los cuales es mostrado
para la claridad), los rotores 12 siendo espaciado a intervalos de
aproximadamente 72 grados alrededor de la armadura 70. Cada rotor 12 es
espaciado de la armadura por un puntal de armadura 71 y atado al puntal de
armadura 71 por un árbol, para la rotación sobre un eje 16 del rotor 12 en un
avión generalmente alineado con el eje de armadura de la rotación 58. El motor
10 adicional incluye una asamblea de encadenamiento conductor 53 uniendo cada
rotor 12 y el estator 50 juntos, el encadenamiento 53 incitación de la armadura
70 para girar sobre el eje de armadura de la rotación 58 cuando cada rotor 12
gira sobre su eje de rotor respectivo 16. Como será apreciado por aquellos
expertos en el arte el número de rotores 12 no es limitado con los cinco
rotores 12 revelado en la primera encarnación. Cualquier número de rotores 12
de un a tantos como habría espacio para montar en la armadura 70 es dentro del
espíritu y alcance de la invención.
Preferentemente, la superficie 64 del estator 50
es encorvada, teniendo una curvatura que se conforma al arco de los rotores 12.
Sin embargo, será apreciado por aquellos expertos en el arte que la superficie
64 no tiene que ser encorvada, pero podría ser plana y todavía ser dentro del
espíritu y alcance de la invención. Como
será apreciado por aquellos expertos en el arte el estator 50 es simplemente
querido como una estructura de apoyo inmóvil para imanes de estator y, cuando
tal, la forma del estator 50 no es querida para controlar del tamaño y forma
del hueco de aire entre los imanes atados al estator 50 y los imanes atados a
los rotores 12.
Preferentemente, el estator 50 es hecho de un
material (o una combinación de materiales) tener una susceptibilidad magnética
menos de 10-3, es decir un material que muestra propiedades paramagnéticas o
diamagnetic. Por ejemplo, el estator 50 podría ser hecho de un metal no
magnético como aluminio o latón. También,
el rotor 12 podría ser hecho de un material natural como madera, cristal, un
material polimérico o una combinación de cualquiera de los materiales ya
mencionados dentro del espíritu y alcance de la invención. Adelante, debería
ser entendido que los materiales ya mencionados son preferidos para los
estatores y todas otras partes del motor 10 que podría interrumpir
considerablemente la interacción magnética entre el estator y el rotor de todas
las encarnaciones preferidas reveladas del motor 10.
En la primera encarnación preferida, la superficie
64 del estator 50 incluye una línea circumferential de la demarcación 49 en
aproximadamente un punto mediano de la superficie 64 formado por una
intersección con la superficie 64 de un perpendicular plano al eje de armadura
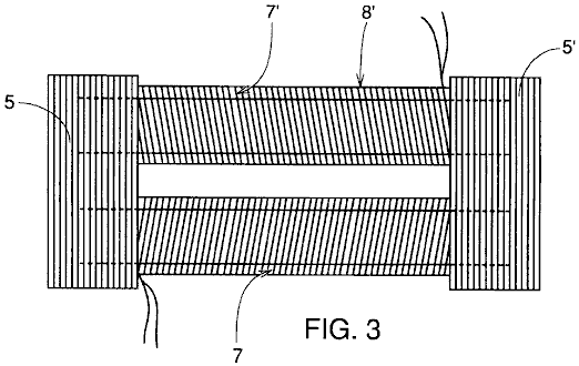
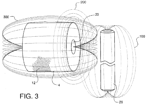
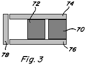
de la rotación 58. Como mostrado en Fig.3, el estator 50 incluye una pluralidad
de imanes de barra 68 atado a la superficie externa 64 a lo largo de la línea
de la demarcación 49, excepto en una región nula sola 78 donde la magnitud del
primer campo magnético es considerablemente reducida. Los imanes de barra 68 tienen una dirección
de la magnetización en aproximadamente un ángulo recto a la línea de la
demarcación 49 así creación de un primer campo magnético adyacente a la superficie
externa 64, la magnitud y la dirección de que es considerablemente uniforme a
lo largo de la línea circumferential de la demarcación 49 alrededor del eje 58
del estator 50, excepto dentro de la región nula 78. Como será apreciado por
aquellos expertos en el arte, el eje de estator 72 no tiene que ser coincidente
con el eje de armadura de la rotación 58. En consecuencia, un estator 50
arreglado alrededor del eje de armadura 58 en cualquier posición en la cual el
eje de estator 72 es la paralela al eje de armadura 58 y la superficie 64 del
estator 50 caras la periferia de los rotores 12 así aseguramiento de la
interacción entre el primer campo magnético y el segundo campo magnético
alrededor del eje de armadura 58, es dentro del espíritu y alcance de la invención.
Preferentemente, como adelante mostrado en Fig.3,
los imanes de barra son atados a la superficie 64 del estator 50 de modo que la
dirección de la magnetización de los imanes de barra 68 sea sobre el
perpendicular a una línea radial del rotor 12. Sin embargo, los imanes de barra
68 también podrían ser atados a la superficie 64 del estator de modo que la
dirección de la magnetización de los imanes de barra 68 sea alineada con una
línea radial del rotor 12. Los imanes
de barra 68 están contiguos preferentemente para formar el primer campo
magnético considerablemente uniforme. Sin embargo, no es necesario para los
imanes de barra 68 para estar contiguo el uno al otro. Adelante, no es
necesario usar una pluralidad de imanes de barra 68 para formar el primer campo
magnético. Un imán solo que produce un
primer campo magnético uniforme en la región en la cual el primer campo
magnético se relaciona con el segundo campo magnético de los rotores 12
proporcionaría el primer campo magnético requerido. También, el número de
regiones nulas 78 puede ser más de un, según la velocidad deseada del motor,
como explicado abajo.
Preferentemente, los imanes de estator 68 son
imanes permanentes hechos de un material neodymium-iron-boron. Sin embargo,
como será apreciado por aquellos expertos en el arte, cualquier tipo del
material de imán permanente la demostración de propiedades ferromagnéticas
podría ser usada para los imanes de estator 68.
Por ejemplo, los imanes de estator 68 hecho de cobalto samarium, ferrita
de bario o AlNiCo son dentro del espíritu y alcance de la invención. Debería
ser entendido que estos materiales de imán permanentes o sus equivalentes son
preferidos para los imanes de estator y los imanes de rotor de todas las
encarnaciones preferidas reveladas del motor 10. También, mientras el uso de imanes
permanentes es preferido, el uso de electroimanes para unos o todos los imanes
es dentro del espíritu y el alcance de la invención.
Como hablado encima, el estator 50 puede incluir
un número predeterminado de regiones nulas 78 en la superficie del estator 64.
En la primera encarnación preferida, la región nula sola 78 es formada por un
escudo de un material ferromagnético, como el hierro, colocado adyacente a la
superficie 64. Sin embargo, cuando aquellos
expertos en el arte apreciarán, la región nula 78 también puede ser formada por
una ausencia de los imanes de barra 68 en la región que coincide con la región
nula 78. La región nula 78 de la magnitud de campo magnético considerablemente
reducida también pueden ser formadas por un campo magnético auxiliar
apropiadamente generado por uno o varios imanes permanentes o por uno o varios
electroimanes impulsados por una corriente eléctrica arregló de modo que el
campo magnético auxiliar considerablemente anule el primer campo magnético en
la región nula 78. En caso de los
electroimanes, la corriente eléctrica puede ser apagada en el sincronismo con
la rotación de los rotores 12 pasar por la región nula 78, a fin de conservar
el poder. Preferentemente, el primer campo magnético es reducido al diez por
ciento o menos de la fuerza magnética fuera de la región nula. Sin embargo, el
motor 10 funcionará con una reducción de sólo el cincuenta por ciento. En
consecuencia, un motor 10 tener una reducción sustancial del primer campo
magnético del cincuenta por ciento o menos es dentro del espíritu y alcance de
la invención.

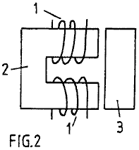
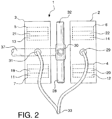
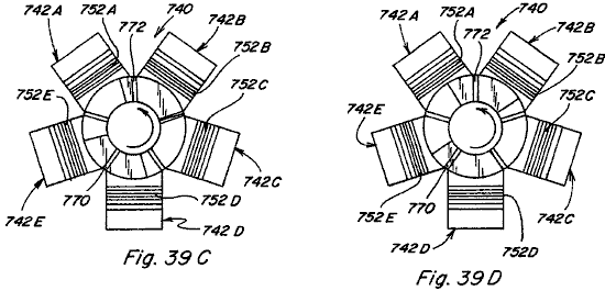
Como mostrado en Fig.2, el rotor 12 de la primera
encarnación preferida incluye tres pares 32, 32', 32" de U formó imanes
estados contiguos 20 espaciado aparte en aproximadamente 120 intervalos de
grado alrededor de la periferia del rotor 12. Preferentemente, se queda que los
imanes U shaped 20 tener propiedades magnéticas considerablemente idénticas y
tengan postes de enfrente del contiguo el uno al otro. Los pares 32, 32', 32" de U formó
imanes estados contiguos 20 son colocados de modo que el Polo Norte y el polo
sur de cada imán U shaped 20 cara hacia el eje del rotor 16, y la parte de
atrás 26 de cada U formó imán 20, enfrente del norte y el polo sur del imán U
shaped 20, se vuelvan del eje del rotor 16 hacia la superficie 64 del estator
50. Los pares 32, 32', 32" de los U
formó imanes 20 son situados en el rotor 12 de modo que una porción del segundo
campo magnético directamente adyacente a 26 traseros de cada U formó imán 20 se
relacione con un primer campo magnético inmóvil para hacer que el rotor 12
girara sobre su eje de rotor respectivo 16. Aquellos expertos en el arte
apreciarán que no es necesario tener exactamente tres pares 32, 32', 32"
de imanes U shaped 20 en el rotor 12. Por
ejemplo, el número de U formó imanes 20 (o los grupos de U estado contiguo
formaron imanes) espaciado aparte alrededor de la periferia del rotor 12 puede
extenderse de simplemente el imán formado de U solo 20, hasta varios imanes
limitados sólo por el espacio físico alrededor de la periferia del rotor 12. Adelante, el número de U estado contiguo
formó imanes 20 dentro de cada grupo de imanes 32 no es limitado con dos
imanes, pero también puede extenderse de 1 hasta varios imanes limitados sólo
por el espacio físico alrededor de la periferia del rotor 12.
Preferentemente, el rotor 12 es hecho de un
material (o una combinación de materiales) tener una susceptibilidad magnética
menos de 10-3. En consecuencia, el rotor podría ser hecho de cualquiera de los
mismos materiales usados para hacer el estator, como por ejemplo, un metal no
magnético, la madera, el cristal, un polimérico o una combinación de cualquiera
del susodicho como mostrado en Fig.1A, el rotor 12 es preferentemente el disco
formado con 26 traseros de los imanes de rotor formados de los U 20 arreglado
en la periferia del rotor 12 de tal modo que el U formó imanes 20 pase en la
proximidad cercana a la línea circumferential de la demarcación 49 en la
superficie externa 64 del estator 50 cuando el rotor 12 gira. Sin embargo, como estará claro a aquellos
expertos en el arte, la estructura del rotor 12 no tiene que ser el disco
formado. El rotor 12 podría ser una estructura de cualquier forma capaz del
giro alrededor del eje de rotor 16 y capaz de apoyar el U formó imanes 20 de
modo que, cuando el rotor 12 gira, el U formara imanes 20 entran en la
proximidad cercana con la superficie externa 64 del estator 50. Por ejemplo, un rotor 12 comprendido de puntales
relacionados con un porte central, donde cada puntal sostiene uno o varios U
formados imanes 20, es dentro del espíritu y alcance de la invención.
En la primera encarnación preferida, el
encadenamiento 53 unión de cada rotor 12 y el estator 50 comprende un paseo de
cadena adornado con cuentas 60 que endienta con un piñón de estator 61 en el
estator 50, y un piñón de rotor excéntrico 59 en cada rotor 12 de modo que,
cuando cada rotor 12 gira sobre su eje de rotor respectivo 16, se obligue que
la armadura 70 gire sobre el eje de armadura de la rotación 58. El piñón de rotor excéntrico 59 causas la
velocidad angular instantánea del rotor 12 sobre el eje de rotor 16 para
aumentar encima de la velocidad angular media del rotor 12 como cada par 32,
32', 32" de U formó imanes 20 pasa por la región nula 78. Como será
apreciado por aquellos expertos en el arte, el piñón de rotor 59 podría ser la
circular y el piñón de estator 61 excéntrico y todavía hacer que la velocidad
angular del rotor 12 aumentara. Adelante,
la cadena adornada con cuentas 60 en la combinación con el piñón de estator 61
y el piñón de rotor excéntrico 59 no es los únicos medios para unir cada rotor
12 al estator 50. Por ejemplo, la cadena adornada con cuentas 60 también podría
ser un cinturón. Adelante, el encadenamiento 53 podría comprender un árbol
motor entre cada rotor 12 y el estator 50, el árbol motor que pone una marcha
de bisel a cada final del acoplamiento de eje con una marcha de bisel en el
rotor 12 y el estator 50. Un mecanismo
de palanca de cambios automático cambiaría marchas cuando cada U formó el par
de imán 32, 32', 32" entró en las regiones nulas 78 para aumentar la
velocidad angular instantánea del rotor 12 como el par 32, 32', 32" de
imanes de rotor 20 pasó por la región nula 78. O bien el encadenamiento 53
podría comprender un sistema de transmisión que emplea marchas elípticas.
Mientras es preferido que la velocidad angular
instantánea del rotor 12 para aumentar encima de la velocidad angular media del
rotor 12 como cada par de U formó imanes 20 pasa por la región nula 78, no es
necesario proporcionar la velocidad angular aumentada del rotor 12 para
proporcionar el poder de motivo del motor 10.
Preferentemente, los diámetros del piñón de rotor
59 y piñón de estator 61 son seleccionados de modo que 26 traseros de cada U
formaran el imán 20 pasa un y sólo una región nula 78 para cada revolución
llena del rotor 12 sobre el eje de rotor respectivo 16 cuando la armadura 70
gira sobre el eje de armadura de la rotación 58. En consecuencia, el precio de
revolución de la armadura 70 está relacionado con el precio de revolución del
rotor 12 por la expresión:
Sa = (Nr / Ns) x Sr .............
(1)
Donde:
Sa es la velocidad angular de la armadura 70
(REVOLUCIONES POR MINUTO);
Nr es el número de
los imanes formados del U 20 (o los grupos de U estado contiguo formaron imanes
32) en un rotor 12;
Ns es el número de regiones nulas 12 en el estator
50; y
Sr es la velocidad angular del rotor 12
(REVOLUCIONES POR MINUTO).
El cronometraje de la rotación del rotor 12
alrededor de su eje de rotor respectivo 16, y la armadura 70 sobre el eje de
armadura de la rotación 58 es tal que cada U formó el imán 20 (o U formó el par
de imán 32, 32', 32") en cada rotor 12 firma una región nula 78 en un
punto donde la interacción magnética entre el primer campo magnético y el
segundo campo magnético es considerablemente reducida, así proporcionando una
conmutación del segundo campo magnético. Cuando cada rotor 12 sigue girando
sobre el eje de rotor 16 y la armadura 70 gira sobre el eje de armadura de la
rotación 58, el U formó el imán 20 rastros un camino tendencioso por la región
nula 78. Cuando el imán formado del U surge de la región nula 78, el U formó el
imán 20 encuentro el primer campo magnético fuerte, que impulsa que el U
formara el imán 20 para seguir la rotación del rotor 12 sobre el eje de rotor
16.
Como antes hablado, la primera encarnación
preferida del motor 10 comprende una región nula sola 78 y cinco rotores 12,
cada rotor 12 teniendo tres pares 32, 32', 32" de U estado contiguo formó
imanes 20. Preferentemente, los rotores 12 son uniformemente espaciados
alrededor del eje de armadura de la rotación 58 y los pares 32, 32', 32"
de U formó imanes 20 son uniformemente espaciados alrededor de la periferia de
cada rotor respectivo 12. Adelante, los pares 32, 32', 32" de U formó
imanes 20 en cada rotor 12 son divididos en fases el uno con respecto al otro
por una quinta de una revolución del rotor 12 (es decir el recíproco del número
de rotores) de modo que los pares 32, 32', 32" de U formó imanes 20 de
todos los rotores 12 entren en la región nula en intervalos considerablemente
uniformes para proporcionar una interacción magnética más o menos continua
entre el primer campo magnético del estator 50 y el segundo campo magnético de
los rotores 12. Como será apreciado por aquellos expertos en el arte, el poder
de motivo proporcionado por el motor es proporcional al número de rotores 12 y
el número de imanes 20 en cada rotor 12 así como la fuerza del rotor 12 imanes
20 y el estator 50 imanes 68. En
consecuencia, el número de rotores 12 y el número de pares 32, 32', 32" de
U formó imanes 20 no es limitado con cinco rotores 12 y tres pares de U
formaron imanes 32. Del mismo modo, el número de regiones nulas 78 no es
limitado con uno. El número de U formó imanes 20 y el número de regiones nulas
78 son limitados sólo por la adhesión a la regla establecida por la Ecuación
(1).


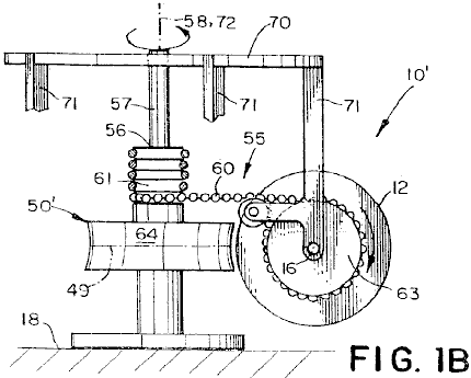
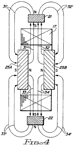
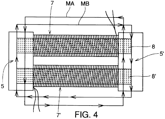
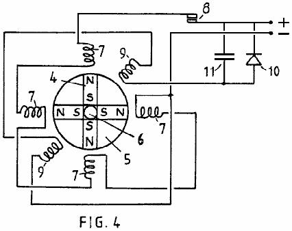
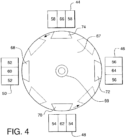
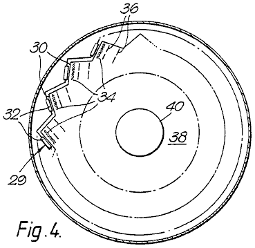
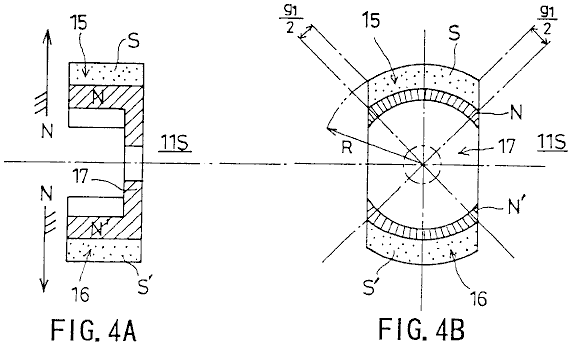
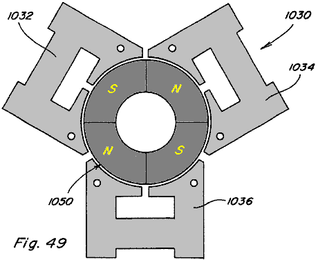
Refiriéndose ahora a Fig.1B, Fig.2 y Fig.4 allí es
mostrado una segunda encarnación preferida de un motor 10 poder de motivo
rotatorio unidireccional que provee. La segunda encarnación preferida comprende
un estator generalmente circular 50' tener un eje de estator 72 con imanes 68'
atado a una superficie 64 del estator 50'; una armadura 70 atado al estator 50'
por un árbol de armadura 57 para rotación sobre un eje de armadura de rotación
58 coincidente con el eje de estator 72; y cinco rotores 12 (para la claridad,
sólo uno de los cuales es mostrado) tener tres pares 32, 32', 32" de U
estado contiguo formó imanes 20, los rotores 12 siendo espaciado a intervalos
de aproximadamente 72 grados alrededor de la armadura 70. Cada rotor 12 es espaciado de la armadura por
un puntal 71 y atado al puntal 71 por un árbol para la rotación en el avión del
eje de armadura de la rotación 58 sobre un rotor 12 eje de la rotación 16. El
motor 10 adicional incluye un encadenamiento conductor 55 unión de cada rotor
12 y el estator 50 juntos para hacer que la armadura 70 girara sobre el eje de
armadura de la rotación 58 cuando cada rotor 12 gira sobre su eje de rotor
respectivo 16.
La segunda encarnación preferida es idéntica a la
primera encarnación preferida excepto dos diferencias. Primero, en vez del
primer campo magnético siendo uniforme tanto en magnitud como en dirección a lo
largo de la línea circumferential de demarcación 49 (excepto en una o varias
regiones nulas 78 como en la primera encarnación preferida), la dirección del
primer campo magnético gira sobre una paralela de eje magnética a la línea
circumferential de la demarcación 49 con una periodicidad predeterminada a lo
largo de la línea de la demarcación 49. Preferentemente, el primer campo
magnético es formado de uno o varios imanes de estator 68' atado a la
superficie externa 64 del estator 50', cada imán 68' tener una dirección de la
magnetización que hace que el primer campo magnético gire sobre el eje
magnético. En la segunda encarnación preferida, como mostrado en Fig.4, los
imanes de estator 68' son igualmente puestos la talla imanes de barra, atados
al estator 50' de modo que los imanes de barra 68' espiral en el estator 50'
con la periodicidad predeterminada. Sin embargo, como sería aparente a aquellos
expertos en el arte, el primer campo magnético no tiene que ser formado por
imanes de barra, pero podría ser formado de un imán solo (o los grupos de los
imanes) tal que la dirección de magnetización del imán solo gira alrededor del
eje magnético.
La segunda diferencia entre la primera encarnación
preferida y la segunda encarnación preferida es que el encadenamiento 55 de la
segunda encarnación preferida no incluye un componente para aumentar la
velocidad angular del rotor 12 encima de la velocidad media del rotor 12. En consecuencia, en la segunda encarnación
preferida, un piñón de rotor circular 63 es usado en el lugar del enchufe de
rotor excéntrico 59, así proporcionando un precio constante de la rotación del
rotor 12 sobre el eje de rotor 16 cuando la armadura 70 gira sobre el estator
50'.
Como estará claro a aquellos expertos en el arte,
la rotación de la dirección del primer campo magnético alrededor de la línea
circumferential de la demarcación 49 commutates el segundo campo magnético,
venciendo la necesidad de las regiones nulas 78. En total otro respeta, la operación
de la segunda encarnación es el mismo como aquella de la primera encarnación. Es decir el precio de revolución de cada
rotor 12 está relacionado con el precio de revolución de la armadura 70 por la
Ecuación (1), donde el parámetro Ns es el número de rotaciones alrededor de la
línea de la demarcación 49 del primer campo magnético a lo largo de la línea de
la demarcación 49. En la segunda
encarnación preferida, como mostrado en Fig.4, el número de rotaciones del
primer campo magnético es el que. En consecuencia, ya que hay tres pares 32,
32', 32" de U formó imanes 20, cada uno de los cinco rotores 12 hace una
tercera revolución para cada revolución llena de la armadura 70 alrededor del
eje de armadura 58. Sin embargo, como será apreciado por aquellos expertos en
el arte, el motor 10 podría ser diseñado para el primer campo magnético para
tener cualquier número de períodos enteros de la rotación sobre el eje de
armadura 58 a condición de que el precio de revolución de los rotores 12 fuera
ajustado para conformarse a la Ecuación (1).


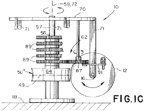
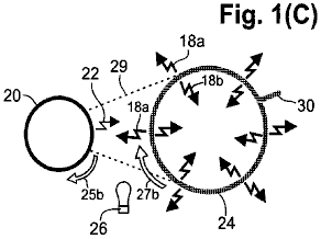
Referencia ahora a Fig.1C, Fig.2 y Fig.5 allí es mostrado un tercero
prefirió la encarnación de un motor 10 poder de motivo rotatorio unidireccional
que provee. La tercera encarnación preferida comprende un estator generalmente
circular 50" montado a una base 18 y tener un eje 72, con imanes 68"
atado a la superficie 64 del estator 50", una armadura 70 atado al estator
50" por un árbol 57 para la rotación sobre un eje de armadura de la
rotación 58 coincidente con el eje de estator 12, y cinco rotores 12 (para la
claridad, sólo uno de los cuales es mostrado) tener tres pares 32, 32',
32" de U estado contiguo formó imanes 20, los rotores 12 siendo espaciado
a intervalos de aproximadamente 72 grados alrededor de la armadura 70. Cada
rotor 12 es espaciado de la armadura por un puntal de armadura 71 y atado al
puntal de armadura 71 por un árbol para la rotación sobre un eje 16 del rotor
12 en un avión generalmente alineado con el eje de armadura 58 sobre un eje 16 del
rotor 12. El motor 10 adicional incluye
un encadenamiento conductor 62 unión de cada rotor 12 y el estator 50 juntos
para hacer que la armadura 70 girara sobre el eje de armadura de la rotación 58
cuando cada rotor 12 oscila sobre su eje de rotor respectivo 16.
La tercera encarnación preferida es idéntica a la
primera encarnación preferida excepto tres diferencias. Primero, en vez del
primer campo magnético siendo uniforme tanto en magnitud como en dirección
alrededor de la línea circumferential de demarcación 49 (excepto en la zona
nula 78), el primer campo magnético es desplazado por un modelo sinusoidal que
tiene una amplitud máxima predeterminada y un período predeterminado a lo largo
de la línea circumferential de la demarcación 49, con la dirección del primer
campo magnético que alterna en sentidos contrarios a lo largo de la línea de la
demarcación 49 entre cada amplitud máxima del modelo sinusoidal.
Preferentemente, como mostrado en Fig.5 el primer
campo magnético es formado por una pluralidad de imanes de barra 68"
arreglado en la superficie 64 del estator 50" de modo que la magnetización
de los imanes de barra 68" sea desplazada en el modelo sinusoidal de la
línea de la demarcación 49 alrededor de la línea circumferential de la demarcación
49. El modelo sinusoidal de los imanes de barra 68" es dividido en
primeros y segundos sectores, el límite de los cuales ocurre en los picos del
modelo sinusoidal. La dirección de magnetización de los imanes de barra
68" es de enfrente en la dirección en el primer y los segundos sectores
que proporcionan una conmutación del segundo campo magnético y causan los
rotores 12 poner marcha atrás en la dirección rotatoria cuando el rotor 12
oscila alrededor del eje de rotor 16 y gira alrededor del eje de armadura de la
rotación 58.
Preferentemente, el modelo sinusoidal de los
imanes tiene una amplitud máxima predeterminada de modo que cada rotor 12
oscile aproximadamente/-thirty (30) grados de una posición neutra. Sin embargo, el valor de la amplitud máxima
no es crítico al diseño del motor 10. Adelante, el período predeterminado del
modelo sinusoidal puede ser seleccionado para ser cualquier valor para el cual
el número de ciclos del modelo sinusoidal alrededor de la superficie 64 del
estator 50" es un valor de número entero.
Como será aparente a aquellos expertos en el arte,
el primer campo magnético no tiene que ser formado por los imanes de barra
68", pero podría ser formado de un imán solo (o grupos de imanes) de modo
que el primer campo magnético fuera sinusoidally desplazado alrededor del eje
de armadura de la rotación 58 y alternaría en sentidos contrarios entre cada
pico del modelo sinusoidal. Adelante, como será apreciado por aquellos expertos
en el arte, el desplazamiento del primer campo magnético no tiene que ser
exactamente sinusoidal. Por ejemplo el desplazamiento puede estar en una forma
de un serrado o en una forma que tiene una porción con la constante más y menos
valores de amplitud, dentro del espíritu y el alcance de la invención.
A consecuencia del primer campo magnético que es
sinusoidally desplazado y alterna cada una mitad de período, cada rotor 12
oscila por un ángulo correspondiente a aproximadamente la amplitud máxima del
sinusoid cuando el rotor 12 sigue los imanes de estator 68". En consecuencia, una segunda diferencia entre
la tercera encarnación y la primera encarnación está en la estructura del
encadenamiento 62. En la tercera encarnación preferida, mostrada en Fig.1C, el
encadenamiento 62 comprende una vara que corresponde 91 unión de cada rotor 12
a una primera velocidad respectiva 87 rotatoriamente atado a la armadura 70. La vara que corresponde 91 es
fundamentalmente montada a cada rotor 12 y a cada primera velocidad 87 de modo
que el movimiento oscilante del rotor 12 sea convertido al movimiento rotatorio
de la primera velocidad 87. Cada primera velocidad 87 es conectada a una
segunda marcha sola 89, atada al estator 50 en una posición fija. El movimiento rotatorio de cada primera
velocidad 87 causas la armadura 70 para girar sobre el eje de armadura de la
rotación 58 como los rotores 12 oscila sobre el eje de rotor 16. Como será
apreciado por aquellos expertos en el arte, la velocidad del motor 10 es fijada
por la proporción de la primera velocidad 87 a la segunda marcha 89 de acuerdo
con la expresión:
Sa = (1 / Ns) x Sr .................... (2)
Donde:
Ss es la velocidad angular de la armadura 70
(REVOLUCIONES POR MINUTO);
Ns es el número de primeros períodos de campo
magnético alrededor del estator 50"; y
Sr es la velocidad angular del rotor 12
(REVOLUCIONES POR MINUTO).
Como cada rotor 12 oscila en vez del continuamente
giro, sólo un imán de rotor solo. (o el grupo de imanes) en un rotor dado 12 se
relaciona con el estator solo 50". En consecuencia, una tercera diferencia
entre la tercera encarnación preferida y la primera encarnación preferida se
levanta debido al movimiento oscilatorio de cada rotor 12 por lo cual cada
rotor 12 de la tercera encarnación preferida tiene sólo un par solo de imanes
32. Sin embargo, como será apreciado por aquellos expertos en el arte, los
estatores adicionales 50" pueden ser añadidos alrededor de la periferia de
los rotores 12 y los pares adicionales de U formaron imanes 20 puede ser
incluido en cada rotor 12 para relacionarse magnetically con cada estator
adicional 50", así proporcionando el poder de motivo adicional.



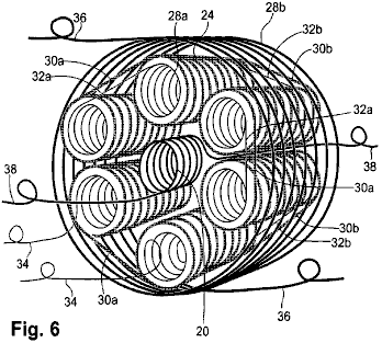
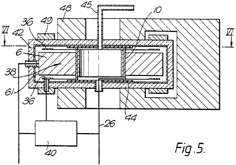
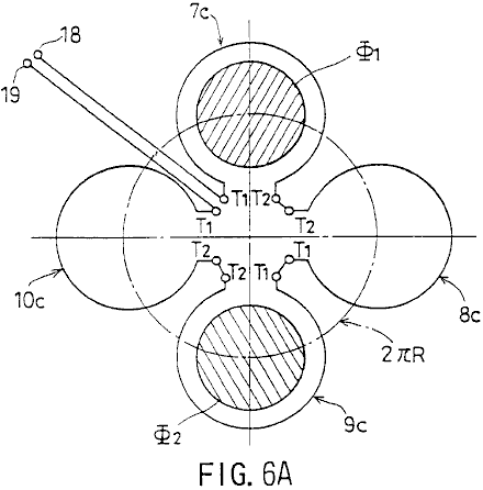
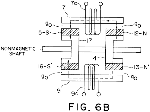
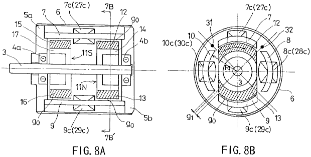
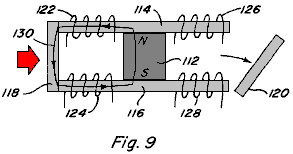
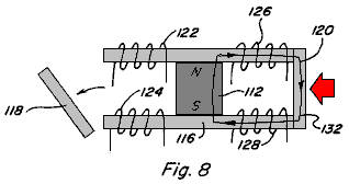
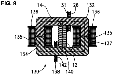
La referencia ahora a Figs. 6, 7A, 8A y 8B, allí
es mostrada una cuarta encarnación preferida del motor de imán permanente 10
para proporcionar el poder de motivo rotatorio unidireccional. La cuarta
encarnación preferida comprende un estator generalmente circular 51 tener un
eje de estator 72, atado a una base 18.
El estator 51 incluye una superficie externa 64 dividido en un primer
lado 52 y un segundo lado 54 por una línea circumferential de la demarcación
49, teniendo una dirección predeterminada alrededor del eje de estator 72, en
aproximadamente un punto mediano de la superficie externa 64.
Preferentemente, la superficie 64 del estator 51
es encorvada, teniendo una curvatura que se conforma al arco de los rotores 12.
Sin embargo, será apreciado por aquellos expertos en el arte que la superficie
64 no tiene que ser encorvada, pero podría ser plana y todavía ser dentro del
espíritu y alcance de la invención. Como
será apreciado por aquellos expertos en el arte el estator 51 es simplemente
querido como una estructura de apoyo inmóvil para imanes de estator y, cuando
tal, la forma del estator no es querida para controlar del tamaño y forma del
hueco de aire entre los imanes atados al estator y los imanes atados a los
rotores.
Como mostrado en Fig.8A, uno o varios pares de
imanes de estator 46 son atados a la superficie externa 64 espaciado a lo largo
de la línea de la demarcación 49. Cada par de imanes de estator 46 comprende un
primer imán de estator 40 tener un Polo Norte y un polo sur y un segundo imán
de estator 42 tener un Polo Norte y un polo sur. El polo sur de cada primer imán de estator
40, es localizado en el primer lado 52 de la superficie externa 64, y el Polo
Norte del primer imán de estator 40 es el más cercano a la línea de la
demarcación 49. El Polo Norte de cada segundo imán de estator 42 es localizado
en el segundo lado 54 de la superficie externa 64 y el polo sur de cada segundo
imán de estator 42 siendo el más cercano a la línea de la demarcación 49. El primer y los segundos imanes de estator
40, 42 son espaciados a lo largo de la línea de la demarcación 49 de modo que
una primera distancia de interimán midiera a lo largo de la línea de la
demarcación 49 entre el Polo Norte del primer imán de estator 40 y el polo sur
del segundo imán de estator 42 de un par adyacente de imanes 46 es generalmente
igual a una segunda distancia de interimán medida a lo largo de la línea de la
demarcación 49' entre el polo sur del primer imán de estator 40 y el Polo Norte
del segundo imán de estator 42.
En la cuarta encarnación preferida, los imanes de
estator 40, 42 son imanes de barra. Preferentemente, el Polo Norte de cada
primer imán de estator 40 y el polo sur de cada segundo imán de estator 42 es
inclinado hacia la dirección predeterminada.
También, los imanes de barra son preferentemente orientados en la
superficie 64 del estator 50 de modo que el polo sur de cada primer imán 40 y
el Polo Norte de cada segundo imán 42 sea cercano a la periferia de cada rotor
12 que el poste de polaridad de enfrente de cada uno de los imanes 40, 42. Como será apreciado por aquellos expertos en
el arte, los imanes de estator 40, 42 no tienen que ser imanes de barra. Por
ejemplo, cada imán de estator 40, 42 podría ser un U formó el imán, o podría
ser arreglado de imanes separados, mientras el primer campo magnético generado
por los imanes era generalmente el equivalente con esto producido por los
imanes de barra.
En la cuarta encarnación preferida, una armadura
70 tener un eje de armadura de la rotación 58 coincidente con el eje de estator
72 es atado al estator 51 por un árbol de armadura 57, que árbol de armadura 57
permiso de la armadura 70 para girar libremente sobre el eje de estator 72. Cada
rotor 12 es espaciado de la armadura 70 por un puntal de armadura 71 y es
montado al puntal de armadura 71 para ser libre de girar sobre el eje de rotor
16. El eje de rotor 16 es orientado de modo que el rotor 12 gire en un avión
generalmente alineado con el eje de armadura de la rotación 58. En la cuarta
encarnación preferida, cinco rotores 12 son atados a la armadura 70. Preferentemente, los rotores 12 son
uniformemente espaciados alrededor de la circunferencia del estator 50 con un
espaciado de los rotores 12 como medido en la superficie 64 del estator 51
sobre igual a un número entero múltiple de dos veces la distancia de interimán.
Sin embargo, cuando aquellos expertos en el arte apreciarán, no es necesario
tener los rotores 12 uniformemente espaciado.
Adelante, el número de rotores 12 puede ser solamente un y tan grande
como el tamaño y las coacciones espaciales permiten. Como será apreciado por
aquellos expertos en el arte, el eje de estator 72 no tiene que ser coincidente
con el eje de armadura de la rotación 58.
En consecuencia, un estator 50 arreglado alrededor del eje de armadura
58 en cualquier posición en la cual el eje de estator 72 es la paralela al eje
de armadura 58 y la superficie del estator 50 caras la periferia de los rotores
12, así asegurando la interacción entre el primer campo magnético y el segundo
campo magnético alrededor del eje de armadura 58, es dentro del espíritu y
alcance de la invención.
Refiriéndose ahora al fig.7A, cada rotor 12
comprende el imán formado de primer U 20 generación de un segundo campo
magnético. Primer U formó el imán 20 es colocado en el rotor 12 de modo que el
Polo Norte y el polo sur de primer U formaran el imán 20 caras hacia el eje 16
del rotor 12, y la parte de atrás 26 de primeros U formaron el imán 20 caras la
periferia del rotor 12. Cuando 26
traseros de primeros U formaron el imán 20 es adyacente al Polo Norte de uno de
los primeros imanes de estator 40 a lo largo de la línea de la demarcación 49,
una porción del segundo campo magnético directamente adyacente a 26 traseros de
primeros U formó el imán 20 se relaciona con una porción del primer campo
magnético generado por el Polo Norte del primer imán de estator 40 hacer que el
rotor 12 girara en un en contrario dirección. Cuando el rotor 12 gira en el en
contrario dirección, una porción del segundo campo magnético asociado con el
polo sur de primer U formó el imán 20 se relaciona con una porción del primer
campo magnético asociado con el polo sur del primer imán de estator 40, dar
ocasión a una fuerza en dirección del eje de rotor 16, repeliendo el U formó el
imán 20, y causando el rotor 12 traducir en la dirección predeterminada
alrededor del eje de estator. Como el rotor 12 movimientos lejos del primer
imán de estator 40 en la predirección el segundo campo magnético adyacente a 26
traseros de los U formó el imán 20 se relaciona con la porción del primer campo
magnético asociado con el polo sur del segundo imán de estator 42 del par de
imanes 46, causando el rotor 12 para invertir dirección y hacer girar en
dextrórsum dirección. La porción del segundo campo magnético asociado con el
Polo Norte del U formó el imán 20 entonces se relaciona con la porción del
primer campo magnético asociado con el Polo Norte del segundo imán de estator
42, otra vez dar ocasión a una fuerza en dirección del eje de rotor 16,
repeliendo el U formó el imán 20 y causando el rotor 12 traducir en la
dirección predeterminada. Un ciclo de oscilación es repetido entonces con el
segundo campo magnético del rotor 12 interacción con el primer campo magnético
del par adyacente de imanes 46. En consecuencia, el rotor 12 rotatoriamente
oscila sobre el eje de rotor respectivo 16 y genera una fuerza en dirección del
eje de rotor 16, causando la armadura 70 girar en la dirección predeterminada
alrededor del eje de armadura de la rotación 58 para proporcionar el poder de
motivo rotatorio unidireccional del motor. Como sería apreciado por aquellos
expertos en el arte, la cuarta encarnación no es limitada con un estator solo
51 y U solo formó el imán 20. Los estatores adicionales que tienen primero y
los segundos imanes de estator 40, 42 arreglado idénticamente al estator 51
para relacionarse con la correspondencia U imanes formados espaciados alrededor
de la periferia de cada rotor son con en el espíritu y alcance de la invención.

Refiriéndose ahora a Fig.6, Fig.7B y Fig.8A allí
es mostrado una quinta encarnaci ón preferida del motor de imán permanente 10
para proporcionar la fuerza de motivo rotatoria unidireccional. La estructura y
la operación de la quinta encarnación preferida son similares a aquella de la
cuarta encarnación preferida salvo que cada rotor 12 también incluye un segundo
U imán formado 24 tener un Polo Norte y un polo sur con el polo sur de segundo
U formó el imán 24 contiguo el Polo Norte de primer U formó el imán 20, y un
tercero U imán formado 22 tener un Polo Norte y un polo sur, con el Polo Norte
del imán formado de tercer U 22 contiguo el polo sur de primer U formó el imán
20. Cuando el rotor 12 gira debido a la interacción de la porción del segundo
campo magnético adyacente al reverso del imán formado del U 20 con el primer
campo magnético, un tercer campo magnético generado por el Polo Norte de
segundo U formó el imán 24 y un cuarto campo magnético generado por el polo sur
de tercer U formó el imán 22 cada uno se relaciona con el primer campo
magnético generado por cada imán de estator se aparean 46 para hacer que cada
rotor 12 generara una fuerza en dirección del eje de rotor 16, así causando la
armadura 70 hacer girar en la dirección predeterminada alrededor del eje 58 del
estator 51 para proporcionar el poder de motivo rotatorio unidireccional del
motor.
En la quinta encarnación preferida, la porción del
segundo campo magnético adyacente a 26 traseros de primeros U formó el imán 20
sirve para hacer girar el rotor 12 mientras segundo y tercer U formó imanes 24,
22 generan los campos magnéticos que proporcionan la fuerza en dirección del
eje de rotor 16. En consecuencia, la
quinta encarnación preferida es potencialmente más poderosa que la cuarta
encarnación preferida. Como será apreciado por aquellos expertos en el arte,
los imanes de estator 40, 42 no tienen que ser imanes de barra. Por ejemplo, cada imán de estator 40, 42
podría ser sustituido por un U formó el imán o podría ser arreglado de imanes
separados, mientras el primer campo magnético generado por los imanes era
generalmente el equivalente con esto producido por los imanes de barra.



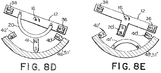
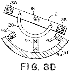
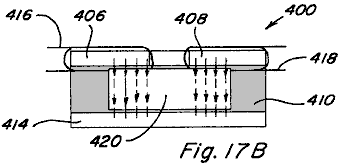
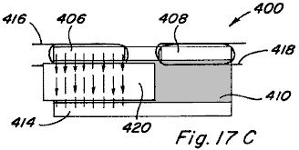
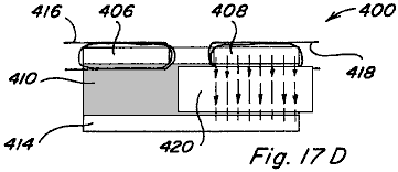
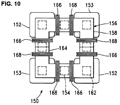
La referencia ahora a Fig.6, Fig.8C y Fig.8D allí
es mostrada una sexta encarnación preferida del motor 10. La estructura y la
operación de la sexta encarnación preferida son idénticas a aquella de la
quinta encarnación preferida salvo que:
(1) Los imanes de estator 40', 42' en la
superficie 64 del estator 51' están en una orientación ligeramente diferente;
(2) un imán de estator adicional 41 es añadido a
cada par de imanes de estator 46 y
(3) el U formó imanes 22, 24 atado a cada rotor 12
son sustituidos por imanes de barra 36, 38.
Expresamente, y refiriéndose ahora al Fig.8C, la
dirección de magnetización de cada primer imán de estator 40' y cada segundo
imán de estator 42' es alineada para ser generalmente el perpendicular a la
línea de la demarcación 49 en vez de ser inclinado en la dirección predeterminada
alrededor del eje de armadura de la rotación 58 como en la quinta encarnación. También,
el estator 51' también incluye un tercer imán de estator 41 montado en la
superficie externa 64 a lo largo de la línea de la demarcación 49 a mitad del
camino entre cada primer imán de estator 40' y cada segundo imán de estator
42'. Como mostrado en Fig.8C y Fig.8D, el tercer imán de estator 41 es
orientado de modo que la dirección de la magnetización del tercer imán 41 sea
alineada con el eje 16 de los rotores 12.
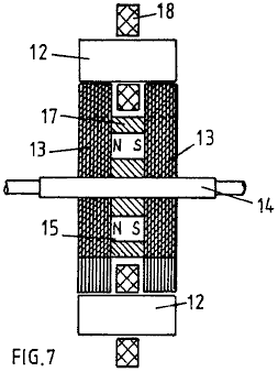
Como mostrado en Fig.8C y Fig.8D, el rotor 12
usado en la sexta encarnación preferida incluye el imán formado de primer U 20,
similar a aquella de la quinta encarnación preferida. Sin embargo, en el lugar
del segundo y tercer U formó imanes 24, 22 usado en las quintas encarnaciones
preferidas, la sexta encarnación preferida incluye un primer imán de barra de
cohete propulsor 36, espaciado de y próximo al polo sur de primer U formó el
imán 20 y generalmente se alineaba con un eje de imán de cohete propulsor 34, y
un segundo imán de barra de cohete propulsor 38, espaciado de y próximo al Polo
Norte de primer U formó el imán 20 y también generalmente alineado con el eje
de imán de cohete propulsor 34. El eje de cohete propulsor 34 mentiras en el
avión del rotor 12 y cruza el eje de rotor 16. Similar a la quinta encarnación
preferida, la interacción de la porción del segundo campo magnético
directamente adyacente al reverso del imán formado del U 20 con el primer campo
magnético proporciona la fuerza rotatoria para los rotores 12. Cuando el rotor 12 gira en el dextrórsum la
dirección (visto a partir del segundo final 30 del estator 51'), un tercer
campo magnético generado tanto por el Polo Norte como por el polo sur del
segundo imán de cohete propulsor 36 se relaciona con el primer imán de estator
40', otra vez generando una fuerza en dirección del eje de rotor 16. Del mismo
modo, cuando el rotor 12 gira en en contrario dirección un cuarto campo
magnético generado tanto por el Polo Norte como por el polo sur del primer imán
de cohete propulsor 38 se relaciona con el segundo imán de estator 42',
generando una fuerza en dirección del eje de rotor 16. El resultado de la
fuerza en dirección del eje de rotor 16 debe hacer que la armadura 70 gire en
la dirección predeterminada alrededor del eje de armadura de la rotación 58
para proporcionar el poder de motivo rotatorio unidireccional del motor 10.
En la sexta encarnación preferida, los imanes de
estator 40', 41, 42' y los imanes de cohete propulsor 36, 38 son imanes de
barra. Sin embargo, como será apreciado por aquellos expertos en el arte, los
imanes de estator 40', 41 42' y los imanes de cohete propulsor 36, 38 no tiene
que ser imanes de barra. Por ejemplo, cada imán de estator 40', 42' podría ser
un U formó el imán o podría ser arreglado de imanes separados, mientras el
primer campo magnético generado por los imanes era generalmente el equivalente
con esto producido por los imanes de barra.

Refiriéndose ahora a Fig.6, Fig.7D y Fig.8E allí
es mostrado una séptima encarnación preferida del motor 10. La estructura y la
operación de la séptima encarnación preferida son similares a la sexta
encarnación preferida salvo que el tercer imán de estator 41' localizado en la
superficie 64 del estator 51" a lo largo de la línea de la demarcación 49
son un U formó el imán 41' con el reverso del U formó el imán 41' forro del
rotor 12 y la dirección de la magnetización que es el perpendicular a la línea
de la demarcación 49; y el U formó el imán 20 es sustituido por un imán de
barra 20' orientado para tener la dirección de la magnetización alineada con
una línea radial del rotor 12. Como en
la sexta encarnación preferida, cada imán de estator 40', 42' podría ser un U
formó el imán o podría ser arreglado de imanes separados, mientras el primer
campo magnético generado por los imanes de estator 40', 42' era generalmente el
equivalente con esto producido por los imanes de barra.




Referencia ahora a Fig.7A, Fig.8A, Fig.8B, Fig.9 y Fig.11A, allí es
mostrado una octava encarnación preferida del motor 10 para proporcionar el
poder de motivo lineal unidireccional. La octava encarnación preferida
comprende un estator lineal 48 tener un perpendicular de corte transversal
generalmente curvo a una línea longitudinal de la demarcación 49 la ampliación
en una superficie 64 del estator entre un primer final 28 y un segundo final 30
y dividiendo la superficie 64 del estator 48 en un primer lado 52 y un segundo
lado 54. Preferentemente, el corte transversal generalmente curvo del estator
48 es cóncavo. Sin embargo, será
apreciado por aquellos expertos en el arte que el corte transversal no tiene
que ser cóncavo, pero podría ser plano o hasta convexo y todavía ser dentro del
espíritu y el alcance de la invención.
El estator lineal 48 es idéntico al estator
generalmente circular 51 excepto la superficie 64 del estator 48 siendo lineal
en dirección de la línea de la demarcación 49 en vez de ser la circular en
dirección de la línea de la demarcación 49.
La octava encarnación preferida incluye el primer
y los segundos imanes de estator 40, 42 (ver Fig.8A), la posición y orientación
de que son prácticamente idénticos a la orientación y posición de los imanes de
estator 40, 42 en el estator circular 51.
En consecuencia, atado al estator lineal 48 es uno o varios pares de
imanes 46, cada par de imanes de estator 46 generación de un primer campo
magnético y comprensión de un primer imán de estator 40 tener un Polo Norte y
un polo sur y un segundo imán de estator 42 tener un Polo Norte y un polo sur. El polo sur de cada primer imán de estator
40, es localizado en el primer lado 52 de la superficie externa 64, con el Polo
Norte del primer imán de estator 40 siendo lo más cercano a la línea de la
demarcación 49. El Polo Norte de cada segundo imán de estator 42 es localizado
en el segundo lado 54 de la superficie externa 64 con el polo sur de cada
segundo imán de estator 42 siendo el más cercano a la línea de la demarcación
49. El primer y los segundos imanes de
estator 40, 42 son espaciados a lo largo de la línea de la demarcación 49 de
modo que una primera distancia de interimán medida a lo largo de la línea de la
demarcación 49 entre el Polo Norte del primer imán de estator 40 y el polo sur
del segundo imán de estator 42 de un par adyacente de imanes 46 sea
generalmente igual a una segunda distancia de interimán medida a lo largo de la
línea de la demarcación 49 entre el polo sur del primer imán de estator 40 y el
Polo Norte del segundo imán de estator 42.
En la octava encarnación preferida, los imanes de
estator 40, 42 son imanes de barra, el Polo Norte de cada primer imán de
estator 40 y el polo sur de cada segundo imán de estator 42 inclinado hacia el
segundo final 30 del estator lineal 48. También,
como mostrado en Fig.8A, los imanes de estator 40, 42 son orientados en la
superficie 64 del estator 51 de modo que el polo sur de cada primer imán 40 y
el Polo Norte de cada segundo imán 42 sea cercano a la periferia de cada rotor
12 que el poste de polaridad de enfrente de cada uno de los imanes de estator
40 y 42. Como será apreciado por
aquellos expertos en el arte, los imanes de estator 40, 42 no tienen que ser
imanes de barra. Por ejemplo, cada imán de estator 40, 42 podría ser un U formó
el imán o podría ser arreglado de imanes separados, mientras el primer campo
magnético generado por los imanes era generalmente el equivalente con esto
producido por los imanes de barra.
La octava encarnación preferida también incluye 80
localización ferroviaria de un eje longitudinal generalmente paralela a la
línea de la demarcación 49 del estator 48. Cinco asambleas de rotor 14
comprensión de un rotor 12 y una asamblea que lleva 84 son slidably atado a los
80 ferroviarios.

Preferentemente, la asamblea que lleva 84, como
mostrado en Fig.11A, incluye un par de primeros portes 88 slidably montados a
los 80 ferroviarios y obligado para deslizarse a lo largo del carril sin
cualquier rotación sustancial, por un jefe 37 en cada primer porte 88, que es
keyed a un surco longitudinal 35 en los 80 ferroviarios. Un segundo aguantando 90 está relacionado
para la rotación con el par de primeros portes 88 por cojinetes. El rotor 12 es
atado al segundo porte 90. Así, el rotor 12 atado a cada asamblea de porte 84
es libre de oscilar rotatoriamente sobre los 80 ferroviarios y generar una
fuerza a lo largo de los 80 ferroviarios en dirección del segundo final del
estator 30.
Preferentemente, la octava encarnación preferida
incluye un eslabón enfadado 94 que ata cada asamblea de porte 84 juntos uniendo
juntos los primeros portes 88 de cada asamblea de porte 84, así añadiendo
juntos el movimiento lineal a lo largo de 80 ferroviarios de cada rotor 12.
Preferentemente, cada rotor 12 comprende uno o
varios imanes de rotor 20, cada imán de rotor 20 generación de un segundo campo
magnético que se relaciona con el primer campo magnético para hacer que el
rotor 12 oscilara rotatoriamente sobre el eje de los 80 ferroviarios y generara
una fuerza en dirección del eje de los 80 ferroviarios para proporcionar el
poder de motivo lineal unidireccional del motor. En la octava encarnación preferida, cada
rotor 12 es considerablemente idéntico al rotor 12 descrito para la cuarta
encarnación preferida. En consecuencia, cada imán de rotor comprende el imán
formado de primer U 20 tener un Polo Norte, un polo sur y una parte de atrás
26, una primera porción del segundo campo magnético directamente adyacente a 26
traseros de los U formó el imán 20 la interacción con cada primer campo
magnético para causar cada rotor 12 para oscilar rotatoriamente sobre los 80
ferroviarios. Una segunda porción del segundo campo magnético adyacente al
norte y el polo sur de primer U formó el imán 20 se relaciona con el primer
campo magnético para hacer que el rotor 12 generara una fuerza en dirección del
eje de los 80 ferroviarios así suministro del poder de motivo lineal
unidireccional del motor. Como estaría
claro a aquellos expertos en el arte, la operación de la octava encarnación
preferida es idéntica a aquella de la cuarta encarnación preferida salvo que el
movimiento de los rotores unidos por cruz 12 es lineal a lo largo de los 80
ferroviarios en vez de ser rotatorio sobre el eje de armadura de la rotación
58. En consecuencia, por la brevedad, una descripción de la operación de la
octava encarnación preferida no es repetida.
Referencia ahora a Fig.7B, Fig.8A, Fig.8B, Fig.9 y
Fig.11A taquí es mostrado una novena encarnación preferida del motor 10 para
proporcionar el poder de motivo lineal unidireccional. Como sería aparente a
aquellos expertos en el arte, la estructura y la operación de la novena
encarnación preferida es prácticamente idéntico a aquella de la quinta
encarnación preferida salvo que el movimiento de los rotores unidos por cruz 12
es lineal en vez de rotatorio sobre el eje de armadura de la rotación 58. En
consecuencia, por la brevedad, una descripción de la estructura y la operación
de la novena encarnación preferida no es repetida.
Referencia ahora a Figs. 7C, 8C, 8D, 9 y 11A allí
es mostrado una décima encarnación preferida del motor 10 párrafo proporcionar
poder el-de motivo unidireccional lineal. Como sería aparente unos expertos
aquellos arte en el-, la estructura y la operación de la décima encarnación
preferida hijo prácticamente idénticas un aquella de la sexta encarnación preferida
descarga que movimiento el-de los rotores unidos por cruz 12 es lineal en vez
de rotatorio sobre eje el-de armadura de la rotación 58. En consecuencia, por
la brevedad, la operación de la décima encarnación preferida ningún es repetida.
Referencia ahora a Figs. 7D, 8C, 8E, 9 y 11A allí
es mostrado una undécima encarnación preferida del motor 10 para proporcionar
el poder de motivo lineal unidireccional. La estructura y la operación de la
undécima encarnación preferida son prácticamente idénticas a la séptima
encarnación preferida salvo que el movimiento de los rotores rayados por cruz
12 es lineal en vez de rotatorio sobre el eje de armadura de la rotación 58. En
consecuencia, por la brevedad, la operación de la décima encarnación preferida
no es repeated.consecuencia, por la brevedad, la operación de la décima
encarnación preferida ningún es repetida.


Referencia ahora a Fig.2, Fig.3, Fig.10 y Fig.11B,
allí es mostrado una duodécima encarnación preferida del motor 10 para
proporcionar el poder de motivo lineal. Como mostrado en Fig.10, la duodécima
encarnación preferida comprende un estator lineal 47 tener un perpendicular de
corte transversal generalmente curvo a una línea de la demarcación 49'
ampliación a lo largo de un punto mediano del estator 47 entre un primer final
28 y un segundo final 30 del estator lineal 47, unos 80 ferroviarios'
relacionado con el estator lineal 47 tener un eje generalmente paralela a la
línea de demarcación 49', una o varias asambleas de rotor 14' rotores de
comprensión 12 relacionado con los 80 ferroviarios' por una asamblea que lleva
84', y un eslabón enfadado 94' unión juntos los encadenamientos 84' de rotores
adyacentes 12. Preferentemente, el corte
transversal generalmente curvo del estator 47 es cóncavo, teniendo una
curvatura que se conforma al arco de los rotores 12. Sin embargo, será
apreciado por aquellos expertos en el arte que el corte transversal
generalmente curvo no tiene que ser cóncavo, pero podría ser plano o hasta
convexo y todavía ser dentro del espíritu y el alcance de la invención.
Como mostrado en eFig.3, el estator lineal 47
incluye uno o varios imanes 68 arreglado en la superficie 64 del estator lineal
47, cada imán 68 tener una dirección de la magnetización dirigida a
aproximadamente un ángulo recto a la línea de la demarcación 49' y causar un
primer campo magnético dirigido generalmente a un ángulo recto a la línea de la
demarcación 49'. La magnitud del primer campo magnético es generalmente
uniforme excepto en la región nula 78, en que la magnitud del primer campo
magnético es considerablemente reducida.
El estator lineal 47 de la duodécima encarnación preferida son
prácticamente idénticas al estator circular 50 de la primera encarnación
preferida excepto el estator lineal 50 es lineal en dirección de la línea de la
demarcación 49' en vez de ser la circular alrededor del eje de armadura de la
rotación 58. También, el arreglo de los imanes 68 en la superficie 64 del
estator 47 y la estructura de la región (ones) nula 78 es el mismo en cuanto a
la primera encarnación preferida, como mostrado en Fig.3 y como totalmente
descrito en la discusión de la primera encarnación. En consecuencia, por la
brevedad, una descripción más detallada de la estructura del estator lineal 47
no es repetida.
Los rotores 12 de la duodécima encarnación
preferida cada uno tiene un eje de rotación 16 que es alineado con un eje de
los 80 ferroviarios'. Los rotores 12 están relacionados con los 80
ferroviarios' por la asamblea que lleva 84' de modo que cada rotor 12 sea libre
de girar sobre los 80 ferroviarios' y deslizarse a lo largo de los 80
ferroviarios'. Preferentemente, como mostrado en Fig.2, cada rotor 12 incluye
tres pares de los imanes formados de U 32, 32, 32', cada U formó el imán que
tiene una parte de atrás 26 y genera un segundo campo magnético. Una porción del segundo campo magnético
adyacente a la parte de atrás 26 de cada U formaron el imán 20 se relaciona con
el primer campo magnético para hacer que cada rotor 12 girara sobre el eje de
los 80 ferroviarios. Los rotores 12 de la duodécima encarnación preferida están
el mismo como los rotores en la primera encarnación preferida, como descrito en
Fig.2 y totalmente hablado encima. En consecuencia, por la brevedad, la
descripción detallada de los rotores 12 no es repetida.

Como mostrado en Fig.11B, los 80 ferroviarios'
tienen un surco helicoidal 86 con un tono predeterminado (es decir, longitud de
vueltas/unidad) dirigiendo alrededor de una periferia de los 80 ferroviarios'.
La asamblea que lleva 84' une cada rotor 12 al surco helicoidal 86,
convirtiendo el movimiento rotatorio de cada rotor 12 alrededor de los 80
ferroviarios' al movimiento lineal a lo largo de los 80 ferroviarios'. Como
mostrado en Fig.11B, la asamblea que lleva 84' comprende un par de primeros
portes 88' montado a los 80 ferroviarios' y obligado para deslizarse a lo largo
de los 80 ferroviarios' sin cualquier rotación sustancial, y un segundo
aguantando 90', montó a una superficie externa el primer porte 88' para recibir
el rotor 12. Preferentemente, cada
primer porte 88' tiene a un jefe 37 que contrata un surco longitudinal 35 de
modo que cada primer porte de 88' diapositivas en los 80 ferroviarios' sin la
rotación como el segundo porte 90' gire en los primeros portes 88'. Será apreciado
por aquellos expertos en el arte, otros métodos para asegurar los primeros
portes 88' a los 80 ferroviarios' podrían ser empleados, en cuanto al caso,
haciendo el corte transversal de los 80 ferroviarios' oblate (aplanado en los
postes). Como en la primera encarnación preferida, cada rotor 12 debe girar en
un precio que causa el reverso del imán formado de cada U 20 en el rotor 12
pasar por una de las regiones nulas 78 cada rotación llena del rotor 12. En
consecuencia, el tono predeterminado del surco helicoidal 86 en los 80
ferroviarios' preferentemente iguala:
Pg = (1 / Nr) x Pr
..................... (3)
Donde:
Pr = el tono de las regiones nulas 78 (longitud de
regiones/unidad nula);
Nr = el número de U formó imanes (o los grupos de U
estado contiguo formaron imanes) en un rotor 12; y
Pg = el tono del surco helicoidal 86 (longitud de
revoluciones/unidad).
Preferentemente, las porciones del surco
helicoidal 86 correspondiente a cada región nula 78 tienen un tono instantáneo
que es mayor que el tono predeterminado del surco 86 para aumentar la velocidad
angular del cada rotor 12 como cada uno de los pares 32, 32', 32" de U
formó imanes 20 pasa por una de las regiones nulas 78. Sin embargo, como será
apreciado por aquellos expertos en el arte, no es necesario proporcionar el
mayor tono instantáneo para el motor 10 para proporcionar el poder de motivo.
Como descrito encima, el eslabón enfadado 94' une
la asamblea que lleva 84' de rotores adyacentes 12 juntos. Como mostrado en Fig.10,
el eslabón enfadado 94' une los primeros portes 88' de cada asamblea de porte
84' al primer porte 88' de las asambleas de porte adyacentes 84' de modo que el
movimiento lineal de todas las asambleas de rotor 14' sea añadido juntos para
proporcionar el poder de motivo lineal unidireccional del motor 10.
Como antes declarado, la primera encarnación
preferida del motor 10 comprende una región nula sola 78 y cinco rotores 12,
cada rotor 12 teniendo tres pares 32, 32', 32" de U estado contiguo formó
imanes 20. Preferentemente, los rotores 12 son uniformemente espaciados a lo
largo de los 80 ferroviarios' y los pares 32, 32', 32" de U formó imanes
20 son uniformemente espaciados alrededor de la periferia de cada rotor
respectivo 12. Adelante, los pares 32,
32', 32" de U formó imanes 20 son divididos en fases con respecto a cada
rotor 12 por una quinta de una revolución del rotor 12 de modo que los pares
32, 32', 32" de U formó imanes 20 de todos los rotores 12 pasen por la
región nula 78 en un precio considerablemente uniforme para proporcionar una
interacción más o menos continua entre el primer campo magnético y el segundo
campo magnético de los rotores 12, causar una incitación más o menos continua
de las asambleas de rotor 14' hacia el segundo final del estator 47. Como será apreciado
por aquellos expertos en el arte, el poder de motivo proporcionado por el motor
10 es proporcional al número de rotores 12 y el número de U formó imanes 20 en
cada rotor 12. En consecuencia, el número de rotores 12 y el número de pares
32, 32', 32" de imanes 20 de la invención presente no son limitadas con
cinco rotores 12 y tres pares 32 de U formaron imanes 20. Ninguno es el número
de regiones nulas limitadas con uno. El número de U formó imanes 20 y las
regiones nulas 78 son limitadas sólo por la adhesión a la regla establecida por
la Ecuación 3.


Referencia ahora a Fig.2, Fig.11B, Fig.12 y Fig.13
allí es mostrado una trece encarnación preferida del motor 10 comprensión de
unos ferroviarios 80' apoyado postes que montan por ferrocarril 76 y tener un
eje longitudinal 65. Un surco helicoidal 86 tener un tono predeterminado corre
alrededor de una periferia de los ferroviarios 80.
La trece encarnación preferida también incluye
tres primeros estatores helicoidales 82a, 82b, 82c (82) concentrically los
alrededores de los ferroviarios 80' correspondiente a tres pares 32, 32'
32" de U formaron imanes 20 montado en cada uno de cinco rotores 12.
Preferentemente, los primeros estatores helicoidales 82 tienen el mismo tono
que el tono predeterminado del surco 86 y un eje longitudinal generalmente
paralela al eje 65 de los 80 ferroviarios'. Una pluralidad de primeros imanes
de estator 11 tener una dirección de la magnetización alineada con una línea
radial de cada rotor 12 es espaciada a lo largo de cada primer estator
helicoidal 82 con los primeros imanes de estator 11 generación de un primer
campo magnético.
La trece encarnación preferida adelante incluye la
pluralidad de segundos estatores helicoidales 82a', 82b', 82c' (82') alternando
con los primeros estatores helicoidales 82' a lo largo del eje 65 de los 80
ferroviarios', y tener el tono predeterminado del surco 86. Cada segundo
estator helicoidal 82' ha montado sobre ello una pluralidad de segundos imanes
de estator 11' tener una dirección de la magnetización alineada con una línea
radial del rotor 12 y teniendo una dirección de magnetización enfrente en
dirección a los primeros imanes de estator 11 montado en cada uno de los
primeros estatores helicoidales 82. Como una consecuencia de los segundos
estatores helicoidales 82' localizado a mitad del camino entre los primeros
estatores helicoidales 82, un punto en aproximadamente un punto mediano entre
cada imán de rotor se aparea 32, 32', 32" es apropiado a uno de los
segundos estatores helicoidales 82' cuando cada rotor 12 hace girar sobre el
eje 65 de los ferroviarios 80' y se desliza a lo largo de los ferroviarios 80'.
La trece encarnación preferida también incluye
cinco rotores 12, (para la claridad, sólo tres son mostrado), teniendo un eje
de la rotación 16 generalmente alineado con el eje longitudinal 65 del carril
80'. Cada rotor 12 está relacionado con
el carril 80' por una asamblea que lleva 84' de modo que el rotor 12 sea libre
de hacer girar sobre el eje 65 del carril 80' y diapositiva a lo largo del
carril 80'. Preferentemente, cada rotor
12 incluye tres pares 32, 32', 32" de U formó imanes 20 en donde cada U
formó el imán 20 genera un segundo campo magnético, una porción de que
adyacente a 26 traseros del par de U formó imanes 20 se relaciona con el primer
campo magnético de cada primer imán de estator para hacer que cada rotor 12
hiciera girar sobre el eje 65 del carril 80'.
La asamblea que lleva 84' (mostrado detalladamente
en Fig.11B y Fig.12) une cada rotor 12 al surco helicoidal 86 alrededor de la
periferia del carril 80. La asamblea
que lleva 84' es similar a la asamblea que lleva 84' descrito en la duodécima
encarnación preferida excepto las aperturas en los primeros portes 88' y en el
segundo porte 90' que permiten que la asamblea que lleva 84' por delante del
montaje ferroviario fije 76 como la asamblea que lleva 84' movimientos a lo
largo del carril 80'.
La trece encarnación preferida puede ser
construida como motor lineal o un motor rotatorio. En caso del motor lineal,
las hachas del carril 80' y de cada estator helicoidal 82 son considerablemente
directos. El carril 80' es apoyado en la base 18 postes que montan por
ferrocarril 76 colocado a intervalos a lo largo del carril 80'. Los postes 76 son situados en posiciones a lo
largo del carril 80' en que la rotación del rotor 12 orienta las aperturas en
los primeros y segundos portes 88', 90' para corresponder a los postes que
montan 76. Cada estator helicoidal 82a, 82b, 82c es apoyado en la base por el
estator que monta postes 75. Los rotores 12 están relacionados juntos por un
eslabón enfadado 94' que une los primeros portes 88' de cada asamblea de porte
84' al primer porte 88' de la asamblea que lleva 84' de un rotor adyacente 12.
En esta manera, el movimiento rotatorio de cada asamblea de rotor 14' es
añadido juntos para proporcionar el poder de motivo lineal del motor lineal.

La trece encarnación preferida también puede ser
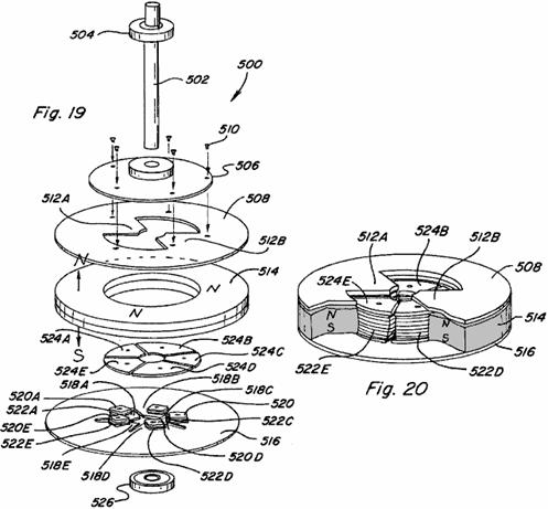
construida como un motor rotatorio 10 como mostrado en Fig.14. En este caso,
las hachas del carril 80' y los estatores helicoidales 82 son configurados para
ser la circular. El motor configurado circular 10 incluye una armadura 70
centralmente localizado dentro del perímetro del carril 80'. La armadura 70 gira sobre un eje de armadura
de la rotación 58 relacionado para la rotación dentro de una base de motor 18 a
cual el carril 80' también es atado montando postes 76 (no mostrado). El tono
del primer y los segundos estatores helicoidales 82, 82', medido en un radio
del carril 80, preferentemente iguala el tono predeterminado del surco
helicoidal 86. La armadura 70 es fijamente atada al primer porte 88 (ver Fig.11B)
de cada asamblea de porte 84' por un puntal de armadura 71 así adición juntos
el poder de motivo rotatorio de cada asamblea de rotor 14. A fin de que el
puntal de armadura 71 no interfiera con los primeros y segundos estatores
helicoidales 82, 82', los primeros y segundos estatores helicoidales 82, 82'
son hechos para tener una apertura hacia el eje de armadura de la rotación 58.
Preferentemente, cada primer estator helicoidal
82a, 82b, 82c ha montado sobre ello una pluralidad de primeros imanes de
estator 11 con cada imán de estator 11 tener una dirección de la magnetización
alineada con una línea radial del rotor 12. Preferentemente, los primeros
estatores helicoidales 82 son uniformemente espaciados a lo largo del eje
longitudinal 65 del carril 80' con cada primer estator helicoidal 82
correspondiente a una de la pluralidad del imán se aparea 32, 32', 32".
Preferentemente, cada rotor 12 es colocado en el carril 80' de modo que uno del
imán de rotor se aparee 32, 32', 32" es apropiado a una de la
correspondencia estatores primero helicoidales 82 cuando el rotor 12 hace girar
sobre el eje 65 del carril 80 y diapositivas a lo largo del carril 80'. Sin embargo, cuando aquellos expertos en el
arte apreciarán, el imán de rotor se aparea 32, 32', 32" no tiene que ser
directamente apropiado a cada estator helicoidal 82 cuando los rotores 12 giran
a fin de generar una fuerza rotatoria.
O bien, como será apreciado por aquellos expertos
en el arte, el motor 10 puede ser construido sin el segundo estator helicoidal
82'. En el caso más simple el motor 10 podría comprender sólo un primer estator
helicoidal solo 82 y un rotor solo 12 comprensión de U solo formó el imán 20
generación del segundo campo magnético. El rotor solo 12 es preferentemente
colocado en el surco 86 en el carril 80' de modo que el U formara el imán de
rotor 20 es continuamente apropiado al primer estator helicoidal solo 82. Por
consiguiente, una porción del segundo campo magnético directamente adyacente a
26 traseros de los U formó el imán 20 se relaciona con el primer campo
magnético generado por cada primer imán de estator 11" montado en el
estator helicoidal 82 para hacer que el rotor 12 hiciera girar sobre el eje 65
del carril 80 y deslizarse a lo largo del carril 80'. Preferentemente, cuando sólo un primer estator
solo 82 juego de primeros estatores 82 es usado, cada primer imán de estator
11" tiene una dirección de la magnetización orientada para estar en el
avión del rotor 12 y generalmente perpendicular a una línea radial del rotor
12. El Polo Norte y el polo sur del primer imán de estator 11" son
preferentemente espaciados aparte de modo que cuando un poste del primer imán
de estator 11 es directamente apropiado al imán de rotor 20, el poste de la
polaridad de enfrente sea igualmente espaciado del imán formado del U 20 del
rotor 12. Cuando un experto en el arte apreciaría, una pluralidad de U formó
imanes de rotor 20 y los primeros estatores helicoidales correspondientes
podrían ser usados. Adelante, cuando aquellos expertos en el arte apreciarán,
otras configuraciones del imán de rotor 20 y el imán de estator 11 son
posibles, todo de los cuales confía en los atributos nuevos del campo magnético
adyacente a 26 traseros del imán de rotor formado de un U 20. Por ejemplo, el
imán de estator antes descrito 11" perpendicular a la línea radial del
rotor 12 podría ser dos imanes de barra separados, espaciados aparte, con la
magnetización de cada uno de los dos imanes alineados con una línea radial del
rotor y teniendo sentidos contrarios de la magnetización.

Referencia ahora a Fig.15A y Fig.15B allí es
mostrado una catorce encarnación preferida del motor 10. La catorce encarnación
es idéntica en la estructura a la trece encarnación preferida salvo que el
estator comprende una pluralidad de primeras costillas 77a, 77b, 77c (77) y
segundas costillas 77a', 77b', 77c' (77') en el lugar del primer y los segundos
estatores helicoidales 82, 82' de la trece encarnación. Substituyendo costillas 77, 77' para los
estatores helicoidales 82, 82', el accesorio de la armadura 70 a los rotores 12
es simplificado. Cuando aquellos expertos en el arte apreciarán, la longitud de
las costillas 77, 77' puede variar de tan poco como 45 grados a hasta 265
grados, con el poder de motivo del motor 10 siendo proporcional a la longitud
de las costillas.
Preferentemente, el primer y las segundas
costillas 77, 77' tienen un tono y un espaciado que se conforma al tono
predeterminado del carril 80'. Adelante
la orientación de los primeros y segundos imanes de estator 11, 11' y del U
formó imanes de rotor 20 sería idéntico a la trece encarnación. En
consecuencia, la operación de la catorce encarnación es idéntica a aquella de
la trece encarnación y no es repetida aquí por la brevedad
.



Referencia ahora a Fig.5, Fig.16 y Fig.17 allí es
mostrado una quince encarnación preferida del motor 10 comprensión de un carril
80'' teniendo un eje longitudinal 65 y generalmente los sinusoidal acanalan 85
tener un período predeterminado corriendo alrededor de una periferia del carril
80''.
Preferentemente, la quince encarnación preferida
incluye tres estatores generalmente idénticos 50" puesto en orden en una
manera circular alrededor del carril 80''.
Cada estator 50" tiene una superficie 64 forro del carril 80'' y
dispuesto generalmente equidistante de y paralela al eje 65 del carril
80''. Como mostrado en Fig.5 y Fig.17
cada estator 50" tiene un corte transversal generalmente curvo y una línea
longitudinal de la demarcación 49 perpendicular al corte transversal y
localizado sobre un punto mediano de la superficie 64.
Una pluralidad de imanes de estator 68" es
atada a la superficie 64 del estator 50" generación de un primer campo
magnético. Los imanes de estator 68" son desplazados en la superficie 64
en un modelo sinusoidal alrededor de la línea de la demarcación 49. El modelo
sinusoidal tiene un período predeterminado y una amplitud (máxima) máxima
predeterminada a lo largo de la línea de demarcación 49. En el caso donde el
carril 80'' y la línea longitudinal de la demarcación 49 del estator 50"
están en una línea recta, el período del sinusoid es preferentemente igual al
período del surco 85 en el carril 80.
El modelo sinusoidal también es dividido en una
pluralidad de primeros y segundos sectores de alternancia con un límite entre
los sectores alternadores que ocurren en cada amplitud (máxima) máxima del
sinusoid. La dirección de magnetización de los imanes de estator 68" es de
enfrente en el primer y los segundos segmentos de modo que la dirección del
primer campo magnético en cada primer segmento sea enfrente de la dirección del
primer campo magnético en cada segundo segmento. Preferentemente, la dirección de magnetización
de los imanes de estator 68" es generalmente el perpendicular a una línea
radial del rotor 12. O bien, la dirección de magnetización de los imanes de
estator 68" podría ser generalmente alineada con una línea radial del
rotor 12. Adelante, como será aparente a aquellos expertos en el arte, el
primer campo magnético no tiene que ser formado por una pluralidad de imanes de
barra, pero podría ser formado de un imán solo de modo que el primer campo
magnético fuera sinusoidally desplazado de la línea de demarcación 49 y
alternaría en sentidos contrarios entre los picos del sinusoid. Adelante, como
será apreciado por aquellos expertos en el arte, el desplazamiento del primer
campo magnético no tiene que ser exactamente sinusoidal. Por ejemplo el
desplazamiento puede estar en una forma de un serrado o en una forma que tiene
una porción con la constante más y menos valores de amplitud, dentro del
espíritu y el alcance de la invención.
Preferentemente, la quince encarnación preferida
incluye cinco rotores 12, cada rotor 12 tener un eje 16 alineado con el eje del
carril 80''. Cada rotor 12 está
relacionado con el carril 80'' por una asamblea que lleva 84' de modo que el
rotor 12 sea libre de girar sobre el eje de los 65 ferroviarios y diapositiva a
lo largo del carril 80''. Preferentemente,
cada rotor 12 incluye el imán formado de tres U se aparea 32, 32' 32",
cada par que comprende dos U formó imanes 20. Cada U formó el imán 20 tiene una
parte de atrás y genera un segundo campo magnético. Cada uno de los U formó los
pares de imán 32, 32', 32" es colocado en cada rotor 12 de modo que la
parte de atrás 26 de cada U formara el imán 20 es enfrente del primer y los
segundos segmentos del modelo sinusoidal cuando la al menos una asamblea de
rotor 14 gira sobre el eje de rotor 16, en donde una interacción de una porción
del segundo campo magnético directamente adyacente a 26 traseros de cada U
formó el imán 20 con el primer campo magnético de un estator correspondiente
50" causas el al menos un rotor 12 para oscilar rotatoriamente sobre el
eje 65 del carril 80''. Aquellos
expertos en el arte apreciarán que no es necesario tener tres pares de los
imanes formados de U 32, 32', 32". Por ejemplo, el número de U formó
imanes 20 (o los grupos de U estado contiguo formaron imanes) espaciado aparte
alrededor de la periferia del rotor 12 puede extenderse de simplemente U solo
formó el imán 20, o puede extenderse en el número hasta varios imanes limitados
sólo por el espacio físico alrededor de la periferia del rotor 12. Adelante el número de U estado contiguo formó
imanes 20 en un grupo de imanes 32 también puede extenderse de 1 hasta varios
imanes limitados sólo por el espacio físico alrededor de la periferia del rotor
12. Preferentemente, el número de estatores 50" iguala el número del imán
formado de U se aparea 32, 32', 32". Sin embargo, como será apreciado por
aquellos expertos en el arte, el número de estatores 50" no es limitado
con tres, pero podría ser cualquier número que se extiende hacia arriba de uno,
donde el número de estatores 50" igualaría preferentemente el número del
imán formado de U se aparea 32, 32', 32".
Como mostrado en Fig.16 la asamblea que lleva 84'
convierte el movimiento oscilatorio del al menos un rotor 12 sobre el carril al
movimiento lineal unidireccional a lo largo del carril 80' por siguiente del
sinusoidal acanalan 85 en el carril 80' con el jefe 92 (mostrado en Fig.11B).
Un eslabón enfadado 94 une la asamblea que lleva 84' de rotores adyacentes 12
juntos, así añadiendo juntos el movimiento lineal de cada asamblea de rotor 14'
a lo largo del carril para proporcionar el poder de motivo lineal
unidireccional. La estructura de la asamblea que lleva 84' y el eslabón
enfadado 94 es mostrada en Fig.11B y Fig.12, y la operación es idéntica al
encadenamiento 84' y el eslabón enfadado 94' descrito para la duodécima
encarnación. En consecuencia, una descripción detallada del encadenamiento 84'
y el eslabón enfadado 94 no es repetida, por la brevedad.
En otro aspecto, la quince encarnación preferida
también puede ser configurada en un arreglo circular similar a aquella de la
catorce encarnación. En la quince encarnación preferida, el estator helicoidal
82' mostrado en Fig.14 es sustituido por uno o varios estatores curvos 50"
espaciado alrededor de los rotores 12. En este caso, el período del modelo
sinusoidal de los imanes de estator es ajustado de acuerdo con la distancia de
la superficie 64 del estator respectivo 50" del eje de armadura de la
rotación 58 a fin de que el U formara imanes 20 en los rotores 12 permanecen
apropiados al primer y los segundos segmentos, como los rotores 12 diapositiva
a lo largo del carril 80''. En consecuencia, una descripción de aquellos
elementos del arreglo circular de la quince encarnación que son el mismo en
cuanto a la encarnación lineal no es repetida, por la brevedad.
Referencia ahora a Fig.4, Fig.18 y Fig.19 allí es
mostrado una dieciséis encarnación preferida del motor 10 para proporcionar el
poder de motivo unidireccional que comprende un carril 80'' tener un eje longitudinal
65 y un surco helicoidal 86 tener un tono predeterminado, que corre alrededor
de una periferia del carril 80.
Preferentemente, la dieciséis encarnación
preferida adelante incluye tres estatores generalmente idénticos 50', cada
estator 50' disposición de una superficie 64 generalmente equidistante de y
paralela al eje 65 del carril 80. Cada
estator 50' tiene una línea longitudinal de la demarcación 49 localizado sobre
un punto mediano de la superficie 64. Preferentemente, una pluralidad de imanes
de estator 68' es atada a la superficie del estator 50' generación de un primer
campo magnético. La pluralidad de imanes de estator 68' tiene una dirección de
la magnetización que gira sobre una paralela de eje magnética a la línea de la
demarcación 49. En el caso donde el carril 80'' y la línea longitudinal de la
demarcación 49 del estator 50' están en una línea recta, el tono de la rotación
de los imanes de estator 68' es preferentemente igual al tono predeterminado
del surco helicoidal 86 en el carril 80.
La dieciséis encarnación adelante incluye cinco
rotores 12, cada rotor 12 tener un eje de la rotación 16 alineado con el eje 65
del carril 80. Cada rotor 12 está
relacionado con el carril 80 de modo que el rotor 12 sea libre de hacer girar
sobre el eje 65 del carril 80 y diapositiva a lo largo del carril 80. Cada rotor 12 incluye tres pares 32, 32',
32" de U formó imanes 20 espaciado alrededor de la periferia del rotor 12,
cada U formó el imán 20 generación de un segundo campo magnético. El U formó
imanes 20 son colocados en cada rotor 12 de modo que una porción del segundo
campo magnético directamente adyacente a la parte de atrás 26 de los U formaron
el imán 20 se relacione con el primer campo magnético generado por la
pluralidad de imanes de estator 68' para hacer que cada rotor 12 girara sobre
el eje de rotor 16. Aquellos expertos en
el arte apreciarán que no es necesario tener exactamente tres pares de los
imanes formados de U 32, 32', 32". Por ejemplo, el número de U formó
imanes 20 (o los grupos de U estado contiguo formaron imanes) espaciado aparte
alrededor de la periferia del rotor 12 puede extenderse de simplemente U solo
formó el imán 20, o puede extenderse en el número hasta los imanes formados de
vario U 20 limitado sólo por el espacio físico alrededor de la periferia del
rotor 12. Adelante el número de U estado contiguo formó imanes 20 en un grupo
de imanes 32 también puede extenderse de 1 hasta varios imanes limitados sólo
por el espacio físico alrededor de la periferia del rotor 12.
La dieciséis encarnación también incluye una
asamblea que lleva 84' unión de cada rotor 12 al surco helicoidal 86, la
asamblea que lleva 84' conversión del movimiento rotatorio de cada rotor 12
sobre el carril 80' a movimiento lineal unidireccional a lo largo del carril
80'. Un eslabón enfadado 94 une la
asamblea que lleva 84' de rotores adyacentes 12 juntos, así añadiendo juntos el
movimiento lineal de cada asamblea de rotor 14' a lo largo del carril 80' proporcionar
el poder de motivo lineal unidireccional. La estructura de la asamblea que
lleva 84' y el eslabón enfadado 94 es mostrada en fig.11B y Fig.12, es idéntico
a la asamblea que lleva 84' y eslabón enfadado 94 descrito para la duodécima
encarnación. En consecuencia, una descripción del encadenamiento 84 y el
eslabón enfadado 94 no es repetida, por la brevedad.
En otro aspecto de la dieciséis encarnación
preferida el motor 10 puede ser configurado en un arreglo circular similar a
aquella de la catorce encarnación, como mostrado en Fig.14, salvo que el
estator helicoidal 82' mostrado en Fig.14 es sustituido por uno o varios
estatores 50' espaciado alrededor de los rotores 12. En este caso, el tono de
la rotación de la pluralidad de imanes de estator 68' es ajustado de acuerdo
con la distancia de la superficie 64 del estator respectivo 50' del eje de
armadura de la rotación 58 a fin de que el U formara imanes 20 en los rotores
12 permanecen alineados con la pluralidad de imanes de estator 68' cuando los
rotores 12 hacen girar sobre el eje 65 del carril 80' y diapositiva a lo largo
del carril 80'. En consecuencia, una
descripción de aquellos elementos del arreglo circular de la dieciséis
encarnación que son el mismo en cuanto a la configuración de línea recta no es
repetida, por la brevedad.
Patente
MOTOR DE IMÁN PERMANENTE

Este es un extracto expresado con otras palabras
de esta Patente. Esto describe un motor impulsado únicamente por imanes
permanentes y que es reclamado puede impulsar un generador eléctrico.
EXTRACTO
La invención es dirigida al método de utilizar las
vueltas de electrones no emparejadas en el ferromagnético y otros materiales
cuando una fuente de campos magnéticos para producir poder sin cualquier flujo
de electrones como ocurre en conductores normales, y a motores de imán
permanentes para utilizar este método de producir una fuente de alimentación. En la práctica de la invención las vueltas de
electrones no emparejadas que ocurren dentro de imanes permanentes son
utilizadas para producir una fuente de alimentación de motivo únicamente por
las características de superconducción de un imán permanente, y el flujo
magnético creado por los imanes es controlado y concentrado para orientar las
fuerzas magnéticas generadas en tal manera para producir el trabajo continuo
útil, como el desplazamiento de un rotor con respecto a un estator. El
cronometraje y la orientación de fuerzas magnéticas en el rotor y componentes
de estator producidos por los imanes permanentes son llevados a cabo por la
relación geométrica apropiada de estos componentes.
FONDO DE LA INVENCIÓN
Los motores eléctricos convencionales emplean
fuerzas magnéticas para producir movimiento rotatorio o lineal. Los motores
eléctricos funcionan en el principal que cuando un conductor que lleva una
corriente es localizado en un campo magnético, una fuerza magnética es ejercida
sobre ello. Normalmente, en un motor eléctrico convencional, el rotor, o
estator, o ambos, es tan puesto instalación eléctrica que los campos magnéticos
creados por electroimanes usan atracción, repulsión, o ambos tipos de fuerzas
magnéticas, imponer una fuerza sobre la armadura causar rotación, o
desplazamiento lineal de la armadura. Los motores eléctricos convencionales
pueden emplear imanes permanentes en la armadura o componentes de estator, pero
hasta ahora ellos requieren que la creación de un campo electromagnético actúe
sobre los imanes permanentes. También, la conmutación de la marcha es necesaria
para controlar la activación de los electroimanes y la orientación de los
campos magnéticos que producen el poder de motivo.
Esto es mi creencia que el potencial lleno de
fuerzas magnéticas que existen en imanes permanentes no ha sido reconocido o
utilizado debido a información incompleta y teoría con respecto al movimiento
atómico que ocurre dentro de un imán permanente. Esto es mi creencia que una
partícula atómica actualmente sin nombre tiene que ver con el movimiento de
electrones de un electroimán de superconducción y el flujo de pérdida menos de
corrientes en imanes permanentes. El flujo de electrones no emparejado es
similar en ambas situaciones. Se cree que esta pequeña partícula es de enfrente
responsable a un electrón y es localizada perpendicularmente al electrón móvil.
Esta partícula debe ser muy pequeña para penetrar todos los elementos conocidos
en sus varios estados así como sus compuestos conocidos (a menos que ellos
hayan no emparejado electrones que capturan estas partículas cuando ellos se
esfuerzan por pasar).
Los electrones en materiales ferrosos se
diferencian de aquellos encontrados en la mayor parte de elementos en los
cuales ellos son no emparejados, y no emparejar que ellos hacen girar alrededor
del núcleo de tal modo que ellos responden a campos magnéticos así como
creación de un campo magnético ellos mismos. Si ellos fueran emparejados, sus
campos magnéticos anularían. Sin embargo, siendo emparejado ellos crean un
campo magnético mensurable si sus vueltas son orientadas en una dirección. Las
vueltas son perpendicularmente a sus campos magnéticos.
En superconductores de niobio, en un estado
crítico, las líneas magnéticas de la fuerza dejan de ser perpendicularmente.
Este cambio debe ser debido al establecimiento de las condiciones requeridas
para vueltas electrónicas no emparejadas en vez del flujo de electrones en el
conductor, y el hecho que los electroimanes muy poderosos pueden ser formados
con superconductores ilustra la ventaja tremenda de producir el campo magnético
por vueltas de electrones no emparejadas más bien que flujo de electrones
convencional. En un metal de
superconducción, en donde la resistencia eléctrica se hace mayor en el metal
que la resistencia de protón, las vueltas de flujo a vueltas de electrones y la
paralela de flujo de partículas positiva en el metal en la manera que ocurre en
un imán permanente donde un flujo poderoso de partículas positivas magnéticas o
flujo magnético hace que los electrones no emparejados giren perpendicularmente.
En las condiciones de superconducción criogénicas la congelación de los
cristales en el lugar lo hace posible para las vueltas de seguir, y en un imán
permanente la orientación de grano del material magnetizado permite estas
vueltas, permitiéndolos seguir y haciendo el flujo fluir la paralela al metal.
En un superconductor, al principio el electrón fluye y la partícula positiva
gira; más tarde, cuando crítico, el revés ocurre, es decir, el electrón gira y
la partícula positiva fluye perpendicularmente. Estas partículas positivas
enhebrarán o trabajarán su camino por el presente de vueltas de electrones en
el metal.
En cierto modo, un imán permanente puede ser
considerado un superconductor de temperatura ambiente. Esto es un
superconductor porque el flujo de electrones no se cesa, y este flujo de
electrones puede ser hecho para hacer el trabajo por el campo magnético que
esto crea. Antes, esta fuente del poder
no ha sido usada porque no era posible modificar el flujo de electrones para
llevar a cabo las funciones de conmutación del campo magnético. Tales funciones
de conmutación son comunes en un motor eléctrico convencional donde la
corriente eléctrica es empleada para alinear la mucho mayor corriente de
electrones en los pedazos de poste de hierro y concentrar el campo magnético en
los sitios apropiados para dar el empuje necesario de mover la armadura de
motor. En un motor eléctrico convencional, la conmutación es llevada a cabo por
el uso de cepillos, conmutadores, corriente alterna, u otros medios.
A fin de llevar a cabo la conmutación funcionan en
un motor de imán permanente, es necesario proteger la salida magnética de modo
que no aparezca como un demasiado gran factor de pérdida en los sitios
incorrectos. El mejor método de llevar a cabo este es concentrar el flujo
magnético en el lugar donde será lo más eficaz. El cronometraje y la
conmutación pueden ser conseguidos en un motor de imán permanente concentrando
el flujo y usando la geometría apropiada del rotor de motor y estator para
hacer el uso más eficaz de los campos magnéticos. Por la combinación apropiada
de materiales, geometría y concentración magnética, es posible conseguir una
ventaja mecánica de la proporción alta, mayor que 100 a 1, capaz de producir la
fuerza de motivo continua.
A mi conocimiento, el trabajo anterior hecho con
imanes permanentes, y dispositivos de motivo que utilizan imanes permanentes,
no ha conseguido el resultado deseado en la práctica del concepto inventivo, y
es con la combinación apropiada de materiales, geometría y concentración
magnética que la presencia de las vueltas magnéticas dentro de un imán
permanente puede ser utilizada como una fuerza de motivo.
RESUMEN DE LA INVENCIÓN
Esto es un objeto de la invención de utilizar el
fenómeno de hilado magnético de electrones no emparejados que ocurren en el
material ferromagnético para producir el movimiento de una masa en una manera
unidireccional para permitir a un motor ser conducido únicamente por las
fuerzas magnéticas que ocurren dentro de imanes permanentes. Tanto los tipos
lineales como rotatorios del motor pueden ser producidos. Esto es un objeto de la invención de
proporcionar la combinación apropiada de materiales, geometría y concentración
magnética para impulsar un motor. Si el motor es un tipo lineal o un tipo
rotatorio, en cada caso "el estator" puede consistir en varios imanes
permanentes fijados el uno con relación al otro, crear una pista. Esta pista es lineal para un motor lineal y
circular para un motor rotatorio. Un imán de armadura es con cuidado colocado
encima de esta pista de modo que un hueco de aire exista entre ello y la pista.
La longitud del imán de armadura es definida por postes de la polaridad de
enfrente, y el eje más largo del imán de armadura es señalado en dirección de
su movimiento.
Los imanes de estator son montados de modo que los
postes todos iguales afronten el imán de armadura. El imán de armadura tiene
postes que son tanto atraídos a y repelidos por el poste adyacente de los
imanes de estator, entonces tanto acto de fuerzas atractivo como repulsivo
sobre el imán de armadura para hacerlo moverse.
La fuerza de motivo persistente que actúa en el
imán de armadura es causada por la relación de la longitud del imán de armadura
a la anchura y el espaciado de los imanes de estator. Esta proporción de imán y
espaciados de imán, y con un espaciado de hueco de aire acepTabla entre el
estator e imanes de armadura, produce una fuerza continua que causa el
movimiento del imán de armadura.
En la práctica de la invención, el movimiento del
imán de armadura con relación a los imanes de estator resulta de una
combinación de fuerzas atractivas y repulsivas entre imanes de armadura y el
estator. Concentrando los campos magnéticos del estator e imanes de armadura la
fuerza de motivo impuesta sobre el imán de armadura es intensificada, y en las
encarnaciones reveladas, los medios para conseguir esta concentración de campo
magnético son mostrados.
Este método comprende de un plato de la
permeabilidad de campo magnético alta colocada detrás de un lado de los imanes
de estator y firmemente contratado con ellos. El campo magnético del imán de
armadura puede ser concentrado y direccionalmente orientado doblándose el imán
de armadura, y el campo magnético puede ser concentrado adelante formando los
finales de poste del imán de armadura para concentrar el campo de imán en una
superficie relativamente limitada a los finales de poste de imán de armadura.
Preferentemente, varios imanes de armadura son
usados y éstos son asombrados el uno con relación al otro en la dirección su
movimiento. Tal compensación o el asombro de los imanes de armadura distribuyen
los impulsos de fuerza impuesta sobre los imanes de armadura y causan una
aplicación smoother de fuerzas al imán de armadura que produce un smoother y
más movimiento uniforme del componente de armadura.
En la encarnación rotatoria del motor de imán
permanente de la invención los imanes de estator son arreglados en un círculo,
y los imanes de armadura giran sobre los imanes de estator. Un mecanismo es
mostrado que puede mover la armadura con relación al estator y este controla la
magnitud de las fuerzas magnéticas, cambiando la velocidad de rotación del
motor.
BREVE DESCRIPCIÓN DE LOS DIBUJOS
Los objetos y las ventajas de la invención
mencionada antes, serán apreciados de la descripción siguiente y dibujos de
acompañamiento:
Fig. 1 es una vista
esquemática del flujo de electrones en un superconductor que indica las vueltas
de electrones no emparejadas,
Fig. 2 es una vista
enfadada seccional de un superconductor bajo un estado crítico que ilustra las
vueltas de electrones,
Fig. 3 es una vista
de un imán permanente que ilustra el movimiento de flujo por ello,
Fig. 4 es una vista
enfadada seccional que ilustra el diámetro del imán de Fig.3,
Fig. 5 es una representación elevational de una encarnación de motor lineal del
motor de imán permanente de la invención que ilustra una posición del imán de
armadura con relación a los imanes de estator, e indica las fuerzas magnéticas
impuestas sobre el imán de armadura,
Fig. 6 es una vista similar a Fig.5 la ilustración de desplazamiento del imán de
armadura con relación a los imanes de estator, y la influencia de fuerzas
magnéticas sobre eso en esta posición,
Fig. 7 es una vista de elevational adicional similar a Fig.5 y Fig.6 la
ilustración de desplazamiento adicional del imán de armadura a la izquierda, y
la influencia de las fuerzas magnéticas sobre eso,
Fig. 8 es una vista de plan superior de una encarnación lineal del concepto
inventivo que ilustra un par de imanes de armadura en la relación unida
dispuesta encima de los imanes de estator,
Fig. 9 es un diametral, elevational, la vista seccional de una encarnación de
motor rotatoria de acuerdo con la invención como tomado a lo largo de la
sección IX-IX del Fig.10, y
Fig. 10 es una vista
de elevational de la encarnación de motor rotatoria como tomado a lo largo de
X-X de Fig.9.


DESCRIPCIÓN DE LAS ENCARNACIONES
PREFERIDAS
A fin de entender mejor la teoría del concepto
inventivo, la referencia es hecha a Fig.1, Fig.2, Fig.3 y Fig.4. En Fig.1 un
superconductor 1 es ilustrado teniendo un flujo de partícula positivo como
representado por la flecha 2, los electrones no emparejados del conductor
ferroso 1 vuelta perpendicularmente al flujo de protón en el conductor como
representado por la línea espiral y flecha 3. De acuerdo con la teoría de la
invención se cree que el hilado de los resultados de electrones no emparejados
ferrosos de la estructura atómica de materiales ferrosos y esta partícula
atómica que gira es de enfrente responsable y localizado perpendicularmente a
los electrones móviles. Se asume que ello es muy pequeño en el tamaño capaz de
penetrar otros elementos y sus compuestos a menos que ellos hayan no emparejado
electrones que capturan estas partículas cuando ellos se esfuerzan por pasar.
La carencia de la resistencia eléctrica de
conductores en un estado de superconductor crítico ha sido mucho tiempo
reconocida, y los superconductores han sido utilizados para producir
electroimanes de densidad de flujo magnéticos muy altos. Fig.2 representa un
corte transversal de un superconductor crítico y las vueltas de electrones son
indicadas por las flechas 3. Un imán permanente puede ser considerado un
superconductor cuando el flujo de electrones allí no se cesa, y es sin la
resistencia, y las partículas de hilado eléctricas no emparejadas existen que,
en la práctica de la invención, son utilizados para producir la fuerza de
motor. Fig.3 ilustra el imán permanente formado de una herradura en 4 y el
flujo magnético por ello es indicado por flechas 5, el flujo magnético que es
del polo sur al Polo Norte y por el material magnético. Las vueltas de
electrones acumuladas que ocurren sobre el diámetro del imán 5 son
representadas en 6 en Fig.4, y la vuelta de partículas de electrones que gira
perpendicularmente en el hierro como los viajes de flujo por el material de
imán.
Utilizando el electrón que hace girar la teoría de
electrones materiales ferrosos, es posible con los materiales ferromagnéticos
apropiados, geometría y concentración magnética para utilizar los electrones
que giran para producir una fuerza de motivo en una dirección continua, así
causando un motor capaz de hacer el trabajo.
Es apreciado que las encarnaciones de motores que
utilizan los conceptos de la invención pueden tomar muchas formas, y en las
formas ilustradas las relaciones básicas de componentes son ilustradas a fin de
revelar los conceptos inventivos y principios. Las relaciones de la pluralidad
de imanes que definen el estator 10 son mejor apreciadas de Fig.5, Fig.6, Fig.7
y Fig.8. Los imanes de estator 12 son
preferentemente de una configuración rectangular, Fig.8, y tan magnetizados que
los postes existen en las superficies grandes de los imanes, como será
apreciado del N (Norte) y S (Sur) designaciones. Los imanes de estator incluyen
bordes de lado 14 y 16 y bordes de final 18. Los imanes de estator son montados
sobre un plato de apoyo 20, que es preferentemente de un metal que tiene una
permeabilidad alta a campos magnéticos y flujo magnético como esto disponible
bajo la marca registrada Netic CoNetic vendido por Perfection Mica Company of
Chicago, Illinois. Así, el plato 20 será dispuesto hacia el polo sur de los
imanes de estator 12, y preferentemente en el compromiso directo con lo mismo,
aunque un material de vinculación pueda ser interpuesto entre los imanes y el
plato a fin de localizar exactamente y fijar los imanes en el plato, y colocar
los imanes de estator el uno con respecto al otro.
Preferentemente, el espaciado entre los imanes de
estator 12 ligeramente se diferencia entre imanes de estator adyacentes cuando
tal variación en el espaciado varía las fuerzas impuestas sobre el imán de
armadura a sus finales, en cualquier tiempo dado, y así causa un movimiento
smoother del imán de armadura con relación a los imanes de estator. Así, los
imanes de estator tan colocados el uno con relación al otro definen una pista
22 hacer dejar una dirección longitudinal al derecho como visto en Fig.5,
Fig.6, Fig.7 y Fig.8.
En Fig.5, Fig.6 y Fig.7 sólo un imán de armadura
solo 24 es revelado, mientras en Fig.8 un par de imanes de armadura es
mostrado. Para objetivos de entender los conceptos de la invención la
descripción aquí será limitada con el uso del imán de armadura solo como
mostrado en Fig.5, Fig.6 y Fig.7.
El imán de armadura es de una configuración
alargada en donde la longitud se extiende de la izquierda a la derecha, Fig.5,
y puede ser de una forma enfadada seccional transversal rectangular. Para
objetivos de orientación concentración de campo magnético y el imán 24 es
formado en una configuración inclinada arqueada como definido por superficies
cóncavas 26 y superficies convexas 28, y los postes son definidos a los finales
del imán como será apreciado dFig.5. Para el campo magnético adicional que
concentra objetivos los finales del imán de armadura son formados por
superficies biseladas 30 para reducir al mínimo el área seccional enfadada en
los finales de imán 32, y el flujo magnético que existe entre los postes del
imán de armadura es como indicado por las líneas de puntos ligeras. En la
manera parecida los campos magnéticos de 6 los imanes de estator 12 son
indicados por las líneas de puntos ligeras.
El imán de armadura 24 es mantenido en una
relación espaciada encima de la pista de estator 22. Este espaciado puede ser
llevado a cabo montando el imán de armadura sobre una diapositiva, guía o pista
localizada encima de los imanes de estator, o el imán de armadura podría ser
montado sobre un carro de vehículo rodado o diapositiva apoyada sobre una
superficie no magnética o guideway dispuesto entre los imanes de estator y el
imán de armadura. Para clarificar la ilustración, el medio para apoyar el imán
de armadura 24 no es ilustrado y tales medios no forman ninguna parte de la
invención, y debe ser entendido que el medio que apoya el imán de armadura
impide al imán de armadura alejar de los imanes de estator, o acercar además,
pero permite el movimiento libre del imán de armadura a la izquierda o
directamente en una paralela de dirección a la pista 22 definido por los imanes
de estator.
Será notado que la longitud del imán de armadura
24 es ligeramente mayor que la anchura de dos de los imanes de estator 12 y el
espaciado entre ellos. Las fuerzas magnéticas que actúan sobre el imán de
armadura cuando en la posición de Fig.5 será la repulsión fuerzan 34 debido a
la proximidad de fuerzas de polaridad parecidas y fuerzas de atracción en 36
debido a la polaridad de enfrente del polo sur del imán de armadura, y el campo
de Polo Norte de los imanes de sector. La fuerza relativa de esta fuerza es
representada por el grosor de la línea de fuerza.
El resultado de los vectores de fuerza impuestos
sobre el imán de armadura como mostrado en Fig.5 produce un vector de fuerza
primario 38 hacia el izquierdo, Fig.5, desplazando el imán de armadura 24 hacia
el izquierdo. En Fig.6 las fuerzas magnéticas que actúan sobre el imán de
armadura son representadas por los mismos números de referencia que en Fig.5.
Mientras las fuerzas 34 constituyen fuerzas de repulsión que tienden a mover el
Polo Norte del imán de armadura lejos de los imanes de estator, las fuerzas de
atracción impuestas sobre el polo sur del imán de armadura y algunas fuerzas de
repulsión, tienda a mover el imán de armadura adelante a la izquierda, y cuando
la fuerza consiguiente 38 sigue siendo hacia el izquierdo el imán de armadura
sigue siendo forzado a la izquierda. Fig.7 representa el desplazamiento
adicional del imán de armadura 24 a la izquierda con respecto a la posición de
Fig.6, y las fuerzas magnéticas que actúan sobre eso son representados por los
mismos números de referencia que en Fig.5 e Fig.6, y el imán de estator seguirá
moviendo a la izquierda, y tal movimiento sigue la longitud de la pista 22
definido por los imanes de estator 12.
Sobre el imán de armadura invertido tal que el
Polo Norte es colocado en el derecho como visto en Fig.5, y el polo sur es
colocado en el izquierdo, la dirección de movimiento del imán de armadura con
relación a los imanes de estator es hacia el derecho, y la teoría de movimiento
es idéntica a esto descrito encima.
En Fig.8 una pluralidad de imanes de armadura 40 y
42 es ilustrada que están relacionados por eslabones 44. Los imanes de armadura
son de una forma y configuración idéntica a aquella de la encarnación de Fig.5,
pero los imanes son asombrados el uno con respecto al otro en dirección del
movimiento de imán, es decir, la dirección de la pista 22 definido por los
imanes de estator 12. Por tan asombrando una pluralidad de imanes de armadura
un movimiento smoother de los imanes de armadura interconectados es producido
como comparado usando un imán de armadura solo cuando hay variación en las
fuerzas que actúan sobre cada imán de armadura cuando esto se mueve encima de
la pista 22 debido al cambio de fuerzas magnéticas impuestas sobre eso. El uso
de varios imanes de armadura tiende "a allanar" la aplicación de
fuerzas impuestas sobre imanes de armadura unidos, causando un movimiento
smoother de la asamblea de imán de armadura. Por supuesto, cualquier número de
imanes de armadura puede ser interconectado, limitado sólo por la anchura de la
pista de imán de estator 22.
En Fig.9 y Fig.10 una encarnación rotatoria que
abraza los conceptos inventivos es ilustrada. En esta encarnación el principio
de operación es idéntico a esto descrito encima, pero la orientación del
estator e imanes de armadura es tal que la rotación de los imanes de armadura
es producida sobre un eje, más bien que un movimiento lineal conseguido.
En Fig.9 y Fig.10 una base es representada en 46
porción como un apoyo a un miembro de estator 48. El miembro de estator 48 es
hecho de un material no magnético, como plástico sintético, aluminio, o el
parecido. El estator incluye una superficie cilíndrica 50 tener un eje, y una
ánima enhebrada 52 es concentrically definido en el estator. El estator incluye
un surco anular 54 recepción de una manga anular 56 del material de
permeabilidad de campo magnético alto como Netic co-Netic y una pluralidad de
imanes de estator 58 son adjuntados sobre la manga 56 en la relación
circumferential espaciada como será aparente en Fig.10. Preferentemente, los
imanes de estator 58 son formados con lados radiales convergentes para ser de
una configuración de cuña que tiene una superficie interior curva manga
simpática 56, y un poste convexo emerge 60.
La armadura 62, en la encarnación ilustrada, es de
una configuración dished que tiene una porción de web radial, y una porción que
se extiende axialmente 64. La armadura 62 es formada de un material no
magnético, y un cinturón anular que recibe el surco 66 es definido allí para
recibir un cinturón para transmitir el poder de la armadura a un generador, u
otro poder que consume el dispositivo. Tres imanes de armadura 68 son montados
en la porción de armadura 64, y tales imanes son de una configuración similar a
la configuración de imán de armadura de Fig.5, Fig.6 y Fig.7.
Los imanes 68 son asombrados el uno con respecto
al otro en una dirección circumferential en donde los imanes no son colocados
exactamente 120 grados aparte, pero en cambio, un asombro angular leve de los
imanes de armadura es deseable para "allanar" las fuerzas magnéticas
impuestas sobre la armadura a consecuencia de las fuerzas magnéticas
simultáneamente impuestas sobre cada uno de los imanes de armadura. El asombro
de los imanes de armadura 68 en una dirección circumferential produce el mismo
efecto que el asombro de los imanes de armadura 40 y 42 como mostrado en Fig.8.
La armadura 62 es montada sobre un eje enhebrado
70 por portes de antifricción 72, y el eje 70 es enhebrado en el estator
enhebró la ánima 52, y puede ser hecho girar por la perilla 74. En esta
rotación de manera de la perilla 74, y eje 70, axialmente desplaza la armadura
62 con respecto a los imanes de estator 58, y tal desplazamiento axial va a muy
la magnitud de las fuerzas magnéticas impuestas sobre los imanes de armadura 68
por los imanes de estator así controlando la velocidad de la rotación de la
armadura. Como será notado de Fig.4,
Fig.5, Fig.6, Fig.7, Fig.9 y Fig.10, un hueco de aire existe entre los imanes
de armadura y los imanes de estator y la dimensión de este espaciado, efectúa
la magnitud de las fuerzas impuestas sobre el imán de armadura o imanes. Si la
distancia entre los imanes de armadura y los imanes de estator es reducida las fuerzas
impuestas sobre los imanes de armadura por los imanes de estator son
aumentadas, y la fuerza consiguiente 8 vector que tiende a desplazar los imanes
de armadura en su camino de aumentos de movimiento. Sin embargo, la disminución
del espaciado entre la armadura e imanes de estator crea "una
pulsación" en el movimiento de los imanes de armadura que es desagradable,
pero puede ser, hasta cierto punto, reducido al mínimo usando una pluralidad de
imanes de armadura. El aumento de la
distancia entre la armadura e imanes de estator reduce la tendencia de
pulsación del imán de armadura, sino también reduce la magnitud de las fuerzas
magnéticas impuestas sobre los imanes de armadura. Así, el espaciado más eficaz
entre la armadura e imanes de estator es que el espaciado que produce el vector
de fuerza máximo en dirección del movimiento de imán de armadura, con una
creación mínima de la pulsación desagradable.
En las encarnaciones reveladas el plato de
permeabilidad alto 20 y manga 56 es revelado para concentrar el campo magnético
de los imanes de estator, y los imanes de armadura son doblados y han formado
finales para objetivos de concentración de campo magnético. Mientras tales
medios de concentración de campo magnético causan fuerzas más altas impuestas sobre
los imanes de armadura para intensidades de imán dadas, no es querido que los
conceptos inventivos son limitados con el uso de tal campo magnético que
concentra medios.
Como será apreciado de la susodicha descripción de
la invención, el movimiento del imán de armadura o resultados de imanes de la
relación descrita de componentes. La longitud de los imanes de armadura como
relacionado con la anchura de los imanes de estator y espaciado entre ellos, la
dimensión del hueco de aire y la configuración del campo magnético, combinado,
produce el resultado deseado y el movimiento. Los conceptos inventivos pueden
ser practicados aunque estas relaciones puedan ser variadas dentro de límites
todavía definidos y la invención es querida para cercar todas las relaciones
dimensionales que consiguen el objetivo deseado del movimiento de armadura. Por
vía del ejemplo, con respecto a Figs a 7, las dimensiones siguientes fueron
usadas en un prototipo de operaciones:
La longitud del imán de armadura 24 es
3.125", los imanes de estator 12 son 1" amplios, .25" grueso y
4" mucho tiempo y grano orientado. El hueco de aire entre los postes del
imán de armadura y los imanes de estator es aproximadamente 1.5" y el
espaciado entre los imanes de estator es aproximadamente 0.5" pulgadas (1
pulgada = 25.4 mm).
En efecto, los imanes de estator definen una pista
de campo magnético de una polaridad sola transversalmente interrumpida en
posiciones espaciadas por los campos magnéticos producidos por las líneas de
fuerza que existe entre los postes de los imanes de estator y la fuerza
unidireccional ejercida en el imán de armadura es un resultado de la repulsión
y fuerzas de atracción que existen cuando el imán de armadura cruza esta pista
de campo magnético.
Debe ser entendido que el concepto inventivo
abraza un arreglo en donde el componente de imán de armadura es inmóvil y la
asamblea de estator es apoyada para el movimiento y constituye el componente
móvil, y otras variaciones del concepto inventivo serán aparentes a aquellos
expertos en el arte sin marcharse del alcance de eso. Como usado aquí el término "pista"
es querido para incluir tanto arreglos lineales como circulares de los imanes
estáticos, y la dirección" o la longitud" de la pista son que
paralela de dirección o concéntricas a la dirección intencionada del movimiento
de imán de armadura.
Patente
TIOVIVO GENERADOR ELÉCTRICO
Este es una forma de extracto expresada con otras palabras esta patente que
muestra que un compacto, autoimpulsado, combinó el imán permanente generador de
motor y eléctrico. Hay una pequeña información suplementaria al final de este
documento.
EXTRACTO
Un generador de imán permanente o motor que coloca
bobinas inmóviles en un círculo, un rotor en el cual son montados imanes
permanentes agrupados en sectores y colocó para moverse adyacente a los bobinas,
y un transporte de tiovivo los grupos correspondientes de los imanes
permanentes por los centros de los bobinas, las películas de tiovivo con el
rotor en virtud del que es magnetically conectado a ello.
FONDO DE LA INVENCIÓN
Hay numerosas aplicaciones para pequeños
generadores eléctricos en posiciones de unos kilovatios o menos. Los ejemplos
incluyen fuentes de energía eléctrica para la urgencia que se enciende en
edificios comerciales y residenciales, fuentes de alimentación para posiciones
remotas como cabinas de montaña, y fuentes de alimentación portátiles para
casa-móvils, barcos de recreo, etc.
En todas estas aplicaciones, la fiabilidad de
sistema es una preocupación primaria. Como la red eléctrica probablemente se
sentará ocioso durante períodos largos del tiempo sin la ventaja del
mantenimiento periódico, y porque el operador-dueño es a menudo inexperto en el
mantenimiento y la operación de tal equipo, el nivel deseado de la fiabilidad
sólo puede ser conseguido por la simplicidad de sistema y la eliminación de
tales componentes como baterías u otras fuentes de alimentación secundarias que
son comúnmente empleadas para la excitación de campo de generador.
Otro rasgo importante para tal equipo de
generación es la miniaturización en particular en caso del equipo portátil. Es
importante ser capaz de producir el nivel requerido del poder en un
relativamente pequeño generador.
Ambos de estas exigencias son dirigidas en la
invención presente por una adaptación nueva del generador de imán permanente o
magneto en un diseño que se presta a la operación de frecuencia alta como un
medio para maximizar la salida de poder por volumen de unidad.
DESCRIPCIÓN DEL ARTE PREVIA
Los generadores de imán permanentes o la magneto
han sido empleados extensamente durante muchos años. Las aplicaciones tempranas
de tales generadores incluyen el suministro de corriente eléctrica para bujías
en coches y aviones. Temprano los teléfonos usaron la magneto para obtener la
energía eléctrica para el toque. El Modelo T coche de Ford también usó la
magneto para impulsar sus luces eléctricas.
La invención presente se diferencia de la magneto
de arte previa en términos de su estructura física nueva en la cual se arregla
una multiplicidad de imanes permanentes y cuerdas eléctricas en una manera que
permite la operación "alta velocidad frecuencia alta" como un medio
para encontrar la exigencia de miniaturización. Además, el diseño es realzado
por el uso de un tiovivo rotativo que lleva una multiplicidad de imanes de la
fuente de campaña por los centros de las cuerdas eléctricas inmóviles en las
cuales el voltaje generado es así inducido.
RESUMEN DE LA INVENCIÓN
De acuerdo con la invención reclamada, un imán
permanente mejorado el generador eléctrico es proveído de una capacidad de
entregar un nivel relativamente alto del poder de salida de una estructura
pequeña y compacta. La incorporación de un tiovivo rotativo para el transporte
de los imanes de campaña primarios por las cuerdas eléctricas en las cuales la
inducción ocurre realza la fuerza de campaña en las posiciones críticas a la
generación.
Es, por lo tanto, un objeto de esta invención de
proporcionar un generador de imán permanente mejorado o la magneto para la
generación de poder eléctrico. Otro objeto de esta invención es proporcionar en
tal generador un nivel relativamente alto del poder eléctrico de una estructura
pequeña y compacta. Un objeto adicional de esta invención es conseguir un nivel
tan alto del poder eléctrico en virtud de la velocidad rotatoria alta y
operación de frecuencia alta de que el generador de la invención es capaz.
Un objeto adicional de esta invención es
proporcionar una capacidad de frecuencia tan alta por el uso de una estructura
de campaña nueva en la cual los imanes permanentes primarios son llevados por
los centros de las cuerdas de inducción del generador por un tiovivo rotativo.
BREVE DESCRIPCIÓN DE LOS DIBUJOS
La invención presente puede ser más fácilmente descrita en cuanto a los
dibujos de acompañamiento, en cual:

Fig.1 es una vista de
perspectiva simplificada del tiovivo el generador eléctrico de la invención;

Fig.2 es una vista
enfadada seccional de Fig.1 tomado a lo largo de línea 2--2;

Fig.3 es una vista
enfadada seccional del generador de Fig.1 y Fig.2 tomado a lo largo de línea
3--3 of Fig.2;

Fig.4 es una vista
enfadada seccional de Fig.3 tomado a lo largo de línea 4--4;

Fig.5 es una vista de
perspectiva parcial mostrando a la orientación de un grupo de imanes
permanentes dentro de un veinte sector de grado del generador de la invención
como visto en dirección de la flecha 5 de Fig.3;

Fig.6 es una ilustración
del arreglo físico de cuerdas eléctricas e imanes permanentes dentro del
generador de la invención como visto en dirección de flecha 6 en Fig.1;

Fig.7 es una forma de
onda mostrando a encadenamientos de flujo para una cuerda dada como una función
de la posición rotatoria de la cuerda con relación a los imanes permanentes;

Fig.8 es un diagrama
esquemático mostrando a la unión apropiada de las cuerdas de generador para una
configuración de voltaje baja corriente alta del generador;

Fig.9 es un diagrama
esquemático mostrando a una unión de serie de bobinas de generador para una
corriente baja, configuración de alta tensión;

Fig.10 es un diagrama
esquemático mostrando a una unión de serie/paralela de cuerdas de generador
para corriente intermedia y operación de voltaje;

Fig.11 es una
presentación de perspectiva de una configuración de imán de tiovivo modificada
empleada en una segunda encarnación de la invención;

Fig.12A y Fig.12B
muestre vistas superiores e inferiores de los imanes de tiovivo de Fig.11;

Fig.13 es una vista
enfadada seccional de la configuración de imán modificada de Fig.11 tomado a lo largo de línea
13--13 con otros rasgos del tiovivo modificado estructuran también mostrado;

Fig.14 es una modificación
de la estructura de tiovivo mostrada en Figs. 1-13 donde un cuarto imán de
tiovivo es colocado en cada estación; y

Fig.15 ilustra el uso del dispositivo reclamado
como una fuente de alimentación corriente directa pulsada.
DESCRIPCIÓN DE LA ENCARNACIÓN PREFERIDA

La referencia más en particular a los dibujos por
carácteres de referencia, Fig.1 muestra las proporciones externas de un tiovivo
generador eléctrico 10 de la invención. Como mostrado en Fig.1, el generador 10
es encerrado por un alojamiento 11 con pies que montan 12 conveniente para
asegurar el generador a una superficie llana 13. La superficie 13 es
preferentemente horizontal, como mostrado en Fig.1.
El alojamiento 11 tiene las proporciones de un
cilindro corto. Un árbol motor 14 se extiende axialmente de alojar 11 por un
porte 15. La salida eléctrica del generador es sacada por un cable 16.

La vista enfadada seccional de Fig.2 muestra los
elementos activos incorporados a un veinte sector de grado del estator y en un
veinte sector de grado del rotor.
En la primera realización de la invención, hay
dieciocho sectores de estator idénticos, cada incorporación de una cuerda o
enrollan 17 enrollar sobre un marco de bobina rectangular o carrete. El bobina
17 es sostenido por un marco de estator 18 que también puede servir como una
pared externa del marco 11.
El rotor también es dividido en dieciocho
sectores, nueve de los cuales incorporan tres imanes permanentes cada uno,
incluso un imán de rotor interior 19, un imán de rotor superior 21 y un imán de
rotor inferior 22. Todos los tres de estos imanes tienen su polo sur que
afronta el bobina 17, y todos los tres son montados directamente en el marco de
rotor 23 que es asegurado directamente al árbol motor 14.
Los otros nueve sectores del rotor son vacíos, es
decir ellos no son poblados con imanes. Los sectores desiertos son alternados
con los sectores poblados de modo que los sectores poblados adyacentes sean
separados por un sector desierto como mostrado en Fig.3 y Fig.6.
Con referencia otra vez a Fig.2, generador 10
también incorpora un tiovivo 24. El tiovivo comprende nueve pares de imanes de
tiovivo 25 sujetado con abrazaderas entre los anillos de criado superiores e
inferiores 26 y 27, respectivamente. El criado inferior toca 27 restos dentro
de un aire que aguanta el canal 28 que es asegurado al estator 18 interior el
carrete del bobina 17. Los pasos de aire (no mostrado) admiten el aire en el
espacio entre la superficie inferior de 27 de toque y el superior o dentro de
la superficie del canal 28. Este arreglo comprende un porte de aire que permite
el tiovivo 24 girar libremente dentro de los bobinas 17 sobre el eje rotatorio
que 29 del rotor enmarcan 23.
El tiovivo 24 también es dividido en 18 sectores
de veinte grados, incluso nueve sectores poblados esparcidos por nueve sectores
desiertos en una secuencia alternadora. Cada uno de los nueve sectores poblados
incorpora un par de imanes de tiovivo como descrito en el párrafo precedente.

La relación geométrica entre los imanes de rotor,
los imanes de tiovivo y los bobinas, es clarificada adelante por Fig.3, Fig.4 y
Fig.5. En cada una de las tres figuras,
muestran al centro de cada sector de rotor poblado alineado con el centro de un
bobina 17. Cada sector de tiovivo poblado, que es magnetically cerrado con
llave en la posición con un sector de rotor poblado, también es así alineado
con un bobina 17.

En una realización temprana de la invención, las
dimensiones y los espaciados de los imanes de rotor 19, 21 y 22 e imanes de
tiovivo, 25A y 25B del imán de tiovivo se aparean 25 fueron como mostrado en
Fig.5. Cada uno de los imanes de rotor
19, 21 y 22 midió una pulgada en dos pulgadas por una mitad pulgada con norte y
polo sur en una pulgada de enfrente por caras de dos pulgadas. Cada uno de los
imanes de tiovivo 25A y 25B midió dos pulgadas en dos pulgadas por una mitad
pulgada con norte y polo sur en dos pulgadas de enfrente por caras de dos
pulgadas. Los imanes fueron obtenidos de
Magnet Sales and Manufacturing, Culver City, California. Los imanes de tiovivo eran Número de Parte.35NE2812832;
los imanes de rotor eran partes de encargo de la fuerza equivalente (MMF), pero
mitad el corte transversal de los imanes de tiovivo.
Los apoyos de bobina y otros miembros inmóviles localizados
dentro de modelos de campo magnético son fabricados de plástico de Teflón o
Delrin o materiales equivalentes. El uso de aluminio u otros metales introduce
el remolino pérdidas corrientes y en algunos casos fricción excesiva.
Como mostrado en Fig.5, los imanes de tiovivo 25A
y 25B están de pie en el borde, paralela el uno con el otro, su enfrentamiento
de Polos Norte, y una pulgada espaciada aparte. Cuando visto de directamente
encima de los imanes de tiovivo, el espacio entre los dos imanes 25A y 25B
aparece como una pulgada por el rectángulo de dos pulgadas. Cuando el par de imán de tiovivo 25 es
perfectamente cerrado con llave en la posición magnetically, el imán de rotor
superior 21 está directamente encima de esta una pulgada por el rectángulo de
dos pulgadas, el imán de rotor inferior 22 es directamente debajo de ello, y su
una pulgada por caras de dos pulgadas es directamente alineada con ello, el
polo sur de los dos imanes 21 y 22 enfrentamiento.
En una manera similar, cuando visto del eje de
rotación del generador 10, el espacio entre imanes de tiovivo 25A y 25B otra
vez aparece como una pulgada por el rectángulo de dos pulgadas, y este
rectángulo es alineado con una pulgada por la cara de dos pulgadas del imán 19,
el polo sur del imán que 19 forro del imán de tiovivo empareja 25.
Los imanes de rotor 19, 21 y 22 son colocados por
poco posibles a imanes de tiovivo 25A y 25B todavía permitiendo al paso para el
bobina 17 y alrededor de los imanes de tiovivo y por el espacio entre los
imanes de tiovivo y los imanes de rotor.
En un generador eléctrico, el voltaje inducido en
las cuerdas de generador es proporcional al producto del número de vueltas en
la cuerda y el precio de cambio de encadenamientos de flujo que es producido
cuando la cuerda es hecha girar por el campo magnético. Un examen de modelos de
campo magnético es por lo tanto esencial a un entendimiento de la operación de
generador.
En el generador 10, el flujo magnético que emana
de los Polos Norte de imanes de tiovivo 25A y 25B pasa por los imanes de rotor
y luego vuelve al polo sur de los imanes de tiovivo. El campo de flujo total es
así conducido por MMF combinado (magnetomotive fuerza) del tiovivo e imanes de
campaña mientras los modelos de flujo son determinados por la orientación de
imanes de tiovivo y el rotor.

El modelo de flujo entre imanes de tiovivo 25A y
25B y los imanes de rotor superiores e inferiores 21 y 22 es ilustrado en Fig.4.
Las líneas de flujo magnéticas 31 del Polo Norte del imán de tiovivo 25A se
extienden al polo sur del imán de rotor superior 21, pasan por imán 21 y vuelta
como líneas 31' al polo sur del imán 25A. Las líneas 33, también del Polo Norte
del imán 25A se extienden al polo sur del imán de rotor inferior 22, pasan por
el imán 22 y vuelven al polo sur del imán 25A como líneas 33'. Del mismo modo, las líneas 32 y 34 del Polo
Norte del imán 25B pasan por imanes 21 y 22, respectivamente, y vuelta como
líneas 32' y 34' al polo sur del imán 25B. Los encadenamientos de flujo
producidos en bobina 17 por líneas que emanan del imán de tiovivo 25A son del
sentido de enfrente de aquellos emanando del imán de tiovivo 25B. Como el
voltaje inducido es una función del precio de cambio de encadenamientos de
flujo netos, es importante reconocer esta diferencia en el sentido.

Fig.6 muestra un modelo de flujo similar para el
flujo entre imanes de tiovivo 25A y 25B e imán de rotor interior 19. Otra vez
las líneas que emanan del imán de tiovivo 25A y pasan por el imán de rotor 19
encadenamientos de flujo de productos en el bobina 17 que son de enfrente en el
sentido de aquellos producidos por líneas del imán 25B.
El arreglo de los imanes de tiovivo con el
enfrentamiento de Polos Norte tiende a encajonar y canalizar el flujo en el
camino deseado. Este arreglo sustituye la función de yugos magnéticos o
laminaciones de más generadores convencionales.
Los encadenamientos de flujo producidos por imanes
25A y 25B son de enfrente en el sentido sin tener en cuenta la posición
rotatoria del bobina 17 incluso el caso donde bobina 17 es alineado con el
tiovivo e imanes de rotor así como para los mismos bobinas cuando ellos son
alineados con un sector de rotor desierto.
Taking en cuenta los modelos de flujo de Fig.4 y
Fig.6 y reconociendo las condiciones de sentido contrarias sólo descritas, los
encadenamientos de flujo netos para un bobina dado 17 son deducidos como
mostrado en Fig.7.

En Fig.7, gane neto encadenamientos de flujo
(vueltas de bobina x líneas) son trazados como una función de la posición de bobina
en grados. La posición de bobina es aquí definida como la posición del
centreline 35 del bobina 17 con relación a la escala angular mostrada en grados
en Fig.6. (Note que el bobina es inmóvil y la escala es fijada al rotor. Cuando
el rotor da vuelta en un dextrórsum dirección, la posición relativa del bobina
17 progresos del cero a diez a veinte grados etc.).
En una posición de bobina relativa de diez grados,
el bobina es centrado entre imanes 25A y 25B. Asumiendo modelos de flujo
simétricos para los dos imanes, los encadenamientos de flujo de un imán
exactamente anulan los encadenamientos de flujo del otro de modo que los
encadenamientos de flujo netos sean el cero.
Cuando la posición de bobina relativa se mueve a la derecha,
encadenamientos del imán 25A disminución y aquellos del imán 25B aumento de
modo que los encadenamientos de flujo netos aumenten del cero y pasen por un
valor negativo máximo en algún punto entre diez y veinte grados. Después de
alcanzar el máximo negativo, disminución de encadenamientos de flujo, pasar por
el cero en 30 grados (donde bobina 17 está en el centro de un sector de rotor
desierto) y luego elevándose a un máximo positivo en algún punto sólo más allá
de 60 grados. Estas repeticiones de variación cíclicas como el bobina son
sujetadas sucesivamente a campos de sectores de rotor poblados y desiertos.
Cuando el rotor es conducido rotatoriamente, los
encadenamientos de flujo netos para dieciocho bobinas son cambiados en un
precio que es determinado por el modelo de flujo sólo descrito en la
combinación con la velocidad rotatoria del rotor. El voltaje instantáneo
inducido en bobina 17 es una función de la cuesta de la curva mostrada en Fig.7
y velocidad de rotor, y cambios de polaridad de voltaje como la cuesta de los
suplentes de curva entre positivo y negativo.
Es importante notar aquí que un bobina colocado en
diez grados es expuesto a una cuesta negativa mientras el bobina adyacente es
expuesto a una cuesta positiva. Las polaridades de los voltajes inducidos en
los dos bobinas adyacentes son por lo tanto de enfrente. Para serie o las
uniones paralelas de los bobinas raros y hasta numerados, esta discrepancia de
polaridad puede ser corregida instalando los bobinas raros y hasta numerados
opuestamente (las probabilidades hicieron girar el final para el final con
relación a evens) o invirtiendo principio y uniones de fin de los raros con
relación a bobinas hasta numerados. De estas medidas dará todo el aditivo de
voltajes de bobina como necesario para serie o uniones paralelas. A menos que los
modelos de campaña para sectores poblados y desiertos sean muy casi simétricos,
sin embargo, los voltajes inducidos en bobinas raros y hasta numerados tendrán
formas de onda diferentes. Esta diferencia no será corregida por las
inversiones de bobina o uniones inversas habladas en el párrafo anterior. A
menos que las formas de onda de voltaje sean muy casi las corrientes el mismas,
circulantes fluirán entre bobinas hasta e impares. Estas

Para prevenir tales corrientes circulantes y la
pérdida asistente en la eficiencia operativa para no modelos de campaña
simétricos y formas de onda de voltaje incomparables, las uniones paralelas de
serie de Fig.8 pueden ser empleadas en un alto corriente, la configuración de
voltaje bajo del generador. Si los
dieciocho bobinas son numerados en la secuencia de unel a dieciocho según la
posición sobre el estator, todos los bobinas hasta numerados están relacionados
en la paralela, todos los bobinas impares están relacionados en la paralela, y
los dos grupos de bobina paralelos están relacionados en serie como mostrado
con la polaridad invertida para un grupo de modo que los voltajes estén en la
fase con relación al cable de salida 16.

Para un bajo corriente, configuración de alta
tensión, la unión de serie de todos los bobinas puede ser empleada como
mostrado en Fig.9. En este caso, es sólo
necesario corregir la diferencia de polaridad entre bobinas numerados hasta y
raros. Como mencionado antes, este puede
ser llevado a cabo por medio de principio de enfrente y uniones de fin para
raro y hasta enrolla o instalando bobinas alternos invertidos, final para el
final.

Para corriente intermedia y configuraciones de
voltaje, varias uniones paralelas de serie pueden ser empleadas. Fig.10, por
ejemplo, muestra tres grupos de seis bobinas cada uno relacionado en
serie. Las corrientes circulantes serán
evitadas mientras que los bobinas hasta numerados no están relacionados en la
paralela con bobinas impares. La unión paralela de pares raros/hasta unidos por
serie como mostrado es permisible porque las formas de onda de los pares de
serie deberían ser muy con esmero emparejadas.

En otra encarnación de la invención, los dos
grandes (dos pulgadas en dos pulgadas) los imanes de tiovivo son sustituidos
por tres imanes más pequeños como mostrado en Fig.11, Fig.12 y Fig.13. Los tres imanes de tiovivo comprenden un imán
de tiovivo interior 39, un imán de tiovivo superior 41 y un imán de tiovivo
inferior 42 arreglado en un U formó la configuración que hace juego el U formó
la configuración de los imanes de rotor 19, 21 y 22. Como en caso de la primera
encarnación, el rotor y los imanes de tiovivo están presentes sólo en sectores
alternos del generador.

Los finales de los imanes de tiovivo son biselados
para permitir un arreglo más compacto de los tres imanes. Como mostrado en Fig.12, cada imán mide una
pulgada en dos pulgadas por una mitad pulgada gruesa. El polo sur ocupa una pulgada biselada por la
cara de dos pulgadas y el Polo Norte está en la cara de enfrente.

La estructura de tiovivo modificada 24' como
mostrado en Fig.13 comprende una placa de apoyo de tiovivo superior 43, una
placa de apoyo de tiovivo inferior 44, una pared cilíndrica externa 45 y una pared
cilíndrica interior 46. Las placas de apoyo superiores e inferiores 43 y 44
compañero con los miembros de porte superiores e inferiores 47 y 48,
respectivamente, que son inmóviles y asegurados dentro de las formas de los
bobinas 17. Las placas de apoyo 43 y 44 son formadas para proveer el aire
canaliza 49 que sirven como portes de aire para el apoyo rotatorio del tiovivo
24'. Las placas de apoyo son también ranuradas para recibir los bordes
superiores e inferiores 51 de paredes cilíndricas 45 y 46.
El tiovivo modificado estructura 24' ofertas
varias ventajas sobre la primera encarnación. La configuración de imán
emparejada del tiovivo y el rotor proporciona el enganche más apretado y más
seguro entre el tiovivo y el rotor. Los imanes de tiovivo más pequeños también
proporcionan una reducción significativa del peso de tiovivo. Este fue
encontrado beneficioso con relación al apoyo rotatorio liso y eficiente del
tiovivo.

La modificación de la estructura de tiovivo como
descrito en los párrafos anteriores puede ser tomada un paso adelante con la
adición de un cuarto imán de tiovivo 52 en cada estación como mostrado en
Fig.14. Los cuatro imanes de tiovivo 39,
41, 42 y 52 ahora forman un marco cuadrado con cada una de las caras de imán
(Polos Norte) que afrontan una correspondencia dentro de la cara del bobina 17. Los imanes de tiovivo para esta modificación
pueden ser otra vez como mostrados en Fig.12. Un imán de rotor adicional 53
también puede ser añadido como mostrado, en línea con el imán de tiovivo 52.
Estas modificaciones adicionales adelante realzan el modelo de campaña y el
grado de enganche entre el rotor y el tiovivo.
El tiovivo el generador eléctrico de la invención
es en particular bien satisfecho a la alta velocidad, operación de frecuencia alta
donde la alta velocidad compensa densidades de flujo inferiores que podría ser
conseguido con un medio magnético para derrotar el campo por los bobinas de
generador. Para muchas aplicaciones,
como la iluminación de emergencia, la frecuencia alta es también ventajosa. La
iluminación de neón, por ejemplo, es más eficiente en términos de lumens por
vatio y los lastres son más pequeños en frecuencias altas.
Mientras la invención presente ha sido dirigida
hacia la provisión de un generador compacto para aplicaciones de generador
especializadas, es también posible hacer funcionar el dispositivo como un motor
aplicando una fuente de voltaje de alternancia apropiada para cablegrafiar 16 y
enganche del árbol motor 14 a una carga.

Es también posible hacer funcionar el dispositivo
de la invención como un motor usando una fuente de alimentación directa
corriente pulsada. Un sistema de control 55 para proporcionar tal operación es
ilustrado en Fig.15. Incorporado al sistema de control 55 son un sensor de posición
de rotor S, un regulador lógico programable 56, un recorrido de control de
poder 57 y un potenciómetro P.
Basado en señales recibidas del sensor S, el
regulador 56 determina el cronometraje apropiado para la excitación de bobina
para asegurar la torsión máxima y la operación lisa. Este implica la
determinación de las posiciones óptimas del rotor y el tiovivo en la iniciación
y en la terminación de la excitación de bobina.
Para operación lisa y torsión máxima, la fuerza desarrollada por los
campos que se relacionan de los imanes y los bobinas excitados debería ser
unidireccional al grado posible máximo.
Típicamente, el bobina está excitado a sólo 17.5
grados o menos durante cada uno 40 grados de la rotación de rotor.
La señal 58 de salida del regulador 56 es una
señal binaria (alto o bajo) que es interpretado como un EN y de la orden para
la excitación de bobina.
El recorrido de control de poder incorpora un
interruptor estatal sólido a la forma de un transistor de poder o un MOSFET.
Esto responde a la señal 58 de control encendiendo el interruptor estatal
sólido y LEJOS iniciar y terminar la excitación de bobina. La amplitud de voltaje instantánea
suministrada a los bobinas durante la excitación es controlada por medio del
potenciómetro P. La velocidad de motor y la torsión son así sensibles a ajustes
de potenciómetro.
motor usando un conmutador y cepilla para el
control de la excitación de bobina. En este caso, el conmutador y los cepillos
sustituyen al regulador lógico programable y el recorrido de control de poder
como los medios para proporcionar la excitación de corriente continua pulsada.
Este acercamiento es menos flexible, pero quizás más eficiente que el sistema
de control programable descrito antes.
Será reconocido ahora que un generador nuevo y
útil ha sido proporcionado de acuerdo con los objetos indicados de la
invención, y mientras pero unas encarnaciones de la invención han sido
ilustrados y lo describió será aparente a aquellos expertos en el arte que
varios cambios y las modificaciones pueden ser hechos sin marcharse del
espíritu de la invención o del alcance de las reclamaciones añadidas.
Patente US 3,781,601 25 de diciembre 1973 Inventor: Pavel Imris
GENERADOR ÓPTICO DE UN CAMPO ELECTROSTÁTICO QUE TIENE OSCILACIÓN
LONGITUDINAL EN FRECUENCIAS LIGERAS PARA USO EN UN RECORRIDO ELÉCTRICO
Por favor note que este es un extracto expresado
con otras palabras de esta patente. Esto describe un tubo lleno de gas que
permite que muchos tubos fluorescentes de 40 vatios estándares sean impulsados
usando menos que el 1 vatio del poder cada uno.
EXTRACTO
Un generador Óptico de un campo electrostático en
frecuencias ligeras para el uso en un recorrido eléctrico, el generador que
tiene un par de electrodos espaciados aparte en un tubo lleno de gas de cuarzo
material de cristal o similar con al menos una gorra condensador o plato
adyacente a un electrodo y un dieléctrico llenó el contenedor que encierra el
tubo, el generador que considerablemente aumenta la eficacia eléctrica del
recorrido eléctrico.
FONDO DE LA INVENCIÓN
Esta invención está relacionada con el recorrido
eléctrico mejorado, y más en particular al recorrido que utiliza un generador
óptico de un campo electrostático en frecuencias ligeras.
La medida de la eficacia de un recorrido eléctrico
puede ser ampliamente definida como la proporción de la energía de salida en la
forma deseada (como la luz en un recorrido que se enciende) a la entrada
energía eléctrica. Hasta ahora, la eficacia de mucho recorrido no ha sido muy
alta. Por ejemplo, en un recorrido que
se enciende usando 40 vatio lámparas fluorescentes, sólo aproximadamente 8.8
vatios de la energía de entrada por lámpara realmente son convertidos a la luz
visible, así representando una eficacia de sólo aproximadamente 22 %. El
restante 31.2 vatios es disipado principalmente en la forma del calor.
Se ha sugerido que con el recorrido que se
enciende y tiene lámparas fluorescentes, aumentando la frecuencia de la
corriente aplicada levantará la eficacia de recorrido total. Mientras en una
frecuencia de operaciones de 60 Hz, la eficacia es 22 %, si la frecuencia es
levantada a 1 Mhz, la eficacia de recorrido sólo se elevaría a aproximadamente 25.5
%. También, si la frecuencia de entrada fuera levantada a 10 Ghz, la eficacia de
recorrido total sólo sería 35 %.
RESUMEN DE LA INVENCIÓN PRESENTE
La invención presente utiliza un generador
electrostático óptico que es eficaz para producir frecuencias altas en la
variedad ligera visible de aproximadamente 1014 a 1023 Hz. La operación y la
teoría del generador electrostático óptico han sido descritas y hablado en el
mi No 5,248 consecutivo de aplicación co-pendiente, archivado el 23 de enero de
1970. Como declarado en mi aplicación co-pendiente, el generador electrostático
óptico presente no funciona de acuerdo con las normas aceptadas y los
estándares de las frecuencias electromagnéticas ordinarias.
El generador electrostático óptico como utilizado
en la invención presente puede generar una amplia variedad de frecuencias entre
Varios hercios y aquellos en la frecuencia ligera. En consecuencia, esto es un
objeto de la invención presente de proporcionar el recorrido de energía
eléctrico mejorado que utiliza mi generador electrostático óptico, por lo cual
la energía de salida en la forma deseada será considerablemente más eficiente
que posible hasta ahora, usando técnicas de recorrido estándares y equipo. Esto
es un objeto adicional de la invención presente de proporcionar tal recorrido
para el uso en la iluminación de neón u otro recorrido de iluminación. Esto es
también un objeto de la invención presente de proveer un recorrido con puede
ser usado junto con precipitators electrostático para polvo y colección de
partícula y retiro, así como muchos otros objetivos.
DESCRIPCIÓN DE LOS
DIBUJOS
Fig.1 es una
disposición esquemática mostrando a un generador electrostático óptico de la
invención presente, utilizada en un recorrido que se enciende para lámparas
fluorescentes:

Fig.2 es una
disposición esquemática de un recorrido de alta tensión que incorpora un
generador electrostático óptico:

Fig.2A es una vista
seccional por una porción del generador y
Fig.3 es una vista
seccional esquemática mostrando a un generador electrostático óptico de acuerdo
con la invención presente, en particular para el uso en el recorrido de
corriente alterna, aunque también pueda ser usado en el recorrido corriente
directo:

DESCRIPCIÓN DE LAS
ENCARNACIONES ILUSTRADAS
Respecto a los dibujos y al Fig.1 en particular,
un recorrido de voltaje bajo que utiliza un generador electrostático óptico es
mostrado. Como mostrado en Fig.1, una fuente de corriente alterna energía
eléctrica 10, está relacionado con un recorrido que se enciende. Relacionado a un grifo de la fuente de alimentación
10 es un rectificador 12 para la utilización cuando la corriente directa es
requerida. El recorrido ilustrado es proveído de un interruptor 14 que puede
ser abierto o cerrado según o corriente alterna o la alimentación de CC es
usada. El interruptor 14 es abierto y un interruptor 16 está cerrado cuando la
corriente alterna es usada. Con interruptor 14 cerrado e interruptor 16
abierto, el recorrido funciona como un recorrido de corriente continua.

La ampliación de interruptores 14 y 16 es el conductor
18 que está relacionado con un generador electrostático óptico 20. El conductor
18 es pasado por un aislante 22 y relacionado con un electrodo 24. Espaciado
del electrodo 24 es un segundo electrodo 25.
La inclusión de electrodos 24 y 25, que preferentemente son hechos de
tungsteno o material similar, es un tubo de cristal de cuarzo 26 que está lleno
de un gas ionisable 28 como el xenón o cualquier otro gas ionisable conveniente
como argón, criptón, neón, nitrógeno o hidrógeno, así como el vapor de metales
como mercurio o sodio.
Rodeando cada final del tubo 26 y adyacente a
electrodos 24 y 25, son los platos de condensador 30 y 32 en la forma de
gorras. Un conductor está relacionado con el electrodo 25 y pasado un segundo
aislante 34. Rodeando el tubo, electrodos y gorras condensador es un sobre
metálico en la forma de una hoja delgada de cobre u otro metal como el aluminio. El sobre 36 es espaciado de los conductores
que conducen a y del generador por medio de aislantes 22 y 34. El sobre 36 está
lleno de un material dieléctrico como el petróleo de transformador, muy
purificó el echar agua destilado, el nitro-benceno o cualquier otro dieléctrico
líquido conveniente. Además, el dieléctrico puede ser un sólido como el
material de cerámica con relativamente pequeñas moléculas.
Un conductor 40 está relacionado con el electrodo
25, pasado aislante 24 y luego relacionado con una serie de lámparas
fluorescentes 42 que están relacionados en serie. Esto es las lámparas 42 que
será la medida de la eficacia del recorrido que contiene el generador
electrostático óptico 20. Un conductor
44 completa el recorrido de las lámparas fluorescentes al grifo de la fuente de
la energía eléctrica 10. Además, el recorrido está relacionado con una tierra
46 por otro conductor 48. El sobre 36 también es basado por el plomo 50 y en el
diagrama ilustrado, el plomo 50 está relacionado con el conductor 44.
Las gorras condensador o platos 30 y 32, forme un
condensador relativo con el tubo de descarga. Cuando una alta tensión es aplicada
al electrodo del tubo de descarga, los iones de gas están excitados y traídos a
un potencial más alto que su ambiente, es decir el sobre y el dieléctrico que
lo rodea. En este punto, el gas ionizado en efecto se hace un plato de un
condensador relativo en la cooperación con las gorras condensador o platea 30 y
32.
Cuando este condensador relativo es descargado, la
corriente eléctrica no se disminuye como sería normalmente esperado. En cambio,
esto permanece considerablemente la constante debido a la relación entre el
condensador relativo y un condensador absoluto que es formado entre el gas
ionizado y el sobre metálico espaciado 36. Un efecto de oscilación ocurre en el
condensador relativo, pero la condición eléctrica en el condensador absoluto
permanece considerablemente constante.
Como también descrito en el No 5,248 consecutivo
de aplicación co-pendiente, hay un efecto de oscilación entre el gas ionizado
en la lámpara de descarga y el sobre metálico 36 estará presente si las gorras
condensador son eliminadas, pero la eficacia del generador electrostático será
considerablemente disminuida.
La cara del electrodo puede ser cualquier forma
deseada. Sin embargo, un punto cónico de 600 ha sido encontrado para ser
satisfactorio y se cree para tener una influencia en la eficacia del generador.
Además, el tipo de gas seleccionado para el uso en
el tubo 26, así como la presión del gas en el tubo, también afecta la eficacia
del generador, y por su parte, la eficacia del recorrido eléctrico.
Demostrar la eficacia aumentada de un recorrido
eléctrico que utiliza el generador electrostático óptico de la invención
presente así como la relación entre presión de gas y eficacia eléctrica, un
recorrido similar a esto mostrado en Fig.1
puede ser usado con 100 40 vatio estándar, lámparas fluorescentes chulas
blancas relacionadas en serie. El generador electrostático óptico incluye un
tubo de cristal de cuarzo lleno del xenón, de una serie de tubos diferentes
usados debido a las presiones de gas diferentes probadas.
Tabla 1 muestra los
datos para ser obtenidos acerca del generador electrostático óptico. Tabla
2 muestra la interpretación de lámpara y la eficacia para cada una de las
pruebas mostradas en Tabla 1. Lo siguiente es una descripción de los datos
en cada una de las columnas de Tabla 1 y
Tabla 2.
|
Columna |
Descripción |
|
B |
Gas usado en tubo de descarga |
|
C |
Presión de gas en tubo (en torrs) |
|
D |
Fuerza de campaña a través del tubo (medido en voltios por cm. de longitud entre
los electrodos) |
|
E |
Densidad corriente
(medido en microamperios por sq. mm. de tubo área enfadada seccional) |
|
F |
Corriente (medido en amperios) |
|
G |
Poder a través del tubo (calculado en vatios por cm. de longitud entre los electrodos) |
|
H |
Voltaje por lámpara (medido en voltios) |
|
K |
Corriente (medido en amperios) |
|
L |
|
|
M |
Poder de entrada por lámpara (calculado en vatios) |
|
N |
Salida ligera (medido
en lumens) |
Tabla 1
|
|
|
Generador |
Óptica |
Sección |
|
|
|
A |
B |
C |
D |
E |
F |
G |
|
Prueba No. |
Tipo de lámpara de descarga |
Presión de Xenón |
Fuerza de campaña a través lámpara |
Densidad corriente |
Corriente |
Poder a través lámpara |
|
|
|
(Torr) |
(V/cm) |
(A/sq.mm) |
(A) |
(W/cm.) |
|
1 |
- |
- |
- |
- |
- |
- |
|
2 |
Xe |
0.01 |
11.8 |
353 |
0.1818 |
2.14 |
|
3 |
Xe |
0.10 |
19.6 |
353 |
0.1818 |
3.57 |
|
4 |
Xe |
1.00 |
31.4 |
353 |
0.1818 |
5.72 |
|
5 |
Xe |
10.00 |
47.2 |
353 |
0.1818 |
8.58 |
|
6 |
Xe |
20.00 |
55.1 |
353 |
0.1818 |
10.02 |
|
7 |
Xe |
30.00 |
62.9 |
353 |
0.1818 |
11.45 |
|
8 |
Xe |
40.00 |
66.9 |
353 |
0.1818 |
12.16 |
|
9 |
Xe |
60.00 |
70.8 |
353 |
0.1818 |
12.88 |
|
10 |
Xe |
80.00 |
76.7 |
353 |
0.1818 |
13.95 |
|
11 |
Xe |
100.00 |
78.7 |
353 |
0.1818 |
14.31 |
|
12 |
Xe |
200.00 |
90.5 |
353 |
0.1818 |
16.46 |
|
13 |
Xe |
300.00 |
100.4 |
353 |
0.1818 |
18.25 |
|
14 |
Xe |
400.00 |
106.3 |
353 |
0.1818 |
19.32 |
|
15 |
Xe |
500.00 |
110.2 |
353 |
0.1818 |
20.04 |
|
16 |
Xe |
600.00 |
118.1 |
353 |
0.1818 |
21.47 |
|
17 |
Xe |
700.00 |
120.0 |
353 |
0.1818 |
21.83 |
|
18 |
Xe |
800.00 |
122.8 |
353 |
0.1818 |
22.33 |
|
19 |
Xe |
900.00 |
125.9 |
353 |
0.1818 |
22.90 |
|
20 |
Xe |
1,000.00 |
127.9 |
353 |
0.1818 |
23.26 |
|
21 |
Xe |
2,000.00 |
149.6 |
353 |
0.1818 |
27.19 |
|
22 |
Xe |
3,000.00 |
161.4 |
353 |
0.1818 |
29.35 |
|
23 |
Xe |
4,000.00 |
173.2 |
353 |
0.1818 |
31.49 |
|
24 |
Xe |
5,000.00 |
179.1 |
353 |
0.1818 |
32.56 |
Tabla 2
|
|
|
Fluorescent |
Lamp |
Section |
|
|
A |
H |
K |
L |
M |
N |
|
Prueba No. |
Voltaje |
Corriente |
|
Energía de entrada |
Salida Ligera |
|
|
(Volts) |
(Amps) |
(Ohms) |
( |
(Lumen) |
|
1 |
220 |
0.1818 |
1,210 |
40.00 |
3,200 |
|
2 |
218 |
0.1818 |
1,199 |
39.63 |
3,200 |
|
3 |
215 |
0.1818 |
1,182 |
39.08 |
3,200 |
|
4 |
210 |
0.1818 |
1,155 |
38.17 |
3,200 |
|
5 |
200 |
0.1818 |
1,100 |
36.36 |
3,200 |
|
6 |
195 |
0.1818 |
1,072 |
35.45 |
3,200 |
|
7 |
190 |
0.1818 |
1,045 |
34.54 |
3,200 |
|
8 |
182 |
0.1818 |
1,001 |
33.08 |
3,200 |
|
9 |
175 |
0.1818 |
962 |
31.81 |
3,200 |
|
10 |
162 |
0.1818 |
891 |
29.45 |
3,200 |
|
11 |
155 |
0.1818 |
852 |
28.17 |
3,200 |
|
12 |
130 |
0.1818 |
715 |
23.63 |
3,200 |
|
13 |
112 |
0.1818 |
616 |
20.36 |
3,200 |
|
14 |
100 |
0.1818 |
550 |
18.18 |
3,200 |
|
15 |
85 |
0.1818 |
467 |
15.45 |
3,200 |
|
16 |
75 |
0.1818 |
412 |
13.63 |
3,200 |
|
17 |
67 |
0.1818 |
368 |
12.18 |
3,200 |
|
18 |
60 |
0.1818 |
330 |
10.90 |
3,200 |
|
19 |
53 |
0.1818 |
291 |
9.63 |
3,200 |
|
20 |
50 |
0.1818 |
275 |
9.09 |
3,200 |
|
21 |
23 |
0.1818 |
126 |
4.18 |
3,200 |
|
22 |
13 |
0.1818 |
71 |
2.35 |
3,200 |
|
23 |
8 |
0.1818 |
44 |
1.45 |
3,200 |
|
24 |
5 |
0.1818 |
27 |
0.90 |
3,200 |
El diseño de una construcción de tubo para el uso
en el generador electrostático óptico del tipo usado en Fig.1, puede ser
llevado a cabo considerando el radio del tubo, la longitud entre los electrodos
en el tubo y el poder a través del tubo.
Si R es mínimo dentro del radio del tubo en
centímetros, L la longitud mínima en centímetros entre los electrodos, y W el
poder en vatios a través de la lámpara, la fórmula siguiente puede ser obtenida
de Tabla 1:
R = (Corriente [A] / Densidad Corriente [A/sq.mm] ) / pi
L = 8R
W = L[V/cm] x A
Por ejemplo, para Prueba el No 18 en Tabla 1:
La corriente es 0.1818 A,
La densidad corriente es 0.000353 A/sq.mm y
La Distribución de Voltaje es 122.8 V/cm; por lo
tanto
R = (0.1818 / 0.000353)2 /3.14 = 12.80 mm.
L = 8 x R = 8 * 12.8 = 102.4 mm (10.2 cm.)
W = 10.2 x 122.8 x
0.1818 = 227.7 VA o 227.7 watts
La eficacia de por ciento de la operación de las
lámparas fluorescentes en la Prueba el No 18 puede ser calculada de la ecuación
siguiente:
% Eficacia = (Energía de salida / Energía de
entrada) x 100
A través de una lámpara fluorescente sola, el
voltaje es 60 voltios y la corriente es 0.1818 amperios por lo tanto la energía
de entrada a la lámpara 42 es 10.90 Vatios. La salida de la lámpara
fluorescente es 3,200 lumens que representa 8.8 poder de Vatios de la energía
ligera. Así, una lámpara fluorescente funciona en la eficacia de 80.7 % en
estas condiciones.
Sin embargo, cuando el generador óptico es el mismo
como descrito para la Prueba el No 18 y hay 100 lámparas fluorescentes en serie
en el recorrido, la entrada de poder total es 227.7 vatios para el generador
óptico y 1,090 vatios para 100 lámparas fluorescentes, o un total de 1,318
vatios. La entrada de poder total normalmente requerida hacer funcionar las 100
lámparas fluorescentes en un recorrido normal sería 100 x 40 = 4,000 vatios.
Tan usando el generador óptico en el recorrido, aproximadamente 2,680 vatios de
la energía son salvados.
Tabla 1 es un ejemplo del funcionamiento de esta
invención para una lámpara fluorescente particular (40 vatio se enfrían
blanco). Sin embargo, los datos similares pueden ser obtenidos para otras
aplicaciones de iluminación, por aquellos expertos en el arte.

En Fig.2, un recorrido es mostrado que usa un
generador electrostático óptico 20a, similar al generador 20 de Fig.1. En el
generador 20, sólo una gorra condensador 32a es usada y es preferentemente del
diseño enfadado seccional triangular. Además, el segundo electrodo 25a está
relacionado directamente atrás en el conductor de vuelta 52, similar al arreglo
mostrado en el mi No 5,248 consecutivo de aplicación co-pendiente, archivado el
23 de enero de 1970.
Este arreglo es preferentemente para el recorrido
de muy alta tensión y el generador es en particular satisfecho para el uso de
corriente continua.
En Fig.2, los elementos comunes han recibido los
mismos números que fueron usados en Fig.1.

En Fig.3, todavía otra encarnación de un generador
electrostático óptico 20b es mostrada. Este generador es en particular
satisfecho para el uso con el recorrido de corriente alterna. En esta
encarnación, los platos condensador 30b y 32b tienen rebordes 54 y 56 que se
extienden hacia fuera hacia el sobre 36. Mientras la utilización del generador
electrostático óptico ha sido descrita en el uso en un recorrido de iluminación
de neón, debe ser entendido que muchos otros tipos del recorrido pueden ser
usados. Por ejemplo, la encarnación de alta tensión puede ser usada en una variedad
de recorrido como lámparas de destello, mandos rápidos, rayos láser y pulsos de
gran energía. El generador es también en particular utilizable en un recorrido
incluso la precipitación de partícula electrostática en dispositivos de control
de contaminación de aire, síntesis química en sistemas de descarga eléctricos
como generadores de ozono y cobro de medios para generadores de alta tensión
del tipo de Van de Graff, así como aceleradores de partículas. A aquellos
expertos en el arte, muchos otros usos y el recorrido serán aparentes.
Patente GB 763,062 5 de diciembre
1956
Inventors: Harold Colman and
Ronald Seddon-Gillespie
APARATO PARA PRODUCIR UNA
CORRIENTE ELÉCTRICA
Esta patente muestra los detalles de un
dispositivo ligero que puede producir la electricidad usando un electroimán
autoimpulsado y sales químicas. La vida trabajadora del dispositivo antes de
necesitar recargar es estimada en aproximadamente setenta años. La operación es controlada por un transmisor
que bombardea la muestra química con ondas de radio de 300 MHz. Este produce
emisiones radiactivas de la mezcla química para el periodo de un máximo de hora,
entonces el transmisor tiene que ser dirigido durante quince a treinta segundos
una vez cada hora. La mezcla química es
protegida por una pantalla de plomo para impedir la radiación dañosa alcanzar
al usuario. Se estima que la salida del dispositivo diminuto descrito es
aproximadamente 10 amperios en la corriente continua de 100 a 110 voltios.
DESCRIPCIÓN
Esta invención está relacionada con un nuevo
aparato para producir la corriente eléctrica el aparato que está en la forma de
una batería secundaria completamente nueva. El objeto de esta invención es
proporcionar el aparato de la susodicha clase que es bastante ligera en el peso
que, y tiene una infinitamente mayor vida que una batería conocida o
características similares y que puede ser reactivada como y cuando requerido en
mínimo del tiempo.
Según la invención presente proporcionamos el
aparato que comprende una unidad de generador que incluye un imán, un medio
para suspender una mezcla química en el campo magnético, la mezcla formada de
elementos cuyos núcleos se hace inestable a consecuencia del bombardeo por
ondas cortas de modo que los elementos se hagan radiactivos y libere la energía
eléctrica, la mezcla montada entre, y en el contacto con, un par de metales
diferentes como cobre y zinc, un condensador montado entre aquellos metales, un
terminal eléctricamente relacionado con cada uno de los metales, medios para
comunicar las ondas a la mezcla y un escudo de plomo que rodea la mezcla para
prevenir la radiación dañosa de la mezcla.
La mezcla es preferentemente formada del Cadmio de
elementos, Fósforo y Cobalto que tiene Pesos Atómicos de 112, 31 y 59
respectivamente. La mezcla, que puede ser de la forma en polva, es montada en
un tubo de no conducción, material de resistencia de calor alto y es comprimida
entre el zinc granulado a un final del tubo y granuló el cobre al otro final, los
finales del tubo cerrado por gorras de cobre y el tubo llevado en una cuna
conveniente de modo que sea localizado entre los postes del imán. El imán es
preferentemente un electroimán y es activado por la corriente producida por la
unidad.
Los medios para comunicar las ondas a la mezcla
pueden ser un par de antenas que son exactamente similares a las antenas de la
unidad de transmisor para producir las ondas, cada proyección de antena de y
ser asegurado a la gorra de cobre a cada final del tubo.
La unidad de transmisor que es usada para activar
la unidad de generador puede ser de cualquier tipo convencional que funciona en
la ultraonda corta y es preferentemente el cristal controlado en la frecuencia
deseada.
DESCRIPCIÓN DE LOS DIBUJOS

Fig.1 es una
elevación de lado de una forma del aparato.

Fig.2 is a view is es
una vista de una elevación de final

Fig.3 es un diagrama
de recorrido esquemático.
En la forma de nuestra invención ilustrada, la
unidad de generador comprende una base 10 sobre que varios componentes son
montados. Esta base 10, teniendo proyectando hacia arriba de ello un par de
armas 11, que forman una cuna que aloja 12 para un tubo de cuarzo 13, la cuna
12 preferentemente hecho del material de primavera de modo que el tubo 13 sea
firmemente sostenido en la posición, siendo capaz de ser quitado. Las armas 11 son colocadas con relación a los
postes 14 de un electroimán 15 de modo que el tubo 13 sea localizado
inmediatamente entre los postes del imán para estar en el campo magnético más
fuerte creado por el electroimán. El imán sirve para controlar la alfa y rayos
de beta emitidos por el cartucho cuando esto está en la operación.
Los finales del tubo de cuarzo 13 son cada uno
proveídos de una gorra de cobre 16, y estas gorras 16 son adaptadas para
engranar dentro de las cunas de primavera 12 y los bobinas 17 asociado con el
imán tan arreglado que si la base 10 de la unidad está en un plano horizontal,
los postes 14 del imán están en un avión considerablemente vertical.
También relacionado a través de las cunas es un
condensador de plomo 18 que puede ser cómodamente alojado en la base 10 de la
unidad y relacionado en la paralela con este condensador 18 es un bobina de
inductancia de frecuencia alto conveniente 19. La unidad es proveída de un
escudo de plomo 20 para impedir la radiación dañosa del tubo de cuarzo como
será descrita más tarde.
El tubo de cuarzo 13 ha montado en ello, a un
final, una cantidad de cobre granulado que está en el contacto eléctrico con la
gorra de cobre 16 a aquel final del tubo. También montado dentro del tubo y en
el contacto con el cobre granulado es una mezcla química que está en la forma
en polva y que es capaz de liberar la energía eléctrica y que se hace
radiactiva cuando sujetado al bombardeo por ondas de radio ultracortas.
Montado al otro final del tubo, y en el contacto
con el otro final de la mezcla química en polva es una cantidad del zinc
granulado que está en el contacto con la gorra de cobre durante este final del
tubo, el arreglo que es que la mezcla química es comprimida entre el cobre
granulado y el zinc granulado.
La proyección hacia fuera de cada gorra de cobre
16, y eléctricamente relacionado con ellos, es una antena 21. Cada antena 21
correspondencia exactamente en la dimensión, forme y características eléctricas
a la antena asociada con una unidad de transmisor que debe producir las ondas
cortas extremas mencionadas antes.
El electroimán 15 es cómodamente llevado por un
pilar centralmente colocado 22 que es asegurado a la base 10. Al final superior
del pilar 22 hay un travesaño 23, que hace que la frecuencia alta enrolle 19
atado a un final de ello. El otro final del travesaño 23 es doblado alrededor
en la forma curva como mostrado en 24 y es adaptado para aguantar contra una
porción curva 25 de la base 26 del electroimán 15. Un dispositivo de cierre
conveniente es proporcionado para sostener las porciones curvas 24 y 25 en la
posición angular deseada, de modo que la posición de los postes 14 del
electroimán pueda ser ajustada sobre el eje del tubo de cuarzo 13.
La unidad de transmisor es de cualquier tipo
convencional conveniente para producir ondas cortas extremas y puede ser el
cristal controlado para asegurar que esto funciona en la frecuencia deseada con
la necesidad de afinación. Si sólo se requiere que el transmisor funcione sobre
una variedad corta, esto puede ser cómodamente la batería impulsada pero si
debe funcionar sobre una mayor variedad, entonces puede ser hecho funcionar de
un suministro eléctrico conveniente como el conducto principal. Si el
transmisor debe ser templado, entonces la afinación puede ser hecha funcionar
por un disco proveído de un micrómetro vernier escala de modo que la exactitud
de afinación necesaria pueda ser conseguida.
La mezcla que está contenida dentro del tubo de
cuarzo es formada del Cadmio de elementos, Fósforo y Cobalto, teniendo pesos
atómicos 112, 31 y 59 respectivamente. Cómodamente, estos elementos pueden
estar presentes en los compuestos siguientes, y donde el tubo debe contener
treinta miligramos de la mezcla, los compuestos y sus proporciones por el peso
son:
1 Parte de Co (No3) 2 6H2O
2 Partes de CdCl2
3 Partes de 3Ca (Po3) 2 + 10C.
El cartucho que consiste en el tubo 13 con la
mezcla química en ello es preferentemente formado de varias pequeñas células
aumentadas en serie. En otras palabras, considerando el cartucho a partir de un
final al otro, a un final y en el contacto con la gorra de cobre, habría una
capa de cobre en polvo, entonces una capa de la mezcla química, luego una capa
de zinc en polvo, una capa de cobre en polvo, etc. con una capa de zinc en
polvo en contacto con la gorra de cobre al otro final del cartucho. Con un
cartucho diámetro de aproximadamente cuarenta y cinco milímetros de largo y de
cinco milímetros, aproximadamente catorce células pueden ser incluidas.
Las cunas 12 en que las gorras de cobre 16
engranan, pueden formar terminales de los cuales la salida de la unidad puede ser
tomada. O bien, un par de terminales 27
puede estar relacionado a través de las cunas 12, estos terminales 27 se siendo
proveyeron de antenas convenientes 28, que corresponden exactamente en
dimensiones, forma y características eléctricas a las antenas asociadas con el
transmisor, éstos antenas 28, sustituyendo las antenas 21.
En la operación con el tubo de cuarzo que contiene
la susodicha mezcla localizada entre el cobre granulado y el zinc granulado y
con el tubo sí mismo en la posición entre los postes del imán, el transmisor es
encendido y las ondas cortas extremas que vienen de ello son recibidas por las
antenas montadas a cada final del tubo y en el contacto con el cobre y zinc
respectivamente, las ondas así pasadas por el cobre y zinc y por la mezcla de
modo que la mezcla sea bombardeada por las ondas cortas y el Cadmio, Fósforo y
Cobalto asociado con la mezcla se hacen radiactivas y liberan la energía
eléctrica que es transmitida al cobre granulado y zinc granulado, hacer una
corriente fluir entre ellos en una manera similar al flujo corriente producido
por una pareja de thermo. Ha sido establecido que con una mezcla que tiene la
susodicha composición, la liberación óptima de la energía es obtenida cuando el
transmisor funciona en una frecuencia de 300 MHz.
La provisión de un tubo de cuarzo es necesaria
para la mezcla desarrolla una cantidad considerable del calor mientras esto
reacciona al bombardeo de las ondas cortas.
Es encontrado esto el tubo sólo durará durante una hora y que el tubo se
hará descargado después de que una operación de horas, o sea, el radiactivo del
tubo sólo durará durante una hora y es por lo tanto necesario, si la unidad
debe ser dirigida continuamente, para el transmisor para ser hecho funcionar
para el periodo de aproximadamente quince a treinta duración de segundos una
vez cada hora.
Con un tubo de cuarzo que tiene una longitud total
de aproximadamente cuarenta y cinco milímetros y un diámetro interior de cinco
milímetros y contiene treinta miligramos de la mezcla química, la energía
estimada que será emitida del tubo para una descarga de una hora, es 10
amperios en entre 100 y 110 voltios. Para permitir al tubo emitir esta
descarga, es sólo necesario hacer funcionar el transmisor en la frecuencia
deseada para el periodo de aproximadamente quince a treinta duración de
segundos.
La corriente que es emitida por el tubo durante su
descarga está en la forma de la corriente directa. Durante la descarga del
tubo, radiations dañosos son emitidos en la forma de rayos gama, rayos alfa y
rayos de beta y es por lo tanto necesario montar la unidad dentro de un escudo
de plomo para impedir a radiations dañoso afectar a personal y objetos en los
alrededores de la unidad. La alfa y los rayos de beta que son emitidos del
cartucho cuando esto está en la operación son controlados por el imán.
Cuando la unidad está relacionada hasta algún
aparato que debe ser impulsado por ello, es necesario proporcionar fusibles
convenientes para protegerse contra el cartucho puesto en cortocircuito que podría
hacer que el cartucho explotara.
El peso estimado de tal unidad incluso proteger
necesario, por salida de hora de kilovatio, es aproximadamente 25 % de
cualquier tipo estándar conocido del acumulador que está en el uso hoy y se
estima que la vida de la mezcla química está probablemente en la región de
setenta a ochenta años cuando en el uso constante.
Se verá así que hemos proporcionado una forma
nueva del aparato para producir una corriente eléctrica, que es bastante ligera
que el tipo estándar del acumulador actualmente conocido, y que tiene una
infinitamente mayor vida que el tipo estándar del acumulador, y que puede ser
recargada o reactivada como y cuando deseado y de una posición remota según la
salida de poder del transmisor. Tal forma de la batería tiene muchas
aplicaciones.
Patente US 6,208,061 27 de marzo 2001 Inventor: Jong-Sok An
SIN CARGO GENERADOR
El poder eléctrico es con frecuencia generado
haciendo girar el eje de un generador que tiene algún arreglo de bobinas e
imanes contenidos dentro de ello. El
problema es lo que cuando corriente es dibujado de los bobinas de despegue de
un generador típico, se hace mucho más difícil hacer girar el eje de generador.
El diseño astuto mostrado en esta patente vence este problema con un diseño
simple en el cual el esfuerzo requerido girar el eje no es cambiado por la
corriente dibujada del generador.
EXTRACTO
Un generador de la invención presente es formado
de los trenes de imán permanentes de toque 2 y 2' atado y fijado en a dos
órbitas 1 y 1' sobre un eje rotatorio 3, corazones de primaria de inducción
magnéticos 4 y 4' atado y fijo encima de superficies periféricas externas del
imán permanente de toque se entrena 2 y 2' a una distancia predeterminada de
las superficies periféricas externas, la inducción magnética corazones
secundarios 5 y 5' atado y fijado en a los corazones de primaria de inducción
magnéticos 4 y 4' y cada uno teniendo dos enganche, agujerea 6 y 6' formado
allí, corazones terciarios 8 y 8' insertado para aparearse respectivamente en
dos agujeros que se aparean 6 y 6' de cada una de la inducción magnética
asociada corazones secundarios 5 y 5' el uno enfrente del otro, y bobinas
sensibles 7 y 7'. Los trenes magnéticos permanentes de toque 2 y 2' son
formados de 8 juegos de imanes con alternancia N y postes S, y los imanes
asociados el uno con el otro en la dirección axial tienen polaridades de
enfrente respectivamente y forman un par.
DESCRIPCIÓN
CAMPO TÉCNICO
La invención presente está relacionada con
generadores, y en particular con un generador sin carga que puede maximizar la
eficacia de generador borrando o eliminando la carga repulsiva secundaria
ejercida en el rotor durante la generación de energía eléctrica.
ARTE DE FONDO
El generador es una máquina que convierte la
energía mecánica obtenida de fuentes de varios tipos de la energía como la
energía de energía nuclear o física, química, por ejemplo, en la energía
eléctrica. Los generadores basados en el movimiento lineal han sido desarrollados
recientemente mientras la mayor parte de generadores son estructurados como
generadores de tipo rotatorios. La generación de fuerza electromotriz por la
inducción electromagnética es un principio común a generadores sin tener en
cuenta su tamaño o si el generador es el generador de corriente continua o la
corriente alterna.
El generador requiere un imán fuerte como imán
permanente y electroimán para generar el campo magnético así como un conductor
para generar la fuerza electromotriz, y el generador es estructurado para
permitir uno de ellos girar con relación al otro. Según cual del imán y el
conductor gira, los generadores pueden ser clasificados en generadores de tipo
de campaña de giro en los cuales el campo magnético gira y generadores de tipo de
armadura de giro en los cuales el conductor gira.
Aunque el imán permanente pueda ser usado para
generar el campo magnético, el electroimán es generalmente empleado que es
formado de una enrollar de bobina de campo magnético alrededor de un corazón
para permitir que la corriente directa fluyera por ellos. Incluso si un imán
fuerte es usado para realzar la velocidad rotatoria, por lo general la fuerza
electromotriz producida de un conductor no es tan grande. Así, en un sistema
generalmente empleado, un número grande de conductores es proporcionado en el
generador y las fuerzas electromotrices generadas de conductare respectivo en
serie sumado para conseguir una energía eléctrica alta.
Como hablado encima, un generador habitual produce
la electricidad por mecánicamente haciendo girar un imán (o imán permanente) o
un conductor (electroimán, bobina eléctricamente sensible y otros por el
estilo) mientras la corriente inversa generada en este tiempo por la inducción
magnética (inducción electromagnética) y fluyendo por el bobina causa la fuerza
magnética que tira el rotor de modo que el rotor sí mismo sea sujetado a la
carga innecesaria que alcanza al menos dos veces la producción de energía
eléctrica.

Fig.6 ilustra esto la carga como hablado encima es
ejercida en un rotor en un generador de tipo de campaña de giro mencionado
anteriormente.
Respecto a Fig.6, un imán permanente se entrena
104 es arreglado sobre un eje de la rotación 106 tal que los postes N y los
postes S son alternativamente localizados en la superficie periférica externa
del tren. A una cierta distancia externa de la periferia externa del tren de
imán permanente 104, se arregla un corazón de inducción magnético 100 y un bobina
102 es la enrollar alrededor del corazón de inducción magnético 100.
Cuando el tren de imán permanente 104 gira, el
campo magnético producido en el bobina por el imán permanente entrenan 104
cambios hacer que la corriente inducida fluyera por el bobina 102. Esta
corriente inducida permite que el bobina 102 genere un campo magnético 110 que
causa una fuerza repulsiva ejercida en el tren de imán permanente 104 en la
dirección que interfiere la rotación del tren de imán.
Por ejemplo, en el ejemplo mostrado en Fig.6, el
poste S de campo magnético 110 caras tren de imán permanente 104. El poste S
del imán permanente se entrena 104 bobina de acercamientos 102 debido a la
rotación del imán permanente se entrenan 104, causando la fuerza repulsiva como
descrito encima.
Si los flujos corrientes inversos en un bobina
sensible de una armadura hieren alrededor de un corazón de inducción magnético
de un generador de modo que la carga que resulta dificulte el rotor del giro,
el campo magnético inverso de la armadura correspondiente a la que el bobina
sensible se hace más fuerte en la proporción a la salida de electricidad y en
consecuencia una carga al menos dos veces el consumo instantáneo podría ocurrir.
Si la energía eléctrica de 100W es usada, por
ejemplo, el campo magnético inverso de al menos 200W es generado de modo que
una cantidad enorme de la carga afecte el rotor para interferir la rotación del
rotor.
Todos los generadores convencionales son sujetados
a no sólo una carga primaria mecánica, es decir la carga cuando la energía
eléctrica no es consumida, pero una carga secundaria debida de poner marcha
atrás corriente que es proporcional al consumo de energía eléctrica y por
consiguiente sujetado a una carga de al menos dos veces el consumo instantáneo.
Tal cantidad de la carga es un factor principal de
la reducción de la eficacia de producción de energía eléctrica, y la solución
del problema encima ha sido necesaria.
REVELACIÓN DE LA INVENCIÓN
Un objeto de la invención presente es proporcionar
un generador capaz de generar la energía eléctrica con la eficacia alta
anulando la carga secundaria excepto la carga mecánica del generador, es decir
anulando la carga que es generada debida de poner marcha atrás corriente de un bobina
sensible de una enrollar de armadura alrededor de un corazón de inducción
magnético, para impedir completamente a la carga secundaria ser ejercida.
En resumen la invención presente es aplicada a un
generador sin carga incluso un eje rotatorio, un primer tren de imán de toque,
un segundo tren de imán de toque, una primera pluralidad de primeros corazones
de primaria de inducción magnéticos, una primera pluralidad de segundos
corazones de primaria de inducción magnéticos, un primer bobina sensible, y un
segundo bobina sensible.
El primer tren de imán de toque tiene postes N y
postes S sucesivamente arreglados en una periferia externa de una primera
órbita rotatoria sobre el eje rotatorio. El segundo tren de imán de toque hace
arreglar imanes sucesivamente en una periferia externa de una segunda órbita
rotatoria sobre el eje rotatorio a una distancia predeterminada de la primera
órbita rotatoria tal que las polaridades de los imanes en la segunda órbita
rotatoria son enfrente de las polaridades en posiciones de enfrente en la
primera órbita rotatoria respectivamente. La primera pluralidad de primeros
corazones de primaria de inducción magnéticos es fijada a lo largo de una
primera superficie periférica del primer tren de imán de toque a una distancia
predeterminada de la primera superficie periférica. La primera pluralidad de
segundos corazones de primaria de inducción magnéticos es fijada a lo largo de
una segunda superficie periférica del segundo tren de imán de toque a una
distancia predeterminada de la segunda superficie periférica. Una primera
pluralidad de primeros corazones de inducción magnéticos que se aparean y una
primera pluralidad de segundos corazones de inducción magnéticos que se aparean
es proporcionada en pares para formar un recorrido magnético cerrado entre los
primeros y segundos corazones de primaria de inducción magnéticos el uno
enfrente del otro en dirección del eje rotatorio. El primer bobina sensible es
la enrollar alrededor del primer corazón de inducción magnético que se aparea.
El segundo bobina sensible es la enrollar alrededor del segundo corazón de
inducción magnético que se aparea, la dirección de cuerda del segundo bobina
sensible invertido con relación al primer bobina sensible.
Preferentemente, en el generador sin carga de la
invención, el primer tren de imán de toque incluye un tren de imán permanente
arreglado a lo largo de la periferia externa de la primera órbita rotatoria, y
el segundo tren de imán de toque incluye un tren de imán permanente arreglado a
lo largo de la periferia externa de la segunda órbita rotatoria.
Todavía preferentemente, el generador sin carga de
la invención presente adelante incluye una primera pluralidad de la primera
inducción magnética corazones secundarios proporcionados en periferias externas
respectivas de los primeros corazones de primaria de inducción magnéticos y
cada uno teniendo primero y segundos agujeros de enganche, y una primera
pluralidad de la segunda inducción magnética corazones secundarios proveyó en
periferias externas respectivas de los segundos corazones de primaria de
inducción magnéticos y cada uno teniendo terceros y cuartos agujeros de
enganche. Los primeros corazones de inducción magnéticos que se aparean son
insertados en los primeros y terceros agujeros de enganche para conectar la
primera y segunda inducción magnética corazones secundarios, y los segundos
corazones de inducción magnéticos que se aparean son insertados en los segundos
y cuartos agujeros de enganche para conectar la primera y segunda inducción
magnética corazones secundarios.
O bien, el generador sin carga de la invención
presente preferentemente tiene una primera pluralidad de primeros bobinas
sensibles arreglados en la dirección rotatoria sobre los recursos rotatorios
que están relacionados zigzag el uno con el otro y una primera pluralidad de
segundos bobinas sensibles arreglados en la dirección rotatoria sobre el eje
rotatorio que están relacionados zigzag el uno con el otro.
O bien, en el generador sin carga de la invención
presente, preferentemente la primera pluralidad es igual a 8, y los 8 primeros bobinas
sensibles arreglados en la dirección rotatoria sobre el eje rotatorio están
relacionados zigzag el uno con el otro, y los 8 segundos bobinas sensibles
arreglados en la dirección rotatoria sobre el eje rotatorio están relacionados
zigzag el uno con el otro.
En consecuencia, una ventaja principal de la
invención presente consiste en que la dos enrollar de bobinas sensible
respectivamente en sentidos contrarios alrededor de unos corazones de hierro
emparejados está relacionada para anular fuerzas magnéticas inversas generadas
por corrientes inversas (corrientes inducidas) fluyendo por los dos bobinas
sensibles, de modo que la carga secundaria que interfiere la rotación del rotor
sea totalmente prevenida y así un generador sin carga puede ser proporcionado
que es sujetado a sólo una carga que es igual a o menos que la carga mecánica
cuando la producción de energía eléctrica no es hecha, es decir la carga
rotatoria aun cuando el generador es hecho funcionar al máximo.
Otra ventaja de la invención presente consiste en
que la fuerza magnética inversa, como encontrado en los generadores
convencionales, debidos de invertir ocurrir corriente cuando el rotor gira no
es generada, y en consecuencia la carga de la energía excepto la gravedad
primaria del rotor y la energía dinámica del rotor es eliminada para aumentar
la cantidad de la salida de electricidad con relación al sistema de generación
de energía eléctrica convencional y así realzar la producción de energía
eléctrica y la eficacia económica.
BREVE DESCRIPCIÓN DE LOS
DIBUJOS
Fig.1 es una vista
seccional enfadada de un generador de tipo de campaña de giro según una
encarnación de la invención presente que ilustra un arreglo un imán permanente,
corazones de inducción magnéticos y bobinas.

Fig.2 es una vista
esquemática parcial que ilustra una serie magnética del rotor de imán
permanente y un arreglo de uno de bobinas sensibles magnetically colocados
alrededor de aquel rotor en una encarnación de la invención presente.

Fig.3 ilustra una
estructura de los bobinas sensibles magnetically y corazones en la encarnación
de la invención presente.

Fig.4 es una vista de
plan ampliada de corazones sensibles magnetically y porciones de bobina del
generador sin carga de la invención presente que ilustra el flujo magnético por
ellos
.

Fig.5 es una vista esquemática
sobre un eje central mostrando a la interconexión de bobinas de campo magnético
que son respectivamente la enrollar alrededor de corazones terciarios que
rodean el rotor de imán permanente en Fig.1 según la invención presente.

Fig.6 ilustra la
generación de la carga secundaria en un generador convencional.

LOS MEJORES MÉTODOS PARA
REALIZAR LA INVENCIÓN
La estructura y la operación de un generador sin
carga según la invención presente son descritas ahora junto con los dibujos.
Fig.1 ilustra una
estructura seccional enfadada del generador sin carga del perpendicular de
invención a un eje rotatorio 3.
Fig.2 parcialmente
ilustra una estructura seccional enfadada del generador sin carga de la
invención en la paralela al eje rotatorio 3. Expresamente, en Fig.2, sólo uno
de ocho juegos de corazones de primaria de inducción magnéticos 4 y 4'
arreglado alrededor del eje rotatorio 3 como descrito abajo es
representativamente mostrado.

Respecto a Fig.1 y Fig.2, la estructura del
generador sin carga de la invención es descrita ahora. El imán permanente se
entrena 2 y 2' en formas de toque son atados y fijados a órbitas izquierdas y
derechas respectivas 1 y 1' proporcionado con relación al eje rotatorio 3 con
un cierto intervalo entre ellos. El imán
permanente se entrena 2 y 2' son fijados en órbitas izquierdas y derechas 1 y
1' respectivamente tal que las polaridades en la superficie periférica externa
de cada tren de imán con relación al eje rotatorio son alternativamente N
postes y postes S. Los trenes de imán permanentes son que puede ser hecho girar
sobre el eje. Adelante, las polaridades que se vuelven del imán permanente
respectivo se entrenan 2 e imán permanente se entrenan 2' con relación a la
dirección del eje rotatorio 3 son quedado ser de enfrente.

Como mostrado en Fig.2, el eje rotatorio 3 y un
caso 9 es afiliado por un porte 10 a una cierta distancia de los trenes de imán
permanentes 2 y 2'.
A una distancia predeterminada de los trenes de
imán permanentes 2 y 2', los corazones de primaria de inducción magnéticos 4 y
4' con la enrollar de bobinas respectiva alrededor de ellos son fijados al caso
9.
Además, la inducción magnética corazones
secundarios 5 y 5' cada uno teniendo dos agujeros que se aparean 6 y 6' formado
allí es estructurado apilando y conectando una pluralidad de corazones delgados
atados y fijos a corazones de primaria de inducción magnéticos 4 y 4'
respectivamente y los corazones secundarios es atada y fijada al caso 9.
La inducción magnética corazones terciarios 8 y 8'
es insertada respectivamente en el enganche de agujeros 6 y 6' de la inducción
magnética corazones secundarios 5 y 5' para conectar la inducción magnética
corazones secundarios 5 y 5' el uno del otro.
Los bobinas sensibles 7 y 7' son la enrollar en sentidos
contrarios el uno al otro alrededor de corazones de inducción magnéticos
respectivos 8 y 8'.
Fig.3 ilustra una estructura formada de la
inducción magnética corazones secundarios 5 y 5', corazones de inducción
magnéticos 8 y 8' y bobinas sensibles 7 y 7' visto en el perpendicular de
dirección al eje rotatorio 3.
Como explicado encima, las direcciones de cuerdas
de bobinas sensibles 7 y 7' son respectivamente el uno enfrente del otro
alrededor de corazones de inducción magnéticos 8 y 8' que conectan la inducción
magnética corazones secundarios 5 y 5'.
En la estructura descrita junto con Fig.1, Fig.2 y
Fig.3, cuando el eje rotatorio que 3 del generador hacen girar, trenes
magnéticos permanentes 2 y 2' en consecuencia gira para generar corrientes
sensibles magnetically (electromagnético indujo corriente) en bobinas sensibles
7 y 7' y la corriente así producida puede ser sacada para el uso.

Como mostrado en Fig.3, los bobinas son la enrollar
sobre corazones de inducción magnéticos 8 y 8' respectivamente en los sentidos
contrarios en el generador de la invención presente, y las direcciones de los
campos magnéticos generados por el flujo de las corrientes inducidas son
arregladas tal que el poste N y el poste S alternativamente ocurren alrededor
del eje rotatorio 3.

Fig.4 ilustra campos magnéticos inducidos en un
juego de la inducción magnética corazones secundarios 5 y 5', corazones de
inducción magnéticos 8 y 8' y bobinas sensibles 7 y 7'.
En las tiras humorísticas de hierro durante ambos
finales de la inducción magnética respectiva los corazones secundarios 5 y 5',
un campo magnético corriente inverso es generado por el bobina sensible 7 sobre
la rotación de N y postes S del imán permanente se entrenan 2 y 2' es en
dirección de la MA mostrada en Fig.4, por ejemplo, mientras un campo magnético
corriente inverso generado por el bobina sensible 7 es en dirección del MB en
Fig.4. Por consiguiente, los campos
magnéticos inversos generados por el flujo de corrientes anulan el uno al otro.
Los corazones son formados de una pluralidad de tiras humorísticas de hierro a
fin de eliminar el calor generado por corrientes de remolino.
El campo magnético del rotor así no tiene ninguna
dependencia en el flujo de corrientes, la carga causada por el fenómeno de
magnetización inducido desaparece, y la energía del movimiento necesario para
la rotación contra la carga primaria mecánica del rotor sí mismo es aplicada al
rotor.
En este tiempo, un recorrido magnético incluso la
inducción magnética corazones secundarios 5 y 5' e inducción magnética los
corazones terciarios 8 y 8' deberían ser formados en ".quadrature".
forma. Si el recorrido no hace estructurado como ".quadrature".
forma, una parte del campo magnético inverso funciona como la fuerza eléctrica
que dificulta la fuerza rotatoria del rotor.
Imán adicional, permanente se entrena 2 y 2' del
rotor son quedado tener postes de enfrente el uno al otro a la izquierda y
derechas como mostrado en Fig.2 para constituir el flujo del flujo magnético.
Cada rotor ha arreglado alternativamente imanes, por ejemplo, ocho postes son
proporcionados para realzar la eficacia de generador.
La descripción más detallada del principio
operacional es dada ahora. Cuando el rotor en Fig.1 magnéticos a corazones de
primaria de inducción 4 encima, y el campo magnético es en consecuencia
generado en un camino de una órbita del rotor a lo largo del corazón de
primaria de inducción 4, inducción 5 principales secundarios, inducción 8
principales terciarios, inducción 5 principales secundarios', corazón de
primaria de inducción 4' a la otra órbita del rotor como mostrado en Fig.2.
En consecuencia, flujos corrientes en los bobinas
afectados por este campo eléctrico para generar energía eléctrica. Por ejemplo,
si el poder generado es usado como la salida generada para encender una luz
eléctrica o para usarlo como la energía de motivo, la corriente corriente por
los bobinas genera los campos magnéticos inversos. Sin embargo, estos campos
magnéticos inversos no influyen en imanes permanentes 2 y 2' atado al rotor en
Fig.2 desde los campos magnéticos inversos de la misma magnitud respectivamente
de S y N o N y S durante ambos finales de la inducción magnética los corazones
secundarios 5 y 5' anulan el uno al otro como mostrado en Fig.4. A causa de
este, el rotor está en un sin cargo estado en el cual cualquier resistencia
excepto el peso del rotor sí mismo y resistencia dinámica no es ejercida en el
rotor.

Fig.5 ilustra una manera de unir bobinas sensibles
magnetically 7 y 7' enrollar alrededor de la inducción magnética corazones
terciarios 8 y 8' con ocho postes.
Respecto al Fig.5, según un método de unir bobinas
sensibles magnetically 7 y 7', la línea 1a1 del bobina sensible 7' (una línea
dibujada del alambre enrollado alrededor de un primer corazón de inducción
magnético 8) está relacionada con la línea 1a2' (una línea dibujada del alambre
enrollado alrededor de un segundo corazón de inducción magnético 8), y luego la
línea 1a2 (la otra línea dibujada del alambre enrollado alrededor de un segundo
corazón de inducción magnético 8) está relacionada con la línea 1a3', y
posteriormente las líneas 1a y 1a' están relacionadas sucesivamente en la
manera de zigzag para permitir corriente fluir.
Se queda que el bobina adicional, sensible 7 una líneas representadas
por 1b1 en la manera de zigzag tal que las líneas 1b y 1b' están sucesivamente
relacionadas. De esta manera, las líneas 1b, 1b' y las líneas 1a y 1a' de bobinas
sensibles magnetically respectivos 7 y 7' están relacionadas. En conjunto,
cuatro alambres eléctricos totales son sacados para el uso.
Cuando la energía eléctrica debe ser generada
según la invención presente como descrito encima, expresamente, un recorrido
cerrado es formado por bobinas sensibles 7 y 7', las corrientes eléctricas son
inducidas en bobinas sensibles 7 y 7' enrollar alrededor de los corazones de
inducción magnéticos del generador, y los campos magnéticos inducidos
producidos respectivamente por bobinas sensibles 7 y 7' podrían causar una gran
carga que interfiere la fuerza rotatoria del rotor. Sin embargo, como mostrado
en Fig.4, la dirección de circunvolución de un bobina 7 es enfrente de aquel
del otro bobina 7' de modo que la fuerza magnética generada por las corrientes
inversas (corrientes inducidas) en bobinas sensibles 7 y 7' enrollar alrededor
del corazón de inducción magnético 4 no es transmitida a corazones de inducción
magnéticos 8 y 8 en consecuencia ninguna fuerza magnética inversa sea
transmitida a imanes permanentes 2 y 2'.
Por lo tanto, cada vez los postes N y los postes S
alternan el uno con el otro debido a la alternación de imanes permanentes 2 y
2' mostrado en Fig.2, las fuerzas magnéticas inversas en la dirección derecha e
izquierda enfrente de la dirección de flechas denotadas por MA y MB completamente
desaparezca como mostrado en Fig.4. Por consiguiente, las fuerzas magnéticas
inversas causadas por las corrientes inversas no son bajo la inflluencia de
imanes permanentes 2 y 2' y en consecuencia sin cargo excepto la carga primaria
mecánica es ejercido en el generador de la invención.
Como hablado encima, el generador sin carga de la
invención presente, carga secundaria excepto la carga mecánica del generador,
es decir la carga causada por las corrientes inversas que fluyen por los
bobinas sensibles puede ser nulled. En cuanto a este generador sin carga, aun
si 100 % de la corriente generada por la inducción magnética (inducción
electromagnética) es usado, la carga secundaria magnética debido a las
corrientes inversas excepto la carga primaria mecánica no sirve como la carga.
Aunque el número de postes del rotor sea descrito
como 8 en la susodicha descripción, la invención presente no es limitada con
tal estructura, y la invención puede exponer su efecto cuando el número más
pequeño o mayor de postes es aplicado.
Adelante, aunque el imán del rotor sea descrito
como el imán permanente en la susodicha estructura, la invención no es limitada
con tal caso y el imán del rotor puede ser un electroimán, por ejemplo.
Además, aunque la descripción encima sea aplicada
a la estructura del generador de tipo de campaña de giro, el generador puede
ser del tipo de armadura de giro.
EJEMPLO EXPERIMENTAL
La descripción más detallada del generador de la
invención presente es más adelante dada basada en ejemplos experimentales específicos
de la invención.
El generador de la invención presente y un
generador convencional fue usado para medir la eficacia de producción de
energía eléctrica y la cantidad de carga y comparar las medidas consiguientes.
EJEMPLO EXPERIMENTAL 1
Una corriente alterna de 12 postes (corriente
alterna) el generador para la batería que cobra fue usado, y la salida de electricidad
y la carga cuando 50 % de la salida de electricidad fue usado así como aquellos
cuando 100 % de la salida de electricidad fue usado fue medida. El generador
encima es un motor de corriente alterna de fase sola y la fuente de
alimentación empleada era 220V, con 1750 revoluciones por minuto y la eficacia
de 60 %. El resultado de medida usando el poder de un motor de 0.5 HP y amperio
x volt medida es mostrado en Tabla 1.
EJEMPLO EXPERIMENTAL 2
La medida fue hecha en las mismas condiciones que
aquellos del ejemplo experimental 1 y un generador usado eran el que que fue
hecho según la invención presente para tener las mismas condiciones que
aquellos del producto del modelo existente encima. El resultado de medida
usando el amperio x medida de voltio es mostrado en Tabla 1.
Tabla 1
|
|
50 % Electricidad |
Usado |
100 % Electricidad |
Usado |
|
Tipo de Generador |
Salida de Electricidad ( |
Cantidad de Carga ( |
Salida
de Electricidad ( |
Cantidad de Carga ( |
|
Convencional: |
100 |
221 |
14 |
347 |
|
Esta invención: |
100 |
220 |
183 |
200 |
(la salida de electricidad y la cantidad
de carga de los generadores de
corriente alterna cuando 50 % y 100 % de
la electricidad fueron usados)
Del resultado del Ejemplo Experimental 1 encima,
se piensa que la razón de la reducción noTabla de la salida de electricidad
cuando el consumo de electricidad era 100 % con relación al consumo de electricidad
de 50 % en el generador convencional es el aumento significativo de la carga
repulsiva ejercida en el generador cuando 100 % de la electricidad es usado.
Por otra parte, en el generador de la invención
presente, no había ninguna diferencia apreciable en cantidad de la carga entre aquellos
casos en los cuales 50 % de la electricidad fue usado y 100 % de eso fue usado
respectivamente. Mejor dicho, la cantidad de carga ligeramente se disminuyó
(aproximadamente 20W) cuando 100 % de la electricidad fue usado. En vista de
este, puede ser entendido que la cantidad de la energía eléctrica generada del
generador de la invención presente es aproximadamente doblada como los aumentos
de consumo de electricidad, que es diferente del generador convencional que
produce la energía eléctrica que bruscamente se disminuye cuando el consumo de
electricidad aumenta.
Para concluir, se supone que la cantidad de carga
encima está el valor numérico con relación a la carga mecánica del generador
como descrito encima. Cualquier carga secundaria excepto este, es decir carga
debido a las corrientes inversas generadas en la armadura bobinas sensibles
puede ser confirmada como el cero.
EJEMPLO EXPERIMENTAL 3
12V dirigen corriente (corriente continua) los generadores que tienen condiciones similares a aquellos en el ejemplo experimental 1 fueron usados para hacer la medida en las mismas condiciones (eficacia 80 %). El resultado de la medida es presentado abajo.
Tabla 2
|
|
50 % Electricidad |
Usado |
100 % Electricidad |
Usado |
|
Tipo de Generador |
Salida de Electricidad ( |
Cantidad de Carga ( |
Salida
de Electricidad ( |
Cantidad de Carga ( |
|
Convencional: |
103 |
290 |
21 |
298 |
|
Esta invención: |
107 |
282 |
236 |
272 |
(la salida de electricidad y la cantidad
de carga de los generadores de
corriente alterna cuando 50 % y 100 % de
la electricidad fueron usados)
El generador de corriente continua tiene la
eficacia más alta (80 %) que aquel del generador de corriente alterna, mientras
el uso del cepillo aumenta el coste del generador de corriente continua. Cuando
100 % de la electricidad fue usado, la cantidad de carga ligeramente disminuida
que era similar al resultado mostrado en la Mesa 1 y la salida de electricidad
era aproximadamente al menos 2.2 veces esto cuando 50 % de la electricidad fue
usado.
EJEMPLO EXPERIMENTAL 4
Un 220V corriente alterna de fase sola (corriente
alterna) el generador (0.5HP) tener condiciones similares a aquellos en el
ejemplo experimental 1 fue usado, y la rotación por minuto (revoluciones por
minuto) fue cambiada para hacer la medida en la condición del consumo de 100 %
de la electricidad generada. El resultado de medida es ilustrado en la Tabla 3
siguiente.
Tabla 3
|
1750 |
rpm |
3600 |
rpm |
5100 |
rpm |
|
Salida de Electricidad ( |
Cantidad de Carga ( |
Salida de Electricidad ( |
Cantidad de Carga ( |
Salida de Electricidad ( |
Cantidad de Carga ( |
|
130 |
160 |
210 |
228 |
307 |
342 |
(la salida de energía eléctrica y la carga cuando
la velocidad de rotación fue variada)
Como mostrado en Tabla 3 encima, cuando la
rotación por minuto (revoluciones por minuto) aumenta de 1750 a 3600 y a 5100,
la cantidad de aumentos de energía eléctrica de 130W a 210W y luego a 307W y
por consiguiente la diferencia entre la cantidad de la energía eléctrica
generada y la cantidad de disminuciones de carga para causar la disminución
relativa de la cantidad de la carga como la rotación por minuto (revoluciones
por minuto) aumentos.
EJEMPLO EXPERIMENTAL 5
La medida fue hecha cambiando el número de N y los
postes S de los imanes permanentes de la invención en las mismas condiciones
que aquellos del ejemplo experimental 1 y en la condición que 100 % de la
electricidad generada fue usado.
El resultado de la medida es mostrado abajo.
Tabla 4
|
2 |
postes |
4 |
postes |
8 |
postes |
|
Salida de Electricidad ( |
Cantidad de Carga ( |
Salida de Electricidad ( |
Cantidad de Carga ( |
Salida de Electricidad ( |
Cantidad de Carga ( |
|
80 |
152 |
130 |
200 |
265 |
296 |
(las cantidades de energía eléctrica generada y
carga cuando el número de postes de los imanes permanentes del generador de la
invención fue cambiado)
De Tabla 4 encima, puede ser entendido que como el
número de aumentos de postes, ambos de las cantidades de energía eléctrica
generada y carga aumentan. Sin embargo, la proporción de la cantidad de la
energía eléctrica generada hasta un total de la carga monótonamente aumenta. En
la mesa encima, en términos de cantidad de la carga, sólo la carga primaria
mecánica es ejercida y eléctrico secundario no es ejercido.
El aumento del número de postes causa el aumento,
por el número de postes aumentados, en el número de líneas del flujo magnético
que los bobinas cruzan, y en consecuencia los aumentos de fuerza electromotriz
para aumentar la cantidad de la energía eléctrica generada. Por otra parte, la
cantidad de la carga mecánica tiene un valor constante sin tener en cuenta el
aumento del número de postes, de modo que la cantidad de carga mecánica
relativamente se disminuya para reducir la diferencia entre la cantidad de
carga y la cantidad de la energía eléctrica generada.
Aplicación Patente US
20020125774 6
de marzo 2002 Inventor: Alberto Molina-Martinez
GENERADOR ELÉCTRICO CONTINUO
Esta aplicación para una patente, muestra los
detalles de un dispositivo que es reclamado, puede producir la electricidad
suficiente para impulsar tanto sí como cargas externas. Esto también no tiene
ningunas partes de movimiento.
EXTRACTO
Un corazón electromagnético cilíndrico inmóvil,
hecho de un pedazo laminaciones delgadas apiladas a la altura deseada, habiendo
cerrado ranuras radialmente distribuidas, donde dos arreglos tortuosos de tres
fases son colocados juntos en las mismas ranuras, un al centro, un al exterior,
para la creación de un campo electromagnético rotatorio por temporalmente
aplicando una corriente de tres fases a una de las cuerdas, y por este
significa, instalando un voltaje en el segundo, de tal modo que la energía
saliente es mucho mayor que la entrada. Una vuelta va a la reacción el sistema
y la fuente temporal son desconectados entonces. El generador correrá por sí
mismo indefinidamente, permanentemente generando un gran exceso de la energía.
FONDO DE LA INVENCIÓN
1. Campo de
la Invención
La invención presente está relacionada
generalmente con sistemas de generación de poder eléctricos. Más expresamente,
la invención presente está relacionada con la autoalimentación del poder
eléctrico que genera unidades.
2. Descripción de Arte
Relacionada
Desde Nikola Tesla inventado y patentado su
Sistema de Polifase para Generadores, Motores de Inducción y Transformadores,
ninguna mejora esencial ha sido hecha en el campo. Los generadores producirían
los voltajes de polifase y corrientes por medio del movimiento rotatorio
mecánico a fin de obligar un campo magnético a girar a través de las cuerdas
radialmente espaciadas del generador. La base del sistema de motor de inducción
debía crear un campo electromagnético rotativo, en vez de un campo magnético
mecánicamente hecho girar, que induciría voltajes y corrientes a generar
fuerzas electromotrices utilizables como energía mecánica o poder. Finalmente,
los transformadores manipularían los voltajes y corrientes para hacerlos
factibles para su uso y transmisión para distancias largas.
En todos los Generadores Eléctricos presentes una
pequeña cantidad de la energía, normalmente menos de un por ciento del poder
saliente en generadores grandes, es usada para excitar los postes
electromagnéticos mecánicamente hechos girar que inducirán voltajes y
corrientes en conductores que tienen una velocidad relativa o movimiento entre
ellos y las masas polares.
El resto de la energía usada en el proceso de
obtener electricidad, es necesario para mover las masas y vencer las pérdidas
del sistema: pérdidas mecánicas; pérdidas de fricción; pérdidas de cepillos,
windage pérdidas; pérdidas de reacción de armadura; pérdidas de hueco de aire;
pérdidas reactance sincrónicas; remoline pérdidas corrientes; las pérdidas de
histéresis, todo de las cuales, en la conjunción, es responsable del exceso en la
entrada de poder (poder mecánico) requerido generar cantidades siempre más
pequeñas de la energía eléctrica.
RESUMEN DE LA INVENCIÓN
El Generador Eléctrico Continuo consiste en un
corazón electromagnético cilíndrico inmóvil hecho de un pedazo laminaciones
delgadas apiladas juntos para formar un cilindro, donde dos arreglos de cuerdas
de tres fases son colocados en las mismas ranuras que no tienen cualquier
velocidad relativa física o desplazamiento entre ellos. Cuando una de las cuerdas está relacionada
con una fuente de tres fases temporal, un campo de giro electromagnético es
creado, y el campo Está aquí creado cortará los bobinas inmóviles de la segunda
cuerda, instalando voltajes y corrientes. Del mismo modo y grado como en
generadores comunes, aproximadamente un por ciento o menos del poder saliente
serán necesarios para guardar el campo magnético rotatorio excitado.
En este Generador Eléctrico Continuo no hay
ningunas pérdidas mecánicas; pérdidas de fricción; pérdidas de cepillo;
pérdidas de windage; pérdidas de reacción de armadura; o las pérdidas de hueco
de aire, porque no hay ningún movimiento de ninguna clase. Hay: pérdidas
reactance sincrónicas, remoline pérdidas corrientes y pérdidas de histéresis,
que son inherentes al diseño, construcción y los materiales del generador, pero
en el mismo grado que en generadores comunes.
Un por ciento o menos de la energía total
producida por generadores eléctricos presentes van para crear su propio campo
magnético; una energía mecánica que excede la salida total de generadores
presentes es usada para hacerlos girar en el proceso de extraer corrientes
eléctricas de ellos. En el Generador Eléctrico Continuo no hay ninguna
necesidad del movimiento ya que el campo gira ya de hecho electromagnético,
entonces todos lo que la energía mecánica no será necesaria. En condiciones
similares de corrientes emocionantes, masa principal y diseño de cuerdas, el
Generador Eléctrico Continuo es considerablemente más eficiente que generadores
presentes, que también significa que esto puede producir considerablemente más
que la energía que esto tiene que hacer funcionar. El Generador Eléctrico
Continuo puede la reacción el sistema, la fuente temporal puede ser
desconectada y el Generador correrá indefinidamente.
Como con cualquier otro generador, el Generador
Eléctrico Continuo puede excitar su propio campo electromagnético con una parte
mínima de la energía eléctrica producida. El Generador Eléctrico Continuo sólo
tiene que ser arrancado uniendo sus cuerdas de tres fases que instalan a una
fuente externa de tres fases durante un instante, y luego ser desconectado,
comenzar el sistema como descrito aquí. Entonces, deshilvanado, esto dirigirá
indefinidamente generando de un gran exceso de la energía eléctrica hasta el
punto de su diseño.
El Generador Eléctrico Continuo puede ser diseñado
y calculado con todas las fórmulas matemáticas en el uso hoy para diseñar y
calcular generadores eléctricos y motores. Esto cumple con todas las leyes y
los parámetros solían calcular la inducción eléctrica y la generación de
electricidad hoy.
Excepto la Ley de Conservación de la Energía, que,
por sí mismo, no es una ecuación matemática, pero un concepto teórico y por la
misma razón no tiene ningún papel en el cálculo matemático de un generador eléctrico
de ningún tipo, el Generador Eléctrico Continuo cumple con todas las Leyes de
Física e Ingeniería Eléctrica. El Generador Eléctrico Continuo nos obliga a
examinar la Ley de Conservación de la Energía. En mi creencia personal, la
electricidad nunca ha venido de la energía mecánica que ponemos en una máquina
para mover las masas contra todas las oposiciones. El sistema mecánico
realmente proporciona el camino para la condensación de electricidad. El
Generador Eléctrico Continuo proporciona un camino más eficiente para la
electricidad.
DESCRIPCIÓN DE LOS DIBUJOS
Fig.1 muestra una encarnación de la invención
presente.

Fig.2 muestra un
diagrama de cableado interno para la encarnación de la invención presente
mostrada en Fig.1.

Fig.3 muestra un laminado solo para una
encarnación alterna de la invención presente.

Fig.4 muestra a un traje de dos piezas el
laminado solo para otra encarnación alterna de la invención presente.


Fig.5 muestra un
diagrama de cableado para una encarnación de la invención presente construida
del laminado mostrado en Fig.3 o Fig.4.

Fig.6 muestra el modelo de flujo magnético
producido por la invención presente.

Fig.7 muestra los modelos de campo magnético
rotatorios producidos por la invención presente.

Fig.8 muestra el
sistema completo de la invención presente.

Fig.9 es una vista ampliada de la encarnación
alterna de la invención presente mostrada en Fig.3 o Fig.4.

DESCRIPCIÓN DETALLADA DE LA INVENCIÓN
La invención presente es un Generador Eléctrico
Continuo y Autónomo, capaz de la producción de más energía que esto tiene que
funcionar, y que se proporciona la energía tenía que funcionar. La idea básica
consiste en la inducción de voltajes eléctricos y corrientes sin cualquier
movimiento físico por el uso de un campo magnético rotatorio creado por un
estator de tres fases relacionado temporalmente con una fuente de tres fases, y
colocación de conductores inmóviles en el camino del campo magnético rotatorio
dicho, eliminando la necesidad de fuerzas mecánicas.

El sistema básico puede ser observado en Fig.1,
que muestra una encarnación de la invención presente. Hay 1 principal
ferromagnético inmóvil con unas cuerdas de tres fases que instalan 3, 120
grados espaciados y relacionado en Y 6 a fin de proporcionar un campo
electromagnético rotativo, cuando un voltaje de tres fases es aplicado; para el
caso, un arreglo de dos postes. Dentro de este 1 principal allí es unos
segundos 2 principales ferromagnéticos inmóviles, sin el espacio entre ellos,
este es, sin el hueco de aire. Estos segundos 2 principales tienen también un
arreglo tortuoso inmóvil de tres fases (4a en Fig.4b y 4b en Fig.2), alineado
como mostrado en Fig.1 e Fig.2 con las cuerdas principales externas que instalan
3. No hay ningún movimiento entre los dos corazones, ya que no hay ningún hueco
de aire entre ellos.
No hay ningún eje en ningún corazón ya que éstos
no hacen girar corazones. Los dos corazones pueden ser hechos de laminaciones
aisladas apiladas o de aislado comprimidos y unieron el polvo ferromagnético.
El sistema trabaja el uno o el otro camino, instalando voltajes de tres fases y
corrientes en los conductores inmóviles 4a de las cuerdas internas 4b,
aplicando corrientes de tres fases a terminales un 5a, B 5b y C 5c de las
cuerdas externas 3; o instalando voltajes de tres fases y corrientes en las
cuerdas externas 3, aplicando corrientes de tres fases a los terminales T1 7a,
T2 7b y T3 7c, de las cuerdas internas 4b.
Cuando un voltaje de tres fases es aplicado a terminales un 5a, B 5b y C
5c, las corrientes tendrán la misma magnitud, pero serán desplazadas a tiempo
por un ángulo de 120 grados. Estas corrientes producen fuerzas de motivo de
magneto, que, por su parte, crean un flujo magnético rotatorio. Los arreglos pueden variar extensamente
cuando ellos ocurren con alternadores presentes y los motores de tres fases,
pero los fundamentos permanecen el mismo, un campo magnético inmóvil pero
electromagnético rotativo, instalando voltajes y corrientes en los conductores
inmóviles colocados en el camino del campo magnético de giro dicho. El diagrama
muestra un arreglo de dos postes tanto para cuerdas, pero muchos otros arreglos
pueden ser usados, como en generadores comunes como para motores.

Fig.2 muestra el arreglo de tres fases de la
cuerda interna 4b que ha proveído, en la práctica, voltajes simétricos y
corrientes, debido a un ángulo espacial de 120 grados. Es similar a un arreglo
de dos postes. Mucha otra tres fase o los arreglos de polifase pueden ser
usados. Dondequiera que un conductor sea
cruzado por un campo magnético rotatorio, se inducirá un voltaje a través de
sus terminales. Las interconexiones dependen del uso que daremos al sistema. En
este caso, tendremos un voltaje de tres fases en terminales T1 7a, T2 7b y T3
7c y unos 8 neutros. El voltaje saliente
depende de la densidad del flujo magnético rotatorio, el número de vueltas del
conductor, la frecuencia (en vez de la velocidad) y la longitud del conductor
cruzado por el campo, como en cualquier otro generador.
Fig.3 muestra una encarnación alterna de la
invención presente en la cual el generador es hecho de laminaciones de una
pieza múltiples 9, apilado como un cilindro a la altura deseada. Esta
encarnación también puede ser hecha de un bloque de una pieza de comprimido y
unió el polvo ferromagnético aislado. La misma ranura 10 acomodará 4a/4b
interno y las cuerdas externas 3, es decir instalar y las cuerdas inducidas
(ver Fig.5). En este caso, un laminado de 24 ranuras es mostrado, pero el
número de ranuras puede variar extensamente según el diseño y necesidades.
Fig.4 muestra a un traje de dos piezas el laminado
solo para otra encarnación alterna de la invención presente. Para efectos
prácticos la laminación puede ser dividida en dos pedazos 9a, 9b, como
mostrado, facilitar la introducción de los bobinas. Entonces, ellos son
firmemente reunidos sin la separación entre ellos, como si ellos eran sólo un
pedazo.
Los laminados descritos encima pueden ser
construidos con delgado (0.15 mm de espesor o menos) laminaciones aisladas 9 o
9a y 9b de una permeabilidad magnética alta pérdidas de histéresis materiales y
bajas como Hiperco 50A, o similar, reducir pérdidas o con el polvo
ferromagnético comprimido eléctricamente aislado, que tiene el remolino
inferior pérdidas corrientes y también puede tener pérdidas de histéresis
bajas, que pueden hacer el generador muy eficiente.
FUNCIONAMIENTO DEL
GENERADOR
El Generador Eléctrico Continuo como descrito y
mostrado en los dibujos siguientes es diseñado y calculado para producir un
campo electromagnético rotativo fuerte con corrientes emocionantes bajas.
Usando un material laminado, como dicho Hiperco 50A, podemos conseguir campos
magnéticos rotativos encima de dos Teslas, ya que no hay ningunas pérdidas de
hueco de aire, pérdidas mecánicas, windage pérdidas, pérdidas de reacción de
armadura, etc. como dicho antes. Este puede ser obtenido aplicando una
corriente de tres fases temporal a los terminales A, B y C 12 de los bobinas
que instalan 13, 14 y 15 (5a, 5b y 5c en Fig.1), 120 grados espaciados el uno
del otro (ver Fig.5).

Fig.5 shows la distribución espacial de las
cuerdas que instalan 13, 14 y 15, así como las cuerdas inducidas 18a, 18b, 19a,
19b, 20a y 20b. Ambos, instalar y las cuerdas inducidas son colocados en las
mismas ranuras 10 o 16 y 17, con arreglos similares. Incluso aunque los trabajos de sistema en
ambas direcciones, la mejor configuración parezca deber colocar las cuerdas que
instalan 13, 14 y 15, al centro y las cuerdas inducidas 18a, 18b, 19a, 19b, 20a
y 20b, al exterior, ya que las pequeñas cuerdas serán necesarias para inducir
un campo magnético de giro muy fuerte, debido a las pequeñas pérdidas
implicadas en el proceso, y en el cambio, las cuerdas más grandes y poderosas
serán necesarias para extraer toda la energía que el sistema proporcionará.
Ambas cuerdas están relacionadas en Y (no mostrado), pero ellos pueden estar
relacionados de modos diferentes, como cualquier otro generador. Estos arreglos
son el equivalente con los arreglos mostrados para la encarnación mostrada en
Fig.1 y Fig.2.
Los bobinas que instalan 13, 14 y 15 son diseñados
y calculados de modo que el generador pueda ser comenzado con voltajes de
líneas de tres fases comunes (230 voltios 60 Hz por fase, por ejemplo). Si los
voltajes de líneas locales no son apropiados, podemos controlar el voltaje al
nivel diseñado por medio de un transformador variable de tres fases, variator
electrónico o inversor etc. Una vez que
tenemos tal giro de campo magnético fuerte y cruce de los bobinas inducidos
inmóviles 18a, 18b, 19a, 19b, 20a y 20b, se inducirá un voltaje de tres fases a
través de terminales T1, T2, T3 y N 21 en la proporción a la densidad de flujo
magnética, el número de vueltas en los bobinas, la frecuencia usada (en vez de
la velocidad), la longitud de los conductores cortados por el campo rotativo,
como en cualquier otro alternador. Podemos unirnos, cuando deseamos en Y o
delta, etc., como en cualquier otro alternador o generador. Las corrientes salientes serán corrientes de
tres fases (o polidividirán en fases corrientes según el arreglo) y podemos
tener unos 21 neutros si usamos una unión Y, como en algún otro alternador.
Los voltajes alternos salientes y las corrientes
son ondas sinusoidal perfectas, absolutamente espaciadas a tiempo, y totalmente
simétrico. Los voltajes y las corrientes obtenidas por este método son
utilizables en cualquier manera convencional. Cualquier voltaje puede ser
producido, según el diseño.
Fig.6 muestra el modelo de flujo magnético
producido por las cuerdas de tres fases que instalan 13, 14 y 15. Este modelo
es similar al modelo de los estatores del motor de inducción. Ya que no hay
ningún hueco de aire; el camino entero para el flujo magnético es homogéneo sin
el cambio de materiales. El corazón es hecho de laminaciones aisladas delgadas
de una permeabilidad magnética alta y material de pérdida de histéresis bajo;
remoline las pérdidas corrientes son mínimas debido a la laminación delgada. No
hay ningunos flujos contrarios o reacciones de armadura así el flujo magnético
puede estar cerca de la saturación por una pequeña corriente emocionante o
energía de entrada. Debido al
diferencial de tiempo entre las tres fases y la distribución espacial de las
cuerdas que instalan, un campo magnético rotatorio será creado en el corazón,
como mostrado en Fig.7.
Una vez que el generador es comenzado, un pedazo
de la energía obtenida es devuelto (Fig.8 e Fig.9) para alimentar los bobinas
que instalan 3 (en Fig.1) o 13, 14 y 15 (en Fig.5), como en cualquier otro
alternador autoexcitado o generador. Por supuesto los voltajes y las fases
deberían ser absolutamente idénticos y alineados, y si es necesario los
voltajes de reacción deberían ser controlados y manejados por medio de
transformadores variables, variators electrónico, fase shifters (para alinear
fases) u otro tipo del voltaje o dividir en fases a reguladores.
Un método posible consiste en el uso de un
convertidor electrónico o variator 25 que al principio convierte dos o tres
líneas de la corriente alterna 24 para dirigir corriente por un rectificador
electrónico 26 y luego, electrónicamente, convierte los 27 corrientes directos
a 28 corrientes de tres fases para suministrar corrientes de tres fases espaciado
a tiempo 120 grados para los campos electromagnéticos A, B y C 3. Algún
variators o los convertidores pueden aceptar dos líneas del voltaje, mientras
los otros aceptarán sólo un voltaje de línea de tres fases. Esta encarnación
usa un variator de 3 kVA que acepta dos líneas de 220 voltios.
El campo magnético rotatorio creado por las
corrientes que pasan por las cuerdas de tres fases que instalan 13, 14 y 15,
inducirá un voltaje a través de los terminales T1, T2, T3, N, 29 (7a, 7b, 7c, 8
en Fig.2). Entonces, de las líneas corrientes salientes 29, una derivación es
hecha 30 para alimentar atrás el sistema, convirtiendo la comida atrás alterna
corrientes, por medio de rectificadores de diodo electrónicos 31, dirigir 32
corrientes y luego alimentar atrás el convertidor electrónico o variator 25 a
los terminales de corriente continua del rectificador electrónico 26 (Ver
Fig.8). Una vez que la reacción está relacionada, el Generador Eléctrico
Continuo puede ser desconectado de la fuente temporal 24, y seguirá generando
la energía eléctrica indefinidamente.
En Fig.9, una encarnación alternativa del
Generador Eléctrico Continuo puede ser vista. Los principios básicos permanecen
el mismo en cuanto a la encarnación descrita encima y mostrado en Fig.1 e
Fig.2. Las diferencias básicas son en
forma de las laminaciones y la distribución física de las cuerdas, como hablado
y mostrado antes. Una variación de la reacción, utilización de una variable y
cambio de transformadores también es mostrada.
Los 11 principales ferromagnéticos son hechos de
laminados de una pieza 9 como mostrado en Fig.3 (o dos para la conveniencia 9a,
9b como mostrado en Fig.4) apilados a la altura deseada. Las ranuras 10, como indicado antes,
acomodarán tanto instalando 13, 14 como 15 y 18a-b inducido, 19a-b y cuerdas
20a-b en la misma ranura 10 o 16 y 17. Las
tres líneas de fase entrantes 12 alimentan las cuerdas de tres fases que
instalan 13, 14 y 15. Ellos son alimentados, al principio por la fuente
temporal 33 en el primer caso, y por la vuelta de tres fases 34 una vez que el generador
corre por sí mismo.
Las cuerdas que instalan 13, 14 y 15 tienen un
arreglo de dos postes, pero mucha otra tres fase o polidividen en fases
arreglos puede ser hecho para obtener un campo de giro electromagnético. Estas
cuerdas están relacionadas en Y (no mostrado) del mismo modo mostrado para la
encarnación mostrada en Fig.1, Fig.2 y Fig.8, pero puede estar relacionado de
muchos modos diferentes. Las cuerdas que instalan 13, 14 y 15 son localizadas
en la porción interna 16 de la ranura 10 (Fig.5).
Las cuerdas inducidas 18a-b, 19a-b y 20a-b tienen
un arreglo de dos postes, exactamente igualan al arreglo para las cuerdas que
instalan 13, 14 y 15, pero muchos otros arreglos pueden ser hechos según el
diseño y las necesidades. Las cuerdas inducidas deben ser calculadas en un
camino que el generador tendrá reactance sincrónico más bajo posible y la
resistencia. De esta manera, la mayor
parte del poder saliente irá al precio en vez de quedarse para vencer la
impedancia interna. Estas cuerdas están relacionadas en Y para generar unos 21
neutros, del mismo modo mostradas en la encarnación de la invención presente
mostrada en Fig.2, pero pueden estar relacionadas de modos diferentes según las
necesidades. Las cuerdas inducidas
18a-b, 19a-b y 20a-b son localizadas en la porción externa 17 de la ranura 10.
Las líneas de tres fases y neutras salientes 21
vienen de las cuerdas inducidas 18a-b, 19a-b y 20a-b. El campo magnético
rotatorio creado en el corazón (ver Fig.6 e Fig.7) por las cuerdas que instalan
13, 14 y 15, induce un voltaje a través de los terminales T1, T2 y T3, más un
neutro, 29. De cada una de las líneas
salientes de tres fases 21, una derivación de vuelta 34 es hecha a la reacción
el sistema.
La fuente de tres fases temporal 33 está
temporalmente relacionada con terminales A, B y C 12. El Generador Eléctrico
Continuo debe ser comenzado con una fuente de tres fases externa durante un
instante, y luego desconectado.
Incluso aunque el voltaje de líneas de vuelta
pueda ser calculado y obtenido exactamente por tabbing las cuerdas inducidas en
el voltaje requerido por las cuerdas que instalan (según el diseño), puede ser
conveniente colocar un transformador variable de tres fases u otro tipo del
regulador de voltaje 35 al medio para el ajuste más preciso del voltaje de
vuelta.
Colocado después del transformador variable 35, el
transformador de cambio de tres fases 36 corregirá y alineará cualquier cambio
de fase en el voltaje y ángulos de corrientes, antes de que la vuelta esté
relacionada. Este sistema funciona de manera similar al sistema mostrado en Fig.8
que usa un variator o un convertidor 25.
Una vez que el voltaje y las fases son alineados
con la fuente temporal 33, las líneas de vuelta 34 están relacionadas con las
líneas entrantes A, B y C 12 en la unión de reacción 37 y la fuente temporal 33
es desconectada entonces. El Generador Eléctrico Continuo permanecerá trabajar
indefinidamente sin cualquier fuente externa de la energía, proporcionando un
gran exceso de la energía permanentemente.
La energía eléctrica saliente proporcionada por
este sistema ha sido usada para producir la luz y el calor, dirigir motores de
polifase, generar la monofase utilizable y polidividir en fases voltajes y
corrientes, transformar voltajes y corrientes por medio de transformadores,
convertir las corrientes de polifase salientes alternas para dirigir corriente,
así como para otros usos. La
electricidad obtenida por los medios descritos es tan versátil y perfecta como
la electricidad obtenida hoy con generadores eléctricos comunes. Pero el
Generador Eléctrico Continuo es autónomo y no depende de ninguna otra fuente de
la energía, pero sí una vez que esto corre; puede ser llevado en todas partes
sin limitaciones; puede ser construido en cualquier tamaño y proporciona
cualquier cantidad de la electricidad.
El Generador Eléctrico Continuo es y será una
máquina muy simple. Las claves de los sistemas residen en las pérdidas
ultrabajas de un sistema de generación de no movimiento, y en un diseño de
reactance sincrónico muy bajo.
Las cuerdas inducidas deben ser calculadas en un
camino que el generador puede tener reactance sincrónico más bajo posible y la
resistencia. De esta manera, la mayor parte del poder saliente irá al precio en
vez de quedarse para vencer la impedancia interna.
Patente Aplicación US
3,766,094 20 de septiembre
1971 Inventor: Michael Ognyanov
COMPOSICIONES DE SEMICONDUCTOR
Esta aplicación evidente muestra los detalles de
un dispositivo que es reclamado, puede producir la electricidad vía un
oscilador transistorizado. Debería ser notado que mientras los detalles de
construcción son proporcionados que implican que el inventor construyó y probó
varios de estos dispositivos, este es sólo una aplicación y no una patente concedida.
EXTRACTO
Un paquete de energía eléctrica de oscilador de
resonancia para hacer funcionar una lámpara de destello, por ejemplo, u otro
dispositivo eléctricamente hecho funcionar, funciona sin mover partes mecánicas
o acción electrolítica. El paquete de poder está contenido en un sobre metálico
cilíndrico y en una encarnación preferida, es conectado a un oscilador de
relajación y una lámpara incandescente. Dentro del sobre, y aislado de ello, es
una pastilla de semiconductor que une una base metálica al recorrido externo.
Una sonda metálica entra en contacto con un punto en la pastilla de
semiconductor y con una vara de ferrita cilíndrica, axialmente alineada con el
sobre. Enrollar sobre la vara de ferrita, son bobinas helicoidales concéntricos
designados como 'una primaria' con muchas vueltas, y "un secundario"
con menos vueltas que la primaria.
Un final del bobina primario está relacionado con
la sonda y el otro final está relacionado con el bobina secundario. conducir
del bobina secundario está relacionado con el oscilador de relajación vía un
condensador ajustable. La oscilación dentro del sobre es la resonancia
amplificada, y el voltaje inducido en el bobina secundario es rectificado para
la aplicación al oscilador de relajación y lámpara. El selenio y germanium basan composiciones de
semiconductor incluso Te, Nd, Rb y Ga en el área de proporciones variante usada
para la pastilla.
FONDO DE LA INVENCIÓN
Este es una continuación en parte del mi No 77,452
Consecutivo de aplicación evidente co-pendiente, archivado el 2 de octubre de
1970, Paquete de Energía Eléctrica autorizado ahora abandonado.
En muchas situaciones es deseable tener una fuente
de la energía eléctrica que no es el dependiente en alambres de una central
eléctrica central, y por lo tanto, los suministros de energía portátiles no que
tienen ningunas partes de movimiento han sido empleados. Típicamente, tales paquetes de poder
portátiles han sido células electrolíticas primarias o secundarias que generan
o almacenan la energía eléctrica para la liberación por la acción química.
Tales baterías tienen una cantidad limitada de la energía contenida y a menudo
deben ser sustituidas con frecuencia para mantener el equipo en la operación.
Así, como un ejemplo, las luces intermitentes son
comúnmente usadas a lo largo de carreteras y otras posiciones para advertir de
condiciones peligrosas. Estas luces intermitentes en posiciones remotas son
típicamente incandescentes o lámparas de descarga de gas relacionadas con algún
tipo del oscilador de relajación impulsado por una batería. Las baterías empleadas en tales luces que
parpadean tienen una vida limitada y deben ser periódicamente sustituidas,
típicamente cada uno 250 a 300 horas de la operación. Este implica un coste de
mano de obra bastante grande en la sustitución de las baterías gastadas con
frescos y coste adicional para células primarias o para recargar células
secundarias. Es deseable proporcionar un
paquete de energía eléctrica capaz de proporcionar una cantidad suficiente de
la energía eléctrica durante un período prolongado del tiempo de modo que la
exigencia para el reemplazo periódico de las células electrolíticas pueda ser
evitada. Tal paquete de poder es valioso aun si sensiblemente más caro que
baterías debido a los costes de mano de obra enormemente reducidos requeridos
para reemplazos periódicos.
INFORME RESUMEN DE LA
INVENCIÓN
Allí es proporcionado en la práctica de esta
invención según una encarnación preferida, composiciones semipropicias
seleccionadas del Grupo que consiste en:
Selenio con, 4.85 % a Telurio 5.5 %, 3.95 % a
Germanium 4.2 %, 2.85 % a Neodymium 3.2 %, y 2.0 % a Galio 2.5 %.
Selenio con, 4.8 % a Telurio 5.5 %, 3.9 % a
Germanium 4.5 %, 2.9 % a Neodymium 3.5 % y 4.5 % a Rubidium 5 %, y
Germanium con, 4.75 % a Telurio 5.5 %, 4.0 % a
Neodymium 4.5 % y 5.5 % a Rubidium 7.0 %.
DIBUJOS
Estos y otros rasgos y ventajas de la invención
serán apreciados y mejor entendidos en cuanto a la descripción detallada
siguiente de una encarnación preferida cuando considerado junto con los dibujos
siguientes:

Fig.1 ilustra en
hecho explotar esquemático, una lámpara intermitente relacionada con un
suministro de energía eléctrica construido según los principios de esta
invención.

Fig.2 ilustra en el
corte transversal longitudinal, el paquete de poder de Fig.1

Fig.3 es un diagrama
de recorrido eléctrico del sistema.
DESCRIPCIÓN
Fig.1 ilustra esquemáticamente, una lámpara
intermitente típica que construye un suministro de energía según los principios
de esta invención. Como ilustrado en esta encarnación preferida, un paquete de
energía eléctrica 5, está relacionado eléctricamente con un recorrido de
oscilador de relajación (mostrado sólo esquemáticamente) en una tarjeta de
circuitos impresa convencional 6.
El paquete de poder 5 y la tarjeta de circuitos
impresa es montado en una caja metálica 7, que tiene una partición parcial
transversal 8, que crea dos espacios, un para el paquete de poder y otro para
la tarjeta de circuitos impresa que es impedida ponerse en contacto con la caja
metálica por cualquier montaje de aislamiento conveniente. Preferentemente,
estos componentes son en conserva en el lugar en una manera convencional.
Una tapa 9, teniendo el montaje arrastra 10, es
remachado en la caja después de la asamblea. Una pequeña regleta de conexión
11, montado en un lado de la caja 7, proporciona contactos eléctricos para la
unión a una carga como una lámpara incandescente (no mostrado en Fig.1). la
lámpara proporciona un destello de luz cuando el oscilador de relajación
cambia. Aunque el sistema descrito sea empleado para una lámpara intermitente,
será aparente que otras cargas pueden ser impulsadas por la invención.

En Fig.2, el paquete de energía eléctrica 10, es
ilustrado en el corte transversal longitudinal y tiene dimensiones como sigue:
Estas dimensiones son proporcionadas por vía del ejemplo para impulsar una
lámpara intermitente convencional y estará claro que otras dimensiones pueden
ser usadas para otras aplicaciones. En
particular, las dimensiones pueden ser ampliadas a fin de obtener niveles de
poder más altos y voltaje diferente o niveles corrientes. El paquete de poder
consiste de un tubo metálico cilíndrico 16, teniendo estrechamente la prueba de
gorras metálicas 17 a cada final, que son preferentemente sellados al tubo
después de que los elementos internos son insertados en el lugar. El tubo
metálico 16 y gorras 17, que son preferentemente del aluminio, así forma un
sobre propicio cerrado, que en una encarnación típica, tiene un diámetro
interior de aproximadamente 0.8 pulgadas y una longitud de aproximadamente 2.25
pulgadas (1 pulgada = 25.4 mm).
Montado dentro de un final del sobre es una taza
plástica 18, las dimensiones de que no son críticas, sin embargo, un grosor de
la pared de al menos 1/16 pulgada es preferido. Montado dentro de la taza
plástica 18 es una pastilla de semiconductor 19 tener un lado opuesto bajo y
algo abovedado llano. La composición de
la pastilla de semiconductor 19 es dispuesta en el mayor detalle abajo.
Típicamente, la pastilla de semiconductor tiene una masa de aproximadamente 3.8
gramos. Un disco metálico 21 es colocado bajo la base de la pastilla 19 en la
taza 18, y es preferentemente adhesivamente unido dentro de la taza. El disco
metálico es fuertemente encajado a la base de la pastilla de modo que el
contacto eléctrico bueno sea obtenido sobre un área sustancial del
semiconductor.
Un oído 22 en un borde del disco es soldado a un
alambre 23, que se extiende por una manga de aislamiento corta 24 que pasa por
un agujero en el lado del sobre metálico. La manga de aislamiento 24 actos como
un ojal y aseguran que no hay ningún daño al aislamiento del alambre 23 y
circuiting corto casual subsecuente entre el alambre y el sobre metálico.
Preferentemente, la manga de aislamiento 24 es sellada con una pequeña cantidad
de cemento plástico o el parecido, a fin de mantener el aire limpio dentro del
sobre cilíndrico. Otras dos aperturas para conducen por el tubo 16, como
mencionado abajo, también son preferentemente sellados para mantener la
limpieza dentro del sobre.
Un par de discos metálicos circulares 26, son
encajados dentro del tubo 16 y son preferentemente cementados en el lugar para
prevenir el cambio. Los dos discos 26, son igualmente espaciados de los
extremos opuestos del sobre y son espaciados aparte en ligeramente más de 1.15
pulgadas. Cada uno de los discos tiene
una abertura central 27, y hay una pluralidad de agujeros 28, extendiéndose por
el disco en una serie circular a mitad del camino entre el centro del disco y
esto es la periferia. Los agujeros 28 están preferentemente en la variedad de
tamaño de aproximadamente 0.01 a 0.06 pulgadas en el diámetro y hay 12 en cada
disco localizado a intervalos de 30 grados alrededor del círculo.
Los dos discos 26 dividen el interior del sobre
cilíndrico en tres cámaras, y el modelo de agujeros 28 proporciona la
comunicación entre las cámaras y afecta las propiedades eléctricas de la
cavidad. Se cree que el modelo de agujeros afecta el enganche inductivo entre
las cavidades dentro del sobre e influye en las oscilaciones en ellos.
Aunque un arreglo de 12 agujeros espaciados a
intervalos de 30 grados, haya sido encontrado en particular ventajoso en la
encarnación ilustrada, es encontrado en otros arreglos que un modelo de 20
agujeros en 18 centros de grado o un modelo de 8 agujeros en 45 centros de
grado, proporciona la operación óptima. En el uno o el otro caso, el círculo de
agujeros 28 está a mitad del camino entre el centro y la periferia del disco.
Montado entre los discos 26 es un carrete plástico
29 que tiene una distancia interior de 1.1 pulgadas entre sus rebordes. El
carrete plástico 29 preferentemente tiene paredes relativamente delgadas y un
diámetro de ánima interno de la pulgada 1/8. Un plástico que monta el enchufe
31, es insertado por la abertura central 27 del disco 26 más lejos de la mesa
de semiconductor 19, y en la ánima del carrete 29. El enchufe plástico 31 es
preferentemente cementado al disco 26 a fin de mantener la asamblea unida.
También montado dentro de la ánima de carrete 29
es un corazón de ferrita cilíndrico 32, sobre diámetro de pulgada 1/8 y pulgada
3/4 mucho tiempo. Aunque un corazón de cualquier ferrita magnética sea
preferido, otros materiales ferromagnéticos que tienen propiedades similares
pueden ser usados de ser deseado. Los 32
principales, está en el contacto eléctrico con una sonda metálica 33 sobre la
pulgada 1/4 mucho tiempo. la mitad de la longitud de la sonda 33 está en la
forma de un cilindro colocado dentro del carrete 29, y la otra mitad está en la
forma de un cono que se termina en un punto 34 en el contacto con la superficie
abovedada de la pastilla de semiconductor 19 donde hace un contacto eléctrico
con el semiconductor en un relativamente pequeño punto.
El contacto eléctrico también es hecho con la
sonda 33 por un plomo 36, que pasa por uno de los agujeros 28 en el disco 26
más cerca a la pastilla de semiconductor y de allí a un bobina primario 37, enrollar
en el carrete plástico 29. La primaria
bobina 37 está en la forma de 800 a 1000 vueltas enrollar a lo largo del
carrete, y el plomo 38 en el extremo opuesto del bobina 37 es soldado a uno de
los externos conduce 39 del paquete de poder. Este plomo 39 beneficios por uno
de los agujeros 28 en el disco más lejos de la pastilla de semiconductor 19, y
por una manga de aislamiento 41 en el tubo metálico 16.
El plomo 39 también está relacionado con un final
de bobina secundario 42 que es formado de 8 a 10 vueltas alrededor de la
porción de centro de la primaria bobina 37. Una hoja de aislamiento delgada 43
es proporcionada entre bobinas primario y secundario. El otro plomo 44 de
bobina secundario pasa por uno de los agujeros 28 en el disco más cerca la
pastilla de semiconductor y de allí por una manga de aislamiento 46 por la
pared del tubo 16.
Fig.3 ilustra esquemáticamente, el recorrido
eléctrico que emplea un paquete de energía eléctrica construido según los
principios de esta invención. En el lado de mano izquierda de Fig.3, el arreglo
de elementos es ilustrado en una combinación de la posición esquemática y
mecánica eléctrica dentro del tubo 16 para la correlación lista con la
encarnación ilustrada en Fig.2. Así, la
pastilla de semiconductor 19, sonde 33 y corazón de ferrita 32 son mostrado
tanto en su arreglo mecánico como en eléctrico, el corazón inductivamente
conectado al bobinas 37 y 42. El plomo 23 de la base metálica de la pastilla de
semiconductor 19, está relacionado con un condensador variable 47, el otro lado
de que está relacionado con el plomo 44 de bobina secundario 42. El plomo 44
también está relacionado con un diodo de rectificación 48 desviado por una
resistencia de valor alta 49.
Se verá que el condensador variable 47 está en un
recorrido de tanque con bobinas inductivo 37 y 42 que son conectados por el
corazón de ferrita 32, y este recorrido también incluye la pastilla de
semiconductor 19 a que el contacto de punto es hecho por la sonda 33. El arreglo mecánico y eléctrico de estos
elementos proporciona una cavidad resonante en la cual la resonancia ocurre
cuando el condensador 47 es correctamente recortado. El diodo 48, rectifica las
oscilaciones en este recorrido para proporcionar una corriente continua
conveniente para hacer funcionar una lámpara incandescente 50 o la carga
similar.
El diodo de rectificación 48 está relacionado con
un recorrido de relajación de simetría complementaria para cambiar el poder con
la carga 50. El diodo está relacionado directamente con el coleccionista de un
transistor PNP 51 que está en una unión invertida. el emisor del transistor PNP
está relacionado con un lado de la carga 50 por vía de una resistencia de
cronometraje 55. La base del transistor
51 está relacionada por vía de una resistencia 52 y un condensador 56 al
coleccionista de un transistor NPN 53, el emisor de que está relacionado con el
otro lado de la carga 50. La base del transistor NPN 53 es conectada al diodo
por una resistencia 54. El emisor del
transistor PNP 51 es alimentado atrás a la base del transistor NPN 53 por la
resistencia 55. El flujo corriente por la lámpara 50 también es limitado por
una resistencia 57 que conecta un lado de la lámpara y el emisor del transistor
NPN 53 a dos bobinas 37 y 42 por vía del plomo común 39.
Se cree que el paquete de poder eléctrico funciona
debido a una amplificación de resonancia una vez que una oscilación ha sido
iniciada en la cavidad, en particular la cavidad central entre los discos 26.
Esta oscilación, que por lo visto rápidamente alcanza amplitudes suficientes
para el poder útil, es entonces la medio onda rectificada para el uso por el
diodo 48. Con tal arreglo, un nivel de
voltaje de varios voltios ha sido obtenido, y poder suficiente para la
operación intermitente de una lámpara que requiere que aproximadamente 170 a
250 milliwatts hayan sido demostrados. La amplificación resonante es por lo
visto debido a la combinación geométrica y eléctrica de los elementos, que
proporcionan el enganche inductivo de componentes en un recorrido resonante
conveniente. Esta amplificación es
también, al menos en parte, debido a propiedades de semiconductor únicas en la
pastilla 19, que tiene propiedades electrónicas debido a una composición que da
a un arreglo atómico único, la naturaleza exacta de que no ha sido medida.
La pastilla de semiconductor tiene propiedades
electrónicas que son determinadas por esto es la composición y tres tales
semiconductores satisfactorios para el uso en la combinación han sido
identificados. En dos de éstos, el material de semiconductor bajo es el selenio
proveído de elementos dopant convenientes, y en el tercer, el elemento bajo es
germanium, también apropiadamente doped. Las pastillas de semiconductor son
hechas derritiéndose y echando en un arreglo que da una estructura de cristal
grande. No ha sido encontrado necesario de proporcionar una orientación de
cristal seleccionada a fin de obtener los efectos deseados.
Una composición preferida del semiconductor incluye
aproximadamente 5 % por el peso del telurio, aproximadamente 4 % por el peso de
germanium, aproximadamente 3 % por el peso de neodymium y aproximadamente 4.7 %
por el peso de rubidium, con el saldo de la composición que es el selenio. Tal
composición puede ser hecha derritiendo estos materiales juntos o disolviendo
los materiales en el selenio fundido.
Otra composición muy ventajosa tiene aproximadamente
5 % por el peso del telurio, aproximadamente 4 % por el peso de germanium,
aproximadamente 3 % por el peso de neodymium, y aproximadamente 2.24 % por el
peso de galio, con el saldo que es el selenio. A fin de hacer esta composición,
es encontrado deseable de añadir el galio de punto de fusión muy bajo en la
forma de galio selenide más bien que galio elemental.
Una tercera composición conveniente tiene
aproximadamente 5 % por el peso del telurio, aproximadamente 4 % por el peso de
neodymium, aproximadamente 6 % por el peso de rubidium, con el saldo que es
germanium. Estas composiciones preferidas no son el absoluto y ha sido
encontrado esto el nivel de dopant en las composiciones puede ser variado
dentro de límites sin la pérdida significativa de la interpretación. Así, es encontrado esto la proporción de
telurio en la composición preferida puede extenderse aproximadamente de 4.8 % a
aproximadamente 5.5 % por el peso; el germanium puede extenderse
aproximadamente de 3.9 % a 4.5 % por el peso; el neodymium puede extenderse
aproximadamente de 2.9 % a 3.5 % por el peso, y rubidium puede variar
aproximadamente de 4.5 % a 5.0 % por el peso.
El saldo de la composición preferida es el selenio aunque también haya
sido encontrado aquellos niveles de impureza nominales pueden ser tolerados y
ningún gran cuidado es requerido en la prevención de la contaminación menor.
La otra composición de base de selenio útil en la
práctica de esta invención puede tener una concentración de telurio en la
variedad aproximadamente de 4.85 % a 5.5 % por el peso, germanium en la
variedad aproximadamente de 3.95 % a 4.2 % por el peso, neodymium en la
variedad aproximadamente de 2.85 % a 3.2 % por peso, y galio en la variedad
aproximadamente de 2.0 % a 2.5 % por el peso.
Como en la composición preferida, el saldo es el selenio y los niveles
de impureza nominales pueden ser tolerados. Es preferido para añadir el galio
en la forma de galio selenide más bien que cuando el galio elemental con una
disminución correspondiente en el selenio solía arreglar la composición.
Las susodichas composiciones de base de selenio
son más fáciles para hacer y menos caro que la composición de base de germanium
y son por lo tanto preferibles para la mayor parte de aplicaciones. Es
encontrado esto éstos son en particular satisfechos para relativamente pequeñas
pastillas de semiconductor hasta aproximadamente 1 pulgada o un poco menos.
Para pastillas relativamente grandes, es preferido para usar la composición de
base de germanium.
La composición de base de germanium tiene un nivel
de telurio en la variedad aproximadamente de 4.75 % a 5.5 % por el peso,
neodymium en la variedad aproximadamente de 4.0 % a 4.5 % por el peso, y
rubidium en la variedad aproximadamente de 5.5 % a 7.4 % por el peso. También es encontrado esto esto tiene la
mayor importancia para mantener la pureza de las composiciones de base de
germanium que las composiciones de base de selenio. Aunque los niveles de
pureza exactos no hayan sido averiguados, es superior a 99 %.
Ha sido encontrado esto no es necesario tener
cristales solos en las pastillas de semiconductor y cualquier tamaño de grano
conveniente superior a aproximadamente 1 milímetro parece satisfactorio. En las
susodichas composiciones, cuando las variedades recitadas son excedidas, la
oscilación en el poder envía gotas rápidamente y puede cesarse totalmente.
Los motivos que estas composiciones son
satisfactorias en el arreglo que proporciona la amplificación de resonancia no
han sido determinados con la certeza. Es posible que el semiconductor sirva
como una fuente de electrones para proporcionar una oscilación corriente en el
recorrido. Este es, por supuesto,
combinado con un contacto de área relativamente grande a un lado de la pastilla
de semiconductor, y un contacto de punto en otra área. Cualquier corriente
resonante en el bobinas enrollar en la vara de ferrita, induce un campo
magnético variante en la cavidad resonante, y la unión eléctrica entre la vara
de ferrita y la sonda metálica, proporciona una reacción de esta oscilación a
la pastilla de semiconductor.
Debería ser en particular notado que la oscilación
en el recorrido no comienza hasta que sea iniciado por una señal oscilante. A
fin de llevar a cabo este, es sólo necesario aplicar unos millivolts de la
corriente alterna durante unos segundos a la pastilla de semiconductor y
bobinas asociado conectado a ello. La señal inicial aplicada a la base de la
pastilla de semiconductor y el plomo 39 está preferentemente en la variedad de
frecuencia de 5.8 a 18 MHhz y puede ser tan alta como 150 MHz. Tal señal puede ser aplicada de cualquier
fuente convencional y ningún gran cuidado parece necesario de proporcionar una
señal de frecuencia sola o eliminar el ruido. Una vez que tal energisation ha
sido aplicado al recorrido y oscilaciones iniciadas, no parece ser necesario
para aplicar tal señal otra vez. Este es por lo visto debido a la reacción
proporcionada por la vara de ferrita a la sonda que entra en contacto con la
pastilla de semiconductor.
La energía es, por supuesto, disipada en la
lámpara, u otro dispositivo de utilización, cuando la combinación funciona. Tal
energía puede venir del empejoramiento de la pastilla de semiconductor cuando
las oscilaciones siguen; sin embargo, si hay algún tal empejoramiento, es suficientemente
lento que una fuente de alimentación puede ser hecha funcionar durante muchos
meses sin la asistencia. Tal fuente de
la energía puede ser aumentada con la radiación de Radiofrecuencia ambiental,
conectada en la cavidad resonante por el externo conduce. Este es un fenómeno
sorprendente porque conducir es pequeño comparado a lo que sería normalmente
considerado una antena adecuada, y es por lo tanto postulado que la
amplificación estimulada también puede ser una consecuencia de la configuración
electrónica única de los semiconductores que especifican las composiciones
encima.
Patente

DESCARGA CONDENSADOR PULSADA
MOTOR ELÉCTRICO
Por favor note que este es un extracto expresado
con otras palabras de la Patente de Edwin Gray 3,890,548. Esto describe su
motor de alta tensión y la circuitería solía conducirlo. Por favor esté
consciente que la tecnología subyacente fue desarrollado por Marvin Cole y
Edwin Gray no lo entendió. También, Edwin quiso a toda costa ocultar cualquier
tecnología útil consiguiendo patentes para animar a inversionistas, tan por
favor entienda que esta patente no es querida para decirle como hacer un
sistema de funcionamiento de este tipo.
RESUMEN DE LA INVENCIÓN
Esta invención está relacionada con motores
eléctricos o motores, y más en particular a una nueva máquina eléctrica incluso
postes electromagnéticos en una configuración de estator y postes
electromagnéticos en una configuración de rotor, en donde en un forman de eso, el
rotor puede ser hecho girar dentro de la configuración de estator y donde tanto
son activados por descargas condensador por rotor como electroimanes de estator
en el instante de la alineación de un electroimán de rotor con un electroimán
de estator. El electroimán de rotor es repelido del electroimán de estator por
la descarga del condensador por el bobinas tanto del rotor como de
electroimanes de estator en el mismo instante.
En un motor rotativo ideal según esta invención,
los electroimanes de rotor pueden ser dispuestos 120 grados aparte en un eje
central y electroimanes de estator principales pueden ser dispuestos 40 grados
aparte en el alojamiento de motor sobre la periferia de estator. Otras
combinaciones de elementos de rotor y elementos de estator pueden ser
utilizadas para aumentar la torsión o el precio de la rotación.
En otra forma, un segundo electroimán es colocado
a un lado de cada uno de los electroimanes de estator principales en un
centreline 13.5 grados del centreline del imán de estator, y éstos están
excitados en un modelo predeterminado o secuencia. Del mismo modo, a un lado de
cada electroimán de rotor, es un segundo electroimán espaciado en un 13.5 grado
centreline del electroimán de rotor principal. Los electroimanes tanto en el
rotor como en asambleas de estator son idénticos, los electroimanes
individuales de cada uno alineado axialmente y el bobinas de cada uno puesto
instalación eléctrica de modo que cada rotor el poste electromagnético tendrá
la misma polaridad magnética que el electroimán en el estator con el cual es
alineado y que esto encara en el momento de la descarga del condensador.
El cobro del condensador de descarga o
condensadores es llevado a cabo por un recorrido de conmutación eléctrico en
donde la energía eléctrica de una batería u otra fuente del potencial CC es
sacada por la rectificación por diodos.
El condensador que cobra el recorrido comprende un
par de la frecuencia alta switchers que alimentan la ignición de tipo automotor
respectiva bobinas empleado como transformadores de aumento. "La
secundaria" de cada una de la ignición bobinas proporciona una onda de
cuadrado de alta tensión a un rectificador de medio onda para generar un pulso
de salida de alta tensión de la energía d-c con cada alternación de conmutación
de la frecuencia alta switcher. Sólo una polaridad es usada de modo que un
pulso unidireccional sea aplicado al banco condensador cobrado.
Los pulsos unidireccionales sucesivos son
acumulados en el banco condensador o condensador hasta no descargado. La
descarga del banco de condensadores ocurre a través de un hueco de chispa por
el arco-. El espaciado de hueco determina el voltaje en el cual la descarga o
el arco - ocurren. Una serie de huecos
es creada por elementos fijos en el motor elementos que alojan y móviles
colocados en el eje de rotor. En el instante cuando los elementos de hueco
móviles son colocados frente a elementos fijos durante la rotación de rotor,
una descarga ocurre por el bobinas del rotor alineado y electroimanes de
estator para producir la acción de repulsión entre el estator y corazones de
electroimán de rotor.
Una pluralidad de elementos de hueco fijos es
puesta en orden en un alojamiento de motor para corresponder a las posiciones de
los electroimanes de estator en el alojamiento. Los elementos de hueco de rotor
corresponden a las posiciones de los electroimanes de rotor en el rotor de modo
que en el instante de la alineación correcta de los huecos, los condensadores
sean descargados para producir la corriente necesaria por el estator y rotor
bobinas para hacer que los electroimanes repelieran el uno al otro.
El recorrido de cobro es arreglado en pares, y es
tal que la descarga ocurre tanto por rotor como por cuerdas de estator de los
electroimanes, que son el uno frente al otro cuando los elementos de hueco de
chispa son alineados y un arco ocurre entre ellos.
La velocidad del rotor puede ser cambiada por
medio de un mecanismo de embrague asociado con el rotor. El embrague cambia la
posición de los elementos de hueco de rotor de modo que la descarga active el
estator bobinas en una manera para avanzar o retardar el tiempo de descarga con
respecto a las posiciones de alineación de rotor/estator normales. La descarga
por el rotor y estator entonces ocurre cuando el rotor ha pasado el estator por
6.66 grados para el avance de velocidad.
Haciendo la descarga ocurrir cuando la posición de
rotor se acerca al estator, el pulso de repulsión ocurre 6.66 grados antes de
la posición de alineación del rotor y electroimanes de estator, a la baja de
reducir la velocidad de motor.
El mecanismo de embrague para alinear huecos de
descarga condensador a favor de la descarga es descrito como una cabeza de
control. Puede ser comparado con un mecanismo de control de tiroteo en un motor
de combustión interno en el cual esto "enciende" los electroimanes y
provee una vuelta de cualquier descarga se pasan del potencial atrás a la
batería u otra fuente de energía.
La acción de la cabeza de control es muy rápida.
De la descripción anterior, puede ser esperado que un aumento de la velocidad o
una disminución en la velocidad de la rotación puede ocurrir dentro del período
en el cual el electroimán de rotor se mueve entre cualquier par de
electroimanes adyacentes en la asamblea de estator. Éstos son 40 grados aparte
entonces los cambios de velocidad pueden ser efectuados en un máximo de una
novena de una revolución.
Se cree que la acción de cambio de velocidad de
rotor de la cabeza de control y su estructura es rasgos nuevos adicionales de
la invención, en la cual ellos mantienen 120 grado normal que enciende
posiciones durante la velocidad uniforme de condiciones de rotación, pero
cambio a 6.66 grado intervalos más largos o más cortos para el cambio de
velocidad por el mecanismo de cambio nuevo en la asamblea de embrague de rotor.
En consecuencia, la encarnación preferida de esta
invención es un motor rotativo eléctrico en donde la torsión de motor es
desarrollada por la descarga del potencial alto de un banco de condensadores,
por estator y electroimán de rotor bobinas cuando los electroimanes están en la
alineación. Los condensadores son cobrados de baterías por un mecanismo de
conmutación, y son descargados a través del juego de huecos de chispa para
conseguir la descarga del voltaje de precio condensador por el electroimán
bobinas cuando los huecos y el rotor predeterminado y los pares de electroimán
de estator están en la alineación.
BREVE DESCRIPCIÓN DE LOS DIBUJOS

Fig.1 es un diagrama
esquemático de un condensador recorrido de cobro y que descarga utilizado en la
invención presente.

Fig.2 es un diagrama
de bloque de un sistema de motor según la invención.

Fig.3 es una vista de
perspectiva de un sistema de motor típico según la invención, conectada a una
transmisión automotor.

Fig.4 es una vista
seccional axial tomada en la línea 4---4 en Fig.3

Fig.5 es una vista
seccional tomada en la línea 5---5 en Fig.4
Fig.6 y Fig.7 son vistas seccionales
fragmentarias, correspondiente a una porción de Fig.5, ilustrando posiciones
avanzadas sucesivas del rotor de motor.

Fig.8 es una vista de
perspectiva hecha explotar del rotor y el estator del motor de Fig.3 y Fig.4

Fig.9 es una vista
enfadada seccional tomada en la línea 9---9 de Fig.4

Fig.10 es una vista
seccional parcial, similar a la vista de Fig.9, ilustrando una configuración
diferente de electroimanes en otra encarnación de motor de la invención.

Fig.11 es una vista
seccional tomada en la línea 11---11 en Fig.3, la ilustración del control se
dirige o el sistema de control de cambio de velocidad nuevo del motor.

Fig.12 es una vista
seccional, tomada en la línea 12---12 en Fig.11, la exposición de un plato de
embrague utilizado en la velocidad cambia el sistema de control de Fig.11

Fig.13 es una vista
fragmentaria, tomada en la línea 13---13 en Fig.12

Fig.14 es una vista
seccional, tomada en la línea 14---14 en Fig.11, la exposición de un plato de
embrague que coopera con el plato de embrague de Fig.12

Fig.15 es una vista
seccional fragmentaria tomada en la línea 15---15 de Fig.13

Fig.16 es una vista
de perspectiva de electroimanes utilizados en la invención presente.

Fig.17 es una
exposición de diagrama esquemática que coopera rasgos mecánicos y eléctricos de
la porción de programador de la invención.

Fig.18 es un diagrama
esquemático eléctrico de un motor según la invención, mostrando a las
relaciones eléctricas de los componentes electromagnéticos que encarnan un
nuevo principio de la invención, y

Fig.19 es una vista
desarrollada, tomada en la línea 19---19 de Fig.11, la exposición de las
posiciones de elementos de hueco de chispa desplazados de la velocidad que
cambia mecanismo de un motor según la invención.
DESCRIPCIÓN DE LA ENCARNACIÓN PREFERIDA
Como mencionado antes, el principio básico de la
operación del motor de la invención, es la descarga de un condensador a través
de un hueco de chispa y por un inductor. Cuando un par de inductores es usado,
y los corazones magnéticos respectivos de eso son arreglados el uno frente al
otro y arreglados en la oposición a la polaridad magnética, la descarga por
ellos hace que los corazones repelan el uno al otro con la fuerza considerable.

Respecto al diagrama esquemático eléctrico de
Fig.1, una batería 10 energises un mecanismo de vibrador que produce pulso 16,
que puede ser del tipo magnético, incorporando una armadura 15 movimiento entre
contactos 13 y 14, o del tipo de transistor (no mostrado) con cual frecuencia
alta la salida pulsada bipolar es producida en 17 primarios del transformador
20. La amplitud de pulso es aumentada en 19 secundarios del transformador 20. La
forma de onda 19a representa la salida pulsada bidireccional o bipolar. Un
rectificador de diodo 21 productos un tren de pulso unidireccional, como
indicado en 21a, para cobrar condensador 26. Los pulsos unidireccionales
sucesivos de la onda 21a cargan el condensador 26 al nivel alto, como indicado
en 26a, hasta el voltaje en el punto unas subidas bastante altas para causar
una chispa a través del hueco de chispa 30.
Condensador 26 descargas vía el hueco de chispa, por el electroimán
bobina 28. Un pulso corriente es producido que corazón magnetises 28a.
Simultáneamente, otro sistema de cobro considerablemente idéntico 32 productos
una descarga por inductor 27 a través de hueco de chispa 29, para magnetizar
corazón 27a. Los corazones 27a y 28a son enrollar con bobinas 27 y 28
respectivamente, de modo que sus polaridades magnéticas sean el mismo. Cuando los corazones 27a y 28a encaran el uno
al otro, ellos tienden a volar aparte cuando la descarga ocurre por bobinas 27
y 28 debido a la repulsión de postes magnéticos idénticos, como indicado por la
flecha 31. Si el corazón 28a es fijado o inmóvil, y el corazón 27a es movible,
entonces el corazón 27a puede tener instrumentos 33 atado a ello para realizar
el trabajo cuando el condensador descarga.
Respecto a Fig.1 y Fig.2, la fuente eléctrica de
una corriente continua o la batería 10, energises pulsators 36 (incluso al
menos dos vibradores 16 como antes descrito) cuando el interruptor 11 entre la
batería 10 y pulsator 36 está cerrado, aplicar pulsos de frecuencia
relativamente altos a las primarias de transformadores 20. Los secondaries de
transformadores 20 son cuerdas de aumento que aplican pulsos bipolares, como
pulsos 19a (Fig.1) a los diodos en el convertidor 38. La salida unidireccional rectificada que
pulsa de cada uno de los diodos en el convertidor 38 es pasada por la tardanza
bobinas 23 y 24, así formando unas guarniciones 37, enrollar sobre el caso del
motor, como más adelante descrito, que es creído proporcionar un campo de flujo
flotante estático. Las salidas de líneas de tardanza 37, conduzca condensadores
respectivos en bancos 39, cobrar los condensadores allí, a un potencial de precio
relativamente alto. Un programador y
rotor y control de imán de estator serie 40, 41, 42, es formada por huecos de
chispa colocados, como más adelante descrito, de modo que en posiciones
predeterminadas del rotor durante la rotación del motor, como más adelante
descrito, los condensadores seleccionados de los bancos condensador 39
descarguen a través de los huecos de chispa por el rotor y electroimanes de
estator 43 y 44. Los convertidores 38,
programador 40, y mandos 41 y 42, forman un camino de recorrido de serie a
través del secondaries de transformadores 20 a la tierra, o punto del potencial
de referencia, 45. Los bancos condensador 39 son descargados a través de los
huecos de chispa del programador 40 (el rotor y el imán de estator controla 41
y 42). La descarga ocurre por el bobinas de estator y electroimanes de rotor 43
y 44 para dar buenos conocimientos 45. El estator y los electroimanes de rotor
son similares a aquellos mostrados en 27, 27a, 28 y 28a en Fig.1.
La descarga por el bobinas de estator y
electroimanes de rotor 43 y 44 es acompañada por una descarga se pasan o pulso
de vuelta, que es aplicado a una batería secundaria 10a para almacenar esta
energía de exceso. El pulso pasarse
vuelve a la batería 10a porque, después de la descarga, el único camino abierto
a ello es que a la batería 10a, ya que los huecos en 40, 41 y 42 se han
estropeado, porque los condensadores en bancos 39 son descargados y han
recuperado todavía el precio de alta tensión de la frecuencia alta pulsers 36 y
las unidades de rectificador de convertidor 38.
En caso de un tiro fallado en el recorrido de
control de programador 40, 41 y 42, los condensadores son descargados por un
recorrido de descarga de seguridad de rotor 46 y devueltos a baterías 10-10a,
añadiendo a su capacidad. El recorrido 46 está relacionado entre los bancos
condensador 39 y baterías 10, 10a.

Respecto a Fig.3, un motor o el motor 49 según la
invención presente son mostrados relacionados con una transmisión automotor 48.
La transmisión 48, representa una de muchas formas de cargas a las cuales el
motor puede ser aplicado. Un motor que aloja 50, encierra el mecanismo de
operaciones descrito abajo. El
programador 40 es axialmente montado a un final del alojamiento. Por aberturas
51 y 52, un cinturón 53 parejas a una polea 57 (no mostrado en esta vista) y a
un alternador 54 atado a alojamiento 50.
Una polea 55 en el alternador, tiene dos surcos, un para el cinturón 53
a la polea de paseo 58 en el eje (no mostrado) del motor 49, y otro para un
cinturón 58 conectado a una polea 59 en una bomba 60 atado al alojamiento 50,
una caja terminal 61 en el alojamiento, interconecta entre la asamblea de
batería 62 y motor 49 vía cables 63 y 64.
Un consumo 65 para el aire, es conectado para pisar repetidamente 60 vía la tubería 68 y 69 y de la bomba 60 vía tubería o tubería 66 y 70 al interior de alojar 50 vía rebordes que se aparean 67 y 71. El flujo de aire tiende a refrescar el motor y el aire puede ser preferentemente mantenido en una temperatura constante y humedad de modo que una condición de descarga de hueco de chispa constante sea mantenida. Un mecanismo de embrague 80 es proporcionado en el programador 40.

Respecto a Fig.4, Fig.5 y Fig.9, el rotor 81 tiene
asambleas de araña 83 y 84 con tres electroimán bobina juegos de asamblea
montados sobre eso, dos de los cuales son mostrados en Fig.4, en 85, en 85a y
85b y en 86 en 86a y 86b. Uno del tercer electroimán bobina asambleas,
designadas 87a, es mostrado en Fig.5, visto a partir del final de eje. Como más
claramente mostrado en la vista de perspectiva de Fig.8, una tercera asamblea
de araña 88 proporciona la rigidez añadida y un apoyo central al mecanismo de
rotor en el eje 81.

Los juegos de electroimán 85a, 85b, 86a, 86b, 87a
y 87b, dispuesto en rotor 81 y arañas 83, 84 y 88, cada uno comprende pares de
unidades delanteras 85a, 86a y 87a y pares de unidades traseras 85b, 86b y 87b.
Cada par consiste en un electroimán principal y un electroimán menor, como más
adelante descrito, que son incrustados en un material de aislamiento 90, que
aísla el electroimán bobina asambleas el uno del otro y asegura los
electroimanes rígidamente en el lugar en la jaula de araña/rotor 81, 83, 84 y
88.
La pared interior 98, de alojar 50, es cubierta de
un material eléctricamente aislador 99 en que son el electroimán incrustado
bobinas, como más adelante descrito, y los interiores del final platean 100 y
101 del alojamiento 50. En los 98 de superficie de aislamiento de alojar 50 es
montado una serie de pares de electroimán de estator 104a, idéntico con el
electroimán se aparea 85a, 86a, 87a, etc. Los pares de electroimán como 104a o
105a son dispuestos cada 40 grados sobre el interior de alojar 50 para formar
un estator que coopera con el rotor 81-88. Un hueco de aire 110 de la
tolerancia muy cercana es definido entre el rotor y electroimanes de estator y
aire de la bomba 65 flujos por este hueco.
Como mostrado en Fig.8, las asambleas de
electroimán, como 85 a 87, del rotor y asambleas de imán, como 104a en el
estator, son tan empotradas en sus portadores plásticos aisladores respectivos
(rotor y estator) que doblan suavemente sobre ellos en un contorno cóncavo en
el rotor para permitir la rotación lisa y continua del rotor 81 en el estator
que aloja 50. El hueco de aire 110 es uniforme en todas las posiciones de
cualquier elemento de rotor dentro de la asamblea de estator, como es
claramente mostrado en Fig.16.

El rotor 81 y arañas 83, 84 y 88 es rígidamente
montado en el eje 111 journaled en asambleas que llevan 112 y 113 que son del
tipo convencional, para la rotación fácil del eje de rotor 111 dentro del
alojamiento 50.
Alrededor de la superficie externa central de
alojar 50, son enrollar varias vueltas del alambre 23 y 24 para proporcionar un
flujo estático bobina 114 que es una línea de tardanza, como antes descrito.
Los Figs. 5, 6, 7 y 9 son vistas enfadadas seccionales de la asamblea de rotor
81-88, quedado en mostrar la colocación y la alineación del rotor y electroimán
de estator bobina asambleas en etapas sucesivas de la rotación del rotor 81-88
por una porción de un ciclo de operación de eso. Por ejemplo, en Fig.5 la
asamblea de rotor 81-88 es mostrada tan colocada que una asamblea de
electroimán de rotor menor 91 es alineada con una asamblea de electroimán de estator
menor 117.
Como mostrado en el detalle adicional en Fig.16,
la asamblea de electroimán menor 117 consiste en unos 118 principales de
hierro, acanalados de modo que un bobina del alambre 119 pueda ser enrollar
alrededor de ello. Los 118 principales son el mismo en el electroimán de
estator 117 cuando esto está en el electroimán de rotor 91.
Como una posición 13.33 grados a la derecha del
electroimán de rotor 91, como visto en Fig.5 e Fig.16, hay un electroimán de
rotor segundo o principal 121 que tiene una cuerda 123 sobre sus 122
principales. Los electroimanes 91 y 121 son el par 85a de Fig.4 y Fig.8.

En una posición 13.33 grados a la izquierda del
electroimán de estator 117, como visto en Fig.5, hay un electroimán de estator
segundo o principal 120 cuyos 122 principales es de la misma configuración que
122 principales del electroimán de rotor 121. Una cuerda 123 sobre 122
principales del electroimán 120 es del mismo carácter que la cuerda 123 en el
electroimán 121.
El par de asamblea de electroimán 85a en el rotor
es idéntico en la configuración a aquel del par de asamblea de estator de
electroimán 104a excepto la inversión de posición de los elementos 117-120 y
91-121 de los pares respectivos.
Hay más pares de electroimanes 120-117 (104a) localizados
en 40 intervalos de grado sobre el interior de alojar 50. El centreline de 122
principales del electroimán 120 es colocado 13.33 grados a la izquierda del
centreline de 118 principales del electroimán 117. Tres pares de electroimanes
85a, 86a y 87a son proporcionados en la asamblea de rotor 81-88 como mostrado
en Fig.5.
Otras combinaciones son posibles, pero el número
de electroimanes en el rotor siempre debería estar en la fracción integral del
número de electroimanes en el estator. Como mostrado en Fig.8, para la asamblea
de rotor 85a y 85b, hay tres de cada uno del frente y atrás los pares de las
asambleas electromagnéticas. Del mismo modo, como mostrado en Fig.4 e Fig.8,
hay nueve frente y atrás pares de electroimanes en el estator como 104a y 104b.
A fin de entender mejor la operación del rotor
81-88 giro dentro del estator que aloja 50 de un motor según esta invención,
las posiciones de electroimanes de rotor 91 y electroimanes de estator 117 está
al principio exactamente en la línea en el 13.33 grado la posición inicial
periférica marcada en centreline vertical de Fig.5. La dirección tortuosa del bobinas de estos
imanes es tal que una corriente d-c por el bobinas 119 producirá una polaridad
de imán idéntica particular en cada una de las superficies yuxtapuestas 125 del
imán 117 y 126 del imán 91 (Fig.5).
Fig.16 y Fig.6 ilustre el siguiente paso en el movimiento en donde los
dos electroimanes principales, 120 en el estator y 121 en el rotor, están en la
alineación.
Cuando las descargas de corriente continua de los
condensadores apropiados en bancos 39 ocurren simultáneamente a través de
huecos de chispa por el bobinas 119 de electroimanes 117 y 91, en el instante
de su alineación, sus corazones 118, repelerán el uno al otro para hacer que la
asamblea de rotor 81-88 girara dextrórsum en la dirección indicada por la
flecha 127. El sistema no se mueve en la
dirección inversa porque ha sido comenzado en el dextrórsum dirección por el
motor de alternador 54 mostrado en Fig.3, o por algunos otros medios de juez de
salida. De ser comenzado en contrario, el motor seguirá girando en contrario.
Como notado antes, la descarga de cualquier
condensador ocurre sobre un intervalo muy corto vía su hueco de chispa asociado
y la acción de repulsión magnética que resulta imparte el movimiento al rotor.
El acontecimiento de descarga ocurre cuando los electroimanes 117 y 91 están en
la alineación. Como mostrado en Fig.5, el electroimán de rotor 91a es alineado
con el electroimán de estator 117c, y el electroimán de rotor 91b es alineado
con el electroimán de estator 117e al mismo tiempo que los electroimanes
similares 117 y 91 son alineados. Una descarga ocurre por todos los seis de
estos electroimanes simultáneamente (es decir 117, 91, 117c, 91a, 117e y 91b). Se requieren un condensador y un hueco de
chispa para cada bobina de cada electroimán. Donde, como en la asamblea
mostrada en Fig.8, los pares delanteros y traseros son usados, tanto el frente
en línea axial como atrás los bobinas son activados simultáneamente por la
descarga de un condensador solo o de un banco de condensadores paralleled como
25 y 26 (Fig.1). Aunque Fig.4 e Fig.8
indiquen el uso de frente y electroimanes traseros, debería ser evidente que
sólo un electroimán solo en cualquier posición de estator y un electroimán solo
correspondiente en la posición de rotor, puede ser utilizado para llevar a cabo
la acción de repulsión del rotor con respecto al estator. Como declarado, cada
electroimán requiere que una descarga de un banco condensador o condensador
solo a través de un hueco de chispa para ello sea activada, y la polaridad
magnética de las caras principales magnéticas yuxtapuestas debe ser el mismo, a
fin de efectuar la acción repulsiva requerida producir el movimiento rotatorio.
Respecto a Fig.5 y Fig.6, la acción de repulsión
hace que el rotor mueva 13.33 grados dextrórsum, mientras los electroimanes 91,
91a y 91b alejan de electroimanes 117, 117c y 117e para traer electroimanes
121, 121a y 121b en la alineación respectiva con electroimanes 120a, 120 y
120f. En este tiempo, una descarga condensador a través de un hueco de chispa
en su bobinas 123 ocurre, así movimiento del rotor. Otros 13.33 grados delante,
como mostrado en el Fig.7, electroimanes principales 121, 121a y 121b entran en
la alineación con electroimanes menores 117a, 117 y 117f, en cual tiempo una
descarga ocurre a la repetición la acción de repulsión, esta acción que sigue
mientras d-c poder es aplicada al sistema para cobrar los bancos condensador.
Fig.18 adelante ilustra la secuenciación de las
descargas condensador a través de pares de terminal de hueco de chispa
apropiados. Nueve estator solo bobinas y tres rotor solo bobinas es mostrado
con sus interconexiones respectivas con los huecos de chispa y condensadores
con los cuales ellos tienen que ver para la descarga. Cuando los terminales de hueco de chispa
apropiados son alineados, en los puntos en la colocación de la asamblea de
rotor para la acción de repulsión más eficaz de corazones de electroimán
yuxtapuestos, la descarga de los condensadores cargados apropiados a través del
hueco de chispa asociado ocurre por bobinas respectivo. Los condensadores son descargados es juegos
de tres, por juegos de tres bobinas en cada posición de descarga, como los
movimientos de rotor por las posiciones de rotor. En el Fig.18, los
electroimanes de rotor son colocados en línea recta, más bien que en una base
circular, mostrar la acción eléctrica de un motor eléctrico según la invención. Estos electroimanes de motor 201, 202 y 203
son alineados con electroimanes de estator 213, 214 y 215 en 0 grados, 120
grados y 240 grados respectivamente. Los electroimanes de estator son
proporcionalmente mostrados en un esquemático lineal como si hecho rodar de la
asamblea de estator y estuvo lado al lado.
Para la claridad de la descripción, los condensadores asociados con la
operación de rotor 207, 208, 209 y 246, 247, 248, 249, 282 y 283, son
arreglados en la alineación vertical con las posiciones respectivas del rotor
bobinas 201, 202 y 203 cuando ellos se mueven de la izquierda a la derecha,
este correspondiente a dextrórsum la rotación del rotor. El estator bobinas
213, 214, 215, 260, 261, 262, 263, 264, 265, 266, etc. y combinaciones
condensador es arreglado lado al lado, otra vez facilitar la descripción.
Un disco insulative 236 (mostrado en Fig.17 como
un disco pero abierto en línea recta en el Fig.18) ha montado sobre eso, tres
terminal de hueco se obstruye 222, 225 y 228. Cada bloque es rectangularmente U
formado, y cada uno interconecta dos terminales con la base del U. El bloque
222 tiene terminales 222a y 222b. El bloque 225 tiene terminales 225a y 225b.
El bloque 228 tiene terminales 228c y 228.
Cuando el disco insulative 230 es la parte del rotor como indicado por
el encadenamiento mecánico 290, se puede ver que el terminal U 222 crea un par
de huecos con terminales de hueco 223 y 224 respectivamente. Así, cuando el
voltaje en el condensador 216 de cobrar unidad 219, es de un valor que formará
un arco sobre los espacios aéreos entre 222a y 223, y entre 222b y 224, el
condensador 216 descargará por el bobina del electroimán 213 para dar buenos
conocimientos. Del mismo modo, el
terminal de hueco U 225 formas un hueco de chispa dual con terminales de hueco
226 y 227 para causar arco - cuando el voltaje en el condensador 217, cobrado
cobrando el recorrido 220, descarga en el bobina del electroimán 214. También,
terminal de U-hueco 228 con terminales 228c y 228, crea un hueco de chispa con
terminales 229 y 230 para descargar el condensador 218, cobrado cobrando el
recorrido 221, en bobina 215. Al mismo tiempo, rotor bobinas, 201, 202 y 203 a
través de huecos 201a - 204, 202b - 205 y 203c - 206 cada uno recibe una
descarga de condensadores respectivos 207, 208 y 209.
Cuando el electroimán bobinas 213, 214 y 215 y
201, 202 y 203 es activado, la acción de repulsión hace que la asamblea de
rotor se mueva para colocar 2 donde un nuevo grupo simultáneo de descargas
ocurre en el rotor bobinas 201, 202 y 203 de condensadores 246, 248 y 282 a
través de huecos 201a - 240, 202b - 242 y 203c - 244. Simultáneamente, porque
gap-U-elements 222, 225 y 228 también se han movido para colocar 2 con la
asamblea de rotor, el condensador 261 es descargado por el electroimán bobina
260, el condensador 265 es descargado por el electroimán bobina 264, y el
condensador 269 es descargado por el electroimán bobina 268 en línea con la
posición 2 del electroimán de rotor bobinas, así para causar los electroimanes
de rotor para moverse para colocar 3 donde el modelo de descarga es repetido
ahora con condensadores 247, 249 y 283 descarga por el electroimán de rotor
bobinas 201, 202 y 203, y los condensadores 263, 267 y 281 descarga
respectivamente por el electroimán de estator bobinas 262, 266 y 280.
Después de cada descarga, el recorrido de cobro
219 - 221 y 272 - 277 para los condensadores de estator, y 210 - 212 y 284 -
289 para los condensadores de rotor, es hecho funcionar continuamente de una
fuente de batería como descrito antes en cuanto a Fig.1, recargar
constantemente los condensadores con los cuales cada uno está relacionado. Aquellos versados en el arte apreciarán que,
como cada descargas condensador a través de un hueco de chispa asociado,
resultar pasa al potencial a través del hueco da el hueco un recorrido abierto
hasta cuando el condensador pueda recargar al arco - sobre el nivel para el
hueco. Este recarga ocurre antes de que un elemento de rotor llegue a la
siguiente posición en la rotación.
El diagrama esquemático mecánico de Fig.17, adelante
clarifica la operación del sistema de programación de descarga de hueco de
chispa. Un disco avanzado 236 de eléctricamente insulative material, tiene
sobre eso el juego de los conectores de terminal de hueco formados de U antes
descritos. Éstos son colocados en 0 grados, 120 grados y 240 grados
respectivamente. En Fig.17, las
representaciones esquemáticas de la posición del bobina y arreglos condensador
ante el principio de un ciclo son mostradas para corresponder a la susodicha
descripción en cuanto a Fig.18. En
consecuencia, el bobina y las combinaciones condensador 213/216, 214/217 y
215/218 son mostrados relacionados con sus terminales de hueco,
respectivamente, 223/224, 226/227 y 229/230. En el rotor bobina y unión
condensador, tres discos separados 291, 292 y 293 son mostrados, cada uno con
un terminal de hueco solo. Los discos 291 - 293 son hechos girar para colocar
sus terminales de hueco respectivos 201a, 201b y 201c, en 120 incrementos de
grado, con la 0 posición de grados correspondiente a la 0 posición de grados del
terminal de U-hueco 222 en el disco 230.
Los terminales de hueco representativos son
mostrados sobre las periferias de discos 230, 291 - 293 para indicar claramente
como, como la vuelta de discos en la armonía, las alineaciones de hueco
corresponden de modo que tres rotor bobinas siempre se alinee con tres estator
bobinas en 120 intervalos de grado sobre el camino rotatorio, produciendo una
alineación cada 40 grados, allí siendo nueve estator bobinas. Así, hay tres descargas simultáneas en el
estator bobinas y tres en el rotor bobinas en cada 40 posición de grado. Nueve
posiciones desplazaron 40 grados aparte proporcionan un total de 27 puntos de
descarga para condensadores en el rotor bobinas y 27 puntos de descarga para
condensadores en el estator bobinas en una revolución del rotor.
Será entendido que, como ilustrado en Fig.17 y
Fig.18, nueve electroimán individual bobinas es mostrado en el estator y tres
en el rotor, a fin de mostrar en su forma más simple, como los tres
electroimanes de rotor son andados avanzados de la alineación con tres de los
electroimanes de estator, cuando los huecos de chispa apropiados están en la
alineación, efectuar la descarga de condensadores por pares yuxtapuestos de
electroimanes de rotor/estator. La
repulsión mueve el electroimán de rotor del electroimán de estator a la
siguiente posición de alineación 40 grados adelante en. En el intervalo, hasta
que otro electroimán de rotor, 120 grados quitados, sea alineado con el
electroimán de estator que había sido pulsado sólo, el condensador asociado es
recargado. Así, el rotor se mueve de una posición al siguiente, con descargas
condensador que ocurren cada uno 40 grados de la rotación, un total de nueve
por revolución. Debería ser obvio que,
con otras combinaciones de rotor/estator, el número de coincidencias de
electroimán y descargas de hueco de chispa variará. Por ejemplo, con los pares
de bobina mostrados en Figs 4 por 8, un total de 27 descargas ocurrirá. Aunque
haya 18 electroimanes de estator y 3 electroimanes de rotor, el modelo de
descarga es determinado por el arreglo de hueco de chispa específico.
La configuración de rotor/estator de Fig.5 y
Fig.8, la implicación de los pares principales y menores de electroimanes, como
85a y 104a (los términos "menor" "y el comandante" que se
refiere a la diferencia en el tamaño de los elementos), incluye nueve pares de
electroimanes en el estator, como 104a, con tres pares de electroimán del
rotor, como 85a. A causa de la 13.33
separación de grado entre los electroimanes principales y menores en el par de
rotor 85a, con la misma separación de electroimanes menores y principales del
par de estator 104a, la secuencia de rotación y descarga descrita encima, con
respecto al ejemplo ilustrativo de Fig.5, implica el siguiente:
1. Un elemento menor 117
del par de estator 104a es alineado con el elemento menor 91 del par de rotor
85a. En la descarga, este mueve el rotor delante 13.33 grados.
2. El elemento de rotor
principal 122 del par 85a, ahora es alineado con el elemento de estator principal
120b del siguiente par de electroimán de estator, en la serie de estator como
mostrado en Fig.6. En la descarga, el
rotor mueve delante 13.33 grados.
3. Este trae el electroimán
de rotor menor 91 en la alineación con el electroimán de estator principal 120b
del par 104, y el electroimán principal 122 (sólo descargado) del par 85a en la
alineación con el electroimán menor 117b del par 104, y los elementos de hueco
de chispa de rotor en la alineación con una posición diferente de elementos de
hueco relacionados con condensadores no descargados en la posición anterior del
rotor.
Debería ser recordado en este punto que esto es la
colocación de una serie de hueco de chispa de que puede ser hecho girar,
similar a esto ilustrado en Fig.17 y Fig.18, que controla el tiempo de descarga
de condensadores relacionados con estos terminales de hueco. Por lo tanto,
cualquier electroimán puede ser activado dos veces, sucesivamente, de
condensadores separados cuando el rotor trae terminales de hueco apropiados en la
alineación con los terminales bobina de un electroimán particular.
Así, aunque el electroimán principal 120b del par
104 haya sido activado sólo como descrito encima, puede ser activado ahora otra
vez junto con el electroimán de rotor menor 91 en el paso 3, porque el rotor se
movió a un nuevo juego de terminales de las series de hueco de chispa
relacionadas con condensadores que han sido todavía descargados. Estos condensadores ahora descargan por
electroimán de rotor 91 y electroimán de estator 120b, haciendo el rotor mover
delante otros 13.33 grados, así otra vez alineando dos electroimanes menores
otra vez, estos siendo 117b del estator se aparean 104 y 91 del par de rotor
85a. El rotor ha movido ahora 40 grados desde el paso 1 encima. La secuencia es
repetida ahora indefinidamente. Debe ser notado que en cada 13.33 paso de
grado, las descargas conducen el rotor otros 13.33 grados. Hay 27 pasos por
revolución con nueve estator bobina pares. La secuencia de descarga no es
uniforme, como es mostrado en Tabla 1. En
el estator, tres electroimanes principales 120 grados aparte son activados dos
veces en la secuencia, seguida de un hiato de un paso mientras tres
electroimanes menores del estator, 120 grados aparte, son activados durante el
hiato. En el rotor los electroimanes principales son activados durante un paso
de hiato después de dos electroimán menor energisation pasos. Un total de 27
energisations es este llevó a cabo en los nueve pares de bobinas del estator.
En el estator, tres electroimanes principales 120
grados aparte son activados dos veces en la secuencia, seguida de un hiato de
un paso mientras tres electroimanes menores del estator, 120 grados aparte, son
activados durante el hiato. En el rotor los electroimanes principales son
activados durante un paso de hiato después de dos electroimán menor
energisation pasos. Un total de 27 energisations es este llevó a cabo en los
nueve pares de bobinas del estator.

Del mismo modo, en el paso 1, el brazo de rotor 86
está en la 133.33 posición de grado que tiene dos electroimanes menores en la
alineación, lista para la descarga. Simultáneamente, el brazo de rotor 87 está
en la 253.33 posición de grado con dos electroimanes menores alineados a favor
de la descarga condensador. Los otros pasos de la secuencia son aparentes de
Tabla 1, para cada posición de las tres armas de rotor en cualquier paso y las
yuxtaposiciones de estator respectivo y elementos de electroimán de rotor en
aquella posición.
En el arreglo de motor simplificado mostrado en la
forma esquemática en Fig.18, con la configuración de electroimán sola, la
alineación es uniforme y las secuencias de descarga siguen secuencialmente.
Como mencionado antes, un cambio de la velocidad
es efectuado desplazando los terminales de hueco de chispa de estator en el
rotor (mostrado en 236 en Fig.17 y Fig.18) en contrario o dextrórsum 6.66
grados de modo que la posición de descarga de los electroimanes de estator sea
desplazada. Respecto a Figs. 11 a 15, la descarga simultánea de condensadores
seleccionados en los electroimanes desplazados causa una desaceleración si el
electroimán de rotor se acerca al electroimán de estator en el momento de la
descarga, o una aceleración si el electroimán de rotor deja el electroimán de
estator en el momento del pulso de descarga. En cada acontecimiento, hay una
reacción repulsiva entre el estator y electroimanes de rotor que efectúa este
cambio de la velocidad.
Respecto a Fig.11, el mecanismo de embrague 304
sobre el eje 111 es hecho funcionar electromagnético en la manera convencional,
desplazar el mecanismo de hueco de chispa 236 que es hecho funcionar
normalmente en la alineación de correspondencia apropiada con los discos de
hueco de chispa de rotor 291, 292 y 293.
El embrague 304 tiene un elemento de paseo fijo 311, conteniendo un
paseo electromagnético bobina (no mostrado) y un elemento de motor 310 que,
cuando el paseo electromagnético bobina es activado, puede ser hecho funcionar
por una corriente directa. La operación del elemento de motor 310, trae en la
operación, elementos de hueco de chispa 224r, 223r o 223f, 224f del sistema
mostrado en Figs. 4, 5 y 8, como
ilustrado en Fig.19.
El estator fijo bobina terminal de hueco de chispa
se aparea 223, 224 y 266, 267 son puestos en orden sobre un marco cilíndrico 322
que es fabricado en el material insulative. En el ejemplo ilustrativo de Fig.17
y Fig.18, hay nueve tales pares de terminal de hueco de chispa colocados
alrededor de la periferia del marco de cilindro 324. En el motor de Figs. 4 a
8, un total de 27 tales pares de hueco de chispa está implicado. Además, aunque
no mostrado en el dibujo, haya también los pares de terminales, como 223r o
223f, 224r o 224f y 226r o 226f, 267r o 267f, desplazó 6.66 grados a ambos
lados de los pares 223, 224 o 266, 267 y todos otros pares en la serie de hueco
de chispa, las cartas r y "f" que denota "al retraso"
"o más rápido". Los pares desplazados de éste son usados en el
control de la velocidad del rotor de motor. Los pares desplazados no mostrados
están implicados en la operación del embrague 304, el elemento de control que
cambia velocidad.
El embrague 304 tiene que ver con el eje 111 en
esto el elemento movible 310 empates agarran el elemento de disco 316 en el eje
111, lejos del elemento de disco de embrague 322 cuando activado por un voltaje
de la polaridad apropiada aplicada a su electroimán de motor 311. Tales paseos
de embrague son conocidos en el arte.
El mecanismo de embrague 304 de Fig.11 y Fig.19, cuando
no activado, está en la configuración mostrada en Fig.11. La configuración activada del embrague 304 no
es expresamente ilustrada. Sobre energisation, el elemento de hueco de chispa
222 en el disco 236 es desplazado a la derecha, como visto en Fig.11, por
líneas rotas 236X, en alineación con las posiciones de terminales de hueco de
chispa fijos 223f, 224f y 267r, 266r. Cuando el disco está en la posición 236X,
el borde aplanado 332 del alfiler 330 en el disco 325 paseos en la superficie
350 del disco 322. Normalmente, los bordes aplanados 351 de alfileres 330 son contratados
contra el borde llano 352 en el hueco 331 del disco 322. El desplazamiento de disco 322 en el eje 111
es efectuado por la acción del embrague 304 contra la primavera 314 (Fig.11).
Un interruptor eléctrico (no mostrado) del mecanismo de embrague 304 energises
ello de una fuente de alimentación d-c, y tiene dos posiciones, un para la
desaceleración y un para la aceleración. En la una o la otra posición, agarre
304 es contratado para tirar el disco de embrague 322 del disco de embrague
325,. Para decelerar o la posición
aceleraré, la alineación desplazada de elementos de hueco de chispa 222 es con
el 224f, 223f y el 224r, 223r elementos de terminal de hueco de chispa. Sin
embargo, sólo el 224f, 223f los elementos de hueco de chispa son cambiados en
la operación con condensadores apropiados para la posición aceleraré, mientras
en la posición deceleraré, sólo el 223r y 224r los elementos de hueco de chispa
son cambiados en el recorrido con sus condensadores asociados.
Por supuesto, cuando el disco insulative 236 es
desplazado por el embrague 304, sus terminales de hueco 222, 225 y 228 (Fig.14 y
Fig.18) son todos desplazados en la posición de alineación de 236X para
contratar el "r" y líneas f de elementos de hueco de chispa fijos.
Aunque acelerar y decelere las posiciones del disco 236 son el mismo, esto es
la conmutación en la operación de los 223, 224 o 266, 267 r ejemplares o
pares de "f" de terminales que determina si el rotor se apresurará o
reducirá la velocidad.
El desplazamiento momentáneo de disco de embrague
322 de disco de embrague 325 resultados en rotación de disco 325 sobre disco
322 por un ángulo de 120 grados. La pelota detent y mecanismo de primavera 320,
321 en disco 325, posiciones sí mismo entre un hoyuelo detent 328 y uno sucesivo
328 en una posición 120 grados lejos en disco 325.
Como declarado, 332 llanos de alfiler 330 paseos
en superficie 350 de disco 322, y alfiler 330 hojas el surco que sostiene
alfiler 331/352 a lo largo de rampa 333 en disco 322 durante el levantamiento
momentáneo de disco 322 por embrague 304. El alfiler 330 retrocede en el
siguiente surco 331 en un punto 120 grados adelante en aproximadamente el disco
322. Fije 330 caídas en el lugar en el surco 331 rampa de acceso 334. Los
alfileres 330 son que puede ser hecho girar en sus enchufes 353, de modo que
para dextrórsum o en contrario rotación, los 351 llanos contraten los 352
llanos por la rampa particular que esto encuentra.
La desaceleración o la aceleración debido a la
acción de embrague 304 así ocurren dentro de un 120 intervalo de grado de la
rotación del disco 325. Durante este intervalo, el disco 322 sólo puede mover
una fracción de este arco.
Allí ha sido descrito antes, un sistema de motor
electromotor en donde al menos un electroimán está en una posición fija y un
segundo electroimán de la configuración similar es yuxtapuesto con ello en una
relación de polaridad magnética tal que, cuando los corazones de los
electroimanes son activados, las caras principales yuxtapuestas repelen el uno
al otro. Un corazón fijado, y el segundo
corazón siendo libre de moverse, cualquier accesorio al segundo corazón de
electroimán se moverá con ello. De ahí, si una pluralidad de corazones fijos es
colocada sobre una circular que encajona el alojamiento, y, dentro del
alojamiento, los corazones en un eje son libres de moverse, el eje es impulsado
rotatoriamente cada vez que los corazones fijos y que puede ser hecho girar
yuxtapuestos están en la alineación y activado.
Tanto el fijo como los corazones movibles están relacionados para
provocar elementos de terminal de hueco y los otros elementos terminales
asociados de los huecos de chispa están relacionados con condensadores que son
cargados a la alta tensión de generadores de señal unipolares pulsados. Estos
condensadores son descargados por los electroimanes a través de los huecos de
chispa. Cambiando grupos seleccionados de condensadores en pares seleccionados
de elementos de hueco de chispa para la descarga por los electroimanes, el
rotor de los sistemas de serie circulares es acelerado y deceleró.
Encajonando un electroimán fijo ponen en orden en
una configuración lineal, con un electroimán en línea recta movible al cual un
instrumento de funcionamiento es atado, excitando los pares yuxtapuestos de
electroimanes por la descarga condensador, causa la generación de fuerza lineal
para tales instrumentos como prensas de perforadora, o para descargar
proyectiles con una cantidad grande de la energía.
EDWIN GRAY
Patente US 4,595,975 17 de junio, 1986 Inventor: Edwin V. Gray snr.
SUMINISTRO DE ENERGÍA EFICIENTE
SUITABLE PARA CARGAS INDUCTIVAS
Por favor note que este es un extracto expresado
con otras palabras de esta patente. Esto describe la circuitería usada con el
tubo de poder de Edwin Gray. Por favor esté Edwin consciente querido a toda
costa, para ocultar cualquier tecnología útil consiguiendo patentes para animar
a inversionistas, tan por favor entienden que esta patente no es querida para
decirle como hacer un sistema de funcionamiento de este tipo.
Fig.1 es un diagrama de recorrido esquemático
del sistema de conducción eléctrico.
Fig.2 es una vista seccional elevational del
elemento de conversión eléctrico.
Fig.3 es un plan vista seccional tomada a lo
largo de la línea 3--3 de Fig.2.
Fig.4 es un plan
vista seccional tomada a lo largo de la línea 4--4 de Fig.2.
Fig.5 es un diagrama de recorrido esquemático
del recorrido de entrada de corriente alterna.
RESUMEN DE LA INVENCIÓN
La invención presente proporciona un sistema de
conducción más eficiente que comprende una fuente del voltaje eléctrico; un
vibrador relacionado con la fuente de voltaje bajo para formar una señal que
pulsa; un transformador relacionado con el vibrador para recibir la señal que
pulsa; una fuente de alta tensión, donde disponible, relacionado con un
rectificador de tipo de puente; o el rectificador de tipo de puente relacionado
con la alta tensión pulsa la salida del transformador; un condensador para
recibir el voltaje pulsa la salida; un elemento de conversión que tiene primero
y segundos ánodos, medios eléctricamente propicios para recibir un precio
colocado sobre el segundo ánodo y un terminal de salida relacionado con el
precio que recibe medios, el segundo ánodo relacionado con el condensador; un
conmutador relacionado con la fuente de voltaje eléctrico y al primer ánodo; y
una carga inductiva se unió al terminal de salida por lo cual una descarga de
energía alta entre los primeros y segundos ánodos es transferida al precio que
recibe medios y luego a la carga inductiva.
Como una subcombinación, la invención presente también incluye un elemento de
conversión que comprende un alojamiento; un primer ánodo de voltaje bajo
montado al alojamiento, el primer ánodo adaptado para estar relacionado con una
fuente de voltaje; un segundo ánodo de alta tensión montado al alojamiento, el
segundo ánodo adaptado para estar relacionado con una fuente de voltaje; medios
eléctricamente propicios colocados sobre el segundo ánodo y espaciado de allí
para recibir un precio, el precio que recibe medios montados al alojamiento; y
un terminal de salida que comunica con el precio que recibe medios, dijo el
terminal adaptado para estar relacionado con una carga inductiva.
La invención también incluye un método para proporcionar el poder con una carga
inductiva que comprende los pasos de proporcionar una fuente de voltaje,
pulsando una señal de la fuente dicha; el aumento del voltaje de señal dicha;
la rectificación dijo la señal; el almacenaje y el aumento de la señal; la
conducción dijo la señal a un ánodo de alta tensión; el suministro de un
voltaje bajo a un segundo ánodo para formar una descarga de energía alta;
electrostatically enganche de la descarga a un precio que recibe elemento; la
conducción de la descarga a una carga inductiva; el enganche de un segundo
condensador a la carga; y conectando el segundo condensador a la fuente.
Esto es un objetivo de la invención presente proporcionar un sistema para
conducir una carga inductiva qué sistema es considerablemente más eficiente que
alguno ahora la existencia. Otro objeto de la invención presente es
proporcionar un sistema para conducir una carga inductiva que es confiable, es
barata y simplemente construida.
Los objetos anteriores de la invención presente juntos con varios otros objetos,
ventajas, figuran y resultan de eso que será evidente a aquellos expertos en el
arte en la luz de esta revelación puede ser conseguido con la encarnación
ejemplar de la invención descrita detalladamente más adelante e ilustró en los
dibujos de acompañamiento.
DESCRIPCIÓN DE LA ENCARNACIÓN PREFERIDA
Mientras la invención presente puede tener varias
modificaciones y construcciones alternativas, una encarnación es mostrada en
los dibujos y será aquí descrita detalladamente.
Allí es revelado aquí un sistema de conducción eléctrico que, en la teoría,
convertirá el voltaje bajo energía eléctrica de una fuente como un acumulador
eléctrico a un potencial alto, pulso de energía corriente alto que es capaz de
desarrollar una fuerza trabajadora en la salida inductiva del dispositivo que
es más eficiente que esto que es capaz de ser desarrollado directamente de la
fuente de energía. La mejora de la eficacia es realzada adelante por la
capacidad del dispositivo de devolver aquella porción de la energía inicial
desarrollada, y no usada por la carga inductiva en la producción de la energía
mecánica, al mismo o segundo embalse de energía o fuente para el uso en otra
parte, o para el almacenamiento.
Este sistema lleva a cabo los resultados declarados encima enjaezando "el
electrostático" o energía "de impulso" creada por una chispa de
intensidad alta generada dentro de una conversión eléctrica especialmente
construida que cambia el tubo de elemento. Este elemento utiliza un ánodo de
voltaje bajo, un ánodo de alta tensión, y uno o varios
"electrostático" o el precio que recibe rejillas. Estas rejillas son
de un tamaño físico, y apropiadamente colocadas, para ser compatibles con el
tamaño del tubo, y por lo tanto, directamente relacionadas hasta un total de la
energía para ser esperada cuando el dispositivo funciona.
El ánodo de voltaje bajo puede incorporar un dispositivo resistivo para ayudar
en el control de la cantidad de corriente dibujado de la fuente de energía.
Este ánodo de voltaje bajo está relacionado con la fuente de energía por un
conmutador mecánico o pulser transistorizado que controla el cronometraje y la
duración de la chispa de energía dentro del elemento. El ánodo de alta tensión
está relacionado con una alta tensión - potencial desarrollado por el recorrido
asociado. Una descarga de energía ocurre dentro del elemento cuando el
recorrido de control externo permite. Esta duración corta, alta tensión, el
pulso de energía alto corriente es capturado por las rejillas
"electrostáticas" dentro del tubo, almacenó momentáneamente, luego
transferido a la carga de salida inductiva.
El aumento de la eficacia esperada en la conversión de la energía eléctrica a
la energía mecánica dentro de la carga inductiva es atribuido a la utilización
del cronometraje más óptimo en la introducción de la energía eléctrica al
dispositivo de carga, para el período óptimo del tiempo.
El realce adicional de la conservación de energía es llevado a cabo capturando
una porción significativa de la energía generada por la carga inductiva cuando
el campo de energía útil sufre un colapso. Esta energía es normalmente disipada
en pérdidas de carga que son al contrario de la utilización de energía deseada,
y han sido aceptadas antes porque ningunos medios convenientes habían sido
desarrollados para enjaezar esta energía y restaurarlo a un dispositivo de
almacenamiento de energía.
La invención presente está preocupada por dos conceptos o características. La
primera de estas características es observada con la introducción de un perro
callejero de activación - alquilan por el inductor. El inductor crea una fuerza
contraria (contrafuerza electromotriz o CEMP) que se opone a la energía
introducida en el inductor. Estos aumentos de CEMF a lo largo del tiempo la
energía introducida aumentan.
En aplicaciones normales de una corriente alterna a una carga inductiva para
aplicaciones mecánicas, el trabajo útil del inductor es llevado a cabo antes de
la terminación de la aplicación de energía. La energía de exceso aplicada es
así gastada.
Las tentativas anteriores de proporcionar entradas de energía a un inductor de
duraciones de tiempo limitadas con aquel período cuando la transferencia óptima
de la energía inductiva a la energía mecánica ocurre, han sido limitadas por la
capacidad de cualquier tal dispositivo de manejar la corriente alta requerida
optimizar la transferencia de energía.
La segunda característica es observada cuando la activación corriente es
quitada del inductor, Cuando la corriente es disminuida, el inductor genera un
EMF que se opone al retiro de corriente o, en otras palabras, produce una
fuente de energía en la salida del inductor que simula la fuente de energía
original, reducida por la energía actual quitada del recorrido por la carga
mecánica. Este "se regeneró", o exceso, la energía ha sido antes
perdida debido a un fracaso de proporcionar una capacidad de almacenamiento de
esta energía.
En esta invención, una alta tensión, el pulso de energía de duración alto
corriente, corto es aplicado a la carga inductiva por el elemento de conversión.
Este elemento hace posible el uso de seguro de aquella energía impresionado
dentro de un arco a través de un hueco de chispa, sin el empejoramiento
consiguiente de elementos de recorrido normalmente asociado con la energía alta
arcos eléctricos.
Esta invención también asegura la captura de una cierta porción de la energía
inducida por la patada inductiva alta producida por la retirada abrupta de la
corriente introducida. Esta retirada abrupta de los corrientes es el asistente
sobre la terminación del arco de estimulación. El punto de voltaje tan creado
es impuesto sobre un condensador que conecta la corriente asistente a un
dispositivo de almacenamiento de energía secundario.
Una novela, pero no esencial, el arreglo de recorrido asegura la conmutación de
la fuente de energía y el dispositivo de almacenamiento de energía. Esta
conmutación puede ser tan arreglada para actuar automáticamente en tiempos
predeterminados. La conmutación puede ser en períodos especificados
determinados por la experimentación con un dispositivo particular, o puede ser
actuada por un poco de dispositivo de control que mide el contenido de energía
relativo de los dos embalses de energía.

Referencia ahora a Fig.1, el sistema 10 será descrito en el detalle adicional.
El potencial para la alta tensión - ánodo, 12 del elemento de conversión 14 son
desarrollados a través del condensador 16. Este voltaje es producido dibujando
una corriente baja de una fuente de batería 18 por el vibrador 20. El efecto
del vibrador debe crear una entrada de pulsación al transformador 22. La
proporción de vueltas del transformador es elegida para optimizar el voltio -
edad aplicada a un rectificador de tipo de puente 24. La salida del
rectificador es entonces una serie de pulsos de alta tensión de la corriente
modesta. Cuando la fuente disponible es ya de la alta tensión, tipo de
corriente alterna, puede ser conectado directamente al rectificador de tipo de
puente.
Por la aplicación repetitiva de estos pulsos de salida del rectificador de tipo
de puente al condensador 16, una alta tensión, el precio de alto nivel es
aumentado en el condensador.
El control de la conversión que cambia el tubo de elemento es mantenido por un
conmutador 26. Una serie de contactos montados radialmente sobre unos ejes o un
dispositivo de conmutación transistorizado sensible al tiempo u otra variable
puede ser usada para este elemento de control. Un tubo de elemento de
conmutación escribe a máquina el camino de energía de dirección única 28 es
introducido entre el dispositivo de conmutador y la conversión que cambia tubo
de elemento para prevenir energía alta de formar un arco en el conmutador
camino corriente. Cuando el tubo de elemento de conmutación está cerrado,
corriente de la fuente de voltaje 18 es derrotado por un elemento resistivo 30
y un ánodo de voltaje bajo 32. Este causa una descarga de energía alta entre
los ánodos dentro de la conversión que cambia el tubo de elemento 14.
El contenido de energía del pulso de energía alto es electrostatically
conectado a las rejillas de conversión 34 del elemento de conversión. Este
precio electrostático es aplicado por un terminal de salida 60 (Fig.2) a través
de la inductancia de carga 36, induciendo un campo electromagnético fuerte
sobre la carga inductiva. La intensidad de este campo electromagnético es
determinada por el potencial electromotor alto desarrollado sobre las rejillas
electrostáticas y la duración de tiempo muy corta requerida desarrollar el
pulso de energía.
Si la carga inductiva es conectada magnetically a una carga mecánica, una
torsión inicial fuerte es desarrollada lo que puede ser eficazmente utilizado
para producir el trabajo físico.
Sobre el cese del pulso de energía (arco) dentro de la conversión que cambia el
tubo de elemento la carga inductiva es desacoplada, permitiendo al campo
electromagnético sobre la carga inductiva sufrir un colapso. El colapso de este
campo de energía induce dentro de la carga inductiva EMF contrario. Este EMF contrario crea un potencial positivo
alto a través de un segundo condensador que, por su parte, es inducido en el
segundo dispositivo de almacenamiento de energía o batería 40 como un cobro
corriente. La cantidad de culpar corriente disponible a la batería 40 es el
dependiente sobre las condiciones iniciales dentro del recorrido en el momento
de la descarga dentro de la conversión que cambia el tubo de elemento y la
cantidad de la energía mecánica consumida por la carga de trabajo.
Un dispositivo de protección de hueco de chispa 42 es incluido en el recorrido
para proteger la carga inductiva y los elementos de rectificador de corrientes
de descarga excesivamente grandes. Si los potenciales dentro del recorrido
exceden valores predeterminados, fijados por el tamaño mecánico y el espaciado
de los elementos dentro del dispositivo protector, la energía de exceso es
disipada (evitada) por el dispositivo protector al recorrido común (tierra
eléctrica).
Los diodos 44 y 46 evitan el exceso se pasan generado cuando la Conversión de
Energía que Cambia el Tubo de Elemento es provocada. Un elemento de
conmutación U permite que la una o la otra fuente de almacenamiento de energía
sea usada como la fuente de energía primaria, mientras la otra batería es usada
como la unidad de recuperación de energía. El interruptor facilita intercambiar
la fuente y la unidad de recuperación en intervalos óptimos para ser
determinados por la utilización de la conversión que cambia el tubo de
elemento. Esta conmutación puede ser llevada a cabo a mano o automáticamente,
como determinado por la opción de cambiar el elemento de entre una variedad
grande disponible en el acto para el objetivo.


Fig.2, Fig.3, y Fig.4 muestre la estructura
mecánica de la conversión que cambia el tubo de elemento 14. Un alojamiento
externo 50 puede ser de cualquier material insulative como el cristal. Los
ánodos 12 y 22 y rejillas 34a y 34b son firmemente asegurados por el material
de espaciador no propicio 54, y 56. El elemento resistivo 30 puede ser
introducido en el camino de ánodo de voltaje bajo para controlar las corrientes
máximas por la conversión que cambia el tubo de elemento. El elemento resistivo
puede ser de un pedazo, o puede ser construido de uno o varios elementos
resistivos para conseguir el resultado deseado.
El material de ánodo puede ser idéntico para cada ánodo, o puede ser de
materiales que se diferencian para cada ánodo, tan dictado por la utilización
más eficiente del dispositivo, como determinado por la investigación apropiada
en el momento de la producción para el uso intencionado. La forma y el espaciado
de las rejillas electrostáticas son también susceptibles a la variación con la
aplicación (voltaje, corriente, y exigencias de energía).
Esto es la opinión del inventor que por el acoplamiento juicioso de los
elementos de la conversión que cambia el tubo de elemento, y la selección
apropiada de los componentes de los elementos de recorrido del sistema, los
resultados teóricos deseados pueden ser conseguidos. Esto es la opinión del
inventor que este proceso de selección y acoplamiento está bien dentro de las
capacidades de la técnica de investigación y desarrollo intensiva.
Déjele ser declarado aquí que substituyendo una fuente de la corriente alterna
eléctrica sujeta al perro callejero requerido - el alquiler y/o la formación de
voltaje y/o el cronometraje, antes de ser considerado una fuente de energía
primaria, o allí - después, no deberían ser interpretados para cambiar la
utilización descrita o la aplicación de la energía primaria de cualquier modo.
Tal conversión de energía es fácilmente conseguida por cualquiera de múltiple
principios bien establecidos. La encarnación preferida de esta invención
simplemente asume la utilización óptima y la ventaja óptima de esta invención
cuando usado con dispositivos de energía porTabla similares en principio a la
batería de pila seca o la célula mojada.
Esta invención propone de utilizar la energía contenida en una alta tensión
internamente generada punto eléctrico (pulso de energía) para activar
eléctricamente una carga inductiva.: esta carga inductiva que es entonces capaz
de convertir la energía tan suministrada en una salida eléctrica o mecánica
útil.
En la operación la alta tensión, duración corta el punto eléctrico es generado
descargando el condensador 16 a través del hueco de chispa en la conversión que
cambia el tubo de elemento. El potencial de alta tensión necesario es
almacenado en el condensador en pasos incrementales, aditivos del rectificador
de tipo de puente 24. Cuando la fuente de energía es un dispositivo de
almacenamiento de energía eléctrico directo corriente, como la batería 12, la
entrada al rectificador de puente es proporcionada por el transformador de
aumento de voltaje 22, que es por su parte activado del vibrador 20, o tajadera
transistorizada, o dispositivo similar para conducir correctamente el recorrido
de rectificador y el transformador.
Cuando la fuente de energía es una corriente alterna, cambia 64 desconectan el
transformador 22 y la entrada al rectificador de tipo de puente 24 es
proporcionada por el transformador de aumento de voltaje 66, que es por su
parte activado del vibrador 20, o tajadera transistorizada, o dispositivo
similar para conducir correctamente el recorrido de rectificador y el
transformador.
La salida de repeticiones del rectificador de puente incrementalmente aumenta
el precio condensador hacia su máximo. Este precio está eléctricamente
relacionado directamente con el ánodo de alta tensión 12 de la conversión que
cambia el tubo de elemento. Cuando el ánodo de voltaje bajo 32 está relacionado
con una fuente de corriente, un arco es creado en el hueco de chispa designó 62
de la conversión que cambia el equivalente de tubo de elemento con el potencial
almacenado en el ánodo de alta tensión, y la corriente disponible del ánodo de
voltaje bajo.
Como la duración del arco es muy corta, el voltaje instantáneo, y la corriente
instantánea puede amba ser muy alta. El poder aparente máximo instantáneo es
por lo tanto, también muy alto. Dentro de la conversión que cambia el tubo de
elemento, esta energía es absorbida por las rejillas 34a y 34b montó
circumferentially sobre el interior del tubo.
El control del punto de energía dentro de la conversión que cambia el tubo de
elemento es llevado a cabo por un conmutador mecánico, o transistorizado, que
cierra el camino de recorrido del ánodo de voltaje bajo a la fuente corriente
en aquel momento cuando la entrega de energía a la carga de salida es la más
prometedora. Cualquier número de la exactitud alta estándar, variable que pone
dispositivos está disponible para este fin. Cuando el control del precio
reiterativo de la salida del sistema es requerido, es llevado a cabo
controlando el tiempo de unión en el ánodo de voltaje bajo.
Así allí puede ser proporcionado un sistema de conducción eléctrico que conecta
una fuente de voltaje bajo a un vibrador, un transformador y un rectificador de
tipo de puente para proporcionar una alta tensión que pulsa la señal a un
primer condensador. Donde una fuente de alta tensión está por otra parte
disponible, puede ser conectado directo a un rectificador de tipo de puente,
causando una señal que pulsa a un primer condensador. El condensador por su
parte es conectado a un ánodo de alta tensión de una conversión eléctrica que
cambia el tubo de elemento. El elemento también incluye un ánodo de voltaje
bajo que por su parte está relacionado con una fuente de voltaje por un
conmutador, un tubo de elemento de conmutación, y una resistencia variable.
Montado alrededor del ánodo de alta tensión es un precio que recibe el plato
que por su parte es conectado a una carga inductiva para transmitir una
descarga de alta tensión del elemento a la carga. También conectado a la carga
es un segundo condensador para almacenar la espalda EMF creado por el campo
eléctrico que sufre un colapso de la carga cuando la corriente a la carga es
bloqueada. El segundo condensador por su parte es conectado a la fuente de
voltaje.
Patente GB 2,282,708
12 de abril 1995
Inventors: Harold Aspden (
MOTOR / GENERADOR DE
ELECTRICIDAD
Esta versión de la patente ha sido expresada con
otras palabras en una tentativa de hacer más fácil para leer y entender. Esto
describe el diseño de un electroimán pulsado / motor de imán permanente que es
capaz de una salida de poder más alta que esto es la propia entrada de poder.
EXTRACTO
Un generador de motor electrodinámico tiene un
poste saliente rotor de imán permanente que se relaciona con postes de estator
salientes para formar una máquina que funciona en el principio de renuencia
magnético. El poder ferromagnético intrínseco de los imanes proporciona la
torsión de paseo por traer los postes en el registro mientras los pulsos
corrientes demagnetise los postes de estator como los postes se separan. En
tanto como menos poder es necesario para el estator demagnetisation que es
alimentado en el paseo de renuencia por el sistema termodinámico que impulsa el
estado ferromagnético, la máquina hace funcionar regeneradoramente en virtud
del estator la interconexión tortuosa con el número desigual de postes de
estator y rotor. Una construcción de rotor es revelada (Fig.6 y Fig.7). El
pulso corriente puede ser como causar la repulsión de los postes de rotor.
CAMPO DE LA INVENCIÓN
Esta invención está relacionada con una forma del
motor eléctrico que sirve una función de generación en la cual la máquina puede
actuar regeneradoramente para desarrollar la salida poder eléctrico o puede
generar la torsión de paseo mecánica con la eficacia excepcionalmente alta con
relación a la entrada de poder eléctrica.
El campo de invención es el de motores de
renuencia cambiados, significando máquinas que tienen postes salientes y
funcionan en virtud de la atracción magnética mutua y/o repulsión como entre
postes magnetizados.
La invención en particular concierne una forma del
motor de renuencia que incorpora imanes permanentes para establecer
polarisation magnético.
FONDO DE LA INVENCIÓN
Hubo ofertas en el pasado para máquinas en las
cuales el movimiento relativo de imanes puede de algún modo desarrollar
acciones de fuerza excepcionalmente fuertes que son dichas causar más salida de
poder que es suministrado como la entrada eléctrica.
Por principios de ingeniería eléctrica ortodoxos
tales sugerencias han parecido contradecir principios aceptados de la física,
pero se hace cada vez más evidente que la conformidad con la primera ley de la
termodinámica permite una ganancia en el saldo de poder electromecánico a
condición de que sea emparejado por una refrigeración termal.
En este sentido, uno tiene que ampliar el fondo
físico del medio refrescante para incluir, no sólo la estructura de máquina y
el ambiente ambiental inmediato, sino también el nivel subcuántico de lo que es
llamado, en la física moderna, el campo de punto cero. Este es la actividad de
campaña del medio de vacío que existe en el espacio entre núcleos atómicos y
electrones atómicos y es el asiento de la acción que es lo que se asoció con la
constante Planck. La energía está siendo constantemente cambiada como entre
aquella actividad y formas de materia de coextensive, pero normalmente este
vedado de fluctuaciones de energía, en el saldo, una condición de equilibrio de
modo que estos pases de acción desapercibidos en la tecnología nivelen.
Los físicos se hacen cada vez más conscientes del
hecho que, como con la gravitación, entonces el magnetismo es una ruta por la
cual podemos ganar el acceso al mar de energía que penetra el vacío.
Históricamente, el saldo de energía ha sido escrito en términos matemáticos
adjudicando el potencial 'negativo' a gravitación o magnetismo. Sin embargo,
este es sólo un modo disfrazado de decir que el campo de vacío, apropiadamente
bajo la inflluencia de la masa que gravita de un cuerpo en el lugar o por el
magnetismo en un ferroimán tiene tanto capacidad como un impulso de mudar la
energía.
Ahora, sin embargo, allí cultiva la conciencia de
la energía tecnológica que genera el potencial de este fondo de campaña y el
interés se desarrolla en técnicas para 'bombear' el enganche entre materia y
campo de vacío para sacar el poder de aquella fuente de energía escondida. Tal
investigación puede establecer que esta acción se acercará el 2.7K la
temperatura de fondo cósmica del medio espacial por el cual la Tierra viaja en
aproximadamente 400 km/s. El efecto contemplado podría dejar bien un 'rastro de
vapor chulo' en el espacio como una máquina que entrega el calor, o entrega una
forma eléctrica más útil de la energía que volverá para calentarse, viajes con
la Tierra de cuerpo por aquel espacio.
En términos de física puros, el fondo relevante es
del registro reciente en la cuestión de agosto de 1993 de la Revisión Física E,
volumen 48, pps 1562-1565 bajo el título: 'extrayendo energía y calor del
vacío', authored por D. C. Cole y H. E. Puthoff. Aunque la unión no sea
referida en aquel papel, una de pruebas experimentales presentadas de su autor
en aquel tema en una conferencia de abril de 1993 sostenida en Denver EE. UU.
El poder plasma que genera el dispositivo hablado en aquella conferencia era el
sujeto del No 5,018,180 Evidente estadounidense, el inventor es K. R.
Shoulders.
La invención, para ser descrito abajo, funciona
extrayendo la energía de un sistema magnético en un motor y el fondo científico
relevante a esta tecnología puede ser apreciado de las enseñanzas de E. B. El
Moullin, un Profesor de Cambridge de la Ingeniería Eléctrica que era un
presidente de la Institución de Ingenieros Electrotécnicos en U. K. Aquella
arte previa será descrita abajo como la parte de la explicación de la operación
de la invención.
La invención presentada aquí concierne rasgos de
diseño estructurales específicos de una máquina adaptada para la operación
robusta, pero éstos también tienen la novedad y el mérito especial en una
operación funcional. Lo que es descrito es completamente distinto de ofertas de
arte previas, un siendo una clase nueva del motor propuesto por Gareth Jones en
un simposio 1988 sostenido en el Casco, Canadá bajo los auspicios de la
Asociación Planetaria para la Energía Limpia. El Jones sugirió la adaptación de
un alternador de coche que genera la corriente alterna de tres fases para
rectificación y uso como un suministro de energía para el electrics en el
coche. Este alternador tiene un rotor de imán permanente y Jones sugirió que
pudiera ser usado, con ganancia de eficacia alta e interpretación de torsión,
haciéndolo funcionar como un motor con el recorrido tortuoso de tres fases
excitado para promover la repulsión fuerte entre los postes de imán y los
postes de estator después de que los postes habían entrado en el registro.
Sin embargo, la máquina Jones no es una explotación de las ventajas de la
invención para ser descrita, porque esto no es estrictamente un motor de
renuencia que tiene postes salientes tanto en estator como en rotor. Los postes
de estator en el máquina de Jones es formada por la configuración tortuosa en
una forma de estator ranurada, muchas ranuras uniformemente distribuidas
alrededor de la circunferencia interior del estator y no constituyendo un
sistema de poste que se presta a las acciones de flujo magnéticas para ser
descritas en cuanto al experimento de E. B. Moullin.
La máquina Jones funciona generando un campo de
estator rotativo que, en cierto modo, empuja los postes de rotor avanzados más
bien que tirarlos en la manera vista en el motor sincrónico normal. En
consecuencia, la máquina Jones confía en la excitación de corriente eléctrica
del motor que produce un sistema de campaña que gira suavemente, pero tiene un
modelo de polaridad que es obligado por el control de conmutación a conservarse
detrás de los postes de rotor en la afirmación de un paseo repulsivo continuo.
Otra oferta de arte previa que es distinguida de
esta invención es la de uno de los candidatos, H. El Aspden, a saber el sujeto
de la Patente de Reino Unido el No 2,234,863 (homólogo Estados Unidos Patentan
el No 4,975,608 Consecutivo). Aunque esta invención última esté preocupada por
la extracción de la energía del campo por el mismo proceso físico que la invención
sustancial, la técnica para tener acceso a aquella energía no es el grado
óptimo en el respeto de la estructura o método usado. Mientras que en esta
revelación más temprana, la conmutación del paseo de renuencia excitó los
postes en su fase de acercamiento, la invención sustancial, en uno de sus
aspectos, ofrece ventajas distintas por demagnetisation o la inversión de la
magnetización en la fase de separación de poste de la operación.
Hay ventajas inesperadas en la realización
propuesta por la invención sustancial, en vista de que la investigación
reciente ha confirmado que esto requiere el menos poder de entrada de apagar la
atracción mutua a través de un hueco de aire entre un imán y un electroimán que
esto hace para encenderlo. Por lo general, en el electromagnetismo, se espera
una simetría de inversión, proviniendo de la enseñanza convencional del camino
avanzado y atrás magnetomotive fuerzas gobierna el flujo que resulta en un
recorrido magnético.
Este será explicado adelante después de describir
el alcance de la invención.
BREVE DESCRIPCIÓN DE LA INVENCIÓN
Según un aspecto de la invención, una máquina de
motor/generador electrodinámica comprende un estator configurado para
proporcionar un juego de postes de estator, un juego de correspondencia de
magnetizar cuerdas montadas en el juego de poste de estator, un rotor que tiene
dos secciones cada uno de las cuales tiene un juego de pedazos de poste
salientes, las secciones de rotor que son axialmente espaciado a lo largo del
eje de la rotación del rotor, los medios de magnetización de rotor dispuestos
entre las dos secciones de rotor quedaron en producir un campo magnético
unidireccional qué magnetically polariza los postes de rotor, por lo cual las
caras de poste de una sección de rotor todos tienen una polaridad del norte y
las caras de poste de la otra sección de rotor todos tienen una polaridad del
sur y uniones de recorrido eléctricas entre una fuente de corriente eléctrica y
el estator la magnetización de cuerdas quedó en regular la operación de la
máquina admitiendo pulsos corrientes para una duración determinada según la
posición angular del rotor, qué pulsos tienen una dirección que tiende a
oponerse al polarisation inducido en el estator por el rotor polarisation como
estator y postes de rotor separados de una posición en registro, por lo cual la
acción de los medios de magnetización de rotor proporciona una fuerza de paseo
de motor de renuencia para traer estator y postes de rotor en el registro y la
acción de las cuerdas de magnetización de estator se opone a la renuencia de
homólogo que frena el efecto como los postes separados.
Según un rasgo de la invención, el recorrido que
une la fuente de corriente eléctrica y el estator que magnetiza cuerdas es
diseñado para entregar pulsos corrientes que son de fuerza suficiente y
duración para proporcionar demagnetisation de los postes de estator como el
estator y postes de rotor separados de una posición en registro.
En este aspecto es notado que a fin de suprimir la
torsión de paseo de renuencia o torsión de freno, según si los postes convergen
o se separan, una cierta cantidad del poder eléctrico debe ser alimentada a las
cuerdas de magnetización en el estator. En cierto modo estas cuerdas son
realmente 'demagnetising las cuerdas porque la polaridad de las uniones de
recorrido admite el pulso corriente en la dirección demagnetising.
Sin embargo, es más habitual referirse a cuerdas
en corazones magnéticos como 'magnetización de las cuerdas aunque ellos puedan
funcionar como cuerdas primarias o cuerdas secundarias, la antigua porción de
la función de magnetización con el poder de entrada y éste que sirve una
función de demagnetising con la vuelta del poder.
Según otro rasgo de la invención, el recorrido que
une la fuente de corriente eléctrica y el estator que magnetiza cuerdas es
diseñado para entregar pulsos corrientes que son de fuerza suficiente y
duración para proporcionar una inversión de la dirección de flujo magnética en
los postes de estator como el estator y postes de rotor separados de una
posición en registro, por lo cual usar el poder suministrado de la fuente de
corriente eléctrica para proporcionar la torsión de paseo avanzada adicional.
Según un rasgo adicional de la invención, la
fuente de corriente eléctrica relacionada con una cuerda de magnetización de
estator de un primer poste de estator comprende, al menos parcialmente, los
pulsos eléctricos indujeron en la cuerda de magnetización de estator de un
segundo poste de estator diferente, la configuración de juego de poste de estator
con relación a la configuración de juego de poste de rotor que es tal que el
primer poste de estator entra en el registro con un poste de rotor cuando el
segundo poste de estator se separa de su posición en registro con un poste de
rotor.
Este significa que las cuerdas de magnetización de
dos postes de estator están relacionadas de modo que ambos sirvan una función
de 'demagnetising', un en la resistencia a la acción magnética de la atracción
mutua en el tiramiento de postes en el registro, una acción que desarrolla una
salida de pulso corriente y un en la absorción de este pulso corriente, otra
vez resistiendo a la acción de interposte magnética a demagnetise el poste de
estator cuando su poste de rotor asociado se separa.
A fin de facilitar la función gobernada por esta
unión de recorrido entre el estator que magnetiza cuerdas, una diferencia de
fase es necesaria y este es introducido diseñando la máquina para tener un
número diferente de postes en un juego de postes de estator del número de postes
de rotor en cada sección de rotor. Juntos con el rasgo de sección de rotor
dual, este tiene el mérito adicional de asegurar una acción de torsión smoother
y reducir fluctuaciones de flujo magnéticas y efectos de salida que se
contribuyen considerablemente para trabajar a máquina la eficacia.
Así, según otro rasgo de la invención, la
configuración de estator proporciona pedazos de poste que son comunes tanto a
secciones de rotor en el sentido que cuando el estator como a los postes de
rotor son en registro los pedazos de poste de estator constituyen a miembros
que tienden un puente para el cierre de flujo magnético en un recorrido
magnético incluso aquel de los medios de magnetización de rotor dispuestos
entre las dos secciones de rotor.
Preferentemente, el número de postes en un juego
de postes de estator y el número de postes de rotor en cada sección no comparte
un factor de número entero común, el número de postes de rotor en una sección
de rotor es el mismo cuando esto en la otra sección de rotor y el número de
postes en un juego de estator y el número de postes en una sección de rotor se
diferencia por uno, con las caras de poste que son de la anchura angular
suficiente para asegurar que el flujo magnético producido por los medios de
magnetización de rotor puede encontrar una ruta de cierre de flujo magnética
circular por el camino que tiende un puente de un poste de estator y por postes
de rotor correspondientes para cualquier posición angular del rotor.
Es también preferible de un punto de vista de diseño
para las caras de poste de estator de esta invención tener una anchura angular
que no es mayor que la mitad la anchura angular de un poste de rotor y para las
secciones de rotor para comprender laminaciones de acero circulares en las
cuales los postes de rotor son formados cuando los dientes grandes en el
perímetro con la magnetización de rotor significan que la comprensión de un
corazón magnético estructura las caras de final de las cuales están contiguas
dos asambleas de tales laminaciones que forman las dos secciones de rotor.
Según un rasgo adicional de la invención, el medio
de magnetización de rotor comprende al menos un imán permanente localizado con
su paralela de eje polarisation con el eje de rotor. El generador de motor
puede incluir un disco metálico apertured que es de una sustancia
non-magnetisable montada en un eje de rotor y colocó el intermedio las dos
secciones de rotor, cada abertura que proporciona la posición para un imán
permanente, por lo cual las fuerzas centrífugas que actúan en el imán
permanente como el rotor giran es absorbida por las tensiones establecidas en
el disco. También, el rotor puede ser montado en un eje que es de una sustancia
non-magnetisable, por lo cual reducir al mínimo la salida magnética del rotor
que magnetiza medios por aquel eje.
Según otro aspecto de la invención, una máquina de
generador de motor electrodinámica comprende un estator configurado para
proporcionar un juego de postes de estator, un juego de correspondencia de
magnetizar cuerdas montadas en el juego de poste de estator, un rotor que tiene
dos secciones cada uno de las cuales tiene un juego de pedazos de poste
salientes, las secciones de rotor que son axialmente espaciado a lo largo del
eje de la rotación del rotor, los medios de magnetización de rotor incorporaron
a la estructura de rotor y quedado en polarizar los postes de rotor, por lo
cual las caras de poste de una sección de rotor todos tienen una polaridad del
norte y las caras de poste de la otra sección de rotor todos tienen una polaridad
del sur y uniones de recorrido eléctricas entre una fuente de corriente
eléctrica y el estator que magnetiza cuerdas quedadas en regular la operación
de la máquina admitiendo pulsos corrientes para una duración determinada según
la posición angular del rotor, qué pulsos tienen una dirección que tiende a
oponerse al polarisation inducido en el estator por el rotor polarisation como
estator y postes de rotor separados de una posición en registro, por lo cual la
acción de los medios de magnetización de rotor proporciona una fuerza de paseo
de motor de renuencia para traer estator y postes de rotor en el registro y la
acción de las cuerdas de magnetización de estator se opone a la renuencia de
homólogo que frena el efecto como los postes separados.
Según un rasgo de este aspecto último de la
invención, la fuente de corriente eléctrica relacionada con una cuerda de
magnetización de estator de un primer poste de estator comprende, al menos
parcialmente, los pulsos eléctricos indujeron en la cuerda de magnetización de
estator de un segundo poste de estator diferente, la configuración de juego de
poste de estator con relación a la configuración de juego de poste de rotor que
es tal que el primer poste de estator entra en el registro con un poste de
rotor cuando el segundo poste de estator se separa de su posición en registro
con un poste de rotor.
BREVE DESCRIPCIÓN DE LOS DIBUJOS

Fig.1 muestra datos
de prueba principales magnéticos que muestran como el amperio de voltio
reactance poder requerido establecer una acción de flujo magnética constante en
un hueco de aire, como asegurado por la excitación de voltaje de corriente
alterna constante de una cuerda de magnetización, no falta del poder asociado
del potencial implícito en la acción de fuerza a través de aquel hueco de aire.

Fig.2 representa la
estructura de prueba a cual Fig. 1 los datos se aplican.

Fig.3 representa la
acción de magnetización en el trabajo en hacer el flujo magnético cruzar un
hueco de aire y girar una esquina en un recorrido por un corazón magnético.

Fig.4 muestra que la
configuración de un dispositivo de prueba solía demostrar los principios de
operaciones de la invención descrita.

Fig.5 en sus varias
ilustraciones representa el poste de rotor progresivo a la relación de poste de
estator cuando un rotor da vuelta por una variedad de posiciones angulares en
una encarnación preferida de una máquina según la invención.

Fig.6 muestra la
forma de un miembro de disco que proporciona la posición para cuatro imanes
permanentes en la máquina descrita.

Fig.7 muestra un corte transversal de la
estructura de recorrido magnética de una máquina que encarna la invención.

Fig.8 muestra una
seis configuración de poste de estator con un siete rotor de poste y representa
la unión relacionada de una serie esquemática de las cuerdas de magnetización
de postes de estator diametralmente de enfrente.
DESCRIPCIÓN DETALLADA DE LA INVENCIÓN
El hecho que uno puede extraer la energía de la
fuente que impulsa el estado ferromagnético intrínseco no es explícitamente
evidente de libros de texto existentes, pero es implícito y, en efecto, se hace
realmente explícito una vez indicado, en un libro de texto authored por E. B.
Moullin. Su libro 'The Principles of
Electromagnetism' publicado por Clarendon Press, Oxford (3a Edición, 1955) describe,
en páginas 168-174 un experimento preocupado por el efecto de huecos de aire
entre postes en un recorrido magnético. Los datos obtenidos son reproducidos en
el Fig.1, donde el Profesor Moullin muestra una curva que representa la
corriente alterna entrada corriente para huecos de aire diferentes, dado que el
voltaje suministrado es la constante. En la misma figura, Moullin presenta la
corriente teórica que tendría que ser aplicada no para sostener el mismo voltaje,
y entonces las fuerzas de poste relacionadas a través del hueco de aire,
asumiendo (a) ninguna salida de flujo (y b) que hay igualdad completa entre la
entrada de energía inductiva y el potencial de energía mecánico para la
magnetización que es establecida en el hueco de aire en un cuarto período de
ciclo en la frecuencia de excitación de poder de corriente alterna.

Los datos muestran que, aunque el nivel de
polarisation magnético sea bajo del valor de saturación, siendo encajonado a
una variedad que es considerada como la variedad de permeabilidad lineal en el
diseño de transformador, hay una bajada clara de corriente, y entonces el
amperio de voltio entrada de poder reactiva necesaria, como aumentos
corrientes, comparado con esto predicho por el potencial mecánico aumentado en
los huecos de aire. A menos que el flujo de salida sea excesivo, aquí estaban
pruebas claras de la actividad de energía anómala.
Moullin habla del flujo de salida deducido por
este experimento, pero indica que hay misterio considerable en por qué el
efecto de un pequeño hueco, que no debería causar ciertamente mucha salida de
flujo en la región de hueco, sin embargo tiene un efecto enorme en causar lo
que tiene que ser la salida sustancial en la luz de la discrepancia de energía.
Moullin no contempló que la energía había sido alimentada en del sistema de
campo de punto cero y entonces él dejó la cuestión con la declaración que era
prácticamente imposible predecir el flujo de salida por el cálculo.
Él era, por supuesto, consciente de la estructura
de esfera magnética y su argumento era que el problema de flujo de salida
estuvo relacionado con lo que él llamó una acción 'que guiña' del flujo cuando
esto pasa alrededor del recorrido magnético. Normalmente, a condición de que el
nivel de polarisation sea debajo de la rodilla de la curva de B-H, que ocurre
en aproximadamente 70 % de la saturación en corazones de hierro de la
composición de cristal general, esto requiere que campo de magnetización muy
pequeño cambie la densidad de flujo magnética. Este asume que cada esfuerzo es hueco
para evitar huecos de aire. La acción implica movimientos de pared de esfera de
modo que los estados magnéticos del interruptor de esferas adyacente a hachas
de cristal diferentes de la magnetización fácil y este implique cambio de
energía muy pequeño.
Sin embargo, si hay un hueco de aire delante en el
recorrido de flujo y la cuerda de magnetización no se sienta en aquel hueco de
aire, el corazón de hierro sí mismo tiene que ser el asiento de una fuente de
campaña progresiva que une la cuerda y el hueco. Esto sólo puede servir en
aquel sentido en virtud de las líneas de flujo en las esferas obligadas a girar
algo de las hachas fáciles preferidas de la magnetización, con la ayuda de las
superficies divisorias alrededor del corazón entero. Esta acción significa que,
a la fuerza, y consiguiente sobre la existencia del hueco de aire, el flujo
debe ser llevado por el corazón por aquella acción 'que guiña'. Esto significa
que la energía sustancial es necesaria para forzar el establecimiento de
aquellos campos dentro del corazón de hierro. Lo que es más importante sin
embargo, del punto de vista de esta invención, esto significa que los efectos
de polarisation magnéticos intrínsecos en esferas magnéticas adyacentes en el
hierro dejan de ser mutuamente la paralela u ortogonal para quedarse dirigidos
a lo largo de hachas de la magnetización fácil. Entonces, en efecto, la acción
de magnetización no es sólo la de la cuerda de magnetización se abrigó
alrededor del corazón, pero se hace también aquel de ferromagnético adyacente
polarisation como el acto último en el concierto cuando la energía de vacío
impulsó solenoides y es desviada el uno en el otro para desarrollar las fuerzas
de magnetomotive avanzadas adicionales.
Las consecuencias de este son que la fuente de
alimentación ferromagnética intrínseca con sus aportes de acción de pedido
termodinámicos haciendo el trabajo en el aumento de fuerzas a través del hueco
de aire. La tarea, en términos tecnológicos, es enjaezar entonces aquella
energía cuando el hueco está cerrado, como por postes que vienen juntos a un
motor de renuencia, y evitar devolver aquella energía como los postes
separados, este siendo posible si la fuente de control de la magnetización
primaria es bien quitada del hueco de poste y el demagnetisation ocurre cuando
los postes están en la posición más cercana.
Esta situación de energía es evidente en los datos
Moullin, porque el voltaje de corriente alterna constante implica una amplitud
de flujo constante a través del hueco de aire si no hay ninguna salida de flujo
en la región de hueco. Una amplitud de flujo constante implica una fuerza
constante entre los postes y entonces la anchura de hueco con relación a esta
fuerza es una medida del potencial de energía mecánico del hueco de aire. La
evaluación de poder de amperio de voltio reactiva durante el cuarto de período
de ciclo representando la demanda de polarisation puede ser entonces comparado
con la energía mecánica tan puesta a disposición. Como ya declarado, este es
como Moullin dedujo la curva corriente teórica. De hecho, como su espectáculo
de datos, él necesitó menos corriente que la energía mecánica sugerida y
entonces él tenía en sus pruebas de experimento de la fuente de energía de
vacío que pasó desapercibido y sólo se revela ahora en máquinas que pueden
servir nuestras necesidades de energía.
En la investigación que conduce a esta aplicación
evidente el experimento de Moullin ha sido repetido para verificar una
condición donde una cuerda de magnetización sola sirve tres huecos de aire. La
configuración de prueba de Moullin es mostrada en Fig.2, pero en la repetición
del experimento en la investigación que conduce a esta invención, una búsqueda
bobina fue montada en el miembro que tiende un puente y este fue usado para
comparar la proporción del voltaje aplicado a la cuerda de magnetización y esto
inducido en la búsqueda bobina.
El mismo rasgo de disminución en la demanda
corriente fue observado, y había pruebas claras de la energía de exceso
sustancial en el hueco de aire. Este era además de la energía inductiva que
necesariamente tuvo que ser cerrada con llave en el corazón magnético para
sostener la acción 'que guiña' del flujo magnético ya mencionado.
Está por lo tanto enfatizado que, en la
preparación el flujo 'que guiña' la acción, la energía es almacenada
inductivamente en el corazón magnético, aunque se haya juzgado que este es la
energía de la salida de flujo fuera del corazón. La energía de hueco de aire es
también la energía de inducción. Ambas energías son devueltas a la cuerda de
fuente cuando el sistema es demagnetised, considerando un hueco de aire fijo.
Si, sin embargo, los finales de hueco de aire
después o durante la magnetización, la mayor parte de que la energía inductiva
entra en la salida de trabajo mecánica. Note entonces que la energía liberada
como el trabajo mecánico no es sólo esto almacenado en el hueco de aire, pero
es lo que almacenó en el sostenimiento 'de la guiñada'. Aquí, luego es la razón
de esperar una contribución aún más fuerte a la interpretación de máquina
dinámica, uno que no fue abrazado por el cálculo de la situación estable.
Considerando la susodicha explicación de la fuente
de energía, los rasgos estructurales que son el sujeto de esta invención serán
descritos ahora.
La acción 'que guiña' es representada en Fig.3, que
representa como el flujo magnético navega una curva rectángula en un corazón
magnético sobre el paso por un hueco de aire. Por la simplificación excesiva es
asumido que el corazón tiene una estructura de cristal que tiene un eje
preferido de la magnetización a lo largo del camino de línea roto. Sin el hueco
de aire, la corriente necesitada por una cuerda de magnetización sólo tiene que
proporcionar bastante fuerza de magnetomotive para vencer los efectos de
inclusiones no magnéticas e impurezas en la sustancia principal y las
permeabilidades magnéticas muy altas pueden aplicarse. Sin embargo, tan pronto como el hueco de aire
se desarrolla, esta sustancia principal tiene que encontrar un modo de
establecer la fuerza de magnetomotive en regiones que se extienden lejos del
lugar de la cuerda de magnetización. Esto no puede hacer este a menos que su
efecto sea tan poderoso que el flujo magnético en todas partes del recorrido
magnético por la sustancia principal es en todas partes desviado de la
alineación con un eje fácil preferido de la magnetización. De ahí los vectores
de flujo representados por las flechas se mueven de la alineación con la línea
rota mostrada.
Hay 'un golpe - en' el efecto que progresa en todo
alrededor del corazón del asiento de la cuerda de magnetización y, como ya
declarado, este enjaeza el poder ferromagnético intrínseco que, en un sistema
sin el hueco de aire, sólo podría ser afectado por la magnetización encima de la
rodilla de la curva de B-H. La rotación de flujo magnética ocurre encima de
aquella rodilla, mientras que en un corazón ideal el magnetismo desarrolla con
la permeabilidad muy alta más de una variedad hasta aquella rodilla, porque
esto necesita muy poco poder de desplazar una pared de esfera magnética de lado
y promover unos 900 o la inversión de flujo de a1800. En efecto, uno puede
tener una permeabilidad magnética de 10,000 debajo de la rodilla y 100 encima
de la rodilla, éste que reduce cada vez más hasta que la sustancia sature
magnetically.

En la situación representada en Fig.2 y Fig.3 la
fuerza de campaña desarrollada por las cuerdas de magnetización 1 en 2
principales magnéticos tiene que ser más alta, el mayor el hueco de aire, a fin
de conseguir la misma cantidad de la magnetización que medido por el voltaje
inducido en una cuerda (no mostrado) en el miembro que tiende un puente 3. Sin
embargo, en virtud de aquel hueco de aire hay potencial para enjaezar la
energía suministrada a aquel hueco de aire por el campo de punto cero
intrínseco que explica la permeabilidad magnética que es sobre la unidad y aquí
uno puede contemplar el potencial de energía de exceso muy sustancial, dado la
incorporación en un diseño de máquina que se marcha de la convención.
Uno de los candidatos ha construido una máquina de
prueba vigente que es configurada como representado esquemáticamente en el Fig.4.
La máquina ha sido probada para entregar considerablemente más salida de poder
mecánica que es suministrado como la entrada eléctrica, tanto como una
proporción de 7:1 en una versión, y esto puede actuar regeneradoramente para
producir el poder eléctrico.

Lo que es mostrado en Fig.4 es un modelo simple
diseñado para demostrar el principio de operación. Esto comprende un rotor en
el cual cuatro imanes permanentes 4 son puestos en orden para formar cuatro
postes. Los imanes son unidos en cuatro sectores de un disco no magnético 5
utilización de un relleno de espuma de poliuretano de densidad alto y el disco
compuesto es reunida entonces en un huso de cobre 6 entre un enganche de
reborde de hendidura. No mostrado en la figura es la estructura que sostiene el
huso verticalmente en portes o la asamblea de conmutador de rueda de estrella
atada al eje superior del huso.
Note que los imanes presentan Polos Norte en el
perímetro del disco de rotor y que el polo sur es mantenido unido siendo
firmemente puesto en el material de vinculación. Una serie de cuatro postes de
estator fue formada usando corazones magnéticos de relevos electromagnéticos
estándares son fueron colocados alrededor del disco de rotor como mostrado. Las
cuerdas de magnetización 7 en estos corazones son mostradas para estar
relacionado en serie e impulsado por los contactos de conmutador 8 por un
suministro de alimentación de CC. Dos corazones de estator adicionales formados
por componentes de relevo electromagnéticos similares son representados por sus
cuerdas 9 en las posiciones de ángulo intermedias mostradas y éstos están
relacionados en serie y relacionados con un rectificador 10 tendido un puente
por un condensador 11.
El huso de rotor 6 es conectado con un paseo
mecánico (no mostrado) que enjaeza la torsión desarrollada por el motor así
formado y sirve como un medio para medir la salida poder mecánico entregado por
la máquina.
En la operación, asumiendo que los postes de rotor
son sostenidos al principio fuera de registro con los postes de estator
correspondientes y el asimiento es liberado entonces, la acción de campo
magnético fuerte de los imanes permanentes girará el rotor para traer el
estator y postes de rotor en el registro. Un imán permanente tiene una
atracción fuerte para el hierro suave y entonces este impulso inicial de la
rotación es impulsado por la energía potencial de los imanes.
Ahora, con el rotor que interpreta como un volante
y tiene la apatía esto tendrá una tendencia de pasarse de la posición de poste
en registro y esto implicará una atracción inversa con la consecuencia de que
el rotor oscilará hasta que la acción que se debilita lo traiga para descansar.
Los commutating cambian 8 necesidades sólo para
estar cerrado durante un período limitado de viajes angulares después de centro
muerto superior posición en registro de postes de rotor y el estator. El poder
suministrado por aquel interruptor por aquellos pulsos hará que el rotor siga
girando y las altas velocidades serán conseguidas cuando la máquina desarrolla
su función de motor llena.
Las pruebas sobre tal máquina han mostrado que más
poder mecánico puede ser entregado que es suministrado eléctricamente por la
fuente que impulsa la acción por el interruptor de commutating. La razón de
este es que, mientras que la energía en el hueco de aire entre rotor y postes
de estator que es dado un toque mecánicamente como los postes entra en el
registro es proporcionado por el poder intrínseco del ferroimán, un
demagnetising que gira de parte del sistema principal conectado a través de
aquel hueco de aire necesita muy poco poder de eliminar la fuerza mecánica que
actúa a través de aquel hueco de aire. Imagine tal cuerda en el miembro que
tiende un puente mostrada en Fig.2. La acción de los corrientes en aquella
cuerda, que cabalga sobre el flujo 'que guiña' en aquel miembro que tiende un
puente bien quitado de la acción de la fuente de las cuerdas de magnetización
1, es colocada para ser muy eficaz en la resistencia a la influencia de
magnetización comunicada de una distancia. De ahí muy poco poder es necesario
para vencer el enganche magnético transmitido a través del hueco de aire.
Aunque la inductancia mutua entre dos cuerdas de
magnetización espaciadas aparte tenga una acción recíproca, sin tener en cuenta
la cual la cuerda es primaria y que es secundario, la acción en la situación de
máquina particular descrita implica la contribución 'solenoidal' representada
por la acción de flujo ferromagnética 'que guiña'. Éste no es el recíproco en
vista de que el flujo 'guiñada' depende de la geometría del sistema. Una cuerda
de magnetización que dirige el flujo directamente a través de un hueco de aire
tiene una influencia diferente en la acción en el corazón ferromagnético de un
flujo de dirección lateral al hueco de aire y no hay ninguna reciprocidad en
esta acción.
Pase lo que pase, los hechos de experimento
revelan realmente que, debido a una discrepancia significativa en tal
interacción mutua, más poder mecánico es alimentado en el rotor que es
suministrado como introducido de la fuente eléctrica.
Este ha sido demostrado adelante usando las dos
cuerdas de estator 9 para responder en un sentido de generador al paso de los
postes de rotor. Un pulso eléctrico es inducido en cada cuerda por el paso de
un poste de rotor y este es impulsado por la apatía del disco de rotor 5.
Uniendo el poder tan generado, para cobrar el condensador 11, el suministro de
alimentación de CC puede ser aumentado para realzar la eficacia hasta adelante.
En efecto, la máquina es capaz de demostrar la
entrega de poder de exceso del sistema ferromagnético en virtud de la
generación de poder eléctrica que cobra una batería en un mayor precio que una
batería de suministro es descargada.
Esta invención está preocupada por una encarnación
práctica de los principios de generador de motor sólo descritos y objetivos, en
su aspecto preferido, proporcionar una máquina robusta y confiable en la cual
el diente acentúa en los postes de rotor, que fluctúan las tensiones que
comunican la torsión de paseo de renuencia alta, no son absorbidas por un imán
permanente de cerámica obligado de romper debido a su composición frágil.
Otro objeto es proporcionar una estructura que
puede ser desmontada y vuelta a montar fácilmente para sustituir los imanes
permanentes, pero un objeto aún más importante es el de la reducción al mínimo
de las oscilaciones de flujo de salida vagas de los imanes permanentes
poderosos. Su rotación en el dispositivo representado en Fig.4 causaría la
inducción corriente de remolino excesiva en el metal cercano, incluso aquella
de la máquina sí mismo, y tales efectos son reducidos al mínimo si los cambios
de flujo son encajonados a caminos por laminaciones de acero y si el flujo de
la fuente de los imanes tiene una simetría o cerca de la simetría sobre el eje
de rotación.
Así, el diseño ideal con este en mente es el que
donde el imán permanente es un cilindro hueco localizado en un eje de rotor no
magnético, pero, aunque aquella estructura sea dentro del ámbito de esta
invención, la máquina descrita utilizará vario acercamiento de imanes
permanente separado, en la función, una configuración tan cilíndrica.
Respecto a Fig.4, será notado adelante que el
flujo magnético que surge de los Polos Norte tendrá que encontrar su camino a
lo largo de caminos de salida por el aire entrando de nuevo en el polo sur.
Durante períodos en cada ciclo de la operación de máquina el flujo será atraído
por los corazones de estator, pero el paso por el aire es esencial y entonces
el poder de los imanes no está acostumbrada a la ventaja llena y hay aquellos
efectos corrientes de remolino no deseados.
Para vencer este problema la invención asegura dos
secciones de rotor separadas y los postes de estator se hacen miembros que
tienden un puente, que con el diseño óptimo, permita que el flujo de los imanes
encuentre una ruta alrededor de un recorrido magnético con la salida mínima por
el aire cuando el flujo es dirigido por uno u otros pares de huecos de aire
donde la acción de torsión es desarrollada.

La referencia es hecha ahora a Fig.5 y la
secuencia de posiciones de rotor mostradas. Note que la anchura de poste de
estator puede ser considerablemente más pequeña que aquel de los postes de
rotor. En efecto, para la operación usando los principios de esta invención, es
ventajoso para el estator tener una anchura de poste mucho más pequeña para
concentrar la región de poste eficaz. Una anchura de poste de estator de la
mitad de aquel del rotor es apropiada pero puede ser aún más pequeño y este
tiene la ventaja secundaria de requerir cuerdas de magnetización más pequeñas y
así ahorrando en la pérdida asociada con el recorrido corriente.

El estator tiene ocho pedazos de poste formados
como tender un puente sobre miembros 12, más claramente representado en el Fig.7,
que muestra una vista lateral seccional por dos secciones de rotor 13
axialmente espaciado en un eje de rotor 14. Hay cuatro imanes permanentes 15
colocados entre estas secciones de rotor y localizado en aberturas 16 en un
disco 17 de una sustancia no magnética de la resistencia a la tensión alta, éste
mostrado en Fig.6. Las secciones de rotor son formadas de laminaciones de disco
de acero eléctrico que tiene siete dientes grandes, los postes salientes. La
magnetización de cuerdas 18 montado en los miembros que tienden un puente 12
constituye el sistema que gobierna la acción del generador de motor descrito.
La circuitería de control no es descrita cuando el
diseño de tal circuitería implica la habilidad ordinaria poseída por aquellos
implicados en el arte de ingeniería eléctrica.
Es suficiente, por lo tanto, describir los méritos
de la configuración de diseño estructural de los elementos principales de la
máquina. Éstos conciernen principalmente la acción magnética y, como pueden ser
imaginados de Fig.7, el flujo magnético de los imanes entra en las laminaciones
de rotor cruzando las caras planas de las laminaciones y siendo desviado en el
avión de las laminaciones para pasar un u otro del poste de estator que tiende
un puente sobre miembros, que vuelven por una ruta similar por el otro rotor.
Usando ocho postes de estator y siete postes de
rotor, éste que tiene una anchura de poste iguala a la mitad el tono de poste
en un sentido angular, será visto de Fig.5, allí es siempre un paso de flujo a
través del pequeño hueco de aire entre postes de rotor y estator. Sin embargo,
cuando una combinación de poste es en registro las combinaciones de poste
diametralmente opuestas son fuera del registro.
Como descrito en cuanto a Fig.4 la operación de la
máquina implica permitir que el imán tirara estator y postes de rotor en el
registro y luego, como ellos se separan, pulsando la cuerda en el miembro de estator
relevante a demagnetise a aquel miembro. En el Fig.4 el sistema, todo el
estator que magnetiza cuerdas fue pulsado juntos, que no es un camino óptimo
para conducir una máquina de multiposte.
En la máquina que tiene la estructura de poste con
un menos poste de rotor que postes de estator (o un diseño equivalente en el
cual hay un menos poste de estator que postes de rotor) esta acción de
pulsación puede ser distribuida en su demanda en el suministro de energía, y
aunque este haga el recorrido de interruptor de conmutación más caro la ventaja
que resulta pesa más que aquel coste. Sin embargo, hay un rasgo de esta
invención por la cual aquel problema puede ser aliviado si no eliminado.
Suponga que el rotor ha alcanzado la posición
mostrada en Fig.5(a) con el poste de rotor R1 denotado a mitad del camino entre
postes de estator S1 y S2 e imaginan que este es atraído hacia la posición en
registro con el poste de estator S2. Para alcanzar aquella posición en
registro, como mostrado en Fig.5(c), suponga que la cuerda de magnetización del
poste de estator S2 está excitado por un pulso corriente que es sostenido hasta
el rotor alcanza el Fig.5(e) posición.
La combinación de estas dos acciones habrá
impartido un impulso de paseo avanzado impulsado por el imán permanente en la
estructura de rotor y el pulso corriente que suprime la acción que frena habrá
dibujado una cantidad más pequeña de la energía de la fuente de alimentación
eléctrica que lo suministra. Este es el mismo proceso que fue descrito en
cuanto a Fig.4.
Sin embargo, ahora considere los acontecimientos
que ocurren en la acción de rotor diametralmente frente a esto sólo descritos.
En el Fig.5(a) la posición, donde poste de rotor R4 ha alineado totalmente con
el poste de estator S5 y tan el poste de estator S5 está lista a ser
demagnetised. Sin embargo, el enganche magnético entre el rotor y postes de
estator está entonces en su más fuerte. Note, sin embargo, esto en esto
Fig.5(a) la posición R5 comienza su separación de postes de estator y la cuerda
de magnetización del poste de estator S6 debe comenzar entonces el poder de
empate de iniciar demagnetisation. Durante aquel después de período de la
separación de poste el poder del imán tira R1 y S2 juntos con mucho más acción
que es necesario para generar aquel pulso corriente necesario a demagnetise S6.
Esto sigue, por lo tanto, esto, basado en las conclusiones de investigación de
la excitación regeneradora en el sistema de prueba de Fig.4, la unión de serie
de las cuerdas de magnetización en estatores S2 y S6, sin necesitar cualquier
conmutación conmutativa, proporcionará el poder regenerador necesario para la
operación de máquina.
La acción complementaria de las dos cuerdas de
magnetización durante el cierre de poste y separación de poste permite la construcción
de una máquina que, dado que la energía de vacío de punto cero que impulsa el
ferroimán alimenta el poder de entrada, correrá en aquella fuente de la energía
y así refrescará el sistema de campo de sostenimiento.
Hay varias opciones de diseño en la realización lo
que ha sido propuesto sólo. Mucho depende del uso intencionado de la máquina.
Si es querido para entregar la salida de poder mecánica la acción de poder
eléctrica regeneradora puede ser usada toda para impulsar el demagnetisation
con cualquier exceso que contribuye a una torsión de paseo más fuerte
invirtiendo la polaridad de los postes de estator durante la separación de
poste.
Si el objeto es generar la electricidad
funcionando en el modo de generador entonces uno podría diseñar una máquina que
tiene cuerdas adicionales en el estator para entregar la salida de poder
eléctrica. Sin embargo, parece preferible para considerar la máquina como un
motor y maximizar su eficacia en aquella capacidad usando un enganche mecánico
a un alternador del diseño convencional para la función de generación de poder
eléctrica.
En el caso último todavía parecería preferible
para usar el rasgo de autoexcitación ya descrito para reducir la conmutación
que cambia problemas.
La pregunta de aseguramiento del arranque de
máquina puede ser dirigida usando un arranque separado impulsado de un
suministro externo o asegurando la pulsación corriente limitada con,
supongamos, dos postes de estator. Así, por ejemplo, con la ocho configuración
de poste de estator, las cuerdas de magnetización interconectadas podrían ser
limitadas con tres pares de estator, con dos estator que magnetiza cuerdas
dejadas libre para la unión a una fuente de suministro externa pulsada.

Si el rasgo último no fuera requerido, entonces el
estator que magnetiza cuerdas estaría todo relacionado en pares en una base
realmente diametralmente de enfrente. Así Fig.8 muestra una configuración de
estator de rotor que tiene seis postes de estator que se relacionan con siete
postes de rotor y estator que magnetiza cuerdas unidas juntos en pares.
La invención, por lo tanto, ofrece una amplia
variedad de posibilidades de realización, que, en la luz de esta revelación se
harán obvias hacia personas expertas en el arte de ingeniería eléctrica, todos
basados, sin embargo, en el principio esencial pero simple que un rotor tiene
un juego de postes de la polaridad común que son atraídos en el registro con un
juego de postes de estator que son suprimidos o invertidos en la polaridad
magnetically durante la separación de poste. La invención, sin embargo, también
ofrece el rasgo importante de reducir al mínimo la conmutación y proveer
adelante para un cierre de flujo magnético que reduce al mínimo el flujo de
salida y fluctuaciones del flujo de salida y tan aportes a eficacia e
interpretación de torsión alta así como durabilidad y fiabilidad de una máquina
que incorpora la invención.
Es notado que aunque una máquina haya sido
descrita que usa dos secciones de rotor es posible construir una versión
compuesta de la máquina que tiene varias secciones de rotor. En la eventualidad
que el uso de hallazgos de invención en el generador de motor muy grande
trabaja a máquina el problema de proporcionar imanes muy grandes puede ser
vencido por un diseño en el cual los numerosos pequeños imanes son reunidos. El
concepto estructural descrito en cuanto a Fig.6 en el suministro de aberturas
de localización para alojar los imanes hace esta oferta muy factible. Además,
es posible sustituir los imanes por un cilindro de acero y proporcionar un
solenoide como la parte de la estructura de estator y localizado entre las
secciones de rotor. Este establecería un campo magnético axial que magnetiza el
cilindro de acero y así polarizando el rotor. Sin embargo, el poder
suministrado a aquel solenoide quitaría mérito al poder generado y entonces tal
máquina no sería tan eficaz como el uso de imanes permanentes como está
disponible ahora.
Sin embargo, debe uno ver el progreso
significativo en el desarrollo de materiales de superconductor calientes, puede
hacerse factible enjaezar los rasgos de generador de motor de autogeneración de
la invención, con sus propiedades de autorefrigeración, haciendo funcionar el
dispositivo en un recinto en temperaturas bajas y sustituyendo los imanes por
un estator superpropicio apoyó el solenoide.
Patente Aplicación US
2007/0007844 A1 11 de enero
2007 Inventor: William N.
Barbat
GENERADOR DE ENERGÍA ELÉCTRICA
AUTÓNOMO QUE UTILIZA ELECTRONES
DE MASA DE INERCIA BAJA PARA AMPLIAR
ENERGÍA INDUCTIVA
Esta aplicación evidente muestra un generador eléctrico muy ordenado,
autoimpulsado con una salida teórica de algo hasta un C.O.P. de 59 usando el
cadmio selenide. La discusión de los aspectos teóricos del diseño incluye una
cantidad grande de la información histórica y esto cubre el origen "de la
ley" de Conservación de la Energía que, a pesar de ser incorrecto, ha sido
durante décadas, un obstáculo principal al desarrollo científico de
dispositivos de energía libre.
EXTRACTO
Las oscilaciones eléctricas en un "envío metálico bobina irradian
fotones inductivos hacia uno o varios ampliación de energía bobinas
comprendido de un fotoconductor o semiconductor doped que cubre a un conductor
metálico, o comprendido de un superconductor. Los electrones de la masa de
inercia baja en la ampliación de energía bobina (s) reciben del envío bobina,
una fuerza transversal no que tiene ningún backforce en línea, que exime esta
fuerza de la regla de conservación de energía.
Los electrones bajos de masas en la ampliación de energía bobina (s)
reciben la aceleración aumentada proporcional a la masa de electrones normal
dividida en el menos de masas. La energía de fotón inductivo secundariamente
irradiada es ampliada proporcionalmente a la mayor aceleración de los
electrones, cuadrada, p.ej, el factor de aumento de energía inductivo de
fotoelectrones CdSe con 0.13 masa de electrones normal x es 59 veces. La energía de fotón inductivo ampliada de la
ampliación de energía bobina (s) induce la energía eléctrica oscilante en uno o
varios salida metálica bobina (s). La salida de energía eléctrica excede la
entrada de energía si más de la energía de inducción de fotón ampliada es
dirigida hacia la salida bobina (s) que es dirigido como una fuerza contraria
al envío bobina. Después de que una fuente de energía externa inicia las
oscilaciones, la reacción de la energía de sobra generada hace el dispositivo
un generador autónomo de la energía eléctrica para objetivos útiles.
CAMPO
Esta revelación introduce un campo técnico en el cual la energía eléctrica
práctica es creada de acuerdo con la excepción pasada por alto a la regla de
conservación de energía que Herman von Helmholtz describió en su doctrina de
1847 en la conservación de energía: si... cuerpos poseen fuerzas que dependen
durante tiempo y velocidad, o que actúan en direcciones además de líneas que
unen cada par de puntos materiales... entonces las combinaciones de tales
cuerpos son posibles en que la fuerza puede ser o perdida o ganada como infinitum. Una fuerza inductiva transversal tiene
derecho a Helmholtz a lo infinito gobiernan, pero esta fuerza no es suficiente
de sí para causar una mayor salida de energía que la entrada cuando aplicado a
electrones de la masa normal debido a su proporción de precio a masa única. Sin
embargo, la aceleración aumentada de electrones de conducción "de la
" masa de inercia menos entonces normal, como ocurre en fotoconductores,
doped semiconductores, y superconductores, es proporcional a la masa de electrones
normal dividida en la masa de electrones baja, y el aumento de la energía
inductiva harnessable es proporcional al cuadrado de la mayor aceleración
relativa.
FONDO
La fuerza magnética también satisface la exención de Helmholtz a la regla
de conservación de energía porque la fuerza magnética es transversal a la
fuerza que lo causa, y la fuerza magnética es determinada por la velocidad
relativa (es decir perpendicular a la línea de unión) entre cargas eléctricas.
El aumento de fuerza magnética y energía fue demostrado por E. Los Leimer
(1915) en el bobina de un altavoz telefonean y en el bobina de un galvanómetro
cuando él irradió un alambre de antena de radio con el radio. 10 miligramos, la fuente de radio lineal
produjo un 2.6 aumento de pliegue mesurado de la corriente eléctrica en el
alambre de antena en la comparación de la recepción de radio inaudible sin el
radio a la recepción audible con el radio. Este representó a (2.6)2 = 7 veces
aumentan en la energía eléctrica que fluye por el alambre respectivo bobinas.
La posibilidad de esta recepción realzada atribuida al cuerpo de una persona
que sostiene la unidad de radio al alambre fue eliminada por la observación
adicional de Leimer que siempre que la orientación de la pequeña unidad de
radio fuera cambiada a aproximadamente 30 grados con relación al alambre, el
realce de energía se cesó.
El candidato ha deducido que el aumento de energía de Leimer era con la
mayor probabilidad debido a electrones bajos de masas que fueron liberados y
hechos propicios en la antena por la radiación alfa, que permitió que estos
electrones especiales fueran dados un mayor que la aceleración normal por los
fotones de emisión de radio recibidos. El candidato ha deducido adelante que
tales electrones bajos de masas deben haber provenido en una capa de película
delgada de óxido cúprico (CuO) en el alambre de antena. El CuO es un compuesto de semiconducción
policristalino negro embotado que se desarrolla en situ en el alambre de cobre
y de bronce en el curso de la templadura del alambre en la presencia de aire.
Tales capas CuO han sido observadas por el Candidato en el alambre de
laboratorio histórico en el Museo de Ciencia en la Universidad de Oxford, Reino
Unido y en el alambre de casa de cobre de aquella era en los Estados Unidos, indicando
que las capas CuO eran triviales. En años posteriores, la templadura ha
ocurrido en condiciones que previenen la mayor parte de oxidación. Este es
seguido del tratamiento ácido para quitar cualquier óxido restante, dejando el
alambre brillante.
El mismo año que la traducción inglesa de papel de Leimer apareció en el Scientific American, 16 años Alfred M.
Hubbard de Seattle, Washington, según se informa inventó un generador fuelless,
que él más tarde admitió, radio empleado. El candidato interpreta este como la
implicación que el aumento de energía de Leimer fue utilizado por Hubbard con
la reacción para hacerlo autónomo. Tres años más tarde, Hubbard en público
demostró un generador fuelless relativamente avanzado que iluminó un bulbo
incandescente de 20 vatios (Pronto. 1919a).
Un profesor de física repuTabla del Colegio de Seattle, que era
íntimamente familiar con el dispositivo de Hubbard (pero no en la libertad de
revelar sus detalles de construcción), se atestiguó de la integridad del
generador fuelless y declaró que esto no era un dispositivo de almacenamiento,
pero él no sabía por qué esto trabajó (Pronto. 1919b). Como Hubbard al
principio no tenía ningunos medios financieros de su propio, es probable que el
profesor había proveído a Hubbard del uso del radio caro al principio y así
había atestiguado el proceso de invención en mismo el-año que la traducción
inglesa de papel de Leimer apareció americano en el-Científico, 16 años su
propio laboratorio.
Fotos de periódico (Pronto. 1920a) de una demostración más impresionante
del generador fuelless de Hubbard, muestre un dispositivo descrito como 14
pulgadas (36 cm) mucho tiempo y 11 pulgadas (28 cm) en el diámetro, relacionado
por cuatro cables eléctricos pesados con un 35 caballo de vapor motor eléctrico
(de 26 kWs). El motor según se informa propulsó un lanzamiento abierto de 18
pies alrededor de un parecido en una velocidad de 8 a 10 nudos (Pronto. 1920b). El acontecimiento fue atestiguado por un
reportero de noticias cauteloso que reclama para haber comprobado a fondo
cualquier alambre que podría haber estado relacionado con baterías escondidas,
levantando el dispositivo y motor del barco. La energía de decaimiento
radiactivo puede ser eliminada como la fuente de alimentación principal porque
aproximadamente 108 veces más radio que el suministro del mundo entero habrían
sido necesarias para igualar la salida de energía eléctrica relatada de Hubbard
de 330 amperios y 124 voltios.
Lester J. Hendershott de Pittsburgh, Pa., según se informa demostrado un
generador fuelless en 1928 que fue reclamado por Hubbard para ser una copia de
su propio dispositivo (1928). El presidente de servicios de Aire Fuertes,
Guillermo B. Fuerte, quién también diseñó el Ford avión de Trimotor, hizo un
informe (1928b): la demostración era muy impresionante. Era realmente
extraño.... El pequeño modelo pareció funcionar exactamente cuando Hendershot
explicó que esto hizo. También según se informa la atestiguación al
operability del generador fuelless de Hendershott era el Coronel Charles A.
Lindbergh y el Comandante Thomas Lanphier del Corp. de Aire estadounidense
(1928a, y seq.), y las tropas de Lanphier según se informa reunió un modelo
trabajador de su dispositivo.
Al mejor conocimiento del Candidato, la única pintura que fue hecha público
de los componentes interiores de cualquiera de estos generadores relatados
consiste en un dibujo incompleto (Bermann 1928) del aparato de Hubbard similar
en el tamaño al dispositivo mostrado en su demostración de 1919. Esto
representa un juego complejo de la paralela bobinas medición de 6 pulgadas (15
cm) en la longitud y 4.5 pulgadas (11.4 cm) en el diámetro total. Cuatro
conduce del alambre aislado, con el aislamiento pelado atrás, son mostrado
saliendo del final del dispositivo. Con
qué aquellos cuatro alambres estuvieron relacionados internamente no fue
mostrado. La descripción de Hubbard del arreglo interno de bobinas en el
dispositivo generalmente empareja el dibujo (Pronto. 1920a): es arreglado de
un grupo de ocho electroimanes, cada uno con cuerdas primarias y secundarias
del alambre de cobre, que son arregladas alrededor de un corazón de acero
grande. El corazón igualmente tiene una cuerda sola. Sobre el grupo entero de
células es una cuerda secundaria. Nada
fue relatado o representado sobre como los componentes funcionaron el uno con
el otro, o cuanto radio fue usado y donde el radio fue colocado. Los únicos
conectores visibles en el dibujo estaban entre las cuerdas externas del ocho
electroimán bobinas. Estos conectores muestran que la dirección de las cuerdas
alternó entre dextrórsum y en contrario en bobinas adyacente, de modo que la
polaridad de cada electroimán hubiera sido enfrente de aquel de es vecinos
adyacentes.
Si el Hubbard y Hendershot dispositivos realmente funcionaron como
relatado, ellos por lo visto nunca alcanzaron la aceptación o el éxito
comercial. La asunción de los dispositivos realmente trabajó, su carencia del
éxito puede haber sido en gran parte económicamente o suministro basado, o
ambos, haber compuesto con el escepticismo de creyentes en la doctrina de
conservación de energía. Cuanto radio
fue empleado por Hubbard en su generador más grande sólo puede ser conjeturado,
pero la asunción de una aguja de radio de laboratorio típica que contiene 10
miligramos de radio fue usada, aquella cantidad habría costado 900 dólares en
1920, cayéndose a 500 dólares en 1929. Tanto radio en un generador fuelless
habría costado tanto como un coche barato en los años 1920. Posiblemente mucho
más radio fue usado que 10 miligramos.
En 1922, cuando la Compañía de Radio de América de Pittsburgo, Papá., según
se informa discontinuó su trabajo con Hubbard en la su invención (1928), el
suministro del mundo entero de radio era sólo aproximadamente 250 gramos. Con
la asunción extrema que sólo 1 miligramo de radio fue necesario por generador,
menos de 10 % de la producción de un año solo de automóviles en los EE.UU a
mediados de los años 1920 podría haber sido suministrado de tales generadores.
Por lo visto el Hendershott había tratado de reanimar la tecnología mostrando
que el generador fuelless podría ampliar la variedad del vuelo de aire
indefinidamente, pero su tecnología nunca atrajo a un patrocinador de cualquier
entidad privada, pública o filantrópica.
Estados Unidos. Acariciar. El No 4,835,433 a Marrón, superficialmente se
parece al dibujo del dispositivo de Hubbard. El dispositivo de Brown parece
tener el mismo número y esencialmente el mismo arreglo general del alambre
bobinas como el generador de Hubbard, tan casi como puede ser entendido de los
artículos de periódico que representan aquel dispositivo. Por lo visto, ninguna información acerca de
Hubbard o acerca dispositivos Hendershot fue considerada durante el
procesamiento de 'la 433 patente. Marrón habla de la conversión de energía de
productos de decaimiento radiactivos, emisiones principalmente alfa, a la
energía eléctrica amplificando oscilaciones eléctricas en un recorrido L-C
alto-Q irradiado por materiales radiactivos.
Durante el proceso de absorción, cada partícula alfa chocará con uno o
varios átomos en el conductor, golpeando electrones de sus órbitas e
impartiendo alguna energía cinética a los electrones en el conductor, a la baja
del aumento de su conductividad. (Coronel 3, Línea 68 a Coronel 4, línea 5).
Ninguna reclamación fue hecha por Marrón, que el dispositivo empleó un
semiconductor o el fotoconductor que podría haber proporcionado electrones
bajos de masas para el aumento de energía.
Marrón reclamó una salida de 23 amperios en 400 voltios, que es inmensamente
mayor que toda la energía de decaimiento representada por su contenido
radiactivo relatado de 1 miligramo de radio que fue rodeado por varas de uranio
débilmente radiactivas y polvo thorium. Impulsado
el thorium es muy pyrophoric, entonces es típicamente sellado en una atmósfera
de nitrógeno para prevenir la combustión espontánea. En su dispositivo, Marrón
según se informa encajonó el thorium en el cartón sin cualquier mención de la
caza de focas se airean. Esta condición habría invitado una fusión accidental
que podría haber sido interpretada como la producción eléctrica de control
masiva.
Al mejor del conocimiento del Candidato, ninguna persona además del
Candidato ha indicado alguna vez que la presencia de óxido cúprico en sus
alambres podría haber proporcionado el aumento de energía. Si el dispositivo de
Hubbard realmente trabajara, las ciertas características de su diseño no pueden
ser explicadas por el Candidato, a saber el uso de cuatro más bien que dos
cables eléctricos grandes para unir su dispositivo a un motor eléctrico, y el
uso de polaridad alternadora en vez de polaridad de dirección sola en la
orientación de bobinas múltiple alrededores de bobina central. El candidato por
lo tanto cree que la especificación aquí pone configuraciones adelante
originales de generadores de energía eléctrica que no tienen ningún precedente
conocido.
RESUMEN
Para dirigirse a las necesidades de generadores eléctricos que son capaces
de autogenerar cantidades sustanciales del poder eléctrico en varios ambientes,
y que son porTabla así como inmóvil, el aparato y los métodos son
proporcionados para ampliar una entrada eléctrica, (y con la reacción) para
generar el poder eléctrico utilizable indefinidamente sin el combustible u otra
fuente de energía externa, excepto el comienzo.
El aparato utiliza electrones de la masa eficaz baja, que reciben la
mayor aceleración que electrones normales en una cantidad que está inversamente
proporcional a la masa eficaz. El candidato ha determinado que la masa eficaz
es el mismo como la masa de inercia verdadera del electrón. La energía de fotón
que es irradiada cuando un electrón es acelerado es proporcional al cuadrado de
la aceleración, entonces el aumento de la energía de fotón irradiada de un
electrón bajo de masas acelerado sobre la energía de un electrón normal es
igual al cuadrado inverso de la masa eficaz, p.ej el aumento de energía
deliberado proporcionado fotoconduciendo electrones en el cadmio selenide, con
una masa eficaz de electrones de 0.13, es 59 veces. El uso de una fuerza transversal, que carece
de una espalda-fuerza directa, acelerar electrones bajos de masas en una manera
oscilante, circunviene cualquier fuerza igual-y-de-enfrente que invocaría la
aplicación de la ley de conservación de energía de cinética y termodinámica.
Varias encarnaciones del aparato, que es configurado para ampliar
continuamente una entrada de la energía eléctrica oscilante, o servir como un
generador eléctrico autónomo, emplean tres componentes principales:
Al menos un envío bobina
Al menos un aumento de energía bobina, comprendiendo un material que
produce, en unos electrones de masa baja "de condición", y
Al menos una salida bobina.
Es deseable que el aparato también incluya un medio para establecer la
condición con respecto a la ampliación de energía bobina (s). Excepto donde por
otra parte indicado en el resto de este texto, donde el número de bobinas de un
tipo particular es mandado a en el singular, será entendido que una pluralidad
de bobinas del tipo respectivo puede ser o bien utilizada.
La oscilación eléctrica en el envío bobina, que consiste de un conductor
metálico, causa la radiación de fotones inductivos del envío bobina. La
ampliación de energía bobina es situada en una posición con relación al envío
bobina para recibir fotones inductivos del envío bobina. Los fotones inductivos que irradian de
oscilaciones eléctricas en el envío bobina, comunique una fuerza transversal a
los electrones bajos de masas en el aumento de energía bobina sin la
espalda-fuerza en el envío bobina. Las mayores que normal aceleraciones que son
producidas en los electrones bajos de masas de la ampliación de energía bobina,
producen la mayor energía de irradiación de fotones inductivos que normal.
La salida bobina es colocada para recibir la energía de fotón inductivo
ampliada de la ampliación de energía bobina. La energía de fotón inductivo
recibida por la salida bobina, que consiste de un conductor metálico, es
convertida en una corriente eléctrica oscilante de electrones normales. Para la salida eléctrica para exceder la
entrada eléctrica, la salida bobina es situada en tal manera que esto recibe
más de la energía de fotón inductivo ampliada que el que que es dirigido atrás
contra el envío bobina para actuar como una espalda-fuerza. Este
apalancamiento de energía hace que la salida de energía eléctrica exceda la
entrada de energía eléctrica.
Por vía del ejemplo, la ampliación de energía bobina puede comprender un
material de superconducción, en donde "la condición" es una
temperatura (p.ej una temperatura criogénica) en cual los objetos expuestos de
material de superconducción que superconducen el comportamiento caracterizado
por la producción de electrones bajos de masas.
Por vía de otro ejemplo, la ampliación de energía bobina puede comprender
un material fotopropicio, en donde "la condición" es una situación en
la cual el material fotopropicio es iluminado por una longitud de onda de la
radiación de fotón suficiente para hacer que el material fotopropicio de la
ampliación de energía bobina produjera electrones de conducción que tienen bajo
la masa eficaz. En este ejemplo último,
los medios para establecer la condición pueden comprender un excitador de
fotoconductor (p.ej uno o varios LEDs) situado y configurado para iluminar el
material fotopropicio de la ampliación de energía bobina con la longitud de
onda de la radiación de fotón.
Por vía de aún otro ejemplo, "la condición" es la presencia de
dopant particular en un semiconductor que proporciona un electrón bajo de masas
como un portador de precio. También, por vía del ejemplo, la ampliación de
energía bobina puede comprender un elemento semipropicio o el compuesto que ha
sido doped con un elemento particular o compuesto que lo hace propicio de
electrones bajos de masas sin la iluminación por la radiación de fotón además
de por fotones ambientales.
Varias encarnaciones de aparato comprenden números respectivos diferentes y
arreglos de los componentes principales. Varias encarnaciones además pueden
comprender una o varias de la circuitería, energisers, protegiendo y otros
componentes para realizar el objeto de proporcionar una fuente autónoma del
poder eléctrico para objetivos útiles.
También a condición de que, sean métodos para generar una corriente
eléctrica. En una encarnación de tal método, primer bobina es activado con una
oscilación eléctrica suficiente para hacer que primer bobina irradiara fotones
inductivos. Al menos algunos fotones inductivos irradiados desde el principio
bobina son recibidos antes de un segundo bobina, llamados la ampliación de
energía bobina, comprendiendo un material que produce electrones bajos de
masas. Los fotones inductivos recibidos
imparten fuerzas transversales respectivas a los electrones bajos de masas que
hacen que los electrones bajos de masas experimenten aceleraciones en el
material que son mayores que aceleraciones que por otra parte serían
experimentadas por electrones libres normales que experimentan las fuerzas
transversales.
La conducción de los electrones bajos de masas acelerados en segundo
bobina, hace que segundo bobina produzca una fuerza inductiva ampliada. La
fuerza inductiva ampliada es recibida por un tercero bobina que hace que tercer
bobina produzca una salida eléctrica oscilante de electrones de conducción
normales que tiene la mayor energía que la oscilación inicial. Una porción de la salida eléctrica oscilante
es dirigida como la reacción de tercer bobina al envío bobina, para
proporcionar la oscilación eléctrica al envío bobina. Esta porción de la
corriente eléctrica oscilante dirigida al envío bobina, deseablemente es
suficiente para causar la generación autónoma de fotones inductivos por primer
bobina sin la necesidad de cualquier fuente de energía externa. La salida
eléctrica oscilante de sobra de tercer bobina puede ser dirigida a un lazo de
trabajo.
El método puede comprender adelante el paso de comenzar el energisation de
primer bobina para comenzar la generación de la salida eléctrica oscilante.
Este paso "inicial" puede comprender momentáneamente la exposición de
primer bobina a una fuerza inductiva oscilante externa o por ejemplo, a una
fuerza magnética externa que inicia un pulso eléctrico.
Los rasgos anteriores y adicionales y las ventajas de la invención serán
más fácilmente aparentes de la descripción detallada siguiente, que procede en
cuanto a los dibujos de acompañamiento.
BREVE DESCRIPCIÓN DE LOS DIBUJOS

Fig.1A es una vista de perspectiva que
esquemáticamente representa un envío bobina en la relación a una ampliación de
energía bobina tal que fotones inductivos del envío bobina, propáguese a la
ampliación de energía bobina.

Fig.1B es una vista de final esquemática del
envío bobina y ampliación de energía bobina de Fig.1A, adelante representando
radiación de fotones inductivos del envío bobina y las direcciones respectivas
de flujo de electrones en el bobinas.

Fig.1C es una vista de final esquemática del
envío bobina y ampliación de energía bobina de Fig.1A, adelante representando
la producción de fotones inductivos ampliados interiormente que irradian y
en-apariencia-irradian de la ampliación de energía bobina.

Fig.2A es una vista de perspectiva
esquemáticamente mostrando a una salida interna bobina, coaxialmente anidó
dentro de la ampliación de energía bobina para permitir la inducción eficiente
de la salida interna bobina por la ampliación de energía bobina, en donde la
inducción corriente establecido en la salida interna bobina es usada para
impulsar una carga relacionada a través de la salida interna bobina.

Fig.2B es una vista de final esquemática del
bobinas mostrado en Fig.2A, adelante representando la mayor cantidad de la
radiación de fotón inductivo ampliada que es recibida por la salida externa
bobina en comparación con la cantidad menor que es dirigida hacia el envío
bobina para actuar como una espalda-fuerza.

Fig.3 es un diagrama esquemático eléctrico de
una encarnación representativa de un aparato de generación.

Fig.4 es una vista de final esquemática de una
encarnación representativa, comprendiendo un envío centralmente dispuesto
bobina rodeado por seis ampliación de energía bobinas, cada uno tener y eje que
es considerablemente la paralela al eje del envío bobina. Una salida interna
respectiva bobina es coaxialmente anidada dentro de cada ampliación de energía
bobina, y la ampliación de energía bobinas es arreglada para capturar
considerablemente todos los fotones inductivos que irradian del envío bobina.

Fig.5 es una vista de final esquemática de la
encarnación de Fig.4, adelante incluso una salida externa bobina situado
coaxialmente con el envío bobina y configurado para rodear seis ampliación de
energía bobinas para capturar fotones inductivos en-apariencia que irradian de
la ampliación de energía bobinas. También
representado es la mayor cantidad de la radiación de fotón inductivo ampliada
que es recibida por la salida interna bobinas y la salida externa bobina en
comparación con la cantidad menor de la radiación de fotón inductivo que es
dirigida hacia el envío bobina para actuar como una espalda-fuerza. También
mostrado son las series de LEDs usado para excitar la ampliación de energía
bobinas para hacerse fotopropicios.

Fig.6 es una vista de perspectiva de la
encarnación de Fig.4 y Fig.5 pero adelante la representación de uniones de
interrollo respectivas para la salida que amplia energía e interna bobinas, así
como respectivo conduce para el envío bobina, salida interna bobinas y salida
externa bobina.

Fig.7 es una vista de final principal
esquemáticamente representación de direcciones de flujo corriente ejemplares en
el envío bobina, ampliación de energía bobinas, salida interna bobinas, y
salida externa bobinas, así como en varias uniones de interrollo de la
encarnación de Fig.4.

Fig.8 es una vista de final esquemática
mostrando a una encarnación de la manera en la cual las uniones de interrollo
pueden ser hechas entre la ampliación de energía adyacente bobinas.

Fig.9A es una vista de final esquemática que
representa la configuración bobina de una encarnación en la cual un envío
bobina y una salida interna bobina es anidado dentro de una ampliación de
energía bobina, que por su parte es anidado dentro de una salida exterior
bobina. Un separador metálico, teniendo una forma considerablemente parabólica,
y siendo situado entre el envío bobina y la salida interna bobina, refleja un
poco de la radiación de fotón inductivo por otra parte no usada para maximizar
la radiación eficaz recibida por la ampliación de energía bobina. También, el
escudo metálico previene la salida interna bobina de recibir la radiación
enviada del envío bobina.

Fig.9B es una vista de final esquemática de la
configuración bobina de Fig.9A, adelante representando el separador metálico
que interpreta como un escudo para restringir la radiación de espalda-fuerza
que alcanza el envío bobina permitiendo a la salida interna bobina recibir una
porción sustancial de la radiación ampliada de la ampliación de energía bobina.
También representado es la mayor cantidad de la radiación de fotón inductivo
ampliada que es recibida por la salida interna bobina y la salida externa
bobina en comparación con la cantidad menor que es recibida por el envío bobina
para actuar como una espalda-fuerza.

Fig10A es una vista de final esquemática que
representa la configuración bobina de aún otra encarnación que es similar en algunos
aspectos a la encarnación de Fig.4, sino también incluso corazones
ferromagnéticos respectivos dentro del envío bobina y salida interna bobinas.
También representado es un escudo metálico que rodea el aparato entero.

Fig.10B es una vista de final esquemática de un
envío bobina de aún otra encarnación en la cual una manga ferromagnética es
dispuesta coaxialmente alrededor del envío bobina.
DESCRIPCIÓN DETALLADA
Consideraciones Técnicas Generales
Un entendimiento de como la energía infinita equivocadamente vino para
ser rechazado por la comunidad científica, clarifica la base de esta invención.
La función electrodinámica descrita en las encarnaciones descritas abajo, se
conforma a la regla de energía alterna de Helmholtz, que declara que una fuerza
que no está de acuerdo con esto es la fuerza causativa puede ser perdido o
ganado a lo infinito. Esta regla fue
incluida en Uber mueren Erhaltung der Kraft (En la Conservación de Fuerza)
que Hermann Helmholtz entregó a la Sociedad Física de Berlín en 1847. Pero,
Helmholtz equivocadamente creyó que todas las acciones en la naturaleza son
reducibles a fuerzas de atracción y repulsión, la intensidad de las fuerzas que
dependen únicamente de las distancias entre los puntos implicó .... entonces es
imposible obtener una cantidad ilimitada de la fuerza capaz de hacer el trabajo
como el resultado de cualquier combinación en absoluto de objetos naturales.
Helmholtz rechazó aceptar la idea que la energía magnética tiene derecho a
lo infinito al estado a pesar de que el Amperio (1820) fuerza magnética en
conductores directos paralelos es obviamente transversal a la dirección de las
corrientes eléctricas más bien que estar de acuerdo con las corrientes. Él omitió la mención que la fuerza magnética
en el Amperio (1825) la invención importante, el electroimán solenoidal, es
causada por corrientes en los lazos de sus bobinas, que son transversales a la
dirección de la fuerza magnética. También, él dejó de mencionar que el Amperio
pensó que la fuerza magnética de un imán permanente era causada antes del
minuto corrientes circulares transversales, que son reconocidas ahora como
electrones que giran y están en órbita transversalmente.
Helmholtz, quién fue educado como un doctor médico militar sin cualquier
estudio formal de la física, confió en cambio en una explicación metafísica
obsoleta de la fuerza magnética: la atracción magnética puede ser deducida
completamente de la asunción de dos fluidos que atraen o repelen en la razón
inversa del cuadrado de su distancia.... Se conoce que los efectos externos de
un imán siempre pueden ser representados por una cierta distribución de los
fluidos magnéticos en su superficie. Sin
marcharse de esta creencia en fluidos magnéticos, Helmholtz citó a Wilhelm
Weber (1846) interpretación incorrecta de manera similar que las fuerzas
magnéticas e inductivas son dirigidas en la misma línea que esto entre las
cargas eléctricas móviles que causan las fuerzas.
Weber había pensado que él podría unificar Coulombic, fuerzas magnéticas, e
inductivas en una ecuación sola, simple, pero el término de fuerza magnética
defectuoso de Weber conduce a la conclusión absurda que una corriente estable
en un alambre directo induce una corriente eléctrica estable en un alambre
paralelo. También, un cambio corriente
no induce una fuerza electromotriz de acuerdo con la corriente, cuando la
ecuación de Weber mostró. La fuerza inducida es compensada en cambio, que se
hace más aparente el adicional que dos anidó, bobinas coaxiales son separados.
Lo que parece ser una espalda-fuerza directamente contraria es realmente una
fuerza inductiva recíproca.
La aseveración de Helmholtz que la suma total de la energía en el universo
es una cantidad fija que es immuTabla en la cantidad de la eternidad a la
eternidad apeló a sus amigos jóvenes. Pero, los científicos mayores de la
Sociedad Física de Berlín declararon que su papel era especulación fantástica
y un salto arriesgado en la metafísica muy especulativa, entonces fue
rechazado para la publicación en Annalen der Physik. Más bien que aceptar este rechazo
constructivamente, Helmholtz encontró una impresora complaciente a ayudarle a
autopublicar su trabajo. El Helmholtz encabezó la publicación con una
declaración que su papel había sido leído antes de la Sociedad, pero él
falsamente retuvo la mención de su rechazo absoluto. Los lectores incautos han
recibido desde entonces la impresión incorrecta que su regla de conservación de
energía universal había recibido el endoso de la Sociedad más bien que su
censura.
Helmholtz (1862, 1863) hecho público su concepto así: hemos sido
conducidos hasta una ley natural universal, qué ... expresa una propiedad
absolutamente general y en particular característica de todas las fuerzas
naturales, y qué ... debe ser colocado al lado de las leyes de la no
mutabilidad de masa y la no mutabilidad de los elementos químicos. El
Helmholtz (1881) declaró que cualquier fuerza que no conservó la energía sería
en la contradicción al axioma de Newton, que estableció la igualdad de acción
y reacción para todas las fuerzas naturales.
Con esta falsificación engañosa del principio estrictamente mecánico de
Newton, Helmholtz había tenido éxito astutamente en la conmutación del respeto
profundo para las leyes de Newton a su doctrina no científica. Posteriormente,
la Magnífica Cruz fue conferida en Helmholtz por los reyes de Suecia e Italia y
el presidente de la República francesa, y él fue dado la bienvenida por el
Emperador alemán en la nobleza con el título de "von" añadido a su
nombre. Estos premios prestigiosos hicieron su doctrina prácticamente
inexpugnable en la comunidad científica.
El principio del Amperio de atracción magnética transversal y repulsión
entre corrientes eléctricas había sido hecho en una ecuación para la fuerza
magnética entre cargas eléctricas móviles por Carl Fredrick Gauss (escrito en
1835, publicado póstumamente en 1865). La
parte crítica de los espectáculos de ecuación Gauss, y textos de física
modernos está de acuerdo, que la fuerza magnética es transversal a la fuerza que
imparte una velocidad relativa (es decir perpendicular a una línea de unión)
entre gastos. Careciendo de una espalda-fuerza directa, una fuerza magnética
transversal puede producir una mayor fuerza que la fuerza que lo causa.
El único físico para reconocer en la letra, el significado profundo del
trabajo de Gauss, era James Clerk Maxwell (1873), quién declaró (Si la fórmula
de Gauss es correcta), la energía podría ser generada indefinidamente en un
sistema finito por medios físicos. Preposeído
con la "ley" de Helmholtz, Maxwell decidió no creer la ecuación de
fuerza magnética transversal de Gauss y aceptó a Wilhelm Weber (1846) fórmula
en línea errónea en cambio. Maxwell hasta reconoció saber de Gauss (1845)
reprimenda de Weber para su dirección equivocada de la fuerza magnética como
un derrocamiento completo de la fórmula fundamental del Amperio y la adopción
de esencial uno diferente.
En 1893, la parte crítica de la fórmula del Amperio para la fuerza
magnética, que Weber y Maxwell rechazaron, y que Helmholtz había sustituido por
su explicación metafísica contraria, fue propuesta para la base para la medida
internacional de la corriente eléctrica, el Amperio (o amperio), ser definido
en términos de fuerza magnética transversal que los productos corrientes. Pero
la doctrina de Helmholtz se había hecho tan impermeable a hechos que alguien
que desafió esta "ley" afrontó la difamación y la burla.
El primer reconocimiento de la energía ilimitada vino de señor Joseph
Larmor que hizo un informe en 1897, un ión solo e, describiendo una órbita
elíptica bajo una atracción por un centro fijo ... debe perder rápidamente su
energía por la radiación ..., pero en los casos del movimiento estable, esto es
sólo esta cantidad que es necesaria para mantener la permanencia de movimiento
en el aether. Por lo visto para aplacar a los críticos del su concepto
herético, Larmor ofreció una retractación poco entusiasta en 1900: la energía
de grupos orbitales ... sería durante el tiempo, con sensatez disipado por la
radiación, de modo que tales grupos no pudieran ser permanentes.
En 1911, Rutherford encontró que un átomo se parece a un pequeño sistema
solar con iones negativos que mueven como planetas alrededor de un pequeño,
núcleo positivamente cargado. Estos electrones sin parar orbitales eran una
fuente de la radiación perpetua que había sido adecuadamente descrita por
Larmor, y estos electrones orbitales eran también Planck (1911) osciladores
armónicos que él solía explicar la Energía de Punto cero (ZPE). ZPE fue mostrado por el hecho que el helio
permanece el líquido bajo la presión atmosférica en el cero absoluto, de modo
que el helio debiera ser presurizado para hacerse sólido en aquella
temperatura. Planck creyó que los osciladores armónicos se derivaron energía
oscura del aether para sostener sus oscilaciones, así confesando que una
fuente infinita de la energía existe. Sin embargo, él adjudicó un origen oculto
a esta energía infinita, más bien que una fuente convencional que no se había
encontrado con la aprobación de Helmholtz.
Niels Bohr (1924) fue molestado por la noción que la radiación de un
electrón orbital drenaría rápidamente su energía de modo que el electrón
debiera moverse en espiral en el núcleo. El Whittaker (1951) estados, Bohr y
los socios abandonaron el principio ... que un átomo que emite o absorbe la
radiación debe perder o ganar la energía. En su lugar, ellos introdujeron la
noción o la radiación virtual, que fue propagada en ondas ..., pero que no
transmite la energía o el ímpetu. Posteriormente, la comunidad científica
entera despidió la radiación Larmor como una fuente de la verdadera energía
porque esto dejó de conformarse a la doctrina universalmente aceptada de
Helmholtz.
La idea de obligación de Helmholtz que la cantidad enorme de luz y calor
que irradia de muchos mil millones de estrellas en el universo sólo puede venir
de la energía antes almacenada, ha conducido a científicos a concurrir que
fusión de hidrógeno preexistente al helio, suministra casi toda la energía que
hace que luz y calor irradie del sol y otras ventajas. De ser así, entonces el
universo entero se hará completamente oscuro después de que el suministro de
hidrógeno presente en estrellas es consumido en aproximadamente 20 mil millones
de años. William A. Fowler (1965) creído
que esencialmente todo el hidrógeno en el universo surgió a partir de los
pocos primeros minutos de la temperatura alta temprana, etapa high density del
Universo creciente, el llamado golpe grande... Además, la energía de fondo
del universo fue pensada por unos ser la radiación "de reliquia" del
Golpe Grande.
Para aceptar la idea de Golpe Grande que todas las estrellas en el universo
originaron al mismo tiempo, era necesario desatender el hecho que la mayor
parte de estrellas son mucho más jóvenes o mucho más viejas que la edad
supuesta del acontecimiento antiguo, que indica que su energía debe haber
venido de una fuente que se repite. El
Golpe Grande es completamente dependiente de la idea que el universo entero
amplía, que provino de la interpretación que el cambio rojo de Hubble con la
distancia de la fuente de la luz, representa un cambio de Doppler de estrellas
que retroceden y galaxias. Esta
interpretación de universo de ampliación fue rota por William G. Tifft (1976,
1977), quién encontró que los cambios rojos observados no son extendidos al
azar y suavemente más de una variedad de valores, como sería esperado de los
cambios de Doppler de un número enorme de estrellas que retroceden y galaxias.
En cambio, los cambios rojos observados todo el otoño sobre valores
regularmente espaciados, cuantificados.
Además, Shpenkov y Kreidik (2002) determinado que la temperatura de
radiación correspondiente al período fundamental del movimiento de electrones
orbital en el átomo de hidrógeno de 2.72890K empareja la temperatura mesurada de la
radiación de fondo cósmica de 2.7250K más o menos 0.0020K. Este representa el nivel cero perpetuo
radiación de Larmor de átomos de hidrógeno interestelares dispersados en el
universo. De este modo, la idea de Helmholtz que la energía en el universo es
una cantidad fija immuTabla en la cantidad de la eternidad a la eternidad no
resiste a hechos conocidos.
La cantidad agregada grande de fotones de calor que es generada
continuamente por la radiación Larmor puede explicar la iluminación de
estrellas y para el calor enorme y presión en centros galácticos activos.
Basado en el hecho que los fotones exponen el ímpetu, los fotones deben la masa
de tropas, porque, cuando Newton explicó, el ímpetu es la velocidad de tiempos
de masas, que en este caso es c. Por
consiguiente, la creación de fotones por la inducción o por la radiación
Larmor, también crea la nueva masa. Las condiciones que Fowler buscaba para el
hidrógeno nucleosynthesis, están siendo por lo visto suministradas indefinidamente
en galaxias activas y posiblemente en el sol y otras estrellas encima de un
cierto tamaño. Esta invención utiliza una fuente de energía ilimitada similar.
Otro principio que es importante para esta especificación, es que la
transferencia de energía por la inducción eléctrica fue encontrada por el
Candidato para trabajar en la misma manera que la transferencia de energía por
emisión y recepción de señales de radio oscilantes. Una fuerza transversal es
comunicada en ambos casos, las decadencias de fuerza de manera similar con la
distancia, y los efectos de proteger y reflexión son idénticos. Ya que las señales de radio son comunicadas
por fotones, el Candidato considera que la fuerza inductiva también es
comunicada por fotones. La radiación de fotones inductivos recién formados
resulta cuando un precio acelerado experimenta un cambio de la dirección de la
aceleración. La radiación inductiva ocurre cuando la aceleración de cargas
eléctricas es invertida, como en bremsstrahlung de Rontgen, en el oscilador
lineal del Hercio (más todas otras antenas que transmiten radio), y en bobinas
que llevan una corriente alterna.
En un caso similar, cuando movimiento de cargas eléctricas en un movimiento
que tuerce debido a una aceleración centrípeta que se cambia continuamente, los
fotones inductivos son irradiados constantemente. Este incluye la radiación de
electrones que están en órbita núcleos atómicos (radiación de Larmor) y de
electrones de conducción que fluyen en un alambre bobina, si la corriente es
estable o no. Los fotones inductivos producidos circulares inducen un
movimiento circular (diamagnetism) en electrones móviles localizados cerca del
eje del movimiento circular del electrón.
Tanto en los casos de aceleración centrípeta como en aceleración inversa,
los fotones inductivos comunican una fuerza a electrones móviles que es
transversal al camino de propagación del fotón. Como Lapp and Andrews (1954) relatado,
los fotones de Energía baja producen fotoelectrones perpendicularmente a su
camino .... Esta misma fuerza de ángulo recto sin una espalda-fuerza directa,
se aplica también, a todos los electrones de conducción que son acelerados por
fotones de energía baja. De ahí, la energía inductiva tiene derecho a la
exención de la ley de conservación de energía por Helmholtz mismo a lo infinito
principio que exime la energía magnética.
La fuerza transversal que inductivamente produjo fotones entregados a
electrones móviles, es de enfrente en la dirección al movimiento simultáneo del
precio primario que produce la radiación.
Este es mostrado por la corriente inducida de Faraday enfrente de la
inducción corriente y por el movimiento circular diamagnetically-inducido que,
en un sentido rotatorio, es enfrente del movimiento de electrones circular en
el bobina la producción de ello. Un flujo oscilante de electrones dentro de un
lazo de un alambre bobina, induce una fuerza en los electrones de conducción
que está en dirección contraria en lazos adyacentes del mismo alambre. Este
resulta en la autoinducción.
Importante para esta especificación es la realización que la energía
transmitida por fotones es cinética más bien que electromagnética. Los fotones
inductivamente irradiados de energía baja, rayos ligeros y rayos X no pueden
ser desviados por y campo magnético o eléctrico debido al precio neutro de los
fotones. Ninguno hace los fotones neutros llevan un campo magnético o eléctrico
con ellos. La radiación de fotón es
producida por un cambio de la aceleración de una carga eléctrica, tan sólo en
casos especiales hace esto tiene un origen electrokinetic que implica una
fuerza magnética. Para honrar estos hechos, el Candidato usa el término
electrokinetic espectro en el lugar del espectro electromagnético.
Otro principio que es importante para esta especificación es la realización
que, aunque el precio en el electrón tenga un valor constante en todas las
condiciones, la masa de un electrón no es una cantidad fija, incambiable. Todos
los electrones libres, como en rayos de cátodo, tienen exactamente la misma
cantidad de la masa en velocidades subrelativistas. Este es llamado la masa
normal y es denotado por me. Los
electrones libres tienen un precio único para reunirse la proporción que hace
la fuerza magnética que resulta de una velocidad subrelativista impartida a tal
electrón, exactamente igualar a la entrada de energía con electrones
"normales".
También, cuando un electrón normal es dado una aceleración subrelativista,
la fuerza inductiva que esto produce es igual a la fuerza que esto recibe. La
masa de electrones muy propicios de metales está por lo visto muy cerca de
normal, pero cualquier ganancia de energía inductiva muy leve sería enmascarada
por ineficiencias. El ubicuidad de electrones libres y los electrones de
conducción de metales ha conducido a la vista que la masa de electrones es una
figura nunca que varía que permitiría que la ley de conservación de energía se
aplicara a energía magnética y energía inductiva.
Las determinaciones exactas de la masa de electrones en materiales sólidos
han sido hechas posibles por la resonancia de ciclotrón, que también es llamada
la resonancia diamagnetic. La fuerza de diamagnetic producida por el flujo
estable de electrones en un alambre bobina, induce los electrones móviles de un
semiconductor a moverse en una órbita circular del radio indefinido, pero en
una frecuencia angular definida. Esta
frecuencia sólo está relacionada con la fuerza inductiva y la masa del
electrón. Al mismo tiempo, una fuerza magnética repulsiva es desarrollada por
la velocidad relativa entre el flujo de electrones en el bobina y los
electrones de conducción, causando los electrones móviles del semiconductor
moverse en un camino helicoidal lejos del bobina más bien que en círculos
planos. Sólo dos medidas son necesarias
para determinar la masa de tal electrón: la frecuencia de ciclotrón que resuena
con la frecuencia del movimiento circular del electrón, y la fuerza de la
fuerza inductiva, que es determinada por la corriente y las dimensiones del
bobina. Ya que el campo magnético co-producido está relacionado con los mismos
parámetros, su medida sirve como un sustituto para la fuerza inductiva.
Como la masa mesurada de electrones de conducción en semiconductores es
menos que normal, una explicación complicada ha sido adoptada para defender la
constancia de la masa de electrones a fin de apoyar la doctrina de energía de
Helmholtz. Una fuerza suplementaria es
supuestamente recibida de la energía de onda de celosía vibrational del cristal
(en lo que tendría que ser un acto de autorefrigeración) hacer electrones
normales de masas para moverse más rápido que esperado alrededor de un camino
circular, así dando al aspecto que el electrón tiene menos masa que normal. En
esta explicación, se piensa que el electrón es una onda untada más bien que una
partícula, que es contradicha por el retroceso parecido a una bola de billar de
un electrón cuando en ello se da un golpe un quántum de radiación, como
descrito por Arthur Crompton y Samuel Allison (1935).
El error que tomó prestada la energía puede proporcionar un aumento en la
velocidad a un electrón, es más aparente en caso del movimiento lineal. La
teoría eficaz de masas considera que la mayor velocidad lineal es causada por
un aumento dado a electrones normales de masas por una onda longitudinal
impartido por una fuerza por fuera aplicada en la misma dirección que el
movimiento de electrones. Ya que también
se piensa que esta onda longitudinal tiene una fuente en vibraciones de celosía
de cristal, la teoría eficaz de masas confía en una inversión de entropía en la
violación de la segunda Ley de la Termodinámica.
Ninguna contribución razonable de la energía direccional directa puede ser
invocada de cualquier fuente para impartir la anormalmente gran velocidad a los
electrones de conducción en semiconductores. De este modo, la operación de
encarnaciones de aparato descritas aquí, confía en electrones que tienen
propiedades de partícula y en electrones que tienen "menos que la "
masa de inercia normal sin invocar cualquier fuerza especial. Este es apoyado por Brennan (1999)
declaración que el problema complicado de un electrón que se mueve dentro de
un cristal bajo la interacción de un periódico pero complicó el potencial,
puede ser reducido a aquella de una partícula libre simple, pero con una masa
modificada. El término "eficaz" es aquí considerado redundante en la
referencia a la masa realmente de inercia, pero la masa eficaz todavía tiene
la importancia en la referencia al movimiento neto de puestos vacantes
orbitales "o agujeros" en dirección contraria de electrones bajos de
masas.
Mostrado por la ecuación F = ma, un electrón bajo de masas recibe la mayor
aceleración y la mayor velocidad de una fuerza dada que un electrón de la masa
normal. La velocidad y la energía cinética impartida a un cuerpo eléctricamente
cargado por una fuerza, son determinadas por la carga eléctrica sin hacer caso
de la masa del cuerpo. Teniendo una
cantidad más pequeña de la masa, permite que un cuerpo alcance una mayor
velocidad con cualquier fuerza dada. De ahí, la fuerza magnética producida por
el precio en esta velocidad más alta será mayor que sería normalmente para
aquella misma cantidad de la fuerza. Este permite que electrones bajos de masas
produzcan una fuerza magnética que es mayor que la fuerza aplicada.
También, la cantidad de la energía de radiación inductiva de electrones
acelerados está relacionada con el precio de un electrón sin hacer caso de su
masa. La energía de la radiación inductiva aumenta con el cuadrado de la
aceleración del electrón según Larmor (1900) ecuación, mientras la aceleración
está inversamente proporcional a la masa de electrones menor con relación a la
masa de electrones normal. Por lo tanto,
la mayor que normal aceleración de electrones bajos de masas, permite la nueva
radiación de la energía de fotón inductivo ampliada en un factor de aumento que
es proporcional al cuadrado inverso de la masa del electrón, p.ej, el factor de
aumento de energía inductiva de cadmio selenide fotoelectrones con 0.13 de la
masa de electrones normal es (0.13) 2 que es 59 veces.
Los electrones parecen adquirir o mudar la masa de fotones a fin de encajar
las coacciones de órbitas particulares alrededor de núcleos, porque cada órbita
dicta una masa de electrones muy específica. En metales, donde los electrones
de conducción parecen moverse como un gas, uno podría pensar que ellos
asumirían la masa normal de electrones libres.
Pero el camino libre medio más grande de electrones en los metales más
propicios es según se informa aproximadamente 100 espaciados atómicos entre
colisiones (Popps, 1997), entonces los electrones de conducción por lo visto
retroceden en la órbita de vez en cuando y así recobran sus valores de masas
metálicos específicos.
Cuando los electrones de conducción pasan de un tipo metálico al otro,
ellos pierden o fotones de calor de ganancia para ajustar su masa a coacciones
orbitales diferentes. En un recorrido que comprende a dos conductores metálicos
diferentes colocados en serie contacto el uno con el otro, el flujo de
electrones de conducción en una dirección causará la emisión de fotones de
calor en la unión, mientras un flujo de electrones en la dirección inversa
causas que refrescan como el resultado de fotones de calor ambientales
absorbidos por los electrones de conducción en la unión (Peltier que refresca
efecto). Cuando un metal es afiliado con un semiconductor cuyos electrones
propicios tienen la masa mucho inferior que en metales, la mucho mayor
calefacción o la refrigeración ocurren en su unión.
John Bardeen (1941) relatado que la masa (eficaz) de superconducir
electrones en superconductores bajos de temperaturas es sólo 10-4 tan grande como
la masa de electrones normales. Este es demostrado cuando los electrones que
superconducen son acelerados a una velocidad circular mucho más alta que normal
en diamagnetically corrientes de remolino inducidas, que causa fuerzas
magnéticas enormes que son capaces de hacer levitar objetos magnéticos pesados.
Electrones con 10-4 tiempos la masa normal es por lo visto carente, (o casi carente) de la masa
de fotón incluida, entonces los electrones normales son deducidos a tropas
sobre 104 tiempos masa de fotón más incluida que la propia masa del electrón desnudo.
Los medios por los cuales la masa de fotón puede ser incorporada dentro de,
o expulsada de electrones, pueden ser deducidos de la información conocida.
Basado en el Thompson corte transversal que se dispersa, el radio clásico de un
electrón normal es 2 x 10-15 cm. Si el
electrón tiene el precio uniforme en todas partes de una esfera de aquel radio,
la velocidad periférica excedería enormemente la velocidad de luz a fin de
proporcionar el momento magnético observado.
Dehmelt (1989) determinado que el radio del precio que gira que crea el
magnetismo de un electrón, es aproximadamente 10-20 cm.
Esta incongruencia aparente puede ser explicada si se piensa que el
electrón es una cáscara hueco (que es conmensurado con la masa diminuta del
electrón desnudo en comparación con el radio muy grande) y si el precio
negativo de la cáscara no es la fuente del momento magnético.
Se ha conocido mucho tiempo que un fotón puede ser partido en un ión
negativo (electrón) y un ión positivo (positrón), cada uno teniendo la misma
cantidad del precio, pero del signo de enfrente. Los electrones y los
positrones pueden combinarse de nuevo en fotones eléctricamente neutros,
entonces es aparente que los fotones son formados de un aspecto positivo y un
ión negativo. Dos iones que giran alrededor del uno al otro podrían producir la
naturaleza de onda del fotón. El único
tamaño del ión de fotón que puede existir como una entidad separada tiene un
precio de exactamente más uno o menos uno, mientras que los iones pueden tener
un muchísimo más grande o precio muchísimo más pequeño y reunirse cuando
combinado en fotones, mientras los dos iones son iguales responsable y de
masas. Combinado en un fotón, los dos iones son por lo visto atraídos juntos
tan fuertemente que sus volúmenes individuales son muchísimo más pequeños que
como entidades separadas.
Cuando un fotón de dipolo entra en una cáscara de electrones, se espera que
su porción de ión negativo sea forzada hacia el centro de la cáscara por la
repulsión Coulombic, mientras el ión positivo del fotón sería atraído por el
precio negativo de la cáscara igualmente en todas las direcciones. Los iones de
fotón negativos se combinarían probablemente en un cuerpo solo en el centro del
electrón, mientras la porción de ión positivo estaría en órbita alrededor del
ión negativo centralizado para retener el ímpetu angular del fotón. La velocidad periférica alta de esta masa de
fotón orbital permitiría a las porciones del material de fotón originarse y
salir la cáscara de electrones en la misma velocidad en la cual ellos entraron
en el electrón, es decir, la velocidad de luz. Estar en órbita del fotón positivo
culpa en el pequeño radio de Dehmelt, las cuentas más probables para el momento
magnético que es observado en electrones de la masa normal.
Los electrones de conducción bajos de masas liberados dentro de
semiconductores intrínsecos (que son también fotoconductores en su naturaleza)
y dentro de semiconductores doped, son sobre todo protegidos contra la
adquisición de la masa de fotones de calor ambiental por las propiedades de
calor-insulative de los semiconductores.
En contraste, los electrones bajos de masas inyectados en metales que
conducen calor, rápidamente adquiera la masa de fotones de calor ambiental por
la existencia de condiciones criogénicas, pero ellos son vulnerables a fotones
de calor internos creados por la inducción excesiva.
Electrones de conducción de los metales, típicamente muévase como un grupo
en velocidades de movimiento de menos de un milímetro por segundo, aunque la
velocidad de los efectos eléctricos se acerque a la velocidad de luz. (Los
fotones están probablemente implicados en el movimiento de la energía eléctrica
en conductores metálicos). En contraste,
los electrones bajos de masas propicios pueden moverse individualmente en
grandes velocidades en superconductores y semiconductores. Brennan (1999, p. 631) hace un informe la
velocidad de movimiento de un electrón particular que se mueve en un
semiconductor, ser un micrómetro en aproximadamente 10 picosegundos, que es el
equivalente con 100 kilómetros por segundo.
La concentración de los electrones de conducción en metales es el mismo
como el número de átomos, mientras que en semiconductores, los electrones bajos
de masas móviles que son libres de moverse, pueden variar enormemente con la
cantidad de la cierta radiación de fotón recibida. Ya que la magnitud de una corriente eléctrica
es una adición del número de electrones implicados, tiempos sus velocidades de
movimiento respectivas, la corriente desarrollada por un pequeño conjunto de
fotoconducir electrones que se mueven en la alta velocidad, pueden exceder la
corriente de un mucho mayor número de electrones de conducción que se mueven en
una velocidad muy baja en un metal.
Un rasgo general de semiconductores intrínsecos es que ellos se hacen
fotopropicios en la proporción hasta un total del bombardeo por alguna
frecuencia particular que libera electrón (o cinta de frecuencias) de la
energía de fotón, hasta algún límite. La cantidad de bombardeo por la longitud
de onda particular (o, equivalentemente, la frecuencia), aumentos junto con
todas otras longitudes de onda de fotón como las subidas de temperaturas
ambientales, es decir como el área bajo la radiación de cuerpo negro de Planck
encorvan aumentos. Por consiguiente, la conductividad de semiconductores sigue
aumentando con la temperatura, mientras la conductividad se cae a casi el cero
en la temperatura baja a menos que la superconductividad ocurra.
Una partícula alfa de gran energía sola puede liberar un gran número de
electrones bajos de masas en un semiconductor de película delgada, como Leimer
(1915) el experimento que amplia energía parece mostrar. La radiación alfa de
Leimer fue situada cerca del final distante de un alambre de antena suspendido
de la longitud no relatada, cuando él experimentó el aumento de energía
magnético máximo del bobina del amperímetro en el receptor. Los electrones bajos de masas tuvieron que
haber viajado la longitud entera de la antena suspendida y la línea de unión a
su aparato de recepción sin encontrar cualquier agujero que atrapa. La asunción
de estos electrones cruzó una distancia de 1 a 10 metros en menos de un
hemiciclo de la radiofrecuencia, (es decir menos de 4 microsegundos en 128
kilohercios) en cual tiempo la dirección del electrón bajo de masas habría sido
invertida, este sería el equivalente con velocidades de 25 a 250 km/sec.
Un gran número de superconducir electrones puede ser puesto en movimiento
por la radiación de fotón inductiva. En contraste, la radiación de fotón
inductiva puede pasar sobre todo por fotoconductores que tienen concentraciones
bajas de electrones móviles, bajos de masas.
La interpretación del candidato del experimento de Leimer es que los
electrones bajos de masas liberados de la capa de semiconductor del alambre de
antena, no fueron directamente acelerados por los fotones inductivos de la
señal de radio, pero mejor dicho fueron acelerados a velocidades altas por un
campo eléctrico oscilante creado en el alambre metálico por los fotones de
radio.
Una revisión de un experimento realizado por File y Mills (1963), muestra
que la masa muy baja de superconducir electrones es responsable de hacer que
supercorrientes se diferenciaran de corrientes eléctricas normales. Una
superconducción solenoidal bobina (comprensión a Nb 25 % Zr alambre de
aleación abajo 4.3o K.) con los terminales soldados por punto juntos para hacer a un conductor
continuo, fue empleado. Muy lento las decadencias de supercorrientes inducidas
fueron observadas, que puede ser atribuido a un aumento enorme de la
autoinducción del bobina. Como unos acercamientos supercorrientes su precio
máximo asintóticamente descargando, una medida conveniente de cobro del bobina
o descarga del precio son la constante de tiempo". La constante de tiempo tiene el mismo valor
tanto para cobro como para descarga, y es definido como (a) el tiempo necesario
para cargar el bobina a 63 % de la cantidad máxima de inducible corriente en el
bobina por un dado diamagnetic fuerza, o (b) el tiempo tenía que descargar 63 %
de la corriente inducida del bobina.
En conductores normales, la constante de tiempo inductiva es calculada por
la inductancia del bobina, dividido en la resistencia del bobina. Por el uso de
una ecuación empírica, la inductancia del bobina en su estado de no
superconducción es calculada para ser 0.34 Henry, basado en un solenoide doble
acodado de 384 vueltas que midieron el diámetro de de 4 pulgadas (10 cm) y 10 pulgadas (25 cm)
mucho tiempo. La resistencia del diámetro de 0.020 pulgadas (0.51 mm) pone
instalación eléctrica en una temperatura de 5o K. (sólo encima Tc) es estimado
usando datos para Zr solo, ser 4 x 102 ohmios.
(Los datos de resistencia no estaban disponibles para Nótese bien o la
aleación sustancial). En la no superconducción de condiciones, la constante de
tiempo para culpar y descargar este bobina es así calculada para ser
aproximadamente 8 x 10-5 sec.
El tiempo que esto tomó para cobrar una supercorriente en el bobina en el
experimento no fue relatado. Pero, basado en 50 re-energisings relatados y
determinaciones magnéticas realizadas en 200 horas, el tiempo de cobro mesurado
en el estado de superconducción es calculado para ser no más que 4 horas por
término medio.
Utilización de la fórmula de Bardeen (1941) de m es aproximadamente igual a
me x 10-4 para la orden de magnitud de Tc bajo superconducción de la masa del
electrón, y utilización la ecuación de Larmor (1900) que relaciona el poder de
radiación inductivo con el cuadrado de la aceleración del precio, se espera que
la inductancia del bobina aumente por (104)2 = 108 tiempos en el estado de superconducción.
Así, el aumento deliberado de la constante de tiempo de cobro la supercorriente
es 8 x 10-5 x 108 que iguala 8 x 103 los segundos, o 2.2 horas, que es la misma orden
de la magnitud que el tiempo de cobro actual máximo. La autoinducción aumentada
por aquella cantidad porque los electrones bajos de masas son acelerados 104 tiempos más
rápido.
En caso de la descarga, la constante de tiempo de la supercorriente fue
proyectada por File y Mills de decadencias mesuradas observadas a lo largo de
los períodos de 21 y 37 días. Las proyecciones de las el dos decadencias de 63
% concordadas estrechamente en 4 x 1012 segundos (= 1.3 x 105 años). Por lo tanto, la constante de tiempo de la
descarga supercorriente, basada en la proyección de medidas actuales, había
aumentado por 5 x 1016 tiempos sobre la constante de tiempo para
electrones de masa normal.
La fuerza impulsora durante el cobro, había sido la fuerza inductiva
aplicada, mientras que la fuerza impulsora durante la descarga era la
supercorriente que había sido ampliada 108 tiempos. Por lo tanto, durante la
descarga de la supercorriente, la constante de tiempo es aumentada otra vez por
108 tiempos, entonces el aumento total deliberado de la constante de tiempo de
descarga es 108 x 108 = 1016 tiempos mayores que la constante de tiempo normal. Este valor deliberado
de la constante de tiempo de no superconducción, basada únicamente en el
aumento de la radiación inductiva debido a la masa de electrones muy baja, se
compara favorablemente en la magnitud con el valor realmente observado de 5 x
1016 tiempos la constante de tiempo normal.
La superconducción bobina requerido no más que cuatro horas para cobrar la
supercorriente, aún durante la descarga subsecuente, la superconducción bobina
fue proyectada para irradiar la energía de fotón inductiva de la aceleración
centrípeta de los electrones de superconducción durante 130,000 años antes de
rehusar en 63 %. Si este experimento
pudiera ocurrir donde ninguna energía tenía que sostener condiciones
criogénicas críticas, cuando en el espacio exterior, la descarga larguísima de
este activó bobina demostraría claramente la creación de energía en la forma de
fotones recién creados que inductivamente irradian de los electrones bajos de
masas que superconducen que circulan alrededor de los lazos del bobina. El candidato
interpreta este como mostrando que los electrones bajos de masas son capaces
del aumento de energía inductivo basado únicamente en su masa con relación a
aquel de electrones normales.
En las encarnaciones descritas abajo, la energía inductiva ampliada de
electrones bajos de masas es utilizada en bobinas para la generación de energía
eléctrica empleando un flujo de fotones inductivamente acelerados que alterna
en la dirección. Este, por su parte, conduce electrones bajos de masas en una
manera oscilante, entonces esta inversión forzada implica sólo una etapa sola
del aumento de energía inductiva, más bien que las dos etapas (cobro y
naturalmente descarga) en el experimento anterior.
Modo de Operación
Inductivos fotones que irradia una corriente eléctrica
oscilante en un conductor envío (por ejemplo, de una antena de emisión de ondas
de radio) transmiten una fuerza, de electrones de conducción en un conductor
recibe, que es transversal a la dirección de incidencia de los fotones
incidentes inductivos en el conductor de la recepción. Como resultado, ninguna
fuerza trasera se transfiere directamente hacia el conductor envío. Solicitante
ha descubierto que la acción de esta fuerza transversal de baja masa de
electrones en un conductor recibe es análoga a la acción de la fuerza de
magnético transversal de Gauss en electrones libres en un conductor, que no
está sujeto a la ley de cinética de conservación de la energía. Si el conductor
recibe tiene electrones de conducción de baja masa, entonces esta fuerza transversal
sería impartir una mayor aceleración de los electrones de baja masa que le
imparten a electrones libres normales. Las resultante velocidades de deriva
mayor de electrones de baja masa lo normal libre de electrones en el conductor
recibe, que producen una mayor magnitud de fuerza inductiva producida por los
electrones de baja masa en el conductor recibe y por lo tanto producen un
aumento de la energía de irradiación de fotones inductivos.
La dirección de la fuerza transversal impartida por los
fotones inductivos radiados de electrones de conducción en el conductor recibe
es opuesta a la dirección de la correspondiente flujo de electrones en el
conductor envío. Esta relación es similar a la fuerza inductiva de electrones
en la bobina secundaria de un transformador, que también es opuesta a la
dirección del flujo de electrones en la bobina primaria.
Varias personificaciones del generador eléctrico del
solicitante emplean fotones inductivos irradiadas por oscilaciones eléctricas
en una "bobina envío". Inductivos fotones son irradiadas por la
bobina envía hacia y bobina receptor inductivo fotón, llamado un "aumento
de energía bobina", que comprende un material superconductor o
fotoconductora, u otro material de suitable como se describe a continuación. La
bobina de aumento de energía se coloca en una condición favorable para la
producción de electrones de baja masa que participan en la conducción eléctrica
en la bobina de aumento de energía. Por ejemplo, si la bobina de aumento de
energía se hace del material fotoconductora, la bobina se proporciona con un
excitador de fotoconductivas. Alternativamente, si la bobina de aumento de
energía es de un material superconductor, la bobina se coloca en un ambiente a
una temperatura (T) no mayor que la temperatura crítica (Tc); es decir, T <
Tc. En el ejemplo anterior, la excitatriz fotoconductivas puede ser una fuente
de iluminación que proporciona una adecuada longitud de onda de radiación
electrocinética excitive. Si la bobina de aumento de energía se compone de un
material semiconductor dopado, la condición de que proporciona electrones de
baja masa móviles ya existe.
En la bobina de aumento de energía, la mayor de lo normal
aceleración de los electrones de baja masa produce mayor que la normal
inductivas fuerzas en forma de radiación de fotones inductivas de la bobina de
mayor que la normal. El resultante aumento inductivo fotones energía desde el
fotoconductor o superconductor se convierte en energía eléctrica útil en una
bobina de salida inductivamente acoplada a la bobina de aumento de energía. La
bobina de salida se puede hacer de alambre metálico aislado. Una bobina de
salida ejemplar situado coaxialmente con y anidado, la bobina de aumento de
energía. Una bobina de este tipo se denomina aquí, una "bobina de salida
interna".
La capacidad de producir más energía que la energía de
entrada, de salida del aparato sujeto se basa en la bobina de salida recibe más
de la energía magnificada de la bobina de aumento de energía que se devuelve
como una fuerza de la parte posterior de la bobina de salida a la bobina de
aumento de energía. Este principio se denomina aquí "aprovechamiento de la
energía".
Las oscilaciones en la bobina de aumento de energía son
iniciadas por una fuente externa de energía de entrada que proporciona un
impulso inicial del flujo de electrones en la bobina envío. Por ejemplo, la
fuente de entrada de energía externa puede ser un electroimán independiente
adyacente o un imán permanente adyacente se trasladó rápidamente en relación
con el envía de la bobina. El impulso inicial comienza una oscilación en la
bobina envío que estimula la radiación de fotones inductivas de la bobina envía
a la bobina de aumento de energía. Energía de la fuente de entrada de energía
externa es magnificada por el aparato siempre y cuando la bobina de aumento de
energía no actúa como un oscilador independiente a una frecuencia diferente.
Oscilación independiente preferiblemente se evita mediante la conexión de los
extremos o terminales de la bobina de aumento de energía entre sí de tal manera
que resulta en una bobina continua o un sistema continuo de la bobina de
múltiples sistemas, conectados de tal manera que existe para la conducción de
electrones de baja masa en todo el sistema de bobina toda continuidad. El
aumento de la energía bobina inductivamente crea más energía en la bobina de
salida que la energía del impulso inicial. La salida resultante aumentada de la
energía eléctrica producida por el aparato está disponible en un ciclo de
trabajo con fines útiles.
Después de la iniciación, el aparato se hace autónomo
mediante un bucle de feed-back dispuesto en paralelo con el lazo de trabajo que
incluye el envía de la bobina y un condensador situado en el bucle de feed-back
para hacer un circuito L C, es decir, después de la puesta en marcha del
aparato utilizando la fuente de entrada de energía externa, el aparato es
self-resonating, que permite que la fuente de entrada de energía externa se
desacople del aparato sin causar el aparato a cesar la producción de energía
eléctrica.
Durante el normal funcionamiento autosostenido, una parte
de la energía eléctrica de salida vuelve a la bobina envía el lazo de
feed-back, superando con ello la necesidad de utilizar la fuente de entrada de
energía externa para mantener las oscilaciones en el envía de la bobina. En
otras palabras, después del arranque, se sustituye la energía externa que fue
utilizada por la bobina envía a excitar el fotoconductora o materiales
superconductores en la bobina de aumento de energía por una porción de la energía
de salida producida por el aparato en sí mismo. El resto de la energía
eléctrica de salida está disponible en el ciclo de trabajo con fines útiles.
Iniciando la generación de energía eléctrica por el
aparato, aprovecha el hecho de que la fuerza trasera inductivo enviados desde
la bobina de salida a la bobina de aumento de energía (y por lo tanto, en
última instancia, hacia la bobina envío), llega a la bobina envía un ciclo
detrás el pulso correspondiente que inició el flujo de electrones. Este retraso
de un ciclo de la fuerza de la espalda, así como un retraso de un ciclo
correspondiente en el feed-back, permite pequeños pulsos partidas producidos en
la bobina envía para producir salidas eléctricas progresivamente mayores cada
ciclo sucesiva. En consecuencia, suponiendo que la carga eléctrica no es
excesiva durante el arranque, sólo un relativamente pocos iniciar ciclos de la
fuente de entrada de energía externa normalmente son necesarios para lograr la
producción por el aparato de una cantidad de potencia de salida suficiente para
conducir la carga, así como proporcionar suficiente energía feed-back a la
bobina envía de manera sostenida.
Un ciclo de mitad del ciclo de un desfase se produce
entre una aceleración inicial de electrones en la bobina envío y una oscilación
inicial correspondiente en la bobina de aumento de energía. Este retraso de
medio ciclo se produce porque los fotones de la inducción no son irradiadas por
la aceleración inicial de electrones en la bobina envío, pero más bien son irradiadas
cuando los electrones son retroceso acelerado. (Kramers, 1923 y Compton y
Allison, 1935, p.106). Como los fotones recién formados se ser irradiados por
la desaceleración respectiva de los electrones en el envía de la bobina, más
fotones nuevos al mismo tiempo se están formando por la nueva dirección (es
decir, la dirección inversa) de aceleración bajo condiciones de oscilación.
Así, la radiación de fotones de electrones notan acelerados en la dirección
opuesta de la fuerza transportada, sigue cada medio ciclo después del
mitad-ciclo inicial.
Como se
mencionó anteriormente, la bobina de aumento de energía comprende un
fotoconductor, un semiconductor dopado o un superconductor como fuente de y
como un conductor de electrones de baja masa. La configuración general de la
bobina es similar en ambos casos. La bobina fotoconductor o semiconductor
dopado, tiene una ventaja operativa a temperaturas normales, y la bobina
incluyendo un superconductor tiene una ventaja operativa a subcríticas
temperaturas (T < Tc), como en el espacio ultraterrestre.
Representantes
encarnaciones


Ahora
se hace referencia a Fig.1A Fig.1C y Fig.2A Fig.2B que representan una bobina
envío 20 conectado a una fuente de corriente alterna 21. La bobina envío se
muestra un perfil cilíndrico deseable, preferiblemente con una sección circular
como la configuración más eficiente. Fig.1A y Fig.1B, oscilaciones eléctricas
de la fuente 21 se llevan a cabo para la bobina envía 20 donde provocan
inductivos fotones 22 para irradiar de la bobina envío. Los fotones de
radiación 22 transmiten fuerzas transversales de la misma manera que una antena
de radiodifusión transmite energía oscilante. La bobina envía 20 puede ser de
una sola capa o varias capas de alambre de metal aislado (por ejemplo, alambre
de cobre aislado). Una capa es suficiente, pero una capa adicional o capas
pueden aumentar la eficiencia operacional. Si es necesario o deseado, las
vueltas de alambre pueden ser formadas sobre un sustrato cilíndrico un
conveniente dieléctricas.
El de fotones inductivos 22 que irradian desde
la bobina envía 20, se propagan a una bobina de aumento de energía 24 que
preferiblemente tiene un perfil cilíndrico que se extiende paralelo a la bobina
envío. En la encarnación que se muestra en la Fig.1A y Fig.1B, la bobina de
aumento de energía 24 no termina en los extremos, pero por el contrario, está
construida con un conector de 30 para formar un conductor continuo. La bobina
de aumento de energía 24 preferiblemente es una bobina helicoidal hecho de un
material compuesto por un material superconductor o fotoconductora, u otro
material adecuado. Si es necesario o deseado, se puede formar la bobina de
aumento de energía en un sustrato que, si se utiliza, es preferiblemente
transmisivo a la radiación de fotones inductiva producida por la bobina.
En una bobina de aumento de energía 24 de un material
superconductor, una gran población de electrones de baja masa conductoras se
produce en la bobina bajando la temperatura de la bobina a un punto por debajo
de la temperatura crítica para ese material. Por ejemplo, temperaturas
subcríticas están disponibles en el espacio ultraterrestre o se producen bajo
condiciones criogénicas.
En una bobina de aumento de energía 24 de un material
fotoconductor, una gran población de electrones de baja masa conductoras se
produce en la bobina mediante la iluminación de la bobina con fotones de
longitud de onda adecuada, como fotones producidos por un excitador de
fotoconductivas 26. El excitador de fotoconductor 26 preferiblemente es situado
y configurado para iluminar sustancialmente al menos el mismo lado de la bobina
de aumento de energía 24 que recibe fotones inductivos 22 que irradia
directamente desde la bobina envía 20.
Alternativamente, puede ser situada y configurada para
iluminar todos los lados de la bobina de aumento de energía 24 la excitatriz
fotoconductivas 26. En la encarnación representada, el excitador
fotoconductivas 26 puede ser por lo menos una lámpara incandescente (como se
muestra) excitada por circuitos convencionales (no se muestra).
Alternativamente, la excitatriz fotoconductivas 26 puede ser por lo menos una
lámpara de descarga de gas o uno o más diodos emisores de luz. La longitud de
onda producida por la excitatriz fotoconductivas 26 puede ser, por ejemplo, en
el visible, infrarrojo (IR), ULTRAVIOLETA (UV), o la gama de rayos x según lo
requiera el material fotoconductor particular en la bobina de aumento de
energía 24. Otra forma posible de la excitatriz fotoconductivas 26, es una
fuente de fotones en el gigahercio o la parte de terahertz del espectro
electrocinética. Otros excitadores fotoconductivas están configurados, como sea
necesario, para producir una adecuada longitud de onda de la porción de ondas
de radio del espectro electrocinética. La iluminación puede ser directa de la
excitatriz fotoconductivas 26 a la bobina de aumento de energía 24 o
transportado de un excitador de fotoconductivas situado a la bobina de aumento
de energía a través de fibras ópticas, tubos de luz o similares.
Fig.1B y Fig.1C son vistas final ortogonales respectivos
el envío bobina 20 y aumento de energía bobina 24 que se muestra en la figura
1A. La radiación de fotones inductivos 22 desde la bobina envía 20, se indica
esquemáticamente en Fig.1A y Fig.1B Fig.1C flechas pequeñas, irregulares. Las
fuerzas por los fotones 22 a los electrones de baja masa conductoras de la
bobina de aumento de energía 24, suplente en las direcciones que están frente a
las respectivas direcciones de flujo de electrones simultánea en la bobina
envía 20. Cuando la fase de oscilación particular de electrones fluyen en el
envío de bobina 20 es en el sentido de la 25a de flecha curva adyacente a la
bobina envía 20 en Fig.1B, las resultante causas de fuerza de fotón transversal
al flujo de electrones de baja masa en la bobina de aumento de energía 24,
representadas por la 27a de flecha curva adyacente a la bobina de aumento de
energía 24.
El sector sombreado 29, que se muestra en Fig.1B, indica
la proporción de radiación inductivo fotón 22 desde la bobina envía 20,
recibida por el solo aumento de energía bobina 24 que se muestra, en
comparación con la radiación toda de 360 grados de fotones inductivos 22 de la
bobina de enviar 20. Aparte de una pequeña cantidad de radiación de fotones
inductivo perdida de los extremos de la bobina envía 20, la cantidad relativa
de la energía total de inductivo fotón de radiación recibida por el aumento de
energía bobina 24 es determinada por el ángulo subtendido por la bobina de
aumento de energía 24, en relación con los todo 360 grados de radiación fotón
inductiva de la bobina envía 20.
En Fig.1C, se aceleran los electrones de
conducción de baja masa de la bobina de aumento de energía 24 a una mayor
velocidad de deriva que serían normales electrones libres en la bobina de aumento
de energía 24. Como se señaló anteriormente, se excita la bobina envía 20
alternando el flujo de electrones, lo que provoca un cambio periódico de
dirección del flujo de electrones en la bobina envía 20 (comparar la dirección
de la flecha 25b en Fig.1C con la dirección de la flecha de 25a en Fig.1B).
Cada cambio de dirección del flujo de electrones en la bobina envía 20, provoca
un cambio correspondiente en la dirección de la aceleración de los electrones
de baja masa en la bobina de aumento de energía 24 (comparar la dirección de la
flecha 27b en Fig.1C con la dirección de la flecha 27a en Fig.1B). Cada tal
inversión en dirección de la aceleración causa una radiación correspondiente de
fotones inductivos (flechas dentadas 18a, 18b) radialmente hacia afuera y
radialmente hacia adentro, respectivamente, de la bobina de aumento de energía
24. Tenga en cuenta que las flechas 18a y 18b son más grandes que las flechas
que denota los fotones inductivos (flechas 22) de la bobina de enviar 20.
Simbólicamente, esto denota aumento de energía. Tenga en cuenta también que, de
la energía de fotones inductivo ampliada que irradia la energía de aumento
bobina 24, sustancialmente la mitad es dirigido hacia adentro (flechas 18b), y sustancialmente la otra mitad se irradia hacia el exterior (flechas
18a).
.

En cuanto a Fig.2A la bobina envía 20 y la bobina de
aumento de energía 24, se muestran. La bobina de aumento de energía 24 en
Fig.2A incluye una salida interna bobina 28a, que preferiblemente se encuentra
co-axialmente dentro y es de la misma longitud que la bobina de aumento de
energía 24. Un bucle de trabajo 48 puede conectarse a los extremos de la 28a de
bobina de salida interna, formando así, un circuito en el que una carga 49
aparece simbólicamente como una resistencia. La bobina de salida interna 28a y los conductores del ciclo de trabajo
48, preferiblemente se hacen del aislado metálico (por ejemplo, alambre de
cobre).

Fig.2B representa una sección transversal de las bobinas
en Fig.2A. En Fig.2B, la energía del fotón inductivo ampliada (área sombreada
19) producido por la bobina de aumento de energía 24 y dirigidas radialmente
hacia adentro de la 28a de bobina de salida interna, induce un flujo de
electrones oscilantes correspondiente en la 28a de bobina de salida interna.
Así, el lazo de trabajo 48 conectado a través de la 28a de bobina de salida
interna, viene con mayor energía de la que fue recibido por el aumento de
energía bobina 24 de la bobina de enviar 20. La dirección del flujo de
electrones (flecha 17) en la 28a de bobina de salida interna, es opuesta a la
dirección del flujo (flecha 27b) en la bobina de aumento de energía 24, que a
su vez es opuesta a la dirección de 25b de flujo de electrones en la bobina
envía 20.
En Fig.2B, en forma de anular sombreadas 19 entre la
bobina de aumento de energía 24 y la 28a de bobina de salida interna, indica
que todas la internamente dirigida ampliada inductivo energía del fotón (es
decir, aproximadamente la mitad de la energía de la radiación total) de la
bobina de aumento de energía 24, es dirigida a y capturado por la 28a de bobina
de salida interna. En contraste, el sector sombreado 16 se extiende desde la
bobina de aumento de energía 24 a la bobina envía 20, indica que una proporción
relativamente pequeña de la 18a radiación ampliada dirigido hacia el exterior
de la bobina de aumento de energía 24 se dirige a la bobina envía 20 donde la
radiación proporciona una fuerza trasera correspondiente. Aparte de la pequeña
cantidad de radiación de fotones inductivo perdida de los extremos de la bobina
de aumento de energía 24, la cantidad relativa de la radiación de fotones
inductivo ampliada (sector 16) proporcionando la fuerza trasera en la bobina
envía 20, es una función del ángulo subtendido por el sector 16, frente a la
radiación de 360 grados de la bobina de aumento de energía 24.
La relación de energía magnificada 18b de la bobina de
aumento de energía 24 y recibido por la 28a de bobina de salida interna, a la
18a ampliada de la energía recibida como una fuerza trasera por la bobina envía
20, indica la energía "apalancamiento" logrado por el aparato de
tema. Si esta proporción es mayor que la unidad, la energía de salida de la 28a
de bobina de salida interna supera la entrada de energía a la bobina de aumento
de energía 24. Este aprovechamiento de la energía es clave para la operación
Autónoma del aparato, especialmente cuando el aparato está siendo utilizado
para manejar una carga. En otras palabras, con un factor de energía
suficientemente grande-aumento logrado por el aumento de energía bobina 24, la
energía eléctrica disponible en el ciclo de trabajo 48, supera la energía de
entrada que produce las oscilaciones en la bobina envía 20. La energía
eléctrica de entrada a la bobina envía 20 con lo que produce energía eléctrica
ampliada en la 28a de bobina de salida interna que puede realizar trabajo útil
en el bucle de trabajo 48 mientras self-powering el funcionamiento continuo del
aparato.

Ahora se hace referencia a la figura 3, que muestra
esquemáticamente aspectos del aparato 15, responsable de autogeneración de
energía eléctrica mediante el empleo de un feed-back loop 46. Los conductores
del feed-back loop 46 pueden hacerse de alambre metálico aislado. (En la figura
3, la 47a líneas punteadas y la flecha punteada 47b, indican que la 28a de
bobina de salida interna es realmente colocado co-axialmente dentro de la
bobina de aumento de energía 24, como se describió anteriormente, pero se
muestra en la figura como fuera de la bobina de aumento de energía para facilitar
la ilustración). El feed-back loop 46, lleva a cabo una parte de la energía
eléctrica de la bobina de salida interna 28 bis, a la bobina de enviar 20. La
parte restante de la energía eléctrica de la 28a de bobina de salida interna se
dirige al lazo de trabajo 48 donde la energía es utilizada para el trabajo útil
51. Las proporciones relativas de potencia entregada al feed-back loop 46 y el
lazo de trabajo 48, pueden variarse ajustando un resistor variable 50.
Como se señaló anteriormente, una fuente inicial de
energía eléctrica se utiliza para "arrancar" el aparato 15 iniciando
una oscilación en la bobina envía 20. Después de iniciar, bajo condiciones de
funcionamiento normales, el aparato 15 es self-resonante y ya no requiere la
entrada de energía de la fuente inicial. La particular inductancia y
capacitancia distribuida de la bobina envía 20, más otros capacitancias e
inductancias en el aparato, proporcionan cierta frecuencia de oscilación
self-resonating correspondiente. En el bucle de feed-back 46 es un condensador
77 que hace el aparato en un circuito de L-C, que oscila en su propia
frecuencia. la frecuencia puede cambiarse alterando la capacitancia o
inductancia del aparato, o de ambos. el condensador 77 puede ser un condensador
variable por la que se puede ajustar la frecuencia.
Como se muestra en la figura 3, la fuente inicial de
oscilación de la energía eléctrica puede ser un impulso de un electroimán
externo 52 con su propia fuente de energía (por ejemplo, una batería 53 como se
muestra, u otra fuente de DC o AC). Por ejemplo, el electroimán 52 puede cerca
de la bobina envía 20 u otra porción del feed-back loop 46 y excitado por una
descarga momentánea de la batería 53 a través de un interruptor de 57. El pulso
resultante generado en el electroimán 52, inicia un impulso eléctrico
correspondiente en la bobina envía 20 que inicia autosostenibles oscilaciones
en el aparato de 15. En otro embodiment, el electroimán 52 puede ser excitado
brevemente por una fuente de CA (no se muestra). En otro embodiment, la fuente
inicial puede ser un imán permanente que se mueve rápidamente (mecánica o
manual) cerca de la parte de bobina 20 u otro envío de los circuitos de
feed-back. En cualquier caso, el pulso proporcionado por la fuente inicial
inicia oscilaciones eléctricas en la bobina envía 20 el producto
correspondiente oscilante inductivo fotón radiación 22 desde la bobina envía
20, como se muestra esquemáticamente en la figura 3 flechas dentado fino. La
radiación de fotones inductivo 22 de la bobina envía 20 causas, a su vez,
re-radiación de 18b ampliada de inductivo fotones de energía de los electrones
de baja masa en la bobina de aumento de energía 24, como se muestra
esquemáticamente en la figura 3 flechas dentado grueso. Fig.3 muestra un
fotoconductora aumento de energía bobina 24, que es iluminado por un excitador
de incandescente fotoconductivas 26 excitado por su propia fuente de
alimentación 55 (por ejemplo, una batería conectada externamente como se
muestra).
Un factor de aumento de energía suficientemente alta del
aparato 15 permite la energía magnificada de la bobina de aumento de energía 24
para inducir una mayor energía en la 28a de bobina de salida interna que la
energía del pulso inicial correspondiente. Una parte de la energía eléctrica
ampliada es devuelto a la bobina envía 20 a través del bucle de feed-back 46
para sostener las oscilaciones.
El excedente de energía restante de la 28a de bobina de
salida interna está disponible para su aplicación en trabajo útil a través del
bucle de trabajo 48. En una encarnación, parte de este trabajo útil puede
utilizarse para iluminar la excitatriz fotoconductivas 26 (circuitos no se
muestra) en una configuración de equipo en el que el aumento de energía bobina
24 comprende un fotoconductor. En otro embodiment, parte de este trabajo útil
puede utilizarse para mantener criogénico (T < Tc) las condiciones para una
configuración de equipo en el que el aumento de energía bobina 24 comprende un
semiconductor.
Después de encender el aparato 15 oscilaciones, flujo de
electrones aumenta rápidamente, mientras la carga 49 no dibujar apaga demasiado
de la energía de salida durante el arranque. Al llegar a equilibrio de
funcionamiento, la salida de energía eléctrica del aparato 15 es una corriente
rápidamente alterna (AC). La salida de CA puede resolverse por medios
convencionales para producir corriente continua (CC), y la salida puede ser
regulada como necesario, utilizando medios convencionales. Muchas variaciones
de circuitos convencionales son posibles, tales como, pero no limitado a,
reguladores de voltaje automático, controladores de corriente, interruptores
solenoidal, transformadores y rectificadores.
En cuanto a la energía de aumento bobina 24, una
encarnación ejemplar puede hacerse bajo - Tc superconductor tales como alambre
de niobio-circonio disponibles comercialmente, flexible, que puede ser
fácilmente formando una bobina... Otras encarnaciones, como se señaló
anteriormente, de la bobina de aumento de energía 24 puede hacerse usando un
material fotoconductora o una alta - Tc superconductor. Más alta -
superconductores de Tc (y algunos fotoconductores) tienen propiedades similares
a la cerámica y por lo tanto requieren la aplicación de métodos especiales para
formar el material en una bobina cilíndrica tener continuidad eléctrica a lo
largo. Algunos comercios alta - los superconductores de Tc están disponibles en
forma de cinta o cinta. La bobina de aumento de energía 24 puede ser libre o
compatibles en un sustrato rígido.
A modo de ejemplo, se puede hacer una bobina de aumento
de energía 24 de una cinta de material fotoconductora flexible como el material
discutido en patente nos 6.310.281, incluidos en este documento para
referencia. Brevemente, una capa de metal compatible con estrés se coloca en
una cinta de plástica. Luego el material fotoconductora se deposita en ambos
lados de la cinta cubierta de metal y los bordes de la cinta para que la cinta
está cubierta todo el camino alrededor. Esta configuración permite poca masa
electrones en el material fotoconductora, recibir energía de inductivo fotones
emitidos desde la bobina envía 20 en un lado de la cinta mientras irradiando
energía ampliada de ambos lados de la cinta.
En otro ejemplo, una cinta flexible fotoconductor está
hecha de polímero orgánico flexible que tiene propiedades fotoconductora. (Alta
conductividad eléctrica en polímeros fotoconductora es atribuida a la presencia
de baja masa de electrones en el material). La cinta flexible fotoconductora
puede enrollar sobre un soporte tubular dieléctrico, para formar la bobina de
aumento de energía 24.
En otro ejemplo, una capa de película gruesa de sulfuro
de cadmio fotoconductora (CdS) o Seleniuro de cadmio (CdSe) se forma en una
bobina de alambre por sinterizado como pasta, que comprende un polvo de molido
fino cristales CdS o CdSe mezclados con agua y al menos un fluidiser como el
cloruro de cadmio, a una temperatura de 5500 C. c. 6000 en una atmósfera
controlada. Durante la sinterización, los límites de los pequeños cristales se
derritieron con el fluidiser caliente, permitiendo que los cristales crecer
juntos y solidificar cuando el fluidiser se evapora y se enfría la capa
sinterizada. Alternativamente, se forman óxidos de cobre en lugar de cable de
cobre o bronce alambre calentando el cable por encima de unos 2600 C. en una
atmósfera de oxígeno, o por aplicación de químicos oxidantes.
En otro ejemplo, una bobina de cerámica como
superconductor o fotoconductor es hecho por el bastidor de la cinta, extrudado,
slip-casting, frío o caliente-presionando o capa del material como una película
fina dispuesta helicoidalmente sobre un sustrato dieléctrico tubular. La
Asamblea es tratada térmicamente en un horno de atmósfera controlada para
aumentar los contactos inter-crystalline. Por otra parte, la película fina de
superconductor o fotoconductor se forma sobre el exterior todo el sustrato
dieléctrico, seguido de eliminación de partes seleccionadas del superconductor
o fotoconductor para formar la bobina helicoidal deseada.
En algunos fotoconductores y semiconductores dopados,
sólo una pequeña parte de una población de fotones inductivos irradiado en el
material, impacto con y la aceleración de la producción, poca masa electrones
en el material. Esto es debido a una baja densidad de electrones de baja masa
fotoconductora en el material. En caso inductivo fotón radiación pasa a través
del material puede ser capturada eficientemente por electrones de conducción
libre normal en una tira metálica que es preferiblemente en inmediato contacto
con, o incrustado en el material. La aceleración de los electrones libres
normales en el conductor metálico, establece un campo eléctrico que ayuda a
acelerar el fotoelectrón de poca masa. En esta configuración, es deseable que
el material fotoconductora eliminarse completamente sobre y alrededor de la
tira metálica para que el fotoconductor enfrenta hacia afuera y hacia adentro,
con ambos lados del fotoconductor o semiconductor dopado estar en contacto
eléctrico con los demás.
Un factor en la elección del material fotoconductor para
utilizar en la formación de la bobina de aumento de energía 24 es el aumento
potencial de la energía que puede ser realizado por electrones de baja masa de
un material fotoconductora tipo n o tipo p. Otros factores importantes son la
cantidad de electrones de baja masa que están disponibles en el material
fotoconductora para una cantidad determinada de la iluminación y la
conductancia eléctrica real del material. Mediciones de
iluminación-sensibilidad estándar proporcionan un índice general total de la capacidad
de un fotoconductor para servir con eficacia en el aumento de energía.
Sulfuro de cadmio y Seleniuro de cadmio, los compuestos
fotoconductora más comunes que están disponibles comercialmente, han calculado
factores de ampliación de 37 y 59, respectivamente. La longitud de onda máxima
respuesta de sulfuro de cadmio es 515 nanómetros (en la parte verde del
espectro visible) y de Seleniuro de cadmio es 730 nanómetros (en la parte del
infrarrojo cercano del espectro). Sulfuro de cadmio se puede mezclar con cesio
Seleniuro bajo ciertas condiciones, por lo que la mezcla resultante asume
características fotoconductora entre esos dos valores. Las mezclas se pueden
producir con longitudes de onda de pico que se corresponden con las longitudes
de onda de los LEDs comercialmente disponibles de muchos tamaños e intensidades
de iluminación. Algunos semiconductores que fotoconductora en una longitud de
onda menor que la longitud de onda producida por LEDs actualmente disponibles
pueden hacerse conductoras de electrones de baja masa simplemente por la
calefacción.
Solicitante ha encontrado ese Arseniuro de galio
desarrolla considerablemente mayor conductividad que cobre o plata a una
temperatura de 100o C. y que los electrones del conductoras son de
poca masa. También, la radiación alfa es capaz de liberar a muchos electrones
de baja masa en algunos semiconductores. Un segundo electrón de relativamente
baja masa puede han sido liberado de Óxido cúprico por radiación alfa junto con
el electrón externo de cobre en experimentos de Leimer (1915) ya que el aumento
de energía medido supera el aumento calculado de resonancia del ciclotrón de
CuO, que probablemente se refiere sólo a la masa del electrón externo.
Dopaje materiales puede agregarse a un semiconductor para
hacerla más conductora de electrones de baja masa sin iluminación. También, la
sensibilidad de la iluminación y la conductividad de sulfuro de cadmio se
aumenta mediante la adición de pequeñas cantidades de dopantes tipo donantes
tales como, pero no limitados a, sulfuros y fosfuros de los elementos de tipo
IIIa, selenides, tellurides, arsenides, antimoniuros: aluminio, galio, indio y
talio. En este sentido, la fotoconductores de células fotovoltaicas de alta
sensibilidad pueden constar de cinco compuestos diferentes. Las mezclas reales
de compuestos fotoconductora y dopantes utilizadas comercialmente disponibles
de las células fotovoltaicas son secretos comerciales. Pero, la sensibilidad y
las conductancias de las células generalmente se dan o son medibles, y estos
datos pueden utilizarse ventajosamente en la selección de un determinado
compuesto fotoconductora para uso en el aparato.
Otros compuestos fotoconductora o elementos se pueden
emplear en bobinas de aumento de energía. Por ejemplo, los electrones de conducción
de silicio con un factor de aumento de energía de 15 veces. Fotoconductores
tener factores de ampliación muy alta incluyen, pero no limitado a, Arseniuro
de galio, fosfuro de indio, Antimoniuro de galio, Arseniuro de cadmio-tin y
Arseniuro de cadmio, que tienen factores de aumento de energía calculado que
oscilan entre los 200 veces y 500 veces y Seleniuro de mercurio (1100 veces),
Arseniuro de indio telluride de mercurio (2000 veces), (3400 veces) y
Antimoniuro de indio (5100 veces).
La profundidad de transmisión óptica determina en gran
medida el grosor óptimo de películas fotoconductora para bobinas de aumento de
energía. Por ejemplo, la más alta transmisión óptica de CdS sinterizado se
informó que 20 micrómetros, pero dado que aumenta el tamaño de grano medio (y
disminuye la porosidad promedio) con un aumento en el espesor de la película,
la máxima conductividad de una película sinterizada es un grosor de 35 micras (J. S, Lee et al., 1987).
El metal elegido para ser integrado no debe reaccionar
químicamente con el fotoconductor. Por ejemplo, el aluminio reacciona con
Arseniuro de galio (GaAs) en un ambiente eléctrico, para cambiar el carácter de
conductor del GaAs y el aluminio. Oro, platino y paladio pueden servir en
muchos casos porque estos materiales son relativamente inertes químicamente.
Oro combina químicamente con telurio, sin embargo, por lo que el oro no es
adecuado para incrustar en telluride de mercurio. Galjanoplastia de cadmio
sobre un metal común sirve para aliviar la reactividad en casos donde el
sulfuro de cadmio o Seleniuro de cadmio se utiliza como el fotoconductor.

La discusión anterior ha sido, para facilitar la
explicación, en el contexto de los aparatos, incluyendo un aumento de la
energía de la bobina 24. Sin embargo, como hemos comentado, uso de una sola
bobina de aumento de energía 24 capturar fotones inductivas de la bobina envía
20, resultados en pérdida (por no captura) de la mayoría de los fotones
inductivas de la bobina de enviar 20. Esta proporción de fotones inductivos
capturados puede incrementarse considerablemente en una encarnación en la que
varias bobinas de aumento de energía 24 rodean sustancialmente completamente la
bobina envía 20, tal como se muestra en Fig.4. En esta encarnación, las bobinas
de aumento de energía 24 sustancialmente completamente rodean la bobina envía
20 y (aunque se muestran seis bobinas de aumento de energía 24) como pocos como
tres bobinas aumento de energía 24 de diámetro adecuado, todavía podría
sustancialmente rodear por completo la bobina envía 20. No hay límite, excepto
como posiblemente relacionados con preocupaciones de embalaje, el número máximo
de aumento de energía bobinas 24 que podría ser utilizado. La configuración
representada de la Fig.4, tiene un número conveniente de seis bobinas de
aumento de energía 24. En la Fig.4, los sectores sombreados 31, considerados
colectivamente, ilustran que casi todos los 360 grados de radiación de fotones
inductivo 22 desde la bobina envía 20, son recibidos por las bobinas de aumento
de energía 24. No se muestra en la Fig.4 excitadores fotoconductivas (artículos
26 Fig.3) sirven para iluminados partes respectivas de las bobinas de aumento
de energía 24 de forma fotoconductora del aparato 15.

Fig.4 muestra también salida interna respectivas bobinas
28a anidado co-axialmente y co-ampliamente dentro de cada una de las bobinas de
aumento de energía 24. Como se explicó anteriormente, cada 28a de bobina de
salida interna recibe casi todos la radiación de fotones inductivo propagación radialmente
hacia adentro de la bobina de aumento de energía respectivo 24.
Preferiblemente, la salida de energía total de la encarnación de la Fig.4,
puede aumentarse por alrededor de la matriz de las bobinas de aumento de
energía 24 con una salida externa bobina 28b, de los cuales se hacen los
conductores preferiblemente de cable metálico aislado (Fig.5). En esta
encarnación, aproximadamente la mitad de la propagación de exteriormente
magnificado inductivo fotón radiación (flechas grandes 18) de cada bobina de
aumento de energía 24 (un tal bobina está resaltada en la Fig.5) es recibido
por la 28b de bobina de salida externa. Esta radiación capturada se denota por
el sector sombreado 35. Cuando esta dirigida externamente inductiva radiación
captada de todas las bobinas de aumento de energía 24 se añade a toda la
radiación interiormente dirigida capturada de las bobinas de aumento de energía
24 por su 28a de bobinas de salida interna, 28b, supera con creces la energía
de fuerza trasera, dirigida por el aumento de energía bobinas 24 hacia la
bobina envía 20 (la energía de fuerza de la parte posterior de un aumento de la
energía de la bobina 24 se muestra como el sector sombreado 16). Así, la
energía resultante del "apalancamiento" exhibida por el aparato se
aumenta sustancialmente incluyendo la 28b de bobina de salida externa.
La
encarnación de la Fig.5 también incluye matrices respectivas (vistos de lado)
de diodos emisores de luz (LEDs) colectivamente sirviendo como fotoconductor
excitadores 26 para las bobinas de aumento de energía 24. Las matrices de LED
están dispuestas espalda con espalda y dispuestos entre bobinas adyacentes de
aumento de energía 24. Cada arreglo de discos en la Fig.5 puede constar de
varios LEDs o tan sólo un LED.

Fig.6 proporciona una vista en perspectiva de un aparato
de 15 con un arreglo de bobinas similares a la disposición que se muestra en la
Fig.5. En la figura 6, cada bobina de aumento de energía 24 consta de una
bobina helicoidal de material superconductor o fotoconductora en alambre o
cinta (tape) forma.
Cuando se utilizan varias bobinas de aumento de energía
24, las respectivas direcciones de flujo de electrones en ellos ocurren
preferiblemente en la misma dirección circular, visto de lado. Así, el flujo de
electrones en todo los aumento de energía bobinas 24 es durante una fase de un
ciclo de oscilación hacia la derecha y hacia la izquierda durante la fase de
otra. El mismo principio se aplica al flujo de electrones en la salida bobinas
28a, 28b. (Pero, en la Encarnación, el flujo de electrones en la salida bobinas
28a, 28b, es en la dirección opuesta al flujo de electrones en las bobinas de
aumento de energía 24). Estas relaciones de flujo de electrones en las bobinas
durante una fase particular de un ciclo de oscilación, se muestran en la Fig.7.
Las bobinas de aumento de energía 24 preferiblemente
están conectadas en serie, utilizando conectores inter-bobina 30a, 30b, para
mantener la misma dirección del flujo de electrones, que puede ser hacia la
derecha o hacia la izquierda (como visto desde un extremo de una bobina de
tal). Esta dirección del flujo de electrones en una bobina se denomina la
"lateralidad" de la bobina. Si las bobinas de aumento de energía 24
todos tienen la misma lateralidad, luego los extremos de las bobinas de aumento
de energía adyacentes 24 están conectados juntos en forma de cabeza a pies
progresivamente en una dirección en el grupo de bobinas (no se muestra).
("Cabeza" se refiere al final mirando hacia adelante, y
"pie" se refiere al final mirando hacia atrás del aparato en relación
con el espectador). En este caso, los conectores inter-bobina 30a, 30b, debe
pasar completamente a través del aparato o alrededor del exterior del aparato
en toda su longitud, que reduce la eficacia y puede causar desgaste indeseable
si los conectores están sujetos a vibraciones. Un arreglo más deseable es
representado en la Fig.6, 30a conectores inter-bobina corto, Cruz directamente
cara a cara entre un aumento de la energía de la bobina 24 y una bobina de
aumento de energía adyacente 24 y conectores inter-bobina cortos 30b cruzar
directamente pie a pie en la próxima ampliación de energía bobinas 24. En esta
configuración, la lateralidad de vueltas de las bobinas de aumento de energía
24 alterna de derecha a izquierda a izquierda a derecha en bobinas de aumento
de energía adyacentes 24. De la misma manera como un diestro tornillo avanza
desde la cabeza a pie como se gira hacia la derecha, y un tornillo de rosca
hacia la izquierda se mueve en la dirección opuesta, el flujo de electrones
hacia la derecha en una bobina diestro avances de cabeza a los pies, y flujo de
electrones hacia la derecha en una bobina zurdo avanza de pie a cabeza.
La 28a de bobinas de salida interna capas solo en Fig.6,
presentar la misma situación en la que estas bobinas están conectados en serie.
Preferiblemente, la 32a conectores inter-bobina cruzar directamente desde uno
28a de bobina de salida interna a la 28a de bobina de salida interna adyacente,
cara a cara y los conectores inter-bobina 32b cruzar directamente de pie a pie,
desde una salida interna bobina 28a, a la 28a de bobina de salida interna
adyacente. Esta misma Convención de lateralidad se aplica generalmente a todo
conectado en serie bobinas de salida interna 28a conectada de esta forma. El cara
a cara inter-bobina conectores 32a y 32b conectores inter-bobina de pie a pie
para la 28a de bobinas de salida interna, no necesitan coincidir con el mismo
respectivos conectores 30a, 30b para las bobinas de aumento de energía 24.
En otro embodiment (no se muestra), cada bobina de salida
interna es dos capas, con ambos cables en la cabeza o el pie. Esta
configuración permite conexiones corta y directa entre bobinas de salida
interna adyacente. Bobinas de salida interna de múltiples capas puede ser más eficaz,
pero las capas adicionales de cable de bobinaed aumentan la masa de los
aparatos, que pueden ser una preocupación en aplicaciones móviles. Varias capas
de alambre que lleva corriente alta también pueden resultar en
sobrecalentamiento, que pueda ser necesario dejar algo de espacio entre cada
28a de bobina de salida interna y su bobina de aumento de energía circundante
24 para dar cabida a uno o más conductos de refrigerante a través del aparato
(en un sacrificio de algunos eficiencia). El refrigerante puede ser, por
ejemplo, de aire forzado (en el caso de fotoconductores o semiconductores
dopados) o licuado gas criogénico (en el caso de los superconductores).
Fig.6 también muestra a los dos conductores externos 34
28a de bobinas de salida interno conectado a respectivos. Flujo de electrones a
través de los conductores de 34 y la 28a de bobinas de salida interna en serie.
Además, dos conductores externos 36 están conectados a los respectivos extremos
de la bobina de salida externa 28 ter, y dos conductores externos 38 están
conectados a los respectivos extremos de la bobina de enviar 20.

Fig.7 es una vista esquemática de la final de los
aparatos de la Fig.6, mostrando la dirección relativa del flujo de electrones
en las bobinas diferentes y en las conexiones inter-bobina que se describe para
bobinas de una sola capa. En una fase particular de la oscilación, el flujo de
electrones en sentido horario indicado por la flecha 39a en la bobina envía 20
induce 39b de flujo de electrones hacia la derecha en toda las energía de
aumento bobinas 24. La radiación magnificada por el flujo de electrones hacia
la derecha en las bobinas de aumento de energía 24, induce flujo de electrones
a la izquierda en todas la 28a de bobinas de salida interna, como indican las flechas
c 39. El flujo de electrones hacia la izquierda, indicado por la flecha d 39,
en la salida exterior bobina 28b es opuesto en dirección al flujo de electrones
en las bobinas de aumento de energía 24.
El flujo de electrones en la 30a inter-bobina conectores
extendiendo entre bobinas adyacentes de aumento de energía 24 está indicado por
las flechas 39e, y el flujo de electrones en la 32a conectores inter-bobina
extender entre 28a de bobinas de salida interna adyacente está indicado por las
flechas 39f. Durante la siguiente fase de oscilación, todas las flechas de
dirección mostrado en la Fig. inversa.
Conexión de la 28a de bobinas de salida interna juntos en
serie es ventajas si se desea maximizar la tensión de salida del aparato 15.
Alternativamente, la 28a de bobinas de salida interna puede conectarse en
paralelo si se desea maximizar la corriente de salida del aparato 15 al tiempo
que minimiza la tensión de salida. En esta configuración alternativa, todos la
28a de bobinas de salida interna preferiblemente son enrollar con el mismo
lateralidad, teniendo cada bobina 28a dos respectivos conduce. Los conductores
en un extremo (por ejemplo, el extremo del pie) de la 28a de bobinas están
conectados entre sí, y los cables en el otro extremo (el extremo de la cabeza)
de la 28a de bobinas están conectados entre sí. El sistema resultante de la
bobina en paralelo está conectado de forma convencional en otros circuitos del
aparato (no se muestra).
Más bien, la 28a de bobinas de salida interna pueden
conectarse para proporcionar más de un circuito de salida (siempre que se
produce suficiente energía para su uso como retroalimentación a la bobina envía
20 y para el uso en el establecimiento de condiciones favorables para la
producción de electrones de baja masa abundantes). Por otra parte, la relativa
tensión (es) y current(s) de potencia de salida pueden variar cambiando la
relación entre el número de vueltas en las bobinas de aumento de energía 24 al
número de vueltas en la 28a de bobinas de salida interna. Alternativamente, las
bobinas de aumento de energía 24 puede ser empleada de manera independiente
para proporcionar más de una unidad de aumento de energía. Cada unidad puede
constar de uno o más energía de aumento bobinas que pueden servir a su
respectivo circuito de bobinas de salida interna.
Los dos conductores 36 conectados a la externa 28b bobina
de salida, se pueden conectar a la 28a de bobinas de salida interna o pueden
utilizarse (sin estar conectado a la 28a de bobinas de salida interna) con sólo
el 28b de bobina de salida externa para proporcionar un circuito de salida
independiente (no se muestra). Los dos conductores 38 conectados a la bobina
envía 20, están conectados en el circuito de feed-back 46 tal que el flujo de
electrones en la bobina envía 20 es en la misma dirección circular como en la
28a de bobinas de salida interna.

Fig.8 representa otra encarnación del aparato 15, en que
cada energía aumento bobina 24 comprende una película delgada o gruesa película
de un policristalino u otro fotoconductor conveniente depositados en forma
helicoidal directamente sobre un sustrato tubular 40 preferiblemente hechas de
cerámica u otro material dieléctrico adecuado. cada energía aumento bobina 24,
el fotoconductor policristalino se formó como una banda helicoidal en la parte
exterior del sustrato tubular 40. La banda helicoidal de fotoconductor puede
incluir una película fina de metal incrustada dentro de ella. En algunos casos,
es posible inter-bobina conexiones entre energía adyacente aumento bobinas 24
extendiendo el fotoconductor depositado de las hélices en contacto con zonas 44
situadas en los extremos de los sustratos tubulares 40 y extendiéndose hacia
áreas de contacto sobre sustratos tubulares adyacentes 40 44. Contacto
eléctrico entre la energía adyacente bobinas 24 de aumento se realiza bajo
presión moderada a través de las áreas de contacto 44, que se muestra en la
Fig.8. Para distinguir las áreas de contacto individuales 44, se muestran en
una posición separada antes de pulsar juntos para hacer contacto. Para mantener
la integridad de las áreas de contacto 44, la energía aumento bobinas 24 puede
celebrarse juntos en proximidad mutua por cualquiera de varios sujetadores no
metálico para hacer contacto eléctrico continuo entre todas las partes fotoconductora.
Por ejemplo, pernos, tuercas y 43 45 hecho de un plástico como nylon u otro
material dieléctrico, pueden utilizarse. Otra variación es mantener la presión
de contacto de una bobina a la siguiente mediante clips de resorte. Así, en una
encarnación, las bobinas de aumento de energía 24 están conectados con el fin
de estar en contacto sin fin entre sí, con ninguna rotura 2.5KHz entre ellos.
El resto del aparato puede construirse de la misma manera como el fotoconductor
o semiconductor dopado encarnación descrita anteriormente, en donde se observa
la misma atención a la dirección del flujo de electrones en las bobinas
respectivas.

En Fig.9A y Fig.9B se muestra la configuración de la
bobina de otra Encarnación. Un sustrato tubular 40, soporta una película
delgada, helicoidal o película gruesa, dipolo-tipo de bobina con aumento de
energía 24 que está anidado dentro y coaxial con una sola salida exterior
bobina 28b. Anidado dentro del sustrato tubular 40 y con los respectivos ejes
paralelos al eje del sustrato tubular 40, son una bobina envío 20 y una bobina
de salida interna 28 bis. La bobina envía 20 y la 28a de bobina de salida
interna, se colocan en lados opuestos de un separador metálico reflexivo 59. El
separador 59 es sustancialmente parabólico en sección transversal a lo largo de
su extensión axial y está colocado de forma que los bordes longitudinales son
tocar, o casi en contacto con el sustrato tubular 40. El separador de 59 puede
estar compuesto de metal común, no magnético, como aluminio o magnesio. La
bobina envía 20 se coloca en el lado cóncavo del separador 59, con el eje de la
bobina envía 20 se posiciona en el enfoque geométrico 60 de la parábola y
desechar paralelo al eje de la bobina de aumento de energía 24. La bobina de
aumento de energía 24 en esta encarnación, consta de un película delgada o
gruesa película fotoconductor formada helicoidalmente sobre el sustrato tubular
40. Un excitador de fotoconductivas 26 se coloca dentro del separador 59. (El
sustrato tubular 40, es hecho de un material rígido que es transparente a la
radiación producida por la excitatriz fotoconductivas 26). Todas las demás
formas de la bobina de aumento de energía 24 descritas en este documento,
incluyendo la forma de superconductor, se pueden emplear en esta encarnación.
El separador 59, tiene un doble propósito. Un objetivo es
dirigir hacia la bobina de aumento de energía 24 la parte de la radiación de
fotones inductivo 22 que de lo contrario no se dirige hacia el separador, como
se muestra por los fotón refleja rayos 61 en Fig.6A. (Reflejo de estos fotones
de radiación no afecta la direccionalidad de la fuerza transversal que
transmiten estos fotones). Otro propósito del separador 59 es servir como un
escudo para restringir la cantidad de radiación hacia adentro 18b de la bobina
de aumento de energía 24 que se devuelve como una fuerza de espalda a la bobina
envía 20. La radiación de fuerza trasera restringida se muestra por el área
sombreada 63 en Fig.9B.

La parte de la radiación de fotón inductivo internamente
dirigida, ampliada 18b que es recibido por la 28a de bobina de salida interna,
se denota por el área sombreada 65. Se muestra la cantidad proporcional de 18a
de radiación ampliada dirigido hacia el exterior de la bobina de aumento de
energía 24 que es recibido por la salida externa bobina 28b, sombreadas en 67.
La suma de la radiación ampliada en el área de 65 que alcanza el exterior
salida bobina 28b, supera considerablemente la radiación ampliada en la zona 63
(la porción este último como una fuerza trasera en la bobina envía 20). Este
exceso de energía utilizada sobre la energía de fuerza trasera, proporciona el
aprovechamiento de la energía. Esta encarnación también incluye un mecanismo de
arranque y fuente de energía inicial para el excitador fotoconductivas, un
bucle de trabajo y un circuito de retroalimentación (no se muestra) como en el
otro embodiments descrito.

Algunas características pueden incorporarse con
cualquiera de las encarnaciones descritos para agregar funcionalidad funcional.
Por ejemplo, refiriéndose a la representación esquemática de una bobina de
configuración que se muestra en la vista de extremo de Fig.10A, un núcleo
ferromagnético 69 puede colocarse dentro de la bobina envía 20 y núcleos
ferromagnéticos 71 pueden colocarse dentro de 28a de bobinas de salida interna
correspondiente. Estos núcleos aumentan la inductancia de los aparatos, lo que
disminuye la frecuencia de las oscilaciones eléctricas producidas por el
aparato. Aunque aumenta en inductancia puede causar el voltaje de salida y la
corriente que fuera de fase, la diferencia de fase puede corregirse mediante la
adición de capacitancia a los circuitos convencionales. También se muestra, es
un escudo de metal externo que rodea completamente el aparato para bloquear
cualquier radiación desde el dispositivo que podría interferir con radios,
televisores, teléfonos, ordenadores y otros dispositivos electrónicos. el
protector puede estar formado por cualquiera de varios metales no magnéticos
como aluminio o magnesio.
Otro medio de aumentar la inductancia del aparato se
muestra en Fig.10B, que es una variación de la vista final de sólo el envío
bobina 20 representado en Fig.10A. En Fig.10B, una manga ferromagnética 73 se
coloca coaxialmente alrededor de la bobina de enviar 20.
Las proporciones respectivas dimensionales de diversos
componentes permanecen generalmente similares respecto a la otra para los
tamaños de diferentes aparatos, excepto la dimensión longitudinal, que
generalmente puede ser tan corto o tan largo como desee, hasta un límite
práctico. Los indicadores respectivos de los cables utilizados en la bobina
envía 20 bobinas de salida 28a y 28b, están en consonancia con la corriente
eléctrica por los cables, y el grueso respectivo de aislamiento (si se usa) de
los alambres es proporcional a la tensión.
El diámetro exterior de la salida interna bobinas 28a
preferiblemente sólo es ligeramente menor que el interior diámetro de las
respectivas bobinas de aumento de energía 24, como se muestra en la Fig. 6,
Fig.7 y Fig.8, asegurando así la proximidad de cada 28a de bobina de salida
interna con su respectivo aumento de energía bobina 24. En un sacrificio en la
eficiencia, el diámetro exterior de la 28a de bobinas de salida interna puede
hacerse más pequeño, para dejar espacio para el calor de los cables de
corriente al escapar o ser eliminado por un refrigerante como el aire forzado
en el caso de un tipo de fotoconductor o dopado aparato de tipo semiconductor o
por un criogénico de gas en el caso de un aparato de tipo superconductor
licuado.
También, preferiblemente, la 28b de bobina de salida
externa está conectada en serie con la 28a de bobinas de salida interna para
maximizar la tensión de salida del aparato 15 y minimizar el calor producido
por corrientes eléctricas en el aparato. La tensión de salida puede ser
retirada y la corriente de salida intensificado a rangos normales de
funcionamiento mediante el uso de un transformador, en donde el primario del
transformador comprendería la carga en el circuito de trabajo 48.
Como se mencionó anteriormente, cada bobina de aumento de
energía 24 puede comprender una fotoconductor o semiconductor dopado, formado
como un patrón helicoidal respectivos delgada tubular sustrato con superficies
de contacto prolongadas, levantadas en cada extremo. Las bobinas de aumento de
energía 24 preferiblemente se conectan eléctricamente (en lugar de
capacitatively) entre sí en serie en las superficies de contacto elevadas. Las
bobinas fotoconductora preferiblemente están recubiertos con barniz claro o
para proporcionar aislamiento eléctrico y para proteger el fotoconductores de
oxidación y a la erosión del esmalte.
Donde
los electrones de baja masa photoconducting en las bobinas de aumento de
energía 24 están presentes en una concentración que es insuficiente para
capturar la mayor parte de la radiación de fotones inductiva de la bobina envía
20, cada bobina de aumento de energía preferiblemente incluye una banda
metálica fina. El metal es preferiblemente en íntimo contacto con el transportista
de baja masa de electrones. el metal puede ser en el exterior de un
semiconductor dopado, o puede ser embebido en una banda de fotoconductor de la
bobina para capturar la radiación inductiva y configurar un campo eléctrico
que, a su vez, ayuda en la aceleración de los electrones de baja masa. En la
encarnación fotoconductora, el material fotoconductora preferiblemente se
elimina todo la banda metálica para que los electrones de baja masa se llevan a
cabo en el lado exterior así como la parte interior y los bordes de la banda
fotoconductora sobre la parte o partes que se exponen a la iluminación en el
exterior. El ancho de la banda de metal preferiblemente es suficiente para
capturar la mayor cantidad de la radiación de fotones inductiva de la bobina envío
como prácticas, puesto que las brechas entre las vueltas de la banda de metal
en la bobina de aumento de energía permiten la radiación inductiva de la bobina
envía a pasar a través de la bobina de salida interna. Dado que la radiación de
la bobina envía es un ciclo medio fuera de fase con la radiación inductiva de
los electrones de baja masa, toda la radiación de bobina envío que llega a la
bobina de salida, reduce la eficacia de la salida del aparato.
Materiales fotoconductora apropiados (por ejemplo, sulfuro
de cadmio, Seleniuro de cadmio) para la formación de las bobinas de aumento de
energía 24 están disponibles comercialmente. El material fotoconductora puede
ser un único material o una mezcla de materiales y puede estar formado por, por
ejemplo, farfulla. Una mezcla de sulfuro de cadmio y Seleniuro de cadmio puede
ser ajustada de forma óptima para producir bobinas de aumento de energía
exhibiendo factores de aumento de energía máximos en una longitud de onda
máxima coincidencia los más brillantes excitadores fotoconductivas 26 que están
disponibles.
Con respecto a los excitadores fotoconductivas 26,
Foto-excitación de las bobinas de aumento de energía 24 puede ser siempre por
uno o más LED, emisión de superficie o emisión de borde, por ejemplo, seleccionado
para producir una longitud de onda de salida coincide con la longitud de onda
máxima fotoconductivas de las bobinas de aumento de energía 24. En la
encarnación de la Fig.7 y Fig.10A, 26 de LEDs individuales se colocan en
matrices lineales montados espalda con espalda en barras de montaje
correspondiente. Las barras de montaje ensambladas con LEDs se colocan en los
espacios entre bobinas adyacentes de aumento de energía 24 para iluminar por lo
menos los lados de los respectivos aumento de energía bobinas 24, que recibir
radiación de fotones inductiva de la bobina envía 20. LEDs son ventajosos en
comparación con lámparas incandescentes porque LEDs producen más luz con menos
calor y tienen una vida mucho más operativa que las lámparas incandescentes. LED
también se prefieren debido a su pequeño tamaño que facilita el montaje de un
gran número de ellos en el espacio relativamente pequeño entre bobinas
adyacentes de aumento de energía 24.
Considerando
que la invención se ha descrito en relación con varios embodiments
representativas, la invención no se limita a esas encarnaciones. Por el
contrario, la invención se pretende abarcar todas las modificaciones, las
alternativas y equivalentes como pueden incluirse dentro del espíritu y el
alcance de la invención, como se define en el appended reclamaciones.
Referencias citadas en el
texto
Helmholtz, H., 1847, Uber die Erhaltung der Kraft, G.A.Reimer, Berlin. On
the Conservation of Force, English translation with Appendices of 1881,
Wesleyan university Press,
Leimer, E., 1915, Uber Radiumantennen, Elektrotechnische Zeitschrift, Heft 8, Feb. 25, 1915. English translation: On Radium Antannae The Electrician, Apr. 21 1916, and Radium and Aerials Scientific American, Supplement No. 2127, Oct. 7, 1916.
Anon, 1919a, Youthful Seattle Inventor and his Invention (photos and captions), Seattle Post-Intelligencer, Dec. 17, 1919.
Anon., 1919b, Youths Revolutionary invention is Backed by Professor - Hubbards New Energy No Fake, Says Seattle College Man, Seattle Post-Intelligencer, Dec. 17, 1919,
Anon. 1920a,
Hubbard Coil Runs Boat on
Anon., 1920b, Drives Boat with New Electric Generator (photos and captions), Seattle Post-Intelligencer, Jul. 29, 1920.
Anon., 1928a, Noted Flyers Try Out New Motor at Selfridge Field (photo), Detroit Free Press, Fen. 25, 1928.
Anon., 1928b,
Fuelless Motor Shown; Gets Current From Air,
White, H. C.,
1928c, Lindbergh Tries Motor Earth Runs,
Anon., 1928d, Fuelless Motor Impresses Experts, New York Times, Feb. 26, 1928.
Anon., 1928e,
No-Fuel Motor Finds Backers,
Anon., 1928f, Fuelless Motor Is A Generator, New York Times, Feb. 27, 1928.
Anon., 1928g, Fuelless Motor Ends 2-year Task, Seattle Post-Intelligencer, Feb. 27, 1928.
Bermann, R.
B., 1928 h, Hubbard Believes Mystery Motor Based Upon His Own Invention,
Ampere, A. M., 1820, Memoire, Annales de Chimie et de Physique.
Ampere, A. M., 1825, Memoire, Annales de Chimie et de Physique.
Weber, W.,
1846, Elektrodynamische Maassbestimmungen,
Weidmannsche Buchhandlung,
Gauss, C. F., 1835, unpublished notes originally published posthumously in 1865 as Grundgesetz Fur Alle Wechselwirkungen Galvanisvcher Strome in Werke, Vol. 5, pp. 616-620; the correspondence from Gauss to Wilhelm Weber (1845) is on pp. 627-629.
Maxwell, J.
C., 1873, A Treatise on Electricity and
Magnetism, Clarendon Press,
Larmor, J., 1897, On the Theory of Magnetic Influence of Spectra; and on the Radiation From Moving Ions, Phil. Mag LXIII:503-512.
Larmor, J., 1900,
Aether and Matter,
Rutherford, E., 1911, Phil. Mag. XXI:669.
Planck, M., 1911, Verh. D. Deutsch. Phys. Ges. XIII:138
Bohr, N., Kramers, H. A., and Slater, J. C., 1924, Phil. Mag. XLVII:785
Whittaker, E.,
1951, A History of the Theories of Aether
and Electricity, Thos. Nelson & Sons,
Shpenkov, G. P., and Kreidik, L. G., Microwave Background Radiation of Hydrogen Atoms, Revista Ceencias Exastas e Naturais 4, n.1, pp. 9-18, January/June 2002.
Fowler, W. A., 1983, Experimental and Theoretical Nuclear Astrophysics; the Quest for the Origin of the Elements, Nobel Lecture, Dec. 8, 1983.
Tifft, W. G., 1976, Discrete States of Redshift and Galaxy Dynamics I", Astrophysical Journal 206:38-56.
Tifft, W. G., 1977, Discrete States of Redshift and Galaxy Dynamics I I: Systems of Galaxies, Astrophysical Journal 211:31-46; and Discrete States of Redshift and Galaxy Dynamics I I I: Abnormal Galaxies, Astrophysical Journal 211:377-391.
Compton, A. H.
and Allison, S. K., 1935, X-Rays in Theory and Experiment 2nd Ed.,
Pops, H., 1997, The Metallurgy of Copper Wire, Innovations, Dec. 1997 (Copper Development Assoc.).
Lapp, R. E.
and Andrews, H. L., 1954, Nuclear
Radiation Physics, Prentice-Hall,
Bardeen, J., 1942, Theory of Superconductivity (abstr.), Phys. Rev. 59:298.
Dehmelt, H. G., 1989, Experiments with an Isolated Subatomic Particle at Rest, Nobel Lecture, Dec. 8, 1989.
File, J. and
Mills, R. G., 1963, Observation of Persistent Current in a Superconducting
Solenoid, Phys. Rev. Lett. 10(3), Feb. 1, 1963.
Patente US 6,946,767 20 de septiembre
2005 Inventor: John
Reardon
GENERADOR DE
CORRIENTE ALTERNA
Esta es una forma de extracto reescrito este patente que
muestra un alta eficiencia generador eléctrico de corriente alterna. Se dice
que este diseño de generador no es afectada por la ley de Lenz y los resultados
experimentales mostraron una mejoría de 13,713 % sobre la salida de energía
convencional.
EXTRACTO
Un generador eléctrico de corriente alterna crea tres
diferentes y distintos los campos magnéticos entre enrollar elementos de bobina
y girar imanes, dos campos que son inducidos causada por la rotación del imán.
Se colocan una pluralidad de imanes que se extienden hacia el exterior de un
eje de rotación. Los imanes están separados circunferencial alrededor del eje,
tal que el extremo polar norte de un imán sigue el extremo polo sur del imán
siguiente o tal que el extremo polar de un imán sigue un imán con el mismo fin
polar. Una pluralidad de bobina fija elementos se colocan en relación espaciado
a los imanes. Los elementos de bobina cada tienen bobinas eléctricas y núcleos
de metales que se extiendan las longitudes de los elementos de la bobina. Los
imanes giren en relación espaciado a los extremos de los elementos de la bobina
de tal manera que las líneas de flujo de los imanes cortar los núcleos situados
en el centro de cada uno de los elementos de la bobina. Esto induce alternando
corriente eléctrica que oscila hacia adelante y hacia atrás a lo largo de la
longitud de los núcleos. Esta corriente oscilante crea una expansión y
contracción de conjunto de líneas de flujo magnético que se expande y se
contrae a través de cada pulgada de los bobinados del elemento de la bobina.
Esta expansión y contracción de campo magnético induce un campo magnético de
expansión y colapso y un campo eléctrico alternante en los elementos de la
bobina.
FONDO DE LA INVENCIÓN
Generadores de corriente alterna están girando
dispositivos que convierten la energía mecánica en energía eléctrica. Para
generar una fuerza electromotriz por movimiento mecánico, debe haber movimiento
entre una bobina eléctrica y un campo magnético de manera que cause un cambio
en el flujo que pasa a través de la bobina. Fundamentalmente, la fuerza
electromotriz inducida se produce por un cambio en el flujo pasa a través de la
bobina.
El uso de electroimanes, imanes y componentes de imán en
generadores para crear el campo magnético y su posterior efecto en bobinas
eléctricas para finalmente generar corriente eléctrica es bien conocido. Estos
generadores magnéticos operan con las fuerzas repelentes creadas por el efecto
de cambiar la polaridad de permanentes y electroimanes. Por ejemplo, existen
dispositivos que emplean electroimanes que se fijan en posición y que inducen
actual por ser selectivamente excitado, como hierro u otros discos de metales
magnéticos, barras o elementos similares giran en o alrededor de los imanes de
la generación eléctrica. Otros sistemas emplean electroimán o imanes
permanentes que giran, por diversos medios, en relación con los núcleos de
hierro o bobinas, induciendo una corriente eléctrica alterna en las bobinas.
Sin embargo, generadores de corriente previa que emplean
sistemas de imán giratorio son ineficientes y generalmente no entregar una
corriente adecuada, en relación con el esfuerzo mecánico aplicado.
RESUMEN DE LA INVENCIÓN
Por lo tanto es un objeto de la presente invención para
abordar las limitaciones y desventajas de los generadores de corriente
eléctricos alternados previos.
Es un objeto de la invención presente para proporcionar
un generador de corriente alterna que genera una gran cantidad de corriente
eléctrica con eficiencia y eficacia.
Es un objeto más lejano de la invención presente para
proporcionar un generador de corriente alterna que emplea imanes giratorios
para inducir aumento de corriente eléctrica alterna dentro de los núcleos de
hierro de bobinas eléctricas.
Es todavía otro objeto de la invención presente para
proporcionar un generador de corriente alterna que puede ser simplemente y
fácilmente fabricado y funcionar con eficacia alta.
Estos y otros objetos que se obtienen por la invención
presente, un generador eléctrico de corriente alterna que crea tres diferentes
y distintos los campos magnéticos entre enrollar elementos de bobina y girar
imanes, dos campos que son inducidos causada por la rotación del imán. Se
colocan una pluralidad de imanes que se extienden hacia el exterior de un eje
de rotación. Los imanes están separados circunferencial alrededor del eje, tal
que el extremo polar norte de un imán sigue el extremo polo sur del imán
siguiente o tal que el extremo polar de un imán sigue un imán con el mismo fin
polar. Una pluralidad de elementos de bobina estacionaria se colocan en
relación espaciado a los imanes. Los elementos de bobina cada tienen bobinas
eléctricas y núcleos de metales que se extiendan las longitudes de los
elementos de la bobina. Los imanes giren en relación espaciado a los extremos
de los elementos de la bobina de tal manera que las líneas de flujo de los
imanes cortar los núcleos situados en el centro de cada uno de los elementos de
la bobina. Esto induce alternando corriente eléctrica que oscila hacia adelante
y hacia atrás a lo largo de la longitud de los núcleos. Esta corriente
oscilante crea una expansión y contracción de conjunto de líneas de flujo
magnético que se expande y se contrae a través de cada pulgada de los bobinados
del elemento de la bobina. Esta expansión y contracción de campo magnético
induce un campo magnético de expansión y colapso y un campo eléctrico
alternante en los elementos de la bobina.
Las novedades que se consideran como característica de la
invención se establecen en particular en el appended reclamaciones. La
invención, sin embargo, tanto en su diseño, construcción y uso, junto con
características adicionales y ventajas, se entienden mejor después de revisar
la siguiente descripción detallada en relación con los dibujos acompañantes.
BREVE
DESCRIPCIÓN DE LOS DIBUJOS

Fig.1 es una representación isométrica de
componentes claves de la invención presente.

Fig.2 es una
representación de la vista de lado de la invención presente mostrando que
alojan de los dos conjuntos de elementos de la bobina y su relación con los
imanes.

Fig.3 es una visión
explicativa, mostrando la generación de líneas de flujo que constituye la base
para el funcionamiento de la invención presente.

Fig.4 es una alternativa encarnación de la
invención presente.
DESCRIPCIÓN DETALLADA DE LA INVENCIÓN

Fig.1 y Fig.2 muestran una descripción clara de los
componentes del generador de corriente alterna 1 de la invención del tema.
Generador 1 comprende viviendas 2 y 3. Por simplicidad propósitos y facilidad
de comprensión, vivienda sólo 2 se muestra en la Fig.1. Debe entenderse, sin
embargo, que el generador 1 de la presente invención está configurado para su
uso con dos viviendas de 2 y 3. Vivienda 2 contiene elementos de bobina 4, 6, 8
y 10. Cada elemento de la bobina consta de varias bobinas de 12, 14, 16 y 18,
respectivamente, enrollar alrededor de interior acero o similar metal núcleos
20, 22, 24 y 26, respectivamente. Cada núcleo de acero extiende la longitud
total y directamente a través de cada uno de los elementos de la bobina.
elementos de la bobina 4, 6, 8 y 10 están montados dentro de vivienda 2, tal
que las superficies de la final de los elementos de la bobina y los extremos de
núcleos 20, 22, 24 y 26 se colocan al ras con la superficie exterior de la
vivienda 2.

Vivienda 3 también contiene cuatro elementos de bobina
colocados de forma idéntica a como se ha descrito en relación con la vivienda
2. Dos de estos elementos de bobina 5 y 7 se muestran en la figura 2. elemento
de bobina 5 tiene varias bobinas 13 y núcleo de centro 21 y bobina elemento 7
tiene varias bobinas 11 y núcleo de centro 21.
Imanes de 28, 30, 32 y 34 se fijan al eje 36, que está
configurado para girarse por fuente de alimentación convencional 37, como un
motor diesel, turbinas, etc.. 28, 30, 31 Y 32 los imanes tienen extremos con
polaridades se extiende hacia el exterior. Imanes 28, 30, 32 y 34 se colocan en
relación espaciado a los extremos de núcleos expuestos, 20, 22, 24 y 26 de
elementos de la bobina 4, 6, 8 y 10 y espaciados respecto a los extremos de los
cuatro núcleos expuestos en los cuatro elementos de la bobina en vivienda 3,
núcleos 19 y 21 se muestra en la figura 2. Todos los imanes están espaciados
equidistantemente en y alrededor del eje 36, tal que el polo exteriormente
extensible de un imán circunferencial sigue el polo exteriormente extensible
del imán siguiente. El norte polar extremo de un imán puede seguir el final
polo sur del imán siguiente o el extremo polar de un imán puede seguir un imán
con el mismo fin polar.
Mientras se muestran cuatro imanes y cuatro núcleos, se
prevé que los núcleos y los imanes adicionales podrían emplearse en el
generador. También, mientras que los imanes permanentes se muestran en los
dibujos, electroimanes también podrían ser utilizado, ya que se produce el
mismo flujo magnético.
Corriente eléctrica alterna se genera cuando la fuente de
alimentación 37 gira eje 36, provocando la rotación de imanes 28, 30, 32 y 34
en relación espaciada, adyacente a los extremos de núcleos, 20, 22, 24 y 26 de
elementos de la bobina 4, 6, 8 y 10 y en relación espaciada, adyacente a los
extremos de los núcleos de 19 y 21 elementos de bobina 7 y 5 y los extremos de
los núcleos de los otros dos elementos de la bobina del mismo modo alineado en
caja 3. La corriente que se genera se transmite a través de cables conductores
eléctricos 27, que se funde en los puntos de conexión 29 en vivienda 2 y 31 en
caja 3, para la transmisión consolidada en conexión punto 33 de la electricidad
producida.
Como mejor representado en la figura 2, cuando se gira el
imán 28 en relación espacio al final de la base 20 del elemento de la bobina 4,
líneas de flujo 100 del imán cortar el núcleo en el centro del elemento del
bobina. Esto induce una corriente eléctrica alterna que oscila hacia adelante y
hacia atrás a lo largo de la longitud de la base 20. Esta corriente oscilante
crea un conjunto de expansión y colapso de las líneas de flujo magnético 200
que se expande y se contrae a través de cada centímetro de bobina bobinas 12.
Expandir y contraer el campo 200 induce un campo eléctrico alternante en el
elemento de la bobina 4 que es acompañada por una expansión y contracción de
campo magnético 300. Significativamente, se observa que ninguna de las líneas
de campo magnético 100, 200 y 300, actuar de manera negativa o en una acción
contraria. Esto permite la invención de tema para superar las limitaciones de
la ley de Lenz, que establece que cuando hay un cambio en el flujo magnético en
un circuito, una fuerza electromotriz inducida es configuración tiende a
producir una corriente en una dirección que se opondrá a los cambios de flujo.

Fig.3 ilustra una encarnación alternativa de la invención
a la que se muestra en la figura 1. Como se muestra en la Fig.3, bobina
elemento 44 con devanados exteriores 58 e interno de acero 66, bobina
fundamental 46 bobinas 56 y 64, bobina elemento 48 bobinas 54 y 62, y elemento
de bobina 50 bobinas exteriores 52 y 60 se colocan adyacente al rotor 67, que
se monta en el eje del 69. Imanes 68 y 72 están montados en el rotor 67 tal que
los polos norte de los imanes se colocan en relación espaciado a elementos de
bobina 44, 46, 48 y 50. Imanes 70 y 74 están montados en el rotor 67 tal que el
sur polos de los imanes se colocan también en relación espaciado a elementos de
bobina 44, 46, 48 y 50. Todos los imanes fijamente están montados en el rotor
67 tal que un polo norte de un imán circunferencial sigue un polo sur del imán
en la línea siguiente. La separación prevista entre los imanes y conos de
elemento de bobina es aproximadamente 0.0001 de pulgada, aunque el alcance y el
uso de la invención deben no ser considerados restringido a esta distancia.
Como en la encarnación previa, rotación de imanes 68, 70,
72 y 74, por la rotación del eje 69 y por lo tanto rotor 67, hace que las
líneas de flujo de los imanes para cortar núcleos 60, 62, 64 y 66 de elementos
de la bobina, 44, 46, 48 y 50, finalmente resultando en la salida de la
corriente eléctrica como previamente descrito.
Cabe señalar que cuanto mayor sea el diámetro del rotor
67, los elementos más de la bobina puede colocarse alrededor del rotor. Cuanto
mayor sea el número de elementos de la bobina, el rotor más lento 67 necesita
girar; Sin embargo, hay una pérdida de energía en hacerlo. Además, mientras que
el rotor 67 es mostrado como circular, puede ser cuadrado en forma o formada de
como otras configuraciones de varios lados apropiadas.
Esta forma única de generación de electricidad permite la
generación de energía eléctrica más, por ejemplo, en cualquier lugar en el
rango de 4 a 137 veces más energía, que los medios convencionales, previos.
También tiene la ventaja de obtener energía de la unidad con muy poco esfuerzo.
Como evidencia de tal poder gana, se hace referencia a
las descritas a continuación salidas experimentales de bobinas e imanes que
producen energía eléctrica el convencional forma en comparación con la
invención del tema. La forma convencional de generación de energía, a fin de
salidas de las siguientes experimental, como referencia en este documento, se
logra cortando los cables, no los núcleos, de devanado de la bobina con el
flujo del imán.
En este sentido, la prueba es también siempre que el
método descrito en este documento de generación de energía eléctrica no es
afectado por la ley de Lenz, por referencia a las lecturas obtenidas por los
métodos convencionales como la rpm y el tamaño del aumento de la bobina. Con
los métodos convencionales, los valores no cambian linealmente, pero son menos
porque la ley de Lenz restringe las salidas de aumentar proporcionalmente a la
velocidad y el tamaño de la bobina. En comparación, sin embargo, en el método
de producir energía de la invención del tema, hay un aumento en las lecturas de
V (tensión), I (corriente), y P (potencia) que son realmente más grande que el
esperado.
También se observa que, al igual que un transformador,
cuando se incrementa el número de relación, V aumenta y disminuye, que es
exactamente lo que se ve en las diferentes lecturas de rpm para las bobinas de
diferente tamaño. Sin embargo, no aumentar o disminuir proporcionalmente.
Así pues, se presenta el modelo ideal para la producción
de energía eléctrica que corresponde a la ley general que establece que como
aumenta la velocidad, la tensión aumentará proporcionalmente, a través de la
ecuación:
V = q (carga) x v (velocidad) x B (campo magnético). Esto
también es válido para una bobina, en que los transformadores aumentan
proporcionalmente a la relación de vueltas.
Con referencia a la tensión de salida para cada una de
las bobinas, 1100T, 2200T y 5500T, se ve que son coherentes con los tipos de
salidas de voltaje para una acción de transformador. Es decir, como la razón de
vueltas se sube un transformador también lo hace la tensión. Debido a los
aumentos de tensión entre el número de vueltas es no exactamente de 2 a 5
veces, uno puede escoger una de las bobinas y asumir es exacto y ajustar las
otras bobinas. Así, mediante la fijación de la bobina de 1100T, las otras
bobinas ser 2837T y 5896T respectivamente. Mediante la fijación de la bobina de
2200T, las otras bobinas en 853T y 4572T respectivamente. Y mediante la
fijación de la bobina de 5500T, las otras bobinas 1026T y 2646T respectivamente.
También, si los ajustes se hacen como se describe aquí, es decir, que las
bobinas son más grandes que se pensó, y se aplican a las tensiones por el
método convencional de generación de energía, las tensiones no aumentan
proporcionalmente pero son realmente más pequeñas que deben para ser, prueba
adicional de que la ley de Lenz tiene aplicación a los generadores
convencionales, pero no para esta invención.
También se observan los cambios proporcionales en la
tensión relativa a velocidad. Por lo tanto, teniendo en cuenta la velocidad RPM
350 tan precisa, la RPM 1200 y 1300 RPM velocidades se ajustarán a 906 RPM y
RPM 1379 respectivamente. Teniendo en cuenta la velocidad de 1200 RPM como
precisa, 350 RPM y 1300 RPM velocidad hace 464 RPM y RPM 1826 respectivamente.
Y por último, teniendo en cuenta la velocidad de 1300 RPM que precisa, las
velocidades RPM 350 y 1200 RPM 330 RPM y 854 RPM respectivamente.
Se observa que en el uso de las diversas lecturas de RPM
basadas en lo anterior, se considera que, en la forma convencional de
generación de energía, hay pérdidas asociadas con los valores medidos. Los
valores calculados a mostrar la aplicación de la ley de Lenz en la forma
convencional de generar energía, pero no para esta invención. De hecho, si hay
un ajuste de RPM velocidad o bobina, o no la generación de energía de esta
invención es de ninguna manera afectada por la ley de Lenz.
Ya que la ley de Lenz no tiene ningún efecto en este
generador, se puede suponer que las tensiones aumentan proporcionalmente a la
velocidad de la rotación de los imanes. Por lo tanto, uno puede extrapolar los
voltajes esperados a 1800 RPM, la velocidad necesaria para crear 60 Hz. Con
respecto a este generador, para cada una de las tres bobinas de 350 RPM, RPM
1200 y 1300 RPM velocidades, los siguientes resultados (los valores se basan en
una bobina/imán.):

La razón de que la corriente no cambia linealmente como
las leyes de la física implican de transformadores, es decir, como la tensión
aumenta en función del número baja, la corriente pasa proporcionalmente a la
ganancia de voltaje, es debido a que la reactancia inductiva también está
subiendo. Consulte la tabla siguiente para las reactancias inductivas para cada
bobina a cada velocidad.
Impedancia (Z) o reactancia inductiva (X(L)) para un
circuito con sólo una bobina en ella es el voltaje dividido por la corriente de
la CA, y la inductancia (L) es Z/2 × pi × F (frecuencia). Para un circuito con
una resistencia y una bobina
Z = raíz cuadrada de (R (resistencia) al cuadrado + X(L)
al cuadrado)).
La siguiente es la tabla de impedancia Z para todos los
tamaños de bobina en todas las velocidades para el método convencional de
generación de energía y el método de generación de energía con esta invención:
Donde:
"T" es sinónimo de vueltas,
"CM" significa método convencional y
"SI" significa invención del tema:
(1) Para 350 RPM para bobinas 1100T, 2200T y 5500T,
1. (a) CM: 0.57v
/ 56.6 mA= 10.021
ohmios = Z
(b) SI: 1.14v
/ 106.6 mA = 10.694
ohmios = Z
2. (a) CM: 0.93v
/ 32.4 mA = 28.704
ohmios = Z
(b) SI: 2.94v
/ 70.1 mA = 41.94
ohmios = Z
3. (a) CM: 2.09v
/ 17.3 mA = 120.81
ohmios = Z
(b) SI: 6.11v
/ 37.9 mA = 161.21
ohmios = Z
(2) Para 1200 RPM para
bobinas 1100T, 2200T y 5500T:
1. (a) CM: 1.45v
/ 60.2 mA = 23.387
ohmios = Z
(b) SI: 2.95v
/ 141 mA = 20.922
ohmios = Z
2. (a) CM: 3.225v
/ 36.2 mA = 89.088
ohmios = Z
(b) SI: 7.53v
/ 73.5 mA = 102.449
ohms = Z
3. (a) CM: 4.81v
/ 17 mA = 282.941
ohmios = Z
(b) SI: 11.23v
/ 31.4 mA = 357.643
ohmios = Z
(3) Para 1300 RPM para
bobinas 1100T, 2200T y 5500T:
1. (a) CM: 1.6v
/ 83 mA = 19.27
ohmios = Z
(b) SI: 4.59v
/ 157 mA = 29.236
ohmios = Z
2. (a) CM: 2.75v
/ 50.4 mA = 54.455
ohmios = Z
(b) SI: 7.74v
/ 88.5 mA = 87.458
ohmios = Z
3. (a) CM: 5.061v
/ 17.3 mA = 292.543
ohmios = Z
(b) SI: 12.76v
/ 36.4 mA = 350.549
ohmios = Z
(4) Para 400 RPM para
bobina 2300T con 24 calibrador de alambre y 0.5 "core:
(a) CM: 0.15v
/ 3.7 mA = 40.541
ohmios = Z
(b) SI: 2.45v
/ 26.2 mA = 93.511
ohmios = Z
(5) Para 1200 RPM para
bobina 2300T con 24 calibrador de alambre y 0.5 "core:
(a) CM: 0.37v
/ 2.7 mA = 137.037
ohmios = Z
(b) SI: 4.1v
/ 10.3 mA = 398.058
ohmios = Z
(6) Para 1400 RPM para
bobina 2300T con 24 calibrador de alambre y 0.5 "core:
(a) CM: 0.58v
/ 2.4 mA = 241.667
ohmios = Z
(b) SI: 8.3v
/ 7.8 mA = 1065.385
ohmios = Z
(7) Para 400 RPM para
bobina 2300T con 24 calibrador de alambre y 0.5 "core:
(a) CM: 0.23v
/ 4.2 mA = 54.762
ohmios = Z
(b) SI: 0.37v
/ 7.2 mA = 51.389
ohmios = Z
(8) Para 1200 RPM para
bobina 2300T con 24 calibrador de alambre y 0.5 "core:
(a) CM: 0.79v
/ 3.4 mA = 232.353
ohmios = Z
(b) SI: 0.43v
/ 6.9 mA = 207.246
ohmios = Z
(9) Para 1400 RPM para
bobina 2300T con 24 calibrador de alambre y 0.5 "core:
(a) CM: 0.79v
/ 3.21 A = 246.875
ohmios = Z
(b) SI: 2.1v
/ 2.7 mA = 777.778
ohmios = Z
(10) Para 400 RPM para
bobina 6000T con 28 calibrador de alambre y 0.5 "core:
(a) CM: 0.49v
/ 2 mA = 245
ohmios = Z
(b) SI: 5.48v
/ 0.13 mA = 421.538
ohmios = Z
(11) Para 1200 RPM para
bobina 6000T con 28 calibrador de alambre y 0.5 "core:
(a) CM: 1.25v
/ 1.5 mA = 833.333
ohmios = Z
(b) SI: 15.04v
/ 4.1 mA = 3668.293
ohmios = Z
(12) Para 1400 RPM para
bobina 6000T con 28 calibrador de alambre y 0.5 "core:
(a) CM: 2.08v
/ 1.1 mA = 1890.909
ohmios = Z
(b) SI: 18.76v
/ 2.5 mA = 7504
ohmios = Z
(13) Para 400 RPM para
bobina 6000T con 28 calibrador de alambre y 0.5 "core:
(a) CM: 0.64v
/ 1.7 mA = 376.471
ohmios = Z
(b) SI: 7.97v
/ 7.4 mA = 1077.027
ohmios = Z
(14) Para 1200 RPM para
bobina 6000T con 28 calibrador de alambre y 0.5 "core:
(a) CM: 2.08v
/ 1.3 mA = 1600
ohmios = Z
(b) SI: 20.4v
/ 5.6 mA = 3642.857
ohmios = Z
(15) Para 1400 RPM para
bobina 6000T con 28 calibrador de alambre y 0.5 "core:
(a) CM: 2.28v
/ 1.2 mA = 1900
ohmios = Z
(b) SI: 28.4v
/ 2.1 mA = 13523.81
ohmios = Z
Se observa que, según las variaciones de tamaño de
alambre, tamaño de la base y número de vueltas, los siguientes efectos tendrá
lugar: el menor tamaño del cable más alto las ganancias independientemente de
la velocidad;
(b) mayor
número de vueltas, generalmente más altas las ganancias; y
(c) los más
pequeños el núcleo tamaño mayor las ganancias.
Sin embargo, al comparar las bobinas con núcleos más
pequeños pero con un mayor número de vueltas, los efectos permanecen sobre la
misma.
Por último, los imanes se colocan en el rotor para que
estén todos Norte o sur polos hacia arriba o hacia fuera. Se crea un generador
de media onda puro sin rectificar la señal de la CA, que de otra manera debe
realizarse en un generador de CA normal con componentes electrónicos en un
circuito electrónico
.
Los valores experimentales para la producción de
energía convencionales forma y con la invención del tema:
Los resultados fueron obtenidos utilizando un imán
pequeño de 3 "de diámetro de ±2" en una bobina de 1 "de diámetro
y 3/8" Centro/núcleo de acero de 1.25 "de alto. (Tamaño de calibre
desconocido).
(a) convencional
método de generación de electricidad:
1. 0.324 voltios
2. 2.782 mA
3. 0.9014 mW
(b) Método de esta
invención para generar electricidad:
1. 7.12 voltios
2. 17.35 mA
3. 100.87 mW
(c) Beneficios
asociados de voltios, la corriente y Watts:
1. 2.198 % más
convencional de la tensión de salida.
2. 624 % sobre
salida de corriente convencional.
3. 13,713 % sobre
la salida de energía convencional.
Los siguientes resultados muestran la tensión, corriente
y salidas de potencia para un 1100, 2200 y 5500 Gire la bobina de alambre de
cobre de calibre 20, 6 "de largo, 3" de diámetro con un núcleo de
0.75 "de acero. Los resultados son las tomadas en 350 rpm, rpm 1200 y 1300
rpm.
(A) 350 RPM para una bobina de 1100 vueltas:
Voltios mA mW
(a) Método convencional: 0.57 56.6
32.3
(b) Método de esta invención: 1.14 106.6 121.5
(c) Beneficios asociados: 200 % 188.3
% 376.6 %
(B) 350 RPM para una bobina de 2200 vueltas:
Voltios mA mW
(a) Método convencional: 0.93 32.4
30.1
(b) Método de esta invención: 2.94 70.1 206.1
(c) Beneficios asociados: 316.1 % 216.4
% 684 %
(C) 350 RPM para una bobina de 5500 vueltas:
Voltios mA mW
(a) Método convencional: 2.09 17.3
36.2
(b) Método de esta invención: 6.11 37.9 231.6
(c) Beneficios asociados: 292.3 % 219.1
% 640 %
(D) 1200 RPM para una bobina de 1100 vueltas:
Voltios mA mW
(a) Método convencional: 1.45 60.2
87.3
(b) Método de esta invención: 2.95 141 416
(c) Beneficios asociados: 203.4 % 234.2
% 476 %
(E) 1200 RPM para una bobina de 2200 vueltas:
Voltios mA mW
(a) Método convencional: 3.225 36.2
116.75
(b) Método de esta invención: 7.53 73.5 553.5
(c) Beneficios asociados: 233.5 % 203
% 474 %
(F) 1200 RPM para una bobina de 5500 vueltas:
Voltios mA mW
(a) Método convencional: 4.81 17
81.77
(b) Método de esta invención: 11.23 31.4 352.6
(c) Beneficios asociados: 235.5 % 184.7
% 431.3 %
(G) 1300 RPM para una bobina de 1100 vueltas:
Voltios mA mW
(a) Método convencional: 1.6 83
132.8
(b) Método de esta invención: 4.59 157 704.9
(c) Beneficios asociados: 280.6 % 189.2
% 530.8 %
(H) 1300 RPM para una bobina de 2200 vueltas:
Voltios mA mW
(a) Método convencional: 2.75 50.5
138.9
(b) Método de esta invención: 7.74 88.5 685
(c) Beneficios asociados: 281.5 % 175.2
% 493.3 %
(I) 1300 RPM para una bobina de 5500 vueltas:
Voltios mA mW
(a) Método convencional: 5.061 17.3
87.56
(b) Método de esta invención: 12.76 36.4 464.5
(c) Beneficios asociados: 252 % 210
% 530 %
Patente US 4,772,816 20 de septiembre 1988 Inventor: Geoffrey M. Spence
SISTEMA DE
CONVERSIÓN DE ENERGÍA
Esto es un extracto ligeramente reescrito de esta patente
que tiene una importante salida eléctrica capaz de proporcionar es propia
entrada eléctrica que self-powering así como generar kilovatios de exceso de
energía. Los comentarios del Dr. Harold Aspden muy respetado:
"En mi energía ciencia Informe No 8I, también
mencioné el aparato diseñado por Geoffrey Spence, un inventor basado en Reino
Unido. Este es el tema de su US Patent no. 4.772.816. Un par de imanes que
proporcionan un campo magnético a lo largo del eje central de los electrodos
concéntricos desvía electrones inyectados en una cámara formada entre dos electrodos
concéntricos en el electrodo interno. De sí mismo, no se debe añadir ningún
exceso de energía, porque la energía alimenta en aceleración de los electrones
es simplemente absorbida por repulsión electrostática en el electrodo central y
lo de la carga del condensador. Sin embargo, si pulsa ese flujo de electrones y
hay conexiones para dibujar actual de ese electrodo central luego de la
pulsación de electrones implica una secuencia recurrente de carga y descarga.
Luego es aprovechar esa función 'condensador mágica'.
¿Las preguntas son entonces si realmente funciona la
invención de Spence y que sea comercialmente viable? Bueno, escribí que energía
ciencia informe en 1996, hace seis años, y es sólo hace unos meses que escuché
más de ese proyecto. Geoffrey Spence ha desarrollado el producto de prototipo a
la etapa donde ha cerrado el bucle en el sentido de que una parte de la
potencia de salida se alimentaba para impartir la energía necesaria para
sostener los haces de electrones. Tiene una unidad autónoma que puede entregar
kilovatios de energía eléctrica útil sin entrada de energía visible".
EXTRACTO
El aparato utiliza un campo magnético (80) para acelerar
una partícula cargada radialmente hacia un electrodo de destino (10). El
aumento de la energía cinética de las partículas permite la partícula a
renunciar más energía eléctrica para el electrodo de destino (10), que
inicialmente fue dado a ella. Esto cobra el electrodo de destino (10), y el
aumento de la energía se extrae del aparato mediante la conexión de una carga
eléctrica entre el electrodo de destino y un punto de potencial inferior o
superior.
DESCRIPCIÓN
Esta invención
relaciona a un proceso y un aparato para generar una diferencia de potencial
entre dos o más electrodos y utilizando partículas cargadas como portadores de
energía.
Energía eléctrica
generalmente se genera por la quema de combustible fósil y la conversión de la
energía liberada en el movimiento de rotación que unidades generadores
eléctricos. Esto es rentable sólo si lleva a cabo a gran escala, el proceso de
conversión es ineficiente; utilizando recursos naturales y la producción de
productos de desecho que puede causar grave contaminación ambiental. Un
inconveniente adicional es que la energía eléctrica no puede suministrarse directamente
a vehículos o barcos.
El proceso de
conversión de energía de esta invención no implica ningún riesgo de salud o
contaminación y genera energía eléctrica directamente por un proceso de una
etapa sin residuos. El factor de conversión de energía general y relación
potencia a peso son altos, lo que el aparato adecuado para aplicaciones más
fijas y móviles.
Un aparato conocido
para hacer trabajo útil actuando sobre los electrones con un campo magnético se
denomina "betatrón". Esto incluye una cámara de vacío en forma de
anillos entre los polos de un electroimán de forma especial. Thermionically
produce electrones son inyectadas en la cámara con una energía electrostática
inicial de 50 keV. Como el campo magnético se acumula durante su ciclo de mitad
de curso positivo, induce una fuerza electromotriz dentro de los anillos, que
la fuerza acelera los electrones y los obliga a moverse en una trayectoria
curva, por la interacción con el campo magnético. Una distinción importante
entre el betatrón y el convertidor de energía de esta invención es que en el
primero el campo magnético tiene que ser capaz de aumentar en un período muy
corto, con el fin de acelerar los electrones suficientemente, mientras que en
el segundo, el campo magnético es prácticamente constante y los electrones caen
interiormente para dar su energía cinética y la carga eléctrica a un electrodo
central.
La presente invención
tiene como objetivo alimenta un convertidor de energía que puede ser móvil y
que ha impartido un imán permanente o una fuente de excitación de radiaciones
magnéticas asociado con el fin de amplificar la energía eléctrica inicialmente
a cargo de las partículas, o producido en, una cámara de "vacío"
llamada formando parte del generador, que aumentó la energía se extrae desde el
electrodo de destino en el que las partículas son incidentes.
En consecuencia la
presente invención proporciona un convertidor de energía según el appended
reclamaciones.
Mientras que la
invención no es limitarse a cualquier teoría particular de la operación, es
basado en hecho de que, cuando una partícula cargada está restringida a moverse
a través de una distancia radial d (independientemente de la ruta que sigue
realmente) a través de un campo magnético de intensidad H, el trabajo realizado
sobre la partícula es H x d. Para un electrón que lleva una carga e y mover a
una velocidad v sobre la distancia d, la fuerza total sobre el electrón es la
fuerza centrípeta la suma de H x e x v, menos la fuerza ejercida sobre el
electrón en la dirección opuesta por la fuerza centrífuga, que es la suma de (m x v2)/r. Haciendo que el radio del electrodo Centro
sensiblemente mayor que la órbita de equilibrio, puede reducirse la fuerza
centrífuga, maximizando así la fuerza centrípeta, y por lo tanto el trabajo realizado
para llevar la carga al electrodo.
El proceso por el cual el convertidor de esta invención
funciona usos, como fuente de carga, las partículas cargadas eléctricamente,
electrones de ejemplo o iones. Dos o más electrodos están alojados en una cámara
de baja presión. Un campo magnético, como se especifica a continuación
atraviesa la cámara: emana de un imán permanente, electroimán o una fuente de
radiaciones magnéticas. Una fuente externa de energía se utiliza para dar la
carga partículas inicial energía cinética, por ejemplo, la calefacción, la
aceleración a través de un campo eléctrico, o de la radiación nuclear. El
proceso de conversión de energía utiliza el campo magnético para transferir las
partículas cargadas a lo largo de una órbita deseada hasta que inciden en un
electrodo central (cátodo). El trabajo de las partículas (por lo tanto, el
potencial eléctrico alcanzada por el cátodo) es proporcional a las fuerza
magnética resultante veces la distancia sobre la que actúa la fuerza. Como las
partículas se mueven dentro de la cámara cruzan el campo magnético. Esto
produce una fuerza que actúa sobre las partículas, la fuerza es proporcional a
la intensidad de campo, la velocidad y la carga eléctrica de las partículas y
en el seno del ángulo de incidencia entre el camino de la partícula y las
líneas magnéticas de fuerza. Esta fuerza tiene un componente angular y una
centrípeta, que obliga a las partículas viajar a lo largo de una órbita
espiral.
Una fuerza centrífuga opuesta también actúa sobre las partículas
en oposición a la fuerza centrípeta de magnética. El potencial de electrodo es
proporcional a la labor necesaria para hacerse de las partículas cargadas para
superar la fuerza centrífuga y el campo eléctrico alrededor del cátodo que se
acumulen los cargos y la diferencia de potencial entre los aumentos de los
electrodos. Electrodo máximo potencial se alcanza cuando las fuerzas
centrífugas y repulsivas son iguales a la fuerza centrípeta, después de que no
hay más partículas cargadas al electrodo. El radio del electrodo determina la
tensión de un valor mínimo entre la central y un electrodo exterior: como se
reduce el radio del electrodo central (por pulverización o erosión) aumenta la
fuerza centrífuga, reduciendo el número de partículas cargadas que puede
alcanzar el electrodo central y por lo tanto acelerar el electrodo de
potencial, de una fuerza de campo determinado y partículas. La diferencia de
masa entre iones y más ligeras de las partículas cargadas, como electrones,
resultados en diferentes fuerzas centrífugas para dar energía de cinética de la
partícula. La salida del generador y la eficiencia se optimizan cuando el
generador utiliza el campo magnético máximo para reducir al mínimo la fuerza
centrífuga y maximizar la distancia radial que la fuerza actúa para la fuerza
de una campo determinado. Deben utilizarse con el mayor índice de carga a la
masa de partículas.
Gases de baja presión pueden utilizarse como una fuente
de carga cuando ionizados por la colisión de partículas y excitación dentro de
la cámara. Gases dopados pueden minimizar el nivel de energía ionizante
átomos/moléculas de gas mejorando así la eficiencia. Sin embargo, la fuerza
magnética resultante es menor para los iones más pesados debido a su baja
velocidad para que el campo eléctrico irradiado por el electrodo de alto
voltaje (cátodo) puede atraer opuesta a las partículas cargadas (+ iones) y
posteriormente el electrodo reduciendo el voltaje de salida de la descarga.
Varios métodos pueden utilizarse para superar o reducir este efecto. Por
ejemplo, un método sería para separar las cargas opuestas o utilizar redes
electricas de sesgada para controlar el flujo de cargas opuestas en el
electrodo de alto voltaje.
Sistemas gaseosos son generalmente más complejos que los
sistemas de carga, proporcionando altas corrientes en voltajes más bajos,
mientras que los sistemas de carga, por ejemplo los electrones utilizados en
cámaras de altos vacío, pueden generar voltajes más altos.
El campo magnético puede ser de uno o más imanes
permanentes o de uno o más electroimanes; un campo magnético estático produce
una tensión de salida constante, mientras que un campo variable produce un
voltaje variable para partículas con igual masa y velocidad.
Una fuente externa se utiliza para acelerar las partículas
cargadas para darles energía cinética inicial, que es liberada como calor
cuando las partículas chocan con el electrodo. Cuando la energía representada
por la creciente tensión entre los electrodos es mayor que la energía necesaria
para proporcionar a las partículas cargadas; y acelerarlas, el proceso de
conversión es autosostenible, la energía de salida es la diferencia entre la
suma de la energía cinética perdida y la energía generada. Carga fluye desde el
electrodo central a través de una carga externa a otro electrodo. La energía
eléctrica (trabajo) liberada es una función de la corriente (suma de las cargas
que fluyen por segundo) veces la diferencia de potencial. Salida eléctrica y
térmica puede controlarse variando: la intensidad de campo; la partícula
A fin de que la
invención puede entenderse mejor, ahora se describirán con referencia a los
dibujos esquemáticos acompañantes, que se dan a modo de ejemplo y en el que:

Fig.1 esquemáticamente se muestra un corte transversal
del generador; y el camino seguido por una partícula durante el proceso de
conversión de energía;

Fig.2 muestra una sección axial de un tipo de aparato
para la invención, mediante imanes permanentes; y una red de control de
migración de iones al cátodo
.

Fig.3 muestra un
corte transversal del aparato de la Fig.2 a lo largo de la línea A--A;

Fig.4 una sección esquemática a través de una forma de
convertidor utiliza electrones, mostrando una serie circular de las fuentes de
electrones;

Fig.5 es una sección axial a través de una encarnación
más práctica de la Fig.4 convertidor;

Fig.6 es una sección a lo largo de la línea VI--VI de
Fig.5;

Fig.7 es un corte
transversal a lo largo de un diámetro de un convertidor alta potencia
(toroidal) en forma de anillos;

Fig.8 es una sección en línea A--A de Fig.7, y

Fig.9 es un esquema
de un convertidor de dos etapas, utilizando ambas formas de partículas cargado
al mismo tiempo.

Como se muestra en la Fig.1, se inyecta una partícula
cargada a lo largo de una trayectoria 2 en un campo magnético que se extiende
perpendicular al plano del dibujo. El campo impregna el espacio 4 de la sección
anular en una cámara cilíndrica de 6. El campo magnético produce una fuerza
sobre la partícula, que se extiende perpendicular a la dirección del movimiento
y el campo magnético. Las causas de la fuerza centrífuga resultante la
partícula a seguir un final de la ruta 8 de espiral en el electrodo central 10
separada radialmente hacia adentro desde el electrodo cilíndrico exterior 12.
La energía adquirida por la partícula es una función de la distancia radial
recorrida y la fuerza del campo magnético entre los electrodos. Esta energía se
da en el impacto con el electrodo central, en forma de calor o trabajo
realizado para llevar la carga contra el campo eléctrico opuesto al electrodo.
En ausencia del electrodo central 10, los electrones seguiría la órbita del
equilibrio 3, siendo esta la órbita seguida por una partícula cuando la
centrífuga y centrípeta fuerzas de equilibrio, resultando en ningún trabajo
sobre la partícula.


Como se muestra más particularmente en la Fig.2 y Fig.3,
el convertidor de energía 1 consiste básicamente en una cámara anular 6 tener
un electrodo cilíndrico exterior 12; un electrodo cilíndrico interior 10 y dos
paredes de estanqueidad 14 de material de aislamiento eléctrico. En el
electrodo 12 es un puerto 22 a través del cual un arma de electrón 20 puede
inyectar electrones en espacio 4. Además o en su defecto, un cañón de iones 18
puede inyectar partículas cargadas positivamente a través de puerto de 16.
Sentado en las grandes superficies planas de cámara 6 son
piezas de polo magnético 24 dando lugar a un campo magnético uniforme 80 que
atraviesa el espacio 4 paralelo con el eje de la cámara 6. Los imanes pueden
ser imanes de cerámicos permanentes, o pueden ser electroimanes. En cualquier
caso, puede proporcionar un medio (no se muestra) para ajustar la intensidad
del campo magnético.
Conductores pesados 26 conectan los dos electrodos a los
bornes 28 en que se puede colocar una carga resistiva, para disipar la salida
del generador.
Una bomba de vacío (no mostrada) tiene su entrada en
comunicación con el interior de la cámara 6 para que la presión del gas en el
generador puede ser reducida a y mantiene a un valor deseado atmosfericos.
Asociada a la bomba, o separado de ella, puede ser medio para asegurar que el
gas en el generador es de una composición deseada, por ejemplo, uno que aumenta
la posibilidad de ionizantes colisiones entre partículas cargadas y las
moléculas o átomos de gas. Un tal gas adecuado sería neón con argón de 0.1% en
volumen.
Con el fin de causar el generador empezar a trabajar, es
necesario para arrancar la bomba de vacío y para dinamizar el arma de electrón
o la fuente de cada partícula. Esta última consiste en calentar un filamento de
una fuente externa de energía hasta alcanzar el nivel necesario de energía
interno (temperatura) que a su vez provoca un pedazo de material termo-emisivo
a emitir electrones. Si los electrones son los portadores de carga, son
acelerados por un campo eléctrico adecuado y proyecta en el espacio 4. Aquí
ellos son aún más acelerados por el campo eléctrico radial entre los
electrodos, y al mismo tiempo ha aplicado una fuerza desvía a ellos por el campo
magnético axial a través del cual pasan.
Una fuente de iones, los electrones se aceleran hasta que
afecten algunos átomos o moléculas, para producir una corriente de iones que
pasan de la misma manera en el espacio 4. Con la polaridad, los electrones son atraídos
al electrodo central, mientras que los iones se tira hacia el electrodo
exterior, lo que explica las diferentes orientaciones de fuentes 18 y 20.
Las moléculas de gas que pasen cerca, o entre, los
electrodos son ionizados por colisión o el campo electrostático. Corriente de
salida, a continuación, se puede tomar a través de una impedancia de carga
conectada en los bornes 28. La impedancia se empareja para evitar que la
energía de proceso interno caen por debajo de un valor que impediría la re-ionisation
de los átomos gaseosos. Como cada ion es desionizada en el ánodo, los átomos de
gas tenderá a seguir circulando hasta re-ionised, la fuerza resultante dibujo
la iones (mostrados por círculos sólidos) y electrones (mostrados por círculos
huecos) hacia atrás en sus respectivas órbitas.
Se prevé que, en el caso de un convertidor con
electrones, la cámara podría ser evacuada a una presión subatmosférica elegida
y sellada.
En esta forma de la invención que se muestra en la Fig.4,
cada fuente de electrones formando parte de una serie circular 29 de fuentes
tiene un cuerpo 30 de material emisivo electro, como molibdeno revestido con
cesio, calentado por un filamento eléctrico 32 conectado en serie o en paralelo
a través de una fuente de energía eléctrica (no se muestra). Inmediatamente
delante de cada emisor 30 es una cuadrícula 34 de alambres finos, todas las
rejillas de estar conectados con una fuente de voltaje de adjustable para
controlar el flujo de electrones desde el emisor. Estos electrones se proyectan
a través de uno o más electrodos de aceleración 36 en que se establece una
diferencia de potencial a lo largo de la ruta de electrones, por lo que cada
fuente de electrones incremental inyecta una corriente de electrones haber
conocido la energía cinética en un espacio de 38, señalada por el círculo que
se muestra en una línea quebrada, atravesada por el campo magnético de la
desviación, dentro de los cuales es el central, destino, electrodo de 40. El
flujo de electrones que se inyecta en el campo magnético puede ser enfocado por
eléctrico y campos magnéticos.
En los restantes figs, las partes ya que conservará las
mismas referencias.

En la configuración de "disco plano" se muestra
en la Fig.5, la cámara anular 6 está encerrada en un cuerpo de 42 de material
de aislamiento térmico. El electrodo central 10 está asentado sobre aisladores
44 que están atravesadas por conductos 45 para el paso de un fluido
refrigerante y por una salida 26, que pueden extenderse a lo largo del conducto
para que también se enfría.
Fig.5 muestra cómo el imán de la desviación es
generalmente en forma de U y tiene dos anulares poste-piezas 48, para que el
campo magnético es uniforme entre la superficie del electrodo 10 y la región 38
radialmente más interna de la fuente circular de electrones, el campo eléctrico
entre los electrodos 36 y emisión superficial 61 proporcionando los electrones
aceleraciones iniciales (energía cinética). Fig.5 muestra también cómo se
golpea una tensión fuera de la carga resistiva 40 (que por lo tanto funciona
como un potenciómetro) y se alimenta a través del electrodo de aceleración 36.
Cámara 6 también está provisto de dos imanes anulares 49
(o una serie circular de imanes incrementales) destinada a influir en la
dirección a lo largo de la cual los electrones pasan al espacio 38. Los imanes
proporcionan campos magnéticos locales para asegurarse de que los electrones
cumplen el límite de espacio 38 tangencial, es decir, con cero velocidad
radial.



En esa forma de la invención se muestra en la Fig. 7 y
Fig. 8, los convertidores individuales "disco plano" de Fig. 5 y Fig.
6 están dispuestos en un tipo de construcción "circular", tal que los
campos magnéticos se extienden a lo largo del eje del espacio resultante toroidal
50 penetrado por un electrodo único destino toroidal 51 a través de la que
puede pasar un fluido refrigerante, a lo largo de conductos 52. La sección
transversal de la Fig.8 muestra que los campos magnéticos son complementados
por un campo eléctrico producido por bobinados 53 enrollar sobre un núcleo
magnético 54 limita con aislamiento 55.
Aparte del hecho de que los electrodos son comunes a
todos los convertidores, cada uno individualmente funciona como se describe más
arriba. Obviamente la fuente de alimentación conduce los calentadores para los
cañones de electrones 56; Los electroimanes (si existe); los electrodos de la
aceleración y las rejillas de control, tienen que ser capaces de suministrar la
mayor potencia necesaria para este "toroidal" configuración de la
unidad. Algunos cambios tendría que hacerse para el dimensionamiento físico y
posicionamiento de la construcción relativamente complejo, pero como todos
estos son fácilmente entendido por un ingeniero competente, más no se describen
en esta especificación.

Como ya se mencionó, los convertidores de esta invención
son de dos tipos, es decir, electrónicos e iónicos. Fig.9 diagrama muestra cómo
pueden combinarse para tomar ventaja de sus diferencias. En el aparato de
generación de energía en dos etapas que se muestra en la Fig. 9 de la primera
etapa consiste en un ionizador 520 suministrando una mezcla de partículas
cargadas, es decir, iones y electrones, un separador de 540, que suministra
electrones a una segunda etapa que consta de un convertidor electrónico sellado
560 en paralelo con un convertidor iónico gaseoso 580.
El separador de 540 puede utilizar las masas de
partículas diferentes para separar centrífugo con, por ejemplo, el sistema de
conversión de energía de la Fig. 1 (sin el electrodo del destino), o puede
utilizar campos de deflexión electromagnética, o un proceso de difusión física,
solos o en combinación. Como esto no es parte de la materia de esta invención,
no se describirá aquí en más detalles.
En los generadores de la Fig.6 y Fig.8, las partículas
respectivas son desviadas magnéticamente y aceleradas radialmente, a la función
como ya se ha descrito anteriormente.
Porque cada generador está diseñado para funcionar más
eficazmente con su particular forma de portador de carga, puede ser diseñado de
forma óptima, reduciendo así la absorción de energía causada por iones y
electrones recombinación antes de cada ha caído en el electrodo de su
respectivo destino. Porque el convertidor electrónico podría terminar con un
electrodo cargado negativamente, mientras que lo contrario es cierto para el
convertidor iónico, la energía de extracción de carga 400 del aparato está
conectada a través de los electrodos de dos destino. Los otros dos electrodos
de los convertidores podrán celebrarse al mismo potenciales, por ser
conectadas, o pueden flotar sus potencialidades.
El generador puede diseñarse para producir una amplia
gama de voltajes de salida y corrientes. Los generadores de energía inferior
son lo suficientemente ligero como para ser móvil, para que ellos puedan
vehículos o actuar como generadores de stand-by. Pueden utilizarse varias
configuraciones de electrodos y el imán, y los generadores pueden ser
conectados en serie o en paralelo. Chaquetas de enfriamiento están equipadas
para evitar el sobrecalentamiento en aparatos de alta potencia, y el generador
esta dentro de una chaqueta termoaislante para reducir las pérdidas de calor,
aumentando así la velocidad de la partícula. Para los generadores de alta
energías, puede ser necesario proporcionar enfriamiento del electrodo interior,
forzado como por las aletas de proyección de éstos en una corriente de alta
velocidad de refrigerante adecuado.
Aunque el proceso según esta invención es particularmente
adecuado para el uso de energía eléctrica externa, debe entenderse que otras
fuentes pueden utilizarse para proporcionar la entrada de energía inicial,
calor de proceso por ejemplo solar y residuos son algunas de las variadas
energías que podrían utilizarse. Control del proceso de generación de carga
puede lograrse por otros medios, incluyendo uno o más sesgado eléctricamente
cuadrículas, utilizado en válvulas termoiónicas.
Patente US 3,913,004 14 de octubre 1975 Inventor: Robert W.
Alexander
MÉTODO Y APARATO DE AUMENTO DE ENERGÍA ELÉCTRICA
Esta patente muestra un método de alterar un generador
eléctrico estándar pretende ser impulsado por un motor independiente, para que
funcione sin el motor. En un ejemplo citado, una entrada de C.C. de 48 voltios
25 amperios de corriente (1.2 kW) produce una salida de corriente alterna de 60
Hz de 110 voltios de 3.52 kW. Es un coeficiente de rendimiento de 2,93 a un
nivel de salida adecuado funcionamiento Off-The-Grid de una casa.
EXTRACTO
Una forma de máquina giratoria dispuesta en forma de
convertir un voltaje de entrada sustancialmente constante en una tensión de
salida constante sustancialmente; en general, con un rotor que gira a una
velocidad sustancialmente constante dentro de un estator, y que consta de un
núcleo de transformador sometido a y tener un devanado primario del
transformador de motor y un bobinado secundario transformador-generador; según
el cual transforma y genera energía síncrono se combinan como mayor potencia.
FONDO
Energía eléctrica se cambia con frecuencia en tensión,
fase, frecuencia y se cambia la corriente alterna a directa o directa en
alterna. Conversión de voltaje en circuitos de CA es generalmente por medio de
transformadores y en circuitos de corriente continua es generalmente por medio
de generadores de motor. Fase de conversión también se logra mediante
transformadores o generadores de motor, y la conversión de frecuencia se hace
más simplemente por generadores de motor.
Generadores de motor tienen varias clasificaciones de
uso, como sigue:
(1) CC a CC,
utilizado para cargar las baterías y a aumentar la tensión.
(2) CA a la CA,
utilizado para la conversión de la fase y frecuencia
(3) CA a CC utilizado para todo tipo de servicio, tales
como la carga de la batería, motor y generador de excitación de campo,
ferrocarriles, electrólisis y control de velocidad etc. y
(4) CC a CA utilizado en medida limitada para
aplicaciones especiales.
Para estos fines se han construido combinación
motor-generadores, como intensificar la tensión para equipos de radio y
amplidynes para reproducir una señal débil a nivel de potencia de dynamotors.
Cuando una determinada frecuencia variable A.C. se requiere de un conjunto
motor-generador y la fuente de alimentación DC, el equipo incluirá un motor de
corriente continua de velocidad variable y un alternador independiente
impulsado por ella. Ese equipo es especial en la naturaleza y se caracteriza
por la separación del motor y del generador y por bobinas (generalmente
trifásica) generador de polifásicos con transformadores auto grifos adecuados
para obtener los voltajes requeridos; y un regulador de velocidad de CC para el
motor. La salida de la fase de tales equipos es selectiva y su capacidad de
monofásico necesariamente restringido (66 %) con respecto a su capacidad de
tres fases, en la que la eficacia de la transmisión caja para monofásico es
pobre.
Cuando se desea una salida de energía de nivel superior,
la amplidino se emplea con bobinas de campo y escobillas equipada al efecto y
en algunos casos para dar una salida de corriente constante de una constante
tensión de entrada, por ejemplo, en el convertidor rotatorio invertido para
convertir CC a CA Sin embargo, la presente invención se refiere a método y
aparato para aumentar la energía eléctrica y proporciona un convertidor de
dínamo-eléctrica que opera desde una fuente de energía eléctrica para producir
más eficientemente A.C. para una carga útil.
El método consiste en pasos de
motor-transformador-generador simultáneos y la encarnación preferida del
aparato incluye un convertidor de dínamo-eléctrica (DEC) en forma de una
máquina rotatoria combinada en un rotor giratorio dentro de un estator, el
rotor se compone de un transformador tiene un bobinado primario del
transformador de motor y un bobinado secundario transformador-generador y el
estator está compuesto por polos del campo magnético.
Convertidores sincrónicos se han combinado en máquinas de
rotor único para producir DC de A.C., pero que el efecto es muy diferente de
los efectos de la presente invención cuando A.C. es producida en un rotor con
devanados primario y secundario de armadura as distinguished from bobinas de
armadura común a circuitos de C.A. y C.C. de DC. Con la invención presente, una
transformación y un efecto generación se producen en el rotor, que es
inherentemente sincronizado y entregado a través de los cables de salida A.C..
A.C. motores y generadores se han combinado en una sola máquina, que es en un
rotor y convertidores contemplados como sincrónico. Sin embargo, se carecen de
convertidores sincrónicos en su capacidad para cambiar DC en A.C. al
funcionamiento de la antigua como un motor para conducir un generador al mismo
tiempo y más específicamente para conducir un alternador síncrono.
RESUMEN DE LA
INVENCIÓN
Este método implica la colocación de un devanado primario
en un campo a ambos motor de la misma y tener un efecto transformador con
respecto a una bobina secundaria también un campo para que el efecto de un
generador. En su encarnación preferida, este convertidor de dínamo-eléctrica se
compone de los devanados primario y secundario combinados en un rotor de
conmutación para alternar una fuente de energía de CC en y así motivar el rotor
dentro de un campo de estator. La primaria bobina es ventajosamente de menos
vueltas que el secundario y a través de unidades de fuerza motriz de los
devanados secundarios de vueltas más para cortar las líneas magnéticas de
fuerza para la generación de energía eléctrica en un mayor nivel de voltaje que
la fuente de CC. Este motor de la C.C. operado es derivación enrollar con los
polos del campo de estator totalmente excitado por el suministro de energía DC,
o viene con polos de campo de imán permanente, para motivar eficazmente el
rotor y generar eficientemente la energía eléctrica en los devanados
secundarios. La salida A.C. de los devanados secundarios intrínsecamente está
sincronizada con la función de transformador de los bobinados primarios
combinados en las ranuras comunes del rotor único; y agregando el transformador
y generador de voltajes y amperajes correspondientemente aumenta la potencia en
la salida.
DIBUJOS
Los diferentes objetos
y funciones de esta invención se entenderá completamente de la siguiente
descripción detallada de la típica forma preferida y aplicación, que se hace en
los dibujos acompañantes, en la que:

Fig.1 es una vista esquemática esquemática de los
componentes del convertidor de dínamo-eléctrica que comprende la presente
invención.

Fig.2 es un diagrama
de un conmutador típico cepillo, cepillo de anillos y campo de polo que se
utiliza.

Fig.3 es una sección
longitudinal de una máquina que incorporen el estator y el rotor en los
cojinetes con el marco y los cepillos eliminados.

Fig.4 un típico duplicado de un diagrama de osciloscopio
muestra la potencia de salida del convertidor dínamo-eléctrica.
ENCARNACIÓN PREFERIDA

El convertidor de dínamo-eléctrica en los dibujos se
muestra en diagrama e implica, generalmente, un rotor R realizado sobre
rodamientos espaciados B para girar sobre un eje una concéntricos dentro de un
estator S. El rotor R comprende la armadura, mientras que el estator S
comprende el campo, hay un colector C asociarse con bobinado primario 10 el
rotor y los anillos colectores SR asociado con arrollamientos 11 sobre el rotor.
Cepillos de 12 y 13 se dedican slideably con el conmutador y anillos colectores
respectivamente, por medios convencionales, para llevar a cabo DC a través del
conmutador C y llevar a cabo AC a través de los anillos colectores SR. Los
cepillos 12 y bobinado primario interconectado 10 comprende un motor mientras
que los cepillos 13 y arrollamientos interconectados 11 comprenden un generador
o alternador.
En la práctica, las bobinas de campo 16 puede excitadas o
conectadas en paralelo con las escobillas 12 o desviado en relación con el
motor primario bobinado 10 por separado. Motorización del armadura rotor R o
automovilismo, hace inversiones de polaridad constante sobre una base de ciclo
determinado por la velocidad de rotación y esto por supuesto resultados en
reversiones magnéticos en el núcleo del rotor 15 y una consiguiente inducción
en los devanados secundarios 11. Una característica de esta invención es la
combinación y relación cooperativa entre los devanados primario y secundarios
que ocupan las ranuras comunes y abrazar una parte común del núcleo 15 del
rotor R, así que una función de transformador, así como una función de
generador como las líneas de fuerza magnética son cortados por los devanados
secundarios. El estator S tiene polos de campo de polaridad magnética opuesta,
emocionado independientemente de la armadura, o como imanes permanentes y
preferiblemente desviados a través de la entrada de CC. Como se muestra, hay
cuatro postes equidistantes de campo en una serie dispuesta circularmente.
En la práctica, los devanados del motor principales de DC
son de menos vueltas en las ranuras del rotor de los arrollamientos del
generador AC. Por ejemplo, los devanados del motor principales 10 son enrollar
plana entre el norte a sur polos del campo mientras que los devanados
secundarios generador son enrollar plana en las ranuras mismas o común de la
armadura del rotor. En una unidad típica tener un conmutador de cuatro cepillo
con 20 barras y tener una armadura de 20 ranuras y el bobinado primario 10 constan
de un número de vueltas de conductor eficientemente a 48 voltios DC a 25
amperios o 1.200 vatios para rotar a 1.750 rpm, mientras que los devanados
secundarios 11 constan de un número de vueltas de conductor eficientemente a
entregar 60 AC de 110 voltios de ciclo (por transformar y generar) a 32
amperios o vatios 3.520, el voltímetro solía leer estos valores a una reducción
real para practicar ser calibrado para leer el valor de raíz cuadrada media
(RMS) de la onda sinusoidal pura, que es 70.7 % de la tensión de pico.
La reducción a la práctica anteriormente mencionadas como
una "unidad típica" construyó una máquina diseñado originalmente como
un generador de kVA de 110 voltios 2.5 60 cps autoexcitador como eje conducido
por un motor independiente. En primer lugar, el motor fue eliminado. Los
devanados de excitación se pretendían excitar el campo en 45 voltios DC
entregados a través del conmutador, mientras que las bobinas del generador se
pretendían independientemente entregar 110-120 voltios de CA a través de los
anillos colectores. La relación de liquidación entre los devanados de excitador
y generador fue aproximadamente de uno a tres, y estos son los valores que
determinaron los valores empleados en la reducción a la práctica. Sin embargo,
es de entenderse que pueden emplearse otros valores por diseño, para la
operación en la entrada deseada y salida voltajes y amperajes. También es de
entenderse que la reducción de ejemplo para practicar divulgada aquí no es
necesariamente el diseño óptimo, en otra potencia de entrada-salida se
contemplan saldos, como un batería voltaje DC de entrada sustancialmente igual
a la tensión de alimentación. En cualquier caso, un aumento inesperado en el
poder se realiza practicando esta invención.
Este convertidor eléctrico de dynamo inherentemente
funciona a una velocidad angular constante sustancialmente con el resultado de
que los ciclos alternos de la salida son sustancialmente constante. También, el
voltaje de entrada DC puede mantenerse en un nivel sustancialmente constante
con lo que la tensión de salida también es sustancialmente constante. Como se
muestra, la salida es alterna monofásica, en cuyo caso el poder efectivo en
vatios entregado es el producto de la corriente, factor de tensión y potencia.
Ya que la tensión es sustancialmente constante, la corriente varía con la carga
aplicada a la salida, ya que es afectada por el factor de potencia. Se verá por
lo tanto, que la potencia aparente, representada por voltaje amperaje veces se
extrae directamente de la DC de entrada y aplicada al motor principal de la
bobina 10 para motivar el rotor R para las funciones descritas anteriormente.
También se verá por lo tanto, que la entrada de DC es conmutación en CA y
transformada por inducción a partir de bobinas 10 en bobinas 11.
También se verá por lo tanto, que la corriente CA
generada por la motorización del motor síncrono se impone sobre los devanados
11 y todo al final que las dos corrientes alterna son complementarias y añadir
uno al otro. Se observará que la potencia de salida es aproximadamente el
triple de la potencia de entrada, en virtud de la superposición sincrónica de
voltaje de entrada transformado y generado tensión mientras utilizando la
primera para que funcione el rotor para generar este último. Una característica
de esta invención es la separación de los circuitos primarios y secundarios y
el consiguiente aislamiento de la DC entrada invertida de la toma de corriente
AC y la utilización de la energía de entrada acorde con la carga de salida
según el amperaje requerido para las operaciones a que este DEC máquina se
aplica.
En la realización de esta invención, la máquina eléctrica
del dínamo es convencional en el diseño y los devanados primario y secundarios,
10-11 son enrollar en las ranuras comunes del esqueleto como en auto
generadores emocionantes. Sin embargo, el bobinado primario 10 es los devanados
del motor-transformador y función totalmente como tal. Del mismo modo, los
devanados secundarios 11 son enrollar en las ranuras de la armadura junto con
el bobinado primario 10 y se alimentan con corriente que se alterna en virtud
de la conmutación y la rotación de la armadura y en consecuencia hay una acción
de transformador entre el bobinado primario 10 y 11 de devanados secundarios, y
esta función del transformador se complementa con la generación de una
corriente superpuesta en virtud de los devanados secundarios 11 las magnético
de líneas de fuerza proporcionadas por los alrededores de la corte campo del
estator. En consecuencia, hay una multiplicación de potencia aplicada
sincrónicamente a través de los anillos colectores SR a los cepillos de salida
13, y este aumento de potencia es medible como anteriormente descrito y doble o
casi el triple de la potencia de entrada.
MÉTODO
Refiriéndose ahora a este método de aumento de energía
eléctrica, entrada de corriente alterna se aplica a una bobina primaria para
motor y magnetise alternativamente un núcleo. El dicho bobinado primario está
inmerso en un campo y, en consecuencia, se debe al motor y al mismo tiempo para
realizar la primera etapa de transformación. Una segunda etapa de la
transformación se lleva a cabo por una secundaria bobina asociados con el
núcleo para funcionar como un transformador y un generador de la bobina y la
corriente de salida se extrae de ella en un valor de mayor potencia en
comparación con la potencia de entrada, ya que la corriente inducida por la
acción del transformador se superpone a la corriente generada en el corte de
las líneas de fuerza de magnético por motor secundario de la bobina a través
del campo magnético. Se contempla la aplicación directa de corriente alterna en
el devanado primario, sin embargo la encarnación actual y preferida emplea
conmutación de potencia DC que con lo que se invierte a la corriente alterna en
el proceso de automovilismo de las bobinas y el núcleo en que se ejecutan junto
con la bobina secundaria. El resultado neto es tres veces, en que hay una
función de automovilismo, una función transformadora y una función de
generación, que son inherentemente sincronizado para aumentar la potencia de
salida con respecto a la potencia de entrada.

De lo anterior se verá que este método y el convertidor
de dínamo-eléctrica denominada un DEC, superpone sincrónicamente transformada
energía eléctrica y mecánicamente generan energía eléctrica al inversor CC a CA
como se muestra observando el diagrama osciloscopio duplicarse en la Fig.4 de
los dibujos. La sección del motor de la C.C. de la unidad de rotor-estator
funcionará a su velocidad diseñada dentro de una pequeña tolerancia, mediante
la aplicación conocida de principios, de ingeniería y en consecuencia, la
sección de generador alternador AC funciona a una frecuencia sustancialmente
uniforme de, por ejemplo, 60 ciclos por segundo. Así, el potencial de voltaje
de salida se mantiene a un máximo durante corriente como sea necesario, dentro
de la capacidad de diseño de la unidad.
Habiendo descrito sólo una típica forma preferida y la
aplicación de mi invención, no deseo ser limitado o restringido a los detalles
específicos establecidos en el presente, pero desea reservar a mí mismo las
modificaciones o variaciones que pueden aparecer a los entendidos en la
materia:
Patente US 5,892,311 6 de abril 1996 Inventor: Shigeaki Hayasaka
GENERADOR DE
INDUCCIÓN CON UN PAR DE POLOS MAGNÉTICOS DE LA MISMA POLARIDAD
OPUESTA A LOS
DEMÁS CON RESPECTO A UN EJE DE ROTACIÓN
Esta patente cubre un
dispositivo que pretende tener una potencia de salida mayor que la potencia de
entrada necesaria para ejecutarlo.
EXTRACTO
Un generador de inducción con un par de polos magnéticos
de la misma polaridad opuesta a los demás con respecto a un eje de rotación se
caracteriza por una eficiencia de conversión de alta energía. La generación de
inducción tiene un eje de rotación conducido por un medio externo; un número
par de núcleos de estator (más de tres) para rodear el eje de rotación, lagunas
predeterminadas, quedando siempre entre los núcleos adyacentes estator; un
primer rotor monopolo en el eje de rotación, rodeado por el número de núcleos
del estator y tener polos magnéticos de primeros y segundo de la misma
polaridad, los polos magnéticos de primeros y segundo ser opuestos a los demás
con respecto al eje de rotación en un corte transversal; un segundo rotor
monopolo en el eje de rotación con el fin de afrontar el primer rotor monopolo
a una distancia predeterminada a lo largo del eje de rotación, rodeado por el
número de núcleos del estator y tener los polos magnéticos de terceros y cuarto
de la misma polaridad opuesta a la polaridad de los polos magnéticos primeros y
segundo, los polos magnéticos de terceros y cuarto está frente a ellos en
relación con el eje de rotación; una pluralidad de bobinas en el número de
núcleos de estator y conectado según una configuración predeterminada.
DESCRIPCIÓN
CAMPO TÉCNICO
La presente invención se relaciona con un generador de
inducción con un par de polos magnéticos de la misma polaridad opuesta a los
demás con respecto a un eje de rotación.
Generadores de inducción han sido conocidos como un tipo
de aparato eléctrico de relativamente viejos tiempos y plasmados en diversas
formas adaptadas para aplicaciones individuales. Además de las aplicaciones en
plantas de energía, barcos y aviones, generadores de inducción convenientes
para fines domésticos o de ocio también se han desarrollado y utilizado
ampliamente.
Un generador de inducción convierte energía cinética en
energía eléctrica. Debido a una necesidad para mejorar la eficiencia de
utilización de la energía, existe una demanda para la conversión de energía
altamente eficiente.
FONDO DE ARTE
Como es bien sabido, un generador de inducción es operado
en el principio de que una fuerza electromotriz es inducida en una bobina, en
proporción a la velocidad a la que atraviesa de flujo magnético bobina (Ley de
Faraday de la inducción electromagnética). Según la ley de Lenz, se genera una
fuerza electromotriz inducida en una dirección en la que se genera una
corriente que actúa en contra de un cambio en el flujo magnético.


Por ejemplo, como se muestra en Fig.1A y Fig.1B,
asumiendo que la phi de flujo magnético cruzando una bobina circular 1 en una
dirección perpendicular se mueve en la dirección B indicada por la flecha, una
corriente I1 flujos de conformidad con la ley de Faraday de la inducción
electromagnética para que la aguja de un galvanómetro 2 gira hacia la derecha
(+ dirección) y luego vuelve a la posición cero. Cuando el flujo magnético phi
se mueve en la dirección de B a C, una corriente I2 fluye para que el indicador
del galvanómetro 2 gira hacia la izquierda (-dirección) y luego vuelve a la
posición cero.
Generalmente, un generador de inducción está construido
de tal manera que una fuerza electromotriz es inducida según regla derecha de
Flemming por un conductor cortar líneas de flujo magnético (Fig. 1A) o por las
líneas de flujo magnético cruzando el conductor (Fig.1B).
Un rotor de un generador de inducción por lo general se
construye como un cuerpo de una sola pieza alternativamente haber eliminado los
polos norte y polos sur. Cuando hay dos polos magnéticos, el polo N y S polos
están frente a otros. Cuando hay más de dos polos magnéticos (por ejemplo,
cuatro polos magnéticos o seis polos magnéticos etc.), el poste de N y el
S-polo alternan, resultando en una N-S-N-S-... sucesión.
En este contexto, un generador de inducción unipolar es
un caso especial en donde se genera una fuerza electromotriz por un conductor
que se corte el flujo magnético durante el movimiento o rotación, y se
suministra una corriente continua a través de un anillo de deslizamiento. En
otras palabras, un motor de inducción unipolar es único en su construcción que
se caracteriza por un campo magnético no alterna, viajando en la misma
dirección.
En el generador de inducción convencional como el
descrito, mejora en la eficiencia de conversión de energía se logra que el
rotor se construye de una ferrita, o tierras raras, imán, caracterizado por un
producto de alta energía y una pequeña inversión permeabilidad (permeabilidad
del retroceso). Por otra parte, la medida de desmagnetización debido a la
generación de un campo magnético de contador en una bobina de inducción se
reduce permitiendo la sola polaridad del rotor para interactuar con el estator
en la formación de un circuito magnético. Sin embargo, a pesar de estas
medidas, la reducción en la eficiencia de conversión de energía debido a un
campo magnético de contador del núcleo del rotor, más específicamente, debido a
la desmagnetización resultante del campo magnético contador causado por la
reacción de armadura presenta un grave problema.
La presente invención se ha desarrollado teniendo en
cuenta los puntos anteriores, y su objeto es proporcionar un generador de
inducción con un par de polos magnéticos de la misma polaridad opuesta a los
demás con respecto a un eje de rotación, en donde se alcanza una eficiencia de
conversión de alta energía.
DIVULGACIÓN DE
LA INVENCIÓN
La presente invención proporciona un generador de
inducción con un par de polos magnéticos de la misma polaridad opuesta a los
demás con respecto a un eje de rotación, caracterizado por que comprende:
Un eje de rotación conducido por medios externos;
Un número par de núcleos de estator (más de tres) para
rodear el eje de rotación, lagunas predeterminadas, quedando siempre entre los
núcleos adyacentes estator;
Un rotor de polaridad simple-se opuso a primero en el eje
de rotación, rodeado por el número de núcleos del estator y tener la primeras y
segunda imanes magnetizados tal que el número de núcleos de estator de
permanecer frente a una primera polaridad, los imanes de primeros y segundo ser
opuestos a los demás con respecto al eje de rotación en un corte transversal;
Un segundo rotor de polaridad solo se opuso siempre en el
eje de rotación con el fin de afrontar el primer rotor polaridad solo se opuso
a una distancia predeterminada a lo largo del eje de rotación, rodeado por el
número de núcleos del estator y tener imanes terceros y cuarto magnetizados tal
que el número de núcleos de estator de permanecer frente a una segunda
polaridad que es opuesta a la polaridad de la polaridad de la primera, los
imanes terceros y cuarto se eliminen frente a ellos en relación con el eje de
rotación;
Una pluralidad de bobinas en el número de núcleos de
estator y conectado según una configuración predeterminada, caracterizada en:
Un campo magnético giratorio que provoca la inducción
electromagnética en el número de núcleos de estator sucesivamente es creado por
el primero, segundo, terceros y cuarto los imanes cuando se giran los rotores
de polaridad solo se opuso a primeros y segundo; y
Periódico aumento y disminución en la cantidad de flujo
magnético líneas cruzando una bobina dada y disminución periódica y cruce de
aumento un bobinado adyacente provoca una fuerza electromotriz periódica tener
una forma de onda rectangular a ser la salida.
En un aspecto de la invención presente, la pluralidad de
bobinados conectados según los circuitos primeros y segunda serie de la forma
de configuración predeterminado:
El primer circuito serie salidas una periódica primera
fuerza electromotriz tener una forma de onda rectangular cuando un campo
magnético giratorio que provoca la inducción electromagnética en el número de
núcleos de estator sucesivamente se crea por el primero, segundo, terceros y
cuarto los imanes cuando se giran los rotores de polaridad solo se opuso a
primeros y segundo; y
El segundo circuito serie salidas una periódica segunda
fuerza electromotriz de una forma de onda rectangular 1800. fuera de fase con
la primera fuerza motriz y con el mismo periodo como la primera fuerza
electromotriz, cuando se crea un campo magnético giratorio que provoca la
inducción electromagnética en el número de núcleos de estator sucesivamente por
la primera y segunda polaridad solo se opuso a rotores giran.
El generador de inducción de la invención presente
también puede abarcar:
Posición de rotación detección de medios para la
detección de una posición de los rotores de polaridad solo se opuso a primeras
y la segunda durante su rotación; y
Cambio significa que alternativamente produce componentes
positivos de la primera fuerza electromotriz tener una forma de onda
rectangular y proporciona el primer circuito serie o componentes positivos de
la segunda fuerza electromotriz tener una forma de onda rectangular y
proporcionada por el segundo circuito serial de salida a intervalos de un
ángulo eléctrico de 180o.
En otro aspecto de la invención presente, la pluralidad
de los devanados constituyen una primera bobina siempre en un primer núcleo del
estator del número de núcleos de estator, se proporciona una segunda bobina en
un segundo núcleo del estator adyacente a la primera base del estator para
viento en dirección opuesta a una dirección en la la primera bobina, un tercio
de la bobina siempre en un tercer núcleo del estator adyacente a la segunda
base del estator para viento en la misma dirección la primera bobina, un cuarto
de la bobina siempre en un cuarto núcleo del estator adyacente a la tercera
base del estator para viento en dirección opuesta a una dirección en la se
proporciona el tercer Reverse, el primero a través de los bobinados cuarto
están conectados entre sí según una configuración predeterminada.
En otro aspecto de la invención presente, el primer circuito
serie comprende una primera bobina siempre para viento en una primera dirección
en un primer núcleo del estator del número de núcleos de estator, un segundo
arrollamiento en serie conectado a la bobina primera y en un segundo núcleo del
estator adyacente a la primera base del estator para en una segunda dirección
opuesta a la primera dirección del viento, un tercer devanado en serie
conectado con la segunda bobina y siempre en un tercer núcleo del estator
adyacente a la segunda base del estator para viento en la primera dirección, un
cuarto de la bobina en serie conectado a la bobina tercera y en un estator
cuarto de la base adyacente a la tercera base del estator para viento en la
segunda dirección; y
El segundo circuito serie compone de un quinto de la
bobina siempre al viento en la segunda dirección en la primera base del
estator, un sexto de la bobina conectados en serie a la Quinta bobina y en la
segunda base del estator para viento en la primera dirección, una séptima
bobina en serie conectado con la bobina de la sexta y en la tercera base del
estator con el fin de la segunda dirección de viento, un octavo de la bobina en
serie conectado a la bobina de la séptima y en la cuarta base del estator para
en la primera dirección del viento.
BREVE DESCRIPCIÓN
DE LOS DIBUJOS
Fig.1A y Fig.1B son diagramas explicando el principio de
un generador de inducción;
Fig.2A y Fig.2B son diagramas mostrando una primera
encarnación de la invención presente;
Fig.3A y Fig.3B son
diagramas mostrando una polaridad solo se opuso a rotor 11N según la primera
encarnación de la invención presente;
Fig.4A and Fig.4B son
diagramas mostrando un 11S polaridad solo se opuso a rotor según la primera
encarnación de la invención presente;
Fig.5A, Fig.5B y Fig.5C
son diagramas mostrando cómo están conectados los cableados entre sí según la
primera encarnación de la invención presente;
Fig.6A es un diagrama
esquemático que muestra cómo un campo magnético giratorio según la encarnación
primera cruza bobinas 7 c-10 c;
Fig.6b muestra una ruta magnética;
Fig.7 es un diagrama que muestra una forma de onda de
tensión de salida según la primera encarnación;
Fig.8A y Fig.8B son diagramas que muestran una segunda
encarnación de la invención presente;
Fig.9 es un diagrama que muestra cómo se conectan los
cableados entre sí según una segunda encarnación; y

Fig.10 es un diagrama
que muestra una forma de onda de tensión de salida según la segunda
Encarnación.
MEJOR MODO DE REALIZAR LA INVENCIÓN

Fig.2A y Fig.2B muestran una primera encarnación de la
invención presente. Específicamente, Fig.2A es una vista seccional longitudinal
y Fig.2B es una vista de sección de la línea 1B-1B' de Fig.2A.
Refiriéndose a Fig.2A y Fig.2B, 3 indica un eje de
rotación de un material no magnético y conducido por un medio externo;
rodamientos 4A y 4b para apoyar la rotación del eje 3; 5A y 5b son bridas
proporcionadas de los rodamientos 4a y 4b, respectivamente; y 6 es una carcasa
cilíndrica para acomodar las bridas 5a y 5b.
Núcleos de estator, 7, 8, 9 y 10 se organizan con el fin
de rodear el eje de rotación 3, equidistante de las lagunas g1 quedando siempre
entre los núcleos adyacentes estator. Cada uno de los núcleos de estator, 7, 8,
9 y 10 tiene el mismo arco-como corte transversal.
Una polaridad solo se opuso a N polos rotor 11N y un
rotor de S polos de polaridad solo se opuso a 11S se proporcionan en la
rotación del eje 3 para estar frente a ellos. La polaridad solo se opuso a
rotores 11N y 11S están rodeados por los núcleos de estator, 7, 8, 9 y 10, una
pequeña rotación brecha g0 quedando siempre entre el rotor de polaridad solo se
opuso y el núcleo del estator.
Refiriéndose a Fig.2B, bobinas de 7 y 9 c se proporcionan
las agujas del reloj alrededor de los núcleos de estator 7 y 9, respectivamente.
Bobinas de 8 y 10 c son enrollar hacia la izquierda alrededor de los núcleos de
estator 8 y 10, respectivamente. Los devanados 7 c, c 8, 9 y 10 c están
conectados entre sí en una configuración que se describe más adelante.

3A y Fig. muestran la polaridad solo se opuso a rotor
11N. Específicamente, 3A es una vista seccional longitudinal y Fig. es una
vista de sección. La polaridad solo se opuso a rotor 11N tiene imanes en forma
de arco 12 y 13 que son 1800 desplazados entre sí y están magnetizados tal que
sus superficies, que enfrentan a los núcleos de estator 7-10 son N-polos y sus
superficies interiores S polos. Los imanes en forma de arco, 12 y 13 están
configurados para que coincida con el contorno de los núcleos de estator, 7, 8,
9 y 10. Refiriéndose a fig., los símbolos N y N' se utilizan para diferenciar
entre los imanes 12 y 13.
Se coloca una pieza de rotor 14 para conectar los imanes
en forma de arco, 12 y 13. La pieza del rotor 14 es imantada por los imanes en
forma de arco, 12 y 13, por lo que es las superficies que se enfrentan los
imanes en forma de arco, 12 y 13 son S-polos y está formado por una sustancia
(por ejemplo, un acero de silicio) construida de un acero de bajo carbono haber
mezclado en ella varios por ciento de los sometidos a un proceso de
forja-fundición de metales no ferrosos. El núcleo de hierro, encarnado por el
pedazo de rotor 14 así construido se caracteriza por un campo magnético
equilibrado donde la permeabilidad aproxima a un valor de pico en un campo
magnético unipolar que el núcleo de hierro presenta a sus alrededores.

Fig.4A y Fig.4B muestran el 11S de polaridad solo se
opuso a rotor. Específicamente, 4A es una vista seccional longitudinal y Fig.4B
es una vista de sección.
El 11S de polaridad solo se opuso a rotor tiene imanes en
forma de arco 15 y 16 que son 1800 desplazados entre sí y están magnetizados
tal que las superficies de su frente a los núcleos de estator 7-10 son S-polos
y sus superficies interiores N polos. Los imanes en forma de arco, 15 y 16
están configurados para que coincida con el contorno de los núcleos de estator,
7, 8, 9 y 10.
Se coloca una pieza de rotor 17 para conectar los imanes
en forma de arco, 15 y 16. La pieza del rotor 17 es imantada por los imanes en
forma de arco, 15 y 16, por lo que es las superficies que se enfrentan los
imanes en forma de arco, 15 y 16 son N-polos. La pieza del rotor está hecha de
una sustancia hecha de un acero de bajo carbono haber mezclado en ella, varios
por ciento de los sometidos a un proceso de forja-fundición de metales no
ferrosos. El núcleo de hierro, encarnado por el pedazo de rotor 17 así
construido se caracteriza por un campo magnético equilibrado donde la
permeabilidad aproxima a un valor de pico en un campo magnético unipolar que el
núcleo de hierro presenta a sus alrededores.
Los imanes en forma de arco, 12, 13, 15 y 16 tienen la
misma longitud circunferencial, que también es igual a la longitud del arco
formado por la circunferencia de los núcleos de estator, 7, 8, 9 y 10. Más
específicamente, esta longitud se obtiene dividiendo la circunferencia
hipotética toda menos los cuatro huecos de g1 por cuatro. Refiriéndose a Fig.2A
y Fig.2B, la rotación brecha g0 es igual a R1 - R, donde R1 es una distancia
entre el centro del eje de rotación 3 y la superficie interior de los núcleos
de estator 7-10, y R es la distancia entre el centro del eje de rotación 3 y en
el exterior la superficie de los rotores de polaridad solo se opuso a 11N y
11S, como se indica en la Fig.3B y Fig.4B.



Fig.5A, Fig. 5B y Fig.5C, muestran cómo se conectan los
cables entre sí. T1 indica el comienzo de una bobina, T2 el final de una bobina
y 18 y terminales de salida 19. Más específicamente, Fig.5A muestra una
configuración de conexión en serie, Fig.5B una configuración de conexión serie
paralelo y Fig.5C una configuración de conexión en paralelo. La configuración
de conexión en serie permite que la fuerza electromotriz inducida en los
devanados a sumarán y proporciona una salida de alto voltaje. La configuración
de conexión en paralelo permite corrientes resultantes de la fuerza
electromotriz inducida en los devanados a sumarán y proporciona una salida de
corriente grande.
Ahora se dará una descripción, con referencia a Fig.6A,
Fig.6B y Fig.7, de la operación de generación de energía de la configuración de
conexión en serie.

Fig.6A es un diagrama que muestra esquemáticamente cómo
el campo magnético giratorio la polaridad solo se opuso a rotores 11S y 11N
cruza bobinas 7 c-10 c. Fig.6b muestra una ruta magnética.
Refiriéndose a Fig.6A, Phi1 y Fi2 indican rotación flujo
magnético gira a lo largo de la circunferencia 2Pi x R. Fig.6B muestra los
imanes en forma de arco 12 y 15 directamente frente a la base del estator 7 en
toda su longitud y los imanes en forma de arco 13 y 16 directamente frente a la
base del estator 9 en toda su longitud.

Como se muestra en Fig.6B, el flujo magnético Phi1 forma
una ruta magnética como sigue:
El rotor pieza base de estator (S) - el polo del imán en
forma de arco (N) de 12 - 14 7 - la rotación brecha g0 - el imán en forma de
arco 15 (S) - la pieza del rotor 17 (N).
El flujo magnético Fi2 forma una ruta magnética como
sigue:
El rotor pieza 14 (S) - en forma de arco imán 13 (N) - la
rotación brecha g0 - el estator de la base 9 - la rotación brecha g0 - el imán
en forma de arco 16 (S) - la pieza del rotor 17 (N).
Así, se forma un camino paralelo magnético. En este
estado, el flujo magnético Phi1 atraviesa la bobina c 7, y el flujo magnético
Fi2 atraviesa la bobina c 9.
Se da una descripción se centró en la rotación del flujo
magnético Phi1. Específicamente, se dará una descripción de un cambio en la
manera que el flujo magnético Phi1 cruza los devanados.

Refiriéndose a una forma de onda de tensión de salida que
se muestra en Fig.7, la totalidad del flujo magnético Phi1 atraviesa la bobina
10 c en un tiempo t1. En un tiempo t2, la totalidad del flujo magnético Phi1
atraviesa la bobina 7c. En un tiempo t3,
la totalidad del flujo magnético Phi1 atraviesa la bobina 8c. En un tiempo t4, la
totalidad del flujo magnético Phi1 atraviesa la bobina 9c. En un tiempo t5, la
totalidad del flujo magnético Phi1 atraviesa la bobina 10c. De esta manera, el
flujo magnético Phi1 gira a una velocidad constante durante un tiempo T, en
sentido horario en Fig.6A.
Entre el tiempo t1 y el
tiempo t2, una fuerza electromotriz que tiene una forma de onda triangular
inclinada, indicada por mí en Fig.7, es generada en la cuerda 10c debido a una
disminución en el número de líneas de flujo magnéticas del flujo magnético Phi
cruce de la cuerda 10c. Una fuerza electromotriz que tiene una forma de onda
triangular que sube, indicada por I' en Fig.6, es generada en la cuerda 7c
debido a un aumento del número de líneas de flujo magnéticas del flujo
magnético Phi cruce de la cuerda 7c. En consecuencia, una forma de onda
rectangular positiva obtenida por la suma de estas formas de onda triangulares
es la salida a los terminales de salida 18 y 19.
Entre el tiempo t2 y el
tiempo t3, una fuerza electromotriz que tiene una forma de onda triangular que
sube, indicada por II en el Fig.7, es generada en la cuerda 7c debido a una
disminución en el número de líneas de flujo magnéticas del flujo magnético Phi
cruce de la cuerda 7c. Una fuerza
electromotriz que tiene una forma de onda triangular inclinada, indicada por
II' en Fig.7, es generada en la cuerda 8c debido a un aumento del número de
líneas de flujo magnéticas del flujo magnético Phi cruce de la cuerda 8c. En
consecuencia, una forma de onda rectangular negativa obtenida por la suma de
estas formas de onda triangulares es la salida a los terminales de salida 18 y
19.
Entre el tiempo t3 y el
tiempo t4, una fuerza electromotriz que tiene una forma de onda triangular
inclinada, indicada por III en Fig.7, es generado en la cuerda 8c debido a una
disminución en el número de líneas de flujo magnéticas del flujo magnético Phi
del flujo magnético Phi cruce de la cuerda 8c. Una fuerza electromotriz que
tiene una forma de onda triangular que sube, indicada por III' en Fig.7, es
generado en la cuerda 9c debido a un aumento del número de líneas de flujo
magnéticas del flujo magnético Phi cruce de la cuerda 9c. En consecuencia, una
forma de onda rectangular positiva obtenida por la suma de estas formas de onda
triangulares es la salida a los terminales de salida 18 y 19.
Entre el tiempo t4 y el
tiempo t5, una fuerza electromotriz que tiene una forma de onda triangular que
sube, indicada por IV en Fig.7, es generado en la cuerda 9c debido a una
disminución en el número de líneas de flujo magnéticas del flujo magnético Phi
cruce de la cuerda 9c. Una fuerza electromotriz que tiene una forma de onda
triangular inclinada, indicada por IV' en Fig.7, es generado en la cuerda 10c
debido a un aumento del número de líneas de flujo magnéticas del flujo magnético
Phi cruce de la cuerda 10c. En consecuencia, una forma de onda rectangular
negativa obtenida por la suma de estas formas de onda triangulares es la salida
a los terminales de salida 18 y 19.
Mientras el flujo
magnético que Phi1 hace una rotación, una fuerza electromotriz que tiene una
forma de onda rectangular sintetizada y un período de T/2 es la salida, como
mostrado en Fig.7. Desde el flujo
magnético Phi2 también hace una rotación mientras el flujo magnético Phi1 hace
una rotación y produce una salida de una fuerza electromotriz que tiene una
forma de onda rectangular similar, la magnitud de la fuerza electromotriz
obtenida entre los terminales 18 y 19 es realmente doble esto indicado en
Fig.7.
De esta manera, esta
encarnación hace esto posible de anular un campo magnético contrario y
proporcionar un generador de inducción que tiene un par de postes magnéticos de
la misma polaridad contravino el uno al otro con respecto a un eje de rotación
y caracterizó por una eficacia de conversión de energía alta. Nuestra práctica
de operaciones ha confirmado que el generador que tiene la construcción de esta
encarnación proporciona una eficacia de conversión de energía que es bastante
alta para requerir sólo 1/5.2 de la torsión conductor para el generador convencional.

Fig.8A y Fig.8B muestre
una segunda encarnación de la invención presente. Expresamente, Fig.8A es una
vista seccional longitudinal, y Fig.8B es una vista enfadada seccional tomada
en la línea 7B-7B' de Fig.8A.
Respecto a Fig.8A y
Fig.8B, 3 indica un eje de rotación formado de un material no magnético y
conducido por una fuente externa; 4a y 4b son portes que apoyan el eje de
rotación 3, 5a y 5b son rebordes que alojan los portes 4a y 4b, y 6 es una tapa
de caso cilíndrica para acomodar los rebordes 5a y 5b.
Los corazones de
estator 7, 8, 9 y 10 son arreglados para rodear el eje de rotación 3, huecos
equidistantes g1 proporcionado entre los corazones de estator adyacentes. Cada
uno de los corazones de estator 7, 8, 9 y 10 tiene un mismo corte transversal
parecido a un arco.
Un rotor de N-poste
"polaridad opuesta sola" 11N y un rotor de S-poste "polaridad
opuesta sola" 11 es proporcionado en el eje de rotación 3 para ser el uno
enfrente del otro. Los rotores "polaridad opuesta sola" 11N y 11 son
rodeados por los corazones de estator 7, 8, 9 y 10 un pequeño hueco de rotación
g0 proporcionado entre el rotor "polaridad opuesta sola" y el corazón
de estator.
Respecto a Fig.8B, las
cuerdas 7c y 9c son proporcionadas dextrórsum alrededor de los corazones de
estator 7 y 9, respectivamente. Las cuerdas 27c y 29c son proporcionadas en
contrario alrededor de los corazones de estator 7 y 9, respectivamente. Las
cuerdas 8c y 10c son proporcionadas en contrario en los corazones de estator 8
y 10, respectivamente. Las cuerdas 28c y 30c son enrollar dextrórsum alrededor
de los corazones de estator 8 y 10, respectivamente. Las cuerdas 7c, 8c, 9c,
10c, 27c, 28c, 29c y 30c están relacionadas el uno con el otro según una
configuración descrita más tarde.
Un sensor magnético
(para el descubrimiento de posición de rotación) 31 es proporcionado entre los
corazones de estator 7 y 10, y un sensor magnético (para el descubrimiento de
posición de rotación) 32 es proporcionado entre los corazones de estator 7 y 8.
Los sensores magnéticos 31 y 32 descubren el campo magnético para determinar la
posición de los rotores "polaridad opuesta sola" 11N y 11 durante su
rotación.
La polaridad solo se opuso a rotores 11N tiene una configuración
como se muestra en Fig. 3A y Fig.3B y 11S de rotor de monopolo tiene una
configuración como se muestra en Fig.4a y Fig.4B.
La polaridad solo se opuso a rotor 11N tiene imanes en
forma de arco 12 y 13 que son 1800 desplazados entre sí y están magnetizados
tal que sus superficies frente a los núcleos del estator son N-polos y sus
respectivas superficies interiores S polos. Los imanes en forma de arco, 12 y
13 están configurados para que coincida con el contorno de los núcleos de
estator, 7, 8, 9 y 10.
Se coloca una pieza de rotor 14 para conectar los imanes
en forma de arco, 12 y 13. La pieza del rotor 14 está hecha de un acero de bajo
carbono tener varios % de metal no ferroso, usando un proceso de forja-cast. El
pedazo de rotor del núcleo de hierro 14 construido por este medio, tiene un campo
magnético equilibrado donde la permeabilidad aproxima a un valor de pico en un
campo magnético unipolar que el núcleo de hierro presenta a sus alrededores.
El 11S de polaridad solo se opuso a rotor tiene imanes en
forma de arco 15 y 16 que son colocados 1800 entre sí y están magnetizados para
que sus superficies, que enfrentan a los núcleos del estator son S-polos y sus
superficies interiores N polos. Los imanes en forma de arco, 15 y 16 están en
forma y colocados con el fin de coincidir con el esquema de los núcleos de
estator, 7, 8, 9 y 10.
Se coloca una pieza de rotor 17 para conectar los imanes
en forma de arco, 15 y 16. La pieza del rotor 17 está hecha de un acero de bajo
carbono tener varios % de metal no ferroso, usando un proceso de forja-cast. El
pedazo de rotor del núcleo de hierro 17 construido por este medio, tiene un
campo magnético equilibrado donde la permeabilidad aproxima a un valor de pico
en un campo magnético unipolar que el núcleo de hierro presenta a sus
alrededores.
Los imanes en forma de arco, 12, 13, 15 y 16 tienen la
misma longitud de la circunferencia, que es igual a la longitud del arco
formado por la circunferencia de los núcleos de estator, 7, 8, 9 y 10. Más
específicamente, esta longitud se obtiene dividiendo por cuatro, toda la
circunferencia hipotética menos el g1 de cuatro huecos. Refiriéndose a las
figuras 3A, 3B, 4A, 4B y 8, la rotación brecha g0 es igual a R1 -R.

Fig.9 muestra como los
alambrados están relacionados el uno con el otro. T1 indica el principio de una cuerda, T2 el
final de una cuerda, y 18 y 19 es los terminales de salida.
Dos recorrido
consecutivo es formado de las cuerdas. Los interruptores SW1 y SW2 son usados
para la selección del recorrido consecutivo respectivo. Un recorrido de control
de conmutación 40, que trata una señal de descubrimiento de los sensores
magnéticos 31 y 32, conduce los interruptores SW1 y SW2 selectivamente de
acuerdo con la señal de descubrimiento.
Como mostrado en Fig.9,
el primer recorrido consecutivo comprende la cuerda 7c proporcionado dextrórsum
en el corazón de estator 7, la cuerda 8c en serie relacionado con la cuerda 7c
y proporcionado en contrario en el corazón de estator 8 adyacente al corazón de
estator 7; la cuerda 9c en serie relacionado con la cuerda 8c y proporcionado
dextrórsum en el corazón de estator 9; y la cuerda 10c en serie relacionado con
la cuerda 9c y proporcionado en contrario en el corazón de estator 10 adyacente
al corazón de estator 9.
Como mostrado en Fig.9,
el segundo recorrido consecutivo comprende la cuerda 27c proporcionado en
contrario en el corazón de estator 7; la cuerda 28c en serie relacionado con la
cuerda 27c y proporcionado dextrórsum en el corazón de estator 8; la cuerda 29c
en serie relacionado con la cuerda 28c y proporcionado en contrario en el
corazón de estator 9; y la cuerda 30c en serie relacionado con la cuerda 29c y
proporcionado dextrórsum en el corazón de estator 10.
Según la construcción
descrita encima, un campo magnético rotativo que causa la inducción
electromagnética en los corazones de estator 7-10 sucesivamente es creado por
los imanes en forma de arco 12, 13, 15 y 16 cuando los rotores "polaridad
opuesta sola" 11N y 11 son hechos girar. Como ha sido explicado ya en
cuanto a Fig.6A, Fig.6B y Fig.7, como las líneas de flujo magnéticas que cruzan
una de las cuerdas 7c-10c aumentan en el número, las líneas de flujo magnéticas
que cruzan la adyacente de las cuerdas 7c-10c disminución en el número. Es
decir las líneas de flujo magnéticas periódicamente aumentan y disminución con
respecto a una cuerda dada de modo que una primera fuerza electromotriz,
teniendo una forma de onda rectangular similar al un mostrado en Fig.7 y un
período que es 1/2 el período de la rotación, es la salida del primer recorrido
consecutivo (7c-10c).
Como las líneas de
flujo magnéticas que cruzan una de las cuerdas 27c-30c aumentan en el número,
las líneas de flujo magnéticas que cruzan la adyacente de las cuerdas 27c-30c
disminución en el número. Es decir las líneas de flujo magnéticas periódicamente
aumentan y disminución con respecto a una cuerda dada de modo que una segunda
fuerza electromotriz de una forma de onda rectangular 180 grados desfasados con
la primera fuerza electromotriz y tener el mismo período que la primera fuerza
electromotriz son la salida del segundo recorrido consecutivo (27c-30c). Es
decir la segunda fuerza electromotriz es 180 grados desfasados con la fuerza
electromotriz mostrada en Fig.7.
Respecto a Fig.10, de
acuerdo con el descubrimiento hacen señas de los sensores magnéticos 31 y 32,
los interruptores SW1 y conmutación de efecto de SW2 en 90 intervalos de grado.
Por esto los medios, los componentes positivos I e III de la primera fuerza
electromotriz que tiene una forma de onda rectangular y proporcionado del
primer recorrido consecutivo, y los componentes positivos II e IV de la segunda
fuerza electromotriz que tiene una forma de onda rectangular y proporcionado
del segundo recorrido consecutivo son alternativamente seleccionados en 180
intervalos de grado y salida a los terminales de salida 18 y 19.
Este significa que,
esta encarnación asegura una conversión de energía de eficacia alta en donde un
campo magnético contrario es anulado, y una fuerza electromotriz de corriente
continua que tiene un nivel positivo es correctamente sintetizada y salida. Es
por supuesto posible sintetizar y salida una fuerza electromotriz de corriente
continua negativa cambiando el cronometraje de conmutación por 180 grados.
APLICABILIDAD
INDUSTRIAL
Como ha sido descrito,
según la invención presente, la rotación de los primeros y segundos rotores
"polaridad opuesta sola" genera un campo magnético rotativo que causa
una inducción en un número par de corazones de estator sucesivamente. Cuando
las líneas de flujo magnéticas que cruzan una de las primeras por cuarto
cuerdas aumentan en el número, las líneas de flujo magnéticas que cruzan el
adyacente de la primera por cuarto disminución de cuerdas en el número. Es
decir las líneas de flujo magnéticas periódicamente aumentan y disminución con
respecto a una cuerda dada. La fuerza electromotriz generada como las líneas de
flujo magnéticas que cruzan un aumento tortuoso del número y la fuerza
electromotriz generada como las líneas de flujo magnéticas que cruzan una
disminución tortuosa adyacente en el número es sintetizada de modo que una
fuerza electromotriz de corriente alterna periódica que tiene una forma de onda
rectangular sea generada de la síntesis y salida. De esta manera, una
conversión de energía de eficacia alta en donde un campo magnético contrario es
anulado es proporcionada.
Según el primer
recorrido consecutivo de la invención presente, la rotación de los primeros y
segundos rotores "polaridad opuesta sola" genera un campo magnético
rotativo que causa una inducción en un número par de corazones de estator
sucesivamente. Cuando las líneas de flujo magnéticas que cruzan uno de los
primeros por cuartas cuerdas aumentan en el número, las líneas de flujo
magnéticas que cruzan el adyacente del primer por la cuarta disminución de
cuerdas en el número. Es decir las líneas de flujo magnéticas periódicamente
aumentan y disminución en una cuerda dada. En consecuencia, la primera fuerza
electromotriz que tiene una forma de onda rectangular es la salida. Según el
segundo recorrido consecutivo, cuando las líneas de flujo magnéticas que cruzan
una de las quintas por octavo cuerdas aumentan en el número, las líneas de
flujo magnéticas que cruzan el adyacente de la quinta por octavo disminución de
cuerdas en el número. Es decir las
líneas de flujo magnéticas periódicamente aumentan y disminución en una cuerda
dada. En consecuencia, la segunda fuerza electromotriz 180 grados desfasados
con la primera fuerza electromotriz y tener el mismo período que la primera
fuerza electromotriz es la salida. De acuerdo con la señal de descubrimiento de
la posición de rotación que descubre medios, el medio de conmutación
selectivamente hace que los componentes positivos de la primera fuerza
electromotriz proporcionada por el primer recorrido consecutivo, o los
componentes positivos de la segunda fuerza electromotriz proporcionada por el
segundo recorrido consecutivo sean la salida en intervalos de 180 grados. De
esta manera la fuerza electromotriz de corriente continua es sintetizada y
salida. Este resulta en una conversión de energía de eficacia alta donde un
campo magnético contrario es anulado.
Además de aplicaciones
extensas en centrales eléctricas, barcos, avión etc., la invención presente
puede encontrar aplicaciones de unidad familiar o puede ser cómodamente
adaptada para usos de ocio.
Patente Aplicación EU
82,400,992.2 22 de diciembre
1982 Inventor: Larry T. Jamison
FUENTE DE ENERGÍA EMPLEO DE
ENERGISER ELÉCTRICO
Esta patente aplicación muestra los detalles de un
dispositivo que es reclamado, puede producir la electricidad sin la necesidad
de cualquier combustible. Debería ser notado que mientras los detalles de
construcción son proporcionados que implican que el inventor construyó y probó
varios de estos dispositivos, este es sólo una aplicación y no una patente
concedida.
EXTRACTO
Un sistema de producción de energía es
proporcionado que produce la energía para el uso, por ejemplo, en un vehículo
eléctrico o en una central eléctrica de casa. El sistema incluye energiser
eléctrico (60) incluso un rotor de doble herida y un estator de doble herida,
para producir la energía eléctrica que es almacenada en el sistema, p.ej en una
batería (66) arreglo de almacenamiento, que proporciona la inicial energisation
del sistema. la energía almacenada es suministrada a un motor eléctrico (68)
que lleva el energiser (60) a crear así la energía adicional. el energiser es
capaz de suministrar las necesidades del sistema así como impulsar una carga.
FONDO DE LA INVENCIÓN
La invención presente está relacionada con
sistemas de producción de energía y, más en particular, con un sistema
energiser-de-motor eléctrico para proporcionar la energía, p.ej, para un
vehículo automotor o como la parte de una planta de energía de casa.
Con el advenimiento de la llamada "crisis
energética" y la búsqueda consiguiente para fuentes de energía
alternativas para substituir al petróleo, la atención considerable ha sido
enfocada en vehículos automotores como usuarios principales de productos del
aceite. Un aspecto de esta búsqueda ha criado el interés renovado a vehículos
eléctricamente conducidos como coches eléctricos y otros por el estilo. Un
defecto principal de vehículos eléctricos previos de arte ha sido la necesidad
de recargar las baterías que proporcionan el poder para el sistema de paseo de
motor eléctrico.
La invención presente vence este problema por la
provisión de un sistema energiser-de-motor eléctrico que produce más energía
que es gastado, así permitiendo a la energía de exceso ser almacenado en el
sistema de batería, ser dibujado sobre como requerido. Así, la necesidad de
recargar de las baterías asociadas con vehículos eléctricos convencionales es
eliminada con el sistema de esta invención. Debería ser notado que mientras el
sistema de la invención tiene el potencial enorme en relación a su uso en
vehículos eléctricos, el sistema no es claramente limitado con tal uso y sería
obviamente ventajoso cuando usado, por ejemplo, como la fuente de energía para
una planta de energía de casa, así como en muchas otras aplicaciones.
De acuerdo con la invención, y el sistema de
producción de energía del tipo descrito encima es proporcionado que comprende y
"energiser" eléctrico comprensión de al menos un estator de doble
herida y al menos una doble herida rotor montado por eje localizado dentro de
un alojamiento, energía eléctrica coleccionada del rotor por un dispositivo de
despegue eléctrico conveniente y disponible para la utilización por el sistema,
y un motor eléctrico, impulsado por el energiser para conducir el eje de rotor
del energiser. Un arreglo de batería al principio es usado para suministrar la
energía al sistema y, como declarado encima, la energía de exceso generada por
el energiser además de esto requerido por el sistema y la carga de sistema, es
almacenado por el cobro de las baterías.
El motor incluye una armadura con una pluralidad de ranuras tortuosas en
ello y una pluralidad de cuerdas que son la herida en dos ranuras espaciadas
circumferentially en la armadura, es decir tal cuerda es la herida por una primera
ranura (p.ej ranura 1) y devuelto por una segunda ranura espaciada (p.ej ranura
5). según las demandas de energía, el energiser puede incluir un par de
estatores y rotores, con los rotores montados en un eje común. El motor es
preferentemente activado por un arreglo de un conmutador y cepillos plurales,
mientras un anillo de resbalón y asoció cepillos relacionados con una forma de
recorrido de puente de salida el despegue de energía para el energiser.
Otros rasgos y ventajas de la invención serán mostrados
en la descripción detallada de las encarnaciones preferidas que sigue.

Fig.1 es un
parcialmente sectioned elevational la vista de "energiser" eléctrico
de la invención.

Fig.2 es un diagrama
de bloque del sistema total que produce energía de la invención

Fig.3 es un
parcialmente sectioned lado elevational la vista de un motor eléctrico
modificado construido de acuerdo con la invención.

Fig.4 es una vista de
perspectiva hecha explotar de los componentes básicos del motor de Fig.3.

Fig.5 es una vista de
final del tenedor de cepillo también ilustró en Fig.4.

Fig.6 y Fig.7 muestre detalles del modelo tortuoso
del motor de Fig.3.


Respecto a Fig.1, una encarnación preferida del
dispositivo energiser de la invención es mostrada. El dispositivo incluye un
alojamiento 10, en que son localizados, en una primera cámara o compartimento
10a, un primer rotor 12 y un primer estator 14 y, en un segundo compartimento
10b, un segundo rotor 16, y un segundo estator 18. Debería ser notado que
aunque dos combinaciones de rotor de estator sean usadas en esta encarnación,
una combinación de rotor de estator sola puede ser usada para algunas
aplicaciones. El alojamiento 10 es dividido en los compartimentos 10a y 10b,
por un plato de centro 20 y esto incluye un par de platos de final 22 y 24.
Tanto los rotores 12, 16 como los estatores 14, 18 son doble enrollar y los
rotores 12, 16 son anidados dentro de sus estatores respectivos 14 y 18 y
montados para la rotación en un eje común 26. El eje 26 se extiende
longitudinalmente por el alojamiento 10 y es montado en portes 28 y 30, apoyado
antes del final platea 22 y 24, y un porte adicional 32 que es apoyado por el
plato central 20.
Un par de resbalón suena 34 y 36, es montado en el
eje 26 y se une con sus pares de cepillo correspondientes 38 y 40. El resbalón suena 34 y 36 están relacionados
con rotores 12 y 16 respectivamente, y permiten la corriente corriente en las
cuerdas de rotor ser coleccionada por los pares asociados de cepillos 38 y 40.
El cepillo se aparea 38 y 40 son montados en tenedores de cepillo respectivos
42 y 44. Los terminales del recorrido de puente respectivo 46 y 48 están
relacionados con estatores 14 y 18, mientras la conversión excluye 50 y 52
están relacionados para cepillar a tenedores 42 y 44, como indicado.

Un ventilador 54, también es montado en el eje 26
y una pluralidad de aberturas 201, 22a y 24a son proporcionado en el plato de
centro 20 y el final platea 22 y 24, promover la refrigeración del dispositivo.
El energiser de Fig.1 es preferentemente incorporado a un sistema como mostrado
en una manera muy esquemática en el Fig.2 donde la salida del energiser es
usada para suministrar la energía para conducir un motor. A este final, el
energiser, que es denotado por 60 en Fig.2, está relacionado por un regulador
62, al cargador de baterías 64 para baterías 66 relacionado con un motor 68.
Estas baterías 66 son usadas para proporcionar la inicial energisation del
sistema así como almacenar la energía producida por el energiser 60. Será
entendido que el energiser 60 proporciona la energía bastante para impulsar el
motor 68 (que, por su parte, conduce energiser 60 por la rotación del eje 26)
así como proporcionar el almacenamiento para la energía en el sistema. También será
apreciado que el sistema ilustró esquemáticamente en Fig.2 incluye mandos
convenientes (interruptores, reóstatos, sensores, etc.) para proporcionar la
inicial energisation así como asignar el control operacional del sistema.

En una encarnación preferida, el motor 68 es de la
forma mostrada en Fig.3. Como ilustrado,
el motor es de una forma generalmente convencional (con excepciones notadas
abajo) y comprende una armadura 70, montado en un eje 72 dentro del alojamiento
74. El alojamiento 74 incluye un par de los platos de final 76 y 78, que montan
portes de eje 77 y 79. Las aberturas 76a y 78a son proporcionadas en los platos
de final 76 y 78 y un ventilador 80 es montado en el eje 72 para proporcionar
la refrigeración.

Un conmutador 82 también es montado en el eje 72,
y coopera con cepillos asociados (no mostrado en el Fig.1), conducir corriente
a las cuerdas de la armadura 70. Esta cooperación es mostrada mejor en el Fig.4
que es una vista esquemática, ilustrando la armadura 70, conmutador 82 y un
tenedor de cepillo 84.

Como mostrado en Fig.5, el tenedor de cepillo 84
incluye los ocho montajes de cepillo 86, cada uno de los cuales define una
ranura 88 en que un par de cepillos es montado. Un cepillo 90 es mostrado en el
Fig.5, ello entendido esto dos tales cepillos son montados en cada ranura 88 de
modo que dieciséis cepillos sean requeridos.
El motor de Fig.3 a Fig.6 incluye ocho zapatos de
poste (no mostrado) que son asegurados al alojamiento 74 y que sirven para
montar ocho campo bobinas o cuerdas 92 (ver Fig.3 y Fig.4) espaciado alrededor
de la periferia de armadura 72.
Un rasgo importante del motor de Fig.3 a Fig.6 concierne
la manera en la cual las cuerdas para la armadura 70 son enrollar. Como
ilustrado en Fig.3, Fig.6 y Fig.7, W1 de cuerda típico es enrollar en dos
ranuras, con la cuerda ilustrada doblada atrás y sigue de la ranura de armadura
S1 a la ranura de armadura S5 (ver Fig.3 e Fig.6). Del mismo modo, la cuerda en
la ranura S2 sigue a la ranura S6, la cuerda de ranura S3 sigue a la ranura S7,
etcétera para las cuarenta y nueve cuerdas.
En una encarnación preferida específica, el motor
descrito encima es 48 voltios, 412 motor de caballo de vapor que tiene una
velocidad de operaciones superior de 7,000 revoluciones por minuto. Un control
de reóstato (no mostrado) es usado para controlar el voltaje de entrada y, como
hablado encima, el motor es impulsado del energiser de Fig.1. Será apreciado que el despegue de energía del
sistema es preferentemente del eje de salida del motor, aunque la energía
eléctrica también pueda ser dada un toque lejos de la salida energiser.
Patente US 5,436,518 25 de julio 1995 Inventor: Teruo Kawai
DISPOSITIVO DE GENERACIÓN DE
PODER DE MOTIVO
Por favor note que este es un extracto expresado
con otras palabras de esta patente. Esto describe un motor que tiene un poder
de salida mayor que su poder de entrada.
RESUMEN DE LA INVENCIÓN
Esto es un objeto de la invención de proporcionar
un dispositivo de generación de poder de motivo en el cual el acontecimiento de
una fuerza que actúa en una dirección enfrente de la dirección de movimiento de
un rotor y/o un estator es prevenido, para permitir al uso eficiente de la
energía eléctrica ser aplicado a electroimanes, así como energía magnética
generada por un imán permanente.
A fin de conseguir el susodicho objeto, la primera invención comprende un imán
permanente dispuesto alrededor de un eje de salida rotatorio que es montado en
un porte, un cuerpo magnético colocó concentrically con el imán permanente para
la rotación con el eje de salida, el cuerpo magnético sujetado al flujo
magnético del imán permanente, una pluralidad de electroimanes permanentemente
montados en el miembro de apoyo de modo que ellos sean espaciados una distancia
predeterminada alrededor de la periferia del material magnético, cada recorrido
magnético de los electroimanes siendo independientes el uno del otro y el
mecanismo de cambio de excitación de los electroimanes que pueden magnetizar
secuencialmente uno de los electroimanes que es colocado avanzado, en cuanto a
una dirección rotatoria, del eje de salida, para impartir al electroimán una
polaridad magnética magnetically enfrente de aquel del poste magnético del imán
permanente, por lo cual un flujo magnético que pasa por el cuerpo magnético
converge en una dirección que así aplica una torsión rotatoria al eje de
salida.
Según la primera invención, cuando uno de los
electroimanes que es colocado delante en la dirección rotatoria del eje de
salida rotatorio, un campo magnético creado por el electroimán excitado y un
campo magnético creado por el imán permanente relacionan el uno con el otro. Así,
el flujo magnético que pasa por el cuerpo magnético converge hacia el
electroimán salido, para hacer girar el eje de salida rotatorio por un ángulo
predeterminado hacia el electroimán excitado. Cuando el eje de salida rotatorio
ha sido hecho girar por el ángulo predeterminado, el susodicho electroimán
excitado es de magnetizado, y otro electroimán actualmente colocado delante con
respecto a la dirección rotatoria del eje de salida de rotor está excitado o
magnetizado. La excitación secuencial de los electroimanes en la susodicha
manera permite la rotación del eje de salida en una dirección predeterminada
Según la primera invención, cuando uno de los
electroimanes que es colocado delante en la dirección rotatoria del eje de
salida rotatorio, un campo magnético creado por el electroimán excitado y un
campo magnético creado por el imán permanente relacionan el uno con el otro. En este aspecto, debería ser notado que los
electroimanes están excitados para tener una polaridad magnética enfrente de
aquel del poste magnético del imán permanente y que el recorrido magnético de
los electroimanes excitados es independiente de aquellos de electroimanes
adyacentes. Así, el flujo magnético generado por el electroimán excitado es
impedido pasar por el recorrido magnético de electroimanes adyacentes, que, si
esto ocurre, podrían hacer que los electroimanes fueran magnetizados para tener
la misma polaridad que aquel del poste magnético del imán permanente. En
consecuencia, ninguna fuerza desagradable será generada que podría interferir
con la rotación del eje de salida.
A fin de conseguir el susodicho objeto, la segunda invención comprende un imán
permanente montado en movably arreglado de un cuerpo movible a lo largo de una
pista lineal, un cuerpo magnético montado en el imán permanente, el cuerpo
magnético sujetado a un flujo magnético del imán permanente, una pluralidad de
electroimanes espaciados una distancia apropiada a lo largo de la pista lineal,
los electroimanes que tienen el recorrido magnético que es independiente el uno
del otro y el mecanismo de excitación quedó en magnetizar cada uno de los
electroimanes secuencialmente cuando cada uno es colocado avanzado del cuerpo
movible, (con respecto a la dirección de movimiento) para impartir al
electroimán excitado una polaridad magnética enfrente de aquel del poste
magnético del imán permanente, por lo cual un flujo magnético que pasa por el
cuerpo magnético converge en una dirección predeterminada para causar el
movimiento lineal del cuerpo movible.
Según la segunda invención, cuando el electroimán
colocado delante del final avanzado del cuerpo movible en cuanto a la dirección
del movimiento del cuerpo movible está excitado, un campo magnético generado
por el electroimán excitado y campo magnético generado por el imán permanente
relaciona el uno con el otro. Así, un flujo magnético que pasa por el cuerpo
magnético converge hacia el electroimán excitado, para desplazar el cuerpo
movible una distancia predeterminada hacia el electroimán excitado. Cuando el
cuerpo movible ha sido movido la distancia predeterminada, el cuerpo movible es
colocado debajo del susodicho electroimán excitado, y otro electroimán es
colocado delante del final avanzado del cuerpo movible. Cuando este ocurre, la
excitación del electroimán colocado encima del cuerpo movible es interrumpida,
y la excitación del electroimán ahora colocado delante del final avanzado del
cuerpo movible es iniciada. La
excitación secuencial de los electroimanes en la susodicha manera permite el
movimiento del cuerpo movible en una dirección predeterminada debería ser
notado que ninguna fuerza desagradable que interferiría con el movimiento del
cuerpo movible es creada por la misma razón que esto explicado con relación a
la primera invención.
BREVE DESCRIPCIÓN DE LOS DIBUJOS
Fig.1 es un frente
elevational vista, en parte en la sección y en parte omitido, de un motor según
una primera encarnación de la invención;

Fig.2 es una vista seccional a lo
largo de la línea II - II en Fig.1;

Fig.3 es un reverso elevational la
vista del motor proveído de un plato de escudo ligero en ello;

Fig.4A a Fig.4H ilustre la operación del motor cuando los electroimanes
están excitados o magnetizados;








Fig.5A es una vista ilustrativa
mostrando a un camino magnético del flujo magnético creado por un imán
permanente del motor cuando los electroimanes no son magnetizados;

Fig.5B es una vista ilustrativa
mostrando a un camino magnético del flujo magnético creado por el imán
permanente del motor, así como el camino magnético del flujo magnético creado
por los electroimanes;

Fig.6 a Fig.9 son vistas enfadadas seccionales que ilustran una forma
modificada el motor;




Fig.10A a Fig.10C son vistas enfadadas seccionales que ilustran la operación
del motor modificado;



Fig.11A a Fig.11H son la operación de exposición
de diagramas ilustrativa de un motor en una forma de un motor lineal según una
segunda encarnación de la invención;






DESCRIPCIÓN DETALLADA DE LAS
ENCARNACIONES PREFERIDAS
Las encarnaciones preferidas de la invención serán
explicadas detalladamente abajo en cuanto a los dibujos adjuntos.
Según una primera encarnación de la invención, un
eje de salida rotatorio 11 es montado en un porte entre frente y platos de
parte de atrás 10a de un miembro de apoyo 10 por portes 11a, como mostrado en
Fig.1 y Fig.2. Un anillo de imanes
permanentes 13 es encajado sobre los extremos opuestos del eje de salida,
dentro de los platos de lado 10a y éstos se mueven con el eje de rotor 11. Los
imanes permanentes son magnetizados en la dirección axial. Un cuerpo magnético
14 es rígidamente montado entre cada uno de los platos de lado 10a del eje de
rotor 11 y los imanes permanentes 13. Cada uno de estos cuerpos magnéticos 14
tiene muescas alternas 14a y dientes magnéticos 14b. Debería ser notado que el
flujo de los imanes permanentes 13 pasa por los cuerpos magnéticos respectivos
14. Por ejemplo, Fig.1 muestra el cuerpo magnético 14 con tres muescas 14a y
tres dientes magnéticos 14b. Los imanes permanentes 13 y cuerpos magnéticos 14
son colocados coaxialmente con el eje de salida de rotor 11. Los imanes
permanentes correspondientes 13 y cuerpos magnéticos 14 son mostrados
relacionados juntos por cerrojos 15 para formar un rotor 12 que es atado al eje
de salida rotatorio 11.
Debería ser notado que el miembro de apoyo 10 y eje de salida rotatorio es ambo
hecho de un material no magnético. El miembro de apoyo 10 puede ser formado,
por ejemplo, de acero inoxidable, aleaciones de aluminio, o resinas sintéticas,
mientras el eje de salida rotatorio 11 puede ser formado del acero inoxidable,
por ejemplo. Así, el recorrido magnético formado por el imán permanente 13 y
cuerpo magnético a un final axial del eje de salida rotatorio 11 y el recorrido
magnético formado por el imán permanente 13 y cuerpo magnético al final axial
de enfrente del eje de salida, es independiente el uno del otro. Los cuerpos
magnéticos 14 pueden ser formados de materiales magnéticos que tienen una
permeabilidad magnética alta, como varias clases de materiales de acero, plato
de acero de silicio, permalloys, o el parecido.
El estator contiene electroimanes 16a por 16l, que son colocados entre los
platos de lado 10a. Los electroimanes son regularmente espaciados alrededor de
los pedazos magnéticos 14 de modo que ellos rodeen los cuerpos magnéticos. Como
mostrado en Fig.1, doce electroimanes pueden ser usados. El recorrido magnético
de cada uno de los electroimanes 16a por 16l es arreglado para ser
independiente el uno del otro, de modo que ningún flujo de un electroimán magnetizado
pase por los corazones de hierro de los electroimanes adyacentes.
Los corazones de hierro de los electroimanes 16a
por 16l son colocados paralela al eje de eje de rotor 11, y colocados con sólo
un hueco leve entre ellos y los cuerpos magnéticos 14.
Algunos electroimanes 16a por 16l son localizados en una posición
correspondiente a porciones divisorias 14c1 por 14c6 entre la muesca 14a y el
diente magnético 14b. Por ejemplo, como mostrado en Fig.1, los electroimanes
16a, 16b, 16e, 16f, 16i y 16j son colocados frente a las porciones divisorias
14c1, 14c2, 14c3, 14c4, 14c5, y 14c6, respectivamente.
Fig.5A muestra un camino del flujo magnético creado por el imán permanente 13
cuando los electroimanes no están excitados o magnetizados, mientras, Fig.5B muestra
un camino del flujo magnético creado por el imán permanente 13 y un camino del
flujo magnético creado por las cuerdas de los electroimanes cuando los
electroimanes son magnetizados. Como estará claro de Fig.5A y Fig.5B, ambos
caminos del flujo magnético representan una distribución unipolar en la cual
N-poste o S-poste regularmente aparecen a los finales axiales de enfrente.
Cuando los electroimanes son magnetizados, los campos magnéticos del imán
permanente y electroimanes cooperan o relacionan el uno con el otro para
generar una torsión rotatoria básicamente consiste en un recorrido de
excitación convencional para suministrar la corriente directa a cada uno las
cuerdas de los electroimanes 16a por 16l. En esta encarnación, la porción de
cambio para cambiar comida eléctrica a los electroimanes 16a por 16l incluye
una pluralidad de sensores ópticos 18 y un escudo ligero platean 19 para
cambiar los sensores ópticos Encendido y: Desconectar como mostrado en Fig.6.
Los sensores ópticos 18 son espaciados el uno aparte del otro con un espacio
entre ellos para permitir el escudo ligero platean 19 para pasar por un
elemento de emisión ligero y un elemento de recepción ligero. Los sensores
ópticos 18 son dispuestos en la superficie externa de uno de los platos de lado
10a igualmente espaciado aparte a lo largo de la circunferencia, de modo que
ellos sean colocados para corresponder a los electroimanes 16a por 16l (por
ejemplo, el sensor óptico 18 es mostrado para ser dispuesto en la superficie
externa del plato de parte de atrás). El plato protector ligero 19 es fijado al
eje de salida rotatorio 11 al final de eso, el plato protector ligero que
sobresale del plato de parte de atrás 10a en que los sensores ópticos son
montados.
Según la encarnación ilustrada, cuando un sensor óptico particular 18 es
bloqueado por el plato protector ligero 19, el electroimán correspondiente a
tal sensor óptico 18 es suministrado de la electricidad.
La operación de la primera encarnación descrita
encima será explicada en cuanto a Fig.4A a Fig.4H.
Cuando los electroimanes 16a por 16l no son suministrados de la electricidad
por medio del mecanismo de cambio de excitación 17, los electroimanes 16c, 16o,
16g, 16o, 16 kilobyte y 16l contravino a los dientes magnéticos 14b con un
pequeño hueco entre ellos simplemente sirven como un material magnético
dispuesto dentro del campo magnético del imán permanente 13 (refiérase a la
porción sombreada en Fig.4A), para absorber los dientes magnéticos 14b, y el
rotor 12 permanece inmóvil.
Cuando los electroimanes 16a, 16e y 16i colocaron
adyacente a la porción divisoria 14c1, 14c3 y 14c5 formado entre las muescas
respectivas 14a y los dientes magnéticos 14b son magnetizados o excitados
simultáneamente por medio del mecanismo de cambio de excitación, como mostrado
en Fig.4B, el campo magnético del imán permanente 13 y los campos magnéticos de
los electroimanes 16a, 16e y 16i relaciona el uno con el otro, de modo que un
flujo magnético 14o pasar por el cuerpo magnético 14 al instante converja a los
electroimanes 16a, 16e, y 16i. De esta manera, el rotor 12 es impartido con una
torsión rotatoria en una dirección en la cual el flujo magnético 14o será
ensanchado, es decir, en contrario dirección como visto en Fig.4B.
Fig.4C a Fig.4G ilustre el cambio de la anchura del flujo magnético 14o de
acuerdo con la rotación del rotor 12. Cuando la anchura del flujo magnético se
hace maximizada, es decir, cuando sólo los dientes magnéticos 14b están
opuestos a los electroimanes 16a, 16e y 16i, mientras las muescas 14a son
desplazadas completamente lejos de los electroimanes 16a, 16e y 16i, la anchura
del flujo magnético 14o es maximizada. Así, una fuerza de absorción que actúa
entre el imán permanente 13 y los electroimanes 16a, 16e y 16i es maximizada. Por
otra parte, la torsión rotatoria que actúa en el rotor 12 se hace el cero.
Antes de
que la torsión rotatoria que actúa en el rotor 12 haga el cero, es decir,
cuando la porción divisoria 14c1, 14c3 y 14c5 se acerca a otros electroimanes
16b, 16f y 16j colocado delante (en cuanto a la dirección rotatoria),
respectivamente, los electroimanes 16a, 16e y 16i son demagnetised y los
electroimanes 16b, 16f y 16j están excitados o magnetizados por medio del
mecanismo de cambio de excitación 17. Así, el flujo magnético 14o converge
hacia los electroimanes 16b, 16f y 16j, como mostrado en Fig.4H, de modo que
una torsión rotatoria actúe sobre el rotor, como descrito encima.
Entonces, los electroimanes 16c, 16g y 16 kilobyte
están excitados. Cuando la porción divisoria 14c1, 14c3 y 14c5 se acerca a
otros electroimanes 16os, 16os y 16l colocado delante con respecto a la
dirección rotatoria, en respuesta a la rotación del rotor 12, los electroimanes
16c, 16g y 16 kilobyte son de magnetizados y los electroimanes 16os, 16os y 16l
son activados o excitados.
Como explicado encima, excitación secuencial o activación de los electroimanes
16a por 16l causa la interacción entre el flujo magnético del imán permanente
13 y los electroimanes 16a por 16l, por lo cual una torsión rotatoria es
aplicada al rotor 12.
Cuando este ocurre, una torsión rotatoria es generada entre uno de los postes
magnéticos del imán permanente 13 (por ejemplo, N-poste) y los postes
magnéticos (por ejemplo, S-postes) de los electroimanes 16a por 16l colocado a
sus finales axiales respectivos. Una torsión rotatoria también es generada
entre el otro poste magnético (por ejemplo, S-poste) del imán permanente 13 y
el otro poste magnético (por ejemplo, N-poste) de cada uno de los electroimanes
16a por 16l colocado al otro final axial.
Debería ser notado que, en un poste magnético, por ejemplo el N-poste, del imán
permanente 13, cierto de los electroimanes 16a por 16l es magnetizado sólo al
S-poste, así previniendo la formación de un recorrido magnético, debido al paso
del flujo magnético de los electroimanes excitados por cualquiera de los
electroimanes adyacentes, que tiende a causar N-postes magnetically similar al
imán permanente 13. También es notado que, en el otro poste magnético, por
ejemplo S-poste, del imán permanente 13, cierto de los electroimanes son
magnetizados sólo al N-poste, así previniendo la formación de un recorrido
magnético, debido al paso del flujo magnético de los electroimanes excitados
por electroimanes adyacentes, que tiende a causar S-postes magnetically similar
al imán permanente 13. El flujo magnético del imán permanente 13 pasa por los
cuerpos magnéticos 14 para ser convergido a los electroimanes excitados
(refiérase al flujo magnético 14o mostrado en el Fig.4 por el Fig.4H), así formando
zonas muertas, por las cuales ningún flujo magnético pasa, en los cuerpos
magnéticos 14 en una posición enfrente de los electroimanes no excitados. En
consecuencia, ninguna fuerza es generada que tendería a prevenir la rotación
del rotor 12.
En vista de la energía eléctrica aplicada a los electroimanes 16a por 16l,
considerablemente toda la energía eléctrica aplicada es usada para contribuir a
la rotación del rotor 12. Por otra parte, y en vista de la energía magnética
del imán permanente 18, toda la energía magnética contribuye a la rotación del
rotor 12.
También es notado que, ya que las muescas 14a y
los dientes magnéticos 14b son alternativamente dispuestas en la periferia
externa de los materiales magnéticos 14 en una configuración de ángulo aguda
vista en Fig.4A a Fig.4H, y los electroimanes son dispuestos en una posición
cada uno correspondiente a las porciones divisorias entre las muescas y los
dientes magnéticos, es posible para la línea de la fuerza magnética, generada
en cada hueco entre las porciones divisorias y los electroimanes cuando los
electroimanes están excitados, ser inclinados a un grado sustancial, de modo
que un grado suficiente de la torsión rotatoria pueda ser obtenido sobre la
excitación inicial de los electroimanes.
El resultado obtenido durante una prueba de correr
actual del motor según la primera encarnación es mostrado en Fig.1 a Fig.3.
El acero puro fue usado como un material magnético. El material magnético era
30 mm en el grosor y se formó para tener dientes magnéticos de diámetro de 218
mm y muescas del diámetro de 158 mm. Un imán de ferrita fue usado como un imán
permanente. La fuerza magnética del imán era 1,000 gauss. La energía eléctrica
de 19.55 vatios fue aplicada a los electroimanes en 17 voltios y 1.15 amperios.
Las susodichas condiciones produjeron una velocidad rotatoria de 100
revoluciones por minuto, con una torsión de 60.52 cm de kilogramo y una salida
de 62.16 vatios.
Las encarnaciones alternativas serán explicadas abajo en cuanto a Fig.6 a
Fig.9.
La encarnación modificada mostrada en Fig.6 es similar al motor presentado como
la primera encarnación como mostrado en Fig.1 a Fig.3, a excepción del hecho
que cada electroimán 160 usado como la parte del estator, comprende 161 tener
principal de hierro un par de piernas 162 que se extienden hacia la periferia
externa de los cuerpos magnéticos (periferia externa de los dientes magnéticos
14b), cada una de las piernas que son enrollar con bobinas 163. Los componentes
restantes son básicamente idénticos a aquellos en el motor mostrado en Fig.1 a
Fig.3. En Fig.6, los componentes similares a aquellos en Fig.1 a Fig.6 son
denotados por números de referencia parecidos. Debería ser notado que cada
bobina 163 es suministrado de la electricidad de modo que una pierna 162 (lado
izquierdo en Fig.6) de cada uno de los corazones de hierro 161 es magnetizado
para ser el S-poste que es magnetically enfrente del poste magnético (N-poste)
del cuerpo magnético que encara 14, mientras la pierna 162 dispuesto al otro
final de cada uno de los corazones de hierro es magnetizada para ser el N-poste
que es magnetically enfrente del poste magnético (S-poste) del cuerpo magnético
que encara 14.
Según esta encarnación modificada, es posible reducir considerablemente la
salida del flujo magnético creado por los electroimanes 160 en huecos cada uno
definido entre las superficies de los postes magnéticos de los electroimanes
160 y las periferias externas de los dientes magnéticos 14b de los cuerpos
magnéticos 14.
Una encarnación alternativa mostrada en Fig.7 es similar al motor mostrado en
Fig.1 a Fig.8, a excepción del hecho que: un cuerpo magnético adicional 14 es
montado en el eje de salida rotatorio 11 en esto es el punto mediano axial; dos
imanes permanentes 130 son libremente montados en el eje de salida 11 en la
manera mostrada en Fig.6; y cada 165 principales de hierro son proveídos de
tres piernas 166 colocado a los finales axiales de enfrente y punto mediano de
eso y ampliando hacia la periferia externa respectiva de los cuerpos
magnéticos, con las piernas 166 colocado en extremos opuestos axiales de los
corazones de hierro respectivos 165 siendo enrollar con un bobina 167, que
forman electroimanes 164. Los componentes restantes son considerablemente el
mismo como aquellos en el motor mostrado en Fig.1 a Fig.3. Debería ser notado aquí, que el eje de salida
rotatorio 11 puede ser formado de materiales magnéticos o de materiales no
magnéticos.
Como mostrado en Fig.7, cada uno de los bobinas 167 es suministrado de la
electricidad de modo que las piernas 166 colocado a los finales axiales de
enfrente de cada uno de los corazones de hierro 164 sean magnetizadas para ser
el S-poste que es magnetically enfrente del poste magnético (N-poste) del
cuerpo magnético que encara 14. Por este, la pierna 166 colocado en el punto
mediano de los 165 principales de hierro es magnetizada para ser el N-poste que
es magnetically enfrente del poste magnético (S-poste) del cuerpo magnético que
encara 14.
En esta encarnación, es también posible, como en la encarnación modificada
mostrada en Fig.6, reducir considerablemente la salida del flujo magnético
generado por los electroimanes 164. Además de este, es también posible obtener
una torsión rotatoria entre la pierna 166 colocado en el punto mediano del
corazón de hierro y el cuerpo magnético 14 colocado en el punto mediano axial
del eje de salida rotatorio 11. En consecuencia, una torsión rotatoria más alta
puede ser obtenida con la misma cantidad del consumo eléctrico, en comparación
con la encarnación mostrada en Fig.6.
Una encarnación adicional mostrada en Fig.8 es similar al motor mostrado en
Fig.1 a Fig.3, a excepción del hecho que un imán permanente magnetizado en la
dirección radial, más bien que en la dirección axial es empleado. El imán permanente
131 de una configuración anular tiene, por ejemplo, N-poste en la periferia
externa y S-poste en la periferia interior. El imán permanente 131 es recibido
dentro de una cavidad 14e proporcionado en el cuerpo magnético respectivo 14 en
la porción intermedia de eso como dispuesto a los finales axiales de enfrente
del eje de salida rotatorio 11. Los componentes restantes son idénticos a
aquellos en el motor mostrado en Fig.1 a Fig.3.
Los componentes idénticos a aquellos en el motor mostrado en el Fig.1
aunque Fig.3 sean denotados por los mismos números de referencia. Debería ser
notado que esta encarnación también puede emplear los electroimanes 160
mostrado en Fig.6.
En esta encarnación, el eje de salida rotatorio 11 puede ser formado de
materiales magnéticos, más bien que materiales no magnéticos.
Encarnación adicional mostrada en Fig.9 es similar
al motor mostrado en Fig.1 a Fig.3, con tres excepciones. La primera excepción
es que un imán permanente magnetizado en la dirección radial, más bien que en
la dirección axial es empleado. El imán permanente 131 tener una configuración
anular tiene, por ejemplo, N-poste en la periferia externa y S-poste en la
periferia interior. El imán permanente 131 es recibido dentro de una cavidad
14e proporcionado en el cuerpo magnético respectivo 14 en la porción intermedia
de eso como dispuesto en los extremos opuestos axiales del eje de salida
rotatorio 11. La segunda excepción es
que un cuerpo magnético adicional 14 es dispuesto en el punto mediano axial del
eje de salida rotatorio 11. Finalmente, la tercera excepción es que los 165
principales de hierro son proveídos de tres piernas 166 dispuesto en los
extremos opuestos axiales y el punto mediano de eso, respectivamente, y
ampliando hacia la periferia externa del cuerpo magnético 14, con las piernas
colocadas a los finales axiales de enfrente siendo enrollar con bobinas
respectivo para formar un electroimán 164. Los componentes restantes son
idénticos a aquellos en el motor mostrado en Fig.1 a Fig.3. Los componentes idénticos a aquellos en el
motor mostrado en Fig.1 a Fig.3 son denotados por los mismos números de
referencia.
Como mostrado en Fig.9, cada bobina es suministrado de la electricidad de modo
que las piernas 166 dispuesto a finales axiales de enfrente de los 165
principales de hierro sean magnetizadas para ser el S-poste que es magnetically
enfrente del poste magnético (N-poste) del cuerpo magnético que encara 14. Por
este, la pierna 166 dispuesto en el punto mediano de los 165 principales de
hierro es magnetizada para ser el N-poste que es magnetically enfrente del
poste magnético (S-poste) del cuerpo magnético que encara 14.
Según la encarnación descrita encima, el eje de salida rotatorio 11 puede ser
formado de materiales magnéticos más bien que materiales no magnéticos. Con
esta encarnación, es posible obtener el mismo efecto que esto obtenido con la
encarnación mostrada en Fig.7.
Adelante las encarnaciones alternativas mostradas en Fig.10A a Fig.10C son
similares al motor mostrado en Fig.1 a Fig.3, a excepción del hecho que: como
las encarnaciones mostradas en Fig.8 a Fig.9, un imán permanente anular 131 es
empleado que es recibido en una cavidad 140e proporcionado en la porción
central 140 del cuerpo magnético 140; el cuerpo magnético 140 es proveído de
muescas 140a en la porción periférica externa de eso, de modo que el hueco G
entre el cuerpo magnético 140 y el electroimán se haga gradualmente más amplio
en la dirección rotatoria del rotor; y los electroimanes encarar al hueco G con
una anchura intermedia como colocado entre los electroimanes encarar al hueco G
con una anchura más estrecha y los electroimanes encarar al hueco G con una
anchura más amplia están excitados o magnetizados en una manera secuencial. Los componentes restantes son idénticos a
aquellos en el motor mostrado en el Fig.1 aunque Fig.3. En el Fig.10A al Fig.10C,
los componentes idénticos a aquellos en el Fig.1 aunque Fig.3 sean denotados
por los mismos números de referencia. En este aspecto, debería ser notado que
el número 140 de referencia indica que el flujo magnético que pasa por el
cuerpo magnético 140, para ilustrar convergió la condición de tal flujo
magnético sobre la excitación de los electroimanes.
En la encarnación Sólo descrita encima, es posible hacer girar el rotor en el
en sentido contrario al de las agujas del reloj dirección como visto en el Fig.10A,
por ejemplo, excitando los electroimanes 16a, 16o, 16g y 16j, como mostrado en
el Fig.10A, entonces, los electroimanes 16c, 16f, 16i y 16l, como mostrado en
Fig.10B, y luego los electroimanes 16b, 16e, 16o y 16 kilobyte. Según esta
encarnación, es posible obtener una fuerza rotatoria stable, así como una
torsión rotatoria más alta, aunque el número de rotaciones sea reducido en
comparación con la susodicha encarnación.
Como mostrado en Fig.10A, cuatro muescas 140a son
proporcionadas. Debería ser notado, sin embargo, que dos o tres muescas pueden
ser proporcionadas. Es también posible atar el material magnético 140 al eje de
salida rotatorio 11 en una manera excéntrica en su totalidad, sin proporcionar
muescas 140a.
Fig.11A a Fig.11H son diagramas ilustrativos mostrando a la operación de la
segunda encarnación de la invención cuando desarrollado en un tipo de motor
lineal.
Según esta encarnación, un cuerpo movible 21 es
adaptado para ser movido a lo largo de una pista lineal 20 de un tipo de
transportador de rodillos. La pista incluye un marco en cual pluralidad de
rodillos son colocados en la paralela el uno con relación al otro. Un imán
permanente 22 es montado en el cuerpo movible 21. Un cuerpo magnético 23 de una configuración
parecida a un plato es fijado al imán permanente 22 en la superficie superior,
para formar un elemento movible. Debería ser notado que el flujo magnético del
imán permanente 22 pasa por el cuerpo magnético 23. Una pluralidad de
electroimanes 25a, 25b, 25c, 25 etcétera es dispuesta encima del elemento
movible 24 a lo largo de la paralela colocada de la pista lineal el uno al
otro. Estos electroimanes constituyen un estator 25. El recorrido magnético de
los electroimanes 25a, 25b, 25c, 25, etcétera, es independiente el uno del
otro, de modo que los electroimanes sean magnetizados en una manera secuencial
por medio del mecanismo de cambio de excitación (no mostrado), para tener una
polaridad magnética enfrente del poste magnético del imán permanente 22. Los
ejes de salida de poder 21a son atados a una superficie de lado del cuerpo
movible 21.
La operación de la susodicha segunda encarnación será explicada abajo.
Como mostrado en Fig.11A, y cuando ninguna
electricidad es suministrada a los electroimanes, los electroimanes 25a y 25b
colocado Sólo encima del elemento movible 24 son sujetados al campo magnético
del imán permanente 22 (refiérase a la porción sombreada en Fig.11A). Así,
tales electroimanes magnetically absorben el cuerpo magnético 23, de modo que
el elemento movible 24 permanezca para ser parado.
Como mostrado en Fig.11B, y cuando el electroimán 25c, colocado delante con
respecto a la dirección en cual el elemento movible 24 movimientos, está
excitado, el campo magnético del imán permanente 22 y el campo magnético del
electroimán 25c relaciona el uno con el otro, de modo que el flujo magnético
23a pasar por el cuerpo magnético 23 converja al instante hacia el electroimán
25c. Por este, el elemento movible 24 es magnetically absorbido al electroimán
25c, de modo que sea movido a lo largo de la pista lineal 20 bajo la fuerza
propulsiva que actúa en la dirección en la cual la anchura del flujo magnético
23a se hace más amplia, es decir, en dirección de una señal de flecha mostrada
en Fig.11B.
Fig.11C a Fig.11E ilustre un cambio de ancho del flujo magnético 23a en
respuesta al movimiento del elemento movible 24. En el punto en el cual la
anchura del flujo magnético 23a se hace maximizada, es decir, cuando el final
avanzado del material magnético 23 del elemento movible 24 es colocado justo
antes del paso por el electroimán 25c, la anchura del flujo 23 se hace
maximizada. En este tiempo, absorción magnética que actúa entre el imán permanente
22 y el electroimán 25c se hace maximizado, pero la fuerza propulsiva que actúa
en el elemento movible se hace el cero.
Antes de que la fuerza propulsiva que actúa en el elemento movible 24 haga
completamente el cero, es decir, cuando el final avanzado del cuerpo magnético
23 del elemento movible 24 están a punto de pasar el electroimán 25, el
mecanismo de cambio de excitación es actuado para parar la excitación del
electroimán 25c y para iniciar la excitación del electroimán 25. Así, el flujo
magnético 23a converge al electroimán 25, como mostrado en el Fig.11F, de modo
que una fuerza propulsiva actúe en el elemento movible 24, como en la etapa
anterior.
Posteriormente, y en respuesta al movimiento adicional del elemento movible 24,
la anchura del flujo magnético 23a es reducida como mostrado en Fig.11G y
Fig.11H, y así una operación similar será repetida.
La excitación secuencial de los electroimanes,
como explicado encima, causa la interacción entre los campos magnéticos de imán
permanente 22 y electroimanes, por lo cual una fuerza propulsiva es aplicada al
elemento movible 24.
Debería ser notado que, cuando la polaridad magnética del imán permanente se
asume que 22 encarar los electroimanes es el N-poste, el electroimán 25c es
magnetizado únicamente para ser el S-poste, para prevenir la formación de un
recorrido magnético en virtud del paso del flujo magnético del electroimán 25c
por a los electroimanes adyacentes 25b y 25, qué formación, si esto ocurre,
tiende a hacer que la polaridad de los electroimanes fuera el N-poste idéntico
al poste magnético del imán permanente 22. En consecuencia, y en una manera
similar a esto en la primera encarnación, ninguna fuerza es generada que tiende
a interferir con el movimiento del elemento movible 24.
En la invención presente, una pluralidad de electroimanes que sirven como un
estator son tan arreglado que su recorrido magnético respectivo hace
independiente el uno del otro. Los electroimanes también son arreglados de modo
que ellos sean únicamente magnetizados o excitados para tener una polaridad
magnética enfrente del poste magnético del imán permanente que encara. Así,
cada electroimán es impedido hacerse magnetizado a la misma polaridad que aquel
del imán permanente, que puede ocurrir cuando el flujo magnético de un
electroimán particular pasa a electroimanes adyacentes. En consecuencia,
ninguna fuerza será ejercida que tiende a interferir con el movimiento
intencionado de un rotor o un elemento movible.
La energía como consiguiente, eléctrica aplicada a los electroimanes
puede ser eficazmente utilizada, mientras, al mismo tiempo, la energía
magnética contuvo en el imán permanente también poder ser eficazmente
utilizado.
La constitución de bobinas de los electroimanes es
consecuentemente suministrada de la corriente eléctrica con la misma polaridad,
sin cualquier cambio, de modo que la calefacción de bobinas pueda ser
prevenida. Adelante, es posible evitar los problemas de vibración y ruido que
podría ocurrir debido a una fuerza repulsiva generada cuando la polaridad de
una corriente eléctrica suministrada al bobinas es cambiada.
Patente WO8300963 17 de marzo 1983 Inventor: Joseph W.
Newman
SISTEMA DE GENERACIÓN DE
ENERGÍA QUE TIENE MÁS ALTO SALIDA DE ENERGÍA QUE ENTRADA
Esta patente cubre un dispositivo que es reclamado
para tener un mayor poder de salida que el poder de entrada requerido dirigirlo.
EXTRACTO
Un sistema para generar movimiento de trabajo
obvio, o energía electromagnética (los campos de la fuerza) o corriente
eléctrica que utiliza la energía electromagnética que arregla una materia y
causa una mayor salida de la energía, que la entrada inicial de medios de
energía convencionales y enseñanzas. Una primera encarnación ejemplar (Fig.1)
del generador usa un fluido contenido (117) alrededores de una serie de imanes
alineados (120); mientras una segunda encarnación ejemplar (Fig.3) usa un
material especial (201) sostenido inmóvil entre dos imanes estáticos (202,
203), el material especial que alinea sus átomos pero mantiene el campo
magnético que resulta al menos considerablemente dentro de su superficie
divisoria; mientras terceras y cuartas encarnaciones ejemplares (Fig.5 y Fig.6)
utilice bobina relativamente pesado (205) arreglado del alambre de diámetro
relativamente grande de relativamente gran longitud y número de lazos y
longitud y una relativamente pequeña activación corriente para conducir un imán
permanente que puede ser hecho girar (200).

DESCRIPCIÓN
FONDO DE LA INVENCIÓN
1. Campo de la Invención:
La invención presente está relacionada
generalmente con dispositivos o sistemas (incluso métodos) para generar la
energía utilizable como la energía por ejemplo eléctrica de campos
electromagnéticos, energía eléctrica o campos electromagnéticos de la materia,
y más en particular a dispositivos o sistemas (incluso métodos) para producir
el flujo corriente eléctrico para el uso como poder eléctrico, y campos
magnéticos de la fuerza que causan el movimiento (trabajo obvio) o flujo
corriente eléctrico o para aumentar la energía potencial electromagnética
disponible para uso o energía mecánica disponible para el uso.
2. Arte previa:
Hubo muchos dispositivos propuestos durante los
años para producir la energía eléctrica, con fricción mecánica,
thermo-electricidad, fotoelectricidad, piezoelectricity, electroquímica e
inducción electromagnética que es las formas principales de la energía primaria
capaz de producir la electricidad. De éstos, la única fuente significativa del
poder eléctrico comercial ha sido las acciones mecánicas de generadores
eléctricos, y para la energía eléctrica móvil la acción química de baterías ha
sido importante. El movimiento utilizable ha resultado de las interacciones
entre la entrada de la energía eléctrica y los campos magnéticos y/o
electromagnéticos de la fuerza (motores eléctricos) y calor o luz a
consecuencia de la entrada de la corriente eléctrica por sistemas mecánicos
convencionales, calentadores, bombillas, etc.
Todos los sistemas de arte previos son diseñados
en consecuencia a leyes matemáticas rígidas enseñadas tanto en física como
ingeniería eléctrica que coinciden con la hipótesis rígidamente aceptada por
las comunidades industriales y científicas acerca de la Segunda Ley de la
Termodinámica (1850).
Del anterior a la hipótesis generalmente aceptada
también era generalmente aceptado y rígidamente enseñado en física e ingeniería
eléctrica que la corriente eléctrica que fluye en un recorrido cerrado de una
batería, generador eléctrico, etc. es consumido en el dispositivo mecánico
hecho funcionar por este flujo de la corriente eléctrica, y que todos tales
sistemas de producción de corriente eléctrica sólo sacarían en la mayor parte
de trabajo igual al trabajo al principio puesto en el sistema, o de acuerdo con
leyes generalmente aceptadas que declaran que un sistema de generación
eléctrico particular era sólo capaz de una salida dada de la energía y no más.
Estas creencia tienen antes de que esta fecha todavía
permaneciera rígida tanto en las comunidades industriales como en científicas a
pesar de la prueba de la ecuación de Heaviside E = mC2 Los
reactores nucleares convierten la materia en la energía electromagnética
utilizable en la forma de calor, que convierte el echar agua en el vapor para
girar turbinas convencionales para la producción de la corriente eléctrica por
medios de generación eléctricos convencionales. Este sistema es la utilización
muy ineficaz menos de 1 % de la energía del átomo y producción de un diluvio de
materiales contaminados que ha causado un problema serio en cuanto a la
disposición segura.
Además, los generadores eléctricos básicos es el
uso en todo el mundo hoy utilizan el principio de causar el movimiento relativo
entre un conductor eléctrico (por ejemplo un rotor) y un campo magnético
producido por un imán o un electroimán (por ejemplo un estator), toda la
utilización de la hipótesis generalmente aceptada que los mayores la velocidad
relativa o movimiento entre los dos están preocupados y el más normal o
perpendicular el movimiento relativo del material propicio a las líneas de
fuerza del campo electromagnético, el mayor será la eficacia del generador
eléctrico de arte previo. Además, todos los sistemas de arte previos están basados
en la hipótesis generalmente aceptada esto mayor la conductividad eléctrica del
material movido por el campo, más eficiente será la generación eléctrica.
Del anterior a hipótesis generalmente aceptadas,
también era generalmente aceptado que siempre debería haber movimiento entre,
por ejemplo, el rotor y elementos de estator, y lo que sólo generalmente
aceptaba a conductores eléctricos, que es materiales con la conductividad
eléctrica alta, servirá con eficacia en un sistema de generación eléctrico.
Sin embargo, en uno de los sistemas de la
invención presente (Fig.3), la generación eléctrica puede ocurrir con elementos
relativamente estáticos y con materiales que no son generalmente pensados ser
de la conductividad eléctrica alta, aunque, por supuesto, la invención presente
igualmente pueda utilizar elementos relativamente móviles así como materiales
de la conductividad eléctrica alta generalmente aceptada, de tan ser deseada,
como ocurre en los sistemas de la invención presente ilustrada en Fig.5 y Fig.6.
El arte previa ha dejado de entender ciertos
aspectos físicos de la materia y el maquillaje de campos electromagnéticos, qué
fracaso es corregido por la invención presente.
BREVE DESCRIPCIÓN DE DIBUJOS
Para un entendimiento adicional de la naturaleza y
los objetos de la invención presente, la referencia debería ser tenida a la
descripción detallada siguiente, tomada junto con los dibujos de
acompañamiento, en los cuales como partes son dado los mismos números de
referencia y en cual:

Fig.1 es un
esquemático, vista lateral en la forma generalizada, figurativa de una primera
encarnación de un generador eléctrico basado en los principios y las pautas de
la invención presente.

Fig.2 es una vista de
primer plano en la forma general de un elemento de recogida de precio eléctrico
que puede ser usado en el generador ilustrado en Fig.1.

Fig.3 es una vista
esquemática en la forma generalizada, figurativa de una segunda encarnación de
un generador eléctrico basado en los principios y las pautas de la invención
presente.

Fig.4 es una vista
esquemática en la forma generalizada, figurativa de las partículas negativas y
positivas que exponen gyroscopic acciones que emanan de un imán para formar un
campo electromagnético.


Fig.5 y Fig.6 son vistas esquemáticas en la forma
generalizada, figurativa de terceras y cuartas encarnaciones de un generador
eléctrico combinado y motor que utiliza bobina estático, relativamente grande
activado por una conducción corriente relativamente baja de un que puede ser
hecho girar imán, en donde en la encarnación de Fig.5 el que puede ser hecho
girar imán es colocado a lo largo del lado del bobina y en la encarnación de
Fig.6 el que puede ser hecho girar imán es colocado dentro del corazón abierto
de la bobina.
DESCRIPCIÓN DETALLADA DE
PREFERIDO ENCARNACIONES:
Principios Básicos y Pautas
De acuerdo con los principios de la invención
presente y como generalmente ilustrado en Fig.3, un campo electromagnético 10
comprende flujos de quántums o partículas 20, 30 de la energía eléctrica que
fluye de cada uno de los postes 21, 31 de un imán (o electroimán) 40 al otro
poste, después "de líneas de la fuerza" 11 del campo
electromagnético. Estas partículas 20, 30, creído viajar en la velocidad de la
luz, siempre salen de un final 21, 31, respectivamente, del imán 40 y entran en
el otro poste 31, 21, respectivamente, fluyendo de una fuente de energía
relativamente alta a una fuente de energía baja.
Estas partículas 20, 30 son, creen ello, gastos
negativos y positivos y tener una vuelta que produce un gyroscopic hacen señas
y siguen las leyes mecánicas de la acción gyroscopic.
La masa de cada una de las partículas 20, 30
iguala la energía de la partícula dividida en la velocidad de la luz cuadrada.
Se cree que la velocidad periférica de la vuelta de gyroscopic de las
partículas es la velocidad de luz.
Para objetivos de la ilustración sólo y por la
nomenclatura, la partícula de precio positiva 20 entra en una dirección ('-'N
"a" S") con un dextrórsum vuelta, y la partícula de precio
negativa 30 va en dirección contraria con un en contrario vuelta. Por supuesto,
si una partícula como 20 o 30 es tirada alrededor de grados "un cien y
ochenta", esto se hace el precio de enfrente o el tipo de la partícula.
El campo electromagnético 10 es así el flujo
ordenado de los gastos positivos y negativos 20, 30 movimiento en la velocidad
de la luz del norte y polo sur 21, 31, al sur y Polos Norte 31, 21,
respectivamente, y seguir los caminos de lo que es llamado en el arte como
"las líneas de la fuerza" 11 del campo electromagnético 10.
Como es conocido de las leyes de giroscopios, una
partícula gyroscopic o movimientos de cuerpo perpendicularmente a la dirección
de una fuerza aplicada. Por lo tanto, cuando una fuerza es aplicada a las
partículas de energía eléctricas 20, 30, ellos se moverán perpendicularmente a
aquella fuerza.
También debería ser notado de conocido gyroscopic
leyes que las partículas de energía eléctricas 20, 30, cuando ellos se mueven
con su eje gyroscopic directamente en un objeto, tienden a golpear aquel objeto
directamente, pero, si aquel objeto golpea las partículas en un ángulo al eje
además de en cero o grados "un cien y ochenta", las partículas son
marchadas en un ángulo del directo.
Además, es notado que un campo magnético causado por una corriente
corriente por un alambre viene de partículas negativas y positivas, como 20,
30, con un flujo neto de tales partículas que entran en la misma dirección,
pero con la vuelta de enfrente.
En el sistema y el método de la invención presente, los principios
anteriores sirven como pautas en la invención presente.
La referencia es tenida adelante a páginas DD23
por DD27 del Documento de Revelación y a la página 8, línea 26 por la página
11, línea 23 del Número de serie de aplicación previo 25,907 y es Fig.7 a Fig.10.
De las revelaciones anteriores, muchos
dispositivos diferentes, las estructuras, y los métodos son posibles para
encarnar los principios y pautas del sistema de la invención presente, que
utilizará en general un material o la sustancia o estructurará para colocar una
fuerza en el ángulo apropiado a las partículas gyroscopic 20, 30 en donde las
partículas 20, 30 siguen un camino o caminos que no anulan el uno al otro, así
produciendo la corriente eléctrica en salidas apropiadas para el uso adicional
o para aumentar la energía eléctrica potencial disponible para el uso último.
Primera Encarnación (Fig.1)
Una encarnación posible, ejemplar usando los
principios del sistema de la invención presente es esquemáticamente mostrada en
la ilustración generalizada de Fig.1.

Como ilustrado en Fig.1, allí es proporcionado un
generador corriente eléctrico 100 comprensión de un encargado externo que aloja
115 y un interior, presión contener, cerró el alojamiento 116 apoyado allí
aislando apoyos 105. Un vacío existe en el área 106 entre los dos alojamientos
115, 116, qué vacío es regulado e inducido por medio de la línea de vacío 104
con su medida 107 y su válvula de control 108. El alojamiento externo de 115
actos como un encargado para campos magnéticos de la fuerza, y puede ser hecho
por ejemplo del hierro suave, mientras el vacío en el área 106 previene la
salida o la descarga de gastos eléctricos estáticos que podrían aumentar en el
exterior del alojamiento interior 116.
Una mezcla de gas o de gas líquida 117 que también
puede incluir partículas sólidas como la limadura por ejemplo de plomo o de
cobre, es incluida dentro del alojamiento interior de 116 alrededores de una serie
de imanes alineados 120 llevado aislando tirantes o apoya 121 y produciendo un
campo electromagnético alto, combinado. Los imanes 120, que puede ser por
ejemplo imanes criogénicos, tienen sus postes "del norte" "y del
sur" alineados (como ilustrado por el "Ns" y "Ss") de
modo que sus campos magnéticos refuercen el uno al otro.
El nivel de la mezcla de gas o de gas líquida 117
en el alojamiento 116 es regulado por medio de la línea 122 con su medida 123 y
válvula de control 124. La salida de corriente eléctrica pone instalación
eléctrica 119 son proporcionado y se extienden abajo para unirse eléctricamente
con un sistema de recogida de alambre 118 (mostrado en el primer plano en Fig.2),
que puede estar por ejemplo en la forma de muy pequeños alambres que forman una
red estrechamente espaciada o endentar o de un cuerpo metálico poroso que
conduce o hoja, localizada en y ampliado en todas partes de los 117 fluidos en
el alojamiento 116.
Es notado que un dedo de gas contiene un número
increíblemente grande de cuerpos muy diminutos que están en el movimiento
continuo, arbitrario que se mueve en muy altas velocidades. De ahí, los 117
fluidos continuamente aplica una fuerza a las partículas gyroscopic (análogo a
partículas 20, 30 de Fig.3) el movimiento en la velocidad de luz 'en el campo
electromagnético alto (producido por los imanes 120) cuando ellos continuamente
chocan el uno con el otro, que causa 117 hacerse fluido eléctricamente cobrado.
Las 117 descargas fluidas cargadas que su precio eléctrico al alambre de
recogida conecta a la red 118 colocado en el fluido, y la corriente eléctrica
tan producida y generada son quitadas para el uso vía los alambres de salida
eléctricos 119.
Como una alternativa a haber contenido
internamente imanes 120, el campo electromagnético necesario en los 117 fluidos
podría ser producido por una fuente localizada fuera de los límites de los 117
fluidos mientras un campo significativo fue producido dentro de los 117 fluidos.
Segunda Encarnación (Fig.3)
Una encarnación ejemplar, generalizada adicional
que utiliza los principios del sistema de la invención presente es mostrada en
la forma esquemática en Fig.3.
El generador corriente eléctrico 200 del Fig.3
comprenden a un miembro ampliado 201 de un material especial que tiene sus
átomos sobre todo alineados para producir la corriente eléctrica cuando
colocado en un campo electromagnético, pero que no hace en su propio objeto
expuesto ningún campo magnético sustancial fuera de sus superficies divisorias,
pero considerablemente contiene el campo dentro de sí. Este es en contraste con
materiales "magnéticos" que igualmente tienen la alineación de átomo,
pero que también exponen o producen un campo magnético sustancial en el área
que lo rodea.
El generador 200 adicional comprende por ejemplo
dos imanes 202, 203, con su norte y el enfrentamiento de polo sur, con el
miembro 201 colocado entre ellos, y con los tres elementos 201-203 sostuvo
estático el uno con respecto al otro. A causa de la naturaleza especial del
material del miembro 201 y su alineación de átomo especial, esto producirá una
corriente directa por la línea de salida 204 a consecuencia de las acciones
gyroscopic de las partículas del campo electromagnético 205 producido por los
imanes que se vuelven 202, 203, en los átomos sobre todo alineados en el
miembro 201, qué fenómeno ocurre aun cuando y aunque el miembro 201 sea
completamente estático con respecto a los imanes 212, 203.
Sin embargo, puede ser deseable en algunas
aplicaciones para permitir o producir un poco de movimiento relativo entre los
elementos de generador 201-203. La línea de salida 204 se extiende "a una
carga" apropiada 206 para usar la corriente eléctrica generada por el
generador 200. Una línea de vuelta 207 completa el recorrido atrás al miembro
201.
Basado en experimentos hasta ahora, se cree que el
latón y el plomo son materiales que pueden hacer alinear sus átomos sobre todo
para relacionarse con las partículas gyroscopic (análogo a partículas 20, 30)
fluyendo entre los imanes 202, 203 y contendrán considerablemente dentro de sus
límites superficiales el campo magnético producido por los átomos alineados o
moléculas.
Con respecto a la producción del material
apropiado con la alineación de átomo para el miembro 201, es notado que la
mayor parte de materiales parecen alinear sus átomos en direcciones arbitrarias
cuando formado por métodos convencionales de la producción. Sin embargo, puede
ser observado que los ciertos materiales pueden ser hechos magnéticos poniendo
el material en un campo electromagnético refrescando de una temperatura de
alrededor de mil grados Centígrados. El magnetismo es el resultado de la
alineación de átomo del material en una dirección dada (ver páginas DD19 por
DD21 del Documento de Revelación)
Basado en experimentos hasta ahora, se cree que el
latón y el plomo son materiales que pueden hacer alinear sus átomos sobre todo
para relacionarse con las partículas gyroscopic (análogo a partículas 20, 30)
fluyendo entre los imanes 202, 203 y contendrán considerablemente dentro de sus
límites superficiales el campo magnético producido por los átomos alineados o
moléculas. Todos los materiales son
afectados para alinear la paralela o a través de líneas de la fuerza cuando en
un campo electromagnético poderoso. En consecuencia, si un material siendo
formado es refrescado en un campo electromagnético muy poderoso, los átomos del
material tomarán una alineación particular. La dirección de alineación de átomo
podría ser variada según si el campo electromagnético fue alineado con el
material o en un noventa ángulo de grado al material. Este causaría los átomos
de un material que tiene su dirección de vuelta electromagnética particular
principalmente a lo largo del mismo eje.
Sin embargo, la alineación de átomo que tiene
simplemente no es suficiente. Además el material para la invención debería ser
tal que esto expone muy poco si cualquier campo magnético en el área que lo
rodea. Así debería ser notado que el campo electromagnético exterior que ocurre
de la alineación de átomo del imán convencional no es duplicado en el material
de la invención, porque la energía electromagnética que resulta de la
alineación de átomo en el material de la invención estará contenida
principalmente dentro de los límites del material se cree que el plomo, hizo
superpropicio por la inmersión en un baño de helio por ejemplo líquido, es un
material tan especial y podría servir por ejemplo como el material para el
miembro 201.
Este entonces causa tener un material que
colocaría una fuerza en el ángulo apropiado en las partículas de tipo de
gyroscopic que se mueven en el campo electromagnético para hacer que un EMF
fuera producido aun cuando el material se quedaba quieto. (Ver también el
primer párrafo de la página DD23 y párrafos cuatro, un por E, de la página DDl9
del Documento de Revelación).
Se cree que las presiones altas, contenidas, así
como otros métodos, también pueden producir probablemente la alineación de
átomo como los átomos de un conductor o cualquier material reaccionará a la
fuerza externa suficiente. (Ver el primer párrafo de la página DD35 del
Documento de Revelación). Esta posibilidad también es indicada por el hecho que
con fuerza llama o los impactos van a demagnetise un imán.
El procedimiento apropiado de la producción
material en el alcanzamiento de la alineación de átomo con campos internamente
contenidos de la fuerza causará la liberación controlada de la energía
eléctrica en campos electromagnéticos de la fuerza cuando el material de la
invención es colocado en las líneas de fuerza del campo electromagnético.
Terceras y Cuartas
Encarnaciones (Fig.5 y Fig.6)
A. Principios Relacionados
1. Las numerosas
pruebas científicas y los experimentos hechos por el inventor indican que el
campo magnético que resulta de una corriente corriente eléctrica por un
conductor es el resultado de la alineación de átomo dentro de aquel conductor
en una muy alta velocidad con una capacidad de invertir la alineación de átomo
como rápidamente sin la histéresis magnética asociada con materiales
convencionales consideró "magnético". Antes de este tiempo ha sido
creído y enseñado por la comunidad científica que el campo magnético asociado
con una corriente eléctrica que lleva al conductor era el resultado de la
corriente eléctrica sí mismo y no del material de conductor, por ejemplo cobre,
que fue pensado ser "no magnético". Incluso influyeron en el inventor
y engañar por estas enseñanzas e intentado para explicar mecánicamente y
justificar las enseñanzas previas, como es visto en la página DD-27 del
Documento de Revelación que es una parte importante de esta aplicación evidente.
Sin embargo, como enseñado en la invención
presente, lo que mecánicamente pasa es que las partículas gyroscopic que
arreglan la corriente eléctrica que se mueve en un conductor se relacionan con
el maquillaje electromagnético de los átomos del conductor, haciéndolos
alinearse sumamente rápidamente, así luego liberando un poco de su maquillaje
electromagnético en la forma de un campo magnético exactamente como explicado
en el gran detalle para materiales magnéticos convencionales en el Documento de
Revelación.
Este es fácilmente probado y entendido tomando por
ejemplo, un conductor de 14 medida de tamaño de un pie de largo, girándolo en
un bobina y uniendo el bobina a un metro y una batería de 1.5 voltios. La
corriente total registrada en el metro será 1.5 amperios y la fuerza del campo
magnético creado del conductor corto será muy pequeña. Después, el mismo tipo
de la prueba es dirigido otra vez pero con la longitud del conductor aumentó a
por ejemplo dos mil pies, pero todavía en un bobina. La corriente total
registrada en el metro será ahora bastante menos, pero la fuerza del campo
magnético emitido del conductor será muy grande ahora!
¡Este muestra que el campo magnético no es del
flujo de corriente eléctrica, pero es el resultado de las interacciones de las
partículas gyroscopic que arreglan la corriente eléctrica que se relaciona con
los átomos del conductor! Este hace que las partículas gyroscopic de la
corriente eléctrica no sean capaces de hacer el recorrido atrás a la batería
tan rápidamente, y por lo tanto el metro muestra menos corriente usado.
El campo magnético es el resultado de la
alineación de átomo del conductor. Más átomos en un conductor (hasta un punto),
más fuerte el campo magnético produjo de una cantidad dada de la entrada de
corriente eléctrica. Otra vez, este es probado cambiando el diámetro de los
alambres de conducción, y, con las longitudes que son el mismo, el campo
magnético más fuerte resultará del conductor con el diámetro más grande. La
razón de este es que allí más conducen átomos para relacionarse con las
partículas gyroscopic de la corriente eléctrica que se mueve por el conductor,
que causa un mayor número de conducir átomos alineados, así luego liberando un
poco de su maquillaje electromagnético, exactamente como ha sido explicado en
el gran detalle en el Documento de Revelación como posible para toda la materia.
Si el campo magnético producido estuviera
estrictamente basado en la cantidad de corriente pasando por un conductor, como
enseñado en el arte previa, entonces el campo magnético más fuerte resultaría
cuando corriente fue por un diámetro grande y conductor de longitud corto,
porque el flujo corriente por el recorrido entero es el mayor entonces. Sin
embargo, los experimentos demuestran esto más corto un conductor es hecho,
mayor el flujo corriente por el recorrido entero y menos fuerza del campo
magnético que rodea a aquel conductor. Más largo que mismo conductor es hecho
(hasta un punto), mayor el campo magnético que rodea la masa total del
conductor y el menos corriente que hace el recorrido completo del sistema
entero. ¡Razón: más átomos!
2. Las numerosas
pruebas científicas y los experimentos hechos por el inventor también indican
que el campo magnético creó cuando unos movimientos de corriente eléctrica en
un conductor no consumen la energía mensurable realizando el trabajo obvio o no
obvio, la fuerza o el poder. Este es verdadero no importa como fuerte o que
inmenso el poder del motor o electroimanes es.
Razón: el campo magnético que viene del conductor
es el resultado de la alineación de átomo muy rápida dentro de aquel conductor.
¡Por lo tanto la energía en el campo magnético es la energía que arregla los
átomos del conductor! Esta energía es literalmente la ecuación de Heaviside de
E = mC2, y por lo tanto se cree que la energía se mueve en la
velocidad de luz.
Este uso de energía no puede ser medido por
instrumentos de medida de hoy. ¡Este ha sido explicado en el gran detalle en el
se cree que el Documento de revelación y es verdadero de toda la materia!
3. El mismo es
verdadero para la corriente eléctrica que viene de una batería convencional.
¡La energía electromagnética que viene de la batería es la energía que arregla
los átomos del material de la batería! Otra vez este uso de energía no es
mensurable por instrumentos de medida de hoy. Los metros eléctricos de todos
los tipos son dispositivos simplemente mecánicos que miden la cantidad de
corriente eléctrica que entra en aquel instrumento. Ellos no miden la cantidad
de masa que ha sido convertida en la energía electromagnética.
Las enseñanzas presentes en la ciencia declaran
que la energía eléctrica que fluye de una batería es consumida en el
dispositivo hecho funcionar por aquel flujo de la corriente eléctrica. ¡Esto no
es cierto en absoluto! La energía electromagnética liberada del maquillaje de
átomo de una batería tiene una capacidad relativamente infinita para hacer el
trabajo obvio, la fuerza, o el poder.
Este es fácilmente probado hasta con un pequeño
motor y una batería de 1.5 voltios. Con una batería relacionada con el motor
para hacerlo funcionar y con un metro para tomar lecturas, el motor es
físicamente parado entonces de dar vuelta por físicamente sosteniendo o
reteniendo el eje. En aquel momento el motor no realiza ningún trabajo obvio,
fuerza o poder, pero el metro registrará un mayor flujo de corriente. Los
imanes del motor pueden ser sacados y la lectura todavía será el mismo. Si la
corriente eléctrica fuera usada para hacer funcionar el motor, el metro se
registraría más corriente cuando el motor corría.
La corriente eléctrica no sólo hará funcionar el
motor, pero, una vez que esto fluye por el recorrido completo atrás a la
batería, esto también hace el trabajo adicional basado en las Leyes de Faraday
de la Electrólisis dentro de la batería sí mismo. Lo que ha pasado es que la
energía electromagnética liberó de los átomos del material de la batería una
vez que ellos han completado el recorrido, luego toman "un corte
corto" y mueven pedazos grandes de la masa de un material de la batería al
otro material de la batería. El inventor ha declarado y ha mostrado en todas
partes del Documento de Revelación que el efecto de gravedad era el efecto no
obvio de la energía electromagnética. Una
vez que los materiales de la batería se han combinado, el deseo extremo de los
dos materiales para combinarse es físicamente reducido. Estos materiales
intentarán esta fusión de todos modos posible y, si la corriente eléctrica al
principio liberada de una batería no es permitida por mecánico piensa completar
el recorrido atrás dentro de sí, la energía electromagnética entonces en los
medios mecánicos va a permanentemente (en un sentido relativo, teórico)
realizan el trabajo obvio, la fuerza o el poder. La razón: la fuerza que inició
este flujo de corriente (el maquillaje electromagnético de átomos del material)
es la constante, similar a la presión hidráulica, con la excepción sensible que
esto mueve es creído en la velocidad de luz y se relacionará con el maquillaje
electromagnético de los átomos de otros materiales, haciéndolos liberar un poco
de su maquillaje electromagnético en la forma de un campo magnético. Este
entonces múltiplos la capacidad para hacer trabajo obvio o no obvio, fuerce o
poder, que puede reaccionar entonces con otra conducción bobina o con la
energía electromagnética dentro del campo magnético de un imán convencional y
multiplicar este efecto hasta adelante, y sin cesar y en para una fuente
relativamente ilimitada de la energía.
El mismo es verdadero en no dejar a la corriente
regresar a un generador convencional. Si un medio mecánico es establecido de
modo que la corriente eléctrica sea "atrapada", sin completar un
recorrido, las partículas gyroscopic de la corriente tienen una capacidad para
el trabajo continuo sin aumentar la entrada de poder en el sistema de
generador. Sin embargo, si el recorrido es completo y la corriente eléctrica
que se mueve en el sistema no hace absolutamente ningún trabajo obvio, poder o
fuerza, las partículas gyroscopic que arreglan la corriente en el regreso al
generador aumentarán entonces la necesidad de más entrada de poder en el
sistema. Razón: el efecto contrario de campos magnéticos como definido en la
Ley de Lentz. Esta ley es simplemente una observación de este efecto, que antes
nunca ha sido totalmente entendido.
4. Las numerosas
pruebas científicas y los experimentos hechos por el inventor también indican
que hay una correlación entre la orientación de vuelta electromagnética de los
átomos de no conductores, semiconductores, y conductores, y los resultados
variantes conseguidos con una corriente eléctrica en el intento de moverse por
estos materiales, o moviendo estos materiales por un campo magnético que
intenta inducir la corriente eléctrica. La propiedad de resistencia al
movimiento de corriente eléctrica está hablando en general el mismo factor de
tipo ya explicado encima para la corriente eléctrica que produce un campo
magnético moviendo en un conductor.
Las partículas gyroscopic en una corriente eléctrica
móvil se relacionan con los átomos del material por el cual la corriente se
mueve. Cada átomo sólo puede relacionarse eficazmente con la cantidad máxima
exacta del sol de la corriente eléctrica, y, de ser excedido, hay una
interrupción del movimiento ordenado. Entonces el ángulo de liberación de las
partículas gyroscopic de los átomos es tal que la liberación electromagnética
de aquellos átomos está en la forma de calor, exactamente como explicado en el
gran detalle en el Documento de Revelación. Este efecto es fácilmente observado
por el hecho que la resistencia se disminuye con relación a un aumento del
corte transversal del material. Razón: simplemente, más átomos dentro de
aquella área dada, y, para una entrada fija de la corriente eléctrica, hay más
átomos para recibir y relacionarse eficazmente con el gyroparticles la
composición de la corriente eléctrica.
Otra vez el mismo es verdadero para resistencias
diseñadas para producir deliberadamente el calor. Tales resistencias no son
materiales que son considerados a conductores buenos de la corriente eléctrica.
Es declarado y mostrado en el gran detalle en el Documento de Revelación que la
orientación de vuelta electromagnética de los átomos de un no conductor es
diferente de aquel de átomos de conductor, y los resultados por lo tanto
diferentes ocurrirán de las mismas entradas de la energía electromagnética.
Este es fácilmente visto por el hecho que, en una
resistencia, para una cantidad dada de la entrada de corriente eléctrica, la
emisión de calor aumenta como los aumentos de diámetro. Lo que esto significa
es que la propiedad de resistencia se ha disminuido. En un conductor esto es
sólo la parte de enfrente. Si el diámetro es aumentado la resistencia es
disminuida, pero la emisión de calor también . Otra vez, este es una indicación
que los gyroparticles en el movimiento de corriente eléctrica se relacionan con
cada átomo del material. Este mismo efecto se revela otra vez en la inducción
eléctrica convencional de un conductor que se relaciona con un campo magnético.
Los experimentos por el inventor han indicado que la propiedad de la inducción
convencional es el resultado de la misma propiedad de la resistencia.
Si uno aumenta el diámetro de un conductor,
longitudes que se quedan el mismo, uno disminuye la cantidad de corriente
eléctrica producida con relación al número total de átomos dentro de los
conductores en la consideración. O, si uno toma un número dado de alambres del
mismo diámetro y longitud, y mueve un imán a través de ellos, la corriente
producida será bastante menos, que si uno tome el mismo alambre de diámetro,
pero sólo un alambre, y aumente su longitud bastante y luego lo forme en un
bobina formación del mismo número de alambres en cualquier lado y luego mueva
el mismo imán a través de sólo un lado de esto bobina, la corriente eléctrica
generada será bastante mayor entonces. Razón: la propiedad de resistencia.
Este es el efecto mecánico dentro del maquillaje
electromagnético gyroscopic y la orientación de los átomos de todos los materiales
que tienen la capacidad mecánica de realizar una tarea dada eficazmente hasta
un punto acerca de la entrada de la energía electromagnética adicional y luego
mecánicamente causa resultados variantes una vez que este umbral es excedido..
B. Prototipos Trabajadores
Fig.5 y Fig.6 ilustre prototipos ásperos,
trabajadores de este aspecto de la invención. Estas encarnaciones son
prototipos sólo relativamente ineficaces construidos a mano para la
demostración de la invención. Debería ser evidente que los prototipos, por
varios medios mecánicos y diseños, pueden ser fácilmente hechos muy eficientes
y las encarnaciones ilustradas están siendo presentadas sólo para objetivos
generales, figurativos.
Como es ilustrado en Fig.5, allí es proporcionado
un generador corriente eléctrico combinado y un motor electromagnético que
comprende un rotatably imán montado, permanente 200, una batería 201, cepillos
y conmutador 202, portes 203 y poder, montando el eje 204, y una producción
primera, primaria, magnética bobina 205 y una producción eléctrica segunda,
secundaria bobina 206. Dos bobinas 205, 206 son yuxtapuestos juntos en la
disposición paralela con líneas de centro principales concurrentes, con el imán
200 colocado al lado de bobina 205 en o cerca de su línea de centro principal
con el eje rotatorio del eje 204 colocado ortogonalmente a la línea de centro.

En los prototipos una muy pequeña batería 201, por
ejemplo, el tamaño "N", de 1.5 voltios es usado. Cuando el recorrido
es completado, la batería 201 convierte una cantidad inmensurable de su masa en
la corriente eléctrica (gyroscopic partículas que se mueven en la velocidad de
la luz) que sale por el comunicador y cepilla 202, y luego entra en el
conductor de producción magnético bobina 205 hecho, por ejemplo, del alambre de
cobre de 14 medidas o de 15 medidas aislado, con el peso total del bobina 205
siendo por ejemplo setenta a noventa libras. Este hace que los átomos de bobina
205 alineen muy rápido entonces la liberación de un poco de su maquillaje electromagnético
(gyroscopic partículas) en la forma de un campo magnético. Este campo entonces
se relaciona con las partículas gyroscopic que arreglan el campo magnético que
viene de los átomos del material del imán permanente 200.
Este hace que el imán 200 intente alinear su
movimiento de campo magnético con el movimiento de campo magnético que viene de
los átomos de bobina 205, causando la rotación del imán 200 y el eje 204 a que
es atado. Este entonces cambia la posición del conmutador y cepilla 202 con relación
a posiciones iniciales de cada uno, que entonces hace que la corriente
eléctrica que viene de la batería 201 vaya en dirección contraria en bobina
205, causando los átomos de bobina 205 a sumamente rápidamente revés su
alineación y la polaridad de su campo magnético que ellos emiten. El campo
invertido entonces se relaciona otra vez con el campo magnético del imán
permanente 200, haciéndolo girar adelante.
Este proceso es continuamente repetido entonces,
produciendo la rotación continua del eje 204 que puede ser usado como una
fuente del poder de motivo de muchos modos diferentes. Un cinturón de poder
hace girar 207 por ejemplo utilización de un continuo "V" el cinturón
es ilustrado como una representación general de esta fuente de alimentación de
motivo para producir el trabajo útil, obvio. En una prueba de prototipo
dirigida con pequeños 1.5 voltios, escriba a máquina la batería "N",
el eje 204 y el imán 200 - hecho girar en una alta velocidad durante
aproximadamente doce horas antes del agotamiento. Mejorando los rasgos de diseño particulares
del prototipo y usando baterías durables más largas, el tiempo de rotación del
eje 204 puede ser enormemente aumentado a un punto teórico que se acerca
"perpetuo" para todos los objetivos prácticos. Al mismo tiempo el
campo magnético alternador producido por el bobina 205 induce en bobina 206
inducción eléctrica, que entonces hace que bobina 206 produzca una corriente
alterna a través de su "carga", que corriente puede ser hecha para
exceder la salida convencional de la batería 201. La fuente de batería 201
puede ser sustituida cuando necesario.
Es muy importante entender que, más largo la
longitud de la conducción ponen instalación eléctrica en bobina 205, más fuerte
será el campo magnético producido y menos corriente eléctrica que completará el
recorrido y regresará en la batería y destruirá la fuente mecánica de la
corriente eléctrica. Este efecto puede ser aumentado adelante aumentando el
diámetro del alambre de conducción en bobina 205 y luego enormemente aumento de
su longitud todavía adelante en el bobina.
Razón: las partículas gyroscopic que arreglan la
corriente eléctrica se relacionan con los átomos de bobina 205. Más átomos en
bobina 205, con relación a esto es la longitud, más largo esto toma el gyroparticles
de la corriente eléctrica para influir en ellos y la salida a partir del otro
final del bobina. Es fácilmente visto entonces esto si la dirección de la
corriente corriente en bobina 205 es invertida entonces, este aumentos entonces
adicionales el tiempo de retraso. Razón: las partículas gyroscopic tienen la
apatía y son creídas moverse en la velocidad de luz y ellos se relacionan con
las partículas gyroscopic que arreglan los átomos de la conducción bobina 205.
Estos átomos también tienen la apatía, y cuando la dirección de los corrientes
en bobina 205 es invertida, la corriente entrante entonces choca con la
corriente ya en bobina 205 yendo en dirección contraria.
Este causa una breve vacilación durante el tiempo
se obliga que la corriente ya en el bobina invierta su dirección, así luego
invirtiendo la dirección de los átomos dentro de bobina 205 en que han influido
ya para hacerse alineados. Este causa una fuerza constante en todas partes del
recorrido, pero no permite muchísimo corriente regresar en la batería 201 para
destruir los medios mecánicos que iniciaron la liberación de la corriente
eléctrica en primer lugar.
Por lo tanto, debería ser entendido adelante que,
más rápido la dirección corriente pone marcha atrás en el bobina 205, más
eficazmente la materia de la batería 201 es convertida en 2 energía eléctrica
pura (E = mC2), sin la destrucción de la situación mecánica que
inicia la liberación corriente eléctrica.
Es también importante entender esto, más fuerte el
campo magnético que viene de la masa de imán 200, mayor será su velocidad
rotatoria. Además, mayor el campo magnético que viene de la masa de bobina 205,
mayor será la velocidad rotatoria del imán 200, y, hasta un punto, mayor la
entrada de corriente eléctrica de la batería 201, mayor la velocidad rotatoria
del imán 200.
Razón: mayor el flujo de corriente eléctrica en
bobina 205, mayor será el porcentaje de los átomos que arreglan bobina 205 que
son alineados. Este probablemente tiene la misma relación que hace el
alcanzamiento de la alineación de átomo en materiales magnéticos
convencionales. Una vez que la alineación de átomo completa es alcanzada en
bobina 205, ninguna cantidad de los corrientes hará que aquellos átomos
aumenten la fuerza de la emisión de campo magnético de aquellos átomos.
Por lo tanto, debería estar claro que, para un
dado introducido de la corriente eléctrica de la batería 201, el diseño más
eficiente es el que en el cual en la mayor parte de átomos de bobina 205
influye a la alineación de átomo aquella corriente eléctrica dada, el que
significa el aumento del diámetro y la longitud del alambre de conducción de
bobina 205 al punto que la fuerza del campo magnético producido es suficiente
para causar la rotación del imán 200 a una velocidad que no permite ninguno o
al menos muy poco de el la corriente eléctrica que al principio viene de la
batería 201 para completar el recorrido y regresar en la batería 201 y destruir
o reducir el efecto mecánico que indujo la conversión de la materia de la
batería 201 en la corriente eléctrica en primer lugar. Otra vez este efecto
deseado puede ser aumentado aumentando la fuerza del campo magnético emitido
por los átomos del imán permanente 200.

En la segunda encarnación de prototipo de Fig.6, la
estructura y la operación del prototipo son considerablemente idénticas a aquel
de Fig.5 con la excepción principal que es de que el imán 300/eje 304 elementos
(y subelementos relacionados 302, 303 y 307) es colocado dentro y dentro del
corazón de la primaria bobina 305, comparando con la colocación del imán
200/eje 204 elementos al lado de y a lo largo del lado del bobina 205
Fig.5. Por lo tanto, para la brevedad,
una descripción detallada de los elementos de Fig.6 no será repetida, pero es
notado que la correspondencia y los elementos análogos y los subelementos son
de manera similar numerados en Fig.5 y Fig.6.
Es también importante acentuar otra vez el hecho
que el prototipo diseña mostrado son presentados simplemente para demostrar el
exactitud de la invención, y debería estar claro que la invención puede ser
hecha sumamente más eficiente utilizando todo el campo magnético producido por
bobina 205 y diseñando el imán 200 de una forma y fuerza que eficazmente se
relaciona con la mayoría de los campos magnéticos de bobina 205. Los prototipos
ilustrados son relativamente muy ineficaces en este aspecto, pero aún así, los
resultados de la invención sí mismo enormemente exceden el arte previa al uso
de la corriente eléctrica de cualquier fuente e interacción con un motor
eléctrico o independientemente del trabajo fue convencionalmente realizado.
¡El candidato siente que es muy importante
acentuar otra vez, en el edificio de muchos diseños variantes de esta
invención, la consideración debe ser dada al hecho que la Energía en el campo de
la fuerza de cualquier imán de tipo es la Energía que arregla los Átomos del
material del cual esto viene! Esta Energía es una verdadera Entidad con, creen
ello, una acción gyroscopic. Esto es literalmente la Ecuación de Heaviside de E
= mC2 y se cree que estos movimientos de Energía en la velocidad de
luz y arreglan toda la Materia. Y que esta Energía tiene un efecto de presión
constante atrás a los Átomos del material del cual esto vino, similar a la
presión hidráulica. Este efecto es además más totalmente entendido declarando
los resultados siguientes obtenidos de la experimentación por el candidato en
el proceso de esta invención.
a) Cuando el sistema
es al principio atado a un tamaño de 1.5 voltios N Batería 201 o 301 y el imán
200 o 300 y las entidades de rotación relacionadas son colocadas cerca de o en
el centro de bobina 205 o 305, los resultados siguientes son observados:
Si la corriente eléctrica producida en bobina 206
(306) es alimentada entonces atrás en bobina 205 (305) de acuerdo con la polaridad
apropiada, la velocidad de rotación del imán 200 o 300 acelerará entonces. De
ser alimentado atrás en bobina 205 (305) en la polaridad incorrecta, la
velocidad de rotación del imán 200 (300) reducirá la velocidad.
¡Este demuestra que la fuerza total de bobina 205
(305) la interacción con el imán 200 (300) es mayor cuándo la energía eléctrica
de bobina 206 (306) es alimentada atrás en bobina 205 (305), luego cuando sólo
la energía eléctrica inicial de la batería 201 (301) es alimentada en bobina 205
(305)! Cuando dos o tres baterías están eléctricamente relacionadas juntos en
serie, para crear por ejemplo tres o cuatro voltios y medio de la entrada
eléctrica, este efecto es multiplicado. Recuerde, hasta un punto, mayor la
entrada eléctrica, mayor el porcentaje de la alineación de átomo dentro de
bobina 205 (305).
¡Este adelante demuestra que la corriente eléctrica producida en bobina 206
(306) es un resultado de las partículas gyroscopic de la Energía liberada de
los campos magnéticos que vinieron del maquillaje Electromagnético de los
átomos de bobina 205 (305), y no son la parte de la Energía Eléctrica inicial
liberada de los átomos que arreglan los materiales de la batería 201 (301)! El
bobina 206 (306) puede ser tomado del sistema, o su corriente eléctrica
alimentada lejos del sistema, y la velocidad rotatoria del imán 200 (300) no va
a observably el cambio. ¡Sin embargo, la velocidad rotatoria del imán 200 (300)
se cambiará perceptiblemente cuándo la corriente eléctrica de bobina 206 (306)
es alimentada atrás en bobina 205 (305)!
Now a different result:
b) Cuando la
corriente eléctrica de la batería 201 (301) se hace más débil al punto que el
campo magnético que viene de bobina 205 (305) ha debilitado y ha encogido el
permiso del campo magnético del imán rotativo 200 (300) para ampliar e inducir
luego perceptiblemente la corriente eléctrica en bobina 206 (306) y en bobina
205 (305), luego pone marcha atrás los resultados son observados. ¡Cuándo el
campo magnético del bobina 205 (305) es grande, entonces el campo magnético del
imán 200 (300) es retenido! Si bobina 206 (306) es circuited entonces corto, la
rotación del imán 200 (300) reducirá la velocidad perceptiblemente.
Si la corriente eléctrica de bobina 206 (306) es
alimentada atrás en bobina 205 (305) en la polaridad incorrecta, la rotación
del imán 200 (300) se parará. De ser alimentado atrás en bobina 205 (305) en la
polaridad correcta, la rotación del imán 200 (300) reducirá la velocidad. ¡En
aquel punto, la rotación del imán 200 (300) no acelerará, no importa cómo se
unió!
Estos resultados muestran que, en este tiempo, el
campo magnético del imán 200 (300) perceptiblemente induce una corriente en
bobinas 206 (306) y 205 (305) que se opone a la rotación del imán 200 (300).
Este efecto ha sido mecánicamente explicado ya, y ha sido mostrado la Ley de
aquel Lenz era simplemente una observación de aquella explicación mecánica.
Estos resultados adelante demuestran que la ampliación y los campos magnéticos
que sufren un colapso de bobina 205 (305) y 206 (306) no efectúan
perceptiblemente el uno al otro perjudicialmente.
¡Como los campos magnéticos que resultan de todo
el bobinas son los resultados de la alineación de átomo fluctuante dentro del
bobinas! Recuerde, las partículas de energía gyroscopic que arreglan los campos
magnéticos tienen un efecto de presión hidráulico atrás a los átomos de los
cuales ellos vinieron. ¡También recuerde que los átomos que arreglan el
material del imán permanente 200 (300) son inmóviles en cuanto a la dirección
de alineación de átomo! Por lo tanto, el efecto de presión que resulta de un
campo contrario que el imán 200 (300) inducido, es inmediato. Como es la
Presión Hidráulica.
Sin embargo, el campo magnético emitido de los
átomos de bobina 205 (305) con relación a la inducción en los átomos de bobina
206 (306) fluctúa y del paso, tan hablar, y por lo tanto, en la armonía el uno
con el otro. El efecto de presión de la inducción de bobina 205 (305) en bobina
206 (306) es un efecto de reacción y acción que refuerza la acción que tira de
los átomos de bobina 205 (305) y atrás en los átomos de bobina 206 (306).
Esta acción es otra vez vista cuando la invención
es enganchada en la corriente alterna de ciento quince voltios, y la batería
201 (301) no es usada. El imán 200 (300) no girará aunque el campo magnético de
bobina 205 (305) sea fuerte y alterne. Razón: el campo magnético fluctuante es
tan rápido, que la masa de apatía del imán 200 (300) no puede ser comenzada en
una dirección antes de que el campo magnético de bobina 205 (306) haya puesto
marcha atrás, así, causando el imán 200 (300) vibrar sólo microscópicamente en
sesenta ciclos por segundo. Y, si un sesenta bulbo de vatio es enganchado en el
sistema de bobina 205 (306), esto sólo se encenderá débilmente. Y hay un tiempo
de retraso de dos a tres segundos antes de que esto se encienda hasta
débilmente.
Si entonces bobina 206 (306) es enganchado a un
metro, hay una lectura de cuarenta y nueve voltios, y si el metro es sustituido
por otro sesenta bulbo de vatio esto se encenderá sólo sumamente débilmente.
¡Sin embargo, el sesenta bulbo de vatio enganchado a bobina 205 (305) se hará
ahora perceptiblemente más brillante! Este otra vez muestra que los resultados
de reacción y acción de los átomos del bobinas no son perceptiblemente
perjudiciales el uno al otro. A causa del tiempo de retraso (de paso, tan
hablar), causando refuerzo de la alineación de átomo que tira del bobinas.
De esta explicación adicional de la invención se ve que los resultados
deseables pueden ser obtenidos por el siguiente:
Por ejemplo, en el Fig.6 el imán 300 puede ser de
un diseño y/o ser localizar a una distancia del diámetro interior de bobina 305
y bobina 306, por lo cual la mayoría del campo magnético del imán 300 no cortó
los lazos de conducción de bobina 305 o 306. ¡Aún el campo magnético alternador
producido por bobina 305 debería tener eficazmente la mayoría de sus partículas
gyroscopic que se relacionan con la mayoría de las partículas gyroscopic que
arreglan el campo magnético del imán permanente 300, pero directamente no
reaccionando con los átomos que arreglan bobina 305, o imán 300!
Cuando las líneas magnéticas de la fuerza del imán
200 (300) cruz perpendicularmente con los alambres de conducción de bobina 205
(305), 206 (306), incurren en una acción que frena. Debería ser notado que,
como el diámetro interior de bobina 205 (305) aumentos, el porcentaje del
tiempo del efecto que frena se disminuye.
A lo largo de esta misma línea de la instrucción,
el conmutador segmenta 202 (302) puede ser hecho de un diámetro grande y el
área de cepillos hizo pequeño, por lo cual, cuando la transición de cepillos
los huecos en los segmentos de conmutador, no habrá ningún cortocircuito en
cualquier momento directamente atrás a la batería 201 (301).
Combinando los anillos de resbalón y cepillos (los
anillos de resbalón pueden ser hechos de un pequeño diámetro) al lado o los
lados de los cepillos y conmutador segmenta 202 (302), entonces la batería 201
(301) no tiene que girar con el imán 200 (300).
La 14 medida y la 15 medida aislaron el alambre de
cobre que pesa setenta y noventa libras respectivamente (31.5 kilogramos y 40.5
kilogramos) usado para el motor bobina 205 (305) y el generador los bobina 206
(306), respectivamente, en los primeros prototipos hechos a mano de las
encarnaciones de Fig.5 e Fig.6, para objetivos de demostración sólo, vienen a
cubos estándares de pesos variantes de salidas al por mayor.
Era entonces enrollar en bobinas tan mostrado, y,
como enseñado, más alambre de conducción usado, mejor los resultados. Los
imanes 200 y 300 eran cada uno al principio sobre un cubo (de 6.25 centímetros)
de 2.5 pulgadas y pueden ser cualquier tamaño y fuerza deseada.
En un adicional, áspero, construido por mano,
demostración, el prototipo trabajador de la invención del tipo ilustrado en
Fig.6, la primaria o motor bobina 305 fue hecho del alambre de cobre de 5
medidas en un alambre solo, continuo, pesando aproximadamente 4,100 libras
(1,845 kilogramos) con un diámetro de lazo bobina de 4.5 pies (135 centímetros),
mientras el secundario o el generador bobina 306 fueron hechos del alambre de
cobre de 24 medidas en un alambre continuo solo que pesa aproximadamente 300
libras (135 kilogramos) con el mismo, diámetro de lazo bobina aproximado de 4.5
pies (135 centímetros), con ambos bobinas 305, 306 casualmente formación de un
cilindro de aproximadamente 30 pulgadas (75 centímetros) en la longitud. Los
bobinas 305, 306 fueron construidos alrededor de un cilíndrico, cuerpo de
corazón de fibra de vidrio de aproximadamente 200 libras (90 kilogramos) que
tienen un eje de línea de centro vertical, longitudinal.
El imán rotativo 300 fue arreglado de seis,
columnas magnéticas cilíndricas separadas, paralelas espaciadas y dispuestas
sobre la periferia de una superficie de fibra de vidrio cilíndrica hueco de
aproximadamente veinte pulgadas (cincuenta centímetros) en el diámetro. Cada
columna era 30 pulgadas 75 cm.) mucho tiempo y fue formado de una pila de 70,
imanes de toque de cerámica individuales en la forma de disco como hecho por
Imanes Jobmaster de Randallstown, Maryland, 21133, U.S.A. Cada disco tenía un
grosor de siete-sixteenths de una pulgada (1.09375 centímetros), un diámetro
interior de 1 pulgada (2.5 cm.) y un diámetro externo de 4 pulgadas (10 cm.).
Los discos fueron apilados y asegurados juntos en 4 pulgadas (10 cm.) los tubos
de fibra de vidrio de diámetro longitudinalmente montaron en la superficie
interior de veinte pulgadas (cincuenta cm.) cilindro de fibra de vidrio de
diámetro.
El imán compuesto 300 tenía un peso total de
aproximadamente 400 libras (180 kilogramos) y una longitud total de 30 pulgadas
(75 cm.) y un diámetro aproximado de 20 pulgadas (50 cm.).
El imán 300 fue montado para la rotación en un eje
horizontal 304 ampliación a través del corazón hueco del bobinas 305, 306 cruce
por el punto de centro de la línea de centro longitudinal del cilindro y
ortogonalmente a la línea de centro longitudinal del imán 300 para la rotación
dentro del área de centro abierta de bobinas cilíndricamente dispuesto 305, 306
con las líneas de centro longitudinales del bobinas ser verticalmente dispuesto.
Con una fuente de batería de D.C. 301 de dos
baterías de linterna de 12 voltios y diecisiete baterías de linterna de 6
voltios todos en serie (sumando 126 voltios), un voltaje mesurado de 126
voltios y una corriente mesurada de 99 milliamps en la primaria bobina 305
fueron notados. Simultáneamente una lectura de voltaje de 640 voltios y una
medida de amperaje superior a 20 milliamps fue notada en bobina secundario o
generador 306, con el imán 300 giro en una velocidad de 120 revoluciones por
minuto (revoluciones por minuto). ¡Así el sistema era outputting y produciendo
en la generación bobina 306 energía eléctrica utilizable superior a 102 % de
aquel introducido en el motor bobina 305! ¡La energía eléctrica útil de este
exceso, por supuesto, es además de la energía mecánica útil adicional
disponible en el despegue de paseo ejemplar 307 en el eje rotativo 304, en
cuales 400 libras, el imán de 30 pulgadas de largo 300 giraba en 120
revoluciones por minuto!
Así la invención, utilizando la energía de las
partículas gyroscopic en el campo magnético, produce una mayor salida de
energía que la entrada de energía en el sistema, así produciendo resultados más
allá de enseñanzas científicas actualmente aceptadas del mundo.
Este prototipo consigue exactamente lo que ha sido
descrito ya en el gran detalle en las aplicaciones evidentes previas del
candidato. Allí fue simplemente usado en este prototipo un imán más fuerte y un
diámetro más grande que conduce el alambre de la gran longitud, que tiene un
bastante mayor número de átomos alineados cuando corriente es puesto en el
sistema, y usó un mayor número de átomos en el generador bobina del diámetro
fino que conduce el alambre.
Mientras los resultados de la energía liberada de
este prototipo particular son muy impresionantes a otros, el candidato todavía
sólo rasguñaba la superficie de la energía que puede ser liberada usando los
principios de la invención presente.
Otra vez, como ha sido acentuado ya, el diseño más
eficiente, es el que en cual la menor parte de cantidad de la entrada de causas
corrientes la mayor cantidad de la alineación de átomo.
Estos datos no constituyen ninguna salida del
trabajo anterior del candidato, pero es sólo al documento adicional el que que
ha sido acentuado ya en las aplicaciones evidentes previas.
¡Variando el voltaje de D.C. para la fuente de
batería 301 espectáculos que la eficacia obvia seguirá elevando como la entrada
de voltaje suben! También, la ventaja de factor de apalancamiento de la
invención, combinada con la apatía del imán de 400 libras 300 giro en 120
revoluciones por minuto (hasta haciendo el generador eléctrico sacar más de 100
% de la entrada de energía) demuestra la invención para ser enormemente más de
100 % eficiente hasta en este reduce la marcha de revoluciones por minuto.
Es contemplado que el siguiente prototipo usará el
material de tipo de superconducción para el bobina 305 con un imán 300 tener
una fuerza de campo magnético comparable para aquel del imán de crycogenic-tipo
con relación al porcentaje de alineación de átomo o tamaño. Este causará el
tamaño del dispositivo siendo mucho más pequeño y aún con la salida de trabajo
disponible siendo mucho mayor que el prototipo sólo descrito. Razón: el diseño
de tipo más eficiente es el que por lo cual la menor parte de cantidad de la
entrada corriente en el motor bobina produce la mayor alineación de átomo del
motor dicho bobina y teniendo que puede ser hecho girar imán también comparable
en la fuerza, con relación al tamaño.
La invención puede ser hecha sin usar el bobina 206 (306) y producir la
energía mecánica sólo útil.
Enrolle 206 (306) puede ser combinado o enrollar con bobina 205 (305).
El imán 200 (300) puede ser un electroimán, un imán permanente, un imán
criogénico o cualquier imán.
El diseño de imán 200 (300) puede crear un campo magnético fuerte pero
retenido.
El diseño de bobina 205 (305) puede ser usado adelante para retener el
campo magnético del imán 200 (300).
Corriente alterna (A.C). puede ser usado en el lugar de la corriente
directa (D.C). la batería 201 (301), si el imán 200 (300) es diseñado en
consecuencia.
El bobinas 205 (305) y 206 (306) puede ser arreglado de varios bobinas más
bien que bobina solo.
El imán 200 (300) puede ser arreglado de varios imanes individuales más
bien que de sólo un imán solo.
Del anterior debería ser entendido que, a diferencia de las enseñanzas del
arte previa, lo siguiente es deseado en el diseño del bobina 205/305 bajo los
principios de la invención presente:
a) Corriente al principio la corriente en
y por el bobina debería ser pequeña comparado a la salida de energía del
sistema;
b) Un alambre de diámetro relativamente grande o su equivalente son usados
para el bobina;
c) Un número relativamente
grande de lazos bobina o bobinas es usado;
d) Una longitud larga,
continua relativa del alambre de bobina o su equivalente es usada; y
e) El mayor magnetismo para
una masa dada del imán 200/300 es deseado, pero puede ser diseñado de modo que
las líneas magnéticas de la fuerza no corten el bobinas en un ángulo recto.
La invención presente se aplica a cualquier
dispositivo mecánico que es hecho funcionar por la energía eléctrica. De
acuerdo con los principios de la invención presente, el dispositivo mecánico
debería ser diseñado en donde la corriente eléctrica tanto como es factible no
puede regresar a su fuente, pero el recorrido es completado por lo cual
"la fuerza de presión" es la constante en todas partes del sistema.
Lo que ha sido inventado, construyó y revelado es
una invención de la importancia inmensa al bienestar del mundo entero. Habrá
muchos dispositivos construidos por lo que ha sido mostrado y enseñado. Se
debería conocer ahora que toda la materia es arreglada de la energía
electromagnética y que hay muchos modos mecánicos de liberar esta energía, como
ha sido declarado en todas partes de las cinco aplicaciones evidentes previas,
relacionadas del presente y el Documento de Revelación. Todo este futuro
desarrollo será a consecuencia de la invención presente que - libera la energía
encima y más allá de mecanismos de liberación de energía convencionales, antes
de esta invención.
Algunos acercamientos básicos de la invención son
perfilados abajo:
l. Cualquier dispositivo
que utiliza un medio por el cual la corriente eléctrica (energía
electromagnética) es retenida dentro de un miembro o miembros fuera de la
fuente de la corriente eléctrica original dicha y luego, por lo tanto de eso,
es capaz de producir un movimiento electromagnético continuo o corriente de tan
ser deseada más allá de enseñanzas científicas presentes.
2. Cualquier
dispositivo que libera la energía electromagnética arregla de la materia a un
grado tan impresionante como hace esta invención que esto desafía varias de las
leyes aceptadas del presente de física e ingeniería eléctrica desde este tiempo.
3. Que la liberación
de energía sea perceptiblemente más alta y en algunos casos más controlables
que los medios convencionales de la liberación de energía de este tiempo.
Patente US 4,041,465 27
de septiembre 1977
Inventor: Philip S. Brody
DISPOSITIVOS DE CERÁMICA
FERROELÉCTRICOS
Esta versión de la patente ha sido expresada con
otras palabras en una tentativa de hacer más fácil para leer y entender. El
original puede ser examinado en www.freepatentsonline.com y descargado sin el
precio. Esta patente cubre varias aplicaciones diferentes, a saber; una alta
tensión muy eficacia alta dispositivo eléctrico solar, un dispositivo de
memoria photovoltaic, un dispositivo de demostración óptico y una batería de
alta tensión, para llamar sólo unos cuantos. Debería ser notado que esta
patente es adjudicada al Ejército estadounidense. En mi opinión, que presta el
peso y la credibilidad a esta patente. Es reclamado que un pedazo cuadrado de
un centímetro de este material puede producir 1,500 voltios a diferencia de
menos de un voltio usando materiales de célula solares convencionales.
EXTRACTO
Un método y el aparato son revelados por que la
alta tensión y corriente puede producido por un material de cerámica
ferroeléctrico policristalino en respuesta a la luz de incidente. Las numerosas
aplicaciones del aprovechamiento material de cerámica ferroeléctrico de tales
propiedades de eso son reveladas adelante. El material de cerámica
ferroeléctrico policristalino es al principio poled por la aplicación de un
pulso de voltaje de magnitud predeterminada y dirección. Siendo poled en tal
manera, la luz que brilla en varias superficies del material de cerámica
ferroeléctrico generará una alta tensión consecuente entre las superficies del
material de cerámica ferroeléctrico. Si
los electrodos son atados al material, entonces una corriente será generada y
una carga puede ser impulsada entonces por ello. Importantemente, la magnitud
del voltaje producido por la luz es directamente proporcional al remanente
polarisation del material de cerámica ferroeléctrico, y es directamente
proporcional adelante a la longitud del material, la polaridad de la alta
tensión que es el dependiente sobre la polaridad del remanente polarisation y
capaz de ser invertido cuando el remanente polarisation es invertido. Los
voltajes de recorrido abiertos producidos por el material de cerámica
ferroeléctrico son órdenes de la magnitud más alto que aquellos que típicamente
eran producidos en el arte previa por la utilización de estándar photovoltaic
materiales.
DESCRIPCIÓN
FONDO DE LA INVENCIÓN
Esta invención generalmente está relacionada con
dispositivos estatales sólidos que exponen photovoltaic efectos y es en
particular dirigida a la provisión de un dispositivo que consiste en una clase
de materiales de cerámica ferroeléctricos policristalinos que han sido
descubiertos producir voltajes sobre la aplicación de luz. Estos voltajes son
muchas órdenes de la magnitud más alto que voltajes típicamente producidos por
materiales photovoltaic convencionales.
Al principio, y como el fondo, el aparato
inventivo inmediato y las técnicas para ser habladas abajo deben ser claramente
distinguidos del efecto de photovoltaic ahora saben en el arte previa en esto
el mecanismo para el efecto para ser hablado aquí parece ser único y diferente
de mecanismos photovoltaic antes descritos.
RESUMEN DE LA INVENCIÓN
Esto es el objetivo primario de la invención
inmediata proporcionar un dispositivo y la técnica por la cual la muy alta
tensión puede ser generada utilizando una clase policristalina estatal sólida
de materiales sobre la aplicación a tales materiales de la luz de incidente, el
voltaje generado exponiendo propiedades completamente a diferencia del efecto
de photovoltaic conocido del arte previa y de órdenes de la magnitud más alto
que voltajes antes asequibles.
Otro objetivo igualmente importante de la
invención inmediata es la provisión de aparato que utiliza materiales de
cerámica ferroeléctricos del tipo para ser descrito abajo, tal aprovechamiento
de aparato de las propiedades únicas como descubierto para ser existente en la
clase de materiales con los cuales la invención presente está relacionada.
Estos amplios objetivos, así como otros que se
harán aparentes como los beneficios de descripción siguientes, son puestos en
práctica por la invención sustancial que utiliza en su corazón una clase de
materiales conocidos como la cerámica ferroeléctrica, y que aprovecha las
propiedades photovoltaic únicas descubiertas ser existente en tal clase de
materiales.
Expresamente, iluminando las superficies de estos
materiales, un voltaje estable resulta a través de la conducción de electrodos
colocados en el contacto con lo mismo. Las corrientes pueden ser dibujadas
entonces por cargas colocadas a través de estos electrodos. Ha sido descubierto
que un arreglo de un material de cerámica al principio polarizado con
electrodos atados además como es mostrado en el Fig.1 de los productos de
dibujos de aplicación altas tensiones estables de una fuente de iluminación
estable como el sol, un bulbo incandescente, un tubo fluorescente, etc. y que
la magnitud de estos voltajes es alta y directamente proporcional a la
longitud, l de la hoja de material proporcionado. En Fig.1, el área sombreada
representa un electrodo, y Pr es el remanente polarisation. En otro arreglo
básico de la invención, la luz entra por electrodos transparentes y el material
es poled en dirección de la luz, y el photo-emf hasta un cierto grosor
restrictivo es proporcional al grosor de la losa.
Ha sido descubierto adelante que la magnitud de
los fotovoltajes producidos es directamente proporcional al remanente
polarisation del material. La polaridad del fotovoltaje es el dependiente en la
polaridad del remanente polarisation y pone marcha atrás cuando el remanente
polarisation es invertido. La magnitud de los voltajes que son producidos
también puede ser variada variando los tamaños de los granos de los cuales el
de cerámica es formado, el voltaje que tiene una relación generalmente
proporcional al número de granos por unidad de longitud. El tamaño de grano
puede ser controlado por técnicas de fabricación conocidas que implican
aditivos compositivos y encienden precios, qué técnicas no forman una parte de
la revelación presente.
Cuando iluminado en niveles de intensidad como
esto producido por la luz del sol directa o en niveles menores como esto
producido por una lámpara fluorescente, los materiales se comportarán como
fuentes de voltaje en serie con una resistencia de salida alta. La resistencia
de salida disminuirá la intensidad de aumentos de iluminación y también varía
con la longitud de onda.
Los voltajes de recorrido abiertos producidos por
los materiales de la invención son mucho más altos que aquellos que son típicos
de otros materiales photovoltaic. Estos fotovoltajes de recorrido abiertos
altos han sido observados hasta cierto punto en prácticamente todos los materiales
examinados que puede ser generalmente descrito o clasificado por el término
ferroeléctrico de cerámica, a condición de que el material fuera caracterizado
por un remanente neto polarisation. Tales fotovoltajes altos deben ser
esperados en prácticamente todos los materiales de cerámica ferroeléctricos
polarizados correctamente doped, la clase incluso miles de materiales conocidos
diferentes de esta clase con numerosas variaciones posibles en cada clase.
Tales variaciones son producidas por aditivos, variando el tamaño de grano, y
cambiando mezclas compositivas, en aquellos formados de mezclas. Se espera que
cualquiera de éstos tenga la aplicación como photovoltaic materiales.
Del punto de vista de aplicación, la novela
photovoltaic efecto visto en ferroelectrics de acuerdo con las enseñanzas aquí
se diferencia en dos importante respeta de la unión conocida photovoltaic el
efecto que es el mecanismo en dispositivos previos de arte como células
solares, y fotodiodos.
Primero, la unión previa de arte photo-emf es
independiente de la longitud o el grosor de la unidad y es baja, menos de una
voltios. Para obtener altas tensiones, muchas células tienen que estar
relacionadas en serie. El efecto de photovoltaic en ferroelectrics, por otra
parte, puede ser usado directamente para producir altas tensiones. El photo-emf
es proporcional a la longitud, y el photo-emf por unidad de longitud puede ser
muy alto. Por ejemplo, la composición Pb(Zr65Ti35)O3
con 7 % del plomo substituido por lanthanum, cuando formado de 2-4 productos de
granos de micrones, cuando iluminado como mostrado en Fig.1, 1500 voltios para
cada centímetro de longitud entre los electrodos. Una unidad cuadrada de una cm
sola así directamente produce 1500 voltios.
En este caso, está también claro que el voltaje
por unidad de longitud será aumentado adelante por el desarrollo de una
composición en la cual el tamaño de grano medio es disminuido adelante.
Estos voltajes son tan altos que las aplicaciones
han sido contempladas que son alternativas a los dispositivos actualmente
usados para la generación de voltajes de corriente continua muy altos en
corrientes bajas - como máquinas de cinturón (Van de Graaf), en que las altas
tensiones son producidas por mecánicamente moviendo cargas eléctricas.
Segundo, y quizás hasta lo que es más importante
es el hecho que la dirección de la fotocorriente y fotovoltaje puede ser
invertida simplemente invirtiendo la dirección de su remanente polarisation. La
magnitud de estas cantidades puede ser cambiada cambiando aquel del remanente
polarisation, que por su parte puede ser hecho (por ejemplo) aplicando la
polaridad apropiada voltaje eléctrico (poling voltaje) a los mismos terminales
a través los cuales los fotovoltajes aparecen. La reversibilidad y el control
proporcionado hacen aplicaciones inmediatamente posibles para usar en memorias
de computadora de un nuevo tipo - en que la información es almacenada como el
remanente polarisation y leída en voz alta como la polaridad y la magnitud de
una fotocorriente o photo-emf, tales aplicaciones típicas son reveladas aquí.
La aplicación a la generación de poder eléctrico
de la radiación solar, por ejemplo, a dispositivos de tipo de batería solares y
a centrales eléctricas de poder eléctricas que funcionan sobre la base de solar
a la conversión de energía eléctrica también es posible y contemplada, pero
requeriría, ser práctica, (excepto en casos especiales) la eficacia de
conversión bastante más grande que ha sido observada hasta ahora en los
materiales examinados. Un cálculo de la eficacia máxima teórica, sin embargo,
cede resultados que son bastante grandes para sugerir el uso práctico eventual
en esta manera. Un sistema de conversión basado en estos materiales de alta
tensión tendría la ventaja particular de producir su electricidad directamente
en la alta tensión que es ventajosa para objetivos de transmisión de poder.
El mecanismo para el efecto descubierto parece ser
único y diferente de mecanismos photovoltaic antes descritos. La descripción
será proporcionada explicando el mecanismo y desarrollando una teoría para
ello. De este, estará claro que se espera que la clase entera de ferroelectrics
policristalino exponga photo-emf's alto a al menos algún grado.
BREVE DESCRIPCIÓN DE LOS DIBUJOS
La invención sí mismo será mejor entendida y
adelante figura y las ventajas de ello se harán aparentes de la descripción
detallada siguiente que hace la referencia a los dibujos, donde:
Fig.1 es un diagrama
esquemático que ilustra el arreglo básico por el cual los voltajes photovoltaic
son generados por la aplicación de luz a un material de cerámica ferroeléctrico
como mostrado por esta invención;

Fig.2 es un diagrama
esquemático eléctrico que representa un recorrido equivalente al aparato básico
de Fig.1, donde C0 es la capacitancia de la muestra medida utilizando un metro
de capacitancia relacionado entre los electrodos y C1 es la capacitancia
paralela de una carga conectada a los electrodos, y R1 es el valor resistivo de
aquella carga;

Fig.3 es una
ilustración gráfica de corriente contra el voltaje aplicado a una oblea
ferroeléctrica iluminada de la forma básica representada en Fig.1;

Fig.4 es una
ilustración gráfica del photo-emf y fotocorriente como una función de
intensidad de la iluminación, con los resultados gráficos particulares que son
para una solución sólida Pb(Zr0.53Ti0.47)03 con
aproximadamente 1 % por peso de Nb205 añadido a ello;

Fig.5 es una
ilustración gráfica de photo-emf contra granos por unidad de longitud (tamaño
de grano mediano inverso) para dos materiales diferentes;

Fig.6 es una
ilustración gráfica del fotovoltaje contra el remanente polarisation para de
cerámica BaTi03 + 5 % por peso de CaTi03 ;

Fig.7 es un diagrama
que ilustra poner en cortocircuito fotocorriente como una función de longitud
de onda para la solución sólida Pb(Zr0.53Ti0.47)03
;

Fig.8 es un diagrama
que ilustra el cortocircuito fotocorriente como una función de la longitud de
onda para de cerámica BaTi03 + 5 % por peso de CaTi03 ;

Fig.9 es un diagrama
que ilustra poner en cortocircuito fotocorriente como una función de longitud
de onda para la solución sólida Pb(Zr0.65 Ti.0.35)03
con 7 % del plomo substituido por por lanthanum;

Fig.10 es un diagrama
que ilustra el photo-emf contra la longitud de onda para la solución sólida
Pb(Zr.0.35Ti0.4703 con 1 % por peso de Nb205
añadido;

Fig.11 es un diagrama
que ilustra la fotocorriente dividida en la intensidad contra la longitud de
onda de límite del límite de longitud de onda largo dichroic filtros, con los
materiales ser Pb(Zr0.53 Ti.0.47)03 con 1 %
por peso de Nb205 añadido y utilización de un arco de
mercurio de alta presión como la fuente de iluminación;

Fig.12 es un diagrama
que ilustra la fotocorriente dividida en la intensidad contra la longitud de
onda de límite de filtros de límite de longitud de onda cortos, con el material
ser Pb(Zr0.53 Ti.0.47)03 con 1 % por peso de
Nb205 añadido;

Fig.13, es el
diagrama que ilustra el photo-emf contra la longitud de onda de filtros de
límite de longitud de onda cortos, con el material ser Pb(Zr0.53 Ti.0.47)03
con 1 % por peso de Nb205 añadido;

Fig.14 es una
ilustración ilustrada de la manera en la cual un cristal solo produce un
photo-emf, con el polarisation Ps ser normal a los electrodos, qué electrodos
son ilustrados por el área sombreada;

Fig.15 es un diagrama
que ilustra fotocorriente contra la longitud de onda del cristal solo BaTi03
;

Fig.16 es un diagrama que ilustra el fotovoltaje
contra la temperatura para BaTi03 + 5 % por peso de CaTi03
;

Fig.17 es un diagrama
que ilustra el fotovoltaje contra la temperatura de cristal solo BaTi03
;

Fig.18 es un diagrama que ilustra fotocorriente
contra la temperatura para BaTi03 + 5 % por peso de CaTi03
;

Fig.19 es un enfadado
seccional, elevational vista esquemáticamente representación de la losa de
cerámica del Fig.1, con el photo-emf que parece a través de los electrodos en
el borde, y con la mayor parte del flujo fotocorriente encontrado en la región
sombreada cerca de la superficie;

Fig.20 es un enfadado
seccional, elevational la vista de una losa del material de cerámica
ferroeléctrico que utiliza electrodos transparentes y representa el incidente
ligero por los electrodos transparentes en la losa con la losa polarizada en la
dirección de grosor;

Fig.21 es una
ilustración esquemática enfadada seccional de una capa sola de granos que
representan la manera en la cual photo-emf's son producidos a través de los
granos en una manera aditiva para producir un efecto de dependiente de longitud
en el material de cerámica, la iluminación que es el incidente de la porción
izquierda del dibujo y ser típicamente rápidamente absorbido cuando esto
penetra el material;

Fig.22 es una
ilustración de diagrama idealizada dos cristales dimensionales de la longitud l
con polarisation espontáneo Ps, constante dieléctrica Epsilon b compensación
del precio superficial por área de unidad de Sigma = Ps ;

Fig.23 es una
ilustración que representa la estructura de un grano ferroeléctrico típico o
crystallite;

Fig.24 es una ilustración que representa un
modelo de un cristal de longitud l;

Fig.25 es un diagrama que ilustra la
distribución potencial en un cristal iluminado;

Fig.26 es una representación
esquemática del sustrato de cerámica ferroeléctrico inventivo inmediato
utilizado como un dispositivo de memoria photovoltaic con la exploración óptica;

Fig.27 es una
ilustración esquemática de un aparato de demostración óptico que utiliza un
material de cerámica ferroeletric de acuerdo con las enseñanzas generales de la
invención inmediata;

Fig.28 es una
ilustración esquemática que representa un aparato de demostración óptico
construido de acuerdo con las enseñanzas de la invención inmediata en la forma
monolítica que utiliza un color que cambia el cristal líquido;

Fig.29 es una
ilustración esquemática del aparato de demostración de Fig.28, modificado para
hacer la utilización de un cristal líquido nematic enroscado;

Fig.30 es una vista
de elevational enfadada seccional que representa un aparato de demostración
óptico que utiliza un color que cambia el cristal líquido junto con un sustrato
de cerámica ferroeléctrico de la invención inmediata, y que muestran las capacidades
de memoria permanentes de los objetos expuesto del aparato;

Fig.31 es una vista
de elevational enfadada seccional de una forma adicional de un aparato de
demostración óptico construido de acuerdo con las enseñanzas de la invención
inmediata, dijo el aparato que utiliza un color que cambia el cristal líquido y
adelante utilizando polarisation longitudinal del sustrato de cerámica;

Fig.32 es una vista
de elevational, en la sección, de una forma adicional de un aparato de
demostración óptico construido de acuerdo con las enseñanzas de la invención
inmediata, este aparato siendo similar a esto representado en Fig.31 de los
dibujos de aplicación pero utilización de un cristal líquido del tipo de
nematic enroscado; y

Fig.33 es una ilustración
esquemática de una forma adicional de demostración óptica y almacenamiento que
utiliza las propiedades fotopropicias así como photovoltaic de la cerámica
ferroeléctrica.

Fig.34 ilustra como
la imagen almacenada en un sustrato es mostrada.

DESCRIPCIÓN DETALLADA DE LAS ENCARNACIONES
INVENTIVAS PREFERIDAS
Con referencia ahora al principio a Fig.1 de los
dibujos de aplicación, una discusión de los fenómenos nuevos de la invención
inmediata seguirá. Sobre la aplicación de la iluminación de incidente al de
cerámica ferroeléctrico, un voltaje estable es producido que es proporcional a
la longitud l entre los electrodos. Dividiendo la muestra en dos segmentos
iguales a lo largo de un perpendicular de línea a la dirección del remanente
polarisation y colocando nuevos electrodos en los bordes de corte, las nuevas
muestras resultarían cada producción photo-emf's que es una mitad el original
photo-emf.
Un arreglo como esto mostrado en Fig.1 puede ser
descrito aproximadamente por el recorrido equivalente como mostrado en Fig.2. Este
tiene una saturación photo-emf Vo, en serie con la resistencia de foto de la
muestra iluminada. Fig.3 es una característica de voltaje corriente de una losa
ferroeléctrica iluminada típica, y hace esperar la forma del recorrido
equivalente en Fig.2 excepto la tendencia leve hacia saturación en el cuadrante
izquierdo inferior. Como una función de intensidad, el photo-emf satura en
niveles relativamente bajos de la iluminación. El cortocircuito fotocorriente
es, sin embargo, lineal con la intensidad ligera. Resultados para el material
Pb(Zr0.53Ti0.47)03 con 1 % por peso de Nb205
son mostrado en Fig.4. La implicación de
estos resultados y el recorrido equivalente en el Fig.2 es que la
fotoresistencia Rph está inversamente proporcional a la intensidad.
Una saturación photo-emf y un cortocircuito corriente proporcional a la intensidad ha sido medida en varios materiales ferroeléctricos poled. Muestran en éstos Tabla I:

Para una composición dada el photo-emf es también una función del tamaño de grano. Estos resultados son mostrados en Tabla II.

el fotovoltaje v. el número de granos por unidad
de longitud es trazado en Fig.5 para dos composiciones diferentes. El complot
claramente muestra una relación entre las dos cantidades.
El hecho que el photo-emf de una muestra
particular depende del remanente polarisation es mostrado por los resultados
para un material ferroeléctrico típico, bario titanate 5 % por el peso de CaTi03,
como trazado en Fig.6.
El cortocircuito fotocorriente depende fuertemente
de la longitud de onda de la iluminación que afecta. Esto es un máximo en una
longitud de onda que causa una energía de fotón igual a la energía de hueco de
cinta del material. Otras longitudes de onda pueden contribuirse, sin embargo,
fuertemente a la corriente.
Los resultados para materiales típicos son
mostrados en Fig.7, Fig.8, y Fig.9. La
corriente (ordenada) es que producido por la iluminación contuvo en una pequeña
cinta, de aproximadamente 10 nm sobre una longitud de onda indicada en la
abscisa. Una fuente de mercurio y los filtros de dichroic de tipo de muesca
fueron usados. La intensidad total dentro de cada cinta era sólo
aproximadamente constante. La corriente que ha sido trazada ha sido por lo
tanto normalizada a la intensidad constante asumiendo la relación lineal entre
los dos.
El photo-emf es menos fuertemente dependiente de
la longitud de onda. Los resultados para un material particular, usando la
muesca dichroic filtros son mostrados en Fig.10. Estos valores son valores de saturación,
aproximadamente independientes de la intensidad.
Unos fenómenos adicionales importantes muestran
una dependencia de corriente producido en las regiones rojas e infrarrojas en
la presencia de la radiación de hueco de cinta azul simultánea. Estos
resultados son mostrados en Fig.11 y Fig.12.
La ordenada (Fig.11) es la corriente producida por la luz de un arco de
mercurio que brilla por dichroic la longitud de onda larga cortó filtros, la
abscisa las longitudes de onda encima las cuales ninguna luz ilumina la
muestra. Note el paso en 650 nm. La utilización de la longitud de onda corta
cortó filtros que eliminan la luz de hueco de cinta no causa ninguna corriente
hasta que el corte de la longitud de onda sea debajo del hueco de cinta. Estos
resultados son mostrados en Fig.12. La
cantidad de salida en el rojo realmente depende de la intensidad de la
radiación de hueco de cinta simultánea, así la eficacia de energía de estos
materiales para una amplia fuente de cinta no es simplemente la intensidad el
promedio ponderado de la eficiencia para longitudes de onda individuales como
producido por el filtro de muesca. El valor actual es más grande.
Photo-emf contra longitud de onda de límite para
Pb(Zn0.53Ti0.47)03 + 1 % por peso de Nb203
es mostrado en Fig.13. Photo-emf
sustancial aparece en longitudes de onda largas pero ninguna corriente puede
fluir. En otras palabras, la resistencia interna Rph es muy alto a
menos que el hueco de cinta sea el incidente.
Resultados de Cristal Solos
Los resultados de cerámica implican pequeño
photo-emf de un cristal solo iluminado como mostrado en Fig.14. Tal emf = 0.55V en la temperatura ambiente en
efecto fue observado.
El cortocircuito corriente es, en cuanto al
material de cerámica, una función fuerte de la longitud de onda. Estos
resultados son mostrados en Fig.15.
Dependencia de Temperaturas
Photo-emf de cerámica es una función de
temperatura. Resultados para bario titanate de cerámica con 5 % por peso de
CaTi03 son mostrado en Fig.16.
Tanto para Pb(Zn0.53Ti0.47)03 con 1 %
por el peso de Nb205 añadió como bario titanate las
disminuciones de photo-emf con el aumento de la temperatura. En estas medidas,
la temperatura se extendió a la temperatura de transición, el photo-emf que
desaparece en la temperatura en la cual el remanente polarisation también
desaparece. El remanente polarisation contra la temperatura para este material
también es mostrado en Fig.16. Los
resultados similares para el bario de cristal solo titanate son mostrados en
Fig.17. El cristal solo photo-emf es,
por supuesto, mucho más pequeño. El cortocircuito fue medido como una función
de temperatura. Los resultados para el bario titanate 5 % por el peso de CaTi03
son mostrados en Fig.18. Resultados
similares sobre la misma variedad de temperaturas fueron obtenidos para Pb(Zn0.53Ti0.47)03
+ 1 % por el peso del material Nb205. En este caso no había ningún máximo, la
fotocorriente en ninguna parte aumento con el aumento de la temperatura en 130o
C.
Efectos de Propiedades Ópticas
En el arreglo mostrado en Fig.1, la dirección de
polarisation, y por consiguiente la dirección del photo-emf es el perpendicular
a la dirección de frecuencia de la luz que es también la dirección en la cual
la luz es fuertemente absorbida. La luz sólo firma una región cerca de la
superficie del material. La rapidez de la absorción depende fuertemente de la
longitud de onda de la luz, la luz que se hace totalmente absorbida en una
región más cerca y más cerca a la superficie cuando uno disminuye la longitud de
onda de la luz y se acerca a la longitud de onda de hueco de cinta. Para
longitudes de onda más cortas, la luz ya no entra en el material y así para
estas longitudes de onda la disminución de efectos inducida por luz rápidamente
con la longitud de onda decreciente.
Los materiales de cerámica que exponen estos
photo-emf's pueden parecer transparentes, translúcidos, y por lo visto opacos
cuando visto con la luz blanca. La luz, sin embargo, obviamente entra hasta en
los materiales opacos para producir el photo-emf's. La opacidad aparente es
producida por la reflexión difusa en límites granulares. Es por supuesto
deseable reducir al mínimo el grado al cual reflectivity difuso impide a la luz
entrar en el material. Sin embargo, las fotocorrientes más grandes y la mayor
eficacia photovoltaic han sido al principio observadas en un material que
parece opaco en el grosor más que unos milésimos de una pulgada. El dibujo
seccional enfadado Fig.19 muestra el camino que la luz entra en el material con
el arreglo como al principio mostrado inNevertheless, las fotocorrientes más
grandes y la mayor eficacia photovoltaic ha sido al principio observado en un
material que parece opaco en el grosor más que unos milésimos de una pulgada.
El dibujo seccional enfadado Fig.1.
Cuando un recorrido une los electrodos, la
densidad máxima de los corrientes ocurre cerca de la superficie, la densidad
corriente que se disminuye en regiones más profundas dentro del grosor.
Pulimento de las superficies de estos materiales,
sin embargo, aumenta la transparencia y, como esperado, la magnitud de la
fotocorriente y la eficacia de conversión photovoltaic. Un emf también será
producido por el arreglo mostrado en Fig.20 a condición de que, por supuesto,
esto los electrodos sean de una naturaleza para permitir que la luz entrara en
el material. Los electrodos metálicos gruesos normales son opacos para
encenderse. Cuando los electrodos metálicos son bastante delgados, ellos
permiten a luz ser transmitidos y aún son suficientemente propicios para funcionar
como electrodos. Otros electrodos transparentes que conducen incluyen el óxido
indium. Se verá que el emf ahora aparecerá a través del grosor del material, en
dirección del remanente polarisation.
En este arreglo la resistencia oscura alta de
cualquier porción de bulto no iluminada del material es en serie con el
recorrido que une los electrodos. La corriente que puede ser dibujada es
limitada. Las corrientes máximas pueden ser dibujadas cuando el grosor entre
los electrodos es igual a o menos que la profundidad de absorción de la
radiación. Sin embargo, desde la saturación photo-emf no es una función fuerte
de la intensidad, desapareciendo sólo para intensidades muy bajas, photo-emf
lleno por unidad de longitud vo puede ser por lo general observado
para este prueba.
Mecanismo Propuesto para la Alta Tensión Efecto de
Photovoltaic en Ferroelectrics
Brevemente, se propone que el photo-emf resulta de
la acción de un campo interno dentro del bulto de un grano de cerámica
individual en portadores de no equilibrio generados por la iluminación. Estos
portadores se mueven para proteger el campo interno. El photo-emf que aparece
es el resultado de recorrido abierto de tal proyección. Un cambio responsable
distribución sobre la iluminación cambia el voltaje a través de un grano de un
valor inicial del cero a los fotovoltajes que son observados.
Estos photo-emf's aparecen a través de granos de
cerámica individuales. Lo que es observado como un dependiente de longitud el
fotovoltaje alto es la suma de serie del photo-emf's que parece a través de
granos, cada uno de los cuales es caracterizado por el remanente de saturación
polarisation Po. La situación
es mostrada esquemáticamente en Fig.21. Los
granos individuales típicamente son pequeños, de la orden de 10 micrones en el
diámetro. Para producir un fotovoltaje alto por unidad de longitud en el de
cerámica el voltaje a través de un grano individual no tiene que ser grande.
Por ejemplo los resultados en Tabla II por Pb(Zn0.65Ti0.47)03
con Lator de 7 % Pb puede ser explicado por el fotovoltaje de grano individual
de sólo aproximadamente 0.5 voltios por grano. La implicación clara de los
resultados experimentales (Tabla II y Fig.5) es esto para la variedad de
tamaños de grano investigados, el photo-emf a través de un grano es más o menos
independiente del tamaño del grano. Este es apoyado también por los resultados
de cristal solos.
Los cristales ferroeléctricos son caracterizados
por polarisation espontáneo grande que sería esperado producir el emf's grande
hasta en la oscuridad. Tal emf's no es observado hasta a través de aislar muy
materiales. Se supone que este es el resultado del precio espacial dentro del
volumen o en la superficie de un cristal ferroeléctrico (que, en la cerámica,
son los granos individuales o crystallites). El precio espacial produce un
potencial a través de un cristal que anula el potencial producido por la red
polarisation dentro de ellos cristal. Es obvio que mientras hay gastos
suficientes dentro del cristal que son libres de moverse, cualquier potencial
producido por polarisation interno desaparecerá finalmente.
Este estado potencial cero oscuro es el estado
inicial de un cristal crystallite, grano, y del cuerpo de cerámica formado de
estos granos. La ausencia de un potencial neto en la oscuridad no significa sin
embargo la ausencia de campos internos. Los campos internos pueden ser
esperados existir y son la consecuencia de la distribución espacial de los
gastos que traen los potenciales netos a través de granos al cero. Estas
distribuciones espaciales no pueden ser arbitrariamente adjudicadas, pero son
sujetadas a coacciones de una naturaleza física básica.
En el dos cristal dimensional idealizado mostrado
en Fig.22, la densidad de precio superficial Upsilon = Ps reduce el
potencial entre las superficies al cero. Si la densidad de precio superficial
(en la actualidad este no ocurre) es completamente yuxtapuesta sobre el precio
de superficie de polarisation ligado, que tiene un valor Ps, entonces no hay
ningunos campos internos. No había allí ningún precio, el cristal mostraría un
campo interno
y un
potencial entre las superficies de
.
Tal campo sería bien arriba la fuerza de avería
dieléctrica de un verdadero dieléctrico. Para una esfera sola bario
ferroeléctrico típico titanate Ps = 26 x 10-2 c/m, y la
constante dieléctrica relativa Epsilonr en dirección de polarisation
es 137. El campo que tendría que
existir en ausencia del precio de compensación es terminado 2 x 106
voltios/cm que es bien arriba las resistencias dieléctricas típicas de estos
materiales. Si tal campo pudiera existir momentáneamente dentro de un cristal
ferroeléctrico esto no existiría mucho tiempo, pero reduciría de su valor
máximo a algún valor debajo de la resistencia dieléctrica del material. El
campo fuerte dividiría el material y un flujo de precio produciría una
distribución de precio espacial que causa un nuevo más abajo valoran para los
campos internos dentro del cristal.
Una distribución de precio tan espacial debe
existir en un cristal actual. El precio espacial sirve para reducir el
potencial a través de un cristal al cero. Tales gastos han limitado la
movilidad y los materiales siguen comportando cuando los aislantes para la
fuerza ordinaria aplicaron campos.
Un precio tan espacial no
puede ocupar un delta región parecida a una función como en la situación
idealizada mostrada en Fig.22, pero debe ocupar en cambio un volumen finito. Si
éstos son localizados cerca de la superficie del cristal, entonces un campo
interno Epsilonb existe dentro del bulto del material y campos
adicionales Es exista dentro de las regiones de precio espaciales
cerca de la superficie.
Es supuesto que estas
regiones de precio espaciales están cerca de la superficie de verdaderos
cristales con el precio distribuido dentro de un grosor de capa superficial s.
Los motivos de mismo son como sigue:
(1) Las regiones
superficiales de cristales ferroeléctricos son caracterizadas por regiones cuyo
dieléctrico, las propiedades ferroeléctricas, y termodinámicas diferencian
marcadamente de aquel del bulto. Estas diferencias son mejor explicadas por la
existencia de campos fuertes en esta región que sería producida por el precio
espacial. Hay un cuerpo considerable de la información en la literatura que
apoya la existencia y delinea las propiedades de estas capas;
(2) Se esperaría que la
interacción del precio espacial y la constante dieléctrica muy no lineal de
ferroeléctrico localizara el precio espacial en una capa constante dieléctrica
baja cerca de la superficie. En ferroelectrics, excepcionalmente alto, bajo
puede esperarse que constantes dieléctricas relativas de campaña (de la orden
de 1000) reduzcan en el valor con la fuerza de campaña creciente. Así el precio
en una región reduce la constante dieléctrica de aquella región que aumenta la fuerza
de campaña de aquella región. Este mecanismo de reacción puede ser mostrado
para localizar el precio dentro de una capa.
Los resultados experimentales que apoyan la
existencia de capas superficiales no serán examinados aquí, ni cálculos que
apoyan la localización de precio en capas a consecuencia de una constante
dieléctrica (saturable) no lineal. Éstos pueden ser examinados refiriéndose a
la literatura.
Una descripción esquemática de un grano típico, es
decir crystallite, con regiones de precio espaciales del grosor s, y una región
de bulto del grosor l, es mostrada en Fig.23.
Los campos internos (en el dos modelo dimensional) de tal distribución
de precio sobrepuesta en esto producido por el precio de polarisation ligado
serán calculados y también el efecto de estos campos en portadores dentro del
bulto producido como el resultado de un efecto de foto interno
(fotoionización). Las fórmulas para la foto emf que será sacado tendrán el
signo correcto, una dependencia lineal en el remanente polarisation, y la clase
de la dependencia de temperaturas que realmente ha sido observada. Además allí
resultará una estimación de un tamaño grano independiente photo-emf para un
ferroeléctrico típico, bario titanate, que es consecuente con esto implicado de
emf de cerámica observado, y grano solo emf. El grano ha mostrado como en
Fig.23:
(1) Una región de bulto con constante dieléctrica
Epsilonb y uniforme polarisation (en cero campo aplicado) Po
;
(2) Capas superficiales de constante dieléctrica
Epsilons, bastante menos que aquel del bulto. Hay también los
polarisation en las regiones superficiales Ps (x) que existen en el
cero el campo aplicado. Éstos serán generalmente la paralela al bulto
polarisation a un final y antiparalela al otro final;
(3) Los gastos espaciales en estas capas
superficiales que sirve para quitar cualquier potencial a través del grano.
Esto es las capas de precio espaciales que producen campos altos que reducen la
constante dieléctrica muy no lineal del bulto al valor menor en las capas
superficiales, y también producen el remanente polarisation, Ps(x) con
las superficies.
Tal estructura también tiene un campo de bulto
interno, y campos superficiales que pueden ser calculados. Para los objetivos
de este cálculo asumimos un dos modelo dimensional simple mostrado en Fig.24.
Los polarisation con varias regiones son asumidos
sólo para la simplicidad ser uniformes dentro de estas regiones. Otra vez, sólo
para la simplicidad aquellos en las capas superficiales y el bulto son asumidos
iguales en la magnitud (es decir. Ps (x) = Po). Las densidades de precio espaciales .+-.noe
también son asumidos ser uniformes e iguales en la magnitud. Los polarisations
son el equivalente con cuatro densidades de precio superficiales ligadas,

Hay, usando la ley de Gauss, campos eléctricos
como mostrado en Fig.24.

Ha sido asumido que el voltaje a través del
cristal desaparece,

no y s, de este y las tres ecuaciones
precedentes, debe estar relacionado por la expresión

y el campo de bulto

Las capas superficiales en el bario titanate
granos de cerámica han sido estimadas en 10-6 cm (ver por ejemplo
Jona y Shirane Ferroelectric Crystals, Pergammon Press, 1962). El remanente polarisation típico del material
de cerámica es aproximadamente 8 x 10-2 C/m2, la
constante dieléctrica relativa del de cerámica poled aproximadamente 1300. La
constante dieléctrica de campaña alta será estimada en aproximadamente 0.5 la
constante de dieléctrico de bulto. Estos números ceden un campo de bulto, para
un típico 10-3 cm grano.
E2 = 350 voltios/cm
El potencial a través del bulto sería así
aproximadamente-0.35 voltios. El potencial restante a través del grano sería
que a través de las capas superficiales. La iluminación tiene el efecto de
producir gastos que protegen el campo interno, E2 hacer ello
desaparecer.
El voltaje negativo desaparece y un potencial
positivo aparece a través de la muestra. La luz hace la muestra parecer más
positiva. Este es exactamente lo que pasa como el resultado de una disminución
termalmente inducida en polarisation. Así el voltaje pyro-eléctrico está en la
misma dirección que el fotovoltaje como es experimentalmente observado.
En el caso totalmente protegido, el photo-emf es
también el emf a través de las dos capas superficiales

Los electrones libres generados de la luz
establecen un campo contrario que tiende a anular el campo de bulto E2
; así, la caída de voltaje observada es menos que estaría en un medio
perfectamente aislador. Este es lo que se supone por el término 'la proyección'.
Los acercamientos de campaña contrarios -E2. La asunción de proteger ocurre sólo en el
bulto, el voltaje total a través del grano es ahora la suma de los voltajes a
través de las capas superficiales.
El photo-emf es en dirección contraria al bulto polarisation.
Este hecho predicho en la teoría es lo que siempre es observado
experimentalmente. Se esperaría que la proyección completa del campo de bulto
así, en el bario titanate, causara un photo-emf de 0.35 voltios por grano o 350
V/cm y aproximadamente 0.35 voltios a través de un cristal solo macroscópico.
Éstos son aproximadamente los valores realmente observados como visto en Tabla
1, y con los resultados de cristal solos. La relación lineal entre remanente
polarisation y saturación photo-emf como mostrado en Fig.6 también es predicho
por estas ecuaciones. La dependencia en temperatura del photo-emf como mostrado
en Fig.16 y Fig.17 es predicho por el hecho que cuando uno se acerca a la
temperatura curie, no sólo Po se disminuye pero el dieléctrico epsilons
aumenta. El bulto campo interno E2, debería disminuirse por lo tanto
con la temperatura más rápidamente que el remanente polarisation.
Proyección
La solución del problema general de proteger en un
ferroeléctrico es difícil. Muchos de los principios implicados pueden ser
demostrados solucionando un caso especial. El caso especial se supone para ser
en particular aplicable al Pb(Zr0.53, Ti0.47)03
+ 1 % por el peso del material Nb2O5.
Utilizado, sólo para la simplicidad, es un dos
modelo dimensional, con portadores fotoproducidos limitados con aquellos de un
signo solo. Será asumido que éstos son electrones generados de atrapar
profundamente niveles a mitad del camino en el hueco de cinta, y que la
iluminación se vacia todas las trampas que dejan fijaron gastos positivos para
sustituir las trampas originales. El vaciamiento completo de un nivel profundo
que atrapa produciría los fotovoltajes de longitud de onda largos y los
fenómenos de una saturación de intensidad del típico photo-emf del Pb(Zr0.53,
Ti0.47)O3 + 1 % por el peso de Nb2O5.
Considere una dos losa iluminada dimensional de la
longitud l dentro de que es Epsilon de campaña interno y dentro de que, la luz
genera una densidad uniforme de electrones no (n electrones por
unidad de longitud). Esquemáticamente la situación es mostrada en Fig.25, donde
Phi.(x) es el potencial en un punto x.
Los portadores responden al campo interno y ocupan
una distribución Boltzman
si los campos debido a los electrones pudieran ser
descuidados, entonces
![]()
Este es, por supuesto, una aproximación demasiado
áspera. Con n (O) la densidad de electrones en x=0, y no, la
densidad de los iones de donante inmóviles
con Phi (x) es dado por la ecuación de Poisson,
Desde para Phi = 0 n(0) =no, y ya que
todas las trampas son vaciadas, asumiendo la neutralidad eléctrica,

Si el cristal es neutro no debe haber ningún campo
eléctrico en el límite excepto el campo aplicado -Eo

Estas dos condiciones divisorias permiten la
solución de la ecuación de Poisson.









![]()





La implicación es por lo tanto que las
contribuciones photovoltaic del bulto serán mucho más grandes que esto de las
capas superficiales, ya que las capas superficiales son muy pequeño lD blanco
puede ser estimado como muy aproximadamente igual en el bulto y la superficie.
Así, la iluminación causará la desaparición del
campo interno dentro del bulto que causa un máximo photo-emf.
donde E2 es el campo de bulto.
Para pequeñas intensidades, podemos asumir que no
es pequeño, entonces
![]()
es decir, el fotovoltaje es proporcional a no que
puede ser razonablemente asumido proporcional a la intensidad que es
experimentalmente observada (ver Fig.4).
El modelo sólo descrito explica la longitud de
onda larga photo-emfs, en el material Pb(0.53Zr,0.47Ti)03
+ 1 % por el peso de Nb205. Un nivel tan profundo que atrapa es
probablemente típico del titanate-plomo de plomo zirconate materiales con
puestos vacantes de plomo característicos. Éstos ligan electrones que dejan
agujeros (produciendo p escriben a máquina la conductividad oscura). La adición
de dopants común - por ejemplo el niobio da ocasión para liberar electrones que
se combinan con agujeros o son atrapados por los puestos vacantes de plomo.
Puede decirse así que el doping proporciona electrones que llenan trampas.
Esto es estos electrones atrapados que son
fotoinyectados en la cinta de conducción por la luz de longitud de onda larga
que proporciona cerca del máximo photo-emfs en el material iluminado en 500 nm
y longitudes de onda aún más largas como mostrado en los resultados trazados en
Fig.13. Saturación llena, que es
proteger completo del bulto campo interno, requiere sin embargo a portadores de
hueco de cinta que ocurre cuando uno se acerca a la 373 longitud de onda de
hueco de cinta de nm. La solución de este problema, aquel de portadores de
hueco de cinta además de electrones generados por trampas profundas, puede ser
llevada a cabo en una manera similar a esto que fue llevado a cabo para los electrones
atrapados, pero es más complejo por ejemplo porque los agujeros móviles están
siendo producidos además de electrones y uno no necesariamente puede fijar el
número máximo de portadores.
Los photo-emfs son creados por portadores
fotoinducidos que protegen el campo de bulto. Con eficacia, ninguna
fotocorriente puede fluir sin embargo a menos que la luz de hueco de cinta esté
presente como está claro de los resultados mostrados en Fig.12 y Fig.13. Aquí
esto está claro que la luz de hueco de cinta produce máximo photo-emf y
fotocorrientes máximas, menos que luz de hueco de cinta, máximo o casi máximo
photo-emf, pero ningunas fotocorrientes y que la resistencia de salida en estas
circunstancias parece muy alta. La adición de la luz de hueco de cinta permite
corriente fluir.
La explicación provisional consiste en que las
capas superficiales de barreras de resistencia altas, la magnitud de las cuales
baja con la luz de hueco de cinta. Las capas superficiales así actúan como
fotoconductores intrínsecos en serie con un emf. Este cuadro no sólo explica la
dependencia bastante única de photo-emf y cortocircuito fotocorriente en la
longitud de onda como mostrado en Fig.12 y Fig.13 sino también el recorrido
equivalente que es típico de todos estos materiales como descrito en Fig.2 y
como indicado por el voltaje corriente resulta en Fig.3.
Una explicación posible de la resistencia alta de
las capas superficiales consiste en que ellos incluyen cantidades de iones
cargados que han sido localizados allí. Éstos son inmóviles bajo voltajes
aplicados normales que mueven sólo en la acción de campos altos como producido
por la inversión del remanente polarisation. Aquellos iones no sólo ocuparán
niveles que atrapan, eliminando la necesidad de electrones atrapados fácilmente
ionizados y a la baja de reducir la conductividad intrínseca sino también
formarán centros de coulomb dispersarse de electrones de conducción que
deberían contribuirse marcadamente a la resistencia.
Patente US 6,246,561 12 de junio 2001 Inventor: Charles J. Flynn
MÉTODOS PARA CONTROLAR EL
CAMINO DE FLUJO MAGNÉTICO de A
IMÁN PERMANENTE Y DISPOSITIVOS
QUE INCORPORAN EL MISMO
Esta patente cubre un dispositivo que es reclamado
para tener un mayor poder de salida que el poder de entrada requerido dirigirlo.
EXTRACTO
Un dispositivo de imán permanente incluye un imán
permanente que tiene el norte y las caras de polo sur con un primer pedazo de
poste colocaron adyacente un poste afronta de eso y un segundo pedazo de poste
colocó adyacente el otro poste afronta de eso para crear al menos dos caminos
de flujo magnéticos potenciales. Un primer control bobina es colocado a lo
largo de un camino de flujo y un segundo control el bobina es colocado a lo
largo del otro camino de flujo, cada bobina relacionado con un recorrido de
control para controlar el energisation de eso. El control bobinas puede ser
activado en una variedad de caminos a motivo deseable conseguido y dispositivos
estáticos, incluso dispositivos lineales que corresponden, dispositivos de
movimiento lineales, dispositivos de movimiento rotatorios y conversión de
poder.
DESCRIPCIÓN
CAMPO DE LA INVENCIÓN
Esta invención está relacionada generalmente con
dispositivos de imán permanentes y más en particular, con un componente de
control de imán permanente en el cual el flujo de flujo de un imán permanente
es controlado entre dos o más caminos de flujo utilizando la entrega calculada
de señales eléctricas por uno o varios bobinas colocados a lo largo de al menos
uno de los caminos de flujo. Tales componentes de control de imán permanentes
pueden tomar una variedad de configuraciones que facilitan el uso de tales
componentes en una variedad de aplicaciones incluso aplicaciones que implican
la producción de movimiento que corresponde, lineal, y rotatorio y conversión
de poder. Varia rotonda de imán permanente nueva hace señas dispositivos de
construcciones de motor que funcionan controlando el camino del flujo magnético
de uno o varios imanes permanentes son descritos, tal rotonda de imán
permanente construcciones de motor que han aumentado eficacia y características
de torsión más deseables comparando con muchos motores actualmente usados.
FONDO DE LA INVENCIÓN
La fuerza magnética de la atracción es comúnmente
usada en una variedad de tipos de dispositivos de imán permanentes tanto
incluso motores lineales como incluso rotatorios. En el campo de tales
dispositivos de imán permanentes hay una búsqueda continua de eficacia
aumentada y complejidad reducida.
En consecuencia, un objeto de la invención
presente es proporcionar un componente de control de imán permanente en el cual
el camino de un nivel dado del flujo de imán permanente puede ser controlado
por un nivel menor del flujo electromagnético.
Otro objeto de la invención presente es
proporcionar un componente de control de imán permanente en el cual
considerablemente todo el flujo de un imán permanente puede ser cambiado entre
al menos dos caminos de flujo diferentes del componente de control de imán
permanente para permitir el trabajo útil en la forma del movimiento lineal, que
corresponde, y rotatorio.
Todavía otro objeto de la invención presente es
proporcionar componentes de control de imán permanentes y construcciones de
motor en las cuales el control de camino de flujo es proporcionado activando un
10 electroimán para oponerse al flujo magnético de uno o varios imanes
permanentes.
Otro objeto de la invención presente es
proporcionar componentes de control de imán permanentes y construcciones de
motor en las cuales el control de camino de flujo es proporcionado activando un
electroimán para ayudar al flujo magnético de uno o varios imanes permanentes.
Aún otro objeto de la invención presente es
proporcionar el motor de imán permanente 15 construcciones por características
de operaciones mejoradas
Todavía otro objeto de la invención presente es
proporcionar componentes de control de imán permanentes y construcciones de
motor en las cuales el control de camino de flujo es proporcionado activando un
10 electroimán para oponerse al flujo magnético de uno o varios imanes
permanentes.
RESUMEN DE LA INVENCIÓN
Estos y otros objetos de la invención son
alcanzados por un aparato que, en un aspecto, es un dispositivo de imán
permanente, comprendiendo un imán permanente que tiene norte y caras de polo
sur, un primer pedazo de poste, un segundo pedazo de poste, un primer control
bobina, un segundo control bobina, y medios de recorrido, el primer pedazo de
poste colocó adyacente la cara de Polo Norte del imán permanente e incluso una
primera porción de camino, una segunda porción de camino y una tercera porción,
la primera porción de camino que se extiende más allá de un perímetro de la
cara de Polo Norte y la segunda porción de camino que se extiende más allá del
perímetro de la cara de Polo Norte para definir primero y segundos caminos de
flujo para el flujo magnético que emana de la cara de Polo Norte del imán
permanente, la primera porción de camino del primer pedazo de poste relacionado
con la segunda porción de camino del primer pedazo de poste por la tercera
porción que se extiende a través de la cara de Polo Norte del imán permanente,
el segundo pedazo de poste colocó adyacente la cara de polo sur e incluso una
primera porción de camino y una segunda porción de camino, la primera porción
de camino que se extiende más allá de un perímetro de la cara de polo sur y
considerablemente se alineó con la primera porción de camino del primer pedazo
de poste, la segunda porción de camino que se extiende más allá del perímetro
de la cara de polo sur y considerablemente se alineó con la segunda porción de
camino del primer pedazo de poste, el primer control bobina colocado alrededor
de la primera porción de camino del primer pedazo de poste, el segundo control
bobina colocado alrededor de la segunda porción de camino del primer pedazo de
poste, los medios de recorrido relacionados con cada uno del primer control
bobina y el segundo control bobina para activar alternativamente primer bobina
y segundo bobina en una manera secuencial calculada.
Otro aspecto de la invención presente proporciona
un método para controlar el camino del flujo magnético de un imán permanente
que implica colocar un primer pedazo de poste adyacente una primera cara de
poste del imán permanente para tener al menos primero y segundas porciones de
camino que se extienden más allá de un perímetro de la primera cara de poste.
Un segundo pedazo de poste es colocado adyacente una segunda cara de poste del
imán permanente para incluir al menos una porción que considerablemente se
alinea con las primeras y segundas porciones de camino del primer pedazo de
poste. Un primer control bobina es colocado a lo largo y alrededor de la
primera porción de camino del primer pedazo de poste y un segundo control el
bobina es colocado a lo largo y alrededor de la segunda porción de camino del
primer pedazo de poste. El primer control bobina es repetidamente activado en
un imán permanente flujo magnético manera contraria para prevenir el flujo
magnético del imán permanente de cruzar la primera porción de camino del primer
pedazo de poste, y el segundo control bobina es repetidamente activado en un
imán permanente flujo magnético manera contraria para prevenir el flujo
magnético del imán permanente de cruzar la segunda porción de camino del primer
pedazo de poste.
Aún otro aspecto de la invención presente
proporciona un método para controlar el camino del flujo magnético de un imán
permanente colocando un primer pedazo de poste adyacente una primera cara de
poste del imán permanente para tener al menos primero y segundas porciones de
camino que se extienden más allá de un perímetro de la primera cara de poste.
Un segundo pedazo de poste es colocado adyacente una segunda cara de poste del
imán permanente para incluir al menos una porción que considerablemente se
alinea con las primeras y segundas porciones de camino del primer pedazo de
poste. Un primer control bobina es colocado a lo largo y alrededor de la
primera porción de camino del primer pedazo de poste, y un segundo control
bobina es colocado a lo largo y alrededor de la segunda porción de camino del
primer pedazo de poste. Los pasos siguientes son alternativamente realizados en
una manera repetida:
(i) La activación del primer control bobina en un
imán permanente flujo magnético que ayuda a la manera para conectar con
considerablemente todo el flujo magnético del imán permanente tal que
considerablemente ningún flujo magnético del imán permanente cruza la segunda
porción de camino del primer pedazo de poste cuando el primer control bobina es
tan activado; y
(ii) La activación del segundo control bobina en
un imán permanente flujo magnético manera contraria para conectar con
considerablemente todo el flujo magnético del imán permanente tal que considerablemente
ningún flujo magnético del imán permanente cruza la primera porción de camino
del primer pedazo de poste cuando el segundo control bobina es tan activado.
Un aspecto adicional de la invención presente
proporciona el método para controlar el camino del flujo magnético de un imán
permanente colocando un primer pedazo de poste adyacente una primera cara de
poste del imán permanente para tener al menos primero y segundas porciones de
camino que se extienden más allá de un perímetro de la primera cara de poste, y
colocan un segundo pedazo de poste adyacente una segunda cara de poste del imán
permanente para incluir al menos una porción que considerablemente se alinea
con las primeras y segundas porciones de camino del primer pedazo de poste. Un
primer control bobina es colocado a lo largo y alrededor de la primera porción
de camino del primer pedazo de poste, y un segundo control bobina es colocado a
lo largo y alrededor de la segunda porción de camino del primer pedazo de
poste. Los pasos siguientes son alternativamente realizados en una manera
repetida:
(i) La activación del primer control bobina en un
imán permanente flujo magnético que ayuda a la manera para conectar con
considerablemente todo el flujo magnético del imán permanente tal que considerablemente
ningún flujo magnético del imán permanente cruza la segunda porción de camino
del primer pedazo de poste cuando el primer control bobina es tan activado; y
(ii) La activación del segundo control bobina en
un imán permanente flujo magnético manera contraria para conectar con
considerablemente todo el flujo magnético del imán permanente tal que
considerablemente ningún flujo magnético del imán permanente cruza la primera
porción de camino del primer pedazo de poste cuando el segundo control bobina es
tan activado.
BREVE
DESCRIPCIÓN DE LA INVENCIÓN

Fig.1 es una vista de
perspectiva de un dispositivo magnético en cual flujo magnético de un miembro
magnético cruzan un camino solo para producir una fuerza que se aparea;

Fig.2 es una vista de
perspectiva de un dispositivo magnético en el cual el flujo magnético de un
miembro magnético se divide entre dos caminos;

Fig.3 es una vista lateral de dos miembros
magnéticos arreglan en la paralela entre pedazos de poste;

Fig.4 es una vista lateral de dos miembros
magnéticos arreglados en serie entre pedazos de poste;

Fig.5 y Fig.6 son vistas laterales de un
dispositivo de imán permanente incluso un imán permanente que coloca pedazos de
poste contra el poste afronta de eso e incluso una armadura movible;



Fig.7, Fig.8 y Fig.9 son vistas laterales de un dispositivo de imán permanente
incluso un imán permanente que coloca pedazos de poste contra el poste afronta
de eso para proporcionar dos caminos de flujo magnéticos e incluso una armadura
movible que puede ser colocada a lo largo de cada camino de flujo magnético;









Figs.10, 10A-10H son vistas de perspectiva de
varias encarnaciones del imán permanente 5 componentes de control que incluyen
dos o más caminos de flujo magnéticos;







Figs.11, 11A-11F son vistas laterales de un
dispositivo de imán permanente incluso un imán permanente que coloca pedazos de
poste contra el poste afronta de eso e incluso una armadura movible y una
carretera de circunvalación permanente que se extiende entre los pedazos de
poste;






Figs.12, 12A-12E
son vistas laterales de un dos camino dispositivo de imán permanente incluso
dos carreteras de circunvalación;



Figs.13A-13C son vistas laterales de un imán
permanente dispositivo lineal que corresponde;

Fig.14 es una vista lateral de un dispositivo
lineal electromagnético que corresponde;

Fig.15 es una vista
lateral de un dos camino dispositivo de imán permanente mostrando al control
bobinas activado en una manera que excede;





Figs.16A-E son una
vista lateral de un dispositivo lineal que corresponde con el control bobinas
activado en una manera que excede;




Figs.17A-17D represente otra encarnación de un
dispositivo lineal que corresponde;





Figs.18A-18E muestre un dispositivo de movimiento
lineal;

Fig.19 es una vista de perspectiva hecha
explotar de un dispositivo de movimiento rotatorio;

Fig.20 es una vista reunida y cortada parcial
del dispositivo de movimiento rotatorio de Fig.19;





Figs.21A-21E son vistas superiores de la asamblea
parcial de Fig.20, mostrando al movimiento rotatorio de ello,

Fig.22 es un reunido, la vista de recorte del
dispositivo de movimiento rotatorio de Fig.19 incluso un alojamiento;

Fig.23 es una vista de perspectiva hecha
explotar de otra encarnación de un dispositivo de movimiento rotatorio;

Fig.24 es una vista de perspectiva del
dispositivo de movimiento rotatorio de Fig.23 cuando reunido;

Figs.25A-25B son vistas de final del dispositivo de
movimiento rotatorio de Fig.24 con la gorra de final quitada para exponer al
miembro de rotor;

Figs.26-28 son vistas
laterales l de varias configuraciones para sesgar la dirección de rotación en
el dispositivo de movimiento rotatorio de Fig.24;


Figs.29A-29D son vistas laterales

Fig.30 es una vista de perspectiva parcial hecha
explotar de otra encarnación de un dispositivo de movimiento rotatorio;

Fig.31 es una vista de perspectiva del
dispositivo de movimiento rotatorio de Fig.30 cuando reunido


Figs.32A-32D son vistas superiores del dispositivo de
movimiento rotatorio de Fig.31 ilustración esto es el movimiento rotatorio;

Fig.33 es una vista lateral del dispositivo de
movimiento rotatorio de Fig.31 cuando reunido y colocado en esto aloja;

Fig.34 es una vista de perspectiva de otra
encarnación de un dispositivo de movimiento rotatorio;

Fig.35 es una vista superior del dispositivo de
movimiento rotatorio de Fig.34;

Fig.36 es una vista de perspectiva del miembro
de rotor de imán permanente del dispositivo de movimiento rotatorio de Fig.34;

Fig.37 y Fig.38 muestre configuraciones
alternativas para el componente de control incorporado en el dispositivo de
movimiento rotatorio de Fig.34;


Figs.39A-39D son vistas superiores del dispositivo de
movimiento rotatorio de Fig.34 y represente su movimiento rotatorio;





Figs.40-44 son
variaciones alternativas del recorrido para controlar energisation calculado
del control bobinas en varios dispositivos de la invención presente;



Figs.45A-45C y Figs.45X-45Z
son vistas laterales de dos dispositivos de conversión de poder de camino;




Fig.46 es una vista
esquemática de la porción de imán permanente de un rotor para el uso en algunas
encarnaciones del dispositivo presente;


Fig.47 y Fig.48
muestre otras encarnaciones de un dispositivo de movimiento lineal;

Fig.49 es una vista superior de otra encarnación
de un motor rotativo como la construcción; y

Fig.50 es una vista esquemática de una de las
tres porciones de estator del dispositivo mostrado en Fig.49.
DESCRIPCIÓN DETALLADA DE LOS DIBUJOS

La referencia ahora a los dibujos, Figs.1-4 son
proporcionado para facilitar un entendimiento de varios aspectos o los rasgos
de la tecnología utilizada en la invención presente. Fig.1
representa un dispositivo 10 tener un flujo magnético que produce al miembro 12
que puede ser un imán permanente o el electroimán con postes magnéticos 14 y 16
como mostrado. Los pedazos de Polo 18 y 20 son colocados postes respectivos
adyacentes 14 y 16 para proporcionar un camino para el flujo magnético del
miembro 12. Cada pedazo de poste 18 y 20 hace que un final de pedazo de poste
se vuelva 22 y 24. Como usado en todas partes de esta especificación, es
entendido que un pedazo de poste, sin tener en cuenta su forma o tamaño, es
preferentemente formado de hierro suave, acero o algún otro material magnético,
con el material preferido que es uno que proporciona la renuencia baja, expone
bajo hysterisis, y tiene una capacidad de densidad de flujo magnética alta. En
consecuencia, varios pedazos de poste revelados y descritos aquí podrían ser
igualmente de la construcción de tipo de laminado.
Referencia otra vez a Fig.1 una armadura 26, también formado del material magnético, es
mostrada con las caras de final 28 y 30 que son colocados y puestos la talla
para ser colocados el final de pedazo de poste adyacente se vuelve 22 y 24, tal
que cuando tan colocado un camino de renuencia bajo considerablemente continuo
32 es proporcionado para el flujo magnético del Polo Norte 14, por el pedazo de
poste 18, por la armadura 26, por el pedazo de poste 16, y al polo sur 16. El
flujo magnético que viaja a lo largo de tal camino 32 resultados en una fuerza
que tiende a sostener la armadura 26 en la posición alineada con el final de
pedazo de poste se vuelve 22 y 24. El enganche magnético que resulta o la
posesión de la fuerza F proporcionado entre el final de pedazo de poste
adyacente se vuelven 22 y final de armadura cara 28, y entre el final de pedazo
de poste adyacente cara 24 y final de armadura cara 30, puede ser acercada por
la ecuación siguiente:
![]()
donde B es la densidad de flujo magnética que pasa
por las caras de final adyacentes y A es el área superficial de las caras de
final adyacentes. La asunción que si B es uniforme en todas partes del camino
de flujo 32 y que el área un de todo el final se vuelve 22, 24, 28, y 30 es el
mismo, entonces la fuerza de posesión total FT26 de la armadura 26 contra pedazos de poste
18 y 20 será:
![]()

En Fig.2
un dispositivo 40 tener el mismo flujo magnético que produce al miembro 12 con
postes magnéticos 14 y 16 es mostrado. Los pedazos de polo 42 y 44 son
colocados el poste respectivo adyacente se vuelve 14 y 16 para proporcionar dos
caminos, a diferencia de uno encima, para el flujo magnético del miembro 12. En
particular, el pedazo de poste 42 incluye una primera porción de camino que 46
ampliación más allá de un perímetro del Polo Norte afronta 14 en una dirección
y una segunda porción de camino que 48 ampliación más allá del perímetro del
Polo Norte afronta 14 en otra dirección. Del mismo modo, el pedazo de poste 44
incluye una primera porción de camino que 50 ampliación más allá del perímetro
del polo sur afronta 16 en una dirección y una segunda porción de camino que 52
ampliación más allá del perímetro del polo sur afronta 16 en otra dirección. Cada porción de camino de pedazo de poste 46,
48, 50, 52 incluye una cara de final respectiva. Una primera armadura 54 que
puede ser colocado adyacente a las caras de final de componentes de camino de
pedazo de poste 48 y 52 proporciona un primer camino de flujo magnético 56 y
una segunda armadura 58 es que puede ser colocado adyacente las caras de final
de componentes de camino de pedazo de poste 46 y 50 proporcionan un segundo
camino de flujo magnético 60. Si el flujo que lleva el área a lo largo de
caminos de flujo 56 y 60 es el mismo como el flujo que lleva el área a lo largo
del camino de flujo 32 de Fig.1, la densidad de flujo magnética a lo largo de
cada camino de flujo 56 y 60 será una mitad la densidad de flujo magnética a lo
largo del camino de flujo 32 de Fig.1 porque la misma cantidad del flujo es
partida entre dos como caminos. El efecto de dividir una cantidad dada del
flujo magnético a lo largo dos como caminos de flujo en vez de ello haciendo
pasar sólo un camino de flujo puede ser visto examinando la fuerza de posesión
en la armadura 54 comparando con la fuerza de posesión en la armadura 26 de
Fig.1. Como ya notado la densidad de
flujo magnética a lo largo del camino 56 será una mitad esto a lo largo del
camino de flujo 32 y así FT54 de fuerza de posesión total puede ser determinado
como:
![]()
Se ve por lo tanto que la división de la misma
cantidad del flujo magnético a lo largo de dos caminos de flujo más bien que a
lo largo de un camino de flujo reduce la posesión magnética o el enganche de la
fuerza en una armadura a un cuarto más bien que una mitad como podría haber
sido esperada. Esta posesión magnética inesperada o enganche del diferencial de
fuerza, que resulta de caminos de flujo múltiples, pueden proporcionar
propiedades ventajosas en dispositivos de movimiento lineales, que
corresponden, y rotatorios.


Referencia ahora a Fig.3 y Fig.4, el comportamiento
de fuentes de flujo magnéticas múltiples arregladas en paralela y serie es
descrito comparando con una fuente de flujo sola. Cuando las fuentes de flujo
idénticas o el flujo magnético que produce a miembros 70 y 72 son colocados en
la paralela como mostrado en Fig.3 con pedazos de poste 74 y 76 colocó
adyacente los postes de eso para proporcionar un camino de flujo por la
armadura 78, la densidad de flujo B por la armadura 78 es doble lo que la
densidad de flujo consistiría en si sólo un flujo magnético que produce al
miembro estuviera presente. Sin embargo, la intensidad de campaña H resultando
de los dos miembros 70 y 72 permanece sin alterar. Estos asimientos de
resultado verdaderos sin tener en cuenta si los miembros 70 y 72 son imanes
ambos permanentes, son ambos electroimanes, o son una combinación de un imán
permanente y un electroimán. Por otra parte, las propiedades que resultan de
flujo magnético que produce a miembros 80 y 82 poste a poste arreglado en serie
entre pedazos de poste 84 y 86, con armadura 88, como mostrado en Fig.4, variará
según la naturaleza de los miembros 80 y 82.
En un primer caso, si ambos miembros 80 y 82 son
imanes permanentes, la intensidad de campo magnético H resultando de los dos
imanes permanentes será doble aquel de un imán permanente y la densidad de
flujo B por la armadura 88 será el mismo como lo que la densidad de flujo
consistiría en si sólo un miembro de tipo de imán permanente estuviera
presente.
En un segundo caso, si ambos miembros 80 y 82 son
electroimanes, la intensidad de campaña H otra vez se dobla y la densidad de
flujo B aumentos según la curva de B/H o relación del pedazo de poste 84, 86 y
armadura 88 materiales.
En un tercer caso, si el miembro 80 es un imán
permanente y el miembro 82 es un electroimán, la intensidad de campaña H otra
vez se dobla, pero, ya que el imán permanente está cerca de la saturación de
densidad de flujo Br la densidad de flujo sólo puede ser aumentada de Br a Bmax
del imán permanente. En el punto donde miembro de tipo de electroimán 82
contactos miembro de tipo de imán permanente 80 el flujo del miembro de tipo de
electroimán 82 parejas con el flujo del miembro de tipo de imán permanente 82
hasta la densidad de flujo por miembro de tipo de imán permanente Bmax de los
80 alcances. En aquel punto el flujo adicional del miembro de tipo de
electroimán 82 no contribuye a la densidad de flujo a lo largo del camino de
flujo a menos que un camino de carretera de circunvalación alrededor del
miembro de tipo de imán permanente sea proporcionado. El uso de tales caminos
de carretera de circunvalación será descrito abajo.


El control del flujo de flujo tanto a lo largo un
como caminos de flujo múltiples es mejor descrito en cuanto a Figs.5-9. En
Fig.5 y Fig.6 un dispositivo de imán permanente 90 incluso un imán permanente
al que 92 pedazos de poste que tienen 94 y 96 colocaron adyacente esto es caras
de poste, y una armadura que 98 completar un camino de renuencia bajo 104 del
poste al poste es mostrado. Controle bobinas 100, 102 son colocados a lo largo
del camino 104. Cuando control bobinas 100, 102 no son activados, el flujo
magnético del imán permanente 92 sigue el camino 104 como mostrado y la
armadura 98 es sostenida en el lugar contra pedazos de poste 94, 96 debido a
las fuerzas de enganche magnéticas que resultan. Sin embargo, si bobinas 100, 102 son
activados para proporcionar un flujo magnético igual pero contrario a aquel del
imán permanente 92, el resultado es que el flujo magnético del imán permanente
92 es bloqueado y ningún flujo magnético cruza el camino que incluye la
armadura 98 y por lo tanto ningún acto de fuerzas de enganche magnético en la
armadura 98 permiso de ello de desaparecer como mostrado en Fig.6. El
dispositivo de imán permanente 90 es útil, aunque como se haga aparente abajo,
es más ventajoso proporcionar caminos de flujo múltiples más bien que un.

En este aspecto, en Fig.7 un dispositivo de imán
permanente 110 incluye un imán permanente que 112 pedazos de poste que tienen
114, 116 colocaron adyacente las caras de poste de ello, con armaduras 118, 120
completando de dos caminos de renuencia baja 130, 132 del poste al poste de
eso. Controle bobinas 122, 124 son colocados a lo largo del camino 130 y
controlan bobinas 126, 128 son colocados a lo largo del camino 132. Se asume
que los dos caminos proporcionados son de la renuencia igual. Sin bobinas
activado, el flujo magnético del imán permanente 112 se divide igualmente a lo
largo de camino de flujo 130 y camino de flujo 132 tal que ambas armaduras 118,
120 son sujetadas a una fuerza de enganche magnética que los sostiene en el
lugar contra pedazos de poste 114, 116.

Si bobinas 122, 124 son activados para
proporcionar un flujo magnético igual a, pero la oposición al flujo magnético
que viaja a lo largo del camino de flujo 130 del imán permanente 112 cuando
ningunos bobinas son activados, el resultado es que el flujo magnético del imán
permanente 112 es bloqueado y ningún flujo magnético cruza el camino que
incluye la armadura 118 y por lo tanto ningún acto de fuerzas de enganche
magnético en la armadura 118 permiso de ello de desaparecer como mostrado en
Fig.8. Adelante, el flujo magnético que
cruza el camino 132 será doble aquel de cuando ningunos bobinas son activados y
por lo tanto la fuerza de enganche magnética en la armadura 120 será
aproximadamente cuatro (4) veces aquel de cuando ningunos bobinas son
activados. Activando bobinas 126, 128 en una manera contraria un resultado
similar sería conseguido tal que la armadura 120 desaparecería y tal que la
fuerza de enganche magnética en la armadura 118 sería aumentada.
Si bobinas 122, 124 son activados para
proporcionar un flujo magnético igual a y la ayuda del flujo magnético que
viaja a lo largo del camino de flujo 130 cuando ningunos bobinas son activados,
el resultado es que el control bobinas pareja completamente con el flujo
magnético del imán permanente 112 y ningún flujo magnético cruza el camino que
incluye la armadura 120 y por lo tanto ningún acto de fuerzas de enganche
magnético en la armadura 120 permiso de ello de desaparecer como mostrado en
Fig.9. Adelante, el flujo magnético que cruza el camino 130 será doble aquel de
cuando ningunos bobinas son activados y por lo tanto la fuerza de enganche
magnética en la armadura 118 será aproximadamente cuatro (4) veces esto cuando
ningunos bobinas son activados. Activando bobinas 126, 128 en una manera de
ayuda un resultado similar sería conseguido tal que la armadura 118
desaparecería y la fuerza de enganche magnética en la armadura 120 sería aumentada.
Basado en el anterior, se ve que la fuerza de
enganche magnética llena disponible del imán permanente 112, puede ser cambiado
de un camino a otro camino por la aplicación de una mitad el poder que esto
requeriría para un solo bobina para producir el mismo flujo magnético a lo
largo de un camino. La capacidad de cambiar la fuerza de enganche magnética
llena fácilmente de un camino al otro, tiene el movimiento que corresponde,
lineal, y rotatorio eficiente en cuenta y la conversión de poder para ser conseguida.

El dispositivo básico utilizado para conseguir
división de flujo de imán permanente y controlar tal división de flujo de imán
permanente es definido aquí como "un componente de control de imán
permanente," varias configuraciones de que son mostradas por vía del
ejemplo sólo, y no por vía de la limitación, en Figs.10A-10F. Fig.10A representa un componente de control
de imán permanente 150 en que los pedazos de poste 152 y 154 son colocados
adyacentes a las caras de poste del imán permanente 156 para proporcionar dos
caminos de flujo magnéticos que se extienden de lados opuestos del imán
permanente. Controle bobinas 158 son colocados a lo largo de cada camino.

Fig.10B Representa a un imán permanente control
componente 160 en el que piezas polares 162 y 164 se posicionan contra el poste
rostros de imán permanente 166 para proporcionar dos espaciados, flujo
magnético adyacentes rutas ampliar desde el mismo lado de imán permanente 166. Bobinas de Control 168 están colocados a lo
largo de cada ruta.

Fig.10C representa un imán
permanente control componente 170 piezas polares que en 172 y 174 están
configurados para colocarse al lado del palo se enfrenta de imán permanente 176
para proporcionar flujo cuatro caminos, cada ruta de flujo ampliar en una
dirección correspondiente de imán permanente 176. Peinada Control 178 también
están situadas a lo largo de cada ruta.

Fig.10D depicts another four-path configuration of a permanent magnet control component 180 in which pole pieces 182, 184 are configured and positioned to provide four flux paths for permanent magnet 186, with a pair of spaced, adjacent flux paths extending from each side of permanent magnet 186. Control bobinas 188 are positioned along each path.

Fig.10E representa otro cuatro
de configuración de la ruta de un imán permanente control componente 190 en la
que los cuatro rutas flujo formado por piezas polares 192 194 extender de un
lado de imán permanente 196. Una vez más, el control peinada 198 están
colocados a lo largo de cada ruta de flujo.

Fig.10F todavía adelante representa una
configuración de cuatro caminos de un componente de control de imán permanente
200 en que los pedazos de poste 202, 204 se extienden a un lado del imán
permanente 206, con el pedazo de poste 202 definición de cuatro caminos de
flujo y con el pedazo de poste 204 incluso un camino de vuelta continuo.
Controle bobinas 208 son colocados a lo largo de cada camino del pedazo de
poste 202. Muchas otras variaciones son posibles.
En consecuencia, se ve que una variedad de
configuraciones diferentes de componentes de control de imán permanentes es
posible, de acuerdo con la invención presente. Las consideraciones importantes
para la división del flujo de imán permanente en tales componentes de control
de imán permanentes incluyen, ampliando cada pedazo de poste a, o más allá, el
perímetro externo de la cara de poste del imán permanente en cada región donde
un camino de flujo es querido y asegurando que la cara de poste del imán
permanente cruza cada uno de los caminos de flujo. No es necesario para cada pedazo de poste
para incluir el mismo número de porciones de camino que se extienden más allá
del perímetro de la cara de poste de imán permanente respectiva como notado en
cuanto al componente de control de imán permanente 200. Aunque dos control
bobinas sea mostrado a lo largo de cada uno de los caminos de flujo en
Figs.10A-10E, es aparente del componente 200 en Fig.10F aquel un control bobina
colocado a lo largo de un camino de flujo es generalmente suficiente para
objetivos de la invención presente. Adelante, aunque en las configuraciones
ilustradas cada pedazo de poste sea colocado para ponerse en contacto con una
cara de poste respectiva del imán permanente, un pequeño espaciado entre un
pedazo de poste y su cara de poste de imán permanente adyacente podría ser
proporcionado, en particular en aplicaciones donde el movimiento relativo entre
el pedazo de poste sustancial y el imán permanente ocurrirá.

En su forma más simple un dos camino el componente
de control de imán permanente sólo requiere que un control bobina colocado a lo
largo de uno de los caminos de control permita al flujo magnético de un imán
permanente ser cambiado entre los dos caminos. En particular, una vista lateral
de un tan dos componente de camino 210 es mostrada en Fig.10G e incluye un imán
permanente 211 pedazos de poste 212 y 213, y control bobina 214 que puede estar
relacionado con un recorrido de control conveniente. Alternando activando el
control bobina 214 en una manera contraria y una manera de ayuda el flujo
magnético del imán permanente puede ser cambiado entre el camino incluso la
armadura 215 y el camino incluso la armadura 216. Cuando el control bobina 214
es activado en una manera contraria el flujo magnético cruzará el camino
incluso la armadura 215 y cuando el control bobina 214 es activado en una
manera de ayuda el flujo magnético cruzará el camino incluso la armadura 216.
Controle bobina 214 también podría ser colocado en cualquiera de las posiciones
217, 218, o 219 para conseguir la conmutación de camino de flujo.

Adelante, en la dos encarnación bobinas mostrada
en Fig.10H controle bobina 217 es añadido. En tal dispositivo, la conmutación
de flujo puede ser conseguida por simultáneamente activando el control bobina
214 en un flujo que ayuda a manera y control bobina 217 en un flujo manera
contraria, y para entonces simultáneamente invirtiendo el energisation del
control respectivo bobinas 214 y 217.

La referencia es hecha ahora a Figs.11A-11F que
representan dispositivos similares a aquel de Figs.5-6 salvo que una carretera
de circunvalación, formada del material magnético, es proporcionada en cada
caso. En el dispositivo 220 de Figs.11A-11C una carretera de circunvalación 222
es proporcionada del pedazo de poste 224 al pedazo de poste 226 y es localizada
entre el imán permanente 228 y el control bobinas 230, 232, con la armadura 234
localizó adyacente los finales de pedazos de poste 224, 226. En Fig.11A sin
bobina energisation, componentes de flujo de imán 236 y 237 viajes como
mostrado.

Cuando bobinas 230 y 232 son activados en una
ayuda o adición de la manera como en Fig.11B, el resultado es el imán
permanente componentes de flujo magnéticos 236 y 237 viajes como mostrado, y
con el componente de flujo magnético añadido 238 de bobinas 230 y 232 también
viajes como mostrado. Así, en el dispositivo 220 activación del bobinas en una
manera de ayuda causa una fuerza de enganche magnética aumentada en la armadura
234.

En Fig.11C los bobinas 230, 232 son activados en
una oposición a la manera que excede que causa componentes de flujo magnéticos
permanentes 236 y 237 viajes tan mostrados y exceso componente de flujo
magnético 238 viajes como mostrado. Así, en el dispositivo 220 activación del
bobinas en una oposición a la manera que excede causa la fuerza de enganche
magnética en la armadura 234, aunque más pequeño que esto en la ayuda del caso
que excede.


En dispositivo 240 de Figs.11D-11F una carretera
de circunvalación 242 es proporcionada entre pedazo de poste 244 y pedazo de
poste 246, pero es localizada en un lado opuesto del imán permanente 248 como
comparado para controlar bobinas 250, 252 y la armadura 254. Los componentes de
flujo de imán permanentes 256 y 257 no son mostrados para ningún bobina
energisation en el Fig.11D. En el Fig.11E los caminos de componentes de flujo
de imán permanentes 256 y 257, así como exceso bobina flujo magnético 258, son
mostrados cuando bobinas 250, 252 son activados en una ayuda de la manera que
excede.

En Fig.11F el camino de cada componente de flujo
magnético 256, 257, y 258 es mostrado cuando bobinas 230, 232 son activados en
una manera opuesta que excede.

Figs.12A-12E represente un dispositivo 270 similar
a esto mostrado en Figs.7-9 salvo que las carreteras de circunvalación 272 y
274 son proporcionadas del pedazo de poste 276 al pedazo de poste 278. La
carretera de circunvalación 272 es localizada entre imán permanente 280 y
control bobinas 282, 284 y la carretera de circunvalación 274 es localizada
entre imán permanente 280 y control bobinas 286, 288. Las armaduras 290 y 292
también son proporcionadas. Cuando ningunos bobinas son activados imán
permanente componentes de flujo magnéticos 294, 296, 298, y 300 viajes como
mostrado en Fig.12A.

Si bobinas 282, 284 son activados en una manera
contraria componentes de flujo de imán permanentes 295, 297, y 299 viajes como
mostrado, sin el componente de flujo cruzar el camino que no incluye la
armadura 290 y por lo tanto ninguna fuerza de enganche magnética que actúa
sobre eso. Este sería el caso cuando bobinas 282, 284 son activados al nivel
donde el flujo magnético bobinas sólo se obstruye, pero no excede, el
componente de flujo magnético 294 (Fig.12A) del imán permanente 280. Sin
embargo, si bobinas 282, 284 son activados en una manera opuesta que excede un
exceso bobina componente de flujo magnético 301 es producido que viaja un
camino incluso armadura 290 y carretera de circunvalación 272 resultados como
mostrado en Fig.12C.


Bobinas 286, 288 puede ser activado en una manera
de ayuda tal que todo el imán permanente el flujo magnético viaja a lo largo
del camino que incluye la armadura 292 como mostrado en Fig.12D. Si bobinas 286, 288 son activados superior al
nivel de Fig.12D entonces el exceso el componente de flujo magnético 304 cruza
el camino que incluye la armadura 292 y la carretera de circunvalación 274 como
mostrado en Fig.12E, a la baja del aumento de la fuerza de enganche magnética
en la armadura 292 comparando con Fig.12D. La ventaja de incorporar tales
carreteras de circunvalación en componentes de control de imán permanentes en
ciertas aplicaciones se hará aparente abajo.
Intercambiar Movimiento

Como mencionado anteriormente, controlando el
camino del flujo magnético de un imán permanente puede ser útil en una variedad
de aplicaciones como el alcanzamiento del movimiento que corresponde. En este
aspecto, si el dispositivo 110 de Figs.7-9 es modificado tal que las armaduras
118 y 120 son fijadas a un eje corredizo 320 como mostrado en Figs.13A-13C, y
si la distancia entre las armaduras es mayor que el juntando los dos extremos
la longitud de pedazos de poste 114, 116, limitó el movimiento lineal en dos
direcciones (dejado y directamente en Figs.13A-13C), y movimiento por lo tanto
lineal que corresponde, puede ser conseguido en la entrega calculada, alterna
de señales eléctricas controlar bobinas 122, 124 y controlar bobinas 126, 128.
Por vía de ejemplo, Fig.13A representa la posición de las armaduras
relacionadas del eje 118, 120 cuando bobinas 122, 124 son activados en una
manera contraria para bloquear el flujo del imán permanente 112 tal que todo el
flujo magnético cruza el camino 132 como mostrado y tal que la fuerza de
enganche magnética que resulta actúa a la izquierda como indicado por la flecha
322.

Como mostrado en Fig.13B cuando bobinas 122, 124
son de activados el flujo magnético del imán permanente 112 puede viajar otra
vez a lo largo del camino 130 por la armadura 118. Sin embargo, debido al hueco
de aire 324 entre armadura 118 y pedazos de poste 114, 116 la renuencia a lo
largo del camino 130 será considerablemente mayor que la renuencia a lo largo
del camino 132. En consecuencia, la cantidad del flujo magnético que fluye a lo
largo del camino 130 será menos que la cantidad del flujo magnético que fluye a
lo largo del camino 132 tal que la fuerza de enganche magnética en la armadura
118 interpretación a la derecha estará considerablemente menos que la fuerza de
enganche magnética en la armadura 120 interpretación a la izquierda como
mostrado por flechas 326 y 328, qué flechas son puestas la talla para
representar la fuerza de la fuerza direccional respectiva.

Fig.13C representa la posición de las armaduras
relacionadas del eje 118, 120 después de que bobinas 126, 128 son activados en
una manera para oponerse al flujo del imán permanente 112 tal que todo el flujo
cruza el camino 130 y la fuerza de enganche magnética que resulta en la
armadura 118, representado por la flecha 330, mueve el eje 10 armaduras relacionadas
118, 120 a la derecha.
Controle bobinas 122, 124 y 126, 128 también
podría ser activado en un flujo que ayuda a la manera a conseguir el mismo
resultado. En tal dispositivo, el Fig.13A representaría bobinas 126, 128
activado para ayudar al flujo magnético a lo largo del camino 132, Fig.13B no
representaría otra vez ningún bobinas activado, y Fig.13C representaría bobinas
122, 124 activado para ayudar al flujo magnético a lo largo del camino 130.
Así, por alternativamente activando y de activando
el control bobinas 122, 124 y 126, 128 un movimiento lineal que corresponde del
eje unió armaduras 118, 120 puede ser conseguido. Adelante, tal movimiento que
corresponde puede ser conseguido activando el bobinas en una oposición o en
ayuda de la manera. La fuerza de enganche magnética ejerció en una armadura
dada cuando 20 el control bobinas es activado para establecer todo el flujo
magnético a lo largo de un camino solo que incluye aquella armadura es
considerablemente mayor que la fuerza de enganche magnética que sería ejercida
en tal armadura por energisation idéntico del control bobinas en ausencia del
imán permanente.

Este es demostrado en cuanto a Fig.14 que
representa un dispositivo que corresponde 340 en que sólo el bobinas o los
electroimanes son utilizados. Como mostrado armaduras 342 y 344 están
relacionados por el eje 346, y cada armadura 342, 344 incluye el pedazo de
camino de poste formado de U respectivo 348, 350 qué pedazos de camino de poste
están mecánicamente relacionados por un material no magnético 352. Cada pedazo
de camino de poste 348 y 350 tiene el control respectivo bobinas 354, 356 y
358, 360 colocado a lo largo de ellos. Por la comparación con el dispositivo de
Figs.13A-13C, si bobinas 358, 360 del dispositivo 340 son activados para causar
el flujo de flujo magnético en la dirección, dextrórsum o en en contrario, a lo
largo del camino 362, la cantidad de la energía eléctrica que sería requerida a
fin de conseguir la misma fuerza de enganche magnética en la armadura 344 como
conseguido en la armadura 120 encima en Fig.13A sería dos veces que entregó a
bobinas 122, 124 o 126, 128 en Fig.13A.
Es por lo tanto demostrado, lo que controlando o cambiando el flujo del
flujo magnético de un imán permanente entre al menos dos caminos diferentes
causa mayores fuerzas de enganche por unidad de la entrada energía eléctrica, y
por lo tanto que tal control o conmutación permitirán a más trabajo ser
conseguidos por unidad de la entrada energía eléctrica. Si un camino de renuencia baja completo no es
proporcionado para el exceso el flujo magnético, hay un poco de potencial para
aprovechar el exceso el flujo magnético en términos de producción de fuerzas de
enganche magnéticas adicionales. El camino para tal flujo de exceso no puede
ser por un miembro de imán permanente. En asambleas que incluyen una armadura
en cada camino, la armadura proporcionará el camino de renuencia baja
necesario.
Como descrito encima, si un bobina es activado más
allá del punto donde el flujo magnético producido por el bobina la ayuda de la
cantidad del flujo del imán permanente que está u opuesto o ayudado, el flujo
magnético suplementario necesita un camino de renuencia bajo entre los postes
del bobina que produce el exceso flujo magnético.

Respecto a Fig.15, varios componentes del flujo
magnético en el dispositivo 110 (Figs.7-9) son representados por números 380,
382, y 384 para el caso cuando bobinas 122, 124 son activados para oponerse al
flujo magnético del imán permanente 112 en una cantidad que excede el nivel del
flujo magnético que el imán permanente 112 causaría para fluir por la armadura
118 cuando ningunos bobinas son activados.
Fig.15 es igualmente representativo del caso cuando bobinas 126, 128 son
activados para ayudar al flujo magnético del imán permanente 112 por una
cantidad que excede el nivel del flujo magnético que el imán permanente 112
causaría para fluir por la armadura 118 cuando ningunos bobinas son activados.
En particular, el componente de flujo magnético 380 representa el flujo magnético
del imán permanente 112 que normalmente fluye por el camino incluso la armadura
120; el componente de flujo magnético 382 representa el flujo magnético del
imán permanente 112 que es divertido por el campo contrario de bobinas 122, 124
para cruzar el camino que incluye la armadura 120; y el componente de flujo
magnético 384 representa el flujo magnético producido por bobinas 122, 124 que
es superior al flujo magnético divertido 382. Como mostrado, el exceso el flujo
magnético 384 producido por bobinas 122, 124 cruza el camino que incluye la
armadura 120 y evita el imán permanente 112 para cruzar también el camino que
incluye la armadura 118. Así, el exceso que el flujo magnético producido por
bobinas 122, 124 añade al flujo de imán permanente que cruza el camino que
incluye la armadura 120, a la baja del aumento de la fuerza de enganche
magnética en la armadura 120, al mismo tiempo proporcionando un enganche
magnético fuerza en la armadura 118.

En un dispositivo que corresponde donde las
armaduras 118 y 120 están relacionadas por el eje 320 como mostrado en
Figs.13A-13C y otra vez en Fig.16A, el exceso el flujo magnético 384 aumentará
el enganche magnético fuerza 390 en la armadura 120 interpretación a la
izquierda. Sin embargo, porque tal flujo de exceso 384 también cruza el camino
que incluye la armadura 118, tal exceso el flujo magnético 384 también causa un
enganche magnético fuerza 392 en la armadura 118 que actúa a la derecha. Incluso aunque el exceso flujo magnético 384
cruzar el camino que incluye una armadura 118 tiene una polaridad de enfrente
al que que cruzaría el camino debido al imán permanente 112, la fuerza de
enganche magnética en la armadura 118 todavía actos a la derecha porque la
armadura 118 no es la polaridad sensible, es decir armadura 118 sea atraído sin
tener en cuenta la dirección del flujo magnético que cruza el camino. El efecto
total es que una fuerza consiguiente que es la diferencia entre fuerza 390 y
fuerza 392 actuará en las armaduras unidas por eje 118, 120. Sin embargo, si
las armaduras 118 y 120 fueran formadas por imanes permanentes que tienen
polaridades como mostrado encima y fondo de tales armaduras, la fuerza que
actúa en cada armadura estaría en la misma dirección y por lo tanto aditivo.

En este aspecto la referencia es hecha toIn al que
esta referencia de respeto es hecha Fig.16B en cual dos dispositivo de camino
371 teniendo cuatro control bobinas 373, 375, 377 y 379 es mostrado con las
armaduras ilustradas formadas por imanes permanentes 381 y 383 polaridades que
tienen como mostrado. Sin bobinas las armaduras de imán activadas tanto
permanentes 381 como 383 son atraídas a los finales de pedazos de poste 385 y
387. Con bobinas 373, 375 activado en una manera contraria y bobinas 377, 379
activado en una manera de ayuda, la fuerza atractiva en la armadura de imán
permanente 383 aumentará generalmente y la fuerza atractiva en la armadura de
imán permanente 381 se disminuirá generalmente.

Este es demostrado en cuanto al gráfico de Fig.16C
que representa un gráfico de la corriente corriente en el control bobinas en
los versos de x-eje el flujo magnético en gauss en el y-eje con la línea 389
representación del flujo a lo largo del lado de ayuda de dispositivo 371 y
línea 391 representación del flujo a lo largo del lado contrario del
dispositivo 371. Como mostrado, el flujo magnético en el bobina el lado
contrario se disminuye como los aumentos corrientes bobina y pasa por el cero
en el punto 393. Después del punto 393, ponga marcha atrás el flujo magnético
comienza a ser producido y causaría una fuerza de rechazo en la armadura de
imán permanente 381. En algunas aplicaciones, en particular aquellos donde las
armaduras de imán permanentes y los rotores no son utilizados, es crítico
reconocer el punto 393 de modo que el flujo magnético inverso no sea producido.


En este aspecto, la referencia es hecha a Fig.16D y
Fig.16E, en que el uso del Efecto de Hall cambia 401 y 403 es hecho para
permitir el control del bobina activación corriente en situaciones donde es
deseable prevenir el flujo magnético inverso. Como mostrado, las pequeñas
carreteras de circunvalación 405 y 407 son proveídas de los interruptores de
Efecto de Hall 401 y 403 colocado en huecos a lo largo de ellos, los
interruptores relacionados para controlar el recorrido 409. Cuando el flujo que
viaja a lo largo del camino de carretera de circunvalación se cae al cero, el
interruptor de Efecto de Pasillo puede ser utilizado para impedir adelante
energisation del control bobinas de modo que ningún flujo inverso sea creado.




Otra encarnación de un dispositivo 400 que
proporcionaría el movimiento que corresponde es mostrada en Figs.17A-17o en
cual componente de control de imán permanente 402 teniendo dos caminos de flujo
puede ser proporcionado. Un primer pedazo de poste 404, tiene dos porciones de
camino espaciadas, adyacentes 406 y 408 ampliación más allá del perímetro de la
cara de poste del imán permanente 410, y un segundo pedazo de poste 412 incluye
sólo una porción continua 414 ampliación más allá del perímetro de la cara de
poste del imán permanente 410, cada porción de camino 406 y 408 de pedazo de
poste 404 considerablemente alineado con al menos una parte de porción 414 de
pedazo de poste 412. Controle bobina 416 es colocado a lo largo de la porción
de camino de pedazo de poste 406 y el control bobina 418 es colocado a lo largo
de la porción de pedazo de poste 408. Una armadura 420 es colocada en la región
entre porciones de camino de pedazo de poste 404, 406 y porción de pedazo de poste
414 y es libre de deslizarse de un lado al otro como mostrado por flechas 422 y
424.
Una vista delantera del dispositivo componente 400
sin bobinas activado y armadura 420 en un punto mediano representa el flujo que
fluye de la cara de Polo Norte del imán permanente 410, por cada una de
porciones de camino de pedazo de poste 406 y 408, por la armadura 420, y vuelve
a la cara de polo sur por la porción de pedazo de poste 414. Así, el flujo
magnético se divide igualmente a lo largo de dos caminos. Si bobina 416 es
activado en una manera de ayuda, o si bobina 418 es activado en una manera
contraria, todos o una mayoría del flujo magnético de los imanes permanentes
pueden ser hechos para fluir por la porción de pedazo de poste 406 de modo que
una fuerza de enganche magnética que resulta en la armadura 420 causas ello
para moverse a la izquierda como mostrado en Fig.17C.
Igualmente, si el control bobina 416 es activado
en una manera contraria, o si el control bobina 418 es activado en una manera
de ayuda, todos o una mayoría del flujo de imán permanente pueden ser hechos
para fluir por la porción de camino de pedazo de poste 408 tal que una fuerza
de enganche magnética que resulta en la armadura 420 causas ello para moverse a
la derecha como mostrado en Fig.17D. En
consecuencia, por alternativamente activando y de activando bobinas 416 y 418
un movimiento que corresponde de la armadura 420 puede ser conseguido.
Movimiento Lineal

Mandando ahora a Figs.18A-18E, el movimiento
lineal de acuerdo con la invención presente es descrito. En particular, un
componente de control de imán permanente 440 incluso un imán permanente 442 con
un pedazo de poste 444 colocado contra esto es la cara de Polo Norte y un
pedazo de poste 446 colocado contra esto es la cara de polo sur es mostrado en
una vista esquemática en Fig.18A y mostrado reunido en Fig.18B.

El pedazo de Polo 444 incluye cinco porciones de
camino 448A-448E que se extienden más allá del borde de la cara de Polo Norte
del imán permanente 442 a un lado de ello y en posiciones respectivas a lo
largo esto es la longitud, y esto tiene la porción de camino 448A-448E cada uno
con un control bobina 450A-450E colocado alrededor de ellos. El pedazo de Polo
446 incluye una porción 452 ampliación más allá del borde de la cara de polo
sur del imán permanente 442 a un lado de ello, y esta porción 452 se extiende a
lo largo de la longitud entera del imán permanente 442. Varias armaduras 454
definen un camino del movimiento relativo entre el componente de control de imán
permanente 440 y tales armaduras 454, y proveyendo calcularon energisation del
control dado bobinas 450A-450E tal movimiento relativo puede ser conseguido.



La secuencia de vistas laterales representadas en
Figs.18C-18E ilustra tal movimiento relativo,
con bobinas 450A, 450C y 450E ser activado
en una manera contraria simultáneamente en Fig.18C,
con bobinas 450A y 450 siendo activado simultáneamente en una
manera contraria en Fig.18D, y
con bobinas 450B y 450 siendo activado simultáneamente en una
manera contraria en Fig.18E.
En Fig.18C, el flujo magnético sólo fluirá a lo
largo de porciones de camino 448B y 448C del pedazo de poste 444 fuerzas de
enganche magnéticas consiguientes que causan representadas por flechas 456, 458
que actúan para moverse imán permanente controlan el componente 440 a la
izquierda, asumiendo que las armaduras 454 son fijadas. Del mismo modo, debido
al cronometraje de bobina subsecuente los energisation fuerzas magnéticas
consiguientes representadas por flechas 460, 462 en Fig.18D y flechas 464, 466
en el acto de Fig.18E para seguir movimiento del imán permanente controlan el
componente 440 a la izquierda. Así, si
el componente de control de imán permanente 440 fue fijado a un dispositivo o
estructura, el movimiento controlado del dispositivo o estructura a lo largo
del camino definido por armaduras 454 podría ser conseguido. A la inversa, si
el componente de control de imán permanente 440 fue fijado y las armaduras 454
fueron localizadas en un dispositivo o estructura, el movimiento controlado del
dispositivo o estructura también podría ser conseguido. También es fácilmente
reconocido que variando el bobina energisation secuencia y calculando el
movimiento relativo en dirección contraria puede ser conseguido. Adelante, si
el imán permanente fuera la rosquilla formada y las armaduras fueron arregladas
en un modelo circumferential, el movimiento rotatorio sería igualmente
alcanzable.
Movimiento Rotatorio

Una encarnación de un dispositivo de movimiento rotatorio o motor 500 que incorpora varios aspectos de control de flujo de imán permanentes de la invención presente es mostrada en la vista esquemática del Fig.19 y en la vista reunida parcial del Fig.20. El motor 500 incluye una asamblea de rotor que incluye un eje 502 y el porte superior asociado 504, un miembro de disco no magnético 506 montado para la rotación con el eje 502, y un pedazo de poste de rotor 508 que es montado para la rotación con el miembro de disco 506 como por el uso de tornillos 510. El pedazo de poste de rotor 508 incluye una porción de forma anular que tiene dos porciones de camino de flujo magnéticas que se extienden interiormente 512A y 512B. Una asamblea de estator del motor 500 incluye una rosquilla o el imán permanente de forma anular que 514 tener una cara de Polo Norte arriba dirigida colocó adyacente y en la proximidad cercana al pedazo de poste de rotor 508, y una cara de polo sur dirigida hacia abajo colocó adyacente y en el contacto con un pedazo de poste de estator 516. El pedazo de poste de estator incluye una porción de forma anular que tiene cinco porciones de camino que proyectan interiormente 518A-518E. Cada porción de camino incluye 520A-520E postal tortuoso respectivo que amplía de allí y tiene un control respectivo bobina 522A-522E enrollar en ello. El pedazo de poste de estator se vuelve 524A-524E son que puede ser colocado en postes tortuosos respectivos 518A-518B y, como mostrado en la asamblea parcial del Fig.20, es considerablemente alineado con la superficie superior del imán permanente 514 para ser que puede ser colocado porciones de camino de rotor adyacentes 512A y 512B cuando alineado con ello.. Cada uno de girar postes 518A-518E y las caras de pedazo de poste de estator son formados del material magnético, y aunque mostrado como pedazos separados, una integral, un estator de pedazo podría ser formado con postes tortuosos similares y caras de pedazo de poste trabajadas a máquina en ello. Más abajo el porte 526 también es mostrado.

Figs.21A-21E ilustre vistas superiores de la
asamblea parcial de Fig.20 con flujo magnético mostrado. En Fig.21A los viajes de flujo magnéticos
cuando ninguno de bobinas 522A-522E es activado son representados.
Desatendiendo el flujo de salida, debido al camino de renuencia baja
proporcionado por porciones de camino de pedazo de poste de rotor 512A y 512B,
la mayoría del flujo magnético de la cara de Polo Norte del imán permanente 514
viajará radialmente hacia dentro a lo largo de una de tales porciones de camino
antes de pasar hacia abajo por la asamblea de estator y devolver a la cara de
polo sur del imán permanente 514. Es notado que el pedazo de poste de rotor 508
incluye dos porciones de camino y el pedazo de poste de estator 516 incluye
cinco porciones de camino tal que las porciones de camino de pedazo de poste de
rotor 512A y 512B siempre serán sesgadas con relación a 524A-524E de caras de
pedazo de poste de estator. Sólo una porción de camino de pedazo de poste de
rotor puede alinearse directamente con una cara de pedazo de poste de estator
en un tiempo dado. Por alternativamente activando el control bobinas de cada
uno de los caminos de pedazo de poste de estator, el movimiento rotatorio del
rotor puede ser conseguido.

En particular, referencia a Figs.21B-21D, una
secuencia de activación que causa tal movimiento rotatorio es descrita. En Fig.21B, controle bobinas 522A y 522C son
activados en un flujo de imán permanente manera contraria. El imán permanente
flujo magnético que viaja a lo largo de la porción de camino de pedazo de poste
de rotor 512A tiende a cruzar a la cara de pedazo de poste de estator 524B
causar una fuerza de enganche magnética indicada por la flecha 526. Igualmente,
el flujo de imán permanente que viaja a lo largo de la porción de camino de
pedazo de poste de rotor 512B tiende a cruzar a 524 causar de la cara del
pedazo de poste de estator una fuerza de enganche magnética indicada por la
flecha 528. El resultado es la rotación del pedazo de poste de rotor 508 en un
dextrórsum dirección como indicado por la flecha 530.

Respecto a Fig.21C, sólo después de que la porción
de camino de pedazo de poste de rotor 512B es ya no alineada con la cara de
pedazo de poste de estator 524, el control bobina 522C es de activado y el
control bobina 522 es activado en una manera contraria tal que el flujo de imán
permanente que viaja a lo largo del camino de pedazo de poste de rotor 512B
tiende a cruzar a la cara de pedazo de poste de estator 524E causar la fuerza
de enganche magnética indicada por la flecha 532. Controle bobina 522A
permanece activado tal que una fuerza de enganche magnética indicada por la
flecha 534 resultados. En consecuencia, dextrórsum la rotación del pedazo de
poste de rotor 508 es seguida.

En Fig.21D, sólo después de que la porción de
camino de pedazo de poste de rotor 512A es ya no alineada con la cara de pedazo
de poste de estator 524B, el control bobina 522A es de activado y el control
bobina 522B es activado en un imán permanente flujo magnético manera contraria
tal que el imán permanente flujo magnético que viaja a lo largo del camino de
pedazo de poste de rotor 512A tiende a cruzar a la cara de pedazo de poste de
estator 524C tal que una fuerza de enganche magnética indicada por la flecha
536 resultados. Controle bobina 522 permanece activado tal que una fuerza de
enganche magnética indicada por la flecha 538 resultados, y dextrórsum rotación
del pedazo de poste de rotor 508 es seguida.

Como mostrado en Fig.21E, sólo después de que la
porción de camino de pedazo de poste de rotor 512B es ya no alineada con la
cara de pedazo de poste de estator 524E, el control bobina 522 es de activado y
el control bobina 522E es activado en un imán permanente flujo magnético manera
contraria tal que el imán permanente flujo magnético que viaja a lo largo del
camino de pedazo de poste de rotor 512B tiende a cruzar a la cara de pedazo de
poste de estator 524A tal que una fuerza de enganche magnética indicada por la
flecha 540 resultados. Controle bobina 522B permanece activado tal que una fuerza
de enganche magnética indicada por la flecha 542 resultados, y dextrórsum
rotación del pedazo de poste de rotor 508 es seguida.
Así, alternando la activación y la de activación
del control bobinas 522A-522E, en una secuencia calculada predeterminada basada
sobre la rotación de la asamblea de rotor, siguió el movimiento de rotación del
pedazo de poste de rotor 508 puede ser conseguido. Un esquema tan
energisation/de-energisation puede ser conseguido utilizando la circuitería
común en el arte, como la circuitería de control descrita en Estados Unidos del
Candidato. Acariciar. Número 5,463,263 y 5,455,474, así como vario de las
configuraciones de recorrido descritas abajo.

Referencia ahora a Fig.22, una vista reunida del
motor rotatorio 500 es mostrada incluso un alojamiento o tapa formada por un
miembro de alojamiento superior 544 y un miembro de alojamiento inferior 546,
con porciones de cada miembro de alojamiento cortado para exponer la estructura
de motor descrita encima. Es reconocido que tales miembros de alojamiento 544 y
546 deberían ser construidos de un material no magnético, e igualmente que el
eje de motor 502 y los portes 504, 526 debería ser construido de un material no
magnético.


En otra encarnación, un dispositivo de movimiento
rotatorio o motor 580 de acuerdo con la invención presente es mostrado en una
vista de perspectiva hecha explotar en Fig.23 y en una perspectiva reunida ven
en Fig.24. Dos imanes permanentes espaciados 582 y 584 son colocados entre
pedazos de poste de estator 586 y 588. El pedazo de poste de estator 586
incluye dos porciones de camino 590A y 590B ampliando lejos de imanes
permanentes 582, 584 en sentidos contrarios. Igualmente, el pedazo de poste de
estator 588 incluye dos porciones de camino 592A y 592B ampliando lejos de
imanes permanentes 582, 584 en sentidos contrarios y que puede ser alineado con
porciones de camino de pedazo de poste de estator 590A y 590B. Controle bobinas 594, 596, 598, y 600 son
cada uno colocados a lo largo de una porción de camino de pedazo de poste de
estator como mostrado. Un eje no magnético 602 incluye un par de la
correspondencia de miembros de rotor alargados 604 y 606, formado del material
magnético, montado en posiciones espaciadas en el eje y ser puesto en un ángulo
el uno al otro, eje 602 paso entre imanes permanentes espaciados 582 y 584. Dos
miembros de gorra de final 608 y 610, hecho del material no magnético, son
atados a los finales de pedazos de poste de estator 586 y 588 y son
configurados para recibir eje 602 y portes respectivos 612 y 614.

Los finales de los pedazos de poste de estator 506
y 508 son configurados para un dado deseó conectar la relación con miembros de
rotor 604 y 606. Por ejemplo, como mostrado en las vistas laterales ejemplares
de Fig.25A y Fig.25B, con la gorra de final 608 quitado, el final del pedazo de
poste de estator 586 puede incluir una porción curva 616 que es configurado
para crear un hueco de aire de renuencia variable 618 con el miembro de rotor
alargado 604. El final del pedazo de poste de estator 588 incluye una porción
curva 620 que también es configurado para crear un hueco de aire de renuencia
variable 622 con el miembro de rotor 604.
En particular, la porción 618 incluye una
curvatura circumferential que hace que un centro señale la compensación debajo
del eje de la rotación de eje 602 y miembro de rotor 604 como indicado por el
círculo 624 mostrado en la sombra. Del mismo modo, la porción 620 incluye un
radio circumferential de la curvatura que hace que un centro señale la
compensación encima del eje de la rotación de eje 602 y miembro de rotor 604.
Cuando el flujo magnético hace pasar el camino que incluye un final dado de la
asamblea, el máximo que se aparea entre el miembro de rotor y pedazos de poste
de estator ocurre cuando el rotor es colocado como mostrado en Fig.25B. En consecuencia, el miembro de rotor
ilustrado y las configuraciones de pedazo de poste de estator de ellos no
proporcionan ninguno sesgando a la dirección de rotación de la asamblea de
rotor.


En este aspecto, varias configuraciones para el
rotor y los finales del pedazo de poste de estator son mostradas en las vistas
laterales de Figs.26-28, qué configuraciones proporcionan sesgar la dirección
de rotación. En particular, en dispositivo 620 de Fig.26 un miembro de rotor
622 muescas que tienen 624 y 626, qué muescas aseguran el mayor enganche
magnético con los pedazos de poste de estator 628 y 630 en esquinas 632 y 634
tal que la rotación es sesgada en el dextrórsum dirección. Si las muescas fueran
en cambio localizadas en esquinas 632 y 634, rotación sesgada en el en
contrario la dirección sería el resultado. En el dispositivo 620 tal en
contrario la rotación también podría ser conseguida quitando el rotor 622 del
eje 636, tirándolo juntando los dos extremos, y sustituyéndolo en el eje 636.
En el dispositivo 640 de Fig.27, una porción 642
de la porción de final curva del pedazo de poste de estator 644 son quitadas y
una porción 646 de la porción de final curva del pedazo de poste de estator 648
es quitada. Esta configuración causa el mayor enganche magnético entre miembro
de rotor 650 y pedazo de poste de estator 644 en esquina 652, y mayor enganche
magnético entre miembro de rotor 650 y pedazo de poste de estator 648 en la
esquina 654, tal que la rotación es sesgada en el en contrario dirección.
Dextrórsum la rotación podría ser conseguida por en cambio modificando el lado
opuesto de pedazos de poste de estator 644 y 648.

Fig.28 representa una vista de final de un
dispositivo 660 en que el eje 662 de la porción de final curva de pedazo de
poste de estator superior 664 y pedazo de poste de estator inferior 666 es
colocado en un ángulo un como mostrado. Esta configuración crea un hueco de
aire de renuencia variable desigual donde las esquinas de enfrente del miembro
de rotor 668 son más cercanas a pedazos de poste de estator 664 y 666.
Adelante, el ángulo en el cual el enganche magnético máximo entre miembro de
rotor 668 y pedazos de poste de estator 664 y 666 ocurre es retardado por el
ángulo 'A' . La rotación estaría en el en contrario dirección para la
configuración ilustrada.


Refiriéndose otra vez al motor 580 de Figs.23-25,
el movimiento rotatorio de tal dispositivo es representado en las vistas de
final de Figs.29A-29. En cada vista de final la gorra de final ha sido quitada
para mostrar la rotación de los miembros de rotor y en cada uno de Figs.29A-29
una vista de final que representa al miembro de rotor 604 y una vista de final
que representa al miembro de rotor 606 es mostrada al lado. En Fig.29A, el
miembro de rotor 604 es definido como estando en grados cero y el miembro de
rotor 606 es definido como estando en noventa grados. Controle bobinas 594, 598
son activados en un imán permanente flujo magnético que ayuda a la manera tal que
ningún flujo magnético pasa por porciones de camino de pedazo de poste de
estator 590B y 592B. Este permite que el miembro de rotor 606 se mueva de su
noventa posición de grado y el enganche magnético entre miembro de rotor 604 y
porciones de camino de pedazo de poste de estator 590A y 592A causará la
rotación a la posición mostrada en Fig.29B y luego Fig.29C. Cuando miembro de
rotor los 604 alcances la noventa posición de grado mostrada en Fig.29D
controla bobinas 594, 598 son de activados y controlan bobinas 596, 600 son
activados en un imán permanente flujo magnético que ayuda a la manera que hace
la rotación seguir debido al enganche magnético entre miembro de rotor 606 y
porciones de camino de pedazo de poste de estator 590B y 592B. Así, por alternativamente
activando el control bobinas de cada camino con cada noventa rotación de grado
de miembros de rotor 604 y 606, el movimiento rotatorio continuo es conseguido.
La dirección inicial de la rotación puede ser
controlada por los medios de recorrido usados para activar el control bobinas
594, 598 y 596, 600, qué medio de recorrido incluye la circuitería para
descubrir la posición angular de los miembros de rotor. En particular, si los
miembros de rotor 604 y 606 están en reposo en la posición mostrada en Fig.29A,
y los bobinas 594, 598 son activados en una manera de ayuda, la rotación puede
ser dextrórsum o en contrario. Si la dirección deseada es dextrórsum, pero
sobre energisation de bobinas 594, 598 los miembros de rotor comienzan a
moverse en contrario, la circuitería de descubrimiento de activará
inmediatamente bobinas 594, 598 y activará bobinas 596, 600 de modo que
dextrórsum la dirección sea conseguida.
Adelante, las carreteras de circunvalación
alrededor de imanes permanentes 582 y 584 podrían ser proporcionadas en el
dispositivo de movimiento rotatorio 580, como aquellos mostrados en Fig.12, y
los miembros de rotor 604 y 606 podrían ser formados por imanes permanentes
para aprovechar activar el control bobinas en una manera que excede.


Una tercera encarnación de un dispositivo de
movimiento rotatorio o motor 650 es mostrada en la vista de perspectiva parcial
hecha explotar de Fig.30 y en la vista de perspectiva parcial reunida de
Fig.31. En el motor 650 la asamblea de
estator incluye un componente de control 651 incluso un imán permanente que 652
tener un pedazo de poste de estator 654 colocó adyacente a una cara de poste
del imán y un pedazo de poste de estator 656 colocó adyacente a la cara de
poste de enfrente. El pedazo de poste de estator 654 incluye una porción de
camino 658A ampliando a un lado del imán permanente 652 y una porción de camino
658B ampliando a un lado de eso y espaciado de la primera porción de camino
658A. Controle bobinas 660 y 662 son colocados a lo largo de porciones de
camino de pedazo de poste de estator respectivas 658A y 658B.
Del mismo modo, el pedazo de poste de estator 656
incluye porciones de camino 664A y 664B que se extienden en una manera similar
de ello para ser alineado con porciones de camino de estator 658A y 658B
respectivamente. Controle bobinas 666 y 668 son colocados a lo largo de
porciones de camino de pedazo de poste de estator respectivas 664A y 664B. La
parte de enfrente colocada, y el forro del componente de control 651, son un
componente de control similar 670 incluso el imán permanente 672 pedazo de
poste de estator 674 con porciones de camino 676A y 676B tener el control
bobinas 678 y 680, y pedazo de poste de estator 682 con porciones de camino
684A y 684B tener su control bobinas 686 y 688. El final de cada una de las
porciones de camino de pedazo de poste 658A, 658B, 664A, 664B, 676A, 676B,
684A, y 684B es de una configuración generalmente curva.
Una asamblea de rotor del motor 650 incluye un eje
no magnético 700 tener un miembro de rotor de imán permanente 702 montado en
ello y que gira con ello. El miembro de rotor de imán permanente 702 es
generalmente de forma anular y segmentado para incluir norte distinto y caras
de polo sur que ponen marcha atrás sobre cada noventa grados alrededor de
ellos. Cuando reunido, la cumbre y las superficies de fondo del miembro de
rotor de imán permanente 702 se alinean con pedazos de poste 654, 656, 674, y
682 de la asamblea de estator y son preferentemente configuradas de modo que
haya un hueco mínimo entre la superficie externa del miembro de rotor de imán
permanente 702 y las superficies curvas de las porciones de camino de pedazo de
poste.

Rotación del dispositivo 650 puede ser conseguida
por controlado, calculó la activación y la de activación del control bobinas
660, 662, 666, 668, 678, 680, 686, y 688. La rotación ejemplar es demostrada en
cuanto a las vistas superiores de Figs.32A-32B que representan en contrario la
rotación del miembro de rotor de imán permanente 702 por ciento ochenta grados. En Fig.32A la porción de camino de pedazo de
poste de estator 658A del componente 651 es activa y la porción de camino de
pedazo de poste de estator 658B no es activa, que puede ser conseguido
activando el control bobina 660 en un imán permanente flujo magnético que ayuda
a la manera o activando el control bobina 662 en un imán permanente flujo
magnético manera contraria. La porción de camino de pedazo de poste de estator
676B del componente 670 es activa y la porción de camino de pedazo de poste de estator
676A no es activa, que puede ser conseguido activando el control bobina 680 en
un imán permanente flujo magnético que ayuda a la manera o activando el control
bobina 678 en un imán permanente flujo magnético manera contraria.
Así, las porciones 690 y 692 del miembro de rotor
de imán permanente 702, que ambos tienen una polaridad magnética del norte,
serán repelidas por la polaridad del norte de porciones de camino de pedazo de
poste de estator 658A y 676B alineado con ello. Las porciones 694 y 696 del
miembro de rotor de imán permanente 702, ambos de los cuales tienen una
polaridad magnética del sur, serán atraídas a las porciones de camino activas
658A y 676B. En el instante que la porción de miembro de rotor 694 se hace
alineada con la porción de camino de pedazo de poste de estator 658A, como
mostrado en Fig.32B, todos bobinas son de activados tal que todas las porciones
de camino de pedazo de poste serán activas como mostrado. Las porciones de camino de pedazo de Polo
658B y 676A son guardadas entonces activas mientras las porciones de camino de
pedazo de poste 658A y 676B son hechas inactivas. Este es conseguido activando
el control bobinas 662 y 678 en un imán permanente flujo magnético que ayuda a
la manera o activando el control bobinas 660 y 680 en un imán permanente flujo
magnético manera contraria. Las porciones de miembro de rotor 690 y 692 serán
otra vez repelidas por la polaridad del norte de porciones de camino 658B y
676A alineado con ello de modo que la rotación del rotor de imán permanente 702
sea seguida.

En Fig.32D todos bobinas son mostrados de
activados cuando la porción de rotor 692 se alinea con la porción de camino de
pedazo de poste 658A. Siguiendo esta secuencia calculada de energisation y
de-energisation del control bobinas, el movimiento rotatorio continuado es
conseguido. Como explicado encima, la dirección inicial de la rotación puede
ser controlada por el medio de recorrido que descubre la dirección inicial del
rotor de imán permanente 702 e inmediatamente cambia el bobina energisation
esquema si la dirección inicial es incorrecta.

Una vista lateral del motor reunido 650 es
mostrada en Fig.33 e incluye un alojamiento superior o la porción de recinto
710, un fondo que aloja la porción 712, porte superior 714, y un porte inferior
716.





Una cuarta encarnación de un dispositivo de
movimiento rotatorio o motor 740 es ilustrada en Figs.34-39. Motor 740 incluye cinco componentes de
control de estator 742A-742E colocado alrededor de un anillo formó al miembro
de rotor de imán permanente 744 (Fig.36). Como mostrado en cuanto al componente
742A en Fig.37, cada componente de estator 742A incluye un imán permanente 746A
con un pedazo de poste superior 748A colocó adyacente a una cara de poste y un
pedazo de poste inferior 750A colocó adyacente a la cara de poste de enfrente. Controle bobinas 752A, 754A son colocados a
lo largo de pedazos de poste respectivos 748A, 750A. Una carretera de
circunvalación 756A se extiende del pedazo de poste 748A al pedazo de poste
750A y es colocada entre imán permanente 746A y control bobinas 752A, 754A. O
bien, la carretera de circunvalación 756A podría ser proporcionada en el lado
opuesto del imán permanente 746A como mostrado en Fig.38. Aunque no mostrado,
sea esperado que el miembro de rotor de imán permanente 744 sería montado en un
eje para la rotación con ello y que un alojamiento de motor o el recinto
podrían ser proporcionados, como mostrado con relación al motor 650 de Fig.33.
Respecto a las vistas superiores del movimiento
Figs.39A-39, rotatorio del miembro de rotor 744 es representado por la
secuencia de vistas. Las regiones 770 y 772 en Figs.39A-39 representan las
regiones del norte magnéticas de la cumbre del rotor de imán permanente 744. En
bobinas de control de Fig.39A 752E y 752C son activados en un imán permanente
manera auxiliar y que excede tal que las regiones 770 y 772 del rotor de imán
permanente 744 son rechazadas por componentes 742E y 742C mientras las regiones
de motor de imán permanentes 774 y 776 son atraídas por componentes 742E y
742C. El resultado que conecta fuerzas actúa para mover el rotor de imán
permanente en un en contrario dirección a la posición mostrada en Fig.39B. Sólo después de la región de rotor de imán
permanente 772 pases el punto mostrado en el Fig.39C, controle bobina 752B es
activado en un imán permanente manera auxiliar y que excede, mientras el
control bobinas 752E y 752C también permanece activado, y en contrario la
rotación del rotor de imán permanente 744 es seguida. Sólo después de la región
de rotor de imán permanente 772 pases por el componente de control 742C
controlan bobina 752C es de activado, mientras el control bobinas 752E y 752B
permanece activado, para seguir en contrario la rotación. Entonces, sólo
después de la región de rotor de imán permanente los 770 alcances la posición
mostrada en Fig.39D controla bobina 752 es activado en un flujo de imán
permanente manera auxiliar y que excede, mientras bobinas 752E y 752B
permanecen activados, para seguir en contrario la rotación. Así, como en las
otras encarnaciones, repetidas y calculadas energisation y de-energisation del
control el bobinas produce el movimiento rotatorio deseado.

En términos de control del energisation de bobinas
en los dispositivos describió encima, varios medios de recorrido/conmutación de
control electrónicos y las máquinas de recorrido/conmutación de control
electromecánicas son representados en Figs.40-44. En el recorrido 800 de Fig.40
un dado bobina 802 es colocado en serie entre una fuente de energía eléctrica
804 y un poder MOSFET 806. Unos 808 CONDUCIDOS están relacionados con la fuente
de energía eléctrica 804 por la resistencia 810 y son colocados para afectar
sobre un fototransistor 812 que está relacionado en serie con la resistencia
814. Una entrada de control de MOSFET
806 está relacionada entre fototransistor 812 y resistencia. En consecuencia,
cuando CONDUCIDO 808 activa el fototransistor 812 la caída de voltaje a través
de la resistencia 814 activa, o enciende, MOSFET 806 y bobina 802 es activado.
Calculado energisation de bobina 802 es proporcionado montando un interruptor
816, como mostrado en el Fig.42, al eje 816 del dispositivo de motor para ser
controlado, tal que como el interruptor 814 gira con el eje 816 bobina 802 son
alternativamente activados y de activados. En un dispositivo con una pluralidad
de bobinas una pluralidad correspondiente de pares CONDUCIDOS/fotoresistencia
puede ser proporcionada.


En el recorrido 820 de fig.41 un bobina 822 es
colocado entre fuente de energía eléctrica 824 y poder MOSFET 826. Un
interruptor de pasillo 828 está relacionado en serie con la resistencia 830. El
interruptor de pasillo 828 también está relacionado con la entrada de control
de MOSFET 826 por la resistencia 832. En un dispositivo dado el pasillo cambia
828 sería colocado para reaccionar a un cambio del flujo magnético para
controlar la CON./desc. conmutación de MOSFET 826, y así el suplente
energisation y de-energisation de bobina 822.

En Fig.43 un recorrido 840 para controlar dos
bobinas en una manera de enfrente es proporcionado tal que cuando bobina 842 es
activado bobina 844 es de activado, y tal que cuando bobina 842 es de activado
bobina 844 es activado. Tanto los bobinas 842 como 844 están relacionados en
serie entre fuente de energía eléctrica 846 y poder respectivo MOSFETs 848 y
850. Unos 852 CONDUCIDOS y el fototransistor 854 arreglo son proporcionados,
CONDUCIDOS relacionados en serie con resistencia 856 y fototransistor
relacionado en serie con la resistencia 858. Cuando CONDUCIDO 852
fototransistor de vueltas 854 EN la caída de voltaje a través de la resistencia
858 vueltas MOSFET 848 EN y bobina 842 es activado. Entonces el voltaje aplicado en la entrada
de control de MOSFET 850 será bajo y por lo tanto MOSFET 850 será DESCONECTADO
y bobina 844 será de activado. Cuando el interruptor que 814 bloques CONDUJERON
852, fototransistor 854 es apagado y MOSFET 848 es igualmente apagado. La
entrada de control de MOSFET 850 es por lo tanto tirada alta por la resistencia
860 y MOSFET 850 es encendido tal que bobina 844 es activado.

En Fig.44 un sistema 870 incluso el miembro 872
montado en el eje rotativo 874 es proporcionado, con la izquierda del miembro
872 siendo alternativamente propicio en 876 y no propicio en 878. los bobinas
880 y 882 están relacionados con cepillos respectivos 884 y 886 que son
colocados para ponerse en contacto con el miembro 872 durante cada rotación del
eje. El miembro 872 está relacionado por el cepillo 890 al suministro de
energía 888. Así, bobinas 880 y 882 será alternativamente activado y de
activado cuando el respectivo cepilla de eso se ponen en contacto con las
porciones propicias y no propicias del miembro 872.
Cualquier recorrido similar puede ser usado para
proporcionar energisation calculado del control bobinas en varias encarnaciones
de la invención presente.
De la descripción precedente de las encarnaciones
ilustradas, es evidente que los objetos de la invención son alcanzados. Aunque
la invención haya sido descrita e ilustrada detalladamente, debe ser claramente
entendido que el mismo es querido por vía de ilustración y ejemplo sólo y no
debe ser tomado por vía de la limitación.
Por ejemplo, aunque hayan hablado de las técnicas
de control de flujo magnéticas de la invención presente como aplicables
principalmente a varias aplicaciones de motivo, tales técnicas de control de
flujo magnéticas son también útiles en aplicaciones estáticas.
Conversión de Poder
Respecto a Figs.45A-45C allí es mostrado el
dispositivo de imán permanente 900 de Figs.45A-45C que tiene dos caminos de
flujo magnéticos proporcionados por el pedazo de poste rectangular 902 que
incluye la porción superior 904 y la porción inferior 906 cada uno colocado
contra una cara de poste respectiva del imán permanente 910. A diferencia del
dispositivo de Figs.7-9, desaparezca las armaduras no son proporcionadas. En
cambio, las armaduras fijas en la forma de porciones de pedazo de poste
integrales 912 y 914 se extienden de la porción superior 904 para bajar la
porción 906 completar los dos caminos de flujo en una manera permanente.
Controle bobinas 916, 918 son proporcionado a lo largo de un camino de flujo y
control bobinas 920, 922 son proporcionado a lo largo del otro camino de flujo,
tal control bobinas interpretando como cuerdas primarias en el dispositivo 900.
Un bobina 924 es colocado alrededor de la porción de pedazo de poste 912 y otro
bobina 926 es colocado alrededor de la porción de pedazo de poste 914, tal
bobinas 924, 926 interpretación como cuerdas secundarias en el dispositivo 900.

En Fig.45A ningunos bobinas son activados y el
imán permanente hendiduras de flujo magnéticas regularmente entre caminos 930 y
932, apareándose tanto con bobina 924 como con bobina 926.

En Fig.45B bobinas 916, 918 son activados en un
imán permanente flujo magnético que ayuda a la manera para aparearse con todo
el flujo magnético del imán permanente 910. Todos los flujos de flujo
magnéticos a lo largo del camino 930 como mostrado y así se aparean con bobina
924.

En Fig.45C bobinas 920, 922 son activados en un
imán permanente flujo magnético que ayuda a la manera tal que todo el flujo
magnético cruza camino 932 y parejas con bobina 926. Por continuamente
alternativamente activando y de activando bobinas 916, 918 y 920, 922 en tal
conversión de energía de manera es conseguido debido al enganche con bobinas
924 y 926. El flujo magnético en las porciones de pedazo de poste integrales
912 y 914, y así el flujo que se aparea con bobinas respectivo 924 y 926, varía
por un factor de dos veces la cantidad del flujo magnético generado activando
bobinas 916, 918 y 920, 922.

La construcción mostrada en Fig.45A y Fig.45X son
similares a la construcción mostrada en Fig.7 e Fig.47. La diferencia tanto en
casos está relacionada con la sustitución de los dos caminos de flujo como
armaduras con uno sigue el camino de flujo. El arreglo en Fig.7 tiene un imán
permanente y cuatro bobinas y el arreglo en Fig.47 tiene dos imanes permanentes
y dos bobinas. Aunque los aspectos físicos de los dos arreglos y los detalles
del control de flujo varíen, el método de control para variar el flujo de
imanes permanente son similares y será descrito simultáneamente y sólo las
diferencias serán indicadas.

Con caminos de flujo continuos el flujo estático
del imán permanente o imanes es inútil. Sin embargo, si el flujo estático del
imán permanente encajonado a los caminos de flujo fuera modificado para ser el
tiempo variándolo tendría la utilidad para dispositivos de inducción
electromagnéticos para la conversión de poder como inversores de poder y
transformadores. Sin embargo, el mismo método básico para controlar el flujo de
un imán permanente para proporcionar movimiento lineal y rotatorio también
puede ser aplicado al tiempo variando el flujo estático del imán permanente. La
construcción mostrada en Fig.45X utiliza cuatro control bobinas y un imán
permanente solo mientras la construcción mostrada en Fig.45A usa dos control
bobinas y dos imanes permanentes. El flujo que sería normalmente suministrado
por una cuerda primaria es suministrado por el flujo estático del imán
permanente o imanes y el control los bobinas convierten este flujo estático en
un tiempo variando el flujo de un modo nuevo. Ambos arreglos usan dos bobinas
secundarios, bobinas secundarios son colocados en la región del camino de flujo
continuo que sería ocupado por una armadura o rotor en los arreglos lineales o
rotatorios. Las regiones de los caminos de flujo que realizan el trabajo son el
mismo en todos los casos.
En todos los casos el control bobinas puede ser o
puesto instalación eléctrica en serie o paralela y bobinas secundario puede ser
enrollar en serie o la paralela. Más de un bobina secundario o bobinas
secundario con grifos múltiples pueden ser colocados en las regiones trabajadoras
y caminos de flujo adelante múltiples pueden ser utilizados con uno o varios
bobinas secundarios colocados en cada una de las regiones trabajadoras. Este es
hecho obvio por las revelaciones de los dispositivos lineales y rotatorios aquí
y basado en el hecho que las regiones trabajadoras de los caminos de flujo son
idénticas.
Fig.45X y Fig.45A también muestre los caminos del
flujo estático del imán permanente o imanes cuando ninguna corriente fluye en
el control bobinas. En el arreglo mostrado en Fig.45X el flujo del imán
permanente solo se divide entre las dos áreas trabajadoras del camino de flujo.
En el arreglo de Fig.45A todo el flujo de uno de los imanes permanentes pasa
por una de las regiones trabajadoras y todo el flujo del segundo imán
permanente pasa por la otra región trabajadora. Cada una de las regiones
trabajadoras en ambos casos es ocupada por bobinas secundario.

Fig.45Y y Fig.45B muestre el control bobinas
activado con la polaridad mostrada con respecto a la polaridad del imán
permanente o imanes incluidos. En Fig.45Y la oposición bobina, bloquea el paso
de flujo del imán permanente, y la ayuda bobina parejas con el flujo del imán
permanente y por lo tanto todo el flujo del imán permanente pasa por el que que
trabaja la región como mostrado. En Fig.45B el lado contrario del bobina
bloquea el paso de flujo del imán permanente en el lado contrario del bobina y
el lado de ayuda de las parejas de bobina con el flujo del otro imán permanente
y por lo tanto todo el flujo de ambos los imanes permanentes pasan por la
región trabajadora como mostrado.

Fig.45Z y Fig.45C muestre el control bobinas
activado con una polaridad enfrente de esto mostrado en Fig.45Y y Fig.45B. La misma acción ocurre y causa todo el imán
permanente o flujo de camino de imanes que pasa por las regiones trabajadoras
de enfrente.
Alternando la polaridad del control bobinas
durante un ciclo, una región trabajadora experimenta un flujo creciente y la
región de enfrente experimenta un flujo decreciente y durante el siguiente
ciclo la parte de enfrente ocurre. Este resulta en la inducción de un voltaje
en bobinas secundario que es decidido por la magnitud del cambio en un momento
de cambio de la región trabajadora y el tiempo en el cual este cambio ocurre.
La novedad de este descubrimiento es que el flujo primario que induce el
voltaje en bobinas secundario es suministrado por el imán permanente o imanes y
es mucho mayor que el flujo suministrado por el control bobinas.

Adelante, en los dispositivos de movimiento
rotatorios de Fig.31 e Fig.34, no es necesario que miembros de rotor
respectivos 702 y 744 ser formado de imanes permanentes. Cada uno podría tomar
la forma mostrada en Fig.46 donde las secciones 950 y 952 son formadas del
material magnético como el hierro suave y las secciones 954 y 956 son formadas
por un material de relleno no magnético.

Fig.47 y Fig.48 muestre a otra encarnación 1000
del dispositivo sustancial. La encarnación 1000 incluye dos imanes permanentes
espaciados 1002 y 1004 cada uno de los cuales tiene su Polo Norte adyacente a
la superficie superior y su polo sur adyacente a la superficie inferior. Un
magnetisable tendiendo un puente sobre el miembro 1006 se extiende a través y
entra en contacto con los postes magnéticos del norte de los imanes 1002 y 1004
y otro magnetisable tendiendo un puente sobre el miembro 1008 entra en contacto
con los postes magnéticos del sur de los dos imanes permanentes 1002 y 1004.
Los miembros 1006 y 1008 se extienden ligeramente
más allá de los lados opuestos de los imanes permanentes respectivos 1002 y
1004 y un par de miembros de armadura espaciados 1010 y 1012 son colocados para
moverse en y del compromiso con los finales de los miembros 1006 y 1008. los
bobinas 1014 y 1016 son montados respectivamente en los miembros 1006 y 1008 en
el espacio entre los imanes permanentes 1002 y 1004, y las armaduras 1010 y
1012 son mostradas relacionadas juntos por una vara 1018 que les permite
moverse de acá para allá en el compromiso con los miembros respectivos 1006 y
1008 cuando los voltajes diferentes son aplicados a bobinas respectivo 1014 y
1016.
En Fig.47, los bobinas 1014 y 1016 son activados
como mostrado con el bobina 1014 tener su final magnético del norte a la
izquierda y su final magnético del sur a la derecha y la parte de enfrente es
verdadero del bobina 1016. En Fig.48, el voltaje aplicado a bobinas respectivo
1014 y 1016 es invertido de modo que la polaridad del final izquierdo de bobina
1014 sea del sur y la polaridad del extremo opuesto de mismo bobina 1014 es un
poste magnético del norte. El revés es verdadero del bobina 1016. En Fig.47 e
Fig.48 debería ser notado que la relación de ayuda y oposición es indicada en
las figuras para indicar la relación cuando los bobinas son activados. Por
ejemplo, en el Fig.47 cuando los bobinas son activados como mostrado la
relación contraviene para el imán permanente 1002 y ayuda con respecto al imán
permanente 1004. El revés es verdadero
cuando el voltaje en el bobinas es invertido como mostrado en Fig.48. El
movimiento de la armadura es por lo tanto controlado por el cronometraje
apropiado del voltaje en estos bobinas. Los mismos principios pueden ser
aplicados para producir el movimiento rotativo como mostrado en Fig.42.

Fig.49 muestra a otra encarnación 1030 de la invención
sustancial usando principios similares a aquellos descritos en relación a
Fig.47 e Fig.48. La encarnación 1030 incluye una pluralidad, tres mostrado, de
miembros inmóviles 1032, 1034 y 1036.

Los detalles de estos miembros son mejor mostrados
en Fig.50 que muestra los detalles del miembro 1036. Este miembro incluye un
par de imanes permanentes 1038 y 1040, cada uno de los cuales tiene a miembros
magnetisable montados adyacente a esto es lados opuestos, como en la
construcción anterior. Los miembros 1042 y 1044 también tienen bobinas 1046 y
1048, respectivamente, y los bobinas son activados como descrito en relación a
Fig.47 e Fig.48 para producir la ayuda y el magnetismo contrario. La
construcción mostrada en Fig.49 puede tener tres porciones de estator tan
mostradas o esto puede tener más porciones de estator como deseado. El rotor
1050 es colocado en el espacio entre los miembros 1032, 1034 y 1036 e incluye
una parte de porción de imán permanente de la cual tiene su poste magnético del
norte en la superficie como mostrado y las otras partes tiene su poste
magnético del sur en la misma superficie que mostrado. Los imanes permanentes
1038 y 1040 en los estatores se relacionan con los imanes permanentes en el
rotor para producir el movimiento rotativo y es controlado por la activación
del bobinas.
Patente
Inventors: Stephen Patrick, Thomas Bearden, James Hayes, Kenneth
Moore y James Kenny
GENERADOR ELECTROMAGNÉTICO INMÓVIL
Por favor note que este es un extracto expresado
con otras palabras de esta patente. Esto describe un dispositivo eléctrico que
tanto poderes sí mismo como suministra corriente al equipo externo adicional.
EXTRACTO
Un generador electromagnético sin mover partes incluye un
imán permanente y un corazón magnético incluso primeros y segundos caminos
magnéticos. Una primera entrada bobina y una primera salida bobina se extiende
alrededor de porciones del primer camino magnético, mientras un segundo
introdujo bobina y una segunda salida los bobina se extienden alrededor de
porciones del segundo camino magnético. La entrada bobinas es o bien pulsada
para proporcionar pulsos corrientes inducidos en la salida bobinas. Conduciendo
la corriente eléctrica por cada una de la entrada el bobinas reduce un nivel de
flujo del imán permanente dentro del camino de imán alrededor el cual la
entrada bobina se extiende. En una encarnación alternativa de un generador
electromagnético, el corazón magnético incluye platos espaciados aparte
anulares, con postes e imanes permanentes que se extienden en una manera
alternadora entre los platos. Una salida bobina se extiende alrededor de cada
uno de estos postes. La entrada bobinas ampliando alrededor de porciones de los
platos es pulsada para causar la inducción de corriente dentro de la salida
bobinas.
DESCRIPCIÓN
1. Campo de la Invención: Esta invención
está relacionada con un generador magnético sin mover partes, usadas para
producir el poder eléctrico, y más en particular, a tal dispositivo capaz del
impulso sí mismo.
2. Descripción del Arte Relacionada: La literatura evidente describe varios
generadores magnéticos, cada uno de los cuales incluye un imán permanente, dos
caminos magnéticos externos al imán permanente, cada uno de los cuales se
extiende entre los postes de enfrente del imán permanente, cambiando medios
para hacer que el flujo magnético fluyera alternativamente a lo largo de cada
uno de los dos caminos magnéticos, y uno o varios salida bobinas en que
corriente es inducido a fluir por medio de cambios del campo magnético dentro
del dispositivo. Estos dispositivos funcionan de acuerdo con una extensión de
la Ley de Faraday, indicando que se induce una corriente eléctrica dentro de un
conductor dentro de un campo magnético que se cambia, aun si la fuente del
campo magnético es inmóvil.
Un método para cambiar flujo magnético para fluir
predominantemente a lo largo de cualquiera de dos caminos magnéticos entre
postes de enfrente de un imán permanente es descrito como "un
principio" de transferencia de flujo por R. J. Radus en el Resumen del
Ingeniero, el 23 de julio de 1963. Este principio es usado para ejercer una
fuerza magnética poderosa a un final tanto del norte como de polo sur y una
fuerza muy baja al otro final, sin ser usado en la construcción de un generador
magnético. Este efecto puede ser causado mecánicamente, por el movimiento de
encargado, o eléctricamente, conduciendo la corriente eléctrica por una o
varias cuerdas de control que se extienden alrededor de versiones alargadas de
los pedazos de poste 14. Varios dispositivos usando este efecto son descritos
en la Patente estadounidense el Número 3,165,723, 3,228,013, y 3,316,514.
Otro paso hacia el desarrollo de un generador magnético
es descrito en el No 3,368,141 Evidente estadounidense, como un dispositivo
incluso un imán permanente en la combinación con un transformador que tiene
primero y segundas cuerdas sobre un corazón, con dos caminos para el flujo
magnético que conduce de cada poste del imán permanente al uno o el otro final
del corazón, de modo que, cuando una corriente alterna induce cambios de
dirección de flujo magnéticos del corazón, el flujo magnético del imán
permanente sea automáticamente dirigido por el camino que corresponde a la
dirección tomada por el flujo magnético por el corazón debido a la corriente.
De esta manera, el flujo magnético es intensificado. Este dispositivo puede ser
usado para mejorar el factor de potencia de un recorrido de corriente alterna
típicamente inductivamente cargado.
Otras patentes describen generadores magnéticos en cual
corriente eléctrica de uno o varios la salida bobinas es descrita como puesto a
disposición para conducir una carga, en la manera más convencional de un
generador. Por ejemplo, el No 4,006,401 Evidente estadounidense describe un
generador electromagnético incluso un imán permanente y un miembro principal,
en el cual el flujo magnético que fluye del imán en el miembro principal es
rápidamente alternado cambiando para generar una corriente alterna en una
cuerda en el miembro principal. El dispositivo incluye un imán permanente y dos
separan caminos de recorrido de flujo magnéticos entre el norte y polo sur del
imán. Cada uno de los caminos de recorrido incluye dos medios de conmutación
para abrir alternativamente y cerrar los caminos de recorrido, generando una
corriente alterna en una cuerda en el miembro principal. Cada uno de los medios
de conmutación incluye un recorrido magnético conmutador que cruza el camino de
recorrido, con el recorrido magnético conmutador que tiene un bobina por el
cual corriente es llevado a inducir el flujo magnético a saturar el camino de
recorrido que se extiende al imán permanente. El poder de conducir estos
bobinas es sacado directamente de la salida de una fuente de corriente alterna continuamente
aplicada. Lo que es necesario es un generador electromagnético que no requiere
la aplicación de una fuente tan corriente.
El No 4,077,001 Evidente estadounidense describe un
generador magnético, o el convertidor dc/dc, comprendiendo un imán permanente
que tiene postes espaciados aparte y un campo magnético permanente que se
extiende entre los postes del imán. Un corazón de renuencia variable es
dispuesto en el campo en la relación fija al imán y la renuencia del corazón es
variada para hacer que el modelo de líneas de la fuerza del campo magnético
cambiara. Un conductor de salida es dispuesto en el campo en la relación fija
al imán y es colocado para ser cortado por las líneas de cambio de la fuerza
magnética permanente de modo que se induzca un voltaje en el conductor. El
flujo magnético es cambiado entre caminos alternos por medio de la conmutación
bobinas ampliando alrededor de porciones del corazón, con el flujo de los
corrientes alternado entre éstos cambiando bobinas por medio de un par de
transistores conducidos por las salidas de una chancla. La entrada al biestable
es conducida por un oscilador de frecuencia ajustable. El poder para este
recorrido de paseo es suministrado por una fuente de alimentación adicional,
separada. Lo que es necesario es un generador magnético que no requiere la
aplicación de tal fuente de alimentación.
No 4,904,926 Evidente estadounidense describe otro
generador magnético usando el movimiento de un campo magnético. El dispositivo
incluye una cuerda eléctrica que define una zona propicia magnetically que
tiene bases a cada final, la cuerda incluso elementos para quitar de una
corriente inducida de allí. El generador adelante incluye dos imanes de poste,
cada uno teniendo un primer y un segundo poste, cada primer poste en la
comunicación magnética con una base de la zona propicia magnetically. El
generador adelante incluye un tercer imán de poste, el tercer imán de poste
orientado intermediamente de los primeros postes de los dos electroimanes de
poste, el tercer imán de poste que tiene un eje magnético considerablemente
transversal a un eje de la zona propicia magnetically, el tercer imán que tiene
un poste más cerca a la zona propicia y en la relación atractiva magnética a
los primeros postes de los dos electroimanes de poste, en los cuales los
primeros postes de eso parecen a postes. También incluido en el generador son
elementos, en la forma de cuerdas, para invertir cíclicamente las polaridades
magnéticas de los electroimanes. Éstos invirtiendo medios, por un cambio
cíclico de las polaridades magnéticas de los electroimanes, hacen que las
líneas de flujo magnéticas asociadas con la relación atractiva magnética entre
los primeros postes de los electroimanes y el poste más cercano del tercer imán
pongan marcha atrás proporcionalmente, causando un efecto de limpiada a través
de la zona propicia magnetically, como líneas de la oscilación de flujo
magnética entre primeros postes respectivos de los dos electroimanes, así
inducción del movimiento de electrones dentro de las cuerdas de salida y así
generación de un flujo de corriente dentro de las cuerdas de salida.
No 5,221,892 Evidente estadounidense describe un
generador magnético en la forma de un transformador de compresión de flujo
corriente directo incluso un sobre magnético que tiene postes que definen un
eje magnético y caracterizado por un modelo de líneas de flujo magnéticas en la
simetría polar sobre el eje. Las líneas de flujo magnéticas son espacialmente
desplazadas con relación al sobre magnético usando elementos de control que son
mecánicamente inmóviles con relación al corazón. Adelante proporcionado son
elementos inductivos que son también mecánicamente inmóviles con relación al
sobre magnético. El desplazamiento espacial del flujo con relación a los elementos
inductivos causa un flujo de la corriente eléctrica. Adelante proporcionado son
válvulas de flujo magnéticas que aseguran la variación de la renuencia
magnética para crear un modelo de dominio temporal de respectivamente realzado
y disminuyeron la renuencia magnética a través de las válvulas magnéticas, y,
así, a través de los elementos inductivos.
Otras patentes describen dispositivos usando elementos
superpropicios para causar el movimiento del flujo magnético. Estos
dispositivos funcionan de acuerdo con el efecto de Meissner, que describe la
expulsión del flujo magnético del interior de una estructura de superconducción
cuando la estructura se somete a la transición a una fase de superconducción.
Por ejemplo, el No 5,011,821 Evidente estadounidense describe una energía
eléctrica que genera el dispositivo incluso un bulto de conductores que son
colocados en un campo magnético generado por norte y pedazos de polo sur de un
imán permanente. El campo magnético es cambiado de acá para allá por el bulto de
conductores por un par de películas delgadas del material superpropicio. Una de
las películas delgadas es colocada en el estado de superconducción mientras la
otra película delgada está en un estado de no superconducción. Cuando los
estados son cíclicamente invertidos entre las dos películas, el campo magnético
es desviado de acá para allá por el bulto de conductores.
No 5,327,015 Evidente estadounidense describe un aparato
para producir un impulso eléctrico que comprende un tubo hecho de superconducir
el material, una fuente del flujo magnético montado sobre un final del tubo, un
medio, como un bobina, para interceptar el flujo montado a lo largo del tubo, y
un medio para cambiar la temperatura del superconductor montado sobre el tubo.
Cuando el tubo es cada vez más hecho superconduciendo, el campo magnético es
atrapado dentro del tubo, creando un impulso eléctrico en los medios para la
interceptación. Una inversión del estado de superconducción produce un segundo
pulso.
Ninguno de los dispositivos patentados descritos encima
del uso una porción del poder eléctrico generado dentro del dispositivo para
impulsar los medios que ponen marcha atrás solía cambiar el camino del flujo
magnético. Así, como generadores rotatorios convencionales, estos dispositivos
requieren una entrada estable del poder, que puede estar en la forma del poder
eléctrico que conduce los medios que ponen marcha atrás de uno de estos
generadores magnéticos o la torsión que conduce el rotor de un generador
rotatorio convencional. Aún, la función esencial de la porción magnética de un
generador eléctrico debe cambiar simplemente campos magnéticos de acuerdo con
el cronometraje preciso. En la mayoría de las aplicaciones convencionales de
generadores magnéticos, el voltaje es cambiado a través de bobinas, creando
campos magnéticos en los bobinas que son usados para anular los campos de
imanes permanentes, de modo que una cantidad sustancial del poder debiera ser
amueblada al generador para impulsar los medios de conmutación, reduciendo la eficacia
del generador.
Los avances recientes en el material magnético, que han
sido en particular descritos por Robert C. O'Handley en Materiales Magnéticos
Modernos, Principios y Aplicaciones, John Wiley e Hijos, Nueva York, pps
456-468, proporcionan aleaciones magnéticas nanocrystalline, que son en
particular bien satisfechas conmutación adelante rápida del flujo magnético.
Estas aleaciones son formadas principalmente de granos cristalinos, o
crystallites, cada uno de los cuales tiene al menos una dimensión de unos
nanometres. Los materiales de Nanocrystalline pueden ser hechos por aleaciones
amorfas que tratan calor que forman a precursores para los materiales
nanocrystalline, a los cuales los elementos insolubles, como el cobre, son
añadidos para promover nucleation masivo, y a que los materiales alloying
estables, refractarios, como niobio o carburo tantalum son añadidos para
inhibir el crecimiento de grano. La mayor parte del volumen de aleaciones
nanocrystalline es formado de crystallites al azar distribuido las dimensiones
que tienen de los aproximadamente 2-40 nm. Estos crystallites son nucleated y
cultivado de una fase amorfa, con elementos insolubles rechazados durante el
proceso del crecimiento crystallite. En términos magnéticos, cada crystallite
es una partícula de esfera sola. El volumen restante de aleaciones
nanocrystalline es arreglado de una fase amorfa en la forma de límites de grano
que tienen un grosor de aproximadamente 1 nm.
Los materiales magnéticos que tienen propiedades en
particular útiles son formados de Co amorfa - Nótese bien - B (boro de niobio
de cobalto) aleación que tiene el cerca cero magnetostriction y la
magnetización relativamente fuerte, así como la fuerza mecánica buena y la
resistencia de corrosión. Un proceso de templar este material puede ser variado
para cambiar el tamaño de crystallites formado en el material, con un efecto
fuerte que resulta en la corriente continua coercivity. La precipitación de
nanocrystallites también realza la interpretación de corriente alterna de las
aleaciones por otra parte amorfas.
Otros materiales magnéticos son formados usando
aleaciones amorfas y nanocrystalline de hierro ricas, que generalmente muestran
la magnetización más grande que las aleaciones basadas en el cobalto. Tales materiales
son, por ejemplo, Fe - B - Si - Nb - Cu ("cobre de niobio de silicio de
boro de hierro") aleaciones. Mientras la permeabilidad de aleaciones
amorfas de hierro ricas es limitada por sus niveles relativamente grandes de
magnetostriction, la formación de un material nanocrystalline de una aleación
tan amorfa dramáticamente reduce este nivel de magnetostriction, favoreciendo
la magnetización fácil.
Los avances también han sido hechos en el desarrollo de
materiales para imanes permanentes, en particular en el desarrollo de
materiales incluso elementos de la tierra raros. Tales materiales incluyen el
cobalto samarium, SmCo.sub.5, que es usado para formar un material de imán
permanente que tiene la resistencia más alta a demagnetisation de cualquier material
conocido. Otros materiales magnéticos son hechos, por ejemplo, usando
combinaciones de hierro, neodymium, y boro.
RESUMEN DE LA INVENCIÓN
Esto es un primer objetivo de la invención presente, proporcionar un
generador magnético que elimina la necesidad de una fuente de alimentación
externa durante la operación del generador.
Esto es un segundo objetivo de la invención presente proporcionar un
generador magnético en el cual un camino de flujo magnético es cambiado sin una
necesidad de dominar un campo magnético para cambiar su dirección.
Esto es un tercer objetivo de la invención presente proporcionar un
generador magnético en el cual la generación de electricidad es llevada a cabo
sin mover partes.
En el aparato de la invención presente, el camino del
flujo magnético de un imán permanente es cambiado en una manera que no requiere
la dominación de los campos magnéticos. Además, un proceso de la conmutación
iterativa autoiniciada es usado para cambiar el flujo magnético del imán
permanente entre caminos magnéticos alternos dentro del aparato, con el poder
de hacer funcionar la conmutación iterativa proporcionada por un recorrido de
control que consiste en componentes conocidos usar bajo niveles del poder. Con
la autoconmutación, una necesidad de una fuente de alimentación externa durante
la operación del generador es eliminada, con una fuente de alimentación
separada, como una batería, siendo usado sólo durante un tiempo muy corto
durante el arranque del generador.
Según un primer aspecto de la invención presente, un
generador electromagnético es proporcionado, incluso un imán permanente, un
corazón magnético, primero y segundo introdujo bobinas, primero y la segunda
salida bobinas, y un recorrido de conmutación. El imán permanente tiene postes
magnéticos en extremos opuestos. El corazón magnético incluye un primer camino
magnético, alrededor el cual la primera entrada y la salida bobinas se
extienden, y un segundo camino magnético, alrededor el cual la segunda entrada
y la salida bobinas se extienden, entre extremos opuestos del imán permanente.
El recorrido de conmutación conduce la corriente eléctrica alternativamente por
la primera y segunda entrada bobinas. La corriente eléctrica conducida por el
primer petróleo de entrada hace que la primera entrada bobina produzca un campo
magnético que se opone a una concentración del flujo magnético del imán
permanente dentro del primer camino magnético. La corriente eléctrica conducida
por la segunda entrada bobina hace que la segunda entrada bobina produzca un campo
magnético que se opone a una concentración del flujo magnético del imán
permanente dentro del segundo camino magnético.
Según otro aspecto de la invención presente, un generador
electromagnético es proporcionado, incluso un corazón magnético, una pluralidad
de imanes permanentes, primero y segundas pluralidades de la entrada bobinas,
una pluralidad de salida bobinas, y un recorrido de conmutación. El corazón
magnético incluye un par de platos espaciados aparte, cada uno de los cuales
tiene una abertura central, y primero y segundas pluralidades de postes que se
extienden entre los platos espaciados aparte. Los imanes permanentes que cada
uno amplía entre el par de espaciado aparte platean. Cada imán permanente tiene
postes magnéticos en extremos opuestos, con los campos magnéticos de todos los
imanes permanentes alineados para extenderse en una dirección común. Cada
entrada bobina se extiende alrededor de una porción de un plato dentro de los
platos espaciados aparte, entre un poste y un imán permanente. Una salida
bobina se extiende alrededor de cada poste. El recorrido de conmutación conduce
la corriente eléctrica alternativamente por la primera y segunda entrada
bobinas. La corriente eléctrica conducida por cada entrada bobina en la primera
pluralidad de la entrada bobinas causa un aumento del flujo magnético dentro de
cada poste dentro de la primera pluralidad de postes de imanes permanentes en
cada lado del poste y una disminución en flujo magnético dentro de cada poste
dentro de la segunda pluralidad de postes de imanes permanentes en cada lado
del poste. La corriente eléctrica conducida por cada entrada bobina en la
segunda pluralidad de la entrada bobinas causa una disminución en el flujo
magnético dentro de cada poste dentro de la primera pluralidad de postes de
imanes permanentes en cada lado del poste y un aumento del flujo magnético
dentro de cada poste dentro de la segunda pluralidad de postes de imanes
permanentes en cada lado del poste.
BREVE DESCRIPCIÓN DE LOS DIBUJOS
Fig.1 es una elevación
delantera en parte esquemática de un generador magnético y asoció el recorrido
eléctrico construido de acuerdo con una primera versión de la primera
encarnación de la invención presente:

Fig.2 es una vista esquemática de una primera versión de un
recorrido de control y conmutación dentro del recorrido eléctrico asociado de
Fig.1:

Fig.3 es una vista gráfica de señales de paseo producidas
dentro del recorrido de Fig.2:

Fig.4 es una vista esquemática de una segunda versión de un
recorrido de control y conmutación dentro del recorrido eléctrico asociado de
Fig.1:

Fig.5 es una vista gráfica de señales de paseo producidas
dentro del recorrido de Fig.3:

Fig.6A es una vista gráfica de una primera señal de paseo
dentro del aparato de Fig.1,
Fig.6B es una vista gráfica de una segunda señal de paseo de
paseo dentro del aparato de Fig.1,
Fig.6C es una vista gráfica de una señal de voltaje de entrada de
paseo dentro del aparato de Fig.1,
Fig.6D es una vista gráfica de una entrada señal corriente de
paseo dentro del aparato de Fig.1,
Fig.6E es una vista gráfica de una primera señal de voltaje de
salida de paseo dentro del aparato de Fig.1,
Fig.6F es una vista gráfica de una segunda señal de voltaje de salida de paseo dentro del aparato de Fig.1,
Fig.6G es una vista gráfica de una primera salida señal
corriente de paseo dentro del aparato de Fig.1,
Fig.6H es una vista gráfica de una segunda salida señal
corriente de paseo dentro del aparato de Fig.1:

Fig.7 es una vista gráfica del poder de salida medido dentro
del aparato de Fig.1, como una función de voltaje de entrada:

Fig.8 es una vista gráfica de un coeficiente de
interpretación, calculada de medidas dentro del aparato de Fig.1, como una
función de voltaje de entrada:

Fig.9 es una elevación enfadada seccional de una segunda
versión de la primera encarnación de la invención presente:

Fig.10 es una vista superior de un generador magnético
construido de acuerdo con una primera versión de una segunda encarnación de la
invención presente:

Fig.11 es una elevación delantera del generador magnético de
Fig.10:

Fig.12 es una vista superior de un generador magnético
construido de acuerdo con una segunda versión de la segunda encarnación de la
invención presente:

DESCRIPCIÓN DETALLADA DE LA INVENCIÓN
Fig.1 es una elevación delantera en parte esquemática, de un generador
electromagnético 10, construido de acuerdo con una primera encarnación de la
invención presente, incluir un imán permanente 12 para suministrar líneas de
entrada del flujo magnético que se mueve del Polo Norte 14 del imán 12, externo
en el material de corazón de camino de flujo magnético 16.
El material de corazón de camino de flujo 16 es configurado para formar un
camino magnético derecho 18 y un camino magnético izquierdo 20, ambos de los
cuales se extienden por fuera entre el Polo Norte 14 y el polo sur 22 del imán
12.
El generador electromagnético 10 es conducido por medio de un recorrido de
control y conmutación 24, que alternativamente conduce la corriente eléctrica
por un derecho introdujo bobina 26 y una entrada izquierda bobina 28. Éstos
introducen bobinas que cada uno amplía alrededor de una porción del material
principal 16, con bobina de entrada de derecho 26 alrededores de una porción
del camino magnético derecho 18 y con la entrada izquierda bobina 28
alrededores de una porción del camino magnético izquierdo 20. Una salida
derecha bobina 29 también rodea una porción del camino magnético derecho 18,
mientras una salida izquierda bobina 30 rodea una porción del camino magnético
izquierdo 20.
De acuerdo con una versión preferida de la invención presente, el recorrido
de control y conmutación 24 y la entrada bobinas 26, 28 es arreglado de modo
que, cuando el derecho introdujo bobina 26 sea activado, un poste magnético del
norte está presente a su final izquierdo 31, el final el más cercano al Polo
Norte 14 del imán permanente 12, y de modo que, cuando la entrada izquierda
bobina 28 es activada, un poste magnético del norte esté presente a su final
derecho 32, que es también el final el más cercano al Polo Norte 14 del imán
permanente 12. Así, cuando el derecho introdujo bobina 26 es magnetizado, el
flujo magnético del imán permanente 12 es repelido de extenderse por bobina de
entrada de derecho 26. Del mismo modo, cuando la entrada izquierda bobina 28 es
magnetizada, el flujo magnético del imán permanente 12 es repelido de
extenderse por la entrada izquierda bobina 28.
Así, se ve que la conducción de la corriente eléctrica por el derecho
introdujo bobina 26 se opone a una concentración del flujo del imán permanente
12 dentro del camino magnético derecho 18, causando al menos un poco de este
flujo ser transferido al camino magnético izquierdo 20. Por otra parte, la
conducción de la corriente eléctrica por la entrada izquierda bobina 28 se
opone a una concentración del flujo del imán permanente 12 dentro del camino
magnético izquierdo 20, causando al menos un poco de este flujo ser transferido
al camino magnético derecho 18.
Mientras en el ejemplo de Fig.1, la entrada bobinas 26, 28 son colocados a
ambos lados del Polo Norte del imán permanente 12, siendo arreglado a lo largo
de una porción de la 16 ampliación principal del Polo Norte del imán permanente
12, es entendido que la entrada bobinas 26, 28 podría ser como fácilmente
alternativamente colocada a ambos lados del polo sur del imán permanente 12,
siendo arreglado a lo largo de una porción de la 16 ampliación principal del
polo sur del imán permanente 12, con la entrada bobinas 26, 28 puesto
instalación eléctrica para formarse, cuando activado, campos magnéticos que
dirigen el polo sur hacia el polo sur del imán permanente 12. En general, la
entrada bobinas 26, 28 son arreglado a lo largo del corazón magnético a ambos
lados de un final del imán permanente que forma un primer poste, como un Polo
Norte, con la entrada bobinas quedado producir campos magnéticos de la
polaridad del primer poste dirigido hacia el primer poste del imán permanente.
Adelante de acuerdo con una versión preferida de la invención presente, la
entrada bobinas 26, 28 nunca es conducida con tanta corriente que el material
principal 16 se hace saturado. La conducción del material principal 16 a la
saturación significa que los aumentos subsecuentes de la entrada corriente
pueden ocurrir sin efectuar cambios correspondientes del flujo magnético, y por
lo tanto que el poder de entrada puede ser gastado. De esta manera, el aparato
de la invención presente es proveído de una ventaja en términos de uso
eficiente del poder de entrada sobre el aparato del No 4,000,401 Evidente
estadounidense, en el cual una porción ambos finales de cada camino magnético
es llevada a la saturación a bloquear el flujo.
En el generador electromagnético 10, la conmutación del flujo corriente
dentro de la entrada bobinas 26, 28 no tiene que ser suficiente para parar el
flujo del flujo en uno de los caminos magnéticos 18, 20 promoviendo el flujo
del flujo magnético en el otro camino magnético. El generador electromagnético
10 trabajos cambiando el modelo de flujo; esto no tiene que ser completamente
cambiado de un lado al otro.
Los experimentos han determinado que esta configuración es superior, en
términos de eficacia de usar el poder dentro de la entrada bobinas 26, 28 para
generar el poder eléctrico dentro de la salida bobinas 29, 30, a la alternativa
de arreglar introducen bobinas y el recorrido que los conduce de modo que el
flujo del imán permanente sea conducido por la entrada bobinas cuando ellos son
activados. Este arreglo de la invención presente proporciona una ventaja significativa
sobre los métodos previos de arte mostrados, por ejemplo, en el No 4,077,001
Evidente estadounidense, en el cual el flujo magnético es conducido por bobinas
activado.
La configuración de la invención presente también tiene una ventaja sobre
las configuraciones previas de arte de la Patente estadounidense el Número
3,368,141 y 4,077,001 en esto el flujo magnético es cambiado entre dos caminos
magnéticos alternos 18, 20 con sólo una entrada sola bobina 26, 28 alrededores
de cada uno de los caminos magnéticos alternos. Las configuraciones de la
Patente estadounidense el Número 3,368,141 y 4,077,001 cada uno requiere dos
introducen bobinas en cada uno de los caminos magnéticos. Esta ventaja de la
invención presente es significativa tanto en la simplificación de hardware como
en el aumento de la eficacia de la conversión de poder.
La salida derecha bobina 29 está eléctricamente relacionada con un
rectificador y filtro 33, haciendo conducir una salida por un regulador 34, que
proporciona un voltaje de salida ajustable por el uso de un potenciómetro 35.
La salida del regulador lineal 34 es por su parte proporcionada como una
entrada a una detección y conmutación del recorrido 36. En condiciones de
inicio, la detección y conmutación del recorrido 36 une el recorrido de control
y conmutación 24 a una fuente de alimentación externa 38, que es, por ejemplo,
una batería inicial. Después de que el generador electromagnético 10 es
correctamente comenzado, la detección y conmutación del recorrido 36 sentidos
que el voltaje disponible del regulador 34 ha alcanzado un nivel
predeterminado, de modo que el poder introducido al recorrido de control y
conmutación 24 sea cambiado de la fuente de alimentación externa 38 a la salida
del regulador 34. Después de que esta conmutación ocurre, el generador
electromagnético 10 sigue funcionando sin una aplicación del poder externo.
La salida izquierda bobina 30 está eléctricamente relacionada con un
rectificador y filtro 40, la salida de que está relacionada con un regulador
42, el voltaje de salida de que es ajustado por medio de un potenciómetro 43.
La salida del regulador 42 está por su parte relacionada con una carga externa
44.
Fig.2 es una vista esquemática de una primera versión del recorrido de
control y conmutación 24. Un oscilador 50 paseos la entrada de reloj de una
chancla 54, con el Q y Q' salidas de la chancla 54 relacionado por el recorrido
de chofer 56, 58 al poder FETs 60, 62 de modo que la entrada bobinas 26, 28
sean conducidos alternativamente. De acuerdo con una versión preferida de la
invención presente, el voltaje V aplicado al bobinas 26, 28 por el FETs 60, 62
es sacado de la salida de la detección y conmutación del recorrido 36.
Fig.3 es una vista gráfica de las señales que conducen las puertas de FETs
60, 62 de Fig.2, con el voltaje que conduce la puerta de FET 60 representado
por línea 64, y con el voltaje que conduce FET 62 representado por línea 66.
Ambos de los bobinas 26, 28 son conducidos con voltajes positivos.
Fig.4 es una vista esquemática de una segunda versión del recorrido de
control y conmutación 24. En esta versión, un oscilador 70 paseos la entrada de
reloj de una chancla 72, con el Q y Q' salidas de la chancla 72 relacionado
para servir como gatillos para 74 de un tiros, 76. Las salidas de los 74 de un
tiros, 76 están por su parte relacionadas por el recorrido de chofer 78, 80
para conducir FETs 82, 84, de modo que la entrada bobinas 26, 28 sean
alternativamente conducidos con pulsos más corto en la duración que el Q y Q'
salidas de los 72 biestables.
Fig.5 es una vista gráfica de las señales que conducen las puertas de FETs
82, 84 de Fig.4, con el voltaje que conduce la puerta de FET 82 representado
por la línea 86, y con el voltaje que conduce la puerta de FET 84 representado
por la línea 88.
Referencia otra vez a Fig.1, el poder es generado en la salida derecha
bobina 29 sólo cuando el nivel del flujo magnético se cambia del camino
magnético derecho 18, y de la salida izquierda bobina 30 sólo cuando el nivel
del flujo magnético se cambia del camino magnético izquierdo 20. Es por lo
tanto deseable determinar, para una configuración de generador magnética
específica, la anchura de un pulso que proporciona el cambio práctico más
rápido del flujo magnético, y luego proporcionar esta anchura de pulso
cualquiera variando la frecuencia del oscilador 50 del aparato de Fig.2, de
modo que esta anchura de pulso sea proveída de las señales mostradas en Fig.3, o
variando la constante de tiempo de los 74 de un tiros, 76 de Fig.4, de modo que
esta anchura de pulso sea proporcionada por las señales de Fig.5 en una
frecuencia de oscilador inferior. De esta manera, la entrada bobinas no es
dejada en más largo que necesario. Cuando cualquiera de la entrada bobinas es
dejada en para el periodo del tiempo más largo que esto necesario de producir
el cambio en un momento de cambio dirección, el poder está siendo gastado por
la calefacción dentro de la entrada bobina sin la generación adicional de poder
en la salida correspondiente bobina.
Varios experimentos han sido conducidos para determinar la suficiencia de
un generador electromagnético construido como el generador 10 en Fig.1,
producir el poder tanto de conducir la conmutación como controlar la lógica,
proporcionando el poder con la entrada bobinas 26, 28, y conducir una carga
externa 44. En la configuración usada en este experimento, la entrada bobinas
26, 28 tenía 40 vueltas del alambre de cobre de 18 medidas, y la salida bobinas
29, 30 tenía 450 vueltas del alambre de cobre de 18 medidas. El imán permanente
12 tenía una altura de 40 mm (1.575 en. entre su norte y polo sur, en dirección
de flecha 89, una anchura de 25.4 mm (1.00 en.), en dirección de flecha 90, y
en la otra dirección, una profundidad de 38.1 mm (1.50 en.). Los 16 principales
tenían una altura, en dirección de la flecha 89, de 90 mm (3.542 en.), una
anchura, en dirección de flecha 90, de 135 mm (5.315 en.) y una profundidad de
70 mm (2.756 en.). Los 16 principales tenían un agujero central con una altura,
en dirección de la flecha 89, de 40 mm (1.575 mm) para acomodar el imán 12, y
una anchura, en dirección de la flecha 90, de 85 mm (3.346 en.). Los 16
principales fueron fabricados de dos mitades en forma de "C",
afiliadas en líneas 92, acomodar la cuerda de la salida bobinas 29, 30 e introducir
bobinas 26, 28 sobre el material principal.
El material principal era una aleación magnética a base de hierro laminada
vendida por Honeywell como METGLAS Aleación Magnética 2605SA1. El material de
imán era una combinación de hierro, neodymium, y boron.
La entrada bobinas 26, 28 fueron conducidos en una frecuencia de oscilador
de 87.5 KILOHERCIOS, que fue determinada para producir la eficacia óptima
usando un recorrido de control de conmutación configurado como mostrado en
Fig.2. Esta frecuencia tiene un período de 11.45 microsegundos. Los 54
biestables son arreglados, por ejemplo, ser puesto y reinicializado en bordes
crecientes de la entrada de señal de reloj del oscilador, de modo que cada
pulso que conduce uno de los FETs 60, 62 tenga una duración de 11.45
microsegundos, y de modo que los pulsos secuenciales también sean separados a
cada FET también son separados en 11.45 microsegundos.
Fig.6A al Fig.6H, son vistas gráficas de señales que ocurrieron
simultáneamente durante la operación del aparato mostrado en Fig.1 e Fig.2,
cuando el voltaje de entrada aplicado era 75 voltios. Fig.6A muestra una
primera señal 100 de paseo que conduce FET 60, que conduce para conducir el
derecho introdujo bobina 26. Fig.6B muestra una segunda señal 102 de paseo,
conduciendo FET 62, que, cuando esto conduce, proporciona el paseo a la entrada
izquierda bobina 28.
Fig.6C y Fig.6D muestran voltaje y señales corrientes producidas cuando la
conducción corriente del FETs 60, 62 es proporcionada de una fuente de batería.
Fig.6C muestra al nivel 104 del voltaje V. Mientras el voltaje nominal de la
batería era 75 voltios, una señal 106 pasajera declinante es sobrepuesta en
este voltaje cada vez que uno de los FETs 60, 62 es encendido. El modelo
específico de esta señal pasajera depende de la resistencia interna de la
batería, así como en varias características del generador magnético 10. Del
mismo modo, el Fig.6D muestra la 106 corriente corriente en FETs 60, 62 de la
fuente de batería. Ya que las señales 104, 106 muestran los efectos de la
corriente corriente en ambos FETs 60, 62 los puntos pasajeros son 11.45
microsegundos aparte.
Figs.6E a 6H, muestre el voltaje y niveles corrientes medidos en la salida
bobinas 29, 30. Fig.6E muestra una señal 108 de salida de voltaje de la salida derecha
bobina 29, mientras Fig.6F muestra una señal 110 de salida de voltaje de la
salida izquierda bobina 30. Por ejemplo, la salida la señal 116 corriente de la
salida derecha bobina 29 incluye un primer punto pasajero 112 causado cuando un
pulso de los corrientes es generado en la entrada izquierda bobina 28 a fin de
incrementar el flujo magnético que pasa por el camino magnético derecho 18, y
un segundo punto pasajero 114 causado cuando la entrada izquierda bobina 28 es
apagada como el derecho introdujo bobina 26 está siendo encendido. Fig.6G
muestra a una salida la señal 116 corriente de la salida derecha bobina 29,
mientras Fig.6H muestra a una salida la señal 118 corriente de la salida
izquierda bobina 30.
Fig.7 es una vista gráfica del poder de salida medido usando el generador
electromagnético 10 y ocho niveles del voltaje de entrada, variando de 10v a
75v. La frecuencia de oscilador fue retenida en 87.5 kHz. Los valores mesurados
son representados por puntos 120, mientras la curva 122 es generada por la
regresión de polinomio, (la menor parte de cuadrados adecuados).
Fig.8 es una vista gráfica de un coeficiente de interpretación, definida
como la proporción del poder de salida con el poder de entrada, para cada uno
de los puntos de medida mostrados en Fig.7.
En cada punto de medida, el poder de salida era considerablemente más
alto que el poder de entrada. Las verdaderas medidas de poder fueron calculadas
en cada punto de datos usando voltaje medido y niveles corrientes, con los
resultados hechos un promedio durante el período de la señal. Estas medidas
están de acuerdo con el poder RMS medido usando un Textronic THS730
osciloscopio digital.
Mientras el generador electromagnético 10 era capaz de la operación en
voltajes mucho más altos y corrientes sin la saturación, el voltaje de entrada
fue limitado con 75 voltios debido a limitaciones de voltaje del recorrido de
conmutación usado. Aquellos familiares con la electrónica entenderán que los
componentes para cambiar recorrido capaz de manejar voltajes más altos son
disponibles en el acto para el uso en esta aplicación.
Los datos experimentalmente mesurados fueron extrapolados para predecir la
operación en un voltaje de entrada de 100 voltios, con la entrada corriente
siendo 140 mA, el poder de entrada que es 14 vatios, y con un poder de salida
que resulta y es 48 vatios para cada una de la dos salida bobinas 29, 30, en
una producción media corriente de 12 mA y un voltaje de producción media de
4000 voltios. Este significa que para cada una de la salida bobinas 29, 30, el
coeficiente de la interpretación (COP) sería 3.44.
Mientras un voltaje de salida de 4000 voltios puede ser necesario para
algunas aplicaciones, el voltaje de salida también puede ser variado por un
cambio simple de la configuración del generador electromagnético 10. El voltaje
de salida es fácilmente reducido reduciendo el número de vueltas en las cuerdas
de salida. Si este número de vueltas es disminuido de 450 a 12, el voltaje de
salida es dejado caer a 106.7, con un aumento que resulta de la salida
corriente a 0.5 amperios para cada salida bobina 29, 30, (es decir 53 vatios).
De esta manera, la salida corriente y el voltaje del generador electromagnético
puede ser variada variando el número de vueltas de la salida bobinas 29, 30, sin
hacer un cambio sustancial del poder de salida, que es en cambio determinado
por la entrada corriente, que determina la cantidad del flujo magnético
trasladado durante el proceso de conmutación.
Todos los Coeficientes de Performance eran considerablemente mayores que 1.
Éstos son trazados en Fig.8 y ellos indican que los niveles de poder de salida
medidos en cada una de la salida bobinas 29, 30 eran considerablemente mayores
que los niveles de poder de entrada de correspondencia que conducen ambos de la
entrada bobinas 26, 28. Por lo tanto, es aparente que el generador
electromagnético 10 puede ser construido en una forma autoimpulsada, como
hablado encima en cuanto a Fig.1. En el
ejemplo de Fig.1, excepto una breve aplicación del poder de la fuente de alimentación
externa 38 para comenzar el proceso de la generación de poder, el poder
requerido conducir la entrada bobinas 26, 28 es sacado completamente del poder
desarrollado dentro de la salida derecha bobina 29. Si el poder generado en la
salida sola bobina 29, es más que suficiente para conducir la entrada bobinas
26, 28, una carga adicional 126 puede ser añadida para ser conducido con el
poder generado en la salida bobina 29. Por otra parte, cada una de la salida
bobinas 29, 30 puede ser usada para conducir una porción de la entrada bobina
exigencias de poder, por ejemplo, la salida bobinas 26 puede proporcionar el
voltaje conductor V para FET 60 mientras la salida bobina 28 puede proporcionar
el voltaje conductor V para FET 62.
En cuanto a consideraciones termodinámicas, es notado que cuando el
generador electromagnético 10 funciona, esto es un sistema abierto no en el
equilibrio termodinámico. El sistema recibe la energía estática del flujo
magnético del imán permanente. Como el generador electromagnético 10 es
autocambiado sin una entrada de energía adicional, la operación termodinámica
del sistema es un sistema dissipative abierto, la recepción, el recogimiento, y
la disipación de la energía de su ambiente; en este caso, del flujo magnético
almacenado dentro del imán permanente. Operación continuada del generador
electromagnético 10 causas demagnetisation del imán permanente. El uso de un
material magnético incluso elementos de la tierra raros, como un material de
cobalto samarium o un material incluso hierro, neodymium, y boro es preferible
dentro de la invención presente, ya que un material tan magnético tiene una
vida relativamente larga en esta aplicación.
Así, un generador electromagnético que funciona de acuerdo con la invención
presente no debería ser considerado como una máquina de movimiento perpetuo,
pero mejor dicho como un sistema en el cual el flujo irradiado de un imán
permanente es convertido en la electricidad, que es usada tanto para impulsar
el aparato como impulsar una carga externa. Este es análogo a un sistema
incluso un reactor nuclear, en el cual varias varas de combustible irradian la
energía que es usada para guardar la reacción en cadena que va y calentar el
echar agua para la generación de electricidad para conducir cargas externas.
Fig.9 es una elevación enfadada seccional de un generador electromagnético
130 construido de acuerdo con una segunda versión de la primera encarnación de
la invención presente. Este generador electromagnético 130 es generalmente
similar en construcción y operación al generador electromagnético 10 construido
de acuerdo con la primera versión de esta encarnación, salvo que 132
principales magnéticos del generador electromagnético 10 son construidos en dos
mitades afiliadas a lo largo de líneas 134, permitiendo a cada una de la salida
bobinas 135 ser enrollar en un carrete plástico 136 antes de ser colocado sobre
las piernas 137 de los 132 principales.
Fig.9 también muestra una colocación alterna de una entrada bobina 138. En
el ejemplo de Fig.1, ambos de la entrada bobinas 26, 28 fueron colocadas en la
porción superior de los 16 principales magnéticos, con estos bobinas
configurados para generar campos magnéticos que tienen postes magnéticos del
norte a los finales interiores 31, 32 de los bobinas 26, 28, con estos postes
magnéticos del norte así estando el más cercanos al final 14 del imán
permanente 12 tener su poste magnético del norte. En el ejemplo de Fig.9, una
primera entrada bobina 26 es como descrita encima en la referencia al Fig.1,
pero la segunda entrada bobina 138 es colocada adyacente el polo sur 140 del
imán permanente 12. Esta entrada bobina 138 es configurada para generar un
poste magnético del sur a su final interior 142, de modo que, cuando
introducido bobina 138 sea encendido, el flujo del imán permanente 12 es
dirigido lejos del camino magnético izquierdo 20 en el camino magnético derecho
18.
Fig.10 y Fig.11 muestre un generador electromagnético 150 construido de
acuerdo con una primera versión de una segunda encarnación de la invención
presente, con Fig.10 que es una vista superior, e Fig.11 que es una elevación
delantera. Este generador electromagnético 150 incluye una salida bobina 152,
153 en cada esquina, y un imán permanente 154 ampliación a lo largo de cada
lado entre la salida bobinas. Los 156 principales magnéticos incluyen un plato
superior 158, un plato inferior 160, y un poste cuadrado 162 ampliación dentro
de cada salida bobina 152, 153. Tanto el plato superior 158 como el plato
inferior 160 incluye aberturas centrales 164.
Cada uno de los imanes permanentes 154 es orientado con un poste parecido,
como un Polo Norte, contra el plato superior 158. Ocho introducen bobinas 166,
168 son colocados en posiciones alrededor del plato superior 158 entre una
salida bobina 152, 153 y un imán permanente 154. Se queda que cada entrada
bobina 166, 168 forme un poste magnético a su final más cerca al imán
permanente adyacente 154 de la misma polaridad que los postes magnéticos de los
imanes 154 adyacente el plato superior 158. Así, la entrada bobinas 166 es
encendida para divertir el flujo magnético de los imanes permanentes 154 de la
salida adyacente bobinas 152, en caminos magnéticos por la salida bobinas 153. Entonces, la entrada bobinas 168 es encendida
para divertir el flujo magnético de los imanes permanentes 154 de la salida
adyacente bobinas 153, con este flujo divertido en caminos magnéticos por la
salida bobinas 152. Así, la entrada bobinas forma un primer grupo de la entrada
bobinas 166 y un segundo grupo de la entrada bobinas 168, con estos primeros y
segundos grupos de la entrada bobinas alternativamente activado en la manera
descrita encima en la referencia a Fig.1 para la entrada sola bobinas 26, 28.
La salida bobinas productos corrientes en un primer tren de pulsos que ocurren
simultáneamente dentro de bobinas 152 y en un segundo tren de pulsos que
ocurren simultáneamente dentro de bobinas 153.
Así, conduciendo corriente por entrada bobinas 166 causas un aumento en un
momento de cambio de los imanes permanentes 154 dentro de los postes 162
ampliación por salida bobinas 153 y una disminución en un momento de cambio de
los imanes permanentes 154 dentro de los postes 162 ampliación por salida
bobinas 152. Por otra parte, conduciendo corriente por entrada bobinas 168
causas una disminución en un momento de cambio de los imanes permanentes 154
dentro de los postes 162 ampliación por salida bobinas 153 y un aumento en un
momento de cambio de los imanes permanentes 154 dentro de los postes 162
ampliación por salida bobinas 152.
Mientras el ejemplo de Fig.10 y Fig.11 espectáculos toda la entrada bobinas
166,168 desplegado a lo largo del plato superior 158, es entendido que cierto
de éstos introducen bobinas 166, 168 podría ser alternativamente desplegado
alrededor del plato inferior 160, en la manera generalmente mostrada en Fig.9,
con una entrada bobina 166, 168 siendo dentro de cada recorrido magnético entre
un imán permanente 154 y un poste adyacente 162 ampliación dentro de una salida
bobina 152, 153, y con cada entrada bobina 166, 168 quedado producir un campo
magnético que tiene un poste magnético como el poste más cercano del imán
permanente adyacente 154.
Fig.12 es una vista superior de una segunda versión 170 de la segunda
encarnación de la invención presente, que es similar a la primera versión de
eso, de que han hablado en la referencia a Fig.10 y Fig.11, salvo que un plato
superior 172 y un similar más abajo platea (no mostrado) son anulares en la
forma, mientras los imanes permanentes 174 y fijan 176 ampliación por la salida
bobinas 178 son cilíndricos. La entrada bobinas 180 es orientada y cambiada
como descrito encima en la referencia a Fig.9 y Fig.10.
Mientras el ejemplo de Fig.12 muestra cuatro imanes permanentes, cuatro
salida bobinas y ocho introdujo bobinas es entendido que los principios
descritos encima pueden ser aplicados a generadores electromagnéticos que
tienen números diferentes de elementos. Por ejemplo, tal dispositivo puede ser
construido para tener dos imanes permanentes, dos salida bobinas, y cuatro introdujo
bobinas, o tener seis imanes permanentes, seis salida bobinas, y doce introdujo
bobinas.
De acuerdo con la invención presente, el material usado para corazones
magnéticos es preferentemente una aleación nanocrystalline, y alternativamente
una aleación amorfa. El material está preferentemente en una forma laminada.
Por ejemplo, el material principal es una aleación de boro de niobio de cobalto
o una aleación magnética basada de hierro.
También de acuerdo con la invención presente, el material de imán permanente
preferentemente incluye un elemento de la tierra raro. Por ejemplo, el material
de imán permanente es un material de cobalto samarium o una combinación de
hierro, neodymium, y boro.
Patente US 5,568,005 22 de octubre 1996 Inventor: Dan A. Davidson
GENERADOR DE PODER ACÚSTICO MAGNÉTICO
Por favor note que este es un extracto expresado
con otras palabras de esta patente. Si el contenido le interesa, entonces usted
debería obtener una copia llena vía el sitio Web www.freepatentsonline.com. Esta patente describe un dispositivo eléctrico muy similar al dispositivo
de MEG, capaz del impulso sí mismo impulsando artículos externos adicionales
del equipo.
EXTRACTO
El Generador de Poder de Campo Magnético Acústico
usa una señal acústica enfocada en un imán permanente para estimular la
estructura nuclear del imán para hacer que el campo magnético del imán
permanente se moviera u oscilara. Este efecto puede ser usado para dar un toque
al poder del campo magnético oscilante poniendo un bobina de alambre en el
campo oscilante. Cuando un generador de señal de corriente alterna está
relacionado simultáneamente con un transductor acústico y una estimulación
bobina; por lo cual, tanto el transductor acústico como la estimulación los
bobina son localizados dentro del campo magnético del imán, la señal acústica
realza el efecto de estimulación al transformador de imán permanente. El
transductor acústico puede ser cualquier dispositivo de generación acústico
como un piezoeléctrico, magnetostrictive, u otro transductor acústico. El
efecto combinado de la señal acústica y la estimulación bobina aumenta la
eficacia de transformadores de inducción de imán permanentes.
FONDO DE LA INVENCIÓN
La invención presente está relacionada con un
generador eléctrico estatal sólido no que tiene ningunas partes de movimiento.
Más en particular, la invención hace el uso de un nuevo método de estimular el
material nuclear de un imán permanente de modo que la estructura electrónica
del átomo vibre y así hará que el campo magnético del imán permanente oscile.
Esto es un hecho conocido que un campo magnético oscilante inducirá la
corriente eléctrica en un bobina como fue descubierto por Michael Faraday en el
siglo pasado. Lo que es nuevo en esta invención, es el descubrimiento de la
capacidad de un campo acústico de estimular la estructura nuclear de un
material para hacer que los electrones se tambalearan bajo la influencia del
campo acústico. Si el material es
magnético o temporalmente magnetizado por un campo magnético externo entonces
el campo magnético vibrará bajo el estímulo del campo acústico. Si este efecto
es combinado con un bobina que estimula simultáneamente el imán entonces la
eficacia de estimular el campo del imán permanente es realzada. Si una recogida
bobina es colocada en el campo magnético oscilante para crear un transformador
de inducción entonces la combinación del estímulo acústico y magnético realzará
la eficacia del transformador de inducción.
El arte previa más relevante conocida al inventor
comprende Estados Unidos. Acariciar. El No 4,904,926 (1990) a Mario
Pasichinsky, Movimiento de Imán autorizado Generador Eléctrico; y Estados
Unidos. Acariciar. El No 4,077,001 (1978) a Frank Richardson, Convertidor
Electromagnético autorizado con Miembros de Renuencia variable Inmóviles; y
Estados Unidos. Acariciar. El No 4,006,401 (1977) a de Rivas, Generador
Electromagnético autorizado.
Las susodichas referencias a Pasichinsky,
Richardson, y de Rivas, todo el uso métodos inductivos de estimular el
movimiento de un campo magnético permanente. En el de Rivas invención, el
Generador Electromagnético, el flujo del imán permanente es "alternado
cambiando" la utilización del enganche inductivo. En la revelación
Richardson "un sistema de conversión de energía" el flujo del imán
permanente también es "cambiado" por medios inductivos. En la
revelación Pasichinsky, alternando bobinas magnético inducen cambios de flujo
de un recorrido magnético cerrado y salida bobinas atado al recorrido son
inducido por el flujo que se cambia a producir un campo magnético. Todos estos dispositivos son esencialmente
variaciones del diseño de transformador con imanes permanentes como la parte de
los corazones de transformador y todo el uso inducción magnética. El aspecto de
transformador de estas referencias es el uso de imanes permanentes cuando el
corazón de transformador con bobinas se abrigó alrededor del corazón magnético
que son activados para producir la oscilación o el movimiento del campo del
imán permanente. Las susodichas referencias, en este documento, serán llamadas
"transformadores de imán permanentes".
Otra arte previa relevante a la invención es
Estados Unidos. Acariciar. El No 2,101,272 (1937) a H. J. Scott,
Magnetostriction combinado autorizado y Dispositivo Selectivo Piezoeléctrico; y
Estados Unidos. Acariciar. El No 2,636,135 (1953) a R. L. Ojeada, Tensión
autorizada Hija Transformador Principal y de Cristal Conectado, y Estados
Unidos. Acariciar. El No 2,834,943 (1958) a R. O. Grisdale, el etal autorizó
Transductores Electromecánicos y Magnetomechanical Mecánicamente Conectados, y
Estados Unidos. Acariciar. El No 3,246,287 (1966) a H. F. Benson autorizó el
Transformador Piezoeléctrico, y Estados Unidos. Acariciar. El No 3,261,339
(1966) a H. P. Quinn autorizó el Transformador Magnetostrictive, y Estados
Unidos. Acariciar. El No 3,274,406 (1966) a H. S. Sommers, Dispositivo
Electromagnético Acústico autorizado Hijo, y Estados Unidos. Acariciar. El No
3,309,628 (1967) a F. A. Olson autorizó la Línea de Tardanza Acústica Variable
YIG, y Estados Unidos. Acariciar. El No 3,457,463 (1969) a L. Balamuth autorizó
Método y Aparato para Generar Corrientes Eléctricas de la Pequeña Magnitud, y
Estados Unidos. Acariciar. El No 4,443,731 (1984) a Butler et al. Transductor
de Onda Acústico Piezoeléctrico y Magnetostrictive Híbrido autorizado, y
Estados Unidos. Acariciar. El No 4,552,071 (1985) a R. B. Thompson autorizó
Método y Aparato para Medir la Tensión.
La referencia a Peek citado encima, aprovecha la
diferencia en la operación de cristales piezoeléctricos y magnetostrictive para
producir una respuesta en uno cuando estimulado por el otro. La patente de
Ojeada no usa una onda acústica para estimular un imán permanente como en la
invención presente.
La referencia a Sommers citado encima, es un
transductor que usa una barra propicia o el tubo, que apoya relativamente lento
helicon ondas, colocadas al lado de un cristal piezoeléctrico o
magnetostrictive. El transductor es diseñado de tal modo en cuanto a realzar la
onda acústica o la onda eléctrica por la interacción de los dos materiales. La
patente de Sommers no usa una onda acústica para estimular un imán permanente
para realzar a la oscilación del campo magnético cuando la invención presente
hace.
La referencia a Balmuth citado encima, usa cañas
mecánicamente resonantes, varas, o cámaras que son conectadas a transductores
que son piezoeléctricos, magnetostrictive, o transistorised. La salida
eléctrica de los transductores estimula un recorrido eléctrico cuando el
resonador recibe la energía acústica y otra vez no usa una onda acústica para
estimular un imán permanente para realzar a la oscilación del campo magnético
cuando la invención presente hace.
La referencia a Olson citado encima, usa un
material acústicamente sensible como un piezoeléctrico o un magnetostrictive
para actuar como una línea de tardanza para señales microondas y otra vez no
usa una onda acústica para estimular un imán permanente para realzar a la
oscilación del campo magnético cuando la invención presente hace.
Las referencias a Benson, Quinn, Grisdale, Scott,
y Butler citado encima, están todas preocupadas por transductores acústicos que
convierten la presión acústica a una señal eléctrica o viceversa utilización
sólo el piezoeléctrico y/o el efecto de magnetostrictive. La patente de Benson
es un transformador acústico submarino que convierte ondas acústicas que
golpean un transductor en un campo electromagnético que excita un transformador. La patente de Quinn usa un efecto de
magnetostrictive para estimular cristales piezoeléctricos a la salida una alta
tensión que es un revés de la patente de Benson. Los usos de patente de
Grisdale mecánicamente apilaron cristales piezoeléctricos o magnetostrictive
para producir gyrator mecánico más eficiente. La patente de Scott usa y
oscilador eléctrico para estimular varas magnetostrictive que hacen presión
sobre cristales piezoeléctricos a la salida una alta tensión de los cristales
piezoeléctricos. La patente de Mayordomo usa un efecto combinado de cristales
piezoeléctricos y magnetostrictive para producir un detector de energía
acústico realzado.
La referencia a Thompson citado encima, usa un
transductor magnético permanente para inducir corrientes de remolino en el
metal que está en el campo del transductor o usos que mueven corrientes de
remolino en un pedazo de metal para estimular un campo magnético. La inducción
de las corrientes de remolino es el resultado de un campo magnético oscilante
generado en el transductor.
Ninguna de las referencias citadas encima, use una
onda acústica para estimular los átomos de un imán permanente y de ahí no estar
relacionados con esta invención.
RESUMEN DE LA INVENCIÓN
Un objeto de esta invención es proporcionar un generador
de poder sin el movimiento de partes.
Otro objeto de esta invención es usar un campo
acústico para estimular el nivel nuclear del material magnético y proporcionar
un método de oscilar el campo magnético de imanes permanentes.
Otro objeto de esta invención es proporcionar un
método simple de generar la energía eléctrica por la inclusión de un
transductor piezoeléctrico que es usado para vibrar el campo magnético de un
imán permanente. Cuando el núcleo del átomo es vibrado por el piezoeléctrico, ello
por su parte, vibra la estructura electrónica de todos los átomos. Ya que la
estructura electrónica es la base del campo magnético del imán entonces el
campo magnético entero del imán es vibrado cuando la estructura electrónica es
vibrada. el bobinas colocado en el campo magnético que vibra tendrá el voltaje
y corriente inducido en ellos.
Esto es un hecho bien establecido, que cuando el
campo magnético de un imán permanente es vibrado, es posible generar una
corriente alterna en un bobina cuerda colocado dentro del campo magnético que
vibra. Lo que es único sobre esta invención, debe aumentar la eficacia de
transformadores de imán permanentes usando el estímulo acústico de
piezoelectrics para estimular adelante el imán permanente para añadir a los
efectos inductivos de transformadores de imán permanentes. Esta invención hace
este estimulando los corazones de imán permanentes de transformadores de imán
permanentes con un campo acústico generado por un generador piezoeléctrico u
otro acústicamente activo que es vibrado en la misma frecuencia que la
inducción eléctrica de los transformadores de imán permanentes.
BREVE DESCRIPCIÓN DE LOS DIBUJOS
Fig.1 ilustra un
generador de señal de frecuencia atado a y la conducción de un transductor
piezoeléctrico que está en la proximidad acústica de un tipo de barra del imán
permanente con una salida bobina colocado dentro del campo magnético del imán
permanente.

Fig.2 ilustra un
generador de señal de frecuencia atado a y la conducción de un transductor
piezoeléctrico que está en la proximidad acústica de un tipo de torroidal del
imán permanente con una salida bobina se abrigó alrededor del imán permanente
torroidal.

Fig.3 ilustra un
generador de señal de frecuencia atado a y la conducción de un transductor piezoeléctrico
que está en la proximidad acústica de un tipo de torroidal del transformador de
imán permanente y el generador de señal también conduce la entrada bobina del
transformador de imán permanente torroidal.

Fig.4 ilustra un
generador de señal de frecuencia atado a y la conducción de dos transformadores
de imán permanentes principales torroidal así como un transductor acústico que
está en la proximidad acústica de los corazones torroidal.

DESCRIPCIÓN DETALLADA DE LA INVENCIÓN

En Fig.1, un generador de señal de frecuencia 6
está relacionado con un transductor piezoeléctrico 1 vía alambres 4 y 5
relacionado con las superficies de electrodo del transductor piezoeléctrico 2 y
3 respectivamente. El transductor piezoeléctrico 1 es hecho de un material
dieléctrico alto como bario titanate o plomo zirconate titanate o cualquier
otro material de transductor acústico conveniente para generadores sónicos y
ultrasónicos. El transductor piezoeléctrico 1 es colocado en la proximidad
cercana al imán permanente 7 tal que el campo acústico del transductor
piezoeléctrico 1 puede irradiar en el material de imán permanente. Un
transformador de imán permanente mostrado como bobina 8 es colocado en el campo
magnético del imán permanente 7. Cuando el transductor piezoeléctrico 1 es
estimulado por el generador de frecuencia 6 entonces un voltaje y corriente es
generado entre la salida conduce 9 y 10 del transformador de imán permanente.

Otra encarnación de esta invención es mostrada en
Fig.2. que es similar a Fig.1, con un generador de señal de frecuencia similar
6 relacionado con un material piezoeléctrico 1 vía alambres 4 y 5 relacionado
con las superficies de electrodo del transductor piezoeléctrico 2 y 3. El transductor piezoeléctrico 1 es como
definido encima, o sea que es construido de un material conveniente para
generadores sónicos y ultrasónicos. El transductor piezoeléctrico 1 es colocado
en la proximidad cercana al imán permanente 11 de modo que el campo acústico
del transductor piezoeléctrico 1 pueda irradiar en el material de imán
permanente. Un transformador de imán permanente mostrado como bobina 12 es
colocado en el campo magnético del imán permanente 11. Cuando el transductor
piezoeléctrico 1 es estimulado por el generador de frecuencia 6 entonces un
voltaje y corriente es generado entre la salida conduce 13 y 14 del susodicho
transformador magnético definido.

Fig.3 es similar a Fig.1 y Fig.2 con un generador
de señal de frecuencia 6 relacionado con un transductor piezoeléctrico 1 vía
alambres 4 y 5 relacionado con el electrodo emerge 2 y 3 del transductor
piezoeléctrico. El transductor piezoeléctrico 1 es como definido en las
descripciones encima. El generador de señal 6 también está relacionado con la
entrada bobina 20 del transformador de imán permanente definido por el corazón
de imán permanente torroidal 11, introduzca bobina 20 y la salida bobina 19. El transductor piezoeléctrico 1 es colocado
en la proximidad cercana al imán permanente 11 de modo que el campo acústico
del transductor piezoeléctrico 1 pueda irradiar en el material de imán
permanente. El transformador magnético definido por 11, 19, y 20 está en el
campo magnético del imán permanente 11 y está relacionado con el generador de
señal de frecuencia 6 vía alambres 15 y 16. El generador de frecuencia 6
estimula el transductor piezoeléctrico 1 que estimula el transformador de imán
permanente vía el campo acústico y al mismo tiempo el generador de señal
también estimula el bobina electromagnético. Un voltaje y corriente es generado
en la salida bobina 19 y el poder puede ser tomado de los alambres de salida 17
y 18 del transformador magnético.

Una encarnación adicional de esta invención,
mostrada en Fig.4, es un generador de señal de frecuencia 6 conducción de un
par de transformadores de imán permanentes definidos por 26, 35, 27 y 25, 36,
28 respectivamente, también conduciendo un transductor piezoeléctrico 1. El
transductor piezoeléctrico es como descrito encima. El generador de señal está
relacionado vía los alambres de entrada 23 y 24 a la entrada bobina 26 del
transformador de imán permanente a la izquierda y a la entrada bobina 25 del
transformador a la derecha respectivamente. Los otros 38 de alambre de entrada
del transformador de imán permanente izquierdo están relacionados con los 39 de
alambre de entrada restantes del transformador magnético derecho. La salida del
generador de señal en también relacionado con el transductor piezoeléctrico 1
vía uniones 21 y 22 a la superficie de conector de los 33 piezoeléctricos y 34
respectivamente. La salida del transformador de imán permanente a la izquierda
está relacionada con una carga 40 vía el alambre 30 y la salida del
transformador de imán permanente a la derecha está relacionada con la carga vía
el alambre 29. La salida restante pone instalación eléctrica 31 y 32 de los
transformadores de imán permanentes izquierdos y derechos también están
relacionados con la carga. La carga 40 puede ser algo como un motor o luces
eléctricas o cualquier aplicación.
Esta invención no es limitada con las 4 versiones
diferentes de la invención mostrada en Figs. 1, 2, 3, y 4 como hay cualquier
número de caída en cascada y técnicas de conexión eléctricas que pueden ser
llevadas a cabo para amplificar el poder y aprovechar la influencia acústica del
piezoeléctrico sobre el material magnético. Del mismo modo, esta invención no
es limitada con la configuración principal torroidal cuando pueden haber muchos
tipos de transformadores de imán permanentes con cualquier número de corazón
magnético y configuraciones bobina que pueden ser realzadas con el estímulo
acústico según poder y exigencias de salida según las reglas de la electrónica
y aquellos familiares con el de tecnología avanzada en transformadores de poder
de imán permanentes.
Patente US 6,545,444 8 de abril 2003 Inventor: John C. Bedini
DISPOSITIVO Y MÉTODO PARA UTILIZAR UN MOTOR DE MONOPOSTE
CREAR ATRÁS-EMF PARA COBRAR BATERÍAS
Por favor note que este es un extracto expresado
con otras palabras de esta patente. Esto describe un dispositivo autónomo que
puede cobrar una batería externa o el banco de baterías.
EXTRACTO
Una espalda motor de monoposte de EMF y método
usando un rotor que contiene imanes toda la misma polaridad y en un monoposte
condiciona cuando en la aposición momentánea con un pedazo de poste magnetizado
de un estator que tiene la misma polaridad, el estator que consiste de un
bobina con tres cuerdas: una cuerda de bobina de poder, una cuerda de bobina
más bien cuidado, y una cuerda de bobina de recuperación. La energía de EMF de
espalda es rectificada usando un puente de alta tensión, que transfiere la
espalda energía de EMF a un condensador de alta tensión para el almacenamiento
en una batería de recuperación. La energía almacenada puede ser descargada
entonces a través de la batería de recuperación por los medios de un
interruptor de rotor de contacto para el almacenamiento adicional.
DESCRIPCIÓN
Campo Técnico
La invención está relacionada generalmente con la
captura de la energía electromagnética disponible usando un dispositivo y
método para crear una fuerza electromagnética (EMF) y luego usar la energía
almacenada disponible para reciclar en el sistema como la energía almacenada.
El método de crear atrás EMF es el resultado de enganche/no enganche un bobina
a una fuente de voltaje.
Fondo
La operación del día presente motores magnéticos
normales, tiene el poste de rotor que atrae el poste de estator, causando la
generación de poder mecánico de los imanes al rotor y volante. Durante esta
fase, la energía fluye del magnetics al rotor/volante y es almacenada como la
energía cinética en la rotación aumentada. Un poste de rotor que deja un poste
de estator y crea una condición "de rastra" causa el poder que
necesidad ser aplazado en la sección magnética por el rotor y volante para
vencer a la fuerza la rastra. En un
motor perfecto, sin fricción, el campo de fuerza neto es por lo tanto referido
como "la mayor parte de conservador". El motor EMF más conservador
tiene la eficacia máxima. Sin la energía suplementaria continuamente alimentada
al motor, ningún trabajo neto puede ser hecho por el campo magnético, desde la
mitad el tiempo el campo magnético añade la energía a la carga (el rotor y
volante) y la otra mitad del tiempo esto resta la energía de la carga (el rotor
y volante). Por lo tanto, la salida de energía neta total es el cero en
cualquier tal proceso rotatorio sin la entrada de energía adicional. Para usar
un día presente motor magnético, la energía continua debe ser alimentada al
motor para vencer la rastra e impulsar el motor y su carga.
Los motores y los generadores actualmente en el
uso, todo el uso tales campos conservadores y por lo tanto, tienen pérdidas
internas. De ahí, es necesario introducir continuamente toda la energía que las
salidas de motor a la carga, más más energía de cubrir pérdidas dentro del
motor sí mismo. Los motores de EMF son tasados para eficacia e interpretación
por cuanta energía "introducida" en el motor realmente causa la
energía "de salida" a la carga. Normalmente, el Coeficiente de
Performance ('COP') posición es usado como una medida de eficacia. El C.O.P. es la energía de salida actual que
entra en la carga y lo impulsa, dividido en la energía que debe ser introducida
en el dispositivo con su combinación de motor/carga. Si hubiera pérdidas
internas cero en un motor, aquel motor "perfecto" tendría un C.O.P.
igual a 1.0. Es decir toda la entrada de energía en el motor sería la salida
por el motor directamente en la carga, y ninguna de la energía de entrada sería
perdida o disipada en el motor sí mismo.
En generadores de motor magnéticos actualmente en
el uso, sin embargo, debido a fricción y defectos de diseño, hay pérdidas
siempre internas e ineficiencias. Un poco de la entrada de energía en el motor
es disipada en estas pérdidas internas. Como una consecuencia, la energía que
se pone a la carga es siempre menos que la energía de entrada. Entonces un
motor estándar funciona con un C.O.P. de menos de 1.0, que es expresado como
C.O.P. <1.0. Un motor ineficaz puede tener un C.O.P. de 0.4 o 0.45, mientras
un motor especialmente diseñado y muy eficiente puede tener un C.O.P. de 0.85.
El campo conservador dentro de un motor sí mismo
es dividido en dos fases. La producción de un campo conservador implica la
simetría neta entre "el poder" fase del magnetics al rotor/volante
"y el poder atrás en" la fase del rotor/volante atrás al magnetics.
Es decir los dos flujos de la energía son idénticos en la magnitud, pero
enfrente en la dirección. Se dice que cada fase sola es "asimétrica",
es decir ello cualquiera tiene: 1) una energía neta se sale al rotor/volante; o
2) una energía neta fluye atrás en el magnetics del rotor/volante. En términos
simplificados, esto se menciona "poder" "y poder atrás en"
fases con respecto al motor magnetics.
Para la fase de poder, la energía es sacada del
EMF que existe entre el poste de estator y poste de rotor entrante en un modo
de atracción. En esta fase, el movimiento rotatorio (ímpetu angular y energía
cinética) del rotor y volante es aumentado. En resumen el poder es añadido al
rotor/volante (y así a la carga) de los campos entre poste de estator y poste
de rotor (los aspectos electromagnéticos del sistema).
Para "el poder atrás en" la fase, la
energía debe ser alimentada atrás en el magnetics del rotor y volante (y la
carga) para vencer las fuerzas de rastra que existen entre poste de estator y
poste de rotor saliente. En esta fase, la energía es devuelta al sistema
magnético interno del movimiento rotatorio del rotor y volante (el ímpetu
angular, que es la energía rotatoria multiplicada por el tiempo). Como es
conocido en la física, un rotor/volante el ímpetu angular proporciona un modo
conveniente de almacenar la energía con la masa de rotor/volante que gira e
interpreta como un embalse de energía.
La mayor parte de día presente motores magnéticos
convencionales usa varios métodos para el vencimiento y parcialmente inversión
atrás EMF. Detrás el EMF puede ser definido como el pulso de vuelta del
desfasado bobina y es el resultado de nueva calibración, que es el proceso de
invertir la polaridad magnetics, es decir Norte de forma al Sur, etc. La
espalda EMF es shorted y el rotor es atraída atrás en, por lo tanto eliminando
la rastra. Este puede ser llevado a cabo por verter más energía en, que domina
la espalda EMF, así produciendo EMF avanzado en aquella región. La energía
requerida para este método es amueblada por el operador.
Es conocido que cambiando el voltaje solo crea una
espalda EMF y no requiere ningún trabajo. Este es porque cambiarse la energía
potencial no requiere el cambio de la forma de aquella energía potencial, pero
sólo su magnitud. El trabajo es el cambio de la forma de energía. Por lo tanto,
mientras la forma de la energía potencial no es cambiada, la magnitud puede ser
cambiada sin necesidad realizar el trabajo en el proceso. El motor de la
invención presente aprovecha esta operación permisible para crear atrás EMF
asimétricamente, y así cambiar su propia energía potencial disponible
utilizable.
En un sistema de energía eléctrica, el potencial
(voltaje) es cambiado introduciendo la energía de hacer el trabajo en los
gastos internos del generador o batería. Esta energía potencial es gastada
dentro del generador (o batería) para forzar los gastos internos aparte,
formando un dipolo de la fuente. Entonces el sistema de recorrido cerrado
externo relacionado con aquel dipolo de la fuente ineptamente bombea los
electrones gastados en la línea de tierra atrás por la espalda EMF del dipolo
de la fuente, así dispersando los gastos y matando el dipolo. Este cierra el flujo de energía del dipolo de
la fuente al recorrido externo. Como una consecuencia de este método
convencional, esto es una exigencia para introducir y sustituir la energía
adicional de restaurar otra vez el dipolo. El recorrido actualmente utilizado
en la mayoría de los generadores eléctricos ha sido diseñado para seguir
destruyendo el flujo de energía por continuamente dispersando todos los gastos
de dipolo y terminando el dipolo. Por lo tanto, es necesario seguir
introduciendo la energía al generador para seguir restaurando su dipolo de la
fuente.
Una búsqueda del arte previa dejó de revelar
cualquier dispositivo de motor de monoposte y métodos que reciclan la energía
disponible de la espalda EMF para cobrar una batería o proporcionar la energía
eléctrica para otros usos como descrito en la invención presente. Sin embargo,
las patentes de arte previas siguientes fueron examinadas:
Estados Unidos. Acariciar. El No 4,055,789 a
Lasater, Batería Motor Hecho funcionar con EMF trasero Cobro.
Estados Unidos. Acariciar. El No 2,279,690 a Z. T.
Lindsey, Generador de Motor de Combinación.
RESUMEN DE LA INVENCIÓN
Un aspecto del dispositivo y el método de la
invención presente es un nuevo monoposte motor electromagnético que captura
atrás la energía de EMF. La energía EMF trasera capturada puede ser usada para
cobrar o almacenar la energía eléctrica en una batería de recuperación. La
cantidad de energía recuperable, como expresado en vatios, es el dependiente
sobre la configuración, circuitería, cambiando elementos y el número y tamaño
de estatores, rotores, imanes y bobinas que comprenden el motor.
El motor usa una pequeña cantidad de la energía de
una batería primaria para "provocar" una entrada más grande de la
energía disponible suministrando atrás EMF, a la baja del aumento de la energía
potencial del sistema. El sistema entonces utiliza esta energía potencial
disponible de reducir, o poner marcha atrás, la espalda EMF, a la baja del
aumento de la eficacia del motor y, por lo tanto, el C.O.P.
Si la energía en la fase 1 (la fase de poder) es
aumentada por la energía disponible adicional en el electromagnetics ellos
mismos, entonces la energía en la fase 1 puede ser hecha mayor que la energía
en la fase 2 (la fase "poder atrás en") sin el operador que amuebla
la energía utilizada. Este produce un campo de nett no conservador. El poder de
Nett puede ser tomado entonces del estator rotativo y volante, porque la
energía disponible añadida en el estator y volante por los efectos adicionales,
es transformada por el rotor/volante en el exceso ímpetu angular y almacenada
como tal. El ímpetu angular es conservado siempre, pero ahora, un poco del
ímpetu angular añadido al volante, es evocado por efectos adicionales en el
electromagnetics, más bien que ser amueblado por el operador.
Es decir el motor es diseñado para crear
deliberadamente una espalda EMF sí mismo, y a la baja del aumento su energía
potencial, así reteniendo cada fuerza suplementaria para el periodo del tiempo
y aplicándolo para aumentar el ímpetu angular y la energía cinética del rotor y
volante. Expresamente, esta espalda energía de EMF con su fuerza de nett es
deliberadamente aplicada en el motor de la invención presente para vencer e
invertir hasta la espalda de rastra convencional (la espalda EMF). De ahí,
menos energía tiene que ser tomada del rotor y volante para vencer EMF trasero
reducido, y en el caso ideal, ninguno es requerido desde la espalda EMF ha sido
dominado y convertido para expedir EMF por la espalda energía de EMF y fuerza.
En el motor, la sección de rastra convencional del magnetics se hace una
sección avanzada-EMF y ahora añade la energía al rotor/volante en vez de
reducirlo. El rasgo importante es que el operador sólo paga para la pequeña
cantidad de la energía necesaria de provocar la espalda EMF de la batería
primaria, y no tiene que amueblar la energía EMF trasera mucho más grande sí
mismo.
Así, cuando la energía deseada en la fase 1 (la
fase de poder) es hecha mayor que la energía de rastra indeseada en la fase 2,
luego la parte del poder de salida normalmente tomado del rotor y volante por
los campos en la fase 2, no es requerida. De ahí, en comparación con un sistema
sin mecanismos EMF traseros especiales, el poder adicional está disponible del
rotor/volante. El rotor por lo tanto mantiene el ímpetu angular adicional y la
energía cinética, comparada a un sistema que no produce atrás EMF sí mismo. Por
consiguiente, el exceso ímpetu angular retenido por el rotor y volante puede ser
utilizado como el poder de eje adicional de impulsar una carga externa.
En este motor, varios procesos conocidos y los
métodos son utilizados. Éstos permiten que el motor funcione periódicamente
como un sistema dissipative abierto (recibiendo la energía de exceso disponible
de la espalda EMF) lejos del equilibrio termodinámico, por lo cual esto produce
y recibe su energía de exceso de una fuente externa conocida.
Un método es utilizado para producir temporalmente
una fuente mucho más grande de la energía externa disponible alrededor de
bobina activado. Los rasgos de diseño de este nuevo motor proporcionan un
dispositivo y el método que puede producir inmediatamente un segundo aumento de
aquella energía simultáneamente cuando el flujo de energía es invertido. Por lo
tanto, el motor es capaz de producir dos EMFs traseros asimétricos, uno tras
otro, de la energía dentro de bobina solo, que dramáticamente aumenta la
energía disponible y causas que la energía de exceso disponible de entrar
entonces en el recorrido como impulsos que son coleccionados y utilizados.
El motor utiliza este exceso disponible atrás
energía de EMF de vencer e invertir hasta la rastra EMF entre poste de estator
y poste de rotor, amueblando sólo un pequeño pulso más bien cuidado de la energía
de una batería primaria necesaria de controlar y activar la dirección de la
espalda flujo de energía de EMF.
Usando vario tal asimétrico dual mí atrás EMFs
para cada revolución del rotor, el rotor y volante colectivamente enfocan todo
el exceso entradas impulsivas en el ímpetu angular aumentado (expresado como la
energía multiplicada por tiempo), torsión de eje, y poder de eje.
Adelante, un poco de la energía de exceso
deliberadamente generada en el bobina por la utilización de las manifestaciones
de proceso duales en la forma de exceso energía eléctrica en el recorrido y
puede ser utilizada para cobrar una batería de recuperación o baterías. La
energía de exceso también puede estar acostumbrado al poder cargas eléctricas o
impulsar el rotor y el volante, con el rotor/volante que también amuebla el
caballo de vapor de eje para impulsar cargas mecánicas.
El motor utiliza un medio de amueblar la
relativamente pequeña cantidad de la energía de una batería primaria para
iniciar el asimétrico impulsivo mí atrás acciones de EMF. Entonces la parte del
exceso disponible poder eléctrico sacado de la espalda EMF creó la energía es
utilizada para acusar una batería de recuperación de pulsos de sobrevoltaje
dramáticamente aumentados.
Los rasgos de diseño de este motor de monoposte
utilizan un poste magnético de cada rotor e imán de estator. El número de EMF
autotrasero impulsivo en una rotación sola del rotor es doblado. Los diseños
avanzados pueden aumentar el número de autoespalda EMFs en una rotación de rotor
sola con la consecuencia de que hay un aumento del número de impulsos por
rotación, que aumentan la salida de poder de este nuevo motor.
El punto de voltaje agudo producido en el bobina
de este motor de monoposte por el campo que sufre un colapso rápidamente en la
espalda EMF bobina está relacionado con una batería (s) de recuperación
responsable modo y con una carga eléctrica externa. El resultado de nett es que
el bobina asimétricamente crea atrás EMF sí mismo en una manera que añade la
energía disponible y el impulso al recorrido. La energía disponible
coleccionada en el bobina es usada para invertir la fase trasera-EMF de los
campos de rotor de estator a una condición de EMF avanzada, con los impulsos
que añaden la aceleración y el ímpetu angular al rotor y volante. La energía
EMF trasera disponible coleccionada en el bobina es usada para cobrar una
batería. Las cargas pueden ser conducidas entonces por la batería.
Un dispositivo y método en el cual el motor de
monoposte cambia el corte transversal de reacción del bobinas en el recorrido,
que brevemente cambia el corte transversal de reacción del bobina en el cual es
invocado. Así, ya que este nuevo motor usa sólo una pequeña cantidad de
corriente en la forma de un pulso de provocación, es capaz evocar y controlar
el cambio inmediato del corte transversal de reacción del bobina a este
normalmente gastaba el componente de flujo de energía. Como consiguiente, el
motor captura y dirige un poco de esta energía ambiental disponible por lo
general gastada, coleccionando la energía de exceso disponible en el bobina y
luego liberándolo para el uso en el motor.
Por cronometraje y conmutación, el diseño de puerta innovador de este
nuevo motor dirige la energía de exceso disponible de modo que esto venza e
invierta la vuelta EMF de la combinación de poste de estator de rotor durante
lo que sería normalmente la espalda EMF y demuestra la creación del segundo
atrás EMF del sistema. Ahora, en vez "de un retraso igual" fuerza
producida en la espalda región de EMF, EMF avanzado es producido que añade a la
energía de rotor/volante, más bien que restar de ello. En resumen esto adelante
acelera el rotor/volante.
Este resulta en un campo magnético no conservador
a lo largo del camino del rotor. La integral de línea del campo alrededor de
aquel camino (es decir, el trabajo neto en el rotor/volante para aumentar su
energía e ímpetu angular) no es el cero, pero una cantidad significativa. De
ahí, la creación de un impulso EMF trasero asimétrico motor magnético:
1) Toma esto es la energía
de exceso disponible de una fuente externa conocida, la porción enorme por lo
general no interceptada del flujo de energía alrededor del bobina;
2) Aumentos adicionales la
fuente dipolarity por esta espalda energía de EMF; y
3) Produce el flujo de
energía de exceso disponible directamente de la simetría rota aumentada del
dipolo de la fuente en su cambio de energía feroz con el vacío local.
Funcionando como un sistema dissipative abierto,
no en el equilibrio termodinámico con el vacío activo, el sistema puede
permissibly recibir la energía disponible de una fuente ambiental conocida y
luego salida esta energía a una carga. Como un sistema dissipative abierto no
en el equilibrio termodinámico, este motor de monoposte nuevo y único puede
palmear en la espalda EMF para activar sí, cargas y pérdidas simultáneamente,
totalmente cumpliendo con leyes conocidas de física y termodinámica.
BREVE DESCRIPCIÓN DE LOS
DIBUJOS
Fig.1 es una vista
lateral de perspectiva de un monoposte atrás motor de EMF con un estator solo y
un rotor solo.

Fig.2 es una vista de
cumbre de perspectiva de un monoposte atrás motor de EMF con un estator solo y
un rotor solo.

Fig.3 es un diagrama
de bloque que demuestra la circuitería para un monoposte atrás motor de EMF.
.
DESCRIPCIÓN DETALLADA DE
LA INVENCIÓN
Una encarnación de la invención presente es un
dispositivo y el método para un monoposte atrás EMF motor electromagnético.
Como descrito en el Resumen de la Invención, este motor de monoposte se
conforma a todas las leyes electrodinámicas aplicables de la física y está en
la armonía con la ley de la conservación de energía, las leyes de
electromagnetismo y otras leyes naturales relacionadas de la física.
El monoposte atrás EMF motor electromagnético
comprende una combinación de elementos y circuitería para capturar la energía
disponible (atrás EMF) en un elemento de recuperación, como un condensador, de
la salida bobinas. La energía almacenada disponible en el elemento de
recuperación es usada para cobrar una batería de recuperación.
Como un punto de partida, un método arbitrario en
la descripción de este dispositivo será empleado, a saber, el flujo de energía
eléctrica y fuerzas mecánicas será rastreado del inicio de la energía en la
batería primaria a su almacenamiento final en la batería de recuperación.

Fig.1 es una vista lateral de perspectiva del
motor de monoposte según una encarnación de la invención. La energía eléctrica
de la batería primaria 11 periódicamente flujos por el poder cambia 12 y por el
alambrado de bobina de poder 13a. En una encarnación, el interruptor de poder
12 es simplemente un En - del interruptor mecánico y no es electrónico. Sin
embargo, el interruptor 12 puede ser un recorrido de conmutación
transistorizado, un interruptor de Caña magnético, un conmutador, un
interruptor óptico, un Efecto-Hall interruptor, o cualquier otro transistorised
convencional o el interruptor mecánico. el bobina 13 consiste de tres cuerdas:
cuerda de bobina de poder 13a, cuerda de bobina más bien cuidado 13b, y cuerda
de bobina de recuperación 13c. Sin embargo, el número de cuerdas puede ser más
o menos de tres, según el tamaño del bobina 13, tamaño del motor y la cantidad
de la energía disponible para ser capturada, almacenado y usado, como medido en
vatios. La energía eléctrica entonces periódicamente fluye de la cuerda de
bobina de poder 13a y por el transistor 14.
La energía más bien cuidada también periódicamente
fluye por resistencia variable 15 y resistencia 16. El ajuste del diodo 17
abrazaderas que el voltaje de emisor bajo inverso del transistor cambia 14 en
un nivel de tendencia inversa seguro que no daña el transistor. La energía
fluye a estator 18a y pedazo de poste 18b, una extensión de estator 18a. El
pedazo de Polo 18b es eléctricamente magnetizado sólo cuando el interruptor de
transistor 14 es conectado y mantiene la misma polaridad que los postes de
rotor 19 - Polo Norte en este caso - cuando eléctricamente magnetizado. Los
postes de rotor del Norte 19a, 19b y 19c, que son atados al rotor 20, vienen a
la aposición momentánea con el pedazo de poste 18b creación de un interfaz de
monoposte momentáneo. Los postes 19a, b, c, que son imanes realmente
permanentes con sus Polos Norte que se vuelven externo del rotor 20, mantienen
la misma polaridad cuando en la alineación momentánea con el pedazo de poste
18b.
Rotor 20 es atado al eje de rotor 21, que tiene la
polea de paseo 22. Atado al eje de rotor 21 son portacojinetes de eje de rotor
31a y 31b, como visto en el Fig.2. Cuando el rotor 20 comienza a girar, los
postes 19a, b, c respectivamente entra en la alineación con el pedazo de poste
magnetizado 18b en un interfaz de monoposte momentáneo con la energía que fluye
por rectificador de puente diódico 23 y condensador 24. El número de condensadores
puede ser de una amplia variedad, según la cantidad de energía para ser
temporalmente almacenada antes de ser expulsado o destello cobrado en la
batería de recuperación 29. El cronometraje del cinturón 25 une la polea de
paseo 22 en el cronometraje del eje 21 al cronometraje de la rueda 26. Atado al
cronometraje de la rueda 26 es el rotor de contacto 27, un cobre aisló el
interruptor que sobre la rotación, entra en contacto con cepillos en el
interruptor mecánico 28. Los medios para contar el número de revoluciones de
rotor pueden ser una marcha de cronometraje o un cinturón de cronometraje.
Finalmente, la energía disponible sacó de la espalda EMF que es almacenado en
el condensador 24 es descargado entonces y almacenado en la batería de
recuperación 29.

Fig.2 es una vista de cumbre de perspectiva
mecánica del motor de monoposte de la invención inmediata sin la circuitería
eléctrica. El estator 18a consiste en bobina 13, que consiste de tres cuerdas
bobina separadas: cuerda de poder-bobina 13a, cuerda de gatillo-bobina 13b y
cuerda de recuperación-bobina 13c. El pedazo de Polo 18b es al final de estator
18a. Cuando el rotor 20, (que es atado al eje de rotor 21) gira, cada poste 19
respectivamente viene a un interfaz de monoposte momentáneo con el pedazo de
poste 18b. La polaridad del pedazo de poste 18b es la constante cuando
eléctricamente magnetizado. El eje de rotor 21 tiene a portacojinetes de eje de
rotor 31a, b atado a ello para stabilisation del eje de rotor 21. Atado al eje
de rotor 21 es la polea de paseo 22 con el cronometraje del cinturón 25
contratado con ello. Otros medios para
el cronometraje pueden ser una marcha de cronometraje. El cronometraje del
cinturón 25 engrana con el cronometraje de la rueda 26 a su otro final. El
cronometraje de la rueda 26 es atado al cronometraje del eje 30. El eje 30 es
estabilizado con el cronometraje de portacojinetes de eje 32a, b. Atado a un
final de calcular eje 30 es el rotor de contacto 27 con el cepillo 28a, que,
sobre la rotación del eje de cronometraje, entra en el contacto momentáneo con
cepillos 28b, c.
Fig.3 es un diagrama de bloque que detalla la
circuitería del motor de monoposte. El bloque 40 representa la batería primaria
11 con la energía que fluye al bloque de bobina 41, que representa cuerdas
bobina 13a, b, c. De bobina bloquean 41 flujos de energía en tres direcciones:
al bloque de circuito de disparo 42, el bloque de recorrido de transistor 43, y
el recorrido de rectificador se obstruye 44. Los flujos de energía del bloque
de rectificador 44 al bloque condensador de almacenamiento 45 con la energía
que fluye del bloque 45 tanto a la batería de recuperación se obstruyen 46 como
interruptor de rotor se obstruyen 47.
Respecto a Fig.1, la operación del motor es
descrita según una encarnación de la invención. Para el objetivo de la
explicación, asuma que el rotor 20 no se mueve al principio, y uno de los
postes 19 está en el a las tres posición.

Primero, el interruptor 12 está cerrado. Como el
transistor 14 no es desconectado, ningunos flujos corrientes por la cuerda 13a.
Después, el motor es comenzado haciendo girar el
rotor 20, supongamos, en un dextrórsum dirección. El rotor puede ser hecho
girar a mano, o por un dispositivo de motor inicial convencional o recorrido
(no mostrado).
Cuando el rotor 20 hace girar, el poste 19
movimientos del a las tres posición hacia el pedazo de poste 18b y genera un
flujo magnético en las cuerdas 13a, 13b and13c. Más expresamente, el estator
18a y el pedazo de poste 18b incluye un material ferromagnético como el hierro.
Por lo tanto, como el poste 19 movimientos más cerca al pedazo de poste 18b,
ello magnetises el pedazo de poste 18b a una polaridad - Sur en este caso - que
es enfrente de la polaridad del poste 19 (que es del Norte). Esta magnetización
del pedazo de poste 18b genera un flujo magnético en las cuerdas 13a-13c.
Además, esta magnetización también causa una atracción magnética entre el poste
19 y el pedazo de poste 18b. Esta atracción tira el poste 19 hacia el pedazo de
poste 18b, y así refuerza la rotación del rotor 20.
El flujo magnético en las cuerdas 13a-13c genera
voltajes a través de sus cuerdas respectivas. Más expresamente, cuando el poste
19 gira hacia el pedazo de poste 18b, la magnetización del estator 18a y el
pedazo de poste 18b, y así el flujo magnético en las cuerdas 13a-13c, aumentos.
Este flujo creciente genera voltajes a través de las cuerdas 13a-13c tal que el
final (superior) punteado de cada cuerda es más positivo que el extremo
opuesto. Estos voltajes son proporcionales al precio en el cual el flujo
magnético aumenta, y tan, ellos son proporcionales a la velocidad del poste 19.
En algún punto, el voltaje a través de la cuerda
13b se hace bastante alto para girar el transistor 14c en. Esta vuelta - en, es
decir, gatillo, el voltaje depende de la resistencia consecutiva combinada del
potenciómetro 15 y la resistencia 16. Más alto esta resistencia combinada, más
alto el voltaje más bien cuidado, y viceversa. Por lo tanto, uno puede poner el
nivel del voltaje más bien cuidado ajustando el potenciómetro 15.
Además, según el nivel de voltaje a través del
condensador 24, el voltaje a través de la cuerda 13c puede ser bastante alto
para hacer que una recuperación de energía corriente fluyera por la cuerda 13c,
el rectificador 23, y el condensador 24. Así, cuando la recuperación flujos
corrientes, la cuerda 13c convierte la energía magnética del poste rotativo 19
en la energía eléctrica, que es almacenada en el condensador 24.
Una vez encendido, el transistor 14 genera un
flujo magnético contrario en las cuerdas 13a-13c. Más expresamente, el
transistor 14 empates una corriente de la batería 11, por el interruptor 12 y
la cuerda 13b. Estos aumentos corrientes y generan un flujo magnético creciente
que se opone al flujo generado por el poste rotativo 19.
Cuando el flujo magnético contrario excede el
flujo generado por el poste rotativo 19, el flujo contrario refuerza la
rotación del rotor 20. Expresamente, cuando el flujo contrario (que es generado
por el aumento corriente por la cuerda 13a) excede el flujo generado por el
poste 19, la magnetización del pedazo de poste 18 invierte al Polo Norte. Por
lo tanto, el pedazo de poste inverso magnético 18 repele el poste 19, y así
imparte una fuerza rotativa al rotor 20. El pedazo de poste 18 hace girar el
rotor 20 con la eficacia máxima si la magnetización de pedazo de poste invierte
al Norte cuando el centro del poste 19 es alineado con el centro del pedazo de
poste. Típicamente, el potenciómetro 15 es ajustado para poner el voltaje más bien
cuidado del transistor 14 en un nivel que alcanza o se acerca a esta eficacia
máxima.
El transistor 14 entonces apaga antes de que el
flujo contrario puede trabajar contra la rotación del rotor 20. Expresamente,
si el pedazo de poste 18 permanece magnetizado al Polo Norte, esto repelerá el
siguiente poste 19 en una dirección (en contrario en este ejemplo) enfrente de
la dirección rotatoria del rotor 20. Por lo tanto, el transistor de vueltas de
motor 14 lejos, y así demagnetises el pedazo de poste 18, antes de esta
repulsión indeseable ocurre. Más expresamente, cuando el flujo contrario excede
el flujo generado por el poste 19, el voltaje a través de la cuerda 13b
polaridad de reveses tal que el final punteado es menos positivo que el extremo
opuesto. El voltaje a través de la
cuerda 13b se disminuye como los aumentos de flujo contrarios. En algún punto,
el voltaje en la base del transistor se disminuye a un nivel que gira el
transistor 14 lejos. Esta vuelta - del punto depende de la resistencia combinada
de potenciómetro 15 y resistencia 16 y la capacitancia (no mostrado) en la base
de transistor. Por lo tanto, el potenciómetro 15 puede ser ajustado, u otras
técnicas convencionales pueden ser usadas para ajustar el cronometraje de esta
vuelta - del punto.
El rectificador 23 y condensador 24 recobra la
energía que es liberada por el campo magnético (qué energía sería por otra
parte perdida) cuando el transistor 14 vueltas lejos. Expresamente, girando el
transistor 14 lejos repentinamente, corta la corriente corriente por la cuerda
13a. Este genera puntos de voltaje a través de las cuerdas 13a-13c donde los
finales punteados son menos positivos que sus extremos opuestos respectivos.
Estos puntos de voltaje representan la energía liberada como la magnetización
inducida por corriente de estator 18a y pedazo de poste 18b colapsos, y pueden
tener una magnitud de varios cientos de voltios. Pero, cuando el punto de voltaje a través de
la cuerda 13c aumenta encima de la suma de las dos gotas de diodo del
rectificador 23, esto hace que una recuperación de energía corriente fluya por
el rectificador 23 y el voltaje a través del condensador 24 cobran el
condensador 24. Así, una porción significativa de la energía liberada sobre el
colapso del campo magnético inducido por corriente es recobrada y almacenada
como un voltaje en el condensador 24. Además, el diodo 17 previene el daño al
transistor 14 sujetando con abrazaderas el voltaje de emisor bajo inverso
causado por el punto de voltaje a través de la cuerda 13b.
La energía recobrada puede ser usada de varios
modos. Por ejemplo, la energía puede ser usada para cobrar una batería 29. En
una encarnación, la rueda de cronometraje 26 hace dos revoluciones para cada
revolución del rotor 20. El rotor de contacto 27 finales un interruptor 28, y
así vierte el precio en el condensador 24 en la batería 29, una vez cada
revolución de la rueda 26. Otros dispositivos de recobro de energía y técnicas
también pueden ser usados. El rotor 20 puede ser parado, aplicándole un freno o
abriendo el interruptor 12.
Otras encarnaciones del motor de monoposte son
contempladas. Por ejemplo, en vez de permanecer cerrado para la operación
entera del motor, el interruptor 12 puede ser un interruptor óptico
convencional o un interruptor de Efecto-pasillo que se abre y se cierra
automáticamente en los tiempos apropiados. Aumentar el poder del motor, el
número de estatores 18a y pedazos de poste 18b, puede ser aumentado y/o el
número de postes 19. Además, uno puede magnetizar el estator 18a y el pedazo de
poste 18b durante la atracción del poste 19 en vez de o además de la
magnetización del estator y pedazo de poste durante la repulsión del poste 19.
Además, el estator 18a puede ser omitido de modo
que bobina 13 se haga un aire bobina, o el estator 18a y el pedazo de poste 18b
puede formar un imán permanente. Además, aunque el transistor 14 sea descrito
como siendo un transistor bipolar, un transistor MOSFET también puede ser
usado. Además, la energía recobrada puede ser usada para recargar la batería 11.
Además, aunque descrito como haciendo girar en dextrórsum dirección, el rotor
20 puede girar en un en contrario dirección. Además, aunque descrito como la
atracción de un poste de rotor 19 cuando ningunos flujos corrientes por cuerda
13a y rechazo del poste 19 cuando unos flujos corrientes por la cuerda 13a, el
pedazo de poste 18b puede ser construido de modo que esto atraiga el poste 19
cuando unos flujos corrientes por la cuerda 13a y no repele el poste 19 cuando
ningunos flujos corrientes por la cuerda 13a.
En sistemas de estator/rotor múltiples, cada
estator individual puede ser activado uno por uno o todos los estatores pueden
ser activados simultáneamente. Cualquier número de estatores y rotores puede
ser incorporado en el diseño de tales combinaciones de motor de monoposte de
estator/rotor múltiples. Sin embargo, mientras pueden haber varios estatores
por rotor, sólo puede haber un rotor para un estator solo. El número de
estatores y rotores que comprenderían un motor particular es el dependiente sobre
la cantidad de poder requerido en la forma de vatios. Cualquier número de
imanes, usados en una manera de monoposte, puede comprender un rotor solo. El
número de imanes incorporados en un rotor particular es el dependiente sobre el
tamaño del rotor y poder requerido del motor. El tamaño deseado y el caballo
del motor determinan si los estatores estarán en la paralela o encendido
secuencialmente. La energía es hecha
accesible por la captura de la energía disponible de la espalda EMF a
consecuencia de la circuitería única y el cronometraje del motor de monoposte.
Los motores individuales pueden estar relacionados en la secuencia con cada
motor que tiene varias combinaciones de estatores y rotores o ellos pueden
estar relacionados en la paralela. Cada rotor puede tener cualquier número de
imanes de rotor, todos arreglado sin el cambio de la polaridad. El número de
estatores para un motor individual también puede ser de una amplia variedad.
Un rasgo que distingue este motor de todos los
otros, es el uso de imanes de monoposte en la aposición momentánea con el
pedazo de poste del estator que mantiene la misma polaridad cuando magnetizado.
En esta encarnación particular, hay tres imanes y un pedazo de poste, el pedazo
de poste que es una extensión de un estator de imán permanente.
JOHN BEDINI
Patente US 6,392,370 21 de mayo 2002 Inventor: John C. Bedini
DISPOSITIVO Y MÉTODO DE UNA ESPALDA
EMF PERMANENTE
GENERADOR DE MOTOR ELECTROMAGNÉTICO
EXTRACTO
Esta invención es una espalda EMF generador de
motor electromagnético permanente y método usando un proceso de nueva
calibración para capturar la energía electromagnética disponible en el sistema.
El dispositivo comprende un rotor con imanes de la misma polaridad; una rueda
de cronometraje en la aposición a una recogida de Efecto-pasillo magnética
cambia el semiconductor; y un estator comprendido de dos barras relacionadas
por un imán permanente con pedazos de poste magnetizados a un final de cada
barra. Allí son introducidos y salida bobinas creado abrigándose cada barra con
un material de conducción como el alambre de cobre. La energía de la salida
bobinas es transferida a un rectificador de recuperación o diodo. Los imanes del rotor, que es localizado en un
eje junto con la rueda de cronometraje, están en la aposición a los pedazos de
poste magnetizados de las dos barras. Los trabajos de invención por un proceso
de nueva calibración, es decir los campos de flujo creados por el bobinas son
sufridos un colapso debido a una inversión del campo magnético en los pedazos
de poste magnetizados que así permiten a la captura de la energía EMF trasera
disponible. La energía disponible adicional puede ser capturada y usada para
activar de nuevo la batería, y/o hecha pasar otra dirección para ser usada para
el trabajo. Como una alternativa, la energía EMF trasera disponible puede ser
disipada en el sistema.
FONDO DE LA INVENCIÓN
1. Campo de la Invención
La invención está relacionada generalmente con la
captura de la energía electromagnética usando un método y dispositivo para
crear atrás EMF (fuerza electromagnética) y dividiendo en fases de nuevo de la
espalda EMF para reciclar y capturar la energía EMF trasera disponible. Detrás
el EMF también es referido como calibrando de nuevo y puede ser definido como
la energía creada por el campo magnético de bobinas, y sólo de bobinas, y no de
imanes.
2. Información previa y Arte Relacionada
La operación de un motor magnético normal tiene el
poste de rotor que atrae el poste de estator, causando la generación de poder
de los imanes al rotor y volante. Durante esta fase, la energía fluye del
magnetics al rotor/volante y es almacenada en la rotación aumentada. Un poste
de rotor que deja un poste de estator y crea una condición de espalda de rastra
causa el poder que necesidad ser aplazado en la sección magnética por el rotor
y volante para vencer a la fuerza la espalda de rastra. En un motor perfecto, sin fricción, el campo
de fuerza de nett es por lo tanto referido como la mayor parte de conservador.
En otras palabras, el motor EMF más conservador tiene la eficacia máxima. Sin
la energía suplementaria continuamente alimentada al motor, ningún trabajo de
nett puede ser hecho por el campo magnético, desde la mitad el tiempo el campo
magnético añade la energía a la carga (el rotor y volante) y la otra mitad del
tiempo esto resta la energía de la carga (el rotor y volante). Por lo tanto el
total nett salida de energía es el cero en cualquier tal proceso rotatorio sin
la entrada de energía adicional. Para usar un día presente motor magnético, la
energía continua debe ser alimentada al motor para vencer la espalda de rastra
e impulsar el motor y su carga.
Presente motores EMF y generadores todo el uso
tales campos conservadores y por lo tanto, tenga pérdidas internas. De ahí, es
necesario introducir continuamente toda la energía que las salidas de motor a
la carga, más más energía de cubrir pérdidas dentro del motor sí mismo. Los
motores de EMF son tasados para eficacia e interpretación por cuanta energía
introducida en el motor realmente causa la energía de salida a la carga.
Normalmente, el Coeficiente de Interpretación (C.O.P.) la posición es usado
como una medida de eficacia. El C.O.P.
es la energía de salida actual que entra en la carga y lo impulsa, dividido en
la energía que debe ser introducida en el dispositivo con su carga. El C.O.P.
es el poder en la carga, dividida en la entrada de poder en la combinación de
motor/carga. Si hubiera pérdidas internas cero en un motor, aquel motor
"perfecto" tendría un coeficiente de interpretación (C.O.P). iguale a
1. Es decir toda la energía alimentada en el motor sería la salida por el motor
directamente en la carga, y ninguna de la energía de entrada sería perdida o
disipada en el motor sí mismo.
En generadores de motor magnéticos actualmente en
el uso, sin embargo, debido a fricción y defectos de diseño, hay pérdidas
siempre internas e ineficiencias. Un poco de la entrada de energía en el motor
es disipada en estas pérdidas internas. Como una consecuencia, la energía que
se pone a la carga es siempre menos que la energía de entrada. Entonces un
motor estándar funciona con un C.O.P. de menos de 1 que es expresado como
C.O.P. <1. Un motor ineficaz puede tener un C.O.P. de 0.4 o 0.45, mientras
un motor especialmente diseñado, muy eficiente puede tener un C.O.P. de 0.85.
El campo conservador dentro de un motor sí mismo
puede ser dividido en dos fases. La producción de un campo conservador implica
la simetría nett entre "el poder" fase del magnetics al rotor/volante
"y el poder atrás en" la fase del rotor/volante atrás al magnetics.
Es decir los dos flujos de la energía (un del magnetics en el rotor y volante,
y un del rotor y volante atrás al magnetics) son idénticos en la magnitud, pero
enfrente en la dirección. Se dice que cada fase sola es "asimétrica";
es decir ello cualquiera tiene:
1) una energía nett se sale al rotor / volante; o
2) una energía nett fluye atrás en el magnetics
del rotor / volante.
En términos simplificados, esto se menciona
"poder" "y poder atrás en" fases con respecto al motor
magnetics. De ahí, las dos fases asimétricas son:
1) la fase de poder; y
2) "el poder atrás en" fase, en cuanto
al magnetics.
Para la fase de poder, la energía es sacada del
EMF que existe entre el poste de estator y poste de rotor entrante en un modo
de atracción. En esta fase, el movimiento rotatorio (ímpetu angular y energía
cinética) del rotor y volante es aumentado. En resumen el poder es añadido al
rotor/volante (y así a la carga) de los campos entre poste de estator y poste
de rotor (los aspectos electromagnéticos del sistema).
Para "el poder atrás en" la fase, la
energía debe ser alimentada atrás en el magnetics del rotor y volante (y la
carga) para vencer las fuerzas traseras de rastra que existen entre poste de
estator y poste de rotor saliente. En esta fase, la energía es devuelta al
sistema magnético interno del movimiento rotatorio del rotor y volante (el
ímpetu angular, que es la energía rotatoria multiplicada por el tiempo). Como es conocido en la física, el ímpetu
angular de un rotor / volante proporciona un modo conveniente de almacenar la
energía con el hilado masa del rotor / volante que interpreta como un embalse
de energía.
Todo el día presente motores magnéticos
convencionales usa varios métodos para el vencimiento, y parcialmente
inversión, atrás EMF. Detrás el EMF es el pulso de vuelta desfasado del bobina
y también es referido como calibrando de nuevo. La espalda EMF es shorted y el
rotor es atraída atrás en, por lo tanto eliminando atrás arrastra. Este puede
ser llevado a cabo por verter más energía en dominar la espalda EMF, así
produciendo EMF avanzado en aquella región. La energía requerida para este
método debe ser amueblada por el operador.
El motor de la invención presente usa sólo una pequeña
cantidad de la energía "de provocar" una entrada mucho más grande de
la energía disponible suministrando atrás EMF, a la baja del aumento de la
energía potencial del sistema. Esto entonces utiliza esta energía de potencial
de exceso de reducir o invertir atrás EMF, a la baja del aumento de la eficacia
del motor y, por lo tanto, el C.O.P.
Si la energía en la fase 1 (la fase de poder) es
aumentada por la energía disponible adicional en el electromagnetics ellos
mismos, entonces la energía en la fase 1 puede ser hecha mayor que la energía
en la fase 2 (la fase "poder atrás en") sin el operador que amuebla
la energía utilizada. Este produce un campo de nett no conservador. El poder de
Nett puede ser tomado entonces del estator rotativo y volante, porque la
energía disponible transferida en el estator y volante por los efectos
adicionales, es transformada por el rotor/volante en el ímpetu angular
adicional y almacenada como tal. El ímpetu angular es conservado siempre; pero
ahora un poco del ímpetu angular añadido al volante es generado por efectos
adicionales en el electromagnetics más bien que ser proporcionado por el
operador.
Electrodynamicists asumen que la energía
disponible potencial de cualquier sistema puede ser cambiada a voluntad y
gratis. Este está de vuelta EMF y es conocido en la física. También es
rutinariamente empleado por electrodynamicists en los aspectos teóricos. Sin
embargo, simplificar las matemáticas, electrodynamicists creará una espalda EMF
dos veces simultáneamente, cada espalda EMF ser con cuidado seleccionado de
modo que las dos fuerzas disponibles que son producidas, es igual y enfrente y
anula el uno al otro "simétricamente". Este se menciona "EMF
trasero simétrico". Un sistema EMF trasero simétrico no puede producir un
C.O.P.> 1.
Por otra parte, el motor de la invención presente
deliberadamente crea una espalda EMF sí mismo y su energía potencial sólo una
vez a la vez, así reteniendo cada fuerza suplementaria para el periodo del
tiempo y aplicándolo para aumentar el ímpetu angular y la energía cinética del
rotor y volante. Expresamente, esta espalda energía de EMF con su fuerza de
nett es deliberadamente aplicada en el motor de la invención presente para
vencer e invertir hasta la espalda de rastra convencional (la espalda EMF). De ahí menos energía tiene que ser tomado del
rotor y volante para vencer EMF trasero reducido, y en el caso ideal ninguno es
requerido desde la espalda EMF ha sido dominado y convertido para expedir EMF
por la espalda energía de EMF y fuerza. En el motor de la invención presente,
la sección de espalda-rastra convencional del magnetics se hace una sección
avanzada-EMF y ahora añade la energía al rotor/volante en vez de restarlo. El
rasgo importante es que el operador sólo tiene que proporcionar la pequeña
cantidad de la energía necesaria de provocar la espalda EMF, y no tiene que
amueblar la energía EMF trasera mucho más grande sí mismo.
Cuando la energía deseada en la fase 1 (el poder
dividen en fases) es así hecha mayor que la energía "trasera de rastra"
indeseada en la fase 2, luego la parte del poder de salida normalmente
arrastraba atrás del rotor y el volante por los campos en la fase 2 no es
requerido. De ahí, comparado a un sistema sin los mecanismos EMF traseros
especiales, el poder adicional está disponible del rotor/volante. El rotor
mantiene el ímpetu angular adicional y la energía cinética, comparada a un
sistema que no produce atrás EMF sí mismo. Por consiguiente, el exceso ímpetu
angular retenido por el rotor y volante puede ser utilizado como el poder de
eje adicional de impulsar una carga externa relacionada con el eje.
Un motor magnético estándar funciona como el
resultado del motor amueblado por la entrada de energía externa en el sistema
por el operador para reducir la fase 2 (poder atrás en el magnetics del
rotor/volante) por cualquiera de varios métodos y mecanismos. El objetivo
primario de esta entrada de energía externa en el sistema es vencer la espalda
EMF y también asegurar las pérdidas de energía ineviTabla en el sistema. No hay
ninguna entrada de la energía separada de la entrada de operador. Por lo tanto,
el C.O.P. de cualquier motor magnético estándar es C.O.P.<1. La eficacia de un motor magnético estándar
varía de menos de 50 % a un máximo aproximadamente de 85 %, y un C.O.P también
. <1. Cuando nada es hecho en el motor que producirá una reducción de la
espalda EMF sin el operador que introduce toda la energía para ello, luego para
hasta un frictionless, motor de imán permanente ideal, el C.O.P. nunca puede
exceder 1.
Hasta la introducción del motor de la invención
presente, esto ha sido la práctica universal estándar que el operador debe
amueblar toda la energía usada para reducir la espalda EMF, asegurar las
pérdidas internas, e impulsar la carga. Esto es por lo tanto una creencia común
por la comunidad científica que un ideal (pérdida menos) motor de imán
permanente no puede exceder un C.O.P. de 1. Es cierto, mientras que el operador
él mismo debe amueblar toda la energía. Además, ya que los verdaderos motores
magnéticos permanentes tienen verdaderas pérdidas internas, un poco de la
energía de entrada siempre es perdida en el motor sí mismo, y esto la energía
perdida no está disponible para impulsar el rotor/volante y la carga. De ahí un
verdadero motor magnético permanente de la clase convencional siempre tendrá un
C.O.P. <1.
La asunción común que el C.O.P. de un motor es
limitado con menos de 1 no necesariamente es verdadera, y que C.O.P.> 1 es
permitido sin violar las leyes de naturaleza, física, o termodinámica. Sin
embargo, se puede ver inmediatamente que cualquier motor de imán permanente
exposición de un C.O.P.> 1 debe tener un poco de entrada de energía
disponible que vuelve en la forma de la espalda EMF.
Un problema está relacionado con como atrás la
energía de EMF puede ser obtenida del ambiente externo de un recorrido para la
tarea específica de reducir la espalda-rastra EMF sin el operador que necesidad
suministrar cualquier entrada de aquella energía de exceso. En resumen el
desafío último debe encontrar un modo de causar el sistema a:
1) hágase un sistema
dissipative abierto, es decir un sistema que recibe la energía de exceso
disponible de su ambiente, en otras palabras, de una fuente externa; y
2) el uso que la energía de
exceso disponible de reducir la obstrucción EMF entre estator y postes de rotor
como el poste de rotor deja el poste de estator.
Si este objetivo puede ser llevado a cabo, el
sistema será quitado del equilibrio termodinámico. En cambio, será convertido a
un sistema de termodinámico equilibrio. No se obliga que tal sistema obedezca
la termodinámica de equilibrio clásica.
En cambio, un sistema termodinámico de equilibrio
debe obedecer la termodinámica de sistemas abiertos lejos de los parámetros
establecidos y conocidos del equilibrio termodinámico. Como es conocido en la
física de termodinámica, tales sistemas abiertos pueden permissibly:
1) autoorden;
2) autooscilar;
3) la salida más energía
EMF trasera que la energía introducida por el operador (el exceso disponible
atrás la energía de EMF es recibida de una fuente externa y un poco de energía
es introducida por el operador también);
4) poder sí mismo así como
sus cargas y pérdidas simultáneamente (en este caso, toda la energía es
recibida de la fuente externa disponible y no hay ninguna energía de entrada
del operador); y
5) exponga la entropía
negativa, es decir produzca un aumento de energía que está disponible en el
sistema, y es independiente de la energía puesta en el sistema por el operador.
Como una definición, la entropía aproximadamente
corresponde a la energía de un sistema que se ha hecho no disponible para el
uso. La entropía negativa corresponde a la energía adicional de un sistema que
se ha hecho disponible para el uso.
En la espalda EMF imán permanente el generador de
motor electromagnético de la invención presente, varios procesos conocidos y
métodos es utilizado que permiten que la invención funcione periódicamente como
un sistema dissipative abierto (recibiendo la energía de exceso disponible de
la espalda EMF) lejos del equilibrio termodinámico, por lo cual esto produce y
recibe su energía de exceso de una fuente externa conocida.
Un método es utilizado para producir temporalmente
una fuente mucho más grande de la energía externa disponible alrededor de
bobina activado. Entonces los rasgos de diseño únicos de este nuevo motor
proporcionan un método y el mecanismo que puede producir inmediatamente un
segundo aumento de aquella energía, simultáneamente cuando el flujo de energía
es invertido. Por lo tanto, el motor es capaz de producir dos EMFs traseros
asimétricos, uno tras otro, de la energía dentro de bobina solo, que
dramáticamente aumenta la energía disponible y causas que energía de exceso
disponible de entrar entonces en el recorrido como un impulso, siendo coleccionado
y utilizado.
El motor presente utiliza este exceso disponible
atrás energía de EMF de vencer e invertir hasta la espalda-rastra EMF entre
poste de estator y poste de rotor, amueblando sólo un pequeño pulso más bien
cuidado de la energía necesaria de controlar y activar la dirección de la
espalda flujo de energía de EMF.
Usando vario tal asimétrico dual mí atrás EMFs
para cada revolución del rotor, el rotor y volante colectivamente enfocan todo
el exceso entradas impulsivas en el ímpetu angular aumentado (expresado como la
energía multiplicada por tiempo), torsión de eje, y poder de eje.
Adelante, un poco de la energía de exceso
deliberadamente generada en el bobina por la utilización del proceso dual se
manifiesta en la forma de exceso energía eléctrica en el recorrido y es
utilizada para impulsar cargas eléctricas, p.ej, una lámpara, abanico, motor, u
otros dispositivos eléctricos. El resto de la energía de exceso generada en el
bobina puede ser usado para impulsar el rotor y el volante, con el
rotor/volante que también amuebla el caballo de vapor de eje para impulsar
cargas mecánicas.
Este motor nuevo y único utiliza un medio de
amueblar la relativamente pequeña cantidad de la energía de iniciar el
asimétrico impulsivo mí atrás acciones de EMF. Entonces la parte del exceso
disponible poder eléctrico sacado de la espalda EMFs es utilizada para recargar
la batería con dramáticamente aumentado sobre pulsos de voltaje.
Los rasgos de diseño únicos de este motor utilizan
tanto postes magnéticos del norte como del sur de cada rotor e imán de estator.
Por lo tanto, el número de los impulsivos mí atrás EMFs en una rotación sola
del rotor es doblado. Los diseños avanzados aumentan el número de mí atrás EMFs
en una rotación de rotor sola con la consecuencia de que hay un aumento del
número de impulsos por rotación que aumentan la salida de poder de este nuevo
motor.
El pulso de voltaje agudo producido en el bobina
de este nuevo motor por el campo que sufre un colapso rápidamente en la espalda
EMF bobina está relacionado con una batería responsable modo y con una carga
eléctrica externa. El resultado de nett es que el bobina asimétricamente crea
atrás EMF sí mismo en una manera que añade la energía disponible y el impulso
al recorrido. El exceso energía disponible coleccionada en el bobina es usado
para invertir la fase trasera-EMF de los campos de rotor de estator a una
condición de EMF avanzada, y por un impulso, añadiendo la aceleración y el
ímpetu angular al rotor y volante. Al mismo tiempo, una parte de la energía de
exceso coleccionada en el bobina está acostumbrado al poder cargas eléctricas
como el cobro de una batería y funcionamiento de una lámpara o tal otro
dispositivo.
Es conocido que cambiando el voltaje solo, crea
una espalda EMF y no requiere ningún trabajo. Este es porque cambiarse la
energía potencial no requiere el cambio de la forma de aquella energía
potencial, pero sólo su magnitud. En sentido estricto, el trabajo es el cambio
de la forma de energía. Por lo tanto, mientras la forma de la energía potencial
no es cambiada, la magnitud puede ser cambiada sin necesidad realizar el
trabajo en el proceso. El motor de la invención presente aprovecha esta
operación permisible para crear atrás EMF asimétricamente, y así cambiar su
propia energía potencial disponible utilizable.
En un sistema de energía eléctrica, el potencial
(voltaje) es cambiado introduciendo la energía de hacer el trabajo en los
gastos internos del generador o batería. Esta energía potencial es gastada
dentro del generador (o batería) para forzar los gastos internos aparte,
formando un dipolo de la fuente. Entonces el sistema de recorrido cerrado
externo relacionado con aquel dipolo de la fuente ineptamente bombea los
electrones gastados en la línea de tierra atrás por la espalda EMF del dipolo
de la fuente, así dispersando los gastos y matando el dipolo. Este cierra el
flujo de energía del dipolo de la fuente al recorrido externo. Como una
consecuencia de aquel método convencional, esto es una exigencia para
introducir y sustituir la energía adicional de restaurar otra vez el dipolo. El recorrido actualmente utilizado en la
mayoría de los generadores eléctricos ha sido diseñado para seguir destruyendo
el flujo de energía por continuamente dispersando todos los gastos de dipolo y
terminando el dipolo. Por lo tanto, es necesario seguir introduciendo la
energía al generador para seguir restaurando su dipolo de la fuente.
Se requiere que una investigación de la física de
partícula vea lo que amuebla la energía al recorrido externo. Desde ni una
batería ni un generador amuebla la energía al recorrido externo, pero sólo
amuebla la energía de formar el dipolo de la fuente, se requiere que un mejor
entendimiento del principio de energía eléctrica entienda totalmente como este
nuevo motor funciona. Una batería típica
usa su energía química almacenada de formar el dipolo de la fuente. Un
generador utiliza su energía de eje de entrada de la rotación de generar un
campo magnético interno en el cual se obliga que los gastos positivos se muevan
en una dirección y los gastos negativos en la dirección inversa, así formando
el dipolo de la fuente. En otras palabras, la entrada de energía en el
generador no hace nada excepto la forma el dipolo de la fuente. Ninguna de la
energía de entrada va al recorrido externo. De ser aumentado corriente es hecho
entrar en la carga externa, allí también es aumentado flujo de electrones
gastado chocado atrás por el dipolo de la fuente, destruyéndolo más rápido. Por
lo tanto, "el dipolo que restaura la energía" tiene que ser
introducido más rápido. La energía química de la batería también es gastada
sólo para separar sus gastos internos y formar su dipolo de la fuente. Otra
vez, de ser aumentado corriente y poder es hecho entrar en la carga externa,
allí es aumentado flujo de electrones gastado chocado atrás por el dipolo de la
fuente, destruyéndolo más rápido. Este resulta en una reducción de la energía
almacenada de la batería más rápido, obligándolo a tener que seguir restaurando
el dipolo más rápido.
Una vez que el dipolo de fuente de batería o
generador es formado (el dipolo es atado también al recorrido externo), es
conocido en la física de partícula que el dipolo (mismo como cualquier precio)
es una simetría rota en el flujo de energía de vacío. Por definición, este
significa que los extractos de dipolo de la fuente y piden la parte de aquella
energía recibida de su interacción de vacío, y desahogan aquella energía como
la energía que fluye por todo el espacio que rodea a los conductores externos
en el recorrido adjunto. La mayor parte
de este flujo de energía enorme que se levanta por el espacio que rodea el
recorrido externo no golpea el recorrido en absoluto, y no se hace interceptado
o utilizado. Tampoco es divertido en el recorrido para impulsar los electrones,
pero pasa en el espacio y es "gastado" sólo. Sólo una pequeña
"vaina" del flujo de energía a lo largo de la superficie de los
conductores golpea los gastos superficiales en aquellos conductores y es así
divertida en el recorrido para impulsar los electrones. Los textos estándares
muestran el componente de flujo de energía disponible pero gastado enorme, pero
sólo calculan la pequeña porción del flujo de energía que golpea el recorrido,
es agarrado por ello, y es utilizado para impulsarlo.
En un recorrido típico, el componente disponible
pero "gastado" enorme del flujo de energía es aproximadamente 10 al
poder 13 veces tan grandes como el pequeño componente interceptado por los
gastos superficiales y divertido en el recorrido para impulsarlo. De ahí,
alrededor de cada elemento de recorrido y recorrido como un bobina, allí existe
un enorme no interceptado, no divergió el flujo de energía que es mucho mayor
que el pequeño flujo de energía divertido y usado por el recorrido o elemento.
Así allí existe un flujo de energía sin explotar
enorme que inmediatamente rodea cada recorrido de poder EMF, del cual la
energía de exceso disponible puede ser interceptada y coleccionada por el
recorrido, si las acciones no lineales respectivas son iniciadas lo que bruscamente
afecta y aumenta el corte transversal de reacción del recorrido (es decir, su
capacidad de interceptar este flujo de energía disponible pero por lo general
gastado).
El método en el cual el motor de la invención
presente cambia el corte transversal de reacción del bobinas en el recorrido,
es por un uso nuevo, que momentáneamente cambia el corte transversal de
reacción del bobina en el cual es invocado. Así, por este nuevo motor usando
sólo una pequeña cantidad de los corrientes en la forma de un pulso de
provocación, es capaz evocar y controlar el cambio inmediato del corte
transversal de reacción del bobina a este normalmente gastaba el componente de
flujo de energía. Como consiguiente, el
motor captura y dirige un poco de esta energía ambiental por lo general
gastada, coleccionando la energía de exceso disponible en el bobina y luego
liberándolo para el uso en el motor. Calculando y cambiando, el diseño de
puerta innovador en este nuevo motor dirige la energía de exceso disponible de
modo que esto venza e invierta la vuelta EMF de la combinación de poste de
estator de rotor durante lo que sería normalmente la espalda EMF y demuestra la
creación del segundo atrás EMF del sistema. Ahora en vez "de un retraso
igual" fuerza producida en la espalda región de EMF, EMF avanzado es
producido lo que es el aditivo a la energía de rotor/volante y no de
sustracción. En resumen esto adelante acelera el rotor / volante.
Este resulta en un campo magnético no conservador
a lo largo del camino del rotor. La integral de línea del campo alrededor de
aquel camino (es decir, el trabajo de nett en el rotor/volante para aumentar su
energía e ímpetu angular) no es el cero, pero una cantidad significativa. De
ahí, la creación de un impulso EMF trasero asimétrico motor magnético:
1) toma su energía de
exceso disponible de una fuente externa conocida, la porción enorme por lo
general no interceptada del flujo de energía alrededor del bobina;
2) aumentos adicionales la
fuente dipolarity por esta espalda energía de EMF; y
3) produce el flujo de
energía de exceso disponible directamente de la simetría rota aumentada del
dipolo de la fuente en su cambio de energía feroz con el vacío local.
Ningunas leyes de física o termodinámica son
violadas en el método y el dispositivo de la invención presente, y la
conservación de la energía rigurosamente se aplica siempre. Sin embargo,
funcionando como un sistema dissipative abierto no en el equilibrio
termodinámico con el vacío activo, el sistema puede permissibly recibir la
energía de exceso disponible de una fuente ambiental conocida y salida más
energía a una carga que debe ser introducida por el operador solo. Como un
sistema abierto no en el equilibrio termodinámico, este motor nuevo y único
puede palmear a la espalda EMF para activar sí, cargas y pérdidas
simultáneamente, totalmente cumpliendo con leyes conocidas de física y
termodinámica.
RESUMEN DE LA INVENCIÓN
El dispositivo y el método de la invención
presente son un nuevo generador de motor electromagnético permanente que recicla
atrás la energía de EMF (que calibra de nuevo) así el permiso del motor de
producir un nivel de energía de C.O.P. = 0.98, más o menos, según
configuración, circuitería, cambiando elementos y el número y tamaño de
estatores, rotores y bobinas que comprenden el motor. El rotor es fijado entre
dos pedazos de. El generador de motor es
al principio activado de unos pequeños medios de batería de juez de salida,
análogos a una bujía, que envía una pequeña cantidad de la energía al motor,
así estimulando un movimiento rotativo del rotor. Cuando el rotor gira, la
energía es capturada del campo electromagnético circundante que contiene una
onda de pulso asimétrica de la espalda EMF. La energía producida y capturada
puede ser dirigida en una de varias direcciones, incluso la energía que vuelve
a la batería de juez de salida inicial, haciendo girar un eje para el trabajo
y/o enviando a una corriente para activar un abanico, la bombilla u otro tal
dispositivo.
BREVE DESCRIPCIÓN DE LOS DIBUJOS
Fig.1 es la vista superior
de una espalda EMF generador de motor electromagnético permanente con un
estator solo y un rotor solo.

Fig.1a es una vista
lateral de una rueda de cronometraje y el sensor de Efecto-Hall magnético de la
espalda generador de motor de EMF.

Fig.1b es una vista
lateral del rotor de la espalda generador de motor de EMF.

Fig.2 es un dibujo
esquemático que incorpora la circuitería para la espalda generador de motor de
EMF.

Fig.3 es un diagrama
de caja mostrando a las relaciones de la espalda circuitería de generador de
motor de EMF.

DESCRIPCIÓN DETALLADA DE LA INVENCIÓN
La invención presente es un dispositivo y el
método para crear una espalda EMF generador de motor electromagnético
permanente. Como descrito en el fondo Información, este nuevo generador de
motor se conforma a todas las leyes electrodinámicas aplicables de la física y
está en la armonía con la ley de la conservación de energía, las leyes de
electromagnetismo y otras leyes naturales relacionadas.
La espalda EMF generador de motor electromagnético
permanente consiste de una combinación de elementos eléctricos, materiales y
magnéticos, quedados en capturar la energía electromagnética disponible (atrás
EMF) en un rectificador de recuperación o diodo solo de la salida bobinas. La
captura de espalda energía de EMF también es conocida como 'la nueva
calibración'. Como un punto de partida arbitrario en la descripción de esta
invención, una batería de entrada, como un medio de energía, envía el poder por
un poder en - del interruptor y luego a un mecanismo de cronometraje, como un
interruptor de cronometraje magnético (un semiconductor Efecto-Hall el
interruptor de recogida magnético) que es provocado por un imán en una rueda de
cronometraje. La rueda de cronometraje puede contener cualquier número de
imanes (es decir uno o varios), con el Polo sur que se vuelve hacia fuera y
alineado con el interruptor de recogida de Efecto-pasillo.
La rueda de cronometraje es montada al final de
eje que es localizado a lo largo del centreline de un rotor, que por su parte,
puede contener cualquier número de imanes (es decir dos o más). Los imanes de
rotor son arreglados de modo que ellos tengan la misma polaridad y sean
equidistantes el uno del otro. El eje hace montar la rueda de cronometraje a un
final, el rotor, y luego algunos medios para realizar trabajo, como un poder
salen en el extremo opuesto. Sin embargo, hay otras encarnaciones en las cuales
la posición del rotor, calculando la rueda y el despegue de poder tiene otras
configuraciones. El rotor es montado en una plataforma o alojamiento que es
fijado en una posición inmóvil dentro de un estator.
El estator consiste de un imán permanente
relacionado con un medio para conducir la energía electromagnética como dos
barras paralelas, cada barra que tiene un pedazo de poste magnetizado a un
final. El material de conducción de la barra puede ser el hierro ferroso, en
polvo, el acero de silicio, el acero magnético inoxidable, las laminaciones del
material propicio o cualquier otro material propicio magnético. Cada barra
tiene una entrada bobina colocado alrededor de ello. El bobina puede ser
construido de cobre, aluminio o cualquier otro material propicio conveniente.
La primaria o la entrada bobina están relacionadas con el recorrido de conmutación. Un segundo bobina encima de la entrada bobina
se hace un secundario o la salida bobina. El secundario o la salida bobina
están relacionados con el recorrido de recuperación. El rotor es localizado
simétricamente entre los pedazos de poste de las barras del estator y esto
contiene una serie de imanes todos teniendo la misma polaridad, Norte o Sur,
con cada imán en el rotor que está en alineado con el pedazo de poste cuando el
rotor gira.
Cuando el rotor es activado de la batería del
recorrido de conmutación, hay un campo magnético inicial que es vencido al
instante cuando los pedazos de poste magnetizados se alinean con los imanes de
rotor. Cuando el rotor comienza a moverse, aumentando la energía
electromagnética es producido a consecuencia del flujo gaiting de los imanes
alineados de pedazos de poste y el rotor. Los bobinas alrededores de las barras
"resisten" al imán permanente que une las barras. Este es conocido
como "el dólar que incrementa" el principio. Cuando el imán permanente es resistido por el
bobinas, esto invierte la polaridad de los pedazos de poste que son alineados
con los imanes de rotor que hacen el rotor aumentar su precio de la rotación.
La energía disponible de los campos que sufren un colapso en bobinas primario y
secundario, (que crea la espalda EMF dentro del sistema), está ahora en el no
equilibrio. La energía puede ser aplazada ahora en el sistema vía la
circuitería de conmutación. La energía disponible capturada de la espalda EMF,
puede ser aplicada en direcciones diferentes, incluso la nueva activación de la
batería de entrada, almacenamiento en un condensador, conversión por un
rectificador de recuperación para ser almacenado en la batería de entrada, un
condensador o una batería secundaria o batería de recuperación. Los rectificadores
de recuperación son usados para convertir esta corriente alterna a la corriente
continua. La energía disponible puede ser usada para activar un bulbo
eléctrico, el abanico o cualquier otro uso.
El eje en el centro del rotor puede transferir la
energía en la forma de trabajo por un despegue de poder. El despegue de poder
puede estar relacionado con cualquier número de ejes secundarios, ruedas,
marchas y cinturones para aumentar o reducir la torsión.
Este es una descripción de la invención básica,
sin embargo, hay un número innumerable de combinaciones y encarnaciones de
estatores, rotores, Efecto-pasillo interruptores de recogida magnéticos,
bobinas, rectificadores de recuperación y modos de unión electrónicos que
pueden ser combinados en un eje solo o varios ejes relacionados en varias
combinaciones y secuencias, y de varios tamaños. Puede haber cualquier número de estatores a
un rotor, (sin embargo, puede haber sólo un rotor activo si hay un estator
solo). El número de interruptores de recogida de Efecto-pasillo puede variar,
por ejemplo, en caso de estatores múltiples de alto resistente bobinas, el
bobinas puede ser la paralela para formar un resistente bajo bobina de modo que
una recogida de Efecto-pasillo con un recorrido pueda encender todos los
estatores al mismo tiempo. El número de imanes tanto en la rueda de
cronometraje como en el rotor también puede variar en número así como el tamaño
y fuerza de los imanes. Cualquier tipo del imán puede ser usado. El número de
enciende tanto entrada como la salida bobinas en cada barra de conducción
también puede variar en el número y en el material propicio.
El generador de motor, como mostrado en Fig.1, es
una vista de perspectiva superior de un estator solo, rotor solo atrás motor de
EMF y consiste de un medio de la energía que provee, como la batería de entrada
10 relacionado para impulsar el interruptor 11 (mostrado en Fig.2) y
Efecto-pasillo interruptor de recogida magnético 13. Recogida magnética 13
interfaces con cronometraje de rueda 12 para formar un interruptor de
cronometraje. El cronometraje de la rueda 12 contiene cuatro imanes 14 con el
Polo sur de cada imán dicho que se vuelve externo hacia la recogida magnética
13. El cronometraje de la rueda 12 es fijado a un final del eje 15. Localizado
en el eje 15 es el rotor 16. El rotor 16 puede ser de cualquier tamaño
realista, y en este ejemplo el rotor contiene cuatro imanes de rotor 17. Los
imanes de rotor 17 son arreglados así todos tienen la misma polaridad.
La rueda de cronometraje de enfrente 12 en el eje
15 es un medio para realizar el trabajo, como un despegue de poder 18. El rotor
16 es montado en una posición fija con imanes de rotor 17 en alineado con los
pedazos de poste magnetizados 19a y 19b. Cada pedazo de poste 19a y 19b está relacionado
para planchar barras 20a y 20b. Estas barras de Hierro están relacionadas por
un imán permanente 21. El alambre es abrigado alrededor de barras de hierro 20a
y 20b para formar la entrada bobinas 22a y 22b. Sobrepuesto sobre la entrada
bobinas 22a y 22b son la salida bobinas 23a y 23b. Éstos la salida bobinas está
relacionada con la onda llena tienden un puente sobre el primer rectificador de
recuperación 24a que entonces se une a la batería 10.
Fig.1a es una vista lateral de la espalda
Generador de Motor de EMF que calcula la rueda 12 con el Efecto-pasillo que la
recogida magnética 13 colocado para ser provocado por cada uno de los cuatro
imanes 14 por su parte como calculando la rueda 12 hace girar. Los imanes 14
tienen su Polo sur que se vuelve externo y ellos son espaciados regularmente
con un 90 grado la separación angular.
Fig.1b es una vista lateral de rotor 16 con cuatro
imanes de rotor 17 con 90 grado separación angular el uno del otro y tener la
misma polaridad.

Fig.2 es un diagrama esquemático de las uniones
bobina de la entrada de la exposición de circuitería de generador de motor de
la batería de entrada 10 por el interruptor de poder 11, los transistores 30a,
b, c resistencias 31a-e, por el suministro de energía conducen 32 ("VCC")
y a la recogida magnética 13. La recogida magnética 13 está en alineado con el
cronometraje de imanes de rueda 14 localizado en el cronometraje de la rueda
12. El plomo de coleccionista 33 y la tierra conduce 34 llevan las señales de
la recogida magnética 13. Cuando corriente es invertido, esto fluye por
resistencia 31e y transistor 30c para introducir la batería 10. Entrada bobinas
22a, los b envían el poder con el primer rectificador de recuperación del
puente de la onda llena 24a que entonces envía el poder por la recuperación de
interruptor 27 atrás en el sistema, y/o a la batería de entrada 10. La salida
bobinas 23a y 23b envía el poder por el diodo solo segundo rectificador de
recuperación 24b a la batería de recuperación 25.
En esta encarnación particular, el valor y el
número de tipo de los componentes son como sigue:
Efecto-Hall el interruptor de recogida magnético
13 es un No 3020;
Transistor 30a es un 2N2955;
Transistor 30b es un MPS8599;
Transistor 30c es un 2N3055;
Resistencias 31a y 31b son 470 ohmios
Resistencia 31b es 2200 ohmios
Resistencia 31c es 220 ohmios
Resistencia 31d es 1000 ohmios
Rectificador de recuperación 24a es un 10 Amperio,
el rectificador de puente de 400 voltios.
Fig.3 es un diagrama de caja mostrando al flujo de
voltaje de la batería de entrada A, por el recorrido de recuperación B,
cambiando el recorrido C y el motor bobinas D. El motor bobinas D envía la
energía EMF trasera disponible por el recorrido de recuperación B, y luego en
la batería de recuperación E e introdujo la batería A. La energía EMF trasera
disponible también puede fluir de cambiar el recorrido C al recorrido de
recuperación B.
En sistemas de estator/rotor múltiples, cada
estator individual puede ser activado uno por uno o todos los estatores pueden ser
activados simultáneamente. Cualquier número de estatores y rotores puede ser
incorporado en el diseño de tales combinaciones de generador de motor de
estator/rotor múltiples. Sin embargo, mientras pueden haber varios estatores
por rotor, sólo puede haber un rotor para un estator solo. El número de
estatores y rotores que comprenderían un generador de motor particular es el
dependiente sobre la cantidad de poder requerido en la forma de vatios. El
tamaño deseado y el caballo de vapor del motor determinan si los estatores
estarán en la paralela o encendido secuencialmente por la recogida de
Efecto-pasillo magnética o recogidas. El número de imanes incorporados en un
rotor particular es el dependiente sobre el tamaño del rotor y poder requerido
del generador de motor. En generador de motor de estator/rotor múltiple, la
rueda de cronometraje puede tener uno o varios imanes, pero debe tener una
recogida de Efecto-pasillo de imán para cada estator si los estatores no son
arreglados en la paralela. La energía de EMF de espalda es puesta a disposición
por la inversión de la polaridad de los pedazos de poste magnetizados que así
sufren un colapso el campo alrededor del bobinas e invierten el flujo de
energía a los diodos de recuperación, que capturan la espalda EMF.
Los motores individuales pueden estar relacionados
en la secuencia, con cada motor que tiene varias combinaciones de estatores y
rotores, o ellos pueden estar relacionados en la paralela. Cada rotor puede
tener cualquier número de imanes en los límites de mínimo de 2 al máximo de 60.
El número de estatores para un motor individual puede extenderse de 1 a 60 con
el número de conducir barras en los límites de 2 a 120.
Lo que se distingue este generador de motor de
todos los otros es la presencia de un imán permanente que une las dos barras de
conducción que transfieren la energía magnética por los pedazos de poste al
rotor, así atrayendo el rotor entre los pedazos de poste. Con el rotor atraído
en medio los dos pedazos de poste, los bobinas cambian la polaridad del campo
magnético de los pedazos de poste de modo que el rotor sea repelido. Por lo
tanto no hay ninguna corriente y voltaje estar acostumbrado atraen el rotor. La
única corriente usada es la repulsión del rotor entre los dos pedazos de poste
de barra propicios que así requieren sólo una pequeña cantidad de corriente
repeler el rotor. Este es conocido como un sistema de nueva calibración y
permite la captura de la energía EMF trasera disponible.
JOHN BEDINI
Patente Aplicación US 2003/117111 26 de junio 2003 Inventor: John C. Bedini
DISPOSITIVO Y MÉTODO PARA COBRO
DE PULSO UNA BATERÍA
Y PARA CONDUCIR OTROS
DISPOSITIVOS CON UN PULSO
Este es una copia ligeramente expresada con otras
palabras de esta aplicación evidente que muestra un método de cobro de pulso un
banco de batería o impulso de un calentador y/o un motor. John Bedini es un
genio intuitivo con la capacidad práctica muy considerable, entonces cualquier
información que viene de él debería ser considerada el más con cuidado. Al
final de este documento hay alguna información adicional no encontrada en la
patente.
EXTRACTO
Este cargador de baterías transistorizado de dos
fases puede recibir la energía de entrada de una variedad de fuentes incluso
corriente alterna corriente, una batería, un generador de corriente continua,
un inversor de corriente continua a corriente continua, células solares o
cualquier otra fuente compatible de la energía de entrada. La fase 1 es la fase
de cobro y la Fase 2 es la fase de descarga, donde una señal, o corriente, pasa
por un interruptor de cronometraje dual que independientemente controla dos
canales, así produciendo las dos fases.
El interruptor de cronometraje dual es controlado
por una viruta lógica, o modulador de anchura de pulso. Se permite que un
precio potencial aumente en un banco condensador. El banco condensador es
desconectado entonces de la fuente de entrada de energía y luego un pulso de
alta tensión es alimentado en la batería que debe recibir allí el precio. La
desconexión momentánea del condensador de la fuente de energía de entrada
permite un precio potencial libre flotante en el condensador. Una vez que el
condensador ha completado la descarga del precio potencial en la batería, el
condensador desconecta de la batería de cobro y se une de nuevo a la fuente de
energía, así completando el ciclo de dos fases.
CAMPO TÉCNICO
Esta invención está relacionada generalmente con
un cargador de pulso de batería usando un dispositivo transistorizado y método
donde la corriente que va a la batería no es la constante. La señal o corriente
es momentáneamente interrumpida por interruptor cuando esto fluye por
cualquiera el primer canal, (la fase de cobro), o el segundo canal, (la fase
que descarga). Este ciclo de dos fases alterna la señal en los dos canales que
así permiten a un precio potencial en un condensador desconectar de su fuente
de alimentación un instante antes del condensador descarga su energía potencial
almacenada en un juego de batería hasta reciben la energía almacenada del
condensador. El condensador es desconectado entonces de la batería y
relacionado de nuevo con la fuente de alimentación sobre la finalización de la
fase de descarga, así completando el ciclo de descarga de precio. El cargador
de pulso de batería también puede conducir dispositivos, como un motor y un
elemento calentador, con pulsos.
ARTE DE FONDO Y PREVIA
Los cargadores de baterías de día presentes usan
un cargo constante corriente en su operación sin la desconexión momentánea de
la señal o corriente cuando esto fluye tampoco: (1) de una fuente de energía
primaria al cargador; (o 2) del cargador sí mismo en una batería para recibir
el precio. Algunos cargadores son regulados a una corriente constante por
cualquiera de varios métodos, mientras los otros son la constante y no son
regulados. No hay ningunos cargadores de baterías actualmente en el arte o
disponibles en donde hay una señal momentánea o desconexión corriente entre la
fuente de energía primaria y los condensadores de cargador un instante antes de
los condensadores descarga la energía potencial almacenada en una batería que
recibe el precio de pulso. Tampoco hay cualquier cargador en el arte que
desconecta el cargador de la batería que recibe el precio cuando los
condensadores de cargador reciben la energía de la fuente primaria. La
interrupción corriente momentánea permite a la batería un "período de
resto corto" y requiere menos energía de la fuente de energía primaria
poniendo más energía en la batería que recibe el precio requiriendo un período
más corto del tiempo hacerlo.
RESUMEN DE LA INVENCIÓN
Un aspecto de la invención está relacionado con un
dispositivo transistorizado y método para crear un pulso corriente al precio de
pulso una batería o un banco de baterías en las cuales un método nuevo y único
es usado para aumentar y conservar, durante un período más largo del tiempo, la
energía almacenada en la batería, comparando con cargadores de baterías
constantes corrientes. El dispositivo usa un pulso calculado para crear una forma
de onda de pulso de corriente continua para ser descargada en la batería que
recibe el precio.
Una encarnación de la Invención usa un medio para
la conmutación dual como un modulador de anchura de pulso (PWM), por ejemplo,
una lógica IC SG3524N PWM, y un medio para el enganche óptico a un banco de
condensadores de gran energía para almacenar un precio de pulso inicial
calculado. Este es la fase de precio, o la fase 1. El banco condensador cargado
entonces descarga la energía alta almacenada en la batería que recibe el precio
en pulsos calculados. Sólo antes de la descarga de la energía almacenada en la
batería, el banco condensador es momentáneamente desconectado de la fuente de
alimentación, así completando la fase de precio, y así dejando el banco condensador
como un precio potencial libre flotante desconectado de la fuente de energía
primaria para ser entonces descargada en la batería. La transferencia de
energía del banco condensador a la batería completa la fase de descarga, o la
fase 2. El ciclo de dos fases ahora se repite.
Esta encarnación del cargador de pulso de batería
trabaja transfiriendo la energía de una fuente, como una fuente de corriente
alterna, a una fuente de corriente continua no filtrada de la alta tensión para
ser almacenada en un condensador o un banco condensador. Un regulador de
conmutación es puesto a un pulso calculado, por ejemplo, un segundo pulso que
es 180 grados desfasados para cada juego de cambiar funciones. La primera
función debe construir el precio en el banco condensador de la fuente de
energía primaria; la segunda función debe desconectar la fuente de alimentación
del banco condensador; la tercera función debe descargar la alta tensión
almacenada a la batería con un punto de alta tensión en un pulso calculado, por
ejemplo, un segundo pulso; y la cuarta función debe unir de nuevo el banco
condensador a la fuente de energía primaria.
El dispositivo funciona por un dos canal que
con./desc. cambia el mecanismo o una calibración / calibrando de nuevo la
función en donde el cargador es desconectado de su fuente de energía primaria
un instante antes de que el cargador de pulso descargue el pulso de gran
energía en la batería para ser cobrada. Como los finales de interruptor de
cobro primarios, el interruptor de descarga secundario se abre, y
torno-de-banco-versa en pulsos calculados para completar el dos ciclo de fase.
El medio para un suministro de energía es variado
con varias opciones disponibles como la fuente de energía primaria. Por
ejemplo, la energía de entrada primaria puede venir de una fuente de corriente
alterna relacionada en el voltaje apropiado (transformador); de un generador de
corriente alterna; de una batería de entrada primaria; de células solares; de
un inversor de corriente continua a corriente continua; o de cualquier otra
fuente adapTabla de energía. Si un transformador es la fuente de la energía de
entrada primaria, entonces esto puede ser un transformador de rectificación
estándar usado en aplicaciones de suministro de energía o cualquier otro transformador
aplicable a la función deseada. Por
ejemplo, esto puede ser 120 voltios al transformador de disminución gradual de
corriente alterna de 45 voltios, y el rectificador puede ser un puente de onda
llena de 200 voltios en 20 amperios, que es no filtrado cuando relacionado a la
salida del transformador. El terminal de salida positivo del rectificador de
puente está relacionado con los desagües de los transistores de efecto de
campaña relacionados de la paralela, y el terminal negativo está relacionado con
el lado negativo del banco condensador.
El Transistor de Efecto de Campaña (FET) los
interruptores pueden ser IRF260 FETs, o cualquier otro FET tenía que llevar a
cabo esta función. Todos los FETs están relacionados en la paralela para
conseguir la capacidad de manejo corriente apropiada para los pulsos. Cada FET
puede estar relacionado por un 7 vatio, resistencia de 0.05 ohmios con una
unión de autobús común en la fuente. Todas las puertas FET pueden estar
relacionadas por una resistencia de 240 ohmios con un autobús común. También
puede haber una resistencia de 2 K-ohmios puesta instalación eléctrica entre
las puertas FET y el autobús de desagüe.
Un transistor, por ejemplo un MJE15024, puede ser
usado como un chofer para las puertas, conduciendo el autobús, y por su parte,
un acoplador óptico impulsa el transistor de chofer por el primer canal. Un
primer interruptor de cobro es usado para cobrar el banco condensador, que
actúa como una fuente de potencial de corriente continua a la batería. El banco
condensador es desconectado entonces del recorrido de rectificador de poder. El
cargador de baterías de pulso es transferido entonces a un segundo interruptor
de efecto de campaña por el segundo canal para la fase de descarga. La fase de descarga es conducida por un
transistor, y aquel transistor es conducido vía un acoplador óptico. Cuando el
segundo (descarga) el interruptor es encendido, el precio potencial bancario
condensador es descargado en la batería que espera a recibir el precio. La
batería que recibe el precio es desconectada entonces del banco de condensador
de cargador de pulso a fin de repetir el ciclo. El cargador de pulso puede
tener cualquier fuente conveniente del poder de entrada incluso:
(1) paneles solares para levantar el voltaje al banco
condensador;
(2) un generador de viento;
(3) un inversor de corriente continua a corriente
continua;
(4) un alternador;
(5) un generador de motor de corriente alterna;
(6) una fuente estática como una chispa de alta
tensión; y
(7) otros dispositivos que pueden levantar el
potencial del banco condensador.
En otra encarnación de la invención, uno puede
usar el cargador de pulso para conducir un dispositivo como un motor o elemento
calentador con pulsos de la energía.
BREVE DESCRIPCIÓN DE LOS DIBUJOS

Fig.1 es un dibujo
esquemático de un cargador de pulso transistorizado según una encarnación de la
invención.

Fig.2 es un dibujo
esquemático de un convertidor de corriente continua a corriente continua
convencional que puede ser usado para proporcionar el poder con el cargador de
pulso de Fig.1 según una encarnación de la invención.

Fig.3 es un dibujo
esquemático de un suministro de energía de corriente alterna convencional que
puede ser usado para proporcionar el poder con el cargador de pulso de Fig.1
según una encarnación de la invención.

Fig.4A a Fig.4D son
dibujos esquemáticos de otros suministros de energía convencionales que pueden
ser usados para proporcionar el poder con el cargador de pulso de Fig.1 según
una encarnación de la invención.

Fig.5 es un diagrama
de bloque del cargador de pulso transistorizado de Fig.1 según una encarnación
de la invención.

Fig.6 es un diagrama
de un motor de corriente continua que el cargador de pulso de Fig.1 puede
conducir según una encarnación de la invención.

Fig.7 es un diagrama
de un elemento calentador que el cargador de pulso de Fig.1 puede conducir
según una encarnación de la invención.
DESCRIPCIÓN DETALLADA DE LA INVENCIÓN
Una encarnación de la actual invención es un
dispositivo y un método para un pulso-cargador de estado sólido que utilice una
carga potencial almacenada en un banco del condensador. El pulso-cargador de
estado sólido abarca una combinación de elementos y de trazado de circuito para
capturar y para almacenar energía disponible en un banco del condensador. Entonces pulso-se carga a la energía
almacenada en los condensadores en la batería que sea cargada. En una versión de esta encarnación, hay una
primera desconexión momentánea entre el cargador y la batería que reciben la
carga durante la fase de la carga del ciclo, y una segunda desconexión
momentánea entre el cargador y la fuente de energía de la entrada durante la
fase de la descarga del ciclo.
Como punto de partida, y un método arbitrario en
describir este dispositivo y método, el flujo de una señal eléctrica o
corriente será seguido de la energía primaria de la entrada al almacenaje final
en la batería que recibe la carga del pulso.

Fig.1 es un dibujo esquemático del cargador de
pulso transistorizado según una encarnación de la invención. Como mostrado en
Fig.1, la fuente de energía de entrada primaria al cargador de pulso es un
suministro de energía 11, los ejemplos de que son mostrados en Fig.2, Fig.3, y
Figs.4A-4D. Una batería de 12 voltios,
como una fuente de energía de voltaje baja 12, conduce un medio de conmutación
dual del control como una viruta lógica o un modulador de anchura de pulso
(PWM) 13.
O bien, el voltaje del suministro de energía 11
puede ser convertido a un voltaje conveniente de impulsar el PWM 13. El PWM 13
puede ser una viruta lógica SG3524N, y funciones como un oscilador o
temporizador para conducir una salida de 2 canales "con con./desc."
interruptores que están relacionados cuando en un primer aislador óptico 14, o
en o bien, a un segundo aislador óptico 15. Los primeros y segundos aisladores
ópticos 14 y 15 pueden ser aisladores ópticos H11D3. Cuando la viruta lógica 13
está relacionada con un primer canal, es desconectado de un segundo canal, así
causando dos fases de la dirección de señal; divida en fases 1, una fase de
precio, y divida en fases 2, una fase de descarga.
Cuando la viruta lógica 13 es cambiada a la fase
de precio, los flujos de señal al primer aislador óptico 14. Del aislador
óptico 14, la señal sigue su flujo por un primer transistor de poder NPN 16 que
activa un N-canal MOSFET 18a y un N-canal MOSFET 18b. La corriente corriente
por el MOSFETs 18a y 18b aumenta un voltaje a través de un banco condensador
20, así completando la fase de precio de la actividad de conmutación.
La fase de descarga comienza cuando la viruta
lógica 13 es cambiada al segundo canal, con la corriente corriente al segundo
aislador óptico 15 y luego por un segundo transistor de poder de NPN 17, que
activa un N-canal MOSFET 19a y un N-canal MOSFET 19b. Después de la viruta
lógica 13 finales el primer canal y abre el segundo canal, el precio potencial
en el banco condensador 20 es la flotación libre entre el suministro de energía
11, de que el banco condensador 20 es desconectado ahora, y luego relacionado
con una batería 22 para recibir el precio. Está en este punto a tiempo que el
precio potencial en el banco condensador 20 es descargado por un pulso de gran
energía en la batería 22 o, un banco de baterías (no mostrado). La fase de descarga es completada una vez que
la batería 22 recibe el precio. La viruta lógica 13 entonces interruptores el
segundo canal cerró y abre el primer canal que así completa el ciclo de
descarga de precio. El ciclo es reiterativo con la viruta lógica 13 control de
la dirección de señal en el canal un al banco condensador, o canalizar dos a la
batería 22 del banco condensador. La batería 22 es dada un período de resto
momentáneo sin una corriente continua durante la fase de precio.
Los valores componentes para la encarnación
descrita son como sigue. Las resistencias 24, 26... 44b tienen los valores
respectivos siguientes: 4.7K, 4.7K, 47 kilobyte, 330, 330, 2 kilobyte, 47, 47,
0.05 (7W), 0.05 (7W), 2 kilobyte, 47, 47, 0.05 (7 W), y 0.05 (7W). El potenciómetro
46 es 10 kilobyte, el condensador 48 es 22 mF, y la capacitancia total del
banco condensador 20 es 0.132F. El voltaje de la batería 22 está entre 12-24 V,
y el voltaje del suministro de energía 11 es 24-50 V tal que el voltaje de
suministro es aproximadamente 12-15 V más alto que el voltaje de batería.
Otras encarnaciones del cargador de pulso son
contempladas. Por ejemplo, los transistores bipolares 16 y 17 pueden ser
sustituidos por transistores de efecto de campaña, y los transistores 18a, 18b,
19a, y 19b pueden ser sustituidos por bipolar o aislar-puerta transistores
(IGBT) bipolares. Además, uno puede cambiar los valores componentes para
cambiar el tiempo de ciclo, el voltaje de pulso máximo, la cantidad de precio
que el banco condensador 20 entrega a la batería 22, etc. Además, el cargador
de pulso puede tener uno o varios que dos transistores 18a y 18b, y uno o
varios que dos transistores 19a y 19b.
Todavía referencia a Fig.1, hablan de la operación
del susodicho - la encarnación hablada del cargador de pulso. Para comenzar la
primera fase del ciclo durante el cual el banco condensador 20 es cobrado, el
recorrido lógico 13 desactiva el aislador 15 y activa el aislador 14.
Típicamente, el recorrido 13 es configurado para desactivar el aislador 15 antes
o al mismo tiempo que esto activa el aislador 14, aunque el recorrido 13 pueda
ser configurado para desactivar el aislador 15 después de que esto activa el
aislador 14.
Después, el aislador activado 14 genera una
corriente baja que activa el transistor 16, que por su parte genera una
corriente que activa los transistores 18a y 18b. Los transistores activados 18a
y 18b cobran los condensadores en el banco 20 a un voltaje de precio igual o
aproximadamente igualan al voltaje del suministro de energía 11 menos el
voltaje de umbral más bajo de los transistores 18a y 18b. Para comenzar la
segunda fase del ciclo durante cual banco condensador 20 pulso cobra la batería
22, el recorrido lógico 13 desactiva el aislador 14 y activa el aislador 15.
Típicamente, el recorrido 13 es configurado para desactivar el aislador 14
antes o al mismo tiempo que esto activa el aislador 15, aunque el recorrido 13
pueda ser configurado para desactivar el aislador 14 después de que esto activa
el aislador 15.
Después, el aislador activado 15 genera una
corriente baja que activa el transistor 17, que por su parte genera una
corriente que activa los transistores 19a y 19b. Los transistores activados 19a
y 19b descargan los condensadores en el banco 20 en la batería 22 hasta que el voltaje
a través del banco 20 sea o sea aproximadamente igual al voltaje a través de la
batería 22 más el voltaje de umbral más bajo de los transistores 19a y 19b. O
bien, el recorrido 13 puede desactivar el aislador 15 a la vez antes del banco
el este nivel de los 20 alcances de la descarga. Como las resistencias de los transistores
19a y 19b, las resistencias 44a y 44b, y la batería 22 son relativamente bajas,
los condensadores en el banco 20 descarga mejor dicho rápidamente, así
entregando un pulso de corriente para cobrar la batería 22. Por ejemplo, donde
el cargador de pulso incluye componentes que ponen los valores en una lista
encima, el banco 20 entrega un pulso de tener corriente una duración de
aproximadamente 100 Sra. y un pico de aproximadamente 250 A.

Fig.2 es un dibujo esquemático de un convertidor
de corriente continua a corriente continua convencional 30 que puede ser usado
como el suministro de energía 11 de Fig.1 según una encarnación de la
invención. Un convertidor de corriente continua a corriente continua convierte
un voltaje de corriente continua bajo a un voltaje de corriente continua más
alto o viceversa. Por lo tanto, tal convertidor puede convertir un voltaje bajo
en un voltaje más alto que el cargador de pulso de Fig.1 puede usar para cobrar
el banco condensador 20 (Fig.1). Más
expresamente, el convertidor 30 recibe la energía de una fuente 31 como una
batería de 12 voltios. Un sensor de aislador óptico 33 mandos un transistor de
poder NPN que proporciona una corriente a una primaria bobina 36 de un
transformador de poder 32. Un modulador de anchura de pulso o viruta lógico
(PWM) 34 alternativamente enciende y de un IRF260 primer N-canal MOSFET 35a y
un segundo N-canal IRF260 MOFSET 35b tal que cuando el MOSFET 35a está en el MOSFET
35b es desconectado y viceversa. Por consiguiente, la conmutación MOSFETs 35a y
35b lleve secciones respectivas de la primaria bobina 36 a generar un voltaje
de salida a través de bobina secundario 38. Un rectificador de puente de onda
llena 39 rectifica el voltaje a través de bobina secundario 38, y este voltaje
rectificado es proporcionado al cargador de pulso de Fig.1. Además, bobina
secundario 38 puede ser dado un toque para proporcionar un voltaje inferior
para el PWM 13 de Fig.1 tal que el convertidor de corriente continua a
corriente continua 30 puede ser usado cuando tanto el suministro de energía 11
como el voltaje bajo suministran 12 de Fig.1.

Fig.3 es un dibujo esquemático de un suministro de
energía de corriente alterna 40 que puede ser usado tanto como suministro de
energía 11 como el suministro de energía 12 de Fig.1 según una encarnación de
la invención. El poder introdujo 42 al suministro 40 es 120V corriente alterna.
Un primer transformador 44 y rectificador de onda llena 46 forma el suministro
11, y un segundo transformador 48, rectificador de onda llena 50, y el
regulador de voltaje 52 forma el suministro 12.
Fig.4A a Fig.4D son dibujos esquemáticos de varias
fuentes de entrada de energía primarias convencionales que pueden ser usadas
como el suministro 11 y/o el suministro 12 de Fig.1 según una encarnación de la
invención. Fig.4A es un dibujo
esquemático de baterías en serie conectadas.
Fig.4B es un dibujo esquemático de células solares en serie
apareadas. Fig.4C es un dibujo esquemático
de un generador de corriente alterna, y Fig.4D es un dibujo esquemático de un
generador de corriente continua.

Fig.5 es un diagrama de bloque del cargador de
pulso transistorizado de Fig.1 según una encarnación de la invención. El Bloque
A es el suministro de energía 11, que puede ser cualquier suministro de energía
conveniente como aquellos mostrados en Fig.2, Fig.3, Figs.4A-4o. El Bloque B es
el suministro de energía 12, que puede ser cualquier suministro de energía
conveniente como un 12V suministro de corriente continua o el suministro
mostrado en Fig.3. El Bloque C es el PWM
13 y sus componentes periféricos. El Bloque D es el interruptor de precio que
incluye la primera viruta de aislador óptica 14, el primer transistor de poder
NPN 16, el primer juego de dos N-canal MOSFETs 18a y 18b, y sus resistencias
periféricas. El Bloque E es el banco condensador 20. El Bloque F es el
interruptor de descarga que incluye la segunda viruta de aislador óptica 15, el
segundo transistor de poder NPN 17, el segundo juego de dos N-canal MOSFETs 19a
y 19b, y sus resistencias periféricas. El Bloque G es el banco de batería o
batería 22 que es cargado de pulso.
Un rasgo único que distingue una encarnación del
cargador de pulso descrito encima, de cargadores convencionales es el método
que acusa la batería de pulsos de corriente en vez de con una corriente
continua. Por consiguiente, la batería es dada un período reinicializado entre
pulsos.
Fig.6 es un diagrama de un motor de corriente
continua 60 que el cargador de pulso de Fig.1 puede conducir según una
encarnación de la invención. Expresamente, uno puede unir el motor 60 en el
lugar de la batería 22 (Fig.1) tal que el cargador de pulso conduce el motor
con pulsos de corriente. Aunque un no tenga que modificar el cargador de pulso
para conducir el motor 60, uno puede modificarlo para hacerlo más eficiente
para conducir el motor. Por ejemplo, uno puede modificar los valores de las
resistencias periféricas al PWM 13 (Fig.1) para variar la anchura y el pico de
los pulsos de paseo del banco condensador 20 (Fig.1).
Fig.7 es un diagrama de un elemento calentador 70,
como un secador o elemento que calienta echar agua, que el cargador de pulso de
Fig.1 puede conducir según una encarnación de la invención. Expresamente, uno
puede unir el elemento calentador 70 en el lugar de la batería 22 (Fig.1) tal
que el cargador de pulso conduce el elemento con pulsos de corriente. Aunque un
no tenga que modificar el cargador de pulso para conducir el elemento 70, uno
puede modificarlo para hacerlo más eficiente para conducir el elemento. Por
ejemplo, uno puede modificar los valores de las resistencias periféricas al PWM
13 (Fig.1) para variar la anchura y el pico de los pulsos de paseo del banco
condensador 20 (Fig.1).
En las encarnaciones habladas encima, los
elementos electrónicos específicos y los componentes son usados. Sin embargo,
se conoce que una variedad de transistores disponibles, resistencias,
condensadores, transformadores, calculando componentes, aisladores ópticos, moduladores
de anchura de pulso, MOSFETs, y otros componentes electrónicos puede ser usada
en una variedad de combinaciones para conseguir un resultado equivalente.
Notas:
La información siguiente no es la parte de la patente de John. Esto es la información
querida para ser provechoso, pero cuando esto no viene de John debe pensarse
que ello es la opinión y no el hecho. En los susodichos diagramas, el circuito
integrado SG3524N probablemente será desconocido a muchos lectores, y un examen
de la hoja de especificación no lo hace obvio que fijan uniones son usados en
el recorrido de John. Las uniones de alfiler siguientes son creídas ser
correctas, pero no pueden ser garantizadas.

Además de estas uniones de alfiler de SG3524N, se
sugiere que fija 1, 4 y 5 estar relacionado para dar buenos conocimientos en
vez del justo alfiler 8, y que un 100nF condensador estar relacionado del
alfiler 9 para dar buenos conocimientos. Los alfileres 3 y 10 son dejados
inconexos. Los pinouts para la viruta son:
