Una Guida
Pratica ai Dispositivi di Energia-Libera Autore: Patrick J. Kelly
Capitolo 8: Motori
Che Non Utilizzano Carburante
Ci sono stati sollevati con l'idea che è
necessario bruciare un combustibile per produrre energia che possiamo usare. Ci
sono venduti carbone, coke, legname, paraffina / kerosene, benzina / benzina,
gasolio, propano, ecc per noi a bruciare energia, al fine di
"ottenere". Mentre è perfettamente vero che brucia queste cose
effettivamente ad energia in una forma che troviamo conveniente usare in
riscaldamento, raffreddamento, alimentazione motori, ecc ciò è accuratamente
evitato è il fatto che non è affatto necessario per bruciare un di carburante
al fine di eseguire le cose che vogliamo al potere. Questo fatto 'scomodo' è
stato nascosto e negato per più di cinquanta anni (molto sorprendentemente,
dalle persone che vogliono venderci questi combustibili da bruciare - ti forse
pensare che essi possono avere qualche motivo per questo, altro che il nostro
migliore interessi di cui essi sono senza dubbio, molto preoccupata?).
Questo capitolo tratta di 'carburante-less' motori. Strettamente parlando, non sono auto-alimentato ma non bruciano un carburante di qualsiasi tipo, nel linguaggio comune possono essere descritti come 'autoalimentato'. Nello stesso modo in cui un pannello solare alla luce solare non utilizza carburante e ancora mette l'alimentazione elettrica, questi motori trarre energia dall'ambiente e ci forniscono potenza meccanica. In realtà, il potere non è mai "usato", ma solo convertita da una forma in un'altra. Nel caso del nostro pannello solare fidato, circa il 17% della radiazione proveniente dal sole (soprattutto raggi ultravioletti) viene convertita in energia elettrica e l'83% va in riscaldamento e di altre perdite, ma non abbiamo a fornire la luce del sole, e il pannello solare riversa l'energia elettrica che vogliamo noi senza dover fare nulla per farlo accadere, in realtà non sta molto a cuore la sua efficienza estremamente basso. Per quanto ci riguarda, l'elettricità che scorre dal pannello è "free-energy".
E 'davvero incredibile che siamo stati convinti
che dobbiamo bruciare un combustibile, al fine di ottenere il potere. Prendiamo
il caso di un pesante-spostamento yacht a vela. Lo skipper può viaggio usando
il suo motore diesel entrobordo:

Questo si abbina perfettamente con il pensiero che
avete bisogno di bruciare un combustibile, al fine di ottenere il potere, come
lo yacht si muove lungo, spinto dal motore che è alimentato dalla combustione
di gasolio. Ma, cosa succede se il comandante decide di spegnere il motore e
impostare le vele?:

Ora, la stessa imbarcazione,
pesa esattamente con
lo stesso equipaggio, ora prosegue il viaggio alla stessa velocità, ma non combustibile
viene bruciato. La cosa veramente interessante è che, mentre sappiamo benissimo, e
siamo consapevoli del fatto che le
persone hanno navigato a destra
in tutto il mondo in barca che non hanno i motori, non sembra verificarsi a
noi che questo dimostra definitivamente
che non è necessario per bruciare
un combustibile per alimentare un po 'di attrezzatura o
mezzo di trasporto.
Nel caso del nostro yacht,
l'energia viene dal sole che riscalda l'atmosfera in modo non uniforme,
causando venti a soffiare e il veleggiatore utilizza le vele per fare quei
venti di potenza la sua barca
attraverso l'acqua. Quindi, una barca a vela è in realtà alimentato dal sole, anche se di solito non
pensare in questo modo.
Ci sono molti idroelettrici "centrali" dove l'elettricità
viene 'generato' dalle macchine azionate dalla pressione dell'acqua. In realtà, l'alimentazione non 'generata'
affatto, ma invece, l'energia potenziale del corpo di acqua è convertita in elettricità da avere l'acqua cadono e ruotare
l'albero di una macchina. Quindi, come ha fatto l'acqua
arrivare fin lassù, in primo luogo? Beh,
è venuto dalla pioggia. E come ha fatto la pioggia arrivare fin lassù? E 'salito lassù a causa dell'evaporazione causata dal calore del
sole. Così, la linea di fondo è
ancora una volta che le centrali 'elettriche' idroelettrico sono alimentati dal sole.
Mulini a vento sono anche alimentato dal sole. Ma,
e qui è la cosa veramente interessante, se affermo che è perfettamente possibile
che un motore ad aria compressa per la produzione di energia meccanica senza
bruciare alcun combustibile, allora c'è una reazione immediata e forte, dove la
gente dirà "Impossibile - che è moto perpetuo! "Esse implicano che il
moto perpetuo è impossibile, ma non fornire prove razionali a sostegno di tale
implicazione. La Terra è stata ruota sul suo asse per milioni di anni, in modo
da quando, esattamente, cosa si aspettano di fermarsi? Tutti i pianeti del
Sistema Solare sono stati in orbita per milioni di anni, quanto tempo devono
orbitare prima di poter essere considerato in moto perpetuo? Perché allora la
gente è così contrario all'idea del moto perpetuo? Presumibilmente, perché il
moto perpetuo mostra chiaramente che un combustibile non deve essere bruciato
per 'produrre' il potere e che non sarebbe un bene per le persone che vendono
carburanti, e così, siamo tutti detto fin dalla tenera età che il moto perpetuo
è "impossibile ".
Beh, questo non ha importanza qui come stiamo andando a guardare i motori ad
aria compressa che corrono il calore del sole. Cioè, sono le pompe di calore,
che sono un fatto di ingegneria ben accettato e lavorano di riso accettati
principi standard scientifici. Un frigorifero ordinaria emette tre o quattro
volte come potenza molto calore come la potenza elettrica di guida, e potrebbe
essere il doppio efficace se venisse utilizzato correttamente. Si tratta di un
coefficiente di prestazione (COP) di 3 o 4, che dovrebbe essere
"impossibile", ma purtroppo, tutti i frigoriferi funzionano in questo
modo e non si può proprio dire che i frigoriferi non esistono, solo perché le
loro prestazioni non sembrano in sintonia con alcune teorie.
In realtà, non c'è magia coinvolta qui come l'energia supplementare viene
disegnata dal contenuto calore dell'aria in località immediate. Il frigorifero
non funzioni in isolamento e vi è uno scambio di calore con l'aria circostante.
Questa energia fuori causa il COP> 1 spettacolo. Di passaggio, tutte le
COP> 1 dispositivi funzionano attingendo energia da una sorgente esterna (di
solito il punto zero campo energetico), e nessuno di loro in realtà infrangere
le "regole" della scienza. Ma, abbastanza.
Le persone che non vogliono auto-alimentati motori utilizzati nel mondo di
oggi, riporre le loro speranze su una ignoranza continua di fatti di ingegneria
relative alle pompe di calore. Un autosufficiente ad aria compressa motore è
effettivamente in esecuzione l'alimentazione dal sole proprio come centrali
elettriche barche a vela, mulini a vento e idro-elettrici fare. Spiacente
ragazzi, nessuna magia qui, solo palude-standard di ingegneria. Certo, poche
persone sanno o realizzare le implicazioni di questa azienda Impianti standard:
1. Tutto il lavoro fatto nella compressione dell'aria in un serbatoio di
stoccaggio viene convertita in calore e quindi perso l'atmosfera, così
l'energia dell'aria compressa all'interno del serbatoio è la stessa di quella
prodotta da riscaldamento che di aria atmosferica, ma più come è ora nel
serbatoio, esiste il potenziale per ulteriore lavoro da svolgere. Questa
energia supplementare è stato alimentato in aria da riscaldamento atmosferica
prima che l'aria è compressa.
La prima legge della termodinamica afferma che dove il calore viene
convertita in energia meccanica o energia meccanica viene convertita in calore,
la quantità di calore è esattamente equivalente alla quantità di energia
meccanica. Abbiamo poi la situazione intrigante dove si perde tutta l'energia
meccanica messo in compressione dell'aria in un serbatoio di stoccaggio come
calore, e tuttavia, il contenuto del serbatoio ora ha un più alto potenziale
per lavorare. Queste informazioni provengono dai libri di testo di ingegneria.
2. Se l'aria fredda espanso lasciando il motore viene usato per raffreddare
l'aria di aspirazione del compressore, allora ci sarà un guadagno aggiunto
quando si riscalda all'interno del cilindro, tirando calore dall'ambiente
locale.
3. Se il calore di compressione viene trasferito nel contenitore dell'aria di
alimentazione del motore e non in tempo per dissipare, allora vi è un ulteriore
guadagno di potenza per il motore.
4. Se l'aria compressa viene lasciato espandere rapidamente, vi è una
significativa diminuzione della temperatura. Il motore di Leroy Rogers
progetto, illustrato più avanti in questo capitolo, usa questo fatto per creare
l'aria condizionata per una macchina guidata da un motore ad aria compressa.
OK allora, a grandi linee, l'energia disponibile da un serbatoio di aria
compressa viene direttamente dal calore contenuto nell'atmosfera, nonostante il
fatto che abbiamo sempre immaginare che l'energia nel serbatoio collocata da
nostro energico pompaggio.
Diamo un'occhiata tale da dare un'occhiata ad alcuni dei motori che utilizzano
questo principio di fornire combustibile meno il funzionamento, a partire dalla
progettazione di Bob Neal. Il brevetto completo per la progettazione di Bob è
incluso in appendice.
Progettazione Bob Neal è un motore ad aria compressa azionato e compressore in
cui il funzionamento del motore
continua a ri-alimentazione del serbatoio di aria compressa:

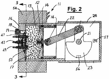
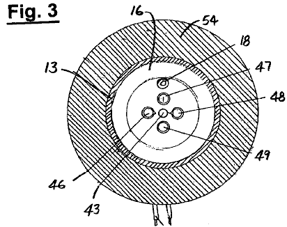
Questa è una vista prospettica del motore e questo:

è una trasversale verticale
vista in sezione attraverso la parte
del compressore del motore. Nel suo brevetto, Bob
ha evitato qualsiasi riferimento diretto del fatto che la sua progettazione del motore è meno carburante. Questo
tipo di affermazione non è
popolare con esaminatori di brevetti anche se è perfettamente vero.
Sistema di Bob Neal potrebbe fare con un
po 'di ulteriori spiegazioni, ecco un'idea di Scott Robertson
cui sito web è http://www.aircaraccess.com/index.htm, per un possibile sistema di lavoro del compressore con una foglia-soffiatore:

Mentre questo sembra piuttosto complicata, in realtà
non lo è. Prendiamo le varie
sezioni per:

In primo luogo, si dispone di un motore normale aria,
alimentato con aria compressa da un
serbatoio a pressione. Questo
motore esaurisce la sua (freddo,
espanso) aria nell'atmosfera.
Le potenze dei motori di due compressori che insieme mantengono il serbatoio pieno di aria compressa.

Il primo compressore è un semplice 'foglia soffiatore' tipo
che produce un grande volume di aria a bassa pressione. La grande domanda
è "come si fa a ottenere questo
grande volume di aria a bassa pressione
in un serbatoio che ha ad alta pressione di aria compressa al suo interno?". Beh questo compito apparentemente impossibile è eseguita
dal secondo compressore aiutato
da un astuto, ultra-design
semplice:

Qui, bassa pressione aria viene alimentata nella zona di bassa pressione segnata in rosa. Separa dalla zona
di alta pressione è un tappo metallico in verde. Impostare in questo
plug è un anello di cinque
valvole unidirezionali aria segnate in rosso. Queste
valvole unidirezionali consentono
l'aria a bassa pressione nella
zona di alta pressione a causa di una elevata velocità
di getto d'aria prodotto dal 'jet-drive compressore'.
A prima vista, questo sembra impossibile, ma in realtà è una semplice applicazione di una tecnica di
ingegneria standard. L'alta velocità getto d'aria viene diretto attraverso un ugello di forma speciale, creando un locale zona di bassa pressione intorno al getto:

L'aria a bassa pressione al
punto "A" fluisce attraverso
l'anello di cinque valvole
unidirezionali nel discoidale
bassa pressione area "B" e viene eiettato nello spazio
ad alta pressione "C"
per l'alta potenza getto d'aria squarciando la ciambella a forma di anello
segnato in giallo. L'alta
velocità getto d'aria provoca l'anello di pressione bassa "B" dal suo
movimento rapido che crea un
vortice a causa della forma e
posizionamento della forma di ciambella
anello in giallo. Questa disposizione intelligente consente grandi volumi di aria a bassa pressione di essere trascinati in
un serbatoio contenente aria ad alta pressione.
È possibile notare che il compressore a due stadi che genera questa alta velocità getto
d'aria, ha la sua area di lavoro
effettivamente all'interno del serbatoio.
Ciò significa che il calore di
compressione viene utilizzato
per riscaldare l'aria all'interno del
serbatoio e aumentarne la pressione, migliorando ulteriormente l'operazione. Si deve tener
presente che l'aria che entra
nel sistema è stato riscaldato dal sole e contiene l'energia
che alimenta il sistema.
Il motore Rogers mostrato qui non fornisce alcuna
garanzia per il funzionamento spettacolare, ma nonostante ciò, Leroy ha ammesso
in un'intervista che questo motore ha effettivamente una potenza maggiore della
ingresso applicato, a condizione che il motore non è lasciato solo al minimo.
Questo motore è come il brevetto US 3744252 "sistema chiuso Trazione
Utilizzando fluidi compressi" di Eber Van Valkinburg mostrate di seguito.
Tuttavia, il brevetto Rogers mostrato qui ha il vantaggio che utilizza
off-the-shelf motori e hardware facilmente disponibili e non c'è nulla di
veramente esotico o difficile sul motore di Rogers che una persona non possa
ottenere da un fornitore della valvola o di ottenere un produzione di metallo
per la costruzione di società.
Tuttavia, mentre Leroy ha affermato che il suo progetto era autosufficiente
quando si va oltre 30 miglia all'ora, una caratteristica chiave del progetto è
la sua unità di compressione molto elevato rendimento che ha poi brevettato
come illustrato di seguito. Attuali motori dei veicoli giorno sono
sotto-orientati e funzionare a regimi piuttosto bassi. Questi stessi motori
funzionano in modo più efficiente a regimi più elevati, se sono dati diversi
ingranaggi. Con il motore Rogers, l'aria contenuta nel serbatoio ad alta
pressione è sufficiente per guidare i pistoni su e giù. L'aria può essere
reimmessa nel serbatoio ad alta pressione da un compressore che ha una capacità
molto più elevata ingranaggi e molto più basso per ogni corsa del pistone.
L'aria espansa uscita dal motore è a temperatura molto più bassa di quella
dell'aria circostante e se catturato in un serbatoio tampone e utilizzata come
ingresso del compressore, quindi ricaricare il serbatoio dell'aria è più
efficiente, a condizione che il serbatoio assorbe calore dal circostante,
aumentando la sua temperatura all'interno del serbatoio e quindi dando nuovo
impulso alla pressione del serbatoio, oltre la compressione fornito dal
compressore.
Una caratteristica molto piacevole di disegno Leroy è che essa prevede come un
adattamento di un motore normale veicolo e che fornisce una notevole quantità
di dettagli pratici su come l'adattamento può essere effettuata.
Utilizzando un RotoVerter (come descritto nel capitolo 2) per pilotare un
compressore sarebbe abbassare i requisiti di alimentazione del convertitore di
frequenza del compressore nella misura in cui un adattamento del motore di
questo tipo dovrebbe essere autosufficiente. Il RotoVerter fornisce un guadagno
maggiore energia e propria ed è particolarmente adatto per pilotare carichi
meccanici quali il compressore ed è particolarmente 'gusti' a carico costante
applicazioni come un compressore.
Il motore adattato mostrato nel brevetto è così:

Questo brevetto mostra come le modalità pratiche di funzionamento di un motore ad aria compressa può essere affrontato. Che non mostra i dettagli dello sfondo è dei flussi di energia
effettivi e gli effetti di compressione dell'aria e poi lasciarlo espandere. Queste cose non sono normalmente incontrati nella nostra vita quotidiana e quindi non abbiamo una sensazione immediata intuitivo per il funzionamento dei sistemi come questi
funzionano. Prendete gli effetti di espansione. Mentre è ben noto che
la locazione di un gas compresso espandere provoca
raffreddamento, l'effetto pratico
è raramente realizzato.
Brevetto compressore Leroy è indicato qui:
Stati Uniti
Brevetto 4.693.669 15 Set 1987 Inventore: Leroy
K. Rogers
Compressore per i Motori di Automobili
Abstract:
Un compressore per
fornire aria per un motore sovralimentato, comprendente un compressore assiale
avvolta, un compressore radiale che si trova a valle del compressore assiale e
di un alloggiamento. La custodia è costituita da quattro sezioni, tra cui una
sezione che è altamente convergente, dotto 'troncoconica' transizione che
dirige favorevolmente lo scarico del compressore assiale verso l'ingresso del
compressore radiale e una cavità, altamente convergente, sezione conica scarico
immediatamente a valle del compressore radiale che converge nella porta di
scarico del compressore. Un deviatore di flusso anulare è previsto per dirigere
lo scarico del compressore radiale nel cono di scarico.
Descrizione:
Superchargers impartire ulteriore pressione per
l'aria o la miscela aria / carburante di un motore in modo che i cilindri
ricevono un peso maggiore per unità di volume di aria o aria / carburante di
quanto sarebbe altrimenti essere fornito. Come risultato, il rendimento
volumetrico e la potenza del motore, vengono migliorate.
Secondo metodi precedenti, superchargers generalmente comprendono un unico
aria-ventilatore che forza l'aria o una miscela aria / carburante nei cilindri
di un motore. Tipicamente, l'aria ventilatore è azionato da un treno di
ingranaggi che è collegata all'albero a gomiti del motore con un rapporto di
riduzione di circa 6 a 1. Questi tipi precedenti di compressori sono stati
ampiamente utilizzati nei motori da corsa e motori aerei radiali. Tuttavia, a
causa delle loro elevate velocità di funzionamento e le loro treni di
ingranaggi, questi compressori sono stati considerati troppo complicato, troppo
pesante e troppo costosi per l'uso con i motori di produzione di massa, come si
trovano in auto e camion.
Di recente, alcune case automobilistiche hanno offerto motori sovralimentati
che si espandono dai gas di scarico del motore attraverso una turbina a guidare
un compressore centrifugo. Sebbene turbocompressori sono vantaggiose in quanto
la turbina può fornire grandi quantità di potenza al compressore, le loro
velocità operative estreme richiedono cuscinetti speciali, lubrificazione e
manutenzione. Inoltre, turbocompressori richiedono canalizzazione speciale, come
by-pass regime, che solo aggiungere al loro costo e manutenzione. Di
conseguenza, turbocompressori sono offerti soltanto come costose opzioni in
auto.
Inoltre, vi è un interesse attuale in un nuovo tipo di motore di automobile che
funziona da serbatoi di gas compresso per effettuare ricambio dei pistoni. Un
esempio di un tale motore può essere trovato in US Pat. No. 4.292.804
rilasciato al medesimo inventore della presente invenzione. Nel brevetto
riferimento, almeno una porzione del gas di scarico parzialmente espansa dai
cilindri è diretta ad un compressore in cui è ricompresso e quindi restituito
ai serbatoi di stoccaggio da cui deriva in origine. Sarebbe auspicabile che
almeno alcuni, se non tutto il suddetto ricompressione del gas di scarico può essere
realizzato con una cinghia, compressore rotativo che viene facilmente prodotto
e mantenuto, ma è in grado di fornire un'ampia ricompressione.
Sommario dell'invenzione:
Questi ed altri scopi sono raggiunti dalla
presente invenzione che fornisce un compressore comprendente un involucro
avente un ingresso ed una uscita, un compressore assiale e avvolto un
compressore radiale montato girevole all'interno dell'alloggiamento, altamente
convergente superficiale, condotto transizione troncoconica favorevolmente per
dirigere l' scarico del compressore assiale verso l'ingresso del compressore
radiale.
In conformità con un ulteriore aspetto dell'invenzione, il sopra descritto
compressore comprende inoltre un cono di scarico in una posizione a valle del
compressore radiale e un deviatore di flusso per dirigere la mandata del
compressore radiale al cono di scarico.
Nella realizzazione preferita, lo stesso alloggiamento comprende quattro
sezioni: una sezione cilindrica carcassa anteriore che definisce un ingresso diretto
assialmente, una seconda sezione cilindrica che racchiude la canalizzazione
compressore assiale, una sezione di alloggiamento posteriore definisce il
condotto di transizione e l'entrata e il corpo per il compressore radiale, e la
sezione a cono di scarico che definisce al suo capolinea all'uscita del
contenitore. Per guidare l'albero del compressore, un doppio binario puleggia è
fissata alla estremità anteriore dell'albero comune che la puleggia è atta a
ricevere una o più cinghie di trasmissione dalla ruota albero motore del
motore. Una apertura laterale in sezione di alloggiamento anteriore alloggia il
collegamento con le cinghie di trasmissione.
Con la disposizione descritta, la compressione può essere ottenuto per
sovralimentazione scopi senza ricorrere a un gran numero di stadi di
compressore o velocità di esercizio. Inoltre, il disegno del sovralimentatore
descritto evita la necessità di palette di guida tra compressore assiale e il
compressore radiale. La sezione conica scarico evita favorevolmente anche
l'accumulo di pressione contro il compressore radiale. Il disegno è molto
semplice e quindi poco costoso da produrre e mantenere.
Altri oggetti, vantaggi e nuove caratteristiche della presente invenzione
risulteranno evidenti dalla seguente descrizione dettagliata dell'invenzione,
quando considerata unitamente al disegno allegato.
Breve Descrizione dei Disegni:
Una realizzazione
preferita della presente invenzione viene descritta in maggiore dettaglio con riferimento al disegno allegato in cui come elementi
portano gli stessi numeri di
riferimento, e in cui:

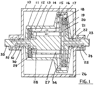
Fig.1 è una vista in sezione trasversale
laterale di un compressore costruito secondo la forma di realizzazione
preferita della presente invenzione;

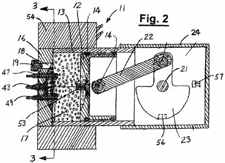
Fig.2 è una vista laterale del sovralimentatore di Fig.1;

Fig.3 è una vista frontale della
girante del compressore di Fig.1;

Fig.4 è una vista in sezione trasversale
presa lungo la linea 4--4 di Fig.1;

Fig.5 è una vista in sezione trasversale
presa lungo la linea 5--5 in Fig.1;

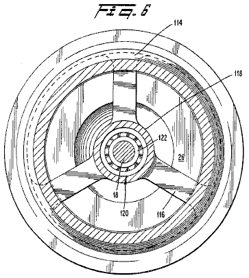
Fig.6 è una vista in sezione trasversale
presa lungo la linea 6--6 in Fig.1;

Fig.7 è una vista prospettica di un
segmento della girante del
compressore di Fig.1; e

Fig.8 è una vista laterale parziale del compressore di Fig.1
con un adattatore.
Descrizione Dettagliata
Della Realizzazione Preferita:

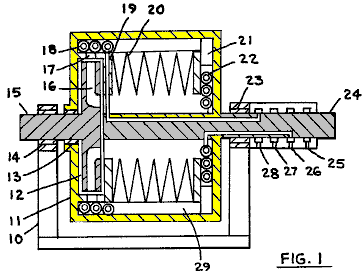
Facendo riferimento alla Fig.1 e Fig.2, un
compressore 10
è previsto per alimentare aria ad
un motore sovralimentato automobile o simile, in
modo che il motore riceve un peso
maggiore per unità di volume di aria o di una
miscela aria / carburante di quanto
sarebbe altrimenti dotazione.
In accordo con una realizzazione preferita della presente
invenzione, il compressore 10 comprende un
alloggiamento 12 avente un ingresso diretto assialmente 14 per
ricevere aria ambiente e un diretto assialmente uscita
16 per
erogare aria sovralimentato all'aspirazione del motore della macchina.
Montato girevole all'interno
dell'alloggiamento 12
è un albero 18
sul quale sono fissati un compressore assiale
24 e un compressore radiale
26, che è posizionato a valle del compressore assiale. Una puleggia 28
è fissata ad una
estremità anteriore 30
dell'albero per ricevere cinghie di trasmissione 31, che le cinghie di trasmissione collegano l'albero 18 ad una puleggia sull'albero a gomiti del motore (non
mostrato). Le cinghie di trasmissione
31 fornire coppia all'albero 18 come richiesto per guidare i compressori 24 e 26 del compressore 10.
L'alloggiamento 12
è costruito da quattro sezioni che sono preferibilmente imbullonate insieme flangiati in
un end-to-end relazione.
Queste sezioni comprendono una sezione
frontale di alloggiamento 32, un compressore
assiale sezione del condotto 34, una sezione di alloggiamento posteriore 36 ed una sezione di cono di
scarico 38.
L'albero 18 si estende lungo l'asse longitudinale del corpo 12.

La sezione di carcassa anteriore
32 è un cilindro cavo che si estende in avanti da un supporto di cuscinetto anteriore 40. La sezione di alloggiamento anteriore 32 racchiude l'estremità anteriore 30 dell'albero
18 e la puleggia 28 ruota
compagna. Alla sua estremità anteriore, la sezione di alloggiamento anteriore 32 definisce l'ingresso 14 per ricevere l'aria
da una sorgente esterna (non
mostrata).
Con particolare riferimento alla Fig.2, la
sezione di alloggiamento anteriore 32 comprende
una apertura laterale 44 su un lato
in modo da accogliere il collegamento delle cinghie di trasmissione
31 alla puleggia 28. La sezione
di carcassa anteriore 32 comprende inoltre
una flangia anteriore 46 per
alloggiare il collegamento di
filtri aria, carburatori, prese d'aria o simili a monte del compressore
10 secondo la
particolare disposizione del motore.
È inteso che nel
layout motore consueto, il compressore 10 riceve aria o una
miscela aria / carburante da una
sorgente esterna attraverso il suo ingresso 14, comprime l'aria o miscela
aria / carburante e quindi invia
alla aspirazione del motore.

Facendo ancora riferimento alla Fig. 1, la carrucola 28 è interferenza montato
sulla estremità anteriore 30 dell'albero
18 e un tasto 134
è utilizzato per bloccare la
puleggia 28 ruota in posizione. La
puleggia 28 è preferibilmente un
duplice disegno che è adatto per
il fissaggio di due cinghie di trasmissione, anche se una singola ruota di tipo a cinghia puleggia sarebbero
adeguati. La puleggia 28 è
preferibilmente dimensionato in modo che il rapporto del suo diametro
rispetto al diametro della ruota
motrice dell'albero a gomiti del
motore fornisce un rapporto
efficace gearing nell'intervallo
di circa due e
mezzo per quattro e mezzo. Così al minimo,
quando il motore del veicolo è in esecuzione a circa 700
rpm, il compressore 10 è in
esecuzione a circa 2400 rpm, e alla crociera, quando il motore
è in funzione circa 2.500 rpm,
il compressore 10 è preferibilmente girando nell'intervallo 6.000 a
8.000 giri al minuto. È da notare che, sebbene il
diametro della puleggia 28 può essere sostanzialmente
ridotta per ottenere un rapporto
desiderato gearing, il doppio binario ruota 28 presenta un totale
sufficiente somma di superficie per evitare lo
slittamento delle cinghie 31.
La sezione successiva adiacente dell'alloggiamento 12
è il compressore assiale
condotto 34 che è un cilindro corto coassialmente disposto attorno al compressore assiale 24. Preferibilmente,
il compressore assiale
condotto 34 è realizzato in alluminio pressofuso, con le superfici interne 48 lavorate
per assicurare spazio uniforme tra il condotto 34 e
la montatura 50
del compressore assiale 24. Come con altre sezioni del corpo 12,
il compressore assiale
condotto 34 è dotata di flange 52 e 54 per effettuare il collegamento delle sezioni
di alloggiamento adiacenti. Il
compressore assiale condotto 34 guide dell'aria erogata dalla sezione di alloggiamento anteriore 32 verso il
compressore assiale 24.

Facendo ora riferimento alla Fig.1 e Fig.4, un cuscinetto di supporto anteriore 40 è collocato tra la sezione di
carcassa anteriore 32 e il
compressore assiale condotto 34. Il
supporto cuscinetto anteriore 40
comprende un anello esterno 56 e tre
bracci radiali 58. Tra questi bracci
sono definiti passaggi 60 per
consentire all'aria di passare attraverso il supporto del cuscinetto 40. L'anello esterno 54 è fissato con viti di collegamento 64 una flangia posteriore della sezione
di carcassa anteriore 32 e la
flangia 52 del compressore assiale
condotto 34. Con questa
disposizione, il supporto cuscinetto anteriore 40 è fissato rigidamente al corpo 12 in modo che i carichi e urti con l'albero 18 può essere trasferito attraverso il supporto di cuscinetto
anteriore 40 della carcassa 12.
Nella forma di realizzazione preferita, l'esterno dell'anello 56 del cuscinetto di supporto 40 si estende nella regione del 14 di ingresso della sezione di
carcassa anteriore 32 in modo tale
che è bordo interno 68 coincide con
il bordo interno 70 della Sindone 50 del assiale compressore 24. In questo modo, l'anello esterno 56 contribuisce alla guida del flusso
d'aria verso il compressore assiale 24.
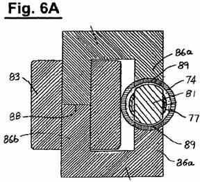
Una pista di rotolamento esterna 74
del gruppo anteriore cuscinetto a rulli 76
è fissato tra il supporto del cuscinetto anteriore 40 ed una piastra di ritegno del cuscinetto 78, che è fissato con le viti rimovibili 80. In questa realizzazione preferita, il gruppo cuscinetto
anteriore 76 è del sigillato, tipo
ad alta velocità. Un gruppo adeguato supporto disponibile in commercio è
commercializzato con il riferimento: 405KDD modello Fafnir. Preferibilmente,
una canaletta inferiore 82 del
gruppo cuscinetto anteriore 76 è fissato all'albero 18 con un accoppiamento con interferenza. Un distanziatore 84 è previsto su un lato inferiore
della canalina 82, che distanziale 84 appoggia anche un mozzo 86 del compressore assiale 24 per posizionare il compressore
assiale 24 a distanza a valle
predeterminate del supporto del cuscinetto 40.
Analogamente, un distanziatore 88 è
previsto sul lato della canalina inferiore 84,
e si appoggia alla puleggia 28 in
modo da distanziare la carrucola 28
dal supporto cuscinetto anteriore 40
per garantire che vi sia spazio sufficiente tra loro.
Si dovrebbe apprezzare che la piastra di fermo cuscinetto 78 permette un facile accesso al gruppo cuscinetto anteriore 76 per scopi di manutenzione o
riparazione. Al servizio del cuscinetto anteriore assieme 76, un dado di bloccaggio 90
e 92-rondella sull'estremità anteriore
vengono allentate 30 dell'albero 18 e rimosso insieme alla puleggia 28 ed il distanziatore 88. Poi i bulloni 42 e la piastra di fermo del cuscinetto 76 sono rimossi, lasciando tutta l'assemblea del cuscinetto 76 esposti per la manutenzione e / o la
rimozione.
La sezione di alloggiamento posteriore 36
è collegato mediante bulloni all'estremità a valle del compressore assiale
condotto 34. Preferibilmente, la
sezione di alloggiamento posteriore 36
è costituito da un unico pezzo di alluminio e comprende nervature longitudinali
esterne 94 per migliorare la
rigidità strutturale della sezione di alloggiamento posteriore 34. Le pareti della sezione di
alloggiamento posteriore 36
definiscono tre elementi del compressore 10:
una transizione altamente conico condotto 96
che dirige favorevolmente l'uscita del compressore assiale ad un ingresso 98 del compressore radiale 26, l'ingresso 98 del compressore radiale 26,
stessa, e un involucro 100 per il
compressore radiale 26.
Il condotto di passaggio 96 è un
cavo, avente una porzione troncoconica mezza apice dell'angolo (generatrice
all'asse di simmetria) di circa 35 °. L'angolo è selezionato in modo tale che
l'ingresso al compressore radiale 26
è il più vicino possibile all'uscita del compressore assiale, senza causare
eccessiva contropressione. Nella realizzazione preferita, il condotto di
passaggio 96 inizia una breve
distanza a valle del compressore assiale 24
e termina all'inizio del 98 di
ingresso del compressore radiale 26.
La forma altamente conica del condotto di transizione 96 è creduto a rotolare in maggiore volume di aria che esce dalle
porzioni più radialmente verso l'esterno del compressore assiale 24. Questo rolling in azione è creduto
per promuovere un regime favorevole al flusso di entrata 98 del compressore
radiale 26 in modo che non vi è alcuna necessità di palette di guida di
entrata per il compressore radiale 26.
Si ritiene inoltre che la forma altamente conica del condotto di passaggio 96 incide condizioni di flusso a monte
del compressore assiale 24 in modo
tale che la performance è migliorata. È stato anche trovato che non vi è alcuna
necessità di uno statore (o guida palette uscita) per il compressore assiale 24.
In sostanza, si ritiene che il condotto di passaggio 96 svolge le funzioni di uscita delle palette di compressori
assiali e alette di guida di ingresso del compressore radiale, ma senza le
perdite di pressione comunemente associati. Evitare queste perdite di pressione
e il previsto miglioramento delle prestazioni del compressore assiale, consente
il compressore 10 per impartire un
rapporto superiore pressione globale di quanto sarebbe altrimenti essere
realizzata senza il passaggio del condotto 96.
Come risultato, si ottiene un'adeguata compressione a velocità operative moderate
senza ricorrere ad una banca di più compressori assiali. Si deve comprendere
tuttavia, che quando si collega il compressore 10 ad un diesel relativamente lento alternativo o un motore molto
grande, può essere desiderabile includere due o più compressori assiali per
incrementare il rapporto globale di pressione del compressore è. In tali casi,
la presente invenzione comprenderebbe il posizionamento di una transizione a
valle del condotto di almeno l'ultimo compressore assiale.
Al 98 di ingresso del compressore
radiale 26, le pareti delle
alloggiamento posteriore 36 sono
cilindrici e coassialmente posizionati intorno all'albero 18. Occorre notare che nella forma di realizzazione preferita, la
superficie di transizione 102 dal
condotto di passaggio 96 verso
l'ingresso 98 è arrotondato.
La porzione di involucro 100 della
sezione di alloggiamento posteriore 36
segue da vicino il contorno definito da bordi di lama 104 del compressore radiale 26
in una stretta, sostanzialmente tenuta modo come è ben noto nella tecnica dei
compressori radiali. La porzione di involucro 100 della sezione di alloggiamento posteriore 78 canali d'aria tra le lame rotanti del compressore radiale 26 in modo che le lame possono
impartire lavoro per il passaggio dell'aria. La porzione di involucro 100 definisce anche uno scarico 106 per il compressore radiale 26.
Appena oltre l'uscita di scarico 106
del compressore radiale 26, le
superfici interne della sezione di alloggiamento posteriore 36 cominciano a curva immediatamente
verso l'interno per fornire un passaggio nella sezione successiva adiacente
dell'alloggiamento 12, il cono di
scarico 38. In questo modo, le
superfici interne sul retro-maggior parte di sezione di alloggiamento
posteriore 36 e quelle della
porzione anteriore del cono di scarico 92
definiscono internamente un deviatore di flusso 108. Nella forma di realizzazione preferita, il deflettore 108 è stretto e concentricamente
attorno posizionato all'uscita 106
del compressore radiale 26 in modo
che l'aria che esce dal compressore radiale 26 non ha la possibilità di diffondere in modo significativo prima
del suo arrivo al deviatore di flusso anulare 108. Il deviatore di flusso anulare 108 dirige l'uscita del compressore radiale 26 nel cono di scarico 38,
fornendo una transizione liscia superficie dall'interno della sezione di
alloggiamento posteriore 36 verso
l'interno del cono di scarico 38.
Il cono di scarico 38 è altamente
convergente, cava, sezione conica posta immediatamente a valle del compressore
radiale 26 per ricevere l'uscita del
compressore radiale 26 del deviatore
di flusso anulare 108. Nella
realizzazione preferita, il cono di scarico 38 è una singola sezione di alluminio che è unita all'estremità a
valle della sezione di alloggiamento posteriore 36 in un giunto flangiato 110.
Preferibilmente, il cono di scarico 92
converge secondo mezzo angolo di apertura di circa 35 ° e definisce la luce di
scarico 16 al suo capolinea. Una
sezione filettata 112 alla luce di
scarico 16 consente il fissaggio
della canalizzazione esterno appropriato (non mostrato) che porta alla
aspirazione del motore.
Durante il funzionamento del compressore 10,
lo spazio racchiuso dal cono di scarico 92
impedisce la formazione di una contropressione elevata che potrebbero essere
generate e pregiudicare il funzionamento e l'efficienza del compressore radiale
26. Lo spazio chiuso del cono di
scarico 92 è di volume sufficiente
per assorbire impulsi e di mediare condizioni di moto vario modo per promuovere
un'uscita liscia e continua dal compressore 10.

Facendo ora riferimento
alla Fig. 1 e Fig. 6, il cono di scarico 38 include un
supporto di cuscinetto posteriore
114 che comprende membri 116 che si
estendono radialmente verso l'interno dalle pareti esterne del cono di scarico 38. In una
posizione radiale verso l'interno vicino all'albero
18, i 116 convergono per formare un anello a forma di coppa che funge da alloggiamento 118 per il cuscinetto posteriore assemblaggio
120. L'alloggiamento 118 è aperta verso la
faccia posteriore del compressore
radiale 24 per facilitare lo smontaggio del compressore 10. Il gruppo
cuscinetto posteriore 120 è dello stesso tipo e dimensioni, come il cuscinetto
anteriore assembly 76. L'anello
interno 122
del gruppo cuscinetto 120 è impostato
in posizione sull'albero 18 da
distanziatori 124
e 126
in congiunzione con un dado 128
e una rondella 130 sull'estremità posteriore 132 dell'albero 18. In questa forma di realizzazione preferita, gli elementi 116 sono formate per essere solidale con le pareti del cono di scarico 38.

Facendo riferimento alla Fig. 1 e Fig. 5, a seguito della rotazione, il compressore assiale 24 aspira aria attraverso l'ingresso 14 e impartisce una compressione
iniziale quantità di aria in quanto costringe l'aria nel condotto di passaggio 96 della sezione di alloggiamento
posteriore 36. Nella realizzazione
preferita, il compressore assiale 24
comprende un mozzo 86, il sudario 50 ed una serie di dieci (10)
equidistanti, pale radiali 136.
Idealmente, ogni blade 136 aumenti
di cavo da una radice da 138 a 140 e una punta di 142 comprende un bordo d'uscita e un bordo d'attacco 144, dove questi bordi sono entrambi
leggermente curvo. Le pale aumentano gradualmente in tono da circa 12 ° alla
base da 138 a circa 36 ° a punte 140. Tuttavia, i valori particolari di
pece e altri aspetti geometrici delle pale 136
può essere variata secondo diverse velocità di funzionamento o ad altri
parametri, come sarebbe evidente ad un esperto nella tecnica pertinente uno e
familiarità con questa divulgazione.
Il compressore assiale 24 è
costruito preferibilmente da un unico profilato di alluminio pressofuso con le
facce 143 e 145 del mozzo 86 in lavorazione fini del
conseguimento accurate, posizionamento assiale del compressore assiale 24 sul relativo albero 18
all'alloggiamento 12. Le facce 146 e 148 del sudario 72 sono anche lavorati piatto. Inoltre,
la periferia esterna 150 del sudario
è lavorata per garantire spazio uniforme tra il sudario e le superfici interne
adiacenti 48 del compressore assiale
condotto 34. Preferibilmente, il
compressore assiale 24 è fissato
all'albero 18 mediante una
interferenza-spazio di un porzione a gradino 152 dell'albero 18. I
distanziatori 84 e 154 posizione
assialmente il compressore assiale 24
rispetto al supporto cuscinetto anteriore 40
e il compressore radiale 26,
rispettivamente.
Bilanciamento dinamico macchine di prova di tipo convenzionale può essere usato
per testare l'equilibrio del compressore assiale 24 prima della sua installazione. Se viene rilevato uno squilibrio,
materiale può essere rimosso alla periferia esterna 150 del sudario 50 in
modo da raggiungere il giusto equilibrio.

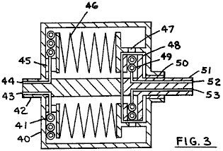
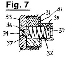
Facendo ora riferimento alla Fig.1, Fig.3, e Fig.7, il compressore radiale 26 è costituito da un unico pezzo di alluminio e comprende un mozzo
156 e pale 158. Interposta tra ogni coppia di lame 158 è una seconda serie di palette 160 che terminano breve dell'assunzione radiale 162 del compressore 26 in modo che l'assunzione di 162 non è affollata da entrambi i
gruppi di alette. Di conseguenza, le caratteristiche radiali compressore 26 sia un gran numero totale di lame e
di un apporto di diametro relativamente piccolo, queste caratteristiche ad
aumentare le prestazioni del compressore 26.
Nella regione di aspirazione 162, le
pale 158 bordi presenti principali 164 e subiscono una torsione nella
direzione di rotazione in modo da impedire un angolo favorevole di attacco in
aspirazione 162.
Preferibilmente, il compressore radiale 26
è posizionata sulla sezione a gradini 128
dell'albero 18 con interferenza-fit
e bloccata contro lo scivolamento rotazionale da un tasto 166. Il distanziatore 124
assicura gioco tra la faccia posteriore del compressore radiale 26 e il cuscinetto posteriore
assemblaggio 120.
L'albero 18 è costruito da un
acciaio temprato ed è filettato alle due estremità 30 e 132 per ricevere i dadi 90
e 128, rispettivamente. Oltre alle
centrali porzione a gradino 152, che
riceve i compressori 24 e 26,
l'albero 18 anche caratteristiche
intensificato porzioni 170 e 172 per
ricevere il fronte e di supporti posteriori 76 e 120, rispettivamente. La disposizione a scalare dell'albero 18 facilita il montaggio e lo
smontaggio dal fatto che i 152
porzione a gradino del diametro massimo è situato sull'albero 18 e tutte le porzioni a gradini sono
superiori al diametro della filettatura di estremità 30 e 132.
Notare che supporta il cuscinetto 40 e
114 sono in posizione fissa rispetto all'alloggiamento 12 e che il compressore 24 e
26 sono tenuti in posizione tra il cuscinetto 22 e supporti 40 da
distanziatori 84, 124 e 154, che
hanno lunghezze predeterminate. Di conseguenza, il posizionamento dei
compressori 24 e 26 rispetto
all'asse longitudinale del corpo 12
è fissato dai distanziatori e non per la posizione assiale del relativo albero 18 all'alloggiamento 12. Si noti anche che le porzioni a
gradini 152, 170 e 172 dell'albero 18 sono dotati ciascuno di lunghezze
supplementari in modo che i rispettivi componenti (i gruppi cuscinetti e
compressori) possono ciascuno essere situata in un intervallo relativamente
ampio di posizioni nelle rispettive porzioni a gradini . Così, l'albero 18 non devono essere posizionati con
precisione lungo l'asse longitudinale del corpo 12 per ottenere il corretto assemblaggio del compressore 10. Per esempio, se i dadi 90 e 128 erano stati serrati diverso che appaiono in Fig.1, allora albero 18 potrebbe essere stato spostato
leggermente in direzione assiale da dove è mostrato in Fig.1. Tuttavia, il posizionamento relativo dei vari componenti
sull'albero 18, cioè, la puleggia 28 ruota, i compressori 24 e 26 ed i gruppi cuscinetti 76 e 120, sarebbe rimasta la stessa
rispetto a se stessi e l'alloggiamento 12.
Questa caratteristica facilita il processo di fabbricazione e, di conseguenza,
riduce i costi. Si riduce anche la quantità di lavoro necessaria per il
rimontaggio dopo la riparazione.
Nel funzionamento, il compressore 10
è opportunamente collegato a propria uscita 16 ad una presa di un motore di automobile, con le cinghie di
trasmissione 31 dal gomiti del
motore viene collegato alla ruota puleggia 28
del compressore 10. Poi, mentre il
motore è in funzione, la coppia viene trasferita dalle cinghie di trasmissione 31 alla puleggia 28 per azionare i compressori 24
e 26. Alla rotazione, il compressore assiale 24 aspira aria attraverso l'ingresso 14, impartisce una quantità iniziale di compressione per l'aria e
lo scarica nel condotto di passaggio 96
con un vortice. In ragione della sua composizione, il compressore assiale 24 è creduto per spostare un maggior
volume di aria nella regione delle punte delle lame 140 rispetto a è più posizioni radialmente verso l'interno.
Pertanto, vi è una massa maggiore di aria situato nella regione anulare esterna
dietro il compressore assiale 24
rispetto alla regione anulare interna. Come lo scarico dal compressore assiale 24 viene fatto uscire dal compressore
assiale condotto 34, altamente
convergente, di transizione è creduto condotto 96 per provocare l'anello esterno di aria che viene scaricato dal
compressore assiale 24 a
rotolare-in. Questa azione è creduto di avere due risultati favorevoli. Primo,
il roll-in azione provoca un regime di flusso da stabilire all'ingresso 98 del compressore radiale 26 in modo tale che la necessità di una
pala di guida è totalmente evitato. In secondo luogo, e di pari importanza, la
laminazione in azione, in collaborazione con il grande volume di spazio
racchiuso dal condotto di transizione 96,
si crede di influenzare le prestazioni del compressore assiale 24 favorevole, in modo che un rapporto
di pressione più elevato è ottenuto da esso.
Poiché il rapporto di pressione complessiva del compressore 10 è il prodotto dei rapporti di
pressione dei due compressori, si può notare che l'aumento delle prestazioni
dei compressori assiali 24 si
traduce in un corrispondente miglioramento delle prestazioni complessive del
compressore. Va inoltre osservato che la delezione di palette di guida di
entrata per il compressore radiale 26
e delle alette di uscita per il compressore assiale 24 semplifica notevolmente la progettazione della sezione di
alloggiamento posteriore 36 e
fornisce quindi un risparmio nei costi di fabbricazione. Inoltre, evita le
perdite di pressione associate a palette tipo, che sono spesso abbastanza
significativo.
Uscendo transizione condotto 96, il
pre-roteato flusso d'aria entra l'ingresso 98
del compressore radiale 26 e poi nel
compressore 26 stesso. Passando
attraverso il compressore radiale 26,
l'aria è acceso e ruotata in modo tale che il flusso d'aria viene scaricata
centrifuga con una notevole componente di velocità radiale, al che il flusso
risultante viene bruscamente trasformato dal deflettore di flusso anulare 108 e fatto entrare nel cono di scarico
38. Come spiegato in precedenza, il
grande volume di spazio racchiuso dal cono di scarico 38 induce condizioni di flusso radiale dietro il compressore 26 in modo tale che contropressioni
elevate sono evitati, pressioni che altrimenti potrebbero compromettere le
prestazioni del compressore radiale 26.
Impulsi in uscita del compressore radiale 26
sono moderate. L'aria viene poi consegnato in uno stato compresso alla luce di
scarico 16 del cono di scarico 38. L'aria fluisce poi sovralimentato
il sistema appropriato di aspirazione del motore fino a raggiungere il cilindro
o cilindri del motore.

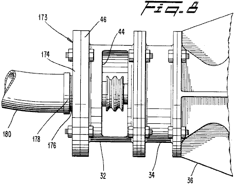
Per quanto riguarda l'applicazione del
sovralimentatore 10 di aria
serbatoio motori alimentati, come descritto in US Pat. No. 4.292.804, le 10 funzioni supercharger nello stesso
modo come sopra descritto, ma è collegato al motore diverso. Nel motore
serbatoio dell'aria alimentato, almeno uno dei collettori di scarico dei motori
fornisce aria parzialmente espansa ad una linea 14 collegata alla aspirazione del compressore 10. Facendo riferimento alla Fig.
8, nella maggior parte di tali applicazioni, questa linea sarà di un
diametro inferiore rispetto al corpo 12
a 14 di ingresso del compressore, in modo tale che un adattatore 173 è necessaria. L'adattatore 173 comprende una piastra anulare 174 avente una apertura filettata 176 dimensionato per ricevere un
accoppiamento, un'estremità filettata 178
della linea 180. La piastra 174 è fissata alla flangia 36 della sezione di alloggiamento
anteriore 32 mediante una pluralità
di bulloni. Perché l'aria proveniente dalla linea 180 è normalmente inferiore alla piena capacità del compressore,
l'aria viene introdotta attraverso l'apertura laterale 44 lungo il lato della sezione di carcassa anteriore 32. In questa applicazione, l'apertura 44 serve così come l'immissione
dell'aria e un mezzo per l'alloggiamento delle cinghie di trasmissione 31 e deve quindi essere dimensionato
sui criteri aggiuntivi che non sia così grande da sconvolgere il flusso
dell'aria in entrata in la linea 180.
Sul passaggio dell'aria attraverso il compressore, l'aria viene diretto
attraverso la luce di scarico 16 ed in una linea appropriata collegato ad esso,
quale linea può portare direttamente al motore o ai serbatoi di stoccaggio del
motore. Se rivolto ai serbatoi, questa aria ricompresso è utilizzato per
integrare la necessaria ricarica dei serbatoi di stoccaggio.
È da apprezzare che il risparmio del costo di fabbricazione del compressore 10 sono raggiunti da ragione che
l'alloggiamento 12, il cuscinetto 40 supporta e 114, il compressore assiale 24
e il compressore radiale 26 sono
tutti costruiti da parti in alluminio pressofuso e richiedono solo una quantità
minima di lavorazione. Inoltre, il cuscinetto a rulli assiemi 76 e 120 sono componenti disponibili
commercialmente, e il compressore 10
è montato facilmente. Questi aspetti ridurre ulteriormente i costi di
fabbricazione e di rendere il compressore divulgato poco costoso da mantenere e
revisionare. Ancora più importante, il compressore 10, nonostante il suo design semplice, fornisce sovralimentazione a
velocità operative relativamente basse. Con la sua velocità di funzionamento
inferiori, la durata del compressore 10
è estesa e il rischio di soffrendo guasto meccanico è ridotto. La necessità per
i disegni di cuscinetti speciali e lubrificazione è anche evitato. Di
conseguenza, il compressore 10 è
particolarmente adatto per la produzione di massa e per l'uso in automobili,
autocarri, elicotteri o simili.
Il sito web http://www.airtxinternational.com/stainless-steel-vortex-tubes.html mostra "i tubi
vortex", che sono dispositivi completamente passivi senza parti in
movimento:

Questo dispositivo fa le cose che non ti aspetteresti. L'aria compressa ad una
temperatura di, per esempio, 70 gradi
centigradi viene alimentato nella
camera circolare in cui la forma
della camera provoca a spirale rapidamente appena
esce il tubo:

Vi è un guadagno di energia
in un vortice, come
si può vedere in un uragano o
tornado, ma la
cosa veramente interessante è il
brusco cambiamento di temperatura causato
dalla variazione di pressione come
l'aria si espande. Il rapporto
di guadagno di calore per la perdita di calore è controllata dal rapporto tra le dimensioni delle aperture, motivo
per cui vi è un ugello regolabile sulla piccola apertura.
L'aria in uscita attraverso
l'apertura grande è il volume
molto superiore dell'aria in uscita
attraverso la piccola apertura e si espande rapidamente, producendo una forte riduzione della temperatura. La densità di tale aria fredda è
ora molto superiore dell'aria che
entra nella camera di turbolenza. Quindi si è registrato un
calo della temperatura e un
aumento della densità. Queste caratteristiche dell'espansione sono fatto
uso nella progettazione Leroy
engine Rogers, dove
viene compresso alcuni scarico
dell'aria espansa del motore e
passato al serbatoio principale stoccaggio aria. Mentre
il compressore fa aumentare la
temperatura dell'aria che pompa
l'aria indietro nel serbatoio,
non raggiunge la sua temperatura iniziale all'istante.
Il risultato è la temperatura dell'aria all'interno del serbatoio cadere il motore opera.
Tuttavia, la temperatura del serbatoio
abbassata provoca un afflusso di calore dal suo ambiente immediato, innalzando la
temperatura complessiva serbatoio.
Questo riscaldamento dell'aria fredda fa sì
che la pressione del serbatoio di
aumentare ulteriormente, dando un guadagno di energia, per gentile concessione del
contesto locale. È importante comprendere che richiede meno
energia per comprimere l'aria che l'energia cinetica che
può essere generato da lasciare che l'aria compressa
espandersi nuovamente. Si tratta di una situazione concreta, per gentile concessione del contesto locale e non
è una violazione della legge di
conservazione dell'energia. È anche
una caratteristica che non è ancora
stato sfruttato per qualsiasi grado
grande e che è in
attesa di essere utilizzate da qualsiasi inventore avventurosa o sperimentatore.
Eber presenta un motore personalizzato basato su questi principi. Il motore utilizza sia aria compressa
e olio compresso per
manipolare pressioni all'interno
del sistema e fornire un motore
che è autoalimentato. Nell'appendice
è una versione leggermente riformulato del Van
Eber Valkinburg brevetto,
che osserva che "energia
immagazzinata in un fluido compresso elastica viene
utilizzata in modo controllato per pressurizzare un fluido inelastico e mantenere tale
pressurizzazione. Il fluido pressurizzato viene strozzata anelastica alla girante di un motore primo. Solo
una porzione della energia di uscita
dal motore primo è utilizzato per far circolare il fluido anelastico in modo da mantenere un equilibrio volumetrica quasi costante nel sistema ".

Il motore Clem si basa su un principio
completamente diverso, e uno che non si parla molto spesso. Gli uragani o
"scioglilingua", come vengono talvolta chiamati, sono le grandi masse
d'aria rotanti di incredibile potere che si sviluppano in ambienti
particolarmente caldi che sono più di otto gradi Nord o Sud dell'equatore. La
distanza dall'equatore è essenziale in quanto la rotazione della Terra è necessario
per dar loro il giro iniziale. In genere si manifestano per l'acqua, che è a
una temperatura di 28 gradi centigradi o superiore, come l'aria che consente di
assorbire energia termica sufficiente per iniziare. Questo è il motivo per cui
vi è una distinta "stagione degli uragani" in questi settori, dal
momento che in alcuni periodi dell'anno la temperatura dell'oceano non è solo
sufficiente a scatenare un uragano.
Ciò che non è generalmente capito è che un uragano si sviluppa l'energia in
eccesso a causa del suo movimento vorticoso circolare. La generazione di questa
potenza in più è stato osservato e documentato da Viktor Schauberger d'Austria,
che ha anche usato le sue osservazioni di grande effetto. Credo che quello che
dice Schauberger rende alcune persone a disagio come sembrano pensare che
qualcosa di "poco ortodosso" deve essere strano e troppo peculiare di
essere menzionati. Questo è un po 'strano come tutto ciò che è in questione qui
è una semplice constatazione di come il nostro ambiente funziona realmente. Un
uragano è più larga in alto rispetto al fondo e questo concentra il potere alla
base della massa d'aria vorticoso. Questa rotazione conica viene chiamato
"vortice" che è solo un nome semplice per descrivere la forma, ma
ogni menzione del "potere vortice" (il potere alla base di questa
rotazione) sembra rendere molte persone a disagio, che è molto particolare.
A prescindere da questo, la domanda è: "possiamo usare questo guadagno di
energia dall'ambiente per i nostri scopi?". La risposta potrebbe essere
"sì". Forse questo principio è utilizzato da Richard Clem. Nel 1992,
Richard Clem del Texas, ha dimostrato una autoalimentato motore di un tipo
insolito. Questo motore, che era stato in via di sviluppo per venti anni o più,
pesa circa 200 libbre (90 chili) e ha generato un misurato 350 cavalli in modo
continuativo per l'intero periodo di nove giorni di test di auto-alimentato.
Anche se questo motore che va da 1.800 a 2.300 giri al minuto è particolarmente
adatto per l'alimentazione di un generatore elettrico, Richard ha fatto
installare uno in una macchina, e ha stimato che sarebbe in per 150.000
chilometri senza alcun bisogno di attenzione e senza alcun tipo di
combustibile. Richard ha detto che il suo prototipo ha raggiunto una velocità di
105 mph. Solo dopo aver ricevuto i finanziamenti per produrre il suo motore,
Richard morì improvvisamente e inaspettatamente a circa 48 anni di età, il
certificato di morte con "attacco di cuore" scritto su di esso come
la causa della morte. Notevolmente tempo conveniente per le compagnie
petrolifere che avrebbero perso grandi quantità di denaro attraverso la vendita
di carburante ridotti se il motore di Richard era andato in produzione.
Il motore è insolito che è un disegno di stile rotativo turbina che gira ad una
temperatura di 300oF (140oC) e per quella temperatura elevata, utilizza olio di
cottura come fluido operativo, piuttosto che acqua come l'olio ha un punto di
ebollizione molto più alto . Per una rapida occhiata, questo sembra un
dispositivo impossibile come sembra essere un motore puramente meccanico, che
sicuramente hanno un rendimento effettivo che è inferiore al 100%.
A grandi linee, l'olio viene pompato attraverso un tubo e nella estremità
stretta del cono del rotore. Il motore viene avviato in rotazione da un motore
esterno avviamento fino a raggiungere la velocità alla quale si genera una
potenza sufficiente per sostenere essere proprio funzionamento. La filatura
rapide del cono, provoca l'olio a correre lungo scanalature a spirale tagliati
nella faccia interna del cono e l'uscita attraverso ugelli inclinati poste alla
estremità larga del cono:


La pressione operativa prodotta dalla pompa
è 300 a 500 psi. Richard
non ha cercato di brevettare
il suo motore da brevetto
USA 3.697.190 "Pompa trascinamento conico troncato"
concesso nel 1972 come un liquido
pompa-asfalto è
così vicino in dettaglio che
Richard sentiva che c'era una
differenza sufficiente per lui
per ottenere un brevetto:

Sembra che vi sono notevoli possibilità
di chi vuole costruire o fabbricare questo motore ed è in grado di agire come
riscaldatore e dispositivo per la
produzione di energia meccanica. Questo
suggerisce che la depurazione delle acque potrebbe essere un ulteriore opzione "extra" per questo motore.
Prof. Alfred Evert
di Germania ha prodotto un'analisi del funzionamento del motore
Clem e turbine
in questa categoria
generale. Il suo sito web http://evert.de/indefte.htm ha un bel po 'di informazioni sul tema.
L'ungherese, Josef Papp, inventò un sistema
insolito motore che sembra veramente di essere quasi
"combustibile-less". Suo progetto modifica un motore esistente
veicolo di operare su una quantità fissa di gas. Vale a dire, il motore non ha
alcuna aspirazione e di scarico e, di conseguenza, nessun ingresso o valvole di
scarico. Cilindri del motore contengono una miscela di gas che hanno un numero
atomico di sotto di 19, in particolare, 36% di elio, neon 26%, 17% argon, 13%
kripton e xenon 8% in volume. Il sistema di controllo fa sì che il gas
contenuto di espandere a guidare i pistoni le bombole e poi contratto a
succhiare i pistoni il backup dei cilindri. Questo converte efficacemente il
motore in un solo colpo versione in cui ci sono due colpi di potenza per giro
da ogni cilindro.
Una piccola quantità di materiale radioattivo viene utilizzato nel motore, e ho
visto suggerito che il motore deve essere schermato per proteggere l'utente
dalle radiazioni. Non sono sicuro che questo è corretto, ma se lo è, allora si
suggerisce che una questione di conversione di energia è infatti in corso.
Sembra molto improbabile che la quantità minore di materiale radioattivo nello
stesso motore potrebbe causare alcuna radiazione significativa. Il brevetto
descrive il materiale come "a basso livello", che mi fa pensare, il
materiale non è più pericoloso che la vernice luminosa che ha usato per essere
utilizzato su mani di orologi.
Motori adeguati devono avere un numero pari di cilindri in quanto operano in
coppia. Primo prototipo di Josef era un quattro cilindri, 90 cavalli del motore
Volvo. Si tolse i componenti di aspirazione e scarico e sostituito la testata
del motore con il suo proprio disegno. Durante un test di 35 minuti in una
stanza chiusa, il motore ha generato una costante di uscita 300 cavalli a 4.000
giri. La potenza elettrica necessaria per far funzionare il motore è stato
prodotto dall'alternatore del motore standard, che era anche in grado di
caricare la batteria del veicolo allo stesso tempo. È interessante notare che
un motore di questo tipo, a prescindere da avere emissioni inquinanti a zero
(diversi calore), è perfettamente in grado di funzionare sott'acqua.
Josef, un disegnatore ed ex-pilota, emigrato dall'Ungheria in Canada nel 1957
dove ha vissuto fino alla sua morte nel mese di aprile 1989. Ci sono prove
evidenti che Josef costruito un motore di oltre 100 CV (75 kW) che è stato
"alimentato" da una miscela di inerti (o "nobile") gas.
Senza sistema di scarico o di raffreddamento, ha avuto enorme coppia anche a
basso numero di giri (776 piedi-libbre a soli 726 giri al minuto in un test
certificato). Decine di ingegneri, scienziati, investitori e un giudice
federale, con un background di ingegneria ha visto il funzionamento del motore
in ambienti chiusi per ore. Ciò non sarebbe stato possibile se il motore ha
utilizzato combustibili fossili. Non c'era assolutamente nessun gas di scarico
e non prevede visibile per ogni scarico. Il motore ha funzionato fresco a circa
60 ° C (140 ° F) sulla sua superficie, come testimoniato da diversi osservatori
affidabili. Tutte queste persone si convinse delle prestazioni del motore.
Tutti non è riuscito a scoprire una bufala. La ricerca in corso negli Stati
Uniti (totalmente indipendente Papp) ha dimostrato definitivamente che i gas
inerti, elettricamente attivati in vari modi, può davvero esplodere con
violenza fantastico e il
rilascio di energia, parti metalliche di fusione e pistoni che spingono con
impulsi di pressione di grandi dimensioni. Alcune delle persone che svolgono
questo lavoro, o che lo hanno valutato, sono vissuti fisici del plasma.
Laboratorio contemporanea ha stabilito che i gas inerti può essere fatta
esplodere
In una manifestazione il 27 ottobre 1968 nel deserto californiano, Cecil
Baumgartner, che rappresenta il top management della società aerospaziale TRW e
altri si è verificata l'esplosione di uno dei cilindri del motore. In piena
vista del pubblico, pochi centimetri cubi di miscela di gas inerte è stato
iniettato nel cilindro usando un ago ipodermico. Quando il gas è stato attivato
elettricamente, le pareti in acciaio spesse del cilindro si squarciò in modo
drammatico. William White, Edmund Karig, e James Green, osservatori del
underseas Naval Warfare Laboratorio in precedenza aveva sigillato la camera in
modo che Papp o altri non potrebbe inserire esplosivi come parte di una bufala.
Nel 1983, un test di certificazione indipendente è stata effettuata su uno dei
motori Papp. Joseph Papp è stato emesso tre brevetti negli Stati Uniti per il
suo processo e motori:
US 3.680.431 il 1 ° agosto 1972
"Metodo e mezzi di generazione di forze esplosive", in cui egli
afferma la natura generale della miscela di gas inerte necessario per la
produzione di rilascio esplosivo di energia. Si suggerisce anche di diverse
fonti di attivazione che possono essere coinvolte. Sembra che Papp non sta
offrendo una completa informativa qui, ma non c'è dubbio che gli altri che
hanno esaminato questo brevetto e seguito il suo contorno sono già stati in
grado di ottenere detonazioni esplosive in gas inerti.
US 3670494 del 20 giugno 1972
"Metodo e mezzi di conversione per l'energia atomica in utilizzabile
energia cinetica" e
US 4428193 il 31 gennaio 1984
"Fuel gas inerte, Preparazione Apparato carburante e sistema di estrazione
di lavoro utile da combustibile". Questo brevetto mostrato qui, è molto
dettagliato e fornisce informazioni sulla costruzione e gestione di motori di
questo tipo. Si dà anche notevole dettaglio il dispositivo per produrre la
miscela ottimale dei gas necessari.
Al momento della scrittura, un web-based video di uno dei motori prototipi
delle Papp in esecuzione su un banco di prova, è disponibile sul sito http://video.google.com/videoplay?docid=-2850891179207690407 anche se va detto che
una buona parte del filmato è
di pessima qualità, sia stata assunta
molti anni fa. Il video è particolarmente interessante in quanto
alcune delle manifestazioni comprendono casi in cui viene utilizzato
un cilindro trasparente per mostrare
l'esplosione di energia. Fotogramma per fotogramma operazione sul video mostra
energia in fase di sviluppo all'esterno
del cilindro e nel cilindro,
che sembra suggerire
che il punto zero campo
energetico è coinvolto. Recentemente
sono stato contattato da un uomo
che ha partecipato ad alcune delle
manifestazioni di motori gestiti
da Papp e si fa garante per il fatto che il motore eseguito esattamente
come descritto. Altri video del
motore si trova in Papp
http://www.pappengine.com/videos.htm.
Papp brevetto US 4.428.193 viene mostrato per intero in appendice.

Josef
non è mai riuscito ad ottenere la sua progettazione
Il
"processo di transizione Plasmic" è oggetto di diversi brevetti in
attesa di PlasmERG Inc. di Iowa. John Rohner fondato questa azienda nel 2008
per essere il mezzo per diffondere, sviluppare e concedere in licenza questa
tecnologia ai produttori di altri autoveicoli per uso proprio. Questo processo originariamente chiamato "Papp
Engine" è stata eseguita nel 1982 ed è stato poi perso fino a Giovanni, e
il suo socio Haik Biglari lo riscoprì e scienza moderna applicata al sistema
per spiegare il processo e depositato i loro brevetti, attualmente pendente. Il
processo originale era basato su informazioni originariamente brevettato dal
defunto Joseph Papp, i cui brevetti sono scaduti. John Rohner, un noto
ingegnere di nuovi prodotti di design, è stato originariamente contattato nel
1979 da suo fratello Robert, con uno schema per il controller che Papp aveva
progettato. Purtroppo, John era impegnato con altri progetti così l'ha
consegnato al fratello Tom.
PlasmERG ha progettato due motori per il
proprietario-materiale-produttori da usare. Uno è un contrapposti, a 2
cilindri, motore da 120 pollici cubici che produce un po 'di 300 cavalli. Il
secondo è un motore a 6 cilindri 360 pollici cubici in grado di produrre circa 1.500
cavalli. Questi motori sono in corso di co-sviluppato con una consociata in
Canada. John Rohner ha personalmente fornito l'investimento totale per questo
sviluppo. Poiché la società si muove verso la produzione, sono alla ricerca di
partner di investimento, compravendita di azioni per gli investimenti. Il loro
primo impianto di produzione commerciale, avrà un costo di circa 10 milioni di
dollari.
Una strategia alternativa è quella di creare licenze per
auto esistente e produttori di motori di camion fino a che non possono
finanziare la propria produzione. Il piano attuale è di fornire 500 a 1.000
siti di prova in nazioni sottosviluppate per il pompaggio dell'acqua e la
produzione di energia come "umanitarie" siti di prova. Questo
dovrebbe consentire il tempo necessario per ottenere la produzione compreso e
brevetti completata.
Il tempo di esecuzione previsto di un motore da una
singola carica di gas inerte è più di 3 mesi di funzionamento continuo e gas di
ricarica dovrebbe costare meno di US $ 50. Giovanni sottolinea che il motore
non è PlasmERG, (proprio come il motore originale Papp non era), un
"Pulsed Plasma motore". Plasma non viene mantenuto e
"impulsi", come alcuni hanno supposto. Quello che accade è che il
plasma viene ricreato ad ogni colpo di potenza e poi torna ad un gas di stato
stazionario su ogni corsa di ritorno, da cui il nome "Transizione
Plasmic" deriva.
La potenza iniziale e alla creazione di plasma per
l'espansione, è prodotto da un evento di fusione con un effetto collaterale di
un evento limitato "caotica" fissione causando una "transizione
plasmico" che è contenuto in un contenitore sigillato 2-ciclo motore in
rotazione dell'albero motore.
Ci sono due linee parallele alla transizione Plasmic e la
produzione di energia di questo motore. Il primo è un fulmine naturale, che
utilizza un processo quasi identico simile transizione Plasmic, e il secondo è
a vapore che fornisce la stessa coppia più caratteristiche di rotazione di
velocità degli eventi. Non c'è nulla nel corso di normali operazioni a
combustione interna del motore che è paragonabile a uno di questi processi. La
parte più importante del funzionamento del motore PlasmERG è il sistema di
controllo elettronico (ECS), comprendente i seguenti elementi:
• micro computer programmabili;
• generatore di frequenze radio di potenza;
• HV scintilla bobina conducente iniziazione;
• Vari elettromagnetici bobina interruttori di tensione
che forniscono di base (a riposo) o variabili (velocità del motore) per tutte
le tensioni di cilindro o di reazione bobine elettromagnetiche da camera;
•
On-controller CC a 12 V CC;
• Velocità in tensione continua (acceleratore) a tensione
variabile programmata CDC,
• L'Inter di controllo porta di comunicazione;
• Supporto strumento per pannello utente e la porta
d'azione che riceve i comandi da parte dell'utente che comprende, non limitata
a cose come Run, Start, posizione farfalla, Tenere la velocità, l'applicazione
del freno, freno duro, gli ingressi del motore e varie informazioni contenute
carburante.
Il sito web della PlasmaERG è a http://plasmerg.com/
ma ha bisogno di Internet Explorer per visualizzare
correttamente in quanto ha gravi problemi di visualizzazione quando Firefox viene utilizzato.
Domanda di brevetto John Rohner di A1 US 2011/0113772 dal
titolo "Plasmic Motor processo
di transizione" può essere scaricato dal www.freepatentsonline.com
o da www.free-energia-info.com.
Mostra un motore a due cilindri come un
esempio del funzionamento:

Robert Britt progettato un motore molto simile a quello di Josef Papp, ed è stato anche
assegnato un brevetto statunitense per un motore funzionante a gas inerti. William
Lyne osserva che
questo disegno motore può essere replicato
con un Chevy "Monza"
6 cilindri o una VolksWagen
motore a 4 cilindri. Le teste vengono rimossi e le nuove
teste espressi con il "metallo
del POT" usato per "pseudo chrome"
assetto automobilistico. Che lega contiene alluminio,
stagno, zinco e possibilmente
antimonio ed è particolarmente adatto come l'interno delle cavità può essere lucidato per l'alta riflettività specificata nei brevetti.
Una copia completa di Robert Britt di brevetto US
3.977.191 è in
Appendice.
Sia Josef Papp e Robert Britt specificati gas inerte per il funzionamento, ma Heinrich Klostermann sottolinea che l'aria ordinaria è più che sufficiente. Il suo video è https://www.youtube.com/watch?v=lNSAXbZfnbE in questo momento. Il suo brevetto è:
US
Patent 7.076.950 18
Luglio 2006 Inventore: Heinrich Klostermann
Esplosione Interna del Motore e Generatore
Mediante Gas Non-combustibili
Astratto:
Un motore esplosione interna e generatore
avente una camera di scoppio, un organo mobile formando una parete della
camera, una carica di gas non combustibile sigillato all'interno della camera,
mezzi per ripetutamente la combustione dei gas in modo esplosivo per guidare
l'elemento mobile da una posizione del volume minimo ad una posizione di volume
massimo, mezzi per il ritorno dell'organo mobile dalla posizione di massimo
volume nella posizione di volume minimo, e mezzi accoppiato all'organo mobile
per fornire energia elettrica in risposta alla esplosione del gas. In una forma
di realizzazione descritta, l'organo mobile è un pistone collegato ad un albero
motore, e viene riportato nella posizione di volume minimo da un volano
sull'albero motore. In un'altra forma di realizzazione, due pistoni sono
collegati back-to-back in una camera ermeticamente sigillato per impedire la
perdita

Altri
Riferimenti:
Mallove et al., Infinite Energy, Sep./Oct. 2003 vol. 9, No. 51, New
Energy Foundation, Inc., Concord, NH, USA.
Descrizione:
BACKGROUND DELL'INVENZIONE
1. Campo dell'Invenzione
Questa invenzione si riferisce in
generale a motori e generatori e, più particolarmente, ad un motore esplosione
interna e generatore mediante gas non combustibili.
2. Art Correlati
Un motore esplosione interna è
generalmente simile in linea di principio ad un motore a combustione interna
eccezione che utilizza gas non combustibili, per esempio aria, ossigeno, azoto
o gas inerte invece dei gas combustibili che vengono utilizzati nei motori a
combustione interna. Prima del funzionamento, il gas per azionare un motore a
scoppio interna viene posto nella camera di scoppio del motore, e la camera è
sigillata. Durante il funzionamento, il gas nella camera di scoppio viene
ripetutamente compresso, ionizzato, esplosivo espanso e contratto per spostare
un pistone o rotore o altro dispositivo mobile per convertire l'energia
cinetica in energia meccanica o elettrica. Una volta che il gas è stato
caricato nella camera di scoppio, il motore può funzionare per lunghi periodi
di tempo senza combustibile supplementare. Non vi è alcuna necessità di
aspirazione del combustibile ad ogni ciclo di funzionamento, come in un motore
a combustione interna, e non c'è scarico. Esempi di motori a scoppio interne
della tecnica anteriore si trovano nel brevetto statunitense n. N. 3.670.494 e
4.428.193.
SCOPI E SOMMARIO DELL'INVENZIONE
Si è, in generale, uno scopo
dell'invenzione è quello di fornire un nuovo e perfezionato motore a scoppio
interno e generatore. Un altro scopo del trovato è quello di realizzare un
motore esplosione interna e generatore del carattere sopra che superi le
limitazioni e gli svantaggi dei motori e generatori che finora sono stati
forniti. Questi ed altri scopi sono raggiunti in accordo con l'invenzione
fornendo un motore esplosione interna e generatore che ha una camera di
scoppio, un organo mobile formando una parete della camera, una carica di gas
non esplosivi sigillato all'interno della camera, mezzi per ripetutamente la
combustione dei gas in modo esplosivo per guidare l'elemento mobile da una
posizione di volume minimo ad una posizione di volume massimo, mezzi per il
ritorno dell'organo mobile dalla posizione di massimo volume nella posizione di
volume minimo, e mezzi accoppiati al mobile membro per fornire energia
elettrica in risposta alla esplosione del gas. In una forma di realizzazione
descritta, l'organo mobile è un pistone collegato ad un albero motore, e viene
riportato nella posizione di volume minimo da un volano sull'albero motore. In
un altro, due pistoni sono collegati back-to-back in una camera ermeticamente
sigillato per impedire la perdita del gas esplosivi. In una realizzazione,
l'energia elettrica è prodotta da un generatore collegato all'albero motore, e
nell'altro è prodotta da una bobina posizionata vicino ad un magnete che si
muove con i pistoni.
BREVE DESCRIZIONE DEI DISEGNI

Fig.1 è una vista in pianta dall'alto di una realizzazione di un motore esplosione interna e generatore incorpora l'invenzione.

Fig.2 è una vista in sezione, presa lungo la linea 2-2 nella Fig.1.

Fig.3 è una vista in sezione, presa lungo la linea 3-3 nella Fig.2.

Fig.4 è uno schema circuitale della forma di realizzazione di Fig.1.

Fig.5 è una vista in sezione di
mezzeria di un'altra realizzazione di un motore esplosione interna e generatore
incorpora l'invenzione.

Fig.6A e Fig.6B sono viste in sezione, presa lungo le linee 6A-6A e
6B-6B in Fig.5.

Fig.7 e Fig.8 sono viste mezzeria
sezione ingrandita di gruppi valvolari e spina per la porta gas di carico nelle
forme di realizzazione di Fig.1 e Fig.5.
DESCRIZIONE DETTAGLIATA


Come illustrato in Fig.1 alla Fig.3, il motore 11 comprende un pistone
12 in un cilindro 13, con anelli 14 fornendo una tenuta tra il pistone e la
parete interna del cilindro. L'estremità superiore o esterna del cilindro è
sigillata da una piastra terminale o testa 16, e una camera di scoppio 17 è
formata tra la testata e il pistone. Una luce di ingresso 18 è formata nella
testata per introdurre una carica di gas nella camera di scoppio, e
l'ammissione di gas attraverso la porta è controllata da un gruppo valvola 19.
Il pistone è collegato ad un albero motore 21 da una biella 22 , e l'albero
motore comprende un contrappeso o volano 23. nel funzionamento, il pistone
viene spinto in una direzione verso il basso dalla esplosione del gas nella
camera e restituito alla posizione di sparo da energia immagazzinata nel
volano. L'estremità inferiore del cilindro 13 è chiusa da un involucro carter
24. L'albero motore è collegato all'albero 26 di un generatore 27 situato
all'esterno dell'alloggiamento carter mediante un accoppiamento 28. Come
discusso più completamente appresso, il generatore può anche essere guidato
come motore per l'uso in avviamento del motore.
Nella forma di realizzazione illustrata, gruppo valvola 19 è una valvola
unidirezionale che permette passaggio dei gas nel ma non fuori della camera di
scoppio attraverso la porta di ingresso 18. La valvola è mostrata in maggiore
dettaglio nella Fig.7, e comprende un corpo o boccola 31 con un foro assiale o
passaggio 32. l'estremità interna del corpo valvola è avvitato nella porta, ed
un tappo 33 è avvitato sulla all'estremità esterna allargata del corpo. Il
coperchio comprende un passaggio 34, con la comunicazione tra questo passaggio
e passaggio 32 essendo controllato da una sfera 36 che è ricevuta in una sede
37 sul lato interno del tappo. L'azione è sollecitato verso una posizione di
chiusura contro la sede da una molla 38 che è vincolato tra la palla ed uno
spallamento 39 in corrispondenza dell'estremità interna del corpo valvola. Una
guarnizione 41 fornisce una tenuta tra la porzione esterna del corpo e la
testa.
Gli elettrodi sono montati nella testa per accendere il gas nella
camera. Un elettrodo ad alta frequenza 43 è posizionato assialmente della
camera e collegato ad un generatore a radiofrequenza 44 per ionizzare il gas
per formare un plasma. Gli elettrodi 46-49 sono distanziate intorno
all'elettrodo 43, con elettrodo 46 essendo collegato all'avvolgimento
secondario 50 della bobina di accensione 51 ed elettrodi 47-49 essendo connesso
ad un condensatore 52. Un perno di contatto 53 progetti dalla faccia del
pistone in allineamento con elettrodo 43.
Pistone 12 e estremità della piastra
o testa 16 sono realizzati in un materiale ferromagnetico come acciaio
inossidabile Grado-416, ed il cilindro 13 è fatto di un materiale non ferroso
quali acciaio inox Grado-303. Una bobina 54 è disposto intorno alla parte
esterna del cilindro ed accoppiato magneticamente con il pistone in modo da
formare un generatore riluttanza.

Sono previsti mezzi per rilevare quando il pistone si trova nel punto
morto superiore (PMS), oppure al minimo volume. Ciò significa comprende un
magnete 56, che è montato sulla porzione contrappeso del volano 23 dell'albero
a gomiti 21 ed un effetto Hall interruttore 57 che è montato in posizione fissa
nel basamento ed azionato dal magnete quando viene in vicinanza allo switch.
Alimentazione per il generatore operativo 27 come motore per avviare il
motore è fornita da batterie 59 che, nell'esempio illustrato, sono montati
all'interno dell'alloggiamento di un controller per il generatore 61. Le
batterie sono collegate al motore da una partenza normalmente aperto passare
62.
Le batterie forniscono anche l'alimentazione per il generatore di
radiofrequenza 44 e per gli elettrodi 46-49 che si accendono il gas nella
camera, con l'eccitazione di detti elettrodi essendo comandato da un relè 63.
L'applicazione di energia al generatore di frequenza radio è controllata da un
interruttore avvio / arresto 64, e eccitazione della bobina del relè 65 è
controllata dall'interruttore on / off e dalla effetto Hall interruttore 57
collegato fra l'/ off e la bobina relè.
Il relè ha una prima serie di contatti 66 che commutano condensatore 52
tra la sorgente di alimentazione e gli elettrodi 47-49, ed una seconda serie di
contatti 67 che collegano l'avvolgimento primario 68 della bobina di accensione
51 alla sorgente di alimentazione. Le batterie vengono caricate con la corrente
prodotta in bobina 54 dal generatore di reticenza. Tale bobina è collegata
all'ingresso di un raddrizzatore di potenza 69, e l'uscita del raddrizzatore è
collegato alle batterie.
Prima del funzionamento, una carica di aria viene introdotta nella
camera di scoppio attraverso la valvola di ritegno 19 e la porta di ingresso
18. Per avviare il motore, interruttore on / off 64 è chiuso, eccitando così il
generatore di radiofrequenza 44 e l'avvolgimento primario della bobina di
accensione 51 e applicando corrente di carica al condensatore 52, e
l'interruttore di avviamento 62 è chiusa per eccitare generatore 27 come un
motorino di avviamento. Il gas nella camera viene ionizzato dalla potenza RF
applicata all'elettrodo 43 per formare un plasma.
Poiché il pistone effettua la sua corsa verso l'alto, l'aria è compressa
e riscaldata, e verso il punto morto superiore, l'aria viene ionizzata dal.
Potenza radiofrequenza applicata all'elettrodo 43 per formare un plasma. Quando
il pistone si trova in corrispondenza o in prossimità del punto morto
superiore, l'effetto Hall interruttore 57 si chiude, eccitando la bobina del relè
65. Quando la bobina del relè è eccitato, i contatti 66 si applicano la carica
che ha costruito sul condensatore 52 agli elettrodi 47-49, e contatti 67 aperto
per interrompere la corrente nell'avvolgimento primario della bobina di
accensione 51, producendo una scarica ad alta tensione tra scintilla elettrodo
46 e il perno di contatto 53 sul pistone.
La scintilla elettrodo 46 e la corrente da elettrodi 47-49 scorre
attraverso l'aria ionizzata accendere l'aria, facendolo esplodere e produrre
un'onda di pressione fulminea, con luce ultravioletta, ozono e calore. Tale
onda di pressione spinge il pistone verso il basso, ruotando l'albero motore 21
ed il generatore 27, immagazzinando energia meccanica nel volano e produzione
di energia elettrica dal generatore.
Dopo il pistone raggiunge la sua massima posizione di punto morto
inferiore (BDC) volume o l'energia meccanica immagazzinata nel volano provoca
l'albero motore per continuare a ruotare, in modo da guidare il pistone verso
il punto morto superiore. La stessa carica di aria viene acceso ripetutamente
per un lungo periodo di tempo, e nella misura in cui ogni dell'aria è perduto
superano le fasce elastiche, viene rifornito automaticamente aria che entra
nella camera attraverso la valvola di ritegno. Così, con il pistone nella corsa
verso il basso, se la pressione nella camera scende sotto il livello impostato
molla 38, la sfera 36 si allontana dalla sua sede, permettendo all'aria di
entrare nella camera attraverso la porta di ingresso. Durante la salita, la pressione
nella camera tiene la sfera contro la sede, sigillando l'aria nella camera.

La forma di realizzazione di Fig.5 comprende un 71 motore a pistone
libero che ha una coppia di camere di scoppio 72, 73 alle estremità opposte di
un cilindro 74. Questo motore differisce dalla forma di realizzazione di Fig.1
in quanto non ha motore. Tuttavia, la potenza producendo meccanismo è lo
stesso, e riferimenti numerici uguali indicano elementi corrispondenti nelle
due forme di realizzazione. Le estremità esterne del cilindro sono chiuse da
piastre di estremità o testa 16, ed i volumi delle due camere variano in modo
opposto o complementare come un doppio pistone ended 76 viene azionato avanti e
indietro all'interno del cilindro.
Il complesso di pistone include una coppia di pistoni 12 che sono
collegati insieme in modo back-to-back da un manicotto 77, con anelli 14
fornendo una tenuta tra i pistoni e il cilindro. I pistoni hanno perni di
contatto centrali 53, e ciascuna delle camere di scoppio ha una luce di ingresso
18 e gli elettrodi 43, 46-49 per ionizzanti e la combustione dei gas.
Come nella forma di realizzazione di Fig.1, il pistone 12 e finale
piastre 16 sono fatti di un materiale ferromagnetico, ed il cilindro 74 è fatto
di un materiale non ferroso come alluminio acciaio inossidabile o nichel non
ferroso placcato. Manicotto 77 è realizzato in un materiale non ferroso come
alluminio. Le bobine 54 sono posizionati sulle porzioni esterne del cilindro e
accoppiati magneticamente con i pistoni per formare generatori a riluttanza.
Manica 77 trasporta magneti che azionano 56 ad effetto Hall interruttori
57 montato cilindro esterno 74 per determinare quando i pistoni sono in
corrispondenza o in prossimità del loro punto morto superiore (PMS) posizioni.
Un contatto di terra 78 portato dal manicotto 77 entra in contatto con la
parete del cilindro per mantenere i pistoni e spine di contatto 53 al
potenziale di terra scorrevole.
Il complesso di pistone include inoltre una relativamente grande magnete
permanente 81 che è portato dal manicotto 77 a metà strada tra i pistoni. Una
struttura nucleo ferromagnetico 82 fornisce l'accoppiamento flusso tra magnete
81 e lo statore bobine 83, 84 che si trovano all'esterno del cilindro.
La struttura di nucleo comprende una coppia di nuclei di forma C
generalmente 86, 87, ognuno dei quali ha coppia di relativamente breve 86a
interno braccia, 87a che attestarsi contro le superfici superiore ed inferiore
del cilindro 74 ed un 86b braccio esterno, 87b che è distanziata lateralmente
dal cilindro. Le estremità dei bracci interni che battuta contro il cilindro
hanno una curvatura concava, che corrisponde alla curvatura convessa della
parete esterna del cilindro, e bobine 83, 84 sono avvolti in merito bracci
esterni delle anime. I nuclei sono formati in due parti, con una spaccatura 88
attraverso i bracci esterni per facilitare il montaggio.
lamierini 89 sono incorporati nella parete del cilindro a contatto con i
bracci corti dei nuclei per completare il circuito magnetico. I lamierini sono
ermeticamente sigillati nella parete del cilindro, ed in una forma di
realizzazione attualmente preferita sono pile di lamierini di acciaio al
silicio con uno spessore di 0,005 pollici e uno strato di nichelatura inferiore
a 0,001 pollici di spessore sigillando le pile.
Le bobine dello statore possono essere utilizzati sia come gli
avvolgimenti di un motore per avviare il motore, e successivamente gli
avvolgimenti di un generatore in cui una corrente elettrica è prodotto come il
gruppo pistone oscilla avanti e indietro all'interno del cilindro.
Poiché il cilindro è sigillato ermeticamente, eventuali fughe di gas
oltre gli anelli dei pistoni rimarrà all'interno del motore, anziché essere
dissipata nell'ambiente esterno come nella realizzazione di Fig.1. Oltre a aria,
gas adatti per l'uso nella realizzazione di Fig.5 includono gas inerti,
ossigeno e miscele di tali gas.

Con il gas ermeticamente sigillato all'interno del motore, non è
necessario per ricostituire il gas come spesso come sarebbe se il motore non
sono stati sigillati e Ingresso di luce 18 può essere chiuso con il gruppo
otturatore 91 della Fig.8 piuttosto che la valvola assemblaggio 19 di Fig.7, se
desiderato. In alternativa, una sorgente di gas può essere collegata alla porta
di ingresso tramite complesso di valvola 19 per la ricarica automatica del gas
nelle camere come nella realizzazione di Fig.1.
Montaggi tappi 91 comprende un corpo o boccola 92 con un interno cavo 93
che è riempito con un inserto in gomma 94. L'estremità interna del corpo
valvola è avvitato nella porta, ed un tappo 96 è filettata sulla all'estremità
esterna allargata del corpo a trattenere l'inserto nella spina. Una guarnizione
97 fornisce una tenuta fra la porzione ingrandita del corpo di tappo e la
piastra di estremità o testa 16.
Funzionamento e uso della forma di realizzazione di Fig.5 è simile a
quello sopra descritto in relazione alla forma di realizzazione di Fig.1. Una
carica di gas esplosivo viene introdotto nelle camere di scoppio attraverso le
luci di entrata e avvolgimenti statorici 83, 84 sono eccitato per guidare il
magnete 81 e il resto del gruppo pistone avanti e indietro all'interno del
cilindro. Poiché ciascuno dei pistoni avvicina al suo punto morto superiore, il
gas nella camera di scoppio viene compressa, quindi ionizzato e calcinata in
modo che esplode e spinge il gruppo pistone verso l'altra estremità del
cilindro. Come il magnete portato dal pistone si muove avanti e indietro
all'interno del gap nella struttura di nucleo, il flusso alternato produce è
accoppiato alle bobine 83, 84 per produrre la corrente di uscita negli
avvolgimenti del generatore.
L'invenzione presenta una serie di caratteristiche e vantaggi
importanti. E 'possibile utilizzare miscele esplosive a combustibile come
l'aria, gas inerti e altri gas non combustibili, che possono essere rapidamente
espansa o contratta più volte per convertire l'energia cinetica in energia
elettrica e / o meccanica. Il motore può avere una o più camere di scoppio con
un pistone formante una parete mobile per cambiare il volume di ciascun.
Il gas operativo è precaricato nelle camere, le luci di entrata sono
sigillati, e il motore può essere azionato con la stessa carica di gas per
lunghi periodi di tempo e più espansioni e contrazioni esplosive alle varie
frequenze, ad esempio 30-60 cicli al secondo o più, senza aggiunta di gas alle
camere.
In una forma di realizzazione descritta, la perdita di gas a causa di
perdite è impedito racchiudendo il motore in un involucro ermeticamente
sigillato. In un'altra, una valvola di ritegno nel condotto di aspirazione
permette il gas nelle camere di essere riempito automaticamente quando la
pressione nelle camere scende sotto un livello predeterminato. La tenuta
ermetica è particolarmente importante e desiderabile se il motore viene fatto
funzionare in ambienti come spazio o sott'acqua dove i gas di rifornimento non
possono essere prontamente disponibili.
L'invenzione consente una vasta gamma di flessibilità di progettazione e
può fornire alimentatori compatti cui capacità varia da pochi kilowatt a più
megawatt, e può essere utilizzato in un'ampia varietà di applicazioni.
Risulta da quanto precede che un nuovo e migliorato motore esplosione
interna e generatore è stato fornito. Mentre solo alcune forme di realizzazione
attualmente preferite sono state descritte in dettaglio, come risulterà
evidente agli esperti del ramo, alcuni cambiamenti e modifiche possono essere
apportate senza allontanarsi dall'ambito dell'invenzione come definito dalle
seguenti rivendicazioni.
Reclami:
L'invenzione rivendicata è:
1. Motore esplosione interna e generatore, comprendente una camera di scoppio,
un organo mobile formando una parete della camera, una carica di aria sigillata
all'interno della camera, una valvola unidirezionale in comunicazione con la
camera per ammettere aria supplementare alla camera se la pressione nella
camera scende sotto un livello predeterminato, mezzi per ripetutamente
accendere l'aria nella camera in modo esplosivo per guidare l'elemento mobile
da una posizione di volume minimo ad una posizione di volume massimo, mezzi per
il ritorno dell'organo mobile da la posizione di massima volume nella posizione
di volume minimo, e mezzi accoppiati all'organo mobile per fornire energia
elettrica in risposta all'esplosione dell'aria.
2. Il motore e generatore secondo la
rivendicazione 1, in cui l'organo mobile è un pistone.
3. Il motore e generatore secondo la
rivendicazione 2, in cui i mezzi per il ritorno dell'organo mobile alla
posizione di minimo volume comprende un volano su un albero motore collegato al
pistone.
4. Il motore e generatore della
rivendicazione 3 in cui i mezzi per fornire energia elettrica comprende un
generatore collegato all'albero motore.
5. Il motore e generatore secondo la
rivendicazione 1 in cui i mezzi per il ritorno dell'organo mobile alla
posizione di minimo volume comprende una seconda camera di scoppio con un
organo mobile connesso al primo membro denominato, una carica di aria sigillata
all'interno della seconda camera, e mezzi per accendere l'aria nella seconda
camera in modo esplosivo.
6. Il motore e generatore secondo la
rivendicazione 1, comprendente un involucro ermeticamente sigillato racchiude
la camera di scoppio e prevenire la perdita dell'aria dalla camera.
7. Il motore e generatore secondo la
rivendicazione 1, in cui l'organo mobile è fabbricato di un materiale
ferromagnetico, ed i mezzi per fornire energia elettrica comprende una bobina
che è accoppiato magneticamente all'organo mobile.
8. Il motore e generatore secondo la rivendicazione
1 in cui i mezzi per accendere l'aria comprende mezzi per applicare energia RF
alla camera per ionizzare l'aria e formare un plasma, e mezzi per accendere il
plasma.
9. Il motore e generatore della
rivendicazione 8 includente elettrodi nella camera per riscaldare l'aria
ionizzata.
10. Un motore esplosione interna e
generatore, comprendente un cilindro, un pistone mobile all'interno del
cilindro per formare una camera di scoppio a volume variabile, una carica di
aria sigillata all'interno della camera, mezzi per l'ingresso di aria
atmosferica nella camera se la pressione nel camera scende sotto un livello
predeterminato, mezzi per periodicamente, esplosivo accendere l'aria nella
camera di guidare il pistone tra le posizioni di minima e massima di volume, un
albero motore azionato dal pistone, ed un generatore collegato all'albero
motore per fornire energia elettrica in risposta al movimento del pistone.
11. Il motore e generatore secondo la
rivendicazione 10 includente un volano sull'albero motore.
12. Il motore e generatore secondo la rivendicazione 10 in cui i mezzi per
accendere l'aria comprende mezzi per applicare energia RF alla camera per
ionizzare l'aria e formare un plasma, e mezzi per accendere il plasma.
13. Il motore e generatore secondo la
rivendicazione 12 comprendente un interruttore azionato magneticamente
sensibili alla posizione
14. Il motore e generatore secondo la
rivendicazione 10 in cui il mezzo per l'ingresso di aria atmosferica nella
camera comprende una valvola di ritegno.
15. Il motore e generatore secondo la
rivendicazione 10 in cui il pistone è fabbricato in materiale ferromagnetico ed
è accoppiato magneticamente con una bobina posizionata all'esterno
16. Il motore e generatore secondo la
rivendicazione 10 includente mezzi per alimentare il generatore come motore per
muovere il pistone per avviare il motore.
17. Un motore esplosione interna e
generatore, comprendente un cilindro, una coppia di pistoni collegati insieme
per il movimento in concerto all'interno del cilindro per formare una coppia di
camere di scoppio a volume variabile, una carica di gas non combustibile
sigillato all'interno di ognuna delle camere , valvole di ritegno per
l'approvvigionamento del gas nelle camere ammettendo gas addizionale nelle
camere quando la pressione nelle camere scende sotto un livello predeterminato,
mezzi per alternativamente la combustione dei gas non combustibile nelle due
camere in modo esplosivo per guidare i pistoni tra posizioni di fine minima
volume massimo della camera, un magnete accoppiato a pistoni per il movimento
con i pistoni, ed una bobina posizionata all'esterno del cilindro vicino al
magnete per produrre energia elettrica in risposta al movimento dei pistoni.
18. Il motore e generatore della
rivendicazione 17 in cui il gas non combustibile è scelto dal gruppo costituito
da aria, gas inerte, combinazioni estremità.
19. Il motore e generatore secondo la
rivendicazione 17, in cui i mezzi per la combustione dei gas in ciascuna delle
camere include mezzi per applicare energia RF alla camera per ionizzare il gas
e formare un plasma, e mezzi per accendere il plasma.
20. Il motore e generatore secondo la rivendicazione 19 comprendente opzioni
sensibili alle posizioni dei pistoni per accendere il plasma quando i pistoni
sono in prossimità o le posizioni volume minimo.
21. Il motore e generatore della
rivendicazione 19 inclusi elettrodi nelle camere per riscaldare il gas
ionizzato.
Nel mese di aprile 1989, Michael Eskeli stato
infastidito da un articolo di giornale pubblicato sul Times Herald di Dallas
che ha commentato il fallimento della scienza a venire con sistemi di
alimentazione alternativi che non si basano su prodotti petroliferi ad operare.
Michael ha risposto in una lettera al direttore, affermando che egli detiene
brevetti per carburanti meno-generatori di energia, di lavoro privi di pompe di
calore, e altri elementi correlati, 56 brevetti rilasciati a metà degli anni
'70.
Michael detiene molti brevetti, uno dei quali è mostrato nel capitolo 14, in
quanto opera senza carburante meno riscaldatore. Tuttavia, come io non sono a
conoscenza di alcun prototipo funzionante viene mostrato, devo consiglia di
prendere in considerazione le seguenti informazioni come "un'idea",
piuttosto che un fatto provato. Per quanto ne so, nel 1970, l'Ufficio Brevetti
degli Stati Uniti non ha la pretesa di vedere un prototipo funzionante prima di
concedere un brevetto, soprattutto se il brevetto relativo a un dispositivo
basato su principi di ingegneria accettati.
Tuttavia, come affermazione di Michael è per i dispositivi autoalimentati, la
sua affermazione sembra troppo importante per essere ignorato, prototipo o
nessun prototipo, come persone competenti leggendo questo può ben comprendere i
principi suggerito ed essere in grado di costruire una periferica
autoalimentata come un risultato. Se questo è il caso, allora dovrei apprezzare
il feedback delle informazioni repliche di successo e dei metodi di costruzione
utilizzati.
A quanto mi risulta, Michael dispositivi autoalimentati sono pompe di calore
dove l'energia supplementare derivanti dal calore contenuto nel cortesia aria,
gli effetti termici di sole. Ingegneria standard, ma con un disegno che
utilizza questa energia disponibile per fornire potenza meccanica pratica
uscita per veicoli e generatori elettrici.
I brevetti Eskeli che sono stato in grado di individuare sono:
3650636 Compressore Gas Rotary
3719434 Compressore Rotary eiettore
3.748.054 di reazione Turbine
3748057 compressore rotante con raffreddamento
3.758.223 di reazione Turbine Rotor
3761195 Centrifuga Compressione
3795461 Compressore con raffreddamento
3809017 Generatore di calore e vapore
3834179 Turbina con riscaldamento e raffreddamento
3854841 Turbine
3861147 Sealed singolo rotore della turbina
3874190 Sealed singolo rotore della turbina
3879152 Turbine
3889471 Dual-Dual-rotore fluido Turbine
3895491 Turbina con rotori doppi
3919845 Dual-fluido singolo rotore della turbina
3926010 Scambiatore di calore rotativo
3931713 Turbina con rigenerazione
3933007 Centrifuga Compressione
3933008 multistadio Scambiatore di calore
3937034 Gas Compressor-Expander
3938336 Turbina con riscaldamento e raffreddamento
3939661 Power Generator
3949557 Turbine
3961485 Turbina con intensificatore di calore
3962888 Scambiatore di calore
3972194 macchina termodinamica del tipo Vane
3972203 Scambiatore di calore rotativo
3981702 Scambiatore di calore
3986361 Turbina con rigenerazione
4003673 Fluid pressurizzatore
4005587 Scambiatore di calore rotativo con raffreddamento e * Rigenerazione
4012164 Rotore con ricircolo
4012912 Turbine
4030856 Rotore con ugelli a getto
4044824 Scambiatore di calore
4047392 doppio rotore di calore * Scambiatore
4050253 termodinamico della macchina
4057965 macchina termodinamica con il passaggio di tipo aggiunta di calore
4060989 macchina termodinamica con Step-scambiatori di calore
4068975 Fluid pressurizzatore
4077230 Scambiatore di calore rotante con raffreddamento
4106304 termodinamico Compressore
4107944 Pompa di calore con due rotori *
4107945 termodinamico Compressore
4124993 Refrigerazione macchina
4167371 Metodo di pressurizzazione del fluido
4178766 Metodo termodinamico Compressore
4574592 pompa di calore con gas liquido-fluido di lavoro
E ci sono probabilmente altri 7 non elencati qui, per portare il totale al 56
citato da Michael. Non ho le competenze per dire quale di questi può essere
auto-alimentato solo leggendo le informazioni sui brevetti, che in genere non
menziona nulla in questo senso, (il personale Ufficio Brevetti non credere che
la COP> 1 esiste). Praticamente qualsiasi di questi brevetti potrebbe
adattarsi descrizione di Michael, quindi mi scegliere i seguenti brevetti di
riprodurre qui:
4107944 Pompa di calore con due rotori (continua 4.005.587 e 4.047.392)
4012912 Turbine, e
3931713 Turbina con rigenerazione
*********************
Brevetto
POMPA DI CALORE CON DUE ROTORI
ABSTRACT
Metodo e apparato per la generazione di riscaldamento e raffreddamento facendo circolare un fluido di lavoro all'interno passaggi effettuati da rotori, comprimendo il fluido di lavoro in esse e rimuovere il calore dal fluido di lavoro in un calore-rimozione di scambiatore di calore e aggiungendo calore al fluido di lavoro in un calore -Inoltre scambiatore di calore, tutti eseguiti all'interno dei rotori. Il fluido di lavoro è sigillato in, e può essere un gas adatto, come l'azoto. Uno scambiatore di calore del fluido di lavoro è prevista anche per scambiare calore all'interno del rotore tra due flussi di fluido di lavoro. In una disposizione, l'unità utilizza due rotori, sia rotanti, in una disposizione alternativa, uno dei rotori può essere tenuto fermo. Le applicazioni includono aria condizionata e il riscaldamento.
SFONDO DELL'INVENZIONE
Questa invenzione si riferisce generalmente a
dispositivi per il trasferimento
di calore da una temperatura
inferiore ad una temperatura
superiore utilizzando un fluido
di lavoro racchiuso all'interno di un rotore di centrifuga come
un fluido intermedio per il trasporto
del calore.
Pompe di calore sono noti in passato, ma sono complessi e costosi,
e tipicamente usano un fluido di lavoro
che viene fatto evaporare e
condensato, che si traduce in scarsa
efficienza, e quindi costi
energetici elevati.
SOMMARIO DELL'INVENZIONE
E 'uno
scopo della presente invenzione fornire un'apparecchiatura che è a basso costo
iniziale e ha un alto rendimento termico riducendo così il costo della potenza
necessaria per eseguirlo. È ulteriore oggetto della presente invenzione fornire
un dispositivo ed un procedimento in cui le perdite che normalmente si
verificano nei cuscinetti e guarnizioni, per attrito, vengono applicate al
fluido di lavoro per la sua circolazione, eliminando così di fatto la perdita
di potenza dovuta all'attrito tale perdite. Inoltre, è uno scopo della presente
invenzione fornire il rotore con uno scambiatore di calore fluido di lavoro
necessari per ridurre le velocità del rotore.
BREVE DESCRIZIONE DEI DISEGNI

Fig.1 è una sezione trasversale del dispositivo.

Fig.2 è una vista terminale del dispositivo.

Fig.3 è una sezione assiale di un'altra forma del dispositivo.
DESCRIZIONE DI PREFERITE FORME

Fig.1 mostra una sezione trasversale assiale del dispositivo, dove 10 è la base, 11 è il primo rotore, 12 è il secondo rotore, 13 è una guarnizione 14 ed è il cuscinetto
di supporto albero 15, 16 è passaggio di fluido nella
seconda rotore, l'apertura
17 è fluido di lavoro che può essere un ugello, 18 è il primo
scambiatore di calore per la
rimozione del calore dal fluido
di lavoro, 19
è il primo condotto di trasferimento
di calore fluido, 20 funziona
fluido scambiatore di calore, in questo
caso formato da lamiera come soffietto, 21, 22 sono pale è secondo
scambiatore di calore per l'aggiunta di calore al fluido di
lavoro, 23 è
tenuto albero di supporto 24, 25 e 26 sono entrata e di uscita per secondo fluido termovettore,
27 e 28 sono entrata e di uscita per primo fluido termovettore
, e 29
è una pala nel
passaggio periferico.

In Fig.2, una vista di estremità dell'unità mostrato in Fig.1 è
illustrato. Dove 10
è base, 11 è primo rotore,
aperture 17 sono fluidi, è
secondo rotore 12, 16 sono passaggi di fluido secondo rotore a
palette, 30
indica la direzione di rotazione,
24 è primo albero del rotore, e 21 sono palette.

In Fig.3, i rotori sono disposti in modo
diverso, ma svolgono le stesse funzioni, approssimativamente, come nell'unità
di Fig.1. Dove 40 è primo rotore 41 è
primo scambiatore di calore per la rimozione di calore dal primo fluido, 42 è il primo albero del rotore, 43 e 44 sono entrata e di uscita per
primo fluido termovettore, è condotto 45,
46 funziona fluido scambiatore di calore, 47 sono aperture fluidi che possono essere ugelli, è secondo rotore
48, 49 è secondo scambiatore di
calore per l'aggiunta di calore al fluido di lavoro, e il cuscinetto 50 è tenuta, 51 è secondo rotore, 52 e 53
sono entrata e di uscita per secondo fluido termovettore.
Nel funzionamento, i rotori vengono fatti ruotare e le cavità del rotore sono
riempiti con un fluido di lavoro adatto, che di solito è un gas, come azoto, aria
o altra sostanza gassosa o vapore. Facendo riferimento alla Fig. 1, il secondo rotore ruota
generalmente più veloce del primo rotore, ed il fluido di lavoro è compresso
dalla forza centrifuga in passaggi 16,
e nel primo rotore in una certa misura, dopo il quale il calore viene rimosso
in scambiatore di calore 18, con
calore, che viene successivamente trasportata dal primo fluido termovettore dal
dispositivo. Il fluido di lavoro passa poi lungo il passaggio periferico 29 e rilascia calore nello scambiatore
di calore 20, dopo di che il fluido
si espande contro la forza centrifuga in palette 21 e scambiatore di calore 22
ove viene aggiunto calore al fluido di lavoro. Dopo l'espansione, il fluido di
lavoro passa lungo passaggio centrale e riceve calore dallo scambiatore di
calore 20, completando così il ciclo
di lavoro.
Il funzionamento dell'unità in Fig.3
è simile, eccetto che il secondo rotore ruota generalmente più lenta rispetto
al primo rotore, e il secondo rotore può essere mantenuto fermo, se desiderato.
Si noti che se il secondo rotore è tenuto fermo, si può usare l'acqua sporca
come il secondo fluido termovettore, normalmente, in rotazione scambiatori di
calore, il fluido termovettore deve essere priva di solidi, che raccoglierà
nello scambiatore di calore a causa della forza centrifuga , e bloccare lo
scambiatore di calore, ed avendo uno scambiatore di calore stazionario, acqua
normale può essere utilizzato, come l'acqua da una torre di raffreddamento.
Nell'unità di Fig.1, la potenza in
ingresso è normalmente al secondo rotore, e il primo rotore può ruotare
liberamente. In tale uso, i diametri di rotore sono selezionati per fornire,
con la perdita di attrito nei cuscinetti, per la differenza di velocità
necessaria tra i due rotori. Con il secondo rotore rotante veloce, spinta
necessaria per il fluido di lavoro è previsto per mantenere il fluido di lavoro
circolante. Alternativamente, la differenza di velocità può essere mantenuta
con una trasmissione di potenza tra i due rotori, ad esempio un riduttore.
Nell'unità di Fig.3, la seconda
velocità del rotore è più lenta della velocità del primo rotore, e dove i
diametri del rotore sono adatti, il secondo rotore può essere tenuto fermo,
fornendo spinta necessaria per il fluido di lavoro per la sua circolazione.
Il lavoro scambiatore di calore fluido 20
e 46, impiegano forza centrifuga e densità variabile gas per ottenere lo
scambio di calore tra le due correnti di fluido di lavoro. Gas caldo nel
passaggio periferico è più leggero e più freddo gas tra le pieghe dello
scambiatore di calore è più fredda, quindi il gas freddo viene spostato dal gas
leggeri per forza centrifuga. Allo stesso modo, al passaggio centrale, il gas
freddo sposta centro di gas caldo tra le pieghe. Altri tipi di scambiatori di
calore possono essere utilizzati per lo scambiatore di calore 20, compresi tubi di calore, dischi in
lamiera, e tubi alettati riempito con un liquido.
Il rotore può essere racchiuso all'interno di un serbatoio vuoto, se
desiderato, per ridurre l'attrito sulle superfici esterne del rotore. L'impiego
dello scambiatore di calore 20
fluido di lavoro ridurrà necessarie velocità del rotore per ottenere differenze
di temperatura tra i due fluidi di trasferimento di calore, riducendo quindi le
perdite di attrito sul rotore, che può eliminare la necessità di un serbatoio
vuoto.
Varie modifiche di questo dispositivo può essere realizzato, e diversi tipi di
scambiatori di calore usati. Inoltre, i passaggi del materiale di lavoro
radiali può essere curvato in varie direzioni, uno è quello della pista di
alette indicate a 21 in Fig.2. Utilizzando piste palette
inclinate e passaggi, si può regolare la quantità di scambio di lavoro tra il
fluido di lavoro ed il rotore. Ugelli 47
sono solitamente posizionati in modo da scaricare all'indietro, in modo da
generare qualche coppia sul primo rotore, ugelli e simili possono essere
utilizzati anche in passaggi 21
dell'unità mostrato in Fig.1.
Inoltre, lo scambiatore di calore 22,
di Fig.1, può essere montato su un
elemento fisso, se desiderato, in maniera mostrata in Fig.3, e scambiatore di calore 18
può essere montato all'interno di rotore 12,
se desiderato. I vari componenti delle unità possono essere scambiati, come
desiderato.
*********************
Brevetto
TURBINA
ABSTRACT
Metodo e apparato per la
generazione di potenza in cui
un fluido di lavoro è compresso ali'infuori estende passaggi
rotore, e quindi
passato attivo in altri passaggi rotore
con espansione accompagnamento
e decelerazione, con il lavoro generato dal fluido decelerazione. Calore possono essere
aggiunti nel fluido di lavoro vicino
alla periferia del rotore, e
rotori in chiusi,
il calore viene rimosso dal fluido di
lavoro dopo l'espansione. Un
rigeneratore può anche
essere utilizzato, montato sul rotore, lo
scambio di calore tra due flussi
del fluido di lavoro. Durante la decelerazione, i passaggi del fluido
di lavoro sono curve all'indietro, mentre i
passaggi del fluido di lavoro per l'accelerazione sono generalmente radiale. Il fluido di
lavoro può essere un liquido o
un gas, e il fluido di riscaldamento e il fluido di raffreddamento
può anche essere un liquido o un gas.
SFONDO DELL'INVENZIONE
Questa invenzione si riferisce a gruppi elettrogeni
cui circola un
fluido di lavoro da un livello
energetico superiore al livello
di energia inferiore, la produzione di energia.
Nel mio precedente US Pat. Numeri 3874190
e 3854841, ho
descritto un turbine di tipo chiuso e aperto,
e l'utilizzo di progettazione centrifuga. Queste turbine utilizzate ugelli rivolti
in avanti all'interno del rotore;
nell'apparecchio descritto qui, tali ugelli sono
stati sostituiti da altri metodi.
SOMMARIO DELL'INVENZIONE
E 'uno scopo della presente invenzione fornire un rotore singolo tipo fase
centrifuga turbina, dove sono utilizzati pale o
alette, con contorni adatti, per estrarre energia
dal fluido di lavoro, utilizzando
un tipo aperto o di un rotore di tipo chiuso.
BREVE
DESCRIZIONE DEI DISEGNI

Fig.1 è una sezione trasversale e

Fig.2 è una vista di estremità di un rotore di tipo chiuso.

Fig.3 è una sezione trasversale e

Fig.4 è una vista di estremità di un
rotore di tipo aperto.

Fig.5 è una sezione trasversale di una
unità utilizzando un rotore
di tipo chiuso e
anche utilizzando un rigeneratore.
DESCRIZIONE
DI PREFERITE FORME

Facendo riferimento alla Fig. 1, è mostrata una sezione trasversale di una forma dell'unità. Dove 10 è il rotore che è supportato da cuscinetti 16 e 22, dell'albero 17 e la base 21. 12 è una
fornitura di calore e scambiatore
di calore 15
è scambiatore di calore di
raffreddamento, 14
e 11 sono pale o alette
18 e 19, sono entrata e di
uscita del refrigerante, 20 è una parete
divisoria, 23 e 24 sono il riscaldamento del fluido entrata e di
uscita, e 13
è un passaggio di fluido di lavoro che può essere utilizzato per regolare
il flusso del fluido di lavoro all'interno
del rotore.

Fig.2 è una vista di estremità del gruppo
mostrato in Fig.1. Dove 10 è il rotore,
l'albero 17, 19 è un passaggio di refrigerante,
è la base 21, 14
sono palette posizionate in modo da inclinarsi via dal senso di rotazione come indicato dalla freccia
25, mentre contemporaneamente il passaggio verso l'interno del fluido di lavoro, 12 è lo scambiatore di calore riscaldante, e 15 è lo scambiatore di calore di raffreddamento.

In Fig.3, un rotore per un apparecchio
con ciclo aperto è usato, dove il fluido di lavoro entra ed esce dal rotore. Qui, 30
è il rotore, la paletta 31 è situato in un passaggio che si estende verso l'esterno, 32 è il passaggio di fluido, 33 è una pala nel passaggio per
il fluido attivo bound lavoro, 34 è l'uscita
del fluido di lavoro, 35 è l'albero
del rotore, 36
è un divisore rotore interno
e 37 è l'ingresso del fluido di lavoro nel rotore.

Fig.4 mostra una vista di estremità dell'unità di Fig.3, dove 30 è il rotore, 35 è l'albero,
31 sono palette nei
passaggi di fluido verso l'esterno associato, e sono mostrati qui per essere curve all'indietro, quando il rotore ruota nella direzione indicata
dalla freccia 38. Dopo aver superato aperture 32, il fluido di lavoro passa verso l'interno guidato da palette 33,
e quindi lasciando via uscita 34. Alette 33 sono curve
come indicato, con la curvatura lontano
dalla direzione di rotazione, in
modo che il fluido di lavoro fornisce
la spinta contro i componenti di rotori come decelera quando passa verso
l'interno verso il centro del
rotore.

In Fig.5, un rotore con un rigeneratore viene mostrato, e
anche l'albero rotore è disposto in modo che possa essere mantenuto fermo se
desiderato. 50 è il rotore che è
supportato da cuscinetti 56 e 63 e
l'albero 57. Alette 51 possono essere radiali o curve come
desiderato, e palette 54 sono
curvate in modo simile a pale 33 in Fig.4. 52 è uno scambiatore di calore
rigenerativo, scambio di calore tra i flussi di fluido di lavoro scorre nei
passaggi 53 e 61. Fornitura di
calore scambiatore di calore 55 e
scambiatore di calore di raffreddamento 62
sono fissati all'albero, in modo che l'albero possa essere mantenuto fermo o
ruotato ad una velocità diversa rispetto al rotore 50. 58 e 59 sono i punti di entrata e di uscita per il fluido di
riscaldamento, mentre 64 e 65 sono i
punti di entrata e di uscita del fluido di raffreddamento, e 66 è un'apertura.
Durante il funzionamento, il rotore ruota, ed un fluido di lavoro all'interno
del rotore passa all'esterno in passaggio 11,
ed è compresso dalla forza centrifuga, e accelerato a una velocità tangenziale
che può essere la stessa di quella per la periferia del rotore. In un rotore
chiuso come è mostrato in Fig.1, il
calore viene aggiunto nel fluido di lavoro vicino alla periferia del rotore, e
quindi il fluido di lavoro decelerato nel fluido passaggi 14 verso l'interno che si estendono verso il centro del rotore, con
i passaggi essendo incurvata all'indietro dalla il senso di rotazione come
mostrato in Fig.2. Come fluido di
lavoro viene decelerato nei passaggi che si estendono verso l'interno, il
lavoro associato da tale decelerazione viene trasferito nel rotore e questo
fornisce la spinta e la coppia di ruotare il rotore. Dopo decelerazione ed
espansione, il fluido di lavoro viene raffreddata nello scambiatore di calore 15 e poi passare ai passaggi esterni
estendentisi completando così il suo ciclo di lavoro.
Il funzionamento dell'unità di Fig.3
è simile, salvo che il fluido di lavoro entra nel rotore attraverso l'apertura 37 da fonti esterne. Per l'apparecchio
mostrato in Fig.3, l'aggiunta
scambiatore di calore viene omesso, per questa unità, vi è una caduta di
pressione tra l'ingresso 37 e
l'uscita 34. Uno scambiatore di
calore simile a quello illustrato nella Fig.
1, punto 12, può essere
utilizzata nell'unità di Fig.3, e
quindi la pressione di ingresso e di uscita per il fluido di lavoro può essere
lo stesso, se desiderato.
Il funzionamento del gruppo mostrato in Fig.5,
è simile a quella descritta per le altre unità. Il rotore ruota, e per forza
centrifuga, comprime il fluido di lavoro in passaggi 51, e quindi il lavoro di calore fluido guadagni nello scambiatore
rigenerativo, con il calore viene fornito da un altro flusso di fluido di
lavoro proveniente dal lato ad alta temperatura dell'unità. Il fluido di lavoro
viene espanso e decelerato in passaggi 54
e calore viene aggiunto nello scambiatore di calore 55. Quindi il fluido di lavoro passa attraverso lo scambiatore di
calore rigenerativo e poi viene raffreddata nello scambiatore di calore di
raffreddamento e quindi viene passato in passaggi 51 completando il suo ciclo.
I vari componenti delle unità mostrate possono essere scambiati per fare
ulteriori forme dell'apparato. Come notato, l'unità di Fig.3 può essere provvisto di uno scambiatore di calore simile a
quello mostrato in Fig.1 per
aggiungere calore al fluido di lavoro vicino alla periferia del rotore.
Inoltre, un rigeneratore può essere fornito con le unità di Fig.1 e Fig.3, se desiderato, tra
l'estende verso l'esterno e verso l'interno estendendo passaggi del fluido di
lavoro. Inoltre, la batteria di raffreddamento di Fig.5, punto 62 può
essere eliminato, e il fluido di lavoro tiene l'unità dall'esterno dell'unità,
se desiderato.
Le aperture 32, 13 e 66 possono
essere realizzati in ugelli, se desiderato, e l'ugello orientati in direzioni
differenti come desiderato. In particolare, gli ugelli possono essere
posizionati in modo da scaricare il fluido di lavoro tangenzialmente
all'indietro, se desiderato.
Il rigeneratore di Fig.5 è
dimostrato essere rastremata. Questo cono può essere, come illustrato, o il
cono può essere fatta in modo che la porzione di diametro rigeneratore è
inferiore al termine che ha lo scambiatore di calore 55, la fine che ha lo scambiatore di calore 62. Inoltre, il rigeneratore può essere effettuata senza
rastremazione.
Passaggi 53 e 61 sono solitamente
dotate di alette, come indicato in Fig.5,
per impedire il movimento tangenziale del fluido di lavoro.
Le domande di questo generatore di potenza sono quelli normalmente riscontrati
nella produzione di energia.
Il fluido di lavoro è di solito un gas per unità come quelle mostrate in Fig.1 e Fig.5, ma il fluido di lavoro
può essere anche un liquido per un apparecchio come mostrato in Fig.3. I fluidi di riscaldamento e
raffreddamento può essere sia di gas o liquidi, come desiderato.
Gli scambiatori di calore per il riscaldamento e il raffreddamento è dimostrato
che sono in tubo alettato. Altre forme di scambiatori di calore per l'aggiunta
di calore e per rimuovere il calore può essere utilizzato. Lo scambiatore di
calore rigenerativo è dimostrato di essere in lamiera, altre forme di
scambiatori di calore possono essere utilizzati anche.
Brevetto
TURBINA CON RIGENERAZIONE
ABSTRACT
Metodo e apparato per la generazione di potenza passando da
un fluido motivante un livello energetico superiore ad un livello di energia inferiore comprimendo
il fluido in una
centrifuga di tipo primo rotore
e scarico del fluido attraverso ugelli vicino alla periferia del primo rotore, in avanti nella senso di rotazione di un rotore secondo
che è un tipo di turbina
a flusso verso l'interno di reazione, quindi passare
il fluido attraverso uno
scambiatore di calore di tipo rigenerazione
per trasferire calore dal liquido verso l'interno associato nel fluido Outwardbound,
dopo di che il fluido viene raffreddato in uno
scambiatore di calore alla sua temperatura originale
e viene passato nuovamente
verso l'esterno completando così il ciclo. Il calore viene
aggiunto al liquido vicino alla periferia del rotore secondo, o il calore può essere aggiunto verso la periferia del primo rotore, o entrambi. Inoltre, il
fluido può essere alimentato all'unità da fonte esterna, e restituito tale fonte esterna, e
il raffreddamento può quindi essere eliminato dall'unità.
Inoltre, il fluido entra da una fonte esterna può essere ad una pressione elevata. I fluidi utilizzati possono essere gassoso,
che è normale per una unità di tipo chiuso, o possono essere liquidi in ingresso
per l'unità di tipo aperto.
Brevetto
USA Riferimenti:
2490064 termodinamico Macchina dicembre
1949 Kollsman
2514875 U-passaggio
turbina a gas luglio 1950 Kollsman
2597249 del motore termodinamico maggio 1952 Kollsman
3.236.052 a ciclo chiuso a gas turbine Feb 1966
Guin
3530671 Turbine d'aria
rigenerativi settembre 1970 Kolodziej
Questa applicazione è una continuazione
in parte applicativa del "Turbine con rotori
doppi," Ser. No. 405628, depositata 10/11/73, e utilizza materiale di un precedente US Pat. n °
3834179, "Turbine with Heating and Cooling".
SFONDO DELL'INVENZIONE
Questa invenzione si riferisce generalmente a
dispositivi per la generazione di energia in risposta ad un
fluido che scorre da un livello
energetico superiore ad un livello
di energia inferiore passando attraverso una turbina per generare potenza.
Ci sono vari tipi
di turbine precedenza, in alcune delle quali è
accelerato un fluido in un ugelli
singoli o multipli stazionari e poi passato a pale
montate su una ruota girevole rotore, in cui viene
convertita l'energia cinetica contenuta nel fluido in movimento al potere decelerazione del fluido.
Queste turbine convenzionali normalmente hanno una notevole perdita di energia dovuta all'attrito del fluido, in particolare tra pale del rotore e il liquido in cui il differenziale di velocità è di solito di
grandi dimensioni. Inoltre, queste
turbine richiedono spesso complesse
palette di turbina a forma rendendo l'unità costosa.
SOMMARIO DELL'INVENZIONE
E 'uno scopo della presente invenzione fornire una turbina per produrre energia in cui viene convertita calore
per alimentare, in modo efficiente
ed economico, e con
alta efficienza termica. E 'anche uno scopo della presente invenzione fornire un mezzo per trasferire calore dal fluido di lavoro motivante o,
che è il primo fluido, durante il suo passaggio dalla periferia
al centro del
rotore rotore nel primo fluido
che passa dal centro del rotore verso l'periferia
del rotore. Questo trasferimento di calore migliora l'efficienza
della turbina, e riduce la velocità necessaria rotazione del rotore,
permettendo la costruzione del rotore
meno costoso.
BREVE DESCRIZIONE DEI DISEGNI

Fig.1 è una sezione trasversale di una forma del dispositivo, e

Fig.2 è una fine in vista dell'unità indicata in Fig.1.

Fig.3 è una sezione trasversale di un'altra forma del dispositivo.

Fig.4 è un dettaglio di ugelli rotore.

Fig.5 è un diagramma pressione-entalpia
del primo fluido con ciclo di lavoro illustrato per il primo fluido.
DESCRIZIONE DELLE REALIZZAZIONI
PREFERENZIALI

Fig.1 mostra una sezione
trasversale di una forma di
turbina. In questa
forma, il primo fluido viene sigillato all'interno
del rotore con un secondo fluido
che fornisce calore al primo fluido, e un
terzo fluido che raffredda il
primo fluido, che circola da fonti esterne.
Il primo fluido viene accelerato e
compresso entro il primo rotore, e dopo scarico dagli
ugelli del primo rotore, nel secondo rotore, dove
riceve calore dal secondo fluido,
e dopo decelerazione ed espansione del primo fluido passa in relazione di
scambio termico con il primo
fluido che scorre verso l'esterno
in modo che il calore viene trasferito dal fluido attivo legato al
primo fluido verso
l'esterno prima bound. Raffreddamento viene quindi fornito per il primo fluido per
portare la temperatura del primo fluido
ad un valore iniziale predeterminato.
In Fig.1, 10 è l'involucro, 11 è il primo rotore, 12 è il terzo scambiatore
di calore fluido 13 è la paletta
che serve anche come un elemento di scambio termico, 14 è una conducibilità termica parete 15 è una pala, 16
è un ugello, 17 è il secondo
rotore, 18 è
il secondo fluido scambiatore di calore 19 è una pala, 20 è il secondo
condotto di fluido, un cuscinetto 21 è combinato e guarnizione,
un cuscinetto 22 è combinato e guarnizione,
23 un secondo albero rotore
per l'erogazione di potenza,
e per il supporto del secondo rotore, 24 e 25 sono di
mandata e ritorno per il terzo
liquido, 26 è una apertura di sfiato nel corpo in cui
una sorgente di vuoto può essere collegato, 34 è una parete divisoria,
sono alette 27 servono
anche come scambio termico membri, 28
è un primo passaggio di fluido,
un cuscinetto 30 è combinato e guarnizione,
31 e 32 sono il secondo fluido entrata
e di uscita, e 33
è la prima rotore.

Fig.2 mostra una vista di estremità dell'unità di Fig.1 dove 10 è l'involucro, 11 è il primo rotore, 17 è il secondo
rotore, 16
sono del primo fluido ugelli, 18
è uno scambiatore di calore, alette
19 sono, 20 è un condotto, 13,
14 e 27
forma uno scambiatore di calore per il primo fluido e 23 è il secondo albero rotore.

Fig.3 mostra un'altra forma di turbina, in cui è
fornito il primo fluido alla turbina da
fonti esterne eliminando così il
terzo fluido scambiatore di
calore. 50 è
il primo rotore, modulo 51, 52 e 53 uno scambiatore di calore
per il primo fluido, 55 e 58 sono scambiatori di calore di riscaldamento per aggiungere calore al primo fluido
e può utilizzare un secondo
liquido alla stessa temperatura o in una temperatura diversa
come fluido di riscaldamento, alette
54 sono in primo rotore, 56 sono di primo
fluido ugelli orientati
in avanti per scaricare, 57 è
il secondo rotore, 59, 60 sono palette è un condotto per
il secondo fluido, 61, 62 e 72 sono cuscinetti, 64, 65, 69 e 70 sono
entrate e le uscite per il secondo fluido, 63 è il secondo
albero rotore, 71 è il primo albero del rotore, è la base 66,
mentre 67 e
68 sono i punti di uscita
e di entrata per
l'primo fluido.

Fig.4 mostra un dettaglio del primo fluido
dove ugelli 34 viene parete
sulla quale sono montati gli
ugelli 16, 35 è la direzione approssimativa di lasciare del primo fluido,
e 36 indica la direzione di rotazione del primo rotore.

In Fig.5,
un diagramma
pressione-entalpia per il primo fluido è indicata, con il ciclo di lavoro per
il primo fluido dove 80 è l'asse di
pressione e 81 è l'asse entalpia, 82 sono costanti linee entropia, 83 sono linee di pressione costante, e
per il ciclo, compressione con rimozione del calore, o senza la rimozione del
calore, si verifica 84-85, il calore
viene aggiunto prima di ritornare fluido-85-86,
ulteriore compressione è 86-87,
allora l'espansione 87-88 e 89, e la
rimozione del calore di il primo fluido-89-84,
completando così il ciclo. Il calore viene normalmente aggiunto tra 87 e 88, dal secondo fluido. L'aggiunta
di calore tra 85 e 86, e la
rimozione di calore tra 89 e 84 può
essere a pressione costante o variabile a piacere; pressione può essere variata
convenientemente aumentando o diminuendo il diametro del primo fluido al primo
scambiatore di calore fluido, rendendo la Scambiatore di calore rastremata.
Nel funzionamento, i rotori sono riempiti ad una pressione desiderata con un
adatto primo fluido, e il primo rotore viene fatto ruotare. Il primo fluido
viene prima compresso con rimozione del calore, e quindi viene passato in
relazione di scambio termico con la attivo legato primo fluido con aggiunta di
calore, e dopo questo il primo fluido viene ulteriormente compresso e
accelerato e dopo la compressione, il primo -fluido viene fatto passare
attraverso ugelli montati sui avanti prima rotore nella direzione di rotazione,
dopo di che il primo fluido entra passaggi attivo estendono secondo rotore per
decelerazione, con calore che viene aggiunto al primo fluido nei secondi
passaggi rotore attivo per riduzione della densità del primo fluido. Dopo il
passaggio verso l'interno e decelerazione, il primo fluido viene fatto passare
in relazione di scambio termico con la Outwardbound primo fluido, e dopo che il
primo fluido può essere ulteriormente decelerato, e quindi il primo fluido
entra passaggi si estendono verso l'esterno del primo rotore completando così
il ciclo.
Il funzionamento della turbina aperta di Fig.3
è simile a quello descritto, tranne che il primo fluido è alimentato da fonti
esterne, e viene quindi restituito a detta sorgente esterna, con raffreddamento
quindi essere eliminato.
Il contributo di lavoro per il primo rotore è il lavoro richiesto per
accelerare il primo fluido, e l'uscita dal lavoro secondo rotore è il lavoro di
decelerazione ricevuto dal secondo rotore. L'uscita dalla turbina lavoro è il
differenziale opera di questi due rotori.
La velocità di rotazione del secondo rotore può essere superiore alla velocità
di rotazione del primo rotore. Prevedere interno flusso del primo fluido
all'interno del secondo rotore, la densità del fluido è ridotta aggiungendo
calore al fluido all'interno del primo o secondo rotore, o anche all'interno
del primo rotore.
L'aggiunta di calore dal liquido verso l'interno associato al primo fluido verso
l'esterno associato prima aumenta la temperatura del fluido durante la prima
parte di quest'ultimo durante la compressione e l'espansione, e quindi ha
l'effetto di migliorare l'efficienza termica della turbina. Inoltre, un altro
effetto è la riduzione della velocità di rotazione necessaria per i rotori a
turbina, riducendo così la forza necessaria per i rotori, e rendendo i rotori
più economica realizzazione e di funzionamento.
Fluidi di lavoro per questa turbina sono solitamente gas per il primo fluido, e
liquidi per i fluidi secondo e terzo. Fluidi gassosi secondo e terzo può essere
anche utilizzato, e il primo fluido può essere un liquido, in alcuni casi.
Inoltre, il primo fluido può subire un cambiamento di fase all'interno della
turbina, se desiderato, utilizzando un opportuno fluido. Le domande di questa
turbina sono normale servizio di produzione di energia da fonti di calore
diverse.
Il primo albero rotore ed il secondo albero rotore sono normalmente collegati
tramite un dispositivo di trasmissione di potenza in modo che una parte della
potenza prodotta dal secondo rotore viene utilizzato per ruotare il primo
rotore. Avvio del gruppo è quello di un dispositivo di avviamento.
Le pale del rotore possono essere curvate se desiderato. In molti casi, le pale
del rotore prima possono essere curvate all'indietro per aumentare la
compressione del primo fluido, e le palette del secondo rotore può essere anche
curvo, per migliorare le prestazioni, e per soddisfare la progettazione e
fluido selezionato. In questo contesto, le alette per gli scambiatori di calore
sono considerati palette.
Il diagramma pressione-entalpia mostrato in Fig.5, è solo approssimativa. Questo schema può essere variata, a
seconda della quantità di calore aggiunto nel secondo rotore, o nel primo
rotore, ed a seconda della posizione specifica del fluido secondo e terzo
scambiatori di calore a fluido. In particolare, il calore può essere aggiunto
al primo fluido durante l'espansione per fare il primo fluido effettivamente
aumentare della temperatura; questo normalmente migliorare l'efficienza termica
complessiva della turbina. Inoltre, la rimozione del calore dal fluido terzo
può essere condotto in luoghi diversi da quello mostrato in Fig.1, come desiderato.
Va inoltre osservato che l'aggiunta di calore al primo fluido può essere da
fonti diverse secondo fluido, e similmente, altri mezzi possono essere
utilizzati per raffreddare il primo fluido diverso dal terzo fluido. Fonti di
riscaldamento possono comprendere elettrica, o altri rotori montati in
prossimità di questa turbina; queste non cambiano lo spirito della presente
invenzione.
Il meccanismo di scambiatore di calore per trasferire calore dall'esterno verso
l'interno bound primo fluido al Outwardbound primo fluido può anche essere disposto
entro il secondo rotore, e anche l'ingresso e l'uscita del primo fluido nella
turbina può essere all'interno del secondo rotore . Tali disposizioni non sono
mostrati specificatamente nei disegni in quanto sono considerati entro le
capacità di un designer esperto, in vista delle descrizioni qui riportate.
Molte di queste informazioni su Michael Eskeli è presa, con la gentile
concessione di Scott Robertson, dal suo sito web http://www.aircaraccess.com .
Qui ripetuto dal Capitolo
2, un dispositivo che deve
essere in questo elenco di dispositivi autoalimentati è ultra semplice getto
d'acqua generatore. C'è un video su Google che
mostra una autoalimentato elettrico
pompa acqua-driven,
generatore elettrico nella posizione: http://video.google.com.au/videoplay?docid=-3577926064917175403&ei=b1_BSO7UDILAigKA4oCuCQ&q=self-powered+generator&vt=lf
Questo è un dispositivo molto semplice in cui è diretto il getto di
acqua dalla pompa ad una semplice
ruota idraulica che a sua volta, fa ruotare un alternatore elettrico, alimentando sia
la pompa e una lampadina elettrica, dimostrando energia
libera. Che cosa è di particolare
nota è la semplicità assoluta
di questo dispositivo. Utilizza off-the-shelf parti quasi esclusivamente e può essere costruito da chiunque.
Va notato che la realizzazione mostrata in questo video utilizza il più fondamentale di palette di turbina che devono avere un'efficienza molto bassa, ma la potenza generata
è ben al di sopra del livello necessario per sostenere il proprio funzionamento. Dato pure a forma di pale di
turbine convenzionali di
efficienza molto più elevato rischio
di creare le prestazioni ulteriormente,
mentre si potrebbe pensare che l'utilizzo di una turbina di Tesla con i suoi dischi
semplici dovrebbero dare una
performance davvero spettacolare. Tuttavia, questo può benissimo non essere il caso di un irregolare,
azionamento pulsato della ruota sarà leader-out energia supplementare come nel caso della Campbell
Chas volano e John
Bedini volano. Come
è, con la sua forma attuale di
costruzione, questo dispositivo è già in grado di produrre energia supplementare in grado di eseguire
altri pezzi di equipaggiamento standard
di rete.

Si tratta chiaramente di una piattaforma di
sviluppo e sarebbe beneficiare di
avere le aree che contengono
l'acqua, completamente chiusa, e il dirottamento elettrica dalla presa di corrente al alternatore azionato da un interruttore.

Inizialmente, il generatore è ottenuto a regime, guidato
dalla rete di alimentazione elettrica.
Poi, quando viene eseguito normalmente, la connessione di rete viene rimossa e
il motore / generatore si sostiene ed è
inoltre in grado di alimentare almeno
una lampadina. L'uscita
del generatore è normale rete di corrente da uno standard di off-the-shelf alternatore. La produzione di energia non potrebbe ottenere più semplice di
così.
Arthur Cahill e John Scott hanno brevettato un sistema a pompa di
calore che trae energia
termica dall'ambiente circostante e che utilizza energia per produrre energia meccanica e / o elettrica per alimentare una famiglia. Perché molte persone hanno un frigorifero non sono generalmente consapevoli che è una pompa
di calore e si muove tre volte come molto calore dall'interno del frigorifero rispetto alla potenza di ingresso necessaria (COP =
3, ma potrebbe essere
fino a COP = 11 quando utilizzato diversamente ).
Questa pompa di calore sistema sembra funzionare senza alcuna forma di input di energia, ma l'energia viene indirettamente
dal sole riscaldando l'ambiente
circostante e non c'è magia coinvolti.
Intendiamoci, quando il sistema funziona
e fornisce energia, in genere, senza la necessità di alcun combustibile, l'utente può facilmente pensare ad esso come un sistema di carburante inferiore
o auto-alimentato anche se in senso stretto, che non è il caso. Gli inventori hanno
fatto le indennità per particolari
condizioni in cui le condizioni ambientali non in grado di fornire la differenza di temperatura necessaria per
far funzionare il sistema come previsto.
Un combustibile liquido o gassoso
viene fornito con
un bruciatore per fornire la differenza di calore se tali condizioni si verificano.
Ecco un estratto del loro brevetto:
Brevetto
SISTEMA DI
ENERGIA SOLARE
ABSTRACT:
Una dinamica, autosufficiente e autoalimenta
dispositivo per la produzione di forza motrice combinando principi criogenici e
termodinamico in un unico sistema,
mantenendo i sistemi
separati, aperto all'atmosfera, gli altri chiusi,
sigillati, fluidi pressurizzati e speciali utilizzando due composti,
che alternativamente quando esposto al calore della temperatura atmosferica, quindi, alla freddezza di
un liquido o condensatore
raffreddato ad aria, evapora prima, poi condensa.
Rapida espansione durante l'evaporazione
produce una elevata pressione di vapore
che aziona un motore e un generatore, che costituiscono
parte integrante del sistema
chiuso. Rapida condensazione riduce
drasticamente contropressione sul
lato posteriore del motore, e il motore funziona sulla
differenza tra le due pressioni, produrre
elettricità, o, il motore può essere utilizzato
come una trasmissione diretta per
veicoli o attrezzature. Built-in salvaguardie e
alternative sono parte dei
sistemi, garantendo il funzionamento continuo nonostante le condizioni avverse.
Brevetto USA Riferimenti:
2969637 Solare Conversione in energia
meccanica gennaio 1961 Rowekamp
3495402 Sistema di alimentazione Feb 1970 Yates
3.995.429 di produzione di energia
utilizzando le differenze di temperatura
ambientale Dicembre 1976 Peters
4110986 Utilizzo di energia solare, portato
da un fluido settembre 1978
Tacchi
4214170 Produzione di energia elettrica-sistema di refrigerazione luglio 1980 Leonard
SFONDO
DELL'INVENZIONE
1. Campo
dell'Invenzione
Questa invenzione si riferisce ad un ciclo chiuso,
sigillato, pressurizzato, sistema di produzione di energia, utilizzando le
scienze della termodinamica e criogenia convertire liquido in gas, poi di nuovo
liquido.
2. Descrizione della tecnica nota
Non c'è arte esatta prima, come criogenia sono stati
utilizzati principalmente per scopi di condizionamento e refrigerazione, e
termodinamiche sforzi sono stati diretti nel settore dei sistemi a bassa
efficienza di conversione di energia termica dell'oceano. I pochi tentativi
sono stati fatti per unire una qualche forma di criogenia e la termodinamica,
senza un notevole successo, soprattutto con acqua di mare per evaporazione e
condensazione. Durante l'uso non combustibile e richiede poco nella zona di
lavoro, questi termici oceano sistemi di conversione dell'energia sono di
necessità, sistemi a bassa pressione e richiedono grande mare andando
piattaforme per supportare le turbine enormi e scambiatori di calore che sono
necessari per produrre energia elettrica ragionevole, risultante in costi di
capitale eccessivi per minima potenza elettrica, poiché tali stazioni solo
hanno la capacità di riparare una piccola porzione della popolazione lungo le
coste. Nessuno di questi congegni servire o favorire la popolazione nel suo
insieme, mentre il tutto ha l'onere di finanziamento attraverso le tasse o
contributi pubblici.
Le proposte di calore a gas e di gas freschi in un
tentativo di migliorare l'efficienza degli impianti di riscaldamento domestico
e sistemi di raffreddamento, sono stati in precedenza avanzato, un po 'di
esercizio secondo il principio della pompa di calore. Tutte le proposte di tali
precedenti e invenzioni hanno avuto una cosa in comune, sono tutti i plug in
linea elettrica della Società Utility per ottenere l'energia elettrica
necessaria per far funzionare il sistema.
Nella criogenia consapevolezza che certi liquidi, quando
riscaldato, cambia in un vapore ad alta pressione, che è il cuore di ogni
condizionamento dell'aria e di refrigerazione, è noto da molti anni.
Termodinamica sono state pioniere del 19 ° secolo Nicholas fisico francese Carnot.
Tentativi sono stati avanzati negli anni per sfruttare uno o l'altro e talvolta
entrambi, allo scopo di riscaldamento e raffreddamento, causando l'invenzione
della pompa di calore in un anno molto prima, ma nessuno dei sistemi ancora
ideato per l'uso da parte pubblico sono stati in grado di operare senza
l'utilizzo di una fonte esterna di energia elettrica, o, carburante, come olio,
o caldaie a gas, con un conseguente notevole consumo di carburante e un effetto
catastrofico sull'ambiente terrestre.
SOMMARIO
DELL'INVENZIONE
Secondo la presente invenzione, il dispositivo funziona
in sole a picco, nelle
giornate nuvolose senza sole, durante
i temporali, durante tempeste di neve, durante le variazioni di temperatura dal giorno alla notte, durante variazioni da inverno, alla
primavera, all'estate, a autunno, quando fa freddo, anche sotto lo zero, per la potenza generata è che l'energia prodotta quando un composto fluido
cambia forma, prima a vapore, poi di nuovo a
liquido, mediante l'applicazione di temperatura controllata all'interno del ciclo
chiuso. Così, combinando
criogenia e termodinamica in un unico sistema, mantenendo i due separati, uno
aperto all'atmosfera e l'altra chiusa, sigillata e pressurizzata, e utilizzando fluidi
composti specificamente per quella determinata zona, o clima, questi fluidi, quando
esposti ad atmosferica temperature,
secondo le teorie cinetiche della materia, gas e del calore, forniscono l'energia cinetica azionare un motore.
Il condensatore può essere liquido o ad aria, anche
se per la forma di realizzazione qui
descritta, il condensatore è raffreddato ad aria.
In generale, si è fino ad un aumento di circa 2,5
PSI associato con ogni grado di aumento di temperatura in più fluidi criogenici e gas. Tuttavia,
utilizzando fluidi disponibili in commercio, qui sono alcuni esempi:

Si noterà che R-13 a 80 ° F. produce 521 psi., O 35,4
volte la pressione atmosferica e a 125 ° C. produrrebbe migliaia di psi. Al 95
° F. R-22 produce 185 psi., O una spinta su un pistone cinque pollici di
diametro di 3,633.4 sterline. Anche a 30 ° F., con R-22 una spinta di 583,2 £
si ottiene. R-13 a 30 ° F. produce 263 psi. o 5,112.7 libbre di spinta su un
pistone cinque pollici di diametro. Le pressioni ci sono utilizzando il
Perpetuando Energy System Casco, utilizzando proprietari liquidi formulati per
la zona e la temperatura possa essere incontrati. Non è inteso che qualsiasi di
questi fluidi citati verranno utilizzati nella presente invenzione, il
confronto viene fatto qui con liquidi popolari e conosciute, solo per il
confronto.
L'INVENZIONE
La presente invenzione si riferisce ad un dispositivo di
somministrazione di energia libera inquinamento di operare un generatore per il produttore
di energia elettrica, o, per alimentare una trasmissione
diretta a un albero di
trasmissione,, frizione, differenziale
o il tale, l'invenzione essendo indipendente fonti esterne di energia come l'energia elettrica fornita da una società di pubblica utilità. Questo non è da considerarsi moto perpetuo, come sarà spiegato più avanti nel testo.

Liquidi proprietarie, specificamente composti per produrre i
risultati desiderati in una determinata
zona, o clima, sotto pressione nel serbatoio di mantenerli in uno
stato liquido, volontà, quando è
diretta attraverso tubi esposti
alla temperatura atmosferica, il
cambiamento da uno stato liquido
in un gassoso stato (da
qui in poi indicato come vapore),
tale conversione con conseguente espansione tremenda, producendo
vapore ad alta pressione con cui guidare il motore, o turbina.
È uno scopo generale della presente
invenzione fornire un dispositivo di
inquinamento libero per uso pubblico, che produrrà energia elettrica o, potenza
di azionamento diretto. Un
oggetto è quello di produrre energia
elettrica con cui riscaldare,
raffreddare, cucinare, correre apparecchi elettrici e la luce di una casa. Un
altro scopo della presente invenzione è quello di fornire all'industria uno strumento gratuito per l'inquinamento non solo
calore, le fabbriche fresco e
leggero, ma per la fornitura di
potenza di azionamento elettrico o direttamente con cui far
funzionare le apparecchiature di fabbrica. Un ulteriore scopo ancora dell'invenzione è di fornire una fonte di energia non
inquinante per spingere automobili,
treni, autocarri, autobus, attrezzature, piroscafi,
aeroplani, e altre forme di trasporto, senza l'uso di combustibili fossili come fonte di
alimentazione primaria. E 'anche
uno scopo della presente invenzione
fornire i mezzi con cui gli individui possano produrre energia elettrica per uso proprio, e come una produzione di
piccola potenza, vendere la loro alimentazione
elettrica surplus alla locale
società elettrica. Un ulteriore
scopo del trovato è quello di
realizzare un autosufficiente,
piccolo apparecchio, che offre un'eccezionale potenza dal motore di funzionare una macchina o altro mezzo di trasporto, o di fornire sufficiente energia elettrica in una casa o in fabbrica, senza dover collegare l'apparato in una
fornitura elettrica di pubblica
utilità.
BREVE DESCRIZIONE DEI DISEGNI

Fig.1 è una vista schematica parzialmente
sezionata del sistema:
DESCRIZIONE DI UNA FORMA DI REALIZZAZIONE
Nel disegno, Fig.1, l'invenzione è mostrato in una
forma di realizzazione preferita per uso domestico. La pompa del liquido 39, pompe del fluido criogenico dal
serbatoio di liquido pressurizzato 38,
nella linea del liquido 40, dove la
gravità alimenta fluido in Flash caldaia 8.
Pompa 39 impedisce anche la
contropressione da caldaia flash 8
di entrare nel serbatoio del liquido in pressione 38, e poiché la pressione del vapore entro la linea 10 e la linea del liquido 40 sono uguali, la gravità alimenta
fluido criogenico riga verso il basso del liquido 40 nella linea vapore 10.
Le alette caldaia flash 8 sono
riscaldati alla temperatura atmosferica dal flusso dell'aria 4, che converte il fluido entro la
linea vapore 10, all'interno della
caldaia flash 8 in vapore ad alta
pressione. Per mantenere la pressione durante il passaggio del vapore al motore
15, linea 10 dalla caldaia vapore flash 8
è alloggiato all'interno del forno 9,
che si esaurisce quando necessario scarico 12
dal ventilatore centrifugo 11.
Temperatura costante all'interno del forno 9
e Flash 8 caldaia viene mantenuta
con l'ammissione di atmosfera fresca attraverso flusso d'aria 4 che passa attraverso la caldaia
alettato flash 8 e attraverso forno 9. Ventilatore centrifugo 11 è controllato termostaticamente per
scaricare l'aria all'interno del forno 9,
che è raffreddato al di sotto di una temperatura prefissata. Eccesso di
pressione nella linea vapore 10
viene by-passata attraverso la valvola 13
e sfiatare la linea 14 nella casella
collettore di scarico 18, così, una
pressurizzato, sistema chiuso viene mantenuto, che, una volta applicato, salvo
un incidente danni o rotture una linea, non devono essere reintegrati.
Pressione all'interno del contenitore di raccolta gas di scarico 18 sarà inferiore alla pressione di
ingresso dalla linea vapore 10 al
motore 15, perché il condensatore 24 è ad una pressione inferiore, come
tubo di ritorno del vapore 19, di
ingresso PSI al motore 15 dalla
linea vapore 10, creando una
aspirazione sul retro della scatola collettore di scarico 18.
Flusso d'aria
29, che è stato raffreddato dal radiatore dell'evaporatore 27, scorre sulle superfici alettate del
condensatore 24, istantaneamente
abbassando la temperatura del vapore nel condensatore 24 condensa sotto di un punto predeterminato, trasformando così il
vapore di nuovo ad un liquido, tale conversione e istantanea riduzione del
volume all'interno condensatore 24 provocando
una riduzione di pressione sul retro del motore 15. Questo liquido condensato drena giù nella bobina di ritorno del
liquido 35, dove viene
immediatamente pompata nel serbatoio del liquido pressurizzato dalla pompa 38 di liquido 36.
Mentre sotto pressione
nel serbatoio di liquido pressurizzato 38,
il fluido viene mantenuto in uno stato liquido, indipendentemente dalla
temperatura esterna, fino a quando non viene fatto ricircolare nel sistema
liquido dalla pompa 39, attraverso
la linea del liquido 40 a
lampeggiare caldaia 8, dove si
converte nuovamente in vapore.
La capacità di
raffreddamento dell'evaporatore 27
ed imballaggio 28 è sufficiente
flusso di aria fredda di aspirazione 29
ad una predeterminata temperatura inferiore alla temperatura atmosferica in
qualsiasi momento, anche con aumento di umidità di notte, o durante forti, o
solo durante il tempo di umidità elevata. Questo differenziale di temperatura
viene mantenuta la temperatura atmosferica sale e scende, con un liquido
antigelo essere aggiunti all'acqua nel refrigerante nell'evaporatore quando la
temperatura scende al di sotto di 32 ° C., per evitare che il congelamento.
Ulteriori aria calda
per aumentare flusso di aria 4 è
ottenuta dirigendo l'aria calda di scarico raccolti nel collettore di
aspirazione dell'aria calda 26, dal
ventilatore centrifugo 41, con
T-assemblaggio 42. Flusso d'aria
attraverso T-assemblaggio 42 è
diretto e controllato dal meccanismo di controllo di aria calda 44, che regola il flusso-smorzatore 43 a uno scarico attraverso l'uscita 45 in atmosfera, o in alternativa, il
flusso d'aria 29 ricircolare
attraverso limitato T 42, comprimendo così e in seguito
portata d'aria di riscaldamento 29
prima di iniettare attraverso caldaia flash 8. Meccanismo di controllo di aria calda 44 controlla anche ventilatore 1
e feritoie di ventilazione 3,
selezionando il calore ottimale sia da T-gruppo 42 o variabile Venturi 2,
per perpetuare il sistema.
Il dispositivo di
raffreddamento dell'evaporatore 27
ha un tubo di ingresso dell'acqua 34
che alimenta acqua fredda da alimentazione normale acqua casa, o bene, (non
mostrato). Il serbatoio di acqua inferiore 33
è mantenuta ad un livello costante di acqua dalla valvola a galleggiante 32. L'acqua viene pompata dalla pompa 31 fino tubo 30 in acqua superiore serbatoio 25, dove passa attraverso il fondo forato del serbatoio 25 fino al confezionamento 28, mantenendo costantemente umido
imballaggio 28, che raffredda il
flusso d'aria 29 come viene aspirata
attraverso imballaggio 28 e sopra le
alette del condensatore 24 per il
vuoto parziale nel collettore di aspirazione dell'aria calda 26, tale vuoto parziale viene creato
dal ventilatore centrifugo 41
esaurire l'aria dal collettore aria calda di scarico 26 leggermente più veloce di flusso d'aria 29 può sostituirlo.
Finché c'è aria più
calda sulla caldaia flash 8 laterale
del sistema di raffreddamento del condensatore 24 lato del sistema, il dispositivo continuerà a funzionare e
produrre energia elettrica e / o potenza. Il sistema di ricircolo del calore e
l'utilizzo di tre distinti, distinti sottosistemi all'interno del sistema, uno
sigillato, permette al sistema di perpetuarsi. Come menzionato sopra, questo
dispositivo non è da considerarsi moto perpetuo, per qualche parte nel range di
differenze di temperatura e condizioni atmosferiche, ci può essere terra di
nessuno dove il sistema potrebbe chiudere, quindi la variabile di Venturi 2, in combinazione con motore e ventola
1 e feritoie 3, entrerà in uso automaticamente su un segnale dal controllore di
aria calda 44 e 12 di tensione di controllo 23,
e possono essere usate per un periodo di tempo. Motore e ventola 1 Forze
un'aria flusso 4 verso l'alto
attraverso la variabile Venturi 2,
con flusso d'aria 4 controllata dal
regolatore di aria calda 44 e 12 volt
di controllo 23, regolazione alette 3. Come corrente di aria 4 viene forzato attraverso la
restrizione della variabile Venturi 2,
corrente di aria 4 viene compressa
in quanto imbuti le pareti restringimento della variabile Venturi 2, causando la compressione ad aria a
calore, superando così possibili temperature deadlock o identiche tra il
condensatore 24 e 4 del flusso d'aria. Questo aumento di
temperatura leggero flusso di aria 4
consentirà al sistema di perpetuarsi finché la temperatura atmosferica stesso
cambia abbastanza da permettere un funzionamento continuo. Dal momento che
ventilatore e motore 1 è gestito da alimentazione a batteria da 12 volt 23, anche se le batterie sono
costantemente in carica durante il funzionamento, le batterie potrebbero
esaurirsi a causa di un lungo periodo di tempo la ventola e il motore 1 vengono
eseguiti, quindi, o, se per qualsiasi altro motivo il sistema inizia a correre
giù, un piccolo bruciatore 7,
operando su combustibile liquido o gassoso 6,
tramite la linea 5 e la valvola 48, viene accesa da meccanismo di
accensione 47 e fornisce il calore
necessario per sostenere e perpetuare il sistema fino atmosferica temperature
di condensazione e permette al sistema di funzionare normalmente. Sparati fermi
calore argilla 46 sono disposti
sulla griglia all'interno bruciatore 7,
di trattenere il calore.
Il sistema criogenico
viene caricata con riempimento con liquido in pressione attraverso il tubo di
riempimento 37. Ricarica, se
necessario, viene eseguita nello stesso modo. Motore 15 giri dell'albero motore 16,
che diventa generatore 17, la
produzione di energia elettrica (110V o 220V) tramite sistema di controllo
elettrico 20 che passa l'elettricità
in tre canali:
Uno: per 12 volt di
controllo 23, per eseguire le parti
elettriche del sistema e mantenere le batterie cariche.
Due: per la casa 22,
per la fornitura di energia elettrica con cui cucinare, correre
elettrodomestici, luce, calore e raffreddare la casa.
Tre: Tutta l'energia elettrica residua viene incanalata
attraverso utility contatore 21 in
linea elettrica una società di servizi locale per la vendita e l'uso altrove.
Uno stile completamente diverso di
generatore è stato costruito,
testato, brevettato e in questo momento
è disponibile in commercio per un
numero limitato di grandi
dimensioni uso acquirenti.
Questo progetto dimostra ancora una
volta, la natura pratica del
disegno di grandi quantità di energia
dall'ambiente locale. Versioni
commerciali sono disponibili in tre misure standard: 50 chilowatt, 250 kilowatt e 1 megawatt
partner e di licenza si stanno cercando.
Il generatore che James ha progettato può
essere visto al Panacea-bocaf.org sito web
http://panacea-bocaf.org/hidrofreeenergysystem.htm e sul sito web
personale James 'a
http://www.hidroonline.com/ che hanno entrambi i video clip che spiega come il progetto funziona. Il metodo si
basa su diverse pressioni a
profondità diverse di acqua,
gravità, e la
galleggiabilità di contenitori d'aria.
Il progetto richiede una struttura piena d'acqua di una certa altezza, una
sorgente di aria compressa e di un sistema di pulegge.
Il sistema non si basa su vento, tempo, luce del sole, di carburante di qualsiasi tipo, e può funzionare per
tutto il tempo, giorno e notte, senza causare alcun
tipo di inquinamento o di pericolo. Se ho ben
capito, il sistema nel suo
complesso simile a questa:

C'è un alto verticale contenitore riempito
con acqua. Esso contiene quattro
serbatoi ad alta pressione; serbatoi
1 e 2 sono fissati in posizione mentre serbatoi
3 e 4 sono montati su un sistema di guida che permette loro di muoversi su e giù verticalmente, con il loro movimento di guida di uscita del generatore.
Il sistema viene avviato quando una sorgente esterna di aria compressa
ciba nel serbatoio 2, in cui la pressione
sollevata passa aria
compressa nel serbatoio 3, aumentando
la sua spinta di galleggiamento e quindi provocando
una forza verso l'alto. L'alimentazione pneumatica viene interrotta
e serbatoi 3 e 4
vengono rilasciati.
Come serbatoio 3 è
molto vivace, che sale rapidamente alla superficie, fornendo potenza di uscita. Serbatoio 4 ha bassa
pressione dell'aria in essa e
quindi è il peso provoca affondare rapidamente, anche
fornendo potenza di uscita. Quando serbatoi 3 e 4
raggiunge la fine della loro movimenti,
un sistema di tubi, valvole serrature e collegare
serbatoio 4 al serbatoio
di pressione del serbatoio 2 e
3 a serbatoio a pressione 1.
Poiché vasca 3 è
salito a una profondità molto
minore di acqua, la pressione
esterna su di esso è molto ridotto considerevolmente.
È pressione interna è maggiore della pressione
all'interno del serbatoio 1,
in modo che quando sono collegati da
un tubo, l'aria fluisce dal serbatoio 3 e nel
serbatoio 1, unicamente dovuta alla
differenza di pressione tra di loro.
Questo lascia serbatoio 3 non è più in uno stato vivace
e così quando viene rilasciato di nuovo, affonda verso
il basso per gravità.
I due serbatoi mobili
scambiare i loro movimenti ripetutamente, sia essere
ri-pressurizzato mediante l'alimentazione
di aria compressa al fondo
della struttura. Se, a differenza
di James, non hai fatto la matematica per il sistema, si potrebbe pensare che la quantità di energia
generata da un sistema come questo
potrebbe essere inferiore alla quantità
di potenza necessaria per farlo
funzionare. Tuttavia, che è
sicuramente molto lontana dalla realtà, come un notevole eccesso di potenza si ottiene attraverso le forze naturali dell'ambiente locale, che rendono il sistema funziona.
Patrick Kelly
http://www.free-energy-info.tuks.nl