Una Guida Pratica
ai Dispositivi di Energia-Libera
Autore: Patrick J. Kelly
Capitolo 5:
L'accesso a Energia Pulsata Sistemi
Una
caratteristica molto interessante di free-energy è che, sebbene vari
dispositivi che sembrano essere completamente diversi e hanno diverse
applicazioni apparenti, l'operazione in background è spesso la stessa. E
'chiaro che un forte positiva andando CC impulso elettrico interagisce con il campo
di energia che circonda, facendo grandi quantità di energia libera disponibile
per chi ha la conoscenza di come raccogliere e utilizzare l'energia in più.
Vorrei sottolineare ancora una volta che "over-unity" è una cosa
impossibile. Over-unity suggerisce che più energia può essere preso su un
sistema che l'energia totale che entra nel sistema. Questo non è possibile in
quanto non si può avere più del 100% di niente. Tuttavia, vi è un altro modo
perfettamente valido di guardare il funzionamento di qualsiasi sistema, ed è
quello di valutare l'uscita del sistema rispetto alla quantità di energia che
l'utente deve inserire per farlo funzionare. Questo è chiamato il
"Coefficiente di prestazione" o "COP" in breve. A COP = 1 è
quando tutta l'energia messa in dall'utente viene restituito come output utile.
A COP> 1 dove l'energia è più utile esce dal dispositivo che l'utente deve
mettere in Per esempio, una barca a vela in un buon popolo trasporti brezza
lungo senza la necessità per l'energia di movimento che deve fornire
l'equipaggio. L'energia proviene dall'ambiente locale e mentre l'efficienza è
bassa, il COP è maggiore di 1. Quello che stiamo cercando qui non è qualcosa di
sfruttare l'energia eolica, energia delle onde, l'energia solare, l'energia del
fiume, energia termica o qualsiasi altra cosa, ma invece vogliamo qualcosa che
può toccare il campo invisibile di energia che circonda tutti noi, vale a dire
il "punto zero energia "campo o" di sottofondo ".
Per questo, diamo un'occhiata a pulsare circuiti utilizzati da una vasta gamma
di persone in una serie di dispositivi apparentemente del tutto diversi. Un
elettrico "pulse" è un aumento di tensione improvviso e molto forte
caduta con salita e discesa tensioni. Tuttavia, gli impulsi sono raramente
generati come eventi isolati quando si lavora con dispositivi pratici, quindi
probabilmente è meglio pensare a un treno di impulsi, o di una "forma
d'onda" con molto taglienti fronti di salita e discesa. Questi possono
essere chiamati oscillatori o generatori di segnale e sono così comuni che non
tendono a dare loro un secondo pensiero, ma i fattori davvero importanti per
l'utilizzo di un oscillatore di energia di punto zero pick-up è la qualità del
segnale. Idealmente, ciò che è necessario può essere un'onda quadra perfetta
senza overshoot, e il livello di tensione mai scendere sotto zero volt, o una
forma d'onda complessa, anche con attacco molto tagliente e tempi di
decadimento. Queste forme d'onda sono molto più difficili da reperire di quanto
si possa immaginare.
Anche in questi giorni di sofisticati dispositivi elettronici allo stato
solido, il metodo migliore per creare un impulso di tensione molto forte è
ancora considerato uno spinterometro, specialmente uno che ha la scintilla
tagliato improvvisamente con l'uso di un campo magnetico forte a destra angoli
alla spinterometro. Per un esempio di questo tipo di operazione, si consideri
il seguente dispositivo.
Ingegnere elettrico Frank Wyatt Prentice
degli Stati Uniti ha inventato quello che ha descritto come un 'alimentazione accumulatore elettrico' con potenza di uscita superiore a sei volte la
potenza di ingresso (COP =
6). E 'stato concesso
un brevetto nel 1923 che dice::
Mia invenzione si riferisce a miglioramenti in accumulatori elettrici e
simili, in cui la terra, in qualità di rotore e l'aria circostante come uno
statore, raccoglie l'energia così generata dalla terra che ruota sul suo asse,
lo utilizza per l'alimentazione e per altri scopi.
Nello sviluppo della mia SISTEMA WIRELESS di controllo dei treni per le
ferrovie, di cui il mio United States Patent Number 843550 Lettere, ho scoperto
che con un'antenna costituita da un filo di diametro adeguato supportato su
isolatori, da tre a sei centimetri di altezza e si estende la metà miglio, più
o meno in lunghezza, l'antenna essendo ad una estremità a terra attraverso uno
spinterometro ed eccitato all'altra estremità da un generatore ad alta
frequenza di ingresso di 500 watt e avente una frequenza secondaria di 500.000
Hz, produrrebbe l'antenna, una frequenza oscillatoria la stessa di quella delle
correnti di terra e quindi l'alimentazione elettrica dal mezzo circostante è
stata accumulata lungo la lunghezza dell'antenna di trasmissione e con una
antenna ad anello chiuso oscillatorio 18 piedi di lunghezza paralleli con
l'antenna di trasmissione ad una distanza di circa 20 piedi, è stato possibile
ottenere mediante sintonizzazione l'antenna, potenza sufficiente per illuminare
candela per alimentare una banca completa serie di lampade 50 carbonio 60 watt.
Abbassare o alzare la frequenza di 500.000 Hz determinato una diminuzione della
quantità di potenza ricevuto attraverso l'antenna 18 piedi.
Analogamente, sollevando l'antenna di trasmissione determinato una riduzione
proporzionale di potenza raccolto sulle antenne di ricezione e 6 metri sopra la
terra alcun potere era ottenibile senza un cambiamento di tensione e frequenza.
È l'obiettivo della mia invenzione generico per sfruttare la potenza
generata dalla terra, dai mezzi qui descritte ed illustrate nei disegni. I due
disegni rappresentano forme semplici e preferita di questa invenzione, ma
voglio che sia chiaro che nessuna limitazione è necessariamente fatto come ai
circuiti puntuali e precise, forme, posizioni e dettagli strutturali mostrati
qui, e che cambia, cambiamenti e modifiche possono essere effettuata quando
desiderato nell'ambito della mia invenzione e come specificamente indicato
nelle rivendicazioni.

Con particolare riferimento alla Fig.1, 1 e 2 sono fili feed corrente
alternata a 110 volt forniscono 60 cicli al secondo per un generatore ad alta
frequenza. 3 è un interruttore con poli 4 e 5, mentre il 6 e 7 sono i
collegamenti al trasformatore di alta frequenza 8, che viene utilizzato a accelerare
la frequenza di 500 kHz e la tensione a, diciamo, 100 kV. 9 è un induttore, 10
è uno spinterometro 11 è un condensatore variabile, 12 è l'avvolgimento
primario e 13 secondario del trasformatore 8. L'avvolgimento secondario è
collegato a massa attraverso condensatore variabile 16, e il filo 17. Filo 14
collega trasformatore 8 per l'antenna di trasmissione principale 19 che è
supportato lungo la sua lunghezza su isolatori 20. Spinterometro 21 è
posizionato tra l'antenna di trasmissione principale 19 e la massa 24, passando
per cavo di collegamento 22 e il condensatore variabile 23. L'antenna
di trasmissione principale 19, può essere di qualsiasi lunghezza desiderata .

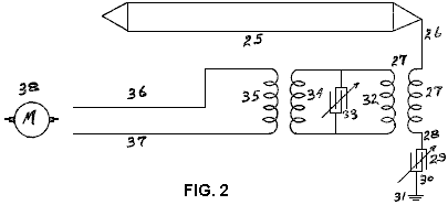
In Fig.2, 25 è una antenna ad anello chiuso oscillante di qualsiasi
lunghezza desiderata. Per una maggiore efficienza, viene eseguito in parallelo
con la trasmissione dell'antenna principale 19 di Fig.1. Filo 26 è collegato al
secondario 27 di avvolgimento di un trasformatore riduttore di avvolgimento che
poi va a terra 31 attraverso il condensatore variabile 29. L'avvolgimento
primario 32 del trasformatore riduttore ha condensatore variabile 33 collegato
attraverso esso e si alimenta direttamente avvolgimento (s) 34 del
trasformatore di frequenza (s) che forniscono corrente attraverso avvolgimento
(s) 35 di un motore "M" o altra carico elettrico (s).
Dopo aver descritto i disegni, che verrà ora descritto il funzionamento
della mia invenzione. Azionare l'interruttore a 3 per collegare l'alimentazione
di ingresso. Regolare spinterometro 10 e condensatore variabile 11 in modo che
100.000 volt ad una frequenza di 500.000 cicli al secondo è consegnato al
trasformatore elevatore 8 di Fig.1. Successivamente, regolare spinterometro 21
dell'antenna di trasmissione 19 in modo che tutti (tensione) picchi e nodi
vengono eliminati nella trasmissione dei 100.000 volt lungo l'antenna dalla
corrente s'infrangono spinterometro 21. La corrente ad alta frequenza alternata
che fluisce attraverso spinterometro 21 passa attraverso condensatore variabile
23 a terra 24 e da qui, attraverso il ritorno al punto di messa a terra 18,
attraverso il condensatore variabile 16 e ritorna al avvolgimento 13 del
trasformatore 8. Come 500.000 Hz corrente è la stessa come la terra generati
correnti e in sintonia con esso, ne consegue che l'accumulo di correnti di
terra si amalgamano con quelli del trasformatore 8, fornendo un serbatoio di
correnti ad alta frequenza per essere utilizzata da un circuito sintonizzato su
quella stessa frequenza di 500 kHz, come quello illustrato in Fig.2, dove è
attivata l'antenna 25 per ricevere una frequenza di 500 kHz, corrente che passa
attraverso il trasformatore 27, qualsiasi frequenza di regolazione del
trasformatore (s), e il potere del carico (s) 38.

Il ritorno della corrente attraverso la
terra da un'antenna di trasmissione 19, è preferibile restituire attraverso un
filo come proposte ritorno terra corrente fino correnti di terra più di un filo
fa. Inoltre preferisco certe condizioni, di utilizzare un singolo cavo antenna
al posto dell'antenna a telaio chiuso mostrato in Fig.2. Sotto determinati
requisiti operativi, ho era migliorata performance avendo l'antenna di
trasmissione elevata e portato su pali molti piedi sopra la terra, e con detto
regime è necessario utilizzare una tensione e frequenza differenti per
accumulare correnti di terra.
Questo
sistema di Frank applica
effettivamente impulsi CC molto bruscamente pulsato
per una lunghezza di filo lungo sostenuto in
posizione orizzontale poco sopra il suolo. Gli impulsi sono
taglienti dovuto sia spinterometro
sul lato primario del trasformatore,
insieme al spinterometro sul lato secondario (alta
tensione) del trasformatore. Una potenza
di ingresso di 500 watt dà a 3 kW di potenza da quello
che sembra essere un pezzo incredibilmente semplice delle apparecchiature.
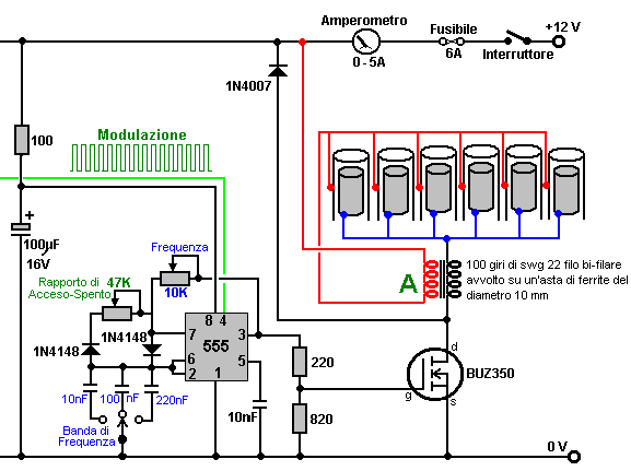
Un circuito a stato solido a semiconduttore che si è
dimostrato efficace nella produzione di impulsi come questo viene visualizzato
come parte della replica di Dave Lawton del mobile Acqua Stan Meyer carburante.
Qui, un normale chip di timer NE555 genera un'onda quadra che alimenta un
scelti con cura Field-Effect Transistor la BUZ350 che guida un acqua-splitter
cella tramite una coppia combinata di bobine di arresto al punto "A"
nella figura seguente.
Stan Meyer utilizzato un anello toroidale in ferrite
quando è stato avvolgimento queste bobine di arresto mentre Dave Lawton
utilizza due barre diritte ferrite, ponte superiore e inferiore con strisce di
ferro di spessore. Bobine avvolte su aste diritte ferrite sono stati trovati a
lavorare molto bene anche. Gli effetti sono le stesse in tutti i casi, con la
forma d'onda applicata agli elettrodi di tubo che si trasforma in molto
affilati, molto brevi, ad alta tensione picchi. Questi picchi di squilibrio per
l'ambiente locale quantistica causando enormi flussi di energia, una piccola
percentuale di che succede a fluire nel circuito come potenza aggiuntiva. La
cella fredda, e bassa corrente di ingresso, a differenza di una normale cella
elettrolitica in cui la temperatura aumenta notevolmente e la corrente di
ingresso richiesta è molto maggiore.

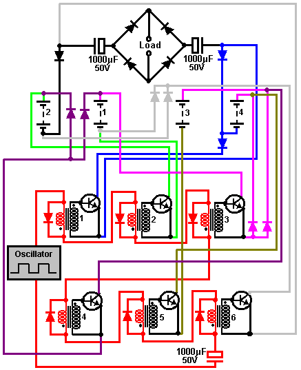
John Bedini usa questo pulsante stesso di un bi-filar
bobina avvolta a produrre gli stessi molto brevi, picchi di tensione molto
taglienti che uno squilibrio nel campo energetico locale, causando grandi
flussi di energia supplementare. La figura mostrata
qui è dal suo brevetto

John ha prodotto e generosamente condiviso, molti
disegni, che sono tutti sostanzialmente simili e tutti con un rapporto di 1:1
bi-filar trasformatore ferita. Questo usa un free-running rotore con magneti
permanenti incorporati in esso è cerchione, per innescare forti correnti
indotte negli avvolgimenti del gruppo bobina marcato "13b" che spegne
il transistor, alimentando avvolgimento "13a" che alimenta il rotore
sul suo cammino . Il bobina di potenza-raccolta "13c" raccoglie
ulteriore energia dall'ambiente locale, e in questo particolare circuito, si
alimenta il condensatore. Dopo alcuni giri del rotore (dettata dalla
marcia-down rapporto al secondo rotore), la carica nel condensatore viene
alimentato in un secondo "on-carica" batteria.

Il rotore è auspicabile ma non essenziale, come le bobine
indicati con 1 e 2 può auto-oscillazione, e non ci può essere un qualsiasi
numero di avvolgimenti, come mostrato in figura 3. Avvolgimento 3 produce molto
brevi, taglienti, picchi alta tensione, che è la parte essenziale del disegno.
Se tali impulsi taglienti sono alimentati ad una batteria al piombo (anziché ad
un condensatore, come mostrato sopra), quindi un effetto insolito che attiva
viene creato un collegamento tra la batteria e l'ambiente circostante, causando
l'ambiente per caricare la batteria. Si tratta di una scoperta sorprendente e
perché gli impulsi di tensione sono ad alta tensione per gentile concessione
delle 01:01 bobine di arresto, la banca della batteria in fase di ricarica può
avere qualsiasi numero di batterie e può essere impilato come un 24-volt banca,
anche se la batteria di guida è solo 12 volt. Ancora più interessante è il
fatto che la carica può continuare per più di mezz'ora dopo il circuito
pulsante è spento.
Può essere difficile da ottenere uno di questi circuiti
sintonizzati correttamente a lavorare al massimo delle prestazioni, ma quando
lo sono, possono avere prestazioni di COP> 10. L'inconveniente principale è
che il meccanismo di carica non consente un carico di essere guidato dalla
banca batteria mentre è in carica. Ciò significa che per ogni uso continuo, ci
deve essere due banchi batteria, una carica, ed uno in uso. Un ulteriore
problema principale è che le banche della batteria non sono solo adatti per uso
domestico serio. Una lavatrice elabora a 2,2 kW e un ciclo di lavaggio potrebbe
essere un'ora lungo (due ore se un lavaggio "bianchi" e un lavaggio
"colorati" sono fatti uno dopo l'altro, che non è raro). Durante
l'inverno, il riscaldamento deve essere eseguito al tempo stesso la lavatrice,
che potrebbe raddoppiare il carico.
Si raccomanda che le batterie non vengono caricate molto
oltre il loro tasso di "C20", cioè un ventesimo della loro Amp ore
nominale. Dire che 85 Amp-Hour batterie per il tempo libero a ciclo continuo
vengono utilizzati, quindi il tasso di pareggio consigliato da loro è di 85
Ampere diviso per 20, che è 4,25 ampere. Diciamo la spinta e dire che si
rischia di disegno doppio di quello, e lo rendono 8,5 ampere. Quindi, quante
batterie avremmo bisogno di fornire la nostra lavatrice partendo dal
presupposto che il nostro inverter è efficiente al 100%? Beh, 2200 Watt su un
sistema di 12 volt a 2200/12 = 183 ampere, quindi con ogni batteria
contribuisce 8,5 ampere, avremmo bisogno di 183 / 8,5 = 22 grandi, batterie
pesanti. Avremmo bisogno di due volte quel numero, se dovessimo trattare nel
modo giusto, più due volte di nuovo per il riscaldamento domestico, diciamo 110
batterie per un sistema comunque realistico. Tale vastità di banchi di batterie
non è realistico per la vostra famiglia media o persona che vive in un appartamento.
Di conseguenza, sembra che i sistemi di imposizione dei diritti di impulsi
Bedini non sono pratici per altro che piccolo materiale.
Tuttavia, il punto veramente importante qui è il modo che
quando queste brevi impulsi sono applicati ad una batteria al piombo, si forma
un legame con l'ambiente che causa grandi quantità di energia di fluire nel
circuito dall'esterno. Questo è extra "free-energy". È interessante
notare, è molto probabile che se gli impulsi generati da Dave Lawton acqua
splitter circuito mostrato sopra, sono stati alimentati ad una batteria al
piombo, quindi lo stesso meccanismo di carica-batteria è probabile che si
verifichi. Inoltre, se un impulso di carica Bedini circuito stati collegati ad
un dissociazione dell'acqua cella come cella Lawton, allora è altamente
probabile che sarebbe anche guidare tale cella soddisfacente. Due applicazioni
apparentemente diversi, due circuiti apparentemente diversi, ma entrambi i
produttori nitide ad alta tensione impulsi che attirano più energia libera dall'ambiente
immediato.
E non si ferma qui. Nikola Tesla ha introdotto il mondo a
corrente alternata ("CA"), ma in seguito si è trasferito da CA a
impulsi molto brevi, taglienti di corrente continua ("CC"). Ha
scoperto che regolando la frequenza e la durata di questi impulsi ad alta
tensione, che potrebbe produrre tutta una serie di effetti tratti dall'ambiente
- riscaldamento, raffreddamento, illuminazione, ecc La cosa importante da
notare è che gli impulsi sono stati traendo energia direttamente dall'ambiente
locale. Lasciando da parte le attrezzature avanzate che Tesla stava usando
durante questi esperimenti e di trasferirsi a Tesla semplice aspetto 4
Staccabatteria, scopriamo la stessa operazione sfondo di forti impulsi di tensione
di disegno libera energia dall'ambiente.
Si consideri il circuito di Electrodyne Corp. (mostrato
in "Il manuale di Free-Energy dispositivi e sistemi", 1986) testato
da loro per un periodo di tre anni:

Si prega di notare che quando ho condiviso questo circuito elettrico
diversi anni fa, qualcuno mi ha convinto che i diodi sono stati mostrati nel
modo sbagliato, e per questo, ho mostrato questi diodi in modo non corretto.
Schema precedente è quello indicato dal personale Electrodyne Corp., ed è corretto.
Come la commutazione utilizzato da questo dispositivo è
un dispositivo meccanico che ha sei interruttori in cui tre sono ON e OFF sono tre, in
qualsiasi momento, il personale Electrodyne Corp. presente schema circuitale
simile:

Con commutazione come questo::

Si raccomanda che questa semplice circuito ha un carico
induttivo, preferibilmente un motore, ma prendere in considerazione i risultati
di tale periodo molto prolungato di test. Se la velocità di commutazione e la
qualità erano di commutazione di livello sufficientemente elevato, il carico
potrebbe essere alimentata continuamente. Le batterie utilizzate sono normali
batterie al piombo, e dopo i tre anni di test, le batterie sembravano essere in
perfette condizioni. I loro test hanno rivelato una serie di cose molto
interessanti. Se il circuito è stato spento e le batterie scariche ad un
livello basso, quando il circuito è stato nuovamente acceso, le batterie
restituite alla carica completa in meno di un minuto. Senza riscaldamento
verificato nelle batterie nonostante il tasso di carica massiccia. Se il
circuito è stato spento e la corrente forte prelevata dalle batterie, quindi il
calore verrebbe prodotto che è abbastanza normale per la batteria scarica. Il
sistema di luci a comando, scaldabagni, televisori, piccoli motori e di 30
cavalli motore elettrico. Se lasciati indisturbati, con il circuito in
funzione, quindi ogni batteria si carica fino a quasi 36 volt senza apparenti
effetti negativi. Circuiteria di controllo è stato sviluppato per evitare
questo sovraccarico. Questo, naturalmente, è facile da fare come tutto ciò che
è richiesto è di mettere un relè attraverso una batteria e hanno scollegare il
circuito quando la tensione di batteria raggiunge qualunque tensione è
considerato una tensione massima soddisfacente.
I risultati del test mostrano la carica della batteria
spettacolare e le prestazioni della batteria, del tutto al di fuori del range
di normalità associata a questi comuni batterie piombo-acido. Sono essendo
alimentato molto brevi, impulsi molto forti, come i precedenti due sistemi?
Sembrerebbe come se non fossero, ma un altro pezzo molto interessante di
informazioni provenienti da Electrodyne è che il circuito non funziona
correttamente se la frequenza di commutazione è inferiore a 100 Hz (cioè 100
commutazioni in un secondo). La commutazione Electrodyne stata fatta
meccanicamente tramite tre dischi montati sull'albero di un piccolo motore.
Un altro dettaglio riportato dai tester Electrodyne, è
che se la velocità di commutazione superiore 800 volte al secondo, che era
"pericoloso", ma purtroppo, non hanno detto come o perché era
pericoloso. E 'evidente che non è stato un grosso problema con le batterie come
sono stati segnalati per essere in buona forma dopo tre anni di test, in modo
sicuramente non esplode batterie lì. Potrebbe anche essere semplice una cosa
che la tensione su ogni batteria è aumentato così alta che ha superato il
valore di tensione i componenti del circuito, o tali carichi alimentati, che è
una possibilità concreta. E 'possibile che in più di 800 impulsi al secondo, la
carica prodotta raffreddamento eccessivo che non era buono per le batterie.
E 'generalmente accettato che un circuito di questo tipo
per funzionare correttamente, la commutazione deve essere molto improvviso e
molto efficace. La maggior parte delle persone hanno un bisogno immediato di
utilizzare a stato solido piuttosto che la commutazione meccanica usata da
Electrodyne. A 'thyristor' o 'SCR' potrebbe essere adatto per questo, ma la
commutazione acuto di un opto-isolatore PCP116 guida di un FET IRF540 è
impressionante e un TC4420 FET-driver potrebbe sostituire l'opto-isolatore, se
si preferisce. E 'possibile che con un leggero ritardo, dopo gli interruttori
hanno acceso e spento, può rivelarsi molto efficace.
Il personale Electrodyne Corp. utilizzati tre dischi
identici montati sull'albero di un motore come mostrato sopra. Questo permette
ai "spazzole" contatto essere situate su lati opposti dei dischi. Ci
sono, naturalmente, molte costruzioni alternative possibili e mi è stato
chiesto di mostrare come ho scelga di realizzare questo tipo di commutazione
meccanica. L'idea comune di utilizzare relè meccanici non è molto pratico. In
primo luogo, i relè hanno difficoltà a passare le velocità consigliate per
questo circuito. In secondo luogo, con una vita contatto di dire, due milioni e
velocità di commutazione di soli 100 volte al secondo, i relè avrebbe raggiunto
la loro durata di vita prevista dopo due settimane di funzionamento, che non è
una soluzione molto pratica.
L'obiettivo è di avere una costruzione semplice che
produce commutazione diversi per ogni giro del motore di regolazione,
facilmente la temporizzazione di due serie separate di tre interruttori (un set
essendo OFF quando l'altra è ON), una costruzione che può essere preso a parte
e poi assemblati nuovamente senza alterare il tempo, e un metodo di connessione
elettrica che è semplice. Ovviamente, la costruzione deve utilizzare componenti
che sono prontamente disponibili localmente, e idealmente, richiedono solo
semplici utensili a mano per la costruzione.
Questa costruzione permette suggerito regolazione della
temporizzazione per entrambe l'inizio della prima serie di interruttori e
l'inizio della seconda serie di interruttori. Dovrebbe anche essere possibile
introdurre un divario tra breve il funzionamento di queste due serie di
interruttori. Questo disegno particolare sta assumendo un gap tra ogni
operazione di commutazione per quanto possa essere utile.
I commutatori vengono bracci rigidi, tirato contro il
tamburo rotante da molle. I contatti di toccare il tamburo può essere di vario
tipo e di quelle mostrate sono ottone o rame viti a testa cilindrica o bulloni
particolarmente conveniente in quanto permettono tag standard saldatura da utilizzare
per effettuare i collegamenti per i fili di commutazione che poi attraversano
per normali connettori elettrici a vite, i quali si può accedere da sopra.
Suggerirei che quattro connettori a vite deve essere utilizzato come un blocco
come che permette loro di essere fissato in posizione con due viti che ferma
poi ruotare quando i fili vengono serrati. Non vi è alcun bisogno per gli
inserti conduttrici nel cilindro di commutazione particolarmente ampio nella
direzione di rotazione.
Un metodo di costruzione pratica potrebbe essere:


Le braccia di contatto vengono
visualizzate come collegati tra loro a coppie. Un livello di precisione di
costruzione inferiore può essere consentito se essi siano tenuti separati e una
molla utilizzata per ogni braccio piuttosto che una molla per due braccia come
mostrato nel disegno. Raccomando caldamente che il tamburo commutazione essere
solido e l'ottone o rame inserti in essere un giusto spessore e con chiave in
modo sicuro nel tamburo. La superficie degli inserti dovrebbe essere molto
delicatamente alleviata in allineamento esatto con la superficie
I perni per tutte le armi di
commutazione possono avere una lunghezza di asta filettata con dadi di
bloccaggio a ciascuna estremità. Non ci dovrebbe essere quasi nessun movimento
delle braccia commutazione quando il tamburo è in rotazione, quindi non enorme
precisione è necessaria per i fori tra le braccia di commutazione, dove scorre
la barra filettata. Dopo aver detto che, si deve intendere che ogni
interruttore in serie di tre, deve accendere e spegnere allo stesso tempo, così
i contatti dei bracci a molla devono scivolare su e fuori le strisce di
direzione d'orchestra nel cilindro di commutazione, esattamente nello stesso
momento.
Il disegno mostra tre conducendo
inserisce in ognuna delle otto posizioni equidistanti intorno alla
circonferenza
I tempi di regolazione si ottiene
spostando il blocco portante leggermente, allentando le quattro viti di
fissaggio
Ogni set di sei ha bisogno di
braccia commutazione di tutte le armi hanno esattamente la stessa lunghezza tra
il contatto strisciante (indicato come una testa
I supporti per le braccia di
commutazione possono essere sia un blocco unico con slot tagliare in esso o la
costruzione più facile indicato, dove si è fabbricato da diversi pezzi
rettangolari standard e incollato e/o avvitato insieme.
La quantità disuguale di condurre
striscia rispetto alla parte non conduttore significa che ci sarà un divario di
tempo tra ogni coppia di commutazioni On/Off. Ciò nonostante, la commutazione
della batteria sarà un 50% Duty cycle come richiesto. Sarà quindi la sequenza
di commutazione: On / Off / mettere in pausa, On / Off / pausa, On / Off /
mettere in pausa... e che potrebbe essere un accordo desiderabile come avendo
un ritardo di interpulso può essere molto buono per caricare la batteria.
Tuttavia, per favore non immaginare
che il Tesla Switch descritto qui è un dispositivo 'plug-and-play' che si può
accendere e vi darà l'ordinamento delle uscite di cui sopra, che è molto non è
il caso. Hai bisogno di vedere l'interruttore di Tesla come essendo un progetto
di sviluppo a lungo termine con alto potenziale.
Se si utilizza il circuito di Tesla
Switch con interruttori manuali ed eseguire ogni fase per molti minuti prima di
effettuare la commutazione, fino a quattro volte può dare prestazioni migliori
rispetto all'esecuzione
L'interruttore di Tesla è uno dei
dispositivi più difficile arrivare operativa, nonostante il fatto che si
appella a un gran numero di persone. Ci sono tre possibili modalità di
funzionamento. Se i diodi sono attivati nel modo sbagliato rotondi modo che
possono alimentarsi corrente da ogni batteria, quindi l'operazione sarà
sicuramente poliziotto < 1 ma sarà un buon affare meglio di operare senza
l'interruttore di circuito in luogo.
Un altro modo è stato sviluppato e
testato in tre anni dal personale della società Electrodyne in
Uno sperimentatore che non credevano
che i diodi possono funzionare che modo rotondo, testato la disposizione e ha
scoperto che nonostante la teoria, in pratica, quei particolari diodi
polarizzato effettivamente abbattere e picchi di tensione molto forte passaggio
alle batterie, quindi l'effetto potrebbe essere come una versione patinata dei vari
circuiti pulsante batteria mostrato nel capitolo 6.
È interessante notare che nel 1989
brevetto US 4.829.225 concesse a Yury Podrazhansky e Phillip Popp, le loro
prove è che le batterie carica molto meglio e abbiano una vita più lunga se
abbia pulsati in modo specifico. La loro formula è che la batteria dovrebbe
essere dato un potente impulso di ricarica dura per un periodo di tempo tra un
quarto di secondo e due secondi, l'impulso è il rating di ampère-ora della
batteria. Cioè, per una batteria da 85 AHr, l'impulso di ricarica sarebbe 85
ampere. Tale impulso viene quindi seguita da un impulso di scarico della
corrente stessa, o ancora maggiore, ma solo mantenuto soltanto 0,2%-5% della
durata dell'impulso di ricarica. Questi due impulsi sono quindi seguiti da un
periodo di riposo prima il pulsare è ripetuto. Citano i seguenti esempi delle
loro esperienze, quando si utilizza questo metodo:
|
Batteria |
9V alkaline |
1.25V
NiCad 0.5
AHr |
15V NiCad 2 AHr |
12V al piombo 40 AHr |
|
Corrente
di carica: |
0.5
Amps |
1.2 Amps |
3.0
Amps |
48
Amps |
|
Tempo
di ricarica: |
550
mS |
700 mS |
500
mS |
850
mS |
|
Corrente
di scarica: |
6
Amps |
6 Amps |
14
Amps |
85
Amps |
|
Tempo
di scarica: |
2
to 3 mS |
2 mS |
2
mS |
3
mS |
|
Periodo
di riposo: |
15
to 20 mS |
7 to 10 mS |
10
mS |
15
mS |
|
carica gamma: |
50%
to 100% |
20% to 100% |
20%
to 100% |
20%
to 100% |
|
Totale
tempo di carica: |
12
to 15 mins |
20 mins |
35
to 40 mins |
40
mins |
Interessante,
questo sembra confermare il potenziale carico dello stile Tesla interruttore di
funzionamento, specialmente se c'è un periodo di riposo breve tra le due serie
di operazioni di switch. Qui è una versione a stato solido

Qui,
sei 2N3055 transistor (o la versione più conveniente il TIP3055) vengono accesi
e spenti da sei audio trasformatori (possibilmente il Radio Shack #273-1380).
Gli avvolgimenti primari di trasformatore 8 ohm sono collegati in serie e
guidati da un generatore di onda quadra attraverso un grande condensatore.
Questo circuito è mostrato in rosso nello schema circuitale qui sopra. Quando
l'onda quadra è positivo, trasformatori 1, 2 e 3 hanno loro avvolgimenti
primari caricati da un diodo forward-polarizzato che limiti la tensione tra di
loro per un massimo di circa 0,7 volt e che mantiene il loro funzionamento
breve quando si passa. Le altre tre trasformatori di 4, 5 e 6 sono i diodi tra
loro avvolgimenti primari posizionati per bloccare una tensione positiva e così
loro transistor rimangono spenti.
Quando
la tensione di uscita del generatore di onda quadra diventa negativa, la
situazione è invertita e trasformatori, 4, 5 e 6 si accende brevemente mentre
trasformatori 1, 2 e 3 rimangono spenti. I diodi attraverso gli avvolgimenti
primari sono diodi 1N4148 che hanno un tempo di commutazione molto veloce che
può essere molto importante per i circuiti di questo tipo. Gli altri diodi sono
1N1183 che sono valutato a 50 volt e 40 ampere.
Proseguendo lo stile di Tesla Switch
dell'operazione, è possibile ottenere lo stesso effetto come il circuito di
Tesla Switch, utilizzando solo tre batterie (o tre condensatori). Discusso
quasi un secolo fa da Carlos Benitez nei suoi brevetti e più recentemente
descritto da John Bedini, solo tre batterie possono essere utilizzate se la
commutazione di circuito più complicato è usato. Carlos fa notare che ci deve
essere una perdita di energia a causa di fili scaldando e batterie non essere
efficiente al 100%. Egli supera questi problemi con alcuni circuiti molto
intelligenti che è coperto nella sezione seguente. Tuttavia, è non è affatto
certo che questo è effettivamente il caso come sperimentazione indica che è
possibile per questo tipo di batteria switching per mantenere i livelli di
carica della batteria ben oltre il previsto.
Ecco un suggerimento non testato per come potrebbe
essere possibile produrre una luce potente portatile autoalimentata. Ci sono
molte possibili variazioni su questo, e la seguente descrizione è inteso solo
come un'indicazione di come una batteria tre potrebbe essere costruito il
sistema di commutazione. Se non si ha familiarità con l'elettronica semplice,
allora suggerisco che si studia il tutorial di elettronica di base del capitolo
12.
Ricarica della batteria può essere realizzato in
molti modi diversi. Ovviamente, più il carico elettrico può essere ridotto,
minore la necessità di ricarica. Due metodi per fare questo coinvolgono
passando la stessa corrente elettrica ripetutamente attraverso il carico, come
illustrato di seguito:

La commutazione per questa disposizione può essere
implementata in molti modi diversi, ma essenzialmente, nella fase 1, batterie
'B1' e 'B2' forniscono due volte la tensione delle batterie 'B3' e 'B4',
causando corrente di fluire attraverso il carico 'L' e pile 'B3' e 'B4',
guidato dalla differenza di tensione che normalmente, è lo stesso come la
tensione di uno qualsiasi delle batterie su una propria. Ognuna delle batterie
'B3' e 'B4' ricevere solo la metà della corrente fornita da batterie 'B1' e
'B2' e così, non c'è, non sorprendentemente, una perdita di energia. Tuttavia,
per metà del tempo, stanno ricevendo le batterie 'B3' e 'B4' ricarica corrente
invece di fornire corrente al carico.
Nella fase 2, le batterie sono scambiate intorno e
il processo ripetuto con batterie 'B3' e 'B4' fornisce corrente al carico e
batterie 'B1' e 'B2'. Test hanno dimostrato che con questa disposizione, il
carico 'L' può essere alimentato per un tempo superiore se tutte e quattro le
batterie sono state collegate in parallelo e utilizzate per alimentare
direttamente il carico. Con questo sistema, ogni batteria riceve metà del
carico corrente per metà del tempo.
Un metodo alternativo che utilizza lo stesso
principio, ma tre batterie invece di quattro, e dove ogni batteria riceve tutto
il carico di corrente per un terzo del tempo, è come questo:

Qui, le batterie sono commutate intorno in modo
sequenziale, con due di loro in serie, causando il flusso di corrente
attraverso il carico 'L' e nella terza batteria. C'è, naturalmente, una perdita
complessiva di energia, e così, ha bisogno di ulteriore energia da una fonte
esterna introdotta per mantenere il carico alimentato continuamente. Tuttavia,
come con il sistema quattro-batteria, il carico che può essere mantenuto 'L'
più alimentato da batterie disposte come ciò che si verificherebbe se tutte e
tre le batterie sono collegate in parallelo e usate per alimentare direttamente
il carico.
Come prima, la commutazione di un sistema di
questo tipo può essere implementata in vari modi diversi. Per l'affidabilità a
lungo termine, il passaggio allo stato solido è preferito, e come transistor
NPN sono basso costo e facilmente reperibili, sono mostrati qui in una delle
configurazioni preferite:
Come ogni connessione inter-battery è diverso per ciascuna delle tre fasi di funzionamento di questo circuito, è necessario disporre di quattro interruttori per ogni fase. Al fine di stabilire i dettagli necessari per il collegamento dei transistor, questo circuito non hanno i normali binari positivi e negativi, le direzioni di flusso corrente (nominale) devono essere esaminati. Questi sono mostrati qui:

Ovviamente, la corrente fluisce dalla tensione superiore collegate in serie per la bassa tensione batteria singola. I dodici switch virtuali sono numerati da 'S1' a 'S12' rispettivamente, e se ciascuno rappresenta un transistor di tipo NPN, quindi anche dobbiamo assicurare che la direzione del flusso corrente è corretta per il transistor e per identificare un più alto punto di tensione che può essere utilizzato per alimentare corrente alla base di ogni transistor. Questi dettagli sono elencati qui:
|
Fase |
Interruttore |
Transistor |
Collector |
Resistenza |
Emitter |
|
1 |
1 |
NPN |
B2 Plus |
B1 Plus |
B1 Meno |
|
|
2 |
NPN |
B3 Meno |
B2 Plus |
B2 Meno |
|
|
3 |
NPN |
Carico Meno |
B1 Plus |
B3 Plus |
|
|
4 |
PNP |
Carico Plus |
B1 Meno |
B1 Plus |
|
2 |
5 |
NPN |
B3 Plus |
B2 Plus |
B2 Meno |
|
|
6 |
NPN |
B1 Meno |
B3 Plus |
B3 Meno |
|
|
7 |
NPN |
Carico Meno |
B2 Plus |
B1 Plus |
|
|
8 |
PNP |
Carico Plus |
B2 Meno |
B2 Plus |
|
3 |
9 |
NPN |
B1 Plus |
B3 Plus |
B3 Meno |
|
|
10 |
NPN |
B2 Meno |
B1 Plus |
B1 Meno |
|
|
11 |
NPN |
Carico Meno |
B3 Plus |
B2 Plus |
|
|
12 |
PNP |
Carico Plus |
B3 Meno |
B3 Plus |
La disposizione di commutazione suggerito pertanto, si presenta così:

Mentre il diagramma sopra illustrato ogni fase con
resistenze di base permanentemente collegate, che è, naturalmente, solo per
visualizzare la disposizione concettuale. Ogni resistore è passata attraverso
un opto-isolatore e ogni set di quattro opto-isolatori sono guidati da uno dei
tre uscite separate di uguale durata. Una disposizione possibile per questo
potrebbe essere come di seguito indicato.
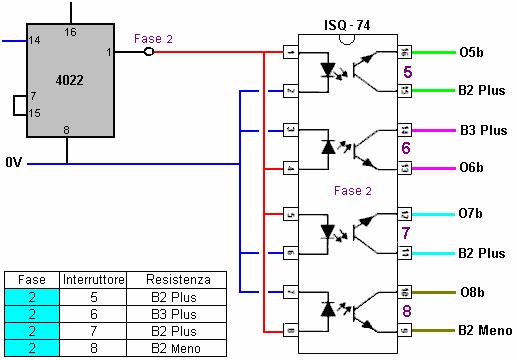
Il chip CD4022 Divide-by-otto può essere organizzato a dividere per tre, invece di otto, collegando il pin 7 al pin 15. Le connessioni fisiche chip sono:

Il chip ha bisogno di un segnale di clock per
poter funzionare. Ci sono molti modi di generare un segnale di clock, e quella
mostrata qui è molto economico, semplice e ha frequenza regolabile e regolabile
Ciclo de trabajo, anche se, come il segnale deve essere utilizzato per attivare
l'azione di un chip di dividere per tre, non è necessario per questo segnale di
clock avere un 50% di Ciclo de trabajo. La corrente di alimentazione del chip è
così piccola, che davvero non importa ciò che il Ciclo de trabajo:

Utilizzando questo circuito come segnale di clock,
il circuito opto-isolatore potrebbe essere:

Sono disponibili vari opto-isolatori e mentre le
varietà ad alta velocità piuttosto costose sono allettanti, poiché dobbiamo
fornire tre insiemi di quattro, il chip quad ISQ-74 sembra molto adatto per
questa applicazione, anche se è più lento:

Il circuito complessivo per la commutazione ottica è allora:



Il transistor di uscita sono tenuti a passare 1
amp e così il NPN TIP132 e corrispondenza TIP137 transistor sono stati
selezionati. Queste sono a buon mercati, transistor Darlington con guadagni di
correnti superiore a 1000, che significa che gli attuali requisiti di base sono
circa 1 milliampere, che suggerisce che i transistor base potrebbe essere 8,2 K
per un sistema a 12V. Questi transistor possono passare 12A a fino a 100V e
hanno una dissipazione di potenza 70 watt, che indica che essi saranno in
esecuzione finora sotto loro capacità che essi devono eseguire cool.
Con questo tipo di circuito, è preferibile avere un flusso di corrente abbastanza grande (rispetto alla capacità della batteria) al fine di dare una marcata differenza tra la scarica e carica di cicli per ogni batteria. Utilizzando una dimensione di board 104 mm x 50 mm che sarà slot direttamente in una finestra di lato scanalato standard in plastica, potrebbe essere un layout stripboard (dove i cerchi rossi indicano una pausa nella striscia di rame sulla parte inferiore della scheda) per la sezione di commutazione del transistor:

Ciascun resistore base ha un collegamento di
uscita (O1B attraverso O12b) collegato attraverso il suo isolatore ottico alla
destinazione riportata nella colonna "Base" nella tabella. Ogni set
di tre transistor NPN e un transistor PNP vengono alternati tra loro tramite un
unico ISQ-74 quad opto chip di isolatore. Ognuno dei tre ISQ-74 chip è
alimentato a sua volta da una delle uscite dal CD4022 Divide-by-Tre chip di
collegamento, che guidato dalla CD40106B esadecimale Schmitt chip di inverter
collegato come un orologio come mostrato sopra. Si prevede che una frequenza di
clock adatta sarebbe di circa 700 Hz. Un layout possibili per l'orologio,
Divide-by-tre e dodici opto-isolatori in un 104 x 50 mm Pannello a una lista, è
mostrato qui:

Circuiti di commutazione e la temporizzazione fanno parte
del carico che sta per essere disattivato. Tuttavia, se assumiamo che ci sarà
una perdita di potenza durante l'esecuzione di questo sistema, allora dovremmo
considerare i disegni molto intelligenti di Carlos Benitez nel 1915.
Il messicano Ingegnere Civile Carlos Benitez ideato
quello che è essenzialmente l'interruttore a 3 batterie di cui sopra. Stava
lavorando in un momento in cui l'elettronica dello stato solido non era
disponibile e quindi il suo design è tanto più impressionante per questo. Ecco
alcune informazioni
Carlos Benitez Brevetto GB 17.811
13 maggio 1915
Sistema per la Generazione di Corrente
Elettrica
Io, Carlos F. Benitez, Ingegnere
Civile, 141 Ocampo Street, Guadalajara, Messico, ne dichiara la natura di questa
invenzione:
L'invenzione riguarda un nuovo
procedimento per ottenere correnti elettriche in condizioni insolitamente
semplice, economico e pratico. Io uso sinteticamente in combinazione: apparato
per la produzione di correnti elettriche per caricare una o più condensatori
cui collettori o rivestimenti interni sono collegati ad uno dei terminali
dell'avvolgimento primario di una o più bobine di induzione e gli altri
rivestimenti di tali condensatori sono alternativamente messa a terra
attraverso l'avvolgimento primario di un trasformatore, oppure collegato
attraverso il primario del trasformatore per i collezionisti di cui sopra, i
mezzi adeguati per la raccolta delle correnti prodotte negli avvolgimenti
secondari di questi trasformatori e per l'applicazione di ricarica per i
collezionisti di cui sopra, e un mezzo adeguato per l'adempimento di detti
collettori, e per l'applicazione di tutta o parte della sua energia alla
replica successiva del processo già descritto, in questo modo, aumentando la
generazione di energia elettrica, o mantenere una costante, predeterminata
uscita elettrica.
Inoltre, l'invenzione consiste in una
nuova combinazione di parti da cui sono derivati vantaggi,
che saranno pienamente comprese dalla considerazione dei due differenti casi
illustrati nel disegno allegato, in cui:
1 è un banco di condensatori.
2 è un commutatore rotante per
fare e rompere le connessioni del circuito negli istanti opportuni.
3 è l'avvolgimento primario di
un trasformatore o bobina di induzione.
4 è l'avvolgimento secondario
del trasformatore che o induzione bobina.
5 è un secondo banco di
condensatori.
6 è un spinterometro
oscillatore.
7 è l'avvolgimento primario di
un secondo trasformatore.
8 è l'avvolgimento secondario
del trasformatore che.
9 è un terzo banco di
condensatori.
70 è l'avvolgimento primario di
un terzo trasformatore
71 è l'avvolgimento secondario
del trasformatore che.
10 è una quarta trasformatore.
11 è una serie di lampade ad
incandescenza.
12 è un
motore elettrico.
(a), (b), (c), (d), (e) e (f) sono
convertitori a vapori di mercurio o valvole catodica, che consente il flusso di
corrente elettrica solo nella direzione indicata dalle frecce.

Il banco di condensatori 1, è collegata tramite fili 13 ad una sorgente di corrente
elettrica, fornendo la carica iniziale al condensatore banco 1. Questa carica iniziale viene utilizzato per
avviare il sistema in esecuzione e può essere scollegato in qualsiasi momento
per mezzo di interruttore 14.
Filo 15 collega le foglie interne del banco di condensatori 1 con pali 16 e 17 del collettore 2, ed è polo 18 è collegato via cavo 19
ad uno dei terminali del primario trasformatore 3, la cui altra estremità è collegata attraverso il filo 20 al foglie esterne di batteria di
condensatori 1. L'avvolgimento secondario 4, di questo trasformatore, è collegato da filo 21 alle piastre interne del
condensatore banca 5, e da filo 22, alle piastre esterne di
condensatore banca 5. Allo stesso modo, i fili 23 e 24 passano quelle
connessioni sui due lati del primario 7
del secondo trasformatore. Filo 23 contiene anche un oscillatore
spinterometro 6, e fili di 21, 22, 25, 26 e 72 contengono le unidirezionali valvole a catodo a, b, c, d, e ed f. L'avvolgimento
secondario 8, di questo secondo
trasformatore, collega alle piastre interne della banca condensatore 9, le cui armature esterne sono
collegate a massa attraverso l'avvolgimento primario 70 del terzo trasformatore. L'avvolgimento
secondario 71, di questa terza
trasformatore è collegato anche attraverso il filo 72, alle piastre interne del condensatore banca 9.
I fili 27 e 28 collegano anche
queste piastre interne ai poli collettore 29
e 30, che formano un commutatore
tramite commutatore contatto 31 che
è collegata alle piastre interne del condensatore banco 1 attraverso il filo 32.
Interruttori 33 e 34, permette la connessione o
disconnessione dell'avvolgimento primario del trasformatore 10, il cui avvolgimento secondario
forniture corrente alle lampade ad incandescenza 11 e del motore 12. Infine, una delle estremità di avvolgimento
primario 3 è collegato attraverso il
filo 35 sia a palo 36 e 37 poli del collettore 2,
ed il corrispondente contatto commutatore 38
è collegato a massa dal filo 39.
Come la costruzione e l'uso di tutti
questi componenti (ad eccezione del commutatore) è perfettamente capito,
sarebbe inutile descriverli. Il collettore 2,
è racchiuso in un serbatoio 40, le
cui pareti estremità 41 e 42 di supporto alle estremità della
barra di contatto di montaggio 43,
ed i cuscinetti dell'albero rotante 44.
La barra di contatto è fatto di un
materiale non conduttore al quale sono inamovibile allegata, la striscia di
contatto rame spazzole 16, 17 & 18, 36, 37 & 38, e 29, 30 & 31. Contatto sicuro tra queste spazzole ei
cilindri rotanti montati su albero 44
è garantita dal braccio di leva girevole 47
e il suo peso associato 48.
I tre cilindri rotanti montati su
albero 44, sono fatti di un
materiale non conduttore e hanno una striscia conduttiva intorno al loro
centro. Questa striscia ha due speroni conducono
correnti verso l'esterno, uno a destra ed uno a sinistra, posizionate a 180
gradi intorno alla circonferenza del cilindro. Quando albero 44 viene ruotato, questo provoca il contatto centrale (per esempio,
18) per collegare prima ad uno dei
suoi contatti associati (ad esempio, 17)
e quindi scollegare e collegare all'altro contatto (diciamo, 16) formando una commutazione
meccanismo di commutazione.
Le strisce di commutazione sul cilindro
centrale sono posizionati 90 gradi attorno alla circonferenza rispetto alla
posizione delle strisce di commutazione su due cilindri esterni che sono
allineati tra loro.
Questo può essere visto in figura, in
cui la posizione dell'albero mostrata, 38
e 36 sono collegati e 31 e 30 sono collegati, mentre 18
non è collegato a 16 o 17.
Quando albero 44 è ruotato di 90 gradi, 18
sarà collegato a 17, mentre 31 e 38 saranno entrambi isolati.
Quando albero 44 è ruotato di altri 90 gradi, spazzola 18 saranno isolati mentre spazzola 38 sarà collegato a pennello 37
e 31 sarà collegato a 29.
Quando albero 44 è ruotato di altri 90 gradi, spazzola 18 saranno collegati a
pennello 16, mentre le spazzole 31 e 38 saranno isolati.
[Nota: se il diagramma è
correttamente proporzionato, ci saranno quattro posizioni in ogni rotazione, dove
le tre spazzole centrali non sono collegati a nessuna delle spazzole esterne,
producendo la sequenza di commutazione Fai, Pausa, Make, Break, Fai, Pausa,
Make , Break per ogni giro. Tali interruzioni nella sequenza di commutazione
hanno dimostrato di avere un effetto significativo quando carica delle
batterie.]
Albero 44 è allungata e progetti attraverso la parete 42 finale, in modo che una trasmissione a cinghia 45, o altro metodo idoneo, può essere
usato per ruotare l'albero, azionato da motore 12 o anche di manovella 46.
Il serbatoio 40, è riempito con olio o qualsiasi altro liquido isolante, per
evitare scintille tra le spazzole, che abbasserebbero l'efficienza del sistema.
Questo sistema funziona come segue:
Con il commutatore nella posizione mostrata
nel disegno, cioè con pennello 36
collegato a 38 e la spazzola 30 collegato a 31, e supponendo di condensatori 1 è collegato attraverso il filo 13 ad una sorgente di energia elettrica (ad esempio, una Macchina
Wimshurst), interruttore 14 essendo
passa corrente chiusi elettrici attraverso il filo 13 per caricare condensatori banco 1, causando un flusso di corrente attraverso il filo 20, avvolgimento primario 3, filo 35, spazzola 36,
spazzola 38 e filo 39 di a terra. Questo flusso di corrente attraverso
l'avvolgimento primario 3 induce una
corrente inversa in avvolgimento secondario 4, che scorre attraverso il filo 21, la carica di condensatori 5
e quindi una corrente indotta che fluisce attraverso conduttori 22, carica del condensatore banca 5.
Il flusso di corrente di entrambe le
serie di piastre in banca condensatore 5,
lo carica e crea una scintilla attraverso lo spinterometro 6, causando un impulso di corrente molto affilato attraverso
avvolgimento primario 7. Questo a
sua volta, provoca un numero considerevole di alta frequenza oscillanti flussi
di corrente nell'avvolgimento secondario 8
e queste passano lungo i fili 25 e 26, e tramite diodi ced, quindi la
carica condensatore banca 9 e
provocando una serie corrispondente di alta frequenza impulsi a fluire a terra
attraverso l'avvolgimento primario 70.
Ciò induce il flusso di corrente nel
avvolgimento secondario 71, che
scorre attraverso i diodi e ed f, e poi via filo 72, aumentando ulteriormente la tassa sul condensatore banca 9.
Pertanto, condensatore banco 1 viene caricata da una fonte esterna,
condensatore banca 9 comportano
indirettamente e successivamente ri-calcolato più volte, causando una quantità
di energia notevolmente maggiore di quella del condensatore banco 1. In questo modo, il sistema può essere
auto-alimentato senza necessità per la sorgente di potenza utilizzata per
avviarlo, il che significa che il commutatore 14 può essere aperto.
Quando albero 44 ruota di 90 gradi, spazzola 17
collega con pennello 18, mentre le
spazzole 31 e 38 sono entrambi scollegati. Questo provoca condensatori 1 sia completamente scarica tramite
trasformatore primario 3, causando
il processo già descritto da quale banco di condensatori 9 riceve una carica elettrica sostanzialmente più grande. Ciò si traduce in condensatore banca 1 essendo totalmente scarica e
condensatore banca 9 essendo
altamente pagano con una grande quantità di energia elettrica. Di conseguenza, se ora Chiudere l'interruttore
33 e ruotare l'albero 44 con altri 90 gradi, i seguenti risultati
situazione:
1.
Spazzole 17 e 18 saranno
disconnessi.
2. Spazzole 37 e 38 diventano
collegati che a sua volta collega le piastre esterne della batteria di
condensatori 1 a massa. Spazzole 29
e 31 sono collegati, che poi collega
le piastre interne del banco di condensatori 9 alle piastre interne del banco di condensatori 1.
3. Parte di alto carica sul
condensatore banca 9 scorrerà una
corrente elettrica, attraverso il filo 32
e nel banco di condensatori 1.
4. Questo flusso di corrente
dalle piastre interne del banco di condensatori 9 provoca un immediato carica negativa corrispondenza di fluire
dalla terra attraverso l'avvolgimento primario 70, per compensare lo squilibrio di carica.
5. Ciò induce un flusso di
corrente nell'avvolgimento secondario 71,
che passa ulteriore energia elettrica alle piastre esterne di entrambi
condensatore banca 9 e condensatore
banco 1, e che intensifica
ulteriormente il flusso di corrente attraverso avvolgimento primario 70 in modo considerevole.
6.
Inoltre, come condensatori 1 è
appena stata appena caricata, spinge corrente aggiuntiva mediante avvolgimento
primario 3, causando nuove correnti
indotte che, come prima, producono molto maggiore carica sulle piastre interne
di entrambi i condensatori 5 e
condensatore banca 9, come descritto
in precedenza.
Se l'albero 44 è ruotato di altri 90 gradi, poi una connessione tra le spazzole
16 e 18 verrà effettuata e tutti gli altri circuiti verrà aperto,
causando condensatori 1 per essere
scaricata nuovamente, ripetendo così l'intero processo sopra descritto purché
albero 44 viene ruotato
continuamente.
Questo sistema produce una sempre
maggiore erogazione di corrente elettrica che fluisce attraverso il filo 32, e così, interruttore 34 può essere chiuso, consentendo
trasformatore 10 per fornire
l'energia elettrica per funzionare motore 12
che mantiene albero 44 in rotazione
continua, rendendo il sistema autoalimentato senza necessità di alcuna forma di
alimentazione esterna. Trasformatori aggiuntivi inseriti in filo 32 può essere utilizzato per alimentare
apparecchiature aggiuntive.
Senza impiegare le correnti ad alta
frequenza sopra descritte, risultati simili possono essere raggiunti mediante
la disposizione mostrata al lato del seguente disegno in basso a destra:

Qui, 50 avvolgimento primario è collegato come indicato dalle linee
tratteggiate, con fili del 19 e 20 dell'accordo precedente, e filo 53 collega per sia il filo 27 e 28 a filo. Questa
disposizione ha 50 avvolgimento
primario collegato attraverso l'estremità 51
al filo 20 e così è permanentemente
collegata alle piastre esterne della banca del condensatore 1 e sua altra estremità essendo 52 collegato al filo 35 intermittente sarà collegata a
terra. Filo 53 collegata ai fili del 27
e 28 ad intermittenza collegare
insieme, le piastre interne della batteria di condensatori 54 e le piastre interne della banca del condensatore 1.
Con questa disposizione, entrambe le
estremità del secondario avvolgimento 55
sono collegate tramite diodi 56 e 57, a filo 53. Le piastre esterne della
batteria di condensatori 54 sono
permanentemente collegate attraverso 58
avvolgimento primario a terra. Entrambe
le estremità delle 59 secondario
sono collegate tramite diodi 60 e 61, torna a filo 53. Di conseguenza, se sono
carica di condensatori 1, guida una
corrente attraverso il filo 20 e
così, attraverso 50 avvolgimento
primario e verso terra attraverso fili 35
e 39. Questo induce corrente in 55 avvolgimento secondario che viene memorizzato nelle piastre
interne di 54 di condensatori e
condensatori 1, come in questo
momento, il circuito è chiuso tra pennelli, 29 e 31, e così, filo 53 è collegato al filo 32. Alla ricezione di queste nuove accuse, sia di
condensatori 1 e condensatori 54 creerà nuove correnti elettriche
indotte che scorre attraverso gli avvolgimenti primari 50 e 58. Questi impulsi multipli carico diminuirà con
il tempo fino a quando non sono insignificanti, momento in cui, a causa della
rotazione dell'albero 44, non sarà
non più mantenuto il collegamento tra pennelli, 29 e 31 e tra pennelli, 36 e 38, e invece, pennelli, 18
e 17 saranno diventato collegati, scarica
di condensatori 1 attraverso la
bobina primaria fine 50, che è una
scarica molto forte, carica di condensatori 54 come filo 53 ora sono
disconnesso dal filo 32. Questo, a sua volta, provoca il potente flusso
di corrente attraverso 58
avvolgimento primario, ulteriore carica di condensatori 54 che poi alimenta di condensatori 1 quando albero 44 ruota
ulteriormente, rendendo il sistema autoalimentato sia in grado di fornire
energia elettrica utile per altre apparecchiature.
Dovrebbe essere chiaramente capito che
l'uso di convertitori di vapori di mercurio o diodi catodica valvola come
descritto, non sono in alcun modo indispensabile nel sistema come quei
dispositivi possono essere sostituiti da una disposizione adatta dei
condensatori che vuoi ricevere separatamente, le correnti dirette e inverse dei
secondari.
Quando una campana è colpita solo una volta, molte volte,
che vibra passando tali vibrazioni all'aria e così, rendendo il suono che
sentiamo. La più grande campana, più lente le vibrazioni e più basso il tono
della nota che sentiamo. La stessa cosa accade quando un impulso forte tensione
viene applicato a una bobina di filo, come un solo impulso provoca molte vibrazioni
in bobina. Come la campana, la frequenza delle vibrazioni dipende dalla
struttura della bobina e non come esso è pulsato, anche se, come una campana,
un forte impulso per una bobina o un colpo forte per una campana, produce un
effetto maggiore.
Si noterà qui che Carlos utilizza la 'chiamata' risonante
di una bobina di nucleo ad aria per ottenere un guadagno di energia che viene
quindi utilizzato come feedback positivo per ulteriore carica una batteria di
condensatori. Un singolo impulso netto generato da una scintilla, fa sì che un
gran numero di oscillazioni di bobina, ciascuno dei quali contribuisce la
potenza in uscita, producendo un guadagno di energia. La frequenza di chiamata
è suscettibile di essere circa 3 MHz. Vale anche la pena di notare che con
questo disegno, generazione di energia elettrica può essere raggiunto senza
alcuna batteria e appena la tornitura manuale di un generatore elettrostatico
Wimshurst e l'operazione iniziale dell'albero commutatore 44.
Carlos
ha anche prodotto un altro disegno, questa

.
Carlos Benitez brevetto GB 14.311 17 agosto 1916
Sistema per la Generazione di Corrente
Elettrica
Io, Carlos F. Benitez, Ingegnere
Civile, 141 Ocampo Street, Guadalajara, Messico, ne dichiara la natura di
questa invenzione:
L'invenzione che forma l'oggetto del
presente Brevetto di aggiunta, riguarda nuovi miglioramenti nel sistema per la
generazione di corrente elettrica, descritti nel brevetto No. 17.811 principale
e nel brevetto di addizione No. 5591, depositate 14 aprile 1915.
Il sistema può essere ulteriormente
semplificata e migliorata con l'aggiunta di batterie, che, opportunamente
regolati in combinazione con il sistema precedentemente descritto, può essere
caricata e scaricata alternativamente, producendo un eccesso di energia
elettrica che può essere utilizzato in qualsiasi modo desiderato.
In altre parole, in questa
disposizione, che uso in combinazione: due batterie collegate in serie e due
batterie in parallelo, queste coppie utilizzati in modo che lo scarico di una
coppia è utilizzata per caricare l'altra coppia, e viceversa.
Un altro scopo di questa nuova
disposizione è quello di consentire l'uso di basse tensioni, condensatori di
piccola capacità e servizi aggiuntivi per l'avvio del sistema.:

Nel diagramma, 1, 2, 3 e 4 sono batterie che, quando caricata
da una fonte esterna, manterranno loro cariche indefinitamente, nel modo
seguente:
Con le connessioni stabilite come
mostrato nel diagramma, cioè con batterie 1
& 2 collegati in serie tramite l'interruttore 5 (interruttore 6
essendo aperto), batterie 3 & 4
sono collegati in parallelo tramite interruttore 7 (interruttore 8
essendo aperto). In queste condizioni, assumendo che i quattro batterie sono
simili, aventi tensioni simili, batterie 1
& 2 essendo in serie avranno un voltaggio combinato maggiore di pile 3 & 4, che sono collegati in
parallelo, e quindi, un carico collegato tra loro avrà una corrente proveniente
da batterie 1 & 2 e in batterie 3 & 4.
In altre parole, se filo 13 è collegato al terminale positivo
della batteria combinazione 1 & 2,
e al polo positivo 10 e 32 della batteria 3 & 4 combinazione, allora sarà stabilita una corrente
elettrica tra le due serie di batterie , fino a quando le loro tensioni
corrispondono. Naturalmente, la corrente fornita dalle batterie 1 & 2 produrrebbe una carica più
piccola delle batterie 3 & 4, ma
che la corrente può essere aumentata da uno qualsiasi dei metodi descritti nei
miei precedenti brevetti (No. 17.811 / 14), e da questi significa che è sempre
possibile caricare e scaricare alternativamente le coppie batteria una
dall'altra, mantenendo una costante, predeterminata carica, e inoltre,
producendo un eccesso di energia elettrica che può essere utilizzata per
qualsiasi scopo scelto.
Con questi obiettivi in vista,
e utilizzando come esempio, la disposizione mostrata nella figura 1 del brevetto di aggiunta No.
5591/15, filo 13 si collega al
condensatore 14. L'avvolgimento primario 15 di una bobina di induzione ordinario provvisto di un
interruttore, è collegata tramite le sue estremità 16 e 17, a filo 13. Le estremità 18 e 19
dell'avvolgimento secondario di detta bobina di induzione 15 sono collegati a connessioni 20 e 21 del condensatore
(o il banco di condensatori) 22. Connessioni 20 e 21 sono collegati
anche attraverso spinterometro 23,
ad estremità 24 e 25 dell'avvolgimento primario 26 di un trasformatore ad alta
frequenza. Le estremità 28 e 29 dell'avvolgimento secondario 27 del trasformatore che sono collegati ad estremità 16 e 17 della bobina di induzione 15.
Infine, i fili 30 sono collegati ai capi del condensatore 14, e sono utilizzati per carichi esterni potenza come le lampade
ad incandescenza indicati nel disegno.
Questa disposizione viene effettuata,
l'energia elettrica accumulata da batterie 1
& 2, passando per morsetto 9,
filo 13, avvolgimento primario 15, morsetto 10 di batteria 4, poli 31 di interruttore 7 e il morsetto 32 della
batteria 3, andrà indietro
attraverso il terminale 12 della
batteria 3 alla combinazione
batteria 1 & 2.
Come conseguenza della corrente che
passa attraverso avvolgimento primario 15,
corrente ad alta tensione è prodotto in suo avvolgimento secondario e raccolto
in condensatore 22 si scarica
attraverso spinterometro 23, genera
correnti ad alta frequenza nelle trasformatore di alta frequenza avvolgimenti
primari e secondari 26 e 27. Come finisce bobina 28 e 29 sono collegati
ad estremità della bobina 16 e 17, questo aumenta notevolmente il
flusso di corrente fornita da batterie 1
& 2 e quindi i accumulatori 3 &
4 ora ricevere corrente di carica sufficiente per tenerli completamente
cariche così come la guida supplementare carichi attraverso fili 30.
In queste condizioni, come la tensione
in una delle batterie sta diminuendo, mentre l'altro è in aumento, dopo alcune
ore, due tensioni corrispondano ed è allora impossibile produrre qualsiasi
flusso di corrente salvo sono azionati interruttori 5, 6, 7 e 8, invertendo
le funzioni delle batterie e permettendo al processo di continuare interamente
come prima con batterie 1 & 2
essendo collegati in parallelo e batterie 3
& 4 essendo collegati in serie.
Quando la resistenza dell'avvolgimento
primario del trasformatore 15 non è
elevato, è possibile semplificare il circuito di cui sopra, ottenendo le
correnti ad alta frequenza direttamente dalla bobina di induzione 15, nel qual caso, termina 18 e 19 dell'avvolgimento secondario sono collegati direttamente di
estremità 16 e 17 della stessa bobina ed il secondo banco di condensatori 22 e il trasformatore di alta frequenza
26/27 può essere omesso. In queste condizioni, l'interruttore o
interruttore, che è parte della costruzione bobina di induzione, agisce come
uno spinterometro, e condensatore 14
scarichi nella forma di vibrazioni attraverso l'avvolgimento primario 15 della bobina stessa, aumentando così
direttamente la quantità di energia elettrica fornita dagli accumulatori.

Una parte essenziale di questo progetto che non è
chiaramente indicato nel brevetto, è che ciò che era pratica comune un
centinaio di anni fa, e cioè che la connessione di alimentazione di ingresso al
punto 17 della primaria del
(step-up) trasformatore (di tensione crescente) 15,
è alimentato attraverso un contatto "interruttore". Questo collegamento apre quando la bobina 16-17 è eccitato, causando il filo di
nucleo di ferro fascio coibentata della bobina di diventare magnetizzato, e
attirare il braccio imperniato dell'ampolla, che interrompe la corrente alla
bobina molto bruscamente, provocando ad alta frequenza oscillazioni risonanti
in entrambi gli avvolgimenti del trasformatore 15, che genera la potenza in eccesso che gestisce il sistema ei
suoi carichi aggiuntivi. Ai tempi di
Benitez, campanelli usato questo stile di interruttore per produrre un'azione
di martellamento su una campana di metallo. Questi erano molto economico, molto semplice e
molto affidabile.
Da quanto ho capito allora, la differenza di tensione tra
le due coppie di batterie, carica del condensatore 14 e alimentato il primario 16-17
di trasformatore di tensione crescente 15. Questo provoca un flusso di corrente in questo
avvolgimento, rendendo il nucleo attrarre il braccio girevole dell'ampolla
nello stesso modo che un relè funziona. Questo
interrompe il flusso di corrente molto bruscamente, provocando un potente
impulso di retro-EMF nell'avvolgimento primario. L'avvolgimento primario ha una frequenza di
risonanza, molto notevolmente abbassato dalla presenza del nucleo di ferro che
di per sé è un materiale a bassa frequenza, e la bobina oscilla alla sua
frequenza di risonanza, non per un solo ciclo ma per molti cicli. Ciascuno di questi cicli genera un'alta
tensione nell'avvolgimento secondario 18-19
e ciascuno di questi cicli contribuisce ad alta tensione al sistema. Quel
potere è alimentato da tre punti. Innanzitutto, rifluisce tempo caricare una
delle coppie di batteria. In secondo
luogo, aggiunge ulteriore potenza al condensatore di guida proprie avvolgimento
primario. In terzo luogo, fornisce
alimentazione per il carico che viene visualizzato come una serie di lampade
collegate in parallelo.
Questo è solo per il primo impulso interruttore. La
corrente rotto attraverso l'avvolgimento primario 16-17 cause suo nucleo di cessare di essere un elettromagnete e
quindi cessa di attirare il perno del interruttore e mentre che sembra molto
veloce in termini umani, è molto lento rispetto alle molteplici oscillazioni
ronzio nelle avvolgimento. Quando il braccio di perno ritorna alla sua
posizione iniziale, si stabilisce il flusso di corrente attraverso
l'avvolgimento primario di nuovo. Tuttavia, la carica sul condensatore alimenta
il primario è stata stimolata da quelle oscillazioni risonanti nel secondario e
così è più alta carica di quando il contatto di interruttore aperto in
precedenza. Questo processo continua
ripetutamente, fornendo carica batteria e potenza al carico.
Secondo Carlos, c'è una leggera scarico complessive sul
sistema batteria e così, dopo circa un'ora, vengono azionati gli interruttori,
cambiando le batterie collegate in serie per diventare collegati in parallelo e
le batterie collegate in parallelo per diventare collegati in serie. Questa tempistica sembra strano come il
passaggio delle batterie sopra molto più frequentemente richiede solo batterie
con una capacità molto inferiore.
Come noi non hanno familiarità con bobine di induzione e
ampolle ora che l'elettronica a stato solido è disponibile, possiamo ottenere
informazioni costruttive e funzionali di quel periodo nel libro "Wireless
Telegraph Costruzione per Amateurs" di Alfred Powell Morgan, pubblicato
nel 1913, che è disponibile come download gratuito da qui: http://www.free-energy-info.tuks.nl/Morgan.pdf.
Per esempio, i dettagli dell'ampolla comprendono:
“Alcuni mezzi di carica del condensatore sono
necessario. Una bobina di induzione è la più pratica per i dilettanti. La
bobina di induzione è costituito da una bobina primaria di filo avvolto intorno
ad un nucleo di ferro centrale e circondato da un avvolgimento secondario
composto da molte migliaia di spire di filo isolato con attenzione. La bobina
primaria è collegata ad una sorgente di corrente continua, che comprende anche
un interruttore per "fare" e "rompere" la corrente in
rapida successione. Ogni "marca" del circuito e il conseguente
magnetizzazione del nucleo, induce una corrente inversa momentanea
nell'avvolgimento secondario, e ogni "pausa" e smagnetizzazione
corrispondente induce una corrente momentanea. Normalmente, le correnti indotte
sarebbe uguale, ma mediante un condensatore collegato attraverso
l'interruttore, il circuito quando il "fatto" richiede un tempo
considerevole per la corrente e la magnetizzazione del nucleo per raggiungere
un valore massimo, mentre in caso di rottura, la smagnetizzazione e rilascio
corrente sono quasi istantanei. Il valore della forza elettromotrice indotta in
un circuito, varia con la velocità con cui le linee di forza magnetica tagliare
il circuito, e così, la f.e.m indotta a "rottura" diventa abbastanza
alto per saltare attraverso uno spinterometro.
Le formule collegate con bobine ad induzione dipendono dalle
condizioni che non si sono mai incontrate nella pratica reale e non possono
essere invocate. Per
costruire una bobina di una determinata dimensione, è necessario utilizzare
dimensioni ottenute empiricamente. Pertanto, i dilettanti dovrebbero attenersi
strettamente per le linee o i suggerimenti indicati di seguito, o che appaiono
in alcuni libri aggiornati sulla costruzione della bobina di induzione.
Per lungo tempo, la bobina di induzione è
stata uno strumento costoso, inefficiente, fino alla telegrafia senza fili ha
richiesto di esso più rigida ed efficiente progettazione e costruzione. Era
l'obiettivo dei produttori di produrre la lunghezza possibile scintilla più
lunga con un importo minimo di filo secondario. In seguito a questa richiesta,
bobine wireless ora sono realizzati con un nucleo di diametro maggiore e dare
più spessa e pesante scintille. Secondario, in questo caso, è breve e viene
utilizzato filo di grande area della sezione trasversale al fine di ridurre la
resistenza e ridurre al minimo il riscaldamento.

Nessuno parte di una bobina di induzione può
essere sviluppato per la massima efficienza senza seriamente influenzare
l'efficienza e l'abbassamento delle altre parti. I seguenti suggerimenti per
quanto riguarda la costruzione sono dati in modo che possano dimostrare di
essere una guida utile per il costruttore bobina amatoriale. Le parti saranno
considerati nel loro ordine naturale di costruzione.
Nucleo: Alcuni sperimentatori che non sono
abbastanza familiarità con i principi del magnetismo, pensano che se una bobina
di induzione hanno fornito con un nucleo chiuso come quello di un trasformatore,
quindi l'efficienza della bobina sarebbe materialmente aumentato. Ma non è
questo il caso, perché allora la magnetizzazione e la smagnetizzazione del
ferro non può avvenire abbastanza rapidamente in un nucleo chiuso quando una
corrente continua interrotta viene usato al posto di una corrente alternata.
Il nucleo di una bobina di induzione è quindi
sempre dritto. Per la stessa ragione, non è mai solido ma invece è sempre
costituito da un fascio di fili di ferro dolce affinché rapidi cambiamenti
magnetismo possono aver luogo. I fili sono sempre più elevato di una
permeabilità (conduttanza magnetica) possibile in modo da creare un forte campo
magnetico. Ferro svedese o russa di buona qualità è il migliore in quanto le
sue perdite per isteresi sono piccole. Più il diametro del filo, minore sarà la
perdite per correnti parassite e conseguente riscaldamento, ma la permeabilità
viene anche ridotto e il nucleo non sarà così efficace, come la quantità di
ferro viene così diminuita e la superficie ossidata aumentato. Sezione del filo
No. 22 è la dimensione migliore per il nucleo medio.
Fili di una buona qualità possono essere
acquistati già tagliati in varie lunghezze. Per acquistare in questo modulo
consente di risparmiare una grande quantità di lavoro necessario per la
costruzione di un nucleo. Se i fili non sono abbastanza dritto, possono essere
raddrizzati da loro rotolamento, una alla volta, tra due tavole. E 'meglio per
ri-temprare i fili. Per fare questo, inserire i cavi in un
tubo di ferro e
collegare le estremità del tubo con l'argilla. Mettete poi in un fuoco di
carbone fino a tutta la massa raggiunge un calore rosso. Il fuoco è quindi
consentito di estinguersi gradualmente, con il tubo e fili rimanenti nelle
ceneri fino a raffreddare. Lasciar raffreddare, toglierli dal tubo e strofinare
ognuna con carta abrasiva fino luminoso. Dopo questa pulizia, i fili sono
immersi in acqua calda e poi asciugati. Essi vengono poi immersi in una buona
vernice di qualità e lasciate asciugare di nuovo.
La vernice fornisce una resistenza al flusso
di correnti parassite nel nucleo e riduce quelle perdite molto considerevole.
Un forte tubo di carta avente un diametro interno pari al diametro del nucleo
finito è costituito da materiale la carta su una forma e cementazione con
gommalacca. Quando è perfettamente asciutto, il tubo viene rimosso ed i fili
compattamente suo interno. La tabella seguente riporta le dimensioni
fondamentali per bobine pratici di diverse dimensioni:
DIMENSIONI DEL NUCLEO
|
Lunghezza della
scintilla |
Diametro |
Lunghezza |
|
12 mm |
12 mm |
150 mm |
|
25 mm |
25 mm |
200 mm |
|
50 mm |
31 mm |
262 mm |
|
100 mm |
34 mm |
300 mm |
|
150 mm |
38 mm |
350 mm |
Avvolgimento Primario: Il rapporto tra il numero di spire primari di
una bobina di induzione per il numero di secondaria si trasforma, non ha alcun
rapporto al rapporto delle correnti primarie e secondarie. È
stato trovato nella pratica, che due strati di filo avvolto strettamente su
nucleo, forma il miglior primario. Primario dovrebbe sempre essere
accuratamente coperto con gommalacca o altra vernice isolante. Poiché non vi è
quasi nessuna ventilazione primaria, il filo deve essere abbastanza grande per
evitare riscaldamento tutti. Qui viene fornita una tabella contenente le varie
dimensioni dei fili primari:
AVVOLGIMENTI PRIMARI
|
Lunghezza della
scintilla |
Sezione conduttore |
Numero di strati |
|
12 mm |
18 (1.219 mm) |
2 |
|
25 mm |
16 (1.63 mm) |
2 |
|
50 mm |
14 (2.03 mm) |
2 |
|
100 mm |
12 (2.64 mm) |
2 |
|
150 mm |
12 (2.64 mm) |
2 |
Nelle grandi bobine, l'induttanza del primario
provoca un "calci indietro" e scintille rischiano di passare tra le
spire adiacenti. Per questo motivo, è sempre una buona idea per utilizzare il
doppio filo coperto cotone e per isolare ulteriormente accuratamente esso
immergendo il nucleo primario ed in una pentola di cera di paraffina fusa e
permettendo la cera per indurire con loro all'interno di esso. Successivamente,
la pentola viene riscaldata leggermente per allentare la torta di paraffina e
cera in eccesso rimossa raschiando con un corpo contundente in modo da non
danneggiare i fili. Contratti di paraffina quando si indurisce e il metodo
corretto per impregnare una sostanza porosa è quello di lasciare in ammollo e
diventare impostato in su di raffreddamento.
Un buon metodo per ridurre il "calci
indietro", così come le dimensioni del condensatore collegato attraverso
l'ampolla, è di rendere il primario con un certo numero di spire di filo
avvolto diametro più piccolo in parallelo, con un effetto di produrre una
conducibilità pari a un filo di grande diametro e, allo stesso tempo, rendere
un più compatto avvolgimento del primario sul nucleo. Questo metodo di
avvolgimento è molto desiderabile in grandi bobine, in quanto riduce la sezione
trasversale del primario e il secondario permette di essere posizionato più vicino
al nucleo in cui il campo magnetico è il più forte.
L'avvolgimento primario dovrebbero coprono
quasi l'intera lunghezza del nucleo, poiché non vi è alcun vantaggio nel
portare nucleo molto ben oltre l'estremità del primario come la maggior parte
delle linee di forza magnetiche curva al termine dell'avvolgimento primario e
ritornare senza passare attraverso le estremità estreme del nucleo.
Tubo isolante: Il buon funzionamento di una
bobina di induzione senza crollare quando fortemente sottolineato, dipende in
gran parte il tubo isolante che separa il primario e gli avvolgimenti
secondari. Tubi di gomma dura sono forse i migliori. Un tubo può essere
facilmente costruito da più strati di gomma indurita metà foglio centimetro al
vapore essa in modo da ammorbidire, e poi avvolgendolo intorno un ex. Il tubo
deve adattarsi strettamente sul primario ed essere circa un pollice (25 mm) più
corto del nucleo. Dopo che il tubo è a posto, si versa pieno della cera e
colofonia in modo da riempire tutti interstizi ed evitare scintille per effetto
condensatore degli avvolgimenti di saltare dall'interno del tubo al primario.
Secondario: Una bobina utilizzata come
telegrafo trasmettitore radio deve avere filo di una grande area della sezione
trasversale nel suo secondario, in modo da produrre una scarica pesante
dirompente. Numero 34 e numero 32 indicatori sono generalmente utilizzati per
piccole bobine e il numero 30 e numero 28 calibro per grandi bobine. Seta
coperto filo è la prassi abituale, ma filo smaltato è in arrivo in uso. Filo
rivestito di cotone occupa troppo spazio e ha scarse qualità isolanti.
Filo smaltato è isolato con un rivestimento di
cellulosa acetato, che ha una rigidità dielettrica di circa due volte quella
del cotone e che occupa molto meno spazio di filo coperto seta, dando un grande
risparmio di spazio e di un maggior numero di spire possono essere avvolti a il
secondario senza aumentare la sua distanza media dal nucleo.
Quando avvolgimento filo smaltato, deve essere
preso in considerazione che l'isolamento del filo smaltato è rigido e non ha
alcun danno. Di conseguenza, per consentire l'espansione, filo smaltato va
avvolto più liberamente rispetto alla fibra o filo rivestito di seta.
L'inserimento occasionale di uno strato di carta in avvolgimento dà spazio per
espansione e non aggiunge notevolmente al diametro. La lunghezza del secondario
non è generalmente più della metà della lunghezza del nucleo.
Bobine che producono scintille fino a 2 pollici (50 mm) di
lunghezza, potranno essere liquidati in due sezioni o in avvolgimenti di
livello, ma lo strato di avvolgimento non è raccomandato per le bobine che
danno scintille più di un pollice di lunghezza. È meglio in una bobina di questo tipo, per
inserire uno strato occasionale di carta. La carta dovrebbe essere ben
shellacked o paraffinato e di essere un buon grado di lino. Si dovrebbe
sporgere circa un quarto di pollice (6 mm) dalle estremità del secondario come
mostrato in questa sezione trasversale:

Questo inserimento della carta aumenta l'isolamento
e riduce la possibilità di scintille che saltano da un livello all'altro quando
gli strati sono molto lunghi. I secondari di grandi bobine sono composte da
"torte" o "pancake" da un ottavo (3 mm) a tre ottavi di
pollice (9 mm) di spessore. Le "torte" sono separati tra loro da uno
spessore triplo di carta assorbente che è stato accuratamente essiccato e poi
imbevuto di paraffina fusa. Quando ogni "torta" è completato, viene
testato per la continuità e rifiutata se non perfetto. Essi sono collegati in serie:

Se collegato come da esempio "A", in
cui l'interno di una sezione è collegato all'esterno della sezione successiva,
la tensione massima che può esistere tra le sezioni adiacenti in questo caso è
uguale alla fem generata da una "torta" ed è uguale in tutto.
Collegamento come mostrato nel caso "B", dove il fuori di un bobina è
collegato all'interno del successivo, i range di tensione da zero nei punti in
cui essi sono collegati, per due volte la fem sviluppato da qualsiasi sezione.
Questo è il metodo migliore e ogni seconda bobina è ruotato orizzontalmente per
consentire alla direzione del flusso di corrente inversa.
Dopo il secondario è montato, la bobina deve
essere immerso in un serbatoio ermetico contenente paraffina fusa. Il serbatoio
viene quindi collegato ad una pompa a vuoto e l'aria espulsa. Ciò causa
eventuali bolle d'aria negli avvolgimenti per essere pompato fuori. Dopo essere
rimasto per un po ', il vuoto viene rilasciato e la pressione dell'aria provoca
poi la bolla lacune da colmare con paraffina.
DIMENSIONI SECONDARIE
|
Lunghezza della
scintilla |
Filo spessore (s.w.g.) |
Quantità necessaria |
Numero di sezioni |
Lunghezza |
|
12 mm |
36 (0.193 mm) |
0.227 Kg |
1 |
75 mm |
|
25 mm |
34 (0.234 mm) |
0.454 Kg |
2 |
125 mm |
|
50 mm |
34 (0.234 mm) |
1.134 Kg |
4 |
175 mm |
|
100 mm |
32 (0.274 mm) |
3.629 Kg |
12 |
212 mm |
|
150 mm |
32 (0.274 mm) |
5.443 Kg |
20 |
255 mm |
Va notato che la grande esperienza Alfred Morgan
recisamente contraddice la teoria standard di funzionamento del trasformatore
simmetrico quando egli afferma che "il rapporto tra il numero di spire
primari di una bobina di induzione per il numero di spire secondarie, non reca
alcuna relazione con il rapporto delle correnti primarie e secondarie". Questa
è un'affermazione molto significativa.
Carlos Benitez ha aggiunto un'estensione al suo brevetto,
dicendo:
I vantaggi di tale miglioramento saranno meglio compresi
considerando il disegno a sinistra con le specifiche provvisorie e questo
disegno aggiuntivo, poiché illustrano due diversi metodi di realizzazione
dell'invenzione, ma in pratica, risultati molto migliori possono essere
raggiunti con l'uso di il commutatore mostrato qui:



Poiché la resistenza offerta al passaggio delle correnti elettriche
dal primario dei trasformatori non è elevata, è possibile semplificare la
precedente disposizione, ottenendo le correnti ad alta frequenza direttamente
dalla stessa bobina di induzione 15, nel qual caso i poli 18 , 19, del
secondario di detta bobina devono essere rispettivamente collegati ai poli 16,
17, del primario della stessa bobina, e la seconda batteria di condensatori 22
e il trasformatore ad alta frequenza 26, 27, possono essere omessi. In queste
condizioni, l'interruttore o l'interrutore impiegato in dette bobine di
induzione, agisce come scarica di scintilla e condensatore 14 sotto forma di
oscillazioni attraverso il primario e secondario della stessa bobina,
aumentando così direttamente la quantità di energia elettrica fornita dal
accumulatori.
Ciascuno dei poli degli accumulatori che formano le batterie 1-2 e
3-4 sono collegati ai poli del commutatore 31. Questo commutatore è costituito
da un cilindro rotante 32, provvisto dei percorsi 33, 34, 35, 36, 37, 38 39 e
40, ciascuno correttamente isolato e posizionato sulla superficie del cilindro
in modo tale da collegare alternativamente in serie o in parallelo, le diverse
unità che compongono le batterie 1-2 e 3-4.
Il cilindro 32 ha due percorsi conduttivi 41, 42, che possono
essere meglio visti nella vista in sezione trasversale. Il cilindro passa
attraverso un anello 44, fissato alla stessa base dell'apparato 31, e ha i
contatti 45, 46, 47 e 48. Il polo 45 di questo anello è collegato al polo 10
della batteria 3-4, e il suo polo 46 è collegato attraverso il filo 49 al polo
9 della batteria 1-2. Il polo 47 è collegato attraverso il filo 13 al polo 16
del primario di un trasformatore, e il polo 48 è collegato attraverso il filo
55 al perno di contatto posteriore 50 di un interruttore ordinario.
Una parete posteriore 51, fissata alla stessa base del commutatore,
è provvista di strisce metalliche o spazzole che possono essere chiaramente
viste nella figura, a contatto con il cilindro 32, e collegate rispettivamente
a ciascuno dei poli degli accumulatori ; e infine, l'albero rotante del
cilindro ha una maniglia o una puleggia 52 per ruotare il commutatore.
Il condensatore 14 della bobina di induzione è collegato come al
solito dal suo polo 52 al polo 17 del primario dello stesso trasformatore, e il
suo altro polo 53 invece di essere collegato al perno di contatto posteriore 50
dell'interruttore, come generalmente avviene, è messo a terra attraverso il
filo 54 e il polo 56 del commutatore.
In queste condizioni, quando il circuito viene spezzato
dall'interruttore, il condensatore 14 viene caricato e subito dopo si scarica
attraverso il primario 15 del trasformatore, il secondario del trasformatore,
il filo 55, il polo 48, il percorso 41 del commutatore e la batteria 3- 4 che è
collegato in parallelo.
Come conseguenza del passaggio della corrente elettrica prodotta da
questa scarica attraverso il primario 15 del trasformatore, le correnti indotte
sono prodotte nella sua secondaria e una di queste correnti, il passaggio
inverso attraverso il polo 19 viene immediatamente utilizzato per la carica
dello stesso detta batteria in parallelo. La corrente continua che viene
prodotta quando lo scarico del condensatore 14 è terminato, passando attraverso
il polo 18 ed entrando nel primario 15 attraverso il polo 16, produce una nuova
carica nello stesso condensatore 14, che di nuovo scarica in modo identico, e
gli stessi fenomeni sono riprodotto più volte nei battiti o intervalli di pause
e marche prodotte dall'interruttore.
D'altra parte, se il polo 56 del commutatore non è messo a terra,
ogni volta che il condensatore 14 riceve una nuova carica, il fluido neutro del
suo rivestimento esterno viene influenzato attraverso il suo dielettrico e una
corrente elettrica indotta viene forzata a muoversi attraverso il filo 54 e
polo 56. In altre parole, questa energia extra aumenta ugualmente la normale
uscita della batteria 1-2.
Con questi mezzi, la corrente fornita dagli accumulatori collegati
in serie, viene opportunamente aumentata dalle correnti indotte prodotte nel
secondario della bobina di induzione, e dai caricamenti rapidi e dalle scariche
del condensatore prodotte nel modo sopra descritto, e gli accumulatori
collegati in parallelo, ricevendo così una quantità adeguata di corrente, può
essere completamente caricata mentre la prima batteria si sta scaricando.
Tuttavia, man mano che la prima batteria si scarica, la sua tensione diminuisce
progressivamente e per mantenere nel circuito una determinata corrente per la
ricarica della seconda batteria, la resistenza del circuito deve essere ridotta
di conseguenza.
Per raggiungere questo risultato senza toccare il cablaggio, il
perno di contatto posteriore 50 dell'interruttore può essere regolato in modo
da assicurare una resistenza adeguata attraverso l'interruttore in base alla
tensione decrescente, e in questo modo è sempre possibile mantenere un data
corrente nel circuito fino al raggiungimento dell'ultimo limite di energia
nella batteria di scarica.
Risultati migliori sotto ogni aspetto possono ancora essere
ottenuti con l'uso di un tipo di trasformatore a nucleo chiuso combinato con un
interruttore elettrolitico, poiché con questi interruttori non vi è
praticamente alcun tempo perso negli intervalli tra le rotture e le marche e la
resistenza di tali dispositivi può essere facilmente regolabili a distanza ogni
volta che l'operatore può desiderare.
Una volta raggiunto il limite di energia nella batteria di scarica,
i collegamenti degli accumulatori devono essere invertiti e, con questo oggetto
in vista, è possibile utilizzare il commutatore mostrato in figura e il
cilindro 32 deve essere ruotato fino ai percorsi 37, 38, 39 e 40 entrano in
contatto con le spazzole che collegano i poli degli accumulatori, e i contatti
45, 47 sono collegati attraverso il percorso 42. Così facendo, le funzioni di
entrambe le batterie vengono immediatamente invertite e gli accumulatori 3-4
essendo ora collegati in serie, si scaricheranno attraverso il polo 10, tramite
i poli 45, 47, il filo 13, il primario 15, il filo 55, il polo 48 (ora
collegato al polo 46 attraverso il percorso 41), il filo 49 e il polo 9 della
batteria 1-2, che è ora collegato in parallelo attraverso i percorsi 39, 40.
In altre parole, le condizioni di lavoro possono essere
completamente annullate dalla semplice operazione del commutatore e una
corrente continua può essere mantenuta attraverso il filo 55, in cui è
possibile inserire il primario 57 di un trasformatore ordinario o qualsiasi
altro dispositivo adatto. in serie per trarre profitto dall'eccedenza
dell'energia elettrica così ottenuta, senza compromettere minimamente il
funzionamento del meccanismo.
Ovviamente, è possibile realizzare un meccanismo per produrre e
automatizzare il funzionamento del commutatore di volta in volta, in base alla
capacità degli accumulatori, e così, per un dato peso di batterie, è possibile
garantire una maggiore potenza con questo processo, con capacità, che con unità
più grandi poiché gli stessi 4 volt possono essere ottenuti da un accumulatore
da 60 Amp-Hour, come con un accumulatore di capacità da 10 Amp / ora.
Desidero anche chiarire che le disposizioni mostrate sono del tutto
illustrative. In pratica, gli accumulatori che compongono ciascuna batteria
possono essere collegati come descritto o una combinazione opportuna di
serie-parallelo può essere disposta in ciascun gruppo e che le condizioni dei
vari apparecchi impiegati possono essere variate in base alle particolari
condizioni di potenza che devono essere soddisfatto.
Carlos Benitez ha anche prodotto un altro disegno molto
intelligente, utilizzando ancora quattro batterie e una frequenza di
commutazione molto lenta, anche se non si utilizza più la serie e parallelo di
commutazione che pensiamo come l'interruttore di Tesla. In questo disegno,
mostra un notevole sistema di guadagno di potenza ad alta frequenza dove 400
watt di potenza in ingresso produce 2400 watt di potenza di uscita (COP=6):
Carlos Benitez brevetto GB 121.561 24 dicembre 1918
Nuovo Processo per la Generazione di Energia
Elettrica
Io, Carlos Benitez, Ingegnere Civile, del 141,
Ocampo Street, a Guadalajara, in Messico, si dichiara la natura di questa
invenzione e in che modo lo stesso deve essere eseguito, ad essere
particolarmente descritti ed accertati in, e da, il seguente dichiarazione:
Questa invenzione riguarda una nuova
utilizzazione delle correnti ad alta frequenza o oscillazioni elettriche,
mediante il quale, una costante produzione di energia elettrica può essere
fissato, in condizioni insolitamente semplice, economico e pratico.
Tali risultati sono conseguiti mediante la
procedura descritto nella specifica del Brevetto inglese Richiedente No.
14.311, depositata il 9 ottobre 1915, ma al fine di ottenere una migliore
utilizzazione delle correnti ad alta frequenza e il funzionamento automatico
dei meccanismi impiegati in tale una procedura, ho inventato una nuova disposizione
delle parti da cui è derivato diversi altri vantaggi che verranno qui descritte
e riportate.
Due batterie sono usate, una delle quali è già
stato caricato. Questa carica batteria si scarica attraverso un circuito che
utilizza la maggior parte di questa potenza e la restante guida un circuito
oscillante collegato alla seconda batteria. Questo circuito oscillante contiene
un raddrizzatore che dirige le oscillazioni elettriche in modo tale che sono
costretti a passare continuamente attraverso la seconda batteria dal positivo
al terminale negativo. Poiché il numero di oscillazioni al secondo in tale
circuito può essere variata a piacere, l'intensità di corrente sviluppata da
tali oscillazioni può essere regolata in modo che la seconda batteria è
completamente carica nello stesso periodo di tempo durante il quale la prima
batteria è scarica. Pertanto, è solo una questione di invertire i collegamenti
ai due batterie per ottenere la produzione continua di energia elettrica.
L'invenzione è illustrata qui:

Questo circuito mostra le connessioni
circuitali della disposizione e una vista prospettica di un commutatore. Figura 2 è una vista laterale di una parte
dello stesso apparato, e figure 3 e 4 sono parti della stessa macchina, la cui
posizione e utilizzo verrà spiegato in seguito.
La figura mostra due banchi batteria 1 & 2 e 3 & 4, entrambi i quali sono collegati in serie. Loro poli positivi 23 e 25 sono collegati
ai terminali 17 e 20 del collettore, attraverso gli
amperometri 22 e 24. Il commutatore è un cilindro 5, montata su un albero rotante 6, che passa attraverso due supporti 7 e 8. Il cilindro viene
fornito con percorsi conduttivi 9, 10,
11 e 12 isolati dal cilindro 5. Ha anche percorsi conduttivi 14 e 15 che può essere visto meglio in Figura 2 e che fanno contatto con
le spazzole 17 e 18 e 19 e 20, adeguatamente
isolato e fissato ad anello 16 che
circonda cilindro 5 ed è fissato
alla base dell'apparecchio. Queste
spazzole collegano alle batterie e terminale 17 è collegato al polo positivo 23 della batteria 1 & 2.
Terminale 20 è collegato al polo positivo 25 della batteria 3 & 4
attraverso amperometro 24. Morsetto 18
si collega attraverso il filo 26 al
morsetto 27 di un motore a corrente
continua il cui morsetto 28 si
collega attraverso la variabile resistore 29
e filo 30 con morsetto 31 del commutatore. Infine, il morsetto 19 è collegato attraverso il filo 32 ai morsetti 33 e 34 di un raddrizzatore elettrolitico
cui altro due raddrizzatori 35, 36
connettersi via filo 37, a pennello 38 del commutatore.
Questo apparato è anche provvisto di terminale
39 che è collegato alternativamente
ai poli negativi delle batterie attraverso le spazzole che si possono vedere
nella figura, a contatto con cilindro 5.
In queste condizioni, l'apparato 40 e 41, che vengono impiegati per fornire un'uscita pratica
indipendente dal funzionamento del "pianta", e che sono collegati ad
entrambi i terminali 31 e 39, sarà alternativamente in circuito
con la scarica della batteria, e quindi, parte della potenza prodotta dalla
batteria scarica, è utilizzato da questo apparecchio senza pregiudicare il
normale funzionamento di tutto il meccanismo, come spiegato di seguito.
D'altra parte, un alternatore 42, è accoppiato al motore 27-28, che in questo modo può essere
ruotato alla velocità necessaria per raggiungere la frequenza desiderata. Entrambi i terminali del alternatore sono
collegati attraverso la resistenza induttiva 43, con i poli 44, 45
dell'avvolgimento primario di un trasformatore elevatore, il cui avvolgimento
secondario 46, 47, collegato al
condensatore 48, finalmente produrre
l'alternata ad alta tensione correnti necessarie per caricare il condensatore. Tuttavia, l'uso di questo motore e
alternatore non è essenziale in questo processo come gli stessi risultati potrebbero
essere raggiunti se il primario 44, 45
del trasformatore, sono collegati attraverso un interruttore ordinario alla
batteria scarica.
I terminali 49, 50 del condensatore 48
sono collegati tramite una lampada ad arco del tipo Poulsen 51, 52, o attraverso un adeguato
spinterometro con la raddrizzatori 33,
34, 35 e 36, e con la batteria
in carica (3 & 4 in questo
caso). Estende nella camera d'arco sono
i poli di un elettromagnete forte, le spire di cui sono in serie con l'arco, in
modo che la loro corrente di eccitazione è la corrente di arco.
Collegato in questo modo, il forte campo
magnetico che esiste tra i poli dei magneti, agisce sull'arco, ed a causa di
questa azione, combinata con l'influenza della tensione sviluppata dal
secondario del trasformatore 46, 47,
accade che questa azione e influenza essendo circa uguali in valore, sono
ciascuno di essi alternativamente maggiore dell'altra, in modo che la tensione
attraverso l'arco si solleva automaticamente e cade. Pertanto, quando l'azione del campo magnetico
è maggiore della tensione prodotta dal l'avvolgimento secondario del
trasformatore non ha abbastanza potenza trasmissibile attraverso l'arco e così
il condensatore 48 è caricato ad una
tensione più elevata. Ma, un istante
dopo l'azione diminuisce in valore e il condensatore si scarica di nuovo
attraverso l'arco.
D'altra parte, a causa della natura
oscillatoria del circuito (che è organizzato con valori adeguati di capacità,
induttanza e resistenza), la carica e la scarica del condensatore può
verificarsi diversi milioni di volte al secondo se desiderato, e in questo
modo, una corrente di un gran numero di ampere può essere ottenuta attraverso
il circuito oscillante, anche con una piccola quantità di energia elettrica
immagazzinata nel condensatore.
Nello stesso modo, un gallone di acqua
potrebbe produrre un flusso di mille galloni al secondo attraverso un tubo se
tale tubo fosse connesso con due diverse navi e il gallone di acqua potrebbe
essere immessa attraverso il tubo da un pistone che potrebbe trasferire tale
gallone di acqua da una nave ad altre mille volte al secondo. Ovviamente, ciò
che può essere facilmente eseguita con elettricità non è così fattibile con
acqua.
In altre parole, la piccola quantità di
energia elettrica assorbita dal CC motore 27,
28, appare (con una piccola perdita) presso l'alternatore 42, e che l'alimentazione è consegnato
al primario del trasformatore 44, 45.
Ancora, l'azione induttiva di questo
trasformatore produce al secondario 46, 47,
una quantità simile di potenza (leggermente diminuita a causa dell'efficienza
del trasformatore), e, infine, il condensatore viene caricato con una piccola
quantità di energia elettrica che viene poi convertito in energia
oscillitatory. Ovviamente, se tale
energia elettrica, invece di essere immagazzinata dal condensatore, aveva
semplicemente stata rettificata e utilizzato per caricare una delle batterie,
tale potere produrrebbe solo un piccolo effetto sulla batteria e l'intero
carico di una batteria sarebbe mai causare la carica completa della seconda
batteria.
Contrariamente a ciò, se quella stessa potenza
viene memorizzata nel condensatore 48,
e che il condensatore sia collegato ad un circuito oscillatorio in cui una
delle batterie possono essere uniti, e inoltre, se mediante un raddrizzatore,
le correnti ad alta frequenza prodotta in un tale circuito oscillatorio è
costretto a passare dal positivo al polo negativo attraverso la batteria, è
ovvio affermare che è sempre possibile ottenere da questi mezzi, il numero di
ampere richiesti per caricare la batteria nel tempo disponibile. Vale a dire,
con un piccolo numero di coulombs memorizzati nel condensatore 48, è possibile produrre nel circuito
oscillatorio, un gran numero di ampere, se lo stesso numero ridotto di coulombs
sono costretti a passare e ripassare attraverso il circuito, migliaia o milioni
di volte al secondo, proprio come è stato spiegato in analogia con l'acqua.
D'altra parte, i valori delle grandezze sopra
menzionati: capacità, resistenza, induttanza e tensione possono essere variati
entro limiti molto ampi, e quindi è sempre possibile raggiungere le condizioni
richieste in ogni caso, al fine di produrre un numero dato di oscillazioni per
secondo: La capacità del condensatore
può essere regolata ad un certo valore aumentando o riducendo la superficie
inter-maglia delle tavole. La resistenza del circuito può essere regolata
al valore richiesto variando la lunghezza dell'arco nella lampada Poulsen, o
variando il numero di lampade collegate in serie o in parallelo nel circuito. L'induttanza del circuito può essere variata
mediante avvolgimento parte del circuito su un telaio isolante, in modo da
ottenere il numero di giri necessari per produrre l'induttanza desiderata, e
infine, la tensione di carica può essere regolata aumentando o diminuendo il
numero di spire dell'avvolgimento secondario del trasformatore oppure variando
il diametro del filo utilizzato nella bobina.
Al fine di ottenere una migliore
efficienza dall'alternatore 42, è
conveniente usare la bobina induttiva risonanza o resistore registrabile 43. Così facendo, è possibile regolare la
resistenza al fine di ottenere uno stato di risonanza del circuito, e in questo
stato, la corrente prodotta dall'alternatore sarà in fase con la FEM
impressionato, quindi i watt efficace sarà massima nei circuiti primari e
secondari.
Il resistore variabile 29, che è posto nel circuito che collega ogni batteria a motore 27-28, viene utilizzata per regolare la
corrente della batteria scarica per un valore fisso, poiché è importante
ottenere un numero costante di giri al secondo di l'alternatore 42.
Il collettore è inoltre provvisto di voltmetri
56 e 57, e mediante gli interruttori 58 e 59, i circuiti di
collegamento entrambi i poli della batteria, ciascuna può essere chiusa e la
tensione della corrente di scarica può essere determinata quando desiderato. Infine, tramite interruttore 60
collegato ai morsetti della apparecchiatura 40 e 41, l'apparecchio
può essere spento quando non necessario.

È facile capire l'intero funzionamento di
questo meccanismo. Supponiamo che
inizialmente batteria 1-2 è caricata
e che cilindro 5 è stata ruotata
nella posizione mostrata nel disegno. Batteria
1-2 immediatamente scaricare tramite
batteria morsetto 23, amperometro 22, fili 21, contatti 17-18, filo
26, motore 27-28, resistore variabile 29,
fili 30, trasformatori rotanti 40 e 41, (o attraverso qualsiasi altro apparato che possono essere
utilizzati al posto di quelli trasformatori per utilizzare parte della corrente
che fluisce dalla batteria), poli 39,
e il percorso commutatore 9-12,
attraverso cui l'intero circuito di scarica è chiuso.
Come risultato di questo scarico dalla
batteria, la potenza elettrica prodotta sarà dissipata in tre modi: Una prima
parte è sprecata nel superare la resistenza interna dei vari componenti nel
circuito. Una seconda parte è utilizzato
per alimentare il motore CC 27-28, e
le terze potenze parte dell'apparato collegato a 31-39 poli del commutatore, che viene, l'apparecchiatura utile
alimentato oltre al funzionamento del sistema.

È noto come la potenza meccanica sviluppata
dal movimento rotatorio del motore 27-28
può essere convertita in energia elettrica dall'alternatore 42, e nello stesso modo, è noto come
tale energia elettrica di bassa tensione può essere trasformato in uno di alta
tensione con un trasformatore, ed è ben noto anche, come tale energia elettrica
ad alta tensione può essere convertita in energia oscillatoria, e come le
correnti alternate prodotte da tali oscillazioni possono essere corrette per
produrre una corrente diretta. Tuttavia, tutte queste combinazioni di
apparecchi disposti in modo da caricare una batteria mentre un'altra batteria
simile si sta scaricando, era perfettamente sconosciuto prima di questa
invenzione, e un breve esame dei calcoli coinvolti nel determinare i diversi
valori di capacità, resistenza, induttanza e la tensione richiesta dal vari
circuiti combinati di un piccolo impianto di lavoro di questo tipo, possono
essere utili per dare un'idea della procedura che può essere seguita nella
pratica generale.
Supponiamo che entrambe le batterie sono
accumulatori con una tensione di 60 volt ciascuna e una capacità di 40 AHr. In
tali condizioni, se la batteria 1-2
scariche al tasso di 40 ampere, ma si scarica completamente in un'ora. [Si prega di notare che questo non è
così ed è solo essere dichiarato qui per scopi di discussione. Una batteria al
piombo si danneggia se scaricata a un tasso superiore al tasso "C20",
che è il valore nominale AHr su un periodo di 20 ore, e così, una batteria al
piombo di 40 AHr non deve essere scaricata in più a 40/20 = 2 ampere. Inoltre,
le batterie sono altamente non lineare e la scarica di una batteria 40 AHr a 40
ampere si tradurrà in una batteria completamente scarica in molto meno di un'ora.] La potenza sviluppata in tale periodo di
tempo sarà di 60 volt x 40 ampere = 2.400 watt .
D'altra parte, al fine di caricare la batteria
completamente 3-4 in un'ora, è
necessario fornire una corrente di almeno 40 ampere. Supponiamo che al fine di sviluppare una tale
corrente, si desidera prendere dalla potenza prodotta dalla batteria che
scarica solo una parte, dicono 40 ampere x 10 volt = 400 watt. Con questo obiettivo in vista, il motore CC
devono essere disposte in modo da creare una corrente di 40 ampere provocando
una caduta di 10 volt sulla linea.
Supponiamo che il rendimento elettrico del
motore CC è del 95%, allora l'uscita 400 watt desiderata non sarà raggiunta ma
invece sarà ridotto a 400 x 0,95 = 380 watt.
Quindi, supponiamo che il rendimento elettrico
alternatore 42 è del 95% quindi in
grado di ridurre la produzione di soli 361 watt. Poi,
se questo 361 watt è passato al trasformatore e che il trasformatore ha
un'efficienza di dire, 89%, quindi il rendimento energetico risultante sarà
ulteriormente ridotto a soli 321 watt, e che è la quantità di energia passato
al circuito oscillante in fine di ottenere i necessari 40 ampere di corrente.
Ora, si supponga che la frequenza di
alternatore 42 è 500 Hz. Come è noto, con un generatore alternato, una
tensione elevata è ottenibile due volte in ogni ciclo e quindi ci saranno 1000
picchi di tensione al secondo. Come condensatore 48 si scarica alla nell'istante di massima tensione, si scaricherà
1000 volte al secondo. Pertanto, la
quantità di energia elettrica che deve essere memorizzato in esso può essere
calcolato come segue: Supponiamo che il circuito oscillante ha un'impedenza di
15 ohm. Come la corrente richiesta è di
40 ampere, la tensione necessaria per sviluppare tale corrente sarà 40 ampere x
15 ohm = 600 volt. Ma al fine di
produrre 600 volt dalla scarica del condensatore, è necessario ottenere
caricata fino a 1200 perché la tensione media durante la scarica è V / 2.
Se l'energia prodotta dal trasformatore
secondario è assunto pari a 321 watt e la tensione richiesta per la carica del
condensatore è di 1200 volt, allora la corrente erogata dal secondario sarà 321
watt / 1200 volt che è 0,267 ampere.
D'altra parte, come la frequenza
dell'alternatore è di 1000 picchi al secondo, allora in un millesimo di secondo
il secondario deve consegnare al condensatore 0,000,267 mila coulomb che è 267 microcoulomb.
Quindi, la capacità del condensatore 48 deve essere regolato per
immagazzinare quella quantità di energia elettrica, ed il suo valore può essere
determinato da Q = K x V dove K è la capacità del condensatore in microfarad
quando Q è dato in microcoulomb e V è il massimo tensione, e così, K =
267/1200, che è 0,222 microfarad.
E 'anche noto che se si vuole produrre una
scarica oscillatorio attraverso un circuito, la capacità, resistenza e
l'induttanza del circuito devono essere disposti in modo che la radice quadrata
di 1000 x L millihenry / K microfarad è maggiore della resistenza del circuito
in ohm (K essendo la capacità del condensatore).
È stato supposto che la resistenza del
circuito oscillatorio è di 15 ohm. Utilizzando 20 ohm nell'equazione di cui
sopra consentirà un valore adeguato di induttanza da calcolare, uno che
soddisfi le condizioni necessarie per la produzione della scarica oscillatoria
nel circuito, e quindi l'induttanza in millihenry è di 400 x K / 4000 o 400 x
0,222 / 4000 che è 0,0222 millihenry,
o pari a 22,2 mila centimetri di filo.
È possibile determinare il numero di
oscillazioni al secondo che possono essere ottenuti in qualsiasi tale circuito,
e che è data da Hz = 5033000 / radice quadrata di x K L dove L è in centimetri
e K è in microfarad. E così, conoscendo
l'induttanza e la capacità otteniamo Hz = 5033000 / sqrt (22200 x 0,222), che è
71900 Hz. Che rappresenta 72 oscillazioni in ciascuna
delle 1000 scintille per secondo.
L'attuale forza sviluppata da queste
oscillazioni può essere determinato dalla formula seguente che utilizza la
tensione V in volt, la resistenza del circuito R in ohm, l'induttanza L in
henry, e la capacità in farad K:
Corrente = V / sqrt (R x R + (6,28 x Hz x L -
1 / (6,28 x Hz x K) 2) o nel nostro caso:
Attuale = 600 / √ 15 x 15 + (6,28 x
71900 x 0,0000222 - (1 / (6,28 x 71900 x 0,00000222))) 2
Che funziona come 40 ampere, che significa che
l'impedenza del circuito oscillante è uguale alla resistenza in ohm di tale
circuito, poiché la reattanza induttiva e la reattanza capacitiva sono
combinati in modo che il valore risultante della reattanza totale è uguale a
zero, e l'unica tensione necessaria per produrre la corrente di 40 ampere è
quella necessaria per vincere la resistenza ohmica del circuito che è di 15
ohm. Questo significa anche che la
E.M.F. è in fase con la corrente, e quindi, i watt sono al massimo.
Quindi, non ci può essere alcun dubbio che la
batteria 3-4 sarà completamente
carica durante il periodo in cui la batteria si sta scaricando 1-2, tanto più che la corrente di
carica può essere ulteriormente aumentata a volontà, anche senza prendere più
energia dalla batteria scarica. In realtà, è facile aumentare il numero di giri
nel trasformatore secondario 46-47
per aumentare la tensione. Ovviamente,
come la quantità di potenza fornita al primario 44-45 di questo apparato è sempre 321 watt, se la tensione viene
aumentata, la quantità di elettricità che il condensatore 49 riceve sarà ridotto di conseguenza. Di conseguenza, il valore di tale condensatore
deve essere ridotto e quindi il numero di oscillazioni per secondo sarà anche
aumentata. Infine, aumentando la tensione, l'intensità di corrente viene
aumentato proporzionalmente.
Pertanto, è sempre possibile abbinare, nel
modo descritto, i valori di resistenza, induttanza, capacità e tensione nel
circuito oscillante, in modo da ottenere la forza corrente richiesta per
caricare completamente una delle batterie durante il periodo in cui l'altra la
batteria si sta scaricando.
Una volta che questa carica della batteria è
stato raggiunto, se la pianta è di continuare in funzione, poi le batterie
devono essere scambiati oltre alterando le loro connessioni al circuito. Per fare questo, cilindro 5 viene ruotato finché i percorsi
conduttivi 11 e 12 entrano in contatto con le spazzole che sono collegati ai poli
negativi delle batterie, e poi, batteria 3-4
che è completamente carica sarà collegato con il motore 27 -28, e la sua scarica sarà ora prodotto da questo percorso:
morsetto di batteria 25, amperometro
24, poli commutatore 20 e 18 (ora collegati insieme per effetto della rotazione del cilindro 5 di 90 gradi), filo 26, motore 27-28 , resistore variabile 29,
fili 30, apparecchi 40 e 41, e il percorso commutatore 11
che chiude il circuito al polo negativo della batteria 3-4.

In altre parole, il motore 27-28, apparecchi 40 e 41, e alternatore 42, funziona ugualmente esattamente
nello stesso modo come sopra descritto, e allo stesso modo, le correnti ad alta
frequenza sono ancora sviluppate, producendo lo stesso intensità di corrente
che ora passa attraverso il morsetto 50
del condensatore 48, arco lampada 51-52, diodo 34, fili 32, contatti
commutatori 19-17, filo 21, amperometro 22, e il terminale positivo 23
della batteria 1-2 (che è ora
connessi al contatto 38 del
collettore attraverso il percorso 12),
filo 37, diodo 36, induttore 55, e
terminale condensatore 49; anche
attraverso il percorso duplicato da terminale condensatore 49, diodo 33, fili 32, contatti commutatori 19-17, filo 21, amperometro 22, terminale
positivo 23 della batteria 1-2, percorso commutatore 12, collettore polo 38, filo 37, diodo 35, lampada ad
arco 52-51, e terminale condensatore
50.
E 'ovvio affermare che questa stessa procedura
può essere ripetuta indefinitamente dalla semplice alterazione delle
connessioni della batteria di volta in volta in conformità con la capacità
della batteria e il tasso di scarico. Solo 400 watt è preso dalla batteria
scarica per la ricarica delle batterie, lasciando 40 ampere a 50 volt (2000
watt) per fare un lavoro utile continuo.
Il brevetto prosegue con una descrizione
di come un orologio modificato può essere fatto spostare il commutatore una
volta ogni ora. Questo è un brillante 2
kilowatt, autoalimentato, disegno libero-energia. Tuttavia, operare il disegno come descritto
non sarebbe realistico. Batterie al
giorno d'oggi hanno una vita limitata offerta operativo, in genere, da 400 a
1000 cicli di carica / scarica entro i limiti di corrente di scarica C20. Superamento della velocità di scarico C20 ridurrà
la durata della batteria di un importo maggiore, tale importo è determinato dal
grado di abuso che la batteria soffre. Se ignoriamo quel fattore e diciamo che
le nostre batterie gestiranno 1000 cicli, al tasso proposto di dire, uno di
scarico un'ora e un'ora di tempo di ricarica, quindi la sostituzione della
batteria è tale da prevedere in solo 500 ore di funzionamento. Cioè, entro tre
settimane di funzionamento continuo.
L'essenziale, rapido passaggio di questo
circuito è eseguita dal spinterometro ma a differenza di ciò, il commutatore
commutazione delle batterie non richiede il funzionamento ad alta
velocità. E 'possibile quindi, per
sostituire il commutatore con commutazione a stato solido semplice e scambiare
le batterie sopra ogni secondo o due. In questo modo, le batterie non sono mai
scaricata e lunga durata della batteria può essere previsto.
Di recente, una domanda di brevetto è stata presentata su
quello che è effettivamente il Cole Ron una batteria interruttore e
l'interruttore di Tesla. Devo ammettere di essere molto dubbio circa l'idea di
usare condensatori come fonte di energia (a meno che la frequenza di
commutazione è così alta che i condensatori hanno tempo sufficiente per la loro
tensione a diminuire sensibilmente), sono anche la ri-formulata brevetto qui.
Alcuni sperimentatori hanno riportato guadagni complessivi di energia della
batteria con velocità di commutazione di 0,5 Hz o meno, il che significa che
nei circuiti di questo tipo, il cambio meccanico dovrebbe dare una ragionevole
durata dei contatti dell'interruttore. Questo brevetto ha bisogno di un buon
grado di attenzione come la persona che scrive non ha una conoscenza completa
della lingua inglese e confuso il "carico" parola con la
"carica" parola. Lasciatemi dire ancora una
volta, che la domanda di brevetto seguente è incluso qui in primo luogo per
l'amor di interesse, piuttosto che essere il modo definitivo di fare un circuito di questo tipo.
La domanda di brevetto
US20080030165 7 Feb 2008 Ideatore: Bozidar Lisac
METODO E
DISPOSITIVO PER LA FORNITURA UN CARICO CON RECUPERO DI ENERGIA ELETTRICA
ESTRATTO
Nell'invenzione un circola corrente elettrica dalla
batteria UB, tramite il motore elettrico M, ed il diodo D1 carica la
condensatori CA e CB, collegati in parallelo, che, una volta applicato, sono
collegati in serie, dando origine ad una differenza di tensione in relazione
alla batteria, provocando la metà della carica dei condensatori per essere
restituiti alla batteria attraverso il diodo D2, mentre con una nuova
connessione parallela, la ricarica condensatori, questa carica è uguale a
quella che era stata precedentemente trasferita dai condensatori la batteria,
in modo che attraverso il collegamento ciclico dei condensatori in parallelo e
in serie l'energia viene trasferita dalla batteria ai condensatori e dai
condensatori alla batteria, estendendo così notevolmente la gamma della
batteria e il funzionamento del motore.
OGGETTO DELL'INVENZIONE
La
presente invenzione riguarda un metodo e dispositivo che consenta l'energia
elettrica che viene fornita con una carica da recuperare utilizzando un
auto-ricaricabile sorgente elettrica in cui, che per mezzo di un circuito, la
corrente circolante da un accumulatore o batteria tramite un carico, ad
esempio, un motore, è completamente restituito stesso livello energetico,
estendendo così notevolmente la gamma.
Più
specificatamente, due condensatori che sono connessi ciclicamente da parallelo
a seriale e viceversa viene caricato attraverso un motore durante le
connessioni in parallelo, mentre nel collegamento in serie, quando la sua
tensione raddoppia, ritornano l'elettricità, la ricarica della batteria. Questa
fonte rappresenta un sistema chiuso che non richiede un'alimentazione di
energia dall'esterno, salvo per compensare le perdite prodotte, la gamma della
batteria essendo limitata dal numero di cariche e scariche che la stessa
consente tecnicamente.
CONTESTO DELLA INVENZIONE
Un
carico, come ad esempio un motore elettrico, è collegata ad una batteria o un
accumulatore con una certa carica, che verrà progressivamente scaricato da
essa, questo scarico essendo direttamente proporzionale al tempo di connessione
ed alla corrente circolante nel motore. È pertanto necessario fornire energia
fresca da una sorgente esterna di ricaricarla. Sistemi che consentono l'energia
consumata dal carico per essere riutilizzati non sono noti nello stato della
tecnica.
DESCRIZIONE DEL TROVATO
Un
primo aspetto dell'invenzione riguarda un metodo per alimentare un carico con
recupero di energia elettrica, che comprende alimentare un carico con energia
elettrica derivante dal primo accumulatore di energia elettrica, e restituire
almeno una parte di tale energia elettrica, dopo che passa attraverso il carico
al primo accumulatore al fine di recuperare l'energia fornita.
L'energia
elettrica, dopo il passaggio attraverso il carico, viene recuperato dal secondo
accumulatore di energia elettrica, da dove viene trasferito al primo
accumulatore, dando luogo a trasferimento ciclico di energia elettrica tra gli
accumulatori di energia prima e seconda.
Il
recupero di energia dal secondo accumulatore e trasferimento al primo
accumulatore può essere raggiunto senza passare l'energia attraverso il carico.
In un'altra realizzazione alternativa, l'energia viene recuperata dal secondo
accumulatore e passato all'accumulatore prima attraverso il carico, nel qual
caso si inverte la polarità del carico durante il recupero di energia
attraverso il carico.
Il
trasferimento di energia è determinato da ciclicamente collegamento di due o
più accumulatori di energia elettrica tra i collegamenti seriali e paralleli.
Un
secondo aspetto dell'invenzione riguarda un dispositivo per alimentare un
carico con recupero di energia elettrica, che comprende un primo accumulatore
di energia elettrica ed un secondo accumulatore di energia elettrica a cui è
collegato il carico tra gli accumulatori prima e seconda. Il dispositivo può
essere fornito in una forma di realizzazione di un dispositivo di connessione
unidirezionale, per esempio, un diodo che è collegato in parallelo al carico,
provocando circolazione dell'energia elettrica recuperata dopo il passaggio
attraverso il carico, e attraverso il quale l'energia elettrica viene restituito
il primo accumulatore.
Il primo accumulatore di energia elettrica può essere una
batteria. Il secondo accumulatore di energia elettrica potrebbero essere due o
più condensatori, con il passaggio a ciclicamente collegarli tra le
configurazioni di connessione parallele e seriali.
L'invenzione costituisce un auto-ricaricabile fonte di
energia elettrica che permette l'intervallo di una batteria a prolungare in
modo che la corrente circolante dalla stessa attraverso un motore di ricaricare
due condensatori collegati in parallelo, fino al livello di tensione della
batteria, da mezzo di contatti. Questi condensatori, una volta caricato, sono
collegati in serie, producendo doppio della tensione, e quindi tornare
l'energia alla batteria, prolungando così la sua gamma. Una volta che le
perdite sono state compensate, la durata della gamma estesa dipende dalle
proprietà di carica e scarica dei condensatori.
L'esistenza della differenza di tensione tra la batteria
e le due condensatori collegati in parallelo ed in serie, e che dà luogo allo
spostamento di energia dalla batteria ai condensatori e viceversa, viene
utilizzato per alimentare il motore collegato tra la batteria ed i
condensatori, comprendente l'auto-ricaricabile fonte di energia elettrica.
Quando è collegato in parallelo, i condensatori vengono
caricati tramite un motore e un diodo, e quando collegati in serie, sono
carichi attraverso un altro diodo, la tensione del mezzo motore essendo
quella della batteria. D'altra parte,
se il motore è collegato tra la batteria e condensatori in serie collegati,
quest'ultima, che vengono caricati in parallelo attraverso un diodo e vengono
scaricate per mezzo del motore ed il diodo altro, potranno fornire al motore
una tensione uguale a quella della batteria, mentre un condensatore collegato
in serie all'avvolgimento del motore garantisce il funzionamento senza perdita
di potenza.
Invece di
due condensatori, due batterie collegate in serie e altri due collegati in
parallelo possono essere utilizzati, tra cui batterie un motore è collegato, la
corrente circolante in questo caso dalle batterie collegate in serie attraverso
il motore alle batterie collegate in parallelo . Le batterie collegate in serie
sono collegati in parallelo, per mezzo di contatti di commutazione, e gli altri
due in parallelo batterie sono poi collegati in serie, invertendo la direzione
della corrente, mentre i collegamenti
In una possibile forma di realizzazione dell'invenzione,
altre due condensatori e un trasformatore a due avvolgimenti primari, o un
motore con due avvolgimenti vengono aggiunti al dispositivo precedentemente
descritto, ciascuna coppia di condensatori ciclicamente passano da parallelo a
seriale e viceversa in modo che durante i cicli di connessione parallele, due
dei condensatori vengono caricati attraverso uno degli avvolgimenti fino al
livello di tensione della batteria al tempo stesso che le altre due
condensatori sono collegati in serie, raddoppiare la loro tensione e vengono
scaricate per mezzo di un secondo avvolgimento alla batteria.
Il livello ridotto di perdite di energia causata
principalmente dalla dissipazione del calore e nei condensatori, nonché per il
fattore di carica delle batterie, è compensata da una sorgente esterna, e
perché la somma della corrente circolante attraverso un avvolgimento il motore
o trasformatore carica due dei condensatori e la corrente circolante
contemporaneamente dalle altre due condensatori attraverso il secondo
avvolgimento, la ricarica della batteria, più la corrente che viene fornita
dalla sorgente esterna, è uguale a zero, a causa del lavoro svolto dal motore o
dei carichi che sono collegati alla tensione alternata indotta nel secondario
del trasformatore, non scarica della batteria avviene.
DESCRIZIONE DEI DISEGNI
Al fine di integrare la descrizione
ora data, e al
fine di contribuire ad una migliore
comprensione delle caratteristiche dell'invenzione,
secondo una forma preferita di
realizzazione pratica, un insieme
di disegni è allegata come parte integrante della presente
descrizione, in cui , a fini informativi e
non limitativo, il seguente è mostrato:

Fig.1 mostra
un circuito pratico in cui, per mezzo di commutazione, due condensatori collegati in parallelo vengono caricate da una
batteria attraverso un motore e un diodo, e dopo i
contatti sono attivati, sono collegati in serie, quindi scaricare
la batteria attraverso un altro diodo.

Fig.2 mostra un circuito pratico in cui, grazie alla commutazione, sono collegati
i due condensatori in parallelo e sono caricate da una batteria attraverso un
diodo, e dopo la commutazione dei contatti sono connessi in serie, quindi la
carica della batteria attraverso il motore e l'altra diodo.

Fig.3 illustra il collegamento di due batterie in
serie, collegati tramite un motore di altri due batterie collegate in
parallelo, e che, per mezzo di contatti, commutare alternativamente, questo
dando luogo a effetti simili a quelli descritti in relazione all'uso dei
condensatori.

Fig.4 rappresenta lo schema elettrico corrispondente al collegamento tra la
batteria e le due coppie di condensatori di un trasformatore con due primario e
uno secondario, in cui viene indotta una tensione alternata che viene
raddrizzata, filtrata e convertita in una tensione sinusoidale.

Fig.5 rappresenta lo schema elettrico corrispondente al collegamento tra la
batteria e le due coppie di condensatori di un trasformatore con due primario e
uno secondario, in cui viene indotta una tensione alternata che viene
raddrizzata, filtrata e convertita in una tensione sinusoidale.

Fig.6 mostra lo schema elettrico di un motore a corrente con due avvolgimenti
collegati tra batteria e due coppie di condensatori, in cui due contatti
dell'interruttore garantirne la corretta polarizzazione e la direzione di
rotazione.
FORMA PREFERITA DELL'INVENZIONE
In una
forma di realizzazione preferita illustrata in Fig.1, il carico è costituito da
un motore a corrente M, l'UB batteria, e il secondo accumulatore che consiste
di una coppia di condensatori CA e CB. Il condensatori CA e CB sono collegati
tra loro in parallelo per mezzo di due interruttori S1 e S2. Questi condensatori
vengono caricati attraverso il motore M ed il diodo D1 ad un livello di
tensione pari a quella della UB batteria, la carica essendo Q = (CA + CB) UB, e
mentre questi condensatori vengono caricati, il motore M è in rotazione.

Quando entrambi i condensatori sono completamente
cariche, sono collegati in serie i contatti dell'interruttore S1 e S2. Questo
produce una tensione che è il doppio del valore della tensione della batteria
UB, causando la carica che è data da Q = 2 x UB x (CA + CB) / 2 che è Q = (CA +
CB) UB, che mostra che una volta applicati, la carica Q di entrambi i
condensatori è identica sia in parallelo e in serie.
Diodi D1 e D2 in modo che il flusso di corrente
attraverso il motore M è sempre e solo in una direzione. Subito dopo condensatori
CA e CB sono collegati in serie, ritornano metà della loro carica attraverso
diodo D2. Interruttori S1 e S2 quindi collegare il CA e CB condensatori in
parallelo. In questa disposizione, partono con metà della tensione di batteria.
Fanno pagare immediatamente, riguadagnando la tensione della batteria
attraverso il motore M e il diodo D1.
Mediante commutazione ciclica ripetuta del condensatori
CA e CB da parallelo a seriale modalità di connessione, la corrente circolante
dal UB batteria attraverso il motore M per i condensatori, e da questi alla
batteria, ricarica e estende la sua gamma, costituisce auto-ricaricabile
sorgente di energia elettrica.

In una seconda forma di realizzazione pratica illustrato
in Fig.2, il motore M è collegato tra la batteria e il UB condensatori CA e CB
tramite il diodo D2. I condensatori vengono caricati direttamente attraverso il
diodo D1 e sono scaricate attraverso il motore M e il diodo D2, i valori delle
cariche sul condensatori CA e CB precedentemente descritto nell'esempio
mostrato in Fig.1 rimangono invariate, la differenza in questo circuito è che
la tensione applicata al motore M è la tensione di batteria completa in questo
caso.
Il tasso di carica del condensatori CA e CB è determinata
dalla intensità della corrente che fluisce attraverso il motore M, al quale è
collegata in parallelo, il condensatore CM che garantisce che il funzionamento
del motore viene mantenuta alla massima potenza. È possibile sostituire una
batteria, preferibilmente una batteria carica rapida, per condensatore CM.

In un'altra forma di realizzazione mostrata in Fig.3, gli
accumulatori primo e secondo sono costituiti da coppie di batterie B1, B2 e B3,
B4. Pertanto, in questa forma di realizzazione, due coppie di batterie usa al
posto del condensatori CA e CB. Batterie B1 e B2 sono collegati gli
interruttori S1 e S2, e la coppia di batterie B3 e B4 sono collegati al
commutatori S3 e S4. Gli interruttori S1 a S4, collegare le coppie di batterie
con cui sono associati, in serie o in parallelo, a seconda della posizione
degli interruttori.
Mentre il B1 e B2 batterie sono collegati in parallelo,
gli altri due batterie B3 e B4 sono collegati in serie, e il motore M ruota a
causa della differenza di tensione tra le batterie, in quanto è collegato tra
le due coppie di batterie. Allo stesso tempo, la corrente circolante nel motore
dalla seriali ricarica batterie collegate le due batterie in parallelo. Gli
interruttori S1 a S4, che collegano la B1 e B2 batterie in serie e B3 e B4
batterie in parallelo quindi passare, invertendo la direzione del flusso di
corrente, e allo stesso tempo, gli interruttori S5 e S6 posizioni cambiano in
ordine per mantenere la corretta polarità per il motore e la sua direzione di
rotazione.
I due condensatori e le batterie possono essere attivati per mezzo di qualsiasi meccanico, elettromeccanico, elemento
elettrico, elettronico o di altro tipo che soddisfi le condizioni descritte
con lo scopo di ottenere una auto-ricaricabile fonte di energia elettrica.
Queste operazioni di commutazione può essere controllata con qualsiasi metodo
noto, ad esempio, un circuito elettronico programmabile.
In forme di realizzazione preferite descritte
precedentemente, il carico è costituito da un motore a corrente, ma come un
esperto del settore può comprendere, il carico può anche consistere di
qualsiasi tipo di resistivo (?) E / o carico induttivo.

Un'altra forma di realizzazione preferita è mostrato in
Fig.4, dove un trasformatore T con due avvolgimenti primari è collegato L1 e L2
tra la UB batteria e le due coppie di condensatori C1 e C2, C3 e C4, più,
causando i due condensatori C1 e C2 commutare le connessioni da parallelo a
seriale e viceversa mediante i contatti S1 e S2, e causando la condensatori C3
e C4 per passare attraverso contatti S3 e S4, in modo che durante i cicli di
collegamento del condensatori C1 e C2 in Parallelamente, quest'ultimo pagano
tramite le L1 liquidazione al livello di tensione della batteria, mentre allo
stesso tempo sono collegati alla condensatori C3 e C4 in serie e fornire raddoppiare
la loro tensione, la batteria viene scaricata mediante l'avvolgimento L2, nel
qual caso le correnti di carica e scarica di circolare nella stessa direzione.
D'altra parte, durante i cicli di collegamento in parallelo dei condensatori C3
e C4, che sono caricati attraverso l'avvolgimento L2 fino al livello di
tensione della batteria, il condensatori C1 e C2 sono collegati in serie per
fornire raddoppiare la loro tensione e sono scaricati nella batteria attraverso
l'avvolgimento L1. La direzione della corrente di carica e scarica quindi
cambia, inducendo nel secondario L3 avvolgimento una tensione alternata la cui
frequenza dipende dalla velocità di commutazione dei contatti menzionati, e
dopo essere rettificata mediante il ponte di diodi P e filtrato dal
condensatore CP, la tensione CC risultante viene convertito in una tensione
sinusoidale mediante un circuito K.
Il collegamento in parallelo di una coppia di
condensatori e il collegamento in serie dell'altra coppia avvengono
contemporaneamente. Pertanto la somma della corrente circolante dalla batteria
attraverso uno degli avvolgimenti, due carica dei condensatori, e la corrente
che circola dalle altre due condensatori attraverso l'altro avvolgimento alla
batteria, è circa zero.
Da una fonte esterna di energia FE le perdite di energia
minime causate essenzialmente da dissipazione di calore e nei condensatori,
nonché per il fattore di carica della batteria, sono compensati, con il
risultato che la somma della corrente circolante da questa sorgente esterna
alla batteria e le correnti di carica e scarica dei condensatori è uguale a
zero. Pertanto la batteria non è scarica e la sua gamma non dipende dal lavoro
sviluppato dai motori o dei carichi collegati al secondario L3 avvolgimento del
trasformatore T, in quanto maggiore è la potenza dei carichi, maggiore è
l'intensità della carica e correnti di scarica dei condensatori.

Fig.5 mostra un'altra
forma di realizzazione in cui è collegato un motore a corrente alternata M a
due avvolgimenti L1 e L2 in modo che durante le connessioni in parallelo dei
condensatori C1 e C2, questi ultimi sono cariche mediante l'avvolgimento L1 al
tempo stesso che la condensatori C3 e C4, collegati in serie, vengono scaricate
attraverso circolante avvolgimento L2 alla UB batteria, la carica e scarica di
corrente attraverso gli avvolgimenti nella stessa direzione. Il condensatori C1
e C2 sono collegati in serie e condensatori C3 e C4 sono collegati in
parallelo. La direzione della corrente di carica e scarica dei condensatori è pertanto
invertito, producendo così ai morsetti del motore una tensione alternata con
una frequenza che dipende dalla velocità di commutazione dei contatti. Le
perdite di energia dovute sono compensati da una sorgente esterna FE, la somma
della corrente circolante da questa fonte alla batteria e le correnti
circolanti attraverso i due avvolgimenti durante la carica e la scarica dei
condensatori essendo uguale a zero. La batteria non è quindi scaricata come
risultato del lavoro svolto dal motore.

Fig.6 illustra il collegamento di un motore in corrente M a
due avvolgimenti L1 e L2 tra la UB batteria e le due coppie di condensatori C1
e C2 più C3 e C4, in modo che durante le due connessioni in parallelo dei
condensatori vengono caricati tramite l'avvolgimento L1, e durante le
connessioni simultanee in serie, le altre due condensatori vengono caricati
tramite l'avvolgimento L2 alla batteria. Coincidente con la commutazione dei
contatti S1, S2, S3 e S4, che si collegano a ciascuna coppia di condensatori da
parallelo a seriale e viceversa, i contatti S5 e S6 interruttore, polarizzando
gli avvolgimenti del motore in modo che le correnti di carica e scarica dei
condensatori circolano nella stessa direzione, producendo una tensione
continua. La somma della corrente fornita dalla sorgente esterna FE e le
correnti di carica e scarica dei condensatori è uguale a zero, e quindi non vi
è alcuna scarica della batteria.
Don Smith è un grande talento americano che ha capito tutto
il lavoro di Tesla e ha prodotto dozzine di dispositivi pratici basati sulla
sua comprensione. Troverete i dettagli più specifici nel capitolo 3, ma a
grandi linee, a dodici volt batteria può essere utilizzata per generare il
campo magnetico pulsante necessario per spostare l'ambiente locale nel fornire
grandi quantità di energia elettrica. Il dispositivo descritto in dettaglio nel
capitolo 3, ha una potenza di circa 160 kW, che è molto, molto più di qualsiasi
individuo avrebbe bisogno. In altre parole, si tratta di un dispositivo che
potrebbe facilmente alimentare la vostra casa, e considerando che un auto
elettrica ha bisogno di circa 65 kilowatt, si potrebbe facilmente alimentare un
veicolo, si trasforma in un carburante meno modo di trasporto. Non si tratta di
magia, appena standard teoria elettrica corretta applicazione per un
cambiamento.
Il componente chiave in molti dei dispositivi di Don è
l'umile, alimentazione commerciale utilizzato per pilotare display segno al
neon. Questo modulo produce circa 9.000 volt con una frequenza di 35.100 Hz
(cicli al secondo). Come Don sottolinea, quando si raddoppia la frequenza di
pulsazione e il doppio della tensione di pulsazione, la potenza disponibile
aumenta di un fattore di sedici volte, perché l'effetto di entrambe le cose è
quadrata. Ricorderete che Bob Boyce pulsa il suo toroide molto bruscamente a
42.000 Hz e che ad alta frequenza ha un effetto importante sulla potenza
prodotta nel suo sistema.
Don aumenta allora la sua tensione di lavoro di più con
un trasformatore step-up chiamato bobina di Tesla. Questo ci porta in uno
spazio di enorme potenza. La gente ha l'idea sbagliata che una bobina di Tesla
non può che produrre tensione e non di corrente. La realtà è che se la bobina
primaria è posizionata nel centro della bobina secondaria, allora la tensione e
la corrente prodotta sarà quasi la stessa, e che è un livello molto, molto
elevato di potenza. Un dispositivo di Don ha questo aspetto:

Questo prototipo è in realtà più complicato di quanto
dovrebbe essere. Utilizza tre molto condensatori ad alta tensione che non sono
necessari, se si opta per un metodo leggermente diverso di costruzione.
Tuttavia, in questa versione, il dodici volt batteria (non mostrato), alimenta
un vero sinusoidale inverter per fornire la tensione e la frequenza necessaria
al neon tubo circuito driver. I limiti di tensione dei condensatori, in
particolare, i 8000 volt condensatori di immagazzinamento di uscita, rendono
l'uscita 9000 volt del neon-valvola driver troppo per l'utilizzo sicuro. Per
affrontare questo, Don utilizza un Variac stile trasformatore variabile per
abbassare la tensione fornita al neon tubo circuito di pilotaggio, e questo gli
permette di limitare la tensione di uscita ai 8000 volt di condensatori di
immagazzinamento di uscita.
Un dettaglio fondamentale è che la lunghezza del filo
nelle spire dell'avvolgimento brevi primario della bobina di Tesla è
esattamente un quarto della lunghezza del filo delle spire nell'avvolgimento
secondario lunghi. Questo rende il risuonare bobine che è un fattore
fondamentale nel funzionamento. La finale, sintonizzazione precisa, può essere
fatto scorrere bobina primaria ad una posizione leggermente diversa. In questo
prototipo, Don scelto di fare la sintonia fine e definitivo ed accompagnato da
un piccolo condensatore in ciascuno degli avvolgimenti. Questo non è
necessario.
Nel prototipo mostrato sopra, Don quindi utilizza quattro
diodi per rettificare l'uscita CC per alimentare i condensatori di
memorizzazione. Ciò si traduce in un alimentatore 8000 volt che può fornire 20
ampere di corrente. Che è una potenza di uscita di 160 kW, ed è limitata dalla
tensione di uscita condensatore.
Don sottolinea che non è necessario fare in questo modo e
invece, un trasformatore riduttore può essere usato per abbassare la tensione
di uscita e aumentare la corrente disponibile. Se questo è fatto, quindi le
limitazioni di tensione scompaiono (a condizione che si sta utilizzando molto
alta tensione) e quindi non Variac è necessaria e non condensatori ad alta
tensione sono necessari entrambi.
Ci sono due opzioni. In entrambi i casi si può puntare ad
una tensione di rete, frequenza di rete, uscita CA, oppure è possibile produrre
un output CC e utilizzare un inverter commerciale standard di eseguire qualsiasi
apparecchiatura elettrica alimentato dal dispositivo. Con la prima opzione, Don
connette una singola resistenza sul primario del trasformatore riduttore e che
trascina la frequenza fino al livello desiderato, a condizione che la
resistenza ha il valore giusto:

Il metodo alternativo che mira ad una uscita CC non è
necessario modificare la frequenza:

In entrambi i casi, la guida dodici volt batteria può
essere caricata in continuo dalla parte della potenza di uscita, e ci sono
diversi modi di farlo. Tuttavia, la cura deve essere presa che la batteria non
è sovraccarica come la potenza di ingresso è molto bassa.
Si noterà la somiglianza tra il sistema di toroide di Bob
Boyce e bobina di Don Smith Tesla sistema. In ogni caso, un avvolgimento molto
attentamente avvolte circolari viene pulsata ad alta frequenza, e in ogni caso,
notevoli quantità di eccesso di potenza elettrica diventa disponibile, scorre
in dall'ambiente circostante, cortesia del campo magnetico pulsante.
Tariel Kapanadze prodotto un simile stile di dispositivo
che è
autoalimentato e produce una rete elettrica di uscita. Lo ha
dimostrato per un documentario
televisivo. Ulteriori
dettagli sono disponibili nel capitolo 3.
Vladimir ha pubblicato
un documento in cui descrive una parte del lavoro molto importante fatto da se
stesso e membri di un forum russo. Ha grandi intuizioni nel lavoro di Tesla,
Don Smith e altri. Con il suo consenso, la sua carta è liberamente condiviso
qui http://www.free-energy-info.tuks.nl/VladimirUtkin.pdf
Nella edizione 1961 del Manuale del Experimenter
Electronics, vi è un circuito interessante da Walter B. Ford per una elevata
potenza di cristallo set in grado di alimentare un altoparlante da 2,5 pollici:


Egli dice: Ecco una radio minuscolo cristallo con una potenza
sufficiente per guidare un 2.5 "speaker. Selettività Questa piccola unità
è di gran lunga migliore di quanto ci si aspetterebbe di trovare in un
ricevitore di cristallo e il volume è pari a quella ottenuta con i set con un
transistor. Nessuna fonte di alimentazione esterna è necessaria.
La selettività insolito di questa radio è dovuto alla sua particolare
doppia a punto del circuito. Una coppia di diodi collegati come duplicatore di
tensione fornisce la potenza extra per operare il piccolo altoparlante. Un jack
di uscita è prevista per l'ascolto in cuffia e per collegare l'apparecchio a un
amplificatore.
Costruzione: Il modello è stato costruito su un 2.5 "x 4.5"
telaio di legno con un 3.5 "x 4.5" pannello frontale in metallo.
Tuttavia, le dimensioni non è critico, e altri materiali possono essere sosti ¬
tuito se lo si desidera.
Due loopsticks standard di ferrite, L2 e L3, sono utilizzati. Entrambi
devono essere modificati mediante l'aggiunta di un secondo avvolgimento. L1 e
L4, rispettivamente. Ciascuno degli avvolgimenti aggiunti consiste di 22 spire
di Number 24 cotone-rivestito filo avvolto su un tubo di cartone, come mostrato
in figura. (In realtà, qualsiasi dimensione filo da immatricolazione
retroriflettenti 22 al numero 28 con cotone o isolamento smalto farà il
lavoro).
Il diametro del tubo di cartone dovrebbe essere leggermente superiore L2 e
L3 in modo che L1 e L4 scivolerà overL2 e L3 facilmente.
Resistore R1 è utilizzata solo per alimentare il set in un amplificatore,
ma dovrebbe essere omesso sia per auricolare e funzionamento dell'altoparlante.
Trimmer condensatore C2 devono essere saldati tra i terminali dello statore di
due-gang C1a/C1b condensatore variabile, come illustrato. L'altoparlante e il
trasformatore di uscita può essere montato ovunque conveniente.
Se un telaio in metallo è usato, quindi assicuratevi di isolare le prese di
collegamento antenna e la terra dal telaio.
Quando tutti i componenti sono stati montati sul telaio, le terminazioni
insieme seguendo lo schema e diagrammi pittoriche. Assicurarsi che diodi D1 e
D2 e condensatori C3 e C4 sono collegati correttamente, facendo attenzione alla
loro polarità.
Mentre questo è interessante, quello che sembra essere un fattore chiave è contenuta nei disegni, dove afferma che l'unica cosa importante è che è essenziale per le due serie di bobine per essere montato ortogonali:


Allineamento e funzionamento. Per
allineare il ricevitore, collegarlo ad una antenna e di terra. La lunghezza
ottimale dell'antenna varia con la posizione, ma 50 piedi di solito è adatto in
zone che ricevono stazioni radio diverse. Successivamente, collegare ad alta
impedenza della cuffia nel jack J1. Sintonizzare una stazione vicino alla fine
ad alta frequenza della banda di trasmissione - per esempio, 1500 kHz - e
regolare i condensatori trimmer sulla variabile C1a/C1b condensatore per
ottenere il segnale più forte.
Trimmer
condensatore C2 Dovrà poi essere adattata per la migliore selettività e il
volume sulla banda di trasmissione intera. Infine, bobine L1 e L4 possono
essere spostati nelle loro posizioni ottimali facendoli scorrere avanti e
indietro sulla bobine L2 e L3. Se una stazione vicina interferisce con la
ricezione di una stazione debole, regolare la lumaca di L2 per ottenere la
minima interferenza. Per il funzionamento degli altoparlanti, è sufficiente
scollegare l'auricolare. Forti stazioni locali devono pervenire ad un volume
giusto.
Come funziona: Il
ricevitore utilizza un doppio circuito di alimentazione a punto un cristallo
voltage-doubler/detector diodo che aziona un piccolo altoparlante. Segnali a
frequenza radio raccolti dal sistema di antenna sono indotti in bobina L1 L2
dalla bobina. Il segnale desiderato viene selezionato dal circuito accordato
C1a/L2 e accoppiato attraverso condensatore C2 ad un secondo circuito sintonizzato
C1b/L3, che migliora la selettività restringendo la banda di frequenza radio.
Il due volte a punto il segnale viene poi indotto in bobina L4 L3 da bobina.
La metà
positiva del segnale a radiofrequenza di essere inseriti L4, passa attraverso
il diodo D2 1N34A germanio per caricare condensatore C4. Metà negativa del
segnale passa attraverso il diodo D1 per caricare il condensatore C3. La
polarità delle cariche di C3 e C4 sono tali che la tensione effettiva è
raddoppiata. Questa tensione viene visualizzato sul primario del trasformatore
di uscita T1 che converte il segnale ad alta impedenza a una bassa impedenza di
uscita adatto per l'altoparlante.
Mentre questo sembra un
design molto buona per un set di cristallo, il fatto che si insiste che le
coppie di bobine devono essere montati ad angolo retto tra loro solleva un
interessante parallelo del suddetto lavoro di Vladimir Utkin dove afferma che
se l'alto frequenza di eccitazione è perpendicolare alla bobina di uscita,
allora ci sarà una energia libera di ingressi nel circuito dall'ambiente
locale. Forse questa scenografia cristallo guadagna potenza extra per guidare
il suo altoparlante da un afflusso di energia ambientale.
La
"FLEET" ("Forever Lead-out Existing Energy Transformer") è
un dispositivo autoalimentato generatore elettrico che non ha parti in
movimento e che può essere costruito a buon mercato. E 'stato sviluppato da un
team di
Mt Tseung ha applicato la sua teoria
"Lead-out" alla categoria di bassa potenza circuiti noti come
"Joule Thief" circuiti. Questi circuiti nato con un articolo dal
signor Z. Kaparnik, nel "Ingenuity illimitato" della edizione 1999 di
novembre della "Everyday Practical Electronics" rivista.
Il circuito iniziale ha permesso l'energia molto
ultimo ad essere prelevati da qualsiasi normale batteria a secco, e utilizzato
per accendere un bianco Light-Emitting Diode ("LED") per l'uso come
una piccola torcia. Esso permette una batteria che è considerato essere
completamente scarica, per pilotare il circuito finché la tensione della
batteria scende fino a 0,35 volt. Il circuito iniziale utilizza un bi-filar
bobina avvolta su un anello di ferrite o "toroide". Bifilare
significa che la bobina è avvolta con due linee separate di filo fianco a
fianco, in modo che ogni spira adiacente è parte dell'altra bobina. Una bobina
di questo tipo ha inusuali proprietà magnetiche. Il circuito Joule Thief è così:

E 'importante notare come la bobina è avvolta e
come è collegata. È chiamato un "toroide" perché è avvolto su un
anello. L'anello è realizzato in ferrite, perché il materiale in grado di
operare a frequenze alte e il circuito accende e si spegne circa 50.000 volte
al secondo ("50 kHz"). Si noti che mentre i fili sono avvolti
affiancati, l'inizio del filo rosso sia collegato all'estremità del filo verde.
È questo proposito che lo rende una bobina bifilare invece di due capi della
bobina.
Questo
"Joule Thief" circuito è stato poi adattato da Bill Sherman e
utilizzato per caricare una seconda batteria e accendere il Light-Emitting
Diode. Questo è stato ottenuto
aggiungendo un solo componente più - un diodo. Il diodo è stato utilizzato un
tipo 1N4005 perché era a portata di mano, al momento, ma Bill suggerisce che il
circuito avrebbe funzionato meglio con un molto veloce azione di tipo Schottky
diodo, forse un tipo 1N5819G.
Il circuito è prodotto da Bill:

Quando azionato da una batteria 1,5 singola cella,
questo circuito produce circa 50 volt a vuoto e può fornire 9,3 milliampere di
corrente quando l'uscita è in cortocircuito. Ciò significa che è possibile
caricare una batteria da 6 volt usando una batteria da 1,5 volt.
"Gadgetmall" del www.overunity.com Joule Thief forum ha preso l'ulteriore circuito e abbiamo trovato una situazione molto interessante. Ha modificato il circuito e ha utilizzato un "batt-cap", che è una capacità molto elevata, condensatore a bassissima perdita. Questo è il suo circuito:

Ha aggiunto un ulteriore avvolgimento al suo
pollice (25 mm) toroide di ferrite del diametro e si utilizza per un LED di 1
watt di potenza. Perché egli ha fatto questo non è immediatamente chiaro a me,
tranne forse, che mostra quando il circuito è in funzione. Egli gestisce il
circuito guidato da una piccola batteria ricaricabile, che alimenta il
circuito, 13 milliampere per un periodo di quattordici ore. Alla fine di quel
tempo, la batt-PAC ha raccolto abbastanza energia per ricaricare completamente
la batteria di guida in un minuto o due e quindi di potenza un avvolgimento di
riscaldamento del filo nichrome (come usato in radianti alimentato da rete
elettrica) per quattro anni e mezzo minuto. In alternativa, quella quantità di
potenza extra potrebbe far bollire un bollitore di acqua.
Tuttavia, Jeanna ha sviluppato il circuito in modo
significativo, come ha illustrato nella sua serie di video:
http://www.youtube.com/watch?v=Y4IMgDRGpHE
http://www.youtube.com/watch?v=1tVlCJiuWH4
http://www.youtube.com/watch?v=y6pbzrhBR-8
http://www.youtube.com/watch?v=tNoZrV3w4f8
http://www.youtube.com/watch?v=XzhbsLBwc54
http://www.youtube.com/watch?v=4gj7IFCXw9Q
Il punto principale è che utilizzando il
collettore del transistor come il punto di prelievo potenza del circuito, è
inefficiente che attira un sacco di input corrente senza un corrispondente
aumento nella corrente di uscita. Lei
aggiunge un avvolgimento secondario 74-Disabilita in cima suoi due avvolgimenti
bi-filar di Joule Thief 11-turno, e che sembra dare una potenza di gran lunga
migliore. Lei usa il molto piccolo AAA 1,2V batteria e scende ulteriormente
l'output (perché "la luce è troppo accecante") mettendo un resistore
in serie con la batteria e utilizzando molti LED in serie. Ha registrato i seguenti risultati:
Con nessuna resistenza, la tensione di uscita è
58V picchi a 62,5 kHz (circuito aperto di uscita, senza carico a tutti)
Con una resistenza da 10 ohm, la tensione di
uscita è 49V picchi a 68 kHz.
Con una resistenza da 33 ohm, la tensione di
uscita è 25V a 125 kHz.
'LidMotor' afferma che Jeanna produsse anche un
circuito Joule Thief che potrebbe accendere un tubo dritto fluorescente da 15
watt per circa cinque ore quando essendo guidato da una singola batteria AA.
Egli afferma che egli non era soddisfatto di quel livello di illuminazione e a https://www.youtube.com/watch?v=KAakZTR_4LE ha illustrato una versione (che
crede di progettazione di Jeanna e Jeanna pensa che è il suo design) guida una
fluorescente compatta da 10 watt di luce che ha avuto la circuiteria di zavorra
rimossa. La compilazione viene utilizzato un toroide di ferrite costoso 3,25
pollici (83 mm) diametro esterno, e l'illuminazione da una singola batteria AA
assomiglia a questo:

L'anello di ferrite è ferita come questo:

L'avvolgimento principale è 300 giri di filo di rame AWG #30 smaltato con 0,255 mm di diametro. Si prega di notare il divario tra le estremità di tale avvolgimento. Tale divario è importante come ad alta tensione si è sviluppato tra le due estremità dell'avvolgimento e se l'avvolgimento sono stato continuato tutto il senso rotondo toroide, poi lo smalto isolante, rivestimento del filo rischierebbe di burn-out a causa della differenza di altissima tensione tra la prima e l'ultima si trasforma, provocando un corto circuito. Gli altri due avvolgimenti sono con AWG #24 filo di rame smaltato, che ha un diametro di 0,511 mm e i due avvolgimenti sono posizionati strettamente affiancate in mezzo il divario tra le estremità dell'avvolgimento 300-Disabilita. Il circuito è simile a questa:

Opzionale 25 ohm resistore variabile legare-ferita
perde potenza ma crea una caduta di tensione attraverso esso, riducendo la
tensione raggiungendo il circuito e così, oscuramento della luce
progressivamente, tutta la strada fino a zero. La resistenza di base "R" è stata
fissata a 22 Ohm di 'Lidmotor', che dice che davvero dovrebbe essere 100 ohm,
ma lui ha abbassato per ottenere l'illuminazione più luminosa. Si prega di notare che parte degli
avvolgimenti 3-giri e 13-giri è collegati nel circuito come la direzione dei
venti è molto importante per quei due avvolgimenti.
Non è raro per le persone a commentare la debole
fischio fanno suono di un circuito di Joule Thief (soprattutto una versione
bassa tensione come questo). È mia
esperienza che il suono è causato dal transistore risonante con la frequenza di
oscillazione del circuito, il TIP3055 è particolarmente incline a questo. Pertanto, suggerisco che la bullonatura su un
dissipatore di calore (che sicuramente non è necessario per dissipare il calore
prodotto da questo circuito) alterare la frequenza di risonanza della
combinazione lavello transistor/calore e quindi interrompere il fischio.
Signor Tseung ha preso il circuito ladro di Joule
e modificato per diventare un circuito con un output molto grave, spostandolo
in una categoria completamente diversa.
Come un primo passo verso quello che il team
chiama loro dispositivo "FLEET", il toroide è stato ampliato a un
diametro molto maggiore. La bobina è ora avvolto su un tratto di tubo in
plastica, 170 mm (6,5 pollici) di diametro e profondità 45 mm (1.75 pollici)
Riscaldatore Filo Nichrome:

In questa sezione del tubo è ferita bifilare con
due fili affiancati come già descritto per la costruzione di ladro di Joule.
Come prima, l'inizio di un filo è collegato alla fine dell'altro filo. Quindi,
l'avvolgimento è dato uno strato di nastro isolante per tenerlo in posizione e
per fornire una superficie di lavoro facile per un secondo avvolgimento.
Il filo usato per l'avvolgimento è ampiamente disponibile rossa e nera coppia di fili, a volte chiamati 'figure of eight' perché la fine taglio dei fili si presenta come la cifra 8. Il filo deve essere in grado di trasportare 2,5 ampere. Esso deve essere filo-by-side e non una delle varietà contorta. Sembra che questo:
![]()
Il secondo avvolgimento è realizzato nello stesso modo, ma i collegamenti sono leggermente diversi. Come prima, alla fine del primo filo è collegata all'inizio del secondo filo, ma che la connessione è quindi isolato e non utilizzati nel circuito seguente. Questo appena si connette i due avvolgimenti, uno dopo l'altro, noto tecnicamente come essere collegati "in serie" ed è l'equivalente di fare l'avvolgimento con appena un singolo filamento di filo. La bobina completata potrebbe assomigliare a questa:

Questo particolare disegno è ancora in fasi
iniziali di esso e così tante dimensioni diverse bobine e costruzioni sono in
fase di test:

La disposizione è per l'avvolgimento interno del
toroide per essere oscillato dal circuito Joule Thief già descritto. Questo
provoca un campo magnetico pulsante a busta esterna avvolgimento del toroide,
producendo un'uscita elettrica che è capace di fare lavoro utile. La cosa
davvero importante di questo accordo, è il fatto che la quantità di potenza in
uscita del circuito è molto maggiore la quantità di energia necessaria per
rendere il circuito di operare. La potenza aggiuntiva è condotto fuori
dell'ambiente locale e disegnata nel circuito, sempre disponibile a fare lavoro
utile.
Il circuito generale poi assomiglia a questo:

Mentre l'avvolgimento esterno è mostrato qui con
filo più spessa di colore diverso, questo è solo per rendere più facile capire
la disposizione. In realtà, l'avvolgimento esterno è esattamente il filo stesso
come l'avvolgimento interno e normalmente può andare tutto il senso intorno al
toroide. La quantità totale di filo necessario per rendere gli avvolgimenti è
circa 70 metri e quindi è normale comprare una bobina completa 100 metri del
filo doppio core, che consente entrambi gli avvolgimenti essere fatto e lascia
filo ricambio per altre cose.
Per quelli di voi che sono molto tecnicamente mentalità, la forma d'onda uscita assomiglia a
questo:

e gli impulsi di tensione in questa uscita si verificano circa 290.000
volte al secondo.
Che cosa ha funzionato meglio per me è utilizzando un ponte di quattro
diodi, piuttosto che un singolo diodo:

Ho usato questo circuito, azionato da una batteria
da 1,5 volt, per ricaricare batterie da 12 volt, ma i risultati migliori sono
nella gamma da 5 a 6 volt. Ho usato questo circuito per confermare COP > 1
ricarica una batteria al piombo 12V piccolo con una batteria identica,
scambiando le batterie sopra e ripetendo il processo più volte. Il risultato fu
che entrambe le batterie ottenne il potere autentico, utilizzabile. Ho il
sospetto che l'effetto sarebbe stato molto maggiore se avessi a carico due o
più batterie in parallelo. Il toroide ha un diametro di 8-inch, 10 mm da 12 mm
sfridi da un tubo di plastica che è capitato di essere a portata di mano e il
filo utilizzato è stato filo di plastica coperto 6-amp attrezzature,
nuovamente, perché era a portata di mano al momento. Avvolgimento toroide e la
creazione del circuito è stato fatto in una sola serata.
Nel complesso, questo è molto semplice, a buon
mercato e facilmente costruiti COP > 10 dispositivo che ha il potenziale di
fornire grandi quantità di energia gratuita, utilizzabile, elettrico. Con
ulteriore sviluppo, è ben possibile per produrre una versione che potrebbe
fornire la potenza necessaria di un'intera famiglia. È anche probabile che
questi dispositivi saranno disponibili per l'acquisto di un bel basso costo.
Tutto sommato, questo è un dispositivo molto importante e pieno credito deve
andare al team di sviluppo che hanno portato la ricerca a questo punto e che stanno
continuando a perfezionare il design a produrre sempre più potere.
Un'altra
variante di grande successo sulla base Joule Thief è stato messo in pubblico
dominio il 4 ottobre 2012. I dettagli sono sul suo sito web www.laserhacker.com.
Sua variazione è estremamente semplice, sia nel concetto e costruzione:

e nel suo video: http://solarpower.energygratis.com/2012/10/09/solar-electricity-super-joule-ringer-3-0-real-world-power-made-easy/ Egli dimostra e illuminazione di una
lampadina a LED tensione di rete (visto sopra), una lampadina filamento portate
principali, una lampadina alogena e una lampadina fluorescente compatta con la
zavorra ancora al suo posto, cioè, viene venduto nei negozi senza alcuna
modifica. Il circuito è:

Questo
"Super Joule Ringer 3,0" circuito è insolito che il feedback alla
base
Per aumentare la tensione di uscita, il numero di spire
al secondario può essere aumentata. Il numero di giri non è specificato, non
per dire che le spire sono posati, side-by-side lungo l'intera lunghezza del 8
pollici (200 mm) lungo stelo ferrite, utilizzando filo smaltato coper diametro
di 0,32 mm (28 AWG o 30 SWG). Usando l'aritmetica, che suggeriscono che ci sono
circa 600 spire avvolte direttamente sulla barra di ferrite. L'asta di ferrite
si ha un diametro di 0,625 pollici (15,88 mm) che lo rende un elemento che
possa essere difficile da trovare. Tuttavia, sospetto fortemente che il
diametro della barra di ferrite non è affatto critico.
Entrambe le bobine sono avvolte sulla barra di ferrite
nella stessa direzione, la ferita essere secondario prima, ponendolo sotto il
primario che viene avvolto con 72 spire di filo isolato di 1,63 mm di diametro
(14 AWG o 16 SWG). Nessun assorbimento di corrente è indicata ed è probabile
che sia molto alto che ci sia solo due bobine elicoidali nella sezione unità. Le
(110V) lampadine dimostrato nel suo video sono i seguenti:

Si
prega di essere molto attenti con l'illuminazione. Le lampadine a incandescenza
producono un'illuminazione che ha frequenze nella parte rossa dello spettro e
quelle sono lampadine sane. Le lampadine fluorescenti compatte spesso
denominate "CFL" producono una luce ultravioletta e uno sfarfallio e
dovresti trovarti a quattro o cinque piedi di distanza da esse se non desideri
effetti medici negativi dall'illuminazione. I diodi a emissione luminosa o le
lampadine a "LED" sono estremamente pericolosi nonostante forniscano
livelli di illuminazione eccellenti per un assorbimento di corrente debole. Non
producono nessuna delle estremità rossa benefica dello spettro visibile e
invece hanno un'alta resa nella parte blu dello spettro. Il risultato è
un'illuminazione che ha effetti dannosi a lungo termine sulla retina
dell'occhio, portando alla degenerazione maculare e alla cecità finale. Il
farmaco Luteina è essenziale per combattere l'effetto, ma le luci a LED
dovrebbero essere evitate è del tutto possibile.
Il tubo di alimentazione ha
presentato al pubblico da Edwin Gray snr. opera generando una serie di impulsi
molto brevi, molto affilati utilizzando uno spinterometro. Questo dispositivo è
noto per avere una potenza che è 100 volte quella della potenza assorbita. Ed
Gray e il suo impulso elettrico del motore sono molto famosi, ma per quanto ne
so, nessuno ha replicato correttamente questa prestazioni dichiarate. Inoltre,
un esame approfondito dei dettagli di background da Mr Mark McKay hanno
trasformato una serie di fatti che presentano un quadro molto diverso, e mentre
è perfettamente corretto dire che corna spinterometriche impulsi generano una
forma d'onda buona per scioccante il locale punto zero campo di energia in una
sorta di squilibrio che può fornire un massiccio afflusso di potenza in un
dispositivo o circuito, dobbiamo stare attenti a ottenere tutti i fatti in
questo caso.
Per prima cosa, mettiamo il tutto
nella giusta prospettiva. Nel maggio del 1973, Cal-Tech negli Stati Uniti
effettuato una valutazione indipendente di un motore fornito loro da Edwin
Gray. Hanno misurato l'ingresso e l'uscita e certificato che la potenza di
uscita è 275 volte maggiore della potenza in ingresso. Ciò dimostra chiaramente
che l'energia in eccesso può essere disegnato in un motore e di fornire una
prestazione che può alimentare sia il motore e fare ulteriore lavoro utile.
Detto questo, è necessario
chiarire che Edwin Gray non costruire quel piccolo motore, non capiva come
funzionava, né ha mai rivelare il disegno in uno dei brevetti che ha ottenuto
in seguito. Abbiamo bisogno di seguire la sequenza degli eventi e notare quando
ogni cosa è successo. La storia è la seguente:
Nel 1957, un immigrato russo negli
Stati Uniti, uno Alexei Poppoff, Edwin Gray ha mostrato un circuito che ha
detto che era stato dimostrato da Nikola Tesla. Edwin Gray non ha capito il
circuito e non aveva idea di come creare qualcosa di utile basato su di esso.
Successivamente è entrato con il suo vicino di casa Marvin Cole, che ha tenuto
un Master in Ingegneria Meccanica e che, a differenza di Gray, è stato in grado
di capire il circuito.
Nel 1958, Ed Gray lasciò la zona
di Los Angles in fretta.
Dal 1958 al 1967 Marvin Cole,
lavorando da solo, progettato e costruito prototipi di motori sempre più
potenti, ed era una piccola parte che è stato testato da Cal-Tech. In questo
periodo, Marvin anche sviluppato alimentatori sempre più potenti, che sono
l'elemento veramente importante in tutto questo.
Nel 1967, Ed Gray ricongiunge
Marvin Cole e insieme 1.967-1972 hanno sollecitato capitale di rischio e
promuovere la tecnologia.
All'inizio del 1972, Marvin Cole
è scomparso e non ha mai visto di nuovo grigio. Non è chiaro se fosse
intimidito, è morto, o semplicemente non vogliono essere coinvolti in tutte le
pubblicità e gli sforzi necessari per trasformare i motori prototipo in un
prodotto commerciale. Non importa quale sia la ragione, il risultato è stato
che Edwin Gray è stato improvvisamente disconnesso dal cervello alla base del
progetto, e che lo ha lasciato in una posizione molto difficile. Non voleva
lasciare andare il sogno di diventare ricchi in questo sviluppo spettacolare, e
così ha cercato di continuare lo sviluppo per conto suo.
Come già accennato, nel maggio
dell'anno successivo (1973), Gray aveva un piccolo Marvin Cole motore
indipendente di terze parti testati presso il famoso laboratorio di Cal-Tech a
Los Angeles, in cui un ingresso misurato di soli 27 watt prodotta una potenza
misurata 10 cavalli (7460 watt). L'obiettivo era quello di fornire prove
concrete di una nuova tecnologia che è stato in grado di cambiare il mondo e
così sarebbe attirare gli investitori. Per incrementare ulteriormente la sua
immagine e convincere i potenziali investitori, in quello stesso anno del 1973,
Edwin organizzato manifestazioni che elettromagneti saltato in aria, mostrando
la forza del potere che ha spinto i motori Cole Marvin.
E 'molto importante capire che tutti i brevetti di
Edwin Gray sono stati applicati per dopo la partenza di Marvin Cole. Questi non rivelare la
tecnologia sperimentata da Cal-Tech e si deve capire che Edwin aveva molta
paura di rivelare qualcosa di importante in uno dei brevetti in caso di qualche
altra persona avrebbe capito le cose che erano un mistero per lui e strappare
via la premio di successo commerciale. Quindi, si prega di essere consapevoli
del fatto che i brevetti in cui richiesti esclusivamente per incoraggiare gli
investitori e la maggior parte sicuramente non per mostrare i dettagli
significativi.
Sistema di alimentazione Marvin
Cole ha prodotto "elettricità fredda" che si illumina di
alimentazione può e altri dispositivi. È stato dimostrato che la frequenza di
uscita non era elettricità convenzionale e alimentati lampadine che sono stati
posti in acqua e allo stesso tempo, è stato abbastanza sicuro per una mano per
essere messo in quella stessa acqua insieme alla lampadina accesa. Il vetro
delle lampadine convenzionali utilizzati in queste manifestazioni avrebbero
infranto quando posto sotto l'acqua se fossero stati alimentati da
convenzionale "elettricità caldo", come l'improvviso cambiamento di
temperatura avrebbe rotto il vetro. Powered com'erano dalla "elettricità
fredda", corsero fresco e quindi non c'era lo stress sul vetro se immersi
in acqua.
Peter Lindemann fa notare che la
conversione di Ed Gray circuito di alimentazione del tubo è di fatto una copia
del circuito di Nikola Tesla per fare la stessa cosa:

Questo è stato descritto da Tesla nel suo 'Philadelphia
e St. Louis' lezione nel 1893 e mostra come i carichi possono essere alimentati
quando una sorgente ad alta tensione è a impulsi da un scintille magneticamente
temprati - questo crea impulsi CC di durata molto breve.

Il diagramma sopra, illustra la differenza tra il
campo magnetico generato intorno ad un conduttore alimentato con un impulso di
Corrente Continua e le onde Energia Radiante creati da tale impulso. Se un
impulso di corrente tagliente è guidato lungo un filo verticale, provoca due
diversi tipi di campo. Il primo campo è magnetico, in cui le linee di forza
magnetica ruotano intorno al filo. Queste linee sono orizzontali, e ruotare in
senso orario quando osservato dall'alto. Il campo magnetico rimane finché la
corrente scorre lungo il cavo.
Il secondo campo è l'onda Energia Radiante. Questa
onda si verifica solo se l'impulso di corrente in una direzione, cioè non si
verifica se il filo è alimentato con corrente alternata. L'onda irradia
orizzontalmente dal filo verticale in ogni direzione in forma di un'onda
d'urto. Si tratta di un evento unico e non ripete se la corrente nel filo viene
mantenuto. L'energia radiante sbilancia brevemente il punto zero campo
energetico e che provoca un flusso di energia come il campo torna in equilibrio.
L'onda di Energia Radiante non è limitata a un
singolo piano, come mostrato nello schema precedente, che è destinato a
indicare la differenza tra il campo elettromagnetico girando intorno al filo, e
il campo di energia radiante che irradia distanza dal filo. Entrambi questi
campi si verificano lungo tutta la lunghezza del filo, come illustrato qui:

Energia radiante, quando convertito in energia
elettrica, produce un diverso tipo di energia elettrica a quella prodotta da
batterie e dalla rete di alimentazione. Potenza di un motore con l'elettricità
convenzionale e fa caldo sotto carico. Potenza del motore stesso di energia
elettrica Energia Radiante e sotto carico il motore si raffredda. Veramente
sovraccarico di stallo e la carcassa del motore può essere coperto di brina.
Ecco perché questa forma di elettricità è denominato elettricità
"fredda".
Nel suo libro "Cold War Secrets - HAARP and
Beyond", Gerry Vassilatos cita il lavoro di ricerca svolto in questo
settore da Tesla e altri:
Nel 1889 Tesla iniziò a sperimentare con
condensatori carichi a tensioni elevate e scaricata in intervalli di tempo
molto brevi. Questi impulsi molto brevi prodotto onde d'urto molto forte che si
sentiva in tutta la parte anteriore del suo corpo. Egli era consapevole del
fatto che la chiusura di un interruttore ad alta tensione dinamo spesso
prodotto una scossa pungente. Questo è stato ritenuto elettricità statica e si
è verificato solo all'accensione e solo per pochi millisecondi. Tuttavia, in quei
pochi millisecondi, aghi bluastre di energia si distinguono dai cavi elettrici
e perdite a terra, spesso attraverso i corpi di tutte le persone in piedi nelle
vicinanze, causando la morte immediata se l'installazione è grande. Mentre i
generatori di quel tempo sono stati valutati in alcune migliaia di volt, questi
scarichi sono stati milioni di volt di intensità. Il problema generatore è
stato eliminato dal utilizzato degli interruttori altamente isolati che sono
stati dotati di messa a terra di grandi dimensioni.

Tesla è stato incuriosito da questo fenomeno che
sembrava far fronte agli effetti dei suoi scarica del condensatore. Ha
calcolato che le tensioni prodotte sono centinaia di volte più grande di quello
che potrebbe essere fornita dal condensatore o generatore. Era chiaro che la
potenza erogata era amplificato o aumentata in qualche modo, ma la domanda era,
da dove è stato l'energia in più in arrivo?
Tesla ha continuato a indagare attraverso
esperimenti, prendendo precauzioni contro le alte tensioni in fase di
produzione. E 'stato presto in grado di produrre queste onde d'urto quando
voleva. Le onde d'urto ha prodotto una sensazione di bruciore, non importa dove
si trovava nel suo laboratorio, e le mani e il viso erano particolarmente
sensibili al onda. Queste onde irradiate fuori e penetrato in metallo, vetro e
ogni altro tipo di materiale. Questo non è stato chiaramente un'onda
elettromagnetica, così ha chiamato 'elettricità radiante' la nuova ondata.
Tesla cercò nella letteratura per trovare
riferimenti a questa energia radiante, ma non riusciva a trovare molto. Nel
1842, il dottor Joseph Henry aveva osservato che gli aghi di acciaio sono stati
magnetizzati da una scarica di scintille bottiglia di Leida si trova su un
piano diverso dell'edificio. L'onda magnetizzazione era passato attraverso i
muri di mattoni, porte in rovere, pietra e ferro pesante pavimenti e soffitti
di stagno per raggiungere gli aghi si trovano in un deposito in cantina.
Nel 1872, Elihu Thomson ha un grande Bobina di
Ruhmkorrf scintilla, attaccato un polo della bobina di un tubo di acqua fredda
e l'altro polo ad un tavolo di metallo. Ciò ha determinato una serie di
scintille massicce che elettrificate la maniglia della porta di metallo della
camera e l'onda d'urto prodotta pungenti che Tesla stava indagando. Ha scoperto
che un qualsiasi oggetto metallico isolato in tutto l'edificio produrrebbe
lunghe scintille continue bianche che scaricano a terra. Questa scoperta è
stata scritta per un attimo sulla rivista Scientific American in quello stesso
anno.
Tesla concluso che tutti i fenomeni che aveva
osservato, implica la presenza di "un mezzo di struttura gassosa, cioè un
composto di vettori indipendenti in grado di movimento libero - oltre l'aria, è
presente un altro mezzo". Questo mezzo invisibile è in grado di
trasportare onde di energia attraverso tutte le sostanze, il che suggerisce
che, se fisica, la sua struttura di base è molto più piccolo di atomi che
compongono materiali banali, consentendo il flusso di materia di passare
liberamente attraverso tutti i solidi. Sembra che tutto lo spazio è pieno di
questa materia.
Thomas Henry Moray dimostrato questo flusso di
energia che passa attraverso il vetro e illuminazione standard lampadine
elettriche. Harold Aspden eseguito un esperimento noto come "Effetto
Aspden", che indica anche la presenza di questo mezzo. Harold fatto questa
scoperta durante l'esecuzione di prove non relative a questo argomento. Ha
iniziato un motore elettrico che aveva una massa rotante di 800 grammi e registrato
il fatto che esso ha un input di energia di 300 joule per portarlo alla sua
velocità di funzionamento di 3.250 giri al minuto quando guidava senza carico.
Il rotore avente una massa di 800 grammi e
filatura a tale velocità, la sua energia cinetica insieme a quello del motore
di azionamento è non più di 15 joule, in contrasto con l'eccessiva energia di
300 joule necessari per farlo ruotare a quella velocità. Se il motore viene
lasciato in esecuzione per cinque minuti o più, e poi spento, si ferma dopo
pochi secondi. Tuttavia, il motore può essere avviato nuovamente (nella stessa
direzione o opposta) e portato a regime con solo 30 joule condizione che il
lasso di tempo tra l'arresto e il riavvio non è più di un minuto. Se vi è un
ritardo di alcuni minuti, quindi un input di energia di 300 joule è necessario
per ottenere il rotore nuovo.
Questo non è un fenomeno transitorio di
riscaldamento. In ogni momento le sedi dei cuscinetti tatto freddo e qualsiasi
riscaldamento nel motore comporterebbe un aumento di resistenza e un accumulo
di alimentazione a una condizione di stato stazionario superiore. La prova
sperimentale è che c'è qualcosa di invisibile, che viene messo in moto dal
rotore della macchina. Quel "qualcosa" ha una densità di massa effettiva
20 volte quella del rotore, ma è qualcosa che può muoversi in modo indipendente
e richiedere diversi minuti a decadere, mentre il motore si ferma in pochi
secondi.
Due macchine di diversa taglia di rotore e
composizione rivelano il fenomeno e le prove indicano le variazioni nel tempo
del giorno e l'orientamento bussola dell'asse di rotazione. Una macchina,
quella incorporando deboli magneti, ha mostrato segni di acquisire forza
magneticamente durante i test che sono stati ripetuti per un periodo di diversi
giorni.
Ciò dimostra chiaramente che vi è un mezzo
invisibile che interagisce con oggetti di uso quotidiano e le azioni, e
conferma la scoperta di Tesla. Tesla continuato a sperimentare e determinato
che un breve impulso unidirezionale è necessaria per generare l'onda di energia
radiante. In altre parole, una tensione alternata non crea l'effetto, deve
essere un impulso CC. Il tempo più breve dell'impulso e maggiore è la tensione,
maggiore l'onda energetica. Ha trovato che usando un condensatore e un meccanismo
di scarico dell'arco con un magnete permanente molto potente disposti
ortogonalmente alla scintilla, migliorato le prestazioni del suo impianto di un
fattore importante.
Ulteriori esperimenti hanno mostrato che gli
effetti sono stati modificati regolando la durata dell'impulso elettrico. In
ogni caso, la potenza dell'energia irradiata sembrava essere costante
indipendentemente dalla distanza dal suo apparecchio. L'energia è sotto forma
di singole onde longitudinali. Gli oggetti posti in prossimità dell'apparecchiatura
divenne potentemente elettrificata, mantenendo la loro carica per molti minuti
dopo che l'apparecchio è stato spento.
Tesla stava usando una dinamo carica come una
fonte di alimentazione e ha trovato che se si trasferisce la sua scaricatore
magnetico ad un lato della dinamo, l'onda luminosa è stato positivo. Se si
trasferisce il scaricatore magnetico verso l'altro lato della dinamo, l'onda
luminosa divenne segno negativo. Questo era chiaramente una nuova forza
elettrica che viaggiato in luce come i raggi, mostrando loro di essere di
natura diversa alle onde elettromagnetiche di Maxwell.
Studio degli effetti di regolazione della durata
degli impulsi, Tesla trovato che un treno di impulsi che aveva singoli impulsi
con durata superiore a 100 microsecondi, prodotta dolore e pressioni
meccaniche. A tale durata, oggetti nel campo visibilmente vibrato e sono stati
anche spinto lungo il campo. Fili sottili soggetti a scoppi improvvisi del
campo radiante, esplodevano in vapore. Quando la durata dell'impulso è stato
ridotto a 100 microsecondi o inferiore, l'effetto dolorosa era più sentita e le
onde sono innocui.
Con una durata dell'impulso di 1 microsecondo, forte calore fisiologica è stato percepito. Con durate di impulso ancora più brevi, illuminazioni spontanee in grado di riempire le camere con luce bianca, sono stati prodotti. Anche gli impulsi più brevi prodotti brezze stanza fresca penetranti con una maggiorazione di accompagnamento di umore e la consapevolezza. Questi effetti sono stati verificati da Eric Dollard che ha scritto su di loro in dettaglio.
Nel 1890, Tesla ha scoperto che se questo ha due
piedi lungo monogiro profonda spirale elicoidale in rame vicino al suo
disgregatore magnetico, a parete sottile spirale sviluppato una guaina di
scintille bianche con lunghe stelle filanti bianche argentee in aumento dalla
parte superiore della bobina. Queste scariche sembrava avere tensioni molto più
elevate rispetto al circuito di generazione. Questo effetto è stato
notevolmente aumentato se la bobina è stata posta all'interno del cerchio filo
disgregatore. Lo scarico sembrava abbracciare la superficie della bobina con
una strana affinità, e cavalcò sua superficie all'estremità aperta. L'onda
d'urto scorreva sopra la bobina perpendicolarmente agli avvolgimenti e prodotto
scarichi molto lunghi dalla parte superiore della bobina. Con la carica
disgregatore saltare un pollice nel suo alloggiamento magnetico, le stelle
filanti bobina erano più di due metri di lunghezza. Questo effetto è stato
generato nel momento in cui il campo magnetico spenta la scintilla ed era
completamente sconosciuta a quel tempo.
Questa serie di brevi impulsi unidirezionali
provoca un campo molto strano ad espandersi verso l'esterno. Questo campo
assomiglia ad un campo elettrostatico balbuzie, ma ha un effetto molto più
potente di quanto ci si aspetterebbe da una carica elettrostatica. Tesla era in
grado di spiegare la moltiplicazione enorme tensione del suo apparato che
utilizzano una delle formula elettrica del suo tempo. Si presume, pertanto, che
l'effetto era del tutto a causa di regole di trasformazione radianti, che
avrebbe dovuto essere determinato attraverso misure sperimentali. Questo ha
proceduto a fare.
Tesla aveva scoperto una nuova legge di induzione
in cui onde d'urto radianti in realtà auto-intensificata quando incontra
oggetti segmentati. La segmentazione è stata la chiave per liberare l'azione.
Onde d'urto radianti verificato un elica e "flash over" la pelle
esterna, da un capo all'altro. Questo shockwave non passano attraverso le spire
della spirale ma trattata la superficie della bobina come un percorso di
trasmissione. Misurazioni hanno mostrato che l'aumento di tensione lungo la
superficie della bobina era esattamente proporzionale alla lunghezza percorsa la
bobina, con l'aumento della tensione raggiungendo valori di 10.000 volt per
pollice della bobina. I 10.000 volt, che è stato di alimentazione alla sua
bobina di 24 pollici erano stati ingranditi a 240.000 volt, alla fine della sua
bobina. Questo è stato senza precedenti per le apparecchiature semplice come
quella. Tesla anche scoperto che l'aumento di tensione è matematicamente legata
alla resistenza dell'avvolgimento bobina, con avvolgimenti resistenza più alti
producono tensioni superiori.
Tesla cominciò a fare riferimento al suo ciclo
alteri come il suo speciale "primario" e alla bobina elicoidale lungo
come il suo speciale "secondario", ma lui non ha mai voluto nessuno
di equiparare questi termini per quelle che si riferiscono a trasformatori
elettromagnetici che operano in un modo completamente diverso.
C'era un attributo che sconcertato Tesla per un
certo tempo. Le sue misurazioni hanno mostrato che non vi era corrente che
fluisce nella bobina di rame lungo 'secondaria'. Tensione saliva con ogni centimetro
della bobina, ma non c'era nessun flusso di corrente nella bobina stessa. Tesla
ha iniziato a fare riferimento ai suoi risultati misurati come le sue
"leggi di induzione elettrostatica". Ha trovato che ogni bobina aveva
propria durata dell'impulso ottimale e che il circuito di pilotaggio che doveva
essere 'sintonizzato' alla bobina regolando la lunghezza degli impulsi per
fornire le migliori prestazioni.
Tesla poi notato che i risultati forniti dai suoi
esperimenti in parallelo le equazioni per i movimenti dinamici del gas, così ha
iniziato a chiedersi se gli scarichi di fiamma bianca potrebbe non essere una
manifestazione gassosa di forza elettrostatica. Ha trovato che quando un punto
metallico è collegato al terminale superiore del bobina 'secondaria', le fiamme
sono diretti molto come acqua che fluisce attraverso un tubo. Quando il flusso
è diretto a piastre metalliche distanti, produceva cariche elettroniche che
potrebbe essere misurata come corrente al sito di ricevimento ma in transito,
nessuna corrente esisteva. L'attuale appare solo quando il flusso è stato
intercettato. Eric Dollard ha dichiarato che questa corrente intercettato può
raggiungere diverse centinaia o addirittura migliaia di ampere.
Tesla fatto un'altra scoperta notevole. Ha collegato
molto pesante U barra di rame direttamente sul primario del suo disgregatore,
formando un morto cortocircuito. Ha poi collegato più delle lampadine normali a
filamento incandescente tra le gambe a forma di U bar. Quando l'apparecchio è
acceso, le luci accese con una brillante luce bianca fredda. Questo è del tutto
impossibile di energia elettrica convenzionale, e si vede chiaramente che ciò
che aveva a che fare con Tesla era qualcosa di nuovo. Questa nuova energia è
talvolta chiamato "elettricità fredda" di Edwin Gray e snr. ha
dimostrato quanto sia diverso da illuminazione a incandescenza lampadine a
filamento direttamente dal suo tubo di alimentazione, immergendo in acqua e
mettendo la mano in acqua. Elettricità fredda è generalmente considerato innocuo
per gli esseri umani. Valvola di potenza Ed Gray opera generando onde
elettriche radianti utilizzando un spinterometro, e raccogliendo l'energia con
tre cilindri di rame stringe intorno alla spinterometro. I cilindri sono
provvisti di fori numero che migliora il pick-up ed il carico viene azionato
direttamente dalla corrente nei cilindri. Quando le lampadine di illuminazione,
Ed. utilizzato un trasformatore d'aria animato in pochi giri di filo molto
pesante. Io, personalmente, sono a conoscenza di due persone che hanno
riprodotto in modo indipendente valvola di potenza Ed.
Tesla visto le stelle filanti venuta fuori le sue
spire come uno spreco di energia così ha cercato di sopprimerli. Ha provato una
bobina conica, ma abbiamo trovato che questo accentuato il problema. Ha poi
cercato mettendo una sfera di rame nella parte superiore della sua bobina.
Questo fermato le fiamme, ma elettroni sono stati sloggiati dalla sfera di
rame, creando condizioni davvero pericolose. Questo implicava che i metalli di
generare flussi di elettroni quando viene colpito dalle fiamme bobina (come era
stato visto quando le fiamme erano state orientate a lastre di metallo a
distanza e la corrente è stata generata come risultato).
Tesla progettato, costruito e usato lampade a globo
di grandi dimensioni che ha richiesto solo una singola piastra esterna per
ricevere l'energia radiante. Non importa quanto lontano queste lampade erano
dalla sorgente radiante, sono diventati brillantemente illuminato, quasi al
livello di una lampada ad arco e molto, molto più luminoso di una delle
tradizionali lampade a incandescenza Edison. Regolando la tensione e la durata
dell'impulso del suo apparato, Tesla potrebbe anche riscaldare o raffreddare un
ambiente.
Tesla esperimenti suggeriscono che un metodo di
estrazione di energia libera è quello di utilizzare una bobina di Tesla che ha
un picco di metallo invece della sfera di metallo più comune alla fine della
bobina 'secondaria'. Se la bobina viene alimentata con Tesla sufficientemente
brevi impulsi unidirezionali e la bobina 'secondaria' indicò una lastra
metallica, allora dovrebbe essere possibile erogare gravi livelli di potenza
dalla piastra metallica, proprio come Tesla scoperto. Questo è stato confermato
da Don Smith che utilizza due piastre di metallo separati da uno strato di
dielettrico plastico, formando un condensatore. Afferma che una bobina di Tesla
ben progettato è in grado di produrre correnti alte quanto le tensioni e
dimostra una mano bobina 28 watt Tesla giocato sulla prima piastra produrre una
scarica di scintille sostanziale tra la seconda piastra e terreno. Stimo che la
scintilla prodotta dovrebbe essere migliaia di volt con una corrente
significativa, che mette in campo chilowatt, come la maggior parte di altri
dispositivi di Don. Video: brevetto http://www.metacafe.com/watch/2820531/don_smith_free_energy/
Don è nel capitolo 3 e il suo documento
pdf qui:. http://www.free-energy-info.tuks.nl/Smith.pdf
in cui spiega molti dei suoi disegni ad alta potenza.

Don sottolinea anche che il posizionamento della
relativa bobina primaria alla bobina secondaria di una Bobina di Tesla
determina la quantità di corrente che può essere fornita. Contrariamente alla
maggior parere, è possibile avere Bobina di Tesla corrente alto come la
tensione. Don sottolinea sempre che si ha la possibilità di scegliere il
componente elettrico (come la scienza convenzionale ha fatto), che porta a
"riscaldare morte" mentre l'opzione alternativa di selezionare la
componente magnetica rende "il mondo ai tuoi piedi". Con un ripple
magnetico imposto al punto zero campo energetico, che don preferisce chiamare
la 'energia di fondo ambiente', è possibile eseguire le conversioni elettriche,
come molti come si desidera, senza esaurire l'evento magnetico in alcun modo.
In altre parole, è possibile erogare quantità gravi di corrente da piastre del
condensatore posizionate perpendicolarmente al flusso magnetico, e ogni
ulteriore coppia di piastre fornisce una fonte di corrente maggiore senza
alcuna necessità di aumentare il disturbo magnetico in alcun modo. Con il suo
piatto singolo metallo, di cui Tesla correnti di un migliaio di ampere essere
disponibili. Si prega di ricordare che una bobina di Tesla produce seriamente
alte tensioni e non è un giocattolo. Grande cura è avuta bisogno circa una
bobina di Tesla così, quando è in esecuzione, tenere ben lontano da esso.
Don afferma inoltre che la raccolta e il
trasferimento di energia è necessario il deposito temporaneo che si verifica la
presenza di condensatori e bobine di un circuito risonante sono attivata e
disattivata. La frequenza con cui vengono pompati i condensatori e bobine, determina
la quantità di energia elettrica che si muove in avanti. La quantità di energia
trasferita riguarda direttamente la densità delle linee di flusso magnetico
presente. La formula energia cinetica è utile per stabilire la quantità di
energia presente. Questa formula indica la massa moltiplicata per il quadrato
della velocità. Nel caso di energia elettrica, l'intensità di tensione e ampere
moltiplicati per cicli al secondo, sostituire velocità. Si noti che la
"accelerazione" della tensione e l'amperaggio, aumenta in modo non
lineare come la Legge di Piazze si applica, con ogni unità di incremento
provocando una squadratura delle linee di flusso presenti. In risonante
aria-core bobina trasferimento di energia, l'aumento del flusso presenti linee
disturba più elettroni precedentemente e questo si traduce in energia di uscita
maggiore di energia in ingresso presente e disponibile.
Energia immagazzinata, moltiplicato per i cicli al
secondo, è l'energia che viene pompato dal sistema. Condensatori e induttori (bobine)
memorizzare temporaneamente elettroni.
Formula condensatore: W = 0.5 x C x V2 x Hz
dove:
W è l'energia in joule (joule = Volt x Ampere x secondi)
C è la capacità in Farad
V è la tensione
Hz è i cicli al secondo
Induttore formula: W = 0.5 x L x A2 x Hz dove:
W è l'energia in Joule
L è l'induttanza in Henry
A è la corrente in ampere
Hz è la frequenza in cicli
al secondo
Sia un certo Henry e uno Farad pari un volt.
Maggiore è la frequenza, compresa la squadratura delle linee di flusso, provoca
un notevole aumento della quantità di energia prodotta. Questo, combinato con
l'uso di un sistema di induzione energia risonante (tutti gli elettroni muove
nella stessa direzione, allo stesso tempo), far muovere in COP> 1 pratico.
Il processo di smorzamento convenzionale
generazione di energia elettrica, ha tutte le elettroni disponibili rimbalzano
casualmente, soprattutto annullando l'altro, e quindi l'energia utile
disponibile è solo una piccola percentuale di energia che è presente. In un
sistema di induzione risonante, una percentuale molto elevata di energia
presente è utile. Quando risonante, (ohm-impedenza-Z) diventa zero e tutta
l'energia presente diventa disponibile, senza essere degradata in alcun modo.
Ohm è carico o spreco di energia e di ampere è il tasso di tale spreco.
Ora, applicare queste informazioni a un sistema di
air-core trasformatore risonante di energia della bobina. L-1 e L-2 bobine sono
ora presenti. L-1 ha meno spire ed è più volte il diametro della L-2. Ingresso
da un 12-volt 'gelcel' alta tensione modulo laser, produce 8.000 volt con bassa
(energia sprecata) amperaggio in 4 giri di bobina L-1. Ogni turno di L-1
acquisisce quindi 2.000 volt di potenziale di risonanza. Ogni giro della L-2 è
quindi esposto ad un flusso elettrico di 2000 volt. Ogni volta all'estremità
inferiore della L-2 acquisisce 2000 volt. Le linee di flusso sono squadrate e
sono additivi come il voltaggio e amperaggio progressi verso l'estremità
superiore di molti giri L-2.
Un gran numero di linee di flusso che non erano
precedentemente presenti, si presentano all'estremità superiore della L-2.
Queste linee di flusso eccitare gli elettroni vicini nella sua terra e aria e
incagli. Questo alto livello di eccitazione sopra del circostante, provoca un
gran numero di elettroni diventi disponibile, elettroni che in precedenza, non
erano parte dell'energia presente. A questo punto, grandi quantità di energia
in eccesso è presente. Questo COP> 1 dispositivo produce energia a frequenze
radio nella banda di megahertz e questo permette di essere di piccole
dimensioni e ancora produrre grandi quantità di energia. Un'unità megawatt di
dimensioni siederà comodamente su un tavolo per la colazione. L'energia viene
cambiato in corrente, e quindi, alla frequenza di lavoro desiderata.
L'energia alimenta questi dispositivi viene
prelevato dal campo energetico circostante e non elettrica convenzionale e non
fluisce attraverso il filo della bobina 'secondaria', ma invece, corre lungo
l'esterno della bobina e attraverso lo spazio per colpire la superficie della
piastra di metallo, dove genera corrente elettrica convenzionale. Thomas Henry
Moray dimostrato che questa energia scorre lungo la parte esterna del filo può
passare attraverso vetro senza essere influenzato in alcun modo.
Nel suo 1995 Libro Don Smith presenta il seguente
diagramma:

Mentre l'esperimento di Tesla usata una piastra di
metallo, ha brevettato (US 512.340) un tipo di bobina che ha detto che è molto
efficace nel far salire questa energia radiante. Questo tipo di bobina
"frittella" va sotto il nome piuttosto impressionante di
"seriale bifilare - bobina collegata", che, nonostante è nome
impressionante non è difficile a vento utilizzando due ciocche separate del
filo come indicato qui:

Se un forte campo magnetico è posizionato
attraverso lo spinterometro come mostrato sopra, acuisce il cut-off della
scintilla e migliora l'unidirezionale carattere dell'impulso di corrente. Va
ricordato che, se un impulso molto corto tagliente unidirezionale di corrente,
come è prodotto da una scintilla saltando attraverso uno spinterometro come
nella disposizione illustrata sopra, si verifica in un conduttore, quindi una
forte onda di energia radiante irradia in un piano perpendicolare alla impulso
di corrente.
Questa onda di energia radiante è molto diverso
dal campo elettromagnetico generato intorno al filo che porta l'impulso di
corrente. Nella disposizione bobina di Tesla mostrato in precedenza, dovrebbe
essere possibile raccogliere ulteriori energia libera attraverso uno o più co-assiale
(strati come una cipolla) bobine cilindriche intorno conduttori gap della
candela. Queste bobine sarà migliore se sono sarebbe come bi-filare in serie
collegato bobine. Il motivo di questa disposizione è che la componente del
campo magnetico delle bobine è (quasi) zero come la corrente che fluisce
attraverso il filo scorre in direzioni opposte si alternano, e così i campi
magnetici prodotti dovrebbe cancellare:
Tesla è stato
concesso brevetto
Dopo un attento esame e molti esperimenti, Tesla
ha concluso che i raggi radianti che stava utilizzando, irradiato così
rapidamente che gli elettroni erano in grado di tenere il passo con loro. I
raggi venivano effettuate tramite un mezzo costituito estremamente mobili,
quasi massa particelle meno, molto più piccola di elettroni e che, a causa
delle loro dimensioni e velocità, può passare facilmente attraverso la maggior
parte dei materiali. Nonostante le dimensioni ridotte, la loro estrema velocità
causato loro di avere un notevole impulso. Un fatto che è molto difficile
venire a patti con è che questi raggi sembrano propagarsi verso l'esterno
istantaneamente, senza alcun ritardo a tutti, come se trasmesse attraverso la
materia, che è del tutto incomprimibile. A volte è chiamato "Energia
Radiante" o "RE" per il breve e sembra non avere carica netta in
termini convenzionali. Questa è una caratteristica unica dell'universo, con
caratteristiche uniche, che, se utilizzato, fornisce tutta una serie di nuove
applicazioni e funzionalità.
Tesla ha ritenuto che questo campo di recente
scoperta ha agito come un fluido. Un centinaio di quindici anni più tardi, la
storia di copertina dell'edizione di dicembre 2005 degli stati del 'Scientific
American' giornale che i modelli sperimentali suggeriscono che lo spazio-tempo
potrebbe essere una specie di fluido. Ci è voluto molto tempo prima che la
scienza moderna per avviare mettersi al passo con Tesla. In realtà, si trattava
di Michael Faraday (1781 - 1867) che è venuto fuori con l'idea, in primo luogo.
La domanda di brevetto degli Stati Uniti US
20020125774 del 6 marzo 2002, si presenta con un autoalimentato generatore
elettrico. Come quello usato da Bob Boyce, questo è un toroidale (anello)
telaio con diversi avvolgimenti su di esso, come mostrato nello schema
seguente. Una volta che è stato alimentato con frequenza di tensione di
alimentazione CA, produce così tanta potenza che può fornire un proprio
fabbisogno di potenza di ingresso oltre che alimentare altri carichi come
lampadine. Questa domanda di brevetto viene mostrato per intero in appendice.
Si dice che il dispositivo toroide costruito da
Stephen Mark e mostrato in video web, è una replica di questo disegno
generatore. Il forum al momento al http://www.overunity.com/index.php/topic,2535.0.html
è dedicata al dispositivo di replicazione Stefano Marco e notevoli progressi
sono stati compiuti. Questo gruppo è operativo sulla base del fatto che, invece
di un nucleo toroidale metallico come qui mostrato, che un anello Mobius nucleo
toroidale filo viene utilizzato. A questo punto nel tempo, i loro sforzi non
hanno ancora prodotto un circuito che presenta un COP> 1 prestazioni
Si noterà che i diversi dispositivi moltissimi,
volte a fare cose diverse, tutti operano per la generazione di impulsi CC molto
taglienti.

Quindi, una vasta gamma di dispositivi differenti
hanno la stessa tecnica di sfondo per farli lavorare. Meyer utilizzato il
pulsante per dissociazione dell'acqua in una cella di gas idrossi. Bedini
utilizza il pulsante per caricare le batterie con l'elettricità fredda. Tesla
usò il pulsante per caricare le batterie, dotate di riscaldamento,
raffreddamento e illuminazione. Boyce utilizza pulsante per ottenere
l'elettrolisi a 1.200% del tasso massimo indicato di Faraday di elettrolisi.
Grigio usato il pulsante per catturare energia elettrica freddo per guidare un
potente motore elettrico. Diverse applicazioni tutte basate sull'utilizzo molto
brevi, molto taglienti, alta tensione impulsi.

A Portage Bay Lake Union, Seattle, Washington in
America, Alfred Hubbard, un conoscente di Nikola Tesla, ha dimostrato nel 1919
un disegno generatore di energia elettrica autoalimentato. Il generatore è
stato di circa 14 pollici (350 millimetri) di altezza e 11 pollici (280
millimetri) di diametro. E 'alimentato a 35 H.P. motore elettrico, che ha
spinto una barca 18 piedi che conteneva batterie, continuamente intorno alla
baia per diverse ore. Questa manifestazione è stata testimoniata da migliaia di
persone e si è conclusa perché il cablaggio cominciava a surriscaldarsi. Si
diceva che il cavo utilizzato conteneva sette fili di 0,09 pollici (2,286
millimetri) di diametro. Ciascuno di questi filoni sarebbe in grado di
trasportare 12 ampere e quindi se questo è corretto, il cavo aveva una portata
di corrente di circa 84 ampere. Il diametro del filo compreso l'isolamento è
stato detto a 0,34 pollici (8,5 millimetri). Il nucleo interno è stato detto di
essere fatta di un tubo contenente 16 barre di ferro con 43 giri di filo
intorno ad esso, che se corretta, suggerirebbe 43 giri in 14 pollici o 3 giri
per pollice, il che implica una bobina cilindrica con il lato giri a fianco ,
toccano.
Tuttavia, una grande quantità di informazioni
fuorvianti, per non parlare di una buona dose di speculazione è stata diffusa
in tutto per quanto riguarda la progettazione di Hubbard, che Alfred voluti tre
anni per sviluppare. Diversi anni dopo la manifestazione, quando Hubbard è
stato impiegato dalla Società Radium, ha detto che il radio è stato utilizzato
nel dispositivo, che è qualcosa che personalmente, trovo molto difficile da
credere, e fortemente sospetto che Hubbard è stato convinto a dire che con il
suo i datori di lavoro che stavano vendendo radio in quel momento.
Hubbard fece uno schizzo di uno dei suoi
generatori di piccole dimensioni che è stato utilizzato per normali
elettrodomestici e che ha mostrato un design molto semplice che ha avuto otto
bobine primarie cilindriche ciascuna delle quali è stata ferita su una barra di
ferro solido e collegati in serie. Questi avvolgimenti primari circondati una
bobina secondaria leggermente più grande di circa 35 spire avvolte attorno ad
un tubo cavo riempito con barre o fili metallici (presumibilmente di ferro
dolce). Questo dispositivo più piccolo era circa sei pollici (150 mm) di
altezza (diametro massimo del filo 4 millimetri tra cui l'isolamento) e circa
cinque pollici (125 millimetri) di diametro. Ciascun core aveva solo uno strato
di filo spesso isolati e non sono stati utilizzati molti giri.
Capisco che quando un brevetto è stato richiesto,
la domanda di brevetto è stata sequestrata e spurio "della sicurezza
nazionale Importanza" ordine schiaffeggiato su di esso, in qualità di un
ordine di bavaglio illegittimo da Hubbard, che gli vietano di sempre
sviluppare, utilizzare, mostrando o venderlo o qualcosa di simile ad esso. L'US
Patent Office è una società commerciale di proprietà privata, e mentre
probabilmente utilizzeranno il disegno se stessi, certamente alcuna intenzione
di permettere al pubblico di accedere ad esso, come la libertà di energia è un
passo importante verso una completa libertà. Di conseguenza, sappiamo quasi
niente di design di successo di Hubbard.
Il regime generale avrebbe potuto essere qualcosa
di vagamente simile questo.

Nel libro di Joseph Cater "The Awesome Life
Force" egli cerca di spiegare la teoria del suo funzionamento, ma deve
essere chiaro che ciò che dice Cater è solo speculazione da parte sua come il
disegno reale di Hubbard non è mai stata divulgata pubblicamente.
Che cosa dice Cater è certamente plausibile, e
anche se non è il design di Hubbard, vale la pena indagare e sperimentare. Il
meccanismo proposto da Cater si basa sul grafico noto e ampiamente accettata
della magnetizzazione del ferro dolce rispetto applicati livelli di forza
magnetica. Questo grafico è fortemente non lineare e la parte centrale del
grafico sale ripida, indica che vi è un considerevole aumento della
magnetizzazione del ferro per relativamente piccolo aumento di assorbimento di
energia.
Provvedere sottolinea che la forma d'onda di
ingresso deve essere pulsante CC. Il metodo di applicazione di pulsazione CC è
poi, quasi lo stesso per la progettazione Clemente Figuera mostrato nel
capitolo 3, con un livello di base di offset della corrente continua che deve
essere mantenuto in ogni momento.
Ecco il grafico magnetizzazione di ferro dolce:

Figura 29 mostra un grafico di magnetizzazione di
un nucleo di ferro tracciata contro giri ampere per unità di lunghezza. Il
termine "ampere si trasforma" è il numero di girate della bobina per
unità di lunghezza della bobina moltiplicata per il numero di ampere di
corrente che fluisce attraverso la bobina.
La sezione ripida della curva sembra iniziare a
circa 3,5 Tesla, e così, una costante CC corrente nella bobina di
magnetizzazione (Hubbard primaria) deve fornire il livello di magnetizzazione
in ogni momento, che l'onda di metà-sinusoidale CC pulsing applicata applicato
in cima a quello e poiché l'indotto EMF in una bobina è direttamente
proporzionale al tasso di variazione del flusso magnetico, ne consegue che più
alta è la frequenza di questa onda sinusoidale di alimentazione, il migliore.
Utilizzando una forma d'onda di rampa potrebbe essere più efficacia.
Normale funzionamento trasformatori hanno amperspira che sono ben di sotto di questo punto critico. Ulteriori EMF indotto nelle bobine di magnetizzazione del ferro compensa l'impedenza induttiva naturale delle bobine. Ecco perché i trasformatori hanno un alto grado di efficienza. Se qualsiasi materiale diverso da quello di ferro o di acciaio speciale sono stati utilizzati per il core, sarebbe caduta significativamente l'efficienza. Hubbard ha utilizzato parte della potenza di uscita per fornire la potenza in ingresso, e così aveva solo bisogno di fornire potenza in ingresso per meno di un secondo per ottenere il dispositivo che esegue. L'alimentazione potrebbe essere di questa natura:

Qui, invece di lasciare l'onda sinusoidale
raddrizzata ad alta frequenza (o segnale del generatore di rampa) raggiunge
zero volt, e la corrente di alimentazione CC supplementare viene mantenuta, e
mentre gli impulsi del generatore di segnale aggiungono alla tensione
complessiva applicata al dispositivo, la tensione è mai permesso per arrivare a
zero.
C'è forse un altro fattore che potrebbe
contribuire al successo del dispositivo di Hubbard. A quel tempo, il filo unico
isolato disponibile aveva isolante spessa e pesante. Ciò significa che spire
adiacenti di filo nella bobina erano separati di una distanza pari al doppio
dello spessore dell'isolante. Di conseguenza, il divario determinato una
cancellazione di effetti magnetici prodotti da elettroni che scorrono nel filo.
Poiché inerzia dipende dalla capacità di generare un campo magnetico, le
proprietà inerziali degli elettroni sarebbe quasi annullati.
Vi è una distanza ottimale tra i fili che
produrrebbero l'effetto massimo. Sembra probabile che l'isolamento di spessore
sul filo di Hubbard ha prodotto questa distanza ottimale. Maggior parte del
campo magnetico risultante era quella che circondava entrambi i fili e che
sarebbe la parte più debole del campo. Ciò significa che una relativamente
bassa EMF potrebbe accelerare un numero maggiore di elettroni ad una velocità
elevata durante un breve periodo di tempo. Come gli elettroni lasciano la
bobina inerzia ritorni. Ciò comporterebbe un backup di una elevata
concentrazione di elettroni nella bobina. Poiché repulsione elettrostatica non
è influenzato, elettroni verrebbero espulsi dalla bobina a una velocità
elevata, nonostante la loro maggiore inerzia. Ciò produrrebbe un output di alta
tensione e sia alto amperaggio.
Quello che sembra essere una implementazione del sistema di bobine Hubbard, o forse un dispositivo molto strettamente legata è Joseph H. Cater è autosufficiente generatore elettrico. Come al solito, le informazioni su di esso è limitato e poco chiaro, in modo che il seguente è solo il mio tentativo di mettere insieme un po 'di informazioni provenienti da fonti diverse. Gran parte di queste informazioni provengono da un documento che ha il nome Geoff Egel su di esso e anche se sembra probabile che Geoff sta citando qualche altra fonte, il mio ringraziamento va a lui per condividere quello che abbiamo qui. I diagrammi di comunicare i nomi dei vari siti web minori, nessuno dei quali esistono più e quindi questi sono stati rimossi in quanto non hanno utilità più. Ecco un diagramma originale da queste informazioni:

Per quanto mi sembra che ci siano molti dettagli
contrastanti in queste informazioni, lo sto presentando qui in quasi la stessa
forma in cui mi giunse.
Circa dodici anni dopo dimostrazione pubblica
Descrizione
L'apparato è composto da un circuito magnetico chiuso (Fig.1)

composto da una bobina di ferro morbido nucleo centrale,
circondato da un numero di più piccole bobine di diametro animato di ferro
dolce. Mentre il diagramma mostra sei bobine, che non è un numero fisso. Le
bobine di diametro più piccole hanno lo stesso numero di giri di filo avvolto
intorno a loro e così ognuno di tali bobine piccole produce la stessa corrente
che fluisce nella bobina avvolge la grande bobina interna. Le zone di nucleo
della sezione trasversale delle bobine satellitare è impostato per essere lo
stesso come l'area della sezione trasversale
Il design complessivo è molto semplice, come illustrato di
seguito:

Secondo il brevetto, le bobine circostanti dispongono di
un'uscita di corrente pari a quella della bobina centrale. Quindi, se una
corrente di dire, 1 ampere, è alimentato alla bobina centrale, quindi ognuna
delle sei bobine circostante avrà una corrente di uscita di 1 ampere. Come le
bobine di sei uscita sono collegate in parallelo, la corrente in uscita deve
essere 6 ampère, dando un valore COP di 6 o se si preferisce, un rendimento
elettrico del 600%.
Nessun sistema è efficiente al 100%, come ci sono alcune
perdite dalla resistenza
COUTIER utilizza tre di questi insiemi di bobina come parte

L'output è corrente alternata. Coutier sceglie di utilizzare
un trasformatore di isolamento nel suo controllo di feedback che alimenta la
corrente di input necessarie al suo circuito oscillatore. Egli utilizza anche un vibratore meccanico
come suo oscillatore come nel lontano 1933 c' non erano nessun semiconduttori
prontamente disponibili. Suo schema elettrico generale utilizza simboli
dell'infinito per indicare la corrente alternata e assomiglia a questo:

Una tentata traduzione
Il dispositivo è costituito da un circuito magnetico chiuso (Fig.1) costituito da un nucleo centrale
di ferro dolce, a forma di un cilindro. Ci sono N simili satellitare anime,
paralleli al nucleo centrale e collocati in un cerchio attorno al nucleo
centrale. Il nucleo centrale è una bobina induttiva con il numero di giri
necessari per raggiungere la saturazione
Data la particolare disposizione
Il dispositivo utilizzato per il modello industriale
Tre dispositivi di moltiplicatore (ci può essere un numero
qualsiasi di questi dispositivi) sono combinati in serie, in modo che il nucleo
e di un circuito è alimentato da energia elettrica dal combinato satellitare
circuiti f,
Ogni unità con 6 satelliti (ci può essere qualsiasi numero di
satelliti) determinare il fattore di amplificazione di
È facile,
utilizzando un rubinetto di
Il dispositivo
include anche due batterie l e m - destinato a far fronte a qualsiasi
eventualità. Una batteria può essere caricata mentre l'altro è disponibile per
l'uso, se c'è una fermata accidentale
Reclami
Moltiplicazione di energia elettrica effettuati tramite
induzione di avvolgimenti satellitare, raggruppati in un cerchio intorno ad un
avvolgimento induttivo centrale. La
somma delle aree trasversali dei nuclei satellitare è uguale all'area della
sezione trasversale
Un altro dispositivo in questa categoria di
dispositivi pulsate che tocca energia esterna è stata prodotta da Sweet Floyd
("Sparky"). Il dispositivo è stato chiamato "Vuoto Triodo
Amplificatore" o "VTA" da Tom Bearden. C'è molto poco pratiche
informazioni disponibili su questo dispositivo, anche se c'è un video
nell'operazione sul web, con una potenza di appena 0.31 milliwatt ingresso e
un'uscita di alimentazione continua di più di 500 watt (112 volt CA a 60 Hz)
che è un poliziotto di più di 1.612.000 che è spettacolarmente imponente.

Il dispositivo è in grado di produrre più di 1 kW
di potenza di uscita a 120 Volt, 60 Hz e può essere collegato in modo da essere
alimentato. L'uscita è energia elettrica che assomiglia fatto di motori poteri,
lampade, ecc ma la potenza aumenta attraverso qualsiasi carico vi è una caduta
di temperatura anziché l'aumento di temperatura previsto, motivo per cui è
chiamata elettricità "freddo".
Quando si è saputo che aveva prodotto il
dispositivo è diventato il bersaglio di minacce gravi, alcuni dei quali sono
stati consegnati faccia a faccia alla luce del sole. E 'del tutto possibile che
la preoccupazione era dovuta al dispositivo di spillatura energia di punto
zero, che, se fatto a correnti elevate apre un nuovo vaso di Pandora. Una delle
caratteristiche osservate del dispositivo è che, quando la corrente è stata
aumentata, il peso misurato dell'apparecchio ridotto di circa una libbra. Anche
se questo non è certo nuova, suggerisce che lo spazio / tempo è stato di essere
deformato. Gli scienziati tedeschi alla fine della seconda guerra mondiale era
stato sperimentato con questo (e uccidendo le persone sfortunate che sono stati
usati per testare il sistema) - se ha la perseveranza notevole, si può leggere
su questo nel libro economico Nick Cook "The Hunt for Zero-Point
"ISBN 0099414988.
Floyd trovato che il peso del suo dispositivo
ridotto in proporzione alla quantità di energia prodotta. Ma si accorse che se
il carico è stato aumentato a sufficienza, un punto in cui è stato raggiunto
improvvisamente un suono forte come un turbine è stato prodotto, anche se non
c'era movimento dell'aria. Il suono è stato ascoltato dalla moglie Rose, che
era in un'altra stanza del loro appartamento e da altri al di fuori della casa.
Floyd non ha aumentato ulteriormente il carico (che è altrettanto bene come
avrebbe probabilmente ricevuto una dose letale di radiazioni se avesse avuto) e
non ripetere il test. A mio parere, questo è un dispositivo potenzialmente
pericoloso. Va notato che un altamente letali 20.000 Volt viene usato per
'condizione' i magneti ed i principi di funzionamento non sono compresi in
questo momento. Inoltre, non vi sono informazioni sufficienti per consegnare a
fornire consulenza realistica sui dettagli costruttivi pratici.
In una occasione, Floyd accidentalmente in corto
circuito i cavi di uscita. Ci fu un lampo luminoso e i fili si coprì di brina.
È stato osservato che, quando il carico di uscita di oltre 1 kW, i magneti e le
bobine di alimentare il dispositivo divenne più freddo, raggiungendo una
temperatura di 20 gradi centigradi sotto della temperatura ambiente. In una
occasione, Floyd ricevuto una scossa dall'apparecchio con la corrente che
scorre tra il pollice e il mignolo di una mano. Il risultato è stato un
infortunio simile al congelamento, costringendolo notevole dolore per almeno
due settimane.
Caratteristiche osservate del dispositivo sono:
1. La tensione di uscita non cambia quando la
potenza di uscita è aumentata da 100W a 1 kW.
2. Il dispositivo richiede un carico continuo di
almeno 25W.
3. L'uscita rientra nelle prime ore del mattino,
ma recupera in seguito senza alcun intervento.
4. Un terremoto locale può arrestare il
funzionamento del dispositivo.
5. Il dispositivo può essere avviato in modalità self-powered per breve tempo l'applicazione di 9 Volt alle bobine di trasmissione.
6. Il dispositivo può essere fermato interruzione
momentanea della potenza alle bobine di alimentazione.
7. Strumenti convenzionali funzionare normalmente
fino ad una potenza di 1 kW, ma smettere di lavorare di sopra di tale livello
di uscita, con le loro letture mostrando zero o qualche altra lettura falsa.
Sembra che dispositivo Floyd era costituita da uno o due grandi magneti in ferrite permanenti (grado 8, dimensioni 150 mm x 100 mm x 25 mm) con bobine avvolte in tre piani tra loro perpendicolari tra loro (cioè in x, y e z assi). La magnetizzazione dei magneti in ferrite è modificato improvvisamente applicando 20.000 volt da un banco di condensatori (510 joule) o più di piastre su ogni lato di essa e contemporaneamente guidare una Amp 1 60 Hz (o 50 Hz) corrente alternata attraverso la bobina di eccitazione . La corrente alternata dovrebbe essere la frequenza necessaria per l'uscita. L'impulso di tensione alle piastre dovrebbe essere applicato nell'istante in cui la tensione 'A' bobina raggiunge un picco. Questo deve essere iniziato elettronicamente.
Si dice che l'alimentazione delle piastre fa sì
che il materiale magnetico per risuonare per un periodo di circa quindici
minuti, e che la tensione applicata alla bobina di eccitazione modifica del
posizionamento dei poli di nuova formazione del magnete in modo che in futuro,
risonanza a quella frequenza e tensione. È importante che la tensione applicata
alla bobina di eccitazione in questo processo 'condizionata' essere una
perfetta sinusoide. Shock, o influenza esterna può distruggere il
'condizionamento', ma può essere ripristinato ripetendo il processo di
condizionamento. Occorre notare che il processo di condizionamento non può
essere successo al primo tentativo, ma ripetendo il processo sul magnete stesso
è di solito successo. Una volta condizionata è completato, i condensatori non
sono più necessari. Il dispositivo quindi necessita solo di pochi milliwatt di
60 Hz applicata alla bobina di input per dare fino a 1,5 kW a 60 Hz alla bobina
di uscita. La bobina di uscita può quindi fornire la bobina di ingresso a tempo
indeterminato.
Il processo di condizionamento modifica la
magnetizzazione della lastra ferrite. Prima del processo il polo nord è su una
faccia del magnete e il polo sud sulla faccia opposta. Dopo il condizionamento,
il polo sud non si ferma nel punto centrale, ma si estende ai bordi esterni
della faccia polo Nord, che si estende all'interno dal bordo di circa 6 mm.
Inoltre, vi è un magnetico 'bolla' creato a metà della faccia polo nord e la
posizione di questa "bolla" muove quando un altro magnete viene
portato vicino.
La lastra condizionata, dispone di tre
avvolgimenti:
1. La bobina 'A' è avvolto prima intorno al
perimetro esterno, ogni volta essendo 150 + 100 + 150 + 100 = 500 mm (più una
piccola quantità causato dallo spessore del materiale di avvolgimento della
bobina). Dispone di circa 600 giri di 28 AWG (0,3 mm) cavo.
2. La bobina di 'B' è avvolto attraverso le 100
facce mm, quindi un giro è di circa 100 + 25 + 100 + 25 = 250 mm (più una
piccola quantità per lo spessore e la bobina di compensazione ex 'A'). Ha tra i
200 e 500 giri di 20 AWG (1 mm) filo.
3. La bobina di 'C' è avvolto lungo la parete 150
mm, quindi un giro è di 150 + 25 + 150 + 25 = 350 mm (più lo spessore prima,
più spazio per la batteria 'A' e la bobina 'B'). Ha tra i 200 e 500 giri di 20
AWG (1 mm) cavo e deve corrispondere la resistenza di 'B' della bobina il più
fedelmente possibile.
Bobina 'A' è la bobina di ingresso. 'B' della bobina
è la bobina di uscita. bobina 'C' è utilizzato per il condizionamento e per la
produzione di effetti gravitazionali.

Al momento della scrittura, le informazioni e le
fotografie del dispositivo originale si trova sul sito web:
http://www.intalek.com/Index/Projects/Research/Construction%20of%20the%20Floyd%20Sweet's%20VTA%20by%20Michael%20Watson.htm dove un libro di Michael Watson fornisce
molte informazioni pratiche. Per esempio, egli afferma che un experimental set
up che ha fatto, aveva:
La bobina 'A' con una resistenza di 70 ohm e
un'induttanza di 63 mH,
La bobina 'B', avvolti con filo AWG 23 con una
resistenza di 4,95 Ohm e un'induttanza di 1.735 mH, e
La bobina 'C', ferita anche con filo AWG 23, con
una resistenza di 5,05 Ohm e un'induttanza di 1,78 mH.
Capitolo 3 ha ulteriori informazioni sul VTA.
Rosemary Ainslie ha prodotto un sistema di
riscaldamento ad impulsi che è stato misurato ad una prestazione di COP = 17.
Si tratta di un progetto recente e, per quanto ne so, non è ancora stato
replicato da altre persone. www.panacea-bocaf.org
stanno lavorando con gli sviluppatori originali di Rosemary di produrre una
implementazione indipendente del riscaldatore. A questo punto nel tempo, il
riscaldatore è stato costruito per un prototipo di prova per l'esame di
laboratorio e di misura e non è stato prodotto nel campo di kilowatt, che, si
spera, arriverà in un secondo momento.
Panacea hanno prodotto un documento di 250 pagine
che descrive la ricerca, la sperimentazione, la teoria, ecc e che può essere
scaricato gratuitamente tramite questo link:
http://www.panaceauniversity.org/Rosemary%20Ainslie%20COP17%20Heater%20Technology.pdf
Poiché tale documento contiene le informazioni che
gli scienziati hanno bisogno di vedere per i test seri e di sviluppo, può
essere un po 'tecnico per alcune persone, in modo da Panacea hanno prodotto una
versione semplificata finalizzata alla media casa-build investigatore e che può
essere scaricato gratuitamente utilizzando questo collegamento:
http://www.panaceauniversity.org/Ainslie_heater_circuit_by_Patrick_Kelly.pdf
Nel quadro molto ampio, il circuito produce gli
stessi molto brevi impulsi di tensione, molto taglienti che sono alla base di
tanti "free-energy" dispositivi. Il circuito utilizzato sembra molto
semplice, ma nonostante ciò, il modo in cui essa opera non è affatto semplice.
Il circuito è mostrato sotto e ad una rapida occhiata, sembra un normale
circuito temporizzatore 555 chip, utilizzato in molte applicazioni esistenti.
Tuttavia, se il circuito funziona come un circuito di pulsazione 555, allora
l'uscita non è COP> 1.
Guardando più da vicino, si nota che il
collegamento tra l'uscita del circuito integrato 555 sul pin 3 e il pin porta
di ingresso del Field-Effect Transistor, è insolito in quanto non è la solita
partitore di tensione tra pin 3 e 0 volt terra linea. Invece, il cancello è
direttamente accoppiato all'uscita 555 chip singolo, bassa resistenza resistore
preset.
Normalmente, un NE555 chip di fatica a raggiungere
le 50.000 cicli al secondo e un gran numero di 555 chip sul mercato non può
nemmeno operare anche quella frequenza. Per circuito di Rosemary nella sua vita
COP> 1 il funzionamento, la resistenza contrassegnata "GATE" viene
regolata molto lentamente per trovare il punto in cui il circuito diventa
instabile, over-cavalca il normale funzionamento del chip 555 e inizia ad
oscillare alla frequenza di risonanza del circuito globale, costringendo il 555
chip per diventare un componente feedback. Il circuito produce poi i taglienti,
punte brevi tensioni da più di dieci volte la velocità operativa del chip 555 e
il pulsante 10-ohm resistenza marcata "LOAD" a circa 500.000 impulsi al secondo.
Tale tasso di operazione è chiaramente ben fuori prestazioni possibili di un chip NE555, oltre che, gli elementi di temporizzazione del chip dovrebbe produrre una frequenza molto più bassa, come in effetti fa prima "GATE" resistor adjustment causes the circuit to break out of its normal design-mode operation and start the high-speed spike generating, resonant performance. The circuit used is shown here:

Come Panacea-bocaf stanno lavorando per testare e
sviluppare ulteriormente questo circuito, sarebbe una buona idea per scaricare
gratuitamente la documentazione sulla progettazione e tenere d'occhio i loro
progressi in questo campo. I due documenti danno dettaglio molto marcato su
tutto il lavoro che è già stato fatto, e, naturalmente, ci si può sperimentare
con questo circuito e vedere quali risultati e regolazioni potete scoprire.
Joseph commenti: Gli esperimenti di Schauberger e
altri hanno confermato le enormi quantità e quasi illimitata di energia
elettrica ospitati in acqua. Il seguente è un metodo assurdamente semplice e
pratico di estrarre questa energia. Impiega il "Coanda" o effetto
"nuvola-buster".
Un tubo di plastica da 14 "a 16" (350 mm
a 400 mm) di lunghezza e circa 2,5 "(65 mm) di diametro viene riempito con
acqua distillata. A ciascuna estremità, esposti all'acqua, è un terminale di
rame che viene utilizzato sia per l'ingresso e l'uscita elettrica. Ricaricabili
pile a secco di tensione adatti sono collegati in serie con i terminali di
ingresso. Quando i due terminali di uscita sono in cortocircuito o collegato ad
un carico, elettricità inizia a fluire. Questa corrente è trascinata dalla
corrente di ingresso. Quando viene applicata alta tensione, la tensione di
uscita è quasi grande come la tensione di ingresso. Tuttavia, l'amperaggio è
inadeguata. La risposta al problema è ultrasuoni. Si tratta di un fatto
sperimentale che l'ecografia di 600.000 Hz focalizzato su un contenitore di
acqua fa sì che l'acqua a bollire. Ciò significa che il suono di questa
frequenza disintegra grandi quantità di "soft" elettroni nell'acqua.
Il rilascio improvviso di "hard" elettroni produce tremenda
agitazione termica delle molecole di acqua.
Un trasduttore ultrasonico CC collegato al tubo
produrrebbe sufficienti elettroni liberi di essere trascinati per l'unità per
avere un potenziale di uscita quasi illimitata. Le funzioni di tubo, come una
cassa di risonanza. Cater onorevole è stata data una forte evidenza che due
persone diverse che hanno ricevuto queste informazioni ottenuto risultati
sensazionali dal generatore. Hanno avuto accesso a tale trasduttore. Hanno
cercato di mettersi in affari, ma gli interessi acquisiti fece in modo che sono
stati messi fuori dal mercato e convinto di rimanere in silenzio da allora.
Un socio del sig Cater costruito un pugno di dimensioni sirena che ha generato una frequenza di 600 kHz. Quando focalizzato su un piccolo contenitore d'acqua, l'acqua bollita. Ciò ha dimostrato che potrebbe essere usato al posto di uno stato solido trasduttore ultrasonico CC sul generatore di acqua. Un motore CC piccolo potrebbe funzionare la sirena. Sarebbe molto più efficace in quanto produce un suono molto più intensa. La costruzione è mostrata qui:

Dr. Oleg V.
Gritskevitch di Vladivostok in
Il dispositivo si avvia dando l'acqua una massiccia scarica ad alta
tensione di circa 100.000 volt a 50 mA per tre a cinque minuti. Questo ingresso
alimentazione ottiene l'acqua ionizzata e circolante. La circolazione è
mantenuto dalle bobine elettromagnetiche e la potenza di uscita è di circa COP
= 100.
Oleg è morto senza mai ottenere i finanziamenti per il suo progetto (un
metodo tipico di bloccare free-energy di raggiungere il mercato). Una descrizione
più dettagliata del dispositivo e il suo funzionamento direttamente dal Oleg:
Questa è una descrizione della costruzione e gestione di Oleg V.
Gritskevitch idro-magnetica dinamo, che è un esempio di un sistema molto
potente nuova energia. Il prototipo in Armenia ha una media di circa 1.500
kilowatt di potenza per un periodo di diversi anni.
Oleg è nato il 14 agosto 1936 e cresciuto a Vladivostok, in Russia. Ha
sposato e ha un figlio di Boris. Gritskevitch era un fisico di formazione. Ha
lavorato in Estremo Oriente ramo dell'Accademia delle Scienze dell'URSS. Dal
1985 ha lavorato in modo indipendente come inventore. Ha più di 70 brevetti su
invenzioni che vanno dalla progettazione casa fino alle alte tecnologie, che ha
cercato di applicare nel nostro paese, anche se ha incontrato difficoltà in
questo. Dopo numerosi tentativi di ottenere i brevetti, si convinse che
l'informazione era diventato ampiamente noto. Perciò ha ricevuto i certificati
di stato di know-how (un modo francese di brevetti), per tutte le sue
invenzioni.
Introduzione
Durante il Simposio 1999 dell'Istituto per la Nuova Energia, ha tenuto
conferenze sul suo idro-magnetica dinamo. Questa carta è il suo tentativo di
spiegare la costruzione e l'esercizio della sua dinamo. Per proteggere i suoi
segreti da investigatori, che, a volte, ha fornito informazioni fuorvianti. Ad
esempio, il disegno che accompagna il brevetto russo di cui sotto, mostra un
cilindro attraverso il toroide di fuorviare i lettori. La dinamo reale ha il
toroide da solo, senza il cilindro. Anche il suo nome "idro-magnetica
dinamo" è in qualche modo volutamente fuorviante.
Oleg ha dichiarato che aveva una certa familiarità con il campo di energia
nuova. Quasi tutti i dispositivi di energia presunti nuovi generatori elettrici
piuttosto piccoli. La dinamo può essere l'unico nuovo generatore elettrico che
più si avvicina soddisfa tutti i requisiti di un ideale grande generatore
elettrico. Oleg ha affermato che la sua dinamo è davvero la singola invenzione
più importante che il mondo abbia mai conosciuto.
Alexander V. Frolov di San Pietroburgo consigliata Oleg per contattare il
Dr. Patrick Bailey dell'Istituto per le Energie Nuove da Patrick ha un sacco di
contatti che potrebbe aiutare con brevettare la sua invenzione di una nuova
fonte di energia negli Stati Uniti.
Oleg ha lavorato sulla teoria e la creazione del generatore
elettrostatico-converter il "Hydro-magnetica Dynamo" per circa 20
anni. Il primo equipaggiamento primitivo è stato creato quando Oleg ha lavorato
presso l'Accademia delle Scienze. Durante questo tempo, varie modifiche sono
state introdotte nel generatore e nella teoria di come funziona. Di
conseguenza, è ora pronto per la produzione, l'installazione e applicazioni
industriali.
Oleg fatto la prima relazione pubblica sul suo lavoro nel 1991 in un
simposio in Volgodonsk città. La sua relazione ha ricevuto reazioni positive e
recensioni da parte degli esperti del settore nucleare in URSS. Nello
stesso anno, è stato accolto nella Società Internazionale nucleare. In questi anni ha offerto lo sviluppo di questa
tecnologia per enti pubblici diversi e le imprese private. Ma la risposta da
parte di tutti è stata "Si tratta di un progetto molto interessante e
importante, ma non possiamo finanziare.
Alla fine, Oleg cercato di trasferire questa tecnologia negli Stati Uniti
attraverso l'ambasciata a Mosca. L'ex ambasciatore in URSS, Dr. J. Matlock lo
sa. Voleva incontrare Oleg, ma a quel tempo vi erano forze che si oppongono
alla realizzazione dei suoi piani. Così ha iniziato a cercare altri possibili
investitori. Era pronto a prendere in considerazione eventuali offerte di
collaborazione, brevettazione congiunta, vendita di informazioni tecnologiche,
la creazione di una joint venture, ecc ecc Oleg è stato assegnato circa 70
brevetti russi che coprono una vasta gamma di importanti argomenti tecnici.
Storia
Questo progetto è il risultato di un articolo nel numero di agosto di 1972
un popolare rivista russa Tehnika Molodiozhi. L'articolo scritto da A.
Kaldamasov aveva diritto Ball Lightning in un liquido. L'articolo è venuto a
conoscenza di Michail Razovsky e Oleg nel 1974. Oleg gruppo di volontari e
appassionati alla ricerca di una nuova fonte di energia e quindi questo
articolo servito come punto di partenza per la comprensione dei processi
chimico-fisici che avvengono in acqua. Durante il periodo 1976-1978 un anno è
stato speso nel laboratorio radiologico dell'ospedale Vladivostok città, tra
cui Vladilen Bulgakov, medico radiologia, e Michail Razovsky, teorico nel campo
della fisica del plasma e gli altri, l'assemblaggio di un dispositivo, che
avrebbe dovuto separare l'acqua in ossigeno e idrogeno in modo più efficiente.
Durante gli esperimenti, anziché i risultati attesi, si produce energia
elettrica molto efficiente! La potenza in ingresso durante l'esperimento è
stata una pompa dell'acqua 800-watt. L'uscita è 1400 watt (COP = 1.75). Questo
dispositivo è stato assemblato utilizzando tubi in plastica con tubi collegati,
dove l'acqua è stata circolanti in un ciclo. Questa, dunque, è nata l'idea di
creare il secondo dispositivo come generatore-toroide.
Il secondo generatore è stato assemblato nel laboratorio di Ricerca Ocean
Institute a Vladivostok (Direttore Accademico Viktor Ilichov), e nell'estate
del 1990 è stato trasportato alla stazione di collaudo del Ministero
dell'Industria Elettronica a Vladivostok. Questo laboratorio era ben attrezzata
con tutti i set di strumenti necessari. Al tempo stesso, i documenti di
brevetto sono state depositate in seno al Comitato di Stato dell'URSS delle
invenzioni. Nella primavera del 1991, la Commissione di Stato, guidata da Jurij
Lebedev, presidente del Consiglio Innovazione e Presidente della Federazione
Russa, del Consiglio dei ministri, è arrivato a Vladivostok. Questa commissione
è arrivato in città per due motivi: a raccomandare una richiesta di
finanziamento per la produzione della dinamo, e di classificare questa fonte di
energia come una "scoperta". (Documento # 14-451).
Dopo il prossimo cambio di governo russo il finanziamento per il progetto è
stato chiuso. Il primo articolo sulla dinamo è stata pubblicata sulla rivista
russa (Tehnika Molodyozhi 1990, # 3, numero di marzo, pagina 17, dal titolo
"Idee dell'innovatore".
Diversi fisici armeni, dopo aver letto questo articolo, ha inviato una
lettera chiedendo Oleg di incontrarlo a Vladivostok per i negoziati sulla
dinamo. Sono arrivati nel marzo 1991 e ha eseguito i test
sul secondo generatore, che era operativo in quel momento. Oleg volato in
Armenia, e il lavoro sul terzo generatore iniziata alla fine del 1991. E 'stato
completato alla fine del 1992. E 'stato di funzionamento e la produzione di energia fino al gennaio 1997, quando fu
distrutta durante la guerra. Alcune persone sono stati uccisi e altre persone
si trasferì negli Stati Uniti. Questa versione di dinamo creato un uscita che
in media 6.800 ampere a 220 volt CC (1,496 megawatt). Esso alimentazione
d'ingresso era solo circa 1% della potenza di uscita.
Oleg è stato invited speaker della riunione del Alternative Energy
Institute (Dr. Hal Fox) a Salt Lake City nel mese di agosto 1999. L'annuncio
ufficiale del suo discorso aveva alcuni errori (ad esempio, il nome di Armenia
è stato cambiato in Romania).
Dynamo Teoria
L'Hydro-Magnetic Dynamo è una grande scala, a emissioni zero generatore
elettrico, che non richiede alimentazione esterna. La dinamo è in grado di
alimentare i veicoli di trasporto di grandi dimensioni come autobus, camion,
navi, locomotive e aeroplani. Il dubbio rimane su come rendere dinamo compatte
abbastanza per alimentare le auto.
Mentre tre prototipi sperimentali sono stati costruiti con l'esperienza
russa e armena e le attrezzature, un prototipo dimostrativo quarto ha bisogno
di essere costruita con più moderna esperienza tecnica occidentale e
attrezzature per la verifica delle domande di prestazioni la dinamo e di
esplorare ulteriormente le capacità potenziali della dinamo.
La prestazione rivendicata è la seguente:
Dynamos sono scalabili da 100 kW a 1.000 megawatt. Un 1000-megawatt dinamo
è delle dimensioni di un garage per due auto. Per fare un confronto, Hoover Dam
i 17 generatori hanno una potenza complessiva di 2.000 megawatt. Una dinamo in
modo affidabile funzionare continuamente per 25 anni o più con poca o nessuna
manutenzione, nessuna fonte di energia esterna, e nessun inquinamento. Se
l'uscita di una dinamo è 1.000.000 watt, alla tensione di ingresso totale è di
circa 10.000 watt e così l'efficienza energetica della dinamo è di circa
10.000%.
La sorgente dell'uscita enorme elettrica della dinamo è una reazione
nucleare, che non è generalmente noto per la scienza tradizionale. Tuttavia, è
noto che la dinamo produce particelle alfa, che sono nuclei di elio, a base di
deuterio fuso, un isotopo di idrogeno con un protone e un neutrone. Gli
elettroni mancanti dai nuclei di elio sono ciò che sembrano fornire una copiosa
'sink' di energia elettrica, e che è il segreto della capacità della dinamo di
generare un importo estremamente elevato di energia elettrica. È anche noto che
la dinamo utilizza cluster ad alta densità di carica. Ad alta densità di carica
cluster sono ritenuti da alcuni teorici, a costituire la base della
trasmutazione plasma iniettato di elementi e la neutralizzazione di materiali
radioattivi. A differenza di fusione calda e reattori a fissione, la dinamo non
si accumula i componenti radioattivi.
Il risultato di processi della dinamo è la conversione di campi
elettrostatici in corrente. Va notato che una chiara comprensione di termini
come "conversione Coulomb" e "liquido Van de Graff
generatore" è molto importante.
Schematicamente, la dinamo è un trasformatore elettrostatica, o in altre
parole un moltiplicatore di tensione elettrostatica. Una versione della dinamo
utilizza il laser per l'avvio. Ci sono stati costruiti tre prototipi dinamo. I
primi due prototipi di piccole dimensioni sperimentali sono stati costruiti a
Come menzionato sopra, il prototipo armeno generata una corrente di 6800
ampere a 220 volt che è circa 1,5 megawatt. Potenza minima è stata 500.000
watt, e la potenza massima è stata 2.500.000 watt durante gli esperimenti
invernali a causa di un migliore raffreddamento. Toroide La dinamo prototipo
armeno pesava 900 kg e aveva un diametro di circa 2 metri. L'acqua di
raffreddamento viene fatta circolare attraverso tubi di rame avvolto intorno al
toroide. Il calore viene espulso dall'acqua di raffreddamento con scambiatore
di calore. La temperatura di esercizio è di solito 36 gradi Centigradi.
Dopo una dinamo è montato, l'acqua è letteralmente 'jump-iniziato'
(scaricando una grande banca di condensatori) per farlo circolare all'interno
del toroide. La pressione impulso iniziale è alto come 400 atmosfere. I
controlli del dinamo sono temporaneamente a generare una modesta quantità di
energia elettrica sufficiente a sostenere se stessa, forse anche durante il
trasporto dalla fabbrica al luogo del suo funzionamento futuro. I circuiti di
controllo sono semplici da solo sensori e un computer di controllo sono utilizzati.
Non abbiamo bisogno di alcun tecnico-personale addetto alla manutenzione.
Per la dinamo prototipo armena, due 10-Farad condensatore batterie sono
state utilizzate per fornire il moto iniziale dell'acqua (accelerazione ed
eccitazione di acqua). I condensatori sono stati 20 kg ciascuno, con un
diametro di 50 centimetri, e sono stati presi in prestito da stazioni radar
militari russe. Utilizzando un totale di 20.000 Joules, 100.000 Volts a 0,05
ampere di corrente sono stati applicati alla dinamo armeno per 3 a 5 minuti per
ionizzano e polarizzare l'acqua, che poi iniziato la generazione di energia
elettrica.
La ragione per la tensione molto alta fornita dai condensatori grandi radar
russi, all'avvio del generatore, appare per polarizzare i cristalli di titanato
di bario. Un confronto è con l'accensione elettronica su un fornello a gas. Una
volta che i cristalli di titanato di bario sono polarizzati, il generatore è in
funzione.
Dopo questi condensatori era stato utilizzato per 'far ripartire' la dinamo
armeno prototipo, un banco di batterie tampone sostenuta funzionamento continuo
quando il movimento dell'acqua e cominciò ionizzanti. Questa banca batteria
contenuta 8 potente da 12 volt, 150 ampere batterie al piombo. Potenza di
ingresso sostenere la dinamo armena era 14.400 watt. La potenza nominale di
uscita massima è circa 1.500.000 watt. In un'occasione, la corrente di uscita è
stato accidentalmente aumentato a 40.000 ampere per quasi un minuto. Per
fortuna, il potere è stato ridotto a un livello di sicurezza prima che l'acqua
ha iniziato a bollire. Bobine interne (avvolgimenti) forniscono il controllo
della velocità dell'acqua e quindi dinamo potere di controllo. Il più veloce
l'acqua è in movimento, l'energia elettrica più la dinamo genera. Una volta che
l'acqua si ferma che circola intorno al toroide, la dinamo deve essere
'jump-iniziato' di nuovo a un livello di potenza minimo prima di poter
sostenere la sua produzione di energia elettrica usando il suo potere di
uscita.
Quello che segue è un riassunto condensato, con un po 'di editing e
commento ulteriore, della "Descrizione" della dinamo di brevetto
russo IPC H 02 K "Metodo per ricavare energia elettrica e Realizzazione di
Gritskevich di MHD-Generator" 44/00:
La dinamo è un toroide in polistirene sigillato pieno di ultra-pura
acqua distillata con acqua pesante (ossido di deuterio), ha aggiunto. Il
movimento di acqua all'interno del circuito chiuso e l'uso delle proprietà
uniche di acqua come liquido polare, causano un rilascio di energia elettrica
come risultato di una rottura dei legami idrogeno. Addizionale energia
elettrica è tratto da reazioni nucleari e micro-cavità processi. Il liquido è
ionizzato, polarizzata, e muovendosi sulla toroide all'avvio tempo da un campo
magnetico in esecuzione con l'aiuto di stimolare avvolgimenti elettromagnetici.
Elettrostatico generatore-trasformatore "Hydro-magnetico dinamo".
("GT HMD") funziona a causa del processo di amplificazione e di
manutenzione di una stazionaria (oscillante in particolare) campo elettromagnetico
da movimenti idrodinamiche del mezzo conduttivo. Lo statore (cioè il toroide) è
fatto di materiali con costante dielettrica alta. Rotore Liquid è un'acqua
ricombinato (acqua 'pura' di alta molecolari composti), che si muove a causa
delle scariche ad alta tensione ed il campo elettromagnetico in funzione.
I
principali processi di GT HMD sono:
Un principio di generatore elettrostatico Van-der-Graff, dove è stato
cambiato il nastro isolante solido per quella liquida. Un washout perpetua degli elettroni di
superficie dallo strato distanziatore si svolge; Trasformazioni di Coulomb si
svolgono; un singolo giro bassa frequenza generatore funziona come una svolta coassiale con 4 punti
di risonanza e sostanza energia utilizzabile all'interno di esso che ha
proprietà di risonanza molto elevate;
Le ripartizioni elettrostatiche di cavitazione di vuoto strutture in acqua
si svolgono. Il liquido polare (acqua pura) consiste di dipoli solo, cioè
molecole strettamente orientati cariche. Durante l'interazione di acqua
deionizzata pura con lo strato BaTiO3 campo elettrostatico di sopra
di 10 milioni di volt / cm è formato. Durante questo
processo la ripartizione
Il campo elettrostatico, accoppiato con l'azione dello strato BaTiO3
(se applichiamo elettrica presentata al BaTiO3, allora questo strato
crea le vibrazioni sonore di circa 25.000 Hz, questa vibrazione aiuta ad
abbattere le molecole di acqua) e facilita l'ulteriore abbattere di le
strutture molecolari, atomiche di acqua. Inoltre, a causa delle scariche
elettrostatiche perpetue, la ripartizione dei cavitazione vuoto strutture si
verifica e la reazione di fusione nucleare fredda continua. Con questa fusione
l'energia di 500 kJ / mole è liberato in un vuoto e una energia di 6 kJ / mole
è liberato in acqua. Così, formare legami idrogeno nuovi nel vuoto con la
liberazione di energia di circa 20 kJ / mole. A causa di questo processo
l'accelerazione di ionizzazione di liquido polare avviene. Inoltre, la costante
'lavando' dei binding incompleti elettroni dallo strato di titanato di bario e
si forma libera elettroni. A causa di questo processo, il liquido polare
trasforma in un flusso ordinato di elettroni e ioni negativi, che possono
essere descritti molto semplicemente, come ionico-corrente elettrica.
I lavori per la costruzione del generatore sperimentale iniziato nel
settembre del 1991 in Armenia e si è conclusa nel marzo 1992. Il peso attiva di
lavoro del prototipo della dinamo (toro + acqua) è stata di circa 900 Kg. Il
diametro del toro era di circa 2 metri. Il toro è stato fatto da antiurto
polysterol ottica. Questo toro consisteva in due metà, che
sono stati attivati sul
merry-go-round macchina.
Il monocrystallic BaTiO3 titanato di bario è stato spruzzato
sulla superficie interna del toro, la sua costante dielettrica erano 6000. Lo
spessore dello strato è di circa 1 micron. L'acqua è stata purificata per la
resistenza specifica 18.000.000 Ohm / cm.
Come abbiamo accennato sopra, per avviare i due vasetti dinamo condensatore
di 10 Farad sono stati utilizzati ciascuno. L'energia di una batteria di
avviamento costituito 20.000 Joule, la tensione era 100.000 Volt e la corrente
era 0,05 Ampere per fornire il movimento iniziale di acqua (accelerazione e
disturbi).
Gli elettrodi sono stati realizzati in tubi metallici con diametro di circa
5 mm. La dinamo è iniziato a utilizzare questi elettrodi. Un totale di 32 di
questi elettrodi sono stati installati uniformemente distanziati attorno alla
circonferenza del toroide.
Sistema di raffreddamento del toroide è formato un circuito chiuso di
tubazioni in rame con acqua purificata circolare attraverso esso. I tubi di
rame utilizzati in questo sistema sono stati ricoperti di vetro isolante. Essi
sono stati anche i giri di avvolgimento di carico. La temperatura del toroide è
mantenuta non superiore a 50 gradi Celsius.
Potenza di uscita media è stata di 220 volt x ampere = 6.800 1.490
kilowatt. La corrente è CC. Periodicamente la potenza può essere aumentata a
2.500 Kw quando un raffreddamento sufficiente del generatore può essere
fornito. La potenza supplementare è stato prelevato da quattro avvolgimenti
risonanti. Questa corrente alternata, dopo la rettifica, è stato utilizzato per
caricare la batteria di back-up. Così, la potenza totale in uscita è pari a più
di 1.500.000 watt. La tensione a bassa frequenza è stato ottenuto da
avvolgimenti di carico e la corrente è stata ottenuta dalla camera di
stabilizzazione.
Va notato che le scariche ad alta tensione dei 32 elettrodi, ionizzare
l'acqua parzialmente pre-ionizzata ulteriormente. Mediante avvolgimenti
stimolazione, un campo magnetico è creato circolante che muove l'acqua in una
direzione all'interno del toroide. Una forza elettromotrice è creata dalla
induzione elettromagnetica in un insieme separato di avvolgimenti. Come abbiamo
già detto, durante il movimento della corrente di acqua, elettroni liberi sono
creati, e una energia aggiuntiva viene emessa a causa dell'attrito dell'acqua
contro lo strato di rivestimento sulla superficie interna del toroide, a causa
di guasti elettrostatiche di cavità-vuoto strutture , ed a causa della reazione
nucleare in corso.
Se l'uscita della dinamo è di 1.000.000 watt, è potenza di ingresso totale
è di circa 10.000 watt. Così dunque l'efficienza energetica la dinamo
è di circa 10.000%.
Oltre al titanato di bario depositato sul teflonata superficie interna del
toroide polistirene, l'acqua stessa contiene minuscoli cristalli di titanato di
bario che sono sospesi in acqua. Ecografia a 25.000 cicli al secondo si propaga
attraverso l'acqua per formare microbolle sulle superfici dei cristalli sospesi
titanato di bario. Sempre a causa dell'azione del piezoelettrico titanato di
bario, il campo elettrostatico molto elevati sono sviluppati anche all'interno
delle micro-bolle sulla superficie dei cristalli. Gli elettroni dalla reazione
nucleare vengono aggiunti gli elettroni generati sulla superficie interna del
toroide. La quantità totale di mono-cristallino titanato di bario nella dinamo
armeno era di quasi 1000 grammi. Satelliti, locomotive, autocarri pesanti,
aerei e navi sono ovvie applicazioni di trasporto.
Dynamo
Economia
Costi di produzione
La dinamo è stimato a $ 500 per ogni kilowatt che è molto competitivo rispetto
ai costi di capitale di potenza nucleare di 5.000 dollari per kilowatt, costi
di capitale mulino a vento di $ 4,000 per chilowatt, ecc Un ben gestito
centrale nucleare in grado di generare energia per 1,5 centesimi per
kilowatt-ora, carbone 1,8 centesimi, gas naturale, 3,4 centesimi e 4,1
centesimi di olio, in media. Costi operativi La dinamo sarebbe di circa 0,1 centesimi per chilowattora
senza combustibile esterno necessario e senza alcun inquinamento in fase di
creazione.
Queste dinamo potrebbe sostituire tutte le centrali nucleari, impianti
solari, forni a legna, idro-elettrica, ecc Un recente articolo IEEE Spectrum ha
dichiarato che la domanda mondiale di energia elettrica aumenta di circa 500
megawatt ogni giorno. Per mettere questo in prospettiva, che è l'equivalente di
costruire un'altra diga di Hoover ogni quattro giorni per tenere il passo con
la domanda crescente di energia elettrica del mondo. In alternativa, una
società di produzione dinamo avrebbe dovuto costruire un altro da 500 megawatt
dinamo ogni giorno per tenere il passo con l'aumento della domanda mondiale di
elettricità (oltre a sostituire tutti i generatori esistenti alimentati da
energia idroelettrica, nucleare e combustibili fossili.)
Il testo della
domanda di brevetto di cui sopra non è in inglese, anche se l'abstract

Patrick Kelly