Una Guida Pratica
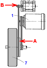
ai Dispositivi di Energia-Libera
Autore: Patrick J. Kelly
Capitolo 4: Sistemi
Alimentati a Gravità
In generale non
è compreso che l'energia in eccesso può essere ottenuto da pulsare un volano o
altro dispositivo gravitazionale.

Questo fatto è stato recentemente sottolineato Lawrence Tseung che
indica l'energia supplementare così ottenuta come "Lead-out" di
energia. Questa funzione
gravitazionale ha fatto parte di corsi universitari di ingegneria per decenni,
in cui è stato insegnato che lo stress di carico su un ponte causata da un
carico di rotolamento attraverso il ponte è molto meno di quanto lo stress
causato se stesso carico sono stati improvvisamente ridotto al ponte.
Questa tecnologia impulso è noto da tempo e si è
dimostrato alla guida di una canoa nel video a http://video.google.com/videoplay?docid=-5738531568036565057#docid=2330020782283421681
ma sottolinea Lawrence il potenziale di utilizzo come un metodo per ottenere
energia in eccesso per l'uso pratico. Nel mese di ottobre 2009, Lorenzo e la
sua banda di aiutanti corse manifestazioni pubbliche di un precoce sistema di
pulsazione prototipo elettrico che produce energia in eccesso di uscita del COP
= 3.3, cioè con energia di uscita superiore a 3,3 volte l'utente deve mettere in
esso per renderlo lavoro:

Video: http://www.youtube.com/watch?v=tiafQ9R-REs&feature=mfu_in_order&list=UL Lawrence è impegnata nello sviluppo
di questo ulteriore dispositivo
come egli intende costruire uno con un eccesso di produzione
di energia di molti chilowatt.
Alle spalle di questo dispositivo è
di Lawrence teoria "Lead-out" e per questo egli
suggerisce una disposizione semplice
per dimostrare il principio. Si
presenta il caso di un rotore che ha due pesi
sostanziali contenute in due cilindri collegato
al rotore:

Poiché il disco ruota, la palla cade la
lunghezza del tubo. Ad una
estremità, il tubo ha una calotta
rigida che provoca un impatto
significativo quando la palla colpisce.
L'altra estremità del tubo è imbottito e che ammortizza
l'impatto che provoca uno
squilibrio netto degli impatti e
che mantiene la rotazione.
Vi è un prototipo su YouTube, ma l'implementazione non è adeguata e il disco smette
di ruotare dopo cinque minuti. Lo
slot video di YouTube si trova
in: http://www.youtube.com/watch?v=zykButGc22U&feature=related
e ci sono due problemi significativi con quella generazione particolare.
In primo luogo, la rotazione del tubo è troppo lento per essere efficace e al posto del peso, di cui per gravità e l'accelerazione di una
buona velocità prima dell'impatto, il peso rotola appena
dolcemente lungo un pendio lieve entità e non avere un grande impatto.
In secondo luogo, i pesi sono troppo piccola per le dimensioni della ruota e ci sono solo due pesi forniscono impatti
largamente distanziati la rotazione della ruota lentamente. Un uomo ha fatto un tre
metri versione e ruotato costantemente per dieci mesi dopo i quali la moglie ha
insistito che venga smontato
perché era troppo rumoroso.
Vorrei suggerire alcune modifiche
alla ruota con il nome Lawrence è troppo impegnato con il
suo sviluppo COP> 1 attuazione impulso. In
primo luogo, il movimento di ciascun
peso deve essere ritardata fino a
quando il tubo è molto più vicino
alla verticale. Questo può essere ottenuto mediante curvatura parte del tubo come questo:

In questo modo, la sfera non incomincia a scivolare la parte principale
del tubo è quasi verticale. Questo consente una
maggiore accelerazione e impatto. La palla ponderata
dovrebbe essere molto più grande,
diciamo 2 "(50 mm) di diametro e di
piombo, in modo da generare una
spinta significativa. Inoltre,
le estremità dei tubi imbottiti dovrebbe essere
allineato con il perno della
ruota in modo che qualsiasi impatto
residuo non genera una forza di rotazione nella direzione sbagliata.
c'è un effetto negativo
dovuto alla rotazione del braccio di leva del
peso inferiore. Questa forza di rotazione è solo
per un piccolo arco di rotazione
come peso rotolerà verso l'interno appena la
sezione del tubo supera l'orizzontale
e il tubo quindi transita in una curva circolare, il movimento verso l'interno è delicata.
probabilmente sarebbe meglio se i tubi sono stati leggermente inclinato
più in senso orario, piuttosto che esattamente come mostrato
nel diagramma.
In secondo luogo, ci dovrebbero essere
otto tubi sul disco, quattro per lato e un lato sfalsati di 45 gradi in
modo che vi sia un effetto
di guida ogni 45 gradi
invece dei 180 gradi della versione mostrata nel video YouTube. Con
tale accordo di quattro
volte molti impatti, ciascuno
sostanzialmente maggiore, e non
inversa impatti significativi,
la ruota ha molte più possibilità
di rotazione di successo senza bisogno di essere particolarmente grande.
La ruota stessa non deve essere leggera in quanto agisce come
un volano e un volano pulsata è già stato dimostrato
di produrre energia in eccesso. I
cuscinetti ruota devono essere corse a sfera e non
la varietà chiusa, perché quelli sono pieni di grasso
e hanno una seria resistenza
alla rotazione. Invece, il lato aperto varietà
di cuscinetto deve essere utilizzato mentre
ruotano molto liberamente.
Utilizzo di tubi diritti per l'illustrazione, ciascun tubo potrebbe essere così:

Qui, un disco di legno
è montato a ciascuna estremità di un pezzo di tubo di plastica e tenuto saldamente in posizione con viti o
bulloni che passano attraverso piccoli
fori praticati nel tubo di
plastica e vite nel disco di legno. Un pezzo di spugna spessa è
incollata al disco ad una
estremità e il peso all'interno del tubo non è una buona tenuta
in modo che possa muoversi molto liberamente all'interno del tubo. Quattro di questi tubi sono
montati su ciascun lato di
ciascun disco utilizzato nel dispositivo come mostrato qui:

I quattro tubi collegati sul retro del disco sono 45 gradi di distanza dai tubi montati sulla parte anteriore del disco. Ogni tubo è attaccato saldamente con le cinghie che passano attraverso il disco e sono fissati sul lato lontano. I tubi possono anche essere incollati in atto per rafforzare ulteriormente l'allegato. Queste otto tubi dare un impatto sbilanciato per ogni 45 gradi di rotazione. Se due di questi dischi sono collegati ad un albero comune rotore, quindi il secondo disco può essere posizionato 22,5 gradi intorno dal primo. Tale disposizione conferisce un impatto sbilanciato per ogni 22,5 gradi di rotazione. Se tre dischi sono stati posti su un albero comune rotore e uniformemente posizionato, allora ci sarebbe un impatto sbilanciato ogni 15 gradi di rotazione, che è di 24 impatti per rotazione. A due dischi accordo potrebbe essere simile a questo:

Se il rotore gira bene, allora
varrebbe la pena mentre si collega
una serie di magneti ai dischi, facendo attenzione a tenere ogni disco perfettamente equilibrato. Uno o più aria-core bobine
può quindi essere usato per determinare se la corrente può essere prelevato dal dispositivo senza arrestare la rotazione. Le bobine non dovrebbe avere un nucleo magnetico che causerebbe
una maggiore resistenza alla rotazione se corrente veniva disegnato o meno.

Di recente, il signor Chas Campbell of Australia ha
dimostrato guadagno di energia elettrica con un sistema a volano che ha
sviluppato:

Ma ciò che questo diagramma non indica, è che un
paio di cinghie di trasmissione possono essere eccessivamente molle. Questo
provoca una rapida serie di scatti nell'unità di rete tra il motore e il volano.
Questi si verificano così rapidamente che non appaiono evidenti quando si
guarda il sistema operativo. Tuttavia, questo flusso di impulsi molto brevi
nella catena di trasmissione, genera una notevole quantità di energia in
eccesso disegnata dal campo gravitazionale. Chas ha ora confermato l'energia in
eccesso ottenendo il volano alla velocità e quindi l'ingresso di commutazione
motore al generatore di uscita. Il risultato è un autoalimentato sistema in
grado di eseguire carichi aggiuntivi.
Lasciate che vi spieghi il sistema nel suo complesso. Un motore di
alimentazione della capacità di 750 watt (1 CV) viene utilizzato per pilotare
una serie di cinghie e pulegge che formano un ingranaggio del treno che produce
il doppio della velocità di rotazione all'albero di un generatore elettrico. La
cosa interessante di questo sistema è che una maggiore potenza elettrica può
essere prelevato dal generatore di potenza che sembra trarre dall'unità di
ingresso al motore. Come può essere? Ebbene, teoria gravità Mr Tseung spiega
che se un impulso di energia viene applicato ad un volano, poi durante
l'istante di tale impulso, l'energia in eccesso pari a 2mgr viene alimentato nel volano, dove "m" è la massa (peso) del volano , "g" è la costante gravitazionale e "r" è il raggio del centro di massa del volano, che è, la
distanza dal perno al punto in cui il peso della ruota sembra agire. Se tutto
il peso del volano è al cerchio della ruota, la "r" sarebbe il raggio
della ruota stessa.
Ciò significa che se il volano (che è rosso nelle fotografie seguenti) è
azionato agevolmente a velocità costante, allora non c'è guadagno di energia.
Tuttavia, se l'unità non è liscia, quindi l'energia in eccesso viene prelevata
dal campo gravitazionale. Che l'energia aumenta il diametro aumenta volano.
Aumenta anche il peso degli aumenti volano. Aumenta anche se il peso del volano
è concentrato fino verso il bordo del volano come è possibile. Inoltre aumenta,
più velocemente gli impulsi sono applicati al sistema.
Tuttavia, Jacob Bitsadze rileva che
un altro meccanismo entra in gioco, anche se tutte le cinghie sono ben tesa.
L'effetto è causato dall'accelerazione perpetua verso l'interno del materiale
del volano dovuto al fatto che ruoti in una posizione fissa. Egli si riferisce
ad esso come 'la regola della spalla di Archimede', che non è qualcosa che mi è
familiare. Il punto importante è che il sistema di Chas Campbell è
autoalimentato e può apparecchiature altro potere.
Ora date un'occhiata alla costruzione che Chas ha utilizzato:

Si nota che non solo ha un pesante volano di
dimensioni discrete, ma che ci sono altre tre o quattro dischi di grande
diametro montato cui ruotano anche alle velocità intermedie di rotazione.
Mentre questi dischi possono non sarebbero stati posti come volani, comunque,
esse agiscono come volani, e ognuno di essi sarà contribuiscono al guadagno di
energia libera del sistema nel suo complesso. Un video replica con ingresso 750
watt e 2340 watt di uscita è qui: http://www.youtube.com/watch?v=98aiISB2DNw
e questa implementazione non sembra avere un volano pesante, come si può vedere
da questa foto, anche se il grande puleggia sembra come se contiene un peso
considerevole:

Nel
1998, Jacob ha
presentato una domanda di brevetto per un progetto del tipo mostrato da Chas Campbell. Jacob
ha analizzato il funzionamento e che richiama l'attenzione su un elemento chiave di design:

Jacob afferma che una
caratteristica molto importante per elevate prestazioni
con un sistema di questo tipo è il rapporto dei diametri di guida e di decollo pulegge
sull'albero che contiene il volano, soprattutto con sistemi in cui il volano ruota ad alta velocità. La puleggia di guida deve essere tre
o quattro volte più
grande della presa di forza puleggia.
Utilizzando 1430 Chas
'rpm del motore e un generatore comunemente
disponibile 1500 rpm, l'00:09 intensificare all'albero del volano dà
una velocità soddisfacente generatore
3,27 fornendo un rapporto
tra il diametro di 9 pollici puleggia motrice e l'2,75 "diametro
presa di forza puleggia. Se un generatore che è
stato progettato per wind-generatore uso e che
ha il suo picco di potenza
di uscita a soli 600
rpm viene utilizzato, quindi una ancora migliore rapporto diametro puleggia può essere raggiunto.
Nel 1998, lo spagnolo brevetto ES 2.119.690 è stato
concesso a José Luis García del Castillo.
Ho il sospetto che i generatori ausiliari indicati nel brevetto sono lì
solo per ottenere il brevetto accettato dalla esaminatore dei brevetti,
piuttosto che perché sono effettivamente necessari. Se questo è corretto, allora il disegno è
quasi lo stesso disegno di Chas Campbell, sebbene costruita in una forma più
compatta:

Come sottolinea
Jacob Byzehr, un guadagno di energia è ottenuta attraverso l'accelerazione
inerziale causata dalla presenza della puleggia "A" attaccato
all'albero volano, maggiore della puleggia "B" attaccato all'albero
del generatore. Come disegnato, vi è una
grande differenza di tali diametri. Ecco un tentativo di traduzione del
brevetto:
Brevetto:
ES 2119690 Data: 1 Ottobre 1998 Ideatore: José Luis
García del Castillo
AUTONOMA SISTEMA ENERGETICO
RIGENERAZIONE

Astratto
Il sistema comprende un motore elettrico (1), un generatore principale (2), generatori ausiliari (3), una batteria (4), un regolatore di carica (5),
e un regolatore di velocità (6). Il
sistema è destinato a generare la propria potenza di funzionamento, e di
fornire un apporto supplementare per altri scopi.
DESCRIZIONE
Campo dell'invenzione
La presente invenzione si riferisce ad un sistema
autonomo di recupero dell'energia, che in aggiunta ha diversi vantaggi
illustrati di seguito.
Sfondo dell'invenzione
E 'noto da molti anni , come costruire macchine
che possono generare corrente elettrica.
Questi sono noti con il nome generico di "generatori di energia
elettrica", costituite da una macchina rotante che trasforma l'energia
meccanica in energia elettrica a seguito di un'azione alternativa tra un campo
magnetico e un conduttore mobile.
Tuttavia, i vari tipi di generatore che compongono
lo stato attuale della tecnica, richiedono l'aiuto di un motore, che trasforma
l'energia meccanica in energia elettrica, e che il motore richiede una sorgente
di alimentazione autonoma che deve essere erogata continuamente.
Così, un sistema in grado di generare un proprio
alimentatore, oltre a fornire un alimentatore supplementare per altri scopi,
non è noto allo stato attuale della tecnica.
Sommario dell'invenzione
Il richiedente del presente brevetto ha progettato
un sistema di rigenerazione di energia indipendente, in grado di produrre la
propria energia operativo oltre a generare un surplus che può essere utilizzato
in reti elettriche utilizzando convertitori di tensione necessari per qualsiasi
impianto elettrico, sia in abitazioni, uffici, magazzini ecc., con esso è
possibile raggiungere luoghi dove è difficile installare la rete elettrica,
consentendo il suo utilizzo come fonte alternativa di energia diversa da
energia solare o eolica.
Altre applicazioni sarebbero in campo
automobilistico, come fonte di energia per i motocicli, autoveicoli, ecc
collegando il sistema al motore di propulsione, e ottenendo così il moto
necessario del veicolo.
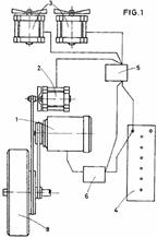
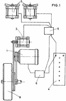
Nel complesso, il sistema è costituito dai seguenti componenti di base:
1. Un motore elettrico di trazione.
2. Un generatore principale.
3. I vari generatori ausiliari.
4. Una batteria o accumulatore.
5. Un carico e il controller uscita di potenza.
6. Un regolatore di velocità.
Il motore elettrico fornisce la forza
elettromotrice necessaria necessaria per il sistema di funzionare, il
generatore alimenta il sistema, caricare la batteria e l'alimentazione diretta
al motore di trazione quando necessario, o se la batteria è completamente
carica, quindi solo al potere il motore. Si può andare di fornire potenza meccanica
diretta mediante pulegge e cinghie, ingranaggi o qualsiasi altro mezzo.
I generatori ausiliari sono responsabili per
fornire alimentazione di backup e può utilizzare eliche o essere sotto forma di
una turbina funzionanti mediante l'azione del vento o da ingranaggi collegati
ad un volano posto nel motore di trazione.
La funzione della batteria è di fornire la potenza
necessaria per avviare il motore e, inoltre, a fornire alimentazione
supplementare che il motore può avere bisogno durante il funzionamento. La batteria viene ricaricata dal generatore
principale che è azionato direttamente dal motore. La funzione del regolatore di carica è quello
di evitare che la batteria diventa sovraccarica. La funzione del regolatore di velocità è di
controllare la velocità del motore di azionamento.
La presente invenzione offre i vantaggi sopra
descritti, nonché altri che saranno compresi dall'esempio forma di
realizzazione del sistema descritto in dettaglio nel seguito, per facilitare la
comprensione delle caratteristiche sopra menzionate, e introducendo allo stesso
tempo, varie oltre alla presente specifica. Si dovrebbe comprendere che i disegni sono
solo a titolo di esempio e non limitano l'ambito della presente invenzione in
alcun modo, essendo solo un esempio di una forma di costruzione.
Breve descrizione dei
disegni
Nei disegni:
Fig.1, è uno schema
del sistema come un esempio di una forma di realizzazione pratica del trovato.

Fig.2 mostra una realizzazione alternativa della presente invenzione.

Descrizione di una forma di
realizzazione preferita della presente invenzione
Come mostrato nel disegno, il sistema autonomo di rigenerazione di energia,
in accordo con una realizzazione del presente brevetto, comprende un motore
elettrico di trazione (1), un
generatore principale (2), più
generatori ausiliari (3), una
batteria o accumulatore (4), un
regolatore di carica e alimentatore (5),
e un regolatore di velocità del motore (6).

Il motore elettrico (1) fornisce la forza elettromotrice
necessaria per il funzionamento del sistema, e la sua tensione e potenza
vengono selezionati in conformità con qualsiasi dimensione di sistema si vuole
costruire.
Il generatore principale (2) alimenta il sistema, in primo luogo,
per ricaricare la batteria (4), e in
secondo luogo, il potere diretto al motore (1) se la richiede. Quando la
batteria (4) è completamente carica,
la carica è mantenuto dalla potenza dal motore, fornito da apposite pulegge o
altro metodo di trasmissione di potenza meccanica.
La velocità di rotazione del generatore
deve essere organizzato attraverso scelta del rotismo tra il motore e il
generatore, in modo che quando il motore sta funzionando a velocità massima e
che tragga corrente massima, che il generatore gira abbastanza veloce per
fornire corrente che. Il generatore
principale (2) sarà quindi collegato
elettricamente alla batteria (4) e
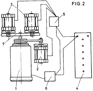
meccanicamente al motore (1). I generatori ausiliari (3), sono sotto forma di una turbina, che opera in azione del vento
o da ingranaggi collegati ad un volano (7),
azionata dal motore (1), come
mostrato in Fig.2. Questi generatori ausiliari (3) forniscono energia di riserva per il
sistema.
La batteria (4), devono avere una capacità che supera la potenza massima del
motore (1), e il suo ruolo nel
sistema è di fornire la potenza necessaria per avviare il motore (1), e di fornire alcuna energia
supplementare che l' motore (1), può
avere bisogno durante il funzionamento. La
batteria viene ricaricata direttamente dal generatore principale (2) che è azionato dal motore (1).
Il regolatore di carica e distributore
di corrente (5) è posizionato tra il
generatore principale (2), i
generatori ausiliari (3) e la
batteria (4). Il suo compito è quello di regolare
l'assorbimento di corrente dalla batteria (4),
per evitare un eccessivo assorbimento di corrente. Distribuisce inoltre qualsiasi surplus di
potenza come alimentazione diretta al generatore (2) e il motore di azionamento (1)
quando è necessario corrente aggiuntiva. I generatori ausiliari (3) possono sia fornire potenza supplementare al motore (1), o la loro potenza possono essere
utilizzati per qualsiasi altra necessità di potenza.
Il regolatore di velocità (6), è destinato a regolare la velocità
del motore (1), questa regolazione è
graduale, ed è regolata per corrispondere alla destinazione d'uso del sistema .
Applicazioni di sistema possono essere
molteplici e diversi, tra i quali sono degni di nota impieghi nel settore
automobilistico, dove può essere utilizzato come mezzo per la propulsione di
automobili e altri veicoli a motore, con il motore (1) collegato ad una ruota motrice che muove il veicolo. In queste applicazioni, i generatori
ausiliari (3) , possono essere
dotati di eliche o essere sagomate a turbina, in modo che il vento che passa
fornisce energia supplementare al sistema elettrico. Con i veicoli elettrici, solo il generatore
principale è collegata ad una ruota motrice.
Altre applicazioni di questo sistema
sono nel campo della fornitura di energia, cioè in reti elettriche. Il vantaggio di questo sistema brevettato è
che l'alimentazione è praticamente inesauribile e pulita, e soggetti solo
componente usura e rottura durante il funzionamento.
Il suo funzionamento è il seguente:
Batteria (4) fornisce l'energia necessaria per avviare il motore (1), e prevede la possibilità di una
maggiore ingresso elettrico essendo necessario in certi momenti durante il
funzionamento del sistema. La batteria (4) è collegato elettricamente al motore
(1) attraverso il regolatore di
velocità (6), che è alimentato dal
generatore principale (2) dal
controllore distribuzione del carico (5).
Il generatore (2), viene azionato direttamente dal motore (1), e la trasmissione del moto da un componente all'altro è
attraverso ingranaggi, cinghie e pulegge, o altri mezzi convenzionali.
I generatori ausiliari (3) sono collegati elettricamente al
regolatore di carica (5), e la
batteria (4), e il loro movimento
dal vento genera la propria energia, con pale di turbine o eliche, o attraverso
essere filata dal volano (7) che è
collegato direttamente al motore (1).
L' energia prodotta da tali generatori
ausiliari (3) può essere usato per
caricare altre batterie per un uso successivo, o utilizzato direttamente per
alimentare altre apparecchiature elettriche o installazione reti elettriche. Attraverso convertitori di tensione è
possibile convertire la tensione prodotta dal sistema ad una tensione che è
adatto per l'uso in altre apparecchiature.
Mr. Wilson del Texas ha costruito un sistema di auto-alimentato generatore utilizzando un
vecchio tavolo e alcune parti di
automobili. La sua costruzione
era traballante, ma nonostante
ciò, si è alimentato
e altre attrezzature. La tabella che ha usato era di 1,5
m di diametro e 50 mm di spessore il che significa che avrà pesato almeno 60 Kg,
che è una quantità notevole, ben superiore a quella utilizzata da Chas Campbell con il
suo CA autoalimentato sistema. In questa costruzione CC il sistema è stato guidato
da una norma, non modificata,
off-the-shelf motore CC alimentato da due batterie
per auto collegati in parallelo per
dare una maggiore capacità di
corrente. Queste batterie sono state mantenute in carica da due "generatori" di pre-1964 auto americane (il più vicino oggi
disponibili sono alternatori a magneti
permanenti). Questi generatori anche
alimentato apparecchiature aggiuntive e il signor Wilson ha
sottolineato che tre o più
generatori potrebbe essere gestito dal sistema, dando un
sostanziale livello di eccesso di potenza elettrica.
La macchina deve essere
descritto come 'traballante' perché ha scelto di convertire il piano del tavolo in
una V-puleggia cinghia volano guidando
una serie di chiodi nel bordo del disco di legno, con quelle unghie angolate per formare un vuoto a
forma di V attraverso la quale ha
corso una puleggia. Dopo tre giorni di funzionamento continuo,
quelle unghie ha iniziato a venire fuori, costringendolo al potere
il sistema. Questa unità è stata costruita intorno al 1990, e se qualcuno decide di tentare una replica, allora
suggerisco che il bordo del disco
di legno è scanalata per prendere
la cintura piuttosto che fare affidamento sulle unghie. La disposizione era così:

C'era anche un tendicinghia rullo che non è mostrato nel diagramma di sopra del quale si presume che il volano è scanalata per
prendere la cinghia di trasmissione. Schematicamente, la disposizione era così:

Qui, l'uscita aggiuntivo può essere utilizzato direttamente per l'alimentazione a 12 volt apparecchiatura o un inverter può essere utilizzato per fornire tensione e la
frequenza. Un inverter tipico
assomiglia a questo:

La batteria è collegata ad una estremità mediante
cavi spessi di condurre la
corrente pesante, e una o più prese di rete
vengono forniti all'altra
estremità del caso, insieme con un On
/ Off interruttore
indicatori e potenza. Gli inverter sono disponibili in varie dimensioni e potenze, in genere vanno da 150
watt a 3000 watt (3
kW). Quelli più costosi sono specificati come "True Sine-Wave Output", ma ben pochi elementi attuali
di attrezzature non funziona bene sulle versioni più
economiche che non producono
una vera uscita sinusoidale.
Signor Wilson ha deciso di non brevettare il suo progetto e invece voluto che fosse open-source le informazioni per chiunque di utilizzare liberamente.
Tuttavia, il brevetto Jesse McQueen mostrato
nel capitolo 13 sembra essere disegno signor Wilson,
anche se il volano non sembra essere menzionati qui. Va
sottolineato che l'uscita del generatore deve essere alta e così tipi magnete permanente sono considerati essenziali per questa applicazione.
Il motore specializzato (e di conseguenza, generatore) avvolgimento metodi 'UFOpolitics' illustrato nel capitolo 2, l'aumento di efficienza di un fattore tipicamente 300% o più, e così sarebbe aumentare la potenza di questo sistema molto sostanzialmente
se fossero applicata al motore , o generatori,
o entrambi.
Il
sistema Chas Campbell non è un caso isolato. A pagina 19
Disegno
John ha un motore che fa ruotare il volano e l'albero volano ruota un disco di
alluminio con sei magneti permanenti incorporati in esso. I magneti hanno i
loro poli sud si affacciano sei rotoli avvolti in modo elicoidale di 200
trasforma ogni filo di 0,8 mm di diametro. Le bobine sono collegate in serie,
in modo efficace è una bobina 1.200
John
mostra il suo meccanismo di commutazione come fissaggio meccanico montato, ma
isolato dal motore. Il disco ha un solo settore conduzione di circa 100 gradi
di arco. Questo sarebbe dà impulsi di durata pari ad eccezione

Vorrei sottolineare ancora una
Come
descritto più dettagliatamente nel Capitolo 2 e Capitolo 8,
vi è un dispositivo molto semplice, basata su un
potente pompa dell'acqua. In
questo sistema, una piccola quantità di
acqua viene pompato in continuo, nello stesso stile generale come una fontana ornamentale. La differenza qui è che un getto di acqua ad
alta velocità viene prodotto e diretto ad una
ruota di turbina. La turbina
può essere di qualsiasi tipo,
come indicato nel brevetto che James è stato assegnato per questo motivo. Nel
video attualmente sul web,
la ruota di acqua è di design molto semplice e funziona ancora bene -
si è mostrato qui:

Piccoli dischi sono attaccati alla ruota a intervalli molto distanziati intorno è cerchione. Il getto d'acqua colpisce questi e si
applica un impulso alla ruota,
di guida in giro,
ma anche l'energia in eccesso attraverso quegli impulsi.
La ruota idraulica è accoppiato ad un generatore di corrente standard tramite pulegge e cinghie trapezoidali. Il sistema viene avviato con l'alimentazione di rete e poi, quando è in funzione a pieno regime, l'alimentazione elettrica per la pompa viene commutato dalla rete con l'uscita del suo generatore.
Questo è esattamente
lo stesso Chas Campbell fa con i suoi impulsi volano
ed entrambi i sistemi sono
in grado di alimentare ulteriore apparecchiatura standard elettrico destinato all'uso rete.
Chas Campbell volano,
John Bedini volano
e il getto d'acqua generatore di tutto dimostrare
molto chiaramente che l'energia ambientale è prontamente disponibile per noi da usare ogni volta che scegliamo di farlo. Tutto ciò che è necessario è per noi costruire uno
di questi dispositivi.
L'unità di James Hardy si basa sulla
Il design si basa su principi ben noti e non assomiglia al pompaggio
di una grande quantità di energia nel dispositivo. Invece, stiamo esaminando
una versione semplificata e migliorata
Ciò che deve essere compreso molto chiaramente è che si tratta di un
motore di
Inizialmente, è necessario avviare il dispositivo con una pompa
dell'acqua da 500 watt, ma quando la rotazione raggiunge i 60 giri / min il
dispositivo non ha più bisogno della pompa dell'acqua, anche se può essere
lasciato in funzione se lo si desidera. A 60 giri al minuto, la pressione
all'interno
A grandi linee, il design è così:

La maggior parte dei generatori richiede di essere centrifugata a
3000 giri / min o leggermente più veloce. Tale velocità può essere raggiunta
dall'ingranaggio della cinghia tra l'albero di uscita e l'albero di ingresso

Tuttavia, la

La versione con piastra curva è teoricamente più efficiente, ma la differenza è talmente ridotta che generalmente vengono utilizzate piastre piatte. Permettetemi di sottolineare che questo dispositivo è effettivamente un motore senza carburante con una potenza notevole e può alimentare veicoli in movimento o far funzionare un generatore elettrico. Può essere costruito in diverse configurazioni.

Il settembre 1989 domanda di brevetto da parte di 25 Donnie C. Watts
descrive il funzionamento
DESCRIZIONE E PARTICOLARI
DI LAVORO
CENTRIFUGA AMPLIFICAZIONE
ENERGIA E CONVERSIONE UNITA
Descrizione di Unità
Il gruppo è costituito da due lastre di acciaio circolari un ottavo
di un pollice di spessore e quattro piedi o più grandi di diametro, formante
l'esterno di una ruota. Queste piastre
sono posizionati sei pollici a parte su un asse cavo tre pollici di
diametro. Tra queste due piastre sono
quattro pezzi a forma di V di lamiera distanziati appunto per formare raggi sei
pollici che dirigeranno acqua fori
1. L'acqua uscendo getti sarebbe andare più velocemente di ingresso
dell'acqua ruota che comporterebbe alcuna pressione vicino al bordo esterno,
pressione che è essenziale per il funzionamento
2. L'acqua che entra la ruota deve andare immediatamente in una pozza d'acqua. Più lungo rimane un flusso di acqua invece di una pozza di acqua, più energia viene sprecata.
Poiché l'acqua di essere espulso attraverso i getti esterni è sempre inferiore alla quantità di acqua disponibile ai getti, un accumulo di pressione si verifica vicino al bordo esterno. Un getto di rilascio di pressione a molla (non mostrata) deve essere integrato nel bordo esterno insieme con gli altri getti, ma orientato nella direzione opposta per mantenere la ruota dal over-spinning se il carico (generatore) cade o non prende sufficiente alimentazione per mantenere costante la velocità della ruota. Ci sono molti altri modi per controllare la velocità.
L'asse centrale è progettato per avere acqua andando in una
estremità di esso, e un generatore elettrico attaccato all'altra estremità di
esso. Tra l'ingresso di acqua e il generatore, molto vicino alla ruota stessa,
sarebbe cuscinetti a rulli oa sfere molto robusti riposo, e saldamente fissato
ad un quadro che terrà un piede ruote dal pavimento. L'acqua è forzata nel
ponte tramite una pompa a bassa
L'intera unità (a seconda dell'applicazione) può essere messo in un guscio di contenimento che può essere pressurizzato o evacuata dell'aria. Se l'unità deve funzionare in un campo aperto, il guscio esterno può essere pressurizzato e la pompa di partenza rimosso o spento quando il motore è in funzione da solo. Se l'unità deve funzionare in un garage o vicino ad una casa, sarebbe essere azionato a pressione atmosferica o sotto vuoto, nel qual caso è necessario lasciare la pompa collegata e funzionante in modo che le bolle d'aria non formano vicino al centro asse.
Inoltre, il guscio di contenimento deve essere in grado di raccogliere circa dieci pollici di liquido sul fondo, in attesa di essere riciclati attraverso la ruota.
Note importanti che riguardano la CEACU:
1. La curva di velocità e la
Il motore CEACU non genera più energia che viene messo in esso prima
che raggiunga 60 a 100 rpm, a seconda
2. Come velocità aumenta, bolle d'aria che si verificano nel fluido di lavoro si accumulano nelle sacche d'aria. Le sacche d'aria servono solo a mantenere la pressione costante e invia un leggera pressione convincente che è multi-direzionale invece di centrifuga, causando una pressione costante per i getti. Non è solo possibile o probabile che l'unità sarebbe soffiare si distingue per il suo proprio potere (se la pressione non sono stati rilasciati ad un certo punto o il potere tolto); sembra essere un fatto. Pressione d'aria si accumula nelle sacche d'aria all'interno della ruota solo dopo la ruota sta 60 rpm o superiore.
3. L'aria pressurizzata nel bordo esterno della ruota è essenziale perché spinge in tutte le direzioni, mentre l'acqua spinge in una sola direzione. In altre parole, l'acqua centrifuga forzata non è interessato a trovare la sua strada attraverso i getti, è interessato solo premendo direttamente contro il bordo esterno. L'acqua mantiene l'aria in luogo allo stesso tempo che l'aria costringe l'acqua attraverso i getti, e l'acqua che scende dal perno mantiene sostituzione dell'acqua espulsa. Questo è il motivo per cui continuo a dire più e più volte, "Make it abbastanza grande, lo rendono abbastanza grande". Altrimenti sarebbe più praticabile che una piccola diga.
4. Affinché questo motore funzioni correttamente, l'acqua che scende i raggi non deve essere limitato in alcun modo fino a raggiungere il bordo esterno. Questo è il motivo per cui abbiamo raggi sei pollici. L'appoggio acqua contro il bordo esterno non può essere muoveva rapidamente; vogliamo che l'acqua seduta ancora come possibile sotto il più pressione possibile.
5. Ci sono due fattori primari che non devono essere alterati nella progettazione di questa ruota, altrimenti non funzionerà:
A. I raggi devono essere molto grandi e senza restrizioni, perché il liquido in generale tende ad aggrapparsi a qualsiasi cosa che si avvicina.
B. La velocità di rotazione della ruota è essenziale per la forza centrifuga necessaria per aumentare la pressione in prossimità del bordo esterno, e per questo motivo i getti del bordo esterno deve essere piccolo diametro e in grandi numeri in modo che la concentrazione è su accelerare anziché sul volume (ma non superare il 66% dell'acqua che può inserire perno centrale).
6. Per quanto riguarda il fluido di lavoro: Sebbene sia stato qui
definito "acqua", il fluido di lavoro può essere qualsiasi tipo di
fluido di trasmissione, olio, fluido idraulico, ecc, tenendo presente che il
fluido di lavoro deve anche fungere lubrificante per i cuscinetti che
dovrebbero durare per dieci a venti anni. Vi consiglio di regolare fluido di
trasmissione off-the-shelf, che ho visto usare da solo in un motore di
automobile, con risultati di lubrificazione
Le principali differenze funzionali tra, CEACU e sbarramento di un fiume sono: Noi creiamo la nostra "gravità" e pre-determinare la quantità di che la gravità in due modi invece di uno solo. La gravità in una diga può essere aumentata solo con la costruzione della diga più grande; il motore CEACU può anche aumentare la gravità di lavoro, aumentando il numero di giri. Questo viene fatto aggiungendo più getti, fino al punto in cui viene espulso 66% dell'acqua in ingresso. Per utilizzare più dell'acqua disponibile di questo causerebbe troppa turbolenza dell'acqua all'interno della ruota. Ma tenere a mente che c'è sempre un sacco di pressione all'interno della ruota per fare il lavoro è progettato per, sempre che sia lasciare correre ad una velocità sufficientemente alta da mantenere la pressione nel bordo esterno molto elevato - esattamente nello stesso senso che non si tenta di decollare in auto fino a quando il motore sta andando ad alto numero di giri sufficiente per gestire l'applicazione del carico.


-------------------
L'unica parte difficile questo motivo sembra essere il giunto di
slittamento in cui un tubo di acqua stazionaria viene unito ad un tubo
dell'acqua rotante. Mentre ci sono familiari con rotazione irrigatori che
ruotano utilizzando esattamente gli stessi principi questo motore Donnie Watts,
vale a dire impulso all'azione

il punto chiave è che la velocità di rotazione è bassa. Ciò è
Ricercando i vari accoppiamenti sul mercato, la velocità di
rotazione indicata è tipicamente pari a 400 giri / min o meno, il che potrebbe
essere il motivo per cui Donnie cita una dimensione del tamburo del rotore così
grande e un tubo di alimentazione del diametro di 3 pollici (asse). Gli
accoppiamenti adatti potrebbero essere https://www.alibaba.com/product-detail/50A-npt-male-thread-brass-water_2009800594.html
o
https://www.alibaba.com/product-detail/Mechanical-brass-fitting-3-4-2_60520780545.html
con capacità di 2000 giri/min:

Costruire
il Generatore di Donnie Watts
Esistono molti
modi diversi per costruire un generatore Donnie Watts. Il metodo mostrato qui è
semplicemente un metodo conveniente di costruzione che utilizza acciaio dolce
da 3 mm (1/8 di pollice) e una saldatrice. Il diametro

Quindi saldare
otto rettangoli di acciaio largo 150 mm (6 pollici) come questo:

Queste strisce
devono convogliare l'acqua (o altro fluido) mentre passa attraverso il tamburo
quando il generatore è in funzione. Tra queste piastre e il bordo
La profondità di
150 mm delle piastre consente il gioco per il secondo disco da saldare in
posizione per formare un tamburo. Visto di lato, sembra questo:

E poi il bordo
esterno

Se non hai mai
costruito nulla in acciaio, ti assicuro che non è una cosa difficile da fare, e
sì, ho costruito in acciaio, iniziando come un principiante assoluto. Tuttavia,
mentre l'acciaio dolce è facile da lavorare e saldare, l'acciaio inossidabile è
molto, molto più difficile, quindi evita l'acciaio inossidabile. I pezzi di
acciaio vengono tagliati e modellati usando una smerigliatrice angolare come
questa:

E mentre
l'immagine mostra una maniglia che sporge dal lato
Se si sta per
perforare l'acciaio, è necessario un trapano alimentato dalla rete poiché i

Con il trapano
mostrato sopra, l'impugnatura si aggancia all'anello appena dietro il mandrino
e può essere regolato in qualsiasi angolazione. I pezzi di acciaio vengono
uniti mediante saldatura. Alcuni saldatori sono piuttosto economici. La maggior
parte dei tipi può essere assunta per un giorno o mezza giornata. È anche
possibile modellare i pezzi e fare in modo che un laboratorio locale di
produzione di acciaio li saldi insieme per voi e fare un buon giunto saldato richiede
solo un secondo o due. La cosa veramente vitale è non guardare mai una
saldatura fatta a meno che non si indossi una visiera o un occhiale per
saldatura, in quanto si può danneggiare la vista guardando un arco di saldatura
senza protezione.
Se decidi di
acquistare un saldatore, assicurati di averne uno che funzioni sulla rete
elettrica della tua casa, altrimenti devi aggiornare il cablaggio della tua
casa per portare la corrente più alta. Questo saldatore sarebbe adatto, e all'inizio

Con questo
"saldatore a bastone", il morsetto d'argento sulla destra è attaccato
al metallo da saldare e un'asta di saldatura rivestita di 2,3 mm di diametro
posta nel morsetto nero a sinistra. Il bastone viene quindi applicato all'area
di saldatura e il rivestimento sull'asta di saldatura diventa una nube di gas,
che protegge il metallo caldo dall'ossigeno presente nell'aria. Quando la
saldatura si è raffreddata, potrebbe esserci uno strato di ossido sulla parte
esterna
Tuttavia,
l'equipaggiamento più importante per chi fa lavori di saldatura è un casco
protettivo. Esistono molti design differenti e costi molto diversi. Molti
saldatori professionisti scelgono uno dei tipi più economici che assomiglia a
questo:

Questo tipo ha
uno schermo di vetro trasparente e un filtro di sicurezza provvisto di cardini
per consentire la saldatura sicura. I professionisti regolano la tensione della
cerniera in modo tale che il filtro possa rimanere in posizione sollevata. Il
saldatore quindi posiziona i pezzi di giunzione nella loro posizione
esattamente corretta mentre guarda attraverso il vetro piano, e quando è pronto
per iniziare la saldatura, annuisce semplicemente la testa che fa cadere il
filtro e inizia la saldatura. Mai e poi mai provare a saldare senza un'adeguata
protezione per gli occhi.
La saldatura è
facile da imparare ed è un metodo brillante di costruzione ... ma ha un grosso
problema. Quando un giunto viene fatto i due pezzi di acciaio si fondono e si
fondono insieme. Questo può accadere in un decimo di secondo. Non mettere il
dito sul giunto per vedere se è ancora caldo, se lo è, allora si otterrà una
bruciatura dolorosa e questo dovrebbe ricordarti di non farlo di nuovo. Quel
calore è il problema, perché quando l'acciaio si scalda si espande e quando si
raffredda si contrae. Ciò significa che se si dovesse montare un pezzo di
acciaio esattamente ad angolo retto e saldare i pezzi insieme, mentre il giunto
si raffredda, si contrae e tira fuori il giunto dall'allineamento:

Per favore, non
immaginare di poter semplicemente riportare il pezzo verticale in posizione
perché ciò non accadrà perché l'articolazione è istantaneamente molto, molto
forte. Invece, si usano due saldature veloci di uguali dimensioni, con il
secondo di 180 gradi opposto al primo:

Poi, man mano
che le saldature si raffreddano, tirano in direzioni opposte e mentre producono
dei tensioni nel metallo, il pezzo verticale rimane verticale. Lasciare che le
saldature si raffreddino nel loro momento giusto, impiegando forse dieci minuti
per raffreddarsi correttamente. Non
applicare acqua alle saldature per accelerare il raffreddamento in quanto
ciò altera effettivamente la struttura dell'acciaio e davvero non si vuole
farlo.
Il metallo può
essere tagliato abbastanza facilmente usando una lama da taglio nella
smerigliatrice angolare, ma assicurati di installare la lama in modo che ruoti
nella direzione indicata sulla lama. È probabile che la lama assomigli a
questo:

Durante il
taglio o la levigatura indossare sempre occhiali protettivi per assicurarsi di
non avere un frammento di metallo nei tuoi occhi - gli occhi non sono facilmente
sostituibili !! Se si ottiene un piccolo frammento di acciaio nei tuoi occhi,
ricorda che l'acciaio è altamente magnetico e quindi un magnete può aiutare a
ottenere il frammento con il minimo di danni, tuttavia è molto più facile
indossare gli occhiali e non avere il problema in primo luogo.
Il tamburo
Donnie Watts gira su un asse e quindi ha bisogno di un cuscinetto sul tubo
dell'asse che lo supporta. Il flusso di liquido attraverso il tamburo sarà
notevole e quindi Donnie consiglia un tubo di 75 mm (3 pollici) di diametro
come asse. Può sembrare eccessivo, ma la realtà è che è piuttosto difficile
forzare il liquido attraverso un tubo perché c'è una contropressione molto
maggiore di quanto ci si aspetterebbe. Quindi se riesci a gestire un tubo da 75
mm, usane uno così grande.
Il prossimo
passo è quello di attaccare la striscia esterna per completare il tamburo di
base. Se sei bravo a piegare l'acciaio di 3 mm di spessore, fallo ma la maggior
parte dei costruttori troverà molto più facile saldare, diciamo, 32 strisce
alte 150 mm, attorno al tamburo (che in realtà rende più facile attaccare gli
ugelli per completare il tamburo in una fase successiva. Qui, assumeremo che il
tamburo sia costruito da un negozio di fabbricazione di acciaio professionale
che può piegare l'acciaio di 3 mm di spessore alla curvatura richiesta, cioè al
diametro

Il bordo esterno
Ora abbiamo
bisogno di collegare gli ugelli attraverso la parete esterna
Vogliamo che il
getto di liquido lasci l'ugello a 25 gradi rispetto alla faccia dell'acciaio.
Vogliamo anche che l'orifizio

Quanti getti?
Suggerirei sedici, ma il numero non è critico. I getti d'acqua sono più
efficaci se colpiscono una superficie vicina, quindi colleghiamo una serie di
piastre deflettrici all'alloggiamento esterno. Quanti piatti deflettori? Suggerirei
sedici o trentadue. Lo schema disegnato da Donnie mostra i bordi superiori
angolati, ma probabilmente è più facile usare solo lastre quadrate, poiché se
si eseguono meno tagli e saldature. Le piastre di alloggiamento devono essere
più larghe di 300 mm rispetto al tamburo e avere 150 mm di luce sopra di esso e
150 + 200 = 350 mm di luce sotto di esso poiché il fondo dell'alloggiamento
funge da pozzetto per il liquido che passa attraverso i getti:


I diaframmi sono
saldati alla piastra posteriore dell'alloggiamento

Le piastre
deflettrici sono saldate ad una delle piastre di alloggiamento rettangolari.
Possono essere saldati a punto solo una

Quando il
tamburo viene messo in posizione sembra che questo:

Non c'è bisogno
di ulteriori alloggi. C'è una pompa necessaria per avviare il sistema e che può
essere montato all'esterno dell'alloggiamento

Mentre l'albero dell'asse può
essere costituito da due parti saldate insieme e saldate al tamburo, suggerisco
che è più pratico saldare il tubo di diametro da 3 pollici in entrata al
tamburo e quindi scegliere un diametro della barra che corrisponda alle
dimensioni necessarie per la ruota della puleggia scelta, quella barra viene
saldata sull'altro lato del tamburo come mostrato sopra. La parte dell'asse a destra
è solida e fornisce l'azionamento al generatore:

L'unico oggetto
non ancora menzionato è il giunto rotante mostrato sopra. Questo accoppiamento
deve essere in grado di ruotare ad alta velocità in quanto la

Questo
connettore girevole ha una corsa a sfera interna e si afferma che può
funzionare in modo soddisfacente a 2000 giri / min:

Un fornitore è:
https://www.alibaba.com/product-detail/50A-npt-male-thread-brass-water_2009800594.html
o
https://www.alibaba.com/product-detail/Mechanical-brass-fitting-3-4-2_60520780545.html
Per far
funzionare il generatore è necessario azionare la pompa e quindi è essenziale
l'accesso alla rete o l'accesso alla batteria e all'inverter. Una volta che il
generatore è in funzione, la pompa può essere alimentata dal generatore. Si afferma
che quando la velocità di rotazione supera un giro
Uno di questi
generatori con un tamburo di soli 250 mm (10") può emettere dieci cavalli
di
Al momento attuale, vi è un breve video su YouTube, che mostra un pendolo che
è attivo nudo per due anni:
http://www.youtube.com/watch?v=SZjNbjhxgt4
e che utilizza sia la gravità e
magnetismo mantenere andando. Il dispositivo è installato in un caso
con pareti trasparenti:

Il pendolo stesso sembra un po 'come un
grazie al suo albero rigido ed i magneti supplementari montati sul peso mazza.
L'immagine qui sopra mostra il pendolo alla fine del
suo spostamento a destra e
l'immagine qui sotto, nella sua
posizione estrema sinistra dondolamento:

Che indica l'oscillazione su una distanza relativamente breve. Montato vicino alla parte superiore del pendolo, vi sono due
bracci snodati che sembrano abbastanza come microfoni, a causa di avere un grande magnete montato sulla loro estremità più interne:

Il dispositivo funziona in questo modo: Il pendolo oscilla a destra e come lo fa, si
solleva un magnete attaccato all'albero pendolo
da un braccio d'argento curvo:

Presumibilmente, il braccio è curvato per evitare le
complicazioni costruttive al perno pendolo che sarebbe
causata da un braccio diritto
montaggio attaccato all'albero pendolo. Il magnete aumento
attaccato al pendolo spinge l'estremità magnete
del bilanciere verso l'alto anche se non si avvicina ad esso.
Il bilanciere viene
utilizzato per sollevare e abbassare
una piastra che ha un magnete montato in esso.
Il sollevamento e l'abbassamento è realizzata avendo due corde attaccate alla fine del bilanciere e le loro altre estremità collegato ai due angoli superiori della piastra mobile:

La piastra scorre in due tacche del corpo di supporto e il movimento
della piastra è relativamente piccola:

Il ribaltamento del braccio di leva della piastra scende giù come il
pendolo avvicina alla piastra.
Questo introduce un
effetto frenante magnetico in cui
è memorizzato alcuni dei momento
del peso pendolo nei campi
magnetici opposti dei magneti pendolo e il magnete piastra.
Questo frena il movimento
del pendolo e dà
una spinta magnetica sulla sua altalena opposto,
sostenendo è giorno oscillare dopo giorno dopo giorno.
Si tratta di una disposizione
intelligente e il dispositivo
di visualizzazione è stato costruito
ad un livello molto elevato di costruzione. Non sembra avere alcuna energia supplementare decollare, ma sembra molto
probabile che l'aria-core batterie
potrebbero essere utilizzati lungo
il percorso di swing per generare energia elettrica. La disposizione appare così
vicino al caricatore pendolo
John Bedini batteria
che può ben essere possibile
utilizzare un pendolo di questo
tipo per caricare le batterie, proprio
come John fa.
Mentre questo sembra un dispositivo molto semplice, è altamente probabile che esso richiede una precisa regolazione della lunghezza dei bracci
di leva, le dimensioni traferro in rapporto
alla forza dei magneti, ecc
ecc aggiustamenti ripetuti piccoli sono probabilmente necessari per Prendi il dispositivo funziona senza difficoltà e
sostenere l'oscillazione del pendolo.
Nel complesso, però, si tratta di un
dispositivo molto interessante.
Veniamo ora ad un dispositivo che mi piacerebbe
descrivere come "impossibile", ma a malincuore, non posso davvero
farlo. A prima vista, questo dispositivo ha tutta l'aria di essere impossibile,
eppure è stata misurata in un laboratorio come 147% efficiente. Forse le misure
di laboratorio sono sbagliate, però, sembra che ci sia ben poco spazio per
l'errore di misura, il dispositivo è quindi fondamentalmente semplice. Il mio
problema è che, se i risultati sono al 100% genuino, che è decisamente
possibile, poi una serie di questi disposti in cerchio, ognuno di questi aziona
il prossimo, sarebbe creare una periferica autoalimentata e non riesco a spiegare
dove la guida potere sarebbe venuto da. Riesco a capire quasi ogni altro
dispositivo in questo eBook, ma questo mi ha perplesso. Poiché non ho alcuna
base per la rivendicazione di essere un genio, sto condividendo le informazioni
qui e vi permetterà di decidere se può funzionare come il brevetto afferma che
lo fa.
Il brevetto in questione è il più innocente degli Stati Uniti 7.780.559 dal
titolo "Trasmissione a catena", in cui si afferma candidamente che si
tratta di un unico sistema a catena per la rotazione di una ruota dentata di
grandi dimensioni con la stessa velocità, come una più piccola, di guida ruota
dentata, e senza dubbio, questo è esattamente quello che fa. A questo punto, i
miei salti di formazione in ingegneria e dice: "certo, ma l'efficienza
meccanica complessiva sarà inferiore al 100% e mentre la ruota dentata più
grande gira alla stessa velocità, lo farà molto meno potente, e si ha
esattamente la stesso effetto come guidare il secondo albero con una piccola
ruota dentata che ha una ruota dentata grande imbullonato ad esso.
L'unico problema è che la sperimentazione sembra mostrare che questo non è il
caso e infatti, (probabilmente a causa del braccio di leva maggiore del raggio
maggiore ruota dentata) la disposizione ha una potenza che è stata misurata nel
prototipo come 47 % maggiore della potenza in ingresso. OK, quindi come
funziona?
Nello schema mostrato qui, un piccolo diametro ruota motrice marcato
"1" ha esattamente lo stesso numero di denti della ruota condotta
molto più grande "2". Quanto legati da una catena, queste due ruote
ruotano esattamente alla stessa velocità, cioè i giri al minuto sono
esattamente gli stessi per ciascuna di tali due ruote.

Il modo in cui la catena riesce a spingere i denti più grandi della
ruota grande è di avere il rullo di azionamento "5"
sollevata da un collegamento triangolare "4" in modo che abbia lo stesso passo di rotazione, come i denti
della ruota grande.


La mia reazione immediata
a questo è da dire che come collegamenti triangolari nella catena di
trasmissione hanno una base un po' più ristretta rispetto loro altezza, che
questo causerà il rullo motore "5" per avere un'unità meno potente
rispetto la ruota motrice "1". Ma se le
misurazioni di laboratorio effettuate
sul prototipo sono corrette, allora aumento dell'effetto braccio di leva non è
sufficiente per superare i guadagni causati dal raggio maggiore
della ruota più grande. Le misurazioni di laboratorio sono state effettuate presso il laboratorio
certificato dell'Istituto di Macchine ed Azionamenti Elettrici del
Politecnico di Wroclaw, in Polonia. Un video di presentazione in lingua polacca può essere visto http://www.focus.pl/video/film/perpetuum-mobile/.
È difficile vedere come questa catena di trasmissione potrebbe essere COP> 1 ma ha il
vantaggio che chiunque con buone capacità di costruzione meccaniche può testare senza la necessità di alcuna conoscenza di elettronica.
Siamo tutti familiarità con gli effetti della
gravità. Se si lascia cadere qualcosa, cade verso il basso. Gli ingegneri e gli
scienziati di solito sono del parere che il lavoro utile non può essere
eseguita su base continua dalla gravità, in quanto, sottolineano, quando un peso
cade e lo converte è "energia potenziale" in lavoro utile, è quindi
necessario mettere in proprio come molto lavoro per sollevare il peso di nuovo
al punto di partenza. Anche se questo sembra essere una buona analisi della
situazione, in realtà non è vero.
Alcune persone sostengono che un peso dispositivo alimentato è impossibile
perché, dicono che sarebbe un "moto perpetuo" della macchina, e si
dice, il moto perpetuo è impossibile. In realtà, il moto perpetuo non è
impossibile come l'argomento su di esso l'impossibilità si basa su calcoli che
assumono che l'oggetto in questione è parte di un sistema "chiuso",
mentre in realtà, è molto improbabile che qualsiasi sistema nell'universo è in
realtà un sistema "chiuso", poiché tutto è immerso in un mare massiccio
di energia chiamato "punto zero campo energetico". Ma a parte questo,
esaminiamo la situazione attuale.
Johann Bessler fatto una ruota gravità completamente funzionante nel 1712. A
300 libbre (136 Kg) ruota che ha dimostrato di sollevare un peso di 70 libra in
una distanza di 80 piedi, dimostrando un eccesso di potenza di 5.600
piedi-libbre. Considerando il basso livello di tecnologia a quel tempo, non
sembra essere ben poco spazio per quella dimostrazione di essere un falso. Se
si trattasse di un falso, allora lo stesso falso sarebbe stato un risultato più
impressionante.
Tuttavia, Bessler agito nello stesso modo come la maggior parte inventori, e ha
chiesto che qualcuno avrebbe dovuto pagare lui una grande quantità di denaro
per il segreto di come la sua ruota gravità funzionato. In comune con il giorno
d'oggi, non ci sono stati acquirenti e Bessler preso i dettagli del suo
progetto nella tomba con lui. Non esattamente una situazione ideale per il
resto di noi.
Tuttavia, il principale argomento contro la possibilità di una ruota gravità di
lavoro è l'idea che la gravità sembra esercitare una forza diretta in direzione
della terra, pertanto, esso non può essere utilizzato per eseguire qualsiasi
lavoro utile, soprattutto perché l'efficienza di qualsiasi dispositivo sarà
inferiore al 100%.
Mentre è certamente convenuto che l'efficienza di ogni ruota sarà inferiore al
100% da attrito sarà sicuramente un fattore, non necessariamente che una ruota
gravità successo non può essere costruito. Cerchiamo di applicare un po 'di
buon senso per il problema e vedere quali risultati.
Se abbiamo un altalena disposizione, in cui il dispositivo è esattamente
bilanciata, con la stessa lunghezza di un asse forte su ogni lato del punto di
articolazione, come questo:

Riequilibra perché il peso della tavola ("W") a
sinistra del punto di appoggio cerca di rendere l'asse di ribaltamento in senso antiorario, mentre esattamente lo stesso
peso ("W") cerca di
capovolgerlo in senso
orario. Entrambe le forze di
tornitura sono d volte W e come corrispondono
esattamente, l'asse non si muove.
La forza di rotazione (d volte W) è chiamato "torque", e se si modifica la
ripartizione ponendo pesi diseguali sulla tavola, allora il raggio di
ribaltamento in direzione del lato
più pesante:

Con questo carico disuguale, il
fascio si punta verso il basso
sul lato sinistro, come indicato
dalla freccia rossa. Questo mi
sembra una cosa molto semplice, ma
è un fatto molto importante. Vi
segnalo quello che succede qui.
Non appena il peso su un lato del perno è
più grande del peso sull'altro
lato (entrambi i pesi essendo
uguale distanza dal punto di perno),
quindi l'asse pesante
inizia a muoversi. Perché si muove? Dato che la
gravità sta spingendo verso il
basso peso.
Un altro punto è che la distanza dal punto di rotazione è importante. Se i pesi aggiunti "m" sono uguali ma poste a distanze diverse dal punto di
rotazione, allora l'asse anche rovesciarsi:

Questo perché maggiore è il braccio di leva "x"
fa la mano sinistra peso "m" hanno
più influenza il peso identico "m" sul lato destro.
Pensi che questi fatti sono troppo semplice per chiunque di preoccuparsi veramente con? Beh, costituiscono la base di dispositivi in grado di fornire il potere reale per fare il lavoro vero e proprio, senza la necessità per l'elettronica o le batterie.
I seguenti suggerimenti per i sistemi
pratici vengono proposti per voi di prendere in considerazione, e se siete interessati basta
provare. Tuttavia, se si decide di tentare di costruire qualcosa qui illustrato, si prega di capire che lo
fate a vostro rischio e pericolo.
In termini semplici, se si rilascia un grosso peso su la punta del piede, mentre altre persone potrebbe
essere simpatico, nessun altro
è responsabile o responsabile per il danno - è
necessario essere più attenti in
futuro! Lasciatemi sottolineare
ancora una volta, questo documento è solo a scopo informativo.

Mikhail è uno
sperimentatore russo che ha
lavorato per molti anni in via di
sviluppo e test gravità dispositivi alimentati. La sua perseveranza ha pagato e che ha avuto molto successo. Il suo lavoro viene visualizzato sul web http://peswiki.com/index.php/Directory:Mikhail_Dmitriev_Gravity_Wheel
Sterling Allan sito dove ci sono i video e le fotografie di alcuni dei suoi prototipi. Si prevede che le versioni di grandi dimensioni che generano 6-12 chilowatt di potenza
in eccesso saranno disponibili per
l'acquisto nel 2011. Ciascuno dei
suoi vari disegni si basa sul
principio di avere pesi attaccati
ad una ruota e
l'organizzazione per tali pesi da
compensare l'esterno in caso di caduta e offset verso l'interno quando aumentano. A causa dei bracci di leva coinvolte, che dà una
forza di sbilanciamento che causa la ruota per ruotare
in modo continuo e se i pesi
sono di dimensioni notevoli, quindi la rotazione è
potente e può essere utilizzato per generare energia elettrica.
Al fine di disporre i pesi da compensare la
ruota gira, ciascun
peso è sospeso su un braccio imperniato:

Per il dispositivo per funzionare secondo, che il braccio della sospensione deve essere spostato a (diciamo) il diritto in
caso di caduta e di essere centrata
o deviata verso destra quando ci si alza. Mikhail ha scelto di utilizzare una piccola quantità
di energia elettrica per rendere
questo accada, perché l'energia fornita
da gravità girando la ruota
supera di gran lunga l'ingresso piccola elettrica necessaria per far girare la ruota.
Diversi meccanismi per rendere questo accada sono stati testati
come si può vedere dalla presentazione
di Sterling. Un metodo è quello di spingere i bracci di leva a destra con un semplice disco rotante che ha bracci
deflettori ad esso:
Dopo aver dato la spinta laterale, ciascun peso
rimane fuori centro, fino a raggiungere il fondo della sua corsa.
Si prega di ricordare che, mentre
i pesi qui mostrati sono piccoli, una full-size dispositivo
di lavoro avrà un
peso che il peso di un totale di
forse 130 chilogrammi e le forze coinvolte sono
poi grandi. L'immagine
sopra è un po 'difficile
distinguere il disco rotante è trasparente e il
supporto per i bracci
rotanti è anche trasparente.
Il braccio metallico orizzontale serve a sostenere
il pannello trasparente su cui è
montato il cuscinetto 'ruota armi'.
Un metodo alternativo è quello di
utilizzare un piccolo motore che
aziona i bracci direttamente come
mostrato qui:

Ogni peso è tenuto rigidamente e quindi
quando si preme braccio motore contro di essa, il braccio di leva viene spinta lateralmente senza il peso torsione dal
braccio motore. Questi pesi
prototipi non sono
pesanti, ma quando una unità di
lavoro è in costruzione avranno
peso considerevole, in modo da ottenere
una disposizione equilibrata, potrebbe essere consigliabile avere pesi su entrambi i lati
della ruota in modo che non vi è
carico di offset assiale
posto sull'albero che supporta la ruota:

Disposizione Mikhail funziona bene quando si basa sul movimento oscillante dei pesi per tenerli fuori dal centro durante il periodo in cui sono in calo e si può guardare un video che questo accada. Tuttavia, è da chiedersi se non sarebbe possibile organizzare questo movimento senza la necessità di un motore, anche se si utilizza un motore è un metodo molto intelligente e sensibile di assicurare la potenza di rotazione. Forse, se due deflettori fissi sono stati utilizzati, uno per tenere i pesi verso destra in caso di caduta e una a tenerli fuori a destra quando ci si alza, un sistema efficace può essere creato. Forse qualcosa di simile:

Certamente, i pezzi deflettori avrebbe una forma
più liscia disegnata qui, ma il principio è
mostrato nonostante la scarsa
qualità del diagramma. In cui
pesi sono coinvolti, ciascuno potrebbe avere un cuscinetto a rulli pressione tra il peso e lo scudo
deflettore in modo da minimizzare l'attrito come il peso scivola passato.
In alternativa, lo scudo deflettore potrebbe essere confrontato con
potenti magneti contrapposti magneti analoghi connessi ai pesi che darebbe una non-contatto, movimento
di attrito molto basso. Un'idea
abbastanza simile è parte della voce successiva da Dale Simpson.

Il design di gravità macchine funzionanti è un settore che è stato di notevole interesse per un certo numero di persone che per un bel po 'di tempo. Il disegno qui illustrato viene da Dale Simpson
degli Stati Uniti. Va sottolineato
che le seguenti informazioni è
pubblicato come open-source, dotato
al mondo e quindi non può essere brevettato da
qualsiasi persona o organizzazione. Ruota prototipo Dale
ha un diametro di circa cinque metri, utilizzando pesi
di valore sostanziale. La
strategia generale è quella di creare coppia in eccesso avendo
la slitta pesi lungo
aste metalliche irradia da un mozzo centrale un po 'come i raggi di una ruota del carro. L'obiettivo è quello di creare una situazione asimmetrica dove i pesi sono più vicini al mozzo quando si alza, di loro in caso di caduta.
La difficoltà di progettazione di un
sistema di questo tipo è ideare un
meccanismo efficace e pratico per spostare i pesi verso il mozzo quando
sono in prossimità del punto più
basso nel loro percorso ellittico
del movimento. Progettazione di Dale utilizza una
molla e un latch per assistere
controllare il movimento di ciascun peso.
La chiave per qualsiasi sistema meccanico di questo tipo
è la scelta accurata dei
componenti e la regolazione precisa del meccanismo finale per garantire che
il funzionamento è esattamente come previsto. Questo è un
problema comune a molti free-energy
la replica incurante tenta spesso portare al
fallimento, non perché il design è la colpa, ma perché il
necessario livello di competenza e attenzione nella costruzione non sono state soddisfatte
dalla persona che tenta la replica. Ecco uno
schizzo del disegno di Dale:

La ruota ha un bordo esterno di colore blu e un
mozzo centrale in grigio. Razze metalliche mostrate in nero esaurito
radialmente dal mozzo al cerchio. Otto raggi sono mostrati in questo schema
come quel numero permette una maggiore chiarezza, ma un numero maggiore sarebbe
probabilmente utile per la costruzione di una ruota di questo tipo.
La ruota come mostrato, ruota in senso antiorario. Ciascun peso, mostrato in
grigio scuro, ha una coppia di basso attrito cuscinetti a rulli allegati. C'è
anche una molla, mostrato in rosso, tra il peso e il mozzo. Quando un peso
raggiunge gli 8 posizione ore, i cuscinetti a rulli in contatto con un rampa di
compressione della molla, mostrato in viola. Questa rampa è formato da due
parti, una su ciascun lato dei raggi, fornendo una rampa di rotolamento per
ciascuno dei due cuscinetti a rulli. La rampa è formata in una curva che ha un
tasso costante di approccio verso il mozzo della ruota.
La rampa è posizionato in modo che la molla è completamente compressa quando il
peso ha appena superato il punto più basso nel suo viaggio. Quando la molla è
completamente compressa, un latch si tiene in quella posizione. Questo tiene il
peso in prossimità del mozzo durante il suo movimento verso l'alto. Le molle
non sono particolarmente potenti, e dovrebbe essere solo abbastanza forte per
essere in grado di spingere il peso verso il cerchione della ruota quando il
raggio è a 45 gradi sopra l'orizzontale. La "forza centrifuga"
causato dalla rotazione assiste la molla sposta verso l'esterno peso a questo
punto. La spinta della molla viene avviata dal chiavistello essendo scattato
aperto dal componente chiusura a scatto in rosa.
I pesi hanno un movimento verso l'interno verso il mozzo quando premuti dal
movimento rotatorio della ruota che costringe i cuscinetti a rulli verso l'alto
lungo la molla di compressione rampa. Hanno un movimento verso l'esterno lungo
i raggi quando le catture che esercita la molla compressa viene rilasciato a
circa il 11 in posizione centrale. Il fermo e il meccanismo di sgancio
meccanico sono entrambi - senza elettronica o di fornitura di energia elettrica
è necessaria in questo disegno.
Questi dettagli sono riportati nel grafico qui sotto:

La questione, naturalmente, è, ci sarà abbastanza energia in eccesso per fare la ruota girare correttamente? La qualità di costruzione è sicuramente un fattore da cose come l'attrito tra i pesi ei loro raggi deve essere molto bassa. Consideriamo le forze in gioco qui:

Prendete una qualsiasi peso per questo calcolo. L'eccesso di energia rotazionale verrà creato dalla differenza tra le forze che tentano di girare la ruota in senso orario e
quelle forze che cercano di girare la ruota in senso
antiorario. Ai fini di questa
discussione, supponiamo che abbiamo
costruito la ruota in modo che la
molla compressa posizione
è un terzo della molla non compresso posizione.
Come i pesi sono tutti dello stesso valore
"W", l'altalena tornitura effetto in
senso orario è il peso ("W") moltiplicato per la sua distanza dal centro del perno ("L"). Vale a dire, W x
L.
L'effetto di rotazione in senso antiorario è
il peso ("W") moltiplicato per la sua distanza dal centro del perno ("3W"). Cioè, L x 3 x L.
Così, con WL
spinta in senso orario, e 3WL spingendo in senso antiorario, vi è una forza netta di (3WL
- WL), cioè una
forza netta di 2WL guida della ruota
in senso antiorario. Se tale forza è in grado di spingere il peso verso il mozzo, comprimendo
la molla e il funzionamento lo
scrocco, quindi la ruota sarà pienamente operativo. Vi è in realtà, alcuni Accensione
aggiuntive fornite dai pesi sul lato sinistro del diagramma, sopra
e sotto l'orizzontale, in quanto sono
una buona ulteriormente fuori dal perno di quelli con
molle di massima compressione e
bloccato.
L'unico modo per determinare se questo progetto funziona correttamente è quello di costruire uno e testarlo. Sarebbe naturalmente
possibile avere più di queste ruote montate
su un unico albero assale per aumentare la potenza di uscita disponibile eccesso
dall'albero motore. Questa idea di design è probabilmente
il più basso livello di eccesso di
potenza di tutti coloro che in
questo documento. I seguenti
disegni sono alta
potenza e non particolarmente
difficile costruire.
Il concetto che non è possibile avere eccesso di potenza da un dispositivo puramente meccanico è chiaramente sbagliato come è stato recentemente dimostrato da Veljko Milkovic
a http://www.veljkomilkovic.com/OscilacijeEng.html
dove il suo doppio stadio pendolo
/ leverismo mostra
un COP = 12 produzione di energia in eccesso. COP sta per "Coefficient Of Performance" che
è una quantità calcolata immersioni
la potenza in uscita dalla potenza in
ingresso che l'operatore deve
provvedere a far
funzionare il sistema. Si prega di notare che stiamo parlando di livelli
di potenza e non di efficienza.
Non è possibile avere un sistema di efficienza superiore
al 100% ed è quasi impossibile
raggiungere tale livello 100%.
Ecco schema Veljko
del suo grande successo leva / pendolo:

Qui, il fascio 2 è molto più pesante
del 4 peso pendolare. Ma, quando il pendolo si
trova oscilla da una leggera spinta, il fascio di due libra verso il basso sul incudine 1 con forza
considerevole, certamente forza
molto maggiore di quella necessaria
per rendere l'oscillazione del pendolo.
Poiché non vi è eccesso di energia,
non sembra esserci alcuna ragione per
cui non dovrebbe essere autosufficiente per l'alimentazione
indietro una parte dell'energia in eccesso per mantenere il movimento. Una modifica molto semplice questo potrebbe essere:

Qui, la trave principale A, è esattamente bilanciato quando B
peso è appeso immobile
è in posizione
"di riposo". Quando B è impostato
peso oscillante, provoca
un fascio per
oscillare, con una potenza molto maggiore al punto C a causa della massa molto maggiore del raggio R. Se un ulteriore, leggero fascio
D è fornito e controbilanciato dal peso E,
in modo che abbia una leggerissima
pressione al rialzo sulla sua
F movimento di arresto, l'operazione
dovrebbe essere autosufficiente.
Per questo, le posizioni sono regolate in modo che, quando il punto C si sposta al suo punto
più basso, si dà un colpetto
solo fascio D leggermente verso
il basso. In questo momento nel
tempo, il peso B
è nel punto più vicino al punto C e in procinto
di iniziare a oscillare via
di nuovo a sinistra. D Beam si
spinse verso il basso fa sì che la sua punta a
spingere B
peso appena sufficiente per mantenere la sua oscillazione. Se il peso B ha una massa di "W", quindi il
punto C del
fascio A ha
una spinta verso il basso di
12W il modello di
lavoro di Veljko. Come l'energia richiesta per spostare leggermente trave D è piuttosto piccola, la maggior parte della spinta 12W rimane
per fare ulteriore lavoro utile ad esempio azionando una pompa.
Se questo è il caso, allora il disegno dovrebbe forse essere modificati secondo le linee della domanda di brevetto di Amr Al-Hossary
cui sono fissati piastre incernierate direttamente al rotore. In questo modo, il braccio di leva della piastra viene sicuramente in gioco:

Qui, i bracci incernierati o lastre darà
anche un impulso impatto quando si aprono nella
loro totalità, e che fornisce una
potenza supplementare di svolta.
Tuttavia, lo squilibrio tra il lato due non è una
quantità principale e quindi
questo motivo non è suscettibile di fornire una grande quantità
di coppia per pilotare carichi
esterni.
Murilo Luciano del Brasile, ha messo a punto una molto intelligente, la gravità dispositivo a potere che egli ha chiamato
"Avalanche-drive". Ancora
una volta, questo progetto non può
essere brevettato come Murilo
ha regalato al
mondo come una royalty-free
design che chiunque può fare. Questo dispositivo pone continuamente più
pesi su un lato di un albero
motore per dare una disposizione
sbilanciato. Questo viene fatto inserendo collegamenti espandibili
tra i pesi. I
collegamenti funzionano in un modo simile a forbice
che si aprono quando i pesi sono in aumento, e il contratto, quando
i pesi sono in calo:

Nella disposizione illustrata, i pesi vengono
mostrati come barre di acciaio. Il design è scalabile in entrambe altezza,
larghezza e la massa e il numero di pesi. Nel schizzo sopra, i dettagli pratici
controllo della posizione delle barre e coordinare la rotazione dei due alberi
di supporto non sono mostrati per chiarire il movimento. In pratica, i due
alberi sono collegati con una coppia di pignoni dentati e una catena. Due serie
di guide verticali sono inoltre necessari per controllare la posizione delle
barre quando sono in-tra i quattro ingranaggi che li collegano agli assi di
trasmissione, e come vanno attorno alle ruote dentate.
Nello schizzo, ci sono 79 pesi. Questa disposizione controlla questi in modo
che ci sono sempre 21 sul lato di salita e 56 sul lato discesa (due sono
morti-centro). Lo squilibrio di peso risultante è sostanziale. Se prendiamo la
situazione in cui ciascuna delle barre di collegamento pesa un decimo tanto
quanto uno dei pesi, quindi se chiamiamo il peso di un link "W", il
lato ascendente ha 252 di questi "W" unità cercando di girare i
pignoni in senso orario, mentre 588 delle "W" unità cercano di
trasformare i pignoni in senso antiorario. Questo è uno squilibrio continuo 336
della "W" unità in senso antiorario, e che è una quantità
considerevole. Se una disposizione può essere attuata in cui i collegamenti si
aprono completamente, quindi lo squilibrio sarebbe 558 delle "W"
unità (un miglioramento del 66%) e la differenza di livello di braccio sarebbe
notevole.
Vi è un altro aspetto, che non è stato preso in considerazione in questo
calcolo, e che è il braccio di leva con cui questi operano pesi. Sul lato cade,
il centro dei pesi è più lontano dall'asse dei semiassi in quanto i bracci di
collegamento sono quasi orizzontale. Sul fronte di salita, i collegamenti sono
distribuiti su una distanza inferiore orizzontale, quindi il loro centro non è
così lontano dalla loro corona di supporto. Questa differenza di distanza,
aumenta la potenza di rotazione degli alberi di uscita. Nel disegno sopra, un
generatore elettrico è mostrato attaccato direttamente ad un albero di uscita.
Questo per rendere lo schema più comprensibile, come nella pratica, il
collegamento del generatore può essere uno orientato in modo che l'albero del
generatore ruota molto più velocemente della rotazione dell'albero di uscita.
Questo non è certo come prevede Murilo che questo dispositivo in grado di
funzionare così rapidamente che una qualche forma di frenatura può essere
necessaria. Il generatore fornirà frenata, specialmente quando forniscono un
pesante carico elettrico.
Questo diagramma mostra come il lato due del dispositivo hanno il carico sbilanciato
che provoca una rotazione in senso antiorario:

Gli schemi sopra riportati sono destinate a mostrare i principi di come questo dispositivo opera e quindi
per chiarezza, i meccanismi
di controllo pratici non sono stati indicati. Vi sono naturalmente molti modi diversi di controllo del funzionamento e assicurare che
funziona come richiesto. Uno dei metodi più semplici di costruzione è di collegare i due alberi insieme usando una catena e ruote dentate. E 'essenziale avere lo stesso numero di
pesi passano sulle ruote dentate superiori come passa sotto le ruote dentate
inferiori. Sulle ruote
dentate superiori, le barre
sono sparsi, diciamo, tre volte più lontano di quello che sono sulle ruote dentate inferiori,
in modo che le ruote dentate superiori bisogno di ruotare tre volte più veloce di quelli inferiori. Questo è
disposto utilizzando un'unità
inferiore pignone-catena
che ha tre volte il
diametro di quello superiore.
La forza di azionamento fornita dal
squilibrio di peso delle due colonne di pesi asta
deve essere applicato alle ruote dentate inferiori al
punto "A" nella figura precedente. Perché ciò accada,
ci deve essere un collegamento meccanico
tra la pila di pesi e il rocchetto. Questo può essere fatto
in diversi modi. Nei diagrammi concettuali sopra, questo collegamento è stato mostrato come un dente pignone
o, in alternativa, una proiezione
semplice spillo dalla ruota dentata. Questa non
è una buona scelta in quanto comporta una notevole quantità di lavoro e non ci sarebbe bisogno di essere un metodo per impedire la barra ruotare leggermente e ottenere fuori
allineamento con la ruota dentata.
Una soluzione molto migliore è mettere distanziali tra i pesi e hanno i denti del pignone inserire tra le barre in modo
che nessuno slot barre sono necessari e
posizionamento accurato bar
non è più essenziale. Questa disposizione è la seguente:


La descrizione fin qui non ha menzionato
più importanti aspetti pratici della
progettazione. E 'giunto il
momento di prendere in considerazione la
parte di salita del dispositivo.
Per controllare la sezione espansa
della catena, e per
assicurare che si nutre correttamente
alle ruote dentate superiori, il divario tra pesi successive deve essere
controllato.

Un canale di guida può essere utilizzata, come
mostrato qui, e standard di cuscinetti a sfere o rulli cuscinetti possono
essere fissati alle estremità dei pesi mediante barra filettata (o un bullone
con la testa all'interno del peso) e dadi di bloccaggio.
Nell'esempio qui illustrato, che è ovviamente, solo una opzione su centinaia di
diverse implementazioni, le barre sul lato di salita sono tre volte più lontano
quelli sul lato cadere. Ciò significa che le ruote dentate superiori, solo ogni
terzo dente si collega con un peso bar. Questo è mostrato nella figura
seguente. Tuttavia, se i pesi collegati sono stati lasciati a se stessi, quindi
le barre laterali aumento sarebbe pendono in una linea retta. Mentre sarebbe
ottimale per unità di potenza, Murilo non prevede che una soluzione pratica,
presumibilmente a causa del movimento dei collegamenti come i pesi muovono sul
loro punto più alto. Secondo me, tale accordo è abbastanza possibile
implementare attendibilmente purché la lunghezza dei collegamenti è selezionato
per corrispondere esattamente alla distanza pignone, tuttavia, il metodo Murilo
è indicato qui.
Murilo metodo è quello di utilizzare ulteriori collegamenti di contenimento tra
i pesi. L'obiettivo è quello di fare in modo che quando i pesi sparsi sul loro
viaggio verso l'alto, che occupano posizioni esattamente tre larghezze bar a
parte, e quindi alimentare correttamente ai denti della ruota dentata
superiore. Questi collegamenti devono chiudere sul lato caduta e si aprono sul
lato di salita. Essi potrebbero essere fabbricati da brevi lunghezze di catena
o da nastri metallici intaglio con perno scorrevole lungo la scanalatura.
Qualunque sia il metodo scelto, è importante che i collegamenti soggiorno
chiaro delle barre e non impediscono di bar impilamento stretto sul lato che
cade da impedire loro sedere correttamente i denti delle ruote dentate
inferiori. L'opzione più semplice di precisione per il costruttore domestico
utilizza catena, dove due pesi sono posizionati sulla ruota dentata superiore
per dare la spaziatura esatta, e la catena tensionata è saldato in posizione,
come mostrato di seguito. Ponendo la catena all'interno di un tubo di plastica
induce ad assumere una forma "A" in piedi verso l'esterno i
collegamenti quando si spostano nella loro posizione di chiusura. In questo modo
le catene da ottenere tra le barre di collegamento. Inoltre, le catene sono
sfalsati da una coppia di barre di collegamento al successivo, come illustrato
di seguito, come ulteriore misura per mantenere il funzionamento affidabile e
silenzioso ..
Nel diagramma di seguito, solo alcuni di questi collegamenti di vincolo sono
visualizzati in modo da mantenere il diagramma più semplice possibile. Non è
una buona scelta per rendere le ruote dentate superiori bar tre volte più
grandi delle ruote dentate inferiori come questo costringerebbe entrambe le
sezioni di salita e discesa catena dal verticale, che a sua volta introduce
attriti contro le guide. La centrale 01:03 ingranaggi è necessaria per fare in
modo che le catene sul lato di salita sono completamente allungato e la
spaziatura dei pesi corrisponde alla distanza tra pignone superiore esattamente.

I diagrammi non hanno dimostrato
l'intelaiatura di supporto che contiene
gli assi in posizione e mantiene l'unità in
posizione verticale, come questa inquadratura non
è specializzata in alcun modo, e ci sono molte varianti accettabili. Una precauzione sensata è di racchiudere il dispositivo in un armadio casella verticale per assicurarsi
che non vi è alcuna possibilità di essere scoperti qualcosa nel meccanismo di rapido movimento. Si tratta di un disegno impressionante di Murilo, che raccomanda che nell'attuazione mostrato sopra, che i collegamenti mostrati in blu sono il
5% più di quelli indicati in giallo, in quanto migliora
la distribuzione del peso e
l'unità del rocchetto inferiore
..
Una lavatrice ha un requisito potenza massima di 2,25 kW e nel Regno Unito un
idoneo 3,5 kW Alternatore costa £ 225 e deve
essere centrifugata a 3000 rpm
per l'uscita completa.
Mentre la descrizione di cui sopra
copre disegno principale Murilo, è possibile far
avanzare ulteriormente il disegno,
aumentando l'efficienza del processo, nonché ridurre lo sforzo necessario per costruire costruzione esso. Per
questa versione, i componenti principali rimangono
gli stessi, con l'asse superiore
orientata verso l'asse inferiore come
prima e l'asse rotante
superiore più veloce di quello
inferiore. La differenza principale
è che sul lato di salita, la catena si apre completamente.
Questo elimina la necessità che le maglie della catena, sposta i pesi aumento
molto più vicino e riduce il numero di pesi crescenti:

Con un ridotto numero di pesi nel diagramma sopra,
lo squilibrio di peso è un rapporto molto sostanziale 40:11 con il grande
vantaggio di una sostanziale riduzione del braccio di leva "d" che è
molto più piccolo del braccio di leva "x" dei pesi rientrano . Questo
è un grave squilibrio, dando 40x tirando l'asse in senso antiorario e solo 11d
oppone a tale movimento.
Nella descrizione finora, si è supposto che tutti i componenti vengono realizzati
in metallo. Questo non è necessariamente la scelta migliore. In primo luogo,
metallo contro metallo in movimento fa un rumore, quindi le guide in robusta
plastica spessa o altro materiale simile sarebbe una buona scelta per le guide
per i pesi.
Stessi pesi potrebbe anche essere fatta da forte tubazioni di plastica riempito
di sabbia, pallini di piombo, calcestruzzo o qualsiasi altro conveniente
materiale pesante. I tubi avrebbe allora testate forti in grado di contenere i
perni per i link. Le ruote dentate stesse potrebbe essere realizzato in
materiale plastico di spessore che darebbe un funzionamento più silenzioso e
che potrebbe essere avvitato alla presa di forza con un bullone posizionato a
destra attraverso l'assale.
La maggior parte delle dimensioni non sono critiche. Aumentando il diametro
della ruota dentata inferiore aumenta la potenza di uscita del perno ma ridurrà
la sua velocità. Aggiungendo più pesi aumenterà sia la potenza di uscita e, in
misura minore, la velocità, ma aumenta la dimensione complessiva dell'unità e
il suo peso complessivo e costo. Rendere ogni peso più pesante si alza la
potenza in uscita, o ridurre la dimensione complessiva se il peso è contenuto
in meno pesi. Aumentando la lunghezza dei collegamenti significa meno pesi sul
lato di salita, ma richiederà ruote dentate grandi.
Non è necessario avere tutti i collegamenti della stessa dimensione. Se le
lunghezze sono scelti con cura e le rientranze della ruota dentata superiore
coprire l'intera circonferenza, allora ogni secondo link può essere una
rientranza più breve che consigli i pesi in una colonna più compatta ed
efficace sul lato che cade:


Con questa disposizione, i pesi esterni, mostrato qui a
sinistra, premere con forza il
tutto all'interno della colonna
di pesi, rendendo un gruppo compatto. Se si utilizza tubi in plastica con cemento
allora il dispositivo di incernieramento
per le aste possono
essere molto semplice, con un bullone
fissato nel cemento come mostrato di seguito.
Le aste, rondelle e il bullone può essere supportato
su una sottile striscia rigida
collocato nella parte superiore del tubo. Quando il calcestruzzo è andato solido, il
nastro viene rimosso e la lacuna
prodotta dalla sua rimozione permette quindi libero
movimento delle aste. Se si utilizza questa tecnica, i pesi sono espressi in due
fasi, con un disco di tenuta perfetta spinto modo
parte all'interno del tubo in
modo che un'estremità può essere
riempito mentre l'altra estremità rimane aperta e pronta
per il completamento della estremità .
Uno dei vantaggi di tubi in plastica
è che se le ruote dentate sono realizzate in un duro ad alta densità
di materiale plastico, quale è
utilizzato per alimentare pannelli
taglieri, e le
guide di peso sono anche realizzati in plastica dura, quindi non ci dovrebbero essere in metallo-upon-metallo
rumore prodotto durante il funzionamento,
se i fori dei bulloni nelle bielle sono
una buona misura per i bulloni usati.
Il calcestruzzo o malta usata come
ripieno può essere bagnato
e flessibile, in quanto la resistenza meccanica non è un problema qui, e un
riempimento senza vuoti, è
auspicabile. Anche in cemento
di bassa qualità (causata da più acqua del necessario) sarebbe più che sufficiente per questo scopo.
La disposizione alle estremità di
un calcestruzzo pieno peso plastica bar
tubo potrebbe essere costruito come questo:

Vi è una tendenza molto forte quando la costruzione di un
dispositivo per farlo funzionare correttamente. Se l'energia in eccesso viene disegnato dal campo gravitazionale, il contrario è necessario, con una operazione di scatti è il migliore. Ricordare
che l'energia extra si
verifica solo durante la durata
degli impulsi che causano gli scatti. Ne consegue
quindi che in una
situazione ideale, qualsiasi dispositivo di questo tipo deve essere
guidato da una rapida serie di impulsi forti. In
pratica, utilizzando un volano pesante o di qualsiasi componente
simile che ha una massa inerziale alta, anche
se una rapida serie di impulsi
taglienti viene applicato al componente e il funzionamento a scatti non è visibile all'occhio umano, l'energia in eccesso viene ancora essere "led-fuori "e messo a disposizione per fare un lavoro utile.
Un altra osservazione che può essere di interesse, e che il feedback da
parte dei costruttori di ruote gravità
che dice che la potenza da una ruota di gravità è maggiore se l'asse è
orizzontale e la ruota girevole
è allineata esattamente con magnetico Est-Ovest.
Una Query di Costruzione Pratica
Mi è stato chiesto circa le questioni pratiche di montaggio dei componenti
guida per i pesi. Mi scuso per non aver
precisato che i diagrammi in questo descrizione hanno lo scopo di mostrare le modalità generali
di funzionamento, piuttosto che essere
un accordo di costruzione diretta.
Ci saranno diversi modi di costruire un'implementazione
di ciascun dispositivo. Ecco un suggerimento per un metodo di costruzione
pratico per il dispositivo catena di gravità.
La query è la seguente:

Si precisa che la guida inferiore come mostrato, non può essere sostenuta dall'interno come
lo sweep pesi attraverso
l'area che verrà usato per tale
supporto. Inoltre, non può essere sostenuto dall'esterno esempio le bielle devono muoversi attraverso la zona dove
tale sostegno sarebbe posizionato. Una soluzione
è stata suggerita dove la guida inferiore è supportato da una cinghia dalla guida
superiore, la cinghia che corre
tra i pesi interni ed esterni.
Si tratta di una soluzione che potrebbe funzionare, ma introduce significative inutili frizioni. Un metodo alternativo è quello di posizionare
le guide di fuori dei pesi in movimento come
mostrato qui:

Questo metodo fornisce un
basso attrito canale per i rulli cuscinetti
a muoversi lungo. Questo controlla la posizione dei pesi molto preciso e le pareti
terminali forniscono anche i
supporti per gli assi
che sincronizzano le posizioni
dei pesi e fornire ingranaggi tra gli assi se ciò è richiesto. Per
chiarezza, solo due dei molti
pesi sono mostrati e le
proporzioni totali distorto in
modo che il diagramma in una
stessa pagina.
Con gli assi, che
potrebbe assomigliare a questo:

Qui, i semiassi sono orientati insieme fuori della parete
di fondo e sia una catena o una cinghia di trasmissione utilizzato. L'albero inferiore permette una presa di
forza. Il rapporto tra i diametri delle pulegge o
pignoni determina i tassi relativi di rotazione dei due alberi.
Sterling Allan riporta sul design Bobby Amarasingam, che dispone di
12 kilowatt di potenza in eccesso: http://pesn.com/2010/12/04/9501738_British_gravity_motor_generates_12_kilowatts/
Inoltre riportato da Sterling è la Smith-Caggiano gravità/moto/centrifuga-forza di progetto generatore. La relazione è: http://www.peswiki.com/index.php/Directory:OBM-Global%27s_Angular_Force_Generator
Un'altra delle relazioni Sterling è sulla Chalkalis Ruota Gravità che può essere visto:
http://peswiki.com/index.php/OS:_F._M._Chalkalis_Gravity_Wheel
Mentre siamo consapevoli di galleggiamento viene utilizzato per convertire l'energia del moto ondoso in energia elettrica, ci sembra di trascurare l'idea di usare le forze di galleggiabilità molto potente (causate dalla gravità) come strumento diretto in luoghi lontano dal mare. Questo è sicuramente un errore perché gravi livelli di potenza possono essere generati da un sistema del genere. Un tale sistema è:
Questo progetto dimostra ancora una volta, la
natura pratica di disegno di grandi quantità di energia dall'ambiente locale.
Versioni commerciali sono offerti in tre dimensioni standard: 50 kilowatt, 250
kilowatt e 1 megawatt e partner delle licenze sono ricercate. Questo generatore
che James ha progettato può essere visto sul sito web di Panacea-bocaf.org a http://panacea-bocaf.org/hidrofreeenergysystem.htm
e sul sito web James' a http://www.hidroonline.com/
entrambi dotati di clip video che spiega come funziona il design. Il metodo si
basa su diverse pressioni a diverse profondità d'acqua, gravità e sulla
galleggiabilità dei contenitori pieni d'aria. Il sistema non si basa su meteo,
sole, vento, combustibile di qualsiasi tipo, e può funzionare tutto il tempo,
giorno e notte, senza causare alcun tipo di inquinamento o di pericolo. Questo
particolare design chiama per una struttura piena d'acqua di qualche altezza,
una sorgente di aria compressa e un sistema di pulegge, e senza voler essere in
alcun modo critico, sembra piuttosto più complicato di deve essere. Se, a
differenza di James, non hanno fatto la matematica per il sistema, si potrebbe
pensare che la quantità di energia generata da un sistema come questo sarebbe
inferiore alla quantità di potenza necessaria per farlo funzionare. Tuttavia,
che è sicuramente molto lontano dalla realtà come una notevole potenza in
eccesso è acquisita attraverso le forze naturali dell'ambiente locale, che
rendono il sistema di operare. La domanda di brevetto che James ha fatto parte
è illustrato di seguito:
US 2010/0307149 A1 Data: 9 dicembre 2010 Inventore: James Kwok
SISTEMA
DI GENERAZIONE DELL'ENERGIA IDRODINAMICA

Fig.1 è una vista di sezione trasversale di un'incarnazione del
sistema di generazione di energia della presente invenzione. Qui, la
generazione di energia sistema 10
comprende una nave 11 sotto forma di
un serbatoio d'acqua e un albero 12
che può ruotare su è asse longitudinale. L'albero 12
viene fornito con una scanalatura elicoidale vite 13 ed è collegato all'estremità inferiore di esso ad un cuscinetto 16 che permette di ruotare liberamente
attorno al suo asse longitudinale.
L'estremità
superiore dell'albero è collegato ad un generatore 17 che è un sistema di volano. L'energia di rotazione dell'albero 12 possa essere trasferito al
generatore attraverso un sistema a cricchetto-Pignone 20. Una capsula gonfiabile galleggiante 14 è fornita insieme al suo meccanismo di guida 15 che è nella forma di un filo o palo
per assistere nel movimento verticale liscio di boa 14.
Vi è un
serbatoio di aria prima 18 disposta
in una porzione inferiore del recipiente 11
e un serbatoio di aria 19 secondo
situata in una porzione superiore del serbatoio 11. Il primo serbatoio 18 aspira aria dall'atmosfera,
attraverso l'immissione dell'aria 21.
Una volta che la pressione nel serbatoio prima ha raggiunto un valore
predeterminato, un pistone 22 è
azionato, forzando l'aria attraverso il tubo 23 nella capsula galleggiante 14
che, quando gonfiato, inizia a muoversi verso l'alto attraverso il serbatoio 11, come la boa 14 è diventata meno denso del fluido 25 (come acqua dolce o salata) nel serbatoio 11. Questo a sua volta provoca la rotazione dell'albero 12, e l'attivazione del generatore di
potenza 17, generando energia.
Quando boa 14 raggiunge il limite superiore della
sua corsa, l'aria in boa può essere costretto a fluire attraverso un secondo
tubo 24 e nel serbatoio di aria 19 secondi. Quando l'aria viene rimossa
dalla boa si muove verso il basso attraverso recipiente 11 per gravità e con l'assistenza di zavorra (non mostrato). Il
movimento verso il basso della boa 14,
provoca la rotazione dell'albero 12,
che aziona il generatore 17,
generando energia.
Aria
immagazzinata nel secondo serbatoio 19
può essere scaricata nell'atmosfera attraverso uno sfiato 26, se la pressione nel secondo serbatoio 19 diventa troppo elevata. In alternativa, l'aria può fluire dal
secondo serbatoio 19 nel primo
serbatoio 18 attraverso un tubo 27 terzo modo che meno aria deve essere
aspirata nel primo serbatoio 18
quando boa 14 raggiunge il limite
inferiore della sua corsa e deve nuovamente gonfiato con aria dal primo
serbatoio 18.
I tubi 23, 24 e 27 sono dotati di valvole di non ritorno 28 per assicurare che l'aria scorre in una sola direzione
attraverso il sistema 10. Serbatoio 11 può essere provvisto di ventilazione
29 come richiesto e può anche essere
fornito con scale di accesso 30 e
una piattaforma di accesso 31 in
modo che la manutenzione può essere effettuata come richiesto. Il sistema può
anche essere dotato di un dispositivo di raccolta di energia solare 32 per generare almeno una parte
dell'energia necessaria per guidare pistone 22 e le valvole di non ritorno 28.
L'energia prodotta dal dispositivo di
raccolta di energia solare 32 può
anche essere utilizzato per alimentare una luce o faro 33 per indicare la posizione del sistema 10.

Fig.2 mostra una disposizione per la boa 14 comprendente una capsula gonfiabile 34. Questa figura illustra la forma delle pareti della capsula
gonfiabile 34 quando gonfiato 35 e sgonfia 36. Aria passa nella capsula
34 attraverso il tubo 23 ed esce dalla capsula attraverso il
tubo flessibile 24.
La boa 14 ha anche un manicotto 37 collegato ad esso. Questo manicotto
presenta sporgenze che si impegnano con la scanalatura elicoidale 13 dell'albero 12, provocando la rotazione dell'albero quando la boa si sposta
rispetto all'albero 12. Manicotto 37 è provvisto di zavorra 38, come pesi di acciaio inossidabile
che aiutano nel movimento verso il basso della boa quando è sgonfio.
Boa 14 è collegato ad un palo di guida 15 e la boa ha una coppia di bracci 39 che scorrono sul palo di guida 15 ed assistere nel movimento
scorrevole verticale della boa.

Fig.3 mostra una versione del primo serbatoio dell'aria 18. L'aria viene aspirata nel serbatoio
da 18 a presa d'aria 21. Il serbatoio include un pistone 22 associato ad una molla 40, il pistone 22 essendo provvisto di guarnizioni 41 per impedire perdite di aria.
Quando la
pressione, come la pressione idrostatica, è applicata nella direzione della
freccia 42, il pistone si muove
verso sinistra del serbatoio 18
comprimendo la molla 40 e forzando
l'aria attraverso uscita 43. Un
motore 44 è previsto per invertire
il movimento del pistone 22. Serbatoio 18 può essere fissato al pavimento della
vasca.

Una costruzione
alternativa del serbatoio dell'aria prima 18
è mostrato in Fig.4. In questa forma
di realizzazione, il serbatoio 18 è
alloggiato all'interno di un contenitore 11
contenente un liquido 25. Aria entra serbatoio 18 attraverso la presa d'aria 21
ed è tenuta in una camera 46. Il serbatoio ha un pistone 22 e il movimento del pistone 22 verso
la sinistra del serbatoio 18 forze
aeree nella camera 46 attraverso
uscita aria 43.
Pistone 22 è azionato da un motore 47 che fa ruotare l'elica-scanalato
albero 48. Il motore è collegato
all'albero mediante un meccanismo a cricchetto e cremagliera 49, che è provvisto di una molla di
tenuta 50 sulla superficie interna
del contenitore 11. Un attuatore 51, può essere utilizzato per controllare l'apertura
e la chiusura delle valvole di non ritorno 28
e l'azionamento del motore 47.
Fig.5 illustra una vista in sezione trasversale di un sistema
di generazione di energia secondo una delle forme di realizzazione della
presente invenzione:

Fig.5 mostra una realizzazione in cui la quale una coppia di
boe 14 sono presenti. Ogni boa è
associato con un proprio albero 12 e
possono muoversi su e giù all'interno del recipiente 11 indipendenti tra loro.
In Fig.6, una realizzazione alternativa
della presente invenzione è illustrata, in cui la boa 60 è un metodo di collegamento 61
sotto forma di un manicotto cilindrico attraverso il quale una catena guida 62 passaggi. Catena 62 è fornito in un ciclo infinito e si
trova su un dispositivo di tracciamento superiore 63 e inferiore 64 di un
dispositivo di monitoraggio, che sono entrambi pulegge. La puleggia superiore 63 può essere fissato ad una parete
superiore (non mostrata) di un recipiente (non mostrato) mediante una staffa 65, mentre la puleggia 64 inferiore può essere fissata ad una
parete inferiore (non illustrato) di un recipiente (non mostrato) tramite una
staffa 66.
Il meccanismo
di collegamento 61 contiene
cricchetti che si impegnano con le maglie della catena 62 quando boa 60 muove
verso il basso. Così, come boa 60
scende, catena 62 si muove anche,
causando entrambe le pulegge superiori ed inferiori a ruotare in senso orario. Le pulegge 64 superiore e inferiore hanno una serie di tacche 67 corrispondenti alla forma delle
maglie della catena 62. In questo modo, la catena 62 si trova nelle rientranze 67
e pinze del dispositivo di monitoraggio (63,
64), assicurando quindi che il dispositivo di monitoraggio (63, 64) ruota.
Nella forma di
realizzazione dell'invenzione illustrata in Fig.6, un albero di lavoro 68
è associato alla puleggia superiore 63
in modo tale che la rotazione dei risultati puleggia superiore in rotazione
dell'albero lavoro 68. L'albero di
lavoro 68 è disposta sostanzialmente
perpendicolare alla direzione di marcia della boa 60. L'albero lavoro aziona un generatore
per produrre energia.

Fig.9 mostra una realizzazione alternativa di questo sistema
di generazione di energia 74. Il
sistema è composto da un contenitore 75
avente un pieno di liquido scomparto "wet" 76 e uno o più "secco" compartimenti (in questo caso, una
coppia di compartimenti secco 77, 78)
senza liquido in essi. Questi compartimenti secchi possono essere fabbricati da
qualsiasi materiale adatto, ad esempio, cemento, acciaio, fibra di vetro,
plastica o qualsiasi combinazione di materiali.
Il sistema ha
anche una coppia di boe 79 ciascuno
con una sgonfiabile vescica simile costruzione. Le boe sono rotaie di guida 89 che assicurano che le boe si muovono
dolcemente su e giù all'interno del contenitore 75.
In questa forma
di realizzazione dell'invenzione, serbatoi dell'aria 86 si trovano nella base del contenitore 75. L'aria entra nel serbatoio 86
attraverso l'ingresso 87, mentre
l'aria in uscita dalla boa viene scaricata attraverso le valvole 79, 88. Il flusso d'aria può essere sia
espulso nell'atmosfera o riciclato al serbatoio 86.
Ciascuna delle
boe è progettato per essere collegato ad una estremità di una catena o corda 80. Un peso 82
è collegata all'altra estremità della catena o della fune 80. La catena o corda 80
ha una serie di pulegge 81 tale che
quando la boa viene gonfiato e pieno di aria, il galleggiamento è maggiore del
peso 82 e quindi la boa sorge nel
contenitore.
Quando la boa 79 è sgonfiato, peso, 82 è più pesante la galleggiabilità e
così i lavandini boa in un contenitore 75.
Nella realizzazione qui illustrata, i pesi 82
si trovano negli scomparti asciutti 77, 78.
Ci sono diverse ragioni per questo,
compreso che, posizionando i pesi 82
nelle compartimenti asciutti 77, 78,
la velocità dei pesi 82
nella direzione verso il basso viene aumentata, e quindi un
aumento dell'energia prodotta dal sistema 74
è sperimentato .
I pesi 82 sono associati con funi o catene 83 secondi, in modo tale che il
movimento verticale dei pesi 82
provoca la rotazione delle funi o catene 83
secondi su una coppia di ruote dentate 84.
Energia di rotazione generato dalla
rotazione delle funi o catene 83
secondi viene trasferita ad un dispositivo di generazione di energia elettrica 85 (ad esempio una turbina o simili)
per generare energia (ad esempio energia elettrica)
***
Nonostante la sua complessità meccanica, il disegno
Hidro è offerto come generatore commerciale con decine di kilowatt di potenza
in eccesso, indicando che galleggiamento è un metodo di generazione di energia
significativa, basata sul fatto che l'acqua è centinaia di volte più pesante
dell'aria. Grazie al suo peso, il movimento in acqua è lento, ma possono essere
molto potenti. Il metodo scanalatura elicoidale di convertire il movimento
verticale dei galleggianti in energia rotazionale viene utilizzato per questo
in quanto ha un rapporto molto alto tra spire albero e movimento lungo
l'albero. Questo può essere compreso se si considera il fatto che una
rivoluzione completa dell'albero è causata dal galleggiante salendo solo un
passo alla posizione successiva filettatura direttamente sopra. Il rapporto
spire del movimento galleggiante completo viene determinata dall'angolo della
scanalatura tagliata nel motore.
Un'altra cosa che deve essere considerato per tale
progetto è il peso della struttura complessiva quando riempito di acqua. Il
peso complessivo è suscettibile di essere molte tonnellate e quindi il piede
sotto il generatore deve essere molto robusta. Inoltre, mentre l'aria compressa
viene menzionato, dando l'impressione di bombole di aria compressa o di gas,
per un funzionamento continuo si aspetterebbe una pompa d'aria da utilizzare. O
meno una pompa dell'aria viene utilizzato, il diametro dei tubi dell'aria deve
essere considerato. La maggior parte della gente pensa che un gas può fluire
lungo un tubo o un tubo molto facilmente. Non è questo il caso. Se si vuole
ottenere un tatto per la costrizione causata da un tubo, poi prendere un metro
di lunghezza di 6 mm di diametro tubo di plastica e provare a soffiare
attraverso di essa. Nessuna quantità significativa di aria passerà attraverso
il tubo, anche se si soffia molto difficile. Il http://www.engineeringtoolbox.com/natural-gas-pipe-sizing-d_826.html
sito web mostra questa tabella:

Notare la
differenza principale in capacità di carico di uno di questi tubi con solo il
passaggio da un 10-piedi (3 metri) lunghezza, da un modesto 20 piedi (6 Metre)
lunghezza, e queste lunghezze sono il tipo di lunghezze necessarie per molte
applicazioni . Inoltre, guardare i dati relativi, ad esempio, il pollice 0,5
(nominale) diametro del tubo. Con soli 10 metri di lunghezza, ci sarebbe voluto
ben due minuti per pompare solo un piede cubo d'aria attraverso di essa. Ne
consegue, che i tubi di diametro di dimensioni notevolmente maggiori sono
necessarie per un progetto come il 'Hidro'.
E 'possibile
costruire una versione molto più semplice del 'Hidro', forse come questa:

Un semplice, generatore
- galleggiabilità alimentato idraulico può essere costruito con due o più
orizzontale, alberi sommerso in acqua in modo tale che siano effettivamente posizionati
uno sopra l'altro rotante. Ciascun
albero ha uno, e preferibilmente due o più ruote dentate montate su di esso. Ciascuna di queste ruote dentate si impegna
con un anello catena continua che si impegna anche con la ruota dentata che
viene posizionato verticalmente sopra di esso. Questi anelli di catena verticali
costituiscono un supporto cintura stile per una serie di secchi identici. Su un lato del nastro verticale le benne hanno
loro viso aperto verso l'alto e dall'altro lato le aperture benna sono rivolti
verso il basso. Una pompa ad aria è
posizionata direttamente sotto l'insieme di secchi che hanno le aperture benna
rivolti verso il basso. La pompa
dell'aria genera un flusso verso l'alto movimento d'aria che raccoglie nei
secchi crescenti, spostando l' acqua riempiendo il secchio. Ciò si traduce in una potente spinta verso
l'alto causata dalla spinta idrostatica che secchio, e la spinta provoca il
secchio per spostare verso l'alto, ruotando i due alberi orizzontali e portando
un altro secchio pieno d'acqua in posizione sopra la pompa pneumatica. Un sistema di ingranaggi trasferisce la coppia
di rotazione così prodotta, ad un generatore che produce elettricità per usi
generici.
Questo è un generatore
cui albero di ingresso è ruotato di galleggiabilità causato da contenitori
pieni d'aria immerso in un serbatoio di acqua o altro liquido pesante adatto. Continuo, rotazione potente dell'albero
generatore è prodotto attraverso l'uso di una o più pompe, vie disponibili in
commercio convenzionali. Una pompa di
aria viene utilizzata per riempire una serie di contenitori che sono aperti ad
una estremità e che sono attaccati a ciò che è effettivamente una disposizione
cintura creato da due robusti anelli di catena-collegamento che ingranano con
pignoni montati su due alberi, un , o entrambi dei quali può essere utilizzato
per l'estrazione di potenza utile , preferibilmente per azionare un generatore
elettrico ma non necessariamente limitato a tale funzione come qualsiasi coppia
potente ha molte applicazioni utili.
Gli obiettivi sono di
fornire un sistema di generazione di energia che è molto semplice in forma e
che può essere compreso, gestito e mantenuto da persone con una formazione
minima. Inoltre, un sistema che utilizza componenti che sono già prontamente
disponibili, evitando così i costi di produzione significativi, e uno che
funziona senza la necessità di qualsiasi tipo di meccanismo o alta precisione
complessa apparecchiatura e che può operare con una vasta gamma di prodotti
disponibili in commercio.

Fig.1, è una vista parziale schematica in sezione
trasversale semplificata che mostra i principali componenti del generatore come
visto da un'estremità.

Fig.2, è un concettuale vista schematica in sezione
trasversale che mostra la vista frontale del generatore, nella sua forma più
semplice.

Fig.3, è un concettuale vista schematica in sezione
trasversale che mostra la vista frontale del generatore dove viene utilizzato
più di un insieme di benne.

Fig.4, è una vista concettuale in prospettiva che mostra
le modalità di un sistema semplificato di aria di alimentazione che opera da
sopra il serbatoio.
Fig.1, illustra il concetto generale del generatore,
nella sua forma più semplice, dove secchi rigidi leggeri sono utilizzati per
catturare l' aria che sale dalla pompa dell'aria. In questa figura, un serbatoio di acqua 1 , trattiene l'acqua o altro liquido
adatto 2. La superficie del liquido 3, è indicato per illustrare il fatto che un secchio 10, che è in fase di ribaltamento nella
parte superiore del suo moto orbitale , è posizionato in modo che un bordo del
secchio è chiaro della superficie del acqua, che permette l'aria che è stata
intrappolata all'interno del secchio per sfuggire nell'atmosfera e il
riempimento acqua tutta secchio causando solo una turbolenza molto minore
quando farlo. Questa è una
caratteristica desiderabile, ma non essenziale come l'aria intrappolata in
qualsiasi secchio fuoriesce verso l'alto non appena il secchio inizia il suo
movimento verso il basso, posizionando l'estremità aperta verso l'alto, anche
se questo provoca turbolenze inutili all'interno del serbatoio . Una possibile
forma benna è mostrato in vista prospettica , ma molte differenti forme di
secchio può essere utilizzato, compresi tipi di membrane flessibili o in
alternativa, tipi incernierato piastra che sono molto ridotti resistenza al
movimento attraverso l'acqua quando nel loro stato collassato durante il loro
movimento verso il basso.
I secchi 8 , 9 e 10 , sono collegati a due robuste catene 30, che ingranano con la ruota dentata superiore 6, montati sull'asse superiore 4, e la ruota dentata inferiore 7, che è montato sull'asse inferiore 5. Anche se non è visibile in Fig.1, ci sono due ruote dentate
superiori 6, due pignoni inferiori 7, e due loop catena 30, anche se questi possono essere
visti in Fig.2.
Il serbatoio è
supportato su una robusta piastra 14,
che è sostenuta da una serie di montanti 15
che poggiano su un basamento sicuro 16,
fornendo spazio di manovra sotto il serbatoio per l'installazione e la
manutenzione degli impianti di pompaggio dell'aria. Come acqua fresca pesa 1000 Kg per metro cubo,
il peso del sistema operativo generatore è sostanziale e quindi questo deve
essere consentito per predisporre il basamento necessaria per sostenere il
serbatoio e il suo contenuto. Mentre un
serbatoio a parete sottile è mostrato in Fig.1,
molte forme diverse di deposito possono essere utilizzati, comprese le banche
terra e stili di membrana di plastica, o riemerse pozzo abbandonato alberi. Il serbatoio di Fig.1 presuppone che l'asse inferiore 5 viene estratto attraverso la parete del serbatoio 1, usando una disposizione simile a
quello utilizzato per gli alberi che alimentano le viti di navi e altre
imbarcazioni di potenza del convertitore. Mentre una disposizione di questo tipo
fornisce un albero motore che si trova vicino al terreno, la disposizione molto
più semplice di Fig.2 laddove la
potenza di uscita disattivato mediante il semplice catena e pignone metodo
utilizzato per il secchio supporta (catena 30
, e ruote dentate 6 e 7). In generale, più semplice e diretto tutto il
disegno è, meglio funziona nella pratica ei bassi costi di manutenzione diventa.
Facendo nuovamente
riferimento alla Fig.1 , quando
attivato, pompa dell'aria 11 produce
un flusso d'aria 12, che scorre
rapidamente verso l'alto. Questo flusso
di aria 12, una volta stabilita, non
deve spingere contro la testa di acqua immediatamente sopra l'ugello della
pompa è una colonna rapido aumento di aria, sostenuto sia dalla velocità di
uscita dalla pompa 11 e il movimento
verso l'alto naturale causato dai relativi pesi dell'acqua e dell'aria (come
l'acqua è diverse centinaia di volte più pesanti dell'aria). Questa colonna d'aria che normalmente flusso
dritto verso l'alto in acque calme, ma se dovesse essere accertato che la
turbolenza in acqua tende a spingere l'aria che sorge lontano dal suo percorso
verticale, deflettori possono essere posizionati intorno alla pompa e
posizionati in modo tale che il flusso d'aria è costretti a rimanere
all'interno della stessa sezione di acqua presa dai secchi in aumento .
L' aria che sale entra
il più basso dei secchi salita e raccoglie in esso, forzando l'acqua dalla
parte inferiore aperta del secchio. Se
il secchio aumento non è completamente riempito di aria prima della successiva
secchio muove tra esso e la pompa di aria, l'aria tenderà ad espandersi come il
secchio aumenta e la pressione dell'acqua riduce a causa della profondità
minore. Chiunque secchio con una
notevole quantità di aria in esso creerà una significativa forza verso l'alto a
causa della galleggiabilità, aria essendo circa mille volte più leggero
dell'acqua.
Ogni secchio sul lato
di salita aggiunge a quella forza verso l'alto e, di conseguenza, le catene 30 bisogno notevole forza. Il peso dei secchi su ogni lato della partita
catena e così il vantaggio principale di benne di luce è di abbassare la massa
inerziale delle parti in movimento. Movimento
attraverso l'acqua è relativamente lento, ma questo è compensato da ingranaggi
tra l'albero motore e l'albero di uscita del generatore all'ingresso. La potenza del sistema può essere aumentata
aggiungendo più secchi nella catena verticale, aumentando la profondità di
acqua di conseguenza. Altri modi di
aumentare la potenza includono aumentando il volume all'interno di ciascun
segmento e / o aumentando la portata prodotta dalla pompa di aria o pompe
utilizzato. Un altro metodo semplice è
mostrato in Fig.3 e discusso in
seguito. Un'alternativa alle pompe vie è
quello di utilizzare serbatoi di una compressa, gas non inquinante,
possibilmente aria.
Le benne indicate nelle
varie figure sono rigide, forme molto semplici, eventualmente effettuate da un
processo di stampaggio plastico in modo da essere a buon mercato, forte,
leggero e permanentemente resistente all'acqua. Ci sono, naturalmente, molte possibili
varianti di questo anche utilizzando piastre incernierate rigido sigillato con
una forte membrana flessibile, consentendo i secchi da piegare e diventare
snella nel loro percorso verso il basso, e l'apertura appena si rivolgono a
iniziare il loro movimento verso l'alto. Ci sono molti meccanismi che possono fornire
questo movimento, ma è una questione di opinione sul fatto o meno l'estrema
semplicità di secchi rigidi vale la pena sacrificare.
Fig.2 mostra un layout schematico del generatore quando
visto di lato. Gli stessi numeri
applicano ai componenti già visti in Fig.1.
L' accordo visto Fig.2 è il più semplice, set base secchio singolo. I secchi aumento vicino lato 8 oscurano la vista dei lontani lato
caduta secchi 9 e solo la parte più
bassa dei secchi che cadono 9 può
essere visto in questa vista. Fig.1 mostra secchi che sono circa due
volte e mezzo più che larghi, ma questo, naturalmente, è solo un'opzione tra
letteralmente migliaia di possibili proporzioni. La dimensione e la forma delle benne è legato
alle prestazioni e numero di pompe aria di essere utilizzato per qualsiasi set
di secchi e che la scelta dipende da ciò che è disponibile localmente a un
prezzo ragionevole. Non sarebbe insolito
per due o tre pompe vie da utilizzare affiancati lungo la lunghezza del secchio
8 sebbene Fig.2 mostra una sola pompa.
Fig.2 mostra anche un metodo semplice per la presa di
forza dove un grande diametro ruota dentata 16 è montata sull'asse superiore 4, e la guida di un diametro molto più piccola ruota dentata 18 che è montato sull'albero motore del
generatore elettrico 19 che è
montato su piastra 20 che è
attaccata saldamente alla cima del serbatoio 1.
Fig.3 mostra una delle possibili modalità per aumentare
la potenza dell'impianto senza aumentare la profondità di acqua utilizzata. Qui , gli assi 4 e 5 si estendono
abbastanza lontano da permettere un altro set di secchi per guidare loro,
aumentando la coppia molto consistente. Mentre Fig.3
mostra un ulteriore set di secchi, vi è, naturalmente , alcun motivo per cui
non ci dovrebbero essere tre o più insiemi di benne fianco a fianco. Occorre notare tuttavia che partizione
mostrata tra i set di cestelli non sono lì solo per ridurre l' acqua vorticosa
ma sono necessari per sostenere i cuscinetti che sono essenziali per gli assi
estesi, poiché senza quelli, il diametro delle barre utilizzato per l' assali
dovrebbe aumentare vistosamente per evitare flessioni indesiderate lungo la loro
lunghezza. Mentre la seconda serie di
secchi è stato dimostrato esattamente allineata con la prima serie, vi è un
vantaggio nel compensare loro rispetto all'altro in modo che la coppia di
uscita è più uniforme con secchi svuotamento e riempimento in punti diversi del
ciclo benna.
Fig.4. mostra un metodo per un'ulteriore semplificazione,
dove l'aria è pompata da sopra la superficie dell'acqua. Si tratta di preoccupazione per molte persone,
che la pressione della colonna d'acqua sopra la pompa dell'aria è un ostacolo
da superare e sarà una forza opposta continuo durante il funzionamento del
generatore. Se l'aria viene iniettata da
sotto il serbatoio, poi inizialmente, che la testa di pressione deve essere
superata. Tuttavia, una volta stabilito
il flusso d'aria, una superficie a forma di sigaro verticale del vortice
d'acqua è stabilita dal flusso d'aria crescente. Questo vortice anulare tridimensionale nega la
testa acqua nell'area piccola immediatamente sopra l'ugello, e quasi aspira
l'aria dalla pompa, dopo l'introduzione iniziale dell'aria è compiuta.
C'è un altro modo per
ottenere questo effetto desiderabile senza mai dover pompare contro la testa
totale di acqua, e che è quello di utilizzare un tubo di aria mobile come
mostrato in Fig.4. Inizialmente, la pompa di aria viene avviata e
abbassa una breve distanza in acqua. La
testa opposti di acqua non è grande e il vortice d'acqua può essere stabilita
facilmente. Il tubo viene quindi
abbassata molto lentamente, in modo da mantenere il vortice ad una profondità
progressivamente inferiore, dove, nonostante l' aumento della colonna d'acqua,
la pompa non deve superare quella testa. Quando l'uscita del tubo raggiunge la
profondità operativa, viene poi ruotata per portarla sotto l'insieme di aumento
secchi. Il principale vantaggio di
questa configurazione è che il serbatoio è più semplice possibile, senza
possibilità di perdite, e così pozzi abbandonati può essere modificato per
diventare generatori di energia. In
alternativa, una banca terra può essere eretto a formare un serbatoio fuori
terra, eventualmente sigillata con una membrana in plastica. Questo metodo
evita anche la necessità di sostenere il peso del serbatoio di acqua e sopra un
area di lavoro in cui si trovano e mantenuti i cilindri pompa di aria o aria
compressa. La creazione del vortice
acqua può essere assistita con l'aggiunta di un cappuccio attorno all'uscita
del tubo come mostrato in questa figura, ma che è una caratteristica opzionale.
Mentre motore a
combustione interna di dimostrare che un notevole potere si può avere dal
movimento che si muove avanti e indietro continuamente, questo tipo di azione
non è molto efficiente in quanto vi è continua inversione dei componenti di
azionamento oscillanti. I galleggianti nel design (molto successo) 'Hidro'
mostrato sopra. Un disegno diverso è mostrato nel brevetto 2011 di Renato
Bastos Ribero del Brasile. Ecco un estratto da tale brevetto:
US 7,958,726 14 giugno 2011 Inventore: Renato Bastos Ribero
Apparecchi e metodi
associati per generare energia utilizzabile
Abstract:
La presente descrizione
si riferisce ad un apparecchio e metodi associati per la generazione di energia
da catturare e prendendo vantaggio dell'energia generata da qualsiasi quantità
di pavimentazione aria all'interno dell'acqua. In forme di realizzazione
esemplificative, l'apparecchiatura comprende comprimere un gas densità
inferiore in un mezzo liquido, consente al gas di aumentare naturalmente alla
superficie del mezzo liquido e quindi catturare l'energia generata dal gas
affioramento.

Fig.2 è una vista in prospettiva superiore di un disco
rotore per la compressione di un gas in un mezzo liquido. Questa rivelazione è
in due fasi che, in questo caso, lavorano insieme. La prima fase consiste nella
creazione di energia con l'introduzione di aria in corrispondenza della parte
inferiore di una colonna d'acqua. Una volta introdotto, l'aria crea energia
quando si sposta verso la superficie. L'introduzione di aria in acqua è il
punto principale di questa prima parte della descrizione. Un metodo è stato
creato al fine di utilizzare una quantità molto piccola di energia durante
questa operazione.
I denti del disco,
quando ruotato in acqua, acqua di defluire dalla zona tra i denti, abbassando
la pressione lì e permettendo la facile introduzione di aria in quella zona.
Senza introduzione di aria, acqua non allontanarsi e la pressione non verrebbe
ridotta. Lo scopo
La seconda sezione
della presente descrizione si riferisce ad un sistema con l'obiettivo di
catturare l'aria che viene inserita nella parte inferiore di una colonna
d'acqua o serbatoio, mentre si muove verso la superficie dell'acqua.

Come mostrato in Fig.16, secchi 2030 scende su un 2020 a
catena continua che passa attorno ad una inferiore e una ruota superiore o
puleggia. Al raggiungimento della
puleggia inferiore, i secchi ruotare intorno alla parte inferiore della
puleggia e la linea 2014 di nuovo
sul lato ascendente della catena. Immediatamente dopo aver acceso attorno alla
puleggia inferiore, ciascun segmento riceve il flusso d'aria in aumento.

Fig.17 mostra la disposizione nella parte superiore del
serbatoio dell'acqua 2010. Secchi 2030
aumento a causa di essere riempito di aria, girare quando passano intorno alla
puleggia superiore 2018, rilasciando
l'aria al loro interno e inizia a scendere nuovamente verso la puleggia
inferiore. L'asse superiore 2018 ha
una velocità stimata di rotazione di 120 rpm.
In Fig.17 I (Ribero) Sono mostra la trasmissione di questa energia ad
un asse alla parte superiore della colonna d'acqua dove abbiamo un generatore 2050 richiede una rotazione di 300 rpm,
più un motore collegato ad un altro generatore di rotazione di 600 rpm. Questa
parte della Fig.17 è solo illustrativa per mostrare che
si generano energia sull'asse primario a 120 giri al minuto, o
utilizzare qualsiasi tipo di trasmissione a velocità di rotazione più
convenienti.
***
Penso che le parole segnate in rosso indicano che, anche se il
brevetto è stato concesso, il generatore non è mai stata costruita ed è solo
un'idea. Personalmente sono
molto dubbioso circa i meccanismi che dovrebbero dare pressione ridotta
dell'acqua alla presa d'aria, in quanto non credo che avrebbe funzionato, o se
lo fanno, non certo per i motivi indicati. Quello che vuole fare può certamente
essere fatto, ma non nel modo in cui egli suggerisce. Se gli assi ruotano ai
giri 120 che egli suggerisce, quindi, che avrebbe permesso meno di un ottavo di
secondo per riempire ogni secchio e mentre la nozione di turbolenza dell'acqua
ridotta attraverso i secchi che si toccano è attraente, non credo che che il
metodo descritto è fattibile.
Così, mentre si può essere certi che i metodi di
galleggiamento sono perfettamente in grado di generare energia grave, abbiamo
bisogno di una migliore progettazione di uno dei due qui rappresentato con la
Hidro sembra essere molto costoso da costruire.
Il recente http://www.rarenergia.com.br/
sito presenta un motore alimentato a gravità, che è in grado di pilotare un
generatore elettrico di 30 kilowatt.
Questo non è certamente un progetto casa-build e
il costo di costruzione e costi di manutenzione quotidiana rende questo sembra
essere un progetto molto antieconomico. Tuttavia, un enorme vantaggio della
costruzione di questi due generatori è che mostrano molto chiaramente tale
energia libera è disponibile e perfettamente fattibile. Le persone a costruire
queste due costruzioni precisano molto chiaramente che questi sono motori
alimentati a gravità, piuttosto che i generatori elettrici appena. Mentre
questi motori possono guidare i generatori elettrici, si sottolinea che essi
possono anche eseguire qualsiasi attività che ha bisogno di un motore, come il
pompaggio, perforazione, ecc. La dimensione di questi motori è notevole, come
si può vedere dalle immagini seguenti:


Ho recentemente stato fatto consapevole della
gravità riki ruota inventata nel 1150 in India. Questa è una idea più
interessante che sembra avere notevoli potenzialità. C'è quello che sembra
essere una replica marginale mostrato qui http://www.dailymotion.com/video/xygxsy_bhaskara-wheel-overbalanced-chain_tech.
Qualsiasi dispositivo alimentato a gravità deve essere grande e pesante,
se si vuole produrre grave potenza utilizzabile. Il piccolo dispositivo
mostrato nel video è mostrato stazionario che dimostra che l'attrito del
cuscinetto è troppo grande per il peso del liquido coinvolto. Correttamente
costruita, sarebbe impossibile avere il fermo ruota a meno che non si erano
bloccati in luogo come lo squilibrio di peso sarebbe iniziare a rotazione da
qualsiasi posizione stazionaria. Il design complessivo della ruota è
generalmente indicato come questo:

L'idea è che il liquido sulla destra ha il suo
centro di gravità più ulteriormente l'asse della ruota, rispetto a quello sulla
sinistra. Il "centro di gravità" di qualsiasi oggetto è il punto a
cui tutti è considerato il peso dell'oggetto ad agire. Di solito è al centro di
un oggetto che ha una forma regolare. In questo caso, l'effetto di rotazione è
creato da piccolissime differenze di lunghezze del braccio di leva:

Qui, il centro di gravità di ciascun corpo di
liquido è contrassegnata con un pallino blu. I bracci di leva "d1" e
"d2" Visualizza le distanze per due tubi sul lato opposto dell'asse.
Anche se non è evidente in questa illustrazione, la lunghezza "d1" è
in realtà più lungo della lunghezza "d2". I tubi sono fissati in
posizione e non si muovono rispetto alla ruota e così, l'unica parte in
movimento è il liquido e il disco rotante. Come illustrato di seguito, il
meccanismo non è efficiente come gran parte del potere potenziale non si
accede. La forza di rotazione del liquido viene creata il liquido verso
l'esterno che scorre, dall'asse. Che il flusso è stato fortemente limitato
dalle lunghezze di tubo corto. Sarebbe molto più realistico utilizzare un tubo
molto più lungo come questo:

Solo allungando il tubo, c'è un forte incremento
nel movimento del liquido dall'asse. La lunghezza del tubo maggiore non ha
alcun effetto evidente sul lato aumentante della ruota.
La maggior parte delle persone pensano della ruota
come essendo piccolo con pochi piccoli tubi collegati ad esso. Se la potenza
effettiva estrazione è l'obiettivo, quindi la ruota diventa un cilindro e i
"tubi" estendono tutto il senso attraverso il cilindro. Vorrei
suggerire che il diametro del cilindro è fatta circa un metro e la lunghezza
del cilindro circa mezzo metro se avete intenzione di portarlo attraverso una
porta e molto più a lungo se non. In questo accordo, i "tubi"
diventano contenitori poco profondi, piatti, rendendo la disposizione qualcosa
come questo:

Se i contenitori di liquidi sono costituiti da,
diciamo, 3 mm MDF, poi vorrei suggerire che i lati sono realizzati utilizzando
MDF dello spessore di 6 mm per rendere il contenitore rigido come il peso del
liquido sarà abbastanza elevato. Se il materiale di costruzione non è
impermeabile, quindi un rivestimento di vernice, vernice o uno degli spray
impermeabilizzanti impedirà l'assorbimento d'acqua, è sigillato all'interno del
contenitore. Il liquido viene aggiunto prima la parte superiore del contenitore
è incollata sul posto. Esattamente la stessa quantità di liquido deve essere
versata in ogni contenitore prima di tenuta e una brocca di misurazione deve
essere utilizzata per assicurarsi che ogni contenitore riempito a metà
corrisponde il peso di ciascuno degli altri contenitori.
Un motore a 12 volt CC può essere utilizzato come
generatore, guidato da una cintura e due pulegge, al fine di ottenere qualche
utile produzione elettrica dal dispositivo. Materiali diversi da un liquido
sono stati suggeriti come il più pesante che è il materiale, il più potente
diventa il generatore. Mercurio sarebbe molto buono in quanto è molto pesante,
ma come è così velenoso, (per non parlare costosi), non è una scelta
realistica. Colpo di piombo o sfere di acciaio sono state suggerite, ma
probabilmente non sarebbe il flusso passa attraverso i contenitori abbastanza
bene per essere una buona scelta e quindi un liquido è forse la cosa migliore
da utilizzare, l'acqua essendo una scelta ovvia.
Nel 1939, William Skinner di Miami in Florida, ha
dimostrato il suo generatore di quinta generazione alimentato da pesi di
filatura. Sua dimostrazione ancora visibili presso
http://www.britishpathe.com/video/gravity-power
dove egli Mostra il suo disegno alimentando un tornio di dodici piedi, un
trapano ed un seghetto di potere, tutti contemporaneamente. Il commentatore del
cinegiornale afferma che la potenza di uscita era "1200% di potenza in
ingresso", che è COP=12 ma è altamente probabile che avrebbe dovrebbe dire
"1200 volte" piuttosto che "1200%" perché egli continua a
stato che usando il disegno consentirebbe un input uno CV (746 watt) di potenza
per alimentazione 3.500 case. Se fosse COP=12 poi ognuno di quei 3.500 case
avrebbe ricevuto meno di 2,6 watt, che è chiaramente sbagliato. Presso il COP=1200
molto più probabile, ogni famiglia avrebbe ricevuto in media, 255 watt, che
potrebbe essere possibile solo nel 1939 quando alcuni apparecchi erano
elettrici. Comunque, apparecchiatura
impressionante Skinner potrebbe essere guidato da una fascia di cotone singolo
filo in auto mentre alimentando la sua intera officina. Presentava così:

Questo disegno ha quattro alberi quasi verticali,
ciascuno rinforzato per dare ulteriore rigidità. Questi alberi di rotazione passare loro
potere rotante per la cinghia di trasmissione meccanica di uscita vista sulla
sinistra. Ognuno di questi alberi di
rotazione ha un peso sotto forma di un cilindro di spessa, breve montato alto
fino nella parte superiore dell'albero e quello che è probabilmente un peso
ancora più pesante sotto forma di un cilindro lungo stretto attaccato nella
parte inferiore dell'albero come visto appena a destra della cinghia di
trasmissione uscita. Questi quattro
serie identica di alberi con loro coppie di spin pesi due o tre volte al secondo
e produrre tutta la potenza di uscita.
Per quanto mi rendo conto, Skinner mai suo design
brevettato o divulgate come funzionava.
Tuttavia, il principio di funzionamento è molto semplice, anche se si
può prendere un po ' per capire come funziona.
È possibile controllare questo fuori abbastanza facilmente per te se hai
accesso ad un vecchio stile sedia con quattro gambe rigide come questo:

Inclinare la sedia sopra così che è bilanciato su una gamba. Si noterà che quasi sforzo non è coinvolto nel
mantenerlo in che posizione come tutto il peso è sostenuta dal pavimento
attraverso una sola delle gambe. Ora, spostare la parte superiore della sedia
da una quantità molto piccola e tenere la parte superiore della sedia in quella
posizione. Noterete due cose: in primo
luogo, poco sforzo è stato necessario per spostare la sedia e la seconda cima,
la sedia ora oscilla intorno e diventa stazionaria sullo stesso lato che la
parte superiore della sedia è stata spostata.
Notare altre due cose: la sedia ha oscillato intorno a causa vostra
muovendo la parte superiore leggermente e non ha fatto oscillare intorno, e se
la sedia è pesante, la quantità di energia nella sedia oscillante è molto
maggiore che la quantità di energia che applica alla parte superiore della sedia.
Se si dovesse continuare a spostare la parte superiore della sedia in un
piccolo cerchio, poi la sedia girerà intorno continuamente tuttavia a lungo che
si sceglie di traballare la parte superiore della sedia. La quantità di energia sulla sedia di filatura
è molto maggiore di energia che è spendendo per fare il giro della sedia. Così
da dove è che l'energia supplementare in arrivo?
Ciò che sta accadendo è che la sedia dondola rotonda sotto gravità per
raggiungere il punto più basso possibile per esso con la nuova posizione della
parte superiore della sedia. Ma, prima può arrivare là, si sposta la parte
superiore della sedia ulteriormente intorno e quindi la sedia deve oscillare
ulteriormente nell'ordine di raggiungere il punto più basso. Ma prima può arrivare,
si sposta nuovamente il top... La sedia mantiene oscillante tondo, tirato dalla
forza di gravità, per come si sceglie di continuare a spostare la parte
superiore. Ma, non importa quanto pesa
sedia, poco sforzo è necessario da voi per causare la filatura.
Skinner aveva un meccanismo nella parte superiore di ogni albero motore
verticale, e quel meccanismo mantenuto spostando la cima dell'albero in un
piccolo cerchio, consentendo all'albero di ruotare liberamente in ogni momento.
Che ha causato i pesi molto pesanti,
collegati all'albero a mantenere gira intorno, e ha usato quel potere di
pesanti pesi di filatura per alimentare la sua intera officina. Spostando che la cima degli alberi così poca
potenza richiesta che ha utilizzato un motore elettrico da watt 93 e per
mostrare che non era nemmeno utilizzando tutta la potenza di quel piccolo
motore, ha usato un filo di cotone singolo come band auto per spostare le cime
degli alberi di uscita di quattro potenza.
Suo meccanismo sembra complicato. Questo è dovuto in parte al fatto che ci
sono quattro alberi di identico potere con i loro pesi, montati in un telaio
compatto e che rende il dispositivo look più complicato di quello che realmente
è. È anche dovuto al fatto che il sistema illustrato nel cinegiornale è la
quinta versione di William del dispositivo. È probabile che suoi precedenti,
molto più semplici versioni ha funzionato bene e lo incoraggiarono a costruire
versioni anche amatore.
Ci sono due forum dove i membri di tali forum sono tentando di lavorare
fuori esattamente come la sua macchina versione finale ha lavorato e quindi
replicare il disegno per uso corrente giorno quanto è un sistema pulito per
accedere a ulteriore potenza utilizzabile. Questi forum sono:
http://www.overunity.com/14655/1939-gravity-power-multiply-power-by-1200/#.U5y0gXaqmJA e
http://www.energeticforum.com/renewable-energy/17195-william-f-skinner-1939-gravity-power.html
Ha bisogno di essere ricordato, tuttavia, che non
è effettivamente necessario replicare la quinta versione di William, ma invece
sarebbe abbastanza sufficiente per utilizzare il principio della sedia filatura
per produrre un meccanismo semplice dove la potenza di ingresso è molto meno
rispetto alla potenza.
Se consideriamo quello che sta succedendo, allora
forse possiamo capire disposizione dall'aspetto complicato di Skinner. Possiamo considerare solo uno degli alberi
quattro assale il grande peso gira intorno in un cerchio e movimento poi
utilizzato per alimentare l'albero di uscita. Al fine di ridurre lo sforzo necessario per
far girare il peso, l'albero dell'asse è stata fatta più sottile e quattro
barre di rinforzo sono stati utilizzati per la parentesi graffa albero in
esattamente allo stesso modo che yacht a vela, gli alberi sono solitamente
controventati con "crocette" di tenere i rinforzi dall'albero e così
dare maggiore rigidità complessiva. Così
possiamo ignorare quelle barre di rinforzo come essi non hanno nulla a che fare
con l'effettivo funzionamento del suo design, ma sono semplicemente la sua
scelta fuori molte opzioni differenti di costruzione.
Ricordate la sedia di filatura e considerare ciò che deve essere fatto per far girare il peso pesante di Skinner. La parte superiore dell'albero deve essere spostato in un piccolo cerchio. Guardando dall'alto la situazione è simile a questa:

Quando il sistema è spento, il peso attaccato alla
parte inferiore dell'asse si ferma direttamente sotto il piano dell'asse.
Quando il sistema viene avviato nuovamente, la prima mossa è di spostare la
parte superiore dei gradi dell'asse novanta intorno. Questo è l'inizio del
movimento rotatorio e inizialmente, il movimento è lento, come qualche volta
prende il peso pesante per ottenere movimento. Per ridurre lo sforzo di muovere
la parte superiore dell'asse di novanta gradi davanti al grande peso inferiore,
Skinner ha aggiunto un peso nella parte superiore per aiutare il movimento in
quella direzione.

Skinner ha anche approfittato del suo laboratorio
molto grande per utilizzare un meccanismo di cinghia sopra la parte superiore
dell'asse, al fine di ridurre lo sforzo di muovere la parte superiore dell'asse
ulteriormente (fino al livello dove poteva essere guidato da un filo di
cotone). Ha usato quattro assi identici
separati nella sua costruzione per due motivi: primo, la complessiva è
aumentata la potenza in uscita e in secondo luogo, qualsiasi forze lateralmente
sottolineando il telaio di montaggio sono abbinate su ogni lato, che è utile
quando si hanno grossi pesi su un braccio rotante come Skinner ha fatto.
Come gli assi di uscita sembrano essere rotanti a
circa 150 giri, Skinner ha optato per l'utilizzo di un azionamento meccanico
dritto. Nel 1939, azionato
elettricamente apparecchiature non era diffusa come è oggi, ma al giorno d'oggi
abbiamo probabilmente preferirei avere un'uscita elettrica piuttosto che un
azionamento meccanico anche se quell'azionamento meccanico potrebbe essere
utilizzato per l'azionamento di pompe e altri dispositivi a bassa velocità. Quindi, ci troviamo di fronte con
l'introduzione di qualche forma di ingranaggi che può sollevare quel 150 giri
al minuto per il livello molto più alto preferito dai più alternatori.
Mentre è possibile utilizzare un normale motore 12
volt come generatore e produrre un output elettrico 12 volt, è probabile che
sia più conveniente utilizzare un generatore elettrico prefabbricato, forse uno
di molto basso attrito come ciò che è stato progettato per il funzionamento di
energia eolica e che ha un uscita trifase 12V o 24V:

Il fatto che l'output elettrico è trifase può
sembrare un po ' scoraggiante, ma la conversione in CC è abbastanza semplice:

L'output può essere convertito in CC con sei diodi
ordinari o una disposizione diodo integrato può essere utilizzata dove c'è un
tag di collegamento per ognuna delle tre uscite e un tag separato per il CC
Plus e per la sottrazione CC. Le correnti coinvolti sono abbastanza alte come
400 watt a 12 volt rappresenta più di 33 ampere e la potenza di picco di 500
watt è una corrente di circa 42 ampere. Per questo motivo, i blocchi di
raddrizzatore trifase sono valutati a 50 ampere che suona molto alto fino a
fare i calcoli e scoprire che cosa la corrente rischia di essere. Occorre inoltre tener presente che il CC
uscita filo da portare quel livello di corrente su base continua e quindi
abbastanza robusto filo è necessaria. Se
la tensione di 220V quindi il filo sarebbe trasportare più di 9 chilowatt a
quel flusso di corrente e così il filo normale alimentazione 13-amp non è solo
sufficiente e invece, abbiamo bisogno di usare filo spessa o più di una filza
di filo per le connessioni di Minus e Plus.
Questo particolare generatore non è costoso e può
produrre 400 watt di elettricità (33 ampere) continuamente. Come il tipo sembra
essere filatura a 150 Hz, un sistema d'ingranaggi fino la velocità di uscita di
Skinner consentirebbe una maggiore uscita, quindi forse per un costruttore di
casa, la disposizione fisica potrebbe essere come questo:

Naturalmente, ci sono molte forme diverse di
costruzione, che potrebbe essere utilizzato, ma con ciascuno di essi, la
domanda è: "come fate l'asse inclinato ruotare potentemente?". Se si può lavorare fuori le complessità della
quinta versione di Skinner, mostrato nel cinegiornale, che certamente sarebbe
fare il lavoro. Tuttavia, vorremmo
preferisce un design molto più semplice e quindi non necessariamente dobbiamo
copiare quello che Skinner ha fatto, ma invece si può solo applicare il
principio che ha dimostrato. Una disposizione possibile potrebbe essere quella
di imitare l'esperimento sedia usando un asse forte con un peso fissato su un
lato di esso, forse come this:

Versione "A" utilizza il peso per
irrigidire l'assale ma facendo che genera il baricentro dell'asse combinato e
peso che non può essere conveniente. Versione "B" aumenta la coppia per
qualsiasi dato peso spostando il baricentro del peso dalla mezzeria dell'asse
mediante bracci di estensione. Poiché
l'asse ruota a una velocità costante, il carico sull'asse sarà essenzialmente
costante e non ci dovrebbe essere alcun significativo flessione dell'asse anche
se potrebbe piegare e rimangono con che stesso piegare durante tutto il tempo
quando gira se il peso è molto alto rispetto la rigidità dell'asse.
Abbiamo qualche potere ruotare la parte superiore
dell'asse unità di input, ma se si organizzano le cose in uno delle centinaia
di configurazioni possibili, quindi la potenza in uscita sarà massicciamente
maggiore potenza in ingresso. Una
disposizione alternativa che consente il controllo della velocità (e quindi,
controllo di potenza di uscita) è quello di prendere alcune dell'output
generato di energia elettrica e che utilizzano per alimentare un'auto elettrica
che posiziona la parte superiore dell'asse di azionamento.
Ci saranno molti modi diversi di raggiungere quel
movimento. Un metodo per fare questo
potrebbe essere:

Qui, il piccolo motore elettrico in verde è
orientato verso il basso e utilizzato per spostare la parte superiore dell'asse
in auto a qualunque velocità di rivoluzione che consideriamo soddisfacente,
utilizzando un motore CC standard regolatore.
Va notato che non importa quale angolo è scelto
per l'asse, che è sempre una costante rispetto al braccio motore movimento
rotondo nel cerchio in alto dell'asse. Questo
significa che nessun cuscinetto a rulli è necessario in quanto non non c'è
nessun movimento relativo e l'asse assumerà automaticamente quel angolo fisso. Il braccio del motore auto spostando la parte
superiore dell'asse probabilmente non sarà lungo, come Skinner è sembrato
essere muovendo la parte superiore del suoi assi di circa 40 mm dalla mezzeria
del perno inferiore, facendo solo un corso di laurea o così per l'angolo
dell'asse su ogni lato del verticale.
È, ovviamente, non è essenziale per convertire la
potenza di uscita a elettricità e invece potrebbe essere usato nello stesso
modo che hai di Skinner, guida attrezzature meccaniche quali pompe acqua per
l'irrigazione o l'estrazione di acqua da pozzi, fresatura di operazioni per la
lavorazione di grano o per qualsiasi forma di attrezzature per officina di
funzionamento. Inoltre non è necessario
costruire il dispositivo lontanamente grande come Skinner ha fatto, e piccole
versioni potrebbe essere utilizzato per sistemi di illuminazione di potenza,
operare i tifosi o sistemi di raffreddamento o per eventuali altri requisiti
minori domestici.
La potenza erogata dalla macchina può essere
aumentata aumentando il peso attaccato all'albero di uscita, o aumentando la
lunghezza del braccio tenendo il peso o dall'inclinazione dell'asse di uscita
attraverso un angolo maggiore (che aumenta la potenza di ingresso necessaria,
ma probabilmente non di molto), o forse da aumentare in proporzione il tutto
affinché sia fisicamente più grande. Progettazione
di Skinner utilizza i rinforzi dell'asse di uscita, che suggerisce che più
leggera dell'asse è, meglio le prestazioni di irrigidimento. Per questo motivo,
una compilazione di prototipo potrebbe utilizzare un asse di legno forse, 33 mm
quadrati come cioè sia leggero e molto robusta e rigido ed è una buona forma
per garantire che non non c'è nessun scivolamento del braccio che sostiene i
pesi. La parte superiore dell'asse viene ridotto leggermente in modo che ha una
sezione trasversale circolare. Un motore di 300 rpm gira ad un massimo di 5
giri al secondo e quindi è adatto per l'asse di rotazione. Un motore adatto,
basso costo di quel tipo, assomiglia a questo:

Il motore deve essere collegato all'asse in modo semplice che assicura che l'albero motore non scivolerà:

Forse un buco di dimensione adatto attraverso una
striscia di materiale di taglio e usando una striscia di metallo pressato in
faccia piatta dell'albero motore (oltre il foro essendo una Spinta di stretta
misura) sarebbe adeguati per questo. Un collare avvitati o strato di resina
epossidica detiene che saldamente la piastra motore come la piastra è
posizionata sotto il motore e quindi la gravità tende a tirare la piastra fuori
l'albero motore a tutti i tempi.
Si sarebbe inizialmente supporre che un cuscinetto
a sfere o cuscinetti a rulli sarebbe necessaria in questo braccio motore, ma
che è non è il caso come l'asse non ruoti rispetto il braccio motore e mentre
l'assale può essere una misura allentata nel foro, non è certamente necessario
per un cuscinetto.
Un regolatore di velocità commerciale motore di CC
può essere utilizzato per portare la velocità di rotazione dell'asse
gradualmente fino da un inizio stazionario al tasso prescelto della rivoluzione:

Utilizzando un modulo commerciale come questo
significa che nessuna conoscenza elettronica è necessario per costruire un
generatore di questo tipo di lavoro.
Ci sono molte opzioni per fornire il peso
necessario che aziona il generatore. Una
possibilità è usare un albero bilanciere con pesi come molti come sono tenuti,
che essendo un'alterazione molto semplice:

Uno dell'impugnatura può essere tagliato e
utilizzato direttamente come parte del montaggio, forse come questo:

Questa disposizione semplice permette i dischi di
peso essere aggiunto e fissato in qualsiasi combinazione voluta. Manubri sono fornite in coppia, ci sono
quattro dischi di ogni lato che permette una vasta gamma di opzioni di peso
salendo in salti di appena 1 Kg, che è molto conveniente. Se l'asse ha una sezione trasversale quadrata,
non non c'è nessuna tendenza per il braccio di leva a scivolare attorno
all'albero
Gli schizzi seguenti non sono a scala, ma una
forma di costruzione potrebbe essere:


Per questo stile di costruzione, quattro pezzi di, forse, legname piallato bordo quadrato 70 x 18 mm taglio a forse 1050 mm e due 33 x 33 x 65 mm pezzi sono incollate e avvitate a due pezzi, 18 mm dalle estremità:
![]()
Poi i quattro pezzi sono avvitati insieme mentre
appoggiata su una superficie piana:

Poi triangoli di rinforzo angolo MDF sono avvitati
sul posto:

Poi una plancia spessore 130 x 25 mm viene
attaccata su tutta la larghezza al punto di centro e avvitata sul posto:

Prossimo, due lunghezze dei legnami di spessore 18
mm circa 180 mm di lunghezza sono incollate e avvitate al centro della tavola
spessore 25 mm, lasciando la distanza 70 mm fino alla fine della tavola:

Legname due strisce 1350 mm di lunghezza, sono
tagliati ed eretto verticalmente, viene attaccato da viti arrivando verso
l'alto attraverso il listone spessore 25 mm e da MDF triangoli su un lato e
attraverso l'estremità inferiore dei verticali di rinforzo. Se viene utilizzato
un livello di spirito per garantire che il legname verticale è effettivamente
verticale, quindi prima, ai quattro angoli del telaio piano devono essere
ponderato verso il basso per superare eventuali torsioni e il telaio del
pavimento ha confermato di essere effettivamente orizzontale prima di fissare
le travi verticali:

Ogni verticale deve essere rinforzato su entrambi
i lati con una striscia diagonale, metallo o legno:

Le cime dei verticali viene avvitata una striscia
di legno di spessore 18 mm. Questo posiziona deliberatamente il legname 18mm
fuori centro come il motore che ruota la parte superiore dell'asse deve essere
fissato per mezzo di questo legname più recente e che pone l'albero motore
molto vicino al punto centrale della base:

Un leggero svantaggio è che un pezzo di
imballaggio è necessaria per il MDF triangolare pezzi che aumentano la rigidità
del telaio nella parte superiore di rinforzo:

In questa fase, la costruzione sarà simile a
questa:

A questo punto, può essere montato il motore 300 rpm con braccio attuatore su esso e la casella di controllo della velocità. Il motore si trova in posizione centrale, e la casella di controllo può essere posizionata ovunque conveniente. La casella di controllo è semplicemente un pacco di batterie da 12 volt di 1.2 v batterie AA NiMh collegato tramite un interruttore a pulsante push-a-fare stampa e il commerciale CC motore regolatore di velocità, il motore 300 giri/min. Con questa disposizione, il motore può essere alimentato da premendo il pulsante e regolando la velocità lentamente fino da fermo, ottenendo il peso del rotore in movimento gradualmente più veloce e più veloce fino a raggiungere la sua velocità operativa migliore. Quando tutto è a posto, l'output rettificato dell'alternatore è alimentato nella casella di controllo, che può essere rilasciato il pulsante Start e del dispositivo Diventa autoalimentato da parte della potenza di uscita. Il passo iniziale assomiglia a questo:

Si dovrebbe spiegare che, fatta eccezione per il
listone spessore 25 mm, tutti di questa costruzione è solo caricato molto
leggermente come parte superiore dell'asse di rotazione non prende molta
potenza o sforzo a tutti. Quasi tutto il peso di rotazione si trova nella parte
inferiore dell'asse e quel peso poggia su una qualche forma di cuscinetto che
poggia al centro della plancia di 25 mm.
Per una versione ridotta del generatore, come questo, il peso del rotante non ha bisogno di essere tutto ciò che di grande e così, le forze generate dal peso e la sua rotazione su cuscinetto non devono essere una cosa importante. Tuttavia, nonostante il fatto che stiamo trattando solo limitate forze che possono essere gestite da componenti semplici, le persone può essere incline a utilizzare un reggispinta invece di permettere al peso di riposare sull'albero dell'alternatore. Un cuscinetto di quel tipo potrebbe assomigliare a questa:

Qui, l'anello interno e base non si muovono mentre
l'anello esterno superiore ruota liberamente e può supportare un carico
importante mentre gira. Se scegliamo di utilizzare uno di questi, un accordo
come questo potrebbe essere utilizzato:

Questa combinazione ha un berretto (indicato in
giallo) con una centrale (giallo) barra verticale collegato ad esso,
strettamente che stringe l'anello superiore del cuscinetto cui anello inferiore
è fissata saldamente al listone spessore 25 mm (grigio) forse utilizzando
resina epossidica (viola). Questo permette la libera rotazione dell'anello
superiore e barra verticale mentre trasportano carico significativo. Il potere
decollare nella disposizione indicata è dalla barra sporgente sotto la tavola. In
generale, l'output di energia elettrica aumenta con aumento della velocità di
rotazione, quindi preparando l'alternatore che gira molto più veloce rispetto
all'asse è auspicabile, e questa disposizione può essere conveniente per
questo. Se è importante avere il potere decollo sopra la tavola, poi un forte
staffa può essere utilizzato per generare il cuscinetto abbastanza alto sopra
la plancia per realizzare ciò.
Ci sono due forze distinte che agiscono sul
cuscinetto. Uno è sempre verso il basso come cuscinetto supporta il peso
rotante:

Poi c'è le forze lateralmente causati dalla
rotazione del peso (sbilanciato):

Questa forza laterale è normalmente considerata un
grave problema, tuttavia, in questo caso, il peso non è essendo girò intorno e
cercando di scappare dall'asse in senso orizzontale, ma invece, il peso si sta
trasformando sotto gravità alimentata da un proprio peso e le forze generate
sono abbastanza differenti e in una direzione diversa. Inoltre, il tasso di
rotazione è molto piccolo rispetto alla velocità che pensiamo automaticamente
quando si considera un peso orbito, in genere, questa rotazione solo essere tra
150 e 300 giri/min.
Per quanto riguarda il caricamento del motore di
azionamento dell'asse, la situazione è simile a questa:

Questa è la posizione quando a riposo. È il tiro sull'albero del motore nella parte
superiore dell'asse W x d / h dove W è il peso alla fine del braccio d. La situazione cambia
immediatamente la parte superiore dell'asse viene ruotata e W il peso inizia a
oscillare sotto l'influenza di gravità.
Mi hanno detto che l'asse deve essere di luce. Con piccoli pesi, un asse in legno rigido è
adeguato e non flex sotto il carico. Sono
sicuro che la parte inferiore dell'asse ha bisogno di un giunto cardanico e una
versione principale di questo generatore dove i pesi sono molto elevati, che è
certamente vero, come l'assale fletterà se progettati per le specifiche minime,
ma in queste condizioni molto meno stressate, non ci sarà alcuna flessione dell'asse
quando è tirato lateralmente e come asse angolo è una costante. Non credo che qualsiasi tale articolazione è
necessaria. Tuttavia, molte persone
desidereranno includono uno. Questi
cuscinetti sono disponibili in diverse forme, e uno di loro assomiglia a
questo:

Va ricordato che se un giunto come questo è
montato, quindi non sarà in costante movimento, cioè le articolazioni assumerà
una posizione particolare e manterranno tale posizione durante tutto il tempo
che il generatore è in funzione.
Un compromesso sarebbe quella di fornire un
movimento a cerniera in un piano facendo perno di articolazione assale appena
sopra il cuscinetto reggispinta:

I collegamenti elettrici sono abbastanza semplici:

Il pacco batterie da 12 volt di 1.2 v batterie AA
è collegato al controller di velocità del motore quando si tiene premuto il
pulsante dell'interruttore premere il pulsante. Questo alimenta il motore, e come asse
accelera progressivamente, il generatore inizia a produrre il potere che è
sempre alimentato per la scatola del regolatore di velocità. Non appena il generatore ottiene fino a
velocità premere l'interruttore di pulsante può essere rilasciato e il sistema
gira su energia prodotta dal generatore. Eccesso di potere sarà disegnato dall'uscita
del generatore, ma quei link non sono mostrati nel diagramma.
Patrick Kelly