Una guida
pratica ai dispositivi di energia libera
Autore: Patrick J. Kelly
3: Immobili Pulsati Sistemi
I dispositivi ad impulsi di cui finora hanno avuto parti in movimento, ma la rotazione o fluttuanti campi magnetici possono essere creati
senza parti
in movimento. Un esempio di questo è:
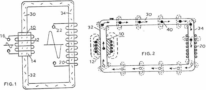
Un altro dispositivo di questo tipo viene da Charles Flynn. La tecnica di applicazione di variazioni magnetiche al flusso magnetico generato da un magnete permanente è illustrato in dettaglio nei brevetti di Charles Flynn che sono inclusi in appendice. Nel suo brevetto che mostra le tecniche per la produzione di moto lineare, movimento alternato, movimento circolare e conversione di potenza, e dà una notevole quantità di descrizione e spiegazione su ciascuno, il suo brevetto principale contenente un centinaio di illustrazioni. Prendere una domanda a caso:
Afferma che un
miglioramento sostanziale
del flusso magnetico possono essere ottenuti
con l'uso di una disposizione simile:

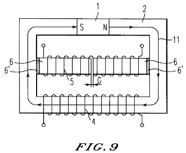
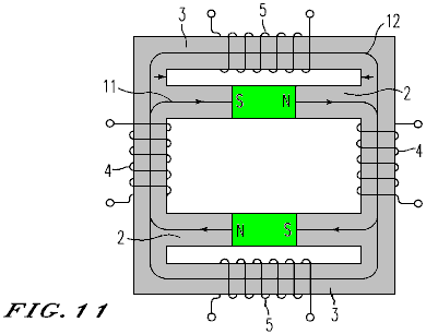
Qui, un armatura laminato ferro dolce ha un potente magnete permanente posizionato nel suo centro e sei bobina sono avvolte in posizioni indicate. Il flusso magnetico dal magnete permanente lambisce entrambi i lati del telaio.

I dettagli completi di brevetto di questo sistema di Charles Flynn sono nell'appendice.
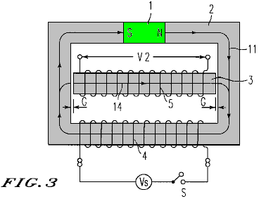
Armatura
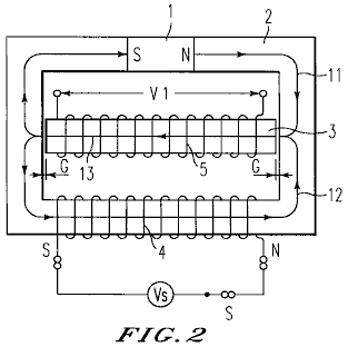
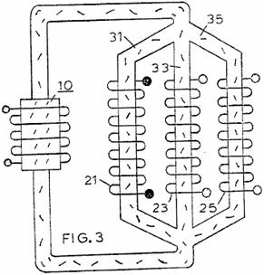
Magnetica di Lawrence Tseung.
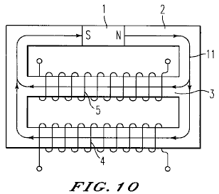
Lawrence Tseung ha recentemente prodotto un sottile design
utilizzando principi molto simili. Egli prende un armatura magnetica di stile
simile e inserisce un magnete permanente in uno dei bracci dell'armatura. Poi
si applica taglienti CC impulsi a una bobine avvolta su un lato dell'armatura e
trae energia da una bobina avvolta sul lato dell'armatura.
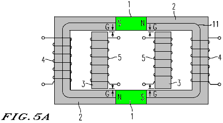
Egli mostra che tre distinte modalità operative per i dispositivi come segue:

Commenti Lawrence su tre possibili disposizioni. Il primo mostrata sopra
è la situazione standard trasformatore
commerciale dove c'è un armatura in ferro
da spessori coibentata
per ridurre le "correnti
parassite" che altrimenti circolano intorno all'interno della armatura perpendicolarmente alla pulsazione utile
magnetico che collega l'due bobine sui
lati opposti della armatura.
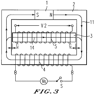
Come è ampiamente
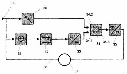
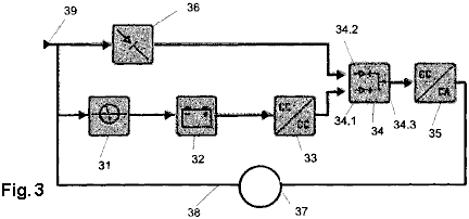
noto, mai questo
tipo di disposizione ha una potenza maggiore della potenza in ingresso.
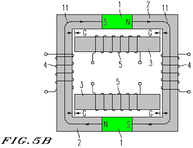
Tuttavia, tale disposizione può essere
variata in molti modi diversi. Lawrence ha scelto di rimuovere
una sezione di armatura e di sostituirlo con un
magnete permanente come mostrato nello
schema seguente. Ciò altera la situazione
molto considerevolmente il
magnete permanente provoca una
circolazione continua di flusso
magnetico attorno alla prima
armatura qualsiasi tensione alternata viene applicata
alla bobina di input. Se la
potenza pulsante viene applicato
nella direzione sbagliata come
mostrato qui, dove gli impulsi in
ingresso generare flusso
magnetico che si oppone al flusso
magnetico che scorre già in armatura dal magnete permanente, allora l'uscita è effettivamente inferiore a quello che
sarebbe stato senza l'magnete permanente.

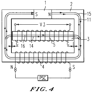
Tuttavia, se la bobina di ingresso viene pulsata in modo che la corrente che fluisce nella bobina produce un campo
magnetico che rafforza il campo
magnetico del magnete permanente,
allora è possibile che la potenza di
uscita per superare la potenza
di ingresso. Il "coefficiente di prestazione" o
"COP" del dispositivo è la
quantità di potenza di uscita divisa
per la quantità di potenza di
ingresso, che l'utente deve mettere
a fare funzionare il dispositivo. In questo
caso il valore COP può essere maggiore di uno:


Come sconvolge alcuni puristi, forse va
detto che, mentre un segnale onda quadra
viene applicato all'ingresso di ciascuna delle illustrazioni precedenti,
l'uscita non sarà un'onda quadra sebbene sia mostrato
così per chiarezza. Invece, le bobine di
ingresso e uscita converte l'onda
quadra ad una
bassa qualità un'onda sinusoidale
che diventa solo un'onda
sinusoidale pura della frequenza degli impulsi corrisponde esattamente alla frequenza di
risonanza di uscita dell'avvolgimento.
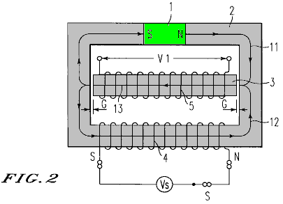
Display dell'oscilloscopio mostrato qui
è una tipica forma d'onda di
potenza, che ha circa 390.000 di questi impulsi
al secondo.
Vi è un limite a questo come la quantità di flusso magnetico che
qualsiasi particolare armatura può portare è determinato
dal materiale di cui è fatto.
Ferro è il materiale più comune per
armaturas di questo
tipo e ha un punto
di saturazione molto preciso. Se
il magnete permanente è così forte che
provoca la saturazione del materiale di armatura prima della pulsazione ingresso
è applicato, quindi non vi può
essere alcun effetto positivo
da CC pulsare
come mostrato. Questo è solo buon senso ma chiarisce
che il magnete scelto non deve essere troppo forte per le dimensioni della armatura, e perché che dovrebbe essere.
Come esempio di questo, una delle persone replicano progettazione di Lawrence scoprì che non ha ottenuto alcun guadagno di potenza a tutti e così ha chiesto Lawrence per un consiglio. Lawrence gli consigliò di omettere il magnete e vedere cosa è successo. Lo ha fatto e subito ottenuto
l'output standard, dimostrando che
sia il suo arrangiamento di ingresso e uscita di misura il suo sistema sia funzionato
perfettamente. E poi
gli venne in mente che la pila di tre magneti che stava usando in armatura
erano semplicemente troppo forte,
così ha ridotto lo
stack di soli due magneti e immediatamente ottenuto una performance di COP = 1.5 (potenza
di uscita 50% in più l'ingresso potenza).
Thane ha sviluppato, testato e applicato per
un brevetto per una disposizione del trasformatore in cui la potenza di uscita del suo prototipo può essere trenta
volte maggiore della potenza in ingresso.
Si raggiunge questo utilizzando un doppio nucleo cifra di otto trasformatore
toroidale. Il suo CA2594905 brevetto canadese
si intitola "Bi-Toroide Transformer" e datato 18 gennaio 2009. L'abstract
dice: L'invenzione fornisce un mezzo per aumentare l'efficienza del trasformatore di sopra del 100%. Il trasformatore è costituito da una singola bobina primaria e due bobine secondarie.
Il flusso magnetico è mille volte più facile attraverso il ferro piuttosto
che attraverso l'aria. A causa di
questo fatto trasformatori sono generalmente costruiti su un telaio di ferro o
un materiale simile magnetica. Il funzionamento di un trasformatore è niente come semplice come l'insegnamento scolastico
suggerirebbe. Tuttavia, lasciando eccitazione parametrica
parte per il momento, consideriamo gli
effetti del flusso magnetico.
Il modo in cui dallo scaffale trasformatori lavorano in
questo momento è come questo.

Quando un impulso di potenza in ingresso viene recapitato a bobina 1 (chiamato "avvolgimento primario"),
si crea un'onda magnetica che passa intorno al telaio o "giogo" del
trasformatore, passando attraverso bobina 2 (chiamata "avvolgimento secondario")
e di nuovo a bobina 1 di nuovo come mostrato
dalle frecce blu. Questo impulso magnetico genera una potenza elettrica in bobina 2, che scorre
attraverso il carico elettrico (illuminazione, riscaldamento, la carica della batteria, display video,
o altro) che fornisce con la potenza che deve
operare.
Questo è tutto bene,
ma il problema è che, quando l'impulso
in bobina 2
finiture, ma genera anche un
impulso magnetico, e purtroppo, che impulsi
magnetici corre nella direzione
opposta, opponendosi alla operazione
di bobina 1
e facendolo dover
amplificarlo di potenza
di ingresso al fine di superare questo
flusso magnetico nella direzione
opposta, qui illustrato dalle frecce rosse:

Questo è ciò che rende attuali "esperti" scientifici dicono che l'efficienza
elettrica di un trasformatore sarà
sempre inferiore al 100%. Questo
effetto è causato dal percorso
magnetico essendo simmetrica. Come
il flusso di energia elettrica, il flusso magnetico passa lungo ogni
possibile percorso. Se il percorso magnetico ha una bassa resistenza magnetica (generalmente a causa di avere una grande area in sezione trasversale), allora il flusso
magnetico attraverso tale percorso
sarà grande. Così, di fronte più percorsi, il flusso magnetico percorrere tutti
in proporzione a quanto bene
ciascun percorso è
per trasportare il magnetismo.
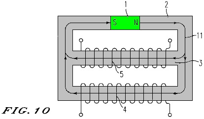
Thane Heins ha
fatto uso di questo fatto facendo un trasformatore come questo:

Questo stile di
trasformatore ha flussi magnetici piuttosto complicate quando è in funzione,
anche se lo schema di cui sopra mostra solo alcuni dei percorsi di flusso
generati quando la bobina ingresso "bobina 1" viene impulsato. Il
risultato davvero interessante è visto quando l'impulso di ingresso taglia
fuori e ci aspettiamo di ritorno flusso magnetico da bobina 2 e bobina 3. Quello che succede è questo:

Si supponga
che la bobina 2 e la bobina 3 sono identici. Il flusso magnetico inverso che
esce bobina 2 incontra subito un incrocio con un percorso essendo molto più
facile da usare rispetto all'altro. Come
risultato, la maggior parte di quel flusso magnetico segue il percorso ampia, e
solo una piccola percentuale fluisce attraverso il percorso stretto. L'ampio flusso di percorso incontra e si
oppone da un grande flusso identico proveniente dalla bobina 3, e questi flussi
efficacemente annullano a vicenda.
Questo produce un grande miglioramento rispetto un trasformatore normale. Ma, il piccolo flusso raggiunge l'ingresso
alla bobina 1 incontra due percorsi identici, e solo uno di quei percorsi va
alla bobina 1, in modo che il flusso si divide con mezza andando verso la
bobina 3 e mezza passando bobina 1. che dimezza la forza della già piccola
percentuale di quella originale, indesiderati flusso magnetico inverso in
bobina 1. Le altre piste metà nel
flusso ridotto da 3 bobine e quei due metà si annullano a vicenda. L'effetto complessivo è un veramente notevole
miglioramento delle prestazioni
Nel documento
brevettuale, Thane cita una prova
Una variante di questa disposizione è quello di collegare un toroide esterno alla disposizione bi-toroide esistente, in questo modo:

Questo prototipo, come si può vedere,
è abbastanza semplice costruzione,
ma, data una
potenza di ingresso 106.9 milliwatt,
che produce una potenza di uscita
di 403,3 milliwatt,
che è 3,77 volte maggiore.
Questo è qualcosa che deve essere
considerato con attenzione. Scienza
convenzionale dire che "non esiste una cosa come un pasto gratuito" e con trasformatore, si
otterrà meno energia elettrica
da esso che ci
metti dentro. Bene, questa costruzione
semplice ricerca dimostra che
questo non è il caso, il che dimostra che alcune delle dichiarazioni
dogmatiche fatte da scienziati presenti al
giorno sono completamente sbagliate.
Al https://youtu.be/-LBnnL4v8MQ?list=PLkH1zLdXy1Sy3_St1tUwtY_6qiusDkyG9 Thane Mostra un video dove egli costruisce la sua bi-toroide da tre toroidi ordinari tenuti insieme con fascette:

Thane passa poi a dimostrare le prestazioni di questa combinazione:

Il LED
associato con l'alimentazione vengono nutrito all'avvolgimento primario è così
basso che la luce non è visibile. La produzione è accesa in maniera così
potente che la fotocamera ha difficoltà a visualizzarla. Il carico fittizio è
un singolo resistore inserito attraverso l'avvolgimento di terza e c'è una
differenza di maggiori prestazioni, quando esso è inserito nel luogo. Questo
video dimostra molto chiaramente la differenza causata dall'utilizzo di un
trasformatore toroidale-bi.
Questa modifica semplice ed elegante del trasformatore umile, si trasforma in un free-energy dispositivo che aumenta
la potenza utilizzata per guidare e uscite di potenza molto maggiore. Congratulazioni sono dovuti a Thane per questa tecnica.
Al momento ci
sono tre video che mostrano come questo trasformatore funziona:
http://www.youtube.com/watch?v=RbRPCt1-WwQ , http://www.youtube.com/watch?v=5KfwiXJ8apk e
http://www.youtube.com/watch?v=GcAYhM0LX9A&playnext=1&videos=JjwIlLxS9jQ&feature=sub

Il professor
Gennady Markov, direttore generale della STC "Virus" e autore di
numerose invenzioni e scoperte, ha ricevuto un brevetto internazionale per un
nuovo design trasformatore che ha creato. Il suo lavoro comporta una nuova
legge nel campo della fisica e ingegneria elettrica. Egli dice: Nel 1831 Faraday scoprì l'induzione elettromagnetica. Poi le sue idee sono
state ulteriormente sviluppate da Maxwell. Per più di 160 anni dopo che,
nessuno avanzata elettrodinamica fondamentali da parte di anche un solo passo.
Otto anni fa, ho fatto domanda per un brevetto internazionale, valido in 20
paesi, come avevo creato un trasformatore, che ha già ricevuto quattro brevetti
russi. La mia scoperta è stata fatta nonostante le "leggi"
Ho
osato fare il contrario: prendere una bobina con due avvolgimenti identici e
operare verso l'altro. Questo crea flussi magnetici uguali, muovendo verso
l'altro, che si annullano a vicenda, ma non distruggere l'altro come Faraday e
Maxwell rivendicati. Ho determinato una nuova legge: 'Il principio di
sovrapposizione di campi magnetici in materiali ferromagnetici'. La
sovrapposizione - è l'aggiunta di campi magnetici. L'essenza della legge è che
i campi magnetici vengono aggiunti, si annullano a vicenda, ma non vengono
distrutti. E qui la parte importante è "non vengono distrutti" e che
è il fatto chiave su cui si basa la mia legge.
Ho
scritto un articolo su questo argomento, che è stato pubblicato sulla rivista
"Applied Physics". Ho dimostrato un trasformatore in una mostra
internazionale in Cina, dove ha causato un grande interesse tra gli scienziati
e altri esperti. Tale trasformatore ha prestazioni eccellenti e in realtà, può
alzare o abbassare la tensione senza bisogno di un avvolgimento secondario. La
mia nuova legge ci permette, da un lato, di creare trasformatori ad alta
Trasformatori
convenzionali tendono ad essere molto ingombranti, poiché contengono una grande
quantità di ferro con il peso di un trasformatore 4 MW norma essere 3670 Kg. Il
mio 4 trasformatore MW pesa un totale di 370 kg. Quando si costruisce un nuovo
trasformatore è possibile utilizzare qualsiasi qualità di acciaio di qualità e
non ci sono praticamente senza restrizioni sulla gamma di frequenze in cui può
operare. A differenza trasformatori convenzionali, un nuovo trasformatore può
essere trasportato dal luogo di produzione al punto di utilizzo abbastanza
facilmente. Questo nuovo design trasformatore ci offre una grande opportunità
per creare una nuova generazione di tecnologia.
Si prega di
notare che il trasformatore non funziona a basse frequenze. La gamma di
frequenza è 10 kHz a 40 MHz, e la tensione deve essere di almeno 40 volt.
Qui è la
maggior parte
Domanda di brevetto EP
0844,626 27 Maggio 1998 Inventore: Gennady A. Markov
TRASFORMATORE
Astratto
Diversi tipi di trasformatori sono
proposte che possono essere utilizzati come principale materiale di ingegneria
elettrica di centrali elettriche, sottostazioni, linee elettriche, in
radiotecnica, nei dispositivi per la misurazione, il controllo e la regolazione
automatica. Al centro dell'invenzione risiede il principio cui l'avvolgimento
primario è costituito da due sezioni ferita e collegati tra di loro in modo
tale che durante il funzionamento
I comprende trasformatore (Fig.2) un
circuito magnetico, un avvolgimento primario costituito da due sezioni aventi
un identico numero di spire, avvolto in una direzione su un nucleo
Le forme di realizzazione sviluppate
del trasformatore si distinguono in quanto le sezioni dell'avvolgimento
primario sono avvolte su un nucleo del circuito magnetico (3 realizzazioni) o
su due nuclei di un circuito magnetico (4 forme di realizzazione), dal fatto
che la direzione in cui le sezioni dell'avvolgimento sono avvolti è diverso (in
una o direzioni opposte), e di conseguenza vi è un diverso collegamento degli
avvolgimenti, e si distinguono anche per la presenza di un avvolgimento
secondario (in una forma di realizzazione non c'è secondario).
Descrizione:
Sfondo arte
Trasformatori sono convertitori
statici elettromagnetici di energia elettrica che hanno due o più avvolgimenti
accoppiamento induttivo e sono progettati per la conversione di una corrente
alternata sinusoidale di una tensione in corrente alternata di un'altra
tensione con la stessa frequenza.
Il principio di funzionamento di un
trasformatore si basa sull'effetto di induzione elettromagnetica trovata da M.
Faraday nel 1831 (BN Sergeenko, VM Kiselev, NA Akimova. Macchine elettriche.
Transformers. Bar ". Vysshaya Shkola," Mosca, 1989). In conformità
con caratteristiche specifiche di costruzione e l'uso, trasformatori possono
essere suddivisi in alimentazione, saldatura, di misura e trasformatori
speciali.
Trasformatori di
La parte del circuito magnetico su
cui sono disposti gli avvolgimenti, viene chiamato 'core', la parte rimanente,
chiudendo il circuito magnetico, è chiamato il 'giogo'. Gli avvolgimenti di un
trasformatore servono a creare un campo magnetico per mezzo
Invenzioni note riguardano la
realizzazione di trasformatori speciali o con modifiche di particolari elementi
strutturali del trasformatore; realizzazione di circuiti magnetici determinati
materiali e il loro aspetto strutturale, il collegamento dei circuiti magnetici
tra loro in cui vi è un numero di circuiti magnetici n, l'uso di diversi tipi
di sistemi di isolamento e raffreddamento, realizzazione di avvolgimenti,
elementi aggiuntivi per migliorare immunità ai disturbi.
Un trasformatore per i veicoli è
noto [PCT (WO), 93/14508]. La piccola dimensione, trasformatore luce, comprende
un nucleo di ferro-shell tipo su cui sono avvolte ad accoppiamento induttivo
avvolgimenti di ingresso e uscita. Un elemento magnetico con uno spazio d'aria
è prevista tra gli avvolgimenti di ingresso e uscita, mentre un elemento
magnetico creando forte accoppiamento magnetico si trova tra gli avvolgimenti
di uscita. L'elemento è disposto in un 5d gap circondato dal nucleo e consiste di
un circuito magnetico senza lacune ed una piastra isolante tenendo il circuito
magnetico e isolandolo dal nucleo e avvolgimenti.
Un trasformatore è noto [PCT (WO),
93/16479], in cui il nucleo è costituito da filo ferromagnetico. Viene proposto
un nucleo avvolto a spirale in filo ferromagnetico. Il nucleo è utilizzato in
un sensore di corrente differenziale in un interruttore per aprire un circuito
che opera in presenza di un cortocircuito verso
Un trasformatore è noto [RU, C1,
2.041.514] consistente in uno o più nuclei striscia realizzate in lega
magnetica comprendenti silicio, boro, ferro e più avvolgimenti induttivamente
accoppiato al nucleo, in cui la lega magnetico comprende inoltre rame e uno o
più componenti scelto dal gruppo costituito da niobio, tantalio, tungsteno,
molibdeno, cromo, e vanadio, con il seguente rapporto degli elementi in lega,
atomi percento: rame - 0,5-2,0; uno o più componenti del gruppo costituito da
niobio, tantalio, tungsteno, molibdeno, cromo, vanadio - 2-5; silicio - 5-18;
boro - 4-12; ferro - equilibrio.
Un trasformatore è noto [PCT (WO),
93/18529] composto da 3 o 4 tipi di unità di isolamento con un avvolgimento.
Trasformatori di questo tipo sono facilmente assemblati con piccolo dispendio
di tempo.
Un trasformatore di corrente con
isolamento striscia è noto [RU, C1, 2.046.425] consistente in un unico-turn o
multi-turn avvolgimenti primario e secondario, che si trovano in una schermata
di smorzamento e hanno terminali. In cui gli avvolgimenti sono fissati per
mezzo di sostegno inserimento e boccole di collegamento e sono coperti con
composti epossidici. Il trasformatore è inoltre dotato di boccole isolanti, uno
schermo che è posto sul primario e morsetti di supporto. Boccole isolanti sono
montati in slot semi-ovale dei morsetti, lo schermo di smorzamento è fatta
aperta e si compone di due parti, con un cuscinetto isolante montato nello
spazio tra le due parti, e le boccole di supporto inserimento sono montati su
boccole isolanti in modo adattabile per fissare lo schermo smorzamento.
Un trasformatore ad alta tensione è
nota (RU, C1, 2.035.776] comprendente un involucro di porcellana montato su uno
zoccolo in cui una porzione attiva racchiuso nell'alloggiamento, è posizionata
sulla compressione messaggi. La porzione attiva è costituito da un circuito
magnetico rettangolare miscelato con gioghi , core superiori e inferiori
orizzontali su cui sono posizionati gli avvolgimenti Al fine di ridurre
l'immunità ai disturbi
Una tortuosa per un trasformatore ad
alta tensione è noto [PCT (WO), 93/18528]. Un elemento di collegamento è
fissato alla porzione conduttrice dell'avvolgimento per migliorare le proprietà
meccaniche, ed un secondo elemento di collegamento è collegato al suddetto
elemento di collegamento per mezzo di elementi isolanti. Tale, un avvolgimento
può essere usato come un avvolgimento di bassa tensione con un piccolo numero
di spire in trasformatori a secco con una resina versata sopra loro.
Un pesante trasformatore corrente è
noto [RU, C1, 2.027.238] comprendente un avvolgimento primario disposto su un
nucleo toroidale e un avvolgimento secondario comprende l'avvolgimento
primario. In cui l'avvolgimento secondario è costituito da un fascio di
conduttori flessibili posizionati nella cavità interna
Tuttavia, tutti i trasformatori noti
sono costruiti secondo un principio, in particolare - fornire energia elettrica
al primario e prendendo energia elettrica dal secondario, e tutti hanno questi
inconvenienti: multigiro avvolgimenti secondari di trasformatori step-up , che
operano tuttavia in una gamma di frequenza piuttosto stretta (50-400 Hz); la
gamma di frequenza limitata dei trasformatori essendo collegati con perdite nel
circuito magnetico a frequenze più alte; elevata resistenza degli avvolgimenti,
cioè la necessità che la condizione a vuoto del trasformatore essere preso in
considerazione durante i calcoli del numero di spire dell'avvolgimento
secondario di ottenere una tensione di uscita predeterminata; la complessità
della costruzione dei trasformatori quando tutti i possibili tipi di elementi
aggiuntivi, isolamento ecc sono utilizzati per ridurre i suddetti inconvenienti..
La Divulgazione dell'Invenzione
Alla base dell'invenzione risiede
l'obiettivo di creare un tale trasformatore in cui la possibilità di
avvolgimento secondario con filo, tra cui fili con una sezione trasversale
uguale alla sezione dell'avvolgimento primario, si realizza, e la riduzione del
numero di spire dell'avvolgimento secondario del trasformatore ad alta tensione
e ampliamento del numero di varianti di trasformatori esistenti sono raggiunti.
Questo scopo è raggiunto in che una
costruzione di un trasformatore è proposto che comprende un circuito magnetico,
almeno due avvolgimenti, ingressi per un alimentatore, prese per un carico, in
cui l'avvolgimento primario è costituito da due sezioni con identico numero di
spire, sezioni essendo collegati tra loro in un circuito in serie.
Un trasformatore è proposto in cui
due sezioni di un avvolgimento primario sono avvolti in una direzione su un
nucleo del circuito magnetico, le sezioni sono collegati in un circuito in
serie mediante collegamento delle uscite degli avvolgimenti, e il punto della
loro connessione funge una uscita per il carico, mentre gli ingressi degli
avvolgimenti delle sezioni servono come ingressi per l'alimentazione.
Il risultato tecnico è raggiunto
mediante la creazione di un trasformatore, due sezioni dell'avvolgimento
primario
Il risultato tecnico suddetto viene
ottenuta creando un trasformatore, due sezioni dell'avvolgimento primario di
cui sono avvolti in direzioni opposte su un nucleo del circuito magnetico,
l'uscita dell'avvolgimento della prima sezione e l'ingresso dell'avvolgimento
del secondo sezione sono collegati tra loro in un circuito in serie, mentre l'ingresso
dell'avvolgimento della prima sezione e l'uscita dell'avvolgimento della
seconda sezione servono come ingressi per l'alimentazione. L'avvolgimento
secondario è avvolto sullo stesso nucleo
L'oggetto indicato viene ottenuta
creando un trasformatore in cui entrambe le sezioni dell'avvolgimento primario
sono avvolti in una direzione su due nuclei di un circuito magnetico, l'uscita
dell'avvolgimento della prima sezione e l'ingresso dell'avvolgimento della
seconda sezione sono collegati tra loro in un circuito in serie, mentre
l'ingresso dell'avvolgimento della prima sezione e l'uscita dell'avvolgimento
della seconda sezione servono come ingressi per l'alimentazione. L'avvolgimento
secondario è avvolto su entrambe le sezioni dell'avvolgimento primario,
comprendente entrambi i core
Lo stesso risultato tecnico è
raggiunto quando entrambe le sezioni dell'avvolgimento primario sono avvolti in
una direzione su due nuclei di un circuito magnetico, dove l'ingresso
dell'avvolgimento della prima sezione è collegato all'uscita dell'avvolgimento
della seconda sezione, la uscita dell'avvolgimento della prima sezione è
collegata all'ingresso dell'avvolgimento della seconda sezione, i punti di
collegamento loro servono come ingressi per l'alimentazione. L'avvolgimento
secondario è avvolto su entrambe le sezioni dell'avvolgimento primario,
comprendente entrambi i core
L'oggetto indicato viene ottenuta
creando un trasformatore in cui due sezioni dell'avvolgimento primario sono
avvolti in direzioni opposte su due nuclei di un circuito magnetico, entrambe
le sezioni sono collegate tra loro da collegamento degli ingressi e delle
uscite della stessa, rispettivamente, ei punti della loro connessione servire
come ingressi per l'alimentazione. L'avvolgimento secondario è avvolto su
entrambe le sezioni dell'avvolgimento primario, comprendente entrambi i core
I seguenti sta alla base della
presente invenzione: sezioni dell'avvolgimento primario sono avvolti e
collegati tra loro in modo tale che il flusso magnetico creato da una di tali
sezioni durante il funzionamento
Se le due sezioni
Quando la corrente di rete scende
durante semicicli, ripristino della permeabilità che avviene nel circuito
magnetico, e di conseguenza, una forza elettromotrice (fem) è indotta negli avvolgimenti
primario e secondario. In cui, durante un semiperiodo della corrente
nell'avvolgimento primario, la tensione nell'avvolgimento secondario passa
attraverso un intero periodo.
Nel caso in cui entrambi gli
avvolgimenti sono avvolti in direzioni opposte con identico numero di giri, ma
sono collegati tra loro in un circuito in serie opponendosi conduttori
(l'uscita dell'avvolgimento della prima sezione e l'ingresso dell'avvolgimento
del secondo sezione), il flusso magnetico nel primario io sarà anche pari a
zero, cioè lo stesso risultato tecnico può essere raggiunto come nel caso in
cui gli avvolgimenti di entrambe le sezioni sono avvolti in una direzione.
Quando RH è collegato al secondario, la forma della tensione non cambia. La
tensione di uscita dipende da un aumento
Tale realizzazione dei risultati trasformatore proposti:
1) una riduzione
2) la possibilità di avvolgimento
secondario con un filo spesso di sezione uguale alla sezione trasversale
3) l'avvolgimento
secondario con un numero di giri maggiore o inferiore al numero di spire
dell'avvolgimento primario, a seconda della necessità di una alta tensione
all'uscita
Breve descrizione dei disegni
Il trovato verrà spiegata da una
descrizione di esempi concreti della sua forma di realizzazione e dai disegni
allegati in cui:

Fig.1 mostra il dispositivo in fase di
brevetto - un trasformatore secondo l'invenzione (circuito);

Fig.2 mostra un'altra forma di
realizzazione

Fig.3 mostra una delle forme di
realizzazione

Fig.4 mostra un'altra forma di
realizzazione

Fig.5 mostra un'altra forma di realizzazione

Fig.6 mostra una delle forme di
realizzazione

Fig.7 mostra una delle forme di
realizzazione

Fig.8 mostra una dipendenza stilizzata
dell'aumento di corrente e tensione negli avvolgimenti primario e secondario di
un trasformatore con un circuito magnetico ferrite; Fig.9 mostra una dipendenza stilizzata dell'aumento di corrente e
tensione negli avvolgimenti primario e secondario di lamiera.
Migliori Varianti di realizzare
l'invenzione

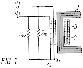
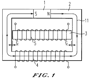
Un trasformatore secondo
l'invenzione, secondo la realizzazione mostrata in Fig.1 comprende un circuito magnetico 1, un primo tratto 2 di
un avvolgimento primario, una seconda sezione 3 del primario, a1
e x1 - l'input e l'output
di l'avvolgimento della prima sezione, a2
e x2 - dentro e fuori
dell'avvolgimento della seconda sezione dell'avvolgimento primario, RH1 - la resistenza di un
carico collegato alla prima sezione, RH2
- la resistenza di un carico collegato seconda sezione dell'avvolgimento
primario. Le due sezioni dell'avvolgimento primario sono avvolto sul circuito
magnetico 1: la prima sezione 2, la seconda sezione 3 di esso in una direzione, e hanno un
numero identico di giri. Le uscite x1
e x2 degli avvolgimenti
sono collegati tra loro in un circuito in serie, mentre gli ingressi a1 e a2 degli avvolgimenti sono collegati separatamente ad un
alimentatore. Una resistenza di carico è collegato in parallelo a ciascuna
sezione dell'avvolgimento: RH1
nel percorso della corrente dalla rete di alimentazione alla prima sezione
dell'avvolgimento e al punto di connessione degli avvolgimenti delle sezioni, e
RH2 corrispondentemente
al secondo sezione dell'avvolgimento primario.

Un trasformatore secondo
l'invenzione secondo la realizzazione mostrata in Fig.2 è fatto simile al trasformatore secondo la realizzazione
illustrata in Fig.1. Una distinzione è in presenza di avvolgimento
secondario 4, che viene avvolto in
un terzo strato sulle sezioni 2 e 3

Un trasformatore secondo il trovato
secondo la forma di realizzazione secondo la Fig.3 è fatto simile al trasformatore secondo la realizzazione
illustrata in Fig.2. Una distinzione è che le sezioni
dell'avvolgimento primario sono avvolti in direzioni opposte. L'uscita
dell'avvolgimento della prima sezione x1
e l'ingresso dell'avvolgimento della seconda sezione a2 sono collegati tra loro in un circuito in serie,
l'altro porta delle sezioni a1
e x2 servono come
ingressi per l'alimentazione.

Un trasformatore secondo
l'invenzione secondo la realizzazione mostrata in Fig.4 è fatto simile al trasformatore secondo la realizzazione
illustrata in Fig.2. Una distinzione è che le sezioni
dell'avvolgimento primario 2 e 3 sono avvolti su due conduttori

Un
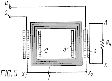
trasformatore secondo l'invenzione secondo la realizzazione mostrata in Fig.5 è fatto simile al trasformatore
secondo la realizzazione mostrata in Fig.4.
Una distinzione è che le due sezioni

Un trasformatore secondo la
realizzazione illustrata in Fig.6, è
fatto simile al trasformatore
secondo la realizzazione mostrata in Fig.4.
Una distinzione è che l'in della prima
sezione a1 e dalla
seconda sezione x2, e
anche l'uscita della prima sezione x1
e l'ingresso della seconda sezione a2
sono collegate tra loro, e le punte dei loro connessione servire come ingressi
per l'alimentazione.

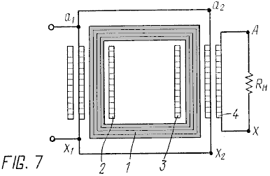
Un trasformatore secondo la
realizzazione mostrata in Fig.7, in accordo
con l'invenzione, è fatto simile al trasformatore secondo la realizzazione
illustrata in Fig.6. Una distinzione è che le sezioni sono avvolti
in direzioni opposte, dagli ingressi a1 e a2
e dalle uscite x1 e x2 gli avvolgimenti
delle sezioni sono collegate tra loro, ed i punti di collegamento loro servono
come ingressi per l'alimentazione.

Il principio di funzionamento
1. Circuito aperto (senza carico)
Gli ingressi a1 e a2
degli avvolgimenti delle sezioni 2
e 3 sono collegate separatamente ad
un alimentatore U (non mostrato), le
uscite x1 e x2 degli avvolgimenti delle
stesse sezioni sono collegate tra loro in un circuito in serie. A i flussi di
corrente attraverso gli avvolgimenti di quelle sezioni, questa corrente provoca
una forza magnetomotrice MMF in ciascuna sezione dell'avvolgimento che è pari a
iw. Poiché i flussi in ciascuna sezione sono
uguali e diretto in direzioni opposte sono reciprocamente compensati e
l'inversione della magnetizzazione del nucleo non si verifica, ma come
conseguenza del mantenimento del principio della sovrapposizione di campi
magnetici in un circuito magnetico, quest'ultimo interagisce con i campi a
livello microscopico che provoca interazione sottolineato di una struttura di
dominio e un cambiamento nella permeabilità magnetica del materiale del
circuito magnetico.
Quindi, una variazione della
corrente che passa attraverso le sezioni dell'avvolgimento primario in maggiore
comporta una variazione della permeabilità, mentre una traslazione di
quest'ultimo provoca una fem appaia in queste bobine tra il punto di
collegamento delle sezioni e gli ingressi degli avvolgimenti, ma spostata di
fase nel tempo rispetto al passaggio di corrente dalla sorgente di
alimentazione. A causa di questo, la tensione all'uscita
2. Modalità di funzionamento (con
un carico collegato)
La resistenza di carico RH1 è collegato nel percorso
della corrente i dalla rete
elettrica U alla prima sezione 2 dell'avvolgimento e al punto di
collegamento delle uscite delle sezioni, la resistenza di carico RH2
è collegata conseguenza alla seconda sezione 3 dell'avvolgimento. La corrente i dalla rete elettrica viene fatta passare attraverso il circuito
chiuso formato, in cui la corrente i
primaria è aumentata in ogni ciclo proporzionalmente al carico di umidità
relativa, che si traduce in un cambiamento della fem nel loop - un aumento della
fem.
Ad una resistenza di carico basso (pari alla resistenza
dell'avvolgimento) la tensione U
sarà pari alla caduta di tensione sull'avvolgimento, quando la resistenza di
carico tende ad aumentare all'infinito, la tensione secondaria U aumenterà proporzionalmente, a
seguito di che la fem all'uscita del trasformatore aumenterà decine di volte
quando c'è un avvolgimento primario.
Il principio di funzionamento

Fig.8 mostra una
dipendenza stilizzata dell'aumento di corrente e tensione negli avvolgimenti
primario e secondario di un trasformatore con un circuito magnetico in ferrite.
Va notato che il mu permeabilità delle modifiche circuitali magnetici con tempo
nel modo seguente con una forma sinusoidale di corrente: aumenta da 0 a pi / 4,
poi da pi / 4 a pi / 2 scende, e da pi / 2 a PI 3/4 alla velocità di ripristino
della permeabilità aumenta ancora e da pi 3/4 a PI restauro di mu è più
lento. Come risultato di tale
cambiamento della permeabilità magnetica, un EMF viene indotta
nell'avvolgimento secondario ad una frequenza raddoppiata e c'è un periodo
completo della corrente secondaria per un semiperiodo della corrente
nell'avvolgimento primario.
Fig.9 mostra
una dipendenza stilizzata di un aumento di corrente e tensione negli
avvolgimenti primario e secondario di un trasformatore con un circuito
magnetico in lamiera d'acciaio. Con questo tipo di circuito magnetico vi è un
cambiamento della forma della curva di corrente primaria e secondaria da pi / 6
a pi / 4 mentre viene mantenuta la forma della corrente.
Il
rapporto di trasformazione per ogni tipo di trasformatore è stato determinato
sperimentalmente. Esempi concreti
Esempio 1.
M600HH-8 K100-60-15 anelli di
ferrite sono state usate come il circuito magnetico. Due sezioni
dell'avvolgimento primario, uno sopra l'altro, sono stati avvolti su un nucleo
Esempio 2.
Un circuito magnetico ad anello in
lamiera di acciaio e progettata per una
Esempio 3.
Ferriti a U sono state usate come il
circuito magnetico. Il circuito magnetico è stato assemblato da quattro unità.
Due sezioni dell'avvolgimento primario sono stati avvolti su due conduttori
Esempio 4.
Un circuito magnetico a forma di U
in lamiera di acciaio è stato utilizzato come il circuito magnetico. Due
sezioni dell'avvolgimento primario sono stati avvolti su entrambi i conduttori

Applicabilità
Industriale
Campioni di tutti i tipi di
trasformatori sono state fatte e hanno lavorato per da tre a cinque anni. Tutti
questi esempi sono stati testati e possono servire come materiale di ingegneria
elettrica in pratica di laboratorio e nelle imprese industriali.
Questo è un estratto da un documento
Prima alcuni semplici test vengono
presentati che costituisce fondamento
1. L'effetto di condensatori in LC-circuiti
risonanti
Il valore
In qualsiasi Serie
risonante LC circuito la risposta in frequenza presenta una tacca alla
frequenza di risonanza. La risposta in frequenza è opposto a quello in un
circuito parallelo LC-.
Per ottenere il
massimo effetto è quindi meglio avere alto livello di attenuazione ad un
parallelo LC-circuito primario (basso C) e un livello di amplificazione alto a
LC-circuito secondario (anche basso C).
Il "fattore
Q" è la reattanza induttiva di una bobina diviso per la sua resistenza CC.
Il fattore Q determina l'aumento di risonanza in un circuito risonante e quindi
maggiore è il fattore Q è, maggiore è la
C'è un sacco di
informazioni sul fattore Q sul web. Volevo solo mettere una breve introduzione
a Q-Factor qui in modo che si capirà che una risonanza LC-circuito ad alta Q
può essere pericoloso.
2. Due tipi di induttanze
Qualsiasi semplice
spirale elicoidale avvolta su un nucleo influenza solo un'altra bobina
elicoidale che è stato avvolto sotto o sopra di esso. Se due bobine sono
affiancati tra loro c'è poca interazione tra loro. Chiamiamo questo campo
'induttanza locale'.
Una bobina avvolta
su un nucleo ad anello chiuso colpisce ogni bobina sullo stesso nucleo e la
bobina ha anche una induttanza molto superiore una bobina in aria-core. Questo
significa che il campo locale scompare? No, non è così. Questo effetto può
essere usato per fare una semplice unità sopra il dispositivo.
3. Sperimentazione di core a circuito
chiuso
Ho usato le parti e
di forma da bassa
Conclusione: C'è
qualcosa muoversi all'interno
Poi mettere tre
bobine identiche sul nucleo, uno aveva un carico collegato ad esso e gli altri
sono stati lasciati non connessi. Ho applicato CA al primario. C'era stessa
tensione in entrambe le bobine di uscita. Il cortocircuito una bobina di uscita
causata
Conclusione: Una bobina
secondaria crea anche magnetici attuali e diverse bobine secondarie influenzano
l'un l'altro in modo opposto
Successivamente, ho
collegato vari punti nel nucleo di ferro. I punti che ho usato per il test sono
mostrati qui:

Figura 1. E-I core con bobine e punti di sonda.
Quando il ferro è
stato collegato tra i punti 1 e 2, non vi è stato alcun effetto. Quando è
collegato tra i punti 2 e 3 ci fu un effetto notevole: un suono e una sorta di
vibrazione quando il ferro si avvicinò al nucleo che prese quando entrambe le
estremità toccato il cuore. Quando è collegato tra i punti 4 e 5 si è lo stesso
effetto ma più forte. In questo caso la
Conclusione: la
corrente magnetica all'interno
Per la prova
successiva ho usato un nucleo nanoperm, e sono finita bobine di circa 50 giri
sia il primario e il secondario. Il primario è alimentato con corrente
alternata dalla uscita di un amplificatore audio e il secondario è stato
collegato ad un altoparlante. Poi ho giocato un po 'di musica dal PC attraverso
l'amplificatore audio. Ho sentito la musica e le frequenze più alte sono
attenuate mentre le frequenze più basse suonavano bene. Quello che io avevo era
un filtro audio analogico passa-basso.
Conclusione: Ci può
essere tutte le frequenze attive nella bobina di uscita allo stesso tempo.
Perciò, non può essere attuali magnetici attivi contemporaneamente a tutte le
frequenze nel nucleo.
Sulla base di
questi semplici test ho poi raggiunto la seguente conclusione generale:
In un nucleo ad
anello chiuso può esserci una corrente che scorre magnetico che varia con il
tempo quando il nucleo è eccitato con corrente elettrica alternata. La corrente
magnetica ha somma / sottrazione proprietà e ha anche una proprietà moto
perpetuo. Esso può essere modellato come una sinusoide e onde sinusoidali può
essere manipolato a nostro vantaggio.
4. Con due bobine
in un circuito risonante LC-
Qui di seguito sono
le immagini di CI nuclei sagomati e EI forma che mostrano come le bobine devono
essere avvolte. Tutti bobine sono avvolte nella stessa direzione e collegati
dalle estremità. Quando le bobine vengono utilizzati in questo modo il loro
anello chiuso correnti magnetiche si annullano a vicenda e solo un campo di
induttanza locale rimane. Ecco perché vi è una frequenza di risonanza ma molto
superiore altrimenti possibile. Per esempio, ho usato due 160 bobine di svolta
e la frequenza di risonanza è stato tra i 12-13 kHz. Una bobina di 20 giri nel
mio nanoperm blocchi


Figura 2. C-I ed
E-installo risonanza.
Ora si potrebbe
pensare che questo è di alcuna utilità. Se vi è una bobina di raccolta potere
allora non raccogliere nulla come correnti magnetiche all'interno


Figura 3. C-I e E-I
con primario in cima.
La bobina primaria
è infatti un solenoide, non ha spire magnetiche ed ha bassa induttanza. Bobine
secondarie formare anelli chiusi e hanno maggiore induttanza. Le bobine più
secondari che sono utilizzati, la corrente più magnetica (in fase corretta)
saranno circolando all'interno
Spesso filo multi
filo (non di tipo Litz!) Dovrebbe funzionare meglio, pochi giri e un
condensatore. Ma qualsiasi spessore di filo farà.
Attenzione:
Iniziare con fili di piccolo diametro, qualcosa sotto 0,5 millimetri. Non ho
ancora testato fili grossi ma si verificherà aumento di risonanza. Inoltre, è
meglio iniziare con basso-Q circuiti risonanti come non si vuole kilovolt
generati vicino a te.
Tuning è ora
facile. Prima si effettua una LC-circuito parallelo utilizzando avvolgimenti
secondari, si veda la Figura 2. Per il nucleo è possibile utilizzare una forma
toroidale, pezzi di nucleo CI o EI. I pezzi di forma EI dovrebbero essere il
più efficiente. Successivo trovare la frequenza di risonanza
Ora collegare il
carico e alimentare la bobina primaria con un onda sinusoidale pura AC. Gli
impulsi non funzionano perché un impulso onda quadra contiene tutte le
frequenze, che a sua volta crea correnti magnetiche a tutte le frequenze con
conseguente caos totale del flusso magnetico all'interno del nucleo. L'ingresso
ha sicuramente essere un'onda sinusoidale pura.
Ci deve essere
amplificatori esecuzione in LC-circuito primario in modo che il condensatore
primario è pieno. Se si ottiene la risonanza, ma vede alcun potere quindi
provare a utilizzare una frequenza più alta.
Se si utilizza EI o
tipo CI core, assicurarsi che non vi siano vuoti d'aria tra i pezzi che formano
il nucleo. Ci deve essere un circuito magnetico chiuso nel nucleo. Utilizzando
un LED come carico ovviamente non funziona perché impedisce aumento risonante
LC-circuito di uscita. Sospetto che EI funziona meglio quando dimensioni
centrali sono tali che l'area centrale della gamba centrale è doppio rispetto a
quello delle gambe esterne. Correnti magnetici creati dalle bobine secondarie
devono essere uguali in modo che la loro somma è sempre zero.
Permeabilità del
nucleo non ha importanza e si può usare ferro o di ferrite. È necessario
utilizzare una frequenza che è entro i limiti di ciò che il materiale di base
in grado di gestire. Il materiale Nanoperm che ho usato in grado di gestire
frequenze fino a 1 MHz.
5. I miei risultati
La mia fonte di
ingresso era un amplificatore audio, mi aspetto che emette
Ho usato un nucleo
M-088 Nanoperm da Magnetec (μ era 80.000) con 0,3 millimetri di legare. Per prima cosa ho avuto circa 160 giri in
ciascuna secondario e 20 metri avvolti nel primario, circa 120 giri o giù di lì
(troppo ma che era la mia ipotesi iniziale). Ho dovuto usare alto numero di
giri perché la mia voce è stata limitata al di sotto di 20 kHz. Sono stato
fortunato a trovare adeguate L e combinazioni C così ho potuto vedere un
assaggio dell'azione di risonanza.
Dal momento che non
ho metri ho usato lampade alogene. Ho messo un 5 watt lampadina 12 volt nelle
lampadine da 12 volt primari e 10 watt e 8 watt in uscita. Ho fatto una
spazzata e la frequenza ha attraversato il dolce
Ora che ho capito,
ho ridotto il numero di spire nelle bobine secondarie per la metà e ha cambiato
la capacità da 440nF a 1000nF. La frequenza di risonanza in uscita cambiato un
po ', ma dato che la zona di risonanza era largo non faceva una differenza
notevole. Ora ho più luce, la luminosità quasi pieno e alogeni erano troppo
caldo al tatto. Ancora nessuna luce visibile nel bulbo lato primario.
Così che cosa ho
appena fatto? Resistenza CC sceso a metà in bobine di uscita così il loro
fattore Q è stato raddoppiato dando doppio aumento risonante LC-circuito di
uscita. Raffreddare!
Ho osservato la
stessa azione nel LC-circuito primario. Ci ho usato 40 metri di filo nel
primario e ho ottenuto molto meno
6. Cose da provare dopo una replica di
successo
Avvolgimenti
Bi-filar dovrebbero abbassare il valore totale di L e quindi può essere
utilizzata una maggiore frequenza di risonanza. In uscita ci potrebbe essere
avvolgimenti bi-filar senza condensatori perché condensatori ad alta tensione
sono costosi e pericolosi quando vengono caricati. Quindi inserire un corretto
condensatore in LC-circuito primario a sintonizzarsi.
David Klingelhofer
è stato colpito con i disegni trasformatore Thane Heins e così ha iniziato a
sperimentare con variazioni e miglioramenti al progetto, mentre Thane passato
verso il design

La
caratteristica molto particolare

David colloca
questa schermata acciaio tra gli avvolgimenti primario e secondario
Tuttavia, la
costruzione
La parte critica
di questa disposizione è lo spessore della piastra metallica. Nel suo brevetto
433.702, Tesla discute l'uso di tale guscio protettivo con l'intenzione di
ritardare la risposta
A mio parere,
il ferro è necessario invece che di acciaio come magnetizza acciaio in modo
permanente (a meno che non sia in acciaio inossidabile di buona qualità),
mentre il ferro non diventa permanentemente magnetizzato, ma dobbiamo andare
con la raccomandazione di quelle persone che hanno costruito e testato questo
disegno, e trovano acciaio per lavorare bene in uso, anche se è specificato
come acciaio "laminato a freddo". In questo disegno non è la stessa
di quella
Nel 2012 un collaboratore che utilizza l'ID
'Wonju-Bajac' iniziato un forum per studiare il lavoro di Clemente Figuera
presso http://www.overunity.com/12794/re-inventing-the-wheel-part1-clemente_figuera-the-infinite-energy-achine/#.UXu9gzcQHqU
e
membro 'hanlon1492' ha contribuito enormemente con la produzione di traduzioni
in inglese dei brevetti di Figuera.
Clemente Figuera delle Isole Canarie è morto
nel 1908. Egli era un individuo altamente rispettato, un ingegnere e professore
universitario. Egli ottenne diversi brevetti ed era conosciuto a Nikola Tesla.
Disegno di Figuera è molto semplice nella struttura.
Nel 1902 il Daily Mail ha annunciato che Mr. Figuera, un ingegnere forestale nelle Isole Canarie e
per molti anni professore di fisica al College di St. Augustine,
Il dispositivo Figuera presenta come un
trasformatore complicato, ma in realtà, non lo è. Invece, è due serie di sette
elettromagneti opposti con una bobina di uscita posizionato tra ciascuna coppia
contrapposta di elettromagneti. La posizione fisica degli elettromagneti e
bobine di uscita è importante in quanto sono posizionati molto vicini l'uno
all'altro e non sono indotte campi magnetici tra elettromagneti adiacenti e tra
le bobine di uscita a causa della loro prossimità.
I due gruppi di elettromagneti sono avvolti
con molto bassa resistenza, fili ad alta corrente o, eventualmente, anche con
un foglio di spessore. Le informazioni fornite nel brevetto Figuera afferma che
gli elettromagneti saranno di cui al brevetto con le lettere "N" e
"S" ed ora si pensa che queste due lettere sono volutamente
fuorvianti come le persone tendono a pensare a quelle lettere si riferiscono a
"polo nord magnetico" e "polo magnetico Sud" mentre, in
realtà, gli elettromagneti quasi certamente oppongono, cioè con poli Nord
fronte all'altro o eventualmente, con poli sud fronte all'altro. La disposizione
si crede di essere in questo modo se visto dall'alto:

Questa disposizione crea una parete
magnetica Bloch (o punto magneticamente nullo) al centro delle bobine di uscita
gialli e la posizione di detto punto di equilibrio magnetico è molto facilmente
spostato se l'alimentazione delle due serie di elettromagneti viene alterato
leggermente e qualsiasi movimento di quel punto equilibrio magnetico genera
un'uscita elettrica sostanziale causa l'alterazione delle linee magnetiche di
taglio delle spire di filo in bobine uscita giallo. Mentre il disegno mostrato
sopra indica un piccolo spazio tra le elettromagneti e bobine di uscita, è
affatto certo che tale lacuna è necessaria e mentre avvolgimento delle tre
bobine è più conveniente se sono separati, quando ferita ed essendo assemblato,
loro nuclei possono anche essere uniti per formare un percorso magnetico
continuo.
Un'altra cosa che ha confuso le persone (me
compreso), è il disegno di brevetto, che si presenta come un commutatore
elettrico, ma che non fa parte

Le linee tratteggiate indicano i
collegamenti elettrici interni, così per esempio, il contatto 14 è collegato al
contatto con 3, ma mi permetta di sottolineare ancora una volta che questa
unità non fa parte del progetto e mentre è usato per "spiegare"
l'effettivo funzionamento, non vorrei stupitevi se non fosse destinata a sviare
le persone al funzionamento effettivo.
Questo punto è stato sottolineato ed è stato
suggerito che il dispositivo effettivo di lavoro è di natura magnetica e
potrebbe essere costruito come questo:

Questo appare come un dispositivo molto
semplice, ma è un elemento di grande importanza nella progettazione Figuera. In
primo luogo, il nucleo è di ferro solido (a volte chiamato "ferro
dolce", ma se si fosse battuto con una barra di esso di certo non sarebbe
chiamarla "soft"). La caratteristica più importante di tale nucleo è
sue proprietà magnetiche quanto è in grado di immagazzinare energia. Si ricorda
che questo dispositivo di commutazione è principalmente di natura magnetica.
Ecco come si presenta:

Questo nucleo viene poi avvolto con spessore del
filo - forse AWG # 10 o 12 SWG (2,3 x 2,3 millimetri filo quadrato). Le spire
di filo devono essere stretti, fianco a fianco e sedersi esattamente piatto
sulla superficie superiore come il filo ci saranno contattati dal pennello di
scorrimento:

Il contatto in ottone scorrevole o
"pennello" è dimensionato in modo che si collega attraverso due fili
adiacenti in modo che non vi è mai alcuna scintille come le diapositive di
contatto spazzola intorno al cerchio di fili. La spazzola è azionata da un
piccolo motore CC. Affinché il pennello
scorrevole per contattare il filo, l'isolamento in plastica deve essere rimosso
dalla metà superiore
Ci sono molti modi per organizzare il
piccolo motore CC in modo che guida il cursore pennello. Il motore può essere
montato su un passaggio striscia sopra il nucleo, o battiscopa, o su un lato
utilizzando un collegamento a cinghia o ruota dentata conduttrice. Non importa
quale direzione la spazzola si muove attorno al nucleo. La velocità di
rotazione non è critico, pur in fa determinare la frequenza alternata
dell'uscita. Nella maggior parte dei casi, l'uscita alimentare un elemento di
riscaldamento o sarà convertita in CC per dare la frequenza di rete locale e
tensione.
Quando abbiamo guardiamo un dispositivo come
questo, si pensa subito
Poiché l'intensità magnetico generato dal
set di elettromagneti aumenti "N", l'intensità magnetico generato dal
set di elettromagneti "S" diminuisce. Ma, come la
La disposizione completa è come questo:

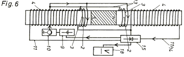
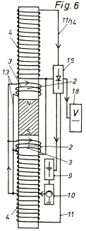
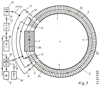
Mentre il disegno sopra mostra una batteria da 12 volt, non c'è grande motivo per cui non dovrebbe essere di 24 volt o superiore, specialmente se il filo utilizzato per avvolgere gli elettromagneti è diametro minore. La quantità di potenza necessaria per creare un campo magnetico non è correlato alla forza del campo magnetico e un maggior numero di spire di filo sottile con una piccola corrente che fluisce attraverso il filo può creare un campo magnetico più forte di poche spire di filo spesso con grande corrente che fluisce attraverso tali curve.
Alex in Russia, che ha condiviso molti dei suoi
sistemi di impulso di ricarica immobili per le batterie, ora condivide il suo
progetto che non sembra avere alcun effetto di back-EMF sulla bobina primaria.
Se questo è il caso, allora qualsiasi aumento della produzione di corrente non
ha un corrispondente aumento della corrente che fluisce attraverso la bobina
primaria. Questo è completamente diverso al modo in cui un trasformatore
tradizionale opera.
La disposizione è un po 'come la disposizione
Trasmettitore / Ricevitore di Don Smith e mentre sembra essere un semplice
accordo, è non è. Alex estrae la sua configurazione della bobina come questo:

Qui, la forma scelta di costruzione è una cornice
di dodici lunghezze di 20 mm di diametro tubi di plastica - quattro nella parte
superiore, quattro in basso e quattro verticali. Ogni tubo è riempito di
polvere di ferrite e vi è una bobina di uscita avvolto su ciascuno dei quattro
tubi verticali. Sospeso al centro è la bobina primaria che è di 15 mm di
diametro. Tutti e cinque bobine sono avvolte con 0,5 millimetri di diametro
filo di rame smaltato (SWG 25 o AWG # 24). Mentre il disegno di Alex mostra un
singolo filamento di filo, l'effettiva disposizione per le quattro bobine di
uscita è che sono avvolte in un unico strato bobina bi-filare:

Per questo, le bobine sono avvolte in uscita con
due fili di lato tela a fianco, in un unico strato lungo la lunghezza del tubo
di plastica. Poi, l'inizio di un filo è collegato alla estremità dell'altro
filo. Poiché le bobine sono pieni di ferrite, possono operare ad alta
frequenza, quando la bobina primario 15 mm, è alimentato sia con impulsi CC o
un'onda sinusoidale. Ogni bobina di uscita può fornire un'uscita separata o le
bobine di uscita possono essere collegati in serie per dare una tensione
superiore o connesso in parallelo per fornire una corrente di uscita superiore.
Alex Mostra anche come toroidi di ferrite è
utilizzabile, anche con la rete elettrica 220V, dare operazione inversa-FEM
senza trasformatore. Se la frequenza di ingresso è più bassa della rete, quindi
i toroidi possono essere tipi di polvere di ferro o può essere costruiti da
spessori di ferro nello stesso modo che i trasformatori di alimentazione
ordinaria sono costruiti. Tuttavia, si prega di capire chiaramente che la
corrente che scorre attraverso qualsiasi bobina collegata attraverso una
sorgente di alta tensione come 110V o 220V e utilizzando una qualsiasi delle
seguenti configurazioni, è limitata dall'impedenza della bobina stessa.
'Impedenza' è effettivamente 'Resistenza CA' alla frequenza di alimentazione di
tensione CA. Se l'impedenza della bobina è basso, allora la corrente che scorre
attraverso la bobina sarà elevata e poiché la potenza dissipata tramite il
flusso corrente è tensione x corrente, la dissipazione di potenza con corrente
maggiore va molto rapidamente quando il livello di tensione è alto come 220 volt.
La dissipazione di potenza è sotto forma di calore, che significa che con
dissipazione di potenza eccessiva, il filo in bobina è soggetto a sciogliersi o
'bruciare' in un flash impressionante della fiamma, fumo e annerito filo. Di
conseguenza, le esigenze di avvolgimento bobina per avere molti giri e il filo
diametro deve essere sufficiente a portare il flusso di corrente – la tabella
filo pagina 1 dell'appendice sono la corrente che può essere trasportata da
ogni dimensione del filo quando avvolto in una bobina. Se non non c'è alcun
effetto di FEM di ritorno con le seguenti configurazioni, quindi la corrente in
avvolgimento primario collegato attraverso la rete elettrica non saranno
interessati da altre bobine, quindi ricordatevi che quando si prepara la bobina
primaria.
La prima disposizione utilizza tre toroidi per
dare quattro uscite separate. La quantità di corrente che può essere disegnata
da qualsiasi secondaria dipende dalla quantità di flusso magnetico che può
essere trasportato dal nucleo magnetico o nuclei fra la bobina primaria e quel
particolare bobina secondaria. Ovviamente, l'assorbimento di corrente di uscita
sarà anche limitata dalla capienza ditrasporto del filo usato nella bobina
secondaria. Se viene superato quel livello di corrente per un certo periodo di
tempo, poi l'isolante del filo riuscirà giri saranno cortocircuito insieme,
scenderà l'impedenza della bobina, l'attuale aumento ulteriormente e la bobina
si brucerebbe – quindi, senso comune viene chiamato per.

Qui, la bobina primaria "1" è avvolto su un toroide che è orizzontale nella foto sopra
e la secondarie bobine sono avvolte su toroidi riportati come verticale nel
disegno "2". Il punto importante qui è che i toroidi con
avvolgimenti secondari, toccare il bobina primaria toroide ad angolo retto,
cioè a 90 gradi. Per comodità di avvolgimento bobine, qualsiasi toroide può
essere assemblato da due toroidi mezzo che permette la bobina a essere ferita
separatamente e quando completato, scivolò sopra uno dei toroidi metà a forma di
C, prima che le due metà sono messi insieme per formare il toroide completo.
La seconda disposizione utilizza anche tre toroidi:

E la terza disposizione utilizza quattro toroidi,
ma in una disposizione più potente dove la capacità di carico del flusso
magnetico del trasformatore è raddoppiata come Croce area sezionale dei toroidi
all'interno di ogni bobina è raddoppiato. Questa è una disposizione più
difficile al costrutto e se le bobine sono a essere avvolto su un avvolgitore
bobina separata, quindi i toroidi ogni necessità di essere fatto da metà
toroide plus quarto due toroidi affinché le bobine possono essere scivolate a
due sezioni trimestre-toroide separati che sono curvando in direzioni opposte,
a meno che naturalmente, al suo interno diametro delle bobine è un buon affare
più grande di toroide sezione trasversale (che riduce il numero di giri per
qualsiasi data la lunghezza del filo della bobina):

Se questi accordi trasformatore semplice operano
come dispositivi di inversa-FEM-libero come ha sostenuto, allora la corrente
assorbita da uno, o tutti, gli avvolgimenti secondari non ha alcun effetto
sulla corrente che scorre attraverso la bobina primaria. Questo è abbastanza
diverso presente giorno commerciale trasformatori che vengono avvolti
simmetricamente, che a sua volta causa l'assorbimento di corrente nella bobina
secondaria per forzare una corrente maggiore nell'avvolgimento primario.
Alex (http://www.radiant4you.net/) Mostra anche un'altra disposizione che utilizza sette toroidi. Egli afferma che questa disposizione è anche gratis i disegni di back-EMF sprecare energia utilizzata attualmente in elementi più commerciali di apparecchiature. Egli specifica che la frequenza di funzionamento prevista è di 50 Hz che è la frequenza della rete elettrica come la differenza tra 50 Hz e i 60 Hz utilizzato in America non è significativa in alcun modo. Questa frequenza suggerisce che i toroidi prontamente potrebbero essere fatto di ferro come nei trasformatori commerciali. Il prototipo fu avvolte con filo di diametro di 0,5 mm e volto a un livello di potenza di 100 watt. I condensatori sono ad alta potenza olio riempita con capacità fino a 40 microfarad e valutato a 450V quando si utilizza la rete elettrica 220V input. L'accordatura è molto simile a quella del RotoVerter illustrato nel capitolo 2. Il layout fisico è:

Toroide centrale è avvolto tutto intorno la sua
circonferenza, come indicato dal colore blu. Questo avvolgimento è alimentato
direttamente con la sorgente di ingresso corrente che normalmente dalla rete o
da un trasformatore di alimentazione, probabilmente a bassa tensione.
Ci sono dodici uscita bobine, sei qui mostrata in verde e sei in rosso. Per il miglior funzionamento, ciascuna di queste bobine di uscita necessario essere 'sintonizzato' a bobina centrale e che deve essere fatto modificando la dimensione del condensatore di esperimento per ottenere le migliori prestazioni di ogni bobina. Quando correttamente messa a punto, aumentando la corrente di disegna da una qualsiasi delle bobine uscita non aumenta la potenza che fluisce nella bobina ingresso centrale. Questo contraddice ciò che normalmente viene insegnato nelle scuole e nelle università come conoscono solo simmetricamente ferita trasformatori e motori dove uscita aumentata attuale infatti si oppongono la potenza in ingresso, causando maggiore corrente di ingresso e spreco di calore. Il circuito è:

La bobina blu ha la potenza in ingresso al
"A" e il condensatore in serie con ogni bobina è lì per ottenere
tutti gli avvolgimenti a risuonare alla stessa frequenza. Gli elementi
"B" e "C" rappresentano il carico utile, essendo alimentato
da ogni bobina, anche se, ovviamente, soltanto due delle bobine dodici uscita
sono indicati nel diagramma circuito precedente, e ci sono un ulteriore verde
cinque e cinque bobine rossi che non sono mostrate nel diagramma di circuito.

Probabilmente vale la pena di ricordare che
l'aggiunta di un magnete a un toroide o trasformatore di ciclo chiuso nucleo
può amplificare l'uscita purché il magnete permanente non è abbastanza forte
per saturare il nucleo completamente e impedire l'oscillazione del flusso
magnetico. Questo è stato dimostrato da Tseung Lawrence, Graham Gunderson e
altri e quindi potrebbe essere vale la pena sperimentare ulteriormente con
queste configurazioni lungo le linee mostrate nel video di
https://www.youtube.com/watch?v=sTb5q9o8F8c&list=UUaKHAdY13gp-un2hn_HJehg&index=1&feature=plcp.
La Versione Più Semplice:
Alexkor ha prodotto un disegno Lenz-senza legge semplificato, utilizzando toroidi commerciali già avvolti come trasformatori di rete step-down. Un fornitore è http://www.electro-mpo.ru/card8524.html#.VXsfKlIon7s con trasformatori di questo tipo in offerta:

La tecnica consiste nel rimuovere la piastra che copre l'apertura centrale e collegando gli avvolgimenti 220V e 110V in serie. Due di questi trasformatori sono usati, ognuno dei quali collegati con i loro avvolgimenti 220V e 110V collegate in serie e poi i toroidi o affiancate o in alternativa impilati uno sopra l'altro con un foglio di spessore da 1 millimetro di plastica tra loro.
Nella
configurazione in cui i toroidi "A" e "B" sono affiancate,
una estrazione di

Nel caso in cui i toroidi "A" e "B" sono disposti in una pila con foglio di plastica 1 mm tra di loro, l'estrazione di potenza avvolgimento "D" è avvolto attorno ai due toroidi, entrambi racchiude:

Mentre l'avvolgimento "D" viene mostrata come una stretta striscia nel diagramma, che è solo di rendere il disegno più facile comprendere come, in realtà, l'avvolgimento "D" è continuato tutto intorno tutta la circonferenza delle toroidi e può essere molti strati profondi per soddisfare la tensione di uscita desiderata.
Toroid "A" ha un condensatore tuning "C1" che viene regolato in valore per ottenere la risonanza in tale circuito che minimizza la corrente che scorre nel toroide "A" dalla rete.
Toroid "B" ha un condensatore di "C2" che viene regolata per dare la massima tensione di uscita (tipicamente 600 volt) provenienti dal toroide "B". Lo scopo di toroide "B" è di deviare il flusso magnetico inverso in Toroid "A" e quindi, produrre un sistema di lavoro efficiente. Il carico "L" in teoria, un carico fittizio, ma in realtà non vi è alcuna ragione per cui non dovrebbe essere considerato come un carico di lavoro effettivo se tale uscita è comodo da usare.
L'avvolgimento di uscita "D" è libera dell'effetto legge Lenz e la corrente in ingresso dalla rete non risente in alcun modo quando l'assorbimento di corrente da coil "D" viene incrementato, o cortocircuitato. Alexkor sottolinea il fatto che, come vengono forniti i toroidi già ferita, questo è in realtà un disegno molto facile da replicare.

Nel luglio del 2013,
due uomini brasiliani, Nilson Barbosa e Cleriston Leal, hanno pubblicato una
serie di brevetti che sembrano essere molto significativi. Il loro brevetto WO
2013/104042 pubblicato il 18 luglio 2013, è intitolato "dispositivo
elettromagnetico per catturare elettroni dalla Terra per produrre energia
elettrica" e ha alcune
caratteristiche molto interessanti. Esso descrive un semplice dispositivo che
essi descrivono come una "trappola di elettroni". I loro brevetti
sono scritti in portoghese e una traduzione tentato di tre di loro è incluso
alla fine della appendice.
Una caratteristica insolita di questo disegno
è il fatto che ha un sistema conduttivo
continuo, in cui si sostiene, flussi di corrente continua, anche senza la
necessità di una tensione applicata. Invece, sono i campi magnetici di
elettromagneti che continuano a fluire la corrente. Essi affermano che un
importo irrilevante di energia in ingresso produce una notevole quantità
d’energia, e che considerano un COP di 100 per essere circa il rendimento
minimo che può essere previsto dal progetto. Questo è un ingresso di 1 watt per
una potenza da 100 watt. Una
versione della trappola di elettroni si presenta così:

Gli inventori
descrivono il loro dispositivo come questo: "questo generatore a campo
elettromagnetico, alimentato da una fonte di alimentazione, genera un campo
elettromagnetico che induce una corrente elettrica in un circuito chiuso
conduttivo, creando una interazione tra i poli magnetici della macchina e dei i
poli magnetici della terra - sia attraverso attrazione e repulsione elettromagnetica.
Una scorta infinita di elettroni viene prelevata dalla terra nel circuito
chiuso conduttivo, che è collegato a terra tramite una rete interconnessa
conduttiva. Gli elettroni attratti aderiscono alla corrente che già fluisce nel
circuito chiuso conduttivo, rendendo potenza disponibile per la guida ad alta
carichi di alta potenza, anche se il dispositivo stesso è fornito con solo una
piccola quantità di energia. "
Una caratteristica
molto interessante è che la bobina ad anello continuo formato da filo 4 nello
schema precedente, è letteralmente, solo due spire di filo. Il meccanismo di
guadagno d’energia, sorprendentemente, è il filo a terra (in blu) che è
semplicemente avvolto attorno al filo 4 e non collegato direttamente ad
esso come il collegamento di trasferimento di elettroni è per induzione. Con
questa disposizione, la corrente circolante nel circuito chiuso 4,
attrae più elettroni dal terreno, che scorre attraverso il collegamento del
filo 5, avvolto attorno al filo 4, aumentando là il flusso di corrente
di una quantità maggiore. Il filo 3 può avere una tensione alternata
applicata ad esso in modo da ottenere la corrente alternata a filo 4, ma
vi prego di capire che la corrente che scorre nel filo 4 non è il
risultato della corrente nel filo 3. Se la corrente nel filo 3 è CC,
allora la corrente nel filo 4 sarà CC come questo non è un
trasformatore convenzionale, ma, invece, è una trappola di elettroni, operando
in un modo completamente diverso.
La trappola di elettroni può essere collegata
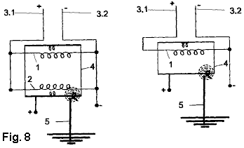
in un circuito alternata di questo tipo:

Qui, il filo a terra 5
è avvolto attorno al filo ciclo continuo 4, alimentandola di elettroni
aggiuntivi catturate da terra. Le estremità del filo 4 sono collegati
insieme per formare il sistema, e che sia altre-sì il lato positivo dell'uscita
(dove un'uscita CC trasmessa). Il campo magnetico prodotto dalla corrente che
scorre nel filo 3, agisce sul flusso di elettroni proveniente dalla
terra, ma non fornisce alcuna della potenza elettrica che scorre nel circuito
del filo 4, la corrente che
scorre in filo di 3 può essere molto piccolo, senza influenzare l'uscita
di potenza.
Nel loro brevetto WO
2013/104043, anche del 18 luglio 2013, che mostrano diversi modi di collegare
la loro trappola di elettroni in un circuito utile. Ad esempio, così:

Qui, la batteria 13,
viene utilizzato per alimentare un inverter ordinario 12, che produce
una elevata tensione alternata, in questo caso, a bassissima potenza. Tale
tensione viene applicata al cavo 3.1 e 3.2 della trappola di
elettroni, creando un campo magnetico oscillante, che crea un afflusso
oscillante di elettroni nel filo del circuito chiuso (4), che crea un
output elettrico amplificato alla stessa frequenza - tipicamente 50 Hz o 60 Hz
come quelle sono le frequenze di rete comune. Questa potenza amplificata dalla
trappola di elettroni 14, è passata avanti filo 18 ad un diodo
comune ponte 10, e la pulsazione CC dal ponte viene lisciata e
utilizzato per sostituire la batteria ingresso all'inverter 12. La
batteria è commutato fuori dal circuito e, oltre a rendere l’intero circuito
auto-alimentato, l'alimentazione proveniente dalla trappola di elettroni viene
utilizzata per ricaricare la batteria se ha bisogno di ricarica (e / o, forse,
per caricare le batterie di un'auto elettrica). Poiché la trappola di elettroni
necessita di quasi nessuna tensione di alimentazione, la potenza in ingresso
all'inverter è molto piccola, e quindi una buona dose di ulteriore
alimentazione CA può essere prelevata tramite cavo 17, e utilizzato per
pilotare carichi elettrici potenti, senza necessità di energia elettrica dalla
batteria. Essendo auto-alimentata, il valore COP per il circuito è infinito.
Così come ci sono diversi modi di usare una
trappola di elettroni in un circuito, ci sono diversi modi di costruzione e di
collegamento di una trappola di elettroni. Mentre è possibile disporre i
componenti in modo che la potenza di uscita è di 2-fase o 3 fasi, qui ci
limiteremo a trattare l'ordinario, domestico, alimentazione monofase.
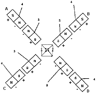
La prima variante è quella di utilizzare più di un telaio. Due telai possono essere collegati in questo modo:

Questo è il disegno
effettivo dal brevetto e presenta un piccolo problema nel senso che non è
fisicamente possibile attuare il filo numero 4 nel modo illustrato. Ogni
telaio avrà due giri completi avvolte su di esso, anche se il disegno non
mostra questo. A causa della inesattezza del disegno, io non sono in grado di
dire se gli avvolgimenti della bobina nel telaio 2, sono nella stessa
direzione, come quelli sul telaio 1. Ci sono quattro possibili modi di
avvolgere queste bobine a 2 giri quando sono interconnessi, quindi forse la
sperimentazione può essere usato per determinare quale metodo funziona meglio.
Con questa disposizione
a due telai, c'è solo quel filo a terra 5, come prima, di nuovo, è
avvolto attorno filo 4 invece di essere collegato ad essa. Il circuito
di filo continuo 4 ha due estremità come in precedenza, ma ora ci sono
due estremità 3.1 filo e due spezzoni di filo 3.2. I programmi di
traduzione portoghesi producono risultati molto discutibili per questa zona del
brevetto, ma mi sembra di capire che gli inventori intendono i due 3.1
estremità per essere collegati tra loro e le due 3.2 estremità per
essere collegati tra loro, e quindi le estremità unite sono trattati
esattamente come prima, di fatto mettendo le due s avvolgimento in parallelo.
Uno svantaggio di
questo progetto è che non è portabile a causa del collegamento di terra.
Barbosa e Leal si occupano di questo problema nel loro brevetto WO 2013/104041
della stessa data in cui essi mostrano un metodo di costruzione di una trappola
di elettroni che raccoglie gli elettroni in eccesso presente nell'aria. Se
ritenete che non ci sono elettroni in eccesso nell'aria, quindi prendere in considerazione
il fatto che tutti i disegni aeree in tutto il capitolo sette estraggono e
utilizzano questi elettroni. Inoltre, prendere in considerazione la quantità di
energia elettrica in un fulmine, in cui gran parte dell'energia elettrica
proviene dall'aria, e ricordate nel mondo, ci sono tra 100 e 200 un fulmine
colpisce ogni secondo.
La trappola di
elettroni ’eletroni-liberi-dall’aria’ è un po 'più complicato di quanto la
trappola di elettroni filo-a-terra, con quattro coppie di bobine (3 e 4) di essere
montati all'interno di due emisferi in alluminio (1):

I metodi per utilizzare la trappola-aria elettroni
sono uguali a quelli per la trappola di elettroni terra-wire. Un tentativo di
traduzione di tutti e tre i brevetti è qui:
SISTEMA DI GENERAZIONE DI ENERGIA ELETTRICA CON FEEDBACK
Inventori: Nilson Barbosa e Cleriston de Morales
Leal

Estratto
La presente invenzione
riguarda impianti di generazione di energia elettrica comprendente un circuito
di base formata da un raddrizzatore (10),
per esempio, un convertitore CA / CC collegato in serie ad un invertitore (12), per esempio, un convertitore CC / CA,
e banco di batterie (13) collegato
in serie tra il raddrizzatore (10) e
l'invertitore (12). Un elemento di cattura di elettroni (14), che può essere sia uno spazio
libero per cattura di elettroni elemento o, in alternativa, una terra
elettrone-cattura elemento, è collegato in serie al circuito di base formata
dal raddrizzatore (10), l'inverter (
12) e il complesso di batteria (13). La banca di batterie (13) alimenta il circuito base perché è
collegato al sistema. Conseguentemente,
l'inverter (12) converte la corrente
continua in corrente alternata e fornisce questa corrente all'elemento
elettrone-cattura (14). Dopo aver ricevuto la corrente elettrica
dall'inverter (12), l'elemento di
cattura di elettroni (14) inizia la
cattura di elettroni dalla corrente alternata ed alimentare il raddrizzatore (10), che converte la corrente alternata
in una corrente continua per ricaricare la banca delle batterie (13) ed alimentare l'inverter (12) che alimenta l'elettrone-cattura
elemento, chiudendo il circuito di retroazione, ed inoltre a fornire energia
elettrica per il consumo da carichi esterni.
WIPO Patent Application WO/2013/104043 Data
di registrazione: 01/11/2013
Domanda numero:
BR2013/000016 Data di pubblicazione: 2013/07/18
Assegnatario: EVOLUÇÕES
ENERGIA LTDA (Rua Santa Tereza 1427-B Centro - Imperatriz-MA, CEP -470 -
Maranhão, 65900, BR)
GENERATORE DI ELETTRICITÀ
AUTOALIMENTATO.
Campo tecnico
La presente invenzione
riguarda un dispositivo per la generazione di energia elettrica, in particolare
apparecchiature autoalimentate per generare elettricità.
Descrizione della tecnica correlata
Ci sono molti metodi
per la generazione di energia elettrica con l'elettromagnetismo, ma tutti
questi sono dispositivi elettromeccanici che utilizzano magneti e hanno
limitate capacità di generazione e di un impatto ecologico che li rende
inadatti per progetti su larga scala.
Obiettivi del Invention
Lo scopo di questa
invenzione è la generazione sostenibile di elettricità, utilizzando un
generatore che è in grado di produrre grandi quantità di energia elettrica da
una corrente di ingresso estremamente basso, che inizialmente è fornita da una
batteria di accumulatori, ma successivamente viene fornito dall'uscita dal
generatore che è anche in grado di alimentare carichi esterni.
L'obiettivo di cui
sopra, ed altri obiettivi sono raggiunti dalla presente invenzione mediante
l'uso di un tipico circuito Gruppo di continuità comprendente un raddrizzatore
AC / CC che alimenta un gruppo di batterie che alimenta un CC / AC inverter,
che è collegato ad un dispositivo per elettroni trappola dallo spazio (come
descritto nella domanda di brevetto brasiliana No. BR1020120008378 del 13
gennaio 2012) o in alternativa, un dispositivo che estrae elettroni dalla Terra
(come descritto nella domanda di brevetto brasiliana No. BR1020120008386 del 13
gennaio 2012), che poi passa il estratta elettroni al raddrizzatore AC / CC,
carica la batteria banca, chiudendo così il circuito, oltre a fornire energia
elettrica ai carichi esterni di alimentazione.
Il sistema
autoalimentato di produzione elettrica della presente invenzione può essere
fisso o mobile. Si fissa utilizzando cattura di elettroni dalla terra a causa
del collegamento di terra, o mobile utilizzando cattura di elettroni dallo
spazio.
Il sistema di
generazione di energia elettrica autoalimentato della presente invenzione può
essere configurato in molti modi diversi, ciascuno utilizzando lo stesso
concetto inventivo ma utilizzando diversi arrangiamenti di componenti. Diverse
versioni sono monofase, bifase o versioni trifase, uscite di produzione di
qualsiasi potenza e tensione.
Breve descrizione dei disegni
La presente invenzione
verrà ora descritta con l'aiuto di disegni, ma questo brevetto non è limitato
alle versioni ei dettagli mostrati in questi disegni, sebbene essi mostrano
ulteriori dettagli e vantaggi della presente invenzione.
I
disegni:

Fig.1 - mostra un sistema di circuito di base per
autoalimentato generazione elettrica della presente invenzione

Fig.2 - mostra una prima forma di realizzazione del
sistema costruttivo per autoalimentato generazione elettrica della presente
invenzione;

Fig.3 - mostra una seconda forma di realizzazione del
sistema di auto-alimentata per la generazione di energia elettrica della
presente invenzione;

Fig.4 - mostra una terza forma di realizzazione del
sistema di auto-alimentata per la generazione di energia elettrica della presente
invenzione;

Fig.5 - mostra una quarta forma di realizzazione del
sistema di auto-alimentata per la generazione di energia elettrica della
presente invenzione;

Fig.6 - mostra una quinta forma di realizzazione del
sistema di auto-alimentata per la generazione di energia elettrica della
presente invenzione;
Descrizione dettagliata
dell'invenzione:
Esistono diversi modi
per la chiusura del ciclo di auto-alimentazione a seconda della configurazione
del circuito scelto. Alcuni di questi accordi sono mostrati nelle figure 2-6,
in cui il circuito principale continua ad oscillare, generando continuamente
energia elettrica istante.

Come mostrato in Fig.1, il sistema autoalimentato per la
generazione di energia elettrica comprende un circuito di base costituito da un
raddrizzatore (convertitore CA / CC) 10
che è collegato in serie ad un inverter (CC / CA) 12. Una banca di batterie 13
è collegato tra il raddrizzatore 10
e l'inverter 12. L'uscita dal
convertitore CC / CA 12, si collega
a un elettrone-trappola 14 che può
estrarre elettroni dallo spazio (come descritto nella domanda di brevetto
brasiliana No. BR1020120008378 del 13 gennaio 2012) o in alternativa, estratti
elettroni dalla Terra (come descritto nella domanda di brevetto No. brasiliano
BR1020120008386 del 13 gennaio 2012).
Una volta collegato, la
banca della batteria 13 fornisce
l'alimentazione al convertitore CC / CA 12
che converte la corrente continua in corrente alternata e fornisce corrente al
elettrone-trappola 14. L'uscita della trappola elettrone 14 viene fatta passare attraverso il
filo 18, alla CA / CC ponte
raddrizzatore 10, che mantiene la
banca batteria carica oltre che alimentare il CC / CA invertitore 12. Potenza supplementare viene passato alle
apparecchiature esterne attraverso il filo 17.

Fig.2, mostra un'altra forma di realizzazione del
sistema di questa autoalimentato apparecchiature di generazione di energia
elettrica. Si compone di un tipico
gruppo di continuità del circuito di alimentazione di un carica batteria (CA / CC)
21 collegato ad un dispositivo di
azionamento (un inverter CC / CA) 23
e tra questi, un che formano il circuito di base della batteria banca 22. Dispositivi aggiuntivi sono un elettrone-trappola
27 che può raccogliere elettroni
liberi dallo spazio (come definito nella domanda di brevetto brasiliana No.
BR1020120008378 del 13 gennaio 2012) o, in alternativa, raccoglie elettroni
dalla Terra (come descritto nella domanda di brevetto brasiliana No.
BR1020120008386 di 13 Gennaio 2012). L'interruttore elettronico a 3-fasi 24 normalmente connette 24,1-24,3 collegando la trappola di elettroni 27 a inverter 23. Collegati in parallelo è il circuito di
protezione 25, che, se attivata,
tramite filtro 26, cause passare da 24 a scollegare il collegamento 24,3 - 24,1 e, invece, collegano 24,3
- 24,2.
Una disposizione
alternativa per l'uso in situazioni di emergenza, è di usare il sistema non è
più alimentato. Per questo, il sistema è composto da un ingresso di
alimentazione da una fonte di alimentazione esterna, direttamente al punto di
interconnessione 29 per alimentare
soppressore 25, che fornisce energia
per alimentare il punto di uscita di potenza 28 per carichi esterni di alimentazione. Quando
l'elettrone-trappola 27 è spento,
l'interruttore di trasferimento elettronico 24 ritorna alla sua posizione di
default che collega il punto 24.1 al
punto 24.3 causando il circuito di
funzionare, ancora una volta, nella sua modalità di auto-alimentazione. Non appena il sensore elettrone 27 fornisce potenza sufficiente al
sensore sovratensione 25, si aziona
l'interruttore di trasferimento 24
attraverso il filtro 26, che termina
la fase di auto-alimentazione e fornire energia direttamente al punto di uscita
di potenza 28, al fine di alimentare
esterno carichi.

Fig.3 mostra un'altra forma di realizzazione del sistema
di auto-alimentata per la generazione di energia elettrica, comprendente un
dispositivo che comprende il circuito di base di un tipico gruppo di
continuità, consistente in un caricabatterie (CA / CC convertitore) 31 collegato ad un dispositivo motore
(inverter CC / CA ) 35 e ad essi, un
banco di batterie 32. Questo
circuito base insieme ad altri dispositivi è collegato ad un elettrone-trappola
37 per la raccolta di elettroni
liberi da spazio circostante o, in alternativa, una trappola elettrone
collegata a terra 37. Abbiamo poi,
un banco di batterie 32 collegato al
CC / CC convertitore 33, che è
collegato al commutatore di trasferimento di fase 34 / 34.1 che è collegato a punto 34.3, che collega all'inverter 35,
e così, l'elettrone-trappola 37.

Fig.4 dimostra un'altra incarnazione del sistema per la
generazione di elettricità autoalimentata che è costituito da un circuito di
base di un'alimentazione uninterruptible tipico, costituito da un carica
batterie (convertitore CA/CC) A collegato ad un inverter (CC/CA) 42 e attaccato alla loro banca batteria
41 e questo circuito di base insieme
ad altri dispositivi sono collegati ad un dispositivo di cattura elettronica
spazio libero 44 o una collegamento
di terra elettrone-trappola 44. Così, che comprende un caricabatterie A collegato a una banca batteria 41, che è collegata in serie con
inverter 42 al punto B, che è in serie con inverter 42 che è in serie con il sensore
elettronico 44, che è in serie con il trasferimento di fase, punto C Interruttore 43 tramite il punto di connessione di uscita trifase carico 45. La fase di trasferimento
interruttore 43 è in serie con
l'inverter 42, che è collegata in
serie di carica batterie (convertitore CA/CC) la batteria di alimentazione
banca 41.
Una costruzione
alternativa per l'utilizzo in situazioni di emergenza, in cui il sistema cessa
di essere auto-alimentato, il sistema può comprendere la potenza assorbita da
una fonte di alimentazione esterna, tramite il punto di interconnessione 46, fornendo così la produzione di
energia elettrica 45, al potere
esterno carichi. La banca batteria 41
fornisce l'alimentazione all'inverter 42
che converte la corrente continua in corrente alternata e alimenta la trappola
di elettrone 44. L'interruttore di
trasferimento di fase si chiude quando le batterie hanno bisogno di ricarica.
Sensore 44 cattura elettroni, producendo
corrente alternata, che alimenta il trasferimento di fase alimentazione
Interruttore 43 con corrente
alternata in ingresso. La fase di
trasferimento interruttore 43
alimenta l'inverter 42 che carica le
batterie, chiudere il ciclo di auto-alimentazione che fornisce potenza in
uscita 45, alimentazione sia la
potenza in ingresso e carica qualsiasi esterno.

Fig.5 mostra un'altra forma di realizzazione del sistema
di auto-alimentato apparecchiature di generazione di energia elettrica
comprendente un circuito che comprende un tipico gruppo di continuità comprendente
un caricabatterie (CA/CC) 51
collegato ad un convertitore CC/CA 53
e ad essi, una batteria banca 52. Questo circuito di base insieme ad altri
dispositivi sono collegati ad un dispositivo di acquisizione a elettroni liberi
spazio 56 (come definito nella
domanda di brevetto No. brasiliano BR1020120008378 del 13/1/12) o, in
alternativa, una terra collezionista a elettroni liberi 56 (come definito nel domanda di brevetto No. brasiliano
BR1020120008386 del 13/1/12). Questo comprende poi un carica batteria 51 che è collegato in serie con una
serie di batterie 52, che è collegato
in serie con l'inverter 53, che è
collegato in serie al trasformatore 55
nel suo punto C, che è in serie con
il suo punto B che è in serie con il
collettore di elettroni 56, che è in
serie con il caricabatterie 51 che è
collegata al punto di uscita di carico 58,
che è anche il punto di ingresso del circuito 59, che è in serie con il commutatore di trasferimento di fase 54 sezione 54.1, che è collegato al terminale 54.3, che è in serie con punto A del trasformatore 55 che esce al punto B. punti A e 54.3 nonché i punti 54.1 e 54.2 parallele, sono tutti paralleli al caricabatterie 51, la batteria banca 52, l'inverter 53 e al punto C del
trasformatore 55.
Una costruzione
alternativa per l'uso in situazioni di emergenza, in cui il sistema cessa di
essere auto-alimentato, il sistema può includere un punto esterno ingresso di
alimentazione 59, consentendo
interruttore di trasferimento di fase 54
per fornire potenza di uscita 58,
per alimentare carichi esterni. Banco
batteria 52 alimenta l'invertitore 53, che converte la corrente continua
in corrente alternata, alimentando punto C
del trasformatore, che esce a punti B
e A del trasformatore 55. Il punto B
del trasformatore alimenta l'elettrone-trappola 56 producendo corrente alternata che alimenta il caricabatterie 51, la ricarica della batteria della
banca 52.
Il carica batteria 51 è collegato in parallelo con
l'interruttore di trasferimento 54
da punti di attacco 54.1 e 54.3, punto di alimentazione A del trasformatore, che esce al punto B. Il punto A
del trasformatore ed i punti di commutazione di trasferimento 54.3 e 54.1 sono in parallelo al caricabatterie 51, la batteria 52,
l'inverter 53 e il punto C del trasformatore 55.

Fig.6 mostra un'altra forma di realizzazione in cui un
raddrizzatore 61 è collegato ad un
invertitore 63 ed una serie di
batterie 62, e ad uno spazio libero
a elettroni trappola 64 o, in
alternativa, un elettrone trappola 64
terra comprendente quindi, un delta (CA/CC) convertitore 61, che è collegato in serie ad una serie di batterie 62, che è collegato in serie con la (CC/CA)
invertitore 63, che è in serie con
il collettore 64 di elettroni che è
collegato in serie con il convertitore delta (CA/CC) 61 la cui parte CA è in serie con l'alternata CA corrente
dell'inverter 63 tramite un cavo di
collegamento 65, che è in parallelo
con la parte continua del convertitore delta 61 con il gruppo di batterie 62
e la parte di CC dell'invertitore 63.
Una costruzione alternativa per l'uso in
situazioni di emergenza, in cui il sistema cessa di essere auto-alimentato, il
sistema può comprendere un ingresso di alimentazione da una fonte di
alimentazione esterna, tramite il punto di interconnessione 66 collegato al convertitore delta 61, l'uscita 67 fornendo alimentazione, per i carichi esterni.
Banca della batteria 62 alimenta l'inverter 63, che converte la corrente continua
in corrente alternata, alimenta il elettroni liberi collettore 64. Gli elettroni catturati dal collettore 64 forma una corrente alternata che
alimenta il convertitore delta 61
tramite un alimentatore filo carico di uscita 67.
La parte alternata
trifase delta convertitore 61 è
alimentato con corrente alternata da 63
inverter tramite cavo di collegamento 65,
che è collegato in parallelo alla continua CC delta convertitore 61, che alimenta il gruppo di batterie 62 e con la porzione continua
dell'inverter 63, chiudendo il ciclo
di auto-alimentazione e l'alimentazione in uscita 67, che è il punto di potenza di uscita.
Avendo descritto esempi
di realizzazioni preferite, si dovrebbe comprendere che l'ambito della presente
invenzione comprende altre possibili forme di realizzazione, utilizzando gli
elettroni collettori collegati ad un circuito di base di un tipico gruppo di
continuità di energia, noto come un UPS, comprendente un dispositivo
raddrizzatore (un convertitore CA/CC) 10,
collegato ad un inverter (convertitore CC/CA) 12, e collegato tra di loro, un serbatoio di energia (in genere,
una serie di batterie).
Una parte
molto importante del brevetto sopra è il dispositivo descritto come un
"collettore di elettroni liberi", sia dalla terra o dallo spazio.
Dobbiamo andare per le domande di brevetto di cui sopra per trovare i dettagli
di questi disegni:
Domanda numero:
BR2013/000015, Data di pubblicazione: 2013/07/18, Data di deposito: 01/11/2013
Assegnatario: EVOLUÇÖES
ENERGIA LTDA (Rua Santa Tereza 1427-B Centro - Imperatriz, MA-CEP -470 -
Maranhão, 65900, BR)
ELETTROMAGNETICO TRAP ELECTRON PER ENERGIA
ELETTRICA
Campo tecnico
La presente invenzione
si riferisce ad apparecchi elettromagnetici per la generazione di energia
elettrica o in alternativa per la generazione di energia termica.
Apparecchiature più specificamente in grado di produrre energia elettrica in
abbondanza e di energia termica da una piccola quantità di energia elettrica di
ingresso
Descrizione della tecnica correlata
Secondo la legge di
Lenz, qualsiasi corrente indotta ha una direzione tale che il campo magnetico
che genera oppone alla variazione di flusso magnetico che ha prodotto.
Matematicamente, legge di Lenz è espressa dal segno negativo (-) che compare
nella formula della legge di Faraday, come segue.
La grandezza della fem
indotta (ε) in un ciclo
conduttore è uguale alla velocità di variazione del flusso magnetico (ΦΒ) con il tempo:
![]()
Come esempio di applicazione
della legge di Faraday, si può calcolare la forza elettromotrice indotta in un
loop rettangolare che si muove dentro o fuori, con velocità costante, una
regione di campo magnetico uniforme. Il flusso del campo magnetico attraverso
la superficie limitata dal circuito è data da:

e se la bobina ha una
resistenza (R) e la corrente indotta:

Un conduttore
attraversato da una corrente elettrica immersa in un campo magnetico subisce
l'azione di una forza data dalla:
![]()
Pertanto, l'effetto
della corrente indotta nel loop appare come forze Ff, e F - FM. I primi due si
annullano a vicenda e il terzo viene annullata da un PEXT forza
esterna necessaria a mantenere l'anello di velocità costante.
Come la forza FM deve
opporsi alla forza FEXT, corrente (i) indotta nel circuito variando
il flusso magnetico deve avere il significato indicato in Fig.3. Questo fatto è un
particolare esempio di legge di Lenz.
Considerando le
attività sperimentali discussi con la legge di Faraday, quando un magnete si
avvicina una bobina, la corrente indotta nella bobina ha una direzione come
mostrato in Fig.1. Questo genera un campo magnetico la cui polo
nord è di fronte al polo nord del magnete, che è, il campo generato dalla
corrente indotta si oppone al moto del magnete.
Quando il magnete viene
allontanato dalla bobina, la corrente indotta nella bobina ha una direzione
opposta a quella illustrata in Fig.1,
generando così un campo magnetico la cui polo sud è di fronte al polo nord del
magnete. I due poli si attraggono, che è, il campo generato dalla corrente
indotta si oppone al movimento del magnete di distanza dalla bobina. Questo
comportamento è presente in tutti i generatori di corrente, e noto come 'freno
motore' è altamente indesiderabile in quanto la resistenza e la perdita di
energia aumenta così.
Quando due bobine
elettromagnetiche sono posti uno di fronte all'altro, come mostrato in Fig.2, non vi è nessuna corrente in una
di esse. Nell'istante di accensione di una delle bobine, la corrente nella
bobina, genera una corrente indotta nella seconda bobina. Quando acceso, la
corrente nella bobina va da zero al suo valore massimo, e quindi rimane
costante.
Così, quando la
corrente sta cambiando, il campo magnetico generato da essa, (il cui polo nord
affacciata alla seconda bobina) sta cambiando e così il flusso magnetico di
questo campo attraverso la seconda bobina sta cambiando. Poi vi è una corrente
indotta nella seconda bobina il cui senso è tale che il campo magnetico che
genera tende a diminuire il flusso di cui sopra, cioè il suo polo nord affronta
il polo nord della prima bobina di campo.
Quando l'interruttore è
aperto, la corrente nella prima bobina gocce dal suo valore massimo a zero, e
corrispondentemente il suo campo magnetico diminuisce. Il flusso del campo magnetico
nella seconda bobina diminuisce anche, e l'ora corrente indotta scorre nella
direzione opposta. Questa direzione del flusso di corrente produce un campo
magnetico che aumenta, cioè, ha un polo sud rivolto verso il polo nord del
campo della prima bobina.
Quindi, vi è una
realizzazione del principio di conservazione dell'energia, espressa dalla legge
di Lenz, in cui qualsiasi corrente indotta ha un effetto che si oppone alla
causa che l'ha prodotta. Supponendo che gli atti corrente indotta per favorire
la variazione del flusso magnetico che ha prodotto il campo magnetico della
bobina, si avrebbe un polo sud rivolto verso il polo nord del magnete si
avvicina, causando il magnete di essere attratto verso la bobina.
Se il magnete sono
stati poi rilasciato, esso subirebbe un'accelerazione verso la bobina,
aumentando l'intensità della corrente indotta e creare così un campo magnetico
maggiore. Questo campo, a sua volta, potrebbe ottenere il magnete con forza
crescente, e così via, con un continuo aumento dell'energia cinetica del
magnete.
Se l'energia fosse
ritirata dal sistema magnete-bobina con la stessa velocità con cui l'energia
cinetica del magnete aumenta, allora ci sarebbe una riserva infinita di
energia. Quindi sarebbe un motore perpetuo operativo, che violerebbe il
principio di conservazione dell'energia. Pertanto, si può concludere che i
generatori di corrente presentano una grande perdita di energia durante la
generazione di energia elettrica.
Obiettivi del Invention
Uno scopo della
presente invenzione è quello di contribuire alla generazione di energia
sostenibile, proponendo una macchina elettromagnetico in grado di produrre
energia elettrica in abbondanza da una bassissima immissione di energia
elettrica.
L'obiettivo di cui
sopra ed altri scopi sono raggiunti dal presente trovato da un dispositivo
comprendente almeno un generatore di campo elettromagnetico (senza un nucleo o
con almeno un core) alimentato da una sorgente di energia elettrica (senza un
nucleo o con almeno un core) aventi le spire o insiemi di bobine, avvolte su
almeno un elemento conduttore comune in un circuito chiuso che si ha una
tensione polarizzata che è collegato ad almeno un elemento di interconnessione
conduttivo che è collegato ad una griglia di messa a terra, dette interconnessioni
crea un nuovo effetto tecnico, segnatamente, la comparsa di una corrente
elettrica che mantiene circola in un circuito chiuso conduttivo, e che può
quindi essere utilizzato per alimentare carichi esterni.
Il dispositivo che è
l'oggetto della presente invenzione è il seguente: il generatore di campo
elettromagnetico, alimentato da una fonte di alimentazione, produce un campo
elettromagnetico che induce una corrente elettrica in un circuito chiuso
conduttivo, creando una interazione tra i poli magnetici della attrezzature ed
i poli magnetici della terra - sia attraverso attrazione e repulsione
elettromagnetica. Una scorta infinita di elettroni è tratto dalla terra in
anello chiuso conduttivo, che è collegato a terra tramite una rete interconnessa
conduttiva. Elettroni attirati aggiungono alla già corrente che fluisce nel
circuito chiuso conduttivo, rendendo potenza disponibile per pilotare carichi
ad alta potenza, anche se il dispositivo stesso è fornito solo con una piccola
quantità di energia. Così, vantaggiosamente, il dispositivo che è l'oggetto
della presente invenzione, agisce come una trappola per elettroni dalla terra e
questo permette la generazione di energia elettrica.
Vantaggiosamente,
l'attuale apparecchiatura elettromagnetica genera elettricità o energia
termica, fornendo l'accesso a questa nuova fonte di energia è attraverso un
campo elettromagnetico. Le interconnessioni dei componenti del
elettrone-trappola della presente invenzione, causano una vantaggiosa nuovo
effetto tecnico, cioè, la comparsa di una corrente elettrica che mantiene
girando in circuito chiuso conduttivo, con o senza tensione essendo applicata e
anche senza un carico essendo collegato alla rete - purché l'elettrone-trap è
collegato.
Il sensore proposto può
anche essere usato per generare energia termica, a seconda della forma in cui
si desidera utilizzare l'effetto del flusso di corrente elettrica prodotta in
questa apparecchiatura elettromagnetica.
Per la generazione di
energia termica in quantità proporzionale alla potenza del elettrone-trap,
attraverso il movimento di elettroni nel circuito chiuso conduttivo stessa, la
resistenza dovrebbe essere aumentato aumentando il numero di spire intorno ai
centri nell'elemento conduttivo del circuito chiuso, e in quel caso, le bobine
del generatore di campo elettromagnetico, viene quindi fatta di componenti
circuitali elettrici termoisolanti, tenendo presente la temperatura richiesta
che deve essere prodotto. L'energia
termica generata dalla elettrone-trappola può essere utilizzato in qualsiasi
applicazione da interno per applicazioni industriali.
Questa tecnologia può anche essere
utilizzato per vari scopi tecnici in macchine elettriche. Con "macchine
elettriche", dovrebbe essere capito da includere: macchine statiche
elettriche, trasformatori, alimentatori, macchine elettriche rotanti, macchine
sincrone, macchine della doppia alimentazione, raddrizzatori di corrente in
cascata sincrono, macchine poli esterni, macchine di corrente alternata
sincroni macchine attuali e / o delle macchine in corrente continua,
apparecchiature elettroniche e di resistenze elettriche. La cattura di elettroni
può fornire monofase, bifase o con alimentazione trifase, che operano a bassa,
media o alta tensione.
La cattura di elettroni
per induzione, non ha alcun impatto sull'ambiente. Il fatto è che usiamo come
forza cattura, solo una quantità trascurabile di energia elettrica relative
alla corrente catturata dal sensore. Il rapporto tra potenza assorbita e la
quantità di elettricità generata dal elettrone-trap è almeno 1 a 100, che è,
per ogni 1 watt fornita al sensore, vi è almeno 100 watt di potenza disponibile
per carichi esterni. Tale rapporto, tuttavia, non è limitato, in quanto dipende
il montaggio del elettrone-trappola e gli obiettivi del circuito, e quindi, la
potenza generata può essere maggiore di 100 volte la potenza assorbita.
Un altro vantaggio
della messa a terra elettrone-trap proposto nella presente invenzione è che
l'elettrone-trappola può trasportare elettroni dal punto "A" al punto
"B" senza una caduta di tensione attraverso l'elemento conduttivo
anello chiuso - se viene polarizzato con una tensione - indipendentemente dalla
distanza tra i punti a seconda della forza e quantità dei dispositivi di
generazione di campo elettromagnetico. È anche possibile trasportare elettroni
quando l'elemento conduttivo in circuito chiuso non è essa stessa polarizzata.
Così, la corrente elettrica viene trasportato senza tensione, solo dal campo
magnetico formato tra il dispositivo e il generatore del campo
elettromagnetico.
Breve descrizione dei disegni
La presente invenzione
verrà ora descritta con l'aiuto di disegni, ma la progettazione non è limitata
alle realizzazioni mostrate in questi disegni, sebbene essi mostrano altri
dettagli e vantaggi della presente invenzione.
Le
figure mostrano:

Fig.1 - illustra la legge di Faraday.

Fig.2 – è una rappresentazione della legge di Faraday.

Fig. 3 – è una rappresentazione della legge di Faraday.

Fig. 4 - è una vista prospettica di un
elettrone-trap con una bobina di singola fase.

Fig. 5 – è una vista prospettica di una trappola di
elettroni monofase con due bobine.

Fig. 6 - è una
rappresentazione dell'effetto

Fig. 7 - è una rappresentazione di un circuito elettrico
con due bobine di collegamento / bobina conduttore polarizzato.

Fig.8 - è una rappresentazione di un circuito elettrico
con due bobine di collegamento / conduttore bobina non polarizzata.
Descrizione
dettagliata dei disegni

Fig.4 mostra uno dei diversi tipi di elettron-trap
proposti dalla presente invenzione, in cui l'elettrone-trappola è monofase e
consiste di almeno un generatore di campo elettromagnetico con almeno un gruppo
di bobine, in questo caso risulta essere un tipo di bobina elettromagnetica con
un comune nucleo magnetico, ma in alternativa potrebbe avere qualsiasi numero
di avvolgimenti di qualsiasi tipo e forma. Tuttavia, l'elettrone-trappola proposta con la
presente invenzione può essere costruito con un diverso tipo di generatore di
campo elettromagnetico, ad esempio un induttore elettromagnetico o magnete di
qualsiasi tipo e forma, o qualsiasi combinazione di essi, e in numero illimitato
per ciascuna fase della trappola di elettroni.
Quando avvolgimento
queste bobine, per esempio, bobina 4 - 4,
ogni bobina deve avere almeno un giro completo, preferibilmente due giri se
l'obiettivo è quello di generare elettricità, e preferibilmente quattro giri se
l'obiettivo è di fornire energia termica. Il numero di spire nelle bobine avvolte
attorno al nucleo comune, è direttamente correlato alla quantità di corrente da
generare.
Almeno un elemento di
interconnessione conduttivo, in questo caso l'organo di guida 5 - che può essere rame o altro
conduttivo idoneo, materiale anche isolate o non isolate, connette o filo di
ciclo-collegamento 4 alla maglia di
terra. Il collegamento tra il conduttore 5
e filo 4 è per induzione
elettromagnetica. Avvolgimento 4 è
anche l'alimentazione per i carichi che devono essere alimentati dagli
elettroni catturati.
Anche in Fig.4, i fili di alimentazione 3,1 e 3,2 (fase e neutro) presentano un ingresso da una bobina di
alimentazione esterna 1, che può
essere alimentato da qualsiasi fonte esterna di energia elettrica, come una
rete elettrica. Gli elettroni
intrappolati possono essere configurati per fornire corrente continua o
alternata. Così, se la bobina 1
sorgente di alimentazione è alternata corrente elettrica - CA, allora
l'elettrone-trappola fornisce corrente elettrica alternata. Se la fonte di
alimentazione è continua corrente elettrica - CC, allora l'elettrone-trappola
fornisce corrente elettrica continua - CC. L'alimentazione elettrica fornita dagli
elettroni intrappolati può essere monofase, bifase o trifase, ed a bassa
tensione, media o alta.

Fig.5 mostra un elettrone-trappola con due bobine di
fase unipolare: 1 e 2, anche se queste bobine possono
essere di qualsiasi tipo e forma. Tuttavia,
l'elettrone-trap proposta con la presente invenzione può essere costruito con
altri tipi di generatore di campo elettromagnetico, con almeno un induttore
elettromagnetico o elettromagnete che può essere di qualsiasi tipo e forma, con
qualsiasi combinazione di essi, e in quantità illimitate in ogni fase del
elettrone-trappola.
Le bobine su telai 1 e 2 possono avere altre forme, ma ciascuno di essi deve avere almeno
un giro completo, in particolare in bobina 4. Il
numero di spire in questo avvolgimento è direttamente correlato alla quantità
di corrente da generare. Questa bobina
rende anche l'interconnessione tra le bobine 1 e 2 che formano il
legame tra loro due nuclei.
Almeno un elemento di
interconnessione conduttivo, in questo caso l'organo di guida 5 - che può essere rame o altro
conduttivo idoneo, materiale anche isolate o non isolate, connette o filo di ciclo-collegamento
4 alla maglia di terra. Il
collegamento tra il conduttore 5 e
filo 4 è per induzione
elettromagnetica.
In elettron-sifoni che
hanno numerosi gruppi di bobine 1 e 2, le estremità di tutti i conduttori
per alimentatore 3.1 possono essere
collegati tra loro, e tutte le estremità dei conduttori 3.2 possono essere collegati insieme. Così, tutte le bobine 1 e 2 possono essere
alimentati esattamente la stessa tensione.
Il potere di eccitare bobine 1
e 2 può essere fornita da qualsiasi
fonte esterna di fornitura di energia elettrica, come una rete elettrica.
In elettron-sifoni che
hanno numerosi bobine 1 e 2, una singola bobina di avvolgimento 4 collega i nuclei di tutte le bobine 1 e 2.

Diagramma mostrato in Fig.6, illustra l'induzione magnetica 6 attorno al nucleo "X" della bobina 1. Questo induzione provoca il flusso di corrente
elettrica nel collegamento conduttore bobina 7/4, attirando elettroni dalla terra, attraverso l'elemento
conduttivo 5, al campo magnetico
dell'elettrone-trappola, dove vengono aggiunti gli elettroni alla corrente
generata per induzione nella collegamento bobina 4 conduttori ad anello circolare tra i poli magnetici nord e sud.

Fig.7 mostra come i collegamenti devono essere
effettuati in una versione
In questo modo, terra
elettron-trappole, adottando questo circuito, cioè con il collegamento /
conduttore ciclo 4 e tensione
polarizzata sulle bobine 1 e 2, oltre ad essere utilizzato come
fonte di alimentazione per carichi esterni, può essere utilizzato anche per
termica generazione di energia.

Fig.8 mostra come collegamenti devono essere effettuati in un altro circuito
elettrico elettrone-trappola proposto in questa invenzione. il circuito
illustra un circuito di un elettrone-trappola con un collegamento / bobina non
polarizzata energizzante 4. Questa è una forma di costruzione del
elettrone-trappola in cui un collegamento / bobina di conduttore 4 della spirale bobine di conduttori 1 e 2 non è polarizzata, cioè, non esiste tale nesso di collegamento
conduttore / conduttore conduttori bobina 4
di una bobina 3.1 o 3.2.
Così, terra
elettron-trappole che adottano questo circuito, cioè con il link bobina non
polarizzata, la corrente scorre senza che vi sia tensione nel circuito / bobina
conduttore 4 unire la prima e la
seconda bobina di induzione elettromagnetica. Possono anche essere utilizzati per generare
energia termica.
La struttura del
circuito - nelle bobine aperte o chiuse 1
e 2, e sempre nel link / anello di
piombo chiuso 4 - consente di
generare corrente per induzione e cattura elettronica da elettromagnetismo sul
link conduttore 4 - dove si genera
corrente e rimane in movimento con o senza tensione, come le bobine 1 e 2 vengono nutriti. Quindi, la presente invenzione fornisce un nuovo
concetto per la generazione di energia elettrica, in quanto ottenuto da una
corrente elettrica circuitazione senza consumo e anche senza un carico di
uscita essendo collegato ad esso.
Inoltre, poiché la
corrente elettrica indotta indipendentemente dalla tensione presente, esso può
essere utilizzato come stabilizzatore di corrente per reti elettriche siano
essi monofase, bifase o trifase, a bassa, media o alta tensione.
DISPOSITIVO ELETTROMAGNETICO PER CATTURARE
GRATIS
SPAZIO ELETTRONI PER GENERARE ELETTRICITÀ
Numero domanda: BR2013/000014
Data di pubblicazione: 18/07/2013
Data di deposito: 11/01/2013
Cessionario: EVOLUÇÕES
ENERGIA LTDA (Rua Santa Tereza 1427-B Centro - Imperatriz-, MA - CEP-470 -
Maranhão, 65900, BR)

Astratto:
L'invenzione riguarda
un dispositivo che comprende almeno tre gruppi (A, B, C, D) di almeno un dispositivo per la generazione di un campo
elettromagnetico (3) e (4), alimentato da una sorgente elettrica
(senza un nucleo o con almeno un'anima) i loro nuclei eventualmente prorogato,
preferibilmente gli avvolgimenti o insiemi di avvolgimenti loro, essendo
circondato da almeno un singolo elemento conduttivo formando un circuito chiuso
e polarizzato eccitato (5), i gruppi
di generazione di campo elettromagnetico dispositivi (3) e (4) essendo
collegate tra loro da loro poli opposti di favorire l'interazione dei loro
campi elettromagnetici, che idealmente, si trovano tra due emisferi metallici
cavi (1) in modo da concentrare e
migliorare i campi elettromagnetici, tali interconnessioni causando, come
romanzo effetto tecnico, l'emergere di una corrente elettrica che circola, con
o senza tensione, nell'elemento conduttivo formando un circuito chiuso (5) - anche se nessun carico è
collegato.
Descrizione:
"APPARECCHIATURE
ELETTROMAGNETICHE PER CATTURA ELETTRONICA
GRATIS DALLO SPAZIO, PER LA PRODUZIONE DI ENERGIA
ELETTRICA".
Campo tecnico
La presente invenzione
si riferisce ad apparecchi elettromagnetici per la generazione di energia
elettrica e / o di generazione di energia termica. Più specificamente,
apparecchiature in grado di produrre energia elettrica in abbondanza e di
energia termica da un minuscolo ingresso di energia elettrica.
Descrizione della tecnica correlata
Secondo la legge di
Lenz, qualsiasi corrente indotta ha una direzione tale che il campo magnetico
che genera oppone alla variazione di flusso magnetico che lo ha prodotto.
Matematicamente, legge di Lenz è espressa dal segno negativo (-) che compare
nella formula della legge di Faraday, come segue.
La grandezza della fem
indotta (ε) in un ciclo
conduttore è uguale alla velocità di variazione del flusso magnetico (ΦΒ) con il tempo:
![]()
Come esempio di
applicazione della legge di Faraday, si può calcolare la forza elettromotrice
indotta in un loop rettangolare che si muove dentro o fuori, con velocità
costante, una regione di campo magnetico uniforme. Il flusso del campo
magnetico attraverso la superficie limitata dal circuito è data da:

e se la bobina ha una
resistenza (R) e la corrente indotta:

Un conduttore
attraversato da una corrente elettrica immersa in un campo magnetico subisce
l'azione di una forza data dalla:
![]()
Pertanto, l'effetto
della corrente indotta nel loop appare come forze Ff, e F - FM. I primi due si
annullano a vicenda e il terzo viene annullata da un PEXT forza
esterna necessaria a mantenere l'anello di velocità costante.
Come la forza FM deve
opporsi alla forza FEXT, corrente (i) indotta nel circuito variando
il flusso magnetico deve avere il significato indicato in Fig.1. Questo fatto è un
particolare esempio di legge di Lenz.
Considerando le
attività sperimentali discussi con la legge di Faraday, quando un magnete si
avvicina una bobina, la corrente indotta nella bobina ha una direzione come
mostrato in Fig.2. Questo genera un campo magnetico la cui polo
nord è di fronte al polo nord del magnete, che è, il campo generato dalla
corrente indotta si oppone al moto del magnete.
Quando il magnete viene
allontanato dalla bobina, la corrente indotta nella bobina ha una direzione
opposta a quella illustrata in Fig.2,
generando così un campo magnetico la cui polo sud è di fronte al polo nord del
magnete. I due poli si attraggono, che è, il campo generato dalla corrente
indotta si oppone al movimento del magnete di distanza dalla bobina. Questo
comportamento è presente in tutti i generatori di corrente, e noto come 'freno
motore' è altamente indesiderabile in quanto la resistenza e la perdita di
energia aumenta così.
Quando due bobine
elettromagnetiche sono posti uno di fronte all'altro, non vi è nessuna corrente
in una di esse. Nell'istante di accensione una delle bobine, la corrente nella
bobina, genera una corrente indotta nella seconda bobina. Quando acceso, la
corrente nella bobina va da zero al suo valore massimo, e quindi rimane
costante.
Così, quando la
corrente sta cambiando, il campo magnetico generato da essa, (il cui polo nord
affacciata alla seconda bobina) sta cambiando e così il flusso magnetico di
questo campo attraverso la seconda bobina sta cambiando. Poi vi è una corrente
indotta nella seconda bobina il cui senso è tale che il campo magnetico che
genera tende a diminuire il flusso di cui sopra, cioè il suo polo nord affronta
il polo nord della prima bobina di campo.
Quando l'interruttore è
aperto, la corrente nella prima bobina gocce dal suo valore massimo a zero, e
corrispondentemente il suo campo magnetico diminuisce. Il flusso del campo
magnetico nella seconda bobina diminuisce anche, e l'ora corrente indotta
scorre nella direzione opposta. Questa direzione del flusso di corrente produce
un campo magnetico che aumenta, cioè, ha un polo sud rivolto verso il polo nord
del campo della prima bobina.
Quindi, vi è una
realizzazione del principio di conservazione dell'energia, espressa dalla legge
di Lenz, in cui qualsiasi corrente indotta ha un effetto che si oppone alla
causa che l'ha prodotta. Supponendo che gli atti corrente indotta per favorire
la variazione del flusso magnetico che ha prodotto il campo magnetico della
bobina, si avrebbe un polo sud rivolto verso il polo nord del magnete si
avvicina, causando il magnete di essere attratto verso la bobina.
Se il magnete sono
stati poi rilasciato, esso subirebbe un'accelerazione verso la bobina,
aumentando l'intensità della corrente indotta e creare così un campo magnetico
maggiore. Questo campo, a sua volta, potrebbe ottenere il magnete con forza
crescente, e così via, con un continuo aumento dell'energia cinetica del
magnete.
Se l'energia fosse
ritirata dal sistema magnete-bobina con la stessa velocità con cui l'energia
cinetica del magnete aumenta, allora ci sarebbe una riserva infinita di
energia. Quindi sarebbe un motore perpetuo operativo, che violerebbe il
principio di conservazione dell'energia. Pertanto, si può concludere che i
generatori di corrente presentano una grande perdita di energia durante la
produzione di energia elettrica.
Obiettivi del Invention
La presente invenzione
si propone di contribuire alla generazione di energia sostenibile, proponendo
macchinari elettromagnetico in grado di produrre energia elettrica in
abbondanza da una bassissima immissione di energia elettrica.
L'obiettivo di cui
sopra ed altri obiettivi sono raggiunti nella presente invenzione da un
dispositivo comprendente almeno tre serie di almeno un generatore di campo
elettromagnetico (senza un nucleo o con almeno un core) alimentato da una
sorgente di energia elettrica, con i loro nuclei o qualsiasi estensione di
loro, con le loro spire o insiemi di bobine, avvolto su almeno un elemento
conduttore comune in un circuito chiuso che è polarizzata da una sorgente di
tensione, e queste serie di dispositivi generatori di campi elettromagnetici
sono disposti con i loro poli in confronto, per promuovere l'interazione di
campi elettromagnetici, e, preferibilmente, posizionato tra due emisferi
metallici cavi, in modo da concentrare e migliorare i loro campi
elettromagnetici - queste interazioni provocano un nuovo effetto tecnico -
l'emergere di una corrente elettrica che continua a scorrere in un circuito
chiuso, con o senza tensione applicato a tale anello chiuso, la corrente che è
in grado di alimentare carichi esterni - anche se nessun carico è collegato ad
esso.
Il dispositivo che è
l'oggetto della presente invenzione è il seguente: in gruppi di dispositivi di
generazione di campo elettromagnetico ad essere alimentati da una sorgente di
energia elettrica, producono un campo elettromagnetico che induce una corrente
elettrica in un circuito chiuso conduttivo, creando una interazione tra la
magnetico pali, e per attrazione e repulsione elettromagnetica ripetute,
fornisce una scorta infinita di elettroni al circuito chiuso conduttrice
stessa.
Gli elettroni attirati
da questa tecnica, aumentano la corrente che fluisce nel circuito chiuso
conduttivo, che fornisce la corrente per alimentare carichi esterni di elevata
potenza, nonostante il fatto che il dispositivo stesso viene fornito con solo
un piccolo livello di potenza. Così, vantaggiosamente, il dispositivo che viene
divulgato nella presente invenzione forma una trappola per gli elettroni dallo
spazio, con conseguente generazione di energia elettrica. Le interconnessioni
dei componenti della causa elettrone-trappola, un nuovo effetto tecnico,
segnatamente, la comparsa di una corrente elettrica che mantiene girando in un
circuito chiuso, anche senza alcuna tensione essendo applicata al circuito
chiuso, e anche senza un carico deve essere collegato ad esso. La presente
apparecchiatura elettromagnetica genera energia elettrica o termica, fornendo
accesso a questa nuova fonte di energia attraverso l'utilizzo di un campo
elettromagnetico.
Il sensore proposto può
essere utilizzato anche per la generazione di energia termica a seconda della
forma di circuito che deve essere utilizzato, risultante dal flusso di corrente
elettrica prodotta da questa apparecchiatura elettromagnetica.
Questo campo genera un
flusso di corrente elettrica indotta da bobine elettromagnetiche, che figura in
collegano i dispositivi di interconnessione che generano campi elettromagnetici
con elettromagneti, induttori o magneti. Questa catena opera in modo favorevole
alla variazione del flusso magnetico prodotto dal campo magnetico nel
elettrone-trappola. Così, si crea un polo nord e un polo sud, fornendo una
scorta infinita di corrente elettrica senza resistenza tra i link che collegano
i dispositivi che generano campi elettromagnetici. Quindi, la corrente
elettrica indotta è generata con o senza tensione nei link interconnessione di
dispositivi generatori di campo elettromagnetico, a seconda del metodo di
connessione del circuito elettrico del elettrone-trappola.
La Free-elettroni
raccolti dallo spazio elettrone-trappola possono formare corrente alternata (CA)
o corrente continua (CC). Il rapporto tra potenza di ingresso di potenza in
uscita è di 1 a 100, che è, la potenza generata può essere 100 volte superiore
alla potenza di ingresso quando vi è almeno un collegamento / driver a bobina
tra le bobine e gli induttori o elettromagneti. Tale rapporto, tuttavia, non è
limitato a un fattore 100, in quanto dipende dalla forma del elettrone-trappola
e il suo obiettivo.
Un altro vantaggio
dello spazio libero elettrone-trappola della presente invenzione è che, con
isolamento termico dei componenti nel circuito elettrico, è possibile produrre
energia termica a bassa, media o alta temperatura, attraverso il movimento
degli elettroni nella conduttori, bobine e / o elettromagneti. La temperatura
generata è legata direttamente al numero di spire delle bobine.
Generazione di energia
termica effettuata dal sensore può essere utilizzato per bollitura e / o
evaporazione di liquidi da utilizzare in altri tipi di generazione di energia,
per esempio, sostituendo l'uso di carbone e gas naturale.
Un altro vantaggio del
proposto elettrone-trappola della presente invenzione è che
l'elettrone-trappola può trasportare elettroni da un punto "A" ad un
punto "B", senza caduta di tensione nel collegamento - se è
polarizzato - indipendentemente distanza tra i punti, a seconda della forza e
quantità dei dispositivi generatori di campo elettromagnetico. È anche
possibile trasportare gli elettroni quando i dispositivi di collegamento che
generano il campo elettromagnetico non sono polarizzati. In questo modo, la
corrente elettrica viene mandato senza tensione ma solo dal campo magnetico
formato fra le spire. Questo metodo può essere usato in vari campi.
A causa della sua
semplicità costruttiva, l'elettrone-trap è un semplice dispositivo che sia
compatto, ed esegue la generazione di energia a basso costo che può essere
utilizzato in tutti i tipi di macchine, attrezzature e dispositivi di tutti i
tipi, e molte aree di applicazione che richiedono elettricità per operare.
L'elettrone-trappola può avere monofase, bifase o uscita trifase, e può
generare corrente elettrica a bassa, media o alta tensione.
Breve descrizione dei disegni
La presente invenzione
verrà ora descritta con l'aiuto di disegni, ma la progettazione non è limitata
alle realizzazioni mostrate in questi disegni, sebbene essi mostrano altri
dettagli e vantaggi della presente invenzione.
Le
figure mostrano:

Fig.1 - illustra la legge di
Faraday.

Fig.2 - illustra legge di Faraday in cui un magnete
avvicina una bobina di un solo giro.

Fig.3 è una visione di un emisfero metallico visto dall'alto.

Fig.4 è una vista dal basso dell'emisfero con bobine in luogo.

Fig.5 è una vista laterale dello spazio libero
elettrone-trappola.

Fig.6 è una vista inferiore del spazio
elettrone-trappola, con le sue spire ed elettromagneti

Fig.7 una vista dall'alto dello spazio
elettrone-trappola con le sue spire ed elettromagneti.

Fig.8 è una vista prospettica di un elettrone-trap con le
sue spire.

Fig.9 mostra lo schema circuitale del dispositivo, che
indica l'effetto del campo elettromagnetico.

Fig.10 - mostra lo schema elettrico di
collegamento delle spire dell'induttore in insiemi (A, B, C e D).

Fig.11 - è una rappresentazione schema elettromagnetico
di nord e sud poli delle serie di bobine (A,
B, C e D).

Fig.12 è
una rappresentazione degli elettroni di essere attratto e respinto dal
dispositivo.
Descrizione
dettagliata dei disegni

Fig.3 è una vista dall'alto di uno dei due emisferi
metallici cavi 1, che è parte della
trappola elettrone di spazio libero proposto in questa invenzione. Emisfero
1 è preferibilmente fatta da, ma non
limitato a, alluminio, ed ha linguette di montaggio 2.

Fig.4 è una vista dal basso di emisfero metallico 1. Ha quattro dispositivi di generazione di campo
elettromagnetico 3, posizionato
intorno l'emisfero e fissato a sostenere 6
che è attaccato ad emisfero 1 di
linguette di montaggio 2.

Fig.5 è una vista laterale dello spazio libero
elettrone-trappola. Essa mostra i due
emisferi metallici 1 e 2 (che formano una sfera perfetta), e
tre delle bobine 3 che sono
attaccati alle linguette di montaggio 2
e tre induttori 4 che formano il
circuito chiuso in sé, e che sono attaccati da conduttori 5, e il supporto membro 6
su cui sono bobine 3 e dei loro
componenti montati.

Fig.6 e Fig.7
mostra la vista superiore e inferiore dell'emisfero metallico 1 che ospita quattro bobine 3 allegate al supporto 6 (non mostrato) che è fissato per
l'emisfero 1 per le linguette di
fissaggio 2. Fig.6
mostra anche gli induttori o elettromagneti 4 loro corrispondenti bobine 3
e ai loro direttori di interconnessione 5.
Ogni bobina 3 e la sua induttore collegati 4
forma un set. Nelle figure 6 e 7 sono quattro tali insiemi, denominate A, B, C e D. Le
bobine 3, collegati da loro legami 5, hanno ciascuno almeno un giro, e se
l'obiettivo è quello di generare elettricità, poi preferibilmente due giri, e
se l'obiettivo è energia termica, quindi quattro giri. Le bobine 3 può presentare varie forme differenti. Il numero di spire della
bobina 3 sono direttamente correlato
alla quantità di corrente da generare, ed i collegamenti di connessione 5 può essere o un singolo conduttore o
più conduttori, l'area della sezione trasversale del conduttore 5 essere selezionati per portare la
corrente che deve essere generato.
In insiemi A, B, C e D, i conduttori di collegamento 5 hanno almeno un giro intorno a bobine 3. Questo avvolgimento è
collegato ai rispettivi elettromagneti 4
di ciascun gruppo (A, B, C e D) come mostrato nelle figure 6 e 7. Si ricorda che le
induttanze e 4 elettromagneti
possono essere qualsiasi tipo di induttore, e altri tipi di spirale può essere
usata.

Fig.8 mostra le bobine comunicanti 5 per ciascuno dei cinque insiemi A, B, C o D di
collegamento tra le bobine 3 e 4 in ogni set. Come mostrato in Fig.6 e Fig.7, il
collegamento 5 rende la connessione
tra bobine 3 e 4. Ciò significa che i fili
contrassegnati 5.1 sono tutti
collegati assieme, ei fili marcati 5.2
sono tutti collegati assieme. Facendo questo, stabilisce i ponti di
collegamento 5 indicate nei disegni.
I cavi di alimentazione contrassegnati 7.1
sono collegati tra loro come lo sono i cavi contrassegnati 7.2.
I fili contrassegnati 7.1 sono collegati alla fase diretta
della alimentazione esterna, mentre le altre estremità contrassegnate 7.2 sono collegati al neutro della
alimentazione esterna.
Nello spazio trappola
elettroni liberi della presente invenzione, le bobine 3 possono essere sia monofase, bifase o trifase. Inoltre, le bobine
3 possono essere alimentate da
alcuna tensione (V). La bobina di alimentazione 3 può essere alimentato da una fonte di
energia elettrica, come una rete elettrica.
L'elettrone-trappola può essere configurato per produrre corrente
alternata o corrente diretta. Così, se
l'alimentazione esterna è alternata corrente elettrica - CA, quindi
l'elettrone-trappola fornisce un'uscita corrente elettrica alternata. Se l'alimentazione è CC, allora
l'elettrone-trappola fornisce un'uscita di corrente elettrica continua - CC.
L'elettrone-trappola può essere configurato per monofase, bifase o
funzionamento trifase, con uscite a bassa, media o alta tensione.

Fig.9 mostra un diagramma di circuito elettrone-trap con
quattro insiemi A, B, C e D di bobine induttore 3 e 4. Induzione è prodotto attorno nucleo 9 delle tre serie di bobine A,
B, C e D. L'effetto dell'interazione dei campi
elettromagnetici 11 è mostrato. L'induzione tramite nucleo 9, provoca la circolazione di corrente
elettrica nei collegamenti 5,
attraendo gli elettroni liberi attraverso il campo elettromagnetico della
trappola. Poi, gli elettroni si uniscono
con la corrente generata per induzione sul collegamento 5, circola tra i poli magnetici nord-sud e sud-nord.
A titolo di esempio, le
bobine 3 sono mostrate avvolto su un
singolo core tipo colonna a fase, ma questi possono anche essere di qualsiasi
tipo o forma. L'elettrone-trappola
proposta con la presente invenzione può essere costruito con un altro tipo di
generatore di campo elettromagnetico, che ha almeno una bobina elettromagnetica
o magnete o induttore elettromagnetico che può essere di qualsiasi tipo o
forma, o qualsiasi combinazione di questi, e con qualsiasi numero in ciascuna
fase del elettrone-trappola.
La cattura di elettroni
avviene attraverso un campo elettromagnetico che è formata con la connessione
di bobine 3 con elettromagneti o
induttori 4 attraverso i legami tra 5 otto componenti.
Questa chiusura produce
lo spostamento degli elettroni nella bobina 3 set (A) (per
semplicità, denominato 3A coil),
questi elettroni sono attratti dai protoni del 3D bobina, e sono respinti dagli elettroni del campo
elettromagnetico del 3D bobina
stessa. Questi elettroni bobina 3D sono attratti dai protoni dei 3B bobina, e sono respinti dagli
elettroni del campo elettromagnetico di 3B
bobina. Questi elettroni di 3B bobina sono attratti dai protoni di
bobina 3C, e sono respinti dagli
elettroni del campo elettromagnetico della bobina 3C stesso. Analogamente, gli elettroni bobina 3C sono attratti dai protoni della bobina 3A, e sono respinti dagli elettroni del campo elettromagnetico del 3A bobina stessa. Questi elettroni 3A bobina sono attratti dai protoni della bobina 3D, e sono respinti dagli elettroni del
campo elettromagnetico della bobina 3D
stesso. Analogamente, la bobina 3D elettroni sono attratti dai protoni
del 3B bobina, e sono respinti dagli
elettroni del campo elettromagnetico del 3B
bobina stessa. Questi elettroni bobina 3B sono attratti dai protoni di bobina 3C, e sono respinti dagli elettroni
della bobina stessa indotte 3C, e
poi la bobina 3C elettroni sono
attratti da protoni di 3A bobina, e
sono respinti dagli elettroni del campo elettromagnetico 3A della bobina stessa. Tale
ciclo continua come serie di bobine A,
B, C e D vengono alimentati da
una tensione. Queste infinite attrazioni
e repulsioni generano una corrente elettrica nel collegamento della bobina 5.
Nel elettrone-trappola,
la tensione è stabile. Indipendentemente dalla quantità di corrente generata,
che può essere molto elevata, la tensione sarà la stessa nel circuito elettrico
del sensore, perché la corrente si muove attraverso l'attrazione e repulsione
degli elettroni, indipendentemente dalla tensione.

Fig.10 illustra uno schema circuitale del collegamento
elettrico tra le bobine 3 e 4 in insiemi A, B, C e D. Si può vedere che gli insiemi A, B, C e D sono racchiusi tra le bobine 3
e induttori loro associati o elettromagneti 4. I conduttori di 7.1 e 7.2, di insiemi A, B, C e D devono essere collegati. Quando
si alimenta potenza alle bobine 3 e 4 la fase deve essere collegato a 7,1 e il neutro a 7,2.
Gli insiemi A, B, C e D, dopo essere stato alimentato con corrente elettrica, generare
tensione attraverso l'attrazione e repulsione degli elettroni nel collegamento
bobina 5, in cui vi è almeno un
carico di uscita 8.1, che deve
essere collegato unendo insiemi A e C, ed almeno una uscita di carico 8.2, che deve essere collegato unendo
insiemi B e D i punti di uscita 8.1
e 8.2 sono le rispettive fasi e il
neutro di punti di alimentazione 7.1
e 7.2.
In questo modo, una
monofase elettrone-trap è creato da due insiemi di coppie di bobine / induttori
3 e 4. Il set bobina 3/4 elettromagnete può essere sostituito da una serie 3/3 bobina, senza alcuno svantaggio per
l'elettrone-trappola. Insiemi A, B, C e D, sono inseriti in un emisfero metallico cavo 1 preferibilmente costruito - ma non solo - alluminio. L'emisfero 1, la cui funzione è di concentrare e massimizzare i loro campi
elettromagnetici, simulando una nuvola elettronica, ha un supporto fisso 6 collegato ad alette d'attacco 2, ed alla quale le bobine 3 sono fissati.

Fig.11 è un diagramma del nord elettromagnetico e polo
sud delle bobine induttore 3 e 4 del set A, B, C e D del
elettrone-trappola. Il comportamento elettromagnetico descritto per Fig.9 è nuovamente dimostrata dalla
formazione del gruppo di magnete al Polo Nord e Polo Sud essendo attratto e
repulsione per le linee di forza del magnete dal punto "A" al punto "D", punto "a" al punto
"B", il punto "B" al punto "C", punto "C" al punto "A", e così via, finché vi è un
campo elettromagnetico. Il campo
elettromagnetico dello spazio elettrone-trappola prevede che la corrente
indotta in una direzione simile alle variazioni del flusso magnetico che lo ha
prodotto. Quindi, il campo magnetico
crea un polo nord e un polo sud in ciascuno degli insiemi A, B, C e D, come
indicato in Fig.11.
Alimentando le bobine 3 dell'elettrone-trappola con un
voltaggio desiderato un campo magnetico è generato in bobine 3, tra i quattro insiemi A, B, C e D, che formano un flusso di elettroni. Questo flusso di elettroni aumenta il flusso
di elettroni che circola nel circuito chiuso di collegamento della bobina 5, attuando in tal modo cattura di
elettroni liberi dallo spazio. Il campo elettromagnetico della 3A bobina corre da nord a sud, il campo
elettromagnetico della 3B bobina
corre da nord a sud, il campo elettromagnetico della bobina flussi 3C da sud a nord, e il campo
elettromagnetico dei flussi elicoidali 3D
da sud a nord, come mostrato in Fig.11.
Va notato che gli insiemi A, B, C e D può essere formata da qualsiasi combinazione di bobina, magnete e
elettromagnete.
Il sud di campo
elettromagnetico a nord induce il flusso di corrente nella bobina di 3A. Il nord a sud campo
elettromagnetico induce il flusso di corrente nella bobina 3B. Il nord a sud campo
elettromagnetico induce il flusso di corrente nella bobina 3C e il nord a sud campo elettromagnetico induce il flusso di
corrente nella bobina 3D. Il flusso di corrente indotta può avere
qualsiasi potere e può essere monofase, bifase o trifase corrente.

Fig.12 mostra gli elettroni attratte e repulsione per le
bobine di induzione 3 e 4. Essendo respinto e attratto per induzione
elettromagnetica, la corrente elettrica senza resistenza.
L'elettrone-trappola
produce onde elettromagnetiche che possono essere utilizzati per vari scopi,
tra cui la trasmissione del segnale a qualsiasi frequenza e per qualsiasi
scopo. La cattura è causata da queste
onde elettromagnetiche. Lo stesso
effetto fisico può essere ottenuto mediante la combinazione dei dispositivi di
cattura di altre tecnologie, tra elettromeccanico, elettrico, elettronico,
elettromagnetico, o attraverso la combinazione di un magnete o altri materiali
magnetizzati.
Lo spazio libero
elettrone-trappola della presente invenzione è una fonte rinnovabile di
produzione di energia elettrica e un nuovo modo di produrre energia mediante
l'effetto di cattura, generando flussi di elettroni, generando movimento
ordinato di elettroni - corrente elettrica - come mostrato nelle figure 9, 11, e 12. Gli elettroni possono
muoversi senza alcuna differenza di tensione nel continuo ciclo 5. Alternativamente, il ciclo può
essere polarizzato con una tensione prescelta.
Una dimostrazione di
video via cavo è qui: https://www.youtube.com/watch?v=SvcrqODpDY4
con 22 watt che producono 6 kilowatt. Per ulteriori ricerche su questa
invenzione, prova le informazioni complete disponibili tramite https://www.youtube.com/results?search_query=Barbosa+e+Leal.

I tre brevetti portoghesi di Barbosa e Leal sono
qui:
http://www.free-energy-info.tuks.nl/Barbosa1.pdf
http://www.free-energy-info.tuks.nl/Barbosa1.pdf
http://www.free-energy-info.tuks.nl/Barbosa1.pdf
Lo stile di funzionamento utilizzato da Barbosa e
Leal sembra come se esso è relativo agli sviluppi di Lorrie Matchett. Il 16 giugno 2008, Lorrie Matchett ha
pubblicato suo design molto semplice per un dispositivo che cattura l'energia
libera utilizzabile (dei: http://youtu.be/eGD9o7D4To8). Il
dispositivo si basa su un semplice e noto principio dell'elettricità statica.
Questo è un principio che viene insegnato nelle scuole di tutto il mondo, ma è
generalmente considerato di nessuna importanza come elettricità statica è
pensato per essere troppo bassa potenza per essere di qualche utilità. Dubito
seriamente che chi è stato colpito da un fulmine considererebbe elettricità
statica "low-power" e suggerendo che loro rischia di ampliare il tuo
vocabolario con alcune parole che sono raramente sentito.
Nota importante: il seguente documento
menziona che l'uso di tensioni e quindi vorrei sottolineare che questo
documento è solo a scopo informativo e non deve essere interpretato come una
raccomandazione che costruire o utilizzare qualsiasi tipo di dispositivo. Se si
sceglie di ignorare questo e costruire e utilizzare il dispositivo di Lorrie Matchett,
quindi si prega di essere pienamente consapevole che voi fare così interamente
a proprio rischio e nessun altro è in alcun modo responsabile per i risultati
delle operazioni.
Il principio che viene utilizzato qui è che un
oggetto elettricamente caricato provoca la migrazione di cariche opposte sulla
superficie di qualsiasi oggetto portato vicino ad esso. Per esempio se una
superficie carica è portata vicino a una sfera di metallo, poi questo accade:

La sfera di metallo ordinaria "B", che non ha nessuna particolare
carica su di esso è molto influenzato da essere vicino a una superficie di
caricata "A" e il più
vicino si ottiene, maggiore sarà l'effetto. La superficie della sfera ha avuto una
distribuzione uniforme di cariche positive e negative sulla sua superficie,
dandogli una carica complessiva pari a circa zero, ma la superficie carica
cambia tutto questo. Le cariche positive
sulla superficie "A"
attraggono le cariche negative sulla superficie della sfera causando loro di
migrare verso la superficie "A".
Mentre le cariche positive sulla
superficie "A" respingere
le cariche positive esistenti sulla superficie della sfera, la migrazione
cariche negative della sfera stessa hanno un effetto ancora maggiore, causando
la separazione delle cariche elettriche sopra indicato. La situazione ritorna normale se la sfera è
allontanata nuovamente.
Tuttavia, la situazione cambia notevolmente se la
sfera di metallo "B" è
collegata a terra:

Il movimento di cariche sulla superficie della
sfera è la stessa di prima, ma la terra ha milioni di cariche di ricambio di
entrambi i generi e quindi, immediatamente fornisce spese extra negativi per
bilanciare il lato della sfera dalla superficie carica "A". Si noterà che a carico superficiale "A" non è direttamente coinvolto in
alcun modo e nessun addebito si sposta si sposta da "A" a "B".
Lo stesso effetto è visto se la superficie "A" è caricata negativamente
(tranne per il fatto che la sfera ha cariche positive, piuttosto che le cariche
negative sopra indicate. Il flusso di
corrente solo è lungo il filo che collega la sfera per il collegamento di
terra.
Lorrie Matchett utilizza questo principio, e per
la superficie carica che collega un'estremità di un'asta di ottone al lato vivo
di un Hz. alimentazione elettrica 100V 60. L'altra estremità della barra di
ottone non è collegato ad altri scopi. Questo produce questa situazione per un
sessantesimo di secondo

E poi per le seguenti sessantesimo di secondo
tensione di rete inverte e si ottiene questa situazione:

Il risultato di questo è che esiste un avanti e
indietro il flusso di elettricità statica lungo la terra collegando il filo, un
flusso che inverte la direzione di sessanta volte al secondo. Questo non è
convenzionale di energia elettrica, ma è la stessa forma di elettricità che
viene raccolto da un'antenna. Brevetti di Nikola Tesla mostrano molti modi
diversi di utilizzare questa elettricità statica, come fa Herman Plauson nel
suo brevetto (http://www.free-energy-info.com/Chapter7.pdf). Thomas
Henry Moray prodotto cinquanta kilowatt di potenza continua da una piccola
antenna. Paul Baumann del comune svizzero prodotto parecchi kilowatt di
elettricità statica. Lorrie Matchett si
deposita per pochi watt e lo fa come questo:
Egli si collega il filo sotto tensione di un 110V
AC (RMS) rete elettrica a un ottone asta 710 mm lungo e 4,76 mm di diametro. L'asta non è collegato direttamente a
qualsiasi altra cosa e quindi non fa parte di un circuito chiuso e così,
nessuna corrente fluisce dalla rete elettrica. Va sottolineato che l'asta e cavo di
collegamento sono potenzialmente molto pericolose e devono essere isolati con
molta attenzione per assicurare che toccandoli non causerà una scossa elettrica.
Vi preghiamo di comprendere molto
chiaramente che nessuna corrente di qualsiasi tipo è disegnata dalla rete che
questo circuito non è "rubare energia elettrica" dalla rete.
Per comodità e solo per convenienza, Lorrie
utilizza l'impianto di terra dell'alimentazione di casa collegando un filo al
pin di terra della sua spina di messa a terra di verde. Esso deve essere chiaramente capito che questo
non ha niente direttamente alla rete elettrica di alimentazione e qualsiasi
terra separato di buona qualità sarebbe almeno buono come il punto di messa a
terra all'interno della spina. In
effetti, c'è solo un collegamento alla rete.
Invece di usando una sfera di metallo, come
mostrato nelle figure sopra, Lorrie utilizza una bobina di filo avvolto intorno
lo strato di isolamento sulla sua asta di ottone, e passa il flusso alternato
di elettricità statica, disegnata dalla terra, attraverso un ponte di diodi
standard come indicato qui:

Lorrie copre l'asta in ottone con isolamento, che
è il più sottile possibile. Egli
suggerisce termoretraibile tubi per l'isolamento e sopra di esso egli si snoda
diametro 0,405 mm, filo di rame smaltato di solido-nucleo, che coprono una
lunghezza di 610 mm dell'asta, posizionando i giri strettamente affiancate e
lasciando 50 mm chiaro ad ogni estremità dell'asta. Filo più spesso non deve essere utilizzato.
Egli mostra anche un fusibile 500 milliampere
nella linea di alimentazione di rete.
Non sono affatto felice per che, come quel fusibile può alimentare
cinque incandescente lampadine da 100 watt alimentazione collegati in
parallelo, e si vuole veramente che la quantità di energia che scorre
attraverso di voi se l'isolamento non è abbastanza buono e toccarlo? Se si utilizza un fusibile in quella
posizione, io suggerirei un 20 mm vetro rapido 100 milliampere Fusibile
(soprattutto perché nessuna corrente inferiore è prontamente disponibile). Il fusibile non è necessaria per il circuito
e c'è nel tentativo di proteggere gli esseri umani incurante da insufficiente
isolamento.
La bobina della ferita sull'asta di ottone isolata
è collegata solo ad una estremità e quel fine va a uno dei due tag
"Corrente Alternata" su un ponte di diodi 3 amp. Lorrie non specifica la tensione nominale per
il ponte di diodi, ma deve essere un minimo di 170 volt se la rete è un 110V
tipo (RMS) e double che per un 220V connessione alla rete elettrica (RMS). Non ho idea perché egli specifica un
punteggio di 3-amp, ma il ponte minimo disponibile localmente a 3-ampere, che
sento di raccomandare è un 400V voto unità che viene fornita al costo di
banale.
Abbiamo bisogno di capire l'effetto del ponte
diodi. Dimezza la tensione disponibile e
raddoppia la frequenza come illustrato qui:

Un'alimentazione 110V dovrebbe per oscillare da
meno 155V a più 155V e torna ancora una volta sessanta volte al secondo, che è
una tensione complessiva oscillare di 310V. Quando viene passato attraverso un ponte di
diodi che cambia a una forma d'onda di tensione che oscilla da Zero volt a Plus
154V e ritorno 120 volte al secondo, che è un'oscillazione di tensione
complessiva di 154V che è una media o "RMS" tensione di 109V a causa
della forma d'onda sinusoidale.
Nel resto del mondo, è la tensione di rete 220V
(RMS) nominale, alternando cinquanta volte al secondo e il filo di
alimentazione diretta è colore marrone codificato nel Regno Unito e le strisce
di terra filo giallo/verde. Incidentalmente, il filo neutro è bianco per il
sistema americano 110V e blu per l'impianto 220V usato nel Regno Unito.
Questo disegno è stato portato alla mia attenzione
da Jes Ascanius di Danimarca che è uno sviluppatore molto capace di tutti i
tipi di disegni di energia libera. Lui
ha replicato questo disegno di Lorrie Matchett e conferma che funziona. Egli ha anche preso il design ulteriormente e
condivide alcuni dettagli pratici che egli ha scoperto attraverso la propria
sperimentazione:
Per una
maggiore

Mentre in ottone è considerato il miglior
materiale per l'asta, il diametro non è critico in qualsiasi modo e può essere
utilizzato qualsiasi formato da 5 mm a 20 mm e invece di una canna, una
lunghezza di tubo di ottone dovrebbe essere molto adatta. È anche possibile utilizzare altri materiali
per l'asta, ma facendo che riduce la potenza di uscita disponibile.
Jes ha controllato l'uscita della sua attuazione
con il fusibile di rete rimosso. Il
risultato fu una tensione di 2.6V raccolse dai molti 220V 50Hz segnali generati
da rete elettrica cablaggio tutto il posto per illuminazione e prese
elettriche. Quando viene inserito il
fusibile, la tensione aumenta immediatamente 129V con due aste o 162V con
cinque aste. Quando tale tensione viene
caricata con una matrice di illuminazione LED 7 watt, la tensione si ottiene
tirata giù a 61V, ma a quella tensione, buona illuminazione è prodotto per zero
corrente assorbita dalla rete elettrica. Mi aspetterei che mettendo un condensatore
ragionevolmente grande attraverso il carico, migliorerebbe l'uscita a causa
dell'effetto serbatoio del condensatore. Jes ha un video di questo al https://www.youtube.com/watch?v=zeBqYb2QoAM&feature=player_embedded.
Jes utilizzato inizialmente due aste di ottone
lunga ferita con bobine:

E poi, cinque canne. Suo amperometro CA è
abbastanza sensibile per dimostrare che a causa di inefficienze causate da
minuscole capacità randagi tra le aste e le bobine, c'è una corrente molto
lieve disegnare dalla rete elettrica. La potenza della rete è molto meno
rispetto la potenza di uscita del sistema.
Un miglioramento implementato da Jes è l'aggiunta
di quattro diodi BYV27 ad alta velocità per il ponte di diodi ordinari come
questo:

Ciò ha l'effetto di migliorare l'azione del ponte diodi e consente maggiore potenza estratta da ogni ciclo del flusso di energia. Quando si utilizzano due barre di ottone, Jes ottiene la sua matrice di LED 7 watt per illuminare come questo:

Lorrie anche esteso il suo sviluppo a un notevole alberi
48:

Video: http://youtu.be/hJyZK6t9qcA La
produzione elettrica potrebbe essere utilizzata per caricare le batterie.
L'aggiunta di turni extra alla bobina non aumenta la tensione di uscita. Se il numero di giri in ogni bobina
corrisponde il carico di uscita, la potenza di uscita sarà maggiore. Questo generatore di immobile ha zero potenza
in ingresso e quindi il suo coefficiente di prestazione è infinito.
Alexkor in Russia, che è esperto nella ricarica
delle batterie ha sperimentato questo concetto e lui utilizza dieci bobine
collegate in parallelo. Egli non fa uso di ottone, ma utilizza invece il molto
più corta lunga, 3 mm diametro di 300 mm saldatura Rohi con il loro
rivestimento chimico rimosso. Inoltre, queste canne vengono utilizzate solo per
aumentare l'efficacia di due avvolgimenti separati avvolto su ogni asta. Ogni
bobina è di 700 a 750 giri di filo di diametro 0.4 mm e le connessioni sono
realizzate le bobine e non le aste, come illustrato di seguito per una coppia
singola bobina :

Alex isoli il suo set di 10 paia di bobina
all'interno di una breve lunghezza della tubazione di plastica:

e li utilizza per il suo circuito di ricarica
della batteria di alimentazione:

Alcune persone sostengono che questi circuiti di stile Matchette appena alimentati dalla rete elettrica. Non credo che questo è il caso (anche se c'è una piccolissima perdita causata dalla capacitanza leggera tra le bobine e le aste, e che è anzi, addebitata dalla società di fornitura di energia elettrica. Per il disegno di alimentazione dalla rete elettrica, viene utilizzato un circuito come questo:

Qui, la tensione di uscita è determinata dal numero di giri in bobine e la corrente disponibile è controllata dal numero di aste coinvolti:

Si noterà che
questi circuiti hanno connessioni solo alla rete elettrica e non altrove.
Queste non sono circuiti che uso, né fare consiglia di utilizzare esso sia. Le
barre verdi sono barre di saldatura ferro con rivestimento chimico rimosso.
Questi sono poi avvolte con un singolo strato di 0,5 mm diametro smaltato filo
di rame – che è swg 25 o 24 AWG filo di dimensione (un cacciavite di mano del
potere è detto di essere buono per l'avvolgimento della bobina come quello). La
bobina di filo by-side è poi rivestita con gommalacca o vernice ad alta
tensione. Mi dicono che con alimentazione di rete 220V e un ponte di diodi 1A,
che il potere può trarre dal circuito senza nulla in fase di registrazione al
contatore di fornitura di elettricità. Questo è un circuito seriamente
pericoloso come può produrre alta tensione all'uscita
Il circuito di
stile Matchett è diverso in quanto la
In realtà, non
a tutti sono convinto che il circuito mostrato sopra in realtà trarre
Theodore Annis e Patrick Eberly
hanno prodotto una variante di questo metodo multiple-magnetico-percorso che è mostrato nella loro domanda di brevetto US 20.090.096,219
mila. Hanno scelto di utilizzare
un interruttore immobile riluttanza che è un dispositivo
a stato solido in grado di bloccare
il flusso magnetico sotto
tensione. Essi sono disposti uno di loro
dispositivi come questo:

L'anello in grigio è un magnete che
collega l'anello mostrato in
giallo attraverso due diagonal 'riluttanza' (flusso magnetico) interruttori. L'anello giallo può
trasportare flusso magnetico e la
casella di controllo contrassegnata
118 interruttori le
strisce diagonali e fuori,
a sua volta, causa il flusso magnetico
di invertire la sua direzione attraverso l'anello giallo. Le bobine avvolte sull'anello
giallo raccogliere questa inversione flusso
magnetico e passarlo come una corrente elettrica. Mentre solo una coppia di anelli sono mostrati qui, il design permette più
anelli per quanto necessario a essere
collegati insieme come mostrato qui:

Il brevetto dice: "L'interruttore
attualmente preferita riluttanza immobile è descritto da Toshiyuki Ueno e
Toshiro Higuchi, nel
loro articolo intitolato" Indagine
delle proprietà dinamiche di un dispositivo magnetico di controllo di flusso composto
da lamierini di magnetostrittivi materiali piezoelettrici
"- Università di Tokyo 2004. Come
mostrato in Fig.4, l'interruttore è costituito da un laminato di un materiale magnetostrittivo gigante 42, una lega TbDyFe,
incollato su entrambi i lati di un materiale piezoelettrico 44, 46 dell 'energia
elettrica applicata. L'applicazione
di energia elettrica provoca la
riluttanza del materiale piezoelettrico per aumentare.

Questa domanda di brevetto originale è incluso nell'appendice.
Tuttavia, molto interessante, c'è un'altra, completamente diversa domanda
di brevetto da Annis ed Eberly, con la stessa data di pubblicazione e il numero
stesso. È affatto evidente a me come che potrebbe essere, ma qui è la massa di
tale altra domanda di brevetto (l'originale essendo in appendice).
METODI E APPARECCHI DI
GENERAZIONE DI ENERGIA
BASATO SULLA COMMUTAZIONE
DI FLUSSO MAGNETICO
Astratto
In un generatore di
energia elettrica, almeno un magnete permanente genera flusso e membro
magnetizzabili forma il percorso di flusso singolo. Una bobina elettricamente
conduttiva è avvolto attorno al membro magnetizzabili, e una pluralità di
interruttori di flusso sono operative in sequenza invertire il flusso dal
magnete attraverso il membro, inducendo quindi la corrente elettrica nella
bobina. Una costruzione "Figura otto" comprende due loop continuo
materiali magnetizzabili condivisione membro magnetizzabili comune a entrambi i
cicli. Una configurazione alternativa utilizza anelli impilati e un foglio di
materiale che agisce come il membro magnetizzabili. Un'estremità del magnete è
accoppiata ad uno degli anelli, con l'altra estremità viene accoppiata a altro
anello. Ogni ciclo ulteriore include due deviatori di flusso operati in una
sequenza di 2 × 2 in sequenza invertire il flusso attraverso il membro
magnetizzabili. Una quantità relativamente piccola di energia elettrica è
utilizzata per controllare il flusso magnetico di un magnete permanente di
commutazione del flusso tra percorsi alternativi. La potenza risultante dal
flusso magnetico commutata produce sostanzialmente più potenza rispetto la
potenza necessaria per l'ingresso di commutazione.
Descrizione
CAMPO DELL'INVENZIONE
Questa invenzione si riferisce generalmente alla
generazione di energia e, in particolare, ai metodi e agli apparecchi in cui il
flusso magnetico è attivato attraverso un percorso di flusso per produrre
energia elettrica.
SFONDO DELL'INVENZIONE
Flusso magnetico possono esistere in "spazio
libero," in materiali che hanno caratteristiche magnetiche di spazio
libero e nei materiali con caratteristiche magneticamente conduttivi. Il grado
di conduzione magnetica in materiali magneticamente conduttivi è in genere
indicato con una curva di isteresi di B-H, di una curva di magnetizzazione, o
entrambi.
Magneti permanenti possono ora essere composto da
materiali che hanno un alto coercively (Hc), un'alta densità di flusso
magnetico (Br), una magnete ad alta movente forza (mmf), un prodotto di alta
energia massima (BHmax), con nessun significativo deterioramento della forza
magnetica nel tempo. Un esempio è il magneti permanenti NdFeB da VAC della
Germania, che ha un Hc di 1.079.000 ampere/metro, un Br di 1,427 Tesla, un mmf
che vanno fino a 575.000 amperspira e un BHmax di 392.000 Joule/meter3.
Secondo Moskowitz, "Magnete permanente
progettazione e applicazione manuale" 1995, pagina 52, flusso magnetico
può essere pensato come linee di flusso che sempre lasciano e inserire le
superfici dei materiali ferromagnetici ad angolo retto, che mai può rendere
vero gira ad angolo retto, che viaggia solo in percorsi dritti o curvi, che
seguono la distanza più breve, e che seguono il percorso di minima riluttanza
(resistenza alla forza motrice magneto).
Spazio libero presenta un percorso di alta
riluttanza al flusso magnetico. Ci sono molti materiali che hanno
caratteristiche magnetiche simili a quelle di spazio libero. Ci sono altri
materiali che offrono un percorso di bassa o bassa riluttanza per il flusso
magnetico, ed è questi materiali che in genere comprendono un percorso definito
e controllabile magnetico.
Materiali magnetici ad alte prestazioni per uso
come percorsi magnetici all'interno di un circuito magnetico sono ora
disponibili e sono adatti per la commutazione del flusso magnetico (rapida) con
un minimo di correnti parassite. Alcuni di questi materiali sono altamente
non-lineari e rispondere a una forza motrice di magneto applicata
"piccole" (mmf) con una robusta generazione di flusso magnetico (B)
all'interno del materiale. Le curve di magnetizzazione di tali materiali
mostrano un'elevata permeabilità relativa (UR) fino a raggiunta il
"ginocchio della curva", a quel punto il tuoi diminuisce rapidamente
avvicinando unità come saturazione magnetica (Bs) è raggiunto.
Alcuni di questi materiali magnetici non lineare,
ad alte prestazioni sono indicati come "piazza" a causa della forma
delle loro curve di isteresi B-H. Un esempio è il materiale di nucleo
nanocristallino FINEMET ® FT - 3H da Hitachi del Giappone. Altri esempi
includono Superperm49, Superperm80, SuperMalloy, SuperSquare80, Square50 e
Supermendur, che sono disponibili da metalli magnetici negli Stati Uniti.
Un "interruttore di riluttanza" è un
dispositivo o un mezzo che può significativamente aumentare o diminuire (in
genere aumentare) la riluttanza di un percorso magnetico. Idealmente questo
avviene in modo diretto e rapido, permettendo un successivo ripristino della
precedente riluttanza (in genere più basso), anche in modo diretto e rapido. Un
interruttore di riluttanza ha in genere caratteristiche analogiche. Per contro,
un interruttore on/off elettrico in genere ha una caratteristica digitale, come
non c'è elettricità "bleed-attraverso". Con l'attuale stato
dell'arte, tuttavia, riluttanza interruttori si esibiscono alcuni
sanguinare-attraverso il flusso magnetico. Interruttori di riluttanza possono
essere implementata meccanicamente, tale causa movimento di custode per creare
un'intercapedine d'aria, o elettricamente con vari altri mezzi.
Una riluttanza elettrica interruttore
implementazione utilizza una bobina di controllo o bobine ferita intorno un
percorso magnetico o sub-membro che interessa il percorso. Pubblicazione della
US Navy, "Navy elettricità ed elettronica serie, modulo 8 - Introduzione
agli amplificatori" settembre 1998, pag. 3-64-66-3 descrive come modulare
la corrente alternata cambiando la riluttanza del intero percorso magnetico
primario di questi mezzi, di cui uno è utilizzato in un reattore
saturabile-core e l'altro in un amplificatore magnetico. Pat Flynn, Stati
Uniti. N. 6.246.561; Patrick et al., US Pat. N. 6.362.718; Pedersen, US Pat. N.
6.946.938; Marshall e US Patent Application 2005/01256702-A1 tutti divulgare
metodi ed apparecchi che utilizzano questo tipo di interruttore riluttanza per
il flusso magnetico da un a magnete permanente stazionario o magneti allo scopo
di generare energia elettrica (e/o forza motrice) di commutazione.
Un altro mezzo elettrico dell'attuazione di un interruttore di riluttanza è la collocazione all'interno del percorso magnetico primario di alcune classi di materiali che cambiano (in genere aumentare) loro riluttanza sull'applicazione dell'elettricità. Un altro mezzo elettrico dell'attuazione di un interruttore di riluttanza è saturare una sub-regione di un percorso magnetico principale inserendo lo svolgimento fili elettrici nel materiale comprendente il percorso magnetico primario. Tale tecnica è descritta da Konrad e Brudny "An migliorato metodo per Virtual Air Gap lunghezza calcolo," in IEEE Transactions on Magnetics, vol. 41, n. 10, ottobre 2005.

Un altro mezzo elettrico dell'attuazione di un
interruttore di riluttanza è descritto da Valeri Ivanov della Bulgaria sul sito
web www.inkomp-delta.com, mostrato
in Fig.1. Toroide elettrico 110 viene inserito in un percorso magnetico principale (100), affinché il percorso magnetico
principale è divisa in due sub-percorsi 110A
e 110B. Un effetto di riduzione del
flusso magnetico netto nel percorso magnetico primario 100 risultati dalla combinazione degli effetti nei due sub-percorsi
110A e 110B, ognuno dei quali deriva
da principi di fisica differenti. Nel
primo sub-percorso 110A, il flusso
magnetico generato applicando corrente elettrica a 110 intorno toroidale percorso 110
avvolgimenti si oppone e sottrae dalla sua porzione di flusso magnetico 103 ricevuto dal percorso magnetico
primario 100 ottenendo un ridotto
flusso magnetico, che è anche ulteriormente ridotta da una diminuzione nel
sub-percorso permeabilità relativa di 110A,
aumentando così la riluttanza del percorso secondario. Il secondo percorso sub- percorso 110B, il flusso magnetico generato
applicando corrente elettrica per gli avvolgimenti del toroide 111 aggiunge alla sua porzione di flusso
magnetico 103 ricevuto dal percorso
magnetico primario 100 ottenendo un
maggiore flusso magnetico netto che si avvicina o supera il ginocchio della
curva di magnetizzazione del materiale riducendo così la sua relativa
permeabilità e aumentando la sua riluttanza.
RIASSUNTO
DELL'INVENZIONE
Questa invenzione è diretto a metodi e apparati
dove il flusso magnetico è commutato in direzione e intensità attraverso un
percorso di flusso per produrre energia elettrica. L'apparato comprende grosso
modo almeno un magnete permanente genera flusso, membro magnetizzabili che
formano il percorso di flusso, un conduttore elettrico avvolto attorno al
membro magnetizzabili, e una pluralità di flusso interruttori operanti in
sequenza, invertire il flusso dal magnete che scorre attraverso il membro,
inducendo quindi la corrente elettrica nella bobina.

L'incarnazione preferito comprende primi e secondo
cicli materiali magnetizzabili. Il primo
ciclo ha quattro segmenti nell'ordine A,
1 B, 2, e il secondo ciclo ha quattro segmenti nell'ordine C, 3, D, 4. Il membro magnetizzabili coppie di segmenti 2 e 4, e il magnete permanente coppie
segmenti 1 e 3, tali che il flusso
da magnete scorre attraverso segmenti A,
B, C, D e il membro magnetizzabili. Sono
disponibili quattro interruttori di flusso magnetico, ognuno controlla il
flusso attraverso un rispettivo uno dei segmenti A, B, C, D. Un controller è
operativo per attivare interruttori A-D
e B-C in un'alternata sequenza,
quindi invertire il flusso attraverso il segmento e indurre elettricità nel
conduttore elettrico. Il flusso che
scorre attraverso ogni segmento A, B, C,
D è sostanzialmente la metà di quella che scorre attraverso il membro
magnetizzabili prima dell'interruttore di attivazione.

Il loop e membro magnetizzabili preferibilmente
sono composti di un materiale nanocristallino esibendo una curva intrinseca di
BH sostanzialmente quadrata. Ogni
interruttore di flusso magnetico aggiunge il flusso al segmento che controlla,
quindi magneticamente saturando quel segmento quando attivato. Per implementare gli interruttori, ogni
segmento può avere un'apertura formata attraverso esso e una bobina di filo
avvolto intorno a una parte di quel segmento e attraverso l'apertura. Il controller può essere almeno inizialmente operativo
a guidare le bobine di interruttore con picchi di corrente elettriche.
Il primo e il secondo loop può essere toroidale in
forma, e i loop possono essere distanziati oltre uno altro, con un avversario C e 1 avversaria 3 e con B opposti D e 2 opposte 4. Il membro magnetizzabili
preferibilmente in questo caso è un pezzo di materiale separato. In alternativa, il primo e il secondo loop
può una forma "Figura otto", con i due anelli che si intersecano per
formare il membro magnetizzabili.
Magneti permanenti e il materiale comprendente i
percorsi magnetici sono preferibilmente proporzionati tale che il materiale
attraverso il segmento comune è uguale o leggermente inferiore sua permeabilità
relativa massima prima il materiale conduttivo uscita bobina viene eccitata. Nelle incarnazioni preferite, il potere
derivante dal flusso magnetico commutato produce sostanzialmente più potenza
rispetto la potenza necessaria per l'ingresso di commutazione.
BREVE
DESCRIZIONE DEI DISEGNI
Fig.1 è un disegno di un interruttore di riluttanza di anteriorità nella forma
di un toroide elettrici inseriti in un percorso magnetico primario;
Fig.2 è un particolare disegno di un interruttore di riluttanza secondo
l'invenzione;
Fig.3A e Fig.3B sono i disegni di
dettaglio che illustrano l'utilizzo di quattro interruttori riluttanza secondo
l'invenzione;
Fig.4 è un disegno che raffigura una preferito incarnazione dell'invenzione;
Fig.5 è un particolare disegno un interruttore riluttanza alternativo secondo
l'invenzione attuata attraverso laminazioni di Spalato;
Fig.6A e Fig.6B mostrano il
funzionamento di un generatore di energia secondo l'invenzione;
Fig.7A è una vista esplosa di una costruzione di generatore di energia preferito;
Fig.7B è una vista laterale della costruzione indicata in Fig.7A;
Fig.8 è un diagramma schematico semplificato dei componenti utilizzati per
simulare l'apparato dell'invenzione;
Fig.9A è un diagramma che mostra la corrente erogata per una coppia di
interruttori di flusso nella simulazione;
Fig.9B è un diagramma che mostra la corrente erogata per altri set di interruttori
di flusso nella simulazione;
Fig.10 viene illustrato l'output della simulazione mostrata qui; e
Fig.11 è un diagramma
a blocchi di un regolatore applicabile all'invenzione
DESCRIZIONE
DETTAGLIATA DELL'INVENZIONE

Fig. 2 è un disegno
dettagliato di un interruttore riluttanza secondo l'invenzione. L'interruttore riluttanza comprende i seguenti
componenti: Un percorso magnetico chiuso
110 costituito da un materiale
magnetico ad alte prestazioni (preferibilmente un materiale non lineare
presentante una "ginocchio tagliente" come saturazione si avvicina),
attorno al quale è avvolta una bobina 111
La magnetico chiuso percorso 110 parti una sezione comune 101 con un percorso magnetico primario 100, in cui il flusso magnetico 103 è indotta da un magnete permanente
(illustrato nei disegni successivi). La
corrente elettrica viene applicata agli avvolgimenti 111 avente una polarità e amperaggio sufficiente in modo che il
flusso magnetico generato nel percorso di interruttore 110 è additivo al flusso magnetico 103 dal magnete permanente, in modo tale che il percorso primario 110 approcci o raggiunge la saturazione
magnetica.

Fig.3A e Fig.3B sono i disegni di dettaglio
un'apparecchiatura che impiega quattro interruttori riluttanza secondo
l'invenzione in un modo simile a quello descritto nella domanda di brevetto
statunitense Ser. 11/735, 746 intitolata "Apparecchi Electricity
Generating Utilizzando un singolo percorso del flusso magnetico", l'intero
contenuto del quale è qui incorporato per riferimento. In questo e in tutti
forme di realizzazione qui descritte, la geometria dei percorsi magnetici
chiusi può essere circolare (toroidale), rettangolare, o altre forme a percorso
chiuso. Un percorso primario 304 trasporta il flusso dal magnete
permanente 302 unidirezionalmente. Coppie interruttore di flusso 310 A / E e 310 B / D vengono attivate in modo alternato per invertire il
flusso nel magnetizzabile membro 304C,
inducendo in tal modo la corrente elettrica nell'avvolgimento 330. Fig.3A
mostra il flusso di flusso in una direzione, e spettacoli Fig.3B è invertito.
In Fig.3A,
interruttori 310A e 310E sono
attivati dal controllore 320
in comunicazione elettrica con avvolgimenti su interruttori come attraverso
conduttore 322 di avvolgimento 324. Il flusso supplementare interruttori 310A e 310E sono additivi con il flusso che altrimenti sarebbe presente in
segmenti 304A e 304E, saturando così
questi percorsi, causando il flusso attraverso segmento 304C di essere nella direzione indicata. In Fig.3B,
interruttori 310B e 310D sono
attivati, saturando i segmenti 304B
e 304D, e invertendo il flusso.

Fig.4 è un disegno
che illustra una forma di realizzazione dell'invenzione utilizzando toroidi
circolari 400, 401 e più magneti
permanenti 402, 403 disposto nel
percorso primario 404. I due toroidi 400, 401 intersecano, formando membro magnetizzabile 404E. Una bobina
430 è avvolta attorno al 404E
membro, come mostrato.
Il percorso magnetico primario 404 interconnette l'estremità superiore
del ciclo 400 e l'estremità
inferiore del ciclo 401. Uno dei magneti, 402, coppia un'estremità del percorso magnetico primario 404 per il primo ciclo 400, e un altro, 403, coppie dall'altra fine del percorso magnetico primario 404 al secondo ciclo 401.
In questo, e tutte le forme di realizzazione qui
descritte, i magneti permanenti sono forti, magneti di terre rare, e più
magneti di qualsiasi lunghezza (spessore) possono essere usate in ogni caso. Inoltre, in tutte le forme di realizzazione, i
loop, percorso magnetico primario e / o membro magnetizzabile sono
preferibilmente realizzati con un materiale ad alta permeabilità magnetica come
il nanocristallino materiale magnetico dolce FINEMET FT-3H disponibile da
Hitachi. L'invenzione non è limitata a questo riguardo, tuttavia, come si
possono utilizzare materiali alternativi, compresi i materiali laminati,.
Le connessioni del percorso magnetico primario 404 ai due anelli 400, 401 creare quattro segmenti a parte l'elemento magnetizzabile 404E, quattro segmenti di cui due
segmenti avversaria A, B nel primo
ciclo su entrambi i lati del magnete 402,
e le due opposte segmenti C, D nella
seconda ansa su entrambi i lati del magnete 403.
Quattro interruttori di flusso magnetico sono
ottenute, ciascuna essendo operativo per controllare il flusso attraverso un
rispettivo dei quattro segmenti. Un
controllore 420 è operativo per
attivare gli interruttori associati con segmenti A e D, e poi B e C,
alternativamente, invertendo così il flusso attraverso la 404E membro e così, inducendo corrente elettrica in bobina 430.

Le aperture possono essere formate attraverso
ciascuno dei quattro segmenti, con gli interruttori attuate dalle bobine 410A a 410D che passano attraverso le
aperture e attorno una porzione esterna (o interna) di ogni segmento. Come mostrato in Fig.5, se gli anelli sono fabbricati con materiale laminato 502, i lamierini possono essere divisi
in 506 per accogliere bobina 504. La percentuale del segmento circondato dalla
bobina può variare in base al materiale utilizzato, le forme d'onda presentati
alle bobine, e altri fattori, con l'obiettivo di far saturare magneticamente
ogni segmento attraverso l'attivazione dell'interruttore associato, invertendo
così il flusso attraverso il percorso 404E.

Fig.6A e Fig.6B mostrare il funzionamento
dell'apparecchiatura di Fig.4. Il percorso primario 404 trasporta il flusso da magneti permanenti 402 e 403 unidirezionalmente. Riluttanza passa 410A a 410D sono attivati alternativamente per invertire il flusso
nel segmento 404E che, a sua volta,
induce corrente elettrica nell'avvolgimento 430. Fig.6A mostra il flusso di flusso in una direzione, e Fig.6B mostra che scorre nella
direzione opposta.
In Fig.6A,
interruttori 410A e 410D sono
attivati dal controllore 420 in
comunicazione elettrica con avvolgimenti su interruttori, ad esempio attraverso
conduttori 422 per passare 410B. Il flusso è fornito da interruttori 410A e 410D, saturando così questi
percorsi, causando il flusso attraverso segmento 404C di essere nella direzione indicata. In Fig.6B,
interruttori 410B e 410C sono
attivati, saturando i segmenti 404B
e 404D, invertendo così il flusso attraverso il percorso 404E.

Fig.7A raffigura una
realizzazione preferita del dispositivo illustrato in Fig.4, Fig.6A e Fig.6B. Loop 400
e 401 sono implementati come toroidi completi 700, 701. Ciò è importante,
poiché materiali magnetici ad alte prestazioni preferite sono attualmente
disponibili in forme regolari di questo tipo.
Si noti che, in questo caso, asole curve quali 770 sono formati attraverso i lati di ogni toroide per attuare interruttori
flusso da A a D. L'elemento
magnetizzabile in questa realizzazione è implementato con un blocco di
materiale 704, preferibilmente lo
stesso alto rendimento magnetico materiale usato per costruire loop 400, 401. Magnete permanente 702, mostrato a 702, ha
preferibilmente la stessa lunghezza di blocco 704, abilitare le varie parti costituenti essere tenuto insieme con
la compressione, mostrato in Fig.7B.
Le sezioni seguenti riassumono alcune delle caratteristiche importanti
delle realizzazioni preferite:
In termini di materiali, i benefici apparecchi
dall'uso di materiale nanocristallino con un "Square" curva BH
intrinseca, un elevato Br (rimanenza) che è circa 80% del suo B (saturazione),
una bassa Hc (coercitività), e un veloce tempo di risposta magnetica a
saturazione. Un esempio è FineMet FT-3H da Hitachi del Giappone, che ha un Br
di 1.0 Tesla, una B (saturazione) di 1.21 Tesla, un tempo di saturazione (Bs)
di 2 usec, e Hc di -0,6 amp-giri / metro.
Magneti permanenti moderni sono utilizzati con una
curva BH intrinseca quadrato, un Br nell'intervallo 1,0 Tesla o più, e alta Hc
nell'intervallo -800.000 amp-turns/meter o più. Un esempio è il magnete NdFeB
da parte della società tedesca VAC, che ha un Br di 1.427 Tesla e un Hc di
-1.079.000 amp-turns/meter.
Una considerazione importante è la corrispondenza
del magnete al materiale nanocristallino, sia nella valutazione Tesla e in
sezione trasversale. Br del magnete deve essere inferiore alle B del materiale
nanocristallino. Se il magnete è troppo "forte" per il materiale
nanocristallino, puo causare il materiale nanocristallino per saturare nella
zona di contatto con il magnete.
La corrente di pilotaggio degli interruttori
riluttanza nella prescritto 2 × 2 sequenza dovrebbe avere un forte aumento del
bordo d'attacco (Tr) di ciascun impulso con una larghezza di impulso (Pw) e
valore ampere che vengono sostenute finché rilasciato alla fine della larghezza
di impulso (Tf). La seguente tabella mostra gli effetti della corrente di
ingresso tempi di salita impulso (Tr) sull'uscita. Esiste una stretta fascia di
Tr, prima che ci sia piccola potenza, in cui ci sono ottimi livelli di potenza
e COP nell'intervallo da 200 a 400 o superiore, e dopo che non esiste una
notevole aumento di potenza. Il COP di questo dispositivo senza il circuito di
accoppiamento è definito come "Potenza di uscita / Drive Power" per
gli interruttori.

Mentre Richard
Willis di Magnacoaster in
BREVETTO: DE3024814 28 Gennaio 1982 Inventore: Heinrich Kunel
PROCEDURE E DISPOSITIVI PER LA PRODUZIONE DI ENERGIA
Numero domanda: DE19803024814 19800701
Priorità numero (i): DE19803024814 19800701
Classificazione IPC: H02N11/00 CE Classificazione: H02K53/00
DESCRIZIONE
L'invenzione riguarda procedure e dispositivi per
la produzione di energia, che converte il flusso magnetico da magneti
permanenti, senza necessità di rotary, o qualsiasi altra forma di movimento, in
temporalmente variabile flusso indotto e producono grandi fluttuazioni di
flusso magnetico indotto in corrente elettrica, senza la necessità di un
circuito termale, o coppia o un processo chimico e in maniera tale che la
corrente elettrica è amplificata.
I problemi di energia del nostro tempo sono
sufficientemente ben noti nel mondo professionale. La trasformazione delle
forme convenzionali di energia primaria in energia tecnicamente utilizzabile è
relativamente costose. Inoltre, facendo questo, preziosi e mai scarseggia crudo
materiali vengono distrutte e inquinanti sono accumulati, inquinanti che sono
in grado di causare la fine dell'umanità.
Al fine di ridurre o evitare questi ed altri
inconvenienti durante la produzione di energia, è suggerito secondo questa
invenzione, che per la produzione di corrente elettrica per induzione, nessuna
coppia è usato, ma al contrario, il flusso magnetico da magneti permanenti
viene convertito in un flusso indotto con ampie variazioni rapide, per esempio
in un flusso indotto velocemente cambiano o palpitazione, che può generare una
corrente elettrica.
In conformità con questa invenzione, uno proventi
l'allestimento base dove un magnete permanente è collegato a un nucleo di ferro
tramite uno o entrambi i suoi pali, il nucleo costituito, ad esempio, ferro,
Dinamo ferro ferro puro o amorfo o qualsiasi materiale adatto simile che ha
poco o nessun perdite di nucleo.
Seguendo la procedura di questa invenzione se, ad
esempio, un polo di una barra di magnete tocca un nucleo di ferro ed è
allineato con l'asse longitudinale di quel nucleo, quindi magnete e il nucleo
di agire come un magnete.
Durante questo processo di magnetizzazione
iniziale del nucleo un flusso magnetico scorre nel nucleo, che induce una
corrente in un circuito di conduttore che circonda il nucleo.
Se, oltre a magnete permanente, una bobina è
avvolta intorno al nucleo e disposti in modo tale che una corrente che scorre
in quella bobina interamente o parzialmente interrompe il flusso magnetico che
scorre attraverso il nucleo, quindi questo provoca un'altra modifica del flusso
magnetico passando attraverso una bobina avvolta intorno al nucleo.
Se questa interruzione del flusso che scorre dal
magnete permanente è grande e ha la forma d'onda della corrente alternata, una
corrente pulsante è indotta nella bobina avvolta intorno al nucleo.
Con corrente alternata in ingresso alla bobina
modificatore flusso magnetico avvolto su nucleo accanto il magnete, la bobina
riceve due cambi di direzione flusso corrente per un ciclo di AC, e così il
flusso magnetico proveniente dal magnete permanente è interrotta una volta e
rilasciato una volta durante ogni ciclo di potenza in ingresso. In questo modo,
viene generata una palpitazione corrente indotta nella bobina uscita causata da
palpitazione flusso magnetico nel nucleo.
Si è constatato che il flusso indotto da un magnete
permanente raggiunge il suo pieno iniziale valore di densità di flusso
magnetico nel nucleo anche presso l'estremità libera del nucleo magnetico di
ferro dolce, anche se ci sono parecchie bobine di induzione ogni con lo stesso
numero di giri e il conduttore di sezione trasversale sono adatti come in una
flusso magnetico modifica bobina avvolta su nucleo, senza modificare la forza
della densità di flusso magnetico o la rimanenza del magnete permanente.
Il magnete permanente non è smagnetizzato quando
viene utilizzato per fornire il flusso nel nucleo, nessuna energia è estratta
da esso, a differenza di un nucleo elettromagnetico, cui avvolgimenti
richiedono più corrente di funzionamento di quella prodotta come uscita. Con un
nucleo elettromagnetico, come gran parte corrente di ingresso è richiesto, come
è indotta nell'output di avvolgimento, corrispondenti ai rapporti del
trasformatore ben noto. Pertanto è importante per produrre il flusso di
induzione utilizzando un magnete permanente.
Dopo il sistema primario di base, si può costruire
ad esempio generatori di energia lineare o generatori di energia cerchio o
altre derivanti o adatti tipi e forme di generatori di energia, senza la
necessità di un rotore o uno statore o tali sezioni mobili o coppia fornendo
nel generatore.
L'invenzione è progettato in modo da rendere il
controllo di frequenza regolato con mezzi elettrici affinché il flusso interno
di induzione nel nucleo generatore è essenzialmente causato dal campo magnetico
del magnete permanente.
Nei disegni costruttivi esempi sono
schematicamente rappresentati secondo l'invenzione:
Fig.1 indica un generatore di energia lineare a sezione longitudinale.

Fig.2 viene illustrato un generatore di energia lineare
nello stato istantaneo della trasmissione del flusso del magnete permanente al
nucleo generatore ad induzione e

Fig.3 rappresenta un generatore di energia lineare al momento dell'interruzione dal flusso indotto;

Fig.4 illustra un generatore di impulsi di energia
statica con un circuito magnetico chiuso al momento della trasmissione del
flusso del magnete permanente al blocco nucleo generatore di induzione,

Fig.5 è un diagramma schematico del modo funzionale in
cui il processo di feedback opera in un sistema secondo la presente invenzione,

Fig.6 viene illustrato un generatore di energia lineare
doppia con alcuni dei suoi sub-elementi e

Fig.7 viene illustrato un generatore di energia,
secondo la presente invenzione, con funzionamento pulsante ciclico e con alcuni
dei suoi sub-elementi in e presso il circuito di energia.


Il generatore di energia lineare illustrato nella
sezione trasversale in Fig.1, è
costituito da una barra permanente magnete 1
con un nucleo di ferro dolce generatore magnetico 2, che può essere un pezzo unico, o, come illustrato di seguito,
diviso in due sezioni. La bobina di
modificazione del flusso magnetico non è direttamente collegata al magnete
permanente 1, così che il magnete
permanente 1 non è sottoposto a
campi alternati prodotti dalla bobina flusso magnetico modifica 3.
Il nucleo generatore 2, seguendo il flusso magnetico modifica bobina 3, ci sono parecchie bobine di uscita 4. Un'intercapedine d'aria 6 serve come un cancello o un
interruttore per il flusso magnetico proveniente dal magnete permanente 1 e il flusso di induzione magnetica
per le bobine di induzione 4.

Con questa disposizione, una corrente alternata
applicata alla bobina di modifica flusso magnetico 3 è utilizzata per produrre un campo magnetico alternato nel
traferro 6, affinché, come
chiaramente illustrato in Fig.2, con
ogni fase della corrente alternata il flusso magnetico indotto 5 è diretto in primo luogo per il core 2 e poi contro il magnete permanente 1, come mostrato in Fig.3, causando il flusso magnetico 5 indotto nel nucleo 2 di magnete permanente 1, viene interrotto totalmente o
parzialmente e quindi sperimenta una modifica che varia con il tempo.

Se una corrente alternata viene fornita per la
modifica del flusso magnetico della bobina 3
ad esempio con una frequenza di 50 Hz, quindi il flusso indotto 5 in core 2 esperienze cento modifiche al secondo, che induce negli
avvolgimenti induzione 4 una
palpitazione corrente 14 che ha 50
valori massimi positivi al secondo.

Fig.2 illustra che sul nucleo generatore 2 che diversi avvolgimenti induzione 4 sono feriti, che corrispondono al numero di giri con stesso diametro del filo
utilizzato nella bobina di modifica flusso magnetico 3.
Il magnete permanente 1 non richiede nessuna corrente elettrica per produrre il flusso
magnetico e ciononostante ha alla sua estremità Polo Nord N del nucleo 2 la stessa
saturazione magnetica, come prodotto da più numero di spire della bobina di
induzione 4 di Fig.2 o in una bobina continua 4
come mostrato in Fig.3, riceve una
versione più dell'ingresso attuale che è necessaria per l'eccitazione della
bobina flusso magnetico modifica 3.
Dalla fonte di alimentazione 9 i flussi di correnti energizzanti per il generatore di impulsi 10, l'amperometro 1-amp 20 consente di visualizzare l'intensità
della corrente elettrica. Il corrente
indotta 7 o la palpitazione corrente
14 viene aggiunto tramite
connessioni 11,1 e si misura con
l'amperometro 10 amp 20,2. Il raddrizzatore 15 (non mostrato) produce palpitazione corrente continua che è
lisciato e fornito come output CC 18,
tramite filo 21 al caricabatteria 25, che fornisce l'input per la fonte
di alimentazione 9.

L'interruzione del flusso magnetico dal
cambiamento di direzione della corrente alternata, necessari per la modifica di
ripetute di flusso ad induzione 5, è
mostrato in Fig.3. Quando viene interrotto il flusso di induzione
5, il filo bobina(s) 11.2 è negativo in quell'istante. Filo 21
fornisce il collegamento con la potenza di uscita (non mostrato) e la fonte di
alimentazione in ingresso 9.

Fig.4 Mostra un'incarnazione del disegno sopra che
utilizza un magnete permanente a U 1
e un nucleo generatore a forma di U 2
che ha le sue due estremità rivolta verso i poli del magnete permanente 1. Avvolto intorno a due strette intercapedini 6 e il proprio nucleo stretto, è una
modificazione di flusso magnetico bobina 6.6.
Fig.4 Mostra lo stato
istantaneo, quando il flusso magnetico 5
viene trasferito dalla modifica il flusso magnetico della bobina 3 nel core generator 2 formando un circuito magnetico chiuso
24. Il flusso magnetico modifica bobina 3 qui ha un core 6.6, che rende e interrompe il passaggio del flusso magnetico 5 tra due strette intercapedini 6 dal magnete permanente 1 al nucleo generatore 2 che ha le bobine di induzione 4, in modo che ogni impulso di flusso
ad induzione 5 induce una corrente negli
avvolgimenti induzione alternativamente 4.
Così una palpitazione corrente risulta
che è parecchie volte più grandi di input corrente energizzante.
Quando si modifica la direzione del flusso di
corrente nel nucleo magnetico ferro dolce 6.6
del flusso magnetico modifica bobina 3,
allora a quel tempo, il flusso magnetico 5
dei flussi magnete permanente 1
sopra il blocco di ferro guida 1.1 e
scorre lungo i sentieri 5.5 e 5.1 per il polo sud del magnete
permanente 1 o all'equilibrio le
lacune di aria tra il polo nord del blocco di ferro guida 1.1 e il polo sud del permanente magnete 1. La linea tratteggiata 5.5 dal polo nord al polo sud
attraverso il blocco di ferro guida 1,1
raffigurano il flusso magnetico quando è impedito di viaggiare attraverso il
nucleo generatore 2.
Questo orientamento del flusso magnetico 5 impedisce il flusso di perdita
inserendo il nucleo generatore 2 e
così la massima RMS della corrente indotta è raggiunto, come generatore di core
2 è senza eccitazione magnetica.
Nota PJK: ho difficoltà nell'accettare
questo come la bobina di eccitazione apparisse per produrre un flusso magnetico
equivalente nel telaio a U 2 come si
blocchi il flusso del magnete permanente passando attraverso le intercapedini
tra magnete 1 ed elettromagneti 3, e
per rendere le cose peggio, il flusso magnetico scorre circa mille volte più
facilmente attraverso il ferro dolce che attraverso l'aria. Tuttavia, sappiamo che modulano il flusso da
un magnete permanente con il campo magnetico di una bobina è molto efficace
nella produzione di COP > 1 come ha dimostrato la replicazione indipendente
del telaio magnetico di Lawrence Tseung coperto in questo capitolo.
Il seguente diagramma schematico Fig.5, Mostra la sequenza del processo
ciclico per esempio in un generatore di energia secondo Fig.4.

Il pulsante corrente dalla fonte di alimentazione 9 o corrente alternata 12 dalla rete elettrica 23 attraversa filo 13 per il flusso magnetico modifica bobina 3 e produce una palpitazione induzione 7 corrente o corrente continua palpitazione 14, che viene convertito dal raddrizzatore 15 per lisciare corrente continua 16 che viene passato al regolatore di tensione 17, e poi su come corrente 16
ora alla tensione desiderata, sopra la CC uscita 18 e per il trasformatore di corrente 10, da che ha ricevuto 12
corrente alternata è portato a CA uscita 19
e accoppiato di collegamento CA 22
con l'input di potere-griglia 23,
per cui l'uscita CA 19 può essere
fornito con corrente da rete elettrica- o dall'uscita del generatore di energia
elettrica.

Fig.6 presenta un doppio generatore lineare secondo
l'invenzione. Su un magnete permanente
preferibilmente rettilinea sono montati generatore Core 2 di ferro Dinamo ai suoi due poli. Il flusso magnetico modifica
bobina 3 ottiene il relativo
funzionamento corrente dalla fonte di alimentazione 9 attraverso un
trasformatore di corrente o da generatori di impulsi 10 alimentati dal circuito di eccitazione 13. Attraverso appropriati
avvolgimenti 4 può essere ottenuta
un'uscita di corrente continua o corrente alternata.
Palpitazione 14
corrente dal circuito corrente di induzione 11 è lisciato e passato all'uscita CC 18 e la fonte di alimentazione in ingresso 9.

Una versione alternativa del sistema secondo
l'invenzione è mostrata in Fig.7. Questo è anche un produttore di energia
immobile, anche se ha un arrangiamento ciclico e la funzione. In questo generatore non ci sono sezioni
mobile come un rotore e il flusso di induzione 5, come l'induzione di correnti 7, si sviluppa da un flusso di induzione ciclicamente palpitazione.
Il magnete permanente 1 è inserito in un nucleo generatore circolare 2. Le bobine di
modificazione del flusso magnetico 3
possono essere azionate con palpitazione 14
corrente diretta o come qui con corrente alternata 12. Ad esempio, il corrente continua 16 di alimentazione 9 è condotto in un trasformatore di
corrente 10 convertita in corrente
alternata e immessa nella circuito eccitatore 13.
La modifica del flusso magnetico bobine vengono
creati in modo che il valore massimo positivo della corrente alternata 12 apre e supporta il naturale flusso
del magnete permanente di flusso 5
passando dal Polo Nord-polo sud attraverso il nucleo generatore circolare 2 per formare un circuito magnetico
chiuso 24.
Se le bobine di modificazione del flusso magnetico
3 su entrambi i lati del magnete
permanente 1 portano il massimo
valore negativo della corrente alternata 12,
quindi il naturale flusso magnetico nel nucleo generatore 2 è ristretto dal flusso di induzione muoversi nella direzione
opposta in bobine di modifica il flusso magnetico 3 e questo interrompe il flusso magnetico 5 totalmente o
parzialmente.
Nel caso di modifica temporaneamente grande di
questa sequenza nella bobina 4 è
causata una palpitazione corrente 14,
che è guidato da induzione circuito 11
al raddrizzatore elettrico 15, in
cui la corrente continua palpitazione 14
è ridotto a una corrente CC liscia. Il
corrente continua 16 può essere
passato all'uscita CC 18 e
l'ingresso alimentazione 9 e il
trasformatore di corrente 10 quali
forniture CA uscita 19 e CA per le
bobine di modificazione del flusso magnetico 3.
Se il flusso di induzione 5 è limitato nel nucleo 2
di bobine di modifica il flusso magnetico 3,
quindi si produce una corrente alternata con un più piccolo valore massimo
negativo e il valore medio aritmetico durante l'un periodo sposta a zero.
Secondo questa invenzione in un processo ciclico è
creato un cerchio di energia, con l'eccedenza di energia considerevole per il
rifornimento delle varie uscite anche per quanto riguarda il mantenimento del
funzionamento di questo sistema.
Secondo questa invenzione, evitando la necessità
di coppia, lo stesso effetto di induzione è ottenuto le bobine di modificazione
del flusso magnetico e l'uso di magneti permanenti nella generazione di
energia, come con i generatori convenzionali che usano la trasformazione della
coppia in elettricità, per cui tuttavia, il valore energetico della coppia è
maggiore del valore di energia dell'elettricità che questo generato.
Si è constatato che da ciascun polo del magnete
permanente alle due estremità di un nucleo generatore a forma di U, uno del
flusso magnetico modifica o orientamento bobine con o senza nucleo per la
trasmissione dell'induzione magnetica flusso deve essere designato in modo tale
che, alternando il flusso di induzione, che è causato dal magnete permanente ad
esempio nel ritmo della fase di modifica di una frequenza di corrente alternata
dell'energizzante attuale nucleo generatore è costantemente commutabile, come
il Polo Nord sarà trasferito alternati a uno e l'altra estremità aperta del
nucleo e le bobine similarmente che conduce al nucleo di s poli del magnete
permanente chiudere il circuito magnetico reversibile nel nucleo con ogni
impulso di corrente, che è causata da un magnete permanente.
In questo modo il flusso di induzione nel nucleo
sperimenta il suo cambiamento di direzione del flusso desiderato e produce
negli avvolgimenti di uscita del generatore di corrente alternata della stessa
frequenza come quelli della corrente energizzante, tuttavia con frequenza
identica a quella dell'ingresso corrente di eccitazione.
Poiché il flusso di induzione di palpitazione o reversibile
è causato da un magnete permanente, corrente elettrica non è necessaria per la
sua produzione anche per tutta la durata del nucleo generatore e suoi
avvolgimenti di uscita, perché l'eccitazione del nucleo magnetico reversibile
avviene indirettamente, in ogni caso o direttamente tramite un magnete
permanente, cui rimanenza viene modificato dall'eccitazione magnetica del
nucleo generatore secondo l'invenzione.
Il sistema di invenzione per produzione di energia
e produttore di energia può essere estremamente efficiente per esempio nel
funzionamento ad alta frequenza con operazione di impulso di corrente continua
controllato elettronicamente e può produrre un multiplo della corrente di
ingresso necessari ed elettricità essere prodotta in questo modo, viene
prodotto senza materiale utilizzato e senza un circuito termale o una coppia
sia necessario.
Se diversi di questi generatori sono sovrapposte
laureato aumento dimensioni ad esempio in una serie dove il secondo generatore
riceve l'output completo dal primo e terzo generatore riceve l'output completo
del secondo, poi con un moltiplicatore di potenza di 10 per ogni generatore,
generatore di sesto nella catena avrà una prestazione di 1000 MW se c'è una
1000 W potenza in ingresso al generatore primo (e più piccolo) all'inizio della
serie.
Così è possibile sostituire tutte le energie
primarie ben note e le procedure di conversione dell'energia con i sistemi e i
generatori di energia secondo l'invenzione, per tutto il futuro su economico in
energia elettrica a causa dei loro costi elevati, poiché questi non può operare
in qualsiasi modo da remoto come economicamente, come è possibile con i
dispositivi di questa invenzione.
Ci sono altri dispositivi che hanno quello che sembra essere un traferro molto importante in una cornice magnetica. Uno di questi è stato visualizzato su un sito bulgaro e sulla pagina web che si trova a http://www.inkomp-delta.com/page3.html, creato da Valeri Ivanov nel 2007. Valeri vive a Elin Pelin, Bulgaria e suo generatore di immobile ha COP = 2.4 prestazioni. Video:
http://www.youtube.com/watch?v=7IP-buFHKKU e
http://www.youtube.com/watch?v=npFVaeSbk1Q sono per il suo design, e sembra
che sta per iniziare la produzione commerciale nel Maggio 2014: http://www.inkomp-delta.com/index.html.
È dimostrato che un efficace dispositivo può essere creato da un magnete permanente, un toroide e un giogo di ferro laminato. La disposizione è visualizzata come questo:

Quando la bobina di ingresso è pulsata con una
tensione in ingresso, provoca un'inversione di flusso nella cornice attorno al
quale è avvolta la bobina di uscita, generando un'uscita elettrica.
C'è un altro forum relativo a questo e il meglio
conosciuto MEG di Tom Bearden s che può essere trovato alla http://tech.groups.yahoo.com/group/MEG_builders/message/1355 dove quel particolare messaggio
afferma che il dispositivo di Valeri può essere fatto funzionare a frequenze da
50 Hz e possibile utilizzare i componenti del telaio di ferro laminato standard
e produce Coefficient Of Performance figure fino a 5.4 (ovvero la potenza di
uscita è più di cinque volte la potenza in ingresso). Un video dimostrativo è
presso http://inkomp-delta.com/page10.html ma non è in inglese. Potrebbe
essere che per funzionare bene, le esigenze di MEG che una bobina di ingresso
molto stretto con un'intercapedine d'aria su ogni lato di esso e lo stesso può
anche applicano alla cornice magnetica di Lawrence Tseung illustrato in
precedenza in questo capitolo.
Kelichiro Asaoka ricevuto il brevetto
Brevetto
Static dinamo magnete per generare forza elettromotrice basato sulla
modifica densità di flusso di un percorso magnetico aperto
ASTRATTO
Una dinamo magnete
statico incluso almeno un magnete permanente, avendo diversi poli; un primo
nucleo composto da un morbido materiale magnetico e che accoppia i diversi poli
del magnete permanente per formare un percorso magnetico chiuso; un secondo
nucleo composto da un morbido materiale magnetico che le coppie nel percorso
magnetico chiuso tramite un materiale paramagnetico per formare un percorso
magnetico aperto; una bobina magnetizzata avvolta intorno a una parte del primo
nucleo dove si forma il percorso magnetico chiuso; e una bobina di induzione è
avvolto da una porzione del secondo nucleo. Una direzione di flusso del percorso magnetico
chiuso viene modificata applicando una tensione alternata alla bobina
magnetizzata, generando una forza elettromotrice nella bobina di induzione
elettromagnetica dovuta cambia in un flusso di percorso aperto magnetico
indotto dal cambiamento nella direzione del flusso del percorso magnetico
chiuso
CAMPO
DELL'INVENZIONE
Questa invenzione si
riferisce ad una dinamo che genera forza elettromotrice di induzione elettromagnetica,
cambiando il flusso passa attraverso una bobina di induzione. Più in
particolare, questa invenzione si riferisce ad una dinamo magnete statico che
cambia i magneti che passano attraverso una bobina di induzione senza
trasformare l'armatura o elettromagnete.
DISCUSSIONE
DI SFONDO
Dinamo attualmente in
uso pratico è progettati per generare forza elettromotrice di induzione
elettromagnetica cambiando il flusso passa attraverso una bobina di induzione.
Dinamo che genera potenza in questo modo vengono in un'ampia varietà, che vanno
dai grandi modelli utilizzati nelle centrali idroelettriche, termiche o atomici
a modelli piccoli come piccole Dinamo con un motore diesel.
In tutti i modelli di
Dinamo sopra menzionati, l'armatura e l'elettromagnete sono girati, per
modificare il flusso passa attraverso la bobina di induzione, generando così la
forza elettromotrice nella bobina di induzione elettromagnetica. Per esempi,
l'armatura e l'elettromagnete sono trasformati mediante la coppia di una
turbina dell'acqua nella generazione di energia idroelettrica, la coppia della
turbina a vapore nella generazione di energia termica e atomico e la coppia del
motore diesel in piccole Dinamo.
Svantaggi:
Dinamo che genera forza
elettromotrice di induzione elettromagnetica, come già accennato è progettato
in modo che, indipendentemente dalla dimensione della Dinamo, l'armatura e
l'elettromagnete sono rivolti per cambiare il flusso passando la bobina di
induzione. Questi Dinamo sono svantaggiosi, in quanto la svolta ha detta
dell'armatura ed elettromagnete genera vibrazioni e rumore.
OGGETTI
DELL'INVENZIONE
Lo scopo di questa invenzione è di fornire una
dinamo magnete statico privo di qualsiasi mezzo di coppia che dà o altra parte
mobile per eliminare le vibrazioni e rumore, al fine di risolvere i vari
problemi sopra menzionati.
Per risolvere i problemi di cui sopra, questa
invenzione è composta come di seguito descritto.
La Dinamo magnete
statico coinvolta in questa invenzione è costituito da almeno un magnete permanente,
un primo nucleo composto da un morbido materiale magnetico che formano un
percorso magnetico chiuso accoppiando i diversi poli del magnete permanente ha
detto, un secondo nucleo composto da un morbido materiale magnetico che formano
un percorso magnetico aperto di essere accoppiato al percorso magnetico chiuso
tramite un materiale paramagnetico, una bobina magnetizzata ferita intorno una
parte costituita da solo il percorso magnetico chiuso del primo nucleo e una
bobina di induzione ferita intorno al nucleo secondo. Il punto di questa invenzione è di generare
forza elettromotrice nella bobina di induzione elettromagnetica cambiando la
direzione del flusso del percorso magnetico chiuso, applicando una tensione
alternata alla bobina magnetizzata e modificando il flusso del percorso
magnetico aperto indotto da cambiamenti nella direzione del flusso del percorso
magnetico chiuso.
Effetti:
Nella configurazione di
cui sopra, la Dinamo magnete statico coinvolta in questa invenzione è
costituito da un primo nucleo costituito da un magnete permanente e un percorso
magnetico chiuso, un secondo nucleo, costituito da un percorso magnetico aperto
tramite un materiale paramagnetico, una bobina magnetizzata avvolto intorno
alla parte costituita solo il percorso magnetico chiuso del primo nucleo e una
bobina di induzione avvolto intorno il secondo percorso magnetico. La Dinamo è così progettata in modo da
generare una forza elettromotrice in bobina di induzione di forza
elettromagnetica cambiando la direzione del flusso del primo nucleo applicando
una tensione alternata alla bobina magnetizzata e cambiando il flusso del
nucleo secondo indotta da cambiamenti nella direzione del flusso del primo
nucleo.
Questo rende possibile
per cambiare il flusso passa attraverso la bobina di induzione senza un mezzo
di coppia che dà o altre parti in movimento e per generare forza elettromotrice
nella bobina di induzione elettromagnetica, permettendo così la generazione di
energia senza provocare vibrazioni o rumori. Questo Dinamo può essere ridimensionato e
messi a disposizione a prezzi bassi.
Altre caratteristiche e
benefici di questa invenzione si farà chiaro dalla descrizione data sotto con
schemi collegati.
BREVE
DESCRIZIONE DEI DISEGNI
Un apprezzamento più
completo dell'invenzione e molti dei loro vantaggi operatore sarà prontamente
ottenute come lo stesso diventa più comprensibile per il riferimento alla
seguente descrizione dettagliata quando considerato in relazione con i disegni
di accompagnamento, dove:

Fig.1 rappresenta
una configurazione di base di una dinamo magnete statico con un percorso
magnetico aperto coinvolto in questa invenzione.

Fig.2 rappresenta
come un flusso nella direzione opposta a quella di un magnete permanente, in
genere si verifica nella bobina magnetizzata.

Fig.3 rappresenta
come un flusso nella direzione opposta a quella di un magnete permanente in
genere scompare dalla bobina magnetizzata.

Fig.4 rappresenta un
flusso nella stessa direzione come quello del magnete permanente come si
verifica in genere nella bobina magnetizzata.

Fig.5 una prima
incarnazione della Dinamo magnete statico è coinvolto in questa invenzione.

Fig.6 una seconda
incarnazione della Dinamo magnete statico è coinvolto in questa invenzione.

Fig.7 una terza
incarnazione della Dinamo magnete statico è coinvolto in questa invenzione.

Fig.8
una quarta incarnazione della Dinamo magnete statico è coinvolto in questa
invenzione.

FIG.
9 è una quinta incarnazione con un percorso magnetico aperto.

Fig.10 una
configurazione di base di una dinamo magnete statico con un percorso magnetico
chiuso è coinvolto in questa invenzione.

Fig.11 una prima
incarnazione della Dinamo magnete statico con un percorso magnetico chiuso è
coinvolto in questa invenzione.
DESCRIZIONE DELLE
INCARNAZIONI PREFERITE
Riferendosi ora ai
disegni, in cui come riferimento numeri designare parti identiche o
corrispondente in tutto le opinioni diverse, e più in particolare a Fig.1 dove c'è illustrata una configurazione
di base della Dinamo magnete statico con un magnete permanente. Fig. 2, 3 e 4 descrivere come la Dinamo
magnete statico rappresentata in Fig.1
genera energia.

Come indicato nelle
figure, il primo nucleo 2 formata a
coppia il magnete permanente 1 e i
diversi poli del magnete permanente 1
in modo anulare, costituisce un percorso magnetico chiuso. Questa chiusura magnetica percorso è poi
dotata di un secondo nucleo 3
tramite un materiale paramagnetico 10 μm di spessore 5 mm. Ciò provoca la
formazione di un percorso aperto magnetico costituito da un magnete permanente 1, parte di un primo nucleo 2, un materiale paramagnetico e un
secondo nucleo 3. La parte costituita solo il percorso magnetico
chiuso del primo nucleo 2 è avvolto
attorno con una bobina magnetizzata 4.
Il secondo nucleo 3 è poi avvolto con una bobina di induzione 5 progettato per generare forza elettromotrice di induzione
elettromagnetica.
Qui, il magnete
permanente 1 è un magnete con
un'alta densità di flusso residua, una grande forza coercitiva e un prodotto di
grande energia massima per una maggiore efficienza di generazione di potenza. Tipici materiali usati qui sono il magnete del
neodimio ferro boride (Nd2Fe14B), magnete di Samario Cobalto (Sm2Co17) o
nitruro di ferro samario (Sm2Fe17N2).
Il primo nucleo 2 e il secondo nucleo 3 sono costituiti da un morbido
materiale magnetico, avendo un'alta permeabilità, con iniziale alto, massimo e
altri livelli di permeabilità, alta densità di flusso residuo e magnetizzazione
di saturazione, e la piccola forza coercitiva, rendendo così efficace
utilizzare il flusso del percorso magnetico per la generazione di energia. Gli esempi includono leghe Permalloy basato.
Materiali paramagnetici
applicabili sono quelle con una permeabilità specifica paragonabile a quella di
un vuoto, come aria, rame e alluminio. Quando l'aria è utilizzato come un materiale
paramagnetico, cioè, quando un divario G
è fissato tra il primo nucleo 2 e il
secondo nucleo 3, il secondo nucleo 3 viene mantenuto con un materiale
solido paramagnetico. Le figure
rappresentano incarnazioni con una distanza di G, senza un solido materiale paramagnetico progettato per mantenere
il secondo nucleo 3.
Di seguito è una
descrizione di come una dinamo magnete statico della configurazione precedente
genera potenza. In primo luogo, quando
nessuna tensione è applicata alla bobina magnetizzata 4 della Dinamo magnete statico, un primo flusso 11 è formato nel primo nucleo 2 in direzione andando dal polo N a
Polo S del magnete permanente 1. In questo stato, nessun flusso è stata formata
nel secondo nucleo 3 accoppiato
tramite il divario G.

Una tensione può essere
applicata per le maniere di bobina magnetizzata 4 in tre descritte di seguito. Nella prima applicazione di tensione, come
indicato in Fig.2, una tensione VS di CC è applicata alla bobina
magnetizzata 4 nella direzione che
la tensione respinge il primo flusso 11
del primo nucleo 2 generato dal
magnete permanente 1 e viceversa,
ovvero, in maniera tale che il secondo flusso 12 si verifica nella direzione inversa del primo flusso 11. Di conseguenza, il primo flusso 11 respinge il secondo flusso 12 e viceversa, così che il flusso più
facilmente perdite dal percorso magnetico chiuso. Il primo flusso 11 ed il secondo flusso 12,
che più facilmente fuoriuscire dal percorso magnetico chiuso, saltare il gap G e inserire il secondo core 3, in modo che un terzo flusso 13 è indotta nel nucleo secondo 3. Inoltre, l'induzione di questo terzo flusso 13 cambia il flusso passa attraverso la
bobina di induzione 5, in modo che
la forza elettromotrice V1 si
verifica nella bobina di induzione 5,
conseguente potenza generata.

Successivamente, togliere la tensione di CC
applicata alla bobina magnetizzata 4
richiede il primo nucleo 2 per provare
a tornare ad uno stato dove solo il primo flusso 11 è costituito come indicato in Fig.1. A quel tempo, il
secondo nucleo 3 ha un flusso nel
senso d'inversione del flusso terzo 13,
ovvero il flusso quarto 14 indicato
in Fig.3, al fine di uccidere il
terzo flusso 13. Quindi, l'induzione della quarta flux 14 modifiche il flusso passando la
bobina di induzione 5, così che la
forza elettromotrice V2 si verifica
nella bobina di induzione 5,
conseguente la potenza generata.
Generazione di energia
in questa prima applicazione di tensione può essere realizzata da una dinamo
magnete statico coinvolta in questa invenzione, un alimentatore CC per
applicare una tensione VS di CC alla
bobina magnetizzata 4, ed un
circuito di commutazione che l'alimentatore CC accende e spegne. Un circuito di commutazione senza contatto può
essere fatto se un semiconduttore dispositivo, quale un tiristore, il passaggio
è disponibile.
La seconda applicazione
di tensione è lo stesso come la prima applicazione di tensione fino al punto
dove il terzo flusso 13 è indotta
nel secondo nucleo 3 applicando una
tensione VS di CC alla bobina
magnetizzata 4 in modo da generare
il flusso secondo 12 in direzione
inversa del primo flusso 11 e dove
il terzo flusso 13 è indotto a
generare forza elettromotrice V1 in
bobina di induzione 5, generando
così il potere.

Successivamente,
cambiando la polarità della tensione CC applicata alla bobina magnetizzata 4 genera nel primo nucleo 2 che il primo flusso 11 causata dal magnete permanente 1, come pure il flusso quinto 15 nella stessa direzione come il primo
flusso, causato dalla bobina magnetizzata 4.
Qui, il primo flusso 11 è dato il flusso di quinto 15, così che il secondo nucleo 3 è dato il flusso quarto 14 come indicato in Fig.4, così come il sesto flux 16 nella stessa direzione come il
quarto flux 14. Inoltre, inducendo il flusso quarto 14 e la sesta 16 modifiche flusso il flusso passa attraverso la bobina di
induzione 5, in modo che una forza
elettromotrice V3 maggiore della
forza elettromotrice V2 viene
generata nella bobina rotante per produrre energia..
Questa seconda
applicazione di tensione richiede una circuito PSC che cambia la polarità della tensione di invece un circuito di
commutazione che accende e spegne la tensione di CC applicata alla bobina
magnetizzata 4 nella prima
applicazione di tensione di commutazione di polarità. Questo circuito di commutazione di polarità
può essere fatto di un dispositivo di commutazione dei semiconduttori,
analogamente al circuito di commutazione nella prima applicazione di tensione.
Nella terza domanda di
tensione, tensione CA VS è applicata
alla bobina magnetizzata 4 anziché
applicare tensione continua alla bobina magnetizzata 4 nella seconda applicazione di tensione con la polarità cambiata. Il flusso generato applicando tensione alla
bobina magnetizzata 4 diventa un
flusso alternato che alterna il secondo flusso 12 in Fig.2 e il flusso
di quinto 15 in. Fig.4. Poi, il flusso indotto nel secondo nucleo 3 è il terzo flusso 13 in Fig.2 quando viene generato il flusso secondo 12, ed è il quarto flusso 14
cercando di uccidere il flusso sesto 16
e la terza di flusso 19 in Fig.4 quando viene generato il flusso
di quinto 15. Cioè, il flusso indotto nel secondo nucleo 3 naturalmente diventa anche un flusso
alternato.
Nella generazione di
energia di questa terza applicazione di tensione, tensione CA viene applicata
alla bobina magnetizzata 4, che
supera la necessità di un circuito di commutazione o polarità circuito PSC, che era necessaria nella prima e
la seconda applicazione di tensione, così che diventa semplificato il
dispositivo di commutazione. Inoltre,
il flusso indotto nel primo nucleo 2
e il secondo nucleo 3 diventa un
flusso alternato indotto dalla tensione CA, di modo che la Dinamo funziona anche
come un trasformatore con apertura G
tra il primo nucleo 2 e il secondo
nucleo 3. È pertanto possibile aumentare ulteriormente
la forza elettromotrice V generato
dall'induzione elettromagnetica in bobina di induzione 5.
Successivamente,
l'efficienza di generazione di potenza di una dinamo magnete statico coinvolta
in questa invenzione è descritto. La
Dinamo magnete statico può essere considerata come un trasformatore, se viene
rimosso il suo magnete permanente 1
e c'è un divario G.
Un trasformatore
comporta una perdita di corrente eddy Wv
e perdita di isteresi Wh del nucleo
e una perdita Wr dovuto la
resistenza elettrica della bobina. Questi fattori sono in una relazione
formulata sotto.
Perdita totale W1 = Wv + Wh + Wr . . . . . . . . .(1)
Chiamiamo il Win ingresso e l'uscita Wo, e il Win diventa uguale alla perdita totale, in modo che l'efficienza di
conversione del trasformatore è
Eff = Wo / Win = Wo(Wv + Wh + Wr) < 1 . . .
. . . . . (2)
In realtà, in Fig.1, il percorso magnetico chiuso costituito
il primo nucleo 2 contiene un
magnete permanente 1. Il flusso di questo magnete permanente 1 contribuisce quindi alla produzione
di energia. Pertanto, in Fig.1, lasciare che l'ingresso sia Win2 e il Wo2 uscita, allora
Wo2 = Wp + αWin2 . . . . . . . (3)
Dove Wp rappresenta potenza risultante dal
flusso del magnete permanente 1
contribuire alla produzione di energia, e α rappresenta
una efficienza di conversione ottenuto quando il dispositivo è considerato come
un trasformatore con un gap G.
Pertanto, l'efficienza di generazione di energia è:
Eff = Wo2 / Win2 or .
Eff =
(Wp / Win2) + α . . . . . . . (4)
Qui, dal α < 1, se Wp / Win2 > 1, se potere ottenuto
risultanti dal flusso del magnete permanente 1 contribuendo alla generazione di energia è più grande di Dinamo
potenza fornita alla bobina magnetizzata 4,
efficienza di generazione di potenza diventa non meno di 1, in modo che il
dispositivo può visualizzare la sua performance come una dinamo.
Così, l'inventore ha esaminato
come descritto qui di seguito quanto il flusso del magnete permanente 1 contribuisce all'induzione del terzo
flusso 13 in Fig.2. In primo luogo, la
Dinamo magnete statico inventore fornito della configurazione base indicato in Fig.1, uno con un magnete permanente 1 e l'altro senza un magnete permanente
1. L'inventore ha poi confrontato i livelli di
potenza necessari per indurre flussi di densità di flusso uguali al secondo
nucleo 3 di ogni incarnazione, cioè i livelli di potenza fornita alla bobina
magnetizzata 4. Di conseguenza, un'incarnazione con un magnete permanente 1 richiesto solo un bassissimo livello
di potenza fornita alla bobina magnetizzata 4. È stato osservato che il
livello richiesto di potere era non più di un quarantesimo di quello
dell'incarnazione senza un magnete permanente 1, a seconda delle condizioni di prova.
In una dinamo magnete
statico coinvolta in questa invenzione, dunque, Win2 può essere reso più Wp,
sufficientemente piccolo affinché l'inventore ritiene possibile fare Wp / Win2 > 1.
Incorporamento
1
Successivamente, come la prima incarnazione, un
sistema di Dinamo magnete statico composto di due dinamo magnete statico della
configurazione base è descritto basato su Fig.5.

In Fig.5A, in una dinamo magnete statico, un percorso magnetico chiuso
è costituito da due magneti permanenti 1
e due primo nucleo 2 formata in modo
da accoppiare i diversi poli di un magnete permanente 1 con altri magneti permanenti 1
in modo anulare. Questa chiusura
magnetica percorso è poi dotata di un secondo nucleo 3 tramite un divario G. Ciò forma un percorso aperto magnetico
costituito da un magnete permanente 1,
parte di un primo nucleo 2, un
materiale paramagnetico e un secondo nucleo
3.

Questo percorso magnetico aperto può essere organizzato
in due modi diversi. In una configurazione, come indicato in Fig.5A, un percorso magnetico aperto
può essere costituito due magneti permanenti 1 e due nucleo secondo 3.
Nella configurazione di altre, come indicato in Fig.5B, uno percorso magnetico aperto
può essere fatto di un magnete permanente 1
e un'altra può essere fatto di un primo nucleo 2. La Dinamo magnete statico
in Fig.5A e Fig.5B non differisce sostanzialmente in termini di effetto, tranne
che i loro modelli, formando così un percorso aperto magnetico differiscono.
La parte formando solo
un percorso magnetico chiuso ogni primo nucleo 2 è avvolto con una bobina magnetizzata 4. Ogni nucleo secondo 3 è avvolto attorno con una bobina di
induzione 5 che genera la forza
elettromotrice di induzione elettromagnetica.
Questo Dinamo magnete
statico costituisce un primo flusso 11
nel primo nucleo 2 in direzione
andando dal polo N al Polo S del magnete permanente 1, con nessuna tensione applicata alla bobina magnetizzata 4. Inoltre, l'azione di questo Dinamo applicando
tensione alla bobina magnetizzata 4
e generare forza elettromotrice in bobina di induzione 5 di induzione elettromagnetica per generare potenza è simile alla
Dinamo magnete statico della configurazione base. La Dinamo magnete statico con due magneti
permanenti 1, come già accennato ha
percorsi magnetici ben equilibrati. Poiché
il flusso dei magneti permanenti 1
può essere utilizzato efficacemente, questa incarnazione raggiunge la maggiore
efficienza di generazione di potenza rispetto a dinamo magnete statico della
configurazione base.
La prima incarnazione è
un sistema di Dinamo magnete statico composto da due dinamo magnete statico
della configurazione base. Analogamente,
un sistema di Dinamo magnete statico può essere fatto come una combinazione di
tre o più Dinamo magnete statico della configurazione base (Figs.1-4). In tal caso, analogamente alla prima
incarnazione, un percorso magnetico aperto può formare in due maniere. Una configurazione è la formazione di un
percorso aperto magnetico di tutti i magneti permanenti 1 di accoppiamento con un secondo nucleo 3. L'altra è la formazione
di tanti percorsi magnetici aperti come magneti permanenti accoppiando il polo
N di ogni magnete permanente 1 al
Polo S con un secondo nucleo 3.
Incarnazione 2
Successivamente, la
seconda incarnazione della presente invenzione è rappresentata in Fig.6,

a terza incarnazione in
Fig.7,

e la quarta
incarnazione in Fig.8.

In queste forme di
realizzazione, l'azione di applicando tensione alla bobina magnetizzata 4 e generando forza elettromotrice in Fig.5 la bobina di induzione
elettromagnetica è simile a quello di una dinamo magnete statico della
configurazione base (Figg. 1-4).
Il secondo e il terza
incarnazioni rappresentate in Fig.6
e Fig.7 hanno la stessa
configurazione di base come l'incarnazione prima, tranne che il primo nucleo 2 in ogni incarnazione è sagomato in
modo diverso.
Nella seconda
incarnazione, la parte contrari alla fine del secondo nucleo 3 bastoni fuori verso la fine del
secondo nucleo 3. Così, il flusso di perdita dovuto
l'idrorepellenza del primo flusso 11
ed il secondo flusso 12 generato nel
primo nucleo 2 salta attraverso il
divario G ed entra il secondo nucleo
3 con maggiore facilità.
Incarnazione 3
La terza incarnazione è
progettato in modo che la parte di accoppiamento secondo nucleo 3 è quella parte del primo nucleo 2 che è più vicino al magnete
permanente 1 e, per accorciare il
percorso magnetico aperto ancora di più, i due magneti permanenti 1 sono vicino a vicenda. Poiché un flusso tende a formare un percorso
chiuso magnetico con la distanza più breve, il flusso di perdita dovuto
l'idrorepellenza del primo flusso 11
e il secondo flusso 12 generato nel
primo nucleo 2 salta attraverso il
divario G ed entra il secondo nucleo
3 con maggiore facilità.
Incarnazione 4
La quarta incarnazione
indicato in Fig.8, al contrario di
una dinamo magnete statico della configurazione base, è costituito da un primo
ciclo dove Magneti permanenti 1 con
più tracciati chiusi magnetiche sono disposte circolarmente con flussi
orientati nella stessa direzione e un secondo ciclo che è avvolto con una
bobina magnetizzata 4 e installato
all'interno del primo ciclo. Inoltre, le
parti con loro primo nucleo 2 il
primo loop di accoppiamento a quello secondo stick verso l'altro in un
intervallo specificato. Le parti dove
questo primo nucleo 2 sporgono sono
accoppiate insieme con un secondo nucleo 3
tramite un divario G per formare un
percorso magnetico aperto. Questo rafforza
il flusso dei magneti permanenti 1 e
rende più facile per il flusso di perdita dovuto l'idrorepellenza del primo
flusso 11 ed il secondo flusso 12 generato nel primo nucleo 2 di saltare il gap G e inserire il secondo nucleo 3.
Incarnazione 5
La configurazione di
una dinamo magnete statico coinvolta in questa invenzione è stata finora
descritta in termini di incarnazioni, dove un percorso magnetico aperto è
collegato al primo nucleo 2 ad
entrambe le estremità del secondo nucleo 3
tramite un materiale paramagnetico. Tuttavia, questa invenzione non è limitata a
queste incarnazioni.

Cioè come indicato in Fig.9, percorso magnetico aperto può
essere incarnato da estendere qualsiasi due parti del primo nucleo 2 nella direzione che si avvicinano tra
loro, così definendole come estensioni nucleo 6 e accoppiamento queste estensioni nucleo 6 tramite un materiale paramagnetico 6'. Questa incarnazione può
essere applicata a tutte le incarnazioni sopra menzionati.
Incarnazione 6

Come indicato in Fig.10, un percorso magnetico chiuso è
costituito da un magnete permanente 1
e un primo nucleo 2 formata in modo
da accoppiare i diversi poli del magnete permanente 1 ha detto in modo anulare. Questo percorso magnetico chiuso è poi
dotata di un secondo nucleo 3 che
viene magneticamente in parallelo con il magnete permanente 1, così che un percorso di bypass
chiuso magnetico è composto da un magnete permanente 1, parte di un primo nucleo
2 e un secondo nucleo 3.
La parte costituita
solo il percorso magnetico chiuso del primo nucleo 2 è avvolto attorno con una bobina magnetizzata 4. Il secondo nucleo 3 è poi avvolto con una bobina di induzione 5 progettato per generare forza elettromotrice di induzione
elettromagnetica.
L'azione di un magnete
dinamo statica della forza generatrice configurazione di cui sopra è descritto
di seguito. In primo luogo, quando non è
applicata tensione alla bobina magnetizzato 4 su un magnete dinamo statico, il primo nucleo 2 forma un primo flusso 11 nella direzione che va dal polo N al
polo S del magnete permanente 1. In questo stato, una flux simile a quella del
primo nucleo 2 è generato nel
secondo nucleo 3 nonché
Incarnazione 7

La settima incarnazione
è descritto qui di seguito è basato su Fig.11,
in termini di un sistema di Dinamo magnete statico composto di due dinamo
magnete statico della configurazione base e con la posizione relativa dei
magneti permanenti cambiato.
In una dinamo magnete
statico, un percorso chiuso magnetico è composto da due magneti permanenti 1 e due primo nucleo 2 progettato in modo da accoppiare i
diversi poli di uno dei magneti permanenti 1
con altri magneti permanenti 1 in
modo anulare. Questa chiusura magnetica
percorso è poi dotata di un secondo nucleo 3.
Questo porta alla formazione di un by-pass
chiuso percorso magnetico costituito da un magnete permanente 1, parte di un primo nucleo 2, un materiale paramagnetico e un
secondo nucleo 3.
Le parti di cui è
formato un tracciato chiuso magnetico di ogni primo nucleo 2 solo sono attorcigliate con una bobina magnetizzata 4. Ogni secondo nucleo 3 è poi avvolto con una bobina di induzione 5 progettato per generare forza elettromotrice di induzione
elettromagnetica.
In questa dinamo
magnete statico, in cui non viene applicata alcuna tensione alla bobina
magnetizzato 4, un primo flusso 11 è formato nel primo nucleo 2 nella direzione che va dal polo N al
polo S del magnete permanente 1. L'azione di applicazione tensione alla bobina
magnetizzato 4 e generare forza
elettromotrice nella bobina di induzione 5
per induzione elettromagnetica per generare potenza è simile a quella di un
magnete dinamo statica della configurazione base.
Nella suddetta dinamo
magnete statico incorpora due magneti permanenti 1, percorsi magnetici sono disposti in maniera equilibrata. Ciò
rende possibile utilizzare efficacemente il flusso dei magneti permanenti 1, così che l'efficienza di generazione
di energia è superiore a quello di un magnete dinamo statica della
configurazione base.
Questa invenzione è
stata finora descritta alquanto in dettaglio in termini di forme di
realizzazione più favorevoli. Poiché è chiaro che una grande varietà di forme
di realizzazione può essere realizzato senza contrastare la filosofia e la
portata di questa invenzione, l'invenzione non sarà limitata a qualsiasi
particolare forma di realizzazione, tranne che per le limitazioni descritte
nella rivendicazione allegata.
C'è un interessante video
pubblicato su YouTube in cui http://www.youtube.com/watch?v=9zh_C3yvJH0
Stephan W. Leben il cui ID è
"TheGuru2You" messaggi da alcune
informazioni davvero interessanti. Inizia con un circuito prodotto
da Alexander Meissner nel 1913 e illustrato qui:

Afferma Stephan che ha costruito questo circuito e posso confermare che si tratta di un circuito di auto-risonante powering. Una volta dodici volt
è collegato ai terminali di ingresso,
il transistor commuta alimentando il trasformatore che alimenta impulsi ripetuti alla base del transistore, sostenendo le oscillazioni. Il tasso di oscillazione è governata dal condensatore marcato "C" nello schema elettrico sopra la bobina e attraverso
il quale è collegato.
Stephan consiglia l'utilizzo del circuito di Alexander Meissner
con circuito di amplificazione magnetica Charles Flynn.
Qui il trasformatore viene commutato a diventare l'oscillatore Charles Flynn
avvolgimento più un secondo avvolgimento poste di fianco per accoppiamento magnetico come mostrato qui:

La fase transistor è auto-oscillante come prima, il trasformatore ora costituito
le spire rosso e blu. Tale oscillazione oscilla anche l'armatura magnetica
Flynn, producendo una uscita elettrica attraverso le
bobine nere a ciascuna estremità
della armatura magnetica.
Questo è, naturalmente, un'uscita oscillante, o
CA, quindi i
quattro diodi produrre una
raddrizzata (pulsante) di corrente CC che
viene levigato dal condensatore
collegato ai diodi.
Questo circuito potrebbe essere avviata toccando una fonte da 12 volt
molto brevemente ai terminali di uscita
sulla destra. Un'alternativa sarebbe
quella di sventolare un magnete permanente vicino alle bobine rosso e blu come che genera una
tensione in bobine, più che sufficiente per avviare il sistema oscillante e così, diventando autosufficiente. Stephan suggerisce di utilizzare il cristallo piezoelettrico da un accendino e
collegandolo ad una bobina
supplementare per produrre la
tensione di picco necessaria quando la bobina è tenuta vicino alla bobina blu e il meccanismo leggero
cliccato.
Un problema sorprendente sarebbe come spegnere il dispositivo dal momento che si gestisce. Per gestire questo, Stephan
suggerisce un bipolare On / Off per scollegare
l'uscita ed evitare che fornendo la sezione di ingresso del circuito. Per mostrare se il circuito è in
esecuzione, un Light-Emitting
Diode ("LED") è
collegato tra l'uscita e la corrente che
scorre attraverso di essa da una
resistenza di circa 820 ohm.
Chiunque voglia provare replicare questo dispositivo bisogno di sperimentare con il numero di giri
in ogni bobina e il
diametro del filo per trasportare la corrente desiderata. Stephan afferma che è
necessario disporre di almeno due volte il peso del rame nella (nero) bobine di
uscita in quanto vi è in (blu) bobine di
ingresso al fine di consentire al
dispositivo di produrre energia in eccesso. La prima
pagina del appendice indica la
capacità di trasporto di corrente per ciascuno dei diametri di filo standard comunemente messi in vendita. Poiché si tratta di un circuito abbastanza recentemente rilasciato, io non sono a conoscenza di eventuali repliche di esso in
questo momento.
Un altro dispositivo nella stessa categoria di
magneti permanenti in combinazione con bobine oscillanti, è stato prodotto da
Floyd dolce. Il dispositivo è stato soprannominato "Vacuum Triode
Amplificatore" o "VTA" di Tom Bearden.
Il dispositivo è in grado di produrre più di 500
watt di potenza di uscita a 120 Volt, 60 Hz richiedendo meno di un terzo di un
milliwatt come potenza di ingresso. La potenza di uscita può funzionare motori
a corrente alternata, luci, riscaldatori e quando rettificati, motori a
corrente continua.
Grazie è
dovuto a Horst Weyrich che mi ha recentemente fornito con collegamenti a
materiale utile che io non avevo mai visto prima. Questo link: http://www.youtube.com/watch?v=0gM9natKIyY è quello di un video in cui Floyd
mostra la maggior parte del processo di condizionamento magnete.
Di recente, alcune informazioni aggiuntive sul
dispositivo di Floyd dolce, è stato rilasciato pubblicamente da un associato di
Floyd che va solo con il suo nome di "Maurice" e che, dopo aver
raggiunto l'età di settant'anni ha deciso che è giunto il momento di rilasciare
queste informazioni aggiuntive. Queste informazioni si possono trovare in
appendice. Non sono a conoscenza di qualcuno che è riuscito a replicare VTA
Floyd, ma qui è quante più informazioni che ho in questo momento.
Nel video sopra, Floyd parla separa due suoi
magneti permanenti condizionata con una "traferro" che è sorprendente
come li sta mettendo su lati opposti di una lunghezza di canale di alluminio
con pareti spesse e alluminio ha un notevole effetto smorzante magnetica campi:

Questa disposizione che sembra completamente
pazzo, è confermata da una foto dal laboratorio di Floyd. Come illustrato di
seguito:

Ciò dimostra chiaramente che le estremità aperte
del canale non sono tra i due magneti consentendo un campo magnetico libero di
fluire tra di loro, ma invece, due spessori di canale di alluminio sono tra i
due magneti, che ostruisce il flusso magnetico - abbastanza notevole !!
Floyd mostra
due bobine utilizzati per condizionare i magneti. La prima è la grande bobina rivolta mostrato qui
davanti Floyd:

La seconda bobina non è visto come è all'interno
della bobina verticale, seduto piano sul fondo, e consistente in un intero
rullo di AWG # 17 (diametro 1,15 millimetri) di filo, qualcosa di simile:

Questa bobina funziona efficacemente come un
solenoide aria nucleo, producendo un forte campo magnetico assiale all'interno
della bobina più grande che la circonda. Questa bobina interna è azionato da un
segnale sinusoidale nella gamma 10Hz a 15Hz, amplificato tramite un amplificatore
audio 100 watt che fornisce la corrente necessaria per imporre l'onda
sinusoidale su questa bobina bassa impedenza senza distorcere la forma d'onda.
Il primo passo è quello di determinare la
frequenza di risonanza di ciascuno dei due magneti permanenti da utilizzare. I
magneti in ferrite utilizzate risultano essere di circa 6 x 4 x 1 pollice (150
x 100 x 25 mm). Poiché saranno
eventualmente utilizzati in coppia, una estremità di ciascuna è contrassegnato
in modo che possano essere allineati con l'orientamento corretto dopo il
condizionamento. Tale dimensione del magnete sembra avere una frequenza di
risonanza di circa 12Hz, ma ogni magnete sarà leggermente diversa.
L'interno, bobina di bassa frequenza viene acceso
a circa 12Hz, la lunghezza del magnete allineato con il campo magnetico
terrestre (cioè, nord / sud), e posto sulla parte superiore della bobina
verticale. Un shim ferro come utilizzato nella costruzione nucleo del
trasformatore è posizionato verticalmente sopra il magnete come un'indicazione
di risonanza:

Come mostrato nel video, la frequenza dell'onda
sinusoidale alimenta l'AWG # 17 bobina è regolata lentamente per trovare il
punto in cui lo spessore del ferro vibra più forte. Tale frequenza è notato, e
lo stesso avviene per il secondo magnete. Non è probabile che le due frequenze
di risonanza sarà lo stesso, e quindi viene utilizzata la frequenza media per
la coppia.
Successivamente, i due magneti sono collocati in
modo attrazione, uno su ciascun lato del canale in alluminio, con le loro
estremità marcate alla stessa estremità del canale. Cioè, la faccia nord polo
toccherà l'alluminio e il volto polo sud dall'altra toccherà l'alluminio. I due
magneti e loro canale alluminio separando vengono poi poste all'interno della
bobina principale e allineate in modo che l'esterno polo Nord affaccia verso
sud e la fronte esterno meridionale facce polari nord. Le grandi dimensioni
delle bobine sono disposte in modo che il centro dei magneti è al centro della
bobina esterna:

Mentre la bobina interna continua ad essere
alimentato con una potente onda sinusoidale, la bobina esterna è ora alimentato
un flusso di impulsi di tensione 60Hz taglienti. Questi sono generati caricando
un condensatore di 250V 16.000 microfarad e poi scaricandola attraverso un SCR
(tiristore) collegato alla bobina esterna. È importante che le punte siano
tagliente come imposto loro quella frequenza sulla struttura magnetica interna
dei magneti. Presumibilmente, se puntando una versione europea 240V, poi la
bobina esterna sarebbe impulsi a 50Hz anziché 60Hz americano e il condensatore
sarebbe un tipo 450V nominale.
Le foto lavorativi prototipo Floyd alimentano un
carico, sembrano indicare che una bobina di ingresso ed uno di uscita della
bobina come descritto da Ashley Gray sotto, sono gli stessi usati per Floyd
come vediamo fili che esce l'estremità aperta del canale.
Horst tiene a sottolineare che non è facile fare
una replica di lavoro del disegno di Floyd come le persone a www.hyiq.org hanno cercato di replicare per un
certo numero di anni, senza alcun successo.
Ashley Gray della Nuova
Zelanda.
Nel mese di aprile 2014, sono stato mandato alcune informazioni su un
collega di Floyd Sweet - Ashley Gray di Nelson, Nuova Zelanda. La versione
descritto da Ashley sembra essere comprensibili.
Il 20 giugno del 1994, Ashley dice:
Dopo un viaggio in America nel 1985, quando mi è stato introdotto per Floyd
dolce, sono stato invitato a tornare indietro e lavorare con lui. A quel tempo
era stato finanziato da Mark Goldes dell'Istituto Esopo, e Darryl Roberts stava
lavorando come coordinatore per l'Istituto a Los Angeles Dopo aver lavorato con
Floyd per un certo tempo abbiamo lasciato l'America per l'Inghilterra. A quel
punto la "politica" era diventato difficile. Mentre eravamo in
Inghilterra, siamo stati contattati da Mark Goldes e detto che Floyd aveva
ottenuto alcuni risultati che ci vorrebbero per verificare per loro.
Al nostro ritorno in Nuova Zelanda, Darryl Roberts ci ha inviato la nota Lab
che aveva registrato durante i primi test del "Space Quanta
Modulatore" ed è dettagli costruttivi. Ci è
stato chiesto di ripetere gli esperimenti per verificare i risultati. Abbiamo
costruito il dispositivo, ma è stato possibile ottenere alcun risultato in quel
momento. Alla luce dei nuovi elementi, che era stato rilasciato, ho condotto
alcuni ulteriori esperimenti e sono riuscito ad ottenere alcuni risultati
interessanti senza calamita 'condizionata', che, per quanto ne sapevo, non è
stato utilizzato nel dispositivo originale.
Il dispositivo iniziale che ho costruito quando in America, consisteva di
due da 1 pollice x 1 pollice (25 x 25 mm) magneti al neodimio montati in un
telaio in acciaio. Ci sono stati due 'modulanti' avvolgimenti e un avvolgimento
di uscita. Si è guidato da un oscillatore sinusoidale appositamente costruita
che era regolabile da 1 kHz a 2 kHz. Non abbiamo avuto alcun output o risultato
significativo da questo dispositivo. Floyd ritenuto che questo è dovuto alla
forza di campo elevata dei magneti al neodimio ed il percorso magnetico chiuso.
Floyd non ha menzionato nulla che sia necessario magnete condizionata.
Un secondo prototipo è stato poi costruito, con ferrite di bario dimensioni
magneti 6 pollici x 4 pollici x 1 pollice (150 x 100 x 25 mm):

Ashley
sembra essere l'uso di magneti che non sono 'condizionata'. Ashley ha avuto
quello che io ritengo essere risultati molto significativi dal suo prototipo
con una potenza di uscita di 111 watt per un ingresso di soli 0.001 watt (un
COP pari a 111.000). Costruire il successo di Ashley ha un corpo in alluminio.
La gente l'idea molto sbagliata che l'alluminio non è magnetico perché i
magneti non si attaccano ad esso. La realtà è che l'alluminio ha un effetto
molto importante sui campi magnetici e può essere utilizzato come schermatura
magnetica se abbastanza spessa. Disegno di Ashley utilizza due bobine ad angolo
retto tra loro e che lo stile di funzionamento può essere visto in altri
disegni privo di energia. In ogni caso, date un'occhiata alla versione
costruita da Ashley:

Il
case in alluminio è poco profonda. Le estremità sono 4 "x 2.5" che è
100 x 63 mm. Il diametro della bobina ingresso è 1,5 pollici o 38 mm.
Similmente, la lunghezza della bobina di uscita deve essere inferiore a 63 mm.
Lo
schema che segue può dare un po 'migliore idea delle dimensioni coinvolte nella
costruzione. Al momento attuale, magneti di dimensioni che sono disponibili per
£ 14 ciascuno nel Regno Unito. Ognuno di essi ha un 8 Kg di trazione e sono
molto pesanti.

Le
linee di forza magnetiche fluiscono attraverso la lunghezza della bobina di
uscita e attraverso la larghezza della bobina di ingresso. Come si può vedere
dallo schema, l'unità è compatta nonostante le grandi magneti. L'input
necessario è un'onda sinusoidale buona qualità. Ashley dice anche:
Dettagli Da Lab Note di Prime Prove di Successo
Configurazione di Prova Originale:
Un generatore di segnale da parte Wavetek, Stati Uniti d'America, è stato
utilizzato per pilotare la bobina di ingresso.
Bobina di Ingresso: 1.5"
diametro 120 giri #20 gauge (0,812 mm di diametro, la resistenza complessiva
circa 1 ohm)
Ingresso = 7,5 volt a 3.l
microampere = 23 micro watt
Bobina di Uscita: 1.5"
diametro 12 giri #12 gauge (2,05 mm di diametro)
Uscita = 10.4 volt
onda sinusoidale a 1,84 Ampere = 19,15 watt a circa 400 Hz
Commenti:
Frequenza generalmente influenzato la resistivo 1.8 amplificatore da 20
watt lampadina carico proporzionalmente e la luminosità aumentata con maggiore
frequenza, è diminuita con diminuzione della frequenza, tranne in alcuni punti
quando è apparso inversamente proporzionale, aumentando la frequenza è
diminuita.
Prime Modifiche:
Il generatore di segnale è stato sostituito con uno costruito appositamente
onda sinusoidale oscillatore di uscita 9 volt. La bobina di ingresso è stato
aumentato a 250 giri di # 18 gauge (1,024 millimetri) e la bobina di uscita è
stata aumentata a 24 giri di # 18 gauge (1,024 millimetri di diametro) del
filo. Magneti, spaziatura, ecc tutti sono rimasti gli stessi.
Ingresso: 7,2 volt a 143
micro Ampere (0.001 watt)
Uscita: 24.2 volt a 4,6 ampere =
111watts. Frequenza 388 e 402 Hz
Commenti:
Aumentando l'area del filo esposto a / o occupare il campo magnetico
fluttuante l'uscita è stata raddoppiata. Le esatte proporzioni / rapporti tra
il volume di riempimento dello spazio di avvolgimento di produzione non erano
stati determinati al momento della scrittura. Dimensioni magnete sembra essere
meno importante rispetto al volume degli avvolgimenti, diametro del filo,
tensione di ingresso e corrente.
La corrente è limitata solo dalla impedenza del filo aumenta
drammaticamente nel campo magnetico a diverse centinaia di migliaia di ohm,
mentre l'impedenza al di fuori del campo magnetico è solo 2 o 3ohms @ 400 Hz.
(250 giri # 18 (diametro di 1 mm) fili).
La corrente di eccitazione CA è necessaria solo per sostenere I2R perdite come il campo magnetico non
richiede alimentazione aggiuntiva, in quanto non viene caricato dai fili
passano attraverso il campo.
L'unità ha funzionato per 10 a 12 ore senza riscaldamento che si
verificano, ma sono stati condotti test di più lunga durata. I test sono stati
testimoniati da tre persone.
Note Tecniche:
La qualità dell'oscillatore è importante - ci dovrebbe essere nessuna
distorsione armonica cioè deve essere un'onda sinusoidale pura.
Il diodo di segnale divide la corrente nel circuito, ed essendo parallela -
mette una piccola corrente microampere nella bobina di alimentazione, nonché la
bobina di eccitazione. Questo funziona con i magneti in modo tale che si
produce un vettore di complementazione.
Quando in prossimità di magneti, i bulbi di carico in uscita vibrano.
Pavel ha ottenuto un brevetto statunitense nel 1970. Il brevetto è più
interessante in quanto descrive un
dispositivo che può avere una
potenza di uscita che è più di nove
volte maggiore della potenza in
ingresso. Raggiunge questo con
un dispositivo che ha due elettrodi
a punta racchiusi in un involucro di vetro di quarzo che contiene gas
xenon in pressione (maggiore è la pressione, maggiore è il
guadagno del dispositivo) e di un
materiale dielettrico.

Qui, l'alimentazione di una o più lampade fluorescenti
standard, viene fatto passare attraverso
il dispositivo. Questo produce un guadagno di potenza che può essere spettacolare quando la pressione
del gas nella zona contrassegnata
'24 'e '25' nello
schema precedente è alta. Il
brevetto è incluso in questo insieme
di documenti e contiene la seguente
tabella di misure sperimentali:
Tabella 1 mostra i dati
ottenuti da relative
al generatore elettrostatico ottico. La Tabella 2 mostra le prestazioni e l'efficienza della lampada per ciascuna delle prove riportate in Tabella 1.
La seguente è una descrizione dei dati in ciascuna delle colonne di Tabelle 1 e 2.
|
Colonna |
Descrizione |
|
B |
Il gas utilizzato nel tubo di scarico |
|
C |
Pressione del gas in tubo (in torrs) |
|
D |
Intensità di campo attraverso il tubo (misurata in volt per cm. Di lunghezza tra gli elettrodi) |
|
E |
Densità di corrente (misurata in microampere per mmq. Del
tubo di sezione trasversale) |
|
F |
Corrente (misurata in ampere) |
|
G |
Alimentazione attraverso il tubo (calcolato in watt per cm. Di lunghezza tra gli elettrodi) |
|
H |
Tensione per lampada (misurata in Volt) |
|
K |
Corrente (misurata in ampere) |
|
L |
Resistenza (calcolata in ohm) |
|
M |
Potenza di ingresso per lampada (calcolato in watt) |
|
N |
Emissione luminosa (misurata in lumen) |
Table 1
|
|
|
Generatore |
Sezione |
Ottica |
|
|
|
A |
B |
C |
D |
E |
F |
G |
|
Test No. |
Tipo di lampada a scarica |
Pressione di Xenon |
Intensità di campo in lampada |
Densità di corrente |
Corrente |
Potenza attraverso la lampada |
|
|
|
(Torr) |
(V/cm) |
(A/sq.mm) |
(A) |
(W/cm.) |
|
1 |
Mo elec |
- |
- |
- |
- |
- |
|
2 |
Xe |
0.01 |
11.8 |
353 |
0.1818 |
2.14 |
|
3 |
Xe |
0.10 |
19.6 |
353 |
0.1818 |
3.57 |
|
4 |
Xe |
1.00 |
31.4 |
353 |
0.1818 |
5.72 |
|
5 |
Xe |
10.00 |
47.2 |
353 |
0.1818 |
8.58 |
|
6 |
Xe |
20.00 |
55.1 |
353 |
0.1818 |
10.02 |
|
7 |
Xe |
30.00 |
62.9 |
353 |
0.1818 |
11.45 |
|
8 |
Xe |
40.00 |
66.9 |
353 |
0.1818 |
12.16 |
|
9 |
Xe |
60.00 |
70.8 |
353 |
0.1818 |
12.88 |
|
10 |
Xe |
80.00 |
76.7 |
353 |
0.1818 |
13.95 |
|
11 |
Xe |
100.00 |
78.7 |
353 |
0.1818 |
14.31 |
|
12 |
Xe |
200.00 |
90.5 |
353 |
0.1818 |
16.46 |
|
13 |
Xe |
300.00 |
100.4 |
353 |
0.1818 |
18.25 |
|
14 |
Xe |
400.00 |
106.3 |
353 |
0.1818 |
19.32 |
|
15 |
Xe |
500.00 |
110.2 |
353 |
0.1818 |
20.04 |
|
16 |
Xe |
600.00 |
118.1 |
353 |
0.1818 |
21.47 |
|
17 |
Xe |
700.00 |
120.0 |
353 |
0.1818 |
21.83 |
|
18 |
Xe |
800.00 |
122.8 |
353 |
0.1818 |
22.33 |
|
19 |
Xe |
900.00 |
125.9 |
353 |
0.1818 |
22.90 |
|
20 |
Xe |
1,000.00 |
127.9 |
353 |
0.1818 |
23.26 |
|
21 |
Xe |
2,000.00 |
149.6 |
353 |
0.1818 |
27.19 |
|
22 |
Xe |
3,000.00 |
161.4 |
353 |
0.1818 |
29.35 |
|
23 |
Xe |
4,000.00 |
173.2 |
353 |
0.1818 |
31.49 |
|
24 |
Xe |
5,000.00 |
179.1 |
353 |
0.1818 |
32.56 |
Table 2
|
|
|
Lampada |
Fluorescente |
Sezione |
|
|
A |
H |
K |
L |
M |
N |
|
Test No. |
Tensione |
Corrente |
Resistenza |
Ingresso Energia |
Emissione luminosa |
|
|
(Volts) |
(Amps) |
(Ohms) |
( |
(Lumen) |
|
1 |
220 |
0.1818 |
1,210 |
40.00 |
3,200 |
|
2 |
218 |
0.1818 |
1,199 |
39.63 |
3,200 |
|
3 |
215 |
0.1818 |
1,182 |
39.08 |
3,200 |
|
4 |
210 |
0.1818 |
1,155 |
38.17 |
3,200 |
|
5 |
200 |
0.1818 |
1,100 |
36.36 |
3,200 |
|
6 |
195 |
0.1818 |
1,072 |
35.45 |
3,200 |
|
7 |
190 |
0.1818 |
1,045 |
34.54 |
3,200 |
|
8 |
182 |
0.1818 |
1,001 |
33.08 |
3,200 |
|
9 |
175 |
0.1818 |
962 |
31.81 |
3,200 |
|
10 |
162 |
0.1818 |
891 |
29.45 |
3,200 |
|
11 |
155 |
0.1818 |
852 |
28.17 |
3,200 |
|
12 |
130 |
0.1818 |
715 |
23.63 |
3,200 |
|
13 |
112 |
0.1818 |
616 |
20.36 |
3,200 |
|
14 |
100 |
0.1818 |
550 |
18.18 |
3,200 |
|
15 |
85 |
0.1818 |
467 |
15.45 |
3,200 |
|
16 |
75 |
0.1818 |
412 |
13.63 |
3,200 |
|
17 |
67 |
0.1818 |
368 |
12.18 |
3,200 |
|
18 |
60 |
0.1818 |
330 |
10.90 |
3,200 |
|
19 |
53 |
0.1818 |
291 |
9.63 |
3,200 |
|
20 |
50 |
0.1818 |
275 |
9.09 |
3,200 |
|
21 |
23 |
0.1818 |
126 |
4.18 |
3,200 |
|
22 |
13 |
0.1818 |
71 |
2.35 |
3,200 |
|
23 |
8 |
0.1818 |
44 |
1.45 |
3,200 |
|
24 |
5 |
0.1818 |
27 |
0.90 |
3,200 |
I risultati di prova n ° 24 in cui la
pressione del gas è molto elevata
5000 Torr, mostrano
che la potenza di ingresso per
ogni 40 watt fluorescenti tubi standard è di 0,9 watt
per l'uscita della lampada completa. In altre parole, ogni lampada è al lavoro per la sua scheda tecnica completa con meno di un quarantesimo del suo potere di ingresso nominale. Tuttavia, la potenza assorbita dal dispositivo in quel test è stato 333,4 watt
che con i 90 watt
necessari per eseguire le lampade da 100, dà una
potenza totale di ingresso elettrica
di 423,4 watt invece dei 4000 watt che
sarebbero stati necessari senza
il dispositivo. E 'una potenza di uscita di più di nove volte la
potenza di ingresso.
Dal punto di vista di ogni singola lampada, senza l'utilizzo di questo dispositivo, richiede 40 watt di
potenza di ingresso per dare 8,8 watt di potenza
luminosa che è un'efficienza di
circa 22% (il resto della potenza in ingresso viene convertita in calore). In prova 24, la potenza di ingresso per
lampada è di 0,9 watt per il
8,8 watt di luce
prodotta, che è una lampada efficienza
di oltre il 900%. La luce che serve a bisogno
di 40 watt di potenza in ingresso
per eseguire correttamente. Con questo dispositivo nel circuito, ogni lampada deve solo 0,9
watt di potenza di ingresso che è solo 2,25% della
potenza originale. Piuttosto
una prestazione impressionante per
un dispositivo così semplice!
C'è un numero di domanda di brevetto francese FR 2680613
datata 19 agosto 1991 dal titolo "Activateur pour Mutation Isotopique",
che fornisce alcune informazioni molto interessanti. Il sistema
descritto è un self-contained
stato solido convertitore di energia
che astrae grandi quantità di energia da una barra di ferro ordinario. Ciò è dimostrato anche in Michel Cecoslovacchia
brevetto No.284, 333
Gli inventori descrive la tecnica come un "effetto mutazione isotopica" come converte ferro ordinaria
(isotopo 56) di
ferro isotopo 54,
rilasciando grandi quantità di energia
elettrica nel processo. Questa energia in eccesso può, dicono, essere utilizzato per pilotare inverter,
motori o generatori.
La descrizione del meccanismo che viene utilizzato dal
dispositivo è: "la
presente invenzione utilizza un fenomeno fisico per cui l'attenzione
e che chiameremo 'Change isotopica'. Il
principio fisico vale per isotopo
56 ferro che contiene
26 protoni, 26 elettroni e 30 neutroni, dando una massa totale di 56,52 Mev, anche se la
sua massa effettiva è 55,80 Mev. La
differenza tra la massa totale e
la massa reale è quindi 0,72 Mev questa che corrisponde a una energia di coesione per nucleone di
0,012,857 mila Mev.
Quindi, se si introduce altri 105 ev di energia
al nucleo di ferro isotopo 56, che isotopo nucleo avrà un livello
di energia di coesione 0,012,962 mila MeV per nucleone corrispondente a ferro isotopo
54. L'instabilità creata da questo apporto di energia trasferirà il 56 ferro
isotopo isotopo 54
causando un rilascio di 2 neutroni.
Questo processo genera una energia di 20.000 ev
poiché l'isotopo ferro
54 è solo 0,70
Mev mentre isotopo
56 ha 0,72 MeV.
Per realizzare questo isotopo di ferro 56 di
conversione, si usa il principio della
risonanza magnetica nucleare. "
Il metodo pratico per farlo è utilizzando tre
bobine di filo e una armatura di supporto magnetico-path-chiusura di ferro, come mostrato in questo
diagramma:

In
questa disposizione,
Bobina1: Produce 0,5 Tesla, quando alimentato
con CC, convertendo la barra di
ferro in un elettromagnete
Bobina 2: Produce 10 milliTesla se somministrate con un 21 MHz CA segnale
sinusoidale
Bobina 3: È la bobina di uscita, fornendo 110, 220 o 380 volt CA a circa 400 Hz a
seconda del numero di spire della bobina
Questo
sistema semplice ed economico ha il potenziale per la produzione di uscita sostanziale energia
per un tempo molto lungo. Gli inventori sostengono che questo dispositivo può essere collegato ad
essere auto-alimentato, mentre ancora
l'alimentazione di dispositivi esterni.
Bobina 1 gira il
tondino di ferro in un
elettromagnete con il suo flusso
incanalato in un
ciclo dal giogo di ferro. Bobina 2 oscilla quindi
che il campo magnetico in risonanza con
i 56 atomi di ferro isotopi del tondino, e
questo produce la conversione isotopo
e il rilascio di energia in eccesso.
Bobina 3 viene avvolto per produrre una tensione di uscita conveniente.
Questo dispositivo, brevettato da Harold e Ronald Colman
Seddon-Gillespie il
5 dicembre 1956, è davvero
notevole. Si tratta di un piccolo
dispositivo leggero che può
produrre energia elettrica utilizzando una autoalimentato elettromagnete
e sali chimici. La
durata di vita del dispositivo prima
che necessitano di lavori di ristrutturazione è stimato a circa settanta anni con una produzione di circa un kilowatt.
L'operazione è controllata da un
trasmettitore che bombarda il
campione chimico con 300 MHz onde radio. Questo
produce emissioni radioattive dalla
miscela chimica per un periodo massimo di un ora, quindi il trasmettitore deve essere eseguito per 15-30 secondi una volta ogni ora. La miscela chimica
è schermato da una schermata di piombo, per evitare radiazioni nocive che
raggiungono l'utente. Il brevetto,
763062 GB è
inclusa nell'appendice.
Questa unità generatore comprende un magnete, un
tubo contenente una miscela chimica di elementi il cui nuclei diventa instabile a causa del bombardamento onde corte in modo che gli elementi
diventano radioattivi e rilasciare energia elettrica, la miscela essendo montato
tra, e in contatto
con, una coppia di diversi metalli quali rame e zinco, e un condensatore
montato tra tali metalli.
La miscela è preferibilmente composto da
elementi del cadmio,
cobalto e fosforo
aventi pesi atomici di 112, 31 e 59 rispettivamente. La miscela, che può essere di forma in polvere, è montato in un tubo
non conduttore, materiale di calore
resistività ed è
compressa tra zinco granulare
ad una estremità del tubo di rame e granulato
all'altra estremità, le estremità del
tubo essendo chiuse da tappi in ottone e il
tubo viene trasportato in una culla
adatta in modo che si trova tra i poli del
magnete. Il magnete è
preferibilmente un elettromagnete ed è eccitato dalla corrente prodotta dall'unità. L'unità
trasmittente che viene utilizzato per
l'attivazione del gruppo generatore può essere di qualsiasi tipo operativo convenzionale
ultra-onde corte ed
è preferibilmente controllato cristallo alla frequenza desiderata.


Il trasmettitore è del tipo adatto
qualsiasi convenzionale per produrre
onde corte ultra e può essere controllato
a cristallo garantire
che opera alla frequenza desiderata
con la necessità di sintonizzazione.
Il tubo di quarzo contenente la miscela chimica, funziona meglio se composto da un numero di celle in serie piccole. In altre
parole, considerando la cartuccia
da un'estremità all'altra, ad una estremità e in contatto
con il tappo in ottone, ci sarebbe uno strato di rame in polvere, poi uno strato della miscela chimica, quindi uno strato di
polvere di zinco, un strato di rame in polvere, ecc con uno strato di polvere
di zinco in contatto con il tappo in ottone all'altra
estremità della cartuccia. Con
una cartuccia circa 45 millimetri di lunghezza e cinque millimetri di diametro, circa quattordici
le cellule possono essere inclusi.


Uno degli sviluppatori più impressionanti della
free-energy è Don Smith, che ha prodotto molti dispositivi spettacolari, in
genere con potenza maggiore. Si tratta di un risultato della sua conoscenza
approfondita e la comprensione del modo in cui l'ambiente funziona. Don dice che
la sua comprensione viene dal lavoro di Nikola Tesla come riportato nel libro
di Thomas C. Martin "Le invenzioni, ricerche, e Scritti di Nikola
Tesla" ISBN 0-7873-0582-0 disponibile da http://www.healthresearchbooks.com e varie compagnie altro libro. Questo libro
può essere scaricato da http://www.free-energy-info.tuks.nl
in formato pdf, ma una copia cartacea è molto migliore qualità e più facile da
lavorare.
Molti sperimentatori hanno
speso molto tempo e sforzo nel tentativo di replicare il lavoro che Don
rapporti e mentre COP>1 è stato sicuramente raggiunto, ad alta potenza non è
ancora stato raggiunto. Se volete maggiori dettagli quindi si può trovare qui: http://www.free-energy-info.tuks.nl/DonSmith.pdf come download gratuito - O la
traduzione russa qui: http://www.free-energy-info.tuks.nl/Don
Smith Russian.pdf. Vladimir Utkin
ha una grande quantità di comprensione dell'opera di Don e il lavoro di
Vladimir è disponibile come documento PDF autosufficiente qui: http://www.free-energy-info.com/VladimirUtkin.pdf.
Essendo uno sviluppatore molto paziente e determinato
Tomswift2112 sta lavorando sulla comprensione circuiti di Don Smith per qualche
tempo. Egli è riuscito a replicare il front-end autoalimentato

ed egli vi invita a vedere se è possibile
replicare il circuito troppo.
A grandi linee, il circuito è azionato da
una batteria da 12V che alimenta un circuito ad alta frequenza ad alta
tensione. Quella parte

L'uscita passa attraverso un diodo UX-FOB ad
uno spinterometro che è impostato per una lunghezza molto breve scintilla e poi
ad una bobina collegata a

ed è posto vicino alla batteria. Quando viene avviato il funzionamento, la
tensione della batteria scende leggermente per qualche minuto e inizia a salire
a causa

Questo circuito conferma quanto Don detto
sulla estremità anteriore
Verso la fine del 2014, Mohamed ha rilasciato il
seguente documento dopo due anni di controllo e prova di disegno principale di
Don Smith.
Il Dispositivo di Energia
di Risonanza ha Spiegato
Prefazione
Questa
presentazione è un favore da Allah (Dio), il grazie è per lui anche se è il
risultato di oltre due anni di riflessione profonda sul dispositivo di energia
di risonanza inventato da Donald Lee Smith. Ero interessato a questo
dispositivo causa della quantità enorme di potere che è in grado di fornire. Il
dispositivo non ha parti in movimento ed è di piccole dimensioni. Questa
presentazione è un tentativo di spiegare due importanti fonti di informazioni
relative al dispositivo di energia di risonanza; sono un documento e un video:
Il documento si trova qui: http://www.free-energy-info.com/Smith.pdf
Il
video può essere visto qui: http://www.youtube.com/watch?v=cQkYAh8Qgb4
Le informazioni contenute nel documento è
gratuito e aperto al pubblico. Penso che sia giunto il momento di tali
informazioni per diventare ampiamente conosciuto - energia libera è libera
perché è per tutti. L'energia è ovunque in quantità illimitata, pronto per
essere preso con il minimo sforzo, il dispositivo di energia di risonanza qui
descritto è uno dei più interessanti dispositivi liberi di energia, dipende da
un trasformatore multidimensionale che rende possibile uno scambio armonico tra
la realtà energia positiva e l'invisibile mare negativa di energia. Ciò è
possibile utilizzando una disposizione spinterometro, la simmetria energetica
tra gli oceani energia positiva e negativa rendono preferibile usare il termine
sfondo ambient energia piuttosto che il nome zero punto energia. Il video ha sottolineato sopra, è un
eccellente fonte che può essere visualizzato in parallelo con questo lavoro, e
se considerati insieme, il lettore capirà sia il video e questa presentazione.
All'inizio del video di cui sopra, l'inventore
spiega l'importanza del campo magnetico nella generazione di energia elettrica.
L'energia magnetica sconvolge l'energia di fondo e che si traduce in una
separazione di elettroni tra le due estremità di una bobina, questa separazione
di elettroni è una fonte di energia elettrica.
Il dispositivo di energia di risonanza si basa
su un'idea molto importante, vale a dire, che il magnetismo e l'elettricità sono
le due facce di un'unica entità!
Materia ed energia sono due aspetti della stessa
cosa di Oliver Heaviside espresso nella sua famosa equazione energia E = mC2.
L'equivalente elettrico di questo nel
nostro dispositivo Resonance Energy è:
E = (volt x ampère) x (cicli al secondo) 2
In questa
presentazione, impareremo insieme come funziona il dispositivo, ma prima di
qualsiasi tentativo di utilizzare queste informazioni, si prega di prestare
attenzione all'attenzione seguenti:

Hai bisogno di leggere ancora e ancora questo documento per capire il
potere dietro questo dispositivo; questo dispositivo è un produttore di
energia! Tu sei nei pressi di una fabbrica di produzione di energia elettrica,
ma in dimensioni ridotte, questa bobina speciale ha bisogno solo di tensione e
quando oscilliamo che la tensione, la tensione si trasforma in corrente reale!
Questo significa che anche un corto circuito non è consentito nel sistema
di raccolta, se si prevede di utilizzare condensatori ad alta tensione. Questo
non è il posto per dilettanti, si prega di non tentare di implementa o
utilizzare le informazioni mostrate qui se non si è esperti e qualificati. Né
l'editore né l'autore fa alcuna dichiarazione, come per la completezza o
l'esattezza delle informazioni qui contenute e declina ogni responsabilità per
danni o lesioni derivanti dalle vostre azioni.
hopehope3012 (a) gmail (punto) com
Esaminiamo come un campo magnetico genera
una tensione in una bobina normale e perché le nostre bobine manca la chiave
energia che Donald Smith ha trovato.

Quando un campo
magnetico penetra una bobina, il campo elettrico indotto rotante genera
tensioni elementari additive lungo la bobina. Ogni svolta nella bobina riceve
la stessa tensione, si estrae la potenza lungo la lunghezza della bobina, ma ci
manca la potenza disponibile nell'area all'interno della bobina !! Per capire questo, esaminiamo il
campo elettrico indotto:

Se
esaminiamo Fig.2, che rappresenta un singolo giro della bobina mostrato in
Fig.1, si vede che il campo magnetico penetra tutta l'area all'interno
quell'anello. Questo campo magnetico sarà trasformata in una tensione perché
sarà guidare un campo elettrico rotante, il campo è in grado di indurre una
tensione e questa tensione indotta provoca il passaggio della corrente dovuta
alla differente di tensione tra i due punti A e B nei Fig.1.
L'importante,
cosa generalmente dimenticato il campo elettrico indotto, è la sua
disponibilità all'interno della nostra bobina come mostrato in Fig.3:

Il campo
elettrico indotto esiste indipendentemente dal ciclo di conduzione. In altre
parole, un campo elettrico indotto permea tutto lo spazio all'interno della
regione del campo magnetico variabile, come indicato dalle linee del campo rosse
in 3 Fig Nei su questo campo? Si è sprecato potere. Si è sprecato potenza nel
punto A, così come tutti della distanza tra i due punti A e B.
Se vogliamo
ottenere amplificazione di potenza dobbiamo combinare il campo magnetico con il
campo elettrico indotto in modo tale da conservare il campo elettrico non
conservativo! Il campo elettrico rotante indotto rimarrà non-conservatore, ma
abbiamo potuto giocare con la tensione indotta creato da quel campo con un
Tesla Coil Bi-filar ("TBC").
Abbiamo bisogno di estendere il
lato capacitiva di una bobina bi-filar Tesla, al fine di
beneficiare del campo indotto e in misura ragionevole, se proviamo ad
utilizzare un TBC piatto ci troveremo ad affrontare lo stesso problema nelle
nostre bobine in cui ci si concentra tra due punti... il cuore del dispositivo
Resonance Energy si basa su una bobina di Tesla bi-filar esteso (Fig.4)

Durante la mia
ricerca per la specifica di Tesla coil bi-filar non ero in grado di trovare un
sacco di informazioni come la frequenza di risonanza di questa bobina speciale
se è stato dimenticato, anche se è stato conosciuto dal 1894!
Ho sentito che
è senza vantaggio; per fortuna in quel momento ho costruito con successo un
nuovo tipo di condensatore asimmetrico che ha quattro piastre, piuttosto che
tre piatti, sono stato in grado di replicare la mia fonte di tensione, ho dato
il sistema dei nomi di C1 / C2, quando ho dato da mangiare C1 con alta tensione
ero in grado di prendere la tensione da C2 senza contatto diretto, il
dispositivo è basato sull'interazione campo elettrico tra C1 e C2.
Il sistema C1 /
C2 aperto la mente alla possibilità di caricare un condensatore senza la
necessità di un contatto diretto; con il dispositivo. Ho cominciato a pensare
in modo diverso, chiedendomi come avrei potuto combinare le due laterali di
energia elettrica in un solo dispositivo. Il dispositivo illustrato nella Fig.4 può essere semplificato
come illustrato in Fig.5:

Il lato magnetico
è il percorso da A a B, è il percorso che la corrente seguirà, e poi sarà
formata l'energia magnetica e concentrato all'interno della nostra bobina, il
lato magnetico è il lato nascosto di energia elettrica, perché non siamo in
grado di conservare questo stato per lungo tempo come facciamo nei
condensatori. Questo lato è direttamente correlata allo sfondo energia ambiente
o energia di punto zero. (Più avanti vedremo perché Donald Smith preferisce il
nome di sfondo ambient energia al contrario di ZPE)
Per rendere le cose più facili che potremmo prendere il magnete permanente
come esempio, il magnete permanente appare per creare il campo magnetico per
tutto il tempo senza che ci richiede di fornire qualsiasi potere visibile per
la quale dobbiamo pagare.
La parte
elettrica di questo incredibile bobina è la cosa più difficile da capire. Il
condensatore nel nostro esteso Tesla coil bi-filar è solo un punto! E 'il punto
"X", ma da un punto di vista statico, diciamo che è tra i punti C e
D. Il percorso da C a D è il modo di conservare la direzione della corrente necessaria
per costruire la bobina e garantire la massima tensione è generata tra le due
armature del condensatore. Questo condensatore è un condensatore dinamico e non
un condensatore statico. In questo condensatore la corrente di spostamento è
assente... perché riunisce le due polarità di energia elettrica in un unico
dispositivo. Il lato magnetico è il lato corrente in cui è parte dal punto A e
flussi al punto B. La parte elettrica è il punto in cui esiste la tensione
massima tra le due piastre. Penso che questo è il punto più difficile da
comprendere in Tesla Bi-filar bobina, perché lo vediamo solo come una bobina e
non una bobina con un costruito nel condensatore!
Torna al 1894 e dare
un'occhiata a ciò che il signor Nikola Tesla detto circa la sua bobina
bi-filar:
Il mio presente invenzione ha per oggetto di
evitare l'impiego di condensatori che sono costosi, ingombranti e difficili
da mantenere in perfette condizioni, e di costruire così le bobine stessi
come per ottenere lo stesso oggetto ultimo.
Cominciamo
analizzando come la Tesla bi-filar opere bobina esteso. Immaginate che il
seguente disegno è una carica, esteso bobina di Tesla con le parti positive e
negative, indicato come lastre di rosso e nero rispettivamente.

Quando
colleghiamo questi due piatti da loro punti C e D, una corrente elettrica
fluisce dal punto A al punto B, come indicato dalle frecce rosse. Quando il
campo elettrico indotto trova una bobina che si avvolge in senso antiorario
("CCW") - la tabella rossa - contro un'altra bobina ferita in senso
orario ("CW") - la piastra nera - questo campo elettrico genera una
tensione indotta che tenderà per ricaricare nuovamente il condensatore!
Il campo
elettrico rotante inizierà a costruire una tensione elettrica indotta dal punto
B che sarà 0V in questo caso, poiché i campi elettrici indotti ruotano in senso
orario. Quando il campo magnetico aumenta, la corrente elettrica scorrerà in
senso antiorario e quindi la direzione del campo magnetico sarà fuori schermo
come indicato in Fig.6.
In questo caso
otteniamo una differenza a costo zero di tensione tra le piastre adiacenti.
Questa situazione attira gli elettroni che non erano precedentemente
disponibili, di diventare incorporato e produrre un grande guadagno netto di
potenziale, questo guadagno è reale !!
Il campo
elettrico indotto rotante scorre in circuiti chiusi, ma questo disegno induce a
costruire una differenza di tensione tra le piastre adiacenti. Questo fatto
impedisce la differenza di tensione tra le piastre adiacenti caduta e rende la
replicazione di energia elettrica con radio frequenza un funzionamento pratico.
A causa di questo, possiamo capire perché la risonanza non può produrre il
potere, ma riproduce il potere con radiofrequenza e questo è
il segreto del potere enorme che questo dispositivo è in grado di dare con
l'equazione che Don Smith ci ha dato:
![]()

Il campo elettrico indotto
rotante costruirà indotte tensioni elementari;
B è il punto di
partenza per il campo, quindi
avrà 0V, ma quando si arriva al
punto D avrà
volt V, che sarà
disponibile stessa tensione nel
punto C. Il campo elettrico rotante
indotto continueranno è la rotazione producendo
un valore di 2V al punto A !! (Fig.7).
Una domanda sorge spontanea: dove è il condensatore,
se C e D hanno
entrambi la stessa tensione?
Il condensatore nel nostro esteso Tesla coil
bi-filar (TBC)
è un condensatore dinamico, sarà formata
solo quando la bobina oscilla. Quando ciò accade, il campo elettrico indotto darà C e D lo stesso valore di
tensione, ma ogni turno adiacente riceverà la stessa
differenza di tensione necessaria
per attrarre gli elettroni ambientali che non erano originariamente nel sistema, ma ora sono incorporati in gran numero, fornendo la potenza in eccesso. Questo condensatore sembra dovuto al CD giunzione, e
da un punto di vista dinamico, è il punto X.
Questo dispositivo considera il magnetismo e
l'elettricità come se fossero la
stessa cosa. Quando questo accade entrambi i lati aiutano l'altro lato. La corrente
di spostamento è assente qui
perché appare quando ci separiamo
elettricità e magnetismo. Quando lo facciamo, riempiamo il
gap con l'introduzione di qualcosa
che non è reale. La corrente di spostamento non esiste !!
Quando si sposta un magnete permanente
in aria, un campo elettrico
indotto apparirà indipendentemente dalla presenza di una bobina. L'elettricità è lì, si tratta dall'energia di
fondo e ritorna al suo livello di fondo, sia per l'elettricità e il magnetismo
hanno la stessa origine, il magnetismo è il lato energia (campo magnetico), l'elettricità
è il lato fisico (elettroni).
Viene
visualizzato il lato fisico quando abbiamo posto una bobina di conduttore in
una zona dove c'è un campo magnetico variabile. Il campo magnetico fa sì che
gli elettroni per ruotare in senso antiorario e produrre tensione e ruotare CW
e produrre corrente, gli elettroni di tensione sembrano essere più negativo
perché sono più attivi, gli elettroni attuali sembrano essere meno negativo.
Cerchiamo il numero di elettroni separati dal campo magnetico variabile. La
corrente (I) è l'assassino di energia perché assorbe il potere degli elettroni
di tensione!
In questo
sistema, il campo magnetico penetra all'interno di una speciale bobina
condensatore dove entrambi i lati potenza
elettrica
si trovano in uno stato unitario. Abbiamo discusso la fase in cui il
condensatore si scarica attraverso se stessa, ed ora è il momento di vedere
come la bobina si carica il condensatore con polarità invertita.
E
'importante rivedere la risonanza in un normale circuito L/C a comprendere il
lavoro del estesa TBC. Immaginate di avere un condensatore carico, quando è
collegato a una bobina una corrente inizia a fluire, quando la corrente
raggiunge il suo valore massimo, questo significa che il condensatore è
completamente scarica, il campo magnetico avrà il maggior valore e iniziare a
diminuire e indurre una tensione che si carica nuovamente il condensatore con
polarità opposta.
Lo stesso
accade nel nostro estesa TBC, quando il campo magnetico raggiunge il suo valore
massimo sarà poi diminuire e indurre una tensione che riscuotere ancora il
condensatore, la complessità è capire le posizioni di bobina e condensatore.

In una
prospettiva dinamica bobina vede il condensatore nella posizione X, la bobina
situata tra A e B, confrontando questo a quanto avviene in un normale circuito
L/C in questa fase la bobina deve pilotare una corrente fuori della sua
regione, l'esterno regione tra A e B deve essere posizione X. quando il
campo magnetico induce una corrente per ricaricare il condensatore tra C e D,
il campo elettrico indotto farà questo lavoro perché cambierà il senso di
rotazione sia antiorario (Fig.8 ), e questo comportamento tenderà a mantenere
la corrente ad un valore elevato, mentre la tensione aumenta! La posizione del
condensatore in questo dispositivo deve essere la posizione di uno
spinterometro. Un spinterometro in questa posizione migliorerà le prestazioni drammaticamente
e amplificare il guadagno di potenza.
Il
dispositivo Resonance Energy lavora con velocità superiori a 20 kHz
radiofoniche. Lo sfondo ambientali elettroni si trovano di solito in uno stato
inattivo o inattivo e questo rende il disegno-in di elettroni ambientali
un'operazione difficile. Per questo motivo, abbiamo bisogno di una messa a
terra per migliorare le prestazioni di questo sistema, più avanti nel video,
Don Smith parla di qualcosa di nuovo, la connessione di terra non è necessaria
perché ci sia qualcosa chiamato messa a terra
aria.

Per attivare
elettroni aria effettivamente abbiamo bisogno di un'altra fonte di energia, in
realtà questa fonte di energia esiste come energia negativa, ma prima di andare
avanti, dobbiamo vedere la simmetria tra le parti elettriche e magnetiche.
Quando si parte da A a C
abbiamo metà della bobina-condensatore,
mentre da D
a B abbiamo condensatore-metà bobina.
Per capire come
la nostra avanzata TBC riceve energia negativa, è meglio vedere il modo in cui
il dispositivo oscilla. Ci sono due metodi di alimentazione di questa bobina:
Il
metodo diretto
Qui abbiamo di
conoscere la frequenza di risonanza di questa bobina o, in alternativa, abbiamo
bisogno di avere la frequenza di risonanza ricoperta dal nostro circuito di
alimentazione. Questo metodo è il migliore perché non abbiamo bisogno di un
sacco di potenza, perché quando abbiamo ottenere risonanza nostro esteso TBC
avrà un'impedenza molto elevata, e quindi, con una tensione massima sarà
disponibile tra A e B, e sarà necessario un minor numero di
giri nella bobina L2 reagente.
Il
metodo indiretto
Qui non abbiamo di conoscere la frequenza di risonanza, se alimentiamo
questa bobina da A e B il condensatore si carica. Il
spinterometro ha una resistenza molto elevata e non sarà attiva finché vi è una
differenza di tensione tra i punti C e D, in quel momento si verificherà una
scintilla, e quando ciò accade, la resistenza del spinterometro scende da un
valore molto elevato di valore molto basso e che i cortocircuiti qualsiasi
potere proveniente dalla sorgente di alimentazione fino al termine di risonanza
della bobina naturale!
Quando il
condensatore è completamente carico, viene visualizzata la tensione massima tra
i punti A e B, che è il lato batteria, quando si verifica la scintilla il
condensatore si trasformerà in una bobina che ha
un condensatore integrato in esso! Questa
operazione fornisce la risonanza naturale necessario, senza causare alcun
problema.
Attenzione!
Quando ci
alimentiamo questa bobina dal punto A
al punto B e poi scollegarlo dalla
fonte di alimentazione, si dovrebbe quindi aspettare di scaricarla da corto
circuito punto C al punto D (di solito dalla posizione di
spinterometro). Se si esegue questa operazione e quindi toccare la bobina sarà sicuramente riceverà un notevole shock ad alta tensione! Anche se si vede la scintilla, la scintilla
non si attiva questo condensatore immediatamente, ma farà sì che la bobina di
oscillare di nuovo e ricaricarsi. Questo dispositivo non è un semplice
condensatore perché quando si corto-circuito la scintilla divario che sarà
trasformare l'energia elettrica in energia elettromagnetica in grado di
ricaricare di nuovo il condensatore.
Se si tenta di
punti di corto circuito A e B, nel tentativo di scaricare il estesa
TBC, allora questi due punti saranno trasformare
in punti elettrici (a causa della simmetria). Dal punto di vista statico, il
condensatore può assumere una posizione di AB,
come pure!
La
soluzione è quella di
cortocircuito C a D in modo permanente e quindi
cortocircuito A a B contemporaneamente.
Come ho detto prima, c'è bisogno di energia
supplementare per attivare efficacemente gli elettroni aria. In
realtà, questo non è esattamente ciò che accadrà come la disposizione è
complicato. L'energia negativa entra in questo dispositivo in un modo insolito.
L'esteso Tesla Bi-filar bobina fornirà energia reattiva in quantità enormi,
perché ci sono caratteristiche comuni tra energia reattiva e l'energia
negativa. La potenza reattiva è una sorta di energia elettrica, misurata in
volt-ampere-reattiva ("vars") che non possono fare il lavoro nella
sua forma attuale. Per le forme d'onda sinusoidali, la formula per la potenza
reattiva è
Potenza reattiva = V x I x sin (θ)
La bobina del
reattore nel nostro sistema è una versione ridotta di un normale circuito
parallelo L/C. L'energia di uscita ricevuto nella bobina reagente deve essere
una energia reattiva a causa della presenza di una bobina in parallelo con un
condensatore. L'angolo di fase tra corrente e tensione è di 90 gradi, e così,
l'energia attiva in questo caso sarà zero.
Potenza attiva = V x I x cos (90 degrees) = 0
Il sistema si comporta come una resistenza
negativa, si tratta di un sistema non
dissipativo perché è un sistema di assorbimento di energia:

L'energia
reattiva in questo sistema è un vantaggio. L'energia è ordinata e quindi
possiamo facilmente realizzare super-conduttività
a temperatura ambiente!
Come mostrato in Fig.10, energia attiva è un'energia caotica e quindi non è facile sbarazzarsi di
resistenza. Il punto importante in cui
dobbiamo concentrare la nostra attenzione è dove la tensione ha un valore
massimo della corrente sarà totalmente assente. L'energia negativa è un tipo di
energia
elettrica ottenuta quando scintille (on-off) da una corrente continua ad alta
tensione (Fig.11).

Questo
è il motivo per cui abbiamo bisogno di un diodo ad alta tensione nel nostro
circuito di alimentazione. La risonanza in un normale circuito parallelo L/C
non richiede questa.
Se colleghiamo
una scintilla divario tra il punto C
e il punto D, allora l'energia
negativa sarà disegnato nel nostro sistema con la stessa velocità come energia
positiva! La simmetria tra i lati elettrici e magnetici nella nostra realtà
energia positiva aprirà la porta corretta per il inosservabile realtà energia
negativa!
Inizialmente,
quando il condensatore inizia a scaricarsi, la corrente aumenta ma il campo
elettrico indotto rotante tenderanno a mantenere la tensione ad un valore
elevato. La scarica del condensatore attraverso il spinterometro (che richiede
una grande quantità di tensione), il flusso di corrente non inizia
immediatamente. Inizialmente, non si verifica la corrente aumenta, ma la
scintilla. Ciò spinge la tensione più in alto (comportamento che è noto nei
circuiti L / C in parallelo), allora la corrente aumenta fino ad un valore
elevato molto rapidamente, mentre la tensione viene prelevato ad un livello che
non può sostenere la scintilla. Quando il condensatore viene scaricato
completamente il flusso di corrente attraverso il spinterometro è al suo valore
massimo. Di conseguenza, l'esteso Tesla Bi-filar bobina produce un'onda quadra
piuttosto che la sinusoidale atteso che è prodotto da un circuito LC parallelo
ordinaria. L'onda quadra prodotta quando si verifica la scintilla, contiene
onde di tutte le frequenze e così, anche se il tempo durante la scintilla è
breve, ci saranno ancora migliaia di oscillazioni in quel momento. So che non è
facile visualizzare questo, ma è ciò che effettivamente accade.
Questo speciale design genio risolve i problemi più difficili di energia
elettrica a freddo, a causa del suo comportamento
invertita rispetto all'elettricità caldo. Elettricità fredda preferisce
scorrere lungo i materiali che riteniamo essere isolatori mentre l'elettricità
caldo preferisce scorrere lungo i materiali che riteniamo essere i conduttori.
Secondo Tom
Bearden, con elettricità negativa il condensatore esegue nel modo in cui una
bobina fa con energia elettrica a caldo, e la bobina si esibirà come un
condensatore di energia elettrica calda
(Fig.12).

l'illustrazione di cui sopra è un tentativo
di capire come freddo lavoro elettricità, ma è meglio dare un'occhiata a Floyd
dolce spiegazione del suo dispositivo VTA nell'appendice (pagina A-1209):
è importante
notare che, finché energia positiva è presente in un regime di tempo positivamente scorrevole, allora l'unità e sopra
l'unità guadagni di potenza non sono possibili. La somma delle perdite dovute
alla resistenza, impedenza, attriti, isteresi magnetica, correnti parassite e
perdite di derivazione di macchine rotanti sarà sempre ridurre l'efficienza
complessiva sotto l'unità per un sistema chiuso. Le leggi di conservazione
dell'energia si applicano sempre a tutti i sistemi. Tuttavia, il motional E-campo indotto cambia il
sistema su cui tali leggi devono essere applicate. Dal momento che il triodo a vuoto opera in più di quattro dimensioni e fornisce un collegamento tra la realtà
multi-dimensionale dello stato quantico e il Mare di Dirac, ora
siamo di fronte ad un sistema aperto e non il "sistema chiuso",
all'interno del quale sono state sviluppate tutte conservazione e leggi della
termodinamica. Per
raggiungere l'unità, la somma di tutte le perdite ohmiche magnetici e deve
essere uguale a zero. Per raggiungere questo stato, energia negativa e la necessità di tempo
negativo da creare. Quando questo si
ottiene, ogni resistenza ohmica diventa
zero e tutta l'energia fluisce poi lungo la parte esterna dei conduttori in
forma di un campo apposito spazio.
La
spiegazione sopra descrive il dispositivo VTA, ma dimostra anche il lavoro del
dispositivo Resonance Energy di Don Smith !!
Il
modello corretto del condensatore è l'esteso Tesla Bi-filar Coil perché
fornisce un collegamento tra la realtà multi-dimensionale dello stato quantico
e il Mare di Dirac di energia negativa. Dal punto di vista energetico positivo,
AB descrive la bobina mentre CD descrive il condensatore, ma la bobina si trasformerà in
condensatore AB nella regione di
energia negativa; e nella stessa zona del condensatore si trasformerà in bobina
!!
Come possiamo spiegare questo fisicamente?
L'equazione energia e chiamata equazione di Dirac sia energia positiva e negativa. Così essi sono simmetriche rispetto alla energia, come lo sono le forze della fisica forze repulsive positive aumentare l'energia positiva, mentre le forze attraenti negativi aumentano l'energia negativa. Secondo la teoria cinetica moderna di massa-energia, energia negativa potrebbe essere semplicemente una vibrazione di cariche ad angolo retto con le nostre dimensioni normali in una direzione "immaginario". (Fig.13).

Per comprendere correttamente Fig.13, dobbiamo ricordare che siamo
confinati dalla nostra realtà energia positiva; nel nostro esteso bobina di
Tesla Bi-filar abbiamo bisogno l'energia negativa nel nostro lato positivo, la
spinterometro in posizione CD è il luogo flessibile sia per l'energia positiva
e negativa da combinare.
Tom Bearden ha un importante libro dal titolo "Energia dal
vuoto". Il testo che segue è a pagina 236, dove spiega la specificazione
di un vero resistore negativo:
La vera resistenza negativa è un sistema dissipativo aperto a priori, e la termodinamica di
equilibrio, pertanto non si applica. Invece, la termodinamica dei sistemi
aperti lontano dal applica equilibrio. La resistenza negativa riceve
liberamente energia dall'esterno del sistema (dall'ambiente), e
"dissipa" in azioni di intercettazione e di raccolta all'interno del
sistema, per aumentare liberamente l'energia potenziale disponibile nel
sistema. Nei circuiti, la
caratteristica principale di un resistore negativo è che l'ambiente fornisce
liberamente energia in eccesso a (i) di alimentazione al carico, e / o (ii)
spostare la corrente contro la tensione, in particolare quando deviata
attraverso la regione posteriore della fem il dipolo sorgente. L'operatore non deve fornire questa
energia in eccesso dissipata per spingere indietro le attuali o dissipata per
alimentare il carico!
La vera
resistenza negativa nel nostro sistema è il blu esteso TBC dove
l'energia negativa si muove la corrente contro la tensione; questo potere si carica la bobina elettrica se è in qualità di
un condensatore!
La corrente elettrica nella regione di energia negativa (cono di luce del passato) funziona
in modo inverso rispetto alla corrente elettrica nella regione di energia
positiva (futuro cono di
luce), la simmetria tra il lato energetico
magnetico e il lato elettrico fisico
sarà spazio per la curva potenza energia negativa per inserire il dispositivo
attraverso la zona spinterometro flessibile che rappresentano uno
condensatore X dimensionale,
l'energia negativa che può essere rappresentato da forze di attrazione troverà
la sua strada attraverso la spinterometro per aumentare l'energia elettrica
attraverso AB, la sistema continuerà la sua divergenza e la rotazione oraria
della corrente di energia negativa aumenterà la rotazione antioraria della
corrente elettrica calda (energia potenziale), questa tende ad amplificare il
potere tra i punti A e B che rappresenta la tensione acquisita
da questo virtuale corrente!
Stiamo
esaminando il primo istante in cui il condensatore si scarica attraverso se
stesso (trasformarsi in bobina), lo spazio curvo AB si trasformeranno in un punto nel mare di energia negativa che è
il condensatore nel nostro immaginario esteso TBC.
Allo stesso modo, quando il campo magnetico collassa e carica il condensatore
attraverso CD, il campo magnetico torna al suo livello di fondo, il continuum spazio-temporale viene invertito dai campi
che si producono in presenza di flusso eccitato spazio coerente. Questi quanti
sono stati attratti da, e, infine, estratto dal, il vuoto virtuale, il Mar Diac
infinitamente inesauribile (dalle carte Floyd Sweet in appendice).
Come oneri avere un comportamento
repulsione sul lato energia positiva, mentre si attraggono l'un l'altro nella
regione di energia negativa. Queste informazioni sono essenziali per la
comprensione della natura del mare energia negativa.
Quando il turno
(secondo periodo di tempo) per il nostro condensatore da caricare di nuovo con
polarità opposta, il sistema divergere verso lo spazio energia negativa per
chiudere il ciclo in quello spazio !! La corrente passa da C a D per caricare il
condensatore, ma nella dimensione virtuale che parte da D e finiture in C.
Questo potere si carica il condensatore magneticamente, se si tratta di una
bobina.
Come potete
vedere c'è energia reale positiva e non rilevabile energia reale negativa.
Penso che Don Smith ha preferito il nome ambientale energia di fondo rispetto a
Zero Point Energy, perché ci sono due regioni da cui si può prendere il potere,
vale a dire, su sfondo ambiente energia e al di sotto di sfondo ambiente energia.
A questo punto, possiamo capire perché l'elettricità fredda preferisce isolanti
piuttosto che conduttori. Questo tipo di potere è in grado di funzionare in una
dimensione immaginaria parallela e
invertita relative al nostro ordinario,
dimensione familiare. Ma ... secondo Floyd Sweet; quando eseguito in parallelo con energia positiva
però, cancellazione (annientamento) di tipi di potere contrapposti si
verifica. Questo è stato testato in
laboratorio.
Questo vale per l'energia positiva che scorre caotico momento regime quando
gli elettroni di tensione (rotazione antioraria) ed elettroni correnti
(rotazione cw) correre insieme, allo stesso tempo, il nostro sistema di
risonanza di energia reattiva lavora in armonia con l'energia negativa, il
nostro studio precedente ci permette di disegnare noi alcune importanti
conclusioni:
Per il primo periodo di tempo, abbiamo (C
scaricando tutta L);
+ energia aumenta l'energia magnetica ---- I
- energia aumenta l'energia elettrica ---- V
Per il secondo
periodo di tempo che abbiamo (L carica C);
+ energia aumenta l'energia elettrica ---- V
- energia aumenta l'energia magnetica ---- I
poiché l'energia magnetica è l'energia elettrica e corrente è la tensione e
perché sono fuori fase (energia reattiva), energia positiva funziona in armonia
con l'energia negativa e non verrà visualizzato alcun cancellazione.
La nostra
estesa TBC è un dispositivo molto importante non solo perché può fornire
energia elettrica illimitata, ma ci danno una eccezionale opportunità di capire
il modo in cui i flussi di energia all'interno del nostro universo!
Quando il
dispositivo oscilla produce elettricità fredda e calda elettrica, ciò significa
che il dispositivo è in grado di mettere in relazione sia energia positiva e
negativa. Il flusso di energia ha due direzioni; da positivo a negativo e vice
versa. Pensiamo al modo fisico in cui le cose funzionano.
In questa analisi
che sto cercando di spiegare alcuni aspetti fisici profondi circa energia
positiva e negativa. Come illustrato in Fig.12 e Fig'13, è importante
considerare il flusso di energia in relazione al tempo. Queste due immagini
rappresentano solo il mio pensiero e la comprensione del soggetto.
Elettricità
fredda ha la capacità di produrre una risposta elettrica quando interagisce con
superfici metalliche. Questo può anche essere visto nel Effetto Casimir dove
due piastre metalliche non magnetiche, che non trasportano una carica
elettrostatica, sono sospesi molto vicini l'uno all'altro. Le piastre non
pendano verso il basso, ma si muovono una verso l'altra.
Elettricità
fredda ha la capacità di produrre una risposta elettrica quando si contatta
superfici di metallo, perché è in grado di ionizzare spazio vuoto. Nella nostra
estesa TBC, quando si verifica la scintilla, in realtà stiamo collisione campo
spazio-tempo attraverso un punto (la scintilla-gap).
Il campo
spazio-tempo è, a mio parere, lo spazio in cui l'energia negativa e positiva
esistono insieme, essi esistono insieme, ma si annullano a vicenda a causa di
un rapporto costante. Se prendiamo una massa con un campo gravitazionale
intorno ad esso, e ci muoviamo la massa e creare una corrente di massa, viene
creato anche un nuovo campo. Si tratta
di un diverso tipo di campo gravitazionale senza sorgente e lavandino, quando
la velocità della massa aumenta, il campo creato gravità aumenta anche. Se la
massa raggiunge la velocità della luce, allora questo significa che ha il
valore di E = mC2 come energia positiva. mC2 è lo scambio
massimo valore tra energia positiva e negativa ammissibile dal punto zero
fluttuazione (ZPF) per quella massa di esistere il modo in cui lo fa nel suo
campo spazio-tempo, la massa ha due opzioni per raggiungere la velocità della
luce:
1. si
trasformerà in materia esotica.
2. romperà la
struttura spazio-temporale.
Gli unici
luoghi che forniscono queste due condizioni sono buchi neri. Esistono buchi
neri al centro delle galassie che forniscono la simmetria rotazionale
energetico tra il campo di massa e la gravità - vedi Fig.14, Fig.15 e
Fig.16.



Per una galassia a spirale di mantenere la sua forma con dimensioni
cosmiche (il diametro della galassia può essere superiore a 100.000 anni luce),
vi è la necessità di una energia negativa di essere l'energia di fondo per lo
spazio-tempo in tutta quella galassia. Questa energia negativa deve trasportare
particella virtuale all'istante! La materia fisica trasformato (compreso lo spazio-tempo!)
Fornito da buchi neri fornisce un eccesso di energia positiva nella galassia,
fornendo la stabilità e la simmetria. I buchi neri non sono una frattura nello
spazio-tempo, ma sono essenziali.
La spiegazione di cui sopra contribuirà a spianare la strada per una
migliore comprensione della natura di energia elettrica. Questo spiega perché
un impulso tagliente positiva continua CC elettrico interagisce con energia
negativa per produrre energia elettrica a freddo, che è una risposta immediata
dal mare energia negativa. Questa risposta non parte dalla scintilla divario,
ma finisce in esso!
L'energia negativa ruoterà per finire nel spinterometro, questo sarà
spremere lo spazio-tempo per fornire eccitati particelle virtuali coerenti che
a loro volta producono risposte elettronici quando si contatta una superficie
metallica. Dal mio punto di vista, le risposte elettronici creati con superfici
metalliche hanno un momento angolare magnetico. Elettricità freddo è in grado
di caricare un condensatore ad una tensione molto superiore tensione nominale
del condensatore, anche se la tensione nominale del condensatore è basso. La
domanda che viene in mente è; non campi elettrici all'interno di un
condensatore di carica di elettricità freddo esistono davvero?
Se la risposta è sì, allora perché non è il condensatore distrutto? A mio
parere, è perché le risposte elettroniche causate da elettricità freddo hanno
momento angolare magnetico invece di linee del campo elettrico. Suggerisco che
la presenza di linee di campo magnetico tra le piastre positive e negative di
un condensatore carica di elettricità freddo sono effettivamente come mostrato
in Fig.17.

Quando gli
impatti spinterometro sullo spazio-tempo (cioè, quando si verifica la
scintilla), la risposta dal mare energia negativa sembra come se dovrebbe
neutralizzare l'excititation creato nel lato energia positiva (Fig.18). Non
possiamo rilevare il movimento di energia negativa, e quindi abbiamo solo
vedere l'impatto che essa ha nella nostra realtà energia positiva.

La pallina
rossa nel disegno sopra, è il divario scintilla che è la porta per l'energia
negativa per entrare nostra realtà energia positiva; mare energia negativa
reagirà sia prima che dopo il verificarsi della scintilla.
Facendo
riferimento alla Fig.14, prima della spinterometro genera l'energia negativa
ruoterà partire dalla spinterometro per neutralizzare l'eccitazione creata nel
lato energia positiva (Fig.19a) e quando lo spinterometro termina la cottura,
il negativo energia finirà nella posizione dello spinterometro (Fig.19b).

L'area della parete
Bloch in un magnete permanente ordinario, è la zona di separazione di
elettroni. Vediamo come questo avviene nel nostro esteso Tesla Bi-filar bobina.
Durante il primo periodo di tempo, quando il condensatore inizia a scaricare
tutta se stessa per diventare una L/C parallelo circuito, punto A fornirà una tensione massima, mentre
il punto B è la corrente massima. Il
flusso di corrente inizia dal punto A
e termina al punto B. Il sistema sta
producendo energia magnetica e per l'aumento del campo magnetico, gli elettroni
partirà dal punto B e portata al
punto A che provoca la rotazione in
senso orario per neutralizzare la rotazione in senso antiorario degli elettroni
di tensione, elettricità e freddo addebiterà la bobina elettrica se si comporta
come un condensatore, e spingerà la corrente per andare contro la tensione,
fornendo un momento angolare magnetico (la rotazione in senso orario indicato
in Fig.19a) a punto X il risultato è
quello di tornare indietro gli elettroni tensione, provocando forte energia
potenziale elettrico iniziale che aumenta l'energia elettrica. Attuale di
energia elettrica a freddo è l'equivalente di tensione in energia elettrica
caldo. La parete Bloch è il luogo dove l'energia negativa interagisce con la
nostra E-TBC, in altre parole, quando i fuochi a scintilla gap, la corrente non
si avvia immediatamente perché l'energia negativa fornirà una corrente virtuale
fornendo una rotazione oraria nel muro Bloch Area X. Questa corrente virtuale è un compensatore della corrente reale
ma non assorbirà la potenza dagli elettroni tensione che aumentano il
potenziale di energia elettrica disponibile. Tutto questo avviene prima che i
veri corrente aumenta per fornire l'energia magnetica.
Attenzione: Si ricorda che i
condensatori ad alta tensione hanno recupero dielettrico che memorizza il campo
elettrico per lungo tempo. Condensatori ad alta tensione bisogno di 5 minuti o
più per scaricare completamente.
L'energia è ovunque e
in quantità enormi pronti per essere presi per libero. Quando lo facciamo, noi
non riduciamo la potenza disponibile perché l'universo è pieno di energia,
l'energia nel nostro universo è la fonte, la materia fisica è l'energia in una
forma visibile e l'energia è sotto forma di materia invisibile.
La presenza del mare
energia negativa accanto la nostra realtà energia positiva, solleva una
questione importante, vale a dire, perché sono separati quando potrebbero
essere uniti? Essi sono separati per lasciare il nostro universo esiste nel
modo in cui lo fa. L'energia negativa serve la nostra esistenza perché è
progettato per essere il livello di energia di fondo sotto per la nostra realtà energetica in primo piano positiva. La
nostra esistenza è una parte sottile tra i due oceani energetici. L'energia
negativa è estremamente attiva fino al punto quando sembrano essere niente!
Abbiamo ora bisogno di
spiegare un altro comportamento importante della nostra estesa Tesla coil
bifilare, cioè, è super conduttività a temperatura ambiente.
Uno degli enigmi di
questo dispositivo è la sua capacità di eguagliare la tensione con la corrente.
Il filo della bobina AB può ricevere
elettroni ambiente perché è la superficie del CD condensatore; Esaminiamo questa superficie in Fig.20:

Quando il condensatore si scarica attraverso sé
per diventare un circuito parallelo L / C, l'indotto campo elettrico (con l'aiuto di energia negativa) rotante crea una
differenza di tensione tra piastre adiacenti, questa tensione secondo la legge
di Gauss provoca nuovi elettroni di essere
presenti in il sistema.


Quando gli
elettroni ambientali entrano nel nostro sistema (Fig.21), aumentano il guadagno
di potenza lungo l'asse Y (Fig.20). Quando i flussi di corrente all'interno del
estesa TBC, saranno aggiunti correnti parallele mentre la tensione parallelo
sarà la stessa in asse Y, mentre in asse X tensione di serie saranno aggiunti
mentre le correnti di serie saranno gli stessi !!
Su l'asse Y: sum (i) è uguale (V)
Su l’asse X: sum (V) è uguale a (I)
Questo sistema tratta le
tensioni e le correnti nello stesso modo, le tensioni e le correnti sono
fisicamente uguali.
Quando questo accade il
dispositivo piazze il flusso elettromagnetico e diventa un sistema quasi-unità
in ogni processo che replicherà la potenza elettrica secondo la frequenza di
lavoro. Questo è un sistema quasi-unità a causa della conducibilità eccellente
a temperatura ambiente in cui gli elettroni non affrontano la solita riduzione
incontrato in un circuito L/C parallelo ordinaria.
Un circuito normale L/C non
può produrre la conducibilità eccellente a temperatura ambiente perché lo
scambio tra la potenza elettrica e la potenza magnetica deve abbassare uno in
ciascun processo. Nella nostra estesa TBC sono combinati in modo tale da
amplificare la potenza in ogni processo, e quindi l'energia elettrica totale
disponibile in ogni ciclo è due volte la potenza disponibile in un
condensatore carico che può essere visto dalla seguente relazione:
Potenza = 0.5 x C x V2
(considerare
la somiglianza tra l'energia magnetica ed elettrica in un circuito risonante
parallelo L/C)
Qui, devo spiegare l'importanza
della potenza elettrica reattiva nel dispositivo Resonance Energy, in un
sistema elettrico alternato in cui la tensione e la corrente salgono e scendono
contemporaneamente (Fig.10). Attivo solo, il vero potere viene trasmesso e
quando vi è uno spostamento temporale tra corrente e tensione sia reattiva e
potenza attiva vengono trasmessi. Quando questo tempo di cambiamento è di 90
gradi (π / 2 gradi) il potere reale
trasmessa sarà pari a zero, come discusso in precedenza. Questo non significa
che non vi è alcun potere, ma significa che non possiamo usare
questo potere in questa forma alternata, dobbiamo
trasformarla in corrente continua in modo che sia corrente e tensione sono
uniti.
Potenza reattiva si presenta come
una corda per saltare (Fig.22):

Immaginate la tensione di essere la corda e corpi
dei bambini sono la corrente. Potenza reattiva si presenta
come una corda per saltare, la potenza attiva non lascerà corpi dei ragazzi si
muovono correttamente. La potenza reattiva è una parte essenziale del
dispositivo Resonance Energy, e una corda per saltare è un buon esempio che
mostra come i bambini vanno su e giù senza alcun problema. Questo tipo di
movimento esiste nel nostro dispositivo.
La separazione tra tensione e corrente nel dispositivo Resonance Energy è
cruciale per la produzione e la clonazione di energia elettrica a velocità
radiofrequenza. È necessario un metodo corretto di raccogliere e convertire
l'enorme energia elettrica disponibile.
L'esempio riportato in Fig.22 è importante quando si pianifica per
raccogliere e convertire la potenza elettrica disponibile. Se usiamo
semplicemente un trasformatore step-down è altamente probabile che ci alterare
la corrente che ridurrà il potere acquisito. Con energia reattiva, quando la
tensione è alta la corrente è bassa. Un trasformatore abbassatore abbasserà la
tensione ma non può amplificare la corrente come previsto! In un trasformatore
normale che amplificare la corrente in funzione della potenza attiva
disponibile (V x I):

Fisicamente
(Fig.23) il flusso
elettromagnetico all'interno del trasformatore ha due componenti, il
componente elettrico V e la componente magnetica che, per un efficace
trasferimento di energia elettrica dal primario al secondario, entrambi
sono necessari allo stesso tempo. Nel nostro caso, quando V è elevato il
prodotto (V x I) è bassa a causa del tempo di spostamento, anche se la potenza
disponibile potrebbe raggiungere megawatt!
Un altro
fattore che dobbiamo prendere in considerazione, è ad alta velocità necessaria
per replicare l'alimentazione mediante un trasformatore per abbassare la
tensione impone la necessità di uno speciale nucleo del trasformatore che è in
grado di rispondere alle radiofrequenze. Questi fatti devono essere presi sul
serio se vogliamo raccogliere efficacemente l'energia disponibile.

Personalmente, preferisco di
migliorare l'utilizzo di diodi ad alta tensione come indicato in Fig.24. E
'preferibile utilizzare un ponte di diodi costruito con recupero veloce
diodi ad alta tensione. Diodi veloci hanno la possibilità di tornare al loro
stato di blocco molto velocemente, rendendo possibile per l'altra metà-oscillazione
per essere accumulata nei condensatori ad alta tensione, ogni ciclo (su e giù in Fig.25) darà potenza simile a la
potenza disponibile in un condensatore carico dato dalla seguente equazione ½ C V2.

L'incredibile,
comportamento energetico del estesa Tesla Bi-filar bobina rendono totalmente
diverso da un normale circuito L/C parallelo.
Il nostro esteso TBC dà il doppio della frequenza di un circuito
equivalente parallelo L/C. Ciò significa
che se si forma la stessa induttanza con la stessa capacità in un normale
circuito parallelo L/C, poi che produrrà solo la metà della frequenza che la
stessa combinazione produce con una forma della bobina bifilare di Tesla
esteso!
Non sono stato
in grado di verificare questo perché non ho un oscilloscopio o un
frequenzimetro. Questo, naturalmente, non è una scusa per non pensare a come il
dispositivo agirà, quindi l'analisi che segue è un tentativo di immaginare
l'equazione energia data dal signor Donald Smith come:
Potenza in un secondo = 0.5 x C x V2 x F2
Per
semplificare le cose, analizziamo solo la tensione. Quando il condensatore si
scarica attraverso sé per diventare un circuito parallelo completo L / C, in
quell'istante, il campo magnetico raggiunge il suo massimo valore. Ciò che
rende questo sistema differente, è il campo elettrico indotto rotante. Questo
campo immediatamente caricare il condensatore con polarità opposta prima
che la corrente indotta risultante dal campo magnetico collasso può farlo. Come
abbiamo imparato prima, questa è la chiave per l'amplificazione di energia.
La risonanza è
la chiave per la moltiplicazione di energia, la nostra avanzata TBC comporta
come un unico dispositivo, in modo che il passaggio dal ciclo positivo al ciclo
negativo non richiede tempo. In altre parole, il dispositivo ha la capacità di
cambiare la sua direzione di carica all'istante. La zona gialla in Fig.26 è
assente (rispetto a un normale L parallelo / circuito C), quando i cicli di
energia su e giù (Fig.25) il dispositivo offre il doppio della potenza disponibile
nel lato capacitiva del estesa TBC.

La potenza viene ciascun ciclo sarà dato da:
½ C V2 x 2 = C
V2 ………………… 1
Poiché la frequenza influenzerà sia la
tensione e la corrente esamineremo il numero equazione 1 come segue:
CV x V, il CV prodotto è la quantità di
carica disponibile in un condensatore carico, se ci dividiamo per 1 secondo
questo ci darà la corrente dal Q / T è la corrente in un secondo. Supponiamo che la frequenza è di 3
Hz.

Dalla Fig.27
possiamo vedere che la potenza totale disponibile è proporzionale a 9 che è il
quadrato della frequenza data. Ogni ciclo ha il potere di C V2, il numero di cicli in
un secondo ci dà la frequenza; la frequenza replicare CV, che è la corrente e
questo ci darà CV x F e replicare la tensione dal prodotto V x F, questa analisi è la migliore spiegazione
del perché la tensione è uguale alla corrente in questo sistema, perché CV x F
è la disposizione attuale F e V x è la tensione disponibile! Questo sembra
strano; come potrebbe il prodotto V x F sia la tensione disponibile in quanto
il risultato è molto elevata, in quanto stiamo lavorando con le radiofrequenze
superiore a 20 KHz?
L'esempio riportato in Fig.23 ci aiuterà a capire questo. La
formula energia dà il potere CC disponibile quando convertito dal suo stato
alternata; il flusso elettromagnetico sarà
quadrato causare l'amplificazione di entrambi corrente
e tensione. In ogni secondo, la potenza disponibile è CV x F x
V x F, la potenza ottenuta dipende dal numero di spire
della bobina L2, e il fattore limitante è il prodotto V x F che è un numero molto elevato di sistemi
pratici. Sotto questo fattore, la corrente è molto elevata essendo il prodotto CV x F!! Questo spiega il motivo
per cui una unità di dimensioni megawatt può adattarsi facilmente su un tavolo
per la colazione e spiega perché questo dispositivo è in grado di dare
qualsiasi livello richiesto di energia.
La formula energetica del nostro estesa TBC
può essere scritto come segue:
Potenza
in un secondo = C x V2 x F2
Questa
equazione dà la potenza disponibile in watt quando convertito in alta tensione
in corrente continua. Quando il dispositivo oscilla la potenza ottenuta è energia
reattiva pura, Volt-Ampere-reattiva (VAR) è presente mentre la potenza
elettrica attiva (W) è assente in questo stato dinamico, Fig.28:

In termini
pratici, l'esteso TBC è solo un condensatore ad alta tensione che ha la
capacità di lasciar penetrare corrente al suo interno, quindi ha entrambe le
caratteristiche magnetiche ed elettriche.
Sezione Pratica
Un dispositivo
free-energy è qualcosa che è affascinante, essendo frettoloso nel voler
costruire e testare uno è comune, ma che non è buono. Ad alta tensione
con corrente elevata non è un gioco!, !, tuo primo errore potrebbe
essere l'ultimo. Se si decide di costruire questo dispositivo nella vostra casa
è una buona idea usare serrature e chiavi e attaccare un simbolo di
avvertimento ad alta tensione sul dispositivo è un'azione sensata.

Non vi
incoraggio a costruire realmente il dispositivo qui descritto; le informazioni
teoriche fornite sopra è la sezione più importante. Quando il dispositivo è
pienamente compreso, quindi facendo attenzione quando vicino sarà automatico.
Questo dispositivo è un molto speciale bobina di Tesla, quando si aumenta la
tensione di un trasformatore normale la corrente scende, ma qui la corrente aumenta nello stesso modo in cui la
tensione fa! Questo dispositivo ha corrente pari alla tensione! Resonance avrà un impatto sia la tensione e
la corrente. Il disegno geometrico speciale della esteso Tesla Bi-filar bobina,
compresa la posizione flessibile del spinterometro, produce la rotazione
simmetria energetico necessario tra energia positiva e negativa. Come abbiamo
già visto, lo spinterometro apre la porta per un afflusso massiccio di energia
elettrica sia presente. Io personalmente ho scioccato indirettamente dalla bobina L2
e dichiaro il rischio di questo dispositivo.
Per la costruzione, la prima cosa di cui abbiamo bisogno è una fonte di
alta tensione. Il dispositivo può essere alimentato utilizzando due metodi
diversi come descritto qui. Il primo è il metodo diretto in cui la fonte di
alimentazione ad alta tensione ha la stessa frequenza della frequenza di
risonanza naturale del estesa Tesla bi-filare Coil. Il secondo metodo è il
metodo indiretto; dove non c'è necessità di conoscere la frequenza del reattore
(attiva) bobina.
La fonte di alimentazione ad alta tensione è necessaria per alimentare la
TBC esteso che è la bobina del reattore (bobina attiva), Fig.29 mostra un
facile da costruire oscillatore:

E 'meglio usare
un trasformatore flyback che ha un diodo ad alta tensione integrato in esso.
Trasformatori flyback sono facilmente disponibili ea buon mercato. Lo schema elettrico di cui sopra è per un
trasformatore flyback, dove una fonte di alimentazione ad alta tensione della
bobina entrare nel nostro reattore tramite i punti A e B (Fig.30):

Inizialmente,
il condensatore si carica fino al valore richiesto dal spinterometro. Quando la
tensione di tutti gli elettrodi della spinterometro raggiunge un valore
abbastanza alto, compare una scintilla provoca la resistenza del spinterometro
saltare da un valore molto elevato per un valore molto piccolo,
cortocircuitando qualsiasi potenza proveniente dalla rete sorgente fino al
termine di risonanza naturali. Il condensatore trasforma in una bobina completa
che ha il suo condensatore integrato in esso. La risonanza naturale della TBC è
garantita quando si utilizza questo metodo, ma ha alcuni svantaggi. La
frequenza prodotta dalla combinazione divario di alimentazione / scintilla deve
essere sufficientemente elevato da consentire una maggiore potenza da produrre
e ciò richiede una potente fonte di energia. D'altro canto, la tensione tra la
bobina reattore AB sarà limitata
dalla distanza tra gli elettrodi della spinterometro. Ciò impone la necessità
di un gran numero di spire della bobina L2.
La corrente di
uscita ottenuta è direttamente correlata alla tensione disponibile tra le
piastre del condensatore che formano il dispositivo tra A e B. Occorre tener
presente che il condensatore incorporato all'interno della nostra estesa TBC
opera in modo dinamico in assenza di corrente di spostamento.
Il metodo
diretto di alimentare la bobina reattore con una propria frequenza naturale
esatto è il modo migliore per ottenere la massima potenza disponibile, ma
questo crea un problema reale in quanto non è affatto facile trovare un
alimentatore ad alta tensione regolabile nel range di frequenze che vogliamo,
soprattutto frequenze superiori a 200 kHz. Si può richiedere il nostro esteso
TBC a lavorare sopra 200 KHz, e per questo, potremmo avere bisogno di
condensatori di impedenza corrispondenti (Fig.31).

I due
condensatori gialli visti sopra sono per adattamento di impedenza in quanto la
frequenza di lavoro nel dispositivo di Don Smith è stato molto elevato, che
richiede un driver neon tubo di fornirlo.

Adattamento di
impedenza è semplicemente il processo di creazione di uno sguardo impedenza
come un altro; nella nostra situazione è necessario accoppiare l'impedenza di
carico alla sorgente. Ad esempio, se l'estensione TBC risuona a 2,4 MHz,
(questo è il carico), e il driver neon tubo funziona a 35.1 KHz (questa è la
fonte) bisogna aggiungere condensatori in parallelo al nostro esteso TBC in
modo da renderlo risuonare a 35.1 KHz.
In pratica, è
necessario cortocircuitare i punti C e D e misurare l'induttanza
del E-TBC (L2 deve essere a posto per questa misura). Dopo di che, rimuovere il
corto-circuito e misurare la capacità del E-TBC. Questo vi dà due valori di
"C" e "L".
La risonanza del
estesa -Tesla Bi-filar bobina è data da:
F2 = 1 / (π2
x LC) …………. (a) La frequenza di risonanza di un E-TBC è
doppio
Quando si aggiunge un condensatore per
l'adattamento di impedenza per esteso TBC, la frequenza di risonanza diminuisce
con la seguente relazione
F2
= 1 / (4π2 x L(c+c*) ) …………. (b) dove F è la frequenza della sorgente
Credo che possiamo usare l'equazione di cui
sopra per calcolare il valore di C *, che deve essere aggiunto al fine di
raggiungere la risonanza. Dalla
equazione (b) possiamo scrivere

Utilizzando la formula (c), saremo in grado
di calcolare il condensatore necessario per adattamento di impedenza; il valore
ottenuto è in farad, e che l'equazione frequenza è in Hz e l'induttanza in
Henry.
Quando si ha il valore corretto C* e si
accende il dispositivo verso l'alto (Fig.33), la risonanza non sarà raggiunto
immediatamente perché lo spinterometro forma il circuito parallelo pieno L/C
solo quando si spara!!

La prima cosa
che accade è la carica del condensatore C*, dopo che il condensatore
"C" della estesa TBC sarà addebitata fino a raggiungere la tensione
necessaria per il fuoco spinterometro. Quando ciò accade, la scintilla-gap ha
un valore di resistenza molto bassa, rendendo l'E-TBC completamente formato. A
questo punto, l'energia elettrica in ingresso dalla rete elettrica ad alta
tensione troverà un carico la cui impedenza partite sua frequenza di risonanza.
Questo, a sua volta, produce la tensione massima possibile di tutti induttanza
L della E-TBC. Inoltre, il campo elettromagnetico risultante aumenterà ciclo
per ciclo causando il dispositivo a risuonare completamente dopo un tempo molto
breve.

Questo è il circuito equivalente quando i fuochi
spinterometro
Costruire
esteso TBC
L'esteso
Tesla Bi-filare bobina è solo un condensatore ad alta tensione che ha un comportamento
magnetico. Quindi, è sia un condensatore e bobina allo stesso tempo. La
costruzione di questo dispositivo è relativamente semplice. Hai bisogno di due
lunghezze di fogli di alluminio, ogni 1,2 metri di lunghezza (più tardi mi
spiegheranno le possibilità di modificare le caratteristiche di un TBC estesa).
Perché è un condensatore, hai bisogno di 3 pezzi di fogli di polietilene,
ciascuna di 1,3 metri di lunghezza.
Per
costruire un condensatore ad alta tensione di solito avete bisogno di 2 pezzi di
foglio di polietilene ma è meglio usare 3 pezzi da quando stiamo lavorando con
una tensione elevata (Fig.35), questo dipenderà dalla vostra abilità nella
costruzione di un condensatore ad alta tensione.
Avete bisogno di saldatura aste
per assicurare la conducibilità elettrica dei fogli di alluminio, Fig.36 indica
come fare. In realtà il migliore lunghezza e la larghezza



L' E-TBC bisogno di un corpo bobina per essere avvolto su di essa (Fig.38)

La foto seguente mostra le dimensioni utilizzate nel prototipo (Fig.39)

Arco interno è un
problema comune con i condensatori ad alta tensione (Fig.40)

La migliore combinazione tra la lunghezza e la
larghezza di un TBC estesa ha una notevole influenza sulla energia elettrica
ottenuta alla bobina L2 (la bobina reagente). Ad esempio, l'arco elettrico
sperimentato in bobina L2 utilizzando l'E-TBC mostrato in Fig.41, era molto
debole, la lunghezza indicata dalla freccia nera è molto maggiore della
larghezza (freccia arancione), questo indica un magnetico debole flux causa
della piccola bobina di induttanza, l'induttanza della bobina è molto
importante perché trasformerà la potenza replicato in flusso elettromagnetico.

La bobina reagente (L2):

La lunghezza della
bobina è di circa 25 cm, come mostrato nella Fig.42, il diametro è di 6 cm, e
lo spessore del filo è 1,18 millimetri (AWG # 17 o SWG 18) e il numero di spire
è di circa 200 Fig.43 mostra alcune belle scintille bobina L2:

La
scintilla mostrato sopra è molto forte ma non può bruciare attraverso carta
sottile! Ciò dimostra che l'energia elettrica ottenuta è reattivo, e quindi non
può fare il lavoro così com'è. Conversione di una potenza elettrica reattiva ad
alta tensione in corrente continua non è facile da realizzare. Lavorare con una
tensione di oltre 10KV è veramente pericoloso, a mio dispositivo ho avuto circa
40KV di potenza reattiva che deve essere convertito.
Idee:
Per
risolvere questo problema cerchiamo di ripensare l'equazione energia del nostro
esteso TBC. L'idea
è di lavorare con un metodo step-down piuttosto che utilizzare la tecnica
step-up.
L'equazione
energia può essere scritta in questo modo:
Potenza in un secondo = CVF x VF
CVF è la
corrente disponibile in un secondo poiché C è il valore della capacità della E-TBC,
V è la tensione utilizzata, e F è la frequenza di risonanza.
VF è il valore
limite quando aumento di tensione attraverso la bobina L2, l'energia elettrica
acquisita sale proporzionale al valore della tensione ai capi L2, quando
conseguimento VF la potenza totale ottenuto sarà esattamente: C V2 F2 che è un livello di potenza
molto elevato. So che questo può essere fonte di confusione, ma questo sistema
è uguale tensione e corrente. Quando aumento di tensione, la corrente rimane
costante perché dipende il CVF. prodotto. Potremmo aumentare
la tensione con l'aggiunta di più giri alla bobina L2, durante questa
operazione la corrente è la stessa ma l'energia elettrica disponibile sarà dato
da:
Potenza in
un secondo = CVF x V*
Dove V* è la tensione ai capi L2.
Utilizzando
questa nuova equazione ci aiuterà moltissimo nel determinare la tensione
necessaria attraverso la bobina L2 per ottenere la potenza elettrica richiesta.
Esempio:
Immaginate di avere le
seguenti condizioni di lavoro:
C = 10 nF
V = 30 KV
F = 100 KHz
Avete bisogno di una potenza
di 30 KW, che cosa L2 tensione è necessario per raggiungere questo livello di
potenza?
Utilizzando la relazione
precedente ci darà:
30.000
= CVF x V*
30.000 = 10 x 10-9 x 30 x 103 x 100 x 103 x V*
30.000 = 30 x V* =======> V* =1.000 volts
per ottenere 30 KW è necessario solo 1000 volt attraverso la bobina L2.
Per raggiungere questo livello di potenza è
necessario risonanza diretta, alimentando la E-TBC con una sola alta
tensione, senza risonanza diretta, non darà questo risultato in quanto la
tensione ai capi della bobina del E-TBC sarà limitato dalla separazione
elettrodo di lo spinterometro.
La tensione V attraverso l'E-TBC è molto importante perché il prodotto CVF è la corrente ottenuta usando la bobina reagente (L2). La
frequenza F di lavoro è troppo importante. Simile a un
trasformatore normale, se vogliamo usare il metodo step-down in modo efficace,
dobbiamo pensare di utilizzare troppi giri quando si avvolge il E-TBC. Nel
progettare un E-TBC, è importante pensare alla lunghezza delle piastre del
condensatore perché la lunghezza tra B e D darà il valore totale della tensione
indotta tra le piastre del condensatore che aumentano il flusso
elettromagnetico (Fig.44).

Un semplice schema del
dispositivo di energia di risonanza può essere come il seguente disegno
(Fig.45):

Quando
si converte la potenza elettrica reattiva dalla bobina L2 a corrente continua e
dimissioni l'energia ottenuta per la tensione e la frequenza di rete (per
esempio, 220V, 50Hz), la corrente sarà potenziato ancora una volta.
Alcune
applicazioni non possono avere bisogno di un inverter. Un riscaldatore
elettrico può essere alimentato direttamente dalle batterie di condensatori, ma
dobbiamo evitare che la corrente alternata proveniente da L2 a entrare la stufa
utilizzando un altro bobina ad alta induttanza.
Un'altra
idea di aumentare il lato capacitivo del estesa TBC è quello di utilizzare un
foglio di alluminio attaccato per aumentare la superficie. Il foglio può essere
trattato con chimicamente ad alta tensione. Il risultato è mostrato in Fig.46:

Forse
questa è la tecnica utilizzata da Donald Smith per evitare la necessità di un
collegamento a terra. Ho già accennato sull'utilizzo di energia negativa, per
evitare l'obbligo di collegamento a terra nel dispositivo Resonance Energy, ma
non posso garantire che questo è il metodo usato da Donald Smith.
Hai domande o suggerimenti sono
benvenuti tramite il mio indirizzo e-mail:
hopehope3012 (a) gmail (punto) com
Ming Cao, uno
sviluppatore cinese, commenti sui disegni di Don Smith e Tariel
Kapanadze. Egli dice:
Nessuna di queste cose
provengono da me, provengono da Tesla e Dio.
1. La questione più importante, è la risonanza. Don
Smith ha detto che dovremmo fare la lunghezza del filo della bobina primaria di
essere un quarto della lunghezza del filo della bobina secondaria in modo che
risuonano insieme. Miei esperimenti mostrano che questo non è vero. In una
bobina di Tesla, la bobina primaria e condensatore di esso forma un circuito
serbatoio che è un circuito di L/C, che oscillare alla sua frequenza di
risonanza, e quando lo fa, che genera un'onda longitudinale a quella frequenza
esatta. La frequenza di questa onda longitudinale è determinata dall'induttanza
della bobina primaria combinata con la capacità del suo serbatoio circuito
condensatore e non la lunghezza del filo della bobina primaria da solo. La
bobina secondaria con la sua sfera alla cima, insieme formano un'antenna, che
trasmette questa onda longitudinale. La bobina secondaria e la sua sfera
superiore insieme formano un'antenna risonante a quarto d'onda per questa onda
longitudinale. Non formano un circuito di L/C, e cioè perché pochissime persone
sono riusciti a replicare i dispositivi Don Smith.
2. Nei dispositivi di Tariel Kapanadze e Don Smith,
non non c'è nessuna sfera. Consideriamo una singola bobina secondaria. Questo
non è più un'antenna in quarto d'onda, ma una semionda antenna. La tensione più
alta si presenta al centro di questa bobina, e zero tensione si presenta alle
due estremità dell'avvolgimento bobina. Queste sono dove deve essere
posizionate la bobina energizzante e il pick up bobina.
3. L'onda longitudinale che attraversa la bobina
secondaria non è affatto una corrente, è un segnale che l'attraversa, così se
lasciamo il secondario per caricare un condensatore, si otterrà nulla. Tutti
noi avranno è calda elettricità causata dall'accoppiamento induzione sciolto.
L'arco nella parte superiore di una tipica bobina di Tesla è la tensione del
fulmine, e nessun condensatore sulla terra in grado di gestire tale tensione,
quindi anche un condensatore molto alta tensione sarà sopra sottolineato e
l'arco sarà scossa attraverso di essa.
4. La velocità di questa onda è ben definita. Dipende
la capacità totale della bobina e la sfera se ne esiste uno. In una tipica
bobina di Tesla, più grande della sfera, la più grande capacità e minore la
frequenza di risonanza della bobina secondaria. Persone stanno cercando di
spiegarlo di teoria dei circuiti L/C, ma questo non è necessariamente vero.
Aumento della capacitanza rallenterà l'onda. Se non non c'è nessuna sfera, come
in dispositivi di Tariel Kapanadze e Don Smith, la capacità totale è abbastanza
piccola e così, la velocità dell'onda dovrebbe raggiungere il valore (π/2) x C, dove C è la velocità della luce. Questa
velocità dell'onda longitudinale è rivendicata da Tesla stesso. Tipo di
verificato questo esperimento. Ho detto "tipo di", perché nel mio
esperimento, ho ottenuto una velocità di (π/2) x C x (8/9). L'onda è rallentata le perdite di rame e la capacità della
bobina, per lo più la capacità, ma è sicuramente più veloce della velocità
della luce.
5. Quindi, per accordare il secondario, dovremmo non
utilizziamo la velocità della luce a tutti, Don era un gioco con noi qui.
Dispositivo di Don è preso come esempio. Se noi posizione bobina primaria al
centro della bobina secondaria, quindi che punto medio del secondario deve
essere a terra o collegato a una grande sfera di metallo e ogni metà della
bobina secondaria dovrebbe agire come un'antenna a mezz'onda. Inoltre, le bobine di pick-up dovrebbero
trovarsi presso i due terminali di estremità. La velocità dell'onda
longitudinale lungo la bobina secondaria è imprevedibile e quindi possiamo solo
prevedere una gamma di velocità generale, non possiamo dire se esso è già
risonante eseguendo calcoli. Come disposizione di Nick Giannopoulo (vedi sotto)
e diagramma di brevetti di Tesla, ci sono le bobine di onda di due quarti, cui
interne terminali sono collegati tra loro e aprire all'aria. Qui 'aperto
all'aria' significa che è diverso da altri giri della bobina. L'onda
longitudinale è arrampicata giri invece di passare lungo il filo. Ma alla fine
di ogni bobina di quarto d'onda, non non c'è nessun altri turno per salire più,
solo un filo lungo per poter viaggiare lungo. Questo filo dritto lungo è aperto
all'aria e fornisce una capacità per l'intero dispositivo e questa capacità
aggiuntive rallenterà l'onda longitudinale che passa attraverso di essa, così
che la frequenza di risonanza per la combinazione di questi due bobine
secondari sarà inferiore. Ma se noi eliminare il filo dritto e renderla una
singola bobina secondaria di mezza onda, l'onda longitudinale può continuare a
salire i giri e non non c'è nessuna capacità aggiuntive, così che la velocità
dell'onda longitudinale sarà molto vicino (π/2) x, C e la frequenza di risonanza sarà più alto. Possiamo usare la
stessa lunghezza del filo e l'ex di bobina diametro stesso a costruire diversi
dispositivi, che funzionano a frequenze completamente differenti. Così la
frequenza di risonanza è imprevedibile e abbiamo bisogno di trovare la
frequenza di misurazione di attrezzature, o non funzionerà. Il solo corretto
modo di sintonizzazione secondario è illustrato da Eric Dollard nel suo video
degli anni ottanta, intitolato "Eric Dollard Trasversale e Longitudinale
Wave" che al momento attuale può essere trovato su YouTube a http://www.youtube.com/watch?v=6BnCUBKgnnc.
6. Una bobina pick-up è sempre necessaria, e deve
essere posizionato vicino a zero il nodo di un'onda stazionaria. Questo è uno
di soltanto due modi di imbracatura dell'onda longitudinale. Questo metodo è il
modo dinamico, l'altro modo è il metodo statico, che a mio avviso è stato usato
da Ed Gray.
7. Nel libro e il video di Dr Peter Lindemann, egli
dice che Tesla è utilizzando corrente unidirezionale. Devo dissentire con
questo. Quando si carica un condensatore e si scarica attraverso uno
spinterometro, corrente di Scarica "rimbalza" tra le due piastre del
condensatore, fino a quando l'energia è tutto perso presso lo spinterometro.
Questo processo si ripete all'infinito in una tipica bobina di Tesla. Possiamo
vedere questa forma d'onda primaria con un oscilloscopio ed è corrente
alternata. Migliaia di bobine di Tesla funziona in questo modo e genera
fulmini. Sono fiducioso che questo è come funziona.
8. Non è come ha detto Don Smith, che raddoppiando la
tensione quadruplica l'output. Ha un aspetto simile, ma è in realtà la corrente
che scorre attraverso il primario facendo il lavoro. Naturalmente abbiamo
aumentare la corrente aumentando la tensione di ripartizione dello
spinterometro allargando il divario. Ma fondamentalmente, è la corrente che sta
facendo il lavoro. Tubo di Ed Gray utilizza una barra corta dritto rame come
energizzante 'bobina', ma non è una bobina, ha poco induttanza per generare
tensione, ha solo alta corrente passando attraverso di esso per eccitare l'onda
longitudinale. Naturalmente non ho effettivamente visto questo processo, è una
conclusione che non è completamente basata sull'esperimento.
9. Maggiore il numero di giri in pick-up della
bobina, maggiore sarà la tensione di uscita. Ancora non riesco a capire come
funziona il processo di pick-up, ma raccogliere più energia.
Ottenere tutti questi
di bassa tensione da un generatore di segnale, come non ho finito costruendo un
dispositivo di alta tensione ancora, anche se sto già lavorando su di esso. Ma
penso che sia sicuro per me credere che questi risultati sono solidi e
abbastanza buona da condividere.
Ecco un immagine da
trasformatore elettrico 593.138 brevetti di Tesla.

Possiamo vedere è esattamente lo stesso come
setup Nick Giannopoulos', tranne che Tesla utilizza un generatore in questo
diagramma, credo che per semplicità. Fintanto che il generatore genera la frequenza
della corrente, che funzionerà bene. Secondario sul lato energizzante è una
bobina a quarto d'onda, e presso il pick-up side è un'altra bobina quarto
d'onda. La tensione massima è alla fine di questi due avvolgimenti secondari e
loro cavo di collegamento, e zero tensione è alla fine molto esterno di
ciascuna delle bobine. Ora se cambiamo la bobina di forma a spirale a
elicoidale, diventa set-up di Nick. Prendiamo questo ulteriore, si può
accorciare il cavo di collegamento fino a quando le due bobine del solenoide
secondario effettivamente diventano una grande bobina, quindi, quando esso
combinato è una bobina di mezza onda e la tensione più alta è il punto centrale
di esso. Ora diventa dispositivo di Tariel Kapanadze e Don Smith, come questo:

Perché l'energia è
anche tornato dal lato energizzante, Kapanadze aggiunge un'altra bobina
pick-up, proprio sotto la bobina primaria energizzante. Questa disposizione,
penso, è molto difficile replicare, perché è così molto difficile da accordare,
per diversi motivi:
1. La lunghezza del filo secondario è piuttosto
breve, e la velocità dell'onda è molto molto vicino a (π/2) x C, quindi la frequenza dovrebbe essere molto
alta, almeno 5-7MHz vorrei indovinare, o forse anche più alto.
2. Bobina pick-up
e la bobina primaria è energizzante troppo vicino al punto di centro della
bobina secondaria mezz'onda. Perché il punto centrale è il punto di massima
tensione, se l'ingresso è un po' elevato, non ci sarebbe scossa arco tra
secondario alla bobina energizzante e la bobina pick-up, a livelli di tensione
del fulmine, e così anche l'isolamento migliore è inutile. Inoltre, il punto
centrale è molto molto sensibile, qualsiasi conduttore vicino esso aggiungerà
per la capacità totale della bobina e naturalmente che altereranno la frequenza
di risonanza di mezza onda. Questo aggiunge ulteriori difficoltà per la
regolazione di accordatura. Inoltre, dopo tutto, persone non sanno neanche che
è una bobina di mezza onda se non ci dice.
3. Il coefficiente di accoppiamento K è un po' alto,
questo aumenterà l'effetto caldo trasformatore di accoppiamento induttivo, e
che non aiuta affatto.
Don Smith, infatti ho detto qualcosa di
utile. Ha detto che possiamo fare secondario bobina di dimensioni fisse e quindi
far scorrere la bobina primaria all'interno di esso. Beh basato su risultati
sperimentali, questo processo scorrevole è alterare la reale lunghezza efficace
della bobina secondaria. In generale, noi dovremmo valutare dimensioni bobina
contando i giri a cavallo proprio sotto la bobina primaria energizzante, alla
girata proprio sotto la bobina pick-up, questa sezione è secondario effettivo e
questa sezione dovrebbe essere una bobina mezza onda risuonano, il resto della
bobina siede lì non fare nulla.
Ma non è che semplice,
i terminali della bobina secondaria devono collegare a terra o a una grande
sfera, o una tipica bobina di Tesla secondaria con la stessa frequenza di
risonanza di quarto d'onda. Altrimenti il segnale rimbalzerà avanti e indietro
nella bobina producendo un pasticcio o generando un arco e questo è male per
prestazioni, e questo è auspicabile una connessione di terreno solido. E questo
è il vero significato quando Don dice "far scorrere la bobina primaria per
fare la messa a punto".
Così, ancora una volta,
tornando al dispositivo Kapanadze, che bobina energizzante copre una vasta area
della bobina secondaria, rendendo la lunghezza effettiva della bobina
secondaria molto più breve, aumentando la frequenza di funzionamento del
dispositivo ancora più elevato. Per tale dispositivo, è impossibile accordarla
senza un generatore di segnale di 20Mhz, un oscilloscopio e la comprensione completa
di come si comporta un'onda longitudinale. Per cominciare, non so nemmeno dove
collegare la sonda dell'oscilloscopio o quale terminale dovrebbe collegare a
terra, io sono così fortunato ad essere in grado di guardare vecchio video di
Eric Dollard, e mi raccomando tutti a guardare quel video, guardarlo più e più
volte, anche molti altri video educativi da Eric. Un sacco di cose fondamentali
su come si comporta un'onda longitudinale sono spiegati lì, è come una mappa
del tesoro rivestito in polvere in un angolo tranquillo di una libreria aperta.
Il video di http://www.youtube.com/watch?v=1p41KLfOM2E&feature=youtu.be
da Ming, dimostra quello che sta dicendo qui. Per il video che utilizza una
bobina di ingresso, una bobina di controllo e una bobina secondaria, ciascuna
estremità è collegato a terra mediante collegamenti di terra separati:

Ming anche osservazioni:
Per il set-up
nel video, la bobina secondaria è ferita usando filo di rame smaltato di
diametro 1mm, 365 gira attorno ad un tubo in PVC diametro 160mm. La lunghezza totale della bobina è di 39,5 cm. La
lunghezza totale del filo del secondario è circa 182m. Il materiale bianco è
parecchi strati di isolante di colla per evitare archi elettrici tra giri
adiacenti quando si lavora con alta tensione. La bobina primaria e la bobina di
uscita sono avvolte con cavo audio che è più di 4 millimetri quadrati in croce
sectionl zona. La bobina primaria ha 2 fili, 2 giri. La bobina pick-up ha 4
fili e solo una volta. Io uso questo filo spesso, perché ho intenzione di
utilizzare queste bobine per il mio progetto di alta tensione.
Per una bassa tensione di sperimentare come
mostrato nel video, sarebbe abbastanza adeguato utilizzare il normale filo di
rame di 1 millimetro quadrato sezione trasversale (SWG 18 o AWG #17). Se la
lunghezza del filo secondario è ridotta, quindi la frequenza di risonanza sarà
più alta, ma il principio è lo stesso.
Se solo bassa tensione sta per essere utilizzato -
forse solo per studiare la natura delle onde longitudinali, poi la bobina
secondaria può essere fatto utilizzando un filo molto sottile di 0,3 a 0,4 mm
diametro (SWG 30 a SWG 27) smaltato filo di rame, che costerà molto meno. Ho
fatto il mio bobine con spessore filo perché ho intenzione di continuare a
utilizzare alte tensioni.
È stato a lungo, ma ho alcuni più comprensione
circa sfruttando l'energia radiante. Ho fatto due video aggiuntivi: http://www.youtube.com/watch?v=WJUfj53geBo e
http://www.youtube.com/watch?v=BdBjKVyKBZA In questi due
video, spiego il metodo di conversione elettricità 'freddo' di Tesla a normale
elettricità 'a caldo', archiviandoli in un condensatore. Credo fermamente che,
il metodo illustrato nel secondo dei è esattamente che cosa fa Don con il suo
famoso dispositivo, che non ha bobina di uscita, solo un secondario di due
parti.
Nel primo video, sostituire la bobina di uscita con un
foglio non rivestito di rame, di mostrare alle persone che, questo non è un
trasformatore e quindi, non si basa sull'induzione elettromagnetica. La bobina
di uscita è, fondamentalmente, un pezzo di metallo che può essere alimentato da
un'onda longitudinale. Posso rimuovere il diodo e il condensatore e lascia il
foglio di rame che scaricano a terra attraverso uno spinterometro e due
ordinari 200 watt lampadine ad incandescenza collegate in serie, le lampadine
sono abbastanza brillante, anche se non completamente illuminato, ma piuttosto
brillante, nonostante questa sia una situazione di non-risonante. Hanno questo aspetto:

Il foglio di rame è
elettrificato e carica di esso scorre a terra, ed è questo processo che forma
l'attuale. Così se ci considerano come un trasformatore, considerare la bobina
di uscita come un induttore e aggiungere un carico di questo
"induttore" per formare un loop chiuso, quindi stiamo andando nella
direzione sbagliata.
Poi ho riletto sul
dispositivo di 'Nick Giannopoulos, e ho notato che ha detto che la luce
proveniente dal suo bulbo è blu e bianco. Seguendo il suo schema elettrico,
credo che sia come questo:

Ho questo tipo di luce
quando attribuisco la lampadina direttamente al foglio di rame senza messa a
terra o qualsiasi altro filo supplementare. Qui, in questa fase, non abbiamo
elettricità 'a caldo'. La luce blu-bianca è dovuta ad alta tensione del
metallo, a cui è collegata la lampadina. L'alta tensione non è causato da
induzione, è puramente statico carica sulla superficie del metallo, causata da
elettrificazione di onda longitudinale. Se usiamo Tesla appositamente fatto
lampadine come mostrato nelle sue lezioni, abbiamo il suo sistema di
illuminazione del singolo-filo e avremo una luce molto brillante adatto per
illuminazione polivalente invece questo tipo di luce bianco-blu. In generale,
il mio foglio di rame nudo è l'equivalente della bobina di uscita di Nick più
suo trasformatore-riduttore, che, naturalmente, non è affatto un trasformatore.
Nota: Come si vedrà nei
video, Ming utilizza due connessioni di terra separato. Uno è il cavetto della
sua rete elettrica e l'altra è una connessione con i suoi tubi di acqua fredde.
Uno sviluppatore
Russo ha acceso una lampadina grande con un circuito di Kapandze-stile
autoalimentato:





Video di http://www.youtube.com/watch?v=5nxKqfkkndw&feature=youtu.be
Mostra il bulbo autoalimentato (ha bisogno di un collegamento di terra):

Uno sviluppatore
Cinese ha replicato il dispositivo principale di Don Smith molto
correttamente. Utilizzando un input 12V a 1A o 2A (24 watt), egli è
l'illuminazione dieci lampadine da 100 watt a un alto livello di luminosità. La
lingua cinese dei relativi a questo può essere visto presso:
http://www.energysea.net/forum.php?mod=viewthread&tid=1350&extra=&page=1
Ecco alcuni dei fotogrammi da video:





La circuiteria utilizzata è indicata qui:


Successivamente, un post sul forum da un uomo
messicano dice:
Ciao ‘Salty Citrus’,
Adoro il tuo video !!! Posso davvero apprezzare la quantità di lavoro
voi e il vostro gruppo avete speso per sviluppare e perfezionare il dispositivo
free-energy Don Smith / Tesla. Grazie
per perseguire una causa così nobile.
Sono incuriosito dalla rete di
commutazione utilizzando il CREE CMF20120. Come
hai fatto a cablare il MOSFET di ? È
stato utilizzato un UCC3825A Pulse-Width Modulator all'orologio segnale -->
MOSFET --> Transformers Gate Drive (x3 ) --> transistori push-pull -->
CMF20120 ? Lo si esegue la CMF20120 in serie? Mi dispiace per tante domande, ma io sono
totalmente impressionato dal vostro ingegno, e completamente d'accordo che la
soluzione a stato solido ha indubbi vantaggi rispetto spinterometro
convenzionale di Tesla.
Sarei onorato se potesse prendere il
tempo di rispondere alle mie domande. Mi
piacerebbe replicare vostri circuiti.
Vi auguro buona fortuna con i vostri
sforzi.
Cordiali saluti,
'Lost_bro' (a mezzo mondo di distanza)
---------
Re: ‘Lost_bro’
Grazie per il complimento. Il successo fa onore alla mia squadra. Grazie al mio team. Sì, il CMF20120 eseguito in serie in questa
soluzione. La tensione di bilanciamento
tra ciascun MOSFET è fondamentale in quanto è il bilanciamento tra RC e
tensione CC creato da R.
Benvenuti nel nostro forum per lo scambio di
informazioni. La Cina è un paese
ospitale. Se avete informazioni o idee,
non esitate a condividerle con noi. 'Dall'altra
parte del mondo' non è una grande distanza.
Tutti i migliori,
Sinceramente
‘Salty Citrus’
Una voce prima sul forum cinese si traduce come :
Ecco una build precedente. E 'semplice e non ha la sezione step-down e
quindi non può essere auto-alimentato:







Ogni lampadina
è di 100 watt. La prima scheda ha un
ingresso a 12 volt e una potenza regolabile che può essere variata da 500V a
1600V (qualsiasi tensione superiore danneggerebbe i quattro 450V 20 microfarad
condensatori). Nel video, il resistore
variabile è utilizzato per impostare il livello di tensione della FBT dopo
spinta, come il circuito elevatore di tensione può salire quanto 3.000 volt.
La bobina L2 è avvolto in una sola direzione e ha
un solo rubinetto al centro. L'idea è da
Tesla a Colorado Springs Notes, in cui Tesla comunicati il metodo migliore per
un pilota di risonanza. La frequenza
utilizzata in questo circuito è di circa 230 kHz.
Questione: Non c'è niente a che fare con quarto
d'onda, ma c'è qualcosa con la lunghezza delle bobine L1 e L2 in quarto d'onda?
Risposta:
Penso che la fase è più importante.
Questione: Avete bisogno di un circuito di
phase-locked loop con una certa differenza di fase?
Risposta: Fondamentalmente,
io uso una frequenza fissa, ho provato un phase-locked loop e l'effetto è lo
stesso.
Questione: Usi azionamento diretto con la
scintilla divario solo utilizzato per limitare la tensione?
Risposta: È
possibile utilizzare un tubo a vuoto per alimentarlo.
Questione: Se si guida direttamente, quindi il
caricamento sarà molto grande e la corrente aumenta, mentre se si utilizza un
spinterometro, poi la scintilla diventerà più piccola e la corrente sarà
costante.
Risposta: Se il carico riguarda l'ingresso, allora non si può guidare anche con un spinterometro. Se si attiva con uno spinterometro, allora il carico non aumenterà l'ingresso. Il divario scintilla è solo un interruttore.
Questione: C'è un rapporto diretto Lenz tra il
carico e il primario?
Risposta: Una
volta che la fase è stata regolata, il primario non ha effetti negativi sul
secondario.
Commentando la sua circuiteria, Stati ‘Salty Citrus’:
I simboli
diodo con un segno di spunta indicano un diodo Zener (o bidirezionale
soppressore di tensione TVS - transitori o "varistore"). Ad esempio, in questo circuito, essi sono
utilizzati per sopprimere la tensione di rete del MOSFET, per mantenere la
tensione di gate compresa tra +20V a -20V. Il circuito di cui sopra è solo una
descrizione della struttura del metodo serie MOSFET. Saranno necessari componenti specifici per le
proprie esigenze considerando i MOSFET di essere utilizzati nella costruzione.
Il E0
tensione può essere regolata. La
sorgente può essere effettuato con un TL494 IC funzionante a 12V, o in
alternativa, un invertitore di tensione stabilizzata regolabile può essere
utilizzato. L'impostazione della
tensione dipende dai numeri di MOSFET che vengono utilizzati in serie ed i
parametri di tensione di rete e il rapporto spire del trasformatore di
isolamento. Il circuito è disposta in
modo che ciascun MOSFET ha il proprio trasformatore di isolamento separato, e
tutti gli avvolgimenti primario di tali trasformatori sono collegati in serie
per formare un unico percorso di corrente. Il numero di spire nell'avvolgimento primario
di ciascun trasformatore di isolamento è esattamente lo stesso. Per guidare un IGBT (o MOSFET), VT6 fornisce
un impulso di corrente ad alta frequenza per guidare porte dei MOSFET, in modo
da realizzare la commutazione coerente.
Nel mio
circuito, la frequenza utilizzata è di 220 kHz, per questa frequenza, io uso il
tipo sei MOSFET CMF2012 (1200V, 37A,
Resistenza drain-to-source di soli 80 milliohms). Questo MOSFET da CREE ha prestazioni
eccellenti, ma bisogna progettare il circuito di azionamento con attenzione, 2V
a 22V per la tensione gate sarà migliore. In particolare sottolineare che è molto
importante che MOSFET operati in serie, richiedono l'equilibratura di tensione
e un convertitore accurato. Particolarmente importante è aver
sincronizzato segnali di pilotaggio e l'ascesa e la caduta momento del segnale
di comando deve essere il più breve possibile, in modo che la differenza di
tempo di commutazione tra i MOSFET sarà breve, e che migliora il funzionamento
ad alta frequenza.
Al http://www.youtube.com/watch?v=sRLFfs9I18Q c'è un video che mostra un generatore di
immobili autoalimentata con una potenza di 105 watt:

Ringraziamenti sono dovuti a Wesley per la sua
traduzione della colonna sonora russa. Nessun dettaglio del circuito sono disponibili
che questa volta, ma il video ha "Parte 1" nel titolo e quindi
ulteriori dettagli potranno essere forniti in un secondo momento.
Mi è stato detto di un uomo che ha usato il suo buon senso e ha prodotto un risultato impressionante. Ha usato una bobina di Tesla come la forza trainante,
e poi utilizzato una
seconda bobina di Tesla back-to-back
con la prima, al passaggio l'alta tensione giù di nuovo. Facendo ciò, egli è
stato in grado di accendere una serie
di lampadine potenti dai "L1" bobine di uscita. Ha anche confermato che il raddoppio della tensione, quadruplicato la potenza di uscita, verificare ciò che disse Don. Ha anche scoperto che l'aggiunta di ulteriori bobine con le
lampadine alla bobina di uscita di
Tesla, non ha aumentato la
potenza in ingresso a tutti, non
hanno causato alcun delle lampadine esistenti a brillare meno
vivaci, e ancora
acceso le lampade supplementari.
Che sembra essere la conferma della dichiarazione
Don che qualsiasi numero di copie magnetici dell'originale campo magnetico oscillante
della prima bobina Tesla, può fornire un intero potenza
elettrica senza richiedere alcuna ulteriore potenza di ingresso. Non sono un esperto, ma la mia comprensione della disposizione
è:

La bobina di grande diametro
è esattamente un quarto della lunghezza della bobina di diametro minore, c'è una
risonanza automatico sia quando
la frequenza applicata è proprio.
Come la prima bobina stretta è identica alla
seconda bobina stretta, sono
anche automaticamente risonante
insieme. Ancora una volta, come le bobine di
grandi dimensioni che alimentano i
carichi sono esattamente un
quarto della lunghezza del filo delle
bobine strette, anche risuonare alla frequenza comune ed a quella frequenza, la
potenza d'ingresso è al minimo, mentre la potenza di uscita è al suo massimo. Il picco nella parte superiore di ciascuna delle bobine strette è collegato con un filo per incanalare la potenza generata dalla prima bobina Tesla alla seconda.
Questa disposizione può sembrare troppo semplice per essere efficace, ma
con la tecnologia di Tesla "troppo semplice" semplicemente non si applica. Questo può essere visto chiaramente dal lavoro di Nikanor “Nick” Giannopoulos. Prima ha mai imparato qualcosa di elettronica, Nick letto e compreso Nikola
Tesla Colorado "Note di primavera" (http://tinyurl.com/cop9jys
60Mb) e questo ci ha aiutato con il suo attuale livello di comprensione. È interessante notare,
e forse non a caso, Nick ha avuto difficoltà con l'elettronica convenzionali dopo familiarizzare con la tecnologia di Tesla.
Nick utilizzato un
quadrato generatore di segnale regolabile
onda verso il basso da 50 kHz e con una
completamente regolabile Mark / Space
rapporto. Questo è stato utilizzato per pilotare un olio pieno di bobina di accensione auto, che, come fa
notare non è una bobina di Tesla, nonostante la vista più volte dichiarato che si tratta. Bobine di accensione funzionano solo a bassa frequenza a causa dei limiti del loro materiale del nucleo. Tuttavia, John punti
pietra fuori che induttori
alcuni, come quelli per l'auto Fiat 'Punto',
sono costruite in modo tale che la sostituzione del nucleo di ferrite
dovrebbe essere possibile, e che consenta il funzionamento ad alta frequenza.
In ogni caso, Nick utilizza uno standard di bobina di accensione auto a bassa frequenza e la usa per alimentare un spinterometro come questo, che è costruito da due viti per truciolare:

Il suo circuito è:

Nick ha avuto risultati molto impressionanti dal suo circuito, anche
se è ancora molto un work in
progress con più sviluppo e test ancora da fare. L'ingresso 24 watt di
12V a 2A sta
producendo due molto illuminata
220V lampadine. Questo
non ci dice molto circa la potenza di uscita effettiva, perché
le lampadine sono noti per
l'illuminazione brillantemente a
bassi livelli di potenza, specialmente
se la frequenza è alta. Ma, un punto molto importante è la qualità della luce, che è un insolito, colore blu-bianco, a differenza del colore prodotto quando collegato alla rete 220V. Questo è generalmente un segno della potenza di energia elettrica
essere 'freddo'. Anche
se non ha ancora avuto la
possibilità di testarlo, Nick
ritiene che il circuito nella sua forma attuale è perfettamente in grado di alimentare carichi
molto più elevati, e considerando il
colore della luce, sarei incline a
concordare con lui, anche se una
cosa del genere che deve essere
testato e collaudato prima di trarre
conclusioni solide possono trarre
da quanto già noto circa le prestazioni.
Le prestazioni del circuito è molto
migliorata se due fisici separati
collegamenti di terra di terra sono.

Si prega di non cadere nella trappola di pensare
che siccome le scintille si verificano a meno di 5 kHz, che le bobine di Tesla
anche funzionare a quella frequenza. Se si colpisce una campana che vibra a 400
Hz, vuol dire che si deve colpire 400 volte al secondo, al fine di sentirla? A
dire il vero, no, no, e la stessa cosa vale qui, dove la frequenza di risonanza
delle bobine di Tesla è di circa 650 kHz. Le primarie sono avvolte su 100 mm di
diametro sezioni di tubo in PVC e 19 spire di filo di diametro di 1,02 mm in
rame smaltato viene utilizzato per loro (19 SWG o # 18 AWG). Le bobine
secondarie sono avvolte su 70 mm di diametro con tubo in PVC diametro 0,41
millimetri filo di rame smaltato (27 SWG o # 26 AWG), con una lunghezza totale
di quattro volte la lunghezza del filo avvolgimento primario. Come si vedrà più
avanti in questo capitolo, la risonanza in una bobina comporta un'onda
stazionaria all'interno del filo. Tale onda stazionaria viene creato dal
segnale rimbalzando l'estremità del filo e viene riflessa indietro. A frequenze
diverse dalla frequenza di risonanza, questo si traduce in un insieme continuo
cambiamento di molti differenti onde viaggiano in entrambe le direzioni e con
intensità diverse (quello che potrebbe ragionevolmente essere descritto come un
disastro totale). Quando la frequenza di risonanza viene alimentata alla
bobina, allora tutto questo caos scompare e rimane solo una forma d'onda, e in
qualsiasi punto lungo il filo, la forma d'onda appare stazionaria anche se,
naturalmente, non è in realtà stazionario, solo l'effetto dei picchi che si
verificano sempre esattamente nello stesso punto e gli abbeveratoi che si
verificano esattamente nello stesso punto, facendo le onde successive
esattamente la stessa di quella precedente.
Questa caratteristica ha un aspetto molto pratico, cioè che se si esegue lo
stesso filo dalla bobina gira per collegarsi a qualsiasi componente circuito
successivo sembra essere, allora l'onda dentro il filo non si riprenderà alla
fine della bobina gira ma continuerà fino alla fine del filo prima di
rimbalzare. Quindi, la lunghezza del cavo di collegamento deve essere incluso
quando calcolando la lunghezza del filo nelle spire della bobina. D'altra
parte, se il filo nelle spire è terminato alle estremità della bobina e filo di
diametro molto diverso viene usato per collegare al componente successivo nel
circuito, il segnale dentro il filo si riprenderà dal improvviso cambiamento di
diametro del filo e quindi la lunghezza del cavo di collegamento non farà parte
della lunghezza del filo nelle spire della bobina. Questa è una caratteristica
importante se si sta puntando per un esatto rapporto 4:1 filo di lunghezza (e
4:1 peso filo) tra gli avvolgimenti della bobina i Tesla per imporre una
risonanza automatico tra i due avvolgimenti.
Va notato che il PVC (specialmente non bianco PVC) ha un effetto molto
restrittiva bobine ad alta frequenza. Alle basse frequenze, il PVC è ok, ma si
trascina verso il basso le prestazioni della bobina con l'aumentare della
frequenza, abbassando la "Q" (per "Qualità") Fattore della
bobina. Utilizzando acrilico al posto del PVC supera questo. In alternativa, il
rivestimento in PVC con alta tensione materiale isolante come shellCA o uno
degli agenti di rivestimento proprietarie, migliorerà le cose
considerevolmente. L'ideale, naturalmente, è quello di non avere ex affatto e
hanno la bobina in piedi senza aiuto a causa della sua forza. Il metodo di fare
quel tipo di bobine mostrati più avanti in questo capitolo.
È non è affatto chiaro
se il sistema di alimentazione Boyd dovrebbe trovarsi qui o nel capitolo 7, che
si occupa di antenne. Joseph parla del modo in cui operano circuiti radio e
perché solo molto limitato potere sembra essere il limite dei ricevitori radio.
Spiega un metodo di estrazione gravi livelli di potenza da una bobina
trasmittente e una bobina ricevente, ma ai livelli più alti di potenza
richiedono un oscillatore input e così, mentre un'antenna e terra può essere
utilizzato per più bassi livelli di potenza, potenza di ingresso è necessario
per ottenere prestazioni ottimali. Ecco parte della domanda di brevetto fatta
da Joseph:
Domanda di Brevetto Degli
Stati Uniti 2008/0129397 5 giugno 2008 Joseph Boyd
GENERATORE ELETTRICO ELETTROMAGNETICO
Abstract:
Un generatore elettrico
che utilizza un oscillatore ad alta frequenza in un circuito sintonizzato, impostato
a risuonare con la bobina trasmittente di unità trasformatore metraggio ad alta
frequenza, per generare energia elettromagnetica, di trasformare questa energia
in energia elettrica e di raccogliere questa energia.
1.
Campo dell'invenzione
La presente invenzione
è un generatore elettrico che utilizza un oscillatore ad alta frequenza in un
circuito sintonizzato, impostato a risuonare con la bobina trasmittente di
unità trasformatore metraggio ad alta frequenza, per generare energia
elettromagnetica, di trasformare questa energia in energia elettrica e di
raccogliere questa energia.
2. Descrizione dell'arte correlata
Se un circuito
oscillatore è correttamente collegato ad un'antenna sintonizzata che risuona,
fluisce una corrente tra l'antenna e la terra, e questo produce le onde
elettromagnetiche dell'aria ad alta frequenza e onde terrestri della nostra
radio e altri apparecchi elettronici.
Un oscillatore dello
stesso tipo usato nelle apparecchiature di trasmissione di onde
elettromagnetiche è usato per generare l'energia elettromagnetica utilizzata in
questo brevetto. Questi trasmettitori elettromagnetici sono ben sviluppati e
sono usate world wide e trasmissione a frequenze che si estendono dalle onde
radio più lunghe a quelli molto brevi. Alcune radio trasmettono loro distanze
grandi segnali, alcuni addirittura viaggiare intorno al mondo.
Anche se queste onde di
energia elettromagnetica ad alta frequenza sono intorno a noi, questa energia è
a lungo stata considerata impossibile raccogliere su larga scala a causa delle
caratteristiche di induzione delle onde elettromagnetiche che passa un oggetto
metallico. Come l'onda passa da un filo sintonizzato per risuonare alla
frequenza dell'onda, induce una carica elettrica nel cavo, ma per utilizzare
questa carica, abbiamo bisogno di un altro filo per chiudere il circuito e
lasciare che il flusso di carica. Se si usa un altro filo a fianco il primo
filo e collegato ad esso, l'onda induce una carica in essa, esattamente come
nel primo filo e nessuna corrente circolerà in due fili.
Questo problema di
raccogliere l'energia dell'onda è stato risolto tramite l'invenzione del
trasformatore elettromagnetico mezza lunghezza, ma il trasformatore
elettromagnetico males si applica solo ai mezzi di raccolta l'energia atmosferica.
L'invenzione del trasformatore elettromagnetico full-length di questa
invenzione, tuttavia, ci permette di combinare la generazione delle onde
elettromagnetiche e il convertitore elettrico in un'unica unità compatta.
BREVE RIASSUNTO
DELL'INVENZIONE
Fondamentalmente,
questa unità utilizza una corrente elettrica oscillante per generare un'onda
elettromagnetica, che rilascia una corrente elettrica molto maggiore e il
totale di energia elettrica derivata in questo modo, è di là della quantità di
energia necessaria all'utilizzo dell'apparecchiatura.
A lungo è stato assunto
che l'unica energia coinvolto nella trasmissione elettromagnetica ad alta
frequenza è quello fornito dall'operatore di guidare la sua attrezzatura.
L'effettiva energia dell'onda elettromagnetica è spesso oltre cento volte più
grande di questo poiché la quantità di energia elettromagnetica della terra è
praticamente illimitata, ci sembra non essere alcun limite per le dimensioni
dei generatori elettromagnetici, o per la dimensione delle centrali elettriche
basate su questa fonte di energia. Questa energia è disponibile, mondo largo,
libero, per l'assunzione.
Questa energia è legata
a onde luminose ed è probabilmente una variazione delle onde luminose,
tuttavia, le onde radio tipo sono più di onde luminose e sono vibrazioni ad una
frequenza più bassa. Onde di luce sono una fonte di energia elevata solo per
l'assunzione, anche. Tutto ciò che è portato a un alto calore, darà energia
luminosa. Un filo molto piccolo in una lampadina, quando ha portato a un alto
calore rilascerà un raggio di luce di tale potere che andrà fino alla luna.
Questo è l'energia naturale, prodotto dalla velocità della terra attraverso lo
spazio. Usando la matematica di Dynetics, la velocità della terra necessaria per
dare ogni libbra di terra l'energia atomica di una libbra di uranio, è venuto
fuori esattamente come la velocità della luce (186.300 km al secondo). Il fatto
che la matematica è venuto fuori esattamente a questa velocità lascia pochi
dubbi sul fatto che la velocità della terra attraverso lo spazio è la velocità
della luce, e che ogni chilo di materiale sulla terra è l'energia di una libbra
di uranio, a causa di questa velocità.
L'energia
elettromagnetica nella gamma bassa frequenza si differenzia da altri tipi di
energia, in molti modi, ma di interesse per noi è che si è propagato da
correnti elettriche, viaggia attraverso l'aria come le onde di luce e viene
rilevato e possa essere raccolte, quando induce una carica elettrica in un
filo.
Questa è una fonte
ideale di energia. I generatori possono essere portatili o abbastanza grande
per sostituire gli impianti più grandi. Esse possono essere utilizzate per
guidare aerei, slitte, auto, camion, treni, navi e cicli del motore. Il fatto
che l'output è in forma di energia elettrica è, di per sé, un grande vantaggio,
ma il fatto che l'apparecchiatura generatrice è leggero e compatto è un vero
plus per tutti i tipi di apparecchiatura mobile.
È possibile che questa
invenzione fornirà tutta l'energia elettrica necessaria nelle case rendendo
inutili le linee di distribuzione, e se usato per automobili auto, la nostra
dipendenza dal petrolio sarà una cosa del passato.
Questa invenzione rende
possibile un'abbondanza di energia, disponibile per ogni dove l'umanità in tutto
il mondo. Anche le nazioni più povere avrà un'abbondanza di energia.
L'apparecchiatura
oscillante che genera l'onda elettromagnetica utilizzata in questa invenzione
comprende un oscillatore, di un certo tipo di guida una bobina trasmettitore
sintonizzato che risuona con una bobina di collezionista sintonizzati in un
full-length trasformatore elettromagnetico. La corrente indotta è raccolta
nella bobina di raccolta e può essere rettificata e memorizzata in una batteria
o usata per fare il lavoro. Il circuito dell'oscillatore è un circuito
oscillatore ordinaria, guidato da un tubo, cristallo o addirittura un arco
elettorale, e la messa a punto mezzi e set-up rettifica sono standard.
L'elemento di base che
è il romanzo di questa invenzione è l'unità trasformatore elettromagnetico
full-length che è costituito da due o più tubi metallici come guaine fianco a
fianco. Le guaine non sono
collegate insieme, elettricamente. Due o più bobine sono avvolte nelle guaine.
Gli usi di bobina
trasmittente un filo isolato, che è filettato fino attraverso una guaina e giù
attraverso un altro fodero un certo numero di volte che formano un circuito
lungo piano continuo di filo all'interno del tubo, come guaine. E poi la bobina
di raccolta è filettata fino attraverso le guaine e allo stesso modo della
ferita. Le due bobine possono avere un diverso numero di giri. Le bobine sono
sintonizzate per risuonare alla frequenza dell'oscillatore e un'onda
elettromagnetica viene generata nella bobina di trasmissione. L'onda induce una
carica in quella parte della bobina di raccolta che è nella stessa guaina e
accanto ad essa, e se l'onda si muove nella guaina, le accuse di tutti il
collezionista fili in guaina che si muovono su, e se l'onda è in movimento
verso il basso, le spese di tutti i fili di collezionista si muovono verso il
basso. Ma l'onda del trasmettitore in una guaina non induce una corrente nei
fili della guaina di un altro, né fa indurre una corrente in un filo di fuori
di tale guaina. Questo permette una corrente indotta in una guaina di circolare
liberamente in altre le guaine o su un filo esterno.
Quando la bobina
trasmittente è portata a risonanza e trasmette la sua onda elettromagnetica
all'interno le guaine, ci avvantaggia in due modi. Mantiene l'onda dentro le
guaine e ne impedisce la diffusione in lungo e in largo, e si concentra l'onda
su quella parte della bobina di raccolta nella stessa guaina.
Poiché ciascuno dei
fili collector sono della stessa lunghezza, dire che la ½ lunghezza d'onda
dell'onda elettromagnetica e poiché essi sono paralleli e fianco a fianco,
un'onda elettromagnetica risonante induce cariche uguali in tutti i fili di
raccolta all'interno della guaina. Queste correnti indotte sono esattamente in
fase e sono collegate in serie, così che le tensioni di aggiungono fino a un
importo proporzionale al numero di giri.
Più di due guaine
possono essere utilizzati con le bobine della ferita all'interno, o il
lunghezza di ff11-trasformatore può essere combinato con il trasformatore males
dove l'avvolgimento è all'interno della guaina e parte fuori le guaine.
L'oscillatore può essere sostituita da un'antenna nei casi in cui è necessario
bassa potenza. La bobina di induttanza può essere lasciata interamente di fuori
del trasformatore e l'accoppiamento ha fatto alla trasmissione bobina di
induzione magnetica.
Questi e altri oggetti,
caratteristiche e vantaggi della presente invenzione diventerà più evidenti
leggendo la seguente specifica in congiunzione con la figura di disegno
d'accompagnamento.
BREVE DESCRIZIONE
DELLE FIGURE

Fig.1 è una vista di un'onda elettromagnetica, a causa
della risonanza, passando due fili affiancati sintonizzati alla stessa
frequenza. L'onda genera oneri alternate uguale in ogni filo e nessuna corrente
fluisce quando i cavi sono collegati.

Fig.2 è una vista di un onda elettromagnetica risonante
passando due fili, sintonizzati per risuonare, dove un filo è circondato da una
guaina metallica. La guaina metallica esterna si ferma l'onda e impedisce di
indurre una carica nel cavo schermato. La carica indotta nel filo esterno ora
scorre liberamente attraverso il cavo schermato.

Fig.3 è una vista di un trasformatore elettromagnetico
lunghezza completo costituito da due tubi metallici come guaine, avendo due
fili filettati fino attraverso l'apertura interiore di una guaina e giù
attraverso l'apertura interna della guaina, un numero di volte per formare due
bobine in continuo. Quando un'onda elettromagnetica è alimentata in bobina
trasmettitore sintonizzato, una corrente alternata viene indotta nella bobina
sintonizzata collector.

Fig.4 è una vista di un trasformatore elettromagnetico
full-length, avendo due guaine, isolati gli uni dagli altri, e una porzione di
cutaway Mostra le bobine all'interno.

Fig.5 è una vista di un trasformatore elettromagnetico
full-length, avendo quattro sezioni isolati gli uni dagli altri.

Fig.6 è una vista in sezione di un trasformatore
elettromagnetico completo lunghezza costituito da due tubi metallici come
guaine, dove un circuito oscillatore è fissato una bobina trasmettitore
sintonizzato, che induce una corrente nella bobina sintonizzata collector; e un
circuito raddrizzatore a semionda converte la corrente ad alta frequenza a
corrente continua.

Fig.7 mostra una vista di un trasformatore full-length,
usato come un'induttanza in un ricevitore radio o altri simile circuito
elettronico 61. In questo caso la bobina trasmittente è tra
l'antenna e terra e i collezionista bobina atti come l'induttanza di radio
frequenza.

Fig.8 mostra un numero di trasformatori full-length,
collegati in serie. Tutti hanno raddrizzatori per convertire l'alta frequenza
corrente alternata a corrente continua e si sommano le tensioni a carico.

Fig.9 mostra una vista di un trasformatore full-length,
collegato in parallelo. In questo caso si sommano le correnti a carico.
DESCRIZIONE DETTAGLIATA DELLE INCARNAZIONI PREFERITE
Quando un circuito
viene effettuato a risuonare a qualche frequenza, genera un'onda
elettromagnetica. Queste onde si muovono a velocità della luce e viaggiano
grandi distanze, e questo rende possibile la nostra radio, televisori e
telefoni cellulari. Queste onde, nel passare un filo sospeso in aria, impostare
alternando oneri nel filo, variando la frequenza dell'onda. Se mettiamo
un'induttanza, che è sintonizzata sulla frequenza dell'onda, tra il filo e la
terra che del circuito risuonerà e oneri saranno portata avanti e indietro sul
filo. Questo permette di scegliere l'onda in che siamo interessati, si
amplificano e leggere il suo messaggio. A lungo abbiamo saputo che la tensione
dell'onda che scegliamo di ricevere notevolmente è amplificata quando facciamo
il nostro circuito risuonano a frequenze di quell'onda, ma noi siamo stati in
grado di accumulare questa energia supplementare dall'onda perché siamo
limitati a ciò che noi possiamo raccogliere di energia per le apparecchiature
che utilizziamo.

Fig.1 mostra perché questo è così. L'onda
elettromagnetica passaggio 6 genera
una carica elettrica alternata in filo 10,
sintonizzata sulla frequenza d'onda per chiudere il circuito in modo che la
carica indotta può circolare, abbiamo aggiunto un secondo filo 11, ma se ci colleghiamo insieme le
estremità dei fili, l'onda elettromagnetica 6 induce una carica nel secondo filo esattamente come quello di cui
il primo filo, e nessuna corrente fluirà. Qualsiasi sforzo per far circolare la carica
indotta in filo 10 è bloccato da
un'uguale carica avversaria in 11.

Nella Fig.2 noi abbiamo sostituito il filo 11 con un metallico, tubo come guaina 13 avendo un filo isolato 14 all'interno quando un'onda
elettromagnetica 7 passa, l'onda è
fermato presso la guaina 14 e non
indurre eventuali spese nel filo interno 14.
Questo permette all'interno filo 14 per condurre la carica indotta nel
cavo 12.

Nello Fig.3 vediamo due guaine 20 e 21, parallelo e isolati gli uni dagli altri. All'interno le guaine sono avvolti due
avvolgimenti separati, 22 e 23. La bobina 22
è la bobina trasmettitore e si è sintonizzato per risuonare con la frequenza
del circuito oscillatore 24, e
questo genera un'onda elettromagnetica che induce una corrente nella bobina
collector 23, che è adattata e
utilizzata nel circuito collettore sintonizzati 25.

Fig.4 è una vista di un generatore elettrico
elettromagnetico full-length utilizzando due guaine distinte 30 e 31, dove l'onda elettromagnetica è quasi completamente contenuta
entro le guaine. Le guaine sono
paralleli e isolati gli uni dagli altri da isolatori 34 e 35. La bobina trasmettitore 32 e la bobina di raccolta 33
vengono mostrati in vista di taglio trasversale e sono completamente avvolti
dentro le guaine. Bobine supplementari
possono essere aggiunti come necessario. La bobina trasmettitore 32 è sintonizzata per risuonare con la frequenza del circuito
oscillatore, che collega a 36. E questo genera un'onda elettromagnetica che è
contenuta entro le guaine e induce una corrente nella bobina collector 33, che è sintonizzata per risuonare
alla frequenza dell'onda e viene accoppiata al circuito di raccolta presso il
terminal 37. I separatori isolanti 34 e 35 sono necessari
per impedire la corrente indotta che scorre nelle guaine 30 e 31.

Un certo numero di
guaine possa essere combinato, come è mostrato in Fig.5. In questo caso quattro guaine, 40, 41, 42 e 43 sono
combinati, in modo che le bobine della ferita dentro le guaine sono in serie, e
le guaine sono elettricamente separate da isolatori, 44, 45, 46 e 47. Il circuito sintonizzato per la bobina
trasmettitore è collegato a connettori 48,
e il circuito di collettore si collega alla bobina di raccolta a 49.

Un semplice circuito
per il funzionamento del trasformatore elettromagnetico full-length è mostrato
in Fig.6 Le due guaine 50 e 51 sono indicate con la bobina trasmittente 52 e collezionista bobina 53.
La bobina trasmettitore è collegata al
circuito sintonizzato 55, che è
guidato dall'oscillatore 54. L'oscillatore 54 è sintonizzato per oscillare alla frequenza di alcuni e il
circuito trasformatore 55 e circuito
collettore 56 sono sintonizzati per
risuonare con essa. Alla risonanza
della bobina trasmittente 52 emette
un'onda elettromagnetica che induce una corrente nella bobina di raccolta 53. Qui è un raddrizzatore a semionda 57 e condensatore 58 collegato al carico 59.
Il raddrizzatore è necessario su ogni
unità raccolta, perché possiamo aggiungere le correnti dirette di unità
separate, ma le correnti alternate delle unità potrebbe essere fuori fase e
senza il raddrizzatore vuoi annullare le.

Fig.7 mostra la bobina trasmettitore collegato tra
l'antenna e la terra, dove il circuito aereo e circuito collettore sono
sintonizzati a risuonare alla frequenza desiderata per aumentare notevolmente
la sensibilità e per amplificare il segnale. Questo applicazione di tipo funzionerà altrettanto bene con i
trasmettitori.
Inoltre, utilizzando il trasformatore males
come un'antenna e il full-length trasformatore come il trasformatore a radio
frequenza funziona lo stesso con trasmettitori e ricevitori. Il circuito
oscillatore può utilizzare un'induttanza magnetici ad alta frequenza e l'unità
trasformatore full-length a risuonare con un trasformatore males che funge da
antenna. Un apparecchio come questo sarebbe notevolmente aggiungere alla
potenza di un sistema radar.

Le unità full-length, quando combinato con
raddrizzatori, possono essere collegate in serie come in Fig.8, o in parallelo come in Fig.9
Mentre l'invenzione è
stata divulgata in di esso forme preferito, sarà evidente a coloro che sono
esperti nell'arte che molte modifiche, aggiunte ed eliminazioni possono essere
fatti ivi senza in partenza dallo spirito e la portata dell'invenzione e i suoi
equivalenti come set avanti nelle seguenti rivendicazioni.
Attestazioni:
1. Un generatore elettrico che utilizza
un'oscillazione del circuito per risuonare con induttanze racchiusi in un'unità
trasformatore elettromagnetico full-length, composto da: due o più parallele,
metallici, tubo-come guaine, isolati gli uni dagli altri; una bobina
trasmettitore elettromagnetico, che è ferita dentro le guaine, utilizzando un
filo isolato, filettato fino attraverso l'interno di apertura di una delle
guaine e giù all'interno di una seconda guaina, una o più volte, per formare
una bobina continua; un mezzo di sintonizzazione della bobina trasmittente per
la frequenza del circuito oscillante, così che la bobina trasmittente risuona e
genera un'onda elettromagnetica che è contenuta all'interno di guaine; una
bobina di raccolta è composta da un filo isolato, filettato fino attraverso
l'interno di apertura di una delle guaine e giù all'interno di una seconda
guaina, uno o più volte, per formare una bobina continua, in cui l'onda
elettromagnetica della bobina trasmittente induce una carica elettrica nel
raccoglitore della bobina; e un mezzo di ottimizzazione la bobina di raccolta a
risuonare alla frequenza del circuito oscillante; modo che l'onda
elettromagnetica induce una corrente nella bobina di raccolta, e poiché la
bobina è contenuta entro le guaine, la corrente è libera di flusso e la
corrente alternata ad alta frequenza, così generato, può essere utilizzato
altrove in un circuito elettronico, o alterato e utilizzati come fonte di
energia.
2. Il trasformatore elettromagnetico full-length
unità di attestazione 1, dove la corrente raccolta è rettificata, e la corrente
CC è archiviata in condensatori e usata per fare il lavoro.
3. L'unità trasformatore elettromagnetico full-length
di attestazione 1, dove la bobina trasmittente agisce come un'induttanza
sintonizzata, in un ricevitore, tra l'antenna e la terra e un collezionista
sintonizzato bobina risuona per aumentare la sensibilità e l'ampiezza del
segnale.
4. L'unità trasformatore elettromagnetico full-length
di attestazione 3, dove la bobina trasmettitore sintonizzato risuona con un
oscillatore e un'antenna di agire come un trasmettitore di radio, televisori,
telefoni cellulari, radar e computer.
5. L'unità trasformatore elettromagnetico full-length
di attestazione 1, dove le lunghezze delle guaine sono alcuni multiplo della
lunghezza d'onda di una particolare frequenza elettromagnetica.
6. L'unità trasformatore elettromagnetico full-length
della domanda 5, dove un certo numero di unità è collegato in parallelo per
aumentare la corrente.
7. L'unità trasformatore elettromagnetico full-length
della domanda 5, dove un certo numero di unità è collegato in serie per
aumentare la tensione.
8. L'unità trasformatore elettromagnetico full-length
della domanda 5, dove le parti sono ridotti a una dimensione abbastanza piccola
per adattarsi e fornire alimentazione, un telefono cellulare, un computer lap-top
o altro apparecchio elettrico.
9. L'unità trasformatore elettromagnetico full-length
di rivendicare 1 ulteriore composto da tre o più, metallico, parallelo, fianco
a fianco, tubo come guaine, dove le guaine non sono collegate elettricamente, e
hanno due o più spire avvolte dentro le guaine.
***************
Fino a questo momento
(giugno 2013), non ho sentito di chiunque tenti di replicare il disegno
mostrato in questo brevetto, e così è solo essere messo avanti qui nel caso in
cui qualcuno vuole provare. Sembra
essere una tecnica intelligente. Il guadagno di potenza è massimizzato
sintonizzando le bobine trasmittente e ricevente per la frequenza
dell'oscillatore, anche se in pratica, è molto probabile che la frequenza
dell'oscillatore sarebbe essere regolata alla bobina trasmittente come è così
facile regolare la frequenza di un oscillatore.
Boyd non va in grande
dettaglio di raggiungere la risonanza, e che è generalmente una maggiore
difficoltà a qualsiasi disegno o modello che non abbia la sintonizzazione
automatica. Bisogna tener presente che
la lunghezza del filo in ogni bobina (e possibilmente il suo peso) è un fattore
chiave. Boyd parla di bobine
possibilmente aventi lo stesso numero di giri e che è bene a condizione che le
bobine sono identiche nelle dimensioni, che è, avendo la stessa forma se visti
dall'alto e la stessa profondità di si trasforma quando visto di lato, ed
esattamente lo stesso numero di giri con ogni bobina con lo stesso filo di
lunghezza. Risonanza in una lunghezza di
filo, se si è disposti dritto o ferita in una bobina, tende a confondere molte
persone. Spiegazione molto chiara di Richard Quick di risonanza di qualsiasi
lunghezza del filo, nel suo U.S. patent 7.973.296 del 5 luglio 2011 è molto
utile. Egli dice:
“Quarto d'onda Rrisonanza; In Piedi le
Onde Elettromagnetiche”
Uno dei due tipi principali è risonanza
elettrica è qui indicato come quarto d'onda di risonanza. Questo tipo di
risonanza dipende quasi interamente la lunghezza di un elemento di filo Per
motivi di seguito descritti, se un segmento o lunghezza di filo è quarto finché
le "onde di tensione" che viaggiano attraverso il filo, poi una serie
di "riflesso "onde sarà aggiunto alle onde emesse, in un allineamento
sincrono che crea forti" onde sovrapposte ".
Pertanto, la comprensione del fenomeno "quarto d'onda" aiuterà il
lettore a capire come un fattore semplice e facilmente controllato (cioè, la
lunghezza di un nastro filo che sarà utilizzato per formare una bobina a
spirale) può contribuire a creare un "quarto -onda "risposta
risonante, che creerà i tipi di impulsi elettromagnetici e campi indicati
come" onde stazionarie ".
La velocità con cui viene trasmesso un impulso di tensione attraverso un filo
metallico è estremamente veloce. Esso è essenzialmente uguale alla velocità
della luce, che viaggia 300 milioni di metri (186.000 km) in un secondo (che
distanza sarebbe circonda la terra più di 7 volte).
Se lunghezza d'onda (in metri) è moltiplicato per (cicli al secondo), il
risultato sarà la velocità della luce, 300 milioni di metri / secondo.
Pertanto, la lunghezza d'onda di una "corrente alternata" (ca) a
qualche frequenza particolare, sarà la velocità della luce, diviso per il quale
frequenza.
Pertanto, utilizzando semplice divisione, se una tensione alternata a una
frequenza di 1 megahertz (MHz), che è un milione di cicli al secondo, allora la
"lunghezza d'onda" a quella frequenza sarà di 300 metri. Se la
frequenza dimezza diventano 500 kilohertz, la lunghezza d'onda diventa due
volte più lungo (600 metri), e, se la frequenza dovesse aumentare a 2
megahertz, la lunghezza d'onda scende a 150 metri.
Si noti che il termine "ciclo" è ciò che gli scienziati chiamano
"un'unità adimensionale", che cade e diventa silenziosa quando altri
termini fisici sono moltiplicati o divisi.
A frequenze CA di 10 kilohertz o superiore, i riferimenti comuni a
"corrente alternata" (AC) Tensione iniziare a utilizzare un termine
diverso, che è "radio-frequenza" (RF) di tensione. Di conseguenza, la
tensione RF è una forma (o sottoinsieme) di tensione CA, che opera a frequenze
superiori a 10 kilohertz. Generatori di potenza RF sono facilmente disponibili,
e sono venduti da numerose aziende che possono essere facilmente individuati
dal una ricerca su Internet, utilizzando il termine "generatore di potenza
RF". Ad esempio, Hotek Technologies Inc. (hotektech.com) vende due
generatori di potenza RF, chiamate il 1024 AG e AG 1012 modelli, in grado di
fornire potenza di uscita a frequenze che vanno da 20 kHz a 1 MHz, mentre il
modello 1012 dispone di una potenza di 1000 watt, mentre il modello 1024 ha una
potenza di 2000 watt. La frequenza di uscita di qualsiasi tale alimentazione RF
può essere regolata e "accordato" su tutta la gamma di frequenze
operative, semplicemente ruotando manopole o manipolare altri controlli in un
alimentatore di questo tipo.
In un filo di lunghezza fissa e immutabile, il modo più semplice per creare un
"onda stazionaria" è quello di regolare la frequenza RF emessa da un
alimentatore con una frequenza regolabile, fino a quando la frequenza
"sintonizzata" crea una lunghezza d'onda che è 4 volte più lungo il
filo. Questo principio è ben noto ai fisici, e viene comunemente indicato come
comportamento "quarto d'onda", poiché la lunghezza del segmento di
cavo deve essere quarto finché la lunghezza d'onda. Poiché è importante per
questa invenzione, i principi dietro essa sono illustrati in una serie di
disegni forniti in Fig.1 a Fig.4, che sono tutti ben noti tecnica nota.

Fig.1A indica una lunghezza d'onda idealizzata
di una tensione alternata, rappresentato da un'onda sinusoidale che viene
inviato da un alimentatore CA (indicata da un cerchio all'estremità sinistra di
un filo rettilineo orizzontale) sulle estremità "input" del filo. Le
onde di tensione si spostano attraverso il filo verso destra, come indicato
dalla freccia in blocco Fig.1A. Quando le onde raggiungono l'estremità del
filo, non possono lasciare il filo (almeno, non in modo semplificato e sistema
"ideale", che viene ipotizzato e utilizzato per spiegare il principio
di come un semplice filo diritta possibile creare una standing d'onda).
Pertanto, l'onda di tensione effettivamente "rimbalzo" o
"riflettere" indietro dalla punta del filo, e il "onda
riflessa" inizierà viaggiando indietro attraverso il filo, andando nella
direzione opposta, come indicato dal blocco rivolta verso sinistra freccia in
Fig.1B.
A causa delle leggi di conservazione dell'energia, la riflessione e la
"corsa di ritorno" di questi tipi di onde, quando rimbalzano la punta
di un filo, è piuttosto buona, e piuttosto efficiente, come discusso di
seguito, a condizione che la punta del filo non emette scintille, scariche ad
arco, o altre forme di "fuga" di energia elettrica.
Di conseguenza, Fig.1A raffigura una serie di "onde emesse" in
viaggio verso destra, mentre Fig.1B raffigura un insieme ideale di "onde
riflesse" che viaggiano verso sinistra lungo il filo stesso.
Fig.1C illustra ciò che accade quando entrambi i gruppi di onde (emessa e
riflessa) sono sovrapposti. Poiché i due gruppi di onde viaggiano esattamente
alla stessa velocità, e poiché hanno esattamente la stessa lunghezza d'onda, si
creerà una "standing wave" modello quando vengono sommati. Come può
essere visualizzato da Fig.1C, ci sarà un insieme di posizioni, lungo la lunghezza
del filo, che può essere indicato come "nodi di punta", in cui la
tensione raggiunge CA è massima.
In una posizione a metà strada tra una coppia di nodi adiacenti
"punta", ci sarà un punto che può essere chiamato un "nodo
nullo", un "nodo zero", attraverso un nodo o valle, o termini
simili. Ad ogni "null nodo" posizione, la tensione CA sembrerà non
fluttuante affatto. Questi sono i siti, lungo la lunghezza del filo, dove ogni
gobba "positivo" (creato da una sinusoide viaggia verso destra) sarà
controbilanciato e compensato da una "gobba negativo" esattamente con
la stessa altezza, viaggiando a una velocità identica verso sinistra.
Come risultato, questo tipo di risposta entro un filo crea un "onda
stazionaria". Se la tensione istantanea è misurata ad una "nodo
nullo", sembrerebbe che non succede nulla, in termini di tensione
fluttuante. Inoltre, il "nodo nullo" non si muove, lungo la lunghezza
del filo, invece, apparirà essere fermo.
Questo può essere dimostrato, in una bobina, utilizzando un "lead
terra" per verificare tensioni lungo la lunghezza di una bobina. Se un
"lead terra" accoppiato ad un voltmetro è utilizzato per toccare le
superfici di una serie di fili in una bobina non isolato (come una bobina in
tubo di rame sottile, avvolto intorno a una forma cilindrica in plastica, come
usato nella tipi di trasformatori di grandi dimensioni utilizzati da hobbisti
per creare "bobine di Tesla" che emettono archi elettrici di grandi
dimensioni e visivamente impressionante), il "puntale" in grado di
rilevare alcuna tensione apparente in un nodo nullo, che avvenga in un
particolare filone nella bobina. Ad un filo differente della bobina, il
"puntale" rileverà una tensione alternata che ha due volte la forza e
l'intensità della tensione emessa dalla fonte di alimentazione.
Se la tensione è misurata in un "nodo picco", la tensione sarà fare
qualcosa che può essere chiamato, con volgare o laici dei termini ", il
full-tilt boogie". I livelli di tensione CA verrà avanti e indietro, tra:
(i) una tensione molto elevata e intensa positivo, a (ii) una tensione negativa
altrettanto intenso. Questo è indicato con la "bolla" forme mostrate
lungo il filo in Fig.1C.
Le "bolle" che sono indicati in Fig.1C può aiutare qualcuno a capire
come le onde stazionarie sono creati, e come si comportano in modo
sincronizzato. Tuttavia, che disegno non mostra un altro risultato che è molto
importante in quanto accade nelle un'onda stazionaria. Per scopi di descrizione
e analisi a questo livello introduttivo, il sistema può essere considerata "ideale",
che implica una perfetta riflessione "speculare" di ciascuna onda
dall'estremità destra del filo. Un sistema "ideale" implica anche che
non si verificano riflessioni alla fine sinistra del filo in cui si trova l'alimentazione,
e tutte le attività "riflesso" onda cessa semplicemente. In circuiti
reali e fili di questo tipo, riflessi secondo e terzo ordine si verificherebbe
effettivamente, e sono utilizzati per aumentare ulteriormente la forza e la
potenza di questi tipi di sistemi, tuttavia, tali elementi aggiuntivi e
"armoniche" deve essere ignorato fino dopo che i principi di base di
questo tipo di sistema è stato afferrato e compreso.
In un sistema ideale, quando le onde riflesse (che viaggiano verso sinistra,
nei segmenti di filo illustrato in Fig.1) sono "sovrapposti" sulle
onde emesse (viaggiando verso destra), la tensione di "picco"
positivo che essere istantaneamente raggiunto, nel punto più alto di ogni
"bolla" mostrato in Fig.1C, si verifica quando il picco positivo di
un'onda emessa attraversa un'immagine speculare picco positivo di un'onda
riflessa, viaggiando nella direzione opposta. Di conseguenza, quando le due
"positivi" valori di picco vengono sommati tra loro, la tensione
istantanea picco positivo che si verificherà, nel filo, sarà effettivamente il
doppio intensa come il "picco positivo" tensione emessa dalla fonte
di alimentazione CA.
Un istante dopo, a quel punto esatto di quel segmento di filo, una tensione
picco negativo sarà creato, che sarà la somma di (i) la tensione di picco
negativo emesso dalla alimentazione, e (ii) la tensione di picco negativo
un'onda riflessa anche attraverserà, viaggiando verso sinistra. Al momento che,
quando le due tensioni negative picco vengono sommati tra loro, la tensione
istantanea negativi, che si verifica, nel filo, sarà due volte più intenso come
il "picco negativo" tensione generato dal alimentazione CA.
Una rappresentazione più accurata e rappresentativo visiva di un "onda
stazionaria" in un filo sarebbe effettivamente mostrano le altezze dei
picchi come due volte più alto come i picchi delle onde di tensione emessi, e
le onde riflesse di tensione. Tuttavia, rappresentazione che potrebbe
confondere le persone, per cui di solito non è indicato nei disegni di
"onde stazionarie".
Di conseguenza, la risposta istantanea del filo, in una posizione a metà strada
tra due "nodi null", sta facendo qualcosa che può ragionevolmente e
correttamente essere chiamato "il Full-Tilt Boogie doppia doppia". La
"doppia doppia" frase (nota che essa contiene non solo una, ma due
"doppi") è stata aggiunta a quella frase, per due motivi:
(I) Per sottolineare il fatto che ogni tensione di picco (massimo negativo
positivo, e massimo) sarà due volte più forte, e due volte più intenso, come le
tensioni massime di picco positivo e negativo emessi dal alimentazione, e,
(Ii) far notare che la frequenza delle sovrapposti "bolle", mostrato
in Fig.1C, è in realtà una velocità doppia rispetto alla frequenza del ciclo CA
che viene emesso dalla alimentazione, come discusso di seguito.
La "due volte l'intensità" risultato è direttamente paragonabile a
ciò che un osservatore vedrà, se un grande specchio è posto dietro una
lampadina in una stanza altrimenti buia. Lo specchio mantiene efficacemente la
camera oscura, in tutto il mondo dietro lo specchio, quindi non c'è
"raddoppio magico" della luce nella stanza, che sarebbe in contrasto
con la legge fondamentale della conservazione dell'energia. Invece, ciò che lo
specchio non è di spostare luce dal retro dello specchio, e mantenere tale
energia luminosa sul lato riflettente dello specchio. Chiunque in piedi davanti
allo specchio vedrà due lampadine luce apparenti. Entrambe queste lampadine (la
lampadina, e l'immagine riflessa) avrà la stessa luminosità (se lo specchio è
perfetto). Pertanto, lo specchio raddoppia l'intensità dell'energia luminosa
raggiunge l'osservatore.
Lo stesso effetto, in un circuito, accadrà se l'estremità di un filo si
comporta come uno specchio. Se un filo non ha componenti che lo farà diventare
attivo "fonte di emissione" (che è il comportamento delle antenne di
trasmissione e di alcuni altri componenti), in modo che rilascia
efficientemente tensione-creato energia nell'atmosfera, allora l' regole di
base che richiedono la conservazione di energia impedisce che l'energia dal
semplice scomparire e cessare di esistere. Come risultato, anche se l'estremità
di un filo non è progettato per essere un riflettore perfetto, una grande
porzione dell'onda di tensione sarà davvero riflettere la punta del filo, e
viaggiare indietro attraverso il filo stesso, in una "seconda
passata".
Per comprendere in modo adeguato, il tipo e la quantità di "riflessione
delle onde", che avviene ad una punta del filo, considerare che cosa
succede se una lampadina luce in una stanza che ha lucido, vernice lucida
bianca su tutte le pareti e soffitti, poi, considerare come che sarebbero se la
lampadina stessa luce si trovavano in una stanza con tutte le pareti e soffitti
dipinti "nero opaco". La quantità totale di luce che sarebbe disponibile,
per svolgere un compito come ad esempio la lettura di un giornale, sarebbe
chiaramente molto maggiore nella stanza bianca, perché la luce si riflette
vernice bianca, anche se vernice bianca non si avvicina nemmeno ad avvicinarsi
al tipo di di "qualità riflessione o la chiarezza", che crea uno
specchio. La differenza di ciò che accade, quando l'intensità della luce in una
stanza verniciato nero opaco è paragonato a una stanza dipinta di bianco
lucido, non deriva dalla presenza o assenza di "qualità riflessione e
chiarezza", invece, è governato dalle leggi della conservazione
dell'energia. Quando la luce brilla su una superficie che è verniciata nero
opaco, l'energia viene assorbita dalla vernice, e si riscalda letteralmente la
vernice up. In contrasto con ciò, lucida vernice bianca non assorbe l'energia
della luce, in modo che riflette la luce indietro, per un "secondo
passaggio" attraverso l'aria che riempie una stanza.
A causa delle leggi di conservazione dell'energia, e senza dipendere da alcuna
caratteristica "qualità della riflettanza" di estremità dei fili,
l'energia elettrica non può semplicemente scomparire, quando raggiunge
l'estremità di un filo. Al contrario, ci sono solo due cose che possono
capitare a che l'energia:
(I) l'energia elettrica può essere emesso nei dintorni, come da scintille
emissione, archi o segnali a radiofrequenza, che trasportano energia, o
(Ii) se l'energia non viene emessa dalla punta del filo, quindi, dalla semplice
necessità e per la legge fondamentale della conservazione di energia, deve
essere riflessa nel filo, e sarà costretto a viaggiare indietro attraverso il
filo di nuovo.
Se un filo ha una punta lunga e affusolata, quindi l'onda riflessa potrebbe
diventare un po 'diffusa, e potrebbe perdere un po' parte della "chiarezza"
dell'onda. Tuttavia, poiché le lunghezze d'onda a frequenze di interesse qui
sono centinaia di metri, il tipo di punta creato da una fresa a filo
convenzionale non crea alcuna diffusione significativa, in un'onda riflessa. E,
a differenza dei dipinti di bianco pareti di una stanza, non vi è una grande
area che è disponibile, la punta di un filo, che può creare dispersione,
diffusione, o diffusione. Come risultato, la punta di un filo sarà
relativamente efficiente specchio riflettore tipo, quando una tensione CA viene
"pompato" in una delle estremità del filo.
Il secondo fattore di cui sopra, quando la "doppia doppia" frase
boogie stato menzionato, si riferisce ad un raddoppio della frequenza di
un'onda stazionaria. Quando un'onda stazionaria viene creato in un filo dalla
riflessione di un'onda emessa tensione CA, la frequenza dell'onda stazionaria
è, letteralmente, raddoppiare la frequenza dell'onda emessa.
Questo può essere visto, visivamente, notando che la tensione emessa in CA,
mostrato in Fig.1A, una singola lunghezza d'onda completa contiene sia una
"gobba positivo" e "gobba negativo". Di conseguenza, tre
onde sinusoidali complete, suddivise in tre segmenti dalle linee immaginarie
verticali, sono presenti in Fig.1A.
Al contrario, ogni "bolla" mostrato in Fig.1C raffigura una completa
e totale "lunghezza d'onda", in un'onda stazionaria. Sei di queste
onde stazionarie "bollicine" adatta esattamente la stessa lunghezza
di filo che tiene solo 3 lunghezze d'onda emesse dalla rete di alimentazione.
Il "duplicazione di frequenza" effetto di onde stazionarie è
importante, in quanto i sistemi CA possono trasmettere e rilasciare energia in
modo che aumenta, la frequenza degli aumenti di tensione di alimentazione CA.
In una certa misura, questo è analogo a dire che, se un motore può essere
eseguito a una velocità doppia (ma producano la stessa coppia), allora l'uscita
del lavoro che il motore può essere due volte più grande, alla velocità più
alta. Questa analogia non è del tutto esatto, dal momento che l'uscita di
lavoro da un dispositivo elettrico che utilizza CA potere dipende dalla
"zona delle curve" funzioni che si verificano quando le onde
sinusoidali sono coinvolti. Tuttavia, come principio generale, se la frequenza
dei picchi di tensione aumenta, quindi la potenza aumenterà anche, in molti
tipi di componenti del circuito elettrico.
Nei tre pannelli di Fig.1, il cavo è tre volte più lunga della lunghezza d'onda
della tensione dalla rete di alimentazione. Tuttavia, per creare onde
stazionarie, una lunghezza del cavo non ha bisogno di essere qualsiasi
determinato multiplo della lunghezza d'onda di una tensione CA. Come si può
vedere considerando Fig.1C, gli stessi tipi di "bolle" sarà: (i) se
la lunghezza del filo erano esattamente lungo il doppio della lunghezza d'onda,
o, (ii) se la lunghezza del filo sono della stessa lunghezza come la lunghezza
d'onda.

Pertanto,
Fig.2 (che include Fig.2A mostra un onda
emessa, Fig.2B mostra un'onda riflessa, e
Fig.2C mostrando i
sovrapposti "bolle") mostra cosa accade in
un segmento di filo che ha una lunghezza che è uguale a una singola lunghezza d'onda di una tensione CA
ad una frequenza fissa. Un onda stazionaria risonante sarà formato, con una
frequenza che è il doppio della frequenza della tensione di ingresso CA. che lo stesso risultato si applica, in un filo avente qualsiasi lunghezza che è un esatto (numero
intero) multiple (ad esempio 1x, 2x, 3x, ecc) della lunghezza d'onda della tensione CA spinto
(o forzata, guidato,
pompato, etc.) nel
segmento di filo.

Trasferirsi fili ancora più brevi, lo stesso principio si applica anche a qualsiasi filo di
lunghezza pari alla metà di una
lunghezza d'onda di tensione CA.
Come mostrato in Fig.3
(che include Fig.3A mostra un onda
emessa, Fig.3B mostra un'onda riflessa,
e la fig. 3C mostra
le sovrapposti "bolle"),
se il cavo è metà
della lunghezza d'onda, un
naturale e onda stazionaria
risonante si formano
ancora, con una frequenza che è
il doppio della frequenza della tensione
di ingresso CA.

Infine, passare a un filo ancora più corta, lo stesso principio si
applica anche a qualsiasi filo che ha una lunghezza pari ad un quarto della
lunghezza d'onda di tensione CA, come illustrato in Fig.4A, Fig.4B, e Fig.4C
Anche se lo fa non allungare tutta o coprire una completa "bolla", l'onda
stazionaria mostrato in Fig.4C è comunque una stabile, naturale, e risonante
"onda stazionaria", con una frequenza che è esattamente il doppio
della frequenza della tensione di ingresso CA.
È possibile creare risposte parzialmente stabili e semi-risonante,
utilizzando un ottavo, sedicesimo lunghezze uno, o più brevi di filo,
utilizzando dispositivi aggiuntivi che possono togliere alimentazione elettrica
dal sistema, o che può produrre effetti che sono normalmente chiamati
"armoniche ". Tuttavia, questi non sono i tipi di risposte naturali e
stabile, che può essere creato da un semplice sistema di base costituita da
altro che: (i) un filo avente una lunghezza fissa e una punta "a
freddo", e (ii) un CA fonte di alimentazione con una frequenza che può essere
"accordato" fino a creare una risposta risonante in qualsiasi
segmento di filo avente una lunghezza adeguata.
Pertanto, poiché quarto d'onda lunghezze dei fili sono più brevi
lunghezze che possono creare onde stazionarie naturali e stabile, il termine
convenzionale che è comunemente usato per descrivere ciò che accade quando un
filo crea un risonante onda stazionaria di risposta, è un "quarto d'onda
"risposta.
In alcuni dispositivi, componenti telescopici (o altri elementi che
possono alterare la lunghezza effettiva di un elemento a filo) possono essere
usati per alterare la capacità dell'elemento di rispondere ad una lunghezza
d'onda fissa. Molti tipi di antenne utilizzare questo approccio, se necessario
elaborare segnali che vengono trasmessi su frequenze fisse e noto. Tuttavia,
questi esempi non sono rilevanti per reattori bobina a spirale, che utilizzano
un approccio che coinvolge sintonizzazione e regolando la frequenza della
tensione che viene fornita ad un reattore, fino a risposta risonante si osserva
in rotoli con lunghezze fisse e immutabili.
Va inoltre notato che alcuni tipi di "tuning" elementi (quali
condensatori, che possono avere livelli di capacità fissa o regolabile) può
anche essere accoppiato elettricamente ad un filo, in modo che "emula"
aggiungendo più lunghezza di filo che. Questo approccio può essere utilizzato
per modificare (o aumentare la gamma di) le frequenze a cui un circuito
risonante filo risponderà.
Come
abbiamo visto da quello che ha detto Don Smith, un metodo molto efficace di
conquistare il potere supplementare è di rendere un trasmettitore magnetico ad
alta frequenza che permette diverse uscite essere preso dal trasmettitore senza
aumentare la potenza di ingresso in qualsiasi modo. Recentemente, una idea
intelligente per una versione semplificata di questo è stato condiviso sul web.
Per quanto ne so, questo dispositivo è stato presentato dal lituano
FreeEnergyLT cui sito Web è a http://freeenergylt.narod2.ru/dynatron/

e le informazioni poi
replicati e documentato da J L Naudin sul suo sito Web http://jnaudin.free.fr/gegene/indexen.htm e denominato 'Gegene'
abbreviazione di 'grande efficienza generatore'. L'idea geniale è di utilizzare
una piastra calda induzione commerciali come il trasmettitore. Queste sono
diventate recentemente disponibili a basso costo, questo uno:

Venduto nel Regno Unito
da Maplin, ha livelli di potenza regolabili da 300 watt a 2000 watt e
inizialmente, costano solo £30 recapitato al vostro indirizzo. Questi
dispositivi funzionano generando una potente ad alta frequenza oscillante campo
magnetico che induce correnti parassite in qualsiasi materiale magnetico
posizionata sulla superficie della pentola. Cioè, le pentole che sono fatta di
ghisa o acciaio (non acciaio inossidabile che presumibilmente non è magnetico).
Il riscaldamento è molto rapido e completamente uniforme attraverso la voce di
pentole che è molto utile quando si cucina. La piastra è controllata da
un'elettronica sofisticata che non si accende se non c'è un oggetto di ferro
sulla piastra e che varia la frequenza e corrente in un modo scelto dal
progettista.
Il circuito produce il
campo magnetico pulsante corrente attraverso una bobina piatta, grande al
centro del caso come si può vedere in questa fotografia di una piastra a
induzione tipico con il caso aperto:

La bobina marrone si
surriscalda, e così ci sono distanziali su di esso per evitare che la forma di
involucro esterno cool raccogliendo il calore della bobina. C'è anche un
ventilatore che aspira aria da sotto il caso e soffia attraverso la bobina al
fine di mantenere il calore verso il basso.
Per poter utilizzare
questo trasmettitore magnetico, abbiamo bisogno di inserire una bobina di
uscita adatto sulla piastra e un carico di energia raccolto da quella bobina di
potenza. Questa è una idea abbastanza recente e quindi non c'è ancora un buon
affare della sperimentazione in corso, prova diverse bobine e vari carichi. È
generalmente accettato che il miglior carico è un carico non induttivo con
lampade alogene e lampadine a filamento normale raccomandate. Lampade alogene
sono utilizzate in alcuni riscaldatori commerciali a basso costo, e sono un
metodo molto efficace di riscaldamento radiante. Nel suo video di
http://www.youtube.com/watch?v=LbAhUwHvJCE, Laurent alimenta
sette distinti 400 watt alogene utilizzando un piccolo piatto di massimo da 800
watt che ha una bobina trasmettitore di diametro piccolo 120 mm:

Nessun particolare
potenza di uscita è sostenuto da Laurent, ma come si può vedere, il 2800 watt
di lampade alogene sono luminose mentre un wattmetro sull'ingresso alla piastra
legge appena 758 watt. Sembra di essere abbastanza chiaro che c'è un guadagno
significativo potere con questa disposizione. Quindi, Laurent pone una bobina
aggiuntiva sulla prima e dimostra che una lampadina a filamento da 100 watt di
illuminazione molto brillantemente:

È in realtà abbastanza
difficile vedere la luminosità delle lampade, mostrato in un video come la
videocamera automaticamente abbassa la luminosità della registrazione. Il punto
importante qui è che c'è una notevole potenza di uscita da una seconda bobina,
senza che vi sia alcun aumento l'input di alimentazione alla bobina
trasmittente nella piastra ad induzione.
Ci sono molti disegni
differenti dell'elettronica nelle piastre ad induzione commerciale. La maggior
parte non entrerà in funzione fino a quando un oggetto magnetico è posizionato
sopra la piastra. Se questo è fatto, allora l'oggetto deve essere rimosso molto
prontamente si riscalda molto rapidamente. Fortunatamente, la maggior parte dei
disegni di piastra mantenere operativo appena è iniziato il processo di
induzione e quindi ci in nessun problema con la rimozione le pentole metalliche
(o qualunque cosa viene utilizzata per avviare il processo). Piastra ad
induzione molto piccolo di Laurent non ha che un circuito di protezione e
quindi si avvia non appena acceso.
Jean-Louis Naudin
utilizza una piastra ad induzione da 2000 watt ha girata l'impostazione da 1000
watt. Ha una bobina pick-up di diametro 180 mm. Egli dice che per lui, è
essenziale avere almeno 1500-watt di carico, altrimenti la piastra a induzione
si spegne con un codice di errore che indica che nessun pentolame è presente.
Le batterie utilizzate sono tipi di frittella
bi-filare Tesla, in genere, attaccato ad un sottile foglio di compensato o MDF,
dire 2 mm di spessore, con supercolla. Bobina di 120 mm di Laurent ha
dieci giri e bobina di 160 mm di Jean-Louis ha sedici giri, che necessitano di
circa 5 metri di filo twin-core e circa 2,5 metri di Laurent di filo.
Suggerisco che il filo deve essere valutato per tensione di rete e hanno, forse
1 mm quadrati area della sezione trasversale del rame filo in ogni conduttore. Una bobina di Tesla frittella è ferita come questo:

Si ricorda che questa
disposizione comporta tensioni elevate e quindi non è adatta per i nuovi
arrivati all'elettronica. Questa presentazione è rigorosamente solo a scopo
informativo e non è una raccomandazione che si tenta di implementare qualcosa
qui, e se si sceglie di farlo, allora la responsabilità è vostra e la vostra
sola.
Tariel Kapanadze, come Don Smith, sembra aver
basato il suo lavoro su quello di Nikola Tesla. C'è stato un video sul web, di
uno dei suoi dispositivi in funzione, ma sembra che il video è stato rimosso.
Tuttavia, una parte di esso può essere visto qui: http://www.youtube.com/watch?v=l3akywcvb9g
Il commento video non era in inglese e quindi le informazioni raccolte da esso
non è così completa come potrebbe essere. Tuttavia, nonostante ciò, un certo
numero di cose utili possono essere apprese da esso.
Il video mostra una manifestazione che avrà luogo in un giardino sul retro,
credo, in Turchia. Sole forte è stata la proiezione delle ombre dense che hanno
reso dettaglio il video meno che perfetto. In sostanza, Tariel dimostrato uno
dei suoi build di Tesla in stile free-energy dispositivo, alimentando se stessa
e una fila di cinque lampadine.
Una delle cose più incoraggianti di questo video è che la costruzione e il
funzionamento era del tipo più basilare, con il minimo suggerimento di attività
di laboratorio costoso o qualcosa di alta precisione. Questa è sicuramente una
costruzione cortile nell'ambito di applicazione di una persona competente.
I collegamenti elettrici sono stati realizzati intrecciando fili scoperti
insieme:

e, se necessario, serrando il twist con una pinza:

Ciò dimostra chiaramente che un potente e molto utile free-energy dispositivo può essere fatta con il più semplice dei metodi di costruzione
- nessun connettore costoso qui, solo un
costo zero di connessione attorcigliato.

Il dispositivo essendo visualizzata è una bobina di Tesla alimentato, collegata a terra sistema del tipo già descritto. Si noterà che l'avvolgimento primario di spessore non
è posizionato ad una estremità dell'avvolgimento secondario centrali, ma è molto
più vicino al centro della bobina. Ricordare che Smith afferma che se Don spirale
primaria è posto centralmente,
quindi la quantità di corrente che
può fornire la bobina è molto grande, nonostante il fatto che la maggior parte della gente pensa che una bobina di Tesla
può produrre correnti banali. Si noti inoltre che questa bobina Tesla
sembra essere montato su un buon cucina-porta
rotolo. Ho visto dire che Tariel fa un nuovo
dispositivo per ogni dimostrazione e lo prende a parte in
seguito, quindi se questo è
corretto, allora è probabile che
non ci sia un grande sforzo o
le spese necessarie per fare uno di questi sistemi.

I principali componenti
operativi sono qui mostrato,
posto su un tavolino. Vi è una batteria al piombo (che viene rimosso dopo la dimostrazione), quello
che sembra essere un inverter per produrre tensione di rete CA dalla
batteria, una alta tensione
step-up sistema
alloggiato in una scatola verde per ragioni di sicurezza, una Bobina di
Tesla, uno spinterometro montato sulla scatola e un ventilatore-raffreddato componente, probabilmente a stato solido sistema oscillatore
guida della bobina di Tesla. Non vede in questa foto,
è un elemento contenuto in una piccola scatola, che potrebbe essere un condensatore ad alta tensione.
Due collegamenti di terra sono organizzati. Il primo è un radiatore vecchia auto sepolto nella terra:

e il secondo è un filo nudo avvolto intorno al tubo metallico un rubinetto giardino
e contorto stretto come mostrato sopra. È chiaramente
possibile che il circuito è basato su questo circuito di Tesla:

Forse, le alimenta il inverter che produce tensione
di rete, che viene poi intensificato
ad un livello di tensione alto dall'elettronica allegate. Ciò spinge poi la bobina di Tesla, producendo una corrente
molto elevata e corrente con il
condensatore immagazzinare l'energia come un serbatoio. Il spinterometro
allora questo impulsi
energetici, guida l'avvolgimento primario del trasformatore di isolamento che produce una tensione inferiore alla tensione notevole (a seconda della capacità di gestire la
corrente del trasformatore stesso) alimentando il carico, che in questo caso,
è una fila di lampadine.
Il carico è una fila di cinque lampadine appese da un manico del pennello posto tra gli schienali
di due sedie:

Come si può vedere, questo non è esattamente
ad alta tecnologia, ad alto costo
di costruzione qui, con tutti i materiali utilizzati per altre cose in seguito.
Inizialmente, la batteria viene usata per alimentare l'inverter e
si è dimostrato che
la corrente viene fornita
dall'inverter è sostanzialmente inferiore
alla potenza immettendo il carico.
In termini convenzionali, questo sembra impossibile, che è un'indicazione che i termini convenzionali non sono aggiornati e hanno bisogno di essere aggiornato per includere i fatti osservati
da manifestazioni come questa.
Poiché il sistema è messa fuori un buon potere molto più
che è necessario per guidare,
potrebbe non essere
possibile utilizzare parte della potenza di uscita per fornire la potenza di ingresso.
Questo è spesso chiamato "chiudere
il cerchio" e si è dimostrato in
questo video come il passo
successivo.
Primo, il circuito viene modificato in modo che la connessione di
potenza di ingresso per l'inverter è
preso dall'uscita. Allora il circuito è alimentato tramite la batteria come
prima. La batteria si stacca
e rimosso del tutto, e le persone che aiutano con
la dimostrazione raccogliere tutti
gli elementi attivi e tenerli
in aria in modo da mostrare che non ci sono fili nascosti
che forniscono la potenza in più da qualche fonte nascosta. Gli elementi della tabella
non sono parte del circuito:

Ci sono alcune informazioni aggiuntive sul Tariel
compresi i video di alcuni dei suoi più potenti, i disegni più recenti a http://peswiki.com/index.php/Directory:Kapanadze_Free_Energy_Generator#Official_Website
anche se va detto che non sembra essere molto molto su di lui o il suo lavoro
disponibili in questo momento.
Nel dicembre 2009 un membro anonimo e-mail per dire
che Kapanadze restituito alla ex-URSS Repubblica della Georgia e che la colonna
sonora del video è in lingua georgiana e dopo la manifestazione, l'intervista è
in russo. Egli ha gentilmente tradotto le parti che riguardano il dispositivo,
come segue:
Domanda: Che cosa ci
mostrano oggi?
Risposta: Questo è un
dispositivo che assorbe energia dall'ambiente. Attira 40 watt che si comincia,
ma poi si può accendersi e di fornire una potenza di 5 chilowatt. Non sappiamo
quanta energia si può trarre dall'ambiente, ma in una prova precedente, abbiamo
pareggiato 200 kilowatt di potenza.
Domanda: E 'possibile
risolvere i problemi energetici della Georgia?
Risposta: Riteniamo
che essi sono già stati risolti.
Domanda: Si prega di
dirci in termini semplici, come il dispositivo funziona.
Risposta: (1) L'alimentazione è prelevata dalle
batterie, per ottenere il dispositivo di esecuzione
(2) Se vogliamo, possiamo utilizzare una parte
della potenza di uscita per pilotare un caricatore e caricare la batteria
(3) Quando il dispositivo è
in esecuzione, è possibile rimuovere la batteria e funziona quindi
auto-alimentato. Questa particolare unità in grado di fornire 5 chilowatt di
potenza, che è sufficiente per una famiglia. Si può facilmente fare una
versione che fornisce 10 kW. Non sappiamo qual è il limite di potenza pratica è
per una unità come questa. Con questo particolare dispositivo che abbiamo qui,
non attirare più di 5 kilowatt non vogliamo bruciare le componenti che abbiamo
usato in questa build.
Domanda: la vostra
invenzione prendere corrente dai cavi di rete?
Risposta: La rete non
ha nulla a che fare con questo dispositivo. L'energia prodotta viene
direttamente dall'ambiente.
Domanda: Come si chiama il dispositivo e si fa a dedicare a qualcuno?
Risposta: Non mi sognerei mai di pretendere che il dispositivo è
mia invenzione, ho trovato qualcosa che funziona. Si tratta di una invenzione di Nikola Tesla e tutto il
merito è suo. Tesla ha fatto tanto per l'umanità, ma oggi è solo dimenticato. Questo dispositivo è la sua invenzione,
la sua opera.
Domanda: Perché sei così sicuro che questo è un disegno di Nikola Tesla?
Risposta: Perché ho lavorato dalla sua invenzione
- il suo progetto. Ho scoperto come ottenere risonanza automatica tra
gli avvolgimenti primario e secondario. La cosa più importante è
raggiungere risonanza. Melnichenko
è venuto vicino a risolvere questo
problema. Il governo della
Georgia si rifiuta di prendere
sul serio questa invenzione.
Domanda: Lei ha detto che la risonanza deve essere mantenuto. Quali parti risonanza?
Risposta: Qui (indicando la scatola verde) e qui (indicando la bobina di Tesla montato sulla parte superiore della scatola
verde). Il risonatore
è dentro la scatola verde e attualmente, è segreto fino brevettato.
Domanda: Quanto sarebbe una di queste unità di costo?
Risposta: Quando produzione di massa, sarebbe costato tra i 300 e 400 dollari
USA per una unità che ha una potenza di 5 o 6 chilowatt.
Domanda: Quanto ti ha costato sviluppare questo dispositivo dimostrazione?
Risposta: A proposito di 8000 (valuta non specificato). Parti doveva essere messo
in da 20 luoghi
diversi.
Domanda: Questa è la tua casa?
Risposta: No, affittare questo posto perché abbiamo venduto tutto quello che dobbiamo fare questi dispositivi. E, dopo averlo fatto, il
governo e molti scienziati dicono
"Non ci interessa perché un
dispositivo del genere è
impossibile e non può esistere!".
Non mi hanno permesso di fare una presentazione per loro, ma le persone che capiscono la bobina di Tesla capire come questo dispositivo funziona.
Kapanadze è un architetto di professione e non ha avuto alcuna formazione sia in fisica o in ingegneria elettrica. Le informazioni su cui si basa il progetto è stato scaricato gratuitamente da Internet.
Uno degli aspetti più importanti di
questo video è la conferma dà per il lavoro di
Tesla e di
Don Smith, in
quanto mostra chiaramente, ancora
una volta, che grandi quantità di energia può essere prelevata dall'ambiente
locale, senza la necessità di bruciare un combustibile. Un altro video:
http://www.youtube.com/watch?v=gErefbcTz-U.
Come si entra l'anno 2013, le persone spesso chiedono disegni di costruzione o, in alternativa,
negozi dove si possono acquistare
uno dei suoi dispositivi. Purtroppo, Tariel è
stato dato il solito rodaggio
intorno dall'opposizione. Sono stato informato che nel corso degli
ultimi nove anni, è stato
coinvolto con tutta una serie di
persone che hanno promesso di finanziare la realizzazione dei suoi progetti, ma che poi non è riuscito a venire con il finanziamento concordato. L'ultima di queste persone a cui capita di essere con
sede in Svizzera, è riuscito a convincere Tariel a firmare un accordo
di non divulgazione e poi hanno
semplicemente accantonato il suo
progetto nonostante il loro accordo.
Tariel non dispone di fondi sufficienti per andare in Svizzera e di intraprendere una causa in tribunale per costringerli a
rispettare l'accordo. Quindi, essendo
bloccato dai suoi disegni, Tariel deciso
di sviluppare un diverso sistema
di free-energy e pubblicare
in modo che altri possano replicare. Egli stima che gli ci vorranno circa un anno per farlo. L'opposizione quindi
avuto tutto il tempo di trattare
con lui in quel momento e armatura in modo che lo
avvelenato durante un volo su un aereo commerciale. Sopravvisse l'attacco, ma è in precarie condizioni di salute a causa di esso.
Molte persone hanno cercato di replicare
Tariel lavoro, e un autoalimentato replicazione può essere visto http://www.youtube.com/watch?v=rbkvXoDfk7g.

Un uomo che utilizza l'ID del forum 'UFOpolitics'
ha condiviso le sue intuizioni ed esperienze su vari forum
diversi, come quello di trattare direttamente con la produzione
e l'uso di energia elettrica a freddo in circuiti a stato
solido: http://www.energeticforum.com/renewable-energy/10529-my-motors-got-me-tap-into-radiant-energy-1.html. Le sue intuizioni sono
insolite e molto importante. La
sua dichiarazione di base è che se
una bobina è pulsato, utilizzando
un circuito come questo:

poi convenzionali impulsi elettricità calde
la bobina quando il transistor è acceso, ma se la
corrente viene spenta rapidamente, allora vi è un afflusso
di energia elettrica nella bobina
fredda dall'ambiente circostante.
Afflusso di energia che può essere raccolta e deviato per alimentare un carico attraverso l'uso di due diodi ad alta velocità che
possono trasportare corrente considerevole
l'afflusso di alimentazione è sostanziale. L'afflusso di energia avviene quando il transistor è spento e quindi è
preferibile avere il transistor spento per la maggior parte del tempo, in altre parole, una bassa percentuale
Duty Cycle per il transistor. Ci deve essere un carico significativo
sulla produzione di elettricità fredda. Se non c'è, allora
l'elettricità freddo rifluire nella sezione elettrica
calda del circuito e può danneggiare
i transistor. Tom Bearden afferma che resistori
incrementare elettricità fredda anziché ostacolare il suo flusso, in modo
che il carico deve essere una
bobina, un motore CC con spazzole o una
lampada a fluorescenza.
È stato osservato che l'energia in entrata tende a fluire verso l'interno verso il centro della bobina, quindi un ulteriore metodo di raccolta di questa energia supplementare è da mettere una seconda
bobina all'interno della bobina principale,
e avvolto nella
stessa direzione in quanto, come
questo:

Questo fornisce due distinte, indipendenti freddo
uscite di potenza di energia elettrica.
Diodi non sono necessari per l'interno della bobina 'secondaria'.
Questa bobina interna è un bobina di produzione e non è in alcun modo collegato al numero di spire della
bobina calda pulsazione elettrica. Invece, questa
bobina raccoglie afflusso di energia elettrica freddo durante il periodo in cui la bobina pulsante è spento. La
bobina calda pulsazione
elettrica può essere
avvolto direttamente sopra il pick-up supplementare bobina o bobina
supplementare può essere avvolta separatamente
e posizionata all'interno della bobina
bobina principale.
Molto sorprendentemente, si raccomanda che il potente alta velocità diodi utilizzati
per convogliare l'elettricità freddo fuori del
circuito, seguita da un piccolo
1N4148 silicio epitassiale planare ad alta velocità diodo (75V 0.45A)
come questo è detto per pulire l'produzione di energia elettrica a freddo
ancora di più. È importante che l'elettricità fredda deve
incontrare i diodi al silicio
più potenti prima
di raggiungere i diodi 1N4148,
per cui l'ordine dei diodi è molto importante, e dovrebbe
essere come mostrato qui:

Diodi alternative per la NTE576 (6A,
35ns, 400V) sono le NTE577 (5A, 70ns,
1000V) e il HFA16PB (16A, 19nS, 600V).
Il requisito principale è l'alta
velocità, tensione di almeno
400V e corrente
nominale di almeno 5 ampere.
C'è una cosa aggiuntiva per essere fatto con questo circuito quando un'uscita CC è
richiesto e che è di applicare filtraggio all'uscita. Prima, quando
l'energia è passato attraverso la
NTE576 (o equivalente) diodi di potenza, incontra una alta frequenza (bassa capacità) di alta qualità condensatore
a film posto attraverso l'uscita
per drenare qualsiasi
alta frequenza ripple della tensione prima che venga passata attraverso i piccoli
diodi 1N4148 e
in un condensatore di livellamento e stoccaggio
elettrolitico. Memorizzare l'elettricità fredda nel condensatore elettrolitico la converte in
energia elettrica convenzionale a caldo.

Anche se questo circuito si presenta come qualcosa che hai appena accende e funziona,
che non è il caso in quanto vi è un elemento essenziale di avvio procedura in cui viene avviato il segnale applicato al transistor a soli pochi
cicli al secondo e duty cycle 50%
e che l'input viene
quindi regolata lentamente e monitorando le tensioni e le correnti prodotte dal circuito. Questo
è un sistema estremamente
potente con la capacità di
produrre una potenza di uscita maggiore.

È molto importante che il circuito non è
alimentato senza carico adatto sull'uscita elettricità fredda. Un carico
adeguato è un auto con alimentatore a 230 volt luce fluorescente. Si deve
comprendere che solo spostando l'interruttore di accensione è in posizione
ACCESO non è sufficiente per ottenere un afflusso di energia elettrica a
freddo. Invece, è necessario progredire la sequenza di avvio accuratamente, e
una luce fluorescente è particolarmente utile per fare questo, anche se una
lampadina neon è anche una scelta popolare di carico temporaneo, perché questi
dispositivi permettono il flusso di corrente nel carico da valutare
visivamente.
Prima di accensione, l'oscillatore di ingresso è impostato duty cycle del 50% e
frequenza minima. Allora la frequenza è sollevato molto lentamente, causando la
lampada inizia a lampeggiare. Poiché la frequenza è sollevato, la corrente
assorbita dalla batteria deve essere monitorato come è la corrente che
attraversa il transistore, e la corrente viene mantenuta fino abbassando il
duty cycle progressivamente. Questo processo continua attenzione e in caso di
successo, il colore della luce prodotta sarà inizialmente viola o verde prima
di raggiungere continuo luce bianca. Video che mostrano la luce prodotta e il
fatto che non è pericolosa per la vita o sensibili all'acqua può essere visto
http://www.youtube.com/watch?v=W1KALMgFscg&list=UUdmFG5BeS0YnD2b5zasXXng&index=1&feature=plcp.
La forza motrice è una serie di potenti impulsi magnetici, e attuare il
circuito fisico che per conseguire tale richiede la costruzione accurata. La
batteria pilotare il circuito è una combinazione di celle 36 volt. La bobina è
avvolta da un air-core costruzione su 2 pollici (50 mm) di diametro bobina e la
resistenza CC è disposto per essere di circa 1,4 o 1,5 ohm. Questo, a sua
volta, richiede un'unità sostanziale dal transistore e quindi è normale
collegare sei transistori di uscita potenti in parallelo in modo da diffondere
il flusso di corrente tra loro e dissipare il calore generato attraverso transistori
diverse imbullonata ad una comune termicamente lavello della zona generosa.
Come la bobina è avvolta è una cosa da considerare. L'obiettivo è di avere una
bobina di circa 1,5 ohm resistenza e che ha il massimo effetto magnetico per la
corrente passa attraverso. Filo di rame è diventato molto costoso e quindi
sarebbe molto costoso per avvolgere la bobina con lunghezze vaste filo spesso,
per non parlare delle dimensioni molto grandi e di grande peso che verrebbe
prodotta da farlo. Le opzioni di fili di rame in Europa sono in genere di
lavorare con mezzo chilo-bobine di filo. I dettagli di alcuni di questi sono le
seguenti:

Si può vedere da questo che un 500 bobina grammo
di cavo 14 SWG ha una resistenza totale di soli 0,09 ohm e così ci
vorrebbero sedici bobine (peso di 8 kg e costano un sacco di soldi) per
avvolgere ad appena un filo bobina utilizzando tale filo, producendo una bobina
che potrebbe portare una corrente di 9,3 ampere. In opposizione a questo, una
sola bobina di 28 swg potrebbe fornire 52 avvolgimenti distinti, che collegato
in parallelo, potrebbe trasportare 15 ampere, nonché di costo e peso molto
meno. Sarebbe noioso, ma non impossibile, per avvolgere un filo 52-bobina,
quindi un numero più ragionevole di filamenti collegati in parallelo possono
essere utilizzati. Puntiamo ad una resistenza di CC di circa 1,45 ohm in
qualsiasi accordo bobina che selezioniamo.
Il campo magnetico prodotto da un singolo filamento è generalmente inferiore al
campo magnetico prodotto da due filamenti trasportano la stessa corrente
totale. Quindi, se dovessimo scegliere un cavo 22 swg, allora potremmo misurare
su quattro 133,5 metri di lunghezza, unirsi a loro all'inizio, e il vento le
quattro fili contemporaneamente, side-by-side in modo da formare una bobina con
una resistenza CC di 1,45 ohm. È importante che i filamenti sono esattamente la
stessa lunghezza in modo che essi portano esattamente la stessa corrente e
nessuno filamento viene sovraccaricato di corrente dovuto ad esso con una
resistenza inferiore rispetto agli altri elementi. Va compreso che la corrente
massima che può portare il filo è 4,8 ampere e la resistenza è solo 1,45 ohm,
la massima tensione CC continua che può essere sostenuto dalla bobina è solo 7
volt, e così come un 36-volt viene utilizzato, si deve regolare il ciclo di
frequenza e il dovere con molta attenzione, soprattutto perché stiamo iniziando
a frequenze molto basse. Se la tensione della batteria piena viene applicato
continuamente alla bobina, la bobina viene distrutta.
Vari membri del forum hanno suggerito, costruiti e testati diversi circuiti per
l'alimentazione di una variabile-frequenza variabile-duty-cycle segnale di
comando al transistor di uscita. Tuttavia, 'UFOpolitics' raccomanda un semplice
circuito temporizzatore 555. Se non si ha familiarità con i circuiti
elettronici, allora continuate a leggere il capitolo 12 che li spiega in modo
dettagliato, compresa la famiglia di circuiti timer 555. Il punto sottolineato
da 'UFOpolitics' è che l'uscita derivato dal pin 3 del chip 555 passa prima
attraverso una resistenza da 100 ohm e poi, ogni transistore riceve una
alimentazione separata tramite un partitore di tensione doppia coppia
resistore. Il Gate-Terra 47K resistore è garantire che il FET si spegne
correttamente. Può essere possibile aumentare il valore di queste resistenze ma
non devono mai essere inferiore a 47K.

Le linee spesse in questo diagramma indicano pesante cablaggio che
può trasportare correnti elevate senza
generare calore reale quando
farlo. Si raccomanda inoltre che, sebbene il FET ha
un diodo interno, un extra
esterno ad alta velocità diodo (NTE576 o
simili), da collegare su ogni
FET al fine di aumentare
la velocità di commutazione:

Un FET ha una capacità di gate di circa 1 nF. Il più veloce si può
essere caricata / scaricata
più velocemente il FET si accende (e mantenere
il sangue freddo). Che cosa determina la velocità di carica / scarica per la capacità di gate è la lunghezza del filo da driver a porta o
cancello è induttanza
(dove un metro di filo produce 0.05μH). In aggiunta a ciò, diverse lunghezze di filo Porta di connessione
creerà diversi ritardi
di commutazione e le induttanze diverse possono quindi avviare oscillazioni ad alta frequenza con ripetitivo
Acceso / Spento / Acceso / Spento commutazioni.
Il risultato potrebbe essere bruciato FETS e mancanza di attività elettrica
freddi.
Un altro punto fatto da 'UFOpolitics' è che il layout fisico dovrebbe avere i
fili o tracce mantenuto il più
breve possibile e suggerisce questo layout:

Ci sono due cose da notare qui. In primo luogo, la
resistenza da 100 ohm proveniente
dal pin 3 del timer
IC 555 è posto al centro tra i sei transistori FET montati
sul dissipatore di alluminio,
e tale punto viene
effettuata più vicini gli uni FET
con un conduttore a bassa resistenza per avere un buon -la
qualità del collegamento per le
resistenze che alimentano la
Porta di ogni FET. In secondo luogo, la stessa dissipatore viene utilizzato anche per fornire una bassa resistenza elettrica alla bobina che
sta guidando il FET.
Il collegamento al dissipatore è tramite un dado e
bullone di serraggio a tag saldare saldamente ad una superficie pulita del dissipatore.
Ciascun FET è
collegato elettricamente al dissipatore di calore
attraverso di essa il tag di montaggio che costituisce il suo dissipatore connessione
e collegamento al drain del transistore. Tuttavia, se il dissipatore di
alluminio è un tipo nero anodizzato, poi, a parte la pulizia tra ogni FET
e il dissipatore di calore di contatto, è opportuno eseguire un filo spesso anche collegare i perni
centrali FET al
punto di collegamento di uscita del filo.
I transistor utilizzati nel prototipo, e consigliati
per le repliche sono la NTE2397. Questo non
è un transistor molto comune in Europa in questo momento
e quindi l'IRF740 popolare potrebbe forse essere utilizzato
come appare avere tutte le caratteristiche principali del
transistore NTE2397. 'UFOpolitics' suggerisce il 2SK2837 (500V, 20A,
80A a impulsi), o il IRFP460 (500V, 0,27 Ohm,
20A e 80A a
impulsi).
Come il timer 555 ha una tensione massima di alimentazione di 15
V, una tensione-stabilizzatore
LM317N chip è utilizzata
per creare un 12-volt da 36 volt (una batteria da 24V potrebbe essere
utilizzato):

Il LM317N circuito integrato deve essere collegato
ad un dissipatore buona come è cadere
fuori 24 dei 36 volt alimentano il
circuito, e quindi, deve dissipare doppio della potenza che il chip utilizza NE555:

Ci sono vari circuiti pulsare che sono
stati usati con successo con questo
sistema. 'UFOpolitics' considera
la NE555 chip per essere il più semplice, quindi forse il mio suggerimento per questa disposizione
potrebbe essere una scelta adatta:

Questo dà un controllo preciso
della frequenza e della regolazione
indipendente del Mark / Space
rapporto o 'Ciclo di lavoro' e ha bisogno di solo tre componenti molto economici diversi dai controlli. Se
i costosi multigiro alta resistenze variabili di qualità sono disponibili, quindi il resistore variabile 4.7K
'ottimizzare' può essere omessa in
quanto le resistenze variabili
apportare le modifiche più facile da
controllare. Il 'Lin.' Nel diagramma sta per 'Linear' che significa che la resistenza varia costantemente ad una velocità costante dell'albero del
resistore variabile è ruotato.
Nel circuito 'UFOpolitics', è importante ruotare la frequenza fino al suo valore
minimo e impostare il Mark
/ rapporto spaziale
al 50%, prima di alimentare il circuito
verso il basso. Altrimenti sarebbe facile per alimentare il circuito
con una frequenza molto più alta è consigliabile e così, danneggiando alcuni
dei componenti del circuito.
Ci sono modi per aumentare le
prestazioni su ciò che è già
stato descritto. Un modo è quello
di inserire un nucleo di acciaio
inossidabile all'interno della bobina. Inox dovrebbe essere non
magnetico, ma in pratica, che non è sempre il
caso. Tuttavia, idealmente,
il nucleo di acciaio è migliorata modificando la
sua struttura cristallina mediante
riscaldamento e poi spegnerlo
immergendo in acqua fredda.
Un altro miglioramento è per isolare la
batteria meglio allo spegnimento
attraverso l'uso di un secondo
transistore. Avere un transistore 'spento' a ciascuna estremità della bobina certamente blocca il
flusso di elettricità calda, ma se
Tom Bearden è
corretta, la resistenza dei
transistor nello stato OFF
sarà effettivamente aumentare il flusso di elettricità freddo reagisce in il modo
inverso a come l'elettricità caldo reagisce. La
disposizione è così:

Mentre questo sembra un circuito molto semplice da realizzare, che non è il caso. Il transistor superiore
è acceso dalla differenza di tensione tra la Porta di "G" e
la sua origine "S". Ma,
la tensione alla sorgente non è fissa ma varia rapidamente a causa del cambiamento di corrente nella bobina, e che non aiuta quando switching
solida ed affidabile del transistore superiore è necessario. A P-FET canale potrebbe
essere usato al posto e che avrebbe il suo
source collegato alla tensione fissa del positivo della batteria 36V. Questo aiuterebbe
enormemente la commutazione, ma ci sarebbero ancora problemi di
temporizzazione tra i due transistor
di commutazione ON e OFF esattamente nello stesso momento. Altri circuiti sono stati suggeriti per fare quel tipo di cambio,
ma nelle fasi iniziali, 'UFOpolitics' consiglia di mantenere le cose il
più semplice possibile, in modo da utilizzare un solo transistor è
l'opzione migliore.
Commutazione velocità è un elemento di grande importanza, fino al punto che la riduzione della velocità di commutazione
causate dall'uso più di un transistore in parallelo
ha causato il suggerimento
di essere fatto che può in realtà
essere una scelta migliore per utilizzare
un solo FET poiché queste alte prestazioni FET sono
in grado di trasportare tutta la corrente di commutazione, ed è principalmente per abbassare la temperatura di FET operativo
che uso multiplo FET è suggerito. Ogni FET
più usati in parallelo, rallenta il passaggio verso
il basso. Tuttavia, si deve
tenere presente che vi è un rischio leggermente superiore di bruciare il FET out se solo viene utilizzato.
Le dimensioni consigliate sono bobina da due pollici (50
mm) di diametro e 2 pollici di lunghezza. La bobina ferita è probabilmente di
circa tre pollici (75 mm) in modo da rendere
il diametro della flangia 4 pollici (100 mm) è realistico:

Il materiale consigliato è in fibra di vetro,
che ha un elevato calore proprietà di resistenza, oltre ad essere facile
da utilizzare, la scelta personale di 'UFOpolitics' è in resina poliestere con Metil Etil Kethol (MEK) Indurente.
Un'alternativa suggerita è acrilico, che non
è resistente al calore. Acrilico è eccellente per applicazioni ad alta frequenza, ma questo
circuito non funziona a frequenze
elevate. Qualunque materiale spool viene
scelto, esso deve essere non
magnetico. Quando collegato nel
circuito, l'inizio del filo
della bobina di avvolgimento va al positivo della batteria.
Ecco un'altra bobina
avvolta sul tubo acrilico e con tutti i quattro
diodi collegati alle estremità
della bobina:

Si dovrebbe comprendere che l'elettricità fredda fornisce potenza
quasi illimitata e ha usi che non sono facilmente comprensibili per
molte persone.
'UFOpolitics' suggerisce che l'unità elettrica calda
circuiteria essere testati utilizzando inizialmente solo un carico resistivo. Se tutto procede correttamente, prova con una resistenza di valore più basso nella serie con la bobina,
e se che controlla in modo soddisfacente, quindi prova con cautela con la
bobina su di essa la propria.
Elettricità freddo può caricare le batterie rapidamente e dopo una serie di cicli di carica e scarica, le batterie diventano 'condizionato' a elettricità freddo e le esperienze di Electrodyne Corp. personale
mostra che le grandi batterie condizionata, che
sono completamente scariche, può
essere ricaricata in meno di un minuto.
Un membro del forum attuale ha provato con il
circuito 'UFOpolitics' e
riferisce:
Ieri un amico e ho preso 6 identici,
vecchio, 12V, batterie 115Ah e fatto due banche 36V. Abbiamo istituito banca
"A" (meglio tre) per alimentare il dispositivo per caricare banca
"B". Banca A 37.00v era a riposo e la Banca B era 34.94V. La mia
frequenza più bassa è 133Hz (ho bisogno di cambiare il mio cappello e
aggiungere un altro piatto 100k con quello che è il controllo della frequenza)
e il ciclo di lavoro è stata al 13%. Abbiamo iniziato a disegnare 2A sul
circuito primario.
Come ho alzato la frequenza, le
batterie sotto carica saltato fino a 38.4V per poi scendere in modo uniforme
per 36.27V e ha iniziato di nuovo (a circa 0.01V ogni 2 secondi). Dopo due ore
e mezzo, erano fino a 39.94V. A questo punto ci siamo fermati la carica e
lasciare riposare il tutto per 10 minuti. Finora tutto sembra molto normale per
questo tipo di carica, eccetto che il dispositivo sembra essere molto stabile e
potente ... spingendo le batterie destra in modo permanente. La tensione della
batteria principale è sceso inizialmente a 36.20V e vi rimase per tutto il
tempo, poi si è ripreso a 36.98V durante il resto 10 minuti.
Poi abbiamo cambiato i banchi batterie
A e B e la carica nella direzione opposta per circa 20 minuti. Ci siamo fermati
e riposati cose di nuovo, scambiati le banche indietro e iniziato a pagare il
banco B di nuovo per altri 20 minuti e si fermò. Dopo aver abbandonato il resto
le batterie per qualche ora, al fine di ottenere letture più vere, banco A era
a 37.07V e il banco B era a 38.32V. Entrambi i gruppi di batterie aveva
conquistato il potere. Questi non erano molto buone batterie, sia. Una delle
batterie B bancari era 10.69V all'inizio. Un'altra curiosità: Il sorteggio
amplificatore sul primario è sceso da 2A a 1,5 A con la frequenza è stata
sollevata da 133Hz a circa 550Hz.
Questo è stato il primo utilizzo di energia elettrica a freddo con queste batterie
a basso grado e un miglioramento importante ci si può aspettare dopo molti altri cicli
carica / scarica. Questo risolve completamente
i fattori che rendono una banca
batteria adatto per l'alimentazione domestica. Se una banca intera batteria può essere ricaricata in pochi minuti, poi si apre la strada
per l'alimentazione domestica seria
con un gruppo di batterie.
Elettricità freddo può anche far funzionare i motori molto potente. Forum
membro 'Netica' trovato che mettere
un condensatore tra i morsetti del motore migliorato il funzionamento in modo sostanziale, dando prestazioni impressionanti. Il suo video di questo
è a
http://www.youtube.com/watch?feature=player_detailpage&v=7uAYKhrPDPc
e il
motore, marcia off ad aria nucleo della bobina senza inserto in acciaio. Il suo set-up si
presenta così:

È anche possibile circuiti elettricità sommergere in acqua fredda senza causare alcun danno:

Un video di questo si trova qui: http://www.youtube.com/watch?v=W1KALMgFscg&feature=channel&list=UL,
dimostrando l'uso di lampadine molto potenti. Una dimostrazione generale in esecuzione è qui:
http://www.youtube.com/watch?v=yVzhKpEqUgc&feature=player_embedded .
Stan, che è famoso per la sua scissione dell'acqua e dei relativi risultati automotive, in realtà ha
una quarantina di brevetti su una vasta gamma di invenzioni.
Ecco uno dei suoi brevetti che circola particelle
magnetiche in un fluido, e mentre il fluido si
muove, nessuno degli altri
componenti del dispositivo di movimento
e un alto livello di abilità costruttive non
è richiesto:
Si prega di notare che questo è un
estratto ri-formulato da questo brevetto Stan
Meyer. Anche se non
lo indica nel brevetto, Stan sembra far capire
che questo sistema produce
un guadagno significativo potere - qualcosa con gli
Uffici dei brevetti trovo molto difficile
da accettare.
PARTICELLE GENERATORE ELETTRICO
ESTRATTO
Un generatore di particelle
elettrico comprendente un tubo non magnetico in un
anello chiuso avente una notevole quantità di particelle magnetizzate incapsulate all'interno di esso. Un
gruppo acceleratore magnetico è posizionato sulla tubazione, che ha un avvolgimento primario
ed induttivi a
bassa tensione di ingresso
all'avvolgimento. Un avvolgimento
secondario è posizionato sul lato opposto del tubo al primario. Alla tensione applicata all'avvolgimento primario, le particelle magnetizzate sono passati attraverso il complesso acceleratore magnetico con velocità maggiore. Queste particelle
accelerate passano attraverso il
tubo, inducono un dispositivo
elettrico di tensione / corrente potenziale che
passano attraverso l'avvolgimento secondario. La maggiore tensione secondaria
viene utilizzata in
un dispositivo amplificatore.
SFONDO E STATO DELL'ARTE
Gli insegnamenti dell'arte nota esporre il principio fondamentale tat un campo magnetico che
passa attraverso avvolgimenti induttivi
generare una tensione / corrente o aumentare la
tensione attraverso l'avvolgimento se è un avvolgimento
secondario.
È anche insegnato dalla tecnica nota,
che un elemento magnetico in un campo primario induttivo
verrà attratto ad
una estremità della bobina e
respinto all'altra estremità. Cioè,
un elemento mobile magnetico sarà accelerato in moto dalla attrazione e repulsione del campo magnetico
dell'avvolgimento primario induttivi.
Nel convenzionale step-up di
trasferimento, la tensione ai
capi del secondario è funzione
del numero di spire al secondario rispetto al
numero di spire nell'avvolgimento
primario. Altri fattori sono il diametro
del filo e se il nucleo è aria o un materiale magnetico.
SOMMARIO DELL'INVENZIONE
La presente invenzione utilizza il principio di
base del acceleratore di particelle e il principio di indurre una tensione in
un avvolgimento secondario passando un elemento magnetico attraverso di essa.
La struttura comprende un avvolgimento primario di tensione induttivi aventi un
nucleo magnetico, più una bassa tensione di ingresso. Vi è un avvolgimento
secondario con un maggior numero di spire che le spire dell'avvolgimento
primario, e un'uscita per l'utilizzo della tensione indotta che in
avvolgimento.
L'avvolgimento primario e Core sono posizionati su un lato di un infinito, ad
anello chiuso, non magnetico pipe. Gli avvolgimenti secondari sono posizionati
sul lato opposto del tubo senza fine. Il tubo viene riempito con particelle
magnetiche discreti, preferibilmente di un gas, e ogni particella ha una carica
magnetica polarizzata posto su di esso.
Grazie alle loro cariche polarizzazione magnetica, le particelle sosterrà
qualche movimento. Come le particelle avvicinarsi al montaggio
dell'acceleratore, che è la bobina primaria, il campo magnetico generato dalla
bobina attrae le particelle e accelera attraverso la bobina. Come ciascuno
particelle passa attraverso la bobina, la fine repulsione della bobina aumenta
la particella sul suo cammino. Questo fa sì che ciascuna particella uscire
dalla bobina con un aumento della velocità.
Poiché le particelle magnetiche passano attraverso l'avvolgimento bobina
secondaria, inducono una tensione ai capi di detta bobina. A causa del maggior
numero di spire, questa tensione indotta è molto più elevata della tensione
attraverso la bobina primaria.
L'obiettivo principale della presente invenzione è di fornire un generatore
elettrico che è in grado di produrre una tensione / corrente di grandezza
maggiore rispetto a quanto è stato possibile in precedenza. Un altro obiettivo
è fornire un generatore che utilizza particelle magnetiche e un acceleratore
magnetico. Un altro scopo è quello di realizzare un generatore che può
controllare l'ampiezza dell'uscita. Un altro obiettivo è fornire un generatore
che può essere utilizzato con CC, AC, configurazioni pulsati o altre forme
d'onda. Un altro obiettivo è fornire un generatore che può essere usato in una
monofase o un 3-fase del sistema elettrico. Un altro obiettivo è fornire un
generatore per sviluppare particelle magnetizzate per l'uso in un generatore di
particelle elettrica. Un altro obiettivo è di fornire un generatore elettrico
che utilizza componenti prontamente disponibili per costruire una semplice
forma di realizzazione della presente invenzione.
BREVE DESCRIZIONE DEI DISEGNI

Fig.1 è una illustrazione semplificata dei principi dell'invenzione, mostrata parzialmente in
sezione e parzialmente pittoricamente.

Fig.2 è una illustrazione schematica elettrico della
forma di realizzazione mostrata in
Fig.1.

Fig.3 è un'illustrazione simile alla Fig. 2, ma che è adattabile
a 3-fase di utilizzo.

Fig. 4 è una prima disposizione
alternativa di attuazione
preferita dell'invenzione.

Fig.5 è un'altra disposizione alternativa
di una forma di
realizzazione preferita dell'invenzione.

Fig.6 è un'altra disposizione alternativa
di una forma di
realizzazione preferita di questa invenzione,.

Fig.7 è un'altra disposizione alternativa
di una forma di
realizzazione preferita di questa invenzione,.

Fig.8 è un'altra disposizione alternativa
di una forma di
realizzazione preferita di questa invenzione,.

Fig.9 è una disposizione
alternativa per un gruppo di
acceleratore di particelle magnetiche
in auto.

Fig.10 è una illustrazione di un metodo alternativo
di produzione di particelle magnetizzate impiegati nella presente
invenzione.
DESCRIZIONE DETTAGLIATA
Fig.1 e Fig.2
mostrano l'invenzione nella sua forma più schematica
semplificata:

Esso comprende un acceleratore primario bobina
magnetica gruppo 10, un anello chiuso non magnetico condotto 30, ed un
avvolgimento secondario 20. Il gruppo acceleratore magnetico comprende avvolgimenti primari
12, un nucleo magnetico 14, e
rubinetti di tensione 16. Gli avvolgimenti primari sono posizionati intorno estremità 32 del tubo ad
anello chiuso 30 che è fatto da
non magnetico tubi.
All'estremità opposta 34 del circuito chiuso condotto 30, sono gli avvolgimenti secondari 20. I terminali di estremità 22 del avvolgimento
secondario 20, permettono la tensione generata nell'avvolgimento da utilizzare. Contenuta all'interno del tubo 30, vi è
un gran numero di particelle magnetiche
40, come mostrato in Fig.2. Le particelle 40
deve essere abbastanza leggero per
essere liberamente mobile e così possono essere particelle sospese in un mezzo fluido come gas, liquido o leggeri
mobili particelle solide. Di queste opzioni, l'uso di un gas è preferito. Se
le particelle solide vengono utilizzati
come mezzo di trasporto, allora può essere desiderabile rimuovere
tutta l'aria dall'interno del tubo in modo da ridurre la resistenza alle particelle fluide. Ciascuna delle particelle 40 è magnetizzato e la
descrizione che segue si riferisce ad una particella individuale e non alla massa di particelle
nel suo complesso.
La tensione applicata ai morsetti 16
di avvolgimento primario 12, è una tensione bassa,
e la sua grandezza
può essere utilizzato come
segnale di controllo di input. Variando la tensione di ingresso, l'acceleratore varia la velocità delle particelle circolanti, che, a sua volta, variare
la grandezza della tensione /
corrente di uscita del avvolgimento secondario 20. L'uscita 22 del
trasformatore avvolgimento secondario 20, è alta tensione / corrente di
uscita.

Si può notare che il sistema mostrato in Fig.1
e Fig.2, dove vi
è un solo anello chiuso, fornisce
una uscita monofase in avvolgimento secondario 20. Fig.3 mostra un anello
chiuso accordo con tre parallele non magnetici tubi 31, 33 e 35,
ognuna con la propria uscita di avvolgimento 21, 23 e 25. Ciascuno di questi tre avvolgimenti sono una uscita
monofase, e come loro tre tubi parti una
giunzione comune di ingresso
e un raccordo di
uscita comune, queste tre avvolgimenti
di uscita forniscono una equilibrata
3-fase impianto elettrico.

Fig.4 mostra un generatore di potenza elettrica
che opera esattamente come quelli mostrati in Fig.1
e Fig.2. Qui,
la disposizione è per l'uso in un ambiente in cui vi è un contenuto di umidità elevato. Un rivestimento isolante 45, copre completamente condotto 30 così come tutti gli avvolgimenti
elettrici. Fig.4 illustra
anche il fatto che l'aumento del
numero di giri per
ogni diametro del filo dato
aumenta la tensione / corrente di uscita
del dispositivo. In questa
configurazione fisica, entrambe
le direzioni verticale e
orizzontale sono utilizzati che
permette un grande diametro del
tubo da utilizzare con un
notevole numero di spire di
notevole spessore alta corrente filo.

Fig.5 mostra una disposizione
di bobina 49, che utilizza l'intero flusso magnetico nel
circuito chiuso tubazione 47. Questo è un co-assiale accordo con l'avvolgimento primario 43 come un nucleo
centrale.

Fig.6 illustra una
configurazione concentrica a
spirale del tubo 50, con gli avvolgimenti secondari
53 che coprono completamente.

Fig.7 mostra una disposizione in cui è avvolto l'acceleratore di particelle 10 sul tubo 30 in modo molto simile come in Fig.1 e Fig.2. Tuttavia, in questa
configurazione, il tubo 30
è un nastro continuo chiuso disposti in serie-parallelo di configurazione in cui vi sono tre avvolgimenti secondari forniscono
tre uscite separate mentre il tubo 30 viene
eseguito in serie attraverso i
tre avvolgimenti.

Fig.8 mostra una configurazione che è l'inverso di quello mostrato in Fig.7. Qui, vi sono diversi pick-up bobine avvolte in serie e, a differenza delle precedenti configurazioni, il tubo 80 non è continua. In questa disposizione, vi è un collettore di ingresso 82, ed un collettore di uscita 84, e vari tubi separati 60a, 60b, 60c, ..... Interconnessione 60N questi due collettori. Ognuno di questi tubi separati ha le sue proprie 70a separati bobina secondaria, 70b, 70c, ..... 70N avvolto su di essa.

L'acceleratore di particelle magnetiche 10, può
essere diversa nel design a quello mostrato in Fig.1.
Fig.9 mostra un
acceleratore di particelle meccanica 100. In questa disposizione, le particelle magnetiche 102 sono permanentemente magnetizzato prima di essere incapsulato nel tubo non magnetico 110.
La 102 particelle sono accelerate da
pala del ventilatore o della pompa 104 ruotato
di complessivo di azionamento meccanico
106. L'azionamento meccanico per il montaggio 106 può essere una cinghia-puleggia motrice 112, o
un dispositivo simile azionato da un motore elettrico. A 114 cuscinetto di tenuta 102
mantiene le particelle all'interno del
tubo 110.
Si è affermato che le particelle magnetiche attraversano le bobine
secondarie, generare una tensione
/ corrente in essi. Si deve
comprendere, tuttavia, che le particelle che sono
effettivamente attraversando il
campo magnetico di tali bobine.
Inoltre, il tubo 30
è stato descritto come un tubo
non magnetico. Ci sono alcuni non magnetici tubi
che non funziona con questa invenzione.
Condotto 30 deve essere
in grado di superare le linee
di forza magnetiche.
Una caratteristica significativa di
ciascuna delle varie forme di realizzazione già descritte, è la
generazione di particelle magnetiche che sono incapsulati all'interno
del tubo.

Fig.10 mostra una apparecchiatura per realizzare il processo
di vaporizzazione materiale per produrre particelle adatti che vengono magnetizzati,
essendo sottoposto ad un campo magnetico. La camera 155 è una camera a vuoto, avente elettrodi in metallo magnetizzabile, 160 e 162.
Una tensione viene applicata tra i terminali 150 e
152, e questo porta una corrente attraverso i terminali 154 e 156, a corna spinterometriche 160 e 162, generando un arco che
vaporizza il materiale di punta degli elettrodi, producendo
particelle 180. Queste
particelle alzati ed entra tubo
190, passando attraverso un generatore di campo magnetico 175. In questo modo ogni
particella una carica magnetica e
continuano sulla loro strada come
particelle magneticamente cariche
185, passando attraverso
la porta 190 per raggiungere il
generatore elettrico di particelle
di cui sopra.
Nella forma di realizzazione semplificata in Fig.1 e
Fig.2, così come altre
forme di realizzazione preferite menzionati,
è stato indicato che una bassa tensione
è stata applicata al acceleratore di particelle 10. Su accelerazione, una
elevata tensione /
corrente sarebbe indotta nel secondario bobina di produzione 20. Un vantaggio più
significativo della presente invenzione è che l'amplificazione di
tensione non è legato alla forma della
forma d'onda della tensione di ingresso. In particolare, se l'ingresso è una tensione CC CC
viene emesso. Un ingresso CA produrrà un output
CA. Un ingresso di tensione a impulsi produrrà una tensione di uscita impulsiva ed una tensione di ingresso di qualsiasi altra configurazione produce una uscita
avente la stessa configurazione.
Russ Gries ha prodotto una presentazione video e analisi del brevetto sopra Stan Meyer. Si tratta di un file di download di grandi dimensioni che richiede molto tempo per ricevere (alcune ore nel mio caso). Il link per il download è:
http://www.ringsbyruss.com/youtube/P2_The_Key_To_Stanly_Myers_Water_Car_Gas_Core_Transformer_Self_Staining_Device.flv. In esso, Russ offerte con il suo esame approfondito del brevetto e si richiama l'attenzione a ciò che Stan ha detto in proposito nei suoi video Nuova Zelanda:
1: http://www.youtube.com/watch?v=ZmxaVOolO-8&feature=mfu_in_order&list=UL
2: http://www.youtube.com/watch?v=bm06ACQtv0k&feature=mfu_in_order&list=UL
3: http://www.youtube.com/watch?v=UpvPypJw-QY&feature=mfu_in_order&list=UL
…….
8: http://www.youtube.com/watch?v=DvYc7vrnj6I
E in particolare, video 8, dove Stan illustra la progettazione e l'uso del generatore. E 'facile essere un po' confuso come parla
Stan circa sia il
generatore di particelle elettriche e
il suo uso in combinazione con la produzione di HHO come una grande fonte
di generazione di energia.
La grande esperienza Alex Petty si unisce
con Russ a lavorare su replicare sistema di
Stan e il sito web di Alex
è a www.alexpetty.com. Un forum di discussione legato a questo è a http://open-source-energy.org/forum/ e vi sono informazioni a http://www.overunity.com/index.php?topic=5805.285 e di immagini ad alta risoluzione può
essere visto anche in video Russ
'a http://www.youtube.com/watch?v=JOarpi6sDD4. Sito web Russ 'è http://rwgresearch.com/ e un video aggiuntivo dei lavori più recenti di sviluppo in corso a:
http://www.youtube.com/watch?v=adzVQRsS1KY&feature=youtu.be.
Ci sono diverse cose importanti che sono commentati e Russ è da lodare per
attirare l'attenzione su di loro. Per il momento, si prega di dimenticare HHO
come quello è una questione separata. Per quanto posso vedere, il brevetto non
afferma che il dispositivo è COP> 1, ma invece che il dispositivo è un
trasformatore di alimentazione che potenzialmente ha una potenza superiore
rispetto ai trasformatori tradizionali poiché non vi è alcun percorso Legge di
Lenz magnetico inverso dall'uscita avvolgimenti di influenzare la potenza di
ingresso.
Detto questo, Stan nei suoi punti video dei modi per aumentare la potenza del
dispositivo, vale a dire:
1. Aumentare la resistenza delle particelle magnetiche
2. Aumentare la velocità delle particelle magnetiche
3. Ridurre la distanza tra le particelle magnetiche e l'avvolgimento di uscita.
Le particelle magnetiche possono essere prodotti in vari modi, ma il più
efficace sembra essere riempiendo la camera d'arco con gas argon e tramite
elettrodi ferro, nichel o cobalto. La ragione di questo è che l'arco elettrico
non solo genera minuscole particelle di materiale di elettrodo, ma interagisce
anche con l'argon, spogliandosi elettroni e causando alcune delle particelle
metalliche da combinare con le molecole di gas argon modificata per formare una
magnetica gas. Gas che rimarrà sempre un gas magnetico dovuto al legame atomico
in quanto non è solo minuscole particelle di metallo fisicamente sospese in un
gas a causa della loro dimensione minuscola.
Vi ricorderete dal capitolo 1, che il grande successo Shenhe Wang magnete
motore / generatore ha un liquido magnetico come una componente fondamentale.
Qui, Stan produce un gas più leggero magnetico e il vantaggio di tale
leggerezza è che può essere incrementato a velocità molto elevate senza alcun
pericolo. Maggiore è il numero di molecole modificate argon, maggiore è
l'effetto magnetico quando passano attraverso una bobina di filo. Il gas argon
può essere fatto passare attraverso la camera di arco più e più volte in modo
che una percentuale molto elevata del gas è magnetico. In alternativa, se sono
sofisticati nel design del generatore di particelle, è possibile organizzare le
molecole che sono diventati magnetica, per essere tirato fuori in deposito da
un campo magnetico.
Stan parla sul pompaggio del gas magnetico attraverso qualsiasi ciclo predisposizione
dell'impianto si decide di utilizzare, da una pompa, ma si trasferisce subito a
utilizzare una bobina magnetica per aumentare il gas in avanti come la bobina
non ha parti in movimento e quindi, nessuna usura meccanica. Questo è solo uno
dei motivi. La ragione principale è che con accelerazione magnetica, la
velocità del gas può diventare davvero molto alta e nel suo video parla della
velocità della luce. Tuttavia, io personalmente non credo che qualcosa di
lontanamente come una grande velocità che potrebbe essere realizzato
all'interno di un ciclo tubo di piccolo diametro. Tuttavia, velocità ben
superiore a quello che una pompa meccanica può raggiungere possono essere
prodotti da accelerazione magnetica.
Russ, nella sua discussione, rileva che sulla maggior parte dei prototipi
sopravvissuti Stan, la bobina che viene utilizzato per l'accelerazione è
costruito utilizzando più spire apparentemente separati, e si ipotizza che ogni
sezione di bobina viene alimentata in sequenza, causando un campo magnetico
increspatura. Mentre quello è sicuramente possibile, non vedo che uno stile di
alimentazione bobina avrebbe alcun vantaggio in contrasto con l'alimentazione
di tutte le bobine in modo continuo. Tuttavia, se l'alimentazione sequenziale è
ritenuta essere un vantaggio, allora il circuito 'di divisione per N' del
capitolo 12 può essere utilizzato per fornire l'alimentazione sequenziale o
qualsiasi sequenza più complessa.
Stan sottolinea poi che la tensione di uscita può essere aumentata aumentando
il numero di spire della bobina di uscita e / o con bobine di uscita
aggiuntivi. Ciò è facilmente comprensibile electrics convenzionali. Ma, si
passa quindi a sottolineare che l'uscita sarà aumentata anche se gli elettroni
delle molecole argon modificati sono elevati ad un livello elevato orbitale.
Questo pone gli elettroni elettromagnetici (come descritto nel capitolo 11) più
vicino alle bobine di uscita e presumibilmente permette anche il gas essere
accelerato ad una velocità maggiore del campo magnetico di guida.
Questo potere aumentare del gas si ottiene utilizzando Stan "Processore
gas" descritto nel capitolo 10. Le pompe a gas processore di energia
elettromagnetica nel gas attraverso l'uso di banche di Light-Emitting Diodes
che producono luce della lunghezza d'onda corretta per aggiungere energia a
quel gas particolare.
Se si controlla su Internet per la lunghezza d'onda di argon, si trovano
informazioni contrastanti, con alcuni siti dicono che la lunghezza d'onda è
1090 nanometri ("nm") e molti altri che dicono sia 488 nm e 514,5 nm.
La maggior parte dei Led che producono una banda di frequenze, per cui sarebbe
un caso di LED la cui raccolta banda di frequenze sono la lunghezza d'onda
desiderata.
Il processore Gas stesso, costituito da un tubo centrale che è lucidato a
specchio all'esterno, circondato da un tubo più grande che è altamente lucidato
all'interno. La luce LED è poi rimbalzata tra queste superfici lucide finché
non viene assorbito dal gas che è passato attraverso l'intercapedine tra i due
tubi. Questo non è facile illustrare, ma potrebbe essere mostrato come questo:

Nel disegno Stan, egli utilizza sei colonne di sedici LED, con ogni
colonna di LED distanziati uniformemente intorno il
tubo esterno. Quindi, per
aumentare il generatore magnetico
particelle di livelli
di potenza maggiore, un processore Gas viene
inserito nel circuito di tubi:

Il processore Gas normalmente ha una
bobina montata su ciascuna
estremità e può essere
conveniente utilizzare bobine in
tali posizioni come bobine
acceleratore. Può anche essere vantaggioso applicare un pulsata ad alta tensione tra le provette interna
ed esterna del processore Gas. Così com'è, questo
sembra come se si dispone di una
elevata possibilità di essere un COP> 1 dispositivo elettrico.
Il 7 settembre 2013 un uomo con l'ID di
'harisingh' ha pubblicato le seguenti informazioni. Ho provato a contattarlo per chiedere il
permesso di pubblicare la sua opera, ma senza successo. Non ho alcuna informazione su di esso,
diverso da quello mostrato qui. Quello che dice è:
Il sistema di generazione "E-Stress"
potenza è una potenza di sovra-unità più intrigante progetto generatrici. Pur essendo relativamente facile da costruire
è estremamente versatile ed è facilmente aggiornabile.
La chiave d'oro o la sezione aurea è il principio
che permette a questo dispositivo attingere potere direttamente vuoto
energetico densità relativa su campo e usando le bobine di induzione di
meno. Ciò che rende questo disegno così
unico può essere visto dalle illustrazioni seguenti. Ciò che rende questa doppia bobina di
induzione di meno così speciale è che esso Annulla gli effetti di induzione
elettrostatica usando solo una frazione della potenza necessaria per sostenere
lo spostamento di carica che crea la colpisce E-campo. Nei circuiti elettronici convenzionali,
bobine e condensatori sono generalmente tenuti distanti, ma in questo circuito,
la loro interazione è la chiave del successo!
L'amplificatore "E-Stress" è costituito
da tre condensatori cilindrici e due bobine di induzione di meno con la
circuiteria esterna progettata per start-up e mantengono l'intero sistema e
carico. I condensatori interni ed
esterni, CDI e CDE, sono carico e mantenuti carichi di una sorgente di tensione
Vc che è nel range di 50-90 volt CC. La
carica su questi condensatori rimane per lungo tempo, governata dalla
resistenza del dielettrico, (a condizione che non ci sono nessun corto circuiti
accidentali) così, l'energia necessaria per mantenere la carica su questi
condensatori è minima.
Il terzo condensatore Cr, è inserita tra i
condensatori interni ed esterni ed è indipendente da Vc. Le altri due condensatori, CDI e CDE,
diventano una carica, le condensatore Cr diventa accusato pure, ma con una tensione
leggermente inferiore a causa della caduta di tensione dielettrica. Questo effetto di carico è un risultato di
induzione elettrostatica. Separando i
condensatori concentrici è due speciali bobine ad induzione-meno. Quando la corrente passa attraverso queste
bobine, le forze di induzione elettrostatica sono temporaneamente
neutralizzate, permettendo al condensatore caricato Cr a discarico e oscillano
con una bobina di alimentazione esterna o il trasformatore, come mostrato in
Fig.7. Le bobine di induzione di meno
Lo sono pulsate con CC allo stesso tasso come la frequenza di risonanza
naturale del circuito serbatoio (Cr-Lr).
Mantenendo il pulsante tasso entro il 10% della frequenza di risonanza
del circuito serbatoio manterrà la potenza massima. A causa della flessibilità nella costruzione
parametri, determinare la frequenza di risonanza e la capacità di potenza sarà
difficili senza apparecchiatura di analisi avanzata. Così per superare queste difficoltà, un
oscillatore a frequenza variabile può essere utilizzato come esso permette di
determinare la gamma di frequenza appropriata necessaria pronto. Un carico costante costante faciliterà questa
determinazione pure. Quando viene
raggiunta la potenza massima di uscita, è possibile misurare la resistenza del
resistore variabile di oscillatore per aiutare nel determinare e infine
l'impostazione, oscillazione a frequenza di risonanza naturale del circuito
serbatoio. Un'ulteriore 1k ohm
resistenza variabile può essere collegata in serie con il resistore variabile
100K indicato, per consentire il facile accordatura molto accurata.

Fig.1 Mostra la disposizione generale dell'intero
sistema di alimentazione “E-Stress”. Questo
diagramma illustra il nucleo del conducente e l'oscillatore a frequenza variabile
che determina la risonanza del circuito serbatoio. Fig.1 Mostra anche la fonte di alimentazione
CC di circa 50 a 90 volt, che inizialmente carica il condensatore
"nucleo" CDI / CDE. Anche
mostrato in questo diagramma è la bobina risonante e la bobina di uscita di
potenza

Fig.2 Mostra il "nucleo driver" in uno
spaccato, diagramma di prospettiva. Il
materiale plastico "nucleo" di PVC può essere di un diametro di 150
mm lungo 300 mm pezzo di tubo in PVC in questo sistema di modello in scala ridotta. In questo diagramma, si prega di notare i
condensatori del condensatore uno strato interno ed esterno CDE e CDI. Si noti inoltre che il condensatore in mezzo
(Cr) è un condensatore di tre-strato fatto pesante alluminio o acciaio
inox. Le bobine di induzione di meno
possono essere visto in due posti su entrambi i lati del condensatore Cr. Le bobine di induzione di meno sono realizzate
con filo #20-#30 magnete solido (0,812 mm di filo di rame smaltato di diametro
0,255 mm).


Fig.3 qui sopra, illustra come è costruito il
centro driver "nucleo". Ci
sono sei passi fondamentali per costruire l'Assemblea di "nucleo" del
conducente. Prima iniziare con il tubo
di PVC come illustrato e cominciare avvolgendo il primo condensatore CDI. Fase due dimostra la prima bobina di
induzione-meno L1. Si noti che per la
bobina di induzione di meno, il filo è "piegato" posteriore e i due
conduttori sono avvolte insieme come illustrato. Questa bobina è singolo-ferita con filo
calibro 18 # a #22 (1,024 mm a 0,644 mm di diametro). Fase tre spettacoli del condensatore del
centro Cr. Questo condensatore viene
creato nello stesso modo come il condensatore precedente tranne che ha tre strati
di spire. Passo quattro illustra la
bobina di induzione di meno seconda che è avvolto nella stessa direzione come
la prima spira. Questa seconda bobina Lo è a singolo strato. Passo cinque è il condensatore finale CDE,
che consiste in un unico involucro ed è avvolto nella stessa direzione come i
due precedenti condensatori. Il passo
finale, sei, è quello di avvolgere l'intero assieme con reggette a nastro per
formare un rivestimento esterno quando finito.

Fig.4 qui sopra, è un schema elettrico del
condensatore principale "nucleo" e la copiatura della bobina del
sistema di alimentazione "E-Stress".
Nota i collegamenti in paralleli dei condensatori interni ed esterni CEI
/ CDE, che collegano alla fonte di alimentazione 90 volt CC. Si noti inoltre le connessioni parallele
delle bobine ad induzione-meno che collegano al circuito oscillatore a
frequenza variabile. Il condensatore
centro che Cr è indicato collegato alla bobina risonante potenza Lr.

Fig.5 sopra, vengono visualizzati i due diversi
tipi di oscillatori a frequenza variabile che sono usati per guidare le bobine
di induzione di meno. Il primo
oscillatore visualizzato è costituito da un LM324 Op-amp configurato per
produrre feedback e così oscillare. Il
secondo oscillatore di esempio è costituito da un timer LM555 IC. Entrambi
oscillatore di esempio può essere utilizzato per guidare le bobine di
induzione-meno.

Fig.6 sopra, dimostra la fonte di tensione CC Vc che viene applicato per il CDE / condensatori CDI che sono collegati in parallelo per formare il campo elettrostatico. La fonte di tensione CC potrebbe essere uno dei tre tipi di fonti di tensioni come mostrato. Potrebbe essere utilizzata una batteria, che si compone di sei batterie da 9 volt. Si potrebbe anche fabbricare un CA alla fonte di alimentazione CC o si potrebbe scegliere di creare un'antenna CC origine come mostrato. Il metodo di batteria offre un mezzo rapido per testare i circuiti ed è sicuro, come pure.

Fig.7 sopra, illustra le opzioni per i due diversi
tipi di risonanza della bobina Lr.
Fondamentalmente, ci sono due opzioni della bobina: il trasformatore
nucleo di ferro standard e l'alta frequenza tipo bobina Tesla come la bobina di
accensione tipo. Si dovrà determinare il
tipo di output che desiderate avere nella progettazione complessiva. Per i disegni convenzionali che è molto
probabilmente sarebbe costruire il trasformatore standard indicato nella parte
inferiore del diagramma, che consiste di un nucleo riempito con polvere di
ferro o Metglass.

Fig.8 sopra, discute le dinamiche di spostamento
di carica coinvolti nel sistema di alimentazione dell'amplificatore “E-Stress”.
Figura A illustra la forma d'onda Lo
bobina di induzione di meno. Diagramma B
raffigura le rotazioni di sfollati carica quando la tensione e la corrente
aumento come le bobine di induzione di meno sono pulsare, mentre diagramma C Mostra la forma d'onda durante il
ritorno ai precedenti modelli carica, iniziando il ciclico più volte.
Patrick Kelly