Una guida
pratica ai dispositivi di energia libera
Autore: Patrick J. Kelly
Capitolo 2: Sistemi di Movimenti Pulsata
Ci sono tre categorie di sistemi ad impulsi e si prenderà in considerazione una alla volta. Si tratta di sistemi di energia ad impulsi, sistemi di
prelievo d'energia a impulsi e
sistemi gravitazionale di energia-libera ad impulsi. Qui vedremo i sistemi in cui viene utilizzato un impulso elettrico per fare funzionare il dispositivo con la creazione di un campo magnetico temporaneo causato da corrente elettrica che scorre attraverso una bobina o "elettromagnete", come viene spesso chiamato. Molti di questi sistemi sono piuttosto delicati nel modo che essi operano. Un ben noto esempio di questo è:
Il defunto Robert Adams, un ingegnere elettrico della Nuova Zelanda ha progettato e costruito un motore elettrico mediante magneti permanenti sul rotore e elettromagneti ad impulsi sul telaio del motore. Ha scoperto che l'uscita dal suo motore ha superato l'energia di ingresso con un ampio margine (800%).

Il diagramma del suo motore destinato a mostrare il principio di funzionamento è il seguente:

Se un motore è costruito in questo modo, allora è sicuramente funzionante, ma non potrà mai raggiungere il 100% di efficienza per non parlare di superamento della soglia 100%. È solo con una configurazione specifica che è quasi mai pubblicato
che le alte prestazioni possono essere raggiunte. Mentre Robert ha mostrato diverse configurazioni, al fine di evitare confusione mi limiterò a descrivere e spiegare solo uno di loro. Sono in debito con diversi amici di Robert e colleghi per le seguenti informazioni e vorrei esprimere i miei ringraziamenti a loro per il loro aiuto e il sostegno nel portare questa informazione.
In primo luogo, le alte prestazioni possono essere raggiunte solo con l'uso intelligente di bobine di raccolta di potenza. Queste bobine devono essere posizionati con precisione e la loro raccolta di energia limitata a solo un brevissimo arco di funzionamento attraverso il collegamento a, e disconnessione da, il circuito di uscita proprio al momento giusto, in modo che la forza elettromotrice (EMF) generata quando l'assorbimento di corrente si interrompe, contribuisce effettivamente al movimento del rotore, accelerando sul suo movimento e aumentando l'efficienza complessiva del motore / generatore nel suo complesso.
Successivamente, la forma dei magneti utilizzati è importante in quanto la proporzione tra la lunghezza e la larghezza
del magnete altera il disegno dei suoi campi magnetici. In opposizione diretta al diagramma mostrato sopra, i magneti devono essere molto più lungo della loro larghezza (o in caso di magneti cilindrici, molto più lunghe del loro diametro).
Inoltre, una buona dose di sperimentazione ha dimostrato che la dimensione e la forma degli elettromagneti e le bobine di raccolta ha una grande influenza sulle prestazioni. La sezione trasversale del nucleo delle bobine di
raccolta dovrebbero essere quattro volte quello della sezione trasversale dei magneti permanenti nel rotore. L'opposto vale per i nuclei delle bobine di azionamento perché loro nucleo deve avere una sezione trasversale di un solo quarto del sezione
trasversale del rotore magnetico.
Un altro punto che è quasi mai menzionato è il fatto che alti guadagni del circuito non sarà raggiunto se non è un unità di alta tensione. Il minimo deve essere di 48 V, ma maggiore è la tensione, maggiore è il guadagno di energia, in modo che tensioni dai 120 volt (tensione di rete raddrizzata US) a 230 volt (tensione di rete raddrizzata altrove) deve essere considerato. Magneti al neodimio non sono raccomandati per tensioni di unità inferiore a 120 volt.
Ci sono diversi passaggi importanti nel modo in cui il
motore / generatore di Robert Adams funziona ed è importante che tu capisca
ognuno dei passaggi.
Fase 1: un magnete

Si noti che il movimento
Fase 2: Quando il rotore gira abbastanza lontano, i magneti
si allineano esattamente con i nuclei degli elettromagneti di guida. Il rotore
continua a ruotare a causa della sua inerzia, ma se non facciamo nulla al
riguardo, l'attrazione

Fase 3: Quando il magnete
Il sistema fino ad ora produce un rotore rotante per
un assorbimento di corrente molto scarso dalla batteria. Ma vogliamo che il
sistema ci fornisca un'eccessiva

Fase 4: Sorprendentemente, le bobine di uscita vengono spente
per la maggior parte
La rettifica di ogni possibile impulso di tensione di
scorta come descritto, restituisce il 95% della corrente
Si noti che i nuclei delle bobine di raccolta del "generatore" sono molto più ampie di quelle dei nuclei delle bobine di azionamento. Inoltre notare le proporzioni dei magneti in cui la lunghezza è molto maggiore della larghezza o diametro. I quattro avvolgimenti sono montati su un singolo disco permettendo loro di essere spostato di angolazione per trovare la posizione ottimale di funzionamento, prima di essere bloccato in posizione e le due bobine di azionamento sono montati separatamente e sollevate dal disco. Si noti inoltre che le bobine
di raccolta della
corrente sono molto più larghe rispetto alla loro lunghezza che le bobine di azionamento sono. Questa è una caratteristica importante che è spiegato più dettagliatamente in seguito.
L'ingresso CC è mostrato di attraversare l'interruttore a contatto fatto su misura da Robert, che è montato direttamente sull'albero del motore / generatore. Si tratta di un interruttore meccanico che permette una regolazione rapporto Acceso / Spento, che è conosciuta come la "Rapporto di Acceso-Spento". Robert Adams indica che quando il motore è in funzione ed è stato adattato per la sua prestazione ottimale, quindi il rapporto segno / spazio dovrebbe essere regolato per ridurre al minimo il periodo e idealmente scendere a circa il 25% in modo che per tre quarti del tempo, l'energia di ingresso sia effettivamente spento. Ci sono vari modi per realizzare questo scambio, pur avendo un
accendere e spegnere molto netto della corrente.
Robert ha considerato il cambio meccanica dell'unità corrente di essere una buona opzione, anche se non si è opposto all'uso del contatto per alimentare un transistor per fare il numero reale dei cambiamenti e quindi di ridurre la corrente attraverso i contatti meccanici per un fattore importante. Le ragioni per la preferenza per commutazione meccanica sono che dà commutazione molto forte, non ha bisogno di alimentazione elettrica per farlo funzionare e permette alla corrente di fluire in entrambe le direzioni. Il flusso di corrente in due direzioni è importante perché Robert ha prodotto vari modi per ottenere che il motore riporta la corrente nella batteria di alimentazione, permettendo di azionare il motore per lunghi periodi senza abbassare la tensione quasi nulla. Il suo metodo preferito per la commutazione è il seguente: Questa commutazione funziona come segue:


Il disco di temporizzazione è avvitato saldamente all'albero di azionamento del motore e la sua posizione viene impostata in modo che l'accensione elettrica avviene quando il magnete del rotore è perfettamente allineato con il nucleo della bobina di azionamento. Regolazione di temporizzazione che è fatto allentando il dado di bloccaggio, ruotare il disco leggermente e bloccaggio del disco in posizione di nuovo. Una rondella spaccata viene utilizzato per mantenere il gruppo tenuta quando il dispositivo è in funzione. Il disco ha una forma di stella pezzo di foglio di rame insieme nella sua superficie e due punta d'argento, rame braccio scorrevole "spazzole" sulla superficie della stella di rame.
Una di queste due spazzole è in posizione fissa e scorre attraverso la stella di rame vicino all'albero motore, facendo una connessione elettrica permanente a esso. La seconda spazzola scorre alternativamente sulla superficie non conduttore del disco e poi sul braccio conduzione del rame. La seconda spazzola è montata in modo che la sua posizione può essere regolata e, poiché le braccia di rame si restringono, variando il rapporto tra il tempo "Acceso" al tempo "Spento". La commutazione effettivo si ottiene dalla corrente che fluisce attraverso la prima spazzola, attraverso il braccio di rame e quindi attraverso la seconda spazzola. Le braccia delle spazzole riportati nel diagramma sopra dipendono dall'elasticità del braccio rame per fare una buona collegamento elettrico da spazzola a rame. Potrebbe essere preferibile usare una
spazzola a braccio rigido, impernarlo e usare una molla per assicurare un ottimo contatto tra la spazzola e la stella di rame in ogni momento.
La regolazione del tempo della Acceso / Spento, come i tecnici lo descrivono, potrebbe forse fare con un po 'di descrizione. Se la spazzola mobile è posizionato vicino al centro del disco, quindi, a causa della forma
a restringere delle braccia di rame, la parte del disco non conduttore che scorre sopra è più corta e la parte del braccio di rame conduttore con cui si collega è più lunga, come i due percorsi di scorrimento sono circa la stessa lunghezza, la corrente è circa la stessa lunghezza di quanto è spento, dando un rapporto di Acceso/Spento di circa 50%, come illustrato di seguito:

Se, invece, la spazola mobile è posizionato vicino al bordo esterno del disco, poi a causa l'assottigliamento del braccio di rame, suo percorso è più breve e il percorso di spento è molto più lungo, essendo circa tre volte più a lungo il percorso acceso, e dà un rapporto di Mark/Space di circa il 25%. Il pennello mobile può essere posizionato in qualsiasi punto tra questi due estremi, il rapporto di Mark/Space può essere impostato su un valore qualsiasi dal 25 % al 50 %

Le due spazzole possono essere sullo stesso lato dell'albero motore o sui lati opposti, come indicato. Una caratteristica importante è che le spazzole toccano in una posizione, dove la superficie del disco si allontana sempre dritto dal montaggio delle spazole, in modo che qualsiasi trascinamento è dritto lungo il braccio e non dando nessun trascinamento trasversale sulla spazzola. Il diametro del dispositivo è di solito un pollice (25 mm) o meno.
Si noterà inoltre che l'output è acceso anche se lo schema non dà alcuna indicazione di come o quando tale passaggio avviene. Si noterà che il diagramma ha angoli contrassegnato su di esso per il posizionamento ottimale delle bobine di raccolta, comunque, un generatore motore Adams con un ID del forum di "Maimariati" che ha ottenuto un coefficiente di prestazione di 1.223, trovato che la commutazione ottimale per il suo motore è su a 42 gradi e spento a 44,7 gradi. Girando la parte del rotore quel piccolo grado di 2,7 dà una corrente di uscita sostanziale e tagliando fuori la corrente di uscita a quel punto cause contro EMF delle bobine per dare il rotore una notevole spinta supplementare sulla sua strada. Sua potenza in ingresso è 27,6 watt e la potenza in uscita è kW 33,78
Ora per alcuni dettagli pratici. È suggerito che una buona lunghezza per le bobine di raccolta di potenza può essere determinata tramite il "test del clip di carta". Questo viene fatto prendendo uno dei magneti permanenti utilizzato nel rotore, e misurando la distanza a cui quel magnete appena comincia a sollevare un'estremità di una graffetta di 32 mm (1,25 pollici) dal tavolo. La lunghezza ottimale di ogni bobina da fine a fine è esattamente lo stesso come la distanza alla quale il clip di carta inizia a sollevare.
.

Il materiale del nucleo utilizzato negli elettromagneti può essere di diversi tipi tra cui materiali avanzati e leghe come 'Somalloy' o 'Metglas'. Le proporzioni di bobina di raccolta di potenza sono importanti come un elettromagnete diventa meno efficace quanto la sua lunghezza aumenta, e alla fine, la parte dell'estremità più lontana attiva può effettivamente essere un ostacolo per il funzionamento efficacie. Una forma buona della bobina è uno che non si aspetta, con la bobina larghezza, forse 50% maggiore della lunghezza della bobina:
Contrariamente a ciò che vi aspettereste, il dispositivo attira meglio energia dall'ambiente locale se alla fine della bobina più lontana del rotore è lasciata inalterata da qualsiasi altra parte del dispositivo e lo stesso vale per il magnete rivolto verso di esso. Che è, la bobina dovrebbe avere il rotore ad una estremità e nulla a altra estremità, che è, non secondo rotore dietro la bobina. La velocità alla quale la tensione è applicata al e rimosso da, le bobine è molto importante. Con aumenti di tensione molto forte e cadute, energia supplementare è disegnato dal campo energetico ambientale circostante. Se si utilizza un transistor di commutazione, il FET IRF3205 è stato trovato per essere molto buono e un driver adatto per il FET è il MC34151.
Se si utilizza un semiconduttore a effetto Hall a sincronizzare i tempi, dicono i UGN3503U che è molto affidabile, quindi la vita del dispositivo effetto Hall è molto migliorata se viene fornito con una resistenza da 470 ohm tra essa e la linea di alimentazione positiva e una simile resistenza da 470 ohm tra essa e la linea negativa. Queste resistenze in serie con il dispositivo di effetto Hall efficacemente "galleggiano" e proteggono da picchi di linea di alimentazione".

Qui, due elettromagneti sono guidati dalla batteria tramite commutatore 4-braccio di Robert che è montato sull'albero rotore. Alcune delle raccomandazioni fornite da Robert sono l'opposti di ciò che vi aspettereste. Per esempio, dice che un singolo rotore costruzione tende ad essere elettricamente più efficiente che uno dove diversi rotori sono montati su un unico albero. Robert è contro l'uso di interruttori a reed ed egli raccomanda di fare uno dei suoi collettori.
A un certo punto, Robert consiglia l'utilizzo di
spessori di trasformatore standard per costruire i nuclei di elettromagneti. Questo ha il vantaggio che bobine corrispondenti per lo svolgimento di tutti gli avvolgimenti della bobina sono prontamente disponibili e possono ancora essere utilizzati per bobine di raccolta. Successivamente, Robert ha
cambiato verso l'utilizzo di nucleo solido dal vecchio relè telefono PO serie 3000 e alla fine ha detto che nuclei elettromagnete devono essere solido ferro.
.

Gli schemi di Robert mostrano i magneti posti sul bordo del rotore e puntano verso l'esterno. Se questo è fatto, quindi è essenziale che i magneti del rotore sono saldamente fissati su almeno cinque delle sei facce e la possibilità di utilizzare un anello di materiale non magnetico come il nastro adesivo intorno alla parte esterna dovrebbe essere considerato. Che lo stile di costruzione si presta anche alla razionalizzazione del rotore avendo una costruzione completamente solida, anche se potrebbe essere osservato che il motore sarebbe meglio e più silenzioso se fosse racchiuso in una scatola che aveva l'aria pompata fuori di esso.
Se questo è fatto, allora non ci sarà la resistenza dell'aria e perché il suono non può passare attraverso un vuoto, un funzionamento più silenzioso è legato ai risultati. Anche se questo può sembrare un po 'complicato, non vi è alcun motivo per cui dovrebbe essere. Tutto ciò che è necessario è due dischi ed un disco centrale che è lo spessore dei magneti, con delle fessure, le dimensioni esatte dei magneti. L'assemblaggio inizia con il disco inferiore, magneti e disco centrale. Questi sono incollati insieme, probabilmente con resina epossidica, e che contiene i magneti in modo sicuro sulle quattro facce come mostrato qui:

Qui, i magneti sono fissati sulla faccia inferiore, destra e sinistra facce e il volto di palo inutilizzati e quando è collegato il disco superiore, sono garantite anche le facce superiore e c'è il minimo di turbolenza dell'aria quando il rotore gira:

C'è un "punto giusto" per il posizionamento delle bobine di raccolta della corrente e di solito verrà trovato che si tratta di due o tre millimetri dal rotore. Se è il caso, ci sarà spazio per una striscia di nastro adesivo sul bordo del rotore per fornire ulteriore protezione contro il fallimento del metodo di collegamento del magnete esterna.
Le versioni ad alta potenza del motore/generatore devono essere racchiusi in una scatola di metallo che è collegato a terra perché sono abbastanza in grado di generare una notevole quantità di onde ad alta frequenza che possono danneggiare le apparecchiature quali oscilloscopi e creare interferenze di ricezione TV. Ci sarebbe probabilmente un miglioramento delle prestazioni, nonché una riduzione del suono se la scatola era chiuso ermeticamente e aveva l'aria pompata fuori di esso. Se quello è fatto, allora non ci sarà nessuna resistenza dell'aria come il rotore gira e dato che il suono non passa attraverso un vuoto, è possibile il funzionamento più silenzioso.
Costruttori del rotore esperti non piace lo stile di magneti radiali di costruzione a causa delle sollecitazioni sulle attaccature dei magneti se si raggiungono alte velocità di rotazione. Non è necessario essere detto, ma ovviamente è un requisito importante per mantenere le mani ben lontano dal rotore quando il motore è in esecuzione come è perfettamente possibile essere feriti dal movimento ad alta velocità se sei sbadato. Si prega di ricordare che questa presentazione non deve essere considerata per essere una raccomandazione che puoi costruire o utilizzare qualsiasi dispositivo di questa natura e va sottolineato che questo testo, in comune con l'intero contenuto di questo eBook, è destinato ad essere solo a scopo informativo e non rappresentazioni o garanzie sono implicite in questa presentazione. Se si decide di costruire, testare o utilizzare qualsiasi dispositivo, allora fate così interamente a proprio rischio e nessuna responsabilità attribuisce a chiunque altro se tu sostieni alcun tipo di lesioni o danni alla proprietà in conseguenza di proprie azioni.
A causa di sollecitazioni meccaniche causate durante la rotazione, alcuni costruttori esperti sentono che i magneti dovrebbero essere incorporati nel rotore come mostrato qui dove sono tenuti ben lontani dal bordo di un rotore che è costituito da un materiale duro. Questo è il modo che la striscia esterna del materiale impedisce i magneti allentarsi e diventare pericolosi proiettili ad alta velocità, che nella migliore delle ipotesi potrebbero distruggere gli elettromagneti e nella peggiore delle ipotesi potrebbero ferire qualcuno abbastanza male:

Deve essere ricordato che le proporzioni dei magneti sono la lunghezza del magnete deve essere più del diametro, quindi in casi come questo, dove magneti a faccia circolare devono essere utilizzati, il magnete sarà cilindrici e il rotore deve avere uno spessore notevole, che dipenderà dai magneti che sono disponibili localmente. I magneti devono essere un innesto stretto nei loro fori e saldamente incollato al posto.
Robert Adams ha pure usato questo stile di costruzione. Tuttavia, se una disposizione come questo viene utilizzato, allora ci sarà una notevole attrazione lateralmente sul rotore come raggiunge il nucleo elettromagnete, tendente a tirare i magneti via dal rotore.
.

È importante che il rotore deve essere perfettamente equilibrato e avere il minimo possibile di attrito sul cuscinetto. Ciò richiede precisione di realizzazione sia a rulli o a sfere. Lo stile di costruzione sopra indicato ha il vantaggio che ha un'estremità aperta sia il magnete e le bobine e questo si crede per facilitare l'afflusso di energia ambientale nel dispositivo.
Potrebbe essere mia ignoranza mostrando qui, ma ho un problema con questa versione. La difficoltà come la vedo io è che tirando il magnete/core e la successiva unità di Spinta quando la bobina viene alimentata elettricamente, formano una "coppia di rotazione" che entrambi cercano di ruotare l'asse nella stessa direzione. Questo pone un notevole carico sui cuscinetti dell'asse, di solito amplificati dal raggio del rotore essendo maggiore la distanza tra il rotore ed i cuscinetti dell'asse. Questo carico sarà nella gamma di decine di chilogrammi e sarà applicato e invertito forse quaranta volte al secondo. A me, che appare come un carico di vibrazioni ed è direttamente opposto all'operazione "perfettamente equilibrato" rotore ricercata. La disposizione radiale del magnete mostrata generalmente da Robert Adams non dispone di uno qualsiasi di questo tipo di caricamento a tutti perché le bobine sono esattamente di fronte a altro e il loro carico si annullano a vicenda esattamente. La scelta spetta, naturalmente, al costruttore e la sua valutazione dei vantaggi e degli svantaggi dei diversi stili di costruzione.
Robert Adams ha prodotto alcune note aggiuntive sul
suo design motore/generatore:
ADDENDUM AL MANUALE
Di Dr. Robert G. Adams,
Nuova Zelanda.
Una volta terminata la costruzione di un
generatore a motore
La domanda è – "come può qualsiasi
dispositivo elettrico pretendere di operare intorno all'ordine di 70-90% di
efficienza e ancora richiedono un impianto di raffreddamento, si tratti di un
motore o un trasformatore, senza il quale il dispositivo si sfalderebbe?"
Se un motore di Adams può funzionare il
carico al fianco di un motore convenzionale dello stesso voto e, carico per
carico, ad una temperatura di meno della metà che della macchina convenzionale
con una valutazione di efficienza dichiarata di 70-90%, quindi il dispositivo
di Adams sarà operativo intorno all'ordine di 3 volte quella del motore
convenzionale e si è, inoltre, non è necessario per irradiare energia sprecata
con una ventola di raffreddamento.
Il metodo corretto in fase di test un
motore a riluttanza commutata è quello di integrare E x Iav con la
frequenza di commutazione di macchina utilizzando standard di strumenti di
misura, il cui risultato è spesso ironicamente molto vicino, se non identici,
con i risultati delle prove calorimetriche, e questo si ottiene usando
l'equazione prima descritta nel manuale del motore Adams, vale a dire, Iav
x E x Duty Cycle, confermata dalla Nuova Zelanda elettricità dipartimento 1976
e industrie elettriche di Lucas, divisione di ricerca, Italia 1976.
Se si costruisce un motore di Adams che
sembra funzionare bene ed è operativa sotto carico senza ottenere caldo, cioè,
intorno all'ordine di 20-15 gradi o meno oltre la temperatura ambiente di 20
gradi, allora esso sarà, se i calcoli sono effettuati correttamente, operativo
oltre l'unità.
Analisi prove calorimetriche, come
delineato nel presente Addendum, è un esercizio costoso, richiede tempo, è
difficile da calcolare e richiede abilità ed esperienza considerevole. Questa
procedura non è consigliata a coloro che non sono molto, molto ben preparato
con i prerequisiti di cui sopra.
NUOVA SCIENZA
IL MAGNETE MULTI-POLARE SUPER-POTENZA DI ADAMS
Ho per molti anni, teorizzò l'esistenza di
quattro poli interagire in qualsiasi magnete. Non c'è dubbio che due poli
dominano da ciò che è osservato e insegnato, nei testi classici.
Tuttavia, poiché la mia scoperta
dell'ingegneria magneti nel formare quattro poli - e, così facendo,
quadruplicando l'energia - sicuramente un po' di luce è stato versato sulla
teoria dell'esistenza di quattro pali. Io e Bruce Cathie studierà questo
ulteriormente quando il tempo lo permette.
A rettangolare o cubo magnetico, quando
ingegnerizzato nella tecnologia
Ironia della sorte, ma non in modo
imprevisto, questo magnete super twin-pole è un'aggiunta molto importante per
l'ulteriore avanzamento della tecnologia
I magneti di laboratorio presenti sono
circa tre-quarti-di-un-pollice cubo. Il bordo di una faccia terrà una
cinque-chilogrammo di acciaio o ferro blocco a mezz'aria. Quando il viso
completo
Il magnete di dadi di dimensioni medie è
stato fissato ad una piastra in acciaio su una trave del soffitto e, con
l'aiuto di una catena, un blocco di 15 kg in primo luogo è stato fissato ad
esso; quindi un blocco di 4,7 kg aggiunto su con una corda di nylon; quindi è
stato fissato un altro blocco di 200 grammi; quindi, un blocco di quarto 200
grammi. Il magnete è ancora appeso in fretta, un blocco di 100 grammi è stato
aggiunto; allora... aspettare che... Arresto anomalo al pavimento. Il magnete
era ancora attaccato alla sua ancoraggio su tetto-trave!
Un magnete, circa tre-quarti-di-un-pollice
cubo, pesa solo 60 grammi. in grado di contenere un peso di oltre 20 kg a
mezz'aria. 333.333 volte il proprio peso? Questo avrà finalmente qualcosa di un
effetto sulle menti ignoranti chiuse della scienza convenzionale?
La strada ora sicuramente deve essere
chiara che l'energia spazio/gravitazionale via forze elettromagnetiche dei
magneti permanenti non è impossibile né difficile da sfruttare. Le energie di
spazio e gravità sono pulite, non esauribili e gratuito. La tecnologia
Le teorie sacrosante di Einstein della
relatività e le leggi della termodinamica, il più notevole e inspiegabile
aberra¬tions mai registrata nella storia scientifica. Questi falsi insegnamenti
draconiani sono stati strumentali nell'ostacolare il processo della scienza
verso libero, energia pulita.
TECNOLOGIA
CLASSICA TEORIA E ADAMS
La teoria classica
Nella regione sub-microscopica, cioè, il
"dominio", molti di questi atomi con spin dell'elettrone in una
direzione creare un campo magnetico che integra efficacemente il campo generato
dagli elettroni girevoli. Ogni dominio diventa così un piccolo magnete. Quando
i domini sono in stato casuale, la sostanza nel suo complesso non è un magnete.
L'applicazione di un campo magnetico esterno riorientare i domini e produrre un
magnete nel modo descritto sopra.
Quando l'applicazione di una forza
magnetica esterna è stato applicato e tutti i domini sono stati allineati,
viene raggiunta la condizione di saturazione magnetica, e qualsiasi ulteriore
aumento della forza del campo di forza esterno non aumenterà la magnetizzazione
affatto più ulteriormente, con l'avvento della tecnologia Adams a magnete
permanente, non è ulteriore prova che gli insegnamenti di testo convenzionale
hanno raggiunto la fase quando essi devono essere riscritti?
Dalle osservazioni di alcuni esperimenti
di laboratorio con cuscinetti a sfera, è il parere dello scopritore che le
elezioni circolano in coniugato coppie e hanno una rotazione opposta a quella
di rotazione, e che lo spin è quattro volte superiore a quella della rotazione
orbitale. Rilevo inoltre che i testi convenzionali preferiscono non statale in
direzione di rotazione, né velocità relativa moto orbitale.
Non pertanto a sottoscrivere la
dichiarazione che "in materiali altamente magnetici, ogni atomo ha molti
più elettroni di filatura in una direzione che in un altro mi sento che tale
condizione non si riferiscono alla luce delle mie scoperte.
Anche essere affrontato è la questione
dell'aumento massiccio di energia risultante dalla
Ci sono prove schiaccianti che energia
spazio/gravitazionale possa essere concentrato, concentrati e/o ingrandita da
magneti permanenti.
© 1995 Robert Adams
Whakatane, Nuova Zelanda
MAGNETI PERMANENTI ED EFFICIENZA
QUESTA RELAZIONE SI RIFERISCE AD UNA
CARATTERISTICA INTRINSECA DI MAGNETI PERMANENTI SCOPERTO ALCUNI 19 ANNI FA, DA
ROBERT ADAMS DELLA NUOVA ZELANDA E CONVALIDATI DI RECENTE:
UN LUNGO E IN PROFONDITÀ PROGRAMMA
LA PRESENTE RELAZIONE RIGUARDA PRECEDENTI
SIMILI PROVE EFFETTUATE DURANTE L'ANNO 1976 E 1979 E NEL CORSO DEGLI ULTIMI
COME STO COLLABORANDO CON DR. HAROLD
ASPDEN DEL REGNO UNITO IN QUANTO SOPRA E ALTRE QUESTIONI SIA IO CHE IL DR.
ASPDEN ABBIAMO DECISO CHE È ORA IL MOMENTO OPPORTUNO PER PORTARE QUESTO
RAPPORTO DI NOTIZIE IN AMBITO DI LETTORI DI NEXUS, DATO CHE I NOSTRI RISULTATI
COLLETTIVI DI ANALISI TEST ESTENSIVI, EFFETTUATE NEL PERIODO PIÙ RECENTE, HANNO
CONSENTITO.
OLTRE AL SUDDETTO, MI È STATO, ALL'INIZIO
DI QUEST'ANNO, COMMISSIONATO DA UNA SOCIETÀ GIAPPONESE PER COSTRUIRE UN MOTORE
DI ADAMS CHE INCORPORANO I SUPERMAGNETI Y.T., CON LA LORO VISTA PER AUMENTARE
L'EFFICIENZA
QUESTO RAPPORTO È IMPORTANTE DA DUE
ASPETTI DIVERSI. IN PRIMO LUOGO, METTE A RIPOSO ERRONEA DENUNCE DI ALCUNI
INVENTORI, INGEGNERI E SCIENZIATI CHE POTENTI MAGNETI COSTRUITI IN MOTORI
ELETTRICI PRODURRANNO MOLTO ALTA EFFICIENZA O OLTRE L'UNITÀ.
QUESTA NOZIONE È NIENTE PIÙ CHE UN'IPOTESI
ADOTTATA AGGIUSTATE NEL CORSO DEGLI ANNI. IN SECONDO LUOGO, VI FARÀ RISPARMIARE
UN SACCO DI PERSONE LÀ FUORI UN SACCO DI TEMPO E DELUSIONE NEL PERSEGUIRE AD
ALTA EFFICIENZA DA MAGNETI DI ALTA ENERGIA PRODOTTO COME RIVENDICATO POSSIBILE
A DETERMINATE PERSONE. VI RIMANDO IL LETTORE,
A QUESTO PUNTO, AL MIO LIBRO PUBBLICATO SULLA RIVISTA NEXUS, APRILE - MAGGIO
1993 ISSUE, PAGINA 47.
REGOLA No
1: NESSUN MAGNETE, INDIPENDENTEMENTE
DAL FATTO "S INHERRENT CONTEGGIO DELL'ENERGIA PUÒ, IN QUALSIASI MODO,
GOVERNANO I RISULTATI DI EFFICIENZA DI UN MOTORE ELETTRICO.
REGOLA No 2: INGRESSO ALIMENTAZIONE SI ARRAMPICA IN PROPORZIONE IL
PRODOTTO DI ENERGIA DEL MAGNETE/S USATO, CHE ANNULLA AUTOMATICAMENTE QUALSIASI
POSSIBILITÀ DI AUMENTO DELL'EFFICIENZA. PER
UNA MAGGIORE EFFICIENZA SI DEVE PERSEGUIRE IL MIGLIORAMENTO DI ALTRI IMPORTANTI
FATTORI LOGICI, VALE A DIRE, PROGETTAZIONE DI MACCHINE, ECC.
NOTA: LE LEGGI DEL MAGNETE PERMANENTE, COME LE LEGGI
DELL'UNIVERSO, SCEGLIERE ALCUNE CARATTERISTICHE INTRINSECHE COSTANTE, UNO DEI
QUALI DIMOSTRA CHE L'EFFICIENZA RIMANE COSTANTE QUANDO I MAGNETI SONO
ABBRACCIATI IN UN DISPOSITIVO ARTIFICIALE, QUALUNQUE SIA IL PRODOTTO DI ENERGIA
DEL MAGNETE.
PER RISULTATI DI SUCCESSO AD ALTA
EFFICIENZA SI È SUGGERITO CHE UNO SPAZZOLE DA PARTE L'IMPORTANZA DEI MAGNETI IN
MATERIA DI EFFICIENZA E SI CONCENTRA SU MATERIALI, PROGETTAZIONE ELETTRICA E
MECCANICA NEL RESTO DELLA MACCHINA E, NATURALMENTE, CONSIDERA CHE L'INGEGNO È
UN INGREDIENTE PRINCIPALE IN QUESTO ESERCIZIO.
NEGLI ANNI SETTANTA HO SCOPERTO, SULLA
MODIFICA MAGNETI DI BASSA ENERGIA PRODOTTO PER TIPI DI ENERGIA SUPERIORI NEL
MIO MOTORE/GENERATORE AD IMPULSI, CHE C'ERA UN AUMENTO IN POTENZA DI USCITA, MA
NESSUN CAMBIAMENTO NELL'EFFICIENZA DEL MOTORE. C'ERA, DURANTE I PRIMI ANNI
SETTANTA, MOLTO TALK E LA SPECULAZIONE DI UNA MAGGIORE EFFICIENZA SIA POSSIBILE
CON L'AVVENTO DEI MAGNETI PIÙ POTENTI CHE APPAIONO SOPRA IL HORRIZON IN UN
FUTURO PROSSIMO. QUANDO ALLA FINE SAMARIO-COBALTO È VENUTO SULLA SCENA NEGLI
STATI UNITI, È STATO, TUTTAVIA, UNA LUNGA STRADA DA DIVENTANDO GENERALMENTE
DISPONIBILI ALTROVE.
QUANDO HO FINALMENTE OTTENUTO UN INSIEME
APPROPRIATO DI MAGNETI SAMARIO-COBALTO, IO LI HA INSTALLATI IN UNO DEI MIEI
MOTORI E NON È STATO SORPRESO DI TROVARE, ANCORA UNA VOLTA, CHE HA AUMENTATO LA
POTENZA DELLA MACCHINA, MA L'EFFICIENZA È RIMASTO INVARIATO.
IN TEMPI PIÙ RECENTI HO SVOLTO UN
PROGRAMMA UTILIZZANDO DIVERSI TIPI DI MAGNETI DI DIVERSE FIGURE DI ENERGIA
PRODOTTO, DA POCHE CENTINAIA GAUSS A MEGAGAUSS SUPER POTERE MAGNETI. ORA CHE IL
MIO PROGRAMMA IL CONTROLLO DI MOLTI DIVERSI MAGNETI È COMPLETATO, CHE COMPRENDE
I MAGNETI PIÙ POTENTI DISPONIBILI NEL MONDO FINO AD OGGI, A CUI SONO AL
CORRENTE, È STATO TROVATO CHE LA MIA ORIGINALE SCOPERTA NEL 1976 CONVALIDA IL
FATTO CHE IL PRODOTTO DI ENERGIA DEI MAGNETI NON HA ALCUNA INFLUENZA SU
QUALUNQUE RISULTATO/RISULTATI DI EFFICIENZA DI UN MOTORE ELETTRICO A MAGNETE
PERMANENTE. CI SARÀ MOLTA DELUSIONE PER UN SACCO DI GENTE LÀ FUORI PER IMPARARE
CHE IL MAGNETE ENERGIA PRODOTTO NON DISCIPLINA L'EFFICIENZA IN QUALSIASI MODO.
C'È UNA CONSOLAZIONE, TUTTAVIA, PER TUTTI
NOI, IN QUANTO CI SONO DUE VANTAGGI MOLTO SIGNIFICATIVI NELL'USO DEI MAGNETI
SUPER POTERE. UNO È L'ALTA RIDUZIONE IN VOLUME
CON L'USO DEI SUPERMAGNETI IN FUTURI
MACCHINE, C'È LA PROMESSA DI UN POSTO INTORNO ALL'ORDINE DELLA METÀ DI UN CHILO
CAVALLI POSSIBILE - UN'OTTIMA NOTIZIA PER GRUPPI ELETTROGENI PORTATILI.
METODI
CONSOLIDATI DI TEST ELETTRICO
MOTORE E
L'EFFICIENZA
In questa sezione vi sfido il metodo/s
usato nella scienza e industria in relazione il collaudo
Questi metodi antiquati sono andati su per
sempre nel corso dei secoli e stata presi come Vangelo mai di essere
interrogato. È giunto il momento di passare che questi metodi antiquati
soggette a riesame. Con i nuovi dispositivi di energia sopra l'orizzonte,
applicazione di istituzione di procedure di test per questi non e non può dare
più di quanto fanno per dispositivi convenzionali oggi risultati accurati.
È ben oltre il tempo che l'istituzione
scienza e industria allo stesso modo essere adottate per attività su questa
materia, soprattutto per quanto riguarda motori elettrici e trasformatori.
Risultati dei test da Università e strutture di istituzione di nuovi
dispositivi di energia che ho incontrato non valgono la carta su che cui sono
scritti. Cominciamo con trasformatori di
Una domanda. Perché, nel caso di
trasformatori di grande
Ora motori elettrici.
Chiedo la stessa domanda. Perché motore produttori, sostenendo più di
90% di efficienza, fornire ventole di raffreddamento nelle loro macchine con le
loro perdite operatore al fine di mantenere la macchina all'interno di una
temperatura di funzionamento sicuro? Semplicemente a causa
Per quanto riguarda gli insegnamenti di
stabilimento di valutazioni di efficienza dei motori elettrici e trasformatori
di
TEMPERATURA
DEL MOTORE ELETTRICO RISPETTO EFFICIENZA
Essendo stato coinvolti nel campo delle
invenzioni di motore elettrico e inquirenti efficienza richieste dai produttori
e motori inventori allo stesso modo per 30 anni, non sono riuscito a trovare in
una qualsiasi delle loro letteratura pertinente alla specifica tecnica e figure
di efficienza, qualsiasi riferimento della temperatura delle macchine ha dette
operante in condizioni di pieno carico.
Si può chiedere - questo fattore più
importante è stato perso di vista o è esso convenientemente lato-passo?
Quest'ultimo che sospetto.
Si può chiedere - perché?
La risposta a questo possibilmente
sarebbe, che per citare la temperatura di funzionamento
È di essere ascoltato che valutazioni di
efficienza specificati saranno imprecise e ingannevole se non è indicato il
fattore vitale della temperatura della macchina in esecuzione sotto pieno
carico. Si deve anche ricordare che la resistenza di CC delle bobine interne
aumenta con l'aumento di temperatura.
Esercitando la mia esperienza in
calorimetria ho controllato decine di diversa efficienza motore CA e CC e
trovato tutti loro carente per quanto riguarda la precisione - prove che
sottolinea il fatto che la temperatura della macchina in esecuzione a pieno
carico non ha tenuta conto.
MOTORI
ELETTRICI CONVENZIONALI
Motori elettrici convenzionali, se CA o
CC, nella forza lavoro sono abissalmente basso in termini di efficienza,
compresi quelli sostenendo intorno all'ordine di 60-90%.
Ed ecco perché:
Se un motore convenzionale con una
presunta efficienza, diciamo, 70% e
10 watt di uscita e un motore di oltre l'unità e 10 watt output sono entrambi
ugualmente caricati in una temperatura ambiente di 20° C, il motore convenzionale,
dopo 20 minuti di funzionamento, avrà raggiunto una temperatura di oltre 100°
C; il motore non convenzionale (oltre motore unità), alla fine di 20 minuti,
avrebbe a malapena raggiunto 38° C.
Il "caricato temperatura di
funzionamento" dei motori intorno all'ordine dell'unità e di là è tale che
non necessitano di una ventola di raffreddamento, né hanno bisogno di essere
costruito in metallo per dissipare la perdita enorme di energia come in
macchine convenzionali. C'è un evidente vantaggio qui troppo, in quanto il
volume e il peso sono sostanzialmente ridotti.
La calorimetria è una scienza esigente e
critica. Richiede rispetto senza tempo dei suoi principi e precetti e una
presenza quasi religiosa al sistema diagnostico richiesto della sua natura. E
così, molte centinaia di ore di lavoro e notevoli somme di denaro è state
applicate alla "soluzione finale" e scetticismo può prendere un arco
e accettare infatti dispone di almeno una quota del credito per i risultati -
preghiera è stato risposto, seppur "volte affrontare". Tutte le analisi calorimetrica-test e
temperatura parametro ricerche effettuate da me negli ultimi anni, sia il
motore di Adams come pure altri vari tipi di motori, fortemente sono usciti a
favore di prove a sostegno del fatto che metodi degli scettici, questi test la
macchina di Adams e altri, sono antiquati e grossolanamente inesatte. È quasi
obbligatorio per gli scettici di sfida di uno, solo, se per nessun altro
motivo, che per il divertimento di esso: ma non c'è nessuno che conosco in
grado di sfidare la calorimetria.
Ho cercato per anni nel tentativo di
spiegare alla gente, che davvero dovrebbe conoscere meglio, che la temperatura
dei motori elettrici al lavoro è di fondamentale importanza e che i parametri
elettrici sono di nessuna conseguenza o anche per essere considerata
necessaria. Anche tale misure matematiche/elettriche convenzionali non si
applicano ai motori a riluttanza commutata; Se applicato, essi sono viziate da
dritto fuori misura esatta di temperatura della macchina.
PREZIOSI
SUGGERIMENTI SULLA REPLICA
1)
utilizzare solo ferro puro per avvolgimenti di statore/unità, anima in acciaio
non laminato.
2)
vento statori con una resistenza nella gamma di dieci-venti ohm ciascuno per un
piccolo modello.
3)
per 2) sopra, utilizzare tensione/s di compreso tra 12 e 36.
4)
per piccola macchina fare diametro massimo contattore stella disco un pollice.
5)
mantenere il cablaggio di breve e di bassa resistenza.
6)
per piccola macchina installare portafusibili/500m.a. 1 amp.
7)
installazione di interruttore per convenienza e sicurezza.
8)
utilizzare cuscinetti di piccole dimensioni. Non utilizzare cuscinetti
sigillati in quanto queste sono pre-confezionate con un grasso denso che
trascinare cause gravi.
9)
utilizzare solo argento contatti per interruttore a impulsi.
10) se si utilizza magneti ad
alta-energetica-prodotto, vibrazione diventa un problema serio se design e
materiali costruttivi sono difettosi.
11) traferro non è critico; Tuttavia la
riduzione sarà aumentare la coppia e anche aumentare la
12) per una maggiore velocità, più
attuale, collegati in serie statori consigliati.
13) a) se gli avvolgimenti di statore di
macchina sono di bassa resistenza e alta corrente di disegno a più alta
tensione di ingresso, si consiglia di installare un transistor di commutazione
che eliminerà completamente scintille in punti.
b) il calcolo della
14) a) punti di messa a punto e la
pressione sono di vitale importanza; esperimento indicherà le impostazioni
ottimali.
b) se, tuttavia, tutti i processo di commutazione
elettronico è preferito, cioè, utilizzando foto, magnetico, effetto hall, ecc,
quindi quanto sopra in a) è stato completamente eliminato.
15) se la
costruzione di un modello di grandi dimensioni che coinvolgono Magneti grandi
super-potenza, tenere presente quanto segue:-
Maggiore sarà il prodotto di energia
magnetica, maggiore è la
costo ecc. Leggere la sezione su
"magneti permanenti ed efficienza ' dal dottor Robert Adams 1996"anche
pubblicato in NEXUS aprile/maggio 1996 problema).
MOTORE DI ADAMS
REPORT DI ANALISI DA (PH. D.SYSTEMS INGEGNERIA
SCIENZIATO) DI
Si tratta di un'analisi di sistema
RELAZIONE DI ANALISI GENERALE RICEVUTO
DALL'INVENTORE
Nota il test della batteria:
Ho fatto una test di carica della batteria
e allego i risultati per il vostro esame. Come potete vedere, la tensione di
batteria di ingresso soggiornato praticamente costante nel tempo coinvolto,
mentre la tensione di uscita della batteria è salito considerevolmente. Sono
interessato in quello che era il dispositivo che stavo usando tra le due
batterie? E ' stato un resistore "convenzionale". Sì, ho duplicato in
realtà la batteria carica curve utilizzando un resistore, non di un Adam
macchina. Spero che troverete questo informativo.
Esecuzione della simulazione:
Sono comprese alcune stampe dal mio
programma di simulazione che conferma molte delle caratteristiche che
descrivono nella vostra letteratura. Le trame con angolo sull'asse orizzontale
sono risultati 1/4 di giro con incrementi di un grado. Le trame con velocità
sull'asse orizzontale sono risultati l'effetto sui cambiamenti di velocità
variabile. Come si vede dal diagramma della coppia-angolo, coppia positiva
viene infatti applicata due volte durante ogni ciclo, come è stato. DIAGRAMMA
della efficienza VS velocità Mostra l'effetto di"risonanza" in un
modo piuttosto drammatico, non credi? (Qui l'accendino area ombreggiata è
l'area di operazione di sovra-unità). DIAGRAMMA della coppia-velocità è abbastanza
interessante, dal momento che l'intersezione della linea di carico con esso
determina l'esecuzione di velocità
Non è interessante che le simulazioni mostrano
zone di operazione in determinate circostanze che produrrà risultati di unità?
Forse non dobbiamo buttare fuori come gran parte della fisica
"convenzionali" come pensi che facciamo. Forse "oltre
l'unità" è stato nascosto in fisica convenzionale tutti insieme e solo non
abbiamo visto, perché non abbiamo esaminato nel modo giusto con gli occhi per
vedere.
7/8/93
L.L. PH.D








RELAZIONE SPECIALE SU UN NUOVO RIVOLUZIONARIO
GENERATORE MOTORE
IL
GENERATORE DI MOTORE DI ADAMS THERMO - MARK 022/3
Nuovi dispositivi di energia dell'etere
sono ormai una realtà e il protezionismo di Torre d'avorio della relatività le
leggi della termodinamica e di Einstein è tutto crollato, ma.
Ricerca e sviluppo in questo vasto campo
di nuovi/vecchi è veloce raccogliendo slancio in tutto il mondo. Questi nuovi
dispositivi includono motore elettrico/generatori e unità allo stato solido.
Attuali metodi di generazione di energia sono destinati per la rottamazione.
Istituzione scientifica ha costruito il
suo edificio imponente dell'elettrodinamica quantistica sulla base di risultati
secondari prodotti da elettricità ed elettromagnetismo già in azione.
Da queste azioni osservate, hanno forma
ipotetica foto, di modelli teorici che di conseguenza hanno costantemente
servito come essere affidabile per dispositivi elettromagnetici di più, ma non
tutti, come quando queste leggi dogmatiche sono state concepite inventori e
scienziati di oggi non ancora avevano inventato questi nuovi dispositivi elettromagnetici
rivoluzionari capaci di gating etere energia, con una sola eccezione essendo
Tesla sulla fine del secolo scorso, che è stata soppressa.
Se il dogma dell'establishment scientifico
in relazione alle leggi della termodinamica di
Le teorie sacrosante di Einstein della
relatività e le leggi della termodinamica sono le aberrazioni più notevole e
inspiegabile mai registrate nella storia scientifica. Questi falsi insegnamenti
draconiani sono stati strumentali su scala all'ingrosso nell'ostacolare il
progresso della scienza verso libera energia pulita in un'epoca propizia che da
allora ha avuto i magnati di combustibile fossile ridere tutto il senso alla
banca.
Ci sono prove schiaccianti che energia
etere/spazio possa essere concentrato, concentrati e/o ingrandita da magneti
permanenti. Io, per uno, ho dimostrato nel mio generatore motore originale, 4 poli
super potere magneti, il Adams Thermo motore/generatore e altre invenzioni e
scoperte elettromagnetiche non ancora divulgati. Il mio successo nella precipitazione calore da etere/spazio
energia che si manifesta entro gli statori di motore elettrico Mark 022/3 Adams
Thermo e sfruttare con successo questa energia, ha dimostrato di essere un
evento molto significativo ed emozionante per un mondo morto di fame per pulito
economico energia.
'ADAMS THERMO MOTORE GENERATORE' è solo
uno dei nuovi dispositivi di energia all'orizzonte con un enorme potenziale. Il
dispositivo è chiamato così come un'illustrazione della sua capacità, oltre che
la fornitura di energia elettrica o meccanica molto efficiente, anche fornire
acqua riscaldamento, sia a figure economici senza precedenti.
Il calore è una fonte di perdita di
energia immensa nei motori convenzionali. E ' stato questo fattore principale
nella mente che prima mi ha spinto a inventare un motore che consentirebbe di
superare questo spreco di energia e quindi la nascita della originale
Per raggiungere questo obiettivo, ho
sentito un messaggio urgente per indirizzare la maggior parte dei miei sforzi
nella progettazione di un unico rotore come avendo, attraverso gli anni,
trovato poche possibilità, se presente, di migliorare la sorte di sistemi di
statore del motore elettrico, come è stato tentato da molti, con la maggior
parte solo la visione miglioramento poco, se del caso, l'ottenimento di una
maggiore efficienza.
Due unici fattori è venuto alla mente
abbastanza rapidamente di ingegneria e sono state debitamente attuate in questo
rotore. I risultati delle prime elaborazioni di prova erano ben oltre le mie
aspettative; per le dimensioni e parametri elettrici della macchina, l'energia
gestita da etere sotto forma di calore era enorme e spontanea. Questi risultati
sono stati molto emozionanti.
Per costruire una macchina di questo tipo
richiede una notevole esperienza e abilità nella progettazione di non
convenzionale nuovi dispositivi di energia, oltre al requisito di esperienza
nella scienza della termodinamica, calorimetria e sistemi di riscaldamento
dell'acqua. Tutte le misure devono essere esercitate per impedire e/o ridurre
le perdite, in quanto questi sono molti e può essere alta e includono quanto
segue:
Conduzione, radiazione, spostamento
d'aria, cuscinetti, magnetics, transistor di commutazione, perdita di
spostamento d'aria alta a statore pole volti a causa di alte velocità di
2500-4000 rpm del rotore causando considerevole effetto di raffreddamento -
cioè, perdita irrimediabile di etere energia e perdite di isolamento termo in
giacche di statore, che tiene il serbatoio e il circuito di tubazioni.
Il rotore unico, brevemente descritto,
comprende quattro magneti al neodimio ed è guidato dal solo due statori di 180°
con un ampio traferro di 1,25 mm, ha un diametro del rotore di 140 mm e 19 mm
di larghezza e i volti di statore sono piccoli a solo 15 mm di diametro.
L'energia di alto calore di cui sopra, che
è recintato da etere/spazio, si concentra presso gli avvolgimenti di statore.
Il modo in cui questa energia termica viene sfruttata dallo statore è unico e
molto efficiente, e il risultato è una macchina che sviluppa
La macchina, a causa della sua acqua
gratis unico vantaggio, di riscaldamento, naturalmente, sarà di volume maggiore
di un motore convenzionale a causa dei criteri necessari per l'installazione di
componentistica associato necessari per sfruttare questa fonte primaria di
energia libera.
La prospettiva di essere ora in grado di
sfruttare queste energie da forze magnetiche ci fornisce una vasta nuova pulita
fonte di energia gratis per la presa.
PROVA CALORIMETRICA, TRANSISTOR SWITCH
DISSIPAZIONE E INGRESSO ELETTRICO
Transistor interruttore dissipazione totale 45 watt.
Assorbimento totale 33
Watt.
Etere energia uscita di acqua calda 137 watt.
Ora 45 watt di interruttore di transistor
è la dissipazione totale della macchina e interruttore, quindi siamo di fronte
a un paradosso in quella
Ci sono prove crescenti mostrando in
questa macchina unica che indica che abbiamo tanto emozionante di apprendimento
più avanti in questo nuovo campo di energia. Per esempio, citerò l'anomalia
seguente tratto dal mio libro giorno datato 2.6.96:
Nel corso di un test eseguito alla data di
cui sopra, come è usuale, casuale controlli sono stati scattati della
temperatura dell'acqua le giacche statore ed è stato trovato durante un'ora di
esecuzione dei test che il Polo Nord aveva ora preso il calore più alto
potenziale dal polo sud - con una differenza, tuttavia; invece la variazione di
solito 2 o 3 gradi da un giorno a altro tra i due poli, in questa occasione il
Polo Nord stava operando ad una temperatura di 33 gradi oltre quello
visualizzato dal polo sud. C'erano le variazioni strumentazione elettrica
durante questo periodo di prova eseguire e, ulteriormente, non c'era nessun
segno di variazione nelle prestazioni della macchina. Queste scoperte anomale
non sono nuove per me; Essi semplicemente convincere me ulteriormente che
"è altamente probabile che, in qualsiasi o tutte le volte in futuro, più
nessuno di noi saprà mai sulla natura è nulla" (Dr. Robert Adams 1996).
NOTA:
Scaricato le prestazioni TEST - è deve
essere notato che l'esecuzione
Una nuova macchina di
LETTURE CONSIGLIATE:
MODERN AETHER SCIENCE da Dr. Harold Aspden
(scaricabile da www.free-energy-info.com)
PHYSICS WITHOUT EINSTEIN da Dr. Harold Aspden -
Saberton Publications,
THE COSMIC PULSE OF LIFE da Trevor J. Constable. Borderland Sciences Research Foundation,
THERMODYNAMICS AND FREE ENERGY da Peter A.
Lindemann.
L'ESPERIMENTO
MOTORE DI RILUTTANZA DI OVER-UNITY
Si può costruire un motore di
Il mio compito, sperimentalmente, è
pertanto di presentare qualcosa di molto più semplice che possono essere
montate e testate in un laboratorio di fisica di scuola o a casa utilizzando un
kit trasformatore standard costano pochi dollari. Tutti uno quindi ha bisogno è
uno strumento per leggere ampere e volt e una variabile alimentazione tensione
di alimentazione.
Ho fatto questo esperimento per soddisfare
me stesso che quello che ho detto all'Assemblea di
Avevo pensato che, al fine di accedere a
energia libera da ferromagnetismo, sarebbe necessario potere nucleo magnetico
sopra il 'ginocchio' della curva B-H, dove il magnetismo accumula i giri di
elettrone atomico essendo forzato in allineamento, piuttosto che semplicemente
sfogliando di 180 °. Qui è necessario fare attenzione perché ho una conoscenza
molto accurata nel ferromagnetismo e devo evitare terminologia poco familiare
ai lettori.
Va detto, tuttavia, che non c'è nessun
modo avanti per chiunque sia coinvolto in vera e propria ricerca su energia
libera da ferromagnetismo a meno che quella persona capisce la fisica
Così, qui proponiamo indicare una lezione
introduttiva o sperimentare e, a sostegno di questo, mi congratulo con coloro
che tentano di questo a leggere circa i principi di base
Se il lettore appartiene ad un'università
e quel libro può essere letta dalla libreria, quindi lettore che verrà, mi
sento, dopo l'esecuzione il seguente esperimento, essere in grado di dare un
senso delle opportunità 'free energy' ora confrontarsi con il mondo del
magnetismo. Il libro Brailsford non, è naturalmente, come un preliminare
necessario per l'esperimento, ma può aiutare a pensare in avanti. Infatti, per
inciso, ho detto che quando ho parlato di recente sul dispositivo Floyd Sweet
ad uno dei nostri collaboratori reciproci qui nel Regno Unito Ero felice di
sentire che anche lui ha una copia
L'esperimento è la semplicità stessa,
considerando la questione energetica coinvolti. Prendere un kit trasformatore
standard e assemblare le laminazioni affinché ci sia quello che è praticamente
un'intercapedine d'aria nel nucleo. Preparatevi a rimontare il nucleo
parzialmente con lacune di diversa larghezza. Ho tagliato pezzi di carta di
0,25 mm di spessore ed eseguito l'esperimento nello dieci fasi di montaggio
ripetere, con spessori di carta da 0 a 9.
L'idea dell'esperimento è quello di creare
uno stato eccitato nucleo in cui c'è una quantità nota di energia immagazzinata
nello spacco di aria. Se la frequenza di CA 60Hz ciò significa che in 1/240th
di secondo una quantità di energia viene fornita come energia di induttanza che
può soddisfare le esigenze
Regolando la corrente a spessori
successivi divario per garantire che la tensione rilevata dalla bobina di
ricerca di prova è sempre lo stesso, quindi sappiamo che l'energia di divario
disponibile come lavoro meccanico incrementa linearmente con spessore di gap.
Per ogni tale misurazione registriamo la corrente registrata come input per la
bobina magnetizzanti.
Se moltiplichiamo ora la corrente per la
tensione misurata, consentendo per il rapporto di girate fra la bobina di
magnetizzazione e la bobina di ricerca di prova, possiamo trovare il volt-amp
input, che in assenza di perdite è la reattanza o potenza induttiva. Questo
permette di confrontare l'output di energia potenzialmente disponibile meccanicamente
da uno spacco di aria, se fosse in una struttura
Si è constatato che la
Ora, uno non ha nemmeno bisogno di
preoccuparsi i calcoli per trovare l'ingresso di
L'esperimento è molto positivamente nel
mostrare la curva verso il basso e così dà la risposta di 'free energy', ma,
con mia grande sorpresa, con la disposizione di bobina della figura 2, ho
trovato che il 'energia libera' diventa disponibile ben di sotto del ginocchio
della curva B-H presso abbastanza normale densità di flusso! Anche a un quinto
dei livelli di saturazione magnetica il potenziale di energia libera in eccesso
può superare la
Sulla riflessione, la ragione,
naturalmente, è che magnetismo impostato da una bobina su un nucleo magnetico
progredisce come flusso intorno al circuito di nucleo in virtù di un effetto ''
a causa della rotazione
Ritengo che l'esperimento appena descritto
come un esperimento cruciale dimostrando la fattibilità della riluttanza
over-unity-esecuzione motori di azionamento e credo dovrebbe diventare standard
in tutti i laboratori di insegnamento interessati di ingegneria elettrica e
alla fine, come i fisici vedere l'etere nella sua nuova luce, anche in tutti i
laboratori di fisica


MOTORI A
RILUTTANZA COMMUTATA
Il 16 aprile 1993, il primo giorno del
Simposio nuova energia a
Il significato di questo come un elemento
di novità è che c'è stata una rapida convergenza sul punto di transizione in
cui l'elettronica necessaria per controllare il motore di riluttanza diventa
così a buon mercato che si prevede che saranno presto sostituiti motori ad
induzione su larga scala.
Quelli di noi interessati nel tema
'energia libera' dovrebbe vedere questo come aprire la porta per la nuova
tecnologia di energia sulla base dei principi utilizzati nel motore
Alla luce della relazione
L'articolo
dovrebbe suscitare interesse ingegneria
**********
Quando ottenendo i cuscinetti a sfera per un'applicazione come questa, si prega di essere consapevole che i cuscinetti "chiusi" come questi non sono adatti come fornito:

Ciò è perché questo tipo di cuscinetto è solitamente ricco di grasso denso che distrugge completamente il moto libero, facendo peggio come un cuscinetto di una semplice disposizione di albero e foro. Tuttavia, nonostante questo, il cuscinetto chiuso o "sigillato" è popolare come i magneti tendono ad attrarre lo sporco e la polvere e se il dispositivo non è racchiuso in una scatola d'acciaio come è necessario per le versioni ad alta potenza, quindi avendo il sigillo è considerato un vantaggio. Il modo per trattare con il grasso di imballaggio è quello di immergere il cuscinetto in un solvente isopropyal detergente per rimuovere il grasso del produttore e poi, quando si è asciugato, lubrificare il cuscinetto con due gocce di un olio di alta qualità leggero. Se esso è destinato ad ospitare il motore/generatore in una messa a terra, sigillato scatola d'acciaio poi, un tipo alternativo di cuscinetto che potrebbe essere adatto è un design aperto come questo:

soprattutto se l'aria è rimosso dalla scatola. Alcuni costruttori preferiscono utilizzare cuscinetti ceramici che sono supposti per essere immune da impurità. Un fornitore è http://www.bocabearings.com/main1.aspx?p=docs&id=16, ma come con tutto il resto, queste scelte devono essere fatte dal costruttore e saranno influenzate dalle sue opinioni.
Non sono sicuro da dove è venuto, ma ecco un diagramma del circuito mostrando un unità transistor e il ritorno della parte del contro-EMF delle bobine all'unità dell'alimentazione. Utilizzando questo metodo, circa il 95% dell'unità corrente può essere restituito, abbassando enormemente l'assorbimento
elettrico:

Il diodo che porta la corrente al dispositivo è un tipo di Shotky perché ha un funzionamento ad alta velocità. Deve essere in grado di gestire l'impulso di picco della corrente e quindi dovrebbe essere uno dei tipi più robusti. Quello che non ha questo circuito è lo scambio molto importante sul circuito della bobine di uscita. Un altro elemento strano è il modo che il sensore FET è organizzato con due sensori piuttosto che uno e con una batteria aggiuntiva. Mentre si deve ammettere che l'assorbimento di corrente del cancello FET dovrebbe essere molto bassa, non sembra essere molto motivo di avere un secondo alimentatore. Un'altra peculiarità in questo diagramma è il posizionamento delle bobine. Con la loro distanza come illustrato, ha l'effetto di essere ad angolo rispetto ai magneti del rotore. Non è affatto chiaro che se questa è una tecnica operativa avanzata o solo povero disegno - io sono propenso ad assumere quest'ultimo, anche se non ho alcuna prova per questo diverso da quello della progettazione di circuiti e la bassa qualità dell'originale disegno che doveva essere notevolmente migliorata per arrivare allo schema sopra indicato.
L'uscita del generatore della bobina dovrebbe essere portato in un condensatore prima di essere passato a qualsiasi apparecchiatura che deve essere alimentato dal dispositivo. Questo è perché l'energia viene estratta dall'ambiente locale e non è energia convenzionale. Riporlo in un condensatore la converte in una versione più normale di energia elettrica, una caratteristica che è anche stato detto da Don Smith e di John Bedini anche se i dispositivi sono molto diversi in funzione.
La resistenza
DC degli avvolgimenti della bobina è un fattore importante. La resistenza complessiva dovrebbe essere 36 ohm o 72 Ohm per un set completo di bobine, siano essi bobine d'azionamento o bobine di raccolta di potenza. Le bobine possono essere collegati in parallelo o in serie o in serie/parallelo. Così, per 72 Ohm con quattro bobine, la resistenza DC di ogni bobina potrebbe essere 18 Ohm per collegate in serie, 288 Ohm per parallelo collegato, o 72 Ohm per il collegamento in serie/parallelo dove due coppie di bobine in serie sono poi collegate in parallelo.
Per aiutare con valutare il diametro del filo e la lunghezza che si potrebbe utilizzare, ecco una tabella di alcuni dei comuni formati in American Wire Gauge sia Standard Wire Gauge:
|
AWG |
Dia mm |
SWG |
Dia mm |
Max Amps |
Ohms/100
m |
|
11 |
2.30 |
13 |
2.34 |
12 |
0.47 |
|
12 |
2.05 |
14 |
2.03 |
9.3 |
0.67 |
|
13 |
1.83 |
15 |
1.83 |
7.4 |
0.85 |
|
14 |
1.63 |
16 |
1.63 |
5.9 |
1.07 |
|
15 |
1.45 |
17 |
1.42 |
4.7 |
1.35 |
|
16 |
1.29 |
18 |
1.219 |
3.7 |
1.48 |
|
18 |
1.024 |
19 |
1.016 |
2.3 |
2.04 |
|
19 |
0.912 |
20 |
0.914 |
1.8 |
2.6 |
|
20 |
0.812 |
21 |
0.813 |
1.5 |
3.5 |
|
21 |
0.723 |
22 |
0.711 |
1.2 |
4.3 |
|
22 |
0.644 |
23 |
0.610 |
0.92 |
5.6 |
|
23 |
0.573 |
24 |
0.559 |
0.729 |
7.0 |
|
24 |
0.511 |
25 |
0.508 |
0.577 |
8.7 |
|
25 |
0.455 |
26 |
0.457 |
0.457 |
10.5 |
|
26 |
0.405 |
27 |
0.417 |
0.361 |
13.0 |
|
27 |
0.361 |
28 |
0.376 |
0.288 |
15.5 |
|
28 |
0.321 |
30 |
0.315 |
0.226 |
22.1 |
|
29 |
0.286 |
32 |
0.274 |
0.182 |
29.2 |
|
30 |
0.255 |
33 |
0.254 |
0.142 |
34.7 |
|
31 |
0.226 |
34 |
0.234 |
0.113 |
40.2 |
|
32 |
0.203 |
36 |
0.193 |
0.091 |
58.9 |
|
33 |
0.180 |
37 |
0.173 |
0.072 |
76.7 |
|
34 |
0.160 |
38 |
0.152 |
0.056 |
94.5 |
|
35 |
0.142 |
39 |
0.132 |
0.044 |
121.2 |
Finora, non abbiamo discusso la generazione degli impulsi di temporizzazione. Una scelta popolare per un sistema di temporizzazione è di utilizzare un disco con fessure montato sull'asse del rotore e il rilevamento delle fessure con un interruttore "ottico". La parte "ottica" dell'interruttore è di solito eseguita da ricezione e trasmissione di raggi UV e come ultra violet non è visibile all'occhio umano, descrivendo il meccanismo di commutazione come "ottico" non è davvero corretto. Il meccanismo di rilevamento effettivo è molto semplice come dispositivi commerciali sono prontamente disponibili per l'esecuzione dell'attività. L'alloggiamento del sensore contiene sia un LED UV per creare il raggio di trasmissione, e una resistenza UV dipendente per rilevare che trasmette il fascio.
Ecco un esempio di un meccanismo di temporizzazione ordinatamente costruito fatto da Ron Pugh per il montaggio di suo rotore a sei magneti:
e l'interruttore del sensore 
Questo dispositivo sembra essere uno che è fornito da www.bayareaamusements.com sotto il loro numero di codice di prodotto: OP-5490-14327-00. Come il disco con fessure ruota, una delle fessure arriva di fronte al sensore e permette il fascio di raggi UV di passare attraverso il sensore. Questo abbassa la resistenza del dispositivo del sensore e questo cambiamento è quindi utilizzato per innescare l'impulso di azionamento per qualsiasi lunghezza di tempo che la fessura lascia il sensore libero. Si noterà il metodo equilibrato della connessione usato da Ron per evitare di avere un montaggio del rotore sbilanciato. Ci possono essere due dischi di temporizzazione, uno per gli impulsi d'azionamento e uno per lo scambio
delle bobine di raccolta di potenza dentro e fuori il circuito. Le fessure nel disco di temporizzazione della raccolta di di potenza sarà molto stretto come il periodo di accensione è solo circa 2,7 gradi. Per un disco di sei pollici di diametro dove 360 gradi rappresenta una lunghezza di circonferenza di 18.85 pollici (478.78 mm), una fessura di 2,7 gradi sarebbe solo 9/64 pollici (3,6 mm) larghezza. La sistemazione della disposizione del rotore magnetico assiale potrebbe essere come questo:

Quindi Ricapitolando, le cose che sono necessarie per avere un motore Adams con un rendimento di una fascia valida sono:
1. Una performance di COP > 1 possono essere raggiunti solo se ci sono le bobine di raccolta di potenza.
2. I magneti del rotore devono essere più lungo di quanto sono larghi al fine di garantire la forma corretta di campo magnetico e il rotore deve essere perfettamente bilanciato e avere cuscinetti con il più basso attrito possibile.
3. L'area delle facce dei magneti al rotore deve essere quattro volte quella del nucleo della bobina di azionamento e un quarto l'area del nucleo di bobine di raccolta di potenza. Questo significa che se sono circolari, quindi il diametro del nucleo della bobina di azionamento deve essere la metà del diametro del magnete e il diametro del magnete deve essere la metà del diametro del nucleo di raccolta di potenza. Ad esempio, se un magnete del rotore circolare ha il diametro 10 mm, il nucleo della bobina di azionamento dovrebbe essere 5 mm di diametro e il nucleo della bobina di raccolta 20 mm di diametro.
4. La tensione di azionamento deve essere un minimo di 48 volt e, preferibilmente, è meglio che è superiore.
5. Non usare magneti al neodimio, se la tensione di azionamento è inferiore a 120 volt.
6. Le bobine di azionamento non dovrebbero essere pulsate fino a quando non sono esattamente allineati con i magneti di rotore, anche se questo non da la velocità del rotore più veloce.
7. Ogni set completo di bobine dovrebbero avere una resistenza CC di 36 ohm o di 72 Ohm e sicuramente 72 ohm se la tensione di azionamento è 120 volt o superiore.
8. Raccogliere la potenza di uscita in grandi condensatori prima di utilizzarlo per attrezzature elettriche.
Inoltre è possibile aumentare la potenza di uscita ulteriormente, utilizzando la tecnica di corto circuito della bobina mostrata nella sezione di questo capitolo sul RotoVerter.
Se si desidera i disegni originali e qualche spiegazione sul funzionamento del motore, due pubblicazioni dal defunto Robert Adams possono essere acquistati da www.nexusmagazine.com dove i prezzi sono quotati in dollari australiani, facendo i libri sembrare molto più costosi di quello che realmente sono.
Il sito web http://members.fortunecity.com/freeenergy2000/adamsmotor.htm è un percorso per gli appassionati di motori Adams e possono avere le informazioni che potrebbero essere utili.
http://www.totallyamped.net/Adams/index.html è una collezione davvero impressionante di materiale pratico ben informati sulla costruzione e utilizzando un motore di Adams con dettagli di sensori e come funzionano, materiali per il nucleo e le loro prestazioni e come individuare il "punto giusto" - sito web molto altamente raccomandato.
Nel 1999, due uomini australiani, John Christie e
Ludwig inglesi presero disegno di Robert Adams 'e brevettato che, definendolo
il Lutec. La loro brevetto è stato rilasciato nel 2003
e considerando che il 1995 brevetti di Robert Adams e Harold Aspden era a
posto, non mi è chiaro come il brevetto Lutec avrebbe potuto essere rilasciato.
Tuttavia, è incoraggiante vedere un implementazione di successo

Ecco un estratto di ri-formulata da loro brevetto:
Brevetto: US
6.630.806 7 Ott 2003 “inventori”: Ludwig Brits e
John Christie
Sistema per il Controllo di un Dispositivo Rotante
Astratto
Un sistema per il controllo di un dispositivo rotante,
il sistema comprendendo un controllore e un dispositivo rotante, che ha uno
statore e rotore, in cui il controllore è collegato al dispositivo rotante per
controllare la rotazione del dispositivo rotativo, ed in cui il controllore è
atto a periodicamente eccitare le bobine di eccitazione del dispositivo per
creare un campo magnetico di una polarità che induce il rotore per ruotare in
una sola direzione ed in cui il regolatore viene spento in modo da diseccitare
la bobina di eccitazione quando altre forze, essendo forze diverse da quelle
risultante dalla bobina di eccitazione, produrre una forza risultante che
induce la rotazione del rotore in quella direzione.
Descrizione:
CAMPO
DELL'INVENZIONE
La presente invenzione si riferisce ai motori
che sono utilizzati per generare una coppia e generatori che sono utilizzati
per la generazione di energia elettrica.
BACKGROUND
DELL'INVENZIONE
Un tipico motore elettrico è costituito da uno statore
e rotore. Il funzionamento di un motore
elettrico si basa sul principio che una corrente elettrica attraverso un
conduttore produce un campo magnetico, la direzione della corrente in un poli elettromagnetici
come la bobina di filo determina la posizione dei poli dei magneti e come
magnetico respingere e poli magnetici opposti si attraggono.
Lo statore che è tipicamente chiamato la struttura
Mantenendo le bobine alimentate campi magnetici
interagenti
La descrizione sopra caratterizza un motore CC.
Un generatore elettrico è effettivamente l'inverso di
un motore elettrico. Invece di fornire energia elettrica alle bobine di statore
sia o rotore, il rotore o indotto in rotazione da forze fisiche prodotte da un
'motore primo'. In effetti un
generatore trasforma l'energia meccanica in energia elettrica.
SOMMARIO DELL'INVENZIONE
La presente invenzione si propone di fornire una
migliore rotativo che opera con maggiore efficienza rispetto ai dispositivi
rotanti convenzionali. La presente invenzione riguarda anche fornendo un
sistema di controllo di un dispositivo di rotazione che è in grado di generare
energia elettrica e / o meccanica.
Secondo la presente invenzione viene realizzato un
sistema per il controllo di un dispositivo rotante, il sistema comprendendo un
controllore e un dispositivo rotante che ha uno statore e rotore, in cui il
controllore è collegato al dispositivo rotante per controllare la rotazione del
dispositivo rotativo, e con il controllore adattato per eccitare
periodicamente, almeno una bobina di eccitazione del dispositivo per creare un
campo magnetico di una polarità che induce il rotore per ruotare in una sola
direzione e dove il regolatore viene spento in modo da diseccitare la bobina di
eccitazione quando altre forze, essendo forze diverse da quelle risultanti
dalla bobina di eccitazione eccitata producono una forza risultante che induce
la rotazione del rotore nella direzione singola.
Preferibilmente il controllore è atto ad eccitare la
bobina di eccitazione per un periodo durante il quale la forza risultante dalle
altre forze atti a ruotare il rotore nella direzione opposta, per cui la forza
applicata dalla bobina di eccitazione supera, essendo superiore, la forza
risultante. Il controllore è
preferibilmente atto a disattivare per diseccitare la bobina di eccitazione
prima che la forza risultante è zero. Il
controllore è preferibilmente atto a disattivare per diseccitare la bobina di
eccitazione per un periodo prima che la forza risultante è zero, e per
permettere indietro EMF indotta da altre forze per spingere il rotore a ruotare
nella direzione sola prima che la forza risultante è zero. Preferibilmente, la forza risultante esclude
forze derivanti dai campi elettromagnetici indietro.
La bobina di eccitazione può essere atto ad essere
alimentato dal controllore di un angolo prestabilito di un giro completo
Ognuna delle bobine di eccitazione sono eccitati
quando la forza risultante è nella direzione opposta e poi per un periodo
inferiore al periodo durante il quale i cambiamenti forza risultante da zero a
un massimo e di nuovo a zero.
In una forma di realizzazione, lo statore ha almeno
una bobina di eccitazione. Il rotore può
avere almeno un generatore di campo magnetico che è in grado di generare un
campo magnetico che interagisce con il campo magnetico generato dalla bobina di
eccitazione ciascuna quando eccitato, applicare una forza per ruotare il rotore
in una direzione. Ogni bobina di
eccitazione comprende preferibilmente un metodo di interazione magnetica atta a
uno o respingere ottenere il generatore di campo magnetico.
In un'altra forma di realizzazione, il mezzi di
interazione magnetica è atto ad ottenere il generatore di campo magnetico. I mezzi di interazione magnetica possono
comprendere un corpo ferroso o corpo di un'altra sostanza che viene attratto da
un magnete. Il generatore di campo
magnetico può essere un magnete permanente.
I mezzi di interazione magnetica può essere un nucleo di ferro o di un magnete
permanente. Preferibilmente, il
generatore di campo magnetico comprende un magnete permanente, o membro
attratto da un magnete.
Lo statore comprende preferibilmente una pluralità di
eccitazione bobine equidistanti attorno al rotore. Ogni bobina di eccitazione è preferibilmente
un elettromagnete. Preferibilmente
ciascuna bobina di eccitazione include il mezzi di interazione magnetica
attraverso la bobina. Preferibilmente,
il rotore comprende una pluralità di magneti equidistanti.
In una forma di realizzazione, il rotore comprende una
pluralità di magneti permanenti equidistanti che possono essere tutti della
stessa polarità. I generatori di campo magnetico equidistanti possono essere
bobine energisable simulando magneti. Preferibilmente i poli
I generatori di campo magnetico per lo statore possono
essere magneti permanenti.
Preferibilmente il rotore presenta diverse bobine energizzante e un
commutatore. Il rotore può essere un'armatura e lo statore può essere un
avvolgimento di campo. Preferibilmente,
il generatore di campo magnetico di rotore viene eccitato da un alimentatore CC
essere esterna o corrente CA. Lo statore
mezzi di interazione magnetica possono essere alimentati da bobine operanti
sulla CA o CC corrente.
Secondo una forma di realizzazione lo statore
comprende almeno una bobina di induzione che è atto ad avere una corrente
indotta in esso dal generatore di campo magnetico
Si preferisce che il circuito di commutazione è atto a
raddrizzare la corrente indotta nelle bobine di induzione e che la rettifica si
verifica appena prima di ogni bobina di eccitazione è eccitata dalla
alimentazione. Preferibilmente uscita
corrente al circuito di uscita è atto ad essere utilizzato per eseguire un
dispositivo elettrico. Il regolatore
comprende preferibilmente un circuito di commutazione che è atto a collegare
ciascuna bobina di eccitazione ad un circuito di uscita quando nessuna corrente
è generata per eccitare la bobina di eccitazione e il controllore fornisce un
circuito di commutazione. Il controllore
può essere un commutatore rotante con almeno un contatto che è allineato con
ciascun generatore di campo magnetico e con almeno un contatto allineato con i
magneti permanenti del rotore.
Il selettore può avere lo stesso numero di contatti
come il numero di generatori di campo magnetico; essendo normalmente
magneti. Ogni contatto può avere una
larghezza che varia con l'altezza verticale e conicità in larghezza da cima a
fondo. Idealmente, il commutatore
rotante comprende spazzole regolabili che sono in grado di essere spostati
verticalmente. Il commutatore rotante e
rotore possono trovarsi sull'asse centrale coassiale e montati su un assiale
comune. Preferibilmente l'interruttore
rotore è montato in una camera separata dal rotore.
In una forma di realizzazione, ciascuna bobina di
eccitazione è posizionato in modo da respingere un magnete adiacente quando
eccitato. Ogni bobina di eccitazione può
essere atto ad essere alimentato da EMF posteriore soltanto per un periodo
predeterminato di ciascun ciclo che si verifica dopo corrente alla bobina di
eccitazione è spento.
In una ulteriore forma di realizzazione, ciascuna
bobina di eccitazione è atto ad ottenere il generatore di campo magnetico
Si preferisce che la commutazione delle bobine di
eccitazione, che è controllata dal controllore, è atto a massimizzare
l'influenza della forza controelettromotrice prodotta. Si preferisce che le bobine di eccitazione
sono effettivamente forniti con una corrente elettrica pulsata di durata
minima, la cui durata è sufficiente a mantenere la rotazione
BREVE DESCRIZIONE DEI DISEGNI
Forme di realizzazione preferite della presente
invenzione verranno ora descritte a titolo di esempio con riferimento ai
disegni allegati, in cui:

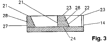
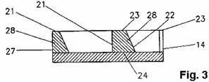
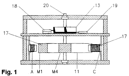
Fig.1 mostra una vista frontale in sezione di un
dispositivo rotativo come controllo quindi in accordo con una prima forma di
realizzazione dell'invenzione;

Fig.2 mostra una vista dall'alto

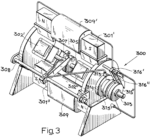
Fig.3 mostra una vista laterale

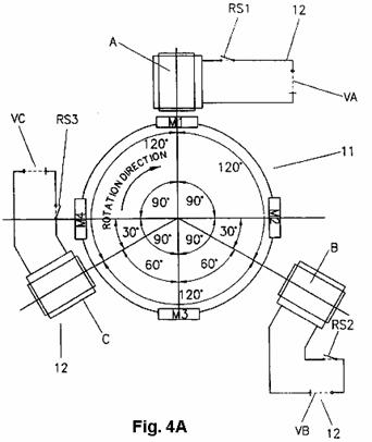
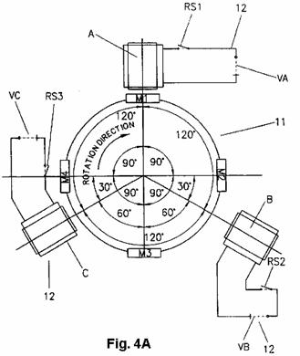
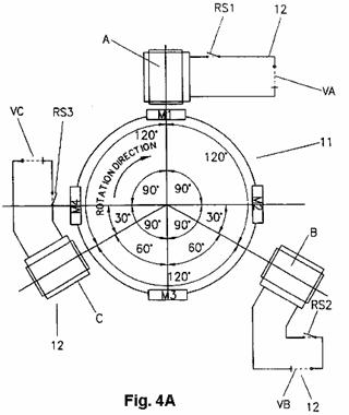
Fig.4A mostra una vista schematica di un sistema di
controllo

Fig.4B mostra una vista schematica

Fig.5 mostra una rappresentazione grafica della forza in
funzione della posizione angolare

Fig.6 mostra una serie di quattro diagrammi di ingresso
attuali contro il movimento angolare di ciascun magnete permanente

Fig.7 mostra una rappresentazione grafica di tensione di
ingresso contro corrente di ingresso per ciascuna bobina

Fig.8 mostra un diagramma schematico di variazione di
attrazione magnetica naturale contro lo spostamento angolare di un rotore
avente un singolo magnete permanente e di uno statore avente una singola bobina
di eccitazione, in accordo con una seconda forma di realizzazione della
presente invenzione;

Fig.9 mostra una rappresentazione grafica di campo
magnetico in funzione spostamento angolare secondo la seconda forma di
realizzazione della presente invenzione;

Fig.10 mostra una rappresentazione grafica di induzione
indotta contro spostamento angolare

Fig.11 mostra una ulteriore rappresentazione grafica indotta
induzione forza elettromagnetica contro lo spostamento angolare
DESCRIZIONE DETTAGLIATA DEI
DISEGNI

Come mostrato in
Fig.4A secondo la prima forma di realizzazione dell'invenzione è previsto
un sistema costituito da un rotore 11
avente quattro magneti permanenti M1,
M2, M3, M4 intervallate uniformemente a 90° l'uno rispetto all'altro. Il sistema comprende uno statore 12 composto da tre bobine
elettromagnete eccitazione A, B, C
che sono distanziati di 120° l'uno dall'altro.
Ciascuna delle bobine A, B, C è collegato in circuito con un'alimentazione di 54 volt e
un interruttore RS1, RS2, RS3. Ciascuno dei contatti RS1, RS2, RS3 sono parte di un commutatore rotativo 13 avente contatti 14, 15, 16, 17 che sono distanziate di 90° rispetto ad un contatto
adiacente.
Il selettore 13
è provvisto di spazzole di contatto 18,
19 ed è montato su un asse 20
che è lo stesso o comune con l'asse

Ciascuno dei contatti 14, 15, 16, 17 è appositamente configurato con una forma
trapezoidale, con i due lati non paralleli costituiti da un lato rettilineo 21, e un lato rastremata 22 che si rastrema verso l'esterno dal
lato superiore 23 alla parte
inferiore 24. Il risultato è che ogni contatto aumenta in
larghezza in movimento dal lato superiore al lato inferiore 24.

Il pennello 18
è in grado di essere spostato verticalmente rispetto i contatti 14, 15, 16, 17, mentre il pennello 19 è in costante contatto con la
base. Anche se Fig.1 Mostra solo l'interruttore rotante 13 avendo una singola serie di quattro contatti 14, 15, 16, 17, per tre-bobina statore
mostrato nella Fig.4A, ci sarebbe
infatti, preferibilmente, tre contattare dischi sull'asse 20. Ogni contatto con il
disco avrebbe contatti per una rispettiva delle bobine A, B, C, ma ogni spazzola per i dischi di altri sarebbe stato
compensato rispettivamente di 30° e 60°.

Una descrizione
Come mostrato in Fig.6
bobina A viene energizzato da
contatto RS1 fornendo un
collegamento elettrico attraverso il commutatore rotante 13. Ciò avviene uno dei
contatti 14 al 17 essendo allineati
in contatto con la spazzola 18. A questo punto, la corrente viene applicata
dal alimentazione VA e continua ad
essere applicata fino pennello 18
non è più in contatto è con uno dei contatti 14 a 17.
Per i tre bobine / quattro poli disposizione della
prima forma di realizzazione, si preferisce che le spazzole vengono spostati in
una posizione verticale in cui è sufficiente per ciascuno degli interruttori RS1 la larghezza di ogni contatto, RS2 e RS3 essere chiuso per 12° 51',
50" della rotazione del rotore 11. Dopo questo tempo il interruttori RS1 per RS3 sono aperti e non più
corrente viene erogata una qualsiasi delle bobine A a C. Quando la corrente di
ciascuna delle bobine è spento un EMF è indotta in ciascuna delle bobine A a C e poi indietro EMF rappresentato
da risultati elemento Z in corrente
essendo mantenuto in ciascuna delle bobine per un piccolo ulteriore periodo di
tempo dopo la contatti RS1 per RS3
sono aperti. Commutando l'bobine A a C in modo sopra il rotore 11 può essere indotta a ruotare con una
minore quantità di corrente in ingresso allo statore di quanto sarebbe
richiesto se la corrente è stata consegnata costantemente alle bobine da A a C.
Tabella 1 mostra la forza risultante sul rotore 13 per le posizioni angolari dei
magneti M1 a M4 per spostamenti
angolari di magnete da 5° a 30°.

Come mostrato quando i magneti del rotore 13 sono ruotati 50 alla volta la forza risultante sul rotore cambia da una forza di
contatore in senso orario da 5° a 15° ad una forza in senso orario da 15° a
30°. A 0°, 15° e 30° la forza
risultante sul rotore è 0 in modo che se i magneti permanenti del rotore sono
stati allineati in uno qualsiasi di questi orientamenti non ci sarebbe alcuna
forza risultante per sollecitare il rotore in senso orario o antiorario.

Come mostrato in Fig.5
un appezzamento di grandezza della forza risultante applicata al rotore contro
lo spostamento angolare
Che cosa Mostra la Tabella 1 e Fig.5 è che
se non è applicata una forza supplementare per ruotare il rotore in senso
orario o antiorario, il rotore non sarà in grado di girare continuamente in
entrambe le direzioni. Se si desidera
ruotare il rotore in senso orario, la forza deve superare la forza risultante
in senso antiorario che si verifica da 0 a 15 °, 30 ° a 45 °,
60 ° a 75 ° ecc attraverso la rotazione di 360 ° intero del rotore.
Perché ognuno le bobine A a C ha un nucleo di ferro anche quando le bobine non sono
eccitato la naturale attrazione magnetica che si verificano tra ogni magnete e
i risultati di nuclei di ferro in ogni magnete M1 a M4 tentando di muoversi in una direzione per il nucleo di
ferro più vicino. Ogni volta che un
magnete è opposto un nucleo di ferro l'attrazione magnetica è più grande e non
c'è nessuna forza applicata dal quel magnete per spostare il rotore in senso
orario o antiorario. Allo stesso modo
quando un magnete è posizionato a metà strada tra nuclei di ferro adiacente,
c'è anche una forza risultante pari a 0, che si traduce in nessuna forza
risultante applicata da quel magnete al rotore per ruotarlo in entrambe le
direzioni.
Come mostrato in Fig.5
e Tabella 1, se magnete che M1 è spostato 5° in senso orario, c'è
una naturale attrazione tra il magnete M1
ed il nucleo di ferro della bobina A
tirare il magnete M1 in direzione
antioraria. Se le forze risultanti
applicate dagli altri magneti fossero sufficienti a superare l'attrazione tra
il magnete permanente M1 e il nucleo
di ferro della bobina A rotore
sarebbe riescono ancora a muoversi in senso orario. Tuttavia, come mostrato in Tabella 1 la posizione angolare di
altri magneti M2 a M4 traduce in una
forza risultante nel complesso in senso antiorario. Per superare la forza risultante, è
necessario produrre a un palo X bobina
A di come polarità a magnete M1 e quindi spingere M1 dalla bobina A.
Come mostrato in Fig.5
la forza dell'azione repellente magnetico tra A bobina e magnete M1
deve essere sufficiente a superare la forza risultante sollecitando il rotore
per spostarsi in senso antiorario.
Una corrente potrebbe essere applicata alla bobina A per uno spostamento angolare di 15°
di magnete M1, ma è preferibile che
bobina A essere alimentato solo per
lo spostamento angolare di 12° 51′ 50″ di magnete M1. Applicando corrente alla bobina A per questo periodo di spostamento angolare
una quantità minima di corrente viene applicata alla bobina al fine di superare
la forza risultante in senso antiorario che si verifica per 0° a 15° di
spostamento angolare del magnete M1.

Anche se la corrente può essere applicata alla bobina A per più di questo periodo è stato
scoperto che applicando corrente per questo periodo un EMF inverso è indotta
nella bobina A cui si aggiunge la
forza repulsiva applicata al magnete M1
da bobina A. Ogni volta che uno dei magneti M1 a M4 è allineato con bobina A 0 °, bobina A è eccitato per 12° 51′ 50″ di spostamento angolare di
quel magnete. Così come mostrato in Fig.6, corrente finisce per essere
applicata alla bobina A 0° a 12°
51′ 50″ e da 90° a 102° 51′ 50″ e da 180° a 192°
51′ 50″ e da 270° a 282° 51′ 50″.
Un simile modello di commutazione viene applicato a
bobine B e C. Ad esempio che B viene eccitato quando magnete M2 ha spostato da 30° a quando si è spostato il 42° 51′
50″ e bobina similarmente che C
viene eccitato quando magnete M3 ha
spostato 60° a 72° 51′ 50″.
È preferibile che il rotore ha un diametro di 230 mm e che ogni bobina
ha una resistenza di 6,8 ohm.

Fig.7 Mostra una rappresentazione grafica della tensione
d'ingresso contro ingresso corrente per una resistenza di bobina di 6,8 ohm e
di un rotore di quattro pali che è 230 mm di diametro. La sequenza esatta tempistica per
accensione/spegnimento bobine variano a seconda dei parametri
Lo Statore
Le variabili includono la scelta
Rotore
La dimensione fisica e la forza magnetica e la forma
del corpo magnetico permanente polarizzato come contenute nel rotore, il numero
dei corpi magnetizzati permanenti polarizzati essendo contenute nel rotore, il
posizionamento e la spaziatura della stessa, l'uso di tutti come polarità di
corpi magnetici permanenti o l'uso di alternata polarità per i corpi magnetici
permanenti.
Bobina di
Statore
La dimensione fisica delle bobine essendo posizionato
verso il nucleo di ferro di statore, il tipo di filo usato per avvolgere le
bobine, come rame, argento, alluminio o altri. La forma e le sezioni
trasversali del filo per avvolgimento, come rotondo, quadrato, rettangolare,
triangolare e altri; il numero di giri e strati della ferita verso la bobina e
la conseguente Ohm resistenza; il metodo di avvolgimento a un titolare di
bobina, singolo avvolgimento, doppio avvolgimento, doppio avvolgimento stessa
direzione, doppio avvolgimento direzione opposta, lasciato a destra o da destra
a sinistra, intrecciato carica, se gli esempi sopra riportati sarebbero essere
avvolta su un supporto di single-coil.
Velocità del
Rotore
Questo può essere controllato dalla lunghezza della
corrente diretto (ingresso) CC (su e periodo di cut-off) e/o il controllo della
tensione di alimentazione utilizzata per alimentare le bobine di statore.
Altre
varianti che possono essere apportate al sistema sono i seguenti:
a. le bobine sono collegabili in serie, parallelo o
serie parallelo.
b. è solo quando il regime nord/sud dei magneti
permanenti vengono utilizzato nel rotore che anche i numeri dei magneti
permanenti sono necessari, ma non necessariamente anche i numeri delle coppie
di bobine di statore posizionato nello statore. Inoltre la direzione CC fornito
corrente alle bobine di statore nella disposizione nord-sud sopra dovrà essere
sincronizzata, che significa che il campo magnetico necessario nello statore
bobina deve essere di polarità corrispondenti allo statore bobina, fine di
nucleo di ferro, che affronta i magneti permanenti.
c. quando si utilizza magneti permanenti che sono tutti
della stessa polarità, quindi può essere utilizzato qualsiasi numero di magneti
permanenti nel rotore fornendo c'è spazio sufficiente per contenerli alle
spaziature anche sul rotore.
d. le spaziature tra i magneti permanenti devono essere
esatte, se troppo vicino a vicenda la corrente DC diretta diventerà meno
efficace, se si otterranno non troppo distanti tra loro tutte le potenzialità.
e. è possibile avere varie combinazioni di nuclei di
ferro bobina statore e magneti permanenti simili, ma non limitato al seguente:
i. Tre magneti
ii. Cinque magneti permanenti nel rotore, statore di uno
a cinque bobine possono essere utilizzati.
iii. Nove magneti permanenti nel rotore possono essere
utilizzati da uno a tre o nove bobine di statore.
iv. L'uscita varia con ogni combinazione.
v. Indipendentemente del rotore che contengono numeri
pari o dispari di magneti permanenti dello statore in grado di operare con un
solo statore bobina e nucleo di ferro di statore e ancora essere altamente
efficiente ma con ridotta
f. Lo statore e il rotore dovrebbe essere fatto da
materiali non magnetici come legno, plastica, bronzo e simili materiali non
magnetici.
Anche se la commutazione avviene in sua forma
preferita di un commutatore rotativo meccanico, può essere eseguita anche di
elettronica dello stato solido o altri dispositivi di commutazione. La lunghezza

Quando il rotore
Quando il rotore viene spostato in senso orario a
velocità costante e un oscilloscopio è collegato alla bobina dello statore è
possibile osservare il movimento del magnete permanente tra il punto A e il punto B e poi tra i punti B e C
del punto, come mostrato in Fig.9.

Una curva di induzione indotta è quindi apparente
sull'oscilloscopio e questa induzione indotta produce una curva sinusoidale 31.
Inoltre l'induzione indotta tra il punto A e il punto B è
un'induzione di andando negativo indotto in questa istanza e l'induzione
indotta tra punto B e il punto C è un'induzione di andando positivo
indotto in questa istanza. Va inoltre
osservato che le curve di induzione indotta negativo e positivo in corso sono
esattamente lo stesso ma fronte a vicenda.
Quando il magnete permanente comincia a indurre
un'induzione di negativo nella bobina statore a 0° della curva sinusoide 31, l'induzione indotta è quindi a
0. A 90° gradi della curva sinusoidale
dell'induzione indotta è al massimo e poi torna a 0 quando il magnete
permanente è allineato con il punto B,
o a 180° della curva dell'onda di seno, quando il magnete permanente inizia ad
allontanarsi dal suo allineamento con la lettera B o è a 180 ° della curva sinusoidale.
Quando il magnete permanente inizia ad allontanarsi
dal suo allineamento con la lettera B
e il corso in questo momento positivo si sta muovendo verso il punto C induzione indotta è il primo a 0 a
180 ° della curva sinusoidale, quindi a un massimo di 270° della curva
sinusoidale e poi di nuovo a 0 a 360° della curva sinusoidale. Si noti che 0° e 360° della curva sinusoidale
non sono necessariamente lo stesso come il punto A per 0° e per 360°, punto C
della curva sinusoidale. I punti A e C sono determinati dalla forza
L'induzione di negativo indotto tra 0° e 180° della
curva sinusoidale produce una forza elettro-magnetico nel nucleo

Quando il magnete permanente è a 0° della curva
sinusoidale e si sta muovendo verso il punto B o 180° della curva sinusoidale, l'induzione indotta negativo
della bobina di statore sta producendo una forza elettromagnetica (campo) nel
nucleo di ferro dello statore con l'estremità del nucleo di ferro rivolta il
rotore è di una polarità opposta a magnete permanente e a effetto zero a 0°
della curva sinusoidale, rispetto a un massimo effetto a 90° della curva
sinusoidale e poi di nuovo a zero effetto a 180° della curva sinusoidale.
Il magnete permanente è quindi allineato al punto B.
La forza di attrazione magnetica è proporzionale con la distanza e
questo aumenta esponenzialmente durante lo spostamento dal punto A verso il punto B. Il nucleo di ferro di
statore è fissato e stazionario al punto B. Di conseguenza sarà il magnete permanente che
si muove verso il punto B.
Ad esempio, se il nucleo di ferro di statore è stato
anche un magnete permanente polarizzato della stessa forza, ma di polarità
opposta a magnete permanente, la forza di attrazione magnetica sarebbe almeno quattro
volte maggiore a causa
Una curva di combinazione della naturale attrazione
magnetica e l'induzione indotta nella bobina dello statore, producendo una
forza elettromagnetica all'estremità di bobina statore ferro rivolto verso il
rotore di polarità opposta 33 è
mostrato in Fig.10 da 0° a
180°. Per 180° a 360° la bobina di
ferro di statore e rotore di come polarità 34
sono indicati. Quando il magnete
permanente è allineato al punto B e
una corrente continua viene fornita alla bobina di statore per solo un breve
periodo a partire al punto B quindi
il CC corrente viene applicato solo il tempo necessario per superare la
naturale attrazione magnetica tra magnete permanente e fine di nucleo di ferro
dello statore fronte il rotore. Il CC
diretto corrente come fornito alla bobina statore sta producendo una polarità
simile all'estremità
La lunghezza

Come mostrato in Fig.11
indipendentemente dalla velocità
Il periodo di accesso possa essere ricondotti al punto
dove l'induzione indotta è abbastanza grande per portare la repulsione
elettromagnetica attraverso a 360° della curva sinusoidale e oltre punto C.
Pertanto maggiore la velocità
Durante il periodo di accesso, la forza di repulsione
magnetica prodotta tra il nucleo di ferro di statore nel punto B e il magnete permanente può essere
visto come una forza di repulsione combinato.
Alcune di questa forza è prodotto da naturale repulsione magnetica
L'input totale possa così riassumersi:
a. il combinato attrazione magnetica naturale e la forza
elettromagnetica prodotta dall'induzione indotta nella bobina statore tra punto
A a punto B.
b. la forza di repulsione magnetica combinata tra il
magnete permanente e il nucleo di ferro di statore rivolto verso il rotore
durante il periodo in e il punto di cut-off.
c. La repulsione elettromagnetica (Vedi indotto
induzione come spiegato in precedenza) tra il cut-off punto e punto C
d. La repulsione elettromagnetica prodotta dalla FEM di
ritorno come rappresentato dalla parte ombreggiata 36 della Fig.11.
In un'altra incarnazione della presente invenzione
dello statore ha due bobine posizionati a 180° rispetto a altro e il rotore ha
tre magneti permanenti disposti a 120 ° l'uno.
Come stabilito nella Tabella 2
qui sotto da 0 a 30° il risultante della forza sollecita il rotore in senso
antiorario. A 30° la forza risultante è
0 e da 30° a 90° la forza risultante è in senso orario. Da 90° a 120° la forza risultante è in senso
antiorario. Questo completa un ciclo
completo che viene ripetuto tre volte nel corso di una rotazione di 360°

Con la configurazione precedente di pali e bobine, se
si desidera spostare il rotore in senso orario, attuale avrebbe bisogno di
essere fornito per le bobine dello statore per superare la forza in senso
antiorario ogni volta che questo è in senso antiorario, ma come spiegato in
precedenza, la corrente non deve necessariamente essere fornita alla bobina per
eccitare la bobina per l'intero periodo durante il quale la forza risultante è
in senso antiorario.
Per comodità e facilità di spiegazione le incarnazioni
precedenti sono state limitate a statorico sul rotore e bobine sullo statore
tuttavia il concetto di base dietro l'invenzione non cambia se i magneti
permanenti sono sostituiti da bobine che sono sotto tensione per produrre i
poli magnetici appropriati.
Allo stesso modo per un dispositivo rotativo CA un
campo magnetico rotante generato da avvolgimento statore o di rotore/armatura
avvolgimento allo stesso modo poteva essere commutato per ridurre la quantità
di corrente necessaria per mantenere la rotazione del motore in una direzione e
di massimizzare l'influenza di FEM di ritorno sul mantenimento di rotazione del
motore in una sola direzione.
I principi di cui sopra si applicano anche ai
generatori dove bobine sono sotto tensione per produrre un campo magnetico. In
una situazione
Utilizzando il concetto di cui sopra è possibile
produrre un output che può essere sia meccanica che elettrica, allo stesso
tempo. Corrente generata in bobine della
bobina dello statore può essere usata come uscita e similarmente la coppia
generata dal rotore può essere utilizzata per fornire un'uscita meccanica. Allo stesso modo può essere utilizzato solo
uno o l'altro formato di output.

In aprile 2015, il famoso scienziato indiano 80 -
anno-vecchio Tewari (www.tewari.org) ben
noto per il suo uso del generatore omopolare di produrre grandi volumi di
idrogeno per uso commerciale, annunciato suo disegno generatore successo
autoalimentata, 20 kilowatt e suo corrispondente domanda di brevetto, mostrata
di seguito, è stato pubblicato. Ecco una foto di un prototipo, che è tenuto
insieme da quattro cinghie a molla. Le bobine vengono tenute in posizione
all'interno

Il principio di funzionamento è semplice ed elegante.
I conduttori di
Generatore di Corrente
Alternata Rotante Ridotta Reazione
Astratto:
Un generatore di corrente
alternata di reazione ridotti tra cui un nucleo di cave di statore, un rotore
cilindrico all'interno di un albero rotante liberamente accoppiato al rotore,
statore, una prima serie di magneti in cui il polo sud di ogni magnete è
accoppiato alla superficie del rotore e il polo nord di ogni magnete è rivolto
verso la superficie interna del nucleo Cave statore, un secondo set di magneti
in cui il polo nord di ogni magnete è accoppiato alla superficie del rotore e
il polo sud di ogni magnete è rivolto verso la superficie interna del nucleo
Cave statore e un set di pezzi di silicio acciaio accoppiato alla superficie
esterna del rotore composto da pezzi singoli di silicio acciaio posizionati
adiacente e longitudinalmente in linea con ogni singolo magnete all'interno del
primo set di magneti e ogni singolo magnete entro il secondo set di magneti.
Descrizione:
SFONDO DELL'INVENZIONE
Michael Faraday scoprì i
principi dell'induzione elettromagnetica e inventato il generatore elettrico
rotante nel 1832. Il generatore era
conosciuto come il generatore unipolare, generatore aciclico e generatore di
disco. Questo generatore azionato sul principio che la tensione è indotta in un
conduttore in moto relativo ad un campo magnetico esterno. Inoltre, quando il
conduttore è configurato come un circuito chiuso ed è in moto relativo con un
campo magnetico esterno, una corrente sarà indotta a fluire attraverso quel
circuito. La corrente indotta si genererà un campo magnetico indotto che
circonda il conduttore. La direzione della corrente indotta è determinata dalla
regola della mano destra di Fleming che afferma che il campo magnetico prodotto
dalla corrente indotta nel conduttore si respingono il campo magnetico esterno
che induceva la corrente nel conduttore. Come tale, il campo magnetico indotto
che circonda il conduttore e il campo magnetico esterno si respingono in modo
da creare una coppia di serraggio sul conduttore che oppone il movimento di
quel conduttore rispetto al campo magnetico esterno. Generatore di Faraday e
tutti i generatori successivi hanno in comune, la produzione di questo
contatore o retro-coppia.
L'efficienza di un
generatore elettrico è governato dai limiti meccanici ed elettrici. I limiti
meccanici comprendono la derivazione e l'attrito
Un motore primo è associato
a un generatore in modo da causare la rotazione
DEFINIZIONI
Le seguenti definizioni
sono fornite per comodità e non devono essere presi come una limitazione della
presente invenzione.
Regola della mano sinistra di Fleming si riferisce all'effetto che quando una
corrente fluisce in un conduttore e un campo magnetico esterno è applicato
attraverso quel flusso di corrente, il conduttore sperimenteranno una forza
perpendicolare al campo magnetico esterno sia la direzione
Generatore sincrono si riferisce ad un generatore elettrico che gira alla stessa velocità
come il meccanismo di azionamento, noto anche come la velocità di sincronismo.
Un generatore sincrono produce una corrente alternata e la tensione ad una
frequenza proporzionale alla velocità di rotazione e al numero di poli di
eccitazione interne al generatore.
Generatore asincrono si riferisce a un generatore di corrente alternata
che utilizza i principi dell'induzione per produrre energia. Generatori
asincroni operano girando meccanicamente loro rotore più velocemente della
velocità sincrona, dando negativo slittamento.
Acciaio a basso tenore di carbonio si riferisce per acciaio che contiene meno
carbonio rispetto altri acciai. Questo acciaio è intrinsecamente più facile
fredda-forma dovuto la relativa natura morbido e duttile.
Acciaio magnetico a grani orientati si riferisce alla lamiera di acciaio usato
per laminazioni nei trasformatori di
RIASSUNTO DELL'INVENZIONE
È lo scopo primario della
presente invenzione per superare i problemi fornendo una ridotta reazione
rotante miglioramento corrente alternata generatore che fornisce
caratteristiche di efficienza non è attualmente disponibile in generatori di
corrente alternata standard.
Per realizzare questo
obiettivo, secondo una incarnazione della presente invenzione che un generatore
di corrente alternata di reazione ridotti è divulgato composto da un nucleo di
Cave statore avendo un asse composto di fogli posizionati longitudinalmente in
laminato con materiale ad alta permeabilità magnetica, i fogli laminati tra cui
longitudinalmente incorporato slot in cui un conduttore di avvolgimento è
posato parallelo all'asse, un rotore cilindrico concentrico con e posizionato
all'interno di Cave statore nucleo composto da un materiale magnetico ad alta
permeabilità e un albero accoppiato al rotore e guidato da una sorgente esterna
in modo da ruotare liberamente rispetto al nucleo Cave statore rotore. Il
generatore è composto da un primo set di magneti in cui il polo sud di ogni
magnete è accoppiato alla superficie del rotore e il polo nord di ogni magnete
è rivolto verso la superficie interna del nucleo Cave statore, un secondo set
di magneti in cui il polo nord di ogni magnete è accoppiato alla superficie del
rotore e il polo sud di ogni magnete è rivolto verso la superficie interna del
nucleo Cave statore e un set di pezzi di silicio acciaio accoppiato alla
superficie esterna del rotore composto da pezzi singoli di silicio acciaio
posizionati adiacente e longitudinalmente in linea con ogni singolo magnete
all'interno del primo set di magneti e ogni singolo magnete entro il secondo
set di magneti.
Oltre alle suddette, altre
caratteristiche, oggetti e vantaggi della presente invenzione diventerà
evidente dalla descrizione seguente.
BREVE DESCRIZIONE DEI DISEGNI
La seguente descrizione
dettagliata, che è dato a titolo di esempio solo, sarà meglio apprezzata in
congiunzione con i disegni di accompagnamento in cui:
Fig.1
raffigura una vista di sezione trasversale longitudinale di un generatore di
corrente alternata di reazione ridotti secondo un'incarnazione di esempio della
presente invenzione;
Fig.2
raffigura una vista di sezione trasversale della fine di un generatore di
corrente alternata di reazione ridotti secondo un'incarnazione di esempio della
presente invenzione;
Fig.3
raffigura una vista di sezione trasversale di centro di un generatore di
corrente alternata di reazione ridotti secondo un'incarnazione di esempio della
presente invenzione;
Fig.4
raffigura una vista di sezione trasversale longitudinale
Fig.5
e Fig.6 descrivere l'interazione tra
il flusso magnetico provenienti dai poli nord
Fig.7
raffigura una vista di sezione trasversale longitudinale
Fig.8
e Fig.9 raffigurano l'interazione
tra il flusso magnetico provenienti dai poli sud
DESCRIZIONE DETTAGLIATA DELL'INVENZIONE
La presente invenzione si
riferisce ad una ridotta reazione rotante miglioramento corrente alternata
generatore che fornisce caratteristiche di efficienza non è attualmente
disponibile in generatori di corrente alternata standard.

Fig. 1 raffigura una vista di sezione trasversale longitudinale di un
generatore di corrente alternata di reazione ridotti secondo un'incarnazione di
esempio della presente invenzione. Come
mostrato in Fig.1, la macchina di
induzione 100 è composto da un
albero 101, un rotore 102, uno statore 103, una prima serie di magneti 104, un secondo set di magneti 105
(non mostrato), un conduttore avvolgimento 106
e 107 pezzi di acciaio al silicio.
il rotore 102 è un cilindro di alta permeabilità
materiale magnetico collegato direttamente all'albero 101 utilizzando qualsiasi metodo noto convenzionale che prevede un
legame sicuro e permanente in condizioni operative normali. Il rotore 102 è dimensionato in modo da essere
completamente racchiuso all'interno dello statore 103, mentre l'albero 101
si estende oltre una o entrambe le estremità dello statore 103.
L'albero 101 è montato all'interno dello statore
103 in modo da consentire l'albero 101 ed il rotore associato 102 di ruotare liberamente all'interno
dello statore 103 quando l'albero 101 è guidato da una fonte esterna di
auto. L'origine
In un'incarnazione di
esempio, l'albero è in acciaio di 1018 diametro 30 mm, il rotore è in acciaio
di 1018 diametro 370 mm e lo statore ha un diametro di 570 mm.
Disposizioni sono fatte
sulla superficie cilindrica del rotore 102
per il montaggio del primo set di magneti 104
e per il montaggio di un secondo set di magneti 105 a ciascuna delle estremità del rotore 102. Disposizioni sono fatti
anche per il montaggio di silicio acciaio pezzi 107 sul rotore a posizioni vicino al centro
Il primo set di magneti 104 e il secondo set di magneti 105 (non mostrato) sono fissati alle
estremità
In un'incarnazione di
esempio, i magneti permanenti sono magneti al neodimio con un prodotto di
massima energia (BHmax) di 48 e 50 MGOe. Inoltre, in un'altra incarnazione di
esempio, gli elettromagneti sono Polo radiale e sono attaccati al rotore in
maniera generalmente noto nel settore.
I pezzi di silicio acciaio 107 sono anche associati al rotore 102 utilizzando qualsiasi metodo
convenzionale conosciuto per fornire un legame sicuro e permanente in
condizioni operative normali. C'è un
singolo di silicio acciaio pezzo 107
corrispondenti a ciascun magnete i primo e il secondo set di magneti 104 collegato al rotore 102.
Ogni pezzo di silicio acciaio 107
è posizionato in linea con il suo magnete corrispondente lasciando una distanza
predefinita 109 tra pezzo di silicio
acciaio e relativo magnete corrispondente.
Ogni pezzo di silicio acciaio 107
è composta di acciai al silicio che è una specialità in acciaio su misura per
avere una zona piccola isteresi magnetica e alta permeabilità magnetica. Un'alta permeabilità magnetica è definita
come avendo un livello di saturazione magnetica sopra 1,8 Tesla.
In un'incarnazione di
esempio, il primo e il secondo set di magneti 104, 105 e i pezzi di silicio acciaio 107 sono ciascuno dimensionato per avere approssimativamente la
stessa superficie e l'interasse 109
pezzo di silicio in acciaio e un magnete corrispondente non è altro che la
lunghezza del magnete sul piano assiale.
il rotore 102 e i magneti allegati 104, 105 e acciaio pezzi 107 sono ciascuno dimensionati come per
fornire un'intercapedine d'aria-108
di dimensioni predeterminata tra le superfici esterne dei magneti allegati 104, 105 e silicio acciaio pezzi 107 e la superficie interna dello
statore 103. Il traferro è scelto per fornire la libera
rotazione
Statore 103 è composto di laminati di silicio
disposto longitudinalmente in acciaio avendo grani orientati lungo il percorso
In un'incarnazione di
esempio, lo statore è composto da un materiale magneticamente inerte, come
tubazioni di PVC, di adeguata resistenza a grani orientati laminazione acciaio
fogli di supporto.
In un'incarnazione di
esempio, il flusso magnetico che emana dai magneti primi e la secondo è di
circa 10.000 Gauss.

Fig.2
raffigura un fine croce vista in sezione di un generatore di corrente alternata
di reazione ridotti secondo un'incarnazione di esempio della presente
invenzione. Come mostrato in Fig.2 il primo set di magneti 104 con loro poli nord fronte loro poli
sud accoppiati al rotore 102 e 103
statore sono posizionati a posizioni in linea su un'estremità del rotore 102 opposte.
Analogamente, la seconda
serie di magneti 105 con loro
rivolto verso lo statore 103 e loro
poli accoppiati al rotore 102 sono
posizionati a posizioni in linea sull'estremità del rotore 102 a novanta grado stessa offset dal primo set di magneti 104 opposte a nord del polo sud. Un identico primo set di magneti 104 e il secondo set di magneti 105 sono accoppiati a altra estremità
del rotore 102 a posizioni analoghe.

Fig. 3 raffigura un centro croce vista in sezione di un generatore di corrente
alternata di reazione ridotti secondo un'incarnazione di esempio della presente
invenzione. Come mostrato in Fig.3,
un pezzo unico silicio acciaio 107 è
posizionato longitudinalmente in linea con ogni magnete i primo e il secondo
set di magneti 104, 105 (non
mostrato). La posizione di ogni pezzo di
silicio acciaio 107 prevede una
distanza predefinita 108 tra un
pezzo di silicio acciaio 107 e
relativo magnete corrispondente.
In un'incarnazione di
esempio, la distanza tra un pezzo di silicio acciaio 107 e relativo magnete corrispondente è uguale alla lunghezza
longitudinale

Nuovamente riferimento alla
Fig.1, una forza elettromagnetica
(EMF) è creata attraverso il conduttore 106
incorporati all'interno dello statore 103
quando il flusso magnetico che emana dal primo set di magneti 104 e dal secondo set di magneti 105 tagliata il conduttore 106 di avvolgimento del rotore 102 ruota di avvolgimento. Guardando
nella direzione della freccia C in Fig.1, con il rotore 102 girando in senso orario e il flusso
magnetico che emana in una direzione verticalmente verso l'alto dai poli nord
del primo set di magneti 104, la
corrente generata come conseguenza della forza elettromagnetica indotta si
sposta da sinistra a destra 110
entro il conduttore avvolgimento 106.
La direzione attuale è
secondo la legge di Lenz, che afferma che quando una corrente elettrica viene
indotta in un conduttore, la direzione della corrente indotta è tale che il suo
effetto magnetico si opporrà l'azione che dà origine alla corrente
indotta. Come tale, la direzione

Fig.4
raffigura una vista in sezione trasversale longitudinale
All'interno dello statore 103, una porzione di flusso magnetico 402 è ora intrappolata entro il grano
stampings statore 103 e flussi
longitudinalmente nel tentativo di restituire a un polo sud corrispondente del
primo set di magneti 104. Questa porzione di flusso magnetico 402 ora è statica rispetto lo statore 103 e il conduttore incorporato 106 di avvolgimento. Come tale, questa porzione di flusso
magnetico 402 attraversa ed esce lo
statore 103 senza spostarsi
lateralmente rispetto al conduttore incorporato 106 di avvolgimento e quindi senza indurre una corrente all'interno
Di fuori dello statore 103, una porzione di flusso magnetico 403 attraversa il traferro 108 e raggiunge la superficie di un
pezzo di acciaio corrispondente 107. Il pezzo d'acciaio 107 si concentra il flusso magnetico 403 entro il traferro 108
fornendo una più efficiente e progettato specificamente il percorso per il
flusso magnetico 403 tornare a un
corrispondente primo set di magneti 104. Il flusso magnetico 403 passa attraverso il pezzo in acciaio 107 e restituisce a un polo sud corrispondente del primo set di
magneti 104, quindi chiudere il
ciclo di flusso magnetico tra i poli nord e sud di ogni magnete del primo set
di magneti 104.

Fig.5
e Fig.6 raffigurano l'interazione
tra il flusso magnetico provenienti dai poli nord
In Fig.5, il flusso magnetico proveniente dal primo set di magneti è
mostrato attraversando lo spazio d'aria verso l'alto e l'interazione con il
flusso magnetico che circonda il conduttore di avvolgimento. Come mostrato in Fig.5, il campo magnetico 401
proveniente dal primo set di magneti 104
è rinforzata sul lato destro del conduttore 106 a causa di sovrapposizione del campo magnetico 501 indotta nel conduttore avvolgimento
106 nella stessa direzione di
avvolgimento. Tuttavia, il campo
magnetico 401 proveniente dal primo
set di magneti 104, è indebolito sul
lato sinistro

In Fig.6, la porzione di flusso magnetico che è indirizzato da
statore, verso il basso attraverso il traferro e un acciaio al silicio pezzo
mostrato interagendo con il flusso magnetico indotto che circonda il conduttore
di avvolgimento. Come mostrato in Fig.6, il campo magnetico 403 indirizzato verso il basso
attraverso il pezzo di silicio acciaio 107
è rinforzato sul lato sinistro del conduttore 106 a causa di sovrapposizione del campo magnetico 501 indotta nel conduttore avvolgimento
106 nella stessa direzione di
avvolgimento. Tuttavia, il campo
magnetico 403 è indebolito sul lato
destro
Pertanto, a seguito di
questa configurazione, il conduttore 106
incorporati all'interno dello statore 103
di avvolgimento è tagliato a due posti di ciascun flusso magnetico proveniente
dal polo nord del primo set di magneti 104. In particolare, una prima volta quando il
campo magnetico 401 entra in una
direzione verso l'alto e una seconda

Fig.7
raffigura una vista di sezione trasversale longitudinale
All'interno dello statore 103, una porzione di flusso magnetico 702 scorre longitudinalmente lungo il
grano stampings all'interno dello statore 103
da una posizione dove il flusso magnetico 702
entra lo statore 103. Questa porzione di flusso magnetico 702 è statica rispetto lo statore 103 e al conduttore avvolgimento 106 incorporati all'interno dello
statore 103. Come tale, questa porzione di flusso
magnetico 702 entra e scorre
attraverso lo statore 103 senza
spostarsi lateralmente rispetto al conduttore incorporato avvolgimento 106 e, quindi, senza indurre una
corrente all'interno
Di fuori dello statore 103, una porzione dei 703 flussi flusso magnetico dal polo
nord
Fig.8
e Fig.9 raffigurano l'interazione
tra il flusso magnetico provenienti dai poli sud

In Fig.8, il flusso magnetico proveniente da un secondo set di magneti
è mostrato attraversando lo spazio d'aria verso il basso e l'interazione con il
flusso magnetico che circonda il conduttore di avvolgimento. Come mostrato in Fig.8, il campo magnetico 701
proviene dal secondo set di magneti 105
è rinforzata sul lato destro del conduttore 106 a causa di sovrapposizione del campo magnetico 801 indotta nel conduttore avvolgimento
106 nella stessa direzione di
avvolgimento. Tuttavia, il campo
magnetico 701 proviene dal secondo
set di magneti 105 è indebolito sul
lato sinistro del conduttore avvolgimento 106
a causa della sovrapposizione dei campi magnetici 801 indotta nel conduttore avvolgimento 106 in direzione opposta.
Come risultato di questa interazione, il campo magnetico netto nel
traferro sopra le superfici

In Fig.9, la porzione di flusso magnetico originariamente indirizzato
tramite i pezzi in acciaio 107,
attraverso l'aria è mostrato divario 108
e nello statore
Pertanto, a seguito di
questa configurazione e come descritto sopra per il primo set di magneti, il
conduttore incorporato all'interno dello statore è tagliato a due posti di ogni
campo magnetico che termina al polo sud del secondo set di magneti. In
particolare, una prima volta quando il campo magnetico 701 esce lo statore 103
in direzione verso il basso e una seconda
Uno sviluppatore di grande
esperienza il cui YouTube ID è "Lidmotor" (perché fa i motori dai
coperchi dei vasetti) ha un breve video in https://www.youtube.com/watch?v=SjWCprVXer8
che mostra un design semplice rotore con un del suo vaso coperchi montati su un
singolo cuscinetto:

Il coperchio bianco ha quattro
magneti collegati ad esso distanziati uniformemente intorno al coperchio a intervalli
di novanta gradi. Li di fronte è una bobina di nucleo ad aria montato su un
perno di supporto non-magnetico e ferita con 400 giri di calibro 30 ' filo su
una bobina di plastica. Come 'Lidmotor'
è americano, il filo '30 gauge' rischia di essere American Wire Gauge #30 con
0,255 mm anziché il formato europeo Standard Wire Gauge che ha un diametro di
0,315 mm di diametro. Una bobina di
aria-nucleo non influisce sul passaggio magneti rotore se esso non trasporta
corrente. Una bobina di uscita causerà
trascinamento sul rotore se la corrente viene disegnato dalla bobina, e così
temporizzata uscita commutazione come usato da Robert Adams sarebbe necessaria
a superare non solo il trascinamento, ma a spingere il rotore sul relativo
senso pure.
Ci sono due caratteristiche molto
importanti di questo disegno di azionamento del rotore. Uno è il fatto che un supercap (10-Farad, 2.3
V) è usato per guidare il rotore e quando forniti con una spesa di soli 0, 5V a
1,0V, può far girare il rotore fino a trenta minuti. Che molto tempo rischia di
essere una caratteristica del secondo elemento importante che è che egli ha
posto un LED attraverso l'interruttore reed utilizzato per alimentare la
bobina. Quando l'interruttore si apre,
si verifica un picco di tensione FEM di ritorno e il LED alimenta quel impulso
di tensione nuovamente dentro il 100% efficiente supercap, recuperando la
maggior parte della corrente utilizzata per guidare il rotore. Questo è lo stesso metodo usato da Robert
Adams nel suoi motore disegni. Lidmotor
presenta il suo circuito come questo:

Mentre il circuito illustrato il
magnete l'interruttore reed come essendo di 180 gradi intorno dalla bobina di
funzionamento, la fotografia indica che il magnete di commutazione è una
distanza di 90 gradi. Può essere
utilizzato qualsiasi di altri magneti.
Il funzionamento dell'interruttore reed è regolato per ottenere le
migliori prestazioni. Questo è fatto
spostando l'interruttore avanti e indietro lungo il percorso di movimento del
magnete per fare la commutazione si verificano prima o poi. L'obiettivo è quello di spingere il magnete
del rotore sul suo modo di pulsare la bobina molto brevemente solo dopo il
magnete del rotore è passata al centro della bobina. La lunghezza del tempo che l'interruttore è
chiuso può essere regolata spostando l'interruttore più vicino al magnete per
un tempo più interruttore chiuso, o più lontano per una chiusura interruttore
più breve. È anche possibile modificare
il tempo chiuso posizionando l'interruttore attraverso il percorso del viaggio
di magnete o parallelo ad esso.
Se non si ha familiarità con un
interruttore reed, è solo un tubo di vetro, riempito con un gas inerte e con
due sovrapposti di metallo strisce all'interno del tubo:
![]()
Il campo magnetico esterno magnetizza
le strisce ed essi primavera insieme a causa della molla e attrazione magnetica
apart nuovamente quando il campo magnetico si allontana. Questi switch sono disponibili in varie
dimensioni e la versione più piccola tende ad essere inaffidabile e ha una
capacità di corrente massima molto bassa.
Le versioni più grandi sono molto più robuste.
Circuito di Lidmotor è molto
semplice e molto efficace, anche se il rotore avrà peso minimo e nessun
trascinamento significativo. Ci si
chiede se l'aggiunta di una seconda bobina e un diodo di alimentazione del
supercapacitore, se il sistema non potrebbe diventare esecuzione automatica
Phemax Technologies, Inc hanno sviluppato ciò che essi descrivono come loro sistema di trasporto sostenibile che si basa sulla loro ruota a generazione propulsione inerziale che utilizza quello che chiamano '3D Coraxial ibrido induzione' (CHI), in cui 'Coraxial' si riferisce alla loro tecnica "combinati radiali-assiali", dove la trasmissione è fornita da un sistema radiale magnetico pulsato ed estrazione di energia è ottenuta utilizzando un sistema di magnete/bobina orientati assialmente.

Inventore di Taiwan, Chi Tajen (David), dice che la sua azienda, "Phemax Technologies Inc." vogliono dimostrare la loro tecnologia nel settembre 2010 presso un expo, dopo di che permettono le parti interessate e qualificate a venire ai loro locali per le discussioni delle licenze.
Il dispositivo può prendere il posto del componente di una batteria di un veicolo elettrico o può essere utilizzato per integrare e ricaricare un banco di batterie del veicolo. Presso la fiera di settembre, permettono ai visitatori di guidare l'auto di prova di 2 kW. David intende inserire i dati di prova su Internet. Con un input di rotazione di 1 NM a 500 giri/min, una ruota sola a generazione di propulsione inerziale è in grado di produrre 1 KW di potenza generativa assiale.
David ha anche detto che un'uscita 150W dal suo motore produce effettivamente tra 180 e 200 watt di uscita meccanica, mentre un'uscita 1500W produce una potenza meccanica di 1800 a 2000 Watt (96 volt a 20 ampere), come misurato da un misuratore di watt, velocità meter, misuratore di coppia e oscilloscopi. Egli dice che queste misurazioni sono state effettuate da Michael Hseuh, Vice President e Chief Technology Officer.
Ultra-condensatori basati su ceramica e
carbonio vengono utilizzati per restituire una parte della potenza di uscita all'ingresso al fine di mantenere la macchina in esecuzione continuamente senza la necessità di un'alimentazione elettrica quando il motore è in esecuzione e fornendo l'energia prodotta. Quando si guida un veicolo alimentato da questo dispositivo, la coppia motrice meccanica viene fornita tramite una trasmissione continuamente variabile.
In questo momento, Phemax Technologies, Inc hanno un 150-Watt e un prototipo di kW 2 che hanno intenzione di dimostrare nel settembre 2010. Egli dice che utilizzano in genere questi prototipi per otto ore ogni giorno nel loro laboratorio. Il principio centrale del processo di Phemax Technologies Inc è quello che chiamano "CORAXIA" che sta per "combinati radiali-assiali" induzione ibrido, abbreviato in "CHI", che è il cognome di David. Anche questo lo chiamano il sistema "3D coassiale ibrido induzione". Essi affermano che loro disposizione 3D elettromagnetica consente la ruota avere sia flusso radiale propulsione e generazione di flusso assiale con appena un singolo rotore e due statori separati. Come l'azionamento elettrico radiale ruota, l'energia meccanica per l'inerzia della ruota e il meccanismo di trasmissione dell'energia da terra consente alle ruote di un veicolo a generare elettricità mentre girano.
Ci sono due video che mostrano il dispositivo di generazione di energia elettrica, che si trova qui:
http://www.youtube.com/watch?v=W_lzhpZxxcQ e
http://www.youtube.com/watch?v=O8frdR-fnO0http://www.youtube.com/watch?v=O8frdR-fnO0 qui.
Un'altra applicazione è dove l'uscita elettrica dal dispositivo è utilizzato per produrre una miscela di gas idrogeno/ossigeno dall'acqua utilizzando un arco plasma subacqueo:
David dice che lui è un autodidatta in questo settore. Egli ha tre brevetti: Taiwan patent M352472, M372891 e M382655 (che non sono in inglese). Dalla sua ricerca dell'indice brevetto, Internet e YouTube, David ha detto che non ha ancora visto un allestimento sperimentale o brevetto simile a quello che hanno sviluppato.
Questo motore/generatore è insolito che utilizza unità rotore pulsata su magneti montati sulla circonferenza del rotore e, contemporaneamente, preleva energia elettrica da una disposizione di bobina/magnete montata sulle facce laterali del rotore, come illustrato di seguito:



L'unità di base
dell'alimentatore/generatore può essere replicato su un unico albero per dare maggiore potenza, ancora senza maggiori perdite di attrito tra l'alimentazione e la generazione di energia:

È insolito vedere questa tecnica usata come può essere difficile evitare l'interazione tra i diversi campi magnetici. Tuttavia, David ha avuto completamente successo nel fare questo e la disposizione non ha perdite di trasmissione tra il motore e il generatore come queste sono parti integranti del sistema.
Questo sistema è in grado di guidare un condizionatore autoalimentato e un prototipo di proof-of-concept 5 kW è mostrato qui:

Questo dispositivo è anche in grado di alimentare l'illuminazione elettrica e con una produzione
autoalimentato di 5 kilowatt, esso può alimentare le esigenze della famiglia. Una tipica lavatrice ha un assorbimento elettrico massimo 2.25 chilowatt come fa anche la media degli asciugatrici. La maggior parte dei termoventilatori sono 3 kilowatt o meno quando a pieno assorbimento.
Se un generatore di energia eolica è già montato, utilizzando quindi la potenza meccanica del generatore a girare l'asse di uno di questi generatori di CHI traduce in un sistema di generazione di energia elettrica a molto alta potenza.
Contatto: Tajen (David) Chi, Taiwan email: chitajen@gmail.com
Richieste a: Phemax Technologies Inc., Michelle Chen, Manager of Marketing and Business Development.
Tel: 886-2-2371-5622 e-mail: michelle@phemax.com
Dove l'obiettivo è quello di produrre elettricità da un campo magnetico rotante, c'è sempre stata una ricerca di qualche metodo di riduzione, o complessivamente, eliminando l'operazione di trascinamento sul rotore quando corrente elettrica è assorbito dal generatore. Un progetto che sostiene di avere molto limitata resistenza causata dall'assorbimento di corrente è il design di Kromrey. Le caratteristiche principali di questo disegno sono detto di essere:
1. Ha potenza elettrica quasi costante anche quando la velocità del rotore è alterata da quanto il 35%.
2. Esso può continuare ad operare con il suo cortocircuito elettrico in uscita, senza riscaldamento del rotore o causando un effetto frenante.
3. L'efficienza di produzione (produzione elettrica diviso per la forza motrice) è alta.
4. La frequenza della CA di uscita potenza può essere regolata a quello richiesto dalle apparecchiature che lo alimenta.
5. Il rotore può essere filato a qualsiasi velocità da 800 rpm a 1.600 giri/min.
6. La semplice costruzione permette costi di produzione essere circa il 30% in meno di altri generatori.
7. Questo generatore è raccomandato per la fornitura di potenza pari o superiore al livello di 1 kilowatt.
Ecco il brevetto per questo dispositivo:
Brevetto
GENERATORE ELETTRICO
Il mio presente invenzione si riferisce ad un generatore elettrico che converte l'energia magnetica in energia elettrica utilizzando due componenti che possono ruotare rispetto a altra, cioè uno statore e un rotore, uno che ha elettromagneti o magneti permanenti che inducono una tensione in un avvolgimento che fa parte di un circuito di uscita montato sull'altro componente.
Generatori convenzionali di questo tipo utilizzano un avvolgimento che quali conduttori formano cicli in diversi piani assiali così che le parti opposti di ogni ciclo attraversano il campo di ciascuna coppia di poli, due volte per giro. Se i cicli sono circuiti aperti, quindi nessuna corrente fluisce nell'avvolgimento e nessuna coppia di reazione è sviluppato, lasciando il rotore libero di girare alla velocità massima della sua unità di guida. Appena l'avvolgimento di uscita è collegato attraverso un carico o è cortocircuitata, il flusso di corrente risultante tende a ritardare il movimento del rotore in misura che dipende dall'intensità della corrente e questo rende necessario prevedere dispositivi di regolazione della velocità di compensazione, se è necessario mantenere una tensione di uscita ragionevolmente costante. Inoltre, la coppia di reazione variabile sottopone il rotore e la sua trasmissione a notevoli sollecitazioni meccaniche e possibili danni.
È pertanto l'obbiettivo generale di questa invenzione per fornire un generatore elettrico che non ha nessuno degli svantaggi sopra. Un altro obbiettivo è quello di fornire un generatore di cui velocità di rotore varia molto poco in velocità tra funzionamento a circuito aperto e operazione di erogazione corrente. Un altro obiettivo è quello di fornire un generatore di cui tensione di uscita non è fortemente influenzata da fluttuazioni nella sua velocità del rotore.
Ho trovato che questi obiettivi possono essere raggiunti mediante la rotazione di un elemento ferromagnetico allungato, come un'armatura di ferro dolce a forma di barra e un paio di pezzi di Poli che creano un'apertura d'aria contenente un campo magnetico. Ognuna delle estremità esterna dell'armatura porta un avvolgimento, idealmente, questi avvolgimenti sono collegati in serie e queste bobine fanno parte di un circuito di uscita di potenza utilizzato per pilotare un carico. Come l'armatura ruota rispetto all'apertura d'aria, il circuito magnetico è completato ciclicamente e l'armatura pratica la rimagnetizzazone periodica con successive inversioni di polarità.
Quando il circuito di uscita è aperto, l'energia meccanica applicata al rotore (meno una piccola quantità necessarie per superare l'attrito dell'albero rotante) è assorbito dal lavoro di magnetizzazione, che a sua volta, viene dissipata come calore. In pratica tuttavia, il conseguente innalzamento della temperatura dell'armatura è appena percettibile, soprattutto se l'armatura è parte del montaggio del rotore continuamente raffreddato ad aria. Quando il circuito di uscita è chiuso, parte di questo lavoro è convertito in energia elettrica perché il flusso di corrente attraverso l'avvolgimento contrasta l'azione magnetizzante del campo e aumenta l'apparente riluttanza magnetica dell'armatura, e quindi la velocità del generatore rimane sostanzialmente invariata se il circuito di uscita è aperta o chiusa.
Quando l'armatura si avvicina la posizione di allineamento con l'apertura, il campo magnetico costante tende ad accelerare la rotazione dell'armatura, aiutando la forza applicata. Dopo che l'armatura passa l'apertura c'è un effetto ritardante. Quando il rotore prende velocità, l'effetto volano della sua massa supera queste fluttuazioni nella coppia applicata e una rotazione liscio è sperimentata.
In una presentazione pratica di questa invenzione, il percorso del flusso magnetico comprende due campi magnetici assialmente distanziati attraversando l'asse del rotore e sostanzialmente ad angolo retto ad essa. Questi campi sono generati da rispettivi coppie di poli collaborando con due armature assialmente distanziate del tipo già descritto. È conveniente organizzare che queste due armature si trovano in un piano assiale comune e allo stesso modo, anche le due coppie di poli produttori di campo si trovano in un unico piano. Le armature devono essere stratificate per minimizzare le correnti parassite, quindi sono composti altamente permeabile (in genere, ferro dolce) sventa la cui dimensione di principio è perpendicolare all'asse del rotore. Le lamine possono essere tenuti insieme da rivetti o qualsiasi altro metodo adatto.
Se gli elementi ferromagnetici sono parte del rotore, quindi il circuito di uscita comprenderà i mezzi usuali di raccolta della corrente, quali anello a contatto o collettore a segmenti, a seconda se è desiderato uscita corrente AC o DC. La fonte della forza coercitiva nello statore comprende, vantaggiosamente, una coppia di magneti a forma di giogo, posizionati in modo opposto di tipo permanente o eccitato elettricamente, cui estremità costituiscono i pezzi di poli sopra menzionati. Se gli elettromagneti sono utilizzati nel circuito magnetico, quindi essi possono essere eccitate da una fonte esterna o da corrente dal circuito di uscita del generatore stesso.
Ho trovato che la tensione ai morsetti del circuito di uscita non varia in modo proporzionale alla velocità del rotore come potrebbe essere previsto, ma, invece, si scende ad un tasso notevolmente più lento con la diminuzione della velocità del rotore. Così,
in un particolare unità di test, questa tensione è sceso a solo circa metà del
suo valore originale quando la velocità del rotore è stato ridotto a un terzo.
Questa relazione non lineare tra tensione terminale e tasso di guida produce un
sostanzialmente costante corrente di carico e, quindi, l'uscita elettrica su
un'ampia gamma di velocità, almeno in alcune condizioni di carico, in quanto la
reattanza induttiva dell'avvolgimento è proporzionale alla frequenza (e, di
conseguenza, alla velocità del rotore) in modo da lasciare più rapidamente rispetto
alla tensione del terminale, in caso di una riduzione di velocità, con una
conseguente
miglioramento del fattore di potenza del circuito di carico.
Se
il circuito magnetico contiene una sola coppia di poli per apertura d'aria, il
flusso indotto nell'armatura rotante cambiarà direzione due volte per giro in
modo che ogni rivoluzione produce un ciclo completo di 360 elettrica gradi. In
generale, il numero di gradi elettrici per giro sarà uguale 360 volte il numero
di coppie di poli, essendo evidente che questo numero dovrebbe essere strano,
poiché con numeri pari non sarebbe possibile avere poli
alternati in polarità lungo il percorso dell'armatura e allo stesso tempo di
avere la poli Nord e Sud di ciascuna coppia di posizioni diametralmente
opposte. In ogni caso, è importante dimensione delle facce curve affacciate
delle coppie di poli in modo tale da
evitare che l'armatura di ponte tra poli adiacenti, quindi è necessario rendere
la somma degli archi attraversati da queste facce (nel piano di rotazione) pari
considerevolmente meno di 360 gradi elettrici.
L'invenzione verrà ora descritta in maggiore dettaglio, facendo riferimento ai
disegni allegati cui:

Fig.1 e Fig1A. illustrano una prima forma di realizzazione della mia invenzione, mostrato in sezione assiale ed in una vista in sezione trasversale presa sulla linea IA - IA di Fig.1 rispettivamente.

Fig.2 e Fig.3 sono viste prospettiche che illustrano due forme di realizzazione di altri.


Fig.4 e Fig.5 illustrano schematicamente due configurazioni del circuito di uscita, una per una uscita DC e uno per un'uscita AC.

Fig.6 è una illustrazione un pò schematica della disposizione per confrontare le uscite di un generatore convenzionale e un generatore secondo la presente invenzione.

Il generatore 100 mostrato in Fig.1 e Fig.1A comprende uno statore 101 ed un rotore 102 che ha una coppia di armature laminato 102' e 102", realizzato su un albero 103 che è libera di ruotare in cuscinetti montati nelle piastre terminali 104' e 104", di un generatore di alloggiamento 104 che è costituito da materiale non magnetico (ad esempio alluminio) che è rigidamente fissato allo statore.

Albero 103 è accoppiato ad una sorgente di potenza di pilotaggio schematicamente indicato da una freccia 110. Lo statore 101 comprende una coppia di elettromagneti laminati a forma di giogo 101' e 101", le cui estremità formano due coppie di co-planari espansioni polari, designati rispettivamente 101a, 101b (polo nord magnetico) e 101c, 101d (polo magnetico Sud). La espansioni polari hanno facce concave, rivolti verso il fronte convessa libero 102a, 102d dell'armatura 102' e 102b, 102c di armatura 102". Queste facce le cui concavità sono tutte centrate sull'asse dell'albero 103, si estendono su archi di circa 20 gradi a 25 gradi ciascuno nel piano di rotazione (Fig.1A) in modo che la somma di questi archi ammonta a circa 90° geometricamente ed elettricamente.

Lo statore magneti 101', 101" sono circondati da energizzante avvolgimenti 109', 109" che sono collegati attraverso una opportuna sorgente di corrente costante diretta (non mostrato). Avvolgimenti simili, ciascuno composto da due bobine collegate in serie, 106a, 106b e 106d, 106c, circondano il rotore armature 102' e 102", rispettivamente. Queste bobine fanno parte di un circuito di uscita che comprende inoltre una coppia di spazzole 107', 107" che sono portati da braccia 108', 108" a scatola 104 con spazzole isolamento reciproco 107', 107" cooperare con una coppia di segmenti pendolari 105', 105" (vedi anche Fig.4) che sono supportati da un disco di materiale isolante 105, montato sull'albero 103.

In virtù

Fig.2 mostra un generatore modificato 200, il cui corpo 204, supporta uno statore 201 essenzialmente costituito da due magneti permanenti barre 201' e 201", si estende parallelamente all'albero di azionamento 203 (sul lato opposto di esso), ciascuno di questi magneti essere rigido e ciascuna avente un paio di
suola di scarpe 201a, 201b e 201c, 201d rispettivamente. rotore 202 è una coppia di armature laminato 202' e 202", simili a quelli della forma di realizzazione precedente, la cui uscita bobine 206a, 206b, 206c e 206d sono collegati in serie tra un anello di scorrimento 205', supportato sull'albero 203 per il tramite di un disco isolante 205, e un altro terminale qui rappresentata dall'albero a terra 203 stessa. Ad anelli 205' viene contattato da spazzola 207 sulla porta 208, l'uscita di questa spazzola essendo una corrente alternata di frequenza determinata dalla velocità del rotore.

Fig.3 mostra un generatore 300 che è sostanzialmente simile al generatore 100 mostrato in Fig.1 e Fig.1A. È albero 303 porta una coppia di strati di ferro dolce armature 302', 302" che può ruotare in traferri di una coppia di elettromagneti 301', 301" che hanno avvolgimenti 309' e 309". Il commutatore 305 nuovamente coopera con una coppia di spazzole 307, uno solo dei quali è visibile in Fig.3. Questa spazzola, supportata da un braccio 308, è collegato elettricamente a una spazzola 313 che si impegna con un collettore ad anello 314 posizionato su una estremità dell'albero 303 che porta anche due ulteriori collettore ad anello 315', 315" che sono in contatto con l'anello conduttivo 314, ma sono isolate dall'albero.
Due ulteriori spazzole 316', 316" con gli anelli 315', 315" e rispettivamente sono collegati agli avvolgimenti 309' e 309". Le altre estremità di questi avvolgimenti sono collegati ad un analogo sistema di spazzole e collettore ad anello sull'estremità del l'albero opposto, e disposti in modo che le due spazzole commutatore effettivamente superano tutti gli avvolgimenti 309' e 309" in parallelo. Pertanto, in questa forma di realizzazione, i magneti dello statore sono eccitati dalla uscita del generatore stesso, fermo restando che i magneti 301' e 301" (prodotto, per esempio, di acciaio anziché in ferro dolce) avrà una forza coercitiva residua sufficiente a indurre una tensione di uscita iniziale. Naturalmente, i circuiti porta dalle spazzole 307 agli avvolgimenti 309', 309" possono includere filtraggio come descritto nella connessione con Fig.4.

Fig.6 mostra un circuito di test progettato per confrontare le uscite di un generatore di questo motivo, come l'unità 100 di Fig.1 e Fig.1A, con un generatore del tipo convenzionale 400 avente una armatura ad anello 402 che ruota nell'apertura di un magnete 401 statore che è dotato avvolgimenti energizzanti 409', 409". I due generatori sono interconnessi da un albero comune 103 che porta un volano 117. Tale albero è accoppiato attraverso una frizione 118 ad un motore 111 che aziona l' rotori 402 e 102 di entrambi i generatori all'unisono, come indicato dalla freccia 110. Due batterie 120 e 420, in serie con gli interruttori 121 e 421, rappresentano il metodo di fornire corrente agli avvolgimenti statorici 109', 109" e 409’, 409" dei due generatori.
L'uscita rettificata del generatore 100 è fornito a un carico 122, mostrata qui come tre lampade ad incandescenza collegati in serie, e con un consumo totale di 500 watt. Generatore 400, fornisce corrente in un carico identico 422. Due watt
meter 123 e 423 hanno i loro avvolgimenti di tensione e corrente rispettivamente collegati in derivazione e in serie con i loro carichi associati 122 e 422, per misurare la potenza elettrica erogata da ciascun generatore.
Quando frizione 118 è impegnata, albero 113 con la sua volano 117 è portato a una velocità di guida iniziale di 1200 rpm. a questo punto, l'interruttore 421 nel circuito di eccitazione del generatore convenzionale 400, è chiuso. Le 422 lampade s'illuminano immediatamente e il wattmetro corrispondente 423 mostra una potenza iniziale di 500 watt. Tuttavia, questa uscita scende immediatamente come il volano 117 viene decelerato tramite l'effetto frenante del campo magnetico indotto sul 402.
Successivamente, la procedura si ripete, ma con l'interruttore 421 aperta e l'interruttore 121 chiusa. Questo generatore si eccita 100 e le luci si accendono 122, 123 wattmetro che mostra una potenza di 500 watt, che rimane costante per un periodo indefinito di tempo, in assenza di decelerazione apprezzabile di volano 117. Quando l'innesto 118 viene rilasciato e la velocità del rotore diminuisce gradualmente, l'uscita del generatore 100 è ancora sostanzialmente 500 watt ad una velocità di 900 rpm. e rimane alto come 360 watt quando la velocità è sceso ulteriormente a 600 giri al minuto. In un test simile con un generatore del tipo a magneti permanenti, come quello mostrato in Fig.2 a 200, una uscita sostanzialmente costante è stata osservata in un intervallo di 1600-640 rpm.
Nel luglio 1995, un brevetto è stato concesso a Teruo Kawai di un motore elettrico. Nel brevetto, afferma che un Teruo elettriche rilevate ingresso 19,55 watt produce una potenza di 62,16 watt, e questo è un COP di 3.18. Le sezioni principali di quel brevetto sono inclusi nell'Appendice.


In questo motore, una serie di elettromagneti sono posti in un anello per formare lo statore attivo. Il rotore ha due dischi di ferro montati su di esso. Questi dischi hanno magneti permanenti imbullonati a loro e hanno ampie scanalature tagliate a loro di modificare il loro effetto magnetico. Gli elettromagneti vengono pulsate con la pulsazione controllata tramite un dispositivo disco ottico montato sull'albero. Il risultato è un motore molto efficiente elettrica la cui produzione è stata misurata come eccedente di ingresso.
C'è un video su Google che mostra un interessante autoalimentato acqua-elettropompa, generatore elettrico a: http://video.google.com.au/videoplay?docid=-3577926064917175403&ei=b1_BSO7UDILAigKA4oCuCQ&q=self-powered+generator&vt=lf
Questo è un dispositivo molto semplice in cui è diretto il getto di acqua dalla pompa ad una semplice ruota idraulica che a sua volta, fa ruotare un alternatore elettrico, alimentando sia la pompa e una lampadina elettrica, dimostrando energia libera..


Inizialmente, il generatore è portato a regime, guidato dalla rete di alimentazione elettrica. Poi, quando viene eseguito normalmente, la connessione di rete viene rimossa e il motore / generatore si sostiene ed è inoltre in grado di alimentare almeno una lampadina. L'uscita del generatore è normale corrente di rete da una normale off-the-shelf alternatore.
James ha
avuto pubblicato nel 2007 una domanda di brevetto US 2007/0018461 A1 sul suo disegno. In tale domanda egli fa notare che uno dei principali vantaggi del suo progetto è il basso livello di rumore prodotto quando il generatore è in funzione. Nel video e le immagini di cui sopra, la dimostrazione ha l'alloggiamento aperto per mostrare come il sistema generatore funziona, ma durante il normale utilizzo, i compartimenti sono completamente sigillati.
Nel suo documento, James mostra il sistema generale come questa:

L'alloggiamento è diviso in tre compartimenti separati. Il primo vano ha un semiasse forte che l'attraversa, supportati su sfere o cuscinetti a rulli – possibilmente in ceramica per questo ambiente. I cuscinetti sono protetti da essere coperti da paraspruzzi che mantengono l'acqua (o altro liquido) fuori di loro. Una ruota idraulica di qualsiasi tipo è montata sull'albero ed una pompa acqua ad alta capacità dirige un flusso di liquido verso la ruota idraulica, colpisce le pale ad angolo retto al fine di fornire il massimo impatto.
Questo primo compartimento è sigillato per contenere tutto il liquido all'interno di esso e il fondo è efficacemente un pozzetto per il liquido. Un tubo situato nella parte inferiore del vano alimenta il liquido alla pompa che si trova nel vano del secondo. La pompa aumenta il liquido attraverso un ugello, dirigendola alla ruota idraulica. Mentre quasi ogni ugello funzionerà, si è soliti scegliere uno che produce un getto di liquido concentrato al fine di generare il più grande impatto possibile. Uno si aspetterebbe che il più grande del diametro della ruota idraulica, più potente sarebbe il sistema. Tuttavia, che non è necessariamente il caso come altri fattori quali il peso complessivo dei membri rotanti potrebbero influire sulle prestazioni. Sperimentazione dovrebbe mostrare la combinazione più efficacia per qualsiasi pompa dato.
L'albero rotante viene dato un terzo cuscinetto supportati dal lato del vano finale. L'albero ha poi una puleggia di grande diametro, montata su di esso, la cintura alla guida di una molto più piccola puleggia montata sull'albero del generatore. Questo genera il tasso al quale viene ruotato l'albero del generatore. Se la pompa funziona a tensione di rete AC, il generatore sarà uno che genera la tensione di rete AC. Se la pompa funziona, dicono, 12 volt, il generatore sarà uno che genera 12 volt CC. Il diagramma di cui sopra, mostra la disposizione di un sistema di tensione di rete che è probabilmente la più conveniente. Se si è scelto un sistema di 12 volt, l'inverter può essere omessa.
Il generatore viene avviato premendo l'interruttore 'normalmente aperto' premere il pulsante contrassegnato "A" nel diagramma. Questo passa la corrente della batteria tramite l'inverter da 1 kilowatt che poi genera la tensione di rete AC. L'interruttore contrassegnato "B" è un "passaggio", e per l'avviamento, è impostato in modo che passa la potenza AC tramite interruttore "A" alla pompa. Questo fa sì che la pompa attiva e dirige un potente getto di liquido a ruota idraulica, costringendo la rotazione e alimentando così il generatore. Quando il generatore si alza a piena velocità, interruttore "B" è capovolto, scollegare l'inverter e poi passare l'energia del generatore alla pompa, mantenendolo in esecuzione e dando una fornitura supplementare di energia per le prese di corrente di uscita montato sopra l'alloggiamento. L'interruttore a tasto viene rilasciato, scollegando la batteria che non è più necessario. Interruttore "C" è un normale interruttore di alimentazione che è necessario se si desidera disattivare il generatore.
Dei vantaggi principali di questo sistema generatore è che i componenti principali possono essere acquistati già pronte e così soltanto molto semplice abilità costruttive e materiali facilmente disponibili sono necessari. Un altro vantaggio è che ciò che sta accadendo può essere visto. Se la pompa non funziona, allora è un compito semplice per scoprire perché. Se il generatore non è in rotazione, si può vedere perché e risolvere il problema. Ogni componente è semplice e diretto.
James suggerisce che una pompa adatta è i 10.000 litri / ora "Pompa siluro" da Cal Pump, sito web:
http://www.calpumpstore.com/products/productdetail/part_number=T10000/416.0.1.1:

Questo brevetto dal francese Georges Mourier è notevole in quanto essa afferma chiaramente nel brevetto, che ha un coefficiente di prestazione di 10.000 con una potenza di appena 10 watt produce un output di 100 kilowatt, che, considerando la massiccia opposizione dell'ufficio brevetti a qualsiasi pretesa di essere potenza di uscita maggiore di input necessaria per produrre che uscita ingresso, è un pò stupefacente. Questo brevetto contiene una discreta quantità di matematica dove Georges va circa mostrando perché c'è un'amplificazione di potenza. Questo può essere ignorato dalla maggior parte delle persone, come punto di concentrarsi su come costruire un motore/generatore di amplificazione di potenza.
Brevetto
Macchina elettrica funzionante come generatore o da un amplificatore

Astratto
L'invenzione si riferisce ad una macchina elettrica. Lo statore 1 è un
circuito ritardante, in forma di un filtro a passa-basso nell'esempio, formato da induttanza 11 e condensatori
12 collegati tra queste induttanze e il conduttore comune 13. Il rotore 2 comprende due elementi dissipatori 22 incorporati in circuiti 26, separati nell'esempio, e avente un punto comune 25. Viene messo in movimento da un motore. La macchina funziona come un amplificatore ad alto guadagno, avente una gamma di segnali ad alta frequenza applicati all'ingresso 14 dello statore, separato dalla uscita 15 dal disaccoppiamento zona 30. Potenze elevate sono ottenibili. Applicazione agli impianti per test di vibrazione di attrezzature industriali e ad alta potenza di trasmissione delle onde radio lunghe.
Descrizione
L'invenzione si riferisce ad una macchina elettrica in grado di funzionare come un generatore e un amplificatore. La macchina comprende una parte fissa, o statore, in cui si muove una parte mobile, indicata in seguito con il termine "rotore", in analogia con il caso delle macchine precedenti in cui il movimento in questione è un movimento di rotazione, anche se questo movimento può essere diverso da una rotazione ed in particolare una rettilinea movimento nel caso dell'invenzione.
Lo statore è costituito da una linea con due conduttori che hanno due terminali di ingresso e due terminali di uscita; il rotore comprende elementi resistivi in condizioni che saranno descritti in dettaglio più avanti.
Nell'operazione, un'onda viene propagata tra i terminali di ingresso e i terminali di uscita in questione in questa linea. Macchine elettriche sono noti da U.S. Patent 3.875.484, in cui lo statore è composto da induttanze e capacità incorporata in una linea di trasmissione, come le macchine di questa invenzione, lungo il quale ci viene propagato, in operazione, un'onda elettrica, ma contrariamente al caso dell'invenzione, che questa linea ha solo una coppia di terminali a cui quelle della fonte di corrente alternata sono collegati. L'applicazione della tensione di questa fonte tra questi terminali provoca la rotazione del rotore della macchina che, come esso funziona come un motore, non hanno un'uscita. A causa della struttura, è stata data una breve indicazione di cui sopra, la macchina di questa invenzione è destinata, al contrario, per funzionare come un generatore o un amplificatore; ha un'uscita costituita dall'altra coppia di terminali dello statore, il rotore viene azionato da un motore esterno.
Una migliore comprensione dell'invenzione avrà avuta dalla conseguente descrizione con riferimento le figure di accompagnamento che rappresentano:
:

Fig.1, schematicamente, il gruppo statore e il rotore di una macchina a cui si applica il trovato;


Fig.2 e Fig.3, schematicamente, una forma di realizzazione di un circuito elettrico dello statore di una macchina secondo l'invenzione e il diagramma corrispondente;

Fig.4, schematicamente, una struttura di rotore delle macchine dell'invenzione;

Fig.5, una vista schematica di una variante della macchina secondo l'invenzione avente uno statore secondo il progetto di Fig.2;


Fig.7
e Fig.8, viste schematiche di due varianti di realizzazione della macchina secondo l'invenzione operativo come amplificatori;


Fig.6 e Fig.9, due modifiche della macchina del funzionamento dell'invenzione come generatori.

Fig.1 mostra schematicamente, una struttura di macchina a cui il trovato si applica, in cui lo statore e il rotore 1 2 comprendono poli allineati nella direzione o à x lungo la quale si verifica il movimento del rotore. Questi poli sono contrassegnati come 10 e 20 e vengono ripetute con la stessa spaziatura orizzontale o passo p sia il rotore e lo statore. Riferimenti 11 e 21 sono gli avvolgimenti induttivi attraverso cui avviene l'accoppiamento tra un polo del rotore e un polo dello statore quando allineare nel corso del loro movimento.
Vsn e Vrn sono i valori istantanei delle tensioni alle estremità di questi avvolgimenti, e Isn e Irn sono le correnti a quelle bobine al momento di questo allineamento, essendo n il numero assegnato al polo in ogni parte della macchina. Per semplificare le notazioni, tale numero indice 'n' sarà omessa quando si citano le tensioni e le correnti in questione. φ designa il flusso magnetico M e il coefficiente di mutue induttanze di questo accoppiamento. Ci sono quindi ottenuti i seguenti equazioni noti:

dove Ls e Lr sono i valori delle induttanze 11 e 21 e φs e φr il
flusso magnetico in questi avvolgimenti.
In queste equazioni, i
quantitativi ω e ω' sono le frequenze angolari delle correnti nello
statore e il rotore, rispettivamente; ω = 2πf, dove f è la frequenza corrispondente. Per differenze di fase tra due poli uguali successive
statore e rotore, gli impulsi ω e ω' nel rapporto:
![]()
dove β è in conformità con
l'usuale definizione della costante di propagazione dell'onda di campo magnetico
lungo lo statore, ed u è la velocità alla quale il rotore si sposta davanti
statore nella direzione dell'asse di riferimento o –> x nel caso della macchina della
forma di realizzazione di Fig.1.
![]()
se Λ e vφ sono rispettivamente la lunghezza d'onda e la
velocità di fase di statore.
Nell'incarnazione della macchina di questa
invenzione, avendo uno statore sotto forma di una linea di trasmissione del
filtro passa-basso con le induttanze 11 14 input e un'uscita 15, elementi di
accumulo di carica 12 montato tra queste induttanze e un conduttore comune 13
come mostrato in fig. 2 e fig. 3, c'è aggiunto alle equazioni di cui sopra la
seguente equazione:
![]()
dove α è uguale a βp e Cs è il valore del condensatore 12
(Fig.2) inclusa nella costruzione del filtro, è stato osservato che si ottiene
con le notazioni della Fig.3:

Viene inoltre aggiunto:
![]()
l'equazione per un rotore costruito, come mostrato in
Fig.4, separati dai circuiti resistivi ciascuno dei quali comprende, in
aggiunta a quanto sopra, induttanza di accoppiamento 21, un resistore 22 di
valore Rr.
Eliminando le grandezze di
flusso, tensione e corrente fra le equazioni omogenee (1), (2), (3), (4), (6) e
(7) e sostituendo ω' con la sua espressione presa da equazione (5), si ottiene
un'equazione in β le cui radici hanno una parte immaginaria, donde risulta che la variazione
rispetto al tempo dell'onda propagata lungo lo statore nella direzione x à o di Fig.1, la cui ampiezza è proporzionale, in accordo con la notazione
convenzionale, per exp j(ωt-βx), subisce
una amplificazione nel corso di questa propagazione.
L'equazione
in questione è:

e assumendo che α è piccolo, cioè, che la
macchina ha un gran numero di fasi nel elettrotecnico senso della parola, le
cui radici sarà calcolata dalla loro differenza z relativa da un valore di
riferimento scelto per essere uguale a ω / u, che
è poco diverso, nelle condizioni di funzionamento delle macchine
dell'invenzione, dalla quantità
β1 sopra
definito; si ottiene:
![]()
Il
rapporto precede
ω/u non è altro che il valore di β in macchine sincrone, in cui ω' è
nullo (equazione 5). Nelle macchine di questa invenzione, ω' è non-zero: queste
macchine operano in maniera asincrona.
L'equazione
in z è scritto:
![]()
nel caso particolare di un coefficiente di
accoppiamento
![]()
Esso ha due radici aventi una
parte immaginaria. La macchina è in grado di amplificare un segnale applicato
all'ingresso dello statore. L'ordine di grandezza di questa
amplificazione è mostrato di seguito come esempio. L'espressione di queste radici è:
![]()
con:
![]()
per cui i seguenti valori numerici corrispondono ad un
certo numero di valori di γ. L'onda amplificato corrisponde alla radice Z+.
|
|
0.01 |
0.03 |
0.1 |
0.3 |
1 |
|
Z+ |
0.0703 + 0.610 |
0.120 + 0.094j |
0.212 + 0.135j |
0.334 + 0.149j |
0.455 + 0.098j |
Il
guadagno "g" in alimentazione per unità di lunghezza dello statore è,
secondo l'equazione (9) è:
Nel precedente esempio, questo guadagno raggiunge il suo valore massimo per l'onda corrispondente a z +, per γ tra 0,1 e 0,3. La parte immaginaria di z è quindi in prossimità di 0,15, che dà per g, per uno statore di lunghezza d'onda (5 x = 5), circa 40 decibel. Si osserverà che la propagazione corrispondente costante β differisce solo leggermente in valore assoluto della costante ω/u corrispondente al sincronismo. La macchina della presente invenzione opera in condizioni che differiscono solo leggermente da condizioni operative sincrone.
L'onda passa attraverso lo statore è amplificato alla maniera di un'onda elettromagnetica che si propaga lungo la linea di ritardo dell'onda moltiplicazione tubi impiegati in frequenza iper descritto, tra gli altri, da J. R. Pierce in "Travelling Wave Tubes", Van Nostrand Co, 1950. L'amplificazione si verifica, per quanto riguarda questi tubi, in una larga banda intorno alla frequenza centrale.
In quanto precede, il rotore è stato rappresentato, per la facilità di descrizione, con una struttura di pali (riferimento 20 nelle figure). Con la portata dell'invenzione del rotore potrebbe essere sotto forma di struttura ben noto squirrel-cage di macchine asincrone. I calcoli di cui sopra restano validi nel dare alla nozione di resistenza e alla nozione di induttanza la significazione che hanno in questo caso.
Le proprietà precedenti sono state stabilite mediante semplificazione ipotesi che permettono una presentazione più chiara. Queste proprietà si applicano in genere a tutte le macchine cui statore e rotore avrebbe la struttura elettrica indicata, anche nel caso di un'operazione che potrebbe differire leggermente da queste ipotesi nelle vicinanze di frequenza sincrona. Inoltre, il caso è stato considerato un accoppiamento di induttanza tra il rotore e lo statore con un coefficiente reciproco M. Nell'ambito dell'invenzione, questo accoppiamento potrebbe anche essere di natura elettrostatica tra i conduttori di statore e rotore; equazioni simili sarebbero ottenute sostituendo il coefficiente M il coefficiente di influenza elettrostatica tra i conduttori in questione, per la quantità Lr che, Cr, della capacità di ciascun circuito del rotore e, dopo interversion tra Ls e Cs. In questo caso Vr (Equazione 7) rappresenta la caduta di tensione ai capi della capacità del rotore.
La macchina della presente invenzione è anche in grado di operare come generatore, come si vedrà in seguito. Alcune realizzazioni della struttura della macchina di questa invenzione sarà dato qui.

Fig. 5 mostra una modifica prima di questa struttura composta da uno statore in base allo schema di filtro passa-basso di Fig. 2. Il rotore è a gabbia di scoiattolo, i numeri di riferimento 32 e 33 sono i bar e i volti di fine. Nell'operazione, è guidato da un rotore (non mostrato) che esso ruota nella direzione della freccia sull'asse X che è comune al rotore e lo statore della macchina. Una fonte di tensione alternata 40 viene applicata all'ingresso 14 dello statore e applicato all'uscita 15 è un carico 36, l'impedenza che è uguale all'impedenza caratteristica della linea di cui lo statore è la parte. In questa disposizione di rivoluzione attorno all'asse X, una zona di disaccoppiamento 30 separa l'ingresso e l'uscita dello statore. Ulteriormente, in questa zona e al fine di evitare qualsiasi rischio di accoppiamento tra ingresso e uscita dello statore da circuiti del rotore, c'è fornito qualsiasi dispositivo di smorzamento considerato necessario, un'esempio di cui è riportata qui sotto.
I diversi elementi del filtro che costituiscono lo statore sono smorzati da resistenze 16 e 18 che sono collegato come mostrato nella figura tra gli avvolgimenti 11 e 13 il conduttore comune ai morsetti dei condensatori 17 e 19.
Tale macchina opera come un amplificatore del segnale applicato all'ingresso dello statore con un guadagno che è dell'ordine di 40 db nell'esempio numerico dato sopra. Tali macchine possono essere utilizzate come fonti di approvvigionamento per vibratori ad alta potenza per il collaudo di apparecchiature industriali di tutti i generi. Essi hanno il vantaggio sopra attualmente noti impianti di questo tipo di evitare i bordi d'attacco ripidi e le alte frequenze che risultano nel loro spettro. Potenze di uscita massima di 100 kW possono essere ottenute con 10 watt applicato all'ingresso, con frequenze che variano fino a 50 kHz. La stessa macchina può essere utilizzata come un amplificatore ad alta potenza nelle trasmissioni radiofoniche.

Fig.7 e Fig.8 dare due altre modifiche della disposizione dei circuiti

In Fig.7, 110 e 112 designare le due parti costituenti le induttanze associate a ciascuno dei poli dello statore 10, 210 e 212 e le parti delle induttanze di ciascun polo del rotore 20. In entrambi Fig.7 e Fig.8, 25 è un conduttore comune e 26 indica tutti gli elementi associati a ciascun polo del rotore. Nella modifica di Fig.8, un esempio è dato della costruzione del dispositivo di smorzamento 31 nella zona 30. Una guida 38 è a massa attraverso il resistore 37 e attraverso un contatto (non mostrato) dei circuiti del rotore lungo questo binario 38 quando passano attraverso la zona 30.
La stessa macchina è in grado di operare come generatore (Fig.6 e Fig.9).

Fig.6 rappresenta una macchina il cui statore è collegato come un filtro passa-alto: ogni polo avvolgimento è collegato ad una estremità al conduttore comune 13 ed all'altra estremità di due condensatori 12, come mostrato sopra. Il filtro così costruito ha una velocità di fase che varia molto rapidamente con la frequenza e nella direzione opposta a quella del flusso di energia elettrica (onda inversa). Il rotore ha una velocità piuttosto vicino a quello della velocità di fase mentre l'energia rifluisce al carico 36 nella direzione opposta. Il lato a monte (per l'energia) del filtro termina l'impedenza caratteristica del filtro 42. Un generatore si ottiene in questo modo con una frequenza che è determinato all'interno di una banda larga dalla velocità di rotazione del rotore. Nell'esempio illustrato nella figura, il rotore ha una struttura a gabbia di scoiattolo.

La macchina di Fig.9 differisce da quella di figura 6 con l'aggiunta di condensatori supplementari 120 disposti in parallelo con le induttanze 11. Il circuito così ottenuto è un inverso onda filtro passa-banda. La larghezza della banda passante è determinata dai valori dei rispettivi condensatori 12 e 120. La velocità di fase rimane rapidamente variabile in funzione della frequenza. La macchina funziona da generatore, la cui frequenza, dipende solo leggermente sulla velocità di rotazione del rotore.
Non tutti i sistemi a movimento pulsato utilizzano magneti permanenti come parte del loro meccanismo di azionamento. Ad esempio, il RotoVerter, progettato da Hector D Peres Torres di Puerto Rico, e che è stata riprodotta da numerosi ricercatori indipendenti, producendo potenza di uscita di almeno 10 volte superiore alla potenza in ingresso, utilizza standard trifase motori elettrici al posto dei magneti.
Questo sistema è stato riprodotto da diversi ricercatori indipendenti e produce un considerevole potenza quando guida dispositivi che necessitano di un motore elettrico di funzionare. In questo momento, il sito web:
http://panacea-bocaf.org/rotoverter.htm ha notevoli dettagli su come costruire il dispositivo così come la http://www.scribd.com/doc/2965018/HighEfficiencyForElectricMotors e la
http://www.scribd.com/doc/26347817/RV-Energy-Saving-X documenti. I dettagli di struttura sono i seguenti:

Il dispositivo di uscita è un alternatore che è azionato da un rete trifase alimentato, 3 HP a 7,5 HP motore (entrambi questi dispositivi possono essere standard 'asincrono a gabbia' motori). Il motore viene utilizzato in un grande modo non standard. È un motore 240V con sei avvolgimenti come mostrato sotto. Questi avvolgimenti sono collegati in serie per fare un accordo che dovrebbe richiedere 480 volts per esso, ma invece, viene alimentato con 120 volt di monofase AC. La tensione di ingresso per il motore, dovrebbe essere sempre un quarto della sua tensione nominale d'impiego. Una terza fase virtuale viene creata utilizzando un condensatore che crea un 90 gradi sfasamento tra la tensione e la corrente applicata.

L'obiettivo è quello di ottimizzare gli avvolgimenti del motore per garantire un funzionamento risonante. Un condensatore di avviamento è collegato al circuito utilizzando l'interruttore a pulsante come mostrato, per ottenere il motore fino alla velocità, il punto in cui l'interruttore viene rilasciato, consentendo al motore di funzionare con un condensatore in posizione molto più piccolo. Sebbene il condensatore di marcia è mostrata come valore fisso, in pratica, tale condensatore deve essere regolato mentre il motore è in funzione, per garantire un funzionamento risonante. Per questo, un banco di condensatori viene solitamente realizzato, ogni condensatore con la propria Acceso / Spento, in modo che diverse combinazioni di chiusure interruttore fornire una gamma di differenti valori complessivi di capacitanza. Con i sei condensatori mostrato sopra, qualsiasi valore da 0,5 a 31,5 microfarad microfarad può essere rapidamente commutato per trovare il valore corretto risonante. Questi valori consentono valori combinati di 0,5, 1.0, 1.5, 2.0, 2.5, 3.0, 3.5, ....., selezionando le opzioni appropriate per essere Acceso o Spento. Se avete bisogno di un valore più grande di questo, quindi collegare un condensatore 32 microfarad in posizione e collegare il box di sostituzione attraverso di esso per verificare i valori più alto passo passo per trovare il valore ottimale del condensatore da utilizzare. I condensatori devono essere potenti, unità riempiti d'olio con una tensione alta - in altre parole, grandi, pesanti e costosi. La potenza gestita in uno di questi sistemi è grande e impostarne uno non è senza un certo grado di pericolo fisico. Questi sistemi sono stati impostati per essere auto-alimentato, ma non è consigliabile, presumibilmente a causa della possibilità di fuga con la potenza di uscita creata rapidamente e l'aumento la potenza di ingresso fino a quando il motore si brucia.
Il Gruppo Yahoo EVGRAY a http://groups.yahoo.com/group/EVGRAY ha un gran numero di membri, molti dei quali sono molto disposti ad offrire consulenza e assistenza. Un gergo unica ha costruito su questo forum, in cui il motore non viene chiamato un motore, ma è indicato come un "primo motore" o "PM" per il breve, che può causare confusione "PM" è l'acronimo di solito per "magnete permanente" . RotoVerter è abbreviato in "RV", mentre "DCPMRV" sta per "RotoVerter corrente continuo a magneti permanenti" e "trafo" è un non-standard di abbreviazione di "trasformatore". Alcuni dei messaggi di questo gruppo può essere difficile da comprendere a causa della loro natura altamente tecnica e l'ampio uso di abbreviazioni, ma un aiuto è sempre disponibile qui.
Per spostarsi alcuni dettagli costruttivi più pratici per questo sistema. Il motore (e alternatore), considerato il migliore per questa applicazione è il "Baldor EM3770T" 7.5 unità di potenza. Il numero specifica è 07H002X790, e si trova a 230/460 volt 60 Hz 3 fasi, 19/9.5 amp, 1770 giri, fattore di potenza 81, dispositivo.
Il sito Baldor è www.baldor.com i seguenti dettagli devono essere considerati attentamente prima di provare qualsiasi adattamento di un motore costoso. Le fotografie seguenti costruttive sono presentati qui per gentile concessione del Gruppo Ashweth EVGRAY.
La piastra di estremità del motore di azionamento deve essere rimosso e il rotore sollevato fuori. Considerevole attenzione è necessaria quando si fa questo come il rotore è pesante e non deve essere trascinato attraverso gli avvolgimenti dello statore perché che li danneggia.

La seconda piastra terminale viene quindi rimosso e posizionato sul lato opposto del corpo statore:

Il ventilatore viene rimossa in quanto non è necessario e
provoca solo resistenza inutile, e il rotore è inserito il tutto opposta modo per il modo è stato rimosso. Cioè, l'alloggiamento è il contrario rispetto al rotore, poiché il rotore è stato ruotato di 180 °
prima di essere sostituita. La stessa parte dell'albero del rotore passa attraverso la piastra terminale come prima, come le piastre terminali sono stati scambiati. Le piastre di estremità sono avvitati in posizione e l'albero rotore filato per confermare che ruoti ancora liberamente come prima.
Per
ridurre l'attrito al minimo, i cuscinetti del motore devono essere puliti a un livello eccezionale. Ci sono vari modi per farlo. Uno dei migliori è quello di utilizzare uno spray pulitore del carburatore dal vostro negozio locale accessori auto. Spruzzare all'interno dei cuscinetti per lavare tutto il grasso accumulato.
Lo spray a spruzzo evapora se lasciato per qualche minuto. Ripetere l'operazione finché l'albero gira perfettamente, poi mettere una (e solo uno) goccia di olio leggero su ogni cuscinetto e non usare WD40 in quanto lascia una pellicola residuo. Il risultato dovrebbe essere un albero che gira assolutamente perfetto.
Il
passo successivo consiste nel collegare gli avvolgimenti delle due unità. Il motore (il "primo motore") è stato cablato per 480 volt. Questo viene fatto collegando terminali dell'avvolgimento 4-7, 5-8 e 6-9, come mostrato di seguito. Il diagramma mostra 120 volt CA
come l'alimentazione. Questo perché il progetto RotoVerter fa funzionare il motore con un ingresso molto inferiore rispetto a ciò che intendevano i
creatori del motore. Se questo motore sono stati operati nel modo standard, a 480 volt a 3 fasi di alimentazione potrebbe essere collegata ai morsetti 1, 2 e 3 e non ci sarebbero condensatori nel circuito.

Si suggerisce che il ponticello cavi agli avvolgimenti del motore è fatto più ordinatamente rimuovendo il coperchio della scatola di giunzione e la perforazione per svolgere le connessioni esterne ai connettori esterni, ponticellato ordinatamente per mostrare chiaramente come i collegamenti sono stati effettuati per ogni unità, e per consentire facili modifiche dovrebbe essere deciso di modificare la permutazione per qualsiasi motivo.


Lo stesso avviene per l'unità che deve essere utilizzato come alternatore. Per aumentare il tiraggio corrente consentita, gli avvolgimenti unità sono collegate a dare la bassa tensione con gli avvolgimenti collegati in parallelo, come mostrato di seguito con terminali 4,5 e 6 legati insieme, 1 connesso a 7, 2 collegata a 8 e 3 collegati a 9 . Questo dà una uscita trifase sui morsetti 1, 2 e 3. Questo può essere usato come un 3-fase di uscita AC o come tre monofase uscite AC, o come uscita CC dal cablaggio come illustrato di seguito:

Il motore e l'alternatore sono poi montati saldamente in perfetto allineamento e accoppiati. La commutazione della direzione del corpo del motore di azionamento consente a tutti i permutazione sia sullo stesso lato delle due unità quando vengono accoppiati insieme, uno di fronte all'altro:

L'unità d'ingresso sia da un inverter pilotato da una batteria carica tramite un pannello solare. Il sistema come deve essere 'sintonizzato' e testati. Si tratta di trovare il miglior condensatore di 'partenza' che sarà commutato nel circuito per alcuni secondi all'avvio, e meglio il condensatore 'esecuzione'.
Per riassumere: Questo dispositivo richiede una bassa potenza 110 Volt AC di ingresso e produce una potenza molto più elevata potenza elettrica che può essere utilizzata per alimentare carichi maggiori rispetto alla ingresso potrebbe alimentare. La potenza di uscita è molto superiore alla potenza di ingresso. Si tratta di energia libera, sotto qualsiasi nome che ti piace di applicare ad esso. Un vantaggio che va sottolineato, è che molto poco in termini di costruzione è necessario, e off-the-shelf motori sono utilizzati. Inoltre, nessuna conoscenza di elettronica è necessario, che rende questo uno dei più facili da costruire dispositivi disponibili attualmente free-energy. Un leggero svantaggio è che la messa a punto del "Prime Mover" del motore dipende dal suo carico e la maggior parte dei carichi hanno diversi livelli di fabbisogno di potenza di volta in volta. A 220 Volt AC
motore può essere utilizzato anche se è la tensione di alimentazione locale.
Se un alternatore viene azionato dal motore RotoVerter (il "primo motore"), ma anche se l'albero viene ruotato rapidamente non c'è tensione di uscita, allora è probabile che l'alternatore è seduti inutilizzato per lungo tempo e ha perso le proprietà magnetiche di cui ha bisogno allo start-up. Per risolvere questo problema, collegare ciascuno dei tre avvolgimenti di uscita, uno alla volta, attraverso una batteria per auto per circa cinque secondi per sviluppare un po 'di magnetismo e l'alternatore funziona quindi. Questa cosa è una tantum necessaria solo dopo un lungo periodo di inattività.
Non è essenziale per costruire la RotoVerter esattamente come indicato, anche se questa è la forma più comune di costruzione. Il motore Muller accennato in precedenza, può avere una uscita 35 kilowatt quando la precisione-costruiti come Bill Muller fatto. Una possibilità è quindi quello di utilizzare uno Baldor motore configurato come il "motore primo" motore e farlo guidare uno o più rotori Muller stile motore per generare la potenza di uscita:

L'uscita RotoVerter e il motore / generatore Muller uscita (ed eventualmente, l'uscita motore Adams) può essere aumentato in modo sostanziale da una tecnica sviluppata da "Kone" il moderatore del forum EVGRAY Yahoo già detto. La tecnica consiste nel posizionare un morto cortocircuito attraverso ciascuna bobina di uscita, così come il campo magnetico della bobina che raggiunge un massimo. Questo viene fatto cinque volte in rapida successione e può aumentare la potenza di uscita di un fattore stimato di 100 volte.
In superficie, sembra follia posizionare un cortocircuito attraverso la stessa uscita che si sta generando come punto per tutto l'esercizio. Tuttavia, non è così folle come sembra. Al punto di picco, la bobina stessa contiene una grande quantità di energia e quando un corto circuito è collocato attraverso di esso, il risultato è piuttosto inusuale. L'effetto di un corto circuito una bobina in ferro è stata dimostrata da Ron Pugh del Canada con una prova al banco di utilizzare questa attrezzatura

Qui, un dispositivo per misurare i campi magnetici è sensibile al campo magnetico della bobina come i magneti del rotore vanno oltre la bobina. La misurazione viene eseguita con il funzionamento della bobina normalmente e poi di nuovo, con la bobina in cortocircuito. I risultati sono mostrati in questi display dell'oscilloscopio:

Sorprendentemente, il campo magnetico viene invertito dal cortocircuito. Se si considera solo la prima metà del ciclo:

Si noterà che quando la bobina aperta ha una posizione molto forte positiva (rispetto ad un polo nord magnetico), la bobina cortocircuitato ha una lettura forte della polarità opposta. Pertanto, in un dato momento vicino al picco, vi è il potenziale per un'importante inversione magnetica se la bobina dovesse essere commutato dalla zona rossa nell'area blu e viceversa. Si potrebbe immaginare che se la bobina di corto circuito sono stati eseguiti molto rapidamente, che ci sarebbe stato un risultato simile a questo:

Tuttavia, questo non è veramente possibile con un ferro bobina in quanto non è in grado di invertire la sua magnetizzazione abbastanza rapidamente per produrre questo effetto. Bobine con nuclei di ferro potrebbe arrivare fino a 3.000 inversioni al secondo, anche se 1000 sarebbe probabilmente una cifra più realistica. Per frequenze superiori, un nucleo di ferrite può essere utilizzato e per frequenze superiori ancora ancora, un ferro-polvere epossidica-incapsulato nucleo è necessaria. Per le frequenze illimitate, aria nucleo della bobina viene utilizzato.
Nel esempio del motore RotoVerter / Muller dove Kone ha dimostrato guadagni energetici principali, la disposizione è diversa da Ron Pugh banco di prova esempio. In primo luogo, i magneti sul rotore presenti due poli alla bobina che passano, dando un pieno, uscita onda sinusoidale anche. In secondo luogo, Kone utilizza un aria nucleo della bobina e ha la commutazione veloce implementata per trarre vantaggio da questo tipo di bobina:

Questa schermata mostra esattamente lo stesso effetto con gli impulsi oscillanti precipitare esattamente dove la traccia negativo sarebbe in quel momento in ciascuno dei periodi in corto circuito. Il display mostra un 20-volt picco-picco della forma d'onda con ogni ciclo completo di un'onda sinusoidale prendendo 2 millisecondi.
Invece dell'originale aumento graduale magnetico ad un singolo picco, vi sono ora cinque inversioni molto affilati magnetici, ciascuno dei quali sono sostanzialmente più grandi che il picco originale. È la variazione del flusso magnetico nel pick-up coil che produce la potenza di uscita, in modo che possa essere visto che con questa commutazione supplementare, un massiccio aumento cambio di flusso è stato prodotto nella bobina di uscita. Tale incremento è sia una grande oscillazione magnetica e una velocità molto maggiore della variazione del flusso, e che il rotore gira ad un certo 1.800 rpm ed ha molti magneti in esso, gli aumenti complessivi potere magnetico di un fattore importante. Si noti che nelle figure seguenti prodotti dalla Kone, il magnete del rotore ha un polo Sud che raggiunge prima la bobina di
raccolta, seguito da un polo nord
che passa la bobina. Questo produce un eccellente uscita sinusoidale nella bobina.
La commutazione supplementare viene eseguita da un sistema a spazzola meccanica e di contatto e il circuito di raccolta di potenza usata per la bobina in cortocircuito è:

e quando la bobina non è
cortocircuitata, il circuito è:

Doug Konzen ha sviluppato questo circuito e condividendo con generosità i suoi risultati liberamente. Il suo sito web è a http://sites.google.com/site/alternativeworldenergy/shorting-coils-circuits e uno dei suoi circuiti pratici è:

C'è un video sul web in cui bobina-corto circuito viene utilizzato l'uscita da una replica di Motore Window John Bedini. Il
motore Window di John è un cilindro con magneti montati in essa, filate all'interno di una bobina di grandi dimensioni da un motore ad impulsi:

Il motore può essere un auto-runner, ma per la bobina-cortocircuito dimostrazione, era solo brevemente filata a mano, producendo impulsi di tensione di circa 16 volt. Quando la bobina-cortocircuito è acceso, tali impulsi aumentare di circa 440 volt, anche se la bobina cortocircuito non era ottimale i cinque volte al picco (cosa che avrebbe sollevato gli impulsi di tensione di circa 1600 volt). I display oscilloscopio del test visualizzati sul video sono:

Mi hanno detto che questa bobina-corto circuito tecnica è utilizzata nell'industria, ma si considera un 'segreto commerciale'. Dettagli di Motor Window John Bedini è disponibile sul sito:
http://www.fight-4-truth.com/Schematics.html.
Generalmente, il RotoVerter ha potenza di ingresso molto bassa quando non è caricato e una riduzione di energia del 90% sotto carico. La situazione ideale è dove vi è un carico costante mentre la sintonizzazione del RotoVerter non dipende in una certa misura sul carico. Tuttavia, le prestazioni RotoVerter può essere aumentata in modo sostanziale con le tecniche introdotte da Raoul Hatem nel 1955, che la scienza convenzionale non accetterà perché secondo la teoria corrente, qualsiasi guadagno tale energia deve essere "impossibile" e quindi, non può accadere, non importa quali prove ci sono:

La
dichiarazione eretica di Raoul Hatem è che l'utilizzo di magneti rotanti aspira energia dall'ambiente, che consente di avere un sistema COP> 1 (mai sentito parlare di sistemi di John Searle magneti rotanti?). Il suo metodo è quello di utilizzare un motore (se RotoVerter o meno) per far girare un disco pesante rotore con 36 potenti magneti in terre rare montato su di esso. Quindi, utilizzando un disco identico pesante con magneti montati su un generatore di dare un accoppiamento magnetico tra il motore e il generatore può dare non solo l'accoppiamento, ma un guadagno energetico, nonché:

Il rotore pesante fornisce qualche effetto volano che aiuta il funzionamento del sistema. Anche con un motore come mostrato sopra, vi è un guadagno di energia come dimostrato in un video dimostrativo recente di effetto http://www.youtube.com/watch?v=V-MQvzOCNSI dove un semplice sistema produce 144 watt di eccesso potenza. Tuttavia, i guadagni veramente grande si ottengono quando più generatori sono azionati da solo un motore. Incidentalmente, si può notare che ci sono due distinti sistemi di guadagno di energia che operano qui. In primo luogo, il campo magnetico rotante agisce direttamente sulle elettroni in eccesso nell'ambiente locale, trascinandoli nel sistema come il campo magnetico oscillante dell'avvolgimento secondario di un trasformatore fa. In secondo luogo, i rotori stanno ricevendo un flusso rapido di impulsi di comando, e come Chas Campbell ha dimostrato, che trae energia in eccesso dal campo gravitazionale.
In ogni caso, si noterà che i potenti magneti utilizzati hanno i loro poli del Nord verso l'esterno da un rotore, mentre il rotore adiacente ha verso l'esterno del Sud pali. L'attrazione molto forte tra questi poli opposti causare il disco generatore di ruotare in fase con il disco motore. Questo processo permette molti generatori di essere guidato da uno solo motore come mostrato qui e nella foto sopra:

Per facilità di disegno, il diagramma qui sopra mostra solo otto magneti per disco rotore, ma si noterà nella foto (e nel video) che ci sono tre file di gradini magneti su ogni rotore:

Si noterà anche che la direzione del passo viene invertita ogni secondo disco rotore in modo che i magneti per abbinare l'altro in posizione mentre ruotano in direzioni opposte.
Mentre questo tipo di accordo dà un notevole aumento della potenza di uscita rispetto alla potenza in ingresso, la situazione può essere ulteriormente migliorata recuperando una parte della potenza di ingresso per mezzo di circuiti elettronici, e sia Phil ood e Kousoulides David hanno gentilmente condiviso i loro metodi per fare questo.
Lawrence ha presentato la sua teoria di lead-out energia che indica che l'energia in eccesso viene prelevata dall'ambiente quando vi è un impatto. Il metodo di produzione di questo effetto che ha seguito è quello di creare una ruota sbilanciata e dimostrare che l'energia in eccesso viene prodotta. Va sottolineato che l'energia non viene creato o distrutto e così, quando si misura più energia nel suo dispositivo di energia che utilizza per alimentarlo, l'energia non viene creata ma invece, viene aspirata dall'ambiente locale. Lawrence ha recentemente dimostrato un prototipo per i membri del pubblico:

Questo semplice dispositivo è stato dimostrato di avere 3,3 volte la potenza di uscita tanto quanto la potenza in ingresso necessaria per farlo funzionare. Si tratta di un primo prototipo che è stato dimostrato nel mese di ottobre 2009 e Lawrence ei suoi aiutanti stanno lavorando per la produzione di modelli più avanzati che hanno eccesso di kilowatt di energia elettrica.
Mr Tseung osservazioni:. "La teoria d'energia
lead-out di Lee-Tseung è stato reso noto al mondo il 20 dicembre 2004 Tai Po, a Hong Kong, la teoria d'energia lead-out in pratica dice che si può portare
fuori (o portare dentro) energia dall'ambiente circostante con un dispositivo lead-out energy. L'energia totale di ingresso è pari alla somma dell'energia fornita più il lead-out energetico. Ad esempio, se l'energia fornita è di 100 unità e il lead-out energia è di 50 unità, l'energia totale di ingresso del dispositivo sarà di 150 unità. Ciò significa che l'energia di uscita può essere più che l'energia fornita di 100 unità fornite dalla persona che utilizza il dispositivo.
Se ignoriamo la piccola perdita di energia causata da meno del 100% di efficienza del dispositivo stesso, allora l'energia di uscita sarà l'insieme delle 150 unità. Se usiamo 50 unità di energia di uscita e di feed back 100 delle unità di uscita, come l'energia fornita, quindi, che l'energia può ancora inserito lead-out altri 50 unità di energia di uscita superiore per noi da usare. Così un lead-out Energy Machine in modo continuo la lead-out privo di inquinamento, energia praticamente inesauribile e prontamente disponibili per noi da usare. Non abbiamo bisogno di bruciare qualsiasi combustibile fossile o di inquinare il nostro ambiente. I due esempi di lead-out energia che l'accesso sono l'energia gravitazionale e Electron-Motion.
Il lead-out teoria energetica non viola la legge di conservazione dell'energia. La legge di conservazione dell'energia è stato usato come un posto di blocco per i cosiddetti "Overunity" dispositivi. Gli uffici dei brevetti e la creazione scientifica di routine respingere un'invenzione come appartenenti al impossibile "moto perpetuo" categoria se l'inventore non è in grado di identificare la fonte di energia della sua invenzione.
Abbiamo ottenuto l'aiuto di Mr. Tong Po Chi per produrre un
dispositivo d'energia lead-out di 60 cm di diametro nel mese di ottobre 2009. L'energia in uscita del dispositivo è maggiore dell'energia in ingresso di un fattore di 3 volte. Questi risultati sono confermati da voltmetri e amperometri di misura di ingresso e le energie di uscita. La ruota Tong è stato dimostrato in due spettacoli aperti a Hong Kong (Inno Carnevale 2009 e Inno Design Tech Expo) nel mese di novembre e dicembre 2009. Più di 25.000 persone hanno visto. Il meglio di Hong Kong Radio Show è il video ha registrato, il dibattito in corso in cinese. A questo punto, la ruota Tong è presso lo Studio Radio disponibile per gli esperti da vedere e esaminare con i propri strumenti".
La ruota Tong ha un diametro di 600 mm e la dimensione grande viene considerato importante. Ha 16 magneti permanenti montati sul cerchio 15 e aria-core bobine montate intorno sullo statore. Vi è un sensore di posizione. Le bobine possono essere attivati per agire come bobine di azionamento o come bobine di raccolta di energia:

Con questa disposizione, se le posizioni degli interruttori come mostrato per dieci dei quindici bobine mostrate qui, quindi agiscono come bobine di azionamento. Il sensore è regolato in modo che il circuito di comando fornisce un breve impulso di eccitazione a tali bobine subito dopo i magneti hanno superato la loro esatta posizione di allineamento con le bobine. Ciò induce a generare un campo magnetico che respinge i magneti, spingendo il rotore a girare.
L'impulso è molto breve, in modo è necessario molto poca energia per raggiungere questo pulsante. Come menzionato prima, un qualsiasi numero di spire può essere commutato per fornire questa forza motrice. Con questa costruzione particolare ruota sig Tong, il numero migliore è stato trovato per essere dieci bobine di azionamento.
La potenza pick-up viene ottenuto raccogliendo l'elettricità generata in alcune delle bobine come i magneti muovono oltre loro:

In questa particolare disposizione, cinque delle bobine di raccolgono energia mentre dieci forniscono l'unità. Per semplicità, il diagramma mostra le cinque bobine insieme adiacente a vicenda e mentre che avrebbe funzionato, la ruota è bilanciata meglio se le bobine in auto sono distanziate uniformemente attorno al bordo. Per questo, l'alternanza dovrebbe in realtà
essere selezionato per dare cinque set di due bobine d'azionamento seguite da una bobina di raccolta di energia perché dà una spinta perfettamente bilanciata sulla ruota.
I due diagrammi sopra sono mostrati separatamente al fine di rendere chiaro come sono organizzate la commutazione d'azionamento e la commutazione della raccolta d'alimentazione. La disposizione di progettazione completa e bilanciata di commutazione sono mostrati nel diagramma seguente che indica come il design completo è implementato su questa particolare implementazione del design della ruota. Il sensore può essere una bobina di un circuito di commutazione dei semiconduttori di alimentazione, oppure può essere un semiconduttore magnetico chiamato un dispositivo a effetto Hall che può anche alimentare un circuito semiconduttore. Un'alternativa sarebbe un interruttore reed, che è un semplice interruttore meccanico racchiuso in un gas inerte all'interno di un involucro di vetro molto piccolo. Circuiti di commutazione adatti sono descritto e spiegati nel capitolo 12 di questo eBook.

Mr Tseung osserva che la dimensione grande della ruota è dovuto al fatto che la forza d'impulso richiede tempo per impartire l'impulso alla ruota e
energia lead-out dall'ambiente nel sistema. Se volete vedere questo ruota stessa, è possibile inviare il Dr. Alexandra Yuan a ayuan@hkstar.com per fissare un appuntamento. La ruota Tong si trova presso lo studio di Hong Kong meglio Radio a Causeway Bay, Hong Kong. Basta dire che si desidera vedere il lead-out Energy Machine. La dimostrazione può essere in inglese o in cinese. Idealmente, ci dovrebbe essere un gruppo di almeno sei i visitatori con uno o più di essere un tecnico qualificato o uno scienziato, e si sono invitati a portare le vostre macchine fotografiche personali e / o attrezzature di prova. Si prevede di produrre una versione che ha una potenza da 300 watt, e un altro con un uscita 5 kilowatt. Kit educativi Sono inoltre previsti.
Se si decide di replicare questo particolare design, quindi per aumentare il livello di potenza di uscita si potrebbe valutare l'ipotesi di un altro set di bobine intorno alla ruota e sia usando come quindici energia supplementare bobine di raccolta o, in alternativa, che pulsa la ruota due volte più spesso. Aggiungendo uno o più dischi aggiuntivi rotore sullo stesso albero rotante è anche una opzione e che ha il vantaggio di aumentare il peso del rotore e migliorare l'effetto degli impulsi sul rotore.
Il diametro del filo utilizzato per avvolgere le bobine è una scelta progettuale che ha un ampio campo di applicazione. Più spesso è il filo, maggiore è la corrente e il più grande l'impulso dato alla ruota. Le bobine sono normalmente collegati in parallelo, come mostrato negli schemi.
A causa del modo intensità di campo magnetico cade con il quadrato della distanza, è generalmente buona pratica di progettazione per rendere le bobine una volta e mezzo larghi come sono profonde, come indicato negli schemi di cui sopra, ma questo non è un fattore critico. Questo design è, ovviamente, una versione del motore Adams descritto all'inizio di questo capitolo. Anche se i motori di questo tipo può essere costruito in molti modi diversi, la costruzione utilizzata dal sig Tong ha alcuni distinti vantaggi, ecco dettaglio in più su come ho capito la costruzione da realizzare.


Ci sono due pezzi laterali che sono legati insieme da sedici croce in legno, ognuno dei quali vengono tenuti in posizione da due viti a ciascuna estremità. Questo produce una struttura rigida, mentre il metodo di costruzione è così semplice come è possibile, utilizzando materiali facilmente reperibili che vengono lavorati con i più elementari strumenti della mano. La costruzione, inoltre, consente al motore di essere smontato completamente senza alcuna difficoltà, trasportato come un pacchetto flat e poi assemblato in un nuovo percorso. Agevola anche le persone che vogliono vedere il motore smontato dopo una dimostrazione al fine di assicurare loro che non c'è nessuna fonte di energia nascosta.
Ciascuno delle croci in legno forniscono una piattaforma di montaggio sicuro per un elettromagnete e interruttore è associata. Nell'implementazione di Signor Tong, ci sembra essere solo un rotore, configurato come sopra indicato con sedici magneti permanenti montati a bordo di esso. I poli magnetici di questi magneti sono tutti orientati nella stessa direzione. Vale a dire, i poli magnetici rivolto verso l'esterno sono tutti o sud o poli nord tutti. Non è fondamentale se i poli rivolti verso l'esterno sono Nord o sud come Robert Adams usato entrambi accordi con grande successo, ma detto questo, la maggior parte delle persone preferiscono avere i poli nord rivolto verso l'esterno.
Robert ha sempre detto che un rotore era abbastanza, ma sue tecniche erano così sofisticate che egli era in grado di estrarre kilowatt di potenza in eccesso da un singolo rotore piccolo. Per noi, appena iniziando a sperimentare e testare un motore di questo tipo, sembra ragionevole attenersi con ciò signor Tong ha sperimentato con successo. Tuttavia, questo costruito da signor Tong non è suo motore finale ma solo uno di una serie di motori continuamente migliorati.
Il seguente diagramma mostra una disposizione che ha tre rotori associate a un unico albero e mentre si può scegliere di costruire questo con un solo rotore, se le croci in legno sono abbastanza lunghe, quindi uno o due rotori extra possono essere aggiunto molto facilmente in una data successiva.

Qui, solo due dei legnami di orizzontali sono mostrati. Le bobine di elettromagnete utilizzate dal signor Tong sono del tipo nucleo ad aria perché hanno meno effetto sui magneti che passano. Tuttavia, gli elettromagneti con nuclei tendono ad essere molto più potenti per qualsiasi dato corrente che fluisce attraverso di loro. In teoria, il nucleo occorre delle lunghezze di filo di ferro isolato che ridurrebbe la perdita di potenza attraverso correnti parassite che fluisce nel nucleo, ma Robert raccomanda in realtà nuclei solidi in metallo, e come egli era la persona più esperta in questo campo, prestando attenzione a ciò che ha detto sembra sensato.
Il materiale di base deve essere un metallo che magnetizza facilmente e potentemente, ma che non conserva alcuna del suo magnetismo quando la corrente smette di fluire. Non molti metalli hanno quelle caratteristiche e ferro dolce è di solito raccomandato. Al giorno d'oggi, non sono sempre facilmente disponibile il ferro dolce e così una comoda alternativa è il bullone centrale di un ancoraggio di muratura che ha ottime proprietà:

L'albero del bullone può essere facilmente tagliato con un seghetto, ma essere sicuri di rimuovere (o limare in giù) la testa del bullone come l'aumento del diametro ha un marcato effetto sulle proprietà magnetiche del nucleo elettromagnete se è lasciato in luogo. Il bullone sopra indicato è un M16 x 147 mm bullone di ancoraggio di muratura con un diametro del bullone di 10 mm. Alcun tipi di pennarelli di feltro bianco ad inchiostro secco hanno un corpo rigido che si inserisce il bullone da 10 mm esattamente e forniscono un'eccellente tubo per costruire una bobina dell'elettromagnete.
Con un nucleo in elettromagneti, il rotore ottiene ulteriore potere rotante. Inizialmente, i magneti sul rotore sono attratti ai nuclei elettromagnete, dando il rotore una forza di rotazione che non richiede alcuna corrente per essere forniti. Quando i magneti del rotore sono al loro punto più vicino ai nuclei elettromagnete, gli avvolgimenti sono alimentati fino brevemente e che dà i magneti di rotore una forte spinta via, causando il rotore a girare.
Ci sono molti disegni differenti di circuiti di azionamento semplice e probabilmente vale la pena di provare diversi tipi per vedere quale funziona meglio con la tua costruzione particolare del motore. Allo stesso modo, ci sono molti tipi di circuiti di raccolta per decollare alcuni della potenza in eccesso generata. La più semplice di questi è solo un ponte di diodi, forse una batteria di alimentazione e ricarica per uso in un secondo momento. Se diventi sofisticata con il circuito di raccolta e basta togliere la potenza per un brevissimo periodo di tempo al momento giusto, il taglio della corrente, cause un impulso magnetico nella direzione inversa nell'elettromagnete di raccolta che lo induce a dare il rotore un extra autospinta-sia la raccolta della corrente e l'azionamento del
rotore in un unico pacchetto combinato.

Qui ci sono due dei circuiti più semplici possibili, uno per l'unità e uno per la raccolta di potenza. Il transistor d'azionamento del circuito è attivato da una tensione generata nella bobina grigia da un magnete di passaggio del rotore. Il transistor alimenta un grande impulso di corrente alla bobina nera, guidando il rotore sul suo cammino. Il neon e il diodo sono lì per proteggere il transistor ed un layout fisico di questo circuito potrebbe essere:

La resistenza 1K variabile è regolata per fornire le migliori prestazioni e l'interruttore è opzionale. Circuiti più avanzate, come quella di pagina 2-9 può anche essere provato e le prestazioni comparate. In generale, mi aspetterei un tre rotori versione di dare una performance migliore di una singola implementazione del rotore, ma la sperimentazione è necessaria.
Art utilizza un elettromagnete con un magnete ad anello montato sul nucleo. Quando la bobina viene pulsata in modo da aumentare il campo del magnete permanente, Art dice che il suo prototipo produce 2,9 volte l'intensità di campo del magnete permanente è da sola. Quando la bobina è pulsata nella direzione che oppone il campo del magnete permanente, il campo magnetico risultante è zero.
Questo è un cambiamento molto importante del campo magnetico che può essere utilizzato in diverse applicazioni. Uno che Art ha implementato sta usando la disposizione per alimentare un motore a gomiti. Art mostra diverse motore diverso costruisce compreso questo:

Con questa disposizione, Art afferma che il 95% della potenza del motore viene dal magnete permanente. Art, il sito è a http://www.gap-power.com/index.html Magistrale e ha una molto interessante, il video che mostra lungo tutti i dettagli a http://www.gap-power.com/videos/Full%20Length%20Video.wmv.
Nel video, Art tenta di applicare la legge Ohm nel tentativo di analizzare il funzionamento ed è perplesso quando le letture dell'oscilloscopio non corrispondono sui calcoli della legge Ohm, Pensa che ci sia una contraddizione tra l'oscilloscopio e la legge Ohm, che sottolinea più volte è una legge di natura, e conclude che uno di loro deve essere sbagliato. In realtà, non sono sbagliate perché la legge Ohm, le applica solo a flusso di corrente continua in circuiti resistivi, e Art non utilizza CC corrente costante o un carico resistivo.
Applicando brevi impulsi CC ad una bobina di filo sostanziale è l'equivalente di applicare AC a tale induttore. La legge Ohm, non si applica a causa dell'induttanza della bobina. Vi è un fattore di potenza coinvolto e back EMF impulsi di tensione, quindi le letture dell'oscilloscopio sono ciò che è necessario per calcolare l'ingresso e potenze di uscita.
Questa disposizione è quasi identico a quello utilizzato nel Flynn Charles motore a magneti descritto nel capitolo 1, e molto vicino alle tecniche utilizzate da Robert Adams in un ben regolato Adams motore, come indicato all'inizio di questo capitolo. A mio parere, l'effetto che Arthur sta sfruttando sarebbe meglio essere utilizzato se un grande bobina di raccolta è posto contro l'estremità del nucleo dell'elettromagnete e della bobina d'azionamento pulsava alla (alta) frequenza di risonanza della bobina perché riduce al minimo la potenza di ingresso e di massimizzare la potenza di uscita. Impilabile quelle unità in una banca potrebbe produrre una molto consistente produzione in eccesso elettrica. I nostri ringraziamenti sono dovuti a Art e i suoi colleghi per condividere il loro lavoro di ricerca liberamente per gli altri replicare e ulteriori progressi.
Commercialmente disponibili motori CC sono deliberatamente progettati e realizzati per avere prestazioni estremamente povera. A mio parere, la ragione di questo è che un motore elettrico da ben progettato potrebbe facilmente farla finita con la necessità per l'utilizzo di motori a combustione interna in veicoli e che non starebbe
bene alle compagnie petrolifere o ai loro proprietari, i cartelli di nuovo ordine mondiale. Peggio ancora, motori elettrici con COP > 1 aprire la strada a sistemi autoalimentati di energia libera e che non farebbe mai!!
Video di Peter Lindemann: http://www.youtube.com/watch?v=iLGuf1geOiQ è stato recentemente messo sul web e mi consiglia vivamente di guardare tutto. Ho appena visto e presenta i fatti di base molto bene. In breve profilo, motori attuali fungere sia da motore e da generatore di energia elettrica, ma sono volutamente avvolti in modo che la generazione di energia elettrica è utilizzata per contrastare la potenza di ingresso e quindi produrre un output completamente paralizzato. Durante la seconda guerra mondiale, un ingegnere tedesco ri-cablato un motore elettrico standard e ne ha fatto autoalimentato, cioè, ha funzionato e prodotto potenza meccanica di uscita, senza la necessità di potenza di ingresso una volta che fosse stato avviato. Che mostra il potenziale di un motore elettrico opportunamente costruiti con la stessa dimensione e la struttura generale di qualsiasi motore elettrico commerciale.
Presumibilmente, lo ha fatto aggiungendo spazzole extra e utilizzando alcuni degli avvolgimenti in modo generatore con la loro uscita alimentazione degli avvolgimenti di azionamento che sono disposte asimmetricamente. C'era anche un altro uomo che ha raggiunto l'auto-alimentato re-cablaggio di un motore, ma nessuno di questi uomini hanno fatto la loro conoscenza pubblica informazione.
Il lavoro con cui è stato eseguito su noi per molti decenni è ora di avvolgere il motore in modo tale per i campi magnetici interni al motore oppongono. Quando una corrente passa attraverso una bobina di filo, che immagazzina energia in bobina, e quando il flusso di corrente viene interrotto, che l'energia deve tornare dalla bobina e lo farà in direzione inversa. Questo è talvolta chiamato “back-EMF” ("Electro-Motive Force"), anche se molte persone non sono felici con quella descrizione. Tuttavia, non importa come lo chiamate, vi è energia immagazzinata nella bobina e che l'energia può essere utilizzata per fare del lavoro utile. Ma, le case automobilistiche scelgono di avvolgere il motore in modo che invece di estrarre tale potenza utile, usano per opporsi ad una parte importante della potenza in ingresso, creando un motore debole che riscalda a causa della energia sprecata.
Collaboratore "UFOpolitics" sottolinea che una deliberata mal-progettazione di motori elettrici, per gli ultimi 130 anni, è stato presentato come l'unico modo di fare e gestire tali motori. Afferma che, poiché gli avvolgimenti sono disposti in modo simmetrico, che un effetto frenante è prodotto che riduce la potenza di uscita del motore da qualcosa dal 50% al 90%. Cioè, un motore opportunamente avvolto avrebbe nulla da due a dieci volte la potenza di uscita per l'alimentazione di ingresso stessa. La mal-design garantisce che i motori di oggi sono sempre inferiore al 100% efficiente e sempre riscaldarsi quando viene eseguito. Questa mal-design è causato utilizzando avvolgimenti simmetrici nel motore.
Standard di cablaggio del motore è molto diversa e l'effetto killer è causata dalla presenza di due avvolgimenti reciprocamente affacciate, alimentati simultaneamente con correnti che scorrono in direzioni opposte. Questo causa un conflitto totale tra i campi magnetici e che distrugge l'efficienza del motore: uno sperimentatore di grande esperienza ha iniziato una discussione del forum sulla energetico-forum, sia per spiegare questo e per mostrare metodi di costruzione di nuovi e più avanzati e per rispondere alle domande e incoraggiare repliche e ulteriori sviluppi. Il forum si trova all'indirizzo: http://www.energeticforum.com/renewable-energy/11885-my-asymmetric-electrodynamic-machines.html e merita sicuramente una visita, soprattutto se sono buoni con dispositivi meccanici. Lo sperimentatore utilizza l'ID forum di "UFOpolitics" e ha prodotto un video animato, nel tentativo di spiegare i problemi di base con l'odierna corrente continua motori elettrici: http://www.youtube.com/watch?v=Mj4rV0AoI-Q&feature=channel&list=UL. Egli fa notare che un problema di avvolgimento nella norma motore CC è simile al seguente:

La corrente di ingresso per ogni avvolgimento è alimentato attraverso una singola coppia di contatti spazzole. La potenza elettrica generata "Ec" non viene estratto ed è costretto ad opporsi l'assorbimento di energia "Ea", lasciando solo una frazione della potenza di ingresso per eseguire effettivamente il motore. E 'probabile che un motore di questo tipo vengono utilizzate solo il 25% del suo potenziale rendimento.
"UFOpolitics" ha prodotto e dimostrato un modo semplice per superare questo problema durante l'utilizzo degli attuali motori abitazioni, magneti e contatti spazzole. Lo fa estraendo la potenza elettrica generata come uscita utile e così impedire che la potenza utile in uso contro il funzionamento del motore. Per implementare questo, aggiunge un'ulteriore coppia di spazzole e riavvolge le bobine del motore come questo:

Qui, una coppia di spazzole è in alto e una coppia sul fondo del 'armatura' (il bit che ruota all'interno della carcassa del motore e fornisce l'uscita di potenza meccanica). Le bobine vengono riavvolti per formare una serie di distinte bobine verticali, la connessione a un terminale spazzola nella parte superiore e un terminale spazzola in basso come mostrato sopra.
La potenza di ingresso è tra i terminali sulla sinistra e fluisce attraverso la bobina mostrata in marrone. Il flusso di corrente genera un campo magnetico, provocando la rotazione a causa dei magneti permanenti contrassegnati "N" (per un magnete che ha il polo nord rivolto verso le bobine) e "S" (per un magnete che ha il polo sud rivolto verso le bobine). Il nero zig-zag rappresenta la resistenza al flusso di corrente del filo e contatti pennello.
La bobina mostrata in verde a destra rappresenta quella stessa bobina in un secondo momento, quando è stata scollegata dalla rete elettrica e ruotata fino a raggiungere quella posizione, a questo punto, l'energia immagazzinata viene tolto da una via di uscita utile la coppia destra di spazzole. Tuttavia, questo è solo uno schema esplicativo e non mostra il fatto molto importante che la bobina di scarico non devono essere direttamente di fronte a una bobina di eccitazione, perché se lo fa, allora la scarica energetica creerebbe un campo magnetico che potrebbe interferire con il campo magnetico della bobina di guida e creare un problema importante.
Allora, per dire ancora, che qualsiasi bobina viene alimentata sul lato sinistro per fare girare l'armatura e fornire l'albero di uscita con la potenza di rotazione ("torque"). Poi che la rotazione della bobina che si disconnette dalla potenza in ingresso, lasciando la bobina carica di energia che non ha dove andare. Tale bobina carica continua tutto fino a raggiungere la seconda serie di spazzole, che gli consentono di scaricarsi attraverso un carico e di fare un lavoro utile.
La parte veramente intelligente della adattamento del motore si vede meglio da sopra il rotore verticale. Se, ad esempio, si dovesse prendere un cinque poli motore CC a parte e rimuovere gli avvolgimenti, l'albero e armatura del corpo potrebbe essere simile a questo:

Quando si effettua un rotore con un'avvolgimento asimmetrico , gli avvolgimenti andare così.

L'inizio del filo è fissato alla parte superiore verso il basso e quindi alimentata attraverso l'apertura "A" e indietro attraverso l'apertura "B". Per la piccola Radio Shack motore, questo avvolgimento sarebbero 25 giri di filo # 30 AWG (descritto come filo Radio Shack 'rosso', con un filo di rame del diametro di 0,255 mm). Se si riavvolge una armatura del motore, vi preghiamo di comprendere che ogni spira deve essere tesa al fine di rendere una stretta, bobina solido e robusto che non vibra eccessivamente quando l'armatura è in rotazione.
L'estremità del filo marcato "FINITURA" non viene tagliato, ma viene tirato giù attraverso l'apertura "A" e questa volta, attraverso l'apertura "C". Per chiarezza, tali spire continue vengono visualizzati in un colore diverso, ma si rende conto che è lo stesso filamento singolo di filo utilizzato durante:

La spira finale scende attraverso l'apertura "A" e termina all'altra estremità del corpo dell'armatura. In tali viste, il filo scorre giù nella carta, ogni volta formando un cilindro. Questo punto di vista può dare un quadro più visiva di ciò che le bobine sono avvolte su:

Il passo successivo è quello di collegare il filo di INIZIO e FINITURA estremità di questa forma di V doppia batteria al "collettore" anelli che permettono di corrente per essere passato attraverso la bobina proprio al momento giusto. Rivisto da una estremità dell'armatura, le connessioni sono come questo:

Gli anelli collettore antiscivolo sono collegati ulteriormente sull'albero motore e l'inizio del filo dell'avvolgimento (mostrato precedentemente in verde scuro) è collegato al settore collettore superiore nella posizione mostrata qui. La fine finitura del filo è collegato al settore commutatore corrispondente all'estremità dell'albero - che è, il settore direttamente in linea con il settore superiore appena collegato l'inizio del filo.
Questo completa la prima delle cinque identiche a V bobine. La bobina successiva è avvolta nello stesso modo. L'armatura è ruotata di un settore in senso antiorario in modo che il settore "D" sostituisce "A" in alto e la bobina successiva è avvolta con il filo partendo dall'alto e scendendo attraverso l'apertura "D" e attraverso l'apertura "E" , ripetendo lo stesso numero di giri, e quindi, senza tagliare il filo viene avvolto il successivo insieme di fili scendere, attraverso l'apertura "D" e risalire attraverso l'apertura "F". L'inizio del filo viene quindi collegato al commutatore settore che si estende fra le aperture "A" e "E" e l'estremità collegata al settore commutatore corrispondente all'altra estremità dell'albero ..
Per ciascuno dei rimanenti tre avvolgimenti, l'albero viene ruotato di una posizione in senso antiorario e la stessa procedura di avvolgimento e collegamento effettuato. Una volta completato, non importa quale è posta un'apertura nella parte superiore della vista lungo l'albero, gli avvolgimenti e settore commutatore per collegamenti a filo sarà identico.
Motori Che Hanno 3 Poli
La disposizione di avvolgimento è leggermente diverso per motori che hanno tre poli (o multipli di tre poli come 6, 9, 12, pali ecc). Per il semplice 3 poli motori, l'armatura è simile al seguente:

e con questo stile di armatura, il filo è avvolto intorno ai tre bracci, così:

E come prima, i settori commutatore in alto sono duplicate in basso, consentendo di ingresso separato e circuiti di uscita per ciascuna delle tre bobine. Gli avvolgimenti sono molti giri, riempiendo lo spazio disponibile e ogni avvolgimento è collegato al settore slip ring direttamente opposto, così:

L'INIZIO di ogni avvolgimento è collegato al settore del collettore rotante commutatore nella parte superiore dell'armatura e il FINITURA è collegato al
collettore rotante
del settore direttamente sotto di esso, che è il settore che è allo stesso angolo come quello superiore dove la INIZIO del filo è collegato. Ciò consente alle spazzole che premono contro i settori del collettore rotante a connettersi a entrambe le estremità di ciascuna bobina a sua volta come l'armatura ruota. I motori a tre poli sono particolarmente potenti e motori con sei poli possono essere riavvolti con coppie di settori adiacenti amalgamati per dare tre settori più grandi. Motori a nove polo può avere tre settori adiacenti avvolta a bobina singola per fornire lo stesso effetto di un motore a tre poli, e motori a dodici polo può avere quattro settori adiacenti avvolta a bobina singola.
Il posizionamento delle spazzole è importante. Le modalità tripolari e cinque poli, le spazzole sono allineate con gli spazi tra i magneti che circondano l'armatura. Tuttavia, il motore ri-avvolto può essere 'sintonizzato' per aumento di potenza e azionamento corrente ridotta adattando l'alloggiamento del motore per consentire una certa regolazione della posizione della spazzola e il collettore rotante commutatore rispetto alle bobine. Questa regolazione deve essere solo leggermente perché il movimento angolare delle spazzole sarà piccolo. È, ovviamente, essenziale che le posizioni superiore ed inferiore rettificati spostare dalla stessa quantità angolare in modo che ogni settore del collettore rotante commutatore superiore rimane esattamente sopra il corrispondente settore del collettore rotante commutatore inferiore. In altre parole, il settore del collettore rotante commutatore nella parte superiore e inferiore di ogni bobina, deve essere esattamente allineati verticalmente in modo che i collegamenti elettrici sono fatti e rotti esattamente nello stesso momento.
Il collettore e il gruppo spazzola sono qui mostrate in UFOpolitics 'diagrammi:

Il contatto commutatore contrassegnato "G" (per "Generator") estrae l'energia immagazzinata in ogni bobina e lo passa ad un carico elettrico. La spazzola collettore marcata "M" (per "Motor") alimenta l'energia nella bobina dalla batteria che sta guidando il motore. Le strisce rosse e blu che circondano l'armatura sono due magneti permanenti. Il magnete in rosso ha il polo sud rivolto verso l'armatura e il magnete mostrato in blu ha il polo nord rivolto verso l'armatura. Questo crea un campo magnetico che scorre orizzontalmente attraverso l'armatura. I cinque poli disposizione è simile a questo:

"Radio Shack" è una catena di negozi in America. Nel forum, che a volte viene cambiato in "RS" e non deve essere confuso con i grandi outlet di elettronica "pezzi di ricambio Radio", la cui marchio di fabbrica è "RS". UFOpolitics ha suggerito che il buon 5 poli motore DC a disposizione da Radio Shack deve essere utilizzato dagli sperimentatori per familiarizzare con riavvolgimento bobine del motore DC. Essendo un prodotto a buon mercato, questi motori non hanno una qualità particolarmente alto, ma sono motori adatti per esperimenti. I membri del forum condividono i dettagli di come hanno affrontato adattamento di questi
motori e altri.
Devo ammettere che gli avvolgimenti del motore e il funzionamento tendono a confondermi e a volte è difficile capire che cosa 'UFOpolitics' intende quando parla di diverse strategie di avvolgimento. Tuttavia, sembra abbastanza chiaro in questa fase iniziale di sviluppo forum, che il suo obiettivo è quello di produrre due cose:
1. Un motore elettrico molto potente che può essere utilizzato in forme impegnativi di trasporto su strada, nonché per altre applicazioni pratiche, e
2. Un potente motore / generatore combinazione che può produrre utili energia elettrica generata.
Mentre 'UFOpolitics' con molta pazienza sta attraversando molte delle variazioni possibili per il modo in cui un motore a corrente continua possono essere conclusi e collegati, e mostrando vari membri del forum in cui non sono riusciti a ottenere alcuni dei loro avvolgimenti posizionato correttamente, ha anche mostrato alcuni dei modi migliori per il collegamento di un motore ri-avvolto utilizzato come un driver o un "primo motore", come alcuni preferiscono chiamarla, e un motore ri-avvolto che deve essere usato come un generatore elettrico. Egli mostra due modi importanti per rendere un efficace motore / generatore di combinazione, come illustrato di seguito:

È necessario rendersi conto che tali accordi non sono accordi convenzionali e che i motori ri-avvolti funzionano in modo diverso ai motori comprato 'disponibile immediatamente'. Per questo motivo, è necessario isolare l'uscita elettrica per impedire
che il flusso di corrente attraverso il carico comprometta il funzionamento del motore / generatore combinazione. Questo può essere fatto mettendo un diodo in ciascuna delle linee di uscita e la carica di un banco di condensatori, che viene poi utilizzato per alimentare qualsiasi carico che è alimentato. Se la mia comprensione è corretta, allora l'alimentazione l'elettricità fredda prodotta in un condensatore fa sì che la corrente elettrica convenzionale a diventare caldo. Non è chiaro se l'azione è parte di questa disposizione, anche se il circuito mostrato deve essere utilizzato. Questa è la seconda versione:

‘UFOpolitics’ commenti su tali disposizioni in quanto segue: Come abbiamo
eccitayo l'ingresso del motore, il generatore inizierà a produrre energia e che
l'energia aggiuntiva fluirà attraverso il lato di uscita del motore perché qui
sono collegati in serie. Due raddrizzatori devono essere collegati ad entrambi
i terminali di uscita, positivi e negativi, al fine di evitare il riflusso di
chiudere il circuito attraverso il carico.
Come il motore accelera, il generatore aumenta il flusso di energia che
passa poi attraverso il motore aumentando i campi di output e quando l'uscita è
caricato allora uno 'scontro diretto' di entrambe le macchine si verifica in
cui iniziano a compensare l'un l'altro attraverso i loro flussi di uscita. Si
dovrebbe comprendere che il condensatore di uscita deve essere sopraelevata in
un apposito serbatoio.
Quando si progetta un generatore per un motore asimmetrico di una specifica
macchina esistente, si deve capire che le interazioni del generatore deve
essere considerata per l'esecuzione come "Rotazione Contatore'' alla rotazione del motore originariamente
concepito per la Macchina (che è fatto facilmente, semplicemente spostando gli
angoli delle linee delle spazzole al
passaggio dello statore bisettrice all'opposto di quelle necessarie per un
motore, o, in alternativa, l'impostazione del tempo indietro). Ciò
definitivamente migliorare la rotazione assistita di entrambe le macchine
quando si è collegati insieme in questo faccia a faccia disposizione.
Come non trovo i commenti nel forum di facile comprensione, vi consiglio di visitare il forum e leggere i messaggi come si può ben capire le conversazioni meglio di me.
Sul forum, 'Sanskara316' stati "Ho ri-avvolto una piccola da 3 V a 3 poli. Ho usato un quasi morto, 6 volt al piombo-acido per alimentare il motore. Questa batteria si trova appena a circa 4 volt e se dato un carico, anche un piccolo LED, è tensione scende a 1 volt. Il motore ri-avvolto è avviato molto lentamente - a malapena la filatura, poi, dopo un paio di minuti ha iniziato a girare più velocemente, e ho notato che la tensione sulla batteria si stava lentamente salendo. Ho collegato una piccola torcia a LED sul lato di generazione e lo ha illuminato. Ora la tensione della batteria sotto carico è di circa 2 volt +. E 'in corso da un'ora ora e la macchina strilla molto. E 'condizionata la batteria e lo strumento non può essere che mostra ciò che realmente sta accadendo. Il motore assorbe 300 mA? - Non e 'possibile in quanto la batteria semplicemente non ha questo potere ". Al che 'UFOpolitics' osserva: "Beh, sono contento di aver assistito alcuni dei 'Effetti' ... questi ri-avvolti motori
ricondiziona le batterie ... Ricordate, l'energia radiante è la presa in consegna della macchina ... l'energia in modo radiante esce attraverso l'ingresso anche ... che è il motivo per cui si ottiene alta Volt-Ampere di lettura su un metro .. . questi motori utilizzano quantità molto piccole di correnti e volt. All'interno del motore, ogni bobina è essere 'auto-elettromagneticamente Pulsato' perché disconnessione automatica dalla sorgente di alimentazione, quindi la bobina successiva nella sequenza è assistito dalla prima bobina quando è ruotato nella sua posizione successiva, e così via . L'inerruttore del commutatore è diventato un 'auto-oscillatore' per ogni indipendente in assenza di tensione della bobina. "
'Prochiro' dice: "Ho anche replicato gli eventi di carica della batteria che 'Sanskara316' ha indicato. Ho iniziato con un 12-volt 4 Amp-ore batteria che avevo usato con un altro circuito due settimane fa e se non era stata ricaricata dopo averlo usato per ore. Si era ferma a 12,40 volt. Ho preso il mio migliore esecuzione di ri-avvolto motore, collegato in diretta e corse. La tensione della batteria è scesa al 12,24 volt e siamo stati in questo livello per 30 secondi. La tensione della batteria poi iniziato a salire 1/100 di volt al minuto. Quando era a 12,27 volt, ho staccato il motore (il tempo di funzionamento totale è stato di meno di 5 minuti). Ho poi lasciate riposare per cinque minuti. Al termine dei cinque minuti, la tensione della batteria è salito a 12,43 volt ed è ancora a quella tensione ora. Basti pensare che un motore più grande avrebbe fatto su un banco di batterie grande. Tutti hanno bisogno di documentare questa prova come dimostra cio 'UFOpolitics' detto. "
Nuovi motori a corrente continua, e motori particolarmente economici, avranno spazzole che non si accoppiano pulito con i settori del collettore rotante e così, quando la modifica è stata fatta, con il motore in esecuzione per qualche tempo le spazzole permette di consumarsi e che genera l'efficienza dei collegamenti elettrici che a sua volta, migliora le prestazioni del motore. Se si vuole costruire e testare uno di questi motori, allora si può trovare aiuto e supporto a tutti i forum con le risposte alle tue domande e numerosi video e fotografie da sperimentatori diversi per aiutarti.

Rob Ellis
dimostra una disposizione molto fortemente costruita, che ha un motore da 100
watt che guida un generatore da 500 watt e l'uscita

Questo è
mostrato al https://www.youtube.com/watch?v=kaDDAFu269s&feature=youtu.be
e al giorno d'oggi è uno stile popolare
In secondo
luogo, ci sembrano essere un volano su ciascuno degli alberi ingranaggi
intermedi, e se è così, allora gli effetti inerziali di quei volani disegnerà
in energia dal campo gravità circostante, migliorando le prestazioni
complessive e rendendolo una replica del design di Chas Campbell nel capitolo
4.
Tuttavia, solo perché
il motore da 100 watt è alla guida di un generatore che è valutato a 500 watt
non significa necessariamente che il motore può ancora guidare il generatore
quando l'uscita del generatore è in realtà 500-watt.
Un motore /
generatore che dimostra chiaramente che emetta potere sostanziale oltre a
generare un proprio

Io certamente
non capisco la loro dichiarazione che girare un magnete passato una bobina non
produce una forza che si oppone il magnete che passa. Tuttavia, se il video
della Corea del Sud è genuino, e certamente sembra essere, allora è un passo
più avanti incoraggiante. Questo particolare disegno ha 25 righe di 10 magneti
al neodimio filatura ultimi 250 bobine bi-filar di fili e si dimostra che
alimenta se stessa, mentre l'illuminazione 100 lampadine, alla guida di un
ventilatore e la gestione di un riscaldatore.
Questo dispositivo è stato ideato
da Michael Faraday nel 1831 e ha un metodo intrigante di funzionamento e un
uscita notevolmente grande.

Il principio di funzionamento è
incredibilmente semplice:

Se un disco di rame è ruotato in
un campo magnetico, allora il potere si sviluppa tra l'albero e il bordo
esterno (o una qualsiasi posizione intermedia). Si è quindi constatato come il
dispositivo continua a funzionare anche quando il magnete è fissato al disco di
rame e ruota con essa - non qualcosa che è intuitivamente ovvio. La potenza è
enorme con la possibilità di estrarre 1000 Ampere ma a bassa tensione inferiore
a 1 Volt. La presa di forza possono essere da una faccia del disco vicino
all'albero anziché dover avere un albero di rame solidale al disco di rame.
Questo dispositivo funziona anche con un solo magnete attaccato al disco di
rame e rotante con esso.
Questo appare come un punto di
partenza molto valida per sviluppare un dispositivo che possa funzionare e
fornire utili output aggiuntivo, dal momento che un motore per ruotare il disco
non sarà necessario qualcosa di lontanamente simile 1000A di guidarla. Il
problema è, è molto difficile fornire affidabili contatti striscianti in grado
di gestire correnti elevate per periodi di tempo prolungati. La seconda
immagine sopra mostra il disco con la sua estremità immersa in un bagno di
mercurio. Questo è sufficiente per una breve dimostrazione a bassa potenza, ma
non è realistico per un dispositivo di lavoro serio.
Potrebbe essere solo possibile
ottenere un dispositivo di lavoro ragionevole accettando che la corrente di
uscita non sta per essere qualcosa di simile 1000A. Spazzole di lunga durata
potrebbe essere fatto da barra di rame solido e molla con il disco di rame a
coppie corrispondenti in modo che le spinte pennello si oppongono l'un l'altro
e quindi non generano un carico laterale. Questi potrebbero essere realizzati
in serie multiple per ciascun disco, diciamo quattro o otto per disco, in modo
che l'effettiva resistenza elettrica tra le spazzole e il disco viene ridotta e
il possibile progetto corrente aumentata.
Simili spazzole multiple potrebbe
essere applicato al cilindro albero centrale. Dischi multipli potrebbe poi
essere montata su un non conduttore, non magnetico albero e le spazzole cablati
in serie come mostrato, per aumentare la tensione di uscita:

Tuttavia, quando questo è fatto,
la resistenza pennello è un grave problema. Nel 1987, tre della squadra di
Scienza Borderlands, Michael know, Peter Lindemann, e Chris Carson sperimentato
con questo motivo e ha scoperto che una versione molto più soddisfacente
potrebbe essere prodotto. La loro versione produce sawtooth CA invece di CC e
quindi l'uscita potrebbe essere alimentata direttamente in un trasformatore
elevatore. Loro disegno ha quattro magneti in ferrite incollati tra due dischi
metallici, e per una maggiore resistenza meccanica, filo di rame avvolto
attorno ai bordi esterni dei magneti per evitare magneti volano verso l'esterno
se il legame colla deve fallire. La loro
disposizione è così:

Questo sembra contraddire le
"leggi" di energia elettrica convenzionale, in quanto vi è una
resistenza molto bassa corto circuito direttamente attraverso le spazzole che
prelevano la tensione di uscita AC. La corrente di uscita da un piccolo prototipo
è stato stimato a 100 ampere. La frequenza della corrente alternata è
direttamente proporzionale alla velocità dell'albero del motore, ma la tensione
di uscita è quasi indipendente dalla velocità dell'albero del motore,
aumentando solo leggermente con velocità molto maggiore. Si è anche trovato che
mettere le spazzole a 90 gradi l'una dall'altra sulla parte metallica del
motore ha la stessa uscita nonostante i contatti quasi si toccano. Questo
progetto sembra avere un notevole potenziale per la costruzione in un formato
più grande e ulteriori indagini.
Mentre il funzionamento di questi
dispositivi sembra impossibile a prima vista, deve essere compreso che il rame
ha alcune caratteristiche molto insolite quando interagisce con i campi
magnetici. Questo è spiegato nella http://magnetism.vfedtec.com/SpinningCylinder.htm
sito web dove si può vedere che un cilindro di rame filatura esercita una forza
grande lateralmente su un magnete permanente posizionato vicino. Questo non avviene con cilindri filatura in metalli
altri. Paramahamsa Tewari ha ricevuto un brevetto
indiano (397/Bom/94) nel 1994 per un COP = 2.5 versione, i cui dettagli possono
essere visti in http://www.rexresearch.com/tewari/tewari.htm.
Nikola Tesla ha ulteriormente come si può vedere dalla sua
1.889 brevetto USA n ° 406968 1831 disegno di Faraday. Egli ha osservato che per ottenere qualsiasi
tipo di potere utile dal dispositivo richiederebbe un disco di rame di diametro
molto grande, o un disco che è filata molto veloce. Un grande disco di rame sarebbe un formato
scomodo, e un alto tasso di rotazione rende molto difficile ottenere una buona
durata nel tempo, contatto , scorrevole sul bordo esterno del disco. Ha anche sottolineato che corrente fluiva
dall'albero fino al bordo esterno se il campo magnetico che passa attraverso il
disco era in una direzione, ma se la direzione del campo magnetico sono stati
invertiti , allora il flusso di corrente sarebbe dal bordo esterno verso
l'interno all'albero. Lo stesso
cambiamento di direzione del flusso di corrente avviene anche se il senso di
rotazione del disco è invertita.
Utilizzando tali fatti e notevole
ingegnosità, Tesla proposto una disposizione in cui la presa di forza è
dallsasse solo in base due dischi di rame separati e campi magnetici che si
muovono in direzioni opposte. Questa disposizione ha il vantaggio che ha una
tensione di uscita che è la somma delle due tensioni separate. Questo concetto di base utilizza quattro
magneti anulari e due dischi di rame, ottone o ferro. Entrambi i dischi sono
dati una vasta flangia, come illustrato di seguito :

Il circuito mostrato qui è rotto
dalla distanza tra i dischi e Tesla trattata che utilizzando un nastro
metallico flessibile che collega i due dischi insieme:

Mentre è possibile utilizzare la
cinghia per azionare uno dei dischi, Tesla non ha utilizzato tale metodo. La cintura supera la necessità di un contatto
strisciante sul bordo esterno dei dischi e quindi entrambi contatti striscianti
sono a assi che è un posto facile avere un contatto strisciante. Tesla mostra il contatto contro l'estremità
degli assi come questo è solo un movimento rotatorio rispetto al contatto
fisso, ma anche se il contatto premerlo contro la superficie esterna del perno,
il movimento di scorrimento sarebbe ancora relativamente lenta. Nonostante questo motivo intelligente da
Tesla, non ho mai sentito di nessuno costruzione di questo tipo di generatore
nonostante le grandi correnti che essa può generare.
Uno sviluppatore che
preferisce rimanere anonimo, dice "Per le persone che hanno un interesse
per i generatori omopolari
E se ci fosse un'altra
configurazione per l'ingegneria di un generatore omopolare rispetto al metodo
standard di funzionamento di un campo magnetico parallelo a un albero rotante e
attraverso un disco rotante conduttore? Sebbene qualcuno possa aver formulato
questo tipo alternativo di generatore omopolare, non ho mai letto né sono a
conoscenza di nessuno che abbia avanzato questa idea né abbia mai costruito un
generatore omopolare menzionato di seguito. Le informazioni di progettazione
sottostanti sono informazioni di dominio pubblico e quindi chiunque è libero di
costruire un dispositivo e / o fare uso di queste informazioni come desiderano
senza richieste di royalty. In linea di principio non è più complesso
Avendo studiato alcuni dei
suddetti dispositivi di Tewari e de

A questo punto è interessante notare che l'asse funge
da magnete e poiché il polo sud è diretto fuori dalle estremità

Questa nuova disposizione apre molteplici possibilità.
Può consentire un lungo tamburo - l'aggiunta di segmenti di batteria aggiunti
di set di magneti che dovrebbero aumentare la tensione. Dovrebbe anche essere
possibile montare magneti sul tamburo che alternano i poli magnetici - in modo
comune simile a un motore comune e utilizzare il cablaggio avanti e indietro
sulle facce dei poli a voltaggi multipli, ovviamente questo non può essere
considerato omopolare ma piuttosto polipolare . La ragione per tentare questo è
aumentare la tensione al punto che non è necessario considerare le spazzole
esotiche in quanto è possibile ottenere tensioni molto più elevate.
Per chi non ha familiarità con questa forma di
generatore omopolare, la ragione per la rotazione
Mentre non ho le macchine utensili per fare un buon
generatore omopolare, sono stato in grado di fabbricare parti che ho assemblato
in un generatore di prova di concetti. Sono stato in grado di dimostrare con
soddisfazione che questo tipo tubolare di generatore omopolare funziona ma non
posso dire quanto bene. Ho motivo di pensare che dovrebbe dimostrarsi un metodo
valido come la Dinamo Faraday standard. Chiunque abbia gli strumenti è libero
di crearne uno. Mi piacerebbe conoscere l'esito


Il costruttore afferma che, a suo
parere, la tensione aumenterà se il dispositivo è costruito con un cilindro più
lungo contenente più magneti, e quindi le spazzole scorrevoli che tolgono la
corrente in uscita sono più distanti. È anche dell'avviso che, aumentando il
diametro del dispositivo, aumenterà anche la tensione di uscita. Non ha l'attrezzatura
necessaria né i finanziamenti necessari per svilupparlo ulteriormente, ma ti
invita a costruire questo progetto e ad adottare ulteriormente il design.
A mio parere, dovrebbe essere possibile usare normali magneti rettangolari
posizionati in modo che tocchino le loro estremità interne e abbiano un leggero
spazio sulla faccia superiore per tutta la loro lunghezza. Dovrebbe essere
possibile montarli saldamente su un cilindro non magnetico prima di avvolgere
il foglio di rame intorno a loro per formare il cilindro di rame del
dispositivo.
Patrick Kelly
http://www.free-energy-info.tuks.nl
http://www.free-energy-info.com
http://www.free-energy-info.co.uk
http://www.free-energy-devices.com
engpjk (at) gmail (dot) com