Una guida
pratica ai dispositivi di energia libera
Autore: Patrick J. Kelly
Capitolo 11: Altri Dispositivi e Teorie
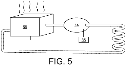
Tesla inoltre progettato un dispositivo di prelievo di energia dall'aria. Per quanto ne so, non è mai stato brevettato e non ho mai visto una specificazione della sua produzione. Forse era uno dei fallimenti di Tesla, ma personalmente, ne dubito. Si potrebbe fare un esperimento molto interessante quindi vedere quale livello di uscita può essere realizzato usando. La costruzione è mostrata qui:

È essenzialmente, un
cilindro rettangolare che contiene due elettrodi sferici come una macchina di
Wimshurst. Il cilindro è in posizione verticale, in modo che quando gli
elettrodi sono alimentati con alta tensione per creare scariche disruptive,
l'aria all'interno del cilindro è riscaldato che fa lievitare il cilindro.
L'aria riscaldata è ionizzato, così un campo magnetico generato da un
elettromagnete circostante, provoca gli ioni addebitate per spostarsi lati
opposti del cilindro. Piastre di elettrodi posizionati all'interno del
cilindro, fornisce un percorso elettrico per le cariche positive e negative in
eccesso può scorrere attraverso il carico - circuiti di illuminazione,
riscaldamento o motore tipicamente.
In superficie, il
sistema sembrerebbe essere inferiore al 100%, in quanto la quantità di potenza
applicata al dispositivo per renderlo operativo deve essere inferiore che la
quantità di potenza assorbita da esso per pilotare carichi utili. Non sono
sicuro che questo è necessariamente così. In primo luogo, l'aria già contiene
ioni con carica prima di questo dispositivo inizia a generare più. Questi ioni
presenti naturalmente guadagnare in numero quando un temporale è probabile che,
fino al punto di dare molte persone un mal di testa con la loro presenza.
Questi ioni presenti naturalmente saranno raccolti da tale dispositivo e senza
alcuna potenza di ingresso necessaria per creare loro, sono in grado di fornire
potenza di uscita.
Inoltre, tutta la
terra è immerso nel punto zero campo energetico. Si tratta di energia fermento
a livello quantistico, i cui effetti possono essere visti anche a 'zero
assoluto'. Questo campo è fatto di piccoli effetti casuali che rende difficile
ottenere energia utile direttamente da esso. Il campo deve essere strutturato
prima che l'energia si possono trarre da esso. Un modo per farlo è quello di
allineare il campo con un evento che provoca onde coerenti di energia per
irradiare verso l'esterno come onde di un 'energia radiante' - qualcosa come il
causato increspature sulla superficie di uno stagno di acqua naturale, quando
una grossa pietra è caduto verticalmente in acqua. Muoversi verso l'esterno
'onde' L'ondulazione del 'caso' fino a raggiungere la riva dello stagno. Se ci
fosse un generatore collegato a un galleggiante nello stagno, sarebbe possibile
raccogliere alcuni energia dalle increspature. Lo stesso può essere fatto con
le onde 'di energia radiante' se è possibile creare e saper scegliere l'energia
da loro.
Onde di energia
radiante può essere formato da brevi impulsi elettrici taglienti
unidirezionali. Impulsi meno di un centesimo di secondo sono adatti per questo.
Un modo di generare impulsi di questo tipo utilizza uno spinterometro. Nel
dispositivo di Tesla sopra indicato, vengono generate scintille continuamente.
Queste scintille generano onde di energia radiante irradiano perpendicolarmente
alla scintilla. Senza dubbio, il cilindro verticale, avrà una massa di energia
radiante la ripresa di esso quando viene utilizzato. Questo è in aggiunta alle
ioni dell'aria che vengono raccolti. L'unica questione è se la posizione del
disco dell'elettrodo mostrato è in grado di raccogliere tutto questo eccesso di
energia. Considerando il dispositivo metallico pick-up utilizzato da Edwin Gray
per catturare l'energia radiante come descritto di seguito, sembra molto
probabile che parte di tale energia supplementare, infatti, raccolto e
utilizzato per alimentare i carichi.
Va notato che il
dispositivo di Tesla mostrato sopra, genera radiazioni UV nello stesso modo
come qualsiasi MIG o saldatore bastone fa, per cui occorre prestare attenzione
per evitare di guardare l'arco o consentendo UV di brillare sulla pelle, anche
se la pelle è coperta da indumenti. È possibile ottenere scottature gravi con
abbigliamento leggero, se sottoposti ai raggi UV forte. Inoltre, interferenze
radio può essere generata dall'arco, quindi screening dovrebbe essere fornito
durante le prove. ATTENZIONE: Tesla
scoperto casualmente che scariche di scintille elettriche in aria, accendere e
bruciare l'ossigeno e l'azoto atmosferico, la produzione di 12 milioni onde
volt. L'ossigeno e l'azoto, sia sotto il numero atomico 19 sono così trasmutate
in alfa e beta (oneri spogliato nuclei di elio con due ciascuna carica, e con
elettroni -1 cariche ciascuna) dal potente radiazione prodotta, aventi un
potenziale di tensione di 12 MeV. Si tratta di quasi tre volte il livello Mev
di radiazione gamma emessa da radio, può ben essere la ragione per cui Tesla
non pubblicizzare il dispositivo mostrato in precedenza, e se dovessi decidere
di sperimentare con esso, si prega di essere consapevoli del potenziale
pericolo di queste radiazioni .
Una variante del
suddetto dispositivo di Tesla è riportata nella "Chimica Fisica",
libro di EA Moelwyn-Hughes, Pergamon Press, Oxford 1965, pagina 224. Rutherford
e Geiger determinato il fatto che il radio emette particelle alfa al ritmo di
34 miliardi al secondo, ciascuno avente due unità di carica positiva di 4,5
milioni di elettron-volt. Questa è una sconcertante quantità di energia che
ionizza l'aria all'interno del contenitore e produce energia sufficiente per
essere in grado di sostituire l'intera potenza Four Corners complesso
indefinitamente.

La variazione del
dispositivo Tesla mostrato sopra, supporta il contenitore con la sua testa
grammo di radio su un cinturino attraverso il fondo del contenitore. La
radiazione ionizza l'aria e il campo magnetico separa le cariche e li dirige
verso lati opposti del contenitore, per essere raccolti e utilizzati tramite le
piastre elettrodo. Non sembra essere qualsiasi ragione forti magneti permanenti
non deve essere usato al posto dell'elettromagnete CC mostrato.
Gli scienziati liberamente
riconoscere che oltre l'80% della materia e l'energia nell'universo è
"materia oscura" e "energia oscura", dove "dark"
significa solo che non possiamo facilmente vedere che sotto forma di materia ed
energia. Il altamente rispettato scienziato inglese Dr. Harold Aspden, si è
aggiudicata un brevetto per un sistema per raccogliere questa energia
direttamente. Il brevetto, che è uno dei numerosi brevetti simili inclusi in
questo eBook, è riprodotto qui:
Brevetto
GB2390941 21 Gennaio
2004 Inventore: Dr. Harold Aspden
POTENZA ELETTRICA APPARECCHIO ELETTROGENO
Astratto
Un generatore
elettrico comprende due condensatori 1 e 2, ciascuna connessione avente una
coppia di elettrodi concentrici e in serie agli induttori 3 e 4. Ogni
condensatore ha un elettrodo collegato ad una sorgente di alta tensione CC 5 e
un altro terminale collegato ad una bassa tensione o terra 6. Una uscita di
alimentazione CA può essere prodotta da terminali tra ciascun condensatore e
induttore o da un trasformatore in cui l'induttore è l'avvolgimento primario.
Produzione di energia elettrica può essere sostenuto attingendo energia dal
mezzo vuoto che circonda gli elettrodi.
Campo dell'Invenzione
Questa invenzione si
riferisce ad un nuovo e non convenzionale per la generazione di energia
elettrica. La fonte di energia è inferi quantum di spazio, il mezzo etere dello
stato di vuoto, tempo riconosciuto per la sua capacità di consentire
l'immagazzinamento di energia del campo elettrico facendo reagire come sua
carica intrinseca viene spostato, un processo compreso dai fisici con
riferimento alla ricerca risultati di Clerk Maxwell.
Sfondo dell'Invenzione
L'attuale stato
dell'arte della produzione di energia elettrica non riconosce la possibilità di
definitiva toccando energia dall'etere. Fisica è insegnato sulla base del fatto
che l'energia non può essere creata o distrutta, in quanto si conserva in tutti
i processi fisici, anche se può essere degradato nella sua utilità, dato che
dalla combustione di idrocarburi e di conversione in calore che dissipa come
per irraggiamento nello spazio . L'etere come fonte o come un assorbitore di
energia non è considerata servire qualsiasi ruolo specifico nella fisica di
distribuzione energia, essendo stato licenziato dalla considerazione invocando
il concetto di 'energia del campo' senza ammettere la realtà fisica specifica
di qualcosa in spazio che rappresenta le proprietà coinvolte.
I fisici teorici
hanno, però venuto il sospetto che lo spazio privo di materia è comunque un
mare ribollente di attività soggetta a fluttuazioni energetiche sporadici che
possono creare coppie elettrone-positrone che esistono un attimo prima di
decadere nuovamente dentro il loro mondo sotterraneo quantistica. Eppure quei
fisici stessi negano ogni possibilità che questa risorsa energetica dello
spazio stesso può essere sfruttata per fornire energia utile su una scala
abbastanza grande da competere con il ruolo svolto da centrali nucleari e
impianti di generazione di combustibili fossili.
Curiosamente, essi
sottoscrivere la convinzione che un giorno potrebbe essere in grado di produrre
energia su scala commerciale fattibile da reattori a fusione mediante processi
riprendano ciò che credono sostiene produzione di calore del Sole, come
l'idrogeno si trasmuta in diverse forme atomiche. In contrasto con questo
obiettivo un po 'sfuggente, aver dimostrato al di là di raggiungere anche dopo mezzo
secolo di sforzi, questa invenzione si basa sul successo nella generazione di
energia replicando, non del Sole decadimento energia in avanti, ma piuttosto un
processo simile a quello con cui la Sun è stato realizzato con energia
prelevata dal mezzo etere avvolgente.
L'invenzione deve
essere descritto in seguito è emerso da una approfondita indagine teorica sulle
proprietà dell'etere e del tutto indipendente da qualsiasi delle rivendicazioni
ben noti di registrazione pubblicate che presentano ai margini della
tradizionale letteratura scientifica. Un conto recente e molto ben presentato
di ciò che equivale ad un secolo di storia energetica rilevante è il libro 'La
ricerca per l'energia gratuita' di Keith Tutt, pubblicato nel 2001 da Simon
Schuster (ISBN 0-684-86660-9). Qui, in questo libro è il contesto più ampio
delle informazioni riguardanti i dispositivi di energia di diversi ricercatori,
ma i riferimenti a Nikola Tesla e T. Henry Moray sono particolarmente
pertinenti al tema di questa invenzione e, anche se impone un limite a ciò che
può essere legittimamente rivendicato da questa domanda di brevetto, servono
anche come base per una lezione molto importante per i responsabili di questo
campo di invenzione.
La lezione è che non è
sufficiente per costruire e dimostrare qualcosa che funziona, se non si bene
per quale motivo ciò che hanno messo a punto in realtà funziona. Ciò vale in
particolare nel caso di specie in cui si rivendica una fonte di energia finora
sconosciuta. L'invenzione deve essere descritta di seguito, nel suo senso più
ampio, sembra essere molto simile a quello che T. Henry Moray si dice che hanno
dimostrato nel mostrare che il potere sostanziale elettrico potrebbe
apparentemente essere prelevato dal etere utilizzando una semplice antenna filo
teso tra due poli.
Tuttavia, come si
vedrà, l'antenna non è necessaria e il motivo è che la fonte di energia non è
l'emissione luminosa da qualche processo coinvolge propagazione delle onde
radio attraverso l'antera, ma ciò può essere descritto come un aggancio di fase
che le coppie l'apparecchio con il moto quantizzato di carica elettrica etere.
Esiste una tecnica, di seguito descritto, con la quale è possibile sfruttare
questa fase-lock condizione impostando una oscillazione di energia comprendente
una componente apparato e suo etere avvolgente, con il risultato che l'energia
in una forma immediatamente utile elettrica viene importato
nell'apparecchiatura da quella etere.
Breve Descrizione dell'Invenzione
Secondo, un aspetto
dell'invenzione, un circuito elettrico erogazione comprende due condensatori,
ciascuno avente una coppia di elettrodi formato da una coppia di cilindri
metallici aventi assi concentrici, ogni condensatore avente un induttore
associato collegato in serie ad esso per formare un condensatore -induttore
unità, tensione di eccitazione CC mezzi collegati ad una combinazione in
parallelo di due unità condensatore-induttore, quale ad applicare tra gli
elettrodi corrispondenti dei condensatori una tensione di polarizzazione CC che
li innesca con una carica elettrica, e terminali di uscita di potenza, uno in
ciascun punto di connessione tra il condensatore e l'induttore associato, per
cui prevedere una causa potenza CA a oscillazioni di carica elettrica tra i due
condensatori alla frequenza di risonanza del condensatore-induttore unità.
Secondo un altro
aspetto dell'invenzione, una potenza elettrica di recapito circuito comprende
due condensatori, ciascuno avente una coppia di elettrodi formato da una coppia
di cilindri metallici aventi assi concentrici, ogni condensatore avente un
induttore associato collegato in serie ad esso per formare un condensatore
-induttore unità, tensione di eccitazione CC mezzi collegati ad una
combinazione in parallelo di due unità condensatore-induttore, quale ad
applicare tra gli elettrodi corrispondenti dei condensatori, una tensione di
polarizzazione CC che innesca li con carica elettrica, ogni induttore essendo
l'avvolgimento primario di un trasformatore elettrico, l'avvolgimento
secondario che serve per fornire una potenza CA di uscita a causa di
oscillazioni di carica elettrica tra i due condensatori alla frequenza di
risonanza del condensatore-induttore unità.
Secondo una
caratteristica dell'invenzione i condensatori hanno alcun intervento mezzo
dielettrico solido o liquido separando gli elettrodi concentrici.
Secondo un'altra
caratteristica dell'invenzione, due induttori sono accoppiati
elettromagneticamente avendo un nucleo comune ferrite e loro avvolgimenti
primari sono collegati ai loro condensatori connessi in configurazione polarità
che assicura che, nel loro stato reciprocamente risonante, carica elettrica
viene scambiato tra i due condensatori.
Secondo un'ulteriore caratteristica dell'invenzione, gli assi centrali dei due condensatori di elettrodi cilindrici sono paralleli tra loro.
Secondo una ulteriore
caratteristica dell'invenzione, un sistema di erogazione di potenza elettrica
comprende una pluralità di tali circuiti elettrici erogazione di potenza, dove
gli assi centrali hanno differenti orientamenti angolari tra i diversi
circuiti.
Secondo un aspetto
ancora ulteriore dell'invenzione, in un tale sistema di erogazione di potenza,
la differenza di orientamento angolare degli assi centrali è almeno 60O.
Breve Descrizione dei Disegni

Fig.1 mostra un circuito generatore di potenza
elettrica che incorpora due condensatori cilindrici concentrici aventi assi
centrali paralleli.

Fig.2 mostra una versione modificata del
circuito di Fig.1 con un sistema trasformatore fornisce gli induttori e potenza
avvolgimento.

Fig.3 illustra un sistema reciprocamente inclinate condensatore comprendente due coppie di
condensatori cilindrici concentrici.
Descrizione Dettagliata
dell'Invenzione
L'invenzione trae
energia dall'etere. Per comprendere perché l'invenzione funziona, è necessario
comprendere il processo per cui i negozi etere energia quando un campo
elettrico è realizzato attraverso il dielettrico che separa due piastre del
condensatore. Inoltre, è necessario comprendere i mezzi con cui l'etere determina
quanto di azione, in particolare nella forma del magnetron Bohr e l'unità di
momento angolare legata alla costante di Planck.
Non è sufficiente
immaginare che la carica elettrica nell'etere viene spostato da una posizione
di riposo in un continuum sfondo di polarità di carica opposta a cui esso è
attratto da una forza di ripristino. Infatti, si deve considerare tale azione
da sovrapporre su un sistema di carica che ha un movimento di fondo jitter, un
tema teoria quantistica associata con il fisico tedesco Heisenberg
(Zitter-Bewegung, che ha il significato dizionario 'movimento circolare
fluttuazione, di spin' ). Quando questi due fattori si combinano, e il vincolo
aggiunto in cui vi fosse una fase di blocco che mantiene che il movimento
jitter in sincronismo tra le cariche, si trova che la teoria fisica interessato
ha alcune conseguenze molto interessanti.
Una di queste
conseguenze è che un volume sferico o cilindrico di etere, se filatura corpo
attorno ad un asse centrale, acquisirà un momento magnetico e impostare un
campo elettrico all'interno di quella sfera o cilindro che è diretto
radialmente rispetto all'asse di rotazione. Un'analisi sommaria è presentata in
appendice a questa specifica, essendo in parte una citazione di pagine 31-33 di
un opuscolo intitolato 'La teoria della gravitazione' che il Richiedente di
questa invenzione, il dottor Harold Aspden, scritto nel 1959 e debitamente
pubblicato all'inizio del 1960.
L'induzione di carica
elettrica da 'spin etere' era lì dimostrato di dare una base fisica, sia
qualitativa che quantitativa, per il momento geomagnetico, la proprietà della
terra del corpo di creare un campo magnetico che ha creato poli magnetici nord
e sud a latitudini di offset dai poli geografici, con l'asse polare
geomagnetica precessione lentamente attorno all'asse di rotazione della Terra a
una velocità di diverse centinaia di anni per giro. Identificando sua fonte
come rotazione di una sfera di etere coestensivo con la Terra corpo, un volume
di etere rispetto a cui la Terra potrebbe avere una componente di moto anche se
la frequenza di spin etere è uguale a quella della Terra, questa inclinazione
assiale circa 17 gradi ha una spiegazione fisica. Tuttavia, questo aspetto del
ruolo dell'etere non è stato visto al momento ad offrire qualcosa di
tecnologicamente promessa. La fisica in questione è comunque molto rilevante e
direttamente pertinenti agli esperimenti su cui si basa la presente invenzione,
i cui risultati sarebbero altrimenti essere piuttosto sconcertante
scientificamente.
La ricorrente ha, nel
corso dei 40 o più anni dopo la teoria fu pubblicato la prima volta, in una
grande considerazione per l'implicazione teorica che, proprio come spin etere
possibile impostare lo spostamento della carica elettrica nella materia coestensivo,
quindi la creazione di un motore elettrico campo diretto radialmente rispetto
ad un asse s può indurre etere rotazione su tale asse e con esso sviluppare
momento angolare. In effetti, nelle pubblicazioni in poi dell'autore su questo
argomento, come, ad esempio, 'Fisica Unified' pubblicato nel 1980 da Sabbeton
Publications, PO Box 35, Southampton, England (ISBN 0 85.056 0098), è mostrato
come l'insorgenza della forza di gravità quando un etere disordinato
consolidati in forma ordinata strutturata causato protoni ad ACCRETe più
rapidamente di elettroni, a causa del loro alto tasso di reciproco
accelerazione gravitazionale. Questo stelle creati con tutta la carica iniziale
positiva e lo spin etere associato portato alle stelle i loro acquirenti stati
di spin e versando la materia che ha consolidato in pianeti che condividono il
momento angolare così generato. L'etere con la proprietà di spin come riferito
dalla sua densità di carica elettrica secondo la formula presentata in
appendice è quindi il fattore chiave se si cerca di spiegare la creazione delle
stelle che popolano il nostro universo.
Che formula stessa,
tuttavia, è altrettanto valido se applicato alla circostanza in cui viene
impostato un campo radiale elettrico fra gli elettrodi cilindrici concentrici
di un condensatore formato intorno a un cilindro dielettrico cavo. Ci dice
quanto velocemente l'etere all'interno di tale dielettrico girerà. La relativa
analisi teorica mostra che la fase Chiusura di quantum delle importazioni etere
dal mondo dell'etere esterno una quantità di energia pari a quella fornita
nella creazione di spostamento etere carica, l'energia importata è l'energia
dinamica corrispondente, al angolare etere acquisito quantità di moto. Guidati
da l'argomento relativo creazione stellare si può vedere che questo slancio
etere angolare possono essere trasferiti alla materia e questo processo ha
anche le sue implicazioni di trasferimento di energia.
Tuttavia, si può
chiedere che cosa succede se, dopo aver impostato un campo elettrico radiale in
quel condensatore avente elettrodi concentrici, la tensione applicata viene
ridotta, in tal modo riacquisire energia elettrica campo dal condensatore.
L'energia importata presente in forma di energia cinetica da un involucro
cilindrico di giri dell'etere attorno all'asse centrale del condensatore
tenderà a sostenere spostamento della carica elettrica. Per risparmiare
energia, in quanto l'etere phase-lock non può forzare l'espulsione di energia
obbligando l'universo etere avvolgente a tenere il passo, questa energia può
essere versato aumentando quella liberata elettrostaticamente. In altre parole,
il risultato netto è che una fluttuazione e giù dello stato di carica elettrica
del condensatore deve dar luogo ad una produzione di energia elettrica, che è,
per la bassa costante dielettrica (permettività del vuoto), il doppio ingresso
in ogni ciclo del cambiamento. Si può quindi prevedere una oscillazione
crescente di contenuto energetico alimentato quasi interamente, con
l'inserimento etere prima di uno rubinetti in quella fonte di energia con
l'erogazione di energia a un ritmo compatibile con un funzionamento stabile.
Questo è,
naturalmente, una previsione sconcertante che nessun fisico poteva immaginare
come a tutto il possibile, eppure, data la rilevanza dell'argomento teorico
coinvolto, come applicato al fenomeno del geomagnetismo e la creazione
stellare, che sono supportate da forti evidenze in questo libro 'Fisica
Unified', una volta che tale nozione è concepito ha sicuramente essere messo
alla prova da esperimento. Questa, dunque, dopo decenni di sforzi prima di
questa realizzazione è spuntato, è la base su cui il Richiedente ha solo ora ad
apprezzare le sorprendenti possibilità tecnologiche che si trovano davanti a
noi e sta affermando da questo fascicolo di brevetto che l'energia può infatti
essere sfruttato dal etere su scala commercialmente valida.
Dato che la teoria
dell'etere indica che la forma particolare del condensatore di cui sopra sarà,
se il soggetto ad una condizione di carica oscillatorio, generano un eccesso di
energia, una questione da considerare è perché tale fenomeno non si è
manifestato in panchina tipo esperimenti condotti in numerosi laboratori
elettrici nel corso degli ultimi cento anni. Apparentemente l'implicazione è
che il condensatore si presentano una resistenza negativa se utilizzato con un
induttore come componente in quello che sarebbe diventato un self-circuito
risonante. La risposta a questo potrebbe essere che se tale fenomeno si è
verificato che è passato inosservato o stati considerati spuri o rumore,
essendo collegato con qualcosa ecc interferenze radio alternativa, e in
funzione delle dimensioni e della scala dell'apparecchio, l'effetto può non
aver avuto un trigger eccitante necessaria per superare una soglia energetica
definita da fattori quali la resistenza del circuito di contatto o potenziali
di contatto e la resistenza di base degli induttori che, con i condensatori,
formano il circuito risonante.
Si noti che, anche per
un condensatore di dimensioni fisiche molto grandi, vista la sua sistemazione
su un banco di laboratorio, la capacità effettiva è necessariamente piuttosto
piccola. essere dell'ordine di un miliardesimo di farad. Ciò significa che una
fluttuazione carica del condensatore dell'ordine di volt implicherebbe soltanto
fluttuazioni di energia che sono dell'ordine di un miliardesimo di joule per
ciclo. La situazione è molto diversa se forse una tensione di polarizzazione CC
di, diciamo, 5.000 volt viene applicata al condensatore. Poi una piccola fluttuazione
di tensione sovrapposta rende le fluttuazioni connessi all'energia molto più
grandi con maggiore prospettiva di un crescente auto-risonanza di essere
attivato.
Con questo in mente il
richiedente percepito un possibile collegamento della tecnica con le
rivendicazioni sperimentali riportati da Dr. Moray che, nel 1929 si dice
(vedere le pagine 46-50 del libro cui si fa riferimento sopra, recentemente
pubblicata da Keith Tutt) di aver alimentato sei 100 watt lampadine più uno
standard di 575 watt elettrico ferro da stiro, semplicemente fornendo il
collegamento a terra e l'accoppiamento di un cavo di ingresso ad una antenna a
filo in testa. L'apparato coinvolto non aveva altre fonti di alimentazione, ma
comprendeva una particolare disposizione dei condensatori e probabilmente
qualche tipo di alta frequenza induttore / trasformatore di unità.
Nonostante
l'attenzione per le manifestazioni Moray, sembra che i segreti coinvolti nella
progettazione e costruzione dell'apparato rimangono sconosciuti e quindi non
può funzionalità nell'arte del disco pubblicato. Né, in effetti, può l'evidenza
aneddotica degli sforzi Moray servono a dimostrare che l'invenzione in oggetto
è stato utilizzato prima. La tecnologia su come replicare il dispositivo di
Moray, sempre ammesso che ha fatto eseguire secondo, ha quindi da riscoprire e,
anzi, visto che si fa riferimento ai suoi sensori che incorporano una sostanza
speciale che è stata indicata come 'pietra svedese', forse il dielettrico ha
usato nella sua costruzione condensatore, c'è un mistero considerevole di
svelare. Più precisamente, però, si è portati a credere che Moray è che implica
che l'energia che stava toccando l'energia radiante è stato tratto dal etere,
con quella antenna un posto importante, perché, senza che sia collegato, la
produzione di energia è sceso a zero. Tuttavia, come egli certamente potrebbe
lui stesso aver conosciuto, uno solo non può ricavare energia su una scala che
va da un filo di testa semplice teso tra due poli e così, senza sapere come,
avrebbe sospettato che l'afflusso di energia stava nei suoi condensatori via
l'azione di tale sostanza mistero chiamò 'Stone svedese'.
La ricorrente qui
suggerisce che, sulla base di una visione del funzionamento quantistica del
mezzo dell'etere come sottolineato in precedenza, la curiosa scoperta
dimostrato anni fa dal Dr. Moray poteva imputarsi alla realizzazione di una
oscillazione in un circuito risonante tra cui, una cilindrica concentrica
elettrodo condensatore che ha una polarizzazione di tensione dell'ordine di
mille e più volt alimentati da una connessione ad antenna che overhead ma non
trarre alcuna corrente significativa da quella antenna che sufficiente per
innescare la sua condensatore con carica e stimolare una oscillazione ad alta
frequenza che potrebbe avviare un'oscillazione circuito crescente toccando
energia eterica dallo spin etere indotta nel dielettrico condensatore.
Questa è la
speculazione, ma è sufficiente a giustificare l'interesse del richiedente nella
costruzione di un condensatore e cercando di verificare le ipotesi appena
fatte. Nonostante, l'alcova riferimento al Dr. Moray e la nota che segue,
relativa Nikola Tesla, quello che porta alla nuova invenzione è in virtù di una
completa informativa di ulteriori informazioni sul funzionamento e la
produzione di qualcosa di sconosciuto fino ad allora, il mezzo attraverso il
quale effettivo di sfruttare una fonte di latente di energia nel mezzo
dell'etere e ritenuto da coloro che hanno familiarità con lo stato dell'arte
delle conoscenze impossibile da realizzare dell'uomo. Inoltre, ci sono
caratteristiche supplementari inventive di natura particolare a causa del modo
oggetto dell'invenzione energia scambi tra due condensatori e anche perché
l'ottimizzazione della potenza etere dai condensatori è risultato essere una
funzione di orientamento degli assi rispetto al condensatore il fondo cosmico a
causa della rotazione della Terra.
Sembra qui opportuno
menzionare qualcosa descritto da Nikola Tesla nel suo brevetto statunitense No.
685958. Questo è stato depositato il 21 marzo 1901 e rilasciato il 5 novembre
1901. Era intitolato: 'Apparecchio per la utilizzazione di Energia Radiante'.
Con l'installazione di due piastre di metallo, uno alto sopra la terra e
l'altro al livello del suolo, con cavi di collegamento delle piastre ad
elettrodi separati di un condensatore, è stato affermato che il condensatore si
carica ad un potenziale molto elevato, l'ingresso di energia che viene
irradiata sulla Terra dallo spazio esterno. Questo potrebbe aver motivato gli
sforzi di T. Henry Moray, ma, per quanto invenzione questo candidato è
interessato, nessun input tale da componenti aeree è necessaria come una fonte
di energia molto diverso è al lavoro, vale a dire l'energia di punto zero del
vuoto di attività il nostro quantum malavita.

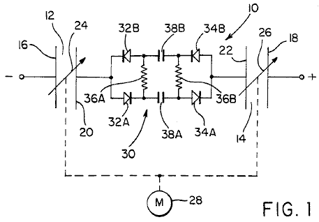
Facendo ora
riferimento alla Fig.1, due
condensatori 1, formato da due
elettrodi metallici cilindrici concentrici ed aventi i loro assi centrali
paralleli, fanno parte di una combinazione circuito risonante da ciascuno
essendo collegato in serie ad un induttore 3,
4 avente un nucleo di ferrite. Loro elettrodi interni sono collegati ad una
sorgente di alta tensione CC 5 e gli
elettrodi esterni sono collegati separatamente attraverso le loro induttori
corrispondenti ad un terminale di bassa tensione o terra 6. Un resistivo 7 di
carico è collegata tramite Interruttore 8
tra i punti di giunzione dei condensatori e induttori.
Nel funzionamento, a
causa spurie segnali elettrici indotti negli induttori, o ad uno stimolo
imposto elettrica fornita da mezzi non mostrati, la carica elettrica priming
dei due condensatori svilupperanno oscillazioni come carica viene scambiato tra
i due condensatori. Non vi è afflusso di energia dovuto al giunto quantum di
carica elettrica sfollati tra gli elettrodi concentrici di ciascun condensatore
e l'attività quantistica della malavita dell'etere avvolgente. Ciò permette una
produzione di energia elettrica che viene fornita al momento della chiusura
dell'interruttore 8.

Facendo riferimento
alla Fig.2, gli induttori 3, 4 sono dimostrato di avere un nucleo
comune ferrite 9 e avere
avvolgimenti secondari 10,11, che,
per l'azione del trasformatore, in grado di fornire potenza elettrica tra i
morsetti 12 e 13.

L'apparato di Fig.1 e Fig.2 sarà, se visto in alzato
laterale, appaiono come avente una forma condensatore con un elettrodo esterno
cilindrico all'interno del quale vi è un elettrodo leggermente allungata
cilindrica interna, per facilitare il collegamento ad alta tensione a quella
interna elettrodo. Fig.3 mostra, in
forma schematica molto semplice, due tali modalità 14, 15, con gli assi centrali delle due coppie di condensatori
reciprocamente inclinate. Ci possono, tuttavia, essere tre o più di tali coppie
di condensatori, ciascuna coppia costituente un circuito come è rappresentato
in Fig.1 e Fig.2.
La ragione per la
configurazione di più sistemi di condensatori, ciascuna con la sua propria
potenza, in modo combinato con le uscite sono unite per fornire un sistema
globale di produzione di energia è che l'uscita di energia dell'etere di
ciascuna unità condensatore è una funzione di orientamento dell'asse. Questo
perché l'attività quantum dell'etere ha proprio asse preferita e, come la Terra
ruota vi è una variazione del relativo orientamento assiale in un ciclo
giornaliero. Inoltre, si ha la necessità di soddisfare i sistemi che applicano,
questa invenzione in una applicazione mobile, che implica anche il cambiamento
di orientamento e avendo, le configurazioni reciprocamente inclinate degli assi
di condensatori si può essere certi che la potenza potenziale evita la
situazione nulla che si può verificare se gli assi condensatore di una unità
autonoma di Fig.1 e Fig.2 dovevano
essere ad angoli retti rispetto all'asse etere quantico di spin.
Gli elettrodi del condensatore
può essere di schiuma sottile lamiera e quindi di peso leggero e
preferibilmente non sono distanziati di qualsiasi mezzo dielettrico, liquidi o
solidi. Hanno bisogno di essere tenuti separati da una struttura semplice
cornice isolante. La ragione è che l'unico mezzo dielettrico che è operativo
nel funzionamento del trovato è il mezzo vuoto e alla presenza di un
dielettrico normale implica maggiore capacità e quindi ulteriore oscillazione
corrente senza guadagno di energia supplementare per ogni ciclo di
oscillazione. Il fattore chiave assicurando operazione è la necessità di una
resistenza circuito da basso rispetto a capacità che è esclusivamente
attribuibile al mezzo vuoto combinato con l'innesco alta tensione che migliora
notevolmente la potenza di fattore peso.
I due condensatori di
una coppia sono preferibilmente di capacità e struttura, come lo sono gli
induttori, in modo che il periodo di oscillazione dei due settori di risonanza
del circuito è la stessa. La caratteristica comune nucleo di ferrite della
configurazione Fig.2 assiste in
questo ruolo.
L'apparato sarà
normalmente progettati per funzionare ad una frequenza condensatore dell'ordine
di 100kHz o più, e una tensione di 10.000 V o superiore, e così l'uscita del
trasformatore di Fig.2 sarà
preferibile con tensione opportunamente regolata per adattarsi all'applicazione
. L'alta frequenza CA così prodotto può quindi essere convertito come
necessario utilizzando la tecnologia appropriata di forma nota.
Appendice
Estratto pp 30-31
della 'teoria della gravitazione', 1960 pubblicazione stampata dal richiedente.
Si noti che le pagine precedenti hanno spiegato che l'etere è un sistema di
particelle elettriche in un cubo di cristallo, come la distribuzione in un
continuo sfondo uniforme di carica opposta polarità, il sistema di particelle e
la continuità sia la condivisione di un comune movimento circolare orbitale di
raggio r e la velocità relativa tra le particelle e del continuo è la velocità
della luce.
L'effetto di Rotazione Aether
Si consideri che cosa accade quando un
grande volume di dell'etere è in rotazione del corpo. Il sistema continuo e
particelle ruotano insieme. Non saranno momento magnetico risultante a meno che
la distribuzione delle particelle è disturbato. Una perturbazione evidente è
l'effetto centrifuga derivante dalla rotazione etere, ma per le velocità
angolari di grandezza presenti nel sistema solare questo effetto è di
conseguenza trascurabile. Un effetto molto più importante risulta
dall'interazione sincronizzazione tra particelle nel volume rotante. Ciò
richiede che le particelle si muovono i loro punti neutri alla stessa velocità
angolare. Pertanto, se una particella è di avere una componente di velocità V
diretto nel piano della sua orbita, pur mantenendo una velocità media C / 2, la
sua velocità lungo la sua orbita deve essere della forma C / 2 + V cos (P),
dove P è l'angolo sotteso dalla linea congiungente le particelle e il centro
della sua orbita rispetto a un dato di riferimento fisso nel telaio inerziale.
Per soddisfare il requisito sopra il centro dell'orbita non può essere il punto
neutrale. Evidentemente la particella è distante da questo punto neutro da r +
(2 V R / C) cos (P). Come V è molto inferiore C l'effetto di questo è che la
particella si muove intorno un'orbita circolare il cui centro è stato spostato
una distanza r 2 V / C perpendicolare V nel piano dell'orbita. Se V è molto
inferiore wx cos (A), dove w è la velocità angolare con cui l'etere ruota, x è
la distanza della particella etere dall'asse di rotazione, e A è l'angolo di
inclinazione dell'asse al comune direzione assiale del sistema particellare
etere, questa distanza di spostamento è 2 (WXR / C) cos (A). Si consideri un
disco come parte dell'etere di rotazione x raggio e spessore unitario. Quindi,
lo spostamento di carica effettiva derivante dallo spostamento effettivo fisica
delle particelle è di 2 pi xs (2 WXR / C) cos (A). Il disco ha acquisito una
densità uniforme di carica di 4 (WRS / C) cos (A) ESU / cc. La polarità della
carica dipende dal senso di rotazione dell'etere.
Quando valutato sulla base dei dati già
presentati etere, la densità di carica è risultato essere: 4,781 w cos (A) ESU
/ cc. Questa densità di carica rappresenta una componente di carica che ruota
con l'etere.
Calcolo del Momento Geomagnetic
Per la Terra, w è 7.26 x 10-5 rad/sec e A è 23.5O. Così densità di carica della Terra è,
dall'espressione precedente, 0.000319 ESU / cc. La rotazione di tale imposta dà
luogo a un momento magnetico di:
(0.000319)(4 pi /
15)w R5 / C dove R qui è il raggio di etere
terrestre.
Se R è maggiore del raggio della Terra
(6.378x108 cm) di un fattore
k piccolo, momento teorico magnetico
della Terra diventa (1 + 5k)6.8 x 1025 emu. Questo
può essere confrontato con il valore misurato del momento magnetico terrestre
di 8,06 x 1025 emu.
Un limite superiore di
0,035 è imposto k suggerendo etere
terrestre termina ad un'altezza media di circa 140 miglia sopra la superficie
terrestre. Questo suggerisce che la ionosfera può essere un fenomeno derivante
al confine etere.
IL NOSTRO
FUTURO ENERGETICO
Un Messaggio di
Importanza Vitale
Il www.energyscience.org.uk sito
presenta un conto riepilogativo volutamente conciso di qualcosa di vitale
importanza per il futuro dell'umanità. Il mondo ha bisogno di una nuova fonte
di energia, che non è una merce soggetta esauribile al gioco di potere tra le
nazioni. Sì, si può sognare e poi sveglio per dire che questo è impossibile, ma
invito chi ha le competenze necessarie per ascoltare quello che ho da dire nei
miei tre messaggi di seguito.
Prima, però, lasciate che mi
presenti. Il mio nome è Dr. Harold
Aspden. Io
sono in pensione e anziani, ma hanno avuto un interesse per tutta la vita
scientifica in fisica fondamentale pertinenti al tema dell'energia. Il mio 6
anni di istruzione universitaria nel Regno Unito era al Manchester University e
l'Università di Cambridge (Trinity College). I miei 33 anni di carriera di
lavoro nel Regno Unito comprende nove anni con l'inglese elettrica e 24 anni
con IBM. Pur avendo alte qualifiche tecniche (vedi sotto), essendo interessati
al settore specializzato di proteggere le invenzioni riguardanti ingegneria
elettrica, sono diventato un agente di brevetti Chartered e poi un procuratore
europeo dei brevetti. I miei ultimi 19 anni con IBM sono stati spesi come
direttore delle operazioni di IBM brevetti europei. Questa è stata seguita, nel
mio pensionamento anticipato, di 9 anni, come Visiting Fellow Senior Research
all'Università di Southampton e, successivamente, il mio interesse scientifico
è stato un esercizio privato evidenziato da miei scritti come in questa e le
mie siti web correlati. I miei titoli sono: Laurea, Ph.D., C.Eng, FIEE, FIMech.E,
C.Phys, M. Inst.P., C. Sci, Wh.Sc.....
Messaggio 1: I fisici sono giunti a riconoscere che esiste un
mondo sotterraneo quantum vivo con l'energia e che permea tutto lo spazio.
Tuttavia, la loro ricerca connessa punta semplicemente a sondare sperimentalmente
lo spettro di particelle elementari che hanno una esistenza transitoria come
prodotto di tale attività energia. La ricompensa che cercano è il
riconoscimento dovrebbe nuove particelle da scoprire e, per le loro proprietà,
rivelano connessioni con altre particelle che aiutano a formulare una nuova
teoria o la verifica di una teoria esistente. Purtroppo, non vedono che la
malavita quantistica come una potenziale fonte di energia che possiamo
sfruttare. Né hanno compreso come la maggior parte dell'energia versato nella
creazione di materia formata la particella elementare che porta il nome protone
e che, insieme con l'elettrone, costituisce l'atomo di idrogeno.
Vi è anche un segreto che devono
ancora capire. È l'effetto di creare un campo elettrico radiale centrata sulla
carica elettrica intorno al quale tale inferi quantistica può sviluppare uno
stato di spin che induce a gettare energia. In presenza di un campo radiale
elettrico costituito da un corpo di carica elettricamente, indipendentemente
dalla malavita che costituisce quantistico che permea tutte le azioni di spazio
un movimento come quello di ballerini di sequenza che tengono al passo con gli
altri che si muovono intorno alla pista da ballo, un sincrono movimento, che,
in presenza di detto campo elettrico radiale può essere tenuto solo se un
movimento secondario si sviluppa attorno ad un asse centrato in tale campo
radiale.
In quale altro modo il Sole gira
attorno al suo asse sono venuti in esistenza? Qui abbiamo gravità attrarre
atomi di idrogeno e tirando così strettamente che la ionizzazione avviene, cioè
liberando elettroni dal loro legame di protoni, e quindi, essendo la massa di
un protone è molto maggiore di quella dell'elettrone, creando un Sun avente
corpo che è caricato positivamente seduto all'interno di un guscio esterno di
carica dell'elettrone negativo. Due protoni liberi sperimentare un tasso di
accelerazione gravitazionale reciproca che è 1836 volte che incontrate dalla
interazione di due elettroni. Il corpo del Sole, quindi, ha una densità
uniforme di massa e una densità uniforme carica positiva racchiusa entro una
carica di compensazione negativo sulla sua superficie. Questo perché le forze
gravitazionali compattazione bilanciare l'espansione costringe attribuibile a
repulsione elettrostatica. Significa inoltre la presenza di un campo elettrico
radiale all'interno del corpo del Sole e, a sua volta, per effetto di questo
campo sul mezzo spazio degli inferi quantistica, questo induce uno stato di
spin accompagnata dal rilascio di energia da quella mezzo per alimentare
l'energia cinetica di tale rotazione.
Un'analisi approfondita della
fisica coinvolti, significa l'effetto del campo risultante radiale elettrico
che underworld quantistica, permette poi di calcolare il tasso risultante di
rotazione e quindi capire come il sistema solare è stato creato.
Quindi, se il lettore è un
fisico, ecco la via da seguire e la guida completa su questo si può trovare sul
mio sito www.aspden.org parallelo o in un
nuovo libro di mia creazione dal titolo - La verità fisica, che sarà pubblicato
nel prossimo futuro. Tuttavia, se il lettore non è un fisico, ma ha le
attitudini tecnologiche della formazione universitaria ingegnere elettrico,
allora è Messaggio 2 di seguito che merita attenzione.
Messaggio 2: Se fosse possibile generare energia elettrica
toccando un mezzo onnipresente è sicuramente da aspettarsi che il fenomeno
occasionale naturale potrebbe già accennato a questa possibilità. Si consideri,
quindi, il Thunderball, un oggetto sferico luminoso a volte visto, soprattutto
dopo un temporale. Appare etereo, nel senso che si può muovere senza
impedimenti attraverso la materia, rimane ancora un enigma, un mistero
irrisolto di record negli annali della scienza. Fulmini sono alte scariche di
corrente che, come ben sanno gli ingegneri elettrici, in grado di sviluppare un
'pizzico effetto' spremitura di elettroni portato corrente in un flusso
filamentosi all'interno di un canale cilindrico di aria carica positiva. Ciò
implica un campo radiale elettrico, un pulsante campo radiale elettrico se lo
scarico sovratensioni, una ricetta sicura che accada qualcosa che potrebbe
formare un Sole in miniatura, il Thunderball. Così, quando guardiamo un
Thunderball siamo di fronte a un fenomeno naturale che ha tratto energia da
quella malavita quanto di spazio, energia che viene poi dissipata, ma l'energia
liberata da un processo che può sicuramente sfruttare, una volta che abbiamo
capito la fisica coinvolti.
Gli scienziati mancano la
fantasia necessaria non cercano di capire come la Thunderball è creato e così
raramente scrivere su di esso. Quindi qui abbiamo qualcosa su cui riflettere. E
'il messaggio della Natura che ci dice: ". Produrre un campo radiale
elettrico, che pulsa, ed è in grado di sviluppare un giro che tocca l'energia
dagli inferi quantistica dello spazio" Come tecnici, però, abbiamo bisogno
di essere pratici e, se possibile, si dovrebbe evitare di cercare di replicare
un fenomeno che coinvolge potenti scariche elettriche, se ci sono modi migliori
in cui procedere.
Così ora vengo al mio tema principale
in questo Messaggio 2. Si tratta di una breve rassegna di alcune delle
affermazioni di record che hanno dichiarato un guadagno misteriosa energia e
hanno caratteristiche che vedo come rilevante di quanto è stato detto sopra. In
particolare vorrei richiamare l'attenzione sui risultati della ricerca di
quattro pionieri diversi in quello che è venuto per essere chiamato 'The Search
for Free Energy', essendo questo il titolo di un libro davvero eccellente di
Keith Tutt, pubblicato da Simon & Schuster nel 2001. Tre di queste sono
descritte in notevole dettaglio in tale lavoro. Ora vi chiedo di tenere a mente
il mio riferimento a un campo radiale elettrico come ho detto ognuno di loro
qui di seguito e si rendono conto che le strutture elettriche di forma
cilindrica sono una caratteristica fondamentale.
Nikola Tesla è famoso per le sue
ricerche relative ad induzione elettromagnetica e apparecchi ad alta tensione
trasformatore solenoidale (bobine di Tesla) e si dice che hanno dimostrato
un'automobile che deriva il suo potere toccando energia dallo spazio. Egli non
ha rivelato i suoi dettagli costruttivi ed è morto lasciandoci con un mistero.
Bobine di Tesla comprendono grandi avvolgimenti a bobina montato
concentricamente e operare con elevate pulsazioni di tensione tra le forme
cilindriche, che deve produrre un pulsante campo radiale elettrico tra queste
bobine. Quindi, anche se gli effetti di induzione elettromagnetica sono l'obiettivo
primario di attenzione, qui c'è spazio per l'azione elettrico, descritto nel
Messaggio n ° 1 di cui sopra. Tesla potrebbe aver inciampato sperimentalmente
su un modo per attingere energia dallo spazio, ma senza capire il vero processo
fisico sottostante.
Dr. Henry Moray, un pioniere
dell'era 1920-1930, ha dimostrato qualcosa che semplicemente bisogno di un tipo
di antenna, un filo collegato da cime a terra mediante apparecchiature
elettriche nel bagagliaio (tronco) della sua automobile. Si dice che questi
ultimi inclusi condensatori diversi e che un livello di kilowatt di potenza è
stato generato. In questo caso l'automobile limitato ad effettuare il
dispositivo di prova per la dimostrazione in remoto da un centro abitato e ogni
linea di alimentazione elettrica di interferenza. Non Moray dubbio stava
cercando di seguire le orme di Tesla attingendo energia dal campo elettrico
della Terra, nota per essere misurato in centinaia di volt per metro. È
probabile che tali condensatori erano di configurazione tipo bottiglia di
Leida, che è di forma cilindrica strutturale, e che il filo collegato a cime
sfruttato carica a un livello di tensione kilovolt. Tuttavia, la potenza di
uscita secondo non poteva certo venire da quella fonte. Pertanto, si deve
presumere che Moray utilizzato tale tensione di ingresso treetop solo per
innescare la tensione attraverso i suoi elettrodi del condensatore, mentre
incorporando alcune particolarità nel funzionamento del suo circuito elettrico
che dava accesso all'energia della malavita quantistica. Condensatori aventi
elettrodi concentrici di forma cilindrica che, quando carica elettricamente,
hanno un campo radiale elettrico nello spazio tra gli elettrodi. Più
condensatori accoppiati insieme potrebbero dare origine a oscillazioni di
carica come tra i condensatori e così portare ad un pulsante di campo elettrico
radiale. Eppure, se possibile, dimostrando qualcosa che non dovrebbe essere
possibile, un flusso misterioso di energia in grado di illuminare diverse
lampadine, Moray non poteva certo aver capito il vero processo fisico che stava
dando da mangiare energia nel suo apparato. Ancora una volta che questo sia
rilevante per ciò che è indicato nel messaggio n ° 1.
Stan Meyer dimostrato apparato
che comprende insiemi di elettrodi tubolari concentrici racchiusi in un
contenitore cilindrico pieno d'acqua, gli elettrodi essendo alimentati da alta
tensione (5 KV) impulsi. Gas combustibile è stato generato, una miscela di
idrogeno e ossigeno, la combustione di cui generato calore molto più che
potrebbe essere valutate con l'assorbimento di energia elettrica. Energia
veniva sfruttato come dal nulla a meno che la fonte era il mezzo ambiente dello
spazio stesso. Qui c'era un pulsante campo radiale elettrico e carica elettrica
oscillante tra i diversi componenti in apparecchi Meyer. Meyer non ha offerto
alcuna spiegazione utile per quanto riguarda il processo fisico alla base di
quello che poteva dimostrare, ma si ostinava a trasmettere il messaggio che
l'invenzione era meraviglioso e parlando di una molteplicità di applicazioni
come l'alimentazione di automobili, navi, ecc Questo è il progetto non
menzionato nella libro di Keith Tutt. Per quanto riguarda la ricerca della
Tesla e Moray progetti Meyer era un'attività sede negli Stati Uniti. E ', tuttavia,
attirare l'interesse di un ammiraglio inglese, l'ammiraglio Tony Griffin che
riguardava l'impatto delle nuove tecnologie alle industrie marine. Griffin
testimone Meyer manifestazioni e si è interessato al suo sviluppo. Infatti un
articolo sul tema menzionare Ammiraglio Griffin e intitolato 'Free Energy for
Ever' è stato pubblicato nel numero di gennaio 1991 della rivista inglese
Wireless mondo. L'importanza di questo articolo era evidente dal fatto che il
direttore di quella rivista era l'autore.
Paul Baumann, membro di una
comunità cristiana in un alta valle isolata nelle Alpi svizzere, ha costruito
lavorando dispositivi liberi di energia che sono stati dimostrato ai
visitatori. Il primo prototipo funzionante è stato relativamente piccolo e
comprendeva un paio di vetro bottiglie di Leida, condensatori concentrici.
Keith Tutt nel suo libro dedica 30 pagine a questo argomento. L'alta tensione
necessaria per innescare l'operazione condensatore è stato generato da una
macchina Wimshurst azionata dalla potenza elettrica generata. La comunità ha,
tuttavia, tenuto segreto dettagli di design. A dispetto di tali informazioni di
cui dispone il processo fisico sottostante che disciplinano il suo
funzionamento rimane un mistero. Eppure, non posso che essere sicuri che quello
che dico nella mia Messaggio 1 fornisce la risposta.
Messaggio 3: Il mio messaggio 1 ha richiamato l'attenzione sul
processo fisico mediante il quale è stata estratta la grande quantità di
energia necessaria per creare il sole dagli inferi quantistico che permea tutto
lo spazio. No. Il mio Messaggio 2 ha richiamato l'attenzione agli sforzi
segnalati di solo alcuni dei pionieri della ricerca energetica sono diversi che
in realtà dimostrato apparato che, contrario ai principi scientifici, ha tratto
energia da una fonte di mistero. Il mio messaggio 3, basata sul riconoscimento
in comune la caratteristica fisica, ma può essere il suggerimento che la
tecnologia per generare le nostre esigenze di alimentazione dal mondo
sotterraneo nascosto dello spazio deve essere possibile. Di conseguenza, vorrei
ora delineare quello che vedo come base su cui costruire l'ultimo dispositivo
di generazione di energia che sfrutta i principi fisici presentati nel
Messaggio 1.
Essendo 78 anni di età e non più
l'accesso alla ricerca universitaria strutture di laboratorio, non posso che
lasciare ad altri di prendere atto e, si spera, prova a me a destra. Se hanno
dato ragione allora il mondo andrà a beneficio e la crisi energetica imminente
sarà evitata. Speriamo che anche la comunità scientifica potrebbe quindi essere
disposti ad accettare la mia richiesta di come la malavita quantistica dispiega
le sue energie nella creazione protone ed è attiva nella produzione del
fenomeno della gravitazione. Non conosco nessun altra teoria che è stato in
grado di ricavare teoricamente il valore 1836.152 del protone / elettrone
rapporto di massa. Mi piacerebbe vedere che riconosciuto come mio contributo
alla conoscenza dell'uomo.
Consideriamo un condensatore
formato da una coppia di elettrodi cilindrici concentrici, cosa che molti di
noi ricordano dalla fisica scuola laboratorio, la bottiglia di Leida. Tuttavia,
la struttura del condensatore che ho in mente è molto più grande e deve essere
usato con una tensione molto elevata. Quando questa tensione è applicata tra
gli elettrodi di carica elettrica viene spostato nel mezzo vuoto sottostante
trova tra quegli elettrodi. Una quantità proporzionale di carica elettrica
viene così mantenuta in posizione su tali elettrodi, una carica di polarità
negativa su uno e una carica di polarità positiva, dall'altro. Data la mia
affermazione che questo è accompagnato da 'spin vuoto', rotazione etere, che ha
importato una quantità uguale di energia dovuto alla fase di un quantum di
blocco tra la carica del mezzo vuoto, abbiamo il guadagno di energia che
cerchiamo di sfruttare.
Il problema, tuttavia, è che, con
questa configurazione semplice condensatore, il parametro di controllo è
disponibile solo la riduzione della tensione tra gli elettrodi. Questo sarà
rilasciato energia all'interno del circuito dell'apparecchiatura utilizzata, il
deflusso di carica elettrica alla differenza di tensione semplicemente erogando
energia pari a quella originariamente fornito dal nostro generatore di
tensione. L'energia ha aggiunto importata dallo spazio è semplicemente dispersa
dal 'vuoto spin' rallentata, ma in espansione oltre i confini degli elettrodi
del condensatore in quanto conserva il suo momento angolare. L'energia
importata dagli inferi quantistica dello spazio non ha modo di migliorare la
produzione di energia del circuito condensatore e così è rimasto per dissipare
se stesso e, infine, essere riassorbita da quella malavita quantistica che
pervade tutto lo spazio.
Tuttavia, ora in considerazione
un condensatore concentrica elettrodo cilindrico avente un terzo elettrodo
intermedio gli elettrodi interni ed esterni. Qui abbiamo un parametro di
controllo diverso la tensione tra gli elettrodi più esterni e più interna,
perché ci si può interrogare sulla tensione dell'elettrodo centrale, pur
mantenendo l'altra differenza di tensione ad un livello elevato e costante.
Infatti, mantenendo la differenza di tensione costante ma quest'ultimo variando
la tensione dell'elettrodo intermedio si può diminuire l'energia condensatore di
una metà del condensatore complessivamente a quello degli altri diminuisce
mezzo. L'energia importata versato da una metà del condensatore globale può
contribuire all'azione che alimenta l'altra metà e quindi indurre oscillazioni
da cui si può estrarre energia e distribuito come sorgente di alimentazione.
Uno ha bisogno di due tali
condensatori che hanno i loro elettrodi centrali accoppiati attraverso un
circuito di carico al fine di catturare l'afflusso 'energia libera' e arrivare
a fare un lavoro utile, invece di essere dissipata. Una induttanza nel circuito
di accoppiamento in grado di determinare la frequenza di oscillazione e, dato
che aumenta afflusso di energia con frequenza, questo dovrebbe senza dubbio
essere bene nella regione kilocycle. La figura seguente è uno schema semplice
delle apparecchiature elettriche che ho in mente.

Quindi il mio Messaggio 3 è
quello che mi può descrivere come un 'esperimento mentale', uno che non posso
verificare, a causa della mia età e la mancanza di strutture. Pertanto, non può
che registrare i miei pensieri e spero che gli altri si rivelerà a me giusto e
non è sbagliato.
I condensatori raffigurati nella
figura dovrebbe avere i loro elettrodi posizionati in modo che la capacità C
tra loro elettrodi centrali e più esterna è uguale alla capacità C tra loro
elettrodi centrali e più interno. Supponiamo che gli elettrodi più esterni sono
mantenuti ad una tensione di 20.000 V rispetto agli elettrodi più interne. Ciò
significa che i due elettrodi centrali sarà a una tensione intermedia che ci
aspettiamo di 10.000 V in assenza di oscillazioni. Tuttavia, come con qualsiasi
sempre attiva impianto elettrico, ci saranno minori fluttuazioni di tensione
che interessano gli elettrodi centrali. Quindi, ci si può chiedere cosa succede
se la tensione dell'elettrodo centrale del condensatore A diminuisce a causa di
carica elettrica viene versato dalla capacità C interna ma ha guadagnato dalla
capacità esterno C. Pensate che per un momento. Vedrete che implica l'azione
reciproca in senso opposto da B condensatore, in quanto la corrente fluisce da
A a B attraverso l'accoppiamento induttore centrale. Eppure nessun flussi netti
di corrente dalla fonte di 20000 V.
Ora, naturalmente, il buon senso
sostenuto dalla nostra formazione scientifica ci assicura che questo sistema
può mantenere il suo equilibrio, ma senza quelle variazioni di tensione minori
costruendo in qualche modo. Eppure, se diamo ascolto Messaggio 1 e tenere a
mente Messaggio 2, vi è una domanda che dobbiamo porci. Se la corrente non
scorre attraverso quel collegamento centrale tra A e B, la metà di A e la metà
di B sia versato l'energia e così liberare l'energia importata 'spin vuoto', se
questo è presente. Ciò si verifica, come altre metà di A e B devono ottenere
energia e come momento angolare degli spread 'energia centrifuga' il importato
in altre sezioni dei condensatori. La domanda allora è: "Ritiene che la
fuga dalle importazioni di energia, come avviene per i due elettrodi
configurazione condensatore, o potrebbe essere mantenuto e quindi aumentare
l'azione?"
Inoltrare la risposta non può che
essere fornita da esperimento vero e proprio. Se l'energia sfugge allora non
c'è più nulla da discutere. Tuttavia, se parte di tale energia viene catturata
allora ci si può aspettare una escalation di oscillazioni in quel link
induttivo e quindi può quindi dire che una nuova fonte di energia è stato
scoperto. Tali oscillazioni sarà una funzione della capacità C e l'induttanza
del circuito di carico. Data una frequenza elevata e una tensione elevata di un
livello significativo di potenza per unità di volume di struttura del
condensatore sarà prodotto. Se l'uscita di potenza ad un livello commisurato
con le affermazioni di Tesla, Moray, Meyer e risultati Baumann futuro
energetico del mondo è quindi assicurato. Un inquinamento-free risorse
energetiche alimentato dalla malavita quantistica dello spazio sarà a portata
di mano ovunque ci troviamo sul pianeta Terra.
Paulo & Alexandra Correa hanno scoperto un modo di convertire le onde
longitudinali di Tesla in azioni ordinarie energia elettrica. Hanno fatto
domanda di brevetto US 2006/0, 082334 dal titolo "Sistemi di conversione
energetica" in cui si mostrano diversi modi di raggiungere questo tipo di
conversione di energia.
Le loro tecniche variano da applicare l'energia longitudinale delle onde
provenienti da una bobina di Tesla direttamente a due condensatori attraverso
la rettifica a diodi e le tensioni generate sono collegati direttamente a terra
terra reale potenziale:

La domanda di brevetto
fa parte di questa serie di documenti in modo che i dettagli possono essere
esaminate. Una teoria di funzionamento è presentato in base alle loro molti
esperimenti e osservazioni, e la forma concreta di uno dei loro dispositivi di
conversione è:

Dove il pick-up attivi
piastre R e T sono racchiusi in un cilindro e sono dotati di una forma conica
per assistere la procedura. La domanda di brevetto contiene un bel po 'di
informazioni e vale la pena leggere.
Un'altra persona
fondamentale per il progresso della teoria e analisi è il professor Konstantin
Meyl che ha descritto come i vortici di campo formare onde scalari. Egli ha
descritto come onde elettromagnetiche (onde trasversali) e onde scalari (onde
longitudinali) entrambi dovrebbero essere rappresentati in equazioni delle
onde. Per fare un confronto, trasversali onde EM sono i più utilizzati per le
trasmissioni broadcast come la televisione, mentre le onde scalari longitudinali
sono migliori per uno-a-uno sistemi di comunicazione come telefoni cellulari.

Ha anche presentato la
teoria che i neutrini sono onde scalari si muovono più velocemente della
velocità della luce. Quando si sposta alla velocità della luce, sono fotoni.
Quando un neutrino viene rallentato al di sotto della velocità della luce,
diventa un elettrone. I neutrini possono oscillare tra e-ed e +. Fusion
comporta di e-, e un fulmine coinvolge e +. Energia in un vortice agisce come
un convertitore di frequenza. La miscela misurabile di frequenze viene chiamato
rumore.
Dr. Meyl ha
sottolineato che Tesla misurato la risonanza della Terra a 12 Hz. La risonanza
di Schumann della Terra è di 7.8 Hz. Meyl mostra come si può calcolare l'onda
scalare della Terra di essere 1,54 volte la velocità della luce. Ha sviluppato
un modello che lega l'espansione della terra per essere il risultato di
assorbimento terrestre di neutrino energia. Le conseguenze di questo modello
sono che neutrino energia può essere sfruttato. Ha preso questo per il passo
successivo e postulato che Zero Point Energy è potere neutrino - energia dal
campo, disponibile in qualsiasi momento, e presente ovunque. Per visualizzare
il luogo di neutrini in scienza convenzionale, Meyl notato che il Nobel per la
Fisica 2002 il premio è stato con riferimento a lavorare sui neutrini. La
versione in lingua inglese del sito web Dr. Meyl è a http://www.meyl.eu.
Tesla effettuato un
esperimento in cui ha applicato alta tensione ad alta frequenza corrente
alternata ad una coppia di piastre metalliche parallele. Ha scoperto che lo
'spazio' tra le piastre è diventato ciò che ha descritto come "allo stato
solido", espone gli attributi di massa, inerzia e quantità di moto. Cioè,
l'area trasformato in uno stato contro cui una spinta meccanica può essere
esercitata. Ciò implica che, utilizzando questa tecnica, dovrebbe essere
possibile produrre un'unità spaziale ovunque nello spazio, se il meccanismo di
spinta contro spazio 'stato solido' potrebbe essere determinata. Ulteriori
esperimenti Tesla convinto che le onde elettromagnetiche potenti potrebbero
essere utilizzati per spingere contro (e tirare contro) quello che sembra
essere 'spazio vuoto'. Il principio si basa sulla unità effetto Hall utilizzato
in sensori semiconduttori magnetici, ed è chiamato magnetoidrodinamico
("MHD") effetto. Questo potrebbe essere illustrata come:

Qui, una scatola è
costruito con due piastre di metallo formano lati opposti e due piastre isolanti
tenendole in posizione e circonda una zona di 'spazio'. Alta frequenza, ad alta
tensione di corrente alternata è applicata alle piastre metalliche e questo
crea un campo elettrico "E"
che agisce tra le piastre come mostrato in nero. Un campo magnetico
"B" è generato dal campo elettrico. Gli campo magnetico agisce
perpendicolarmente al campo elettrico, come mostrato in blu. Questi due campi
produrre una spinta di propulsione "F"
in rosso nel diagramma. Questa forza di propulsione non è prodotto da espellere
qualsiasi questione fuori dalla scatola, invece, è prodotto da una reazione
contro la condizione 'stato solido' di spazio-tempo causata dalla
elettromagnetiche ad alta frequenza pulsante di quella zona di spazio. Questo è
enormemente più efficace di un motore a reazione. La spinta aumenta con la
quarta potenza della frequenza, quindi se raddoppiare la frequenza, l'effetto è
sedici volte maggiore.
Per mettere questo in
prospettiva, si consideri la forza applicata contro la gravità per sollevare un
oggetto in aria. La forza di trazione verso il basso dell'oggetto è gravità e
la sua resistenza è data da:
Forza
gravitazionale: F = g x M
x m / r2
dove
g è la costante di gravitazione universale
(6.672 x 10-8 cm3 g-1 s-2)
M è la massa del primo corpo
m è la massa del secondo corpo e
r è la distanza tra i due centri di massa
La forza di
sollevamento è dato da:
Forza di Lorentz:
Forza su un oggetto = forza elettrica + forza magnetica
F = q x E + q x v x B
dove
q è la carica sull'oggetto,
B è il campo magnetico,
v è la velocità dell'oggetto e
E è il campo elettrico
Come confrontare
queste forze? Ebbene, la forza elettromagnetica è più forte della forza
gravitazionale di un fattore di circa
2.200.000.000.000.000.000.000.000.000.000.000.000.000 volte. Quel numero (2.2 x
1039) è troppo grande per chiunque di
visualizzare davvero, per cui vorrei metterla in un altro modo.
Se la quantità di
energia utilizzata per sollevare meccanicamente un oggetto di una distanza
centesimo di pollice (un quarto di millimetro) dal terreno uno, sono stati
usati come una forza di sollevamento elettromagnetiche, allora quella quantità
di energia sarebbe sollevare l'oggetto più 3.472.222.000.000.000.000.000.000
miglia al largo della terra, o in unità metriche, oltre 5.588.001.700.000.000.000.000.000
chilometri da terra. Questo tipo di unità è un tipo completamente diverso di
animale. Questo effetto Hall tipo di unità se utilizzato in una navicella
spaziale richiede solo una piccola quantità di potenza in ingresso per guidare
la nave a grande velocità e grandi distanze.
Come il dispositivo
mostrato sopra opera direttamente sul campo spazio-tempo che penetra tutta la
materia, sembrerebbe essere alcuna ragione per cui non dovrebbe essere
utilizzato per pilotare un veicolo convenzionale, posizionandolo in posizione
orizzontale piuttosto che la posizione verticale mostrata nella il diagramma.
Utilizzo della potenza potrebbe essere da regolazione molto lieve alla
frequenza degli impulsi CA applicata alle piastre metalliche. Tuttavia, Bill
Lyne indica che il movimento orizzontale è meglio ottiene producendo Tesla
molto brevi, ad alta tensione ad alta frequenza impulsi CC nella parte
anteriore del veicolo al tempo stesso generando altissima tensione onde ad alta
frequenza CA sul retro il veicolo. Questo stile di auto si dice che tirare il
veicolo lungo, piuttosto che spingerlo lungo.
La Teoria Unificata del Campo è da
ricercare da parte degli scienziati che vogliono trovare una teoria che
comprende la forza di gravità con la forza elettromagnetica. A mio parere,
avrebbero avuto più possibilità di successo nel tentativo di trovare un ago in
un pagliaio che non contiene un ago da quando il pagliaio tutto è stato
smontato, diventa chiaro che non c'è mai stato un ago in esso. A mio parere,
non esiste una cosa come una "forza di gravità", infatti, non esiste
una cosa come la gravità. Trova difficile da credere? Beh, lascia che ti
spieghi.
Se stando in piedi, si
tiene un oggetto un livello della vita e lasciarlo andare, "cade" e
atterra vicino ai vostri piedi. Sì d'accordo, ma mi suggeriscono che non esiste
una cosa come la gravità. Se si sospende un pendolo vicino a una montagna, il
pendolo non si blocca giù in verticale ma si sposta leggermente verso la
montagna. Questo si dice che sia perché la montagna attrae il pendolo. Scusa
capo, ma suggerisco che semplicemente non è vero e la montagna non attrae il
pendolo. La Luna orbita intorno alla Terra, che richiede una continua
accelerazione verso l'interno verso la Terra e questo si dice essere causato da
l'attrazione di gravità tirando i due corpi della materia insieme. Beh, sì la
Luna orbita intorno alla Terra si, ma non a causa di "forza di
gravità".
Il motivo per cui "la forza di gravità" è così piccolo rispetto a elettromagnetismo è perché non c'è una tale forza a tutti. Sì, in effetti, tutti i fenomeni osservati, che si suppone siano gravitazionale, esistono esattamente come si è visto, ma mi suggeriscono che non esiste una cosa come "la forza di gravità" e la Teoria del Campo Unificato non è necessario. Mi spiego meglio:
Il punto zero campo energetico esiste ovunque nell'universo e scorre in tutte le direzioni allo stesso modo. Si comporta come un flusso di particelle migliaia di volte più piccole degli elettroni, e così, scorre attraverso la materia. Non importa può schermare completamente dal flusso di questo campo energetico. Ma, una piccola percentuale del flusso si capita di entrare in collisione con gli elettroni, atomi e le molecole della materia si muove come flusso di energia attraverso la materia. Più grande è il pezzo di materia, più del flusso di energia si scontra con esso. Le collisioni convertire l'energia in massa aggiuntiva, motivo per cui il nostro Sole non sta perdendo massa più rapidamente teoria dovrebbe prevedere. La situazione è così:

La forza del punto
zero campo di energia è leggermente ridotto aver attraversato (e interagito
con) la grande massa della Terra. Questa forza ridotta indicato nel diagramma
dai celesti frecce. L'arrivo Zero-Point Energy campo non sia ridotta in forza
in modo significativo, come le molecole nell'atmosfera non sono così fitte come
quelle in materia che costituisce la Terra stessa. Lo squilibrio di queste due
spinte provoca una spinta netta verso la superficie della Terra.
Per chiarezza, il
diagramma mostra solo il campo che agisce in una direzione, mentre in realtà,
la stessa situazione si applica in ogni possibile direzione intorno al pianeta.
Quando si lascia andare e un oggetto si muove verso la superficie del pianeta,
non viene tirato giù dalla "forza di gravità", invece, la spinta
verso il basso del punto zero campo energetico è maggiore della spinta verso
l'alto dei Zero-Point campo dell'energia, che è appena passato attraverso il
pianeta. L'oggetto si sposta "verso il basso" perché la spinta
dall'alto è superiore alla spinta dal basso.
Esattamente la stessa
cosa vale per produrre l'effetto che una montagna sembra avere un pendolo. In
realtà, la montagna non ha alcun effetto sul pendolo, parte forse una minore
influenza elettrostatica. L'effetto principale è causato dal flusso del punto
zero campo energetico:

Qui, il (molto
approssimativamente disegnata) montagna, riduce la spinta del punto zero campo
energetico che lo attraversa, per la sua interazione con la materia con cui si
scontra il suo viaggio attraverso la montagna. La spinta del punto zero campo
energetico sul lato del pendolo non è diminuita, per cui vi è una netta spinta
verso la montagna e che fa muovere il pendolo in direzione della montagna.
L'effetto non è molto grande, in modo che il pendolo non si muove molto dalla
verticale come la spinta verso il basso verso la superficie del pianeta molto
marcata, quindi il pendolo deve essere molto vicino alla montagna per questo
effetto da osservare.
Questo può essere visto
anche nel Effetto Casimir cui sono sospese due non magnetici piastre
metalliche, che non trasportano una carica elettrostatica, molto vicini tra
loro. Le piastre non pendano verso il basso ma si muovono una verso l'altra.
Questo è lo stesso effetto è causato da una montagna vicino a pendolo fermo, o
filo a piombo. Ogni schermo piatto su un po 'di punto zero campo energetico che
passa direttamente attraverso entrambe le piastre, in modo che la seconda
piastra diventa un po' meno di una spinta:

Il risultato è che tra
le piastre, la forza orizzontale spingendole è sbilanciato. Appendere solo una
piastra superiore e l'orizzontale Zero-Point Energy ("ZPE") forza
proveniente da destra esattamente bilanciare le forze ZPE provenienti da
sinistra, e la piastra sospesa verticalmente sotto il punto di sospensione con
il cavo di supporto (mostrato in rosso nello schema di cui sopra) si blocca in
verticale. Ma con due piastre come mostrato, la spinta da sinistra si riduce
leggermente mentre passa attraverso la piastra metallica mano sinistra. Ciò
significa che vi è una minore spinta da sinistra a destra sulla piastra destra.
Ciò causa la piastra di spostare leggermente verso sinistra, finché la trazione
orizzontale causato dal cordone rosso non essere verticale, equilibra solo la
differenza delle spinte ZPE su tale piastra. Quindi, la piastra di destra si
muove leggermente verso sinistra.
La stessa cosa accade
con la piastra di sinistra. La spinta ZPE proveniente da destra è leggermente
ridotto mentre passa attraverso la piastra destra, e la piastra sinistra si
muove leggermente verso destra fino al tiro angolato del relativo cavo di
sostegno equilibra la spinta netta su tale piastra. L'effetto complessivo è che
il gap al punto "A" nella figura è molto leggermente maggiore
del gap al punto "B", se la quantità non è così grande come
suggerito dal diagramma, che è stato volutamente esagerato per mostrare l'
effetto chiaramente. Non vi è nulla di complicato di questo, si tratta solo di
semplice buon senso. Ricordate che la forza di attrazione di supporto cavo
"C" è l'esatto equivalente di una forza
verticale "D" con una forza orizzontale "E". Qui, la
forza verticale D corrisponde esattamente il peso della lastra, e
la forza orizzontale E corrisponde esattamente alla forza squilibrata
ZPE (se non corrispondono esattamente, quindi la piastra si sposta fino a che
non ha fatto). Il più lontano dalla verticale che si muove piastra, maggiore è
la forza risultante orizzontale causato dalla trazione del cavo portante.
Tesla ha espresso in
un modo leggermente diverso nella sua Teoria dinamica di gravità (1897) in cui
si afferma che tutti i corpi emettono microonde la cui tensione e frequenza
sono determinate dal loro contenuto elettrici e moto relativo. Egli misurò la
radiazione a microonde della terra come essere a soli pochi centimetri di
lunghezza d'onda. Ha detto che la frequenza e la tensione sono stati
influenzati dalla velocità e massa della terra, e che la sua interazione
"gravitazionale" con altri organi, come il sole, è stato determinato
dall'interazione delle microonde tra i due corpi.
Se si trova il
concetto di produzione di forza motrice attraverso spingendo contro il
continuum spazio-temporale per essere difficile da accettare, allora forse si
dovrebbe prendere in considerazione l'US Patent concessa a Boris Volfson il 1 °
novembre 2005. La cosa importante di questo brevetto (che è pieno di parole
lunghe) non è se sia o non presenta un meccanismo realistico per un'unità
spazio pratico, ma il fatto che l'Ufficio Brevetti degli Stati Uniti nel 2005,
ha concesso il brevetto dopo quello che presumibilmente era un attento esame.
In tale ottica, è quasi impossibile considerare Tesla di essere stato
totalmente confuso quando ha progettato (e costruito) la sua "macchina elettrica
volante" che ha operato tirando lo spazio-tempo di campo.
Tesla usò alta
tensione a frequenze gigahertz per il suo sistema di electropulsion. La
propulsione di un veicolo alimentato da un'unità Tesla è mediante l'uso di un
generatore supplementare CA sul retro (che irrigidisce il continuum
spazio-tempo dietro il veicolo) e 'pennello' un generatore CC sul davanti (che
indebolisce lo spazio- continuum di fronte, causando il veicolo per essere
tirato in avanti).
Tesla era molto
astuto. Ha dedotto che 'spazio vuoto' effettivamente contenuto:
1. Vettori indipendenti che permeano tutto lo spazio e tutta la materia e
da cui tutta la materia è fatta. Queste quantità di moto per il trasporto, il
magnetismo, l'elettricità o forza elettromagnetica, e può essere manipolato
artificialmente o per natura.
2. "Raggi solari primarie" (luce stellare) che viaggiano alla
velocità della luce, con frequenze molto al di sopra i raggi X, raggi gamma e
UV.
3. 'Raggi cosmici',
particelle nello spazio spinto dai raggi solari primari.
4. Raggi X, raggi
gamma e onde elettromagnetiche UV, i quali viaggiano alla velocità della luce.
5. Ordinarie onde
elettromagnetiche visibili e Infra-Red che viaggiano alla velocità della luce.
6. Rapidamente variabile forza elettrostatica di enorme potenziale,
proveniente dalla terra e gli altri organismi gravitazionali nello spazio.
Quando si coglie la
vera natura dell'universo, diventa chiaro che abbiamo una gamma molto più ampia
di opportunità per la produzione di energia utilizzabile in grandi quantità ed
a costi minimi.
Ulteriori informazioni
possono essere trovate in Boris Volfson di brevetto US 6.960.975 del mese di
novembre 2005 "Veicolo spaziale Spinto dalla pressione inflazionistica
stato di vuoto" che è riprodotto in appendice.
Se si trova l'idea di
generare un campo gravitazionale, difficile da fare i conti con, quindi
prendere in considerazione l'opera di Henry Wallace, che era un ingegnere della
General Electric circa 25 anni fa, e che ha sviluppato alcune invenzioni
incredibili relativi alla fisica di base del campo gravitazionale. Poche
persone hanno sentito parlare di lui o il suo lavoro. Wallace ha scoperto che
un campo di forza, simili o collegati al campo gravitazionale, i risultati
dall'interazione di relativamente masse in movimento. Ha costruito le macchine
che hanno dimostrato che questo campo potrebbe essere generato dal giro masse
di materiale elementare con un numero dispari di nucleoni - vale a dire un
nucleo con un multiplo di mezza integrale valore di h-bar, il quantum del
momento angolare. Wallace utilizzato bismuto o di materiale di rame per i suoi
corpi rotanti e "kinnemassic" campo concentratori.
A parte gli immensi
benefici per l'umanità che potrebbe derivare da una migliore comprensione della
natura fisica della gravità, e di altre forze fondamentali, Wallace invenzioni
potrebbe avere un enorme valore pratico nel contrastare la gravità o la
conversione di campi di forza gravitazionali in energia per fare un lavoro
utile. Quindi, perché non ha nessuno sentito parlare di lui? Si potrebbe
pensare che lo scopritore della conoscenza importante come questo sarebbe stato
annunciato come un grande scienziato e candidati ai premi dinamite. Potrebbe
essere che la sua invenzione non funziona? Chiunque può ottenere i brevetti. Studiare
loro - Wallace - General Electric - descrizione dettagliata delle operazioni -
misure di effetti - disegni e modelli - è autentica. Se si è a portata di mano
con gli attrezzi, allora si può anche costruire da soli. E funziona.
Henry è stato concesso
due brevetti in questo campo: Stati Uniti Brevetto 3.626.605 - "Metodo ed
apparato per la generazione del campo gravitazionale secondario della
forza", Dec 14, 1971 e US Patent 3626606 - "Metodo ed apparecchio per
la generazione di un campo dinamico della forza", dicembre 14, 1971. E
'stato inoltre concesso US Patent 3823570 - "pompa di calore" (basato
su una tecnologia simile a queste due invenzioni), 16 luglio 1973.
Dott. Peter Lindemann
ha tenuto una conferenza alla conferenza TeslaTech che è molto ben informato e
che consiglio vivamente. E 'disponibile in DVD dal http://www.free-energy.ws/products.html con il titolo di "Energia Radiante di Tesla". Fa
un certo numero di punti importanti, alcuni dei quali sono ripetute qui.
Tendiamo a pensare
alla battaglia per l'energia elettrica industriale per essere stato tra Thomas
Edison CC sistema e Tesla CA sistema, con Tesla vincere. Purtroppo, mentre il
vero, che non è la storia completa come Tesla si trasferì a partire da CA a
sistemi più potenti, e Tesla perso su tali sistemi, lasciando a noi oggi, con
un praticabile, ma il sistema molto inferiore. Abbiamo bisogno di vedere il
quadro generale in modo chiaro. James Clerk Maxwell realizza le sue celebri
equazioni, in materia di elettricità e magnetismo (che in realtà sono due facce
di una sola entità, denominata "elettromagnetismo"). Successivamente,
H.A. Lorentz danneggiato quelle equazioni, eliminando le parti che hanno
dimostrato che l'energia libera è disponibile per l'uso se sapessimo come
accedervi.
Fuori posizione oggi è
cresciuta in cui, mentre ci rendiamo conto che la "gravità" è 1039
volte meno potente di elettromagnetismo, vediamo "elettricità
statica" come una cosa debole e inutile che deve essere evitato. La realtà
è ben diversa, come Tesla sottolinea e dimostra. Tesla descrive
"statico" e "radiante" energia come una forza che sembra
non avere limiti ultimi a tutti. Cioè, è in grado di fornire potenza
illimitata. Nostra conoscenza di questa potenza è così inadeguato che riteniamo
che il potere può fluire in un circuito che è un circuito chiuso e il flusso di
potenza deve essere un flusso di elettroni. Questo non è sicuramente il caso.
I flussi più potenti
energia radiante come un'onda sonora caricato elettricamente passaggio
dell'aria incomprimibile e che può essere alimentato lungo un unico filo senza
difficoltà. In realtà, si può anche saltare, che un filo e utilizzare la terra,
invece, la trasmissione di potenza con quello che sembra essere senza cavi a
tutti. Il concorso vero e proprio, ultimo e più importante è stato tra circuito
chiuso di energia elettrica e un solo cavo di trasmissione di potenza, e questo
concorso è stato quello che Tesla perso.
La natura di questa
energia radiante è così diversa da quello che pensiamo come elettricità
convenzionale che è perfettamente possibile alla luce di una lampadina a
filamento tenuta in una mano, mentre afferrando un filo in altra mano. Quando
si fa questo, non non c'è nessuna sensazione di alcun tipo e niente affatto è
sentito. Video su questo suibject è al https://www.youtube.com/watch?v=3uXL4_Yas2k
e
https://www.youtube.com/watch?v=6BnCUBKgnnc
in questo momento. Un ottimo insieme di
insegnamento video sono al http://journal.borderlandsciences.org/videos/.
Nella sua conferenza,
il dottor Lindemann osserva che la sua comprensione del soggetto è stato
aiutato molto dal libro (http://www.free-energy-info.tuks.nl/TeslaBook.pdf)
"The Inventions, Researches and Writings of Nikola Tesla" e il libro
(http://www.datafilehost.com/download-c74378fc.html) "The Secrets of Cold War Technology
- HAARP and Beyond" che descrive una parte del lavoro svolto prima da
Tesla. Egli loda anche il libro "Tesla's Vocabulary for Dummies" che
è uno scherzo da parte sua, come non c'è un libro del genere nonostante la sua
apparizione per mostrare alcune citazioni da esso nella sua conferenza DVD.
Una caratteristica di
energia radiante che diventa chiaro dalla descrizione di Tesla di esso, è che
gli effetti più utili che si possono ottenere da essa, partono da una frequenza
di impulso di CC 1 MHz, che è di gran lunga superiore rispetto all'uso
sperimentatori oggi. Egli sottolinea che in realtà non conosce la natura esatta
di energia elettrica e che tutti i nostri attuali strumenti di misurazione
giorno si basano sulla teoria degli elettroni e quindi proprio non misurare
l'energia radiante. In un certo senso, è un po 'come la differenza tra la radio
AM e radio FM. Entrambi sono perfettamente validi e funzionano bene, ma una
radio AM non riceverà un segnale radio FM e di una radio FM non riceve un
segnale radio AM. Purtroppo, l'energia radiante è molto più potente di quella
convenzionale e non è pericoloso come l'elettricità è. Va osservato che il
brevetto molto dettagliata Hermann Plauston di - US 1,540,998 (http://www.free-energy-info.tuks.nl/PatD8.pdf)
è sui metodi di cattura e l'utilizzo di questa energia radiante, e descrive le
più aeree sistemi che producono una potenza netta di 100 kW come un sistema di
"piccolo". Non so voi, ma io si accontenterebbe di un sistema che ha
prodotto meno del 10% del combustibile-less uscita.
Le migliori
informazioni in materia di energia radiante viene dalla scrittura di Tesla e il
dottor Lindemann richiama l'attenzione su uno dei brevetti di Tesla, US 685,957
(http://www.free-energy-info.tuks.nl/PatD37.pdf)
che spiegano come questa energia radiante può essere catturata e utilizzata.
Tesla anche usato un disegno del motore che è efficace con questo tipo di
energia. Il motore ha due avvolgimenti, il primo essendo alimentate
direttamente e la seconda ricezione di un impulso di 90 gradi ritardato tramite
un condensatore.
Una cosa che Tesla
rileva è che vi è un mezzo incompressibile gassoso riempiendo l'universo e che
è composto da particelle che sono molto più piccoli di atomi di idrogeno.
Mendeleev che ha costruito la tabella degli elementi indica chiaramente che non
ci dovrebbero essere due elementi gassosi che sono più leggeri di idrogeno, ma
non li mise in tabella perché non sanno quello che sono.
I commenti di Joseph
H. Cater più avanti in questo capitolo includono l'affermazione che la gravità
è una radiazione elettromagnetica con una frequenza di poco inferiore a quello
dei raggi infrarossi. L'estratto dal lavoro di Karl Schappeller, anche più
avanti in questo capitolo, afferma esattamente la stessa cosa e la stessa
frequenza. Gli estratti dal libro di Joseph Newman, anche più avanti in questo
punto del capitolo, l'effetto di spin dell'elettrone su attrazione e
repulsione. il documento http://www.free-energy-info.tuks.nl/Cotterell.pdf
è un documento sulla gravità dal molto capace Maurice Cotterell, parte del
quale è citato qui:
Come Funziona
Gravity
"Come Funziona
Gravity" spiega come l'energia elettrica e magnetismo lavorare insieme per
produrre la forza di gravità e così facendo, essi rivelano la scienza che sta
dietro l'equazione di Newton, che ha cercato invano di scoprire, cioè, la
ragione per cui gravità è proporzionale alle masse di due oggetti attrarre,
perché si indebolisce in proporzione al quadrato della distanza tra loro, e la
natura del "costante gravitazionale" che continua a ricercatori
perplessi a questo giorno. Ciò spiega perché tutti gli oggetti accelerare sulla
Terra a 32 metri al secondo ogni secondo. Ciò spiega perché l'atomo è composto
da otto orbitali e perché quelle conchiglie riempire con gli elettroni nel modo
in cui lo fanno. Spiega come il magnetismo permanente opera a livello atomico,
la natura della cosiddetta 'materia oscura', il motivo per cui le galassie a
spirale sono a spirale, perché il centro della Terra è bollente e come il campo
magnetico terrestre è generato.
Gli scienziati non
riescono a capire perché i protoni positivi sul centro di atomi semplicemente non
molla a parte - le loro cariche positive si respingono l'un l'altro. Nel 1935,
un ricercatore di nome Yukawa ha suggerito che un'altra sostanza o di
particelle deve esistere per 'incollare' i protoni nel nucleo insieme - una
sorta di 'velcro' atomica. Ma un obiettore di Yukawa ha sottolineato che se
davvero così fosse, allora non ci dovrebbero essere due tipi di velcro - un
lato in velluto e un lato gancio (per così dire). Ma un
altro ricercatore ha sottolineato che i protoni trattati nel velluto sul lato
non si atterrà al protoni altri trattati nel velluto-side, e che i protoni
trattati nel gancio sul lato non si atterrà al protoni altri coperti con il
gancio sul lato. Quindi, un altro ricercatore ha sottolineato che per tale
sistema funzioni, ci dovrebbero essere tre tipi di ciascuno dei tre tipi. Così,
il campo folle di fisica delle particelle è nato. Nei decenni che seguirono, i
fisici delle particelle sono stati concessi miliardi di dollari per scoprire
ciò che rende l'atomo stabile. Da allora, sono stati alla ricerca di più di 300
immaginari particelle sub-atomiche. Il Concise Oxford () Scienza Dizionario
commenti:
“…tutta la
teoria elaborata è circostanziale ... nessuna delle particelle più piccole sono
mai stati identificati in esperimenti ... la teoria non ha la pretesa di essere
stati verificati”.
Cotterell mostra che
nessuna delle particelle effettivamente esistenti, e più importante, che
nessuno sono necessarie. Per spiegare perché l'atomo non nasce a parte, ritorna
alla terra ferma e al 1930 pionieristico lavoro di Ernest Rutherford, James
Chadwick e mostra che semplicemente cambiando la forma percepita dell'elettrone
e neutroni, il meccanismo gravitazionale è esposto, spiegando di distanza i
misteri dell'atomo e molti dei misteri del cosmo.
Sommario Parte 1:

(A) Una bobina a forma di
elettroni (mostrato in nero) rende l'atomo di idrogeno dinamica [viva]. La
quantità di elicoidalmente
campo elettrico polarizzato forzato
dai poli del protone è massimo quando l'elettrone è orizzontale, cioè dopo 180
o 360 gradi di viaggio orbitale. Mostrato in alto a sinistra è la vista in
pianta di un atomo di idrogeno. Le fette orizzontali elettroni attraverso il
campo elettrico (ombreggiata rosa). Un campo magnetico è indotto nella bobina
che spinge contro il campo elettrico, facendolo cadere sul suo asse (come le
lame opposte di un mulino) mentre orbita attorno al protone positivo.

La spirale orbitante
di tipo elettrone succhia l'energia del protone causa il protone per
comprimere, rilasciare il calore e raffreddare rapidamente.

Una volta che la
filatura elettrone-magnete supera la posizione verticale, il protone
super-freddo aspira calore ambiente e si espande rapidamente, la compressione e
l'espansione dei risultati protone variazioni cicliche della capacitanza il
campo elettrico proporzionale all'area di superficie tra le particelle.

(iii e vii) Le estremità delle somme irradiano
elettrone-magnete massimi elicoidalmente polarizzata energia magnetica dopo 90 gradi e 270 gradi di viaggio orbitale
[quando verticale]. Di qui la radiazione magnetica e magnetico è spostato di 90
gradi e la (EM) radiazione elettromagnetica da parte del settore settentrionale
è sfollate in fase di 180 gradi da quella del settore meridionale.

(B) (i) Il punto di vista ortodosso di un atomo di elio (che contiene due neutroni) impedisce una comprensione della gravità - ogni elettrone è passivo [morto] e neutroni sferica a forma di rendere l'atomo instabile. Inoltre, l'elettrone viene mostrato come una particella puramente 'elettrico' quando in realtà è elettrico solo per metà del tempo, e magnetico per metà del tempo. L'elettrone è una particella 'elettromagnetica'.

(ii) Questa nuova
visione del atomo di elio ospita un meccanismo gravitazionale - La bobina a
forma di elettroni portare l'atomo alla vita e il picco a forma di neutroni
rendono l'atomo (il contenuto del vecchio e del neutrone neutroni spillo
identici). Elementi di prova: 31/3/08 ricercatori
della Hohn-Meitner Institute di Berlino ha annunciato che "i neutroni si
comportano come aghi di bussola" – Science Daily.
(C) Idrogeno gira
assialmente e autonomamente e quindi irradia energia elettromagnetica
polarizzata elicoidale nello spazio. [Elementi di prova: 'idrogeno irradia elicoidale polarizzata
energia EM' www.sciencenews.org].

Elio [l'atomo solo elettricamente geometricamente simmetrico a contenere neutroni a spillo] gira anche assialmente ed in autonomia e, quindi, allo stesso modo irradia energia elettromagnetica elicoidale polarizzata. Nello spazio libero, l'idrogeno e l'elio sono primi attori nel meccanismo gravitazionale. Altri atomi non può autonomamente irradiare energia elettromagnetica elicoidale polarizzata perché non centrifugare assialmente o autonomamente. Tuttavia, quando la radiazione elettromagnetica elicoidale polarizzata da idrogeno o elio bombarda atomi vicini, provoca il nucleo di tali atomi di spin nella stessa direzione e, allo stesso tempo, provoca gli elettroni orbitanti in una cascata di atomi di sincronizzare la loro rotazione. Come risultato, i momenti magnetici degli elettroni orbitanti-magneti in una cascata di atomi attraggono. Questa è la forza di gravità.
Sommario Parte 2:

(2A a 2B) Il 'Effetto Motore'; radiazione elettromagnetica elicoidale polarizzata dalla atomo di idrogeno agisce sulle cariche negative dell'atomo vicine, causando il nucleo e la gabbia di elettroni a ruotare assialmente e, al tempo stesso, sincronizza la rotazione degli elettroni in entrambi gli atomi [Elementi di prova: Nature 2009;458 (7238):610 DOI:10.1038.nature07871 (persistent spin helix)]. La massa dell'elettrone è due volte quello del neutrone-carica negativa, quindi la coppia elettrone-gabbia è due volte quello delle cariche negative neutroni nel nucleo. Così, l'elettrone-gabbia ruota più velocemente rispetto al nucleo.

(2B) Il 'effetto generatore; elettroni orbitanti nell'atomo vicina
la società' generare 'radiazione elettromagnetica polarizzata elicoidale. La
potenza del atomica 'generatore' è proporzionale alla velocità differenziale
tra il nucleo e la gabbia di elettroni e il numero di elettroni orbitanti
(massa atomica). Uscita elettromagnetico è una funzione del numero di elettroni
[massa atomica] ('G') e la differenza di velocità di rotazione tra il nucleo e
la gabbia di elettroni (‘f’).

(2C) Radiazioni gravità dagli atomi vicini bombarde atomo di
idrogeno succhiare verso la sorgente della radiazione. [In questo caso, per facilitare la spiegazione, l'onda magnetica (in blu)
viene irradiata dal nucleo, mentre in realtà, si irradia dal elettrone
orbitante].
(2D) Il cavatappi stile radiazione elettromagnetica dall'atomo vicina ora, similmente, succhia atomi vicini verso se stesso. Entrambi gli atomi aspirare nella stessa direzione, quindi la gravità del Sole e la Luna tirare nella stessa direzione. [Per facilitare la spiegazione, le onde elettriche (indicati in rosso) sono riportati irradia da elettroni orbitanti].

(2E)
Come si propaga radiazioni gravità e si allontana dall'atomo, diminuisce in
intensità di campo [per metro quadrato]. Per ogni unità di distanza percorsa,
l'energia irradiata diverge geometricamente. Ciò causa l'energia irradiata per
ridurre il quadrato della distanza percorsa ("d2"). I
numeri all'interno della piazza nel diagramma sopra mostrano l'intensità del
campo di energia elettromagnetica radiante in volt per metro quadrato. [Riquadri
sono usati qui solo a scopo illustrativo come onda divergente è effettivamente
conicamente-elicoidale come visto in Figura 2F].
(2F) La frequenza della radiazione elettromagnetica elicoidale
polarizzata dalla Terra rimane costante. Tuttavia, come m
approcci M, la radiazione elettromagnetica spirale accelera
la rotazione differenziale tra ciascun nucleo atomico ed elettrone-gabbia di
cui è fatto m. Di conseguenza, i «relativi» all'aumentare della
frequenza atomici e quindi l'uscita di aumenti del 'generatore atomico', in
modo uniforme aumentando la forza elettromagnetica attrarre tra me M
secondo una legge quadratica scala come procede m lungo la spirale
elettromagnetica. M attrae così m con legge quadratica accelerazione
[d2] uniforme. Nel diagramma a destra, m è mostrato spirale verso M
con l'onda elettromagnetica stazionaria, ma in realtà, m
avvicina M in una linea retta come le spirali onda attraverso m.
(2G) Quindi equazione Isaac Newton per la forza di gravità, dove la
forza è proporzionale alle masse (m e M) dei due corpi attraggono e l'intensità della
forza diminuisce in modo inversamente proporzionale al quadrato della distanza
tra loro (d2).
F = GmM/d2
G è costante gravitazionale di Newton 6.67428 x 10-11 N m2 kg -2 - l'istantanea forza magnetico alternato tra due elettroni-magneti in atomi vicini.
Maurice Cotterell
fornisce una spiegazione più avanzata e approfondita di questo processo nel suo
ultimo libro "FutureScience", in cui l'introduzione dice:
I 12 Grandi Misteri della Fisica
Si può essere
perdonato per ritenere che Isaac Newton scoprì la forza che fa le mele cadono a
terra, ma non lo fece. Egli ha semplicemente la forza (F) un nome
("Gravity") e ha osservato che la resistenza della forza, qualunque
esso sia, dipende dalle dimensioni della Terra (Massa M2). Ha anche capito che
la forza della forza sulla mela dipende da quanto lontano la mela è dalla terra
per cominciare e ha notato, come Galileo prima di lui, che, come una mela cade
si accelera e viaggia sempre più velocemente fino a quando non colpisce il
suolo.
Dapprima, Newton
fissato il rapporto tra la forza e le masse in un modo veloce (una formula)
dicendo che F (l'intensità della forza) potrebbe essere trovato moltiplicando
m1 da M2 e dividendo il risultato per il quadrato la distanza tra loro (d2).
C'era solo un problema: ogni volta che ha fatto il calcolo ha finito con la
risposta sbagliata. Finalmente ha scoperto che l'unico modo per ottenere la
risposta giusta era quella di moltiplicare la risposta sbagliata da
miliardesimi '667 '. Non sapeva dove questa piccola quantità di forza venuto,
ma proprio come aveva fatto con la gravità, ha dato il numero di un nome
misterioso - la "costante gravitazionale" G. Questo ha reso la sua
formula F = G x m1 x m2 / d2 . E 'difficile credere che da allora,
cioè per più di 350 anni, ancora nessuno capisce quello che la gravità è o che
cosa lo causa o motivo per cui dobbiamo moltiplicare la risposta sbagliata da G
per ottenere quella giusta. Fino ad oggi, nessuno capisce che cosa è G o anche
da dove viene. Ecco come sofisticato siamo. Nessuno capisce perché gli oggetti
cadono a terra.
Il secondo problema
più imbarazzante per la scienza moderna è che nessuno capisce perché le cariche
positive nel mezzo di atomi semplicemente non si limitano a molla a parte che è
quello che ci si aspetterebbe, dato che positivo respinge positivo. Per
superare la contraddizione, i fisici hanno deciso che le cariche positive
devono essere incollati insieme in qualche modo e così, per gli ultimi 75 anni
sono stato alla ricerca della 'colla' o, più precisamente, più di 300 tipi di
colla - ma non ancora non hanno trovato alcuna.
Inoltre, nessuno
capisce (dato che attrae positivo negativo), perchè gli elettroni orbitanti
negativi di atomi non semplicemente risucchiare i bit positive nel mezzo
dell'atomo. Hanno semplicemente 'non riesco a capire'.
Quando si posiziona un
magnete sulla porta di un frigorifero, probabilmente immaginare che gli
scienziati a capire come un magnete funziona, ma non è così. Per quanto li
riguarda, sembra funzionare per magia in modo che le diedero il nome di
magnete.
Accendere la luce e
che senza dubbio dare per scontato che le persone che forniscono l'energia
elettrica capire come funziona, ma non è così. I fisici sono abbastanza sicuro
che una corrente elettrica è semplicemente il movimento di cariche negative
atomici lungo un filo. Il problema è che nessuno capisce perché, quando un
flusso di corrente, un campo magnetico appare intorno al filo.
Quando guardano verso
il cielo di notte, astro-fisici non riesco a capire che cosa rende le stelle si
raggruppano in galassie, perché i loro calcoli in contraddizione con ciò che i
loro occhi possono vedere. Per ovviare a questo, si dice che ci deve essere
altre fonti di gravità là fuori, come i pianeti e la polvere, che non possono
essere visti, perché è buio. Così hanno chiamato 'materia oscura' loro pianeti
di fantasia, almeno per il momento, fino a che non riesco a capire perché i
loro calcoli non hanno senso. Né possono capire perché le stelle in galassie a
spirale, ma si aggrappano alla speranza che, quando (o se) capire come funziona
realmente la gravità, che la ragione per la doppia spirale di formazione delle
galassie diventerà chiaro.
"FutureScience"
spiega in modo semplice, come l'elettricità e il lavoro magnetismo a livello
atomico, e come lavorare insieme per produrre la forza di gravità e, così
facendo, rivela la scienza che sta dietro l'equazione di Newton - la scienza di
base, che ha cercato invano per scoprire - il motivo per cui gravità è
proporzionale alle masse dei due oggetti attraggono, perché si indebolisce in
proporzione al quadrato della distanza tra loro, e la natura del misterioso
'costante gravitazionale' che continua a ricercatori perplessi a questo giorni.
Ciò spiega perché tutti gli oggetti accelerare sulla Terra a 32 piedi al
secondo ogni secondo. Ciò spiega perché l'atomo è composto da 8 orbitali e
perché i gusci si riempiono di elettroni il modo in cui lo fanno. Spiega la
natura della cosiddetta 'materia oscura', il motivo per cui le galassie a
spirale sono a spirale, perché il centro della Terra è bollente, come il campo
magnetico terrestre è generato, come generare onde gravitazionali, come onde
gravitazionali possono essere utilizzato per la produzione di quantità
illimitate di energia libera, come generare onde antigravità, come le onde
antigravitazionali può essere utilizzato per de-coppia legami a idrogeno in
acqua, separare l'idrogeno dall'ossigeno e fornendo forniture illimitate di
idrogeno libero per alimentare automobili alimentate a idrogeno, e in che modo
radiazioni antigravità può essere utilizzato per provocare la disintegrazione
della materia in acqua e tessuto vivente (fasore tecnologia delle armi).
Il libro continua a spiegare la causa del ciclo delle macchie solari e di come il Sole influenza la vita sulla Terra: la causa del riscaldamento globale e raffreddamento globale, come il sole 289 giorni di filatura regola la fertilità nelle femmine, come le radiazioni del Sole provoca 12 tipi di mutazioni genetiche che danno luogo a 12 tipi di personalità (sole-segno astrologico), come le macchie solari causare la schizofrenia, come il Sole controlla bio-ritmi e il nostro giorno per giorno il comportamento, come il Sole fa sì che i cicli di catastrofe e l'ascesa e la caduta delle civiltà , e come telefoni cellulari e linee elettriche provocare il cancro
Si potrebbe essere
perdonato per ritenere che Isaac Newton scoprì la forza che fa le mele cadono a
terra, ma non lo fece. Egli ha semplicemente la forza (F) un nome
("Gravità ") e ha osservato che la resistenza della forza, qualunque
esso sia, dipende dalle dimensioni della Terra (Massa M2). Ha anche capito che
la forza della forza sulla mela dipende da quanto lontano la mela è dalla terra
per cominciare e ha notato, come Galileo prima di lui, che, come una mela cade
si accelera e viaggia sempre più velocemente fino a quando non colpisce il
suolo.
Dapprima, Newton
fissato il rapporto tra la forza e le masse in un modo veloce (una formula)
dicendo che F (l'intensità della forza) potrebbe essere trovato moltiplicando
m1 da M2 e dividendo il risultato per il quadrato la distanza tra loro (d2).
C'era solo un problema: ogni volta che ha fatto il calcolo ha finito con la
risposta sbagliata. Finalmente ha scoperto che l'unico modo per ottenere la
risposta giusta era quella di moltiplicare la risposta sbagliata da
miliardesimi '667 '. Non sapeva dove questa piccola quantità di forza venuto,
ma proprio come aveva fatto con la gravità, ha dato il numero di un nome
misterioso - la "costante gravitazionale" G. Questo ha reso la sua
formula F = G x m1 x m2 / d2 . E 'difficile credere che da allora,
cioè per più di 350 anni, ancora nessuno capisce quello che la gravità è o che
cosa lo causa o motivo per cui dobbiamo moltiplicare la risposta sbagliata da G
per ottenere quella giusta. Fino ad oggi, nessuno capisce che cosa è G o anche
da dove viene. Ecco come sofisticato siamo. Nessuno capisce perché gli oggetti
cadono a terra.
Il secondo problema
più imbarazzante per la scienza moderna è che nessuno capisce perché le cariche
positive nel mezzo di atomi semplicemente non si limitano a molla a parte che è
quello che ci si aspetterebbe, dato che positivo respinge positivo. Per
superare la contraddizione, i fisici hanno deciso che le cariche positive
devono essere incollati insieme in qualche modo e così, per gli ultimi 75 anni
sono stato alla ricerca della 'colla' o, più precisamente, più di 300 tipi di
colla - ma non ancora non hanno trovato alcuna.
Inoltre, nessuno
capisce (dato che attrae positivo negativo), perchè gli elettroni orbitanti
negativi di atomi non semplicemente risucchiare i bit positive nel mezzo
dell'atomo. Hanno semplicemente 'non riesco a capire'.
Quando si posiziona un
magnete sulla porta di un frigorifero, probabilmente immaginare che gli
scienziati a capire come un magnete funziona, ma non è così. Per quanto li
riguarda, sembra funzionare per magia in modo che le diedero il nome di
magnete.
Accendere la luce e
che senza dubbio dare per scontato che le persone che forniscono l'energia
elettrica capire come funziona, ma non è così. I fisici sono abbastanza sicuro
che una corrente elettrica è semplicemente il movimento di cariche negative
atomici lungo un filo. Il problema è che nessuno capisce perché, quando un
flusso di corrente, un campo magnetico appare intorno al filo.
Quando guardano verso
il cielo di notte, astro-fisici non riesco a capire che cosa rende le stelle si
raggruppano in galassie, perché i loro calcoli in contraddizione con ciò che i
loro occhi possono vedere. Per ovviare a questo, si dice che ci deve essere
altre fonti di gravità là fuori, come i pianeti e la polvere, che non possono
essere visti, perché è buio. Così hanno chiamato 'materia oscura' loro pianeti
di fantasia, almeno per il momento, fino a che non riesco a capire perché i
loro calcoli non hanno senso. Né possono capire perché le stelle in galassie a
spirale, ma si aggrappano alla speranza che, quando (o se) capire come funziona
realmente la gravità, che la ragione per la doppia spirale di formazione delle
galassie diventerà chiaro.
"FutureScience"
spiega in modo semplice, come l'elettricità e il lavoro magnetismo a livello
atomico, e come lavorare insieme per produrre la forza di gravità e, così
facendo, rivela la scienza che sta dietro l'equazione di Newton - la scienza di
base, che ha cercato invano per scoprire - il motivo per cui gravità è
proporzionale alle masse dei due oggetti attraggono, perché si indebolisce in
proporzione al quadrato della distanza tra loro, e la natura del misterioso
'costante gravitazionale' che continua a ricercatori perplessi a questo giorni.
Ciò spiega perché tutti gli oggetti accelerare sulla Terra a 32 piedi al
secondo ogni secondo. Ciò spiega perché l'atomo è composto da 8 orbitali e
perché i gusci si riempiono di elettroni il modo in cui lo fanno. Spiega la
natura della cosiddetta 'materia oscura', il motivo per cui le galassie a
spirale sono a spirale, perché il centro della Terra è bollente, come il campo
magnetico terrestre è generato, come generare onde gravitazionali, come onde
gravitazionali possono essere utilizzato per la produzione di quantità
illimitate di energia libera, come generare onde antigravità, come le onde
antigravitazionali può essere utilizzato per de-coppia legami a idrogeno in
acqua, separare l'idrogeno dall'ossigeno e fornendo forniture illimitate di
idrogeno libero per alimentare automobili alimentate a idrogeno, e in che modo
radiazioni antigravità può essere utilizzato per provocare la disintegrazione
della materia in acqua e tessuto vivente (fasore tecnologia delle armi).
Il libro continua a
spiegare la causa del ciclo delle macchie solari e di come il Sole influenza la
vita sulla Terra: la causa del riscaldamento globale e raffreddamento globale,
come il sole 289 giorni di filatura regola la fertilità nelle femmine, come le
radiazioni del Sole provoca 12 tipi di mutazioni genetiche che danno luogo a 12
tipi di personalità (sole-segno astrologico), come le macchie solari causare la
schizofrenia, come il Sole controlla bio-ritmi e il nostro giorno per giorno il
comportamento, come il Sole fa sì che i cicli di catastrofe e l'ascesa e la
caduta delle civiltà , e come telefoni cellulari e linee elettriche provocare
il cancro.
Come le scoperte sono state fatte
Nel 1935, nel
tentativo di spiegare perché protoni nel centro di atomi non semplicemente
primavera a parte, un ricercatore di nome Yukawa ha suggerito che un'altra
sostanza o di particelle deve esistere per 'incollare' i protoni nel nucleo
insieme - una specie di velcro atomica ' '. Ma un obiettore di Yukawa ha
sottolineato che se davvero così fosse, allora non ci dovrebbero essere due
tipi di velcro - un lato in velluto e un lato gancio (per così dire). Ma un
altro ricercatore ha sottolineato che i protoni trattati nel velluto sul lato
non si atterrà al protoni altri trattati nel velluto-side, e che i protoni
trattati nel gancio sul lato non si atterrà al protoni altri coperti con il
gancio sul lato. Quindi, un altro ricercatore ha sottolineato che per tale
sistema funzioni, ci dovrebbero essere tre tipi di ciascuno dei tre tipi. Così,
il campo folle di fisica delle particelle è nato. Nei decenni che seguirono, i
fisici delle particelle sono stati concessi miliardi di dollari per scoprire
ciò che rende l'atomo stabile. Da allora, sono stati alla ricerca di più di 300
immaginari particelle sub-atomiche. Il Concise Oxford () Scienza Dictionary
commenti: “…gtutta
la teoria elaborata è circostanziale ... nessuna delle particelle più piccole
sono mai stati identificati in esperimenti ... la teoria non ha la pretesa di
essere stati verificati”.
FutureScience mostra
che nessuna delle particelle effettivamente esistenti e, soprattutto, che
nessuno sono necessarie. Per spiegare perché l'atomo non nasce a parte,
l'autore ritorna alla terra ferma e al 1930 lavoro pionieristico di Ernest
Rutherford, James Chadwick e dimostra che semplicemente cambiando la forma percepita
l'elettrone e il neutrone, il meccanismo gravitazionale è esposto, spiegando
via i misteri dell'atomo e molti dei misteri del cosmo. Il libro si rivolge al
lettore comune senza alcuna conoscenza della Scienza e utilizza molte
illustrazioni per trasmettere i concetti in modo semplice e conciso.
Sito web Maurice Cotterell è http://www.mauricecotterell.com/
Maurice anche commenta il recente sviluppo di generatore di fusione fredda di Rossi come segue:
Generatore E-Cat non è ‘Fusione Fredda’
Il catalizzatore di energia (anche chiamato E-Cat) è supposto per
essere una fusione fredda o fonte di calore di bassa energia reazione nucleare
(LENR), costruito dall'inventore Andrea Rossi con supporto dal fisico Sergio
Focardi. Un brevetto italiano che ha
ricevuto una formale ma non un esame tecnico, descrive l'apparato come un
'processo e attrezzature per ottenere reazioni esotermici, in particolare, da
nichel e idrogeno'. Rossi e Forcardi dire che il dispositivo funziona infusing
idrogeno riscaldato in nichel, trasmutando essa in rame e produzione di calore.
Una domanda di brevetto internazionale ha ricevuto un rapporto preliminare
internazionale sfavorevole sulla brevettabilità perché sembrava 'offendere contro le leggi
generalmente accettate della fisica e delle teorie stabilite' e per superare questo problema,
l'applicazione dovrebbe avere contenuto evidenza sperimentale o una solida base
teorica nella teoria scientifica corrente. (http://www.peswiki.com)

Come pensano che funziona: Pensano che il catalizzatore di energia funziona da particelle di
dimensioni nano o micro-imprese immissione di nichel in un reattore con gas
idrogeno pressurizzato e catalizzatori speciali (riservate per motivi di
propriatory). Quando il contenuto del reattore viene riscaldato (da una serie
di resistenze nel reattore), a 400 o 500 gradi centigradi, reazioni nucleari
iniziare a prendere posto. La forza di reazione può essere modificata variando
la pressione dell'idrogeno nel reattore. L'energia di uscita può essere fino a
400 volte maggiore rispetto all'energia di ingresso. No metalli preziosi o
sostanze radioattive sono collocati nel reattore. Quando non in uso, il
reattore può essere aperto e non può essere rilevata alcuna radiazione. Il
processo sembra trasmutare nichel in rame e traccia quantità di altri elementi
come lo zinco. Non funzionerà wth deuterio (idrogeno pesante) ma non so perché.
Se non è 'Fusione fredda' -
allora come funziona? Funziona da 'Scaling
Periodico':

Il generatore E-Cat
utilizza Scaling periodici per generare calore. L'idrogeno utilizzato nel
processo, succhia in calore ambientale e converte che il calore in onde di
gravità - che è il motivo dell'idrogeno liquido è il più efficacia
raffreddamento super. Le onde di gravità elettromagnetica stile cavatappi da
atomi di idrogeno quindi eccitare gli atomi di nichel causando il nichel
ottenere più caldo. L'idrogeno poi succhia in più calore da nickel e irradia
più onde di gravità che Bombardi ulteriormente il nichel. Alcuni del carburante
è consumato nel processo. Questa eccitazione cumulativo continua fino a quando
la disponibilità di calore nell'aria ambiente e il nichel, è vincolata da
considerazioni di trasferimento di energia.

Figura 7 in 'Come opere di Gravità' Mostra come i
primi due gusci orbitali atomici sono sfasati di 90 gradi. In questo caso, il
negativo di neutroni occupa il primo Orbito virtuale 'raggio'. L'orbita di
elettromagnete deve pertanto essere compensato da 90 gradi, come mostrato. Per
questo motivo, l'onda elettrica da neutrone positivo si scontra con l'onda
magnetica dall'elettromagnete orbita e viceversa, le due onde elettromagnetiche
annullano a vicenda.
Quindi, deuterio non può irradiare onde di gravità.
Il
generatore E-Cat non funzionerà con deuterio (idrogeno pesante) perché il
deuterio non può irradiare onde di gravità - dimostrando che l'E-cat utilizza
Scaling periodici.
Professor John RR
Searle della Gran Bretagna sviluppato un sistema elettrico di generazione
basato su due anelli di magneti essere filate uno rispetto all'altro. Gli
orientamenti magnete oppongono a produrre un campo magnetico schizzare.

I magneti esterni nel
diagramma sopra sono denominati "rulli". Quando tre anelli di rulli
sono disposti uno dentro l'altro, poi l'anello esterno ruota spontaneamente,
senza alcuna alimentazione esterna applicata. Se il pick-up bobine sono poste
intorno alla parte esterna, quindi corrente elettrica è generata con un COP di
infinito. Il metodo di imprinting modo necessario magnetico su entrambi i rulli
e gli statori è un processo difficile e costoso.
Dr. Terry Moore ha
recentemente costruito un modello di replica di questa tecnologia Searle e il
suo video modello è disponibile in http://www.youtube.com/watch?v=bb3N1epMG7A. Il
dispositivo Searle dimostra anche un effetto gravitazionale e John ha costruito
quello che vagamente essere descritto come un "disco volante" con
questa tecnologia. Se la tensione elevata è applicata al dispositivo in
rotazione, quindi una corona circostante sviluppa e forti forze verso l'alto
elettrogravitiche vengono generati.
E 'stato riportato che
Nikola Tesla ha fatto un dispositivo che gli permette di sentire i suoni a
grande distanza. Non ho mai visto alcun dettaglio del circuito utilizzato da
Tesla. Tuttavia, Dave Lawton ha prodotto un tale dispositivo, e riferisce che
poteva sentire le conversazioni che si svolgono quattro miglia e mezzo di
distanza da lui. Interessante notare che i suoni da quella distanza sono stati
in viaggio attraverso un muro di pietra solido circa tre metri di spessore. Il
circuito di questo dispositivo è descritto in questo documento.
Secondo me, il dispositivo non è captare segnali audio a guisa di un microfono convenzionale dove le onde di pressione dell'aria vibrare un trasduttore, creando un segnale elettrico che viene poi amplificato. La cosa interessante è che è decisamente possibile che qualche altro meccanismo viene in gioco qui. Questa opinione è sostenuta dal fatto che il circuito di Dave è una versione aggiornata di un rivelatore monopolo gravità onda. Dave utilizzato questo dispositivo per registrare il "suono" del Shumaker-Levy cometa in collisione con Giove.
Il circuito mostrato
qui è abbastanza convenzionale elettronicamente parlando, composto da due
amplificatori operazionali 741 collegati come un amplificatore a due stadi. La
particolarità è dove una piccola quantità di rumore bianco viene immessa
l'ingresso del microfono:

Il rumore bianco è generato dal 5-volt diodo zener. Il livello di
questo componente rumore bianco è controllato dalla resistenza 1,5 megaohm
variabile più i 10K resistore fisso limitante. Mentre la gamma di queste due componenti è 10K a 1,501 Meg. l'impostazione
di lavoro è normalmente molto elevata e quindi solo una piccola quantità di
rumore bianco è alimentato all'ingresso del primo 741 op. amp. per modificare
l'ingresso microfono.
La regolazione di questa iniezione di rumore bianco è il controllo principale di questo circuito più insoliti, e si è scoperto che quando l'impostazione è giusta, il circuito ha la sensazione di un sistema di diffusione sonora in procinto di andare instabile da un feedback positivo. L'unità di costruzione si presenta così:

Il principio di
funzionamento è stata avanzata da Gregorio Hodowanec nel numero di aprile 1986
della Radio-Electronics Magazine, dove si avanza l'ipotesi che la fonte di
rumore nei dispositivi elettronici è causata da onde gravitazionali e
suggerisce che ci sono onde gravitazionali monopolo . Questo non opporsi alle
onde gravitazionali previste da Einstein. Gregory vede queste onde
gravitazionali monopolo come molto più forte di quanto suggerito da Einstein, e
di conseguenza, molto più facile da rilevare.
Egli suggerisce,
inoltre, che le onde gravitazionali monopolo sono stati visti da molti anni e
sono stati descritti come "rumore 1 / f" segnali o "rumore
flicker". Questi segnali sono stati anche chiamati radiazione di fondo a
microonde, presumibilmente causato dal "Big-Bang", anche se questa
causa è contestato da alcuni.
Gregory vede il nostro
universo come finito, sferico, sistema chiuso, cioè un corpo nero. Onde di
gravità Monopole si propagano in tempo di Planck così i loro effetti sembrano
quasi contemporaneamente in tutto il mondo. Energia delle onde di gravità può
essere impartita agli oggetti ordinari. Quindi si suggerisce che il fatto che
un condensatore elettrolitico completamente scarica può sviluppare una carica
quando scollegato da tutti i circuiti, è giù per l'interazione del condensatore
con onde gravitazionali monopolo.
Gregorio propone il
seguente circuito per l'esame delle onde gravitazionali monopolo:

I dettagli di questo e
la teoria sono disponibili all'indirizzo
www.rexresearch.com/hodorhys/remag86/remag86.htm Dave
ha preso quel circuito ed esteso sostanzialmente per dare guadagno aggiunto più
una alimentazione controllata di rumore bianco, senza basarsi sulle
caratteristiche di un condensatore, condensatori essendo notoriamente variabile
in precise caratteristiche.
L'apparecchio funziona
ruotando il guadagno fino al circuito raggiunge appena auto-oscillazione, e
quindi il backup il guadagno off leggermente. La sorgente di rumore bianco
viene regolato fino a quando l'unità sta producendo una qualità un po 'eco al
suono. Il risultato è un dispositivo che ha caratteristiche insolite. Il
circuito è così semplice ed economico, che si può facilmente provare di persona.
Butch ha progettato un
interessante motore / generatore di sistema basato sul bilanciamento di forze
magnetiche ed elettriche. Questo design intelligente opera secondo le seguenti
dichiarazioni fatte da Butch:
1. Se un magnete viene allontanato da
una bobina in ferro, si genera una tensione:

La tensione generata per ogni magnete dato e la velocità di movimento, è
direttamente proporzionale al numero di spire di filo che compongono la bobina.
2. Se un magnete viene allontanato da una bobina in aria, ma genera anche
una tensione. Tuttavia, la grande differenza è che la tensione è di polarità
opposta. In altre parole, le connessioni più e meno siano scambiati:

Ancora, la tensione
generata per ogni magnete data e velocità di movimento, è direttamente
proporzionale al numero di spire di filo che compongono la bobina.
Quindi, se questi due
regimi sono uniti insieme, producono un sistema in cui le tensioni si annullano
reciprocamente esattamente, a condizione che il numero di spire in ogni bobina
vengono regolate per produrre esattamente le stesse tensioni. L'attrazione
meccanica e forze di repulsione anche bilanciare, in modo che il circuito può
essere organizzato per avere alcun effetto netto quando il rotore viene ruotato:

Ne consegue quindi che questa disposizione del motore potrebbe essere introdotto in un circuito esistente senza influenzare il funzionamento di tale circuito. La disposizione sarebbe simile a questa:

Qui, non vi è
resistenza rete elettrica o magnetica sul rotore come i magneti allontana dalle
bobine. La batteria fornisce corrente al carico in modo normale e la
disposizione del rotore non ha alcun effetto sul funzionamento del circuito.
Tuttavia, quando il
rotore raggiunge 100o o così, oltre le bobine, l'interruttore on / off può
essere aperto. Ciò lascia il rotore in una condizione bilanciata, con là essere
un'attrazione tra un magnete e il nucleo di ferro di una bobina. Non vi è
corrispondenza repulsione tra l'altro magnete e il nucleo di aria dell'altra
bobina. Ciò produce una forza di rotazione sull'albero del rotore, mantenendo
la rotazione e fornire potenza meccanica utile che può essere utilizzato per
generare energia supplementare. Questa potenza extra meccanica è effettivamente
libero, come il circuito originale non è influenzata dalla inclusione del
sistema rotore.
Da un punto di vista
pratico, per dare alta velocità di rotazione e di lunga vita affidabile,
l'interruttore on / off dovrebbe essere un transistore FET con gestione
elettronica relativa alla posizione del rotore.
Non vi è alcuna necessità che il rotore di avere solo due magneti. Sarebbe più efficiente se aveva quattro:

O meglio ancora, otto:

E se avete intenzione
di avere otto, non c'è bisogno di avere a forma di V cut-out che ha appena
creano turbolenza quando la filatura, in modo da rendere la circolare del
rotore:

E lo statore di supporto delle bobine corrisponde il rotore:

Ferrite è un materiale migliore per i nuclei delle bobine. Gli statori andare ciascun lato dei rotori
e il foro al centro degli statori è dare spazio per l'albero su cui sono
montati i rotori:

Un sistema di questo
tipo richiede tempi precisi che è unicamente legato alla velocità di rotazione.
Questo è meglio disposta con l'uso di un multivibratore bistabile come
descritto nel Tutorial Elettronica di capitolo 12. Noterete le due bobine di
timing visualizzati sul lato destro del diagramma sopra. Questi sono utilizzati
per attivare o disattivare la bistabile e spegnimento e sono regolabili in
posizione in modo che sia l'On e Off possono essere impostate con estrema
precisione. L'uscita del bistabile è impostato per passare un transistore FET e
spegnimento per dare commutazione di circuito che non è influenzata né dalla
velocità di commutazione o il numero di volte in cui viene azionato
l'interruttore.
Il rotore / statore
combinazione può essere collegato ad agire come un motore di guida o un
generatore elettrico. La differenza è l'aggiunta di un diodo:

Con questa
disposizione, per ciascun rotore, tutte le quattro coppie di bobine animati
sono collegati in parallelo tra loro, e tutti e quattro avvolte in aria bobine
sono collegate in parallelo tra loro. Per migliorare la chiarezza, il diagramma
mostra solo una delle quattro coppie, ma in realtà, ci saranno quattro fili
venire nel lato sinistro di ciascuno dei morsetti a vite.

Nel caso di
disposizione Generator, si ha la possibilità di collegare ciascuna delle
quattro coppie in parallelo come nella disposizione del motore o per collegare
in serie. Collegati in parallelo, le bobine possono sostenere un tiraggio
maggiore corrente, mentre se collegati in serie, che forniscono una tensione
maggiore. La tensione può essere ulteriormente aumentata aumentando il numero
di giri su ogni bobina.
Joseph Newman è un uomo che mi impressiona. Si esibisce esperimenti, riporta i risultati e quindi basa le conclusioni teoriche sui risultati dei suoi esperimenti. Questo è il vero metodo scientifico.

Giuseppe è stato
concesso un brevetto e ha scritto un libro. Vi consiglio di acquistare una
copia del suo libro e contribuire a sostenere il suo lavoro farlo, ma
purtroppo, se ho capito bene, le lastre di stampa per il libro sono stati
distrutti in un incendio e stampato le copie del suo libro sono effettivamente
introvabili. È possibile scaricare una. Versione pdf dal www.free-energy-info.tuks.nl
sito web, ma si prega di essere consapevoli del fatto che la dimensione del
file è di 100 Mb complessiva e quindi il download richiederà un bel po 'di
tempo. Un download alternativa si può avere da http://www.mediafire.com/view/?oe5obw6offoqfs3 o
l'alternativa http://www.filefactory.com/file/b4g6b3d/Newman.pdf link mentre il link al proprio sito web
di Joseph è http://www.josephnewman.com/.
A grandi linee molto breve, Joseph ha costruito un
motore che può accedere a energia libera. Ha una teoria in cui l'eccesso di
energia proviene e come è acquisito dai suoi disegni. Egli ha anche costruito
un grande motore fermo per dimostrare la sua teoria e ha costruito un motore in
una macchina. Il motore della macchina funziona a batteria molto minore.
Brevetto di Giuseppe è inclusa nell'appendice.
Con la gentile concessione del Newman Joseph
organizzazione, vado a cercare di farvi conoscere le importanti conclusioni
scientifiche raggiunte da Giuseppe e l'Energy Machine che ha progettato e che
si basa su tali conclusioni. Joseph ha una mente acuta indagatrice e pensa le
cose attraverso se stesso, piuttosto che accettare ciecamente tutto è detto
che. Questa descrizione contiene illustrazioni e testi presi dalle parti del
libro di Giuseppe pubblicato nel 1984, e vorrei esprimere i miei ringraziamenti
per essere dato il permesso di utilizzare questo materiale.
Joseph Newman motori tutti costituiti da un
magnete permanente molto potente che ruota o oscilla in o vicino a una bobina
con un elevato numero di spire di filo di rame. La bobina è eccitata da una
batteria, e il campo magnetico prodotto dalla bobina fornisce la forza
necessaria per muovere il magnete permanente. Un dispositivo meccanico di
manovra o "commutatore" inverte la direzione del flusso di corrente
attraverso la bobina ogni mezzo ciclo, e in alcuni modelli, taglia fuori
l'ingresso di corrente tra le inversioni di corrente.
La principale differenza tra i disegni di Giuseppe
e motori precedenti è uno di scala con il nome Joseph utilizza bobine di grandi
dimensioni in ceramica e magneti molto grandi di peso fino a 700 chili. I suoi
motori più piccoli utilizzare potenti magneti in terre rare e le bobine sono
avvolte con 100.000 giri di filo di rame. Questo crea una resistenza della
bobina molto alto e la tensione del pacco batteria sono relativamente elevate,
essendo nell'ordine delle centinaia di migliaia di volt gamma.
La coppia o potenza rotazione applicata al magnete
in questi motori è proporzionale alla forza magnetica, il numero di spire della
bobina e la corrente che fluisce nella bobina. Nei motori di Giuseppe, coppie
di grandi dimensioni può essere sviluppata da correnti molto piccole. In una
dimostrazione, un motore che gira su 3.000 volt a 0,8 milliampere ha potere
tale che non è possibile fermare il motore tenendo sua due pollici (50 mm) di
diametro dell'albero, anche se la corrente può essere sollevata cercando di
fermarlo, a 3 milliampere, o nove watt di potenza.
Joseph I
motori sono diversi in altri modi. Se
i tubi fluorescenti sono collegati attraverso la bobina del motore, si
accendono a causa del campo magnetico collasso della bobina ogni volta che si
accende la direzione della corrente. Questi tubi fluorescenti sono usati per
proteggere l'interruttore meccanico da danni arco. La potenza aggiuntiva
prodotta in questi tubi è ad una frequenza molto elevata da 10 a 20 MHz. Questa
corrente a radiofrequenza è stata accuratamente misurate e supera la corrente
di ingresso della batteria di un fattore di 5-10 volte in differenti motori. La
corrente misurata e la tensione sono in fase, indicando una potenza reale
potenza.
Per capire la filosofia che ispira questi motori,
abbiamo bisogno di seguire Giuseppe esperimenti e le deduzioni che ha fatto da
quei risultati sperimentali. Joseph considerato e riflettuto sulle affermazioni
dei due giganti scientifico James Clerk Maxwell e Michael Faraday, e questo lo
ha portato a preziose informazioni:
Sembra che Maxwell e Faraday erano le uniche
persone che hanno ritenuto che "linee" di forza magnetica sono reali
entità fisiche e non solo un metodo di rappresentare le forze nozionali e
quelle "linee di forza" sono in realtà i flussi di materia in movimento.
Maxwell ha detto: “Parlando della Energia del campo, però, vorrei essere inteso letteralmente. Tutta l'energia è la stessa energia meccanica, se esiste nella forma di movimento o in quella di elasticità, o in qualsiasi altra forma. L'energia nei fenomeni elettromagnetici è l'energia meccanica”.
Joseph allora considerato generatore elettrico
Michael Faraday e le implicazioni del modo in cui ha operato:

Qui in basso, un cappio di filo viene spostato dal
livello "A" al livello "B". Questo movimento provoca un
flusso di corrente elettrica verso sinistra lungo il filo come mostrato dalle
frecce rosse. Domanda di Giuseppe era "perché andare in quella direzione
ogni volta che si sposta il filo in quel modo?"

Se il filo viene spostato verso l'alto attraverso
il campo magnetico stesso, quindi la corrente che scorre nel filo si muove
nella direzione opposta. Perché? In che modo l'attuale "sapere" da
che parte andare?

Se si gira il tutto campo magnetico invertendo la
posizione dei campi magnetici e quindi spostare l'anello del filo nello stesso
modo di prima, la corrente fluisce nella direzione opposta. In che modo
l'attuale "sapere" da che parte del flusso, o in che modo i magneti
intorno si trasformano in quanto non lo tocca?

Il successivo punto interessante è che se l'anello
del filo viene spostato su e giù tra i magneti, ma si è rivelato essere
parallelo al flusso che scorre tra i poli, quindi non scorre corrente nel filo,
non importa quanto velocemente il filo viene spostato su e giù.

Un altro punto è che se l'anello di filo viene
spostato lentamente
attraverso il flusso
magnetico, la corrente elettrica che fluisce come risultato di questo movimento
lento, si muove
alla velocità della luce, che scorre da “A” direzione “B”.

Un altro punto è che se l'anello di filo viene
spostato lentamente attraverso il flusso magnetico, la corrente elettrica che
fluisce come risultato di questo movimento lento, si muove alla velocità della
luce, che scorre da "A" Ora, se l'anello di filo è scollegato e
capovolto, la parte che era a "A" ora spostato "B", e lo
stesso movimento del filo svolto - il flusso di corrente è esattamente nella stessa
direzione anche se il suo percorso lungo il filo viene invertito (poiché il
filo è stato invertito). Questo dimostra che la direzione del flusso di
corrente non è influenzato dal filo stesso.
Secondo gli insegnamenti convenzionali, questo
flusso di corrente elettrica non era un risultato del campo magnetico, come le
linee di forza magnetiche dovevano essere immaginario, composto di energia
potenziale e nessuna energia cinetica. E 'diventato chiaro a Giuseppe che
questo insegnamento tradizionale era sbagliato. Invece, sembrava chiaro che il
campo magnetico è costituito da particelle aventi caratteristiche meccaniche, e
tali particelle devono muoversi alla velocità della luce nel campo magnetico.
Una domanda chiave sembra essere: "come fa
l'attuale 'so' in quale direzione del flusso?" La direzione è sempre stato
coerente. Dopo un attento esame, si è verificato a Joseph che la risposta è
stata fornita dalle azioni di un giroscopio: "B"

Qui, se l'asse del volano filatura, o giroscopio, viene premuto verso il basso si muove nella direzione indicata dalle frecce rosse. Tuttavia, se l'asse viene spinta verso l'alto:

poi si muove
asse in direzione opposta, come mostrato dalle frecce rosse. Questo effetto è, ovviamente, se invertito il
senso di rotazione del giroscopio è invertita (come sarà se visto dal lato,
nello stesso modo come la direzione del flusso di corrente nel filo viene
invertito se i poli magnetici sono invertite oltre).
Ora, se l'asse giroscopio è mossa su e giù
ugualmente su entrambi i lati, non vi è alcuna forza risultante lateralmente:

L'azione
dell'asse giroscopio abbinato il flusso di corrente nel filo sotto ogni
aspetto, così è diventato chiaro che le particelle Joseph fluenti tra i poli
del magnete sono stati filatura nonché muove alla velocità della luce. Questo moto giroscopico meccanica delle
particelle rappresenta tutte le caratteristiche del flusso di corrente in un
filo che viene spostato attraverso un campo magnetico. Questa è una visione
importante parte di Joseph.
Posso notare che queste particelle non provengono
dal magnete stesso, ma scorrono in dal punto zero campo energetico, che
scorrono causato dalla rottura di simmetria del punto zero campo energetico
generato per effetto dipolo dei poli il magnete. Questo è il motivo per cui
l'energia può (sembra) da trarre da magneti per anni e anni.
Joseph ha poi considerare gli aspetti fisici di magneti permanenti. Ci sono stati due fatti molto importanti che dovevano essere presi in considerazione. Il primo di questi è che diversi materiali hanno caratteristiche magnetiche marcatamente differenti:

Una barra di ferro
dolce si trasformi in un magnete permanente quando pulsata brevemente con un
forte campo magnetico, ma se esattamente lo stesso livello di magnetico
pulsante è applicato ad una barra simile di una lega di ferro, nichel e
cobalto, un magnete permanente è anche prodotto , ma il campo magnetico della
lega è molto più forte di quella della barra di ferro dolce. Questo dimostra
che la struttura molecolare della barra ha un effetto importante sul magnete
risultante.
Di passaggio, si prega
di essere consapevoli del fatto che i magneti più potenti disponibili al giorno
d'oggi sono così forti che possono facilmente ferire. Se si prende in mano un
magnete e inavvertitamente avvicinarsi a un secondo, il magnete sciolto salterà
alcuni centimetri e provare a connettersi a quello che hai in mano,
schiacciando le dita nel processo e rivelando molto difficile in effetti a
spostare per far fronte con l'infortunio. Ho anche visto sostenuto che gli
Stati Uniti 'AlNiCo' (Alluminio / nichel / lega di cobalto) magneti sono
volutamente drogato con K40 isotopo che li rende inutili abbastanza
rapidamente. La fonte di queste informazioni è molto dubbia, ma i vantaggi
supplementari di vendita ai produttori magnete sarebbe significativo. Inoltre,
i vantaggi per le persone che vogliono sopprimere la creazione di free-energy
motori a magneti sarebbe importante, come molti inventori di talento degli
Stati Uniti sono propensi a pensare che i loro motori a magneti di successo
sono stati i fallimenti, perché i magneti sembrava essere "svuotato di
potere" per essere utilizzati nella loro progettazione, quando in realtà,
il design è perfettamente buono. Quindi vi lascio per rendere la vostra propria
mente sulla materia e osservazione che Bill Muller ha scoperto che i suoi
potenti magneti cinese fabbricati erano in perfette condizioni dopo undici anni
di utilizzo.
Un altro punto che
Giuseppe era considerato il fatto che quando successivi impulsi magnetici
vengono applicati ad una barra di metallo ferromagnetico, la forza risultante
campo magnetico raggiunge un certo valore massimo, e pulsante ulteriormente ha
alcun ulteriore effetto benefico:

Questo è considerato
l'impulso magnetico allineando atomi nel metallo. Alla fine, tutti gli atomi
sono allineati e quindi non ulteriormente effetto può essere prodotto mediante
impulsi ulteriormente. Questo allineamento può essere distrutto se la barra di
metallo viene riscaldato ad una temperatura sufficientemente elevata,
costringendo gli atomi in un tale stato energetico che l'allineamento è perso.
Si deve forse,
sottolineare qui, che il magnete stesso non ha alcun potere, nonostante che
sembra avere. Tom Bearden spiega chiaramente facendo notare che quello che
succede è che i poli opposti del magnete ha creato un "dipolo", che
sbilancia il casuale 'quantum foam' natura del contesto locale (il punto zero
campo energetico) e che fa sì che l'energia continua flussi dall'ambiente. La
potenza "magnete" proviene dall'ambiente e non dal magnete stesso.
Se si fatica a credere e pensare che sono solo di tornare l'energia elettromagnetica che si pompato nel metallo durante la creazione del magnete, in primo luogo, quindi applicare un semplice calcolo aritmetico. Si supponga che torni esattamente il 100% della potenza originale e calcolare quanto tempo quella quantità di energia consentirebbe il magnete sostenere il proprio peso contro la gravità, se collegato a una superficie metallica verticale. Poi chiedetevi come mai il magnete può fare per anni e anni e anni. Point dimostrato definitivamente?
Joseph ha concluso che l'attrazione di "differenza" poli magnetici e la repulsione di "come" poli è causata dal senso di rotazione giroscopica dei flussi fisici effettivi delle "linee di forza", che ha mostrato che entrambi i giganti scientifici, Maxwell e Faraday erano convinti erano reali entità fisiche. L'intuitiva genio Nikola Tesla descritto il punto zero campo energetico, avente le caratteristiche fisiche di un gas, in grado di avere moto, esercitando una pressione, e ancora di granulometria così piccolo che può fluire attraverso qualsiasi materiale fisico. Joseph ha concluso che questo flusso di campo ha una specifica direzione centrifuga che scorre, certamente per flussi causati dal dipolo magnetico di un magnete. Si ricorda che l'insegnamento scientifico delle attuali istituzioni educative è giorno almeno cinquanta anni di data. Abbiamo la situazione più insolito dove la letteratura scientifica di un centinaio di anni fa, è in realtà di qualità migliore di quella di oggi, che non descrive il mondo reale affatto bene. Attualmente, malinteso è vivo e molto bene.
Ad esempio, Maxwell
prodotto equazioni che descrivono come funziona il mondo. Certo, queste
equazioni sono molto difficili per le persone a capire. H. A. Lorentz
semplificata queste equazioni ed i suoi risultati sono erroneamente descritti
come Maxwell che certamente non lo sono. Tom Beardon illustra in questo modo,
prendere in considerazione una barca a vela di essere guidato lungo dalla forza
del vento contro le vele:

Maxwell dice che c'è
una fascia ampia di vento che soffia attraverso l'oceano, in grado di
alimentare una lunga fila di un lato migliaia di barche a vela a fianco. Questo
è il caso fisico. Lorentz ha 'semplificato' le cose dicendo "si prenderà
in considerazione una barca e una sola barca. Come il resto del vento non
toccare nessuna parte della barca possiamo ignorare ". Anche se questo è
vero per quella barca uno, quello che l'insegnamento della scienza ora dice è
che il vento non può che alimentare una
singola barca. Questo non è il caso reale, come il vento ambientale non si
limita ad alimentare una sola barca (regate non sarebbe molto divertente se
così fosse!). Questo, naturalmente, è solo un esempio. Le equazioni di Maxwell
coprire energia e potenza per tutto l'universo, e si occupano di tutti i casi.
Lorentz ha preso un sottoinsieme delle condizioni descritte dalle equazioni di
Maxwell, solo il gruppo che si applicano ai "sistemi chiusi" - solo
una barca sul mare. La scienza ha attaccato a questa e ad oggi afferma con
sicurezza che tutto è un sistema "chiuso", quando in realtà, come il
punto zero campo di energia scorre attraverso ogni cosa, in ogni luogo in ogni
momento, ed è in grado di fornire energia supplementare senza limiti ovunque e
in qualsiasi tempo, non vi è probabilmente una singola istanza di un sistema
"chiuso" in qualsiasi parte dell'universo.
Joseph Newman, e tutti
gli altri inventori seri, dobbiamo lottare contro questo insegnamento
"tradizionale" scienza, che è ormai così radicata che è diventato
l'equivalente di dogmi religiosi, e 'scienziati' non sono disposti a prendere
in considerazione osservazioni valide che non rientrano in con il concetto
molto limitato Lorentz dell'ambiente. Si dice che "il moto perpetuo è
impossibile" il che significa che Newton ha sbagliato quando ha detto che
un corpo in movimento continuerà a muoversi a tempo indeterminato a meno che
qualche forza agisce su di esso per fermarlo. Presumibilmente, quindi, la Terra
non può continuare a orbita attorno al Sole (accidenti, spero che non si ferma
oggi che sarebbe molto imbarazzante). Andiamo - Get Real!
Voi vedete, dunque, che quando Joseph esegue test e quindi basa le sue conclusioni sui risultati di questi test, che ha presentato la domanda il vero metodo scientifico, e le persone che dicono che i suoi risultati verificati sono impossibili perché Lorentz dice così, non essendo scientificamente onesto. Nessuna persona onesta può ignorare vere osservazioni scientifiche.
Deduzione Giuseppe che
le linee di forza magnetiche sono formate effettivi particelle fisiche filatura
in moto giroscopico che si muovono lungo il loro percorso magnetico alla
velocità della luce, non era qualcosa che era ovvio per scienziati, nonostante
il fatto che sia Maxwell e Faraday aveva sia esplicitamente descritto queste
linee di forza come 'energia cinetica magnetica':

Come un filo passa
davanti e attraverso l'estremità di una barra magnetica, la corrente fluisce in
una direzione, pausa, e quindi fluisce in direzione opposta. Questo avviene a
causa della direzione di flusso giroscopico delle particelle. Per esempio, su
un lato dell'estremità sud del magnete, le linee di forza di spin
"up", mentre sull'altro lato del medesimo scopo Sud, filano
"down". Un giroscopio rotante si muove perpendicolarmente la forza
che agisce su di esso, così come le particelle giroscopicamente filatura
incontrano le particelle del filo, si muovono "alto" o
"basso" il filo perpendicolare alla direzione in cui si incontrano
prima il filo. Si noti che è la direzione dello spin giroscopico delle
particelle magnetiche che determina 'attrazione' o 'repulsione' e non la
direzione del flusso di tali particelle lungo la loro linea di forza:

Va inoltre conto che
sebbene traiamo 'linee' di forza intorno ad un dispositivo magnetico, la realtà
è che questi sono realmente gusci di forza ed il flusso magnetico è davvero
come acqua che scorre in un fiume. Mentre possiamo disegnare frecce per
indicare la direzione e la forza delle correnti in un diagramma del fiume, la
realtà è, ovviamente, che non vi è acqua che scorre in tutti i punti il
fiume e non solo lungo le linee che decidiamo di disegnare. Lo
stesso vale per il flusso magnetico di un magnete, esiste come una massa solida
che fluisce attraverso e attorno al magnete. Non lo vedere o sentire, perché le
particelle sono così piccole.
Ora, per i dettagli su
come costruire un dispositivo di approfittare di questo movimento magnetico e
potenza di uscita più di quanto sia necessario per farlo funzionare. Vi ricordo
ancora una volta che stiamo parlando di un coefficiente di prestazione (COP)
che è maggiore di 1 in un sistema che ha un rendimento energetico complessivo
inferiore al 100%. Questo è, naturalmente, a causa dell'energia addizionale
fluisce nel dal punto zero campo energetico. Joseph visualizza il guadagno
apparente di energia come la conversione di una piccola quantità di materia
nella sua forma di energia (E = mc2), e mentre questo è probabilmente corretta,
sarà particelle del punto zero campo di energia che vengono convertiti in
energia forma e non particelle dal metallo del magnete. Va ricordato che le
particelle del punto zero campo energetico mantenere invertendo dall'energia
alla forma fisica tutto il tempo comunque. Energia non viene "usato"
ma semplicemente convertita da una forma all'altra e il punto zero campo
energetico contiene una quantità impressionante di energia che tutta la materia
visibile in tutto l'universo potrebbe essere creato dalla energia in una
singola cc del punto zero campo energetico. Quindi, se qualche
sub-sub-sub-microscopiche particelle del zero-punto di commutazione campo di
energia nella loro forma di energia per la produzione di quello che sembra
eccesso di potenza a noi, che è un elemento in modo banale per il campo che non
è nemmeno la pena menzione - meno l'effetto di prendere un granello di sabbia
al largo di una spiaggia lunga 100 miglia. La concezione tradizionale del modo
in cui le cose sono è così lontano dalla realtà che è ridicolo, (e che è ancora
senza dire nulla circa l'effetto che la dimensione asse del tempo ha sul
bilancio energetico e il flusso di energia).
Ma torniamo al
progetto di Giuseppe. In primo luogo, egli fa notare che è generalmente
accettato (per gentile concessione di Gustav Kirchhoff) che nella situazione
mostrata qui:

In ogni istante di
tempo, la quantità di corrente che passa nel sistema ("X") è
esattamente corrisponde la quantità di corrente che fluisce fuori dal sistema
("X"). Ma, se l'apparecchiatura di misurazione è collegato attraverso
la bobina al momento dello spegnimento, una quantità aggiuntiva di corrente
("X") scorre fuori della bobina. Questo è generalmente accettato, e
suggerisce che una quantità di corrente "X" fluisce nella bobina e
ancora una quantità di "2X" fluisce fuori di esso (COP = 2).
Joseph prende in esame questa situazione nei dettagli pratici come segue:

Si consideri un bobina
in aria con un diametro interno di 10 metri, l'altezza di 8,32 metri e farebbe
con 1.000 metri di 40-gauge filo di rame. Che la lunghezza del filo ha una
resistenza di 1.049 ohm e pesa 0,02993 libbra. Se 100 volt CC è collegato
attraverso esso, quindi una corrente di circa 95 milliampere fluirà, che è una
potenza di 9,5 watt. Con appena 31,8 giri, produrrà un debole campo magnetico
di 0012 Gauss, con appena 0,000014 Joule di energia in essa memorizzati. Con
una piccola induttanza di soli 0,003 henry, se la corrente viene interrotta e
le estremità della bobina cortocircuitati, solo una corrente insignificante
fluirebbe.
Ora, ripetere
l'esperimento, ma questa volta, utilizzare 5-gauge filo di rame. In quanto ha
una resistenza di 0,3133 ohm per 1.000 lunghezza del piede. Per eguagliare la
stessa resistenza e corrisponde al flusso di corrente precedente, una lunghezza
massiccia di 3.348.000 piedi deve essere utilizzato. Questa lunghezza di filo
peserà 335,469.6 sterline che è 16,77 tonnellate. Il 10 piedi bobina diametro
interno, 8,32 metri di altezza, ferita con questo filo avrà circa 90.000 giri. Se
100 volt CC è collegato attraverso la bobina, lo stesso 95 milliamp corrente
scorrerà con una potenza di ingresso 9,5 watt, come prima. Ma a causa della
bobina massicciamente grande, ha un campo magnetico di 23,7 Gauss, che è 1905
volte più grande della bobina precedente, e con 116 Joule di energia
immagazzinata nel campo magnetico. Questo è un fenomeno 8.000.000 volte più
energia rispetto al calibro 40-coil dell'esempio precedente. Un flusso
straordinariamente grande corrente sarebbe ora verificarsi se la corrente di
ingresso è stato interrotto e la bobina out corto, come quello genererebbe una
induttanza di 25.700 henry che è più di otto milioni di volte l'induttanza
della bobina precedente:

Joseph poi costruito
una versione più piccola del suo progetto, come illustrato di seguito:

Questo prototipo
utilizzato 5-gauge filo di rame isolato peso di £ 4.200 e 300 chili di 30 gauge
filo di rame avvolto nel corso dei 5 calibro avvolgimento, e un massiccio 4
piedi di lunghezza, 20 pollici di diametro magnete permanente di circa 600
libbre di peso. La bobina è avvolta con un diametro interno di 4-piedi e una
altezza di circa 3-piedi, avvolto su un tubo di vetroresina. Il peso
complessivo è stato di circa 5.000 sterline.
Tutti quelli che era
stato chiesto: "Sulla base della propria esperienza, la quantità di
energia sarebbe necessario far funzionare semplicemente questo dispositivo
meccanico?". Le risposte variavano da 200 watt a 1000 watt. Alla notizia
che aveva una bobina in aria, altre persone qualificate dichiarato che, a loro
parere di esperti, l'unità sarebbe altamente inefficiente ma non contiene
nucleo di ferro. Tuttavia, dalle informazioni di progettazione già presentato
qui, si può dimostrare che l'ingresso effettivo di potenza necessaria è inferiore
a 1,5 watt forniscono una potenza di gran lunga superiore al 100%.
Dr. Roger Hastings,
Fisico Principio a Sperry Univac Corporation ed ex Professore Associato di
Fisica presso la North Dakota State University, questo prototipo testato e ha
dimostrato di avere un rendimento 800% - che è un coefficiente di prestazione
di 8,0 che è impressionante. Inoltre, il dottor Hastings stimato che con un
ingresso di 1.5 watt di potenza, la forza elettromotrice posteriore superato
80.000 watt. Durante il funzionamento, il 600-pound, fatti a mano magnete ruota
a soli 200 giri al minuto.
Brevetto di Giuseppe, che è in appendice, indica quattro diverse modalità di attuazione suoi principi di progettazione. E 'molto chiaro che Joseph ha dimostrato il suo punto attraverso la produzione e la costruzione di un dispositivo che Oliver Lorentz considerata impossibile, grazie al suo buttare fuori i free-energy sezioni delle equazioni di Maxwell. Joseph Newman ha chiaramente guadagnato il nostro rispetto.
Potete vedere JL Naudin di build e test di modelli di piccole dimensioni a
http://jnaudin.free.fr/html/qm11bp.htm.
Nel 1871, Daniel Cook ottenuti ci 119.825 brevetto per "un
miglioramento In bobine ad induzione".
L'altamente rispettato Dottor
Harold Aspden considerato che questo è un pezzo molto grave di attrezzature,
operando come condensatori reticolati accoppiati, e suo parere ha un peso
considerevole. È un dispositivo molto semplice che poteva essere interessante
per testare, tanto più che esso non comporta alcun elettronica o costruzione
complicata.
Howerd Halay che è un
esperto sviluppatore di energia libera, dice “"questo è ciò che dice Cook:
'Elettricità sempre fluirà da un'alta tensione a bassa tensione'. Cook utilizza
il principio di un picco crollando FEM di ritorno in modo tale che la corrente
fluisce costantemente nella stessa direzione. In questo processo supera
costantemente la corrente iniziale che è di polarità opposta. Esso aumenta
costantemente in tensione fino a quando viene raggiunto il limite dei
componenti. Per avviarlo, è possibile utilizzare un'altra bobina sovrapposta
sulla parte superiore che induce il corrente "inizio", o in
alternativa, è possibile utilizzare un magnete per generare questa corrente di
partenza. Il dispositivo quindi entra in modalità "fuggiasco" quindi
devi utilizzare isolamento sufficiente e filo di diametro sufficiente per
prevenire l'incendio. Egli poi utilizza un dispositivo ingegnoso per impedire
la fuga sotto forma di un potente reostato. Il reostato è quindi in
cortocircuito per disegnare il potere fuori dal sistema. Il reostato impedisce
il dispositivo di spegnimento. Cook afferma che è necessario sufficiente
lunghezza del filo per il dispositivo funzionare. Egli raccomanda l'uso di 2000
piedi di filo. Egli utilizza anche un nucleo di ferro lunga e folta. Questo
avrà l'effetto di limitare la frequenza a livelli gestibili e limiterà anche
l'alta tensione a un valore realistico. Credo che questo è il segreto di Thomas
Henry Moray e che il lungo fili che Moray utilizzato, erano disinformazione
deliberata. (Moray utilizzato un elettromagnete per indurre la sua corrente).
Credo anche che questo è anche il segreto di Steven Mark. Un ulteriore punto
che ho scoperto in concomitanza con gli esperimenti fatti da 'Grumage' è che
tutti questi dispositivi hanno bisogno di elettricità statica per operare.
Questo spiega perché il dispositivo di Moray talvolta non avrebbe inizio (tempo
cioè umido). Questi dispositivi OU sono infatti vortice di elettricità statica
o dispositivi di aspirazione. Anche dispositivi di Bedini lavorano meno bene di
notte (quando intensità di elettricità statica è ridotto dalla mancanza di luce
solare - creando quindi la rugiada del mattino). Esaminando il brevetto di Daniel
Cook, richiama l'attenzione l'uso di termini obsoleti, che può essere trovato
nel libro "Manuale di magnetismo" 1842 da Daniel Davis Junior (http://www.free-energy-info.com/Davis.pdf)”.
Il brevetto di Daniel Cook fa uso di alcuni termini che potrebbero non essere familiare a molte persone in quanto sono termini che erano comuni a 170 anni fa, ma non sono comunemente usati oggi. Daniel Davis usa questi termini, che li rende più facile da capire. Ad esempio, egli prevede che ogni bobina avrà un connettore a vite chiamato una "tazza" ad ogni estremità del filo e così, invece di fare riferimento alle "estremità" di una bobina, si riferisce alla "Coppe" di quella bobina. Davis esegue anche alcuni esperimenti che possono aiutarci a capire come funziona il generatore immobile di Daniel Cook. Alcuni esperimenti effettuati sono familiari e alcuni non sono. Inizia costruendo batterie utilizzando elettrodi di rame e zinco con una soluzione di solfato di rame tra di loro. Egli osserva che con due o più collegati in serie, che l'effetto elettrico è maggiore:

Questo è normale e
quello che ci aspetteremmo collegando le batterie insieme in serie. Egli
determina inoltre che la potenza che può fornire una tale batteria, aumenta man
mano che aumenta la superficie bagnata:

Questo non è
sorprendente, ma questo effetto può produrre un effetto inatteso. I metodi di
rilevazione di effetti elettrici utilizzati da Davis includono un galvanometro
(che è effettivamente, un voltmetro) e l'intensità delle scosse elettriche,
avvertita da un essere umano, tenendo l'estremità di una bobina di induzione.
Per questo, Davis si snoda una frittella bobina da nastro metallico piatto,
isolato e posti in varie posizioni nei pressi di un grande elicoidale bobina
che ha un gran numero di giri della ferita:

Quando viene chiuso
l'interruttore "S", le bobine di agire come un trasformatore di
nucleo ad aria e il flusso di corrente nella bobina "A" rapida
evoluzione induce una tensione nella bobina "B". Che la tensione
indotta è alto come "B" della bobina ha molti giri e si sente una
scossa notevole quando le estremità di quella bobina si svolgono come mostrato
sopra.
Davis ha poi trovato
che mettendo parecchie lamiera sottile tra le bobine ha avuto scarso effetto,
ma se viene utilizzata una piastra di ferro di spessore 2,5 mm, quindi c'è poca
o nessuna tensione indotta nella bobina "B". È interessante notare
che, se una scanalatura radiale è tagliata in quel piatto, ha poco o nessun
effetto sulla tensione indotta e forti scosse ancora si fanno sentire. La
tensione indotta è molto breve durata quando l'interruttore è chiuso come la
corrente che scorre attraverso la bobina "A" raggiunge uno stato
stazionario molto rapidamente e quindi non c'è più un campo magnetico
variabile. Un interessante effetto è visto se l'interruttore è chiuso a
sinistra e viene generata una delle piastre della batteria, riducendo che esso
ha bagnato la superficie. Una tensione indotta è prodotto in bobina "B"
per tutta la durata del movimento piatto, producendo un effetto molto più
generale. Il galvanometro indica che il voltaggio attraverso la bobina
"A" è effettivamente invariato e ancora continua la tensione indotta.
Presumibilmente, questa è la resistenza dell'essere bobina "A" così
basso che il flusso di corrente attraverso di essa è limitato dalla capacità
della batteria di alimentazione di corrente, quindi, sollevando una piastra
riduce la corrente attraverso la bobina senza modificare la tensione di alimentazione
e il riduzione flusso di corrente nella bobina produce un campo magnetico
riducente e un lungo periodo di uscita dalla bobina "B".
Davis poi esperimenti
con bobine per vedere se la tensione indotta molto più elevata in grado di
produrre un effetto ancora maggiore in una bobina supplementare a cascata e
trova che non:

Davis fa le seguenti osservazioni circa la direzione del flusso di corrente per tensioni indotte in una catena di bobine che sono ampiamente allargate per evitare l'interazione magnetica. Vale a dire, il senso di flusso corrente non è causato da induzione magnetica, ma invece, esclusivamente di FEM di ritorno. Per questo, egli usa un segno "+" per indicare il flusso di corrente in una direzione e un segno meno "-" per indicare il flusso di corrente nella direzione opposta. Egli cascate sette bobine come questo:

Le attuali direzioni
di flusso diventano quindi:
|
Bobina |
All'accensione |
A spegnere |
|
1 |
+ |
+ |
|
2 |
- |
+ |
|
3 |
+ |
- |
|
4 |
- |
+ |
|
5 |
+ |
- |
|
6 |
- |
+ |
|
7 |
+ |
- |
I disegni di brevetto dare un'impressione di un dispositivo piccolo e compatto. Cioè non è il caso come la più piccola dimensione indicata da Daniel Cook è un fascio di fili di ferro 600 mm (2 piedi) di lunghezza e 50 mm (2 pollici) di diametro, ferita con bobine che hanno almeno 150 metri (500 piedi) di cavo in ogni bobina e idealmente, due volte che la lunghezza del filo. Quando completato, questo è un dispositivo grande e pesante ed è probabile che le versioni in miniatura non funzionerà. Cook dice:
Mia invenzione si
riferisce alla combinazione di due o più, semplice o composto, bobine
elicoidali con nuclei in ferro o magneti, in maniera tale da produrre una
corrente elettrica costante senza l'ausilio di una batteria.
Fig.1 rappresenta le diverse parti di un
composto bobina elicoidale e un nucleo di ferro.

Fig.2 è una vista prospettica di mia invenzione.

Nello svolgimento di
mia invenzione, io non limitarmi a qualsiasi particolare modalità di
costruzione della bobina o a qualsiasi particolare dimensione del filo,
osservando soltanto che la quantità di filo in bobine vari deve essere
sufficiente a produrre il risultato richiesto; Inoltre, il materiale utilizzato
per isolare i fili deve essere adatto a produrre il risultato richiesto.
Tuttavia, generalmente preferiscono utilizzare la stessa dimensione del filo
nella costruzione di bobine semplici e composti.
Durante la costruzione
di semplici bobine, per produrre la necessaria tensione e corrente, è opportuno
utilizzare un nucleo di ferro lunghi come mostrato come A in Fig.1. Questo nucleo di ferro possa essere due, tre o
anche sei piedi di lunghezza e due, tre o più pollici di diametro. La bobina
deve essere avvolto da filo di rame di buona qualità, coibentato con seta o
gommalacca. Il nucleo di ferro A può
essere una barra piena o un fascio di separare i fili di ferro, quest'ultimo dà
risultati migliori e fornire più corrente per qualsiasi diametro filo
determinato. Mentre il filo può essere fini o grossolani, preferisco utilizzare
n. 16 (1,23 mm di diametro) o anche più spesso filo, come la potenza di uscita
è in proporzione la lunghezza e il diametro del filo.
Quando si utilizza
bobine composti, è preferibile, in alcuni casi utilizzare un piccolo filo, di
dire, n. 30 (0,255 mm di diametro) o anche meno, per la bobina primaria e n °
16 o anche più grandi per la bobina secondaria. Con questa combinazione, la
corrente secondaria iniziale della bobina primaria essendo molto piccolo in
confronto l'attuale terminale secondario della bobina secondaria, offre poca
resistenza al terminale secondario, quindi un'azione più veloce è ottenuta. In
alternativa, la bobina primaria può essere di filo non isolato avvolto in una
solida elica, essendo isolato soltanto fra le bobine, nel qual caso c'è poco o
nessun avversario corrente secondaria iniziale.
Elicoidale ferita bobine solo con grandi quantità di filo produrrà risultati simili. Una spirale di nastro può sostituirsi per la bobina secondaria C, diciamo, di tre, sei, dodici o venti-quattro pollici di larghezza e di qualsiasi lunghezza comoda, ma sempre di lunghezza sufficiente a sollevare il suo output corrente al livello necessario per sostenersi attraverso la sua azione sulla bobina primaria B. L'uso di bobine composti, è importante che la bobina secondaria dovrebbe essere avvolta nella stessa direzione come la bobina primaria e le bobine primarie e secondarie essere cross-collegato come mostrato in Fig.2. L'azione sarà quindi come segue:

La corrente secondaria
della bobina secondaria C,
circoleranno attraverso la bobina primaria opposta B, mentre nello stesso istante, una corrente secondaria da bobina
primaria B verrà generato e
circolare attraverso la bobina secondaria opposta C, sia correnti che scorre nella stessa direzione in bobine opposte
B e C, producendo un'azione combinata magnetico su nucleo di ferro A nel centro. Le opposte correnti secondarie iniziale delle
due bobine B e C che essere sopraffatto, non mostrano il circuito principale D del dispositivo, ci otto distinte
correnti sviluppato nell'azione di un intero circuito delle due coppie di
bobine, due terminal e due correnti secondarie iniziale per ogni coppia di
bobine, i quattro secondarys iniziale costantemente opponendo la circolazione
delle quattro correnti terminale secondarie, ma la secondarys iniziale di molto
bassa tensione e corrente di quelli di terminale secondario, sono riassorbiti,
lasciando un sufficiente surplus di potenza terminale per superare la
resistenza del filo primario e la barra di carica A per il grado necessario per riprodursi nella bobina secondaria
opposta. In questo modo, viene mantenuta una costante corrente che scorre in
tutte le bobine.
Queste bobine possono
essere costruiti 500 piedi a 1000 piedi o più per ciascuna delle bobine
primarie e secondarie. Il più lungo e meglio i cavi isolati, maggiore è il
potere ottenuto dal dispositivo. Più grande il diametro del filo, maggiore la
corrente ottenuta.
Se solo singole bobine
devono essere utilizzati, è preferibile avere una lunghezza di filo di 1.000
piedi o più in ogni bobina. L'azione è la stessa con le bobine composta, ma
solo quattro correnti sono prodotti: due iniziale e due correnti terminale,
quest'ultimo fluire costantemente nella stessa direzione - in effetti, non vi
essendo solo una corrente nella stessa direzione.
L'azione in bobine può
essere avviato utilizzando un magnete permanente, un elettromagnete o avvolto
intorno alla parte esterna di una delle bobine del dispositivo di una batteria
supplementare e pulsante. Se per qualche motivo, il circuito di carico è rotto,
la corrente si ferma immediatamente. È quindi necessario effettuare la
procedura di avvio nuovamente per ottenere il dispositivo riavviato. Questo può
essere superato collegando permanentemente un resistore attraverso il terminale
del carico così che se il circuito di carico è rotto, il dispositivo può
continuare sotto molto che molto ridotta corrente fino a quando il carico viene
ripristinato. In questo modo, il dispositivo Diventa l'equivalente diretto di
una batteria.
Un reostato D possa essere introdotti nel circuito
principale per limitare la corrente ed evitare il surriscaldamento degli
avvolgimenti mediante l'elaborazione di eccessive quantità di corrente. I
nuclei di ferro possono anche essere utilizzati per la produzione di moto
elettromagnetica quando il dispositivo è in funzione.
********
Nel 1870 non c'era molto in termini di componenti elettronici disponibili a Daniel che ha fatto particolarmente bene per produrre il suo progetto auto-alimentato. Con le sue dimensioni di 0,6 a 1,8 metri di lunghezza e il peso sostanziale dei nuclei di ferro, che non si presta ad applicazioni mobili. Con componenti presenti giorno, sistema di Daniel può essere riprodotto in una forma molto più compatti e leggeri. Non so chi ha avuto origine, ma di recente mi sono imbattuto nel circuito di "Rene-Rator", che mostra il design Daniel Cook utilizzando Toroidi (presumibilmente ferrite) al posto dei nuclei di ferro lunghi avvolti con bobine, e diodi usato per controllare il feedback .
È evidente che la potenza di una tale disposizione è limitata dalla capacità dei toroidi per trasportare flussi magnetici e quindi potrebbe suggerire che toroidi nanotecnologie alte prestazioni del 'Nanoperm' come il http://www.magnetec.us/shop/details.php?id=73&kategorie=5&main_kat=&start=50&nr toroide da Magnetec GmbH potrebbe migliorare le prestazioni. Tuttavia, vi prego di capire chiaramente che non ho costruito questo circuito e, mentre io credo che avrebbe funzionato bene, la sperimentazione saranno necessari al fine di trovare le migliori modalità di lavoro. Il circuito è mostrato in questo modo:

Si noterà che la direzione degli avvolgimenti bobina non è specificato e così è lasciato a voi per disporre i magneti e bobine di input in modo che si oppongono l'un l'altro.
Sembra certo che il circuito oscillerà alla sua frequenza di risonanza e quella frequenza sarà alto. Come Daniel ritenuto necessario controllare la corrente con un reostato, potrebbe essere opportuno posizionare i controlli sul circuito per impedire fuga dalle risposte positive utilizzato nel circuito. Un interruttore posto tra le due toroidi potrebbe imporre un limite di sicurezza sulla corrente e proteggere l'isolamento del cablaggio. Un varistore ossido di metallo posto attraverso una delle bobine ingresso potrebbe essere utilizzato per limitare la tensione generata se questo si trova ad essere necessaria.
Mi sarei aspettato un bel po 'di sperimentazione saranno necessarie per trovare un buon circuito di lavoro, e così ho chiesto al mio amico Edmund Cook che è esperto nell'uso di software di simulazione, per valutare il circuito e il suo funzionamento in modo che ci potrebbe essere qualche valutazione dei quali fattori hanno il maggiore effetto. La forza del magnete rispetto alla qualità e le dimensioni del toroide deve essere importante perché se il magnete mette toroide in saturazione, che probabilmente non essere utile nella produzione di energia, ma che, ovviamente, è soltanto il mio parere ei risultati delle prove non informati sono l'unico modo per ottimizzare il circuito.
Dopo aver esaminato il circuito, Edmund afferma che l'accordo dovrebbe essere diverso e che ha prodotto il seguente schema:

Edmund dice: Ogni bobine di uscita 'semionda (mostrato in rosso), è l'impulso di azionamento opposte della bobina di ingresso, che si oppone influenza il campo magnetico magnete permanente sul nucleo toroidale. Nota come questo blocco ciclico e l'aumento crea una risonanza naturale tra le spire come il flusso e riflusso di corrente è rigenerato e sostenuta dai magneti permanenti. Particolarmente degni di nota sono le caratteristiche di auto-miglioramento sviluppati unificando le direzioni degli avvolgimenti e dei collocamenti di polarità dei magneti e due uscite "e ingressi 'conseguente contro-EMF campi che crollano. Ho trovato la struttura di questo circuito sia affascinante, soprattutto quando si considera come le direzioni degli avvolgimenti ei successivi campi collasso possono essere utilizzati direttamente per l'influenza, e quindi, accentuano l'intensità di campo complessiva di ogni bobina. Le direzioni di tutti gli avvolgimenti sono di fondamentale importanza non solo per i campi su ogni toroide e la funzione prevista del diodo, ma anche per le interazioni appropriate tra i due, intensamente bobine di uscita interlacciati. Il disegno originale era disfunzionale in numerosi dettagli.
Questo circuito ha due uscite e nessun ingresso esterni e quindi deve essere avviato applicando un segnale CA ad una delle due coppie di bobina magnetica.
Come già detto, personalmente, preferirei vi sia una protezione nel circuito dalle sovratensioni o che la corrente crescente ad un livello inaccettabilmente alto che causerebbe il surriscaldamento del filo e possibili danni all'isolamento del filo. Mentre un fusibile è mostrato nella figura seguente, io preferirei un interruttore. Il Oxide Varistor metallo viene scelto per qualsiasi tensione si intende eseguire il circuito, e i diodi devono essere in grado di gestire più corrente di quella del filo in grado di gestire. Vorrei suggerire che vengono utilizzati diodi ad azione rapida. Tali misure non dovrebbero influenzare il funzionamento del circuito ed è probabile che molte persone li considerano inutili. Tuttavia, se si desidera includere loro, poi vorrei suggerire il seguente disposizione circuitale:

Se si crea questo circuito e farlo andare, quindi per favore fatemelo sapere a questo proposito con i dettagli delle bobine, toroidi e magneti utilizzati in modo che il successo può aiutare altri replicatori.
Una delle più grandi
spese per molte famiglie è il costo di riscaldamento o il raffreddamento di una
casa. Qualsiasi dispositivo che può aiutare in questo compito è sicuramente il
benvenuto. Michael Eskeli ha prodotto diversi progetti più interessanti che
possono essere stati trascurati a causa della mancanza di attenzione di quello
che fanno.
Normalmente, un
sistema di riscaldamento centralizzato utilizza un metodo costoso di
riscaldamento di un liquido, tipicamente olio, che viene poi pompata attraverso
radiatori intorno all'edificio da una pompa a bassa energia. La grande
maggioranza del costo è in riscaldamento, tipicamente, un forno e molto poco
viene speso per spostare il liquido riscaldato attraverso i radiatori. In
questo disegno da Michael, il costo del riscaldamento è zero, e tutto ciò che
rimane è una bassa potenza (quarto a metà potenza) di ingresso, necessaria per
la filatura a rotore contro l'attrito dei cuscinetti e premistoppa.
Come questo sembra
impossibile, una piccola spiegazione molto tecnica sono qui. Questa
informazione è giunta dal sito di Scott Robertson http://www.aircaraccess.com/ con la sua gentile concessione. A grandi linee, il dispositivo comprende
un alloggiamento a forma di disco con un rotore di filatura strettamente
aderente al suo interno. Un gas in pressione ed un liquido sotto pressione sono
entrambi alimentati nel dispositivo e si mescolano in una sequenza pulsante che
comprime alternativamente e rilascia la pressione su entrambi i fluidi. Questo
riscalda entrambi i fluidi molto efficace, e più interessante, senza l'uso di
qualsiasi utente fornita potenza di riscaldamento e senza l'uso di alcun
combustibile. Il paragrafo successivo è per ingegneri, quindi se non lo
capisco, quindi semplicemente la ignorano, come la cosa importante è capire ciò
che il dispositivo fa, piuttosto che esattamente come lo fa.

Il
Ciclo di Lavoro della Pompa di Calore: Il diagramma riportato sopra mostra la
sequenza di eventi provocati dalla rotazione del disco all'interno
dell'alloggiamento del dispositivo. questo “Pressione /
Entalpia” o “Pressione / Energia Interna” diagramma mostra le pressioni e le temperature durante un ciclo di
pressione singolo dispositivo. Utilizzando azoto come gas, il ciclo inizia nel
punto "1", che ha una
pressione di 150 psi e una temperatura di 60 gradi F. un'onda di pressione
colpisce ora la miscela di azoto e del liquido. Questa onda di pressione ci
spinge al punto "2" in cui
la pressione è stato potenziato a 540 psi, che fa aumentare la temperatura a
280 gradi F.
Spostando il punto
"3" è dove il calore
desiderato viene passato attraverso il gas a liquido (l'esecuzione
dell'operazione di riscaldamento, che è l'intero oggetto dell'esercizio), anche
se la pressione viene mantenuta, così al punto "3" vi è una pressione di 540 psi e una temperatura di 138 ° C.
Successivamente, viene fornito un forte calo di pressione, portandoci al punto
"4" tirando la temperatura
scende sotto zero: 250 psi a soli 4 gradi F. al punto "5" l'pressione è scesa
ulteriormente a 150 psi, ancora a 4 ° C. il punto "6" ci porta a 250 psi a 60 ° F, da dove il ciclo ci riporta al
punto "1", e la sequenza ricomincia.
La compressione
avviene sulla gamba 1 a 2 e la gamba
5 a 6. Gli importi effettivi sono
53,2 e 13,5 rispettivamente, con una Compressione Totale di 66,7 B/lb.
L'espansione avviene
sulla gamba 3 a 4, gambe 4 a 5, e la gamba 6 a 1. Gli importi effettivi sono 31,6, 16,6 e 18,7
rispettivamente, dando un Espansione Totale di 67,0 B/lb.
Poiché queste due sono
praticamente identici, il risultato complessivo di un ciclo completo è
effettivamente libera dal lavoro.
Questo ciclo di lavoro
può essere facilmente eseguita dal Centrifuga-Tipo Pompa di Calore. Questa è
una unità che ha solo una parte mobile, il rotore, il fluido di lavoro, come
l'azoto, è sigillato con il rotore e circola in passaggi nel rotore. La
circolazione del fluido di lavoro all'interno del rotore si ottiene il
controllo della densità sola, secondo il ciclo di lavoro sopra indicato, e non c'è ingresso lavoro al fluido di lavoro
dal rotore. Così il contributo di lavoro per il trasferimento di calore è
nullo, e non lavorativa risultati pompa di calore.
Nello schema mostrato
di seguito, una sezione assiale e una vista di estremità con sezioni rimosse,
mostra un tipico rotore della pompa di calore adatto per l'uso con il ciclo di
lavoro sopra discusso.
Nel diagramma, il 10 è riscaldata-fluido scambiatore di
calore, 11 è l'approvvigionamento
termico scambiatore di calore in due parti, e le palette 12 sono in passaggi che restituiscono il fluido di lavoro dalla
periferia al centro del disco. Il ciclo di lavoro è di tipo non-flusso per il
fluido di lavoro in questo rotore, e questo fornisce prestazioni superiori che
che nell'esempio mostrato sopra.

Il fluido da
riscaldare è di solito un liquido, come acqua, che entra ed esce attraverso il
rotore del rotore. Analogamente, l'approvvigionamento termico fluido circolante
attraverso lo scambiatore di calore 11, è un liquido che entra ed esce
attraverso passaggi rotore.
Il lavoro senza pompa
di calore ovviamente ha molti usi. Un tale uso è negli impianti di riscaldamento
di tutti i tipi di edifici e case, con conseguente riscaldamento a costo zero,
dal momento che il carburante non è necessario, e il consumo di energia è quasi
pari a zero. Nella pompa di calore mostrato sopra, la potenza è necessaria per
spingere il rotore contro l'attrito che può richiedere un quarto alla metà
potenza del motore.
Un altro uso è nella
produzione di energia, con conseguente costo zero in quanto l'unità di
alimentazione non utilizza combustibile, la fonte di energia di essere sia aria
ambiente, o l'acqua da una fonte naturale. (Attached turbina genera la potenza;
parte di questa viene utilizzata per superare la perdita di calore pompa di
attrito e il resto è disponibile per la generazione di energia elettrica).
Ulteriori utilizzi sono in portatili l'alimentazione dei veicoli e dei
trasporti, ecc
L'apparecchio e metodi
e cicli di lavoro sono brevettati. Per la pompa di calore di base, vedere
brevetto US 3926010 e canadesi brevetto 984827.
Michael Eskeli.
Ecco uno dei molti
brevetti di Michael:
Brevetto US
3,650,636 21 marzo 1972 Inventore: Michael Eskeli
GAS
COMPRESSORE ROTATIVO
ASTRATTO
Metodo e apparato per un compressore per
comprimere aria, gas e vapori isotermicamente utilizzando un flusso liquido per
comprimere il gas, il liquido che esce da una girante intermittente, con il gas
viene trascinato tra questi impulsi liquido e compresso dal liquido, il liquido
avente elevata energia cinetica quando lasciando la girante e nel rallentare
l'energia cinetica viene convertita in pressione sia per il gas liquido e
trascinato. Inoltre, questo compressore può essere utilizzato vantaggiosamente
per comprimere vapori, in cui il liquido è lo stesso fluido del gas, nel quale
caso la condensazione del gas al liquido si verifica, e il lavoro di
compressione è ridotta.
Brevetto
USA Riferimenti:
|
|
November 1911 |
Lafore |
|
|
|
November 1914 |
Kieser |
|
|
|
August 1916 |
Buss |
|
|
Pompa Centrifuga |
March 1924 |
Hariveau |
|
|
Pompa del vuoto |
December 1924 |
Bogdanoff |
|
|
Caldaia pompa di alimentazione apparecchi |
July 1935 |
Becker |
|
|
Jet operato dispositivo di circolazione o comprimere un fluido |
September 1961 |
Salmon et al. |
|
|
Gas o liquido compressore |
March 1963 |
DeLancey |
SFONDO
DELL'INVENZIONE
Questa invenzione si riferisce generalmente a
dispositivi per comprimere gas, aria e vapori, in cui un liquido è in intimo
contatto con il gas o vapore da comprimere.
DESCRIZIONE DI STATO DELL'ARTE
Ci sono numerosi dispositivi e macchine
disponibili per la compressione di un gas o di un vapore. In alcune di queste
macchine un liquido è ruotato dentro un involucro eccentrico, in modo che il
rotore macchina provocherà il liquido a pulsare e lo spazio tra le pale del rotore
è aumentato o diminuito, e questa variazione comprime il gas. Queste macchine
sono chiamati liquidi macchine a pistone. Un altro dispositivo è il getto
eiettore compressore, dove viene utilizzato un flusso di liquido o gas per
aspirare il gas o vapore da comprimere, e l'energia cinetica del flusso viene
convertito in un ugello divergente ad una pressione.
Lo svantaggio principale della macchina liquido
pistone è la sua scarsa efficienza, poiché il liquido è ruotato nella macchina
e richiede potenza assorbita relativamente grande per comprimere il gas. Nel
compressore eiettore, la velocità del flusso di liquido è limitato e trascina
mal di qualsiasi gas, quindi l'efficienza del dispositivo è molto scarsa.
L'energia cinetica disponibile nel flusso liquido è elevata, ma a causa della
scarsa trascinamento del gas dal liquido, i risultati per il dispositivo sono
poveri.
BREVE DESCRIZIONE DEI DISEGNI

Fig.1 è una vista di estremità della carcassa del compressore, mostrando
l'esterno.

Fig.2 è una vista laterale ed una sezione del corpo e la girante del
compressore.

Fig.3 è una vista laterale ed una sezione della girante, e

Fig.4 è una vista di estremità della girante, che mostra i passaggi del
fluido.
DESCRIZIONE DELLE INCARNAZIONI PREFERITI
E 'uno scopo della presente invenzione fornire un
metodo ed un dispositivo per la compressione di gas o vapori essenzialmente
isotermicamente in cui viene utilizzato l'energia cinetica contenuta da un
flusso liquido per comprimere detto gas ad una pressione superiore in cui il
liquido nel rallentare la velocità aumenta la pressione e aumentare la
pressione del gas che viene trascinato in esso. Inoltre, è uno scopo della
presente invenzione fornire un metodo ed un dispositivo in cui il gas può essere
parzialmente o completamente essere condensato nel flusso liquido riducendo
così il lavoro di compressione, questo si verifichi quando il gas o vapore
essendo compressa è la stessa fluido come il liquido, cioè, il gas viene
compresso è la fase vapore del fluido, ed il liquido utilizzato per il fluido
motore è la fase liquida del fluido.

Facendo riferimento alla Fig. 1, è
mostrata una vista di estremità del compressore, dove 10 è la carcassa del compressore, 11 è l'ingresso del liquido, 12
è il gas o vapore aspirazione, e 13
è l'uscita.

In Fig.2, una vista laterale del
compressore è mostrato. La girante 22
è ruotato di albero 28, supportato
da cuscinetti e sigillato da imballaggio 23
e premistoppa 24. Alternativamente
una tenuta meccanica potrebbe essere utilizzato. Il liquido che viene
utilizzato come fluido motore entra attraverso l'apertura 11, passa attraverso la girante 22 e lascia la girante ad una velocità elevata ed entrare nella
sezione di gola 21 e da lì la
sezione del diffusore 29 nella cassa
10. Dopo aver lasciato il diffusore
ad una pressione superiore, e ad una velocità inferiore, il gas e la miscela
liquida viene raccolta in uno spazio anulare 30, e da lì passa attraverso l'apertura 13. Il liquido trascina gas dallo spazio anulare 31, e il gas entra nello spazio anulare
dall'esterno attraverso l'apertura 12.

In Fig.3, la girante 22 è mostrato in maggiore dettaglio,
dove 38 è il passaggio di fluido, ed
è l'apertura 36 per l'albero di
azionamento.

In Fig.4, la girante viene mostrato,
con 22 essendo la girante e 38 essendo il passaggio di fluido.
Nel funzionamento, le funzioni del compressore in
modo simile a un eiettore jet compressore. Un fluido motore viene accelerato in
un passo della girante ad una velocità elevata, corrispondente all'ugello
movente fluido in un eiettore jet. Tuttavia, il flusso di fluido che esce dalla
girante, quando ruota, non è continua come visto dalla carcassa del
compressore, poiché in questo caso particolare, la girante ha quattro passaggi
di fluido, con materiale solido tra loro. Pertanto, il flusso da girante, come
visto dalla carcassa del compressore, è pulsante, con spazi vuoti tra il
liquido ad alta velocità; questi spazi vuoti ricoperta dal gas dagli spazi
anulari, voce 31, Fig. 2, e il gas essendo rapidamente
spostata con il liquido allo spazio anulare esterna 30, e da lì a scaricarsi.
Questa azione pulsante migliora il trascinamento del gas dal liquido, e più
pienamente sfrutta l'energia cinetica disponibile nel flusso liquido.
Il dimensionamento dei passaggi fluidi ei calcoli
ad essi correlati, sono ampiamente descritte in letteratura termodinamica per
eiettori a getto di vapore e per gli iniettori. Lo spazio del passaggio 38 in Fig.3, sarebbe o convergenti per liquidi che non vaporizzare quando
lascia il passaggio, o il passaggio potrebbe essere divergenti a suo sbocco per
fluidi che evapora parzialmente o completamente quando lascia il passaggio. Dei
non-vaporizzazione di liquidi, l'acqua potrebbe essere un esempio, e dei tipi
parzialmente vaporizzazione, butano sarebbe un esempio, sia a temperature
atmosferiche, ed a basse pressioni. Come illustrato nelle Figg. 2-4, passaggi 38
comprendono una sezione convergente più vicino al centro della girante ma sono
almeno non convergente alla sezione di scarico. Preferibilmente, la sezione
almeno non convergente è una sezione divergente per meglio sfruttare l'energia
disponibile nel fluido motore di raggiungere velocità di uscita più elevate.
Il fluido passaggi mostrato in Fig.4, punto 38, può essere radiale come illustrato, o in avanti o indietro
curvi, a seconda del fluido utilizzato. Inoltre, la sezione di gola 21, di Fig.2, può avere alette di forma adeguata per impedire movimento
circolare del fluido dopo che lascia la girante. Pale di questo tipo sono
comunemente utilizzati in turbine e pompe e quindi non sono qui descritte. Ci
sono quattro passaggi di fluido mostrato in Fig.4, ma questo numero sarà determinato quando i calcoli sono
fatti per la dimensione dei passaggi, e la frequenza degli impulsi di liquido
richiesto per mantenere la pressione adeguata e rapporti volume all'interno del
compressore, inoltre, la velocità di rotazione della girante entrerà in questi
calcoli.
Normalmente, la quantità di liquido è grande
rispetto alla quantità di gas o vapori. Pertanto, quando si comprime un gas, il
calore di compressione del gas viene trasferito al liquido, causando un aumento
della temperatura del liquido, nonché del gas. Questo aumento di temperatura è
molto meno di quanto sarebbe per il solo gas, con conseguente compressione
quasi isotermica, e quindi il lavoro di compressione ridotto, rispetto alla
compressione isoentropica che viene spesso utilizzato nei compressori rotativi.
Inoltre, se un liquido che si espande nella girante viene utilizzato, con un
passaggio di fluido in espansione, la temperatura del fluido motore si abbassa,
e la velocità del fluido notevolmente aumentato, con conseguente efficienza
molto meglio per il compressore, questo è simile al funzione di
convergenti-divergenti ugelli divergenti in eiettori a getto.
Il funzionamento del compressore può essere
dedotto dalla materia sopra descrittivo. Una fonte di liquido è collegato alla
girante Fig.1, 11 e una sorgente di gas o vapore è collegata all'ingresso gas Fig.1, 12. Scarico del compressore è di
Fig.1, 13. Una fonte di alimentazione adatta, ad esempio un motore elettrico, è
collegata all'albero Fig.2, 28,
provocando la rotazione dell'albero. Il liquido viene accelerato dall'azione
della girante, e che passa attraverso lo spazio anulare Fig.2, 31 in un flusso pulsante, esso trascina il gas, la porta
spazio anulare 30, da dove si
scarica.
Materiali di costruzione per il compressore sarebbero simili a quelli utilizzati per fare pompe per il pompaggio di liquidi. Bronzo ghisa, acciaio, ottone, acciaio inox e materiali plastici vari potrebbero essere utilizzati.
La fusione fredda è stata inizialmente accolta con grande entusiasmo. E poi sembrava essere screditato, in primo luogo per una questione di paura di perdere i finanziamenti per i vecchi di decenni di ricerca sulla fusione "a caldo". Attualmente, vi sono alcuni duecento laboratori. che hanno confermato i risultati e quindi non c'è alcun dubbio sulla realtà del sistema. In sostanza, si dice che la fusione nucleare può avvenire a temperatura ambiente, sotto certe condizioni. Tuttavia, un dispositivo che lavora commerciale sta raggiungendo il mercato con i dettagli sul sito web della Sterling Allan:
http://peswiki.com/index.php/Directory:Andrea_A._Rossi_Cold_Fusion_Generator.
Se si desidera che i dettagli della storia della fusione fredda di fondo, poi ci sono diversi siti web che seguono i progressi in questo campo, tra cui "Cold Fusion Times" a http://world.std.com/~mica/cft.html dove considerevole dettaglio è disponibile. Tuttavia, anche se un generatore a fusione fredda è improbabile che sia qualcosa che si può mettere insieme nel giardino di casa, il processo è bordatura costantemente verso l'uso generale. Nel 2012, il "Ecat" generatore a fusione fredda Rossi dovrebbe lanciare. Il http://ecat.com/ sito sta già prendendo ordini e l'unità di casa produce 10 chilowatt, dovrebbe avere un costo annuale di funzionamento di soli $ 20.
In agosto 2015 Rossi ha ottenuto un brevetto completo per il suo progetto commerciale. A quel punto nel tempo Rossi aveva un generatore di un megawatt funzionamento perfettamente e continuamente per un anno. Ecco il suo brevetto:
US Patent 9,115,913 Data: Data: 25 Agosto 2015 Inventore: Andrea Rossi
RISCALDATORE DI FLUIDO
RIEPILOGO
Un apparecchio per riscaldamento fluido compreso un serbatoio per lo svolgimento di fluido da riscaldare e una cialda di combustibile a contatto con il fluido. La cialda di combustibile comprende una miscela combustibile, reagenti e catalizzatore e una resistenza elettrica o altra fonte di calore nella comunicazione termica con la miscela di carburante e il catalizzatore.
Descrizione:
PRIORITÀ BASSA
Molti sistemi di trasferimento di calore utilizzano fluidi caldi come mezzo di trasferimento di calore. Tali sistemi includono un generatore di calore, un mezzo di trasferimento di calore in comunicazione termica con la fonte di energia e di una pompa per spostare il mezzo riscaldato dove il calore è necessario. A causa della sua elevata capacità termica e la sua abbondanza, un comune fluido termovettore è l'acqua, sia nella sua fase liquida e gassosa.
Una varietà di generatori di calore sono di uso comune. Per esempio, nelle centrali nucleari, fissione nucleare fornisce energia per il riscaldamento dell'acqua. Esistono anche scaldabagni solari che utilizzano energia solare. Tuttavia, la maggior parte delle fonti di trasferimento di calore si basano su una reazione chimica esotermica e in particolare sulla combustione di carburante.
RIEPILOGO
In un aspetto, le caratteristiche di invenzione un apparato per fluido di riscaldamento, l'apparecchio tra cui un serbatoio per lo svolgimento di fluido da riscaldare e un combustibile di wafer in comunicazione fluida con il fluido, la cialda di carburante compreso una miscela combustibile comprensivi di reagenti e catalizzatore, e una fonte di calore, ad esempio una resistenza elettrica, in comunicazione termica con la miscela di carburante e il catalizzatore.
Tra le incarnazioni sono quelle in cui la miscela di carburante include litio e litio alluminio idruro, quelli in cui il catalizzatore include un elemento di gruppo 10, ad esempio nichel sotto forma di polvere, o in qualsiasi combinazione di questi.
In altre forme di realizzazione, il catalizzatore nella forma in polvere, è stata trattata per migliorare la sua porosità. Ad esempio, il catalizzatore può essere polvere di nichel che è stata trattata per migliorare la sua porosità.
In quelle forme di realizzazione che includono una resistenza elettrica, l'apparecchio può includere anche una fonte di energia elettrica, come una fonte di tensione o fonte corrente in comunicazioni elettriche con il resistore.
Tra le altre incarnazioni sono quelle in cui il wafer di carburante include una struttura multistrato, avendo uno strato della miscela combustibile in comunicazione termica con un livello contenente la resistenza elettrica.
In ancora altri incorporamenti, il wafer di carburante include un inserto di riscaldamento centralizzato e un paio di carburante inserti posizionati su entrambi i lati dell'elemento riscaldante.
Una varietà di serbatoi può essere utilizzata. Ad esempio, in alcune forme di realizzazione, il serbatoio include un incavo per la ricezione della cialda di carburante. Tra questi sono incarnazioni in cui il serbatoio comprende anche una porta per la sigillatura di cavità. In ancora altri incorporamenti serbatoio include uno scudo di radiazione.
Anche inclusa tra le incarnazioni sono quelli che inoltre includono un controller in comunicazione con la sorgente di tensione. Tra questi ci sono controllori che variano la tensione in base alla temperatura del liquido che viene riscaldato.
In un'altra incarnazione, le caratteristiche di invenzione un apparato per contenere e un fluido, l'apparato di riscaldamento anche dispone di mezzi per lo svolgimento di una miscela di carburante contenente un catalizzatore e un reagente e significa per l'avvio di una sequenza di reazione mediata dal catalizzatore per provocare una reazione esotermica.
Un altro aspetto dell'invenzione è una composizione della materia per la generazione di calore, la composizione tra cui una miscela di polvere di nichel porosità-enhanced, litio polvere e polvere di alluminio del litio, e una fonte di calore nella comunicazione termica con la miscela per l'avvio di un nichel catalizzato reazione esotermica.
Un'altra implementazione dell'invenzione ha un metodo di riscaldamento di un fluido, il metodo compresa l'immissione di una miscela di polvere di nichel, polvere di litio e litio alluminio idruro in comunicazione termica con il fluido; e riscaldando la miscela, quindi avviare una reazione esotermica nella miscela.
Queste e altre funzionalità dell'invenzione risulterà dalla seguente descrizione dettagliata e le figure di accompagnamento, in cui:
BREVE DESCRIZIONE DELLE FIGURE

Fig.1 viene illustrato un sistema di scambio di calore con una fonte di calore;

Fig.2 è una vista tagliata la fonte di calore in Fig.1;

Fig.3 è uno spaccato del wafer per uso nella fonte di calore di Fig.2;

Fig.4 mostra una resistenza esemplare nello strato centrale del wafer illustrato nella Fig.3.

Fig.5 mostra la fonte di calore di Fig.1 con un forno convenzionale.

Fig.6 indica fonti di calore plurale collegati in serie, come quelle in Fig.2.

Fig.7 indica fonti di calore plurale collegati in parallelo, come quelli in Fig.2.
DESCRIZIONE DETTAGLIATA

Facendo riferimento alla Fig.1, un sistema di scambio di calore 10 include un tubo di 12 per il trasporto di un fluido riscaldato in un circuito chiuso tra una fonte di calore 14 e un carico termico 16. Nella maggior parte dei casi, per esempio dove c'è resistenza idraulica da superare, una pompa 18 spinge il fluido riscaldato. Tuttavia, in alcuni casi, ad esempio dove il fluido riscaldato è vapore, la pressione del fluido è sufficiente per spingere il fluido. Un tipico carico termico 16 include radiatori come quelli comunemente usati per il riscaldamento di spazi interni.

Come mostrato in Fig.2, la fonte di calore 14 è un serbatoio 20 avendo uno scudo composito fatto di piombo, un'insenatura 22 e una presa di corrente 24, entrambi dei quali sono collegati al tubo 12. L'interno del serbatoio 20 contiene fluido da riscaldare. In molti casi, il fluido è acqua. Tuttavia, altri fluidi possono essere utilizzati. Inoltre, il fluido non è necessario un fluido liquido ma può anche essere un gas, come l'aria.
Serbatoio 20 ha un portello 26 che conduce a una presa a parete 28 che sporge nel serbatoio. Radiante pinne 30 sporgono dalle pareti del recipiente 28 nel serbatoio 20. Per massimizzare il trasferimento di calore, il ricettacolo 28 e le pinne 30 sono fatti tipicamente di un materiale con elevata conducibilità termica, come il metallo. Un metallo adatto è uno non soggetto a corrosione, come l'acciaio inox.
Ricettacolo 28 detiene un wafer multistrato 32 per la generazione di calore. Una sorgente di tensione 33 è collegata il wafer 32 ed un regolatore 35 per controllo della fonte di tensione 33 in risposta alla temperatura del fluido nel serbatoio 12 come determinato da un sensore 37.

Come mostrato in Fig.3, il wafer multistrato carburante 32 ha un riscaldamento sezione 34 intramezzato fra due sezioni di carburante 36 e 38. Il riscaldamento sezione 34 ha uno strato centrale 40 che è fatta di un materiale isolante, come la mica e che supporta un resistore 42.

Fig.4 mostra che un tipico strato centrale 40 avendo fori attraverso il quale è stato avvolto un filo resistivo 42 44. Questo filo resistivo 42 è collegato alla fonte di tensione 33. Primi e secondo strati isolanti, 46 e 48, fatta di un materiale come strati di mica, racchiudono lo strato centrale 40 per fornire isolamento elettrico dalle sezioni adiacenti carburante 36 e 38.
Ciascuna delle sezioni carburante 36 e 38 riportano un paio di strati termicamente conduttivi 50 e 52, come strati d'acciaio. Stretta tra ogni coppia di strati conduttivi 50, 52 è uno strato di combustibile 54 che contiene una miscela di carburante avendo nickel, litio e litio alluminio idruro LiAlH4 ("LAH"), tutti in polvere forma. Preferibilmente, il nichel è stato trattato per aumentare la sua porosità, ad esempio riscaldando la polvere di nichel ai tempi e temperature selezionate al surriscaldamento dell'acqua presentano in micro-cavità che sono intrinsecamente in ogni particella di polvere di nichel. La pressione di vapore risultante provoca esplosioni che creano cavità più grandi, così come altre particelle più piccole di nichel.
L'intero set di strati è saldato insieme su tutti i lati per formare un'unità sigillata. La dimensione del wafer 32 non è importante per la sua funzione. Tuttavia, il wafer 32 è più facile da gestire se è dell'ordine di mezzo pollice di spessore e 12 pollici su ciascun lato (12 x 300 x 300 mm). Gli strati d'acciaio 50 e 52 sono in genere 1 mm di spessore, e gli strati di mica 40 e 48, che sono coperte da un rivestimento protettivo polimerico, sono dell'ordine di 0,1 mm di spessore. Tuttavia, possono essere utilizzati anche altri spessori.
Durante il funzionamento, viene applicata una tensione di fonte di tensione 33 a resistenza termica in 42. Calore dal resistore 42 viene poi trasferito per conduzione agli strati carburante 54, dove avvia una sequenza di reazioni, l'ultimo dei quali è reversibile. Queste reazioni, che sono catalizzate dalla presenza di polvere di nichel, sono:
3LiAlH4 → Li3AlH6 + 2Al + 3H2
2Li3AlH6 →
6LiH + 2Al + 3H2
2LiH + 2Al → 2LiAl + H2
Una volta che inizia la sequenza di reazione, la sorgente di tensione 33 può essere spento, come la sequenza di reazione è autosufficiente. Tuttavia, il tasso di reazione può non essere costante. Quindi, può essere desiderabile per accendere la sorgente di tensione 33 in determinati orari per rinvigorire la reazione. Per determinare o meno la sorgente di tensione 33 dovrebbe essere acceso, il sensore di temperatura 37 fornisce un segnale alla centralina del 35, che determina o meno di applicare una tensione in risposta al segnale di temperatura. È stato trovato che dopo la reazione ha generato circa 6 chilowattora di energia, è consigliabile applicare circa 1 chilowattora di energia elettrica per rinvigorire la sequenza di reazione.
Alla fine, l'efficienza del wafer 32 diminuirà al punto dove è antieconomico rinvigorire continuamente la sequenza di reazione. A questo punto, si può sostituire la cialda 32. In genere, wafer 32 sosterrà circa 180 giorni di funzionamento continuo prima sostituzione diventa desiderabile.
La polvere della miscela di carburante è in gran parte costituito da particelle sferiche aventi diametri in nanometro a gamma di micrometro, ad esempio tra 1 nanometro e 100 micrometri. Variazioni nel rapporto di reagenti e catalizzatore tendono a governare la velocità di reazione e non sono critiche. Tuttavia, è stato trovato che una miscela adatta dovrebbe includere una miscela di partenza di 50% di nichel, litio 20% e 30% LAH. All'interno di questa miscela, nichel funge da catalizzatore per la reazione e non è un reagente. Mentre il nichel è particolarmente utile a causa della sua abbondanza relativa, la funzione può essere svolta da altri elementi nella colonna 10 della tavola periodica, ad esempio platino o Palladio.
Fig.5 a Fig.7 mostrano una varietà di modi per collegare la sorgente di calore 14 in Fig.1. In Fig.5, la fonte di calore 14 viene inserita a valle di un forno convenzionale 56. In questo caso, il controller 35 facoltativamente è connesso per controllare il forno convenzionale. Di conseguenza, il forno convenzionale 56 rimarrà disattivato a meno che la temperatura di uscita del corpo scaldante 14 scende di sotto qualche soglia, a quel punto avrà inizio la fornace 56. In questa configurazione, il forno convenzionale 56 funziona come un'unità di backup.
In Fig.6, fonti di calore prima e la seconda 58 e 60 come quelli descritti in Fig.1 a Fig.4 sono collegate in serie. Questa configurazione fornisce un' più alta temperatura di uscita che possono essere forniti con solo una fonte di calore singola 58 da sè. Fonti di calore supplementari possono essere aggiunti in serie per aumentare ulteriormente la temperatura.
In Fig.7, fonti di calore prima e la seconda 62 e 64 come quelli descritti in Fig.1 a Fig.4 sono collegati in parallelo. In questa configurazione, il volume di uscita può essere fatta maggiore di quella che potrebbe essere fornita da un'unità di trasferimento di calore singolo stesso. Unità di trasferimento di calore supplementare può essere aggiunto in parallelo per aumentare ulteriormente il volume di uscita.
Ci sono stati un certo
numero di uomini del tutto eccezionali che hanno avuto la grande intuizione di
come l'universo è e come funziona. Uno di questi è Schappeller Karl che è
praticamente sconosciuto. Una delle ragioni di questo è il fatto che
pubblicizzare il suo lavoro è stata fortemente contrastata da persone che non
vogliono la sua comprensione per diventare ampiamente conosciuto. Un
dispositivo prodotto da Karl, al fine di dimostrare che la sua comprensione
delle cose era corretta, ha prodotto notevoli quantità di energia in eccesso, e
mentre io non conosco nessuno che ha replicato il suo dispositivo, sono anche
qui, una breve presentazione sul tema, scritto da Henry Stevens http://www.missilegate.com/rfz/index2.htm e il libro di Cyril Davson che egli
cita, può essere scaricato dal http://www.free-energy-info.tuks.nl/Davson.pdf
e
leggere per intero.
Nella presentazione di Henry Stevens, egli cita gli
UFO o dischi volanti. C'è stata una campagna di propaganda scatenata contro il pubblico per più di cinquanta anni, con l'obiettivo di convincere le persone
che "UFO" non sono reali,
e se lo fossero, allora
sarebbero i veicoli di "omini verdi". Questa campagna è stata molto efficace e il
pubblico in generale immediatamente
respingere i dischi volanti come "impossibile"
e non qualcosa che qualsiasi persona sana di mente dovrebbe prendere in considerazione per un momento. Questo atteggiamento si basa su una quasi totale mancanza di
conoscenza dei fatti. Ci sono in questo momento, un gran numero di dischi volanti, costruiti da esseri umani e in grado di abilità di volo spettacolari.
Ci sono due varietà: quelle che hanno
bisogno l'atmosfera di operare e
quelle che non lo fanno.
Se ritieni che questo è un "carico
di rifiuti" e poi dare un'occhiata alle seguenti brevetti USA:
US 2,718,364, Ernest
Crabtree ![]()
US 2,772,057, John
Fischer ![]()
US 2,876,965, Homer Streib 
US 2,912,244, Otis Carr ![]()
US 2,927,746, Walter
Mellen ![]()
US 2,935,275, Leonard
Grayson ![]()
US 2,953,320, Robert Parry 
US 2,997,254, Thomas
Mulgrave 
US 3,018,068, Frost &
Earl ![]()
US 3,020,002, John Frost ![]()
US 3,020,003, Frost &
Williams
![]()
US 3,022,963, Frost &
Earl ![]()
US 3,024,966, John Frost ![]()
US 3,065,935, Duberry/Frost/Earl ![]()
US 3,066,890, Nathan Price ![]()
US 3,067,967, Irwin Barr ![]()
US 3,123,320, Eldon
Slaughter ![]()
US 3,124,323, John Frost ![]()
US 3,243,146, Paul Clover ![]()
US 3,312,425, Lennon &
Varner ![]()
US 3,395,876, Jacob Green ![]()
US 3,397,853, William
Richardson ![]()
US 3,410,507, Paul Moller ![]()
US 3,432,120, Efrain
Guerrero ![]()
US 3,442,469, Troy Davis ![]()
US 3,469,802, Roberts
& Alexander ![]()
US 3,514,053, Gilbert
McGuiness ![]()
US 3,519,224, Boyd/Mallory/Skinner
![]()
US 3,750,980, Samuel
Edwards ![]()
US 3,774,865, Olympio
Pinto ![]()
US 3,946,970, Ben
Blankenship ![]()
US 4,014,483, Roderick
MacNeil ![]()
US 4,193,568, Norman
Heuvel ![]()
US 4,214,720, Edwin
Desautel ![]()
US 4,269,375, John Hickey ![]()
US 4,457,476, Frank
Andresevitz ![]()
US 4,804,156, Rodney
Harmon
![]()
US 4,824,048, Kyusik Kim ![]()
US 4,955,962, Christian
Mell ![]()
US 5,072,892, Alfred
Carrington ![]()
US 5,170,963, August Beck 
US 5,178,344, Vaclav
Dlouhy 
US 5,203,521, Terence Day ![]()
US 5,344,100, Allan
Jaikaran ![]()
US 5,351,911, George Neumayr
US 6,270,036 Charles Lowe ![]()
Questa piccola
selezione di 46 brevetti è limitata solo a quelli che hanno la ben nota
circolare "disco volante" forma. Lei pensa seriamente che non uno
solo di questi brevetti ha avuto prova di un prototipo che ha volato, o che
sono stati tutti pilotati da "omini verdi"?
Non ho alcun interesse
a macchine volanti che hanno bisogno di un ambiente in cui sono solo versioni
avanzate di velivoli convenzionali. All'inizio del 1900, Nikola Tesla
progettato e costruito quello che ha definito come la sua "macchina
volante". Questo era un piccolo dispositivo senza ali e che 'volato' senza
l'uso di un combustibile. Questo disegno di Tesla è stato preso dai tedeschi e
durante la seconda guerra mondiale, sviluppato e sperimentato. Dopo la guerra,
è stata presa negli Stati Uniti e ulteriormente sviluppato in Groome lago, e in
questo momento, gli Stati Uniti, Regno Unito, Canada e governi russi hanno
ottenuto grandi copie di lavoro che tengono segrete, come il possibile. Una
storia di copertura importante è che queste imbarcazioni appartengono a
"extraterrestri" che hanno ad un livello avanzato di tecnologia che
non saremo mai in grado di capirlo. Si tratta di una buona storia, in quanto
non è possibile confutarla. Se volete un bel po 'di informazioni specifiche su
questo, quindi leggere "The Hunt for Zero Point" di Janes ricercatore
e scrittore Nick Cook.
Anche se non ho alcun
interesse particolare nella propulsione electrogravitic (o
"anti-gravità", come è popolarmente noto e definito in modo non
corretto) se gli interessi soggetto che poi dare un'occhiata alla sequenza
video di YouTube di Stan Deyo che è stato una delle persone che hanno
sviluppato propulsione electrogravitic per un gruppo internazionale, diversi
decenni fa. Stan spiega "gravità" come il prodotto di spin che
interessano il continuum spazio-temporale e mostra i meccanismi pratici per la
generazione di un auto da questo principio nella sua presentazione al: http://www.youtube.com/watch?v=ubka5f1vUC8
Il Dispositivo di Karl Schappeller Autore: Henry Stevens
L 'apparecchio ha Schappeller un motore usato in
piattini tedeschi di propulsione di campo? Questa è una possibilità. Perché
così poco è stato segnalato su questo dispositivo in lingua inglese, la
seguente è una relazione che descrive Schappeller Karl e il suo dispositivo in
dettaglio.
Karl Schappeller (1875-1947) è andato
letteralmente a essere nati nello poveri-house a possedere un castello durante
la sua vita. Il suo successo economico si specchiava nei suoi esperimenti in
energia come un lay-scienziato, che si conclude con l'invenzione di un
dispositivo free-energy che ha attirato molta attenzione intorno al 1930.
Schappeller non faceva mistero della sua invenzione e attivamente ricercato
finanziamenti privati per produrre e distribuire i risultati
delle sue ricerche. Era in contatto con le preoccupazioni finanziarie e ha
anche parlato con un rappresentante del Ministero della marina britannica in
materia di utilizzazione del suo dispositivo per le navi di potenza Reale
Marina Militare (1).
In questo momento, 1930, il dispositivo è stato in
qualche modo appropriato e ulteriormente lavorate da un ente governativo della
Germania Repubblica di Weimar, la Reichsarbeitsgemeinschaft o Reich Lavori
Association (RAG). Almeno uno degli obiettivi degli orientamenti è stato quello
di rendere la Germania autosufficiente nella produzione di energia. In
particolare, hanno pubblicato le loro intenzioni di utilizzare dispositivi
Schappeller molti in un sistema di distribuzione di energia di trasmissione in
tutta la Germania, che comporterebbe l'eliminazione intera rete elettrica (2). Come sappiamo, Adolf Hitler assunse il potere
dopo tre anni e per ragioni strategiche, era anche molto interessato a rendere
la Germania indipendente da fonti di energia estere. E 'noto che le strutture
politiche e scientifiche sono stati istituiti a lavorare sul problema
energetico, come evidenziato più tardi dal sintetizzante di benzina e prodotti
petroliferi da carbone dal Reich 3 °. Una di queste strutture politiche e
scientifiche era contenuta all'interno delle SS e si sa che Karl Schappeller
effettivamente incontrato con Reichsfueher SS Heinrich Himmler a Vienna nel
1933 (3).

Sinistra:
Inventore Karl Schappeller Destra: Dispositivo
Karl Schappeller. A. Acciaio involucro esterno. Fodera B.
speciale ceramica in cui i tubi sono incorporati. C. Cavo centro, riempito da magnetismo luminoso quando è in
funzione. D. Tubi, circuito e terrestre.
Fortunatamente, ci sono una buona descrizione del
dispositivo Schappeller su cui disegnare in tedesco e in inglese. Per
Vril-Mythos è una discussione completa di Schappeller, il suo dispositivo, la
storia e la controversia che lo circonda. "Vril, Die Kosmische Urkraft
Wiedergeburt von Atlantis" e "Weltdynamismus Streifzuege durch
technisches Neuland una mano von biologischen Symbolen" rappresentano un
tentativo da parte del RAG per diffondere le loro idee sotto forma di opuscolo.
Infine, ingegnere britannico elettrica e meccanica, Cyril W. Davson, visitato
Karl Schappeller in Austria e ha trascorso tre anni ad imparare del suo
dispositivo e la sua teoria prima della seconda guerra mondiale. libro
descrittivo Davson, "Il Fisica dello Stato primario della materia", è
stato scritto nel 1955, dopo la guerra e la morte di Schappeller .
Prima di descrivere il dispositivo stesso si
dovrebbe comprendere che Schappeller e tutta la scrittura del suo dispositivo
di credere che la fonte di energia è energia viene sfruttato etere, talvolta
chiamato "Raumkraft" o "Raumenergie", cioè spazio-energia (4) (5) (6). Questo dispositivo è stato anche detto di essere
in grado di, magari con qualche regolazione, emettendo etere come energia
radiante (7). La fisica di energia eterica è descritto
da Davson come "Fisica primari" in contrapposizione a "fisica
convenzionale", che egli riteneva non poteva essere considerata come una
secondaria, la comprensione derivata.
Aether Teoria
Per i lettori che non hanno mai sentito parlare di
"etere", forse la più semplice spiegazione etere fisica è quella del
defunto dottor Hans A. Nieper (7) dal
titolo "Rivoluzione in Tecnologia, Medicina e Società". Aether
potrebbe essere pensato come una fonte di energia che emana da tutto il mondo
allo stesso modo in una sola volta. L'universo può essere considerato, come
spesso si dice, di essere "un mare di energia". Esso costituisce uno
sfondo di energia ovunque, e poiché è ovunque per tutto il tempo, è difficile
fare la misura indipendente da esso. Questa energia eterica è in costante
movimento. Tutta l'energia è l'energia radiante, secondo questa teoria. Questo
può essere facilmente apprezzato da radiazione elettromagnetica ma è anche vero
che cosa sfuggente chiamata gravità. Newton descrisse gli effetti della
gravità, ma non ci ha mai detto esattamente quello che era. Dr. Nieper ci dice
che la gravità è davvero una spinta, e non un tiro. Gravità è l'accelerazione
ed è causata dal campo etere. Anche in questo caso, tutta l'energia è radiante
di energia la cui base è fondamentale radiazioni etere.
Dal libro del Dr. Nieper di cui sopra:
Inoltre, Nieper stabilito l'assioma che, “tutte le accelerazioni
naturali può essere attribuito ad un unico principio di base unificato, cioè,
l'intercettazione (o frenante) di un campo di energia che penetra dall'esterno
(accelerazione gravitazionale, magnetico, elettromagnetico, elettrostatico e
radiestesico accelerazione)".
Nel tentativo di spiegare etere, potrebbe essere
pensato come un tutto pervade liquido, occupando tutto lo spazio. Questo
concetto liquido è utile perché un liquido non può essere compressa, ma può
solo trasferire l'energia tentando di comprimerlo da una posizione a un'altra.
Ecco come i freni di un veicolo di lavoro. Il conducente preme il pedale del freno
quando vuole rallentare o fermarsi. Lo stantuffo del pedale del freno tenta di
comprimere il liquido nel cilindro pompa. Il cilindro principale è collegata a
ciascuna ruota da tubi metallici pieni di liquido. Quando la pressione viene
messo sul cilindro master dal conducente viene trasmesso a ciascuna delle
quattro ruote cilindri pieni del fluido stesso che trasmette la forza, muovendo
il meccanismo di frenatura, rallentando le ruote del veicolo.
In modo simile, l'etere serve a trasmettere
energia attraverso questa qualità "non comprimibile". In una bobina
primaria e secondaria elettrico bobina elettrica, per esempio, l'induzione nel
secondario non avviene direttamente dal primario come si dice ora dalla fisica
attuali, ma invece, l'induzione tra i due avvolgimenti è dovuta al campo etere.
Questo concetto della funzione di trasferimento di energia del campo dell'etere
si esprime anche con Davson.
Usando questa prospettiva, che tutta l'energia è
la radiazione, la frenatura di radiazione etere, che è il rallentamento o
l'arresto di questa radiazione, può causare un trasferimento ad altre forme di
energia. La parola "energia" si intende l'intero spettro
elettromagnetico. Che comprende, campi elettrici, magnetici ed elettrostatici.
Questo significa calore. Questo significa anche gravità. Ancora una volta, la
gravità è la radiazione primaria del campo etere. Si irradia da ogni punto
dell'universo allo stesso modo.
Questo concetto sembra ridicolo finché non viene
dato qualche pensiero. Ci si potrebbe chiedere: "Come può essere una
spinta gravitazionale quando sappiamo meglio?" Dopo tutto, le cose cadono
a terra, non è vero? La risposta è che gli effetti che riteniamo e chiamiamo
"gravità" sono dovuti a Aether schermatura. Radiazioni etere può
essere frenato, che viene rallentato e assorbito dalla massa. Esso viene poi
ri-irradiato o convertiti in massa. Si viene riemessa sotto forma di radiazione
etere più lento o addirittura sotto forma di calore. Una parte di esso può
essere, ed è, convertito in massa all'interno di un pianeta. Se vi è una
perdita di radiazione etere, allora viene schermatura. Così, un pianeta
proteggere da tali radiazioni in una direzione. Tale direzione è sempre verso
il centro, che è la direzione della massa più grande e questo è ciò che noi
chiamiamo "verso il basso". Questo è semplicemente l'area che
contiene la quantità massima di schermatura. In tutte le altre direzioni della
radiazione etere continua ad esercitare la sua spinta su di noi. La zona di
minima schermatura si trova di fronte l'area di massima schermatura, in modo da
cadere le cose (o più correttamente sono accelerati o "spinto") verso
la terra.
Pensate a questo per un minuto. Essere nello
spazio profondo è un po 'come essere sott'acqua. Underwater, la pressione in
tutti i punti è così simile che ci sentiamo di peso. Siamo senza peso nello
spazio profondo perché il campo etere esercita una spinta su di noi da tutte le
direzioni allo stesso modo. Nello spazio, quella più vicina arriva a un grande
corpo forte il pulsante sia dalla direzione opposta poiché gli scudi corpo o
converte la radiazione etere. Il risultato di questo modo di pensare è un
meccanismo completamente diverso da "gravità" come lo conosciamo, ma
che appare come esattamente gli stessi fenomeni osservati.
La bellezza di questa teoria dell'etere di gravità
è che le funzioni di gravità, come ogni altra forma di radiazione. Sua causa,
radiazioni etere, può essere convertito in massa o, in determinate circostanze,
re-irradiata o convertiti in altre forme di energia. Nessuna teoria unificata
del campo è necessario. Il campo etere è il campo unificato. Inoltre, non vi è
alcuna necessità di cercare qualcosa separato denominato
"anti-gravità". Se la gravità è una spinta, allora è tutto
anti-gravità. Tutto ciò che dobbiamo fare per rendere un UFO, è quello di
trovare questa frequenza particolare gravità e trovare il modo di generarlo.
Aether fisica era una fisica perduta. Fisica è
stato dirottato all'inizio del 20 ° secolo dai risultati presunti di
Michelson-Morley. Questo esperimento presuppone che "etere" era
materia. Vi è una certa confusione qui. Oggi sappiamo che le particelle si
muovono quasi alla velocità della luce sono misurate come onde, che è energia,
piuttosto che come materia. Tuttavia, la teoria dell'etere è stata screditata
tra i fisici, che, a sua volta, screditare gli altri che alzano il soggetto. E
'solo grazie agli sforzi di "free-energy" e free-energy ricercatori,
che questa conoscenza viene restituito a noi. Senza questa teoria dell'etere,
la ragione per questi dispositivi funzionano non può essere spiegato a tutti.
Rigetto della teoria dell'etere permette a questi dispositivi di essere
respinto in quanto "teoricamente impossibile" e così
"fraudolenta" per implicazione. Essi sono emarginati e respinti come
"moto perpetuo dispositivi". Secondo la fisica stabiliti, moto
perpetuo dispositivi di violare le leggi fisiche di conservazione dell'energia.
Senza una teoria dell'etere come spiegazione, che violano le leggi di
conservazione dell'energia e quindi i loro detrattori sono in grado di
respingere semplicemente di mano. Il semplice fatto che alcuni di questi
free-energy in realtà il lavoro, non sembra preoccuparsi di questi scienziati
in meno. Invece di modificare la teoria per ospitare i fatti osservati, i fatti
vengono ignorati e sostituiti da dogma. Che ci piaccia o no, viviamo in
un'epoca energia oscura.
Invece di teoria dell'etere, tutti siamo stati
indotti a concentrarsi su Einstein e la sua teoria della relatività. Due o tre
generazioni di scienziati si sono sprecati per "cercare di avere ragione
Einstein". Questo modo di pensare sbagliata ha portato stagnazione. Un
bisogno di andare oltre i tanti "free-energy" dispositivi che sono
sorte al livello di comunicazione, nonostante accettata teoria scientifica di
vedere che questa affermazione è vera.
Inutile dire che, gli scienziati tedeschi del
periodo nazista lavorato in queste illusioni. Non hanno mai abbandonato fisica
eterica. Questo è stato il motivo fondamentale per cui gli UFO di propulsione
di campo sono stati sviluppati in Germania. Dopo la Seconda Guerra Mondiale due
scienze diverse, sviluppati entrambi chiamati "Fisica". Uno era il
concetto di relatività basata insegnata nelle scuole, mentre il secondo, di
tipo più esoterico, è stato utilizzato in segreto, da parte del governo
segreto, per profonde "progetti neri".
La Struttura del
Dispositivo Schappeller
Secondo descrizione Davson, sul quale ci
affideremo, il dispositivo Schappeller è realmente composto da due unità
separate, il rotore e lo statore. Lo statore è costruito come segue: La sua
superficie è rotonda o sferica, essendo composta da due semigusci di acciaio.
Questi semigusci contengono la struttura interna e sono a tenuta d'aria.
Attaccato al "polo" di ogni semiguscio è un ferro bar-magnete, la
maggior parte dei quali è posizionato all'interno della sfera. Questo significa
che la maggior parte di ogni magnete è all'interno della sfera d'acciaio, uno
di fronte all'altro. Vi è uno spazio tra le due barre magnetiche al centro
della sfera.
Un materiale isolante ceramico, è stato posto
all'interno della sfera di acciaio, lasciando una zona centrale cava.
All'interno di questa zona vuota, e intorno lo spazio tra i magneti, sono due
bobine sono montati. Questi inizio al polo del magnete e finire al centro della
sfera, con un collegamento che porta fuori della sfera al rotore. Tali bobine
sono avvolte con un tubo cavo di rame riempito con una speciale sostanza
segreta chiamata "elettrete". Dopo aver lasciato la sfera, le
electret pieni di tubi di rame sono sostituite da filo di rame convenzionale.
Una connessione elettrica è realizzata dalla superficie esterna di un polo di
un polo di un particolare tipo di batteria che si fonda all'altro polo o, in
alternativa, ad un dispositivo speciale chiamato "Ur-macchina" che
sarà discusso più avanti.
Questo elettrete è un magnete permanente
all'interno della sfera. Questo tipo di magnetismo non è identico
ferro-magnetismo o elettromagnetismo, è molto più forte (8). La composizione effettiva del electret Schappeller
resta un segreto, ma un altro electret è stata fatta dal professor Mototaro
Eguchi. Consiste di cera carnauba e resina, forse anche contenente alcuni cera
d'api. È stato conservato in un forte campo elettrico durante la cottura
lentamente fino solidificato. Ai fini della produzione di sfere Schappeller, un
completo impianto di produzione electret avrebbe dovuto essere istituito, che
non ha paragoni nella scienza attuale (9).
Prima di essere messo in funzione, l'aria è
pompata fuori il nucleo cavo della sfera. Questa palla interamente montato su
un meccanismo girevole in modo che i poli possono essere spostati da verticale
ad orizzontale. Lo statore non è collegato al rotore. Lo statore può funzionare
senza il rotore e lo statore è in grado di produrre energia elettrica senza il
rotore. Il rotore può anche essere usato per generare ulteriore energia
elettrica.
Il rotore è costituito da una ruota di acciaio
speciale disegno fissato sull'albero da azionare, e circondata sulla sua
superficie esterna da magneti che sono attratti e respinti dalla forza dello
statore. Il filo di rame attaccato al elettrete interna-riempita tubo di rame,
attraversa questa ruota e fornisce energia elettrica ai magneti. I magneti sono
cavi e riempiti con l'elettrete stessa. C'è sempre un numero dispari di
magneti.
Una variante di questo rotore ci viene da Taeufer,
che si riferisce a questo ulteriore sviluppo come "Ur-macchina".
Questa macchina è composta da sei unità sfera come descritto sopra, cinque
girevole attorno un sesto che è posizionata sopra o sotto il piano delle altre
sfere rotanti. Una settima unità potrebbe essere impiegato per ruotare le
cinque sfere rotanti e quindi sarebbe compensata, e non attaccati agli altri.
Le cinque sfere rotanti farebbe pagare la sesta sfera stazionaria. Le sfere
sesto e settimo avrebbe operato come anodo e catodo e quindi a terra l'unità.
L'Ur-macchina può essere utilizzata per attivare altre sfere invece di una
batteria di terra procedura (10).
Come un motore primo, un motore, il rotore
dovrebbe essere utilizzato per trasformare un albero motore. Lo statore sarebbe
compensata, cioè spostato dal centro rispetto al rotore. Schappeller elaborato
vari angoli di efficienza (11). L'albero di comando
potrebbe essere utilizzata per alimentare un numero di applicazioni di macchine
come, per esempio, le eliche di una nave.
Mezzi di Funzionamento
Il dispositivo viene avviato tramite un
collegamento ad una batteria totalmente unica e un collegamento a terra (12). Un impulso di eccitazione specifica deve essere
data al dispositivo (13). Questo impulso
elettrico viene condotto attraverso il magnete ferro e salta il divario nel
centro della sfera al magnete altro ferro.
Cosa è accaduto quindi imposta il dispositivo
oltre a tutti gli altri. Nel vuoto della sfera, nello spazio centrale tra i due
magneti a barre un campo di "magnetismo luminoso" è impostato. Questo
magnetismo luminoso è qualcosa di completamente unico. E 'riconosciuto come un
campo magnetico, ma molto più potente e diverso da qualsiasi campo magnetico
prodotto da una barra di ferro o una bobina elettrica. Una volta che l'input
iniziale era stato fatto per avviare il dispositivo, la batteria e la terra può
essere scollegata. Il dispositivo continua quindi a funzionare da sola (14).
Per una comprensione di ciò che sta realmente
accadendo qui dobbiamo considerare la barra magnetica. Pensiamo a una barra di
ferro con due poli, uno positivo e uno negativo o forse un polo nord e un polo
sud. Ma ci sono in realtà tre componenti alla barra magnetica. Ci sono i due
poli e la zona neutrale tra i poli. Se tagliamo il magnete a metà otteniamo due
nuovi poli. Per il dispositivo Schappeller, questa zona neutra è molto
importante. Immaginare una barra magnetica che attraversa l'asse verticale
della palla. Quindi immaginate la sezione centrale tagliato. Ora abbiamo un
polo nord nella parte superiore della palla, un polo sud nella parte inferiore
della palla proprio come facciamo con il pianeta Terra. Al centro abbiamo una
sezione mancante con un polo sud, opponendosi il polo nord nella parte
superiore della palla e, analogamente, un polo nord di fronte al polo sud nella
parte inferiore della palla. Ora abbiamo quattro pali e da un magnete barra di
divisione con una lacuna nella sua sezione centrale.
È questa lacuna nel centro dove Schappeller
"magnetismo luminoso" è generato da terra, cioè, la ricarica del
dispositivo tramite una batteria speciale e un collegamento a terra. Questo
magnetismo luminoso è il mistero. Davson cita Schappeller calcoli e dà a questa
forma di magnetismo come un migliaio di volte più potente di quella prodotta
dal magnetismo presenti (15). Egli afferma anche
che in questa forma di magnetismo l'elettricità è stazionario mentre il
magnetismo viene irradiata (16).
Per affermare questo nuovo, Davson sostiene nel
suo libro che questo magnetismo luminoso non si trova in fisica secondarie,
cioè, nella fisica moderna, e che questo magnetismo luminoso è una
manifestazione della fisica primarie. Come fenomeno di fisica primaria, è
responsabile, e in grado di generare, calore, elettricità e magnetismo.
Dopo la stimolazione iniziale e in uno stato di
magnetismo luminoso, non ulteriore ingresso di energia è necessaria dalla
batteria. Il dispositivo è in grado di disegnare in energia direttamente dall'etere
circostante, associare questa energia anche se il suo materiale electret
magnetico, che è il ripieno nelle spire di rame rotondo della batteria interna,
e quindi re-irradiare la produzione di energia termica, energia elettrica,
magnetismo o lavoro meccanico seconda dell'applicazione.
Detto in altro modo, questo è un dispositivo
implosione e viene descritto come tale (17) (18). A differenza del dispositivo di Schauberger che
è associato con la parola implosione, il dispositivo Schappeller opera unicamente
a livello energetico. Energia è attratto verso il centro, attraverso i magneti,
nel campo del magnetismo luminoso, e poi irradiata verso l'esterno.
La mia prima spiegazione per questa uscita di
energia radiante implica il concetto del Muro di Bloch. Una parete Bloch è
definito da Encyclopedia Scientific Norstrand di Van, edizione 1958, pagine 201
e 202, come: "Questo è uno strato di
transizione tra domini adiacenti ferromagnetiche magnetizzate in direzioni
diverse. La parete ha uno spessore finito di poche centinaia di costanti
reticolari, come è energeticamente preferibile che le direzioni di selezione
per modificare lentamente da un orientamento a un altro, passando attraverso la
parete piuttosto che avere una brusca discontinuità" (18).
In elettromagnetismo il Muro di Bloch è esterno
alla stessa hardware. E 'il punto di divisione del vortice cerchio, o spin,
delle energie elettroniche magnetiche del poli nord e sud. Il negativo
magnetismo polo nord gira a sinistra, mentre il polo positivo sud gira a
destra. L'energia è in corso nel dispositivo Schappeller attraverso i poli non
isolati e di essere condotti e filato nel suo cammino verso il centro
dell'unità. Il punto di magnetismo zero, non inversione di spin e magnetici, in
cui i due campi di spin aderire, è il Muro di Bloch (19).

Muro di Bloch, una gravità onda sorgente
in funzione dello spettro elettromagnetico?
(Dr. Richard Le Fors Clark)

Circuito oscillante. Charged condensatore (campo elettrico) scarichi,
effettuata corrente attraverso filo isolato per caricare bobina (campo
magnetico) che scarica, la carica dei condensatori. Oscillanti campi elettrici e magnetici
producono onde elettromagnetiche.
Il Muro di Blocco irradia energia. Ricordate, se
l'energia è in arrivo, allora deve andare fuori. Il Muro di Bloch può generare
frequenze elettromagnete radio, radar e altro, ma ciò che è più interessante è
che è effettivamente in grado di irradiare la gravità come secondo il dottor
Richard Le Fores Clark. Secondo questa interpretazione, la congiunzione di due
dipolari generati forza vettori di campo, un campo di forza o quadropole
gravità è generata secondo il dottor Clark. Gravity essere una fonte
quadropole, si irradia in una circolare, 360O, modello di due cicli. Dr. Clark
ha fissato il punto di emissione come sotto quella di radar e sopra infrarossa
a 1012 Hz (20). Dr. Richard Le Fors Clark ritiene che la
gravità è una radiazione (20) e quindi è un
"spingere".
Un Altro Parere
Alla fine del 2001, ho scritto un articolo di
giornale sul dispositivo Schappeller (20)
che conteneva la maggior parte del materiale di cui sopra. In questo articolo,
ho chiesto spiegazioni alternative per il dispositivo Schappeller. Ho ricevuto
una lettera dal signor Michael Watson, BSc, Fisico Charted e membro dell'Istituto
di Fisica nel Regno Unito. Ma c'era qualcosa in background Mr. Watson
ancora più impressionante delle sue credenziali professionali. Cyril W. Davson era un amico di famiglia che il
signor Watson conosceva bene in gioventù e con il quale aveva discusso
Schappeller e le sue idee in modo approfondito in molte occasioni. Nella
lettera di Mr. Watson era un breve riassunto della teoria Schappeller in cui ha
tagliato la maggior parte della terminologia confusa.
Questa sintesi è importante per un paio di motivi. Riassunto Mr. Watson della teoria dell'etere Schappeller come descritto da Davson si integra bene nelle idee di Schauberger ancora sembra consentire risultati sperimentali di Tesla su etere come ha spiegato Bill Lyne. Quello che segue è ciò che ho appreso dalla lettera di Mr. Watson:
Molti di noi hanno sentito parlare di due leggi
della termodinamica. Si tratta di leggi di calore. La prima legge della
termodinamica afferma che l'energia è conservata, il che significa che la
quantità totale di energia dell'universo rimane sempre lo stesso. Questa non è
una sorpresa per la maggior parte di noi e non è la vera preoccupazione qui.
Che cosa è di preoccupazione è la seconda legge
della termodinamica che discute il calore ed entropia. L '"entropia"
parola potrebbe essere pensato come uno stato di casualità o caos. Entropia
negativa potrebbe quindi significare movimento verso uno stato meno casuale o
ordinata più di qualsiasi cosa particolare. Se si applica ad un sistema, quindi
l'entropia tende ad aumentare fino a quando il sistema si rompe nel caos più
totale. Questo si verifica se il sistema non viene ricaricata con l'aggiunta di
energia esterna. Un esempio concreto di questo potrebbe essere utile:
Immaginate una macchina nuova appena venuta fuori
una catena di montaggio. Ha preso una grande quantità di energia per trovare,
raffinare, forgiare, saldare, e dipingere le parti metalliche di questa
vettura. Questo concetto si applica anche a tutti gli altri componenti della
macchina. Questa energia e organizzazione costituiscono uno stato altamente
organizzato, o, in altre parole, uno stato di entropia negativa.
Che cosa succede dopo illustra entropia. L'auto
viene acquistato. Che si tratti di guidato duro o si trova appena in garage non
ha importanza nel lungo periodo, perché ciò che accade alla macchina è che si
comincia a cadere a pezzi. Questo cambiamento può essere piccolo in un primo
momento e può avvenire solo a livello molecolare, ma si verifica comunque. Il
motore, la trasmissione, vernici, gomma, elettronica, ecc tutto avrà esito
negativo con il tempo. Addirittura la vettura si trova appena in garage, in
mille anni il metallo alla fine ossidano. Infine, le ruggini auto via formando
un mucchio bruno-rossastro. Questo è esattamente l'opposto di organizzazione e
di energia utilizzata per mettere la macchina insieme. Questa disorganizzazione
è entropia. L'unica cosa che si riverseranno questo, come tutti sappiamo, sono
ulteriori ingressi di energia da parte del proprietario, sotto forma di
manutenzione e riparazione.
Tutte le cose in un relativo stato di spostamento
dell'ordine verso uno stato di disordine. In termini di calore, il calore sarà
sempre sfociare in un luogo più freddo da un luogo più caldo. Quando qualcosa è
riscaldata vi è un aumento nella sua entropia. Con il calore aumentando le sue
molecole si muovono sempre più velocemente nel caos casuale, proprio come fa
una bomba quando esplode. L'aumento di calore significa casualità in aumento e
il caos che è l'entropia. Freddo, quindi, può essere visto in termini di
entropia negativa. Qualsiasi oggetto freddo è semplicemente più organizzata e
meno casuale di quanto lo stesso oggetto, una volta riscaldato.
Schappeller aveva qualcosa da dire sulla seconda
legge della termodinamica. Ha detto che c'era un altro ciclo termodinamico e
sconosciuto che passa di fronte alla Seconda Legge. Per citare questa idea la
chiameremo "Termodinamica Reverse". È l'inverso della Seconda Legge
della Termodinamica in quanto porta ad un aumento di entropia. Non solo vi è un
aumento di ordine, ma vi è un aumento di freddo! Schappeller, secondo la
lettera del signor Watson, ha costruito il suo dispositivo sferico in primo
luogo per dimostrare i principi alla base di questo Termodinamica Reverse. Non
è stato progettato come una macchina pratica.
Per dimostrare la differenza tra la seconda legge
della termodinamica e termodinamica Reverse due macchine teoriche devono essere
esaminati. In realtà, una macchina che esegue in base alla seconda legge della
termodinamica non è teorica a tutti. Macchine di combustione sono di questo
tipo. Per semplicità useremo una stufa a legna, come il tipo inventato da
Benjamin Franklin per il riscaldamento di una casa.
Legno è messo in un recipiente di ferro cava con
un foro regolabile ad una estremità. Il foro regolabile ammette ossigeno
atmosferico. Un ingresso iniziale minima di calore viene aggiunta al legno e
ossigeno fino bruciore. Una grande quantità di calore viene prodotto una volta
che il legno inizia a bruciare. Sappiamo calore espande. Carbonio, anidride
carbonica e vapore acqueo sono anche prodotti come sottoprodotti della
combustione. L'entropia aumenta. Dal momento che l'entropia aumenta,
l'inquinamento è così quindi forse siamo tutti d'accordo che questo è un buon
esempio della tecnologia distruttiva così caratteristica del mondo in cui
viviamo.
Nel nostro esempio di una macchina teorica
termodinamico Reverse sottoprodotti dell'esempio precedente può essere
utilizzato come combustibile. Ma la macchina Schappeller ha la proprietà aggiuntiva
di essere creativi, cioè negativamente entropico. Schappeller credevano che
questo processo creativo di essere individualista, quindi abbiamo bisogno di un
modello specifico da utilizzare come modello per questa creazione. Calore,
acqua e biossido di carbonio vengono inseriti in questa macchina. Piuttosto
sorprendentemente, l'ossigeno viene prodotto come un sottoprodotto di questa
reazione! Il calore viene assorbito in macchina termodinamica Reverse
Schappeller! Questo assorbimento di calore è un altro modo di dire che la
macchina è implosivo in natura piuttosto che espansiva o esplosivi come il
calore producendo macchina. Ciò che è più sorprendente, tuttavia, è che
l'entropia è effettivamente ridotto cedevole, qualcosa che è stato creato in
legno!
In realtà, questa macchina non è teorica sia.
Esiste e funziona come si parla. Queste macchine sono intorno a noi. Noi
chiamiamo questi "vita" della macchina. In questo caso, la nostra
macchina è un albero. Nella struttura, energia, luce solare, viene assorbito e
combinati in un processo a freddo con acqua e biossido di carbonio per formare
legno. Il modello utilizzato come modello per questo apparentemente
intelligente, creativo, processo è semplicemente un seme. In questo tipo di
reazione della forza "a freddo" è qualcosa di diverso l'assenza di
calore. Questo freddo è un freddo attivo. Si tratta di una
"densificazione", freddo implosiva. E 'una vita che dà a freddo. Si
tratta di un raffreddore, la vita . dare forza Per citare Watson: "Questo
processo è forza vitale e il rovescio della seconda legge della termodinamica,
è la forza vitale: Vril".
Questa è una grande differenza tra la fisica delle
Schappeller e Schauberger e la fisica del XIX secolo. La fisica del XIX secolo
spiegare ogni cosa in termini di inanimato. Le leggi della fisica sono scritti
utilizzando esempi inanimati. Le reazioni chimiche sono descritte che derivano
da modelli inanimati. Animare i modelli sono semplicemente reso conforme con
l'inanimato partendo dal presupposto che la vita è solo un caso particolare che
alla fine verrà mostrato a non essere altro che la chimica e quindi soggetti
alla stessa legge termodinamica secondo come l'inanimato. Schappeller e
Schauberger entrambi dicono a modo loro che non è così. Dicono che, ognuno a modo
loro, che una legge nuova e diversa della termodinamica si applica alle forze
viventi. Dicono che questo più simile a un processo di vita che le teorie
precedenti consentono. Si dice che questa forza è creativo. Coloro che hanno
sottoscritto a queste nuove idee ha sostenuto che non era solo una nuova legge
fisica, ma una nuova scienza e che la Germania potrebbe aprire la strada a
questa nuova scienza. Diamo uno sguardo più da vicino a ciò che è affermato di
essere la fisica alla base di questa nuova scienza.
Il primo concetto da considerare è fredda. Freddo
in questo senso non significa che la semplice assenza di calore. Questo è
freddo interstellare, il freddo trovato nel vuoto dello spazio. In questo vuoto
relativo, la materia non si trova in quantità sufficiente per essere utilizzato
per misurare questo freddo. Pensate a come si misura a freddo. Misuriamo
materia che è freddo. Si misura il calore in aria o acqua, per esempio. In
assenza di quanto sarebbe freddo misurata? Non c'è dubbio che se si potesse,
per esempio, mettere un termometro in un bicchiere d'acqua nello spazio
profondo, la temperatura rilevata sarebbe pari o molto vicino allo zero
assoluto, 0O Kelvin o -273O gradi centigradi o Fahrenheit
-460O.
La presenza o assenza di materia in spazio profondo
può essere oggetto di congetture. La presenza o assenza di energia nello spazio
profondo è qualcosa universalmente accettata. Per esempio, sappiamo tutti che
la luce passa attraverso lo spazio interstellare. Vediamo la prova quando
guardiamo le stelle, i pianeti e la luna. Oltre alla luce visibile, radiazioni
elettromagnetiche altri passare liberamente attraverso lo spazio. Questi
includono raggi X, raggi gamma e raggi cosmici. Eppure, oltre a radiazioni
elettromagnetiche molte persone ritengono che nelle profondità dello spazio non
risiede un'altra forma di energia, si trova anche lì come ovunque intorno a
noi. Questa energia va a volte con il nome di "energia di punto
zero", ma per i nostri scopi possiamo semplicemente chiamare "energia
eterica". Talvolta si sostiene che questa energia è in realtà il risultato
di etere piuttosto che la stessa etere e che l'etere è davvero questione. Per
un momento, cerchiamo di rinviare la discussione e mettere a fuoco il vasto e
si estende dello spazio interstellare, che sono pieni di energia eterica, o
vicino allo zero assoluto.
Mr. Watson sottolinea le parole Dawson a pagina 83
di "La fisica dello stato primario della materia", dove dice: "a
freddo non è quindi l'assenza di calore, calore primario e freddo che non ha
nulla a che fare con l'azione molecolare (nel cosmo ) non ci sono molecole
disponibili ".
Il lettore ricorderà che qualcosa di strano accade
a energia elettrica allo zero assoluto. Per esempio, se un disco di materiale
conduttore è tenuto a zero assoluto e il disco viene data una carica elettrica,
la corrente elettrica viene circolare circa e intorno al disco sempre senza mai
perdere la sua energia come sarebbe se il disco si siede su un ufficio banco a
temperatura ambiente. Questa proprietà di freddo è strumentale nella memoria di
almeno una forma di energia. Le vaste distese di freddo vuoto interstellare
deve essere vista come un vasto mare di accumulo di energia in uno stato di
accresciuta entropia negativa. Schappeller chiamato questo non orientato materia-energia
di riserva potenziale di "magnetismo latente". Fuori di questo
magnetismo latente, sia l'energia e la materia potrebbe essere prodotta con la
stimolazione corrispondente. La non-eccitato campo elettromagnetico è stato
visto da Schappeller come magnetismo semplicemente latente. Materia è un
condensazione di etere bipolare. Pertanto, l'elettromagnetismo è un prodotto
della materia e non è altro che bipolare etere in una condizione diversa.
magnetismo latente potrebbe essere, allora, eccitati in materia. magnetismo
latente potrebbe essere influenzato da uno dei principi termodinamici discusso,
la seconda legge della termodinamica o Termodinamica inversa. Questo campo
vasto etere, il cui più importante caratteristica è di proprietà di freddo, latente
e di stimolo in attesa, è il predecessore di energia e di materia come noi li
conosciamo.
Dal freddo primario, questa vasta riserva di
entropia negativa potenziale, è responsabile sia della materia ed energia e
poiché tutta l'energia alla fine degenera in calore, ne consegue che, come
Davson dice, ancora una volta, a pagina 83: "calore primaria, in quanto
possono ora essere compreso, è composto da energia freddo ". Questo è
sembra un gioco sorprendente di parole, soprattutto da un uomo di scienza, tuttavia,
questa affermazione segue perfettamente dal ragionamento Schappeller.
Passiamo ora
al concetto di Schappeller di "stress". Sia stress termico e stress da freddo può essere
applicato a un campo elettromagnetico. Lo stress da calore è il solito tipo di
sollecitazione applicata a campi elettromagnetici nel campo della fisica
secondari. Fisica secondaria è la fisica del nostro mondo di tutti i giorni
secondo Schappeller. Fisica primaria è la fisica che fare con la forza freddo e
etere cedere materia ed energia, che costituiscono le reazioni secondarie e
così Schappeller usa il termine "fisica secondari" per descrivere il
nostro mondo come lo conosciamo.
Un esempio di calore accentuazione del campo elettromagnetico è il condensatore e la bobina. Un condensatore carico produce un campo elettrico e una bobina carica produce un campo magnetico. Un condensatore carico e bobina, collegati da un circuito filo alternativamente caricare e scaricare l'altro, producendo unità di radiazione elettromagnetica il calore provocato dalla resistenza del filo degrada l'intero processo in calore. Lo stress da calore sul elettromagnetismo è di + / -.
Stress da freddo sul campo elettromagnetico è
qualcosa di totalmente nuovo per la nostra scienza e la tecnologia. Si è visto
anche in termini di + / - ma le macchine utilizzate per la produzione non sono
noti nel mondo. Mr. Watson non ha detto questo, ma se torniamo ai nostri esempi
di macchine di calore sottolineato, il condensatore e la bobina, il freddo
corrispondente sottolineato macchine potrebbe essere la sfera Schappeller e
l'elettrete bobina Schappeller. La sfera raccoglie la carica attraverso i
magneti, e mantiene lo condensa nel suo centro incandescente corrispondente al
campo elettrico del condensatore. Le bobine interne riempite con elettrete
produrre un campo magnetico in presenza di campo elettrico intenso e pulsante.
Secondo la mia interpretazione, la sfera Schappeller tutto è combinato un
condensatore / bobina combinati in una sola macchina resa possibile da un input
iniziale di stress da freddo.
Come nel nostro esempio del condensatore / bobina
interazione producendo un'onda elettromagnetica, in modo da un'attrazione tra
una macchina obbedire alla seconda legge della termodinamica e uno obbedire
alla legge della termodinamica Reverse. Questa attrazione può portare a
interazione. Ad esempio, un vortice implosione o centripeta può accoppiarsi con
una esplosione o vortice centrifugo. Il vortice centripeto è un esempio di un
sistema che utilizza la legge della Termodinamica Reverse mentre il vortice
centrifugo rappresenta sistema dopo la Seconda Legge della Termodinamica.
Abbiamo visto tutti questi due sistemi lavorano insieme nella vita di tutti i
giorni. Il gabinetto comune è una macchina anche se il lato centrifuga si forma
all'interno del tubo di scarico che è in vista.
Forse c'è un altro esempio che è più pertinente
alla nostra discussione. È il diagramma della centrale Vril. (Questo diagramma
motore è qui utilizzato come esempio per la discussione e non è un appoggio
cieco dell'esistenza del diagramma o la precisione.)

In questa interpretazione di questo diagramma,
siamo davvero di fronte a due dispositivi separati. In primo luogo, è il
dispositivo centrale sferica che può essere una versione raffinata della sfera
Schappeller. Una carica iniziale potrebbe essere imputata alla sfera per
avviarlo dopo che l'unità continuerà a raccogliere l'energia circostante.
Questa è una macchina termodinamica Reverse. La sfera genera un campo magnetico
che può essere compensato ruotando il dispositivo Schappeller. Campo di offset
nutrirebbe e così ruotare i bracci del generatore elettrico che circonda la
sfera. Il generatore elettrico si riuniva energia elettrica, alimentando i
quattro apparecchi di trasmissione di grandi dimensioni sulle pareti del
piattino. Questi apparecchi possono essere, per esempio, Tesla pancake bobine.
Il generatore elettrico è un esempio di una macchina conforme alla legge
termodinamico Seconda.
Entrambi i componenti della centrale sono legati
insieme in un unico sistema poiché l'energia di uscita degli apparecchi di
radiodiffusione e pareti del piattino costituiscono energia supplementare input
per la sfera. I due componenti attraggono l'un l'altro e utilizzare e dipendono
uno dall'altro mentre circolano e ricircolare energia. Poiché il livello di
energia di uno dei componenti aumenta così il livello di energia dell'altro.
Infatti, il problema più grande l'uso di un tale motore può essere sempre
qualche mezzo per fermarlo.
La levitazione effettivo potrebbe essere la
particolare radiazione elettromagnetica proveniente dalla sfera. In questa
interpretazione, gli apparecchi di trasmissione sono utilizzati per guidare il
piattino. Davson dà frequenze di uscita per la sfera come 106 (20).
Mr. Watson sottolinea nella sua lettera che le
macchine un motivo che utilizzano il principio termodinamico inverso non sono
stati riconosciuti è che un raffreddore sottolineato campo magnetico è una
macchina a freddo. Anche un vortice centripeto si raffredda e non riscalda.
Tutti i nostri dispositivi di misura in ultima analisi, misurano il calore in
qualche forma. Misurazione del freddo è più difficile. L'esempio già dato, il
problema della misurazione della temperatura nello spazio interstellare in
assenza di materia è un esempio di questo problema.
Infine, il lettore ricorderà che il signor Watson
sottolinea che si manifesta elettromagnetismo bipolarismo, producendo quattro
componenti in tutto. Si tratta di + / - elettromagnetismo caldo e + / -
elettromagnetismo freddo. Il lettore ricorderà che due componenti
elettromagnetici caldi possono essere uniti (il condensatore e la bobina) e
impostare in un ciclo di produzione di un'onda elettromagnetica. È possibile
che due elettromagnetica complementari calda e macchine elettromagnetiche
freddo potrebbe essere impostato in un ciclo di produzione non bipolare ma un
quadropolar, radiazione 360O produrre la gravità, come quello
descritto da Dr. Richard Le Fores Clark?
Usi Previsti per il Dispositivo di Schappeller
Se la discussione di cui sopra ha un significato
del tutto nella ricerca di una risposta alla questione UFO, un uso per il quale
il dispositivo Schappeller deve essere stato destinato era quella di una
centrale elettrica per una macchina volante. Era così? Il dispositivo
Schappeller aveva molti usi previsti. Nel 1930 questo dispositivo è stato
progettato come una fonte di energia di trasmissione, che ricorda Tesla, sia
per case tedesche e l'industria. Il dispositivo potrebbe anche essere usato
come un generatore, batteria, trasformatore o antenna (21). È stato riferito che verso la fine della guerra
del SS studiato la possibilità di utilizzare questo dispositivo in forma di un
raggio della morte (22). Ma inoltre, e in
risposta alla nostra domanda, il dispositivo è stato concepito Schappeller come
un dispositivo di levitazione per una macchina volante. Ecco alcune di queste
discussioni dalle nostre fonti:
"La nuova tecnologia dinamico, in futuro, essere in grado di guidare locomotive elettriche e automobili, senza la produzione di armature costose e ovunque tramite connessione alla rete di tensione atmosferica. Ipoteticamente, è certamente l'installazione di un numero sufficiente di impianti di amplificazione centrale che trasporti della Ur-Machine 'impulso specifico magnetica dall'elemento dinamico sferica. Nuovi tipi di aeromobili con magneto-statici dispositivi di potenza e sterzo, che sono completamente incidente e la prova di collisione, potrebbe essere costruito per una frazione del costo degli aeromobili di oggi e senza la formazione lungo di tutti coloro che saranno manutenzione questi aerei ". (Da "Vril Die Kosmische Urkraft Wiedergeburt von Atlantis" di Johannes Taeufer, pagina 48).
"Il nostro obiettivo deve essere quello di
portare avanti il problema nave spaziale di nuova concezione e
realizzazione Ecco un preciso postulato può essere stabilita:" Una nave
spazio sferico con la sua atmosfera "creazione anche tecnica di piccoli
pianeti con propulsione mondo dinamico e galleggiabilità!. Sarà possibile? -
Grandi potenze del mondo si preparano in ogni caso attualmente, soprattutto in
Germania ".
Quanto sopra da "Weltdynamismus Streifzuege
durch Technisches Neuland una mano von biologischen Symbolen" pagine 11 e
12. Si prega di notare l'uso della "nave spaziale sferica"
parole (Kugelraumschiff).
Da Davson di "La fisica dello stato primario
della materia", a pagina 240: "Il rotore è laminato per evitare
risucchio ed i magneti non progetto, alla periferia del rotore è quindi del
tutto equi-radiale Il rotore è fissato all'albero di essere. guidato e lo
statore è fissato a circa un metro sopra la superficie della terra.
Quest'ultimo è, ovviamente, flessibile perché la terra può includere il mare o
anche il pavimento di un etere-nave. "
Da Davson, pagina 199:. "Come è già stato
spiegato, la nuova tecnica non si occuperà con l'aria come mezzo di supporto,
ma direttamente con l'etere Pertanto, il corpo può essere un cilindro verticale
sigillato con le estremità coniche o qualsiasi altro forma adatta. Tale
organismo è ovviamente rigido e anelastico, e deve contenere una sollecitazione
etere di intensità sufficiente per sopportare la massa contro thither stress
del campo di stress terrestre, il che significa che il nucleo magnetismo
luminoso nello statore, previsto nel corpo da sollevare, deve essere in grado
di variare la sua intensità secondo l'altezza alla quale l'etere-nave deve
essere sollevato e sostenuto mentre in transito, come sollecitazione etere o
campo, stesso, varia inversamente al quadrato della distanza dal della
superficie terrestre. Il disegno reale e la soluzione di tutti i problemi
diversi nella produzione di tali navi, la scelta dei metodi di propulsione,
qualunque sia indipendente o direzionale, appartengono alla nuova tecnica,
mentre qui siamo interessati solo nel principio applicato ai il problema di
gravitazione ".
Infine, dal Davson, pagina 177: "Ora la
ragione per cui un organismo non supportato cade a terra è in primo luogo
perché non ha" nessun hold "sul mezzo è stato spiegato in precedenza
che una massa inerte o corpo ha solo un campo di stress latente che. funzioni
soltanto come forza di coesione e non ha mobilità e quindi solo un campo
latente stress interno e nessun campo di sollecitazione esterna. Ciò significa
che non ha "hold" su qualsiasi supporto elastico come l'etere o
l'aria, quindi deve cadere , e cade verso la maggiore energia induttiva.
Se l'energia induttiva, attraverso qualche causa
esterna, potrebbe essere fatto improvvisamente di aumentare enormemente, ci
sarebbe un punto in cui il corpo sarebbe sostenuta, o meglio sospesa, prima di
raggiungere la superficie terrestre. La nuova tecnica potrebbe ottenere questo
mettendo un Statore Schappeller nel corpo in questione, in cui il corpo è
costruita, in tal modo la creazione di un campo magnetico incandescente di
stress tale da ostacolare o mantenere il peso o la massa del corpo gruppo
sospeso, non nel aria "campo di stress non avrebbe reazione in aria",
ma solo il campo di stress magnetico terrestre. Questa è la base del nuovo principio
di 'etere navi' ".
Utilizzando il meccanismo Schappeller è solo metà
della spiegazione totale. In un piattino di propulsione campo ci sono possibili
due tipi di "drive" necessari. Il primo è il "Auftrieb" o
levitazione. Occupazione di levitazione rende il mestiere vivace. Pesa niente.
Se pesa non può essere spostato facilmente. "Antrieb", potenza
d'impulso o motivo è il secondo disco in questione. Si muove il mestiere
direzionale. Levitazione solo dovrebbero essere forniti dal sistema
Schappeller. Movimento direzionale è finora meglio spiegato, nella mia mente,
con le bobine di Tesla pancake, come spiegato da Bill Lyne.
Riflessioni Conclusive
sul Dispositivo Schappeller
Alla fine, cosa si può dire del dispositivo
Schappeller? Certo, ha fatto esistere. E ha attirato l'attenzione e il
finanziamento da parte di persone all'interno del governo tedesco del tempo. E
'stato studiato da un estraneo qualificato, un ingegnere britannico, per un
periodo di tre anni ed è stato giudicato autentico.
Tuttavia, ci sono alcuni problemi evidenti.
Energie esotiche sono state oggetto che non sono stati spiegati in modo
soddisfacente. Pertanto, i fatti non sono ancora provata. Certamente più la
prova è richiesto prima che le affermazioni per questo dispositivo o le energie
coinvolte possono essere interamente accettato. Per il momento dobbiamo mettere
da parte questa discussione, in attesa di ulteriori correlazioni.
Ci sono alcune soluzioni connesse anche con questo
dispositivo. Se accettiamo l'idea che sia il Schauberger ei dispositivi
Schappeller lavorato sulla teoria di implosione, quindi una spiegazione servirà
a spiegare entrambi. Ciò consente inoltre di un etere-come-materia spiegazione.
Questo può andare bene in elementi raccolti da Nikola Tesla. La comunanza di
questi dispositivi potrebbe poi essere cercata e forse un dispositivo più
efficiente costruito come risultato. Prenderemo questo tema nuovo nella sezione
dedicata alla discussione di questo libro.
E 'opportuno sottolineare che la ricerca di questa
"nuova scienza" non è specifico per Schappeller o Schauberger. Mr.
Watson trasmesso queste parole Ehrenfried Pfeiffer, uno scienziato che ha
collaborato con il dottor Rudolf Steiner, intorno al 1920. Anche se non è
felice con la traduzione, l'ha inviato come l'ha trovato, che è come si
presenta qui:
"... Il metodo della scienza, in senso
materialistico, si basa sulla divisione analisi a parte, la disintegrazione, la
separazione, la dissezione e di tutte le procedure che devono distruggere e
smontare, per lavorare sul cadavere, piuttosto che a crescere, a sviluppare ,
di sintetizzare che la mente umana è stato catturato da questi metodi di
frenatura a parte:. dal fatto che ho visto la fonte della nostra situazione
attuale La mia domanda (a Rudolf Steiner) è stato quindi:. è possibile trovare
un'altra forza o energia in natura, che non ha in sé l'obiettivo di
atomizzazione e di analisi, ma si basa, invece, e sintetizza? Dovremmo scoprire
che la forza costruttiva, che rende le cose vive e crescere, a sviluppare un
adeguato piano di indagine metodi, eventualmente utilizzare questa forza per un
altro tipo di tecnica, applicata per guidare le macchine, che a causa della
natura di questa forza interiore o energia potremmo essere in grado di creare
un'altra tecnologia, la struttura sociale, il pensiero costruttivo di uomo
piuttosto che il pensiero distruttivo? Questa forza deve avere l'impulso di
vita, di organizzazione in sé le energie fisiche cosiddetti hanno la scissione,
separazione tendenza dentro di sé. "
La mia domanda a Rudolf Steiner nel mese di
ottobre 1920 e primavera 1921, pertanto è stato: "Ha una tale forza o
fonte di energia esistono? Può essere dimostrato? Potrebbe essere una
tecnologia altruistica costruire su di esso? "
Le mie domande hanno risposto come segue: "Sì, una tale forza esiste, ma non è ancora scoperto è quello che è generalmente noto l'etere (l'etere non fisico), ma la forza che fa crescere le cose, vive ad esempio nel seme come. Samenkraft. Prima di poter lavorare con questa forza si deve dimostrare la sua presenza. Come abbiamo reagenti di chimica, quindi è necessario trovare un reagente per la forza eterica. E 'chiamata anche la forza eterica formativa, perché è la forza che riguarda la forma, forma, modello di un essere vivente -. crescita Potreste provare processi di cristallizzazione di cui substrati organici sono aggiunti E 'quindi possibile sviluppare macchine, che reagiscono al momento, e sono guidati da, questa forza Rudolf Steiner poi delineato i principi della.. applicazione di questa forza come fonte di una nuova energia ... "
Dal momento che questa ricerca di una nuova
scienza con le macchine nuove di accompagnamento ha avuto una storia
relativamente lunga in Germania, certamente pre-datare la Reich 3 °, è quasi
certo che il dispositivo Schappeller o altri costruite lungo una simile
comprensione sono stati ulteriormente sviluppati durante il periodo nazista .
Che fine ha fatto dopo la guerra non è noto. Si può ipotizzare che questo
dispositivo non è sfuggito il controllo delle numerose unità di intelligence
alleate con il compito di pettinatura Germania per esempi di scienza tedesca.
Forse un giorno un rapporto del governo sarà de-classificati spiegare tutto
questo come è stato nel caso di un altro free-energy macchina, che essendo il
dispositivo Hans Coler, che è stato declassificato dagli inglesi nel 1978 (23)
e che ha lavorato, in base alle Mr. Watson, utilizzando gli stessi principi del
magnetismo freddo. Fino a quella resa dei conti arriva, gli aspetti del
dispositivo Schappeller rimarrà un mistero. E fino a una resa dei conti finale
arriva più, la questione se o meno il dispositivo Schappeller è stato
utilizzato come fonte di propulsione campo in Tedesco dischi volanti, deve
essere differita.
Fonti
e Riferimenti
1. Bahn, Peter, Ph.D. and Heiner Gehring, 1997, pages 120-131, Per Vril-Mythos Eine geheimnisvolle Energieform in Esoterik,Technik und Therapie, Omega Verlag, Duesseldorf
2. Taeufer, Johannes, 1930, page 31."Vril" Die KosmischeUrkraft Wiedergeburt von Atlantis, commissioned and distributed by the Reichsarbeitsgemeinschaft "Das kommenden de Deutschland", Astrologischer Verlag Wilhelm Becker, Berlin-steglitz
3. Bahn/Gehring, 1997, page 131
4. Bahn/Gehring, 1997, pages 120-124, 130
5. Weltdynamismus Streifzuege durch technisches Neuland an Hand von bioloaischen Symbolen, 1930. pages 14-15, commissioned and distributed by the Reichsarbeitsgemeinschaft "Das Kommenden de Deutschland", Otto Wilhelm Barth Verlag, Berlin
6. Davson, Cyril W., 1955, pages 50-59, The Physics Of The Primary State Of Matter And Application Through the Primary Technique, Elverton Books, London
7. Nieper, Hans A., Ph.D., 1985, Conversion of Gravity Field Energy/Revolution in Technology. Medicine and Society. M.I.T. Management Interessengemeinschaft fuer Tachyonen-Geld-EnergyGmbH, Friedrlch-Rueder-Strasse 1, 2900 Oldenbuurg, Germany (available in German and English language versions)
8. Davson, Cyril W., 1955, pages 212-213
9. Davson, Cyril W., page 231
10. Davson, Cyril W., pages 217, 223
11. Taeufer, 1930, pages 30-32
12. Davson, 1955, page 230
13. Davson, 1955, page 226
14. Taeufer, 130, page 30
15. Taeufer, page 32
16. Davson, 1955, page 231
17. Davson, 1955, page 231
18. Davson, 1955, page 57
19. Taeufer, 1930, pages 38-40
20. Clark, Richard Le Fors, Ph.D., 1987, page 64, "The Earth Grid, Human Levitation And Gravity Anomalies", contained in Anti-Gravity And The World Grid edited by David Hatcher Childress, Adventures Unlimited Press, Stelle, Illinois
21. Stevens, Henry, 2001, "Infinite Energy", pages 9-13, Volume 7, Issue 40
22. Davson, 1955, page 244
23. Bahn/Gehring, 1997, page 115
24. British Intelligence Objectives Sub-Committee Final Report Number 1043, item number 31, "The Invention Of Hans Coler, Relating To An Alleged New Source Of Power, Bryanston Square, London
Vi è un altro poco noto effetto che ha un elevato potenziale di essere una tecnica utile, e questo è il colpo d'ariete prodotto dalla condensazione del vapore improvvisa. In condizioni adeguate, l'effetto può essere sfruttata per fornire la forza motrice.

Una delle tecniche che è stato utilizzato è
mostrato sopra. Qui, vapore sotto i 55 psi di pressione è costretto in una
struttura tubolare attraverso un orifizio anello. Che il vapore passa quindi
attraverso un ugello a forma di ciambella dove colpisce un flusso di acqua
fortemente aerato. Le bolle nel flusso di acqua sono disegnati per effetto
Venturi del flusso d'acqua passato piccole aperture nel tubo. Il risultato è
una rapida serie di colpi d'ariete onde d'urto che, a causa della forma della
camera d'urto, aumentare l'acqua che esce dal tubo. Questo produce una spinta
in direzione opposta, formando effettivamente un motore a reazione che è
particolarmente adatto a idrica navi. Nel diagramma sopra indicato, il
dispositivo mostrato è designato come un motore a propulsione subacquea. Il
diagramma è dalla presentazione web:
http://www.newscientist.com/data/images/ns/cms/dn3321/dn3321-1_843.jpg ed è autore del New Scientist.
Ulteriori informazioni su questa forma di energia
è disponibile sul sito:
http://www.kirsner.org/pages/condInduceWatHamText.html e
http://www.energeticforum.com/renewable-energy/3093-condensation-induced-water-hammer
Questo è meglio descritta dal suo brevetto, una
versione leggermente riformulato viene mostrato qui:
Questo brevetto descrive un dispositivo che può
essere un po 'difficile da visualizzare e quindi alcuni ombreggiatura colore
delle parti è stata utilizzata per aiutare questioni. Essenzialmente, è due
rotori filatura circolari all'interno di una sezione di tubo di plastica.
Questi dischi generare energia elettrostatica che le persone hanno erroneamente
stati indotti a credere non è una fonte di significativo potere. Questo
progetto di William Hyde ha un'uscita elettrica che è circa dieci volte
maggiore della potenza di ingresso meccaniche richieste. Un coefficiente di
performance = 10 risultato come questo, deve essere significativo, tanto più
che il dispositivo è di costruzione abbastanza semplice.
Energia del Campo Elettrostatico di Alimentazione del
Sistema di Generazione
Patente US 4,897,592 30 gennaio
1990 Inventore: William W.
Hyde
Astratto:
Esternamente caricati gli elettrodi di un
generatore elettrostatico inducono accuse di polarità opposta su segmenti di
una coppia di affrontare statori mediante campi elettrici all'interno del quale
sono confinati in un paio di rotori durante la rotazione per variare i
collegamenti di campo carica associazione tra affrontare rotori e statori da
un'azione schermante dei rotori in un piano perpendicolare al flusso del campo.
Un'elevata differenza di potenziale elettrico indotta tra le risultanti da tale
rotazione dei rotori, statori si trasforma da un circuito di uscita in una
ridotta tensione CC applicata ad un carico con una corrispondentemente aumento
corrente condotto attraverso di essa.
Brevetto USA Riferimenti:
2522106 Macchina
Elettrostatica Sep
1950 Felici 310/309
3013201 Auto-eccitato
capacità variabile
generatore elettrostatico Dec 1961 Goldie 322/2A
4127804 Elettrostatico
sistema di conversione
di energia Nov 1973 Breaux 322/2A
4151409 CC capacità variabile
generatore elettrico Apr 1979 O'Hare 250/212
4595852 Generatore
elettrostatico Jun 1986 Gundlach
310/309
4622510 Parametric macchina
elettrica Nov
1986 Cap 322/2A
Descrizione:
Questa invenzione riguarda la produzione di
energia elettrica mediante conversione di energia da un campo elettrostatico.
La conversione di energia da un campo elettrico
statico in energia elettrica per mezzo di un generatore elettrostatico è già
ben noto nella tecnica come esemplificato dalle rivelazioni in US Pat. Nn
2.522.106, 3.013.201, 4.127.804, 4.151.409 e 4.595.852. Generalmente, il
processo di conversione di energia associata a tali generatori elettrostatici
tecnica nota prevede l'immissione di energia meccanica per cariche separate in
modo che una parte considerevole della produzione è derivato dalla conversione
di energia meccanica.
È quindi un importante scopo della presente
invenzione fornire un generatore elettrostatico in cui è derivato
l'alimentazione elettrica dalla energia di campi elettrici statici con un input
minimo di potenza meccanica.
Riassunto:
Secondo la presente invenzione, i campi elettrici
statici sono stabiliti tra elettrodi esternamente mantenute a livelli di carica
di polarità opposta e una coppia di dischi statori aventi superfici interne
segmentali che sono distanziati di confinare dielettricamente oneri esso
indotte dai campi elettrici. Una coppia di dischi rotorici sono ruotati entro
continue campi elettrici in piani perpendicolari al flusso di campo al variare
locationally il linkage fissate dal campo elettrico tra gli elettrodi e dischi
statorici. Tali cambiamenti in linkage carica vengono effettuate dalla
rotazione di segmenti elettricamente conduttivi del rotore angolarmente
distanziati tra loro per schermare parzialmente i dischi statori dei campi
elettrici. I segmenti di ogni disco rotore hanno addebitato facce confrontano
gli elettrodi nel suo campo di proteggere il disco statore su una superficie
totale del viso che è la metà della superficie totale delle superfici segmento
confrontano sul disco statore a cui si limitano le cariche indotte. Oneri su i
rotori e statori sono equiparati dalle interconnessioni elettriche stabilito
attraverso gli alberi del rotore. I dischi statori sono elettricamente
interconnessi con un carico elettrico attraverso un circuito di uscita trasformando
un elevato potenziale tra i dischi statori in una tensione CC ridotta per
condurre una corrente corrispondentemente moltiplicato attraverso il carico.
Breve Descrizione dei Disegni:
Questi ed altri scopi e caratteristiche della
presente invenzione risulteranno evidenti dalla seguente descrizione presa in
combinazione con le forme di realizzazione preferite con riferimento ai disegni
allegati in cui parti o elementi sono indicati con gli stessi numeri di
riferimento durante tutte le diverse viste illustrata nei disegni e dove:

Fig.1 è uno schema
semplificato del circuito elettrico corrispondente al sistema di conversione
della presente invenzione.

Fig.2 è una vista in
sezione laterale di un generatore elettrostatico recante il sistema di Fig.1 in
accordo con una forma di realizzazione dell'invenzione.

Fig.3 e Fig.4 sono viste in sezione parziale presa sostanzialmente attraverso piani indicati dalle linee di sezione 3--3 e 4--4 in Fig.2.

Fig.5A e Fig.5B sono disposti parziale schematica
vista superiore del generatore elettrostatico di Figg.2-4, in condizioni di
carico statico e dinamico di distribuzione, rispettivamente.

Fig.6 è uno schema
elettrico del circuito di uscita del generatore illustrato in Fig.2, in accordo
con una realizzazione.
Descrizione
Dettagliata dell'Incarnazione Preferito:

Facendo ora riferimento ai disegni in dettaglio, Fig.1 illustra schematicamente il
sistema di conversione di energia della presente invenzione generalmente
indicato dal numero di riferimento 10.
Come mostrato in Fig.1, il sistema
comprende una coppia di campi elettrostatici 12 e 14 definiti da cariche elettrostatiche di polarità opposta
applicate piastre di elettrodo 16 e 18
da una sorgente di energia esterna. Così, il campo elettrostatico 12 è stabilito tra elettrodo 16 e un disco statore 20 mentre il campo elettrostatico 14 è stabilito tra elettrodo 18 e un disco statore 22. Secondo la presente invenzione, la
carica elettrostatica legami stabiliti dal flusso dei campi tra gli elettrodi e
statori sono periodicamente variata spostamento all'interno dei campi
energetici continui 12 e 14 in
risposta alla rotazione dei rotori 24 e
26 allineati con piani perpendicolari al loro comune asse di rotazione ed
il flusso del campo, come verrà descritto.
I rotori sono
meccanicamente interconnesse con un motore elettrico 28, come schematicamente illustrato in Fig.1, che li ruota attorno al loro asse comune. L'energia elettrica può essere estratto dai campi
elettrici 12 e 14 durante la rotazione dei rotori 24 e 26 (da motore 28)
attraverso un circuito di uscita generalmente indicato dal numero di
riferimento 30. Il circuito di
uscita 30 come mostrato in modo
semplificato in Fig.1, comprende due
coppie di conduzione corrente diodi 32A,
32B e 34A, 34B. I diodi di ciascuna coppia sono collegate con polarità
opposta e ogni coppia è collegato in parallelo ad uno degli statori 20 e 22. I diodi di ciascuna coppia
sono collegati elettricamente attraverso un carico elettrico rappresentato da
resistori 36a e 36b con le reti
condensatori 38a e 38b interconnesse
tra ogni coppia di diodi per mezzo del quale viene ridotto il potenziale di
tensione tra gli statori 20 e 22 a
favore di un aumento di corrente attraverso il carico elettrico.

Riferendosi ora alle figure 2, 3 e 4, in particolare, una forma di realizzazione fisica del
sistema di conversione dell'energia mostrato in Fig.1 è mostrata. Gli elettrodi 16 e 18 sono in forma di piastre o dischi circolari fatte di un
metallo elettricamente conduttore avente superfici esterne 40 e 42 atti ad essere caricato dalla fonte esterna come già detto.
La superficie interna 44
dell'elettrodo 18 è adattata per
mantenere una carica positiva in opposta polarità della carica negativa del 16 elettrodo che viene mantenuto in
forma di ioni stabile entro una porzione di superficie dielettrica 46 dell'elettrodo 16. Il sistema di conversione di energia può essere racchiuso
all'interno di un involucro esterno 48
a cui sono fissati gli elettrodi 16 e 18.
Con riferimento continuato alla Fig.2, gli statori 20 e 22 montato dalla custodia 48
in relazione distanziata assialmente fissato agli elettrodi 16 e 18 sono dotati di cuscinetti 50 e 52 di supporto dell'albero rotore
conduttore alimentato il gruppo albero che ha sezioni dell'albero elettricamente
conduttivi 54 e 56 ai quali i rotori
24 e 26 sono rispettivamente
collegati. Nella realizzazione illustrata in Fig.2, il motore di azionamento 28 è meccanicamente interconnesse con
le sezioni dell'albero 54 e 56
attraverso una sezione di albero elettricamente non conduttore 58 del gruppo albero di potenza per la
rotazione simultanea di entrambi i rotori 24
e 26 alla stessa velocità e nella stessa direzione del loro asse di
rotazione perpendicolare comune ai piani paralleli distanziati che vengono allineate
con i dischi elettrodi e statore. Le estremità elettricamente conduttivi 54 e 56 sono rispettivamente calettate
o fissata in qualsiasi modo adatto a porzioni del mozzo 60 e 62 dei rotori e sono dotati di porzioni di flangia 64 e 66 formanti tergicristalli
elettrici a contatto con superfici confronto degli statori 20 e 22, che sono induttivamente addebitato dai campi elettrici
statici 12 e 14 livelli uguali di
polarità opposta.

Come meglio visto in Fig.2 e Fig.3, il rotore 24
ha diversi angolarmente distanziati, linkage campo controllando segmenti 68 sporgenti radialmente verso
l'esterno dalla porzione di mozzo 60.
Ogni segmento del rotore 68 è fatto
di un metallo elettricamente conduttore avente una faccia 70 su un lato assiale affrontare l'elettrodo adiacente 16. Le facce 70 affrontare l'elettrodo 16
sono caricato positivamente dal campo elettrico 12 si estende tra la porzione di superficie dielettrica 46 di elettrodo 16 ed il disco statore 20.
Mentre il campo elettrico 12
progetti attraverso gli spazi 72 tra
i segmenti del rotore 68, i segmenti
del rotore 68 si proteggono porzioni
del disco statore 20 dal campo
elettrico.
Il rotore 26
è similmente formata con segmenti rotore 74
angolarmente distanziati tra loro da spazi 76
attraverso la quale il campo elettrico 14
si estende tra la superficie caricata positivamente 44 di elettrodo 18 e lo
statore 22. I segmenti del rotore 74 del rotore 26, come mostrato in Fig.2,
sono dotati di porzioni di superficie 78
dielettrici affrontare la superficie interna 44 della carica elettrodo 18.
Mentre i segmenti del rotore 74 sono
caricati negativamente dal campo elettrico 14
entro le porzioni di superficie 78,
sono anche proteggere porzioni del disco statore 22 dal campo elettrico, come nel caso dei segmenti del rotore 68 già descritti. La superficie interna
porzione di dielettrico 46 di
elettrodo 16 e le porzioni di
superficie dielettrici 78 del rotore
26 fungono da stabilizzatore per
evitare correnti parassite e perdite di carica negativa. Inoltre, in vista
delle connessioni elettriche stabilite fra i rotori ed i dischi statori, la
carica su ogni statore è equalizzato con quello della carica sul suo rotore
associato.

Come mostrato in Fig.2 e Fig.4, il disco statore 20 comprende più segmenti 82
a cui sono confinati cariche, ravvicinate tra loro da distanziali 80 dielettrici. I segmenti 82 sono elettricamente interconnessi
con i segmenti del rotore 68
attraverso la sezione di albero di rotore 54.
Analogamente, i segmenti 84 dello
statore 22 sono elettricamente interconnessi
con i segmenti del rotore 74
attraverso la sezione dell'albero del rotore 56. I segmenti di statore 82
e 84 sono quindi anche in metallo elettricamente conduttivo. Ciascuno dei
segmenti 82 di statore 20 è elettricamente interconnesse
attraverso il circuito di uscita 30,
con ciascuno dei segmenti 84 dello
statore. I dischi di statore essendo montato in modo fisso all'interno
dell'alloggiamento 48, centralmente
montare i cuscinetti 50 e 52
attraverso cui il elettricamente conduttivo sezione dell'albero motore 58 è imperniata, come mostrato nella
forma di realizzazione dell'invenzione illustrata in Fig.2. Inoltre, l'area totale delle superfici segmento praticati su
ciascuno dei dischi statori è maggiore dell'area totale delle facce 70 e 78 sui segmenti di ogni disco
associato rotore 24 o 26. Secondo
una forma di realizzazione, il costo totale superficie di statore è doppio di
quello della zona del viso rotore.

Secondo la forma di realizzazione dell'invenzione
illustrata in Fig. 6, il circuito di
uscita 30 comprende due contrapposti
polarizzato capacitivi reti circuitali 38a
e 38b collegati tra ciascuna coppia di segmenti allineati statore 82 e 84 sulle statori 20 e 22 mediante la contrapposti
polarizzato diodi 32A e 34A.
Ciascuna di queste reti circuito capacitivo comprende un condensatore 86, i cui lati opposti sono collegati
da diodi contrapposti polarizzato 88 e
90 ai terminali di carico positivo e negativo 92 e 94 attraverso la quale viene stabilita una opportuna tensione
elettrica per azionare un carico elettrico. Il diodo 88 è collegato alla giunzione fra 102 diodo 104 e un lato
del condensatore 106. Il diodo 88 è anche collegato alla giunzione fra
un lato del condensatore 100 e il
diodo 32A. Il diodo 90, invece, è interconnesso con la
giunzione 96 tra diodo 108 e condensatore 100. Inoltre, il diodo 90
è collegato alla giunzione fra l'altro lato del condensatore 106 e il diodo 34A. La disposizione del circuito precede capacitivo rete 38A è la stessa di quella di rete 38B attraverso cui coppie allineate dei
segmenti di statore 82 e 84 sono i
potenziali elettrici fra loro trasformata in una tensione più bassa tra i
terminali di carico 92 e 94 per
condurre una carico di corrente maggiore.

Fig.5A illustra la distribuzione delle
cariche stabilite nei campi elettrici 12
e 14 tra gli elettrodi e statori in condizioni statiche, in cui sono
posizionati ciascuno dei segmenti del rotore 68 e 74 in allineamento con uno dei segmenti di statore 82 e 84 per proteggere così segmenti di
statore si alternano dai campi elettrici. Le cariche stabilite dai campi
elettrici sono pertanto limitata alle facce di segmenti statorici alternate
confrontano gli elettrodi e sono equalizzato con gli oneri stabiliti e
confinato alle facce schermatura dei segmenti rotore confrontano gli elettrodi
in virtù della interconnessione elettrica fra i rotori e statori come già
detto. Come illustrato in Fig.5b,
quando i rotori vengono fatti ruotare, i legami di carica stabilite dai campi
elettrici tra gli elettrodi e segmenti statorici alternate 82 o 84 sono interrotte da segmenti movimento del rotore 68 o 74 in modo che i segmenti di statore precedentemente schermati
venga esposta i campi per collegamenti di campo ristabilire energia con gli
elettrodi associati. Tale azione fa
sì che i potenziali elettrici da instaurare tra i segmenti dello statore 82 e 84.
Apparirà evidente dalla descrizione che precede
che i campi di energia elettrostatica 12
e 14 di polarità opposta sono stabiliti mantenuti tra gli elettrodi
applicati esternamente 16 e 18 e gli
statori internamente cariche 20 e 22
in condizioni statiche, come raffigurato in Fig.5A. Durante la rotazione, i rotori 24 e 26 costantemente posizionato entro i campi di energia 12 e 14, esercitano forze in direzioni
perpendicolari al flusso di campo rappresenta i legami energetici tra elettrodi
e statori per causare interruzioni e ricostituzione di legami energetici con
porzioni di segmenti differenti come statore raffigurato in Fig.5b. Tali cambiamenti di linkage di
energia su base locale e le azioni di carica vincolanti e non impegnativa tra
gli elettrodi e statori crea un potenziale elettrico e la corrente di scorrere
tra statori attraverso il circuito di uscita 30. Così, il circuito di uscita quando caricato energia estratti
dai campi elettrici 12 e 14 a
seguito delle azioni di campo linkage carica vincolanti e non vincolante
indotte dalla rotazione dei rotori. I segmenti di statore 82 e 84 schermato dai campi elettrici dai segmenti movimento del
rotore 68 e 74, come raffigurato in Fig.5b, hanno potenziali elettrici di
polarità opposta a quelle degli elettrodi esterni 16 e 18 a causa dell'azione di carica campo linkage impegnativi.
Segmenti di statore precedentemente schermati stati esposti a campi elettrici
dai segmenti rotore in movimento, hanno la stessa polarità del potenziale
elettrico come quelli degli elettrodi esterni a causa dell'azione campo linkage
vincolante. Poiché le forze esercitate sui rotori rispettivi dai campi
elettrici 12 e 14 di atto polarità
opposta sulla perpendicolare comune rotore gruppo albero a questi campi, tali
forze si annullano reciprocamente. L'ingresso di energia nel sistema può quindi
essere sostanzialmente limitato a perdite cuscinetti meccanici e orizzontale
durante la conversione di energia del campo elettrostatico in energia
elettrica, nonché le perdite di resistenza elettrica e altre perdite elettriche
incontrate nel circuito di uscita 30.
Sulla base delle caratteristiche operative che
precedono, la rotazione dei rotori secondo la presente invenzione non esegue
alcun lavoro sostanziale contro i campi elettrici esterni 12 e 14, poiché non vi è alcun cambiamento netto di capacità
consentendo così al sistema di convertire energia con un ingresso ridotto di
energia meccanica e alta efficienza, come evidenziato da una minima perdita di
carica sugli elettrodi. Si è quindi ritenuto che forme di lavoro della presente
invenzione richiede meno del dieci percento dell'energia elettrica di uscita
per l'ingresso meccanico. Inoltre, secondo un modello prototipo dell'invenzione,
una tensione di uscita relativamente elevata di 300.000 volt è stato ottenuto
attraverso le statori. In ragione di tale tensione, un circuito di uscita 30 avente una tensione e corrente
riducendo attributo moltiplicando come già descritto, è stato scelto in modo da
rendere il sistema adatto per molte applicazioni pratiche.
All'inizio di ottobre 2011, Sir
Christopher Woodhead, ex ispettore capo delle scuole in Inghilterra, ha
dichiarato che i bambini debbano lasciare la scuola a 14 anni e diventare
apprendisti. Mentre Personalmente ho un'alta opinione di apprendistato per
talune professioni, questo mi sembra essere un tentativo diretto di abbassare i
livelli di istruzione della popolazione del Regno Unito ancora di più di quanto
non lo sia già oggi, dove molti addetti alle vendite non sono in grado di
eseguire anche le più aritmetiche di base come parte del loro lavoro.
La base per il modo in cui
viviamo le nostre vite e capire le cose intorno a noi, la società, le relazioni
personali, i valori della famiglia e simili, ha le sue radici in quello che ci
viene detto dai termini "le autorità". Purtroppo, molto di quello che
è stato detto non è solo vero. Sei stato mentito sulla scienza, l'astronomia,
l'ambiente, il riscaldamento globale, il governo, la fiscalità, la guerra,
l'energia, le invenzioni, l'istruzione, il terrorismo, la salute, finanza e dei
media, per citare solo alcuni argomenti che vengono in mente.
Scienza:
C'è
stata, ed è tuttora, la soppressione sistematica, deliberata, e spesso brutale
di fatto scientifico. Ci viene detto che si deve "bruciare un
combustibile", al fine di produrre energia che poi viene
"consumata" quando la usiamo per alimentare la nostra vita. Si tratta
di una deliberata menzogna. Ci è stato detto "scientifiche" le cose
che sono pura fantasia e progettato per mantenere la verità da noi. L'obiettivo
è quello di mantenere la gente di questo pianeta ignorante, debole, e fatte
salve le persone che conoscono i fatti reali, e di togliere tutte le ricchezze
possibili dalla persona comune.
Astronomia: Ci è stato detto che
l'unico modo per andare nello spazio è quello di utilizzare razzi. Le persone
che dicono questo non solo so che è una bugia, ma essi stessi hanno avuto i
veicoli con guida elettrogravitiche per almeno cinquanta anni. Questo tipo di
rifiuti è più o meno l'equivalente di dire alla gente che si può ottenere solo
in giro saltando su un piede solo. Ci viene detto che la velocità della luce è
una costante e che è una bugia. Ci è stato detto che nulla può andare più
veloce della velocità della luce, e che è una menzogna. Ci è stato detto che la
gravità dipende dalla massa, e che è una menzogna. Ci è stato detto che la
Terra è l'unico pianeta del nostro sistema solare che ha un atmosfera, e questa
è una bugia. Infatti, quasi tutto ciò che
ci viene detto è corretto.
Ambiente: Ci è stato detto che
abbiamo bisogno di eseguire le nostre vite "bruciando combustibili
fossili", che sono in quantità limitata e quindi non è "una crisi
energetica". Mentre alcuni olio è prodotto dal decadimento di organismi e
vegetazione di cui epoche precedenti, pozzi di petrolio che sono stati pompati
presumibilmente a secco sono in realtà riempiendo di nuovo con olio creato
nella crosta della Terra e che non proviene da vegetazione in decomposizione e
organismi. Né vi è alcun bisogno di bruciare petrolio per il potere, o di avere
centrali centrali e fili fragili in esecuzione per tutta la campagna. Queste
cose sono ricercati dalla potente élite al fine di controllare la gente comune
e per separarli dal loro denaro.
Riscaldamento
Globale: Ci è stato detto che la combustione dell'uomo di combustibili fossili sta
causando il riscaldamento globale attraverso la produzione di anidride
carbonica. Questa è la spazzatura più ridicola possibile. L'anidride carbonica
è un gas naturale, essenziale per la crescita delle piante, che a sua volta è
essenziale per la nostra sopravvivenza. I livelli di biossido di carbonio sono
da tempo raggiunto il livello in cui l'aumento non ha quasi alcun effetto sul
riscaldamento. La percentuale prodotta dall'uomo è banale, come la stragrande
maggioranza esce vulcani, l'importo più grande successiva è prodotto da animali
e insetti, e il contributo dell'uomo è minore. Il riscaldamento globale e il
raffreddamento globale sono eventi naturali che si stavano verificando a lungo
prima che l'uomo era in giro in modo massiccio e certamente, secoli prima che
la combustione di combustibili fossili iniziato. Il contributo di tutte le
vetture in tutte le sarebbe è solo di circa 1,7% del contributo minore
dell'uomo e l'agitarsi di "impronta di carbonio" è solo una truffa
che viene utilizzata per estrarre più soldi dalla persona comune.
David Archibald nel 2006 in questo documento http://www.davidarchibald.info/papers/Climate
Outlook to 2030.pdf, pubblicato il grafico mostrato qui:

Questo grafico mostra chiaramente
che anche un forte aumento del livello attuale di anidride carbonica non ha
quasi alcun impatto sulla temperatura atmosferica. È stato anche calcolato che
un aumento di 620 ppm darebbe un aumento di temperatura di soli 0.16OC.
Il grafico sopra indicato, insieme con i suoi calcoli sarebbe dovuta finire
ogni ulteriore discussione di ridurre le emissioni di biossido di carbonio.
Tuttavia, questo non è sicuramente stato il caso.
Per ragioni finanziarie, una
decisione è apparentemente stata presa per mantenere la pressione sulla
riduzione di anidride carbonica, con conseguente investimenti dissennati, sulle
nuove tecnologie per la cattura e lo stoccaggio di anidride carbonica,
"belle" mulini a vento assolutamente ovunque e l'uso obbligatorio di
biocarburanti (che ha un impatto negativo sulla produzione alimentare). Non dimenticare
di tutto il guadagno che 'i governi' sono sempre da "imposte sul
clima".
Tutte queste tasse e la spesa
enorme di denaro dei contribuenti, minaccia davvero le basi economiche del
tutto il mondo occidentale, ma peggio ancora sono le conseguenze del l'impegno
di biocarburanti. Questa strategia folle ha provocato un quasi raddoppio del
costo di olio da cucina e alimenti essenziali come il riso, in quanto terreni
agricoli viene ora utilizzato per la produzione di biocarburanti. Questi
aumenti stanno colpendo i paesi poveri il peggio come le persone non possono
più permettersi di pagare per beni di prima necessità.
Se l'intenzione del IPPC e
politici di tutto il mondo è quello di morire di fame a morte, allora sono
sicuramente sulla strada giusta attraverso la loro continua insistenza sugli
effetti nocivi presumibilmente di anidride carbonica. In realtà, il gas serra
che ha il maggior effetto è in realtà vapore acqueo che rappresenta circa il
98% di tutto il riscaldamento. Mi chiedo come i politici stanno andando per
evitare che il vapore acqueo di entrare nella nostra atmosfera!
Nel suo video "Una scomoda
verità" di Al Gore sottolinea la stretta correlazione tra le fluttuazioni
di temperature globali e dei livelli di anidride carbonica nell'atmosfera. Si
sottolineano forti aumenti e ribassi della temperatura media globale (quasi
tutti sono prima che l'umanità ha cominciato a bruciare olio) e gli aumenti
relativi forti e cadute di concentrazione di anidride carbonica nell'aria.
Quello che è molto attento a evitare di menzionare è che le variazioni di
concentrazione di carbonio dixide, lag dietro le variazioni di temperatura
globale di circa 600 anni. Le concentrazioni di anidride carbonica sono il
risultato del riscaldamento globale e non la causa di essa.
Ciò è ulteriormente sottolineato dal discorso tenuto
dal professor Ian Plimer al Parlamento britannico. Che il discorso può essere
visto al https://www.youtube.com/watch?v=iEPW_P7GVB8&feature=youtu.be
ed è qui riprodotto:

Io sono un geologo. E l'unica cosa che perdere il nel guardare il cambiamento climatico è passato. Climi hanno sempre cambiato. Cambiamenti climatici in passato sono stati una maggiore e più veloce di tutto ciò che sperimentiamo nel corso della nostra vita e del livello del mare hanno sempre cambiato, non dalla modesta coppia di millimetri che persone stanno avendo collegamenti circa. Abbiamo avuto in passato, sul livello del mare cambiamenti del 'solo' 1500 metri – questo è un cambiamento del livello del mare!! E se guardiamo indietro nella storia del tempo, l'atmosfera era una volta una grande quantità di anidride carbonica in essa. Ora c'è meno di 0,04%. Dove andato a quello anidride carbonica? È andato in gesso, calcare, gusci e vita, e noi abbiamo sequestrare anidride carbonica dall'atmosfera solo per 10.500.000.000 anni. Questo pianeta è stata de-gassazione anidride carbonica poiché ha formato prima che Giovedi 4.567.000.000 anni fa.
Biossido di carbonio è un gas naturale. Ha dominato l'atmosfera per un periodo straordinariamente lungo di tempo, e ora siamo a un livello pericolosamente basso. Se abbiamo dimezzato la quantità di anidride carbonica nell'atmosfera, non avremmo nessun piante terrestri. Anidride carbonica è cibo vegetale. Non è un inquinante. Per usare le parole come inquinamento con anidride carbonica è fuorviante e ingannevole. Ma il passato ci dà una storia meravigliosa. In passato abbiamo avuto sei principali ere glaciali. Siamo attualmente in un'età di ghiaccio. E iniziato 34.000.000 anni fa, quando Sudamerica ha avuto il buon senso di tirare dall'Antartide e c'è una corrente circum-polare istituita che isolati Antartide e cominciamo ad essere la calotta polare antartica. Abbiamo avuto periodi di glaciazione e interglaciali. Attualmente siamo nel periodo interglaciale, e durante quel 34.000.00 anni noi abbiamo refrigerato sulla terra. Ma per meno di 20% di tempo abbiamo avuto ghiaccio sul pianeta terra. Il resto del tempo è stato più caldo e più umido e c'è stato più anidride carbonica nell'atmosfera. E cosa fece vita? Essa prosperò.
Le età di ghiaccio sei grande e sei sono stati avviati quando il tenore di anidride carbonica dell'atmosfera era più alto di adesso – in realtà, fino a mille volte più alto di adesso. Così abbiamo dalle prove geologiche, assolutamente alcuna prova che l'anidride carbonica ha spinto clima. Per qualche strano motivo, il principale motore del clima è che la grande palla di calore nel cielo che noi chiamiamo "il sole". Avete sentito qui in primo luogo-è davvero inusuale!! E cambiamo la nostra distanza dal sole. Ogni 100.000 anni nostra orbita cambia da ellittiche a circolare, e abbiamo un ciclo di 90.000 anni di freddo e 10.000 anni di caldo. Siamo in uno di quei cicli caldi ora. Ogni 43.000 anni l'asse cambia un po ' e ogni 21.000 anni otteniamo un po ' di un'oscillazione. Ciascuno di tali eventi orbitale ci mette più lontano dal sole. Ogni tanto, noi veniamo bombardati da raggi cosmici provenienti da un'eruzione di supernova proveniente da qualche parte là fuori, e se il campo magnetico del sole non può scacciare questi, iniziamo a nuvole a basso livello di forma. Abbiamo estremamente buona evidenza che questo processo si protrae per un lungo periodo di tempo.
Ogni tanto, continenti iniziano a muoversi, e si muovono con tariffe molto rapide. Si muovono circa dieci pollici ogni anno. E una volta un continente può essere sopra un palo e in un altro momento può essere all'equatore. Quelli continenti in movimento cambiare il bilancio termico importante sulla terra, e cioè le correnti oceaniche. Gli oceani trasportano calore molto di più rispetto all'atmosfera. Ogni ora e poi, a causa di importanti processi geologici otteniamo un grande rigonfiamento sul fondo dell'oceano, di nuova roccia vulcanica. Che le modifiche correnti oceaniche. Ogni anno abbiamo 10.000 chilometri cubi di acqua di mare che passa attraverso la nuova roccia vulcanica sul fondo dell'oceano. Che scambia calore. La reazione tra acqua di mare e le rocce si ferma gli oceani diventando acido. Quando abbiamo esaurito le rocce, oceani diventeranno acido – ma non aspettatemi, sarà a lungo.
Vediamo 1500 vulcani sul pianeta terra. Misuriamo solo venti di loro e molto pochi di tali misurazioni sono veramente accurati, ma ci dicono che un po' di anidride carbonica fuoriesca dai quei vulcani. Ma ciò che sentiamo non è che ci sono almeno 3.470.000 vulcani sul fondo del mare che la perdita di enormi quantità di anidride carbonica. Abbiamo piscine di anidride carbonica liquida sul fondo del mare. Così, all'inizio primo anidride carbonica – dove è andata e dove ha fatto eruttare? Dove proviene? È venuto dalle rocce. Cosa fatto sul pianeta? Non abbiamo fatto soffriggere e morire. Non avevamo serra galoppante.
Ora che è solo geologia – che non è importante (!) Diamo un'occhiata a tempi più moderni. In tempi più moderni abbiamo trapano nuclei che sono passati attraverso le lastre di ghiaccio. Neve, quando cade, cattura e trattiene una boccata d'aria. Che l'aria è intrappolato nel ghiaccio. Successivamente possiamo estrarlo dal nucleo del trivello e misurare la quantità di anidride carbonica nell'aria, e possiamo vedere con i nostri cicli di glaciazione e interglaciali, che quando abbiamo finito un evento Inter-glaciale, che rilasciamo anidride carbonica circa 800 anni più tardi. Così, quello che ci sta dicendo? Essa ci dice che temperatura sta guidando l'anidride carbonica e non quello anidride carbonica sta guidando la temperatura. Oh sì – ma che è solo centinaia di migliaia di anni fa – dimenticarlo.
Beh, andiamo a tempi più moderni. Noi abbiamo stato misurare la temperatura con precisione fin dal 1850 e la precisione è più o meno 1 grado Celsius per quelle antiche misure. Ci stiamo detto che questo 0,7 gradi Celsius aumento sta per creare un disastro!! Ho avuto solo muovere un solo passo e ho avuto un 0,7 gradi Celsius aumento. Dove persone andate per le vacanze estive? Si va da un clima caldo. Siamo creature dalla rift valley – noi come caldi climi. Se qualcuno da Helsinki si trasferisce a Singapore, c'è un aumento della temperatura media di 22 gradi Celsius. Singaporeans non cadere morto nelle strade dalla temperatura. Quindi, noi siamo creature di clima caldo. Noi abbiamo stato misurare la temperatura e abbiamo visto un lieve riscaldamento dal 1860 al 1890. Quindi aprire un lieve raffreddamento al 1910 e quindi un riscaldamento fino al 1940, quindi vale a dire che è stato il passaggio di nord ovest. Quindi un raffreddamento fino al 1977 e ora il riscaldamento fino alla fine del secolo, e ora siamo in un periodo di raffreddamento. Così, abbiamo avuto questi cicli di riscaldamento e raffreddamento. Stranamente, questi cicli sono in realtà legati ai cambiamenti nell'equilibrio di calore negli oceani.
Così, abbiamo questi cicli di 60 anni nel corso di un evento lungo riscaldamento. Siamo in un periodo di riscaldamento globale. Ha stato riscaldamento dal minimo 330 anni fa. Quelli erano i tempi quando si avevano gli strati di ghiaccio sul Tamigi. Questi sono i tempi quando gli olandesi padroni verniciati hoar gelate e condizioni di freddo pungente. Quello era il tempo quando il sole era un po' inattivo e abbiamo non avuto alcuna attività delle macchie solari. Così, siamo in un lungo periodo di riscaldamento e una delle domande che chiedo in questo libro ("Cielo e Terra: riscaldamento globale: la scienza manca" dalla Prof. ssa Plimer) "quale parte degli ultimi anni 330 del riscaldamento è dovuto alle attività umane e quale parte è naturale?" Queste sono domande che i ragazzi dovrebbero chiedere loro insegnanti della scuola e sono domande volutamente senza risposta, perché io sono del parere che molti bambini sono vengono nutriti propaganda ambientale nelle scuole e non sono erogati i servizi critici e analitici per poter sezionare un argomento.
Quindi, siamo in un periodo di riscaldamento – qual è la preoccupazione? È abbastanza normale. E diamo un'occhiata solo a storia. L'unica cosa che l'industria del clima (che è) ignora, è storia. In epoca romana era calda. Era considerevolmente più caldo di adesso. Sappiamo che, hanno mantenuto un buon record. Si sono sviluppati olive fino al fiume Reno per quanto Borne. Avevano uve da vino nello Yorkshire. Sappiamo dal loro abbigliamento che era caldo (possibilmente che stavano per un'orgia ma penso che più probabile era calda) e che il riscaldamento si fermò improvvisamente nel 535 AD, e siamo entrati in età scure. Nel 535 AD abbiamo avuto Krakotoa, che ha riempito l'atmosfera con aerosol. E non era un grande vulcano: e soltanto 30 chilometri cubici di aerosol in atmosfera. Abbiamo avuto più grandi in Yellowstone e avevano anche più grandi in Nuova Zelanda dove sono andati 10.000 chilometri cubici di aerosol nell'atmosfera (e preghiamo per un altro come quello è l'unico modo che avrete batterli al rugby – spazzarli via). Abbiamo avuto due vulcani, uno a Rissotto e uno in Krakatoa in Indonesia in 535-536 AD che porta al Medioevo. Era freddo. Cos'è successo? Colture non riuscite. Siamo affamati. Abbiamo avuto disordini civili. Abbiamo avuto il cannibalismo. Abbiamo fatto irruzione fuori che il riscaldamento medievale. I primi a sentirlo erano Vichinghi come mari divennero più calmi. Si potrebbe ottenere ulteriore pesca. In realtà hanno ottenuto a Terranova che chiamarono 'Vinland'. In Groenlandia, uva e orzo stavano crescendo. Le uve sono state profonde come non non c'era nessun permafrost. E ' stato un meraviglioso clima benigno, cinque gradi più caldi di adesso. Eric il rosso stava dicendo: "Vieni alla Groenlandia, è un meraviglioso clima" ed è stato. E poi siamo andati attraverso 23 anni di bassa attività solare e in 23 anni siamo passati dal riscaldamento medievale nella piccola era glaciale e che, come detto, si è concluso 330 anni fa.
Allora, cosa pensi che succederebbe dopo una piccola era glaciale – pensate che otterrebbe più freddo o che vuoi ottenere più caldo? L'unico motivo che gli argomenti della scienza hanno avuto qualsiasi trazione nella società è che sono state collegate all'ultimi 30 anni o 40 anni di misurazioni di temperatura. Vedo con grande interesse che il Met Office ci sta dicendo che questo è l'anno più caldo sull'annotazione. Potrebbero essere un calendario diverso per me, ma non pensavo che quest'anno è ancora finito. E questa volta l'anno scorso ero a Londra sono stato l'anno prima ed era infelice – era freddo, era molto freddo. Così, quelli ordinare delle previsioni appena prima di una conferenza di grande clima, uno deve essere molto scettico. Nella scienza, lo scetticismo non è un termine peggiorativo. Nella scienza non vi è consenso. Nella scienza ci sono continue battaglie. Un buon esempio: «sapevamo tutti' che abbiamo avuto ulcere da un acido dello stomaco e lo stress, e abbiamo preso pillole e strofinò le nostre pance e sperato che le ulcere vuoi andare via. Ma due scienziati che non stavano seguendo il mainstream, che non stavano seguendo il consenso, sono state sostenendo che questo era a causa di un batterio. E nessuno ascoltava. In definitiva, uno di loro ha preso i batteri, sviluppati ulcere, ha preso l'antidoto, e per questo hanno ottenuto un premio Nobel. Non si ottiene un premio Nobel per seguendo un consenso o dicendo che la scienza è risolta. Credo che abbiamo avuto un'enorme corruzione della scienza e metodo scientifico. Credo che i fondi che stanno galleggiando intorno per la ricerca sul clima (che è una moda attuale e moda), sono abbastanza perverso. Credo che ci stanno mettendo la scienza all'indietro e venire la prossima pandemia inevitabile, non possiamo avere le armi per gestirlo – noi potremmo andare sventolando erbe e cantando, anziché creare un antidoto. Così, questo, per me, questa industria del clima ha fatto un enorme attacco sul metodo scientifico. È stato un attacco alla mia scienza e storia, e le cose sono fortunatamente stanno cambiando.
Finisco con un ultimo punto: tu hai il tuo atto di cambiamento climatico, appena abbiamo introdotto una tassa sul carbonio in Australia. Diciannove bollette è andato attraverso il Parlamento, e nostro Carbon Tax è alla riduzione delle emissioni di anidride carbonica dalle nostre industrie generatrici di occupazione in Australia. Ed è meraviglioso – noi abbiamo portato il mondo nel suicidio (!) e nostro Carbon Tax è quello di abbattere le emissioni di 5%. Ora potete fare le somme e le somme sono molto semplici. L'IPCC dice che il 3% delle emissioni annuali sono da esseri umani. Perché è questo che 3% spinge il cambiamento climatico e non l'altro 97% è di là di me, ma che è un'altra questione. Australia messo fuori 1,5% delle emissioni di CO2 di tutto il mondo. Si possono fare i calcoli e di Australia torna a bussare loro emissioni 5%, sarà entro il 2050, hanno abbassato le temperature globali di 0,00007 gradi Celsius. Quindi spero che vi piaccia il nostro sacrificio in dandovi un clima più caldo qui in Inghilterra !!
Governo
e Fiscalità: Sembra che l'unico scopo del governo è quello di arricchire le persone al
potere a spese della persona comune. La gente in una democrazia dovrebbero
essere "libero", ma questa è una illusione lordo. Se si stava
lavorando tutta la settimana in una società e alla fine della settimana sono
stati pagati è £1,000 in contanti. Quando si avvia a casa, una banda armata di
teppisti minaccia voi e ruba £800 del £1,000 e che accade ogni settimana a
colpo sicuro. Allora, che cosa ne pensi di tale accordo? Buono o cattivo?
Questo è ciò che il governo fa per voi in questo momento. Ma, direte voi,
"viviamo in una democrazia, in modo da poter sparare i politici".
Questo è l'equivalente di avere tre uscite dal vostro posto di lavoro e ogni
uscita ha una diversa banda di delinquenti pronti a derubarti. Sì, infatti, si
ha scelta. È possibile scegliere quale uscita da utilizzare e, quindi, quale
particolare banda di delinquenti vi deruba.
Tu pensi che sia esagerando? Ho
visto è stato calcolato che l'80% di tutto ciò che si guadagna è tolta via da
voi in "tasse" e non vi è giustificazione per quella cifra se si
considera ciò che contribuisce al costo di tutto ciò che fai. Si pagano le
tasse. Ti ricordi viene chiesto se sarebbe disposto a pagare le tasse?
Oh, ma che dici, abbiamo bisogno
di tasse per pagare per i servizi pubblici, la sanità, l'istruzione, i
trasporti, ecc Sì, certo, ma quanto del vostro denaro va in realtà su questo.
Nel Regno Unito vi è una grande "tassa auto" annuale, che è stato introdotto
con la scusa che era necessario per finanziare la costruzione e la riparazione
di strade. Mi rendo conto che almeno l'85% di quel denaro non viene speso per
le strade. Vi è una tassa sul carburante per veicoli di massa e ho visto la
cifra del 85% di cui. Se questo è il caso, il carburante dovrebbe essere solo
un sesto del prezzo praticato e che costo aggiuntivo ha trovato la sua strada
in quasi tutto il resto, cibo, vestiti, elettrodomestici, tutti i manufatti,
riscaldamento, energia elettrica, di gas, ecc ecc . Inoltre, ci sono le tasse
più importanti su alcool, tabacco, settore dei servizi, viaggi, e tutto ciò che
'politici' può pensare su. Quindi sei una persona libera vivere in una libera
democrazia? Chi stai prendendo in giro? Avete effettivamente "sucker"
stampato sulla fronte? Per ulteriori informazioni, visitare il sito http://www.yourstrawman.com dove sono
disposti i fatti in modo chiaro.
Prendiamo il caso dell'America.
L'obiettivo della guerra civile è stato quello di fare i soldi per il senza
scrupoli. Una frode davvero importante è stato perpetrato contro il popolo
americano in quel momento. Essi credevano (e più ancora) che gli Stati Uniti è
il governo della nazione americana. Non è questo il caso. "Gli Stati Uniti
d'America" è in realtà un conglomerato commerciale di
società private, società con nomi come "Lo Stato dell'Arizona", o,
"Lo Stato del Texas". Imposte federali sono imposte al popolo
americano, ma che va direttamente nelle finanze private di queste società e non
un solo dollaro di essa va a vantaggio ogni cittadino americano. C'è molto più
dettagliato su questo nel capitolo 15.
Guerra: Il pubblico è
considerato soggetto a ciò che passa per 'governo' per paura e ignoranza. Il
governo annuncia che un paese ha bisogno di essere attaccato e invaso, al fine
di "libere" il popolo e la democrazia. Quindi, in genere senza alcun
motivo realistico, quel Paese sarà attaccato e invaso, gran parte della
popolazione civile ucciso, danni materiali inflitti massiccia e grande
sofferenza e di disagio causato per molte persone. Questo è organizzata dai
politici. Non anch'esse prenderanno parte ai combattimenti? No. A chi giova la
guerra? Risposta: i produttori di armi, e aziende come Halliburton che
beneficiano di soldi tassazione per ricostruire quello che l'esercito locale ha
appena trascorso il tempo distruggendo. Il paese attaccato è probabile che i
suoi beni rubati per poi essere gravato da un debito enorme falso in modo che
possa essere costretto a pagare una quantità incredibile di
"interesse" per i decenni a venire. Il
paese fortunato è stato attaccato, danneggiato, i cittadini uccisi,
infrastrutture distrutte, i beni rubati e poi derubato per anni dopo dalle
persone che hanno causato tale devastazione. Hai detto che si vive in
"una libera democrazia", non è vero?
Energia: Le imprese energetiche
sono molto interessati a vendere carburanti a bruciare per l'energia
"get" per eseguire i vostri veicoli, elettrodomestici, riscaldamento,
ecc Essi sono anche molto entusiasta che non si deve scoprire che si è
circondati da energia può essere utilizzato per tutte quelle cose senza pagare
nulla il locale società energetica. La maggior parte delle persone immaginano
che l'energia elettrica che scorre dalla presa a muro della vostra casa (e per
il quale si deve pagare un bel po '), arriva i fili dalla stazione generatore
che brucia combustibili fossili per guidare i generatori. Non è questo il caso,
non un singolo elettrone della corrente si usa in realtà proviene dalla centrale
elettrica ma viene raccolta a livello locale da energia libera ambientale. Se
tu sapessi come si fa, allora si avrebbe bisogno per la società elettrica,
linee elettriche attraverso le centrali elettriche o di campagna, trivellazioni
petrolifere e la spedizione in tutto il mondo. Le auto non hanno bisogno di
carburante per funzionare, ma che l'informazione è fortemente soppressa e si è
mentito quando si è detto che è necessario bruciare un combustibile per
alimentare la vostra vita.
Invenzioni: Quando scoprono che
esiste una cosa come la free-energy, la maggior parte della gente pensa che ciò
che è necessario è una scoperta scientifica, al fine di sviluppare la
tecnologia necessaria per permettere a tutti di avere energia libera. La realtà
è esattamente il contrario come la tecnologia è stata scoperta e attuata
letteralmente migliaia di volte. Stai per essere mentito quando si è detto che
l'energia libera è "impossibile". Sono affidabile informato che solo
in America, più di 40.000 free-energy brevetti sono stati confiscati dalla
(società privata chiamata) Ufficio Brevetti. Inventori sono poi messo a tacere
da un ordine di bavaglio con la scusa assurda che l'invenzione è "di
importanza la sicurezza nazionale". Inventori che non cercano di brevettare
le loro invenzioni sono intimiditi, alcuni sono uccisi, altri vengono attaccati
e la loro reputazione macchiate, alcuni sono illegalmente messi in istituti
psichiatrici, alcuni sono incorniciate e tutte le membra soffrono massiccia
opposizione finanziario se si tenta di avviare la produzione di un prodotto in
vendita - nemmeno Cal-Tech è riuscita a superare quel blocco finanziario. Personalmente conosco diversi ricercatori che erano
stati illegittimamente intimiditi.
Istruzione: C'è un massiccio
programma di educazione "istupidimento-down" in combinazione con
l'insegnamento intenzionale delle cose che sono noti per essere completamente
sbagliato. Dopo solo pochi decenni di questo, molti adulti non è possibile
eseguire operazioni aritmetiche di base o di costruire frasi semplici nella
loro lingua madre. Scienza e Ingegneria sono trascurati e la maggior parte
della gente non capisce come funzionano le cose. Maggior parte delle scuole non
consentono più studenti per effettuare esperimenti in chimica o fisica, di solito
con la scusa che è 'troppo pericoloso'. Studenti universitari viene detto che
non esiste una cosa come il moto perpetuo, che è tanto ridicolo come dire che
l'acqua non è bagnata. Newton effettivamente detto che la gravità è una spinta
non e una forza di trazione come indicato dalla mis-traduzione del testo latino
originale. Questa nozione errata di gravità è ancora insegnato nonostante il
fatto che molti governi hanno avuto motrici elettrogravitiche dal 1960,
comandato da onde elettromagnetiche appena sotto la frequenza di infrarossi,
smentendo quello che dovrebbe essere la teoria di Newton, in una più clamoroso
moda. Ogni accademico, che esce di linea e ammette che gli studenti vengono
insegnate spazzatura, viene immediatamente attaccato con ogni mezzo possibile
per screditare, ridicolizzare e isolarlo. L'obiettivo di tutto questo è quello
di manovrare il pubblico in una posizione di debolezza in cui sono ignoranti,
ignoranti, informazioni alimentato false e distratto con le cose di nessuna
importanza. L'obiettivo finale è la schiavitù delle masse senza di loro nemmeno
rendersi conto che essi vengono ridotti in schiavitù.
Terrorismo: Il modo principale per
far rinunciare ai propri diritti e fare quello che vuoi è attraverso la paura.
Il libro "1984" (data in questo modo perché è stato scritto nel 1948)
spiega come si fa. Nemici fittizi sono inventato per spaventare la gente e
impedire loro di lamentarsi quando una grande quantità di loro denaro è dato a
interessi acquisiti con la scusa di essere misure per proteggerli da questo
pericolo immaginato. La "guerra fredda" era completamente falso con
entrambe le parti che lo utilizzano come scusa. L'invasione dei paesi più
piccoli non è mai, mai, per le motivazioni esposte pubblicamente, ma è sempre a
scopo di lucro da parte del popolo al potere e dei loro colleghi commerciali.
Le ragioni di queste invasioni sono talmente ridicola che non cessa mai di
stupirmi che il pubblico effettivamente consentire e nel credere queste storie
selvatici. Uno dei fili conduttori di questo inganno continua condotta contro
il pubblico è falso "terrorismo", spesso sostenuta da "false
flag" attacchi di screditare le persone perfettamente innocenti che si
suppone di aver fatto quegli attacchi. Eventuali attacchi terroristici reali sono
normalmente una risposta alle atrocità commesse contro i presunti
"terroristi". Le società
commerciali che passano per i governi, sono i più grandi terroristi di tutto.
Salute: L'industria farmaceutica
è una delle più grandi operazioni per fare soldi sul pianeta. Essa può venire
come uno shock per te, ma non vogliono per curare le persone. Al contrario,
vogliono che la gente ad andare a comprare farmaci costosi a prezzi fortemente
gonfiati. Trattamenti a lungo termine per la salute sono la loro situazione
ideale che fornisce loro un flusso di entrate continuo. Diverse persone sono
venuti con cure molto efficaci per il cancro e altre malattie gravi, e quelle
persone hanno ricevuto lo stesso ingiustificabile, il trattamento scandaloso
così come gli inventori del free-energy. L'industria farmaceutica è ben
consapevole degli effetti altamente benefici di argento colloidale, ma non
potranno mai produrre qualsiasi in quanto non si può brevettare e di praticare
prezzi molto gonfiati per essa. Di conseguenza, non sono interessati come loro
unico obiettivo è quello di fare soldi, e non è assolutamente per curare le
persone.
Il defunto Bob Beck evidenziato questo nella sua
lezione video che può essere ancora disponibile a:

Ecco un estratto da quella conferenza:
Negli ultimi cinque anni ho speso i miei soldi
(senza finanziamenti pubblici o università) ad istruire una cosa che ha
dimostrato di essere la cosa più notevole per tutte le malattie che io abbia
mai sentito parlare di persona, e sono stato in questo campo per circa quaranta
anni.
Ho una pila di Studi IRB - PCR relazioni di
laboratorio dagli ospedali più importanti di tutto gli Stati Uniti, e fino a
quando si tratta di peer-reviewed pubblicato, io non dovrei mostrarle a chi non
è un medico a causa della riservatezza del paziente.
Ora, come molti di voi hanno letto che non esiste
una cura per l'AIDS? Questa è una menzogna assoluta. C'è stata una
perfettamente funzionante, cura il 95% esatto per l'HIV e il cancro e l'herpes
ed epatiti e virus di Epstein-Barr e circa una dozzina di altre malattie
incurabili, che è stato inventato in data 11 marzo 1990 presso l'Albert
Einstein College of Medicine di New York City da Dott. Kelly e Wymans.
E cosa è successo a questa svolta, che è molto più
importante di penicillina, antibiotici, qualsiasi cosa potete dare un nome? - È
stato soppresso. E perché ha queste informazioni state sottratte da te - le
informazioni che si può facilmente provare per te (non prendere la mia parola
qui per qualsiasi cosa: il check-out)? Ho scoperto di recente che la mafia
detiene circa il 51% delle maggiori case farmaceutiche così come lavorare
l'altro lato della pista con le droghe illegali dal Sud e Centro America e
Cina.
I cartelli medici in questo paese (USA) addebiterà
da $ 50.000 a $ 200.000 se si dispone di cancro in fase terminale, e questo è
per la chirurgia e la chemioterapia e la radioterapia e cure ospedaliere.
Si consideri un pacchetto di gomme da masticare
Wrigley menta. Questo pacchetto di gomme da masticare mi è costato un nichelino
(5 centesimi o $ 0,05), quando ero giovane e ho pagato $ 1.32 per quel
pacchetto presso l'aeroporto di Chicago di recente - $ 1,00 per la gomma più $
0,32 tasse e movimentazione. Il prezzo di questo pacchetto di gomma da
masticare è ogni centesimo (centesimo) che ci vuole per curare [e io non dovrei
usare questa parola come solo un medico può utilizzare 'cura' la parola] oggi
la maggior parte delle malattie conosciute in America . E perché non avete
sentito parlare di questo? - Perché General Electric, Westinghouse, e le altre
società hanno miliardi di dollari legati a raggi X, scanner CAT e risonanza
magnetica che vengono affittati a organizzazioni sanitarie, e per 1,32 dollari
ci si può curare senza medici, senza farmaci, senza medicine, senza dubbio
senza intervento chirurgico, certamente senza chemioterapia, senza farmaci,
senza erbe, rimedi omeopatici - si può fare per se stessi ed è stato fatto.
La gente continua a chiedere "perché non ho
sentito parlare di questo, perché non ci sono studi in ospedale?". Ci sono
centinaia di loro. Ecco un risultato del test: A questa data, l'undicesimo di
agosto 1998 questo paziente aveva solo circa 3063 particelle di HIV nel sangue.
Ma ora, come questo test si sviluppa, la PCR sul terzo del novembre 1998,
(alcuni mesi dopo), il conteggio è inferiore a 1 in 100, il che significa che
il risultato del test è pari a zero per quanto questo test è stato interessato.
Abbiamo una pila di queste relazioni un piede e mezzo (45 cm) di profondità, in
cui ognuna di queste vere e pazienti affetti da AIDS, ognuno, anche se alcuni
di loro erano in sistemi di supporto vitale o assistenti necessari per
sollevarle dal letto, queste persone sono ora senza sintomi. Ognuno di loro è
tornato al lavoro. Nessuno di loro ha i sintomi dell'AIDS. Quindi, se hai letto
nel vostro giornale 'il ricavato della partita di baseball questo sabato sarà devoluto alla
ricerca di una cura per l'AIDS' che è una menzogna assoluta.
C'è, ed è stata, una cura per l'AIDS - tutti AIDS - una cura per circa il 95%
dei tumori, una cura al 100% per virus di Epstein-Barr, l'epatite, il lupus, di
una cura per l'herpes del 50%, e sono stato finanziamento di questi fuori di
tasca mia. Non ho assolutamente nulla in vendita. Dio è stato estremamente
buono con me - penso che vado in giro per affari di mio padre e 'qui, e sto
pagando per questo me stesso e mi sto dando al mondo.
C'è una carta disponibile dal titolo "Take
Back Your Power" (un link per il download per questa è http://www.free-energy-info.tuks.nl/Beck.pd)
non hai bisogno di medici, infermieri, chiropratici, erbe , farmaci, interventi
chirurgici. Solo se si sta andando avanti con le soluzioni politicamente
corrette hai bisogno di queste cose che i tuoi vicini di casa sono stati in
funzione per tutte queste molte generazioni. C'era documento intitolato
"elettrificazione del sangue e del sistema immunitario con il Restauro
Microcorrenti - un collaudato, Sorprendente, rapido, economico e sicuro
Discovery per positivi, remissioni controllabili". Ora abbiamo scoperto
che queste informazioni sono state soppresse. I medici che hanno scoperto
questo, e lasciate che vi dica la scoperta: nel 1990, hanno messo un paio di
fili di platino piccoli in un piatto che conteneva Petrie altamente infettati
sangue umano, e l'infezione c'è stata una dose molto, molto forte di HIV che
era presumibilmente la causa dell'AIDS. Essi hanno scoperto che quando avevano
elettrizzato questo sangue, l'HIV non potrebbe più collegare ad altri siti
recettoriali nel sangue. Ciò significa che le cellule sane non possono essere
infettati dal virus HIV. L'unica menzione di questa scoperta incredibile era in
Science News 30 Marzo 1991, pagina 207, 'Trattamento Shocking Proposto per
l'AIDS' e racconta di come questi due medici avevano dato un documento su
questo processo dicendo: 'gli esperimenti descritti il 14 marzo a
Washington CC al primo Simposio Internazionale sulle terapie combinate, hanno
dimostrato che i virus scioccati perso la capacità di fare un enzima cruciale
per la loro riproduzione e potrebbe non causare i globuli bianchi ad ammassarsi
- i veri segni principali di infezione virale.
I documenti unici che ho potuto trovare che ha
ottenuto nella stampa americana erano Science News e articolo Longevità News
'fulminanti il virus dell'AIDS'. Ma cosa è successo in questo articolo
Longevità (che era dicembre 1992, pagina 14), è stato detto che il dottor
Colley 'sarà 15
anni prima di questo processo è pronto per la sperimentazione umana'.
Siamo stati facendo, sub-rosa, con il consenso del
paziente, per oltre cinque anni qui, e abbiamo i risultati delle prove per
dimostrarlo. Quando ero in una sala conferenze di circa 800 persone, un uomo di
80 anni si avvicinò e disse: 'Bob, mi è stato mandato a casa oggi, il mio cancro era metastasi per tutto
il mio sistema. Mi è stato detto di andare a casa e fare la mia volontà, come
ho avuto al massimo, circa due o tre settimane di vita. Tornai a casa e ho
fatto la mia volontà e ho visto il tuo articolo in una rivista e l'ho fatto.
Ora sono libero di tutti i tumori. Le mie biopsie sono pulite, le mie TAC siano
puliti. Sono tornato al lavoro, ed essendo un avvocato, ho dovuto lavorare
sedici ore al giorno per recuperare tutto il lavoro che aveva perso mentre ero
in terapia intensiva. Ora sono jogging, tre miglia al giorno ' (e ce ne sono state le lacrime che gli
colava sul viso).
Abbiamo avuto le donne che hanno avuto il lupus
per circa dieci anni, appena in grado di farlo dal divano davanti alla
televisione in camera da letto. Essi sono tornati nei centri commerciali ora,
spendendo i loro soldi, in giro e in grado di sospendere i lavori a tempo
pieno. Qualcuno di voi conosce Linda Wright? Ha portato in un luogo pulito
esame del sangue un giorno e ha detto 'il mio medico ha dovuto inviare questo a
due laboratori diversi - che non ha mai visto una persona con il sangue pulito
dopo che la persona ha avuto lupus'.
Abbiamo decine di queste persone, e non una di queste persone è andato dal medico per la cura, tranne per le persone che sono in questo studio Institutional Review Board in un ospedale a Huntington Beach e Newport Beach, California. Ora, il punto è, a mio modesto parere, e possiamo mettere nulla contro questo perché sappiamo che è vero in questo momento, quando ho iniziato questo ho pensato 'questo è una specie di interessante'. Ho guardato in 500 cose che non hanno funzionato mai, la macchina non ha mai funzionato Rife, Holderclarke macchina non funziona, molti, molti, molti di questi dispositivi funzionano solo marginalmente, e ho sentito 'che sto per prendere di nuovo', ho costruito Mucalsky multipla onda oscillatori come sapete. Ho costruito quasi ogni elettro-medicale da quando sono in California (dalla seconda guerra mondiale ha iniziato), e queste cose ha funzionato nel migliore dei casi, marginalmente. Ma la cosa che è possibile creare per te stesso, non c'è niente che devi comprare. Schema e tutte le istruzioni per costruire questo, sono in carta. Questo è quello che ho progettato nel 1991 per fare uno studio sperimentale con, e si può ottenere un kit da un negozio di elettronica. Non ottenere uno di nickel dalle decine di migliaia di dollari di questi kit, che hanno venduto.

C'è un elenco delle parti a pagina 4 (del
volantino lezione) che ti dice ciò che è necessario. Anche se non si sa cosa
sia una resistenza o un condensatore è, mettere la lista sul banco a Radio
Shack e dire loro di darti ciò che è sulla lista. Il prezzo al ready-made è di
circa $ 150. Se lo costruisci te stesso avrà un costo di $ 15 a $ 20 e la
macchina non solo renderà colloidi, che è la medicina più potente che l'uomo
conosca, (motivo per cui la FDA ha stampato di recente).
SOTA Instruments Inc. Canada (1-800-224-0242)
costruisce questi dispositivi perché il proprietario leggere l'articolo della
rivista PACE e sua moglie avevano sindrome da stanchezza cronica e di
Epstein-Barr così male che era non funzionante. Ora è in alto e intorno ed è
totalmente ben oggi, perché mio marito ha costruito questa piccola scatola per
circa $ 15. Le cinghie box sul braccio con gli elettrodi posizionati sulle
arterie radiali e dell'ulna e mette una elettrificazione molto piccola nel
corpo che rimuove tutti i parassiti, virus, funghi, microbi patogeni, - tutto
nel sangue che non ci appartengono e non è stato lì il giorno che sei nato,
alla fine (dopo due o tre settimane) di essere neutralizzato ed eliminato dal
corpo, vivo o morto dalla milza, i reni e il fegato. Questo è dannatamente
eccitante, ma quando gli ospedali cercato di brevettare questo, brevetto US
5.188.738 presentato al dottor Colley il 23 febbraio 1993, descrive il
processo, come fanno quattordici altri brevetti di Harvard MIT, pagina 1
colonna 1 dice 'a causa di questo problema (il fatto che non vi è nessun
antibiotico noto o vaccino per tali malattie incurabili) la presente invenzione
è stata concepita per attenuare i batteri, virus (compreso il virus HIV AIDS),
parassiti e funghi presenti nel sangue fornite da un donatore, questi essendo
reso inefficace per infettare una cellula normale umano sano '. Prima di queste
domande sono state accettate dagli esaminatori di brevetti, hanno dovuto
fornire la prova gli esaminatori di massa.
Ora c'è stata una cura, una cura conosciuta e
costa 1,32 dollari per paziente in modo non ci sono soldi in questo se si sta
cercando di vendere terapie di combinazione per $ 20.000 a $ 60.000 all'anno.
Consiglio vivamente che si ottiene la carta che
contiene le posizioni esatte degli elettrodi che sono stati trovati per
funzionare al meglio e ottenere la corrente massima nel sangue. E 'quasi come
se Dio il Creatore aveva chiuso la porta sul retro approccio ai problemi e con
un avversario come lo Spirito Santo che è dentro - la Bibbia dice' guardare
dentro, non senza '. E questa volta, l'avversario è dentro. Gli
"stranieri" nel sangue sono le cose che frenano la tua vita a settanta
o ottanta anni. Molte, molte generazioni fa, secondo i testi sacri, hanno
vissuto per diverse centinaia di anni, Salomone, Davide, Matusalemme, ecc
Quindi, abbiamo fatto irruzione circa una dozzina
di libri di testo diversi medici tra cui Grey Anatomy, e abbiamo pubblicato i
punti esatti in cui è possibile accedere al tessuto linfatico in cui questi
germi stanno per essere in letargo. Dopo aver acquisito cancellare e ottenere
un certificato di buona salute, dopo tre o cinque anni si stessi ri-infettare
quando molti di questi virus che sono latenti, avviare germinare. E con queste
informazioni, e questi schemi elettrici e le presenti istruzioni, abbiamo
letteralmente dato a te stesso.
Stiamo per mostrarvi tutto questo prima che io
lascio qui. Questa non è la mia opinione più, ne abbiamo a sufficienza la prova
che si tratta di un dato di fatto e si possono banca su di esso. Se siete
troppo pigri, troppo stupido, troppo compromessa per via elettronica o troppo
spaventati per costruire il proprio, ci sono 40 aziende più conosciute (e
probabilmente un centinaio che non so nulla in merito) che stanno costruendo
queste cose a tempo pieno e sono sempre più rapporti notevoli indietro. Io
rispondere a queste persone, e NO, non ho ricevuto un centesimo da una
qualsiasi di queste compagnie, e tutte queste informazioni è in carta.
Ora, che cosa dobbiamo guardare per qui. Nessuno
ha mai fino ad oggi sono morte di AIDS. Lo sapevate che? Essi sono morti delle
infezioni opportunistiche, polmonite, sarcoma Carkinson, ecc ecc che possono
attaccare e rovinare il tuo corpo quando il sistema immunitario non è in grado
di gestire il carico, in realtà si chiama 'HIV' (Human Immuno-deficienza Virus)
'AIDS 'è Sindrome da immunodeficienza acquisita. Ora, questo è l'unico modo che
conosco, so che le persone che hanno scritto i libri sulla ozonoterapia, non
dirò i loro nomi, so che i medici che utilizzano tutte le erbe e le droghe. Ho
parlato con le persone che hanno lavorato con il dottor David Ho che era sulla
copertina del Time della scorsa settimana rivista come la Scienziato dell'anno,
che ha scoperto che se si utilizzano due o tre agenti chemioterapici, allo
stesso tempo, si ha un effetto cocktail e riduce il numero di HIV, il conteggio
PCR nel sangue tediously. Ma quello che non ti ha detto, e penso di leggere
questo che è stato in The Los Angeles Times 10 Dicembre 1996: "combo HIV
Drug bussa giù, non fuori". E una cosa fondamentale è accaduto, hanno
preso alcuni di questi pazienti che erano in terapia di combinazione, che tra
l'altro costa $ 20.000 a $ 60.000 all'anno, appena interrotto l'assunzione di
questi cocktail, hanno ottenuto conta immensamente elevati in milioni o
miliardi di conteggi AIDS , come se questi agenti chemioterapici, (AZT, DDI,
DD5, ecc) aveva giudicato questo carico virale nel sangue fintanto che stavano
prendendo. Nel momento in cui si fermarono, è rimbalzato e molte delle persone
che erano in condizioni critiche e hanno dovuto mettere di nuovo su di esso
immediatamente.
Così, una volta che si avvia su questa terapia
cocktail, si sono bloccati con esso per tutta la vita, finché si vive, e come
sapete dalla Conferenza Internazionale sull'AIDS in Giappone lo scorso anno,
hanno scoperto che nessuno di questi, ecc AZTs prolungata la vita di un singolo
paziente AIDS anche da un giorno. La loro è semplicemente una promessa, che
sono progettati per ottenere il vostro denaro, mentre danno la speranza. Sono
stato picchiato e insanguinato, sono stato colpito alla testa e aveva sangue
che sul mio viso, da 'AIDS Act Up' David Buller è stato che era in esecuzione
questa crociata a New York nel mese di febbraio. Ha chiamato l'Hotel New Yorker
e ha detto che avrebbero bruciato l'hotel, quindi mi hanno dato una guardia del
corpo (che non era lì intorno tutto il tempo) e disse: 'Bob, non utilizzare la
porta d'ingresso, ma andare in giro per la schiena e utilizzare l'ingresso di
servizio - non vanno mai fuori dalla porta di questo hotel. L'ultimo giorno,
quando ero lì e ho dovuto correre fuori per ottenere una navetta per portarmi
al New Jersey aeroporto per portare a casa, c'era un ragazzo in piedi
dall'altra parte della strada, con una videocamera e un ragazzo che mi ha
colpito il testa e mi ha insanguinato, e io non lo inseguono per strada, perché
le mie ginocchia non sono molto buona come non ho alcuna cartilagine in loro.
Ma quando è l'ultima volta che mi hai visto Ivan -
circa tre anni, quattro anni fa? Hai notato qualcosa che è diverso? Ho perso
130 £ - pesavo 290 e ho le foto di me per dimostrarlo. I miei capelli sulla
cima era più sottile di alcuni dei miei vecchi amici positive qui. Non appena
mi sono liberato degli avversari - gli alieni nel mio sangue, il mio sistema
immunitario ha ripreso e mi sono liberato di due etti e mezzo o giù di lì di
parassiti che per ogni uomo, donna e bambino in America (se è più di quattro
giorni ) vecchio sta portando. Un neonato, dopo quattro ore ha respirato aria
sufficiente per essere infettati. Se si vive in America, ci sono 140 parassiti
noti indigeni. Se si vive in Africa o ai tropici, ci sono 500 parassiti
identificati e conosciuti e probabilmente la metà di quelli ancora una volta
che non sono noti. Quando siamo arrivati questi parassiti fuori
dal mio corpo indossando questo dispositivo sul mio polso, una cosa incredibile
successo. Ho iniziato a perdere peso come un matto. Ho pensato 'mio Dio, ho
avuto il cancro dello stomaco o mi sto perdendo via con qualcosa?'. No, ero più
in forma di quanto non fossi prima di cominciare.
Questa è una teoria: circa il 30% dei parassiti
che vivono degli esseri umani, e questi possono variare da quattro metri (4,27
m) di lunghezza, se sono un nastro senza fine fino a dimensioni microscopiche
(che è il motivo per cui è necessario utilizzare microscopi a fare l'analisi
delle feci se si va dentro per un controllo), questi parassiti sono state
impostando il mio appetito. Se si pensa a questo per un minuto, non è ciò che
si mangia o quanto si mangia che ha niente a che vedere con il vostro peso. E
'quanto di ciò che si mangia di memorizzare sotto forma di grasso, perché i
parassiti hanno cambiato il P51, la leptina e circa cinque o sei noti
neurotrasmettitori nell'ipotalamo per dar loro da mangiare domani. Molti di
questi parassiti hanno convissuto con i mammiferi - scimmie, elefanti .... per
venti milioni di anni e gli antropologi vi diranno che li trovano ogni volta
che trovano una carcassa congelata nei banchi di ghiaccio, queste cose hanno
avuto parassiti per tutto il tempo l'uomo sia mai stata sul pianeta. Questi
parassiti hanno imparato a servirsi di te come un pasto e non si uccide perché
poi stanno andando a morire se stessi, come ebola che corre il suo corso in un
paio di settimane. Molti di questi fanno i virus, ma questi parassiti quasi si
uccide e si utilizza per un pasto nello stesso modo che inviamo bestiame ad un
soppalco di alimentazione prima di portarli al mercato. E quando questi
parassiti scomparso dal mio corpo, e questo è dimostrabile da microscopia a
campo scuro, contrasto di fase microscopio, qualsiasi medico che fa questa
analisi può provarlo, non c'è bisogno di prendere la mia parola per esso, ho
perso tutti i che il peso e prima di questa volta mi aveva offerto 10.000
dollari in contanti in valuta 'sotto il tavolo la' a tutti coloro che hanno
potuto ottenere questo peso di dosso.
Avevo provato decine di piani di dieta. Avevo
provato questi in scatola-pasto Jenny Craig avventure tipo. Mi era stato
iniettato con l'urina cavalla incinta. So che alcuni di voi hanno vissuto le
stesse cose. Avevo preso anfetamine legali per controllare l'appetito ... ho
provato di tutto fino a che non aveva quasi ammazzato. E fino a quando ho
trovato la vera causa di quello che credo sia circa il 30% delle persone che
sono in sovrappeso, e questo era certamente me, ero terribilmente imbarazzato
per trovare la hostess che corre lungo il corridoio con una cintura di
sicurezza di estensione perché la sede -cintura di sicurezza non si adatterebbe
intorno a me. Non riuscivo a stare in cabina in un ristorante, perché avrei
dovuto sedere su una sedia, ecc ecc
La signora in fondo alla stanza, Jane aveva un
cancro inoperabile quando l'ho incontrata. Ha detto "Io vado con pulizia
del sangue qui, e non la chemioterapia e la radioterapia, che il dottore aveva
detto che se non ho sicuramente morire". E sua figlia Cathy è indignato
perché sua madre non ha fatto tutto questo chemioterapia e avere i capelli
cadere fuori ... Ora lei è del tutto bene. I suoi physicals ultimo parecchi -
biopsie e scansioni CAT - non hanno mostrato un granello di cancro in tutto il
suo corpo. Né hanno decine e decine di "terminali" i malati di
cancro.
Ora, perché questo lavoro per il cancro? Abbiamo
iniziato a lavorare con malattie virali e microbi e parassiti. Quando oncologi
in Oriente ha iniziato a comunicare molte, molte, molte cure per il cancro, abbiamo
dovuto avere una conferenza telefonica tra circa a favore o cinque di noi. Ora
cosa sta succedendo qui? Io non ci credo finché non vedo la prova medica.
Quindi credo che si sa che circa tre mesi fa Explorer rivista ha pubblicato un
articolo intitolato "remissioni totale del cancro attraverso
Elettrificazione sangue combinato con argento colloidale '. E questo articolo
di due pagine è ristampato nella sua interezza nella carta che si dovrebbe
prendere a casa con voi.
Sicurezza sociale non voglio che tu viva, se si
arriva a essere 65. Ora sono passato che modo. Non si comportano come, ma io
sono passato che modo, io sono nei miei anni settanta. Il direttore della
sicurezza sociale - non farò il suo nome, perché mi viene a prendere in
aeroporto quando sono a Washington e mi spinge dove sto andando - in cui sono
stato a casa sua - dice 'Bob, noi vogliamo che nessuno che raggiunge il 65 deve
essere conservato come cavo di legno in una casa di riposo e dato di controllo
mentale farmaci come il Valium e lo lasciò morire perché la sicurezza sociale è
in bancarotta ora, non sarà in bancarotta nel giro di cinque anni come lo è ora
in bancarotta . E se si ripristina una salute perfetta a queste persone con un
dispositivo che si inserisce nel taschino della camicia, il mercato del lavoro
non è in grado di assorbire la gente uscire dal college oggi. Anche se
McDonalds ha un ottimo registro di cassa, non possono aggiungere o sottrarre,
essi non riescono a scrivere un paragrafo e si desidera ottenere queste persone
esperte indietro nel mercato del lavoro? '. Ho detto 'hell yes!' Avevo 65 quasi
dieci anni fa.
Un altro problema: questa procedura sulle dita di
tutti gli interessi costituiti. Sono in attesa di fare centinaia di migliaia di
dollari fuori di voi: organizzazioni di Gestione della Salute, compagnie di
assicurazione, ospedali, ... Se siete proprietari di una barca che cosa è
scritto nel bilancio del costruttore di barche laggiù a San Pedro. Queste
persone medici si aspettano di vederti venire in là un giorno e spendere un
sacco di soldi, ma se lo fai per te stesso, si otterrà bene. Ci sono
diciassette di noi che io sappia, e so che sedici di loro personalmente, che
oggi hanno il sangue immortale. Ora questa è una affermazione piuttosto
drammatica, così lasciate che vi dica che cosa significa. Verso la fine dello
scorso anno, c'è stato un campo scuro microscopista 'Mike', si conosce il suo
nome, è famosa nel mondo, è il tizio che si allena medici in tutto il mondo
come usare questo tipo di tecnologia per lavoro diagnostico. Ha invitato un
tizio in chi era stato in uno di questi dispositivi per circa sei mesi, e mi ha
detto 'Vediamo il tuo sangue', così punse il dito, mettere una goccia di sangue
in un vetrino da microscopio e lo guardò. Ed egli disse: 'non si dispone di
alcun disordine sfondo nel sangue'. Naturalmente, non potevano vedere i virus
come questo era un microscopio ottico con un ingrandimento di circa tremila
volte, retroilluminato. Ha detto che 'solo un minuto - devo avere fatto
qualcosa di sbagliato', così ha bloccato un altro dito, poi andò al lobo
dell'orecchio e ha fatto un vetrino e disse: 'che cosa hai fatto? chiunque
abbia mai venuto da me, uomo, donna o bambino, negli ultimi tredici anni, è
possibile vedere i parassiti, molti dei germi, microbi e batteri nuotano nel
sangue, ma non si ha affatto. Il paziente ha detto che era stato il sangue in
modo più pulito il dottor Mike ha detto 'dammi un po' di questi, ho avuto modo
di testarle su alcuni dei miei pazienti - Io non ci credo '. Lo ha fatto, e hanno
funzionato.
Ora, in Colorado, il sangue è considerato 'rifiuti
tossici' o rifiuti pericolosi. Si deve essere raccolto e smaltito tramite
incenerimento dei rifiuti da parte di persone registrate tossici di
smaltimento. Il dottor Mike aveva gettato questi tre o quattro diapositive in
una scatola sotto il suo tavolo da laboratorio. Abbassò lo sguardo su questa
finestra di 27 giorni dopo e controllato le diapositive di nuovo sotto il
microscopio. Quel sangue era ancora vivo. L'emivita del sangue umano su un
vetrino da microscopio non sigillata è tra le due e mezzo o quattro giorni al
massimo. Ventisette giorni erano passati e globuli rossi nuotavano nel plasma
esattamente come il minuto aveva disegnato quel sangue. Non era crenati
(seghettato sul bordo) - una reazione di fibrina non aveva messo in anche se
era evaporato intorno ai bordi. Ora veniamo al punto. Un mese dopo, che è circa
51 giorni più tardi, le diapositive non erano ancora stati presi per lo
smaltimento, in modo da Mike farli controllare di nuovo. Il sangue era 'cerchio
i carri': c'era circa mezzo millimetro in un punto al centro, dove le cellule
non era svanita ed erano ancora vivi.
La gente nella sua pratica che erano stati testati
su con i detergenti sangue hanno avuto il sangue immortale. Ora, che cosa
significa? Se 'l'avversario si trova a' lui non potrebbe essere un uomo con una
coda rossa e corna da qualche parte con il numero 666. Proprio come lo Spirito
Santo dimora in questo tempio, così potrebbe l'avversario, almeno gli alieni
che sono stati coinvolti con noi per molti, molte lune in là e si può vedere se
si va in un campo scuro microscopista, se si sbarazzarsi di quelli che sa cosa
sta per accadere? Quello che è successo a me. Ero così grasso che mi trovavo in
una sedia a rotelle e mi era stato dato per morto. I medici che sono venuti a
vedermi, amici miei, che erano medici, che non aveva fatto una visita a
domicilio a Beverly Hills in trenta anni, stavano scendendo a casa mia dicendo:
'Bob, è meglio disporre di tutto ciò che hai ottenuto - non sarai mai camminare
di nuovo. Mi hanno dato tante prove. Ho portato il dottor Alexander Everett da
Washington, ha pagato la sua strada, lo mise in The Red Lion Hotel. Ha lavorato
su di me fino a quando non ha detto 'Bob, dovrò tornare indietro, non vi è
nulla che chiunque può fare per voi'. E io ero in una sedia a rotelle, ma sono
sicuro come l'inferno non è morto! Tutto funziona bene di nuovo.
La mia pressione sanguigna quando ho iniziato
questo una media di oltre 219 190 e era diabetico confine con lo zucchero nel
sangue 425-475. Oggi la mia pressione sanguigna è 130-140 oltre 70 a 75 e dopo
appena tre settimane il mio zucchero nel sangue era sceso a 150, che a quel
tempo era considerato normale.
Quindi sono qui per condividere queste informazioni
con voi. Non ho niente da vendere. Ci sono persone che vendono le cose, io non
sono uno di loro. Parte di questo è perché credo che l'opera di Dio deve essere
dato liberamente. Mi aspetto di ottenere il mio premio da qualche altra parte
se non tornare su questo pianeta di doloroso sforzo. Ho un sacco di teorie su
questo e anche la Food and Drugs Administration è venuto alla mia porta con le
armi spianate alle tre del mattino. Sono stato picchiato dalle persone che
sostengono le case farmaceutiche che non vogliono una cura per l'AIDS 1,32
dollari.
Bob parla anche del suo uso di argento colloidale,
(un documento che può essere scaricato utilizzando il link di download http://www.free-energy-info.tuks.nl/Silver.pdf),
anche se il metodo di produzione di Bob sembra più semplice. Egli dice:
Si tratta di un bicchiere d'acqua che ho preso
dalla cucina. Ho preso una singola batteria da 9 volt e mettere un "chicco
di grano" piccola lampadina (da 6 a 12 Volt 55 mA) in serie con la
batteria e questi due fili d'argento. Non vi è alcun germe noto, batteri o
microbi che possono sopravvivere a ciò che sto per fare in questo momento. Ho
intenzione di mettere questi due fili d'argento in questo bicchiere d'acqua,
circa mezzo pollice (12 mm) a parte, e lasciarli lì per circa tre minuti.
Questo è tutto quello che serve. Si tratta di acqua del rubinetto ed è
possibile effettuare questo colloide d'argento per circa un decimo di centesimo
per gallone, e che è la medicina più potente che l'uomo conosca. Dopo tre
minuti Bob agita il colloide con un coltello di plastica e dimostra come un
raggio laser riflessa dalle particelle microscopiche di argento sospese in
acqua e poi beve l'acqua. Bob beve due o tre bicchieri di colloide ogni giorno.
Il colloide impedisce di contrarre infezioni secondarie durante le prime tre
settimane, mentre si sono sempre bene con il processo di elettrificazione del
sangue.

Finanza: Il denaro non ha valore solo se è affiancata da
qualcosa di valore. Il più grande acquisto che la maggior parte delle persone
fanno è di acquistare una proprietà. Ciò è fatta spesso stipulando un mutuo con
un istituto finanziario, come una banca o di una società di costruzione. Per
questo, la maggior parte delle persone che firmano un contratto di mutuo con la
banca, accettando di pagare l'importo dei mutui più una grande quantità di
interesse, in genere per un periodo di molti anni. Se si di mora sulle rate, in
genere dopo molti anni di pagamenti, la banca prende la vostra proprietà e lo
vende per guadagnare soldi quanto più possono. Quello che non viene detto è che
il contratto di mutuo è un contratto e nessun contratto è valido a meno che
qualcosa di valore è offerto da entrambe le parti e informativa completa di
tutte le circostanze è fatto. La banca non offre nulla di valore in quanto
inventa solo i soldi, creandolo dal nulla e senza il supporto di qualcosa di
valore. I regolamenti della banca vieta in realtà la banca di prestare i soldi
depositati dai suoi membri, per cui una banca non può entrare legalmente in
qualsiasi contratto di mutuo come sostenuto dai fondi depositati con esso.
Inoltre, nessun contratto è valido a meno che non vi è un "wet
inchiostro" firma di entrambe le parti e una firma inchiostro bagnato
possono essere effettuate solo da un essere umano. Una banca non può creare una
firma bagnato d'inchiostro, né qualche altro individuo firmare un contratto per
conto di qualcun altro, quindi, nessun contratto di mutuo è in realtà valido in
diritto. Inoltre, la banca di essere consapevole di questo e non chiarendo a
voi il creditore ipotecario, è una violazione della "full disclosure"
requisito di un contratto, che è sufficiente per invalidare il contratto in
ogni caso. Pertanto, se una banca cerca di prendere la vostra proprietà per
mancanza di pagamenti, essi agiscono illegalmente e non hanno diritto di farlo.
Di solito farla franca, perché la maggior parte delle persone non sono a
conoscenza dei fatti reali coinvolti.
I media: Si sono tenuti a credere che il supporto è una fonte onesta e imparziale delle informazioni. La realtà è che tutti i principali media sono di proprietà di pochi e individui molto ricchi, e il loro obiettivo non è quello di fornire report imparziale. Sembra che hanno tre obiettivi principali.
Prima, vogliono fare i soldi e la comunicazione
obiettivo e veritiero non necessariamente contribuiscono al conseguimento di
questo obiettivo. Lei non potrà mai, mai, trovare informazione onesta su
qualcosa a che fare con la free-energy o qualsiasi altra cosa positiva che gli
individui possono fare per se stessi. Ad esempio, se un "rapporto" è
fatta dire, un richiamo HHO per migliorare mpg e ridurre le emissioni nocive
drasticamente, sarà tale che i risultati dovrebbero mostrano che queste cose
non sono utili. Contrasto che con la realtà che Dr Scott Cramton possono
utilizzare gas HHO dalla elettrolisi di acqua, per ridurre il requisito di
carburante di un motore diesel di almeno il 60%. Non importa quanto ci provi,
non presa di notizie principale sarà ogni riferire i fatti onesti in quanto ciò
potrebbe danneggiare il flusso eccessivo entrate delle compagnie petrolifere.
Secondo, vogliono generare paura e la preoccupazione per
quanto possibile, perché ciò che per un lungo periodo, fa sì che la persona
media ad essere più suscettibili di avere le loro libertà loro tolto. Facilita
l'introduzione di sorveglianza tutti, documenti d'identità (certificato di
nascita, patente di guida, passaporto, numero di previdenza sociale, il voto
registro nazionale record di censimento, ecc - molto in stile occupazione
nazista), l'entrata in guerra con i paesi che hanno non hai mai fatto del male,
considerando le persone ad essere disonorevole solo sulla base della loro
nazionalità, e simili. Prova a contare le voci riportate nella cronaca
quotidiana, che sono negativi - omicidi, attacchi, disonestà, morti in
incidenti, morti in disastri naturali, rapimenti, la pirateria, la violenza, i
danni ambientali, ecc e confrontare tale numero per il conteggio delle cose positive
riportate su - eventi felici, atti di gentilezza, joint di successo, ecc e
vedere cosa si ottiene razione, giorno dopo giorno, dopo giorno. Questo non è
solo vendita viene rafforzato perché la gente ama leggere di disastro. Invece,
è una deliberata, politica a lungo termine della guerra psicologica contro la
gente comune.
Terzo, hanno deliberatamente deviare l'attenzione della
gente da qualcosa di reale importanza, promuovendo ed incoraggiando eccessivo
interesse per le cose di nessuna importanza. C'è una deliberata
istupidimento-down di quasi tutti i programmi TV nel Regno Unito, la promozione
di eccessivamente videogiochi violenti, la promozione di curiosità, come le
celebrità e le loro attività, dieta, gossip, moda, e altri argomenti non pertinenti.
Vogliono dare tutta la vostra attenzione a queste cose e non notare ciò che sta
realmente accadendo intorno a te.
Joseph H. Cater ha prodotto un libro intitolato
"realtà ultima" che trovo impossibile da comprare a qualsiasi livello
di prezzo ragionevole. In esso, egli fa notare molte cose che egli sostiene con
forte evidenza. Queste cose sembrano sorprendente perché, e solo perché,
l'attuale sistema educativo incoraggia deliberatamente farci credere cose che
sono chiaramente non è vero. Google books avere una copia parziale del "The
Ultimate Reality" a:
Le cose che Joseph Cater stati sono così insoliti
che sarebbe stato facile scrivere di lui fuori come una manovella. Tuttavia,
egli esegue il backup di quello che dice, con un notevole corpus di prove
realistica che rende molto difficile ignorare quello che dice, nonostante il
fatto che la maggior parte delle sue scoperte contraddicono nettamente quello
che ci è stato insegnato fin dalla tenera età, e quindi accettare come realtà.
O se non si accetta quello che dice è tutto a voi, ma è difficile per una
persona onesta di respingere la sua presentazione di mano.
Egli propone una forte necessità che vi sia un
deliberato programma di disinformazione scientifica e la soppressione scopo di
mantenere il pubblico completamente ignorante per quanto riguarda le realtà
fisiche effettive del sistema solare e l'universo in generale, e, di
conseguenza, la realtà è molto lontano dalla concezione popolare. Mr Cater di
descrizione della materia fornisce spiegazioni motivate per tutta una serie di
anomalie che la scienza convenzionale non può spiegare adeguatamente, e cita
numerosi esperimenti che forniscono prove concrete che quello che sta dicendo è
una base sostanziale di fatto.
Ecco un breve riassunto di alcune delle cose che
dice nel suo libro "La Realtà Ultima":
Il più grande fattore è nella teoria errata di
particelle sub-atomiche. Sig. Cater afferma che la realtà è in realtà molto più
semplice di teoria convenzionale suggerisce. L'universo è pieno di una serie di
particelle energetiche che egli descrive come "eteri di ordine
superiore" e "eteri di ordine inferiore". Queste particelle
etere sono in continuo movimento casuale a frequenze diverse e che producono un
certo numero di diversi tipi di particelle composte tra cui "elettroni
duri" (con cui siamo già a conoscenza) e "Soft" elettroni che
hanno proprietà molto diverse. Elettroni molli possono trarre elettroni duri in
se stessi, mascherare le proprietà di tali elettroni duri. Combinazioni di
particelle etere fotoni e formano tutta la materia è composta da fotoni e
queste particelle etere.
Le forze operative che governano la materia
dell'universo sono solo forza elettrostatica e la forza magnetica, e le azioni
di entrambi sono modificate da varie combinazioni dei due tipi di elettroni.
Poiché la luce è composta da fotoni e che interagiscono con i due tipi di
elettroni, molti fatti osservati scientifici hanno portato a deduzioni
totalmente errati. Cater sig indica che il Nuovo Ordine Mondiale
"elite" con attenzione promuovere e sostenere queste false
conclusioni, sopprimere informazioni e fisicamente modificare le osservazioni
prima di raggiungere il pubblico. Sig. Cater punti su un certo numero di casi
in cui la modifica dei dati non è stata sufficiente per sopprimere i fatti.
Non è possibile parlare di tutti i punti di cui il
sig Cater marche, quindi per favore capire che il seguente è solo una selezione
piccola da un insieme coerente e gran parte delle prove a sostegno che egli fornisce
nel suo libro è qui omessa.
Cater Mr dice:
1. La teoria corrente
di gravità è completamente sbagliato, e la gravità è causato da un componente
dello spettro elettromagnetico di circa 1000 miliardi di cicli al secondo
(lunghezza d'onda 0,3-4,3 mm; radar trova sopra e sotto la regione
dell'infrarosso). La teoria della gravità presentato da Sir Isaac Newton non
tiene conto per la quantità di
deviazione di un filo a piombo nei pressi di una montagna. Un asteroide più
piccolo di 150 miglia di diametro, può avere una gravità superficiale circa la
stessa Terra e alcuni asteroidi hanno lune di loro propria orbita intorno a
loro. Questo sarebbe impossibile se Newton aveva ragione.
Come risultato della vera causa della gravità,
nostra Luna ha una gravità di superficie molto maggiore del previsto, (e, di
conseguenza, un'atmosfera seria). La NASA ha avuto un grosso problema con lo
sbarco lunare del 1969, perché se i fatti reali è saputo, sarebbe dimostrare
che una parte importante della fisica, come è attualmente presentata, non è
corretto e che vogliono mantenere le cose esattamente come sono oggi . La Luna,
in comune con la maggior parte dei pianeti, non è solida. Quando una parte del
modulo di atterraggio lunare era caduto di nuovo sulla superficie della Luna,
un rilevatore sismico lasciati sulla superficie hanno mostrato che la Luna
vibrare come una campana per circa un'ora dopo. Questo non sarebbe successo se
la Luna fosse solido.
Ci sono prove molto chiaro che la NASA ha
censurato l'atterraggio sulla Luna fortemente, ma i loro tentativi di
soppressione sono stati difetti e alcune indicazioni evidenti esistono. Ad
esempio, la NASA ha sostenuto che le tute spaziali degli astronauti pesava 185
£ quando sulla Terra. Fotografie esiste, che mostra un astronauta si appoggia
all'indietro e poi recuperare il suo equilibrio. Sarebbe fisicamente
impossibile anche in gravità ridotta, e ciò implica che la "vita"
sistemi di supporto erano in realtà vuoto e non è necessario perché c'è
un'atmosfera. La gravità superficiale è visto anche quando gli astronauti
correvano. Anche il rallentato versione rilasciata dalla NASA non può
nascondere la lunghezza dei passaggi e l'altezza da terra che sono le stesse
come sarebbero sulla Terra.
Se la Luna aveva sesto gravità della Terra uno
come sostenuto dalla scienza convenzionale, quindi il punto in cui l'attrazione
gravitazionale della Terra bilancia quella della Luna sarebbe circa 22.000 km
dalla Luna. L'Enciclopedia Britannica afferma questa distanza come circa 40.000
miglia, che concorda con varie altre fonti. Ciò non poteva che essere così se
la gravità superficie della Luna erano molto più elevati rispetto al supposto
un sesto della gravità terrestre.
In più di una occasione, un astronauta Apollo inciampò e cadde sul suo volto. Sotto uno gravità sesto, che proprio non sarebbe successo, soprattutto con un astronauta in forma e attiva. Inoltre, il veicolo rover usato in sbarchi successivi è stato di 10 'lungo, 7,5' di larghezza e 4 'alto con ruote da 32 pollici di diametro. Il peso Terra era £ 460 e sotto una gravità sesto, che sarebbe solo di 75 sterline, ma gli astronauti avevano grande difficoltà a scaricare dal modulo lunare. Gli ingegneri della Terra aveva già stabilito che ad operare sotto una gravità sesto, il rover avrebbe dovuto essere di 20 'di lunghezza e hanno un 20' del battistrada. Con un peso terra carico di 1.600 chili, avrebbe bisogno di un raggio di sterzata di oltre 80 piedi, per evitare il ribaltamento a 10 mph o più di 20 metri: 5 mph e scendere ripide colline non sarebbe possibile senza grossi problemi. Ma, gli astronauti hanno scendono ripide colline e hanno fatto curve molto nitide alla massima velocità.
Una delle fotografie portato indietro dal viaggio
Apollo 12, ha mostrato un astronauta portando strumenti che pendono da un bar.
Gli strumenti avevano una Terra-peso di 190 libbre, presumibilmente £ 31 sulla
Luna, ma la marcata curvatura della barra non sarebbe stato causato da solo 30
chili.
Durante i primi viaggi di Luna, gli astronauti ha
dichiarato che quando hanno lasciato l'atmosfera, le stelle non erano visibili.
Questo è comprensibile come l'atmosfera disperde luce delle stelle, rendendo
stelle appaiono più grandi e così diventano visibili a occhio nudo. Fuori
dell'atmosfera, non vi è dispersione e le stelle sono troppo piccoli per essere
visti senza un telescopio. Durante il viaggio di Apollo 11, poco prima di
raggiungere la Luna, Collins ha dichiarato: "Ora siamo in grado di vedere
riparte e riconoscere le costellazioni per la prima volta durante il viaggio.
Il cielo è pieno di stelle ... sembra che il suo lato notturno sulla Terra
". Questo dimostra che la Luna ha un'atmosfera significativa causata dalla
gravità molto superiore ad un sesto di quella terrestre, anche se la rifrazione
della luce attraverso quella atmosfera è inferiore alla rifrazione prodotta
terrestre.
Sig. Cater sottolinea che la NASA è ben
consapevole della vera natura della gravità e aveva unità elettrogravitiche
molto prima del tiro 1969 Luna. Non solo, ma a causa del fatto che la Luna è
più grande rispetto a quelli attualmente creduto, più lontano e in possesso di
una gravità maggiore superficie, che il potere razzo durante il volo è stato
completato da un disco electrogravitic. Qualsiasi persona onesta che ha
studiato l'evidenza è ben consapevole del fatto che ci sono molte imbarcazioni
con motori elettrogravitiche e la maggior parte di questi visto negli ultimi 60
anni, sono di origine antropica. (Tutti i governi sono molto interessati a
sopprimere queste informazioni come i confini nazionali non potrebbe essere
mantenuta se i veicoli con guida elettrogravitiche erano disponibili al
pubblico).
2. Relatività,
proposta da Albert Einstein, non è corretto e il signor Cater passa un bel po
'di tempo dimostrando che la relatività è sbagliata. Prima di Einstein, la
teoria ondulatoria della luce trasversale è stata universalmente accettata.
Onde non può esistere senza un mezzo che vibra in qualche modo a trasmettere
loro. Pertanto, il "etere" che permea tutto l'universo è stato accettato.
L'esperimento di Michelson-Morley è stato istituito per verificare questo. Un
raggio di luce è stato diviso in due parti che sono state fatte per
attraversare diversi percorsi di uguale lunghezza. Il moto della Terra
attraverso l'etere dovrebbe causare i raggi ricombinati per mostrare modelli di
diffrazione. Non l'hanno fatto. Non ha in mente a nessuno che se la luce fosse
ritardata passando attraverso l'etere, poi i corpi come i pianeti sarebbe
gravemente ritardato dal loro passaggio attraverso di essa e si rallenta e si
ferma. Questo esperimento è nata anche l'idea ridicola che la velocità della
luce è una costante, nonostante il fatto ben noto che la velocità della luce
attraverso l'acqua è solo il 75% della velocità della luce attraverso lo
spazio. È stato inoltre proposto che la velocità e la direzione di movimento di
un osservatore non importa, che rallenta il tempo in un sistema di
movimentazione, che un corpo si riduce nella direzione del moto e che la massa
di un corpo aumenta più velocemente che corpo si muove. Si tratta di proposte
ridicole. La famosa E = mc2 equazione è stata in realtà deriva dalle equazioni
di Lorentz nel 1903, due anni prima di Einstein preso l'atto.
I fisici sostengono che gli acceleratori di
particelle dimostrano l'aumento della massa con la velocità. Questo non è il
caso e gli esperimenti effettivamente dimostrare un principio fondamentale che
fornisce una migliore comprensione di molti fenomeni fisici. E 'un dato di
fatto che un campo magnetico si sviluppa attorno ad un corpo carico quando
viene data una velocità. Da dove il campo magnetico viene? Nel acceleratore di
particelle, in quanto le particelle accelerate, i campi magnetici sviluppati
intorno a loro. Come l'energia totale del sistema rimane costante, il campo
magnetico deve aver sviluppato a spese del campo elettrostatico - la
trasformazione di un tipo di energia in un altro tipo. Questa conversione da
respingere cariche elettrostatiche a campi magnetici causa le particelle a
raggrupparsi, dando la falsa impressione di un aumento di massa. Inoltre,
poiché il componente elettrostatica scende praticamente a zero, la forza
acceleratrice diminuisce quasi a zero anche, dando la falsa impressione che un
corpo materiale non può viaggiare più veloce della velocità della luce. La realtà
è che i corpi possono viaggiare molte volte la velocità della luce.
Secondo la relatività generale, un campo
gravitazionale tende a rallentare il passaggio del tempo e la forte campo
gravitazionale, il più marcato l'effetto. Si è constatato che gli orologi cesio
correre più veloce ad altitudini elevate di quanto non facciano a livello del
suolo. Questo è stato preso come una prova della validità delle idee di
Einstein. La concentrazione di particelle morbide è maggiore vicino al suolo
rispetto ad altitudini elevate e che rende gli orologi più veloce ad alta
quota. Come la velocità della luce non dipende dalla velocità della sua
origine, l'esperimento di Sagnac 1913 fornisce la prova diretta che la velocità
della luce osservata dipende dalla velocità della sua fonte, smentendo
Relatività. Sig. Cater fornisce ampie dimostrazioni (come fanno le altre
persone) che Einstein detrazioni non sono corrette.
3. È chiaro che la
gravità è responsabile delle maree, ma la spiegazione standard è del tutto
insufficiente, essendo basato sul presupposto che gli effetti gravitazionali
hanno penetrazione illimitata. In altre parole, l'attenuazione solo quando
passa attraverso la materia è dovuto alla legge dell'inverso del quadrato, che
in realtà sarebbe una violazione della legge di conservazione dell'energia.
È ben noto che un corpo non può essere data una
accelerazione relativa ad un altro corpo, se entrambi i corpi sperimentare la
stessa accelerazione. Ne consegue quindi che, poiché grandi masse d'acqua sono
accelerati rispetto alla Terra per causare maree, l'acqua sta sperimentando
un'accelerazione diversa rispetto alla Terra nel suo insieme, altrimenti, non
ci sarebbe movimento di marea di acqua sulla superficie della Terra .
Supponendo che la gravità ha una penetrazione illimitata causa problemi per la
contabilizzazione di movimenti di marea. Dal momento che le distanze tra il
Sole e la Terra e la Luna e la Terra sono grandi rispetto al diametro della
Terra, tutte le parti della Terra sperimenteranno praticamente la stessa
attrazione gravitazionale di questi corpi esterni se la gravità ha una
penetrazione illimitata. Maree tendono a verificarsi quando la Luna è al suo
zenith, sia direttamente sotto la Luna e
contemporaneamente, sul lato opposto della Terra.
L'orbita della Terra è inclinato rispetto
all'equatore di 28 gradi e quindi la Luna non è mai più a nord o da sud di 28
gradi. Secondo la teoria di Newton, le maree più alte dovrebbero verificarsi in
prossimità dell'equatore, ma la realtà è che le maree più alte si riscontrano
molto più lontano dall'equatore, Nord e del Sud di esso. Cater signor fornisce
una discussione approfondita di questi effetti, a dimostrazione che il concetto
di gravità di Newton è sbagliata.
4. E 'generalmente
accettato che l'energia, in qualsiasi forma, scorre da un potenziale superiore
ad uno inferiore. La legge di ridistribuzione dell'energia: l'energia
elettromagnetica radiante quando interagisce con la materia, la radiazione
risultante nel suo complesso, è di una frequenza inferiore alla luce originale.
È per questo che le temperature a quote più basse sono in genere più elevati di
quelli ad altitudini più elevate, la luce del sole che passa attraverso l'aria
si converte in frequenze più basse tra cui infrarossi che attiva il moto termico
degli atomi e delle molecole, producendo calore. Qualsiasi unità dinamica è
meno attivo nel suo insieme, che le singole parti che lo compongono. Gli eteri
superiori costituiti da piccole, le particelle più attivi mentre gli eteri
inferiori sono composti dai grandi particelle più complessi e di conseguenza
meno attiva. Entrambi eteri occupano lo stesso spazio 3-dimensionale (che è
l'unico spazio che esiste).
Quando la luce di un range di frequenza è
prodotta, solo gli eteri associati a questa luce sono azionati direttamente.
Fotoni luminosi sono composti di combinazioni di particelle di etere. Fotoni
combinano per formare le particelle penetranti che accompagnano questa luce.
Particelle composte di luce nelle gamme di frequenza inferiori sono denominate "soft"
particelle mentre quelli associati con raggi gamma e sono riferiti come
"hard" particelle.
Particelle morbide sono più penetrante i fotoni da
cui sono realizzati, perché, a differenza delle particelle più grandi morbidi,
fotoni hanno una superficie relativamente grande in proporzione alla loro
massa. Particelle morbide, morbide ed elettroni in particolare, svolgono un
ruolo fondamentale in tutti i processi della vita e in altre reazioni chimiche.
L'intensità di energia o campo e intorno alle particelle di etere superiori è
maggiore di quella dei eteri inferiori. Il diametro di una particella è
inversamente proporzionale alla frequenza media del suo componente di luce.
5. Le energie
irradiate dal Sole vengono continuamente trasformate in frequenze sempre più
bassi man mano che penetrano nella Terra. In questo modo, la quasi totalità del
ultravioletta originale viene trasformata in radiazione di frequenza più bassa
dal tempo che penetra l'involucro della Terra. E 'la trasformazione di una
parte della radiazione dal Sole in gravità che induce radiazioni che detiene la
Terra e gli altri pianeti in orbita intorno al Sole e dare l'illusione che il
Sole ha circa trenta volte la gravità terrestre. Va ricordato che le particelle
morbide penetrare la materia solida più facilmente di particelle dure che sono,
ovviamente, una parte integrante della materia.
Tutta la materia emette continuamente particelle
morbide di molti tipi diversi a causa delle interazioni delle particelle
fondamentali. Queste particelle irradiate subiscono un effetto di
trasformazione, secondo la legge di trasformazione, quando passa attraverso
grandi concentrazioni di materia. Quando si verifica ciò, parte della
radiazione viene trasformata in gravità inducono radiazioni. Questa è la fonte
di alcune delle gravità superficiale sia la Terra e la Luna. Il maggiore
fattore di contribuire alla Terra e la gravità della Luna è la trasformazione
della radiazione risultante dalla agitazione termica degli atomi e delle
molecole. Le particelle risultanti da tale attività sono costituite da fotoni a
bassa frequenza. Tale radiazione è più facilmente trasformato in gravità, che
induce le radiazioni, perché è più vicino a questa banda di frequenze per
cominciare. Una parte significativa di questa radiazione, originari chilometri
sotto la superficie, viene convertito in gravità producono energie dal momento
in cui raggiunge la superficie. La maggior parte della radiazione gravità della
Terra e la Luna si crea nelle 50 miglia più in alto di loro croste. Di sotto di
tale livello, gran parte dell'energia dal Sole è stata trasformata in
particelle più morbide, e che il materiale della Terra e della Luna è permeata
con loro.
Questi schermo morbido particelle i raggi in modo
più efficace la gravità della materia solida fa. Questo perché gli eteri con
cui sono associati, sono più vicine in frequenza della banda di radiazione
gravità. Questo spiega perché la gravità della Luna è quasi uguale alla gravità
terrestre. Allo stesso tempo, è chiaro perché l'Esperimento Cavendish per
determinare la cosiddetta "costante gravitazionale" era fuorviante -
non c'era materiale sufficiente nei corpi usati nell'esperimento di produrre
qualsiasi trasformazione radiazioni. Gli effetti gravitazionali prodotte dagli
organi erano dovuti interamente alla agitazione termica delle molecole, senza
alcuna trasformazione della radiazione. L'agitazione termica delle molecole
produce infrarossi e solo una porzione infinitesimale di questa radiazione è
nella gravità produce gamma di frequenza. Questo "costante
gravitazionale" più l'idea di penetrazione gravità senza limiti, richiede
gli scienziati a supporre che la Terra ha una massa enorme e un nucleo di ferro
4000 miglia di diametro.
È significativo che alcuni esperimenti Cavendish
indicato che effetti di gravità varia con la temperatura. Quando la grande
sfera utilizzata ion gli esperimenti è stata riscaldata, la sfera più piccola
aveva una maggiore tendenza a muoversi verso la sfera più grande. Quando la
sfera più ampia è stata raffreddata, la sfera più piccola si allontanava.
Questo è stato spiegato come causato da correnti di convezione, anche se non
sono riusciti a spiegare in che modo le correnti di convezione potrebbe
produrre un effetto del genere. Un resoconto dettagliato di questo può essere trovato
nel 11 ° edizione della Enciclopedia Britannica nella sezione intitolata
"Gravity". (Se si ritiene che le correnti d'aria sono stati skewing i
risultati, allora l'esperimento avrebbe dovuto essere ripetuto all'interno di
una scatola che aveva l'aria rimosso).
Come menzionato prima, la materia produce
radiazioni infrarosse che sono parzialmente trasformati in radiazioni gravità.
Nel caso di montagne, non c'è abbastanza materia per trasformare porzioni
significative di tali radiazioni in radiazioni gravità. Gran parte della
radiazione sfuggire le cime e pendii delle montagne prima di poter essere
trasformati, dal momento che le loro altezze medie sono generalmente di
dimensioni ridotte rispetto alle loro dimensioni orizzontali. Le radiazioni
gravitazionali prodotte profonda nell'interno della montagna sono parzialmente
dispersa dalla massa sovrastante. Questa è la causa dell'enigma prugna bob che
è una fonte di disturbo per i fisici convenzionali, perché il filo a piombo non
è tirato verso le montagne, nella misura richiesta dalle leggi newtoniane.
Un altro problema è che, in confronto al Sole, la
Terra irradia solo una quantità infinitesimale di radiazione per unità di
superficie, ma è in grado di mantenere la Luna nella sua orbita attorno alla
Terra. Anche tenendo conto di radiazione infrarossa che passa dalla terra alla
luna e la conversione a ulteriori radiazione gravitazionale lì, ancora non
sarebbe sufficiente a mantenere la Luna in orbita a meno che la Luna fosse cava
e aveva una shell non più di cento miglia di spessore.
Nel 1978, gli scienziati sono rimasti scioccati
nello scoprire che alcuni asteroidi hanno lune che orbita intorno a loro a
velocità rispettabili. Secondo Newton, questo è impossibile in quanto la
gravità di un asteroide sarebbe troppo debole per permettere questo. Quando un
corpo è a pochi chilometri di fronte, è abbastanza grande per radiazione
gravitazionale da produrre. Questo effetto aumenta rapidamente la dimensione
del corpo aumenta quanto più infrarosso viene trasformato rispetto viene
proiettato fuori dagli strati esterni della massa. L'effetto continua finché il
corpo è di circa 150 km di diametro e oltre questo punto, l'effetto di
schermatura degli strati esterni passo con il tasso di aumento della
trasformazione della radiazione infrarossa in gravità. Ciò significa che tutti
i pianeti hanno praticamente la stessa densità superficiale.
6. Cater sig spiega
come le particelle soft e hard e la penetrazione limitata di gravità per conto
sconvolgimenti Erath, deriva dei continenti, terremoti e vulcani. Egli osserva
inoltre che, se la Terra fosse una sfera completamente solido e la versione
newtoniana della gravità fosse corretta, allora la Terra sarebbe completamente
rigido e nessun cambiamento della Terra si sarebbe verificato a parte una certa
erosione minore, e ci sarebbe sicuramente senza montagne hanno lasciato ormai.
7. Una delle leggi
fondamentali fisiche concerne il rapporto tra i campi elettrostatici e
magnetici. Uno trasforma nell'altro e viceversa. L'inerzia è un terzo fattore
coinvolto nella relazione tra i campi elettrostatici e magnetici. L'energia
cinetica di una carica in moto si manifesta nel suo campo magnetico. Gli
aumenti di campo magnetico a spese del suo campo elettrostatico (come dettato
dalla legge di conservazione dell'energia). Il ruolo di inerzia e le condizioni
che disciplinano la sua grandezza sono ormai evidenti. L'inerzia di un corpo
dipende dalla sua capacità di generare un campo magnetico quando viene data una
velocità. Maggiore è l'inerzia, maggiore è questa capacità.
La grandezza della inerzia di un corpo è
direttamente proporzionale all'energia del campo magnetico che il corpo si
sviluppa per un dato aumento della velocità. Ne consegue che l'inerzia dipende
dalla carica totale elettrostatica di un corpo. Questo vale anche per la
cosiddetta materia "non riscosso". Nello stato apparentemente
scariche, tutti gli atomi e le molecole hanno una carica netta positiva.
Pertanto, anche atomi e molecole sviluppare un campo magnetico quando viene
somministrato una velocità.
Nel 1901, Max Planck scoprì che poteva derivare la
corretta distribuzione in frequenza dell'energia radiante nella cavità di un
corpo nero in funzione della temperatura del corpo che, se assunto che
l'energia esiste in unità discrete. Ideò NHV dove N è un numero intero, V è la
frequenza della luce coinvolti e H è una costante universale (espressa in
termini di energia moltiplicata per il tempo, cioè, ERG-secondi). Questo è ora
noto come costante di Planck ed è 6.6 x 10-27 erg-secondi.
L'energia cinetica di un fotone di luce è
inversamente proporzionale alla frequenza. La luce di frequenza inferiore,
costituita da fotoni più grandi e più massiccia viaggiano alla stessa velocità
come i fotoni di frequenza più alta. In media, il numero di fotoni in qualsiasi
dato raggio, e il numero di elettroni di accompagnamento morbide sarà una
costante, indipendentemente dalla frequenza. Questo è in accordo con la
conclusione che la distanza media, o cammino libero medio tra particelle etere
dello stesso tipo, è una costante, indipendentemente dalle eteri coinvolti. Il
numero medio di fotoni comprendenti un elettrone morbido sarà anche
indipendente dalla frequenza. Questo significa che il diametro della superficie
di un elettrone morbido, sarà inversamente proporzionale alla frequenza.
Elettroni morbidi accompagnano luce viaggia ad una velocità che è inferiore a
quella della luce. Gli elettroni morbide prendere velocità, dai bombardamenti
di fotoni in movimento veloce.
Da uno sguardo superficiale, sembra che la
velocità media di elettroni molli deve essere indipendente dalla frequenza
della luce ad essi associati. Questo non è così. Gli elettroni programmabili
associati più alta è la frequenza, viaggiano a una velocità più alta, e qui sta
la chiave del foto-elettrico. Sebbene la minore massa degli elettroni frequenza
superiore molli è compensata dalla minore energia cinetica dei fotoni
bombardamento di frequenza più alta, la superficie è maggiore in proporzione
alla massa. Ciò significa che in proporzione alla massa, gli elettroni
associati alla luce di frequenza superiore riceverà un bombardamento maggiore
di fotoni e quindi, una forza maggiore accelerazione. Il rapporto tra area
superficiale e volume, o massa, è inversamente proporzionale al rapporto tra il
diametro di due sfere date. Poiché gli altri elementi bilanciare, ne consegue
che la risultante energia cinetica media degli elettroni molli in proporzione
alla massa, è direttamente proporzionale alla frequenza della luce con cui sono
associati. Come elettroni collidono morbide con una superficie, gli elettroni
principali che essi contengono, vengono rilasciati e bombardare la superficie,
producendo l'effetto fotoelettrico. Saranno viaggiano alla stessa velocità
degli elettroni morbide che li ospitavano, quindi la loro energia cinetica
media sarà proporzionale alla frequenza della luce.
La meccanica quantistica è considerato il
risultato più monumentale della fisica del ventesimo secolo. In considerazione
dei principi di cui sopra, non è sorprendente che giocoleria matematica con la
costante di Planck spiegherebbe molti risultati sperimentali (in senso
quantitativo). Quantum esperti meccanici hanno riscosso un notevole successo in
questo senso, in particolare nel campo degli spettri atomici, senza sapere
perché. In realtà, la meccanica quantistica non ha nemmeno essere considerata
una teoria o di un concetto. Si tratta semplicemente di un tentativo di dare
descrizioni matematiche di certi fenomeni con la costante di Planck e il suo
presupposto valido come punto di partenza. Moderni "teorici" i fisici
non hanno assolutamente alcuna idea del motivo per cui la matematica è
d'accordo con alcuni risultati sperimentali. Eppure, si sono portati a credere
che dando descrizioni matematiche di tali fenomeni, essi hanno effettivamente
spiegato.
Diventa ora evidente, perché una massa può
viaggiare attraverso lo spazio a velocità costante, e nessuna forza incontrano
decelerazione. Le particelle di etere sono così attivi che le forze di chiusura
sul retro del corpo in movimento, tendono a eguagliare le forze incontrate
resistivi al fronte. La parte posteriore crea un vuoto temporaneo che sta
rapidamente riempito dalle particelle di etere circostante, producendo un
effetto molto simile l'effetto Coander. Durante il riempimento nel processo, le
particelle fondamentali che compongono la parte posteriore del corpo vengono
bombardati con particelle etere viaggiano a una velocità superiore a quella
normale. Inoltre, le particelle di etere di cui è composta la massa sono così scarsamente
distribuiti in tutto lo spazio, la situazione è equivalente ad una grande massa
viaggia attraverso un'atmosfera rarefatta altamente.
8. Durante la
creazione di un fotone, gli eteri nella zona sono improvvisamente compressi.
Alcune delle particelle di etere sono costretti abbastanza vicini ad aderire
l'uno all'altro. Questo aggregato è poi spinto verso l'esterno con grande forza
in un modo simile a una molla compressa di essere rilasciato. Il fotone
raggiunge la velocità della luce dopo questa forza di accelerazione è stato
speso, che avviene in una distanza pari alla cosiddetta lunghezza d'onda.
Questo processo viene ripetuto nella stessa regione e altro fotone è prodotto
che segue la prima, solo una lunghezza d'onda spalle. Una vasta gamma di eteri
sono periodicamente colpite durante la produzione di luce ordinaria. Ciò si
traduce in una innumerevole varietà di tali particelle essendo propagato in
tutte le direzioni con diverse lunghezze d'onda. Poiché molti fotoni vengono
proiettati in tutte le direzioni, molte collisioni comporterà, causando una
porzione significativa di aderire l'uno all'altro in aggregati.
La grande maggioranza degli elettroni molli vengono creati in caso di variazione della velocità della luce quando passa attraverso mezzi di diversa densità, e anche è passaggio attraverso lo spazio esterno. Qualsiasi rallentamento, produce un backup dei fotoni e un conseguente combinando in aggregati relativamente enormi. In principio, tali aggregati muovono molto più lentamente i fotoni liberi. Di conseguenza, alcuni dei fotoni che sono stati creati in un secondo momento, raggiungere e rispettare l'aggregato. Loro collisioni con le particelle aggregate causa le particelle di accelerare. Questa è l'origine delle particelle che accompagnano sempre luce. Particelle formate in questo modo variano notevolmente in dimensioni, stabilità e capacità di penetrazione. E 'stato dimostrato che particelle morbide penetri materia ordinaria più facilmente rispetto alle particelle dure. Quindi, le particelle di etere si combinano per formare fotoni che a sua volta, si combinano per formare particelle di luce. Questo, particelle di luce si disintegrerà in fotoni.

Atomi sono costituiti da particelle dure che sono
uniformi per dimensioni e struttura e ne consegue che fossero prodotte da un
processo completamente diverso. Quando la luce entra in un mezzo, incontra un
conglomerato di particelle morbide create dalle attività delle particelle
fondamentali degli atomi che costituiscono il mezzo. Ciò causa la luce di
rallentare e le particelle di luce alla folla insieme all'interno del mezzo. Se
un raggio di luce entra in un mezzo ad un angolo, la porzione di ingresso prima
percorrere una distanza inferiore al resto del fascio durante lo stesso
intervallo di tempo. La porzione del fascio entrare il mezzo più tardi è tirato
per attrazione magnetica delle particelle, verso il lato che ha raggiunto la
prima superficie. Ciò causa il fascio di luce da piegare o cambiare direzione,
rappresentano la rifrazione della luce che non è mai stato adeguatamente
spiegato.
Sig. Cater poi prosegue per risolvere il famoso
paradosso onda-particella, e sottolinea anche che i famosi esperimenti di
Michelson-Morley effettivamente confutare la teoria trasversale onda della luce.
9. Bisogna rendersi
conto che le leggi della natura sono fondamentalmente semplici. Per ottenere
una più profonda comprensione della natura di elettroni, protoni e le forze
elettrostatiche, è necessario cercare un quadro semplice delle particelle
fondamentali e la causa dei loro comportamenti. Le leggi di collisione che
coinvolgono le molecole di un gas può essere applicato alle eteri. Inoltre, si
può dedurre che le forze elettrostatiche sono il risultato di uno squilibrio di
particelle etere bombardano particelle fondamentali della materia.
Sembra logico supporre che gli elettroni e protoni
hanno forma sferica come una sfera è la forma più stabile ed efficiente
geometrico. Essa ha anche l'area più piccola superficie per qualsiasi dato
volume. Tuttavia, tale ipotesi porta a difficoltà insormontabili. Elettroni e
protoni hanno una direzione preferenziale di rotazione rispetto alla loro
direzione di movimento. L'elettrone segue la regola della mano sinistra, mentre
il protone gira secondo la regola della mano destra. Con una forma
perfettamente sferica non potevano avere alcuna direzione preferenziale di
rotazione. Tuttavia, le direzioni preferite della centrifuga può essere
facilmente rappresentato se le particelle sono a forma di pera o ovoidale e
sono cave.
Quando le particelle di etere ha una direzione
preferenziale di movimento lontano dalle elettroni dovuti a riflessioni,
risultato pulsanti di campo elettrico. Il troppo lontano dal elettrone tende a
ridurre il bombardamento di particelle di etere in entrata. Una pressione
temporanea etere bassa intorno alla particella è un risultato di questo e, a
sua volta, questa pressione ridotta riduce i riflessi e che provoca gli eteri
di muoversi in un nuovo e improvviso aumento risultati bombardamento etere.
Questo è qualcosa di simile all'effetto Coander. Il ciclo si ripete. È
prevedibile che un campo elettrostatico non fa eccezione e sotto questo
aspetto, "elettrostatico" è improprio. Le fluttuazioni sono ad una
frequenza elevata che i risultati sperimentali vedrà il (media) come una forza
costante.
Il comportamento dei fasci di elettroni e protoni
a forti campi magnetici ed elettrici indica che i protoni sono circa 1836 volte
la massa inerziale di elettroni. L'inerzia è direttamente proporzionale alla
carica, indicando che la carica totale di un protone è 1836 volte più grande di
quella di un elettrone. L'idea che l'atomo di idrogeno consiste di un elettrone
e un protone non è mai stato messo in discussione. Per citare una rivista
scientifica: "Quando i protoni sbattere contro l'altro, rilasciano una
pioggia di elettroni, il che suggerisce che i protoni sono costituiti da
particelle di base più di loro".
Sulla base di effetti di carica relativi sole, ne
consegue che un atomo di idrogeno, invece di avere un solo elettrone orbitante
un protone, che ci sono almeno 1836 elettroni orbitanti. Tuttavia, poiché il
protone ha un movimento relativamente poco rispetto alla elettroni, una
percentuale molto maggiore del campo elettrostatico dell'elettrone è stata
trasformata. Questo significa che, per l'atomo di idrogeno di avere vicino a
una carica neutra, ci deve essere migliaia di elettroni in un atomo di
idrogeno. Questo sembra creare un paradosso come la quantità di energia
elettrica necessaria per liberare una data quantità di idrogeno in elettrolisi
indica che solo elettrone è necessario per ogni atomo di idrogeno.
Gli scienziati non hanno compreso la fonte
dell'elettricità che le apparecchiature elettriche poteri. Ci sono quantità
illimitata intorno a noi, che permea tutto lo spazio conosciuto. Questa
elettricità rigido è camuffato da più morbide le particelle che sono anche
distribuiti in tutto lo spazio. Il flusso di questa fonte illimitata di
elettroni può essere facilmente messo in movimento. L'energia elettrica
impiegata in elettrolisi innesca solo il flusso di quantità molto maggiori.
Inoltre, quando un atomo di idrogeno è ionizzato, necessita soltanto di perdere
una piccola percentuale dei suoi elettroni invece di essere ridotto a solo un
protone.
Questione è resa visibile dalla formazione
costante di particelle morbide generati dalle attività delle particelle
fondamentali. È quindi evidente che l'idrogeno congelato sarebbe completamente
invisibile se campi elettrostatici non erano ciclico e l'atomo di idrogeno ha
un solo elettrone. Ciclici campi elettrostatici sono ampiamente responsabile
del complesso modello spettrale di tutti gli elementi. La schema ciclico di
hard-particelle interazioni è complesso. Questa complessità aumenta rapidamente
il numero di particelle fondamentali negli aumenti atomo.
Poiché gli elettroni si muovono a velocità molto
superiori dell'atomo di protoni, che coprono territorio molto di più e quindi
una maggiore percentuale della carica elettrostatica viene trasformata in
energia magnetica. Ciò significa che la carica positiva dell'atomo sarà
sbilanciare la carica negativa e quindi, dare l'atomo una carica globale
positiva. Questo spiega perché elettrica tende a spostarsi verso terra e la
terra mosto possedere una carica positiva.
Gli effetti di campo elettrostatico vicino l'atomo
in prossimità degli elettroni, sarà negativo. Muoversi verso l'esterno, questo
effetto negativo diminuisce rapidamente e una zona di effetto di campo positivo
esiste. La posizione e l'intensità di queste zone, determina in parte, le
proprietà chimiche e fisiche dell'atomo. Ci sono regioni in cui gli atomi si
attraggono l'un l'altro e le regioni in cui si respingono l'un l'altro. Ether
particelle hanno una struttura simile e seguono lo stesso modello.
La velocità di elettroni orbitanti in atomi non è
uniforme. Ci sono variazioni periodiche derivanti da interferenze reciproche
all'interno dell'atomo stesso e da atomi adiacenti, oltre ai campi
elettrostatici pulsanti. Si deve notare che le proprietà dell'atomo non sono
esaminati individualmente, ma come gruppo collettivo. La regione di attività
per i protoni è relativamente piccola e un numero significativo di elettroni
sono intrappolati qui. Questa regione è l'origine di neutroni, che sono
effettivamente crollati atomi di idrogeno. È interessante notare che quando
l'idrogeno viene sottoposto ad ultra elevate pressioni, si comporta come una
concentrazione di neutroni e passa attraverso il contenitore che viene
pressurizzato come se non esistesse.
Una discussione più dettagliata della struttura
del neutrone è in ordine. Il nuovo concetto di migliaia di elettroni
comprendente l'atomo di idrogeno (per non parlare degli altri atomi), prevede,
per la prima volta, un mezzo di contabilità per le proprietà del neutroni.
Quando una nube di elettroni orbitano intorno al
protone è costretto in stretta vicinanza con la zona di repulsione, come
descritto in precedenza, i loro movimenti diventano limitate. Come risultato,
vi è una riduzione della velocità media con un conseguente aumento della loro
carica negativa elettrostatica. Ciò fornisce un legame più forte tra il protone
e gli elettroni. La velocità orbitale non può essere aumentata a causa della
repulsione della zona circostante il protone e l'affollamento degli elettroni.
Maggiore è la carica totale negativa degli elettroni quasi completamente
annulla la carica positiva del protone. Il risultato è una particella che è
elettricamente neutro, per quanto possibile determinare maggior parte degli
esperimenti.
La nube di elettroni che comprende l'atomo di
idrogeno è più lontano dal protone e gli elettroni individuali non sono
limitati nelle loro moti orbitali. La velocità media è molto più elevato e di
conseguenza, l'atomo di idrogeno ha una carica positiva elevata. Gli atomi
degli elementi gassosi come l'idrogeno e l'ossigeno, sono altamente magnetici.
Pertanto, due atomi si combinano in modo molto simile a come due calamite bar,
per formare una molecola costituita da due atomi. Questo è il motivo per cui le
molecole di quasi tutti gli elementi gassosi costituiti da due atomi. La
combinazione ha una ancora più alta carica complessiva positiva di un singolo
atomo ha. Come risultato di questo, le molecole hanno una forte repulsione
reciproca che li tiene ampiamente separati a temperatura e pressione normali.
Così, essi rimangono un gas anche a temperature estremamente basse.
La presenza di elettroni nel "nucleo",
annullando forze repulsive, insieme con i campi magnetici derivanti dai
movimenti di neutroni, è la fonte principale di cosiddetta "forza misteriosa
che tiene insieme il nucleo". In realtà, l'effetto pizzico di campi
magnetici è la prima forza che tiene insieme l'atomo. I fisici ortodossi hanno
complicato il quadro, sostenendo che molte forze esistono diverse: magnetica,
elettrostatica, gravitazionale, nucleare, e gli altri a cui hanno attribuito
nomi strani. In realtà, solo le forze elettrostatiche e magnetiche esistono e
ce ne sono due, e solo due, particelle di base - elettroni e protoni. Poiché
gli effetti di campo elettrostatico intorno l'elettrone e protone sono ciclici,
i campi magnetici che si generano anche avere un'intensità ciclico.
10. Sebbene né
rotazione a riposo, sia l'elettrone e il protone iniziare a girare in una
direzione ben precisa quando viene somministrato una velocità. Questo è in
contrasto con le affermazioni dei teorici moderni che parlano di spin delle
particelle con sconsiderato abbandono. L'elettrone segue sempre la regola della
mano sinistra, mentre il protone segue la regola della mano destra.
Quando posti in un campo elettrostatico, si
muovono in modo tale che l'estremità grande è rivolta nella direzione del loro
moto, indipendentemente dal loro orientamento originale. La ragione di ciò non
è difficile capire. Se essi sono cavi e il guscio è di un certo spessore in
proporzione al suo diametro, quindi l'estremità più grande avrà una superficie
maggiore in proporzione alla sua massa rispetto alla estremità più piccola
avrà. Lo spessore del guscio inferiore alla fine sarà molto maggiore in
proporzione al suo diametro. Questo significa che il bombardamento etere alla
fine alto tenderà a dare una accelerazione maggiore di quella impartita alla
estremità più piccola e, di conseguenza, l'estremità più grande sarà costretto
avanti nella direzione del moto.
Il quadro è ancora incompleto. Affinché la
particella di avere una direzione preferenziale di rotazione, la superficie
frontale, devono essere scanalate nel modo di una vite a destra oa sinistra.
Tale forma è coerente con recenti esperimenti presso il National Laboratory,
che ha studiato la frantumazione di fasci di protoni volte a protoni bersaglio.
I risultati hanno indicato che i protoni non sono sferiche. Un resoconto
dettagliato di tali esperimenti si possono trovare nell'articolo "Gli
esperimenti Argonne e The End of Quarkery" di Eric Lerner apparso in
ottobre-novembre 1997 di Magazine Fusion. Nell'articolo ha dimostrato che alcuni degli assunti di base della
meccanica quantistica sono contraddittori, e ha dispensato con la teoria
popolare in fisica delle particelle che ha assunto un sempre crescente famiglia
di ipotetiche particelle chiamate "quark".
È stato osservato che un campo magnetico circonda
una carica in moto. Le linee magnetiche sono in forma di cerchi. Un elettrone o
protone tende a portare le particelle di etere intorno con esso in un movimento
circolare che si muove attraverso l'etere. Ciò è dovuto alla repulsione
reciproca tra le particelle e le particelle etere etere comprendente la
particella. Le forze reattive causare la particella a girare e producono un
moto vorticoso nella stessa etere. Maggiore è la velocità della particella, più
velocemente si gira e le particelle più eteree vengono fatti fluire intorno ad
esso in direzione dello spin. E 'questo flusso di particelle di etere intorno a
una carica in moto che produce gli effetti del campo magnetico osservato. Una
vista tridimensionale di questo campo magnetico mostra che assomiglia ad una
spirale cavatappi o vortice.
Le particelle di etere che normalmente causano
repulsione tra due particelle adiacenti a riposo, girare quando entrambe si
spostano e la repulsione elettrostatica cade e viene sostituito da un campo
magnetico che attira le due particelle insieme. Questo effetto è anche visto in
due fili adiacenti conducono correnti elevate che scorre nella stessa
direzione. I fili sono attratti verso l'altra.
Se due cariche diverse muoversi lungo insieme,
girano in direzioni opposte, la generazione di campi magnetici di polarità
opposta che tende a spingere le particelle a parte.
Un elettrone o protone muove in un campo magnetico
presenta due forze che agiscono su di essa. Una forza tende a spingere verso il
basso le linee di forza magnetiche causa di bombardamenti eccessivi particelle
etere in una direzione di flusso. L'altra forza è perpendicolare alle linee di
forza. Se la velocità della particella è alta, allora la forza di quest'ultimo
è di gran lunga il più significativo. Questa forza è il risultato del principio
di Bernoulli. Campi magnetici tendono a catturare grandi quantità di elettroni
molli.
11. La teoria
convenzionale di geomagnetismo manca di merito. Secondo esso, la parte
principale del geomagnetismo è il risultato di correnti elettriche che scorrono
in un nucleo di ferro fuso 2000 miglia sotto la superficie della Terra. Anche
se un tale nucleo esistesse, la conclusione sarebbe ancora falso. Gli
scienziati sono alquanto vaghi su come un campo magnetico potrebbe estendersi
oltre 2000 miglia una corrente elettrica visto che prende una corrente molto
potente per produrre effetti magnetici deboli anche a breve distanza dal flusso
di corrente. La resistenza elettrica di ferro alle temperature presunte nucleo
sarebbe sconcertante, che pone il problema di come la necessaria differenza
enorme potenziale viene prodotto per guidare una grande corrente nel nucleo in
primo luogo.
Una grande ricchezza di elementi di prova consente
di concludere che geomagnetismo è prodotto dalla rotazione della Terra.
L'intensità del campo dipende dalla concentrazione di cariche negative in
atmosfera e la crosta e dalla velocità di rotazione. Poiché la concentrazione
di cariche nell'atmosfera fluttua in un ciclo di 24 ore, il campo magnetico può
pertanto fluttuare conseguenza. Questo è un dato di fatto.
Presumibilmente gli atomi e le molecole non
cariche non sono elettricamente neutri, ma in possesso di una carica positiva.
Si è sempre assunto dai tempi di Newton, che l'inerzia è direttamente
proporzionale alla massa. Questo ha dimostrato di essere corretto come inerzia
dipende dalla carica totale ed è quindi indipendente massa. Ne consegue che un
atomo ha meno inerzia rispetto a qualsiasi delle particelle fondamentali di cui
è composto. La piccola carica complessiva di un atomo è il risultato della
compensazione di cariche positive e negative. È capacità lieve a generare un
campo magnetico per un incremento unitario di velocità è dovuta agli elettroni
seguenti sinistra regola mentre protoni seguire la regola della mano destra.
L'inerzia di un atomo è limitata poiché i campi magnetici degli elettroni e
protoni di cui è costituita essa, annullano a vicenda in misura maggiore.
Spogliarello elettroni da un atomo darà una forte carica positiva e l'inerzia
molto maggiore, anche se ora ha meno massa. L'aggiunta di elettroni può anche
aumentare la sua inerzia se gli elettroni in più farla finire con un costo
complessivo maggiore di quello che aveva prima. Il premio Nobel Gabriel Lippman
confermato quando ha scoperto che i corpi in uno stato di carica hanno una
maggiore resistenza alle accelerazioni di quello che hanno nel loro stato di
scarica.
Poiché materia si comporta come una carica
positiva, ne consegue che le radiazioni gravità accelererà cariche positive in
una direzione opposta a quella della direzione di propagazione. Un campo
gravitazionale respinge cariche negative. Quando i capelli sulla testa di una
persona è dato una forte carica negativa, si erge verso l'alto a causa delle
cariche negative sui peli che trasportano i peli con loro le accuse sono spinti
verso l'alto dalla forza di gravità.
La maggior parte delle radiazioni e particelle
morbide di materia coprire solo una parte relativamente ristretta dello spettro
elettromagnetico. Essi sono prodotti dalle interazioni delle particelle
fondamentali dell'atomo in aggiunta alle interazioni degli atomi stessi.
Incidentalmente, è le particelle morbide composte da fotoni prossimità, e in,
la gamma visibile che permeano materia che rendono materia visibile. Se solo le
particelle dure erano presenti, la materia solida sarebbe invisibile, sebbene
del tutto tangibile.
La parte principale del fronte radiazione gravità
produce effetti di carica negativa, mentre la porzione di fuga che ha superato
un dato corpo deve essere sostanzialmente ridotti effetti di carica negativa.
La rotazione delle particelle nella radiazione gravitazionale hanno un effetto
giroscopico che mantiene le particelle orientate nella stessa posizione e le
particelle hanno poca tendenza a disperdersi.

I fotoni veloce movimento superare le particelle
morbide e tendono ad aderire in schemi irregolari, creando una superficie
forata ed estremamente ruvida su questa parte della particella, non dissimile
da quella di una carica positiva. Questo ha la tendenza a cancellare gran parte
gli effetti negativi di campo su questa parte della particella. I bombardamenti
accelerare le particelle a tal punto che non può più fotoni aderirvi. Pertanto,
la parte posteriore mantiene una carica positiva, o almeno, una molto ridotta
carica negativa.
Un altro fattore importante che contribuisce ad un
costo ridotto negativo sul retro è che vi è una concentrazione molto maggiore
fotone in questa regione che esiste in corrispondenza della porzione frontale.
Questo è il risultato di un backup di fotoni dovuti alla velocità più bassa
delle particelle morbide che accompagnano la radiazione. Questa concentrazione
fotone tende a deviare i bombardamenti etere normali (che producono gli effetti
elettrostatici) dai loro percorsi abituali. Poiché radiazioni producono forze
gravitazionali, ne consegue che non vi sono interazioni che alla fine disperdere
la radiazione, che rappresentano la limitata penetrazione della radiazione
gravità. La gravità è un effetto elettrostatico, non un po 'di curvatura spazio
o forza misteriosa con proprietà imponderabili. Se la materia è impregnata di
una quantità sufficiente di cariche negative, elettroni in particolare dolci,
diventerà senza peso e persino levitare.
Alcune persone hanno la capacità di fare il
contrario di levitazione, eventualmente espellendo grandi quantità di carica
negativa dai loro corpi. Un nano che ha avuto un peso corporeo normale di 123 £
dimostrato nel rispetto di rigorose condizioni di lotta contro la frode che
avrebbe potuto aumentare il suo peso di 900 chili.
La fisica della levitazione è stata dimostrata in
parte quando i missili sono stati trovati per aver perso la maggior parte del
loro peso iniziale dopo un viaggio attraverso la cintura di Van Allen
radiazione e tornare sulla Terra. La perdita di peso è continuata per un certo
tempo e recipienti in cui sono stati collocati pezzi del missile, anche perso
peso. La cintura di radiazione contiene alte concentrazioni di cariche negative
di tutti i tipi, da elettroni duri a quelli molto morbidi. Il missile è
diventato impregnata di cariche negative, mentre passava attraverso questa
regione, che assorbe una quantità anomala. Le particelle più penetranti morbida
aperto la porta per le particelle più difficili per entrare. La perdita di peso
del contenitore sarebbe stato causato da un missile a poco a poco perdendo
alcune delle sue spese in eccesso e quelli negativi oneri di essere assorbite
nel contenitore.
12. Più veloce della
luce viaggio è possibile in quanto il fascio gravità accelerare viaggia con la
massa in fase di accelerazione. Ad altissima velocità, o dove la maggior parte
del potenziale elettrostatico della materia si è trasformata, forze coesive
tenderà a rompersi e il materiale cesserà di essere un solido coesa. Tuttavia,
astronavi possono viaggiare più volte la velocità della luce, a condizione che
la nave e gli occupanti sono impregnati con la giusta combinazione di cariche
negative che vietino qualsiasi trasformazione estensiva della massa
elettrostatica in energia magnetica. Ad altissima velocità, le forze di
chiusura sul retro dell'imbarcazione più compensare la resistenza in avanti, in
modo che richiede una costante applicazione di forze di accelerazione per
mantenere la velocità di molte volte quella della luce.
La relativa propulsione spaziale dati dimostrano
che la famosa equazione E = mC2 di gran lunga inferiore di
rappresentare il potenziale energetico della materia. Dall'equazione energia
cinetica E = 0.5mV2 ne consegue che un corpo che viaggia a solo 1,5
volte la velocità della luce (che non è nemmeno una velocità di crociera per la
maggior parte astronavi) ha una energia cinetica che supera il valore della
famosa equazione di Einstein. Con questa velocità, solo una minuscola parte del
potenziale energetico della massa è stata rilasciata. La mancanza di
significato della famosa equazione è anche evidente, perché l'inerzia dipende
solo carica netta e non necessariamente sulla massa o quantità di prodotto.
13. Un altro elemento
che dimostra la validità delle informazioni presentate qui è il fatto che le
determinazioni della gravità "costante" "g" è sempre
significativamente più alta se misurata nelle miniere. Questo è prevedibile
come la concentrazione degli elettroni morbido è molto superiore sotto la
superficie di quello che è sopra la superficie. Un altro fatto che disturba i
fisici (e di conseguenza dato po 'di pubblicità) è che gli oggetti nella parte
inferiore del mio peso alberi molto meno del necessario, secondo il concetto di
gravità di Newton.
Un altro enigma che è dannoso per il punto di
vista accademico è che gli esperimenti indicano che la gravità non impartire la
stessa accelerazione a tutte le sostanze. Per cercare di far fronte a questo
fatto, perché devono istituire una forza misteriosa quinta dovrebbe essere una
forza estremamente debole repulsiva con una gamma limitata. Si suppone di
essere più prevalente in alcune sostanze che in altri. I concetti già spiegati
qui dimostrare che questo è da aspettarselo. Diversi atomi e molecole hanno
differenti effetti totali di carica positiva, in proporzione al numero di
particelle fondamentali da cui sono costituiti. Di conseguenza, essi non
avranno la stessa accelerazione gravitazionale, anche se la massa è identica.
14. Veniamo ora alle
domande come: Come funziona la legge di redistribuzione del lavoro energetico?
Quali sono i principi reali dietro la percezione dei colori? Perché la velocità
della luce indipendente dalla sua frequenza? Perché questa velocità pari al
rapporto tra un gruppo elettromagnetico e della carica elettrostatica? Le
risposte a queste domande non hanno mai avuto prima.
Quando materiali vengono sottoposti a temperature
elevate, grandi fluttuazioni avvengono nella velocità di elettroni nelle loro
orbite. Questo a sua volta, crea interazioni e gli effetti di interferenza tra
gli elettroni che si muovono in direzioni opposte all'interno degli atomi e tra
elettroni negli atomi adiacenti. Queste interazioni generano cambiamenti degli
effetti di campo elettrostatico degli elettroni, che causano variazioni
regolari e distinte nelle loro cosiddette orbite. Questo perché la carica
dell'elettrone varia con la sua velocità. Brusche variazioni della velocità di
una particella disturbare gli eteri che si traduce nella formazione di fotoni.
Il più grande gli atomi, più complesso
interazioni, e di conseguenza, la più intricata del modello spettrale. I fotoni
comprendenti gli elettroni, determinare la gamma degli eteri che saranno
interrotti. Questi eteri sono intimamente connessi con l'intensità di campo
elettrostatico degli elettroni. Così risulta da questa nuova definizione della
costante di Planck, proprio perché questa definizione deve essere presa in
considerazione in tutti i calcoli relativi alla frequenza di luce prodotta in
interazioni.
Gli effetti di campo elettrostatico intorno un
elettrone dipendono dalla portata e il livello degli eteri deviatori off lati delle
particelle. Questo intervallo non è necessariamente la stessa gamma di eteri
colpite da improvvise variazioni della velocità degli elettroni, ma vi è una
correlazione diretta tra i due. Costante di Planck ha un ruolo in tutta la
procedura come tutte le particelle etere hanno la stessa energia cinetica.
La legge di redistribuzione di stati di energia
che quando la luce interagisce con la materia, nuova luce con una frequenza
media inferiore rispetto all'originale viene prodotto. Una delle manifestazioni
più semplici di questa splende una luce blu o violetto attraverso un gran
numero di filtri di qualsiasi tipo. La luce che emerge è sempre rosso. Tutti i
colori che normalmente troviamo sono combinazioni di diverse frequenze di
fotoni. Una vasta gamma di frequenze di particelle e fotoni soffici tendono a
essere raggruppati. Ciò significa che i fasci di luce nelle gamme blu, indaco e
viola conterrà altri colori fino ai rossi, anche se i rossi si costituiscono
solo una percentuale molto piccola. L'occhio umano vede solo il colore
dominante, e prismi non si possano separare. Gli esperimenti di colori Edwin
Land dimostrato che questo è il caso.
Nel numero di maggio 1959 della rivista Scientific American, Terra ha mostrato
che due lucidi in bianco e nero realizzati da pellicola in bianco e nero, sono
stati esposti a luce filtrata da due differenti (ragionevolmente distanziati)
parti dello spettro, le immagini risultanti sono stati sovrapposti a colori .
Questo dimostra che richiede sottili combinazioni di frequenze per l'occhio a
percepire colore se la luce non è in una banda di frequenza ristretta. In caso
contrario, l'occhio si vedono le cose in varie tonalità di bianco e nero, che
contengono tutti i colori, ma in combinazioni sbagliate di essere visto come colori.
Questo è ciò che si verifica per le persone che sono oggetto di 'daltonismo'.
In certe condizioni, la luce riflessa da uno
specchio può avere maggiore intensità rispetto alla luce incidente. La luce
deve essere di alta intensità. Quando le particelle della luce entrante
collidere con lo specchio, coloro che sono riflesse sono immediatamente
arrestata. Questo produce una perturbazione tremenda degli eteri che si traduce
nella creazione di nuovi fotoni che vengono aggiunte ai fotoni che vengono
riflessi. In aggiunta, molti dei fotoni riflessi e creato, si combinano per
formare elettroni morbide, e quindi la luce riflessa ha una percentuale
maggiore di elettroni morbide rispetto al raggio di luce.

Ne consegue che ripetute riflessioni di una
sorgente di luce come il sole, comporterebbe una altamente letale come fascio
laser. Questo è stato dimostrato in numerose occasioni. Forse la dimostrazione
più evidente si è verificato vicino a White Sands, Nuovo Messico nei primi anni
1950. E 'stato testimoniato da un conoscente di un amico personale del signor
Cater, ed era una cosa che non avrebbe dovuto vedere. A proposito di 35 piedi
di diametro quattro specchi sono disposti in modo che il fascio risultante è
stata rivolta alla parete di roccia di una montagna. E 'immediatamente creato
un buco pulito attraverso 200 metri di roccia solida.
Un socio del sig Cater ha scoperto che mettendo
una forte carica negativa sugli specchi che il loro potere riflettente aumenta
considerevolmente. Si paga una serie di specchi metallici a 20.000 volt e ha
scoperto che dopo 10 ripetute riflessioni provenienti dal Sole, il raggio
risultante era molto letale. Questo dimostra che è le cariche negative
depositate su una superficie a specchio che gli permette di riflettere la maggior
parte della luce che cade su di essa. Luce in entrata deposita immediatamente
cariche negative sulla superficie e quelle cariche respingono il resto della
luce. La più intensa la luce entrante, maggiore è la concentrazione di cariche
negative posti sulla superficie. Questo spiega il fatto che i fasci altamente
letali che riflettono sulla superficie non distruggono lo specchio. Gli specchi
devono essere metallico e preferibilmente concava. Specchi di vetro non
funzionano come gran parte della luce in entrata viene persa prima di
raggiungere la superficie riflettente e la quantità di effetto shock della
riflessione della luce si perde a causa del vetro rallentare il fascio in
ingresso. La luce in entrata deve colpire lo specchio come quasi una direzione
perpendicolare come è possibile. Se elettroni programmabili associati colori
notoriamente molto benefico può essere concentrata usando questo metodo per
produrre una rapida guarigione
15. La domanda sorge
spontanea: Perché la velocità della luce indipendente dalla sua frequenza? Ciò
è implicito nelle equazioni di Maxwell, ma ancora non si spiega. Quando gli
eteri sono disturbati per produrre un fotone, una frazione di essi sono
compressi e un gran numero sono costretti abbastanza vicini ad aderire l'una
all'altra. Maggiore è la eteri colpite, il più rapidamente e improvvisamente
questo spostamento deve avvenire in modo che un fotone da produrre, in caso
contrario, le particelle di etere sfuggirà questa compressione poiché sono
molto attivi. Questa compressione momentanea ritorna rapidamente alla
normalità, un po 'come una molla compressa di essere rilasciato. Questo
rimbalzo scaglia il fotone aggregato in avanti alla velocità della luce. La
distanza di questo rimbalzo è uguale alla cosiddetta lunghezza d'onda, o distanza
a cui il fotone viene accelerato alla velocità della luce.
Questo è esattamente ciò che accade quando eteri
inferiori sono disturbati da formare fotoni a bassa frequenza, ad eccezione che
il rimbalzo si svolge su una distanza maggiore con una minore accelerazione
media del fotone. Poiché il modello deformato è identico nei due casi, entrambi
i fotoni raggiungono la stessa velocità, che è indipendente dalla lunghezza
d'onda effettiva prodotta. Poiché entrambi i fotoni ricevere la stessa spinta,
si può vedere che i fotoni di frequenza inferiore deve avere una massa
maggiore, che è, la frequenza della luce è inversamente proporzionale alla
massa dei protoni che formano quella luce.
Il comportamento di elettroni e protoni in un
acceleratore di particelle mostra che alla velocità della luce, tutto il loro
potenziale elettrostatico è stata trasformata in energia magnetica. Ciò
dimostra che la velocità della luce rispetto alla sua fonte è il rapporto della
sua Unità elettromagnetica di carica ("EMU") e la sua unità di carica
elettrostatica ("ESU"). Il rapporto EMU / ESU è uguale alla velocità
della luce "C". Calcolo di questi dettagli, mostra che la pressione
totale esercitata su un singolo elettrone dagli eteri circostanti è 14,4 dynes
che rappresenta una pressione incomprensibile normale quando la dimensione
minuto di un elettrone è considerata.
16.
Ora dobbiamo considerare il
ruolo degli elettroni molli nel promuovere cambiamenti chimici e mantenere la
vita. E 'stato più volte confermato che i campi magnetici hanno proprietà
curative notevoli e stimolerà la crescita delle piante. Ciò non è stato
realizzato è che non è i campi magnetici stessi che sono responsabili di questo
effetto, ma è gli elettroni molli che catturano e concentrare. Un polo di un magnete
ha effetti benefici per alcune malattie, mentre il polo opposto non è efficace.
Una delle proprietà più significative di elettroni
molli è la loro capacità di promuovere cambiamenti chimici. Un cambiamento in
una molecola non dovrebbe avvenire senza diminuire il legame chimico o
attrazione tra i suoi atomi costituenti. Particelle morbide compenetrano la
molecola porterà questa condizione effettuando più duri elettroni con loro, che
a sua volta indebolisce questo legame compensando gli effetti di carica
positiva del nucleo. Particelle morbide tendono a camuffare una varietà di
particelle più duri. Questa è una proprietà fondamentale importanza perché in
questo modo, altri atomi che stanno per partecipare al cambiamento chimico,
anche i loro effetti zonali temporaneamente modificate in modo che esse possano
entrare in contatto più intimo durante la reazione. Le particelle morbide
tendono ad agire come catalizzatori per le particelle reagenti e le particelle
morbide tendono a disintegrato nel processo, liberando energia supplementare
che accelera la reazione e permette normalmente potenti effetti di campo
elettrostatico all'interno dell'atomo di tornare al loro stato originale. Il
rilascio degli elettroni principali contenute nelle particelle morbide che si
disintegrano è la fonte di gran parte del calore prodotto durante le reazioni
chimiche.
17. Le proprietà
dell'acqua: l'acqua è un catalizzatore universale a causa della sua capacità
unica di raccogliere e concentrare un'enorme quantità di elettroni molli di
ogni genere. Questa è la ragione per cui l'acqua ha il più alto calore
specifico di qualsiasi sostanza sapere. La grande quantità di energia contenuta
in acqua in forma di particelle morbide, è stato dimostrato dagli
sperimentatori in molte occasioni. Per esempio, una serie di relazioni mostrano
motori a combustione interna, acque correnti come combustibile. Nessuna
spiegazione ragionevole per questo è stato dato come appare in contrasto con
tutte le regole della chimica. Tuttavia, la disintegrazione delle particelle
più instabili morbide contenuto nell'acqua quando sottoposto a compressione e
accensione nel motore, conti per questa apparente impossibilità.
L'acqua è una sostanza unica essendo costituito da
due elementi chimicamente più attivo, entrambi i quali sono elementi gassosi.
Il fatto che tre atomi di ossigeno possono combinarsi per formare ozono, indica
che l'atomo di ossigeno è estremamente magnetica, indicando che una maggiore
percentuale di suoi elettroni orbitali stanno muovendo in circa sullo stesso
piano. Questo lascia meno elettroni orbitali tendenti a compensare la carica
positiva del nucleo e altre porzioni dell'atomo. Di conseguenza, due lati di un
atomo di ossigeno in possesso di un eccessivamente forte carica complessiva
positiva. Quando gli atomi di idrogeno si combinano con un atomo di ossigeno, i
electro9ns sul lato degli atomi di idrogeno adiacente all'atomo di ossigeno
vengono ignorati. Questo è il segmento dell'atomo di ossigeno, dove la maggior
parte degli elettroni dell'atomo di ossigeno sono in orbita. Il normale flusso
di elettroni attorno al protone dell'atomo di idrogeno viene deviato a
diventare un flusso che circonda l'atomo di ossigeno e la periferia esterna
degli atomi di idrogeno. Ciò si traduce in un forte legame magnetica ed
elettrostatica tra gli atomi di idrogeno e di ossigeno. Il flusso di elettroni
attorno agli atomi di idrogeno è estremamente rapida, con conseguente alta
carica globale positiva sugli atomi di idrogeno. Poiché vi è una forte
repulsione reciproca tra gli atomi di idrogeno, che si allineano sul lato
opposto del atomo di ossigeno, dando l'acqua HOH struttura. Questa molecola ha
zone positivi e tante, quindi la zona di attrazione è una notevole distanza
dalle molecole. Questo è il motivo per il peso specifico dell'acqua è bassa,
nonostante la forte carica positiva delle molecole.
La grande affinità di acqua per elettroni molli è
ora evidente. Le zone di grandi dimensioni positive tra le molecole sono
paradisi per gli elettroni morbide, attratti dalla attenuato, ma significativa,
attrazione degli elettroni duri catturati dagli elettroni morbide. Anche se gli
elettroni molli sono grandi rispetto agli elettroni dure, sono ancora molto
piccole rispetto a un atomo. Pertanto, gli spazi tra le molecole di acqua può
portuali grandi quantità di elettroni morbidi, senza che siano legati alle
molecole di acqua.
Forse la caratteristica più sconcertante di acqua
è che si espande quando gela. L'elevata concentrazione di elettroni morbide
indebolisce notevolmente le forze di attrazione e repulsione tra le molecole.
Come risultato, l'energia cinetica media delle molecole al punto di
congelamento sono ancora sufficientemente grande da consentire alle molecole di
muoversi dentro e fuori delle zone di attrazione e repulsione, senza essere
confinato nella zona di interesse. Il raffreddamento deve proseguire fino a
quando la concentrazione di elettroni morbido raggiunge la fase in cui le forze
di attrazione diventare abbastanza forte da limitare le molecole alla zona
attraente. Quando ciò si verifica, l'acqua diventa un solido. Poiché la zona
attraente è una distanza eccessiva dalle molecole, la distanza media tra
molecole diventa maggiore rispetto a quando l'acqua era in uno stato liquido.
Al punto di congelamento, l'attività molecolare è sufficientemente bassa per
permettere elettroni soft per entrare o uscire la sostanza senza dividersi.
Affinché l'acqua per essere trasformato da una schiena solido in un liquido, la
stessa quantità di elettroni molli deve essere iniettato in esso come sono
stati rimossi quando passa da liquido a solido.
Le temperature di fusione e di congelamento di
acqua variano considerevolmente a causa delle quantità variabili di elettroni
morbide in esso contenute. Un'altra caratteristica insolita è che quando fa
freddo, tubi di acqua calda hanno una maggiore tendenza a congelare di tubi di
acqua fredda fare. Questo perché il riscaldamento dell'acqua allontanò molti
elettroni molli normalmente presenti nell'acqua e causa della bassa temperatura
dell'ambiente circostante, questi elettroni morbide non sono stati sostituiti,
e di conseguenza, il congelamento di diventare un solido avviene più facilmente
.
Si tende a pensare di colloidi come ultra-piccole
particelle di materia solida. Tuttavia, le molecole di acqua possono aderire
l'uno all'altro per formare aggregati di molecole di acqua, che sono
effettivamente, colloidi così. Colloidi avere forti proprietà elettriche
come indicato dal fatto che non sono influenzati dalla gravità. Le zone del campo vicino a un gruppo del genere
colloidale sarà molto più forte di quella intorno a una molecola d'acqua unico.
Acqua con una elevata percentuale di tali gruppi colloidali può catturare un
gran numero di elettroni morbide che sono benefici per la salute. Condizioni anomale
in alcuni luoghi può favorire la formazione di colloidi d'acqua e che può
spiegare le proprietà curative delle acque che si trovano in alcuni luoghi,
come Lourdes, in Francia.
18. Particelle dure
possono essere catturati da particelle morbide e questo è profondamente
coinvolto in una vasta gamma di fenomeni, dalla trasmissione di calore ed
elettricità, alla formazione di nuvole.

Ether
particelle hanno zone di attrazione e repulsione. Poiché fotoni sono composti da particelle etere,
saranno a loro volta, possiedono zone di attrazione e repulsione. Nel caso di
particelle di etere, queste zone sarà corrispondentemente più piccole in
proporzione al diametro di fotoni. Quando si combinano per formare protoni
elettroni o protoni, le stesse zone sono presenti tra queste particelle.
Tuttavia, le zone di attrazione sono minuti rispetto al diametro del elettrone
o protone, e come particelle, quasi mai abbastanza vicini insieme a velocità
sufficientemente basse per le forze di attrazione per diventare efficaci.
La situazione è completamente diversa quando due
particelle simili composti di fotoni ma con frequenze molto diverse, avvicinano
l'uno all'altro. Attrazione o repulsione elettrostatica è notevolmente
diminuito perché ciascuno è associato con eteri che differiscono notevolmente
tra loro. Quando sono agli ioni di contatto diretto con l'altro, repulsione
elettrostatica tende a scomparire, in quanto ci possono essere pochi o nessun
bombardamenti sui lati uno di fronte all'altro. Dal momento che ogni particella
associata eteri è un po 'diversa, essi tendono a compenetrarsi. Questo
significa che essi saranno completamente all'interno delle zone di attrazione
le etere gli uni degli altri. Come risultato, la particella più duro viene
catturata dal più morbida. In modo simile, le particelle catturate più duri, a
sua volta, cattura le particelle ancora più difficile e questo processo
continua fino elettroni normalmente associati con elettricità sono confinati.
Questa combinazione di particelle tende ad annullare le forze elettrostatiche
che vengono normalmente prodotti dalle particelle confinate, camuffare le
particelle catturate più in modo che la loro presenza non è immediatamente
evidente.

Le particelle di etere normalmente bombardano gli
elettroni ei protoni duri che producono effetti di campo elettrostatico,
tendono ad essere sottratti ai normali percorsi per la presenza di particelle o
più morbide multimediali tra il repellente come oneri e / o attrarre cariche
diverse. Queste particelle compenetranti morbidi producono un ultra-elevata
concentrazione di particelle etere intorno alle particelle dure. Il movimento
di queste particelle etere è fortemente limitato. Questo offre una barriera per
le particelle di etere superiori che normalmente bombardano le particelle dure.
Questo ha la tendenza a rallentarli, e qualsiasi cosa che collidono con le
particelle dure, farlo con impatto notevolmente inferiore rispetto al normale,
quindi tendono a diventare elettricamente neutro e il loro movimento rallenta a
quasi un arresto.
Particelle morbide permeato materia nonché gli spazi tra materia, tuttavia non in misura rilevante, neutralizzare gli effetti di campo elettrostatico delle particelle fondamentali, perché sono più concentrati e loro rapido movimento tende ad evitare la cattura. Tuttavia, le concentrazioni di particelle morbide supplementari di natura adeguata, iniettato in questione, possono rendere le particelle elementari all'interno dell'atomo, elettricamente neutro e la materia diventa ciò che è noto come "smaterializzato". Questo agglomerato di particelle molli e duri rende le particelle morbide elettricamente neutri.
Va notato che solo particelle dure o le particelle
fondamentali dell'atomo, sono cave. Tutte le altre particelle, tra fotoni, non
hanno questa tendenza a causa della natura della loro formazione. Se le
particelle più morbide erano vuote, non sarebbero in grado di catturare le
particelle più dure. Particelle dure che entrano in un cavo, particella
morbido, manterrebbe le loro cariche e forzare una repulsione reciproca.
Pertanto, essi sfuggirebbero immediatamente. I fotoni, se vuoto, tenderebbe ad
essere meno stabile, e la probabilità di formare altre particelle verrebbe
ridotta.
Quando una particella soffice disintegra, si
verifica una reazione a catena. La disintegrazione rilascia i confinati,
particelle più dure. L'energia rilasciata durante la disintegrazione è in
genere sufficiente per disintegrare le particelle più deboli duri che in
origine catturate. Questo, a sua volta, provoca la disgregazione delle
particelle ancora più dure, finché gli elettroni molto duri e stabili di
energia elettrica vengono rilasciati. Esperimenti altamente interessanti
eseguiti in Polonia da due scienziati, Howsky e Groot, ha dimostrato la
capacità degli elettroni morbide per accogliere e mimetizzare più dure
elettroni, e di rilasciare loro a determinate condizioni. Questi esperimenti
sono stati anche una grande conferma di altri principi già menzionati qui, in
particolare quelli coinvolti con la levitazione.
Un piccolo cristallo di quarzo è stato collegato
ad un oscillatore che genera frequenze radio di molti chilowatt. Questo ha
causato il cristallo di perdere la sua trasparenza e aumentare il suo volume di
800%. Il cristallo poi levitare e portato l'oscillatore, nonché un peso £ 55,
ad un'altezza di due metri dal pavimento. Un resoconto di questo è stato dato
in un numero della rivista Scienza e invenzione e comprendeva una fotografia
della levitazione.
19. The energies concentrated inside a pyramid have been shown to be extremely beneficial to humans. Soft particle bombardments from outer space and especially from the Sun, concentrate inside the pyramid. Some, passing through the surface of the pyramid are slowed down to such an extent that the Earth’s gravitational field, repelling the negative charges, tends to keep them inside until collisions with other particles drives them out.
Most of the particles collected by the pyramid, concentrate along the edges as would be expected, since electricity on any charged body tends to do much the same thing, with concentrations at points and along edges. In fact, pyramid frames have been found to be nearly as effective as the closed pyramid, if, and only if, there is a continuity in the framework and no breaks in any of the joining parts.
The soft electrons collected on a pyramid frame or closed pyramid, soon reach saturation point and continued bombardment causes the excess to drop down inside the pyramid. This, coupled with the gravity-repelling forces, causes a high concentration inside the pyramid. The proportions of the pyramid are apparently a factor in it’s performance. If the sides are too steep, many of the soft electrons will move along the edges into the ground outside instead of being forced inside the pyramid. If the sides are not steep enough, not many particles will be collected as they strike the material at nearly a right angle which causes only a small reduction in velocity. If they strike at a sharper angle, there is a greater tendency for them to be retained by the material.

Se due lati della base sono allineati con il nord
magnetico, è presumibilmente più efficace. Piramidi può essere reso più potente
allineando gli interni di una piramide non metallico chiuso, con foglio metallico
come alluminio o rame. La lamina permette una maggiore quantità di elettroni
morbidi ad accumularsi attorno non metallici porzione esterna perché le
particelle morbide non passano attraverso la sostanza metallica come
facilmente, causando un back-up di particelle morbide. Durante il processo, la
pellicola assorbe grandi quantità di particelle morbide prima che molti di essi
possono entrare nella piramide. piramidi anche irradiarsi verso l'alto morbide
elettroni dalla vetta.
Molte delle particelle morbide che vengono fermati
brevemente all'esterno della piramide, sono respinti verso l'alto dal campo
gravitazionale terrestre, e così, da elettroni morbide attaccate alla piramide.
Ciò produce un effetto imbuto che espelle elettroni morbide dall'apice della
piramide. Gravità terrestre accelera particelle morbide ad una velocità molto
maggiore di quanto non materia ordinaria come particelle morbide sono associati
con eteri che sono molto vicine a quelle delle particelle che inducono gravità
rispetto a quanto avviene per la materia ordinaria. Dopo la piramide si satura,
una maggiore quantità di particelle morbide che mai, si concentrerà
all'interno. La lamina continuerà ad irradiare una concentrazione elevata di
particelle morbide durante la notte quando il numero di particelle bombardano
piramide è considerevolmente ridotto.
Si è constatato che le piramidi funzionano meglio
durante l'estate che in qualsiasi altro periodo dell'anno. Essi sono anche più
efficaci nelle latitudini inferiori perché la maggior parte dell'energia
concentrata dalla piramide proviene dal sole. Ci sono opinioni contrastanti
circa l'efficacia delle piramidi a causa di questo in quanto vi è una scarsa
conoscenza dei principi coinvolti. Per esempio, coloro che sperimentare con le
piramidi in Canada può affermare che non funzionano, mentre quelli nel sud
della California li contraddicono. Una piramide non aumenta il flusso di
particelle morbide attraverso la zona della piramide come la stessa
concentrazione scorre fuori dell'area. Ciò fa una piramide, è impedire il
flusso generale di particelle morbide e produrre un back-up di particelle
all'interno e sotto la piramide, e di conseguenza, una maggiore concentrazione
di elettroni molli in queste regioni. Il materiale utilizzato in una piramide è
di grande importanza. Questo è stato dimostrato quando un uomo ricco nel
Midwest costruito una piramide a forma di casa di cinque piani, che è stato poi
ricoperto con oro placcato ferro. I fenomeni prodotti erano completamente senza
precedenti. Ad esempio, nelle acque sotterranee è stato costretto alla
superficie e allagato il primo piano. Questo perché la concentrazione di
particelle morbida all'interno e sotto la piramide era così grande che l'acqua
terreno era impregnato di una tale anomala concentrazione di cariche negative
che è stato respinto verso l'alto dalla forza di gravità della Terra.
Atomi di oro avere effetti positivi molto elevati
di campo elettrostatico, più di qualsiasi altro atomo. Questo è perché l'oro è
il più malleabile di tutte le sostanze. Questo significa che gli elettroni
morbidi avrà una maggiore affinità per l'oro che per qualsiasi altro metallo.
Come risultato, le concentrazioni anormalmente elevati di elettroni molli si
concentreranno attorno oro. Questo effetto è notevolmente migliorata quando
l'oro è in contatto con il ferro. Questi metalli diversi producono un EMF che è
sua volta, provoca un flusso di energia elettrica o di correnti parassite che
conducono alla essendo ferro magnetizzato. Il campo magnetico prodotto, cattura
supplementari elettroni morbide. Una maggiore concentrazione di elettroni molli
è creato da questa combinazione allora potrebbe essere prodotto da uno spessore
simile di lamina d'oro da solo. Ne consegue che il materiale di gran lunga più
efficace che potrebbe essere utilizzato per piramidi è dorato lamiera (ferro
zincato non deve essere usato).
Con tutto il resto essendo uguale, maggiore è la
dimensione di una piramide, migliori sono le prestazioni. La ragione di questo
è che lo spessore dello strato di elettroni concentrati molli attraverso cui le
particelle incidenti molli deve passare, più sono rallentati durante il
passaggio. Ciò si traduce in una maggiore back-up di elettroni morbide e un
aumento della concentrazione all'interno della piramide. Un'altra ragione è che
una grande piramide ha un rapporto di volume maggiore superficie. Elettroni
morbide sono continuamente perdita lontano dalla superficie della piramide, la
più grande piramide, minore è la percentuale di elettroni morbide che viene
persa. Di conseguenza, molto piccole piramidi sono inefficaci.
20. Viktor
Schauberger d'Austria era sconcertato dal fatto che la trota di montagna di
grandi dimensioni potrebbe rimanere immobile per tutto il tempo che volevano
l'acqua che scorre nei torrenti più veloce. Quando vengono disturbati, fuggono
a monte con velocità fantastica. Egli ha anche notato che l'acqua viene
addebitato, attraverso l'azione vorticoso vortice che scorre intorno alle
ostruzioni. Poiché l'acqua è molto agitato, dà grandi quantità di elettroni
duri e morbidi al pesce, causando l'intera superficie esterna del pesce per
ottenere una elevata carica negativa. Questa carica respinge gli elettroni
esterni delle molecole di acqua, eliminando totalmente trascinamento e di
conseguenza, l'acqua esercita una forza quasi zero sul pesce. Questo effetto è
ancora più avanzata, come il pesce si sposta a monte, molto più che se il pesce
è andato a valle. La carica negativa aiuta anche il salto di pesce come la
gravità della Terra aumenta verso l'alto.
21. Gas di Brown,
prodotto da una forma di elettrolisi dell'acqua ha proprietà che sembrano
sconcertante per molti scienziati. Usando, permette acciaio da saldare per un
laterizio e la fiamma non è dannoso per carne umana. La temperatura della
fiamma dipende interamente da ciò che viene applicato. Può anche ridurre le
radiazioni nucleari del 96%. Le proprietà del gas di Brown confermare le
informazioni di cui sopra. L'acqua ha una grande capacità di immagazzinare
elettroni morbidi in aggiunta a quelli già presenti nella struttura dell'acqua.
Brown non ha fatto separare l'acqua in idrogeno e ossigeno. Invece, ha aggiunto
ulteriori elettroni morbide per le molecole d'acqua. Questi costi aggiuntivi
molto indebolito le forze di coesione tra le molecole, convertendo l'acqua per
un gas instabile. Tutte le proprietà dei gas di Brown seguono naturalmente
presente. In condizioni di saldatura, i concentrati di elettroni morbidi
fornire il rilascio di quantità sufficienti di elettroni principali per
produrre il calore necessario. Inoltre, le concentrazioni di elettroni morbide
consentono atomi di ferro compenetrarsi parzialmente molecole mattoni per
produrre un legame tra mattoni e ferro. Inoltre, con l'ultra-elevata
concentrazione di elettroni morbide, il gas può facilmente neutralizzare le
cariche positive di radiazioni nucleari.
22. Abbiamo bisogno
di esaminare la fonte di energia radiante del sole. Una cosa che tutti i soli
sembrano avere in comune è la loro grande dimensione. Gli astrofisici parlano
di soli nane bianche di dimensione planetaria o meno. E 'chiaro che ogni
richiesta fatta da astronomi o astrofisici relative determinazioni celesti,
hanno circa lo stesso grado di merito come altre rivendicazioni scientifiche
che sono già stati menzionati. Non c'è niente da giustificare l'esistenza di
una nana bianca. Per prima cosa, a causa del suo presunto dimensione piccola e
limitata influenza gravitazionale, poteva contenere solo corpi molto piccoli di
dimensioni asteroide in orbita attorno ad esso e quelli dovrebbe essere solo
una breve distanza da esso. Secondo le teorie fallaci della scienza ortodossa,
una nana bianca costituita da atomi con praticamente tutti i loro elettroni
strappato via, dando enorme gravità. Sarà mostrato che gli astrofisici non
hanno modo di determinare con precisione la distanza o la dimensione di un
corpo celeste.
Più grande è il corpo, maggiore è la massa o
volume in proporzione alla sua superficie. Ciò significa che la dimensione
aumenta, è meno probabile che le energie prodotte dalla normale attività degli
atomi interni del corpo fuoriesce dalla superficie senza un conseguente aumento
della temperatura sulla superficie. L'energia irradiata dalla superficie sarà
in forma di fotoni e altre particelle di tutti i tipi. Sotto di una dimensione
critica, la superficie è sufficiente a consentire tutta l'energia radiante
creata negli interni, per sfuggire senza un aumento della temperatura. In
effetti, un tale corpo perde calore molto meno che non riceva energia
sufficiente da i suoi dintorni.
Come un corpo aumenta di dimensioni, è superficie
diventa sempre più inadeguata per consentire l'energia irradiata negli interni
di sfuggire senza un accumulo di calore, e sotto la superficie. La superficie
non si irradiano verso l'esterno il calore o energia più rapidamente viene
creato all'interno. Il tasso al quale viene irradiata da una superficie aumenta
rapidamente con un conseguente aumento della temperatura di superficie. Questo
varia come quarta potenza della sua temperatura assoluta. Ad esempio, all'interno
di un certo intervallo di temperatura, se la temperatura è raddoppiato, la
percentuale di energia che è irradiata in forma di fotoni e particelle morbide,
aumenta di un fattore di 16.
La dimensione critica di tale organo dipenderà sua
composizione. Ad esempio, se contiene un'alta concentrazione di sostanze
radioattive leggermente, questa dimensione critica sarà meno. Se il corpo è
vuoto, allora le dimensioni dovrebbe essere maggiore. Le giganti rosse, se sono
anche vicino alle dimensioni dichiarate, avrebbe dovuto essere vuoto e hanno
gusci relativamente sottili, altrimenti, non sarebbero rossi come le
temperature delle superfici sarebbe astronomica.
La vera fonte di energia che viene infine
irradiata nello spazio è particelle morbide e fotoni che sono normalmente
irradiate da atomi del materiale all'interno di un sole. Ciò è dovuto alle
attività delle particelle fondamentali. A causa della grande massa di un sole,
una concentrazione anomala di queste particelle morbide è sempre presente
all'interno. Questa concentrazione è più vicino alla superficie. Vi è un
costante aumento di intensità, dal centro verso l'esterno. Ciò si traduce in
una disintegrazione continua di una elevata percentuale di tali particelle
vicino alla superficie, accompagnato da un grande aumento della temperatura,
che a sua volta, si traduce in un maggior tasso di disintegrazione, con il
rilascio di particelle dure che producono le temperature più elevate. Allo
stesso tempo, vi è un aumento del tasso al quale vengono create le particelle
morbide. La temperatura diminuisce costantemente il centro si avvicina e
qualsiasi sole avrà un interno relativamente freddo.
Il principio che la dimensione è il fattore
principale nella capacità di un corpo celeste di irradiare è confermato dal
comportamento dei pianeti molto grandi come Giove e Saturno. Un'applicazione di
questo principio significa che i corpi di tali dimensioni dovrebbe iniziare
irradia più energia di quello che ricevono da fonti esterne. Determinazioni
recenti indicano che Giove e Saturno, di fatto, irradiare energia in più di
quello che sembrano ricevere dal sole. Una sonda ha mostrato una temperatura
sorprendentemente alta in atmosfera di Giove che era precedentemente creduto di
esistere.
Ora diventa evidente che la teoria convenzionale,
in cui si afferma che l'energia radiante del sole è prodotta da reazioni
termonucleari è una totale assurdità. Una cosa da considerare è che, se questo
fosse il caso, la radiazione del Sole sarebbe così letale che non potrebbe
esistere la vita su uno dei pianeti del sistema solare.
Di tanto in tanto, in tutto l'universo, il
graduale accumulo di calore all'interno dei soli diventa molto molto più
grande, probabilmente a causa della quantità di elementi radioattivi negli
interni causati da trasmutazione. In tali casi, valvole di sicurezza sotto
forma di macchie solari, non è più prendersi cura degli aumenti di energia in
eccesso e le porzioni abbondanti soffiare a parte, rilasciando quantità
astronomiche di radiazioni. Dopo l'esplosione, la supernova diventa un corpo
bruciato in confronto al suo stato precedente. Considerando le innumerevoli
miliardi di stelle all'interno del nostro campo visivo, e dal momento che solo
un paio di supernove sono state osservate nel corso della storia, è logico
concludere che non è il destino della grande maggioranza delle stelle.
Uno dei fenomeni riguardanti il
Sole, che sorprende completamente tutti gli scienziati, è che
sembra a ruotare più velocemente all'equatore che fa in più alte latitudini.
Macchie in prossimità dell'equatore compiere una rivoluzione intorno al Sole in
meno tempo rispetto a quelli più alte latitudini. Si tratta di un paradosso
fastidioso che non può essere messo da parte da questi scienziati in quanto è
là fuori per tutti da osservare.
La parte del Sole che vediamo è una coperta molto
fluido. La regione intorno all'equatore del Sole potrebbe ruotare più
velocemente se, e solo se, una trazione costante esterna è esercitata su quella
regione. In caso contrario, l'attrito interno sarebbe poi produrre un moto
uniforme. Ciò significa che i corpi in orbita vicino all'equatore e vicino alla
superficie, generano una elevata concentrazione di gravità che inducono
radiazioni. E 'evidente che tali organismi non potrebbe essere costituito di
materia normale e sono probabilmente composte di atomi e molecole costituite da
particelle più morbidi che sono poco colpiti dalla radiazione solare. Tali
organismi potrebbe generare una concentrazione di radiazioni gravità
notevolmente sproporzionato rispetto al loro masse. In costruzione di questo
tipo di materiale, che sarebbe praticamente invisibile.
23. Errori sono stati
fatti nel determinare la dimensione e la distanza dei corpi planetari. Charles
Fort citati molti casi di fallimenti che smentiva affermazioni astronomi di
estrema precisione nel determinare le distanze stellari e astronomiche. Le sue
rivelazioni ha fatto poco per migliorare la loro reputazione come esempi di
integrità.
I principi utilizzati dagli astronomi nei loro
valutazioni sono essenzialmente gli stessi di quelli utilizzati dagli ispettori
a misurare le distanze e le altezze. Tuttavia, alcuni ispettori ammettere che
non sono in grado di determinare l'altezza delle montagne, con qualsiasi grado
di precisione e le loro misurazioni possono essere fuori di ben il 10%. Cater
onorevole ha testato questo utilizzando un altimetro che è stato fissato a zero
a livello del mare e quindi guidato nella cima di una montagna a 42 ° 30 'di
latitudine Nord, che si suppone di avere un altezza di 9269 metri. La lettura
altimetro concordato in stretta collaborazione con le quote stabilite delle
città lungo il percorso che va da 1.000 a oltre 4.000 metri. Tuttavia, in cima
alla montagna, la lettura era solo 8.800 metri. Sig. Cater quindi reimpostare
l'altimetro ai 9269 piedi attribuiti alla montagna e ripercorso il suo
percorso. Ad ogni punto del viaggio di ritorno, l'altimetro costantemente
indicato altitudini più di 400 metri più alto di prima. Anche dopo diversi
mesi, la lettura altimetro era ancora più di 400 metri superiore a quello che
dovrebbe essere. Un test simile è stata effettuata su una montagna con una
elevazione registrata di 4078 metri e in alto, l'altimetro mostrava 3750 piedi
sebbene accordo con altre elevazioni stabilite molto più in basso.
Il fatto che l'altimetro era esatta in tutte le
sedi, salvo per la parte superiore della montagna (la cui altezza ufficiale è
stato trovato da triangolazione) mostra che i metodi impiegati dagli ispettori
e astronomi sono tutt'altro che precisi. Le altezze dei monti determinati dalla
triangolazione sarà sempre notevolmente superiore al valore reale. Ci sono due
fattori coinvolti. Primo, l'atmosfera diventa sempre più densa come si scende
dalla cima della montagna. In secondo luogo, la concentrazione orgone diventa maggiore
più vicino al suolo. Ciò significa che i raggi di luce da una cima verrà
rifratta e così sembrano essere originari da un punto al di sopra della sommità
della montagna. Ciò è stato confermato anche da un test barometrico, posto alla
cima del monte Everest, che indica che è in realtà 27.500 piedi di altitudine e
non i 29.000 piedi precedentemente supposto.
Un amico del sig Cater aveva la sua proprietà
intervistati per determinare la superficie. In seguito, ha controllato alcune
delle distanze determinate dalla triangolazione, utilizzando un metro a nastro,
e ho trovato errori significativi. Rifrazione della luce è chiaramente gettando
risultati triangolazione off. La maggior parte degli effetti di rifrazione sono
causati dalla concentrazione orgone. La misurazione delle altezze montane prese
in tempi diversi danno valori diversi e questo è dovuto alle fluttuazioni delle
concentrazioni orgonica, che sono superiori a calde giornate di sole che su
fredde giornate nuvolose. Inoltre, essi sono generalmente più alti durante i
mesi estivi, piuttosto che in altri periodi dell'anno.
Gli esempi sopra riportati mostrano
l'inattendibilità dei risultati ottenuti dalle triangolazione. Gli astronomi si
trovano ad affrontare fattori aggiuntivi quando si tenta di applicare
triangolazione, come ad esempio la cintura di Van Allen radiazioni, variando le
concentrazioni di orgone in tutto lo spazio, ecc Non è realistico supporre che
gli astronomi possono determinare le distanze planetarie e astronomiche con
grande precisione.
Ci sono diversi fattori che astrofisici e gli
astronomi non hanno preso in considerazione nei loro calcoli. Forse la più
importante di questi è il fatto che tutte le radiazioni elettromagnetiche
compreso il peso in spazio libero, subiscono un effetto di attenuazione che è
ben superiore a quella della legge quadrata inversa. In tutto l'universo
è permeato di particelle soft e hard di tutti i tipi. Queste particelle sono state irradiate da sistemi
planetari per innumerevoli secoli. Questo principio è dimostrato dalle
fluttuazioni della velocità della luce e attenuazione gravità.
Si osserva un calo costante della velocità della
luce che viaggia attraverso lo spazio. Le ragioni di questo può essere visto
dalle seguenti considerazioni. Luce normale, o luce che abbia percorso una
distanza relativamente breve dalla sua fonte, riprende immediatamente la sua
velocità originale dopo il passaggio attraverso un mezzo denso come vetro o
acqua. Come mostrato in precedenza, questo è dovuto alla bunching stretta di fotoni
ed elettroni molli in qualsiasi dato raggio. Le concentrazioni di particelle in
un raggio di luce tende a diminuire dopo viaggiare grandi distanze. Il padre si
viaggia, più attenuato il raggio diventa. Ciò significa che la sua capacità di
aumentare la sua velocità dopo il passaggio da un mezzo di una data densità ad
una di una densità minore, sarà ridotto. Questo è, naturalmente, a causa della
dispersione e dissipazione di particelle all'interno del raggio quando incontra
l'agglomerato di particelle che si muovono in direzioni casuali nello spazio.
Poiché agglomerati di particelle morbide permeano
tutto lo spazio conosciuto, e la distribuzione non è uniforme, ne consegue che
la luce sperimenteranno rifrazione, anche quando passa attraverso lo spazio
libero. Pertanto, anche nelle migliori condizioni, con le osservazioni essendo
fatte oltre l'atmosfera, osservazioni astronomiche non può essere fatta con
qualsiasi grado di precisione. La difficoltà è, ovviamente aggravato quando le
osservazioni sono fatte all'interno dell'atmosfera. Non c'è da stupirsi che
Charles Fort trovato una grande quantità di prove che completamente
ridimensionato le affermazioni del dell'astronomo di grande precisione.
La fluttuazione distribuzione delle particelle
morbido, insieme agli effetti di rifrazione dell'atmosfera, esclude la
possibilità di mediazione errori, rendendo molte osservazioni e applicando il
metodo matematico dei minimi quadrati. Convenzionale teoria statistica cancella
reali piccole variazioni e distorce i dati per tale media i processi. Gli
errori grossolani che affiorano, nonostante questi metodi parlano da soli.
Al fine di misurare la distanza orbitale di vari
pianeti, era necessario trovare la distanza della Terra dal sole. In origine,
questo sarebbe stato trovato misurando gli angoli che due punti di osservazione
molto distanti sulla Terra realizzati con il sole. Questo è noto come il metodo
della parallasse. La distanza dal Sole è stata calcolata da questi angoli e la
distanza tra i punti di osservazione. Le dimensioni del Sole potrebbe quindi
essere determinata, e conoscendo il periodo orbitale della Terra intorno al
Sole, la massa del Sole e la gravità di superficie sono stati calcolati
applicando il falso concetto di gravitazione newtoniana.
Più recentemente, la distanza dal Sole, noto come
"unità astronomica" era presumibilmente determinato a un alto grado
di "precisione" misurando la distanza del corpo Eros dal metodo
parallasse quando fu vicino alla Terra. Conoscere il periodo dell'orbita Eros
', la distanza dal Sole è stato calcolato mediante l'uso della legge di Keplero
in cui si afferma che "il quadrato dei periodi di ogni coppia di pianeti
sono proporzionali al cubo della loro distanza media dal Sole". Poiché i
periodi orbitali dei pianeti sono noti per un ragionevole grado di precisione,
la maggior parte delle incognite altri all'interno del sistema solare potrebbe
essere calcolata dalla conoscenza della massa presunta del Sole e la gravità di
superficie. Ormai, dovrebbe essere evidente che sarebbe un miracolo, o almeno,
una delle più strane coincidenze mai, se le distanze effettive coinciso anche
approssimativamente con i valori calcolati.
Se il concetto newtoniano fossero valide ed i
pianeti si sono svolte in orbita da solo gli effetti della gravità superficie
del Sole, allora i periodi orbitali dei pianeti sarebbe un mezzo affidabile per
determinare distanze planetarie. Poiché è stato dimostrato che i concetti su
cui sono stati fatti questi calcoli sono false, si può tranquillamente
concludere che la dimensione delle orbite è molto diverso da quello che gli
astronomi sostengono. Come risultato degli effetti delle radiazioni
dissipazione, ben oltre quello che può essere previsto dalla legge dell'inverso
del quadrato, ne consegue che le distanze planetarie sono molto diversi dai
valori accettati.
Questa eccessiva attenuazione degli effetti
gravitazionali del Sole si riflette nel presunto aumento rapido delle distanze
orbitali dei pianeti esterni. Le distanze supposte orbitali sono i seguenti:
Terra: 1.0 unità astronomiche.
Marte: 1,52 (differenza
0,52)
Gli asteroidi: 2,76 (differenza 1,24)
Giove: 5.2 (differenza
2,44)
Saturno: 9,58 (differenza
4.38)
Urano 19,16 (differenza
9,68) e
Nettuno 30,24 (differenza
di 11.08)
Ciò non significa che il più lungo è il periodo orbitale, maggiore è la distanza del pianeta. Ad esempio, entro certi limiti, il più grande e più massiccia il pianeta è al di là di una certa critica, più lenta deve muoversi al fine di rimanere in una data orbita. Questo perché gli effetti di gravità totale del sole non sono in grado di permeare e influenzare l'intera massa al punto che farebbero con un piccolo pianeta. Ad esempio, un pianeta come Saturno potrebbe essere collocato in un'orbita stabile all'interno dell'orbita terrestre. Eppure avrebbe dovuto muoversi così lentamente nella sua orbita che è il periodo orbitale sarebbe molto maggiore di quella della Terra. Ciò significa che i periodi orbitali non sono un indicatore affidabile per relative distanze orbitali.
Anche se le distanze planetarie e stellari sono
completamente sconosciute, per quanto gli astronomi sono interessati, e in
questo momento non ci sono mezzi affidabili a disposizione della loro
determinazione, i diametri di alcuni dei pianeti interni, tra cui Giove e Saturno,
può essere calcolato maggiore esattezza di quanto uno qualsiasi degli altri
valori nel campo della astronomia. Le distanze orbitali dei satelliti planetari
in proporzione al diametro planetari così come i loro periodi può essere
determinato con precisione. La determinazione di queste costanti non è
influenzata in modo significativo per i fattori di dissipazione di luce già
accennato da un pianeta ei suoi satelliti sono circa la stessa distanza dalla
Terra. Il principale fattore che rende possibile approssimare il diametro di
uno di questi pianeti è la conoscenza che hanno praticamente la stessa gravità
superficie terrestre fa.
Se un satellite è molto piccola, come è il caso
con i satelliti di Marte, un diametro planetario può essere calcolato con un
alto grado di precisione. Infatti, Marte è l'unico pianeta del sistema solare
il cui diametro può essere determinato in modo attendibile. Sorprendentemente,
Marte risulta avere un diametro di circa 11300 miglia. Utilizzando metodi
insoliti, l'onorevole Cater ha stimato il diametro del Sole come oltre
2.500.000 chilometri e ad una distanza di circa 277 milioni miglia dalla Terra.
Il diametro della Luna a 5200 miglia a una distanza media di 578 mila miglia,
115 miglia spessore del guscio e la gravità di superficie 98% di quella della
Terra. Con un minor grado di precisione, il diametro di Venere è valutata a
23.000 km e Mercurio in circa 8.000 miglia. Giove diametro circa 230.000 km e
Saturno circa 200.000 km. È molto improbabile che le distanze accettate verso
le stelle sono ancora approssimativamente corretta.
24. Gli elettroni viaggiano attraverso
i metalli duri più facilmente che attraverso i non-metalli. Questo indica che incontrano campi positivi più
ampi elettrostatiche tra atomi e molecole che nei non-metalli. Allo stesso
tempo, gli atomi di metalli sono generalmente più mobili o libero di muoversi
rispetto al caso con solidi non metalli. È per questo che i migliori
conduttori di elettricità sono anche i migliori conduttori di calore. È significativo che tutti gli atomi sono
metalli pesanti, ad eccezione del radon che è un gas. Ciò significa che tali
atomi hanno una maggiore carica netta positiva, che provoca una forte
repulsione reciproca per distanze maggiori di atomi che non sono direttamente
collegati tra loro. Questa estensione maggiore della zona di positivo intorno a
tali atomi dà loro maggiore libertà senza rompere il legame che li tiene
insieme. Le forze repulsive di atomi vicini, aumenta la mobilità di qualsiasi
dato atomo.
Gli atomi più pesanti contengono più protoni e
neutroni raggruppato insieme. La pressione esterna necessaria per tenere un
gruppo di particelle reciprocamente repulsive insieme è indipendente dal numero
di particelle presenti.
Si potrebbe concludere che gli atomi più pesanti
rendono migliori conduttori, ma questo non è il caso. Argento, rame e alluminio
sono i migliori conduttori anche se le loro zone di campo positivi non sono
estesi, hanno meno inerzia e quindi sono più facilmente spinto fuori del
percorso di un flusso di elettroni duri. Gli elettroni che scorrono lungo i
conduttori sono continuamente in collisione con gli atomi in movimento.
Pertanto, si richiede una costante applicazione della forza elettromotrice alle
estremità del conduttore in modo da tenerli scorre. Gli atomi degli elementi
non metallici sono più saldamente bloccati in posizione e quindi non hanno
molto di una tendenza a spostare fuori strada ed è per questo che fanno buoni
isolanti. Elettroni seguire le linee di minor resistenza e quindi tendono a muoversi
sulla superficie del conduttore dove c'è meno tendenza a collidono con gli
atomi.
Le norme di conducibilità di elettroni morbidi
sono diversi da quelli di elettroni duri. Elettroni morbide sono enormi
rispetto agli elettroni duri. Questo può essere visto quando si considera che
il diametro medio di una particella è direttamente proporzionale alla sua
cosiddetta lunghezza d'onda della luce che lo compongono (o inversamente
proporzionale alla frequenza). Gli eteri associati con i loro atomi e particelle
fondamentali sono molto più alti in frequenza rispetto a quelli associati con
particelle morbide. Questo significa che gli atomi offrirà poca resistenza al
passaggio di elettroni morbide. Tuttavia, i campi magnetici derivanti da
agitazione termica di certi atomi e molecole sono coinvolti con eteri che sono
più vicini in frequenza ai eteri direttamente connessi con elettroni morbide.
Di conseguenza, gli elettroni morbidi interagirà con questi campi. Questo
spiega perché metalli in genere offrono una maggiore resistenza al passaggio di
elettroni morbide che fare non metalli.
Il trasformatore elettrico ordinario presenta un
enigma. Il secondario del trasformatore continua a riversare o espellere
elettroni da una fonte apparentemente illimitata. Vi è una quantità limitata di
elettroni liberi in conduttori che dovrebbe essere abbastanza rapidamente
esaurite. L'argomento standard utilizzato per spiegare la sorgente di corrente
è che gli elettroni liberi nel circuito di alimentazione e gli elettroni
vengono utilizzati più e più volte. Un semplice calcolo dimostra che gli
elettroni liberi nei conduttori non sono la fonte di energia elettrica.
Consideriamo un filo due millimetri di diametro,
che contiene circa 10 ampere di corrente. Il flusso di elettroni vengono concentrate
vicino alla superficie del filo. Poiché l'energia elettrica in un conduttore
viaggia a circa la velocità della luce, un tale filo 186,000 miglia lungo
avrebbe 10 coulomb di energia elettrica distribuita sulla sua superficie in
qualsiasi istante. La superficie di questo filo è 1.840.000 metri quadrati. Un
condensatore a piastre parallele avente questa zona e una piastra di
separazione di un millimetro, avrebbe una capacità di 0,016 farad. Anche con un
potenziale attraverso i suoi piatti di 100 volt, sarebbe comunque solo in grado
di concentrare un equivalente di 1,6 coulomb, e una buona parte di questa
carica elettrostatica sarebbe dovuto allo spostamento degli elettroni e protoni
degli atomi. Questa tensione è più che sufficiente per concentrare tutte le
elettroni liberi sulla superficie delle piastre. Analogamente, tutti gli
elettroni liberi nel filo esempio sarebbe coinvolto se la corrente sono stati
mantenuti con 100 volt. Naturalmente, un filo così a lungo avrebbe troppa
resistenza di trasportare qualsiasi corrente apprezzabile con 100 volt, ma
questo non ha nulla a che fare con l'argomento appena dato. È un dato di fatto,
anche 6 volt è molto più che sufficiente per produrre una corrente di 10 ampere
in un filo del diametro di 2 mm. Di conseguenza, non ci sono abbastanza
elettroni liberi in un conduttore per la fornitura di qualsiasi corrente
apprezzabile. Ciò significa che la sorgente di elettroni nel flusso di corrente
non proviene da elettroni liberi nel conduttore. La conclusione è quindi che
gli elettroni duri qualche modo riescono a superare l'isolamento del conduttore
e il flusso nel filo da fuori.
Per la legge di azione e reazione, poiché una
corrente ha inerzia, qualsiasi cambiamento nella corrente primario di un
trasformatore produce una forza in direzione opposta al secondario. Questa
forza di reazione produce un disturbo dei eteri che producono la tensione o
forza elettromotrice come risultato di bombardamento etere maggiore. La FEM
indotta nell'avvolgimento secondario del trasformatore, crea un vuoto
temporaneo elettrica nel filo che attira tutti i tipi di cariche negative al
filo. Gli elettroni più morbide penetrano rapidamente l'isolamento e fermarsi
alla superficie del filo in quanto non viaggiare come facilmente attraverso un
conduttore di elettroni rigido. Questi elettroni morbide assorbono la maggior
parte delle forze elettrostatiche nel materiale isolante che impediscono il
flusso di elettroni principali, permettendo agli elettroni difficile passare
attraverso l'isolamento e inserire il filo.
Cariche elettriche, composte di fotoni in quasi
tutti i campi di frequenza, permeano tutto lo spazio, poiché sono continuamente
irradiata da stelle in tutto l'universo. Essi non sono facilmente rilevabili
come sono in forma di conglomerati con particelle dure che risiedono
all'interno quelle più morbide. Le combinazioni risultanti sono altamente
penetranti e ci vuole qualcosa come una tensione indotta in un conduttore a
separare le particelle dure di quelle più morbide. Le prestazioni di un
trasformatore può essere notevolmente compromessa da schermatura completamente
l'avvolgimento secondario con un buon conduttore di elettricità, come rame o
alluminio puro. Questo perché lo scudo tende ad impedire il flusso di
particelle morbide al secondario. Questo effetto è stato verificato da
esperimento.
I termini "EMF" e chiarimenti
"tensione" necessità. La vera natura dei fenomeni associati con
questi termini non è mai stato pienamente compreso. Tutto ciò che è noto è che
se un conduttore è esposta a un EMF, un flusso di energia elettrica viene
prodotta. Inoltre, la tensione è associato alla quantità di energia o di lavoro
che una corrente è in grado di produrre. Un EMF di un dato valore può indurre
una corrente con una tensione definita. La tensione prodotta è direttamente
proporzionale alla EMF impresso sul conduttore. Inoltre, l'energia della
corrente è direttamente proporzionale alla tensione. L'amperaggio di una
corrente è una misura del numero di elettroni che passano attraverso ciascun
segmento di un conduttore per secondo. Dal potenza, o l'energia cinetica totale
di questo flusso di corrente è uguale al amperaggio moltiplicato per la
tensione, ne consegue che l'intensità di corrente è direttamente proporzionale
all'energia del flusso di corrente. Pertanto, Voltage è una misura dell'energia
cinetica media degli elettroni che scorrono lungo il conduttore. Questo a sua
volta, è direttamente proporzionale al quadrato della velocità media degli
elettroni. Questa semplice definizione di tensione purtroppo è molto carente in
tutti i libri di testo standard.
Un EMF induce una forza di accelerazione di un
elettrone. Qual è la natura di questa forza? Fondamentalmente, ci sono due
metodi per produrre un EMF. Uno è sottoponendo il conduttore di un campo magnetico
oscillante, e l'altro è esponendo il conduttore ad una differenza di
potenziale, ad esempio collegandolo tra i poli opposti di una batteria. In quel
caso, un polo della batteria ha una carica negativa mentre il polo opposto è
positivo. Il flusso di elettroni è il risultato di una concentrazione di
elettroni in un punto tende a fluire verso una zona dove vi è una carenza.
La FEM è prodotto dalla forza elettrostatica
diretta, che a sua volta, ha una duplice natura. Vi è la tendenza per le
cariche negative di essere attratto da cariche positive, e quindi vi è anche la
mutua repulsione tra cariche negative. La tensione raggiunta è direttamente
proporzionale alla differenza di potenziale esistente tra i poli della batteria
che. La differenza di potenziale è uguale all'energia cinetica acquisita dagli
elettroni in movimento da un potenziale all'altro.
La FEM prodotta da un campo magnetico oscillante
dà gli stessi risultati, ma il processo è diverso. Quando un conduttore è
sottoposto ad un campo magnetico oscillante, come con l'avvolgimento secondario
del trasformatore, i "liberi" elettroni del conduttore e gli
elettroni esterni degli atomi che non sono così intimamente associato con gli
atomi, sono esposti a etere differenziale bombardamenti. È equivalente a una
forza elettrostatica. Quando un campo magnetico cambia, il cambiamento non
avviene simultaneamente in tutto il volume di spazio occupato dal campo ma
progredisce da una parte all'altra. Questo crea differenziali elettrostatiche
bombardamenti etere particelle sulla elettroni all'interno del campo. Quando un
conduttore taglia linee magnetiche come con un generatore CA, gli elettroni
sono sottoposti alle stesse condizioni incontrate da elettroni che si muovono
tra i poli di un magnete. La forza di accelerazione sarà in una direzione
perpendicolare alla direzione in cui si trovano gli elettroni nel conduttore di
muoversi.
Se ci fosse anche una piccola frazione degli
elettroni liberi esistenti in materia, come si ritiene che i fisici, gli
effetti di carica negativa della materia sarebbe così grande che questi
organismi non sarebbe in grado di avvicinarsi l'uno all'altro. Gran parte della
carica sui condensatori proviene dall'esterno del condensatore, come è il caso
con il flusso di energia elettrica nei conduttori. In realtà, gli elettroni
liberi in un conduttore sono praticamente inesistenti. Elettroni principali che
non fanno parte degli atomi sono catturati da particelle morbide che permeano
la materia. Le particelle morbide rilasciare elettroni principali quando
sottoposti alla EMF in una corrente o la tensione attraverso le armature di un
condensatore.
La corrente in un filo rettilineo è uniformemente
distribuito lungo la superficie dove il flusso di elettroni incontra la minima
resistenza. Gli elettroni rilasciati dure che sono direttamente colpiti dalla
EMF, tendono a muoversi come unità parzialmente tenuto insieme dalla mutua
attrazione magnetica. Questa unità lascia un vuoto temporaneo alle spalle che
si sta rapidamente riempito da elettroni che circonda duri. Molti di questi
gruppi sono avviati quasi simultaneamente in un conduttore a circa la velocità
della luce, anche se gli stessi elettroni viaggiano a una velocità molto più
bassa. Quando un EMF viene applicata ad un conduttore, qualcosa di simile per
l'effetto domino è allestita negli eteri. Questo effetto viaggia alla velocità
della luce, poiché viene prodotto in modo simile.
Che la fonte di energia elettrica che scorre in
linee elettriche così come quello prodotto da generatori, viene da particelle
morbide che permeano e circondano la zona, è stato dimostrato durante Aurore.
Quando l'attività aurora è insolitamente alto, trasformatori in Canada sono
stati conosciuti per bruciare e addirittura esplodere. Allo stesso tempo,
aumenta il flusso di corrente nelle linee di alimentazione è stato grande
abbastanza per interruttori viaggio sud fino Texas. Come spiegato in
precedenza, la concentrazione di elettroni morbide nell'atmosfera aumenta
notevolmente durante fenomeni aurorali. Alcune aree ricevere maggiori
concentrazioni di altri alla stessa latitudine.
Un anello di filo o di una bobina offre impedenza
a corrente alternata. Questa proprietà è nota come "induttanza".
Poiché un singolo anello di filo ha induttanza, ne consegue che l'effetto può
essere spiegato in termini di un ciclo. Elettroni tendono a viaggiare lungo la
superficie di un conduttore come quello è il percorso di minore resistenza. La
fonte principale di questa elettricità è l'alta concentrazione di elettroni
morbide che si riuniscono intorno un conduttore e permeano il materiale. Ciò è
dovuto al costo relativamente elevato positiva del conduttore. La maggiore
concentrazione si trova in superficie e una breve distanza al di sotto della
superficie. Quando un EMF viene applicato al conduttore, elettroni liberi sono
poste in movimento. Durante questo processo, gli elettroni morbidi e
concentrati in appena sotto la superficie tende a disintegrarsi e rilasciare
elettroni più duri. Questo è esaltata dalla concentrazione degli elettroni
morbide, che è volta causa una agitazione delle particelle morbide, facendoli
diventare altamente instabile.
In un filo rettilineo, la maggior parte di questa
disintegrazione e quasi tutto il flusso di elettroni avviene sotto la
superficie. Questa condizione accorcia il libero cammino medio degli elettroni
e il flusso si arresta subito dopo l'EMF applicata è spento. Di conseguenza,
una corrente alternata incontrerà la stessa resistenza ohmica in un filo
rettilineo così come una corrente diretta. Tuttavia, la situazione è diversa
quando il conduttore è in loop.
Quando un EMF viene applicato a un circuito, gli elettroni liberi o rilasciato duri, sotto la superficie sono forzati verso l'esterno dalla forza centrifuga, donde una disintegrazione ancora maggiore di elettroni morbide verifica perché la maggiore concentrazione in superficie. Il libero cammino medio degli elettroni è notevolmente aumentato e il flusso continua per un breve periodo dopo il EMF viaggiando nella direzione del flusso di corrente cessa. Quando la FEM continua nella direzione opposta come nel caso di una corrente alternata, la forza deve opporsi slancio del flusso di elettroni continuando nella direzione opposta a quella della direzione EMF nuovo. Ne consegue che questa impedenza sarà direttamente proporzionale al numero di giri e la frequenza della corrente alternata. È logico supporre che la decelerazione del flusso di elettroni è una costante quando l'EMF è zero. Ciò significa che quanto più rapidamente che la FEM viene applicato nella direzione opposta, maggiore è la velocità del flusso che verrà incontrato. Sarà una funzione lineare.
Sarebbe ora sembra evidente che quando il CA è
rettificata di è stato cambiato in un CC a impulsi, la bobina produce un
aumento di amperaggio dove un filo rettilineo non. Gli esperimenti hanno
confermato questo. Si è constatato che l'amperaggio ingresso di una corrente è
stata notevolmente aumentata dopo passare attraverso una batteria. L'incremento
è maggiore durante la fase iniziale della FEM applicata e presto scesa ad un
valore inferiore alla concentrazione di elettroni molli intorno al filo è stato
ridotto. Ne consegue che una bobina di impedenza offrirà solo una corrente CA.
Ne consegue che CC pulsata ha numerosi vantaggi rispetto AC. Esso può essere
utilizzato per azionare trasformatori nonché CA senza soffrire impedenza.
Una corrente costante diretto sperimenta la stessa
resistenza di una bobina come in un filo rettilineo della stessa lunghezza. La
FEM fluttuante produce estrema agitazione degli elettroni molli intorno e
dentro il filo, causando la disintegrazione di una grande percentuale di loro,
e il rilascio di una elevata concentrazione di elettroni duri. Ciò non si
verifica durante il flusso costante di corrente continua. Durante
l'applicazione iniziale di CC vi è un aumento di corrente supplementare durante
il build-up della FEM. Quando la corrente è spenta, ci sarà un aumento
momentaneo della corrente nella direzione opposta. L'eccesso di elettroni sulla
superficie del conduttore e nella bobina sarà naturalmente portata verso il
vuoto fuori della bobina e nella direzione opposta per cui la corrente
scorreva. I concetti appena descritti possono essere applicati quando si
costruisce una autosufficiente generatore elettrico.
Quando una corrente alternata è applicata ad una
bobina, la FEM deve superare l'impedenza ogni direzione EMF cambia. La maggior
quantità di resistenza si verifica all'inizio di ogni cambiamento e poi
diminuisce costantemente la corrente si accumula. La resistenza sarà al minimo
quando la corrente raggiunge il suo massimo. Con AC, la direzione EMF cambia
molto spesso e quindi la resistenza massima si incontra per una percentuale di
tempo.
Il flusso di elettroni in un filo risultati in un
flusso magnetico circolare intorno a quel filo. Come accennato in precedenza,
gli effetti magnetici tra elettroni si muovono insieme tendono ad annullarsi a
vicenda. Essi sono riunite e gli eteri risultanti comprendono l'intero gruppo.
Questo si verifica anche tra segmenti di filo adiacenti in una bobina. Gli
effetti magnetici si annullano tra i segmenti e un flusso continuo etere, che
comprende l'intera bobina, perpendicolare alla direzione del flusso di
corrente, si verificherà. Il solenoide quindi comportarsi come un magnete a
barra con linee continue di forza.
L'atmosfera della Terra produce geomagnetismo più
o meno allo stesso modo in cui un solenoide produce un campo magnetico. I
cambiamenti nell'atmosfera si muovono lungo con la Terra in un movimento
circolare. Anche se c'è poco movimento dei relativi oneri alla superficie, un
campo magnetico viene comunque creato. Linee magnetiche, o eteri, dalla regione
di flusso magnetico Sud alla regione nord magnetico come conseguenza di queste
cariche rotanti.
25. Nonostante il fatto che i nostri illustri fisici sono
riusciti a sviluppare un dispositivo altamente distruttivo come una bomba
nucleare, che ancora non hanno il concetto della natura e fonte di energia
rilasciato dopo una detonazione. Come tutti gli altri ben noti fenomeni,
cercano di creare l'illusione che la percezione e lo hanno spiegato. È un dato
di fatto, la scienza accademica non ha ancora fornito spiegazioni soddisfacenti
per qualsiasi dei fenomeni più semplici e comuni quotidiane. L'energia liberata
da ordigni nucleari si spiega via dicendo che si tratta di una conversione
della materia in energia secondo la relazione E = mc2 falso. Molti lettori,
soprattutto quelli ricca di ortodossia, può essere scioccato di apprendere non
vi è alcuna conversione della massa in energia durante tale processo, né da
qualsiasi processo in cui viene rilasciata l'energia! L'enorme calore prodotto
in una esplosione nucleare significa che una quantità anomala di elettroni
principali erano improvvisamente liberato dalla disgregazione completa di tutti
gli elettroni morbidi nell'area dell'esplosione. La luce intensa che accompagna
l'esplosione è il risultato dei fotoni liberati dalla disintegrazione di tali
elettroni morbide.
La chiave
per l'innesco della reazione è il neutrone. Come indicato in precedenza, un
neutrone è equivalente a un atomo di idrogeno compresso, e tuttavia è più di
questo. Un atomo di idrogeno ha una forte carica positiva netta, mentre il
neutrone non ha carica netta. Ciò significa che un neutrone ha raccolto molti
più elettroni principali di un atomo di idrogeno. Poiché un neutrone non ha
carica, non si può aggiungere al peso di un atomo, come comunemente si crede.
I concetti
introdotti in questo trattato rendere tutte le vecchie credenze in materia di
struttura atomica non valido. Il peso di un atomo dipende quasi esclusivamente
dal numero di elettroni orbitali e il numero di protoni nel suo nucleo. Ciò
sarà discusso in maggiore dettaglio più avanti. C'è un'eccezione o due alla
regola precedente, nel caso di alcuni elementi radioattivi, dove la presenza di
neutroni può effettivamente ridurre il peso di un atomo. Uno scambio di
elettroni in eccesso tra protoni e neutroni nel nucleo, e quindi trasformazioni
di protoni in neutroni e viceversa, può verificarsi. I neutroni sono molto più
numerosi i protoni negli atomi più pesanti, specialmente quelli che sono
radioattivi. Durante gli interscambi tra neutroni e protoni, i neutroni in
eccesso si disintegrano in protoni ed elettroni rigidi sono espulsi da alcuni
degli atomi. Ciò si traduce in una trasformazione di tali atomi.
Contemporaneamente, le interazioni tra enormi elettroni rilasciati in questo
modo, nonché dalla disintegrazione elettroni molli in prossimità causare i
eteri superiori essere disturbato, che si traduce nella produzione di raggi
gamma.
L'isotopo
del più comune dell'uranio 238 atomo conosciuto come U235 è più leggero ma è
fissile e più radioattivo rispetto l'uranio 238. E 'più leggero perché ha
presumibilmente meno neutroni rispetto al normale atomo di uranio. L'opposto è
effettivamente il caso. L'U235 avere più neutroni è più radioattivo. Le
interazioni più all'interno il risultato nucleo in più elettroni duri di essere
rilasciato, il che riduce la carica complessiva positiva del suo nucleo.
Vi è un
continuo scambio di protoni espulsi trasformando di nuovo in neutroni e
viceversa tra gli atomi di U235. Un interscambio simile, ma meno violento si
svolge tra gli atomi di U238. Una bassa percentuale di U238 atomi ricevono più
della loro parte di questi scambi, e quindi si trasformano in atomi di U235. La
maggior parte degli elettroni principali che contribuiscono rilasciate agli
snodi tali trasformazioni è il risultato della disintegrazione di elettroni
morbide che permeano gli atomi. Ne consegue che il principale fattore di
radioattività è la presenza di elettroni molli che ospitano gli elettroni duri!
Pertanto, se la concentrazione di elettroni morbida tutta prossimità di una
sostanza radioattiva si riduce, perde molta della sua radioattività. A questo
punto, non ha alcun dubbio si è verificato al lettore, che una nuvola
Reich-buster indicò un materiale radioattivo potrebbe farle perdere la sua
radioattività! Ciò è stato dimostrato essere il caso. Ad esempio, un pezzo
incandescente di radio arresta radiante quando è posto di fronte a un cloud-buster.
La fonte
di energia rilasciata durante un'esplosione nucleare sta diventando chiaro.
Quando un materiale fissile come U-235 o di plutonio viene bombardato con
neutroni, la maggiore attività nei nuclei provoca anche gli elettroni più
stabili molli in prossimità a disintegrarsi. Una reazione a catena di
disintegrazione elettroni morbido in aree ben oltre i confini dei risultati
materiali fissili. Tutte le principali elettroni e protoni originariamente
mimetizzate dalle particelle morbide sono improvvisamente rilasciati. Un enorme
produzione di raggi gamma si verifica anche. Quantità adeguate di materiali
fissili improvvisamente riuniti può comportare un aumento sufficiente del
bombardamento di neutroni degli atomi interni per produrre un tale risultato. E
'noto come la' massa critica '. La fusione corretta di atomi di idrogeno
possono anche causare disgregazione elettroni abbastanza morbido per produrre
un risultato simile. E 'ora evidente non c'è conversione della massa in energia
durante il processo. Tutte le particelle fondamentali degli atomi coinvolti
rimangono intatti. In realtà, c'è ancora di più una massa perfetto che c'era
precedenza, a seguito degli elettroni e protoni rigidi aggiuntivi rilasciati.
Ancora una volta, è evidente che la teoria della relatività è in alcun modo in
questione.
La bufala
mostruosa favorito sul pubblico da parte del Dipartimento della Difesa del
Governo, diventa ora più che evidente. Un Reich nube-buster può completamente
disattivare ordigni nucleari per grandi distanze disegnando via la
concentrazione di elettroni morbida dalle vicinanze di tale dispositivo. In
realtà, una nuvola-fenomeno può essere utilizzato per le flotte abbattimento di
aerei che trasportano armi nucleari. Combustione dipende anche dalla concentrazione
di elettroni morbide che naturalmente comprende motori a reazione. Pertanto
motori a reazione o missili non può funzionare in una zona colpita da una
nuvola-buster. Il fatto che una semplice nube-buster può disattivare un
reattore nucleare da una grande distanza è stato dimostrato in numerose
occasioni. Ad esempio, durante il tempo del Reich stava effettuando esperimenti
ad alta intensità con una nuvola-buster in Arizona nei primi anni 1950, un
reattore di grande diverse centinaia di chilometri a sud-est uscire
funzionamento. Questo significa che centinaia di miliardi di dollari di tasse
sono stati incanalati ogni anno per sostenere un settore multimiliardario
nucleare e ad altri settori correlati, che sono resi obsoleti dal dispositivo
utilizzato da Reich.
E
'evidente che l'uso corretto della nube-buster potrebbe gettare guerra moderna
tornare all'età della pietra. Ovviamente il disegno di particelle morbide
lontano da qualsiasi gruppo avrebbe completamente snervare ogni individuo e
anche lui trasformarsi in un blocco di carne congelata. Anche se una
nuvola-buster non poteva disattivare completamente un'arma fascio di particelle
che potrebbe far cadere qualsiasi imbarcazione munita di un dispositivo del
genere prima che potesse entrare in posizione. Il potenziale del cloud-buster è
forse superiore anche Reich stesso si rese conto. Poiché il calore viene
trasferito da un corpo all'altro da elettroni morbidi che liberano elettroni
più dure, il cloud-buster può essere usato come un sistema di refrigerazione
altamente efficiente disegnando elettroni morbide lontano da un corpo. E 'stato
reso evidente che questo semplice dispositivo può rendere attuali tecniche
antincendio obsoleto. Con l'utilizzo del cloud-buster in maniera corretta, la
perdita di vite e di proprietà da incendi e tempeste potrebbe diventare un
ricordo del passato. Esso fornisce anche la prova drammatica della validità di
molti dei nuovi concetti introdotti in questo trattato.
La
radioattività è stata oggetto di un ridicolo, se non divertente, fiasco più di
due decenni fa, quando due fisici, Lee e Yang, ha ricevuto il premio Nobel nel
1957. L'incidente, che è stato dato ampia pubblicità, riguardava un errore nel
principio di parità. Il principio di parità è stato definito come "un
concetto matematico impossibile da definire in termini fisici". Come tale
concetto possa avere alcuna incidenza sulla realtà fisica non è chiaro. In
generale, qualsiasi cosa relativa alla realtà può essere definito in termini di
realtà, che è in conformità con la Legge di Causa ed Effetto.
Incredibilmente,
un esperimento è stato ideato per testare la validità di questa grande
rivelazione. Essa è basata sull'idea che una sostanza radioattiva dovrebbe
espellere più particelle in una direzione preferenziale, che in ogni altro.
Cobalto radioattivo è stato scelto. Si raffredda fino a quasi zero assoluto ed
esposti ad un potente campo magnetico prodotto da un elettromagnete, in modo da
allineare i nuclei. Un altro fisico, il dottor Wu, aveva dedicato sei mesi di
duro lavoro di iniziare l'esperimento. Infatti, è stato trovato che particelle
più stati espulsi su un polo del magnete rispetto all'altro. Quale polo è
stato? Naturalmente, era il polo di cui le linee magnetiche scorreva.
Naturalmente, l'esperimento ha dimostrato che soltanto le particelle tendono a
scendere lungo le linee di forza magnetiche. L'eccesso di particelle che è
venuto fuori del polo sono stati quelli appena espulso dall'atomo. Hanno avuto
una bassa velocità iniziale che, indipendentemente da quale direzione è
successo a viaggiare inizialmente, il campo magnetico potrebbe dettare la loro
direzione finale del viaggio.
Lee e Yang
sono stati concessi tutti gli onori scientifici, tra cui il Premio Nobel, come
risultato di questo esperimento. Invece di dare loro il Premio Nobel, il
conferimento di un Oscar sarebbe stato più appropriato. Ad accompagnare il dato
ampia pubblicità questo atto commedia era una foto che appare su una rivista
importante che mostra uno dei destinatari che punta a una equazione matematica grottesco
che contiene oltre 100 termini! Egli sarebbe stato spiegare il ragionamento che
sta dietro la loro grande rivelazione.
La truffa
grande paura nucleare dovrebbero valutare come la più grande menzogna del
secolo. Questa produzione è così colossale anche l'onorevole Cater è un po
'imbarazzato ad ammettere è stato anche accolto da essa, come tutti gli altri è
stato, ad eccezione di quelli direttamente coinvolti nella cospirazione ma
l'onorevole non Cater ha interrogato come aveva fatto altre credenze
universalmente accettati. Il lungo nascosta la verità è questa: le radiazioni
provenienti da sostanze radioattive è relativamente innocuo! Si può
effettivamente fare il bagno in acqua dalla cosiddetta rifiuti radioattivi di
alta, bere l'acqua e in realtà prosperano su di esso. Inoltre si può gestire
U235 puro e anche plutonio (il carburante per A-bombe) con le mani tutto il
giorno, e soffrono senza effetti negativi. Naturalmente eccessiva esposizione a
questa radiazione può essere ostacolino, come può avvenire da qualsiasi altro
tipo di radiazione come la luce solare. Gli effetti, tuttavia, è immediata e
non duraturo se la fonte del problema viene rimosso. La credenza popolare che
le mutazioni possono derivare da questa radiazione che le generazioni future gli
effetti, è una totale assurdità. Uno studio degli effetti sulle vittime di
Hiroshima e Nagasaki lo confermano. Le mutazioni sono solo i danni immediati
alle cellule e malfunzionamenti successivi da ultra-alte concentrazioni.
Per le
rivelazioni di cui sopra siamo in debito con un individuo coraggioso e dedicato
che ha lavorato per 35 anni nel settore nucleare. Egli era intimamente
coinvolto in ogni aspetto della produzione di combustibili nucleari e la
costruzione dei reattori. E 'Galeno Windsor, di Richland, Washington. Le
radiazioni letali cosiddetti nucleari sono relativamente innocui, con una
penetrazione molto limitata. Nel 1987, Galeno aveva già tenuto conferenze in 77
città differenti su un periodo di due anni. Le sue credenziali sono impressionanti.
Ha lavorato in ogni grande progetto di smantellamento del reattore in America.
E 'stato coinvolto nel controllo analitico inventario dei processi, che è stato
responsabile per la misurazione e il controllo dell'inventario di combustibile
nucleare per questi progetti. Egli ha pochi eguali in questo campo e tutti sono
d'accordo con lui, ma hanno paura di parlare. E 'uno dei più grandi autorità
mondiali di misura radiazioni nucleari.
Lui e gli
altri hanno il trattamento del plutonio con le mani nude fino al monitor di
radiazione sono stati installati in ogni reattore. Norme sono state stabilite
per quanto riguarda la quantità di esposizione alle radiazioni, che non deve
essere superata. Se le regole non sono state seguite, il lavoratore scomparve e
non fu mai più visto da nessuno. Il motivo è evidente. Se la parola trapelato
che i materiali radioattivi sotto massa critica erano innocui, allora ci
sarebbe furti diffusione di tali prodotti. IIe che i materiali radioattivi può
essere gestito solo con misure di sicurezza estreme deve essere mantenuta a
tutti i costi. L'alto livello atto smaltimento di 1982 inviti per lo
smaltimento permanente del cosiddetto rifiuti ad alta 3000 piedi sotterraneo.
Questo rifiuti di alto livello composto da uranio riutilizzabile e contiene
isotopi metallici utili. Ogni tonnellata di esso è un valore di circa 10
milioni di dollari.
Abbastanza
è stato raccolto per pagare il debito pubblico. Portland General Electric
detiene il reattore di Troia e ha avuto un problema di cassa di espansione.
Windsor offerto di portare tutto il loro combustibile esaurito dalle loro mani.
L'avrebbe spedire, archiviare, e fare tutto quello che doveva essere fatto
senza spese a loro, se lo darei a lui. Hanno detto a lui "Go to Hell,
Galeno Windsor - apprezziamo più di plutonio o oro. Stiamo andando a giocare il
futuro plutonio noi stessi '.
Windsor è
stata presa in California nel 1965 per progettare e costruire un impianto di
ritrattamento del combustibile nucleare. Dopo che è stato costruito nel 1973,
un ordine presidenziale è stato emesso, che ha detto che la pianta non era da
eseguire. A quel tempo, avevano 170 tonnellate di combustibile esaurito
memorizzati nel bacino. Inoltre, l'esposizione massima consentita stata
ulteriormente ridotta di un fattore 10. Questo fu l'inizio della ribellione
contro Windsor "The Establishment". Egli cominciò a nuotare in una
piscina 660.000 litri contenente il combustibile esaurito. I materiali
radioattivi che conteneva erano sufficienti per mantenere una temperatura di 100
° F e l'acqua incandescenza con una luce bluastra al buio. Ha scoperto che il
serbatoio di acqua potabile di buona condizione.
Windsor è stato anche chiesto
di ciò che era nelle tombe della cosiddetta basso livello di scorie nucleari.
La risposta è che non vi sono rifiuti nucleari, di soli materiali prodotti in
un reattore per essere recuperato e utilizzato vantaggiosamente. Basso
livello dei rifiuti è una scusa per un federalmente-mandato non ispezionabile
sistema di smaltimento, in modo che la criminalità organizzata può sbarazzarsi
di ogni prova che vogliono, e che non potrà mai essere riesumato. Inoltre, in
modo che nessuno scopre i cui corpi sono in quei tamburi. Questo è ciò che è
contenuto in botti che sono caduto nell'oceano.
Windsor ha
inoltre dichiarato, (e lui era in grado di sapere), che nel 1947 gli Stati
Uniti inviarono in URSS tutti i materiali necessari per la costruzione e la
tecnologia A-bombe! Questo è stato sotto l'approvazione del presidente Truman.
Nel 1949, sono esplosi il primo A-bomba. Più tardi, i Rosenberg furono
giustiziati con l'accusa di ribaltamento nucleari "segreti" ai russi.
Secondo
Windsor, nel 1975 grandi reattori non aveva più un futuro. Sono in fase di
esaurimento. Il famigerato incidente di Three-Mile Island è stato un caso. Lo
ha fatto nessun danno e nessuno è stato ferito. Ma, lo ha fatto imprimere al
pubblico il rischio che gli dei reattori. Windsor sostenuto l'uso di molti
piccoli reattori sistematicamente distribuiti. Potrebbero essere utilizzati non
solo per la produzione di adeguate quantità di energia elettrica, ma per
ovviare refrigerazione di prodotti alimentari confezionati. Quando brevemente
esposto alla radiazione da tali reattori manterranno all'infinito. Un cartello
di energia federale è la ragione per cui l'uso efficace di molti reattori più
piccoli non è implementata. Essi controllano la quantità di energia elettrica,
la disponibilità e il prezzo. Windsor ha dichiarato che non reattori sono stati
costruiti correttamente. In ogni caso, i reattori possono in alcun modo,
corrisponde l'uso di auto-sostentamento generatori elettrici per l'energia
elettrica, ma il loro uso nella conservazione degli alimenti è intrigante.
Da quanto
sopra, risulta evidente che recente pubblicità relativa al pericolo di gas radon
nelle abitazioni è un'altra bufala mostruosa! Può essere miscelato con
l'ossigeno in quantità considerevoli e respirato per lunghi periodi senza
danni.
La
questione sta nascendo è perché sono le radiazioni provenienti da fonti
radioattive relativamente innocui? Tre tipi di emanano radiazioni da loro:
alfa, beta e raggi gamma. I raggi alfa sono costituiti da nuclei di elio o di
un piccolo gruppo di protoni, neutroni ed elettroni. Il numero di neutroni e
protoni sono ancora sconosciute, nonostante le pretese vantate di fisici
nucleari. Dal momento che sono totalmente ignorante in merito alla loro vera
natura, la natura della fisica delle particelle gravità e morbido, non hanno
alcun mezzo per determinare tali valori. Le particelle beta sono elettroni principali
dell'elettricità ordinaria, e raggi gamma cariche negative sono costituite da
particelle di etere nella stessa gamma di elettroni che duri. In quanto tali,
non hanno capacità più penetrante di un flusso di elettroni duri e non sono più
dannoso che gli elettroni duri quando lo fanno penetrare. Poiché essi sono
composti eteri stessi atomi e molecole, ne consegue che non penetra la materia
prontamente come particelle morbide. Questo lascia i raggi alfa. E 'già stato
dimostrato che cariche positive sono ostili a tessuti viventi in quanto tendono
ad assorbire le cariche negative organismi viventi richiedono. Tuttavia,
particelle alfa hanno anche poca capacità penetrante per le medesime ragioni
sopra esposte, e assorbono rapidamente elettroni diventare innocui gas elio.
Windsor ha dato dimostrazioni di tali fatti a sue lezioni mediante l'uso di un
contatore Geiger.
La cattura
di grandi quantità di particelle alfa da parte di alte concentrazioni di
energia orgonica è un altro discorso. Reich ha chiamato energia orgonica
mortale. L'orgone entra nel corpo e rilascia particelle alfa in tutta organi
vitali e produce ciò che è noto come malattie da radiazioni. Reich ed i suoi
assistenti avuto questa esperienza. Quando la fonte del problema è stata
rimossa hanno rapidamente recuperato. Di tanto in tanto, orgone mortale può
rimanere nel corpo e in epoche successive, rilasciare le cariche positive in
tempi diversi, provocando così gravi postumi. Questo problema può essere
alleviato da trattamenti all'interno di accumulatori orgonici o piramidi dopo
essere stato esposto al orgone mortale. Questo è ciò che Reich ei suoi aiutanti
ha fatto.
Galeno
Windsor ha anche dichiarato che la bomba sganciata su Hiroshima conteneva 20
chili di U235. Il esplose su Nagasaki aveva 2,5 kg o circa 5 chili di plutonio.
Questi valori sono stati gelosamente custoditi i segreti per un lungo periodo
di tempo. Windsor è probabilmente il primo che ha osato rivelare al pubblico.
L'autore conosceva il defunto Stanislaw Ulam, un matematico che aveva calcolato
la massa critica di questi elementi per bombe mentre si lavora al progetto
Manhattan. E 'stato un profondo, oscuro segreto e avrebbe separato con la sua
vita prima avrebbe rivelato qualcosa di così sacro. Il grado di hang-up
burocrazia ha il segreto è di una grandezza difficile da comprendere, e le
misure che sono state adottate per assicurare che è ancora più sbalorditivo. E
'così infantile e puerile che non ci sono parole in lingua inglese per
descrivere adeguatamente.
Le
sostanze radioattive come il plutonio, produrre il proprio calore e la più
grande è la massa, maggiore è la temperatura della massa. Questo segue
identico, lo stesso principio per cui il Sole genera è energia o il rapporto
tra massa e superficie. La differenza essenziale è che il plutonio può fare in
pochi centimetri cubi che cosa fa la materia ordinaria in un 2,5 milioni miglia
a sfere di diametro!
È
interessante notare che, Windsor sembra circa 30 anni più giovane della sua età
cronologica indicherebbe. Egli ha anche affermato che ha sempre sostenuto una
sana abbronzatura dal suo lavoro con sostanze radioattive. È significativo che
Reich e il suo assistente ha avuto un'esperienza simile nel loro lavoro con
l'energia orgonica. E 'chiaro Windsor e Reich sono stati esposti alle stesse
energie, elevate concentrazioni di elettroni morbidi. La costante esposizione a
concentrazioni elevate di orgone durante le sue ore di lavoro è quello che ha
mantenuto Galeno Windsor giovane. Naturalmente le concentrazioni elevate di
orgone è stato prodotto da elettroni morbide di clustering intorno alle
sostanze radioattive che hanno prodotto un costante flusso di cariche positive.
Vi
chiederete perché Windsor e alcuni altri in grado di gestire le sostanze
radioattive impunemente, mentre altri sono morti o sofferto di gravi problemi
fisici dopo essere stati esposti alle radiazioni. Come accennato in precedenza,
irradiare materiali altamente radioattivi particelle cariche positivamente che
sono estremamente ostile. Alcuni sono assorbiti dagli elettroni morbide e
diventare DOR (energia orgonica mortale). Essi possono entrare nel corpo e
rimanere per lunghi periodi prima di disintegrarsi e rilasciando le particelle
mortali. Queste
particelle sono molto lenta rispetto a particelle di elettroni negativi compresi
morbidi.
Le vittime del fallout radioattivo non sono esposti per un periodo significativo ad alte concentrazioni di cariche positive. Inoltre, l'area di esposizione è molto grande, di conseguenza, l'effetto Coanda non entra in gioco e non vi è flusso di energia orgonica per alleviare la situazione come era il caso con Windsor quando fu direttamente esposta alla ultra elevate concentrazioni di materiali radioattivi . Ogni vittima di contaminazione radioattiva può essere curata con l'esposizione ad alte concentrazioni di orgone per lunghi periodi come era Reich ed i suoi assistenti dopo aver sperimentato la malattia radioattivo. Avevano ricevuto una dose pesante di DOR come accennato in precedenza. L'esposizione ad alte concentrazioni di radioattività equivale a essere immessi in un accumulatore di orgone.
-------------------------
Questa è solo una sintesi di una parte del sig
Cater il libro che ha 586 pagine. Un certo numero di argomenti non sono nemmeno
menzionati qui. Sig. Cater parla anche di:
Superconduttività.
Le proprietà di elio a temperature basse.
Macchie Mistero sulla Terra, tra cui il famoso
Vortex Oregon.
Anomalie gravitazionali.
L'origine della Cintura di Van Allen radiazioni.
La ricerca di William Reich.
Orgone energia.
Il Oranur Experiment.
Il Buster Reich Cloud (che è anche un'arma di grande potenza).
Fenomeni atmosferici.
Tre pratici free-energy.
Il grande potenziale dei cristalli al
conseguimento di Free-Energy.
Il lavoro di Nikola Tesla con Free-Energy.
L'effetto Searle e molti altri argomenti.
Se si desidera acquistare una copia del suo libro,
è presumibilmente disponibile a queste due uscite: http://www.healthresearchbooks.com/ o nel Regno Unito dal http://www.amazon.co.uk. Ho
ordinato e pagato per una copia di questo libro in tre occasioni e ogni volta,
il fornitore affermato di essere in grado di fornire ciò che era stato
pubblicizzato in vendita
Così, dopo aver assorbito un po 'di ciò che
l'onorevole Cater ha da dire, ti senti di essere stati trattati in modo equo, e
che i dettagli veri scientifici sono stati presentati a voi come parte della
vostra cultura generale?
Patrick Kelly
http://www.free-energy-info.tuks.nl
http://www.free-energy-info.com
http://www.free-energy-info.co.uk
http://www.free-energy-devices.com