Eine Praktische Anleitung zum Energie
Kostenlos Geräte
Autor: Patrick J. Kelly
Kapitel 8: Weniger Kraftstoff-Systemen
Wir haben mit der Idee, dass es notwendig, einen Kraftstoff an die Macht, die wir verwenden können, zu produzieren brennen angehoben worden. Wir sind Kohle, Koks, Holz, Petroleum / Kerosin, Benzin / Benzin, Diesel, Propan, etc. für uns verkauft, um zu brennen "get" Energie. Während es durchaus wahr ist, dass das Verbrennen diese Dinge wird in der Tat in der Energie führen in einer Form, die wir finden bequem in der Heizung zu verwenden, Kühlung, Stromversorgung Motoren, etc., was sorgfältig vermieden, ist die Tatsache, dass es überhaupt nicht notwendig, um eine Verbrennung Treibstoff, um die Dinge, die wir wollen an die Macht laufen. Diese "unbequeme" Tatsache wurde verdeckt und seit mehr als fünfzig Jahren verweigert (sehr überraschend, von den Menschen, die uns zu verkaufen diese Kraftstoffe zu verbrennen wollen - tun Sie vielleicht denken, dass sie etwas Motiv dafür haben, andere als unsere besten Interessen, über die sie sind ohne Zweifel sehr besorgt?).
Dieses Kapitel geht es um "Kraftstoff-weniger"-Motoren. Streng genommen sind sie nicht self-powered, aber da sie nicht verbrennen einen Brennstoff jeglicher Art, in der Alltagssprache können sie als "self-powered" beschrieben werden. In der gleichen Weise, dass ein Solarpanel im Sonnenlicht keinen Kraftstoff verwendet und dennoch stellt die elektrische Versorgung, zeichnen diese Motoren Energie aus der Umwelt und uns mit mechanischer Energie. In Wirklichkeit ist die Macht niemals "verbraucht", sondern nur von einer Form in eine andere umgewandelt. Im Falle unserer treuen Solarpanel, wird rund 17% der Strahlung von der Sonne (vor allem UV) in elektrische Energie umgewandelt und 83% gehen in Heizungs-und andere Verluste, aber da wir nicht haben, um das Sonnenlicht zu versorgen, und das Solarpanel gießt die Elektrizität, die wir wollen, ohne dass wir alles tun, um es geschehen, haben wir wirklich nicht sehr viel über seine extrem niedrige Effizienz zu tun. Soweit wir betroffen sind, ist der Strom fliesst aus dem Panel "freien Energie".
Es ist wirklich erstaunlich, dass wir wurden überredet, dass wir einen Kraftstoff zu verbrennen, um Macht zu bekommen. Nehmen wir den Fall eines schweren Verschiebung Segelyacht. Der Skipper kann voyage mit seinem innenliegenden Dieselmotor:

Das passt perfekt mit dem Denken, dass Sie einen Kraftstoff zu verbrennen, um Macht zu bekommen, wie die Yacht voran, getrieben von dem Motor, die durch die Verbrennung von Dieselkraftstoff betrieben wird müssen. Aber was, wenn der Skipper den Motor ausschalten und die Segel hissen entscheidet?:

Nun wird das Boot mit einem Gewicht exakt dieselbe mit dem gleichen Stab nun die Fortsetzung der Fahrt mit der gleichen Geschwindigkeit, jedoch kein Kraftstoff verbrannt wird. Das wirklich Interessante ist, dass, während wir das sehr gut kennen, und wir sind uns bewusst, dass die Menschen rund um den Globus in den Booten, die nicht-Motoren gefahren, es scheint nicht zu uns kommen, dass diese abschließend zeigt, dass es nicht notwendig ist, um einen Brennstoff an die Macht einige Posten des Gerätes oder Art des Transports zu verbrennen.
Im Fall von unserer Yacht, kommt die Energie von der Sonne, die die Atmosphäre heizt ungleichmäßig, wodurch Winde wehen und der Segler verwendet die Segel, um diese Winde Macht seinem Boot durch das Wasser. So wird ein Segelboot tatsächlich von der Sonne angetrieben, obwohl wir in der Regel nicht über das so glaube nicht.
Es gibt viele hydro-elektrischen "Kraftwerke", wo Strom "erzeugt" wird von Maschinen durch Wasserdruck angetrieben. Tatsächlich wird keine Leistung 'erzeugt' überhaupt, sondern statt dessen wird die potentielle Energie des Gewässers wird in Strom, indem das Wasser fallen und drehen die Welle einer Maschine umgewandelt. Also, wie das Wasser dort oben an erster Stelle? Nun, es kam von regen. Und wie haben die regen sich da oben? Er stieg dort durch Verdunstung durch die Hitze der Sonne verursacht. Also, unter dem Strich wieder, dass hydro-elektrische Macht 'Stationen von der Sonne angetrieben werden.
Windmühlen
sind auch von der Sonne angetrieben. Aber, und hier ist der wirklich
interessante Sache, wenn ich, dass es durchaus möglich ist, für eine
Druckluft-Motor in mechanische Energie ohne Verbrennung keinen Kraftstoff zu
produzieren angeben, dann gibt es eine sofortige und starke Reaktion, wo die
Menschen sagen: "Impossible wird - das ist Perpetuum
Nun, das hier keine Rolle, wie wir an Druckluft-Motoren, die startenden die Wärme der Sonne zu schauen sind. Das heißt, sie sind Wärmepumpen, die eine gut anerkannten Regeln der Technik tatsächlich und sie arbeiten an vollständig akzeptierten Standard wissenschaftlichen Prinzipien. Ein gewöhnlicher Kühlschrank gibt drei oder vier Mal so viel Wärme Macht als die elektrische Leistung fahren, und es könnte sein, doppelt so effizient sein, wenn sie richtig eingesetzt wurden. Dies ist ein Coefficient Of Performance (COP) von 3 oder 4, die angeblich "unmöglich" ist aber leider arbeiten alle Kühlschränke wie folgt und Sie können nicht genau sagen, dass Kühlschränke gibt es nicht, nur weil ihre Leistung nicht scheinen fit in mit einigen Theorien.
Tatsächlich gibt es keine magische hier als die zusätzliche Energie aus der Wärme der Luft in der unmittelbaren Umgebung gezogen wird eingebunden. Der Kühlschrank arbeitet nicht isoliert und es gibt einen Wärmeaustausch mit der ihn umgebenden Luft. Diese Fremdenergie bewirkt, dass die COP> 1 Leistung. Nebenbei arbeiten alle COP> 1-Geräte, indem Energie in aus einer externen Quelle (meist die Null-Energie-Feld) und keiner von ihnen tatsächlich brechen die "Regeln" der Wissenschaft. Aber genug davon.
Die Leute, die nicht wollen, self-powered-Motoren in der Welt heute, setzen ihre Hoffnungen auf eine anhaltende Ignoranz of Engineering Fakten im Zusammenhang mit Wärmepumpen. Eine autarke Druckluft-Motor ist tatsächlich ablaufenden Strom aus der Sonne ebenso wie Segelboote, Windmühlen und hydro-elektrischen Kraftwerken zu tun. Sorry Leute, keine Magie hier, nur Moor-Standard Engineering. Zugegeben, wissen nur sehr wenige Menschen oder realisieren die Auswirkungen dieser Norm Engineering:
1. Alle Arbeiten in Komprimieren von Luft in einen Vorratstank vorgenommen wird in Wärme umgewandelt und dann an die Atmosphäre verloren geht, so dass die Energie in der Druckluft im Inneren des Behälters ist die gleiche wie die von atmosphärischen Erwärmung dieser Luft erzeugt, sondern eher als es Jetzt im Tank besteht zusätzliches Potential für die Arbeit zu tun. Diese zusätzliche Energie in die Luft durch atmosphärischen Erwärmung zugeführt, bevor die Luft komprimiert war.
Der erste Hauptsatz der Thermodynamik besagt, dass dort, wo Wärme in mechanische Energie oder mechanische Energie umgewandelt in Wärme umgewandelt wird, ist die Wärmemenge entspricht genau der Menge der mechanischen Energie. Wir haben dann die interessante Situation, wo die gesamte Energie in mechanische Verdichtung von Luft in einen Lagertank gebracht als Wärme verlorengeht, und dennoch, der Tankinhalt hat nun ein höheres Potential, Arbeit zu verrichten. Diese Information stammt aus Lehrbüchern.
2. Wenn das expandierte kalte Luft Verlassen des Motors verwendet wird, um die Ansaugluftmenge des Kompressors abkühlen, dann gibt es einen zusätzlichen Gewinn, wenn es erwärmt innerhalb des Zylinders, Ziehen Wärme aus der lokalen Umgebung sein.
3. Wenn die Kompressionswärme der Luft Behälterzuführvorrichtung den Motor übertragen wird, und nicht gegebenen Zeit zu zerstreuen, dann gibt es eine weitere Leistungsverstärkung für den Motor.
4. Wenn Druckluft darf rasch expandieren, ergibt sich eine deutliche Absenkung der Temperatur. Die Leroy Rogers Motors Design, gezeigt später in diesem Kapitel, nutzt diese Tatsache, um Klimaanlagen für ein Auto von einem Druckluft-Motor angetrieben erstellen.
Also gut, in groben Zügen, kommt die Energie aus einem Tank mit komprimierter Luft direkt aus dem Wärme in der Atmosphäre enthalten ist, trotz der Tatsache, dass wir immer vorstellen, dass die Energie in dem Tank es wurde durch unsere energetischen Pumpen gebracht.
Lassen Sie uns diese durch einen Blick auf einige der Motoren, die diese grundsätzlich verwenden, um Kraftstoff weniger Betrieb zu gewährleisten, beginnend mit dem Design von Bob Neal. Der vollständige Patent für Bob-Design ist im Anhang enthalten.
Bob Neals Design ist ein Druckluft-betriebenen Motor und Kompressor wo der Betrieb des Motors hält neu Zuführen der Drucklufttank:

Dies ist eine perspektivische Ansicht des Motors, und dies:

ist eine vertikale transversale Querschnittsansicht durch den Verdichter Teil des Motors. In seinem Patent hat Bob keine direkte Erwähnung der Tatsache, dass sein Motor Design Kraftstoff-weniger ist vermieden. Diese Art von Aussage ist nicht mit Patentprüfer beliebt, auch wenn es absolut wahr ist.
Bob Neal-System konnte mit einer weiteren Erklärung zu tun, so ist hier eine Idee von Scott Robertson, deren Website ist http://www.aircaraccess.com/index.htm, für eine mögliche arbeitenden Kompressor-System mit einem Blatt-Gebläse:

Während das sieht ziemlich kompliziert, in Wirklichkeit ist es wirklich nicht. Nehmen wir die verschiedenen Abschnitte in Ordnung:

Zuerst müssen Sie ein gewöhnlicher Luft-Motor mit Druckluft aus einem Druckbehälter geliefert. Dieser Motor erschöpft sein (Kälte, expanded) Luft in die Atmosphäre. Die Motorleistungen zwei Kompressoren, die zwischen ihnen halten den Tank voll von Druckluft.

Der erste Kompressor ist eine einfache 'blatt-Gebläse' Type, der eine große Menge von Niederdruckluft produziert. Die große Frage ist: "Wie bekommt man dieses großen Volumens von Niederdruck-Luft in einen Tank, der Hochdruck-Druckluft muss drin?". Gut, das scheinbar unmögliche Aufgabe wird durch den zweiten Kompressor durch einen listigen, ultra-einfaches Design unterstützt durchgeführt:

Hier wird
Niederdruckluft in den Niederdruckbereich in

Die Niederdruckluft an dem Punkt "A" fließt durch den Ring von fünf Einwegventile in den scheibenförmigen Niederdruckbereich "B" und wird in das Hochdruckgebiet "C" von der Hochleistungs-Luftstrahl gestrahlt Rippen durch die Donut-förmigen Ring in gelb markiert. Das Hochgeschwindigkeits-Luftstrom bewirkt, daß die Niederdruck-Ring "B" von der schnellen Bewegung, die einen Wirbel wegen der Form und Positionierung des torusförmigen Ringes gelb gekennzeichnet schafft. Diese geschickte Anordnung ermöglicht große Mengen von Niederdruckluft in einen Tank, der Hochdruckluft enthält gezogen werden.
Sie werden auch feststellen, dass die zweistufigen Verdichter, die diese High-Speed-Luftstrom erzeugt, dessen Arbeitsbereich hat eigentlich im Inneren des Tanks. Dies bedeutet, dass die Wärme der Kompression verwendet wird, um die Luft im Inneren des Behälters zu erwärmen und seinen Druck zu erhöhen, die Verbesserung der Betrieb weiter. Es sollte beachtet werden, dass die neue Luft in das System eintritt durch die Sonne erwärmt worden und enthält die Energie, die Kräfte des Systems.
Der Rogers Motors macht hier keine Ansprüche auf spektakuläre Operation gezeigt, aber trotz, dass Leroy hat in einem Interview zugeben, dass dieser Motor hat in der Tat eine höhere Leistung als die angewandte Eingang, vorausgesetzt, dass der Motor nicht verlassen nur tickt über. Dieser Motor ist wie das US-Patent 3.744.252 "Closed Motive Power Systems Unter Verwendung Compressed Flüssigkeiten" von Eber Van Valkinburg unten gezeigt. Allerdings hat die Rogers Patent gezeigt hier den entscheidenden Vorteil, dass es off-the-shelf-Motoren und leicht verfügbare Hardware verwendet und es gibt nichts wirklich exotische oder schwer über den Rogers Motors, dass eine Person nicht von einem Ventil Lieferanten zu bekommen oder sich ein Metallbau Unternehmens zu konstruieren.
Doch während Leroy hat erklären, dass sein Design autark war, wenn man mehr als 30 Meilen pro Stunde, ist ein wichtiger Design-Merkmal seine sehr hohe Performance Kompressoreinheit, die er später patentiert, wie unten dargestellt. Heute Fahrzeugmotoren werden unter-orientiert und führen bei relativ niedrigen Drehzahlen. Die gleichen Motoren arbeiten wesentlich effizienter bei höheren Drehzahlen, wenn sie gegeben werden verschiedene Getriebe. Mit der Rogers Motor ist die Luft in dem Hochdrucktank enthaltenen ausreicht, um die Kolben anzutreiben oben und unten. Luft kann wieder in den Hochdrucktanks gepumpt werden durch einen Kompressor, der eine viel höhere Zahnrädern und viel geringere Kapazität pro Kolbenhub besitzt. Das expandierte austretende Luft aus dem Motor im viel niedrigeren Temperatur als die umgebende Luft, und wenn es in einem Puffertank erfasst und als mit dem Eingang des Verdichters, dann Aufladen der Lufttank ist effizienter, wenn der Tank aus der Wärme aufnimmt Umgebung, womit sie die Temperatur im Inneren des Behälters und so einen zusätzlichen Schub geben dem Tankdruck, die über die Kompression durch den Kompressor vorgesehen.
Ein wirklich nettes Feature von Leroy-Design ist, dass er es sieht als eine Adaption eines gewöhnlichen Fahrzeugmotor und er bietet eine beträchtliche Menge praktische Details, wie die Anpassung durchgeführt werden kann.
Mit einem RotoVerter (wie in Kapitel 2 beschrieben), einen Kompressor fahren würde den Strombedarf des Kompressors Laufwerk in dem Maße, dass ein Motor Adaption dieser Art sollten autark sein senken. Die RotoVerter bietet einen großen Energiegewinn aus eigenem Recht und ist besonders zu fahren mechanische Belastungen wie dem Kompressor geeignet und besonders 'likes' constant-Load-Anwendungen wie einen Kompressor.
Die angepasste Motor in dem Patent gezeigt ist wie folgt:

Dieses Patent zeigt, wie die praktischen Details der Betrieb eines Motors mit Druckluft behandelt mit werden. Was sie nicht zeigen, ist Hintergrund Details der tatsächlichen Energieströme und die Auswirkungen der Verdichtung von Luft und dann lassen sie zu erweitern. Diese Dinge sind in der Regel nicht in unserem täglichen Leben begegnet und so haben wir nicht eine sofortige intuitive Gefühl dafür, wie Systeme wie diese ausgeführt werden können. Nehmen Sie die Auswirkungen der Expansion. Während es recht gut bekannt ist, dass die Vermietung ein komprimiertes Gas ausdehnt dem Abkühlen wird die praktische Wirkung nur selten realisiert. Leroy Der Kompressor Patent wird hier gezeigt:
US Patent
4.693.669 15. September 1987 Erfinder: Leroy K. Rogers Sr.
Kompressor für Kfz-Motoren
Abstrakt:
Ein Kompressor zum Zuführen aufgeladener
Luft zu einem Motor, umfassend einen ummantelten Axialverdichters, ein
Radialverdichter nachgeschalteten des Axialverdichters und einem Gehäuse
angeordnet ist. Das Gehäuse besteht aus vier Abschnitten, einschließlich eines
Abschnitts, der ein stark konvergierender, 'kegelstumpfförmigen' Übergangskanal
die sich günstig lenkt den Austrag des Axialverdichters mit dem Einlaß des
Radialverdichters sowie einem hohlen, hochkonvergente, Abgaskegel Abschnitt
unmittelbar stromabwärts umfasst des Radialverdichters, die in die
Auslaßöffnung des Vorverdichters konvergiert. Eine ringförmige Strömungsablenkeinrichtung
ist zum Leiten der Entladung des Radialverdichters in den Auspuff-Membran
vorgesehen ist.
Beschreibung:
Superchargers verleihen zusätzlichen Druck
auf die Luft oder das Luft / Kraftstoff-Gemisches eines Motors, so dass die
Zylinder einen größeren Raumgewicht von Luft oder Luft / Kraftstoff-Gemisches
als andernfalls geliefert werden erhalten. Als Ergebnis werden die
volumetrische Effizienz und Leistungsabgabe des Motors verbessert.
Nach dem Stand der Praxis, Kompressoren
umfassen im Allgemeinen ein einzelnes Luftgebläse, das Luft oder ein Luft /
Kraftstoff-Gemisch zwingt in die Zylinder eines Motors. Typischerweise wird das
Luft-Gebläse mit einem Getriebezug, der mit der Kurbelwelle des Motors mit
einem Übersetzungsverhältnis von etwa 6 zu 1 verbunden ist angetrieben. Diese
bekannten Arten von Kompressoren wurden ausführlich in Rennmotoren und radiale
Flugzeugtriebwerke. Jedoch auf Grund ihrer hohen Arbeitsgeschwindigkeiten und
ihre Getriebezüge, haben diese Kompressoren wurden als zu kompliziert, zu
schwer und zu teuer für die Verwendung mit Serienmotoren wie sie in Autos und
Lastwagen gefunden.
Kürzlich wurden einige Fahrzeughersteller
bieten worden Turbomotoren, die Gase des Motors durch eine Turbine, um eine
Zentrifugalkraft erschöpfen Kompressor anzutreiben erweitern. Obwohl
Turboladern, dass die Turbine kann große Mengen an Energie, um den Kompressor
zu liefern sind vorteilhaft, verlangen von ihren extremen Geschwindigkeiten
Sonderlager, Schmierung und Wartung. Außerdem erfordern spezielle Luftführung
Turbolader, wie Bypass-Anordnungen, die lediglich um ihre Kosten und
Wartungsaufwand hinzuzufügen. Folglich sind Turbolader nur teure Optionen in
Autos angeboten.
Ferner besteht gegenwärtige Interesse an
einer neuen Art von Automotor die von Tanks von komprimiertem Gas arbeitet, um
Hin-und Herbewegung ihrer Kolben zu bewirken. Ein Beispiel eines solchen Motors
in dem US-Patent gefunden werden. Nr. 4.292.804, erteilt an derselben Erfinder
der vorliegenden Erfindung. In dem erwähnten Patent, mindestens ein Teil des
teilweise expandierten Abgases aus den Zylindern mit einem Kompressor erneut
komprimiert wird, wo es gerichtet und dann zu den Lagertanks von wo sie
ursprünglich zurückgegeben. Es wäre wünschenswert, dass zumindest einige, wenn
nicht alle der zuvor erwähnten Rekompression des Abgases mit einem
Riemen-angetriebene rotierende Auflader, die leicht hergestellt und
aufrechterhalten wird gelöst werden konnte, ist aber in der Lage, ausreichend
Rekompression.
Gegenstände
der Erfindung:
Dementsprechend ist es eine Aufgabe der
vorliegenden Erfindung, einen Kompressor geeignet zur Verbesserung der Leistung
von Motoren von Kraftfahrzeugen, Hubschrauber oder dergleichen, der Kompressor
ist preiswert herzustellen und einfach zu warten bereitzustellen.
Es ist eine weitere Aufgabe der vorliegenden
Erfindung, einen Kompressor, der ausreichend Schub liefert, ohne auf extreme
Betriebsgeschwindigkeiten und dementsprechend kostspielig vermeidet die
Komplikationen, die mit hohen Geschwindigkeiten zugeordnet sind.
Es ist noch eine weitere Aufgabe der
vorliegenden Erfindung, ein relativ kompakter und leichter Kompressor, der
kostengünstig herzustellen und zu warten ist.
Eine weitere Aufgabe der vorliegenden
Erfindung ist es, einen Zahnriemen angetriebener Kompressor mit einem Design,
das Aufladedruck Kompression bietet bei relativ niedrigen Betriebsdrehzahlen
bereitzustellen.
Es ist noch eine weitere Aufgabe der
vorliegenden Erfindung, einen Kompressor, der relativ leicht demontiert und
wieder montiert werden kann für Zwecke der kostengünstige Wartung und Reparatur
bereitzustellen.
Noch eine weitere Aufgabe der vorliegenden
Erfindung ist es, einen Kompressor, der von der Massenproduktion herstellbar
Teilen aufgebaut sein kann, um dadurch die Kosten seiner Herstellung
bereitzustellen.
Es ist noch eine weitere Aufgabe der
vorliegenden Erfindung, einen Zahnriemen angetriebener Kompressor, der
Aufladedruck Kompression sorgt, ohne auf eine größere Anzahl von
Kompressorstufen bereitzustellen.
Noch eine weitere Aufgabe der vorliegenden
Erfindung ist es, eine rotierende Auflader für ein Gas betriebenen Motor, der
Lader einfach hergestellt und aufrechterhalten wird, noch in der Lage,
ausreichend Rekompression des rezirkulierenden Antriebsfluid bereitzustellen.

Zusammenfassung
der Erfindung:
Diese und andere Aufgaben werden durch die
vorliegende Erfindung, die einen Kompressor mit einem Gehäuse mit einem Einlass
und einem Auslass, eine ummantelte Axialverdichter und einen Radialverdichter
bietet erreicht drehbar innerhalb des Gehäuses, ein hochkonvergente flache,
kegelstumpfförmige Übergangskanal für die günstigerweise Leiten Entladung des
Axialverdichters zum Einlaß des Radialverdichters.
In Übereinstimmung mit einem weiteren Aspekt
der Erfindung wird die oben beschriebene Kompressor ferner eine Abgaskegel an
einer Stelle stromabwärts des Radialverdichters sowie einem Strömungsdeflektor
zum Leiten der Entladung des Radialverdichters zum Abgas-Membran.
In der bevorzugten Ausführungsform umfasst
das Gehäuse selbst vier Abschnitte: einen zylindrischen vorderen Gehäuseteil,
das eine axial gerichtete Einlaß definiert; einen zweiten, zylindrischen
Abschnitt Kanalsystem Umschließen des Axialverdichters; einen hinteren
Gehäuseabschnitt Definieren des Übergangskanals sowie die Einlaß und Gehäuse
für den Radialkompressor und den Auspuff Kegelabschnitt, der an seinem Terminus
definiert den Auslass des Gehäuses. Zum Antrieb des Kompressors Welle wird eine
zweispurige Riemenscheibe an dem vorderen Ende der gemeinsamen Welle befestigt
ist, welche Riemenscheibe eingerichtet ist, einen oder mehrere Antriebsriemen
von der Kurbelwelle des Motors Rades erhalten. Eine seitliche Öffnung in dem
vorderen Gehäuseteil nimmt die Verbindung mit den Antriebsriemen.
Mit der offenbarten Anordnung kann die
Komprimierung zur Aufladung Zwecke ohne Rückgriff auf eine große Anzahl von
Kompressorstufen oder hohe Arbeitsgeschwindigkeiten erreicht werden. Zusätzlich
vermeidet die Gestaltung des offenbarten Kompressor die Notwendigkeit
Leitschaufeln zwischen dem Axialverdichter und der Radialverdichter. Das Abgas
Konusabschnitt auch günstig vermeidet den Aufbau des Gegendrucks gegenüber dem
Radialverdichter. Die Gestaltung ist auch sehr einfach und daher kostengünstig
herzustellen und zu warten.
Andere Aufgaben, werden Vorteile und
neuartige Merkmale der vorliegenden Erfindung werden aus der folgenden
detaillierten Beschreibung der Erfindung in Verbindung mit der beigefügten
Zeichnung betrachtet ersichtlich.
Kurze
Beschreibung der Zeichnungen:
Eine bevorzugte Ausführungsform der
vorliegenden Erfindung wird im Detail unter Bezugnahme auf die beiliegende
Zeichnung beschrieben, wobei gleiche Elemente die gleichen Bezugszeichen
tragen, und wo:

Fig.1 ist eine Querschnittsansicht Seitenansicht
eines Kompressors in Übereinstimmung mit der bevorzugten Ausführungsform der
vorliegenden Erfindung konstruiert;

Fig.2 ist eine Seitenansicht des Laders Fig.1;

Fig.3 ist eine Vorderansicht des Laufrades von
dem Auflader des Fig.1;

Fig.4 ist eine Querschnittsansicht entlang der
Linie 4--4 der Fig.1;

Fig.5 is a cross-sectional view taken along line 5--5 in Fig.1;

Fig.6 ist eine Querschnittsansicht entlang der
Linie 6--6 der Fig.1;

Fig.7 ist eine perspektivische Ansicht eines
Segments des Laufrades des Laders Fig.1; und

Fig.8 ist eine teilweise Seitenansicht des Laders
von Fig.1 mit einem Adapter.
Detaillierte
Beschreibung der bevorzugten Ausführungsform:

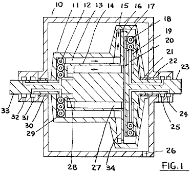
Bezugnehmend auf Fig.1 und Fig.2 ist ein
Kompressor 10 zum Zuführen
aufgeladener Luft zu einem Automotor oder dergleichen vorgesehen, so daß der
Motor eine größere Raumgewicht von Luft oder eines Kraftstoff / Luft-Gemisch
als sonst erhält zugeführt. Gemäß einer bevorzugten Ausführungsform der
vorliegenden Erfindung der Kompressor 10
umfasst ein Gehäuse 12 mit einer
axial gerichteten Einlaß 14 zur
Aufnahme von Umgebungsluft und einer axial gerichteten Auslass 16 zur Abgabe von Luft zu dem
Kompressor Einlass des Automotors. Drehbar in dem Gehäuse 12 montiert ist eine Welle 18,
auf der einen axialen Kompressor 24
und einen radialen Kompressor 26,
der stromabwärts des Axialverdichters angeordnet ist gesichert sind. Eine
Riemenscheibe 28 ist an einem
vorderen Ende 30 der Welle zur
Aufnahme Antriebsriemen 31, der
Antriebsriemen verbinden die Welle 18
mit einer Riemenscheibe auf der Kurbelwelle des Motors (nicht gezeigt)
befestigt. Die Antriebsriemen 31
liefern Drehmoment auf die Welle 18
als für den Antrieb der Kompressoren 24
und 26 des Laders 10 erforderlich.
Das Gehäuse 12 ist aus vier Abschnitten, die vorzugsweise miteinander an
Flanschverbindungen in einer Ende-zu-Ende-Beziehung verschraubt gebaut. Diese
Abschnitte umfassen einen vorderen Gehäuseabschnitt 32, einen Axialkompressor Kanalabschnitt 34, einen hinteren Gehäuseabschnitt 36 und ein Auslassventil Konusabschnitt 38. Die Welle 18
erstreckt sich entlang der Längsachse des Gehäuses 12.

Der vordere Gehäuseteil 32 ist ein Hohlzylinder, der nach vorne über einen vorderen
Lagerhalterung 40. Der vordere
Gehäuseteil 32 umschließt das
vordere Ende 30 der Welle 18 und der zugehörigen Riemenscheibe 28. An seinem vorderen Ende, definiert
das vordere Gehäuseteil 32 den
Einlaß 14 zur Aufnahme von Luft von
einer externen Quelle (nicht dargestellt).
Unter besonderer Bezugnahme auf Fig.2 weist der vordere
Gehäuseabschnitt 32 eine seitliche
Öffnung 44 auf einer Seite, um die
Verbindung der Antriebsriemen 31 an
der Riemenscheibe 28 aufzunehmen.
Der vordere Gehäuseteil 32 weist
auch einen vorderen Flansch 46 zur
Aufnahme der Verbindung von Luftfiltern, Vergasern, Lufthutzen oder dergleichen
stromaufwärts des Aufladers 10 gemäß
dem speziellen Motor u.dgl.
Es versteht sich, daß in der üblichen
Motor-Layout, wobei der Lader 10
Luft oder ein Kraftstoff / Luft-Gemisch aus einer externen Quelle durch seinen
Einlaß 14 empfängt, komprimiert die
Luft oder Kraftstoff / Luft-Gemisch und dann liefert es an den Einlass des
Motors werden.

Wieder mit Bezug auf Fig.1, ist die Riemenscheibe 28
störungsfreie montiert auf dem vorderen Ende 30 der Welle 18 und eine
Taste 134 dient zum Sperren der
Riemenscheibe 28 an Ort und Stelle.
Die Riemenscheibe 28 ist
vorzugsweise ein zweigleisigen Gestaltung, die sich zur Befestigung von zwei
Antriebsriemen ist, obwohl ein einzelner-Riementyp Riemenscheibe ausreicht. Die
Riemenscheibe 28 ist vorzugsweise so
bemessen, daß das Verhältnis von seinen Durchmesser in Bezug auf den
Durchmesser des Antriebsrades von der Kurbelwelle des Motors eine effektive
Verzahnung Verhältnis im Bereich von etwa zwei und einem halben bis vier und
einer halben bereitstellt. Somit im Leerlauf, wenn der Fahrzeugmotor wird auf
etwa 700 min ausgeführt wird, wird der Kompressor 10 bei etwa 2400 Umdrehungen pro Minute läuft, und bei
Reisegeschwindigkeit, wenn der Motor etwa 2.500 rpm läuft, der Kompressor 10 wird vorzugsweise Umdrehen im
Bereich von 6.000 bis 8.000 Umdrehungen pro Minute. Es ist anzumerken, dass,
obwohl der Durchmesser der Riemenscheibe 28
wesentlich reduziert werden kann, um ein gewünschtes Übersetzungsverhältnis zu
erzielen, das zweigleisigen Rad 28
eine ausreichende Summe Oberfläche präsentiert, um ein Verrutschen der Bänder 31 zu vermeiden.
Am nächsten benachbarten Abschnitt des
Gehäuses 12 ist die axiale
Verdichterkanal 34, die ein kurzer
Zylinder koaxial um den Axialverdichter 24
angeordnet ist. Vorzugsweise ist die axiale Verdichterkanal 34 aus gegossenem Aluminium hergestellt
ist, mit den inneren Oberflächen 48
bearbeitet, um gleichmäßigen Abstand zwischen dem Kanal 34 und Abdeckung 50 des
Axialverdichters 24 zu gewährleisten.
Wie bei anderen Abschnitten des Gehäuses 12,
wird die axiale Verdichterkanal 34
mit Flanschen 52 und 54 zur Herstellung der Verbindung zu
den benachbarten Gehäuseabschnitten vorgesehen. Die axiale Verdichterkanal 34 führt Luft aus dem vorderen Gehäuseteil
32 in Richtung der axialen
Kompressor 24 gelieferte.

Unter Bezugnahme auf Fig.1 und Fig.4, eine
vordere Lagerhalterung 40 ist
zwischen dem vorderen Gehäuse 32 und
dem axialen Verdichterkanal 34
platziert. Die vordere Lagerung 40
umfasst einen äußeren Ring 56 und
drei radiale Arme 58. Zwischen
diesen Armen sind Kanäle 60, damit
Luft durch die Lagerstütze 40
hindurch definiert. Der äußere Ringraum 54
ist durch Schrauben, einen hinteren Flansch 64 des vorderen Gehäuses 32
und dem Flansch 52 des Axialverdichters
Kanal 34 gesichert. Durch diese
Anordnung wird der vordere Lagerschild 40
starr mit dem Gehäuse 12 befestigt,
so daß Belastungen und Schläge auf die Welle 18 kann durch die vordere Lagerung 40 auf das Gehäuse 12
übertragen werden.
In der bevorzugten Ausführungsform erstreckt
sich der äußere Ring 56 des
Lagerträgers 40 in den Bereich des
Einlasses 14 des vorderen
Gehäuseabschnitts 32 derart, dass es
innere Rand 68 ist in der
zusammenfällt mit dem inneren Rand 70
der Abdeckung 50 des axialen Kompressor
24. Auf diese Weise trägt die äußere
Ringraum 56 zur Führung der
Luftströmung in Richtung der axialen Kompressor 24.
Eine äußere Laufbahn 74 der vorderen Rolle Lageranordnung 76 ist zwischen dem vorderen Lagerschild 40 und ein Lager Halteplatte 78,
die von den entfernbaren Bolzen 80
gesichert befestigt ist. In dieser bevorzugten Ausführungsform ist die vordere
Lageranordnung 76 der abgedichteten,
Hochgeschwindigkeitsdatensignal. Modell Fafnir 405KDD: Ein geeignetes
kommerziell erhältliches Lageranordnung ist unter der Bezeichnung vermarktet.
Vorzugsweise wird eine untere Lauffläche 82
der vorderen Lageranordnung 76 auf
die Welle 18 mit einer Presspassung
gesichert. Ein Abstandshalter 84 ist
auf der einen Seite der unteren Laufbahn 82,
die Abstandshalter 84 auch eine Nabe
anstößt 86 des Axialverdichters 24 um die axiale Kompressor 24 in einem vorbestimmten Abstand
stromabwärts von dem Lagerträger 40
zu positionieren. Ähnlich wird ein Distanzstück 88 auf der anderen Seite der unteren Laufbahn 84 vorgesehen, und sie an der Riemenscheibe 28, um so beabstanden die Riemenscheibe 28 von der vorderen Lagerung 40
um sicherzustellen, dass ein ausreichender Abstand zwischen ihnen.
Es sollte erkannt werden, dass die
Kugellagerfassung Platte 78 bereit
Zugang zur vorderen Lageranordnung 76
zum Zwecke der Wartung oder Reparatur ermöglicht werden. Um Service die vordere
Lageranordnung 76, eine Mutter 90 und Lock-Unterlegscheibe 92 am vorderen Ende 30 der Welle 18 gelöst und zusammen mit der Riemenscheibe 28 und dem Abstandshalter 88
entfernt. Dann Bolzen 42 und das
Lager Halteplatte 76 sind entfernt,
wodurch die gesamte Lageranordnung 76
für Wartungs-und / oder Entfernung ausgesetzt.
Das hintere Gehäuse 36 ist durch Bolzen an dem stromabwärts gelegenen Ende des axialen
Verdichterkanal 34 verbunden.
Vorzugsweise ist der hintere Gehäuseabschnitt 36 aus einem einzigen Stück Aluminium aufgebaut und umfasst externe
Längsrippen 94 zur Erhöhung der
strukturellen Steifigkeit des hinteren Gehäuses 34. Die Wände des hinteren Gehäuseabschnitt 36 definieren drei Elemente des Laders 10: eine stark konische Übergangskanal 96, die sich günstig leitet die Ausgabe des Axialverdichters mit
einem Einlass 98 des
Radialverdichters 26; den Einlass 98 des Radialverdichters 26, selbst, und ein Gehäuse 100 für den Radialkompressor 26.
Der Übergangskanal 96 ist eine hohle, kegelstumpfförmige Abschnitt einen halben
Scheitelwinkel (von der Erzeugenden um die Symmetrieachse) von etwa 35°. Der
Winkel wird derart, dass der Einlass zu dem Radialkompressor 26 ist so nahe wie möglich an den
Austritt des Axialverdichters und nicht zu unnötigen Gegendruck ausgewählt. Bei
der bevorzugten Ausführungsform beginnt der Übergangskanal 96 einem kurzen Abstand stromabwärts des Axialverdichters 24 und endet am Anfang des Einlasses 98 des Radialverdichters 26. Die stark konische Form des
Übergangskanals 96 ist angenommen,
dass roll-in der höheren Luftvolumen wobei aus den mehreren radial nach außen
gerichteten Abschnitte der axialen Verdichter 24 abgeführt. Das Einrollen Aktion wird angenommen, dass eine
günstige Strömung am Einlass 98 des
Radialverdichter 26 zu fördern, so
dass es keine Notwendigkeit für Leitschaufeln für den Radialverdichter 26. Es wird auch angenommen, dass die
hoch konische Form des Übergangskanals 96
stromaufwärts Strömungsverhältnisse wirkt am axialen Kompressor 24 in der Weise, dass es die Leistung
verbessert wird. Es wurde auch gefunden, dass es keine Notwendigkeit für einen
Stator (bzw. Ausfahrt Leitschaufel) zur axialen Kompressor 24.
Im Wesentlichen wird angenommen, dass der
Übergangskanal 96 die Funktionen der
Ausfahrt Schaufeln Axialverdichter und Einlassleitschaufeln von
Radialverdichter führt, aber ohne die Druckverluste üblicherweise mit ihnen
verbunden sind. Die Vermeidung dieser Druckverluste und die erwartete
Verbesserung in der Performance des Axialverdichters erlaubt der Kompressor 10, um einen insgesamt höheren
Druckverhältnis als ansonsten ohne Übergangskanals 96 erreicht werden verleihen. Als Ergebnis wird eine ausreichende
Kompression bei mäßigen Geschwindigkeiten ohne Rückgriff auf eine Bank von
mehreren Axialverdichter erreicht. Es sollte jedoch verstanden werden, dass bei
der Verbindung des Laders 10 zu
einem relativ langsam Dieselmotor-oder einer sehr großen Motor, kann es
wünschenswert sein, zwei oder mehr Axialverdichter aufzunehmen, um des
Kompressors Gesamtdruckverhältnis steigern. In solchen Fällen würde die
vorliegende Erfindung dann umfassen die Platzierung eines Übergangskanals
stromabwärts von zumindest dem letzten Axialverdichters.
Am Einlauf 98 des Radialverdichters 26,
sind die Wände der hinteren Gehäuses 36
zylindrisch und koaxial um die Welle 18
positioniert. Anzumerken ist, dass in der bevorzugten Ausführungsform ist die
Oberfläche 102 von der Übergang Übergangskanals
96 zu dem Einlass 98 abgerundet ist.
Der Gehäuseabschnitt 100 der hinteren Gehäuse-Abschnitt 36 eng an die Kontur durch Schaufelkanten des Radialverdichters 26 in einer engen 104, im Wesentlichen abzudichten Weise, wie dies in der Technik der
Radialverdichter bekannt definiert. Der Gehäuseabschnitt 100 des hinteren Gehäuseabschnitts 78 Kanäle Luft zwischen den rotierenden Schaufeln des
Radialverdichters 26, so dass die
Schaufeln kann die Arbeit zum Leiten von Luft zu verleihen. Der Gehäuseabschnitt
100 definiert auch eine
Auslaßöffnung 106 für den
Radialkompressor 26.
Gleich hinter der Auslaßöffnung 106 des Radialverdichters 26, die inneren Oberflächen des
hinteren Gehäuseabschnitt 36 zu
krümmen beginnt sofort nach innen, um einen Übergang in den nächsten
benachbarten Abschnitt des Gehäuses 12
ist die Abgaskegel 38
bereitzustellen. Auf diese Weise sind die Innenflächen an der hintersten
Abschnitt des hinteren Gehäuseabschnitt 36
und diejenigen des vorderen Abschnitts des Abgaskegel 92 intern definieren einen Strömungsdeflektor 108. In der bevorzugten Ausführungsform ist der Strömungsdeflektor 108 eng und konzentrisch um Auslass 106 des Radialverdichters 26 positioniert, so dass die Luft aus
dem Radialverdichter 26 abgeführt
nicht die Gelegenheit haben, diffundieren deutlich vor seiner Ankunft an der
ringförmigen Strömungsablenkeinrichtung 108.
Der ringförmige Strömungsablenkeinrichtung 108
leitet die Ausgabe des Radialverdichters 26
in die Abgaskegel 38 durch eine
glatte Oberfläche Übergang vom Inneren des hinteren Gehäuses 36 in das Innere der Abgasanlage Konus 38.
Das Abgassystem ist ein Konus 38 hochkonvergente, hohlen, konischen
Abschnitt angeordnet unmittelbar stromabwärts des Radialverdichters 26 zum Empfangen der Ausgabe des
Radialverdichters 26 von der
ringförmigen Strömungsablenkeinrichtung 108.
In der bevorzugten Ausführungsform ist der Abgas-Konus 38 ein einziger Abschnitt aus Aluminiumguss, die mit dem
stromabwärtigen Ende des hinteren Gehäuseabschnitts 36 an einer Flanschverbindung 110
verbunden ist. Vorzugsweise wird das Abgaskegel 92 konvergiert gemäß einer halben Scheitelwinkel von etwa 35° und
definiert den Auslassanschluss 16 an
ihrem Terminus. Ein Gewindeabschnitt 112
an der Auslassöffnung 16 ermöglicht
die Befestigung des entsprechenden externen Rohre (nicht gezeigt), der zu dem
Einlass des Motors.
Während des Betriebs des Laders 10, der Raum verhindert, dass von der
Abgaskegel 92 umgeben den Aufbau
eines erhöhten Gegendrucks der es sonst kommen könnte und beeinträchtigen den Betrieb
und die Effizienz des Radialverdichters 26.
Der umschlossene Raum des Abgaskegel 92
ist auch mit ausreichendem Volumen, um Impulse zu absorbieren und
herauszumitteln instationäre Strömungsverhältnisse so eine glatte und
kontinuierliche Ausgabe von dem Lader zu fördern 10.

Unter Bezugnahme auf Fig.1 und Fig.6, weist
die Abgaskegel 38 einen hinteren
Lagerstütze 114, die Elemente 116, die sich radial nach innen von den
äußeren Wänden des Abgaskegel 38
umfasst. In einem radialen nach innen Lage nahe der Welle 18 werden die Glieder 116
konvergieren, um einen hohlen Ringraum als Gehäuse 118 dient für das hintere Lager-Baugruppe 120 auszubilden. Das Gehäuse 118
ist in Richtung der Rückseite des Radialverdichters 24 bis Demontage erleichtern des Laders 10 offen. Der hintere Lagereinrichtung 120 ist die gleiche Art und Größe wie die vordere Lageranordnung 76. Der Innenring 122 der Lageranordnung 120
ist in auf der Welle 18 durch
Abstandhalter 124 und 126 in Verbindung mit einer Mutter 128 und die Unterlegscheibe 130 am hinteren Ende 132 der Welle 18 festgelegt. In dieser bevorzugten Ausführungsform sind die
Elemente 116 sind so ausgebildet,
dass die fest mit den Wänden des Abgaskegel 38.

Bezugnehmend auf Fig.1 und Fig.5 bei
Drehung zieht der Axialkompressor 24
Luft durch den Einlass 14 und
verleiht eine anfängliche Menge Kompression auf die Luft, als er die Luft
zwingt in den Übergangskanal 96 des
hinteren Gehäuses 36. In der
bevorzugten Ausführungsform umfasst die Axialkompressor 24 eine Nabe 86, die Abdeckung
50 und eine Reihe von zehn (10)
gleich beabstandeten, radialen Schaufeln 136.
Idealerweise weist jede Klinge 136
Erhöhungen Schnur von einer Wurzel zu einer Spitze 138 140 und eine Hinterkante 142
und eine vordere Kante 144, wobei
diese Kanten beide leicht gekrümmt. Die Klingen allmählich in der Tonhöhe von
etwa 12° zu erhöhen an der Wurzel 138
bis etwa 36° an den Spitzen 140.
Allerdings könnten die bestimmten Werte von Abstand und anderen geometrischen
Aspekte der Schaufeln 136 in
Übereinstimmung mit verschiedenen Betriebsgeschwindigkeiten oder anderen
Parametern variiert werden, wie es für einen Fachmann in der einschlägigen
Technik bekannt und dieser Offenbarung.
Der Axialverdichter 24 ist vorzugsweise aus einem einzigen, gegossenen Aluminium-Profil
mit den Flächen 143 und 145 der Nabe 86 ist zum Zwecke der Erreichung genaue axiale Positionierung des
Axialverdichters 24 auf der Welle 18 relativ zum Gehäuse 12 maschinell hergestellt. Die Flächen 146 und 148 der Abdeckung 72
sind ebenfalls plan bearbeitet. Zusätzlich wird der äußere Umfang 150 des Mantels bearbeitet, um
gleichmäßigen Zwischenraum zwischen dem Mantel und den angrenzenden inneren
Oberflächen 48 des Axialverdichters
Kanals 34 sicherzustellen.
Vorzugsweise wird der Axialverdichter 24
mit der Welle 18 durch eine
Interferenz-Platz auf einem abgestuften Abschnitt 152 des Schafts 18
befestigt. Die Abstandshalter 84 und
154 axial Stellung der
Axialkompressor 24 relativ zu dem
vorderen Lagerschild 40 und der
Radialverdichter 26.
Dynamisches Gleichgewicht Testmaschinen vom
herkömmlichen Typ verwendet werden, um das Gleichgewicht der axialen Verdichter
24 vor dessen Einbau zu testen. Wenn
ein Ungleichgewicht festgestellt wird, kann das Material an der äußeren
Peripherie 150 der Abdeckung 50 entfernt werden, um ein angemessenes
Gleichgewicht zu erreichen.

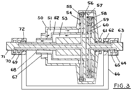
Unter Bezugnahme auf Fig.1, Fig.3 und Fig.7
ist die Radialverdichters 26 aus
einem einzigen Stück Aluminium aufgebaut und umfasst eine Nabe 156 und 158 gekrümmten Schaufeln. Zwischen jedem Paar Klingen 158 sind ein zweiter Satz von Schaufeln
160, die kurz vor dem Einlass 162 des Radialverdichters 26, so dass die Aufnahme 162 nicht durch beide Sätze von
Blättern gedrängt beenden. Demgemäß verbessern die radialen Kompressor 26 bietet sowohl eine große Anzahl von
Klingen und ein Einlasssystem mit relativ kleinem Durchmesser, ad diese
Merkmale die Leistung des Verdichters 26.
Im Bereich des Einlaßventils 162, 158
die Messer vorliegenden Vorderkanten 164
und durchlaufen einen Drall in der Drehrichtung, so daß eine günstige
Anstellwinkel am Einlass 162 zu
verhindern.
Vorzugsweise wird der Radialverdichter 26 auf den abgestuften Abschnitt 128 des Schaftes 18 mit einer Preßpassung positioniert und verriegelt gegen
Rotationskräfte Schlupf durch einen Schlüssel 166. Der Abstandshalter 124
sichert Zwischenraum zwischen der Rückseite des Radialverdichters 26 und dem hinteren Lageranordnung 120.
Die Welle 18 ist aus einem gehärteten Stahl und ist an beiden Enden 30 und 132 bis Muttern 90 bzw. 128 zu empfangen eingefädelt.
Zusätzlich zu den zentralen abgestuften Abschnitt 152, der den Kompressoren 24
und 26, die Welle 18 empfängt auch Merkmale abgestuften
Abschnitte 170 und 172 zur Aufnahme der vorderen und
hinteren Lagereinrichtung 76 und 120. Der gestufte Anordnung der Welle 18 erleichtert die Montage und
Demontage, daß die abgestuften Abschnitt 152
des größten Durchmesser ist zentral auf der Welle 18 angeordnet ist und alle die Stufenabschnitte größer als der
Durchmesser der Gewinde an den Enden 30
und 132.
Bitte beachten Sie, dass das Lager 40 unterstützt und 114 sind in einer festen Position relativ zu dem Gehäuse 12 und der Verdichter 24 und 26 sind in der Position zwischen den Lagerstützen 22 und 40 über Abstandshalter 84,
124 und 154, die vorbestimmten
Längen haben gehalten. Folglich wird die Platzierung der Kompressoren 24 und 26 relativ zur Längsachse des Gehäuses 12 durch die Abstandhalter und nicht von der axialen Lage der Welle
18 relativ zum Gehäuse 12 fixiert. Bitte beachten Sie auch,
dass die gestuften Teile 152, 170
und 172 der Welle 18 jeweils mit zusätzlichen Längen
vorgesehen sind, so dass die jeweiligen Komponenten (die Lageranordnungen und
Kompressoren) jeweils über einen relativ weiten Bereich von Positionen in den
jeweiligen abgestuften Abschnitten befinden . Somit müssen sich die Welle 18 nicht exakt entlang der Längsachse
des Gehäuses 12 positioniert sein,
um einen ordnungsgemäßen Montage des Laders 10 zu erreichen. Zum Beispiel, wenn Muttern 90 und 128 war anders
als in Fig.1 erscheinen festgezogen
worden sind, dann könnte Welle 18
geringfügig verschoben sind in axialer Richtung, von wo es in Fig.1 gezeigt. Jedoch würde die
relative Positionierung der verschiedenen Komponenten auf der Welle 18, das heißt die Riemenscheibe 28, den Kompressor 24 und 26 und die
Drehverbindung 76 und 120, sind die gleichen geblieben
relativ zu sich selbst und dem Gehäuse 12.
Diese Funktion erleichtert den Prozess der Herstellung und dementsprechend die
Kosten senkt. Es reduziert auch die Menge an Arbeit für den Zusammenbau nach
der Reparatur erforderlich.
Im Betrieb wird der Kompressor 10 in geeigneter Weise an seinen Auslaß
16 zu einem Einlass eines Automotors
verbunden, wobei der Antriebsriemen 31
von der Kurbelwelle des Motors an der Riemenscheibe 28 des Laders 10
befestigt. Dann wird, wie der Motor betrieben wird, wird das Drehmoment von den
Antriebsriemen 31 auf die
Riemenscheibe 28 für den Antrieb der
Kompressoren 24 und 26 übertragen. Bei Drehung zieht der
Axialkompressor 24 Luft durch den
Einlass 14, verleiht einen
anfänglichen Grad der Kompression der Luft und fördert sie in den
Übergangskanal 96 mit einem Drall.
Wegen die Dessin wird der axiale Verdichter 24 angenommen, dass ein größeres Volumen an Luft in dem Bereich
seiner Blattspitzen 140 als an, es
ist mehr radial nach innen bewegen Standorten. Dementsprechend gibt es eine
größere Masse von Luft in den äußeren ringförmigen Bereich hinter dem
Axialverdichter 24 als an der
inneren ringförmigen Bereich befindet. Da der Austrag aus dem Axialverdichter 24 veranlasst wird, die axiale
Verdichterkanal 34, den
hochkonvergente, Übergangskanals 96
angenommen, dass der äußere Ringraum von Luft, die von der axialen Kompressor 24 zu rollen-in entladen verursachen
wird verlassen. Diese Aktion wird angenommen, dass zwei günstige Ergebnisse
haben. Erstens bewirkt die Roll-in-Aktion ein Strömungsregime um am Einlass
aufgebaut werden 98 des
Radialverdichters 26, so dass die
Notwendigkeit für eine Leitschaufel vollständig vermieden wird. Zweitens, und
von gleicher Wichtigkeit, das Aufrollelement in Aktion in Verbindung mit der
großen Menge an Raum, der durch den Übergangskanal 96 umschlossen ist, wird angenommen, dass die Leistung des
Axialverdichters 24 positiv
beeinflussen, so dass ein höheres Druckverhältnis gegenwärtig erfasst es.
Da die gesamte Druckverhältnis des Laders 10 ist das Produkt der
Druckverhältnisse der beiden Kompressoren, kann gesehen werden, dass der
Anstieg der Leistung der axiale Verdichter
24 führt zu einer entsprechenden Verbesserung der Gesamtleistung des
Laders. Es ist auch anzumerken, dass die Deletion von Einlassleitschaufeln für
den Radialkompressor 26 und Ausstieg
Schaufeln für den Axialverdichter 24
vereinfacht den Aufbau des hinteren Gehäuses 36 und sind daher Einsparung von Kosten der Herstellung sein. Es
vermeidet auch die Druckverluste mit solchen Leitschaufeln, die oft ganz
erheblich verbunden.
Beim Verlassen des Übergangskanals 96, die Pre-Drallströmung der Luft in
den Einlass 98 des Radialverdichters
26 und dann in den Kompressor 26 selbst. Beim Passieren des
Radialverdichters 26 wird die Luft
eingeschaltet und verwirbelt, so dass der Luftstrom mit einer zentrifugal
wesentliche radiale Geschwindigkeitskomponente abgegeben wird, worauf die
resultierende Strömung abrupt durch die ringförmige Strömungsablenkeinrichtung 108 gedreht und veranlasst wird, die
Abgaskegel 38 einzugeben. Wie zuvor
erläutert ist, induziert das große Volumen des Raumes nach dem Ausziehverfahren
Konus 38 umschlossen
Strömungsverhältnisse hinter dem Radialverdichter 26 derart, daß erhöhte Gegendrücke vermieden werden, die ansonsten
Drücke beeinträchtigen könnte die Leistung des Radialverdichters 26. Pulse in dem Ausgangssignal des
Radialverdichters 26 sind auch
moderiert. Die Luft wird dann in einem komprimierten Zustand mit der
Auslassöffnung 16 des Abgaskegel 38 geliefert. Die Ladeluft strömt dann
nach unten die entsprechende Ansaugsystem des Motors, bis er den oder die
Zylinder des Motors erreicht.

In Bezug auf die Anwendung des Laders 10 in die Luft-Tank betriebenen
Motoren, wie etwa offenbart im US-Patent. Nr. 4.292.804, die Lader 10 funktioniert in der gleichen Weise
wie oben beschrieben, jedoch mit dem Motor verbunden ist anders. In dem
Luftbehälter angetriebenen Motor liefert mindestens eine der Abgaskrümmer der
Motoren teilweise expandierten Luft mit einer Leitung verbunden mit dem Einlaß 14 des Laders 10. Unter Bezugnahme auf Fig.8,
in den meisten dieser Anwendungen wird diese Linie von geringerem Durchmesser
als das Gehäuse 12 ist an dem
Einlass 14 des Kompressors, derart,
dass ein Adapter 173 benötigt wird.
Der Adapter 173 weist eine
ringförmige Platte 174 mit einer
Gewindeöffnung 176 dimensioniert, um
einen Gegenstecker aufzunehmen, Gewindeende 178 der Leitung 180. Die Platte 174 ist an dem Flansch 36
von dem vorderen Gehäuseabschnitt 32
durch eine Mehrzahl von Bolzen befestigt. Da die Luft aus der Leitung 180 ist in der Regel kleiner ist als
die volle Kapazität des Kompressors wird zusätzliche Luft durch die seitliche
Öffnung 44 entlang der Seite des vorderen
Gehäuseabschnitts 32 eingeführt. Bei
dieser Anwendung ist die Öffnung 44
dient somit als Lufteinlaßöffnung sowie eine Einrichtung zum Aufnehmen der
Antriebsriemen 31 und muss daher auf
die zusätzlichen Kriterien bemessen, dass es nicht so groß sein, um die
Strömung der ankommenden Luft in umkippen die Linie 180. Nach dem Durchgang der Luft durch den Kompressor, wird die
Luft durch die Auslaßöffnung 16 und
in eine geeignete Leitung verbunden ist, um es, die Leitung direkt führen kann,
um den Motor oder die Lagertanks des Motors gerichtet ist. Wenn in die Tanks
geleitet wird diese nachverdichteten Luft verwendet, um die erforderliche
Wiederaufladen der Lagertanks ergänzen.
Es ist zu erkennen, dass die Einsparungen bei den Kosten für die Herstellung des
Laders 10 durch den Grund, dass das
Gehäuse 12, das Lager 40 und 114, der axiale Verdichter 24
und die radiale Verdichter 26 sind
alle aus Aluminiumguss Teilen aufgebaut unterstützt werden, erreicht werden und
benötigen nur eine minimale Bearbeitung. Darüber hinaus sind die Walze
Lageranordnungen 76 und 120 kommerziell erhältliche
Komponenten, und der Kompressor 10
wird leicht zusammengebaut. Diese Aspekte weiter zu reduzieren die Kosten der
Herstellung und machen das offenbarte Kompressor kostengünstig in der Wartung
und Überholung. Noch wichtiger ist, bietet der Kompressor 10, trotz seines einfachen Aufbaus, Aufladung bei relativ niedrigen
Geschwindigkeiten. Damit ist in der unteren Betriebsdrehzahlen, wird die
Standzeit des Laders 10 verlängert
und die Gefahr der mechanischen Versagen leidenden es reduziert wird. Die
Notwendigkeit für spezielle Lagerung Designs und Schmierung wird ebenfalls
vermieden. Dementsprechend ist der Kompressor 10 sehr gut geeignet für die Massenproduktion und für den Einsatz
in Pkw, Lkw, Hubschrauber oder dergleichen.
Die web site http://www.airtxinternational.com/stainless-steel-vortex-tubes.html zeigt "Wirbelrohren", die komplett passive Geräte ohne bewegliche Teile sind:

Dieses Gerät tut Dinge, die man nicht erwarten würde. Druckluft bei
einer Temperatur von beispielsweise
70 Grad Celsius wird
in der kreisförmigen Kammer, wo
die Form der Kammer bewirkt, dass
es spiralförmig rasch nach der Ausgabe die Röhre eingespeist:

Es ist ein Energiegewinn in einem Wirbel, wie in einem Hurrikan oder Tornado gesehen werden kann, aber die wirklich interessante Sache hier ist die dramatische Veränderung in der Temperatur durch die Veränderung der Druck dehnt sich die Luft verursacht. Das Verhältnis der Wärmegewinn um den Wärmeverlust durch das Verhältnis der Größen der Öffnungen, weshalb es ist eine einstellbare Düse auf die kleine Öffnung ist, gesteuert.
Die Luft tritt durch die große Öffnung ist wesentlich höheres Volumen als die austretende Luft durch die kleine Öffnung und dehnt es sehr schnell, wodurch ein massiver Temperaturabfall. Die Dichte dieses Kaltluft ist nun wesentlich höher als die Luft, die in die Wirbelkammer. So hat es sowohl ein Abfall der Temperatur und eine Erhöhung der Dichte. Diese Merkmale der Expansion werden in der Verwendung von Leroy Rogers Motorkonstruktion, wo ein Teil der expandierten Luft Abgas des Motors komprimiert und wieder in den Hauptluftstrom Speichertank geleitet hergestellt. Während der Kompressor wirft die Lufttemperatur wie es pumpt die Luft zurück in den Tank, erreicht er nicht seine ursprüngliche Temperatur sofort.
Hierdurch ergibt sich der Lufttemperatur im Inneren des Behälters fallen, wenn der Motor arbeitet. Aber, bewirkt die abgesenkte Tanktemperatur einen Zufluss von Wärme aus seiner unmittelbaren Umgebung, die Erhöhung der allgemeinen Tanktemperatur wieder. Diese Erwärmung der gekühlten Luft bewirkt, dass der Flaschendruck weiter zu erhöhen, was einen Energiegewinn, mit freundlicher Genehmigung der lokalen Umgebung. Es ist wichtig zu verstehen, dass es weniger Energie benötigt, um Luft als die kinetische Energie, die durch zu lassen, dass Druckluft wieder ausdehnen erzeugt werden kann komprimieren. Dies ist eine praktische Situation, mit freundlicher Genehmigung der lokalen Umgebung und ist nicht ein Verstoß gegen das Gesetz von der Erhaltung der Energie. Es ist auch eine Funktion, die noch nicht in großem Ausmaß und die nur darauf wartet, von einem abenteuerlichen Erfinder oder Experimentator genutzt werden ausgebeutet.
Eber präsentiert eine eigene Engine auf diesen Prinzipien. Sein Motor verwendet sowohl Druckluft und verdichteten Öl Druck innerhalb des Systems zu manipulieren und bieten einen Motor, der self-powered ist. In der Anlage ist eine leicht neu gefasst Kopie der Eber Van Valkinburg Patent, das die "gespeicherte Energie in einem komprimierten elastischen Flüssigkeit in einer kontrollierten Art und Weise verwendet wird, um ein Fluid unter Druck zu unelastisch und solche Druckbeaufschlagung beibehalten bemerkt. Das unter Druck stehende Fluid wird unelastisch mit dem Laufrad einer Antriebsmaschine gedrosselt. Nur ein Teil der Ausgangsenergie von der Antriebsmaschine verwendet, um das Fluid so unelastisch zirkulieren als eine nahezu konstante volumetrische Gleichgewicht im System zu halten, um".

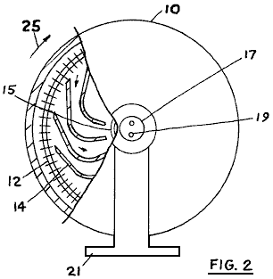
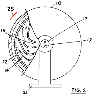
Der Clem Engine basiert auf einem völlig anderen Prinzip, und eine, die nicht gesprochen wird über sehr oft basieren. Hurrikane oder "Twister", wie sie manchmal genannt werden, sind groß rotierenden Luftmassen von unglaublicher Kraft, die in heißen Gebieten, die mehr als acht Grad Nord oder südlich des Äquators zu entwickeln. Der Abstand vom Äquator ist wichtig, da die Rotation der Erde benötigt wird, um ihnen ihre ursprüngliche Spin. Sie in der Regel über dem Wasser, die bei einer Temperatur von 28 Grad Celsius oder höher als die der Luft, um genügend Wärme zu absorbieren, um loszulegen ermöglicht entwickeln. Das ist, warum gibt es eine deutliche "Hurrikan-Saison" in diesen Bereichen, da zu bestimmten Zeiten des Jahres die Temperatur des Ozeans ist einfach nicht hoch genug, um einen Hurrikan auslösen.
Was ist in der Regel nicht klar ist, dass ein Hurrikan überschüssige Energie aufgrund seiner wirbelnden kreisförmige Bewegung entwickelt. Die Erzeugung dieses zusätzliche Leistung wurde beobachtet und von Viktor Schauberger von Österreich, die auch verwendet werden, seine Beobachtungen mit großer Wirkung dokumentiert. Ich denke, dass das, was Schauberger sagt macht einige Menschen unangenehm, wie sie zu denken, dass etwas "unorthodoxen" muss komisch sein und zu eigen zu nennen sein. Das ist ziemlich seltsam, wie alles, was hier beteiligt ist, ist eine einfache Beobachtung, wie unsere Umwelt tatsächlich funktioniert. Ein Hurrikan ist oben breiter als unten und diese Konzentrate Leistung am Boden des wirbelnden Luftmasse. Dieser verjüngte Rotation wird als "Wirbel" das ist nur ein einfacher Name, um die Form zu beschreiben, aber jede Erwähnung von "Vortex power" (die Macht an der Basis dieser Drehung) zu machen scheint vielen Menschen unangenehm das ist merkwürdigsten.
Abgesehen
davon, ist die Frage "können wir diese Energie Gewinn aus der Umgebung
verwenden für unsere eigenen Zwecke?". Die Antwort kann gut sein
"Ja". Vielleicht wird dieses Prinzip von Richard Clem genutzt. Im
Jahr 1992, Richard Clem of
Der Motor ist ungewöhnlich, dass es eine rotierende Turbine Artentwurf das bei einer Temperatur von 300OF (140OC) und wegen dieser hohen Temperatur ausgeführt wird, verwendet Speiseöl als Betriebsflüssigkeit, statt Wasser als das Öl einen wesentlich höheren Siedepunkt . Um einen schnellen Blick sieht dies wie eine unmögliche Gerät, wie es um eine rein mechanische Maschine, die auf jeden Fall haben wird betriebliche Effizienz, die weniger als 100% zu sein scheint.
In groben Zügen wird das Öl durch ein Rohr und in das schmale Ende des kegelförmigen Rotors gepumpt. Der Motor wird durch eine Drehung von einem externen Anlasser, bis er die Geschwindigkeit, mit der sie erwirtschaftet genügend Strom zu den eigenen Betrieb aufrechtzuerhalten erreicht gestartet. Die schnellen Spinnen des Kegels, bewirkt das Öl mitlaufen Spiralnuten in der Innenfläche des Konus und treten durch abgewinkelte Düsen an dem großen Ende des Konus angeordnet geschnitten:


Der Betriebsdruck von der Pumpe erzeugte von 300 bis 500 psi. Richard hat nicht versucht, seinen Motor patentieren als US-Patent 3.697.190 "kegelstumpfförmigen Drag Pumpe" im Jahr 1972 als einer Flüssig-Asphalt-Pumpe erteilt ist so nah im Detail, dass Richard das Gefühl, dass es nicht genügend Unterschied für ihn ein Patent erteilt werden:

Es scheint es erheblichen Spielraum für alle, die bauen oder fertigen dieses Motors will und es ist in der Lage als einer Heizung sowie Gerät zur Erzeugung von mechanischer Kraft sein. Dies deutet darauf hin, dass Wasserreinigung könnte eine zusätzliche "extra"-Option für diesen Motor sein.
Prof. Alfred Evert Deutschland hat eine Analyse der Funktionsweise des Clem Motor und Turbinen in dieser allgemeinen Kategorie produziert. Seine Website http://evert.de/indefte.htm hat eine gute Menge an Informationen zum Thema.
Der Ungar, Josef Papp, erfand einen ungewöhnlichen Motorsystem, die wirklich zu sein scheint sehr knapp "Brennstoff-less". Sein Entwurf ändert einen vorhandenen Fahrzeugmotor auf eine feste Menge Gas zu betreiben. Das heißt, weist die Maschine keine Luftansaugung und keine Abluft und folglich keine Einlass oder Auslassventile. Die Motorzylinder enthalten eine Mischung von Gasen, die eine Ordnungszahl besitzen unter 19, speziell, Xenon 36% Helium, Neon 26%, 17% Argon, 13% Krypton und 8 Volumen-%. Die Steuerung bewirkt, dass das enthaltene Gas zu erweitern, um die Kolben nach unten den Zylindern zu fahren und sich dann um die Kolben zurück saugen die Zylinder. Diese effektiv wandelt den Motor in einem ein-Takt-Version, wo gibt es zwei Arbeitstakte pro Umdrehung von jedem Zylinder.
Eine kleine Menge an radioaktivem Material in der Maschine verwendet, und ich habe es vorgeschlagen, dass der Motor zu prüfen, um den Anwender vor Strahlung zu schützen. Ich bin nicht sicher, dass dies richtig ist, aber wenn es ist, dann deutet darauf hin, dass eine Angelegenheit der Energieumwandlung ist in der Tat stattfindet. Es scheint sehr unwahrscheinlich, dass die geringe Menge von radioaktivem Material in der Maschine selbst konnte keine signifikante Strahlung verursachen. Das Patent beschreibt das Material als "low-level", die mir sagt, Material nicht mehr gefährlich, dass die leuchtende Farbe, die auf den Händen von Uhren verwendet werden verwendet.
Geeignete Motoren müssen eine gerade Anzahl von Zylindern, wie sie in Paaren arbeiten. Josef erste Prototyp war ein Vier-Zylinder, 90 PS-Motor von Volvo. Er entfernte die Ansaug-und Auspuff-Komponenten und ersetzt den Motor Kopf mit seinem eigenen Entwurf. Während einer 35 Minuten-Test in einem geschlossenen Raum, generiert der Motor eine konstante 300 PS Leistung bei 4.000 Umdrehungen pro Minute. Die elektrische Energie benötigt wird, um den Motor laufen wurde von der Standard-Motor-Generator, der auch in der Lage, die Autobatterie zur gleichen Zeit aufladen produziert. Interessanterweise ein Motor dieses Typs, abgesehen von mit null Schadstoffausstoß (andere als Wärme) ist durchaus in der Lage, die unter Wasser.
Josef, ein Zeichner und Ex-Pilot, wanderte aus Ungarn nach Kanada im Jahre 1957, wo er bis zu seinem Tod lebte im April 1989. Es ist ein solider Beweis, dass Josef einen Motor mit über 100 PS (75 kW), die "angeheizt" wurde durch eine Mischung von inerten (oder "edel") Gasen gebaut. Ohne Absaugung oder Kühlsystem, hatte es enorme Drehmoment auch bei niedrigen Drehzahlen (776 Fuß-Pfund bei nur 726 Umdrehungen pro Minute in einem zertifizierten Test). Dutzende von Ingenieuren, sah Wissenschaftler, Investoren und ein Bundesrichter mit einem technischen Hintergrund des Motors Arbeiten in geschlossenen Räumen für Stunden. Dies wäre nicht möglich gewesen, wenn der Motor benutzt hatte fossilen Brennstoffen. Es gab absolut keine Abgase und keine sichtbare Rückstellung für Auspuff. Der Motor lief bei etwa 60° C (140° F) cool auf seiner Oberfläche, wie von mehreren zuverlässigen Beobachter erlebt. All diese Leute zu der Überzeugung, der die Leistung des Motors. Sie alle scheiterten an eine Falschmeldung zu entdecken. Laufende Forschung in den Vereinigten Staaten (völlig unabhängig von Papp) hat schlüssig, dass inerte Gase, elektrisch auf verschiedene Weise ausgelöst werden, können in der Tat mit einer fantastischen Gewalt und Energie freisetzen, Schmelzen Metallteile und schob Kolben mit großen Druckimpulse explodieren bewährt. Einige der Leute, die Durchführung dieser Arbeit haben oder die sie ausgewertet werden Plasmaphysiker erlebt. Zeitgenössische Laborarbeit hat festgestellt, dass inerte Gase werden können, um zur Explosion gebracht werden
In einer Demonstration am 27. Oktober 1968 in der kalifornischen Wüste, Cecil Baumgartner, die die Top-Management der TRW Aerospace Corporation und andere Zeugen der Detonation ein Zylinder des Motors. In aller Öffentlichkeit wurde nur wenige Kubikzentimeter des inerten Gas-Gemisch in den Zylinder mit einer Injektionsnadel injiziert. Wenn das Gas elektrisch ausgelöst wurde, wurden die dicken Stahl Wände des Zylinders offen auf dramatische Weise geplatzt. William White, Edmund Karig und James Green, Beobachter aus dem Naval Underseas Warfare Laboratory hatte zuvor die Kammer verschlossen, so dass Papp oder andere nicht einfügen könnte Sprengstoff als Teil einer Falschmeldung. Im Jahr 1983 wurde eine unabhängige Zertifizierung Prüfung an einem der Papp-Motoren durchgeführt. Joseph Papp wurde drei US-Patente für seine Verfahren und Motoren ausgestellt:
US 3.680.431 am 1. August 1972 "Methode und Mittel zur Erzeugung Explosive Forces", in dem er der allgemeine Charakter der Inertgas-Gemisch notwendig explosive Freisetzung von Energie zu produzieren. Er schlägt auch einige der auslösenden Quellen, die einbezogen werden können. Es scheint, dass Papp ist nicht mit vollständigen Offenlegung hier, aber es besteht kein Zweifel, dass andere, die dieses Patent geprüft und verfolgt seine Umrisse sind bereits in der Lage, explosive Detonationen in inerten Gasen erhalten.
US 3.670.494 am 20. Juni 1972 "Methode und Mittel zur Umwandlung von Atomenergie in nutzbare Kinetic Energy" und
US 4.428.193 am 31. Januar 1984 "Inert Gas Kraftstoff, Kraftstoff Vorbereitung Vorrichtung und ein System für das Extrahieren Useful Work aus dem Fuel". Dieses Patent hier gezeigt, ist sehr detailliert und bietet Informationen über den Aufbau und Betrieb von Motoren dieses Typs. Es gibt auch sehr detailliert auf eine Vorrichtung zur Herstellung der optimalen Mischung der Gase notwendig.
Zu der Zeit des Schreibens, kann ein Web-basiertes Video von einem der Papp-Prototyp laufenden Motoren auf einem Prüfstand, bei http://video.google.com/videoplay?docid=-2850891179207690407 gefunden werden, obwohl es muss gesagt werden, dass ein gutes Geschäft des Filmmaterials ist von sehr schlechter Qualität, nachdem er vor vielen Jahren übernommen. Das Video ist besonders interessant, daß einige der Fälle, in denen Vorführungen ein transparenter Zylinder verwendet, um die Energie Explosion anzuzeigen ist beinhalten. Frame-by-Frame-Operation auf dem Original-Video zeigt Energie, die außerhalb des Zylinders als auch innerhalb des Zylinders, die scheinen darauf hinzudeuten, dass der Nullpunkt-Energie Feld handelt, führt entwickelt. Ich habe vor kurzem von einem Mann, der einige der Motor Demonstrationen von Papp laufen besuchte und er bürgt dafür, dass der Motor genau wie beschrieben durchgeführt wurden kontaktiert. Andere Videos des Papp-Motor an http://www.pappengine.com/videos.htm entfernt.
Papps Patent
US 4.428.193 wird in voller Höhe in der Anlage aufgeführten.

Josef nie geschafft, seinen Motor-Design in kommerzielle Produktion zu bekommen
vor seinem Tod, vor allem aufgrund der Opposition von Interessen. Allerdings
haben seine Design-Prinzipien aufgegriffen und vorangetrieben von John Rohner
und Haik Biglari.
Die
"Plasmic Transition Process" ist das Thema verschiedener Patente von
PlasmERG Inc. of
PlasmERG hat zwei Motoren für Own-Equipment-Hersteller zu verwenden ausgelegt. One ist eine gegenüberliegende, 2-Zylinder, 120 cubic inch-Motor, ca. 300 PS produziert. Der zweite ist ein 6-Zylinder 360 cubic inch-Motor, rund 1.500 PS erzeugen kann. Diese Motoren sind mit einem Schwesterunternehmen in Kanada gemeinsam entwickelt. John Rohner hat persönlich die Gesamtinvestitionen für diese Entwicklung zur Verfügung gestellt. Wie das Unternehmen bewegt sich in Richtung Fertigung, suchen sie Beteiligungspartnern durch den Handel mit Lager für Investitionen. Ihre erste kommerzielle Produktionsanlage kostet etwa 10 Millionen Dollar.
Eine alternative Strategie ist, um Lizenzen für bestehende PKW-und LKW Motor Hersteller schaffen, bis sie ihre eigene Produktion zu finanzieren. Der aktuelle Plan ist auf 500 bis 1.000 Testgebieten in unterentwickelten Ländern zur Wasserförderung und Stromerzeugung als "humanitäre" test Sites. Dies sollte die benötigte Zeit, um die Produktion zu verstehen und Patente abgeschlossen.
Die erwartete Laufzeit eines Motors aus einer Inertgas Ladung über 3 Monate im Dauerbetrieb und Gas re-Ladung weniger als US $ 50 kosten sollte. John betont, dass die PlasmERG Motor nicht, (wie das Original Papp Motor nicht war), ein "Pulsed Plasma Motor". Plasma wird nicht beibehalten und "gepulst", wie manche Leute annehmen können. Was tatsächlich passiert, ist, dass das Plasma mit jedem Arbeitstakt wird neu erstellt und kehrt dann zu einem stabilen Zustand Gas auf jedem Rückhub, aus der der Name "Plasmic Transition" abgeleitet ist.
Die anfängliche Kraft und Schaffung Plasma zur Expansion wird durch eine Fusion Ereignis mit einer Nebenwirkung einer begrenzten "chaotisch" Spaltung Ereignisses, das eine "plasmatischen Übergang", die in einem abgedichteten 2-Takt-Motor enthaltenen rotierenden Kurbelwelle erzeugt wird.
Es gibt zwei Parallelen zu Plasmic Transition und Stromproduktion dieses Motors. Die erste ist natürlichen Blitzschlag, die eine fast identisch ähnlichen Plasmic Transition-Prozess verwendet, und die zweite ist Dampf, der die gleiche Drehmoment über Drehzahl Ereignis Eigenschaften bereitstellt. Es gibt nichts im normalen Verbrennungsmotor den Betrieb, die vergleichbar mit einem dieser Prozesse ist. Der wichtigste Teil der PlasmERG den Betrieb des Motors ist die Electronic Control System (ECS), das die folgenden Elemente:
• Programmierbare Mikro-Computern;
• Funkfrequenz Stromerzeuger;
• HV Zündspule Einleitung Treiber;
• Verschiedene elektromagnetische Spule Spannung Switches mit Basis (Ruhe) oder variabel (Motordrehzahl) Spannungen für alle Zylinder oder Reaktionskammer elektromagnetische Spulen;
• On-Controller Gleichstrom bis 12 V Gleichstrom-Wandler;
• Motordrehzahl Gleichspannung (Beschleuniger) zum programmierten variable DC-Wandler,
• Inter-Controller Kommunikationsschnittstelle;
• Instrument Unterstützung für Benutzer-und Action-Port, Befehle von dem Benutzer umfassend, nicht beschränkt auf Dinge wie Laufen, Start, Drosselklappenstellung, Halten Geschwindigkeit, Brems-Anwendung, Brake hart, verschiedene Motor-Eingänge und Kraftstoffbehälter Informationen.
Die PlasmaERG Website ist http://plasmerg.com/ aber es muss Internet Explorer korrekt angezeigt, da es große Display-Probleme hat, wenn Firefox verwendet wird.
John Rohner
Patentanmeldung

Robert Britt
entwickelt einen sehr ähnlichen Motor, dass der Josef Papp, und er war auch ein
US-Patent für eine Maschine, die auf inerte Gase ausgezeichnet. William Lyne
bemerkt, dass dieser Motor Design repliziert mit einem Chevy "
Eine vollständige Kopie des Robert Britt Patent US 3.977.191 ist im Anhang.
Sowohl Josef Papp als auch Robert Britt spezifizierten Inertgas für den Betrieb, aber Heinrich Klostermann weist darauf hin, dass gewöhnliche Luft völlig ausreichend ist. Sein Video ist unter https://www.youtube.com/watch?v=lNSAXbZfnbE zu diesem Zeitpunkt. Sein Patent ist:
US
Patent 7,076,950 18.
Juli 2006 Erfinder: Heinrich Klostermann
Interne Explosionsmotor und Generator mit Nicht
Brennbaren Gasen
Abstrakt:
Ein interner Explosionsmotor und Generator
mit einer Explosionskammer, einem beweglichen Element, das eine Wand der Kammer
bildet, eine Ladung von nicht brennbarem Gas, die innerhalb der Kammer versiegelt
ist, eine Einrichtung zum wiederholten Zünden des Gases in einer explosiven Art
und Weise, um das bewegliche Element von a zu treiben Eine Einrichtung zum
Rückstellen des beweglichen Elements von der Position des maximalen Volumens zu
der Position des minimalen Volumens und eine Einrichtung, die mit dem
beweglichen Element gekoppelt ist, um elektrische Energie als Reaktion auf die
Explosion des Gases bereitzustellen. In einer offenbarten Ausführungsform ist
das bewegliche Element ein Kolben, der mit einer Kurbelwelle verbunden ist, und
wird durch ein Schwungrad an der Kurbelwelle in die Position des minimalen
Volumens zurückgeführt. In einer anderen Ausführungsform sind zwei Kolben in
einer hermetisch abgedichteten Kammer Rücken an Rücken verbunden, um einen
Verlust des explosiven Gases zu verhindern. In einer Ausführungsform wird die
elektrische Energie durch einen Generator erzeugt, der mit der Kurbelwelle
verbunden ist, und in der anderen wird sie durch eine Spule erzeugt, die nahe
einem Magneten angeordnet ist, der sich mit den Kolben bewegt.

Weitere
Referenzen:
Mallove et al., Infinite Energy, Sep./Oct. 2003, vol. 9, Nr. 51, New
Energy Foundation, Inc., Concord, NH, USA.
Beschreibung:
HINTERGRUND DER ERFINDUNG
1. Gebiet der Erfindung
Diese Erfindung betrifft allgemein
Motoren und Generatoren und insbesondere einen internen Explosionsmotor und
einen Generator, der nicht brennbare Gase verwendet.
2. Stand der Technik
Ein interner Explosionsmotor ähnelt
im Prinzip einem Verbrennungsmotor, außer daß er anstelle der in
Verbrennungsmotoren verwendeten brennbaren Gase nichtbrennbare Gase wie Luft,
Sauerstoff, Stickstoff oder Inertgas verwendet. Vor dem Betrieb wird das Gas
zum Betreiben eines internen Explosionsmotors in der Explosionskammer des
Motors angeordnet und die Kammer ist abgedichtet. Während des Betriebs wird das
Gas in der Explosionskammer wiederholt komprimiert, ionisiert, explosionsartig
expandiert und kontrahiert, um einen Kolben oder Rotor oder eine andere
bewegliche Vorrichtung zu bewegen, um kinetische Energie in mechanische oder
elektrische Energie umzuwandeln. Sobald das Gas in die Explosionskammer geladen
wurde, kann der Motor über längere Zeit ohne zusätzlichen Kraftstoff betrieben
werden. Es besteht keine Notwendigkeit für eine Kraftstoffaufnahme in jedem
Betriebszyklus, wie bei einem Verbrennungsmotor, und es gibt keinen Auspuff.
Beispiele für interne Explosionsmotoren des Standes der Technik sind im
US-Patent Nr. 3,670,494 und 4,428,193 beschrieben.
OBJEKTE UND ZUSAMMENFASSUNG DER
ERFINDUNG
Es ist allgemein eine Aufgabe der
Erfindung, einen neuen und verbesserten internen Explosionsmotor und Generator
zu schaffen. Eine weitere Aufgabe der Erfindung besteht darin, einen internen
Explosionsmotor und einen Generator der oben genannten Art zu schaffen, der die
Beschränkungen und Nachteile der Motoren und Generatoren, die bisher
bereitgestellt worden sind, überwindet. Diese und andere Ziele werden gemß der
Erfindung erreicht, indem ein interner Explosionsmotor und ein Generator bereitgestellt
werden, der eine Explosionskammer, ein bewegliches Element, das eine Wand der
Kammer bildet, eine Ladung von nicht explosivem Gas, das innerhalb der Kammer
versiegelt ist, Zünden des Gases in einer explosionsartigen Weise, um das
bewegliche Element von einer Position des minimalen Volumens zu einer Position
des maximalen Volumens anzutreiben, eine Einrichtung zum Rückführen des
bewegbaren Elements von der Position des maximalen Volumens zu der Position des
minimalen Volumens und eine Einrichtung, die mit dem beweglichen gekoppelt ist
Um elektrische Energie in Abhängigkeit von der Explosion des Gases
bereitzustellen. In einer offenbarten Ausführungsform ist das bewegliche
Element ein Kolben, der mit einer Kurbelwelle verbunden ist, und wird durch ein
Schwungrad an der Kurbelwelle in die Position des minimalen Volumens
zurückgeführt. In einem anderen sind zwei Kolben in einer hermetisch
abgedichteten Kammer Rücken an Rücken verbunden, um den Verlust des explosiven
Gases zu verhindern. In einer Ausführungsform wird die elektrische Energie
durch einen Generator erzeugt, der mit der Kurbelwelle verbunden ist, und in
der anderen wird sie durch eine Spule erzeugt, die nahe einem Magneten
angeordnet ist, der sich mit den Kolben bewegt.
KURZE BESCHREIBUNG DER ZEICHNUNGEN

Fig.1 ist eine Draufsicht auf eine Ausführungsform eines internen Explosionsmotors und Generators gemäß der Erfindung.

Fig.2 ist eine Querschnittsansicht entlang der Linie 2-2 in Fig.1.

Fig.3 ist eine Querschnittsansicht entlang der Linie 3-3 in Fig.2.

Fig.4 ist ein Schaltbild der Ausführungsform von Fig.1.

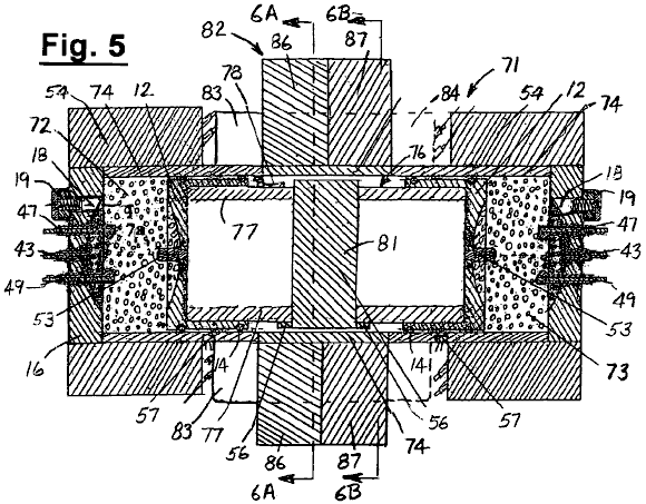
Fig.5 ist eine
Mittellinienschnittansicht einer weiteren Ausführungsform eines internen
Explosionsmotors und Generators, der die Erfindung beinhaltet.

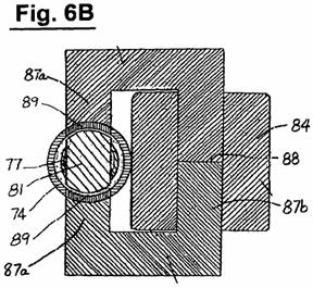
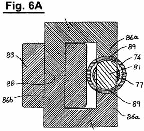
Fig.6A und Fig.6B sind Querschnittsansichten entlang der Linien 6A-6A
und 6B-6B in Fig.5.

Fig.7 und Fig.8 sind vergrßerte
mittlere Querschnittsansichten von Ventil- und Stopfenanordnungen für die Gasladeöffnung
bei den Ausführungsformen der Fig.1 und Fig.5.
DETAILLIERTE BESCHREIBUNG


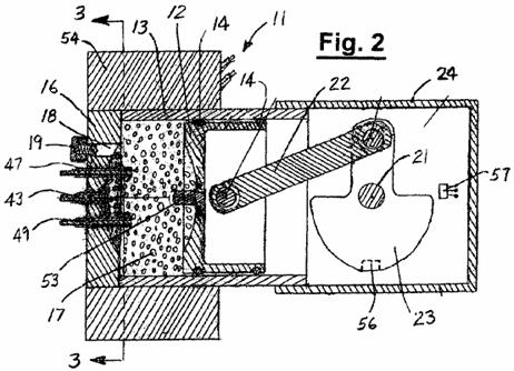
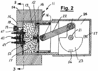
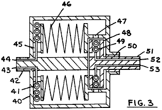
Wie in Fig.1 bis Fig.3 dargestellt,
umfaßt der Motor 11 einen Kolben 12 in einem Zylinder 13, wobei Ringe 14 eine
Dichtung zwischen dem Kolben und der Innenwand des Zylinders bilden. Das obere
oder äußere Ende des Zylinders ist durch eine Endplatte oder einen Kopf 16
abgedichtet und eine Explosionskammer 17 ist zwischen dem Zylinderkopf und dem
Kolben ausgebildet. Eine Einlassöffnung 18 ist in dem Zylinderkopf zum
Einführen einer Gasfüllung in die Explosionskammer ausgebildet und die Zufuhr
von Gas durch die Öffnung wird durch eine Ventilanordnung 19 gesteuert. Der
Kolben ist mit einer Kurbelwelle 21 durch eine Verbindungsstange 22 verbunden
Und die Kurbelwelle weist ein Gegengewicht oder ein Schwungrad 23 auf. Im
Betrieb wird der Kolben nach unten durch die Explosion des Gases in der Kammer
angetrieben und durch in dem Schwungrad gespeicherte Energie in die
Zündposition zurückgeführt. Das untere Ende des Zylinders 13 ist durch ein
Kurbelgehäusegehäuse 24 verschlossen. Die Kurbelwelle ist mit der Welle 26
eines Generators 27, der sich außerhalb des Kurbelgehäusegehäuses befindet,
durch eine Kupplung 28 verbunden. Wie weiter unten ausführlicher erörtert, kann
der Generator auch als a angetrieben werden Motor zum Starten des Motors.
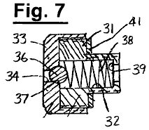
In der dargestellten Ausführungsform ist die Ventilanordnung 19 ein
Einweg-Rückschlagventil, das es ermöglicht, dass Gas durch die Einlassöffnung
18, aber nicht aus der Explosionskammer strömt. Die Ventilanordnung ist in
Fig.7 detaillierter dargestellt und umfasst einen Körper Oder Buchse 31 mit
einer axialen Bohrung oder einem Durchgang 32. Das innere Ende des
Ventilkörpers wird in die Öffnung geschraubt und eine Kappe 33 wird auf das vergrößerte
äußere Ende des Körpers aufgeschraubt. Die Kappe enthält einen Durchgang 34,
wobei die Verbindung zwischen diesem Durchgang und dem Durchgang 32 durch eine
Kugel 36 gesteuert wird, die in einem Sitz 37 an der Innenseite der Kappe
aufgenommen ist. Die Kugel wird durch eine Feder 38, die zwischen der Kugel und
einer Schulter 39 am inneren Ende des Ventilkörpers begrenzt ist, zu einer
geschlossenen Position gegen den Sitz gedrückt. Eine Dichtung 41 stellt eine
Abdichtung zwischen dem äußeren Abschnitt des Körpers und dem Kopf bereit.
In dem Kopf sind Elektroden angebracht, um das Gas in der Kammer zu
zünden. Eine Hochfrequenzelektrode 43 ist axial in der Kammer angeordnet und
mit einem Hochfrequenzgenerator 44 verbunden, um das Gas zu ionisieren, um ein
Plasma zu bilden. Die Elektroden 46-49 sind um die Elektrode 43 herum
beabstandet, wobei die Elektrode 46 mit der Sekundärwicklung 50 einer Zündspule
51 verbunden ist und die Elektroden 47-49 mit einem Kondensator 52 verbunden
sind. Ein Kontaktstift 53 steht von der Stirnfläche des Kolbens in Ausrichtung
vor Mit der Elektrode 43.
Der Kolben 12 und die Endplatte oder der Kopf 16 sind aus einem
ferromagnetischen Material wie Grade-416 aus rostfreiem Stahl hergestellt, und
der Zylinder 13 ist aus einem nicht eisenhaltigen Material wie
Grade-303-Edelstahl hergestellt. Eine Spule 54 ist um den äußeren Abschnitt des
Zylinders herum angeordnet und magnetisch mit dem Kolben gekoppelt, um einen
Reluktanzgenerator zu bilden.

Es ist eine Einrichtung vorgesehen, um zu erfassen, wann sich der Kolben
in seinem oberen Totpunkt (TDC) oder der minimalen Volumenposition befindet.
Dieses Mittel umfasst einen Magneten 56, der auf dem Gegengewicht oder dem
Schwungradabschnitt 23 der Kurbelwelle 21 montiert ist, und einen Hall-Effekt-Schalter
57, der in einer stationären Position im Kurbelgehäuse montiert ist und von dem
Magneten betätigt wird, wenn er in die Nähe des Schalters kommt.
Die Energie für den Betriebsgenerator 27 als Motor zum Starten des
Motors wird durch Batterien 59 bereitgestellt, die in dem dargestellten
Ausführungsbeispiel innerhalb des Gehäuses eines Reglers für den Generator 61
angebracht sind. Die Batterien sind mit dem Motor durch einen normalerweise
offenen Start verbunden Schalter 62.
Die Batterien liefern auch Strom für den Radiofrequenzgenerator 44 und
für die Elektroden 46-49, die das Gas in der Kammer anzünden, wobei die
Erregung dieser Elektroden durch ein Relais 63 gesteuert wird. Die
Energiezufuhr zum Hochfrequenzgenerator wird gesteuert Durch einen Ein /
Aus-Schalter 64 und die Erregung der Relaisspule 65 wird durch den Ein /
Aus-Schalter und durch den Hall-Effekt-Schalter 57 gesteuert, der zwischen dem
Ein / Aus-Schalter und der Relaisspule angeschlossen ist.
Das Relais hat einen ersten Satz von Kontakten 66, die den Kondensator
52 zwischen der Stromquelle und den Elektroden 47-49 schalten, und einen
zweiten Satz von Kontakten 67, die die Primärwicklung 68 der Zündspule 51 mit
der Stromquelle verbinden. Die Batterien werden mit dem in der Spule 54 erzeugten
Strom durch den Reluktanzgenerator geladen. Diese Spule ist mit dem Eingang
eines Leistungsgleichrichters 69 verbunden, und der Ausgang des Gleichrichters
ist mit den Batterien verbunden.
Vor dem Betrieb wird eine Ladung Luft durch das Rückschlagventil 19 und
die Einlassöffnung 18 in die Explosionskammer eingeführt. Zum Starten des
Motors wird der Ein / Aus-Schalter 64 geschlossen, wodurch der
Hochfrequenzgenerator 44 und die Primärwicklung der Zündspule 51 erregt werden
Und Anlegen von Ladestrom an den Kondensator 52 und der Starterschalter 62 wird
geschlossen, um den Generator 27 als einen Startmotor zu erregen. Das Gas in
der Kammer wird durch die HF-Energie ionisiert, die an die Elektrode 43
angelegt wird, um ein Plasma zu bilden.
Wenn der Kolben seinen Aufwärtshub ausführt, wird die Luft
zusammengedrückt und erwärmt, und in Richtung des oberen Totpunkts wird die
Luft durch die Luft ionisiert. Radiofrequenzenergie, die an die Elektrode 43
angelegt wird, um ein Plasma zu bilden. Wenn sich der Kolben in oder nahe dem
oberen Totpunkt befindet, schließt der Hall-Effekt-Schalter 57 die
Erregungsrelaisspule 65. Wenn die Relaisspule erregt wird, legen die Kontakte
66 die Ladung an, die sich auf dem Kondensator 52 auf den Elektroden 47 bis 49
aufgebaut hat Kontakte 67 öffnen, um den Strom in der Primärwicklung der
Zündspule 51 zu unterbrechen, wodurch eine Hochspannungsentladung zwischen der
Zündelektrode 46 und dem Kontaktstift 53 auf dem Kolben erzeugt wird.
Der Funken von der Elektrode 46 und der Strom von den Elektroden 47 bis
49, die durch die ionisierte Luft strömen, zünden die Luft an und bewirken, daß
sie mit ultraviolettem Licht, Ozon und Wärme explodieren und eine blitzartige
Druckwelle erzeugen. Diese Druckwelle treibt den Kolben in eine Abwärtsrichtung,
wobei er die Kurbelwelle 21 und den Generator 27 dreht, mechanische Energie in
dem Schwungrad speichert und elektrische Energie aus dem Generator erzeugt.
Nach Erreichen des maximalen Volumens oder des unteren Totpunkts (BDC)
bewirkt die mechanische Energie, die im Schwungrad gespeichert ist, dass sich
die Kurbelwelle weiterdreht, wodurch der Kolben zurück zum oberen Totpunkt
bewegt wird. Die gleiche Ladung Luft wird über einen längeren Zeitraum immer
wieder gezündet und in dem Maße, in dem irgendeine der Luft an den Kolbenringen
verlorengeht, wird sie automatisch durch Luft, die durch das Rückschlagventil
in die Kammer eintritt, wieder aufgefüllt. Wenn somit der Druck in der Kammer
unter den von der Feder 38 eingestellten Wert sinkt, bewegt sich die Kugel 36
von ihrem Sitz weg, so daß Luft durch die Einlaßöffnung in die Kammer gelangt.
Während des Aufwärtshubs hält der Druck in der Kammer die Kugel fest gegen den
Sitz und dichtet die Luft in der Kammer ab.

Die Ausführungsform von Fig.5 enthält eine Freikolbenmaschine 71, die
ein Paar von Explosionskammern 72, 73 an entgegengesetzten Enden eines
Zylinders 74 aufweist. Dieser Motor unterscheidet sich von der Ausführungsform
von Fig.1 dadurch, daß er keine Kurbelwelle hat. Der Energieerzeugungsmechanismus
ist jedoch derselbe, und gleiche Bezugszeichen bezeichnen entsprechende
Elemente in den beiden Ausführungsformen. Die äußeren Enden des Zylinders sind
durch Endplatten oder Köpfe 16 geschlossen und die Volumina der beiden Kammern
variieren in entgegengesetzter oder komplementärer Weise, wenn eine
doppelendige Kolbenanordnung 76 innerhalb des Zylinders hin- und herbewegt
wird.
Die Kolbenanordnung umfasst ein Paar von Kolben 12, die durch eine Hülse
77 in Rücken- und Rückenansicht miteinander verbunden sind, wobei Ringe 14 eine
Dichtung zwischen den Kolben und dem Zylinder bilden. Die Kolben haben zentrale
Kontaktstifte 53 und jede der Explosionskammern weist eine Einlassöffnung 18
und Elektroden 43, 46-49 zum Ionisieren und Zünden des Gases auf.
Wie in der Ausführungsform von Fig.1 sind der Kolben 12 und die
Endplatten 16 aus einem ferromagnetischen Material hergestellt, und der
Zylinder 74 besteht aus einem nicht eisenhaltigen Material, wie z. B. nicht
eisenhaltigem rostfreien Stahl oder nickelplattiertem Aluminium. Die Hülse 77
ist aus einem Nichteisenmaterial wie Aluminium hergestellt. Spulen 54 sind um
die äußeren Abschnitte des Zylinders herum angeordnet und magnetisch mit den
Kolben gekoppelt, um Reluktanzgeneratoren zu bilden.
Die Hülse 77 trägt Magnete 56, die Hall-Effekt-Schalter 57 betätigen,
die außerhalb des Zylinders 74 montiert sind, um zu bestimmen, wann sich die
Kolben in oder nahe ihren oberen Totpunktpositionen befinden. Ein von der Hülse
77 getragener Erdungskontakt 78 bildet einen gleitenden Kontakt mit der Wand
des Zylinders, um die Kolben und Kontaktstifte 53 auf Erdpotential zu halten.
Die Kolbenanordnung enthält auch einen relativ großen Permanentmagneten
81, der von der Hülse 77 auf halber Strecke zwischen den Kolben getragen wird.
Eine ferromagnetische Kernstruktur 82 liefert eine Flusskopplung zwischen dem
Magneten 81 und den Statorspulen 83, 84, die sich außerhalb des Zylinders
befinden.
Die Kernstruktur umfasst ein Paar von im Allgemeinen C-förmigen Kernen
86, 87, von denen jedes zwei relativ kurze innere Arme 86a, 87a aufweist, die
an den oberen und unteren Flächen des Zylinders 74 anliegen und einen äußeren
Arm 86b, 87b, der beabstandet ist Seitlich vom Zylinder. Die an den Zylinder
angrenzenden Enden der Innenarme haben eine konkave Krümmung, die der konvexen
Krümmung der Außenwand des Zylinders entspricht und die Spulen 83, 84 sind um
die äußeren Arme der Kerne gewickelt. Die Kerne sind in zwei Abschnitte
geformt, wobei ein Spalt 88 über den äußeren Armen angeordnet ist, um die
Montage zu erleichtern.
Stahlbleche 89 sind in der Zylinderwand in Kontakt mit den kurzen Armen
der Kerne eingebettet, um den magnetischen Kreis zu vervollständigen. Die
Lamellen sind in die Zylinderwand hermetisch abgedichtet und in einer derzeit
bevorzugten Ausführungsform sind sie Stapel aus Siliziumstahllaminaten mit
einer Dicke von 0,005 Zoll und einer Schicht aus Nickelplattierung von weniger
als 0,001 Zoll Dicke, die die Stapel versiegelt.
Die Statorspulen können sowohl als Wicklungen eines Motors zum Starten
des Motors und danach als Wicklungen eines Generators verwendet werden, bei dem
ein elektrischer Strom erzeugt wird, wenn die Kolbenanordnung innerhalb des
Zylinders hin und her schwingt.
Da der Zylinder hermetisch abgedichtet ist, verbleibt jedes Gas, das an
den Ringen der Kolben vorbei läuft, innerhalb des Motors, anstatt in die äußere
Umgebung wie in der Ausführungsform von Fig.1 verloren zu gehen. Zusätzlich zu
Luft umfassen geeignete Gase zur Verwendung in der Ausführungsform von 5 inerte
Gase, Sauerstoff und Gemische solcher Gase.

Wenn das Gas in dem Motor hermetisch abgedichtet ist, ist es nicht
notwendig, das Gas so oft wie möglich wieder aufzufüllen, wenn der Motor nicht
abgedichtet wäre, und die Einlassöffnung 18 kann mit der Stopfenanordnung 91
von Fig.8 anstelle des Ventils geschlossen werden Anordnung 19 von Fig.7, falls
gewünscht. Alternativ kann eine Gasquelle mit der Einlassöffnung über eine
Ventilanordnung 19 zum automatischen Nachfüllen des Gases in den Kammern wie in
der Ausführungsform von 1 verbunden sein.
Die Steckeranordnung 91 weist einen Körper oder eine Buchse 92 mit einem
hohlen Inneren 93 auf, der mit einem Gummieinsatz 94 gefüllt ist. Das innere
Ende des Ventilkörpers wird in die Öffnung geschraubt und eine Kappe 96 wird
auf das vergrößerte äußere Ende der Platte aufgeschraubt Um den Einsatz in dem
Stopfen zu halten. Eine Dichtung 97 stellt eine Abdichtung zwischen dem
vergrößerten Abschnitt des Stopfenkörpers und der Endplatte oder dem Kopf 16 bereit.
Der Betrieb und die Verwendung der Ausführungsform von Fig.5 ist ähnlich
der oben in Verbindung mit der Ausführungsform von Fig.1 beschriebenen. Eine
Ladung des explosiven Gases wird durch die Einlassöffnungen in die
Explosionskammern eingeführt und die Statorwicklungen 83, 84 werden erregt, um
den Magneten 81 und den Rest der Kolbenanordnung innerhalb des Zylinders hin-
und herzubewegen. Wenn sich jeder der Kolben seiner oberen Totpunktposition
nähert, wird das Gas in der Explosionskammer komprimiert, dann ionisiert und
gezündet, so daß es die Kolbenanordnung zurück zu dem anderen Ende des
Zylinders sprengt und antreibt. Wenn sich der von der Kolbenanordnung getragene
Magnet innerhalb des Spalts in der Kernstruktur hin- und herbewegt, wird der
erzeugte Wechselstrom an die Spulen 83, 84 gekoppelt, um den Ausgangsstrom in
den Generatorwicklungen zu erzeugen.
Die Erfindung hat eine Anzahl von wichtigen Merkmalen und Vorteilen. Es
kann explosive Kraftstoffgemische wie Luft, Inertgase und andere nichtbrennbare
Gase verwenden, die schnell mehrmals expandiert und kontrahiert werden können,
um kinetische Energie in elektrische und / oder mechanische Energie
umzuwandeln. Der Motor kann eine oder mehrere Explosionskammern aufweisen,
wobei ein Kolben eine bewegliche Wand zur Veränderung des Volumens von jeder
bildet.
Das Betriebsgas wird in die Kammern vorgespannt, die Einlassöffnungen
sind abgedichtet und der Motor kann mit der gleichen Gasbelastung über lange
Zeitperioden betrieben werden und mehrere explosive Expansionen und
Kontraktionen bei verschiedenen Frequenzen, z.B. 30-60 Zyklen pro Sekunde oder
mehr, ohne Zugabe von Gas zu den Kammern.
In einer offenbarten Ausführungsform wird der Verlust von Gas aufgrund
von Leckagen verhindert, indem der Motor in einem hermetisch abgedichteten
Gehäuse eingeschlossen wird. In einem anderen ermöglicht ein Rückschlagventil
in der Einlassöffnung, dass das Gas in den Kammern automatisch wieder
aufgefüllt wird, wenn der Druck in den Kammern unter ein vorbestimmtes Niveau
absinkt. Die hermetische Abdichtung ist besonders wichtig und wünschenswert,
wenn der Motor in Umgebungen wie dem Weltraum oder unter Wasser betrieben wird,
wo keine Nachschubgase leicht verfügbar sind.
Die Erfindung ermöglicht ein breites
Spektrum an Gestaltungsflexibilität und kann kompakte Stromversorgungen mit
einer Kapazität von wenigen Kilowatt bis zu mehreren Megawatt liefern und sie
kann in einer breiten Vielfalt von Anwendungen verwendet werden.
Es ist aus dem Vorstehenden
ersichtlich, dass eine neue und verbesserte interne Explosionsmaschine und ein
Generator vorgesehen sind. Während nur bestimmte gegenwärtig bevorzugte
Ausführungsformen im Detail beschrieben worden sind, wie es für Fachleute
offensichtlich sein wird, können bestimmte Änderungen und Modifikationen
vorgenommen werden, ohne vom Schutzbereich der Erfindung, wie durch die
folgenden Ansprüche definiert, abzuweichen.
Ansprüche:
Die Erfindung betrifft:
1. Ein interner Explosionsmotor und ein
Generator, umfassend eine Explosionskammer, ein bewegliches Element, das eine
Wand der Kammer bildet, eine Ladung Luft, die innerhalb der Kammer abgedichtet
ist, ein Einwegventil, das mit der Kammer in Verbindung steht, um zusätzliche
Luft in die Kammer zuzulassen Wenn der Druck in der Kammer unter einen
vorbestimmten Wert absinkt, eine Einrichtung zum wiederholten Zünden der Luft
in der Kammer in einer explosionsartigen Weise, um das bewegliche Element von
einer Position des minimalen Volumens zu einer Position maximalen Volumens
anzutreiben, eine Einrichtung zum Zurückbewegen des bewegbaren Elements aus Die
Position des maximalen Volumens zu der Position des minimalen Volumens und eine
Einrichtung, die mit dem beweglichen Element gekoppelt ist, um elektrische
Energie als Reaktion auf die Explosion der Luft bereitzustellen.
2. Motor und Generator nach Anspruch 1,
dadurch gekennzeichnet, dass das bewegliche Element ein Kolben ist.
Motor und Generator nach Anspruch 2, dadurch
gekennzeichnet, dass die Einrichtung zur Rückführung des beweglichen Elements
in die Position des minimalen Volumens ein Schwungrad auf einer mit dem Kolben
verbundenen Kurbelwelle umfasst.
Motor und Generator nach Anspruch 3, dadurch
gekennzeichnet, dass die Einrichtung zur Bereitstellung elektrischer Energie
einen mit der Kurbelwelle verbundenen Generator umfasst.
5. Motor und Generator nach einem der
Ansprüche 1 bis 4, dadurch gekennzeichnet, dass das Mittel zur Rückführung des
beweglichen Elements in die Position des minimalen Volumens eine zweite
Explosionskammer mit einem beweglichen Element umfasst, das mit dem ersten
benannten Element verbunden ist, Mittel zum Zünden der Luft in der zweiten
Kammer explosionsartig.
6. Motor und Generator nach einem der
Ansprüche 1 bis 6, dadurch gekennzeichnet, dass ein hermetisch abgedichtetes
Gehäuse die Explosionskammer umschließt und ein Verlust der Luft aus der Kammer
verhindert wird.
7. Motor und Generator nach einem der
Ansprüche 1 bis 6, dadurch gekennzeichnet, dass das bewegliche Element aus
einem ferromagnetischen Material gefertigt ist und die Einrichtung zur
Bereitstellung elektrischer Energie eine Spule umfasst, die magnetisch mit dem
beweglichen Element gekoppelt ist
8. Motor und Generator nach Anspruch 1, dadurch gekennzeichnet, dass die Mittel
zum Zünden der Luft Mittel zum Anlegen von HF-Energie an die Kammer umfassen,
um die Luft zu ionisieren und ein Plasma zu bilden, und Mittel zum Zünden des
Plasmas.
9. Motor und Generator nach Anspruch 8 mit
Elektroden in der Kammer zum Erwärmen der ionisierten Luft.
10. Brennkraftmaschine nach einem der
Ansprüche 1 bis 6, dadurch gekennzeichnet, dass die Brennkraftmaschine eine
Brennkraftmaschine und eine Brennkraftmaschine umfasst Eine Einrichtung zum
periodischen, explosionsartigen Zünden der Luft in der Kammer, um den Kolben
zwischen Positionen des minimalen und maximalen Volumens anzutreiben, eine
durch den Kolben angetriebene Kurbelwelle und einen Generator, der mit der
Kurbelwelle verbunden ist, um elektrische Energie als Antwort bereitzustellen
Zur Bewegung des Kolbens.
11. Motor und Generator nach Anspruch 10 mit
einem Schwungrad an der Kurbelwelle.
12. Motor und Generator nach Anspruch 10,
wobei die Mittel zum Zünden der Luft Mittel zum Anlegen von HF-Energie an die
Kammer umfassen, um die Luft zu ionisieren und ein Plasma zu bilden, und Mittel
zum Zünden des Plasmas.
13. Motor und Generator nach Anspruch 12 mit
einem magnetisch betätigten Schalter, der auf die Position des Kolbens zur
Abgabe des Zündfunks anspricht, wenn sich der Kolben in oder nahe der minimalen
Volumenposition befindet.
14. Motor und Generator nach Anspruch 10,
bei dem die Einrichtung zum Einlassen von atmosphärischer Luft zu der Kammer
ein Rückschlagventil aufweist.
15. Motor und Generator nach Anspruch 10,
wobei der Kolben aus ferromagnetischem Material hergestellt ist und magnetisch
mit einer Spule gekoppelt ist, die außerhalb des Zylinders angeordnet ist.
16. Motor und Generator nach einem der
Ansprüche 10 bis 16, dadurch gekennzeichnet, dass er Mittel zum Erregen des
Generators als Motor zum Bewegen des Kolbens zum Starten des Motors aufweist.
17. Innere Explosionsmaschine und Generator,
umfassend einen Zylinder, ein Paar von Kolben, die miteinander verbunden sind,
um innerhalb des Zylinders konzertiert zu werden, um ein Paar von
Explosionskammern mit variablem Volumen zu bilden, eine Ladung von nicht
brennbarem Gas, das in jeder der Kammern abgedichtet ist , Rückschlagventile
zum Nachfüllen des Gases in den Kammern durch Einlassen von zusätzlichem Gas in
die Kammern, wenn der Druck in den Kammern unter einen vorbestimmten Wert
absinkt, Mittel zum wechselweisen Zünden des nicht brennbaren Gases in den
beiden Kammern in einer explosionsartigen Weise, um die Kolben zwischen diesen
zu treiben Positionen eines minimalen Endmaximalkammervolumens, eines mit den
Kolben gekoppelten Magneten zur Bewegung mit den Kolben und eine Spule, die
außerhalb des Zylinders nahe dem Magnet angeordnet ist, um elektrische Energie
in Reaktion auf die Bewegung der Kolben zu erzeugen.
18. Motor und Generator nach Anspruch 17,
wobei das nicht brennbare Gas ausgewählt ist aus der Gruppe bestehend aus Luft,
Inertgas, Endkombinationen davon.
19. Motor und Generator nach Anspruch 17,
wobei die Mittel zum Zünden des Gases in jeder der Kammern Mittel zum Anlegen
von HF-Energie an die Kammer umfassen, um das Gas zu ionisieren und ein Plasma
zu bilden, und Mittel zum Zünden des Plasmas.
20. Motor und Generator nach Anspruch 19 mit
Schaltern, die auf die Positionen der Kolben zum Zünden des Plasmas ansprechen,
wenn sich die Kolben auf oder nahe den minimalen Volumenpositionen befinden.
21. Motor und Generator nach Anspruch 19 mit
Elektroden in den Kammern zum Erhitzen des ionisierten Gases.
Im April 1989 wurde Michael Eskeli durch einen Zeitungsartikel in der Dallas Times Herald, die auf das Versagen der Wissenschaft zu kommen mit alternativen Energiesystemen, die nicht auf Erdölprodukte nicht verlassen zu bedienen kommentierte veröffentlicht verärgert. Michael antwortete in einem Brief an den Herausgeber, die besagt, dass er Patente für Kraftstoff-less Stromgeneratoren, arbeitsfreie Wärmepumpen und andere verwandte Produkte, 56 Patente in den Mitte der 70er Jahre ausgestellt hält.
Michael hat halten viele Patente, von denen in Kapitel 14 gezeigt wird, als ein Werk-free Kraftstoff weniger Heizung. Allerdings, wie ich nicht bekannt, dass funktionierenden Prototyp gezeigt wird, muß ich empfehlen, dass Sie die folgenden Informationen als "eine Idee" und nicht als erwiesene Tatsache zu betrachten. Soweit ich informiert bin, in den 1970er Jahren, hat das US-Patentamt nicht verlangen, einen funktionierenden Prototyp vor Erteilung eines Patents zu sehen, vor allem, wenn das Patent auf ein Gerät auf anerkannten Regeln der Technik Prinzipien stehen.
Doch wie Michael Behauptung ist für Geräte mit eigener Stromversorgung, seinen Anspruch zu wichtig, um ignoriert zu werden scheint, schlug Prototyp oder kein Prototyp, als kompetente Leute dies lesen kann gut verstehen, die Grundsätze und in der Lage sein, ein self-powered nach aufbauen ein Ergebnis. Wenn das der Fall ist, dann sollte ich schätze wirklich Feedback Informationen über etwaige erfolgreiche Replikationen und Bauweisen verwendet.
Wie ich es verstehe, sind Michael self-powered Geräte Wärmepumpen, wo die zusätzliche Energie aus der Wärme in der Luft, mit freundlicher Genehmigung der Erwärmung durch Sonneneinstrahlung enthaltenen fließt. Standard-Engineering, aber mit einem Design, welches diese verfügbare Energie nutzt, um praktische mechanische Ausgangsleistung für Fahrzeuge und elektrische Generatoren bereitzustellen.
Die Eskeli Patente, die ich in der Lage zu finden haben, sind:
3.650.636 Rotary Gas Kompressor
3.719.434 Rotary Ejector Kompressor
3.748.054 Überdruckturbine
3.748.057 Rotary Kompressor mit Kühlung
3.758.223 Reaction Rotor Turbine
3.761.195 Komprimieren Centrifuge
3.795.461 Kompressor mit Kühlung
3.809.017 Wärme und Dampferzeuger
3.834.179 Turbine mit Heizen und Kühlen
3.854.841 Turbine
3.861.147 Versiegelt Eine-Rotor Turbine
3.874.190 Versiegelt Eine-Rotor Turbine
3.879.152 Turbine
3.889.471 Zwei-Rotor Zwei-Flüssigkeit-Turbine
3.895.491 Turbine mit Dual Rotoren
3.919.845 Dual-Fluid-Single-Rotor Turbine
3.926.010 Rotary Wärmetauscher
3.931.713 Turbine mit Regenerierung
3.933.007 Komprimieren Centrifuge
3.933.008 Mehrstufige Wärmetauscher
3.937.034 Gas Kompressor-Expander
3.938.336 Turbine mit Heizen und Kühlen
3.939.661 Macht Generator
3.949.557 Turbine
3.961.485 Turbine mit Hitze-Druckübersetzer
3.962.888 Wärmetauscher
3.972.194 Thermodynamische Maschine des Drehflügelantrieb
3.972.203 Rotary Wärmetauscher
3.981.702 Wärmetauscher
3.986.361 Turbine mit Regenerierung
4.003.673 Flüssigkeit Druckhalter
4.005.587 Rotary Wärmetauscher mit Kühlung und Regenerierung *
4.012.164 Rotor mit Umluft
4.012.912 Turbine
4.030.856 Rotor mit Jet-Düsen
4.044.824 Wärmetauscher
4.047.392 Zweikreisel Wärmetauscher *
4.050.253 Thermodynamische Maschine
4.057.965 Thermodynamische Maschine mit Step-Typ Wärmezufuhr
4.060.989 Thermodynamische Maschine mit Step-Typ Wärmezufuhr
4.068.975 Flüssigkeit Druckhalter
4.077.230 Rotary Wärmetauscher mit Kühlung
4.106.304 Thermodynamische Compressor
4.107.944 Wärmepumpe mit zwei Rotoren *
4.107.945 Thermodynamische Kompressor
4.124.993 Kältemaschine
4.167.371 Method of Fluid Druckhaltung
4.178.766 Thermodynamische Kompressor Methode
4.574.592 Wärmepumpe mit Liquid-Gas Betriebsflüssigkeit
Und es gibt vermutlich 7 andere hier nicht aufgeführt, die insgesamt an die 56 durch Michael genannten erhöhen. Ich habe nicht die Kompetenz zu sagen, welche von diesen können self-powered nur durch das Lesen des Patents Informationen, die in der Regel nicht erwähnt etwas in diese Richtung, (das Patentamt das Personal nicht glauben, dass COP> 1 existiert). Praktisch jedes dieser Patente passen könnte Michael die Beschreibung, so werde ich die folgenden Patente holen, um hier zu reproduzieren:
4.107.944 Wärmepumpe mit zwei Rotoren (fortsetzung4.005.587 und 4.047.392)
4.012.912 Turbine und
3.931.713 Turbine mit Regenerierung
*********************
US-Patent 4.107.944
22. August 1978
Erfinder: Michael Eskeli
WÄRMEPUMPE MIT
ZWEI ROTOREN
ABSTRAKT
Ein Verfahren und eine Vorrichtung zur Erzeugung von Wärme und Kälte durch Zirkulieren eines Arbeitsfluid innerhalb Durchgänge durch Rotoren durchgeführt wird, Komprimieren des Arbeitsfluids in ihnen und Abführen von Wärme aus dem Arbeitsfluid in einem Hitzeabbau Wärmetauscher und Zuführen von Wärme in das Arbeitsfluid in einem Wärmetauscher -Addition Wärmetauscher, alle innerhalb der Rotoren durchgeführt wird. Das Arbeitsfluid wird in versiegelt und kann ein geeignetes Gas wie Stickstoff sein. Ein Arbeitsfluid Wärmetauschers ist auch vorgesehen, um Wärme innerhalb des Rotors zwischen zwei Ströme von Arbeitsfluid auszutauschen. In einer Anordnung, verwendet das Gerät zwei Rotoren, die beide rotierend, in einer alternativen Anordnung eines der Rotoren kann stationär gehalten werden. Zu den Anwendungen gehören Klimaanlage und Heizung Anwendungen.
2.490.064 Thermodynamische Maschine Dezember 1949 Kollsman
2.490.065 Thermodynamische Maschine Dezember 1949 Kollsman
2.520.729 Maschine zur Herstellung von Heat Energie August 1950 Kollsman
2.597.249 Thermodynamische Motor Mai 1952 Kollsman
3.470.704 Thermodynamische Vorrichtung und Verfahren Oktober 1969 Kantor
3.834.179 Turbine mit Heizung und Kühlung September 1974 Eskeli
3.861.147 Versiegelt Single-Rotor Turbine Januar 1975 Eskeli
3.889.471 Dual-Rotor Dual-Fluid-Turbine Juni 1975 Eskeli
3.895.491 Turbine mit Dual Rotoren Juli 1975 Eskeli
3.919.845 Dual-Fluid-Single-Rotor Turbine November 1975 Eskeli
3.931.713 Turbine mit Regenerierung Januar 1976 Eskeli
4.005.587 Rotary Wärmetauscher mit Kühlung & Regenerierung Februar 1977 Eskeli
4.044.824 Wärmetauscher August 1977 Eskeli
HINTERGRUND
DER ERFINDUNG
Diese Erfindung bezieht sich allgemein auf Vorrichtungen zur Wärmeübertragung von einer tieferen Temperatur zu einer höheren Temperatur unter Verwendung eines Arbeitsfluids in einem Zentrifugenrotor als Zwischenprodukt Fluid eingeschlossen, um die Wärme zu transportieren.
Wärmepumpen sind in der Vergangenheit bekannt gewesen sind aber komplex und teuer, und in der Regel mit einem Arbeitsfluid, das verdampft und kondensiert wird, was zu einer schlechten Effizienz resultiert, und somit hohe Energiekosten.
ZUSAMMENFASSUNG
DER ERFINDUNG
Es ist eine Aufgabe dieser Erfindung, eine
Vorrichtung, die arm an anfänglichen Kosten und eine hohe thermische Effizienz
wodurch Kosten für die erforderliche Leistung bereitzustellen, um es
auszuführen. Es ist weiter die Aufgabe dieser Erfindung, eine Vorrichtung und
Verfahren, bei dem die Verluste, die normalerweise in Lagern und Dichtungen,
durch Reibung, werden dem Arbeitsfluid für die Auflage aufgebracht und so
wirksam eliminiert die Verlustleistung aufgrund solcher Reibung bereitzustellen
Verluste. Außerdem ist es eine Aufgabe der vorliegenden Erfindung, den Rotor
mit einem Arbeitsfluid Wärmetauscher benötigt Rotordrehzahlen verringern.
KURZBESCHREIBUNG
DER ZEICHNUNGEN

Fig.1 ist ein Querschnitt der Vorrichtung.

Fig.2 ist eine Endansicht der Vorrichtung.

Fig.3 ist ein axialer Querschnitt einer anderen Form der Vorrichtung.
BESCHREIBUNG DER BEVORZUGTEN VERKÖRPERUNGEN

Fig.1 zeigt einen axialen Querschnitt der Vorrichtung, wobei 10 die Basis, der erste Rotor 11 ist, 12 der zweite Rotor, 13 eine Dichtung ist, und 14 ist das Lager tragenden Welle 15, ist 16 Fluiddurchgang im zweiten Rotor, 17 wird das Arbeitsfluid, die Öffnung eine Düse, 18 sein kann, wobei der erste Wärmetauscher zur Wärmeabfuhr aus Arbeitsfluid ist, 19 erste Wärmeübertragungsfluid Leitung ist, wird 20 Arbeitsfluid Wärmetauscher, in diesem Fall aus Blech gebildet balgartig, 21 sind Schaufeln, 22 ist zweiter Wärmetauscher zur Neben Betriebsflüssigkeit, 23 tragenden Welle 24, 25 und 26 sind Ein-und Ausstieg für die zweite Wärmeträger, 27 und 28 sind Ein-und Ausstieg für die erste Wärmeträger und 29 eine Leitschaufel in peripheren Durchgang.

In Fig.2, eine Stirnansicht des Gerätes in Fig.1 gezeigten dargestellt. Wobei 10 Base, 11 ersten Rotor ist, 17 Fluidöffnungen sind, 12 zweiter Rotor ist, 16 der zweite Rotor Fluidkanäle mit Schaufeln, zeigt Drehrichtung 30, 24 ist die erste Rotorwelle, und 21 sind Leitschaufeln.

In Fig.3, die Rotoren sind unterschiedlich angeordnet, aber die gleichen Funktionen, etwa, wie in der Einheit von Fig.1. Wo 40 ersten Rotor ist, 41 erster Wärmetauscher zur Wärmeabfuhr von der ersten Flüssigkeit ist, 42 ist ersten Rotorwelle, 43 und 44 Ein-und Aussteigen für erste Wärmeübertragungsfluid sind, 45 Leitung ist, 46 arbeitet Fluidwärmetauscher, 47 sind Fluidöffnungen die Düsen 48 sein kann, ist der zweite Rotor, 49 zweite Wärmetauscher für Zugeben von Wärme zu dem Arbeitsfluid, 50 Lager und Dichtung, 51 ist die zweite Rotorwelle, 52 und 53 sind Ein-und Ausgang für die zweite Wärmeübertragungsfluid.
Im Betrieb werden die Rotoren in Drehung versetzt und der Rotor Hohlräume mit einem geeigneten Arbeitsfluid, der gewöhnlich ein Gas, wie Stickstoff, Luft oder anderen gasförmigen oder dampfförmigen Substanz gefüllt. Bezugnehmend auf Fig.1 dreht sich der zweite Rotor in der Regel schneller ist als der erste Rotor und das Arbeitsfluid durch die Zentrifugalkraft in den Durchgängen 16 komprimiert, und in dem ersten Rotor zu einem gewissen Grad nach dem Wärme in dem Wärmeaustauscher 18 abgezogen wird, mit solche Wärme dann durch die erste Wärmeübertragungsfluid aus der Vorrichtung transportiert. Das Arbeitsfluid strömt dann entlang der peripheren Durchgang 29 und gibt Wärme in einem Wärmeaustauscher 20, wonach das Fluid gegen die Zentrifugalkraft in Flügel 21 und im Wärmetauscher 22, wo Wärme zu dem Arbeitsfluid zugegeben wird erweitert. Nach Expansion durchläuft das Arbeitsfluid entlang mittleren Durchgang und nimmt Wärme aus dem Wärmetauscher 20, womit seine Arbeitszyklus.
Der Betrieb der Einheit in Fig. 3 ist ähnlich, außer dass die zweite Rotor dreht normalerweise langsamer als der erste Rotor und der zweite Rotor kann stationär gehalten werden, wenn gewünscht. Beachten Sie, dass, wenn der zweite Rotor stationär gehalten wird, kann man schmutziges Wasser als zweiter Wärmeträger verwenden; normalerweise in rotierenden Wärmetauschern, die Wärmeträgerflüssigkeit muss frei von Feststoffen, die in den Wärmetauscher aufgrund der Zentrifugalkraft sammeln und blockieren den Wärmetauscher und durch eine stationäre Wärmetauscher, gewöhnlichem Wasser kann verwendet werden, wie Wasser von einem Kühlturm werden.
In der Einheit von Fig.1, ist die Leistungsaufnahme der Regel auf den zweiten Rotor, und der erste Rotor sich frei drehen kann. In solchen Einsatz sind die Rotordurchmessern ausgewählt, um, zusammen mit der Reibungsverlust in Lagern, für die benötigte Drehzahldifferenz zwischen den beiden Rotoren. Mit der zweite Rotor schneller dreht, wird notwendigen Schub für das Arbeitsfluid vorgesehen, um das Arbeitsfluid Zirkulieren halten. Alternativ kann die Drehzahldifferenz durch Verwendung einer Kraftübertragung zwischen den beiden Rotoren, wie beispielsweise ein Getriebe aufrechterhalten werden. In der Einheit der Fig.3 ist der zweite Rotor Geschwindigkeit langsamer als die Geschwindigkeit des ersten Rotors, und wo die Rotordurchmesser geeignet sind, der zweite Rotor kann stationär gehalten werden, Bereitstellen benötigten Schub für das Arbeitsfluid für den Umlauf.
Das Arbeitsfluid Wärmetauscher 20 und 46, beschäftigen Zentrifugalkraft und Variieren Gasdichte um einen Wärmeaustausch zwischen den beiden Arbeitsräumen Fluidströme erhalten. Heißgas im peripheren Stelle ist leichter und kälteres Gas zwischen den Falten des Wärmetauschers kälter ist, wodurch das kalte Gas durch leichtere Gas durch Zentrifugalkraft verschoben. Ebenso in der Mitte Passage Kaltgas im Zentrum verschiebt Heißgas zwischen Falten. Andere Arten von Wärmetauschern kann dem Wärmetauscher 20, mit Wärmerohren, Blechscheiben und gerippten Rohren mit einer Flüssigkeit gefüllt werden.
Der Rotor kann aus dem Vakuumtank ummantelt, falls gewünscht, um die Reibung auf den Rotor Außenflächen reduzieren. Die Verwendung des Arbeitsfluids Wärmetauscher 20 verringert erforderlich Rotordrehzahlen um erforderliche Temperaturunterschiede zwischen den beiden Wärmeträgern, die dann reduziert Reibungsverluste auf dem Rotor, der die Notwendigkeit für einen Vakuumbehälter zu eliminieren, kann erhalten.
Verschiedene Modifikationen dieser Vorrichtung kann hergestellt werden, und verschiedene Arten von Wärmetauschern verwendet. Auch kann Arbeitsfluid Radialkanäle in verschiedenen Richtungen, wobei eine das Steigung für Schaufeln als Element 21 in Fig.2 gezeigt, gekrümmt sein. Durch die Verwendung von Flügelrad Pisten und schrägen Passagen, kann man einstellen, wie viel Arbeit zwischen dem Arbeitsfluid und dem Rotor. Düsen 47 sind in der Regel um so nach hinten zu entladen positioniert, um eine gewisse Drehmoment auf dem ersten Rotor zu erzeugen, und ähnliche Düsen kann auch in Durchgänge 21 der Einheit in Fig.1 gezeigt verwendet werden. Ferner ist der Wärmetauscher 22, der Fig.1, kann auf einem stationären Element angebracht werden, wenn gewünscht, in einer Weise in Fig.3 gezeigt, und Wärmeaustauscher 18 kann innerhalb Rotor 12 befestigt werden, falls gewünscht. Die verschiedenen Komponenten der Einheiten ausgetauscht werden können, wie gewünscht.
FORDERUNGEN
1. In einer Wärmepumpe, wobei ein kompressibles Arbeitsfluids radial nach außen in einem ersten Fluiddurchgang zirkuliert, wobei der erste Durchgang in einer ersten Element enthalten ist, und radial nach innen in Richtung Drehmittelpunkt in einem zweiten Fluiddurchgang, wobei der zweite Durchgang in zumindest einem der enthaltenen die ersten und zweiten Elemente, wobei das erste und das zweite Element koaxial angeordnet ist, mindestens eines der Elemente von einer Welle zur Drehung gelagert ist;
die erste und die zweite radiale Arbeitsfluid kommunizierend Durchgänge an ihren jeweiligen äußeren Enden durch einen äußeren Durchgang und an ihren jeweiligen inneren Enden verbunden sind durch einen inneren Durchgang, wobei die radiale und äußere und innere Durchgänge eine geschlossene Schleife bildet, die sich zumindest teilweise durch beide der Mitglieder, ein Arbeitsfluid ausgelegt ist, durch sein Zirkulationsschleife, eine Einrichtung zum Komprimieren des Arbeitsfluids durch Zentrifugalkraft innerhalb der Schleife mit begleitenden Temperaturanstieg, erste Wärmetauscheinrichtung zum Kühlen Arbeitsfluid nach Kompression besagten ersten Wärmeaustauschabschnitt ausgeführt ist, die durch wobei eines der Elemente, ein zweites Wärmetauschermittel, um eine der genannten Elemente vorgenommen, zum Austauschen von Wärme zwischen regenerativ das Arbeitsfluid innerhalb der inneren und äußeren Passagen und ein drittes Wärmeaustauschmittel von einem der genannten Elemente durchgeführt zum Erwärmen des Arbeitsfluids nach dem Wärmeaustausch zwischen dem Arbeitsfluid innerhalb der inneren und äußeren Passagen.
2. Wärmepumpe nach Anspruch 1, wobei ein erstes Wärmeübertragungsfluid zirkuliert innerhalb der ersten Wärmetauscheranordnung, um Wärme zu entfernen mit dem ersten Wärmeaustauschfluids in die bzw. aus über Leitungen nahe der Mitte der Drehung der Mitglieder.
3. Wärmepumpe nach Anspruch 1, wobei ein zweites Wärmeübertragungsfluid zirkuliert innerhalb der dritten Wärmeaustauschmittel Betreten und Verlassen über Leitungen nahe der Mitte der Drehung der Mitglieder.
4. Wärmepumpe nach Anspruch 1, wobei beide der Mitglieder sind Rotoren.
5. Wärmepumpe nach Anspruch 4, wobei die zwei Rotoren mit unterschiedlichen Winkelgeschwindigkeiten rotieren.
6. Wärmepumpe nach Anspruch 1, wobei mindestens eines der Elemente ein Rotor ist.
7. Wärmepumpe nach Anspruch 6, wobei die zweite Wärmetauschereinrichtung eine Vielzahl von Falten.
8. Wärmepumpe nach Anspruch 7, wobei das zweite Wärmeaustauschmittel ist Balgkonfiguration.
*********************
US-Patent 4.012.912
22. März 1977
Erfinder: Michael Eskeli
TURBINE
ABSTRAKT
Ein Verfahren und eine Vorrichtung zur Erzeugung von Energie, wobei ein Arbeitsfluid innerhalb außen verlaufende Durchgänge Rotors und dann nach innen in weitergegeben anderen Rotors Passagen mit begleitenden Ausdehnung und Verzögerung, mit der Tätigkeit der Verzögerungsfeder Fluid erzeugt komprimiert. Wärme kann in das Arbeitsfluid in der Nähe der Rotorumfang zugesetzt werden, und in geschlossener Rotoren, wird Wärme aus dem Arbeitsfluid nach der Expansion entfernt wird. Ein Regenerator kann auch verwendet werden, die an dem Rotor, den Austausch von Wärme zwischen zwei Strömen der Arbeitsflüssigkeit. Während der Verzögerung werden die Arbeitsbedingungen Fluiddurchgänge rückwärts gekrümmt, während die Arbeitsflüssigkeit Durchlässe für Beschleunigung üblicherweise radial sind. Das Arbeitsfluid kann entweder eine Flüssigkeit oder ein Gas ist, und das Heizfluid sein und das Kühlfluid kann auch entweder eine Flüssigkeit oder ein Gas sein.
3.761.195 Komprimieren Zentrifuge September 1973 Eskeli
3.834.179 Turbine mit Heizung und Kühlung September 1974 Eskeli
3.926.010 Rotary Wärmetauscher Dezember 1975 Eskeli
HINTERGRUND
DER ERFINDUNG
Diese Erfindung betrifft Stromgeneratoren wo ein Arbeitsfluid von einem höheren Energieniveau auf niedrigeres Energieniveau umgewälzt wird, Erzeugen von Leistung.
In meinem früheren US-Patent. Nr. 3.874.190 und 3.854.841, beschrieb ich eine geschlossene und offene Art Turbinen und mit Zentrifuge Design. Diese Turbinen verwendet vorne gerichtete Düsen innerhalb des Rotors; in der Vorrichtung hier offenbarten, haben solche Düsen durch andere Verfahren ersetzt worden.
ZUSAMMENFASSUNG
DER ERFINDUNG
Es ist eine Aufgabe dieser Erfindung, einen einzigen Rotor Zentrifuge Typ Turbinenstufe, wo Schaufeln oder Rippen, bei geeigneter Konturen, der zur Stromversorgung aus dem Arbeitsfluid zu extrahieren, unter Verwendung von entweder einen offenen oder einen geschlossenen Typs Typs Rotors bereitzustellen.
KURZBESCHREIBUNG
DER ZEICHNUNGEN

Fig.1 ist ein Querschnitt und

Fig.2 eine Stirnansicht eines geschlossenen Rotor.

Fig.3 ist ein Querschnitt und

Fig.4 ist eine Endansicht eines offenen Rotor.

Fig.5 ist ein Querschnitt einer Einheit mit einem geschlossenen Typ Rotor und auch unter Verwendung eines Regeneratoren.
BESCHREIBUNG
DER BEVORZUGTEN VERKÖRPERUNGEN

Bezugnehmend auf Fig.1 wird ein Querschnitt einer Form der Einheit angezeigt. Wobei 10 die Rotor, der durch Lager 16 und 22, 17 und Boden 21 abstützt. 12 ist eine Wärmeversorgung Wärmetauscher und 15 ist Kühlwärmetauscher, 14 und 11 sind Flügel oder Flossen, 18 und 19 sind Kühlmittel-und Ausstieg, 20 ist eine Trennwand, 23 und 24 sind Heizflüssigkeit Ein-und Ausstieg, und 13 eine Betriebsfluid-Durchgang mit dem die Strömung des Arbeitsfluids innerhalb des Rotors regeln kann.

Fig.2 eine Stirnansicht des Gerätes in Fig.1 dargestellt. Wobei 10 der Rotor, die Welle 17, 19 ist eine Kühlmittelpassage, die Base 21, 14 sind Schaufeln, so dass sie positioniert Steigung vom Drehsinn wie die durch den Pfeil 25 angedeutet, unter gleichzeitigem Durchleiten des Arbeitsfluids nach innen, 12 wird der Heiz-Wärmetauscher, und 15 ist der Kühlwärmetauscher.

In Fig.3, einen Rotor für eine Einheit mit offenem Kreislauf verwendet wird, wo das Arbeitsfluid betritt und verläßt den Rotor. Dabei ist der Rotor 30, 31 der Schaufel in einer Passage, die sich nach außen erstreckt gelegen ist, 32 der Fluiddurchgang ist, 33 ein Flügelrad in der Passage für nach innen gebundenen Arbeitsfluid ist, das Arbeitsfluid 34 Ausfahrt ist, ist 35 die Rotorwelle , 36 ist ein Rotor internen Teiler und 37 ist das Arbeitsfluid Eintritt in den Rotor.

Fig.4 zeigt eine Endansicht der Einheit aus Fig.3, wo der Rotor 30 ist, ist die Welle 35, 31 sind Schaufeln in den Passagen für Flüssigkeit nach außen gebunden und werden hier nach hinten gebogen werden, gezeigt, wenn der Rotor dreht sich in der gezeigten Richtung durch den Pfeil 38. Nach dem Passieren Öffnungen 32, übergibt die Arbeitsmittel nach innen Schaufeln 33 geführt, und dann verlassen über die Ausfahrt 34. Flügel 33 sind gekrümmt, wie angegeben, mit der Krümmung weg von der Drehrichtung, so dass das Arbeitsfluid gegen die Rotorkomponenten bietet Schub wie es beim Durchgang nach innen in Richtung der Mitte des Rotors verlangsamt.

In Fig.5, einen Rotor mit einem Regenerator dargestellt, und auch der Rotorwelle angeordnet ist, so dass es ortsfest gehalten werden, falls gewünscht. 50 ist der Rotor, der durch Lager 56 und 63 und der Welle 57 abstützt. Schaufeln 51 kann radialen oder gekrümmten wie gewünscht, und Schaufeln 54 sind in einer ähnlichen Weise wie in Fig.4 Flügel 33 gebogen. 52 ist ein regenerativer Wärmetauscher Wärmeaustausch zwischen den Arbeitsräumen fließenden Flüssigkeitsströmen in Durchgängen 53 und 61. Wärmezufuhr Wärmetauscher 55 und Kühlwärmetauscher 62 sind an der Welle befestigt, so daß die Welle geführten Ein stationären oder sich mit einer anderen Geschwindigkeit als der Rotor 50 werden. 58 und 59 sind die Einstiegs-und Ausstiegspunkte für die Heizflüssigkeit, während 64 und 65 der Einstiegs-und Ausstiegspunkte für die Kühlflüssigkeit sind, und 66 ist eine Öffnung.
Bei Betrieb dreht sich der Rotor, und ein Arbeitsfluid innerhalb des Rotors verläuft nach außen in dem Durchgang 11 und wird durch die Zentrifugalkraft komprimiert und beschleunigt zu einer tangentialen Geschwindigkeit, die die gleiche wie die für den Rotorumfang sein kann. In einem geschlossenen Rotors, wie er in Fig.1 gezeigt, wird die Wärme in das Arbeitsfluid in der Nähe des Rotorumfangs versetzt und anschließend das Arbeitsfluid in dem Fluid abgebremst Durchlässe 14, die sich nach innen in Richtung Rotormitte, wobei die Kanäle mit nach hinten weg von gekrümmt die Drehrichtung, wie in Fig.2 gezeigt. Da das Arbeitsfluid in den nach innen erstreckenden Durchgängen abgebremst wird, wird die Tätigkeit dieser Verzögerung assoziiert ist, in den Rotor übertragen, und dies stellt die Schub-und Drehmoment auf den Rotor zu drehen. Nach Verzögerung und Erweiterung, wird das Arbeitsfluid in Wärmetauscher 15 abgekühlt und anschließend an den nach außen erstreckenden Durchlässe so Vervollständigung ihres Arbeitszyklus.
Der Vorgang des Referats Fig.3 ist ähnlich, außer dass das Arbeitsmedium den Rotor gelangt über 37 von externen Quellen öffnen. Für das Gerät in Fig.3 gezeigt ist, wird die Wärme zusätzlich Wärmetauscher weggelassen; für dieses Gerät gibt es einen Druckabfall zwischen Eintritt 37 und die Ausfahrt 34. Ein Wärmetauscher ähnlich der in Fig.1 gezeigt, kann Punkt 12, in der Einheit der Fig.3 verwendet werden, und dann wird das Ein-und Aussteigen Druck für das Arbeitsfluid kann die gleiche sein, wenn gewünscht.
Der Betrieb der Einheit in Fig.5 gezeigt, ist ähnlich wie bei den anderen Einheiten beschrieben. Der Rotor dreht, und durch die Fliehkraft, komprimiert das Arbeitsfluid in den Durchgängen 51, und dann wird das Arbeitsfluid Gewinne Wärme in der Regenerativ-Wärmetauscher, mit der Wärme von einem anderen Strom des Arbeitsmediums der Rückkehr aus dem Hochtemperatur Ende der Einheit zugeführt wird. Das Arbeitsfluid expandiert und in den Durchgängen 54 abgebremst und Wärme wird in dem Wärmetauscher 55 aufgenommen. Dann wird das Arbeitsfluid durch den Regenerativ-Wärmetauscher und dann wird in der Kühl-Wärmetauscher abgekühlt und dann in 51 Passagen womit seines Zyklus vergangen.
Die verschiedenen Komponenten der dargestellten Einheiten können ausgetauscht werden, um zusätzliche Formulare der Vorrichtung abzugeben. Wie erwähnt, kann die Einheit aus Fig.3 mit einem Wärmetauscher ähnlich der in Fig.1 zum Addieren Wärme in das Arbeitsfluid in der Nähe der Rotorumfang gezeigt vorgesehen sein. Ferner kann ein Regenerator mit den Einheiten der Fig.1 und Fig.3 vorgesehen sein, falls gewünscht, zwischen dem nach außen erstreckenden und die nach innen verlaufende Arbeitsfluid Passagen. Auch ist die Kühlschlange der Fig.5 kann Pos. 62 eliminiert werden, und das Arbeitsfluid in die Einheit von außerhalb der Einheit zu treffen, falls gewünscht.
Die Öffnungen 32, 13 und 66 können in Düsen hergestellt werden, falls gewünscht, und die Düse in verschiedenen Richtungen orientiert, wie gewünscht. Insbesondere können diese Düsen so positioniert werden, um das Arbeitsfluid tangential nach hinten auszustoßen, falls gewünscht.
Der Regenerator nach Fig.5 wird gezeigt, verjüngt sein. Diese Verjüngung kann, wie gezeigt, oder die Verjüngung kann so getroffen, daß der Regenerator Abschnitt kleineren Durchmesser an dem Ende, der Wärmetauscher 55, als das Ende, das dem Wärmetauscher 62 hat ist. Auch kann der Regenerator ohne Verjüngung erfolgen.
Durchgänge 53 und 61 werden üblicherweise mit Schaufeln, wie in Fig.5 gezeigt, vorgesehen, um tangentiale Bewegung des Arbeitsfluids zu verhindern.
Anwendungen für diese Stromerzeuger sind diejenigen, die normalerweise in der Stromerzeugung gestoßen.
Das Arbeitsfluid ist normalerweise ein Gas für Einheiten wie jene in Fig.1 und Fig.5 gezeigt, aber die Arbeitsflüssigkeit kann auch eine Flüssigkeit für ein Gerät, wie in Fig.3 gezeigt sein. Die Heiz-und Kühlflüssigkeiten können entweder Gase oder Flüssigkeiten sein, wie gewünscht.
Die Wärmetauscher für Heizung und Kühlung sind gezeigt, um von gerippten Rohren hergestellt werden. Andere Formen von Wärmeaustauschern zum Addieren Wärme und zum Abführen von Wärme können verwendet werden. Der Regenerativ-Wärmetauscher wird gezeigt, aus Blech hergestellt werden, andere Formen von Wärmeaustauschern können ebenfalls verwendet werden.
US-Patent 3.931.713
13. Januar 1976
Erfinder: Michael Eskeli
TURBINE MIT REGENERATION
ABSTRAKT
Geben Sie ein Verfahren und Vorrichtung zur Stromerzeugung durch Übergabe einer motivierenden Flüssigkeit aus ein höheres Energieniveau zu einem niedrigeren Energieniveau durch komprimieren die Flüssigkeit in einer Zentrifuge Typ erste Rotor und Entladung der Flüssigkeit durch Düsen in der Nähe von der Peripherie des ersten Rotors, vorwärts in die Richtung der Rotation um eine zweite Rotor, der eine nach innen fließend ist Reaktion turbine, dann übergeben die Flüssigkeit durch einen Regenerierung Typ Wärmetauscher Wärme aus der nach innen gebundene Flüssigkeit in der freien Flüssigkeit übertragen, nach denen die Flüssigkeit wird in einem Wärmetauscher auf seine ursprüngliche Temperatur abgekühlt und nach außen wieder damit Abschluss des Zyklus übergeben wird. Hitze die Flüssigkeit in der Nähe von der Peripherie des zweiten Rotors hinzugefügt wird, oder die Hitze zugesetzt werden, in der Nähe von der Peripherie der erste Rotor oder beides. Darüber hinaus die Flüssigkeit kann aus einer externen Quelle der Einheit geliefert, und werden auf solchen externen Quelle, und die Kühlung kann aus dem Gerät somit eliminiert werden. Darüber hinaus kann die Flüssigkeit aus einer externen Quelle in bei erhöhten Druck sein. Die Flüssigkeiten verwendet möglicherweise gasförmige, das ist normal für eine Einheit des geschlossenen Typs oder Flüssigkeiten Eintrag für das Gerät offener Typ sind.
US-Patent-Referenzen:
2.490.064 Thermodynamische Maschine Dezember 1949 Kollsman
2.514.875 U-Passage Gas Turbine Juli 1950 Kollsman
2.597.249 Thermodynamische Motor Mai 1952 Kollsman
3.236.052 Geschlossener Kreislauf Gas Turbines Februar 1966 Guin
3.530.671 Regenerative Luft Turbines September 1970 Kolodziej
Diese Anwendung ist eine Continuation-in-part-Anmeldung von "Turbine mit Zwei Rotoren," Ser. Nr. 405.628, eingereicht 10/11/73 und basiert auf einer früheren US-Patent. Nr. 3.834.179, "Turbine mit Heizen und Kühlen".
HINTERGRUND DER ERFINDUNG
Diese Erfindung betrifft allgemein Vorrichtungen zum Erzeugen von Leistung als Reaktion auf ein Fluid, das von einem höheren Energieniveau auf ein niedrigeres Energieniveau, die durch eine Turbine zur Erzeugung von den Strom ab.
Es wurden verschiedene Arten von Turbinen früher, in die teilweise ein Fluid in einer einzelnen oder mehreren stationären Düsen beschleunigt wird und dann an Schaufeln auf einem rotierenden Laufrad, wobei die kinetische Energie des sich bewegenden Fluids enthalten ist, um Energie durch umgewandelt montiert Verzögerung des Fluids.
Diese herkömmlichen Turbinen normalerweise einen hohen Energieverlust aufgrund Flüssigkeitsreibungskupplung, insbesondere zwischen Rotorschaufeln und dem Fluid in dem die Geschwindigkeit Differential ist meist groß. Auch diese Anlagen erfordern oft komplex geformten Turbinenschaufeln machen das Gerät teuer.
ZUSAMMENFASSUNG DER ERFINDUNG
Es ist eine Aufgabe dieser Erfindung, eine Turbine zur Stromerzeugung, in dem Wärme an Energie umgewandelt wird, in effizienter und wirtschaftlicher Weise und mit hohen thermischen Wirkungsgrad zu schaffen. Es ist auch eine Aufgabe dieser Erfindung, ein Mittel zum Übertragen von Wärme von der motivierenden oder Arbeitsfluid, welches das erste Fluid, während seines Durchgangs von Rotorumfang zu Rotormitte in die erste Flüssigkeit, die von dem Rotor entfernt ist auf das Passieren bereitzustellen Rotorumfang. Diese Wärmeübertragung verbessert den Wirkungsgrad der Turbine, und verringert die erforderliche Drehzahl des Rotors, so dass weniger kostspielig Rotorkonstruktion.
KURZBESCHREIBUNG DER ZEICHNUNGEN

Fig.1 ist ein Querschnitt einer Form der Vorrichtung, und

Fig.2 ist eine Endansicht der Einheit im gezeigten Fig.1.

Fig.3 ist ein Querschnitt einer anderen Form der Vorrichtung.

Fig.4 ist ein Detail der Rotordüsen.

Fig.5 ist ein Druck-Enthalpie-Diagramm der ersten Flüssigkeit mit Arbeiten Zyklus illustriert für die erste Flüssigkeit.
BESCHREIBUNG DER BEVORZUGTEN VERKÖRPERUNGEN

Fig.1 zeigt einen Querschnitt aus einem Form der Turbine. In dieser Form ist die erste Flüssigkeit innerhalb der Rotor mit einer zweiten Flüssigkeit versiegelt, die Hitze und die erste Flüssigkeit und eine dritte Flüssigkeit, die kühlt die erste Flüssigkeit, Umlauf aus externen Quellen versorgt.
Die erste Flüssigkeit wird beschleunigt und komprimiert innerhalb der ersten Rotor und nach der Entlassung aus den Düsen des ersten Rotors, in der zweiten Rotor, wo sie Wärme aus der zweiten Flüssigkeit erhält und nach Entschleunigung und Umbau übergibt die erste Flüssigkeit Wärme Austauschbeziehung mit der ersten Flüssigkeit fließt nach außen, so dass die Wärme von der nach innen übertragen wird erste Flüssigkeit nach außen gebundene erste Flüssigkeit gebunden. Kühlung erfolgt dann für die erste Flüssigkeit, die erste flüssige Temperatur auf einen vorgegebenen Anfangswert zu bringen.
Fig.10 ist das Gehäuse, 11 ist der erste Rotor, 12 ist der dritte flüssig Wärmetauscher, 13 ist die Windfahne dient auch als Mitglied Austausch Hitze, 14 ist eine Wärme leitende Wand, 15 ist ein Flügel, 16 ist eine Düse, 17 ist der zweite Rotor, 18 ist der zweite flüssig Wärmetauscher, 19 ist ein Flügel, 20 ist die Sekunde-Flüssigkeit-conduit, 21 ist eine kombinierte Lager und Dichtung, 22 ist eine kombinierte Lager und Dichtung, 23 ist eine zweite Rotorwelle für die Lieferung von Strom, und für die Unterstützung des zweiten Rotors, 24 und 25 sind Versorgung und zurück für die Drittel-Flüssigkeit, 26 ist ein Schlot öffnen in das Gehäuse, in dem eine Vakuumquelle angeschlossen werden kann, 34 ist eine Trennwand, 27 sind Lamellen dienen auch als Wärmeaustausch Mitglieder, 28 ist eine erste-Flüssigkeit-Passage, 30 ist eine kombinierte Lager und Dichtung, 31 und 32 sind die zweite-Flüssigkeit gefährdeten Stellen und 33 ist die erste Rotorwelle.

Fig.2 eine Stirnansicht des Gerätes der Fig.1, wobei 10 die Gehäuse 11 ist der erste Rotor, der zweite Rotor 17 ist, der erste 16-Fluiddüsen sind, 18 ein Wärmetauscher ist, 19 Schaufeln sind, ist 20 ein Leitung, 13, 14 und 27 bilden einen Wärmetauscher für das erste Flüssigkeit-und 23 ist die zweite Rotorwelle.

Fig.3 zeigt eine andere Form der Turbine, wobei die erste-flüssigkeitis zur Turbine aus fremden Quellen wodurch die dritte flüssigkeit Wärmetauscher zugeführt. 50 ist der erste Rotor, 51, 52 und 53 bilden einen Wärmetauscher für das erste flüssigkeit, sind 55 und 58 Erwärmen Wärmetauschern zur Zuführung von Wärme zur ersten flüssigkeitis und kann eine zweite flüssigkeitis bei der gleichen Temperatur oder bei einer anderen Temperatur als verwenden das Erhitzen flüssigkeitis, 54 sind Schaufeln innerhalb des ersten Rotors, 56 flüssigkeit ersten Düsen ausgerichtet sind, um nach vorne zu entladen, wobei der zweite Rotor 57 ist, 59 Schaufeln sind, ist eine Leitung 60 für das zweite flüssigkeitluid, 61, 62 und 72 sind Lager, 64, 65, 69 und 70 sind Ein-und Ausgänge für den zweiten flüssigkeitluid, 63 die zweite Rotorwelle, 71 erste ist Rotorwelle, ist 66 die Basis, während 67 und 68 die Aus-und Einreise Punkte für den ersten flüssigkeit sind.

Fig.4 zeigt ein Detail der ersten Fluiddüsen 34 ist soweit Wand, an der Düsen 16 angebracht sind, ist 35 die ungefähre Richtung des Verlassens des ersten Fluids, und 36 zeigt die Drehrichtung des ersten Rotors.

In Fig.5, ein Druck-Enthalpie-Diagramm für das erste Flüssigkeit angezeigt wird, mit dem Arbeitszyklus für das erste Flüssigkeit in dem 80-ist der Druck-Achse und 81 ist Enthalpie Achse sind 82 Linien konstanter Entropie, 83 sind konstant Druckleitungen und für den Zyklus, Kompression mit Wärmeabfuhr oder ohne Wärmeabfuhr erfolgt 84 bis 85, Wärme von der Rückkehr der ersten Flüssigkeit von 85 bis 86 zugesetzt wird, ist eine weitere Kompression von 86 bis 87, dann Ausdehnung von 87 bis 88 und 89, und zur Wärmeabfuhr Erste-Flüssigkeit 89 bis 84, womit der Zyklus. Wärme wird in der Regel zwischen 87 und 88 aufgenommen, von dem zweiten Flüssigkeit. Die Wärme Addition zwischen 85 und 86, und Wärmeabfuhr zwischen 89 und 84 kann bei konstanter oder variierender Druck sein, wie gewünscht; Druck kann zweckmäßigerweise durch Erhöhen oder Verringern des Durchmessers des ersten Flüssigkeiten zum ersten Flüssigkeit-Wärmetauscher variiert werden, wodurch die Wärmetauscher verjüngt.
Im Betrieb werden die Rotoren auf einen gewünschten Druck mit einem geeigneten ersten Flüssigkeit gefüllt ist, und der erste Rotor in Drehung versetzt. Das erste Flüssigkeit-zunächst mit Wärmeabfuhr komprimiert und wird dann in Wärmeaustausch mit dem nach innen gebundenen ersten Flüssigkeiten mit Zugabe von Wärme geführt und danach die erste Flüssigkeit wird weiter komprimiert und beschleunigt und nach dieser Verdichtung, die erste Flüssigkeit wird über Düsen an den ersten Rotor vorwärts in der Drehrichtung, nach denen die erste Flüssigkeit in der zweiten Rotors nach innen verlaufende Durchgänge für Abbremsung angebracht übergeben, wobei Wärme zu der ersten Flüssigkeit in den zweiten Rotor innen Durchgänge zur Reduktion zugegeben der Dichte des ersten Flüssigkeit. Nach Passieren einwärts und Abbremsen wird die erste Flüssigkeit in Wärmeaustauschbeziehung mit dem außen-gebundenen ersten Flüssigkeit weitergegeben, und danach wird die erste Flüssigkeit kann weiter verzögert werden, und dann das erste Flüssigkeit-trägt die nach außen verlaufende Passagen des erste Rotor womit der Zyklus.
Der Betrieb des offenen Turbine 3 ist ähnlich zu dem beschrieben wurde, außer dass das erste Flüssigkeit aus anderen Quellen zugeführt werden, und wird dann an die externe Quelle zurückgeführt, unter Kühlung anschließend gelöscht wird.
Die Arbeit Eingang mit dem ersten Rotor ist die Arbeit erforderlich, um die erste Flüssigkeit-Beschleunigung, und die Arbeit ausgegeben durch den zweiten Rotor ist die Arbeit der Verzögerung empfangen durch den zweiten Rotor. Die Arbeitsleistung von der Turbine ist die Arbeit Differential dieser beiden Rotoren.
Die Drehzahl des zweiten Rotors kann höher als die Drehgeschwindigkeit des ersten Rotors. Um nach innen gerichtete Strömung des ersten Flüssigkeiten in dem zweiten Rotor zu schaffen, wird das Flüssigkeit Dichte durch Zugeben von Wärme zu dem ersten Flüssigkeit entweder innerhalb des zweiten Rotors oder auch innerhalb des ersten Rotors reduziert.
Die Zugabe von Wärme aus dem inneren gebundenen ersten Flüssigkeiten zum ersten Flüssigkeit nach außen gebunden erhöht die Temperatur des ersten Flüssigkeiten während der zweiten Hälfte der Kompression und während der Ausdehnung und hat somit die Wirkung der Verbesserung des thermischen Wirkungsgrades der Turbine. Außerdem ist ein weiterer Effekt die Verminderung der benötigten Drehzahl für den Turbinenrotoren, wodurch die erforderliche Festigkeit für die Rotoren und die Rotoren Herstellung wirtschaftlicher zu machen und zu bedienen.
Arbeitsfluide für diese Turbine Gase sind meist für den ersten Flüssigkeit-und Flüssigkeiten für die zweiten und dritten Fluide. Gasförmigen zweiten und dritten Fluide können auch verwendet werden, und die erste-Flüssigkeit kann eine Flüssigkeit, die in einigen Fällen sein. Auch kann das erste Flüssigkeit durchlaufen eine Phasenänderung innerhalb der Turbine, wenn dies gewünscht wird, bei Verwendung einer geeigneten Flüssigkeit. Anwendungen für diese Turbinen sind normale Stromerzeugung Service mit verschiedenen Wärmequellen.
Der erste Rotorwelle und der zweite Rotorwelle werden normalerweise über eine Kraftübertragungsvorrichtung verbunden ist, so dass ein Teil der Leistung durch den zweiten Rotor erzeugt wird verwendet, um den ersten Rotor zu drehen. Ab der Einheit ist von einer Startvorrichtung.
Die Schaufeln der Rotoren kann gekrümmt ausgebildet sein, falls gewünscht. In vielen Fällen können die ersten Rotorflügel rückwärts gekrümmt sein, um Kompression der ersten-Flüssigkeiten zu erhöhen, und die Flügel des zweiten Rotors können auch gekrümmt sein, um die Leistung zu verbessern, und um die Gestaltung und Flüssigkeit ausgewählt anzupassen. In diesem Zusammenhang sind die Rippen für die Wärmetauscher als Leitschaufeln sein.
Der Druck-Enthalpie-Diagramm in Fig.5 gezeigt, ist nur angenähert. Dieses Diagramm kann variiert werden, abhängig von der Menge der Wärme in dem zweiten Rotor zugegeben oder in dem ersten Rotor, und abhängig von der spezifischen Lage des zweiten Flüssigkeiten und des dritten Flüssigkeiten Wärmetauschern. Insbesondere kann Wärme an das erste Flüssigkeit während der Expansion hinzugefügt werden, um die erste Flüssigkeit-Temperatur zu erhöhen tatsächlich machen; dies normalerweise verbessern die gesamte thermische Wirkungsgrad der Turbine. Auch kann die Wärmeabfuhr durch das dritte Flüssigkeit in anderen Orten als dem in Fig.1 gezeigt durchgeführt werden, wie gewünscht.
Es sollte auch angemerkt werden, daß die Wärmezufuhr in der ersten Flüssigkeit kann aus anderen Quellen als das zweite Flüssigkeit, und in ähnlicher Weise einige andere Mittel verwendet werden, um die erste Flüssigkeit-außer dem dritten Flüssigkeit zu kühlen sein. Solche Wärmequellen kann Elektrizität oder anderen Rotoren in der Nähe dieser Turbine montiert, diese wird sich nicht ändern, den Geist dieser Erfindung.
Der Wärmetauscher zum Übertragen von Wärme aus dem inneren gebundenen ersten Flüssigkeiten zu dem nach außen gebunden ersten Flüssigkeit kann auch innerhalb des zweiten Rotors angeordnet ist, und auch das Ein-und Aussteigen für die erste-Flüssigkeiten in die Turbine innerhalb des zweiten Rotors sein . Solche Anordnungen sind nicht speziell in den Zeichnungen dargestellt, da sie als innerhalb der Fähigkeiten eines erfahrenen Designer sein, im Hinblick auf den hier gegebenen Beschreibungen.
Ein Großteil dieser Informationen über Michael Eskeli genommen wird, mit freundlicher Genehmigung von Scott Robertson, von seiner Website http://www.aircaraccess.com .
Hier in
Kapitel 2, eine Einrichtung, die in dieser Liste der Geräte mit eigener
Stromversorgung sein muss wiederholt ist die extrem einfache Wasserstrahl Generator.
Es ist ein Video über Google, die eine self-powered elektrischen Wasserpumpe
angetrieben, elektrischen Generator an der Stelle zeigt: http://video.google.com.au/videoplay?docid=-3577926064917175403&ei=b1_BSO7UDILAigKA4oCuCQ&q=self-powered+generator&vt=lf
Dies ist eine sehr einfache Vorrichtung, wo der Wasserstrahl aus der Pumpe bei einem einfachen Wasser-Rad, das wiederum einen elektrischen Generator dreht benötigte Spannung für die Pumpe und eine elektrische Glühlampe, demonstriert freien Energie geleitet wird. Was ist besonders zu beachten ist die völlige Einfachheit dieses Gerät. Es verwendet allgemein verfügbare Teile fast ausschließlich und kann von fast jedermann gebaut werden.
Es sollte beachtet werden, dass die Umsetzung in diesem Video gezeigt die grundlegendste von Turbinenschaufeln, die einen sehr niedrigen Wirkungsgrad, und dennoch die Ausgangsleistung erzeugt wird, deutlich über dem Niveau benötigt, um seinen eigenen Betrieb aufrechtzuerhalten haben müssen verwendet werden. Angesichts gut geformten herkömmlichen Turbinenschaufeln viel höheren Wirkungsgrad scheint, um die Leistung weiter zu steigern, während man denken würde, dass mit einem Tesla Turbine mit seiner einfachen Discs sollten eine wirklich spektakuläre Performance geben. Dies kann jedoch sehr wohl nicht der Fall ein die unregelmäßige, gepulster Antrieb des Rades wird Erfassen zusätzlicher Energie, wie in dem Fall des Chas Campbell Schwungrad und dem Schwungrad John Bedini sein. Wie es ist, mit seiner jetzigen Form der Konstruktion ist das Gerät bereits in der Lage, zusätzliche Leistung in der Lage, andere Stücke von Standard-Netzgeräte laufen.

Was hier gezeigt ist eindeutig eine Entwicklungsplattform und es wäre von die die Gebiete aufweisen, die Wasser enthalten, vollständig umschlossen profitieren, und die elektrische Ablenkung von Netzspannung in die Lichtmaschine durch einen Schalter bedient.

Anfänglich wird der Generator bis zu Geschwindigkeit, durch die elektrische Stromversorgung angetrieben hat. Dann wird, wenn es normal läuft, wird der Netzanschluss entfernt und der Motor / Generator sich erhält und ist auch in der Lage, Leistung mindestens eine Glühbirne. Die Generatorleistung ist normal Netzstrom aus einem Standard off-the-shelf Lichtmaschine. Stromerzeugung konnte kaum mehr einfacher als diese.
Arthur Cahill und John Scott haben ein Wärmepumpensystem, das Wärme Energie aus der umgebenden Umwelt und verwendet diese Energie, um mechanische und / oder elektrische Energie zum Antreiben eines Haushalts erzeugt patentiert. Warum die meisten Menschen haben einen Kühlschrank sind sie in der Regel nicht bewusst, dass es sich um eine Wärmepumpe ist, und bewegt sich drei Mal so viel Wärme aus dem Inneren des Kühlschranks im Vergleich zum notwendigen Leistungsaufnahme (COP = 3, sondern könnte bis zu COP = 11, wenn anders genutzt ).
Diese Wärmepumpen-System scheint ohne jede Form von Energie laufen, aber die Energie kommt indirekt von der Sonne erwärmt die Umgebung und es ist keine Hexerei. Wohlgemerkt, wenn das System läuft und versorgt, in der Regel, ohne die Notwendigkeit für jeden Brennstoff, der Benutzer daran zu denken als Brennstoff-oder weniger self-powered Systems vergeben werden können, obwohl streng genommen, das ist nicht der Fall. Die Erfinder haben Zertifikate für ungewöhnliche Bedingungen, bei denen Umweltbedingungen nicht bieten kann die Temperaturdifferenz notwendig sind, um das System wie vorgesehen gemacht. Ein flüssiger oder gasförmiger Brennstoff entlang mit einem Brenner, um die Wärme bereitzustellen, wenn diese Differenz Bedingungen angetroffen vorgesehen sind.
Hier ist ein Auszug aus ihrem Patent:
US-Patent 4.309.619
5. Januar 1982 Erfinder: Arthur Cahill & John Scott
SONNEN-ENERGIE
SYSTEM
ABSTRAKT:
Eine dynamische, selbst trägt und selbst erhaltende Vorrichtung zur Herstellung von Antriebskraft durch Kombinieren kryogenen und thermodynamischen Prinzipien in einem System zur Aufrechterhaltung der Systeme getrennt, zwei zur Atmosphäre hin offen, die anderen geschlossenen, abgedichteten, unter Druck und mit Hilfe spezieller compoundiert Fluiden, die, wenn abwechselnd an der Hitze des atmosphärischen Temperatur ausgesetzt wird, dann, um die Kälte eines flüssigen oder luftgekühlten Kondensator, erster verdampft, anschließend kondensiert. Rasche Expansion während der Verdampfung erzeugt eine Hochdruckdampfphase, die einen Motor und ein Generator arbeitet, der Bestandteil des geschlossenen Systems sind. Rasche Kondensation drastisch reduziert Gegendruck auf der hinteren Seite der Maschine, und der Motor arbeitet nach dem Unterschied zwischen den beiden Drücken, Erzeugung von Elektrizität oder der Motor als Direktantrieb für Fahrzeuge oder Geräte verwendet werden kann. Built-in Garantien und Alternativen sind ein Teil der Systeme, Sicherstellung Weiterbetrieb trotz widriger Umstände.
US-Patent Referenzen:
2.969.637 Konvertieren Solar in mechanische Energie Januar 1961 Röwekamp
3.495.402 Macht System Februar 1970 Yates
3.995.429 Stromerzeugung mit Umgebungstemperatur Differentiale Dezember 1976 Peters
4.110.986 Nutzung von Solarenergie durch ein Flüssigkeit September 1978 Tacchi
4.214.170 Stromerzeugung-Kühlsystem Juli 1980 Leonard
HINTERGRUND DER ERFINDUNG
1. Gebiet der Erfindung
Diese Erfindung betrifft einen geschlossenen Zyklus, abgedichteten, unter
Druck, Energie erzeugenden System, unter Verwendung der Wissenschaften der
Thermodynamik und Kryogenik um Flüssigkeit in Gas umgewandelt werden, dann
wieder zu Flüssigkeit.
2. Beschreibung des Standes der Technik
Es gibt keine genaue Stand der Technik, wie Kryotechnik wurden in erster Linie
für Kälte-und Klimatechnik eingesetzt und thermodynamische Anstrengungen im
Bereich der niedrigen Wirkungsgrad Ozean thermischen Energieumwandlung Systeme
gerichtet. Ein paar Versuche unternommen worden, um irgendeine Form der
Kryotechnik und Thermodynamik zu kombinieren, ohne nennenswerten Erfolg, vor
allem mit Meerwasser für die Verdampfung und Kondensation. Während der Verwendung
keinen Treibstoff und geringem im Bereich der Arbeit, sind diese ocean
Umwandlung thermischer Energie Systeme der Notwendigkeit, Tiefdruckgebiete und
erfordern große Seeschiffen Plattformen, um die riesigen Turbinen und
Wärmetauscher, die erforderlich sind, um angemessene elektrische Energie zu
erzeugen sind, zu unterstützen, was in übermäßigen Kapitalkosten für minimale
elektrische Leistung, da solche Stationen nur die Fähigkeit haben, einen
kleinen Teil der Bevölkerung entlang den Küsten zu bedienen. Keines dieser
Kunstgriffe dienen oder profitieren die Bevölkerung als Ganzes, während die
ganze trägt die Beweislast der Finanzierung durch Steuern oder staatliche
Zuschüsse.
Vorschläge zur Wärme-Gase und Kühlung von Gasen in dem Bemühen, die Effizienz
zu Hause Heiz-und Kühlsysteme zu verbessern, wurden bisher fortgeschritten,
einige, die auf dem Prinzip der Wärmepumpe. Alle diese früheren Vorschläge und
Erfindungen haben eins gemeinsam, sie alle Stecker in die Utility-Unternehmens
elektrischen Leitung den Strom notwendig, das System laufen zu erhalten.
In der Kryotechnik die Erkenntnis, dass bestimmte Flüssigkeiten, wenn sie
erhitzt, in einen Hochdruck-Dampf, der das Herz aller Kälte-und
Klimatechnik-Systeme ist, ändern Sie ist seit vielen Jahren bekannt.
Thermodynamik wurden im 19. Jahrhundert Französisch Physiker Nicholas Carnot
Pionierarbeit. Versuche sind in den Jahren worden, um einen oder den anderen
und manchmal sowohl nutzen, zum Zwecke der Erwärmung und Abkühlung, was zu der
Erfindung der Wärmepumpe in einem viel früheren Jahr, aber keines der Systeme
noch für die Verwendung durch die ersonnen Allgemeinheit sind in der Lage, ohne
den Einsatz von einer äußeren Quelle von Elektrizität oder, Brennstoff, wie Öl
oder Gas befeuerten Kessel, was zu einer erheblichen Verbrauch von Kraftstoff
und einem katastrophalen Auswirkungen auf Umwelt der Erde zu betreiben.
ZUSAMMENFASSUNG DER ERFINDUNG
In Übereinstimmung mit der vorliegenden Erfindung wird das Gerät nicht in
heißen Sonne zu betreiben; an bewölkten Tagen ohne Sonnenschein, während
Regengüsse, während Schneestürmen, während Veränderungen in der Temperatur
zwischen Tag und Nacht, während Wechsel der Jahreszeiten vom Winter zum
Frühling, den Sommer, um Sturz, und wenn es kalt ist, auch unter dem Nullpunkt,
für die Stromversorgung erzeugt wird, dass die Energie erzeugt, wenn ein Fluid
compoundiert Veränderungen Form zunächst Dampf, dann zurück zu Flüssigkeit,
durch Anlegen gesteuerten Temperaturen innerhalb des abgedichteten Zyklus.
Somit ist es durch Kombinieren Kryogenik und Thermodynamik in einem System,
halten die beiden getrennten, einer zur Atmosphäre geöffnet und der andere
geschlossen, versiegelt und unter Druck und unter Verwendung Fluide speziell
für den gegebenen Bereich oder Klima, diese Flüssigkeiten, verstärkt, wenn auf
Atmosphärendruck ausgesetzt Temperaturen, in Übereinstimmung mit den
kinetischen Theorien der Materie, Gasen und Wärme, die kinetische Energie
bereitstellen, um einen Motor zu betreiben.
Der Kondensator kann entweder flüssig oder luftgekühlt sein, obwohl für die
Ausführungsform dargestellt wird, ist der Kondensator luftgekühlt.
Allgemein gesprochen, gibt es bis zu einem ungefähren 2,5 PSI steigen mit jedem
Grad des Temperaturanstiegs in den meisten kryogenen Flüssigkeiten und Gasen.
Allerdings mit handelsüblichen Flüssigkeiten, sind hier ein paar Beispiele:

Sie
werden feststellen, dass R-13 bei 80° F. 521 Psi. oder Atmosphärendruck 35.4
Mal produziert, und bei 125° F. Tausenden von Psi produzieren würde. 185 Psi.
oder auf einem fünf Zoll Durchmesser Kolben 3,633.4 Pfund Schub produziert, F.
R-22 mit 95° C. Auch bei 30° C ist mit R-22 ein Schub von 583.2 Pfund erzielt.
R-13 bei 30° F. produziert 263 psi. oder 5,112.7 Pfund Schub auf einem fünf
Zoll Durchmesser Kolben. Den Druck gibt es beim Gebrauch der Casco verewigen
Energiesystem, Nutzung der proprietäre formulierte Flüssigkeiten für die Gegend
und Temperaturen angetroffen werden. Es ist nicht beabsichtigt, dass alle diese
genannten Flüssigkeiten werden in die vorliegende Erfindung verwendet werden;
die Vergleiche mit den beliebtesten und bekanntesten Flüssigkeiten nur zu
Vergleichszwecken Verweisungen hierin.
DIE ERFINDUNG
Die
vorliegende Erfindung bezieht sich auf ein Gerät Verschmutzung befreit einen
Generator zur Erzeugung elektrischer Energie betreiben oder als direkter
Antrieb, Welle, Getriebe, Kupplung, Differential oder solche, die Erfindung
unabhängig von externen Energiequellen wie Strom durch ein
Versorgungsunternehmen geliefert versorgen versorgen. Dies ist nicht zu
Perpetuum Mobile, betrachtet werden, wie weiter unten in der

Proprietären
Flüssigkeiten, speziell compoundiert, um die gewünschten Ergebnisse in einem
bestimmten Bereich oder Klima unter dem Druck in dem Reservoir, um sie in einem
flüssigen Zustand zu halten herzustellen, wird, wenn durch die Rohre ausgesetzt
atmosphärische Temperatur, Wechsel von einem flüssigen Zustand in einen
gasförmigen gerichtet Zustand (ab hier bezeichnet als Dampf), eine solche
Umwandlung was zu enormen Expansion, wodurch Hochdruckdampf, mit dem der Motor
oder der Turbine anzutreiben.
Es ist
eine allgemeine Aufgabe dieser Erfindung, eine Vorrichtung zur
umweltfreundlichen öffentlichen Nutzungsschlüssels, die elektrische Energie
bzw. Leistung zu erzeugen Direktantrieb zur Verfügung stellt. Ein Ziel ist es,
elektrische Energie, mit denen zu heizen, kühlen, kochen, führen Elektrogeräte
und leuchtet ein Haus zu produzieren. Ein weiteres Ziel der Erfindung ist es,
einen Industrie mit umweltfreundlichen Mitteln nicht nur Wärme, Licht und
kühler Fabriken, sondern auf elektrische oder direkte Antriebskraft, mit dem
Gerät zu betreiben Fabrik liefern bereitzustellen. Eine weitere Aufgabe der
Erfindung ist es, eine umweltfreundliche Energiequelle für Autos anzutreiben,
Züge, Lastwagen, Busse, Ausrüstung, Dampfschiffe, Flugzeuge und andere Formen
des Transports, ohne den Einsatz von fossilen Brennstoffen als primäre
Energiequelle liefern. Es ist auch eine Aufgabe der vorliegenden Erfindung, die
Mittel, wodurch Individuen elektrische Energie für den eigenen Gebrauch zu
produzieren, und kann als kleine Stromerzeugung, verkaufen ihre überschüssige
elektrische Energie an den lokalen Stromversorger Unternehmen bieten. Eine
weitere Aufgabe der Erfindung ist es, ein sich selbst tragendes, kleines Gerät,
das genügend Leistung bietet der Motor ein Auto oder andere Förderung zu
betreiben, oder ausreichend elektrische Energie, um ein Haus oder Fabrik zu
liefern, ohne dass das Gerät stecken bieten in eine Public Utility Stromversorgung.
KURZE BESCHREIBUNG DER ZEICHNUNG

Fig.1 ist eine teilweise geschnittene schematische Ansicht des Systems:
DETAILLIERTE
BESCHREIBUNG EINER BEVORZUGTEN AUSFÜHRUNGSFORM
In der
Zeichnung Fig.1 ist die Erfindung in
einer bevorzugten Ausführungsform für den Heimgebrauch gezeigt. Die
Flüssigkeitspumpe 39, pumpt das
kryogene flüssigkeit aus dem unter Druck Flüssigkeitsbehälter 38, in flüssige Linie 40, wo die flüssigkeit
Schwerkraft-Feeds in den Flash-Kessel 8.
Pumpe 39 verhindert auch Gegendruck
aus dem Flash-Kessel 8 Eindringen
von Druckflüssigkeit Reservoir 38,
und da der Druck innerhalb Dampfleitung 10
und Leitung 40 Flüssigkeit
gleich sind, speist die Tieftemperaturfluid Schwerkraft nach unten
Flüssigkeitsleitung 40 in
Dampfleitung 10. Die Lamellen 8 sind Schnellverdampfungskammer auf
atmosphärischen Temperatur durch Luftstrom 4,
der die flüssigkeit wandelt innerhalb Dampfleitung 10, innen Schnellverdampfungskammer 8 in Hochdruckdampf erhitzt. Um den Druck im Durchgang von Dampf um
den Motor 15 zu halten, wird
Dampfleitung 10 aus dem Flash-Kessel
8 in den Ofen 9, der erschöpft, wenn nötig durch Entladung von 12 zentrifugalen Gebläse 11 untergebracht ist. Konstanter
Temperatur innerhalb Ofen 9 und
Flash Kessels 8 wird durch die
Aufnahme von frischen Atmosphäre über Luftstrom 4, der durch den gerippten Schnellverdampfungskammer 8 und oben durch Ofen 9 gehalten. Radialgebläse 11 wird thermostatisch gesteuert wird,
um Luft innerhalb Ofen 9, der
unterhalb einer vorbestimmten Temperatur abgekühlt ist erschöpfen.
Überschüssiger Druck innerhalb Dampfleitung 10 ist über das Rückschlagventil 13 umgangen wird und bluten Leitung 14 in den Abgassammler Kasten 18,
also ein unter Druck stehendes, geschlossenes System beibehalten wird, die,
sobald sie geladen ist, es sei denn, einer oder Brüche Unfallschäden eine
Linie, sollte nicht wieder aufgefüllt werden müssen. Druck innerhalb des
Abgas-Sammelbox 18 geringer sein als
der Einlassdruck von Dampfleitung 10
zum Motor 15, da der Kondensator 24 bei einem niedrigeren Druck als
Dampf ist Rückführrohrs 19, als
Eingabe für PSI-Motor 15 aus
Dampfleitung 10, wodurch ein Sog an
der Rückseite des Abgassammlers Feld 18.
Luftstrom
29, der durch einen Verdampfer
Kühler 27 gekühlt worden ist, fließt
über die gerippten Oberflächen des Kondensators 24, sofort Absenken der Temperatur des Dampfes im Kondensator 24 unter einen vorbestimmten
Kondensationspunkt, wodurch Drehen der Dampf zurück in eine flüssige, eine
solche Umwandlung und Instant Reduktion des Volumens innerhalb Kondensator 24 bewirkt eine Druckminderung an der
Rückseite des Motors 15. Das
kondensierte Flüssigkeit fließt nach unten in flüssigen Spule Rücklauf 35, wo es sofort in die unter Druck
stehende Flüssigkeit Reservoir 38
wird durch Flüssigkeitspumpe 36 gepumpt.
Der unter
Druck in druckbeaufschlagten Flüssigkeitsbehälter 38 wird die flüssigkeit in einem flüssigen Zustand unabhängig von
Außentemperatur, beibehalten werden, bis sie in das System durch
Flüssigkeitspumpe 39 zurückgeführt,
in der Flüssigkeitsleitung 40 bis
Schnellverdampfungskammer 8, wo es
wieder in Dampf umwandelt.
Die
Kapazität des Verdampfers Kühler 27
und Verpackung 28 ist ausreichend,
um kühle Ansaugluftstrom 29 auf eine
vorbestimmte Temperatur unterhalb des atmosphärischen Temperatur, bei jedem
gegebenen Zeitpunkt selbst mit Feuchtigkeit Anstieg bei Nacht oder während
Regenfällen, oder nur während hoher Luftfeuchtigkeit Wetter. Diese
Temperaturdifferenz aufrechterhalten wird als die atmosphärische Temperatur
steigt und fällt, mit einem Frostschutzmittel Flüssigkeit zu dem Wasser in dem
Verdampfer-Kühler zugesetzt Wenn die Temperatur unter 32° F, um es von dem
Gefrierpunkt zu halten.
Zusätzliche
warme Luft Luftstrom 4 verstärken
wird, indem die warme Abluft in heiße Abluft Sammler 26 durch Radialgebläse 41
durch T-Anordnung 42 gesammelt
wurden. Luftstrom durch T-Anordnung 42
gerichtet ist und von der warmen Luft Steuermechanismus 44, der Durchfluss-Dämpfers 43
steuert, um entweder Abgas durch den Ausgang 45 in die Atmosphäre oder alternativ rezirkulieren Luftstrom 29 durch einen beschränkten T 42, wodurch gesteuert Komprimieren und
weitere Erwärmung Luftstrom 29 vor
der Injektion durch Flash-Kessel 8.
Warmluft Steuermechanismus 44
steuert auch ein Ventilator und Lamellen 3, Auswählen der optimalen Wärme von
entweder T-Anordnung 42 oder
variablen Venturi 2, um das System
aufrechterhalten.
Der
Verdampfer Kühler 27 weist einen
Einlass Wasserrohr 34, kalten Wasser
versorgt von der normalen Hauswasserversorgung, oder gut, (beide nicht
dargestellt). Die untere Wasser-Reservoir 33
wird auf einem konstanten Niveau von Wasser durch Schwimmerventil 32 gehalten. Das Wasser wird durch die
Pumpe 31 bis 30 in die Röhre oberen Wasserbehälter 25, wo es läuft durch den perforierten Boden der Vorratsbehälter 25 nach unten auf die Packung 28, 28 halten Verpackung ständig nass,
die Luftströmung 29 kühlt, wenn es
durch gezeichnet gepumpt Verpackung 28
und über die Rippen des Kondensators 24
durch den Unterdruck in der heißen Luft Abgassammler 26, wie Teilvakuum durch Zentrifugalgebläse 41 Ablassen der Luft aus der heißen Abluft Sammler 26 etwas schneller als Luftströmung 29 erzeugt werden sie zu ersetzen.
Solange
es wärmere Luft auf dem Flash-Kessel 8
Seite des Systems als die kühlere Kondensator 24 Seite des Systems, wird dieses Gerät auch weiterhin zu bedienen
und produzieren Strom und / oder Leistung. Die Wärme Rezirkuliersystem und die
Verwendung von drei separaten, verschiedenen Subsysteme innerhalb des Systems,
einer abgedichtet, erlaubt dem System, sich fortzusetzen. Wie bereits erwähnt,
dieses Gerät nicht zu berücksichtigen Perpetuum mobile werden, irgendwo in den
Bereichen Temperatur-unterschiede und Wetterbedingungen, kann es ein
Niemandsland Land, wo das System heruntergefahren könnte, dann die Variable Venturi
2 in Verbindung mit sein
Motor-Gebläse 1 und 3 Luftschlitze wird in Gebrauch
automatisch kommen auf einem Signal von Warmluft-Controller 44 und 12 Spannungsregler 23,
und für einen Zeitraum verwendet werden. Motor und Beatmungsgerät 1 Kräfte ein Luftstrom 4 nach oben durch die variable Venturi 2, mit dem Luftstrom 4 gesteuert durch Warmluft-Controller 44 und 12-Volt-Controller 23, Einstellen Lamellen 3. Als Luftstrom 4 durch die Verengung des variablen Venturi 2 gezwungen wird, wird Luftstrom 4, wie es oben Trichtern der verengenden Wänden des variablen
Venturi 2, wie Kompression daß die
Luft komprimiert, um Wärme, damit das Bewältigen möglich festgefahrenen oder
gleiche Temperaturen zwischen Verflüssiger 24
und Luftstrom 4. Diese geringfügige
Temperaturerhöhung im Luftstrom 4
wird es dem System, sich fortzusetzen, bis der atmosphärische Temperatur selbst
ändert genug, um eine Fortsetzung des Betriebs zu ermöglichen. Da Ventilator
und Motor 1 durch Batteriestrom von 12-Volt-Versorgung 23 ausgeführt wird, auch wenn die Batterie ständig während des
Betriebs aufgeladen wird, können die Batterien erschöpft wegen einer längeren
Zeit der Ventilator und Motor 1
geführt werden, dann, oder, wenn aus irgendeinem anderen Grund die Anlage zu
laufen beginnt unten, einen kleinen Brenner 7, betrieben auf der flüssigen oder gasförmigen Brennstoff 6, durch die Leitung 5 und Ventil 48 wird durch einen Funken gezündet Mechanismus 47 und liefert die erforderliche Wärme
zu unterstützen und aufrechtzuerhalten, bis das System atmosphärischen
Temperatur und Verflüssigungstemperatur erlaubt das System normal. Gebrannter
Ton Warmhalteanlagen 46 sind auf der
im Brenner 7 Rostes, angeordnet,
Wärme zu halten.
Kryogenes
System wird durch Befüllen mit flüssigem unter Druck durch Füllrohr 37 aufgeladen. Erneute Aufladung, wenn
notwendig, wird auf die gleiche Weise durchgeführt. Motor 15 dreht die Antriebswelle 16,
der Generator 17 wendet, Erzeugen
elektrischer Leistung (110 V oder 220 V) über elektrische Steuerung 20, die den Strom in drei Kanäle
durchläuft:
1: Um 12-Volt-Controller 23, um die elektrischen Teile des Systems laufen
und halten die Akkus aufgeladen.
2: Zu dem Haus 22, um den Strom, mit dem zu kochen, führen Geräte, Licht,
Wärme und Kühlung des Hause liefern.
3: Alle verbleibenden Elektrizität durch
Verbrauchszähler 21 in ein kommunales Versorgungsunternehmen Unternehmens
elektrische Leitung zum Verkauf kanalisiert und an anderer Stelle einsetzen.
Eine ganz andere Art von Generator wurde gebaut, getestet, ist patentiert und in dieser Zeit im Handel erhältlich für eine begrenzte Anzahl von großen-use Käufer. Dieses Design zeigt einmal mehr, die praktische Natur der Zeichnung große Mengen an Energie aus der lokalen Umgebung. Kommerzielle Versionen sind in drei Standard-Größen angeboten: 50 Kilowatt, 250 Kilowatt und 1 Megawatt und Lizenzpartner gesucht werden.
Der Generator, die James entworfen hat kann am Panacea-bocaf.org Website eingesehen werde
http://panacea-bocaf.org/hidrofreeenergysystem.htm und auf James eigenen Website unter
http://www.hidroonline.com/ sowohl von denen Videoclips zu erklären, wie das Design funktioniert. Das Verfahren basiert auf unterschiedliche Drücke an unterschiedlichen Wassertiefen, Schwerkraft und auf dem Auftrieb der Luft-gefüllte Behälter basiert. Das Design ist für einen mit Wasser gefüllten Struktur einiger Höhe, eine Quelle von Druckluft und einem Flaschenzug.
Das System nicht auf Wind, Wetter, Sonnenlicht, Kraftstoff jeglicher Art angewiesen, und es kann die ganze Zeit, Tag oder Nacht, ohne jede Art von Verschmutzung oder Gefahr zu betreiben. Wenn ich es richtig verstanden habe, sieht das Gesamtsystem so etwas wie dieses:

Es ist ein großer, vertikalen Behälter mit Wasser gefüllt. Es enthält vier Hochdrucktanks; Tanks 1 und 2 werden in ihrer Position befestigt, während Tanks 3 und 4 auf einem Leitsystem, das sie nach oben und unten vertikal mit ihrer Bewegung Antreiben der Ausgabegenerator ermöglicht montiert sind.
Das System wird gestartet, wenn eine externe Quelle von Druckluft speist in einigen Tank 2, wobei der erhöhte Druck gelangt Druckluft in Tank 3, womit sie den Auftrieb und damit Bewirken einer aufwärts gerichteten Kraft. Die Luftzufuhr wird abgeschnitten und Tanks 3 und 4 freigesetzt werden.
Als Tank 3 ist stark schwimmfähigen, steigt sie rasch an die Oberfläche, Bereitstellen Ausgangsleistung. Tank 4 hat eine niedrige Luftdruck in es und so das Gewicht bewirkt, dass es rapide sinken, auch die Bereitstellung Ausgangsleistung. Wenn Tanks 3 und 4 am Ende ihrer Bewegung erreicht, ein System an Rohren, die Riegel und Ventile verbinden Tank 4 zur Druckbehälter 2 und Tank 3 bis Druckbehälters 1.
Weil Tank 3 ist nun in einem viel geringeren Wassertiefe erhöht hat der Druck von außen auf sie ganz erheblich reduziert. Es ist Innendruck jetzt größer ist als der Druck innerhalb Tank 1, so dass, wenn sie durch ein Rohr verbunden sind, Luft fließt aus Tank 3 und in den Tank 1, allein aufgrund der Druckdifferenz zwischen ihnen. Dies lässt Tank 3 nicht mehr in einem schwimmfähigen Zustand und so, wenn es wieder freigegeben wird, sinkt es nach unten aufgrund der Schwerkraft.
Die beiden beweglichen Tanks tauschen ihre Bewegungen wiederholt, wobei beide von der Druckluftversorgung an der Unterseite der Struktur wieder mit Druck beaufschlagt. Wenn im Gegensatz James, nicht die Mathematik für das System gemacht haben, würde man annehmen, dass die Menge an Leistung durch ein System wie diese erzeugt wäre weniger als die Menge der Leistung benötigt, um es zu betreiben. Aber das ist auf jeden Fall sehr weit von der Wirklichkeit erhebliche überschüssige Energie durch die natürlichen Kräfte der lokalen Umgebung, die das System betreiben zu machen gewonnen wird.
Patrick Kelly
http://www.free-energy-info.tuks.nl