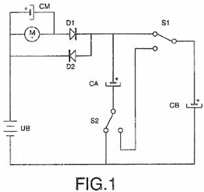
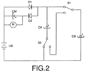
Eine Praktische Anleitung zum Energie
Kostenlos Geräte
Autor: Patrick J. Kelly
Kapitel 5:
Zugriff auf Energie Gepulsten Systemen
Ein
sehr interessantes Merkmal der freien Energie Vorrichtungen ist, dass, obwohl
verschiedene Geräte, die völlig unterschiedlich sind und unterschiedliche
Anwendungen offensichtlich erscheinen, der Hintergrundvorgang oft ist die
gleiche. Es ist klar, dass eine scharfe positive gehen Gleichstrom elektrischen
Impuls mit der umgebenden Energiefeld interagiert, wodurch große Mengen an
freien Energie zur Verfügung für alle, die das Wissen, wie zu sammeln und zu
nutzen, dass zusätzliche Energie.
Lassen
Sie
Dafür
wollen wir uns pulsierenden Schaltungen durch ein breites Spektrum von Menschen
in einer Reihe von scheinbar ganz verschiedenen Geräten verwendet aussehen.
Eine elektrische "Pulse" ist eine plötzliche Spannung steigen und
fallen mit sehr stark steigenden und fallenden Spannungen. Allerdings sind
Impulse selten als isolierte Ereignisse bei der Arbeit mit praktischen Geräten
erzeugt wird, so ist es wahrscheinlich besser, einen Zug von Impulsen oder
einer "Wellenform" mit sehr scharfen steigenden und fallenden Flanken
denken. Diese können als Oszillatoren oder Signal-Generatoren werden und sind
so alltäglich, dass wir nicht dazu, ihnen einen zweiten Gedanken, aber die
wirklich wichtigen Faktoren für die Verwendung eines Oszillators für
Nullpunkt-Energie Pick-up ist die Qualität des Signals. Im Idealfall kann, was
notwendig ist ein perfektes Rechteck ohne Überschwingen, und der Spannungspegel
nie unter Null Volt oder eine komplexe Wellenform, auch mit sehr scharfen
Attack und Decay Zeiten. Diese Wellenformen sind viel mehr schwer zu erzeugen,
als Sie sich vielleicht vorstellen.
Auch
in diesen Tagen von anspruchsvollen Solid-State-elektronische Geräte, ist die
beste Methode zum Erstellen einer wirklich scharf Spannungsimpuls immer noch
als eine Funkenstrecke, vor allem eine, die den Funken abgehackt plötzlich
durch die Verwendung eines starken Magnetfeldes an Recht hat Winkeln zu der
Funkenstrecke. Ein Beispiel für diese Art der Operation, sollten Sie die
folgenden Geräte.
Elektro-Ingenieur Frank Wyatt Prentice der USA erfunden was er beschrieb als ein 'Electrical Power Akku' mit einer Ausgangsleistung von sechs Mal größer als die Eingangsleistung (COP = 6). Er erhielt ein Patent im Jahr 1923 die sagt:
Meine Erfindung bezieht sich auf Verbesserungen in elektrischer
Energiespeicher und dergleichen, wobei die Erde, die als Rotor und die
umgebende Luft als Stator, sammelt die Energie von der Erde so erzeugte
rotierende Achse auf ihm ist, nutzt es für Leistungs-und andere Zwecke.
In der Entwicklung meines Radio Zug Kontrollsystem für Eisenbahnen, von
meinem United States Letters Patent Nummer 843.550 bedeckt, entdeckte ich, dass
mit einer Antenne, bestehend aus einem Draht mit einem geeigneten Durchmesser
auf Isolatoren, drei bis sechs Zentimeter über dem Boden und erstreckt Hälfte
unterstützt Meile, mehr oder weniger in der Länge, wobei die Antenne an einem
Ende durch eine Funkenstrecke geerdet und erregt am anderen Ende durch einen
Hochfrequenz-Generator von 500 Watt Eingang und mit einer sekundären Frequenz
von 500,000 Hz, würde in der Antenne zu erzeugen, eine oszillierende Frequenz
der gleiche wie jener der Erdströme und damit elektrische Energie von der
umgebenden Medien wurde entlang der Länge der Sendeantenne akkumuliert und mit
einem geschlossenen oszillatorischen Schleifenantenne 18 Meter in der Länge
parallel zur Sendeantenne in einem Abstand von etwa ausführen 20 Fuß, war es
möglich, durch Abstimmung erhalten die Loop-Antenne, genügend Leistung, um die
volle Energie der Kerze leuchtet eine Reihe Ufer 50 60-Watt-Kohlenstoff-Lampen.
Absenken oder Anheben der Frequenz von 500.000 Hz führte zu einer Verringerung
der Menge an Strom durch die 18-Fuß-Antenne empfangen wird.
Ebenso Anheben der Sendeantenne ergab eine proportionale Abnahme der
aufgenommene Leistung auf der Empfangsantennen und 6 Fuß über der Erde war
überhaupt keine Leistung erhältlich ist, ohne eine Änderung der Spannung und
Frequenz.
Es ist das Ziel meiner generischen Erfindung, den Strom von der Erde
erzeugten nutzen, die von den Mitteln hier und in den Zeichnungen beschrieben
dargestellt. Die beiden Zeichnungen zeigen einfache und bevorzugte Formen
dieser Erfindung, möchte aber versteht es sich, dass dadurch keine Beschränkung
notwendigerweise über die genauen und präzisen Schaltungen, Form, Position und
strukturelle Details hier dargestellt werden, und dass Änderungen, Abänderungen
und Modifikationen können vorgenommen, wenn innerhalb des Anwendungsgebietes
meiner Erfindung gewünscht und wie speziell in den Ansprüchen hingewiesen,.

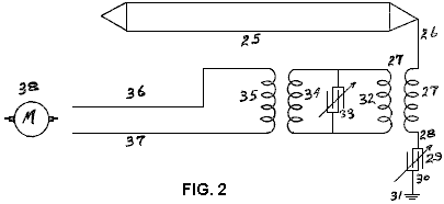
Bezugnehmend insbesondere auf Fig.1,
1 und 2 sind Wechselstromzuführungsleitungen Drähte Zuführen 110 Volt 60
Zyklen pro Sekunde zu einem Hochfrequenz-Generator. 3 ist ein Schalter mit Polen 4
und 5, 6 und 7, während die Verbindungen mit dem Hochfrequenz-Transformator 8, der zum Herantreten die Frequenz 500
kHz und die Spannung auf beispielsweise 100 kV verwendet wird, sind. 9 ist ein Induktor, 10 eine
Funkenstrecke ist, ist ein variabler Kondensator 11, 12 ist die Primärwicklung 13
und die Sekundärwicklung des Transformators 8. Die Sekundärwicklung ist mit der Erde durch variable Kondensator
16 und Draht 17 verbunden. Draht 14
verbindet Transformators 8 mit dem
Hauptgetriebe Antenne 19, die
entlang ihrer Gesamtlänge auf Isolatoren 20
abstützt. Funkenstreckenanordnung 21
ist zwischen dem Hauptgetriebe Antenne 19
und dem Boden 24 positioniert, die
durch Anschlußdraht 22 und variablen
Kondensator 23. Das Hauptgetriebe
Antenne 19 kann jede gewünschte
Länge aufweisen.

In Fig.2 ist 25 eine geschlossene Schleifenantenne oszillierenden beliebiger
Länge. Für höchste Effizienz wird parallel mit dem Haupt-Sendeantenne 19 der Fig.1 laufen. Draht 26
ist mit der Sekundärwicklung 27
eines Abwärts-Transformator, der Wicklung geht dann zu 31 bis variablen Kondensator 29
mit Masse verbunden. Die Primärwicklung 32
der Abwärtstransformator eine variable Kondensator 33 verbunden ist und es über sie speist direkt in Windung 34 von Frequenztransformator, die durch
die Wicklung Strom liefern 35 an
einen Motor "M" oder
anderer elektrische Last.
Nach der Beschreibung
der Zeichnungen, werde ich jetzt beschreiben die Arbeitsweise meiner Erfindung.
Bedienen Sie Schalter 3, um die
Leistungsaufnahme zu verbinden. Passen Funkenstrecke 10 und variablen Kondensators 11,
so dass 100.000 Volt bei einer Frequenz von 500.000 Zyklen pro Sekunde
geliefert wird zum Schritt Aufwärtstransformators 8 der Fig.1. Danach können Funkenstrecke 21 der Sendeantenne 19, so dass alle (Spannung) Spitzen und
Knoten in der Übertragung der 100.000 Volt entlang der Antenne werden durch die
Stromstöße durch Funkenstrecke 21
eliminiert. Die hochfrequenten Wechselstrom fließt durch Funkenstrecke 21 durchläuft variablen Kondensator 23 mit Masse 24 und von dort zurück durch den Boden, um Massepunkt 18 durch variable Kondensator 16 und
zurück zur Wicklung 13 des
Transformators 8. Da der aktuelle
500.000 Hz ist der gleiche wie der Erde erzeugten Ströme und im Einklang mit
ihr, ist es natürlich folgt, dass Akkumulation von Erdströme werden mit
denjenigen für Transformator 8
verschmelzen, Bereitstellen eines Reservoirs der hochfrequenten Ströme um auf
ein durch gezogen werden Schwingkreis des gleichen Frequenz 500 kHz, wie in Fig.2, wo die Antenne 25 eingeschaltet, um eine Frequenz von
500 kHz, die aktuelle durchläuft dann Transformator 27, einem Frequenz-Verstellvorrichtung Transformator empfangen wird
gezeigt, und an der Macht der Verbraucher 38.

Die Rückkehr des Stroms durch die Erde von Sendeantenne 19, wird bevorzugt, über einen Draht
wie die Erdrückleitung aktuellen zieht an mehr Erdströme als ein Draht tut
zurückzukehren. Ich bevorzuge auch unter bestimmten Bedingungen, um eine
einzelne Antennendrahts an Stelle des geschlossenen Schleifenantenne in Fig.2 gezeigt verwendet werden. Unter
bestimmten betrieblichen Anforderungen, habe ich die Leistung, indem er die
Sendeantenne erhöht verbessert und durchgeführt an Masten viele Meter über der
Erde, und mit dieser Anordnung ist es notwendig, eine andere Spannung und
Frequenz zu benutzen, um Erdströme sammeln.
Dieses
System der Franks effektiv anwenden sehr scharf gepulst Gleichstromimpulsen zu
einem langen Abschnitt Draht in einer horizontalen Position nicht weit über dem
Boden abgestützt. Die Impulse sind scharf aufgrund sowohl der Funkenstrecke auf
der Primärseite des Transformators zusammen mit der Funkenstrecke auf der
Sekundärseite (Hochspannung) des Transformators. Eine Leistungsaufnahme von 500
Watt gibt einen 3 kW Leistung aus, was scheint, eine unglaublich einfache Gerät
sein.
Ein
Festkörper-Halbleiter-Schaltung, die sich als erfolgreich erwiesen hat in der
Herstellung von Impulsen, wie dies im Rahmen der Dave
Stan
Meyer verwendet einen torusförmigen Ferritring wenn er Wicklung wurde diese
Drosselspulen, während Dave Lawton nutzt zwei geraden Ferrit-Bars, überbrückt
oben und unten mit dicken Eisen-Streifen. Drosseln gewickelt auf geraden
Ferritstäben haben sich sehr gut auch funktionieren. Die Auswirkungen sind in
allen Fällen gleich, mit der Wellenform, die an den Rohr-Elektroden in sehr
scharf, sehr kurze, hohe Spannungsspitzen umgewandelt. Diese Spitzen Unwucht
die lokale Quanten-Umgebung verursacht große Ströme von Energie, ein winziger
Prozentsatz von denen in der Schaltung als zusätzliche Leistung fließen
passiert. Die Zelle leitet Kälte und bei niedrigen Eingangsstroms, ganz im
Gegensatz zu einem gewöhnlichen Elektrolysezelle, wo die Temperatur steigt merkbar
und der Eingangsstrom benötigt viel höher.

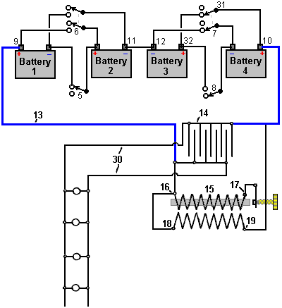
John
Bedini verwendet die gleiche Pulsieren einer Zweidraht-gewickelte Spule, die
gleichen kurzen, sehr scharf Spannungsspitzen, die Unwucht der lokalen Energiefeldes,
verursachen große Ströme von zusätzlicher Energie zu produzieren. Die Abbildung
ist hier von seinem US-Patent 6.545.444.

John
produziert und großzügig geteilt, viele Entwürfe, die alle im wesentlichen
ähnlich und alle unter Verwendung eines 1:1-Verhältnis bi-Fadendraht
gewickelten Transformator sind. Dieses verwendet einen freilaufenden Rotor mit
Permanentmagneten in seiner Felge eingebettet, um scharfe induzierten Ströme in
den Wicklungen der Spule Einheit vorhanden "13b", die den Transistor einschaltet auszulösen,
Stromversorgen Wicklung "13a",
die Befugnisse der Rotor auf seinem Weg . Die Pick-up-Spule "13c" sammelt zusätzliche Energie
aus dem lokalen Umfeld, und in diesem speziellen Schaltung speist sie in den
Kondensator. Nach einigen Umdrehungen des Rotors (vorgegeben durch die
Untersetzungs-Verhältnis zu dem zweiten Rotor) wird die Ladung in dem
Kondensator in eine zweite Batterie, die geladen wird eingespeist.

Der
Rotor ist wünschenswert, aber nicht notwendig, da die Spulen mit 1 und 2 können
sich selbst-oszillieren, und es kann eine beliebige Anzahl von Wicklungen als 3
in dem Diagramm gezeigt ist. Winding 3 erzeugt sehr kurze, scharfe,
Spannungsspitzen, die wesentlicher Bestandteil des Entwurfs ist. Wenn diese
scharfe Impulse an einer Blei-Säure-Batterie (statt mit einem Kondensator, wie
oben gezeigt) zugeführt werden, dann ist ein ungewöhnlicher Effekt erzeugt,
löst eine Verbindung zwischen der Batterie und dem unmittelbaren Umfeld,
wodurch die Umgebung, um die Batterie aufzuladen. Dies ist eine erstaunliche
Entdeckung und weil die Spannungsimpulse Hochspannungs-Höflichkeit der 1:1
Drosselspulen sind, die Batterie Bank aufgeladen kann eine beliebige Anzahl von
Batterien und kann als 24-Volt-Bank gestapelt werden, obwohl das Fahren
Batterie nur 12 Volt. Noch interessanter ist die Tatsache, dass der Ladevorgang
kann für mehr als eine halbe Stunde weiter, nachdem die Impulsschaltung ist
ausgeschaltet.
Es
kann schwierig sein, eine dieser Schaltungen richtig auf Höchstleistung arbeiten
dran zu bekommen, aber wenn sie sind, können sie Leistungen der COP> 10
haben. Der große Haken ist, dass der Lademechanismus nicht möglich eine Last
von der Batterie angetrieben werden, während es geladen wird. Dies bedeutet,
dass für jeden Dauereinsatz, muss es zwei Akku-Banken, ein auf Ladung und ein
verwendet werden. Ein weiteres großes Problem ist, dass die Batterie Banken
sind einfach nicht geeignet für schwere Hausgebrauch. Eine Waschmaschine weist
bis zu 2,2 Kilowatt und einen Waschzyklus ausgefüllt werden eine Stunde lang
(zwei Stunden lang, wenn eine "Weißen" wash und ein
"Buntwäsche" wash fertig sind nacheinander die nicht ungewöhnlich).
Im Winter muß Erhitzen zur gleichen Zeit wie der Waschmaschine, die gut doppelt
könnte die Last betrieben werden.
Es
wird empfohlen, dass Batterien nicht viel über ihre "C20"-Rate, also
ein Zwanzigstel ihrer Amp-Hour Nennleistung geladen. Sagen, dass 85 Amp-Hour
zyklenfeste Freizeit Akkus werden verwendet, dann die empfohlene
Ziehgeschwindigkeit von ihnen ist 85 Ampere geteilt durch 20, die 4,25 Ampere
ist. Lasst uns schieben und sagen, wir riskieren Zeichnung doppelt so hoch, und
machen es 8,5 Ampere. So würde, wie viele Batterien, die wir brauchen, um
unsere Waschmaschine zu liefern davon aus, dass unsere Wechselrichter 100% war
effizient? Nun, das ist 2.200 Watt auf einer 12-Volt-System 2200/12 = 183
Ampere, so dass mit jeder Batterie beiträgt 8,5 Ampere, würden wir 183 / 8,5 =
22 große, schwere Batterien müssen. Wir bräuchten doppelt so viele, wenn wir
sie richtig, plus zweimal zu behandeln, dass wieder für Hausbrand, sagen 110
Batterien für eine ohnehin realistisches System. Das schiere Größe der Batterie
Banken ist nicht für den durchschnittlichen Hausbesitzer oder Person in einer
Wohnung realistisch. Folglich scheint es, dass die Bedini Puls-Ladesysteme
nicht für etwas anderes als kleinere Ausrüstungsgegenstände praktisch.
Jedoch
ist die wirklich wichtige Punkt hier die Möglichkeit, dass, wenn diese kurzen
Impulse an einer Blei-Säure-Batterie angelegt werden, wird eine Verbindung mit
der Umgebung, die große Mengen von Energie bewirkt, dass Strom in der Schaltung
von außen gebildet. Dies ist extra "freien Energie".
Interessanterweise ist es sehr wahrscheinlich, dass, wenn die Impulse von Dave
Es
hört nicht dort auf. Nikola Tesla stellte die Welt dem Wechselstrom vor
("AC"), aber später wechselte er von AC zu sehr kurzen, scharfen
Impulsen von Gleichstrom ("DC"). Er fand heraus, dass er durch die
Einstellung der Frequenz und Dauer dieser Hochspannungspulse eine ganze Reihe
von Effekten aus der Umgebung erzeugen konnte - Heizung, Kühlung, Beleuchtung,
etc. Der wichtige Punkt ist, dass die Pulse Energie gewinnen direkt von der
lokalen Umgebung. Abgesehen von der fortschrittlichen Ausrüstung, die Tesla bei
diesen Experimenten verwendete, und dem Wechsel zum einfach wirkenden
4-Batterieschalter, entdecken wir die gleiche Hintergrundoperation scharfer
Spannungspulse, die freie Energie aus der Umgebung ziehen.
Ich
bezweifle ernsthaft, dass diese Schaltung etwas mit Tesla zu tun hatte, aber
stattdessen stammt sie wahrscheinlich von Carlos Benitez. Streng genommen wurde
diese spezielle Version wahrscheinlich von den Mitarbeitern der Electrodyne
Corp. of America hergestellt. Diese Schaltung (gezeigt in "The Manual of
Free-Energy Devices and Systems" Bd. 1, 1986) wurde von ihnen für einen
Zeitraum von drei Jahren getestet:

Bitte haben Sie Verständnis dafür, dass die Autobatterien,
die sie in ihrer Schaltung verwendet haben, während ihrer Testjahre
"konditioniert" wurden und sie jeweils eine Spannung von 36 Volt
hatten, obwohl sie als 12-Volt-Batterien hergestellt wurden. Diese Schaltung
ist viel subtiler als es scheint. Die 1N1183-Dioden sind ein wesentlicher Teil
des Betriebs, da diese Dioden zusammenbrechen, wenn sie den Stromfluss
angeblich blockieren, und statt dessen durch sie scharfe Spannungsimpulse
durchlassen. Diese Batterieladeimpulse sind der Grund, warum die Dioden scheinbar
rückwärts verbunden sind und angeblich den Stromfluss zu den positiven
Kontakten der Batterien blockieren.
Ich schlage vor, dass diese Schaltung aufgegeben wird und
statt dessen die Benitez-Methode verwendet wird, um Ladeimpulse direkt sowohl
an die Batterien als auch an die Last zu liefern. Es muss eine Batterie geladen
werden. Wenn Sie das bezweifeln, dann tun Sie das Mathe:
Die Last wird durch Strom angetrieben, der von zwei Batterien
in Reihe (72 Volt) in zwei Batterien parallel (36 Volt) fließt. Bei den
Batterien handelt es sich um Blei-Säure-Typen, die einen Wirkungsgrad von nur
50% haben, dh die Hälfte der gesamten in sie eingespeisten Ladeenergie
verschwenden. Lassen Sie uns ein Beispiel arbeiten: Sagen Sie, die zwei
Batterien in der Reihe liefern 10 Ampere für eine Sekunde. Beide dieser
Batterien verlieren 10 Amp-Sekunden der Energie.
Diese 10 Ampere teilt sich gleichmäßig und 5 Ampere fließen
für eine Dauer von einer Sekunde in jede der beiden Batterien. Das wäre 5
Amp-Sekunden zusätzlicher Leistung, wenn es nicht für die 50% Effizienz der
Batterie wäre. Von dieser Batterie können also nur 2,5 Ampere-Sekunden Energie
zurückgewonnen werden, was in der nächsten Sekunde 10 Amp-Sekunden Strom
liefern soll.
Effektiv haben wir 2,5 Ampere-Sekunden wiederherstellbarer
Energie, die für jede 10 Amp-Sekunden der tatsächlich verbrauchten Energie
empfangen werden. Dies bedeutet, dass die Batterie leer wird, wenn während des
Betriebs keine Batterieladung stattfindet. Folglich muss ein Batterieladesystem
Teil des "Ladens" sein.
Carlos Benitez benutzte nur einmal pro Stunde das Schalten
und er fügte Ladestrom sowohl den Batterien als auch der Last hinzu, die von
seiner Schaltung mit Strom versorgt wurde. Er hat das so gemacht:

Da es damals noch keine verfügbaren elektronischen
Komponenten gab, nutzte Carlos eine Induktionsspule, um die Spannungsspitzen zu
erzeugen, die zum Laden der Batterien benötigt wurden. Das Gegenstück ist
heutzutage der viel billigere und einfacher zu bauende "Joule Thief"
-Schaltkreis, wie in Kapitel 6 beschrieben:

Hier
ist eine Solid-State-Version der Schaltung:

Hier
werden sechs 2N3055-Transistoren (oder die günstigere Version des TIP3055)
durch sechs Audiotransformatoren (evtl. die Transceiver des Transceivers Radio
Shack # 273-1380) ein- und ausgeschaltet. Die Primärwicklungen des
8-Ohm-Transformators sind in Reihe geschaltet und werden durch einen
Rechteckgenerator über einen großen Kondensator angesteuert. Diese Schaltung
ist im Schaltplan oben rot dargestellt. Wenn die Rechteckwelle positiv ist,
haben die Transformatoren 1, 2 und 3 ihre Primärwicklungen, die durch eine in
Durchlaßrichtung vorgespannte Diode belastet sind, die die Spannung über sie
auf ein Maximum von ungefähr 0,7 Volt begrenzt und die ihren Betrieb kurz hält,
wenn sie einschalten. Die anderen drei Transformatoren 4, 5 und 6 weisen die
Dioden über ihren Primärwicklungen auf, die so angeordnet sind, daß sie eine
positive Spannung blockieren, so daß ihre Transistoren ausgeschaltet bleiben.
Wenn
die Ausgangsspannung des Rechteckgenerators negativ wird, wird die Situation
umgekehrt und die Transformatoren 4, 5 und 6 schalten kurz ein, während die
Transformatoren 1, 2 und 3 ausgeschaltet bleiben. Die Dioden über den
Primärwicklungen sind 1N4148 Dioden, die eine sehr schnelle Schaltzeit haben,
die für solche Schaltungen sehr wichtig sein kann. Die anderen Dioden sind
1N1183, die bei 50 Volt und 40 Ampere bewertet werden.
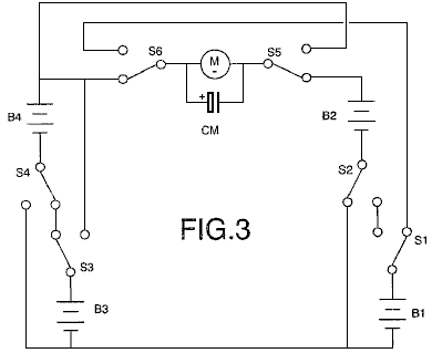
Fortsetzung der Tesla Schalter Stil Betrieb ist es möglich, die gleiche Wirkung wie die Tesla-Schalter Schaltung zu bekommen, mit nur drei Batterien (oder drei Kondensatoren). Vor fast einem Jahrhundert von Carlos Benitez in seiner Patente diskutiert, und in jüngerer Zeit von John Bedini beschrieben, kann nur drei Batterien verwendet werden, wenn kompliziertere Leitungsvermittlung verwendet wird. Carlos weist darauf hin, dass es muss ein Energieverlust durch Drähte Aufheizen und Batterien nicht zu 100% effizient sein. Er überwindet diese Probleme mit einigen sehr clevere Schaltung, die im folgenden Abschnitt bedeckt ist. Allerdings ist es gar nicht sicher, dass dies tatsächlich der Fall, wie Experimente zeigt, dass es möglich ist, für diese Art von Batterie Umstellung auf die Batterieladung Ebenen weit über den erwarteten halten.
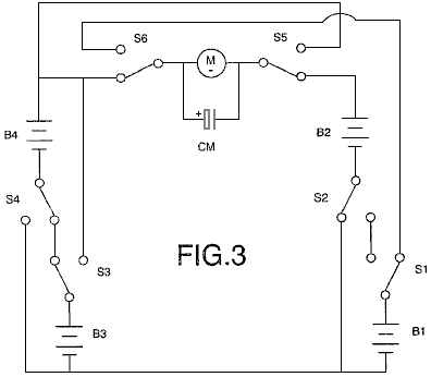
Hier ist ein Vorschlag, wie ungetestet könnte es möglich sein, eine tragbare, self-powered leistungsstarke Licht zu erzeugen. Es gibt viele mögliche Variationen dieser und der folgenden Beschreibung wird nur als Hinweis dafür, wie ein drei Batterieschaltfunktion System könnte aufgebaut werden soll. Wenn Sie nicht vertraut mit einfachen Elektronik sind, dann schlage ich vor, dass Sie die Grundlagen der Elektronik Tutorial von Kapitel 12 zu studieren.
Das Laden des Akkus kann auf verschiedene Arten erreicht werden. Offensichtlich ist, desto mehr die elektrische Belastung reduziert werden, desto geringer ist die Notwendigkeit zum Aufladen. Zwei Methoden, dies zu tun beinhalten, daß die gleiche elektrische Strom immer wieder durch die Last, wie hier gezeigt:

Die Schaltmittel für diese Anordnung kann auf verschiedene Weise implementiert werden, aber im Wesentlichen in Stufe 1, stellen Batterien "B1" und "B2" zweimal die Spannung der Batterie "B3" und "B4", daß Strom durch die Last 'L 'und in Batterien "B3" und "B4", durch die Spannungsdifferenz, die normalerweise die gleiche wie die Spannung einer der Batterien allein angetrieben wird. Jede der Batterien 'B3' und 'B4' erhalten nur die Hälfte des Stroms durch Batterien "B1" und "B2" geliefert, und so gibt es nicht überraschend, dass ein Energieverlust. Doch für die Hälfte der Zeit, sind Batterien 'B3' und 'B4' Empfangen Aufladung statt Stromversorgung der Laststrom.
In Stufe 2 werden die Batterien vertauscht und der Prozess mit Batterien 'B3' und 'B4' wiederholt Strom an der Last und Batterien "B1" und "B2". Tests haben gezeigt, dass mit dieser Anordnung der load 'L' können länger als wenn alle vier Batterien wurden in parallel verbunden ist und verwendet wird, um die Last direkt versorgt werden. Mit diesem System empfängt jede Batterie Hälfte des Laststroms für die Hälfte der Zeit.
Ein alternatives Verfahren, nach dem gleichen Prinzip, aber drei Batterien anstelle von vier, und wobei jede Batterie empfängt alle Laststrom von einem Drittel der Zeit, ist wie folgt:

Hier werden die Batterien um sequentiell geschaltet, von denen zwei in Reihe wodurch der Strom durch die Last fließt, L 'und in die dritte Batterie. Es ist selbstverständlich, eine gesamte Energieverlust, und so muss zusätzliche Energie von einer externen Quelle eingeführt werden, um die Last mit Strom versorgt kontinuierlich halten. Wie bei den vier-Batteriesystem kann die Last 'L' angetrieben mehr durch die Batterien so angeordnet gehalten werden, als dies auftreten, wenn alle drei Batterien parallel geschaltet sind und zur Versorgung der Last direkt.
Wie zuvor kann das Umschalten für ein System dieser Art auf verschiedene Arten implementiert werden. Für die langfristige Zuverlässigkeit wird Festkörperschaltelement bevorzugt und als NPN-Transistoren Low-Cost-und leicht verfügbar sind, werden sie hier in einer der bevorzugten gezeigten Konfigurationen:
Da jede Inter-Batterieanschluss ist für jede der drei Phasen der Funktionsweise dieser Schaltung ist es erforderlich, vier Schalter für jede Stufe haben. Um die erforderlichen Angaben für die Verbindung der Transistoren zu schaffen, wie diese Schaltung nicht über die normalen positiven und negativen Schienen müssen die (nominalen) Stromrichtungen untersucht werden. Diese sind hier zu sehen:

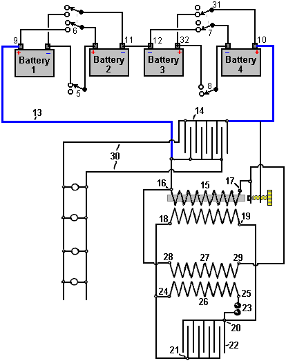
Natürlich fließt der Strom aus der höheren verbundenen Spannung der unteren einzigen Batterie-Spannung. Zwölf virtuelle Switches sind nummeriert von 'S1' bis 'S12' bzw., und wenn jeder einen NPN-Transistor darstellt, dann muß auch um sicherzustellen, dass die aktuellen Flussrichtung für den Transistor richtig ist und einen höheren Spannung Punkt zu identifizieren, die zum aktuellen feed in die Basis jeder Transistor verwendet werden kann. Diese Details sind hier aufgelistet:
|
Stufe |
Schalter |
Transistor |
Collector |
Base Widerstand |
Emitter |
|
1 |
1 |
NPN |
B2 Plus |
B1 Plus |
B1 Minus |
|
|
2 |
NPN |
B3 Minus |
B2 Plus |
B2 Minus |
|
|
3 |
NPN |
Belastung Minus |
B1 Plus |
B3 Plus |
|
|
4 |
PNP |
Belastung Plus |
B1 Minus |
B1 Plus |
|
2 |
5 |
NPN |
B3 Plus |
B2 Plus |
B2 Minus |
|
|
6 |
NPN |
B1Minus |
B3 Plus |
B3 Minus |
|
|
7 |
NPN |
Belastung Minus |
B2 Plus |
B1 Plus |
|
|
8 |
PNP |
Belastung Plus |
B2 Minus |
B2 Plus |
|
3 |
9 |
NPN |
B1 Plus |
B3 Plus |
B3 Minus |
|
|
10 |
NPN |
B2Minus |
B1 Plus |
B1 Minus |
|
|
11 |
NPN |
Belastung Minus |
B3 Plus |
B2 Plus |
|
|
12 |
PNP |
Belastung Plus |
B3 Minus |
B3 Plus |
Die vorgeschlagene switching Anordnung sieht daher wie folgt:

Die obige Abbildung jeder Stufe mit dauerhaft angeschlossenen Basis Widerstände, d. h. natürlich zeigt nur die begriffliche Anordnung angezeigt. Jeder Widerstand wird durch ein Opto-Isolator übergeben, und jede Gruppe von vier Opto-Isolatoren werden angetrieben von einem der drei separate Ausgänge von gleicher Dauer. Eine mögliche Regelung dafür könnte sein, wie unten angegeben.
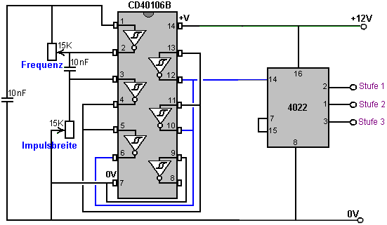
Der CD4022 Division-von-acht-Chip kann arrangiert werden, Division durch drei statt acht, seine Pin 7 an Klemme 15 anschließen. Die physischen Chips-Verbindungen sind:

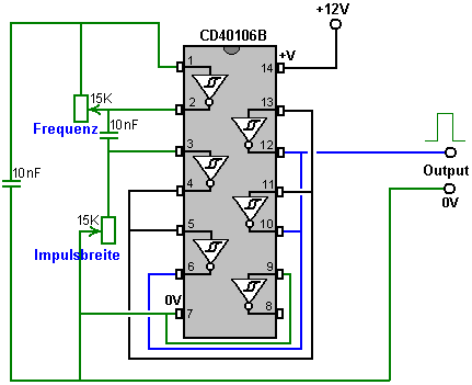
Der Chip muß ein Taktsignal um zu funktionieren. Es gibt viele verschiedene Möglichkeiten ein Clock-Signal zu erzeugen, und hier gezeigt ist sehr billig, einfach und hat einstellbare Frequenz und einstellbare Mark/Space-Verhältnis, obwohl, wie das Signal verwendet werden, die eine Kluft durch drei-Chip-Aktion auslösen, gibt es keine Notwendigkeit für diese Clock-Signal, ein 50 %-Mark/Space-Verhältnis haben. Die Chip-Stromversorgung ist so winzig, dass es eigentlich keine Rolle, was ist das Verhältnis von Mark/Space:

Diese Schaltung als das Clock-Signal verwendet wird, könnte die Opto-Isolator-Schaltung:

Es gibt verschiedene Opto-Isolatoren und zwar ziemlich teuer Hochgeschwindigkeits-Sorten verlockend, da haben wir drei Gruppen von vier bereitstellen, der ISQ-74-vierfach-Chip scheint für diese Anwendung sehr gut geeignet, obwohl es langsamer ist:

Die gesamte Schaltung für die Opto-Umschaltung ist dann:



Die Ausgangstransistoren werden voraussichtlich 1 Amp wechseln und so TIP132 NPN und passender TIP137 Transistoren ausgewählt wurden. Diese sind billig, Darlington-Transistoren mit aktuellen Gewinne von mehr als 1000, was bedeutet, dass die Basis aktuellen Anforderungen sind über 1 Milliamp, das vorschlägt, die die Basis Transistoren könnte 8,2 K für ein 12V-System. Diese Transistoren können wechseln 12A auf bis zu 100V und haben eine Verlustleistung von 70 Watt, darauf hinweist, dass sie so weit unten ihre Fähigkeit ausgeführt werden soll, dass sie cool ausgeführt werden soll.
Bei dieser Art der Schaltung ist es wünschenswert, eine ziemlich große Stromfluss (bezogen auf die Akku-Kapazität) zu haben, um einen deutlichen Unterschied zwischen der Entladung und Ladezyklen für jede Batterie zu geben. Verwenden eine 104 x 50 mm-Board-Größe die Steckplatz wird direkt in ein Standarddialogfeld für Kunststoff Schlitz-Seite, möglicherweise eine Lochrasterplatine-Layout (wo die roten Kreise für eine Pause im Kupfer-Streifen an der Unterseite des Vorstands angeben) für den Transistor schalten Abschnitt:

Dieses bemerkenswerte Gerät hat eine massive 160 Lumen Leistung mit einem Lichtwinkel von 160 Grad und einer Leistungsaufnahme von nur 1,2 Watt (100 Milliampere bei 12 Volt). Die Lichtleistung ist erschreckend, wenn in einem völlig dunklen Ort gesehen und etwas Wärme entsteht, die ungewöhnlich für LEDs ist. Eine Glühbirne 100 Watt Glühlampe hat einen Lichtstrom von ca. 1600 Lumen und einem Lichtwinkel von 360 Grad (von denen einige normalerweise dient nicht sinnvoll), und also, für die entsprechende Ebene der Beleuchtung, wir müssten zehn dieser G4 Jede Basis Widerstand hat einen Ausgang (O1b durch O12b) zu verknüpfen, wird durch seine Opto-Isolator bis zum Ziel in der "Base" Spalte in der Tabelle angezeigten verbunden. Jede Gruppe von drei NPN Transistoren und einem PNP-Transistor sind zusammen über einem Chip des ISQ-74-vierfach Opto-Isolator umgeschaltet. Jede der drei ISQ-74-Chips ist wiederum powered by eine der Ausgaben aus den angeschlossenen CD4022 Kluft durch drei-Chip, der getrieben von CD40106B hex Schmitt Inverter Chip verdrahtet wie eine Uhr, wie oben gezeigt. Es wird erwartet, dass eine geeignete Uhrzeigerwinkel Frequenz ca. 700 Hz wäre. Hier sehen Sie eine mögliche Layout für die Uhr, Kluft durch drei und zwölf Opto-Isolatoren auf einem Brett 104 x 50 mm Streifen:

Das
Timing und die Schaltkreise Bestandteil der Last ist, die eingeschaltet ist.
Allerdings, wenn wir davon ausgehen, dass es ein Stromausfall sein, wenn dieses
System läuft, dann sollten wir die sehr clever Designs Carlos Benitez im Jahr
1915 betrachten.
Die
mexikanischen Ingenieur Carlos Benitez entwickelt, was im Wesentlichen die 3
Batterieschalter oben besprochen wird. Er arbeitete in einer Zeit, als
Festkörperelektronik nicht verfügbar war und so seinen Entwurf dafür umso
beeindruckender ist. Hier sind einige seiner Patentinformation:
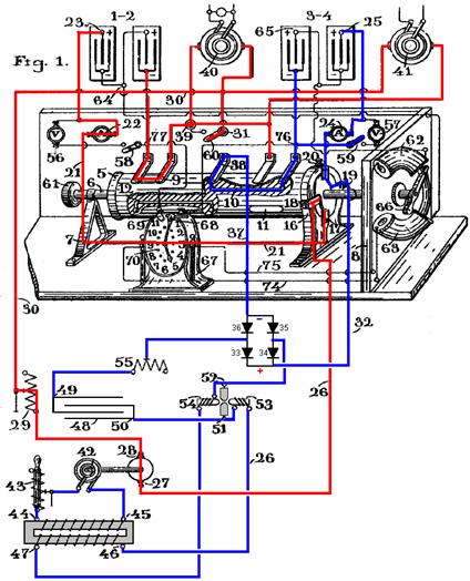
Carlos
Benitez Patent GB 17.811 13. Mai 1915
System
zur Erzeugung Elektrischer Ströme
Ich, weiß Carlos F. Benitez, Bauingenieur,
Die Erfindung betrifft ein neues Verfahren zur Herstellung
von elektrischen Strömen unter ungewöhnlich einfachen, wirtschaftlichen und
praktischen Bedingungen. Ich synthetisch in Kombination: eine Vorrichtung für
die Erzeugung von elektrischen Strömen zum Aufladen eines oder mehrerer
Kondensatoren, deren Kollektoren oder Innenbeschichtungen an einem der
Anschlüsse der Primärwicklung eines oder mehrerer Induktionsspulen und anderen
Beschichtungen dieser Kondensatoren abwechselnd Masse durch die Primärwicklung
eines Transformators verbunden oder durch die Primärwicklung des Transformators
auf die oben Sammler, geeignete Mittel zum Sammeln der Ströme in den sekundären
Wicklungen dieser Transformatoren erzeugt, und zum Anlegen Laden der oben
Sammler und ein geeignetes Mittel für die Erfüllung dieser Sammler und für die
Anwendung der Gesamtheit oder einen Teil seiner Energie auf die sukzessive
Replikation der bereits beschriebenen, auf diese Weise eine Erhöhung der
Erzeugung von elektrischer Energie oder der Aufrechterhaltung einer konstanten,
vorgegebenen elektrischen Leistung.
Ferner besteht die Erfindung in einer neuen Kombination von
Teilen, aus denen Vorteile abgeleitet werden, die vollständig von der
Betrachtung der zwei unterschiedliche Fälle in der beigefügten Zeichnung
dargestellt, in denen verstanden werden:
1 ist eine
Bank von Kondensatoren.
2 ist eine
rotierende Kommutator zu machen und brechen die Schaltung Anschlüsse an den
entsprechenden Zeitpunkten.
3 ist die
Primärwicklung eines Transformators oder Induktionsspule.
4 ist die
Sekundärwicklung dieses Transformators oder Induktionsspule.
5 ist eine
zweite Bank von Kondensatoren.
6 ist ein
Oszillator Funkenstrecke.
7 ist die
Primärwicklung eines zweiten Transformators.
8 ist die
Sekundärwicklung dieses Transformators.
9 ist eine
dritte Bank von Kondensatoren.
70 ist die
Primärwicklung eines dritten Transformators
71 ist die
Sekundärwicklung dieses Transformators.
10 ist
eine vierte Transformator.
11 ist
eine Reihe von Glühlampen.
12 ist ein
Elektromotor.
(a), (b), (c),
(d), (e) und (f) sind Quecksilberdampf-Konverter oder kathodischen Ventile, so
dass elektrischer Strom nur in der Richtung, die durch die Pfeile gezeigt.

Die Kondensatorbank 1
wird durch den Draht 13 mit einer
elektrischen Stromquelle verbunden ist, die Bereitstellung der ersten
Einstellung in Bank 1 Kondensator.
Diese Vorlage wird verwendet, um das System zu starten und kann jederzeit durch
den Schalter 14 unterbrochen werden.
Draht 15
verbindet die inneren Blätter Kondensatorbank 1 bei dem die Pole 16
und 17 der dem Kommutator 2, und es ist Stange 18 ist über Leitung 19 mit einem der Anschlüsse der
Primärwicklung des Transformators 3
verbunden, dessen anderes Ende verbunden ist, durch den Draht 20 an die angeschlossenen äußeren
Blätter des Kondensators Bank 1. Die Sekundärwicklung 4 des Transformators ist über Kabel 21 mit den Innenlamellen Kondensatorbank 5 und über Kabel 22
verbunden ist, an den äußeren Platten der Kondensatorbank 5. In gleicher Weise
bestehen Drähte 23 und 24 dieser Verbindungen auf den beiden
Seiten der Primärwicklung 7 des
zweiten Transformators. Leitung 23
enthält einen Oszillator Funkenstrecke 6,
und Leitungen 21, 22, 25, 26 und 72 enthalten die Einweg-Kathode Ventile
a, b, c, d, e und f. Die Sekundärwicklung 8 des zweiten Transformators, eine Verbindung zu den Innenlaschen
Kondensatorbank 9, dessen äußere
Platten sind mit Masse durch die Primärwicklung 70 des dritten Transformators verbunden. Die Sekundärwicklung 71 des dritten Transformators wird auch
durch den Draht 72 verbunden ist, um
den inneren Platten der Kondensatorbank 9.
Leitungen 27 und 28 auch eine
Verbindung dieser inneren Platten Kommutator Pole 29 und 30, die einen
Umschalter bilden, durch Kommutators 31,
die mit den inneren Platten der Kondensatorbank 1 durch den Draht 32
verbunden ist. Schalter 33 und 34 ermöglichen die Verbindung oder Trennung der Primärwicklung des
Transformators 10, dessen
Sekundärwicklung liefert Strom an die Glühlampen 11 und Motor 12. Schließlich wird eines der Enden der
Primärwicklung 3 über Leitung 35 sowohl Pol 36 und der Pol 37 des
Kommutators 2 verbunden, und die
entsprechenden Kommutators 38 ist
mit Masse über Kabel 39 verbunden.
Da der Bau und die Nutzung all dieser Komponenten (mit
Ausnahme des Kollektors) perfekt verstanden wird, wäre es sinnlos, sie zu
beschreiben. Der Kommutator 2, wird
in einem Behälter 40, dessen
Stirnwänden 41 und 42 unterstützen die Enden der
Kontakt-Befestigungsschiene 43 und
die Lager der rotierenden Welle 44
umgeben. Die Kontaktschiene aus einem nicht leitenden Material, auf welches
unbeweglich befestigt hergestellt sind, das Kupfer Kontaktstreifen Bürsten 16, 17 & 18, 36, 37 & 38, und
29, 30 & 31. Sichere Kontakt zwischen diesen Bürsten und den rotierenden
Zylinder auf der Welle 44 angebracht
wird durch die rotierende Hebelarm 47
und die damit verbundenen Gewicht 48
gewährleistet.
Die drei rotierenden Zylindern auf der Welle 44 angebracht ist, aus einem
nicht-leitenden Material bestehen und eine leitende Streifen um ihren
Mittelpunkt. Diese Streifen zwei
leitende Sporen nach außen verlaufenden, eine rechts und eine links, 180 Grad
voneinander um den Umfang des Zylinders angeordnet ist. Wenn die Welle 44 gedreht wird, bewirkt dies die zentralen Ansprechpartner (z. B.
18) zum ersten Verbindung zu einem mit ihr verbundenen Kontakte (etwa 17) und dann trennen und mit dem
anderen Kontakt (sagen wir, 16), die
eine Umschaltung verbinden Schaltmechanismus.
Die Schaltleisten an der zentralen Zylinders um 90 Grad um
den Umfang angeordnet sind, wenn die Position der Schaltleisten an den beiden
äußeren Zylindern, die miteinander ausgerichtet sind, verglichen.
Dies kann in dem Diagramm, wobei in der Welle gezeigten
Stellung 38 und 36 verbunden sind und 31
und 30 sind verbunden zu sehen,
während 18 ist nicht auf 16 bzw. 17 verbunden.
Wenn sich die Welle 44
um 90 Grad gedreht ist, werden 18
bis 17 verbunden werden, während 31 und 38 sowohl isoliert werden.
Wenn die Welle 44
gedreht wird durch eine zusätzliche 90 Grad, Bürste 18 isoliert wird, während Pinsel 38-37 verbunden werden und Bürste 31 auf 29 verbunden
werden kann.
Wenn die Welle 44
gedreht wird durch eine zusätzliche 90 Grad, Bürste 18 wird mit 16 zu
putzen, während Bürsten 31 und 38 wird isoliert werden.
[Hinweis: Wenn das Diagramm richtig proportioniert
ist, wird es vier Positionen in jeder Drehung, wo die drei zentrale Bürsten
nicht zu einem der äußeren Bürsten sind verbunden sein, wodurch die Schaltfolge
Stellen, Break, Make, Break, Make, Break, Make , für jede Umdrehung Pause.
Diese Brüche in der Schaltfolge haben gezeigt, dass eine signifikante Wirkung
haben, wenn die Batterien aufgeladen werden.]
Die Welle 44 ist
länglich ist und durch die Stirnwand 42,
so dass ein Riemenantrieb 45 oder
andere geeignete Verfahren verwendet werden, um die Welle durch den Motor 12 oder gegebenenfalls durch Handkurbel
46 angetrieben zu drehen. Der Tank 40
ist mit Öl oder einem anderen isolierenden Flüssigkeit gefüllt ist, um Funken
zwischen den Bürsten, was die Effizienz des Systems führen würde verhindern.
Dieses System wird wie folgt betrieben:
Mit dem Kommutator in der in der Zeichnung gezeigt, das
heißt, mit Pinsel 36 bis 38 verbunden und Pinsel 30-31 verbunden, und unter der Annahme
Kondensatorbank 1 wird durch Leitung
13 mit einer Quelle für elektrische
Leistung verbunden (beispielsweise ein Wimshurst Machine) der Schalter 14 ist geschlossen, elektrischer Strom
durch den Draht 13, um den
Kondensator aufzuladen Bank 1,
wodurch ein Strom durch den Draht 20,
die Primärwicklung 3, Draht 35, Bürsten 36, Bürsten 38 und Draht
39 zur Erde. Dieser Stromfluss durch die Primärwicklung 3 induziert eine inverse Strom in der
Sekundärwicklung 4, die durch den
Draht fließt 21, Ladekondensator
Bank 5 und dann eine direkte
induzierte Strom durch Leiter 22,
Ladekondensator Bank 5.
Der Stromfluss in beide Sätze von Platten in Kondensatorbank
5, lädt es und erzeugt einen Funken
über der Funkenstrecke 6, was zu
einer sehr starken Stromimpuls durch die Primärwicklung 7. Dies wiederum bewirkt,
dass eine beträchtliche Anzahl von Hochfrequenz-Oszillatorschaltung Strom in
der Sekundärwicklung 8 und diese
weiter entlang Leitungen 25 und 26 und über die Dioden c und d, so Ladekondensator Bank 9
und verursacht einen entsprechenden Satz von Hochfrequenz- Impulse mit Masse
durch die Primärwicklung 70 fließt. Dies induziert Stromfluß in der
Sekundärwicklung 71, die durch die
Dioden e und f fließt, und weiter über den Draht 72, ferner die Förderung der Ladung auf dem Kondensator Bank 9.
Daher Kondensatorbank 1
von einer externen Quelle aufgeladen wird Kondensatorbank 9 indirekt und nacheinander berechnet aufgeladen mehrfach, was zu
einer Menge von Strom wesentlich größer als der Kondensatorbank 1. Auf diese Weise kann das System eine eigene
Stromversorgung, ohne dass für die Energiequelle verwendet werden, um es zu
starten, was bedeutet, dass der Schalter 14
geöffnet werden kann.
Wenn die Welle 44
um 90 Grad dreht, verbindet Bürste 17 mit Bürste 18, während Bürsten 31
und 38 sind beide getrennt. Dies bewirkt Kondensatorbank 1 bis vollständig durch Primärwicklung 3 entladen werden, wodurch die bereits
beschriebenen Verfahren, mit dem Kondensatorbank 9 empfängt eine wesentlich größere elektrische Ladung. Daraus ergibt sich der Kondensator Bank 1 ist vollständig entladen und der
Kondensator Bank 9 ist stark mit
viel Elektrizität geladen. Wenn wir also nun in der Nähe wechseln 33 und drehen Welle 44 durch weitere 90 Grad, die folgende
Situation ergibt:
1.
Bürsten 17 und 18 werden getrennt.
2. Bürsten
37 und 38 werden verbunden, welche wiederum mit den Trägerplatten
Kondensatorbank 1 nach Masse. Bürsten 29
und 31 verbunden sind, die dann
verbindet die inneren Platten des Kondensators Bank 9 zu den inneren Platten des Kondensators Bank 1.
3. Ein
Teil der hohen Ladung auf dem Kondensator Bank 9 wird als ein elektrischer Strom fließen, durch den Draht 32 und in den Kondensator Bank 1.
4. Dieser
Stromfluss von den inneren Platten der Kondensatorbank 9 bewirkt eine sofortige Anpassung negative Ladung fließt vom Boden
durch die Primärwicklung 70, um die
Ladung Unausgeglichenheit auszugleichen.
5. Dies
führt zu einem Stromfluß in der Sekundärwicklung 71, die zusätzliche elektrische Energie leitet, um den äußeren
Platten sowohl Kondensatorbank 9 und
Kondensatorbank 1, und weiter
verstärkt den Stromfluß durch die Primärwicklung 70 ganz erheblich.
6. Ferner ist, wie Kondensatorbank 1 hat gerade neu geladen wurde, treibt sie zusätzlichen Strom durch
die Primärwicklung 3, wodurch neue
induzierte Ströme, die nach wie vor stark erhöht produzieren Ladung auf den
inneren Platten sowohl Kondensatorbank 5
und Kondensatorbank 9, wie beschrieben
wurde.
Wenn Welle 44
gedreht wird durch weitere 90 Grad, dann eine Verbindung zwischen den Bürsten 16 und 18 gemacht werden und alle anderen Schaltungen geöffnet werden, was
Kondensatorbank 1 bis wieder
entladen werden, was den gesamten Prozess wiederholen oben beschrieben, daß die
Welle 44 kontinuierlich gedreht
wird.
Dieses System erzeugt eine stetig wachsende Angebot an
elektrischer Strom durch den Draht 32
und so, Schalter 34 geschlossen
werden kann, so dass Transformator 10,
um den Strom zum Motor 12, die Welle
44 hält in kontinuierliche Rotation
laufen zu stellen, was das System self-powered ohne Voraussetzung für jede Form
von außerhalb Stromversorgung. Weitere Transformatoren in Draht 32 eingeführt werden, um Macht
zusätzliche Ausrüstung verwendet werden.
Ohne den Einsatz der hochfrequenten Ströme oben beschrieben,
kann ähnliche Ergebnisse durch die Anordnung in der unteren rechten Seite der
folgenden Zeichnung dargestellt erreicht werden:

Hierbei wird die Primärwicklung 50 verbunden, wie durch die gestrichelten Linien gezeigt ist, mit
den Leitungen 19 und 20 der früheren Anordnung und Draht 53 verbindet sowohl Draht 27 und Draht 28. Diese Anordnung hat
Primärwicklung 50 über das Ende 51, die mit 20 Draht und so fest mit den äußeren Platten der Kondensatorbank 1 verbunden ist, und dessen anderes
Ende 52 mit Draht 35 verbunden ist, wird zeitweise mit
Masse verbunden werden. Draht 53 an Drähten 27 und 28
intermittierend miteinander zu verbinden, wobei die inneren Platten der
Kondensatorbank 54 und der inneren
Platten der Kondensatorbank 1.
Mit dieser Anordnung werden die beiden Enden der
Sekundärwicklung 55 durch die Dioden
56 und 57 verbunden ist, auf 53
verbinden. Die äußeren Platten der
Kondensatorbank 54 permanent durch
die Primärwicklung 58 mit Masse
verbunden. Beide Enden der
Sekundärwicklung 59 durch die Dioden
60 und 61 verbunden ist, zurück zu Leitung 53. Als Ergebnis, wenn
Kondensatorbank 1 geladen ist,
treibt er einen Strom durch den Draht 20
und so, durch die Primärwicklung 50
und auf der Erde über Leitungen 35
und 39. Dies induziert in der Sekundärwicklung 55, die in den inneren Laschen der
beiden Kondensatorbank 54 und
Kondensator-Bank 1 gespeichert wird,
wie in diesem Moment der Schaltung zwischen den Bürsten 29 und 31 geschlossen
ist, Strom usw., Draht 53 mit Draht 32 verbunden. Nach Erhalt dieser neuen Gebühren werden
sowohl Kondensator Bank 1 und Bank
Kondensator 54 neue induzierte
elektrische Ströme, die durch primäre Wicklungen 50 und 58. Diese mehreren Ladeimpulse mit der Zeit ab,
bis sie unbedeutend sind, wobei zu diesem Zeitpunkt aufgrund der Drehung der
Welle 44, die Verbindung zwischen
den Bürsten 29 und 31 und zwischen den Bürsten 36 und 38 nicht mehr aufrechterhalten werden, und statt dessen Bürsten 18 und 17 werden verbunden, Entladekondensator Bank 1 bis Primärspule Ende 50,
die eine sehr starke Entlastung ist, Ladekondensator Bank 54 als Draht 53 wird nun
aus Draht 32 getrennt. Dies wiederum bewirkt, dass starke Stromfluss
durch die Primärwicklung 58, weiter
Ladekondensator Bank 54, dann speist
Kondensator Bank 1, wenn die Welle 44 dreht weiter, so dass das System
sowohl self-powered und in der Lage zu liefern nützliche elektrische Energie zu
anderen Geräten.
Es sollte klar sein, dass die Verwendung von Quecksilber-Dampf-Konverter
oder kathodischen Ventil Dioden, wie beschrieben, nicht in irgendeiner Art und
Weise in das System unabdingbar, da diese Geräte durch eine geeignete Anordnung
von Kondensatoren, die separat erhalten würde, ersetzt werden kann die direkte
und inverse Ströme der Sekundärteile.
Wenn
eine Glocke nur einmal getroffen wird, vibriert es oft Dabei werden diese
Vibrationen auf die Luft und so, dass das Geräusch, das wir hören. Je größer
die Glocke, desto langsamer die Schwingungen und desto geringer ist die Tonhöhe
der Note, die wir hören. Das gleiche passiert, wenn ein starker Spannungsimpuls
an eine Spule aus Draht aufgebracht wird nur als ein Impuls verursacht viele
Vibrationen in der Spule. Wie die Glocke hängt die Frequenz der Vibrationen auf
die Struktur der Spule und nicht, wie gepulst ist, obwohl, wie eine Glocke, ein
scharfes Impuls für eine Spule oder einen harten Schlag für eine Glocke, eine
größere Wirkung.
Sie
werden hier feststellen, dass die Resonanzfrequenz Carlos 'Klingeln' einer
Luftspule verwendet, um ein Energiegewinn, die dann als positives Feedback wird
verwendet, um weiter zu laden einen Kondensator Bank zu bekommen. Ein einzelner
scharfer Impuls durch einen Funken erzeugt wird, bewirkt, dass eine große
Anzahl von Schwingungen Spule, von denen jede Ausgangsleistung beiträgt,
wodurch ein Energiegewinn. Die Ruffrequenz haftet auf rund 3 MHz. Es ist auch
erwähnenswert, dass mit diesem Entwurf, der Stromerzeugung ohne Batterie und
nur die manuelle Drehen eines Wimshurst elektrostatischen Generator und der
Inbetriebnahme des Kollektors Welle 44
erreicht werden kann.
Carlos
produzierte auch ein anderes Design, diesmal mit Batterien arbeiten (obwohl er
neigte dazu, im Hinblick auf die 60-Volt-Batteriebänken statt 12-Volt-Batterien
denken) und sein Patent beinhaltet, was wir dazu neigen, "die
Tesla-Schalter" nennen heutzutage. Jedoch kann anstelle des Schalt rasch
verwendet Carlos eine Schaltzeitintervalls von einer Stunde. Die niedrigere
Spannung überwindet die Notwendigkeit für die Schaltkontakte in Öl getaucht
werden. Das Problem bei Blei-Säure-Batterien besteht darin, dass sie nur 50%
wirksam. In der Praxis nur von einem aufgeladenen Akku die Hälfte der
eingespeiste Strom in sie zu erhalten, wenn es geladen wird. Also, wenn Sie nur
wechseln vier Batterien und Strom eine Last, die Art und Weise, die Batterien
auf jeden Fall zu entladen. Im Falle des Electrodyne Inc. Personal, verwendet
sie schnelles Schalten und Verbinden Dioden, die brechen, wenn umgekehrt
vorgespannt, vorbei an einer starken Spannungsspitze an die Batterien mit einer
Rate von vielleicht 400 Mal pro Sekunde. Benitez, arbeitet vor elektronischen
Komponenten waren leicht verfügbar sind, beschlossen, die Standard-Technologie
seiner Zeit zu verwenden - eine Induktionsspule, die mindestens 10 Impulse pro
Sekunde erzeugt und durch eine Aufwärtstransformatorwicklung auf der
Induktionsspule speist, um sowohl die Last und die Antriebsbatterie, mit einer
Anordnung wie dieser:

Carlos Benitez Patent GB 14.311
17. August 1916
System
zur Erzeugung von Elektrischen Ströme
Ich, weiß Carlos F. Benitez, Bauingenieur,
Die Erfindung, die Gegenstand dieses Patents ist der Zusatz
bildet, betrifft neue Verbesserungen in dem System für die Erzeugung von
elektrischen Strömen in der Haupt-Patent Nr. 17,811 und in dem Zusatzpatent Nr.
5591, eingereicht 14. April 1915.
Das System kann noch weiter vereinfacht und verbessert durch
die Zugabe von Batterien, die in geeigneter Weise in Verbindung mit dem System
zuvor beschrieben eingestellt wird, geladen werden kann und abwechselnd
entladen Herstellung einen Überschuss an elektrischer Energie, die in jeder
gewünschten Weise benutzt werden kann.
Mit anderen Worten, bei dieser Anordnung verwendet I in
Kombination: zwei in Reihe geschaltete Batterien und zwei Batterien parallel
geschaltet sind, wobei diese Paare verwendet wird, so daß die Entladung eines
Paares verwendet wird, um das andere Paar aufzuladen, und umgekehrt.
Eine weitere Aufgabe dieser neuen Anordnung besteht darin,
die Verwendung von niedrigen Spannungen kleiner Kapazität Kondensatoren und
zusätzliche Einrichtungen zum Starten des Systems zu ermöglichen.
Die Vorteile dieser Verbesserungen besser unter
Berücksichtigung der folgenden Zeichnung beschrieben, die ein Verfahren zum
Ausführen der Erfindung veranschaulicht verstehen:

In dem Diagramm sind 1,
2, 3 und 4 Batterien, die, wenn
sie von einer externen Quelle geladen, ihre Gebühren zu halten auf unbestimmte
Zeit, wird in der folgenden Weise:
Mit den Verbindungen hergestellt wie in dem Diagramm
gezeigt, das heißt, mit Batterien 1 und
2 in Reihe über den Schalter 5
(Schalter 6 offen), Batterien 3 und 4 werden parallel über den Schalter
7 verbunden (Schalter 8 offen) verbunden ist. Unter diesen Bedingungen wird angenommen, dass
die vier Batterien ähnlich sind, mit ähnlichen Spannungen Batterien 1 und 2 in Reihe eine kombinierte
Spannung größer als Batterien 3 und 4,
die parallel angeschlossen sind, und so wird eine Last, die zwischen ihnen
verbunden sind ein Strom aus Batterien 1
& 2 und in Batterien 3 und 4.
In anderen Worten, wenn der Draht 13 mit der positiven Klemme der Batterie 1 und 2 Kombination, und die positiven Pole 10 und 32 der Batterie 3 und 4-Kombination verbunden ist, und
ein elektrischer Strom zwischen den beiden Sätzen von Batterien eingerichtet
werden , bis ihre Spannungen entsprechen. Natürlich würde der Strom durch Batterien 1 und 2 und eine kleinere Ladung der Batterien
3 und 4 zu produzieren, sondern dass
Strom durch jedes der Verfahren in meinen früheren Patenten (Nr. 17,811 / 14)
beschrieben, erhöht werden, und diese bedeutet, dass es immer möglich ist, um
abwechselnd geladen und entladen die Batterie Paare voneinander somit eine
konstante, vorbestimmte Ladung, und ferner Erzeugen eines Überschusses an
elektrischer Energie, die für jeden ausgewählten Zweck verwendet werden können.
Mit diesen Zielen vor Augen, und verwenden als eine
Illustration, die Anordnung in Abbildung 1
des Patentgesetzes von Zusatz Nr. 5591/15 gezeigt, verbindet Draht 13 bis 14 Kondensator. Die
Primärwicklung 15 eines gewöhnlichen
Induktionsspule mit einem Unterbrecher versehen ist, die mit ihren Enden 16 und 17 verbunden ist, zur Leitung 13.
Die Enden 18 und 19 der
Sekundärwicklung dieses Induktionsspule 15
und Verbindungen 20 und 21 der Kondensator (oder Bank von
Kondensatoren) 22 verbunden sind. Verbindungen 20 und 21 sind auch
durch Funkenstrecke 23 verbunden, an
den Enden 24 und 25 der Primärwicklung 26 eines Hochfrequenz-Transformator.
Die Enden 28 und 29 der Sekundärwicklung 27 des Transformators an den Enden 16 und 17 der Induktionsspule 15
angeschlossen sind. Schließlich sind die
Drähte 30 über dem Kondensator 14 verbunden und werden zur Versorgung
von externen Lasten, wie die Glühlampen in dem Diagramm gezeigt ist, verwendet.
Diese Anordnung vorgenommen wird, die elektrische Energie
von Batterien 1 & 2 gespeichert,
die durch Klemme 9, Draht 13, Primärwicklung 15, wird Klemme 10 der
Batterie 4, Pol 31 des Schalters 7 und
Klemme 32 der Batterie 3, gehen Sie zurück über den Anschluß 12 von Batterie 3 an die Batterie 1 und 2
Kombination.
Als Folge des Stroms, der durch die Primärwicklung 15, Hochspannungs-Strom in seiner
Sekundärwicklung erzeugt und gesammelt in Kondensator 22, Entladen durch Funkenstrecke 23, erzeugt hochfrequente Ströme in den Hochfrequenz-Transformator
primären und sekundären Spulen 26
und 27. Als Spulenenden 28 und 29 sind an die
Spule Enden 16 und 17 wird diese stark erweitert den
Stromfluss durch Batterien 1 und 2
und damit der Akkumulatoren 3 und 4
nun eine angemessene Ladestrom, um sie vollständig aufgeladen sowie Antrieb von
zusätzlichen Lasten über Drähte 30.
Unter diesen Bedingungen, wie die Spannung in einer der
Batterien ist rückläufig, während der andere nimmt sie nach einigen Stunden,
passen beide Spannungen, und es ist dann unmöglich, es sei denn, Stromfluss
erzeugen Schalter 5, 6, 7 und 8 betrieben werden, Umkehr die
Funktionen der Batterien und was das Verfahren für vollständig wie vorher fort
mit Batterien 1 und 2 parallel und
Batterien 3 und 4 in Reihe
geschaltet ist.
Wenn der Widerstand der Primärwicklung des Transformators 15 nicht hoch ist, ist es möglich, die
oben genannten Schaltung durch Erhalten der hochfrequenten Ströme direkt
Induktionsspule 15, wobei die Enden 18 und 19 der Sekundärwicklung direkt verbunden vereinfachen an den Enden 16 und 17 der gleichen Spule und der zweiten Bank von Kondensatoren 22 und dem Hochfrequenztransformator 26/27 kann weggelassen werden. Unter
diesen Bedingungen wird der Schalter oder Unterbrecher, die in der
Induktionsspule Konstruktion ist, wie einer Funkenstrecke und der Kondensator 14 entlädt sich in Form von
Schwingungen durch die Primärwicklung 15
des gleichen Spule wirkt somit unmittelbar eine Erhöhung der Menge an
elektrischer Energie eingerichtet von den Akkumulatoren.

Ein
wesentlicher Teil dieser Konstruktion, die nicht angezeigt wird deutlich in dem
Patent, dass das, was üblich war vor hundert Jahren, nämlich, dass der
Netzanschluss bis 17 des primären
des (Erhöhung der
Spannung) Transformator 15
zeigen, wird fed durch einen "Unterbrecher" Kontakt. Diese Verbindung wird, wenn die Spule 16 zu 17 mit Energie versorgt wird, wodurch das isolierte Eisen
Drahtbündel Kern der Spule magnetisiert werden, und zieht den Schwenkarm des
Unterbrechers, die den Strom unterbricht, um die Spule sehr stark, so dass
hochfrequente Resonanzschwingungen in beiden Wicklungen des Transformators 15, die die überschüssige Energie, die
das System und seine Zusatzlasten läuft erzeugt. In Benitez tag, verwendet Türklingeln diese
Art der Unterbrecher ein Hämmern Aktion auf einem Metall-Glocke herzustellen.
Diese waren sehr billig, sehr einfach und sehr zuverlässig.
Wie
ich es verstehe dann die Spannung zwischen den beiden Paaren von Batterien,
Ladekondensator 14 und die
Stromversorgung an die Primärwicklung 16-17
von Step-up-Transformator 15. Dies verursacht einen Strom in dieser Wicklung
zu fließen, so dass der Kern anzuziehen den Schwenkarm des Unterbrechers in der
gleichen Weise, dass ein Relais betreibt. Dies unterbricht den Stromfluss sehr stark,
was zu einer leistungsstarken Umkehren von EMF-Impuls in der Primärwicklung. Die Primärwicklung weist eine Resonanzfrequenz,
sehr stark durch die Anwesenheit des Eisenkerns, die selbst ein
Niederfrequenz-Material abgesenkt wird, und die Spule in ihrer Eigenfrequenz
Frequenz, nicht nur für einen Zyklus, aber für viele Zyklen. Jeder dieser Zyklen erzeugt eine Hochspannung
in der Sekundärwicklung 18-19 und
jeder dieser Zyklen trägt Hochspannungs-Stromversorgung des Systems. Diese Macht ist auf drei Steckdosen zugeführt.
Erstens, es fließt zurück zum Aufladen des einen der Batterie Paare umfasst. Zweitens fügt es zusätzliche Energie an den Kondensator
treibende eigene Primärwicklung. Drittens
stellt sie Energie für die Last, die als eine Reihe von Lampen parallel
angeschlossen gezeigt.
Das
ist nur für die erste Unterbrecher Puls. Die unterbrochene Strom durch die
Primärwicklung 16-17 Ursachen seiner
Kern aufhören, ein Elektromagnet sein und so hört es auf den Schwenkarm des
Unterbrechers anzuziehen und während das scheint sehr schnell in menschlicher
Hinsicht, ist es sehr langsam im Vergleich zu den mehreren Schwingungen Klingeln
in der Wicklung. Wenn der Schwenkarm in seine Ausgangsstellung zurückkehrt,
stellt sie den Stromfluss durch die Primärwicklung wieder. Allerdings ist die
Ladung des Kondensators die Versorgung der Primärwicklung durch den
Resonanzschwingungen in der Sekundärwicklung aufgeladen worden und so wird
höher, als wenn der Unterbrecher Kontakt geöffnet vorher aufgeladen. Dieser Prozess setzt sich wiederholt, wodurch
Laden und Leistung an die Last.
Laut
Carlos gibt es insgesamt einen leichten Belastung für die Batterie und so, nach
etwa einer Stunde, die Schalter betätigt werden, die Änderung der in Reihe
geschalteten Batterien zu werden parallel geschalteten und die parallel
geschalteten Batterien werden in Reihe geschaltet. Dieser Zeitpunkt scheint
seltsam, wie das Schalten der Batterien über viel häufiger benötigt nur
Batterien mit einem viel niedrigeren Kapazität.
Da
wir nicht vertraut sind mit Induktionsspulen und Unterbrecher sind jetzt, dass
Solid-State-Elektronik zur Verfügung steht, können wir bauliche und
betriebliche Informationen aus dieser Zeit in dem Buch zu bekommen
"Wireless Telegraph Construction für Amateure" von Alfred Powell
Morgan, im Jahre 1913 veröffentlicht, das ist erhältlich als kostenloser
Download von hier: http://www.free-energy-info.tuks.nl/Morgan.pdf.
Zum
Beispiel umfassen die Unterbrecher Details:
“Eine Möglichkeit zum Aufladen des Kondensators ist notwendig. Eine
Induktionsspule ist die praktischste für Amateure. Die Induktionsspule besteht
aus einer Primärspule Draht gewickelt um einen zentralen Eisenkern und umgeben
von einer sekundären Spule bestehend aus vielen tausend Umdrehungen der
sorgfältig isolierten Elektrokabeln. Die Primärspule ist zu einer Quelle von Gleichstrom
angeschlossen, auch ein Unterbrecher gehört zu "machen" und
"brechen" den aktuellen in rascher Folge. Jeder "machen"
der Schaltung und daraus resultierende Magnetisierung des Kernes, induziert
einen momentanen inversen Strom in der Sekundärwicklung und jeden
"Pause" und entsprechende Entmagnetisierung induziert eine momentane
Gleichstrom. Normalerweise wäre die induzierten Ströme gleich, aber durch einen
Kondensator angeschlossen über die Unterbrecher, die Schaltung als
"gemacht" erfordert viel Zeit für die laufende und Magnetisierung des
Kerns einen Maximalwert erreichen während wenn gebrochen, die Entmagnetisierung
und aktuellen Drop fast sofortigen sind. Der Wert der induzierten
elektromotorischen Kraft in einem Stromkreis variiert mit der Geschwindigkeit,
an dem die magnetischen Kraftlinien die Schaltung geschnitten, und so, wird die
induzierte EMK in "Pause" hoch genug, um über eine Funkenstrecke
Sprung.
Die Formeln, die im Zusammenhang mit Induktionsspulen abhängig von
Bedingungen, die in der Praxis nie erfüllt sind und können auf nicht
herangezogen werden. Um eine Spule, die von einer bestimmten Größe zu
konstruieren, ist es notwendig, Dimensionen, die empirisch gewonnen zu
verwenden. Daher Amateure sollte eng an die Linien oder die hier gegebenen
Hinweise halten, oder die in einigen bisherigen Discount Induktionsspule
Gebäude auftauchen.
Für eine lange Zeit war der Induktionsspule eine teure und
ineffiziente Instrument bis drahtlose Telegraphie von ihm verlangte starr und
effiziente Planung und den Bau. Es war das Ziel der Hersteller, die längste
mögliche Funken-Länge mit einem Mindestbetrag von sekundären Draht zu
erreichen. Aufgrund dieser Nachfrage drahtlose Spulen sind jetzt mit einem Kern
von größeren Durchmesser gemacht und geben Sie schwerer und dicker Funken. Die
sekundäre in diesem Fall ist kurz und verwendet Draht aus großen
Querschnittsfläche reduzieren Sie den Widerstand und zur Minimierung der
Heizung.

Keine einerseits eine Induktionsspule kann zu seinem maximalen
Wirkungsgrad entwickelt werden, ohne ernsthaft beeinflussen und senken die
Wirksamkeit der anderen Teile. Die folgenden Vorschläge betreffend der
Konstruktion sind gegeben, damit sie beweisen können, ein nützliches Handbuch
für den Amateur-Spule-Generator sein. Die Teile werden in ihrer natürlichen
Reihenfolge der Konstruktion berücksichtigt.
Kern: Einige Experimentatoren,
die nicht ganz vertraut mit den Grundsätzen des Magnetismus, denke, wenn eine
Induktionsspule waren, vorausgesetzt mit einem geschlossenen Kern wie ein
Transformator, dann die Effizienz der Spule wesentlich erhöht werden würde.
Aber das ist nicht der Fall, weil dann die Magnetisierung und Entmagnetisierung
des Eisens nicht stattfinden rasch genug in einem geschlossenen Kern wenn ein
unterbrochener Gleichstrom statt Wechselstrom verwendet wird.
Der Kern der eine Induktionsspule ist daher immer gerade. Aus dem
gleichen Grund es ist nie solide aber stattdessen immer setzt sich aus ein
Bündel von Weicheisen-Drähte, so dass schnelle Änderungen an Magnetismus
erfolgen können. Die Drähte sind immer so hoch eine Permeabilität (magnetische
Leitfähigkeit) wie möglich um ein starkes Magnetfeld zu schaffen. Schwedisch
oder Russisch Eisen von guter Qualität ist das beste, da die Hysterese-Verluste
klein sind. Je kleiner der Durchmesser des Drahtes, desto weniger werden die
Verluste bei der laufenden Eddy und konsequente Heizung, aber auch sinkt die
Durchlässigkeit und Kern werden nicht so effektiv, wie die Menge an Eisen
dadurch verringert wird und die oxidierte Oberfläche erhöht. Nr. 22 Gauge Wire
ist die optimale Größe für das durchschnittliche Core.
Drähte von guter Qualität können bereits auf verschiedene Längen
geschnitten erworben werden. Um sie in dieser Form zu kaufen spart viel Arbeit
benötigt, beim Erstellen von eines Kerns. Wenn die Drähte nicht ganz gerade
sind, können sie begradigt durch Walzen sie einzeln nacheinander zwischen zwei
Brettern. Es ist am besten, die Drähte re-anneal. Hierzu legen Sie die Drähte
in eine eiserne Leitung und stecken Sie die Enden des Rohres mit Ton. Dann lag
sie in einem Kohle-Feuer, bis die ganze Masse ein rot-Hitze erreicht. Das Feuer
darf dann mit dem Rohr und Drähte, die in der Asche bis Kühl bleiben allmählich
Aussterben. Wenn kühl, entfernen Sie sie aus dem Rohr und reiben Sie jeweils
mit Schmirgelpapier bis hell. Nach dieser Reinigung, sind die Drähte in heißes
Wasser getaucht und dann getrocknet. Sie sind dann in guter Qualität Lack
getaucht und erlaubt, wieder zu trocknen.
Der Lack bietet eine Resistenz gegen den Fluss der Wirbelströme im
Kern und die Verluste ganz erheblich reduziert. Ein starkes Papier-Rohr mit
einen Innendurchmesser gleich dem Durchmesser der fertigen Kern erfolgt durch
das Papier in einem Formular Rollen und Klebung es mit Schellack. Wenn sie vollkommen
trocken ist, wird das Rohr entfernt und die Drähte fest verpackt darin. Die
folgende Tabelle gibt die Kerndimensionen für praktische Coils in verschiedenen
Größen:
DIMENSION DER CORE
|
Funkenlänge |
Kerndurchmesser |
Kernlänge |
|
12 mm |
12 mm |
150 mm |
|
25 mm |
25 mm |
200 mm |
|
50 mm |
31 mm |
262 mm |
|
100 mm |
34 mm |
300 mm |
|
150 mm |
38 mm |
350 mm |
Primärwicklung: Das Verhältnis der Anzahl der primären Windungen
der Induktionsspule zur Windungszahl der Sekundärwicklung, in keinem
Zusammenhang mit dem Verhältnis der Primär-und Sekundärstrom. In der Praxis hat sich
herausgestellt, dass zwei Lagen von Draht fest auf den Kern gewickelt, bilden
das beste primären. Der primäre sollten immer gründlich mit Schellack oder
andere isolierende Lack überzogen werden. Da es fast keine Belüftung im
primären, muss der Draht groß genug sein, um alle Erwärmung zu vermeiden. Eine
Tabelle mit den verschiedenen Größen der primären Leitungen ist hier gegeben:
PRIMÄRWINDUNG
|
Funkenlänge |
Aderndurchmesser |
Anzahl der lagen |
|
12 mm |
18 (1.219 mm) |
2 |
|
25 mm |
16 (1.63 mm) |
2 |
|
50 mm |
14 (2.03 mm) |
2 |
|
100 mm |
12 (2.64 mm) |
2 |
|
150 mm |
12 (2.64 mm) |
2 |
In großen Spulen, bewirkt die Induktivität der Primärwicklung eine
"Kick-back" und Funken haften zwischen den benachbarten Windungen
passieren. Aus diesem Grund ist es immer eine gute Idee, doppelte Baumwolle
bedeckt Draht verwenden und weiter zu isolieren gründlich durch Einweichen der
Primär-und Kern in einer Pfanne von geschmolzenem Paraffin und damit das Wachs
zu härten mit ihnen drin. Danach wird die Pfanne leicht erwärmt, um den Kuchen
aus Paraffin und das überschüssige Wachs durch Schaben mit einem stumpfen
Instrument, um eine Beschädigung der Drähte entfernt lockern. Paraffin
Verträge, wenn es aushärtet und die richtige Methode zur Imprägnierung eines porösen
Substanz ist es, dass es zu genießen und sich in sie gesetzt beim Abkühlen.
Ein gutes Verfahren zur Verringerung des "Rücklauf",
sowie von der Größe des Kondensators über dem Unterbrecher verbunden ist, um
das primäre mit einer Anzahl von Windungen von Draht mit kleinerem Durchmesser,
die parallel gewickelt, wobei die Wirkung eine Leitfähigkeit gleich erzeugen
machen ein Draht mit großem Durchmesser und an der gleichen Zeit, in
kompakterer Wicklung der primären auf dem Kern. Das Verfahren zum Wickeln ist
sehr wünschenswert, in großen Spulen, wie es der Querschnitt der primären
reduziert und erlaubt dem sekundären, näher zum Kern, wo das magnetische Feld
das stärkste platziert werden.
Die Primärwicklung sollte sich nahezu über die gesamte Länge des
Kerns, da es keinen Vorteil bei der Durchführung des Kerns sehr weit über das
Ende des primären wie die meisten der magnetischen Kraftlinien Biegung am Ende
der Primärwicklung und zurück, ohne dabei durch den äußersten Enden des Kerns.
Isolier-Rohr: Der erfolgreiche Betrieb einer Induktionsspule ohne
zusammenzubrechen, wenn stark beanspruchte, hängt weitgehend von der
isolierenden Röhre, die die primäre und die sekundäre Wicklungen trennt.
Hartgummi Röhren sind vielleicht das beste. Ein Rohr kann leicht aus mehreren
Schichten von halben Zoll-Blatt Hartgummi gebaut werden, indem sie Dampf, um
sie zu erweichen, und dann Wickeln um einen ehemaligen. Das Rohr muss fest auf
dem primären und etwa einem Zoll (25 mm) kürzer als der Kern. Nachdem das Rohr
an Ort und Stelle, wird gegossen voller Bienenwachs und Harz, um alle
Zwischenräume füllen und zu verhindern, Funken durch den Kondensator-Effekt der
Wicklungen von Sprung von der Innenseite des Rohres an die primäre.
Sekundär: eine Spule als Radio
Telegraphen Senders darf Draht von einer großen Querschnittsfläche in seine
sekundäre haben, um so einen hohen Durchschlag erzeugt. Nummer 34 und Nummer 32
Messgeräte sind in der Regel für kleine Spulen und Nummer 30 und Nummer 28
Gauge für große Spulen verwendet. Silk bedeckt Draht ist die übliche Praxis,
aber Lackdraht in Gebrauch kommen. Baumwolle bedeckt Draht nimmt zu viel Platz
und hat eine schlechte Dämmeigenschaften.
Lackdraht mit einer Beschichtung aus Celluloseacetat, das eine
Spannungsfestigkeit von ca. die doppelte das von Baumwolle und es braucht
weniger Platz als Seide umhüllten Draht, wobei eine große Einsparung an Raum
und eine größere Anzahl von Windungen aufgewickelt werden isolierte die
sekundäre ohne Erhöhung der mittlere Abstand vom Kern.
Beim Wickeln Lackdraht, muss berücksichtigt werden, dass die
Isolierung von Lackdraht starr ist und hat keine geben. Folglich, um eine
Expansion zu ermöglichen, muss Lackdraht lockerer als Faser oder Seide bedeckt
Draht gewickelt werden. Die gelegentliche Einsetzen einer Schicht von Papier in
der Wicklung gibt Raum für die Expansion und nicht wesentlich auf den
Durchmesser. Die Länge des sekundären im allgemeinen nicht mehr als die Hälfte
der Länge des Kerns.
Spulen Funkenbildung bis zu 2 Zoll (50 mm) Länge kann in zwei Abschnitte
oder in Schicht gewickelt werden, aber die Schicht Wicklung nicht für Spulen
geben Funken über einen Zoll lang empfohlen. Es ist am besten in einer Spule
des Typs, gelegentlich eine Schicht aus Papier einzulegen. Das Papier sollte
gut shellacked oder paraffiniert und ein guter Qualität aus Leinen. Es sollte
etwa einem Viertel Zoll (6 mm) von den Enden der Sekundärwicklung zu
projizieren, wie in diesem Querschnitt gezeigt:

Dieses Einführen von Papier erhöht die Isolierung und verringert
die Möglichkeit von Funken springt von Schicht zu Schicht, wenn die Schichten
sehr lang sind. Die secondaries von großen Spulen bestehen aus
"Kuchen" oder "Pfannkuchen" von einem Achtel (3 mm) auf
drei Achtel von einem Zoll (9 mm) in Stärke. Die "Torten" sind voneinander
durch eine dreifache Dicke von Löschpapier, das gründlich getrocknet und dann
eingeweicht in geschmolzenem Paraffin getrennt. Wenn jeder "pie"
abgeschlossen ist, wird es für Kontinuität geprüft und abgelehnt, wenn nicht
perfekt. Sie sind in Reihe geschaltet:

Wenn verbunden, wie im Beispiel "A" gezeigt, wo das
Innere eines Abschnitts mit verbunden ist außerhalb der im nächsten Abschnitt,
die maximale Spannung, die zwischen den angrenzenden Abschnitten in diesem Fall
existieren kann ist gleich der EMK, erzeugt von einem "Pie" und ist
gleich in der gesamten. Anschließen, wie im Fall "B" gezeigt wo außen
an eine Spule an der Innenseite des nächsten verbunden ist, reicht die Spannung
von NULL an den stellen, wo sie verbunden sind, um zweimal die EMK, die von
jedem ein Teil entwickelt. Dies ist die bessere Methode und jedes zweite Spule
leuchtet um horizontal um die umgekehrte Richtung der Stromfluss zu
ermöglichen.
Nachdem die sekundäre montiert ist, sollte die Spule in einen
luftdichten Behälter, die mit geschmolzenem Paraffinwachs eingetaucht sein. Der
Tank dann mit einer Vakuumpumpe verbunden ist und die Luft abgepumpt. Dies
führt dazu, dass Luftblasen in den Wicklungen zu abgepumpt werden. Nach stehen
für eine Weile, das Vakuum wird freigegeben und der Luftdruck dann bewirkt,
dass die Blase Lücken mit Paraffinwachs ausgefüllt werden.
SEKUNDÄRE SPULE
ABMESSUNGEN
|
Funkenlänge |
Aderndurchmesser |
Erforderlichen
Betrag |
Anzahl der Sektionen |
Länge |
|
12 mm |
36 (0.193 mm) |
0.227 Kg |
1 |
75 mm |
|
25 mm |
34 (0.234 mm) |
0.454 Kg |
2 |
125 mm |
|
50 mm |
34 (0.234 mm) |
1.134 Kg |
4 |
175 mm |
|
100 mm |
32 (0.274 mm) |
3.629 Kg |
12 |
215 mm |
|
150 mm |
32 (0.274 mm) |
5.443 Kg |
20 |
255 mm |
Es
sei darauf hingewiesen, dass die sehr erfahrenen Alfred Morgan Rundweg die
standard-Theorie symmetrische Transformator Operation widerspricht, wenn er
feststellt, dass "das Verhältnis der
Anzahl der primären Wendungen eine Induktionsspule, die Anzahl der sekundären
runden trägt keinen Bezug auf das Verhältnis der primären und sekundären Ströme".
Das ist eine höchst bedeutsame Aussage.
Carlos Benitez fügte seinem Patent eine Erweiterung hinzu:
Die Vorteile einer solchen Verbesserung werden besser verständlich,
wenn man die Zeichnung der vorläufigen Beschreibung und diese zusätzliche
Zeichnung betrachtet, da sie zwei verschiedene Verfahren zum Ausführen der
Erfindung veranschaulichen, aber in der Praxis können weitaus bessere
Ergebnisse durch Verwendung von erzielt werden der Kommutator hier gezeigt:



Da der Widerstand, der dem Durchgang der elektrischen Ströme durch
die Primärwicklung der Transformatoren geboten wird, nicht hoch ist, ist es
möglich, die erstere Anordnung zu vereinfachen, indem die Hochfrequenzströme
direkt von der gleichen Induktionsspule 15 erhalten werden, in welchem Fall die Pole 18 19 der Sekundärwicklung der Spule muß jeweils mit den Polen 16, 17 der Primärwicklung derselben
Spule verbunden sein, und die zweite Batterie von Kondensatoren 22 und
Hochfrequenztransformatoren 26, 27 kann weggelassen werden. Unter diesen
Bedingungen wirkt der Unterbrecher oder Unterbrecher, der in den
Induktionsspulen verwendet wird, als eine Funkenstrecke, und der Kondensator 14
entlädt sich in Form von Schwingungen durch die Primärspule und die
Sekundärspule derselben Spule und erhöht somit direkt die Menge an elektrischer
Energie Akkumulatoren.
Jeder der Pole der Akkumulatoren, die die Batterien 1-2 und 3-4
bilden, ist mit den Polen des Kommutators 31 verbunden. Dieser Kommutator
besteht aus einem Drehzylinder 32, der mit den Wegen 33, 34, 35, 36, 37, 38
versehen ist 39 und 40, die jeweils auf der Oberfläche des Zylinders isoliert
und so angeordnet sind, daß sie abwechselnd die verschiedenen Einheiten, die
die Batterien 1-2 und 3-4 bilden, in Reihe oder parallel verbinden.
Der Zylinder 32 weist zwei leitfähige Pfade 41, 42 auf, die in der
Querschnittsansicht besser zu sehen sind. Der Zylinder läuft durch einen Ring
44, der an der gleichen Basis der Vorrichtung 31 befestigt ist, und er hat
Kontakte 45, 46, 47 und 48. Der Pol 45 dieses Rings ist mit dem Pol 10 der
Batterie 3-4 und seinem Pol 46 verbunden ist über den Draht 49 mit dem Pol 9
der Batterie 1-2 verbunden. Der Pol 47 ist durch den Draht 13 mit dem Pol 16
der Primärseite eines Transformators verbunden, und der Pol 48 ist durch den
Draht 55 mit dem Rückkontaktstift 50 eines gewöhnlichen Unterbrechers
verbunden.
Eine Rückwand 51, die an der gleichen Basis des Kommutators
befestigt ist, ist mit Metallstreifen oder Bürsten versehen, die in der Figur
deutlich zu sehen sind, in Kontakt mit dem Zylinder 32 stehen und jeweils mit
jedem der Pole der Akkumulatoren verbunden sind; und schließlich hat die
Drehwelle des Zylinders einen Griff oder eine Riemenscheibe 52 zum Drehen des
Kommutators.
Der Kondensator 14 der Induktionsspule ist wie üblich mit seinem
Pol 52 mit dem Pol 17 der Primärwicklung desselben Transformators verbunden,
und sein anderer Pol 53 ist, wie allgemein üblich, anstatt mit dem
Rückkontaktstift 50 des Unterbrechers verbunden. ist über den Draht 54 und den
Pol 56 des Kommutators geerdet.
Unter diesen Bedingungen wird, wenn die Schaltung durch den
Unterbrecher unterbrochen wird, der Kondensator 14 geladen und entlädt sich
unmittelbar danach über die Primärwicklung 15 des Transformators, die
Sekundärwicklung des Transformators, den Draht 55, den Pol 48, den Pfad 41 des
Kommutators und die Batterie 3-4, die parallel geschaltet ist.
Als Folge des Durchgangs des elektrischen Stroms, der durch diese
Entladung durch die Primärwicklung des Transformators erzeugt wird, werden in
seinem Sekundärstrom und einem dieser Ströme induzierte Ströme erzeugt, wobei
der durch den Pol 19 gehende Strom unmittelbar für dessen Aufladung verwendet
wird Diese Batterie ist parallel geschaltet. Der Gleichstrom, der erzeugt wird,
wenn die Entladung des Kondensators 14 beendet ist, durch den Pol 18 verläuft
und durch den Pol 16 in die Primärwicklung 15 eintritt, erzeugt eine neue
Ladung in dem gleichen Kondensator 14, der sich auf identische Weise wieder
entlädt, und das gleiche Phänomen ist reproduziert mehrmals in den Beats oder
Intervallen der Unterbrechungen und der vom Unterbrecher produzierten Marken.
Wenn andererseits der Pol 56 des Kommutators nicht geerdet ist,
wird jedes Mal, wenn der Kondensator 14 eine neue Ladung empfängt, das neutrale
Fluid seiner äußeren Beschichtung durch sein Dielektrikum beeinflusst, und ein
induzierter elektrischer Strom wird gezwungen, sich über den Draht 54 zu
bewegen und Pole 56. Mit anderen Worten, diese zusätzliche Energie erhöht
gleichermaßen die normale Ausgabe der Batterie 1-2.
Dadurch wird der durch die in Reihe geschalteten Akkumulatoren
gegebene Strom durch die induzierten Ströme, die in der Sekundärwicklung der
Induktionsspule erzeugt werden, und durch die schnellen Ladungen und
Entladungen des in der oben beschriebenen Weise hergestellten Kondensators und
der angeschlossenen Akkumulatoren richtig erhöht Parallel dazu kann somit eine
richtige Menge an Strom empfangen werden, während die erste Batterie entladen
wird. Wenn jedoch die erste Batterie entladen wird, nimmt ihre Spannung
progressiv ab, und um in der Schaltung einen gegebenen Strom für das Laden der
zweiten Batterie aufrechtzuerhalten, muss der Widerstand der Schaltung
entsprechend reduziert werden.
Um dieses Ergebnis zu erreichen, ohne die Verdrahtung zu berühren,
kann der Rückkontaktstift 50 des Unterbrechers eingestellt werden, um einen
geeigneten Widerstand durch den Unterbrecher in Übereinstimmung mit der
abnehmenden Spannung sicherzustellen, und auf diese Weise ist es immer möglich,
a aufrechtzuerhalten Strom in der Schaltung gegeben, bis die allerletzte
Energiegrenze in der entladenen Batterie erreicht ist.
Bessere Ergebnisse in jeder Hinsicht noch durch die Verwendung
eines geschlossenen Kerntransformatortypen mit einem elektrolytischen
Unterbrecher kombiniert erhalten werden, da bei diesen Unterbrechern dort in
den Pausen zwischen den Pausen praktisch keine verlorene Zeit und macht, und
der Widerstand solcher Geräte können kann leicht auf eine Entfernung
eingestellt werden, wann immer der Bediener es wünscht.
Sobald die Grenze der Energie, die in der Entladungs Batterie erreicht wird, müssen die Verbindungen von den
Akkumulatoren umgekehrt werden, und mit diesem Ziel vor Augen, kann der Kommutator in der Figur gezeigt ist, verwendet
werden, und der Zylinder 32 muß 38 bis Weg 37, gedreht werden, 39 und 40 kommen
in Kontakt mit den Bürsten den Polen der Akkumulatoren verbinden, und die
Kontakte 45, 47 werden über den Pfad 42. auf diese Weise verbunden sind, werden
die Funktionen der beiden Batterien auf einmal umgekehrt und Akkumulatoren 3-4
verbunden ist nun in In Reihe gehen sie durch den Pol 10 über die Pole 45, 47,
den Draht 13, den Primärdraht 15, den Draht 55, den Pol 48 (jetzt in Verbindung
mit dem Pol 46 über den Weg 41), den Draht 49 und den Pol 9 der Batterie 1-2
ist nun parallel über die Pfade 39, 40 verbunden.
Mit anderen Worten können die Arbeitsbedingungen somit vollständig
durch den einfachen Betrieb des Kommutators und einen Dauerstrom beibehalten
werden kann, durch 55 Draht umgekehrt werden, in denen die primäre 57 eines
gewöhnlichen Transformator oder irgendeine andere geeignete Vorrichtung,
eingeführt werden kann in Serie, um den Überschuss der so gewonnenen
elektrischen Energie zu nutzen, ohne den Betrieb des Mechanismus im geringsten
zu beeinträchtigen.
Offensichtlich kann ein Mechanismus erfolgen Betrieb des
Kommutators von Zeit zu Zeit zu erzeugen, und die automatisierten, in
Übereinstimmung mit der Kapazität der Akkumulatoren und so, bei einem gegebenen
Gewicht der Batterien, mehr Leistung kann durch dieses Verfahren befestigt
werden, mit kleineren Kapazitäten, als mit größeren Einheiten, da die gleichen
4 Volt aus einem 60 Amperestunden Akkumulator erhalten werden können, wie mit
einem 10 Amperestunden Kapazität Akkumulator.
Ich möchte auch klar erklären, dass die gezeigten Anordnungen nur zur
Veranschaulichung dienen. In der Praxis können die Akkumulatoren, die jede
Batterie bilden, wie beschrieben verbunden werden, oder eine geeignete
Kombination von Serien-Parallelen kann in jeder Gruppe angeordnet werden, und
die Bedingungen der verschiedenen verwendeten Apparaturen können entsprechend
den besonderen Leistungsbedingungen variiert werden Sei zufrieden.
Carlos
Benitez produzierte auch ein anderes sehr Kluges Design, noch mit vier
Batterien und einer sehr langsamen switching, obwohl nicht mehr mit der Serie
und Parallel schalten, die wir als die Tesla-Switch vorstellen. Bei diesem
Entwurf zeigt er eine bemerkenswerte Hochfrequenz-Energie-Gewinn-System, wo 400
Watt Eingangsleistung produziert 2400 Watt Ausgangsleistung (COP = 6):
Carlos Benitez Patent GB 121.561 24. Dezember 1918
Neues Verfahren für die Erzeugung von
Elektrischer Energie
Ich, Carlos Benitez, Bauingenieur, der 141,
Ocampo Street, in Guadalajara, Mexiko, erklären hiermit die Natur dieser
Erfindung und auf welche Weise das gleiche durchgeführt werden, um besonders
beschrieben und in und durch die folgende Anweisung ermittelt werden soll:
Diese Erfindung bezieht sich auf eine neue
Nutzung der Hochfrequenzstrom oder elektrische Schwingungen durch, die eine
ständige Erzeugung von elektrischer Energie unter ungewöhnlich einfachen,
wirtschaftlichen und praktischen Bedingungen gesichert werden kann.
Solche Ergebnisse werden erreicht durch das Verfahren in
gegenwärtigen Antragsteller englische Patent Spezifikation Nr. 14.311, abgelegt
am 9. Oktober 1915, offen gelegt, sondern um eine bessere Ausnutzung der
Hochfrequenzstrom und Automatikbetrieb der Mechanismen, die in ein solches
Verfahren beschäftigt zu erhalten, wurden erfunden, eine neuartige Anordnung
der Teile aus dem abgeleitet ist mehrere andere Vorteile, die hier beschrieben
und dargelegt.
Zwei Batterien verwendet werden, von denen bereits belastet wurde.
Dieser aufgeladene Batterie entlädt sich über eine Schaltung, die den größten
Teil dieser Kraft nutzt und der Rest fährt eine oszillierende Schaltung, mit
der zweiten Batterie verbunden. Diese oszillierende Schaltung enthält ein
Gleichrichter die leitet die elektrischen Schwingungen in einer Weise, die sie
sind gezwungen, ständig die zweite Batterie aus der positiven den Minuspol
passieren. Ebenso wie die Anzahl der Schwingungen pro Sekunde in diesem
Stromkreis bei variiert werden kann, kann die Stromstärke entwickelt durch
diese Schwingungen geregelt werden, so dass die zweite Batterie im gleichen
Zeitraum der Zeit vollständig geladen ist in dem die erste Batterie entladen
ist. Daher ist es nur eine Frage der Umkehr der Verbindungen, die zwei
Batterien um die kontinuierliche Erzeugung von elektrischer Energie zu
erhalten.
Die Erfindung wird hier dargestellt.:

Diese Schaltung zeigt die Leitungsverbindungen von der Anordnung
und eine perspektivische Ansicht eines Kommutators. 2 ist eine seitliche
Ansicht eines Teils derselben Vorrichtung, und Figuren 3 und 4 sind Teile der
gleichen Maschine, deren Lage und Verwendung wird später erläutert.
Die Abbildung zeigt zwei Batteriebanken 1 & 2 und 3 & 4,
beide in Reihe geschaltet sind. Ihre
positiven Polen, 23 und 25 sind Klemmen 17 und 20 des
Kommutators, über das Amperemeter 22
und 24 verbunden. Der Kommutator ist ein Zylinder 5, montiert auf einer rotierenden Welle
6, die durch zwei Unterstützungen 7 und 8 übergibt. Der Zylinder ist
mit Leiterbahnen 9, 10, 11 und 12 aus dem Zylinder 5 isoliert ist. Es hat auch Leiterbahnen 14 und 15, die besser in
Fig. 2 werden können und die in Kontakt mit Bürsten 17 & 18 und 19 und 20, isoliert und zu Ring 16,
der Zylinder 5 umgibt und an der
Basis der Vorrichtung befestigt fixiert. Diese Bürsten zu den Batterien und der Klemme 17 verbunden ist mit dem positiven Pol 23 der Batterie 1 & 2 verbunden. Klemme 20
ist mit dem positiven Pol 25 der
Batterie 3 & 4 durch Amperemeter
24 verbunden. Klemme 18
ist durch den Draht 26 mit dem
Anschluß 27 eines Gleichstrommotors,
dessen Anschluß 28 verbindet durch
den variablen Widerstand 29 und
Draht 30 mit der Klemme 31 des Kommutators. Schließlich wird
die Klemme 19 durch den Draht 32 an die Klemmen 33 und 34 einer
elektrolytischen Gleichrichter, dessen anderen beiden Gleichrichter 35, 36 zu verbinden über einen Draht 37 bis 38 der Kommutatorbürste verbunden.
Diese Vorrichtung ist auch mit der Klemme 39, die abwechselnd an den Minuspol der Batterien durch die
Bürsten, die in der Figur zu sehen ist, in Kontakt mit dem Zylinder 5 verbunden ist. Unter diesen
Bedingungen werden die Vorrichtung 40
und 41, die verwendet werden, um
eine praktische Ausgang unabhängig von dem Betrieb des "Pflanze", und
die vorsehen, sind die beiden Anschlüsse 31
und 39 verbunden ist, wird
alternativ in der Schaltung mit der Batterie entladen, und somit wird ein Teil
des von der Batterie entladen hergestellt wird durch diese Vorrichtung, ohne
die normalen Betrieb des gesamten Mechanismus verwendet, wie unten erläutert.
Auf der anderen Seite wird ein Generator 42, der Motor 27-28, die
in dieser Weise gedreht werden kann, mit der Geschwindigkeit, um die gewünschte
Frequenz erreicht gekoppelt. Die beiden
Klemmen des Alternators durch den induktiven Widerstand 43 geschaltet, wobei die Pole 44,
45 der Primärwicklung eines Erhöhung der Spannung Transformator, dessen
Sekundärwicklung 46, 47, die mit dem
Kondensator 48 wird letztlich den
Hochspannungs-Wechselstrom Ströme erforderlich, um den Kondensator aufzuladen.
Allerdings ist die Verwendung dieser Motor und Generator in diesem Verfahren
nicht notwendig, da die gleichen Ergebnisse können erreicht werden, wenn der
primäre 44, 45 des Transformators
wurde durch ein gewöhnliches Unterbrecher zum Entladen Batterie angeschlossen
werden.
Die Anschlüsse 49, 50
des Kondensators 48 sind durch eine
Bogenlampe des Poulsen Typ 51, 52,
oder durch eine angemessene Funkenstrecke mit dem Gleichrichter 33, 34, 35 und 36 und mit der Batterie unter Belastung (3 & 4 verbunden in diesem Fall). Die sich in die
Lichtbogenkammer sind die Pole eines starken Elektromagneten, sind die Spulen,
die in Serie mit dem Lichtbogen, so dass ihre Erregerstrom der Lichtbogen
Strom.
Verbunden auf diese Weise das starke Magnetfeld zwischen den Polen
der Magneten vorhanden ist, auf den Lichtbogen wirkt, und durch diese Maßnahme
in Verbindung mit dem Einfluß der Spannung, die von der Sekundärseite des
Transformators 46, 47 entwickelt,
passiert es, dass Diese Aktion und Einfluss bei etwa gleichem Wert, jeweils von
ihnen abwechselnd größer als der andere, so dass die Spannung über den Bogen
automatisch hebt und senkt. Daher wird, wenn die Wirkung des Magnetfeldes
größer als die Spannung von der Sekundärwicklung des Transformators erzeugt
wird, hat nicht genug Kraft, um über den Lichtbogen passieren und so den
Kondensator 48 auf eine höhere
Spannung aufgeladen. Aber einen Augenblick später die Aktion verliert an Wert
und den Kondensator wieder entlädt über den Lichtbogen.
Auf der anderen Seite aufgrund der oszillierenden Art der Schaltung
(welches mit geeigneten Werte der Kapazität, der Induktivität und Widerstand)
angeordnet ist, das Laden und Entladen des Kondensators auftreten kann mehrere
Millionen mal pro Sekunde, wenn gewünscht, und auf diese Weise, ein Strom aus
einer großen Anzahl von Ampere durch den Schwingkreis erhalten werden, selbst
mit einer kleinen Menge von Strom in dem Kondensator gespeichert.
In der gleichen Weise, eine Gallone Wasser könnte einen Strom von
tausend Gallonen pro Sekunde durch eine Leitung zu erzeugen, wenn ein solches
Rohr mit zwei verschiedenen Gefäßen und Liter Wasser verbunden wurden, konnten
durch das Rohr durch einen Kolben übertragen könnten gezwungen werden, dass
Gallone Wasser von einem Behälter in den anderen eintausend mal pro Sekunde. Offensichtlich, was leicht mit Strom
durchgeführt werden ist nicht so möglich mit Wasser.
Mit anderen Worten, wird die kleine Menge an elektrischer Energie
von der Gleichstrom-Motor 27, 28
aufgenommen, (mit einem kleinen Verlust) am Generator 42 und die Spannung an der Primärwicklung des Transformators 44, 45 geliefert. Auch erzeugt die induktive Wirkung dieser
Transformator auf der Sekundärseite 46,
47, eine ähnliche Menge an Energie (verringert etwas wegen der Wirkungsgrad
des Transformators) und schließlich wird der Kondensator mit einer kleinen
Menge von Strom, die dann konvertiert aufgeladen in oscillitatory Energie.
Selbstverständlich, wenn wie elektrische Energie, statt von dem Kondensator
gespeichert hatte einfach behoben und verwendet, um eine der Batterien
aufzuladen, würde eine solche Leistung zu erzeugen nur eine sehr geringe
Wirkung auf die Batterie und die gesamte Entladung einer Batterie würde nie
dazu führen, die vollständige Ladung der zweiten Batterie.
Im Gegensatz dazu, wenn die gleiche Energie in dem Kondensator 48 gespeichert ist, und daß der
Kondensator richtig mit einer oszillierenden Schaltung, in der einer der
Batterien verbunden werden kann verbunden ist und ferner, wenn durch einen
Gleichrichter, erzeugt die hochfrequenten Ströme in solchen Schwingkreises sind
gezwungen, von der positiven zur negativen Pol der Batterie durch passieren,
ist es offensichtlich, zu sagen, dass es immer möglich ist, auf diese Weise zu
sichern, die Anzahl von Ampere erforderlich, um die Batterie in der verfügbaren
Zeit zu berechnen. Das heißt, mit einer kleinen Anzahl von Coulomb in dem
Kondensator 48 gespeichert ist, ist
es möglich, im Schwingkreis, eine große Anzahl von Ampere erzeugen wenn die
gleiche kleine Anzahl von Coulomb gezwungen sind, übergeben und durch die
Schaltung repass Tausende oder Millionen Mal pro Sekunde, wurde ebenso wie im
Wasser Analogie erklärt.
Auf der anderen Seite sind die Werte der oben genannten Größen:
kann die Kapazität, Widerstand, Induktivität und Spannung in sehr weiten
Grenzen variiert werden, und somit ist es immer möglich, die erforderlichen
Bedingungen in jedem Fall zu erreichen, um eine gegebene Anzahl zu erzeugen der
Schwingungen pro Sekunde: Die Kapazität des Kondensators auf einen bestimmten
Wert durch Erhöhen oder Verringern der miteinander kämmende Oberfläche der
Platten eingestellt werden. Der
Widerstand der Schaltung kann auf den gewünschten Wert durch Variieren der
Länge des Bogens in der Lampe Poulsen, oder Variieren der Anzahl von Lampen in
Serie oder parallel in der Schaltung eingestellt werden kann. Die Induktivität der Schaltung kann durch
Wickeln Teil der Schaltung auf einem isolierenden Rahmen, in einer Weise, die
Anzahl der Umdrehungen, bis die gewünschte Induktivität zu erzeugen erhalten
variiert werden, und schließlich kann die Ladespannung durch Erhöhen oder
Verringern geregelt werden die Anzahl der Windungen in der Sekundärwicklung des
Transformators oder durch Variieren des Durchmessers des Drahtes in der Spule
verwendet wird. Um einen besseren Wirkungsgrad von Lichtmaschine 42 zu erhalten, ist es zweckmäßig, den
Resonanzspule oder einstellbare induktive Widerstand 43 zu verwenden. Durch diese Vorgehensweise ist es möglich, den
Widerstand einzustellen, um einen Resonanzzustand in der Schaltung zu erhalten,
und in diesem Zustand, der durch den Generator erzeugt wird, in Phase mit dem
eingeprägten EMF werden, wird daher die wirksamen Watt Å Maximum in den
Primär-und Sekundärkreis.
Der variable Widerstand 29,
der in der Schaltung, die jede Batterie verbindet mit Motor 27-28 angeordnet ist, wird verwendet,
um den Strom der Batterie entladen auf einen festen Wert einzustellen, da es
wichtig ist, um eine konstante Anzahl von Umdrehungen pro Sekunde erhalten der
Generator 42.
Der Kommutator ist auch mit Voltmeter 56 und 57 vorgesehen,
und durch die Schalter 58 und 59, die Schaltungen Verbinden der
beiden Pole der Batterie geschlossen werden kann und die Spannung von dem
Entladestrom kann bestimmt werden, wenn gewünscht. Schließlich mittels Schalter
60 an den Anschlüssen der
Vorrichtung 40 und 41 verbunden ist, kann die Vorrichtung
abgeschaltet werden, wenn erforderlich.

Es ist leicht, den gesamten Betrieb des Mechanismus zu verstehen. Nehmen wir zunächst, dass die Batterie 1-2 aufgeladen worden ist und daß der
Zylinder 5 gedreht wurde, in die in
der Zeichnung dargestellt. Batterie 1-2
wird sofort via Batterie Klemme 23,
Amperemeter 22, Draht 21, Kontakte 17-18, Draht 26, motor 27-28, variablen Widerstand 29, Drah 30 entladen, Drehtransformatoren 40 und 41 (oder über
eine andere Vorrichtung die anstelle jener Transformatoren, verwendet werden,
um einen Teil des Stroms von der Batterie zu verwenden), Stange 39 und Kommutator Weg 9-12, durch die das gesamte
Entladeschaltung geschlossen ist.
Als Ergebnis dieser Entladung der Batterie wird die elektrische
Leistung erzeugt in drei Arten abgeleitet werden: ein erster Teil in der
Überwindung der Innenwiderstand der verschiedenen Komponenten in der Schaltung
verschwendet. Ein zweiter Teil wird verwendet, um die Macht der Gleichstrom
Motor 27-28, und der dritte Teil
Befugnisse der Apparat an Masten 31-39
des Kollektors, das heißt, die nützliche Ausrüstung wird neben dem Betrieb des
Systems angetrieben verbunden.

Es ist bekannt, wie die mechanische Kraft durch die Drehbewegung
des Motors 27-28 entwickelt, um
elektrische Energie von Generator 42
umgewandelt werden, und in der gleichen Weise, es ist bekannt, wie derartige
elektrische Energie niedriger Spannung in eine umgewandelt werden kann der
Hochspannung unter Verwendung eines Transformators, und es ist gut auch
bekannt, dass solch hohe Spannung elektrischer Energie in Schwingungsenergie
umgewandelt werden kann, und wie die Wechselströme durch solche Schwingungen
erzeugt behoben werden, um einen Gleichstrom zu erzeugen. Allerdings angeordnet
müssen alle Kombinationen der Vorrichtung, um eine Batterie zu laden, während
eine andere ähnliche Batterie entladen, war völlig unbekannt vor dieser
Erfindung, und eine kurze Betrachtung der Berechnungen bei der Bestimmung der
unterschiedlichen Werte von Kapazität, Widerstand, Induktivität und Spannung
durch den erforderlichen beteiligten verschiedene Schaltungen kombiniert von
einer kleinen Arbeitsgruppe Anlage dieser Art, kann nützlich sein, zu geben
eine Vorstellung von dem Verfahren, das in der allgemeinen Praxis gefolgt
werden kann.
Angenommen, dass die beiden Batterien Akkumulatoren mit einer
Spannung von 60 Volt und jeweils eine Kapazität von 40 AHr sind. Unter solchen
Bedingungen, wenn die Batterie 1-2
Entladungen mit einer Rate von 40 Ampere, wird es voll in einer Stunde entladen
werden. [Bitte beachten Sie, dass dies nicht so ist
und wird nur hier zur Diskussion genannten Zwecken. Ein Blei-Säure-Batterie
beschädigt wird, wenn bei einer Geschwindigkeit größer als die
"C20"-Rate, die die bewerteten AHr Wert über einen Zeitraum von 20
Stunden, und so abgeführt werden, sollte ein Blei-Säure-Batterie von 40 AHr
nicht mehr entladen werden als 40/20 = 2 Ampere. Außerdem sind Batterien stark
nichtlinear und Entladen eines 40 AHr Batterie bei 40 Ampere wird in einer
vollständig entladenen Batterie in einem viel weniger als eine Stunde führen.] Die Macht über diesen Zeitraum entwickelten 60 Volt sein x 40
Ampere = 2.400 Watt .
Auf der anderen Seite, um Akku aufgeladen 3-4 vollständig in einer Stunde notwendig, um einen Strom von
mindestens 40 Ampere bereitzustellen. Angenommen, dass, um einen solchen Strom
zu entwickeln, ist es erwünscht ist, von dem Strom durch die Batterieentladung
nur ein Teil Rechnung getragen werden, beispielsweise 40 Ampere x 10 Volt = 400
Watt. Mit diesem Ziel im Hinblick sollte die Gleichstrom Motor so angeordnet
sein, dass ein Strom von 40 Ampere was einen Abfall von 10 Volt auf der Leitung
zu erstellen.
Angenommen, dass der elektrische Wirkungsgrad des Gleichstrom Motor
95%, dann ist die gewünschte 400 Watt Leistung nicht erreicht werden, sondern
stattdessen zu 400 x 0,95 = 380 Watt reduziert.
Dann wird angenommen, dass der elektrische Wirkungsgrad der
Lichtmaschine 42 95% ist dann, dass
die Ausgabe auf nur 361 Watt zu reduzieren. Stimmt diese 361 Watt an den Transformator
geleitet wird und dass Transformator hat einen Wirkungsgrad von beispielsweise
89%, dann ist die resultierende Energieabgabe wird weiter auf nur 321 Watt
reduziert, und das ist die Menge an Energie, die an die Oszillatorschaltung in
Um die geforderten 40 Ampere Strom zu erhalten.
Angenommen nun, dass die Frequenz des Generators 42 500 Hz ist. Wie allgemein bekannt ist, mit einem
Wechselstrom-Generator, eine hohe Spannung erhalten werden zweimal in jedem
Zyklus und so wird 1000 Spannung Spitzen pro Sekunde. Wenn sich der Kondensator
48 entlädt sich zum Zeitpunkt der maximalen Spannung entladen wird 1000 mal pro
Sekunde. Daher kann die Menge an
elektrischer Energie, die in ihm gespeichert werden müssen, wie folgt berechnet
werden: Angenommen, dass der Schwingkreis eine Impedanz von 15 Ohm hat. Da die erforderliche Strom ist 40 Ampere, wird
die erforderliche Spannung auf solche aktuellen Entwicklungen 40 Ampere x 15
Ohm = 600 Volt. Aber um 600 Volt von der Entladung des Kondensators zu
erzeugen, ist es notwendig, um es bis zu 1200 belastet, weil die mittlere
Spannung während der Entladung ist V / 2.
Wenn die Energie von der Sekundärseite des Transformators erzeugt
wird angenommen gleich 321 Watt und die Spannung für die Ladung des
Kondensators erforderlich ist 1200 Volt, wird der Strom, der durch den
sekundären geliefert werden 321 Watt / 1200 Volt, was 0.267 Ampere wird.
Auf der anderen Seite, wenn die Frequenz des Generators 1000
Spitzen pro Sekunde, dann in einem Tausendstel einer Sekunde die sekundäre muss
den Kondensator 0,000267 Coulomb die
267 Mikrocoulomb ist liefern.
Daher ist die Kapazität des Kondensators 48 muß so eingestellt
werden, dass die Menge an Strom zu speichern, und deren Wert durch Q = K x V,
wobei K die Kapazität des Kondensators in Mikrofarad wenn Q in Mikrocoulomb und
V gegeben ist bestimmt die maximale Spannung, und so, K = 267/1200, die 0,222 Mikrofarad ist.
Es ist auch bekannt, dass, wenn Sie eine oszillierende Entladung
durch eine Schaltung produzieren wollen, die Kapazität, Widerstand und
Induktivität der Schaltung muss so angeordnet sein, dass die Quadratwurzel von
1000 x L millihenrys / K Mikrofarad größer als der Widerstand der ist Schaltung
in Ohm (wobei K die Kapazität des Kondensators).
Es wurde angenommen, dass der Widerstand des Schwingkreises 15 Ohm
ist. Unter Verwendung von 20 Ohm in der obigen Gleichung ermöglicht ein
geeigneter Wert der Induktivität zu berechnen, eine, die die geforderten
Bedingungen für die Erzeugung der oszillierenden Entladung in der Schaltung zu
erfüllen, und so die Induktivität in millihenrys 400 x K / 4000 oder 400 x
0,222 / 4000 welches 0.0222 mH oder
gleich 22.200 Zentimeter Draht.
Es ist möglich, die Anzahl der Schwingungen pro Sekunde, die in
einer solchen Schaltung erreicht werden bestimmen, und die durch Hz gegeben = 5033000
/ die Quadratwurzel von L x K, wobei L in Zentimetern und K in Mikrofarad ist.
Und so wissen die Induktivität und die Kapazität erhalten wir Hz = 5033000 /
sqrt (22200 x 0,222), die 71900 Hz
ist. Das entspricht 72 Schwingungen in
jedem der 1000 Funken pro Sekunde.
Die Stromstärke durch diese Schwingungen entwickelt aus der
folgenden Formel, welche die Spannung V in Volt, der Widerstand der Schaltung R
in Ohm, der Induktivität L in Henry, und die Kapazität in Farad verwendet K
bestimmt werden:
Strom = V / sqrt (R x R + (6,28 x Hz x L - 1 / (6,28 x Hz x K) 2)
oder in unserem Fall:
Strom = 600 / √ 15 x 15 + (6,28 x 71900 x 0,0000222 - (1 /
(6,28 x 71900 x 0,00000222))) 2
Welche arbeitet als 40 Ampere, was bedeutet, dass die Impedanz des
Schwingkreises gleich dem Widerstandswert in Ohm dieses Schaltkreises ist, da
die induktive Reaktanz und die kapazitive Reaktanz so kombiniert werden, dass
der resultierende Wert der gesamten Reaktanz gleich Null ist, und die einzige
erforderliche Spannung, um den Strom 40 A zu erzeugen, die benötigt wird, um
den ohmschen Widerstand der Schaltung, die 15 Ohm ist zu überwinden. Dies
bedeutet auch, dass die EMK in Phase mit dem Strom, und daher sind die Watt
maximal.
Daher kann es keinen Zweifel, dass die Batterie 3-4 voll wird
während des Zeitraums, wenn der Akku entladen wird 1-2 aufgeladen werden, vor allem da der Ladestrom weiter nach
Belieben erhöht werden, auch ohne dass mehr Leistung aus dem Entladen Batterie
sein. In der Tat ist es einfach, die
Anzahl der Windungen in der Sekundärwicklung des Transformators 46-47 zu erhöhen, um die Spannung zu
erhöhen. Offensichtlich, wenn die Menge an Energie, die dem primären 44-45 dieser Vorrichtung ist immer 321
Watt, wenn die Spannung erhöht wird, wird die Menge an Elektrizität, die der
Kondensator 49 erhält entsprechend
reduziert werden. Folglich ist der Wert
des Kondensators auch reduziert werden, und so die Anzahl der Schwingungen pro
Sekunde erhöht werden. Schließlich wird die Spannung erhöht, die Stromstärke
erhöht proportional.
Daher ist es immer möglich ist, zu kombinieren, in der
beschriebenen Weise die Werte von Widerstand, Induktivität, Kapazität und
Spannung im Schwingkreis, um die gewünschte Stromstärke zu erhalten voll
aufgeladen eine der Batterien während der Periode, wenn der andere Batterie
entladen.
Sobald dies Batterieladung erreicht worden ist, wenn die Anlage in
Betrieb bleiben, dann müssen die Batterien über durch Veränderung ihrer
Verbindungen zu der Schaltung ausgetauscht werden. Um dies zu erreichen, Zylinder 5 gedreht wird, bis die Leiterbahnen 11 und 12 in Kontakt mit den Bürsten, die den negativen Pol der Batterie
verbunden sind, kommen, und dann wird die Batterie vollständig geladen 3-4 ist mit dem Motor 27-28 verbunden werden, und seine
Entladung wird nun auf diesem Wege hergestellt werden: Batterieklemme 25, Amperemeter 24
Kommutator Pole 20 und 18 (jetzt zusammen durch die Drehung
des Zylinders 5 um 90 Grad
verbunden), Draht 26, Motor 27-28 , variablen Widerstand 29, Kabel 30, nach und Kommutator 40
und 41, Pfad 11, der die Schaltung schließt, um den negativen Pol der Batterie 3-4.

Mit anderen Worten wird der Motor 27-28, Vorrichtung 40
und 41 und Generator 42, noch in genau der gleichen Weise wie oben beschrieben betrieben
wird, und in der gleichen Weise, die hochfrequente Ströme noch entwickelt,
dessen Herstellung Stromstärke, die jetzt vorbei ist über Klemme 50 des Kondensators 48, arc-Lampe 51-52, Diode 34, Draht 32, Kommutatorkontakte 19-17, Draht 21, Strommesser 22 und
Pluspol 23 der Batterie 1-2
(das ist jetzt mit Kontakt 38 des
Kommutators durch den Pfad 12),
Draht 37, die Diode 36, die Induktivität 55 und der Kondensator Klemme 49, auch durch doppelte Pfad vom
Kondensator Klemme 49, die Diode 33, Leitung 32, Kommutatorkontakte 19-17,
Draht 21 , Amperemeter 22, Pluspol 23 der Batterie 1-2,
Kommutator Weg 12, Pol Kommutator 38, Draht 37, Diode 35,
Lichtbogenlampe 52-51 und
Kondensatorklemme 50.
Es ist offensichtlich, zu sagen, dass diese gleichen Verfahren
nicht unbegrenzt durch die einfache Änderung der Batterie-Anschlüsse von Zeit
zu Zeit in Übereinstimmung mit der Kapazität und der Geschwindigkeit der
Entladung wiederholt werden. Nur 400 Watt aus der Batterie entladen zum
Aufladen gemacht, so dass 40 Ampere bei 50 Volt (2000 Watt) für kontinuierliche
nützliche Arbeit zu tun.
Das Patent wird fortgesetzt mit einer Beschreibung wie eine
modifizierte Uhr vorgenommen werden kann, um den Kommutator einmal pro Stunde
zu verschieben. Dies ist ein brillanter 2 Kilowatt, batterielose, Energie-Design.
Jedoch wäre funktionieren die Gestaltung wie beschrieben nicht realistisch.
Batterien heutzutage haben begrenzte operative Leben bietet, in der Regel
zwischen 400 und 1000 Ladungs-/Entladungszyklen innerhalb der C20 entladen
Strombegrenzungen. Überschreiten die C20 Entlastung Rate verringert die
Lebensdauer die Batterie um einen großen Betrag, die Höhe wird bestimmt durch
den Grad der Mißbrauch der Akku leidet. Wenn wir diesen Faktor zu ignorieren
und sagen, dass unsere Batterien 1000 Zyklen, bei der vorgeschlagenen Rate von
gelingt sagen Sie, eine Stunde Entlastung und eine Stunde Ladezeit, dann
Batteriewechsel haftet in nur 500 Betriebsstunden erforderlich ist. Das heißt,
innerhalb von drei Wochen Dauerbetrieb.
Die wesentliche, schnelle Wechsel dieser Schaltung erfolgt
durch die Funkenstrecke, sondern im Gegensatz dazu, die Kommutator-wechseln der
Batterien erfordert keine hohen Drehzahlen. Es ist möglich, ersetzen den
Kommutator mit einfachen Solid-State wechseln und tauschen Sie die Batterien
über jede Sekunde oder zwei. Auf diese Weise werden die Batterien nie entladen
und lange Akkulaufzeit erwartet werden kann.
Kürzlich
wurde eine Patentanmeldung auf, was effektiv die Ron Cole ein-Batterie-Hauptschalter
und der Tesla-Schalter eingereicht worden. Ich muss als höchst zweifelhaft,
über den Begriff der Verwendung von Kondensatoren als Energiequelle (es sei
denn, die Schaltfrequenz ist so hoch, dass die Kondensatoren nicht genügend
Zeit für ihre Spannung deutlich sinken müssen) zugeben, ich einschließlich der
re-formuliert Patent hier. Einige Experimentatoren haben insgesamt Batterie
Energie Gewinne mit Schaltgeschwindigkeiten von 0,5 Hz oder weniger, was
bedeutet, dass in Schaltungen dieser Art, mechanische Umschaltung sollte eine
angemessene Schaltkontakt Leben zu geben bedeutet, berichtet. Dieses Patent hat
ein gewisses Maß an Aufmerksamkeit wie die Person schriftlich es nicht ein
volles Verständnis der englischen Sprache und verwirrt das Wort "Last"
mit dem Wort "kostenlos" benötigt. Lassen Sie
Patentanmeldung US20080030165 7. Februar 2008 Erfinder:
Bozidar Lisac
VERFAHREN UND VORRICHTUNG ZUR VERSORGUNG
LADEN MIT ELEKTRISCHER ENERGIE-RÜCKGEWINNUNG
ABSTRAKT
Bei der
Erfindung ein elektrischer Strom fliesst aus der Batterie UB, der durch den Elektromotor M
und der Diode D1 lädt die
Kondensatoren CA und CB, parallel geschaltet sind, die,
sobald sie aufgeladen ist, in Reihe geschaltet sind, was zu einer Differenz in
der Spannung in Bezug auf die Batterie, so dass die Hälfte der Ladung der
Kondensatoren an die Batterie durch die Diode D2 zurückgebracht werden, mit einer neuen während
Parallelschaltung, die Kondensatoren wieder aufladen kann, diese Ladung gleich
derjenigen, die zuvor von den Kondensatoren hatten zu übertragenden die
Batterie, so dass mittels der zyklischen Verbindung der Kondensatoren in Reihe
parallel und die Energie von der Batterie zu den Kondensatoren und der
Kondensatoren mit der Batterie transferiert, damit erheblich Steigerung der
Reichweite der Batterie und den Betrieb des Motors.
AUFGABE DER ERFINDUNG
Diese Erfindung bezieht sich auf ein
Verfahren und eine Vorrichtung, die die elektrische Energie, mit der eine
Ladung zugeführt zurückgewonnen mit einem selbst aufladbaren Stromquelle ist,
in der sein, welche mittels einer Schaltung, wobei die fließenden Stroms von
einem Akkumulator oder Batterie durch eine Last, zB ein Motor, ist vollständig
auf die gleiche Energieniveau zurück, dadurch erheblich erweitert sein Angebot.
Genauer gesagt sind zwei Kondensatoren, die
zyklisch von parallel zu seriell und umgekehrt durch einen Motor während die
Verbindungen parallel geladen, während in Reihenschaltung, wenn seine Spannung
verdoppelt, sie den Strom zurück, die Batterie aufzuladen. Diese Quelle für ein
geschlossenes System, das nicht erfordert, eine Energieversorgung von der
Außenseite, bis auf die Verluste zu kompensieren, um die Reichweite der
Batterie darauf beschränkt durch die Anzahl von Ladungen und Entladungen dass
dieselben technisch ausreicht.
Hintergrund der Erfindung
Eine Last, beispielsweise eines Elektromotors,
mit einer Batterie oder Akkumulator mit einer bestimmten Ladung, die progressiv
von dieser entladen wird, wobei diese Entladung direkt proportional zu der
Verbindungszeit und der fließende Strom durch den Motor verbunden ist. Es ist
daher notwendig, um frische Energie aus einer externen Quelle, um sie wieder
aufzuladen liefern. Systeme, die die Energie, die durch die Last verbraucht
wird, um wieder verwendet werden zu aktivieren sind nicht im Stand der Technik
bekannt.
BESCHREIBUNG DER ERFINDUNG
Ein erster Aspekt der Erfindung betrifft ein
Verfahren zur Versorgung einer Last mit Rückgewinnung der elektrischen Energie,
die Versorgung einer Last mit elektrischer Energie umfasst, die aus dem ersten
elektrischen Energiespeicher, und Rückführen mindestens eines Anteils der
genannten elektrischen Energie nach dem Durchlaufen die Last mit dem ersten
Akkumulator zum Zweck der Wiedergewinnung der Energie zugeführt wird.
Die elektrische Energie, nachdem sie durch
die Last wird von der zweiten elektrischen Energiespeichers zurückgewonnen, von
wo es dem ersten Akkumulator übertragen wird, was zu zyklischen Übertragung von
elektrischer Energie zwischen dem ersten und zweiten Energiespeicher.
Die Rückgewinnung von Energie aus dem zweiten
Akkumulator und Transfer zum ersten Akkumulator kann, ohne den durch die Last
Energie erreicht werden. In einer anderen alternativen Implementierung wird die
Energie von dem zweiten Akkumulator wiedergewonnen und an den ersten
Akkumulator durch die Last, wobei in diesem Fall die Polarität der Last während
der Rückgewinnung von Energie durch die Last umgekehrt wird.
Die Energieübertragung wird durch zyklisches
Verbinden zweier oder mehrerer elektrischer Energiespeicher zwischen parallelen
und seriellen Anschlüssen gebracht.
Ein zweiter Aspekt der Erfindung betrifft
eine Vorrichtung zur Versorgung einer Last mit Rückgewinnung von elektrischer
Energie, die einen ersten elektrischen Energiespeicher und einen zweiten
elektrischen Energiespeichers, wobei die Last zwischen den ersten und zweiten
Akkumulatoren verbunden ist, umfasst. Die Vorrichtung kann in einer
Ausführungsform mit einer unidirektionalen Verbindung vorgesehen sein,
beispielsweise eine Diode, welche parallel mit der Last verbunden ist, wodurch
Zirkulation der elektrischen Energie nach dem Durchgang durch die Last
wiedergewonnen und über den die elektrische Energie zurückgegeben der erste
Akkumulator.
Die erste elektrische Energiespeicher kann
eine Batterie sein. Der zweite elektrische Energiespeicher können zwei oder
mehr Kondensatoren mit Umschaltung zur zyklisch verbinden sie zwischen
parallelen und seriellen Verbindung Konfigurationen sein.
Die Erfindung stellt einen Selbsttest
wiederaufladbare Quelle für elektrische Energie, die der Bereich von einer
Batterie erheblich verlängert, so dass der fließende Strom aus derselben durch
einen Motor zwei Kondensatoren parallel geschaltet auflädt, bis zu dem
Spannungspegel der Batterie, indem ermöglicht mittels Kontakten. Diese
Kondensatoren, einmal aufgeladen, sind in Reihe geschaltet, wodurch doppelte
ihre Spannung, und sie dann wieder die Energie an die Batterie und erweitert
damit sein Angebot. Sobald die Verluste kompensiert worden sind, hängt die
Dauer des erweiterten Bereichs auf die Lade-und Entlade-Eigenschaften der Kondensatoren.
Die Existenz der Differenz in der Spannung
zwischen der Batterie und der Kondensatoren beide parallel und in Reihe, und
welche Anlass zu der Verschiebung von Energie von der Batterie zu den
Kondensatoren und umgekehrt verbunden ist, wird verwendet, um den Motor
zwischen der Batterie verbunden zu liefern und die Kondensatoren, umfassend den
Selbsttest wiederaufladbare elektrische Energiequelle.
Bei
Parallelschaltung werden die Kondensatoren durch einen Motor und eine Diode
aufgeladen, und wenn sie in Reihe geschaltet sind, werden sie durch eine
weitere Diode aufgeladen, dessen Spannung den
Motor entsprechend der Hälfte derjenigen des batterie. Auf
der anderen Seite, wenn der Motor zwischen der Batterie und den in Reihe
geschalteten Kondensatoren verbunden ist, wird die letztere, die parallel über
eine Diode aufgeladen sind und mittels des Motors und die andere Diode entladen
wird, den Motor mit einem Vorrat Spannung gleich jenem der Batterie
gewährleistet, während ein Kondensator in Reihe mit der Wicklung des Motors
verbunden seinen Betrieb ohne Leistungsverlust.
Anstelle
der beiden Kondensatoren, zwei in Reihe geschaltete Batterien und zwei weitere
parallel geschaltet verwendet werden, zwischen denen ein Motor Batterien
angeschlossen ist, fließenden Strom in diesem Fall von den Batterien in Reihe
durch den Motor angeschlossen an die Batterien parallel geschaltet . Die
seriell geschalteten Batterien werden dann parallel angeschlossen, mittels
Schaltkontakte, und die anderen zwei parallel geschaltete Batterien werden dann
in Reihe geschaltet sind, Umkehren der Richtung des Stroms, während die
Anschlüsse des Motors durch die invertiert gleichzeitiges Schalten andere
Kontakte zur Aufrechterhaltung der Polarität und der Drehrichtung des Motors.
In einer
möglichen Ausführungsform der Erfindung, weitere zwei Kondensatoren und einem
Transformator mit zwei Primärwicklungen, oder ein Motor mit zwei Wicklungen
sind mit dem vorher beschriebenen Gerät, wobei jedes Paar von Kondensatoren
zyklisch Umschalten von Parallel-Seriell-Verbindung und umgekehrt, so daß
während hinzugefügt die Parallelschaltung Zyklen, zwei der Kondensatoren durch
eine der Wicklungen auf die Spannung der Batterie gleichzeitig, dass die
anderen zwei Kondensatoren in Reihe geschaltet sind aufgeladen, deren Spannung
verdoppelt werden und mittels einer zweiten Wicklung entladen zur Batterie.
Die
reduzierte Höhe der Energieverluste herbeigeführt hauptsächlich durch die
Ableitung von Wärme und in den Kondensatoren sowie durch die Ladung der Batterien
Faktor wird für von einer externen Quelle kompensiert, und, da die Summe des
Stroms, der durch eine Wicklung der der Motor oder Transformator Aufladen zwei
der Kondensatoren und der Strom gleichzeitig Zirkulieren von den anderen zwei
Kondensatoren durch die zweite Wicklung, die Batterie aufzuladen, und der
Strom, der von der externen Quelle zugeführt wird, gleich Null ist, aufgrund
der durchgeführten Arbeiten durch den Motor oder den Lasten, die zu der
Wechselspannung in der Sekundärwicklung des Transformators induziert
angeschlossen sind, findet keine Entladung der Batterie erfolgt.
BESCHREIBUNG DER ZEICHNUNGEN
Zur
Ergänzung der Beschreibung nun gegeben, und mit dem Ziel, zu einem besseren
Verständnis der Merkmale der Erfindung gemäß einem bevorzugten praktischen
Ausführungsform wird ein Satz von Zeichnungen als integraler Teil der
Beschreibung beigefügt, in denen , informativen und nicht einschränkenden
Zwecken, wird das folgende gezeigt:

Fig.1 zeigt eine praktische Schaltung, bei der
mittels Schalten, zwei Kondensatoren parallel geschaltet von einer Batterie
durch einen Motor und eine Diode geladen, und nachdem die Kontakte geschaltet
werden, werden sie in Serie geschaltet sind, wodurch die Batterie entladen wird
durch einen weiteren Diode.

Fig.2 zeigt eine praktische Schaltung in dem durch
Schaltmittel, die beiden Kondensatoren parallel geschaltet sind und von einer
Batterie über eine Diode aufgeladen, und nach dem Schalten der Kontakte sie in
Reihe geschaltet sind, wodurch das Laden der Batterie durch den Motor und das
andere Diode.

Fig.3 zeigt die Verbindung der beiden Batterien in
Reihe, durch einen Motor, um weitere zwei Batterien parallel geschaltet sind,
und die, verbunden durch Kontakte alternativ einzuschalten, was zu diesen
Wirkungen ähnlich denen in Bezug auf die Verwendung der beschriebenen
Kondensatoren.

Fig.4 zeigt den Schaltplan entsprechend der
Verbindung zwischen der Batterie und den beiden Paaren der Kondensatoren eines
Transformators mit zwei Primär-und einer Sekundärwicklung, bei dem eine
Wechselspannung induziert wird, die gleichgerichtet, gefiltert und in ein
Sinusspannung.

Fig.5 zeigt das elektrische Schaltbild einer
Wechselstrom-Motors mit zwei Wicklungen zwischen der Batterie und zwei Paare
von Kondensatoren verbunden.

Fig.6 zeigt das elektrische Schaltbild eines
Gleichstrommotors mit zwei Wicklungen zwischen der Batterie und zwei Paare von
Kondensatoren, wobei zwei Schaltkontakte Gewährleistung ihrer korrekten
Polarisation und Drehrichtung angeschlossen.
BEVORZUGTE AUSFÜHRUNGSFORM DER ERFINDUNG
In einer
bevorzugten Ausführungsform, die in Fig.1
dargestellt, besteht die Last von einem Gleichstrommotor M, der Batterie UB und
dem zweiten Akkumulator, der aus einem Paar von Kondensatoren CA und CB besteht. Die

Wenn beide
Kondensatoren vollständig geladen sind, werden sie in Serie durch den
Schaltkontakten S1 und S2 verbunden. Dies erzeugt eine
Spannung, die das Doppelte der Wert der Spannung der Batterie UB, was zu der Ladung, die durch Q = 2
x UB x (CA + CB) / 2, die Q = (CA + CB) UB, welche gegeben ist zeigt, dass
einmal berechnet, ist die Ladung Q beider Kondensatoren beide parallel und in
Reihe identisch.
Dioden D1 und D2 sorgen, dass der Stromfluss durch den Motor M ist immer nur in einer Richtung. Unmittelbar nach
Durch
wiederholte zyklische Umschalten der Kondensatoren CA und CB von paralleler
zu serieller Verbindungsmodus, der fließende Strom von der Batterie UB durch den Motor M zu den Kondensatoren, und von diesen an die Batterie wieder
aufgeladen wird und sich seine Palette stellt ein selbst-wiederaufladbare elektrische
Energiequelle.

In einer
zweiten praktischen Ausführung in Fig.2
gezeigt, wird der Motor M zwischen
der Batterie UB und der
Die
Laderate der Kondensatoren CA und CB ist durch die Intensität des Stroms,
der durch den Motor M, zu der
parallel geschaltet ist bestimmt, der Kondensator CM, dass der Betrieb des Motors bei maximaler Leistung aufrechterhalten
wird garantiert. Es ist möglich, eine Batterie, vorzugsweise eine schnelle
Aufladen des Akkus, bei einem Kondensator CM
ersetzen.

In einer
anderen Ausführungsform in Fig.3
gezeigt, bestehen die ersten und zweiten Akkumulatoren an Paaren von Batterien B1, B2 und B3, B4. Daher wird in dieser Ausführungsform sind zwei Paare von
Batterien anstelle der
Während
die Batterien B1 und B2, die parallel angeschlossen sind,
werden die beiden anderen Batterien B3
und B4 in Reihe geschaltet sind, und
der Motor M dreht aufgrund der
Differenz in der Spannung zwischen den Batterien, da es zwischen beiden Paaren
von Batterien angeschlossen ist. Gleichzeitig, Zirkulieren der Strom durch den
Motor von der seriellen geschalteten Batterien lädt die beiden parallel
geschalteten Batterien. Die Schalter S1
bis S4, die die Batterien B1 und B2 in Reihe und die Batterien B3
und B4 parallel schalten zu
verbinden, damit die Umkehrung der Richtung des Stromflusses und zur gleichen
Zeit die Schalter S5 und S6 Änderung Positionen, um um die
richtige Polarität für den Motor und seine Drehrichtung zu erhalten.
Die beiden
Kondensatoren und die Batterien können mit Hilfe eines mechanischen, elektromechanische,
elektrische, elektronische oder andere Element, das die mit dem Zweck der
Gewinnung eines Selbst-wiederaufladbare elektrische Energiequelle beschriebenen
Anforderungen entspricht geschaltet werden. Diese Schaltvorgänge kann durch
jedes bekannte Verfahren gesteuert werden kann, zum Beispiel eine
programmierbare elektronische Schaltung.
In den
bevorzugten Ausführungsformen zuvor beschrieben, besteht die Last einen
Gleichstrommotor, sondern als ein Experte auf dem Gebiet kann verstehen, die Last
kann auch aus jeder Art von resistiven (?) Und / oder induktiven Last bestehen.

Eine
weitere bevorzugte Ausführungsform ist in Fig.4
gezeigt, wobei ein Transformator T
mit zwei Primärwicklungen L1 und L2 zwischen der Batterie UB und den beiden Paaren der
Kondensatoren C1 und C2, C3 und C4 sowie verbunden ist, wodurch die beiden Kondensatoren C1 und C2 auf schalten ihre Verbindungen von parallel zu seriell und
wieder zurück durch die Kontakte S1
und S2, und Veranlassen der
Kondensatoren C3 und C4 an die über Kontakte S3 und S4 schalten, so daß während der Zyklen des Anschlusses der
Kondensatoren C1 und C2 in parallele, letzteres über die
gewundenen L1 bis zu dem
Spannungspegel der Batterie geladen, gleichzeitig die Kondensatoren C3 und C4 in Reihe geschaltet sind und während ihrer Spannung
bereitzustellen verdoppeln, wobei die Batterie mittels der Wicklung L2 entladen, in welchem Fall
die Lade-und Entladeströme in derselben Richtung zirkulieren. Auf der anderen
Seite, während die Zyklen der
Parallelschaltung der Kondensatoren C3
und C4, die durch die Wicklung L2 bis an den Batteriespannungspegel
aufgeladen werden die Kondensatoren C1
und C2 in Reihe geschaltet sind, um
ihre Spannung verdoppeln und entleert in die Batterie durch die Wicklung L1. Die Richtung des Lade-und
Entladestroms ändert sich daher, induzieren somit in der Sekundärwicklung L3 eine Wechselspannung, deren Frequenz
abhängig von der Drehzahl des Schaltens der Kontakte genannt, und nachdem er
durch die Brücke aus Dioden P
gleichgerichtet und gefiltert durch das Kondensator CP wird die resultierende Gleichspannung in eine sinusförmige
Spannung mit Hilfe einer Schaltung K.
umgewandelt
Die
Parallelschaltung von einem Paar von Kondensatoren und die Reihenschaltung von
dem anderen Paar stattfinden gleichzeitig. Deshalb ist die Summe des Stroms,
der von der Batterie durch eine der Wicklungen, Lade zwei der Kondensatoren und
der fließenden Stroms von den anderen beiden Kondensatoren durch die andere
Wicklung zur Batterie, etwa Null ist.
Von einer
externen Energiequelle FE die
minimalen Energieverlusten im Wesentlichen durch Wärmeableitung und in den
Kondensatoren sowie durch die Aufladung der Batterie Faktor verursacht wird,
kompensiert werden, so daß die Summe des Stroms, der von dieser Quelle
außerhalb an die Batterie und den Lade-und Entladeströme der Kondensatoren
gleich Null ist. Daher ist die Batterie nicht entladen und dessen Bereich nicht
auf die Arbeit durch die Motoren oder den Ladungen, die an der Sekundärwicklung
L3 des Transformators T entwickelt abhängen, da je größer die
Kraft der Lasten, je höher die Intensität der Aufladung und Entladeströme der
Kondensatoren.

Fig.5 zeigt eine weitere Ausführungsform, bei der ein Wechselstrommotor M bis zwei Wicklungen L1 und L2 verbunden ist, so dass während die Verbindungen parallel der
Kondensatoren C1 und C2, wobei letztere mittels der Wicklung
L1 auf der gleichen Zeit geladen,
dass die Kondensatoren C3 und C4, die in Reihe geschaltet sind,
mittels der Wicklung L2 an die
Batterie UB, das Laden und Entladen
fließenden Stroms durch die Wicklungen in der gleichen Richtung abgegeben wird.
Die Kondensatoren C1 und C2 werden dann in Reihe geschaltet und
die Kondensatoren C3 und C4 parallel geschaltet. Die Richtung
des Lade-und Entladestroms der Kondensatoren wird somit umgekehrt, wodurch an
den Klemmen des Motors eine Wechselspannung mit einer Frequenz, die von der
Geschwindigkeit des Schaltens der Kontakte abhängt. Die Energieverluste
entstehen, werden von einer externen Quelle FE, wobei die Summe des Stroms, der aus dieser Quelle an die
Batterie und die Ströme durch die beiden umlaufenden Wicklungen beim Laden und
Entladen der Kondensatoren gleich Null kompensiert. Die Batterie wird somit
nicht als Ergebnis der Arbeit vom Motor entwickelten ausgetragen.

Fig.6 zeigt den Anschluß eines Gleichstrommotors M bis zwei Wicklungen L1 und L2 zwischen der Batterie UB
und den beiden Paaren der Kondensatoren C1
und C2 plus C3 und C4, so daß
während der Anschlüsse parallel zwei der Kondensatoren werden durch geladene
mittels der Wicklung L1, und während
der gleichzeitigen Verbindungen in Reihe, werden die anderen zwei Kondensatoren
mittels der Wicklung L2 an die
Batterie aufgeladen. Zeitgleich mit dem Schalten der Kontakte S1, S2, S3 und S4, die zu jedem Paar von Kondensatoren von parallel zu seriell und
umgekehrt, wobei die Kontakte S5 und
S6 Schalter verbinden, Polarisieren
der Wicklungen des Motors, so dass die Lade-und Entladeströme der die
Kondensatoren in der gleichen Richtung umlaufen, was eine Gleichspannung. Die
Summe aus dem Strom von der externen Quelle FE und die Lade-und Entladeströme der Kondensatoren zugeführt wird,
gleich Null ist, und somit gibt es keine Batterieentladung.
Don
Smith war ein sehr talentierter Amerikaner, der alle Teslas Arbeit verstanden
hat und hat buchstäblich Dutzende von praktischen Geräte auf seinem
Verständnis. Sie werden mehr Details in Kapitel 3 zu finden, aber in groben
Zügen, ein Zwölf-Volt-Batterie kann verwendet werden, um das pulsierende
Magnetfeld benötigt, um die lokale Umgebung in die Bereitstellung großer Mengen
elektrischer Energie Nudge erzeugen. Das Gerät im Detail in Kapitel 3
beschrieben, hat eine Leistung von rund 160 Kilowatt, die weit, weit mehr als
jede einzelne brauchen würde. Mit anderen Worten, es ist ein Gerät, das
Leistung könnte leicht zu Hause, und da ein Elektroauto etwa 65 Kilowatt
braucht man leicht Leistung ein Fahrzeug, so kann es in eine Kraftstoff-less
Verkehrsart. Das ist keine Magie, wird nur Standard elektrische Theorie richtig
für eine Änderung angewendet.
Die
wichtigste Komponente in vielen Don Geräten ist die demütige, kommerzielle
Stromversorgung verwendet werden, um neon sign Displays. Dieses Modul erzeugt
rund 9.000 Volt bei einer Frequenz von 35.100 Hz (Schwingungen pro Sekunde).
Als Don weist darauf hin, wenn Sie die Pulsfrequenz verdoppeln und verdoppeln
die pulsierende Spannung, geht die verfügbare Leistung um den Faktor sechzehn
Mal, weil die Wirkung der beides wird quadriert. Sie werden sich erinnern, dass
Bob Boyce pulsiert seinen toroid sehr stark auf 42.000 Hz und dass eine hohe
Frequenz hat einen großen Einfluss auf die Macht in seinem System produziert.
Don dann steigert
seine Betriebsspannung weiter mit einem Step-up-Transformator genannt Tesla
Coil. Dies bringt uns zu einem Raum der massive Power. Die Menschen haben das
sehr irren Idee, dass ein Tesla Coil kann nur produzieren Spannung und nicht
aktuell. Tatsache ist, dass, wenn die primäre Spule in der Mitte der
Sekundärspule positioniert ist, dann ist die Spannung und Strom hergestellt
wird etwa die gleichen sein, und das ist ein sehr, sehr hohe Leistung. Ein
Gerät der Don sieht wie folgt aus:

Dieser
Prototyp ist tatsächlich komplizierter, als es sein muss. Es nutzt drei sehr
Hochspannungs-Kondensatoren, die nicht notwendig sind, wenn Sie sich für eine
etwas andere Bauweise entscheiden. Jedoch in dieser Version, treibt der
Zwölf-Volt-Batterie (nicht gezeigt), einen wahren Sinusinverter um die
Netzspannung und Netzfrequenz durch den Neon-Röhrentreiberschaltung benötigt
werden. Die Spannungsbegrenzung der Kondensatoren, insbesondere den
8000-Volt-Ausgang Speicherkondensatoren, machen den 9000-Volt Ausgang der
Neon-Röhrentreiberschaltung zuviel sicheren Gebrauch. Um damit umzugehen,
verwendet Don eine Variac Stil Stelltransformator, um die Spannung zugeführt zu
dem Neon-Röhrentreiberschaltung senken, und dies lässt ihn begrenzen die
Ausgangsspannung auf den 8.000 Volt Ausgang der Speicherkondensatoren.
Ein
wesentliches Detail ist, dass die Drahtlänge in den Windungen der kurzen
Primärwicklung des Teslaspule genau ein Viertel der Drahtlänge der Windungen in
den langen Sekundärwicklung ist. Dies macht die Spulen schwingen, die ein
wichtiger Faktor im Betrieb ist. Die endgültige, genaue Abstimmung kann durch
Schieben des Primärspule zu einer etwas anderen Position erfolgen. In diesem
Prototypen wählte Don, um die endgültige Feinabstimmung durch Anbringen eines
kleinen Kondensators über jede der Wicklungen zu tun. Dies ist nicht erforderlich.
In
dem Prototyp oben gezeigt, Don verwendet dann vier Dioden, die Ausgabe in
Gleichstrom beseitigen, um die Speicherkondensatoren ernähren. Dies resultiert
in einem 8000-Volt-Versorgung, die 20 Ampere liefern kann. Das ist eine
Ausgangsleistung von 160 Kilowatt, und wird durch den Ausgangskondensator
Spannungswert begrenzt.
Don
darauf hin, dass es nicht notwendig ist, um es so zu machen und stattdessen ein
Abwärtstransformator verwendet werden können, um die Ausgangsspannung zu senken
und die Erhöhung der verfügbaren Stroms werden. Wenn dies geschehen ist, dann
ist die Spannung Einschränkungen verschwinden (vorausgesetzt, dass Sie mit sehr
Hochspannungskabel) und so keine Variac benötigt wird und keine
Hochspannungskondensatoren sind entweder notwendig.
Es
gibt zwei Möglichkeiten. Sie können entweder für eine Hochvolt-, Netz-Frequenz,
AC-Ausgang wollen, oder Sie können einen Gleichstrom zu erzeugen, und verwenden
Sie einen off-the-shelf Wechselrichter keine Netzgeräte durch das Gerät mit
Strom versorgt laufen. Bei der ersten Option, verbindet Don einen einzigen
Widerstand über die primäre der Abwärtstransformator und dass schleppt die
Frequenz bis auf die gewünschte Niveau, vorausgesetzt, dass der Widerstand den
richtigen Wert hat:

Das
alternative Verfahren, die für einen Gleichstrom-Ausgang zielt braucht nicht
die Frequenz zu verändern:

In
diesen beiden Fällen können die zwölf Volt Eingang Batterie kontinuierlich
durch einen Teil der Ausgangsleistung berechnet, und es gibt verschiedene Möglichkeiten,
das zu tun. Allerdings muss darauf geachtet werden, dass die Batterie nicht
überladen werden, da die Leistungsaufnahme ist sehr gering.
Sie
werden bemerken, die Ähnlichkeit zwischen Toroid System Bob Boyce und Don Smith
Tesla Spule-System. In jedem Fall wird ein sehr sorgfältig aufgewickelt
kreisförmige Wicklung mit hoher Frequenz getaktet, und in jedem Fall wird
erhebliche Mengen an überschüssiger elektrischer Strom vorhanden ist, fließt in
der Umgebung, mit freundlicher Genehmigung des pulsierenden Magnetfeldes.
Tariel
Kapanadze produziert einen ähnlichen Stil von Einrichtung, die self-powered ist
und erzeugt eine Elektrizitätsnetzausgang. Er hat dies für eine
TV-Dokumentation gezeigt. Weitere Details verfügbar sind in Kapitel 3.
In der 1961 Ausgabe des Elektronik Experimenter-Handbuch gibt es eine
interessante Strecke von Walter B. Ford für einen High-Power-Kristall gesetzt
antreiben kann eine 2,5-Zoll-Lautsprecher:


Er sagt: Hier ist eine sehr kleine Kristall-Radio mit genug Leistung, um ein 2,5
"-Lautsprecher fahren. Diese kleine Einheit der Selektivität ist viel
besser als man erwarten würde in einem Kristall-Empfänger und Volumen zu
finden, ist gleich mit Sätzen Verwendung eines Transistors erhalten. Keine
externe Stromquelle erforderlich ist.
Die ungewöhnliche Selektivität dieses Radio ist
aufgrund seiner besonderen doppelt abgestimmte Schaltung. Ein Paar von Dioden
als Spannungs-Verdopplerschaltung verbunden bietet die zusätzliche Leistung,
die kleiner Lautsprecher zu betreiben. Eine Ausgangsbuchse zum Hören mit
Kopfhörern ist und zur Verbindung des Satzes mit einem Verstärker versehen ist.
Aufbau: Das Modell wurde auf einem 2,5 "x
4,5" Holz-Chassis mit einem 3,5 "x 4,5" Metall Frontplatte
eingebaut. Jedoch ist die Größe nicht kritisch, und andere Materialien können
substituiert werden, falls gewünscht.
Zwei Standard-Ferrit loopsticks, L2 und L3, verwendet
werden. Beide müssen durch die Zugabe von einer zweiten Wicklung modifiziert werden.
L1 und L4 sind. Jeder der hinzugefügt Wicklungen besteht aus 22 Windungen Nr.
24 Baumwoll-bedeckten Draht gewickelt auf einer kleinen Papprolle wie in der
Abbildung dargestellt. (Eigentlich wird jeder Kabelquerschnitt von Nr. 22 bis
Nr. 28 mit Baumwolle oder Lackisolation den Job).
Der Durchmesser des Kartonrohrs sollte geringfügig
größer ist als L2 und L3, so dass L1 und L4 und L3 wird overL2 leicht
verrutschen.
R1 ist nur zum Zuführen des Satzes in einen Verstärker
verwendet, es sollte sowohl für Ohrhörer und Lautsprecherbetrieb weggelassen
werden. Trimmerkondensator C2 sollte über den Statorklemmen der
Zweifach-Drehkondensator C1a/C1b gelötet werden, wie gezeigt. Der Lautsprecher
und Ausgangsübertrager montiert, wo bequeme werden.
Wenn ein Metall-Chassis verwendet wird, dann sollten
Sie die Antenne und Erde Anschlussbuchsen aus dem Chassis zu isolieren.
Wenn alle Teile am Chassis montiert wurden, verdrahten
sie zusammen nach der schematischen und bildlichen Darstellungen. Seien Sie
sicher, dass die Dioden D1 und D2 und Kondensatoren C3 und C4 richtig
angeschlossen sind, die Aufmerksamkeit auf ihre Polarität.
Dies ist zwar interessant, was scheint zu sein ein wichtiger Faktor in
den Zeichnungen enthalten ist, wo er, dass die einzige wichtige Sache ist, dass
es für die beiden Sätze von Spulen ist senkrecht zueinander montiert werden,
sagt:


Ausrichtung und Bedienung: Um den Empfänger auszurichten,
verbinden Sie es mit einer Antenne und Boden. Die optimale Länge der Antenne
variiert mit Lage, aber 50 Fuß wird in der Regel in Gebieten, die geeignet
mehreren Sendern zu empfangen. Anschließend stecken Sie einen hochohmigen
Kopfhörer in die Buchse J1. Optimieren einer Station in der Nähe der hohen
Frequenz Ende der Sendung band - sagen, 1500 kHz - und passen Sie die Trimmer
Kondensatoren auf Drehkondensator C1a/C1b die lautesten Signal zu bekommen.
Trimmer C2 sollte dann für die
beste Selektivität und Volumen über die gesamte Broadcast Band eingestellt
werden. Schließlich können Spulen L1 und L4 auf ihre optimalen Positionen durch
Gleiten sie vorwärts und rückwärts über Spulen L2 und L3 bewegt werden. Wenn
ein nahegelegenen Station interferiert mit dem Empfang von einem schwächeren
Station, den Kern zu positionieren L2 auf Minimum zu Interferenzen kommen. Für
Lautsprecher Betrieb, ziehen Sie einfach die Kopfhörer. Starke lokale Stationen
zum beizulegenden Volumen empfangen werden.
Wie es funktioniert: Der Receiver verwendet ein doppelt abgestimmte Schaltung
Zuführen eines Germanium-Diode Spannungs-Verdoppler / Detektor, der einen
kleinen Lautsprecher antreibt. Funkfrequenz aufgenommenen Signale vom
Antennensystem in der Spule L2 von der Spule L1 induziert. Das gewünschte
Signal wird von dem abgestimmten Schaltkreis C1a/L2 ausgewählt und gekuppelt
durch den Kondensator C2 auf eine zweite abgestimmte Schaltung C1b/L3, die die
Selektivität verbessert durch Verengung des Funkfrequenz Bandpass. Der doppelt
abgestimmten Signal wird dann in die Spule L4 von der Spule L3 induziert wird.
Die positive Hälfte des
Radiofrequenzsignals erscheinende über L4, durchläuft den 1N34A Germanium Diode
D2 mit Kondensator C4 aufzuladen. Die negative Hälfte des Signal durchläuft die
Diode D1 den Kondensator C3 zu berechnen. Die Polarität der Ladungen an C3-und
C4 sind derart, dass die effektive Spannung verdoppelt wird. Diese Spannung
erscheint am Ausgang des primären Transformators T1, die das hochohmige Signal
umwandelt, um einen niederohmigen Ausgang geeignet zum Lautsprecher.
Während dies sieht aus wie ein sehr gutes
Design für einen Kristall-Set, wirft die Tatsache, dass darauf bestanden wird,
dass die Spulenpaare im rechten Winkel müssen miteinander montiert werden eine
interessante Parallele mit dem obigen Arbeit von Vladimir Utkin, wo er sagt,
dass, wenn die hohe -Frequenz-Anregungsfelds im rechten Winkel zur
Ausgangsspule, dann wird es einen freien Energie Zufluß in den Kreislauf von
der lokalen Umgebung sein. Vielleicht crystal Set-Design gewinnt zusätzliche
Leistung, um es den Lautsprecher aus einem Zufluss von Umweltenergie fahren.
Die "FLEET" ("Für immer Leitung Existieren Energie Transformator") Gerät ist ein self-powered elektrischen Generator, die keine beweglichen Teile hat und die sich billig gebaut werden. Herr Lawrence Tseung, Dr. Raymond Ting, Fräulein Immer Yuen, Herr Miller Tong und Herr Chung Yi Ching: Er wurde von einem in Hongkong ansässigen Team von Menschen entwickelt worden. Es ist das Ergebnis von einigen Jahren der Gedanke, Forschung und Tests, und es hat inzwischen ein fortgeschrittenes Stadium der Erprobung und Demonstration erreicht und ist fast fertig für die kommerzielle Produktion.
Herr Tseung hat seine "Lead-out"-Theorie in die Kategorie der Niedrige Macht-Schaltungen als "Joule Thief" Schaltungen bekannt sind, aufgetragen. Diese Schaltungen entstand mit einem Artikel von Herrn Z. Kaparnik, in der "Ingenuity Unlimited" Abschnitt der November 1999 Ausgabe des "Everyday Practical Electronics"-Magazin.
Die anfängliche Schaltung erlaubt das allerletzte Energie aus einem gewöhnlichen Trockenbatterie gezogen werden, und verwendet, um eine weiße Leichte Ausstrahlen-Diode ("LED") für den Einsatz als kleine Taschenlampe leuchtet. Es ermöglicht eine Batterie, die als vollständig entladen werden, um die Schaltung zu fahren, bis die Batteriespannung bis hinunter zu 0,35 Volt. Die anfängliche Schaltung verwendet einen bi-filar gewickelte Spule auf einem Ferritring oder "toroid". Bi-Fadendraht bedeutet, daß die Spule mit zwei getrennten Strängen von Draht-Seite an Seite gewickelt ist, so daß jeder benachbarten Windung Teil der anderen Spule ist. Eine Spule dieser Art hat ungewöhnliche magnetische Eigenschaften. Der Joule Dieb Schaltung ist wie folgt:

Es ist wichtig zu bemerken, wie die Spule gewickelt ist und wie sie verbunden ist. Es wird eine "toroid" genannt, weil es auf einem Ring gewickelt wird. Der Ring ist aus Ferrit, weil das Material bei hohen Frequenzen betrieben werden kann und die Schaltung ein-und ausschaltet etwa 50.000 mal in der Sekunde ("50 KHZ"). Beachten Sie, dass, während die Drähte nebeneinander gewickelt sind, der Beginn der roten Draht an dem Ende des grünen Draht angeschlossen ist. Es ist diese Verbindung, die es ein "bi-filar" Spule anstatt nur eine Zwei-Strang Spule macht.
Diese "Joule Thief" Schaltung wurde dann von Bill Sherman angepasst und verwendet werden, um einen zweiten Akku sowie berechnen, wie die Beleuchtung der Light-Emitting Diode. Eine Diode - Dieses wurde durch Zugabe von nur noch eine Komponente erreicht. Die Diode wurde ein 1N4005 Art, denn das war es, Hand an der Zeit, aber Bill schlägt vor, dass die Schaltung würde besser funktionieren mit einem sehr flink Schottky-Diode, vielleicht ein 1N5819G Typ. Die Schaltung von Bill produziert wird:

Wenn durch eine 1,5 V-Batterie angetrieben wird, erzeugt diese Schaltung über 50 Volt ohne Last und 9,3 mA Strom zu versorgen, wenn der Ausgang kurzgeschlossen. Dies bedeutet, dass man eine 6-Volt-Batterie mit einem 1,5-Volt-Batterie aufzuladen.
"Gadgetmall" der www.overunity.com 'Joule Thief' Forum hat die Schaltung weiter geführt und fand eine sehr interessante Situation. Er hat die Schaltung modifiziert und eine "batt-cap", die eine sehr hohe Kapazität, sehr verlustarme Kondensator ist. Dies ist seine Schaltung:

Er hat eine zusätzliche Wicklung auf seine Ein-Zoll (25 mm) Durchmesser Ferrittoroid aufgenommen, und er nutzt, dass die Macht eine 1 Watt LED. Warum er getan hat, das ist nicht sofort klar zu mir, außer vielleicht, dass es, wenn die Schaltung in Betrieb ist zeigt. Er leitet die Schaltung durch einen kleinen Akku, der 13 Milliampere speist in der Schaltung, für einen Zeitraum von vierzehn Stunden gefahren. Am Ende dieser Zeit wurde das Vlies-cap genug Energie gesammelt, um vollständig aufgeladen die Antriebsbatterie in ein oder zwei Minuten, und schalten Sie dann eine Heizwicklung der Nichromdraht (wie in netzbetriebenen Heizstrahler verwendet) für vier und eine anderthalb Minuten. Alternativ könnte die Menge an Extra-Power kochen einen Kessel mit Wasser. Das wirklich interessante daran ist, dass die Antriebsbatterie wird jedes Mal aufgeladen und so ist die Schaltung selbst erhaltende, obwohl es nicht ist ein leistungsfähiges Schaltung.
Allerdings hat Jeanna die Schaltung deutlich entwickelt, als sie zeigt in ihrer Serie von Videos:
http://www.youtube.com/watch?v=Y4IMgDRGpHE
http://www.youtube.com/watch?v=1tVlCJiuWH4
http://www.youtube.com/watch?v=y6pbzrhBR-8
http://www.youtube.com/watch?v=tNoZrV3w4f8
http://www.youtube.com/watch?v=XzhbsLBwc54
http://www.youtube.com/watch?v=4gj7IFCXw9Q
Ihr Hauptpunkt ist, dass mit dem Kollektor des Transistors als Zapfpunkt der Schaltung, ist ineffizient, da die zieht eine Menge des Eingangsstroms ohne einen entsprechenden Anstieg in dem Ausgangsstrom. Sie fügt hinzu, eine Wendung 74 Sekundärwicklung auf ihr wiederum zwei 11 'JouleThief' bi-filar Wicklungen, und das scheint eine weit bessere Leistung zu geben. Sie nutzt die sehr kleine Größe AAA 1,2 V Batterie und weiteren lässt den Ausgang (weil "das Licht zu blenden"), indem Sie einen Widerstand in Reihe mit der Batterie und mit vielen LED in Serie. Sie hat die folgenden Ergebnisse festgehalten:
Ohne Widerstand, ist die Ausgangsspannung 58V Spitze bei 62,5 kHz (offener Schaltkreis ausgegeben wird, ohne Belastung überhaupt)
Mit einer 10-Ohm-Widerstand, ist die Ausgangsspannung 49V Spitze bei 68 kHz.
Mit einer 33-Ohm-Widerstand, ist die Ausgangsspannung 25 V Spitze bei 125 kHz.
'LidMotor' besagt, dass Jeanna auch ein 'Joule Thief' Schaltung, die eine 15-Watt-Leuchtstoffröhre gerade für etwa fünf Stunden, wenn sie von einer einzigen AA-Batterie betrieben leuchten könnte produziert. Er erklärt, dass er es nicht war mit dem Beleuchtungsniveau zufrieden und https://www.youtube.com/watch?v=KAakZTR_4LE er zeigt eine Version (die er denkt, ist Jeanna Design und die Jeanna denkt, ist sein Design) Fahren ein 10-Watt-Kompaktleuchtstofflampe, die hatte die Ballastschaltung entfernt. Der Build nutzt eine teure 83 mm Außendurchmesser Ferrittoroid, und die Beleuchtung aus einer einzigen AA-Batterie sieht so aus:

Die Ferrittoroid wird so gewickelt:

Die Hauptwicklung 300 Windungen AWG # 30 Kupferlackdraht mit einem Durchmesser von 0,255 mm. Bitte beachten Sie die Lücke zwischen den Enden dieser Wicklung. Diese Lücke ist wichtig, da eine hohe Spannung zwischen den beiden Enden der Wicklung und wenn der Wickel wurden den ganzen Weg rund um die Ring fortgesetzt, dann das isolierende Emailbeschichtung des Drahts geeignet wäre, zum Ausbrennen aufgrund der sehr hohen Spannungsdifferenz zwischen entwickelten die ersten und letzten Windungen, was zu einem Kurzschluss. Die anderen beiden Wicklungen sind mit AWG # 24 Kupferlackdraht mit einem Durchmesser von 0.511 mm hat und diese beiden Wicklungen sind, die nahe nebeneinander in der Mitte der Lücke zwischen den Enden der Fachwicklung 300. Die Schaltung ist wie folgt:

Die optionale 25-Ohm-Draht variablen Widerstand Energie verschwendet , sondern schafft einen Spannungsabfall über sie, die Verringerung der Spannung erreicht die Strecke und so, Dimmen der Licht progressiv, den ganzen Weg bis auf Null. Der Basiswiderstand "R" hat bei 22 Ohm wurde durch "Lidmotor” gesetzt, der sagt, dass es wirklich 100 Ohm sein, aber er hat senkte sie heller Beleuchtung zu erhalten. Bitte beachten Sie, welche Seite der 3 - Reihe und 13 wiederum Wicklungen in der Schaltung verbunden ist, wie die Richtung der Winde für die beiden Wicklungen sehr wichtig.
Es ist nicht ungewöhnlich, dass Menschen auf das schwache Pfeifen Kommentar Klang von einem Joule Thief Kreis (insbesondere ein Niedervolt-Variante wie diese) zu machen. Meiner Erfahrung, dass der Ton von dem Transistor mit der Resonanzfrequenzder Schwingung der Schaltung, die TIP3055 besonders anfällig für diese verursacht wird. Ich schlage deshalb, dass Verschrauben auf einem Kühlkörper (die definitiv nicht benötigt wird, um Wärme durch diese Schaltung hergestellt abführen) wird die Resonanzfrequenz des Transistors / Kühlkörper -Kombination verändern und so zu stoppen das Pfeifen.
Als ersten Schritt in Richtung, was das Team nennt ihre "FLEET" Gerät hat die Toroid zu einem viel größeren Durchmesser vergrößert. Die Spule wird nun an einem Abschnitt des Kunststoffrohres, 170 mm (6,5 Zoll) im Durchmesser und 45 mm (1,75 Inch) tief gewickelt:

Dieses Rohrstück ist "bi-Fadendraht" Wunde mit zwei Drähten nebeneinander wie bereits für die Joule Dieb Konstruktion beschrieben. Wie zuvor wird der Start des einen Draht mit dem anderen Ende des Drahtes verbunden ist. Dann wird das Wickeln einer Schicht aus Isolierband um es in Position zu halten und eine einfache Arbeitsfläche für eine zweite Wicklung bereitzustellen gegeben.
Der Draht für die Wicklung verwendet wird, die weit verbreitet roten und schwarzen Paar Drähte, die manchmal als "Acht", weil das abgeschnittene Ende der Drähte aussieht wie die Zahl 8. Der Draht sollten 2,5 Ampere zu tragen. Es muss side-by-side Draht und nicht einer der verdrillten Sorten. Es sieht so aus:
![]()
Die zweite Wicklung in der selben Weise hergestellt, sondern die Verbindungen sind leicht unterschiedlich. Wie zuvor wird das Ende des ersten Drahtes zu dem Beginn der zweiten Draht verbunden, sondern diese Verbindung wird anschließend isoliert und nicht verwendet in der nachfolgenden Schaltung. Dies nur verbindet die beiden Wicklungen eines nach dem anderen, technisch als "in Reihe" geschaltet bekannt und ist das Äquivalent zur Herstellung des Wicklung mit nur einem einzigen Strang Draht. Die fertige Spule kann wie folgt aussehen:

Dieses besondere Design ist immer noch in einem frühen Entwicklungsstadium und so viele verschiedene Spulen Größen und Konstruktionen werden geprüft:

Die Anordnung ist für die inneren Wicklung des Toroids durch die Joule Dieb Schaltung bereits beschriebenen oszilliert werden. Dies verursacht ein pulsierendes Magnetfeld zu umhüllen die äußere Wicklung des Toroids, ein elektrisches Ausgangssignal, das dazu in der Lage ist Nutzarbeit. Die wirklich wichtige Sache über diese Anordnung ist die Tatsache, dass die Menge an Energie, die aus dem Kurs sehr viel größer als die Menge an Energie benötigt, um die Schaltung zu betreiben ist. Die zusätzliche Energie wird aus dem lokalen Umfeld führte erstellt und in den Kreislauf, immer verfügbar, um nützliche Arbeit zu tun.
Die gesamte Schaltung sieht dann wie folgt:

Während die äußere Wicklung wird dabei mit dickeren Draht einer anderen Farbe dargestellt, ist dies nur um die Anordnung leichter zu verstehen. In Wirklichkeit ist die äußere Wicklung mit genau dem gleichen Draht wie die inneren Wicklung, und es wird normalerweise den ganzen Weg rund um den Ringkern. Die Gesamtmenge des Drahtes erforderlich machen, um die Wicklungen etwa 70 Meter und so ist es üblich, eine volle 100 Meter Haspel des zweiadrigen Draht, der um beide Wicklungen möglich macht und verläßt Ersatz für Draht anderem hinzu.
Für diejenigen unter Ihnen, die sehr technisch versiert sind, sieht die Ausgabe Wellenform wie diese:

und die Spannungsimpulse an diesem Ausgang sind etwa 290.000 mal pro Sekunde auftreten.
Was sich besser für

Ich habe diese Schaltung durch eine 1,5-Volt-Batterie angetrieben, verwendet werden, um 12-Volt-Batterien aufzuladen, aber die besten Ergebnisse sind in der fünf Minuten vor sechs Volt. Ich habe diese Schaltung zur COP>1 durch die Erhebung einer kleinen 12V Blei-Säure-Batterie mit einer identischen Batterie tauschen die Batterien wieder und wiederholen Sie den Vorgang mehrere Male bestätigen. Das Ergebnis war, dass beide Batterien echte, nutzbare Energie gewonnen. Ich vermute, dass die Wirkung wäre viel größer gewesen, wenn ich zwei oder mehrere Batterien parallel geladen hatte. Das Toroid war ein 8-Zoll-Durchmesser, 10 mm x 12 mm Verschnitt aus einem Kunststoffrohr, das an Hand und der Draht diente Kunststoff überzogen 6-Amp Aderleitung wieder, weil es zur Hand war zu der Zeit passiert ist. Aufwickeln des Toroid und Einrichten der Schaltung wurde an einem einzigen Abend getan.
Insgesamt ist dies eine sehr einfache, billige und leicht konstruiert COP>10 Gerät, das über das Potenzial, große Mengen an freien, nutzbare, elektrische Leistung hat. Mit der Weiterentwicklung, kann es gut möglich sein, eine Version, die die Macht von einer ganzen Haushalt benötigt liefern produzieren könnte. Es ist auch wahrscheinlich, dass diese Geräte werden für den Kauf einer recht niedrigen Kosten zur Verfügung. Alles in allem ist dies ein sehr wichtiges Gerät und die volle Punktzahl muss das Entwicklungsteam, die Forschung zu diesem Punkt sind und die weiterhin das Design mehr und mehr Strom produzieren zu verfeinern gehen.
Eine
weitere sehr erfolgreiche Variante auf die grundlegenden Joule Thief wurde am
4. Oktober 2012 in die Public Domain gestellt. Details sind auf seiner Website www.laserhacker.com.
Seine Variation ist extrem einfach, sowohl in der Konzeption und Konstruktion:

und
in seinem Video: http://solarpower.energygratis.com/2012/10/09/solar-electricity-super-joule-ringer-3-0-real-world-power-made-easy/
er zeigt es das Anzünden einer Hochvolt-LED-Lampe (siehe oben), ein
Netz-Glühlampe, eine Halogenlampe und eine kompakte Leuchtstofflampe mit dem
Vorschaltgerät noch an seinem Platz, das ist, wie in Geschäften ohne
Modifikation verkauft. Die Schaltung ist:

Diese
"Super Joule Ringer 3,0"-Schaltung ist, dass die Rückkopplung an die
Basis des Transistors ist 2N3055 durch die Last (der Kolben) ungewöhnlich. Die
Schaltung ist ein Hochfrequenz-GLEICHSTROM Inverter, der kaum sein könnten mehr
einfache, aber bitte beachten Sie, dass die Hochfrequenz-Ausgang
Spannungsspitzen nicht Sinuswelle, noch sind sie Spannung gesteuert, und so ist
dies nicht eine Schaltung zum Ansteuern Dinge wie TV-Sets. Der Transistor mit
einer hohen Frequenz schwingt, die von den Eigenschaften der 72-drehen
Primärwicklung des Transformators geregelt. Der Ausgangsspannungspegel ist eine
Kombination aus der Batteriespannung und das Windungsverhältnis des
Transformators.
Um
die Ausgangsspannung zu erhöhen, kann die Anzahl der Windungen in der
sekundären erhöht werden. Die Anzahl der Windungen nicht angegeben ist, mit
Ausnahme zu sagen, dass die Windungen enger gelegt sind, Seite an Seite entlang
der gesamten Länge des 8-Zoll (200 mm) lang Ferritstab mit emaillierten coper
Draht von 0,32 mm Durchmesser (28 AWG oder 30 swg). Verwendung arithmetischer
würde darauf hindeuten, dass es einige 600 Windungen direkt auf den Ferritstab.
Die Ferritstab selbst hat einen Durchmesser von 0,625 Zoll (15,88 mm), die es
in dieser Position werden wahrscheinlich schwierig zu finden ist, macht. Aber
ich vermute stark, dass der Durchmesser der Ferritstab überhaupt nicht kritisch.
Beide
der Spulen sind auf der Ferritstab in der gleichen Richtung, der sekundäre
Wesens gewickelt ersten gewickelt, womit es unterhalb der primären, die mit 72
Windungen aus isoliertem Draht von 1,63 mm Durchmesser (14 AWG oder 16 swg)
gewickelt ist. Kein Stromverbrauchsfensters angedeutet und es ist
wahrscheinlich, dass es ziemlich hohen wobei es nur zwei Spiralspulen im
Antriebsabschnitt. Die Lampen in seinem Video gezeigt sind:

Bitte
seien Sie sehr vorsichtig mit der Beleuchtung. Glühlampen erzeugen eine
Beleuchtung mit Frequenzen im roten Bereich des Spektrums, und diese sind
gesunde Glühbirnen. Kompaktleuchtstofflampen, die oft als "CFL"
bezeichnet werden, erzeugen ultraviolettes Licht sowie Flimmern und Sie sollten
vier oder fünf Fuß von ihnen entfernt sein, wenn Sie keine negativen
medizinischen Effekte durch die Beleuchtung wünschen. Leuchtdioden oder
"LED" -Lampen sind hochgradig gefährlich, obwohl sie ein
ausgezeichnetes Beleuchtungsniveau für geringe Stromaufnahme bieten. Sie
erzeugen nichts von dem vorteilhaften roten Ende des sichtbaren Spektrums und
stattdessen haben sie eine hohe Ausgabe in dem blauen Ende des Spektrums. Das
Ergebnis ist eine Beleuchtung, die langfristig schädliche Auswirkungen auf die
Netzhaut des Auges hat und zu Makuladegeneration und schließlich Blindheit
führt. Das Medikament Lutein ist unerlässlich, um den Effekt zu bekämpfen, aber
LED-Lichter sollten möglichst vermieden werden.
Der Power Tube an die Öffentlichkeit durch Edwin Gray
snr vorgestellt. arbeitet durch Erzeugen einer Reihe von sehr kurzen, sehr
scharfe Impulse unter Verwendung einer Funkenstrecke. Diese Vorrichtung hat den
Ruf, eine Leistung, die hundert Mal ist, dass der Leistungsaufnahme haben. Ed
Gray und seine elektrischen Schrittmotor sind sehr berühmt, aber so weit ich
informiert bin, hat niemand erfolgreich diese behauptete Leistung repliziert.
Ferner haben eine eingehende Prüfung der Hintergrundinformationen von Herrn
Mark McKay eine Reihe von Fakten, die ein ganz anderes Bild präsentiert sich,
und während es ist vollkommen richtig zu sagen, dass Funkenstrecken-Impulse
eine gute Wellenform zu erzeugen für die schockieren die lokale
Nullpunkt-Energie-Feld in der Art von Ungleichgewicht, das eine massive Power
Zufluss in einer Vorrichtung oder Schaltung bereitstellen kann, müssen wir
vorsichtig sein, um alle Fakten in diesem Fall erhalten.
Lassen Sie uns zuerst die ganze Sache in die richtige
Perspektive. Im Mai 1973 durchgeführt Cal-Tech in den
Having said that, es klar sein, dass Edwin Gray nicht
bauen, dass die kleinen Motor, nicht verstehen, wie es funktioniert, noch hat
er jemals offenbart das Design in einem der Patente, die er erhalten danach
muss. Wir müssen den Ablauf der Ereignisse zu folgen und bemerken, wenn jedes
Ding passiert. Die Geschichte ist wie folgt:
Im Jahr 1957 zeigte ein russischer Einwanderer in die
Im Jahr 1958 verließ Ed Gray den Los Angles Bereich in
Eile.
Von 1958 bis 1967 Marvin Cole, allein zu arbeiten,
entworfen und gebaut immer leistungsfähiger Prototyp-Motoren, und es war ein
kleiner von ihnen, die von Cal-Tech getestet wurde. In dieser Zeit, Marvin
entwickelte auch immer leistungsfähigere Netzteile, die die wirklich wichtigen
Element in all dies sind.
Im Jahr 1967, erwidert Ed Gray, Marvin Cole und
zusammen von 1967 bis 1972 sie gebeten Venture Capital und förderte die
Technologie.
Anfang 1972 verschwand Marvin Cole und sah nie wieder
grau. Es ist nicht klar, ob er eingeschüchtert war, starb, oder einfach nicht
wollen, in aller Öffentlichkeit und den Aufwand für die Prototyp-Motoren in ein
kommerzielles Produkt zu machen einbezogen werden. Egal, was der Grund war das
Ergebnis, dass Edwin Gray wurde plötzlich von der Köpfe hinter dem Projekt
getrennt und die ihn verlassen in einer sehr schwierigen Lage. Er wollte nicht
gehen zu lassen der Traum durch diese spektakuläre Entwicklung reich, und so
versuchte er, die Entwicklung auf eigene Faust weiter.
Wie bereits erwähnt, im Mai des folgenden Jahres
(1973), hatte graue einen kleinen Marvin Cole Motor unabhängig von
Drittanbietern auf dem berühmten Cal-Tech-Labor in Los Angeles, wo ein
gemessener Eingabe von nur 27 Watt produziert eine gemessene Ausgang getestet
10 PS (7460 Watt). Das Ziel war eine solide Beweise für eine neue Technologie,
die in der Lage die Welt zu verändern war, und so würden Investoren bieten. Zur
weiteren Steigerung sein Bild und überzeugen potenzielle Investoren, im selben
Jahr von 1973, inszeniert Edwin Demonstrationen, die Elektromagnete sprang in
die Luft, zeigt die Stärke der Kraft, die die Marvin Cole-Motoren gefahren.
Es ist sehr wichtig zu verstehen, dass alle Edwin Gray
Patente für die Zeit nach dem Ausscheiden von Marvin Cole angewendet wurden.
Diese offenbaren nicht die Technologie, die von Cal-Tech getestet und es versteht
sich, dass Edwin sehr viel Angst zu offenbaren etwas Wichtiges in einem der
Patente im Falle eine andere Person die Dinge, die ihm ein Rätsel waren zu
verstehen wäre und entreißen dem Preis der kommerziellen Erfolg. Also, bitte
beachten Sie, dass die Patente, wo für angewandte ausschließlich an Investoren
ermutigen, und schon gar nicht, um alle wichtigen Details zu zeigen.
Marvin Cole Macht System erzeugt "kalte
Strom", die könnten Macht Lichter und andere Geräte. Es wurde häufig
gezeigt, dass der Ausgang nicht konventionellen Strom-und betriebene Lampen,
die unter Wasser und zur gleichen Zeit gesetzt wurden, war es ganz sicher für
eine Hand in der gleichen Wasser zusammen mit dem beleuchteten Glühbirne
genommen werden. Das Glas der konventionellen Glühlampen in diesen
Demonstrationen verwendet würde erschüttert, wenn unter Wasser gesetzt werden,
wenn sie von herkömmlichen "heiß Strom" die plötzliche Veränderung
der Temperatur würde gebrochen das Glas eingeschaltet haben wurden. Powered wie
sie durch "kalte Strom" waren, liefen sie cool und so gab es kein
Stress auf das Glas, wenn sie in Wasser getaucht.
Peter Lindemann weist darauf hin, dass Ed Gray Macht-Konvertierung Röhrenschaltung effektiv ist eine Kopie von Nikola Teslas Schaltung für die gleiche Sache:

Dies wurde von Tesla in seinem 'Philadelphia und St. Louis' Vortrag in 1893 bekannt und zeigt, wie Lasten mit Strom versorgt werden, wenn eine Hochspannungsquelle durch einen magnetisch abgeschreckten Funken gepulst werden - das schafft Gleichstrom Impulse von sehr kurzer Dauer.

Das Diagramm oben zeigt den Unterschied zwischen dem Magnetfeld um einen Leiter mit einem Puls von Gleichstrom und die Radiant Energy Wellen, die durch diesen Impuls erzeugt zugeführt generiert. Wenn eine scharfe Stromimpuls Schaffung eines vertikalen Draht angetrieben wird, verursacht es zwei verschiedene Arten von Feld. Das erste Feld ist magnetisch, wobei die Linien der magnetischen Kraft, um den Draht zu drehen. Diese Linien sind horizontal, und drehen im Uhrzeigersinn, von oben gesehen. Das Magnetfeld bleibt, solange der Strom fließt über das Kabel.
Das zweite Feld ist das Radiant-Energy-Welle. Diese Welle wird nur auftreten, wenn der Stromimpuls in einer Richtung, dh es wird nicht auftreten, wenn der Draht mit Wechselstrom gespeist wird. Die Welle ausstrahlt horizontal von dem vertikalen Draht in jeder Richtung in Form einer Stoßwelle. Es ist ein Ein-Aus-Ereignis und nicht wiederholt, wenn der Strom in dem Draht gehalten wird. Der Radiant Energy kurz Ungleichgewicht der Nullpunkt-Energie-Feld und das bewirkt, dass eine Energie-Flow als das Feld bewegt sich zurück ins Gleichgewicht wieder.
Der Radiant Energie-Welle ist nicht auf eine einzige Ebene beschränkt, wie in der Abbildung oben, die dazu bestimmt sind, den Unterschied zwischen dem elektromagnetischen Feld kreisen um den Draht, und der Radiant-Energy-Bereich, der entfernt strahlt aus dem Draht geben wird angezeigt. Beide Felder auftreten an allen Punkten entlang der vollen Länge des Drahtes wie hier dargestellt:

Strahlungsenergie, wenn sie elektrische Energie umgewandelt wird, erzeugt eine andere Art der elektrischen Leistung an, dass durch Batterien und dem Stromnetz hergestellt. Macht ein Motor mit konventionellem Strom und es wird unter Last heiß. Schalten Sie den gleichen Motor durch das Radiant-Energy Strom und unter Last der Motor kalt wird. Wirklich überlasten durch Abwürgen es und das Motorgehäuse wird wahrscheinlich mit Frost bedeckt werden. Deshalb ist diese Form von Elektrizität wird als "kalt" Strom bezeichnet.
In seinem Buch "Cold War Secrets - HAARP and Beyond", Gerry Vassilatos Zitate Forschungsarbeiten in diesem Bereich von Tesla und andere getan:
In 1889 Tesla begann das Experimentieren mit Kondensatoren aufgeladen hohe Spannungen und entladen in sehr kurzen Zeitabständen. Diese sehr kurzen Pulsen erzeugt sehr scharfe Schockwellen, die er über die Vorderseite seines ganzen Körper fühlte. Er war sich bewusst, dass die Schließung eines Schalters auf dem Hochspannungs-Dynamos oft produziert einen stechenden Schlag. Dies wurde angenommen, dass statische Elektrizität und es traten nur bei Einschaltung und nur für ein paar Millisekunden. Doch in diesen wenigen Millisekunden, stehen bläuliche Nadeln von Energie aus den elektrischen Kabeln und sie auslaufen zu Boden, oft durch die Körper aller Menschen in der Nähe stand, was den sofortigen Tod, wenn die Installation ist groß. Während die Generatoren der damaligen Zeit an einigen tausend Volt bewertet wurden, waren diese Entladungen Millionen Volt in der Intensität. Der Generator Problem wurde durch die hoch isolierte Schalter, die mit einem sehr großen Masseverbindung vorgesehen verwendet wurden beseitigt.

Tesla wurde dieses Phänomen, das die Wirkung seiner Kondensatorentladungen übereinstimmen erschienen intrigiert. Er berechnet, dass die Spannungen erzeugt hundert Mal größer ist, als von dem Kondensator oder Generator zugeführt werden sollten. Es war klar, dass der Strom versorgt wird wurde verstärkt oder ergänzt in gewisser Weise, aber die Frage war, von wo aus wurde die zusätzliche Energie kommen?
Tesla weiterhin durch Experimente zu untersuchen, Vorkehrungen gegen die hohen Spannungen erzeugt. Er war bald in der Lage, diese Schockwellen produzieren, wann immer er wollte. Die Schockwellen erzeugt ein stechendes Gefühl, egal, wo er in seinem Labor stand, und Hände und Gesicht waren besonders empfindlich auf die Welle. Diese Wellen abgestrahlt und drang Metall, Glas und jede andere Art von Material. Dies war eindeutig nicht eine elektromagnetische Welle, so nannte er die neue Welle 'Radiant Strom'.
Tesla durchsuchten die Literatur Verweise auf diese Strahlungsenergie zu finden, aber er konnte nicht viel finden. Im Jahre 1842 hatte Dr. Joseph Henry beobachtet, dass Stahlnadeln durch eine Leidener Flasche Funkenentladung auf einer anderen Etage des Gebäudes wurden magnetisiert. Der Magnetisierungsstrom Welle hatte durch Ziegelwände, Eiche Türen, schweren Stein und Eisen Fußböden und Zinndecken geleitet, um die Nadeln in einem Tresor im Keller zu erreichen.
Im Jahr 1872 wurde eine große Elihu Thomson Ruhmkorrf Zündkerze Zündspule befestigt einen Pol der Spule an eine Kaltwasserleitung und der andere Pol an ein Metall Tischplatte. Dies führte zu einer Reihe von massiven Funken, die den Metall-Türgriff des Raumes elektrifiziert und produzierte die stechenden Schockwellen, die Tesla wurde untersucht. Er fand, dass jeder isolierten metallischen Gegenstand überall im Gebäude würde lange durchgehende weiße Funken Entladen auf Masse zu produzieren. Diese Entdeckung wurde kurz in der Scientific American Journal geschrieben später in diesem Jahr.
Tesla Schluss, dass alle Phänomene, die er beobachtet hatte, die Anwesenheit von "Medium der gasförmigen Struktur, dh ein aus unabhängigen Trägern in der Lage freie Bewegung - neben der Luft, ist ein anderes Medium vorhanden" impliziert. Diese unsichtbare Medium ist zum Tragen Energiewellen durch alle Substanzen, was bedeutet, dass, wenn physikalische, seiner Grundstruktur viel kleiner als die Atome, aus denen sich Stoffe üblich ist, so dass der Strom von Materie frei durch alle Feststoffe schlägt. Es scheint, dass den ganzen Raum mit dieser Materie gefüllt.

Thomas Henry Moray zeigte diese Energie durchströmt Glas und Beleuchtung Standard-Glühlampen. Harold Aspden ein Experiment als "Aspden Effect", die auch zeigt das Vorhandensein von diesem Medium bekannt. Harold machte diese Entdeckung beim Ausführen von Tests nicht zu diesem Thema zusammen. Er begann einen Elektromotor, der einen Rotor Masse von 800 Gramm hat und aufgezeichnet, dass es einen Energieeintrag von 300 Joule haben, um es zu bringen, ihre Laufgeschwindigkeit von 3.250 Umdrehungen pro Minute, wenn sie Antreiben wurde keine Last.
Der Rotor mit einer Masse von 800 Gramm und Verspinnen bei dieser Geschwindigkeit, ist seine kinetische Energie zusammen mit derjenigen des Antriebsmotors nicht mehr als 15 Joule, im Gegensatz zu einem übermäßigen Energie von 300 Joule brauchte, um es mit dieser Geschwindigkeit rotierenden. Wenn der Motor laufen gelassen für fünf Minuten oder mehr, und dann ausgeschaltet, kommt es nach ein paar Sekunden Ruhe. Aber kann der Motor dann wieder gestartet werden (in der gleichen oder entgegengesetzten Richtung) und aufgewachsen mit nur 30 Joule beschleunigen vorgesehen, dass der Zeitraum zwischen dem Stoppen und Neustarten nicht mehr als eine Minute oder so ist. Wenn es eine Verzögerung von mehreren Minuten, dann ein Energieeintrag von 300 Joule ist erforderlich, um die Rotorspinnmaschine wieder.
Dies ist keine vorübergehende Erhitzung Phänomen. Zu allen Zeiten die Lagergehäuse fühlen sich cool und jede Heizung im Antriebsmotor eine Erhöhung des Widerstands und einen Aufbau der Macht an eine höhere eingeschwungenen Zustand bedeuten. Der experimentelle Nachweis, daß es etwas unsichtbaren, das in Bewegung durch die Maschine Rotor gelegt. Dieses "Etwas" hat eine effektive Massendichte 20-fache des Rotors, aber es ist etwas, das unabhängig voneinander bewegen können und mehrere Minuten dauern zu verfallen, während der Motor läuft in wenigen Sekunden ruhen.
Zwei Maschinen von verschiedenen Rotor Größe und Zusammensetzung zeigen das Phänomen und Tests zeigen Variationen mit Tageszeit und Kompass Ausrichtung der Drehachse. Eine Maschine, die eine Einbeziehung schwächeren Magneten zeigte Anzeichen von magnetisch an Stärke während der Versuche, die über einen Zeitraum von mehreren Tagen wiederholt wurden.
Dies zeigt deutlich, dass es eine unsichtbare Medium, das mit alltäglichen Objekten und Aktionen interagiert und bestätigt Teslas Entdeckung. Tesla experimentierte weiter und bestimmt, dass ein sehr kurzer Impuls unidirektionale notwendig, die Strahlungsenergie Welle zu erzeugen. Mit anderen Worten, eine Wechselspannung nicht den Effekt hat, dass es ein Gleichstrom-Impuls sein. Je kürzer die Impulszeit und je höher die Spannung, desto größer ist die Energie-Welle. Er gefunden, daß unter Verwendung eines Kondensators und einer Bogenentladung Mechanismus mit einem sehr starken Permanentmagneten im rechten Winkel auf die Zündkerze gelegt, verbessert die Leistung seines Ausrüstung durch einen Hauptfaktor.
Zusätzliche Experimente zeigten, dass die Wirkungen durch Einstellen der Dauer des elektrischen Impulses verändert wurden. In jedem Fall erscheint die Leistung der abgestrahlten Energie konstant zu sein, unabhängig von der Entfernung von seiner Vorrichtung. Die Energie war in Form von einzelnen Longitudinalwellen. Gegenstände in der Nähe des Gerätes angebracht wurde stark elektrifiziert, behalten ihre Ladung für viele Minuten, nachdem das Gerät ausgeschaltet wurde.
Tesla wurde unter Verwendung einer Lichtmaschine als eine Energiequelle und er gefunden, daß, wenn er seine magnetische Entladegerät bewegt, um eine Seite des Dynamos, die Strahlungswelle positiv war. Wenn er den magnetischen Entladegerät bewegt Richtung der anderen Seite des Dynamos, wurde die Strahlungswelle im Vorzeichen negativ. Dies war eindeutig eine neue elektrische Kraft, die als Licht-wie Strahlen gereist, ihnen zu zeigen, anders zu sein in der Natur der elektromagnetischen Wellen von Maxwell.
Untersuchung der Wirkungen des Einstellens der Dauer der Impulse, gefunden, dass ein Tesla Impulsfolge, die einzelnen Pulse mit einer Dauer von mehr als 100 Mikrosekunden hat, Schmerz und mechanischen Belastungen erzeugt. In diesem Zeitraum, Objekte im Bereich sichtbar vibriert und wurden sogar entlang durch das Feld geschoben. Dünne Drähte, um plötzliche Ausbrüche von dem strahlenden Bereich, in Dampf explodiert unterzogen. Wenn die Pulsdauer auf 100 Mikrosekunden oder weniger reduziert wurde, die schmerzhafte Wirkung nicht mehr spürte und die Wellen sind harmlos.
Mit einer Pulsdauer von 1 Mikrosekunde konnten starke physiologische Wärme Filz. Mit noch kürzeren Pulsdauern wurden spontane Illumination fähig Befüllen Räume mit weißem Licht erzeugt. Noch kürzere Pulse erzeugt kühlen Raum eindringende Winde mit einer begleitenden Hebung der Stimmung und Bewusstsein. Diese Effekte wurden durch Eric Dollard, die über sie im Detail geschrieben hat nachgewiesen.
Im Jahre 1890 entdeckte Tesla, wenn er einen 0.6 m langen ein drehen tiefe Kupfer Helixspule Nähe seines magnetischen Disruptor gelegt, die dünnwandige Spule einen Mantel aus weißen Funken entwickelt, mit langen silberweißen Luftschlangen steigt aus dem oberen Ende der Spule. Diese Entladungen schien wesentlich höhere Spannungen als die Erzeugungsschaltung haben. Dieser Effekt wurde deutlich erhöht, wenn die Spule im Inneren des Disruptor wire Kreises platziert wurde. Die Entladung schien die Oberfläche der Spule mit einem seltsame Affinität zu umarmen, und ritt seiner Oberfläche an das offene Ende. Die Schockwelle floß über der Spule unter rechten Winkeln zu den Windungen und erzeugt sehr langen Entladungen von der Oberseite der Spule. Mit dem Disruptor Ladung springt ein Zoll in seiner magnetischen Gehäuse, waren die Spule Luftschlangen mehr als zwei Metern Länge. Dieser Effekt wurde in dem Moment, wenn das Magnetfeld den Funken gequencht und es war völlig unbekannt zu diesem Zeitpunkt erzeugt.
Dieser Zug von sehr kurzen uni-direktionale Impulse bewirkt eine sehr seltsame Feld nach außen erweitern. Dieses Feld ähnelt einem Stottern elektrostatischen Feld, hat aber eine viel stärkere Wirkung als aus einer elektrostatischen Aufladung zu erwarten. Tesla konnte für die enorme Spannung Multiplikation von seinem Apparat mit einer der elektrischen Formel seines Tages ausmachen. Er hat daher vermutet, dass der Effekt vollständig war auf strahlenden Transformationsregeln, die müssen durch experimentelle Messungen bestimmt werden würde. Dies ging er zu tun.
Tesla hatte einen neuen Induktionsgesetz, wo strahlende Schockwellen tatsächlich auto-intensiviert bei der Begegnung mit segmentierten Objekte entdeckt. Die Segmentierung war der Schlüssel zum Lösen der Aktion. Radiant Schockwellen begegnet eine Helix und "geflasht over" der äußeren Haut, von Anfang bis Ende. Diese Druckwelle nicht durch die Wicklungen der Spule passieren sondern behandelten die Oberfläche der Spule als Übertragungsweg. Messungen zeigten, dass der Spannungsanstieg entlang der Oberfläche der Spule exakt proportional zur Länge Paar entlang der Spule war, mit der Spannungsanstieg auf Werte von 10.000 Volt pro Zentimeter der Spule. Die 10.000 Volt, die er seinen 24-Zoll-Bandzuführanlage wurde, wurden an 240.000 Volt am Ende seiner Spule vergrößert. Das war unerhört für einfache Geräte so. Tesla auch entdeckt, dass der Spannungsanstieg mathematisch wurde der Widerstand der Spulenwicklung verbunden ist, mit höheren Widerstand Wicklungen Herstellung höhere Spannungen.
Tesla begann dann zu seinem Disruptor Schleife als seine besondere "primären" und der langen Wendel als seine besondere "sekundäre" beziehen sich aber nie jemand diese Bedingungen zu denen, die sich auf elektromagnetische Transformatoren, die in einer völlig anderen Weise zu betreiben gleichzusetzen bestimmt.
Es war ein Attribut, das Tesla für eine Zeit ratlos. Seine Messungen zeigten, dass es keinen Strom, der in der langen Kupfer "sekundäre" Wicklung. Spannung wurde mit jedem Zentimeter der Spule ansteigt, aber es gab keinen Stromfluss in der Spule selbst. Tesla begann seine Messergebnisse als seine "Influenz Gesetze" zu verweisen. Er fand, dass jede Spule eine eigene optimale Impulsdauer hat und daß die Schaltung Antreiben es sein musste 'abgestimmt' zur Spule, indem die Länge der Impulse, um die beste Leistung zu geben.
Tesla dann bemerkt, dass die Ergebnisse seiner Experimente angesichts der Gleichungen für dynamische Gasbewegungen parallel, so begann er fragte sich, ob die weiße Flamme Entladungen möglicherweise nicht ein gasförmiges Manifestation der elektrostatischen Kraft sein. Er fand, dass, wenn ein Metallteil mit dem oberen Anschluß des "sekundäre" Wicklung verbunden war, die Streamer sehr wurden wie Wasser fließt durch ein Rohr geleitet. Wenn der Strom an entfernten Metallplatten gerichtet war, produziert es elektronischen Ladungen, die als Strom am Empfangsort gemessen werden könnte, sondern im Transit, existiert kein Strom. Die aktuelle erschien nur, wenn der Strom abgefangen wurde. Eric Dollard hat erklärt, dass diese abgefangen Strom kann mehrere hundert oder sogar tausend Ampere aus.
Tesla machte eine andere bemerkenswerte Entdeckung. Er verband eine sehr schwere U-förmige Kupfer-bar direkt gegenüber der primären seiner Disruptor, bildet einen toten Kurzschluss. Dann mehreren normalen Glühwendel Glühlampen zwischen den Schenkeln des U-förmigen Stab verbunden. Wenn das Gerät eingeschaltet wurde, leuchtet die Lampen mit einem brillanten kalten weißen Licht. Das ist ganz unmöglich mit konventioneller Strom, und es zeigt deutlich, dass das, was Tesla es zu tun hatte war etwas Neues. Diese neue Energie wird manchmal auch als "kalte Strom" und Edwin Grau snr. gezeigt, wie anders es durch die Beleuchtung Glühlampen-Glühlampen direkt von seiner Macht Rohr, Eintauchen in Wasser und legte seine Hand im Wasser ist. Kalte Strom wird in der Regel als für den Menschen ungefährlich. Ed Gray Endstufenröhre arbeitet durch Erzeugen strahlenden Wellen Strom durch Verwendung einer Funkenstrecke, und Sammeln der Energie unter Verwendung von drei Umhüllen Kupferzylindern umgebenden Funkenstrecke. Die Zylinder sind mit vielen Löchern, die als Pick-up erhöht und die Last direkt von dem Strom in den Zylindern angetrieben gebohrt. Wenn die Beleuchtung Glühbirnen, verwendet Ed einen Luftkern Transformator wenigen Handgriffen von sehr schweren Draht. Ich persönlich bin mir bewusst, von zwei Personen, die unabhängig Ed Endstufenröhre wiedergegeben haben.
Tesla angesehen die Luftschlangen kommen aus seinem Spulen als verschwendet Energie, so dass er sie zu unterdrücken versucht. Er versuchte eine konische Spule aber festgestellt, dass dies das Problem verschärft. Er versuchte dann Platzieren eines Kupfer-Kugel an der Spitze seiner Spule. Dies hielt die Luftschlangen, sondern Elektronen wurden aus dem Kupfer Kugel verdrängt, wodurch wirklich gefährlichen Bedingungen. Dies bedeutete, dass Metalle Elektronen fließt erzeugen, wenn durch die Spule Luftschlangen (wie gesehen worden war, wenn die Luftschlangen hatte an entfernten Metallplatten wurden gerichtet und Strom wurde als Ergebnis generiert) geschlagen.
Tesla
entwickelt, gebaut und verwendet großen Globus Lampen, die nur eine einzige
externe
Teslas Experimenten legen nahe, dass ein Verfahren des Extrahierens der freien Energie, um eine Tesla-Spule, die eine Metallspitze anstelle des gemeinsamen Metallkugel hat am Ende der "sekundäre" Wicklung zu verwenden. Wenn die Tesla-Spule mit ausreichend kurzer unidirektionalen Pulse zugeführt wird und das "sekundäre" Wicklung deutete auf eine Metallplatte, dann sollte es möglich sein, zum Abziehen schweren Niveaus der Energie von der Metallplatte, so wie Tesla entdeckt. Dies wurde von Don Smith, der zwei Metallplatten, die durch eine Schicht aus Kunststoff-Dielektrikum getrennt verwendet, Ausbilden eines Kondensators bestätigt. Er erklärt, dass eine gut gestaltete Tesla-Spule in der Lage, Ströme so hoch wie die Spannungen ist, und er zeigt ein Handgerät 28 Watt Tesla Coil auf der ersten Platte zu einer erheblichen kontinuierlichen Funkenentladung zwischen der zweiten Platte und Boden gespielt. Ich schätze, dass der Funke produziert müssten Tausende von Volt mit einem erheblichen Strom, womit es im Kilowatt-Bereich, wie die meisten anderen Geräte Don. Video: http://www.metacafe.com/watch/2820531/don_smith_free_energy/ Don Patent ist in Kapitel 3 und seine. Pdf-Dokument hier: http://www.free-energy-info.tuks.nl/Smith.pdf in Dem er Erklärt, Viele Seiner Hochleistungs-Designs.

Don auch darauf hin, dass die Positionierung der Primärspule gegenüber der Sekundärspule eines Tesla die Strommenge, welche vorgesehen sein kann, bestimmt. Anders als die meisten Meinung ist es möglich, dass Tesla Spulenstrom so hoch wie die Spannung. Don immer betont, dass Sie die Möglichkeit, die Auswahl der elektrischen Komponente (wie konventionelle Wissenschaft getan hat), die "Hitzetod", während die alternative Möglichkeit, den magnetischen Komponente macht "die Welt zu Füßen" führt haben. Mit einem magnetischen Wellen auf dem Nullpunkt-Energie-Feld, das Don lieber die 'ambient Hintergrund Energie "nennen verhängt, können Sie so viele E-Konvertierungen, wie Sie möchten, ohne das Aufbrauchen der magnetischen Falle in keiner Weise. Mit anderen Worten, man kann abzuziehen schweren Strommengen von Kondensatorplatten im rechten Winkel zu dem magnetischen Fluß angeordnet ist, und jedes zusätzliche Paar von Platten erzeugt eine zusätzliche Quelle großer Strom ohne Notwendigkeit, den magnetischen Störung in irgendeiner Weise zu erhöhen. Mit seinem einzigen Metallplatte erwähnt Tesla Ströme von tausend Ampere zur Verfügung stehen. Bitte denken Sie daran, dass ein Tesla Coil ernst produziert hohe Spannungen und ist kein Spielzeug. Große Sorgfalt ist erforderlich, um ein Tesla Coil so, wenn es ausgeführt wird, weit weg von ihm zu halten.
Don auch fest, dass die Sammlung und Übertragung von Energie temporären Speicher, die als die Kondensatoren und Spulen eines Schwingkreises gefahren und ausgeschaltet werden auftritt erfordert. Die Frequenz, bei der die Kondensatoren und Spulen werden gepumpt, bestimmt die Menge an elektrischer Energie, die ab bewegt. Die Menge an Energie übertragen bezieht sich direkt auf die Dichte der Linien des magnetischen Flusses vorhanden ist. Das Kinetic Energy Formel ist hilfreich bei der Festlegung der Höhe der vorhandenen Energie. Diese Formel zeigt auf Masse durch das Quadrat der Geschwindigkeit multipliziert. Im Fall von elektrischer Energie, Spannung und Stärke des Ampere durch Zyklen pro Sekunde multipliziert, ersetzen Geschwindigkeit. Beachten Sie, dass die "Beschleunigung" des Spannungs-und der Stromstärke in einem nicht-linear erhöht, wie das Gesetz der Quadrate gilt, wobei jede Einheit der Anstieg verursacht eine Quadratur der Feldlinien vorhanden. In Resonanz Luftspule Energie-Transfer, stört die Erhöhung der Feldlinien vorhanden mehr Elektronen als bisher und dies führt zu höherer Leistung Energie als Input-Energie vorhanden und verfügbar sind.
Energie gespeichert, die von den Zyklen pro Sekunde multipliziert, ist die Energie, die durch das System gepumpt. Kondensatoren und Induktivitäten (Spulen) vorübergehend zu speichern Elektronen.
Capacitor Formel: W = 0.5 x C x V2 x Hz wo:
W ist die Energie in Joule (J = Volt x Ampere x Sekunden)
C ist die Kapazität in Farad
V ist die Spannung
Hz ist die Zyklen pro Sekunde
Inductor Formel: W = 0.5 x L x A2 x Hz wo:
W ist die Energie in Joule
L ist die Induktivität in Henrys
A ist der Strom in Ampere
Hz ist die Frequenz in Zyklen pro Sekunde
Sowohl ein Henry und ein Farad gleich ein Volt. Je höher die Frequenz, einschließlich Quadrieren der Flusslinien, verursacht eine starke Zunahme der Menge an Energie erzeugt wird. Dies, kombiniert mit der Verwendung einer Resonanzenergie Ansaugsystem (alle Elektronen in die gleiche Richtung mit der gleichen Zeit), machen den Einzug in COP> 1 praktisch.
Die Dämpfung Verfahren herkömmlichen elektrischen Stromerzeugung, hat alle verfügbaren Elektronen Prellen zufällig, meist zunichte einander, so dass der nutzbare Energie verfügbar ist nur ein sehr kleiner Anteil der Energie, die vorhanden ist. In einem resonanten Ansaugsystem, ist ein sehr hoher Prozentsatz der Energie vorliegenden nützlich. Wenn Resonanz, (Ohm-Impedanz-Z) zu Null und die gesamte Energie vorliegenden verfügbar wird, ohne in irgendeiner Weise beeinträchtigt. Ohm Last ist oder verschwendet Energie und Ampere ist die Höhe dieser Verschwendung.
Nun wenden diese Information an eine Luftkernspule Resonanztransformator Energiesystems. L-1 und L-2 Spulen liegen nun. L-1 hat weniger Windungen und ein Mehrfaches des Durchmessers des L-2. Eingang von einem 12-Volt 'gelcel' Hochspannungs-Laser-Modul, produziert 8.000 Volt mit niedrigen (Energieverschwendung) Stromstärke in 4 Windungen der Spule L-1. Jede Drehung des L-1 erfasst dann 2.000 Volt von resonanten Potential. Jede Drehung der L-2 wird dann an einen elektrischen Flusses von 2.000 Volt ausgesetzt. Jede Drehung am unteren Ende des L-2 erwirbt 2000 Volt. Die Feldlinien werden quadriert und sind additiv, wie die Spannung und Stromstärke Fortschritte oberen Ende viele Windungen L-2.
Eine große Anzahl von Feldlinien, die nicht vorher vorhandene, am oberen Ende des L-2 auftreten. Diese Feldlinien regen die Elektronen in der Nähe in seiner Erde und Luft und Erdungen. Diese hohe Spannung über der Umgebungstemperatur, verursacht eine große Anzahl von Elektronen verfügbar wird, Elektronen, die zuvor nicht Teil der Energie vorhanden ist. An diesem Punkt ist große Mengen an überschüssiger Energie vorhanden. Dieses COP> 1 Gerät erzeugt Energie bei Frequenzen im Megahertz-Bereich und dies ermöglicht es, klein zu sein in Größe und noch produzieren große Mengen an Energie. A Megawattanlage Gerät bequem auf einen Frühstückstisch. Die Energie wird in Gleichstrom geändert und dann auf die gewünschte Arbeitsfrequenz.
Die Energie Versorgung dieser Geräte von der umgebenden Energiefeld gezogen und nicht konventionellen Strom und es nicht durch das Sieb der "sekundäre" Wicklung fließen, aber sondern erstreckt sich entlang der Außenseite der Spule und durch den Raum, um die Oberfläche treffen der Metallplatte erzeugt dort herkömmlichen elektrischen Stroms. Thomas Henry Moray gezeigt, dass diese Energie fließt entlang der Außenseite des Drahtes kann durch Glas, ohne in irgendeiner Weise betroffen passieren.
In seinem 1995 Papier Don Smith stellt das folgende Diagramm:

Während Teslas Experiment verwendet eine Metallplatte, patentierte er (US 512.340) eine Spule Art, die er sagte, ist sehr effektiv in der Kommissionierung bis diese Strahlungsenergie. Diese "Pfannkuchen"-Spule geht durch den ziemlich beeindruckend Namen "bi-filar serielle geschalteten Spule", die trotz der imposanten Namen ist nicht schwer zu wickeln über zwei separate Drähte wie hier gezeigt:

Wenn ein starkes Magnetfeld über der Funkenstrecke positioniert ist, wie oben gezeigt, schärft es das abgeschnittene des Funkens und verbessert die unidirektionale Charakter der Stromimpuls. Es sei daran erinnert, dass, wenn ein sehr kurzer Impuls der scharfen unidirektionalen Strom, wie er durch einen Funken Springen über eine Funkenstrecke, wie in der gezeigten Anordnung oben hergestellt, tritt in einem Leiter, dann eine starke Welle von Strahlungsenergie aus strahlt sein eine Ebene in rechten Winkeln zu der Stromimpuls.
Diese Strahlungsenergie Welle ist ganz anders als das elektromagnetische Feld um den Draht, der den Puls der Strom erzeugt wird. Im Tesla Spulenanordnung oben gezeigt, sollte es möglich sein, zusätzliche freie Energie durch ein oder mehrere Koaxial (wie Schichten einer Zwiebel) zylindrischen Spulen um die Funkenstrecke führt zu sammeln. Diese Spulen werden besser, wenn sie es als Bi-filar Spulen seriell verbunden sind. Der Grund für diese Anordnung ist, dass die Magnetfeldkomponente der Spulen (nahezu) gleich Null ist, als der Strom, der durch den Draht in entgegengesetzte Richtungen in den abwechselnden Windungen fließt, so dass die Magnetfelder aufheben sollten:
Tesla wurde US-Patent 685, 957 "Vorrichtung für die Nutzung von Radiant Energy", in dem er zeigt verschiedene Wege im Umgang mit der Energie, die von der Metallplatte gesammelt gewährt. Es ist wahrscheinlich, dass die Pick-up-Techniken, die in dem Patent von Hermann Plauston, die im Anhang ist dargestellt, würde auch sehr effektiv mit diesem gesammelten Energie. Old Patente erwähnen manchmal eine "Verflüssiger", die die ursprüngliche Laufzeit für das, was man heute als "Kondensator" ist.
Nach reiflicher Überlegung und vielen Experimenten schlossen Tesla, dass die Lichtstrahlen, die er nutzen, strahlte so schnell, dass Elektronen nicht mit ihnen mithalten konnten. Die Strahlen wurden über ein Medium, bestehend aus extrem mobil, fast masselosen Teilchen, sehr viel kleiner als Elektronen und fest, die aufgrund ihrer Größe und Geschwindigkeit, könnte leicht passieren die meisten Materialien. Trotz ihrer geringen Größe, verursacht ihre extreme Geschwindigkeit sie erhebliche Dynamik haben. Eine Tatsache, die sehr schwierig ist, sich mit zu kommen ist, dass diese Strahlen nach außen sofort zu propagieren, ohne Zeitverzögerung überhaupt, als ob durch die Materie, die ganz inkompressiblen übertragen scheinen. Es wird manchmal auch als "Radiant Energy" oder "RE" für kurze und scheint keine Nettoladung im herkömmlichen Sinne haben. Dies ist eine einzigartige Eigenschaft des Universums, mit einzigartigen Eigenschaften, die, wenn sie verwendet wird, bietet eine ganze Reihe von neuen Anwendungen und Funktionen.
Tesla Auffassung, dass diese neu entdeckte Feld wie eine Flüssigkeit gehandelt. Hundert und fünfzehn Jahre später, die Titelgeschichte der Dezember-Ausgabe 2005 des "Scientific American 'journal, dass experimentellen Modellen anzudeuten, dass Raum-Zeit könnte eine Art von Flüssigkeit sein. Es hat eine lange Zeit für die moderne Wissenschaft ergriffen werden, um zu starten Aufholprozess mit Tesla. In der Tat, es war Michael Faraday (1781 - 1867), der auf die Idee kam, in erster Linie.
Es wird gesagt, dass die Toroid Gerät durch Stephen Mark gebaut und gezeigt, in Web-Videos, eine Replikation dieses Generators Design. Das Forum derzeit bei http://www.overunity.com/index.php/topic,2535.0.html auf replizierenden Stephen Marks Gerät gewidmet und erhebliche Fortschritte erzielt worden. Diese Gruppe wird auf der Grundlage, dass anstelle einer metallischen Ringkern Betreiben wie hier gezeigt, dass eine Möbius-Schleife toroidförmigen Drahtseele verwendet wird. Zu diesem Zeitpunkt haben sich die Bemühungen noch nicht in einer Schaltung, die einen COP> 1 weist hergestellt Leistung. Sie werden feststellen, dass sehr viele verschiedene Geräte an verschiedene Dinge tun sollen bemerken, alle durch die Erzeugung sehr scharf Gleichstrom Impulse zu betreiben.

So haben eine breite Palette von unterschiedlichen Geräten den gleichen Hintergrund Technik zur Herstellung von ihnen zu arbeiten. Meyer nutzte die pulsierende für Wasser-Splitting in einer Hydroxy Gaszelle. Bedini nutzt das Pulsieren zu Batterien mit kaltem Strom aufzuladen. Tesla verwendet das pulsierende Batterien aufzuladen, Bereitstellung von Heizung, Kühlung und Beleuchtung. Boyce verwendet pulsierenden Elektrolyse bei 1.200% der angegebenen maximalen Faraday die Rate der Elektrolyse zu erhalten. Grau verwendet das Pulsieren zu kalt Strom zu erfassen, um einen leistungsstarken Elektromotor zu fahren. Viele verschiedene Anwendungen alle auf mit sehr kurzen, sehr scharf, Hochspannungsimpulse Grundlage.

Bei Portage Bay am Lake
Union, Seattle, Washington in Amerika, Alfred Hubbard, einem Bekannten von
Nikola Tesla demonstrierte 1919 eine self-powered Stromerzeuger Design. Der Generator war etwa 14 Zoll (350 mm) hoch
und 11 Zoll (280 mm) im Durchmesser. Es
versorgt ein 35 H.P. Elektromotor, der über einen 18-Fuß-Boot, die keine Batterien
enthalten sind rund um die Bucht für mehrere Stunden geschoben, kontinuierlich.
Diese Demonstration wurde von Tausenden
erlebt und wurde beendet, weil die Verdrahtung begann zu überhitzen. Es wurde gesagt, dass das verwendete Kabel
enthalten sind sieben Stränge von 0,09 Zoll (2,286 mm) Durchmesser. Jeder
dieser Stränge wäre, 12 Ampere und so tragen können, wenn dies richtig ist,
hatte das Kabel eine Stromtragfähigkeit von etwa 84 Ampere. Der Durchmesser des Drahtes, einschließlich
der Isolierung wurde die 0,34 Zoll (8,5 mm) betragen. Der innere Kern wurde gesagt, aus einem Rohr,
das 16 Eisenstangen mit 43 Drahtwindungen um ihn herum, die, wenn sie richtig,
43 Umdrehungen in 14 Zoll oder 3 Drehungen pro Zoll würde vorschlagen,
durchgeführt werden, was eine zylindrische Spule mit dem abwechselnd Seite an
Seite, berühren einander.
Doch viel irreführende
Informationen, nicht zu erwähnen, ein gutes Geschäft der Spekulation wurde rund
über die Hubbard-Design, das Alfred Drei Jahre dauerte die Entwicklung zu
verbreiten. Mehrere Jahre nach der Demonstration, als Hubbard wurde von der
Firma Radium eingesetzt, sagte er, daß Radium wurde in der Vorrichtung, die
etwas, was ich persönlich finde sehr schwer zu glauben, und stark vermuten,
dass Hubbard wurde überredet, von sagen, dass ist nutzte seine Arbeitgeber, die
verkauft wurden Radium zu dieser Zeit.
Hubbard machte eine Skizze
eines seiner kleineren Generatoren, die für gewöhnliche elektrische
Haushaltsgeräte verwendet wurde und dass zeigte eine sehr einfache
Konstruktion, die acht zylindrischen Primärspulen, von denen jedes auf einer
festen Eisenstange gewickelt und in Reihe geschaltet hatte. Diese Primärspulen umgeben einen etwas
größeren Sekundärspule von etwa 35 Windungen um ein hohles Rohr gefüllt mit
Metallstäben oder Drähten (vermutlich aus Weicheisen) gewickelt. Diese
kleineren Gerät war ungefähr sechs Zoll (150 mm) hoch (maximale
Drahtdurchmesser 4 mm, einschließlich der Isolierung) und etwa fünf Zoll (125
mm) im Durchmesser. Jeder Kern hatte nur
eine Schicht dick isolierten Draht und nicht viele Windungen verwendet.
Ich verstehe, dass, wenn
ein Patent für wurde die Patentanmeldung beschlagnahmt und eine unechte
"der nationalen Sicherheit Bedeutung", um auf sie geohrfeigt, wirkt
als eine unrechtmäßige Redeverbot für Hubbard, ihn überhaupt entwickeln,
verwenden, zeigen oder es zu verkaufen Verbot angewendet oder etwas ähnlich
ist. Das US-Patentamt ist ein privat
geführtes Handelsgesellschaft, und während sie wird wahrscheinlich mit dem
Design selbst, haben sie mit Sicherheit nicht die Absicht, jemals so dass die
Öffentlichkeit Zugang zu ihm haben als Energiefreiheit ist ein wichtiger
Schritt in Richtung völliger Freiheit. Folglich
wissen wir fast nichts über Hubbards erfolgreiches Design.
Die allgemeine Anordnung könnte etwas gewesen vage wie folgt aus.

In der Joseph Cater Buch "The Awesome Life Force" er versucht, die Theorie der seinen Betrieb zu erklären, aber es muss klar sein, dass, was Cater sagt, ist nur Spekulation auf seinem Teil, wie die tatsächliche Gestaltung des Hubbard wurde nie öffentlich bekannt gegeben werden.
Was sagt Cater ist sicherlich plausibel, und auch wenn es nicht die Gestaltung von Hubbard, lohnt es sich die Untersuchung und das Experimentieren mit. Der Mechanismus vorgebrachten Cater ist auf der bekannten und weithin akzeptierte Graph der Magnetisierung aus Weicheisen in Abhängigkeit vom angelegten Ebenen der Magnetkraft basiert. Dieser Graph ist in hohem Maße nicht linear und der zentrale Abschnitt des Graphen steigt steil an, was darauf hinweist, dass es eine erhebliche Steigerung der Magnetisierung des Eisens für eine relativ geringe Erhöhung der Energiezufuhr.
Gerecht zu Spannungen, die die Eingangswellenform sollte pulsierenden Gleichstrom. Das Verfahren zum Aufbringen pulsierenden Gleichstrom wird dann fast der gleiche wie für die in Kapitel 3 gezeigt Clemente Figuera Design, mit einer Offset-Grundniveau der Gleichstromstromfluss, der zu allen Zeiten aufrechterhalten werden braucht.
Hier ist die Magnetisierung Grafik für Weicheisen:

Fig.29 zeigt eine graphische Darstellung der Magnetisierung eines Eisenkerns aufgetragen Amperewindungen pro Längeneinheit. Der Begriff "Ampèrewindungen" ist die Anzahl der Wicklungen der Spule pro Einheitslänge von der Spule durch die Anzahl von Ampere Strom durch die Spule fließt, multipliziert.
Der steile Abschnitt der Kurve scheint bei etwa 3,5 Tesla zu starten, und so eine konstante Gleichstrom Strom in der Magnetisierung (Hubbard primären) Spule benötigt, um dieses Niveau der Magnetisierung zu jeder Zeit bieten, und das angelegte pulsierende Gleichstrom halbe Sinus Wellenform angewendet Hinzu kommt, dass, und da die induzierte EMK in einer Spule ist direkt proportional zu der Änderungsrate des magnetischen Flusses, folgt, dass je höher die Frequenz des Sinus-Versorgung, desto besser. Mit einem Rampenwellenform vielleicht auch effektiver sein.
Die normale Arbeitszeit Transformatoren Amperewindungen die deutlich unter diesem kritischen Punkt sind. Die zusätzliche EMF in den Spulen durch die Magnetisierung der Eisen-Offsets die natürliche induktive Impedanz der Spulen induziert wird. Deshalb ist eine solche Transformatoren hohen Wirkungsgrad haben. Wenn ein anderes Material als Eisen oder Edelstahl für den Kern verwendet wurden, würde die Effizienz erheblich sinken. Hubbard verwendete Teil der Ausgangsleistung auf die Eingangsleistung zu stellen, und so brauchte er nur zu Eingangsleistung für weniger als eine Sekunde, um das Gerät zum Laufen zu bringen bieten. Die Stromversorgung könnte auch dieser Art sein:

Hier, anstatt dass das hochfrequente gleichgerichtete Sinuswelle (oder Rampengenerator Signal) null Volt zu erreichen, und zusätzlich Gleichstrom Stromversorgung aufrechterhalten wird, und während der Signalgenerator Impulse auf die gesamte Spannung, die an das Gerät hinzuzufügen, wird die Spannung nicht erlaubt auf Null zu erreichen.
Es ist möglicherweise ein weiterer Faktor, der zum Erfolg des Hubbard Gerät beitragen könnten. Damals hatte die einzige isolierter Draht erhältlich dick und schwer Isolierung. Dies bedeutet, dass benachbarte Windungen in der Spule um einen Abstand gleich der doppelten Dicke der Isolierung wurden getrennt. Folglich führte die Lücke in einer Aufhebung der magnetischen Effekte von fließenden Elektronen im Draht erzeugt. Da Trägheit ist abhängig von der Fähigkeit, ein Magnetfeld zu erzeugen, würden die inerten Eigenschaften der Elektronen nahezu aufgehoben werden.
Es gibt einen optimalen Abstand zwischen den Drähten, die die maximale Wirkung aufweist. Es scheint wahrscheinlich, dass die dicke Isolierung an Hubbards Draht diesen optimalen Abstand an. Die meisten der resultierende magnetische Feld war, dass die beiden Adern umgeben und das würde der schwächere Teil des Feldes zu sein. Dies bedeutet, dass eine relativ geringe EMF könnte eine größere Anzahl von Elektronen mit einer hohen Geschwindigkeit während einer sehr kurzen Zeit zu beschleunigen. Da die Elektronen verlassen die Spule, Trägheit Renditen. Dies würde zu einer Sicherung einer hohen Konzentration von Elektronen in der Spule führen. Da elektrostatische Abstoßung nicht beeinträchtigt wird, würde Elektronen von der Spule mit einer hohen Geschwindigkeit trotz der erhöhten Trägheit ausgeworfen. Dies würde eine Leistung von sowohl hoher Spannung und hoher Stromstärke.
Was aussieht wie eine Implementierung des Hubbard Spulensystem, oder vielleicht ein sehr eng verwandt Gerät sein wird Joseph H. Cater die autarke elektrischen Generator. Wie üblich, Informationen über sie begrenzt und nicht besonders klar ist, so dass die folgende ist nur mein Versuch, um Stück zusammen einige Informationen aus verschiedenen Quellen. Ein Großteil dieser Informationen stammt aus einem Dokument, das Geoff Egel Namen drauf hat und obwohl es wahrscheinlich, dass Geoff wird zitiert eine andere Quelle scheint, geht mein Dank an ihn für zu teilen, was wir hier haben. Die Diagramme geben die Namen der verschiedenen kleineren Webseiten von denen keines mehr vorhanden und so diese wurden entfernt, da sie keinen nützlichen Zweck mehr haben. Hier ist ein Original-Diagramm aus diesen Informationen:

Wie es scheint
mir, dass es viele widersprüchliche Angaben in diesen Informationen bin ich
präsentieren sie hier in so ziemlich der gleichen Form, in der sie
Einige zwölf Jahre nach Hubbards öffentliche Demonstration,
am 12. Januar 1933 wurde André Coutier Patent FR739458 verliehen, die sich
selbst erzeugende elektrische Generator berechtigt ist. Dieses Design ist so
ähnlich wie das Hubbard-Gerät, dass es sehr wahrscheinlich ist, dass es die
Hubbard-Gerät unter einem anderen Namen ist.
Beschreibung
Die Vorrichtung besteht aus einem geschlossenen Magnetkreis zusammengesetzt
ist (Fig.1)

bestehend aus zentralen Kernspule ein Weicheisen , durch eine
Reihe von kleineren Durchmesser Weicheisenspulen umgeben. Während das Diagramm
sechs Spulen zeigt, ist das nicht eine feste Zahl. Der kleinere Durchmesser
Spulen die gleiche Anzahl von Draht um sie herum gewickelten Windungen und so
jede dieser kleinen Spulen erzeugt den gleichen Strom wie der, der um die große
innere Spule gewickelt in der Spule fließt. Die Querschnittskernbereiche der
Satelliten Spulen eingestellt, um die gleiche wie die Querschnittsfläche des
zentralen Spulenkern zu sein.
Das gesamte Design ist sehr einfach, wie hier gezeigt:

Gemäß dem Patent ist jede der umgebenden Spulen hat einen
Ausgangsstrom gleich dem von der Mittelspule. Wenn also ein Strom von etwa 1 A,
an die zentrale Spule zugeführt wird, dann wird jeder der sechs umgebenden
Spulen einen Ausgangsstrom von 1 Ampere aufweisen. Da die sechs Ausgangsspulen
parallel geschaltet werden, sollte der Ausgangsstrom 6 Ampere sein, einen COP-Wert
von 6 zu geben oder wenn Sie es vorziehen, einen elektrischen Wirkungsgrad von
600%.
Kein System ist 100% effizient, da es einige Verluste aus dem
Leitungswiderstand sind, die Erwärmung des Drahtes, Wirbelströme seitlich in
den Eisenkernen fließt usw. in jeder Spule. So wird der Gesamtwirkungsgrad
weniger als 600%, aber die Gesamtenergiegewinn noch erheblich sein. Die
Spannung bleibt im wesentlichen unverändert, aber bitte, dass wenn der Strom
zunimmt erinnern, so muß, um der Drahtdurchmesser zu tragen, dass eine erhöhte
Strom.
Coutier verwendet drei dieser Spulensätze als Teil seiner
Anordnung und er nimmt dann eine kontrollierte Menge von dem Ausgang der
benötigten Eingabe für das System zu schaffen, aus:

Der Ausgang wird Wechselstrom. Coutier wählt einen
Trenntransformator in seiner Rückkopplungssteuerung verwendet werden, die die
notwendige Eingangsstrom an seinen Oszillatorschaltung speist. Er verwendet
auch einen mechanischen Vibrator als seine Oszillator als Weg zurück in 1933
kein leicht verfügbar waren Halbleiter. Seine Gesamtschaltplan verwendet
Unendlichkeit Symbole Wechselstrom, um anzuzeigen, und es sieht wie folgt aus:

Eine versuchte Übersetzung des Patents Text lautet:
Die Vorrichtung besteht aus einem geschlossenen Magnetkreis (Fig.1), bestehend aus einem zentralen
Kern aus Weicheisen in der Form eines Zylinders. Es gibt N ähnliche Satelliten
Kerne setzen parallel zu den zentralen Kern und in einem Kreis um den zentralen
Kern gelegt. Der zentrale Kern ist eine Induktionsspule mit der Anzahl von
Windungen erforderlich Sättigung des Magnetkreises mit dem gewählten induktiven
Strom zu erzielen. Jeder der Satelliten Spulen die gleiche Anzahl von
Windungen, wie es in der zentralen Kernspule sind.
Angesichts der besonderen Bestimmung des magnetischen
Kreises, wobei jeder der Satelliten Spulen Isoliertes Transformator und so der
Strom in jedem der Satelliten Wicklungen induziert hat die gleiche Leistung wie
die zentrale Spulenstrom. Somit erzeugt das Gerät eine Multiplikation von
elektrischer Energie. Da die Ausgangsenergie der anfänglichen Eingangsenergie
überschreitet, sehen wir sofort die Möglichkeit, einen Teil der Ausgangsenergie
zu verwenden, um die erforderliche Eingangsenergie auf einer kontinuierlichen
Basis zur Verfügung zu stellen.
Das Gerät ist für den industriellen Modell der ewigen
Selbstbetriebenen Stromerzeuger verwendet wird, etabliert für den Einsatz in
der Industrie, See- und Flussschifffahrt und die Traktion auf der Schiene, ist
schematisch in Fig.2 gezeigt.
Drei Multiplikator Geräte (eine beliebige Anzahl dieser
Geräte sein können) in Reihe kombiniert werden, so dass der Kern e von einer Schaltung mit Strom aus der
kombinierten Satellitenschaltungen f
betrieben wird, der vorherigen Gerät. Die Satelliten-Spulen des Satzes 1 füttern die zentrale Spule des Satzes
2. Ähnlich sind die Set 2-Satelliten-Schaltungen
die zentrale Spule von Satz 3
zuzuführen.
Jede Einheit mit 6 Satelliten (es kann eine beliebige Anzahl
von Satelliten sein) zu bestimmen, den Faktor der Leistungsverstärkung jedes
Satzes, und in diesem Fall ist es 6. Mit den drei Spulensätze gezeigt, ist die
Leistungsverstärkung 6 x 6 x 6 = 216 mal die Eingangsleistung.
Es ist leicht, eine Ausgangsleistung Hahn und die
Regelwiderstand h verwenden, die Energie als der Eingangsstrom erforderlich
ist. Die Spule ist magnetisch mit i Spule j verbunden sind, da sie auf
demselben Kern angeordnet sind und sie bilden eine 1-zu-1-Verhältnis
Transformator. Der Ausgang der Spule j
wird verwendet, um einen Summer k,
dessen AC Spulenausgang betrieben wird verwendet, um die zentrale Spule e des
ersten Leistungsmultiplikationsschaltung zuzuführen.
Das Gerät enthält auch zwei Batterien l und m - soll mit allen
Eventualitäten zu beschäftigen. Eine Batterie kann aufgeladen werden, während
die andere zur Verfügung steht, wenn es eine zufällige Stopp des Generators
ist.
Ansprüche
Die Multiplikation von elektrischer Energie durch Induktion
von Satellitenwicklungen durchgeführt wird, gruppiert in einem Kreis um eine
induktive zentrale Wicklung. Die Summe der Querschnittsflächen der Satelliten
Kernen gleich der Querschnittsfläche des zentralen Kerns. Selbsterzeugungs
ewigen elektrische Energie, indem Energie aus dem letzten Vervielfacher
erreicht und indem es den Eingangsstrom zu liefern.
Ein anderes Gerät in dieser Kategorie von gepulsten Geräte, die externe Energiequelle anzapfen wurde von Floyd ("Sparky") Sweet produziert. Das Gerät wurde als "Vacuum Triode Amplifier" oder "VTA" von Tom Bearden. Es gibt sehr wenig praktische Informationen über dieses Gerät, obwohl es ein Video von im Betrieb auf dem Netz, mit einer Leistungsaufnahme von nur 0,31 mW und eine kontinuierliche Leistung von mehr als 500 Watt (112 Volt Wechselstrom bei 60 Hz) das ist ein COP von mehr als 1.612.000, die spektakulär beeindruckend ist.

Das Gerät war in der Lage, mehr als 1 kW Ausgangsleistung bei 120 Volt, 60 Hz und kann so geschaltet sein, dass sie eine eigene Stromversorgung. Der Ausgang ist Energie, die Strom ähnelt, dass es Kräfte Motoren, Lampen, etc., aber die Leistung erhöht durch jede Belastung gibt es einen Temperatursturz statt der erwarteten Temperaturanstieg, weshalb es heißt "kalt" Elektrizität ist.
Wenn es bekannt, dass er das Gerät produziert wurde er zur Zielscheibe von schweren Bedrohungen, von denen einige face-to-face geliefert helllichten Tag wurden. Es ist durchaus möglich, dass die Sorge wegen des Geräts tippen Nullpunkt-Energie, die, wenn bei hohen Strömen getan eröffnet eine ganz neue Büchse der Pandora war. Eine der beobachteten Eigenschaften der Vorrichtung war, dass, wenn der Strom erhöht wurde, das gemessene Gewicht der Vorrichtung um etwa ein Pfund reduziert. Dies ist zwar nicht neu, schlägt er vor, dass der Raum / Zeit wurde ist verzogen. Die deutschen Wissenschaftler am Ende des Zweiten Weltkriegs war mit diesem (und töten die unglücklichen Menschen, die verwendet werden, um das System zu testen wurden) experimentiert - wenn Sie viel Ausdauer haben, können Sie sich über diese in preiswerten Buch Nick Cook "The Hunt for Zero-Point "ISBN 0099414988.
Floyd gefunden, daß das Gewichtsverhältnis seines Gerätes im Verhältnis reduziert auf die Menge an Energie erzeugt wird. Aber er fand, dass, wenn die Last genug erhöht wurde, ein Punkt plötzlich erreicht, wo ein lautes Geräusch wie ein Wirbelwind produziert wurde, obwohl es keine Bewegung der Luft. Der Sound wurde von seiner Frau Rose, die in einem anderen Zimmer der Wohnung und von anderen außerhalb der Wohnung war zu hören. Floyd nicht erhöhen die Last weiter (das ist nur so gut wie er wohl eine tödliche Strahlendosis erhalten haben, wenn er) und nicht den Test wiederholen. Meiner Meinung nach ist dies ein potentiell gefährliches Gerät. Es sollte beachtet werden, dass ein sehr tödlich 20.000 Volt verwendet wird, um "Zustand" die Magnete und die Prinzipien der Betrieb zu diesem Zeitpunkt nicht verstanden werden. Außerdem gibt es nur unzureichende Informationen zur Hand, um realistische Beratung über praktische Konstruktionsdetails bieten.
Bei einer Gelegenheit, Floyd versehentlich die Ausgangsleitungen kurzgeschlossen. Es war ein heller Blitz und die Drähte wurden abgedeckt mit Frost. Es wurde festgestellt wurde, dass, wenn die Ausgangslast über 1 kW, die Magnete und Spulen Versorgen der Vorrichtung war kälter und erreicht eine Temperatur von 20 Grad Fahrenheit unter Raumtemperatur. Einmal empfangenen Floyd einen Schock aus der Vorrichtung mit dem Strom, der zwischen dem Daumen und dem kleinen Finger einer Hand. Das Ergebnis war eine Verletzung ähnlich Erfrierungen, was ihm erhebliche Schmerzen für mindestens zwei Wochen.
Beobachteten Eigenschaften der Vorrichtung gehören:
1. Die Ausgangsspannung nicht ändert, wenn die Ausgangsleistung von 100 W bis 1 kW erhöht wird.
2. Das Gerät benötigt eine kontinuierliche Belastung von mindestens 25W.
3. Der Ausgang fällt in den frühen Stunden des Morgens aber wieder später ohne Intervention.
4. Ein lokales Erdbeben kann das Gerät zu stoppen Betriebssystem.
5. Die Vorrichtung kann in eigener Stromversorgung durch kurzes Anlegen 9 Volt an die Antriebsspulen gestartet werden.
6. Das Gerät kann durch kurzzeitige Unterbrechung der Stromversorgung der leistungsspulen gestoppt werden.
7. Herkömmliche Instrumente arbeiten normalerweise bis zu einer Leistung von 1 kW und mehr funktioniert über diesem Pegel mit ihrer Messwerte zeigt Null oder eine andere störende Lesung.
Es scheint, dass Floyds Vorrichtung nach einem oder beiden großen Ferrit Permanentmagnete (Klasse 8, Größe 150 mm x 100 mm x 25 mm) wurde mit Spulen aufgewickelt in drei Ebenen zueinander in rechten Winkeln zueinander (dh in der x, y und umfasst z-Achsen). Die Magnetisierung des Ferrit-Magneten wird durch plötzlich Aufbringen 20.000 Volt aus einer Bank von Kondensatoren (510 Joule) oder mehr, um Platten auf jeder Seite davon, während gleichzeitig Antrieb eines 1 Amp 60 Hz (oder 50 Hz) im Wechsel durch die Erregerspule aktuellen modifizierten . Der Wechselstrom sollte bei der Frequenz für die Ausgabe erforderlich ist. Der Spannungsimpuls an den Platten sollten zum Zeitpunkt, wenn das "A" Spulenspannung eine Spitze erreicht aufgebracht werden. Dies muss elektronisch ausgelöst werden.
Es wird gesagt, dass das Antreiben der Platten des magnetischen Materials bewirkt, während eines Zeitraums von etwa fünfzehn Minuten mitzuschwingen, und daß die angelegte Spannung in der Erregerspule modifiziert die Positionierung der neu gebildeten Pole des Magneten, so dass es in Zukunft, Resonanz bei dieser Frequenz und Spannung. Es ist wichtig, dass die Spannung an der Erregerspule in diesem 'Konditionierung' aufgebracht werden eine perfekte Sinuskurve. Shock oder Einfluss von außen kann zur Zerstörung des 'Konditionierung', aber es kann durch Wiederholung der Konditionierung wieder eingesetzt werden. Es sollte beachtet werden, dass die Konditionierung eventuell nicht beim ersten Versuch erfolgreich, aber Wiederholen des Prozesses auf der gleichen Magnet ist in der Regel erfolgreich sein. Nach Konditionierung abgeschlossen ist, werden die Kondensatoren nicht mehr benötigt. Die Vorrichtung braucht dann nur wenige Milliwatt von 60 Hz an den Eingang Spule zu geben bis 1,5 kW bei 60 Hz am Ausgang Spule. Die Ausgangsspule kann dann liefern die Eingangsspule auf unbestimmte Zeit.
Das Konditionierungsverfahren modifiziert die Magnetisierung der Ferrit-Platte. Vor dem Prozeß der Nordpol ist auf einer Fläche des Magneten und der Südpol auf der entgegengesetzten Seite. Nach der Konditionierung ist der Südpol nicht am Mittelpunkt stehen, sondern erstreckt sich auf die Außenkanten der Nordpolfläche, die sich nach innen von der Kante um etwa 6 mm. Außerdem gibt es eine magnetische "Blase" in der Mitte der Nordpol Gesicht und die Position dieser "Blase" bewegt, wenn ein anderer Magnet in der Nähe davon gebracht wird erstellt.
Das
konditionierte
1. Das "A" Spule gewickelt wird zuerst um den äußeren Umfang, wobei jede Windung 150 + 100 + 150 + 100 = 500 mm lang (plus eine kleine Menge durch die Dicke des Spulenkörpers Stoff). Es hat etwa 600 Windungen von 28 AWG (0,3 mm) Kabel.
2. Das 'B' Spule über den 100 mm Gesichter gewickelt ist, so ein wiederum ist etwa 100 + 25 + 100 + 25 = 250 mm (plus eine kleine Menge für das ehemalige Dicke und Clearing Spule 'A'). Es hat zwischen 200 und 500 Umdrehungen 20 AWG (1 mm) Draht.
3. Das 'C' Spule entlang der 150 mm Gesicht gewickelt, so ein wiederum 150 + 25 + 150 + 25 = 350 mm (plus der ehemalige Dicke, plus Freiraum für Spule 'A' und Spule 'B'). Es hat zwischen 200 und 500 Umdrehungen 20 AWG (1 mm) Draht und sollte den Widerstand der Spule "B" so gut wie möglich entsprechen.
Spule 'A' ist der Eingang Spule. Spulel 'B' ist die Ausgangsspule. Spule 'C' ist für die Konditionierung und zur Herstellung von Gravitationseffekte verwendet.

Zum Zeitpunkt des Schreibens, können Informationen und Fotos von dem ursprünglichen Gerät auf der Website gefunden werden:
http://www.intalek.com/Index/Projects/Research/Construction%20of%20the%20Floyd%20Sweet's%20VTA%20by%20Michael%20Watson.htm wo ein Papier von Michael Watson gibt viel praktische Informationen. Zum Beispiel sagt er, dass ein Versuchsaufbau denen er hatte:
Das "A" Spule mit einem Widerstand von 70 Ohm und einer Induktivität von 63 mH,
Das 'B' Spule gewickelt mit 23 AWG-Draht mit einem Widerstand von 4,95 Ohm und einer Induktivität von 1,735 mH, und
Das 'C' Spule, auch gewickelt mit 23 AWG Draht, mit einem Widerstand von 5,05 Ohm und einer Induktivität von 1,78 mH. Kapitel 3 enthält weitere Informationen über die VTA.
Rosemary Ainslie hat eine gepulste Heizsystem, die bei einer Leistung von COP = 17 gemessen wurde produziert. Dies ist ein neues Design und soweit ich informiert bin, wurde noch nicht von anderen Menschen repliziert wurden. Panacea-bocaf.org sind mit ursprünglichen Entwickler Rosemaries daran, eine unabhängige Implementierung der Heizung zu produzieren. Zu diesem Zeitpunkt hat die Heizung auf eine Baumusterprüfung Maßstab für Labor-Untersuchung und Messung gebaut worden und nicht in den Kilowatt-Bereich, die hoffentlich zu einem späteren Zeitpunkt kommen wird produziert.
Panacea haben ein 250-seitiges Dokument beschreibt die Forschung, die Prüfung, die Theorie, etc. Und das kann kostenlos heruntergeladen werden unter diesem Link produziert:
http://www.panaceauniversity.org/Rosemary%20Ainslie%20COP17%20Heater%20Technology.pdf
Da dieses Dokument enthält die Einzelheiten, die Wissenschaftler müssen für ernsthafte Prüfung und Entwicklung zu sehen, kann es ein wenig technisch für manche Menschen sein, so Panacea haben eine vereinfachte Version mit dem durchschnittlichen Haus-Bau Ermittler gerichtet und das kann kostenlos heruntergeladen werden unter Verwendung dieser Link:
http://www.panaceauniversity.org/Ainslie_heater_circuit_by_Patrick_Kelly.pdf
In sehr großen Zügen, erzeugt die Schaltung die gleichen kurzen, sehr scharf Spannungsimpulse, die die Grundlage für so viele "freien Energie"-Geräte sind. Die Schaltung sieht sehr einfach aus, aber trotz alledem ist der Weg, dass es funktioniert überhaupt nicht einfach. Die Schaltung unterhalb und einem schnellen Blick gezeigt wird, sieht es aus wie ein Standard-555-Timer chip, in vielen bestehenden Anwendungen eingesetzt. Wenn jedoch die Schaltung als 555 Impulsschaltung betrieben wird, dann ist die Ausgabe nicht COP>1.
Bei näherem Hinsehen bemerken wir, dass die Verbindung zwischen dem Ausgang des 555-Chip auf Pin 3 und dem Eingangstor Stift des FET, ungewöhnlich ist, da es nicht die übliche Spannungsteiler zwischen Pin 3 und der 0-Volt Boden Linie. Stattdessen wird das Gate direkt mit dem 555-Chip-Ausgang durch eine einzige, mit niedrigem Widerstand voreingestellten Widerstand gekoppelt ist.
Normalerweise kämpft ein NE555 Chip zu 50.000 Zyklen pro Sekunde zu erreichen und eine große Zahl von 555 Chips auf dem Markt nicht selbst bei noch dieser Frequenz zu betreiben. Um Rosemaries Schaltung in seinen COP>1 Betrieb zu erhalten, wird der Widerstand mit der Aufschrift "GATE" sehr langsam, um den Punkt, an dem die Schaltung instabil wird, über-Fahrten auf den normalen Betrieb des 555-Chip zu finden eingestellt und beginnt oszilliert der Resonanzfrequenz die gesamte Schaltung und zwingt die 555-Chip, ein Feedback-Komponente geworden. Der Schaltkreis erzeugt dann die scharfen, kurze Spannungen Spikes an mehr als das Zehnfache der Arbeitsgeschwindigkeit der 555-Chip und Pulsen der 10-Ohm-Heizelement mit "BELASTUNG" bei etwa 500.000 Pulsen pro Sekunde.
Dieser Satz des Betriebs ist eindeutig weit außerhalb der möglichen Leistung eines NE555 Chip, außer dem, die Zeitglieder des Chips soll die Herstellung einer viel niedrigeren Frequenz, wie es tatsächlich funktioniert, bevor die "GATE" Widerstand Einstellung führt die Schaltung zu durchbrechen Gestaltung seines normalen Betriebsweise und Starten des Hochgeschwindigkeits-Spike-Erzeugungseinrichtung, resonant Leistung. Die Schaltung verwendet wird hier gezeigt:

Wie Panacea-bocaf arbeiten zu testen und zu entwickeln, diese Schaltung weiter, wäre es eine gute Idee, um ihre freie Dokumentation auf die Gestaltung downloaden und halten ein Auge auf ihre Fortschritte auf diesem Gebiet zu sein. Die beiden Dokumente geben sehr sehr detailliert auf die Arbeit, die bereits geleistet wurde, und natürlich können Sie sich experimentieren mit dieser Schaltung und sehen, was Ergebnisse und Anpassungen können Sie sich selbst entdecken.
Joseph Kommentare: Die Experimente von Schauberger und andere haben die enorme und nahezu unbegrenzte Mengen Strom in Wasser untergebracht bestätigt. Das Folgende ist ein absurder einfache und praktische Methode zur Gewinnung dieser Energie. Es beschäftigt die "Coanda" oder "Cloud-Buster"-Effekt.
Ein Kunststoffrohr 350 mm bis 400 mm langen und etwa 65 mm Durchmesser wird mit destilliertem Wasser gefüllt. An jedem Ende, ausgesetzt zu dem Wasser, ein Kupfer-Endgerät, das sowohl für den elektrischen Eingang und Ausgang dient. Wiederaufladbare Trockenzellen geeigneter Spannung in Reihe mit den Eingangsanschlüssen verbunden ist. Wenn die beiden Ausgangsanschlüsse kurzgeschlossen oder mit einer Last verbunden sind, beginnt Strom fließt. Dies ist mitgerissenen Strom durch den Eingangsstrom. Wenn hohe Spannung angelegt wird, ist die Ausgangsspannung nahezu so groß wie die Eingangsspannung. Jedoch ist die Stromstärke unzureichend. Die Antwort auf das Problem ist Ultraschall. Es ist eine experimentelle Tatsache, dass Ultraschall von 600.000 Hz auf einem Behälter mit Wasser fokussiert das Wasser zu kochen verursacht. Dies bedeutet, dass Ton dieser Frequenz große Mengen von "soft" Elektronen im Wasser zerfällt. Die plötzliche Freisetzung von "harten" Elektronen produziert enorme thermische Bewegung der Wassermoleküle.
Ein Gleichstrom Ultraschallwandler an der Röhre erzeugen würde genügend freie Elektronen für das Gerät mitgeführt werden, um nahezu unbegrenzte Ausgabe Potential haben. Die Röhre wirkt wie ein Resonanzboden. Herr Cater wurde mächtige Beweise, dass zwei unterschiedliche Personen, die diese Informationen erhalten, sensationelle Ergebnisse erhielt vom Generators. Sie hatten Zugang zu solchen Wandlers. Sie versuchten, sich in Unternehmen, sondern die Interessen sorgte dafür, dass sie waren das Handwerk zu legen und überredete zu schweigen seitdem.
Ein Mitarbeiter von Herrn Cater baute einen faustgroßen Sirene, die eine Frequenz von 600 kHz erzeugt. Wenn auf einem kleinen Behälter mit Wasser konzentriert, gekocht das Wasser. Dies zeigte, dass es anstelle eines Festkörper-Gleichstrom Ultraschallwandler konnten auf dem Wasser Generator verwendet werden. Eine kleine Gleichstrom Motor operieren könnte die Sirene. Es wäre viel effektiver, da sie eine viel intensiver Klang erzeugt. Der Bau wird hier gezeigt:

Dr. Oleg V. Gritskevitch von Wladiwostok in Russland, der Inhaber von einigen 70 Patente, entwickelt und umfassend getestet einen elektrischen Generator in die gleiche Richtung wie Joseph Cater das Gerät oben erwähnt. Es nutzt keinen Kraftstoff und hat einen Gleichstrom-Ausgang von 220 Volt bei 6.800 Ampere (1,5 Megawatt) für mehr als zwei Jahre. Wie von Dr. Gritskevitch erbaut, ist dies nicht ein Haus-Erbauers ideales Projekt als massive elektrischen Eingang benötigt wird, um das Gerät gestartet wird, und sein Prototyp wiegt 900 kg (fast 2.000 lbs). Einzelheiten sind auf der sehr guten RexResearch Website gegeben: http://www.rexresearch.com/gritskevich/gritskevich.htm aber in groben Zügen, ist das Gerät eine ringförmige Rohr etwa zwei Meter im Durchmesser, auf der Innenseite mit Barium titinate beschichtet und mit ultra-reinem destilliertem Wasser mit "schweren Wassers" gemischt. Innerhalb des Toroids sind elektromagnetische Spulen und es umgibt, Kupferrohre tragenden Kühlwasser um die Temperatur auf 50 Grad Celsius zu halten. Auch in den toroid in Abständen um den Umfang eingefügt sind elektrische Kontakte.

Das Gerät wird, indem sie dem Wasser eine massive Hochspannungsentladung von rund 100.000 Volt bei 50 mA für drei bis fünf Minuten gestartet. Diese Macht Input bekommt das Wasser ionisiert und im Umlauf. Der Kreislauf wird durch die elektromagnetischen Spulen gehalten und die Leistung etwa COP = 100.
Oleg starb, ohne jemals die Finanzierung für seinen Entwurf (ein typisches Verfahren zur Blockierung der freien Energie Geräte auf den Markt kommen). Eine genauere Beschreibung des Gerätes und den Betrieb stammt von Oleg direct:
Dies ist eine Beschreibung der Bau und Betrieb von Oleg V. Gritskevitch die hydro-magnetischen Dynamo, die ein Beispiel für eine sehr leistungsfähige neue Energie-System ist. Der Prototyp in Armenien hat rund 1.500 Kilowatt über einen Zeitraum von mehreren Jahren auf.
Oleg
geboren am 14. August 1936 geboren und wuchs in
Einführung
Während
der 1999 Symposium des Instituts für Neue Energie, dozierte er auf seiner
hydro-magnetischen Dynamo. Dieses Papier ist sein Versuch, den Bau und den
Betrieb von seiner Dynamomaschine erklären. Um seine Geheimnisse vor Ermittlern
schützen, er, bei Gelegenheit, irreführende Angaben. Zum Beispiel kann der
begleitenden Zeichnung russische Patent unten erwähnt, zeigt ein Zylinder über
den Toroid irrezuführen Leser. Die wirkliche dynamo hat den toroid allein, ohne
den Zylinder. Selbst sein Name "hydro-magnetischen Dynamo" ist etwas
absichtlich irreführend.
Oleg
erklärte, dass er eine gewisse Vertrautheit hatte mit der neuen Energien. Fast
alle angebliche neue Energie-Geräte sind ziemlich kleine elektrische
Generatoren. Der Dynamo kann die einzige neue elektrische Generator, der am
nächsten erfüllt alle Anforderungen an ein ideales großflächigen elektrischen
Generator sein. Oleg behauptete, dass seine Dynamos ist wirklich die einzigen
wertvollsten Erfindung die Welt je gekannt hat.
Alexander
V. Frolov von
Oleg
arbeitete an der Theorie und Erstellung des elektrostatischen
Generator-Konverter die "Hydro-Magnetic Dynamo" für ca. 20 Jahre. Die
ersten primitiven Ausrüstung wurde erstellt, wenn Oleg arbeitete in der Akademie
der Wissenschaften. Während dieser Zeit wurden verschiedene Änderungen im
Generator und in der Theorie, wie es funktioniert eingeführt. Als Ergebnis ist
es nun für Herstellung, Installation und Anwendungen in der Industrie.
Oleg
machte den ersten öffentlichen Bericht über seine Arbeit im Jahr 1991 bei einem
Symposium in Volgodonsk Stadt. Sein Bericht erhielt positive Reaktionen und
Bewertungen von Experten in der Atomindustrie in der UdSSR. Im selben Jahr
wurde er in die International Nuclear Society akzeptiert. In diesen Jahren bot
er die Entwicklung dieser Technologie zu verschiedenen staatlichen Stellen und
privaten Unternehmen. Aber die Antwort von allen war "Es ist ein sehr
interessantes und wichtiges Projekt, aber wir können nicht finanzieren.
Schließlich
versuchte Oleg, um diese Technologie in den
Geschichte
Dieses
Projekt war das Ergebnis eines Artikels im August 1972 Ausgabe des beliebten
russischen Zeitschrift Tehnika Molodiozhi. Der Artikel von A. Kaldamasov
geschrieben wurde Kugelblitz in einer Flüssigkeit zu. Der Artikel erregte die
Aufmerksamkeit von Michail Razovsky und Oleg im Jahr 1974. Oleg Gruppe von
Freiwilligen und Enthusiasten für eine neue Energiequelle suchen und so ist
dieser Artikel diente als Ausgangspunkt für das Verständnis der
chemisch-physikalischen Vorgänge im Wasser. Im Zeitraum 1976 bis 1978 ein Jahr
wurde in der radiologischen Labors der Vladivostok Stadt Krankenhaus verbracht,
darunter Vladilen Bulgakov, Radiologie Arzt und Michail Razovsky, Theoretiker
in der Plasmaphysik Feld und andere, die Montage einer Vorrichtung, die zur
Trennung von Wasser sollte eigentlich in Sauerstoff und Wasserstoff
effizienter. Während der Experimente statt der erwarteten Ergebnisse,
produziert sie Strom sehr effizient! Die Leistungsaufnahme während des
Experiments war eine 800-Watt-Wasserpumpe. Der Ausgang war 1.400 Watt (COP =
1,75). Dieses Gerät wurde unter Verwendung von Kunststoffrohren mit Schläuchen,
wo das Wasser in einer Schleife zirkuliert verbunden war. Dies führte dann zu
der Idee, die zweite Vorrichtung als Generator-Toroid geleitet.
Der
zweite Generator wurde in der Werkstatt des Ocean Research Institute in
Wladiwostok (Director Akademiemitglied Viktor Ilichov) montiert, und im Sommer
1990 wurde der Prüfstation des Ministeriums für Elektronik-Industrie in
Wladiwostok transportiert. Dieses Labor wurde auch mit allen notwendigen
Instrumentarien ausgestattet. Zur gleichen Zeit wurden Patent-Papiere in der
USSR State Committee of Inventions eingereicht. Im Frühjahr 1991 hat die
Staatliche Kommission, durch Jurij Lebedev, der Vorsitzende der Innovation und
Vorsitzender der Russischen Föderation Ministerrat führte, kam in Wladiwostok.
Diese Kommission kam in die Stadt aus zwei Gründen: zum einen finanziellen
Anfrage für die Herstellung des Dynamos zu empfehlen; und diese Energiequelle
als "Discovery" zu klassifizieren. (Dokument Nr. 14-451).
Nach
der nächsten Änderung der russischen Regierung die Finanzierung für das Projekt
wurde abgebrochen. Der erste Artikel über den Dynamo wurde in der russischen
Zeitschrift (Tehnika Molodyozhi 1990, Nr. 3, März-Ausgabe, Seite 17, Titel
"Innovator Ideen" veröffentlicht.
Mehrere
armenische Physiker, nach dem Lesen dieses Artikels, schickte Oleg einen Brief
und bat, mit ihm in Wladiwostok zu treffen für die Verhandlungen über den
Dynamo. Sie kamen März 1991 und lief Tests auf dem zweiten Generator, der
operative damals. Oleg flog nach Armenien, und die Arbeit an der dritten
Generator gestartet am Ende des Jahres 1991. Es wurde am Ende des Jahres 1992
abgeschlossen. Es wurde den Betrieb und die Erzeugung von Energie bis Januar
1997, wenn es während des Krieges zerstört wurde. Einige Menschen wurden
getötet und ebenfalls andere Menschen zog in die
Oleg
war ein Gastredner der Konferenz der Alternative Energy Institute (Dr. Hal Fox)
in
Dynamo Theorie
Die
Hydro-Magnetic Dynamo ist eine groß angelegte, emissionsfreien elektrischen
Generator, die keine externe Betankung. Der Dynamo ist in der Lage die
Stromversorgung großen Transportfahrzeugen wie Busse, LKWs, Schiffe,
Lokomotiven und Flugzeuge. Zweifel bleibt darum Dynamos kompakt genug, um
Triebköpfe.
Während
drei experimentelle Prototypen mit russischen und armenischen Fachwissen und
die Ausrüstung gebaut worden sein, muss ein Viertel Demonstration Prototyp mit
modernen westlichen Engineering-Kompetenz und Ausrüstungen an die Lichtmaschine
die Leistung Ansprüche zu überprüfen und weiter zu erforschen das Dynamo
Potenzial Fähigkeiten aufgebaut werden.
Die beanspruchte Leistung ist wie folgt:
Dynamos
sind skalierbar von 100 Kilowatt bis 1.000 Megawatt. Ein 1000-Megawatt-Dynamo
ist etwa die Größe einer Garage für zwei Autos. Zum Vergleich haben Hoover Dam
17 Generatoren mit einer Gesamtkapazität von 2.000 Megawatt. Ein Dynamo
zuverlässig kontinuierlich laufen für 25 Jahre oder mehr mit wenig oder gar
keine Wartung, keine externe Energiequelle und keine Umweltverschmutzung. Wenn
ein Dynamo-Ausgang beträgt 1.000.000 Watt, ist die Gesamt-leistung ca. 10.000
Watt und so die Lichtmaschine Energie-Effizienz ist über 10.000%.
Die
Quelle des Dynamos riesige elektrische Leistung ist eine Kernreaktion, die in
der Regel nicht auf Mainstream-Wissenschaft bekannt. Es ist jedoch bekannt,
dass der Dynamo Alphateilchen, die Heliumkerne sind, die aus geschmolzenem
Deuterium, ein Isotop von Wasserstoff mit einem Proton und einem Neutron aus
produziert. Die Elektronen fehlen aus dem Helium-Kerne sind das, was scheint
ein reichhaltiges "Senke" von Elektrizität, und das ist das Geheimnis
des Dynamos die Fähigkeit, um eine außergewöhnlich große Menge an Strom zu
erzeugen. Es ist auch bekannt, dass der Dynamo hochdichten Ladung Clustern
verwendet. Hochdichten Ladung Cluster von einigen Theoretikern gedacht, um die
Basis von Plasma-gespritzt Transmutation von Elementen und die Neutralisation
von radioaktiven Materialien sein. Im Gegensatz zu heißen Kernfusion und
Kernspaltung Reaktoren, ist der Dynamo nicht ansammeln keine radioaktiven
Komponenten.
Das
Ergebnis der Dynamo-Prozesse ist die Umwandlung von elektrostatischen Feldern
in Gleichstrom. Es sollte beachtet werden, dass ein klares Verständnis von
Begriffen wie "Coulomb Bekehrung" und "flüssig Van de Graff
Generator" sehr wichtig ist.
Schematisch
ist der Dynamo eine elektrostatische Transformator, oder in anderen Worten eine
elektrostatische Spannungsvervielfacher. Eine Version des Dynamos nutzt Laser zu
starten. Es gab drei Dynamos Prototypen gebaut. Die ersten beiden kleinen experimentellen Prototypen wurden
in Wladiwostok, Russland gebaut. Der dritte und letzte Prototyp erzeugten Strom
kontinuierlich (außer wenn Sie Verbesserungen beinhalten eingeschaltet), von
1992 bis Januar 1997 in Armenien.
Wie
bereits erwähnt, erzeugt die armenische Prototyp einer Gleichstrom von 6.800
Ampere bei 220 Volt, die etwa 1,5 Megawatt. Minimale Leistung hat 500.000 Watt
und die maximale Leistung hat 2.500.000 Watt im Winter Experimenten aufgrund
der besseren Kühlung. Die armenische Prototyp Dynamo toroid wog 900 Kilogramm
und hatte einen Durchmesser von ca. 2 Metern. Kühlwasser wird durch Kupferrohre
um den Ringkern gewickelt zirkuliert. Die Wärme aus dem Kühlwasser mit einem
Wärmeaustauscher ausgetrieben. Die Betriebstemperatur betrug typischerweise 36
Grad Celsius.
Nach
ein Dynamo montiert ist, ist das Wasser buchstäblich "Starthilfe"
(durch Entladen eine große Bank von Kondensatoren), um es zirkuliert im Inneren
des Torus. Der Startimpuls Druck ist so hoch wie 400 Atmosphären. Der Dynamo
Die Kontrollen werden vorübergehend eingestellt, um eine bescheidene Menge an
Strom ausreicht, um sich selbst zu erhalten, vielleicht sogar, während sie von
der Fabrik bis zum Ort seiner künftigen Betrieb transportiert Erzeugung. Die
Steuerschaltungen sind einfach wie nur Sensoren und einem Steuerrechner
verwendet werden. Wir brauchen keine technischen Wartungspersonal.
Für
die armenische Prototyp Dynamo, wurden zwei 10-Farad Kondensator-Batterien
verwendet werden, um das anfängliche Wasser Bewegung (Beschleunigung und
Anregung von Wasser) geben. Die Kondensatoren wurden 20 Kilogramm je, mit einem
Durchmesser von 50 Zentimetern und wurden von russischen Militärs
Radarstationen entlehnt. Mit insgesamt 20.000 Joule wurden 100.000 Volt bei
0,05 Ampere Strom an den Armeniern Dynamo für 3 bis 5 Minuten zu ionisieren und
polarisieren das Wasser, das dann begann die Erzeugung von Strom eingesetzt.
Der
Grund für die sehr hohe Spannung, die durch den großen russischen Radar
Kondensatoren vorgesehen, beim Anlassen des Generators, zu sein scheint, um die
Kristalle von Bariumtitanat zu polarisieren. Ein Vergleich mit der
elektronischen Zündung auf einem Gasherd. Sobald die Kristalle Bariumtitanat
polarisiert sind, wird der Generator läuft.
Nachdem
diese Kondensatoren verwendet worden war, um "Starthilfe" die
armenische Prototyp Dynamo, erlitten eine Bank von Pufferbatterien
Dauerbetrieb, wenn das Wasser Bewegung und ionisierende begann. Diese Batterie
Bank enthalten 8 leistungsstarke 12-Volt-, 150-Ampere-Blei-Batterien. Die
armenische Dynamo Erhaltung Eingangsleistung war 14.400 Watt. Die nominelle
maximale Ausgangsleistung war etwa 1.500.000 Watt. Bei einer Gelegenheit wurde
der Ausgangsstrom versehentlich zu 40.000 Ampere für fast eine Minute erhöht.
Glücklicherweise wurde die Leistung auf ein ungefährliches Maß reduziert
werden, bevor das Wasser begann zu kochen. Interne Spulen (Wicklungen) dienen
zur Kontrolle des Wasser-Geschwindigkeit und damit die Kontrolle dynamo Macht.
Je schneller das Wasser sich bewegt, desto mehr Strom die Lichtmaschine
erzeugt. Sobald das Wasser stoppt umströmt dem toroid, muss der dynamo sein
"Sprung gestartet 'wieder auf einen minimalen Leistungspegel, bevor es
seine Stromerzeugung mit seinen eigenen Ausgangsleistung aufrechterhalten kann.
Das
Folgende ist eine verkürzte Zusammenfassung mit einigen Bearbeitung und
zusätzlichen Kommentar, der "Beschreibung" des Dynamos die russische
Patent IPC H 02 K 44/00 "Verfahren zur Ableitung von elektrischer Energie
und Realisierung von Gritskevich die MHD-Generator":
Der
Dynamo ist eine versiegelte Polystyrol Toroid mit ultra-reinem destilliertem
Wasser mit schwerem Wasser (Deuteriumoxid) hinzugefügt gefüllt. Die Bewegung
des Wassers im Inneren der geschlossenen Schleife und die Verwendung der einzigartigen
Eigenschaften von Wasser als polare Flüssigkeit, bewirken eine Freisetzung von
elektrischer Energie als Ergebnis von einem Bruch der
Wasserstoffbrückenbindungen. Zusätzliche elektrische Energie aus Kernreaktionen
und Mikro-Kavitäten-Prozessen gezeichnet. Die Flüssigkeit wird ionisiert,
polarisiert, und Bewegen des Toroids beim Start-up-Zeit durch einen laufenden
Magnetfeldes mit Hilfe von elektromagnetischen Wicklungen stimulieren.
Elektrostatische
Generator-Transformator "Hydro-magnetischen Dynamo". ("GT
HMD") arbeitet aufgrund der Prozess der Verstärkung und Aufrechterhaltung
eines stationären (oszillierenden insbesondere) elektromagnetische Feld durch
hydrodynamische Bewegungen des leitenden Mediums. Der Stator (dh die Toroid)
aus Materialien mit einer hohen Dielektrizitätskonstante hergestellt. Flüssige
Rotor ist ein rekombinierten Wasser ("reinen" Wasser mit
hochmolekularen Verbindungen), die aufgrund der Hochspannungsentladungen und
läuft elektromagnetischen Feld bewegt.
Die wichtigsten Prozesse in GT HMD sind:
Ein Prinzip der elektrostatischen
Generator Van-der-Graffs, wobei der feste Isolierbandes auf die Flüssigkeit ein
geändert wurde.
Ein ewiger Auswaschen der Oberfläche
Elektronen aus der Abstandsschicht stattfindet;
Die Coulomb-Transformationen
stattfinden;
A einzelnes-Niederfrequenz-Generator
arbeitet als koaxiale wiederum mit 4 Resonanzstellen und Energie tragenden
Substanz darin, die sehr hohe Resonanz-Eigenschaften besitzt;
Die elektrostatischen Störungen der
Kavitation-Vakuum-Strukturen in Wasser statt.
Die
polare Flüssigkeit (reines Wasser) aus Dipolen, dh nur streng orientiert
geladene Moleküle. Bei der Wechselwirkung des ionisierten reinem Wasser mit der
Schicht BaTiO3 das elektrostatische Feld von über 10 Millionen Volt / cm gebildet
wird. Während dieses Prozesses der Zusammenbruch der physikalischen Vakuum
stattfindet.
Das
elektrostatische Feld, mit der Wirkung der BaTiO3-Schicht (wenn wir elektrische
eingereicht, um BaTiO3, dann ist diese Schicht die Schallwellen von etwa 25.000
Hz erzeugt gelten, hilft diese Schwingung zu brechen die Wassermoleküle)
gekoppelt und ermöglicht die weitere Aufschlüsselung der die
molekularen-atomaren Strukturen von Wasser. Auch aufgrund der ewigen
elektrostatische Entladungen, erfolgt die Aufteilung der
Kavitation-Vakuum-Strukturen und die kalte Fusion Kernreaktion weiter. Mit
dieser Fusion der Energie von 500 kJ / Mol freigesetzt wird im Vakuum und einer
Energie von 6 kJ / Mol freigesetzt in Wasser. Somit bilden neue
Wasserstoffbrückenbindungen im Vakuum mit der Energie Befreiung von etwa 20 kJ
/ mol. Durch diesen Prozess der Beschleunigung der Ionisation von polaren
Flüssigkeit stattfindet. Darüber hinaus tritt die Konstante
"Auswaschen" der unvollständigen Bindung Elektronen von der Schicht
aus Bariumtitanat und freien Elektronen Form. Durch diesen Prozess
transformiert der polaren Flüssigkeit in einem geordneten Fluss von Elektronen
und negativen Ionen, die sehr einfach beschrieben werden kann, als
ionische-Strom.
Die
Arbeiten am Bau der Versuchsanlage Generator gestartet im September 1991 in
Armenien und kam zu einem Ende März 1992. Die aktiven Working Gewicht der
Prototyp des Dynamos (Torus + Wasser) betrug etwa 900 kg. Der Durchmesser des
Torus betrug etwa 2 Meter. Der Torus aus schlagzähem Polysterol Optik
hergestellt. Diese Torus aus zwei Hälften, die auf der merry-go-round Maschine
eingeschaltet wurden.
Das
Bariumtitanat BaTiO3 monocrystallic auf der Innenfläche des Torus gesprüht
wurde, war seine Dielektrizitätskonstante 6000. Die Dicke der Schicht war etwa
1 Mikrometer. Das Wasser wurde auf den spezifischen Widerstand von 18.000.000
Ohm / cm gereinigt.
Wie
wir bereits erwähnt, um die Lichtmaschine zwei Kondensator Gläser 10 Farad
wurden jeweils verwendet starten. Die Energie eines Starterbatterie gebildet
20.000 Joule betrug die Spannung 100.000 Volt und der Strom betrug 0,05 Ampere,
um die anfängliche Bewegung des Wassers (Beschleunigung und Störung)
bereitzustellen.
Die
Elektroden wurden aus Metallrohre mit einem Durchmesser von ca. 5 mm gefertigt.
Der Dynamo wird gestartet Verwendung dieser Elektroden. Insgesamt 32 dieser
Elektroden installiert wurden gleichmäßig über den Umfang des Toroids verteilt
sind.
Die
toroid das Kühlsystem bildeten einen geschlossenen Kreislauf von Kupferrohren
mit gereinigtem Wasser durch sie verbreitet. Die Kupferrohre in diesem System
verwendet wurden mit Glasisolierung bedeckt. Sie waren auch die Windungen der
Wicklung Last. Die Temperatur des Toroids war nicht höher als 50 Grad Celsius
gehalten wird.
Eine
durchschnittliche Leistung betrug 220 Volt x 6.800 Ampere = 1.490 Kilowatt. Der
Strom war GLEICHSTROM. Periodisch die Macht könnte zu 2.500 kW erhöht werden,
wenn eine ausreichende Kühlung des Generators vorgesehen sein. Die zusätzliche
Leistung wurde von vier Resonanz Wicklungen gezogen. Dieser Wechselstrom, nach
Gleichrichtung, wurde verwendet, um das Back-up-Batterie zu laden. So bildeten
die gesamte Ausgangsleistung mehr als 1.500.000 Watt. Die niederfrequenten
Spannung wurde aus den erhaltenen Wicklungen Last und der Gleichstrom wurde aus
der Stabilisierungskammer erhalten.
Es
sollte beachtet werden, dass die Hochspannungsentladungen der 32 Elektroden,
ionisieren die teilweise vorgestanzte ionisierten Wasser weiter werden. Mittels
der Stimulation Wicklungen wird ein umlaufendes Magnetfeld erzeugt, bewegt das
Wasser in einer Richtung innerhalb des Toroids. Eine elektromotorische Kraft
wird durch die elektromagnetische Induktion in einem separaten Satz von
Wicklungen angelegt. Wie bereits erwähnt, während der Bewegung des
Wasserstrahls werden freie Elektronen erzeugt, und eine zusätzliche Energie
wird wegen der Wasseroberfläche Reibung gegen die Überzugsschicht auf der
inneren Oberfläche des Toroids emittiert, wegen elektrostatischer Ausfällen von
Hohlraum-Vakuum-Strukturen und aufgrund der anhaltenden Kernreaktion.
Wenn
der Dynamo-Ausgang beträgt 1.000.000 Watt, ist es insgesamt Leistungsaufnahme
beträgt ca. 10.000 Watt. So also der Dynamo der Energieeffizienz liegt bei ca.
10.000%.
Zusätzlich
zu der auf dem Bariumtitanat teflonbeschichteten Innenfläche des Polystyrol
Toroids abgeschieden, das Wasser selbst enthält winzige Bariumtitanat
Kristalle, die in dem Wasser suspendiert sind. Ultraschall bei 25.000 Zyklen
pro Sekunde durch das Wasser vermehrt um Mikroblasen auf den Oberflächen der
suspendierten Bariumtitanat Kristalle zu bilden. Auch aufgrund der
Bariumtitanat die piezoelektrischen Maßnahmen werden sehr hohe elektrostatische
Felder auch innerhalb der Mikroblasen an der Oberfläche der Kristalle entwickelt.
Die Elektronen von der Kernreaktion sind mit den Elektronen an der Innenfläche
des Torus erzeugt zugegeben. Die Gesamtmenge des monokristallinen Bariumtitanat
im armenischen dynamo war nahezu 1000 Gramm. Satellites, Lokomotiven,
Lastwagen, Flugzeuge und Schiffe sind offensichtliche Transportschäden
Anwendungen.
Dynamo-Wirtschaft
Der
Dynamo Produktion Kosten werden auf 500 $ pro Kilowattstunde, die sehr
wettbewerbsfähig ist, wenn die Kernenergie die Kapitalkosten von $ 5.000 pro
Kilowattstunde, Windmühle Kapitalkosten von $ 4.000 pro Kilowattstunde, etc. im
Vergleich Ein gut geführtes Atomkraftwerk kann Strom für 1,5 Cent pro erzeugen
geschätzt Kilowattstunde, Kohle 1,8 Cent, Erdgas 3,4 Cent und Öl 4,1 Cent, im
Durchschnitt. Der Dynamo Die operative Kostenbasis würde etwa 0,1 Cent pro
Kilowattstunde ohne externe Kraftstoff benötigt und ohne jede Verschmutzung
geschaffen.
Diese
Dynamos ersetzen könnten alle Kernkraftwerke, Solaranlagen, Holz-brennenden
Öfen, hydro-elektrische Generation, etc. Eine aktuelle IEEE Spectrum Artikel
erklärt, dass die weltweite Nachfrage nach Strom steigt um rund 500 Megawatt
pro Tag. Um dieses in Perspektive zu setzen, das ist das Äquivalent von Bau
eines weiteren
Der
Text der Patentanmeldung bereits erwähnt ist nicht in Englisch, obwohl die
Zusammenfassung der Patent mit der Nummer WO 01/15305 A1 wurde ins Englische
übersetzt:

Patrick Kelly