Eine Praktische Anleitung zum
Energie Kostenlos Geräte
Autor: Patrick J. Kelly
Es wird in der Regel nicht bewusst, dass überschüssige Energie aus pulsierenden ein Schwungrad oder andere Schwerkraft kann erhalten werden.

Diese Tatsache wurde kürzlich von Lawrence Tseung, die die zusätzliche Energie auf diese Weise als "Lead-out" gewonnene Energie bezieht hervorgehoben worden. Diese gravitative Funktion wurde ein Teil der universitären Ingenieurausbildung für Jahrzehnte, wo es gelehrt hat, dass die Be-Stress auf einer Brücke durch eine Last rollen über die Brücke verursacht weit weniger als die Stress verursacht wird, wenn das gleiche Last plötzlich auf die gelöschte Brücke.
Dieser Impuls-Technologie hat seit einiger Zeit bekannt und es wird gezeigt, fahren mit dem Kanu in dem Video an http://www.youtube.com/watch?v=XMhAIdqH0Cs aber Lawrence Punkten auf das Potenzial für die Verwendung als eine Methode zur Gewinnung überschüssige Energie für die praktische Verwendung. Im Oktober 2009 lief Lawrence und seine Bande von Helfern öffentlichen Demonstrationen von einem frühen Prototyp elektrischen Pulsen, das überschüssige Leistung Energie COP = 3,3, das heißt, mit 3,3-mal mehr Leistung Energie als der Benutzer hineingesteckt, um es zu machen hat produziert arbeiten:

Video: http://www.youtube.com/watch?v=tiafQ9R-REs&feature=mfu_in_order&list=UL
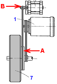
Hinter diesem Gerät ist

Da sich die Scheibe dreht,
fällt die Kugel über die gesamte Länge
des Rohres. An einem Ende weist das Rohr eine starre Kappe, die einen signifikanten Einfluss
verursacht, wenn der Ball ist. Das andere Ende
des Rohrs gepolstert ist und dass
federt den Aufprall, die eine Netto-Ungleichgewicht verursacht in den
Stößen und dass die
Rotation beibehält.
Es ist ein Prototyp Implementierung auf YouTube, aber die Umsetzung ist nicht ausreichend,
und die Disc nicht mehr dreht nach fünf
Minuten. Das YouTube-Video
befindet sich unter:
http://www.youtube.com/watch?v=zykButGc22U&feature=related und es gibt zwei wesentliche Probleme bei diesem bestimmten build. Erstens, das Rohr Rotation zu langsam, um effektiv sein und statt des Gewichts, die unter Schwerkraft und Beschleunigung auf einer guten Geschwindigkeit vor dem Aufprall ist, das Gewicht nur rollt sanft eine kleine Steigung und macht keinen großen Einfluss.
Zweitens sind die Gewichte viel zu klein für die Größe des Rades und es gibt nur zwei Gewichte Bereitstellen Auswirkungen sehr weit auseinander, wie das Rad dreht sich nur langsam beabstandet. Ein Mann machte einen Zehn-Fuß-Version und es gedreht stetig für zehn Monate nach welcher Zeit seine Frau bestand darauf, dass es auseinander genommen werden, da es zu laut war.
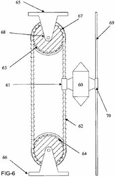
Ich würde einige Änderungen an dem Rad schlagen als

Auf diese Weise muss der Ball nicht rollen, bis der Hauptteil des Rohres nahe vertikal. Dies ermöglicht eine wesentlich größere Beschleunigung und Wirkung. Der gewichtete Kugel sollte viel größer sein, zB 2 "(50 mm) im Durchmesser und aus Blei, um eine signifikante Schub zu erzeugen. Auch die gepolsterte Enden der Röhren sollte mit der Schwenkachse des Rades ausgerichtet werden, so dass jede verbleibenden Auswirkungen nicht ausübend eine Drehkraft in die falsche Richtung. es eine negative Wirkung durch Drehen mit dem Hebelarm des Bodens beträgt. Diese Drehkraft ist dort nur für einen kleinen Bogen der Drehung als das Gewicht wird nach innen sobald rollen der Rohrabschnitt erhebt sich über der horizontalen und wie der Schlauch dann übergeht in einen kreisförmigen Kurve, die Bewegung nach innen ist sanft. wahrscheinlich wäre besser, wenn die Röhrchen wurden etwas im Uhrzeigersinn geneigt, anstatt genau wie in dem Diagramm gezeigt.
Zweitens sollte es acht Röhren werden auf der Disc, vier auf jeder Seite und eine Seite versetzt um 45 Grad, so dass es eine treibende Wirkung alle 45 Grad statt der 180 Grad von der Version im YouTube Video gezeigt. Mit dieser Anordnung von vier mal so viele Auswirkungen, die jeweils wesentlich größer, und ohne signifikante umgekehrte Auswirkungen hat das Rad eine viel bessere Chance auf eine erfolgreiche Rotation, ohne besonders groß sein. Das Rad selbst nicht leicht sein, da es als Schwungrad und einem gepulsten Schwungrad wirkt wurde bereits gezeigt, um überschüssige Energie zu erzeugen. Die Radlager sollten Kugelbahnen und nicht die geschlossene Sorte, da diese diejenigen mit Fett sind gepackt und haben einen ernsthaften Widerstand gegen Rotation. Stattdessen sollte die seitlich offenen Vielzahl Kugellager verwendet, da sie sehr frei drehen werden.
Mit geraden Rohren zur Illustration, könnte jedes Rohr so sein:

Hier wird ein Holz-Scheibe an jedem Ende eines Stücks Kunststoffrohr eingepasst und gehalten sicher mit Schrauben oder Bolzen, die durch kleine Löcher in dem Kunststoffrohr und die Schraube in die Holzscheibe gebohrt passieren. Ein Stück dicken Schwamms an die Scheibe an einem Ende geklebt und das schwere Gewicht im Inneren des Rohrs ist keine enge Passung, so dass es sehr frei bewegen kann in dem Rohr. Vier dieser Rohre werden mit jeder Seite jeder Scheibe in der Vorrichtung benutzten Fahrzeugen wie hier dargestellt:

Die vier Rohre an der Rückseite der Scheibe sind 45 Grad weg von den Rohren auf der Vorderseite der Scheibe montiert ist. Jedes Röhrchen wird sicher mit Riemen, die durch die Scheibe hindurchgehen und auf der anderen Seite gesichert befestigt. Die Rohre können auch an Ort und Stelle geklebt werden zur weiteren Stärkung der Befestigung. Diese acht Röhren geben eine unausgewogene Auswirkungen für alle 45 Grad Drehung. Wenn zwei dieser Scheiben auf einer gemeinsamen Rotorwelle befestigt sind, dann wird die zweite Scheibe kann rund 22,5 Grad von der ersten positioniert werden. Diese Anordnung ermöglicht eine unausgewogene Auswirkungen für alle 22,5 Grad Drehung. Wenn drei Scheiben auf einer gemeinsamen Rotorwelle platziert wurden und gleichmäßig positioniert, dann gäbe es eine unausgewogene Auswirkungen alle 15 Grad Drehung, die 24 Schläge pro Umdrehung ist. Eine Zwei-Disc-Anordnung könnte wie folgt aussehen:

Wenn der Rotor dreht gut, dann würde es sich lohnen Anbringen einer Reihe von Magneten auf die Scheiben, wobei darauf zu halten, jede Scheibe perfekt ausbalanciert. Eine oder mehrere Luftspulen kann dann verwendet werden, um zu bestimmen, ob Strom von dem Gerät ohne Anhalten der Drehung gezogen werden kann. Die Spulen sollten nicht einen magnetischen Kern, dass ein großer Hemmschuh für die Rotation, ob Strom, der gezogen wurde oder nicht verursachen würde.

Kürzlich
zeigte Mr. Chas Campbell of

Aber was dieses Diagramm nicht angezeigt wird,
ist, dass ein paar der Antriebsriemen mit übermäßiges Spiel gelassen werden.
Dies bewirkt eine schnelle Abfolge von Zuckungen im Antrieb zwischen dem Motor
und dem Stromnetz Schwungrad. Diese treten so schnell, dass sie scheinen nicht
bemerkbar, wenn man das System in Betrieb. Jedoch dieser Strom von sehr kurzen
Impulsen in der Antriebskette, erzeugt eine beträchtliche Menge an
überschüssige Energie aus dem Gravitationsfeld gezogen. Chas wurde nun die
überschüssige Energie durch das Schwungrad immer bis zu Geschwindigkeit und
dann Umschalten des Antriebsmotors Eingang mit dem Ausgang Generator bestätigt.
Das Ergebnis ist ein self-powered Systems lauffähig zusätzlichen Lasten.
Lassen Sie
Das heißt, wenn das Schwungrad (was in den folgenden roten Fotografien) glatt mit konstanter Geschwindigkeit angetrieben wird, dann gibt es keine Energiegewinn. Allerdings, wenn das Laufwerk nicht glatt, dann überschüssige Energie aus dem Gravitationsfeld gezogen. Diese Energie zunimmt, wenn der Durchmesser der Schwungscheibe zunimmt. Es erhöht auch als das Gewicht der Schwungscheibe zunimmt. Es erhöht auch wenn das Schwungrad Gewicht wird so weit in Richtung der Felge des Schwungrades konzentriert wie möglich ist. Es erhöht auch, je schneller die Impulse auf das System angewendet.
Weist jedoch darauf hin, dass Jacob Bitsadze weiterer Mechanismus ins Spiel kommt, selbst wenn alle der Riemen vollständig gespannt sind. Der Effekt wird durch die fortwährende aktiven Beschleunigung des Materials des Schwungrades auf die Tatsache zurückzuführen, dass es in einer festen Position dreht verursacht. Er selbst bezeichnet es als "die Herrschaft der Schulter des Archimedes", die nicht etwas ist, mit dem ich vertraut bin. Der wichtige Punkt ist, dass Chas Campbell-System self-powered ist und kann Strom anderen Geräten.
Nun nehmen Sie einen Blick auf die Konstruktion, die Chas verwendet wurde:

Man
merkt, dass er nicht nur eine schwere Schwungrad eines fairen Größe, sondern,
dass es drei oder vier anderen Scheiben mit großem Durchmesser montiert, wo sie
drehen sich auch an den Zwischendrehzahlen. Während diese Disks auch nicht dort
als Schwungräder gelegt haben, trotzdem sie als Schwungräder handeln, und jeder
von ihnen wird auf die Freie-Energie-Verstärkung des Systems als Ganzes
beitragen werden. Ein Replikations-Video mit 750 Watt Eingang und 2340 Watt
Ausgang ist hier: http://www.youtube.com/watch?v=98aiISB2DNw
und diese Implementierung nicht angezeigt, eine schwere Schwungrad haben, wie
Sie von diesem Bild sehen kann, obwohl der größte Riemenscheibe sieht aus, als
ob es ein erhebliches Gewicht enthält:

Im
Jahr 1998, Jacob eine Patentanmeldung für ein Design von der Art, Chas Campbell
gezeigt, eingelegt. Jacob hat den Betrieb analysiert und zieht er die
Aufmerksamkeit auf eine wichtige Design-Faktor:

Jacob,
dass ein sehr wichtiges Merkmal für eine hohe Leistung mit einem solchen System
das Verhältnis der Durchmesser des Fahrens ist und Abtrieb Riemenscheiben auf
der Welle, die das Schwungrad enthält, insbesondere mit Systemen, bei denen das
Schwungrad mit hoher Geschwindigkeit rotiert. Die Antriebsriemenscheibe muss
drei oder vier Mal größer als der Zapfwelleneinheit Riemenscheibe. Verwendung
Chas '1430 rpm Motor und einen allgemein verfügbaren 1500 rpm Generator, die
12.09-Schritt bis zu der Welle des Schwungrades ermöglicht eine
zufriedenstellende Generatordrehzahl während ein Verhältnis zwischen dem 3,27
9-Zoll-Durchmesser Antriebsscheibe und 2,75 "Durchmesser Zapfwelleneinheit
Riemenscheibe. Wenn ein Generator, der für Wind-Generator Einsatz entwickelt
wurde und welche hat seinen Peak Ausgangsleistung bei nur 600 UpM verwendet
wird, dann eine noch bessere Scheibendurchmesser Verhältnis erreicht werden.
Im Jahr 1998 wurde dem spanischen Patent ES 2119690 José Luis García del
Castillo gewährt. Ich vermute, dass die in dem Patent gezeigt
Hilfsgeneratoren sind nur da, um das Patent zu bekommen durch die Patentprüfer
akzeptiert, nicht weil sie tatsächlich benötigt werden. Trifft das zu, dann ist das Design fast die
gleiche wie Chas Campbell Design, wenn auch in einer kompakteren Form gebaut:

Jacob Byzehr
ausführt, wird ein Energiegewinn durch Trägheitsbeschleunigung, indem die
Riemenscheibe "A"
auf der Schwungradwelle verbunden ist, größer ist als der Riemenscheibe "B" an der Welle des Generators
angebracht verursacht erreicht. So gezogen wird, gibt es einen großen
Unterschied in den Durchmessern. Hier ist der Versuch einer Übersetzung der
Patent:
Patent: ES 2119690 1 Oktober 1998 Erfinder: José Luis García
del Castillo
Autonome
Energieregenerationssystem

Abstrakt
Das System einen
elektromotorischen Antrieb (1)
aufweist, ein Hauptgenerator (2),
Hilfsgeneratoren (3), eine Batterie
(4), einen Laderegler (5) und einem Geschwindigkeitsregler (6). Das System ist für seine eigenen
Betriebsleistung zu erzeugen, und bieten eine zusätzliche Versorgung für andere
Zwecke..
BESCHREIBUNG
Gebiet der
Erfindung
Die vorliegende Erfindung bezieht
sich auf ein in sich geschlossenes System der Energierückgewinnung, die
zusätzlich hat mehrere Vorteile im Folgenden dargestellt.
Hintergrund der
Erfindung
Es ist seit vielen Jahren
bekannt, wie Maschinen, die elektrischen Strom erzeugen können, zu
konstruieren. Diese werden von dem generischen Namen
"Stromgeneratoren", bestehend aus drehenden Maschine, die mechanische
Energie in elektrische Energie umwandelt infolge alternative Aktion zwischen einem
Magnetfeld und einem beweglichen Leiter bekannt.
Jedoch sind die verschiedenen
Arten von Generator, die den aktuellen Stand der Technik erfordern die Hilfe
eines Motors, der mechanische Energie in elektrische Energie umwandelt , und
dass der Motor erfordert eine unabhängige Stromquelle, die kontinuierlich
zugeführt werden müssen.
Somit kann ein System in der Lage
ist eine eigene Stromversorgung sowie die Bereitstellung eines zusätzlichen
Stromversorgung für andere Zwecke, ist im derzeitigen Stand der Technik bekannt.
Zusammenfassung der Erfindung
Der Anmelder der vorliegenden
Patent hat ein in sich geschlossenes Energierückgewinnungssystem, in der Lage,
sein eigenes Betriebs Energie zusätzlich zur Erstellung eines Überschuss, der
in elektrischen Netzen mit Spannungswandler für jede elektrische Installation,
ob in Wohnungen, Büros genutzt werden kann, Lagerhallen usw.., mit es möglich
ist, dort, wo es schwierig ist, das Stromnetz zu installieren, die den Einsatz
als alternative Energiequelle andere als Solar-oder Windenergie zu erreichen.
Andere Anwendungen würden im
Automobilbereich, wie eine Stromquelle für Motorräder, Autos, etc. durch das
System an den Antriebsmotor und damit das Erreichen der erforderlichen Bewegung
des Fahrzeugs.
Insgesamt ist das System aus den folgenden Basiskomponenten:
1. Ein elektrischer Antriebsmotor.
2. Ein Hauptgenerator.
3. Verschiedene Hilfsgeneratoren.
4. Eine Batterie oder Akku.
5. Eine Last-und Ausgangsleistungssteuerung.
6. Ein Drehzahlregler.
Der elektrische Antriebsmotor
liefert die notwendigen elektromotorische Kraft für das System zu bedienen
benötigt der Generator versorgt das System, das Aufladen der Batterie und die
direkte Stromversorgung der Fahrmotor bei Bedarf, oder wenn der Akku
vollständig geladen ist, dann nur an die Macht der Motor. Es kann gehen direkte mechanische Leistung
durch die Verwendung Riemen und Riemenscheiben, Zahnräder oder andere Mittel.
Die Hilfsgeneratorenfür sie zur
Stromversorgung verantwortlich und kann Propeller benutzt werden kann oder in
der Form einer Turbinen Betrieb durch die Wirkung des Windes oder durch
Zahnräder mit einem Schwungrad der Antriebsmotor an diesem befestigt.
Die Funktion der Batterie ist, um
die Leistung benötigt wird, um den Motor zu starten und darüber hinaus, um jede
zusätzliche Leistung, die der Motor im Betrieb müssen zu versorgen. Die Batterie wird durch den Hauptgenerator,
der direkt durch den Motor angetrieben wird aufgeladen. Die Funktion des Ladereglers ist, um die
Batterie zu überladen zu verhindern. Die
Funktion des Drehzahlreglers ist, um die Geschwindigkeit des Antriebsmotors
steuern.
Die vorliegende Erfindung bietet
die oben beschriebenen Vorteile, als auch andere, die aus der beispielhaften
Ausführungsform der im folgenden beschriebenen System verstanden werden, um das
Verständnis der oben genannten Merkmale zu erleichtern und die Einführung in
der gleichen Zeit, verschiedene neben der vorliegenden Beschreibung. Es sollte verstanden werden, dass die
Zeichnungen nur beispielhaft, und sie beschränken nicht den Umfang der
Erfindung in keiner Weise beschränken, wobei nur ein Beispiel einer Form der
Konstruktion.
Kurze Beschreibung
der Zeichnungen
In den Zeichnungen:
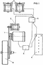
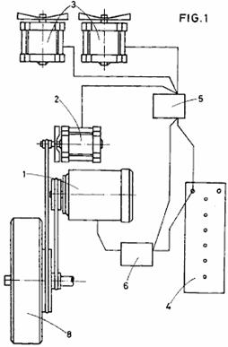
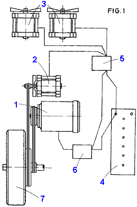
Fig.1, ist
ein Diagramm des Systems als ein Beispiel einer praktischen Ausführungsform der
Erfindung.

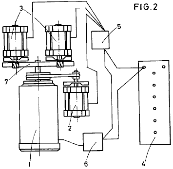
Fig.2 zeigt eine alternative
Ausführungsform der vorliegenden Erfindung.

Beschreibung einer
bevorzugten Ausführungsform der Erfindung
Wie in der
Zeichnung gezeigt ist, in Übereinstimmung mit einem Ausführungsbeispiel der vorliegenden
Patent umfasst das in sich geschlossene System der Energierückgewinnung einen
elektrischen Fahrmotor (1), ein
Hauptgenerator (2), mehrere
Hilfsgeneratoren (3), eine Batterie
oder Speicher (4), einen Laderegler
und die Stromversorgung (5) und ein
Motordrehzahlregler (6).

Der elektrische
Antriebsmotor (1) stellt die
notwendige elektromotorische Kraft für den Betrieb des Systems und seiner
Spannung und Leistung im Einklang mit dem, was der Größe des System Sie bauen
möchten, ausgewählt .
Der Hauptgenerator
(2) versorgt das System, zum einen,
um die Batterie (4) wieder
aufzuladen, und zweitens, direkte Stromversorgung des Motors (1), wenn er sie benötigt. Wenn die Batterie (4) vollständig aufgeladen ist, wird die Ladung von Leistung von dem
Motor durch geeignete Rollen oder eine andere Methode der Übertragung von
mechanischer Energie zugeführt erhalten.
Die
Umdrehungsgeschwindigkeit des Generators muss durch die Wahl der Übersetzung
zwischen dem Motor und dem Generator angeordnet ist, so daß, wenn der Motor bei
seiner maximalen Drehzahl arbeitet, und bezieht seine maximale Strom, dass der
Generator schnell genug Spinnen, dass Strom zu versorgen. (1) der Hauptgenerator (2)
wird daher elektrisch mit der Batterie (4)
und mechanisch mit dem Motor verbunden werden. Die Hilfsgeneratoren (3), in Form einer Turbine, betrieben durch Windeinwirkung oder
durch ein Getriebe mit einem Schwungrad (7)
befestigt, durch einen Motor (1)
angetrieben wird, wie in gezeigt. Diese
Hilfsgeneratoren (3) eine
Reserveleistung für das System.
Die Batterie (4), ist eine Kapazität , die die
maximale Leistung des Motors (1)
überschreitet, haben, und ihre Rolle in dem System ist, um die Leistung zum
Anlassen des Motors (1) zu
gewährleisten und keine zusätzliche Energie, die der Versorgungs Motor (1) im Betrieb benötigen. Die Batterie wird direkt von der
Hauptgenerator (2), die durch den
Motor (1) angetrieben wird,
aufgeladen.
Der Laderegler und
Stromverteiler (5) zwischen dem
Hauptgenerator (2) positioniert, die
Hilfsgeneratoren (3) und der
Batterie (4). Seine Aufgabe ist es, die Stromentnahme aus
der Batterie (4) zu regulieren, um
zu hohe Stromaufnahme zu verhindern. Es
verteilt auch überschüssige Energie als Gleichzufuhr zum Generator (2) und der Antriebsmotor (1), wenn sie zusätzlichen Strom
benötigt. Die Hilfsgeneratoren (3) können entweder zusätzliche Energie
zu dem Motor (1) oder ihre Leistung
kann von anderen Leistungsbedarfeingesetzt werden.
Der Drehzahlregler
(6), soll die Drehzahl des Motors zu
regulieren (1), ist diese Anpassung
allmählich, und wird eingestellt, um die beabsichtigte Verwendung des Systems
entsprechen.
Systemanwendungen
können vielfältige , bemerkenswert unter denen Anwendungen im Automobilbereich,
wo es als ein Mittel zum Antreiben Autos und andere Fahrzeuge, die (1) auf ein Antriebsrad, die das
Fahrzeug antreibt, verbunden Motor verwendet werden. Bei diesen Anwendungen werden die
Hilfsgeneratoren (3) kann mit
Propellern ausgestattet oder werden Turbine förmig sein, so daß die Blähungen
extra Energie an das elektrische System. Bei Elektrofahrzeugen, wird nur der
Hauptgenerator mit einem Antriebsrad verbunden ist.
Andere Anwendungen
für dieses System sind im Bereich der Energieversorgung, dh die Verwendung in
elektrischen Netzen. Der Vorteil der
Verwendung dieses patentierten Systems ist, dass die Stromversorgung ist
praktisch unerschöpflich und sauber, und nur nach Komponente Verschleiß während
des Betriebs.
Seine Funktionsweise ist wie folgt:
Batterie (4) stellt die benötigte, um den Motor (1) gestartet Energie und erlaubt die
Möglichkeit der erhöhten elektrischen Eingang, der zu bestimmten Zeiten während
des Betriebs des Systems benötigt. Die
Batterie (4) elektrisch mit dem
Motor (1) durch den Drehzahlregler (6), die vom Hauptgenerator (2) durch die
Lastverteilungssteuereinheit (5)
gespeist wird. Der Generator (2) wird direkt von dem Antriebsmotor (1) angetrieben wird, und die
Bewegungsübertragung von einem Gerät zum anderen ist über Zahnräder, Riemen und
Riemenscheiben oder andere herkömmliche Mittel.
Die
Hilfsgeneratoren (3) elektrisch an
den Laderegler (5), und der Batterie
(4), und ihre Bewegung durch den
Wind erzeugt ihre eigene Energie, mit Turbinenschaufeln oder Propellern, oder
durch die von dem Schwungrad (7)
gesponnen verbunden, die direkt mit dem Motor (1) verbunden ist. Die von
diesen Hilfsgeneratoren (3) erzeugte
Energie kann zum Aufladen anderer Akkus für den späteren Gebrauch verwendet
werden, oder direkt auf andere elektrische Geräte oder elektrische Installation
Netzwerken verwendet. Durch
Spannungswandler ist es möglich, die durch das System erzeugte Spannung auf
eine Spannung, die zur Verwendung in anderen Geräten zu wandeln.
Mr. Wilson von Texas baute ein
self-powered-Generator-System mit einem alten Tisch und einige Autoteile. Seine
Konstruktion war wackelig, aber trotzdem, dass sie sich und andere Geräte mit
Strom versorgt. Die Tabelle, die er benutzte, war fünf Fuß (1,5 m) im
Durchmesser und 2-Zoll (50 mm) dick, was bedeutet, dass es mindestens 130 Pfund
oder 60 Kilogramm, die eine erhebliche Menge gewogen haben, weit über, dass
verwendet von Chas Campbell mit seinem Wechselstrom batterielose Systemen. In diesem Gleichstrom
Bau wurde das System durch eine Standard-, modifizierte, off-the-shelf Gleichstrom-Motor
mit zwei Autobatterien parallel verdrahtet, um eine größere Strombelastbarkeit
geben angetrieben wird. Diese Batterien wurden gehalten von zwei
"Generatoren" von pre-1964 Amerikanische Autos (die nächstgelegene
heute verfügbar sind Permanentmagnet-Generatoren) berechnet. Diese Generatoren
auch zusätzliche Ausrüstung versorgt und Herr Wilson wies darauf hin, dass drei
oder mehr Generatoren durch das System konnte laufen lassen, wobei ein
beträchtliches Maß an überschüssiger elektrischer Leistung.
Die Maschine hat als
"unsicher" bezeichnet werden, weil er die Tischplatte in eine
V-Riemenscheibe Riemenantrieb Schwungrad umzuwandeln, indem eine Reihe von
Nägeln in den Rand der Holzscheibe, mit diesen Nägeln abgewinkelt, um einen
V-förmigen Spalt bilden wählte durch die er lief ein Treibriemen. Nach drei
Tagen Dauerbetrieb, begannen diese Nägel zu kommen, was ihn an die Macht das
System herunter. Dieses Gerät wurde um 1990 gebaut, und wenn jemand beschließt,
eine Replikation versuchen, dann schlage ich vor, dass der Rand der Holzscheibe
gerillt ist, um das Band, anstatt sich auf die Nägel zu nehmen. Die Anordnung
war so:

Es gab auch ein Riemen-Spannrolle, die nicht
in dem Diagramm oberhalb dessen, dass das Schwungrad wurde gerillt, um den
Antriebsriemen zu nehmen annimmt gezeigt. Schematisch, war die Anordnung wie
folgt:

Dabei kann der zusätzliche Ausgang direkt
zur Versorgung 12-Volt-Anlagen verwendet werden, oder ein Wechselrichter
verwendet werden, um Netzspannung und Netzfrequenz bereitzustellen. Eine
typische Wechselrichter sieht wie folgt aus:

Die Batterie ist mit einem Ende
mit dicken Kabeln, um die schwere Strom tragen verbunden ist, und eine oder
mehrere Steckdosen sind an dem anderen Ende des Gehäuses vorgesehen ist,
zusammen mit einem Ein / Aus-Schalter und Betriebsanzeige. Wechselrichter
kommen in vielen Größen und Leistungsklassen, in der Regel im Bereich von 150
Watt bis 3.000 Watt (3 kW). Die teureren sind als "True Sine-Wave
Output" angegeben, aber nur sehr wenige heute Ausrüstungsgegenstände nicht
gut auf die billigeren Versionen, die nicht produzieren eine wahre
Sinus-Ausgang.
Herr Wilson beschlossen, nicht zu
seinem Entwurf patentieren und stattdessen wollte, dass es Open-Source-Daten
für jeden frei nutzen zu können. Allerdings sieht das Jesse McQueen Patent in
Kapitel 13 gezeigt, Mr Wilson Design sein, obwohl das Schwungrad anscheinend
nicht erwähnt werden. Es sollte betont werden, dass die
Generatorausgangsspannung zu hoch und so Permanentmagnet Typen werden als
grundlegend für diese Anwendung benötigt werden. Der spezialisierte Motors (und
folglich, Generator) Wickelverfahren von 'UFOpolitics' im Kapitel 2 gezeigt,
heben Wirkungsgrade um einen Faktor von typischerweise 300% oder mehr, und so würde
die Ausgabe dieses System sehr deutlich erhöhen, wenn sie an den Motor angelegt
wurden oder die Generatoren oder beides.
Die
Chas Campbell-System ist kein Einzelfall. Auf Seite 19 des Buches "Free
Energy Generation - Schaltungen und Schaltpläne" John Bedini zeigt ein
Schaltbild einer Motor / Generator, die er läuft seit drei Jahren hatte
kontinuierlich während seine eigene Batterie voll geladen. Bei John der Website
http://www.icehouse.net/john1/index11.html
etwa auf halbem Weg nach unten auf der Seite befindet sich ein
Schwarz-Weiß-Bild von einem sehr großen Bau-Version dieses Motors von Jim
Watson und die eine hatte gebaut überschüssige Leistung von zwölf Kilowatt.
Trotz des Schwungrades in Johns Design, wird nicht direkt verwendet, um Energie
von der Schwerkraft zu extrahieren, obwohl es ohne weiteres tun. Stattdessen
verwendet das Design eine sehr heikle Methode zu versuchen, um die Säure im
Inneren der Batterie mit Resonanzimpulse Puls. Das ist eine gefährliche Sache
zu tun, und wenn das Pulsieren ist nicht ganz richtig, es kann die Batterie
explodieren. Streng genommen Johns gefährliche Design sollte nicht wirklich in
diesem Kapitel auf Gravitationssystemen sein.
Johns
Entwurf hat einen Motor, der das Schwungrad dreht, und die Schwungradwelle
dreht eine Aluminiumscheibe mit sechs Permanentmagneten darin eingebettet. Die
Magnete haben ihre Südpole gegen sechs spiralförmig gewickelten Spulen von 200
dreht sich jeweils von 0,8 mm Durchmesser Draht. Die Spulen sind in Reihe
geschaltet sind, ist es so effektiv einen 1200-Windung, die von sechs Magneten
gleichzeitig erregt wird.
John
zeigt seinen Schaltmechanismus als mechanische Befestigung montiert auf, aber
von der Motorwelle elektrisch isoliert. Die Scheibe nur einen leitenden Bereich
von etwa 100 ° eines Bogens. Dies würde gibt Impulse gleicher Dauer mit
Ausnahme der Tatsache, dass sein Kollektorbürsten einstellbaren Positionen
ermöglichen die Impulsdauer geändert werden.

Lassen
Sie mich noch einmal betonen, dass der Zweck dieses Systems ist nicht die
Schwerkraft, sondern ist ein Versuch, um die Ionen in der Batteriesäure in die
Selbstlade durch Resonanzimpulse schockieren. Meiner Meinung nach ist dies eine
sehr gefährliche Idee, und während es durch fast zufälligen Einstellung der
Schleifkontaktpositionen und einem Abstimmkondensator über den Generator
erfolgreich sein kann, wäre ich sicherlich niemandem raten, um zu versuchen,
das zu tun. John gibt, was er "stern Warnungen" gegen
unerfahrene Menschen versuchen, dies zu tun nennt. Es muss erwähnt werden, dass
absolut sicher Motorgeneratoren gebaut werden kann - Systeme, die erhebliche
Überschreitung elektrischen Leistung haben.
Wie
im Detail in Kapitel 2 und Kapitel 8 beschrieben, es ist ein sehr einfaches
Gerät auf einem hohe Macht-Wasser-Pumpe basiert. In diesem System wird eine
geringe Menge des Wassers um kontinuierlich gepumpt, in der gleichen
allgemeinen Art als Zierbrunnen. Der Unterschied hier ist, dass ein hohe
Geschwindigkeit Wasserstrahl erzeugt und Regie bei einem Turbinenrad. Das
Turbinenrad kann von beliebiger Art sein, wie in der Patentanmeldung, die James
für diese Konstruktion wurde vergeben angedeutet. In dem Video zur Zeit auf dem
Netz, ist das Wasser-Rad sehr einfach aufgebaut und doch gut funktioniert - es
wird hier gezeigt:

Kleine Scheiben sind dem Rad an weit beabstandeten Intervallen um seine Felge befestigt. Der Wasserstrahl trifft diese und legt einen Impuls auf das Rad, Antreiben es herum, sondern auch das Hinzufügen zusätzlicher Energie durch diese Impulse.
Das Wasserrad ist zu einem Standard elektrischen Generator über Riemenscheiben und Keilriemen gekoppelt. Das System gestartet wird unter Verwendung der Netzversorgung und dann, wenn es bei voller Drehzahl ausgeführt wird, wird die elektrische Stromversorgung der Pumpe über vom Netz an den Ausgang des einen eigenen Generator geschaltet. Dies ist genau das gleiche wie Chas Campbell hat mit seiner gepulsten Schwungrad und beide Systeme sind in der Lage die Stromversorgung zusätzliche Standard-elektrische Geräte für den Netz-Gebrauch bestimmt.
Chas Campbell Schwungrad, John Bedinis Schwungrad und das Wasser-Pompe-Generator alle zeigen sehr deutlich, dass Umwelt-Energie leicht verfügbar ist für uns alle Zeit, die wir wählen, um so zu tun, um zu verwenden. Alles, was notwendig ist, ist für uns eines dieser Geräte zu konstruieren.
Donnie Watts hat einen einfachen Generator entwickelt, der ausreichend elektrische Energie liefert, um die Anforderungen eines typischen Haushalts zu erfüllen.
Das Design basiert auf bekannten Prinzipien, und dieser Motor läuft kalt und ist für viele Menschen so einfach, dass er eines bauen kann. Mit einem rotierenden Zylinder mit einem Durchmesser von nur 250 mm (10 Zoll) kann eine Eigenleistung von zehn PS erreicht werden, und zehn PS sind 7,5 Kilowatt. Wenn Sie also einen Generator damit fahren, würde dies einen Haushalt antreiben. Die Ausgangsleistung nimmt mit dem Rotordurchmesser und der Durchdrehgeschwindigkeit zu. Um die Beschleunigung der Vorrichtung zu stoppen, bis sie sich selbst zerstört, ist ein Einströmventil zur Begrenzung des in den rotierenden Zylinder eintretenden Wassers eine wichtige Steuerungsanforderung.
Was klar verstanden werden muss ist, dass es sich um einen exponentiellen Motor handelt. Die Ausgangsleistung ist proportional zum Quadrat der Umdrehungsgeschwindigkeit. Verdoppeln Sie also die Umdrehungsgeschwindigkeit und vervierfachen Sie die Ausgangsleistung. Auch ist die Ausgangsleistung proportional zum Quadrat des Rotordurchmessers, also den Durchmesser verdoppeln und damit die Ausgangsleistung vervierfachen. Wenn Sie also den Rotordurchmesser verdoppeln und die Drehzahl verdoppeln, steigt die Ausgangsleistung um den Faktor 16. Der grundlegende Leistungskoeffizient für das Design beträgt vier. Das heißt, die Ausgangsleistung ist immer mindestens viermal so groß wie die Eingangsleistung.
Anfangs muss das Gerät mit einer 500-Watt-Wasserpumpe gestartet werden. Wenn die Drehzahl 60 U / min erreicht, benötigt das Gerät jedoch keine Wasserpumpe mehr, obwohl es auf Wunsch eingeschaltet bleiben kann. Bei 60 U / min erreicht der Druck in der Rotortrommel den Punkt, an dem die durch das durch die Rotordüsen strömenden Wasser verursachte Saugwirkung ausreichend ist, um den Betrieb aufrechtzuerhalten. Denken Sie jedoch daran, dass dies ein positives Rückkopplungssystem ist, bei dem die Drehzahl zu einer Erhöhung der Leistung, einer Erhöhung des Wasserflusses, einer Erhöhung der Drehzahl, ... führt. Daher läuft der Motor selbsttätig durch und wenn Wenn Sie die Drossel der Wassermenge in den Zylinder drosseln, sind Sie nicht dazu bereit. Dann neigt der Motor dazu, schnell zu dem Punkt zu beschleunigen, an dem der Innendruck den Motor zerstört. In groben Zügen sieht das Design so aus:

Die meisten Generatoren müssen mit 3000 U / min oder etwas schneller gedreht werden. Diese Geschwindigkeit kann durch das Riemengetriebe zwischen der Ausgangswelle und der Eingangswelle des Generators erreicht werden. Ein Generator dieses allgemeinen Typs könnte wie dieser 5-Kilowatt-Generator aussehen, der 2018 £325 kostet:

Die Ausgangsleistung dieser Konstruktion kann jedoch durch die Aufnahme von Schubdämpfern aus rostfreiem Stahl an der Innenseite des Gehäuses weiter erhöht werden. Die Idee ist, dass die Wasserstrahlen im rechten Winkel zum Jet und so nahe wie möglich an der Jet-Düse auf eine feste Oberfläche treffen:

Die gekrümmte Plattenversion ist theoretisch effizienter, aber der
Unterschied ist so gering, dass im Allgemeinen flache Platten verwendet werden.
Lassen Sie

Der 25. September 1989 Patentanmeldung von Donnie C. Watts beschreibt den Betrieb des Gerätes:
BESCHREIBUNG UND ARBEITEN
AN DER
ZENTRIFUGALE ENERGIE
VERSTÄRKUNG UND UMSETZUNG EINHEIT
Gerätebeschreibung
Die Einheit besteht aus zwei kreisförmigen Stahlplatten ein Achtel
eines Zoll dick und vier Fuß oder größer im Durchmesser, die Außenseite eines
Rades bildet. Diese Platten sind sechs Zoll auseinander auf einer hohlen Achse
drei Zoll im Durchmesser platziert. Zwischen diesen beiden Platten sind vier
V-förmige Stücke von beabstandeten Blech genau sechs Zoll Speichen zu bilden,
das Wasser aus den Löchern in der Mittelachse zu dem äußeren Rand leiten wird,
während die Innenseite der V werden Lufttaschen zwischen den Speichen bilden.
Die Enden der V darf nicht näher als zwei Zoll an den äußeren
1. Das Wasser aus den Düsen gehen würde ausgehen schneller als das Wasser, das Rad eintritt, die in keinem Druck in der Nähe des Außenrandes führen würde, der Druck, die für den Betrieb des Motors notwendig ist.
2. Das Wasser, das Rad betritt, muss sofort in eine Wasserpfütze gehen. Je länger es bleibt ein Strom von Wasser anstelle einer Wasserpfütze, desto mehr Energie wird verschwendet.
Da das Wasser durch die Außendüsen ausgestoßen wird, ist immer weniger als die Menge an Wasser zur Verfügung zu den Düsen, ein Druckaufbau in der Nähe des äußeren Randes auftreten. Eine federbelastete Druckentlastungsstrahl (nicht dargestellt) muss zusammen mit den anderen Strahlen in den Außenrand gebaut werden, aber in entgegengesetzter Richtung mit Blick auf das Rad zu halten über Spinnen, wenn die Last (Generator) fallen gelassen wird oder dauert nicht genug Strom aus der Raddrehzahl konstant zu halten. Es gibt mehrere andere Möglichkeiten, um die Geschwindigkeit zu steuern.
Die Zentralachse ist konzipiert Wasser geht in ein Ende davon zu
haben, und einen elektrischen Generator mit dem anderen Ende davon angebracht
ist. Zwischen dem Wassereintritt und dem Generator, sehr nah an dem Rad selbst,
wäre sehr robuste Rollen- oder Kugellager ruht auf, und sicher an, einen Rahmen
angebracht, der das Rad mit einem Fuß über dem Boden halten wird. Wasser wird
über eine hochvolumige Niederleistungs Zentrifugalkraft Pumpe, ungefähr einer
halben PS-Motor, bei etwa 20 (
Die gesamte Einheit (je nach Anwendung) in einen Sicherheitsbehälter gelegt werden, der unter Druck gesetzt werden kann oder von Luft evakuiert. Wenn das Gerät in einem offenen Feld betrieben werden soll, kann die äußere Hülle unter Druck gesetzt werden und der Ausgangspumpe entfernt oder ausgeschaltet, wenn der Motor von selbst läuft. Wenn das Gerät in einer Garage oder in der Nähe eines Hauses betrieben werden soll, wäre es bei atmosphärischem Druck oder in einem Vakuum betrieben werden, in welchem Fall es notwendig ist, die Pumpe angeschlossen und läuft so dass Luftblasen in der Nähe der zentralen bilden nicht verlassen Achse.
Außerdem muss die Sicherheitshülle der Lage sein, etwa zehn Zoll von Flüssigkeit in dem Boden zu sammeln, Warten durch das Rad recycelt werden.
Wichtige
Hinweise zur CEACU:
1. Die Geschwindigkeit und die Leistungskurve eines selbst bestromt Motor ist genau das Gegenteil von dem eines normalen Motors. Ein normaler Motor erreicht eine Leistungsspitze und beginnt dann nach unten. Die CEACU Leistungskurve beginnt mit einem langsam nach oben klettern und dann schnell beschleunigt, bis die Stromlinienkurve nahezu vertikal ist (unmittelbar vor der Desintegration, wenn Drehzahlregelung nicht verwendet wird).
Der CEACU Motor wird nicht mehr Energie erzeugen, als in sie gesetzt wird, bevor es 60 bis 100 Umdrehungen pro Minute erreicht, je nach Ausführung und Größe.
2. Wenn die Geschwindigkeit zunimmt, Luftblasen, die in dem Arbeitsfluid auftreten, wird in den Lufttaschen ansammeln. Die Lufttaschen dienen nur dazu, den Druck stabil und geben einen sanften zeug Druck zu halten, der anstatt nur zentrifugalen multidirektionale ist, was zu einem gleichmäßigen Druck zu den Düsen. Es ist nicht nur möglich oder wahrscheinlich ist, dass das Gerät selbst aus eigener Kraft sprengen würde (wenn der Druck nicht zu einem bestimmten Zeitpunkt oder Macht genommen freigegeben wurden); es geschieht eine Tatsache zu sein. Der Luftdruck wird in den Lufttaschen innerhalb des Rades akkumulieren nur, nachdem das Rad 60 Umdrehungen pro Minute oder schneller wird.
3. Die Druckluft in dem Außenrand des Rades ist
wesentlich, weil es auf einmal in alle Richtungen drückt, während das Wasser in
nur eine Richtung drückt. Mit anderen Worten, zentrifugal gezwungen Wasser
seinen Weg durch die Düsen nicht daran interessiert ist, ist es nur daran
interessiert, direkt gegen den äußeren
4. Damit dieser Motor richtig funktioniert, das
Wasser die Speichen müssen herab nicht in irgendeiner Weise eingeschränkt
werden, bis sie den äußeren
5. Es gibt zwei primäre Faktoren, die nicht in der Gestaltung dieses Rad verändert werden, sonst wird es nicht funktionieren:
A. Die Speichen müssen sehr groß sein und frei von Einschränkungen, weil Flüssigkeit im Allgemeinen etwas zu klammern, neigt sie dazu, in der Nähe bekommt.
B. Die Geschwindigkeit des Rades Wende ist wesentlich für die Zentrifugalkraft erforderlich, um den Druck in der Nähe des äußeren Randes aufzubauen, und aus diesem Grund die Düsen in den Außenrand muß im Durchmesser und in großen Stückzahlen klein sein, so dass die Konzentration an ist statt auf Volumengeschwindigkeit (aber nicht 66% des Wassers zu überschreiten, die an der zentralen Achse eingeben).
6. Im Hinblick auf die Arbeitsfluid: Obwohl es hier als "Wasser" bezeichnet worden ist, kann das Arbeitsfluid sein jede Art von Getriebeöl, Öl, Hydraulikflüssigkeit, usw., wenn man bedenkt, dass das Arbeitsfluid auch als handeln Schmiermittel für die Lager, die für zehn bis zwanzig Jahren erwartet dauern. Ich empfehle regelmäßige off-the-shelf Getriebeöl, das habe ich allein in einem Auto-Motor mit Schmier Ergebnisse durchaus vergleichbar mit Öl verwendet gesehen.
7. Um den Leser, der an der Energie spotten würde, die von unter Druck stehenden Systemen abgeleitet werden können, biete ich die folgenden Fakten:
A. Vor sechs Monaten wurde es auf einem TV-Programm gezeigt, dass ein unter hohem Druck stehenden Wasserstrom über die Größe eines Fußball Nadel (ohne Zusätze, sondern nur reines Wasser), durch eine Ein-Zoll dicken Stahlplatte geschnitten würde. Das gleiche Strom wurde verwendet, durch eine Zwei-Zoll dicken Telefonbuch zu schneiden, und es geschnitten, so schnell, dass, egal wie schnell sich die Person, die das Buch es bewegt wird, der Strom einen völlig sauberen Schnitt durchgeführt.
B. Auch derzeit auf dem Markt ist ein Turbinenluftmotor, hergestellt von Tech Development Inc. of Ohio, und es hat eine Ausgangsleistung von 730, mit einem Eingangsluftdruck von 321 psig, bei 8400 Umdrehungen pro Minute. Dieser Motor ist nur 7-Zoll im Durchmesser und 14 Zoll lang. Dies ist nicht ein Über Einheit Motor, noch ist es im Zusammenhang mit dem CEACU Motor in keiner Weise. Ich erwähne es nur zu zeigen, was mit unter Druck stehenden Systemen durchgeführt werden kann. Also lassen Sie uns die Tatsache akzeptieren, dass wir viel Potenzial sprechen, die sachlich und praktikabel in der CEACU Motor gefunden werden.
8. Die primären funktionellen Unterschiede zwischen CEACU und Eindämmen einen Fluss up sind: Wir schaffen unsere eigene "Schwerkraft" und vorge bestimmen den Betrag dieser Schwerkraft durch zwei Methoden anstelle von nur einem. Die Schwerkraft in einem Damm kann nur durch den Bau der Talsperre größer erhöht werden; der CEACU Motor kann auch die Arbeitsschwerkraft erhöhen, indem die Drehzahl zu erhöhen. Dies geschieht, indem mehr Jets Zugabe, bis hin zu dem Punkt, wo 66% des eingehenden Wasser ausgestoßen wird. Um mehr des verfügbaren Wassers verwenden, als dies zu viel Turbulenz des Wassers innerhalb des Rades verursachen würde. Aber bedenken Sie, dass es immer in dem Rad viel Druck, um die Arbeit zu tun, für den es bestimmt ist, vorausgesetzt, dass sie laufen mit einer ausreichend hohen Geschwindigkeit lassen, um den Druck in dem äußeren Rand zu halten, sehr hoch - in genau demselben Sinne dass Sie nicht versuchen, in Ihrem Auto zu starten, bis der Motor bei ausreichend hohen Drehzahl wird die Last Anwendung zu behandeln.


Die beiden
obigen Zeichnungen wurden von Donnie Watts erstellt und bedeuten in ihnen 4’ =
4 Fuß und 8” = Acht Zoll.
Der einzige
schwierige Teil dieser Konstruktion scheint die Rutschkupplung zu sein, bei der
eine stationäre Wasserleitung mit einer rotierenden Wasserleitung verbunden
ist. Während wir mit rotierenden Rasensprinklern vertraut sind, die nach
denselben Prinzipien wie dieser Donnie Watts-Motor rotieren, nämlich
Impulsstrahl, wie hier gezeigt:

Der
entscheidende Punkt ist, dass die Drehrate niedrig ist. Dies ist durchaus
beabsichtigt, da der Hersteller den Weg untersucht, auf dem die verschiedenen
Wasserströme den Boden erreichen. Wenn Sie die Drehzahl berücksichtigen, dreht
sich der schnellste Sprinkler wahrscheinlich mit weniger als 300 U / min, was
sehr viel langsamer sein kann als unsere Motoranforderung.
Bei der
Untersuchung der verschiedenen auf dem Markt befindlichen Kupplungen beträgt
die angegebene Umdrehungsgeschwindigkeit typischerweise 400 U / min oder
weniger, weshalb Donnie eine so große Rotortrommelgröße und einen
Versorgungsrohr (Achse) mit 3 Zoll Durchmesser zitiert. Geeignete Kupplungen
könnten sein https://www.alibaba.com/product-detail/50A-npt-male-thread-brass-water_2009800594.html
mit einer behaupteten 2000 U /
min-Fähigkeit, obwohl Käufer angeben, dass sie bei Drehzahlen über 300 U / min
lecken:

Aufbau des Donnie Watts
Generator
Es gibt viele
Möglichkeiten, einen Donnie Watts Generator zu konstruieren. Die hier gezeigte
Methode ist lediglich eine bequeme Konstruktionsmethode aus 3 mm dickem
Weichstahl und einem Schweißgerät. Der Durchmesser der rotierenden Trommel kann
beliebig sein, aber die Ausgangsleistung nimmt mit dem Quadrat des Durchmessers
zu. Wenn Sie also den Durchmesser verdoppeln, wird die Ausgangsleistung um das
Vierfache erhöht. Sie beginnen mit dem Ausschneiden von zwei Scheiben, eine mit
einem zentralen Loch von 3 Zoll Durchmesser und eine mit einem zentralen Loch
in der Größe, die für Ihre Riemenscheibe erforderlich ist:

Dann schweißen
Sie acht Rechtecke aus Stahl mit einer Breite von 150 mm an der Scheibe mit dem
kleineren

Diese Streifen
dienen zur Kanalisierung des Wassers (oder einer anderen Flüssigkeit,
beispielsweise eines Getriebefluids), wenn es durch die Trommel läuft, wenn der
Generator in Betrieb ist. Zwischen diesen Platten und dem Rand der Scheibe muss
ein Abstand von mindestens zwei Zoll (50 mm) bestehen, damit das Wasser leicht
an den Platten vorbeiströmen kann.
Die Tiefe der
Platten von 150 mm ermöglicht das Verschweißen der zweiten Scheibe, um eine
Trommel zu bilden. Von der Seite gesehen sieht es so aus:

Dann wird der
äußere Rand der Trommel angeschweißt:

Wenn Sie noch
nie etwas aus Stahl gebaut haben, lassen Sie

Und während das
Bild einen Griff zeigt, der aus der Seite der Mühle herausragt, sodass Sie zwei
Hände verwenden können, ist es im Allgemeinen praktischer, den Griff zu
entfernen und die Mühle mit nur einer Hand zu halten, da sie nicht schwer ist.
Tragen Sie beim Bearbeiten von Stahl ein Paar "Rigger" -Handschuhe.
Dies sind starke, verstärkte Handschuhe, die Ihre Hände vor scharfen
Stahlkanten schützen, und tragen stets einen Augenschutz.
Wenn Sie Stahl
bohren möchten, ist ein netzbetriebener Bohrer erforderlich, da
batteriebetriebene Bohrer nicht ausreichen, es sei denn, es handelt sich nur um
ein einzelnes

Mit dem oben
gezeigten Bohrer wird der Handgriff direkt hinter dem Spannfutter auf den Ring
geklemmt und kann in einem beliebigen Winkel eingestellt werden. Stahlteile
werden durch Schweißen miteinander verbunden. Einige Schweißer sind ziemlich
billig. Die meisten Typen können für einen Tag oder einen halben Tag gemietet
werden. Es ist auch möglich, die Teile zu formen und von einer lokalen
Stahlwerkstatt für Sie zusammenschweißen zu lassen. Damit eine gute
Schweißverbindung hergestellt werden kann, dauert es nur ein oder zwei
Sekunden. Das wirklich Entscheidende ist, dass Sie niemals auf eine Schweißnaht
schauen, wenn Sie keine Schweißmaske oder Schweißbrille tragen, da Sie durch
einen Schutzlichtbogen ohne Schutz Ihr Augenlicht beschädigen können.
Wenn Sie sich
für den Kauf eines Schweißers entscheiden, sollten Sie unbedingt einen kaufen,
der an die Hausstromversorgung angeschlossen ist. Andernfalls müssen Sie Ihre
Hausverkabelung auf den höheren Strom umstellen. Dieses Schweißgerät wäre
geeignet und kostet Anfang 2016 nur £60 inklusive Steuern, die etwa 82 Euro
oder $90 USD betragen.

Bei diesem
“Stabschweißer“ wird die silberne Klemme rechts am zu schweißenden Metall
befestigt und ein beschichteter Schweißstab mit 2,3 mm Durchmesser in der
schwarzen Klemme links platziert. Der Stab wird dann auf den Schweißbereich
aufgebracht und die Beschichtung auf dem Schweißstab wird zu einer Gaswolke,
die das heiße Metall vor dem Luftsauerstoff abschirmt. Wenn die Schweißnaht
abgekühlt ist, kann sich an der Außenseite der Verbindung eine Oxidschicht
befinden, so dass die Rückseite der Drahtbürste als Hammer zum Aufbrechen der
Schicht und der Drahtbürste zum Reinigen der Verbindung verwendet wird.
Das wichtigste
Gerät für alle Schweißarbeiten ist jedoch ein Schutzhelm. Es gibt viele
verschiedene Designs und sehr unterschiedliche Kosten. Viele professionelle
Schweißer wählen eine der billigsten Arten, die so aussehen:

Dieser Typ
verfügt über eine klare Glasscheibe und einen Klappschutzfilter, um ein
sicheres Schweißen zu ermöglichen. Profis stellen die Scharnierspannung so ein,
dass der Filter nur in angehobener Position bleiben kann. Der Schweißer
positioniert dann die Verbindungsstücke in ihrer genau richtigen Position,
während er durch das glatte Glas blickt. Wenn er bereit ist, die Schweißnaht zu
beginnen, nickt er nur mit dem Kopf, wodurch der Filter in Position fällt und
die Schweißnaht beginnt. Versuchen Sie niemals, ohne richtigen Augenschutz zu
schweißen.
Das Schweißen
ist einfach zu erlernen und es ist eine brillante Konstruktionsmethode… aber es
gibt ein großes Problem. Wenn eine Verbindung hergestellt wird, schmelzen die
beiden Stahlstücke und verschmelzen miteinander. Dies kann in einer
Zehntelsekunde geschehen. Legen Sie Ihren Finger nicht auf das Gelenk, um zu
sehen, ob es noch heiß ist. Wenn dies der Fall ist, bekommen Sie eine
schmerzhafte Verbrennung, und das sollte Sie daran erinnern, dies nicht noch
einmal zu tun. Diese Hitze ist das Problem, denn wenn Stahl heiß wird, dehnt er
sich aus, und wenn er sich abkühlt, zieht er sich zusammen. Das heißt, wenn Sie
ein Stück Stahl genau im rechten Winkel aufstellen und die Teile
zusammenschweißen, zieht sich die Verbindung zusammen, wenn sie sich abkühlt.

Stellen Sie sich
nicht vor, dass Sie das vertikale Stück einfach wieder in Position bringen können,
da dies nicht der Fall ist, da das Gelenk sofort sehr, sehr stark ist.
Stattdessen verwenden Sie zwei schnelle Schweißnähte gleicher Größe, wobei die
zweite um 180 Grad gegenüber der ersten liegt:

Wenn sich die
Schweißnähte abkühlen, ziehen sie in entgegengesetzte Richtungen, und während
das Metall Spannungen erzeugt, bleibt das vertikale Stück senkrecht. Lassen Sie
die Schweißnähte zu ihrer eigenen Zeit abkühlen. Es dauert etwa zehn Minuten,
bis sie richtig abgekühlt sind. Wenden Sie kein Wasser auf die Schweißnähte an,
um die Abkühlung zu beschleunigen, da dies die Stahlstruktur tatsächlich
verändert und Sie dies wirklich nicht möchten.
Metall kann mit
einer Schneidklinge in Ihrem Winkelschleifer problemlos geschnitten werden.
Installieren Sie die Klinge jedoch so, dass sie sich in der auf der Klinge
gezeigten Richtung dreht. Die Klinge sieht wahrscheinlich so aus:

Tragen Sie beim
Schneiden oder Schleifen immer eine
Schutzbrille, um sicherzustellen, dass sich kein Metallfragment im Auge befindet
- Augen sind nicht ohne weiteres ersetzbar !! Wenn Sie ein kleines
Stahlfragment in Ihr Auge bekommen, denken Sie daran, dass Stahl stark
magnetisch ist. Ein Magnet kann dabei helfen, das Fragment mit einem Minimum an
Beschädigungen herauszuholen. Es ist jedoch viel einfacher, eine Brille zu
tragen und nicht die Problem an erster Stelle.
Die Donnie
Watts-Trommel dreht sich auf einer Achse und benötigt daher ein Lager am
Achsrohr, das sie trägt. Der Flüssigkeitsstrom durch die Trommel ist
beträchtlich, daher empfiehlt Donnie ein Rohr mit einem Durchmesser von 75 mm
(3 Zoll) als Achse. Das hört sich vielleicht übertrieben an, aber in
Wirklichkeit ist es ziemlich schwierig, Flüssigkeit durch ein Rohr zu drücken,
da der Gegendruck viel größer ist, als Sie erwarten würden. Wenn Sie also ein
75-mm-Rohr verwalten können, verwenden Sie ein so großes Rohr.
Der nächste
Schritt ist das Anbringen des Außenstreifens, um die Grundtrommel zu
vervollständigen. Wenn Sie 3 mm dickes Stahlblech gut biegen können, tun Sie dies
doch, aber die meisten Konstrukteure werden es viel einfacher finden, z. B. 32
Streifen mit einer Höhe von 150 mm um die Außenseite der Trommel zu schweißen
(was das Anbringen der Düsen erleichtert die Trommel zu einem späteren
Zeitpunkt. Hier gehen wir davon aus, dass die Trommel von einer professionellen
Stahlwerkstatt gebaut wird, die 3 mm starken Stahl auf die erforderliche
Krümmung, dh auf den Durchmesser der Trommel biegen kann:

Der äußere Rand
der Trommel ist entlang der gesamten Länge verschweißt. Die Schweißnaht muss
luftdicht sein. Bitte haben Sie jedoch Verständnis dafür, dass aufgrund von
Wärmebeanspruchung lange Schweißnähte in kurzen Längen von beispielsweise 25 mm
Länge oder weniger ausgeführt werden müssen und abkühlen dürfen, bevor die
nächste Schweißnaht hergestellt wird. Die Technik besteht darin, diese Reihe
von kurzen Schweißnähten entlang der Länge der langen Schweißnaht auszubreiten,
und wenn diese Schweißnähte abgekühlt sind, werden sie jeweils um weitere 25 mm
verlängert. Langsame und sorgfältige Konstruktion ist leicht die beste Methode.
Wir müssen jetzt
Düsen durch die Außenwand der Trommel anbringen. Für jede Düse muss ein
Wir möchten,
dass der Flüssigkeitsstrahl die Düse bei 25 Grad zur Stahlfläche verlässt. Wir
möchten auch, dass die Düsenöffnung einen Durchmesser von 1,5 mm hat. Wir
müssen Düsen aus Stahlrohr mit diesem Innendurchmesser konstruieren, durch die
Außenwand der Trommel einführen und an Ort und Stelle schweißen:

Wie viele Jets?
Ich würde sechzehn vorschlagen, aber die Anzahl ist nicht kritisch. Die
Wasserstrahlen sind effektiver, wenn sie auf eine nahe gelegene Oberfläche
treffen. Deshalb befestigen wir eine Reihe von Prallplatten am Außengehäuse.
Wie viele Prallplatten? Ich würde sechzehn oder zweiunddreißig vorschlagen. Das
von Donnie gezeichnete Diagramm zeigt abgewinkelte Oberkanten. Es ist jedoch
wahrscheinlich einfacher, quadratische Platten zu verwenden, da sonst weniger
geschnitten und geschweißt wird. Donnie empfiehlt, dass die Gehäuseplatten 300
mm breiter sein müssen als Ihre Trommel und 150 mm Freiraum darüber und 150 +
200 = 350 mm Freiraum darunter, da der Boden des Gehäuses als Sumpf für die
Flüssigkeit dient, die durch die Düsen strömt , aber er denkt an eine Trommel
mit 48 Zoll Durchmesser:


Die
Ablenkplatten sind mit der hinteren

Die Prallplatten
sind mit einer der rechteckigen Gehäuseplatten verschweißt. Sie können nur
angeheftet werden, sobald festgestellt wird, dass sie sich beim Drehen der
Düsen gerade von den Düsen entfernt haben:

Wenn die Trommel
angebracht ist, sieht das so aus:

Es sind keine
zusätzlichen Wohnungen erforderlich. Es wird eine Pumpe benötigt, um das System
in Betrieb zu nehmen, und diese kann, ebenso wie der Generator, an der
Außenseite des Trommelgehäuses montiert werden. Das Schieberventil, das die in
die Trommel eingelassene Flüssigkeitsmenge steuert, ist ebenfalls an der
Außenseite des Trommelgehäuses angebracht. Das tragende Achsrohr dreht sich mit
der Trommel und treibt den Generatorgenerator an, so dass die erforderliche
Netzspannung an der Außenseite des Gehäuses angebracht werden kann. Diese
Gesamtanordnung erzeugt eine Vorrichtung, die viel höher als breit ist, so dass
eine Stabilitätsplatte an der Basis angeschweißt ist, um diese fehlende
Stabilität zu gewährleisten. Die Gesamtanordnung könnte folgendermaßen
aussehen:

Während die
Achswelle aus zwei Teilen bestehen kann, die miteinander verschweißt und mit
der Trommel verschweißt sind, schlage ich vor, dass es zweckmäßiger ist, das
ankommende Rohr mit einem Durchmesser von 3 Zoll an die Trommel zu schweißen
und dann einen Stangendurchmesser zu wählen, der der benötigten Größe
entspricht Die von Ihnen gewählte Riemenscheibe wird wie oben gezeigt mit der
anderen Seite der Trommel verschweißt. Der rechte Teil der Achse ist fest und
gibt dem Generator den Antrieb:

Das einzige, was
noch nicht erwähnt wurde, ist die oben gezeigte Drehkupplung. Diese Kupplung
muss sich mit hoher Geschwindigkeit drehen können, da die Ausgangsleistung
dieses Donny Watts-Generators exponentiell ist und mit dem Quadrat der
Drehzahl, mit der sich die Trommel dreht, zunimmt. Die doppelte Drehzahl und
die Ausgangsleistung steigen auf vier mal größer Diese Kopplung könnte
folgendermaßen aussehen:

Dieser
schwenkbare Verbinder hat einen internen Kugelring und es wird behauptet, dass
er bei 2000 U / min zufriedenstellend arbeiten kann. Kunden sagen jedoch, dass
diese Geräte bei Drehzahlen über 300 U / min lecken:

Ein Lieferant ist:
https://www.alibaba.com/product-detail/50A-npt-male-thread-brass-water_2009800594.html
Um den Generator
in Betrieb zu setzen, muss die Pumpe betrieben werden. Daher ist entweder der
Zugang zum Stromnetz oder alternativ der Zugriff auf eine Batterie und einen
Wechselrichter unerlässlich. Wenn der Generator läuft, kann die Pumpe vom
Generator gespeist werden. Wenn die Drehzahl eine Trommelumdrehung pro Sekunde
durchläuft, bewirkt die durch die Düsen strömende Flüssigkeit einen
ausreichenden Unterdruck in der Trommel, so dass die Pumpe heruntergefahren
werden kann. Es ist jedoch auch eine Möglichkeit, die Pumpe vollständig laufen
zu lassen die Zeit.
Einer dieser
Generatoren mit einer Trommel von nur 250 mm kann zehn PS (7,5 kW) ausgeben und
reicht damit aus, um einen Haushalt anzutreiben.
Die Menschen
haben jedoch manchmal Schwierigkeiten, den Druck zu verstehen. Die Trommel, die
sich dreht, ist der einzige Ort, an dem im Betrieb des Generators Druck
herrscht. Das äußere Gehäuse hat nur zwei Hauptfunktionen, nämlich die
Trommelachse abzustützen und als Sumpf zu wirken, um die Flüssigkeit zur Pumpe
zurückzuführen, die die Flüssigkeit zur erneuten Verwendung zur Trommel
zurückführt.
Das heißt, das
Innere des Hauptgehäuses steht unter atmosphärischem Druck. Wenn Sie
Ablenkplatten installieren, um die durch die Düsen austretende Flüssigkeit
aufzufangen, könnte sie oben am Gehäuse offen sein. Die Besorgnis über ein
undichtes rotierendes Rohrgelenk ist wahrscheinlich kein Problem, da es nicht
auftritt, bis eine Rotationsgeschwindigkeit von 300 U / min erreicht ist. Der
Donnie-Watts-Generator hält sich jedoch weit unterhalb dieser Geschwindigkeit
selbstständig und die durch die Düsen austretende Flüssigkeit saugt Flüssigkeit
durch das Einlassrohr an. Die Ansaugleitung einschließlich der rotierenden
Rohrverbindung steht also unter vermindertem Druck. Wenn also die
Drehverbindung ausläuft, kann Luft in die Pumpe entweichen, anstatt Flüssigkeit
auslaufen zu lassen. Die zusätzliche Luft sollte kein Problem sein, es sei
denn, sie ist wirklich zu groß, da sie durch die Düsen austritt. Achten Sie nur
darauf, dass übermäßiger Druck aus dem Sumpfgehäuse austritt, ohne dass
Flüssigkeit austritt.
Es wurden Bedenken
geäußert, dass die Pumpe einem unnötigen Verschleiß unterliegt, wenn der
Generator läuft und die Pumpe nicht benötigt wird. Wenn gewünscht, kann die
Pumpe einen Bypass haben, der folgendermaßen ventilgesteuert ist:

Während dies
einige zusätzliche Rohrleitungen, ein Ventil und zwei T-Anschlüsse für den
Rohrbypass erfordert, führt dies zu einer Pumpe, die abgeschaltet werden kann,
wenn sie nicht benötigt wird, und das neue Ventil wird als
Trommeldrehzahlsteuerung verwendet.
Lassen Sie mich
noch einmal betonen, dass dies ein exponentielles Design mit positiver
Rückkopplung ist, das weiter beschleunigt, bis die Lager ausfallen oder der
Druck in der Trommel zu einem Bruch führt, der die Flüssigkeitsstrahlen
verhungert oder der Generator aufgrund zu hoher Geschwindigkeit ausfällt. Dies
mag zwar als irrelevante Theorie erscheinen, aber ich versichere Ihnen, dass
dies nicht der Fall ist. Sie haben diesen Generator in Betrieb und versorgen
Ihr Haus mit Strom, und das Wetter ist heiß. Sie verfügen über eine
Klimaanlage, die Ihr Haus kühl hält. Es zieht sehr viel Strom an, aber der
Thermostat schaltet ihn ab, weil Ihr Haus kühl genug ist. Das ist ein Problem.
Der Stromverbrauch des Generators sinkt erheblich. Dadurch lässt sich die
Generatorwelle viel leichter drehen, aber die Antriebsleistung der Donnie
Watts-Einheit ist jetzt viel höher als jetzt erforderlich. Dies ist nicht
hilfreich, und das System ist jetzt aus dem Gleichgewicht, die Trommel wird
schneller und dreht die Generatorwelle schneller als es sollte. Wenn Sie dort
stehen und das Steuerventil entsprechend einstellen, wird alles wieder normal.
Der Punkt ist jedoch, dass ein Generator dieses Typs für eine feste Last in
Ordnung ist, aber man muss darauf achten, was die elektrische Last ist, wenn sie
sich ändert. Sie können einen Warnungsalarmsensor auf die Trommelwelle setzen
oder alternativ eine automatische Ventileinstellung erstellen, um eine
automatische Geschwindigkeitssteuerung durchzuführen.
Rick Evans, ein
US-amerikanischer Entwickler, hatte eine Idee, die die Notwendigkeit einer
schwenkbaren Rohrverbindung überwindet. Er schlägt vor, das Design etwas
umzustellen, so dass das rotierende Rohr mit einem Durchmesser von 3 Zoll, das
an der Einlassseite der rotierenden Trommel angeschweißt ist, sich nur in
Wasser dreht, da es in einem kleinen Behälter an der Außenseite des
Sumpfgehäuses eingeschlossen ist, das die Trommel trägt. Er schlägt vor, die
Pumpe immer im Kreislauf angeschlossen zu lassen, wird jedoch heruntergefahren,
wenn die Trommel ihre autarke Geschwindigkeit erreicht. Das Arrangement sieht
so aus:

Bei dieser
Anordnung wird das Ventil immer noch verwendet, um die Geschwindigkeit der
Trommeldrehung zu steuern, und wenn das die Einlassseite der Trommel tragende
Lager mit einem Durchmesser von 3 Zoll etwas leckt, läuft die überschüssige
Flüssigkeit lediglich in den Sumpf zurück, wo sie sich befindet kam in erster
Linie von. Lassen Sie
Da einige Leute
diesen Generator für schwer verständlich halten, lassen Sie
Um dies zu
verhindern, wird ein einstellbares Ventil (das einem großen Hahn- oder
Hydrantenventil entspricht) in das Rohr eingesetzt, das die Flüssigkeit der sich
drehenden Trommel zuführt. Dieses Ventil dient als manuelle
Geschwindigkeitssteuerung für den Motor.
Um nützliche
Arbeit zu leisten, wird diese Motorkonstruktion verwendet, um einen separaten
Stromgenerator mit zwei Riemenscheiben und einem Wechselstromgenerator oder
"Wechselstromgenerator" anzutreiben, wodurch die Konstruktion zu
einem Motor / Generator wird. Es ist nicht einfach, den Generator zu drehen,
wenn er beträchtliche Mengen an Elektrizität an Waschmaschinen, Trockner,
Klimaanlagen, Heizungen, Öfen, Fernsehern usw. liefert. Der Generator arbeitet
also als Bremse und bremst den Motor ab. Das spielt keine Rolle, da das
Geschwindigkeitsregelventil etwas geöffnet werden kann, um die Geschwindigkeit
wieder auf den gewünschten Wert zu bringen.
Es ist wichtig,
die Welle der Lichtmaschine mit der Drehzahl zu drehen, für die sie ausgelegt
ist. Drehen Sie es zu langsam und es wird eine Spannung erzeugt, die unter der
Netzspannung liegt, und eine Frequenz, die unter der des Netzes liegt. Drehen
Sie es zu schnell, und der Generator erzeugt eine Spannung, die höher als die
Netzspannung ist, und eine Frequenz, die größer als die Netzfrequenz ist.
Typische
Auslegungsgeschwindigkeiten zum Drehen der Welle eines Generators liegen
zwischen 1800 U / min (30 Mal pro Sekunde) und 3000 U / min (50 Mal pro
Sekunde). Generatoren erzeugen entweder 110 Volt bei 60 Zyklen pro Sekunde für
amerikanische Geräte oder 220 Volt bei 50 Zyklen pro Sekunde für alle anderen.
Dies ist in
Ordnung, wenn die elektrische Last konstant ist und das Geschwindigkeitsventil
richtig eingestellt ist. ABER wir haben ein Problem, wenn die elektrische Last
plötzlich abfällt. Da der Stromverbrauch gesunken ist, lässt sich die Welle des
Generators viel leichter drehen und wirkt somit weitaus weniger bremsend. Da
die Ventileinstellung unverändert bleibt, beschleunigt der Motor. Dies ist kein
Problem, wenn sich neben dem Generator ein Mensch befindet, der bereit ist, die
Ventileinstellung entsprechend anzupassen. Leider ist das nicht praktisch und schlimmer
noch, viele Elektrogeräte schalten sich sehr regelmäßig ein und aus und das
grundlegende Design von Donnie
Daher wäre es
sehr praktisch, wenn der Donnie Watts-Motor bei Bedarf das eigene Steuerventil
anpassen sollte. Mal sehen, ob wir dazu ein einfaches System entwickeln können.
Handelsübliche Ventile sind im Allgemeinen dafür nicht geeignet, da sie
entweder vollständig EIN oder vollständig AUS sind und nicht elektrisch
einstellbar sind, um eine Zwischeneinstellung zu ermöglichen. Außerdem neigen
sie dazu, einen zu kleinen Durchmesser zu haben, um uns zu interessieren. Für
eine kostengünstige Lösung scheint es daher, dass wir eine einfache
Motordrehzahlregelung aufbauen müssen, mit der wir eine automatische
Drehzahlregelung des Motors durchführen können.
Zu diesem
Zeitpunkt ist das Folgende nur ein Vorschlag, da es nicht in einer normalen
Arbeitsumgebung gebaut und getestet wurde:
Ich schlage vor,
dass wir den Flüssigkeitsstrom in die Trommel steuern könnten, indem wir hier
ein Steuersystem aufbauen:

Diese Box ist
ein Bereich, den wir bauen, und wir können ihn auf jede beliebige Art und Weise
bauen. Angenommen, wir haben eine klappbare

Der rote
Streifen auf der rechten Seite ist ein Stützstreifen, der die Position der
Platte beim Bewegen sicherstellt.
Wir möchten das
Rohr jedoch nicht vollständig blockieren, da dies den Motor zum Stillstand
bringen würde und dies wäre ein Ärgernis. Wir montieren die

Der rote
Stützstreifen ist im obigen Bild weggelassen, da er die Lücke verdecken würde,
die in der Zeichnung dargestellt ist. Nun müssen wir einen Mechanismus finden,
um die

Und obwohl
allgemein erwartet wird, dass ein solcher Motor eine rotierende Welle antreibt,
kann er eine Zahnstange antreiben:

Und damit könnte
man die

Einige Leute
sind jedoch entsetzt über die Idee, einen Motor in eine Flüssigkeit zu tauchen
(möglicherweise sogar Speiseöl), und so könnte möglicherweise eine andere Art
der Bewegung der
Unabhängig
davon, mit welcher Anordnung die

Bitte haben Sie
jedoch Verständnis dafür, dass der Donnie Watts Generator ohne automatisierten
Betrieb einwandfrei funktioniert. Wenn es draußen kalt ist und Sie Ihren
Wohnraum heizen müssen, dann können Sie das Einlassventil richtig einschalten,
wenn Sie eine Heizung mit zwei Kilowatt oder drei Kilowatt und einige Lampen
einschalten. Vorausgesetzt, das Heizgerät ist nicht thermostatgesteuert (oder
ist es der Fall, wird die Heizeinstellung so hoch eingestellt, dass sie niemals
erreicht wird, oder das Heizgerät ist verdrahtet, um den Thermostat zu
ignorieren). Dann ist die elektrische Last konstant und die Einstellung des
Donnie Watts-Heizgeräts wird immer richtig sein. Im Gegenzug erhöht eine
Heizung, die eingeschaltet ist, die Temperatur eines Raums im Lauf der Stunden
und Tage kontinuierlich sehr stark. Dies ist in der Regel zu teuer, wenn Sie
für den Strom bezahlen müssen. Mit dem Donnie Watts-Generator wird jedoch keine
direkte Gebühr für den Strom erhoben.
Beim erstmaligen
Einrichten des Generators schließen Sie ein Voltmeter an den Ausgang des
Generators an und stellen dann die Ventileinstellung so ein, dass der Generator
nur die Spannung erreicht, die der Hersteller des Generators für Ihren
jeweiligen Generator angibt.
Für Hausbauer
wäre es wahrscheinlich einfacher, eine 16-seitige Form als eine kreisförmige
Scheibe zu verwenden:

Abgesehen davon,
dass es sich bei allen Schnitten um eine gerade Seite handelt, besteht der
Vorteil, dass die Platten, die den Umfang der Trommel bilden, zu Bohrpunkten
für ein System werden können, das einfacher ist als die Verwendung von
Rohrdüsen:

Das einzelne
Bohrloch in der Mitte der Umfangswand der Trommel wirkt dann als Strahl. Wenn
die Schablone verwendet wird, um den Bohrerwinkel jedes Mal gleich zu erhalten,
werden korrekt abgewinkelte Wasserstrahlen erzeugt.
Einige Leute
meinen, sie hätten lieber detailliertere Informationen, daher sind im Folgenden
einige grundlegende Details für den Aufbau eines Generators mit einer Trommel mit
einem Durchmesser von 450 mm (18 Zoll) unter Verwendung gerader Kanten
aufgeführt.
Zur Herstellung
der ersten Trommelseite beginnen wir mit einem Vierkantstück aus 3 mm starkem
Normalstahl 470 mm x 470 mm.

Zeichnen Sie
Diagonalen von den Ecken aus, um die Mitte des Quadrats zu bestimmen, und
zeichnen Sie dann vertikale und horizontale Linien wie folgt:

Messen Sie 225
mm vom Mittelpunkt entfernt entlang jeder Linie und markieren Sie diese Punkte.
Verbinden Sie dann diese Punkte, um ein gerades Achteck zu bilden:

Markieren Sie
als Nächstes den Mittelpunkt jeder der acht geneigten Linien und zeichnen Sie
eine Linie vom Mittelpunkt aus durch jeden dieser neuen Punkte:

Markieren Sie
225 mm vom Mittelpunkt entlang jeder dieser neuen Linien und verbinden Sie
diese Punkte dann, um die 16-seitige Trommelseite mit 450 mm Durchmesser zu
bilden:

Schneiden Sie
dann diese äußeren Linien entlang, um die erste Seite der Trommel zu bilden:

Befestigen Sie
diese Seite an einem anderen Stück aus 3 mm starkem Weichstahl und markieren
Sie diese sorgfältig, um die Form und Größe der zweiten Seite der Trommel zu
ermitteln. Schneiden Sie um diese neue Seite herum und zeichnen Sie einige
Diagonalen, um den Mittelpunkt festzulegen.
Bei einer dieser
beiden Trommelplatten muss das 75 mm (3 Zoll) große Einlassrohr als Achse
installiert sein. Sie könnten eine lokale Stahlfabrik erhalten, um das
Das genau
positionierte

Das liegt daran,
dass sie kostengünstig sind, die
Denken Sie
daran, dass in dem Moment, in dem eine Schweißnaht auf einer Seite der
Trommelplatte hergestellt wird, die andere Seite der Trommelplatte sofort
geschweißt werden muss und beide so langsam wie möglich abkühlen dürfen, um
eine Wärmeschrumpfung zu vermeiden, die das Rohr aus seiner Ausrichtung mit der
Düse zieht Trommelplatte. Denken Sie daran, dass die Trommelplatte heiß genug
ist, um Sie zu verbrennen, selbst wenn die Schweißung nur einen
Sekundenbruchteil in Anspruch nimmt. Mit anderen Worten, wenn das Rohr vertikal
ist, müssen fast gleichzeitig Schweißnähte auf der Oberseite der Trommelplatte
und auf der Unterseite der Trommelplatte hergestellt werden. Je dicker der
Stahl ist, desto einfacher ist es, ohne Probleme zu schweißen. Das Schweißen
der Rohre ist somit unkompliziert. Es ist viel Geschick erforderlich,
Stahlblech mit einer Dicke von 1 mm zu schweißen, ohne ein Loch in das Blech zu
reißen, aber zum Glück müssen Sie mit diesem Design nichts anfangen.
Nachdem Sie das
Rohr beidseitig sorgfältig und schnell angeheftet haben, Schweißnähte von nur
etwa 6 mm Länge verwendet haben und darauf gewartet haben, dass sich diese
Schweißnähte vollständig abgekühlt haben, nehmen Sie zwei zusätzliche
Heftschweißnähte in einem Winkel von 180 Grad von den ersten beiden und dann
zwei vor mehr Paare, um alle 90 Grad eine Schweißnaht um das Rohr herum zu
haben. Dann ist das Schweißen rund um das Rohr abgeschlossen, es werden nur
sehr kurze Längen in gegenüberliegenden Paaren geschweißt und die Schweißnähte
abkühlen gelassen, bevor die nächste Schweißung vorgenommen wird.
Ein billiger
Arbeitskollege wie dieser:

bietet eine gute
Unterstützung für diese Arbeit und ermöglicht das sichere Greifen des Rohrs,
während die Trommelplatte horizontal auf der Bank ruht. Wenn Sie der Meinung
sind, dass ein offenes Rohr mit einem Durchmesser von 75 mm (75 mm) nicht
ausreicht, um die Flüssigkeit in die Trommel zu bringen, dann machen Sie so
viele Öffnungen (Bohrungen oder Winkelschleiferschlitze), wie Sie dies für
erforderlich halten.
Weichstahl mit
einer Dicke von 3 mm kann in 150 mm breiten Streifen geliefert werden. Eine
davon würde die Menge an Stahlschneiden reduzieren, die zur Fertigstellung der
Trommel erforderlich ist, da sie für die inneren Kanäle und für die Umfangswand
der Trommel benötigt wird:

Da der
Trommeldurchmesser 450 mm beträgt und 150 mm in der Mitte verbleiben und 50 mm
auf jeder Seite verbleiben, müssen die acht Innenwände nur 225 - 75 - 50 = 100
mm (4 Zoll) lang sein, was bedeutet, dass sie sind kann aus dem 150 mm breiten
Streifen geschnitten werden.
Da wir die
Breite des 150-mm-Streifens zur Herstellung der sechzehn Umfangsstreifen
verwenden möchten, messen Sie die genaue Breite des gelieferten Streifens, um
zu bestätigen, dass er 150 mm breit ist. Ich habe noch nie einen Streifen
geliefert, der nicht genau 150 mm breit war, aber überprüfen Sie sorgfältig, ob
Ihr Streifen genau 150 mm breit ist, und passen Sie die Maße leicht an, falls
dies nicht der Fall ist. Idealerweise ist der Streifen genau 150 mm breit,
daher müssen die Innenwände 144 mm breit und 150 mm lang sein:

So kann jeder
Streifen mit einem einzigen Schnitt hergestellt werden, wobei ein 144 mm langer
Streifen des 150 mm breiten Streifens abgeschnitten wird.
Sie beginnen mit
dem Schweißen dieser schmaleren Streifen als senkrechte Wände (und seien Sie
sehr sicher, dass das kürzere Plattenmaß dasjenige ist, das senkrecht zur
Trommelseite liegt!)

Verwenden Sie
die Magnetklammern, um jede

Schließen Sie
das Schweißen dieser acht Platten ab, denken Sie daran, es langsam zu nehmen,
und denken Sie daran, dass Sie immer gleichzeitig gegenüberliegende
Schweißnähte verwenden und jede Schweißung auf natürliche Weise abkühlen
lassen.
Der nächste
Schritt ist das Befestigen der zweiten Seite der Trommel. Das wirklich Wichtige
ist, die zweite Seite genau auszurichten, und die magnetischen Winkel sind auch
hier hilfreich. Messen Sie die geraden Kanten, die den Umfang Ihrer Trommel
bilden, und schneiden Sie zwei 150-mm-Streifen auf diese exakte Länge.
Platzieren Sie die erste Trommelseite mit ihren geschweißten Trennwänden
horizontal auf dem Workmate und befestigen Sie eine Magnetklammer daran.
Positionieren Sie den Magneten genau auf der Kante der Scheibe, auf einer
Hälfte entlang einer geraden Kante. Machen Sie das mit einem zweiten Magneten
um 90 Grad. Befestigen Sie einen der Kantenstreifen an jedem Magneten und
richten Sie sie senkrecht nach oben aus. Schieben Sie dann die zweite Seite
nach oben und richten Sie eine gerade Kante mit einer geraden Kante an der
unteren Trommelseite aus. Befestigen Sie die obere Trommelseite mit zusätzlichen
magnetischen Streben an jedem der beiden an der unteren Trommelseite
angebrachten Kanten. Stellen Sie sicher, dass alle vier Magnete die Trommel und
die Kantenstücke vollständig berühren.
Gehen Sie um die
gesamte Trommel herum, und stellen Sie mit Hilfe eines Setsquare sicher, dass
die beiden Seiten der Trommel genau übereinstimmen, und stellen Sie sicher,
dass die flachen Kanten genau übereinstimmen. Denken Sie daran, dass Sie,
sobald Sie die erste Heftnaht auf der zweiten Trommelseite hergestellt haben,
das ist und Sie keine realistische Chance haben, die Position zu ändern.
Wenn Sie
überzeugt sind, dass die zweite Trommelseite genau richtig positioniert ist,
führen Sie auf der zweiten (oberen) Trommelseite zwei gegenüberliegende
Heftschweißungen wie folgt aus:

Diese
Schweißnähte sind aufwärts gerichtet, stellen Sie also sicher, dass Sie gute,
starke Handschuhe tragen, da geschmolzenes Metall auf nackter Haut kein
angenehmes Erlebnis ist! Dann machen Sie zwei weitere gegenüberliegende
Heftschweißungen wie folgt:

Sie können die
Trommel dann umdrehen, so dass alle nachfolgenden Schweißvorgänge nach unten
gerichtet sind und Sie nicht mit heißem Metall in Berührung kommen können.
Innerhalb der Trommel ist Platz zum Schweißen, da die die Kanalwände bildenden
Teile nur 150 mm lang sind und der Abstand zwischen den Trommelseiten 144 mm
beträgt.
Diese acht
kurzen Stücke halten die Trommelseiten sicher und verleihen der Trommel große
Stärke. Streng genommen sollten die obigen Diagramme 16-seitige Seiten und
keine Kreise zeigen. Wir kommen jetzt dazu, Streifen an den Seiten der Trommel
anzubringen, um den Umfang zu bilden. Entfernen Sie die Magnete und die
Ausrichtungsseitenstreifen, drehen Sie die Trommel zur Seite und klemmen Sie
sie im Workmate so ein, dass die Trommelkante nach oben zeigt und leicht zu
bearbeiten ist.
Nehmen Sie die
beiden bereits zugeschnittenen Kantenstücke und verschweißen Sie sie an
gegenüberliegenden Stellen um die Trommel herum:

Die Schweißnähte
können auf Wunsch innerhalb der Trommel hergestellt werden. Zwei weitere
Umfangsstücke werden dann sorgfältig gemessen, geschnitten und wie folgt
verschweißt:

Dann noch vier
so:

Hier wird es
interessant. Die Endplatten müssen sehr genau gemessen werden und werden wie
folgt verschweißt:

Die V-Kerbe
zwischen den Platten ist sehr wichtig, da dort die Düsenstrahlen gebohrt
werden:


Es kann
erforderlich sein, die nächste Umfangsplatte mit einem Schleifwerkzeug direkt
gegenüber dem Düsenaustritt abzusenken, damit der Flüssigkeitsstrahl, der die
Trommel verlässt, nicht beeinträchtigt wird:

Nach all dieser
Anstrengung haben Sie jetzt eine starke und sichere Trommel, aber es ist nur
das Einlassrohr mit einem Durchmesser von 3 Zoll angebracht, und wir benötigen
die Achsstützstange auf der anderen Seite der Trommel. Welchen Durchmesser
sollte es sein? Ich weiß es nicht, weil darauf eine Riemenscheibe montiert sein
muss. Ich würde erwarten, dass der Durchmesser ungefähr 25 mm (1 Zoll) beträgt,
aber Sie müssen die Lieferanten nach Riemenscheiben suchen und zwei kaufen,
eine für die Trommel und einen, um den Antriebswellendurchmesser Ihrer
Lichtmaschine anzupassen. Offensichtlich müssen die beiden Riemenscheiben mit
demselben Antriebsriemen arbeiten. Idealerweise sollte die Trommelscheibe das
Zweifache oder das Dreifache des Durchmessers der Lichtmaschine der
Lichtmaschine sein. In der Tat wäre jedes Verhältnis bis zu fünfmal gut, da die
Arbeitsleistung des Generators bei niedrigeren Trommeldrehzahlen erreicht wird
und dies einen glatteren Lauf ergibt, wenn die Trommelkonstruktion nicht
perfekt ist.
Wir haben also
ermittelt, welcher Wellendurchmesser für die Trommelausführung benötigt wird,
und wir haben eine Stahlstange dieses Durchmessers gekauft. Der Mittelpunkt der
zweiten Trommelseite ist markiert. Wenn Sie es auf der Innenseite der Trommel
geschickt verschweißt haben, markieren Sie die Diagonalen, um den Mittelpunkt
zu erhalten. Überprüfen Sie dies, indem Sie das 3-Zoll-Rohrlager im Workmate
festklemmen, das Trommeleinlassrohr darin platzieren und die Trommel drehen.
Der Mittelpunkt sollte stationär erscheinen, wenn sich die Trommel dreht.
Halten Sie einen Filzstift stationär und markieren Sie einen kleinen Kreis,
indem Sie die Trommel in der Nähe der Mitte berühren - etwa 30 mm Durchmesser.
Nachdem wir die
Trommel fertiggestellt haben, müssen wir das Stützgehäuse herstellen, das auch
als Sumpf für die Flüssigkeit dient, die die Trommel durchlaufen hat. Während
der Clem-Motor zwar Speiseöl als Flüssigkeit verwendet, weil der Clem-Motor
viel Wärme erzeugt, schlagen einige Leute vor, Getriebeöl im Donnie
Watts-Design zu verwenden, hauptsächlich damit es alles schmiert, was es
durchläuft. Getriebeflüssigkeit ist jedoch sehr teuer, so dass es viel
sinnvoller erscheint, Speiseöl zu verwenden, das vielleicht achtmal billiger
ist als Getriebeflüssigkeit.
Der Behälter,
der als Sammelbehälter dient, kann nur eine rechteckige Box sein. Es wird
festgelegt, dass auf beiden Seiten der Trommel ein Abstand von 75 mm vorhanden
sein muss, der 450 mm + 75 mm + 75 mm = 600 mm breit ist. Der Sumpf soll
zusätzlich 200 mm tief sein und mit den 75 mm oben und dem 450 mm Durchmesser
der Trommel eine Vorder- und Rückwandgröße von 725 x 600 mm ergeben. Die Seiten
müssten etwa 300 mm breit sein:


Der nächste
Schritt besteht darin, die Prallplatten zu konstruieren, um die aus den Düsen
der Trommel austretenden Flüssigkeitsstrahlen aufzufangen. Zunächst wird ein

Setzen Sie die
Frontplatte bei montiertem Lager auf den Workmate und führen Sie das
Einlassrohr der Trommel in das Lager ein. Dadurch haben Sie eine flache,
horizontale Oberfläche, wobei sich die Trommel genau in ihrer Position
befindet. Klemmen Sie die Trommel so, dass sie sich nicht bewegen kann. Eine
der Magnetklemmen wird jetzt zum Positionieren und Markieren der Position der
ersten Schallwand verwendet. Markieren Sie bei fixierter Trommel die Position
der passenden fünfzehn anderen Leitbleche. Entriegeln Sie die Trommel und
nehmen Sie sie heraus, so dass sich ein freier, unbelasteter Arbeitsbereich
ergibt. Positionieren Sie jede Prallplatte mit nur einer Magnetklemme und
bringen Sie sie mit einer Heftnaht auf der Seite der Trommel und einer
unmittelbar passenden Heftnaht auf der von der Trommel abgewandten Seite an.
Stellen Sie sicher, dass wir die entsprechenden Schweißnähte zum Anhalten des
Abkühlens der Schweißnaht benötigen die Prallplatte von der Vertikalen weg.

Setzen Sie dann
die Trommel wieder ein und drehen Sie sie erneut, um sicherzustellen, dass die
Trommel alle Prallplatten frei macht. Wenn Sie begeistert sind, können Sie
anstelle der gezeigten sechzehn 32 Leitbleche verwenden. Ich bezweifle
ernsthaft die angegebenen Abstände für das Gehäuse. Die Flüssigkeit spritzt
durch die "Düsen" der Trommel und trifft auf die Prallplatten. Aber
wo geht es hin? Es hat an Schwung verloren und fällt nur noch unter die
Schwerkraft. Einige fallen auf die Trommel, die sie an die Wand schleudert, wo
sie in den Sumpf fällt. Ein Teil fällt aus der Trommel heraus und fällt an der
Gehäuseseite herunter. Warum also die Lücke? 75 mm sollten leicht genug sein,
um dies unabhängig vom Trommeldurchmesser zu ermöglichen. Fünf Millimeter Platz
außerhalb der Leitbleche sollten eigentlich ausreichend sein.
Die
physikalische Größe und Form der Pumpe ist nicht wichtig, da sie sich außerhalb
des Sumpfgehäuses befindet. Ich wurde gefragt, was die minimale Pumpengröße
ist, aber ich weiß nicht, das Beste, was ich sagen kann, ist, dass Donnie Watts
eine 500-Watt-Pumpe für seine Trommel mit einem Durchmesser von vier Fuß
spezifiziert hat. Bitte haben Sie Verständnis dafür, dass ich noch nie einen
Donnie Watts Generator gebaut oder gesehen habe. Ich glaube, dass es genau wie
angegeben funktioniert (vor allem, da der sehr ähnliche Clem Motor gut
funktionierte), aber ich kann nicht garantieren, dass dies der Fall ist. Wenn
die Anordnung mit einer Pumpen-Bypassleitung und einem Ventil im Vorbeigehen
ist, könnte eine Pumpe dazu verwendet werden, eine ganze Reihe von Donnie
Watts-Generatoren zu starten, indem die Pumpe von jedem getrennt wird, sobald
sie ordnungsgemäß läuft. In diesem Fall muss das Pumpenventil natürlich
zwischen der Trommel und der Pumpe sein, um den Sumpf zu umschließen, wenn die
Pumpe entfernt wird.
Reines Ein- und
Ausschaltventil ist selbst bei einem Durchmesser von 3 Zoll nicht teuer:

Es scheint, dass
dieses Ventil entweder vollständig ein- oder vollständig ausgeschaltet ist. Es
gibt Ventile, die behaupten, unter elektronischer Steuerung voll einstellbar zu
sein, müssen aber noch untersucht und bewertet werden. Nehmen Sie also an, dass
der Generator unter konstanter Last betrieben wird, und bauen Sie die Box, die
das Einlassrohr der Trommel umgibt, mit einer Größe von 300 x 300 x 150 mm und
mit einer abnehmbaren 300 x 300 mm-Seite aus, die mit einem Kunststoff oder
Gummi abgedichtet ist Dichtung.
Wenn Sie der
Meinung sind, dass ein Generator, der auf eine feste Last beschränkt ist,
wirklich nicht so nützlich ist, dann denken Sie noch einmal darüber nach.
Erwägen Sie die Verwendung eines Elmer Grimes-Wasserversorgungssystems. Das
US-Patent 2,996,897 (22. August 1961) ist mehr als fünfzig Jahre alt und
beschreibt ein System, das reines Wasser in Trinkqualität erzeugen kann. Es ist
effektiv ein Outdoor-Kühlschrank. Eine Reihe von kegelförmigen Metallplatten
ist aus Platzgründen vertikal aufeinander gestapelt. In jedem Kegel befinden
sich Rohre, durch die die Kühlflüssigkeit durch die Kegel geleitet wird,
wodurch sichergestellt wird, dass sie immer auf niedriger Temperatur sind. Auf
die gleiche Weise, wie ein kaltes Getränk Wassertröpfchen an der Außenseite des
Glases bekommt, bilden sich bei den Kegeln ständig Wassertröpfchen. Ein
Wischerarm wie ein Scheibenwischer an einem Auto wischt diese Tröpfchen dann
ab, wobei der Wischerarm kontinuierlich um die Kegel rotiert und nicht wie bei
einem Auto-Wischblatt vorwärts und rückwärts. Dadurch wird ein kontinuierlicher
Frischwasserstrom erzeugt, der von den Zapfen kommt. Wenn es keinen guten Grund
gibt, dies nicht zu tun, werden die Kegel in einer angehobenen Position
montiert, sodass die Schwerkraft verwendet werden kann, um den Wasserstrom
dorthin zu lenken, wo er enden muss. Kegel werden verwendet, da sie eine
größere Oberfläche haben als eine ebene Platte mit dem gleichen Durchmesser,
und die Abwärtsneigung des Kegels hilft, die Wassertröpfchen von den
Kegeloberflächen abfließen zu lassen.
Draufsicht:

Seitenansicht:

Eines dieser
Grimes-Systeme produziert genug Wasser, um eine Ranch in
Da es
wahrscheinlich nicht notwendig ist, ständig Trinkwasser zu erzeugen, könnte der
Generator das elektrische Kochen in Bereichen durchführen, in denen Brennholz
knapp wird, Mobiltelefone, Fernseher, Ventilatoren, Kühlschränke usw. aufladen.
Das Innere des
Sumpfgehäuses ist drucklos und sehr nass. Wir möchten nicht, dass Öl durch das
Lager der Antriebswelle austritt. Daher wäre es eine gute Idee, einen
Stahlschirm zu liefern.

Dazu werden zwei
Dreiecke aus Stahl geschnitten und geschweißt, sodass das meiste Öl, das auf
ihnen landet, abfließt, ohne das Lager zu erreichen:

Manche Menschen
ziehen es vor, kommerziell gefertigte Komponenten zu verwenden, anstatt eine
einstellbare Klappe für das drehende Einlassrohr mit einem Durchmesser von 3
Zoll zur Trommel zu bauen. Nun, schauen wir mal, ob wir eine andere Methode zur
kostengünstigen automatischen Flusskontrolle finden können. Damit das System
automatisch funktioniert, schlage ich vor, elektrisch betätigte Ventile zu
verwenden, die dann von einer Steuerschaltung gesteuert werden können. Die
überwiegende Mehrheit dieser kostengünstigen Ventile hat nur einen Durchmesser
von einem halben Zoll für Zentralheizungssysteme und sie sind geschlossen, wenn
sie nicht mit Strom versorgt werden, um sie zu öffnen. Ich würde folgende
Ventile als möglich vorschlagen:

Dieses
Messingventil mit einem Durchmesser von drei Viertel Zoll kostet etwa £8, und
zum gleichen Preis haben wir ein Kunststoffventil mit einem Durchmesser von
einem Zoll:

Halbzoll-Plastikversionen
sind für ungefähr £4 erhältlich, aber ich bevorzuge die Messingversion mit
einem Durchmesser von drei Viertel. Wir können jedoch eine variable Steuerung
erhalten, indem wir eine Reihe dieser Ventile verwenden, um den Durchfluss
einzuschränken. Dafür verwenden wir eine zweite flüssigkeitsgefüllte Box wie
folgt:

Diese Reihe von
zehn Ventilen erlaubt zehn verschiedene Durchflusseinstellungen, wenn die
Ventile durch die Steuerschaltung ein- oder ausgeschaltet werden, und es
besteht der zusätzliche Vorteil, dass die Steuerschaltung über den
Generatorausgang mit Strom versorgt wird und ein erhebliches Problem beim
Antrieb auftritt Wenn der Riemen schnappt oder ein anderer schwerwiegender
Fehler auftritt, der den Widerstand der Lichtmaschine von der Abtriebswelle
entfernt, werden alle Ventile automatisch abgeschaltet und blockieren den Fluss
aufgrund von fehlender Spannung, um sie offen zu halten. Die Anordnung könnte
so sein:

Die direkteste
Methode zur Bestimmung der Drehzahl der Abtriebswelle besteht darin, eine
Scheibe mit der Welle zu verbinden und einen Sensor zu verwenden, um
festzustellen, wie oft ein Magnet in der Scheibe vorbeigeht. Ein
Drehzahlmesserzähler überwacht dann die Wellendrehzahl und schaltet die Ventile
schrittweise ab, wenn sich die Welle zu schnell dreht.
Während das
obige Diagramm den sichersten Weg darstellt, um die Drehzahl des Generators zu
bestimmen, ist es für die meisten Menschen bequemer, so viele Bauarbeiten wie
möglich zu überspringen. Daher ist ein Weg attraktiv, der die Notwendigkeit
einer zusätzlichen Rotorscheibe und eines Sensors überspringt. Dafür können wir
statt der direkten Drehzahl der Generatorachse die Leistung der Lichtmaschine
messen.
Der
Wechselstromgenerator ist ein Wechselstromgenerator. Wenn Sie die Antriebswelle
des Generators mit der Entwurfsdrehzahl drehen, wird die Netzspannung erzeugt.
Wird die Welle schneller gedreht als erwartet, wird eine höhere Spannung
erzeugt. Wenn die Welle langsamer gedreht wird als ihre Sollgeschwindigkeit,
ist die Ausgangsspannung niedriger als die Netzspannung. Wir können daher die
Spannung des Generatorausgangs verwenden, um das Schalten der Ventilreihe zu
steuern, und das Design wird dann wie folgt:

Wenn bei dieser
Anordnung der Antriebsriemen bricht oder der Generator einen schwerwiegenden
Fehler entwickelt, fällt die Schaltspannung ab und als Folge liefert der Kreis
keinen Strom mehr zu den geöffneten Ventilen und sie schließen alle.
Ausschalten des Generators ist genau das, was benötigt wird.
Jetzt wird nur
noch eine einfache Schaltung zur Steuerung der Ventile benötigt. Bitte haben
Sie Verständnis dafür, dass ich noch nie in der Elektronik ausgebildet wurde.
Daher bin ich nur Autodidakt. Daher können Sie sich jederzeit an einen Experten
wenden, um Ihnen eine bessere Schaltung zu bieten.
Das Dreiviertel
eines Zoll-Messingventils hat eine Öffnung von 20 mm und öffnet sich, wenn 300
mA Strom bei 12 Volt eingespeist werden. Das sind 3,6 Watt Leistung für jedes
Ventil oder nur 36 Watt für alle zehn Ventile. Die Lichtmaschine erzeugt eine
Netzspannung, so dass wir diese aus Sicherheitsgründen auf rund 12 Volt senken
und die Schaltungskomponenten billiger machen. Um die Spannung abzusenken,
verwenden wir eine einfache Stromversorgung, die aus einem
3-A-Netztransformator zum Absenken der Spannung, einer Diodenbrücke zur
Umwandlung des Ausgangs in pulsierenden Gleichstrom und einem Kondensator zum
Glätten des Pulsierens besteht:

Wie bei allen
Stromkreisen und insbesondere bei Stromkreisen installieren wir als erste Komponente
eine Sicherung oder einen Schutzschalter und isolieren alle Metallkomponenten,
um sicherzustellen, dass sie nicht versehentlich berührt werden und ein böser
Schock entsteht. Sobald die Spannung auf 12 Volt abgesunken ist, ist die
Schaltung nicht gefährlicher als eine 12-Volt-Autobatterie, und es ist nicht
notwendig, alles zu isolieren. Die Sicherung ist eine 3-Ampere-Sicherung.
Diese Schaltung
ist absichtlich nicht selbstjustierend, da wir Spannungsunterschiede erkennen
wollen, die von der Lichtmaschine kommen, die in den Diagrammen mit
"Netz" gekennzeichnet ist. Das Wichtigste ist, einen Spannungsanstieg
zu erkennen, da dies darauf hinweist, dass sich der Generator zu schnell dreht
und wir ein oder mehrere Ventile ausschalten möchten. Die Schaltung für jedes
Ventil ist die gleiche wie für alle anderen, obwohl die Einstellung jeder
Schaltung etwas anders ist, so dass die Ventile bei geringfügig
unterschiedlichen Spannungen abschalten.
Der Schaltkreis,
den wir verwenden werden, wird als "Operationsverstärker" bezeichnet.
Zum Glück kommt der gesamte Schaltkreis in einem Standardchip. Zum Beispiel
enthält der sehr billige LM358-Chip zwei separate
Operationsverstärker-Schaltkreise:

Wenn wir einen
LM358 an den Stromkreis anschließen, erhalten wir Folgendes:

Wenn die
Spannung an Pin 3 die Spannung an Pin 2 übersteigt, ist der Ausgang an Pin 1
hoch (ungefähr 10 Volt), andernfalls ist die Spannung an Pin 1 niedrig. Wir
werden die Hochspannung an Pin 1 einschalten, um eines der Ventile
einzuschalten, und wir werden dazu einen Hochleistungs-Transistor mit hoher
Verstärkung wie den TIP132 verwenden:

Der TIP132 kann
100 Volt und 8 Ampere verarbeiten und hat eine Verstärkung von 1000. Wenn also
330 mA durch die Ventilwicklung geleitet werden, ist ein Basisstrom von 0,3 mA
erforderlich. Dieser Strom fließt durch den Widerstand "R", an dem
ungefähr 10 Volt anliegen. Widerstand = Volt / Ampere oder 10 / 0,0003 Ampere,
also 33.333 Ohm oder 33K. Wir werden jedoch den Basisstrom um den Faktor 3 erhöhen
und einen 10K-Widerstand verwenden:

Nun müssen wir
den LM358 zum Abschalten bringen, wodurch die Spannung an Pin 1 abfällt, der
TIP132 an Grundstrom fehlt und die Stromversorgung der Ventilspule unterbrochen
wird. Dafür brauchen wir die Spannung an Pin 2, um über die Spannung an Pin 3
zu steigen, und wir möchten, dass dies geschieht, wenn die Versorgungsspannung
ansteigt.
Wenn Sie also
einen voreingestellten Multi-Turn10K-Widerstand über das Netzteil anschließen
und ihn an Pin 2 anschließen, können Sie ihn so einstellen, dass der
Operationsverstärker mit einem Spannungsanstieg auslöst. Ein Widerstand dieses
Typs sieht so aus:
oder 
Und die
Schaltung wird:

Der letzte
Schritt ist nun die Bereitstellung einer Referenzspannung, die sich bei
steigender Versorgungsspannung nicht ändert. Die bewährte Methode ist die
Verwendung einer Zenerdiode mit einem Widerstand in Reihe und theoretisch ist
der Spannungsabfall an der Zenerdiode eine zuverlässige Referenzspannung. Ich
habe nicht gefunden, dass dieses Arrangement überhaupt gut funktioniert, also
schlage ich vor, gewöhnliche Dioden wie die 1N5408 wie folgt zu verwenden:

Diese Anordnung
ergibt etwa 10 Milliampere, die durch die Diodenkette fließen, und über die
Dioden werden etwa 2,75 Volt erzeugt. Diese Spannung ändert sich nicht
merklich, wenn die Versorgungsspannung ansteigt.
Mit dem zweiten
Operationsverstärker des LM5408-Chips kann das nächste Ventil gesteuert werden.
Pin 4 und 8 sind bereits mit den Stromleitungen verbunden, aber Pin 1 ist jetzt
Pin 7, Pin 2 ist jetzt Pin 6 und Pin 3 ist jetzt Pin 5.
Die Schaltung
wird mit einer Tischstromversorgung eingerichtet. Messen Sie die Spannung der
Stromversorgung, die von der Donnie Watts Lichtmaschine gespeist wird, und
trennen Sie sie dann. Schließen Sie die Tischversorgung anstelle der
Generatorversorgung an und stellen Sie die Spannung auf den gleichen Wert ein.
Alle Operationsverstärker sind an den vier Dioden-Referenzspannungspunkt angeschlossen.
Nehmen wir an,
wir wollen, dass die Ventile bei jeder Erhöhung der Netzspannung um 5 Volt
abfallen. Wenn es sich um eine 240-Volt-Netzversorgung handelt, fällt der
Transformator auf 12 Volt ab, wodurch die Änderung 20-mal kleiner wird, sodass
die Versorgungsspannung nur um 5/20 Volt ansteigt, was nur ein Viertel von
einem Volt ist. Sie stellen also die Tischstromversorgung um ein Viertel Volt
höher ein und stellen den ersten variablen Widerstand so ein, dass das erste
Ventil abschaltet. Wenn Sie die Versorgungs- spannung der Bank um diesen
Viertel Volt senken, sollte das Ventil wieder aufklappen.
Dies wird mit
allen Ventilen wiederholt, so dass das zweite Ventil bei einer um eine halbe
Volt höheren Spannung geschlossen abfällt. Das dritte Ventil fällt um drei
Viertel Volt über die ursprüngliche Spannung und so weiter.
Wenn Sie den
Donnie
In der heutigen Zeit gibt es einen kurzen Videoclip auf YouTube, zeigt ein Pendel, das bereits läuft bloßem für mehr als zwei Jahre: http://www.youtube.com/watch?v=SZjNbjhxgt4 und welche verwendet sowohl Schwerkraft und Magnetismus, um weiterzumachen. Die Vorrichtung wird in einem Fall mit transparenten Seiten installiert:

Das Pendel selbst sieht eher wie ein Vorschlaghammer aufgrund seiner starren Welle und den zusätzlichen Magneten auf das Gewicht montiert. Das obige Bild zeigt das Pendel am Ende der es Schaukel auf der rechten Seite und dem Bild unten, in seiner extremen linken Schwenkposition:

Was darauf hindeutet, das Schwingen deckt eine ziemlich kurze Strecke. Angebracht nahe dem oberen Ende des Pendels, gibt es zwei schwenkbaren Armen, die ganz wie Mikrofonen aussehen, wegen mit großen Magneten montiert auf ihren innersten Enden:

Das Gerät arbeitet wie folgt: das Pendel schwingt nach rechts und wie so, löst es ein Magnet, der Pendel-Welle durch einen gekrümmten silbernen Arm verbunden:

Vermutlich ist der Arm gebogen, um die baulichen Komplikationen bei der Pendel-Pivot zu vermeiden, die durch eine gerade Tragarm befestigt, der Pendel-Welle entstehen würde. Steigende Magneten befestigt, mit dem Pendel schiebt Magnet Jahresende der Kipphebel nach oben, obwohl sie nicht nahe kommen.
Der Kipphebel wird zum Heben und senken einer

Die

Die Ablagerung der Hebelarm tropft die Platte wie das Pendel die
Dies ist eine clevere Anordnung und das Gerät auf dem Display zu einem sehr hohen Standard der Konstruktion aufgebaut wurde. Es scheint keine haben zusätzliche Energie abheben, scheint aber sehr wahrscheinlich, dass könnte Luft-Kern Spulen auf der Schaukel Weg verwendet werden, um elektrischen Energie zu erzeugen. Die Anordnung wird also in der Nähe von John Bedini Pendel Batterie Ladegerät, das es wohl möglich, mithilfe ein Pendels derartige Batterien aufzuladen, wie John sein.
Während dies ein sehr einfaches Gerät aussieht, ist es sehr wahrscheinlich, dass es exakte Justage der Länge der Hebel Arme, die Lücke magnetische Größen in Bezug auf die Stärke der Magnete, etc. etc. erfordert. Wiederholte kleine Anpassungen sind wahrscheinlich erforderlich, um das Gerät reibungslos und Erhaltung der Pendelschwung erhalten. Alles in allem aber ist es ein sehr interessantes Gerät.
Wir kommen nun zu einem
Gerät, das ich gerne als "unmöglich" aber ungern, ich
kann nicht wirklich tun beschreiben
würde. An der Oberfläche hat
dieses Gerät allem Anschein nach nicht
möglich ist, und doch hat es in
einem Labor als 147%
effizient gemessen worden. Vielleicht
sind die Messungen im Labor sind
falsch, aber es scheint sehr
wenig Spielraum für Messfehler
des Gerätes ist so im Grunde einfach. Mein Problem ist, dass, wenn die Ergebnisse 100%
echt sind, die deutlich möglich ist, dann eine Reihe von ihnen in einem Kreis angeordnet,
die jeweils den Antrieb des nächsten,
wäre es ein selbst betriebenes Gerät
und ich kann nicht erklären, wo die treibende Macht würde kommen. Ich kann so
ziemlich jedes andere Gerät in
diesem eBook verstehen, aber
dieser hat mich ratlos. Da ich über keine Grundlage
für die behaupten, ein Genie zu
sein, bin ich teilen die
Informationen hier und ich werde Sie
entscheiden, ob es funktionieren kann als das Patent behauptet, dass es funktioniert.
Das fragliche Patent ist das sehr unschuldig aussehende US 7.780.559 mit dem
Titel "Chain Transmission",
die unschuldig erklärt, dass es
ein single-chain-System zum Drehen einer
großen Zahnrad mit der gleichen
Geschwindigkeit wie ein kleiner, Antriebszahnrad
und ohne Frage ist, ist genau das, was sie tut. An diesem Punkt, sagt mein Ingenieur Trainingssprünge in und
"sicher, aber die gesamte mechanische Effizienz von weniger als 100% betragen und während der größere Zahnrad mit der gleichen
Geschwindigkeit dreht, wird es
so weit weniger stark zu tun, und Sie haben genau
die gleichen Effekt wie den
Antrieb der zweiten Welle mit einem kleinen Zahnrad, das einen
großen Zahnrad verschraubt darauf hat.
Das einzige Problem dabei ist, dass das Testen scheint anzuzeigen, dass dies nicht der Fall ist und
in der Tat, (wahrscheinlich
aufgrund der größeren Hebelarm des
größeren Zahnrades Radius)
die Anordnung weist eine Ausgangsleistung, die im Prototyp als 47 gemessen wurde
% größer als die Eingangsleistung.
OK, so wie funktioniert es?
In dem Diagramm abgebildet, hat einen kleinen Durchmesser Antriebsrad mit "1" genau die gleiche Anzahl von Zähnen als das angetriebene Rad viel größer "2". Wie sie durch eine Kette verknüpft sind, wobei diese beiden Räder an genau der gleichen Rate drehen, das heißt, die Umdrehungen pro Minute sind genau die gleichen für jedes der beiden Räder.

Die Art und Weise verwaltet, dass die Kette, um die größeren Zähnen des großen Rad schieben ist, indem er die Antriebsrolle "5" durch eine dreieckige Link "4" erhöht, so dass es die gleiche Teilung wie die Rotationsgeschwindigkeit Zähnen auf dem größeren Rad.


Meine unmittelbare Reaktion dazu ist zu sagen, dass als die dreieckige Links in die Antriebskette etwas schmalere Basis als ihre Höhe haben, dass dadurch die treibende Rolle "5", mit dem Auto weniger leistungsfähig als das Antriebsrad "1" haben wird. Aber wenn die Labormessungen auf dem Prototyp richtig sind, dann ist das höhere Niveau Arm Wirkung nicht ausreichend, um die Verstärkungen durch die erhöhte Radius des größeren Rad verursacht zu überwinden. Die Labor-Messungen wurden an der zertifizierten Labor des Instituts für Elektrische Maschinen und Antriebe an der Technischen Universität Wroclaw, Polen. Eine Video-Präsentation in polnischer können eingesehen werden unter http://www.focus.pl/video/film/perpetuum-mobile/ Es ist schwer zu sehen, wie diese Kette Antrieb könnte COP>1 sein, aber es hat den Vorteil, dass jeder mit guten mechanischen Konstruktion Fähigkeiten kann es ohne die Notwendigkeit für irgendwelche Kenntnisse der Elektronik testen.
Wir sind alle vertraut mit den Auswirkungen der Schwerkraft. Wenn Sie etwas fallen lassen, fällt es nach unten. Ingenieure und Wissenschaftler sind in der Regel der Meinung, dass nützliche Arbeit nicht auf einer kontinuierlichen Basis von der Schwerkraft durchgeführt werden, da sie darauf hinweisen, wenn ein Gewicht und fällt wandelt es "potentielle Energie" in nützliche Arbeit, Sie müssen dann in ebenso gesetzt viel Arbeit, um das Gewicht wieder aufrichten zu seinem Ausgangspunkt. Während dies scheint eine fundierte Analyse der Situation, ist es nicht wirklich wahr.
Einige Leute behaupten, dass eine Schwerkraft-betriebenes Gerät unmöglich ist, weil sie, dass es ein "Perpetuum mobile" Maschine sein, zu sagen und sie sagen, ist das Perpetuum mobile unmöglich. In der Tat ist das Perpetuum mobile nicht unmöglich, wie das Argument, dass es unmöglich ist, auf Berechnungen, dass das betreffende Objekt Teil einer "geschlossenen" System ist, während in Wirklichkeit es äußerst unwahrscheinlich ist davon aus, dass jedes System im Universum ist eigentlich ein "geschlossenes" System, da alles in einem riesigen Meer von Energie als "Nullpunkt-Energiefeld" eingetaucht ist. Aber davon abgesehen, untersuchen wir die aktuelle Situation.
Johann Bessler hat eine voll funktionsfähige Schwerpunkt Rad in 1712. A 300 £ (136 kg) Rad, das demonstrierte er Anheben eines 70 Pfund Gewicht über eine Entfernung von 80 Fuß und zeigt eine überschüssige Leistung von 5.600 Fuß-Pfund. Angesichts der niedrigen Stand der Technik zu dieser Zeit, würde es scheinen sehr wenig Spielraum für diese Demonstration eine Fälschung sein. Wenn es eine Fälschung wäre, dann die gefälschten selbst wäre eine sehr beeindruckende Leistung haben.
Allerdings handelte Bessler in der gleichen Weise wie die meisten Erfinder, und verlangte, dass jemand zahlen müsste ihm eine sehr große Menge an Geld für das Geheimnis, wie seine Schwerkraft Rad gearbeitet. Gemeinsam mit dem heutigen Tag gab es keine Abnehmer und Bessler hat die Details seines Entwurfs zum Grab mit ihm. Nicht gerade eine ideale Situation für den Rest von uns.
Allerdings ist das Hauptargument gegen die Möglichkeit einer Arbeitsgruppe Schwerpunkt Rad die Idee, dass die Schwerkraft scheint eine direkte Kraft in Richtung der Erde ausüben, es kann daher nicht verwendet werden, um jede nützliche Arbeit zu verrichten, vor allem da der Wirkungsgrad eines Gerätes wird weniger als 100%.
Während es sicherlich vereinbart, dass die Effizienz der an einem Rad weniger als 100%, da die Reibung wird auf jeden Fall ein Faktor sein, ist es nicht unbedingt, dass ein erfolgreicher Schwerpunkt Rad nicht aufgebaut werden kann. Wenden wir ein wenig gesunden Menschenverstand, um das Problem und sehen, welche Ergebnisse.
Wenn wir eine Wippe Anordnung, wobei die Vorrichtung genau ausgewogen mit der gleichen Länge einer starken Planke auf jeder Seite des Drehpunktes, wie diese:

Es gleicht, weil das Gewicht der Planke ("W") zur linken des Abstützpunktes versucht, den Stab über in einer Richtung gegen den Uhrzeigersinn kippen zu machen, während genau dasselbe Gewicht ("W") versucht, sie zu kippen in ein Uhrzeigersinn. Beide drehen Kräfte sind d multipliziert mit W und wie sie genau, das Brett bewegt sich nicht.
Die Drehkraft (d multipliziert mit W) wird als "Drehmoment", und wenn wir die Anordnung, indem ungleiche Gewichte auf dem Brett zu verändern, so wird der Strahl umkippen in Richtung der schwereren Seite:

Mit diesem ungleichen Belastung, der Strahl der Spitze nach unten
auf der linken Seite, wie durch den roten Pfeil. Dies scheint eine sehr
einfache Sache, aber es ist eine sehr wichtige Tatsache. Lassen Sie
Ein weiterer Punkt ist, dass der Abstand vom Drehpunkt auch wichtig ist. Wenn die zugesetzten Gewichte "m" gleich aber platziert in unterschiedlichen Abständen von dem Drehpunkt befinden, dann das Brett auch umkippen:

Dies ist, weil die größeren Hebelarm "x" macht die linken Gewicht "m" einen größeren Einfluss als die identisches Gewicht "m" auf der rechten Seite.
Haben Sie das Gefühl, dass diese Tatsachen einfach zu einfach für jedermann zu wirklich stört sind? Nun, bilden sie die Grundlage von Geräten, die wirkliche Macht, um wirkliche Arbeit zu tun zu schaffen, ohne die Notwendigkeit für die Elektronik oder Batterien.
Die folgenden Vorschläge für praktische Systeme freuen für Sie zu
prüfen setzen, und wenn Sie interessiert sind, genug zu testen. Allerdings,
wenn Sie versuchen, etwas hier gezeigten aufbauen möchten, sollten Sie
verstehen, dass Sie so tun, auf eigene Gefahr. In einfachen Worten, wenn Sie
ein schweres Gewicht Drop auf Ihre Zehen, während andere Menschen gut sein kann
sympathisch, ist niemand anderes haftbar oder verantwortlich für Ihre
Verletzungen - Sie müssen vorsichtiger sein in der Zukunft! Lassen Sie

Mikhail ist ein russischer Experimentator, der seit vielen Jahren
die Entwicklung und Erprobung der Schwerkraft-betriebene Geräte gearbeitet hat.
Seine Beharrlichkeit hat sich gelohnt und er war sehr erfolgreich. Seine Arbeit
beruht auf
Um für die Gewichte zu kompensieren, wenn das Rad umhergeht werden anzuordnen, ist jedes Gewicht auf einem Schwenkarm aufgehängt:

Für das Gerät zu bedienen wie erforderlich, braucht das Aufhängungsarm auf (beispielsweise) nach rechts bewegt werden, wenn fallende und zentriert oder nach rechts abgelenkt bei Anstieg. Mikhail hat sich entschieden, eine kleine Menge an elektrischer Energie, um dies zu nutzen, weil die Energie durch die Schwerkraft in das Rad vorgesehen überwiegt bei weitem den kleinen elektrischen Eingang notwendig sind, um das Rad zu drehen.
Verschiedene Mechanismen, die dies möglich wurden getestet wie man es von Sterling Präsentation sehen können. Eine Methode ist es, die Hebelarme nach rechts drückt, mit einem einfachen rotierenden Scheibe, die Abweiser Arme angehängt ist:
Nachdem angesichts der seitliche Druck, bleibt jedes Gewicht aus der
Mitte, bis sie den Boden von ihm die Reise erreicht. Bitte denken Sie daran,
dass, während die Gewichte hier zeigen sind winzig, ein Full-Size Arbeiten
Gerät Gewichte, Gewicht insgesamt vielleicht 130 kg und die beteiligten Kräfte
sind dann große haben. Das Bild oben ist ein wenig schwierig zu machen, als die
rotierende Scheibe ist transparent und die Unterstützung für die Dreharme ist
auch transparent. Die horizontale Metallarm ist da, um die transparente
Eine alternative Methode ist, um einen kleinen Motor, der die Arme direkt wie hier gezeigt Laufwerke verwenden:

Jedes Gewicht starr und so, wenn der Motor Arm drückt dagegen, der Hebelarm aus seitwärts ohne das Gewicht Verdrehen vom Motor Arm gedrückt gehalten. Diese Prototypen Gewichte sind nicht schwer, aber wenn eine Arbeitseinheit gebaut wird sie beträchtliches Gewicht haben, so dass eine ausgewogene Anordnung erhalten, kann es empfehlenswert sein, Gewichte auf beiden Seiten des Rades haben, so dass es keine Verschiebung Axiallast platziert auf der Welle, die den Radträger:

Mikhail Arrangement funktioniert gut, wenn es auf die schwingende Bewegung der Gewichte setzt sie aus der Mitte zu halten während der Zeit, wenn sie fallen werden, und Sie können ein Video von diesem Ereignis zu beobachten. Allerdings macht es ein Wunder, wenn es nicht möglich wäre, für diese Bewegung ohne die Notwendigkeit für einen Motor organisieren, obwohl die Verwendung eines Motors ist ein sehr kluger und vernünftiger Verfahren zur Sicherstellung Drehkraft. Vielleicht, wenn zwei stationäre Abweiser verwendet wurden, ein, um die Gewichte zu halten nach rechts, wenn fallen und ein, um sie aus auf der rechten Seite beim Aufstehen, könnte eine praktikable System erstellt werden. Vielleicht so etwas wie dieses:

Zugegeben, würden die Abweiser Stücke haben eine glattere Form als hier gezeichnet, aber das Prinzip ist trotz der schlechten Qualität der Abbildung dargestellt. Wo schwere Gewichte beteiligt sind, könnte jeweils ein Wälzlager Pressen zwischen dem Gewicht und dem Leitflächenschutz, um Reibung zu minimieren, wie das Gewicht vorbeigleitet. Alternativ könnte der Leitflächenschutz mit starken Magneten gegenüberliegenden ähnlichen Magneten an den Gewichten, die eine berührungslose, sehr reibungsarme Bewegung geben würde konfrontiert werden. Eine ziemlich ähnliche Idee ist Teil des nächsten Eintrags von Dale Simpson.

Das Design der Schwerkraft betriebenen Maschinen ist ein Bereich,
der von beträchtlichem Interesse zu einer Zahl von Menschen seit geraumer Zeit
wurde nun. Die hier gezeigte Konstruktion stammt aus Dale Simpson der
Die Schwierigkeit bei der Entwicklung eines Systems dieser Art ist, eine erfolgreiche und praktischen Mechanismus zum Bewegen der Gewichte in Richtung auf die Nabe, wenn sie in der Nähe der tiefsten Stelle ihrer elliptischen Bewegungsbahn sind entwickeln. Dale Design verwendet eine Feder und eine Verriegelung, um die Bewegung zu unterstützen jedes Gewicht. Der Schlüssel zu einer mechanischen System dieser Art ist die sorgfältige Wahl der Komponenten und der genauen Justierung der endgültigen Mechanismus, um sicherzustellen, dass der Betrieb genau wie beabsichtigt. Dies ist ein häufiges Problem bei vielen freien Energie Geräte wie unvorsichtige Replikation versucht häufig zum Ausfall führen, nicht weil das Design ist schuld, sondern weil das notwendige Maß an Geschick und Sorgfalt in der Konstruktion wurden nicht von der Person, die versucht die Replikation erfüllt. Hier ist eine Skizze von Dale Design:

Das Rad hat einen äußeren
Das Rad wie gezeigt, dreht sich in einer Richtung gegen den Uhrzeigersinn. Jedes Gewicht in dunkelgrau dargestellt, weist ein Paar von reibungsarmen Wälzlagern daran befestigten. Es gibt auch eine Feder, rot dargestellt, zwischen dem Gewicht und der Nabe. Wenn ein Gewicht den 8-Uhr-Position erreicht, an die Wälzlager eine Einfederung Rampe, in lila dargestellt. Diese Rampe besteht aus zwei Teilen, einer auf jeder Seite der Speichen, Bereitstellen einer Rollrampe für jede der zwei Wälzlager gebildet sind. Die Rampe wird in einer Kurve, die eine konstante Geschwindigkeit der Annäherung an die Nabe des Rades hat ausgebildet.
Die Rampe ist so, dass die Feder vollständig zusammengedrückt wird,
wenn das Gewicht hat gerade den tiefsten Punkt seiner Bewegung geführt
angeordnet ist. Wenn die Feder vollständig zusammengedrückt wird, hält eine
Klinke in dieser Stellung. Dies hält das Gewicht in der Nähe der Nabe während seiner
Aufwärtsbewegung. Die Federn sind nicht besonders leistungsfähig, und sollte
gerade stark genug ist, um das Gewicht Druckboden zur Felge des Rades, wenn die
Speiche ist fünfundvierzig Grad oberhalb der Horizontalen. Die
"Zentrifugalkraft" durch die Drehung verursachte unterstützt die
Feder zu bewegen, die Gewichtsgrenze nach außen an dieser Stelle. Die Push aus
der Feder wird durch die Verriegelung ist offen an der Freigabevorrichtung
Komponente in
Die Gewichte haben eine Einwärtsbewegung in Richtung der Nabe, wenn sie durch das Rad der Drehbewegung, die die Rollenlager nach oben zwingt entlang der Feder-Druckanstieg geschoben werden. Sie besitzen eine nach außen gerichtete Bewegung entlang der Speichen, wenn die Klinke hält die Feder zusammengedrückt auf etwa das 11-Uhr-Stellung losgelassen wird. Die Verriegelung und die Entriegelung sind sowohl mechanisch - keine Elektronik oder Stromversorgung wird in diesem Entwurf benötigt.
Diese Angaben sind in der folgenden Abbildung gezeigt:

Die Frage ist natürlich, wird es genug überschüssige Energie, um das Rad richtig drehen sein? Die Qualität der Konstruktion ist definitiv ein Faktor Dinge wie die Reibung zwischen den Gewichten und ihre Speichen muss sehr gering sein. Betrachten wir die beteiligten Kräfte hier:

Nehmen Sie eine beliebige ein Gewicht für diese Berechnung. Überschüssiger Rotationsenergie wird durch den Unterschied zwischen den Kräften versucht, das Rad in eine Richtung im Uhrzeigersinn und solche Kräfte, die versuchen, das Rad in einer Richtung entgegen dem Uhrzeigersinn drehen drehen erstellt werden. Für die Zwecke dieser Erörterung sei angenommen, dass wir das Rad eingebaut, so dass die Druckluft-Federposition ein Drittel der Feder-unkomprimierten Position ist.
Da die Gewichte sind alle vom gleichen Wert "W", die Wippe Drehwirkung im Uhrzeigersinn ist das Gewicht ("W") durch seine Entfernung von der Mitte der Achse ("L") multipliziert. Das heißt, W x L.
Die Drehwirkung in der Richtung gegen den Uhrzeigersinn ist das Gewicht ("W"), indem sie die Entfernung von der Mitte der Achse ("3W") multipliziert. Das heißt, W x 3 x L.
So mit WL Einschieben Uhrzeigersinn und 3WL Einschieben Gegenuhrzeigersinn besteht eine Nettokraft von (3WL - WL), dh eine Nettokraft von 2WL Antreiben des Rades in einer Richtung gegen den Uhrzeigersinn. Wenn diese Kraft in der Lage ist, das Gewicht in Richtung auf die Nabe zu drücken, die Feder und den Betrieb der Federklinke, dann das Rad voll funktionsfähig sein. Es ist eigentlich, einige zusätzliche Drehung Strom durch die Gewichte auf der linken Seite des Diagramms, sowohl oberhalb als auch unterhalb der horizontalen vorgesehen, wie sie ein gutes Stück weiter von der Achse als die mit vollständig zusammengedrückt und verriegelt Federn sind.
Der einzige Weg, zu bestimmen, ob diese Konstruktion korrekt funktionieren wird, ist eine zu bauen und zu testen. Es wäre natürlich möglich, mehrere dieser Räder montiert auf einem einzigen Achswelle, um das überschüssige Sendeleistung von der Antriebswelle zu erhöhen. Diese Design-Idee hat wahrscheinlich die niedrigsten überschüssige Leistung aller Beteiligten in diesem Dokument. Die folgenden Ausführungen sind mit höherer Leistung und nicht besonders schwer zu konstruieren.
Das Konzept, dass es nicht möglich ist, um überschüssige Energie aus einer rein mechanischen Einrichtung haben deshalb offensichtlich falsch wie kürzlich durch Veljko Milkovic bei gezeigt worden http://www.veljkomilkovic.com/OscilacijeEng.html wo seine zweistufige Pendel / Hebelsystem einen COP = 12 Ausgang überschüssige Energie zeigt. COP steht für "Coefficient Of Performance", die eine Menge durch Tauchen der Ausgangsleistung durch die Eingangsleistung, die der Betreiber hat dafür zu sorgen, um das System Arbeit berechnet wird. Bitte beachten Sie, dass wir über Leistungsstufen und nicht die Effizienz reden. Es ist nicht möglich, eine Systemeffizienz von mehr als 100%, und es ist fast unmöglich, dass 100% zu erreichen.
Hier ist Veljko-Diagramm seiner sehr erfolgreichen Hebel / Pendelsystem:

Hierbei ist der Träger 2 sehr viel schwerer sind als das Pendelgewicht 4. Aber, wenn das Pendel gesetzt schwingt durch einen leichten Stoß, der Strahl 2, trifft sich auf dem Amboss 1 mit erheblicher Kraft, sicherlich viel größere Kraft als nötig war, um das Pendel zu machen.
Da überschüssige Energie, gibt es keinen Grund, warum es nicht selbsttragend sollte durch Rückkoppeln einige der überschüssigen Energie, um die Bewegung zu erhalten gemacht werden kann. Eine sehr einfache Modifikation, dies zu tun könnte:

Hier ist der Hauptstrahl A, genau ausgeglichen wird, wenn das Gewicht B hängenden unbeweglich in seine "Ruhe"-Position. Wenn Gewicht B gesetzt schwingt, verursacht es Strahl A zu oszillieren, die eine deutlich größere Kraft am Punkt C auf die wesentlich größere Masse Strahl A. Wenn ein zusätzlicher, leichten Trägers vorgesehen ist und D Gew. E ausgeglichen, so daß es ein sehr leichter Aufwärtsdruck auf seiner Bewegung Anschlag F, sollte die Operation selbsttragend sein.
Dazu werden die Positionen verstellt, so daß bei Punkt C auf den niedrigsten Punkt bewegt, es ist nur stupst Strahl D etwas nach unten. Zu diesem Zeitpunkt ist das Gewicht B bei seinem nächsten Punkt C und etwa zu starten Wegschwenken wieder nach links. Breite D ist stupste nach unten führt seine Spitze, um Gewicht B gerade genug, um ihre Schwingen zu halten schieben. Wenn das Gewicht B hat eine Masse von "W" und dann den Punkt C des Strahls A hat einen Schub nach unten von 12W auf Arbeitsmodell Veljko die. Da die Energie, die zum Strahl D geringfügig bewegen ist recht klein, bleibt der größte Teil der Schub 12W dafür zusätzliche nützliche Arbeit wie Betreiben einer Pumpe.
Ist dies der Fall, so wird der Entwurf sollte vielleicht entlang der Linien der Patentanmeldung des Amr Al-Hossary wo die Schwenkplatten direkt an dem Rotor befestigt modifiziert werden. Auf diese Weise wird die Platte Hebelarm definitiv ins Spiel kommt:

Hier werden die Gelenkarme oder Platten geben auch einen Einfluss Impuls, wenn sie zu öffnen, um in vollem Umfang und bietet zusätzliche Drehung Macht. Jedoch ist das Ungleichgewicht zwischen den beiden Seiten eine größere Menge nicht so dass diese Konstruktion ist nicht geeignet, eine große Menge an Drehmoment zum Antrieb externe Lasten bereitzustellen.
Murilo Luciano von Brasilien, hat sich mit der Idee zu diesem
Schwerkraft-betriebene Lei Gerät, das er die "Avalanche-drive"
kommen. Soweit ich informiert bin, hat dieses desgin nie uilt und getestet.
Diese Vorrichtung kontinuierlich legt mehr Gewichte auf einer Seite einer
Antriebswelle auf eine unsymmetrische Anordnung geben. Dies geschieht, indem
expandierbaren Verbindungen zwischen den Gewichten durchgeführt. Die Links
arbeiten in einer Scheren-ähnlichen Modus, der sich öffnet, wenn die Gewichte
steigen, und zusammenziehen, wenn die Gewichte fallenden:

In der hier gezeigten Anordnung sind die Gewichte als Stahlstäbe gezeigt. Das Design ist skalierbar sowohl in der Höhe, Breite und der Masse und der Anzahl der Gewichte. In der Skizze erwähnt, sind die praktische Details der Steuerung der Position der Stäbe und die Koordination der Drehung der beiden Haltewellen nicht gezeigt, um die Bewegung zu verdeutlichen. In der Praxis werden die beiden Wellen mit einem Paar von gezahnten Kettenräder und einer Kette verknüpft ist. Zwei Sätze von vertikalen Führungen sind auch notwendig, um die Position der Stäbe zu steuern, wenn sie in-zwischen den vier Kettenrädern die sie verbinden, um die Antriebswellen sind, und wie sie gehen um die Kettenräder.
In der Skizze gibt es 79 bar Gewichte. Diese Anordnung steuert diese so, dass es immer 21 an der steigenden Seite und 56 auf der abfallenden Seite (zwei sind Totpunkt). Die daraus resultierende Unwucht ist beträchtlich. Wenn wir die Situation ergreifen, wobei jede der Verbindungsstangen wiegt ein Zehntel so viel wie eine der Gewichte bar, dann, wenn man das Gewicht eines Link "W" zu nennen, hat der steigenden Seite 252 dieser "W"-Einheiten versuchen zu drehen die Ritzel im Uhrzeigersinn, während 588 der "W"-Einheiten versuchen, die Zahnräder in einer Richtung gegen den Uhrzeigersinn drehen. Dies ist ein kontinuierliches Ungleichgewicht von 336 der "W"-Einheiten in der Richtung gegen den Uhrzeigersinn, und das ist ein wesentlicher Betrag. Wenn eine Vereinbarung realisiert, wo die Links vollständig geöffnet werden, dann das Ungleichgewicht würde 558 der "W"-Einheiten (eine 66% Verbesserung) sein und das Niveau arm Unterschied wäre beträchtlich.
Es gibt eine weitere Funktion, die nicht berücksichtigt wurde in dieser Berechnung berücksichtigt, und das ist der Hebelarm, an dem diese Gewichte zu betreiben. Auf der abfallenden Seite, ist das Zentrum der Gewichte weiter außen von der Achse der Antriebswellen, weil die Verbindungsarme nahezu horizontal sind. Bei der steigenden Seite, die Links aus über einen geringeren horizontalen Abstand zu verbreiten, so ihr Zentrum ist nicht so weit von ihrer Unterstützung Ritzel. Dieser Unterschied in der Distanz, erhöht die Drehleistung der Abtriebswellen. In der Skizze erwähnt, wird ein elektrischer Generator gezeigt direkt an eine Abtriebswelle befestigt. Das heißt, um das Diagramm einfacher zu verstehen, wie sie in der Praxis ist der Generator Verknüpfung wahrscheinlich ein Getriebemotor ein, so dass der Generator-Welle deutlich schneller als die Ausgangswelle dreht dreht sein. Dies ist nicht sicher als Murilo sieht vor, dass diese Vorrichtung so rasch, dass eine Form der Bremsung benötigt werden betreiben wird. Der Generator liefert Bremsen, vor allem bei der Abgabe eines schweren elektrischen Last.
Dieses Diagramm zeigt, wie die beiden seitlich am Gerät die unausgewogene Belastung, die eine Drehung gegen den Uhrzeigersinn verursacht haben:

Die Diagramme oben gezeigt sollen die Prinzipien, wie diese Vorrichtung arbeitet und so für Klarheit, die praktischen Kontrollmechanismen sind nicht gezeigt worden zeigen. Es gibt natürlich viele verschiedene Möglichkeiten zur Steuerung des Betriebs und sicherzustellen, dass es nach Bedarf arbeitet. Eine der einfachsten Bauweise ist es, die beiden Wellen miteinander zu verbinden mit einer Kette und Kettenrädern. Es ist wesentlich, um die gleiche Anzahl von Strichcode Gewichten, die über die oberen Kettenräder wie Durchgang unter den unteren Kettenrädern aufweisen. Auf den oberen Kettenrädern, die Stäbe sind, etwa dreimal so weit gestreut auseinander als auf den unteren Kettenräder sind, damit die oberen Kettenräder müssen drei mal so schnell wie die unteren drehen. Dies wird durch die Verwendung eines unteren Laufwerk-Kettenrad, das Dreifache des Durchmessers des oberen man angeordnet.
Die treibende Kraft, die durch die Unwucht der beiden Spalten von Stab Gewichte vorgesehen muss an die unteren Kettenräder an dem Punkt "A" in dem obigen Diagramm aufgetragen werden. Damit dies geschieht, muss es eine mechanische Verbindung zwischen dem Stapel von Gewichten bar und dem Kettenrad sein. Dies kann auf unterschiedliche Arten erfolgen. In den obigen Konzept Diagramme wurde diese Verbindung als Kettenradzahn oder alternativ einem einfachen Stift Vorsprung von dem Zahnrad gezeigt. Dies ist keine gute Wahl, da sie eine erhebliche Menge an Bearbeitung beinhaltet und es müssten einige Verfahren, um die Stange dreht und immer leicht aus der Ausrichtung mit dem Kettenrad zu verhindern. Eine viel bessere Möglichkeit ist, Abstandshalter zwischen den bar Gewichte setzen und haben die Zahnkränze zwischen den Balken, so dass keine bar Steckplätze benötigt werden und genaue bar Positionierung legen ist nicht mehr notwendig. Diese Anordnung ist weiter unten:


Die Beschreibung bis hier hat nicht die wichtigste praktische Aspekte des Entwurfs erwähnt. Es ist jetzt Zeit, um die steigende Seite des
Gerätes zu prüfen. An den
erweiterten Abschnitt der Kette zu
steuern, und um sicherzustellen, dass er richtig ernährt zu den oberen Kettenrädern,
muss der Spalt zwischen
aufeinanderfolgenden bar Gewichten
gesteuert werden.

Ein Führungskanal können verwendet werden, wie hier dargestellt, und Standard-Kugellager oder Rollenlager können an den Enden der Gewichte unter Verwendung Gewindestange (oder ein Bolzen mit dem Kopf innerhalb des Gewichts) und Sicherungsmuttern befestigt werden.
In der hier gezeigten Beispiel was natürlich nur eine Option aus Hunderten von verschiedenen Implementierungen sind die Balken auf der ansteigenden Seite dreimal so weit auseinander, wie die auf der abfallenden Seite. Dies bedeutet, dass auf den oberen Kettenrädern, nur jeden dritten Zahn mit einem Stückgewicht verbinden. Dies wird in der folgenden Grafik dargestellt. Allerdings, wenn die verlinkten Gewichte sich selbst überlassen wurden, dann die ansteigende Seitenlinie Bars hängen würde in einer geraden Linie. Während das wäre Optimum für Antriebsleistung, tut Murilo nicht vor, dass als praktische Option, vermutlich aufgrund der Bewegung der Glieder wie die Leiste Gewichten über den höchsten Punkt zu bewegen. Meiner Meinung nach, ist das Arrangement durchaus möglich, zuverlässig zu implementieren, sofern die Länge der Verbindungen ausgewählt wird, um das Kettenrad Abstand genau übereinstimmen, jedoch Murilo Methode wird hier gezeigt.
Murilo Methode ist, um zusätzliche Halte-Verbindungsglieder zwischen den Gewichten zu verwenden. Das Ziel ist hier, um sicherzustellen, dass, wenn die Gewichte auf ihrer Reise nach oben ausbreiten, dass sie anspruchsvolle Positionen genau drei Strichbreiten auseinander, und so richtig ernähren, um die Zähne der oberen Kettenrad. Diese Links müssen Nahaufnahme auf der abfallenden Seite und eröffnen auf der ansteigenden Seite. Sie könnten von kurzen Längen der Kette oder geschlitzte Metallstreifen mit einem Stift Gleiten entlang dem Schlitz hergestellt werden.
Welche Methode gewählt wird, ist es wichtig, daß die Verbindungen frei von den Stäben bleiben und nicht verhindern, dass die Stangen Stapeln eng an der fallenden Seite wie das würde verhindern, dass sie Einsetzen korrekt auf den Zähnen der unteren Kettenräder. Die einfachste Möglichkeit für die Präzision Bastler Auf Kette, wo zwei bar Gewichte auf dem oberen Kettenrad positioniert sind, um den genauen Abstand zu geben, und der gespannten Kette in Position verschweißt, wie unten gezeigt. Platzieren Sie die Kette in einem Kunststoffrohr verursacht es um die Annahme eines "A"-Form stehen nach außen von den Links, wenn sie in ihre geschlossene Position bewegen. Dies hält die Ketten immer zwischen den Verbindungsschienen. Darüber hinaus werden die Ketten von einem Paar Verbindungsstangen zum nächsten taumelte, wie unten dargestellt, als zusätzliche Maßnahme, um den Betrieb sowohl zuverlässig und ruhig halten ..
In dem Diagramm unten werden nur wenige dieser Halte-Verbindungsglieder dargestellt, um das Diagramm so einfach wie möglich zu halten. Es ist keine gute Wahl, um die obere Stange Kettenräder dreimal größer als die unteren Kettenräder, da dies sowohl die ansteigenden und abfallenden Teile der Kette zwingen aus der Vertikalen, der wiederum führt Reibung gegen den Führungen. Die zentrale 1.03 Gearing ist notwendig, um sicherzustellen, dass die Ketten auf der ansteigenden Seite vollständig gestreckt und der Abstand der bar Gewichte entspricht der obere Kettenrad Abstand genau.

Die Diagramme haben nicht das Tragwerk, das die Achsen in der Position hält, und hält die Einheit in einer vertikalen Position gezeigt, da diese Gestaltung ist nicht in irgendeiner Weise spezialisiert, und es gibt viele akzeptablen Variationen. Eine sinnvolle Vorsichtsmaßnahme ist, um das Gerät in aufrechter box Schrank einzuschließen, um sicherzustellen, dass es keine Chance, etwas immer in den sich schnell bewegenden Mechanismus gefangen. Dies ist eine beeindruckende Konstruktion Murilo die, die, dass bei der Umsetzung vor, dass die Links in blau dargestellt vorgenommen werden 5% mehr als in gelb dargestellt, gezeigt, wie dies verbessert die Gewichtsverteilung und Antrieb der unteren Kettenrad empfiehlt ..
Eine Waschmaschine hat eine maximale Leistungsaufnahme von 2,25 kW und in Großbritannien ein geeignetes 3,5 kW Lichtmaschine kostet £ 225 und muss bei 3.000 rpm für volle Leistung gesponnen werden.
Während die obige Beschreibung deckt Murilo wichtigsten Design, ist es möglich, das Design weiter voranzutreiben, erhöhen die Effizienz im Prozess sowie die Verringerung der Bau Anstrengungen nötig, um ihn zu bauen. Bei dieser Ausführung bleiben die Hauptkomponenten die gleiche, mit der oberen Achse ausgerichtet mit dem unteren Achse wie vorher und der oberen Achse schneller dreht als die untere. Der Hauptunterschied besteht darin, dass bei der ansteigenden Seite, bis die Kette vollständig öffnet. Dies beseitigt die Notwendigkeit, dass die Kettenglieder, bewegt die steigende Gewichte viel näher und reduziert die Anzahl der steigenden Gewichten:

Mit einer reduzierten Anzahl von Gewichten in der oberen Abbildung ist die Unwucht ein sehr wesentlicher 40:11-Verhältnis mit dem massiven Vorteil einer wesentlich reduziert Hebelarm "d", die viel kleiner ist als der Hebelarm ist "x" der fallenden Gewichten . Dies ist ein großes Ungleichgewicht, wodurch 40x Ziehen der Achse in einer Richtung gegen den Uhrzeigersinn und nur 11d gegenüberliegende diese Bewegung.
In der bisherigen Beschreibung wurde davon ausgegangen, daß alle Bauteile aus Metall gemacht werden. Dies ist nicht unbedingt die beste Wahl. Erstens bewegen Metall gegen Metall keinen Lärm zu machen, machte so Führungen robust aus dickem Kunststoff oder ähnlichem Material wäre eine gute Wahl für die Führungen für die Gewichte.
Die Gewichte selbst könnten ebenso gut von starken Kunststoffrohren mit Sand gefüllt, Bleikugeln, Beton oder einem anderen geeigneten schweren Material hergestellt werden. Die Rohre müssten dann starke Endkappen halten können die Drehzapfen für die Links. Die Kettenräder selbst könnte auch aus dickem Kunststoff hergestellt werden, welche wäre ein leiserer Betrieb und die der Zapfwelle Welle mit einem Riegel rechts durch die Achse gelegt verschraubt werden konnten geben.
Die meisten der Abmessungen sind nicht kritisch. Erhöhen des Durchmessers des unteren Kettenrad erhöht die Leistung des Ausgangs-Welle wird aber seine Geschwindigkeit zu verringern. Hinzufügen von mehr Gewichte erhöhen sowohl die Ausgangsleistung und in einem geringeren Ausmaß, die Geschwindigkeit, sondern wird die Gesamtgröße der Einheit und ihr Gesamtgewicht und die Kosten erhöhen. Und jedes Gewicht schwerer wird erhöhen die Leistung, oder reduzieren die Gesamtgröße, wenn das Gewicht in weniger Gewicht enthalten ist. Vergrößern der Länge der Glieder bedeutet weniger Gewichte auf der steigenden Seite wird aber größeren Kettenräder erfordern.
Es ist nicht notwendig, dass alle Links die gleiche Größe. Wenn die Längen sorgfältig ausgewählt und werden die Vertiefungen in dem oberen Kettenrad decken den gesamten Umfang, so ist jede zweite Verbindung kann eine Vertiefung kürzer welche Tipps die Gewichte in eine kompaktere und wirksame Kolonne auf der abfallenden Seite:


Mit dieser Anordnung können die äußeren Gewichte, hier auf der linken Seite angezeigt, drücken Sie ganz fest auf der Innenseite Spalte Gewichte, so dass eine kompakte Gruppe. Bei der Verwendung von Kunststoffrohren mit Beton dann die Scharnier-Anordnung für die Stangen kann sehr einfach sein, mit einer Schraube in den Beton eingelassen, wie unten dargestellt.
Die Stäbe, Scheiben und Bolzen kann auf eine dünne, starre Streifen quer über die Oberseite der Rohrleitung gebracht unterstützt werden. Wenn der Beton gegangen fest, wird der Streifen entfernt und die Lücke durch seine Entfernung produziert dann erlaubt die freie Bewegung der Stangen. Wenn diese Technik verwendet wird, dann werden die Stange Gewichte werden in zwei Schritten gegossen, mit einem dicht schließenden Platte geschoben einen Teil des Weges im Inneren des Rohrs, so daß ein Ende gefüllt werden kann, während das andere Ende offen bleibt und bereit für den Abschluß des anderen Endes .
Ein Vorteil der Verwendung von Kunststoffrohren ist, dass wenn die Kettenräder aus einem zähen hochdichten Kunststoffmaterial hergestellt sind, wie z. B. für Lebensmittel Schneidebretter verwendet wird und die Gew. Führungen sind auch aus zähem Kunststoff, dann sollte es kein Metall-be auf-Metall Laufgeräuschen produziert, wenn die Schraubenlöcher in den Lenkern ein guter Sitz für den Bolzen verwendet sind.
Der Beton oder Mörtel als Füllung verwendet werden können und biegsam nass gemacht werden, da die mechanische Festigkeit ist nicht ein Problem hier, und eine Füllung ohne Hohlräume darin ist wünschenswert. Selbst niedrige Betonqualität (verursacht durch mehr Wasser als unbedingt notwendig) wäre mehr als ausreichend für diesen Zweck.
Die Anordnung an den Enden eines betongefüllten Kunststoffrohr auf Stückgewicht könnte so aufgebaut sein:

Es gibt eine sehr starke Neigung beim Bau einer Vorrichtung, um es reibungslos funktionieren. Wobei überschüssige Energie ist gegen das Schwerefeld gezogen, ist die Umkehrung erforderlichenfalls mit einer ruckartigen Betrieb wobei die optimale. Beachten Sie, dass die zusätzliche Energie nur während der Dauer der Impulse verursacht die Idioten. Daraus folgt dann, dass im Idealfall ein Gerät dieses Typs durch eine schnelle Folge von starken Impulsen angetrieben werden soll. In der Praxis, mit einer schweren Schwungrad oder ähnliche Komponente, die eine hohe Trägheitsmasse hat, obwohl eine schnelle Abfolge von scharfe Impulse auf das Bauteil aufgebracht und ruckartigen Betrieb ist nicht sichtbar für das menschliche Auge, wird überschüssige Energie noch "angesaugt "und zur Verfügung gestellt, um nützliche Arbeit zu tun.
Eine andere Beobachtung, die von Interesse sein können, und dass sie die Rückmeldung von Buildern Schwerkraft Rädern, dass die Leistungsabgabe von einer Schwerkraft Rad größer ist, wenn die Achse horizontal ist und das rotierende Rad exakt mit magnetischen Ost-West ausgerichtet sagt.
Eine Praktische
Gebäude-Frage
Ich habe gerade über die praktischen Fragen der Montage der Führung
Komponenten für den Gewichten gefragt worden. Ich muss
Die Abfrage war wie folgt:

Es wird darauf hingewiesen, dass die untere Führung als dargestellt, nicht von innen als Gewichte Sweep durch den Bereich, der für diesen Träger verwendet werden würde unterstützt werden hingewiesen. Auch kann es von außen nicht unterstützt werden als die Pleuelstangen durch den Bereich, in dem die Unterstützung positioniert werden würde bewegen. Eine Lösung wurde vorgeschlagen, in denen die untere Führung durch einen Riemen von der oberen Führung der Riemen, die zwischen den inneren und äußeren Gewichte unterstützt wird. Das ist eine Lösung, die funktionieren könnte, aber es sieht erhebliche unnötige Reibung. Ein alternatives Verfahren ist es, die Führungen außerhalb der beweglichen Gewichte platzieren wie hier dargestellt:

Dieses Verfahren stellt eine reibungsarme Kanal für die Rollenlager längs zu bewegen. Diese steuert die Position der Gewichte sehr genau und die Endwände auch die Stützen für die Achsen, welche die Positionen der Gewichte synchronisieren und Getriebe bereitzustellen, wenn zwischen den Achsen, die erforderlich ist. Aus Gründen der Übersichtlichkeit sind nur zwei der vielen Gewichten gezeigt und die Proportionen verzerrt, so dass das Diagramm auf die Seite passen.
Mit den Achsen, könnte es wie folgt aussehen:

Dabei sind die Achswellen zusammen außerhalb der Stirnwand ausgerichtet und entweder eine Kette oder ein Riemen verwendet wird. Die untere Welle ermöglicht einem Nebenabtrieb. Das Verhältnis der Durchmesser der Riemenscheiben oder Kettenräder diktiert die relativen Geschwindigkeiten der Rotation der beiden Wellen.
Sterling Allan Berichte über Bobby Amarasingam Design, die 12 Kilowatt überschüssige Energie hat: http://pesn.com/2010/12/04/9501738_British_gravity_motor_generates_12_kilowatts/
Auch von Sterling berichtete, ist die Smith-Caggiano Schwerkraft / Schwung / Fliehkraft-Generator-Design. Der Bericht ist auf: http://www.peswiki.com/index.php/Directory:OBM-Global%27s_Angular_Force_Generator
Ein weiterer Sterling Berichte auf der Chalkalis Schwerkraft Rad die an gesehen werden kann:
http://peswiki.com/index.php/OS:_F._M._Chalkalis_Gravity_Wheel
Während wir uns bewusst Auftrieb genutzt, um Wellenenergie in Strom umwandeln, scheinen wir die Idee, die sehr mächtig Auftriebskräfte (verursacht durch die Schwerkraft) als direktes Werkzeug an Standorten vom Meer entfernt vernachlässigen. Dies ist definitiv ein Fehler, weil ernsthafte Ebenen der Macht von einem solchen System generiert werden kann. Eines dieser Systeme ist:
Dieses Design zeigt einmal mehr, die praktische Natur der Zeichnung große Mengen an Energie aus der lokalen Umgebung. Kommerzielle Versionen sind in drei Standard-Größen angeboten: 50 Kilowatt, 250 Kilowatt und 1 Megawatt und Lizenzpartner gesucht werden. Dieser Generator, die James entworfen hat kann am Panacea-bocaf.org Website http://panacea-bocaf.org/hidrofreeenergysystem.htm und James 'eigene Website http://www.hidroonline.com/ gesehen werden sowohl von denen Videoclips zu erklären, wie das Design funktioniert. Das Verfahren basiert auf unterschiedliche Drücke an unterschiedlichen Wassertiefen, Schwerkraft und auf dem Auftrieb der Luft-gefüllte Behälter basiert. Das System nicht auf Wind, Wetter, Sonnenlicht, Kraftstoff jeglicher Art angewiesen, und es kann die ganze Zeit, Tag oder Nacht, ohne jede Art von Verschmutzung oder Gefahr zu betreiben. Durch die besondere Konstruktion erfordert eine mit Wasser gefüllte Struktur einiger Höhe, eine Quelle von Druckluft und einem Flaschenzug, und ohne sich in keiner Weise kritisch zu sein, scheint es ziemlich komplizierter als es sein muss. Wenn im Gegensatz James, nicht die Mathematik für das System gemacht haben, würde man annehmen, dass die Menge an Leistung durch ein System wie diese erzeugt wäre weniger als die Menge der Leistung benötigt, um es zu betreiben. Aber das ist auf jeden Fall sehr weit von der Wirklichkeit erhebliche überschüssige Energie durch die natürlichen Kräfte der lokalen Umgebung, die das System betreiben zu machen gewonnen wird. Ein Teil der Patentanmeldung, die James gemacht wird hier gezeigt:
HYDRODYNAMISCHE
ENERGIE-GENERATION-SYSTEM

Fig.1 ist eine
Querschnittsansicht von einer Ausführungsform der Energieerzeugung System der
vorliegenden Erfindung. Hier umfasst der Energieerzeugung System 10 einen Behälter 11 in Form von einem Wassertank und eine Welle 12, die über seine Längsachse drehen kann. Die Welle 12 ist mit einer spiralförmigen
Schraubennut 13 vorgesehen und ist
an es angeschlossen ist unteren Ende mit einem Lager 16, die sie frei drehbar um seine Längsachse ermöglicht.
Das obere Ende der Welle ist mit
einem Generator 17, der ein
Schwungrad-System verbunden ist. Die Rotationsenergie des Schafts 12 kann mit dem Generator über eine
ratschenartige Verzahnungs-Systems 20
übertragen werden. Schwimmfähiger aufblasbaren Kapsel 14 wird zusammen mit seinen Führungsmechanismus 15, der in Form eines Drahtes oder Pole
an der glatten vertikalen Bewegung der Boje 14 zu unterstützen ist vorgesehen.
Es gibt einen ersten Luftspeicher 18 in einem unteren Abschnitt des
Behälters 11, und eine zweite
Luft-Reservoir 19 in einem oberen
Abschnitt des Behälters 11
angeordnet ist. Das erste Reservoir 18
saugt Luft aus der Atmosphäre, in durch Lufteinlassöffnung 21. Sobald der Druck im ersten Reservoir einen vorgegebenen Wert,
einen Kolben 22 betätigt, um Luft
durch den Schlauch 23 in den
schwimmfähigen Kapsel 14, welche,
wenn aufgeblasen, beginnt aufwärts durch Wasserbehälter 11 bewegen erreicht, wie der Boje 14 geworden eine geringere Dichte als das Fluid 25 (wie Frischwasser oder Salzwasser)
im Tank 11. Dies wiederum bewirkt
eine Drehung der Welle 12, und die
Aktivierung des Stromgenerators 17,
dadurch Erzeugen von Leistung.
Wenn Boje 14 die obere Grenze seiner Bewegung erreicht hat, kann die Luft in
der Boje gezwungen wird, durch einen zweiten Schlauch 24 und in dem zweiten Luftreservoir 19 fließen kann. Wenn Luft aus der Tonne entfernt wird, bewegt sich
nach unten durch den Behälter 11 unter Schwerkraft und mit Hilfe von Ballast
(nicht dargestellt). Die Abwärtsbewegung der Boje 14 bewirkt eine Drehung der Welle 12, die den Generator 17
antreibt, wodurch Strom.
Luft in dem zweiten Behälter 19 gespeichert kann in die Atmosphäre
durch eine Entlüftungsöffnung 26
entlüftet werden, wenn der Druck im zweiten Reservoir 19 zu hoch wird.
Alternativ kann Luft aus dem zweiten Reservoir 19 in das erste Reservoir 18 fließen durch einen dritten Schlauch 27, so dass weniger Luft in das erste
Reservoir 18, als Boje 14 die Untergrenze seines Wegs
erreicht, und gezogen werden muss, müssen erneut mit Luft aufgeblasen werden
aus dem ersten Reservoir 18.
Die Schläuche 23, 24 und 27 sind mit
Rückschlagventile 28 vorgesehen, um
sicherzustellen, dass die Luft nur in einer Richtung durch das System 10 zu fließen. Behälter 11 kann mit Belüftung 29 vorgesehen sein, wie erforderlich,
und es kann auch mit Zugangsleiter 30
und einem Zugangspunkt Plattform 31
vorgesehen sein, so dass eine Wartung durchgeführt werden kann wie
erforderlich. Das System kann auch mit einer Solarenergie Sammelvorrichtung 32 auf mindestens einen Teil der
Energie, die zum Kolben 22 und die
Rückschlagventile 28 anzutreiben
erzeugen vorgesehen sein. Energie durch die Sonnenenergie Auffangvorrichtung 32 hergestellt wird, kann auch zur
Stromversorgung ein Licht oder Beacon 33
werden, um den Standort des Systems anzuzeigen 10.

Fig.2 zeigt eine Anordnung zur
Boje 14 mit einem aufblasbaren
Kapsel 34. Diese Figur zeigt die
Form der Wände des aufblasbaren Kapsel 34
im aufgeblasenen 35 und 36, wenn entleert. Luft strömt in die
Kapsel 34 durch den Schlauch 23 und tritt aus der Kapsel durch den
Schlauch 24.
Die Boje 14 hat auch eine Hülse 37
befestigt, um es zu. Diese Hülse weist Vorsprünge, die mit der
schraubenförmigen Nut 13 der Welle 12 in Eingriff, wodurch die Drehung der
Welle, wenn die Boje bewegt sich relativ zu der Welle 12. Hülse 37 wird mit
Ballast 38, wie Edelstahl
Gewichtungen, die bei der Abwärtsbewegung der Boje, wenn es abgelassen ist
unterstützen vorgesehen.
Boje 14 ist mit einer Führungsstange 15 befestigt und die Boje ein Paar von Armen 39, die auf dem Schlitten 15
und Führung Pol in der glatten vertikalen Bewegung der Boje zu unterstützen.

Fig.3 zeigt eine Version der
ersten Luftreservoir 18. Die Luft
wird in den Behälter 18 durch den
Lufteinlass 21 gezogen. Das Stausee
enthält einen Kolben 22 mit einer
Feder 40 verbunden, wobei der Kolben
22 mit Dichtungen 41 das Austreten von Luft zu
verhindern.
Wenn Druck, wie hydrostatischen
Druckes wird in der Richtung des Pfeils 42
angelegt, bewegt sich der Kolben nach links von dem Stausee 18 die Feder 40 und um
Luft durch die Auslassöffnung 43. Ein Motor 44
ist bereitgestellt, um die Bewegung des Kolbens 22 umzukehren. Stausee 18 kann an dem Boden des Behälters
befestigt werden.

Eine alternative Konstruktion von
das erste Luftreservoir 18 ist in Fig.4 gezeigt. In dieser
Ausführungsform ist Stausee 18
innerhalb eines Containers 11 mit
eine Flüssigkeit 25 untergebracht.
Luft betritt Stausee 18 durch
Lufteinlass 21 und findet sich in
einer Kammer 46. Der Stausee hat einen Kolben 22 und die Bewegung des Kolbens 22 in Richtung der linken Seite des Stausees
18 zwingt Luft in der Kammer 46 heraus durch Luftaustritt 43.
Kolben 22 wird durch 47-Motor
angetrieben, das die schraubenförmig genuteten Welle 48 dreht. Der Motor durch eine Ratsche mit der Welle verbunden ist
und Kogge Mechanismus 49, die mit einer
Feder geladen ist Dichtung 50 auf
der Innenseite des Containers 11.
Aktuator 51, dürfen verwendet
werden, um die Öffnung und Schließung der Rückschlagventile 28 sowie die Ansteuerung des Motors 47 zu steuern.
Fig.5 zeigt eine
Querschnittsansicht eines Energiesystems Erzeugung gemäß einer von der
Verkörperungen der die vorliegende Erfindung:

Fig.5 zeigt
eine Ausführungsform, bei der ein Paar von Bojen 14 vorhanden sind. Jede Boje ist mit einer eigenen Welle 12 verbunden und kann nach oben und
unten innerhalb des Behälters 11
voneinander unabhängig.
In Fig.6 ist eine alternative Ausführungsform der vorliegenden
Erfindung dargestellt, wobei die Boje 60
hat eine Verbindungsverfahren 61 in
Form einer zylindrischen Hülse durch die ein Führungsdraht Kette 62 verläuft. Kette 62
ist in einer endlosen Schleife versehen ist und auf einer oberen
Nachführeinrichtung 63 und einem
unteren Tracking-Vorrichtung 64, die
beide Riemenscheiben befinden. Die obere Riemenscheibe 63 kann an einer oberen Wand (nicht dargestellt) eines Behälters
(nicht gezeigt) über eine Stütze 65
befestigt werden, während die untere Riemenscheibe 64 an einer unteren Wand (nicht dargestellt) eines Behälters
befestigt werden kann (nicht gezeigt) über einen Bügel 66.
Der Verbindungsmechanismus 61 beinhaltet Ratschen, die mit den
Gliedern der Kette 62 eingreifen,
wenn Boje 60 bewegt sich abwärts.
Somit wird, wie Boje 60 nach unten
bewegt, bewegt sich auch Kette 62,
wodurch sowohl die obere und untere Riemenscheiben in einer Richtung im
Uhrzeigersinn zu drehen. Die oberen und unteren Rollen 64 haben eine Reihe von Vertiefungen 67, die der Form der Glieder der Kette 62. Auf diese Weise sitzt der Kette 62 in den Vertiefungen 67
und ergreift den Nachführeinrichtung (63,
64), wodurch sichergestellt wird, dass die Nachführeinrichtung (63, 64) dreht.
In der Ausführungsform der Erfindung
in Fig.6 dargestellt ist, ist ein
Werk Welle 68 mit der oberen Scheibe
63 derart, daß die Drehung der
oberen Scheibe zu einer Drehung der Arbeitswelle 68 verbunden. Die Arbeit Welle 68
ist im Wesentlichen senkrecht zur Fahrtrichtung der Boje 60 angeordnet. Die Arbeit Welle einen Generator antreibt, um Strom
zu produzieren.

Fig.9 zeigt eine alternative
Ausführungsform dieser Energieerzeugungssystem 74. Das System besteht aus
einem Behälter 75 mit einer
Flüssigkeit gefüllte "nasse" Kammer 76 und eine oder mehrere "trockene" Fächer (in diesem
Fall ein Paar von trockenen Abteile 77,
78) ohne Flüssigkeit in ihnen enthalten ist. Diese trockenen Abteile kann aus
jedem geeigneten Material, wie beispielsweise Beton, Stahl, Fiberglas,
Kunststoff oder einer Kombination von Materialien hergestellt werden.
Das System hat auch ein Paar von
Bojen 79 jeweils mit einem
entleerbaren Blase-ähnliche Konstruktion. Die Bojen sind Führungsschienen 89, dass die Bojen reibungslos bewegen
nach oben und unten in den Behälter 75
zu gewährleisten.
In dieser Ausführungsform der
Erfindung werden Luftreservoir 86 im
Boden des Behälters 75 befindet.
Luft in den Reservoirs 86 durch den
Einlass 87, während austretende Luft
von der Boje 79 durch die Ventile 88 entlüftet wird. Die Abluft kann
entweder in die Atmosphäre ausgestoßen oder recycelt werden, um den Reservoirs 86.
Jede der Bojen ist zum Anschluss an
einem Ende einer Kette oder einem Seil 80
verbunden sein. Ein Gewicht 82 ist
mit dem anderen Ende der Kette oder Seil 80
verbunden. Die Kette oder Seil 80
hat eine Reihe von Rollen 81, so daß
die Boje, wenn aufgeblasen ist und mit Luft gefüllt ist, ist der Auftrieb
größer als das Gewicht 82 und damit
die Boje in dem Behälter steigt.
Wenn die Boje 79 entleert wird, ist das Gewicht 82 schwerer als der Auftrieb und so die Boje sinkt im Behälter 75. In der hier dargestellten
Ausführungsform werden die Gewichte 82
in den trockenen Abteile 77, 78
gelegen. Es gibt mehrere Gründe dafür, einschließlich, dass durch Anordnen der
Gewichte 82 in den trockenen Abteile 77,
78 die Geschwindigkeit der Gewichte 82
in der Richtung nach unten vergrößert wird, und damit eine Erhöhung der
Energie, die vom System 74 erzeugt
wird, erlebt .
Die Gewichte 82 sind mit zweiten Seile oder Ketten 83, so dass eine vertikale Bewegung der Gewichte 82 verbunden ergibt sich die Drehung
der zweiten Seile oder Ketten 83 um
ein Paar von Kettenrädern 84.
Rotationsenergie von der Drehung der zweiten Seile oder Ketten 83 wird an einen
Stromerzeugungsvorrichtung 85 (wie
zB einer Turbine oder dergleichen) übertragen wird, um Leistung (z. B.
elektrische Energie) zu erzeugen
***
Trotz der mechanischen Komplexität,
wird die Hidro Design als kommerzielle Generator mit zehn Kilowatt
überschüssige Leistung angeboten, die anzeigt, dass eine signifikante Auftrieb
Verfahren zum Erzeugen von Energie, basierend auf der Tatsache, daß hunderte
von Wasser mal schwerer als Luft ist. Aufgrund seines Gewichts, Bewegung im
Wasser ist langsam, aber kann sehr mächtig sein. Die Spiralnut Verfahren zum
Umwandeln der vertikalen Bewegung der Schwimmer in Drehkraft deshalb verwendet,
da es einen sehr hohen Verhältnis zwischen der Welle dreht und die Bewegung
entlang der Welle aufweist. Dies kann verstanden werden, wenn man die Tatsache,
daß eine vollständige Umdrehung der Welle durch den Schwimmer bewegt sich nur
einem Schritt zum nächsten Thread Position direkt über verursacht betrachten.
Das Windungsverhältnis zur vollständigen Schwimmer Bewegung wird durch den
Winkel der Nut Schnitt in der Antriebswelle bestimmt wird.
Eine andere Sache, die für ein
solches Projekt in Betracht gezogen werden muss, ist das Gewicht der gesamten
Struktur, wenn sie mit Wasser gefüllt. Das Gesamtgewicht haftet viele Tonnen
sein und damit die Basis unterhalb des Generators muss sehr robust. Auch
während Druckluft wird erwähnt, würde die den Eindruck von Zylindern von
Druckluft oder Gas für Dauerbetrieb man erwarten eine Luftpumpe verwendet
werden.

Beachten Sie den großen Unterschied
in Tragfähigkeit eines dieser Rohre nur mit dem Wechsel von einem 10-Fuß (3
Meter) Länge mit einer bescheidenen 20-Fuß (6 Meter) Länge, und diese Längen
sind die Art von Längen für viele Anwendungen benötigt . Auch bei den Zahlen
für, sagen wir, der 0,5 Zoll (nominal) Rohrdurchmesser aussehen. Mit nur einem
10-Fuß-Länge, würde es dauern, volle zwei Minuten auf nur ein Kubikfuß Luft
durch sie zu pumpen. Daraus folgt also, dass Rohre aus wesentlich größeren
Durchmesser für ein Projekt wie die "Hidro” benötigt.
Es ist möglich, eine viel einfachere
Version des "Hidro" zu konstruieren, wie dies vielleicht:

Eine einfache hydraulische
Auftriebsleistungsgeneratorkonstruiert werden kann, mit zwei oder mehreren
horizontalen, sich drehenden Wellen in Wasser in einer Weise, dass sie effektiv
die übereinander angeordnet taucht. Jede
Welle weist einen, vorzugsweise zwei oder mehr Zahnräder darauf montiert. Jedes dieser Zahnräder in Eingriff mit einer
Endloskettenschleife, die auch mit dem Kettenrad, die vertikal darüber
angeordnet ist, eingreift. Diese vertikalen Kettenschleifen bilden einen Gürtel
- Stil Unterstützung für eine Reihe von identischen Schaufeln. Auf einer Seite der vertikalen Riemen die
Eimer ihre offene Seite nach oben und auf der anderen Seite der Eimeröffnungen
nach unten zeigen. Eine Luftpumpe ist
direkt unter dem Satz von Schaufeln, die die Eimer Öffnungen nach unten
positioniert haben. Die Luftpumpe
erzeugt einen sich nach oben bewegenden Luftstrom, der in der aufsteigenden
Eimer sammelt, Verschieben des Wasser Füllen der Schaufel. Dies führt zu einem mächtigen Schub nach oben
durch den Auftrieb, der Bucket verursacht wird, und der Schub bewirkt, dass der
Eimer nach oben zu bewegen, Drehen beider horizontalen Wellen und bringen
andere mit Wasser gefüllten Eimer in Position über der Luftpumpe. Ein Getriebesystem überträgt die so erzeugte
Drehmoment, mit einem Generator, der Strom für allgemeine Zwecke erzeugt .
Dies ist ein Generator, dessen
Antriebswelle durch Auftrieb durch luftgefüllte Behälter in einen Tank mit
Wasser oder einem anderen geeigneten Schwerflüssigkeit eingetaucht verursacht
gedreht. Kontinuierliche,
leistungsstarke Drehung der Generatorwelle wird durch die Verwendung von einem
oder mehreren herkömmlichen, kommerziell erhältlichen Luftpumpen erzeugt. Eine Luftpumpe wird verwendet, um eine Reihe
von Behältern, die sich auf das, was effektiv eine Bandanordnung erstellt von
zwei starken Maschendraht Schleifen, die Netz mit Zahnrädern auf zwei Wellen
montiert, entweder, oder beide angebracht an einem Ende offen sind und die
füllen von denen die Extraktion der Nutzleistung verwendet werden, vorzugsweise
zum Antrieb eines Stromgenerators, aber nicht notwendigerweise auf diese
Funktion beschränkt, jede starkes Drehmoment hat viele nützliche Anwendungen.
Ziele sind die
Energieerzeugungssystem, das sehr einfach in der Form, und die verstanden
werden kann, ist, betrieben und von Menschen mit minimalem Schulungsaufwand
aufrechterhalten wird. Es kann auch ein
System, das Komponenten, die bereits ohne weiteres verfügbar sind verwendet,
wodurch erhebliche Herstellungskosten, und eine, die ohne die Notwendigkeit für
jede Art von komplexen Mechanismus oder Hochpräzisionsgerätenarbeitet und die
Vermeidung einer Vielzahl von kommerziell erhältlichen Produkten arbeiten.

Fig.1, ist
eine vereinfachte schematische Teilquerschnittsansicht , die die
Hauptkomponenten des Generators von einem Ende gesehen,.

Fig.2, ist
eine konzeptionelle Querschnittsansicht , die die schematische Vorderansicht
des Generators in seiner einfachsten Form.

Fig.3, ist
eine konzeptionelle Querschnittsansicht , die die schematische Vorderansicht
des Generators, wo mehr als ein Satz von Schaufeln verwendet.

Fig.4, ist
eine perspektivische schematische Ansicht einer vereinfachten Regelung für
Luft-Zufuhrsystem , das von oberhalb des Behälters betreibt.
Fig.1, veranschaulicht
das Gesamtkonzept des Generators in seiner einfachsten Form, bei leichten
starren Schaufeln verwendet werden, um die aufsteigende Luft von der Luftpumpe
zu erfassen. In dieser Figur ist ein
Wassertank 1 , hält Wasser oder
einer anderen geeigneten Flüssigkeit 2.
Die Oberfläche der Flüssigkeit 3, wird angezeigt, um die Tatsache,
dass eine Schaufel 10, die in dem
Verfahren der Umdrehen an der Spitze seiner Umlaufbewegung ist, so positioniert
ist, zu veranschaulichen, so dass eine Kante der Schaufel weg von der
Oberfläche der Wasser, das die Luft, die in den Eimer gefangen war, um in der
Atmosphäre und der Wasserfüllung der gesamten Eimer verursacht nur eine sehr
geringe Turbulenzen, wenn dabei so entweichen kann. Dies ist ein wünschenswertes aber nicht
wesentliches Merkmal, da die Luft in jedem Eimer eingefangen wird, sobald nach
oben entweichen, wenn die Schaufel beginnt seine Abwärtsbewegung, nach oben
positioniert sein offenes Ende, auch wenn dies verursacht unnötige Turbulenzen
in der Flasche. Eine mögliche
Schaufelform in einer perspektivischen Ansicht gezeigt, sondern viele
verschiedene Löffelformen können verwendet werden, einschließlich einer
flexiblen Membrantypen oder alternativ Klappplattentypen, die sehr viel
reduziert Widerstand gegen Bewegung durch das Wasser, wenn sie in ihrer
zusammengeklappten Zustand während der Abwärtsbewegung.
Die Schaufeln 8, 9 und 10 werden zwei
starke Ketten 30 , die mit dem
oberen Kettenrad 6 mesh angebracht,
auf der oberen Achse 4 befestigt
ist, und das untere Zahnrad 7, das
auf der unteren Achse 5 gelagert
ist. Obwohl es in 1 nicht sichtbar
ist, gibt es zwei oberen Kettenräder 6
sind zwei untere Zahnräder 7 und
zwei Kettenschleifen 30, obwohl
diese in Fig.2 zu sehen.
Der Behälter ist auf einem
robusten Platte 14, die sich durch
eine Reihe von Stützen 15, die auf
einem sicheren Stand 16 ruhen,
wodurch Arbeitsraum unterhalb des Behälters für die Installation und Wartung
des Luftpumpeinrichtunggelagert ist. Wie
frisches Wasser wiegt 1.000 Kilogramm pro Kubikmeter, ist das Gewicht des
betriebsGeneratorSystemerheblich und so muss diese für die Beurteilung der
Basis benötigt, um den Tank zu unterstützen dürfen und seinen Inhalt. Während ein Dünnwand-Tank ist in Fig.1 gezeigt, kann viele verschiedene
Formen von Tank verwendet werden, einschließlich der Erde Bank-und
Kunststoffmembran Stile oder wieder aufgetaucht und verlassenen Schächten. Der
Tank der Fig.1 setzt voraus, dass
die untere Achse 5 wird durch die
Wand des Tanks 1 genommen, mit einer
Anordnung ähnlich der für die Antriebswellen, die Leistungsaufnahme die
Schrauben von Schiffen und anderen Leistungsgefäßeverwendet. Während eine Anordnung dieser Art stellt eine
Antriebswelle, die sich in der Nähe der Erde ist, in Fig.2, wo die Ausgangsleistung wird mit der sehr einfachen Kette
und Kettenrad Verfahren für die Schaufel genommen genutzt gezeigt das viel mehr
einfache Anordnung unterstützt ( Kette 30
und Kettenräder 6 und 7). Im Allgemeinen ist die mehr einfach und
unkompliziert jedes Design, desto besser funktioniert es in der Praxis und die
Unterhaltskostenwerden alle.
Unter erneuter Bezugnahme auf Fig.1, wenn er aktiviert ist , die
Luftpumpe 11 erzeugt einen Luftstrom
12, der schnell nach oben strömt. Dieser Luftstrom 12, einmal etabliert, muss nicht gegen den Kopf von Wasser als
direkt über der Düse der Pumpe schieben ist eine schnell steigende Luftsäule,
anhalt sowohl durch die Austrittsgeschwindigkeit von der Pumpe 11 und dem natürlichen Aufwärtsbewegung
verursacht durch die relativen Gewichte von Wasser und Luft (wie Wasser mehrere
hundert mal schwerer als Luft). Diese
Luftsäule würde normalerweise gerade nach oben fließen in ruhigem Wasser,
sollte aber festgestellt werden, dass Turbulenzen im Wasser neigt dazu, die
aufsteigende Luft weg von seiner vertikalen Bahn zu schieben, können Blenden um
die Pumpe gelegt und so positioniert werden, dass der Luftstrom gezwungen, im
gleichen Abschnitt von Wasser, die von den steigenden Eimer genommen zu
bleiben.
Die steigende Luft in den
untersten der steigenden Eimer und sammelt sich in sie, das Wasser aus dem
offenen Boden des Eimers zu zwingen. Wenn
die ansteigende Eimer nicht vollständig mit Luft gefüllt ist, bevor die nächste
Schaufel zwischen diesem und der Luftpumpe bewegt, wird die eingeschlossene
Luft zu erweitern, wie die Schaufel steigt und der Wasserdruck aufgrund der
geringeren Tiefe verringert. Jeder Eimer
mit einer erheblichen Menge an Luft in es wird eine sehr deutliche
Aufwärtskraft aufgrund des Auftriebs zu erstellen, Klima etwa tausend Mal
leichter als Wasser.
Jeder Eimer auf der ansteigenden
Seite fügt dieser Kraft nach oben und damit die Ketten 30 müssen beträchtliche Stärke. Das Gewicht der Schaufeln auf jeder Seite des
Kettenspiel und damit der Hauptvorteil der leichten Schaufeln ist, die
Trägheitsmasse der beweglichen Teile zu verringern. Bewegung durch das Wasser
relativ langsam ist, aber dies wird durch ein Getriebe zwischen der
Abtriebswelle und der Eingangswelle des Generators kompensieren. Die Leistung des Systems kann durch das
Hinzufügen von mehr Schaufeln in der vertikalen Kette, die Erhöhung der
Wassertiefe entsprechend erhöht werden. Andere
Möglichkeiten zur Erhöhung der Leistung das Erhöhen des Volumens im Inneren
jeder Schaufel und / oder die Erhöhung der von der Luftpumpe oder Pumpen
erzeugte Fließgeschwindigkeit. Eine
weitere einfache Methode ist in Fig.3
gezeigt und unten erörtert. Eine
Alternative zu Luftpumpen ist es, die Behälter aus einer komprimierten, umwelt
Gas, möglicherweise Luft zu verwenden.
Die in den verschiedenen Figuren
dargestellt Eimer sind steif, sehr einfache Formen, möglicherweise durch eine
Kunststoff-Spritzguss-Verfahren, um billig, stark, leicht und dauerhaft
wasserdicht gemacht werden. Es gibt
natürlich viele mögliche Variationen auf dieses auch mit starren Schwenkplatten
mit einem starken flexiblen Membran abgedichtet ist, so dass die Schaufeln auf
ihren Weg nach unten zu falten und sich stromlinienförmig, und die Öffnung,
sobald sie sich um ihre Bewegung nach oben zu beginnen. Es gibt viele Mechanismen, die diese Bewegung
bieten kann, aber es ist eine Sache der Meinung, ob oder ob nicht die extreme
Einfachheit der starren Eimer lohnt opfern ist.
Fig.2 zeigt
eine schematische Darstellung des Generators von der Seite gesehen. Die gleichen Zahlen beziehen sich auf die Komponenten,
die bereits in Fig.1 gesehen. Die in Fig.2
gesehen Anordnung ist die einfache, grundlegende, Einzel Eimer -Set. Die in der Nähe von seitigen steigenden Eimer 8 verschleiern den Blick auf die weit -
Seite fallen Eimer 9 und nur der
kleinste Teil der fallenden Eimer 9
kann in dieser Ansicht zu sehen. Fig.1 zeigt die einige Eimer
zweieinhalb mal länger sind als breit sind, aber das ist natürlich nur eine
Option unter buchstäblich Tausende von möglichen Proportionen. Die Größe und Form der Eimer ist mit der
Leistung und Anzahl von Luftpumpen, die für jeden einen Satz Eimer verwendet
werden und dass Wahl hängt davon ab, was vor Ort ist zu einem vernünftigen
Preis zur Verfügung stehen. Es nicht
ungewöhnlich, zwei oder drei Luftpumpen nebeneinander entlang der Länge der
Schaufel 8 verwendet werden, obwohl Fig.2 zeigt nur eine einzige Pumpe.
Fig.2 zeigt
auch ein einfaches Verfahren zur Zapf wo ein großer Durchmesser Kettenrad 16 ist auf der oberen Achse 4 befestigt ist, und Antriebs einen
viel kleineren Durchmesser Kettenrad 18,
das an der Antriebswelle des Stromgenerators 19, der montiert ist, auf der Platte 20, die fest an der Oberseite des Tanks 1 befestigt ist montiert.
Fig.3 zeigt
eine der möglichen Anordnungen für die Leistung des Systems ohne die
Eindringtiefe des Wassers erhöht. Hier erweitern die Achsen 4 und 5 weit genug erlauben einen anderen Satz von Eimer zu treiben, sie
erhöhen das Drehmoment ganz erheblich. Fig.3
zeigt ein extra Eimer festgelegt, zwar es, allerdings keinen Grund, warum es
sollte keine drei oder mehr Sätze von Eimern von Seite zu Seite. Allerdings ist
darauf hinzuweisen, dass die Partitionen angezeigt, die zwischen den Eimer es
nicht gibt nur um die Wasser-Verwirbelung reduzieren aber erforderlich sind, um
die Lager zu unterstützen, die für die erweiterten Achsen notwendig sind, da
ohne diejenigen, der Durchmesser der Balken für die Achsen verwendet zur
Vermeidung unerwünschter Muskelspiel entlang ihrer Länge sehr spürbar erhöhen
müssten. Während die zweite Gruppe von Eimern genau mit dem ersten Satz
ausgerichtete erwiesen hat, ist es von Vorteil in ihnen relativ zueinander auszugleichen,
so dass das Ausgangsdrehmoment sogar mehr mit Eimern, die Entleerung und
Befüllung zu verschiedenen Zeitpunkten in den Eimer-Zyklus.
Fig.4. zeigt
eine Methode zur weiteren Vereinfachung, wo wird die Luft von der
Wasseroberfläche oben gepumpt. Es ist
ein Anliegen für die meisten Menschen, das der Druck des Leiters des Wassers
über die Luftpumpe ein großes Hindernis ist zu überwinden und wird eine
kontinuierliche Gegenkraft während des Betriebs des Generators werden. Wenn Luft von unter dem Tank injiziert wird,
hat zunächst das Druck-Kopf überwunden werden. Wenn der Luftstrom eingerichtet ist, wird ein
vertikaler Zigarre-förmigen Bereich der Wasser-Wirbel durch den steigenden
Luftstrom hergestellt. Diese
dreidimensionalen ringförmigen Wirbel negiert den Wasser-Kopf in den kleinen
Bereich unmittelbar oberhalb der Düse Luft und fast saugt die Luft aus der
Pumpe, nach die Einführung der Luft erreicht wurde.
Es ist eine weitere Möglichkeit
zur Erreichung dieses wünschenswerten Effekt, ohne jemals gegen die Gesamthöhe
des Wassers zu pumpen, und das ist eine mobile Luftrohr verwenden, wie in Fig.4 gezeigt. Zunächst wird die Luftpumpe gestartet und
abgesenkt ein kurzes Stück in das Wasser. Der gegenüberliegende Wassersäule ist nicht
groß und das Wasser Wirbel kann ganz einfach eingerichtet werden. Das Rohr wird dann sehr langsam gesenkt, so
dass die Wirbel in einer zunehmend geringeren Tiefe zu halten, wo trotz der
erhöhten Wassersäule, die Pumpe nicht müssen, dass Kopf zu überwinden. Wenn die Rohrauslauf die Betriebs Tiefe
erreicht, wird es dann gedreht, um sie unter dem Satz von steigenden Eimer zu
bringen. Der Hauptvorteil dieser
Anordnung ist, daß der Tank so einfach wie möglich, ohne die Möglichkeit der
Leckage und so aufgegeben Vertiefungen modifiziert werden, um Energieerzeuger
zu werden. Alternativ kann ein Erdwall
errichtet werden, um einen oberirdischen Tank zu bilden, gegebenenfalls mit
einer Kunststoffmembran versiegelt. Dieses
Verfahren vermeidet auch benötigen, um das Gewicht des Behälters und Wasser
über einen Arbeitsbereich, wo die Luftpumpe oder ein
Druckluftzylinderangeordnet und gehalten zu unterstützen. Die Schaffung des Wasserwirbel kann durch die
Zugabe der Motorhaube um die Rohraustrittsunterstützt, wie in dieser Figur gezeigt
werden, aber dies ist eine optionale Funktion.
Während ein Verbrennungsmotor
zeigen, dass beträchtliche Energie von Bewegung, die rückwärts und vorwärts
bewegt sich kontinuierlich zu haben ist, ist diese Art der Wirkung nicht sehr
effizient, da kontinuierlichen Umkehrung der oszillierenden
Antriebskomponenten. Die Schwimmer in der (sehr erfolgreich) "Hidro
'design oben gezeigt. Eine andere Konstruktion ist in der 2011 Patent Renato
Bastos Ribero von Brasilien gezeigt. Hier ist ein Auszug aus dem Patent:
US 7,958,726 14. Juni 2011 Erfinder: Renato Bastos Ribero
Apparate
und zugehörige Verfahren in nutzbare Energie erzeugen
Abstract:
Die vorliegende Offenbarung
betrifft eine Vorrichtung und damit verbundene Verfahren zur Erzeugung von
Energie durch Erfassung und unter Nutzen der Energie von jeder Menge von Luft
im Inneren Belag Wasser erzeugt. In Ausführungsbeispielen weist die Vorrichtung
Komprimieren eines Gases geringer Dichte in einem flüssigen Medium, damit das
Gas natürlich zu der Oberfläche des flüssigen Mediums steigen und dann die
Erfassung der Energie, die vom Belag erzeugten Gases.

Fig.2 ist
eine perspektivische Ansicht eines oberen Rotorscheibe zum Verdichten eines
Gases in einem flüssigen Medium. Diese Offenbarung ist in zwei Stufen, die im
vorliegenden Fall, zusammen zu arbeiten. Die erste Stufe besteht aus der
Erstellung von Energie mit der Einführung von Luft am unteren Teil einer
Wassersäule. Einmal eingeführt, schafft die Luft Energie beim Bewegen in
Richtung der Oberfläche. Die Einführung der Luft in das Wasser ist der
wichtigste Punkt dieser ersten Teil der Offenbarung. Es wurde ein Verfahren
geschaffen, um eine sehr geringe Menge an Energie zu verwenden, wenn dies zu
tun.
Die Zähne an der Scheibe, wenn er
gedreht wird in Wasser, Wasser abfließen aus dem Bereich zwischen den Zähnen,
Absenken des Drucks gibt und es dem einfachen Einführung von Luft in diesem
Bereich. Ohne Luft Einführung, würde das Wasser nicht weg und der Druck würde
nicht reduziert werden. Der Zweck des Kegels ist, die ankommende Luft
ausbreiten.
Der zweite Abschnitt der
vorliegenden Offenbarung bezieht sich auf ein System mit dem Ziel der Erfassung
der Luft, die am Boden einer Wassersäule oder Tank eingesetzt ist, während der
Bewegung in Richtung der Wasseroberfläche.

Wie in Fig.16 gezeigt, steigen Eimer 2030
auf einer endlosen Kette, die um 2020
eine untere und eine obere Rad oder Riemenscheibe verläuft. Bei Erreichen der unteren
Riemenscheibe, die Eimer um die untere Riemenscheibe Linie 2014 und tauchen wieder auf der aufsteigenden Seite der Kette.
Unmittelbar nach dem Einschalten um den unteren Riemenscheibe, erhält jede
Schaufel die steigende Luftstrom.

Fig.17 zeigt
die Anordnung auf der Oberseite des Wasserbehälters 2010. Eimer 2030 steigen
aufgrund der mit Luft gefüllt, umdrehen, als sie um die Spitze Riemenscheibe 2018 übergeben, die Freigabe der Luft
in ihnen und beginnen absteigend wieder in Richtung der unteren Riemenscheibe.
Die obere Achse 2018 hat eine geschätzte Drehzahl von 120 Umdrehungen pro Minute.
In Fig.17 I (Ribero) bin zeigt die Übertragung dieser Energie an einer
Achse an der Oberseite der Wassersäule, wo wir einen Generator 2050, die eine Drehung von 300 UpM
sowie einen Motor mit einem anderen Generator mit einer Drehung von 600 rpm
haben. Dieser Teil Fig.17 ist nur
beispielhaft zu zeigen, dass wir Energie bei der primären Achse bei 120 rpm zu erzeugen, oder jegliche Art von Übertragung an
bequemer Drehzahlen.
***
Ich denke, dass die Worte in rot markiert darauf hin, dass, obwohl das Patent erteilt worden ist, der Generator wurde nie gebaut und ist nur eine Idee. Persönlich bin ich höchst zweifelhaft über die Mechanismen, die angeblich reduzierten Wasserdruck am Lufteinlass geben, da ich nicht glaube, dass sie funktionieren würde, oder wenn sie es tun, schon gar nicht für die Gründe angegeben. Was er tun will kann sicherlich getan werden, aber nicht in der Weise, dass er vorschlägt. Wenn die Achsen auf der 120 rpm, die er schlägt sich drehen, dann wäre damit weniger als ein Achtel einer Sekunde, um jeden Eimer zu füllen und während der Begriff des reduzierten Wasser Turbulenzen durch die Schaufeln gegenseitig berühren ist attraktiv, ich glaube nicht, dass das beschriebene Verfahren möglich ist.
Also, während wir sicher sein können, dass Auftrieb Methoden durchaus in der Lage Erzeugung ernste Macht sind, brauchen wir ein besseres Design als eine der beiden hier gezeigten die Hidro zu sein scheint sehr teuer zu bauen.
Die jüngste Website http://www.rarenergia.com.br/ zeigt eine Schwerkraft-Motor angetrieben, der in der Lage ist das Führen eines 30-Kilowatt-Stromgenerator ist.
Dies ist sicherlich nicht ein Haus-Build-Projekt und die Kosten für den Bau und Tag-zu-Tag Wartungskosten macht dies scheint ein sehr unwirtschaftlich Projekt. Ein enormer Vorteil des Gebäudes der beiden Generatoren ist jedoch, dass sie zeigen sehr deutlich, dass Freie-Energie zur Verfügung steht und durchaus lebensfähig. Die Leute bauen diese beiden Konstruktionen zeigen sehr deutlich, dass diese Schwerkraft betriebene Motoren nicht nur elektrische Generatoren. Während diese Motoren können elektrische Generatoren anzutreiben, wird betont, dass sie auch alle Aufgaben, die einen Motor muss durchzuführen, wie Pumpen, Bohren usw. Die Größe dieser Motoren ist beträchtlich, wie aus den folgenden Bildern zu sehen ist:


Ich habe vor kurzem bewusst, die Baskara Schwerkraft Rad erfunden im Jahre 1150 in Indien gemacht wurden. Dies ist eine sehr interessante Idee, die erhebliches Potenzial zu haben scheint. Es gibt anscheinend eine marginale Replikation auf http://www.dailymotion.com/video/xygxsy_bhaskara-wheel-overbalanced-chain_tech. Schwerkraft-Gerät muss groß und schwer, um ernsthafte nutzbare Energie zu produzieren. Die kleine Vorrichtung, die im Video gezeigt ist stationäre angezeigt, die zeigt, dass die Reibung der Lager viel zu groß für das Gewicht der Flüssigkeit beteiligt ist. Richtig gebaut, wäre es unmöglich, die Rad-stationär zu haben, es sei denn, es wurden im Ort gesperrt, wie das Gewicht-Ungleichgewicht, die es von einer stationären Position drehen beginnen würde. Das Design des Rades wird im Allgemeinen wie folgt angezeigt:

Die Idee ist, dass die Flüssigkeit auf der rechten Seite seiner Zentrum der Schwerkraft weiter von der Achse des Rades, als das auf der linken Seite. Das "Zentrum der Schwerkraft" eines Objekts ist der Punkt, an dem alle das Gewicht des Objekts betrachtet wird, zu handeln. Es ist in der Regel in den Mittelpunkt eines Objekts, das eine regelmäßige Form hat. In diesem Fall wird der Dreh-Effekt durch sehr kleine Unterschiede in der Hebel-Armlängen erstellt:

Hier ist das Zentrum der Schwerkraft von jeder Stelle der Flüssigkeit mit einem blauen Punkt markiert. Die Hebel Waffen "d1" und "d2" zeigen die Abstände für zwei Röhren auf der gegenüberliegenden Seite der Achse. Obwohl es nicht offensichtlich in dieser Abbildung ist, ist die Länge "d1" tatsächlich länger als die "d2". Die Röhren sind fest angebracht und bewegen sich nicht im Verhältnis zu dem Rad und so, das einzige bewegliche Teil ist die Flüssigkeit und das drehende Rad. Wie hier gezeigt, ist der Mechanismus nicht effizient, da ein Großteil der potenziellen macht nicht zugegriffen wird. Die Dreh-Kraft der Flüssigkeit entsteht durch die Flüssigkeiten fließen nach außen, Weg von der Achse. Diesen Fluss ist stark durch die kurzen Rohr-Länge begrenzt wird. Es wäre viel realistischer, eine viel längere Röhre wie folgt zu verwenden:

Nur durch das Rohr verlängern, gibt es eine große Zunahme der Bewegung der Flüssigkeit Weg von der Achse. Die erhöhte Rohrlänge hat keine nennenswerten Auswirkungen auf die steigenden Seite des Rades.
Die meisten Leute denken des Rades als seiend klein mit ein paar kleine Schläuche angeschlossen. Wenn tatsächliche Macht Extraktion das Ziel ist, dann wird das Rad eines Zylinders und die "Tubes" erweitern Sie quer durch den Zylinder. Ich würde vorschlagen, dass der Zylinder mit einem Durchmesser über einem Meter und die Zylinder-Länge etwa halben Meter vorliegt, wenn Sie es durch eine Tür und viel länger, wenn nicht tragen wollen. In dieser Anordnung werden die "Tubes" flache, flache Behälter, macht der Anordnung etwas wie folgt:

Wenn der Flüssigkeitsbehälter, sagen, 3 mm MDF gemacht sind, würde dann ich vorschlagen, dass die Seiten erfolgen mit 6 mm MDF Dicke, um den Container starr zu machen, wie das Gewicht der Flüssigkeit sehr hoch sein wird. Das Innere des Containers ist versiegelt, wenn das Baumaterial nicht wasserdicht, dann eine Schicht von Lack, Farbe oder einem der Abdichtung Sprays Wasseraufnahme verhindert wird. Die Flüssigkeit wird vor die Spitze des Containers geklebt wird hinzugefügt. Genau die gleiche Menge an Flüssigkeit sollte gegossen werden, in jedem Container vor der Abdichtung und Messen Jug sollte verwendet werden, um sicherzustellen, dass jeder halb gefüllt-Container das Gewicht aller anderen Behälter entspricht.
Ein 12 Volt Gleichstrom-Motor als Generator, angetrieben von einem Gürtel und zwei Riemenscheiben einsetzbar um einige nützliche elektrische Leistung aus dem Gerät zu bekommen. Materialien als eine Flüssigkeit wurden als die schwereren vorgeschlagen, dass das Material ist, desto mächtiger wird der Generator. Quecksilber wäre sehr gut, da es sehr schwer ist, aber wie es so giftig, (nicht zu teuer zu schweigen), es ist keine realistische Möglichkeit. Lead erschossen oder Stahlkugellager vorgeschlagen worden, aber sie würden wahrscheinlich nicht fließen in die Behälter gut genug, um eine gute Wahl zu sein, und so eine Flüssigkeit vielleicht das beste, was zu verwenden, Wasser wird eine offensichtliche Wahl.
In 1939, William Skinner von Miami in

Dieser Entwurf hat vier fast senkrechte Achsen, jeweils verspannt, um zusätzliche Stabilität zu geben. Diese rotierenden Achsen übergeben ihre rotierende macht an den mechanischen Ausgang-Antriebsriemen, gesehen auf der linken Seite. Jede dieser Achsen Drehen hat ein schweres Gewicht in Form von einem dicken, kurzen Zylinder montiert hoch oben im oberen Bereich der Achse und was wahrscheinlich ein noch schwereres in Form von ein langer schmaler Zylinder im unteren Bereich der Achse gesehen rechts von der Ausgabe-Antriebs-Riemen befestigt ist. Diese vier identische Sätze von Achsen mit ihren paar Gewichte Spin, zwei oder drei Mal pro Sekunde und produzieren die gesamte Ausgangsleistung.
Soweit mir bekannt, Skinner niemals patentiert seinen Entwurf oder offen gelegt, wie es funktioniert. Das Funktionsprinzip ist jedoch sehr einfach, obwohl es Sie möglicherweise eine Weile dauern, zu begreifen, wie es funktioniert. Sie können dieses heraus ganz einfach selbst überprüfen, ob Sie Zugriff auf eine altmodische Stuhl mit vier starre Beine so haben:

Kippen Sie den Stuhl über, damit es auf einem Bein ausgeglichen ist. Sie werden feststellen, dass fast ohne Aufwand beteiligt ist, es zu halten, in dieser Position als all das Gewicht von den Boden durch nur eine der Beine unterstützt wird. Jetzt verschieben Sie oben auf den Stuhl zu, um einen sehr kleinen Betrag und halten Sie die Spitze des Stuhls in dieser Position. Beachten Sie zwei Dinge: Erstens sehr wenig Aufwand war nötig, um oben auf den Stuhl und die zweite zu bewegen, der Stuhl jetzt schwingt um und wird stationär auf der gleichen Seite, dass die Spitze des Stuhls verlegt wurde.
Zwei andere Dinge zu beachten: der Stuhl geschwungen um wegen Ihrer Bewegung oben leicht, Sie es nicht schwingen und wenn der Stuhl schwer, die Menge von Energie in den swingenden Stuhl ist sehr viel größer, die die Menge an Energie, die Sie an die Spitze des Stuhls angewendet.
Wenn man oben auf den Stuhl in einem kleinen Kreis weiter, wird dann der Stuhl ständig jedoch lange drehen darin, dass Sie oben auf den Stuhl wackelt. Die Menge von Energie in der Spinnerei-Stuhl ist sehr viel größer als die Energie, die Sie beanspruchen, um die Stuhl-Spin zu machen. Woher kommt also diese zusätzliche Energie?
Was passiert, ist, dass der Stuhl schaukeln Runde unter Schwerkraft den niedrigsten möglichen Punkt dafür mit der neuen Position des oberen Teils der Stuhl zu erreichen. Aber bevor es bekommen kann, Sie verschieben oben auf dem Stuhl weiter um und der Stuhl muss also weiter in der Reihenfolge die Reichweite der tiefste Punkt schwingen. Aber bevor sie dort bekommen kann, verschieben Sie oben wieder... Der Stuhl hält Runde und Runde, schwingen durch die Schwerkraft für gezogen, solange Sie die Spitze in Bewegung bleiben möchten. Aber egal wie schwer der Stuhl benötigt sehr wenig Aufwand von Ihnen Spinnen verursachen.
Skinner hatte
einen Mechanismus am oberen
Sein Mechanismus sieht kompliziert aus. Dies ist zum Teil aufgrund der Tatsache, dass es vier identische macht Achsen mit ihren Gewichten und in einem kompakten Rahmen montiert gibt und das macht das Gerät aussehen komplizierter als es wirklich ist. Es ist auch, dass das System in der Wochenschau gezeigt Williams fünfte Version des Geräts ist. Es ist wahrscheinlich, dass seine früheren, viel mehr einfachen Versionen gut funktionierte und ihn ermutigte, auch ausgefallenere Versionen aufzubauen.
Es gibt zwei Foren, in denen Mitglieder dieser Foren versuchen zu arbeiten, aus, genau wie seine endgültige Fassung-Maschine gearbeitet und dann das Design für den aktuellen Tag Gebrauch zu replizieren, wie es ein nettes System ist für den Zugriff auf zusätzliche Nutzleistung. Diese Foren sind:
http://www.overunity.com/14655/1939-gravity-power-multiply-power-by-1200/#.U5y0gXaqmJA und
http://www.energeticforum.com/renewable-energy/17195-william-f-skinner-1939-gravity-power.html
Es muss jedoch daran erinnert werden, dass es nicht wirklich notwendig ist, Williams fünfte Version zu replizieren, aber stattdessen es völlig ausreichend wäre, verwenden Sie das Prinzip der drehenden Stuhl, um einen einfachen Mechanismus zu produzieren wo die Eingangsleistung ist weit weniger als die Ausgangsleistung.
Wenn man bedenkt, was passiert ist, können dann vielleicht wir verstehen Skinners kompliziert aussehende Anordnung. Wir können nur eines der vier Achsen betrachten, das große Gewicht dreht sich herum in einem Kreis und die Bewegung wird dann verwendet, um die Ausgabe-Achse macht. Um den Aufwand zu drehen das Gewicht zu reduzieren, hat die Achse wurde dünner und vier Reizklima Stangen wurden verwendet, um die Achse in genau der gleichen Weise Klammer, Segelyacht, die Masten in der Regel mit "Spreizer" das abstützen von Mast und so durchhalten verspannt sind höhere allgemeine Steifigkeit geben. So können wir den erfrischenden Bars ignorieren, wie sie haben nichts mit dem eigentlichen Betrieb sein Design zu tun, sondern sind lediglich seine Wahl aus vielen verschiedenen Bau-Optionen.
Erinnern Sie den Spinnerei-Stuhl und überlegen Sie, was getan werden, um Skinners schweres Gewicht drehen muss. Das Oberteil der Achse hat in einem kleinen Kreis bewegt werden. Blick von der Spitze die Situation ist wie folgt:

Wenn das System ausgeschaltet ist, kommt das Gewicht an der Unterseite der Achse befestigt, direkt unterhalb der Spitze der Achse zu ruhen. Wenn das System erneut gestartet wird, soll der erste Schritt oben auf der Achse 90 Grad um. Dies ist der Beginn der Drehbewegung und zunächst, die Bewegung ist langsam, wie es die schwere Last einige Zeit braucht, um auf den Weg. Um den Aufwand für die Bewegung der Spitze der Achse zu verringern hat neunzig Grad vor der großen geringeres Gewicht, Skinner eine Gewicht an der Spitze die Bewegung in diese Richtung zu unterstützen.

Skinner nutzte auch seine sehr große Werkstatt mit einen Gürtel-gesteuerten Mechanismus über dem oberen Rand der Achse reduzieren den Aufwand Verschieben der Achse noch weiter oben (in der Ebene, wo es von einem Baumwollfaden angetrieben werden könnte). Er benutzte vier separate Achsen identische in seiner Konstruktion aus zwei Gründen: Erstens, die gesamte Ausgangsleistung wird erhöht und zweitens sind alle seitliche Kräfte betont den Montagerahmen auf jeder Seite, was hilfreich ist, wenn Sie schwere Gewichte auf einem rotierenden Arm wie Skinner hat abgestimmt.
Wie die Ausgabe-Achsen bei ca. 150 u/min drehen werden erscheinen, entschied sich Skinner direkt mechanische Laufwerk verwenden möchten. Zurück im Jahr 1939 war elektrisch angetriebene Nebenaggregate nicht so weit verbreitet wie es heute ist, aber wir heutzutage wahrscheinlich bevorzugen, eine elektrische Leistung anstatt eines mechanischen Antrieb zu haben, obwohl dieser mechanischen Antrieb verwendet werden könnte, für den Antrieb von Pumpen und anderen Low-Speed-Geräte. Also sind wir konfrontiert mit der Einführung von irgendeiner Form von Getriebe, die diese 150 u/min an der viel höheren Ebene, die von den meisten Lichtmaschinen bevorzugt auslösen kann.
Zwar wäre es möglich, einen normalen 12-Volt-Motor als Generator verwenden und einen elektrischen 12-Volt-Ausgang zu produzieren, ist es wahrscheinlich bequemer, einem einsetzbaren elektrischen Generator, vielleicht eine sehr reibungsarme wie folgt verwenden, die hat für Windkraft Betrieb ausgelegt und hat einen 3-Phasen-Ausgang 12V oder 24V:

Die Tatsache, dass die Ausgabe 3-Phasen kann ein wenig abschreckend klingen, aber die Umstellung auf CC ist ganz einfach:

Die Ausgabe in CC mit sechs gewöhnlichen Dioden konvertiert werden kann oder eine integrierte Diode Anordnung benutzt werden wo ein Anschluss-Tag für jede der drei Ausgänge und einen separaten Tag für den CC Plus und für die CC-Minus. Die Strömungen beteiligt sind ziemlich hoch, da 400 Watt bei 12 Volt repräsentiert mehr als 33 Ampere und die Spitzenleistung von 500 Watt ein Strom von etwa 42 Ampere ist. Aus diesem Grund sind die 3-Phasen-Gleichrichter-Blöcke bewertet, mit 50 Ampere, die sehr hohe klingt, bis Sie die Berechnungen und entdecken Sie, was die aktuelle sein dürfte. Es sollte auch bedacht werden im Auge, die die CC ausgeben, Draht, hat das Niveau der aktuellen kontinuierlich zu tragen und so ziemlich stabile Draht benötigt wird. Wenn die Spannung 220V wurden dann der Draht würde sein verwendet werden und mehr als 9 kW mit diesem Stromfluss, und also der normalen 13-Ampere-Netz-Draht ist einfach nicht ausreichend und stattdessen müssen wir dicken Draht oder mehr als ein Strang von Draht für den Plus- und Minus-Verbindungen verwenden.
Diese bestimmten Generator ist nicht teuer und kann 400 Watt Strom (33 a) kontinuierlich ausgeben. Wie der Typ bei 150 Hz, Verzahnung scheint auf der Abtriebsdrehzahl Spinnerei Skinner mehr Leistung ermöglichen würde, könnte so vielleicht für eine Home-Builder, die physische Anordnung wie folgt sein:

Natürlich gibt es viele verschiedene Formen des Aufbaus, die verwendet werden könnten, aber mit jedem von ihnen, die Frage ist, "wie machen Sie die schräge Achse kraftvoll drehen?". Wenn Sie die Komplexität von Skinners fünfte Version in der Wochenschau gezeigt erarbeiten können, würde dann sicherlich den Job tun. Jedoch würde wir lieber viel einfacher gestaltet und so wir müssen nicht unbedingt kopieren was Skinner hat aber stattdessen wir nur können gilt das Prinzip, das er demonstrierte. Eine mögliche Anordnung könnte sein, ein Gewicht auf eine Seite, eine starke Achse mit Stuhl-Experiment zu imitieren vielleicht wie folgt aus:

Version "A" verwendet, das Gewicht um die Achse zu versteifen, aber damit löst der Schwerpunkt der kombinierten Achse und Gewicht, die möglicherweise nicht bequem. Version "B" kann erhöht werden, dass das Drehmoment für jede angegebene Gewicht der Schwerpunkt des Gewichts Weg von der Mittellinie der Achse mittels Erweiterung Arme bewegen. Wenn die Achse mit einer Konstanten Rate dreht, die Achslast wird im Wesentlichen konstant sein und es darf erhebliche Beugung der Achse, obwohl es möglicherweise beugen und bleiben mit, dass gleiche während all der Zeit wenn es sich dreht verbiegen, wenn das Gewicht sehr hoch im Vergleich zu der Steifigkeit der Achse.
Wir haben einige Leistungsaufnahme um oben auf der Antriebsachse zu drehen, aber wenn wir Dinge in einer von Hunderten von lebensfähigen Konfigurationen ordnen, dann werden die Ausgangsleistung massiv größer als unsere Eingangsleistung. Eine alternative Anordnung, die Drehzahlregelung ermöglicht (und also macht Ausgangssteuerung) besteht darin, einige der die generierte Ausgabe von Elektrizität und verwenden, um einen elektrischen Antrieb macht, der oben auf der Antriebsachse positioniert.
Gibt es viele verschiedene Möglichkeiten, diese Bewegung zu erreichen. Eine Methode hierfür könnte folgendermaßen aussehen:

Hier richtet sich die kleinen Elektromotor grün dargestellt und verwendet, um oben auf der Antriebsachse mit welcher Rate von Revolution zu verschieben, die unserer Ansicht nach zufrieden stellend sind, unter Verwendung einer CC-Standardmotor speed Controller.
Anzumerken ist, dass egal welche Winkel für die Achse gewählt wird, dass immer eine Konstante im Verhältnis zu den motor Arm bewegen es Runde im Kreis an der Spitze der Achse ist. Dies bedeutet, dass keine Rollenlager benötigt wird, da es keine relative Bewegung und die Achse automatisch an diesen festen Winkel antreten wird. Der Antrieb motor Arm oben auf die Achse bewegt wird wahrscheinlich nicht lang sein, wie Skinner widmen oben seine Achsen von etwa 40 mm von der Mittellinie der der unteren Drehpunkt verschieben werden, wodurch nur ein Grad oder so für den Winkel der Achse auf jeder Seite der vertikalen.
Es ist natürlich nicht unbedingt die Ausgangsleistung in Strom umwandeln und stattdessen auf die gleiche Weise, die Skinner, treibende mechanische Geräte wie Wasserpumpen für die Bewässerung oder Gewinnung von Wasser aus Brunnen, Fräsoperationen für die Verarbeitung von Getreide oder für den Betrieb jede Form von Werkstatteinrichtung verwendet werden könnte. Es ist auch nicht notwendig, das Gerät irgendwo in der Nähe so groß zu bauen, wie Skinner, und kleine Versionen könnte verwendet werden, um Energie-Beleuchtungssysteme, Ventilatoren oder Kühlsysteme betreiben oder für jede andere kleineren Haushalten Anforderungen.
Die Leistung von der Maschine kann erhöht werden, durch Erhöhung des Gewichts auf die Ausgabe-Achse befestigt oder durch eine Erhöhung der Länge des Armes das Gewicht oder durch Kippen der Ausgabe-Achs durch einen größeren Winkel (erhöht die Eingangsleistung benötigt, aber wahrscheinlich nicht viel), oder vielleicht durch das ganze skalieren, so dass sie körperlich größer ist. Skinner's Design verwendet Steifwerden Fixierung auf die Ausgabe-Achse, was darauf hindeutet, dass je heller die Achse ist, desto besser die Leistung. Aus diesem Grund ein Prototyp-Build können eine Holz-Achse des vielleicht 33 mm eckig auch ist hell und sehr starke und starre, und es ist eine gute Form dafür gibt es kein Verrutschen des Arms die Gewichte unterstützt. Oben auf der Achse ist leicht verringert, so dass es sich um einen kreisförmigen Querschnitt aufweist. 300 u/min Motor dreht sich mit bis zu 5 Umdrehungen pro Sekunde und ist geeignet für die Achse drehen. Eine passende, kostengünstige Motor dieses Typs, sieht wie folgt aus:

Der Motor muss auf die Achse auf einfache Weise verknüpft werden, die sicherstellt, dass die Welle nicht verrutschen wird:

Vielleicht wäre eine geeignete Größe reinsägen durch einen Streifen des Materials und verwenden einen Streifen aus Metall gedrückt in das flache Gesicht der Motor-Antriebswelle (neben das Loch wird ein engen Push fit) ausreichend dafür. Einen geschraubten Kragen oder Schicht Epoxidharz hält die Platte fest an den Motor wie die Platte unter dem Motor positioniert ist und damit Schwerkraft neigt dazu, die Platte aus der Motorwelle ziehen Sie überhaupt mal.
Es wäre zunächst anzunehmen, dass ein Kugellager oder Rollenlager in diesem motor Arm, aber das ist nicht der Fall notwendig sein würde, wenn die Achse sich nicht im Verhältnis zu den motor Arm dreht und während die Achse eine lose Passung in das Loch sein kann, gibt es sicherlich keine Notwendigkeit für ein Lager.
Eine kommerzielle CC Motor Speed Controller lässt sich die Drehzahl der Achse allmählich bis nach einem stationären Start der gewählten Rate der Revolution bringen:

Dies bedeutet, dass keine Elektronik-Kenntnisse erforderlich ist, um einen Generator Arbeiten dieser Art zu bauen wie über ein kommerzielles Modul.
Es gibt viele Optionen für die Bereitstellung des erforderlichen Gewichts, das den Generator antreibt. Eine Möglichkeit ist die Verwendung eine Langhantel-Welle mit möglichst vielen gewichten wie erforderlich sind, nämlich ein sehr einfaches umändern:

Einer der die Handgriffe kann geschnitten und direkt als Teil des Einbaus, vielleicht wie folgt benutzt:

Diese einfache Anordnung ermöglicht die Gewicht Scheiben hinzugefügt und in beliebiger Kombination gewünscht gesichert werden. Wie Hanteln paarweise geliefert werden, gibt es vier Scheiben von jeder Seite ermöglicht eine Vielzahl von Gewicht Optionen hinauf in Sprüngen von nur 1 Kg die sehr bequem ist. Wenn die Achse einen quadratischen Querschnitt hat, gibt es keine Tendenz, dass der Hebelarm um die Achse schieben
Die folgenden Skizzen sollen nicht skalieren, sondern ein Aufbau könnte sein:


Für diese Art der Konstruktion, vier Stück, vielleicht 70 x 18 mm gehobelt Square Edge Holz sind vielleicht 1050 mm geschnitten und zwei 33 x 33 x 65 mm Stücke epoxied und an zwei der Stücke, 18 mm von den Enden:
![]()
Dann sind die vier Stücke zusammen geschraubt, beim Ausruhen auf einer flachen Oberfläche:

Ecke Reizklima Dreiecke MDF sind dann in Platz geschraubt:

Dann ist ein 130 x 25 mm dickes Brett befestigt über die Breite in den Mittelpunkt und verschraubt an Ort:

Nächste, zwei Längen von 18 mm Dicke Hölzer ca. 180 mm lang epoxied und an die 25 mm Dicke Planke, überlassen das Ende des Paneels 70 mm Freiraum Zentrum sind:

Zwei Holz Streifen 1350 mm lang, werden geschnitten und errichtet vertikal, durch Schrauben kommen nach oben durch den 25 mm dicken Balken und MDF Dreiecke auf der einen Seite und über das untere Ende des die vertikalen Verstrebungen angefügt wird. Wenn eine Wasserwaage verwendet wird, um sicherzustellen, dass das vertikale Holz tatsächlich vertikal ist, dann zuerst die vier Ecken des Rahmens Boden werden, um gewichtet müssen überwinden, jede Drehung und der Boden-Frame bestätigt eigentlich horizontal vor dem Anfügen der vertikalen Balken:

Jede vertikale muss auf beiden Seiten mit diagonalen Streifen, verspannt werden entweder Metall oder Holz:

Eine 18 mm Dicke Holz-Streifen ist an die Spitzen der die vertikalen geschraubt. Dies positioniert absichtlich das Holz 18 mm außerhalb der Mitte, wie der Motor, der oben auf der Achse dreht muss bis Mitte dieses neueste Holz befestigt werden und die Orte der Motorwelle ganz in der Nähe der zentrale Punkt der Basis:

Einen leichten Nachteil ist, dass ein Stück Verpackung benötigt wird, für die dreieckige MDF Fixierung der Stücke, die die Rahmen-Steifigkeit an der Spitze zu erhöhen:

In dieser Phase wird der Bau so aussehen:

Zu diesem Zeitpunkt kann der 300 u/min-Motor mit seiner Actuator Arm und Feld Geschwindigkeitssteuerung ausgestattet werden. Der Motor ist zentral gelegen, und das Steuerelement kann überall bequem positioniert werden. Das Steuerelement ist lediglich ein 12-Volt-Akku-Pack von 1,2V NiMh AA-Batterien über eine Push-to-Make Presse-Schalter und der kommerziellen CC Motor Speed Controller, an den 300 u/min-Motor verbunden. Mit dieser Anordnung kann der Motor hochgefahren werden durch Drücken der Taste und Anpassung der Geschwindigkeit langsam bis aus stationären, immer das Gewicht des Rotors bewegt, allmählich schneller und schneller, bis seine besten Arbeitsgeschwindigkeit erreicht wird. Wenn alles eingerichtet ist, ist die RTK Ausgabe von der Lichtmaschine in das Steuerelement eingegeben, damit der Startknopf freigegeben werden kann und das Gerät batterielosen aus Teil der Ausgangsleistung wird. Der erste Schritt sieht wie folgt aus:

Es sollte erklärt werden, dass mit Ausnahme der 25 mm dickes Brett, alle diese Konstruktion ist nur sehr leicht als oben der Achse rotierende geladen dauert nicht viel Kraft oder Anstrengung überhaupt. Fast alle rotierenden Gewicht befindet sich am unteren Rand der Achse und das Gewicht lastet auf irgendeine Form des Lagers, der in der Mitte der 25 mm-Plank steht.
Für eine kleine Version des Generators, wie diese das rotierende Gewicht muss nicht allzu groß zu sein und also, die Kräfte, die durch das Gewicht und die Drehung über das Lager generiert müssen keine große Sache sein. Trotz der Tatsache, die wir nur mit begrenzten Kräften beschäftigen, die von einfachen Komponenten verarbeitet werden können, können jedoch Menschen geneigt sein, einen Schub, anstatt zuzulassen, dass das Gewicht auf der Welle der Lichtmaschine Lager verwenden. Ein Lager dieser Art könnte wie folgt aussehen:

Hier die Basis und Außenring bewegen nicht während der obere äußere Ring dreht sich frei und unterstützt eine große Last, während es dreht. Wenn wir eines davon verwenden, könnte dann eine Vereinbarung wie folgt verwendet werden:

Diese Kombination hat eine Kappe (gezeigt im gelb) mit einem zentralen vertikalen Balken (gelb) angefügt, eng wurde den oberen Ring des Lagers dessen unteren Ring 25 mm dicken Plank (grau) vielleicht mit Epoxidharz (lila) angeschlossen ist. Dies ermöglicht die freie Rotation der oberen Ring und vertikalen Balken während des Tragens erhebliche Belastung. Der Nebenabtrieb in der Anordnung gezeigt wird, von der Bar unter den Balken zu projizieren. Im Allgemeinen erhöht die elektrische Leistung mit erhöhter Drehzahl, so empfiehlt sich die Lichtmaschine rüstet, so dass es viel schneller als die Achse dreht und in dieser Anordnung kann bequem dafür sein. Ist es wichtig, die Macht über die Planke Start zu haben, kann eine starke Klammer verwendet werden, um hoch genug über die Planke zu erreichen, die Lager zu erhöhen.
Es gibt zwei separate Kräfte auf das Lager wirkenden. Einer ist immer nach unten, wie das Lager das rotierende Gewicht unterstützt:

Dann gibt es die seitliche Kräfte verursacht durch die Rotation des Gewichts (unsymmetrisch):

Diese seitliche Kraft gilt normalerweise als ein großes Problem, jedoch in diesem Fall das Gewicht ist nicht als wirbelte herum und versucht zu entkommen, die Achse in der horizontalen Richtung, aber stattdessen das Gewicht dreht sich unter Schwerkraft angetrieben durch sein Eigengewicht und die Kräfte, die generiert werden, ganz anders und in eine andere Richtung. Außerdem ist die Rate der Drehung sehr klein im Vergleich zu den Geschwindigkeiten, die wir automatisch darüber nachdenken, wenn es um eine Umlaufbahn Gewicht, in der Regel diese Drehung wird nur zwischen 150 und 300 u/min.
Die Belastung für den Antriebsmotor Achse angeht, ist die Situation wie folgt:

Diese seitliche Kraft gilt normalerweise als ein großes Problem, jedoch in diesem Fall das Gewicht ist nicht als wirbelte herum und versucht zu entkommen, die Achse in der horizontalen Richtung, aber stattdessen das Gewicht dreht sich unter Schwerkraft angetrieben durch sein Eigengewicht und die Kräfte, die generiert werden, ganz anders und in eine andere Richtung. Außerdem ist die Rate der Drehung sehr klein im Vergleich zu den Geschwindigkeiten, die wir automatisch darüber nachdenken, wenn es um eine Umlaufbahn Gewicht, in der Regel diese Drehung wird nur zwischen 150 und 300 u/min.
Die Belastung für den Antriebsmotor Achse angeht, ist die Situation wie folgt:

Es muss daran erinnert werden, wenn ein Gelenk so ist eingebaut, dann wird es nicht in ständiger Bewegung, d. h. die Gelenke eine besondere Position nimmt und werden diese Position beibehalten, während der ganzen Zeit, die der Generator in Betrieb ist.
Ein Kompromiss wäre, eine drehbare Bewegung in einer Ebene zu schaffen durch schwenkbare Achse Gelenk oberhalb der Axial-Lager:

Die elektrischen Anschlüsse sind ziemlich einfach:

Das 12-Volt-Batterie-Pack von 1.2V AA-Batterien an die Motordrehzahl-Controller angeschlossen sind, wenn die Schaltfläche den Druckknopf-Schalter gedrückt gehalten wird. Dies versorgt den Motor und wie die Achse schrittweise beschleunigt, der Generator startet Produktion macht, die immer die Geschwindigkeit-Controller-Box zugeführt wird. Sobald der Generator zu beschleunigen wird der Presse-Schalter freigegeben werden kann und das System läuft auf produzierte Strom durch den Generator. Überschüssige Energie wird aus der Generatorausgabe, aber diese Links werden nicht im Diagramm angezeigt.
Patrick Kelly
http://www.free-energy-info.tuks.nl
http://www.free-energy-info.com
http://www.free-energy-info.co.uk
http://www.free-energy-devices.com