Eine Praktische Anleitung zum Energie
Kostenlos Geräte Autor: Patrick J. Kelly
Kapitel 3: Regungslos Gepulsten Systemen
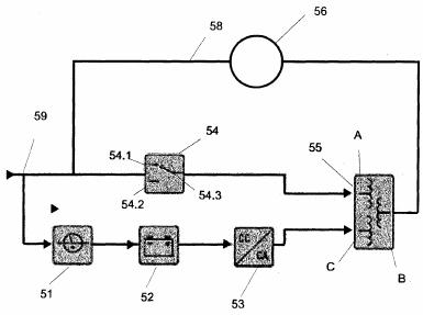
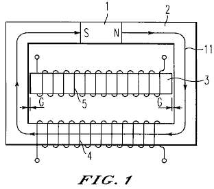
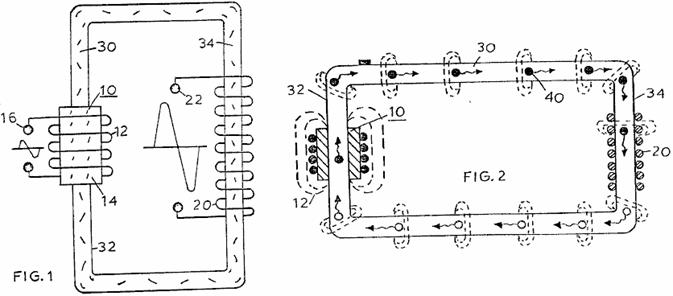
Die gepulste Geräte, die bisher genannten hatten bewegliche Teile aber rotierenden oder schwankende Magnetfelder können erstellt werden, ohne mechanisch bewegte Teile. Ein Beispiel hierfür ist Graham Gundersons Festkörper elektrischen Generator im US Patent Application 2006/0163971 A1 der 27. Juli 2006 der auf Seite A-949 der Anlage angezeigt wird angezeigt. Ein weiteres Beispiel ist:
Ein weiteres Gerät dieser Art stammt von Charles Flynn. Die Technik des Aufbringens magnetischen Variationen des magnetischen Flusses, der durch einen Permanentmagneten erzeugt wird detailliert in den Patenten von Charles Flynn, die in der Anlage enthalten sind, bedeckt. In seinem Patent zeigt er Techniken zur Herstellung linearer Bewegung, reziproke Bewegung Kreisbewegung und Kraftübersetzung, und er gibt eine beträchtliche Menge an Beschreibung und Erläuterung auf jeweils seinen Hauptpatent mit hundert Abbildungen. Unter einer Anwendung nach dem Zufallsprinzip:
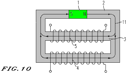
Er sagt, daß eine wesentliche Verbesserung der magnetischen Flusses von der Verwendung einer Anordnung wie folgt erhalten werden kann:

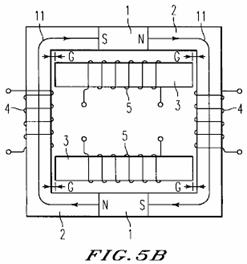
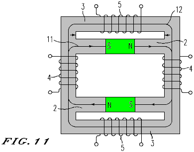
Hier weist ein laminiertes Weicheisen Rahmen einen starken Permanentmagneten in seiner Mitte positioniert und sechs Spulen werden in den gezeigten Positionen gewickelt. Der magnetische Fluß von dem Dauermagneten fließt, um beide Seiten des Rahmens.

Die gesamte Patentportfolio Details dieses System von Charles Flynn sind im Anhang, ab Seite A - 290.
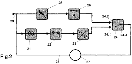
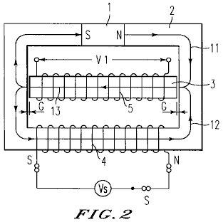
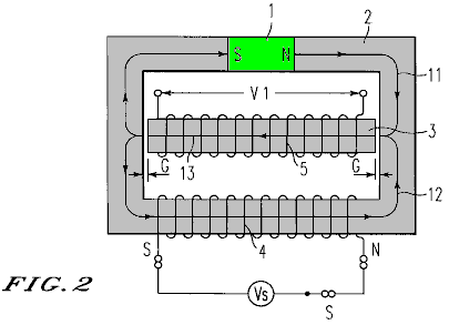
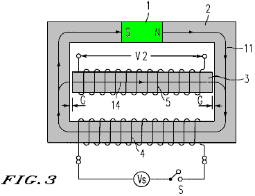
Lawrence Tseung hat vor kurzem eine dezente Design produziert mit sehr ähnlichen Prinzipien. Er nimmt einen magnetischen Rahmen ähnlicher Art und fügt einen Permanentmagnet in einem der Arme des Rahmens. Er gilt dann scharfe Gleichstromimpulsen an einen gewickelten Spulen auf einer Seite des Rahmens und zieht Energie aus einer gewickelten Spule auf der anderen Seite des Rahmens.
Er zeigt drei separate Betriebsarten für die Geräte wie folgt:

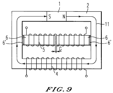
Lawrence Bemerkungen zu drei möglichen Anordnungen. Das erste auf oben gezeigt ist die handelsübliche Transformatoranordnung, wo es ist ein Rahmen aus isolierten Eisen-Scheiben hergestellt, um hieb die "Wirbel" Strömungen, die sonst zirkulieren innerhalb des Rahmens im rechten Winkel zu den nützlichen magnetischen Pulsen, die die Links würde zwei Spulen an den gegenüberliegenden Seiten des Rahmens. Als sehr allgemein bekannt ist, diese Art der Anordnung niemals eine Ausgangsleistung größer als die Eingangsleistung.
Jedoch kann
diese Anordnung auf verschiedene Weise variiert werden.

Wenn jedoch die Eingangsspule gepulst ist, so daß der Strom in der Spule ein Magnetfeld, welches das Magnetfeld des Permanentmagneten verstärkt produziert dann ist es möglich, die Ausgangsleistung der Eingangsleistung zu überschreiten. Die "Coefficient of Performance" oder "COP" des Gerätes ist die Menge der Leistung um den Betrag der Eingangsleistung, die der Benutzer zu setzen in, um das Gerät zu betreiben unterteilt. In diesem Fall kann der COP-Wert größer als eins sein:


Da es einige Puristen stört, vielleicht sei erwähnt, dass, während eine Rechteckwelle Eingangssignal an den Eingang jedes der obigen Abbildungen angelegt wird, wird der Ausgang nicht ein Rechtecksignal sein, obwohl es so zur Klarheit gezeigt ist. Stattdessen wandeln die Eingangs-und Ausgangsspulen der Rechteckwelle an einen niedriger Qualität Sinuswelle die erst ein reiner Sinus, wenn die Pulsfrequenz exakt der Resonanzfrequenz der Ausgangswicklung. Das Oszilloskop angezeigt hier ist eine typische Ausgangsleistung Wellenform, die fast 390.000 dieser Impulse hat pro Sekunde.
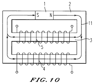
Es gibt eine Grenze, dies als die Menge des magnetischen Flusses, die eine bestimmte Frame übertragen kann durch das Material, aus dem er hergestellt ist bestimmt. Eisen ist das am häufigsten verwendete Material für Rahmen dieser Art und es hat eine sehr bestimmte Sättigungspunkt. Wenn der Permanentmagnet ist so stark, dass es die Sättigung des Rahmens Materials bewirkt, bevor die Eingabe pulsierenden angewendet wird, dann kann es keine Effekt überhaupt von positiven Wechselstrom pulsierend wie gezeigt. Dies ist nur der gesunde Menschenverstand, aber es macht deutlich, dass der Magnet ausgewählt darf nicht zu stark sein für die Größe des Rahmens, und warum das so ist.
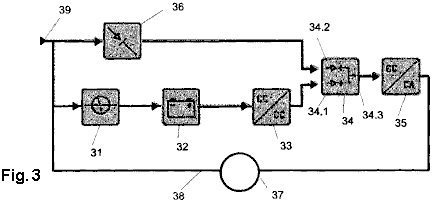
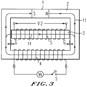
Als Beispiel
dafür, fand einer der Menschen, die Replikation Lawrence Design, dass er bekam
keine Leistungsverstärkung überhaupt und so fragte er
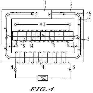
Thane entwickelt, getestet
und für ein Patent für eine Transformatoranordnung, wo die
Ausgangsleistung seines Prototyp
kann dreißig mal größer als die Eingangsleistung sein aufgetragen. Er erreicht dies durch eine
Figur einer Acht Doppelringkern
Transformatorkern. Seine kanadische Patent CA2594905 trägt den Titel "Bi-Ringkerntrafo"
und vom 18. Januar
2009 Die Zusammenfassung sagt:
Die Erfindung stellt ein Mittel zur
Erhöhung der Transformatorwirkungsgrad über 100%. Der Transformator besteht aus einer einzigen Primärspule und zwei Sekundärspulen.
Magnetfluss ist tausendmal leichter durch Eisen,
als es durch die Luft. Aufgrund dieser Tatsache, Transformatoren in der Regel auf einen Rahmen aus Eisen oder einem ähnlich magnetischem Material aufgebaut ist. Der Betrieb eines Transformators ist nichts, wie so einfach wie Schulunterricht würde vorschlagen. Allerdings verlassen parametrische Anregung für den Moment beiseite,
lassen Sie uns die Wirkungen von Magnetfluss
zu betrachten.
Die Art und Weise, die off-the-shelf-Transformatoren
arbeiten im Moment ist, wie diese:

Wenn ein Impuls des Eingangsleistung an die Spule 1 zugeführt (bezeichnet als "Primärwicklung"), erzeugt er eine magnetische Welle, die sich um den Rahmen oder "Joch" des Transformators spielt dem Passieren Spule 2 (die sogenannte "Sekundärwicklung") und zurück zum Spule 1 wieder, wie durch die blauen Pfeile dargestellt. Dieser magnetische Impuls erzeugt ein elektrisches Ausgangssignal in Spule 2, die durch die elektrische Last (Beleuchtung, Heizung, Batterieladung, Videoanzeigen oder was auch immer) die es mit der Kraft, die es braucht, um arbeiten fließt.
Dies ist gut und gut, aber der Haken ist, dass, wenn der Impuls in Spule 2 beendet ist, erzeugt er auch eine Magnetimpuls, und leider, dass magnetische Impuls läuft in die entgegengesetzte Richtung, entgegen der Betrieb Spule 1 und wodurch es zu haben, steigern sie die Eingangsleistung, um diesen Magnetfluss in die entgegengesetzte Richtung, hier durch die roten Pfeile zu überwinden:

Das macht aktuellen wissenschaftlichen "Experten" sagen, dass der elektrische Wirkungsgrad eines Transformators wird immer kleiner als 100% sein. Dieser Effekt wird durch den magnetischen Weg symmetrisch verursacht. Wie der Stromfluss verläuft Magnetfluss entlang jeder möglichen Pfad. Wenn der magnetische Pfad niedrigen magnetischen Widerstand (im Allgemeinen auf mit einem großen Querschnittsbereich), dann wird der magnetische Fluß durch diesen Weg wird groß sein. So, mit mehreren Pfaden konfrontiert Magnetfluss zusammen alle von ihnen im Verhältnis zu, wie gut jeder Weg ist für die Durchführung des Magnetismus zu gehen.
Thane Heins hat von dieser Tatsache gemacht, indem sie einen Transformator wie folgt:

Diese Art von Transformator hat ziemlich kompliziert Magnetflüsse hat, wenn es in Betrieb ist, obwohl das Diagramm oben zeigt nur einige der Fließwege erzeugt, wenn das Eingangsspule "Spule 1" gepulst. Das wirklich interessante Ergebnis ist zu sehen, wenn das Eingangsimpuls unterbricht und wir erwarten, zurückzukehren Magnetfluss aus Spule 2 und Spule 3. Was passiert, ist dies:

Davon ausgehen, dass Spule 2 und Spule 3 identisch sind. Der umgekehrte magnetische Fluss von Spule 2 kommt sofort begegnet einer Kreuzung mit einem Weg als viel einfacher, als die anderen zu verwenden. Als Ergebnis wird die überwiegende Mehrheit dieser Magnetfluss folgt dem erweiterten Weg und nur ein kleiner Anteil durch den schmalen Weg strömt. Der breite Weg Fluss trifft und wird von einer identischen großen Fluss aus Spule 3 gegenüber, und diese Stromflüsse effektiv gegenseitig aufheben. Dies ergibt eine wesentliche Verbesserung gegenüber einem gewöhnlichen Transformator. Aber die kleinen Strömungs zum Eingang von Spule 1 Begegnungen zwei identische Wege, und nur einer dieser Pfade geht der Spule 1, so daß der Fluß teilt mit der Hälfte in Richtung Spule 3 und die Hälfte geht durch die Spule 1, dass die Stärke der Hälften bereits kleiner Prozentsatz der ursprünglichen, unerwünschte Rückwärtsmagnetfluss in die Spule 1. Die andere Hälfte läuft in den reduzierten Strömungs von Spule 3 und jenen Hälften gegenseitig aufheben. Der Gesamteffekt ist eine sehr große Verbesserung in der Leistung des Transformators als Ganzes.
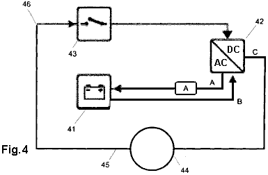
In der Patentschrift zitiert Thane einen Prototyp-Test, der eine Primärspulenwicklung mit 2,5 Ohm Widerstand, Trage 0,29 Watt Leistung hatten. Die Sekundärspule 1 hatte eine Wicklung mit 2,9 Ohm Widerstand, Empfangen 0,18 Watt Leistung. Der ohmsche Last 1 betrug 180 Ohm, Empfangen 11,25 Watt Leistung. Die Sekundärspule 2 hatte eine Wicklung mit 2,5 Ohm Widerstand und erhielt 0,06 Watt Leistung. Ohmsche Last 2 war 1 Ohm, Empfangen 0,02 Watt Leistung. Insgesamt war die Eingangsleistung 0,29 Watt und die Ausgangsleistung 11,51 Watt, das ist ein COP von 39,6 ist und während das Dokument nicht direkt erwähnen, es sollte die Primärspule angetrieben an ihm ist am Resonanzfrequenz werden.
Eine Variante dieser Anordnung besteht darin, eine äußere Ringspule zur bestehenden bi-Toroid-Anordnung zu befestigen, wie dies:

Dieser Prototyp, wie Sie sehen können, ist recht einfach aufgebaut, und doch angesichts einer Eingangsleistung von 106,9 Milliwatt, erzeugt es eine Ausgangsleistung von 403,3 Milliwatt, die 3,77 mal größer ist.
Das ist etwas, die sorgfältig berücksichtigt werden muss. Konventionelle Wissenschaft sagen, dass "es gibt nicht so etwas wie eine freie Mahlzeit" und mit jedem Transformator, werden Sie weniger elektrische Leistung aus ihm heraus, als man hineinsteckt. Nun zeigt dieses einfache Suche Konstruktion, dass dies nicht der Fall ist, die zeigt, dass einige der dogmatischen Aussagen von heute Wissenschaftlern sind völlig falsch.
Bei https://youtu.be/-LBnnL4v8MQ?list=PLkH1zLdXy1Sy3_St1tUwtY_6qiusDkyG9 Thane zeigt ein Video, wo er konstruiert seine bi-Ringkerntransformator aus drei ordentlichen Ringkerne zusammen mit Kabelbinder gehalten:

Thane geht dann weiter, um die Leistung dieser Kombination demonstrieren:

Die mit der Kraft zugeordnete LED an der Primärwicklung zugeführt ist so gering, dass kein Licht sichtbar ist. Der Ausgang LED ist so kraftvoll, dass die Kamera Schwierigkeiten hat, die Anzeige ist beleuchtet. Die Blindlast ist eine einzige Widerstand, der über die dritte Wicklung und es gibt einen großen Unterschied in der Leistung, wenn es an Ort und Stelle eingesteckt angeordnet ist. Dieses Video zeigt sehr deutlich, den Unterschied durch die Verwendung eines bi-Ringkerntransformator verursacht.
Diese einfache und elegante Modifikation des bescheidenen Transformator, wandelt es in ein Freie-Energie-Gerät, das die Macht benutzt, um es zu fahren stärkt und gibt viel größere Macht. Herzlichen Glückwunsch sind aufgrund Thane für diese Technik.

Professor
Gennady Markov, Generaldirektor der STC "Virus" und Autor zahlreicher
Erfindungen und Entdeckungen, erhielt ein internationales Patent für eine neue
Transformator-Design, die er erstellt. Sein Werk umfasst ein neues Gesetz auf
dem Gebiet der Physik und Elektrotechnik. Er sagt: 1831
Faraday entdeckte elektromagnetische Induktion. Dann seine Ideen wurden weiter
durch Maxwell entwickelt. Für mehr als 160 Jahren, dass folgende, erweiterte
niemand grundlegende Elektrodynamik durch noch einen einzigen Schritt. Vor acht
Jahren habe ich mich für ein internationales Patent, gültig in 20 Ländern, wie
ich einen Transformator, der bereits vier russische Patente erhalten hat,
geschaffen hatte. Meine Entdeckung wurde trotz der "Gesetze" der
große Physiker Faraday, der sagte, dass "Magnetflüsse in einem Magnetkreis
sollte separat mit dem resultierenden kombinierten Flussbewegungs nur in eine
Richtung kombiniert werden gemacht. Nur dann können Sie über eine
funktionierende Transformator ".
Ich
wagte es, das Gegenteil zu tun: Nehmen Sie eine Spule mit zwei identischen
Wicklungen und betreiben sie aufeinander zu. Dies schafft gleiche magnetische
Flüsse, aufeinander zu bewegen, die sich gegenseitig aufheben, sondern sich
gegenseitig nicht zu zerstören, wie Faraday und Maxwell beansprucht. Ich
beschloß ein neues Gesetz: "Das Prinzip der Überlagerung der Magnetfelder
in ferromagnetischen Materialien. Die Überlagerung - wird die Zugabe von magnetischen
Feldern. Das Wesen des Gesetzes ist, dass die magnetischen Felder hinzugefügt
werden, einander aufheben, aber nicht zerstört werden. Und hier der wichtige
Teil ist "sie nicht zerstört werden", und dass ist der Schlüssel der
Tat, auf der mein Gesetz basiert.
Ich
schrieb einen Artikel zu diesem Thema, die in der Zeitschrift "Applied
Physics" veröffentlicht wurde. Ich zeigte einen Transformator auf einer
internationalen Messe in
Konventionelle
Trafos sind in der Regel sehr sperrig, weil sie sehr viel Eisen enthalten mit
dem Gewicht eines Standard-4-MW-Transformators 3670 Kg. Meine 4 MW Transformator
wiegt insgesamt 370 kg. Beim Bau eines neuen Transformators können Sie jede
Qualität der Stahlqualität zu verwenden, und es gibt praktisch keine
Beschränkungen bei der Frequenzbereich, in dem sie arbeiten kann. Im Gegensatz
zu herkömmlichen Transformatoren, kann ein neuer Transformator vom Ort der
Herstellung bis zur Verwendung transportiert ganz einfach werden. Diese neue
Transformator-Design gibt uns eine große Chance, um eine neue Generation von
Technologie zu schaffen.
Bitte beachten
Sie, dass der Transformator nicht bei niedrigen Frequenzen zu betreiben. Dessen
Frequenzbereich von 10 kHz bis 40 MHz, und die Spannung muss mindestens 40
Volt.
Hier ist die
meisten von Professor Markov Patent EP 844626:
Patentanmeldung EP 0844,626 27. Mai 1998 Erfinder: Gennady A. Markov
TRANSFORMATOR
Zusammenfassung
Verschiedene Arten von
Transformatoren vorgeschlagen, die als Hauptelektrotechnische Geräte von
Kraftwerken, Umspannwerken, Stromleitungen verwendet werden können, in der
Funktechnik, in Einrichtungen zur Messung, Steuerung und Regelung. Im Herzen der Erfindung liegt das Prinzip, bei
dem die Primärwicklung aus zwei Abschnitten aufgewickelt und miteinander in
einer Weise, dass während des Betriebs des Transformators, der magnetische
Fluss von einem Teil der Primärwicklung angelegt verbunden kompensiert die
magnetische Fluss, durch den anderen Abschnitt der Primärwicklung.
Der Transformator (Fig.2) einen
Magnetkreis, der eine Primärwicklung, bestehend aus zwei Abschnitten, die eine
identische Anzahl von Windungen in einer Richtung auf einen Kern des
Magnetkreises gewickelt sind. Die Windungen der beiden Abschnitte sind
miteinander mit ihren Ausgängen verbunden sind, während die Eingänge der
Wicklungen dienen als Eingänge für die Stromversorgung. Die Sekundärwicklung ist an die
Primärwicklung auf demselben Kern des Magnetkreises gewickelt sind, wird eine
Last RH an die Sekundärwicklung angeschlossen ist.
Die entwickelten Ausführungsformen
des Transformators zeichnen sich dadurch aus, dass die Abschnitte der
Primärwicklung sind auf einen Kern des Magnetkreises (3 Ausführungsformen) oder
an beiden Kernen einer Magnetschaltung (4 Ausführungsformen) aufgewickelt wird,
dadurch gekennzeichnet, dass die Richtung, in der die Abschnitte der Wicklung
gewickelt unterschiedlich ist (in der einen oder entgegengesetzten Richtungen),
und folglich gibt es eine andere Verbindung der Wicklungen und werden auch
durch die Anwesenheit von einer Sekundärwicklung zu unterscheiden (in einer
Ausführungsform gibt es keine Sekundärwicklung).
Beschreibung:
Technischer Hintergrund
Transformatoren sind
elektromagnetische Stromrichter an elektrischer Energie, die mindestens zwei
induktiv gekoppelten Wicklungen aufweisen und für die Umwandlung von einer
sinusförmigen Wechselspannung von einer Spannung in einen Wechselstrom einer
weiteren Spannung mit der gleichen Frequenz konzipiert.
Das Funktionsprinzip eines
Transformators ist über die Wirkung von elektromagnetischer Induktion von M.
Faraday im Jahre 1831 fand auf der Basis (BN Sergeenko, VM Kiselev, NA Akimova.
Elektrische Maschinen. Transformers. Pub. "Vysshaya Shkola", Moskau,
1989). In Übereinstimmung mit Besonderheiten der Konstruktion und Verwendung
kann Transformatoren an die Macht, Schweißen, Messen und Sondertransformatoren
aufgeteilt werden.
Leistungstransformatoren, die ein
notwendiges Element eines industriellen Stromnetzes sind, haben die meisten
weit verbreiteten Einsatz erreicht. Transformers haben zwei grundlegende Teile:
einen Magnetkreis und Wicklungen. Darüber hinaus haben
Hochleistungstransformatoren ein Kühlsystem. Der Magnetkreis ist die
strukturelle Basis für die Montage und Befestigung Wicklungen, Armaturen und
anderen Elementen eines Transformators und dienen zur Verstärkung der magnetischen
Kopplung zwischen den Wicklungen.
Der Teil des magnetischen Kreises,
auf dem die Wicklungen angeordnet sind, wird als der "Kern", der
übrige Teil, Schließen des magnetischen Kreises ist das "Joch"
genannt. Die Wicklungen eines Transformators dient, ein Magnetfeld mittels
welcher elektrische Energie zugeführt wird, zu schaffen. Die Wicklung des
Transformators, die eine elektrische Spannung angelegt wird, wird als die
primäre Wicklung, wobei die Wicklung von dem Energie entnommen wird als die
Sekundärwicklung.
Bekannte Erfindungen mit der
Schaffung von Sondertransformatoren oder mit Veränderungen von besonderer
Strukturelemente des Transformators besorgt; Verwirklichung von Magnetkreisen
von bestimmten Materialien und deren strukturelle Erscheinung Verbindung von
Magnetkreisen miteinander, wo es eine Anzahl von Magnetkreisen n, die
Verwendung von verschiedenen Arten von Isolation und Kühlsysteme, die
Realisierung der Wicklungen, zusätzliche Elemente, um zu erweitern
Störfestigkeit.
Ein Transformator für Fahrzeuge ist
bekannt [PCT (WO), 93/14508]. Die kleine Größe, Lichtwandler umfasst einen
schalenförmigen Eisenkern, auf dem induktiv gekoppelten Eingangs- und
Ausgangswicklungen gewickelt sind. Zwischen den Eingangs- und
Ausgangswicklungen ist ein magnetisches Element mit einem Luftspalt versehen
ist, während ein magnetisches Element die starke magnetische Kopplung zwischen
den Ausgangswicklungen befindet. Das Element in einem Zwischenraum 5d durch den
Kern umgeben, angeordnet und besteht aus einem Magnetkreis ohne Lücken und eine
isolierende Platte hält den Magnetkreis und schirmt es von dem Kern und den
Wicklungen.
Ein Transformator ist bekannt [PCT
(WO) 93/16479], in dem der Kern aus ferromagnetischem Draht. Eine spiralförmig
gewickelte Kern aus ferromagnetischem Draht vorgeschlagen. Der Kern wird in
einem Differenzstromsensors in einem Schalter verwendet, um eine Schaltung,
die, wenn es einen Kurzschluß gegen Masse arbeitet öffnen. Der ferromagnetische
Draht wird in einer Spirale gewickelt ist, von denen die Wicklungen parallel
zueinander liegen und sich über die gesamte Länge des Kerns. Letzteres wird in
der Nähe von Stromleitungen angeordnet ist, mit der Überwachung eines
Kurzschlusses darin, wobei beide Leitungen an eine Stromquelle angeschlossen. Die
Ströme in ihnen fließen in entgegengesetzte Richtungen. Der Kern in
Wechselwirkung mit einem Magnetfeld, das durch diese Ströme. Wobei ein
ferromagnetischer Draht verwendet wird, ist es möglich, im wesentlichen die
Oberfläche der Kern ohne Erhöhung der Querschnitt zu erhöhen, und folglich wird
seine Größe.
Ein Transformator ist bekannt [RU,
C1, 2.041.514], bestehend aus einem oder mehreren Bandkerne aus einer
magnetischen Legierung hergestellt wird, die Silizium, Bor, Eisen und mehrere
Wicklungen induktiv auf den Kern, wobei die magnetische Legierung außerdem
Kupfer und einem oder mehreren Komponenten gekoppelt ausgewählt aus der Gruppe,
bestehend aus Niob, Tantal, Wolfram, Molybdän, Chrom und Vanadium, mit dem
folgenden Verhältnis der Legierungskomponenten Atomprozent: Kupfer - 0,5-2,0;
eine oder mehrere Komponenten aus der Gruppe bestehend aus Niob, Tantal,
Wolfram, Molybdän, Chrom, Vanadium - 2-5; Silizium - 18.05; Bor - 12.04; Eisen
- Balance.
Ein Transformator ist bekannt [PCT
(WO), 93/18529], die 3 oder 4 Arten von Isolationseinheiten mit einer Wicklung.
Transformatoren dieser Art sind leicht mit geringem Zeitaufwand zusammengebaut.
Ein Stromwandler mit Abisolierlänge
ist bekannt [RU, C1, 2046425], die ein Singleturn oder Multiturn-Primärwicklung
und Sekundärwicklungen, die in einem Dämpfungs Bildschirm platziert werden und
Terminals. Wobei die Wicklungen mittels Insertion Halte- und
Verbindungsdurchführungen befestigt sind und mit Epoxidverbindungen bedeckt.
Der Transformator ist zusätzlich mit Isolierbuchsen, eines Bildschirms, der auf
der Primärwicklung angeordnet ist, und Befestigungsschellen vorgesehen.
Isolierbuchsen sind halboval Schlitzen der Klemmen befestigt ist, wird die
Dämpfungs Bildschirm geöffnet und besteht aus zwei Teilen, mit einer isolierenden
Unterlage in dem Spalt zwischen den zwei Teilen montiert ist, und der
Einführungsstützhülsen sind an den Isolierbuchsen im montierten eine Art und
Weise zur Befestigung des Dämpfungs Bildschirm anpassungsfähig.
Ein Hochspannungstransformator bekannt
(RU, C1, 2.035.776], umfassend ein Porzellangehäuse auf einem Sockel, auf dem
ein aktiver Bereich in dem Gehäuse eingeschlossen montiert ist, wird zur
Komprimierung Pfosten positioniert ist. Der aktive Teil aus einem Misch
rechteckigen Magnetkreis mit Joche , oberen und unteren horizontalen Kerne, auf
denen Wicklungen positioniert Um die Störfestigkeit der Transformator mit
zusätzlichen Bildschirmen vorgesehen zu senken -. einen mittleren, oberen und
unteren Einsen und einen kapazitiven Bildschirm.
Eine Wicklung eines
Hochspannungstransformators bekannt [PCT (WO) 93/18528]. Ein Verbindungselement
ist mit dem leitenden Abschnitt der Wicklung um seine mechanischen
Eigenschaften zu verbessern befestigt ist und ein zweites Verbindungselement
mit dem vorgenannten Verbindungselement mittels isolierender Elemente verbunden
sind. Solche Wicklung kann als eine Niederspannungswicklung mit einer geringen
Anzahl von Windungen in Trockentransformatoren mit einem Harz übergossen
werden.
Ein Starkstromtransformator ist
bekannt [RU, C1, 2.027.238], umfassend eine Primärwicklung auf einem Ringkern
und einer Sekundärwicklung umfasst die Primärwicklung angeordnet ist. Wobei die
Sekundärwicklung durch ein Bündel von flexiblen Leiter in den inneren Hohlraum
des Torus in N Abschnitte versendet und von der Außenseite des Torus in N-1
Abschnitte, wobei N die Anzahl der Windungen der Sekundärwicklung, wobei das
Bündel in eine oder mehrere Schichten auf der Außenseite des Torus angeordnet
ist.
Jedoch sind alle bekannten Transformatoren
nach einem Prinzip aufgebaut, in, insbesondere - Zuführen elektrischer Leistung
an die Primärwicklung und nimmt elektrische Energie von der Sekundärwicklung,
und alle diese Nachteile: Multiturn-Sekundärwicklungen in
Aufwärtstransformatoren , die trotzdem arbeiten in einem eher engen
Frequenzbereich (50 bis 400 Hz); der begrenzte Frequenzbereich der
Transformatoren werden die Verluste in dem Magnetkreis bei höheren Frequenzen
bezieht; hohen Widerstand der Wicklungen, das heißt die Notwendigkeit, dass die
Leerlaufbedingung des Transformators während der Berechnungen der Anzahl der
Windungen in der Sekundärwicklung, um eine vorbestimmte Ausgangsspannung zu
erhalten, in Betracht gezogen werden; die Komplexität der Konstruktion der
Transformatoren, wenn alle möglichen Arten von zusätzlichen Elementen,
Isolierung etc. verwendet, um die obigen Nachteile zu reduzieren.
Offenbarung der Erfindung
An der
Basis der Erfindung liegt die Aufgabe zugrunde, einen solchen Transformator,
bei dem die Möglichkeit der Wicklung der Sekundärwicklung mit Draht,
einschließlich Draht mit einem Querschnitt gleich dem Querschnitt der
Primärwicklung, realisiert wird, und die Reduzierung der Anzahl der Windungen
in der Sekundärwicklung des Hochspannungstransformatoren und Erweiterung der
Anzahl der Varianten von bestehenden Transformatoren erreicht.
Wird diese
Aufgabe dadurch, dass ein Aufbau eines Transformators vorgeschlagen, welche
einen Magnetkreis aufweist, erreicht wird, mindestens zwei Wicklungen, Einlässe
für eine Stromversorgung, Auslässe für eine Last, wobei die Primärwicklung aus
zwei Abschnitten mit gleicher Anzahl von Windungen, wobei die Abschnitte
miteinander in einer Reihenschaltung verbunden ist.
Ein
Transformator vorgeschlagen, in dem zwei Abschnitte der Primärwicklung in einer
Richtung auf einen Kern des Magnetkreises gewickelt sind, werden die Abschnitte
in einer Reihenschaltung durch Verbindung der Ausgänge der Wicklungen verbunden
sind, und dem Punkt ihrer Verbindung dient als einen Auslass für die Last, während
die Eingänge der Wicklungen der Abschnitte dienen als Eingänge für die
Stromversorgung.
Die obige
technische Ergebnis wird durch die Schaffung eines Transformators erreicht ist,
werden zwei Abschnitte der Primärwicklung sich in einer Richtung auf einen Kern
des Magnetkreises, wobei die Ausgänge der Wicklungen der Abschnitte sind in
einer Serienschaltung gewickelt ist, während die Eingänge des Abschnitts
Wicklungen dienen als Eingänge für die Stromversorgung. Die Sekundärwicklung
ist auf dem gleichen Kern des Magnetkreises gewickelt ist, über die Abschnitte
der Primärwicklung.
Das
vorgenannte technische Ergebnis wird durch die Schaffung eines Transformators,
zwei Abschnitte der Primärwicklung zu denen in entgegengesetzten Richtungen auf
einen Kern des Magnetkreises, der Ausgang der Wicklung des ersten Abschnitts
und dem Eingang der Wicklung des zweiten gewickelten erreicht Abschnitt sind
miteinander in einer Reihenschaltung verbunden, während der Eingang der
Wicklung des ersten Abschnitts und dem Ausgang der Wicklung des zweiten
Abschnitts dienen als Eingänge für die Stromversorgung. Die Sekundärwicklung
ist auf dem gleichen Kern des Magnetkreises über die Abschnitte der
Primärwicklung gewickelt ist.
Die
genannte Aufgabe wird durch die Schaffung eines Transformators, in dem die
beiden Abschnitte der Primärwicklung in einer Richtung auf beiden Adern eines
Magnetkreises, der Ausgang der Wicklung des ersten Abschnitts und dem Eingang
der Wicklung des zweiten Abschnitts gewickelt erreicht miteinander in einer
Reihenschaltung verbunden, während der Eingang der Wicklung des ersten
Abschnitts und dem Ausgang der Wicklung des zweiten Abschnitts dienen als
Eingänge für die Stromversorgung. Die Sekundärwicklung ist an beiden
Abschnitten der Primärwicklung gewickelt ist, umfasst beide Kerne des
Magnetkreises. Dasselbe technische Ergebnis wird durch die Schaffung eines
Transformators, in dem die beiden Abschnitte der Primärwicklung in
entgegengesetzten Richtungen auf zwei Kernen eines Magnetkreises gewickelt
erreicht ist, werden die Ausgänge der Wicklungen der Abschnitte miteinander in
einer Reihenschaltung verbunden ist, während die Eingänge der Wicklungen der
Abschnitte dienen als Eingänge für die Stromversorgung. Die Sekundärwicklung
ist an beiden Abschnitten der Primärwicklung gewickelt ist, umfasst beide Kerne
des Magnetkreises.
Die
gleiche technische Wirkung erzielt wird, wenn beide Abschnitte der
Primärwicklung in einer Richtung auf beiden Adern einer Magnetkreis, wobei der
Eingang der Wicklung des ersten Abschnitts mit dem Ausgang der Wicklung des
zweiten Abschnitts, der angeschlossen gewickelt Ausgang der Wicklung des ersten
Abschnitts mit dem Eingang der Wicklung des zweiten Abschnitts verbunden ist,
die Punkte ihrer Verbindung dienen als Eingänge für die Stromversorgung. Die
Sekundärwicklung ist an beiden Abschnitten der Primärwicklung gewickelt ist,
umfasst beide Kerne des Magnetkreises.
Die
genannte Aufgabe wird durch die Schaffung eines Transformators, in dem zwei
Abschnitte der Primärwicklung in entgegengesetzten Richtungen auf zwei Kernen
eines Magnetkreises gewickelt erreicht, beide Abschnitte sind miteinander durch
Verbindung der Eingänge und Ausgänge davon verbunden sind und die Punkte ihrer
Verbindung dienen als Eingänge für die Stromversorgung. Die Sekundärwicklung
ist an beiden Abschnitten der Primärwicklung gewickelt ist, umfasst beide Kerne
des Magnetkreises.
Folgende
liegt an der Basis der Erfindung: Abschnitte der Primärwicklung gewickelt sind
und miteinander in einer solchen Weise verbunden ist, daß der Magnetfluß von
einem dieser Abschnitte während des Betriebs des Transformators angelegt
kompensiert den magnetischen Fluss, der durch den anderen Abschnitt der
Primärwicklung.
Wenn die
zwei Abschnitte der Primärwicklung des Transformators vorgeschlagen sind, um
ein Wechselstromnetz mit einer Spannung U1 liegt, wird ein Strom io an ihnen
entlang zu fließen. Die magnetomotorische Kraft von einem Teil des Wickel iow1
aufgrund des Stroms io erzeugt ein magnetischer Wechselfluss F1 in dem Magnetkreis
des Transformators. Ähnlich wird eine magnetomotorische Kraft iow2, die gleich
der MMK des ersten Abschnitts iow1 ist, wird in dem zweiten Abschnitt der
Wicklung. In dem zweiten Abschnitt der primären Wicklung und entgegengerichtet
zu dem magnetischen Fluss F1 da die Teilstücke miteinander in einer
Reihenschaltung verbunden ist, erscheint das magnetische Wechselfluss F2 wird
der magnetische Fluss des ersten Teilstücks F1 kompensieren. Jedoch aufgrund
der Induktion der mmf die Permeabilität des Magnetkreises ändert.
Wenn die
Netzwerkstrom während Halbperioden fällt, wird die Wiederherstellung der
Permeabilität er in dem Magnetkreis, und folglich wird eine elektromotorische
Kraft (EMK) in den primären und sekundären Wicklungen induziert. Wobei, während
einer Halbperiode des Stroms in der Primärwicklung durchläuft die Spannung in
der Sekundärwicklung über einen Gesamtzeitraum.
In dem
Fall, wo beide Wicklungen in entgegengesetzten Richtungen mit gleicher Anzahl
von Windungen gewickelt ist, sondern sind miteinander in einer Reihenschaltung
durch gegenüberliegende Zuleitungen (die Ausgabe von der Wicklung des ersten
Abschnitts und dem Eingang der Wicklung des zweiten verbundenen Abschnitt),
kann der magnetische Fluß in der Primärwicklung io auch gleich Null sein, dh
die gleiche technische Wirkung wie bei dem Fall, bei dem die Windungen der
beiden Abschnitte sind in einer Richtung gewickelt, erreicht werden. Wenn RH
ist mit der Sekundärwicklung angeschlossen ist, wird die Form der Spannung
nicht ändern. Die Ausgangsspannung abhängig von einer Erhöhung der Anzahl der
Windungen in der Sekundärwicklung im Vergleich zu der Anzahl der Windungen in
der Primärwicklung.
Eine
solche Realisierung der vorgeschlagenen Transformators ergibt:
1)
Verringerung der Anzahl der Windungen in der Sekundärwicklung von 10 bis 20
mal, und folglich die Abmessungen des Transformators reduziert werden;
2) die
Möglichkeit der Wicklung der Sekundärwicklung mit einem dicken Draht mit einem
Querschnitt gleich dem Querschnitt des Drahtes in der Primärwicklung;
3)
die Sekundärwicklung mit einer Anzahl von Umdrehungen entweder größer oder
kleiner als die Anzahl der Windungen in der Primärwicklung in Abhängigkeit von
der Notwendigkeit einer hohen Spannung an dem Ausgang des Transformators.
Kurze Beschreibung der Zeichnungen
Ferner wird die Erfindung durch die
Beschreibung konkreter Beispiele ihrer Ausführungsform und der beigefügten
Zeichnungen erläutert:

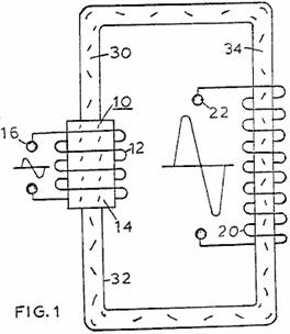
Fig.1 zeigt die Vorrichtung der
Patentierung - einen Transformator gemäß der Erfindung (Schaltung);

Fig.2 zeigt eine weitere Ausführungsform
des Transformators gemß der Erfindung (Schaltung);

Fig.3 zeigt eine der Ausführungsformen
des Transformators gemäß der Erfindung (Schaltung);

Fig.4 zeigt eine weitere Ausführungsform
des Transformators gemäß der Erfindung (Schaltung);

Fig.5 zeigt eine weitere Ausführungsform
des Transformators gemäß der Erfindung (Schaltung);

Fig.6 zeigt eine der Ausführungsformen
des Transformators gemäß der Erfindung (Schaltung);

Fig.7 zeigt eine der Ausführungsformen
des Transformators gemäß der Erfindung (Schaltung);

Fig.8 zeigt eine stilisierte Abhängigkeit
von der Zunahme des Stroms und der Spannung in der primären und sekundären
Wicklungen eines Transformators mit einem Ferrit-Magnetkreises; Fig.9 zeigt
eine stilisierte Abhängigkeit der Zunahme von Strom und Spannung in Primär- und
Sekundärwicklungen aus Stahlblech.
Beste Varianten der Ausführung der
Erfindung

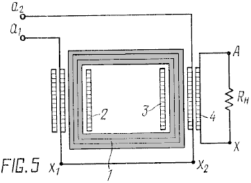
Ein Transformator gemß der
Erfindung, entsprechend dem in Fig.1
gezeigten Ausführungsform umfaßt ein Magnetkreis 1, einen ersten Abschnitt 2
einer Primärwicklung, einen zweiten Abschnitt 3 der Primärwicklung, a1
und x1 - die Eingabe und
Ausgabe von das Wickeln des ersten Abschnitts, a2 und x2
- die in die und aus der Wicklung des zweiten Abschnitts der primären Wicklung,
RH1 - des Widerstands
einer Last an den ersten Abschnitt, RH2
verbunden - den Widerstand einer Last auf die Verbindung zweiten Abschnitt der
primären Wicklung. Die zwei Abschnitte der Primärwicklung auf den Magnetkreis
gewickelt 1: Der erste Abschnitt 2 ist der zweite Abschnitt 3 darauf in einer Richtung, und sie
haben eine gleiche Anzahl von Windungen aufweisen. Die Ausgangssignale x1 und x2
der Wicklungen sind miteinander in Reihenschaltung verbunden sind, während die
Eingänge a1 und a2 der Wicklungen getrennt
an eine Stromversorgung angeschlossen. RH1 in dem Weg des Stroms
von der Stromversorgung mit dem ersten Abschnitt der Wicklung und an den
Verbindungspunkt der Wicklungen der Abschnitte und RH2 entsprechend der zweiten: einen Lastwiderstand
parallel zu jedem Abschnitt der Wicklung verbunden ist Abschnitt der
Primärwicklung.

Transformator gemäß der Erfindung
gemäß dem in Fig.2 gezeigten
Ausführungsbeispiel wird gemäß der in Fig.1
gezeigten Ausführungsform ähnlich dem Transformator gebildet. Eine Unterscheidung ist in Gegenwart von
Sekundärwicklung 4, die in einer
dritten Schicht auf den Abschnitten 2
und 3 der Primärwicklung auf
demselben Kern des Magnetkreises 1. A und X bezeichnen den Eintritts- und Austritts gewickelt ist (in die und
aus der Phase) der Sekundärwicklung, RH
- der Widerstand der Last auf den Leitungen A und X von der
Sekundärwicklung.

Transformator gemäß der Erfindung
gemäß dem Ausführungsbeispiel gemäß Fig.3
wird gemäß dem in Fig.2 gezeigten
Ausführungsbeispiel ähnlich dem Transformator gebildet. Ein Unterschied ist, dass die Abschnitte der
Primärwicklung in entgegengesetzten Richtungen gewickelt. Der Ausgang der Wicklung des ersten Abschnitts
x1 und dem Eingang der
Wicklung des zweiten Abschnitts a2
sind miteinander in einer Reihenschaltung verbunden, wobei die anderen
Leitungen der Abschnitte a1
und x2 dienen als
Eingänge für die Spannungsversorgung.

Transformator gemäß der Erfindung
gemäß dem in Fig.4 gezeigten
Ausführungsbeispiel wird entsprechend der in Fig.2 gezeigten Ausführungsform ähnlich dem Transformator gebildet.
Ein Unterschied ist, dass die
Abschnitte der Primärwicklung 2 und 3 sind auf zwei Kerne des Magnetkreises
1. Die Abschnitte sind untereinander über
Leitungen verbunden gegenüberliegenden gewickelt - der aus der Wicklung des
ersten Abschnitts und der in der Wickel des zweiten Abschnitts. Sekundärwicklung 4 ist an beiden Abschnitten der Primärwicklung gewickelt ist, und umfasst
beide Kerne des Magnetkreises.

Ein Transformator gemß der Erfindung
gemäß der in Fig.5 gezeigten
Ausführungsform wird nach der in Fig.4
gezeigten Ausführungsform ähnlich dem Transformator gebildet. Ein Unterschied ist, dass die zwei Abschnitte
der Primärwicklung in entgegengesetzten Richtungen, wobei die Ausgänge x1 und x2 der Wicklungen der Abschnitte miteinander in einer
Reihenschaltung verbunden gewickelt sind, während die Eingänge a1 und a2 der Wicklungen der Abschnitte dienen als Eingänge für
die Spannungsversorgung.

Transformator nach der in Fig.6 gezeigten Ausführungsform wird
nach der in Fig.4 gezeigten
Ausführungsform ähnlich dem Transformator gebildet. Ein Unterschied ist, dass die in der ersten
Sektion a1 und der aus dem
zweiten Abschnitt x2, und
auch der Ausgang des ersten Abschnitts x1
und der Eingang des zweiten Abschnitts a2
sind miteinander verbunden, und die Spitzen ihrer Verbindung dienen als
Einlässe für die Spannungsversorgung.

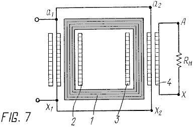
Ein Transformator gemß dem in Fig.7 gezeigten Ausführungsbeispiel
gemäß der Erfindung ist ähnlich dem Transformator nach der in Fig.6 gezeigten Ausführungsform
verwiesen. Ein Unterschied ist, dass
die Abschnitte in entgegengesetzte Richtungen gewickelt sind, durch die
Eingänge a1 und a2 und die Ausgänge x1 und x2 die Wicklungen der Abschnitte sind miteinander
verbunden, und die Spitzen ihrer Verbindung als Einlässe für die
Stromversorgung dienen.

Das Funktionsprinzip der
vorgeschlagenen Transformators gemäß der in 1 gezeigten Ausführungsform ist wie
folgt:
1. Öffnen Sie Kreis (Leerlauf)
Die Eingänge a1 und
a2 der Wicklungen der Abschnitte 2 und 3 werden
separat mit einer Stromversorgung U
(nicht gezeigt), der Ausgangssignale x1 und x2
der Wicklungen den gleichen Abschnitten verbunden sind, um miteinander in einer
Reihenschaltung verbunden ist. Ein Strom i
fließt durch die Wicklungen dieser Abschnitte dieser Strom bewirkt eine
magnetomotorische Kraft mmf in jedem Abschnitt der Wicklung, der gleich iw. Da die Flüsse in jedem Abschnitt gleich sind
und in entgegengesetzten Richtungen ausgerichtet sind, werden sie gegenseitig
kompensiert und Umkehrung der Magnetisierung des Kerns nicht auftritt, sondern
als Folge der Aufrechterhaltung des Prinzips der Überlagerung der Magnetfelder in
einem Magnetkreis, der Dieser wirkt mit den Feldern, auf mikroskopischer Ebene,
die unter angespannten Wechselwirkung einer Domänenstruktur und eine Änderung
in der magnetischen Permeabilität des Materials des Magnetkreises resultiert
Somit kann eine Änderung des Stroms,
der durch die Abschnitte der Primärwicklung in der Zeit zu einer Änderung der
Permeabilität, während eine Änderung des letzteren bewirkt eine EMK in diesen
Wicklungen zwischen dem Verbindungspunkt der Abschnitte und den Eingängen
erscheinen, der Wicklungen, aber phasenverschoben in der Zeit relativ zu dem
Strom, der von der Versorgungsquelle. Aufgrund dessen wird die Spannung am
Ausgang des Transformators um 10 bis 20 Stunden mit eigentlich nur eine
Primärwicklung erhöht.
2. Betriebsmodus (mit einer Last
verbunden ist)
Der Lastwiderstand RH1 ist in dem Pfad des
Stromes von der Stromquelle U mit
dem ersten Abschnitt 2 von der
Wicklung verbunden ist und mit dem Verbindungspunkt der Ausgänge der Abschnitte
wird der Lastwiderstand RH2
entsprechend mit dem zweiten Abschnitt verbunden ist 3 der Wicklung. Eine Erhöhung der EMK - der Strom I von der Stromversorgung wird durch
die geschlossene Schleife gebildet ist, wobei der Primärstrom i in jeder Schleife proportional zum
Last RH, die zu einer Änderung der
EMK in der Schleife resultiert erhöht geleitet.
Bei einem niedrigen Lastwiderstand
(gleich dem Widerstand der Wicklung) der Spannung U entspricht dem Spannungsabfall an der Wicklung, wenn der
Lastwiderstand dazu neigt, auf unendlich zu erhöhen, wird die Sekundärspannung
U proportional zu erhöhen, als Ergebnis welche die EMK am Ausgang des
Transformators Dutzende Male erhöhen wird, wenn es eine primäre Wicklung.
Das Prinzip des Betriebs des
Transformators nach den in Fig.2 bis
Fig.7 gezeigten Ausführungsformen
ist, gemäß der in Fig.1 gezeigten
Ausführungsform ähnlich der Wirkungsweise des Transformators. Ein Unterschied liegt in der Gegenwart von
einer Sekundärwicklung 4. Da die Primärwicklung für den mmf in jenen
Ausführungsformen offen bleibt, eine Leerlauf EMK immer darin induzierten, dh
eine Eigeninduktivität kein Strom in der Wicklung und aller verursachten mmf
Energien als emf der Sekundärwicklung vorgesehen. Unter solchen Bedingungen
wird die Intensität des elektrischen Feldes pro Längeneinheit des Leiters der
Wicklung in der Sekundärwicklung übersteigen kann zehnmal, die Intensität des
elektrischen Feldes in der Primärwicklung, die durch die Energieversorgung
eingestellt ist. Als Folge der
Sekundärwicklung weniger Windungen aufweisen als im Vergleich zu der
Primärwicklung, während die Spannung dutzende Male höher als die Netzspannung.
Wobei die Form der Spannung und des Stroms in der Sekundärwicklung wiederholt
die Form der Spannung und des Stroms in der Primärwicklung.

Fig.8 zeigt eine stilisierte Abhängigkeit
von der Zunahme des Stroms und der Spannung in der primären und sekundären
Wicklungen eines Transformators mit einem magnetischen Ferrit-Schaltung. Es sollte beachtet werden, dass die
Permeabilität mu des Magnetkreises mit der Zeit ändert in der folgenden Weise
mit einer Sinusstromform werden: es von 0 erhöht, um pi / 4, dann von pi / 4
bis pi / 2 sinkt und von pi / 2 bis pi 4.3 die Geschwindigkeit der
Wiederherstellung der Durchlässigkeit wieder zunimmt und von 3/4 bis pi pi die
Wiederherstellung der mu ist langsamer. Als Ergebnis einer solchen Änderung der
magnetischen Permeabilität, wird eine EMK in der Sekundärwicklung bei einer
verdoppelten Frequenz induziert und es gibt eine vollständige Periode des
Sekundärstroms für eine Halbperiode des Stroms in der Primärwicklung.
Fig.9 zeigt eine stilisierte Abhängigkeit
von einer Zunahme des Stroms und der Spannung in der primären und sekundären
Wicklungen eines Transformators mit einem magnetischen Kreis aus Stahlblech.
Bei dieser Art der Magnetkreis gibt es eine Verschiebung von der Form des
primären und sekundären Stromkurve von pi / 6 und pi / 4, während die Form des
Stroms erhalten bleibt.
Das Übersetzungsverhältnis für jede
Art von Transformator wurde experimentell bestimmt. Konkrete Beispiele für den
Betrieb von verschiedenen Arten von Transformatoren sind nachstehend
beschrieben, um die Erfindung besser zu verstehen gegeben. Die gleichen
Ergebnisse wurden mit Ausführungsformen der Transformatoren, für die Beispiele
sind nicht vorgesehen, erhalten.
Beispiel 1.
M600HH-8 K100-60-15 Ferritringe
wurden als Magnetkreis verwendet. Zwei Abschnitte der Primärwicklung, eine über
der anderen, wurden auf einen Kern des Magnetkreises aus vier Ringen
zusammengesetzt gewickelt. Die Ausgänge der Wicklungen der beiden Teile wurden
in einer Serienschaltung verbunden sind, einen Lastwiderstand RH wurde parallel
zu jedem Abschnitt verbunden sind - ein Ende an der Verbindungsstelle der
Abschnitte, die andere - an die Eingänge der Abschnitte, deren Eingänge die
Wicklungen der einzelnen Abschnitte wurden an die Stromversorgung angeschlossen
ist. Die Anzahl der Windungen in den Abschnitten gleich sind und gleich 60. Das
Übersetzungsverhältnis für dieses Transformators war 11. Die Ergebnisse der Messung
der Spannung am Ausgang des Transformators sind in Tabelle 1 dargestellt war,
wurden Beispiel 1 ähnliche Ergebnisse erhalten, wenn der Transformator mit
einem Ferrit U-förmigen Magnetkreis hergestellt.
Beispiel 2.
Ein ringartiger Magnetkreis aus
Stahlblech gefertigt und für eine Leistung von 2,5 kW ausgelegt wurde als
Magnetkreis eingesetzt. Zwei Abschnitte der Primärwicklung sind auf dem Kern
des Magnetkreises, wobei beide Abschnitte in einer Richtung mit ihren Ausgängen
in einer Serienschaltung verbunden ist gewickelt, wobei die Eingänge der
Abschnitte an die Stromversorgung angeschlossen ist. Eine Sekundärwicklung auf
die Primärwicklung (in der Richtung, in der sie gewickelt beeinflusst nicht den
Betrieb des Transformators ist) gewickelt ist. Das Übersetzungsverhältnis wurde
experimentell bestimmt und lag gleich 5 ist die Anzahl der Windungen der einen
Abschnitt der Primärwicklung betrug 110 war auch die Anzahl der Windungen der
Sekundärwicklung gleich 110, wobei der Durchmesser der Drähte in dem primären
und sekundären Wicklungen identisch und gleich 1,2 mm. Eine Last wurde auf die
Zuleitungen der Sekundärwicklung verbunden ist. Die Spannung an dem Eingang der
Primärwicklung und der Ausgang der Sekundärwicklung, also auf der Last
gemessen. Die Ergebnisse der Messungen sind in Tabelle 1, Beispiel 2
dargestellt.
Beispiel 3.
U-förmige Ferrite wurden als
Magnetkreis eingesetzt. Der Magnetkreis aus vier Einheiten zusammengesetzt.
Zwei Abschnitte der Primärwicklung wurden auf die beiden Kerne des Magnetkreises,
wobei jeder Abschnitt auf einem Kern aufgewickelt. Die Schnitte wurden in
entgegengesetzten Richtungen gewickelt, jedoch mit einer gleichen Anzahl von
Umdrehungen. Die Gesamtzahl der Windungen in der Primärwicklung hat eine
Serienschaltung wurden 120. Die Ausschnitte der Wicklungen der Abschnitte
verbunden sind, wurden die Eingänge an eine Stromversorgung angeschlossen. Eine
Sekundärwicklung, die sowohl Kerne, auf die Primärwicklung gewickelt ist. Die
Anzahl der Windungen in der Sekundärwicklung 120. Die Transformationsverhältnis
wurde bestimmt und war gleich 10. Die Ergebnisse sind in Tabelle 1, Beispiel 3
dargestellt.
Beispiel 4.
Eine U-förmige Magnetkreis aus
Stahlblech wurde als Magnetkreis eingesetzt. Zwei Abschnitte der Primärwicklung
auf beiden Kerne des Magnetkreises, wobei jeder Abschnitt auf einem Kern
aufgewickelt. Die Schnitte wurden in einer Richtung gewickelt ist, die Anzahl
der Windungen in jedem Abschnitt 120. Der Ausgang der Wicklung des ersten
Abschnitts und dem Eingang der Wicklung des zweiten Abschnitts und auch der
Eingang der Wicklung des ersten Abschnitts und der Ausgang der Wicklung des
zweiten Abschnitts sind miteinander verbunden, und die Spitzen ihrer Verbindung
wurden an die Stromversorgung angeschlossen ist. Wobei die Sekundärwicklung auf
die Primärwicklung gewickelt ist, die Anzahl der Windungen in der
Sekundärwicklung 120. Das Übersetzungsverhältnis dieses Transformators war 8,5.
Die Ergebnisse der Messung sind in Tabelle 1 dargestellt, Beispiel 4.

Industrielle Anwendbarkeit
Proben aller Arten von
Transformatoren wurden gefertigt und sind für drei bis fünf Jahre gearbeitet.
Alle diese Beispiele wurden getestet und können als elektrotechnische Geräte in
der Laborpraxis und in Industrieunternehmen dienen.
Dies ist ein Auszug aus einem
Dokument vom Januar 2014 von einem anonymen Autor mit der ID "Jack
Noskills". Er sagt: Dieser kurze Artikel beschreibt eine einfache Methode,
wie man einen Lenz-Gesetz freie Resonanztransformator zu bauen. Lenz Recht
nicht verletzt wird, sondern er wird verwendet, um eine effizientere
Transformator zu schaffen. Ohne Lenz Gesetz dieses Setup konnte nicht arbeiten.
Zunächst werden einige einfache
Tests vorgestellt, die Grundlage der Vorrichtung bildet. Dann auf die
Ergebnisse dieser Tests auf der Basis baute ich den Transformator, die meine
Testergebnisse bestätigt. Es ist wichtig, um das Verfahren zu verstehen, wie
das wird Ihnen das Verständnis. Wenn Sie es zu verstehen, können Sie sie mit
verschiedenen Komponenten als früher zu bauen.
1. Der Effekt von
Kondensatoren in LC-Resonanzschaltungen
Wert des
Kondensators in einen Parallelschwing LC-Schaltung steuert den Dämpfungspegel
des Bandsperrfilters. Ein niedriger Wert von C macht die Resonanzfläche kleiner
und der Dämpfung steiler. Ein hoher Wert von C macht die Resonanzbereich
breiter und der Dämpfungspegel niedriger. Bei der Untersuchung von
Resonanzeffekten, ist es ratsam, mit einem hohen Wert von C. Ich habe 440 nF
bis 2000 nF starten.
In jedem
LC-Serienresonanzkreis der Frequenzgang eine Einkerbung an der
Resonanzfrequenz. Der Frequenzgang ist das Gegenteil von dem, in einer
LC-Parallelschluss.
Um eine maximale
Wirkung zu erzielen ist es deshalb am besten, hohe Dämpfungspegel an einem
primären parallelen LC-Schaltung (low C) und einen hohen Verstärkungswert an
einer sekundären LC-Schaltung (auch niedrige C) haben.
Die
"Q-Faktor" ist der induktive Widerstand einer Spule dividiert durch
seine Gleichstromwiderstand. Der Q-Faktor bestimmt die Resonanzanstieg in einem
Resonanzkreis und so, je höher der Q-Faktor ist, desto höher die Leistung sein.
In einer Spule kann die Gleichstromwiderstand Verwendung dickerer Draht und
weniger Windungen minimiert werden. Induktive Reaktanz kann mit einer höheren
Resonanzfrequenz, die durch die L und C-Komponenten des Schaltkreises gesteuert
wird, maximiert werden. Kleinere L- und C-Werte erzeugen eine erhöhte
Resonanzfrequenz.
Es gibt jede Menge
Informationen über die Q-Faktor auf dem Netz. Ich wollte nur eine kurze
Einführung in die Q-Faktor hier zu setzen, so dass Sie verstehen, dass ein
hoher Q-Resonanz-LC-Schaltung kann gefährlich
sein.
2. Zwei Arten von
Induktivitäten
Jede einfache
schraubenförmige Spule auf einen Kern gewickelt betrifft nur eine weitere
Spiralspule, die darunter oder auf es aufgewickelt wurde. Wenn zwei Spulen
nebeneinander platziert es wenig Wechselwirkung zwischen ihnen. Nennen wir dies
die "lokalen Induktivität Feld '.
Eine Spule, die auf
einer geschlossenen Schleifenkern wirkt jeder Spule auf der gleichen Kern und
die Spule hat auch eine viel höhere Induktivität als eine Luftspule. Bedeutet
dies, dass das lokale Feld verschwindet? Nein, tut es nicht. Dieser Effekt kann
verwendet werden, ein einfaches Gerät über die Einheit zu machen.
3. Prüfung der
Kreislaufkerne
Ich verwendete
E-Formteile aus den Low-Power, laminiert Eisentransformatoren und setzen diese
Fazit: Es ist etwas
Bewegen innerhalb des Kerns, und der Kern hat null Resistenz gegen dieses
fließen. Nennen wir die Strömung "Magnetstrom".
Dann setzte ich
drei identische Spulen auf den Kern, einer hatte eine Last mit ihm verbunden
und die anderen verließ unverbunden wurden. Ich bewarb Wechselstrom an den
primären. Es war dieselbe Spannung an den beiden Ausgangswicklungen.
Kurzschließen einer Ausgangsspule verursacht Macht, begann in den Primärstrom
und gleichzeitig die Spannung sank auf die Hälfte des nicht verbundenen
Ausgangsspule. Die folgende, scheinbar unwichtigen und offensichtliche
Schlussfolgerung können vorgenommen werden:
Fazit: Eine
Sekundärspule erzeugt auch Magnetstrom und verschiedene Sekundärspulen
gegenseitig beeinflussen in entgegengesetzter Weise.
Als nächstes
angeschlossenen I verschiedenen Punkten im Kern mit Eisen. Punkte, die ich zum
Testen verwendet werden hier angezeigt:

Fig.1. E-I-Kern mit Spulen und Sondenpunkte.
Wenn Eisen wurde
zwischen den Punkten 1 und 2 verbunden gab es keine Wirkung. Wenn zwischen den
Punkten 2 und 3 verbunden gab es einen bemerkenswerten Effekt: ein Ton und Art
von Vibration, wenn Eisen näherte sich der Kern, wenn beide Enden berührt den
Kern beschlagnahmt. Wenn zwischen den Punkten 4 und 5 verbunden gab es den
gleichen Effekt aber stärker. In diesem Fall wird Leistung von dem Kern
getrennt, während Leistungseingang gleich geblieben.
Fazit: Magnetstrom
im Inneren des Kerns will Schleife zurück zu sich selbst durch jeden möglichen
Weg, es kann.
Für den nächsten
Test habe ich eine NanoPerm Kern, und ich gewickelten Spulen von etwa 50
Umdrehungen sowohl für die primäre und die sekundäre. Das Primärteil mit
Wechselstrom aus dem Ausgangssignal eines Audio-Verstärker zugeführt wird und
die Sekundär wurde mit einem Lautsprecher verbunden ist. Ich spielte dann etwas
Musik von meinem PC über den Audio-Verstärker. Ich hörte die Musik und höheren
Frequenzen wurden abgeschwächt, während niedrigere Frequenzen klang gut. Was
ich hatte, war ein Tiefpass analogen Audiofilter.
Fazit: Es können
alle Frequenzen im Ausgangsspule zur gleichen Zeit aktiv sein. Somit kann es
auch magnetische aktuellen aktiven gleichzeitig bei allen Frequenzen in dem
Kern sein.
Auf der Grundlage
dieser einfachen Tests, die ich dann erreicht die folgende allgemeine
Schlussfolgerung:
In einem
geschlossenen Regelkreis-Kern kann es eine fließende magnetische Strom, der mit
der Zeit, wenn der Kern mit elektrischen Wechselstrom erregt variiert werden.
Der Magnetstrom Summierung / Subtraktion Eigenschaften und es hat auch ein
Perpetuum Eigentum. Es kann als eine
Sinuswelle modelliert und Sinuswellen zu unserem Vorteil manipulieren.
4. Verwendung von
zwei Spulen in einer LC-Schwingkreis
Unten sind Bilder
von CI geformt und EI förmigen Kerne, die, wie Spulen gewickelt werden sollte
zeigen. Alle Spulen sind in der gleichen Richtung gewickelt sind und von den
Enden verbunden ist. Wenn Spulen sind wie diese ihren geschlossenen Regelkreis
verwendet magnetische Ströme gegenseitig aufheben und nur eine lokale
Induktivität Feld bleibt. Aus diesem Grund gibt es eine Resonanzfrequenz, aber
viel höher, als dies sonst möglich ist. Zum Beispiel habe ich zwei 160 wiederum
Spulen und Resonanzfrequenz zwischen 12-13 kHz war. Eine Spule 20 dreht sich in
meinem NanoPerm Kernblöcke alles oberhalb von 1,5 kHz. Und ich kann 260 Watt
von meiner Audio-Verstärker drücken.


Fig.2. C-I und E-I
Resonanz Setup.
Nun können Sie
denken, dass dies nicht von Nutzen. Wenn es zu einem Stromsammelspule dann wird
es nichts zu sammeln, wie Magnetströme im Inneren des Kerns annulliert. Aber wenn diese beiden Spulen als Ausgänge
verwendet und sie von einer Primärspule, die sich über beide das Ergebnis
aufgewickelt wird dann angesteuert werden, dass Strom erzeugt wird. Beide
Ausgänge werden dann in genau der gleichen Phase, und wenn richtig
angeschlossen sie sich gegenseitig verstärken, während der Primärkreis nicht
sieht etwas wie die gegenüberliegenden Phase magnetische Ströme gegenseitig
aufheben - siehe Fig.3.


Fig.3. C-I und E-I
mit primären an der Spitze.
Die Primärspule ist
in der Tat ein Solenoid, hat es keine Magnetschleifen und eine niedrige
Induktivität hat. Sekundärspulen bilden geschlossene Schleifen, und sie höhere
Induktivität haben. Je mehr Sekundärspulen, die verwendet werden, um so mehr
Magnetstrom (in der richtigen Phase) wird im Inneren des Kerns werden im
Umlauf. Don Smith nannte diese "resonante magnetische Fluss '.
Dick Multi-Strang
Draht (nicht Litz Typ!) Sollte am besten, einige Umdrehungen und einem
Kondensator zu arbeiten. Aber jede Dicke der Draht tun wird.
Achtung: Beginnen
Sie mit Drähten mit kleinem Durchmesser, etwas unter 0,5 mm. Habe ich nicht
getestet dicke Drähte, aber Resonanzanstieg auftreten. Auch sollten Sie besser
mit Low-Q-Schwingkreise beginnen, da Sie nicht in der Nähe von Kilovolt Sie
generiert werden soll.
Tuning ist jetzt
einfach. Zuerst müssen Sie eine parallele LC-Schaltung unter Verwendung von
Sekundärspulen zu machen, siehe Bild 2. Für den Kern kann eine Ringform, CI
oder EI Kernstücke zu verwenden. Die EI Formstücken sollte die effizienteste.
Weiter finden die Resonanzfrequenz der LC-Schaltung, die Sie gerade erstellt
haben. Trennen Sie nun die Sekundärspulen und das Gleiche zu tun für Ihre
Primärspule. Stellen Sie die Anzahl der Windungen in der Primärspule oder der
Menge der Kapazität, bis Sie einen nahe genug Resonanzfrequenz in der
Grundübereinstimmung mit der Sekundärspule Resonanzfrequenz, die Sie gerade
gefunden haben, zu bekommen.
Verbinden Sie nun
die Last-und Futtermittel die Primärspule mit einem reinen wechselstrom Sinuswelle.
Impulse funktionieren nicht, weil ein Rechteckimpuls enthält alle Frequenzen, die
wiederum schafft Magnetströme bei allen Frequenzen, was zu einem
Gesamtdurcheinander von Magnetfluss innerhalb des Kerns. Der Eingang hat auf
jeden Fall eine reine Sinuswelle sein.
Es hat zu Ampere im
Primär LC-Schaltung ausgeführt werden, damit der primäre Kondensator gefüllt.
Wenn Sie erhalten, aber Resonanz sehen keine Macht versuchen dann unter
Verwendung einer höheren Frequenz.
Wenn Sie EI oder CI
Kerne verwenden, stellen Sie sicher, dass sich keine Luftspalte zwischen den
Stücken, die den Kern. Es muss einen geschlossenen magnetischen Kreis in dem
Kern sein. Verwendung einer LED als eine Last offensichtlich nicht, weil sie
verhindert, dass Resonanz Anstieg der Ausgangs LC Schluss. Ich vermute, dass EI
funktioniert am besten, wenn Kerndimensionen sind so, dass der Kernbereich in
der Mitte Bein ist doppelt so hoch wie der äußeren Schenkel. Magnetströme, die
durch die Sekundärspulen gleich sein sollten, so dass ihre Summe immer Null.
Permeabilität des
Kerns spielt keine Rolle, und Sie können Eisen oder Ferrit zu verwenden. Sie
benötigen, um eine Frequenz, die innerhalb der Grenzen dessen, was das
Kernmaterial verarbeiten kann verwendet werden. Die NanoPerm Material, das ich
kann Frequenzen bis zu 1 MHz zu behandeln.
5. Meine Ergebnisse
Meine Eingangsquelle
war ein Audio-Verstärker, erwarte ich, dass sie Leistungen bei 5 Volt, aber ich
weiß es wirklich nicht. Ich kann nicht messen kann, wie ich haben keine Meter.
Ich habe die Goldwave Audio-Editor, um eine Sinuswelleneingang erstellen. Es
hat eine schöne Ausdrucksauswertung, die Sie Frequenzdurchläufe leicht tun
können. Goldwave ist eine kostenlose Software von www.goldwave.com.
Ich habe eine M-088
NanoPerm Kern aus Magnetec (μ betrug 80.000) mit 0,3 mm Draht. Zuerst
musste ich etwa 160 Windungen in jeder sekundären und 20 Meter in der Primär
gehüllt, etwa 120 Umdrehungen oder so (viel zu viel, aber das war meine erste
Schätzung). Ich hatte hohe Anzahl von Windungen zu verwenden, weil meine
Eingabe wurde unter 20 kHz begrenzt. Ich hatte das Glück, um geeignete L und
C-Kombinationen zu finden, so dass ich einen Blick auf die Resonanzwirkung
konnte sehen.
Da ich keine Metern
habe ich verwendet, Halogenlampen. Ich habe eine 5-Watt 12-Volt-Birne in der
Primär- und der 10-Watt und 8-Watt 12-Volt-Lampen in der Ausgabe. Ich habe
einen Sweep und die Frequenz durch den Sweet Spot-Ausgangsleistung ging erhöht.
Bei Resonanzfrequenz irgendwo zwischen 12 bis 13 kHz war überhaupt kein Licht
in der Primärhalogen aber beide Ausgangsknollen wurden bis etwa zur halben
Helligkeit beleuchtet.
Jetzt, da ich es,
die Anzahl der Windungen reduziert I in den Sekundärspulen auf die Hälfte und
verändert die Kapazität von 440nF zu 1000nF. Die Resonanzfrequenz am Ausgang
ein wenig verändert, aber da die Resonanzbereich war weit es hat nicht einen
bemerkenswerten Unterschied. Jetzt habe ich mehr Licht, fast voller Helligkeit
und Halogenen waren viel zu heiß zum Anfassen. Wieder kein Licht in der
Primärseite bulb sichtbar.
So was habe ich nur
tun? Gleichstromwiderstand sank auf die Hälfte in den Ausgangsspulen so ihren
Q-Faktor verdoppelt geben die doppelte Resonanz Anstieg der Ausgangs LC
Schluss. Cool!
Ich beobachtete die
gleiche Aktion im Primär LC Schluss. Es verwendete ich 40 Meter Draht in der
primären und ich bekam viel weniger Leistung. In diesem Fall fiel der
Gütefaktor auf die Hälfte, die die Ergebnisse gut erklärt.
6. Highlights nach
einer erfolgreichen Replikation versuchen
Bi-filar Wicklungen
sollte der Gesamtwert der L und so eine höhere Resonanzfrequenz kann verwendet
werden, zu senken. Am Ausgang könnte es bi-filar Wicklungen ohne Kondensatoren,
da Hochspannungskondensatoren sind teuer und gefährlich, wenn geladen. Dann
legen Sie eine korrekte Kondensator in der Grund LC-Schaltung, tune in.
David Klingelhöfer wurde mit den Thane Heins Transformator Designs beeindruckt und so begann er das Experimentieren mit Variationen und Verbesserungen der Konstruktion während Thane ging zu Motorkonstruktion. Davids Design wird als "Gabriel Device" und eine "NanoPerm 'M-416 Ringgröße von Magnetec GmbH 150 x 130 x 30 mm erhältlich Verwendungen:
http://www.magnetec.us/shop/details.php?id=73&kategorie=5&main_kat=&start=50&nr
die mit 300 Fuß (92 Meter) von AWG # 16 Kupferlackdraht, die 1,29 mm
Durchmesser aufgewickelt ist. Daß Draht wurde hauptsächlich verwendet, weil es
zu der Zeit übergeben. Die Wunde Toroid bildet die Sekundärspule und es wird in
der Art, in der Regel als CCW für Counter-Clock-Wise bekannt gewickelt. Hierzu
durchläuft der Draht über den Ringkern, durch das

Die höchst ungewöhnliche Merkmal der Konstruktion ist, dass dieses mit hoher Permeabilität Toroid wird nun im kaltgewalzten Stahlhalb Donut geformte Stücke umhüllt:

David stellt diese Stahl Bildschirm zwischen den Primär- und Sekundärwicklungen des Transformators. An der Oberfläche sieht es unmöglich, das Gerät zu arbeiten, aber es funktioniert, die beste Leistung als eine Leistung von 480 Watt für einen Eingang von 60 Watt, die COP = 8 ist. Die tatsächlichen Werte sind ein Eingangs 0,5A bei 120V und ein Ausgang der 4A bei 120V. Jeder Transformator hat eine Grenze und diese Grenze ist erreicht, wenn die Magnetkraft durch den Ringkern fließt die maximale Menge, die die Ring verarbeiten kann erreicht.
Jedoch ist die Konstruktion des Toroids durch die beiden Halb-Toroid Stahlstücke abgeschlossen ist in einer Weise zusammen, die einen elektrischen Stromfluss nicht erlauben zwischen ihnen, möglicherweise zusammen mit Epoxidharz verklebt verbunden. Schließlich ist etwa 400 Fuß (122 Meter) von der gleichen AWG # 16 Draht um den Stahlmantel gewickelt.
Der kritische Teil bei dieser Anordnung ist die Dicke der Metallabschirmung. In seinem Patent 433.702 erörtert Tesla die Verwendung einer solchen Schutzhülle, mit der Absicht zur Verzögerung der Reaktion der Sekundärwicklung zu dem Magnetfeld der Primärwicklung. Dafür braucht der Schirm genau in der richtigen Zeitdauer zu sättigen und Tesla, dass Experimente benötigt wird, um die Dicke der Abschirmung zu ermitteln. Er verwendete Eisendraht oder isolierten dünnen Eisen Blättern oder Streifen auf dem Schild zu errichten.
Meiner Meinung nach, ist Eisen statt Stahl als Stahl magnetisiert dauerhaft benötigt werden (es sei denn, es ist von guter Qualität aus Edelstahl), während Eisen nicht dauerhaft magnetisiert zu werden, aber wir müssen mit der Empfehlung von den Menschen, die gebaut und getestet haben, diesen Entwurf zu gehen, und sie finden, Stahl, gut im Einsatz arbeiten, obwohl es als "kaltgewalzte" Stahl angegeben ist. Bei dieser Gestaltung ist es nicht die gleiche Anforderung wie die Tesla, daß es das Ziel ist, die Rückkehr Magnetfeld geht von der Sekundärspule in die Primärspule, wo sie die Eingangsleistung entgegen fangen.
Im Jahr 2012 ein Beitrag, der die ID
'Wonju-Bajac' verwendet begann ein Forum, um die Arbeit von Clemente Figuera zu
untersuchen, bei http://www.overunity.com/12794/re-inventing-the-wheel-part1-clemente_figuera-the-infinite-energy-achine/#.UXu9gzcQHqU
und
Mitglied 'hanlon1492' beigetragen enorm von englischen Übersetzungen von
Figuera Patente produzieren.
Clemente Figuera der Kanarischen Inseln
starb im Jahre 1908. Er war ein hoch angesehener Individuum, ein Ingenieur und
Univ.-Prof. Er wurde mehrere Patente erteilt und wurde Nikola Tesla bekannt.
Figuera Design ist sehr einfach in der Kontur.
Im Jahr 1902 kündigte die Daily Mail, dass Herr Figuera, Forstingenieur auf den Kanarischen Inseln,
und viele Jahre lang Professor für Physik an der St. Augustine College in Las
Palmas, einen Generator erfunden hatte, die keinen Brennstoff benötigt. Señor
Figuera hat eine grobe Apparat, mit dem konstruiert, trotz seiner geringen
Größe und es ist Defekte, erhält er 550 Volt, was er für Beleuchtungszwecke in
seinem eigenen Haus verwendet und für eine 20 Pferdekraft Antriebsmotor.
Das Figuera Gerät sieht aus wie eine
komplizierte Transformator, aber in Wirklichkeit ist es nicht. Stattdessen ist
es zwei Gruppen von sieben gegenüberliegenden Elektromagneten mit einer
Ausgangsspule zwischen jedem gegenüberliegenden Paar von Elektromagneten
angeordnet ist. Die physikalische Position der Elektromagneten und
Ausgangsspulen ist wichtig, da sie sehr nahe beieinander angeordnet sind, und
es werden magnetische Felder zwischen benachbarten Elektromagneten und zwischen
den Ausgangsspulen aufgrund ihrer Nähe induziert.
Die zwei Sätze von Elektromagneten gewickelt
sind, mit sehr niedrigem Widerstand, Hochstromdraht oder möglicherweise auch
mit dicken Folie. Die Informationen, die in dem Patent Figuera gegeben besagt,
dass die Elektromagneten wird durch die Buchstaben "N" und
"S" in dem Patent bezeichnet werden und es wird vermutet nun, dass
diese beiden Buchstaben absichtlich irreführend wie die Menschen dieser Briefe
zu denken, neigen dazu, die sich auf "Nordmagnetpol" und
"Südmagnetpol", während in Wirklichkeit die Elektromagneten einander
entgegengesetzt sind fast sicher, das heißt, mit Nordpole einander zugewandt
sind oder möglicherweise mit Südpole einander zugewandt sind. Die Anordnung
wird angenommen, so zu sein, wenn von oben gesehen:

Diese Anordnung schafft eine magnetische
Bloch Wand (oder magnetisch Nullpunkt) in der Mitte der gelben Ausgangsspulen
und der Position des magnetischen Gleichgewichtspunkt ist sehr leicht bewegt,
wenn die Stromzufuhr zu den beiden Sätzen von Elektromagneten verändert wird,
leicht und jede Bewegung der dass magnetische Gleichgewichtspunkt schafft einen
wesentlichen elektrischen Leistung aufgrund der Änderung der magnetischen Feldlinien
der Drahtwindungen in den gelben Ausgangsspulen zu schneiden. Während die oben
dargestellten Skizze einen kleinen Spalt zwischen den Elektromagneten und den
Ausgangsspulen zeigt, ist es keineswegs sicher, dass eine solche Lücke
notwendig ist, und während die drei Spulen Wicklung ist bequemer, wenn sie
getrennt sind, wenn aufgewickelt und zusammengebaut wird, ihre Kerne können
auch zusammengeschoben werden, um einen kontinuierlichen magnetischen Pfad zu
bilden.
Eine andere Sache, die verwirrten Menschen (

Die gepunkteten Linien zeigen interne
elektrische Verbindungen, so zum Beispiel Kontakt 14 verbunden ist 3 zu
kontaktieren, aber lassen Sie mich noch einmal betonen, dass dieses Gerät nicht
Teil des Entwurfs ist und während es verwendet wird, um den eigentlichen
Betrieb "erklären", das würde ich nicht überrascht sein, wenn es
nicht beabsichtigt waren Menschen aus dem eigentlichen Betrieb zu misdirect.
Dieser Punkt wurde betont, und es wurde
vorgeschlagen, dass die tatsächliche Arbeitsvorrichtung in der Natur magnetisch
ist, und könnte so aufgebaut sein:

Das sieht aus wie ein sehr einfaches Gerät,
aber es ist ein Element von großer Bedeutung in der Figuera Design. Erstens ist
der Kern massivem Eisen (manchmal auch als "Weicheisen " genannt,
aber wenn Sie mit einer Bar davon geschlagen wurden sicherlich würden Sie es
nicht "weich" nennen). Die wichtigste Eigenschaft eines solchen Kerns
seine magnetischen Eigenschaften, wie sie in der Lage ist, Energie zu
speichern. Bitte beachten Sie, dass diese Schaltvorrichtung in der Natur
hauptsächlich magnetisch ist. Es sieht wie folgt aus:

Dieser Kern wird dann mit dicken Draht
gewickelt - vielleicht AWG # 10 oder 12 SWG (2,3 x 2,3 mm Vierkantdraht). Die
Drahtwindungen sollte einander eng, Seite sein und sitzen genau flach auf der
Oberfläche, wenn der Draht wird es durch die gleitende Bürste kontaktiert
werden:

Die gleitende Messing Kontakt oder
"Pinsel" ist so dimensioniert, dass sie über zwei benachbarte Drähte
verbindet, so dass es nie einen Funken wie die Bürstenkontaktschieber um den
Kreis von Drähten. Die Bürste wird durch einen kleinen Gleichstrommotor
angetrieben. Damit die Schiebe Bürste, um den Draht zu berühren, muss die
Kunststoff-Isolierung aus der oberen Hälfte des Drahtes mit dem restlichen
Isolierung halten die Windungen von Kurzschlüssen zusammen entfernt werden. Der
Draht wird gewickelt Hälfte des Weges um den Eisenkern und eine kurze Länge des
Drahtes bleibt, um eine elektrische Verbindung herzustellen. Eine zusätzliche
Wicklung erfolgt dann die verbleibende Hälfte des Kerns zu bedecken und wieder,
eine Länge für die Verbindung wird nach links, bevor Sie den Draht zu
schneiden. Dies gibt Ihnen zwei Wicklungen jeweils Abdeckung 180 Grad um den
Kern. Die Drahtwindungen sind eng mit Klebeband oder Schnur gewickelt um die
Seite des Kerns geschnallt als dass die Drähte sicher an ihrem Platz hält. Die
beiden Drahtenden auf jeder Seite miteinander verbunden sind, eine 360-Grad
geben mit guten elektrischen Verbindungen 180 Grad auseinander Wicklung.
Es gibt viele Möglichkeiten, um den kleinen
Gleichstrommotor anzuordnen, so dass es die Bürste Gleitstück antreibt. Der
Motor könnte auf einem Streifen, der über die Kern angebracht werden, oder auf
der Hauptplatine oder auf einer Seite einen Riemen oder Zahnradantrieb Link. Es
ist egal, in welche Richtung die Bürste um den Kern bewegt. Die
Rotationsgeschwindigkeit ist nicht kritisch, obwohl es entweder die
Wechselfrequenz des Ausgangs tut bestimmen. In den meisten Fällen wird der
Ausgang ein Heizelement Strom, oder wird zu Gleichstrom umgewandelt werden, um
die örtliche Netzfrequenz und -spannung zu geben.
Wenn wir an einem Gerät wie folgt aussehen
zuerst, denken wir sofort an den Fluss des elektrischen Stroms, der durch den
Draht gewickelt um den Eisenkern. Es scheint, als ob der Strom durch die
gesamte Länge des Drahts zwischen der Bürstenposition und den beiden Ausgängen
begrenzt ist, aber die Realität ist, dass, während das richtig zu einem
gewissen Grad ist die Hauptsteuer des Stromflusses ist das Magnetfeld innerhalb
die kreisförmige Eisenkern, und das Feld bewirkt Reluktanz (Widerstand gegen
Stromfluss) proportional zu der Anzahl der Spulenwindungen zwischen der Bürste
und jedem Ausgang. Dadurch ändert sich der Stromfluss zu dem Satz von
"N" Elektromagneten gegenüber dem Stromfluß zu dem Satz von
"S" Elektromagneten.
Da die magnetische Intensität durch den Satz
von "N" Elektromagneten erhöht erzeugt, die magnetische Intensität
durch den Satz von "S" Elektromagneten erzeugt abnimmt. Aber, wie die
magnetische Kraft des Satzes von "N" Elektro das Magnetfeld des
Satzes von "S" Elektromagneten überwindet, wird das Magnetfeld wieder
in den Weicheisenkern des Kollektors Gerät geschoben wird, im Wesentlichen
Energie in diesem Kern zu speichern. Wenn das System die Energie beim Heizen
verloren ersetzen muss, kann es, dass gespeicherte magnetische Energie in der
Kommutatorkern, verwenden Sie die Gesamteffizienz zu erhöhen. In dieser
Ausführung ist der Strom, der durch den Elektromagneten stets in die gleiche
Richtung und niemals auf Null abfällt, sondern nur in seiner Intensität oszilliert.
Die gesamte Anordnung ist wie folgt:

Während die obige Skizze, die eine 12-Volt-Batterie zeigt, gibt es keinen großen Grund, warum es nicht 24 Volt oder höher sein sollte, insbesondere wenn der Draht, der die Elektromagneten kleiner Durchmesser aufzuwickeln verwendet. Die Menge an Strom, um ein Magnetfeld zu erzeugen benötigt wird, nicht mit einem kleinen Strom zur Stärke des magnetischen Feldes und eine größere Anzahl von Windungen dünner Draht Zusammenhang durch den Draht fließt, kann ein stärkeres Magnetfeld als einige Umdrehungen dicker Draht mit einer erstellen großer Strom durch diese Windungen fließt.
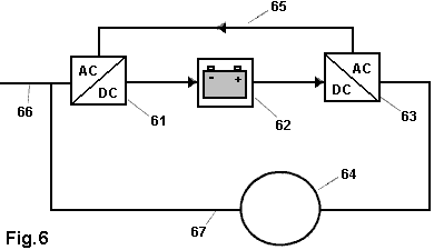
Alex in Russland, die mehrere seiner regungslos Pulsladesysteme für Akkus geteilt hat, teilt nun seinem Design, das nicht angezeigt wird, um jede Gegen-EMK Effekt auf die Primärspule haben. Wenn das der Fall ist, wird jede Erhöhung der Ausgangsstromaufnahmecurrent draw nicht eine entsprechende Erhöhung des Stromflusses durch die Primärspule zu haben. Das ist völlig anders als die Art, in der ein herkömmlicher Transformator arbeitet.
Die Anordnung ist so etwas wie die Sender / Empfängeranordnung von Don Smith und während es sieht eine einfache Anordnung sein, ist aber nicht. Alex zieht seine Spulenkonfiguration wie folgt:

Dabei ist ihm gewählten Form der Konstruktion ein Rahmen von zwölf Längen von 20 mm Durchmesser Kunststoffrohre - vier an der Spitze, vier an der Unterseite und vier Branchen. Jedes Rohr ist mit Ferritpulver gefüllt, und es gibt eine Ausgangsspule, die auf jeder der vier vertikalen Rohre gewickelt. In der Mitte aufgehängt ist, die Primärspule, die 15 mm im Durchmesser ist. Alle fünf Spulen sind mit 0,5 mm Durchmesser Kupferlackdraht (SWG 25 oder AWG # 24) aufgewickelt. Während Alex Zeichnung zeigt eine einzelne Drahtlitze, die tatsächliche Anordnung der vier Ausgangsspulen ist, dass sie als eine einzelne Schicht bi-filare Spule gewickelt sind:

Hierzu werden die Ausgangsspulen mit zwei Leitungsstränge nebeneinander gewickelt sind, in einer einzelnen Schicht entlang der Länge des Kunststoffrohres. Dann wird der Beginn eines Drahtes an das Ende der anderen Leitung verbunden. Da die Spulen mit Ferrit gefüllt ist, sie bei einer hohen Frequenz arbeiten kann, wenn die Primärspule 15 mm wird entweder mit Gleichstrom oder Wechselstromimpulsepulses Sinuswelle zugeführt wird. Jeder Ausgangsspule kann eine separate Ausgabe bereitzustellen oder die Ausgangsspulen in Reihe geschaltet werden, um eine höhere Spannung zu geben oder parallel geschaltet, um eine höhere Ausgangsstrom geben.
Alex zeigt auch, wie Ferrit-Ringkerne verwendet werden, auch mit 220V-Netz, um Transformatorleistung, die keine Umkehr Electro Motive Kraft hat zu geben. Wenn die Eingangsfrequenz so günstig wie das Stromnetz ist, dann können die Ringkerne Eisen Stäube sein, oder sie können aus Eisen Distanzscheiben in der gleichen Weise, dass gewöhnliche Netztransformatoren gebaut werden gebaut werden. Allerdings verstehen bitte offenbar an, dass der Strom, der durch jede Spule über eine Hochspannungsquelle, zB 110V oder 220V und mit jedem der folgenden Konfigurationen verbunden sind, wird durch die Impedanz der Spule selbst begrenzt. "Scheinwiderstand" effektiv "Wechselstrom Widerstand" bei der Frequenz des Wechselstrom-Spannungsversorgung. Wenn der Spulenimpedanz niedrig ist, dann wird der Strom durch die Spule fließt, wird hoch sein, und da die Leistung durch den Stromfluss abgeführte Spannung x Strom, der Leistungsverlust bei erhöhten Strom sehr schnell auf, wenn der Spannungspegel ist so hoch wie 220 Volt. Die Verlustleistung in Form von Wärme, das heißt, mit einem übermäßigen Verlustleistung, ist der Draht in der Spule haftet, zu schmelzen oder "verbrennen" in beeindruckender Blitz von Flammen, Rauch und geschwärzten Draht. Folglich ist die Spulenwicklung muss viele Windungen und den Drahtdurchmesser haben muss ausreichen, um den Stromfluss zu tragen zu sein - den Draht Tabelle auf Seite 1 des Anhangs wird der aktuelle, der von jeder Größe Draht durchgeführt werden können, wenn zu einer Spule gewickelt. Wenn es keine Rück-EMK-Effekt mit folgenden Konfigurationen, dann wird der Strom in der Primärwicklung in dem Netz nicht durch die anderen Spulen beeinflusst werden so verbunden, daran erinnern, dass bei der Herstellung der Primärspule.
Die erste Anordnung verwendet drei Ringkerne zu vier separate Ausgänge geben. Die Strommenge, die von jedem Sekundär gezogen werden kann, hängt von der Menge des magnetischen Flusses, der durch den magnetischen Kern oder Kernen zwischen der Primärspule und dieser bestimmten Sekundärspule ausgeführt werden kann. Offensichtlich wird die Ausgangsstromaufnahme ebenfalls durch die Strombelastbarkeit des Kabels in der Sekundärspule verwendet begrenzt. Wenn das Niveau der Strom für längere Zeit überschritten, so wird die Isolation des Drahtes wird fehlschlagen, wird abwechselnd kurzschluss zusammen, wird der Spulenimpedanz fallen, den Stromanstieg weiter und die Spule durchbrennen - ja, der gesunde Menschenverstand angesagt.

Hier wird die Primärspule "1" auf einem Ringkern, die im Bild oben horizontal ist gewickelt und die Sekundärspulen "2" werden auf Ringkerne, die als vertikal in der Zeichnung dargestellt sind, gewickelt. Der wichtige Punkt ist, dass die Ringkerne mit den Sekundärspulen, berühren Sie die Primärspule Ringkern im rechten Winkel, das heißt, bei 90 Grad. Zur Vereinfachung der Wicklung der Spulen kann jedes Toroid aus zwei Halbringspulen, die die Spule separat gewickelt werden und wenn sie abgeschlossen sind, aufgeschoben auf einem der C-förmigen Halb Toroide bevor die beiden Hälften zusammengefügt sind, um die vollständige Bildung ermöglicht gebaut werden Ringkern.
Die
zweite Anordnung verwendet auch drei Ringkern:

Die dritte Anordnung verwendet ebenfalls vier Ringspulen, aber eine leistungsfähigere Anordnung, wo die magnetische Flusstragfähigkeit des Transformators ist wie die Querschnittsfläche der Toroide doppelte Innen jede Spule verdoppelt. Dies ist ein schwieriger Anordnung zu konstruieren, und wenn die Spulen auf einem separaten Spulenwickelvorrichtung aufgewickelt werden, dann werden die Ringspulen jeweils aus einer Halb toroid plus zwei Viertelringspulen, so daß die Spulen auf zwei getrennten schoben werden müssen Viertelringabschnitten, die in entgegengesetzten Richtungen gekrümmt sind, es sei denn natürlich, ist ein gutes Stück größer als das Toroid Querschnitt (die die Anzahl der Umdrehungen für jede gegebene Länge des Spulendrahtes reduziert) der Innendurchmesser der Spulen:

Wenn diese einfachen Transformator-Anordnungen arbeiten als Umkehr-EMK-freien Vorrichtungen wie beansprucht, wird die Stromaufnahme von beliebigen oder allen der Sekundärwicklungen hat keinen Effekt auf den Strom durch die Primärspule fließt. Das ist ganz im Gegensatz zu heutigen kommerziellen Wandler symmetrisch gewickelt werden, was wiederum bewirkt, dass der Stromverbrauch in der Sekundärspule, um einen erhöhten Strom in der Primärwicklung gezwungen.
Alex (http://www.radiant4you.net/) zeigt auch
eine andere Anordnung, die sieben Ringkerne verwendet. Er stellt fest, dass
diese Anordnung ist auch frei von der Energieverschwendung Gegen-EMK-Designs
zur Zeit in den meisten kommerziellen Ausrüstungsgegenstände verwendet. Er gibt
an, dass die vorgesehene Betriebsfrequenz beträgt 50 Hz, die der Frequenz des
Stromnetzes als Differenz zwischen 50 Hz und 60 Hz in den

Der zentrale Ringspule ringsum seinen Umfang gewickelt, wie durch die blaue Farbe angezeigt. Diese Wicklung ist direkt mit der Eingangsstromquelle, die normalerweise vom Netz oder von einem Netztransformator, wahrscheinlich bei einer geringeren Spannung eingespeist.
Es gibt dann zwölf sechs hier grün dargestellt und sechs in Rot Ausgangsspulen. Für einen optimalen Betrieb muss jede dieser Ausgangsspulen 'tunen' an die zentrale Spule, und dass muss durch Veränderung der Kondensatorgröße durch das Experiment, um die Leistungsfähigkeit von jeder Spule zu erfolgen. Wenn sie richtig eingerichtet, die Erhöhung der Stromaufnahme aus einem der Ausgangsspulen nicht die Macht in den zentralen Eingangsspule fließt zu erhöhen. Dies widerspricht, was man normalerweise in Schulen und Universitäten gelehrt, wie sie nur mit symmetrisch gewickelt Transformatoren und Motoren, wenn eine erhöhte Ausgangsstrom in der Tat gegen die Eingangsleistung nicht vertraut sind, was zu erhöhten Eingangsstrom und Wärmemüll . Die Schaltung ist:

Die blaue Spule des Leistungseingangs bei "A" und der Kondensator in Reihe mit jeder Spule ist dazu da, alle Windungen bekommen mit der gleichen Frequenz schwingen. Die Punkte "B" und "C" stehen für die Nutzlast von jeder Spule mit Strom versorgt, wenn auch offensichtlich nur zwei der zwölf Ausgangsspulen sind in dem Schaltplan oben gezeigt, und es gibt fünf weitere grüne und fünf roten Spulen, nicht in dem Schaltbild gezeigt.

Wahrscheinlich ist es zu bedenken, dass das Hinzufügen eines Magneten zu einem Toroid bzw. Regelkerntransformator können die Ausgabe vorgesehen, dass der Permanentmagnet nicht stark genug ist, um den Kern vollständig zu sättigen und zu verhindern Oszillation des magnetischen Flusses zu erhöhen. Dies wurde von Lawrence Tseung, Graham Gunderson und anderen gezeigt worden ist, und so kann es wert sein, während bei diesen Konfigurationen entlang den Zeilen in dem Videozumin gezeigten Experiment weiter https://www.youtube.com/watch?v=sTb5q9o8F8c&list=UUaKHAdY13gp-un2hn_HJehg&index=1&feature=plcp.
Die Einfachste Version:
Alexkor hat eine vereinfachte Lenz-Gesetz freies Design hergestellt, unter Verwendung von kommerziellen Ringkerne bereits als Step-down-Netztransformatoren gewickelt. Ein Lieferant ist http://www.electro-mpo.ru/card8524.html#.VXsfKlIon7s mit Transformatoren dieser Art im Angebot:

Die Technik
ist, um die
In der Konfiguration, wo die Ringkerne "A" und "B" werden nebeneinander platziert, wird eine Leistungsentnahme Wicklung "D" zwischen ihnen gewickelt:

In dem Fall, wo die Ringkerne "A" und "B" sind in einem Stapel mit 1 mm Kunststoff-Folie dazwischen angeordnet sind, die Leistungsentnahme Wicklung "D" ist um die beiden Ringkerne gewickelt sind, umschließt sie beide:

Während die Wicklung "D" wird als ein schmaler Streifen in der Darstellung gezeigt, ist, dass nur die Zeichnung leichter zu verstehen, in der Realität zu machen, wird die Wicklung "D" den ganzen Weg um den gesamten Umfang der Ringspulen fortgesetzt und es kann viele Schichten tief, um die gewünschte Ausgangsspannung zu entsprechen.
Toroid "A" hat einen Drehkondensator "C1", die in Wert eingestellt wird, um eine Resonanz in diesem Kreislauf zu erreichen wie die in Ringkern fließt, "A" aus dem Netz minimiert.
Toroid "B" einen Kondensator "C2", die eingestellt wird, um die höchste Ausgangsspannung (in der Regel 600 Volt), der von Ringkern "B" zu geben. Der Zweck des toroid "B" ist es, die umgekehrt magnetischen Flusses in Toroid "A" umzuleiten und so, erzeugen ein effizientes Arbeitssystem. Die Last "L" ist, in der Theorie, eine Blindlast, aber in Wirklichkeit gibt es keinen Grund, warum es nicht als eine tatsächliche Betriebslast sein werden, wenn dieser Ausgang ist bequem zu verwenden.
Der Ausgangswicklung "D" frei von dem Lenz Gesetz Effekt und den Eingangsstrom aus dem Netz wird in keiner Weise beeinträchtigt wird, wenn die Stromentnahme von der Spule "D" erhöht wird, oder sogar kurzgeschlossen. Alexkor betont die Tatsache, dass bereits aufgewickelt, wie die Ringspulen zugeführt werden, das ist eigentlich eine sehr einfache Konstruktion zu replizieren.
Im Juli 2013 veröffentlichte zwei brasilianische Männer, Nilson Barbosa und Cleriston Leal, eine Reihe von Patenten, die sich als sehr bedeutsam erscheinen. Ihr Patent WO 2013/104042 auf 18. Juli 2013 veröffentlicht wurde, ist "Elektromagnetische Vorrichtung zum Erfassen von Elektronen aus dem Boden, um Strom zu erzeugen" berechtigt und hat einige sehr interessante Features. Er beschreibt eine einfache Vorrichtung, die sie beschreiben, als "Elektron Falle". Die Patente sind in Portugiesisch geschrieben und versucht eine Übersetzung der drei von ihnen wird am Ende der Anlage enthalten.
Eine
Besonderheit dieser Konstruktion ist die Tatsache, dass es eine kontinuierliche
leitfähige Schleife, in die sie beansprucht wird, fließt kontinuierlich ein,
auch ohne die Notwendigkeit für eine angelegte Spannung. Stattdessen ist es die
Magnetfelder von Elektromagneten, die der Strom zu halten. Sie erklären, dass
eine unbedeutende Menge an Leistungsaufnahme eine erhebliche Leistung produziert,
und sie betrachten ein COP von 100 bis etwa die minimale Leistung, die von der
Konstruktion erwartet werden kann. Das ist ein 1-Watt-Eingang für ein 100 Watt
Ausgangsleistung. Eine Version der Elektronenfalle sieht:

Die Erfinder beschreiben die Vorrichtung wie
folgt: "Das elektromagnetische Feld erzeugenden Vorrichtung, angetrieben
durch eine Stromquelle erzeugt ein elektromagnetisches Feld, das einen
elektrischen Strom induziert, in einem geschlossenen leitenden Schaltung,
wodurch eine Wechselwirkung zwischen den magnetischen Polen der Geräte und der
magnetischen Pole der Erde - sowohl durch elektromagnetische Anziehung und
Abstoßung. Eine endlose Zufuhr von Elektronen von der Erde in der leitfähigen
geschlossenen Schleife, die auf dem Boden durch ein leitfähiges Verbundnetz
angeschlossen gezeichnet. Die Elektronen angezogen, um den Strom fließen
bereits in der leitfähigen geschlossenen Schleife, so dass verfügbare Leistung
für den Antrieb mit hoher Leistung geladen wird, obwohl das Gerät für sich nur
eine geringe Leistung zugeführt wird, hinzuzufügen. "
Ein sehr interessantes Feature ist, dass die
kontinuierliche Schleifenspule by wire 4
in der Abbildung oben gebildet, ist buchstäblich nur zwei Windungen. Die
Kraft-Mechanismus gewinnt erstaunlicherweise ist das Erdungskabel (in blau
dargestellt), die nur rund 4 Draht
umwickelt ist und nicht direkt mit ihm verbunden ist, wie die
Elektronen-Transfer-Verbindung ist durch Induktion. Mit dieser Anordnung zieht
der zirkulierende Strom in der geschlossenen Schleife Draht 4, mehr Elektronen vom Boden, der durch
die Verbindung von Draht gewickelt 5,
in Draht 4, Vermehrung des
Stromflusses dort von einer größeren Menge. Draht 3 kann eine Wechselspannung beaufschlagt wird, um sich in
Wechselstrom Draht 4, aber bitte,
dass der Strom, der in der Leitung 4
nicht das Ergebnis des in der Leitung 3.
Wird der Strom im Draht 3 Gleichstrom,
dann wird der Strom in der Leitung 4
wird Gleichstrom sein, da dies nicht ein herkömmlicher Transformator, aber
stattdessen ist es ein Elektron Falle, die in eine ganz andere Weise.
Die Elektronenfalle in Wechselstrom
Schaltung dieser Art angeschlossen werden:

Hier wird der Erdleiter 5 um die Endlosschleife Draht 4
gewickelt, Einspeisung weitere Elektronen aus dem Boden aufgenommen. Die Enden
der Leiter 4 zusammengenommen
werden, um die Schleife zu bilden, und diese Verbindung bildet auch die
positive Seite des Ausgangs (wobei ein Gleichstrom-Ausgang produziert wird).
Das Magnetfeld durch den Strom in der Leitung 3 erzeugt, wirkt auf den Elektronenfluss von der Erde kommt,
sondern, da sie nicht bieten jede der elektrischen Energie fließt in
Drahtschlinge 4, der Strom, der in
der Leitung 3 kann klein sein, ohne
Auswirkungen auf die Leistung.
In ihr Patent WO 2013/104043, auch der 18.
Juli 2013, sie zeigen verschiedene Möglichkeiten der Verbindung ihrer
Elektronenfalle in einer nützlichen Schaltung. Zum Beispiel, wie folgt:

Dabei wird die Batterie 13, der zur Stromversorgung einer gewöhnlichen Inverter 12, der eine hohe Wechselspannung erzeugt, in diesem Fall wird bei sehr geringer Leistung. Dass die Spannung an den Draht 3,1 und 3,2 der Elektronenfalle aufgebracht, wodurch ein oszillierendes Magnetfeld, das eine oszillierende Zufluss von Elektronen erzeugt in der geschlossenen Schleife Draht (4), der ein verstärktes elektrisches Ausgangssignal erzeugt mit der gleichen Frequenz - in der Regel 50 Hz oder 60 Hz wie die gemeinsamen Netz-Frequenzen sind. Das verstärkte Leistung von der Elektronen-Falle 14 wird entlang Leitung 18 zu einem gewöhnlichen Diodenbrücke 10 geleitet, und die pulsierende Gleichspannung von der Brücke geglättet und zum Laden der Batterie Eingang des Inverters 12 zu ersetzen. Der Akku wird nun aus der Schaltung geschaltet und sowie so die gesamte Schaltung self-powered, wird die Leistung aus dem Elektronenfalle verwendet werden, um die Batterie wieder aufzuladen, wenn es aufgeladen (und / oder vielleicht, um die Batterien aufzuladen braucht eines Elektroautos). Da die Elektronenfalle braucht fast keine Eingangsleistung überhaupt, die Eingangsleistung des Wechselrichters ist sehr klein, und so ein gutes Stück zusätzlicher Wechselstrom-aus kann durch Kabel 17 gezogen werden, und verwendet werden, um leistungsstarke elektrische Ladung fahren, ohne elektrische Strom von der Batterie benötigt. Als self-powered, ist der COP-Wert für die Schaltung Unendlichkeit.
So wie es verschiedene Möglichkeiten der Verwendung eines Elektronen-Falle in einem Kreislauf, gibt es mehrere Möglichkeiten zum Aufbau und Anschluss eines Elektronenfalle. Während es möglich ist, die Komponenten so anordnen, dass die Leistungsabgabe 2-Phasen-oder 3-Phasen ist, werden wir hier nur mit der gewöhnlichen, Haushalt, einphasige Stromversorgung umzugehen.
Die erste Variante besteht darin, mehr als einen Frame zu benutzen. Zwei Frames kann wie folgt angeschlossen werden:

Dies ist die eigentliche Zeichnung aus der Patentschrift und präsentiert ein kleines Problem, dass es sich physikalisch nicht möglich, die Zahl 4 Leiter in der dargestellten Weise zu implementieren. Jeder Rahmen wird über zwei vollständige Windungen darauf, auch wenn die Zeichnung nicht zeigt dies. Wegen der Ungenauigkeit der Zeichnung, ich bin nicht in der Lage zu sagen, ob die Spule dreht sich auf dem Rahmen 2 sind in der gleichen Richtung wie die in Bild 1. Es gibt vier Möglichkeiten, diese Wicklung 2-Gang-Spulen, wenn sie verbindenden, so vielleicht Experimente verwendet werden, um festzustellen, welche Methode funktioniert am besten werden.
Mit diesem zwei-Rahmen Anordnung ist nur die eine Masseleitung 5, wie zuvor wieder es um Draht 4 anstatt physisch damit verbunden gewickelt ist. Die kontinuierliche Drahtschleife 4 weist zwei Enden wie vor, jedoch gibt es nun zwei Drahtenden 3,1 und 3,2 zwei Drahtenden. Die portugiesischen Übersetzung Programme produzieren höchst fragwürdige Ergebnisse für diesen Bereich des Patents, aber ich sammeln, dass die Erfinder die beiden Enden 3,1 miteinander verbunden werden wollen und die beiden 3,2 Enden miteinander verbunden werden, und dann werden die verbundenen Enden genau wie vorher behandelt und effektiv setzte die beiden Wicklungen parallel.
Ein Nachteil dieser Konstruktion besteht darin, dass es nicht tragbar ist aufgrund der Erdung. Barbosa und Leal sich mit diesem Problem in ihrem Patent WO 2013/104041 vom selben Tag, wo sie zeigen ein Verfahren zur Konstruktion eines Elektrons Falle, die überschüssigen Elektronen sammelt aus der Luft. Wenn Sie glauben, dass es keine überschüssigen Elektronen in der Luft, dann die Tatsache, dass alle von den oberirdischen Entwürfe in Kapitel sieben all extrahieren und diese Elektronen. Bedenken Sie auch die Menge an Strom in einem Blitzeinschlag, wo ein Großteil der elektrischen Energie kommt aus der Luft, und daran erinnern, dass weltweit, gibt es zwischen 100 und 200 Blitzeinschläge jede Sekunde.
Die freien Elektronen--in-the-air Elektronenfalle ist etwas komplizierter als die Erde-Leiter Elektronenfalle, mit vier Paaren von Spulen (3 und 4) in zwei Halbkugeln aus Aluminium montiert (1):

Die Verfahren zur Verwendung des Luft-Elektronen-Falle sind die gleichen wie die für die Erde-Leiter Elektronenfalle.
Ein Erde-Draht-Video-Demonstration ist hier: https://www.youtube.com/watch?v=SvcrqODpDY4 mit 22 Watt produzieren 6 Kilowatt. Um diese Erfindung weiter zu erforschen, versuchen Sie die umfangreichen Informationen über https://www.youtube.com/results?search_query=Barbosa+e+Leal

Ein versuchter Übersetzung der drei Barbosa / Leal Patente ist hier:
WO-Patent
2013/104043 18. Juli
2013 Erfinder: Nilson
Barbosa und Cleriston Leal
ELEKTRISCHE
ENERGIE-GENERATION-SYSTEM MIT RÜCKKOPPLUNG
Hinweis: Diese
drei Patente sind in portugiesischer Sprache und das, was hier gezeigt ist ein niedrige
Qualität Versuch der Übersetzung ins Englische mit einem Übersetzungsprogramm.
Die Vorlagen können kostenlos heruntergeladen werden: http://worldwide.espacenet.com/singleLineSearch?locale=en_EP.

Zusammenfassung:
Die vorliegende Erfindung bezieht sich auf
elektrische Energieerzeugung, die Ausrüstung, bestehend aus einer einfachen
Schaltung ein Gleichrichter (10), z.
B. einen Wechselstrom /Gleichstrom-Wandler angeschlossen in Serie zu einem
Wechselrichter (12), z. B. gebildet
und ein Gleichstrom/ Wechselstrom-Wandler und eine Bank von Batterien (13) in Reihe zwischen der Gleichrichter
(10) und Wechselrichter (12) geschaltet. Ein Elektron Erfassung
Element (14), die entweder ein
Freiraum-Elektron-Erfassung-Element oder alternativ ein
Elektron-Erfassung-Element Erde sein kann, ist in Reihe an den grundlegenden
Kreislauf gebildet und der Gleichrichter (10),
Wechselrichter (12) und die
Akku-Einheit (13) verbunden. Die
Bank von Batterien (13) betreibt die
grundlegende Schaltung, da es an das System angeschlossen ist. Folglich ist der
Wechselrichter (12) wandelt
Gleichstrom in Wechselstrom und liefert diese Strömung dem
Elektron-Erfassung-Element (14).
Nach Erhalt des elektrischen Stroms vom Umrichter (12), beginnt das Aufzeichnen von Elektron-Element (14) Erfassung von Elektronen aus den
Wechselstrom und Einschalten dem Gleichrichter (10), der den Wechselstrom in eine Gleichspannung umwandelt, um der
Bank von Batterien (13) und Energie
aufladen des Wechselrichters (12)
die Befugnisse das Elektron-Erfassung-Element, schließen die Feedback-Schleife,
und auch die Bereitstellung elektrischen Energie für den Verzehr durch externe
Lasten.
WIPO Patentanmeldung WO/2013/104043 Anmeldetag: 11.01.2013
Aktenzeichen: BR2013/000016 Publication Date: 18.07.2013
Beauftragter: EVOLUÇÕES ENERGIA LTDA (Rua Santa
Tereza 1427-B Centro - Imperatriz -MA, CEP-470 - Maranhão, 65900, BR)
BATTERIELOSER STROMERZEUGER
Technisches Gebiet
Die vorliegende Erfindung betrifft eine Vorrichtung zum Erzeugen von
Elektrizität, insbesondere Geräte mit eigener Stromquelle zur Erzeugung von
Elektrizität.
Beschreibung des
Standes der Technik
Es gibt viele Methoden zur Erzeugung von Strom mit Elektromagnetismus, aber
alle von ihnen sind elektromechanische Geräte mit Hilfe von Magneten und haben
eine begrenzte Erzeugungskapazitäten und eine ökologische Auswirkungen, die sie
auf Großprojekte ungeeignet macht.
Ziele der Erfindung
Das Ziel dieser Erfindung ist die nachhaltige Erzeugung von Elektrizität
unter Verwendung eines Generators, der in der Lage, große Mengen von Strom aus
einer extrem niedrigen Eingangsstrom, die anfänglich durch eine Bank der
Batterien geliefert wird, zu erzeugen ist, aber danach wird durch das
Ausgangssignal von der mitgelieferten Generator, der auch in der Lage ist zur
Versorgung von externen Lasten.
Das obige Ziel und andere Ziele werden durch die vorliegende Erfindung
durch die Verwendung eines typischen Unterbrechungsfreie Stromversorgung
Schaltung mit einer Wechselstrom / Gleichstrom-Gleichrichter Zuführen einer Batteriebank Antrieb eines Gleichstrom
/ Wechselstrom -Wechselrichter, der mit einem Gerät verbunden ist erreicht Falle-Elektronen
aus dem Weltraum (wie in der brasilianischen Patentanmeldung beschrieben
BR1020120008378 des 13. Januar 2012) oder alternativ eine Vorrichtung, die
Elektronen von der Erde entzieht (wie in der brasilianischen Patentanmeldung
BR1020120008386 von 13. Januar 2012) beschrieben, das dann die extrahiert
Elektronen an den Wechselstrom / -Gleichrichter, das Aufladen der Batterie Bank, damit sich der Kreislauf
schließt, sowie die Bereitstellung von Strom zur Versorgung von externen
Lasten.
Die batterielose System zum Erzeugen von Strom aus der vorliegenden
Erfindung können stationär oder mobil sein. Es wird festgelegt, wenn mit
Elektronen-Einfang von der Erde aufgrund der Boden-Verbindung oder bei der
Verwendung von mobilen Elektronen-Einfang aus dem Weltraum.
Die batterielose Stromerzeugungs-System der vorliegenden Erfindung kann auf
verschiedene Arten, die jeweils mit dem gleichen erfinderischen Konzepts, aber
mit unterschiedlichen Anordnungen von Komponenten konfiguriert werden.
Verschiedene Versionen umfassen einphasige, zweiphasige oder dreiphasige
Versionen, Herstellung Ausgänge aller Leistung und Spannung.
Kurze Beschreibung der
Zeichnungen
Die vorliegende Erfindung wird nun anhand von Zeichnungen beschrieben, aber
das Patent ist nicht auf die Ausführungen und Details in diesen Zeichnungen
gezeigt ist, sind allerdings auch weitere Einzelheiten und Vorteile der
vorliegenden Erfindung zu zeigen.
Die Zeichnungen:

Fig.1 - zeigt eine grundlegende Schaltung für
self-powered Stromerzeugung der vorliegenden Erfindung.

Fig.2 - zeigt eine erste Ausführungsform des
konstruktiven für batterielose Stromerzeugung der vorliegenden Erfindung;

Fig.3 - zeigt eine zweite Verkörperung des
self-powered Systems zur Stromerzeugung für die vorliegende Erfindung;

Fig.4 - zeigt eine dritte Verkörperung des
self-powered Systems zur Stromerzeugung für die vorliegende Erfindung;

Fig.5 - zeigt eine vierte Ausführungsform der
batterielosen System zum Erzeugen von Elektrizität der vorliegenden Erfindung;

Fig.6 - zeigt eine fünfte Verkörperung des
self-powered Systems zur Stromerzeugung für die vorliegende Erfindung;
Detaillierte Beschreibung der
Erfindung:
Es gibt verschiedene Möglichkeiten der
Schließung der Selbst-Fütterung Zyklus abhängig von der Schaltungsanordnung
gewählt. Einige dieser Regelungen sind in den Abbildungen 2 bis 6 dargestellt,
wobei die Haupt-Schaltung weiter zu schwingen, kontinuierlichen Erzeugung
Instant Strom.

Wie in Fig.1 gezeigt, umfasst die batterielose
System zur Erzeugung von Elektrizität eine Grundschaltung, bestehend aus einem
Gleichrichter (Wechselstrom / Gleichstrom-Wandler) 10, der in Serie an einen Wechselrichter (Gleichstrom /
Wechselstrom) 12 verbunden ist. Eine Bank von Batterien 13
ist zwischen dem Gleichrichter 10
und dem Inverter 12 verbunden. Der Ausgang des Gleichstrom / Wechselstrom
-Wechselrichter 12, eine Verbindung
mit einem Elektronen-Falle 14, die
Elektronen aus dem Weltraum (wie in der brasilianischen Patentanmeldung Nr.
BR1020120008378 der 13. Januar 2012) beschrieben oder alternativ Elektronen
Extrakte aus der Erde (wie beschrieben zu extrahieren brasilianischen
Patentanmeldung BR1020120008386 vom 13. Januar 2012).
Sobald die Verbindung hergestellt, wird aus
der Batterie Bank 13 Stromversorgung
des Gleichstrom / Wechselstrom -Wechselrichter 12, der den Gleichstrom in Wechselstrom umwandelt und liefert Strom
an der Elektronen-Falle 14. Der
Ausgang des Elektronenfalle 14 durch
den Draht 18 geführt, mit dem Wechselstrom
/ Gleichstrom-Brückengleichrichter 10,
der dabei die Batterie sowie die Stromversorgung des Gleichstrom / Wechselstrom
-Wechselrichter 12 geladen hält.
Zusätzliche Energie wird an externe Geräte durch den Draht 17 geführt.

Fig.2, zeigt eine weitere Ausführungsform des
Systems dieser batterielose elektrischen Stromerzeugung. Es besteht aus einem typischen
Unterbrechungsfreie Stromversorgung Schaltung aus einem Ladegerät (Wechselstrom
/ Gleichstrom-Wandler) 21, der mit
einer Antriebsvorrichtung (ein Gleichstrom / Wechselstrom Wechselrichter) 23 und zwischen ihnen, einer
Batteriebank 22 bildet die
grundlegende Schaltung. Weitere Geräte sind eine Elektronen-Falle 27, die freien Elektronen aus dem
Weltraum (wie in der brasilianischen Patentanmeldung Nr. BR1020120008378 der
13. Januar 2012 definiert) oder, alternativ, sammelt Elektronen von der Erde
(wie in der brasilianischen Patentanmeldung Nr. BR1020120008386 der
beschriebenen sammeln 13. Januar 2012). Die 3-phasigen elektronischen Schalter 24 verbindet normalerweise 24,1 - 24,3 Anschluss des Elektronenfalle 27 bis 23
Wechselrichter. Parallel ist der Überspannungsschutz 25, die, wenn sie aktiviert sind, über 26 Filter, Schalter 24,
um die Ursachen 24,3 - 24,1 Link trennen und stattdessen verbinden
24,3 - 24,2.
Eine alternative Anordnung für den Einsatz
in Notfallsituationen ist das System nicht mehr mit eigener Stromversorgung
verwenden. Dazu wird das System mit einer Leistung von einer externen
Stromquelle, direkt mit dem Verbindungspunkt 29 zur Stromversorgung Überspannungsschutz 25, die mit Strom versorgt zu füttern die Leistungsabgabe Nummer 28, um Strom zu liefern externe Lasten
besteht. Wenn der Elektronen-Falle 27
ausgeschaltet ist, kehrt der elektronischen Umschalter 24 in seine Ausgangsposition, die von Punkt zu Punkt Verbindung 24.1 - 24.3 wodurch die Schaltung
funktioniert, wieder in seine selbstzuführenden Modus. Sobald der
Elektronen-Sensor 27 eine
ausreichende Kraft auf die Überspannungs-Sensor 25 arbeitet er den Umschalter 24
durch das Filter 26, die Beendigung
der Selbst-Fütterung Phase und Energieversorgung direkt an den
Leistungs-Ausgabepunkt 28, um
externe Einspeisung Belastungen.

Fig.3 zeigt eine weitere Ausführungsform der
batterielosen System zur Erzeugung von Elektrizität, umfassend eine
Vorrichtung, die die Prinzipschaltung eines typischen Unterbrechungsfreie
Stromversorgung, bestehend aus einem Batterieladegerät (Wechselstrom / Gleichstrom-Wandler)
31 verbunden mit einer
Antriebseinrichtung enthält (Wechselrichter Gleichstrom / Wechselstrom) 35 und mit ihnen verbunden eine
Batteriebank 32. Diese grundlegende
Schaltung zusammen mit anderen Geräten an einem Elektronen-Falle 37 zum Sammeln von freien Elektronen
von den umgebenden Raum verbunden ist, oder alternativ eine Erde geschalteten
Elektronenfalle 37. Wir haben dann
eine Bank von Batterien 32, die mit
der Gleichstrom / Gleichstrom-Wandler 33,
der mit dem Phasen-Transfer-Schalter 34
/ 34,1, der Punkt 34.3, die mit
dem Inverter 35 verbunden verbindet
verbunden ist, und so den Elektronenstrahl-Falle 37.

Fig.4 zeigt eine weitere Ausführungsform des
Systems zur batterielosen Stromerzeugung, die aus einer Grundschaltung einer
typischen unterbrechungsfreie Stromversorgung, bestehend aus einem
Batterieladegerät (Wechselstrom / Gleichstrom-Wandler) besteht eine Verbindung
mit einem Wechselrichter (Gleichstrom / Wechselstrom) 42 und die angeschlossenen zu ihnen sind Batteriebank 41 und diese grundlegende Schaltung
zusammen mit anderen Geräten an einen freien Platz Elektron-Capture-Gerät 44 oder einer Erde-Verbindung Elektron-Falle
44 verbunden. Umfasst somit ein
Batterieladegerät A eine
Batteriebank 41, die in Reihe mit
Inverter 42 im Punkt B, die in Reihe mit dem Punkt C des Inverters 42, der in Reihe mit dem Elektronen-Sensor 44, der in Reihe mit ist verbunden ist der
Phasentransferkatalysator Schalter 43
über den dreiphasigen Lastausgang Verbindungspunkt 45. Die Phasentransfer-Schalter 43 ist in Reihe mit dem Inverter 42, die in Reihe geschaltet sind, die (Wechselstrom / Gleichstrom-Wandler)
Ladegerät Zuführvorrichtung dabei die Batterie 41.
Eine alternative Konstruktion für den
Einsatz in Notfällen, in denen das System nicht mehr über eine eigene
Stromversorgung, kann das System Leistungsaufnahme von einer externen Stromquelle
über den Verbindungspunkt 46,
wodurch Strom Ausgang 45, zur
Versorgung von externen Lasten. Die Batterie Bank 41 liefert Strom an den Wechselrichter 42, der den Gleichstrom in Wechselstrom umwandelt und speist die
Elektronenfalle 44. Die Phasen-Transfer-Schalter
schließt, wenn die Batterien aufladen müssen.
Sensor 44
erfasst Elektronen produzieren Wechselstrom speist, die die
Phasen-Transfer-Schalter 43 mit
Wechselstrom Eingangsleistung. Die Phasen-Transfer-Schalter 43 speist den Wechselrichter 42, der die Batterien auflädt,
Schließen der Selbst-Repowering-Schleife, die Leistung am Ausgang 45, Fütterung sowohl die
Leistungsaufnahme und keine externen Lasten.

Fig.5 zeigt eine weitere Ausführungsform des
Systems zur batterielosen elektrischen Stromerzeugung mit einer Schaltung, die
eine typische unterbrechungsfreie Stromversorgung mit einer Batterie-Ladegerät
(Wechselstrom / Gleichstrom-Wandler) 51,
die mit einer Gleichstrom / Wechselstrom -Wechselrichter 53 und mit ihnen verbunden sind, eine Batterie Bank 52. Diese grundlegende Schaltung
zusammen mit anderen Geräten sind zu einem Raum Freie-Elektronen-Erfassung-Gerät 56
(wie in der brasilianischen Patentanmeldung BR1020120008378 von 13/1/12
definiert) verbunden oder alternativ eine geerdete Freie-Elektronen-Sammler 56 (wie in brasilianischen
Patentanmeldung BR1020120008386 von 13/1/12). Diese enthält dann ein Ladegerät 51, das in Reihe mit einer Batteriebank
52, die in Reihe mit dem Inverter 53, die in Reihe mit dem Transformator 55 an seinem Punkt C verbunden ist, die in Reihe mit seinem Punkt B verbunden ist, der in Reihe mit dem Elektronenstrahl Kollektor 56, der in Reihe mit dem Ladegerät 51, das an die Last Austrittsstelle 58, die auch die Schaltung
Einspeisepunkt 59, der in Reihe mit
dem Phasen-Transfer-Schalter 54 Abschnitt
54,1 verbunden ist, wird mit dem Anschluß 54,3, die in Reihe mit Punkt A
des Transformators 55, tritt bei Punkt B
die Punkte A und 54,3 sowie die parallel Punkte 54,1 und 54,2 sind alle parallel an das Ladegerät 51, die Batterie Bank 52, der Inverter 53 und C des
Transformators 55 zu verweisen.
Eine alternative Konstruktion für den
Einsatz in Notfällen, in denen das System nicht mehr über eine eigene
Stromversorgung, kann das System eine externe Stromversorgung Nummer 59, so dass Phasen-Transfer-Schalter 54 bis 58 Leistung bieten, um externe Lasten zu ernähren. Batteriebank 52 liefert Strom an den Wechselrichter 53, der den Gleichstrom in Wechselstrom
umwandelt, Fütterung Punkt C des
Transformators, die heraus kommt an den Punkten B und A des
Transformators 55. Punkt B des Transformators speist die
Elektronen-Falle 56 Herstellung von
Wechselstrom, der das Ladegerät 51
speist, die Batterie aufzuladen Bank 52.
Das Ladegerät 51 ist parallel mit der Transfer-Schalter 54 über Anschlussstellen 54,1
und 54,3 verbunden, Fütterung Punkt A des Transformators, die heraus kommt
am Punkt B. Punkt A
des Transformators und den Schalter Übergabestellen 54,3 und 54,1 sind
parallel an das Ladegerät 51, die
Batterie 52, der Inverter 53 und Punkt C des Transformators 55.

Fig.6 zeigt eine weitere Ausführungsform, bei der
ein Gleichrichter 61 mit einem
Inverter 63 und einer Batteriebank 62 und in einen Raum
Freie-Elektronen-Falle 64 oder
alternativ eine Erde Elektronenfalle 64
umfasst somit eine delta (Wechselstrom / Gleichstrom)-Wandler 61, der verbunden ist, ist in Reihe mit
einer Batterie 62, die in Reihe mit
dem (Gleichstrom / Wechselstrom) Wechselrichter 63, der in Reihe mit dem Elektronenkollektor 64, die in Reihe mit dem Delta-Wandler (Wechselstrom / Gleichstrom),
deren 61 verbunden ist, verbunden
ist Wechselstrom Teil ist in Reihe mit dem Wechselstrom Wechselrichters 63 über eine Verbindungsleitung 65, die parallel mit der Gleichstrom
Teil des Delta-Wandler 61 mit der
Batteriebank 62 und der Gleichstrom-Teil
des Inverters 63 ist. Eine
alternative Konstruktion für den Einsatz in Notfallsituationen, in denen das
System nicht mehr über eine eigene Stromversorgung, kann das System einen Strom
von einer externen Stromquelle umfasst, über den Verbindungspunkt 66, der mit dem Delta-Wandler 61, dem
Ausgang 67 Stromversorgung, zu den
äußeren Lasten.
Batterie 62 liefert Strom an den Wechselrichter 63, der den Gleichstrom in Wechselstrom umwandelt, die
Stromversorgung des Freie-Elektronen-Kollektor 64. Die eingefangenen
Elektronen vom Kollektor 64 bilden
einen Wechselstrom, der die Delta-Wandler 61
speist über eine Ausgangsleistung Lastleitung 67.
Die alternierende Teil des
Drei-Phasen-Delta-Wandler 61 ist mit
abwechselnd von Inverter 63 Strom
über die Anschlußleitung 65, die
parallel zu der kontinuierlichen Gleichstrom-Delta-Wandler 61, die dabei die Batterie 62
speist und mit dem kontinuierlichen Teil des Wechselrichters verbunden
eingespeist 63, Verschließen des
Zyklus der Selbst-Fütterung und die Stromversorgung an dem Ausgang 67, der die Ausgangsleistung Punkt ist.
Nach der Beschreibung der Beispiele der
bevorzugten Ausführungsformen versteht es sich, dass der Umfang der
vorliegenden Erfindung andere mögliche Formen der Konstruktion umfasst, unter
Verwendung des Elektronenstrahl Kollektoren mit einer Grundschaltung einer
typischen unterbrechungsfreie Energieversorgung als USV bekannt, umfassend a
werden Gleichrichter-Vorrichtung (ein Wechselstrom / Gleichstrom-Wandler) 10, einem Wechselrichter (Gleichstrom /
Wechselstrom -Wandler) 12 verbunden,
und zwischen ihnen befestigt ist, eine Energiespeichereinrichtung
(typischerweise eine Batteriebank).
Die relevanten Barbosa und Leal Patente in Portugiesisch kann hier
heruntergeladen werden:
http://www.free-energy-info.tuks.nl/Barbosa1.pdf
http://www.free-energy-info.tuks.nl/Barbosa2.pdf
http://www.free-energy-info.tuks.nl/Barbosa3.pdf
Während viele Leute haben versucht, die Barbosa
und Leal Stromerzeuger Design, das Energie aus der Erde zieht replizieren, und
scheiterte. Ein Mann, dessen Gericht ID ist "Clarence" lesen Sie die
relevanten Patente und wusste sofort, wie die Design-Arbeiten und welche
Gegenstände in den Patentschriften sind Fehlleitung von Barbosa und Leal. Er
hat seine eigene Implementierung der Schaltung gebaut und es funktioniert
perfekt. Er hat in großzügiger Weise die relevanten Details. Bitte haben Sie
Verständnis, dass das, was folgt, ist nicht eine Beschreibung, wo ich anfangen
zu experimentieren, sondern es ist eine tatsächliche Arbeits Design. Baut sie,
wie beschrieben, und es wird funktionieren. Bauen Sie es anders, und es wird
nicht funktionieren. Clarence hat folgendes zu sagen:
Im Barbosa und Leal Patent sie einen vagen Hinweis auf die Lenz Gesetz. Es ist
einfach so, dass dies ist der Schlüssel, um das gesamte Gerät. Auf der
Overunity Forum, ein Schaltbild Mitglied "Zerozero" geschrieben
zeigte die genaue und vollständige Methode der Sieg über den Lenz Gesetz,
obwohl die meisten Mitglieder des Forums schien nicht, die Bedeutung der
Schaltung zu verstehen. Allerdings wusste ich sofort, dass Lenz Gesetz war nur
ein anderer Name für die Gegen-EMK. Die Lenz Law Effekt wird durch Wickeln des
einzigen Primärspule im Uhrzeigersinn und dem AWG # 4 2,5 Windungswicklungen
sind auf der blanken Kern in einer Richtung gegen den Uhrzeigersinn gewickelt
überwunden werden und die völlig negiert die Lenz Law.
Was hat dies zu erreichen? Es wird der Spannungskomponente in den
Sekundärwicklungen zu befreien, so dass nur die Stromstärke Komponente! Wenn
Sie wickeln zwei Ringkerne genau das gleiche mit dieser Methode und verbinden
Sie diese wie unten dargestellt, eine Schleife, ähnlich wie bei einem
Hufeisenmagneten mit einem Halter auf ihm und der Stromstärke in der Schleife
geht nur auf zirkulierenden um und um zu erstellen Sie, wie Ed Leedskalin
gezeigt . Dies ist das gleiche Prinzip. Die Schleife hat die Fähigkeit in sich,
unbegrenzte Stromstärke entsprechend hinzuzufügen, sofort in die Neutral grün
Masse Rückleitung, wenn die Last benötigt. Die einzige Grenze für die
verfügbare Stromstärke ist die aktuelle Belastbarkeit der Schleife schwarze
Kabel.
Sie können die schwarze Drahtschleifenschlüsse mit bloßen Händen zu berühren,
weil, da es keine Spannung gibt es keine resultierende Schock. Der Anschluss
des AWG # 10 Phase an der unteren Schleifendraht nur dazu dient, die
Polarisation der Stromstärke zu orientieren.
Die orientierte Spinn der Stromstärke in der Schleife induziert, die Stromstärke durch die Last benötigt wird, in die
Fänger ausgegeben. Dieses kleine Ringkern kann die Schleife zu ermöglichen, um
ein AWG # 4 Draht genug laden, um es zu schmelzen
!!
Die Ringhauptleitungen leben, um zu leben und zu Neutral Neutral sollten vom
Wechselrichter durch einen separaten Stromkreis mit Strom versorgt werden
Ein weiterer separater Stromkreis sollte mit der Live-nach unten schwarzen
verbunden werden Kabelschleife um es zu polarisieren. Die Neutral versorgt den
Eingang auf Masse.
Die Rückkehr Boden Stangen werden in einer Reihe Schleife zum grünen 2,5-turn
Schleife um die schwarzen Kidnapper Schleife gebunden und dann, von einer
günstigen Erdungsstab und dann als Fänger Neutral an die Last zu dienen.
Sie werden wissen, dass Sie genügend Boden Stangen haben, wenn der Captor rms
Ausgangsspannung der Effektivspannung des Umrichters entspricht, und dann
werden Sie wahrscheinlich haben, um über weitere zehn Boden Stangen, um den
Effektivwert der Spannung des Captor Ausgangs Absinken halten hinzufügen . Wenn
der Captor rms Ausgangsspannung sinkt - einfach - mehr gemahlenen Stangen.
Bitte haben Sie Verständnis deutlich, dass ohne ausreichende Bodenstangen,
wobei das Gerät einfach nicht
funktionieren. Hier ist ein Verbindungsmuster in dem viele 6-Fuß (1,8 m) langen
Erdungsstangen verwendet werden:

Das Schaltbild von Zero Zero zeigt diese Anordnung:

Die Wickelrichtung ist von entscheidender Bedeutung, ebenso wie die Drahtstärken. Sie werden feststellen, dass die Wicklungen auf den beiden Magnetrahmen in entgegengesetzten Richtungen, und sind sowohl die Dickdrahtschleifenwindungen in entgegengesetzte Richtungen, und die dicken Drahtwinde sind auch gegen die dünne Drahtwicklung auf dem gleichen Rahmen. Blick von oben, die Form der Ziffer 8. Die dicken Draht bildet die dicke Draht AWG # 4 mit einem Durchmesser von 5,19 mm und die anderen Kernwicklungen AWG # 10 mit einem Durchmesser von 2,59 mm. Die "Polarisations Schleife" wird durch ein paar Umdrehungen der AWG # 10 Draht um die Isolation des AWG Draht # 4 hergestellt - die Drähte im Inneren der Kabel sind nicht tatsächlich miteinander verbunden. Der Eingang und der Ausgang als "Netz", wie einem 110V oder 220V verwendet werden kann, aber nicht tatsächlich von dem Netz zugeführt wird, denn das würde zu einer Masseschleife geschaffen werden, vielmehr ist der Eingang eines Inverters gekennzeichnet. Der Schutzleiter ist AWG # 6 mit einem Kerndurchmesser von 4,11 mm.
Während die Magnetrahmen oben werden als rechteckig dargestellt, sie sind tatsächlich kreisförmige Ringkerne (das war das, was Barbosa und Leal verwendet, aber nicht erwähnt). Die von Clarence verwendeten sind Typ TD300 1120 Ringkerne mit einem Durchmesser von 5,2 Zoll (132 mm) und einer Dicke von 2,3 Zoll (58 mm), die jeweils mit einem Gewicht von 6,2 Pfund (2,8 kg) und von http://www.tortran.com/standard_isolation_transformers.html. Clarence bemerkt, dass der Aufbau dieses Stromerzeuger-Replikation ist nicht billig, und er hat mehr als US $2000 über seine Replikation verbracht. Wohlgemerkt, mit einer Ausgangsleistung von 3 kW, erfüllt dieses Gerät alle seine elektrischen Haushaltsanforderungen .
Es heißt, dass alle Bauherren sollten einen globalen oder nationalen geomagnetische Karte der Gegend vor dem Bau, aber Clarence sagt, dass er in einer "toten" Bereich trotzdem, so gibt es wohl wenig Sinn, diese als die Anzahl der Erdungsstange in erforderlich Ihr Gebiet ist durch Versuch sowieso gefunden, und im Voraus zu wissen nicht, diese Zahl zu ändern.

Eine weitere Ausgabe der Schaltplan ist:

Hier sind einige Bilder von Clarences erfolgreichen build:




Ringkerne:
----------------
Tortran - In Stock Standard Design Toroidal Isolation Transformers - Bridgeport Magnetics Group
Kontakt: Michael Kharaz E-mail: sales@bridgeportmagnetics.com
Tortran Division - Kontakt - Bridgeport Magnetics Group
Benutzerdefinierte bestellt Ringkern (2 erforderlich):
TD300-1120-P, 300VA, 60Hz, primär 120V, 160 Grad auf Ringkern Oberfläche, keine Sekundärwicklung - $125 USD pro wicklung.
Forum-Moderator "Level" abrufen
und Anzeigen von Clarence's Material hier eine ausgezeichnete Arbeit geleistet
hat: http://www.energeticforum.com/renewable-energy/20091-barbosa-leal-devices-info-replication-details-2.html,
sagt:
Halten Sie sich an die Batterie
und Wechselrichter-Methode als die Energiequelle, wie das ist der einzige Weg,
können Sie eine Brummschleife an das Stromnetz elektrische Energie-System
vermeiden. Die einzige Ausnahme ist, dass Sie möglicherweise in der Lage,
solche Probleme zu vermeiden, wenn vom Netz einschalten, wenn Sie ein
Trenntransformator verwenden, aber Trenntrafos können teuer sein und haben eine
begrenzte Kapazität sowie.
Achtung: Auch in
acht nehmen Sie, dass ein Wechselrichter mit einer Leistung von 120 Volt oder
240 Volt Sie töten können, wenn Sie Leitern berühren, also so eine Setup bauen
nicht, wenn Sie solche Dinge nicht verstehen. Du musst die notwendigen
Sicherheitsvorkehrungen zu treffen.
Der Stil des Geschäfts von Barbosa und Leal aussieht, als ob sie mit den Entwicklungen der Lorrie Matchett verbunden ist. 16. Juni 2008, Lorrie Matchett veröffentlicht seine sehr einfache Design für ein Gerät, das nutzbaren freie Energie erfasst (video: http://youtu.be/eGD9o7D4To8). Sein Gerät basiert auf eine sehr einfache und bekannte Prinzip der statischen Elektrizität. Dies ist ein Prinzip, das wird in den Schulen auf der ganzen Welt gelehrt, aber gilt im Allgemeinen nicht wichtig zu sein, wie statische Elektrizität angenommen wird, auch Energiespar von Nutzen sein. Ich bezweifle ernsthaft, dass wer vom Blitz getroffen wurde, hat statische Elektrizität zu "Energiespar" und darauf hindeutet, dass Sie Ihren Wortschatz mit einigen Worten zu erweitern, die nur selten zu hören sind voraussichtlich prüfen würde.
Wichtiger Hinweis: das folgende Dokument erwähnt, dass die
Verwendung von Netzspannungen und so betonen möchte ich, die dieses Dokument
dient nur zu Informationszwecken und nicht als eine Empfehlung, die Sie
erstellen oder verwenden ein solches Gerät ausgelegt werden muss. Sie sollten
ignorieren dies und erstellen und verwenden Sie Lorrie Matchetts-Gerät, dann
seien Sie bewusst, dass Sie dies auf eigene Gefahr tun, und niemand in keiner
Weise verantwortlich für die Ergebnisse ist dessen, was Sie tun.
Das Prinzip, das hier verwendet wird ist, dass ein elektrisch geladene Objekt bewirkt, die Migration von anderen Gebühren auf der Oberfläche eines Objekts nahe gebracht dass. Für Beispiel, wenn eine geladene Oberfläche gebracht wird, in der Nähe eine Metall-Kugel, dann ist dies geschieht:

Die gewöhnliche Metall Kugel "B", die keine besondere Gebühr drauf hat ist sehr in die Nähe einer geladenen Oberfläche "A" und je näher es betroffen wird, desto größer die Wirkung. Die Oberfläche der Kugel hatte eine gleichmäßige Verteilung der positiven und negativen Ladungen auf der Oberfläche, gibt es eine insgesamt in Höhe von etwa Null, aber die geladene Oberfläche ändert alles. Die positiven Ladungen der Oberfläche "A" locken die negativen Ladungen auf der Oberfläche der Kugel verursacht sie in Richtung Oberfläche "A" zu migrieren. Während die positiven Ladungen der Oberfläche "A" die vorhandenen positiven Ladungen auf der Oberfläche der Kugel stoßen, haben die migrierten negativen Ladungen der Sphäre selbst eine noch größere Wirkung, wodurch die Trennung der elektrischen Ladungen, die oben gezeigt. Die Situation gibt zurück zu normal, wenn die Kugel wieder weggezogen ist.
Ändert jedoch die Situation erheblich, wenn die Metall Kugel "B" mit dem Boden verbunden ist:

Die Bewegung der Gebühren auf der Oberfläche der Kugel ist das gleiche wie zuvor, aber die Erde hat Millionen von Reservefüllungen beide Arten und also sofort bietet zusätzliche negative Ladungen auf die Seite der Kugel weg von aufgeladenen Oberfläche "A" auszugleichen. Sie werden feststellen, dass aufgeladen, die Oberfläche "A" nicht direkt in irgendeiner Weise beteiligt ist und keine Ladung bewegt sich von "A" nach "B".
Der gleiche Effekt wird gesehen, wenn die Oberfläche "A" negativ (mit Ausnahme der Tatsache geladen ist, dass die Sphäre positive Ladungen anstatt negativen Ladungen, die oben gezeigt hat). Nur Stromfluss ist entlang der Draht verbinden die Kugel mit der Erdung.
Lorrie Matchett nutzt dieses Prinzip, und für die geladenen Oberfläche verbindet er ein Ende einer Messingrute 'Live' neben einer 100V 60Hz Netzanschluss Strom. Das andere Ende des Stabes Messing ist nicht auf etwas anderes verbunden. Dies führt zu dieser Situation für ein Sechzigstel Sekunden:

Und dann für die folgenden Sechzigstel Sekunden kehrt die Netzspannung und Sie erhalten diese situation:

Die Folge davon ist, dass es eine vorwärts und rückwärts fließen von statischer Elektrizität entlang der Erde verbinden Draht, eine Strömung die Richtung sechzig kehrt mal pro Sekunde. Dies ist kein herkömmlicher Strom aber die gleiche Form der Elektrizität, die durch eine Antenne erfasst werden. Nikola Patente zeigen viele verschiedene Möglichkeiten für die Nutzung dieses statische Elektrizität, wie Herman Plauson in sein Patent (http://www.free-energy-info.com/Chapter7.pdf). Thomas Henry Moray produziert 50 Kilowatt Dauerleistung von durchaus eine kleine Antenne. Paul Baumann der Schweizer Gemeinde produziert mehrere Kilowatt vor statischer Elektrizität. Lorrie Matchett richtet sich für nur ein paar Watt und das tut er wie folgt:
Er verbindet die Live-Draht aus einem 110V (RMS) Wechselstrom Netzteile auf eine Messing-Stab 710 mm lang und 4,76 mm im Durchmesser. Der Stab ist nicht direkt mit etwas verbunden und damit nicht Bestandteil einer closed-Loop-Schaltung und so sein wird, kein Strom fließt aus dem Netz. Es muss betont werden, dass die Rute und die verbindenden Draht potenziell sehr gefährlich sind und müssen sehr sorgfältig isoliert werden, um sicherzustellen, dass berühren keinen elektrischen Schlag verursachen. Bitte haben Sie Verständnis sehr deutlich, dass da keine aktuellen jeglicher Art aus dem Netz gezeichnet wird, der diese Schaltung nicht "stehlen Strom" aus dem Netz.
Für Bequemlichkeit und nur für Bequemlichkeit verwendet Lorrie das Erdungssystem des Haus-Stromnetz durch eine grüne Erdungs-Kabel an die Erde-Pin von seinem Netzstecker anschließen. Es muss klar sein, dass das hat nichts direkt mit dem Netz angeben und gute Qualität separate Erde mindestens so gut wie die Erdung Punkt innerhalb den Netzstecker ziehen wäre. Effektiv gibt es nur einen Netzanschluss.
Anstatt eine Metall-Kugel wie in den Abbildungen oben dargestellt, Lorrie verwendet eine Spule aus Draht gewickelt um die Isolationsschicht auf seine Messingrute und er übergibt die wechselnde Strömung der statischen Elektrizität, gezeichnet von der Erde, über eine standard-Diode-Brücke, wie hier gezeigt:

Lorrie deckt die Messingrute mit Isolierung, die so dünn wie möglich ist. Er schlage vor Sensorträger Rohr für die Isolierung und oben darauf windet er 0,405 mm Durchmesser, Solid-Core Kupferlackdraht, für ein 610 mm Länge des Stabes, die Kurven eng nebeneinander platzieren und 50 mm klar an jedem Ende des Stabes zu verlassen. Dicker Draht sollte nicht verwendet werden.
Er zeigt auch eine 500 Milliamp-Sicherung in der Vorratsleitung Netz. Bin ich überhaupt nicht glücklich darüber, wie die Sicherung fünf Glühlampen macht kann 100-Watt-Netzteil Lampen parallel geschaltet, und willst du wirklich diese Menge an Strom durch Sie fließt, wenn Ihre Isolierung nicht gut genug ist und Sie anfassen? Wenn Sie eine Sicherung in dieser Position verwenden schlage ich eine 20 mm Glassicherung Quick-Schlag 100 mA (vor allem, weil niemand untere-Strom verfügbar ist). Die Sicherung wird nicht für die Schaltung benötigt und ist dort in einem Versuch, unvorsichtige Menschen vor unzureichenden Isolierung zu schützen.
Die Spule gewickelt auf dem isoliertes Messing-Stab ist nur an einem Ende verbunden und diesem Zweck geht an eines der beiden "Wechselstrom" Tags auf einer 3-Amp Diode Brücke. Lorrie spezifiziert nicht die Spannung für die Diode Brücke, aber es muss mindestens 170-Volt Stromnetz ist ein 110V (RMS) Typ und ein double, das für eine 220V Netzanschluss (RMS). Ich habe keine Ahnung warum er gibt eine 3-Ampere-Bewertung, aber die minimale Brücke lokal unter 3-Ampere, die ich empfehlen würde ist eine 400V bewertet Einheit trivial Selbstkostenpreis abgegeben wird.
Wir müssen die Auswirkungen der Diode Brücke zu verstehen. Es halbiert die verfügbare Spannung und die Frequenz verdoppelt, wie hier dargestellt:

Eine 110V-Versorgung soll um von Minus 155V zu schwingen, Plus 155V und wieder 60 mal pro Sekunde, die eine allgemeine Spannung Schwingen des 310V. Wenn durch eine Diode Brücke zu übergeben, die zu einer Wellenform der Spannung ändert, das Schaukeln von Null Volt Plus 154V und wieder 120 mal pro Sekunde, das ist eine allgemeine Spannung Schwingen des 154V, durchschnittlich oder "RMS" Spannung von 109V aufgrund der Sinus-Form.
Im Rest der Welt, die Netzspannung beträgt 220 Volt (RMS) Nominal, abwechselnd fünfzig Mal pro Sekunde und der Live-Netz-Draht ist Farb-codierte Braun im Vereinigten Königreich und die Erde Draht gelb/grün Streifen. Nebenbei bemerkt ist der neutrale Draht weiß bei der amerikanischen 110V System und blau für 220V System in Großbritannien verwendet.
Dieses Design wurde meine Aufmerksamkeit von Jes Ascanius von Dänemark gebracht, die ein sehr fähiger Entwickler aller Arten von Energie-Designs ist. Er wurde dieser Entwurf von Lorrie Matchett repliziert und bestätigt, dass es funktioniert. Er hat auch das Design weiter und trägt einen Teil der praktischen Details, die er durch seine eigenen Experimente entdeckt hat:
Für größer macht können zusätzliche Stäbe verwendet werden:

Während Messing gilt das beste Material für den Stab, der Durchmesser ist nicht in irgendeiner Weise kritisch und jeder Größe von 5 mm bis 20 mm eingesetzt werden und anstelle von einem Stab, eine Länge von Messing Rohr ganz geeignet sein sollte. Es ist auch möglich, andere Materialien für den Stab zu verwenden, sondern damit die verfügbare Ausgangsleistung reduziert.
Jes hat mit die Netzsicherung entfernt am Ende seine Umsetzung überprüft. Das Ergebnis war eine Ausgangsspannung von 2,6V bei vielen 220V 50Hz Signale generiert durch das Netz rund um den Ort für Beleuchtung und Steckdosen Verdrahtung abgeholt. Wenn die Sicherung eingefügt wird, steigt die Spannung sofort auf 129V mit zwei Stangen oder 162V mit fünf Stäbe. Wenn die Spannung mit einem 7-Watt-LED-Beleuchtung-Array geladen wird, die Spannung wird auf 61V abgerissen, aber bei dieser Spannung ist guter Beleuchtung für NULL Stromaufnahme aus dem Netz produziert. Ich würde erwarten, dass schlägt einen ziemlich großen Kondensator über die Last, die Ausgabe durch die Reservoir-Wirkung des Kondensators verbessern würde.
Jes zunächst verwendet zwei lange Stangen mit Spulen aufgewickelt:

Und später, fünf Stangen. Sein CA Amperemeter ist empfindlich genug, um zu zeigen, dass aufgrund der Ineffizienz, die durch die kleine Streukapazität zwischen den Stäben und den Spulen verursacht wird, gibt es eine sehr geringe Stromaufnahme aus dem Netz. Die Netzleistung ist viel kleiner als die Ausgangsleistung des Systems.
Eine Verbesserung von Jes umgesetzt ist das Hinzufügen von vier Hochgeschwindigkeits BYV27 Dioden der gewöhnlichen Diodenbrücke wie diese:

Dies hat den Effekt der Verbesserung der Wirkung der Diodenbrücke und ermöglicht mehr Leistung aus jedem Zyklus des Energieflusses extrahiert. Bei Verwendung von zwei Messingstangen, bekommt seine Jes 7-Watt-LED-Array, so zu leuchten:

Lorrie erweitert auch seine Entwicklung an eine bemerkenswerte 48 Stäbe:

Video: http://youtu.be/hJyZK6t9qcA Die elektrische Leistung könnte verwendet werden, um Batterien aufzuladen. Hinzufügen von zusätzlichen Runden zu der Spule erhöht nicht die Ausgangsspannung. Wenn die Anzahl der Runden in jeder Spule die Ausgangslast übereinstimmt, wird die Ausgangsleistung größer sein. Diese unbeweglich Generator hat null Eingangsleistung und so seine Coefficient of Performance ist unendlich.
Alexkor in Russland, die Experten in der Akku-Batterien ist mit diesem Konzept experimentiert und er nutzt zehn Spulen parallel geschaltet. Er verwendet keine Messing, sondern verwendet die viel kürzere Länge 300 mm, 3 mm Durchmesser Schweißstäbe mit ihren chemischen Beschichtung entfernt. Außerdem sind diese Stäbe nur verwendet, um die Wirksamkeit von zwei verschiedenen Spulen auf jedem Stab gewickelt zu erhöhen. Jede Spule ist 700 bis 750 Umdrehungen von 0,4 mm Durchmesser Draht und die Verbindungen zu den Spulen und nicht die Stangen gemacht, wie hier für einen Single-Spule-Paar gezeigt:

Alex isoliert sein Satz von 10 Spulenpaare innerhalb einer kurzen Länge von Kunststoffrohrleitungen:

und nutzt sie, um seine Batterie-Ladeschlussleistung:

Einige Leute behaupten, dass diese Matchette Stil Schaltungen nur holen sich den Strom aus der Steckdose. Ich glaube nicht, dass das der Fall ist (obwohl es eine sehr kleine Leckage durch die leichte Kapazität zwischen den Spulen und der Stäbe verursacht, und das ist in der Tat, für die von der Energieversorgungsunternehmen in Rechnung gestellt. Für Strom aus dem Netz, ein Schaltung wie diese verwendet:

Hier wird die Ausgangsspannung durch die Anzahl der Windungen in den Spulen und dem verfügbaren Strom bestimmt wird durch die Anzahl der Stäbe beteiligt gesteuerte:

Sie werden feststellen, dass diese Schaltungen Verbindungen nur an das Stromnetz und nirgendwo anders. Das sind keine Schaltungen, die ich benutze, noch habe ich empfehlen, dass Sie es entweder. Die grünen Balken sind Eisen Schweißdrähte mit der chemischen Beschichtung entfernt. Diese werden dann mit einer einzigen Schicht von 0,5 mm Durchmesser Kupferlackdraht gewickelt - das ist SWG 25 oder AWG 24 Größe Draht (ein Netzhandschrauber wird gesagt, gut für Spulenwicklung so zu sein). Die Seite-an-Seite Drahtspule wird dann mit Schellack oder Hochspannungs-Lack überzogen. Mir wurde gesagt, dass mit 220 V Netzspannung und eine 1A Diodenbrücke, dass Macht von der Schaltung, ohne etwas auf dem Stromversorgungszähler erfasst gezogen werden. Dies ist eine ernst zu gefährlichen Kreislauf, da sie hohe Spannung am Ausgang der Brücke zu produzieren und diese Macht könnte dich töten. Kein Strom Drain aufgezeichnet ist, vermutlich weil die Spulen in entgegengesetzte Richtungen gewickelt. Nun, das ist eine Schaltung, die in Betracht gezogen werden könnten, um "stehlen" Leistung aus dem Netz.
Die Matchett style Schaltung, daß der Strom durch die Schaltung von der Erde abfließt unterschiedlich. Barbosa und Leal gezeigt 169 Kilowatt Leistung aus dem Boden fließt, und wie sie sich aus einer batteriebetriebenen Wechselrichter und nicht den Netzbetrieb der Schaltung gab es auf jeden Fall nicht in Frage, 'stehlen' Netz. Die Batterie-Eingang erlaubt ihnen auch, die tatsächliche Leistung als 104 Mal mehr Energie aus dem Stromkreis als die Energie in ihn fließt etablieren.
Eigentlich bin ich gar nicht davon überzeugt, dass die oben dargestellten Schaltung zeichnet tatsächlich Nettoleistung aus dem Netz. Der Netz Meter Gebühren, die sie für die Strom durch Multiplikation der mittleren Spannung durch den durchschnittlichen Strom, auch wenn diese beiden sind aus dem Tritt und Sie weniger Strom als sie verrechnet werden bewertet. In diesem Fall, wenn keine Stromaufnahme auf dem Zähler registriert, dann vielleicht als ein Ergebnis der entgegengesetzten Richtung Spulen, die verbrauchte Leistung wird durch eine gleiche Menge an das Netz zurückgegeben abgestimmt, und es kann keine reale Nettostromverbrauch sein. So oder so, ich nicht empfehlen die Verwendung dieser Schaltungen.
Theodore Annis & Patrick Eberly haben
eine Variation dieser Mehrfach-Magnetbahn-Methode, die in ihrem
US-Patentanmeldung 20090096219 gezeigt hergestellt wird. Sie haben sich dafür
entschieden, eine bewegungslose Zurückhaltung Schalter, der ein
Festkörper-Gerät, das magnetische Fluss blockieren können, wenn sie erregt ist,
zu verwenden. Sie haben eines ihrer Geräte wie diese angeordnet:

Der Ring in grau dargestellt ist ein Magnet, der den Ring in gelb durch zwei diagonal 'Zurückhaltung' (magnetischer Fluss) Schalter dargestellt verbindet. Die gelben Ring tragen kann Magnetfluss und der Steuerkasten 118 markiert die diagonalen Streifen Schalter ein-und ausgeschaltet wiederum Veranlassen des magnetischen Flusses auf seine Richtung durch den gelben Ring umzukehren. Die Spulen gewickelt auf dem gelben Ring abholen dieser Umkehrung magnetischen Flusses und geben es als einen elektrischen Strom. Während nur ein Paar Ringe hier gezeigt, erlaubt das Design für so viele Ringe wie nötig sind, um miteinander verbunden zu werden, wie hier dargestellt:

Das Patent sagt: "Die derzeit bevorzugt bewegungslos Zurückhaltung
Schalter durch Toshiyuki Ueno & Toshiro Higuchi beschrieben wird, in ihrem
Papier mit dem Titel" Untersuchung der dynamischen Eigenschaften eines
magnetischen Flux Control Device der Lamellen Magnetostriktive Piezoelektrische
Materialien "komponiert - University of Tokyo 2004. Wie in 4 gezeigt, wird
dieser Schalter aus einem Laminat aus einem Riesen-magnetostriktiven Material
42, eine TbDyFe Legierung auf beiden Seiten an ein piezoelektrisches Material
44, 46 auf, die Strom angelegt wird gebunden hergestellt. Die Anwendung von
Elektrizität bewirkt die Reluktanz des piezoelektrischen Materials zu erhöhen.

Diese ursprüngliche Patentanmeldung ist im Anhang enthalten.
Sehr interessant, allerdings gibt es eine weitere, völlig andere
Patentanmeldung von Annis und Eberly, mit dem gleichen Publikation Datum und
die gleiche Anzahl. Es ist überhaupt nicht klar, wie das sein könnte, aber hier
ist der Großteil dieser anderen Patentanmeldung (das original wird im Anhang).
ENERGIE-ERZEUGUNG-APPARATE UND METHODEN
BASIEREND AUF MAGNETISCHEN FLUSS WECHSELN
Abstrakt
In einen Generator elektrische Energie
mindestens ein Permanentmagnet erzeugt Flussmittel und magnetisierbaren Mitglied
bildet den einzigen Fluss-Pfad. Eine elektrisch leitfähige Spule wird
gewickelt, um die magnetisierbaren-Mitglied, und eine Mehrzahl von
Flux-Schalter sind operative nacheinander den Fluss vom Magneten durch das
Mitglied, damit induzierende Strom in der Spule umzukehren. Eine "Abbildung
von Acht"-Konstruktion besteht aus zwei kontinuierliche Schleifen des
magnetisierbaren Materials magnetisierbaren Mitglied, beide Loops gemeinsam
teilen. Eine alternative Konfiguration verwendet gestapelten Schleifen und ein
separates Stück Stoff als Magnetisierbares Mitglied. Ein Ende des Magneten ist
an einer der Schleifen, mit dem anderen Ende wird gekoppelt mit anderen
Schleife gekoppelt. Each-Schleife weiter umfasst zwei Flux-Switches, die
betrieben in einer 2 × 2-Sequenz nacheinander den Fluss über den
magnetisierbaren Member rückgängig zu machen. Eine relativ kleine Menge
elektrischer Energie wird verwendet, um den magnetischen Fluss eines
Permanent-Magneten Steuern durch den Wechsel des Fluss zwischen alternativen
Pfade. Die resultierende Kraft aus der geschalteten Magnetfluss ergibt deutlich
mehr Strom als die Macht für die Eingangsumschaltung erforderlich.
Beschreibung
FELD DER ERFINDUNG
Diese Erfindung bezieht sich im Allgemeinen zur Energieerzeugung und vor allem auf Methoden und Apparate, worin Magnetfluss über einen Fluss-Pfad zur Stromerzeugung eingeschaltet ist.
HINTERGRUND DER ERFINDUNG
Magnetischer Fluss möglicherweise im "free-Space," vorhanden, in Materialien, die magnetischen Merkmale des freien Speicherplatz aufweisen, und in Materialien mit magnetisch leitenden Eigenschaften. Der Grad der magnetischen Wärmeleitung in magnetisch leitfähige Materialien wird in der Regel mit einer B-H-Hysterese-Kurve durch eine Magnetisierung-Kurve oder beides angezeigt.
Dauermagneten kann jetzt bestehen aus Materialien, die eine hohe Zahlungsunfähigkeit haben (Hc), eine hohe magnetische Flussdichte (Br), eine hohe Magneto Motiv Kraft (mmf), eine hohe maximale Energieprodukt (BHmax), mit keine nennenswerte Beeinträchtigung der Magnetfeldstärke im Laufe der Zeit. Ein Beispiel ist die NdFeB-Permanentmagneten von VAC Deutschlands, die eine Hc von 1.079.000 Ampere/Meter, ein Br 1,427 Tesla, ein mmf bis 575.000 Ampere-turns und eine BHmax von 392.000 Joule/meter3 hat.
Laut Moskowitz, "Permanentmagnet Design und Anwendung Handbook" 1995, Seite 52 kann Magnetfluss als Flussmittel Linien betrachtet werden, immer verlassen, und geben Sie die Oberflächen von ferromagnetischem Material im rechten Winkel, was nie wahre rechtwinkligen Kurven, kann die Reise nur in geraden oder gekrümmten Pfaden, die die kürzeste Entfernung, die Folgen und den Weg des geringsten Widerwillen (Widerstand gegen Magneto-Motor).
Freiraum präsentiert einen hohe Abneigung-Pfad zum magnetischen Fluss. Es gibt viele Materialien, die magnetische Eigenschaften ähnlich denen des freien Speicherplatzes zu haben. Es gibt andere Materialien, die einen niedrigen oder niedriger Zurückhaltung-Pfad für magnetischen Fluss zu bieten, und es ist diese Materialien, die in der Regel einen definierten und kontrollierbaren magnetischen Pfad bilden.
Leistungsfähige Magnetwerkstoffe für verwenden, wie magnetische Pfade innerhalb einen Magnetkreis sind ab sofort verfügbar und eignen sich gut für die (schnellen) Umschaltung des magnetischen Flusses mit einem Minimum an Wirbelströme. Einige dieser Materialien sind hochgradig nichtlinear und reagieren auf eine "kleine" Angewandte Magneto-Motor (mmf) mit einer robusten Generation des magnetischen Flusses (B) innerhalb des Materials. Die Magnetisierung Kurven solcher Materialien zeigen einen hohen relativen Permeabilität (Ihr) bis das "Knie der Kurve" erreicht ist, an welcher Ihr sinkt rasch Stelle nähert sich Einheit wie magnetische Sättigung (Bs) erreicht ist.
Einige dieser
nichtlinearen, Hochleistungs-magnetische Materialien werden als
"Quadrat", aufgrund der Form ihrer B-H-Hysterese-Kurven bezeichnet.
Ein Beispiel ist das FINEMET ® FT - 3H nanokristalline Kernmaterial von Hitachi
in
"Zurückhaltung Schalter" ist, ein Gerät oder Mittel, die deutlich erhöhen oder verringern kann (in der Regel erhöhen) die Abneigung eines magnetischen Pfads. Dies geschieht im Idealfall in eine direkte und schnelle Art und Weise, wobei eine spätere Wiederherstellung der vorherigen (in der Regel niedrigeren) Zurückhaltung, auch in einer direkten und schnellen Weise. Ein Zurückhaltung-Switch verfügt in der Regel analoge Merkmale. Im Gegensatz dazu hat ein aus elektrischer Schalter in der Regel ein digital Merkmal, denn es gibt keinen Strom "durchbluten." Mit dem aktuellen Stand der Technik weisen jedoch Zurückhaltung Schalter einige durchbluten Magnetfluss. Zurückhaltung Schalter möglicherweise implementiert mechanisch hinsichtlich Ursache Keeper Bewegung einen Luftspalt zu erstellen, oder elektrisch mit anderen Mitteln.
Eine
elektrische Zurückhaltung Switch Implementierung verwendet eine Spule, die
Kontrolle oder Spulen aufgewickelt um eine magnetische Pfad oder Sub-Mitglied,
das den Pfad betrifft. Veröffentlichung der US-Marine, "Navy Elektrizität
und Elektronik-Serie, Modul 8 - Einführung in die Verstärker" September
1998, Seite 3-64, um 3-66 beschreibt, wie Sie modulieren Wechselstrom durch die
Abneigung der gesamte primäre magnetische Pfad ändern, mit diesen Mitteln wird
von denen in Sättigbare Kernreaktors und der andere in einem magnetischen
Verstärker verwendet.
Ein weiteres elektrische Mittel zur Umsetzung eines Widerwillen-Schalters ist die Platzierung innerhalb der primäre magnetische Pfad bestimmter Klassen von Materialien, die sich ändern (in der Regel erhöhen) ihrem Unwillen auf die Anwendung der Elektrizität. Ein weiteres elektrische Mittel zur Umsetzung eines Widerwillen-Switches ist eine Teilregion der primäre magnetische Pfad zu sättigen, indem Sie die Durchführung von elektrischer Leitungen in das Material bestehend aus dem primären magnetische Pfad einfügen. Solche Technik wird durch Konrad und Brudny in "Eine verbesserte Methode für virtuelle Air Lücke Länge Berechnung," in IEEE Transactions on Magnetics, Bd. 41, Nr. 10, Oktober 2005 beschrieben.

Ein weiteres
elektrische Mittel zur Umsetzung eines Widerwillen-Schalters wird von Valeri
Ivanov von Bulgarien auf der Website www.inkomp-delta.com,
dargestellt in Fig.1 beschrieben. Eine elektrische Ringkern 110 wird in eine primäre magnetische Pfad (100), eingefügt, so dass
der primäre magnetische Pfad in zwei Unterpfade gliedert 110A und 110B. Ein net Magnetfluss Effekt in der primäre
magnetische Pfad 100 ergibt sich aus
der Kombination der Effekte in zwei Unterpfade 110A und 110B, von denen
jede ergibt sich aus verschiedenen Physik-Prinzipien. In der ersten Teilpfad 110A, der magnetische Fluss durch die Anwendung von elektrischen
Strom in den Wicklungen 110 toroidal
Pfad 110 generiert widersetzt und
subtrahiert von dem Teil der magnetische Fluss 103 erhielt von der magnetischen Primärpfad 100, woraus sich eine reduzierte Magnetfeldverlauf, der auch durch
einen Rückgang der Teilpfad reduziert wird die 110A relativen Permeabilität und erhöht damit die Abneigung der
Teilpfad. In der zweiten Teilpfad 110B
hinzugefügt der magnetische Fluss durch Anwenden von elektrischem Strom auf den
Ringkern-Wicklungen 111 generiert
seinen Teil der magnetische Fluss 103
vom primären magnetische Weg 100,
woraus eine erhöhte net Magnetfluss, die erreicht oder überschreitet das Knie
des Materials Magnetisierung Kurve, wodurch seine relative Durchlässigkeit und
erhöht seine Zurückhaltung empfangen.
ZUSAMMENFASSUNG DER ERFINDUNG
Diese Erfindung richtet sich auf Methoden und Apparate in dem magnetischen Fluss in Richtung und Intensität über einen Fluss-Pfad zur Stromerzeugung eingeschaltet ist. Das Gerät im großen und ganzen umfasst mindestens ein Permanentmagnet Generieren von Flux, Mitglied magnetisierbaren bilden den Flux-Pfad, einen elektrischen Leiter, die Wunde um die magnetisierbaren-Mitglied, und eine Vielzahl von Flux wechselt Betrieb den Flux vom Magneten durch das Mitglied, damit induzierende Strom in der Spule fließt nacheinander rückgängig zu machen.

Die bevorzugte Ausführungsform weist eine erste und zweite Schleife aus magnetisierbarem Material. Die erste Schleife hat vier Segmente, um A, 1, B 2, und die zweite Schleife weist vier Segmente, um C 3, D 4. Magnetisierbaren Element koppelt Segmente 2 und 4 und die Permanentmagnetsegmente Paare 1 und 3, so daß der Fluß von dem Magneten durch die Segmente A, B, C, D und dem magnetisierbaren Element fließt. Vier Magnetfluss-Schalter vorgesehen sind, die Steuerung des Flusses durch einen entsprechenden der Segmente A, B, C, D. Eine Steuerung ist jeder Schalter betriebsfähig ist, AD und BC in abwechselnder Reihenfolge zu aktivieren, wodurch der Fluß durch den Umkehrabschnitt und Induzieren Strom in dem elektrischen Leiter. Der Fluss fließt durch jedes Segment-A, B, C, D im wesentlichen die Hälfte des durch das magnetisierbare Element fließt vor der Aktivierungsschalter.

Die Schlaufen und magnetisierbare Teil sind vorzugsweise aus einem nanokristallinen Material einen im wesentlichen quadratischen BH intrinsische Kurve aufweist zusammensetzt. Jedes magnetische Flussschalter fügt Fluss dem Segment von ihr beherrschten und damit magnetisch sättigt dieses Segment, wenn aktiviert. Um die Schalter zu implementieren, kann jedes Segment eine Öffnung hindurch gebildet, und eine Spule aus Draht, die um einen Teil des Segmentes und durch die Öffnung gewunden. Die Steuerung kann zumindest anfänglich wirksam ist, um die Schaltspulen mit elektrischen Stromspitzen zu fahren.
Die ersten und zweiten Schleifen können in Form toroidal werden und die Schlaufen können voneinander beabstandet sein, wobei A gegenüberliegenden C und 1 entgegen 3 und mit B gegnerischen D und 2 gegenüberliegende 4. Die magnetisierbare Teil in diesem Fall vorzugsweise ein separates Materialstück. Alternativ können die ersten und zweiten Schlaufen einer "Zahl Acht" Form zu bilden, wobei die beiden Schleifen schneiden, um das magnetisierbare Element zu bilden.
Der
Permanentmagnet (en) und das Material, das die magnetischen Pfade sind
vorzugsweise so bemessen, dass das Material durch die gemeinsame Segment bei
oder leicht unter dem maximalen relativen Permeabilität, bevor die elektrisch
leitende Ausgangsspule erregt wird. In den bevorzugten Ausführungsformen, die Strom
sich aus den geschalteten Magnetfluss Ausbeuten wesentlich mehr Energie als der
für das Eingangsschalt erforderliche Leistung.
KURZE BESCHREIBUNG DER ZEICHNUNGEN
Fig.1 ist eine Zeichnung eines Standes der Technik Reluktanz Schalter in Form einer elektrischen Toroid in einen primären Magnetpfad eingefügt ist;
Fig.2 ist eine Detailzeichnung eines Reluktanz Schalters nach der Erfindung;
Fig.3A und Fig.3B sind Detailzeichnungen, die die Verwendung von vier Schaltern Reluktanz gemäß der Erfindung;
Fig.4 ist eine Zeichnung, die eine bevorzugte Ausführungsform der Erfindung zeigt;
Fig.5 ist eine Detailzeichnung eine alternative Zurückhaltung Schalter gemäß der Erfindung durch geteilte Lamellen durchgeführt werden;
Fig.6A und Fig.6B zeigen den Betrieb eines Energiegenerators nach der Erfindung;
Fig.7A ist eine Explosionsansicht einer bevorzugten Konstruktion Energiegenerator;
Fig.7B ist eine Seitenansicht des in 7A gezeigten Konstruktion Fig.7A;
Fig.8 ist eine vereinfachte schematische Darstellung von Komponenten verwendet, um die Vorrichtung der Erfindung zu simulieren;
Fig.9A ist ein Diagramm, das die auf ein Paar von Flussschalter in der Simulation gelieferte Strom zeigt;
Fig.9B ist ein Diagramm, das die auf die andere Gruppe von Flussschalter in der Simulation gelieferte Strom zeigt;
Fig.10 zeigt die Ausgabe der hier dargestellten Simulation; und
Fig.11 ist ein Blockdiagramm einer Steuerung für die Erfindung
DETAILLIERTE
BESCHREIBUNG DER ERFINDUNG

Fig.2 ist eine Detailzeichnung eines Reluktanz-Schalters gemäß der Erfindung. Die Zurückhaltung Schalter enthält die folgenden Komponenten. Ein geschlossener Magnetpfad 110 eines Hochleistungsmagnetmaterial (vorzugsweise ein nicht-lineares Material mit einer "scharfen Knie", wie Sättigung angefahren), um den eine Spule gewickelt umfasste 111 Die geschlossenen Magnet Pfad 110 teilt ein gemeinsames Segment 101 mit einem primären magnetischen Pfad 100, bei dem Magnetfluss 103 ist durch einen Permanentmagneten (in den nachfolgenden Zeichnungen nicht gezeigt) induziert. Elektrischer Strom an die Wicklungen 111, die eine Polarität und eine ausreichende Stromstärke, so daß das in dem Pfad des Schalters 110 erzeugten Magnetflusses ist additiv zu der Magnetfluss 103 von dem Permanentmagneten, so daß der primäre Pfad 110 nähert oder die magnetische Sättigung erreicht.

Fig.3A und Fig.3B sind Detailzeichnungen einer Vorrichtung, die vier Schalter verwendet Reluktanz gemäß der Erfindung in einer Weise ähnlich der in der US-Patentanmeldung Ser. Nr. 11/735 746 mit dem Titel "Apparatus Stromerzeugungs Kombination eines einzigen Magnetflusspfad", deren gesamter Inhalt hierin durch Bezugnahme aufgenommen ist. In diesem und in allen hier beschriebenen Ausführungsformen kann die Geometrie des geschlossenen Magnetkreisbahnen (toroidalen), rechteckig oder jede andere geschlossene Pfad Formen sein. Eine primäre Weg 304 trägt den Fluss von Permanentmagneten 302 unidirektional. Flussschalterpaare 310 A/E und 310 B/D werden in abwechselnder Weise, um den Fluß in der magnetisierbare Teil 304C umzukehren, wodurch elektrischer Strom in der Wicklung 330 induziert aktiviert. Fig.3A zeigt die Flussströmung in einer Richtung, und Fig.3B zeigt, es umgekehrt.
In Fig.3A schaltet 310A und 310E werden durch Steuereinheit 320 in elektrischer Verbindung mit den Wicklungen auf den Schalter, wie durch Leitung 322 zur Wicklung 324 eingeschaltet. Das zusätzliche Fluss in Schaltern 310A und 310E mit dem Fluss, der ansonsten vorhanden wäre Additiv in Segmente 304A und 304E, wodurch sättigende diese Pfade, wodurch der Fluß durch das Segment 304C in der dargestellten Richtung. In Fig.3B, schaltet 310B und 310D aktiviert sind, sättigen Segmente 304B und 304D und die Umkehrung der Strömungs.

Fig.4 ist eine Zeichnung, die eine Verkörperung der Erfindung mit kreisförmigen Toroiden 400, 401 und mehrere zeigt Permanent-Magnete 402, 403 in der primäre Pfad 404 entsorgt. Die zwei Toroid 400, 401 überschneiden, bilden magnetisierbaren Mitglied 404E. Eine Spule 430 ist um das Mitglied 404E, gewickelt, wie gezeigt.
Der primäre magnetische Pfad 404 verbindet das obere Ende der Schleife 400 und das untere Ende der Schleife 401. Eines Magneten, 402, ein Ende der magnetischen Primärpfad 404, die erste Schleife 400 Paare, und einen anderen, 403, das andere Ende des magnetischen Primärpfad 404 auf die zweite Schleife 401 Paare.
In diese, und alle die hier beschriebenen Verkörperungen Permanentmagneten sind starke, seltener Erden-Magneten und mehrere Magnete beliebiger Länge (Dicke) können in jedem Fall verwendet werden. Darüber hinaus sind alle Verkörperungen, die Schleifen, primäre magnetische Pfad und/oder magnetisierbaren Mitglied vorzugsweise aus einem hohe magnetische Permeabilität Material wie z. B. das FINEMET FT - 3 H nanokristalline weiche magnetische Material verfügbar von Hitachi konstruiert. Die Erfindung ist nicht beschränkt, in diesem Zusammenhang jedoch als alternative Materialien, einschließlich laminierte Materialien, herangezogen werden.
Die Verbindungen von den primären magnetische Pfad 404 zu der zwei Schleifen 400, 401 erstellen Sie vier Segmente neben den magnetisierbaren Member 404E, die vier Segmente, einschließlich zwei gegenüberliegende Segmente A, B in der ersten Schleife beiderseits der Magnet 402, und zwei gegnerischen Segmente C, D in der zweiten Schleife beiderseits der Magnet 403.
Vier Magnetfluss-Schalter stehen jeweils operativen Bekämpfung den Flux durch jeweils einen der vier Segmente zur Verfügung. Ein Controller 420 ist operative Segmente A und D, und dann B und C, abwechselnd, zugeordnete Schalter aktivieren dadurch Umkehr des Fluss durch das Mitglied 404E und also, fehlerträchtige elektrischen Strom in der Spule 430.

Öffnungen können durch jedes der vier Segmente, mit den Schaltern umgesetzt von Spulen 410A bis 410D gebildet werden, die durch die Öffnungen und um einen äußeren (oder inneren) Teil der einzelnen Segmente zu übergeben. Wie in Fig.5, wenn die Schleifen mit laminiertem Material 502 hergestellt werden, können die Lamellen auf 506, Spule 504 unterzubringen aufgespaltet werden. Der Anteil des Segments, umgeben von der Spule variieren entsprechend dem Material verwendet, die Wellenformen präsentiert die Spulen und anderen Faktoren, wobei das Ziel ist, jedes Segment durch Aktivierung des Schalters verbunden, wodurch Umkehrung des Fluss über Pfad 404E magnetisch sättigen.

Fig.6A und Fig.6B zeigen Sie den Betrieb der Geräte der Fig.4. Der primäre Pfad 404 führt den Flux von Dauermagneten 402 und 403 unidirektional. Zurückhaltung Schalter 410A bis 410D werden abwechselnd aktiviert, um den Fluss in umzukehren segment 404E, die elektrischen Strom in der Wicklung 430 wiederum induziert. Fig.6A zeigt den Flux-Fluss in eine Richtung, und Fig.6B zeigt es fließt in die entgegengesetzte Richtung.
In Fig.6A, schaltet 410A und 410D durch aktiviert Controller 420 elektrische Kommunikation mit der Wicklungen auf den Schalter, wie beispielsweise durch die Leiter 422 bis 410B Schalter aktiviert. Der Flux vorgesehenen Schalter segment 410A und 410D, damit sättigen diese Pfade, verursacht des Fluss durch 404C in der gezeigten Richtung. Schaltet in Fig.6B, 410B und 410C werden aktiviert, Sättigung Segmente 404B und 404D, dadurch Umkehr des Fluss über Pfad 404E.

Fig.7A zeigt eine bevorzugte Konstruktion des Geräts dargestellt in Fig.4, Fig.6A und Fig.6B. Schleifen 400 und 401 werden als komplette Toroiden 700, 701 implementiert. Dies ist wichtig, da bevorzugte leistungsfähige Magnetwerkstoffe derzeit in regelmäßigen Formen dieser Art sind. Beachten Sie, dass in diesem Fall gekrümmten Slots wie 770 gebildet werden, durch die Seiten von jeder Ringkern Flux implementieren wechselt A bis D. Das magnetisierbaren Mitglied in dieser Ausführungsform wird mit einem Materialblock 704, vorzugsweise die gleiche Hochleistungs-magnetisches Material zum Erstellen von Loops 400, 401 implementiert. Permanentmagnet 702, auf 702, gezeigt hat vorzugsweise die gleiche Länge wie Block 704, ermöglichen die verschiedenen Bestandteile zusammen mit Kompression, gezeigt in Fig.7B stattfinden.
In den folgenden Abschnitten zusammengefasst einige wichtige Charakteristika der bevorzugten Verkörperungen:
In Bezug auf Materialien profitiert das Gerät von der Verwendung von nanokristallinen Material mit einer "Square" BH systeminterne Kurve, ein hoher Br (Remanenz), die etwa 80 % seiner Bs (Sättigung), eine niedrige Hc (Koerzitivkraft) und eine schnelle magnetische Reaktionszeit auf Sättigung ist. Ein Beispiel ist FineMet FT - 3H aus Hitachi in Japan, hat eine Br von 1,0 Tesla, ein Bs (Sättigung) von 1,21 Tesla, eine Zeit, um Sättigung (Bs) der 2 Usec und ein Hc −0.6 Amp-runden/Meter.
Moderne Permanent-Magnete werden mit einer quadratischen systeminterne BH-Kurve, ein Br im Bereich von 1,0 Tesla oder mehr, und hohe Hc im Bereich von −800, 000 Amp-runden/Meter oder mehr verwendet. Ein Beispiel ist der NdFeB Magnet von der deutschen Firma VAC, hat ein Br 1,427 Tesla und ein Hc von −1, 079, 000 Ampere-runden/Meßinstrument.
Ein wichtiger Aspekt ist die Übereinstimmung des Magneten nanokristalline Material, beide in Tesla, Bewertung und im Querschnitt. Der Magnet Br sollte unter der Bs nanokristalline Material liegen. Wenn der Magnet zu "stark" für das nanokristalline Material ist, kann dies das nanokristalline Material, auf dem Gelände der Kontakt mit dem Magneten zu sättigen führen.
Die aktuelle Zurückhaltung Antrieb der Schalter in die vorgeschriebene 2 × 2-Sequenz sollte einen starken Anstieg in der Vorderkante (Tr) jeder Impuls mit einer Impulsbreite (Pw) und Stromstärke-Wert, gestützt werden, bis am Ende der Impulsbreite freigegeben (Tf). Die folgende Tabelle zeigt die Auswirkungen der Eingangsstrompulsanstiegszeiten (Tr) an den Ausgang. Es besteht ein enges Band von Tr, vor denen kleine Leistung, bei denen es ausgezeichnete Leistung und COPs in dem Bereich von 200 bis 400 oder mehr, und danach gibt es keine große Leistungssteigerung. Der COP von diesem Gerät ohne die Kopplungsschaltung wird als "Ausgangsspannung / Eingangsspannung" für die Schalter definiert.

Während Richard Willis von Magnacoaster in Kanada, hat seine kommerzielle Produktion von Generatoren begonnen, so dass jede der Generatorausgängen ein Vielfaches von 12V 100A, viel früher sehr interessante Informationen finden Sie in dem Patent von Heinrich Kunel 1982 gefunden werden. Das Patent beschreibt vier unterschiedliche Konfigurationen seiner grundlegenden Design, ein Design, das sehr ähnlich wie die von Richard Willis verwendet sieht. Da ich nicht das Original haben, hier ist eine versuchte Übersetzung des englischen Version der Kunel Patent, das in Deutsch ist:
PATENT: DE3024814 28. Januar 1982 Erfinder: Heinrich Kunel
VERFAHREN UND GERÄTE FÜR DIE
ENERGIEERZEUGUNG
Anmeldenummer: DE19803024814 19800701
Priorität verbliebene: DE19803024814 19800701
IPC-Klassifikation: H02N11/00 EG-Einstufung: H02K53/00
BESCHREIBUNG
Die Erfindung betrifft Verfahren und Vorrichtungen zur Energieerzeugung, die den magnetischen Fluss von Permanentmagneten zu konvertieren, ohne die Notwendigkeit für rotierende oder eine andere Form der Bewegung in zeitlich variable induzierte Fluß und zu großen Abweichungen des induzierten magnetischen Flusses in elektrischen Strom, ohne die Notwendigkeit für einen thermischen Kreislauf, oder Drehmoment oder chemisches Verfahren, und in der Weise, daß der elektrische Strom verstärkt wird.
Die Energieprobleme unserer Zeit sind ausreichend in der Fachwelt bekannt. Die Transformation von herkömmlichen Primärenergieformenin technisch nutzbare Energie ist relativ kostenintensiv. Zusätzlich durch diese Weise wertvolle und knapper Rohstoffe werden zerstört und Schadstoffe werden gesammelt, Schadstoffe, die in der Lage, um das Ende der Menschheit verursachen.
Um bei Stromproduktion zu verringern oder zu vermeiden, diese und andere Nachteile, ist es gemäß der Erfindung vorgeschlagen, daß bei der Erzeugung von elektrischem Strom durch Induktion, kein Drehmoment verwendet, aber statt dessen wird der magnetische Fluss vom Permanentmagneten in eine umgewandelt induzierten Fluss mit großen schnellen Änderungen, z. B. in einer sich schnell verändernden oder pulsierender Fluss induziert, die einen elektrischen Strom erzeugen kann.
In Übereinstimmung mit dieser Erfindung, von der Basisanordnung in dem ein Permanentmagnet an einem Eisenkern über eine oder beide seiner Pole mit einem verläuft, wobei der Kern aus beispielsweise Dynamoeisen, Reineisen oder amorphes Eisen oder einem ähnlichen geeigneten Material, das keine oder nur geringe Kernverluste hat.
Nach dem Verfahren dieser Erfindung, wenn beispielsweise ein Pol eines Stabmagneten berührt, wie einen Eisenkern und mit der Längsachse dieses Kern, werden sowohl der Magnet und der Kern wirken als Magnet ausgerichtet ist.
Während dieser anfänglichen Magnetisierungsprozeß der Kern ein magnetischer Fluss in dem Kern, die einen Strom in eine leitende Schaltung induziert, die den Kern umgibt.
Wenn zusätzlich zu dem Permanentmagneten ist eine Spule um den Kern gewickelt ist, und so dass ein Strom in dieser Spule fließt, den Magnetfluss durch den Kern fließt, ganz oder teilweise unterbricht, angeordnet ist, und dies bewirkt eine weitere Modifikation des Magnet Fluss, der durch eine Spule um den Kern gewickelt.
Wenn diese Unterbrechung des Flusses von dem Dauermagneten fließt, groß ist, und hat die Wellenform einer Wechselstrom, so wird ein pulsierender Gleichstrom in der Spule um den Kern gewickelt induziert.
Mit einem AC-Eingang zum Magnetfluss -Modifizierungs Spule auf dem Kern neben dem Magneten gewickelt, empfängt die Spule zwei Stromflussrichtung Änderungen pro WECHSELSTROM Zyklus, so dass der magnetische Fluss aus dem Permanentmagnet einmal unterbrochen und einmal während jeder Eingangsleistung frei Zyklus. Auf diese Weise wird ein pulsierender Gleichstrom induziert in der Ausgangswicklung des pulsierenden Magnetflusses in dem Kern verursacht wird.
Es wurde gefunden, daß die induzierte Fluß von einem Permanentmagneten erreicht seine volle Anfangswert der magnetischen Flussdichte in dem Kern auch am freien Ende des Weicheisenmagnetkern, selbst wenn es mehrere Induktionswicklungenjeweils mit der gleichen Anzahl von Windungen und der Leiterquerschnitt geeignet sind, wie in einer magnetischen FlussänderungsSpule auf den Kern gewickelt, ohne die Stärke der magnetischen Flussdichte oder die Remanenz des Permanentmagneten.
Der Permanentmagnet wird nicht entmagnetisiert, wenn verwendet, um den Fluß in dem Kern bereitzustellen, wird keine Energie aus ihr extrahiert, im Gegensatz zu einem elektromagnetischen Kern, dessen Wicklungen erfordern mehr Betriebsstrom als das als Ausgangssignal erzeugt. Mit einem elektromagnetischen Kern, wie viel Eingangsstrom benötigt wird, wie in der Ausgangswicklunginduziert wird, entsprechend den Beziehungen des bekannten Transformators. Daher ist es wichtig, den Induktionsfluß durch Verwendung eines Permanentmagneten zu erzeugen.
Nach der Grundprimärsystem, kann man z. B. bauen Energielineargeneratorenoder EnergiekreisGeneratoren oder andere aus oder geeignete Arten und Formen von Energieerzeugern, ohne die Notwendigkeit, einen Rotor oder einen Stator oder solche beweglichen Abschnitte oder ein Drehmoment in dem Generator.
Die Erfindung ist so ausgelegt, daß nur Frequenzsteuerung durch elektrische Mittel geregelt, so dass der interne Induktionsflusses im Kern des Generators wird im wesentlichen durch das Magnetfeld des Permanentmagneten entstanden sind.
In den Zeichnungen sind schematisch Konstruktionsbeispielegemäß der Erfindung dargestellt :
Fig.1 zeigt eine lineare Energiegenerator in Längsschnitt.

Fig.2 zeigt eine lineare Stromerzeuger des momentanen Zustand der Übertragung des Induktionsflusses des Permanentmagneten zu dem Generator Kern und

Fig.3 eine lineare Energiegenerator vor der Unterbrechung durch die induzierte Fluss;

Fig.4 beschreibt eine statische Energieimpulsgenerator mit einem geschlossenen Magnetkreis in dem Moment der Übertragung des Induktionsflusses des Permanentmagneten zu dem Generator Kernblock,

Fig.5 ist ein schematisches Diagramm der funktionellen Art, in der die Rückkopplungsverfahren arbeitet in einem System gemäß der vorliegenden Erfindung,

Fig.6 zeigt eine doppelte lineare Energiegenerator mit einigen ihrer Teilelemente und

Fig.7 zeigt ein Energiegenerator entsprechend der vorliegenden Erfindung mit zyklischen pulsierenden Betrieb und mit einigen ihrer Teilelemente in und an den Energiekreis.


Die lineare Energiegenerator im Querschnitt in 1 gezeigt, besteht aus einem Permanentmagnetstab 1 mit einem Weicheisen-Magnetgenerator Kern 2, der aus einem einzigen Stück sein können, oder, wie hier gezeigt, in zwei Abschnitte unterteilt. Die magnetische Flussänderungs Spule nicht direkt auf den Permanentmagneten 1 angebracht, so daß der Permanentmagnet 1 ist nicht auf die durch den Magnetfluss Modifikation Spule 3 erzeugten Wechselfeldern ausgesetzt.
Auf der Generatorkern 2 nach der magnetischen Flussänderungsspule 3 gibt es mehrere Ausgangswicklungen 4. Ein Luftspalt 6 dient als ein Gate-oder Leistungsschalter für den magnetischen Fluß aus dem Permanentmagneten 1 und der magnetische Induktionsfluß der Induktionswicklungen 4.

Mit dieser Anordnung wird eine Wechselspannung an die Magnetfluss Modifikation Spule 3 aufgebracht verwendet, um ein magnetisches Wechselfeld im Luftspalt 6 zu erzeugen, so daß, wie deutlich in 2 gezeigt, wobei jede Phase des Wechselstroms der induzierten Magnetflusses 5 wird zunächst auf dem Kern 2 und dann gegen den Permanentmagneten 1 gerichtet, wie in 3 gezeigt, wodurch der magnetische Fluss 5 in Kern 2 durch den Permanentmagneten 1 induziert wird, vollständig oder teilweise unterbrochen wird, und so erfährt ein Modifikation, die mit der Zeit variiert.

Wenn ein Wechselstrom an die Magnetfluss Modifikation Spule 3 zugeführt, zB mit einer Frequenz von 50 Hz, dann der induzierten Fluss 5 in Kern 2 Erfahrungen hundert Änderungen pro Sekunde, Induktion in den Induktionswicklungen 4 ein pulsierender Gleichstrom 14 der 50 positiven Maximalwerte pro Sekunde hat.

Fig.2 zeigt, dass auf der Generatorkern 2 mehrere Induktionswicklungen 4 gewickelt sind, welche zu der Anzahl der Windungen mit demselben Drahtdurchmesser entsprechen, die in den magnetischen Fluss Modifikation Spule 3V verwendet.
Der Permanentmagnet 1 erfordert keinen elektrischen Strom zu erzeugen, dessen magnetische Fluss und hat dennoch an seinem Nordpol N Ende des Kerns 2 die gleiche magnetische Sättigung, wie durch die Mehrzahl von Windungen der Induktionsspule 4 von Fig.2 oder in einer erzeugte kontinuierliche Wicklung 4, wie in Fig.3 gezeigt, empfängt ein Mehr Version des Eingangsstroms, der für die Erregung des Magnetflusses Modifikation Spule 3 notwendig ist.
Von der Stromquelle 9 fließt der Erregerstrom auf den Impulsgenerator 10, der 1-Ampere Amperemeter 20 zeigt die Intensität des elektrischen Stromes. Der induzierte Strom 7 oder des pulsierenden Gleichstrom 14 wird über Anschlüsse 11,1 aufgenommen und wird durch den 10-A 20,2 Amperemeter gemessen. Der Gleichrichter 15 (nicht gezeigt) erzeugt pulsierende Gleichstrom, der geglättet wird, und als Gleichstrom-Ausgang 18, durch den Draht 21 an das Ladegerät 25, die den Eingang für die Stromquelle liefert gelieferten 9.

Die Unterbrechung des magnetischen Flusses durch die Richtungsänderung des Wechselstroms für die wiederholte Modifizierung der Induktionsfluß 5 notwendig ist, wird in Fig.3 gezeigt. Wenn der Induktionsfluss 5 unterbrochen wird, ist die Drahtspule(n) 11.2 negativ in diesem Augenblick. Draht 21 stellt die Verbindung zu der Ausgangsleistung (nicht gezeigt) und der Eingangsstromquelle 9.

Fig.4 zeigt eine Ausführungsform des obigen Konstruktion, die einen U-förmigen Permanentmagneten 1 und einen U-förmigen Kern 2, der Generator seinen beiden Enden zugewandten Pole der Permanentmagnet 1 weist verwendet. Um zwei schmale Luftspalte 6 gewickelt und seine eigenen, engen Kern ist eine magnetische Fluss Änderung Spule 6.6.
Fig.4 zeigt den momentanen Zustand, wenn der magnetische Fluss 5 von dem Magnetfluss-Änderungs Spule 3 in die Generatorkern 2 einen geschlossenen Magnetkreis 24 übertragen. Die magnetische Flussänderungsspule 3 weist dabei einen Kern 6.6, die abwechselnd und ermöglicht den Durchgang des Magnetflusses 5, der zwischen zwei schmalen Luftspalt 6 von dem Permanentmagneten 1 auf die Generatorkern 2, der die Erregerwicklung 4 besitzt unterbricht, so daß jedes Puls der Induktionsfluss 5 induziert in den Induktionswicklungen 4 eine aktuelle. Somit wird ein pulsierender Gleichstrom ergibt, die mehrere Male größer ist als die Eingangserregungsstromist.
Wenn die Richtung des Stromflusses in der Weicheisenmagnetkern 6.6 des Magnetflusses Modifikation Spule 3 geändert wird, dann zu dieser Zeit der Magnetfluss 5 des Permanentmagneten 1 fließt über in die Eisenführungsblock 1.1 und fließt entlang der Wegen 5.5 und 5.1 auf den Südpol des Permanentmagneten 1 oder der Gleichgewichts in den Luftspalten zwischen der Nord-Pol der Anleitung Eisenblock 1.1 und Südpol des Permanentmagneten ein. Die gestrichelte Linie 5.5 von Nordpol zu Südpol durch den Eisenblock 1,1 Führung zeigen die Magnetfluss, wenn sie von der Reise durch den Generator Kern verhindert wird 2.
Diese Steuerung des Magnetflusses 5 verhindert Streufluss in die Generatorkern 2 und damit die maximale RMS der induzierte Strom wird erreicht, da die Generatorkern 2 ohne Magneterregung.
PJK Anmerkung: Ich habe Schwierigkeiten, das zu akzeptieren,
wie die Erregerspule scheint eine äquivalente magnetische Fluss in den
U-förmigen Rahmen 2 zu erzeugen, wie
es blockiert die Permanentmagnetfluss Durchgangsverkehr durch die Luftspalte
zwischen Magnet 1 und
Elektromagneten 3, und um
sicherzustellen, alles noch schlimmer, magnetische Fluss fließt etwa tausend
mal leichter durch Weicheisen als durch Luft. Allerdings wissen wir, dass die Modulation der
Fluss von einem Permanentmagneten mit dem Magnetfeld von einer Spule ist sehr
effektiv in der Herstellung von COP>1 wurde von der unabhängigen Replikation
von Lawrence Tseung der Magnetrahmen früher in diesem Kapitel gezeigt.
Die folgende schematische Fig.5 zeigt die Reihenfolge, in der Kreisprozess z. B. in einem Energiegenerator nach Fig.4.

Der pulsierende Strom von der Stromquelle 9 oder Wechselstrom 12 von der Power-Gitter 23 fließt durch den Draht 13 zu der magnetischen Flussänderungsspule 3 und erzeugt eine pulsierende Induktionsstrom 7 oder pulsierenden Gleichstrom 14, der durch den Gleichrichter 15 umgewandelt wird, glatte Gleichstrom 16, der mit dem Spannungsregler 17 als Gleichstrom auf 16 nun auf der gewünschten Spannung an den Gleichstromausgang 18 und mit dem Stromwandler 10, um den das empfangene Wechselstrom 12 geführt wird, und wird dann zu der Wechselstrom-Ausgang 19 und der Wechselstrom-Verbindung 22 mit dem Leistungseingang-Gitter 23, wobei der Wechselstrom-ausgang 19 mit Strom von der Strom-Gitter oder aus dem elektrischen Ausgang des Energiegenerators geliefert werden gekoppelten.

Fig.6 zeigt eine Doppellineargenerators in Übereinstimmung mit der Erfindung. Auf einer vorzugsweise linear Permanentmagnet 2 von Dynamo Eisenkerne Generator ausgestattet, um seine beiden Pole. Die magnetische Flussänderungsspule 3 erhält seinen Betriebsstrom von der Stromquelle 9 über einen Stromwandler oder von Impulsgeneratoren 10 der Erregerschaltung 13 zugeführt. Durch entsprechende Wicklungen 4 kann eine Ausgabe entweder Gleichstrom oder Wechselstrom erhalten werden
Pulsierenden Gleichstrom 14 von der
Induktionsstromkreis 11 geglättet
und an die Gleichstrom-Ausgang 18
und der Eingangsstromquelle übergeben 9.

Eine weitere Ausführungsform des Systems gemäß der Erfindung ist in Fig.7 gezeigt. Dies ist auch eine bewegungsEnergieErzeuger, obwohl es eine zyklische Anordnung und Funktion hat. In diesem Generator gibt es keine beweglichen Teile wie z. B. ein Rotor und dem Induktionsfluss 5, wie der Induktionsstrom 7, entwickelt sich aus einer zyklisch pulsierenden Induktionsfluss.
Der Permanentmagnet 1 ist in einer kreisförmigen Generatorkern 2 eingesetzt. Die magnetische Fluss Änderung Spulen 3 kann mit pulsierendem Gleichstrom 14 oder wie hier mit Wechselstrom 12 betrieben werden. Beispielsweise wird die Gleichstrom 16 von der Stromquelle 9 in einem Stromtransformator 10 in Wechselstrom umgewandelt und führten in den Erregerkreis eingespeist 13.
Die magnetische Fluss Änderung Spulen sind so angelegt, dass der positive Maximalwert des Wechselstroms 12 öffnet und unterstützt den natürlichen Fluss des Permanentmagnetfluss 5 Übergang von der Nord-Pol zum Südpol durch die kreisförmige Generator Kern 2, um einen geschlossenen Magnetkreis 24.
Wenn die magnetische Flussänderungs Spulen 3 auf beiden Seiten des Permanentmagneten 1 tragen die maximale negative Wert der Wechselspannung 12, wird die natürliche magnetischen Flusses in dem Kern-Generator 2 wird durch Induktionsfluss bewegt sich in die entgegengesetzte Richtung des magnetischen Flusses verengt Änderung Spulen 3 und diese unterbricht die magnetische Fluss 5 ganz oder teilweise.
Im Fall von zeitlich große Modifikation dieser Sequenz, die in der Spule 4 ein pulsierender Gleichstrom 14 hervorgerufen wird, die durch die Einlaßleitung 11 zu dem Gleichrichter 15, bei dem der pulsierende Gleichstrom 14 wird zu einer glatten Gleichstrom geführt wird reduziert. Der Gleichstrom 16 kann mit dem Gleichstrom-Ausgang 18 und der Eingangsstromversorgung 9 und der Stromwandler 10, der den Wechselstromausgang 19 und Gleichstrom den Magnetfluss Modifikation Spulen liefert weitergegeben 3.
Wenn der Induktionsfluß 5 ist in dem Kern 2 durch den magnetischen Fluss Modifikation Spulen 3 beschränkt, wird ein Wechselstrom mit einer kleineren negativen Maximalwert während einer Periode verschiebt auf Null erzeugt, und der arithmetische Mittelwert.
Nach dieser Erfindung in einem Kreisprozess ein Energiekreiserzeugt wird, mit erheblichen Energieüberschuss für die Versorgung der verschiedenen Ausgänge sowie für die Aufrechterhaltung des Betriebs dieses Systems.
Gemäß dieser Erfindung, indem die Notwendigkeit für Drehmoment, das gleiche Induktionswirkung wird durch den Magnetfluss -Spulen und Änderung der Verwendung von Permanentmagneten in der Energieerzeugung erhalten wird, als bei den herkömmlichen Generatoren, die die Umwandlung von Drehmoment in Strom zu verwenden, wobei jedoch ist der Energiewert der Eingangsdrehmoment größer ist als der Energiewert des Strom dies erzeugt.
Es wurde gefunden, daß von jedem Pol des Permanentmagneten an den beiden Enden eines U -förmigen Kerngeneratoreiner der MagnetflussführungModifikation oder Spulen mit oder ohne Kern zur Übertragung des magnetischen Induktionsflusses, um in einer solchen Weise bestimmt werden daß durch abwechselnde Induktionsfluss, der durch den Permanentmagneten hervorgerufen wird, zB im Rhythmus der Phasenänderung von einer Wechselstromfrequenz der Erregerstrom des Generators Kern ständig kommutiert, da der Nordpol wird abwechselnd zum einen und dem anderen offenen Ende des Kerns übertragen und die Spulen ebenfalls zum Kern führenden s- Pol des Permanentmagnetenschließt die reversible Magnetkreis im Kern mit jedem Stromimpuls, der durch einen Permanentmagneten hervorgerufen wird.
Auf diese Weise erfährt der Induktionsflussesin dem Kern die gewünschte Flussrichtungswechselund erzeugt in den Ausgangswicklungen des Generators einen Wechselstrom mit der gleichen Frequenz wie die der Erregerstrom, jedoch mit identischer Frequenz auf die des Eingangserregerstrom.
Da die pulsierenden oder reversible Induktionsfluß durch einen Permanentmagnetenverursacht wird, ist kein elektrischer Strom erforderlich, zu ihrer Herstellung auch über die gesamte Länge des Kerngeneratorsund seiner Ausgangswicklung, da die reversible magnetische Erregung des Kerns erfolgt indirekt jeweils oder direkt über einen Permanentmagneten, dessen Remanenz durch die magnetische Erregung des Generators Kern in Übereinstimmung mit der Erfindung verändert.
Das System gemäß der Erfindung für die Energieproduktion und Energieerzeuger können sehr effizient sein, z. B. im Hochfrequenzbetrieb mit elektronisch gesteuerten Gleichstrompulsbetriebund es ausgeben kann ein Vielfaches der erforderlichen Eingangsstrom und Strom in dieser Weise hergestellt werden, ohne Material verbraucht und ohne eine thermische Schaltung oder einem Drehmoment erforderlich hergestellt.
Wenn mehrere dieser Generatoren sind in abgestuften zunehmender Größe zB kaskadierte in einer Reihe, in der der zweite Generator erhält die volle Leistung von den ersten und dritten Generator empfängt die vollständige Ausgabe des zweiten, dann mit einer Kraft von Multiplikator 10 für jeden Generator wird die sechste Generator in der Kette über einen 1000 MW Leistung haben, wenn es eine 1000 W Eingangsleistung des ersten (und kleinsten) Generator zu Beginn der Serie.
So ist es möglich, alle bekannten Primärenergien und Verfahren der Energieumwandlung mit den Systemen und Energieerzeuger ersetzen nach Erfindung für alle Zukunft auf wirtschaftlich in Strom wegen der hohen Kosten, da diese nicht in irgendeiner Weise aus der Ferne wie zu betreiben wirtschaftlich, da sie mit den Vorrichtungen der vorliegenden Erfindung möglich ist.

Es gibt andere Geräte, was scheint, eine sehr wichtige Luftspalt in einem Magnetrahmen sein müssen. Einer von ihnen wurde auf einem bulgarischen Website angezeigt und auf der Web-Seite, die bei liegt http://www.inkomp-delta.com/page3.html, erstellt von Valeri Ivanov in 2007. Valeri lebt in Elin Pelin, Bulgarien und seine bewegungslos Generator hat COP=2.4 Leistung. Videos: http://www.youtube.com/watch?v=7IP-buFHKKU und
http://www.youtube.com/watch?v=npFVaeSbk1Q für sein Design sind und es scheint, dass er zu kommerzielle Produktion von seinem Generatoren zu starten: http://www.inkomp-delta.com/index.html.
Es wird gezeigt, dass eine wirksame Gerät aus einem Permanentmagnet, ein Ringkern und laminierten Eisen Joch konstruiert werden kann. Die Anordnung wird wie folgt angezeigt:

Wenn die Eingabe Spule mit einer Eingangsspannung gepulst ist, verursacht es eine Flux-Umkehr in den Rahmen, um den Ausgabe-Spule aufgespult ist, erzeugen eine elektrische Leistung.
Gibt es ein anderes Forum, in diesem Zusammenhang und die bekannteren MEG Tom Bearden ist die am gefunden werden können http://tech.groups.yahoo.com/group/MEG_builders/message/1355 wo der jeweiligen Meldung besagt, dass Valeris Geräts gemacht werden, dass bei Frequenzen so niedrig wie 50 Hz arbeiten und kann standard-laminierte Eisen Frame Komponenten produziert Coefficient Of Performance-Zahlen bis zu 5,4 (d. h. die Ausgangsleistung ist mehr als fünfmal die Eingangsleistung). Eine Demo-video ist bei http://inkomp-delta.com/page10.html aber es ist nicht in Englisch. Es kann gut sein, um gut zu funktionieren, die MEG-Bedürfnisse, die eine sehr schmale Eingang Spule mit einen Luftspalt auf jeder Seite und das gleiche auch für Lawrence Tseung Magnetrahmen weiter oben in diesem Abschnitt dargestellten gelten.
Kelichiro Asaoka empfangen US patent
5.926.083 rund zwei Jahre vor den bekannten MEG-Patent von Tom Bearden und
seine Mitarbeiter. Ich persönlich finde es schwer zu verstehen, wie das
MEG-Patent (im Anhang) vergeben worden könnte als das Asaoka-Patent bereits
vorhanden war. Hier ist jedoch die meisten Inhalte des Patents Asaoka:
US Patent 5.926.083 20. Juli
1999 Erfinder: Kelichiro Asaoka
Statische Magnet Dynamo zum
Generieren von elektromotorische Kraft basierend
auf sich ändernden eines
offenen Pfads der magnetischen Flussdichte
ZUSAMMENFASSUNG
Eine statische Magnetdynamo mit wenigstens
einem Permanentmagneten mit verschiedenen Polen; einen ersten Kern, der ein
weichmagnetisches Material und dem Paare der unterschiedlichen Pole des
Permanentmagneten, um einen geschlossenen magnetischen Pfad bilden; einen zweiten
Kern, der ein weiches magnetisches Material, koppelt an den geschlossenen
magnetischen Pfad mittels eines paramagnetischen Materials, einen offenen
magnetischen Pfad zu bilden; eine magnetisierte Spule um einen Abschnitt des
ersten Kerns, wo die geschlossenen Magnetkreis gebildet wird, gewickelt ist;
und eine Induktionsspule, die um einen Abschnitt des zweiten Kerns gewickelt.
Eine Richtung eines Flusses des geschlossenen Magnetkreis wird durch Anlegen
einer Wechselspannung an die Spule magnetisiert und erzeugt eine
elektromotorische Kraft in der Induktionsspule durch elektromagnetische
Induktion durch Änderungen in einem Fluss des offenen magnetischen Pfad durch
die Änderung der Richtung der induzierten geändert der Fluß des geschlossenen
magnetischen Pfad.
GEBIET DER ERFINDUNG
Diese Erfindung betrifft ein Dynamo, der
eine elektromotorische Kraft erzeugt durch elektromagnetische Induktion durch
Ändern der Fluss, der durch eine Induktionsspule. Insbesondere betrifft diese
Erfindung einen statischen Magnetdynamo, die Magnete, die durch eine
Induktionsspule passieren, ohne den Anker oder Elektromagneten ändert.
STAND DER TECHNIK
Dynamos derzeit in der praktischen Anwendung
sind so entwickelt, um elektromotorische Kraft durch elektromagnetische Induktion
durch Änderung der Fluss, der durch eine Induktionsspule erzeugen. Dynamos, die
Strom erzeugen auf diese Weise kommen in eine große Vielfalt, angefangen von
großen Modellen in Wasser-, Wärme-oder Atomkraftwerke, kleine Modelle wie
kleine Dynamos mit einem Dieselmotor verwendet.
In allen oben genannten Dynamo-Modelle, der
Anker und der Elektromagnet eingeschaltet, um den Fluss, der durch die
Induktionsspule zu ändern, damit die Erzeugung elektromotorische Kraft in der
Induktionsspule durch elektromagnetische Induktion. Beispiele sind der Anker
und der Elektromagnet durch das Drehmoment von einer Wasserturbine Wasserkraft
gedreht wird, um das Drehmoment der Dampfturbine in thermischen und
Atomkrafterzeugung und durch das Drehmoment des Dieselmotors in Kleindynamos.
Nachteile:
Dynamos, die wie oben erwähnt
elektromotorische Kraft durch elektromagnetische Induktion so ausgebildet sind,
dass unabhängig von der Größe der Lichtmaschine, der Anker und der
Elektromagnet sind, um den Fluß, der die Induktionsspule ändern, gedreht. Diese
Dynamos weisen den Nachteil auf, daß das Schwenken des Ankers und der
Elektromagnet erzeugt Vibrationen und Geräusche.
AUFGABEN DER ERFINDUNG
Der Zweck dieser Erfindung ist es, einen
statischen Magnetdynamo ohne jegliche Drehmomentgebende Mittel oder andere
bewegliche Teil um Vibrationen und Geräusche zu beseitigen, um die
verschiedenen oben genannten Probleme zu lösen ist.
Um die obigen Probleme zu lösen, ist die Erfindung wie nachstehend
beschrieben zusammen.
Die statische Magnetdynamo in dieser
Erfindung involviert besteht aus mindestens einem Permanentmagneten, einem
ersten Kern, der aus einem weichmagnetischen Material, die einen geschlossenen
magnetischen Pfad durch Kopplung der verschiedenen Pole des Permanentmagneten,
einen zweiten Kern, der aus einem weichmagnetischen Material, ein Bypass
geschlossenen magnetischen Pfad gekoppelt ist und mit dem ersten Kern in einer
solchen Weise angeordnet, daß die Permanentmagneten der einen geschlossenen
Magnetkreis, einem magnetisierten gewickelten Spule der nur einen Teil des
geschlossenen magnetischen Pfad des ersten Kerns, bestehend umfassen, und eine
Induktions Spule um die nur einen Teil des geschlossenen magnetischen Pfad des
zweiten Kerns aus gewickelt. Das Ziel
dieser Erfindung ist es, eine elektromotorische Kraft in der Induktionsspule
durch elektromagnetische Induktion, indem die Richtung des Flusses des
geschlossenen magnetischen Pfad durch Anlegen eines Wechselstroms an die
magnetisierte Spule zu erzeugen, und durch Ändern des Flusses der Bypass
geschlossen Magnetpfad durch Änderungen in der Richtung des Flusses des
geschlossenen Magnetkreis induziert.
Effekte:
In der obigen Konfiguration, die statische
Magnetdynamo in dieser Erfindung involviert besteht aus einem ersten Kern, der
aus einem Permanentmagneten und einem geschlossenen magnetischen Pfad, einen
zweiten Kern, der aus einem offenen magnetischen Pfad mittels eines
paramagnetischen Material, einem magnetisierten Spule gewickelten Teils des
geschlossenen magnetischen Pfad des ersten Kerns, und eine Induktionsspule, die
um das zweite Magnetpfad gewickelt ist, die nur. Der Dynamo ist so ausgelegt, daß sie eine
elektromotorische Kraft in der Induktionsspule durch eine elektromagnetische
Kraft durch Ändern der Richtung des Flusses des ersten Kerns durch Anlegen
einer Wechselspannung an die magnetisierte Spule zu erzeugen, und durch Ändern
des Flusses des zweiten Kerns durch Veränderungen induziert in der Richtung des
Flusses des ersten Kerns.
Dies macht es möglich, den Fluss, der durch
die Induktionsspule ohne Drehmomentgebende Mittel oder andere bewegliche Teil
zu ändern, und eine elektromotorische Kraft in der Induktionsspule durch
elektromagnetische Induktion zu erzeugen, so dass die Stromerzeugung, ohne daß
Vibrationen oder Geräusche. Diese Dynamo kann auch verkleinert und zu niedrigen
Preisen zur Verfügung gestellt werden.
Weitere Eigenschaften und Vorteile dieser
Erfindung werden von der folgenden Beschreibung mit Diagrammen angebrachten
deutlich gemacht werden.
KURZE BESCHREIBUNG DER
ZEICHNUNGEN
Eine vollständigere Würdigung der Erfindung
und viele der begleitenden Vorteile davon werden leicht erhalten werden, wenn
auf die folgende detaillierte Beschreibung verstanden, wenn sie durch
Bezugnahme in Verbindung mit den beigefügten Zeichnungen betrachtet wird, in
denen:

Fig.1 stellt eine grundlegende Konfiguration
einer statischen Magnetdynamo mit einem offenen magnetischen Pfad in dieser
Erfindung involviert.

Fig.2 stellt dar, wie ein Fluß in der Richtung zu
der aus einem Permanentmagneten gegen tritt typischerweise in der
magnetisierten Spule.

Fig.3 stellt dar, wie ein Fluß in der
entgegengesetzten Richtung von einem Permanentmagneten verschwindet
typischerweise aus der magnetisierten Spule.

Fig.4 stellt dar, wie ein Fluß in der gleichen
Richtung wie der des Permanentmagneten auftritt, typischerweise in der
magnetisierten Spule.

Fig.5 ein erstes Ausführungsbeispiel des
statischen Magnetdynamo in dieser Erfindung involviert.

Fig.6 Eine zweite Ausführungsform des statischen
Magnetdynamo in dieser Erfindung involviert.

Fig.7 ist eine dritte Ausführungsform des
statischen Magnetdynamo in dieser Erfindung involviert.

Fig.8 eine vierte Ausführungsform des statischen
Magnetdynamo in dieser Erfindung involviert.

FIG. 9 ein fünftes Ausführungsbeispiel mit einem
offenen magnetischen Pfad.

Fig.10 eine Grundkonfiguration eines statischen
Magnetdynamo mit einem geschlossenen magnetischen Pfad in dieser Erfindung
involviert.

Fig.11 ein erstes Ausführungsbeispiel des
statischen Magnetdynamo mit einem geschlossenen magnetischen Pfad in dieser
Erfindung involviert.
BESCHREIBUNG DER BEVORZUGTEN
AUSFÜHRUNGSFORMEN
Bezugnehmend nun auf die Zeichnungen, wobei
gleiche Bezugszeichen identische oder entsprechende Teile in den verschiedenen
Ansichten bezeichnen, und insbesondere auf Fig.1,
wo es mit einem Permanentmagneten veranschaulicht eine Basiskonfiguration des
statischen Magnetdynamo. Feigen. 2, 3
und 4 beschrieben, wie die statische
Magnetdynamo in Fig.1 dargestellt
erzeugt Strom.

Wie in den Figuren angedeutet, der erste
Kern 2 zum Koppeln des
Permanentmagneten 1 und den
verschiedenen Polen des Permanentmagneten 1
ringförmig ausgebildet ist, bildet einen geschlossenen magnetischen Pfad. Dieser geschlossene magnetische Bahn wird dann
mit einem zweiten Kern 3 über ein
paramagnetisches Material 10 um bis 5 mm dick ausgestattet. Dies resultiert in der Bildung eines offenen
magnetischen Pfad, bestehend aus einem Permanentmagneten 1, Teil einer ersten Kern 2,
einem paramagnetischen Material und einem zweiten Kern 3. Der nur einen Teil des
geschlossenen magnetischen Pfad des ersten Kern 2 gewickelt ist, die aus herum mit einem magnetisierten Spule 4. Die zweite Kern 3 wird dann um mit einer Induktionsspule 5 entwickelt, um elektromotorische Kraft durch elektromagnetische
Induktion erzeugt gewickelt.
Hier ist der Permanentmagnet 1 ein Magnet mit einer hohen
Restflussdichte, ein großer Koerzitivkraft und eine große maximale
Energieprodukt für höhere Effizienz der Stromerzeugung. Typische Materialien verwendet, hier sind
Neodym-Magnet Eisenborid (Nd2Fe14B), Samarium-Kobalt-Magneten (Sm2Co17) oder
Samarium-Eisen-Nitrid (Sm2Fe17N2).
Der erste Kern 2 und der zweite Kern 3
aus einem weichen magnetischen Material mit hoher Permeabilität, mit hohen
anfänglichen, maximalen und anderen Durchlässigkeiten, hohe Restflussdichte und
die Sättigungsmagnetisierung und die Koerzitivkraft kleiner, wodurch effektiv
Gebrauch gemacht der Fluß des magnetischen Pfades für die Stromerzeugung.
Beispiele sind Permalloy Basis-Legierungen.
Anwendbaren paramagnetischen Materialien
sind solche mit einer spezifischen Durchlässigkeit vergleichbar mit einer
Vakuum wie Luft, Kupfer und Aluminium. Wenn
Luft als einem paramagnetischen Material, das heißt, wenn ein Spalt G zwischen dem ersten Kern 2 und der zweite Kern 3 befestigt verwendet wird, wird der
zweite Kern 3 mit einem festen
paramagnetischen Materials beibehalten. Die
Figuren stellen Ausführungsformen mit einer Lücke G, ohne eine solide paramagnetischen Material entwickelt, um den
zweiten Kern 3 beibehalten.
Es folgt eine Beschreibung, wie eine
statische Magnet Dynamo der obigen Konfiguration erzeugt Strom. Zunächst, wenn keine Spannung an die magnetisierte
Spule 4 des statischen Magnetdynamo,
einem ersten Flussmittel 11
aufgebracht ist in dem ersten Kern 2
in der Richtung vom N-Pol zum S-Pol des Permanentmagneten 1 gebildet. In diesem
Zustand kein Fluß ist in dem zweiten Kern 3
über den Spalt G gekoppelt gebildet.

Eine Spannung kann an die magnetisierte
Spule 4 in drei nachfolgend
beschriebenen Weise angewendet werden. In dem ersten Spannungsanlege, wie in Fig.2 gezeigt, wird eine Gleichspannung
VS an die magnetisierte Spule 4 in der Richtung angelegt, dass die
Spannung stößt den ersten Fluss 11
des ersten Kerns 2 durch den
Permanentmagneten 1 erzeugt wird,
und umgekehrt, das heißt, in einer solchen Weise, daß der zweite Fluß 12 in der umgekehrten Richtung des
ersten Flussmittel 11 auftritt. Als Ergebnis wird der erste Flussmittel 11 stößt den zweiten Fluss 12 und umgekehrt, so daß der Fluß
leichter von Leckagen einen geschlossenen Magnetkreis. Der erste Flussmittel 11 und das zweite Fluss 12,
die leichter aus dem geschlossenen magnetischen Pfad austreten, springen über
den Spalt G und geben den zweiten
Kern 3, so daß ein drittes Fluss 13 ist in dem zweiten Kern 3 induziert. Weiterhin Induktions dieser dritten Fluss 13 ändert den Fluss, der durch die
Induktionsspule 5, so dass
elektromotorische Kraft V1 tritt in
der Induktionsspule 5, was Energie
erzeugt.

Weiter, um das Entfernen des magnetisierten
Spule 4 angelegten Gleichspannung
veranlasst den ersten Kern 2 zu
versuchen zurück zu einem Zustand, in dem nur das erste Flussmittel 11 gebildet wird, wie in 1 angedeutet. Zu dieser Zeit der zweite
Kern 3 weist einen Fluß in
umgekehrter Richtung der dritten Fluss 13,
das heißt, der vierten Fluss 14 in Fig.3 angedeutet, um den dritten Fluss 13 töten. Dann wird die Induktion des vierten Fluss 14 ändert den Fluss, der die
Induktionsspule 5, so dass
elektromotorische Kraft V2 tritt in
der Induktionsspule 5, was Energie
erzeugt.
Stromerzeugung in diesem ersten
Spannungsanwendung kann durch einen statischen Magnetdynamo in dieser
Erfindung, eine Gleichstromversorgung, um eine Gleichspannung VS an die magnetisierte Spule 4 anzuwenden, und einen Schaltkreis,
der die Gleichstromversorgung ein-und ausschaltet beteiligt realisiert werden.
Eine berührungslose Schaltkreis kann gemacht werden, wenn ein Halbleiterschaltvorrichtung,
wie einem Thyristor, ist.
Der zweite Spannungsanwendung ist die
gleiche wie die erste Spannungsanlege bis zu dem Punkt, wo der dritte Fluß 13 ist in dem zweiten Kern 3 durch Anlegen einer Gleichspannung VS an die magnetisierte Spule 4 induziert wird, um den zweiten Fluß 12 in umgekehrter erzeugen Richtung des
ersten Flusses 11 und, wo die dritte
Fluss 13 induzierte
elektromotorische Kraft V1 in der
Induktionsspule 5 erzeugt, wodurch
die Stromerzeugung.

Als nächstes wird die Änderung der Polarität
der an die magnetisierte Spule 4
angelegten Gleichspannung erzeugt, in dem ersten Kern 2 die erste Flussmittel 11
durch den Permanentmagneten 1, sowie
dem fünften Flusses 15 in der
gleichen Richtung wie der erste Fluß, verursacht durch der magnetisierte Spule 4. Hier der erste Fluss 11 ist die fünfte Fluss 15
gegeben, so dass der zweite Kern 3
den vierten Fluss 14, wie in Fig.4 angedeutet, sowie die sechste
Fluss 16 in der gleichen Richtung
wie der gegebene vierten Fluss 14. Außerdem Induktion der vierten Fluss 14 und die sechste Fluss 16 ändert den Fluss, der durch die
Induktionsspule 5, so dass eine
elektromotorische Kraft V3 größer
als die elektromotorische Kraft V2 ist
in der Drehspule erzeugt werden, um Energie zu erzeugen.
Diese zweite Spannungs Anwendung eine
Polaritätsschaltkreis PSC, die der
Polarität der Spannung Do anstelle
einer Schaltschaltung, die auf ein-und ausschaltet, das mit dem magnetisierten
Spule 4 in dem ersten
Spannungsanlege angelegten Gleichspannung ändert. Diese Polaritätsschaltkreises
einer Halbleiterschaltvorrichtung vorgenommen werden, ähnlich zu dem
Schaltkreis in dem ersten Spannungsanlege.
In dem dritten Spannungsanwendung wird
Wechselspannung VS an den
magnetisierten Spule 4 statt Anlegen
einer Gleichspannung an die magnetisierte Spule 4 in dem zweiten Spannungsanlege mit der Polarität geändert
aufgebracht. Die durch Anlegen einer
Wechselspannung an die magnetisierte Spule 4
erzeugten Flusses wird zu einem Wechselfluss, daß abwechselnd die zweite Fluß 12 in Fig.2 und der fünften Fluss 15
in. Fig.4. Dann wird der Fluß in dem zweiten Kern 3 induziert die dritte Fluß 13 in Fig.2, wenn der zweite Fluß 12
erzeugt wird, und ist der vierte Fluß 14
versucht, den sechsten Flusses 16
und der dritten Fluss 19 in Fig.4 zu töten, wenn der fünfte Fluss 15 erzeugt wird. Das heißt, der Fluss in dem zweiten Kern 3 hervorgerufen wird,
selbstverständlich auch eine alternierende Bewegung.
Stromerzeugung dieser dritten
Spannungsanwendung wird eine Wechselspannung an die magnetisierte Spule 4, die die Notwendigkeit für einen
Schaltkreis oder Polaritätsschaltkreis PSC,
die in der ersten und der zweiten Spannungsanlege benötigt wurde windet
aufgebracht, so dass die Vorrichtung wird vereinfacht. Ferner wird der Fluss in dem ersten Kern 2 und dem zweiten Kern 3 hervorgerufen wird, eine Wechselfluss
durch Wechselspannung induziert, so daß die Lichtmaschine auch als ein
Transformator mit einem Spalt G
zwischen dem ersten Kern 2 und dem
zweiten Kern 3. Es ist daher möglich, die durch
elektromagnetische Induktion in der Induktionsspule 5 erzeugte elektromotorische Kraft V zu erhöhen.
Als nächstes wird die
Energieerzeugungseffizienz einer statischen Magnetdynamo in der vorliegenden
Erfindung beteiligt ist, beschrieben. Die
statische Magnetdynamo kann als Transformator betrachtet, wenn sein
Permanentmagnet 1 entfernt werden,
und es gibt eine Lücke G.
Ein Transformator bringt einen
Wirbelstromverlust und
Gesamtverlust W1 = We + Wh + Wr .........(1)
Lassen Win
und der Ausgang Wo der Eingang sein,
und die Win gleich der Totalverlust,
so dass der Wirkungsgrad des Transformators
Eff = Wo / Win = Wo(We + Wh + Wr) < 1........
(2)
In Wirklichkeit in Fig.1, die einen geschlossenen Magnetkreis, bestehend aus dem
ersten Kern 2 enthält einen
Permanentmagneten 1. Der Fluß des Permanentmagneten 1 trägt daher zur Stromerzeugung. Daher ist in Fig.1, lassen Win2 und
der Ausgang der Wo2 Eingabe, dann
Wo2 = Wp + αWin2....... (3)
Wobei Wp
stellt Leistung von dem Fluß des Permanentmagneten 1 Beitrag zur Stromerzeugung resultiert, und α einen Umwandlungswirkungsgrad erhalten wird, wenn die
Vorrichtung als ein Transformator mit einem Spalt G als.
Daher ist die Effizienz der Stromerzeugung:
Eff = Wo2 / Win2 oder .
Eff =
(Wp / Win2) + α ....... (4)
Hier wird, da α < 1, wenn Wp /
Win2 > 1, das heißt, wenn der Strom erhalten, aus dem Fluß des
Permanentmagneten 1 Beitrag zur
Stromerzeugung größer als dynamo Leistung an die magnetisierte Spule 4 geliefert wurden, wird kein
Leistungserzeugungseffizienz weniger als 1, so dass die Vorrichtung ihre
Leistung als Dynamo anzuzeigen.
So untersuchten die Erfinder, wie
nachstehend, wie viel der Fluss des Permanentmagneten 1 trägt zur Induktion der dritten Fluss 13 in Fig.2 beschrieben.
Zuerst hat der Erfinder vorgesehen
statischen Magnetzünder der Grundkonfiguration in Fig.1, eine mit einem Permanentmagneten 1 und einem anderen, ohne einen Permanentmagneten 1 angegeben. Der Erfinder dann die Leistungspegel
erforderlich, um Ströme von gleicher Flussdichten an den zweiten induzieren
gegen Kern 3 aus jeder
Ausführungsform das heißt, die Leistungspegel an die magnetisierte Spule 4 zugeführt. Als Ergebnis wird eine Ausführungsform mit
einem Permanentmagneten 1 benötigt
nur einen sehr niedrigen Leistungspegel an die magnetisierte Spule 4 zugeführt werden. Es wurde beobachtet, dass die gewünschte
Leistungsstufe war nicht mehr als ein Vierzigstel derjenigen der Ausführungsform
ohne Permanentmagnet 1 in
Abhängigkeit von der Testbedingung.
In einer statischen Magnetdynamo in dieser
Erfindung involviert daher Win2
vorgenommen ausreichend kleiner als Wp
ist, so daß die Erfinder hält es für möglich, Wp / Win2 > 1 zu machen.
Ausführungsform 1
Weiter, wie die erste Ausführungsform, ein
statischer Magnet Dynamosystem zwei statische Magnetzünder der
Grundkonfiguration zusammengesetzt ist, basierend auf Fig.5 beschrieben.

In Fig.5A,
in einem statischen Magnetdynamo, ein geschlossener Magnetpfad wird von zwei
Permanentmagneten 1 und zwei ersten
Adern 2 so zu koppeln, die
verschiedenen Pole eines Permanentmagneten
1 mit der anderen Permanentmagneten 1
ringförmig ausgebildet ist. Dieser
geschlossene magnetische Bahn wird dann mit einem zweiten Kern 3 über einen Spalt G. Dies bildet einen offenen
magnetischen Pfad, der aus einem Permanentmagneten 1, Teil einer ersten Kern 2,
einem paramagnetischen Material und einem zweiten Kern 3 ausgestattet.

Diese offene Magnetpfad kann auf zwei
verschiedene Arten angeordnet werden. In
einer Konfiguration, wie in Fig.5A
gezeigt, eine offene Magnetstrecke aus zwei Permanentmagneten 1 und zwei zweite Leiter 3 hergestellt werden. In der anderen Konfiguration, wie in Fig.5B gezeigt, einen offenen
magnetischen Pfad kann aus einem hergestellt sein Permanentmagnet 1 und ein anderes kann aus einem ersten
Kern 2 durchgeführt werden. Die statischen Magnetzünder in Fig.5A und Fig.5B nicht wesentlich wirkungsmäßig Ergebnissen, außer daß die Bildung
solcher Muster einen offenen magnetischen Pfad abweichen.
Der einzige Teil, der einen geschlossenen
magnetischen Pfad jedes ersten Kern 2
herum mit einem magnetisierten Spule 4
gewickelt. Jede zweite Kern 3 wird
dann um mit einer Induktionsspule 5,
die elektromotorische Kraft durch elektromagnetische Induktion erzeugt
gewickelt.
Diese statische Magnetdynamo einen ersten
Flussmittel 11 in den ersten Kern 2 in der Richtung vom N-Pol zum S-Pol
des Permanentmagneten 1, wenn keine
Spannung an die magnetisierte Spule 4
angelegt. Weiterhin wird die Wirkung dieser Dynamo Anwendung Spannung an die
magnetisierte Spule 4 und Erzeugen
elektromotorische Kraft in der Induktionsspule 5 durch elektromagnetische Induktion zur Stromerzeugung ist ähnlich
statischen Magnetzünder der Grundkonfiguration. Die statische Magnet Dynamo mit zwei
Permanentmagneten 1, wie oben
erwähnt, hat ausgewogene magnetischen Wege. Da der Fluss der Permanentmagneten 1 kann effektiv genutzt werden,
erreicht dieses Ausführungsbeispiel höhere Stromerzeugungseffizienz als
statische Magnetzünder der Grundkonfiguration.
Die erste Ausführungsform ist ein statischer
Magnet Dynamosystem zwei statische Magnetzünder der Grundkonfiguration besteht.
In ähnlicher Weise kann ein statischer Magnet Dynamosystem als eine Kombination
von drei oder mehr statischen Magnetzünder von der Basiskonfiguration (Fig.1-4) hergestellt werden. In diesem Fall, ähnlich wie bei der ersten
Ausführungsform, eine offene Magnetpfad kann auf zwei Arten gebildet werden. Eine Konfiguration ist die Bildung eines
offenen Magnetpfad durch die Kopplung aller Permanentmagneten 1 mit einem zweiten Kern 3. Die andere ist die Bildung von so vielen
offenen Magnetpfade als Permanentmagnete durch Koppeln der N-Pol jedes
Permanentmagneten 1 zu dem S-Pol mit
einem zweiten Kern 3.
Ausführungsform
2
Als nächstes wird die zweite Ausführungsform
der vorliegenden Erfindung in Fig.6
dargestellten,

Die dritte Ausführungsform ist im gezeigten Fig.7,

und die vierte Ausführungsform ist in den
gezeigten Fig.8.

In diesen Ausführungsformen ist die Wirkung
der Anwendung von Spannung an die magnetisierte Spule 4 und Erzeugen elektromotorische Kraft in der Induktionsspule 5 durch elektromagnetische Induktion
ähnlich dem eines statischen Magnetdynamo der Basiskonfiguration (Fig.1-4).
Die zweite und die dritte Ausführungsform in
Fig.6 und Fig.7 dargestellt haben die gleiche Grundkonfiguration wie die
erste Ausführungsform, außer dass der erste Kern 2 in jeder Ausführungsform ist ganz anders geformt.
In der zweiten Ausführungsform wird der Teil
mit dem Ende des zweiten Kerns 3
ragt in Richtung auf das Ende des zweiten Kerns 3 entgegengesetzt. Somit
wird der Streufluss aufgrund der Abstoßungs des ersten Flusses 11 und der zweiten Fluss 12 in der ersten erzeugten Kern 2 springt über die Lücke G und geht in die zweite Kern 3 mit größerer Leichtigkeit.
Ausführungsform
3
Die dritte Ausführungsform ist so ausgelegt,
dass der Teil Koppeln des zweiten Kerns 3
ist der Teil des ersten Kerns 2, die
am nächsten zu dem Permanentmagneten 1
ist und, um die offenen Magnetpfad noch weiter zu verkürzen, die zwei
Permanentmagneten 1 nahe beieinander
anderen. Da ein Fluß dazu neigt, einen
geschlossenen magnetischen Pfad mit der kürzesten Entfernung, den Streufluss
aufgrund der Abstoßungs des ersten Flusses 11
und der zweiten Fluss 12 im ersten
Kern 2 Sprünge über den Spalt G zu bilden, erzeugt und in den zweiten
Kern 3 mehr leicht.
Ausführungsform
4
Die in Fig.8
angegebenen vierten Ausführungsform, im Gegensatz zu einer statischen
Magnetdynamo Grundausstattung besteht aus einer ersten Schleife in dem
Permanentmagneten 1 mit mehreren
geschlossenen magnetischen Wege sind kreisförmig mit dem Flußmittel in der
gleichen Richtung orientiert angeordnet sind, und ein zweite Schleife, die etwa
mit einem magnetisierten Spule 4
aufgewickelt ist und innerhalb der ersten Schleife eingebaut. Ferner sind die Teile mit den ersten Kernen 2 Koppeln der ersten Schleife an die
zweite ragen zueinander hin über einen spezifizierten Spalt. Die Teile, in denen diese ersten Kern 2 Stock aus zusammen mit einem zweiten
Kern 3 über einen Spalt G, um einen offenen magnetischen Pfad
bilden, gekoppelt. Dies verstärkt den
Fluß der Permanentmagneten 1 und
macht es für den Streufluss leichter aufgrund der Abstoßungs des ersten Flusses
11 und der zweiten Fluss 12 im ersten Kern 2 über den Spalt G zu
springen und in das zweite Kern 3
erzeugt.
Ausführungsform
5
Die Konfiguration einer statischen
Magnetdynamo in dieser Erfindung beteiligt ist bisher im Hinblick auf die
Ausführungsformen, wo ein offener Magnetpfad mit dem ersten Kern 2 an beiden Enden des zweiten Kerns 3 über einem paramagnetischen Material
verbunden beschrieben worden. Jedoch ist
diese Erfindung nicht auf diese Ausführungsformen beschränkt.

Das heißt, wie in Fig.9 gezeigt, die offenen magnetischen Pfad, der sich durch zwei
beliebige Teile des ersten Kerns 2
in der Richtung, dass sie sich einander nähern, wodurch sie als
Kernerweiterungen 6 definiert waren,
und die Kopplung dieser Kernfortsätze 6
realisiert werden über ein paramagnetisches Material 6'. Diese Ausführungsform kann auf alle oben
genannten Ausführungsformen angewendet werden.
Ausführungsform 6

Wie in Fig.10
gezeigt, ein geschlossener Magnetpfad besteht aus einem Permanentmagneten 1 und ein erster Kern 2 so zu koppeln, die verschiedenen Pole
des genannten Permanentmagneten 1
ringförmig ausgebildet. Dieser
geschlossene magnetische Bahn wird dann mit einem zweiten Kern 3 ausgestattet, so dass sie magnetisch
geht parallel mit dem Permanentmagneten 1,
so daß eine Bypass-geschlossenen Magnetkreis besteht aus einem
Permanentmagneten 1, Teil einer
ersten Kern 2 und einem zweiten
zusammen Kern 3.
Die nur einen Teil des geschlossenen
magnetischen Pfad des ersten Kerns 2
aus um eine magnetisierte Spule 4
gewickelt. Der zweite Kern 3 wird dann um mit einer
Induktionsspule 5 ausgebildet, um
eine elektromotorische Kraft durch elektromagnetische Induktion erzeugt
gewickelt.
Die Wirkung eines statischen Magnetdynamo
der obigen Konfiguration Erzeugungsleistung wird nachfolgend beschrieben.
Zunächst, wenn keine Spannung an die magnetisierte Spule 4 einer statischen Magnetdynamo den ersten Kern 2 bildet eine erste Flussmittel 11 in der Richtung vom N-Pol zum S-Pol
des Permanentmagneten 1 angelegt. In
diesem Zustand wird ein Fluss ähnlich der des ersten Kerns 2 ist in dem zweiten Kern 3
sowie erzeugt.
Ausführungsform
7

Das siebte Ausführungsbeispiel ist
nachstehend anhand von Fig.11
beschrieben, in Form eines statischen Magnetdynamosystem zwei statische
Magnetzünder der Grundkonfiguration und mit der relativen Position des
Permanentmagneten geändert besteht.
In einer statischen Magnetdynamo, wird ein
geschlossener Magnetpfad von zwei Permanentmagneten 1 und zwei ersten Adern 2
so zu koppeln, gestaltet die verschiedenen Pole eines der Permanentmagnete 1 mit dem weiteren Permanentmagneten 1 in einer ringförmigen Art und Weise
zusammengesetzt. Dieser geschlossene
magnetische Bahn wird dann mit einem zweiten Kern 3 ausgestattet. Dies führt
zur Bildung eines Bypass-geschlossenen Magnetkreis, bestehend aus einem
Permanentmagneten 1, Teil einer
ersten Kern 2, einem
paramagnetischen Material und einem zweiten Kern 3.
Die Teile, bei denen ein geschlossener
Magnetpfad jedes ersten Kerns 2
allein ausgebildet sind, um mit einem magnetisierten Spule 4 gewickelt. Jede zweite Kern 3
wird dann um mit einer Induktionsspule 5
ausgebildet, um eine elektromotorische Kraft durch elektromagnetische Induktion
erzeugt gewickelt.
In diesem statischen Magnetdynamo, in dem
keine Spannung an die magnetisierte Spule 4,
einen ersten Flussmittel 11 wird in
dem ersten Kern 2 in der Richtung
vom N-Pol zum S-Pol des Permanentmagneten 1
gebildet ist. Die Wirkung der Anwendung
Spannung an die magnetisierte Spule 4
und Erzeugen elektromotorische Kraft in der Induktionsspule 5 durch elektromagnetische Induktion
zur Stromerzeugung ist ähnlich der eines statischen Magnetdynamo der
Grundkonfiguration.
In dem oben erwähnten statischen
Magnetdynamo, der zwei Permanentmagnete 1
sind magnetische Pfade in einer ausgewogenen Art und Weise angeordnet. Dies macht es möglich, eine effektive Nutzung
des Flusses von den Permanentmagneten 1
zu machen, so dass die Energieerzeugungseffizienz ist höher als bei einer statischen
Magnetdynamo der Grundkonfiguration.
Diese Erfindung wurde bisher wenig im Detail
hinsichtlich der günstigsten Ausführungsformen beschrieben. Denn es ist klar, dass eine Vielzahl von
Ausführungsformen kann, ohne gegen die Philosophie und den Umfang dieser
Erfindung realisiert werden, wird diese Erfindung nicht auf eine bestimmte
Ausführungsform beschränkt ist, mit Ausnahme der in dem beigefügten Anspruch
beschrieben Beschränkungen.
Es ist ein interessantes Video auf YouTube unter http://www.youtube.com/watch?v=9zh_C3yvJH0 geschrieben, wo Stephan W. Leben mit der ID "TheGuru2You" Beiträge einige wirklich interessante Informationen. Er beginnt mit einer Schaltung von Alexander Meissner im Jahr 1913 produziert und hier gezeigt:

Stephan erklärt, dass er diese Schaltung gebaut und kann bestätigen, dass es ein Selbst-Resonanz Speise-Kreis ist. Sobald ein Zwölf-Volt-Versorgung an die Eingangsanschlüsse angeschlossen ist, schaltet der Transistor auf die Stromversorgung des Transformators, der sich wiederholende Impulse an die Basis des Transistors, Aufrechterhaltung der Schwingungen speist. Die Geschwindigkeit der Oszillation wird durch den Kondensator mit "C" in dem Schaltplan oben und der Spule über dem er verbunden ist geregelt.

Interessanterweise, wenn der Kondensator durch einen Elektrolyseur (die effektiv ist ein Kondensator mit dem Wasser, wobei das Dielektrikum zwischen den Platten des Kondensators), dann wird die Frequenz der Schaltung ersetzt automatisch
stellt sich auf die Resonanzfrequenz des Elektrolyseurs und es wird vorgeschlagen, dass dieses System in der Lage, die Elektrolyse von Wasser nur eine geringe Leistungsaufnahme erfordern auszuführen und automatisch slaving sich auf die variierende
Resonanzfrequenz des Elektrolyseurs. Soweit ich informiert bin, dies wurde nicht bestätigt, aber die Spannung Impulsgeber von John Bedini entworfen haben automatisch Slave sich ihrer Last, ob es sich um eine Batterie geladen oder ein Elektrolyseur Durchführung der Elektrolyse:

Die Transistorstufe ist selbstschwingenden wie vorher, der Transformator also, die heute von den roten und blauen Spulenwindungen gemacht. Diese Oszillation oszilliert auch der Flynn Magnetrahmen, ein elektrisches Ausgangssignal über die schwarze Spulen an jedem Ende des magnetischen Rahmens. Dies ist natürlich eine oszillierende oder Wechselstrom-Ausgang, so dass die vier Dioden erzeugen eine vollweggleichgerichteten (pulsierender) Gleichstrom Strom, der durch den Kondensator, die mit den Dioden geglättet wird.
Diese Schaltung würde durch Berühren eines 12 Volt-Quelle sehr kurz an die Ausgangsanschlüsse auf der rechten gestartet werden. Eine Alternative wäre, einen Permanentmagneten in der Nähe der roten und blauen Spulen Wave als dass eine Spannung erzeugt, die in den Spulen, völlig ausreichend, um das System schwingt starten und so, immer autark. Stephan schlägt vor, den Piezo-Kristall aus einem Feuerzeug und dessen Anschluss an eine zusätzliche Spule, um die notwendige Spannungsspitze, wenn die Spule an der blauen Spule und hielt das Feuerzeug Mechanismus geklickt produzieren.
Eine überraschende Problem wäre, wie das Gerät auszuschalten, da sie selbst läuft. Um dies zu bewerkstelligen, schlägt Stephan einen zweipoligen Ein/Aus Schalter, um den Ausgang zu trennen und verhindern, dass es liefert die Eingabe Abschnitt der Strecke. Um zu zeigen, ob die Schaltung ausgeführt wird, wird eine Licht emittierende Diode ("LED") über dem Ausgang verbunden ist und der durch sie fließende Strom begrenzt durch einen Widerstand von etwa 820 Ohm.
Alle, die versuchen dieses Gerät replizieren muss Experiment mit der Anzahl der Windungen in jeder Spule und dem Drahtdurchmesser benötigt, um den gewünschten Strom zu tragen. Stephan besagt, dass Sie mindestens das doppelte Gewicht von Kupfer in den (schwarz) Ausgang Spulen haben, da es in den (blauen) Eingangsspulen, damit das Gerät produzieren mehr Leistung benötigen. Die erste Seite der Anlage zeigt die Strombelastbarkeit für jede der Standard-Drahtdurchmesser allgemein zum Verkauf angeboten. Da es sich um ein ziemlich kürzlich veröffentlichten Schaltung, bin ich keine Kenntnis von Replikationen es zu diesem Zeitpunkt.
Ein
anderes Gerät in der gleichen Kategorie von Dauermagneten in Verbindung mit
oszillierenden Spulen wurde von Floyd Sweet produziert. Das Gerät wurde von Tom
Bearden "Vakuum Triode Verstärker" oder "VTA" genannt.
Das Gerät
war in der Lage, mehr als 500 Watt Ausgangsleistung bei 120 Volt, 60 Hz
erfordern weniger als ein Drittel von einem Milliwatt als zugeführte Energie zu
produzieren. Die Ausgangsleistung kann AC-Motoren, Leuchten, Heizungen und wenn
behoben, Gleichstrom-Motoren.
Dank gebührt Horst Weyrich, die vor kurzem
mich mit Links zu nützliches Material versehen hat, die ich zuvor nicht gesehen
hatte. Diesen Link: http://www.youtube.com/watch?v=0gM9natKIyY soll ein Video
in der Floyd die meisten des Magneten Klimaanlage Prozess zeigt.
In letzter Zeit wurde einige Zusatzinformationen auf Floyd Sweet Gerät freigegeben öffentlich von einem Gesellschafter der Floyds Wer geht nur unter seinem Vornamen von "Maurice" und, die das Alter von 70 Jahren erreicht hat beschlossen, dass es Zeit ist, diese zusätzlichen Informationen freizugeben. Diese Informationen finden Sie im Anhang. Ich bin mir nicht bewusst niemandem gelungen ist, bei der Replikation Floyds VTA, aber hier ist so viel Information wie ich zu dieser Zeit.
In dem obigen Video erzählt, dass Floyd Trennung zweier seine konditionierten Permanent-Magnete mit "Luftspalt" das ist erstaunlich, wie er sie auf gegenüberliegenden Seiten mit einer Länge von Aluminium Kanal mit dicken Mauern setzt und Aluminium eine große dämpfende Wirkung auf magnetische Felder hat:

Diese Anordnung, die ganz verrückt scheint, wird durch ein Bild von Floyd Labor bestätigt. Wie hier gezeigt:

Dies zeigt deutlich, daß die offenen Enden des Kanals nicht zwischen den beiden Magneten um einen ungehinderten Magnetfeld zwischen ihnen zu fließen, aber stattdessen zwei Kanaldicken von Aluminium zwischen den beiden Magneten, behindern den Magnetfluss - bemerkenswert !!
Floyd zeigt zwei Spulen verwendet werden, um die Magnete zu konditionieren. Die erste ist die große vertikale Spulen hier vor Floyd gezeigten:

Die zweite Spule ist nicht zu sehen, wie es ist in der Vertikalspule, sitzt flach auf den Boden, und die aus einer ganzen Spule AWG # 17 (1,15 mm Durchmesser) Draht, so etwas wie dieses:

Diese Spule arbeitet effektiv als Luftkern -Magnetspule, die Erzeugung eines starken axialen Magnetfeld innerhalb der größeren Spule, die es umgibt. Diese innerhalb der Spule wird von einem Sinussignal im 10Hz bis 15Hz Bereich betrieben, erhöht durch eine 100-Watt-Audio-Verstärker, die ohne Verzerrung der Wellenform den aktuellen benötigt, um die Sinuswelle auf dieser niederohmigen Spule verhängen bietet.
Der erste Schritt ist die Bestimmung der Resonanzfrequenz von jedem der beiden Permanentmagnete verwendet werden. Die Ferritmagnete verwendet scheinen etwa 6 x 4 x 1 Zoll (150 x 100 x 25 mm). Wie sie schließlich als ein Paar verwendet werden, ist ein Ende von jedem markierten, so dass sie in der korrekten Orientierung nach Anlage ausgerichtet sein. Dass Größe Magnet scheint eine Resonanzfrequenz von etwa 12 Hz haben, aber jeder Magnet wird etwas anders sein.
Das Innere wird Niederfrequenz -Spule bis auf etwa 12 Hz betrieben, wobei die Länge des Magneten mit dem Magnetfeld der Erde ausgerichtet ist (das heißt, Nord / Süd) und am oberen Ende der vertikalen Spule angeordnet. Ein Eisen Unterlegscheibe gemäß Transformatorkern Konstruktion verwendet wird vertikal auf der Oberseite des Magnet als Hinweis auf Resonanz gebracht:

Wie im Video gezeigt wird, wird die Sinuswellenfrequenz Zuführen des AWG # 17 Spule langsam angepasst, um den Punkt, an dem der Eisen Shim schwingt am stärksten zu finden. Diese Frequenz wird angemerkt, und das gleiche für die zweite Magnetgeführt. Es ist nicht wahrscheinlich, daß die beiden Resonanzfrequenzen gleich, und so die Durchschnittsfrequenz für das Paar verwendet wird.
Als nächstes werden die beiden Magneten in Anziehungsmodus, eines auf jeder Seite der Aluminium Kanal an dem gleichen Ende des Kanals angeordnet ist, mit ihrem markierten Enden. Das heißt, der Nordpolfläche eines wird dem Aluminium und dem Südpolfläche des anderen wird das Aluminium berühren berühren. Die beiden Magnete und deren Trennaluminium Kanal werden dann in der Hauptspule angeordnet und so ausgerichtet, daß die Außenflächen Nordpol Süden und der gegenüberliegenden Außen Südpol zugewandt Norden. Die großen Abmessungen der Spule sind so angeordnet, dass die Mitte der Magneten ist in der Mitte des äußeren Spulen:

Während die innere Spule weiterhin mit einem leistungsstarken Sinus-Spannung versorgt werden, wird die äußere Spule jetzt gefüttert einen 60Hz Strom von scharfen Spannungsimpulse. Diese werden hergestellt, indem ein 16.000 Mikrofarad Kondensator 250 V und dann entladen wird durch einen SCR (Thyristor) an die äußere Spule erzeugt. Es ist wichtig, dass die Spitzen scharf sein, da sie zur Einführung dieser Frequenz auf der internen Magnetstruktur der Magnete. Vermutlich, wenn dem Ziel für eine europäische 240V-Version, dann die äußere Spule würde bei 50Hz anstatt der amerikanischen 60Hz gepulst werden und der Kondensator wäre ein 450V Nenn Typ sein.
Die Arbeits Bilder Floyd Prototyp Speisen einer Last, scheinen anzuzeigen, dass der eine Eingangsspule und einer Ausgangsspule durch Ashley Grau unten beschrieben, sind die gleichen wie von Floyd verwendet werden, wie wir sehen, Drähte aus dem offenen Ende des Kanals kommt.
Horst möchte betonen, dass es nicht einfach ist, eine Arbeits Replikation von Floyds Design wie die Leute an zu machen www.hyiq.org haben versucht, sie für eine Anzahl von Jahren zu replizieren, ohne Erfolg.
Ashley Gray von Neuseeland.
Im April 2014 sandte ich einige Informationen über einen Kollegen von Floyd Sweet – Ashley Gray von Nelson, Neuseeland. Die Version von Ashley beschrieben wird verständlich sein.
Am 20. Juni 1994 sagt Ashley:
Nach einer Reise nach Amerika im Jahr 1985, als ich zuerst an Floyd
Sweet eingeführt wurde, wurde ich eingeladen, zurück zu gehen und mit ihm zu
arbeiten. Zu dieser Zeit wurde er von Mark Goldes des Instituts Aesop
finanziert wird, und Darryl Roberts arbeitete als Co-Koordinator des Instituts
in L.A. Nach der Arbeit mit Floyd seit einiger Zeit verließen wir Amerika nach
Nach unserer Rückkehr nach Neuseeland schickte Darryl Roberts uns die
Lab-Töne, die er beim ersten Test der "Raum-Quanten-Modulator" und
Bau-Details zu verzeichnen hatte. Wir wurden gebeten, wiederholen die
Experimente um die Ergebnisse zu überprüfen. Wir konstruiert das Gerät aber
nicht imstande waren, zu diesem Zeitpunkt keine Ergebnisse bekommen. Im Lichte
der neuen Informationen, die veröffentlicht worden war, ich einige weitere
Experimente durchgeführt und verwaltet erhalten einige interessante Ergebnisse ohne
Magnet 'Konditionierung', die soweit mir bekannt, war nicht in das
ursprüngliche Gerät verwendet wurde.
Das erste Gerät, das konstruierte ich wenn in Amerika bestand aus zwei
1-Zoll x 1 Zoll (25 x 25 mm) Neodym-Magneten in einem Stahlrahmen montiert. Gab
es zwei "modulierende" Wicklungen und ein Ausgang wicklung. Es wurde
durch eine speziell erstellte Sinus-Oszillator angetrieben, die von 1 kHz bis 2
kHz einstellbar war. Wir haben keine Ausgabe oder ein signifikantes Ergebnis
von diesem Gerät bekommen. Floyd hielten dies aufgrund der hohen Feldstärke an
den Neodym-Magneten und der geschlossene magnetische Pfad. Floyd hat etwas über
Magnet Klimaanlage notwendig nicht erwähnt.
Ein zweiter Prototyp entstand dann, mit Barium-Ferrit Magnete Größe
6-Zoll x 4 Zoll x 1 Zoll (150 x 100 x 25 mm):

Ashley scheint sich mit Hilfe von Magneten, die nicht
"konditionierten" sind. Ashley hatte, was ich als sehr bedeutende
Ergebnisse von seinem Prototyp mit einer Ausgangsleistung von 111 Watt für eine
Eingabe von nur 0,001 Watt (ein COP von 111.000) betragen. Ashleys
erfolgreichen Build hat ein Aluminium-Gehäuse. Die Leute bekommen die sehr
falsche Vorstellung, dass Aluminium nicht magnetisch ist, weil Magnete nicht
daran halten. Die Realität ist, dass Aluminium hat eine wirklich große
Auswirkungen auf Magnetfelder und können als magnetische Abschirmung, wenn dick
genug eingesetzt werden. Ashley Design verwendet zwei Spulen im rechten Winkel
zueinander stehen, und daß der Betriebsarten kann in anderen freien Energie Motive
betrachtet werden. Wie auch immer, einen Blick auf die Version von Ashley
gebaut:

Das Aluminium-Gehäuse ist flach. Die Enden 4 "x 2,5", die 100
x 63 mm ist. Der Durchmesser der Eingangsspule ist 1,5 Zoll oder 38 mm. In
ähnlicher Weise hat die Ausgangsspulenlänge auf weniger als 63 mm sein.
Das Diagramm kann unten einen etwas besseren Eindruck von den
Dimensionen am Bau Beteiligten zu geben. Zum gegenwärtigen Zeitpunkt sind
Magnete dieser Größe bei je £14 in Großbritannien verfügbar. Sie verfügen jeweils
über einen 8 Kg Zug und sind sehr schwer.

Die magnetischen Kraftlinien durch die Länge der Ausgangsspule und durch
die Breite der Eingangsspule fließt. Wie Sie aus dem Diagramm sehen können, ist
das Gerät kompakt, trotz der sehr großen Magneten. Die benötigte Eingang ist
ein guter Qualität Sinuswelle. Ashley sagt auch:
Informationen von Lab Notes der ersten erfolgreichen
Tests
Ursprüngliche Testkonfiguration:
Ein Signalgenerator von Wavetek,
Eingangsspule:
1.5 "Durchmesser 120 dreht # 20 Gauge (0,812 mm Durchmesser,
Gesamtwiderstand etwa 1 Ohm)
Eingabe = 7,5 Volt bei
3.v.l Microamps = 23 Mikro Watt
Ausgangsspule:
1,5" Durchmesser 12 dreht sich #12 Gauge (2,05 mm Durchmesser)
Ausgabe = 10,4
Volt Sinuswelle bei 1,84 Ampere = 19,15 Watt bei ca. 400 Hz
Kommentare:
Frequenz in der Regel betroffen resistive 1,8 a 20 Watt Birne laden
proportional - Helligkeit mit Frequenz erhöht, verringert mit Frequenz außer an
bestimmten Punkten, wenn es umgekehrt Verwandte erschien, etc. verringert als
Frequenz erhöhen.
Erste Änderungen:
Der Signalgenerator wurde durch einen speziell entwickelten
Sinus-Oszillator 9-Volt-Ausgang ersetzt. Die Eingabe Spule wurde auf 250
Umdrehungen der #18 Gauge (1.024 mm) erhöht und die Ausgabe-Spule stieg auf 24
runden #18 Gauge (1,024 mm Durchmesser) Draht. Magnete, Abstand, etc. alles
gleich geblieben.
Eingabe: 7,2 Volt bei 143
Mikro Ampere (0,001 Watt)
Ausgabe: 24,2 Volt
bei 4,6 Ampere = 111watts. Frequenz 388 und 402 Hz
Kommentare:
Durch die Erhöhung der Gegend des Drahtes ausgesetzt / oder besetzen das
fluktuierende Magnetfeld die Ausgabe wurde verdoppelt. Die genauen
Proportionen-/ratios des Raumes Füllmenge der Wicklung ausgegeben hatte zum
Zeitpunkt des Schreibens nicht festgelegt worden. Magnet Größe scheint weniger
wichtig als das Volumen der die Windungen, Drahtdurchmesser, Eingangs-Spannung
und Strom.
Der Strom ist nur begrenzt durch die Impedanz des Drahtes die dramatisch
in das magnetische Feld auf mehrere hunderttausend Ohm, während die Impedanz
steigt, wenn außerhalb der magnetischen Feld nur 2 oder 3ohms @ 400 Hz. (250
runden #18 (1 mm Durchmesser) Draht).
Die aktuellen CA-Anregung wird nur benötigt, um I2R Verluste zu
unterstützen, da das magnetische Feld keine zusätzliche Stromversorgung
benötigt, nicht durch die Drähte, die durch das Feld beim Laden.
Das Gerät lief für 10 bis 12 Stunden mit keine Heizung vorkommenden,
aber nicht mehr Dauer-Tests wurden durchgeführt. Die Tests wurden von drei Personen
bezeugt.
Technische Hinweise:
Die Qualität des Oszillators ist wichtig - es sollte keine Klirrfaktor,
d.h. es muss eine reine Sinuswelle.
Die Signal-Diode teilt den Strom in der Schaltung und Wesen parallel -
setzt eine kleine Microamp aktuelle in die Gewalt Kunststoffspule sowie einer
Spule. Dies funktioniert mit den Magneten in solch eine Weise, die es
produziert ein Vektor-Ergänzung.
Wenn in der Nähe zu den Magneten, vibrieren die Ausgabe laden Lampen.
Pavel war ein US-Patent in den 1970er Jahren verliehen. Das Patent ist interessantesten gekennzeichnet, daß es eine Vorrichtung, die eine Ausgangsleistung, die mehr als neun mal größer als die Eingangsleistung haben kann beschreibt. Er erreicht dies mit einer Vorrichtung, die zwei Elektroden in einem spitzen Quarzglas Umhüllung, die Xenongas enthält unter Druck (je höher der Druck, desto größer die Verstärkung der Vorrichtung) eingeschlossen und eine dielektrische Material.

Hier wird die Stromversorgung an eine oder mehrere Standard-Leuchtstofflampen durch die Vorrichtung geleitet. Dies erzeugt einen Leistungsgewinn, die spektakulär sein, wenn der Gasdruck im markierten Bereich '24 'und '25' in der obigen Abbildung ist hoch können. Das Patent ist in dieser Reihe von Dokumenten enthalten und enthält die folgende Tabelle von experimentellen Messungen:
Tabelle 1 zeigt die erhaltenen Daten, um über die optischen elektrostatischen Generator werden. Tabelle 2 zeigt die Lampe Leistung und Effizienz für jeden der Tests in Tabelle 1 gezeigt. Das Folgende ist eine Beschreibung der Daten in jeder der Spalten der Tabellen 1 und 2.
|
Spalte |
Beschreibung |
|
B |
Gas in Entladungsröhre eingesetzt |
|
C |
Gasdruck im Rohr (in Torr) |
|
D |
Feldstärke über dem Rohr (in Volt pro cm gemessen. Der Länge zwischen den Elektroden) |
|
E |
Stromdichte (gemessen in Mikroampere pro qmm. Des Rohres Querschnittsfläche) |
|
F |
Strom (gemessen in Ampere) |
|
G |
Stromversorgung über die Röhre (Watt pro cm berechnet. Der Länge zwischen den Elektroden) |
|
H |
Spannung pro Lampe (gemessen in Volt) |
|
K |
Strom (gemessen in Ampere) |
|
L |
Resistance (berechnet in Ohm) |
|
M |
Leistungsaufnahme pro Lampe (berechnet in Watt) |
|
N |
Lichtstrom (gemessen in Lumen) |
Tabelle 1
|
|
|
Optische |
Generator |
Abschnitt |
|
|
|
A |
B |
C |
D |
E |
F |
G |
|
Test Num. |
Art der Entladungs lampe |
Druck von Xenon |
Feldstärke über Lampe |
Stromdichte |
Strom |
Macht über Lampe |
|
|
|
(Torr) |
(V/cm) |
(A/sq.mm) |
(A) |
(W/cm.) |
|
1 |
Mo elec |
- |
- |
- |
- |
- |
|
2 |
Xe |
0.01 |
11.8 |
353 |
0.1818 |
2.14 |
|
3 |
Xe |
0.10 |
19.6 |
353 |
0.1818 |
3.57 |
|
4 |
Xe |
1.00 |
31.4 |
353 |
0.1818 |
5.72 |
|
5 |
Xe |
10.00 |
47.2 |
353 |
0.1818 |
8.58 |
|
6 |
Xe |
20.00 |
55.1 |
353 |
0.1818 |
10.02 |
|
7 |
Xe |
30.00 |
62.9 |
353 |
0.1818 |
11.45 |
|
8 |
Xe |
40.00 |
66.9 |
353 |
0.1818 |
12.16 |
|
9 |
Xe |
60.00 |
70.8 |
353 |
0.1818 |
12.88 |
|
10 |
Xe |
80.00 |
76.7 |
353 |
0.1818 |
13.95 |
|
11 |
Xe |
100.00 |
78.7 |
353 |
0.1818 |
14.31 |
|
12 |
Xe |
200.00 |
90.5 |
353 |
0.1818 |
16.46 |
|
13 |
Xe |
300.00 |
100.4 |
353 |
0.1818 |
18.25 |
|
14 |
Xe |
400.00 |
106.3 |
353 |
0.1818 |
19.32 |
|
15 |
Xe |
500.00 |
110.2 |
353 |
0.1818 |
20.04 |
|
16 |
Xe |
600.00 |
118.1 |
353 |
0.1818 |
21.47 |
|
17 |
Xe |
700.00 |
120.0 |
353 |
0.1818 |
21.83 |
|
18 |
Xe |
800.00 |
122.8 |
353 |
0.1818 |
22.33 |
|
19 |
Xe |
900.00 |
125.9 |
353 |
0.1818 |
22.90 |
|
20 |
Xe |
1,000.00 |
127.9 |
353 |
0.1818 |
23.26 |
|
21 |
Xe |
2,000.00 |
149.6 |
353 |
0.1818 |
27.19 |
|
22 |
Xe |
3,000.00 |
161.4 |
353 |
0.1818 |
29.35 |
|
23 |
Xe |
4,000.00 |
173.2 |
353 |
0.1818 |
31.49 |
|
24 |
Xe |
5,000.00 |
179.1 |
353 |
0.1818 |
32.56 |
Table 2
|
|
|
Fluorescent |
Lamp |
Abschnitt |
|
|
A |
H |
K |
L |
M |
N |
|
Test Num. |
Spannung |
Strom |
Widerstand |
Eingang Energie |
Lichtleistung |
|
|
(V) |
(A) |
(Ohms) |
(W) |
(Lumen) |
|
1 |
220 |
0.1818 |
1,210 |
40.00 |
3,200 |
|
2 |
218 |
0.1818 |
1,199 |
39.63 |
3,200 |
|
3 |
215 |
0.1818 |
1,182 |
39.08 |
3,200 |
|
4 |
210 |
0.1818 |
1,155 |
38.17 |
3,200 |
|
5 |
200 |
0.1818 |
1,100 |
36.36 |
3,200 |
|
6 |
195 |
0.1818 |
1,072 |
35.45 |
3,200 |
|
7 |
190 |
0.1818 |
1,045 |
34.54 |
3,200 |
|
8 |
182 |
0.1818 |
1,001 |
33.08 |
3,200 |
|
9 |
175 |
0.1818 |
962 |
31.81 |
3,200 |
|
10 |
162 |
0.1818 |
891 |
29.45 |
3,200 |
|
11 |
155 |
0.1818 |
852 |
28.17 |
3,200 |
|
12 |
130 |
0.1818 |
715 |
23.63 |
3,200 |
|
13 |
112 |
0.1818 |
616 |
20.36 |
3,200 |
|
14 |
100 |
0.1818 |
550 |
18.18 |
3,200 |
|
15 |
85 |
0.1818 |
467 |
15.45 |
3,200 |
|
16 |
75 |
0.1818 |
412 |
13.63 |
3,200 |
|
17 |
67 |
0.1818 |
368 |
12.18 |
3,200 |
|
18 |
60 |
0.1818 |
330 |
10.90 |
3,200 |
|
19 |
53 |
0.1818 |
291 |
9.63 |
3,200 |
|
20 |
50 |
0.1818 |
275 |
9.09 |
3,200 |
|
21 |
23 |
0.1818 |
126 |
4.18 |
3,200 |
|
22 |
13 |
0.1818 |
71 |
2.35 |
3,200 |
|
23 |
8 |
0.1818 |
44 |
1.45 |
3,200 |
|
24 |
5 |
0.1818 |
27 |
0.90 |
3,200 |
Die Ergebnisse aus Test Nr. 24, wo der Gasdruck ist ein sehr hoher 5000 Torr, zeigen, dass die Eingangsleistung für jede 40-Watt-Standard-Leuchtstoffröhren 0,9 Watt für volle Lampenleistung ist. In anderen Worten, jede Lampe ihre volle Spezifikation arbeitet auf weniger als ein Vierzig seiner Nenneingangsleistung. Jedoch war die Kraft von dem Gerät in diesem Test genommen 333,4 Watt, die mit den 90 Watt benötigt, um die Lampen 100 ausgeführt, ergeben sich insgesamt elektrischen Eingangsleistung von 423,4 Watt statt der 4.000 Watt, die ohne die Vorrichtung erforderlich gewesen wäre. Das ist eine Leistung von mehr als neun Mal die Eingangsleistung.
Aus der Sicht eines einzelnen Lampe, ohne mit dieser Vorrichtung erfordert es 40 Watt elektrische Eingangsleistung auf 8,8 Watt Lichtleistung, die einen Wirkungsgrad von etwa 22% (der Rest der Eingangsleistung ist, um Wärme umgewandelt) ist geben. Im Test 24, ist die Eingangsleistung pro Lampe 0,9 Watt für die 8,8 Watt Licht erzeugt, das eine Lampe Wirkungsgrad von mehr als 900% ist. Die Lampe verwendet werden, um 40 Watt Leistungsaufnahme müssen korrekt durchzuführen. Mit diesem Gerät in der Schaltung, jede Lampe braucht nur 0,9 Watt Leistungsaufnahme, die nur 2,25% der ursprünglichen Leistung ist. Eine beeindruckende Leistung für ein so einfaches Gerät!
Es
ist ein Französisch Patentanmeldung mit der Nummer FR 2.680.613 dated 19.
August 1991 mit dem Titel "Activateur gießen Mutation Isotopique",
die einige sehr interessante Informationen bietet. Das beschriebene System ist
ein in sich geschlossenes Solid-State-Energiewandler, die große Mengen von
Energie abstrahiert von einem gewöhnlichen Eisenstange. Dies ist auch in Michel
Tschechoslowakei Patent No.284, 333 gezeigt,
Die
Erfinder beschreibt die Technik als "Isotopen-Mutation-Effekt", wie
es gewöhnliche Eisen (Isotop 56) wandelt und dem Isotop 54 Eisen, Freisetzung
großer Mengen elektrischer Energie in den Prozess. Diese überschüssige Energie
kann, sagen sie, zum Wechselrichter, Motoren oder Generatoren anzutreiben.
Die
Beschreibung des Mechanismus, der durch die Vorrichtung verwendet wird, ist:
"Die vorliegende Erfindung nutzt ein physikalisches Phänomen, dem wir die
Aufmerksamkeit und die nennen wir 'Isotopic Change'. Das physikalische Prinzip
gilt für Isotop 56 Eisen, 26 Protonen, 26 Elektronen und 30 Neutronen enthält,
was eine Gesamtmasse von 56,52 MeV, obwohl ihre tatsächliche Masse 55,80 MeV.
Die Differenz zwischen der Gesamtmasse und der tatsächlichen Masse ist daher
0,72 MeV diese, die auf eine Energie von Zusammenhalt pro Nukleon von 0,012857
MeV entspricht.
So
Führt man zusätzlich 105 ev von Energie auf dem Eisenkern Isotop 56, wird dieser
Kern Isotop einen Zusammenhalt Energieniveau von 0,012962 MeV pro Nukleon
entsprechenden Eisen-Isotop 54. Die Instabilität von diesem Beitrag der Energie
geschaffen wird das Isotop 56 Eisen-Isotop 54 übertragen was zu einer
Freisetzung von 2 Neutronen.
Dieser
Prozess erzeugt eine überschüssige Energie von 20.000 ev da die Eisen-Isotop 54
ist nur 0,70 MeV, während Isotop 56 hat 0,72 MeV. Um zu dieser eisernen Isotop
56 Umwandlung zu bringen, nutzen wir das Prinzip der Nuclear Magnetic Resonance
".
Die
praktische Methode hierfür ist die Verwendung von drei Spulen aus Draht und
eine Magnetbahn-schließende Tragrahmen von Eisen wie in diesem Diagramm gezeigt:

Bei
dieser Anordnung
Spule
1: Erzeugt 0,5 Tesla, wenn sie mit Gleichstrom gespeist, die
Umwandlung der Eisenstange in einen Elektromagneten
Spule
2: Erzeugt 10 Milli-Tesla wenn sie mit einem 21 MHz
Wechselstrom Sinussignal zugeführt
Spule 3:
Ist der Ausgangsspule, Bereitstellen 110, 220 oder 380 Volt Wechselstrom bei
etwa 400 Hz in Abhängigkeit von der Anzahl der Windungen in der Spule
Diese
einfache und billige System hat das Potenzial zur Herstellung erhebliche
Energieabgabe für eine sehr lange Zeit. Die Erfinder behaupten, dass dieses
Gerät verkabelt werden kann, dass self-powered sein, während noch die
Stromversorgung externer Geräte. Spule 1 schaltet den Eisenstab in einen
Elektromagneten mit seiner Flusses in einer Schleife durch das Eisenjoch
kanalisiert. Spule 2 schwingt dann, dass
Magnetfeld in Resonanz mit den Isotopen 56 Eisenatome in der Stange, und dies
erzeugt das Isotop Umwandlung und Freisetzung von überschüssiger Energie. Spule
3 gewickelt ist, um eine bequeme Ausgangsspannung zu erzeugen.
Dieses Gerät, das von Harold Colman und Ronald Seddon-Gillespie am 5. Dezember 1956 patentiert wurde, ist bemerkenswert. Es ist ein winziges leichtes Gerät, das Strom erzeugen kann mit einem self-powered Elektromagneten und chemischen Salzen. Die Lebensdauer des Gerätes benötigen, bevor Renovierungsarbeiten an einigen 70 Jahre mit einer Leistung von etwa einem Kilowatt geschätzt.
Der Vorgang wird durch einen Sender, der die chemische Probe bombardiert mit 300 MHz Radiowellen gesteuert. Dies erzeugt radioaktiven Emissionen aus der chemischen Mischung für einen Zeitraum von einer Stunde maximal, so dass der Sender benötigt, um für fünfzehn bis dreißig Sekunden stündlich ausgeführt werden. Das chemische Gemisch wird durch eine Leitung Bildschirm zu schädlichen Strahlung, die die Benutzer zu verhindern abgeschirmt. Das Patent wird GB 763.062 im Anhang enthalten.
Dieser Generator-Einheit einen Magneten, ein Röhrchen, das eine chemische Mischung von Elementen, deren Kerne instabil durch Beschuß mit Kurzwellen so daß die Elemente radio-aktiv werden und elektrische Energie freizugeben, wobei die Mischung zwischen und in Kontakt mit montiertem, ein Paar aus unterschiedlichen Metallen wie Kupfer und Zink, und einem Kondensator, der zwischen der genannten Metalle montiert.
Die Mischung wird bevorzugt aus den Elementen Cadmium, Kobalt und Phosphor aufweist Atomgewichtskommission von 112, 31 bzw. 59 zusammen. Das Gemisch, das aus pulverisierter Form sein können, in einem Rohr aus nicht leitendem, hohe Wärmebeständigkeit Material montiert ist, und ist zwischen Zinkgranalienschüttung an einem Ende des Rohres und granuliert Kupfer an dem anderen Ende komprimiert wird, wobei die Enden des Rohres geschlossen durch Messingkappen und wobei das Rohr in einer geeigneten Ladestation ausgeführt, so dass es zwischen den Polen des Magneten befindet. Der Magnet ist vorzugsweise ein Elektromagnet ist und durch den Strom von der Einheit erzeugten Spannung. Die Sendeeinheit, die zum Aktivieren des Generator-Einheit verwendet wird, kann von jeder herkömmlichen Art Betriebssystem auf ultra-Kurzwellen sein und wird vorzugsweise Einkristall in der gewünschten Frequenz gesteuert.


Die Sendereinheit ist aus einem beliebigen geeigneten herkömmlichen Typs zum Erzeugen extrem Kurzwellen und kann Kristall gesteuert werden, um sicherzustellen, dass es mit der gewünschten Frequenz arbeitet mit der Notwendigkeit der Abstimmung. Das Quarzrohr mit der chemischen Mischung, am besten funktioniert, wenn sich aus einer Anzahl von kleinen Zellen in Serie hergestellt. Mit anderen Worten, wenn man die Patrone von einem Ende zu dem anderen, an einem Ende und in Kontakt mit der Kappe aus Messing, gäbe es eine Schicht aus pulverförmigen Kupfer sein, dann eine Schicht der chemischen Mischung, dann eine Schicht aus pulverförmigem Zink, ein Schicht aus pulverförmigen Kupfer usw. mit einer Schicht aus gepulvertem Zink in Kontakt mit dem Messing Kappe am anderen Ende der Patrone. Mit einer Patrone einige 45 Millimeter lang und fünf Millimeter Durchmesser, können einige vierzehn Zellen aufgenommen werden.


Eine freie-Energie-Entwickler, der beeindruckendsten Ansprüche für seine Geräte hatte ist die späten Don Smith, die viele spektakuläre Geräte in der Regel mit großen Leistung produziert. Don sagt, dass sein Verständnis von der Arbeit von Nikola Tesla kommt, wie in Thomas C. Martin's Buch aufgezeichnet "The Inventions, Researches, and Writings of Nikola Tesla" ISBN 0-7873-0582-0 Frei ab http://www.healthresearchbooks.com und verschiedenen anderen Buch-Unternehmen. Dieses Buch kann von heruntergeladen werden http://www.free-energy-info.tuks.nl/ als Pdf-Datei, sondern ein Papier ist Kopie viel besser Qualität und einfacher zu arbeiten.
Viele
Experimentatoren haben verbrachte viel Zeit und Mühe in Versuche, die Arbeit zu
replizieren, die Don Berichte und während COP>1 ist auf jeden Fall erreicht,
high-Power noch nicht erreicht wurde. Wenn Sie mehr Details wünschen dann es
finden Sie hier: http://www.free-energy-info.tuks.nl/DonSmith.pdf
als kostenloser download -

Und er lädt Sie zu sehen, ob Sie die
Schaltung zu replizieren können.
In groben Umrissen wird die Schaltung durch
eine 12V-Batterie betrieben, die eine Hochspannungs-Hochfrequenzschaltung versorgt.
Dieser Teil der Schaltung kann ein 12V Neonröhre Transformator sein, oder es
könnte ein PVM12 Hochspannungs-Hochfrequenz-Plasma-Treiber-Netzteil mit 70 kHz
(obwohl diese Frequenz ist nicht besonders wichtig) oder es könnte ein
Wechselrichter gefolgt werden Einem Netz-Neonröhren-Transformator. Entscheidend
hierbei ist, dass die Leitungslängen kritisch sind. Es ist wesentlich, daß die
Drähte zwischen der Batterie und dem Oszillator der Länge des Drahts in der
Ausgangsspule gleich sind. Er zieht die Schaltung wie folgt:

Der Ausgang geht durch eine UX-FOB-Diode zu
einer Funkenstrecke, die auf eine sehr kurze Funkenlänge und dann auf eine mit
Masse verbundene Spule eingestellt ist. Es wird vorgeschlagen, dass der Draht
in der Spule 1 bis 2 Meter lang ist und die Batterieanschlussleitungen exakt
die gleiche Länge haben. Die Prototypspule sieht so aus:

Und es ist nahe an der Batterie platziert.
Bei der Inbetriebnahme fällt die Batteriespannung für einige Minuten
geringfügig ab, und der Start erfolgt aufgrund der Rückkopplung der Batterie
von der Schaltung. Jeder der 70.000 Impulse pro Sekunde ergibt dieses Ergebnis:

Die gelbe Linie zeigt die Rückkopplung zur
Batterie an. Der Prototyp nutzt eine PVM12 Stromversorgung von http://www.amazing1.com/ die beabsichtigt
ist, eine Plasmakugel zu fahren.
Diese Schaltung bestätigt, was Don über die
Vorderseite seiner Schaltung sagte. Wenn Sie eine selbsttragende Frontseite
bauen, dann teilen Sie uns dies bitte mit. Am rückwärtigen Ende des
Stromkreises setzt sich die Entwicklungsarbeit fort.
Spät im Jahr 2014, Mohamed veröffentlicht das folgende Dokument nach zwei Jahren der Kontrolle und Erprobung wichtigsten Design Don Smith.
Das Resonanz-Energie-Gerät Erklärt
Vorwort
Diese Präsentation ist eine Gnade
von Allah (Gott) ist der Dank an ihn, auch wenn es das Ergebnis von mehr als
zwei Jahren der tiefen Nachdenken über die Resonanz-Energie-Gerät von Donald
Lee Smith erfunden. Ich interessierte
Das Dokument befindet sich hier: http://www.free-energy-info.com/Smith.pdf
Das
Video können Sie hier sehen: http://www.youtube.com/watch?v=cQkYAh8Qgb4
Die in dem Dokument enthaltenen Informationen sind
kostenlos und offen für die Öffentlichkeit. Ich denke, dass es Zeit ist für
solche Informationen, um weithin bekannte geworden - freie Energie ist
kostenlos, weil es für jeden etwas. Energie ist überall in unbegrenzter Menge,
bereit, mit minimalem Aufwand getroffen werden, ist das hier beschriebene
Resonanzenergie Gerät eines der attraktivsten freien Energievorrichtungen, es
auf einem mehrdimensionalen Transformator, der möglichst einen harmonischen
Austausch zwischen der positiven Energie der Wirklichkeit und macht abhängig
der unsichtbare negativen Energiemeer. Dies ist möglich, mit einem Funkenstreckenanordnung,
die energetische Symmetrie zwischen den positiven und negativen Energie Ozeane
machen es vorzuziehen, den Begriff zu verwenden Umgebungshintergrundenergie anstatt der Name Nullpunktenergie. Das
Video zeigte oben, ist eine ausgezeichnete Quelle, die parallel zu dieser
Arbeit angesehen werden kann, und wenn zusammen betrachtet, wird der Leser
sowohl die Video- und diese Darstellung zu verstehen.
Zu Beginn des Video oben
erläutert die Erfinder die Bedeutung des Magnetfeldes bei der Stromerzeugung.
Die magnetische Energie stört die Hintergrundenergie und führt zu einer
Trennung von Elektronen zwischen den zwei Enden einer Spule, ist diese Trennung
der Elektronen eine elektrische Energiequelle.
Die Resonanz-Energie-Gerät
basiert auf einer sehr wichtigen Gedanken aus, nämlich, dass Magnetismus und
Elektrizität sind zwei Seiten einer Einheit!
Materie und Energie sind
zwei Aspekte derselben Sache wie Oliver Heaviside in seinem berühmten
Energiegleichung E = MC2 ausgedrückt. Die elektrische Äquivalent dazu in unserem
Resonance Energy Gerät ist:
E = (Volts
x Ampere) x (Zyklen pro Sekunde) 2
In dieser Präsentation werden wir
gemeinsam lernen, wie das Gerät funktioniert, aber vor jeder Versuch diese
Informationen benutzen, achten Sie bitte auf die folgende Warnung:

Sie müssen dieses Dokument
immer wieder zu lesen, um die Macht hinter dieser Einrichtung zu verstehen;
Dieses Gerät ist ein Stromerzeuger! Sie sind in der Nähe einer Stromproduktion
Fabrik, sondern in einer kleinen Größe, diese spezielle Spule muss nur Spannung
und wenn wir schwingen, dass die Spannung, schaltet sich die Spannung in reale Strom!
Dies bedeutet, dass selbst
ein Kurzschluss nicht in das Sammelsystem erlaubt, wenn Sie HV Kondensatoren
verwenden möchten. Dies ist nicht der Ort für Amateure, bitte versuchen Sie
nicht, die hier dargestellt, es sei denn Sie erfahren sind und qualifizierte
Informationen implementiert oder verwenden. Weder der Verlag noch der Autor
macht keine Zusicherungen für die Vollständigkeit oder die Richtigkeit der hier
enthaltenen Informationen und lehnt jegliche Haftung für Schäden oder
Verletzungen, die aus Ihrer Handlungen hervor.
hopehope3012 (bei) gmail (Punkt) com
Lassen Sie uns untersuchen, wie ein Magnetfeld erzeugt eine Spannung
in einer gewöhnlichen Spule und warum unsere Spulen fehlt die Energie
Schlüssel, Donald Smith hat festgestellt!

Wenn ein Magnetfeld durchdringt eine
Spule erzeugt das induzierte elektrische Drehfeld additive Grundspannungen auf
der Spule. Jede Drehung in der Spule erhält die gleiche Spannung haben,
extrahieren wir die Kraft entlang der Länge der Spule, aber vermissen wir die
in der näheren Umgebung im Inneren der Spule Macht !! Um dies zu verstehen,
wollen wir untersuchen, das induzierte elektrische Feld:

Betrachtet man Fig.2, die eine Umdrehung des in
Fig.1 gezeigten Spule darstellt, sehen wir, dass das magnetische Feld
durchdringt die gesamte Fläche innerhalb dieses Rings. Dieses Magnetfeld wird
in eine Spannung umgewandelt, weil es ein rotierendes elektrisches Feld zu
fahren, ist das Feld in der Lage, eine Spannung zu induzieren, und diese
induzierte Spannung wird bewirken, dass der Strom auf Grund der
unterschiedlichen der Spannung zwischen den beiden Punkten A und B in Strömungs Fig.1.
Die wichtige, in der Regel vergessen, was über das
induzierte elektrische Feld ist die Verfügbarkeit in unserem Spule wie in Fig.3
gezeigt:

Das induzierte elektrische Feld
existiert, unabhängig von der Leiterschleife. In anderen Worten, eine induzierte
elektrische Feld durchdringt den gesamten Raum innerhalb des Bereichs des sich
ändernden Magnetfeldes, die durch die roten Feldlinien in Fig.3 angegeben. Was
ist mit diesem Bereich? Es wird Leistung vergeudet. Es wird Energie an Punkt A, wie auch der gesamte Abstand
zwischen den beiden Punkten A und B verschwendet.
Wenn wir an die Macht Verstärkung zu
erreichen wollen, müssen wir das Magnetfeld mit der induzierte elektrische Feld
so zu kombinieren, um den nicht-konservativen elektrischen Feld zu sparen! Die
induzierte rotierendes elektrisches Feld bleibt nicht-konservative, aber wir
konnten mit der induzierten Spannung angelegt von diesem Feld mit einem Tesla
Bi-filar Spule spielen (“TBC”).
Wir müssen die kapazitiven Seite eines
Tesla bi-filar Spule erstrecken um aus der induzierten E-Feld auf ein vertretbares Maß zu
profitieren, wenn wir versuchen, einen Flach TBC verwenden wir das gleiche
Problem in unserem Magnetspulen stehen, wo wir konzentrieren zwischen zwei
Punkten. Das Herz der Resonance Energy
Vorrichtung auf eine anhand erweitert Tesla bi-filar Spule (Fig.4)

Während meiner Suche nach der
Spezifikation des Tesla bi-filar Spule war ich nicht in der Lage, eine Vielzahl
von Informationen wie beispielsweise die Resonanzfrequenz dieses spezielle
Spule, als wäre es in Vergessenheit geraten ist zu finden, obwohl es seit
1894 hat bekannt!
Ich fühlte es, ohne Vorteil;
glücklicherweise zu diesem Zeitpunkt habe ich erfolgreich eine neue Art von
asymmetrischen Kondensator, hat vier Platten, anstatt drei Platten, konnte ich
meine Quellenspannung replizieren gebaut, gab ich ihm den Namen C1/C2-System,
wenn ich C1 mit Hochspannung gespeist Ich war in der Lage, die Spannung von C2
ohne direkten Kontakt zu nehmen, wird das Gerät von der elektrischen Feld
Wechselwirkung zwischen C1 und C2 basiert.
Die C1/C2-System öffnete meinen
Geist auf die Möglichkeit der Aufladung eines Kondensators ohne die
Notwendigkeit des direkten Kontakts; mit der Vorrichtung. Ich begann zu denken
in einer anderen Weise, fragen, wie konnte ich die beiden Seiten von Strom in
nur einem Gerät zu kombinieren. Die in Fig.4 gezeigte Vorrichtung kann,
wie in Fig.5 gezeigt, vereinfacht werden:

Die magnetische Seite ist der Pfad von A
nach B ist der Weg, den der
Strom zu folgen, und die
magnetische Energie wird gebildet
und in unserer Spule
konzentriert, kann die magnetische Seite
ist die verborgene Seite von Strom, weil wir nicht konservieren können dieser
Zustand für eine lange Zeit wie
wir in den Kondensatoren. Diese
Seite ist direkt mit der Umgebungshintergrundenergie
oder Nullpunktenergie. (Später werden wir sehen,
warum Donald Smith zieht den Namen des Umgebungshintergrundenergie im Gegensatz zu ZPE)
Um die Dinge einfacher, wir könnten den
Permanentmagneten als Beispiel zu nehmen, wird der Dauermagnet zum Magnetfeld die ganze Zeit, ohne dass wir sichtbare
Macht, für die wir zahlen müssen liefern erstellen.
Die elektrische Seite dieser erstaunlichen Spule ist
die schwierigste Sache zu verstehen. Der Kondensator in unserem erweiterten Tesla bi-filar
Spule ist nur ein Punkt! Es
ist der Punkt "X", sondern auf einer statischen Sicht, sagen wir, dass
es sich zwischen den Punkten C und
D. Der Pfad von C nach D wird
die Möglichkeit, die Richtung des
Stroms benötigt wird, um die
Spule zu bauen und sorgen für die
maximale Spannung erzeugt wird, zu erhalten zwischen den beiden Platten
des Kondensators. Dieser Kondensator
ist ein dynamischer Kondensator und
keine statische Kapazität. In diesem Kondensator der
Verschiebungsstrom fehlt... weil
es sammelt die beiden Polaritäten von Strom in
einem Gerät. Die magnetische Seite
ist die aktuelle Seite, beginnt Strom von dem Punkt A und die Ströme zu einem
Punkt B. Die
elektrische Seite ist der Punkt,
an dem die maximale Spannung zwischen
den beiden Platten vorhanden ist. Ich denke, dass dies der schwierigste Punkt
in der Tesla Bi-filar Spule verstehen,
weil wir sie sehen, wie gerade eine
Spule und nicht eine Spule mit
einem eingebauten Kondensator!
Zurück zu 1894 und einen Blick auf das, was Herr Nikola Tesla sagte
über seine bi-filar Spule:
Meine
vorliegende Erfindung hat für sein Objekt auf die Beschäftigung von
Kondensatoren zu vermeiden, die teuer, umständlich und schwer zu in
einwandfreiem Zustand zu halten und so konstruieren die Spulen selbst, das
gleiche Endziel zu erreichen sind.
Beginnen wir mit der Analyse, wie
die erweiterten Tesla bi-filar Spule Werke. Stellen Sie sich vor, dass die
folgende Zeichnung wird ein geladener, verlängert Tesla-Spule mit den positiven
und negativen Teile, wie rote und schwarze Platten gezeigt.

Wenn wir verbinden diese beiden Platten durch ihre Punkte C und D, wird
ein elektrischer Strom von Punkt A nach Punkt B zu fließen,
wie durch die roten Pfeile dargestellt.
Die rote Platte -
- gegenüber anderen
gewickelte Spule im Uhrzeigersinn
("CW") - die schwarze Platte - Wenn die induzierte
elektrische Feld eine Spule, die gegen
den Uhrzeigersinn ("Links")
aufgewickelt ist findet dieses elektrische Feld wird eine induzierte Spannung, die dazu neigen zu
generieren um den Kondensator wieder
aufzuladen!
Das rotierende elektrische Feld beginnt, um eine induzierte elektrische
Spannung vom Punkt B die 0V in diesem Fall wird,
da die induzierten elektrischen Felder
in einer Richtung im Uhrzeigersinn
drehen, bauen. Wenn
das Magnetfeld zunimmt, wird der
elektrische Strom im Gegenuhrzeigersinn zu fließen und so die
Richtung des Magnetfeldes wird
aus dem Bildschirm wie in Fig.6 angegeben.
In diesem Fall erreichen wir eine kostenlose und unverbindliche Spannungsdifferenz zwischen benachbarten
Platten. Diese Situation zieht
Elektronen, die zuvor nicht verfügbar waren, zu werden eingearbeitet und erzeugen eine sehr große Nettogewinn im
Potential, ist dieser Gewinn
echte !!
Die induzierte rotierendes elektrisches
Feld fließt in geschlossenen Schleifen, aber diese
Konstruktion bewirkt, dass es eine
Spannungsdifferenz zwischen benachbarten Platten zu bauen. Dies verhindert,
dass die Spannungsdifferenz zwischen den benachbarten Platten abfällt und es macht die Replikation von elektrischer Energie mit Radiofrequenz einer praktischen
Betrieb.
Aus diesem Grund können wir verstehen, warum Resonanz kann
die Macht nicht zu
produzieren, aber es bildet die Leistung mit Hochfrequenz und das ist das Geheimnis der enormen Leistung, die dieses Gerät in der Lage, mit der Gleichung,
die Don Smith gab uns geben:
![]()

Die induzierte rotierendes
elektrisches Feld induziert elementaren Spannungen bauen, B ist der Ausgangspunkt für dieses Feld, so wird es 0V haben, aber
wenn wir bei Punkt D wird es V Volt,
die gleiche Spannung wird am Punkt C.
Die induzierte rotierendes elektrisches Feld zur Verfügung stehen wird
weiterhin, es ist Dreh Herstellung einen Wert von 2V am Punkt A !! (Fig.7).
Eine Frage: wo ist der Kondensator,
wenn C und D beide die gleiche Spannung?
Der Kondensator in unserem
erweiterten Tesla bi-filar Spule (TBC) ist eine dynamische Kondensator, wird es
nur, wenn die Spule schwingt gebildet werden. Wenn das passiert, wird die
induzierte elektrische Feld geben C und
D die gleiche Spannungswert aber
jeder benachbarten Windung die gleiche Spannungsdifferenz zum Anziehen
Umgebungs Elektronen, die in dem System nicht ursprünglich, aber jetzt werden
in großer Zahl benötigt, integriert zu empfangen, Bereitstellung der
Leistungsüberschuss. Dieser Kondensator wird durch den Übergang CD, und von einem dynamischen
Gesichtspunkt ist es der Punkt X.
Diese Vorrichtung behandelt die
Magnetismus und Elektrizität, als ob sie das gleiche sind. Wenn dies geschieht
beide Seiten dazu beitragen, die andere Seite. Der Verschiebungsstrom fehlt
hier, weil es scheint, wenn wir uns trennen Elektrizität und Magnetismus. Wenn
wir das tun, füllen wir die Lücke durch die Einführung von etwas ist nicht
echt. Der Verschiebungsstrom existiert nicht !!
Wenn Sie einen Dauermagneten in der
Luft bewegen, eine induzierte elektrische Feld wird unabhängig
von dem Vorhandensein einer Spule erscheint. Der Strom ist da, es von der
Hintergrundenergie und kehrt zu seiner Hintergrundniveau, sowohl Elektrizität
und Magnetismus kommt den gleichen Ursprung haben, der Magnetismus ist die
Energieseite (Magnetfeld), ist der Strom die physische Seite (Elektronen).
Die physische Seite erscheint,
wenn wir setzen eine leitende Spule in einem Gebiet, wo es ein wechselndes
Magnetfeld. Das Magnetfeld bewirkt, dass die Elektronen auf CCW drehen und
produzieren Spannung und drehen CW und produzieren Strom, erscheinen Spannung
Elektronen negativer ausfallen, weil sie mehr aktiv sind, erscheinen aktuelle
Elektronen weniger negativ. Wir suchen die Anzahl der Elektronen durch das sich
ändernde Magnetfeld getrennt. Der Strom (I) ist die Energie Killer weil sie die
Kraft der Spannungselektronen absorbiert!
In diesem System, dringt das
Magnetfeld in einer speziellen Kondensatorwickel in dem beide Seiten der elektrischen
Leistung
in einem einheitlichen Zustand gefunden. Wir diskutierten die Phase, wenn die
Kondensatorentladungen über sich selbst, und jetzt ist es an der Zeit zu sehen,
wie die Spule den Kondensator mit einer falscher Polarität.
Es ist wichtig, um die Resonanz
in einem normalen L / C-Schaltung zu überprüfen, um die Arbeit des erweiterten
TBC zu verstehen. Stellen Sie sich vor, dass Sie einen geladenen Kondensator,
wenn sie auf eine Spule ein Strom zu fließen beginnt, wenn der Strom seinen
Maximalwert erreicht verbunden ist, bedeutet dies, dass der Kondensator
vollständig entladen wurde, wird das Magnetfeld den größeren Wert haben und
beginnen, zu verringern und zu induzieren eine Spannung, die den Kondensator wieder
mit der entgegengesetzten Polarität aufgeladen wird.
Das gleiche wird in die
erweiterte TBC, passieren, wenn das magnetische Feld seinen Maximalwert
erreicht, wird es dann abnehmen und induzieren eine Spannung, die den
Kondensator wieder aufzuladen wird, ist die Komplexität hier, um die Positionen
der Spule und Kondensator verstehen.

In einer dynamischen Perspektive
sieht die Spule den Kondensator in der X-Position, die Spule zwischen A und B liegt, vergleichen diese zu dem, was passiert in einer normalen
L/C-Schaltung in dieser Phase die Spule einen Strom außerhalb ihrer Region zu fahren, die außerhalb Bereich
zwischen A und B hat die Position X.,
wenn das Magnetfeld induziert einen Strom, um den Kondensator zwischen C und D wieder aufzuladen, wird das induzierte elektrische Feld diesen
Job zu machen, weil es die Drehrichtung ändern, um CCW sein (Fig.8), und dieses
Verhalten wird dazu neigen, den Strom auf einen hohen Wert, während die
Spannung erhöht zu halten! Die Position des Kondensators in dieser Vorrichtung
muss die Position der Funkenstrecke ist. Eine Funkenstrecke in dieser Position
wird die Leistung drastisch
verbessern und erhöhen das Leistungszunahme.
Der Resonance Energy Gerät
arbeitet mit Funk Geschwindigkeiten oberhalb von 20 kHz. Die Umgebungs
Hintergrund Elektronen sind in der Regel in einem ruhenden oder inaktiven
Zustand gefunden und das macht die Erstellung von Umgebungs Elektronen ein
schwieriger Vorgang. Aus diesem Grund brauchen wir eine Masseverbindung, um die
Leistung des Systems zu verbessern, später in dem Video, spricht Don Smith über
etwas Neues, wird die Masseverbindung nicht erforderlich, weil es so etwas wie Luftmasse.

So aktivieren Luft Elektronen
effektiv brauchen wir eine andere Energiequelle, eigentlich diese Energiequelle
als negative Energie vorhanden ist, aber bevor wir weiter gehen, müssen wir die
Symmetrie zwischen den elektrischen und magnetischen Seiten. Wenn wir von A bis C haben wir die Hälfte Spule-Kondensator während von
D
nach B haben wir Kondensator-Halbspule.
Zu verstehen, wie die erweiterte TBC
empfängt negative Energie, ist es besser, die Art, in der die Vorrichtung
schwingt sehen. Es gibt zwei Methoden der Fütterung dieser Spule:
Die Direkte Methode
Hier haben wir, um die
Resonanzfrequenz dieser Spule wissen oder alternativ, müssen wir haben die
Resonanzfrequenz von unseren Speiseschaltung abgedeckt. Diese Methode ist die
beste, weil wir viel Kraft brauchen, denn wenn wir Resonanz erweiterte TBC zu erreichen,
wird eine sehr hohe Impedanz haben, und so wird eine maximale Spannung
vorhanden zwischen A und B sein und weniger Windungen benötigt
werden in der Reaktionsspule L2.
Die Indirekte Methode
Hier haben wir
nicht um die Resonanzfrequenz kennen, wenn wir füttern diese Spule von A und B der Kondensator auflädt. Die Funkenstrecke weist einen sehr hohen
Widerstand, und es wird nicht ausgelöst, bis es eine Spannungsdifferenz
zwischen den Punkten C und D, in diesem Moment ein Funken
auftritt, und wenn das geschieht, wird der Widerstand der Funkenstrecke sinkt
von einem sehr hohen Wert zu sehr niedrigen Wert und dass Kurzschlüsse jeder
Strom kommen von der Energiequelle bis zum natürlichen Spule Resonanz
Oberflächen!
Zwischen den Punkten A und B, die der Spulenseite ist, wenn der Kondensator vollständig
aufgeladen ist, wird der maximale Spannungs, Wenn der Funke tritt der
Kondensator wird zu einer Spule, die einen Kondensator hinein gebaut hat Transformations! Dieser Vorgang stellt die natürliche Resonanz
benötigt ohne Probleme.
Achtung!
Wenn wir füttern diese Spule von
Punkt A nach Punkt B und dann trennen Sie es von der
Stromquelle, würden Sie dann erwarten, dass es durch Kurzschließen Punkt C zu entladen, um D (in der Regel von der Stelle der Funkenstrecke) verweisen. Wenn
Sie dies tun, und berühren Sie dann die Spule Sie
werden auf jeden Fall erhalten eine erhebliche Hochspannungsschock! Selbst wenn Sie den Funken, der Funke
entlastet dieser Kondensator wird nicht sofort, aber es bewirkt, dass die Spule
zu oszillieren wieder und laden sich. Dieses Gerät ist ein einfacher
Kondensator nicht, weil wenn Sie die Funkenstrecke kurzschließen sie die
elektrische Energie in elektromagnetische Energie kann den Kondensator wieder
aufladen umzuwandeln.
Wenn Sie versuchen, die Punkte A und B in einem Versuch, die erweiterte TBC Entlastung Kurzschluss,
verwandelt diese beiden Punkte in elektrische Punkte (wegen der Symmetrie). Aus
statischer Sicht kann der Kondensator eine AB-Position
sowie einzunehmen.!
Die Lösung ist die
Kurzschluss C nach D und dann dauerhaft Kurzschluss A nach
B gleichzeitig.
Wie ich
schon erwähnt, gibt es einen Bedarf für zusätzliche Energie, um Luft Elektronen
effektiv aktivieren. In Wirklichkeit ist dies nicht genau geschieht, so ist die
Anordnung kompliziert. Die negative Energie kommt dieses Gerät in einer
ungewöhnlichen Weise. Die erweiterte Tesla Bi-filar Spule wird Blindenergie in
riesigen Mengen zu liefern, weil es gemeinsame Merkmale zwischen Blindenergie
und negativer Energie. Blindleistung ist eine Art der Stromversorgung, in
Volt-Ampere-reaktiv ("vars"), die Arbeit in der vorliegenden Form
nicht tun können, gemessen. Für sinusförmige Wellenformen, ist die Formel für
die
Blindleistung = V x I x sin (θ)
Der Reaktor Spule in unserem System
ist eine verkürzte Version eines normalen parallelen L / C-Schaltung. Die in
der Reaktionsspule empfangenen Ausgangsenergie zu einer Blindenergie wegen des
Vorliegens einer Spule parallel mit einem Kondensator sein. Der Phasenwinkel
zwischen Strom und Spannung ist um 90 Grad, und so wird die Wirkenergie in
diesem Fall Null.
Wirkleistung = V x I x cos (90 Grad) =
0
Das System verhält sich wie eine negative Widerstand, ist es
eine nicht-dissipativen
System, weil es ein Energieabsorptionssystem:

Die reaktive Energie in diesem
System ist ein Vorteil. Die Energie wird bestellt und so können wir leicht zu
erreichen Supraleitfähigkeit bei
Raumtemperatur!
Wie in Fig.10 gezeigt, ist eine
aktive Energie chaotische Energie
und so ist es nicht einfach, Widerstands loszuwerden. Der wichtige Punkt, wo
wir brauchen, um unsere Aufmerksamkeit zu fokussieren ist, wo die Spannung
einen Maximalwert hat der Strom völlig fehlen. Negative Energie ist eine Art
von elektrischer Energie erzielt, wenn Funkenbildung (ein - aus) von einem
Hochspannungs -Gleichstrom (Fig.11).

Deshalb brauchen wir eine
Hochspannungsdiode in unserem Stromversorgungsschaltung. Die Resonanz in einer
normalen parallelen L/C-Schaltung nicht erfordern.
Wenn wir eine Funkenstrecke zwischen
Punkt C und Punkt D zu verbinden,
dann wird die negative Energie in unser System mit der gleichen Geschwindigkeit
wie positive Energie gezogen werden! Die Symmetrie zwischen den magnetischen
und elektrischen Seiten in unserem positive Energie Wirklichkeit die richtige
Tür für die nicht nachweisbare negative Energie Realität zu öffnen!
Anfangs, wenn der Kondensator
beginnt sich zu entladen, wird der Strom steigt aber die induzierte rotierendes
elektrisches Feld dazu neigen, um die Spannung auf einem hohen Wert zu halten.
Die Kondensatorentladung über die Funkenstrecke (die einen großen Betrag der
Spannung erforderlich ist), wird der Stromfluss nicht sofort gestartet.
Zunächst hat der Strom steigt, aber der Funke nicht auf. Dies drückt die
Spannung bis höheren (Verhalten, die parallel L/C-Schaltungen bekannt ist),
dann steigt der Strom auf einen hohen Wert sehr schnell, während die Spannung
wird auf einem Niveau, das den Funken nicht aufrechterhalten können gezogen.
Wenn der Kondensator vollständig entladen den Stromfluss durch den Funkenspalt
ist auf seinem Maximalwert. Folglich erzeugt das erweiterte Tesla Bi-filare Spule
eine Rechteckwelle anstatt des erwarteten Sinuswelle, die durch eine
gewöhnliche Parallel-LC-Schaltung erzeugt wird. Die Rechteckwelle erzeugt, wenn
der Funke auftritt, enthält Wellen aller Frequenzen und so, auch wenn die Zeit,
während der Funken kurz ist, wird es immer noch Tausende von Oszillationen in
diesem Zeitpunkt. Ich weiß, dass es nicht einfach ist, dies zu visualisieren,
aber es ist das, was tatsächlich geschieht.
Diese besondere Genie Design löst
die schwierigsten Probleme in kalten Strom, aufgrund seiner rückgängig
Verhalten gegenüber heißen Strom. Kalter Strom zieht es entlang Materialien,
die wir als Isolatoren, während heiße Strom zieht es entlang Materialien, die
wir als Leiter sein fließen fließen.
Laut Tom Bearden, mit negativer
Elektrizität der Kondensator führt in der Weise, dass eine Spule tut mit heißen
Strom, und die Spule wird wie eine heiße Strom Kondensator durchführen (Fig.12).

Die obige Abbildung ist ein Versuch, wie kalt Elektrizitätswerk verstehen, aber es ist besser, einen
Blick auf Floyd Sweet Erklärung seiner VTA Gerät
im Anhang (Seite A-1209)
nehmen:
Es ist wichtig zu beachten, daß,
solange positive Energie in einem positiv
fließende Zeitregime vorliegt, dann Einheit und over-unity Stromgewinne
sind nicht möglich. Die Summe der Verluste aufgrund von Widerstand, Impedanz,
Reibung, magnetische Hysterese und Wirbelströme Ventilationsverluste bei
rotierenden Maschinen immer Gesamtwirkungsgrad unter der Einheit zu verringern
für ein geschlossenes System. Die Gesetze der Erhaltung der Energie immer
gelten für alle Systeme. Jedoch ändert sich die induzierte Bewegungs E-Feld des Systems, auf denen diese Gesetze
angewendet werden müssen. Da die
Vakuum Triode ist in mehr als vier
Dimensionen und stellt einen Link
zwischen der multidimensionalen
Wirklichkeit der Quantenzustand und der Dirac-Sea, wir es jetzt mit einem offenen
System und nicht das "geschlossenes System", in dem alle Erhaltungs-
und thermodynamischen Gesetze wurden entwickelt. Einheit zu erreichen, muß die
Summe aller magnetischen und ohmsche Verluste gleich Null. Um diesen Zustand zu
erreichen, negativer Energie und
negative Zeit erstellt werden müssen. Wenn dies erreicht ist, null wird alle
ohmschen Widerstand und alle Energie fließt dann entlang der Außenseite der
Leiter in der Form einer speziellen Raumfahrt.
Die obige Erklärung beschreibt die
VTA-Gerät, sondern demonstriert auch die Arbeit des Resonance Energy Gerät von
Don Smith !!
Das richtige Modell des Kondensators
ist die erweiterte Tesla Bi-filar Spule, weil es eine Verbindung zwischen der
multidimensionalen Wirklichkeit der Quantenzustand und der Dirac-Sea negativer
Energie zur Verfügung stellt. Von einer positiven Energie perspektivische
beschreibt AB, während die Spule den
Kondensator CD beschreibt, aber die Spule im Bereich der negativen
Energie in den Kondensator AB-Transformation;
und in der Umgebung der Kondensator wird in die Spule Transformation !!
Wie können wir erklären dies physisch?
Die Energiegleichung und Dirac-Gleichung Anruf sowohl für positive als auch negative Energie. So sind sie symmetrisch in Bezug auf Energie, wie die Kräfte der Physik, positive Abstoßungskräfte zu erhöhen positive Energie, während negative Anziehungskräfte erhöhen negative Energie. Nach der modernen kinetischen Theorie der Masse-Energie würde negative Energie lediglich eine Schwingung von Ladungen in rechten Winkeln zu unseren normalen Dimensionen in einem "imaginären" Richtung. (Fig.13).

Um Fig.13 richtig
zu verstehen, müssen wir uns daran erinnern, dass wir durch unsere positive
Energie Realität beschränkt; in unserem erweiterten Tesla Bi-filar Spule wir
brauchen die negative Energie in unserem positiven Seite, die Funkenstrecke in
CD-Position ist die flexible Ort für sowohl positive als auch negative Energie
zu kombinieren.
Tom Bearden hat ein
wichtiges Buch mit dem Titel "Energie aus dem Vakuum". Der folgende
Text ist auf Seite 236, wo er die Spezifikation eines echten negativen
Widerstand erklärt:
Die wahre
negativen Widerstand ist eine offene dissipative System a priori und Gleichgewichtsthermodynamik findet daher keine
Anwendung. Stattdessen fern vom Gleichgewicht gilt die Thermodynamik offener
Systeme. Der negative Widerstand erhält frei Energie von außerhalb des Systems
(aus der Umwelt) und "zerstreut" in Abfangen und Sammlung Aktionen
innerhalb des Systems, um die verfügbare potentielle Energie im System frei zu
erhöhen. In Schaltungen, das
Hauptmerkmal eines negativen Widerstand ist, dass die Umgebung frei liefert
einige überschüssige Energie, um (i) Macht die Last, und / oder (ii) bewegen
Sie den aktuellen Rücken gegen die Spannung, vor allem, wenn über die
Gegen-EMK-Bereich rangiert die Quelle Dipol. Der Bediener muss nicht diese überschüssige Energie abgeführt, um
die aktuellen rückwärts zu treiben oder abgeführt, um die Last zu versorgen
liefern!!
Die wahre negativen Widerstand in
unserem System ist der blaue
verlängert TBC wo negative Energie
bewegt sich die aktuelle Rücken gegen die Spannung; diese Kraft wird
die Spule elektrisch zu laden, wenn es wie ein Kondensator wirken!
Der elektrische Strom in der negativen Energieregion (letzten Lichtkegels) arbeitet in umgekehrter
Weise gegenüber dem elektrischen Strom in positive Energie Region (zukünftigen Lichtkegels), die
Symmetrie zwischen dem magnetischen energetischen Seite und der physikalischen
elektrischen Seite wird Kurve Platz für die negative Energie Macht, unsere
Einrichtung durch unser flexibles Funkenstreckenzone geben, die eine
eindimensionale Kondensator X, die
negative Energie, die durch Anziehungskräfte vertreten kann, wird seinen Weg durch
die Funkenstrecke, um die elektrische Energie durch AB erhöhen finden werden, die darstellen System seine Divergenz und
die Rotation im Uhrzeigersinn des negativen Energiestrom wird die Drehung gegen
den Uhrzeigersinn des heißen Strom (potentielle Energie) erhöht weiter, neigt
dies dazu, die Kraft zwischen dem Punkt A
und Punkt B, der die Spannung von
diesem virtuellen gewonnen darstellt amplifizieren Strom!
Wir untersuchen die ersten Zeitpunkt, wenn sich der Kondensator entlädt sich
über (Transformation in die Spule), der gekrümmt AB Raum wird in einen Punkt in
der negativen Energie Meer, der Kondensator in der fiktiven
erweiterten TBC-Transformation.
Ähnlich wird, wenn das Magnetfeld zusammen und lädt den Kondensator auf CD, die Magnetfeld kehrt zu seinem
Hintergrundpegel, die Raum-Zeit-Kontinuum wird durch die Felder, die in
Gegenwart der angeregten kohärenten Raum Fluss hergestellt werden umgekehrt.
Diese Quanten sind aus angezogen worden, und letztlich aus extrahiert, die
virtuelle Vakuum, das unendlich unerschöpfliche
Wie
Ladungen Abstoßung Verhalten auf der positiven Energieseite, während sie sich
gegenseitig anziehen in der negativen Energieregion. Diese Informationen sind
unerlässlich für das Verständnis der Natur der negativen Energie Meer.
Wenn das wiederum kommt (zweiter
Zeitraum) für unsere Kondensator wieder mit entgegengesetzter Polarität geladen
werden, um das System in Richtung negativer Energie Raum auseinander die
Schleife in diesem Raum zu schließen !! Die aktuellen Pässe von C nach D, um den Kondensator aufzuladen, aber in der virtuellen Dimension
es geht von D und endet in C. Diese Leistung wird der Kondensator
magnetisch aufladen, wenn es eine Spule.
Wie Sie sehen, gibt es positive reale
Energie und nicht nachweisbaren negativen Real Energie. Ich denke, dass Don
Smith bevorzugt den Namen der Umgebungshintergrundenergie im Gegensatz zur
Nullpunkt-Energie, denn es gibt zwei Bereiche, von denen wir Macht zu
übernehmen, und zwar, über Umgebungshintergrundenergie
und unterhalb der Umgebungshintergrundenergie.
An diesem Punkt können wir verstehen, warum kalte Strom zieht Isolatoren statt
Leitern. Diese Art von Macht ist in der Lage in einer imaginären Dimension parallel läuft und umgekehrt in Bezug
auf unser gewöhnliches, familiäre Dimension. Aber, nach Floyd Sweet; wenn parallel mit positiver
Energie jedoch Stornierung (Vernichtung) der Gegenmacht Typen laufen auftritt.
Dieser wurde vollständig im Labor getestet.
Dies gilt für die
chaotischen positive Energie fließt Regime Zeit, Spannung Elektronen
(Linkslauf) und Strom Elektronen (Rechtslauf) zusammen laufen zur gleichen Zeit
arbeitet unser Blindenergie Resonanzsystem im Einklang mit der negativen
Energie, ermöglicht es uns, unseren früheren Studie zu ziehen uns einige
wichtige Schlussfolgerungen:
Für den ersten Zeitraum, haben wir (C Entladung über L);
+ energie erhöht magnetische Energie ---- I
- energie erhöht elektrischer Energie ---- V
Zum zweiten Mal Zeit haben wir (L
Lade C);
+ energie erhöht elektrischer Energie ---- V
- energie erhöht magnetische Energie ---- I
Da magnetische Energie ist die aktuelle und elektrischer Energie ist die
Spannung, und weil sie aus der Phase (Blindenergie) sind, wird positive Energie
in Harmonie mit negativer Energie zu arbeiten und keine Storno erscheint.
Erweiterte TBC ist eine sehr
wichtige Einrichtung nicht nur, weil es unbegrenzte elektrische Energie
liefern, aber es gibt uns eine außergewöhnliche Gelegenheit, die Art und Weise,
dass Energie fließt in unserem Universum zu verstehen!
Wenn die Vorrichtung schwingt kalten
Strom und Warm Strom erzeugt, bedeutet dies, dass das Gerät in der Lage ist,
sowohl positive als auch negative Energie beziehen. Der Energiefluss zwei
Richtungen; von positiv auf negativ und umgekehrt. Lassen Sie uns über die
physikalische Art und Weise, die Dinge funktionieren denken.
In dieser Analyse Ich versuche,
einige tiefe körperliche Aspekte über positive und negative Energie zu
erklären. Wie in Fig.12 und Fig.13 dargestellt ist, ist es wichtig, den
Energiefluss in Bezug auf die Zeit zu berücksichtigen. Diese beiden Bilder nur
meine Gedanken und Verständnis des Themas darzustellen.
Kalt Strom hat die Fähigkeit, eine
elektrische Reaktion zu erzeugen, wenn sie mit Metallflächen in Wechselwirkung
tritt. Dies kann auch in den Casimir-Effekt in dem zwei nicht-magnetische
Metallplatten, die nicht eine elektrostatische Ladung tragen sind, aufgehängt
sind sehr nahe zueinander zu sehen. Die Platten müssen nicht gerade nach unten
hängen, sondern bewegen sich aufeinander zu.
Kalt Strom hat die Fähigkeit, eine
elektrische Reaktion, wenn das Metallflächen, weil sie in der Lage, leere Raum
ionisieren herzustellen. In erweiterte TBC, wenn der Funke entsteht, wir
tatsächlich kollidieren die Raum-Zeit-Bereich durch einen Punkt (der
Funkenstrecke).
Die Raum-Zeit-Feld ist, meiner
Meinung nach, der Raum, in dem negative und positive Energie zusammen
existieren, zusammen existieren sie aber gegenseitig aufheben aufgrund einer
konstanten Verhältnis. Wenn wir einen Masse mit einem Schwerkraftfeld um ihn
herum, und wir die Masse bewegen und schaffen einen Massenstrom, wird ein neues
Feld auch erstellt. Es ist eine andere Art von Gravitationsfeld ohne Quelle und
ohne Waschbecken, wenn die Geschwindigkeit der Masse zunimmt, dann die
erstellten Schwerefeld ebenfalls zunimmt. Wenn die Masse der
Lichtgeschwindigkeit erreicht, dann bedeutet dies, dass es den Wert E = mC2
als positive Energie. mC2 ist
der maximale Wert Austausch zwischen positiver und negativer Energie zulässig
durch Nullpunktschwankung (ZPF) für diese Masse, wie es in seiner
Zeit-Raum-Bereich vorhanden ist, hat die Masse zwei Möglichkeiten, um die
Lichtgeschwindigkeit zu erreichen:
1. Es wird in exotische Materie
verwandeln.
2. Es wird die Zeit-Raum-Struktur zu
brechen.
Die einzigen Orte, die diese beiden
Bedingungen vorsehen sind Schwarze Löcher. Schwarze Löcher gibt es in der Mitte
von Galaxien, welche die Dreh energetische Symmetrie zwischen der Masse und
Schwerefeld liefern - siehe Fig.14, Fig.15 und Fig.16.



Für eine Spiralgalaxie,
um seine Form mit kosmischen Dimensionen zu halten (der Durchmesser der Galaxie
kann 100.000 Lichtjahre überschreiten) gibt es einen Bedarf für eine negative
Energie, um die zugrunde liegende Energie für Raum-Zeit in ganz dieser Galaxis.
Das negative Energie hat, um virtuelle Teilchen sofort transportieren! Die
transformierte Materie (einschließlich Raum-Zeit!) Von schwarzen Löchern
versehen liefert einen Überschuss an positiver Energie in der Galaxie, die
Stabilität und Symmetrie. Schwarze Löcher sind nicht ein Bruch in der Raumzeit,
sondern sie wesentlich sind.
Die obige Erläuterung
wird helfen, die Möglichkeit für ein besseres Verständnis der Art der
elektrischen Energie zu löschen. Dies erklärt, warum eine scharfe positiv
verlauf Gleichstrom elektrischen Impuls wirkt mit negativer Energie zu kalt
Elektrizität, die eine sofortige Antwort von der negativen Energie Meer ist zu
produzieren. Diese Antwort nicht von der Funkenstrecke zu starten, aber es ist
in es endet!
Die negative Energie
dreht, um in der Funkenstrecke zu beenden, wird dies der Raum-Zeit zur
kohärenten virtuellen angeregten Teilchen, die wiederum produzieren
elektronische Reaktionen, wenn das Kontaktieren einer Metalloberfläche bereitzustellen
quetschen. Aus meiner Sicht sind die elektronischen Reaktionen in
Metalloberflächen erzeugt ein magnetisches Drehimpuls. Kalt Strom in der Lage
ist, einen Kondensator auf eine deutlich höhere Spannung als die Nennspannung
des Kondensators zu laden, auch wenn die Kondensatornennspannung niedrig ist.
Die Frage, die in den Sinn ist Federn; Sie elektrische Felder innerhalb eines
Kondensators mit kaltem Elektrizität aufgeladen wirklich?
Wenn die Antwort ja
ist, warum dann nicht der Kondensator zerstört? Meiner Meinung nach, ist es,
weil die elektronischen Reaktionen durch kalte Elektrizität verursacht
magnetische Drehimpuls statt elektrischen Feldlinien. I zeigen, dass die
Anwesenheit von magnetischen Feldlinien zwischen den positiven und negativen
Platten eines Kondensators mit kaltem Elektrizität geladen sind tatsächlich,
wie in Fig.17 gezeigt.

Wenn die Funkenstrecke Auswirkungen
auf Raum-Zeit (das heißt, wenn der Funke auftritt) die Antwort von der
negativen Energie Meer sieht aus, als ob er die excititation in der positiven
Energieseite (Abb.18) erstellt neutralisieren. Wir können die Bewegung von
negativer Energie nicht erkennen, und so haben wir die Auswirkungen, die es in
unserer positiven Energie Wirklichkeit hat nur sehen.

Die kleine rote Kugel in der obigen
Zeichnung ist die Funkenstrecke, die die Tür für negative Energie, um unsere
positive Energie Realität geben ist; die negative Energie Meer wird vor und
nach der Funke auftritt reagieren.
Unter erneuter Bezugnahme auf
Fig.14, bevor der Luft-Funkenstrecke zündet die negative Energie dreht sich
ausgehend von der Funkenstrecke, um die Anregung in der positiven Energieseite
(Fig.19a), und wenn die Luft-Funkenstrecke endet Brennen der negativen erstellt
neutralisieren Energie wird in der Position der Funkenstrecke zu beenden (Fig.19b).

Blochwandbereich in einem gewöhnlichen
Permanentmagnet, ist der Bereich der Elektronenaustritts. Mal sehen, wie das geschieht in unserem
erweiterten Tesla Bi-filar Spule. Während der ersten Zeitperiode, wenn der
Kondensator entladen beginnt sich in eine parallele L/C-Schaltung werden, wird
ein Punkt einer maximalen Spannung zu liefern, während Punkt B ist der Maximalstrom. Der Stromfluss
geht von Punkt A und endet am Punkt B. Das System produziert jetzt
magnetische Energie und wegen des Magnetfeldes zu erhöhen, werden die
Elektronen von Punkt B beginnen und
fließen, um eine, die Drehung im Uhrzeigersinn bewirkt zeigen, um den gegen den
Uhrzeigersinn Spin neutralisieren der Spannungs Elektronen und kalten Strom
wird die Spule elektrisch zu laden, wenn es wie ein Kondensator wirken, und es
wird durch die Bereitstellung eines magnetischen Drehimpuls (die Drehung im
Uhrzeigersinn in Fig.19A gezeigt) an den Strom auf dem Rücken gegen die
Spannung gehen schieben Punkt X ist
das Ergebnis umzukehren die Spannung Elektronen, was zu starken
Anfangspotential elektrischer Energie, die die elektrische Energie erhöht.
Strom im kalten Strom entspricht der Spannung in heißen Strom. Die Blochwand
ist der Ort, wo negative Energie interagiert mit unserer E-TBC, mit anderen
Worten, wenn die Funkenstrecke Brände, der Strom wird nicht sofort gestartet
werden, da die negative Energie wird einen virtuellen Strom durch die
Bereitstellung eines Rechtslauf in der Blochwand liefern Gebiet X. Diese virtuelle Strom ist ein Kompensator der
realen Strom aber es wird nicht die Macht aus den Spannungs Elektronen, die das
vorhandene Potenzial elektrische Energie zu erhöhen absorbieren. All dies
geschieht, bevor die wirkliche Strom zunimmt, um die magnetische Energie zu
liefern.
Achtung: Bitte
beachten Sie, dass Hochspannungskondensatoren haben dielektrische Erholung, die
das elektrische Feld für eine lange Zeit speichert. Hochspannungskondensatoren
benötigen 5 Minuten oder mehr, um vollständig zu entladen.
Energie ist überall und in enormen Mengen
bereit, kostenlos übernommen werden. Wenn wir das tun, wissen wir nicht
verringern die verfügbare Leistung, weil das Universum ist voller Energie, die
Energie in unserem Universum ist die Quelle, ist die Materie die Energie in
einer sichtbaren Form und die Energie in unsichtbare Materie Form.
Die Anwesenheit der negativen Energie Meer
neben unserem positive Energie Wirklichkeit wirft eine wichtige Frage, nämlich,
warum sie getrennt sind, wenn sie vereinigt werden könnten? Sie werden getrennt
unser Universum in der Weise, dass es existiert zu lassen. Negative Energie
dient unserer Existenz, weil es wurde entwickelt, um die im Rahmen Hintergrund
Energieniveau für unsere Vordergrund positive Energie Realität. Unsere Existenz
ist eine dünne Teil zwischen diesen beiden energetischen Ozeane. Negative
Energie ist bis zu dem Punkt, als es den Anschein, nichts zu sein extrem aktiv!
Wir müssen nun einen weiteren wichtigen Verhalten
unserer erweiterten Tesla Bifilarspule erklären, nämlich, es ist super
Leitfähigkeit bei Raumtemperatur.
Eines der Rätsel in dieser Vorrichtung ist
die Fähigkeit, die Spannung mit dem Strom entsprechen. Der Draht der

Wenn der Kondensator entlädt über selbst
eine parallele L/C-Schaltung zu werden, die induzierte rotierendes elektrisches
Feld (mit Hilfe von negativer Energie) erzeugt
eine Spannungsdifferenz zwischen benachbarten Platten, diese Spannung nach dem
Gauss Gesetz führt neue Elektronen in dem System vorhanden ist.


Wenn die Umgebungs Elektronen
unseres Systems (Fig.21) geben, erhöhen sie die Leistungsverstärkung für die
Y-Achse (Fig.20). Wenn der Strom in der erweiterten TBC wird parallel Strömen
zugegeben werden, während parallel die gleiche Spannung in der Y-Achse, während
die X-Achse die Serienspannung hinzugefügt werden, während serielle Ströme
gleich sein !!
Auf
der Y-Achse: Summe (I) gleich (V)
Auf der X-Achse: Summe (V) entspricht (I)
Dieses System
behandelt die Spannungen und Ströme in der gleichen Weise, die Spannungen und
die Ströme physisch gleich sind.
Wenn dies geschieht
das Gerät Quadrate den elektromagnetischen Fluss und wird zu einem
Beinahe-Einheit-System in jedem Prozess, der die elektrische Energie gemäß der
Arbeitsfrequenz replizieren. Dies ist ein in der Nähe-Einheit System aufgrund
der Supraleitung bei Raumtemperatur, wo die Elektronen nicht die übliche
Reduktion in einem gewöhnlichen parallelen L/C-Schaltung angetroffen
konfrontiert.
Ein normales
L/C-Schaltung nicht zu dem Superleitfähigkeit bei Raumtemperatur, da der
Austausch zwischen dem Strom und der Magnetkraft muß einer von ihnen in jedem
Prozess zu verringern. In erweiterte TBC werden sie in einer Weise kombiniert,
dass die Leistung in jedem Prozess zu verstärken und so die gesamte zur
Verfügung stehende elektrische Energie in jedem Zyklus ist die doppelte
Leistung in einem geladenen Kondensator, der aus dem folgenden Zusammenhang
gesehen werden kann:
Leistung = 0.5 x C x V2
(Sehen Sie die Ähnlichkeit
zwischen dem magnetischen und
elektrischen Energie in einem
Resonanz parallel L/C-Schaltung)
Hier muss ich die Bedeutung der elektrischen
Blindleistung in der Resonance Energy Gerät erklären, in einem elektrischen
Wechselsystem, bei dem Spannung und Strom nach oben und unten gleichzeitig
(Fig.10). Nur aktiv, Wirkleistung übertragen wird, und wenn es eine
Zeitverschiebung zwischen Strom und Spannung beide Blind- und Wirkleistung
übertragen werden. Wenn diese Zeitverschiebung beträgt 90 Grad (π / 2
Grad) die übertragene Wirkleistung gleich Null, wie oben diskutiert. Dies
bedeutet nicht, dass es keine Macht, aber es bedeutet nicht, dass wir diese Macht nicht verwenden können, in
diesem Wechselformular, wir müssen es in Gleichstrom umzuwandeln, so
dass Strom und Spannung sind vereint.
Blindleistung sieht aus wie ein Springseil (Fig.22):

Stellen Sie sich
die Spannung zu sein das Seil
und die Kinderleichen sind die Strom. Blindleistung sieht aus wie ein Springseil, wird die Wirkleistung nicht
lassen Sie die Kinder die Körper richtig zu bewegen. Blindleistung ist ein
wesentlicher Teil des Resonanzenergievorrichtung und ein Springseil ist ein
gutes Beispiel, das zeigt, wie Kinder gehen auf und ab, ohne jedes Problem. Diese
Art der Bewegung existiert in unserem Gerät.
Die Trennung
zwischen Spannung und Strom in der Resonanzenergievorrichtung ist für die
Herstellung und Klonierung von elektrischer Energie mit Radiofrequenz
Geschwindigkeit. Eine geeignete Verfahren zum Sammeln und Umwandeln der großen
verfügbaren elektrischen Energie benötigt wird.
Die in 22 gegebenen
Beispiel ist wichtig, bei der Planung zu sammeln und wandeln die verfügbaren
elektrischen Leistung. Wenn wir einfach einen Abwärtstransformator ist es sehr
wahrscheinlich, dass wir den Strom, der die gewonnene Kraft reduzieren
verändern. Mit Blindenergie, wenn die Spannung hoch ist, der Strom gering ist.
Ein Abwärtswandler die Spannung zu senken, aber es kann nicht verstärkt den
Strom als erwartet! In einem normalen Transformator verstärken wir den Strom in
Abhängigkeit von der verfügbaren Wirkleistung (V x I):

Physikalisch (Fig.23) der elektromagnetische
Fluß im Transformator hat zwei Komponenten, die elektrische
Komponente V und die magnetische Komponente I, für die erfolgreiche Übertragung
von elektrischer Energie von der primären zu der sekundären, beide von ihnen
gleichzeitig benötigt. In unserem Fall, wenn V hoch ist das Produkt (V x I) ist aufgrund der Zeitverschiebung,
selbst wenn die zur Verfügung stehende Leistung könnte Megawatt erreichen!
Ein weiterer Faktor, die wir in
Betracht ziehen, die benötigt wird, um die Kraft zu replizieren, unter
Verwendung eines Transformators mit niedriger die Spannung erlegt die
Notwendigkeit für eine spezielle Transformatorkern, der zumin Frequenzen
reagieren hoher Geschwindigkeit. Diese Tatsachen müssen ernst genommen werden,
wenn wir die zur Verfügung stehende Energie effektiv sammeln möchten.

Persönlich, ziehe ich es auf der
Verwendung von Hochspannungsdioden zu verbessern, wie in 24 gezeigt. Es ist
besser, eine Diodenbrücke mit schneller
Erholung Hochspannungsdioden aufgebaut verwenden. Fast Recovery Dioden
haben die Fähigkeit, sehr schnell ihre Sperrzustand, so dass es möglich ist für
die andere Halbschwingung in den Hochspannungskondensatoren angesammelt werden,
jedem Zyklus (nach oben und unten
in Fig.25) zurückgibt Macht ähnlich geben das in einem geladenen Kondensator,
der durch die folgende Gleichung gegeben Kraft ½
C V2.

Die erstaunliche, energische
Verhalten des erweiterten Tesla Bi-filar Spule machen es völlig anders als ein
gewöhnlicher parallel L/C-Schaltung. Erweiterte TBC gibt die doppelte Frequenz
einer äquivalenten parallelen L/C-Schaltung. Dies bedeutet, dass, wenn Sie die
gleiche Induktivität mit der gleichen Kapazität in einem gewöhnlichen
parallelen L/C Schaltkreis zu bilden, dann ist das nur die halbe Frequenz, die
gleiche Kombination produziert mit einer erweiterten Tesla Bifilarspule Form
produzieren wird!
Ich habe nicht in der Lage, dies zu
überprüfen, weil ich nicht ein Oszilloskop oder einen Frequenzzähler haben. Das
ist natürlich, ist keine Entschuldigung dafür, nicht darüber nachzudenken, wie
das Gerät zu handeln, so dass die folgende Analyse ist ein Versuch, die
Energiegleichung von Herrn Donald Smith als gegeben vorstellen:
Macht in einer
Sekunde = 0.5 x C x V2 x
F2
Um die Dinge zu vereinfachen, wollen
wir nur die Spannung zu analysieren. Wenn sich der Kondensator entlädt sich
über eine vollständige parallele LC-Schaltung zu werden, zu diesem Zeitpunkt
erreicht das Magnetfeld seine maximale Wert. Was dieses System unterschiedlich
ist, ist die induzierte elektrische Drehfeld. Dieses Feld wird sofort den Kondensator mit
entgegengesetzter Polarität, bevor der Induktionsstrom von der
zusammenbrechenden Magnetfeld resultiert, kann es tun. Wie wir bereits gelernt
haben, ist dies der Schlüssel zur Energieverstärkung.
Resonanz ist der Schlüssel für die
Energie Multiplikation, wirkt die erweiterte TBC wie ein Gerät, so dass der
Durchgang von der positiven Zyklus mit dem negativen Zyklus dauert keine Zeit.
Mit anderen Worten, hat das Gerät die Fähigkeit zur Veränderung ist es Richtung
der Ladungs sofort.
Die gelbe Zone in Fig.26 fehlt (im Vergleich zu einer normalen parallelen
L/C-Schaltung), wenn die Energiekreisläufe nach oben und unten (Fig.25) gibt
das Gerät zweimal die im kapazitiven Seite der erweiterten TBC Macht.

Der Strom wird in jedem Zyklus gegeben durch:
½ C V2 x 2 = C
V2 ………………… 1
Da die Frequenz sowohl die Spannung
und den Strom beeinflusst werden wir die Gleichung Nummer 1 zu untersuchen, wie
folgt:
CV x V ist das Produkt CV die
Ladungsmenge in einem geladenen Kondensator verfügbar, wenn wir teilen sie um 1
Sekunde das wird uns die Strom da Q / T ist der Strom in einer Sekunde. Nehmen
wir an, dass die Frequenz 3 Hz.

Aus Fig.27 sehen wir, dass der zur
Verfügung stehende Gesamtleistung proportional bis 9, die das Quadrat der
gegebenen Frequenz ist. Jeder Zyklus hat die Kraft C V2, die Anzahl der Zyklen in einer Sekunde gibt uns
die Frequenz; die Frequenz wird CV replizieren der der Strom, und dies wird uns
CV x F und replizieren die Spannung durch
das Produkt V x F, ist diese Analyse die beste Erklärung, warum die
Spannung gleich dem Strom in diesem System, weil CV x F der verfügbare Strom
und V x F ist die zur Verfügung stehende Spannung! Dies scheint seltsam; wie
könnte das Produkt V x F die verfügbare Spannung sein, da das Ergebnis ist sehr
hoch, da es sich um Funkfrequenzen arbeiten über 20 kHz?
Die in Fig.23 gegebenen Beispiel
wird uns helfen, verstehen. Die Energieformel gibt die verfügbaren Gleichstrom Strom, wenn von seinem wechselnden
Zustand überführt; die elektromagnetischen Flusses wird quadriert, was eine
Verstärkung sowohl Strom und Spannung werden. In jeder Sekunde ist die
verfügbare Leistung CV x F x V x F, hängt die erhaltene Leistung an der
Anzahl der Windungen in der Spule L2 und der begrenzende Faktor ist das Produkt
V x F die eine sehr hohe Zahl in
praktischen Systemen ist. Unterhalb dieser Faktor ist die aktuelle sehr hoch
wobei das Produkt CV x F!! Dies erklärt, warum ein Megawatt große Einheit
kann ganz einfach auf einem Frühstückstisch passen und es erklärt, warum dieses
Gerät ist in der Lage, jede erforderliche Maß an Energie.
Die energetische Formel unserer erweiterten TBC kann nun wie
folgt geschrieben werden:
Macht in einer Sekunde = C x V2
x F2
Diese Gleichung gibt die verfügbare
Leistung in Watt, wenn sie in Hochspannungs-Gleichstrom umgewandelt. Wenn das
Gerät schwingt die erhaltene Leistung ist reine
Blindenergie, Volt-Ampere-Reaktiv (VAR) vorhanden ist, während aktive
elektrische Leistung (W) ist in diesem dynamischen Zustand abwesend, Fig.28:

In der Praxis ist der erweiterte TBC
nur ein Hochspannungskondensator, die die Fähigkeit, den aktuellen dringen in
sich gelassen hat, so dass es sowohl magnetische als auch elektrische
Spezifikationen hat.
Praktischer
Teil
Eine Freie-Energie-Gerät ist etwas,
was faszinierend ist, voreilig zu wollen bauen und zu testen ist man häufig,
aber das ist nicht gut. Hochspannung mit hoher Strom ist kein Spiel !, Ihr
erster Fehler kann auch die letzte sein. Wenn Sie sich entscheiden, dieses
Gerät in Ihrem Haus zu bauen ist es eine gute Idee, Schlösser und Schlüssel
benutzen und das Festhalten eines Hochspannungswarnsymbol auf dem Gerät ist
eine sinnvolle Maßnahme.

Ich bin nicht ermutigen Sie, das
hier beschriebene Gerät tatsächlich zu konstruieren; die obigen theoretischen
bereitgestellten Informationen ist die wichtigste Sektion. Wenn das Gerät
vollständig verstanden wird, dann kümmert, wenn in der Nähe wird es automatisch
sein. Dieses Gerät ist ein ganz besonderes Tesla-Spule, wenn die Erhöhung der
Spannung in einem normalen Transformator fällt der Strom, aber hier steigt der Strom in der gleichen Weise wie die
Spannung hat! Diese Vorrichtung
hat Strom gleich der Spannung. Resonance wird sowohl die Spannung und den Strom
auswirken. Die spezielle geometrische Gestaltung des erweiterten Tesla Bi-filar
Spule, einschließlich der flexiblen Position der Funkenstrecke, produziert die
benötigte Dreh energetische Symmetrie zwischen positiver und negativer Energie.
Wie wir bereits gesehen haben, die Funkenstrecke öffnet die Tür für einen
massiven Zustrom von elektrischer Energie vorhanden sein. Ich habe persönlich
indirekt aus der L2 Spule schockiert und ich bestätige das Risiko von
diesem Gerät.
Für den
Bau, das erste, was wir brauchen, ist eine Quelle für Hochspannung. Die
Vorrichtung kann mit zwei verschiedenen Verfahren, wie hier beschrieben
zugeführt werden. Die erste ist die direkte Methode, bei der die
Hochspannungs-Stromquelle hat die gleiche Frequenz wie die
Eigenresonanzfrequenz des erweiterten Tesla Bi-filare Spule. Die zweite Methode
ist die indirekte Methode; wo es keine Notwendigkeit, die Frequenz des Reaktors
(aktiv) Spule kennen.
Die
Hochspannungsstromquelle erforderlich ist, um die erweiterte TBC, die der
Drosselspule (aktive Spule) einzuspeisen, Fig.29 zeigt ein einfach zu bauen
Oszillator:

Es ist besser, einen Zeilentrafo,
der eine Hochspannungsdiode hinein gebaut hat verwenden.
Flyback-Transformatoren sind leicht verfügbar und billig. Die obige Schaltplan ist für einen
Rücklauftransformator, wo eine Hochspannungsquelle geben unseren Reaktorspule
über die Punkte A und B (Fig.30):

Zunächst lädt den Kondensator bis zu
dem von der Funkenstrecke benötigten Wert. Wenn die Spannung an den Elektroden
der Funkenstrecke einen ausreichend hohen Wert erreicht, tritt eine Funken was
den Widerstand der Funkenstrecke, von einem sehr hohen Wert auf einen sehr
kleinen Wert zu springen, Kurzschließen jeder Strom aus dem Kraft Quelle bis in
die Eigenresonanz Oberflächen. Der Kondensator verwandelt sich in eine
komplette Spule, die ihre Kapazität in sie eingebaut ist. Die Eigenresonanz des
TBC wird, wenn mit dieser Methode sicher, aber es hat einige Nachteile. Der
durch die Stromversorgung / Funkenstreckenkombination erzeugte Frequenz muss
hoch genug sein, damit mehr Leistung produziert werden, und dies erfordert eine
leistungsfähige Energiequelle. Andererseits wird die Spannung zwischen der
Das erhaltene Ausgangsstrom wird
direkt an die zur Verfügung stehende Spannung zwischen den Kondensatorplatten,
die das Gerät zwischen A und B. Wir müssen bedenken, dass der
Kondensator eingebaut Inneren erweiterte TBC ist in dynamischer Weise, wo kein
Verschiebungsstrom existiert bilden zusammen.
Das direkte Verfahren zum Zuführen
des Drosselspule mit ihrem eigenen genauen Eigenfrequenz ist der beste Weg, um
die verfügbare Leistung zu erhalten, aber dies schafft ein ernstes Problem, da
es nicht einfach ist, eine Hochspannungsenergieversorgung über den Bereich
einstellbarer finden von Frequenzen, die wir wollen, Frequenzen insbesondere
oberhalb von 200 kHz. Wir können verlangen, die erweiterte TBC bis über 200 kHz
arbeiten, und dafür haben wir Impedanzanpassungskondensatoren benötigen (Fig.31).

Die beiden gelben Kondensatoren oben gesehen sind für
die Impedanzanpassung, da die Arbeitsfrequenz in Don Smith Vorrichtung
sehr hoch war, eine Leuchtstoffröhre Treiber erfordern, um sie zu versorgen.

Impedanzanpassung
ist einfach der Prozess der Herstellung einer Impedanz Blick wie der andere; in
unserer Situation ist es erforderlich, die Lastimpedanz der Quelle
übereinstimmen. Zum Beispiel, wenn der erweiterte TBC Resonanz bei 2,4 MHz
(dies ist die Last), und die Leuchtstoffröhre Fahrer bei 35,1 kHz (das ist die
Quelle) müssen wir parallel Kondensatoren erweiterte TBC, um sie zu addieren
Resonanz bei 35,1 kHz.
In der
Praxis müssen Sie kurzschließen Punkten C und D und messen Sie
die Induktivität der E-TBC (L2 muss anstelle für diese Messung sein). Danach
entfernen Sie den Kurzschluss und messen die Kapazität des E-TBC. Dies gibt
Ihnen zwei Werte "C" und "L".
Die Resonanz des Gesamt -Tesla
Bi-filar Spule ist gegeben durch:
F2 = 1 / (π2
x LC) …………. (a) Die Resonanzfrequenz eines E-TBC Doppel
Wenn man einen
Kondensator zur Impedanzanpassung auf die erweiterte TBC hinzuzufügen, wird die
Resonanzfrequenz mit der folgenden Beziehung zu verringern.
F2
= 1 / (4π2 x L(c+c*) ) …………. (b) wobei F die Frequenz der Quelle
Ich glaube, dass wir die obige
Gleichung verwendet, um den Wert c*, die um Resonanz zu erreichen hinzugefügt
werden muss berechnen. Aus der Gleichung (b) wir schreiben konnte

Unter Verwendung der Gleichung (c),
werden wir in der Lage, die benötigte Kapazität für eine Impedanzanpassung zu
berechnen; der erhaltene Wert wird in Farad, und daß die Gleichung die Frequenz
in Hz und der Induktivität in Henrys.
Wenn Sie die richtige C* Wert und Sie Ihr Gerät hochgefahren
(Fig.33), wird keine Resonanz sofort erreicht werden, da die Funkenstrecke
bildet die vollständige L/C Parallelschaltung nur, wenn es feuert !!

Das erste, was passiert, ist die
Aufladung des Kondensators C*, danach der Kondensator "C" des
erweiterten TBC berechnet werden, bis er die Spannung benötigt, um die
Funkenstrecke Feuer zu machen erreicht. Wenn dies geschieht, muss die
Luft-Funkenstrecke einen sehr niedrigen Widerstandswert, so dass die E-TBC
vollständig ausgebildet. An diesem Punkt wird das ankommende elektrische
Energie aus dem Hochspannungsnetzteil eine Last, deren Impedanz passt es
Resonanzfrequenz zu finden. Dies wiederum erzeugt die maximal mögliche Spannung
über der Induktivität L des E-TBC. Ferner wird die resultierende
elektromagnetische Feld Zyklus für Zyklus zu erhöhen verursacht das Gerät
vollständig nach einer sehr kurzen Zeit in Resonanz.

Dies ist die äquivalente
Schaltung, wenn die Funkenstrecke Brände
Bau der erweiterten TBC
Die erweiterte Tesla Bi-filar Spule
ist nur ein Hochspannungskondensator, der eine magnetische Verhalten hat. So
ist es sowohl ein Kondensator und die Spule zur gleichen Zeit. Konstruktion
dieses Gerätes ist relativ einfach. Sie benötigen zwei Längen von
Aluminiumfolie, die jeweils 1,2 Meter lang (später werde ich die Möglichkeiten
der Modifizierung der Eigenschaften eines erweiterten TBC erklären). Denn es
ist ein Kondensator, muss 3 Stück Polyethylenfolie, die jeweils 1,3 m lang.
Um einen
Hochspannungskondensator konstruieren Regel benötigen Sie 2 Stück
Polyethylenfolie, aber es ist besser, 3 Stück zu verwenden, da wir es mit einer
Hochspannung (Fig.35) arbeitet, wird dies auf Ihre Fähigkeiten beim Bau einer
Hochspannungskondensator ab.
Sie brauchen Schweißstäbe, um
die elektrische Leitfähigkeit der Aluminiumfolien zu versichern, zeigt Fig.36,
wie das geht. Eigentlich die beste Länge und Breite der Aluminiumfolie müssen
einige Experimente; Sie müssen die Positionen der magnetischen und elektrischen
Punkten (Fig.37) herzustellen. A und
B die magnetische Punkte (Spule),
während C und D sind die elektrischen Punkte (Kondensator).



Die
E-TBC benötigen einen Spulenkern dafür auf sie aufgewickelt werden, (Fig.38)

Das folgende Foto zeigt die im Prototyp verwendeten Dimensionen
(Fig.39)

Störlichtbogen ist ein häufiges Problem bei
Hochspannungskondensatoren (Fig.40)

Die beste Kombination zwischen der Länge und der Breite eines
ausgedehnten TBC hat einen großen Einfluß auf die an der Spule L2 (der Reaktant
Spule) erhaltenen elektrischen Energie. Zum Beispiel erfahren die elektrische
Lichtbogenbildung an der Spule L2 mit der E-TBC in Fig.41 gezeigt ist, war sehr
schwach, der durch den schwarzen Pfeil dargestellt Länge sehr viel größer ist
als die Breite (orange Pfeil), so ergeben ein schwaches magnetisches Fluss aufgrund
der geringen Spuleninduktivität ist die Induktivität der Spule sehr wichtig, da
es die Leistung in replizierten elektromagnetischen Flusses Transformations.

Die Reaktionspartner Spule (L2):

Die Spulenlänge ist etwa 25 cm, wie in
Fig.42 gezeigt, ist der Durchmesser 6 cm, und die Dicke des Drahtes 1,18 mm
(AWG # 17 oder SWG 18) und die Anzahl der Windungen beträgt etwa 200. Fig.43
zeigt eine nette Funken aus L2 Spule:

Die oben gezeigte Funke ist sehr
stark, aber es kann nicht durch dünnes Papier zu verbrennen! Dies beweist, daß
die erhaltenen elektrischen Energie reagiert, und so kann es keine Arbeit zu
tun, wie es ist. Konvertieren eines Hochspannungs-elektrische Blindleistung in
Gleichstrom ist nicht leicht zu erreichen. Arbeiten mit einer Spannung über 10
kV ist wirklich gefährlich, in meinem Gerät, das ich über 40KV von
Blindleistung, die umgewandelt werden mussten.
Ideen:
Zur Lösung dieses Problems
wollen wir wieder denken über die Energiegleichung die erweiterte TBC. Die Idee
ist, mit einem Untersetzungsmethode anstatt die Aufwärts Technik zu arbeiten.
Die Energiegleichung kann wie
folgt geschrieben werden: Macht in einer Sekunde = CVF x VF
CVF ist der verfügbare Strom in
einer Sekunde, da C ist der Kapazitätswert des E-TBC ist, V die Spannung
verwendet wird, und F ist die Resonanzfrequenz.
VF ist der Grenzwert, wenn
verstärkt die Spannung über der Spule L2, geht die gewonnene elektrische
Energie bis proportional zum Spannungswert über L2, wenn die Erreichung VF die
Gesamt erhaltene Leistung genau zu sein:
C V2
F2 die eine sehr hohe Leistungsniveau. Ich weiß, daß
dies kann verwirrend sein, aber dieses System gleicher Spannung und
Stromstärke. Beim Hochschalten der Spannung bleibt der Strom konstant, weil es
auf dem Produkt CVF abhängt. Wir konnten die Spannung, indem mehr Windungen auf
die Spule L2 zu erhöhen, wenn dies zu tun ist der Strom die gleiche, aber die
zur Verfügung stehende elektrische Energie gegeben durch:
Macht in einer Sekunde = CVF x V*
Wobei V* die Spannung L2.
Mit dieser neuen Gleichung wird
uns bei der Bestimmung der Spannung über der Spule L2 benötigt, um die
erforderliche elektrische Leistung zu erzielen viel helfen.
Beispiel:
Stellen Sie sich die folgenden
Arbeitsbedingungen:
C = 10 nF
V = 30 KV
F = 100 KHz
Sie benötigen eine Leistung von
30 KW, welche L2 Spannung benötigt wird, um dieses Leistungsniveau zu
erreichen?
Mit dem vorigen Beziehung wird
uns:
30.000 = CVF x V*
30.000 = 10 x 10-9 x 30 x 103 x 100 x 103 x V*
30.000 = 30 x V* =======> V* =1.000
volts
bis 30 KW zu erhalten müssen Sie nur 1000 Volt über den L2 Spule. Um
dieses Leistungsniveau zu erreichen müssen
direkte Resonanz, Zuführen des E-TBC mit nur Hochspannung ohne direkte
Resonanz, wird dieses Ergebnis nicht geben, da die Spannung über der Spule des
E-TBC durch Trennung von der Elektrode begrenzt werden die Funkenstrecke.
Die Spannung V über den E-TBC ist hier
sehr wichtig, da das Produkt CVF ist die aktuelle
Verwendung des Reaktant-Spule (L2) erhalten. Die Arbeitsfrequenz F ist zu wichtig. Ähnlich wie bei einem gewöhnlichen Transformator,
wenn wir die Step-down-Methode effektiv nutzen wollen, müssen wir über die
Verwendung von zu vielen Windungen beim Aufziehen der E-TBC denken. Bei der
Auslegung eines E-TBC, ist es wichtig, über die Länge der Kondensatorplatten zu
denken, da die Länge zwischen B und D wird der Gesamtwert der induzierten
Spannung zwischen den Kondensatorplatten, die die elektromagnetischen Fluß
nicht zu erhöhen (Fig.44).

Ein einfaches Schaltbild des Resonanzenergieeinrichtung
wie die folgende Zeichnung werden (Fig.45):

Bei der Umwandlung des reaktiven
elektrischen Leistung von der L2 Spule in Gleichstrom und Untersetzen der mit
der Netzspannung und Frequenz gewonnene Energie (zB 220V, 50Hz), der Strom wird
noch einmal gesteigert werden.
Einige Anwendungen können nicht
brauchen einen Wechselrichter. Eine Elektroheizung kann direkt aus den
Kondensatoren Banken zugeführt werden, aber wir müssen den Wechselstrom
verhindern L2 kommen, um die Heizung mithilfe einer anderen hohen Induktivität
eingeben.
Eine weitere Idee über die Erhöhung
der kapazitiven Seite der erweiterten TBC ist geätzte Aluminiumfolie zu
verwenden, um die Oberfläche zu vergrößern. Kann die Folie chemisch behandelt
werden, unter Verwendung von Hochspannung. Das Ergebnis ist in gezeigt Fig.46:

Vielleicht ist dies der Technik, die
von Donald Smith verwendet, um die Notwendigkeit der Erdung zu vermeiden. Ich
habe bereits über die Verwendung von negativer Energie, um die Masseverbindung
Bedarf in der Resonance Energy Gerät zu vermeiden erwähnt, aber ich kann nicht
garantieren, dass dies die von Donald Smith verwendete Methode.
Haben Sie Fragen oder Anregungen
sind willkommen über meine E-Mail: hopehope3012
(bei) gmail (Punkt) com
Teil 2
Dies ist ein
Update für die oben genannten Dokument mit einigen Korrekturen und viele neue
Informationen, nach der Veröffentlichung meiner pdf viele Menschen fanden es
sehr schwer zu verstehen, das Konzept hängt von der Verwendung der rotierenden
elektrischen Komponente aus dem vielfältigen Magnetfeld erzeugt, um eine Art zu
schaffen Von überschüssiger Energie, die als statisches elektrisches Feld
vorhanden ist, anstelle von normalem Draht ist es wichtig, leitende Folien zu
verwenden, um von diesem Energieüberschuss zu profitieren.

Die erweiterte
Tesla-Bi-Filar-Spule kann aus einer anderen Perspektive verstanden werden, die
eine sehr interessante Bemerkung von Don Smith erklären kann, aber vorher
beginnen wir mit Professor Konstantin Meyl, wenn er Tesla drahtlose
Energieübertragung mit einem Modell eines geschlossenen Resonanz-L /
C-Schaltung.

Prof.
Konstantin Meyl beschrieb die drahtlose Energieübertragung und gleichzeitig das
Vorhandensein von Übergewicht am Empfänger, Fig.48 zeigt eine Art
Resonanztransformator mit Erregerspule und eine Resonanz-L / C-Schaltung auf
der Sekundärseite, die oben beschriebene Schaltung kann modifiziert werden wie
folgt :

Die Trennung
des Resonanzkreises erfolgt zunächst in der Kondensatorplatte, weil es sich um
eine offene Vorrichtung handelt, danach kann die Sekundärwicklung in zwei
identische Teile aufgeteilt werden, das gleiche geschieht mit der Erregerspule:

Die endgültige
Situation ist die berühmte Tesla-Funk-Energieübertragungsvorrichtung, die aus
einem Sender und einem Empfänger besteht, wie in Fig. 50 gezeigt. Die
interessanten Phänomene, die auf der Empfangsseite vorhanden sind, wo
Übergewicht gemessen und gesehen werden kann, ist die erhaltene Spannung viel
höher - ein veröffentlichtes Ergebnis von Prof. Konstantin Meyl ist der Eingang
ist 0,5 Milliwatt und die Ausgabe beträgt 6 Milliwatt.
Das folgende
Foto zeigt das verwendete Versuchs-Kit:

Auf der
rechten Seite ist der Sender und links der Empfänger. Einige sehr interessante
Werte der elektrischen und magnetischen Felder wurden wie folgt gemessen:

Das folgende Foto zeigt die Tesla Monofilar
flache Spiralspule verwendet:

Fig.52 ist aus
Tesla's Patent 787,412 mit dem Titel ART OF TRANSMITTING ELECTRICAL ENERGY
DURCH DAS NATÜRLICHE MEDIUM. Tesla interessierte sich für stationäre Wellen für
spezielle Zwecke, einschließlich drahtloser Energieübertragung. Gegenseitige
Induktion ist ein Schwachpunkt, also entschied er sich, eine Spiralform der
Sekundärspule C zu verwenden, so dass sein stationärer Wellenoszillator wie
erwartet arbeiten kann. Die gegenseitige Induktivität wird im Tesla-System
vernachlässigt, aber kompensiert für die Verwendung einer Art kapazitiver
Kopplung, etwas Ähnliches in der Meyl-Vorrichtung, die in Fig.53 gezeigt ist,
wo man die Primärspule sehen kann, die fast die Sekundärspule umgibt, das ist
so viel zu verursachen Kapazitäten wie möglich zwischen Primär- und
Sekundärwicklungen. Ist das dann der Fall, warum hat Prof. Meyl das maximale
Magnetfeld gesehen, aber kein elektrisches Feld in diesem Bereich?
Die Antwort
ist der Austausch von Macht, wenn wir eine Resonanz Ursache dafür passieren, in
der Mitte der Sekundärspule die Wicklung wird kleiner und kleiner, die eine
höhere Konzentration der Spannung erlaubt, wie Sie sehen, gibt es eine
umgekehrte Beziehung zwischen Magnetismus und Elektrizität in der
Skalarwellenumgebung, erklärt Prof. Meyl dies als 90-Grad-Phasenverschiebung
zwischen dem Feld des elektrischen Feldes und dem Magnetfeldzeiger, so kann
auch der Overunity-Effekt im Empfänger in Bezug auf diese umgekehrte Beziehung
verstanden werden, da das skalare elektrische Feld in Der Empfänger wird in ein
skalares Magnetfeld in der sekundären wenigen Umdrehungsspule umgewandelt, der
Umwandlungsprozess kann in diesem Fall Spannung in elektrischen Strom
umwandeln, über Ohm's Gesetz hinaus, Übergewicht kann gesehen werden, da der
verwendete Strom sehr niedrig ist (die verwendete Leistung war Eine halbe
Millimeter). Der Verlust ist sehr klein, das erklärt, warum Overunity bei der
Verwendung höherer Leistung in diesem System klein ist. Meiner Meinung nach ist
der Grund der erhöhte elektrische Strom, die mehr Verlust zum Beispiel
verursachen, wenn Sie 10 Watt senden Sie erhalten nur 11 Watt!
Meiner Meinung
nach müssen sowohl Magnetismus als auch Elektrizität in einem solchen offenen
System berücksichtigt werden, das Problem in der Meyl-Experimentier-Kit ist,
dass Sie die Resonanz-LC-Schaltung zu brechen, um dies zu erreichen, erklärt
Prof. Meyl Tesla Wireless Energy Transfer aber Nicht der Overunity-Effekt, wenn
der Kondensator noch in den leitenden zwei Sphären vorhanden ist, wird die
Induktivität zerstört - siehe Fig. 54

Wenn die
elektrischen Feldlinien vorhanden sind, da wir bereits zwei Sphären haben,
fehlen die Magnetfeldlinien, weil die Spule wie in Fig. 49 bis Fig. 54 gezeigt
aufgeteilt ist. Eine geteilte Spule ist nicht ähnlich zu einer einzigen Spule,
da es kein gemeinsames Magnetfeld gibt.
Nach Tesla
gibt es zwei Formen, die für Strahlungsenergie geeignet sind: die Kugelform oder
ein Zylinder. Das drahtlose Energiesystem kann wie folgt in Sender und
Empfänger unterteilt werden:

Die
Kombination von Tesla Monofilar flache Spiralspule mit einer Kugel gibt eine
erweiterte Tesla Monofilar Spule:

Der Sender in
Tesla drahtlose Energieübertragung kann als einzelne Extended Tesla Monofilar
Spule ("ETM") gemacht werden. Das gleiche kann dem Empfänger
passieren. Die Idee in Fig.55 wird jetzt verstanden, aber wir haben noch ein
anderes Problem und das ist, wie man die beiden ETMs kombiniert, um ein
einziges Gerät zu machen? Wie bereits erwähnt, müssen wir die Spule ungebrochen
halten, bei der Kombination der beiden ETM muss die Spule gleichzeitig intakt
gehalten werden, da wir die beiden ETMs so platzieren können, dass sie eine kapazitive
Kopplung bilden, die kapazitive Interaktion ist hier stark Weil wir ein weites
Gebiet haben - siehe Fig.57.

Bei der
Kombination von zwei ETMs haben wir eine ausgedehnte Tesla-Bi-filar Coil
("ETBC"), in der ersten ETM bewegen wir uns von D nach B und gehen
zum zweiten ETM ab Punkt A und beenden am Punkt C. In Teil 1 davon Dokument Ich
schlug vor, eine Funkenstrecke zwischen den Punkten A und B zu verwenden, aber
das tötet die richtige Geometrie, weil die Spule partitioniert ist, alle
Experimente, die ich mit einigen Freunden gezeigt habe, gibt es keine nützliche
Kraft, wenn sie eine Funkenstrecke zwischen A und B, so dass die Korrekte
Konfiguration ist die folgende:

Beim Umzug von
Punkt D zu Punkt B bildet das Gerät einen Sender, aber von Punkt A bis Punkt C
bildet das Gerät einen Empfänger. Das sieht so aus wie ein
Tesla-Funk-Energieübertragungssystem, das in einem einzigen Gerät arbeitet, bei
der Oszillation haben wir einen Übermaß an Leistung auf der Empfängerseite, das
erklärt die erhöhten Oszillationen, die bei der Verwendung dieses korrigierten
Modells erfasst wurden:

Anstatt einen
Kondensator zu benutzen, um die ETBC zu begeistern, ist es wichtig, zwei von
ihnen zu benutzen, mit dieser wird jede Seite in der gleichen Weise erregt, die
eine bessere Energiebilanz ermöglicht. Don Smith stellte das folgende Gerät als
über einheitliches Beispiel vor! Ein Sender und drei Empfänger:

Jeder
Empfänger gibt die gleiche Menge an Strom, die vom Emitter gesendet wird, es
ist möglich, die Leistung nach dem Empfänger zu replizieren, den wir haben, in
diesem Fall haben wir drei Empfänger, 3 mal mehr Leistung als die Eingabe, im
Falle von ETBC jede Seite DB oder AC kann entweder ein Sender oder ein
Empfänger sein, so dass die Menge an gewonnener Leistung proportional zur
Arbeitsfrequenz ist, ist es klar, dass die ETBC überlegen ist, verglichen mit
dem Beispiel von Don Smith, aber da wir sehen, dass die Idee gleich bleibt
(Hinweis) ...
Die
Konzept-Energiebilanz braucht eine kleine Erklärung, weil es sich um den
speziellen Kondensator handelt, der in der ETBC existiert.

Weil die ETBC
eine weitere Resonanz-L / C-Schaltung bilden, in der alles in demselben Gerät
liegt, könnte ich sagen, dass es eine Symmetrie zwischen Magnetismus und
Elektrizität gibt, ich glaube, wir müssen tiefer graben, um sich dem Konzept
der Elektronenspin von Don Smith zu nähern .
Wenn wir einen
Magneten in kleine Teile teilen, wird jeder Teil einen anderen Magneten bilden,
wenn wir damit weitermachen, finden wir, dass ein Eisenatom als kleiner Magnet
wirkt:

Wenn wir einen
Magneten mit einer Spule ersetzen und wir die Unterteilung wiederholen, dann
finden wir, dass ein Elektron als kleiner Magnet wirkt, das Magnetfeld in einem
geraden Draht bildet einen Kreis um ihn herum, dies deutet darauf hin, dass die
Elektronen drehen, um ein zu machen Geschlossenes Magnetfeld, wie in Fig.63
gezeigt.

In einer
Magnetspule drehen sich die Elektronen in der gleichen Richtung entlang der
Spule. In Fig.63 sehen Sie, dass die Spule in zwei identische Teile unterteilt
ist, wo die Elektronen die gleiche Drehrichtung nehmen und so das Magnetfeld
entlang der Spule fließt. Der Fehler in Teil 1 dieses Dokuments sprach über
einen elektrischen Strom, der nicht existiert! Der Grund dafür ist die Abwesenheit
einer geschlossenen Schleife, um einen elektrischen Strom einzuführen, in
diesem Fall nimmt der Elektronenspin die Führung. Um dies zu erklären, werfen
wir einen weiteren Blick auf das Geltungsdiagramm in Fig.59:

Der markierte
Bereich zeigt eine Abwesenheit von Spannung. In diesem Experiment wurde kein
ferromagnetisches Material verwendet, nur Aluminiumfolie, die Spannung ist
null, so dass es für die ETBC erwartet wird, die Oszillation zu stoppen, aber
das Gerät wirkt wieder! Dies bedeutet, dass es eine Ansammlung von magnetischen
Fluss innerhalb der ETBC, mit anderen Worten, es ist ein Magnetfeld ohne eine
elektrische Komponente, ist das Magnetfeld in diesem Fall als Elektronen
Spin-Potential, die ein besseres Bild von der Anwesenheit der Bloch Wandfläche
gibt In der ETBC. Dieses Gerät sieht aus wie ein dynamischer Permanentmagnet,
das erklärt die Aussage von Don Smith über die Ähnlichkeit seines Gerätes mit
einem gewöhnlichen Permanentmagneten Stromerzeuger.
Jetzt ist es
absolut klar, dass die ETBC eine Art Energiebilanz benötigt, um richtig zu
schwingen. Wie in Fig.59 beschrieben, werden zwei Kondensatoren benötigt, um
eine Art Spin-Balance in ihr zu arrangieren, ich sagte, die ETBC bildet eine
spezielle Kondensator-Spule, aber das ist nicht ganz richtig! In Wirklichkeit
gibt es keine Spule noch einen Kondensator! Sowohl die Spule als auch der
Kondensator benötigen einen elektrischen Strom, aber die ETBC benötigt ein
energieausgeglichenes Elektron, das nur geliefert werden kann, wenn die gleiche
Menge an positiver Ladung die gleiche Menge an negativer Ladung erfüllt.
Ming
Cao, Chinesische Entwickler Kommentare über die Designs von
Don Smith und Tariel Kapanadze. Er sagt:
Keines dieser Dinge stammen von mir, sie
kommen von Tesla und Gott.
1. Die wichtigste
Frage ist die Resonanz. Don Smith sagte, wir sollten die Seillänge der
Primärspule ein Viertel der Länge der sekundären Spule Draht sein, damit sie
zusammen mitschwingen. Meine Experimente zeigen, dass dies nicht wahr ist. In
einer Tesla-Spule bilden die Primärspule und Kondensator es ist eine
Tank-Schaltung ist eine L/C-Schaltung, die oszillieren auf eigene
Resonanzfrequenz, und wenn es tut, dass es eine longitudinale Welle auf die
exakte Frequenz generiert. Die Häufigkeit dieser longitudinal Welle wird durch
die Induktivität der Primärspule, kombiniert mit der Kapazität von es ist Tank
Schaltung Kondensator und nicht die Seillänge der primären Spule allein
bestimmt. Die sekundäre Spule mit seiner Kugel die Form oben, zusammen eine
Antenne, die diese longitudinale Welle überträgt. Der sekundären Spule und es
ist Top Kugel zusammen bilden eine Viertel-Welle resonante Antenne für diese
longitudinale Welle. Sie bilden keine L/C-Schaltung, und warum nur sehr wenige
Menschen geschafft haben, zum Replizieren von Don Smith-Geräte.
2. In den Geräten
von Don Smith und Tariel Kapanadze gibt es keine Kugel. Wir sehen eine einzelne
Spule als sekundären. Dies ist nicht mehr eine Viertel-Welle-Antenne, sondern
ein-Hälfte-Wave-Antenne. Die höchste Spannung zeigt sich in der Mitte dieser
Spule, und NULL Spannung zeigt sich an den beiden Enden der Spule wicklung.
Dies sind, wo die energetisierende Spule und die Abholung der Spule
positioniert werden soll.
3. Die longitudinale
Welle die durchläuft der sekundären Spule ist keine aktuelle überhaupt, es ist
ein Signal durchzogen, so wenn wir die sekundäre zum Aufladen eines
Kondensators lassen, wir nichts bekommen. Alles, was wir bekommen ist heiß
Strom verursacht durch die lose Induktions-Kupplung. Der Bogen an der Spitze
einer typischen Tesla-Spule ist Blitz-Spannung, und kein Kondensator auf der
Erde beherrscht, Spannung, so auch ein sehr Hochspannungs-Kondensator wird über
betont werden und der Bogen wird dadurch Schock.
4. Die
Geschwindigkeit dieser Welle ist klar definiert. Es kommt auf die gesamte
Kapazität der Spule und der Sphäre, sofern vorhanden. In einer typischen
Tesla-Spule, desto größer die Kugel, desto größer die Kapazität und je
niedriger die Resonanzfrequenz der sekundären Spule. Menschen versuchen, es
durch L/C Theorie zu erklären, aber das ist nicht unbedingt wahr. Erhöhte
Kapazität verlangsamt die Welle. Wenn es keine Kugel, wie die Geräte von Don
Smith und Tariel Kapanadze, die gesamte Kapazität recht klein ist, und also die
Geschwindigkeit der Welle sollte den Wert nähern (π/2) x C, wo C ist
Lichtgeschwindigkeit. Diese Geschwindigkeit der longitudinale Welle wird von
Tesla selbst beansprucht. Ich überprüft diese Art von Experiment. Ich sagte
"irgendwie", weil in meinem Experiment ich eine Geschwindigkeit von
(π/2) x C x (8/9) habe. Die Welle ist durch die Kupfer Verluste und die
Kapazität der Spule, vor allem die Kapazität, verlangsamt, aber es ist
definitiv schneller als Lichtgeschwindigkeit.
5. Also, zum
Optimieren der sekundären wir nicht die Lichtgeschwindigkeit überhaupt
verwenden sollte, wurde Don ein Spiel mit uns hier spielen. Nehmen Sie Dons
Gerät als ein Beispiel. Wenn wir die Primärspule in den Mittelpunkt der
sekundären Spule positionieren, sollte dann Mittelpunkt der sekundären sollte
entweder geerdet oder an einer großen Metall-Kugel, und jede Hälfte der
sekundären Spule als eine halb-Welle Antenne auftreten. Außerdem sollte die
Pick-up-Spulen an den beiden äußersten Ende Klemmen liegen. Die Geschwindigkeit
der longitudinale Welle entlang der sekundären Spule ist unberechenbar und so
dass wir nur eine allgemeine Drehzahlbereich Vorhersagen kann, können wir nicht
sagen, ob es bereits Resonanz ist von Berechnungen. Wie Nick Giannopoulos
Anordnung (siehe unten) und Teslas patent Diagramm gibt es zwei Viertel Welle
Spulen, deren innere Terminals miteinander verbunden sind und in die Luft zu
öffnen. Hier "öffnen" in der Luft bedeutet, dass es anders als die
anderen Kurven der Spule. Die longitudinale Welle ist klettern die Kurven,
anstatt entlang der Draht. Doch am Ende jedes Quartals-Welle-Spule, gibt es
keine anderen Zuges nicht mehr nur ein langes Kabel dafür Fahrt entlang
Klettern. Diese gerade lange Kabel ist offen für die Luft und bietet eine
Kapazität für das ganze Gerät und diese zusätzliche Kapazität verlangsamt, die
longitudinale Welle, die, auf der Durchreise ist, so dass die Resonanzfrequenz
für die Kombination von diesen zwei sekundären Spulen niedriger sein wird. Aber
wenn wir beseitigen den geraden Draht, und einer sekundären Hälfte-Welle-Einzelspule,
die longitudinale Welle weiter die Wendungen steigen kann und es keine
zusätzliche Kapazität, ist so dass die Geschwindigkeit der longitudinale Welle
ganz in der Nähe (π/2) x C, und die Resonanzfrequenz wird höher sein. Wir
können die gleiche Seillänge und gleichen Durchmesser Spule ehemalige auf Build
verschiedene Geräte, die mit völlig unterschiedlichen Frequenzen arbeiten wird.
Also die Resonanzfrequenz ist unberechenbar und wir müssen die genaue Frequenz
durch Geräte messen zu finden oder es wird nicht funktionieren. Der einzig
richtige Weg der Optimierung des sekundären zeigt Eric Dollard in seinem Video
der 1980er Jahre mit dem Titel "Eric Dollard und längs
Transversalwelle" die zum jetzigen Zeitpunkt auf YouTube zu finden http://www.youtube.com/watch?v=6BnCUBKgnnc.
6. Eine
Ausgabe-Spule ist immer notwendig, und es sollte in der Nähe von NULL Knotens
eine stehende Welle positioniert werden. Dies ist einer von nur zwei
Möglichkeiten zum Kabelbaum die longitudinale Welle. Diese Methode ist der
dynamische Weg, die andere Möglichkeit ist die statische Methode, die meines
Erachtens von Ed Gray verwendet wurde.
7. Dr. Peter
Lindemann Buch und Video sagt er, dass Tesla unidirektionale Strom verwendet.
Ich habe mit diesem nicht zustimmen. Wenn wir einen Kondensator aufladen und
Entladen es durch eine Funkenstrecke, springt"die aktuelle
Entlastung" zwischen den beiden Platten des Kondensators, bis die Energie
an der Funkenstrecke alles verloren ist. Dieser Vorgang wiederholt sich endlos
in einer typischen Tesla-Spule. Wir können diese primäre Wellenform mit einem
Oszilloskop sehen und es ist Wechselstrom. Tausende von Tesla-Spulen arbeiten
auf diese Weise und Blitz zu erzeugen. Ich bin zuversichtlich, dass dies ist,
wie es funktioniert.
8. Es ist nicht so,
dass Don Smith sagte, dass die Spannung zu verdoppeln die Ausgabe vervierfacht.
Es sieht so aus, aber es ist tatsächlich der Strom fließt durch die primäre die
Arbeit. Natürlich erhöhen wir den Strom durch die Erhöhung der
Durchbruchspannung von der Funkenstrecke durch eine Ausweitung der Lücke. Aber
im Grunde ist es der Strom, der die Arbeit leistet. Ed Gray Tube verwendet eine
kurze gerade Kupfer Bar als die energetisierende 'Spule', aber es ist keine
Spule, es hat kleine Induktivität um Spannung zu erzeugen, es nur hoch
aktuellen Durchreise zu vitalisieren die longitudinale Welle. Natürlich habe
ich tatsächlich nicht gesehen dabei, es ist eine Schlussfolgerung, die nicht
vollständig auf Experiment basiert.
9. Je größer die
Anzahl der Runden in der Pickup-Spule, desto höher sind die Ausgangsspannung.
Ich verstehe immer noch nicht möglich, wie der Pick-up-Prozess funktioniert,
aber es mehr Energie abholen.
Ich bekomme alle diese durch niedrige Spannung
aus einem Signalgenerator, als ich habe nicht Gebäude ein Hochspannungs-Gerät
noch, fertig obwohl ich bereits arbeite. Aber ich denke, es ist sicher für
Hier ist ein Bild aus Teslas patent 593.138
elektrischen Transformator.

Wir sehen können, es ist genau dasselbe wie
Nick Giannopoulos' Setup, mit der Ausnahme, dass Tesla einen Generator in
diesem Diagramm verwendet, glaube ich der Einfachheit halber. Solange der
Generator die genaue Frequenz von aktuellen generiert, wird es funktionieren. Die sekundäre energetisierende seitlich ist
eine Viertel-Welle-Spule, und bei der Abholung Seite ist ein weiteres
Quartal-Welle-Spule. Die höchste Spannung ist am Ende dieser zwei sekundären
Spulen und ihr verbindenden Faden, und NULL Spannung ist zum Jahreswechsel sehr
außerhalb aller Spulen. Wenn wir die Spirale Form in spiralförmigen ändern,
wird es jetzt Nicks einrichten. Nehmen wir dies weiter, wir können das
Anschluss Kabel kürzen, bis die zwei sekundäre Magnetspulen tatsächlich eine
große Spule werden, dann, wenn es kombiniert ist eine halb-Welle-Spule und die
höchste Spannung ist am mittleren Punkt davon. Jetzt wird es Don Smith und
Tariel Kapanadze die Gerät, wie dies:

Weil die Energie auch energetisierende
seitlich zurück kommt, fügt Kapanadze ein weiteres Pick-up-Spule direkt unter
der primären energetisierende Spule. Dieser Anordnung, glaube ich, ist sehr
schwer zu replizieren, weil es so sehr schwer zu optimieren, aus mehreren
Gründen:
1. Die sekundäre
Seillänge ist ziemlich kurz, und die Wellengeschwindigkeit ist sehr, sehr nah
an (π/2) x C, so dass die Frequenz sehr hoch sein sollte, mindestens 5 bis
7MHz hätte ich denke oder vielleicht sogar höher.
2. Die Ausgabe-Spule
und der Energieversorgung, die primäre Spule ist zu nahe an den Mittelpunkt der
sekundären Spule Halbwelle. Weil der Mittelpunkt der Punkt der höchsten
Spannung, ist wenn die Eingabe ein bisschen zu hoch ist, zwischen der
sekundären, die energetisierende Spule und der Pick-up-Spule, am Blitz
Spannungspegel, gäbe es Arc Schock und so auch die beste Isolation ist nutzlos.
Auch wird der Mittelpunkt sehr empfindlich ist, jeder Dirigent nahe daran die
gesamte Kapazität der Spule und natürlich hinzufügen, die die
Hälfte-Welle-Resonanzfrequenz verändern wird. Dadurch wird die Feinabstimmung
Anpassung mehr Schwierigkeiten hinzugefügt. Außerdem wissen nicht schließlich
Leute sogar, dass es eine Hälfte-Welle-Spule ist, wenn er uns nicht sagt.
3. Dies erhöht den
heißen Transformator-Effekt durch induktive Kopplung der Kupplung-Koeffizient K ist ein wenig hoch und das hilft
überhaupt nicht.
Don Smith hat in der Tat etwas nützliches
gesagt. Er sagte, dass wir den sekundären Spule eine feste Größe, und schieben
Sie dann die Primärspule drin machen kann. Auch auf der Grundlage von
experimentellen Ergebnissen, ist dabei schiebe die tatsächliche effektive Länge
der sekundären Spule ändern. Im Allgemeinen sollte sollte bewerten wir Spule
Größe durch zählen der Runden aus der direkt unter der primären
energetisierende Spule, um die Jahrhundertwende direkt unter der Pick-up-Spule,
dieser Abschnitt ist die tatsächliche sekundäre und in diesem Abschnitt eine
Hälfte-Welle Resonate Spule, der Rest der Spule sitzt einfach da nichts zu tun.
Aber es ist nicht so einfach, die Klemmen
der sekundären Spule zur Erde oder zu einer großen Kugel oder eine typische
Tesla-Spule, die mit der gleichen Quartal-Welle-Resonanzfrequenz sekundäre
verbinden sollte. Ansonsten das Signal springt vorwärts und rückwärts in der
Spule produzieren ein Durcheinander, oder die Erzeugung eines Bogens, das ist
schlecht für Leistung und deshalb eine solide Masseverbindung wünschenswert
ist. Und das ist die wahre Bedeutung, wenn Don sagt "schieben Sie die Primärspule
um die Feinabstimmung zu tun".
Also, nach dem Kapanadze-Gerät, die
energetisierende Spule deckt einen großen Bereich der sekundären Spule, so dass
die wirksame Länge der sekundären Spule sehr viel kürzer, wieder die
Arbeitsfrequenz des Geräts noch höhere Steigerung. Für ein solches Gerät ist es
unmöglich, ohne ein 20Mhz-Signal-Generator zu optimieren, ein Oszilloskop und
vollständig zu verstehen, wie eine longitudinale Welle verhält. Für den Anfang
weiß ich nicht mal wo eine Verbindung herstellen, die Oszilloskop-Sonde oder
welchem Terminal auf den Boden verbinden sollte, ich bin so glücklich, Eric
Dollards alte Video ansehen zu können, und ich empfehle jeder Achte auf das
Video, es immer und immer wieder auch viele andere Lehrvideos von Eric sehen. Viele
grundlegende Sachen zu Verhaltensweise eine longitudinale Welle werden erklärt,
es fällt wie eine Schatzkarte in Staub in einer ruhigen Ecke einer offenen
Bibliothek.
Das http://www.youtube.com/watch?v=1p41KLfOM2E&feature=youtu.be Video über Ming zeigt, was er hier sagt. Für das Video verwendet er eine Eingabe Spule, eine Überwachung Spule und einer sekundären Spule, jedes, die Ende davon geerdet wird über separate Erde-Verbindungen:

Ming auch Hinweise:
Für den Aufbau des Selbstauslösers die sekundäre Spule wird mit 1mm Durchmesser, die emaillierte Kupferdraht gewickelt, 365 dreht sich um ein PVC-Rohr 160mm Durchmesser. Die gesamte Spule Länge ist 39,5 cm. Die gesamte Seillänge von sekundären ist ca. 182m. Das weiße Material ist mehrere Schichten von Isolier-Kleber, um zu verhindern, Lichtbögen zwischen angrenzenden Runden bei der Arbeit mit Hochspannung. Die Primärspule und die Ausgabe-Spule sind mit Audiokabel Wunde, die mehr als 4 Quadratmillimeter im Querschnitt ist. Die Primärspule hat 2 Stränge, 2 Runden. Die Pick-up-Spule hat 4 Strähnen und nur eine Umdrehung. Ich benutze diesen dicken Draht, denn ich werde diese Spulen für mein Hochspannungs-Projekt zu verwenden.
Bei einer niedrigen Spannung zu experimentieren, wie im Video gezeigt, es wäre völlig ausreichend mit normalen Kupferdraht von 1 Quadratmillimeter Querschnitt (SWG 18 oder AWG #17). Wenn die sekundäre Seillänge reduziert wird, dann wird die Resonanzfrequenz höher sein, aber das Prinzip ist das gleiche.
Wenn nur die niedrige
Spannung verwendet werden - vielleicht nur, um die Art der Longitudinalwellen,
zu studieren, dann die sekundäre Spule mit sehr dünnen Draht Kupferdraht 0,3
bis 0,4 mm Durchmesser (swg 30 zu swg 27) emailliert gemacht werden kann, die
kostet viel weniger. Ich habe meine Spulen mit dicken Draht gemacht, da ich
beabsichtige, weiterhin mit hohen Spannungen.
Es ist schon eine lange Zeit, aber ich habe etwas mehr Verständnis über die Nutzung von Strahlungsenergie bekam. Ich habe zwei weitere Videos gemacht: http://www.youtube.com/watch?v=WJUfj53geBo und
http://www.youtube.com/watch?v=BdBjKVyKBZA In diesen beiden Videos, erkläre ich die Methode der Umwandlung von Teslas "kalt" in den normalen Strom "heißen" Strom, indem sie in einem Kondensator. Ich glaube fest daran, dass das in der zweiten Video gezeigt Methode ist genau das, was Don mit seinem berühmten Gerät, das keine Ausgangsspule, nur einen zweiteiligen Sekundär hat zu tun.
In dem ersten Video, I der Ausgangsspule mit einem
unbeschichteten Bogen von Kupfer zu ersetzen, um Menschen, ist dies nicht ein
Transformator, und so wird nicht auf elektromagnetische Induktion zeigen. Die Ausgangsspule ist im Grunde ein
Metallstück, das durch eine Längswelleelektrifiziert werden können. Ich kann die Diode und den Kondensator zu
entfernen, und lassen Sie das Kupferblech Entlastung durch eine Funkenstrecke
und zwei gewöhnliche 200 - Watt-Glühbirnen in Reihe geschaltet erden, sind die
Lampen ziemlich hellen aber nicht voll beleuchtet, aber ziemlich hell in trotz
dieser, die ein nicht-resonanten Situation.
Sie sehen so aus:

Das Kupferblech ist elektrifiziert, und es
ist Ladung zur Erde fließt, und es ist dieser Prozess sehr, der die aktuelle
bildet. Also, wenn wir es als ein
Transformator, und betrachten die Ausgangsspule als Induktor, und fügen Sie
eine Last auf diese "Drossel", um eine geschlossene Schleife zu
bilden, dann sind wir in die falsche Richtung gehen.
Dann habe ich über das Gerät von Nick
Giannopoulos neu zu lesen, und ich bemerkte, dass er sagte, dass das Licht, das
von seiner Lampe ist blau und weiß. Nach
dem Schaltplan, glaube ich, dass es so ist:

Ich bekomme diese Art von Licht, wenn ich
legen die Glühbirne direkt mit dem Kupferblech ohne Erdung oder andere
Zusatzdraht. Hier an dieser Stelle, wir
haben keine "heiße" Strom. Die
blau-weiße Licht wird durch die hohe Spannung des Metalls verursacht wird, zu
der der Kolben befestigt ist. Die
Hochspannung wird nicht durch Induktion verursacht, ist es rein statische
Ladung auf der Metalloberfläche, die durch LängswelleElektrifizierung
verursacht. Wenn wir Teslas speziell angefertigten Lampen als in seinen
Vorträgen gezeigt, wir haben seine Einzeldraht-Lichtsystem, und wir werden ein
sehr helles Licht für die Allgemeinbeleuchtung, anstatt diese Art von
blau-weißen Licht. Generell ist meine nackten Kupferblech entspricht dem
Ausgangsspule von Nick und seine Abwärtstransformator, die, natürlich, ist
nicht ein Transformator überhaupt.
Hinweis: Wie in den Videos zu sehen ist,
verwendet Ming zwei separate Masseverbindungen. Einer ist der Erdungsdrahtseines Stromnetz und
die andere ist eine Verbindung zu seinem kalten Wasserleitungen.
Ein Russischer Entwickler hat eine große Glühbirne mit einem batterielosen Kapandze-Stil-Schaltung beleuchtet:





c auf http://www.youtube.com/watch?v=5nxKqfkkndw&feature=youtu.be
zeigt die batterielose Birne (es braucht eine Erdung):

Ein Chinesischer Hersteller hat Don Smith Hauptgerät sehr erfolgreich repliziert. Verwenden eine Eingabe von 12V auf 1A oder 2A (24 Watt), die er zehn 100-Watt-Glühbirnen, ein hohes Maß an Helligkeit Beleuchtung ist. Die chinesische Sprache im Zusammenhang video mit dieser zu sehen bei:
http://www.energysea.net/forum.php?mod=viewthread&tid=1350&extra=&page=1
Hier sind einige der Bilder aus diesem Video:





Der Schaltkreis verwendet wird hier gezeigt:


Anschließend wird ein Forum Post von einem mexikanischen Mann sagt:
Hallo ‘Salty Citrus’,
Ich liebe dein Video! ! Ich kann wirklich zu schätzen, die
Menge der Arbeit, die Sie und Ihre Gruppe verbracht haben, zu entwickeln und zu
perfektionieren Don Smith / Tesla Freie-Energie-Gerät. Vielen Dank für die Verfolgung eines solchen
edlen Sache.
Ich bin von Ihrem Vermittlungsnetz mit der CREE CMF20120
fasziniert. Wie haben Sie verdrahten den
MOSFETs ?
Sie eine UCC3825A Pulse-Width Modulator zur Uhr das Signal -->
MOSFETs --> Gate Drive Transformers (x3) --> Push-Pull-Transistoren -->
CMF20120 ? Haben Sie die CMF20120 in
Serie laufen? Tut mir leid, so viele
Fragen, aber ich bin total beeindruckt von Ihrem Einfallsreichtum und völlig
einverstanden, dass Ihre Solid-State-Lösung hat Vorteile gegenüber
herkömmlichen Tesla Funkenstrecke unbestritten.
Ich würde
Ich wünsche Ihnen viel Glück mit Ihren Bemühungen.
Mit freundlichen Grüßen,
' Lost_bro' (eine halbe Welt entfernt)
---------
Re: ‘Lost_bro’
Vielen Dank für das Kompliment. Der Erfolg Verdienst der Mannschaft. Danke an mein Team. Ja, die CMF20120 in Serie laufen in dieser Lösung. Der Spannungsausgleichzwischen jedem MOSFET ist kritisch, da die Ausgleichs zwischen RC -und Gleichspannung angelegt von R.
Willkommen in
unserem Forum für den Austausch von Informationen.
Alles Gute,
Aufrichtig,
‘Salty Citrus’
Ein früherer Eintritt auf dem chinesischen Forum übersetzt als :
Hier ist ein früher bauen. Es ist einfach und hat keine Abwärtsschnitt und so kann nicht batterielosen sein:







Jede Lampe ist
100 Watt. Die erste
Die Spule L2 wird in einer einzigen Richtung gewunden und hat nur einen Abgriff in der Mitte. Die Idee ist von Teslas Colorado Springs Notizen, in denen Tesla offenbarte die beste Methode für eine Resonanztreiber. Die Frequenz in dieser Schaltung verwendet wird, ist etwa 230 kHz.
Frage: Es gibt nichts mit Viertel-Wellenlängen zu tun, aber gibt es etwas mit der Länge der L1-und L2-Spulen auf Viertel-Wellenlängen?
Antwort: Ich denke, dass die Phase ist wichtiger.
Frage: Haben Sie eine Phase-Locked-Loop-Schaltung mit einer gewissen Phasendifferenz müssen?
Antwort: Grundsätzlich verwende ich eine Festfrequenz, habe ich eine Phase-Locked-Loop und die Wirkung ist die gleiche versucht.
Frage: Haben Sie Direktantrieb mit der Funkenstrecke nur verwendet werden, um Spannung zu begrenzen?
Antwort: Sie können eine Vakuumröhre, um es zu fahren.
Frage: Wenn Sie es direkt fahren, dann ist der Laden wird sehr groß und der Strom wird zu erhöhen, während, wenn Sie eine Funkenstrecke zu verwenden, dann der Funke wird kleiner und der Strom wird stetig sein.
Antwort: Wenn die Last auf den Eingang, dann sind Sie nicht Auto fahren kann es sogar mit einer Funkenstrecke. Wenn Sie mit einer Funkenstrecke auslösen, dann ist die Last nicht den Eingang zu erhöhen. Die Funkenstrecke ist nur ein Schalter.
Frage: Gibt es eine direkte Beziehung zwischen Lenz der Last und der Primär?
Antwort: Sobald die Phase eingestellt worden ist, weist der Primär keine nachteilige Wirkung auf die Sekundär.
Zu seiner Schaltung, "Salty Citrus" Staaten:
Die Diode Symbole mit einem
Häkchen zeigen eine Zener-Diode (oder bidirektionale TVS – ‘Transient Voltage
Suppressor’ oder "Varistor"). Zum Beispiel, in dieser Schaltung werden sie
verwendet, um die Netzspannung des MOSFET zu unterdrücken, um die Gate-Spannung
im Bereich von +20V bis -20V erhalten. Die obige Schaltung ist nur eine Beschreibung
der Struktur des MOSFET Serien Methode. Spezifische
Komponenten für Ihre eigenen Anforderungen unter Berücksichtigung der MOSFETs
in Ihrer Konstruktion verwendet, benötigt werden.
Die Spannung E0 eingestellt
werden. Die Quelle kann unter Verwendung
einer IC TL494 Betrieb bei 12V durchgeführt werden, oder alternativ kann ein
einstellbarer, spannungsstabilisierten Inverter verwendet werden. Die Spannungseinstellung hängt von der Anzahl
der MOSFETs, die in Reihe verwendet werden und die Parameter der Netzspannung
und dem Windungsverhältnis des Isolationstransformators. Die Schaltung ist so angeordnet, daß jeder
MOSFET hat einen eigenen Trenntransformator, und alle primären Wicklungen
dieser Transformatoren in Reihe geschaltet sind, um einen einzigen Stromweg zu
bilden. Die Anzahl der Windungen in der
Primärwicklung des Trenntransformators jeweils genau gleich. Um einen IGBT (oder MOSFET) zu fahren, bietet
VT6 einen Hochfrequenz-Pulsstrom, den Toren der MOSFETs zu fahren, um so
konsistente Schalt zu erreichen.
In meiner Schaltung ist die Frequenz 220 kHz verwendet werden, für diese Frequenz, verwende ich sechs MOSFETs Art CMF2012 (1200V, 37A, Drain-zu-Source von nur 80 Milliohm). Dieser MOSFET von CREE hat eine ausgezeichnete Leistung, aber Sie haben, um die Treiberschaltung sorgfältig planen, wird 2V bis 22V für die Gate-Spannung am besten. I besonders hervorzuheben, dass es sehr wichtig, dass die MOSFETs in Reihe betrieben werden, erfordern Spannungsausgleich und eine genaue Antriebs. Besonders wichtig ist, mit synchronisierten Antriebssignale und die Anstiegs-und Abfallzeit des Antriebs Signal sollte so kurz wie möglich sein, so dass die Schaltzeitdifferenz zwischen den MOSFETs kurz sein wird und dass die Hochfrequenzbetrieb verbessert.
Hier https://www.youtube.com/watch?v=4n22MNKrusA gibt es eine Video, die einen batterielosen bewegungslosen-Generator mit einer Leistung von 105 Watt zeigt:

Mein Dank gilt Wesley für seine Übersetzung des russischen Soundtracks. Keine Schaltung-Details finden Sie, dass dieses Mal, aber das Video "Teil 1" im Titel und damit weitere zu einem späteren Zeitpunkt Einzelheiten.
Ich habe von einem Mann, der seinen gesunden Menschenverstand und produziert ein beeindruckendes Ergebnis erzählt worden. Er benutzte ein Tesla Spule als die treibende Kraft, und dann eine zweite Tesla Spule back-to-back mit dem ersten, um die hohe Spannung wieder nach unten Schritt erneut. Dadurch war er in der Lage, eine Reihe von leistungsstarken Glühbirnen aus den "L1" Ausgangsspulen leuchten. Er bestätigte auch, dass eine Verdoppelung der Spannung, vervierfacht die Leistung, die Überprüfung, was Don sagte. Er fand auch, dass das Hinzufügen von zusätzlichen Spulen mit Glühlampen auf den Ausgang Tesla Spule, nicht zu einer Erhöhung der Eingangsleistung überhaupt, nicht die Ursache für eine der vorhandenen Glühbirnen bis nicht weniger hell leuchten, und doch leuchtet die zusätzlichen Lampen. Das scheint Bestätigung Don Aussage, dass eine beliebige Anzahl von magnetischen Kopien des Originals oszillierenden Magnetfelds des ersten Tesla-Transformator, einen Full-Power elektrischen Ausgang ohne zusätzliche Eingangsleistung bereitzustellen. Ich bin kein Experte, aber mein Verständnis der Anordnung ist:

Da der große Durchmesser Spule genau ein Viertel der Länge des kleineren Durchmessers Spule, erfolgt eine automatische Resonanz sowohl wenn die angelegte Frequenz stimmt. Da die erste schmale Spule ist identisch mit dem zweiten schmalen Spule, sie sind auch automatisch resonanten zusammen. Wiederum, wie die GroßSpules die die Lasten zuzuführen genau ein Viertel sind die Drahtlänge der schmalen Spulen, aber auch bei der gemeinsamen Frequenz mitzuschwingen und bei dieser Frequenz ist die Eingangsleistung an seinem Minimum, während die Ausgangsleistung an seinem Maximum ist. Der Dorn an der Spitze von jedem der schmalen Spulen ist mit einem Draht verbunden ist, um die erzeugte Leistung von dem ersten Teslaspule kanalisieren, um die zweite.
Diese Anordnung scheint zu einfach, um wirksam zu sein, aber mit Tesla-Technologie "zu einfach" einfach nicht gelten. Dies geht klar aus der Arbeit des Nikanor "Nick" Giannopoulos gesehen werden. Bevor er gelernt, jemals etwas über Elektronik, lesen Nick und verstanden Nikola Teslas "Colorado Spring Notes" (http://tinyurl.com/cop9jys 60Mb) und dies half mit seinem derzeitigen Niveau des Verstehens. Interessanterweise und vielleicht nicht überraschend, hatte Nick Schwierigkeiten mit konventioneller Elektronik nachdem es sich mit Tesla-Technologie.
Nick verwendet ein Rechtecksignal-Generator einstellbar von 50 kHz nach unten und mit einem voll einstellbaren Mark / Space-Verhältnis. Dies wurde verwendet, um eine Öl-gefüllte Auto Zündspule, die, wie er betont, ist nicht ein Tesla Spule trotz der oftmals vertretenen Auffassung, dass es zu fahren. Zündspulen nur arbeiten bei niedriger Frequenz aufgrund der Begrenzungen ihrer Kernmaterials. Allerdings sind John Stone weist darauf hin, dass bestimmte Spule Designs, wie sie für den Fiat Punto 'Auto, in einer solchen Weise, dass Sie den Core mit Ferrit möglich sein sollte gebaut, und das würde ermöglichen hochfrequenten Betrieb.
Jedenfalls setzt eine Nick Serienmodell Zündspule bei niedrigeren Frequenz und verwendet sie, um eine Funkenstrecke wie diese, die aus zwei Spanplattenschrauben aufgebaut ist füttern:


Nick hat sehr beeindruckende Ergebnisse aus seiner Schaltung hatte, obwohl es noch sehr viel ein work in progress mit der Entwicklung und Erprobung noch getan werden muss. Die 24 Watt-Eingang von 12V bei 2A produziert zwei sehr hell erleuchtet 220V Glühlampen. Dies sagt uns nicht sehr viel über die tatsächlichen Ausgangsleistung als Glühlampen berüchtigt für Beleuchtung hell bei niedrigen Leistungsstufen, vor allem, wenn die Frequenz hoch ist, sind. Aber es ist ein sehr wichtiger Punkt ist die Qualität des Lichts, das eine ungewöhnliche, blau-weiß, ganz anders als die Farbe erzeugt, wenn an das 220V Stromnetz angeschlossen ist. Dieser ist in der Regel ein Zeichen der Macht ist "kalt" Strom. Während er noch nicht die Gelegenheit hatte, es zu testen, Nick glaubt, dass die Schaltung, wie es jetzt steht durchaus in der Lage die Stromversorgung wesentlich höhere Lasten und unter Berücksichtigung der Farbe des Lichts ist, wäre ich geneigt, ihm zuzustimmen, obwohl so etwas wie das muss getestet und bewiesen werden, bevor zuverlässige Schlussfolgerungen aus, was bereits über die Leistung bekannt gezogen werden können. Die Schaltung Leistung ist viel besser, wenn zwei separate physische Erde Verbindungen hergestellt werden.

Bitte nicht in die Falle zu denken, dass, weil die Funken bei weniger als 5 kHz auftreten, dass die Tesla Spulen arbeiten auch bei dieser Frequenz fallen. Wenn Sie eine Glocke, die bei 400 Hz vibriert, schlagen bedeutet das, dass Sie es zu treffen haben 400 Mal pro Sekunde, um es zu hören? Eigentlich nicht, tun Sie es nicht, und das Gleiche gilt auch hier, wo die Resonanzfrequenz der Tesla Spulen beträgt ca. 650 kHz. Die Vorwahlen werden auf 100 mm Durchmesser PVC Rohrstücke gewickelt und 19 Windungen von 1,02 mm Durchmesser Kupferlackdraht für sie (19 swg oder # 18 AWG) verwendet. Die Sekundärspulen auf 70 mm Durchmesser PVC-Rohr gewickelt mit 0,41 mm Durchmesser Kupferlackdraht (27 swg oder # 26 AWG) mit einer Gesamtlänge von vier Mal die Primärwicklung Drahtlänge. Wie Sie später sehen in diesem Kapitel beinhaltet Resonanz in einer Spule eine stehende Welle im Inneren des Drahtes. Daß stehende Welle wird durch das Signal abprallen das Ende des Drahtes und Wiedereinschalten reflektierten erstellt. Bei anderen Frequenzen als der Resonanzfrequenz führt dies zu einer sich ständig verändernden Satz von vielen verschiedenen Wellen, die sich in beide Richtungen und mit unterschiedlichen Intensitäten (was vernünftigerweise als totales Durcheinander beschrieben werden). Wenn die Resonanzfrequenz der Spule zugeführt wird, dann werden alle der genannten Chaos und verschwindet nur einer Wellenform bleibt, und an jedem Punkt entlang des Drahts, die Wellenform zu sein scheint stationären obwohl natürlich ist es nicht tatsächlich stationär, gerade die Wirkung der die Gipfel immer auftretenden genau an der gleichen Stelle und den Tälern vorkommenden genau an der gleichen Stelle, so dass aufeinanderfolgenden Wellen sehen genau das gleiche wie die vorherige.
Diese Maßnahme hat nun ein sehr praktischer Aspekt, nämlich, dass wenn man die gleiche weglaufen Draht von der Spule dreht, um, was die nächste Schaltungskomponente zufällig verbinden, dann die Welle im Inneren des Drahtes nicht zurückprallen am Ende der Spulenwindungen Er wird auf das Ende des Drahtes, bevor Zurückprallen fortzusetzen. So weist der Verbindungsdraht Länge zu enthalten, wenn rechnet die Drahtlänge in den Windungen der Spule ist. Auf der anderen Seite, wenn der Draht in den Spulenwindungen an den Enden der Spule und eines Drahts sehr unterschiedlichen Durchmessers terminierten zum Anschluss an die nächste Komponente in der Schaltung verwendet wird, dann das Signal innerhalb des Drahtes wird, wieder aus der plötzliche Veränderung der Drahtdurchmesser und so der Verbindungsdraht Länge nicht Teil der Drahtlänge in den Windungen der Spule liegen. Dies ist eine wichtige Funktion, wenn Sie für eine exakte 04.01 Leitungslänge Verhältnis (und 4:1 Draht Gewicht) zwischen den Tesla Spule Wicklungen anstreben, um eine automatische Resonanz zwischen den beiden Wicklungen verhängen.
Es sollte beachtet werden, dass PVC (insbesondere nicht-weiße PVC) eine sehr restriktive Wirkung auf Hochfrequenzspulen aufweist. Bei niedrigen Frequenzen ist PVC ok, aber es zieht sich die Spule Leistung als die Frequenz steigt, eine Senkung der "Q" (für "Qualität") Faktor der Spule. Mit Acryl anstelle von PVC überwindet diese. Alternativ wird das Beschichten der PVC mit einem Hochspannungs-Isoliermaterial wie shellWechselstrom oder einem der proprietären Beschichtungsmittel, Dinge erheblich verbessern. Die ideale, natürlich ist es keine ehemaligen überhaupt haben und haben die Spule stehen, weil es aus eigener Kraft ohne fremde Hilfe. Das Verfahren zur Herstellung dieser Art von Spulen später in diesem Kapitel gezeigt.
Wie einige Leser vielleicht das Gefühl, dass es einige "schwarze Magie" über den neon-Treiberschaltung von Don verwendet, um die Tesla-Spule Teil seiner Schaltung zu fahren, und dass, wenn ein geeignetes Gerät könnte dann nicht gekauft werden die Schaltung konnte nicht reproduziert oder getestet werden , scheint es vernünftig zu zeigen, wie und betreibt, wie es von Grund auf neu konstruiert werden:
Die Schaltung selbst besteht aus einem Oszillator, um die 12-Volt-Gleichstrom Zufuhr in einen pulsierenden Strom, der dann bis zu einer hohen Spannung durch einen Transformator trat umzuwandeln hergestellt. Hier ist eine Schaltung, die dafür verwendet wurde:

Die Zufuhr für das 555-Timer-Chip gegen Spikes und Dips durch den Widerstand "R" und dem Kondensator "C" geschützt. Der 555 Timer Chip fungiert als Oszillator oder "Takt", deren Geschwindigkeit wird durch die beiden 10K Widerstände Zuführung der 440-nF-Kondensator geregelt. Der Aufspanntransformator ist ein gewöhnlicher Auto Spule und die Antriebskraft auf es durch das IRF9130 FET-Transistor, der von dem 555-Chip-Ausgang aus seinen Zapfen 3 angetrieben wird gesteigert.
Die Ausgabe aus dem (Ford T) Auto Spule wird durch die Diode, die einen sehr hohen Spannungswert, wenn die Spannung an dieser Stelle haben muß nun sehr hohe gleichgerichtet. Die gleichgerichteten Spannungsimpulse in einer sehr Hochspannungskondensator vor der Verwendung zum einen Tesla-Spule anzutreiben gespeichert. Als kraftvolle Leistung gewünscht wird, sind zwei Autos Spulen verwendet und ihre Ausgänge kombiniert wie hier gezeigt:

Sie werden feststellen, dass das Auto Spule nur drei Terminals und der Klemme "+" ist die mit der Verbindung, an dem beide der Spulen im Inneren des Gehäuses hat. Die Spule kann wie folgt aussehen:

und das "+" wird in der Regel auf der Oberseite neben dem Terminal mit den zwei interne Verbindungen läuft es markiert. Die beschriebene Schaltung so weit ist sehr nah an, dass durch eine Neon-Röhre Treiberschaltung vorgesehen zu schließen, und es ist durchaus in der Lage Fahren eines Tesla Spule.
Es gibt verschiedene Wege zum Konstruieren eines Tesla. Es ist nicht ungewöhnlich, mehrere Funkenstrecken in einer Kette verbunden sind. Diese Anordnung wird als "Serie Funkenstrecke", weil die Funkenstrecken verbunden sind "in Serie", die nur eine technische Art zu sagen, "in Reihe geschaltet". In dem Kapitel über Antennenanlagen, sehen Sie, dass Hermann Plauson diesen Stil der Funkenstrecke verwendet den sehr hohen Spannungen, die bekommt er von seinem mächtigen Antennenanlagen. Diese mehrfachen Funkenstrecken sind viel leiser im Betrieb als eine einzige Funkenstrecke wäre. Eine der möglichen Ausführungen Tesla verwendet eine Flachspule als "L1" Spule als das gibt noch höherer Verstärkung. Die Schaltung ist wie hier dargestellt:

Der Anschluss an die Flachspule wird durch eine bewegliche Klammer und die beiden Spulen auf Resonanz durch sorgfältige und allmähliche Anpassung dieser Verbindung, 10 mm in einer Zeit (nach dem Abschalten und Austragen des "C1" Kondensator) abgestimmt.
Es wurde kürzlich festgestellt, dass den Anschluss von zwei dieser (Nicht-Ballastwiderstand) Auto Spulen zurück, um mit den Plus-und Minus-Anschlüsse hinten umgeschaltet, dass die Leistung sehr viel verbessert. Es wurde vorgeschlagen, dass die kleine Eigenkapazität jeder Spule, wenn über die andere Spule verbunden ist, bewirkt eine sehr viel höhere Betriebsfrequenz, was viel schärfer Spannungsspitzen, die eine sehr wünschenswerte Situation in einer Schaltung dieser Art ist. Diese Anordnung könnte wie folgt angeschlossen werden:

Die Serie Funkenstrecke kann auf verschiedene Arten, einschließlich der Verwendung Auto Zündkerzen, Gasentladungsröhren oder Neonlampen konstruiert werden. Die hier gezeigte Schrauben und Muttern verwendet durchragenden zwei Streifen eines steifen, nicht-leitendem Material, als dass viel einfacher einzustellen als die Lücken von mehreren Zündkerzen ist:

Anziehen der Schrauben, die die Federn zusammenzudrücken bewegt die Schraubenköpfe näher zusammen und reduziert alle der Funkenstrecken. Die elektrischen Anschlüsse an die End-Tags oder einem der Zwischen-Leiter-Anschluss Riemen gefertigt werden, wenn weniger Funkenstrecken in der Kette benötigt.
Lassen Sie
Der Ausgangskondensator markiert "C1" im Schaltplan oben muss in der Lage, sehr hohe Spannungen ausgelegt sein. Es gibt verschiedene Arten des Umgangs mit diesem. Don behandelt sie, indem sie sehr teuer Kondensatoren von einem Fachbetrieb hergestellt. Einige home-based Konstruktoren haben Erfolg mit Glas-Bierflaschen mit einer Salzlösung gefüllt. Die Außenseite der Flaschen werden in Aluminiumfolie eingewickelt, um einen der Kontakte des Kondensators und blanke Drähte aus der Tiefe jeder Flasche zur nächsten ein geschlungen, eine Schleife von dem Inneren einer Flasche in das Innere des nächsten zu bilden, und schließlich Bilden der andere Kontakt des Kondensators. Während das scheint gut zu funktionieren, ist es nicht eine sehr bequeme Sache mit sich herumtragen. Eine Alternative ist, nur um die blanke Flaschen in einem Behälter, der mit einer Folie, die den zweiten Kontakt des Kondensators bildet ausgekleidet ist stehengelassen.
Ein Verfahren, das populär gewesen ist in der Vergangenheit ist, zwei komplette Rollen mit Aluminiumfolie, die manchmal als "Backfolie", Auslegen einer flachen, verwenden Abdecken mit einer oder mehreren Schichten von Kunststoff Frischhaltefolie und Legen der zweiten Folienrolle auf Oberseite des Kunststoff. Die drei Schichten werden dann um den Kondensator zu bilden gerollt. Offensichtlich können mehrere davon zusammen parallel verbunden werden, um die Kapazität des Satzes erhöhen. Je dicker der Kunststoff, desto geringer ist die Kapazität aber je höher die Spannung, die gehandhabt werden können.
Der November 1999 Ausgabe von Popular Electronics schlägt mit 33 Blatt des dünnen Aluminium als eine blinkende Material Bauherren verwendet. Zu dieser Zeit war es in Rollen, die zehn Zoll (250 mm) breit waren, so ihr Design verwendet 14 Zoll (355 mm) Längen der Aluminium geliefert. Die Kunststoff gewählt, um die Platten zu trennen war Plastikfolie 0,062 Zoll (1,6 mm) dick was auch von einem Baustoffhändler Steckdose zur Verfügung. Der Kunststoff ist bis 11 Zoll (280 mm) von 13 Zoll (330 mm) und Montage geschnitten ist wie folgt:

Das Sandwich
Blattstapel wird dann zusammen zwischen zwei starren Platten timber
eingespannt. Je enger dass sie eingespannt sind, sind die näher die Platten
miteinander und je höher die Kapazität. Die elektrischen Anschlüsse sind durch
Führen eines Bolzens durch die vorstehenden Enden der Platten hergestellt. Mit
zwei Dicken der Kunststoff-Folie und einem von Aluminium, sollte es Raum für
eine Scheibe zwischen jedem Paar von Platten an jedem Ende ist und dass die
Klemm-und würde die elektrische Verbindung zu verbessern. Eine Alternative
besteht darin, eine Ecke aus jeder
Als Don Smith hat in einem seiner Video-Präsentationen zeigten, war Nikola Tesla vollkommen recht, wenn er erklärt, dass die Leitung der Entlassung aus einem Tesla Spule auf eine Metallplatte (oder in Dons Fall eines der beiden Metallplatten aus einem Zwei-Platten-Kondensator, wo ein Kunststoffplatte trennt die Platten so wie oben abgebildet), produziert ein sehr leistungsfähiges Stromfluss weiter durch eine gute Masseverbindung. Selbstverständlich, wenn eine elektrische Last ist zwischen den Platten und dem Erdungsanschluss angeordnet ist, so kann die Last auf einen hohen Strompegel eingeschaltet werden, was eine sehr erhebliche Leistungsverstärkung.
Es ist überhaupt nicht klar, ob das
Boyd-Power-System gesetzt werden sollen, hier oder in Kapitel 7 der Antennen
behandelt. Joseph spricht über die Art und Weise, die Radio-Schaltungen
arbeiten und daher nur sehr begrenzte Leistung scheint die Grenze der
Radio-Empfänger zu sein. Erklärt er eine Methode extrahieren von schwere Ebenen
der macht aus einer übertragende Spule und einer empfangenden Spule, aber die
höheren Energie-Ebenen erfordern einen Eingaben Oszillator, und während Sie
also, Antenne und Erde eignet sich für niedrigeren Leistungsstufen,
Eingangsleistung für optimale Leistung erforderlich ist. Hier ist Teil der
Josephs-Patentanmeldung:
US-Patent-Anmeldung 2008/0129397 5.
Juni 2008 Erfinder: Joseph Boyd
ELEKTROMAGNETISCHE
ELEKTRISCHEN GENERATOR
Zusammenfassung:
Ein elektrischer Generator, der einen hohe
Frequenz-Oszillator in einem Schwingkreis, legen Sie auf Resonanz mit der
Sender-Spule einer in Hochfrequenz-Transformator-Einheit verwendet, um
elektromagnetischen Energie, diese Energie in elektrische Energie umwandeln und
diese Energie sammeln zu generieren.
1.
Feld der Erfindung
Die vorliegende Erfindung ist ein
elektrischer Generator, der einen hohe Frequenz-Oszillator in einem
Schwingkreis, legen Sie auf Resonanz mit der Sender-Spule einer in
Hochfrequenz-Transformator-Einheit verwendet, um elektromagnetischen Energie,
diese Energie in elektrische Energie umwandeln und diese Energie sammeln zu
generieren.
2.
Beschreibung der Verwandte Kunst
Ob eine Oszillatorschaltung zu einer
abgestimmten Antenne richtig angeschlossen ist, so dass es schwingt, ein Strom
fließen zwischen der Antenne und dem Boden, und dies erzeugt hochfrequente
elektromagnetische Luft Wellen und Bodenwellen unserer Radios und andere
elektronische Geräte.
Ein Oszillator des gleichen Typs verwendet
in elektromagnetischen Welle Übertragungseinrichtung wird verwendet, um die
elektromagnetische Energie in dieses Patent zu generieren. Diese
elektromagnetische Sender sind gut entwickelt und sind gebrauchte Welt breit
und broadcast bei Frequenzen, die von der längsten Radiowellen zu den sehr
kurzen erweitern. Bestimmte Radios senden ihre Signale große Distanzen, einige
sogar rund um die Welt reisen.
Obwohl diese hochfrequente elektromagnetische
Energiewellen überall um uns herum sind, wurde diese Energie lange als
unmöglich, in großem Umfang aufgrund der Induktion-Merkmale der
elektromagnetischen Welle zu sammeln, wenn er ein metallisches Objekt bewegt.
Wie die Welle durch einen Draht optimiert, um die Resonanz bei der Frequenz der
Welle geht, er macht eine elektrische Ladung in den Draht, aber um diese Gebühr
zu verwenden, benötigen wir ein weiteres Kabel an den Stromkreis zu schließen
und lassen die Ladung fließen. Wenn wir einen anderen Draht neben den ersten
Draht verwenden und mit es verbunden ist, die Welle induziert eine Gebühr in
ihr, genau wie im ersten Draht und keinen Strom in die beiden Drähte befahren
werden.
Dieses Problem sammeln die Energie der Welle
wurde durch die Erfindung des halblangen elektromagnetische Transformators
gelöst, aber der halblange elektromagnetische Transformator gilt nur für die
Mittel die atmosphärische Energie zu sammeln. Die Erfindung des in
elektromagnetische Transformators dieser Erfindung kann jedoch wir die
Generation der elektromagnetischen Welle und der elektrische Konverter in einem
kompakten Uni kombinierent.
KURZE
ZUSAMMENFASSUNG DER ERFINDUNG
Grundsätzlich wird diese Einheit
oszillierenden elektrischen Strom generiert eine elektromagnetische Welle,
welche Versionen einen viel größeren elektrischen Strom und die elektrische
Energie auf diese Weise abgeleitet ist, zusätzlich zu dem Energiebedarf zum
Betrieb.
Es wurde lange angenommen, dass die einzige
Energie, die hochfrequente elektromagnetische Übertragung beteiligt, die durch
den Betreiber, seine Ausrüstung zu fahren ist. Die eigentliche Energie der
elektromagnetischen Welle ist oft über hundert Mal größer als dies da die Menge
an elektromagnetischer Energie auf der Erde praktisch unbegrenzt ist, es
scheint kein Limit auf die Größe der elektromagnetischen Generatoren oder auf
die Größe der Kraftwerke, die auf der Grundlage dieser Energiequelle sein.
Diese Energie ist möglich, Welt weit, frei für die Aufnahme.
Diese Energie bezieht sich auf die
Lichtwellen und ist wahrscheinlich eine Variante der Lichtwellen, jedoch die
Art Radiowellen sind länger als Lichtwellen und sind bei einer niedrigeren
Frequenz vibrieren. Lichtwellen sind auch eine Quelle von Energie nur für die
Aufnahme. Alles, was eine hohe Hitze, erzogen wird Lichtenergie abgeben. Ein
sehr kleiner Draht in eine Glühbirne, wenn eine hohe Hitze gebracht wird einen
Lichtstrahl solcher Energie freigeben, dass es ganz nach dem Mond gehen. Dies
ist die natürliche Energie, produziert von der Geschwindigkeit der Erde durch
den Raum. Mit Hilfe der Mathematik Dynetics, die Geschwindigkeit der Erde
nötig, jedes Pfund der Erde die Atomenergie ein Pfund Uran, kam genau die
gleiche wie der Lichtgeschwindigkeit (186.300 km pro Sekunde). Die Tatsache,
dass die Mathematik kam genau bei dieser Geschwindigkeit wenig Zweifel daran
lässt, dass die Geschwindigkeit der Erde durch den Raum der
Lichtgeschwindigkeit ist und jedes Pfund des Materials auf der Erde die Energie
von 1 Pfund Uran aufgrund dieser Geschwindigkeit hat.
Die elektromagnetische Energie im niedrigen
Frequenzbereich unterscheidet sich von anderen Arten von Energie, in vielerlei
Hinsicht, aber für uns von Interesse ist, dass es durch elektrische Ströme
weitergegeben wird, reist durch die Luft wie die Lichtwellen und wird erkannt
und kann gesammelt werden, wenn es einen elektrischen Ladung in einem Draht
verursacht.
Dies ist eine ideale Energiequelle. Die
Generatoren kann Handheld oder groß genug, um die größten Kraftwerke ersetzen.
Sie können verwendet werden, Motorräder, Schlitten, Autos, LKWas, Züge, Schiffe
und Flugzeuge zu fahren. Die Tatsache, dass die Ausgabe in Form von
elektrischer Energie an sich ein großer Vorteil ist aber die Tatsache, dass die
erzeugende Geräte leicht und kompakt ist ein echtes Plus für alle Arten von
mobilen Arbeitsmaschinen.
Es ist möglich, dass diese Erfindung liefert
alle elektrische Energie in den Häusern die Verteilerleitungen überflüssig
macht, und wenn auf Autos verwendet, unsere Abhängigkeit vom Öl eine Sache der
Vergangenheit werden.
Diese Erfindung ermöglicht eine Fülle von
Energie, wo jeder Mensch in der Welt zur Verfügung. Sogar die ärmsten Länder
müssen eine Fülle von Energie.
Die oszillierende Ausrüstung, die die
elektromagnetische Welle verwendet in dieser Erfindung generiert schließt einen
Oszillator eines Typs eine eingestellten Sender-Spule, die schwingt mit einer
abgestimmten Sammler-Spule in einem in elektromagnetische Transformator fahren.
Der induzierte Strom kann ist in der Sammler-Spule gesammelt und behoben und in
einer Batterie gespeichert oder verwendet werden, Arbeit zu verrichten. Die
Oszillatorschaltung ist eine gewöhnliche Oszillatorschaltung, angetrieben durch
ein Rohr, Kristall oder sogar einen kurfürstlichen Bogen, und die Feinabstimmung
Mittel und Berichtigung Einrichtung gehören zum standard.
Das grundlegende Element, das Roman zu
dieser Erfindung ist, ist die in elektromagnetische Transformator-Einheit, die
von zwei oder mehr metallische Leitung wie Blattscheiden nebeneinander besteht.
Die Blattscheiden sind nicht verbunden, zusammen, elektrisch. In die
Blattscheiden werden zwei oder mehr Spulen gewickelt..
Der Sender Spule verwendet ein isolierter
Draht, die ist oben durch eine Scheide eingefädelt, und nach unten durch eine
andere Scheide eine Anzahl von Zeiten bilden eine lange flache kontinuierliche
Schaltung des Drahtes in das Rohr wie Blattscheiden. Und dann die Sammler-Spule
Gewinde oben durch die Blattscheiden und Wunde genauso. Die zwei Spulen haben
eine unterschiedliche Anzahl von runden. Die Spulen sind optimiert, um bei der
Oszillatorfrequenz zu schwingen und eine elektromagnetische Welle in der
Übertragung-Spule erzeugt. Die Welle induziert eine Gebühr in diesem Teil der
Sammler-Spule, die in der gleichen Mantel, und daneben ist und wenn die Welle
bewegt sich in die Scheide, die Kosten für alle des Kollektors Drähte in die
Hülle sind hinauf bewegen, und wenn die Welle nach unten bewegt, sind die
Gebühren aller Sammler-Drähte bewegen sich. Aber die Sender-Welle in eine Hülle
ist einen Strom in die Drähte der anderen Mantel nicht induzieren, noch wird
sie veranlassen, einen Strom in einer Leitung außerhalb dieser Mantel. Dadurch
wird einen Strom induziert in eine Hülle, in der anderen Hüllen oder auf ein
außen Draht frei verkehren können.
Wenn die Sender-Spule auf Resonanz gebracht
ist und seine elektromagnetische Welle innerhalb der Blattscheiden sendet,
Vorteile es uns in zweierlei Hinsicht. Es hält die Welle innerhalb der
Blattscheiden und verhindert, dass es weit verbreitet, und es konzentriert sich
die Welle an diesem Teil der Sammler Spule in der selben Hülle.
Da jeder Kollektor-Leitungen sind von
gleicher Länge, sagen Sie ½ Wellenlänge der elektromagnetischen Welle und, da
sie parallel sind und nebeneinander, eine resonante elektromagnetischen Welle
gleiche Gebühren in allen der Sammler Drähte in die Scheide hinein induziert.
Diese induzierten Ströme sind genau in der Phase und sind in Reihe geschaltet,
so dass die Spannung summieren sich zu einer Menge proportional zu der Anzahl
der dreht.
Ff11 Länge-Transformator kann mit den
halblangen Transformator die Wicklung Teil in die Scheide und außerhalb die
Blattscheiden ist kombiniert werden, oder mehr als zwei Blattscheiden können
mit den Spulen gewickelt innen verwendet werden. Der Oszillator kann durch eine
Antenne in Fällen ersetzt werden, wo low-Power gebraucht wird. Die Induktivität
Spule kann völlig außerhalb des Transformators gelassen werden, und die
Kupplung gemacht die Übertragung Spule durch magnetische Induktion.
Diese und andere Objekte, Merkmale und
Vorteile der die vorliegende Erfindung werden noch deutlicher bei der Lektüre
der folgenden Spezifikation in Verbindung mit den zugehörigen Figuren werden.
KURZE BESCHREIBUNG
DER FIGUREN

Fig.1 ist eine Ansicht einer elektromagnetischen
Welle aufgrund der Resonanz, die Übergabe von zwei parallel geführte Leitungen
auf der gleichen Frequenz abgestimmt. Die Welle wird gleiche abwechselnde
Gebühren in jeder Draht und fließt kein Strom generiert, wenn die Kabel
angeschlossen sind.

Fig.2 ist eine Ansicht einer Resonanz
elektromagnetischen Welle zwei Drähte, optimiert, um die Resonanz, wo ein Draht
von einem Metallmantel umgeben ist, übergeben. Der Außenmantel Metall hält die
Welle und verhindert, dass es induzieren eine Gebühr in den geschirmten Draht.
Die Ladung induziert in den äußeren Draht jetzt fließt frei durch das
abgeschirmte Kabel.

Fig.3 ist eine Ansicht eines in voller Länge
elektromagnetische Transformators gebildet von zwei metallischen Leitung wie
scheiden, nachdem zwei Drähte Gewinde oben durch die innere Öffnung einer
Scheide und nach unten durch die innere Öffnung der anderen Mantel, eine Anzahl
von Zeiten, zwei kontinuierliche Spulen zu bilden. Wenn eine elektromagnetische
Welle in der eingestellten Sender-Spule eingezogen ist, wird eine
Wechselspannung in der Spule dran Sammler induziert.

Fig.4 ist eine Ansicht eines in
elektromagnetische Transformators, mit zwei hüllen isoliert voneinander, und
ein abtrennbare Teil zeigt die Spulen innerhalb.

Fig.5 ist eine Ansicht eines in
elektromagnetische Transformators, mit vier Abschnitte voneinander isoliert.

Fig.6 ist eine Schnittansicht eines in voller
Länge elektromagnetische Transformators gebildet von zwei metallischen Leitung
wie Blattscheiden, wo eine Oszillatorschaltung zu einer eingestellten
Sender-Spule, die induziert einen Strom in der Spule dran Sammler befestigt
ist; und eine Hälfte-Welle-Gleichrichter-Schaltung wandelt die aktuelle
Hochfrequenz in Gleichstrom Strom.

Fig.7 zeigt eine Ansicht eines in Transformators,
als eine Induktivität in einem Radioempfänger oder andere ähnliche
elektronische Schaltung 61 verwendet. In diesem Fall ist die Sender-Spule
zwischen die Antenne und Boden und die Sammler Spule Handlungen als
Hochfrequenz-Induktivität.

Fig.8 zeigt eine Reihe von in Transformatoren, in
Reihe geschaltet. Sie alle haben Gleichrichter Hochfrequenz Wechselstrom in
Gleichstrom konvertieren und summieren sich die Spannung an der Last.

Fig.9 zeigt eine Ansicht eines in Transformators,
parallel verbunden. In diesem Fall addieren die Strömungen an der Last.
DETAILLIERTE
BESCHREIBUNG DER BEVORZUGTEN VERKÖRPERUNGEN
Wenn eine Schaltung bei einigen Frequenz
schwingen erfolgt, generiert es eine elektromagnetische Welle. Diese Wellen mit
Lichtgeschwindigkeit bewegen und große Entfernungen zu reisen, und dies
ermöglicht unserer Radios, Fernseher und Handys. Diese Wellen im Vorbeigehen
eines Drahtes in der Luft schwebend richten Sie abwechselnd Gebühren in den
Draht variieren bei der Frequenz der Welle. Wenn man eine Induktivität, die auf
der Frequenz der Welle eingestellt ist, werden zwischen den Draht und den
Boden, die, den die Schaltung mitschwingen, und Gebühren hin und her auf dem
Draht fließen. Dies erlaubt uns, herausgreifen der Welle sind wir interessiert,
es zu verstärken und seine Botschaft zu lesen. Wir haben schon lange bekannt,
dass die Spannung der Welle, die wir erhalten möchten erheblich verstärkt wird,
wenn wir unsere Schaltung in dieser Welle Frequenz Resonanz zu machen, aber wir
waren nicht in der Lage, diese zusätzlichen Energie von der Welle zu sammeln,
da wir auf welche Energie wir abholen können durch die Ausrüstung beschränkt
sind, die wir verwenden.

Fig.1 zeigt, warum ist dies so. Die Weitergabe
elektromagnetische Welle 6 generiert einen wechselnden elektrischen Ladung in
den Draht 10, abgestimmt auf die
Wellenfrequenz, die Schaltung zu schließen, so dass die induzierte Ladung
zirkulieren kann, haben wir einen zweiten Draht 11 hinzugefügt, aber wenn wir die Enden der Drähte miteinander zu
verbinden, die elektromagnetische Welle 6
eine Gebühr in den zweiten Draht genau wie in den ersten Draht induziert, und
kein Strom fließt. Jede Anstrengung, die Ladung induziert in Draht 10
zirkulieren wird durch gegnerische Gebühr gleich 11 blockiert.

In
Fig.2 Wir haben den Draht 11 mit
einem metallischen, Rohr wie Mantel 13
mit einer isolierten Leitung 14 im
Inneren, wenn eine elektromagnetische Welle 7 verläuft, ist die Welle in der Hülse 14 gestoppt und induziert keine keine Ladungen in den inneren Draht
14 ersetzt. Dies ermöglicht die
Innenleitung 14, um die Ladung in
dem Draht induziert durchzuführen 12.

In Fig.3
sieht man zwei Ummantelungen 20 und 21 parallel und voneinander isoliert
sind. Zwei getrennte Spulen 22 und 23 sind im Inneren der Hüllen gewickelt. Die Spule 22
ist die Sendespule und darauf abgestimmt ist, bei der Frequenz der
Oszillatorschaltung 24 in Resonanz,
und dies erzeugt eine elektromagnetische Welle, die einen Strom induziert im Kollektor
Spule 23, die angepasst und liegt in
der abgestimmten Kollektor-Schaltung 25
verwendet.

Fig.4ist eine Ansicht aus einer in
elektromagnetische elektrischen Generator mit zwei separate Blattscheiden 30 und 31, in denen die elektromagnetische Welle fast vollständig
innerhalb der Blattscheiden enthalten. Die Blattscheiden sind parallel und
isoliert voneinander durch Isolatoren 34
und 35. Die Sender-Spule 32 und der Kollektor-Spule 33
sind in den Cut-away, und werden vollständig innerhalb der Blattscheiden
gewickelt. Zusätzliche Spulen können
bei Bedarf hinzugefügt werden. Die Sender Spule 32 ist abgestimmt, auf Resonanz mit der Frequenz von der
Oszillatorschaltung verbindet in 36.
Und dies erzeugt eine elektromagnetische
Welle, die befindet sich innerhalb der Blattscheiden und induziert einen Strom
in der Spule 33, Sammler, die ist
optimiert, um bei der Wellenfrequenz schwingen und ist gekoppelt an die
Collector-Stromkreis an der Klemme 37.
Die isolierenden Separatoren, 34 und 35 sind notwendig, um zu verhindern, dass die induzierte Strom
fließt in die Blattscheiden 30 und 31.

Eine Reihe von Blattscheiden kann kombiniert
werden, wie in Fig.5 dargestellt
ist. In diesem Fall sind vier
Blattscheiden, 40, 41, 42 und 43 kombiniert, so dass die Spulen, die
Wunde innerhalb der Blattscheiden in Serie sind, und die Blattscheiden
galvanisch durch die Isolatoren, 44, 45,
46 und 47 getrennt sind. Der Schwingkreis für die Sender-Spule ist am
Stecker 48 verknüpft und die
Collector-Stromkreis verbindet mit der Kollektor-Spule um 49.

Eine einfache Schaltung für den Betrieb des
in elektromagnetischen Transformators ist in Fig.6 dargestellt. Die zwei
Blattscheiden 50 und 51 sind mit der Sender-Spule 52 und Sammler Spule 53 angezeigt. Die Sender-Spule ist mit dem Schwingkreis 55, verbunden, von der Oszillator 54 angetrieben wird. Der Oszillator 54 ist so eingestellt, dass um bei
einigen Frequenz zu schwingen und den Transformator Schaltung 55 und Collector-Stromkreis 56 sind optimiert, um mit ihr mitschwingen.
Bei Resonanz strahlt die Sender-Spule 52 eine elektromagnetische Welle, die
einen Strom in der Sammler-Spule 53
induziert. Hier ist ein halb-Welle Gleichrichter 57 und Kondensator 58 an
die Last 59 angeschlossen. Der Gleichrichter ist erforderlich für jeden
Sammler-Einheit, weil wir, die Direct-Ströme der Einheiten hinzufügen können,
aber die Wechselströme der Einheiten möglicherweise phasenverschoben und ohne
den Gleichrichter würde sie heben auf.

Fig.7 zeigt die Sender-Spule, die Verbindung zwischen
Antenne und dem Boden, wo die Antenne Stromkreis und Collector-Stromkreis
abgestimmt sind, zu schwingen und erzeugen bei einer gewünschten Frequenz, um
die Empfindlichkeit erheblich zu steigern und um das Signal zu verstärken.
Diese Art Anwendung funktioniert gleichermaßen gut mit Sendern.
Außerdem arbeitet mit den halblangen
Transformator als Antenne und in Transformator als Hochfrequenz-Transformator
mit Empfänger und Sender. Die Oszillatorschaltung können eine hochfrequente
magnetische Induktivität und die in Trafo-Einheit mit einem halblangen
Transformator fungiert als Antenne mitschwingen. Eine Einheit wie diese würde
stark hinzufügen, um die Macht der ein Radarsystem.

1. In Einheiten, in Kombination mit
Gleichrichter, können angeschlossen werden, wie in Fig.8 Serie oder parallel wie in Fig.9.
***************
Bis heute ich habe nicht gehört, von jeder
Versuch, das Design gezeigt in dieses Patent zu replizieren, und also es ist
nur dass hier dargelegten für den Fall, dass jemand will es versuchen. Es
scheint eine clevere Technik. Der Energie-Gewinn maximiert durch Feinabstimmung
der sendenden und empfangenden Spulen auf die Frequenz des Oszillators, obwohl
in der Praxis sehr wahrscheinlich ist, dass die Oszillatorfrequenz auf der
Sender-Spule angepasst werden würde, wie es so einfach, die Frequenz eines
Oszillators anzupassen.
Boyd geht nicht ins Detail über die Resonanz
zu erreichen, und das ist meist ein Hauptschwierigkeit in jedem Design, das
automatische Sendersuche nicht hat. Es muss berücksichtigt werden, dass die
Länge des Drahtes in jede Spule (und möglicherweise sein Gewicht) ein
entscheidender Faktor ist. Boyd spricht über die Spulen, die möglicherweise mit
die gleiche Anzahl von runden, und das ist fein vorausgesetzt, dass die Spulen
gleich groß, d. h. sind haben die gleiche Form, von oben und die gleiche Tiefe
der betrachtet wird, wenn von der Seite betrachtet, und genau die gleiche
Anzahl von Runden mit jede Spule mit genau der gleichen Draht Länge. Resonanz
in einer Länge von Draht, ob es gerade oder in einer Spule gewickelt angeordnet
ist, tendenziell viele Leute verwechseln. Richard Quick sehr klare Erklärung
der Resonanz in jeder Länge des Drahtes, in seine
"Quartal-Welle
Resonanz; Stehende elektromagnetische Wellen"
Einer der beiden Haupttypen elektrische Resonanz ist hier als
Viertelwellen-Resonanzfrequenz bezeichnet. Diese Art der Resonanz hängt fast
ausschließlich von der Länge eines Drahtelementes Aus Gründen unten
beschrieben, wenn ein Segment oder Abschnitt Draht ist ein Viertel so lang wie
die "Spannung waves", die durch den Draht unterwegs sind, so wird ein
Satz von "reflektierten" Wellen werden auf die ausgesandten Wellen
zugegeben werden, in einer synchronisierten Ausrichtung, die stärker schafft
"überlagert Wellen".
Dementsprechend wird ein Verständnis der
"Viertel-Wellenlängen"-Phänomen helfen ein Leser verstehen, wie eine
einfache und leicht gesteuerten Faktor (dh die Länge eines Drahtbandes mit dem
eine Spiralspule bilden wird) können zur Schaffung einer "Viertel -Welle
"Resonanzreaktion, die die Arten von elektromagnetischen Impulsen und
Felder so genannte schaffen" stehende Wellen".
Die Geschwindigkeit, mit der ein Spannungsimpuls durch einen
Metalldraht übertragen wird, ist extrem schnell. Es ist im Wesentlichen die
gleiche wie die Geschwindigkeit des Lichts, die 300 Millionen Meter (186.000
Meilen) sich in einer einzigen Sekunde (diese Entfernung würde die Erde mehr
als 7 Mal Kreis).
Wenn Wellenlänge (in Metern) von Frequenz (Zyklen pro
Sekunde) multipliziert wird, wird das Ergebnis die Lichtgeschwindigkeit, 300
Millionen Meter / Sekunde betragen. Daher kann die Wellenlänge eines
"Wechselstrom"-Spannung, an irgendeinem bestimmten Frequenz, wird die
Geschwindigkeit des Lichts, mit dem frequenzgeteilten sein.
Daher ist die Verwendung einfache Division, wenn eine
Wechselspannung mit einer Frequenz von 1 Megahertz (MHz), das eine Million
Zyklen pro Sekunde ist, dann ist die "Wellenlänge" bei dieser Frequenz
wird 300 Meter betragen. Wenn die Frequenz halbiert werden 500 Kilohertz, wird
die Wellenlänge doppelt so lang (600 Meter), und, wenn die Frequenz zu erhöhen,
bis 2 Megahertz fällt die Wellenlänge auf 150 Meter.
Es sollte beachtet werden, die den Begriff "Zyklen"
ist das, was Wissenschaftler "eine dimensionslose Einheit" fällt ab
und wird schweigen, wenn andere physikalische Begriffe multipliziert oder
dividiert aufgerufen werden.
Bei Wechselstrom Frequenzen von 10 Kilohertz oder größer, die
gemeinsamen Bezugnahmen auf "Wechselstrom" beginnen mit einem anderen
Begriff, der "Radiofrequenz” Spannung. Dementsprechend ist
Hochfrequenzspannung eine Form (oder eines Teils) des Wechselstrom-Spannung,
die bei höheren Frequenzen als 10 Kilohertz betrieben wird.
HF-Leistungsgeneratoren sind leicht erhältlich und werden von zahlreichen
Firmen, die leicht von einem Internet-Suche dargestellt werden, mit dem Begriff
"HF-Leistungsgenerator" verkauft. Zum Beispiel verkauft Hotek
Technologies Inc. (hotektech.com) zwei RF Stromgeneratoren, genannt AG 1024 und
AG 1012 Modelle, die Ausgangsleistung bei Frequenzen von 20 kHz bis 1 MHz
bieten kann, die 1012-Modell hat eine Leistung von 1000 Watt, während das
Modell 1024 hat eine Leistung von 2000 Watt. Die Ausgangsfrequenz eines solchen
HF-Stromversorgung kann eingestellt werden und "tuned" über den
gesamten Bereich der Betriebs-Frequenzen nur durch Drehknöpfe oder Manipulieren
andere Steuerelemente in einem Netzteil von diesem Typ.
In einem Draht mit einem festen und unveränderlichen Länge,
der einfachste Weg, eine "stehende Welle" ist die Radiofrequenz-von
einem Netzteil mit einer einstellbaren Frequenz emittiert anpassen, erstellen,
bis die "getunten" Frequenz schafft eine Wellenlänge, die 4 mal so
ist Solange der Draht. Dieses Prinzip besteht darin, Physikern wohlbekannt, und
es wird allgemein als "Viertel-Wellenlängen"-Verhalten bezeichnet, da
die Länge des Drahtsegments muss ein Viertel so lang wie die Wellenlänge sein.
Da es für diese Erfindung wichtig ist, die Prinzipien hinter es in einer Reihe
von Zeichnungen, um die in 1 bereitgestellt Abb.4 dargestellt sind, sind alle
aus dem Stand der Technik wohlbekannt.

Fig.1A zeigt eine
idealisierte Wellenlänge einer Wechselspannung, mit einer Sinuswelle, die aus
einem Wechselstrom Stromversorgung (dargestellt durch einen Kreis am linken
Ende eines horizontalen geraden Draht) in den "Eingang" Ende der
Leitung gesendet dargestellten. Die Spannungswellen Reisezeit durch den Draht
nach rechts, wie durch den Block Pfeil in Fig.1A
angedeutet. Wenn die Wellen das Ende des Drahtes zu erreichen, können sie nicht
verlassen, den Draht (zumindest nicht in einer vereinfachten und "ideale",
welches wobei davon ausgegangen wird und hier um das Prinzip, wie eine einfache
geraden Draht kann einen Dauerauftrag erstellen zu erklären verwendet Welle).
Daher wird die Spannung Welle wird effektiv "Sprungkraft" oder hinten
"beziehen sich auf" aus der Spitze des Drahtes, und die
"reflektierte Welle" beginnt reist zurück durch den Draht, das in die
entgegengesetzte Richtung, wie durch die nach links weisenden Block angedeutet
Pfeil in Fig.1B.
Aufgrund der Gesetze der Erhaltung der Energie, die Reflexion
und "Rücklauf" dieser Typen von Wellen, wenn sie abprallen die Spitze
eines Drahts, ist eigentlich recht gut, und ziemlich effizient, wie unten
erörtert, vorgesehen, welche die Drahtspitze emittiert keine Funken,
Bogenentladungen oder andere Formen der "Flucht" elektrische Energie.
Dementsprechend zeigt Fig.1A
eine Reihe von "emittierten Wellen" Reisen nach rechts, während Fig.1B zeigt eine idealisierte Set von
"reflektierten Wellen" reisen nach links entlang der gleichen
Leitung.
Fig.1C zeigt, was
passiert, wenn beide Sätze von Wellen (ausgesendeten und reflektierten)
aufeinander überlagert sind. Da die beiden Sätze von Wellen erfolgt mit genau
der gleichen Geschwindigkeit bewegt, und da sie genau die gleiche Wellenlänge
haben, werden sie als "stehenden Welle"-Muster schaffen, wenn sie
addiert werden. Wie aus Fig.1C
visualisiert werden kann, wird es eine Menge von Orten sein, die entlang der
Länge des Drahtes, der als "Peak-Knoten" bezeichnet werden kann,
wobei die Wechselstrom-Spannung erreicht, es ist maximal.
An einer Stelle auf halbem Weg zwischen einem Paar von
benachbarten "peak-Knoten", wird es eine Stelle, die eine
"Null-Knoten", eine "Null-Knoten", eine Mulde oder ein Tal
Knoten oder ähnlichen Begriffen bezeichnet werden kann. Bei jedem "null
Knoten" location, wird die Wechselstrom-Spannung zu sein scheinen nicht
schwankenden überhaupt. Das sind die Orte, entlang der Länge des Drahtes, wobei
jeder "positiven" Buckel (erstellt durch eine Sinuswelle hin
fortpflanzende rechts) wird Ausbalancierter und Offset durch einen
"negativen Buckel" mit genau der gleichen Höhe, einer Geschwindigkeit
von ein identischer Geschwindigkeit nach links.
Als Folge erzeugt diese Art der Reaktion innerhalb eines
Drahtes einen "stehenden Welle". Wenn der momentanen Spannung an
einem "Null-Knoten" gemessen wird, scheint es, dass nichts passiert,
im Hinblick auf schwankende Spannung. Ferner wird die "Null-Knoten"
nicht zu bewegen, die entlang der Länge des Drahtes, sondern es erscheint still
zu stehen.
Dies kann demonstriert werden, die in einer Spule durch die
Verwendung eines "geerdet lead" bei Spannungen entlang der Länge einer
Spule testen. Wenn eine "geerdete lead" gekoppelt an ein Voltmeter
werden die Flächen von einer Reihe von Strängen in einer nicht isolierten Spule
(wie eine Spule aus dünnen Kupferleitungen gefertigt, um eine plastische
zylindrischen Form gewickelt, wie in der verwendete berühren Arten von großen
Transformatoren von Hobbyisten verwendet werden, um "Tesla Spulen",
die großen und visuell beeindruckende Lichtbögen emittieren) erstellen, wird
die "test lead" keine offensichtliche Spannung an einem null Knoten
erkennen, die irgendwann insbesondere Strang in der Spule auftreten. An einem
anderen Strang der Spule wird das "Prüfleitung" detektieren einer
Wechselspannung, die zweimal hat die Stärke und Intensität der Spannung von der
Stromversorgung abgegeben wird.
Wenn die Spannung an einem "peak-Knoten" gemessen
wird, wird die Spannung etwas zu tun, die aufgerufen werden können, mit
Umgangssprache oder Laien ausgedrückt, "die Full-Tilt Boogie". Die
Wechselstrom Spannungspegel hin und her zu bewegen zwischen: (i) eine hohe
positive Spannung und intensiv, zu (ii) einer ebenso intensive negative
Spannung. Dies wird durch die "Blase" Formen entlang des Drahtes in
Abb. 1c dargestellt angedeutet.
Die "Blasen", die in Fig.1C gezeigt werden kann jemandem helfen zu verstehen, wie
stehende Wellen erzeugt werden, und wie sie in einer synchronisierten Weise zu
handeln. Allerdings schlägt die Zeichnung ein anderes Ergebnis, das sehr
wichtig ist, was passiert eigentlich in einer stehenden Welle zu zeigen. Für
die Zwecke der Beschreibung und Analyse zu diesem einleitenden Stufe, kann das
System angenommen wird "idealen", was bedeutet, eine perfekte
"spiegelbildlich" Reflexion jeder Welle von dem rechten Ende des
Drahtes ist. Ein "ideales" System impliziert auch, dass keine
Reflexionen auftreten am linken Ende des Drahtes mit einer Netzspannung liegt,
und alle "reflektiert" Wellenaktivität einfach aufhört. In realen
Schaltungen und Drähte dieser Art haben zweiter und dritter Ordnung in der Tat
Reflexionen auftreten, und sie werden zur weiteren Erhöhung der Festigkeit und
Leistung dieser Arten von Systemen, aber diese zusätzlichen Faktoren und
"Harmonische" gestellt werden, bis ignoriert nachdem die
Grundprinzipien dieser Art von System wurden verstehen lässt.
In einem idealen System, wenn die reflektierten Wellen
(welche nach links fährt, in den Drahtsegmenten in Fig.1 dargestellt) sind "überlagert" auf den emittierten
Wellen (Befahren nach rechts), der "peak" positive Spannung wird die
augenblicklich erreicht werden, am höchsten Punkt des jeweiligen
"Blase" in Fig.1C gezeigt
ist, tritt auf, wenn die positive Spitze eines emittierten Welle kreuzt eine
spiegelbildliche positiven Spitze einer reflektierten Welle, die sich in die
entgegengesetzte Richtung. Dementsprechend wird, wenn diese beiden
"positiven Spitze"-Werte zueinander versetzt, der momentanen
positiven Spitzenspannung, die auftreten wird, in dem Draht, wird tatsächlich
doppelt so stark wie der "positive Spitze"-Spannung durch den
Wechselstrom Stromversorgung emittiert.
Gleich darauf, genau in diesem Punkt auf diesem Segment des
Drahtes, wird eine negative Spitzenspannung angelegt werden, welche die Summe
von (i) die negative Spitzenspannung durch die Stromversorgung emittiert wird,
und (ii) die negative Spitzenspannung eine reflektierte Welle auch durchlaufen
wird, hin fortpflanzende links. An welchem Augenblick, wenn diese
beiden negativen Spitzenspannungen zueinander versetzt, der momentanen
negativen Spannung, die auftreten wird, in dem Draht, wird doppelt so intensiv
wie die "negative Spitze"-Spannung durch die Energieversorgung
Wechselstrom erzeugt.
Eine genauere und repräsentative visuelle Darstellung eines
"stehenden Welle" in einem Draht würde tatsächlich zeigen die Höhen
der Spitzen als doppelt so groß wie die Spitzen der emittierten Spannungswellen
und die reflektierten Spannungswellen. Doch welche Darstellung könnten die
Menschen zu verwirren, so ist es in der Regel nicht in den Zeichnungen von
"stehende Wellen" gezeigt.
Dementsprechend wird die sofortige Reaktion in der Draht an
einer Stelle auf halbem Weg zwischen zwei "null Knoten", etwas zu
tun, was fair und korrekt aufgerufen werden "die full-tilt double double
boogie" werden. Die "double double" phrase (Anmerkung, die es
enthält nicht nur eine, sondern zwei "Doppel") wurde dieser Satz
hinzugefügt, aus zwei Gründen:
(I) Zu betonen, dass jeder Spannungsspitze (maximale positive
und die maximale negative) wird doppelt so stark, und zweimal so intensiv, wie
die höchste positive und negative Spannungsspitzen durch die Stromversorgung
emittiert, und
(Ii) der Hinweis, dass die Frequenz der überlagerten
"Blasen" in Abb. Fig.1C
dargestellt, eigentlich doppelt so schnell ist wie die Frequenz des
Wechselstrom-Zyklus, die von der Stromversorgung abgegeben wird, wie unten
erörtert.
Die "doppelte Intensität" Ergebnis direkt
vergleichbar ist, was ein Beobachter sehen werden, wenn ein großer Spiegel
hinter einer Glühbirne in einem ansonsten dunklen Raum plaziert ist. Der
Spiegel effektiv hält das Zimmer dunkel, überall hinter dem Spiegel, so dass es
keine "magische Verdoppelung" des Lichts im Raum, die die
grundlegende Gesetz der Erhaltung der Energie verletzen würde. Statt dessen,
was der Spiegel tut, ist, um Licht weg von der Rückseite des Spiegels, und
bewahren diese Lichtenergie auf der reflektierenden Seite des Spiegels. Wer
stand vor dem Spiegel sehen zwei scheinbare Glühbirnen. Beide dieser Lampen
(eine Lampe, und das reflektierte Bild) wird die gleiche Helligkeit (wenn der
Spiegel perfekt ist). Daher wird der Spiegel die doppelte Intensität der
Lichtenergie Erreichen des Beobachters.
Dass dieselbe Wirkung, in einer Schaltung, passieren wird,
wenn das Ende eines Drahtes wirkt wie ein Spiegel. Wenn ein Draht hat keine
Komponenten, die dazu führen, dass ein aktiver "Emissionsquelle" (das
ist das Verhalten von Sendeantennen und andere Komponenten) werden, in einer
Weise, die effizient freigibt Spannung geschaffenen Energie in die Atmosphäre,
dann wird die Grundregeln, die Erhaltung der Energie erfordern, dass die
Energie aus einfach verschwinden und aufhören zu existieren verhindern. Als ein
Ergebnis, auch wenn das Ende eines Drahtes nicht entworfen, um ein perfekter
Reflektor sein, wird ein großer Teil der Spannungswelle Tat reflektieren die
Drahtspitze, und fahren zurück durch denselben Draht, in einer "zweiten
Durchgang".
Um angemessen zu verstehen, die Art und Menge der "Welle
Reflexion", die bei einer Drahtspitze auftritt, überlegen, was passiert,
wenn eine Glühbirne in einem Raum, glänzend, weiß glänzend Farbe an den Wänden
und Decken hat erstrahlt, dann überlegen, wie es aussehen würde, wenn die
gleiche Lampe in einem Raum mit all den Wänden und Decken gemalt "matte
schwarz" befanden. Die gesamte Lichtmenge, die zur Verfügung stehen
würden, um eine Aufgabe durchzuführen, wie eine Zeitung liest, wäre eindeutig
viel größer in dem weißen Raum, weil das Licht reflektiert weißer Farbe, obwohl
weiße Farbe nicht einmal ansatzweise die Art nähern der "Reflexion
Qualität und Klarheit", die ein Spiegel erzeugt. Der Unterschied in dem,
was geschieht, wenn die Lichtintensität in einem Raum mattschwarz lackiert, um
ein Zimmer im Vergleich malte ein glänzend weiß, nicht von der Anwesenheit oder
Abwesenheit von "Reflexion Qualität und Klarheit" entstehen, sondern
es wird durch die Gesetze der geregelt Erhaltung der Energie. Wenn Licht auf
strahlt zu einer Oberfläche, die mattschwarz lackiert wird, wird die
Lichtenergie durch den Lack absorbiert, und es buchstäblich wärmt die Farbe
auf. Im Gegensatz dazu, werden glänzende weiße Farbe nicht absorbieren
Lichtenergie, so dass es reflektiert das Licht wieder aus, nach einer
"zweiten Durchgang" durch die Luft, die einen Raum füllt.
Aufgrund der Gesetze der Erhaltung von Energie und ohne
Abhängigkeit von einem "Qualität der Reflexion" charakteristisch Drahtspitzen
kann elektrische Energie nicht einfach verschwinden, wenn er das Ende eines
Drahtes erreicht. Stattdessen gibt es nur zwei Dinge, die dieser Energie
passieren kann:
(I) die elektrische Energie in der Umgebung, wie zum Beispiel
durch emittierenden Funken, Bögen oder Hochfrequenzsignalen, die Energie zu
tragen freigesetzt werden kann, oder
(Ii) wenn die Energie nicht von der Spitze des Drahtes
emittiert, dann durch einfache Notwendigkeit und wegen der grundlegenden Gesetz
der Erhaltung der Energie, es muss wieder in den Draht reflektiert werden, und
es wird gezwungen, zurück reisen durch sein der Draht wieder.
Wenn ein Draht hat eine lange und konische Spitze, dann die
reflektierte Welle werden könnte etwas diffus, und es könnte einen Teil der
"Klarheit" der Welle zu verlieren. Da jedoch Wellenlängen in den
interessierenden Frequenzen hier Hunderte von Metern lang sind, wird die Art
der Spitze durch ein herkömmliches Drahtschneider erstellt schaffen keine
signifikante Diffusion in einer reflektierten Welle. Und im Gegensatz zu den
weiß gestrichenen Wänden eines Raumes, gibt es nicht eine große Fläche zur
Verfügung steht, an der Spitze eines Drahtes, die Streuung erstellen, zu
verbreiten, oder Diffusion. Als Ergebnis wird die Spitze eines Drahts ein relativ
effizientes Spiegel-Typ Reflektor, wenn ein Wechselstrom-Spannung
"gepumpt" in ein Ende des Drahts liegen.
Der zweite Faktor oben erwähnt, wenn die
"double-double" boogie Phrase erwähnt wurde, bezieht sich auf eine
Verdoppelung der Frequenz einer stehenden Welle. Wenn eine stehende Welle in
einem Draht wird durch Reflexion eines emittierten Spannungswelle Wechselstrom
erzeugt, die Frequenz der stehenden Welle ist buchstäblich das Doppelte der
Frequenz der ausgesandten Welle.
Diese ersichtlich, visuell, durch Feststellung, dass im
emittierten Wechselstrom-Spannung, in Fig.1A
gezeigt, enthält eine einzelne vollständige Wellenlänge sowohl eine
"positive Buckel" und ein "negatives Buckel".
Dementsprechend sind drei vollständige Sinuswellen, in drei Segmente durch die
imaginären vertikalen Linien unterteilt, in Fig.1A gezeigt.
Im Gegensatz dazu zeigt jeder "Blase" in Fig.1C gezeigt, eine vollständige und
totale "Wellenlänge", in einer stehenden Welle. Sechs dieser
stehenden Welle "Blasen" in genau der gleichen Länge des Drahtes, die
nur 3 emittierten Wellenlängen von der Stromversorgung hält fit.
Die "Frequenzverdopplung" Effekt von stehenden
Wellen ist wichtig, weil Wechselstrom-Systeme können vermitteln und freizugeben
Energie in einer Weise geführt, die zunimmt, wenn die Frequenz der
Wechselstrom-Spannungsversorgung zunimmt. Zu einem gewissen Grad ist dies
analog zu sagen, dass, wenn ein Motor mit doppelter Geschwindigkeit (im noch
Erzeugung der gleichen Drehmoment) ausgeführt werden kann, dann ist die Arbeitsleistung
dieses Motors kann doppelt so groß ist, bei der höheren Geschwindigkeit. Diese
Analogie ist nicht ganz richtig, da Arbeitsleistung aus einem elektrischen
Gerät, das Wechselstrom Strom verbraucht hängt "Bereich der Kurve"
Funktionen, die bei der Sinuswellen beteiligt sind auftreten. Dennoch als
allgemeiner Grundsatz, wenn die Frequenz der Spannungsspitzen ansteigt, dann
Leistungsabgabe erhöht auch in vielen Arten von elektrischen
Schaltungskomponenten.
In den drei Platten aus Fig.1,
ist die Drahtlänge dreimal so lang ist wie die Wellenlänge der Spannung von der
Stromversorgung. Jedoch, um stehende Wellen zu erzeugen, ist eine Drahtlänge
nicht zu einem bestimmten Vielfachen der Wellenlänge einer
Wechselstrom-Spannung sein. Wie durch die Berücksichtigung Fig.1C ersichtlich ist, würde die gleiche Art von
"Blasen" erstellt werden: (i) wenn die Leitungslänge waren genau
doppelt so lang wie die Wellenlänge, oder (ii) wenn der Draht Länge die gleiche
Länge waren wenn die Wellenlänge.

Dementsprechend zeigt Fig.2
(die Fig.2A zeigt eine
emittierte Welle, Fig.2B, die eine
reflektierte Welle, und Fig.2C zeigt
die überlagerten "Blasen"), was in einem Drahtsegment, das eine
Länge, die gleich ist, hat eine einzelne Wellenlänge von einem
Wechselstrom-Spannung bei einer festen Frequenz. Eine resonante stehende Welle
wird gebildet werden, mit einer Frequenz, die das Doppelte der Frequenz des
Eingangs-Wechselstrom-Spannung. die gleiche Ergebnis gilt, in einem Draht mit
einer beliebigen Länge, die eine exakte (integer) mehrere (z. B. 1x, 2x, 3x,
etc.) der Wellenlänge des Wechselstrom-Spannung geschoben (oder gezwungen,
angetrieben wird, gepumpt wird, ist etc.) in das Drahtsegment.

Bewegen, um noch kürzere Drähte, das gleiche Prinzip gilt
auch für jede Leitung mit einer Länge gleich einer Hälfte eines
Wechselstrom-Spannung Wellenlänge. Wie in Fig.3
gezeigt (die auch Fig.3A zeigt eine
emittierte Welle, Fig.3B zeigt eine
reflektierte Welle, und Fig.3C zeigt
die überlagerten "Blasen"), wenn der Draht Länge einer Hälfte der
Wellenlänge ist, eine natürliche und resonante stehende Welle wird noch zu
bilden, mit einer Frequenz, welche das Doppelte der Frequenz des
Eingangs-Wechselstrom-Spannung.

Schließlich Übergang zu einer noch kürzeren Draht,
das gleiche Prinzip gilt auch für jede Leitung, die eine Länge gleich einem
Viertel einer Wellenlänge Wechselstrom-Spannung hat, wie in Fig.4A, Fig.4B dargestellt ist, und Fig.4C
Obwohl es tut nicht dehnen oder quer decken eine komplette "Blase",
ist die stehende Welle in Fig.4C
gezeigt, dennoch eine stabile, natürliche und resonant "stehende
Welle", mit einer Frequenz, die genau doppelt so hoch ist die Frequenz des
Eingangs-Wechselstrom Spannung.
Es ist möglich, stabile und teilweise
halb-Resonanzreaktionen erstellen, indem ein Achtel, einem Sechzehntel, oder
kürzere Längen von Draht, durch die Verwendung zusätzlicher Vorrichtungen, die
elektrische Energie aus dem System zu entfernen, können oder die sich
Wirkungen, die gewöhnlich als "Harmonische erzeugen". Jedoch sind nicht die Arten von natürlichen
und stabilen Reaktionen, die durch eine einfache, basischen System, bestehend
aus nicht mehr als erstellt werden können: (i) ein Draht mit einer festen Länge
und eine "reflektierend" Spitze, und (ii) ein Wechselstrom Stromquelle
mit einer Frequenz, die "abgestimmt" werden können, bis sie eine
Resonanzantwort in jedem Drahtsegment mit einer geeigneten Länge schafft.
Deshalb, da Viertelwellenplatte Leitungslängen sind
die kürzesten Längen, die natürliche und stabile stehende Wellen erzeugen, die
herkömmliche Begriff, der häufig verwendet wird, kann, um zu beschreiben, was
passiert, wenn ein Draht erzeugt eine Resonanz Stehwellen-Reaktion wird ein
"Viertel-Wellenlängen-" Reaktion.
In einigen Geräten kann teleskopbeweglichen
Komponente (oder andere Elemente, die die wirksame Länge eines drahtförmigen
Elements verändern kann), die die Fähigkeit des Elements, der einen festen
Wellenlänge reagieren zu verändern. Viele Arten von Antennen verwenden diesen
Ansatz, wenn sie Signale, die die auf festen und bekannten Frequenzen
übertragen verarbeiten müssen. Jedoch sind diese Beispiele nicht relevant
Spiralspule Reaktoren, die einen Ansatz, der Abstimmung und Einstellung der
Frequenz der Spannung, die an einen Reaktor zugeführt wird, bis eine Resonanzantwort
in Spulen mit festen und unveränderlichen Länge beobachtet werden umfasst
verwenden wird.
Es ist auch anzumerken, dass bestimmte Typen von
"Stimmen"-Elemente (wie Kondensatoren, die entweder feste oder
einstellbare Kapazität Ebenen haben können) auch elektrisch mit einem Draht
verbunden werden, in einer Weise, die "emuliert" Hinzufügen weiterer
Länge zu diesem Draht werden. Dieser Ansatz kann verwendet werden, um zu ändern
(oder die Reichweite) die Frequenzen, an dem ein Leiter-Schaltung resonant reagiert
werden.
Wie wir aus dem, was Don Smith hat gesagt,
gesehen haben, ist eine sehr effektive Methode, um zusätzliche Energie, um eine
hohe magnetische Sender, dass mehrere Ausgänge vom Sender ohne Erhöhung der
Antriebsleistung in keiner Weise entnommen werden können machen. Vor kurzem hat
eine clevere Idee für eine vereinfachte Version dieses auf der Web geteilt.
Soweit ich informiert bin, wurde dieses Gerät zuerst von der litauischen
'FreeEnergyLT ", deren Website ist vorgestellt http://freeenergylt.narod2.ru/dynatron/

und die Informationen dann repliziert und von JL
Naudin dokumentiert auf seiner Website http://jnaudin.free.fr/gegene/indexen.htm
und namens 'Gegene' ist die Abkürzung für 'Great Efficiency Generator'. Die
clevere Idee ist, eine kommerzielle Induktion Kochplatte wie der Sender zu
nutzen. Diese haben in jüngster Zeit bei niedrigen Kosten zur Verfügung, dieser:

Verkauft in Großbritannien von Maplin hat
Leistungsstufen einstellbar von 300 Watt bis 2000 Watt und zum Zeitpunkt des
Schreibens, kostet nur £30 geliefert an Ihre Adresse. Diese Geräte arbeiten durch
Erzeugen eines leistungsstarken hochfrequenten oszillierenden Magnetfeld, das
Wirbelströme induziert einem magnetischen Material auf der Oberfläche des Herds
platziert. Das heißt, Kochgeschirr, das aus Gusseisen oder Stahl (aus nicht
rostendem Stahl, die angeblich nicht-magnetischen) hergestellt wird. Die
Heizung ist sehr schnell und völlig gleichmäßig über den Kochartikel was sehr
hilfreich ist beim Kochen. Die Heizplatte wird durch ausgeklügelte Elektronik,
die sich nicht einschalten, es sei denn es ist ein Eisen-Objekt auf der Platte
und die Frequenz und Strom in einer Weise, von der Designerin gewählt variiert
wird gesteuert.
Der Schaltkreis erzeugt das Magnetfeld durch Pulsen
durch eine große, ebene Spulenstrom in der Mitte des Gehäuses wie in dieser
Fotografie einer typischen Induktionsplattenelement mit dem Fall gesehen werden
eröffnet:

Die braune Spule wird heiß, und so gibt es
Abstandshalter auf sie, um die kühle Außenhülle Form Kommissionierung die Hitze
der Spule zu verhindern. Es gibt auch ein Gebläse, das Luft ansaugt von
unterhalb des Gehäuses und bläst sie über die Spule, um die Wärme zu halten.
Um diese magnetischen Sender verwenden, müssen wir
einen geeigneten Ausgangsspule auf der
http://www.youtube.com/watch?v=LbAhUwHvJCE,
Laurent Mächte sieben separaten 400-Watt-Halogenlampen mit einem kleinen
800-Watt maximale

Keine besondere Leistung wird durch Laurent
beansprucht, aber wie Sie sehen können, die 2800 Watt Halogenlampen sind hell
erleuchtet, während ein Wattmeter an den Eingängen auf der Platte liest sich
758 Watt. Es scheint ziemlich klar, dass es eine signifikante
Leistungsverstärkung mit dieser Anordnung. Dann legt Laurent eine zusätzliche
Spule auf der Oberseite der ersten und zeigt es Anzünden einer
100-Watt-Glühbirne sehr hell:

Es ist tatsächlich ziemlich schwierig, die
Helligkeit der Lampen in einem Video gezeigt, wie die Video-Kamera schaltet
sich automatisch die Helligkeit der Aufnahme zu sehen. Der wichtige Punkt hier
ist, dass es eine signifikante Leistung von einer zweiten Spule, ohne dass eine
Erhöhung der Leistungszufuhr zu der Sendespule im Induktionsplattenelement.
Es gibt viele verschiedene Konstruktionen von
Elektronik in kommerziellen Induktionsplatten. Die meisten werden nicht in
Betrieb, bis eine magnetische Gegenstände auf der
Jean-Louis Naudin verwendet einen
2000-Watt-Induktionsplatte lehnte seine 1000-Watt-Einstellung. Es hat einen
Durchmesser 180 mm Sondenspule. Er sagt, dass für ihn, ist es wichtig,
mindestens 1500-Watt Last haben, sonst die Induktion Platte wird
heruntergefahren mit einem Fehlercode anzeigt, dass kein Kochgeschirr vorhanden
ist.
Die Spulen verwendet werden Tesla bi-filar
Pfannkuchen Typen, typischerweise zu einer dünnen Folie aus MDF oder Sperrholz
angebracht, sagen 2 mm dick, mit Sekundenkleber. Laurent 120 mm Spule zehn
Umdrehungen und Jean-Louis 160 mm Spule hat sechzehn Kurven, benötigen etwa 5
Meter von Doppelkern-Draht, und Laurent ist etwa 2,5 Meter Draht. Ich schlage
vor, dass der Draht für Netzspannung sollte bewertet werden und, vielleicht einem
Quadratmillimeter Querschnitt von Kupferdraht in jedem Leiter. Ein Tesla Flachspule
wird wie folgt gewickelt:

Bitte beachten Sie, dass diese Anordnung hohen
Spannungen beinhaltet und so ist nicht geeignet für Einsteiger bis zur
Elektronik. Diese Präsentation ist nur zu Informationszwecken zur Verfügung
gestellt und es ist nicht eine Empfehlung, dass Sie etwas hier gezeigten
umzusetzen versuchen, und wenn Sie sich dafür entscheiden, dann ist die
Verantwortung liegt bei Ihnen und Sie allein.
Ein weiteres interessantes Video ist http://www.youtube.com/watch?v=SJ1MG1Qt7LQ&feature=em-uploademail.
Tariel Kapanadze, wie Don Smith, scheint basiert seine Arbeit auf, dass Nikola Tesla haben. Es wurde ein Video über das Internet, von einem seiner Geräte in Betrieb, aber es scheint, dass das Video entfernt wurde. Allerdings kann ein Teil davon hier zu sehen: http://www.youtube.com/watch?v=l3akywcvb9g Das Video Kommentar war nicht in Englisch und so die gesammelten Informationen aus ist es nicht so vollständig wie es sein könnte. Trotz Darüber hinaus kann eine Reihe von nützlichen Dingen daraus gelernt werden.
Das Video zeigt eine Demonstration in einem Garten hinter dem Haus inszeniert, glaube ich, in der Türkei. Starker Sonneneinstrahlung wurde Gießen dichten Schatten, die Video-Detail weniger als perfekt gemacht. Grundsätzlich zeigte Tariel einer seiner Builds einer Tesla-style-Freie-Energie-Gerät und treibt sich selbst und eine Reihe von fünf Glühbirnen.
Einer der erfreulichsten Dinge über dieses Video ist, dass der Bau und Betrieb der grundlegendsten Art war, mit nicht der leiseste Andeutung von teuren Labor oder irgendetwas hochpräzise. Dies ist definitiv ein Hinterhof Bau im Rahmen einer sachkundigen Person.
Elektrische Anschlüsse wurden durch Verdrehen blanke Drähte zusammen gemacht:

und gegebenenfalls Anziehen der Drehung mit einer Zange:

Dies zeigt deutlich, dass ein High-Power und sehr nützlich Freie-Energie-Gerät mit der einfachsten Bauweise hergestellt werden kann - keine teuren Anschlüsse hier, nur ein Zero-Cost-Twisted-Verbindung.

Wobei die Vorrichtung angezeigt wird, ein Tesla-Transformator betriebenen, Erde geschalteten System des Typs bereits beschrieben. Sie werden bemerken, dass die dicken Primärwicklung nicht an einem Ende der zentralen Sekundärwicklung gelegt ist aber viel näher an der Mitte der Spule. Beachten Sie, dass Don Smith besagt, dass wenn die Primärspule zentral platziert ist, dann ist die Strommenge, welche die Spule liefern kann sehr groß ist, trotz der Tatsache, dass die meisten Leute denken, dass ein Tesla Spule kann nur produzieren trivial Ströme. Beachten Sie auch, dass diese Tesla Spule auf eine billige Küche-Rollenhalter montiert werden angezeigt. Ich habe gesehen, wie er sagte, dass Tariel ein neues Gerät für jede Demonstration macht und nimmt es auseinander nachträglich, also wenn das stimmt, dann ist es wahrscheinlich, dass es keinen großen Aufwand bei der Herstellung eines dieser Systeme beteiligt.

Die wichtigsten operativen Komponenten werden hier gezeigt, platziert auf einem kleinen Tisch. Es ist eine Blei-Säure-Batterie (die später an der Demonstration entfernt), was scheint, einen Inverter an das Stromnetz Wechselstrom-Spannung von der Batterie, ein High-Spannungserhöhungs-System in einem grünen Kasten aus Sicherheitsgründen untergebracht produzieren, ein Tesla Spule, eine Funkenstrecke auf dem Feld und einem Lüfter gekühlten Komponente, wahrscheinlich ein Solid-State-Oszillator-System den Antrieb des Tesla Spule montiert. Nicht in diesem Bild zu sehen, ist ein Element in einer kleinen Box, die auch ein Hochspannungs-Kondensator könnte enthalten.
Zwei Anschlüsse zur Erde werden organisiert. Die erste ist ein altes Auto Heizkörper in der Erde vergraben:

Die Last ist eine Reihe von fünf leistungsstarke Glühbirnen hingen an einem Besenstiel auf dem Rücken von zwei Stühlen platziert:

Wie Sie sehen können, ist dies nicht gerade High-tech, high-cost Bau hier, mit all den Materialien, die für andere Dinge verwendet danach.
Anfänglich wird die Batterie zur Stromversorgung des Wechselrichters, und es wird gezeigt, dass der Strom, der von dem Inverter gezogen wesentlich geringer als die Kraft in die Last ist. In konventionellen Begriffen, erscheint dies unmöglich, was ein Indiz, dass die herkömmlichen Begriffe sind veraltet und müssen aktualisiert werden, um die beobachteten Tatsachen von Demonstrationen wie diese erweitert werden.
Da das System Außerbetriebnahme viel mehr Energie als erforderlich ist, um sie anzutreiben, ist es vielleicht nicht möglich, einen Teil der Ausgangsleistung zu verwenden, um die Eingangsleistung bereitzustellen. Dies wird häufig als "der Kreis geschlossen" und es wird in diesem Video, wie der nächste Schritt demonstriert.
Zuerst wird der Schaltung, so dass der Netzanschluss an den Wechselrichter von dem Ausgang genommen wird verändert. Dann ist die Schaltung ist die Verwendung der Batterie wie zuvor angetrieben. Die Batterie wird dann getrennt und vollständig beseitigt, und die Leute helfen mit der Demonstration abholen alle aktiven Elemente und halten sie hoch in die Luft, um zu zeigen, dass es keine versteckten Kabel für die zusätzliche Energie von einem verborgenen Quelle. Die Objekte in der Tabelle sind nicht Teil der Schaltung:

Es gibt einige zusätzliche Informationen über Tariel einschließlich Videos von einigen seiner stärker, neueren Konstruktionen bei http://peswiki.com/index.php/Directory:Kapanadze_Free_Energy_Generator#Official_Website obwohl es gesagt werden, dass es scheint nicht zu sehr sein muss viel auf ihn oder seine Arbeit zur Verfügung zu diesem Zeitpunkt.
Im Dezember 2009 ein anonymer Beitrag per E-Mail, dass Kapanadze sagen, kehrte der Ex-UdSSR Republik Georgien und die Video-Soundtrack in der georgischen Sprache und nach der Demonstration ist, ist das Interview in russischer Sprache. Er hat uns freundlicherweise die Teile, die auf das Gerät beziehen übersetzt wie folgt:
Frage: Was zeigst du uns heute?
Antwort: Dies ist eine Vorrichtung, die Energie aus der Umwelt. Es zieht 40 Watt, wie es anläuft, aber dann kann sich selbst und bieten eine Leistung von 5 Kilowatt. Wir wissen nicht, wie viel Energie aus der Umwelt gezogen werden können, aber in einem früheren Test, zogen wir 200 Kilowatt Leistung.
Frage: Ist es möglich, die Energie-Probleme Georgiens zu lösen?
Antwort: Wir denken, dass sie
bereits gelöst.
Frage: Bitte teilen Sie uns in
einfachen Worten, wie Ihr Gerät funktioniert.
Antwort: (1) Die Stromversorgung erfolgt aus der Batterie entnommen, um das Gerät zum Laufen zu bringen.
(2) Wenn wir wollen, können wir einen Teil der Ausgangsleistung, ein Ladegerät zu fahren und die Batterie aufzuladen.
(3) Wenn das Gerät läuft, können wir den Akku entfernen und sie dann operiert self-powered. Diese besondere Einheit liefern kann 5 Kilowatt Leistung das ist genug für eine Familie. Wir können leicht eine Version, die 10 Kilowatt liefert. Wir wissen nicht, was die praktische Leistungsgrenze für eine Einheit wie das ist. Mit diesem Gerät haben wir hier, wissen wir nicht ziehen mehr als 5 Kilowatt, wie wir nicht wollen, brennen Sie die Komponenten, die wir in diesem Build verwendet.
Frage: Hat Ihre Erfindung abholen Strom aus Netzleitungen?
Antwort: Das
Netz hat nichts mit diesem Gerät zu tun. Die erzeugte Energie kommt direkt aus der Umgebung.
Frage: Was nennen Sie Ihr Gerät und Sie widme es gemand?
Antwort: Ich
würde nicht behaupten, dieses Gerät meiner Erfindung sein Traum, ich habe
gerade etwas gefunden, die funktioniert. Das ist eine Erfindung von Nikola
Tesla und alle Kredit ist seine. Tesla hat so viel für die Menschheit getan,
aber heute ist er nur vergessen. Dieses Gerät ist seine Erfindung, seine Arbeit.
Frage: Warum sind Sie so sicher, dass dies ein Design Nikola Tesla ist?
Antwort: Weil
ich arbeitete von seiner Erfindung - sein Design. Ich entdeckt, wie die
automatische Resonanz zwischen den Primär-und Sekundärwicklungen zu erhalten.
Das Wichtigste ist, um die Resonanz zu erzielen. Melnichenko kam nah an der
Lösung dieses Problems. Die Regierung von Georgien weigert sich, diese Erfindung
ernst nehmen.
Frage: Du hast gesagt, dass Resonanz aufrechterhalten werden müssen. Welche Teile schwingen?
Antwort: Hier
(zeigt auf den grünen Kasten) und hier (zeigt auf den Tesla Spule auf der
Oberseite der grünen Box montiert). Der Resonator ist in der green box und
zurzeit ist es, bis patentierte Geheimnis.
Frage: Wie viel würde eine dieser Einheiten kosten?
Antwort: Wenn
Masse produziert, wäre es zwischen 300 und 400 US-Dollar für eine Einheit, die
eine Leistung von 5 oder 6 Kilowatt hat kosten.
Frage: Wie viel hat es gekostet Sie diese Demonstration Gerät zu bauen?
Antwort: Über achttausend (Währung
nicht angegeben). Teile musste von 20 verschiedenen Orten bekommen werden.
Frage: Ist das Ihr Haus?
Antwort: Nein, miete ich diesen Ort, weil wir alle, dass wir diese Geräte machen müssen verkauft haben. Und es getan zu haben, also die Regierung und viele Wissenschaftler "Wir sind nicht interessiert, weil ein Gerät wie das ist unmöglich und kann nicht existieren!". Ich habe nicht erlaubt worden, eine Präsentation, um sie zu machen, aber die Leute, die Tesla Spule verstehen, verstehen, wie dieses Gerät funktioniert.
Kapanadze ist Architekt von Beruf und hatte keine Ausbildung entweder in Physik oder Elektrotechnik. Die Informationen, auf denen diese Konstruktion wurde beruhte kostenlos heruntergeladen aus dem Internet.
Leute häufig fragen Sie nach Konstruktionszeichnungen oder alternativ, Verkaufsstellen, wo sie einem seiner Geräte kaufen können. Leider ist Tariel nicht bereit, die Details seiner Entwürfe zu teilen und so kann sie nie hergestellt werden.
Kapanadze Analyse von William McFree
Es gibt zwei Analysepapiere zu Tariel Kapanadze-Designs. Diese Papiere von William McFreey sind vor allem für physiscts geschrieben, und so können sie nicht einfach durch Sie verstehen, wenn Sie nicht mit wissenschaftlichen Symbolen und Notation vertraut werden. Die beiden Papiere von William McFreey können frei heruntergeladen werden http://www.free-energy-info.tuks.nl/McFreey.html.
Ein Mann, der das Forum ID 'UFOpolitics' verwendet wurde teilt seine Erkenntnisse und Erfahrungen auf verschiedenen Foren, wie die ein, die sich direkt mit der Produktion und Verwendung von kaltem Strom in Halbleiter Schaltungen: http://www.energeticforum.com/renewable-energy/10529-my-motors-got-me-tap-into-radiant-energy-1.html Seine Erkenntnisse sind ungewöhnlich und sehr wichtig. Seine Grundaussage ist, dass, wenn eine Spule gepulst ist, mit einer Schaltung wie diese:

Dann herkömmlichen heißen Strom Impulse die Spule, wenn der Transistor eingeschaltet ist, aber wenn das AUS Strom schnell geschaltet, dann gibt es ein Einströmen von kalter Strom in der Spule von der umgebenden Umwelt. Dass Zufluss von Energie können gesammelt und abgeleitet, um Kraft eine Last durch die Verwendung von zwei Hochgeschwindigkeits-Dioden, die erheblichen Strom führen kann als die Kraft Zufluss ist beträchtlich. Der Zufluss von Energie auftritt, wenn der Transistor ausgeschaltet ist und daher ist es wünschenswert, dass der Transistor ausgeschaltet für die meiste Zeit, in anderen Worten, einen niedrigen Prozentsatz Arbeitszyklus für den Transistor. Es muss eine erhebliche Last auf den kalten Strom ausgegeben werden. Wenn nicht, dann wird der kalten Strom fließt zurück in den heißen Strom Abschnitt der Schaltung, und es kann die Transistoren beschädigen. Tom Bearden, dass Widerstände erhöhen kalten Strom, nicht verhindern seine Strömung, so sollte die Last eine Spule, einen Gleichstrom-Motor mit Bürsten oder einer Neonröhre sein.
Es wurde beobachtet, dass die eingehende Energie, um nach innen in Richtung der Mitte der Spule fließt neigt, so dass eine zusätzliche Verfahren zum Sammeln dieses zusätzliche Energie ist, um eine zweite Spule innerhalb der Hauptspule platzieren, und gewickelt in derselben Richtung, wie sie, wie hier:

Dies bietet zwei separate, unabhängige kalten Strom Leistungen. Dioden sind nicht für die innere "sekundären" Spule benötigt. Diese innere Spule eine Ausgang-Spule und ist nicht in irgendeiner Weise mit der Anzahl der Windungen in den heißen Strom Pulsieren Spule verwandt. Stattdessen speichert diese Spule einströmende kalte Strom während der Zeit, als das pulsierende Spule ausgeschaltet ist. Das heiße Strom Pulsieren Spule direkt auf der Oberseite des zusätzlichen Sondenspule oder die zusätzliche Spule gewickelt werden kann separat und innerhalb des Hauptspule Spule gewickelt werden.
Sehr überraschend, ist es empfehlenswert, dass die leistungsstarke Hochfrequenz-Diode verwendet werden, um die kalte Strom leiten aus der Schaltung von einer kleinen 1N4148 Siliziumepitaxieschicht planare Hochfrequenz-Diode (75V 0,45 A), da dies befolgt werden soll bereinigen die kalt Stromproduktion sogar noch mehr. Es ist wichtig, dass der Strom kalten, um die stärkeren Siliziumdioden vor Erreichen der 1N4148 Dioden stoßen hat, so dass die Reihenfolge der Dioden ist sehr wichtig, und soll hier gezeigte:

Alternativ Dioden für die NTE576 (6A, 35nS,
400V) sind die NTE577 (5A, 70nS, 1000V) und die HFA16PB (16A, 19ns, 600V). Die
wichtigste Voraussetzung ist Hochfrequenz-Betrieb, Nennspannung von mindestens
400V und aktuelle Rating von mindestens 5 Ampere.
Es gibt ein zusätzliches Sache, mit dieser Schaltung ausgeführt werden, wenn eine Gleichstrom-Ausgabe erforderlich ist, und dass es zur Anwendung an den Ausgang zu filtern. Erstens, wenn die Energie wurde durch die NTE576 (oder gleichwertig) Leistungsdioden übergeben, tritt ein Hochfrequenz-(niedrige Kapazität) hochwertige Folien-Kondensator über dem Ausgang in Bestellung abzuschöpfen keine Hochfrequenz-Welligkeit, bevor es übergeben wird durch die kleinen 1N4148 Dioden und in eine Glättung und Lagerung Elektrolytkondensator. Speichern des kalten Stroms in den Elektrolytkondensator wandelt sie in herkömmlichen heißen Strom.

Während diese Schaltung sieht aus wie etwas, das man einfach einschalten und es funktioniert, das ist nicht der Fall, da ist ein wesentlicher Start-up-Verfahren, bei dem das Signal an den Transistor nur ein paar Zyklen pro Sekunde gestartet wird und 50% Tastverhältnis und dass die Eingabe dann vorsichtig und langsam, während die Überwachung der Spannungen und Ströme durch die Schaltung erzeugten eingestellt. Dies ist eine erheblich leistungsfähiges System mit der Fähigkeit zur Herstellung eines größeren Leistungsabgabe.

Es ist sehr wichtig, dass die Schaltung nicht auf, ohne eine geeignete Last auf der kalten Stromerzeugung angetrieben. Eine geeignete Last eine eingebautem Vorschaltgerät 230-Volt-Fluoreszenzlicht. Es muss verstanden werden, dass das Umdrehen der Stromschalter auf EIN-Stellung ist es nicht ausreichend, um ein Einströmen von kalter Elektrizität erhalten werden. Statt dessen ist es notwendig, die Anlaufsequenz sorgfältig fortschreiten, und ein Fluoreszenzlicht ist besonders hilfreich, dies zu tun, obwohl eine Neonröhre ist auch eine beliebte Wahl des vorübergehenden Belastung, da diese Geräte der Stromfluss in der Last, um ausgewertet werden können visuell.
Vor dem Einschalten ist der Eingang Oszillator 50% Tastverhältnis und minimale Frequenz eingestellt. Dann wird die Frequenz sehr langsam, hob wodurch die Lampe beginnt zu blinken. Da die Frequenz erhöht wird, muss der Strom von der Batterie gezogen wird, wie es zu überwachenden der Strom durch den Transistor ist, und der Strom wird durch Absenken des Tastverhältnisses progressiv gehalten werden. Dieser Prozess fortgesetzt wird sorgfältig und wenn erfolgreich, wird die Farbe des erzeugten Lichts zunächst lila oder grün vor Erreichen kontinuierliche helles weißes Licht. Videos zeigt das Licht erzeugt, und die Tatsache, dass es nicht gefährlich ist, das Leben oder die durch Wasser kann eingesehen werden unter
http://www.youtube.com/watch?v=W1KALMgFscg&list=UUdmFG5BeS0YnD2b5zasXXng&index=1&feature=plcp.
Die treibende Kraft ist eine Reihe von leistungsfähigen magnetischen Impulsen und implementieren die physische Verbindung, um das zu erreichen erfordert sorgfältige Konstruktion. Die Batterie fahren die Schaltung ist eine Kombination von 36 Volt Zellen. Die Spule gewickelt als eine Luft-Kern Konstruktion auf einem 2-Zoll (50 mm) Durchmesser Spule und der Gleichstrom-Widerstand über 1,4 oder 1,5 Ohm sein angeordnet ist. Dies wiederum erfordert erhebliche Auto vom der Transistor, und so es ist normal sechs leistungsstarke Ausgangstransistoren parallel anschließen, um den Stromfluss zwischen ihnen zu verbreiten sowie schockabsorbierendem erzeugte Wärme mehrere Transistoren auf einer gemeinsamen Wärmesenke großzügige Gegend verschraubt.
Wie die Spule gewickelt ist, ist etwas zu prüfen. Ziel ist es, Sie haben eine Spule von etwa 1,5 Ohm Widerstand und hat die maximale magnetische Wirkung für den aktuellen durchlaufen. Kupferdraht ist sehr teuer geworden und so wäre es sehr teuer, mit großen Längen von dicken Draht, nicht zu vergessen die sehr groß und großem Gewicht, die produziert werden würde dadurch, dass die Spule zu wickeln. Die Optionen der Kupferdraht in Europa sind in der Regel mit halb-Kilogramm-Rollen Draht arbeiten. Einige dieser Details sind wie folgt:

Daraus können wir sehen, dass eine 500-Gramm-Rolle mit 14 swg Draht eine Gesamt-Widerstand von nur 0,09 Ohm hat und so würde es sechzehn Rollen (mit einem Gewicht von 8 kg und kostet eine Menge Geld), um nur ein-Strang Spule mit, dass der Wind Draht, Herstellen einer Spule, die einen Strom von 9,3 Ampere führen könnte. Zu derjenigen entgegengesetzt könnte eine einzelne Spule von 28 swg bereitzustellen 52 getrennte Wicklungen, die, wenn sie parallel verbunden sind, 15 A sowie Kalkulation und Wiegen weit weniger tragen konnten. Es wäre langweilig, aber nicht unmöglich, eine 52-Strang-Spule wickeln, so dass ein vernünftiger Anzahl der Stränge parallel geschaltet verwendet werden könnten. Wir sind an einem Gleichstrom Widerstand von etwa 1,45 Ohm in jedem Spulenanordnung, die wir wählen will.
Das Magnetfeld durch einen Einzelstrang hergestellt ist im Allgemeinen kleiner als das Magnetfeld durch zwei Stränge mit ebenso Gesamtstrom erzeugt wird. Also, wenn wir bis 22 swg Leiter holen waren, dann könnten wir auszumessen vier 133,5 Meter Länge, join them an den Start, und wickeln die vier Stränge gleichzeitig Seite an Seite, um eine Spule mit einem Gleichstrom Widerstand von 1,45 Ohm bilden. Es ist wichtig, dass die Stränge exakt gleich lang sind, so dass sie exakt den gleichen Strom tragen und niemand Strang wird mit Strom durch sie mit einem niedrigeren Widerstand als die anderen Stränge überlastet. Es sollte erkannt werden, dass die maximale Strom, den Draht tragen können beträgt 4,8 Ampere und der Widerstand ist nur 1,45 Ohm, die maximale kontinuierliche Gleichstrom-Spannung von der Spule getragen werden kann, ist nur 7 Volt, und so eine 36-Volt-Batterie werden verwendet wird, müssen wir die Frequenz und Tastverhältnis sehr sorgfältig einzustellen, zumal wir bei sehr niedrigen Frequenzen ab. Wenn die volle Batteriespannung kontinuierlich an die Spule angelegt, dann wird die Spule wird zerstört.
Verschiedene Mitglieder des Forums haben vorgeschlagen, gebaut und getestet verschiedene Schaltungen zum Zuführen eines mit variabler Frequenz variablen Arbeitszyklus-Ansteuersignals an den Ausgangstransistor. Allerdings empfiehlt "UFOpolitics 'eine einfache 555-Timer-Schaltung. Wenn Sie nicht vertraut mit elektronischen Schaltungen sind, dann lesen Sie Kapitel 12, die ihnen erklärt im Detail, einschließlich der 555-Timer Familie von Schaltungen. Der Punkt hervorgehoben durch "UFOpolitics 'ist, dass die Ausgabe von Pin 3 des 555-Chip übernommen zunächst durch einen 100 Ohm Widerstand und dann bekommt jeder Transistor eine separate Einspeisung über zwei Widerstandsspannungsteiler Paar. Der 47K-Tor-zu-Erde-Widerstand ist, um sicherzustellen, daß der FET ausgeschaltet wird ordnungsgemäß. Es kann möglich sein, um den Wert dieser Widerstände erhöhen, aber sie sollten nicht weniger als 47K.

Die dicken Linien in diesem Diagramm zeigen, Heavy-Duty-Leitungen, die hohe Ströme ohne dass eine wirkliche Wärme, wenn damit tragen kann. Es wird auch empfohlen, dass, obwohl der FET hat eine interne Diode, eine zusätzliche externe Hochgeschwindigkeitsdiode (NTE576 oder Ähnlichem) über jeder FET verbunden werden, um die Schaltgeschwindigkeit zu erhöhen:

Ein FET einen Gate-Kapazität von ca. 1 nF. Desto schneller kann es zu Lasten / desto schneller FET schaltet (und cool bleiben) ausgetragen. Was bestimmt die Geschwindigkeit der Ladung / Entladung der Gate-Kapazität ist die Länge des Drahtes vom Fahrer oder der Gates ist Induktivität (soweit einem Meter des Drahtes erzeugt 0.05μH). Darüber hinaus werden verschiedene Längen Tor Anschlusskabel erstellen verschiedene Zeitstufen und die verschiedenen Induktivitäten können Sie dann einen hochfrequenten Schwingungen mit sich wiederholenden EIN / AUS / EIN / AUS Schalthandlungen. Das Ergebnis könnte FETS und der Mangel an kalten Strom Aktivitäten verbrannt werden.
Ein weiterer Punkt von 'UFOpolitics' gemacht wird, dass das physikalische Layout sollten die Anschlußdrähte oder Tracks so kurz wie möglich und er schlägt vor, dieses Gestaltung:

Es gibt zwei Dinge zu beachten,. Zunächst wird die 100-Ohm-Widerstand aus Pin 3 des IC 555 Timer mittig zwischen den sechs FET-Transistoren auf dem Aluminium-Kühlkörper angebracht positioniert, und dieser Punkt näher an jedes FET mit einer niederohmigen Leiter durchgeführt, um eine gute geben Link-Qualität für die Widerstände Zuführen des Gate jedes FET. Zweitens wird der Kühlkörper selbst ebenfalls verwendet, um einen niederohmigen elektrischen Verbindung mit der Spule, die der FETs treiben bereitzustellen. Die Verbindung zum Kühlkörper ist über eine Mutter und Schraube Festklemmen einer Lötfahne fest mit einem reinigenden Fläche des Kühlkörpers. Jeder FET elektrisch mit dem Kühlkörper durch seine Montage-Tag, das es Kühlkörper Verbindung bildet, sowie eine Verbindung zu dem Drain des Transistors verbunden ist. Wenn jedoch der Kühlkörper aus Aluminium ist eine schwarz eloxierte Typ ist, dann, abgesehen von der Reinigung zwischen jedem FET und dem Kühlkörper Kontaktfläche, lohnt Ausführen eines dicken Draht auch die Verknüpfung der zentralen FET Stifte mit dem Ausgangsdraht Verbindungspunkt.
Die Transistoren im Prototyp verwendet und empfohlen für Replikationen sind die NTE2397. Dies ist nicht eine sehr häufige Transistors in Europa zu dieser Zeit und so die beliebte IRF740 vielleicht verwendet, da es auf alle wesentlichen Merkmale des NTE2397 Transistors haben erscheint. 'UFOpolitics' schlägt die 2SK2837 (500V, 20A, 80A getaktet), oder die IRFP460 (500V, 0,27 Ohm, 20A und 80A gepulst).
Da die 555-Timer hat eine maximale Versorgungsspannung von 15 Volt wird ein LM317N Spannungs-Stabilisator-Chip verwendet, um eine 12-Volt-Versorgung aus dem 36-Volt-Batterie (a 24V-Batterie verwendet werden könnten) erstellen:

Die LM317N integrierten Schaltung sollte zu einem guten Kühlkörper befestigt werden, da es fallen wird aus 24 der 36 Volt Versorgung der Schaltung, und so muss zweimal leiten die Kraft, die der NE555-Chip verwendet:

Es gibt verschiedene pulsierenden Schaltungen, die verwendet wurden erfolgreich mit diesem System. 'UFOpolitics' hält die NE555 Chip die einfachste zu sein, also vielleicht mein Vorschlag für diese Anordnung kann eine geeignete Wahl sein:

Dies gibt feine Steuerung der Frequenz und unabhängige Einstellung der Ein/Aus Verhältnis oder "Kapazität" und es braucht nur drei sehr billig andere Komponenten als die Kontrollen. Wenn die teuren multiturn hochwertige variable Widerstände vorhanden sind, dann ist die 47K 'feinabstimmung' variablen Widerstand kann als solche variable Widerstände machen die Anpassungen leichter zu kontrollieren weggelassen werden. Die 'Lin. In dem Diagramm steht für "Linear', dass der Widerstand stetig variiert bei einer konstanten Rate wie die Welle des variablen Widerstandes gedreht bedeutet.
In der "UFOpolitics"-Schaltung, ist es wichtig, die Frequenz nach unten drehen es Minimalwert und den Tastverhältnis auf 50%, vor dem Einschalten der Schaltung nach unten. Andernfalls wäre es einfach, die Leistung Schaltung mit einer viel höheren Frequenz als ratsam usw., was zu Schäden an einige der Schaltungskomponenten.
Es gibt Möglichkeiten, um die Leistung über das, was bereits beschrieben steigern. Eine Möglichkeit ist, ein Edelstahl-Kern innerhalb der Spule einfügen. Edelstahl sein soll nichtmagnetischen aber in der Praxis ist dies nicht immer der Fall. Jedoch, im Idealfall wird diese Stahlkern durch Veränderung seine kristalline Struktur durch Erhitzen und dann Abschrecken durch Eintauchen in kaltes Wasser verbessert.
Eine weitere Verbesserung besteht darin, die Spule besser isolieren beim Ausschalten durch den Einsatz eines zweiten Transistors. Mit einer "abgeschalteten" Transistors an jedem Ende der Spule sicher blockiert die Strömung heißer Strom, aber wenn Tom Bearden korrekt ist, ist die Beständigkeit der Transistoren in ihren AUS-Zustand tatsächlich steigern die Strömung des kalten Strom reagiert, wie es in der umgekehrte Weg, wie heiß Strom reagiert. Die Anordnung ist wie folgt:

Während dies sieht aus wie eine sehr einfache Schaltung zu implementieren, das ist nicht der Fall. Der obere Transistor wird durch die Spannungsdifferenz zwischen seinen Gate "G" und dessen Source "S" geschaltet. Aber, wird die Spannung an ihm ist Quelle nicht festgelegt, sondern variiert stark aufgrund der sich ändernden Strom in der Spule, und das hilft nicht, wenn feste und zuverlässige Schalten des oberen Transistors erforderlich ist. Ein P-Kanal-FET könnte stattdessen verwendet werden und dass hätte es Quelle der festen Spannung von dem Plus des 36V-Batterie angeschlossen. Das wäre das Schalten enorm helfen, aber es wäre immer noch Timing-Probleme zwischen den beiden Transistoren Ein-und Ausschalten an genau der gleichen Zeit sein. Andere Schaltungen zu tun, dass die Art der Schaltung vorgeschlagen worden, aber in den frühen Stadien, empfiehlt 'UFOpolitics', dass die Dinge so einfach wie möglich gehalten werden, so mit nur einem Transistor ist die beste Option.
Schaltgeschwindigkeit ist ein Element von großer Bedeutung, auch in dem Umfang, dass die Verringerung der Geschwindigkeit des Schaltens unter Verwendung von mehr als einem Transistor parallel verursacht wurde der Vorschlag gemacht, dass es könnte tatsächlich eine bessere Möglichkeit, nur ein FET verwendet werden kann da diese hochleistungsfähigen FETs in der Lage sind das gesamte tragende des Schaltstroms, und es ist vor allem um den FET Betriebstemperatur dass mehrere FET Verwendung vorgeschlagen wird abzusenken. Jedes zusätzliche FET parallel verwendet werden, verlangsamt das Umschalten nach unten. Es sollte jedoch erkannt, dass es eine etwas größere Gefahr des Verbrennens der FET, wenn nur eine solche verwendet werden.
Die Spule Abmessungen empfehlenswert sind zwei Zoll (50 mm) Durchmesser und 2-Zoll-Länge. Der gewickelte Spule dürfte etwa drei Inch (75 mm) betragen, so dass die Flanschdurchmesser 4-Zoll (100 mm) ist realistisch:

Die empfohlene Material Fiberglas, die hohe hitzebeständigen Eigenschaften sowie als leicht zu bearbeiten hat, ist die persönliche Wahl von "UFOpolitics 'Polyester Resin mit Methyl-Ethyl Kethol (MEK) Härter. Eine mögliche Alternative ist Acryl, das ist nicht so hitzebeständig. Acryl ist für Hochfrequenz-Anwendungen ausgezeichnet, aber diese Schaltung nicht bei hohen Frequenzen zu arbeiten. Unabhängig Spule Material gewählt wird, muss es im unmagnetisch. Wenn in der Schaltung verbunden ist, geht der Beginn der Spulenwicklung Draht dem Pluspol der Batterie.
Hier ist eine weitere Spule, die auf Acryl Rohr und mit allen vier Dioden, die mit den Enden der Spule:

Es sollte verstanden werden, dass kalte Strom fast unbegrenzte Macht bietet, und es hat Verwendungen, die nicht ohne weiteres von vielen Menschen verstanden werden.
'UFOpolitics "legt nahe, dass der heiße Strom Treiberschaltung getestet zunächst mit nur einer resistiven Last werden. Wenn alles korrekt, dann Test mit einem geringeren Widerstand in Reihe mit der Spule, und wenn diese überprüft zufriedenstellend, dann testet vorsichtig mit der Spule auf seine eigene.
Kalte Elektrizität Batterien schnell aufgeladen und nach einer Reihe von Lade-und Entladezyklen, werden Batterien "konditionierte" kalte Strom und den Erfahrungen der Electrodyne Corp Mitarbeiter zeigen, dass große klimatisierte Batterien, die vollständig entladen werden, in weniger als einer Minute wieder aufgeladen werden kann. Ein Mitglied der vorliegenden Forum hat dies mit dem 'UFOpolitics "-Schaltung ausprobiert und er berichtet:
Gestern ist ein Freund und ich haben 6 identisch, alt, 12V,
115Ah Batterien und machte zwei 36V Banken. Wir richten Bank "A"
(besser drei), um das Gerät zu-Bank "B" zu berechnen. Bank A ruhte
37.00v und Bank B war 34.94V. Meine tiefste Frequenz war 133Hz (Ich muss meine
Kappe zu ändern und ein anderes 100k Pot mit derjenigen, die Steuerung der
Frequenz) und die Einschaltdauer war bei 13%. Wir begannen bei 2A Draw auf dem
Primärkreislauf.
Als ich die Frequenz erhöht, sprang Ladestand der Batterien
bis zu 38.4V fiel dann gleichmäßig auf 36.27V und begann wieder (bei etwa 0.01V alle 2
Sekunden). Nach zweieinhalb Stunden waren sie
bis 39.94V. An dieser Stelle hielt den Laden und ließ alles 10 Minuten ruhen.
Bisher scheint alles ganz normal für diese Art von Laden, außer dass das Gerät
zu sein scheint sehr stabil und leistungsstark... Schieben Sie die Batterien
direkt am kontinuierlich. Der primäre Batteriespannung fiel zunächst auf 36.20V
und blieb dort die ganze Zeit, dann 36.98V während der 10 Minuten Pause erholt.
Dann wechselten wir Batteriebänke A und B und berechnet den umgekehrten Weg für etwa 20 Minuten. Wir hielten an und ruhte Dinge wieder, tauschte die Banken zurück und begann Aufladen Bank B wieder für weitere 20 Minuten und blieb stehen. Nach dem Loslassen der Batterien Rest für ein paar Stunden, um wahrer Messwerte zu erhalten, war die Bank A an 37.07V und Bank B war 38.32V. Beide Akku Banken hatten Macht gewonnen. Diese waren nicht sehr gut Batterien, entweder. Eines der Bank B Batterien war 10.69V am Start. Ein weiterer interessanter Hinweis: Der Verstärker draw auf dem primären sank von 2A bis 15A die Frequenz wurde von 133Hz bis ca. 550Hz angehoben.
Dies war mit dem ersten Einsatz von kalten Strom mit dieser low-grade Batterien und eine wesentliche Verbesserung kann nach vielen zusätzlichen Lade-/ Entladezyklen zu erwarten. Das komplett überwindet die Faktoren, die eine Batterie Bank ungeeignet für hausinterne Stromnetz zu machen. Wenn eine ganze Batterie Bank in wenigen Minuten wieder aufgeladen werden kann, dann ist es öffnet den Weg für ernsthafte hausinterne Stromnetz mit einer Batterie Bank.
Kalte Elektrizität kann auch laufen Motoren sehr stark. Forum Mitglied "Netica 'gefunden, dass die Inbetriebnahme eines Kondensators über den Motorklemmen verbessert die läuft sehr deutlich, was beeindruckende Leistung. Sein Video ist dies bei http://www.youtube.com/watch?feature=player_detailpage&v=7uAYKhrPDPc und der Motor, Ablaufen einer Luftspule ohne Stahleinlage. Sein Set-up sieht wie folgt aus:

Es ist auch möglich zu versenken kalten Strom Schaltungen in Wasser ohne Schaden:

Ein Video dieser befindet sich hier: http://www.youtube.com/watch?v=W1KALMgFscg&feature=channel&list=UL einschließlich Demonstration für den Einsatz von sehr leistungsfähigen Glühlampen. Eine allgemeine läuft Demonstration ist hier: http://www.youtube.com/watch?v=yVzhKpEqUgc&feature=player_embedded.
Stan, der berühmt für seine Spaltung von Wasser und damit verbundene automotive Leistungen tatsächlich gehalten zu 40 Patente auf eine Vielzahl von Erfindungen ist. Hier ist einer seiner Patente, die magnetischen Teilchen in einem Fluid zirkuliert, und während die Flüssigkeit bewegt sich keine der anderen Komponenten in der Vorrichtung bewegen und eines hohen konstruktiven Fähigkeiten nicht gefordert:
Bitte beachten
Sie, dass dies ein neu gefasst Auszug aus diesem Stan Meyer Patent ist. Obwohl
es nicht sagen, es in der Patentschrift, erscheint Stan, um es zu verstehen,
dass dieses System einen erheblichen Leistungsgewinn produziert - etwas mit
Patentämter finden sehr schwer zu akzeptieren.
Patent CA 1.213.671 4. Februar 1983 Erfinder:
ELEKTRISCHE
PARTIKELGENERATOR
ABSTRAKT
Elektrischer Generator, umfassend Teilchen eines nicht-magnetischen Rohr in einer geschlossenen Schleife mit einer wesentlichen Menge von magnetisierten Teilchen darin eingekapselt. Magnetisches Beschleunigungs-Baugruppe wird auf das Rohr, das eine induktive Primärwicklung und eine Niederspannungs-Eingang mit der Wicklung besitzt positioniert. Eine Sekundärwicklung an dem Rohr entgegen der Primärwicklung angeordnet ist. Nach Spannung an die Primärwicklung angelegt wird, werden die magnetisierten Teilchen durch die magnetische Beschleunigungs-Baugruppe mit erhöhter Geschwindigkeit geleitet. Diese beschleunigten Teilchen, die durch das Rohr, induzieren eine elektrische Spannung / Strom Potenzial, da sie durch die Sekundärwicklung passieren. Die erhöhte Sekundärspannung wird in einer Verstärkeranordnung verwendet wird.
HINTERGRUND UND STAND DER TECHNIK
Die bekannten Lehren expound das Grundprinzip tat ein Magnetfeld durch induktive Wicklungen erzeugt eine Spannung / Strom-oder erhöhen die Spannung über sie, wenn die Wicklung eine Sekundärwicklung.
Es ist auch im Stand der Technik gelehrt wird, dass ein magnetisches Element in einem primären induktiven Feldes an einem Ende der Spule angezogen werden und abgestoßen am anderen Ende. Das heißt, wird ein bewegliches magnetisches Element in Bewegung durch die Anziehung und Abstoßung des magnetischen Feldes der primären induktiven Wicklung beschleunigt werden.
Bei der herkömmlichen Übertragung Aufwärtstransformator, ist die Spannung über die Sekundärwicklung eine Funktion der Anzahl der Windungen in der sekundären relativ zur Anzahl der Windungen in der Primärwicklung. Andere Faktoren sind der Durchmesser des Drahtes und ob der Kern Luft oder ein magnetisches Material ist.
ZUSAMMENFASSUNG DER ERFINDUNG
Die vorliegende Erfindung nutzt das Grundprinzip der Teilchenbeschleuniger und das Prinzip der Induktion einer Spannung in einer Sekundärwicklung, indem ein magnetisches Element hindurch.
Die Struktur umfasst eine Primärspannung induktive Wicklung mit einem Magnetkern sowie einen Niederspannungs-Eingang. Es gibt eine Sekundärwicklung mit einer größeren Anzahl von Windungen als die Windungen in der Primärwicklung, sowie einen Ausgang für die Verwendung der Spannung, daß Wicklung induziert.
Die Primärwicklung und Kern an einer Seite einer endlosen, geschlossenen, nicht-magnetischen Rohr positioniert. Die Sekundärwicklungen sind auf der gegenüberliegenden Seite der endlosen Rohr positioniert. Das Rohr wird mit diskreten magnetischen Teilchen, vorzugsweise aus einem Gas gefüllt ist, und jedes Teilchen eine magnetische polarisierte Ladung darauf platziert.
Wegen ihrer magnetischen Polarisierung Ladungen, werden die Teilchen etwas Bewegung aufrechtzuerhalten. Da die Partikel des Beschleunigungs-Baugruppe, die die Primärspule ist nähern, zieht das Magnetfeld von der Spule erzeugte die Partikel und beschleunigt sie durch die Spule. Da jedes Teilchen durch die Spule, steigert die Abstoßung Ende der Spule das Teilchen auf dem Weg. Dies bewirkt, wobei jedes Teilchen aus der Spule mit einer erhöhten Geschwindigkeit zu verlassen.
Da die magnetischen Teilchen durch die sekundäre Spulenwicklung passieren, induzieren sie eine Spannung über den Enden dieser Spule. Aufgrund der größeren Windungszahl ist dies induzierte Spannung wesentlich höher als die Spannung an der Primärspule.
Das Hauptziel dieser Erfindung ist es, einen elektrischen Generator, der fähig ist, eine Spannung / Strom von viel größerer Größe als zuvor möglich war, bereitzustellen. Ein weiteres Ziel ist es, einen Generator, der magnetische Teilchen und einen magnetischen Beschleuniger verwendet bereitzustellen. Eine weitere Aufgabe besteht darin, eine Generator, der die Amplitude des Ausgangssignals zu steuern können. Ein weiteres Ziel ist es, einen Generator, der mit Gleichstrom, Wechselstrom, gepulst oder andere Konfigurationen von Wellenformen verwendet werden kann. Ein weiteres Ziel ist es, einen Generator, der in entweder einer einphasigen oder einem 3-Phasen-Bordnetz eingesetzt werden kann. Ein weiteres Ziel ist es, einen Generator zum Entwickeln magnetisierten Teilchen zur Verwendung in einer elektrischen Teilchengenerator bereitzustellen. Ein weiteres Ziel ist es, einen elektrischen Generator, der leicht verfügbaren Komponenten verwendet, um eine einfache Ausführungsform der vorliegenden Erfindung zu konstruieren bereitzustellen.
KURZBESCHREIBUNG DER ZEICHNUNGEN

Fig.1 ist eine vereinfachte Darstellung der Grundsätze der Erfindung, teilweise in Querschnitt und teilweise bildlich dargestellt.

Fig.2 ist eine elektrische schematische Darstellung der Verkörperung in gezeigt Fig.1.

Fig.3 ist eine Darstellung ähnlich Fig.2 jedoch das anpassbar ist, um 3-Phasen Verwendung.

Fig.4 ist eine erste alternativ Anordnung einer bevorzugten Implementierung der Erfindung.

Fig.5 ist eine weitere alternative Anordnung einer bevorzugten Ausführungsform der Erfindung.

Fig.6 ist eine weitere alternative Anordnung einer bevorzugten Ausführungsform der Erfindung.

Fig.7 ist eine weitere alternative Anordnung einer bevorzugten Ausführungsform der Erfindung.

Fig.8 ist eine weitere alternative Anordnung einer bevorzugten Ausführungsform der Erfindung.

Fig.9 ist eine alternativ Anordnung für einen magnetischen Antrieb Teilchenbeschleuniger Anordnung.

Fig.10 ist eine Darstellung eines alternativen Verfahrens zur Herstellung der magnetisierten Teilchen in dieser Erfindung verwendet.
DETAILLIERTE BESCHREIBUNG
Fig.1 und Fig.2 zeigen die Erfindung in seiner höchsten vereinfachte schematische Form:

Sie umfasst eine Primärspule magnetischen Beschleunigungs-Baugruppe 10, eine closed-loop nicht magnetische Rohr 30 und eine Sekundärwicklung 20. Die magnetische Beschleunigungs-Baugruppe wird von Primärwicklungen 12, einem Magnetkern 14 und Spannungsabgriffen 16 besteht. Die Primärwicklungen sind um Ende 32 des Closed-Loop-Leitung 30, die aus nicht-magnetischen Rohr hergestellt ist angeordnet.
Am gegenüberliegenden Ende 34 des geschlossenen Rohres 30 sind die Sekundärwicklungen 20. Die Endterminals 22 der Sekundärwicklung 20, können die Spannung in der Wicklung eingesetzt werden erzeugt. Enthaltenen Innenrohr 30 gibt es eine erhebliche Anzahl von magnetischen Partikeln 40, wie in Fig.2 gezeigt. Die Partikel 40 muss leicht genug ist, um frei beweglich und können somit Teilchen in einem fluiden Medium wie Gas, Flüssigkeit oder leicht beweglichen Feststoffpartikel suspendiert sein. Von diesen Möglichkeiten ist die Verwendung eines Gases bevorzugt. Sofern feste Teilchen als Transportmedium verwendet werden, dann kann es wünschenswert sein, um die Luft aus dem Inneren des Rohres zu entfernen, um den Widerstand gegen den strömenden Partikeln zu reduzieren. Jedes der Teilchen 40 magnetisiert ist und die folgende Beschreibung bezieht sich auf ein einzelnes Teilchen und nicht auf die Masse der Partikel als Ganzes.
Die Spannung an den Klemmen 16 der Primärwicklung 12, eine niedrige Spannung, und es kann die Größe als Eingangssignal-Steuerung verwendet werden. Durch Variation der Eingangsspannung, wird der Beschleuniger variieren die Geschwindigkeit der zirkulierenden Partikeln, welche wiederum wird, variieren die Größe der Spannung / Strom-Output der Sekundärwicklung 20. Der Ausgang 22 der sekundären Transformatorwicklung 20, ist ein Hochspannungs / Stromausgang.

Es versteht sich, dass das System kann in Fig.1 und Fig.2 gezeigt werden, in denen nur einer geschlossenen Schleife liefert ein einphasiges Ausgangssignal in der Sekundärwicklung 20. Fig.3 zeigt einen geschlossenen Anordnung mit drei parallelen nichtmagnetischen Rohre 31, 33 und 35, die jeweils mit einer eigenen Ausgangswicklung 21, 23 und 25. Jede dieser drei Wicklungen eine einphasige Ausgang und deren drei Rohre eine gemeinsame Eingabe und eine gemeinsame Verbindungsstelle Ausgangsverbindungspunkt Aktien bilden diese drei Ausgangswicklungen eine ausgewogene 3-Phasen-Bordnetz.

Fig.4 zeigt einen elektrischen Stromgenerator, die genau die gleichen wie die in Fig.1 und Fig.2 dargestellt betrieben wird. Hier ist die Anordnung zur Verwendung in einer Umgebung, wo es einen hohen Feuchtigkeitsgehalt aufweist. Eine isolierende Beschichtung 45, vollständig überdeckt Rohr 30 sowie alle der elektrischen Wicklungen. Fig.4 zeigt auch die Tatsache, dass eine Erhöhung der Anzahl von Windungen für jede gegebene Drahtdurchmesser erhöht die Spannung / Strom-Ausgang der Einrichtung. In dieser physischen Konfiguration werden beide vertikaler und horizontaler Richtung verwendet werden, die ermöglicht einem Rohr mit großem Durchmesser, um mit einer wesentlichen Zahl der Windungen der PG-Hochstrom-Draht verwendet werden.

Fig.5 zeigt eine Spulenanordnung 49, die den gesamten Magnetfluß verwendet in der Closed-Loop-Schlauch 47. Dies ist eine koaxiale Anordnung mit der Primärwicklung 43 als zentraler Kern.

Fig.6 veranschaulicht eine konzentrische spiralförmige Konfiguration des Schlauches 50, mit den Sekundärwicklungen 53 bedeckt sie vollständig.

Fig.7 zeigt eine Anordnung, wo der Teilchenbeschleuniger 10 über die Rohrleitung 30 in der gleichen Weise wie in Fig.1 und Fig.2 gewickelt ist. Jedoch in dieser Anordnung ist der Schlauch 30 eine kontinuierliche geschlossene Schleife in einer Serien-Parallel-Konfiguration, bei der es drei Sekundärwicklungen Bereitstellen von drei separaten Ausgängen während der Schlauch 30 verläuft der Reihe nach durch diesen drei Wicklungen angeordnet.

Fig.8 zeigt eine Konfiguration, die umgekehrt zu der in Fig.7 gezeigt ist. Hier gibt es mehrere Pick-Up-Spulen aufgewickelt in Reihe und anders als bei den früheren Konfigurationen ist der Schlauch 80 nicht kontinuierlich. In dieser Anordnung gibt es einen Eingang Verteiler 82, und ein Ausgabe-Verteiler 84, und mehrere separate Tuben 60a, 60b, 60c,..... 60n verbindet diese beiden Mannigfaltigkeiten. Jede dieser getrennten Röhren hat einen eigenen separaten Sekundärspule 70a, 70b, 70c,..... 70n gewickelt drauf.

Die magnetische Teilchenbeschleuniger 10 können unterschiedlich sein, dass in ihrem Aufbau in Fig.1 gezeigt. Fig.9 zeigt eine mechanische Teilchenbeschleuniger 100. In dieser Anordnung werden die magnetischen Partikel dauerhaft 102, bevor sie in dem nicht-magnetischen Rohr 110 eingekapselt magnetisiert. Die Teilchen 102 werden durch Bläserschaufel oder Pumpe 104 gedreht durch mechanische Antriebsanordnung 106 beschleunigt. Der mechanische Antrieb für den Zusammenbau 106 kann ein Riemen-Antriebsscheibe 112, oder ein ähnliches Gerät mit einem Elektromotor angetrieben sein. Dichtungsvorrichtung Lager 114 hält die Teilchen 102 in der Leitung 110.
Es wurde festgestellt, dass die magnetischen Partikel Durchlaufen der Sekundärspulen, eine Spannung / Strom in ihnen. Es muss jedoch verstanden werden, dass, dass die Teilchen tatsächlich Durchqueren des Magnetfeldes jener Spulen.
Auch die Leitung 30 als ein nicht-magnetischen Rohr beschrieben. Es gibt bestimmte nicht-magnetischen Rohre, die nicht mit dieser Erfindung funktionieren würde. Rohr 30 geeignet sein muss vorbeibewegenden magnetischen Kraftlinien.
Ein wesentliches Merkmal der jede der verschiedenen Ausführungsformen bereits beschrieben, ist die Erzeugung der magnetischen Teilchen, die innerhalb der Röhre eingeschlossen sind.

Fig.10 zeigt eine Vorrichtung zur Durchführung des Verfahrens der
verdampfende Werkstoff entsprechenden Partikel, die dann, indem sie einem
Magnetfeld ausgesetzt sind magnetisiert erzeugen. Die Kammer 155 ist eine evakuierte Kammer mit
Elektroden, aus magnetisierbarem Metall, 160
und 162 hergestellt. Eine Spannung
wird zwischen den Anschlüssen 150
und 152 angelegt, und diese treibt
einen Strom durch Klemmen 154 und 156, um Funkenstrecke-Elektroden 160 und 162, Erzeugen eines Lichtbogens, der die Spitze Material der
Elektroden verdampft, Herstellung von Partikeln 180. Diese Partikel steigen und geben Rohr 190, die durch ein Magnetfeld-Generator 175. Das gibt jedem Teilchen eine magnetische Ladung und sie weiterhin
auf ihrem Weg als magnetisch geladenen Teilchen 185, die
In der vereinfachten Ausführungsform in Fig.1 und Fig.2 sowie den anderen genannten bevorzugten Ausführungsformen gezeigt, wurde gezeigt, dass eine niedrige Spannung an den Teilchenbeschleuniger 10 aufgebracht wurde. Beim Beschleunigen, würde eine hohe Spannung / Strom in der sekundären Ausgangsspule 20 induziert werden. Eine am meisten signifikanter Vorteil der vorliegenden Erfindung ist, dass die Spannungsverstärkung nicht auf die Form der Wellenform der Eingangsspannung verbunden. Insbesondere wenn der Eingang Gleichstrom eine Gleichstrom-Spannung ausgegeben. Ein Wechselstrom-Eingang produzieren einen Wechselstrom-Ausgang. Gepulster Spannungseingang erzeugt eine gepulste Ausgangsspannung und eine Eingangsspannung von einer anderen Konfiguration wird ein Ausgangssignal mit derselben Konfiguration zu erzeugen, dass.
Russ Gries hat eine Video-Präsentation und Analyse der oben genannten Stan Meyer Patent produziert. Dies ist eine große Download-Datei, die eine beträchtliche Zeit zu erhalten nimmt (einige Stunden in meinem Fall). Der Download-Link ist:
http://www.ringsbyruss.com/youtube/P2_The_Key_To_Stanly_Myers_Water_Car_Gas_Core_Transformer_Self_Staining_Device.flv. Darin befasst Russ mit seinem umfassenden Prüfung des Patents und er lenkt die Aufmerksamkeit auf das, was Stan sagte darüber in seinem Neuseeland Videos:
1: http://www.youtube.com/watch?v=ZmxaVOolO-8&feature=mfu_in_order&list=UL
2: http://www.youtube.com/watch?v=bm06ACQtv0k&feature=mfu_in_order&list=UL
3: http://www.youtube.com/watch?v=UpvPypJw-QY&feature=mfu_in_order&list=UL
…….
8: http://www.youtube.com/watch?v=DvYc7vrnj6I
Und insbesondere, Video 8, wo Stan diskutiert den Entwurf und Einsatz des Generators. Es ist einfach etwas, wie Stan spricht sowohl die elektrische Particle Generator und seine Verwendung in Kombination mit HHO Produktion einer groß angelegten Stromerzeugung Quelle verwirrt.
Das sehr erfahrene Alex Petty ist
mit Russ Beitritt bei der Arbeit an replizieren Stans und
http://www.youtube.com/watch?v=adzVQRsS1KY&feature=youtu.be.
Es gibt verschiedene wichtige Dinge, die kommentiert werden und Russ ist zu loben für die Aufmerksamkeit auf sie. Für den Moment, bitte vergessen Sie HHO wie das ist ein anderes Thema. Soweit ich sehen kann, ist das Patent nicht behaupten, dass das Gerät COP> 1 ist, sondern dass das Gerät ein Trafo, die potenziell eine größere Leistung als konventionelle Trafos, da es keine Lenz Gesetz umgekehrter magnetischer Weg vom Ausgang Spulenwicklung um die Eingangsleistung beeinflusst.
Having said that, Stan in seinem Video zeigt Wege, um die Leistung des Gerätes zu erhöhen, und zwar:
1. Steigern der Stärke der magnetischen Teilchen
2. Erhöhen der Geschwindigkeit der magnetischen Teilchen
3. Senken des Abstandes zwischen den magnetischen Teilchen und die Ausgangswicklung.
Die magnetischen Partikel können auf verschiedene Weise hergestellt werden, aber die meisten wirksame scheint durch Füllen der Löschkammer mit Argongas und unter Verwendung von Eisen, Nickel oder Kobalt Elektroden sein. Der Grund dafür ist, dass der Lichtbogen erzeugt nicht nur kleinste Partikel des Elektrodenmaterials, sondern interagiert auch mit dem Argon, Abstreifen Elektronen und Bewirken einige der Metallteilchen mit den modifizierten Argongas Moleküle verbinden, um einen magnetischen bilden Gas. Dass Gas wird immer eine magnetische Gas aufgrund der Atombindung bleiben, da es nicht nur kleinste Partikel aus Metall physisch in einem Gas aufgrund ihrer winzigen Größe suspendiert.
Sie werden von Kapitel 1 erinnern, dass die sehr erfolgreiche Shenhe Wang Magnet-Motor / Generator eine magnetische Flüssigkeit als wichtige Komponente hat. Hier wird Stan Herstellung eines viel leichteren magnetischen Gas und der Vorteil dieser Leichtigkeit ist, dass es zu sehr hohen Geschwindigkeiten ohne Gefahr erhöht werden. Je größer die Anzahl von modifizierten Molekülen Argon, desto größer ist die magnetische Kraft, wenn sie durch eine Spule aus Draht besteht. Das Argongas kann durch die Bogenkammer immer wieder, so dass ein sehr hoher Prozentsatz des Gases magnetisch ist weitergegeben. Alternativ, wenn Sie anspruchsvoll in der Gestaltung der Teilchengenerator sind, kann man für die Moleküle, die zu magnetischen haben, um aus der Einlagerung herausgezogen werden von einem Magnetfeld anzuordnen.
Stan spricht über Pumpen des magnetischen Gases durch, was Rohrschleife Anordnung Sie sich entscheiden, mit einer Pumpe, aber er prompt bewegt sich auf die Verwendung einer Magnetspule, um das Gas nach vorne steigern, wie die Spule besitzt keine beweglichen Teile und so, kein mechanischer Verschleiß. Dies ist nur ein Grund. Der Hauptgrund dafür ist, dass mit magnetischen Beschleunigung, die Gasgeschwindigkeit kann sehr hoch sein und in seinem Video spricht er über die Geschwindigkeit des Lichts. Aber ich persönlich glaube nicht, dass alles, was im Entferntesten wie einer Geschwindigkeit, dass große in einem Rohrschleife mit kleinem Durchmesser erreicht werden konnte. Dennoch sind Geschwindigkeiten deutlich über, was eine mechanische Pumpe erreichen kann wahrscheinlich durch magnetische Beschleunigung erzeugt werden.
Russ, in seiner Diskussion, weist darauf hin, dass auf den meisten der überlebenden Prototypen Stans, die Spule, die für die Beschleunigung verwendet wird aufgebaut ist mit mehreren scheinbar getrennten Spulen, und er spekuliert, dass jede Spule Abschnitt sequentiell betrieben, was zu einer plätschernden Magnetfeld. Das ist zwar durchaus möglich, ich sehe nicht, dass eine Art von Spule Versorgung würde keinen Vorteil haben, wie dem Einschalten alle Spulen kontinuierlich entgegen. Wenn jedoch sequentiellen Einschalten wird angenommen, dass ein Vorteil sein, dann die "Division-durch-N"-Schaltung von Kapitel 12 kann verwendet werden, um die sequentielle Stromversorgung oder mehr komplexe Sequenz bereitzustellen.
Stan dann darauf hin, dass die Ausgangsspannung durch Erhöhen der Anzahl von Windungen auf der Ausgangsspule und / oder mit zusätzlichen Ausgang Spulen erhöht werden kann. Dies ist leicht konventionelle Elektrik verstanden. Aber er geht dann darauf hinweisen, dass der Ausgang auch erhöht werden, wenn die Elektronen der modifizierten Argon-Moleküle zu einer hohen Umlaufbahn gehoben. Dadurch werden die elektromagnetischen Elektronen (wie in Kapitel 11 beschrieben) näher an den Ausgangsspulen und vermutlich auch erlaubt dem Gas, der einen größeren Geschwindigkeit durch die Antriebskraft Magnetfeld beschleunigt werden.
Diese Kraftverstärkung des Gases erfolgt über Stan "Gas-Prozessor" in Kapitel 10 beschrieben. Die Gas-Prozessor Pumpen elektromagnetische Energie in das Gas durch den Einsatz von Banken Leuchtdioden, die Licht der richtigen Wellenlänge, um Energie zu diesem speziellen Gas hinzuzufügen produzieren.
Wenn Sie das Kontrollkästchen auf dem Internet für die Wellenlänge des Argon, finden Sie widersprüchliche Informationen, mit einigen Websites sagen, dass die Wellenlänge 1090 Nanometer ("nm") und die meisten anderen sagen beide 488 nm und 514,5 nm ist. Die meisten LEDs erzeugen ein Band von Frequenzen, so wäre es ein Fall von Kommissionierung LEDs, deren Frequenzband gehören die gewünschte Wellenlänge sein.
Der Gas-Prozessor selbst besteht aus einem zentralen Rohr, das zu einem Spiegel an der Außenseite, von einem größeren Rohr, das auf der Innenseite sehr poliert wird umgeben poliert wird. Das LED-Licht wird dann zwischen diesen polierten Oberflächen prallte bis es von dem Gas, das durch den Spalt zwischen den beiden Rohren geleitet wird absorbiert wird. Dies ist nicht leicht zu illustrieren, aber es könnte so angezeigt:

In die Gestaltung von Stan verwendet er sechs Spalten von sechzehn Leuchtdioden, wobei jede Spalte von LEDs gleichmäßig um den äußeren Röhre beabstandet. Also, um die Magnetic Particle Generator zu einer größeren Leistungsstufen steigern, ein Gas-Prozessor wird in der Schleife der Schlauch gelegt:

Der Gas-Prozessor hat normalerweise eine Spule befestigt
an jedem Ende und es kann zu Spulen in diesen Positionen als Beschleuniger
Spulen benutzen. Es kann auch ein Vorteil für eine gepulste
Hochspannungs-zwischen der inneren und äußeren Röhren des Prozessors Gas
gelten. Wie es aussieht, das aussieht, als ob es eine hohe Möglichkeit hat des
Seins ein COP > 1 elektrisches Gerät.
Ein Mann mit der ID 'harisingh' hat am 7. September 2013 folgende Informationen veröffentlicht. Ich habe versucht, ihn zu bitten, seine Erlaubnis, sein Werk zu veröffentlichen, wenden Sie sich an, aber ohne Erfolg. Ich habe keine Informationen über sie als was hier gezeigt wird. Was er sagt ist:
Das "E-Stress" Power Generating System ist eine faszinierendsten übermäßige Einheit Stromerzeugung-Projekt. Es ist extrem vielseitig und relativ leicht zu konstruieren, und es ist leicht erweiterbar.
Der goldene Schlüssel oder die goldene Mitte ist das Prinzip ermöglicht dieses Gerät mit Strom direkt aus der e-Feld relative Vakuum Energiedichte mit Induktion-weniger Windungen. Was dieses Design so einzigartig macht, kann aus den folgenden Abbildungen gesehen werden. Was diese dual weniger-Induktion Spule so besonders macht, ist, dass es die Auswirkungen der elektrostatische Induktion mit nur einen Bruchteil der Energie benötigt hebt, um die kostenlos-Weg aufrecht zu erhalten, erzeugt die Auswirkungen auf E-Feld. In herkömmlichen elektronischen Schaltungen Spulen und Kondensatoren sind allgemein gehalten, von einander entfernt, aber in dieser Schaltung ihrer Interaktion ist der Schlüssel zum Erfolg!
Der E-Stress-Verstärker besteht aus drei zylindrischen
Kondensatoren und zwei Induktions-weniger Spulen mit externe Beschaltung zur
Inbetriebnahme und erhalten das gesamte System und Belastung. Die inneren und
äußeren Kondensatoren, CDI und CDE, sind aufgeladen und aufgeladenen durch eine
Spannungsquelle Vc im Bereich von 50 bis 90 Volt Gleichstrom. Die Kapazität
dieser Kondensatoren bleibt für eine lange Zeit, geregelt durch den Widerstand
des Dielektrikums, (vorausgesetzt, es keine versehentlichen Kurzschlüssen
gibt), so dass die Energie benötigt, um die Kapazität dieser Kondensatoren zu
pflegen minimal ist.
Der dritte Kondensator Cr, ist eingequetscht zwischen den
innen - und Außenbereich-Kondensatoren und ist unabhängig von Vc. Bei die
anderen zwei Kondensatoren, CDI und CDE, aufgeladen werden, wird Kondensator Cr
als gut, aber bei einer etwas niedrigeren Spannung durch dielektrische
Spannungsabfall in Rechnung. Diese Erhebung Effekt ist ein Ergebnis der
elektrostatische Induktion. Trennung der konzentrischen Kondensatoren sind zwei
spezielle Induktion-weniger Spulen. Wenn diese Spulen Strom durchläuft,
vorübergehend die elektrostatische Induktion Kräfte neutralisiert, so dass des
geladenen Kondensators Cr entladen und mit einer äußeren macht Spule oder
Transformator oszillieren, wie dargestellt in Fig.7. Die Induktion-weniger
Windungen Lo sind mit der gleichen Geschwindigkeit wie die natürlichen
Resonanzfrequenz der Tank-Schaltung (Cr-Lr) mit Gleichstrom pulsierte. Halten die
Impulsfrequenz 10 % von der Tank-Schaltung Resonanzfrequenz erhalten maximale
Ausgangsleistung. Aufgrund der Flexibilität in der Konstruktion werden die
Bestimmung der Resonanzfrequenz und macht-Fähigkeiten-Parameter ohne erweiterte
Analyse Ausrüstung schwierig. Um diese Schwierigkeiten zu überwinden, kann also
ein Variable Frequenz-Oszillator verwendet werden, da es bereit Bestimmung der
entsprechenden Frequenzbereich erforderlich erlaubt. Eine verlässliche
Konstante Belastung wird diese Feststellung auch erleichtern. Wenn die maximale
Ausgangsleistung erreicht ist, können Sie den Widerstand der Oszillator
Variablen Widerstand zu ermitteln, und schließlich festlegen, Schwingung an die
natürlichen Resonanzfrequenz der Tank Schaltung messen. Ein zusätzliche
Variable 1K-Ohm-Widerstand kann mit der Variablen 100 K-Widerstand gezeigt, um
sehr genaue Abstimmung ermöglichen in Reihe geschaltet werden.

Fig.1 zeigt das allgemeine Layout des gesamten E-Stress Power Systems. Dieses Diagramm zeigt die Treiber-Core und der Variable Frequenz-Oszillator bestimmt die Tank-Schaltung-Resonanz. Abb. 1 zeigt auch die Gleichstrom Energiequelle von etwa 50 bis 90 Volt, die zunächst den "Kern"-Kondensator CDI Gebühren / CDE. Auch in diesem Diagramm gezeigt ist die Resonanz Spule und Macht Ausgabe Spule.

Fig.2 zeigt die "Treiber-Kern" in einen Cutaway, perspektivischen Diagramm. In dieser verkleinerten Modell-System kann das Material PVC Plastik "Kern" ein 150 mm Durchmesser 300 mm langes Stück PVC-Rohr. In diesem Diagramm Bitte beachten Sie die inneren und äußeren ein-Schicht-Kondensator Kondensatoren ZUE und CDI. Beachten Sie, dass der mittlere Kondensator (Cr) ein drei-Schicht-Kondensator aus schweren Aluminium-Folie oder Edelstahl hergestellt ist. Die Induktion-weniger Spulen können an zwei Stellen auf beiden Seiten des Kondensators Cr gesehen werden. Die Induktion-weniger Spulen bestehen aus soliden Messgerät #20 und #30 Magnet Wire (0,812 mm bis 0,255 mm Durchmesser emaillierte Kupferdraht).


Fig.3 oben zeigt, wie der Zentrum-Treiber "Kern" aufgebaut ist. Es gibt sechs grundlegende Schritte zum Konstruieren der Treiber "kern" Assembly. Zuerst beginnen Sie mit dem PVC-Rohr gezeigt und beginnen Sie, Umhüllung des ersten Kondensators CDI. Schritt 2 zeigt die erste Induktions-weniger Spule L1. Beachten Sie, dass für die weniger-Induktion Spule, der Draht "gefaltet" zurück ist und die beiden Dirigenten zusammen Wunde sind, wie gezeigt. Diese Spule ist Single mit #18 bis #22 Gauge Wire (1,024 mm 0,644 mm Durchmesser) gewickelt. Schritt 3 zeigt den Zentrum Kondensator Cr. Dieser Kondensator wird auf die gleiche Weise als der vorherige Kondensator erstellt, außer dass es drei Ebenen Kurven hat. Schritt vier veranschaulicht die zweite Induktions-weniger-Spule, die in die gleiche Richtung wie die erste Spule gewickelt ist. Diese zweite Spule Lo ist Single Layer. Schritt 5 ist der letzte Kondensator CDE, die besteht aus einer einzigen Packung und ist in die gleiche Richtung wie die zwei vorherigen Kondensatoren gewickelt. Der letzte Schritt, sechs, wickeln Sie die gesamte Baugruppe mit strapping Klebeband um einen Mantel nach Abschluss bilden soll.

Fig.4 oben ist eine elektrische Darstellung der wichtigsten Kondensator "Kern" und die Spule-Anschlüsse des Stromnetzes E-Stress. Beachten Sie die parallelen Verbindungen der inneren und äußeren Kondensatoren CEI / CDE, die connect an die 90 Volt Gleichstrom-Stromquelle. Beachten Sie auch die parallelen Verbindungen Induktions-weniger Windungen das Herstellen einer Verbindung mit variabler Frequenz-Oszillator-Schaltung. Der Zentrum-Kondensator Cr angezeigt wird verbunden mit der Resonanz macht Spule Lr.

Fig.5 oben, zeigt die zwei verschiedenen Arten von variabler Frequenz-Oszillatoren, die verwendet werden, die Induktion-weniger Windungen zu fahren. Der erste Oszillator angezeigt besteht aus einem LM324 Op-Amp führen zu einer Rückkopplung und damit oszillieren konfiguriert. Der zweite Beispiel-Oszillator besteht aus einen LM555 Timer IC. Entweder Beispiel-Oszillator kann verwendet werden, die Induktion-weniger Windungen zu fahren.

Fig.6 oben, zeigt die Gleichstrom-Spannungsquelle Vc der CDE zugeordnet wird / CDI-Kondensatoren, die parallel zur elektrostatische Feld bilden miteinander verbunden sind. Die Gleichstrom-Spannungsquelle könnte einer der drei Arten von Spannungen Quellen wie dargestellt sein. Eine Batterie kann verwendet werden, die aus sechs neun-Volt-Batterien besteht. Sie könnte auch ein Wechselstrom zu Gleichstrom Energiequelle zu fabrizieren, oder Sie könnten Ihre eigene Antenne-Gleichstrom-Quelle siehe erstellen wählen. Die Batterie-Methode bietet darüber eine schnelle Möglichkeit, um die Schaltung zu testen und auch sicher ist.

Fig.7 oben,
zeigt die Optionen für die zwei verschiedenen Arten von resonanten Spule Lr. im
Grunde, gibt es zwei Kunststoffspule Optionen:
standard-Eisen-Kern-Transformator und der Hochfrequenz Tesla Typ
Kunststoffspule wie die Zündspule Typ. Sie müssen die Art der Ausgabe
bestimmen, die Sie in die Gesamtgestaltung haben möchten. Für konventionelle
Designs, dass erstellen würde höchstwahrscheinlich den standard-Transformator
am unteren

Fig.8 oben, erläutert die kostenlos Verschiebung Dynamik der E-Stress-Verstärker-Power-System beteiligt. Abbildung A zeigt die Induktion-weniger Spule-Lo-Wellenform. Abbildung B zeigt die Vertriebenen kostenlos-Spins, wenn die Spannung und die aktuellen Aufschwung als die Induktion-weniger Windungen gepulst sind, während Diagramm C die Wellenform während der Rückkehr in die vorherige kostenlos-Muster zeigt, beginnen die zyklisch immer wieder.
Patrick Kelly
http://www.free-energy-info.tuks.nl
http://www.free-energy-info.com
http://www.free-energy-info.co.uk
http://www.free-energy-devices.com