Eine Praktische Anleitung zum Energie
Kostenlos Geräte
Autor: Patrick J. Kelly
Kapitel 11: Andere Geräte und Theorien
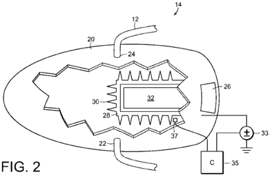
Tesla gestaltete auch eine Vorrichtung zum Aufnehmen von Energie aus der Luft. Soweit ich informiert bin, war es nie patentiert und ich habe noch nie eine Spezifikation ihrer Produktion gesehen. Vielleicht war es ein von Teslas Misserfolge aber persönlich bezweifle ich. Es könnte ein sehr interessantes Experiment so zu sehen, was Niveau der Produktion kann unter Verwendung es. Der Bau wird hier gezeigt:

Es ist im Wesentlichen eine rechteckige Zylinder, zwei kugelförmige Elektroden wie ein Wimshurst Maschine enthält. Der Zylinder vertikal aufgestellt ist, so daß, wenn die Elektroden bis mit Hochspannung zu erzeugen Funkenentladungen angetrieben, die Luft im Inneren des Zylinders beheizt wird wodurch es sich zu erheben den Zylinder. Die erwärmte Luft ionisiert wird, so dass ein Magnetfeld durch einen Elektromagneten erzeugt umgibt, bewirkt die geladenen Ionen zu den gegenüberliegenden Seiten des Zylinders zu bewegen. Elektrodenplatten innerhalb des Zylinders positioniert ist, einen elektrischen Pfad für die überschüssige positive und negative Ladungen zu fließen zusammen durch die Last - Beleuchtung, Heizung oder Motorkreise typischerweise.
An der Oberfläche würde das System anscheinend weniger als 100% effizient ist, dass die Menge der Leistung, die an der Vorrichtung, um es zu betreiben sollte weniger dass die Menge an Energie aus ihr gezogen, um nützliche Lasten ansteuern. Ich bin nicht sicher, dass dies zwangsläufig so ist. Erstens, die Luft enthält bereits geladene Ionen, bevor das Gerät beginnt zu mehr generieren. Diese natürlich vorkommenden Ionen in Reihe zu gewinnen, wenn ein Gewitter zu erwarten ist, sogar so weit, zu geben vielen Menschen Kopfschmerzen durch ihre Anwesenheit. Diese natürlich vorkommenden Ionen durch dieses Gerät abgeholt und ohne Antriebsleistung benötigt, um sie zu erstellen, sind sie in der Lage, Ausgangsleistung.
Außerdem wird die ganze Erde in den Nullpunkt Energiefeld eingetaucht. Dies ist brodelnde Energie der Quanten-Ebene, deren Auswirkungen man auch bei "absoluten Nullpunkt" zu sehen. Dieses Feld wird von kleinen zufälligen Effekten, die es schwer, nützliche Energie direkt aus macht es gemacht. Das Feld muss strukturiert bevor Energie daraus gezogen werden kann. Eine Möglichkeit, dies zu tun ist, um das Feld mit einem Ereignis, das kohärente Wellen von Energie verursacht, nach außen strahlen als 'Strahlungsenergie "Welle ausrichten - so etwas wie die Wellen verursacht auf der Oberfläche eines Teiches stilles Wasser, wenn ein großer Stein fallen gelassen vertikal ins Wasser. Die welligkeit 'Wellen' nach außen bewegen aus dem "Ereignis", bis sie das Ufer des Teiches zu erreichen. Wenn es einen Generator an einem Schwimmer in den Teich, wäre es möglich, abholen einige Energie aus den Wellen. Das gleiche kann mit "Strahlungsenergie" Wellen durchgeführt werden, wenn Sie sie erstellen können und wissen, wie man abholen Energie aus ihnen.
Strahlungsenergie Wellen können durch sehr kurze scharfe uni-direktionale elektrische Impulse gebildet werden. Impulse weniger als ein Hundertstel einer Sekunde eignen sich dafür. Ein Weg zur Schaffung von Impulsen dieser Art ist mit einer Funkenstrecke. In Teslas Gerät oben gezeigt, entstehen Funken kontinuierlich. Diese Funken erzeugt Strahlungsenergie Wellen strahlenförmig in rechten Winkeln zu der Funken. Ohne Zweifel wird der vertikale Zylinder haben eine Masse von Strahlungsenergie schießen, wenn es betrieben wird. Dies ist zusätzlich zu den Luft-Ionen, die wird abgeholt werden. Die Frage ist nur, ob die Elektrodenplatte gezeigten Anordnung der Lage der Kommissionierung bis jede dieser überschüssige Energie ist. In Anbetracht der metallischen Abtastvorrichtung von Edwin Grau verwendet, um Strahlungsenergie zu erfassen, wie nachstehend beschrieben, scheint es sehr wahrscheinlich, dass einige dieser zusätzlichen Energie, ist in der Tat aufgenommen und zur Versorgung der Verbraucher.
Es sollte angemerkt werden, dass Teslas Gerät oben gezeigt, erzeugt UV-Strahlung in der gleichen Weise wie alle MIG-oder Stick-Schweißgerät ist, so Sorgfalt sollte zu vermeiden suchen am Lichtbogen oder Ermöglichen der UV auf der Haut leuchten werden, selbst wenn die Haut durch Kleidung bedeckt. Sie können schweren Sonnenbrand durch dünne Kleidung zu bekommen, wenn es zu starken UV-Strahlung ausgesetzt wird. Auch ist Funkstörungen wahrscheinlich durch den Lichtbogen erzeugt werden, so sollte die bei eventuellen Screening Tests vorgesehen sein. WARNUNG: Tesla zufällig entdeckt, dass elektrische Funkenentladungen in der Luft, entzünden und brennen atmosphärischen Sauerstoff und Stickstoff, Herstellung 12.000.000 Volt Wellen. Der Sauerstoff und Stickstoff, sowohl unterhalb Atomnummer 19 werden dadurch in alpha-und beta Ladungen (gestrippt Heliumkerne mit 2 Ladung jedes und Elektronen mit -1 Ladungen jeweils) durch die starke Strahlung erzeugt, mit einem Spannungspotential von 12 MeV umgewandelt. Das ist fast dreimal so MeV Niveau der Gamma-Strahlung von Radium emittiert, kann es auch der Grund, warum Tesla nicht veröffentlichen wollte das Gerät oben gezeigt, und sollten Sie entscheiden, damit zu experimentieren sein, beachten Sie bitte die potentielle Gefahr dieser Strahlung .
Eine Variation der obigen Vorrichtung von Teslas ist in dem Buch "Physikalische Chemie" von EA Moelwyn-Hughes, Pergamon Press, Oxford 1965, Seite 224 gegeben. Rutherford und Geiger bestimmt die Tatsache, daß Radium das daraufhin Alphateilchen mit einer Rate von 34 Milliarden pro Sekunde mit jeweils zwei Einheiten von positiver Ladung mit 4,5 Millionen Elektronenvolt. Dies ist eine unglaubliche Menge an Energie, die die Luft ionisiert im Inneren des Gehäuses und produziert genug Strom, um der Lage sein, für den Ersatz der gesamten Four Corners Macht komplexe unbestimmte Zeit.

Die Variation der Teslas Gerät oben gezeigt, unterstützt die Führung Behälter mit seiner Gramm Radium auf einem Riemen über dem Boden des Gehäuses. Die Strahlung ionisiert die Luft und das Magnetfeld trennt die Ladungen und leitet sie an gegenüberliegenden Seiten des Gehäuses, um gesammelt und über den Elektrodenplatten eingesetzt werden. Es scheint nicht zu einem Grund sein, warum starke Permanentmagnete dürfen nicht an Stelle der Gleichstrom Elektromagneten eingesetzt werden angezeigt.
Wissenschaftler frei bekennen, dass mehr als 80% der
Materie und Energie im Universum "dunkle Materie" und "dunkle
Energie", wo "dunkel" bedeutet nur, dass wir nicht ohne weiteres
erkennen, dass Form von Materie und Energie ist. Der hoch angesehene britische
Wissenschaftler Dr. Harold Aspden, wurde ein Patent für ein System, das diese
Energie direkt zu sammeln ausgezeichnet. Das Patent, das eine von mehreren
ähnlichen Patente in diesem eBook enthalten ist, wird hier wiedergegeben:
Patent
GB2390941 21. Januar
2004 Erfinder: Dr. Harold Aspden
ELEKTRISCHE
ENERGIE ERZEUGEN APPARAT
Abstrakt
Elektrisches erzeugende Vorrichtung zwei Kondensatoren 1 und 2, die jeweils mit einem Paar von konzentrischen Elektroden und in Reihe geschaltete Verbindung zum Induktoren 3 und 4. Jeder Kondensator weist eine Elektrode, die mit einer Hochspannungs-Gleichstromquelle 5 und eine weitere, um einen Niederspannungs-oder Erdanschluss 6 verbunden. Ein Wechselstrom-Leistung kann von Anschlüssen, die zwischen jedem Kondensator und Induktor oder einen Transformator, wo der Induktor die Primärwicklung erzeugt werden. Stromerzeugung kann durch Energie aus dem Vakuum umgebende Medium die Elektroden aufrechterhalten werden.
Feld der Erfindung
Diese Erfindung betrifft eine neue und nicht-konventionelle Mittel für die Erzeugung von elektrischer Energie. Die Energiequelle ist die Quanten Unterwelt der Raum, der Äther Medium der Vakuumzustand, seit langem für seine Fähigkeit, die Speicherung von elektrischer Feldenergie durch Umsetzung ermöglichen erkannt als seine intrinsische Ladung verschoben wird, ein Prozess, durch Physikern verstanden durch Bezugnahme auf die Forschung Ergebnisse der Clerk Maxwell.
Hintergrund der Erfindung
Der aktuelle Stand der Technik der Stromerzeugung nicht erkennt die Möglichkeit letztendlich Klopfen Energie aus dem Äther. Physik basiert auf der Grundlage, dass Energie nicht erzeugt oder zerstört werden, da sie in allen physikalischen Prozesse konserviert wird gelehrt, obwohl es sein kann, abgebaut in ihre Nützlichkeit in der durch die Verbrennung von Kohlenwasserstoffen und Umwandlung in Wärme, die als durch Strahlung zerstreut in den Weltraum . Der Äther als Quelle oder als Absorber von Energie nicht als eine spezifische Rolle in der Physik Energie Einsatz dienen, nachdem es aus der Betrachtung wurde unter Berufung auf den Begriff der "Feldenergie" ohne Zulassung der spezifischen physikalischen Wirklichkeit von etwas abgewiesen Raum, dass Konten für die Eigenschaften beteiligt.
Theoretische Physiker haben, kommen aber zu vermuten, dass der Raum frei von Materie dennoch eine brodelnde Meer von Tätigkeit, die mit sporadischen Energieschwankungen die Elektron-Positron-Paare, die momentan existieren, bevor sie zerfallen wieder in ihre Quanten Unterwelt erstellen können. Doch dieselben Physiker lehnen jegliche Möglichkeit, dass diese Energiequelle des Raumes selbst genutzt werden, um nutzbare Leistung auf einer Skala groß genug, um die Rolle von Atomkraftwerken und fossilen Brennstoffen Erzeugungsanlagen spielte Konkurrenz liefern.
Seltsamerweise haben sie zu dem Glauben, dass sie eines Tages vielleicht in der Lage, Macht auf einen lebensfähigen kommerziellen Maßstab von Fusionsreaktoren durch Prozesse zu replizieren, was sie glauben erhält der Sonne Wärmeabgabe Wasserstoff in verschiedenen atomaren Formen umgewandelt wird generiert abonnieren. Im Gegensatz zu dieser eher schwer Ziel ist es darüber hinaus zu erreichen, auch nach einem halben Jahrhundert Aufwand mit sich, ist diese Erfindung auf den Erfolg in der Stromerzeugung durch die Replikation, nicht der Sonne Weiterreise Energieabfall, sondern eher ein Prozess ähnlich, um den die Sonne selbst wurde von Energie aus dem umgebenden Äther Datenträger erstellt erstellt.
Die Erfindung beschrieben wurde von einem in der Tiefe theoretische Untersuchung der Eigenschaften des Äthers entstanden und ganz unabhängig von einem der bekannten Forderungen der veröffentlichten Aufzeichnung, die am Rande des Mainstreams der wissenschaftlichen Literatur bieten. Eine aktuelle und sehr gut präsentiert Rechnung, was auf ein Jahrhundert der relevanten Energie-Geschichte ist das Buch "The Search for Free Energy" von Keith Tutt, im Jahr 2001 von Simon Schuster (ISBN 0-684-86660-9) veröffentlicht. Hier in diesem Buch ist eine umfassende Hintergrundinformationen von Informationen über die Energie-Geräte von mehreren Forschern, sondern die Verweise auf Nikola Tesla und T. Henry Moray sind besonders relevant für die Gegenstand der vorliegenden Erfindung, und obwohl eine Einschränkung auf das, was rechtmäßig von geltend gemacht werden diese Patentanmeldung, dienen sie auch als einer Grundlage für eine sehr wichtige Lektion, um diejenigen, Eingriff in diesem Gebiet der Erfindung.
Die Lektion ist, dass es nicht ausreichend ist, zu bauen und zu zeigen, etwas, das funktioniert, wenn Sie nicht vollständig verstehen, warum, was haben Sie eigentlich ausgedacht funktioniert. Dies ist besonders hier der Fall wo man Inanspruchnahme einer Quelle von Energie bisher unbekannte wird. Die Erfindung nachstehend beschrieben werden, im weitesten Sinne, scheinen recht ähnlich, was T. Moray soll in die zeigen, dass beträchtliche elektrische Leistung gezeigt haben könnte scheinbar aus dem Äther gezogen werden unter Verwendung eines einfachen Drahtantenne zwischen zwei aufgereiht Pole.
Wie jedoch zu erkennen ist, ist die Antenne nicht erforderlich und der Grund ist, dass die Energiequelle nicht der Strahlungsemission von einigen Verfahren, bei Funkwellenausbreitung durch die Anthere, sondern was man am besten als eine Phase-Lock-beschrieben werden, dass Paare die Vorrichtung mit dem quantisierten motion von elektrischen aether Ladung. Es gibt eine Technik, die unten beschrieben werden, durch die es möglich ist, diese Phase Entkoppelungszustand durch die Einrichtung eines Energie Oszillation mit einer Vorrichtung Komponente und ihrer umhüllenden Äther, wobei das Ergebnis, dass die Energie in einem unmittelbar nützliche elektrische Form ausgenutzt wird importiert in die Vorrichtung von dieser Äther.
Kurze Beschreibung der Erfindung
Gemäß; einem Aspekt der Erfindung weist eine elektrische Leistungszuführschaltung zwei Kondensatoren, die jeweils mit einem Paar von Elektroden, die durch ein Paar von Metall-Zylindern mit konzentrischen Achsen, wobei jeder Kondensator mit einer zugehörigen Induktors es in Reihe geschaltet, um einen Kondensator zu bilden -Induktoreinheit, Mittel Gleichspannung Anregung auf eine parallele Kombination der beiden Kondensator-Spulen-Einheiten, wobei zwischen entsprechenden Elektroden der Kondensatoren gelten verbunden eine Gleichvorspannung welche Primzahlen sie mit elektrischer Ladung und Ausgangsklemmen, einer an jedem Punkt der Verbindung zwischen einem Kondensator und seinem zugehörigen Induktors, wodurch für eine Wechselstrom Leistung wegen Schwingungen der elektrischen Ladung zwischen den beiden Kondensatoren mit der Resonanzfrequenz der Kondensator-Spulen-Einheiten bereitzustellen.
Gemäß einem weiteren Aspekt der Erfindung weist eine elektrische Leistung-Leistungsübergabeschaltung zwei Kondensatoren, die jeweils mit einem Paar von Elektroden, die durch ein Paar von Metall-Zylindern mit konzentrischen Achsen, wobei jeder Kondensator mit einer zugehörigen Induktors es in Reihe geschaltet, um einen Kondensator zu bilden -Induktoreinheit, Gleichspannung Anregung über die parallele Kombination der beiden Kondensator-Spulen-Einheiten, wobei zwischen entsprechenden Elektroden der Kondensatoren, einer Gleichvorspannung welche Primzahlen sie mit elektrischer Ladung gelten bedeutet, Wicklung jeder Induktor der Primärraum eines Elektrischer Transformator, dessen Sekundärwicklung davon, um eine Wechselstrom Leistung wegen Schwingungen der elektrischen Ladung zwischen den beiden Kondensatoren mit der Resonanzfrequenz der Kondensator-Spulen-Einheiten bereitzustellen dient.
Gemäß einem Merkmal der Erfindung werden die Kondensatoren keine dazwischen festen oder flüssigen dielektrischen Mediums Trennung ihrer konzentrischen Elektroden.
Gemäß einem weiteren Merkmal der Erfindung sind zwei Induktoren elektromagnetisch durch einen gemeinsamen Ferritkern gekoppelt und deren Primärwicklungen mit ihren zugehörigen Kondensatoren in der Konfiguration, die Polarität, daß in ihren einander Resonanzzustand, elektrische Ladung zwischen den beiden ausgetauscht sichert verbunden Kondensatoren.
Gemäß noch einem weiteren Merkmal der Erfindung sind die zentralen Achsen der beiden zylindrischen Elektrode Kondensatoren parallel zueinander.
Gemäß einem weiteren Merkmal der Erfindung weist eine elektrische Leistungsversorgungssystems eine Vielzahl dieser elektrischen Leistungsabgabe Schaltungen, wobei die Mittelachsen haben unterschiedliche Winkelausrichtungen zwischen den verschiedenen Schaltungen.
Gemäß noch einem weiteren Merkmal der Erfindung derart Leistungsversorgungssystems, ist der Unterschied in der Winkelorientierung der Mittelachsen zumindest 60o.
Kurze Beschreibung der Zeichnungen

Fig.1 zeigt eine elektrische Schaltung, die Leistungserzeugungsmittel zwei konzentrischen zylindrischen Kondensatoren mit zentralen Achsen, die parallel sind.

Fig.2 zeigt eine modifizierte Version der Schaltung von Fig.1 mit einem Transformator System Bereitstellen der Induktoren und eine Ausgangswicklung.

Fig.3 veranschaulicht eine gegenseitig geneigte Kondensator, umfassend zwei Paare von konzentrischen zylindrischen Kondensatoren.
Detaillierte Beschreibung der Erfindung
Die Erfindung zieht Energie aus dem Äther. Um zu verstehen, warum die Erfindung funktioniert, muss man den Prozess zu verstehen, mit denen die Äther Energie speichert, wenn ein elektrisches Feld wird über das Dielektrikum zwischen zwei Kondensatorplatten gesetzt. Außerdem braucht man, um die Mittel, durch die der Äther bestimmt die Wirkungsquantum, und zwar in Form des Bohr Magnetron und der Einheit der Drehimpuls verknüpft Plancksche Konstante verstehen.
Es genügt nicht, sich vorzustellen, dass elektrische Ladung in den Äther aus einer Ruhestellung in einem Hintergrund Kontinuum von entgegengesetzter Ladungspolarität zu dem er durch eine Rückstellkraft angezogen wird verdrängt. Tatsächlich muss man bedenken, eine solche Maßnahme auf einem System zur Verfügung, die eine zugrunde liegende Jitter Bewegung, eine Quantentheorie Thema mit dem deutschen Physiker Heisenberg (Zitter-bewegung, die die lexikalische Bedeutung hat 'Circular Fluktuation Bewegung, Spin' zugeordnet ist überlagert werden ). Wenn diese beiden Faktoren kombiniert werden, und die Zwangsbedingung hinzugefügt davon, dass es einen Phase-Lock, die diese Bewegung hält Jitter in Synchronismus zwischen den Ladungen, so findet man, dass die physikalische Theorie beteiligt sehr interessante Konsequenzen hat.
Eine dieser Folgen ist, dass ein kugelförmiges oder zylindrisches Volumen Aether, wenn Verspinnen körperlichen um eine zentrale Achse, wird ein magnetisches Moment zu erwerben und Einrichten eines elektrischen Feldes im Inneren dieser Kugel oder Zylinder, der radial in Bezug auf die Drehachse gerichtet ist. Eine zusammenfassende Analyse ist im Anhang zu dieser Spezifikation vorgestellt, wobei zum Teil ein Zitat aus den Seiten 31-33 von einer Broschüre mit dem Titel "The Theory of Gravitation", die der Antragsteller dieser Erfindung, Dr. Harold Aspden, 1959 und ordnungsgemäß verfasste veröffentlicht Anfang 1960.
Die Induktion von elektrischen Ladung durch 'Äther Spin "war dort gezeigt, dass eine physikalische Grundlage, sowohl qualitative als auch quantitative, für die geomagnetische Moment Eigentum der Körper der Erde für den Aufbau eines Magnetfeldes die magnetische Nord-und Südpol bei Breiten ausgeglichen erstellt geben von den geographischen Polen, mit dem geomagnetischen Polachse Präzessionsbewegung langsam um die Erde Drehachse mit einer Rate von mehreren hundert Jahren pro Umdrehung. Durch die Identifizierung der Quelle als Drehung einer Kugel mit Äther koextensiv Körpers Erde, ein Volumen von Äther relativ zu dem die Erde könnte eine Bewegungskomponente haben, obwohl der Äther Spin Frequenz gleich jener der Erde, diese axiale Neigung rund 17 Grad hat eine physikalische Erklärung. Allerdings wurde dieser Aspekt der Äther die Rolle nicht an der Zeit, mit etwas von Versprechen technologisch gesehen. Die Physik beteiligt ist dennoch sehr relevant und direkt relevant für die Experimente, auf denen die Erfindung beruht, würde die Ergebnisse von denen sonst sehr rätselhaft wissenschaftlich.
Die Klägerin hat im Laufe der 40 Jahre oder so, da die Theorie wurde zuerst veröffentlicht, da viel Rücksicht auf die theoretische Implikation, dass, wie Äther Spin einrichten können elektrische Ladung Verschiebung innerhalb koextensiv Angelegenheit, so die Einrichtung eines elektrischen Feld radial bezüglich einer Achse s Äther Spin um diese Achse zu induzieren und mit ihm zu entwickeln Drehimpuls. In der Tat, in des Autors Weiterreise Publikationen zu diesem Thema, wie zum Beispiel "Physik Einheitliche 'in 1980 von Sabbeton Publications, PO veröffentlicht Box 35, Southampton, England (ISBN 0 85.056 0098) wird gezeigt, wie der Ausbruch der Gravitationskraft, wenn eine ungeordnete Äther in einen geordneten strukturierter Form verfestigt Protonen zu rascher als Elektronen akkretieren verursacht, die aufgrund ihrer höheren Rate von gegenseitigen Erdbeschleunigung. Dies schuf Sterne mit allen anfänglichen positiven Ladung und der damit verbundenen Äther Spin führte in den Sternen Erwerb ihrer Spinzustände und Ausscheidung Angelegenheit, die in Planeten, die den Drehimpuls so erzeugten Aktie konsolidiert. Der Äther mit seiner Eigenschaft Spin wie durch seine elektrischen Ladungsdichte nach der Formel im Anhang vorgestellt Zusammenhang ist daher der entscheidende Faktor, wenn wir für die Erstellung der Sterne, die unser Universum bevölkern erklären versuchen.
Dass dieselbe Formel, jedoch ist ebenso wirksam, wenn der Umstand, wo ein radiales elektrisches Feld sich zwischen den konzentrischen zylindrischen Elektroden eines Kondensators um einen hohlen dielektrischen Zylinders gebildet ist, aufgeführt. Es sagt uns, wie schnell der Äther in diesem Dielektrikum drehen. Die damit verbundene theoretische Analyse zeigt, dass die Quanten-Phase-Lock-Funktion der Äther Einfuhren aus der externen Äther Welt eine Menge Energie gleich bei der Einrichtung Äther Ladungsverschiebung diese importierter Energie ist die dynamische Energie entsprechend versorgt; der erworbenen Äther Winkel Schwung. Geleitet von dem Argument der stellaren Erstellung eins sehen, dass diese Äther Drehimpuls übertragen kann egal sein, und dieser Prozess hat auch seine Energie-Transfer Auswirkungen können.
Man kann jedoch, was geschieht, wenn, nach dem Einrichten eines radialen elektrischen Feld in dieser Kondensator mit konzentrischen Elektroden, die angelegte Spannung reduziert, wodurch Abziehen elektrischer Feldenergie aus dem Kondensator. Der importierte Energie in kinetische Energie Form einer zylindrischen Schale des Äthers Spins um die zentrale Achse des Kondensators dazu neigen, elektrische Ladungsverschiebung aufrechtzuerhalten. Um Energie zu sparen, da der Äther Phase-Lock nicht zwingen kann die Ausweisung von Energie, die durch die Verpflichtung des umhüllenden Äther Universum Schritt halten, kann diese Energie nur durch Vermehrung dass freigelassene elektrostatisch vergossen werden. Mit anderen Worten, das Ergebnis ist, dass ein nach oben und unten Fluktuation des elektrischen Ladezustand des Kondensators muss die zu einer elektrischen Energieabgabe, das heißt für die niedrigste dielektrische Konstante (die Dielektrizitätskonstante des Vakuums) zu ergeben, die doppelte Eingabe in jeder Zyklus der Änderung. Man kann dann ins Auge fassen eine Oszillation in eskalierenden Energiegehalt fast vollständig von Äther Eingang, bevor man in diese Abgriffe bereitgestellt Stromquelle zum Abziehen Energie bei einer Rate, die mit stabilen Betrieb.
Dies ist natürlich eine verwirrende Vorhersage, dass kein Physiker könnte als überhaupt möglich vorstellen und doch, angesichts der Bedeutung der theoretischen Argument beteiligt, um das Phänomen des Erdmagnetismus und stellaren Schöpfung, die durch starke Beweise unterstützt werden angewendet, Buch "Physik Einheitliche ', einmal eine solche Vorstellung ist so konzipiert es hat sicherlich auf die Probe durch das Experiment gestellt werden. Dies dann, nach jahrzehntelanger Bemühungen, bevor diese Erkenntnis ist angebrochen, ist die Grundlage, auf der der Antragsteller erst jetzt gekommen ist, um die erstaunlichen technologischen Möglichkeiten, die vor uns liegen, zu schätzen und wird von dieser Patentschrift behauptet, dass die Energie in der Tat kann von der angezapft werden Äther auf einer kommerziell Skala.
Da Äther Theorie besagt, dass die spezielle Form des Kondensators oben beschrieben, falls der Antragsteller eine oszillierende Ladezustand, erzeugen einen Überschuss an Energie, ist eine Frage, zu überlegen, warum ein solches Phänomen hat sich nicht in der Bank-Experimenten in zahlreichen durchgeführt manifestiert elektrischen Labors in den vergangenen 100 Jahre. Scheinbar die Implikation besteht darin, dass der Kondensator einen negativen Widerstand aufweist, wenn mit einem Induktor als Komponente in was wäre ein selbst Resonanzkreis gewöhnt. Die Antwort darauf kann sein, dass, wenn ein solches Phänomen aufgetreten ist es unbemerkt oder wurden als unecht oder lärmabhängigen betrachtet, wobei etwas mit Funkstörungen etc. verbunden Alternativ und in Abhängigkeit von der Größe und des Umfangs der Vorrichtung, kann die Wirkung gefehlt eine spannende Trigger benötigt, um eine Energieschwelle von Faktoren wie Schaltungskontakt Widerstand oder Kontakt Potenziale sowie der grundlegenden Widerstand der Induktivitäten gesetzt zu überwinden, die mit den Kondensatoren bilden den Schwingkreis.
Beachten Sie, dass auch für einen Kondensator ziemlich groß physikalischen Abmessungen, unter Hinweis auf seine Unterkunft auf einem Labortisch, die tatsächliche Kapazität notwendig ist recht klein. in der Größenordnung von einem Milliardstel einer Farad. Dies bedeutet, dass ein Kondensator Ladung Schwankungen in der Größenordnung von einem Volt würde nur bedeuten, Energie Schwankungen, die in der Größenordnung von einem Milliardstel einer Joule pro Zyklus sind. Die Situation ist ganz anders, wenn vielleicht ein DC-Bias-Spannung von, sagen wir, 5.000 Volt an den Kondensator angelegt wird. Dann eine kleine überlagert Spannungsschwankungen macht die damit verbundene Energie-Schwankungen sehr viel größer mit viel größerer Aussicht auf einen eskalierenden Eigenresonanz ausgelöst wird.
In diesem Sinne der Antragsteller wahrgenommene einen möglichen Stand der Technik Verknüpfung mit den experimentellen Ansprüchen Dr. Moray, der im Jahr 1929 sagte (siehe Seiten 46-50 der oben referenzierten kürzlich veröffentlichten Buch von Keith Tutt) bis sechs versorgt haben wird berichtet, 100-Watt-Glühbirnen sowie ein Standard-575 Watt elektrische Bügeleisen, lediglich durch eine Erdung und Koppeln eines Eingangs führt zu einem Overhead-Wurfantenne. Der Apparat beteiligt hatten keine andere Quelle der Eingangsleistung, sondern beinhaltet eine spezielle Anordnung von Kondensatoren und vermutlich irgendeine Art von Hochfrequenzinduktor / Transformator-Einheit.
Trotz der Aufmerksamkeit, die den Moray Demonstrationen, scheint es, dass die Geheimnisse in der Entwicklung und Konstruktion der Vorrichtung beteiligt unbekannt bleiben und kann daher nicht dem Stand der Technik der veröffentlichten Record-Funktion. Auch, ja, kann die anekdotische Evidenz von Moray Bemühungen dienen zu zeigen, dass der Gegenstand der Erfindung worden ist und vor der Verwendung. Die Technik, wie man den Moray Gerät replizieren, immer vorausgesetzt, es tat durchführen wie behauptet, hat deshalb wiederentdeckt und, ja, da gibt es einen Hinweis auf seine Detektoren, die einige spezielle Substanz, die als "Swedish Stein" bezeichnet wurde, möglicherweise die dielektrische er in seinem Kondensator Bau verwendet werden, gibt es eine beträchtliche Rätsel zu entwirren. Mehr zu dem Punkt, ist jedoch ein zu glauben, dass Moray wurde impliziert, denn ohne das es angeschlossen, fiel die Energie-Ausgang auf Null, dass die Energie, die er klopfte Strahlungsenergie aus dem Äther gezeichnet, mit, dass die Antenne mit prominent war. Doch wie kann er sicher gut selbst gekannt haben, man kann einfach keinen Strom in einem solchen Umfang von einer einfachen Oberleitung zwischen zwei Polen und so aufgereiht, ohne zu wissen, wie er vermutet, dass die Energie Mittelzufluss wurde in seinen Kondensatoren kommen über die Wirkung von diesem Geheimnis Substanz, die er als "Swedish Stone '.
Der Antragsteller hier darauf hin, dass, basierend auf einem Einblick in die Quanten Funktionsweise des Äthers Medium wie oben beschrieben, die merkwürdige Entdeckung vor Jahrzehnten nachgewiesen durch Dr. Moray kann zusteht Einrichtung eine Schwingung in einem Schwingkreis einschließlich einer konzentrischen zylindrischen haben Elektrode Kondensator, der eine Vorspannung in der Größenordnung von eintausend Volt und mehr von einer Verbindung für dieses Zusatzdaten-Antenne gespeist aber Zeichnungs-Nr. signifikanter Strom von diesem andere Antenne als genug, um seine Ladung Kondensator mit primen und stimulieren eine hochfrequente Schwankung, die zu initiieren könnte hatten eine eskalierende Schaltung Schwingung Klopfen Äther Energie aus dem Äther Spin in dem Kondensatordielektrikum induziert.
Dies ist Spekulation, aber es ist ausreichend, um das Interesse des Antragstellers bei der Konstruktion eines Kondensators und versucht, die Annahmen gerade gemacht überprüfen zu rechtfertigen. Ungeachtet dessen ist die Referenz Nische Dr. Moray und der Anmerkung unten über Nikola Tesla, was es führt zu neuen Erfindung durch die vollständige Offenlegung der Einzelheiten des Betriebs und der Herstellung von etwas bisher unbekannt, die eigentliche Mittel, um eine Quelle zu nutzen Energie latent in den Äther mittel-und als von denen, vertraut mit den Stand der Technik Kenntnisse über Menschen zugänglich sein. Darüber hinaus gibt es zusätzliche erfinderische Merkmale besonderer Art wegen der Art, der Gegenstand der Erfindung Austausch von Energie zwischen zwei Kondensatoren und auch, weil die Optimierung von Äther Leistungsausgabe aus den Kondensatoren erweist sich eine Funktion der Orientierung der Kondensator Achsen relativ zu sein die kosmische Hintergrundstrahlung aufgrund der Erdrotation.
Es scheint hier angebracht, etwas von Nikola Tesla in seinem US-Patent Nr. 685.958 beschrieben erwähnen. Dies wurde am 21. März 1901 eingereicht und erteilt am 5. November 1901. "Vorrichtung zur Nutzung von Radiant Energy ': Es war berechtigt. Durch Installieren von zwei Metallplatten, ein hoch über dem Boden und der andere am Boden, mit Drähten Verbinden der Platten, um getrennte Elektroden eines Kondensators, wurde festgestellt, dass der Kondensator aufgeladen wurde zu einem sehr hohen Potential ist, wobei der Energieeintrag, die abgestrahlte auf die Erde aus dem Weltall. Dies kann auch die Bemühungen von T. Henry Moray motiviert haben, sondern, soweit dies die Erfindung des Anmelders betrifft, keine solche Eingabe von Overhead-Komponenten ist notwendig, da eine ganz andere Energiequelle ist bei der Arbeit, nämlich die Null-Punkt-Vakuum-Energie Aktivität Unsere Quanten Unterwelt.

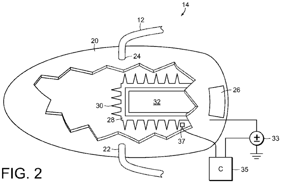
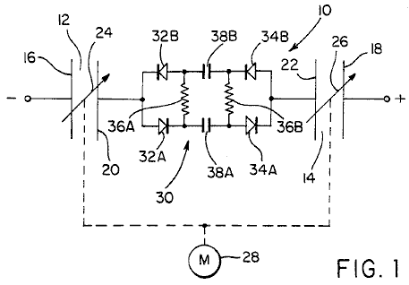
Bezugnehmend nun auf Fig.1, zwei Kondensatoren 1, 2 durch konzentrischen zylindrischen Metallelektroden gebildet sind und deren zentrale Achsen parallel, die Teil eines Schwingkreises Kombination von jeweils mit einer Induktivität 3, 4 mit einem Ferritkern Reihe geschaltet. Ihren inneren Elektroden mit einer Hochspannungs-Gleichstrom-Quelle 5 verbunden sind und deren äußere Elektroden werden getrennt durch ihre entsprechenden Induktivitäten auf einen Niederspannungs-oder Erdanschluss 6 verbunden. Eine Widerstandslast 7 wird über den Schalter 8 zwischen den Verbindungsstellen der Kondensatoren und Induktivitäten verbunden ist.
Im Betrieb bedeutet aufgrund unechten elektrischen Signale in den Spulen induziert, oder auf einer auferlegten elektrischen Stimulus bereitgestellt durch nicht gezeigt, wird die Zündladung elektrische Ladung der beiden Kondensatoren zu entwickeln Schwingungen als Ladung zwischen den beiden Kondensatoren ausgetauscht wird. Es ist Energie Mittelzufluss aufgrund der Quantenkopplung der elektrischen Ladung zwischen den konzentrischen Elektroden jedes Kondensators und der Quanten-Aktivitäten der Unterwelt des umhüllenden Äther versetzt. Man erhält eine elektrische Energie Ausgang, der beim Schließen der Schalter 8 zugeführt wird.

Bezugnehmend auf Fig.2 werden die Induktivitäten 3, 4 gezeigt, eine gemeinsame Ferritkern 9 haben und Sekundärwicklungen 10,11, die durch den Transformator Aktion, elektrische Leistung zwischen den Klemmen 12 und 13 liefern kann.

Die Vorrichtung nach Fig.1 und Fig.2 wird, wenn in Seitenansicht betrachtet wird, wie mit einem Kondensator Form mit einer äußeren zylindrischen Elektrode, innerhalb dessen es einen leicht länglichen inneren zylindrischen Elektrode erscheinen, um den Hochspannungs-Verbindung zu diesem inneren erleichtern Elektrode. Fig.3 zeigt in sehr einfacher schematischer Form zwei solcher Anordnungen 14, 15, mit den zentralen Achsen der zwei Paare von Kondensatoren zueinander geneigt. Es können jedoch drei oder mehr solcher Paare von Kondensatoren sein, wird jedes Paar bilden, einen Schaltkreis, wie in Fig. 1 oder Fig.2 dargestellt.
Der Grund für das Konfigurieren mehrerer Kondensator Systeme, jeweils mit eigener Leistung, in einer kombinierten Art und Weise mit den Ausgängen zu einem Gesamtbild zusammengefügt Energie erzeugenden Systems notwendig ist, dass der Äther Energieausstoß jeder Kondensatoreinheit eine Funktion der Achse ausgerichtet ist. Dies ist, weil die Aktivität des Quanten Äther hat seine eigene Vorzugsachse und, wie die Erde dreht es Variation der relativen axialen Orientierung in einer täglichen Zyklus. Außerdem muss man für Systeme Anwendung gerecht zu werden, diese Erfindung in einer mobilen Anwendung, das bedeutet auch, Änderung der Orientierung und indem, die gegenseitig geneigt Achskonfigurationen Kondensators kann man sicher sein, daß das Potential der Null-Leistung Situation, die auftreten können vermieden werden, wenn die Kondensator-Achsen eines eigenständigen Einheit Fig.1 oder Fig.2 wurden im rechten Winkel zum Äther Quantenspin Achse.
Die Kondensatorelektroden kann aus dünnem Blech Schaum sein und so von geringem Gewicht und vorzugsweise nicht mehr von jedem dielektrischen Mediums beabstandet, ob flüssig oder fest sein. Sie benötigen, um voneinander durch eine einfache Struktur isolierenden Rahmen gehalten werden. Der Grund dafür ist, dass die einzige dielektrische Medium, das wirksam ist für das Funktionieren der Erfindung ist der Unterdruck Medium ist und im Rahmen einer normalen dielektrischen vorliegenden impliziert mehr Kapazität und damit zusätzliche Stromoszillation ohne zusätzliche Energie Verstärkung pro Zyklus der Oszillation. Der Schlüsselfaktor Sicherstellung Betrieb ist die Notwendigkeit für Schaltungswiderstand bis tief mit Kapazität, die ausschließlich auf dem Vakuum-Medium mit der hohen Spannung, die Grundierung verbessert die Leistungsabgabe an Gewichtungsfaktor kombiniert ist, verglichen werden.
Die beiden Kondensatoren eines Paares sind vorzugsweise von gleicher Kapazität und Struktur wie die Induktoren sind, so dass die Schwingungsperiode der beiden Sektoren Resonanzfrequenz der Schaltung der gleiche ist. Die gemeinsamen Ferritkern Merkmal der Fig.2-Konfiguration unterstützt in dieser Rolle.
Die Vorrichtung wird in der Regel für den Betrieb bei einem Kondensator Frequenz in der Größenordnung von 100 kHz oder mehr betrieben werden, und eine Spannung von 10000 V oder höher, so dass der Ausgang des Transformators Fig.2 wird bevorzugt mit Spannung ordnungsgemäß eingestellt, um die Anwendung zu entsprechen . Das Hochfrequenz-Wechselstrom so hergestellten kann dann nach Bedarf mit der entsprechenden Technologie der bekannten Form überführt werden.
Anlage
Auszug aus S. 30-31 von "The Theory of Gravitation ', 1960 gedruckte Publikation durch den Anmelder. Beachten Sie, dass die früheren Seiten erklärt, dass der Äther ein System von elektrischen Teilchen in einem kubischen Kristall-wie Verteilung in einem einheitlichen Hintergrund Kontinuum von entgegengesetzter Ladung Polarität der Partikel-System und das Kontinuum sowohl eine gemeinsame kreisförmige Bahnbewegung des Radius r gesetzt umfasst und die Relativgeschwindigkeit zwischen den Partikeln und Kontinuum wobei die Lichtgeschwindigkeit.
Die Wirkung des
Äthers Rotation
Überlegen Sie, was passiert, wenn eine große Menge des Äthers körperlichen dreht. Das Kontinuum und Partikel-System zusammen drehen. Es wird keine resultierende magnetische Moment sein, wenn die Partikelverteilung ist gestört. Eine offensichtliche Störung ist die zentrifugale Wirkung aus Äther Rotation, sondern auch für die Winkelgeschwindigkeiten der Größenordnung des Sonnensystems fanden diese Wirkung ist von untergeordneter Folge. Viel wichtiger Effekt ergibt sich aus der Wechselwirkung zwischen den Teilchen Synchronisiersignal im rotierenden Volumen. Dies erfordert, dass die Teilchen werden über ihre neutrale Punkte bei der gleichen Winkelgeschwindigkeit bewegen. Somit, wenn ein Teilchen ist, eine Geschwindigkeitskomponente V in der Ebene ihrer Umlaufbahn gerichtet sind, unter Beibehaltung einer mittleren Geschwindigkeit C / 2, ihre Geschwindigkeit entlang ihrer Bahn muss in der Form C / 2 + V cos werden (P), wobei P wird der Winkel, der durch eine Linie durch die Partikelgröße und das Zentrum seiner Umlaufbahn relativ zu einem festen Bezugspunkt im Inertialsystem. Um die obige Anforderung zu erfüllen die Mitte der Umlaufbahn nicht der Neutralpunkt liegen. Offenbar das Teilchen entfernt von diesem Sternpunkt durch r + (2 V r / C) cos (P). Als V ist viel geringer als C der Effekt davon ist, dass das Teilchen um einen kreisförmigen Umlaufbahn, deren Mittelpunkt einen Abstand wurde 2 V r / C senkrecht zu V versetzt in der Ebene der Umlaufbahn bewegt. Wenn V ist viel geringer als bx cos (A), wobei w die Winkelgeschwindigkeit, mit welcher der Äther dreht, x der Abstand des Partikels von der Äther Drehachse ist, und A der Neigungswinkel der Achse, die gemeinsamen Axialrichtung des Äthers Partikelsystem ist dies Versatzentfernung 2 (WXR / C) cos (A). Betrachten wir einen scheibenförmigen Abschnitt des rotierenden Äther mit Radius x und Einheitsdicke. Dann ist die effektive Ladungsverschiebung aus der effektive physikalische Verschiebung der Partikel 2 pi xs (2 WXR / C) cos (A). Die Scheibe hat eine einheitliche Ladungsdichte von 4 (wrs / C) cos (A) esu / cc erworben. Die Polarität dieser Gebühr hängt von der Drehrichtung des Äthers.
Wenn aus den Äther Daten bereits vorgestellt ausgewertet, die Ladungsdichte gefunden zu sein: 4,781 w cos (A) esu / cc. Diese Ladungsdichte eine Ladung Komponente, die mit dem Äther dreht.
Berechnung des Geomagnetischen
Moment
Für Erde ist w 7.26 x 10-5 rad/sec und A ist 23.5O. Somit ist die Erde Ladungsdichte aus dem obigen Ausdruck 0.000319 EGE/cc. Die Rotation der diese Gebühr entsteht ein magnetisches Moment des:
(0.000319)(4 pi / 15)w R5 / C wo R Hier ist der Radius der Äther der Erde.
Wenn R größer als der Erdradius ist (6.378x108 cm) durch einen kleinen Faktor k wird die Erde theoretische magnetisches moment (1 + 5k)6.8 x 1025 emu. Dies kann mit dem gemessenen Wert von der Erde magnetische Moment von verglichen werden 8.06 x 1025 emu.
Eine Obergrenze von 0,035 auferlegte k, was darauf hindeutet, dass die Erde Äther bei einer mittleren Höhe von etwa 140 km über der Erdoberfläche endet. Dies deutet darauf hin, dass die Ionosphäre, ein Phänomen, das sich an der Grenze des Äthers ergeben möglicherweise.
Ansprüche
1 Elektrisches Leistungszuführschaltung umfassend zwei Kondensatoren jeweils mit einem Paar von Elektroden, die durch ein Paar von Metall-Zylindern mit konzentrischen Achsen, wobei jeder Kondensator mit einer zugehörigen Induktors es in Reihe geschaltet einen Kondensator-Spulen-Einheit zu bilden, eine Einrichtung Gleichspannung Anregung zu verbindenden eine parallele Kombination der beiden Kondensator-Spulen-Einheiten, wobei zwischen entsprechenden Elektroden der Kondensatoren, einer Gleichvorspannung welche Primzahlen sie mit elektrischer Ladung und Ausgangsklemmen, einer an jedem Verbindungspunkt zwischen einem Kondensator und seinem zugehörigen Induktors gelten , um dadurch für eine AC Leistung wegen Schwingungen der elektrischen Ladung zwischen den beiden Kondensatoren mit der Resonanzfrequenz der Kondensator-Spulen-Einheiten bereitzustellen.
2 Elektrisches Leistungszuführschaltung aus zwei Kondensatoren, von denen jede mit einem Paar von Elektroden, die durch ein Paar von Metall-Zylindern mit konzentrischen Achsen gebildet, wobei jeder Kondensator mit einem zugehörigen Induktors es in Reihe geschaltet einen Kondensator-Spulen-Einheit bilden, Mittel Gleichspannung Erregung verbunden eine parallele Kombination der beiden Kondensator-Spulen-Einheiten, wobei zwischen entsprechenden Elektroden der Kondensatoren eine Gleichvorspannung welche Primzahlen sie mit elektrischen Ladung, wobei jede Induktivität die Primärwicklung eines elektrischen Transformators, wobei die Sekundärwicklung von denen dient gelten um eine AC-Leistung aufgrund Schwingungen der elektrischen Ladung zwischen den beiden Kondensatoren bereitzustellen bei der Resonanzfrequenz der Kondensator-Spulen-Einheiten.
3 Eine elektrische Leistungsabgabe Schaltung nach Anspruch 1 oder 2, wobei die Kondensatoren nicht haben dazwischenliegenden festen dielektrischen Mediums Trennung ihrer konzentrischen Elektroden.
4 Eine elektrische Schaltung nach Lieferung; Anspruch 1 oder 2, wobei die Kondensatoren nicht haben dazwischenliegenden flüssige Dielektrikum die Trennung ihrer konzentrischen Elektroden.
5 Elektrisches Leistungszuführschaltung nach Anspruch I oder 2, wobei die zwei Induktivitäten durch elektromagnetisch mit einer gemeinsamen Ferritkern gekoppelt und deren Primärwicklungen mit ihren zugehörigen Kondensatoren in der Konfiguration, die Polarität, daß in ihren einander Resonanzzustand, elektrische sichert verbunden Ladung wird zwischen den beiden Kondensatoren ausgetauscht.
6 Eine elektrische Leistungsabgabe Schaltung nach Anspruch 1 oder 2, wobei die zentralen Achsen der beiden zylindrischen Elektrode Kondensatoren zueinander parallel sind.
7 Elektrisches Leistungsversorgungssystem, umfassend eine Vielzahl von elektrischen Schaltungen Leistungsabgabe nach Anspruch 6, wobei die Mittelachsen haben unterschiedliche Winkelausrichtungen zwischen den verschiedenen Stromkreisen.
8 Elektrisches Leistungsversorgungssystem nach Anspruch 7, wobei der Unterschied in der Winkelorientierung der Mittelachsen zumindest 600.
DIE ZUKUNFT UNSERER ENERGIEVERSORGUNG
Eine
Nachricht von Entscheidender Bedeutung
Die Webseite www.energyscience.org.uk
präsentiert eine bewusst prägnant Sammelkonto von etwas von entscheidender
Bedeutung für die Zukunft der Menschheit. Die Welt braucht eine neue Quelle von
Energie, eine, die kein endlicher Rohstoff unterliegt Machtspiel zwischen
Nationen. Ja, man kann träumen und dann zu sagen, das ist unmöglich, aber ich
fordere diejenigen mit den nötigen Fähigkeiten zu beherzigen, was ich in meinen
drei Nachrichten unten sagen müssen wach.
Zunächst jedoch möchte ich mich vorstellen. Mein Name
ist Dr. Harold Aspden. Ich bin Rentner und alten aber hatte lebenslanges
wissenschaftliches Interesse in der Grundlagenphysik relevant für das Thema
Energie. Meine 6-jährige Universitätsausbildung in Großbritannien war an der
Manchester University und der Universität Cambridge (Trinity College). Meine 33
Jahre arbeiten Karriere in Großbritannien umfasste 9 Jahre mit English Electric
und 24 Jahre bei IBM. Obwohl hohe technische Qualifikation (siehe unten), wird
an dem spezialisierten Bereich der Schutz von Erfindungen, die im Zusammenhang mit
Elektrotechnik interessiert haben, wurde ich eine Chartered Patent Agent und
später European Patent Attorney. Meine letzten 19 Jahre mit IBM verbrachte er
als Direktor des IBM Patent-europaweit. Folgte, in meinem Vorruhestand, 9 Jahre
als ein Senior Visiting Research Fellow an der Southampton University und
danach mein wissenschaftliche Interesse wurde eine private Verfolgung durch
meine Schriften als auf dieser und meine Verwandte Websites belegt. Meine
Ausbildungsnachweise sind: B.Sc., Ph.D., C.Eng., F.I.E.E., F.I.Mech.E.,
C.Phys., M. Inst.P., C. Sci., Wh.Sc.
Nachricht Nr. 1: Physiker haben zu der Erkenntnis kommen, dass es eine Quanten
Unterwelt lebendig mit Energie und durchdringt den ganzen Raum. Jedoch zielt
die Forschung lediglich an Sondieren experimentell das Spektrum der
Elementarteilchen, die einen transienten Existenz als Produkt dieser Energie
Aktivität aufweisen. Die Belohnung, die sie suchen, ist die Anerkennung sollten
neue Teilchen entdeckt werden, und durch ihre Eigenschaften, zeigen Verbindungen
mit anderen Teilchen, die in der Formulierung einer neuen Theorie oder
Überprüfung einer bestehenden Theorie helfen. Leider haben sie nicht sehen,
dass Quanten-Unterwelt als eine potenzielle Quelle von Energie, die wir nutzen.
Noch haben sie verstanden, wie der Großteil der Energie bei der Schaffung
Materie vergossen die Elementarteilchen, die den Namen Proton trägt und welche,
zusammen mit dem Elektronenstrahl, bildet den Wasserstoffatom gebildet.
Es gibt auch ein Geheimnis, das sie noch zu ergründen.
Es ist die Wirkung der Schaffung eines radialen elektrischen Feldes auf
elektrische Ladung, um die, dass Quanteneffekte Unterwelt einen Zustand der
Spin, dass es Energie vergossen verursacht entwickeln können zentriert. In
Gegenwart eines radialen elektrischen Feldes durch elektrisch kostenlos Körper,
was auch immer das Quanten-Unterwelt, die alle Raumfahrtaktivitäten Aktien eine
Bewegung wie die Sequenz, Tänzer, Schritt zu halten mit einander, als sie über
die Tanzfläche zu bewegen durchdringt stellt ein synchrones gesetzt Bewegung,
die in Gegenwart der genannten radialen elektrischen Feld nur stattfinden kann,
wenn eine sekundäre Bewegung entwickelt sich um eine Achse in dem radialen Feld
zentriert werden.
Wie sonst könnte die Sonne dreht sich um seine eigene
Achse sind entstanden? Hier haben wir Schwerkraft zieht Wasserstoffatomen und
zieht sie so eng beieinander, dass Ionisation stattfindet, was bedeutet
befreien einige Elektronen aus ihrer Bindung Proton, und so, weil die Masse
eines Protons ist sehr viel größer als diejenige der Elektronen, die Schaffung
eines Sun mit einer Körper, der positiv geladenen sitzt innerhalb einer äußeren
Hülle aus negativen Elektronenladung. Zwei freien Protonen erleben eine
gegenseitige Verhältnis der Erdbeschleunigung, die 1836-mal, das durch die
Wechselwirkung der zwei Elektronen erfahren wird. Der Körper der Sonne, deshalb
hat eine einheitliche Massendichte und eine gleichmäßige positive Ladung Dichte
innerhalb einer kompensierenden negative Ladung auf ihrer Oberfläche
umschlossen. Dies liegt daran, auszugleichen Schwerkraft Preßkräfte die
Expansion zwingt zuzurechnen elektrostatische Abstoßung. Es bedeutet ferner die
Anwesenheit eines radialen elektrischen Feldes innerhalb des Körpers der Sonne
und wiederum aufgrund der Wirkung dieses Feldes auf dem Raum Medium des Quanten
Unterwelt, induziert dies einen Zustand der Spin durch Freisetzung von Energie
von derjenigen begleitet Medium, um die kinetische Energie dieser Spin
ernähren.
In eingehenden Analyse der Physik beteiligt, dh die
Wirkung der resultierenden radialen elektrischen Feldes auf dieser Quanten
Unterwelt, ermöglicht dann ein, um die resultierende Rate der Spin berechnen
und damit zu verstehen, wie das Sonnensystem entstanden ist.
Also, wenn der Leser ein Physiker ist, hier ist der
Weg nach vorne und alle Hinweise hierzu finden sich auf meiner parallel Website
www.aspden.org oder in einem neuen Buch
von mir mit dem Titel Creation gefunden werden - Die körperliche Wahrheit, die veröffentlicht werden in der nahen
Zukunft. Allerdings, wenn der Leser nicht ein Physiker, hat aber die
technologischen Fähigkeiten der Universität ausgebildete Elektrotechniker dann
ist es Nachricht Nr. 2 unterhalb dieser Aufmerksamkeit verdient.
Nachricht Nr. 2: Wenn es möglich, elektrische Energie, indem ein allgegenwärtiges
Medium zu erzeugen waren es ist sicherlich zu erwarten, dass die gelegentliche
Naturphänomen vielleicht schon an dieser Möglichkeit angedeutet haben werden.
Betrachten Sie daher die thunderball, ein glühendes kugelförmiges Objekt
manchmal gesehen, vor allem nach einem Gewitter. Es scheint aethereal in dem
Sinne, dass er sich bewegen kann ungehindert durch Materie, doch bleibt ein
Rätsel, ein ungelöstes Rätsel der Aufzeichnung in den Annalen der Wissenschaft.
Blitzschläge sind hoch aktuellen Entladungen, die als Elektrotechniker gut
kennen, ein "Pinch-Effekt" Zusammendrücken des Elektron-durchgeführt
Strom in einer fadenförmigen Strömung in einem zylindrischen Kanal von positiv
geladenen Luft entwickeln können. Das bedeutet ein radiales elektrisches Feld,
ein pulsierendes radialen elektrischen Feld, wenn die Entladung Überspannungen,
ein sicheres Rezept für etwas zu passieren, dass könnte eine Miniatur Sonne,
thunderball bilden. Also, wenn wir an einem thunderball schauen wir auf ein
natürliches Phänomen, das Energie gezogen hat aus dieser Quanten-Unterwelt von
Raum, Energie, die dann abgeführt wird, sondern auch Energie durch einen
Prozess, den wir sicherlich nutzen können vergossen suchen, wenn wir verstehen
die Physik beteiligt.
Wissenschaftler fehlt die nötige Phantasie nicht
versuchen zu verstehen, wie die thunderball erstellt wird und so selten über
sie zu schreiben. Also hier haben wir etwas zu denken. Es ist die Natur der
Botschaft sagt uns: ". Produzieren eines radialen elektrischen Feld ein,
dass pulsiert, und Sie können einen Spin, die Energie schöpft aus der
Quanten-Unterwelt von Raum zu entwickeln" Als Ingenieure, brauchen wir
aber praktisch zu sein und, wenn möglich, sollten wir nicht versuchen, ein
Phänomen, das starke elektrische Entladungen, wenn es bessere Möglichkeiten, in
denen Sie vorgehen sollen beinhaltet replizieren.
So jetzt habe ich zu meinem Hauptthema in dieser
Meldung Nr. 2 kommen. Es ist ein kurzer Überblick über einige der Forderungen
der Datensatz, der eine geheimnisvolle Energiegewinn erklärt haben, und haben
Eigenschaften, die ich als relevant, was oben gesagt wurde. Insbesondere möchte
ich Aufmerksamkeit auf die Forschungsergebnisse von vier verschiedenen Pioniere
was gekommen ist, genannt werden "The Search for Free Energy ', dies ist
der Titel eines wirklich ausgezeichneten Buch von Keith Tutt, von Simon &
Schuster 2001 veröffentlicht. Drei davon sind in beträchtlichem Detail in
dieser Arbeit beschriebenen. Frage ich Sie jetzt im Auge zu behalten meine
Referenz zu einer radialen elektrischen Feldes, wie ich jeden von ihnen unten
erwähnen und sie erkennen, dass elektrische Strukturen zylindrischer Form ein
wesentliches Merkmal sind.
Nikola Tesla ist berühmt für seine Forschungen über
elektromagnetische Induktion und Hochspannungs-Solenoid-Transformator Apparat
(Tesla-Spulen) und er soll demonstriert ein Automobil, der seine Kraft, indem
Energie aus dem Raum abgeleitet haben. Er wollte nicht offenbaren ihre
Design-Details und starb, hinterließ uns ein Rätsel. Tesla Spulen bestehen
große solenoidal Wicklungen konzentrisch angeordnet und arbeiten mit
Hochspannung Pulsationen zwischen ihren zylindrischen Formen, die eine
pulsierende radiale elektrische Feld zwischen den Wicklungen müssen
produzieren. Also, auch wenn elektromagnetische Induktion Auswirkungen der
primäre Fokus der Aufmerksamkeit sind, gibt es hier Spielraum für die
elektrische Wirkung in Message Nr. 1 beschrieben. Tesla kann auch experimentell
auf einen Weg zu tippen Energie aus dem Raum gestolpert, aber ohne das
Verständnis der wahren zugrunde liegenden physikalischen Prozess.
Dr. Henry Moray, ein Pionier der 1920-1930 Ära, zeigte
etwas, das lediglich benötigten eine Art Antenne, ein Kabel von Baumkronen mit
der Erde verbunden über elektrische Betriebsmittel in den Kofferraum (trunk)
seines Automobils. Es wird gesagt, dass diese mehrere Kondensatoren und dass
eine Kilowattstunde Ebene der Macht erzeugt wurde aufgenommen. In diesem Fall lediglich
das Automobil trug die Testvorrichtung zum Nachweis an einer Stelle entfernt
von einem bebauten Fläche und jede Starkstromleitung Interferenz. Kein Zweifel,
Moray suchte in Teslas Spuren von Energie aus der Erde elektrische Feld,
bekannt in Hunderten von Volt pro Meter gemessen werden folgen. Es ist
wahrscheinlich, dass diese Kondensatoren Leyden jar Typ-Konfiguration war, das
ist in Bauform zylindrisch, und dass der Draht verbunden Baumkronen angezapft
Ladung bei einem Kilovolt Spannung. Behauptete jedoch, die Ausgangsleistung
könnte sicherlich nicht aus dieser Quelle stammen. Deshalb muss man davon
ausgehen, dass Moray verwendet, Baumkrone Spannungseingang lediglich die
Spannung über seinen Kondensatorelektroden ansaugen, während die einige Besonderheit
im Betrieb seiner elektrischen Schaltung, die den Zugang zu der Energie der
Quanten Unterwelt gab. Kondensatoren mit Elektroden konzentrische zylindrische
Form wird, wenn elektrisch aufgeladen, ein radiales elektrisches Feld in dem
Raum zwischen den Elektroden. Mehrere Kondensatoren miteinander gekoppelt
könnte zu Schwingungen Ladung zwischen den Kondensatoren zu geben und so zu
einer pulsierenden radialen elektrischen Feld führen. Doch obwohl demonstriert
wie möglich etwas, das nicht möglich sein sollte, eine geheimnisvolle Zufluss
von Energie der Lage, mehrere Glühbirnen leuchten, könnte Moray sicherlich
nicht den wahren physikalischen Prozess, der Einspeisung in seinen Apparat
wurde verstanden haben. Auch ich sehe dies als relevant, was in Mitteilung Nr.
1 angegeben.
Stan Meyer nachgewiesen Vorrichtung, die Sätze von
konzentrischen röhrenförmigen Elektroden in einem zylindrischen Behälter mit
Wasser gefüllt eingeschlossen enthalten, wobei die Elektroden durch eine hohe
Spannung (5 KV) Impulse zugeführt. Brennbares Gas erzeugt wurde, ein Gemisch
aus Wasserstoff und Sauerstoff, das Verbrennen von denen weit mehr Wärme als
konnte durch die elektrische Energie erzeugt Eingang berücksichtigt werden.
Energie wurde als aus dem Nichts erschlossen, es sei denn die Quelle war das
umgebende Medium des Raumes. Hier gab es eine pulsierende radiale elektrische
Feld und die elektrische Ladung oszilliert zwischen verschiedenen Komponenten
in Meyer-Apparat. Meyer boten keine brauchbare Erklärung zu den physikalischen
Prozess zugrunde, was er nachweisen konnte, sondern blieb bei der Übermittlung
der Botschaft, dass die Erfindung war wunderbar und reden über eine Vielzahl
von Anwendungen wie das Einschalten Automobile, Schiffe etc. Dies ist das
Projekt nicht in den genannten Keith Tutt Buch. Wie für den Tesla und Moray
Projekte Meyer-Forschung war ein US-basierten Aktivitäten. Es hat jedoch das
Interesse von einem britischen Admiral, Admiral Tony Griffin, die mit den
Auswirkungen der neuen Technologien auf die maritime Industrie betraf. Griffin
Zeuge Meyer Demonstrationen und interessierte sich für seine Entwicklung. In
der Tat ein Artikel über das Thema zu erwähnen Admiral Griffin mit dem Titel
"Free Energy for Ever" wurde im Januar 1991 Ausgabe der britischen Zeitschrift
Wireless World veröffentlicht. Die Bedeutung des Artikels war aus der Tatsache
ersichtlich, dass der Editor des Magazins war der Autor.
Paul Baumann, Mitglied einer christlichen Gemeinde in
einem abgelegenen Tal hoch in den Schweizer Alpen hat gebaut arbeiten freie
Energie Geräte, die den Besuchern demonstriert wurden. Der erste Prototyp war
relativ klein und enthalten ein Paar von Glas Leidener Flaschen, konzentrische
Kondensatoren. Keith Tutt in seinem Buch widmet 30 Seiten zu diesem Thema. Die
hohe Spannung erforderlich, um den Kondensator Betrieb primen wurde durch eine
Influenzmaschine durch die elektrische Energie erzeugt wird, angetrieben
erzeugt. Die Gemeinde hat jedoch gehalten Design-Details geheim. Trotz solcher
Informationen ist die zugrunde liegende physikalische Prozess hinsichtlich
seiner Arbeitsweise bleibt ein Geheimnis. Dennoch kann ich aber zuversichtlich,
dass das, was ich sage in meiner Botschaft Nr. 1 liefert die Antwort.
Nachricht Nr. 3: Meine Nachricht Nr. 1 hat die Aufmerksamkeit auf den physikalischen
Prozess, mit dem die große Menge an Energie benötigt, um erstellen die Sonne
aus der Quantenwelt Unterwelt, den ganzen Raum durchdringt extrahiert wurde
gezogen. Meine Botschaft Nr. 2 hat die Aufmerksamkeit auf die berichteten
Bemühungen nur einige der mehreren Energieforschung Pioniere, die tatsächlich
bewiesen Gerät, dass entgegen der anerkannten wissenschaftlichen Grundsätzen,
zog Energie aus einem Geheimnis Quelle. Meine Botschaft Nr. 3, zur Anerkennung
der gemeinsamen physikalischen Funktion basiert, kann aber den Vorschlag, dass
die Technologie für die Erzeugung unserer Macht Bedürfnisse von der versteckten
Unterwelt Raum möglich sein muss sein. Dementsprechend werde ich jetzt
beschreiben, was ich als Grundlage, auf der die ultimative Macht erzeugenden
Vorrichtung, die die physikalischen Prinzipien Meldung Nr. 1 präsentiert nutzt
bauen zu sehen.
Als 78 Jahre alt und nicht mehr den Zugang zu
universitärer Forschung Laboreinrichtungen, kann ich aber überlasse es anderen
zur Kenntnis zu nehmen und hoffentlich beweisen, dass ich Recht. Wenn sich
rechts und dann die Welt zu profitieren und die drohende Energiekrise vermieden
werden. Hoffentlich auch, könnte die wissenschaftliche Gemeinschaft dann bereit
sein, meine Behauptung, wie die Quanten Unterwelt setzt seine Energie in
Proton-Erstellung und ist aktiv in der Herstellung das Phänomen der Gravitation
zu akzeptieren. Ich kenne keine andere Theorie, die in der Lage, theoretisch
abzuleiten den Wert 1836.152 der Protonen / Elektronen Massenverhältnis hat.
Ich würde gerne sehen, dass mein Beitrag zur menschlichen Erkenntnis.
Betrachten eines Kondensators durch ein Paar von
konzentrischen zylindrischen Elektroden gebildet, was viele von uns erinnern
sich von der Schule Physik-Labor der Leidener Flasche. Jedoch ist der
Kondensator Struktur I im Sinn haben sehr viel größer und muss bei einer recht
hohen Spannung betrieben werden. Wenn diese Spannung zwischen den Elektroden
angelegt wird elektrische Ladung in der darunterliegenden Vakuum Mediums
zwischen diesen Elektroden angeordnet verdrängt. Eine angemessene Menge an
elektrischer Ladung wird dabei anstelle auf diesen Elektroden, einer negativen
Ladung auf einer Polarität und einer positiven Polarität Ladung auf der anderen
gehalten wird. Angesichts meiner Behauptung, dass dies durch 'Vakuum Spin
", Äther Rotation, die eine gleiche Menge an Energie aufgrund einer
Quanten-Phase-Lock zwischen der Ladung des Vakuums Medium, wir die Energie
gewinnen wollen wir nutzen müssen importiert wurde begleitet wird.
Das Problem ist jedoch, daß mit dieser einfachen
Konfiguration Kondensator, der einzige verfügbare Steuerparameter die Reduktion
der Spannung zwischen den Elektroden ist. Dadurch wird Energie innerhalb der
Schaltung der Vorrichtung verwendet zu vergießen, das Ausströmen von
elektrischer Ladung an der Spannungsdifferenz das Liefern der Energieeinheit,
die ursprünglich von unserem Spannungsquelle versorgt. Die zusätzliche Energie
aus dem Weltraum importiert wird lediglich durch die "Vakuum-Spin" zu
verlangsamen, sondern den Ausbau über die Grenzen der Kondensatorelektroden wie
es sein Drehimpuls schont verteilt. Die Energie aus dem Quanten Unterwelt Raum
importiert hat keine Möglichkeit zur Verbesserung der Energieleistung des
Kondensatorschaltung und so wird sich selbst überlassen zu zerstreuen und
schließlich durch, dass Quantum Unterwelt, den ganzen Raum durchdringt
resorbiert werden.
Jedoch betrachten nun eine konzentrische Elektrode
Kondensator mit einer dritten zylindrischen Elektrode, die zwischen den inneren
und äußeren Elektroden. Hier haben wir eine Kontrolle anderer Parameter als die
Spannung zwischen den äußersten und innersten Elektroden, weil wir über die
Spannung der zentralen Elektrode unter Beibehaltung der anderen
Spannungsdifferenz auf einem konstant hohen Niveau kann sich wundern. In der
Tat, indem sie letztere Spannungsdifferenz konstant, sondern Variieren der
Spannung der Zwischenelektrode wir abnehmen kann die Kondensatorenergie einer
Hälfte des gesamten Kondensators als die der anderen Hälfte abnimmt. Die
importierte Energie um die Hälfte des gesamten Kondensators vergossen können
dann auf die Aktion, die die andere Hälfte energetisiert beitragen und damit zu
induzieren Schwingungen aus denen Energie gewonnen und eingesetzt werden als
Energiequelle kann.
Man braucht zwei solchen Kondensatoren mit ihrer
zentralen Elektroden durch eine Last gekoppelt, um die "freie
Energie" Zufluss zu erfassen und ihn dazu bringen nützliche Arbeit anstatt
abgeführt tun. Eine Induktivität in der Kopplungsschaltung bestimmen kann der
Oszillationsfrequenz, und da die Energie Zulauf mit der Frequenz zunimmt,
sollte dies zweifellos gut in die kilocycle Region sein. Die folgende Abbildung
ist eine einfache schematische Darstellung des elektrischen Betriebsmittels,
dass ich im Sinn haben.

Also meine Botschaft Nr. 3 ist das, was ich als
"Gedankenexperiment", eine, die ich nicht überprüfen kann mich
aufgrund meines Alters und Mangel an Einrichtungen beschreiben. Deshalb kann
ich aber aufzeichnen meine Gedanken und hoffe, dass andere beweisen, dass ich
Recht und nicht falsch.
Die Kondensatoren in der Figur dargestellt sollten
ihre Elektroden beabstandet, so dass die Kapazität C zwischen ihren zentralen
und äußersten Elektroden gleich der Kapazität C zwischen ihren zentralen und
innersten Elektroden ist. Angenommen, dass die äußersten Elektroden bei einer
Spannung von 20.000 V relativ zu den innersten Elektroden beibehalten werden.
Dies bedeutet, daß die beiden mittleren Elektroden wird an einem mittleren Spannung
sein, die wir bis 10.000 V in Abwesenheit von Schwingungen erwarten. Doch wie
bei jedem immer aktiven elektrischen System wird es geringfügige
Spannungsschwankungen, die die zentralen Elektroden sein. So kann man sich
fragen, was passiert, wenn die Spannung der zentralen Elektrode des
Kondensators A sinkt aufgrund elektrischer Ladung durch die innere Kapazität C
vergossen gewann aber durch die äußere Kapazität C. Denken Sie, dass für einen
Moment. Sie werden sehen, dass es Wechselwirkung bedeutet in der
entgegengesetzten Richtung durch den Kondensator B, wie Strom fließt von A nach
B über den zentralen Induktivität Kupplung. Doch kein Netz fließt der Strom von
der 20.000 V Stromquelle.
Nun, natürlich, versichert der gesunde
Menschenverstand durch unsere wissenschaftliche Ausbildung gesichert uns, dass
dieses System kann aber halten das Gleichgewicht ohne diese geringfügige
Spannungsschwankungen Aufbau in gewisser Weise. Doch wenn wir Meldung Nr. 1 zu
beachten und bedenken Sie, Meldung Nr. 2, gibt es eine Frage, die wir stellen
müssen. Wenn die aktuelle nicht fließt durch diese zentrale Bindeglied zwischen
A und B, die eine Hälfte von A und einem halben B sowohl vergossen Energie und
freizugeben, so die eingeführten "Vakuum-Spin" Energie, wenn eine
solche vorhanden ist. Dies geschieht wie andere Hälfte von A und B haben,
Energie zu gewinnen und als Drehimpuls des importierten 'spin Energie
"breitet sich in den anderen Abschnitten der Kondensatoren. Die Frage ist
dann: "Ist das importierte Energie entweichen, da es für die
Zwei-Elektroden-Kondensator-Konfiguration funktioniert, oder könnte sie
beibehalten und so ergänzen die Aktion?"
Ich behaupte, die Antwort kann nur durch tatsächliches
Experiment zur Verfügung gestellt werden. Wenn die Energie dann entweicht gibt
es nichts weiter zu diskutieren. Allerdings, wenn etwas von dieser Energie wird
aufgenommen, dann können wir erwarten, eine Eskalation der Schwingungen in
diesem induktive Verbindung und so kann dann sagen, dass eine neue
Energiequelle entdeckt wurde. Diese Schwingungen werden eine Funktion der
Kapazität C und der Induktivität des Lastkreises sein. Bei einer hohen Frequenz
und einer hohen Spannung ein wesentlicher Teil der Leistung pro Einheitsvolumen
von Kondensatorstruktur erzeugt. Wenn Leistung auf einem Niveau mit den
Ansprüchen von Tesla, Moray, Meyer und Baumann Ergebnisse der Welt die Zukunft
der Energieversorgung wird dann sichergestellt. Eine Verschmutzung-freie
Energiequelle durch die Quanten-Unterwelt von Raum betrieben werden bei der Hand
sein, wo wir auf den Körper der Erde sind.
Paulo & Alexandra
Correa haben einen Weg der Umwandlung von Teslas Longitudinalwellen in
gewöhnliche elektrische Energie entdeckt. Sie haben US-Patentanmeldung 2006/0,
082.334 mit dem Titel "Energy Conversion Systems", in denen sie
zeigen verschiedene Wege zur Erreichung dieser Energie-Typkonvertierung.
Ihre Techniken reichen von der Anwendung der Longitudinalwelle Energie aus einem Tesla Coil direkt an zwei Kondensatoren über die Diode Berichtigung und die Spannungen erzeugt werden direkt an die tatsächlichen Boden Erdpotential verbunden:

Die Patentanmeldung ist Teil dieser Reihe von Dokumenten, so dass die Details untersucht werden können. Eine Theorie des Betriebs auf Grundlage ihrer vielen Versuche und Beobachtungen präsentiert, und die praktische Form eines ihrer Umwandlungsvorrichtungen ist:

Wo die aktive Aufnahmeplatten R und T in einem Zylinder eingeschlossen und mit einer Kegelform, das Verfahren zu unterstützen vorgesehen. Die Patentanmeldung enthält eine gute Menge an Informationen und ist lesenswert.
Ein weiterer wichtiger Personen in der Weiterentwicklung der aktuellen Theorie und Analyse ist Professor Konstantin Meyl, der beschrieb, wie Feld Wirbel Skalarwellen bilden hat. Er hat beschrieben, wie elektromagnetische Wellen (Transversalwellen) und Skalarwellen (Longitudinalwellen) sowohl in Wellengleichungen vertreten sein sollte. Zum Vergleich sind Quer-EM-Wellen am besten für Broadcast-Übertragungen wie Fernsehen verwendet, während Längs Skalarwellen sind besser für One-to-one-Kommunikation-Systeme wie Handys.

Außerdem stellte er die Theorie, dass Neutrinos Skalarwellen bewegen sich schneller als die Lichtgeschwindigkeit sind. Beim Bewegen von der Lichtgeschwindigkeit, sind sie Photonen. Wenn ein Neutrino, um unterhalb der Lichtgeschwindigkeit verlangsamt, wird es ein Elektron. Neutrinos können sich zwischen einem e- und e+. Fusion beinhaltet e-, und ein Blitz beinhaltet e+. Energie in einem Wirbel wirkt als Frequenzumformer. Die messbare Mischung von Frequenzen wird als Rauschen.
Dr. Meyl hat herausgefunden, dass Tesla die Resonanz der Erde bei 12 Hz gemessen hingewiesen. Die Schumann-Resonanz der Erde ist 7,8 Hz. Meyl zeigt, wie man die Skalarwelle der Erde berechnen bis 1,54-fache der Geschwindigkeit des Lichts sein. Er hat ein Modell, das den Ausbau der Erde das Ergebnis der Erdoberfläche Absorption von Neutrinos Energie sein bindet entwickelt. Die Konsequenzen dieses Modells sind, dass Neutrinoenergie abgegriffen werden kann. Er nahm dies zum nächsten Schritt und postulierte, dass Zero Point Energy Neutrino Macht ist - Energie aus dem Feld; jederzeit und überall präsent. An die Stelle der Neutrinos in der konventionellen Wissenschaft zeigen, festgestellt Meyl, dass die 2002 Nobel Preis für Physik in Bezug war auf Neutrinos zu arbeiten. Die englischsprachige Version von Dr. Meyl Website ist http://www.meyl.eu.
Tesla ein Experiment durchgeführt, in dem er aufgebracht Hochspannungs-Hochfrequenz-Wechselstrom an einem Paar von parallelen Metallplatten. Er fand, dass der "Raum" zwischen den Platten wurde, was er als "Halbleiter" präsentiert die Attribute der Masse, Trägheit und Dynamik beschrieben. Das heißt, der Bereich, in einen Zustand vor dem ein mechanischer Druck ausgeübt werden könnte transformiert. Dies bedeutete, dass mit dieser Technik sollte es möglich sein, um ein Raumschiff Laufwerk überall im Raum zu erzeugen, wenn der Mechanismus zum Stoßen gegen die 'solid-state "Raum ermittelt werden konnte. Weitere Experimente überzeugt Tesla, dass starke elektromagnetische Wellen verwendet werden könnten, um gegen push (und ziehen gegen), was zu sein scheint "leeren Raum" werden. Der Antrieb stützt sich auf die Hall-Effekt in der Halbleiter Magnetsensoren verwendet basiert, und wird als Magnetohydrodynamischer ("MHD") Effekt. Dies könnte wie folgt dargestellt werden:

Hier wird ein Kasten mit zwei Metallplatten Bilden gegenüberliegenden Seiten und zwei Isolierplatten Halten in Stellung und umgibt eine Fläche von "Raum" konstruiert. Hochfrequenten wird Hochspannungs-Wechselstrom an den Metallplatten aufgebracht und dies erzeugt ein elektrisches Feld "E", die zwischen den Platten als schwarz dargestellt. Ein Magnetfeld "B" wird durch das elektrische Feld erzeugt wird. Die Magnetfeld wirkt rechtwinklig zu dem elektrischen Feld, wie in blau dargestellt. Diese beiden Felder erzeugen ein Antriebssystem Schub "F" in rot in der Abbildung gezeigt. Diese Antriebskraft wird nicht durch Ausstoßen einer Angelegenheit aus der Box, sondern wird durch eine Reaktion gegen die 'solid-state "Zustand der Raum-Zeit durch die hochfrequenten elektromagnetischen Pulsen diesem Bereich des Raumes verursacht produziert wird. Das ist enorm effektiver als ein Düsentriebwerk. Der Schub steigt mit der vierten Potenz der Frequenz, also, wenn Sie die Frequenz verdoppeln, die Wirkung sechzehn Mal größer ist.
Um dieses in Perspektive zu setzen, sollten Sie die Kraft, die gegen die Schwerkraft, die auf ein Objekt in die Luft zu heben. Die Kraft zieht die Objekt nach unten ist die Schwerkraft und ihre Stärke ist gegeben durch:
Schwerkraft:
F = g x M x m / r2
wo
g die Gravitationskonstante (6.672 x 10-8 cm3 g-1 s-2)
M ist die Masse des ersten Körpers
m ist die Masse des zweiten Körpers und
r ist der Abstand zwischen den beiden Stadtteilen Masse
Die Hubkraft ist gegeben durch:
Lorentz-Kraft: Kraft auf ein Objekt = Elektrische Kraft + Magnetkraft
F = q x E + q x v x B
wo
q beträgt die Gebühr für das Objekt,
B ist das magnetische Feld,
v die Geschwindigkeit des Objekts und
E ist das elektrische Feld
Wie lassen sich diese Kräfte vergleichen? Nun, ist die elektromagnetische Kraft stärker als die Gravitationskraft um den Faktor von ca. 2,200,000,000,000,000,000,000,000,000,000,000,000,000 mal. Anzahl (2.2 x 1039) für niemanden wirklich zu visualisieren, zu groß ist, so lassen Sie es mich anders.
Wenn die Menge der eingesetzten Energie mechanisch anzuheben, um ein Objekt mit einer Distanz von einem viertel Millimeter über dem Boden, wurden als elektromagnetische Hubkraft verwendet, dann die Menge an Energie würde das Objekt mehr als heben 3,472,222,000,000,000,000,000,000 Meilen über dem Boden oder in metrischen Einheiten, mehr als 5,588,001,700,000,000,000,000,000 Kilometer über dem Boden. Diese Art des Antriebs ist eine ganz andere Art von Tier. Dieser Hall-Effekt-Art des Antriebs, wenn in einem Raumschiff verwendet würde nur eine sehr kleine Menge der Eingangsleistung, um das Schiff mit großen Geschwindigkeiten und über große Entfernungen zu fahren.
Da das Gerät oben gezeigt arbeitet direkt auf der Raum-Zeit-Feld, das alle Materie eindringt, so dürfte es keinen Grund, warum es nicht verwendet werden sollte, um ein herkömmliches Fahrzeug durch Positionieren desselben in horizontaler Lage, statt der vertikalen Position gezeigt, in sein anzutreiben das Diagramm. Gasbetätigung könnte durch sehr geringe Anpassung der Frequenz der Wechselstromimpulse, die an den Metallplatten sein. Jedoch zeigt Bill Lyne daß horizontale Bewegung besser durch Erzeugen Teslas sehr kurzen, hohen Spannung hochfrequenten Gleichstromimpulsen an der Vorderseite des Fahrzeugs, während zur gleichen Zeit Erzeugung sehr hoher Spannung Hochfrequenzwechselstromenergiequelle Wellen an der Rückseite erreicht das Fahrzeug. Diese Art des Antriebs ist der um das Fahrzeug entlang ziehen, anstatt entlang schieben.
Der Unified Field Theory wird für die Wissenschaftler, die kommen mit einer Theorie, die die Schwerkraft umfasst mit der elektromagnetischen Kraft möchten gesucht. Meiner Meinung nach, sie würden mehr Aussicht auf Erfolg bei dem Versuch, eine Nadel im Heuhaufen, die nicht enthält eine Nadel da, wenn die gesamte Heuhaufen wurde demontiert finden müssen, wird klar, dass es nie eine Nadel in sie. Meiner Meinung nach, gibt es keine solche Sache wie eine "Schwerkraft", in der Tat, es gibt nicht so etwas wie die Schwerkraft. Finden Sie, dass schwer zu glauben? Nun, lassen Sie mich erklären.
Wenn beim Stehen, halten Sie ein Objekt mit einer Taille und lassen Sie es gehen, es "fällt" und landet in der Nähe Ihren Füßen. Ja vereinbart, und doch ich schlage vor, dass es keine solche Sache wie die Schwerkraft. Wenn Sie ein Pendel in der Nähe eines Berges auszusetzen, hat das Pendel nicht hängen senkrecht nach unten, sondern bewegt sich leicht in Richtung des Berges. Dies soll daran liegen, dass der Berg zieht das Pendel. Leider Chief, aber ich schlage vor, dass es nur nicht wahr, und der Berg nicht gewinnen das Pendel. Der Mond umkreist die Erde, die eine kontinuierliche Beschleunigung nach innen in Richtung der Erde und dieses soll durch die Anziehung der Schwerkraft zieht die beiden Körper der Materie zusammen verursacht werden benötigt. Nun, ja, der Mond hat die Erde umkreisen, aber nicht wegen der "Schwerkraft".
Der Grund, warum "die Schwerkraft" ist so winzig im Vergleich zu Elektromagnetismus ist, weil es keine solche Kraft überhaupt. Ja, ja, alle beobachteten Phänomene, die angeblich Schwerkraft sind, genau existieren wie gesehen, aber ich schlage vor, dass es keine solche Sache als "der Schwerkraft" und die Unified Field Theory ist nicht erforderlich. Lassen Sie mich erklären:
Die Zero-Point Energy Feld existiert überall im Universum und es fließt in jede Richtung gleich. Es wirkt wie ein Strom von Teilchen tausende Male mehr kleine als Elektronen, und so fließt es durch Materie. Egal vollständig abschirmen können aus dem Fluß dieses Energiefeld. Aber, ein winziger Prozentsatz der Strömung zufällig mit den Elektronen, Atome und Moleküle der Materie als des Energieflusses bewegt sich durch die Materie kollidieren. Je größer das Stück von Materie, kollidiert desto des Energieflusses damit. Die Kollisionen wandeln die Energie in zusätzliche Masse, weshalb unsere Sonne nicht zu verlieren ist die Masse so schnell wie Theorie würde vorherzusagen. Die Situation ist wie folgt:

Die Kraft des Zero-Point Energy Feld wird leicht reduziert, das durch (und interagiert mit) die große Masse der Erde übergeben. Diese reduzierte Stärke in dem folgenden Diagramm durch die hellblaue Pfeile. Die eingehende Zero-Point Energy Feld wird nicht in der Stärke in nennenswerter Weise, wie die Moleküle in der Atmosphäre nicht annähernd so dicht wie in der Sache, die bis macht die Erde selbst verpackt reduziert. Das Ungleichgewicht dieser zwei Schüben bewirkt eine Netto Schub in Richtung einer Oberfläche der Erde.
Zur Klarheit der Darstellung zeigt nur das Feld in einer Richtung wirkende, in Wirklichkeit gilt das gleiche Lage in allen möglichen Richtungen um den Planeten. Wenn können Sie ein Objekt gehen und es bewegt sich auf der Oberfläche des Planeten, wird er nicht nach unten durch "die Schwerkraft" gezogen, sondern stattdessen die unten Drücken der Zero-Point Energy Feld größer als die oben Knopfdruck die Zero-Point Energy Feld, das nur durch den Planeten passiert hat. Das Objekt bewegt sich "nach unten", weil der Stoß von oben größer ist als der Schub von unten.
Genau dasselbe gilt für den Effekt, dass ein Berg an einem Pendel zu haben scheint verursachen. In Wirklichkeit hat der Berg keine Auswirkung auf das Pendel, außer vielleicht einer kleineren elektrostatischen Einfluss. Der wichtigste Effekt wird durch die Strömung des Zero-Point Energy Feld verursacht:

Hier reduziert sich die (sehr grob gezeichnet) Berg, den Druck auf die Zero-Point Energy Feld, das durch ihn geht, aufgrund seiner Wechselwirkung mit der Materie, mit denen sie kollidiert auf seiner Reise durch die Berge. Der Druck auf die Zero-Point Energy Feld auf der Seite des Pendels wird nicht verringert, so gibt es einen Netto Vorstoß in Richtung des Berges und das macht das Pendel bewegen sich in Richtung des Berges. Die Wirkung ist nicht sehr groß, so dass das Pendel nicht viel bewegt aus der Vertikalen wie die nach unten Schub in Richtung der Oberfläche des Planeten ist sehr ausgeprägt, so dass das Pendel muss sehr nahe dem Berg dieser Effekt zu beobachten sein.
Dies kann auch in den Casimir-Effekt wo zwei nichtmagnetische Metallplatten, die nicht die Durchführung einer elektrostatischen Ladung sind, suspendiert sehr nahe zueinander zu sehen. Die Platten nicht gerade nach unten hängen, sondern aufeinander zu bewegen. Dies ist die gleiche Wirkung wie durch eine Berg nahe einer stationären Pendel oder Senkblei verursacht. Jede Platte blendet ein wenig von der Zero-Point Energy Feld, das direkt durch die beiden Platten, so dass die zweite Platte wird etwas weniger von einem Push:

Das Ergebnis ist, dass zwischen den Platten, die horizontale Kraft treibt sie unausgewogen ist. Hängen Sie einfach eine Platte und die horizontale Zero-Point Energy ("ZPE") zwingt die von rechts kommen genau das Gleichgewicht der ZPE Kräfte aus dem linken, und die Platte hängt vertikal unter dem Aufhängepunkt mit dem Tragsaitenanordnung (rot dargestellt im obigen Diagramm) hängt vertikal. Jedoch mit zwei Platten, wie gezeigt, wird der Druckknopf von links sehr leicht, wenn es durch die linke Hand Metallplatte verläuft reduziert. Das heißt, es ist ein geringerer Druck von links nach rechts auf der rechten Platte. Dies bewirkt, dass die Platte sehr geringfügig nach links bewegt, bis der horizontale Zug durch die rote Schnur nicht vertikal verursachte, nur gleicht die Differenz der ZPE Schübe auf dieser Platte. So bewegt sich die rechte Platte leicht nach links.
Das gleiche passiert mit der linken Hand Platte. Das ZPE Schub von rechts kommend ist leicht reduziert, wie es durch die rechte Platte durchläuft, und die linke Hand Platte bewegt sich leicht nach rechts, bis die Schrägzug seiner Tragsaitenanordnung gleicht die Nettoschub auf dieser Platte. Der Gesamteffekt ist, dass die Lücke bei Punkt "A" in der Abbildung geringfügig größer als der Spalt an der Stelle "B" ist, obwohl die Menge ist nicht annähernd so groß wie auf dem Diagramm, der sich bewusst übertrieben, um die Show vorgeschlagen Effekt deutlich. Es gibt nichts über diese kompliziert, es ist nur einfach der gesunde Menschenverstand. Beachten Sie, dass der Zug der Tragsaitenanordnung "C" entspricht genau einer vertikalen Kraft "D" zusammen mit einer horizontalen Kraft "E" ist. Hierbei ist die vertikale Kraft D exakt dem Gewicht der Platte, und die horizontale Kraft E exakt der unausgeglichenen Kraft ZPE (wenn sie nicht exakt war, dann würde die Platte zu bewegen, bis sie tat). Je weiter weg von der vertikalen, daß die Platte bewegt, um so größer die resultierende horizontale Kraft, die durch den Zug des Tragsaitenanordnungen verursacht.
Tesla drückte dies in einer sehr leicht unterschiedliche Weise in seinem Dynamic Theory of Gravity (1897) wonach alle Körper Mikrowellen, deren Spannung und Frequenz sind durch ihre elektrischen Inhalte und relative Bewegung bestimmt emittieren. Er maß die Mikrowellenstrahlung der Erde als nur ein paar Zentimeter in der Wellenlänge. Er sagte, dass die Frequenz und Spannung von der Geschwindigkeit und Masse der Erde beeinflusst wurden, und dass seine "Schwerkraft" Interaktion mit anderen Einrichtungen, wie z. B. der Sonne, wurde durch die Wechselwirkung der Mikrowellen zwischen den beiden Einrichtungen bestimmt.
Wenn Sie das Konzept der Erzeugung einer Antriebskraft durch Drücken gegen die Raum-Zeit-Kontinuum zu schwer zu akzeptieren finden, dann sollten Sie vielleicht erwägen die US Patent gewährt Boris Volfson am 1. November 2005. Das Wichtigste an diesem Patent (das ist vollgestopft lange Wörter) ist nicht, ob es eine realistische Mechanismus für einen praktischen Raum Laufwerk präsentiert, sondern die Tatsache, dass das US-Patentamt im Jahr 2005, das Patent erteilt, nachdem, was vermutlich war eine sorgfältige Prüfung. Im Hinblick darauf ist es kaum möglich, zu prüfen Tesla worden total verwirrt haben, als er (und gebaut) seine "elektrische Flugmaschine", die durch Ziehen am Gewebe des Universums betrieben konzipiert.
Tesla verwendet Hochspannung an Gigahertz Frequenzen für seine electropulsion System. Der Antrieb des Fahrzeugs durch einen Tesla Antrieb angetrieben ist durch den Einsatz eines zusätzlichen Wechselstromgenerator an der Rückseite (die versteift die Raum-Zeit-Kontinuum hinter dem Fahrzeug) und eines DC 'Pinsel' Generator auf der Vorderseite (der schwächt die Raum-Zeit-Kontinuum vor, wodurch das Fahrzeug nach vorne gezogen werden).
Tesla war sehr scharfsinnig. Er folgerte, dass "leeren Raum" tatsächlich enthalten:
1. Unabhängige Träger, durchdringen alle Raum und alle Materie und aus denen alle Materie besteht. Diese tragen Dynamik, Magnetismus, Elektrizität oder elektromagnetische Kraft und kann künstlich oder durch die Natur manipuliert werden.
2. 'Primary Sonnenstrahlen’ (Sternenlicht), die mit der Geschwindigkeit des Lichts reisen, mit Frequenzen weit oberhalb Röntgenstrahlen, Gamma-und UV-Strahlung.
3. 'Kosmische Strahlung', angetrieben Teilchen im Raum durch die primäre Sonnenstrahlen.
4. Röntgenstrahlen, Gamma-Strahlen und UV elektromagnetische Wellen, von denen alle an der Reise Lichtgeschwindigkeit.
5. Gewöhnliche sichtbar und Infrarot elektromagnetische Wellen, die an der Lichtgeschwindigkeit.
6. Schnell unterschiedliche elektrostatische Kraft enormen Potenziale, welche von der Erde und andere Gravitative Körpern im Raum.
Wenn wir die eigentliche Natur des Universums zu erfassen, wird klar, dass wir eine viel größere Bandbreite von Möglichkeiten für die Herstellung von nutzbaren Energie in großen Mengen und zu minimalen Kosten haben.
Weitere Informationen finden Sie im Boris Volfsons US-Patent 6.960.975 vom November 2005 "Raumfahrzeug Angetrieben durch den Druck des inflationären Vacuum State" im Anhang beigefügt ist.
Wenn Sie den Gedanken der Erzeugung eines Gravitationsfeldes zu finden, schwierig zu mit zu kommen, dann sollten Sie die Arbeit von Henry Wallace, ein Ingenieur bei General Electric im Begriff war vor 25 Jahren, und wer ein paar unglaubliche Erfindungen im Zusammenhang mit der zugrunde liegenden Physik des entwickelten Gravitationsfeld. Nur wenige Menschen haben von ihm oder seiner Arbeit gehört. Wallace entdeckt, dass ein Kraftfeld, ähnlichen oder verwandten zum Gravitationsfeld, ergibt sich aus der Wechselwirkung der sich relativ bewegenden Massen. Er baute Maschinen, dass dieser Bereich durch Spinnmassen elementares Material mit einer ungeraden Anzahl von Nukleonen erzeugt werden konnte gezeigt - dh einen Kern mit einer mehrfachen halbzahlige Wert von h-bar, das Quantum des Drehimpulses. Wallace verwendet Bismut oder Kupfer Material für seine rotierenden Körpern und "kinnemassic" Feldkonzentratoren.
Abgesehen von den immensen Nutzen für die Menschheit, die von einem besseren Verständnis der physikalischen Natur der Schwerkraft und anderen fundamentalen Kräfte führen könnte, könnte Wallace Erfindungen haben enorme praktische Bedeutung bei der Bekämpfung der Schwerkraft oder das Umwandeln Gravitationskraft Felder in Energie für nützliche Arbeit. Also, warum hat niemand von ihm gehört? Man könnte denken, dass der Entdecker der wichtige Erkenntnisse, wie dies als eine große Wissenschaftler würde eingeläutet werden und nominiert für Dynamit Preise. Könnte es sein, dass seine Erfindung nicht funktioniert? Jeder kann sich die Patente. Studieren Sie sie - Wallace - General Electric - detaillierte Beschreibungen von Operationen - Messungen von Effekten - Zeichnungen und Modelle - es ist authentisch. Wenn Sie geschickt mit Werkzeugen sind, dann kann man sogar selbst bauen. Es funktioniert.
- "Verfahren und Vorrichtung zum Erzeugen eines sekundären Gravitationsphysik Force Field", 14. Dezember 1971 und US-Patent 3.626.606 - "Verfahren und Vorrichtung zum Erzeugen eines Dynamic Force Field", Dec US Patent 3.626.605: Henry wurde zwei Patente in diesem Bereich erteilt 14, 1971. "Wärmepumpe" (basierend auf Technologie ähnlich wie bei den beiden oben genannten Erfindungen), 16. Juli 1973 - Er war auch US-Patent 3.823.570 erteilt.
Dr. Peter Lindemann hielt einen Vortrag an der TeslaTech Konferenz, die sehr informativ und denen würde ich empfehlen ist. Es ist auf DVD erhältlich ab http://www.free-energy.ws/products.html mit dem Titel "Tesla Radiant Energy". Er enthält eine Reihe von wichtigen Punkten, von denen einige hier wiederholt werden.
Wir neigen dazu, den Kampf für die industrielle Stromerzeugung zwischen Thomas Edison DC und Teslas Wechselstrom-System gewesen sein, mit Tesla Gewinner denken. Leider, während die wahre, das ist nicht die ganze Geschichte, wie Tesla zogen von AC auf leistungsfähigere Systeme und Tesla verlor auf diesen Systemen, so dass uns heute mit einer praktikablen, aber viel schlechter System. Wir müssen das Gesamtbild deutlich zu sehen. James Clerk Maxwell produziert seine berühmten Gleichungen über Elektrizität und Magnetismus (das sind eigentlich zwei Seiten einer Einheit unter der Bezeichnung "Elektromagnetismus"). Anschließend H.A. Lorentz beschädigt diese Gleichungen, Wegwerfen die Teile, dass frei verfügbare Energie für den Einsatz war, wenn wir, wie man darauf zugreifen wusste, zeigte.
Out heutigen Position hat, während wir hier erkennen, dass "Schwerkraft" ist 1039-mal weniger leistungsstark als Elektromagnetismus gewachsen, sehen wir "statische Elektrizität" als schwach und nutzlos, was die vermieden werden muss. Die Realität ist ganz anders als Tesla weist darauf hin und zeigt. Tesla beschreibt "statisch" und "strahlende" Energie als eine Kraft, die keine endgültigen Grenzen zu haben scheint. Das heißt, es ist in der Lage, unbegrenzte Leistung. Unser Wissen über diese Macht ist so unzureichend, dass wir glauben, dass Macht kann nur in einer Schaltung, die eine geschlossene Schleife und der Kraftfluss muss ein Strom von Elektronen zu sein fließen. Dies ist definitiv nicht der Fall.
Die leistungsstärkeren Strahlungsenergie fließt wie ein elektrisch geladenes Schallwelle durch inkompressible Luft und die kann bis zu einen einzigen Draht, ohne die geringste Schwierigkeit zugeführt. In der Tat können Sie sogar überspringen, dass ein Draht und verwenden die Erde statt, Sendeleistung mit scheinbar keine Drähte überhaupt. Die eigentliche, letzte und wichtigste Wettbewerb war zwischen Closed-Loop-Strom-und Single-Wire Kraftübertragung, und dass Wettbewerb war eine, die Tesla verloren.
Die Natur dieser Strahlungsenergie ist so anders, was wir als konventioneller Strom denken, dass es durchaus möglich, Licht eine Glühlampe Glühbirne in einer Hand zu halten ist, während ein einzige Draht in der anderen Hand greifen. Wenn Sie dies tun, gibt es überhaupt keine Sensation, und nichts ist überhaupt zu spüren. Videos zu diesem Thema sind https://www.youtube.com/watch?v=3uXL4_Yas2k und https://www.youtube.com/watch?v=6BnCUBKgnnc zu dieser Zeit. Eine ausgezeichnete Reihe von Lehr-Videos sind auf http://journal.borderlandsciences.org/videos/.
In seinem Vortrag, bemerkt Dr. Lindemann, dass sein Verständnis des Themas wurde erheblich durch das Buch geholfen, (http://www.free-energy-info.tuks.nl/TeslaBook.pdf) "Die Erfindungen, Forschungen und Schriften von Nikola Tesla" und das Buch (http://www.datafilehost.com/download-c74378fc.html) "Die Geheimnisse des Kalten Krieges Technology - HAARP and Beyond", die einige der frühen Arbeiten von Tesla getan beschreibt. Er lobt auch das Buch "Teslas Vokabular für Dummies", die ein Witz auf seinem Teil ist da kein solches Buch trotz seiner scheinbar einige Zitate daraus in seiner DVD Vortrag zeigen.
Ein Merkmal der Strahlungsenergie, die sich aus Teslas Beschreibung davon wird, ist, dass die meisten nützlichen Wirkungen, die daraus gewonnen werden können, an einem DC-Impuls-Frequenz von 1 MHz, die weit höher ist als Experimentatoren verwenden heute ist zu starten. Er betont, dass wir nicht wirklich wissen, die genaue Natur der Elektrizität und dass alle unsere heutigen Messgeräte sind auf Elektronen-Theorie basiert und so einfach nicht zu messen Strahlungsenergie. In gewisser Weise ist es ein bisschen wie der Unterschied zwischen AM-Radio und FM-Radio. Beide sind völlig in Ordnung und gut funktionieren, aber ein AM-Radio erhalten keine UKW-Radio-Signal und ein UKW-Radio erhalten keine AM Funksignal. Leider ist Strahlungsenergie viel leistungsfähiger als herkömmliche Strom und es ist nicht gefährlich wie Strom ist. Es sollte angemerkt werden, dass Hermann Plauston die sehr detaillierte Patent - US 1.540.998 (http://www.free-energy-info.tuks.nl/PatD8.pdf) ist auf Methoden der Erfassung und Verwendung dieser Strahlungsenergie, und er beschreibt keine Multi-Antennensysteme, die eine Nettoleistung von 100 Kilowatt erzeugen als eine "kleine" System. Ich weiß nicht wie es euch geht, aber ich würde für ein System, das weniger als 10% des Kraftstoff-weniger Leistung produziert begleichen.
Die besten Informationen über Strahlungsenergie kommt aus dem Schreiben von Tesla und Dr. Lindemann lenkt die Aufmerksamkeit auf eine der Tesla-Patente, US 685.957 (http://www.free-energy-info.tuks.nk/PatD37.pdf) die erklären, wie diese Strahlungsenergie erfasst und verwendet werden kann. Tesla auch einen Motor-Design, die wirksam mit dieser Art von Energie ist. Der Motor hat zwei Wicklungen, wobei die erste direkt gespeist und die zweite Aufnahme eines 90-Grad-verzögerten Impuls über einen Kondensator.
Eine Sache, die Tesla weist darauf ist, dass es ein inkompressibles gasförmigen Medium füllt das Universum und die aus Partikeln, die viel kleiner sind als Wasserstoffatome sind zusammengesetzt. Mendelejew, der die Tabelle der Elemente konstruiert zeigt ganz klar, dass es zwei gasförmigen Elemente, die leichter als Wasserstoff sind, aber er nicht, dass sie in seinem Tisch, weil er nicht wusste, was sie sind.
Die Kommentare von Joseph H. Cater weiter unten in diesem Kapitel umfassen die Aussage, dass Gravitation elektromagnetische Strahlung einer Frequenz unterhalb der infra rot ist. Auszug aus Karl Schappellers Arbeit, auch später in diesem Kapitel erklärt genau das gleiche und der gleichen Frequenz. Die Extrakte aus Joseph Newman's Buch, auch später in diesem Kapitel darauf hin die Wirkung der Elektronenspin auf Anziehung und Abstoßung. Das Dokument http://www.free-energy-info.tuks.nl/Cotterell.pdf wird ein Papier von der Schwerkraft durch die sehr fähig Maurice Cotterell, von denen ein Teil hier zitiert:
Funktionsweise von Schwerkraft
“Funktionsweise von Schwerkraft” erklärt, wie Elektrizität und Magnetismus zusammen arbeiten, um die Schwerkraft zu produzieren und dabei zeigen sie die zugrunde liegende Wissenschaft hinter Newtons Gleichung, die er vergeblich versucht zu entdecken, nämlich der Grund, warum Schwerkraft ist proportional zu den Massen der beiden zieht Objekte, Deshalb wächst schwächer im Verhältnis zu dem Quadrat des Abstandes zwischen ihnen, und die Art der "Gravitationskonstante", die zu verwirren Forscher bis heute andauert. Es erklärt, warum alle Objekte auf der Erde beschleunigen auf 32 Meter pro Sekunde pro Sekunde. Es erklärt, warum das Atom von acht Orbital Muscheln und warum diese Schalen mit Elektronen in der Weise, dass sie zu füllen besteht. Es erklärt, wie permanenten Magnetismus auf atomarer Ebene funktioniert, das Wesen der sogenannten "Dark Matter", der Grund, warum Spiralgalaxien sind spiralförmig, warum das Zentrum der Erde ist kochend heiß und wie die das Magnetfeld der Erde erzeugt.
Wissenschaftler können nicht verstehen, warum die positiv
geladene Protonen in der Mitte der Atome einfach nicht auseinander springen
müssen - ihre positive Ladungen einander abstoßen. Im Jahr 1935 schlug ein
Forscher namens Yukawa, dass eine andere Substanz oder Partikel müssen
"Leim" der Protonen im Kern zusammen existieren - eine Art atomaren
"Klettverschluss". Aber ein Kriegsdienstverweigerer zum Yukawa wies
darauf hin, dass, wenn in der Tat das der Fall wäre, dann müsste es zwei Arten
von Klett sein - ein Samt Seite und eine Hakenseite (sozusagen). Aber ein
anderer Forscher darauf hingewiesen, dass Protonen in der Samt-Seite abgedeckt
würde nicht zu anderen Protonen in der Samt-Seite abgedeckt bleiben, und dass
die Protonen in der Hook-Seite abgedeckt würde nicht zu anderen Protonen mit
dem Haken-Seite abgedeckt bleiben. So wies ein anderer Forscher heraus, dass
für ein solches System zu arbeiten, müsste es drei Arten von jedem der drei
Typen sein. So wurde die verrückte Gebiet der Teilchenphysik geboren. In den
folgenden Jahrzehnten wurden Teilchenphysiker Milliarden Dollar, um
herauszufinden, was das Atom stabil gewährt. Seitdem haben sie mehr als 300
imaginären sub-atomaren Teilchen gesucht. Die Concise (Oxford) Science
Dictionary Kommentare
:
“…das ganze aufwendige Theorie ist umständlich ... keiner der kleineren Teilchen je in Experimenten identifiziert worden ... die Theorie erhebt keinen Anspruch auf überprüft worden”.
Cotterell zeigt, dass keines der Teilchen tatsächlich existieren, und noch wichtiger, dass keines sind notwendig. Um zu erklären, warum das Atom federt nicht auseinander, kehrt er nach festem Boden und in den 1930er Jahren Pionierarbeit von Ernest Rutherford und James Chadwick und zeigt, dass durch einfache Änderung der wahrgenommenen Form des Elektrons und Neutronen, die Schwerkraft Mechanismus ausgesetzt ist, erklären sich die Geheimnisse des Atoms und viele der Geheimnisse des Kosmos.
Zusammenfassung Teil 1:

(A) Eine Spule-förmigen Elektron (schwarz dargestellt) macht das Wasserstoffatom dynamische [lebendig]. Die Höhe der schraubenförmig polarisierte elektrische Feld gezwungen von den Polen des Protons ist maximal, wenn das Elektron ist horizontal, das heißt, nach 180 oder 360 Grad orbital Reisen. Oben links zeigt die Draufsicht eines Wasserstoffatoms. Die horizontale Elektron-Schnitten durch das elektrische Feld (schattierten Rosa). Ein magnetisches Feld wird in der Spule induziert, die drückt gegen das elektrische Feld, verursacht es, auf eigener Achse (wie die gegnerischen klingen einer Windmühle) zu stürzen, wie er das positive Proton umkreist.

Um die Erde kreisenden Elektrons Spule-wie saugt Energie aus Protonen verursacht das Proton zu komprimieren, lassen Sie Wärme und schnell abkühlen.

Sobald der Spinnstelle elektronenziehende Magneten passiert die vertikale Position, saugt der extrem kalten Proton in Umgebungswärme und expandiert schnell, Kompression und Expansion der Protonen ergibt zyklischen Veränderungen der Kapazität [elektrischen Feldes] proportional der Oberfläche zwischen den Teilchen.

(iii und vii) Die Enden der Elektron-Magneten abstrahlen Hoechstbeträge schraubenförmig polarisierte magnetische Energie nach 90 Grad und 270 Grad von Orbital Reise [wenn vertikale]. Daraus ergibt sich die magnetischen und magnetischen Strahlung um 90 Grad versetzt und die elektromagnetische (EM) Strahlung aus dem nördlichen Sektor in der Phase um 180 Grad von der des südlichen Sektors verschoben.

(B) (i) Die orthodoxe
Sicht eines Helium-Atoms (mit zwei Neutronen) schließt ein Verständnis der
Schwerkraft - jedes Elektron ist passiv [dead] und die sphärisch geformten
Neutronen machen das Atom instabil. Darüber hinaus wird das Elektron als eine
rein "elektrischen" Teilchen angezeigt, wenn in der Tat ist es
elektrische nur die Hälfte der Zeit, und magnetisch für die Hälfte der Zeit
ist. Das Elektron ist ein
"elektromagnetische" Teilchen.

(ii) Diese neue Sichtweise des Helium-Atoms beherbergt eine Gravitations-Mechanismus - die spiralförmige Elektronen bringen das Atom zum Leben und die Spike-förmige Neutronen machen den Atom (der Inhalt des alten Neutronen-und die Dornen Neutronen identisch). Belege: 31/3/08 Forscher der Hohn-Meitner-Institut in Berlin angekündigt, dass "Neutronen wie Kompassnadeln verhalten" – Science Daily.
(C) Hydrogen dreht axial und autonom und so strahlt es spiralförmig polarisierte elektromagnetische Energie in den Weltraum. [Belege: 'Wasserstoff strahlt spiralförmig polarisierte EM Energie " www.sciencenews.org].

Helium [der nur elektrisch geometrisch symmetrische Atom spiked Neutronen enthalten] auch dreht axial und autonom und damit ebenfalls strahlt spiralförmig polarisierte elektromagnetische Energie. Im freien Raum sind Wasserstoff und Helium Kraftmaschinen im Schwerefeld Mechanismus. Andere Atome nicht autonom abstrahlen schraubenförmig polarisierte elektromagnetische Energie, weil sie nicht axial oder autonom zu spinnen. Wenn jedoch wendelförmig polarisierte elektromagnetische Strahlung aus Wasserstoff oder Helium Bombarden Atomen benachbarten, verursacht es den Kern dieser Atome in die gleiche Richtung drehen, und gleichzeitig bewirkt, dass die umlaufenden Elektronen in einer Kaskade von Atomen, an ihrem Spin synchronisieren. Als Folge ziehen die magnetischen Momente des orbitierenden elektronenziehende Magnete in einer Kaskade von Atomen einander. Dies ist die Kraft der Gravitation.
Zusammenfassung Teil 2:

(2A und 2B) Der "Motor-Effekt'; schraubenförmig polarisierter elektromagnetischer Strahlung aus Wasserstoff Atom Handlungen auf die negativen Ladungen des benachbarten Atoms, verursacht der Kern und der Elektronen-Käfig, spin-Axial und gleichzeitig, synchronisiert die Spin der Elektronen in den beiden Atomen [Nachweise: Natur 2009; 458 (7238): 610 DOI:10.1038.nature07871 (persistent Drehbeschleunigung Helix)]. Die Masse des Elektrons ist zweimal, dass das Neutron-Negative-kostenlos, daher das Drehmoment auf dem Elektron-Käfig zweimal, die über die Neutron-Negative-Entgelte im Zellkern. So dreht sich der Elektron-Käfig schneller als der Atomkern.

(2B) Der "Generator Effect” umkreisenden Elektronen im benachbarten Atom jetzt 'generieren' spiralförmig polarisierte elektromagnetische Strahlung. Die Leistung des atomaren "Generator" ist proportional zu der Drehzahldifferenz zwischen dem Kern und dem Elektronen-Käfig und der Anzahl der umlaufenden Elektronen (Atommasseneinheiten). Elektromagnetische Ausgang ist eine Funktion der Anzahl von Elektronen [Atommasse] ("g") UND der Drehzahldifferenz zwischen dem Kern und der Elektronen Käfig (‘f’).

(2C) Schwerkraft Strahlung von den Wasserstoffatom Bombarden Nachbaratome saugen sie auf die Quelle der Strahlung. [Hier die Erläuterung zu erleichtern, die magnetische Welle (in blau dargestellt) gezeigt, strahlt aus dem Zellkern während in Wirklichkeit, strahlt es von der umlaufenden Elektronen].
(2D) Der Korkenzieher Stil elektromagnetische Strahlung aus dem Nachbaratom nun ebenfalls, saugt Nähe Atomen zu sich. Beide Atome in die gleiche Richtung zu saugen, damit die Schwerkraft von der Sonne und der Mond in die gleiche Richtung ziehen. [Um die Erläuterung zu erleichtern, werden die elektrischen Wellen (dargestellt in rot) strahlenförmig von umkreisenden Elektronen].

(2E) Als Schwerpunkt-Strahlung breitet sich und bewegt sich weg vom Atom, nimmt sie in Feldstärke [pro Quadratmeter]. Für jede Einheit des zurückgelegten Weges abgestrahlte Energie weicht geometrisch. Dadurch wird die abgestrahlte Energie, die von dem Quadrat der Entfernung verringern Paar ("d2"). Die Zahlen in dem Quadrat in der Abbildung oben zeigt die Feldstärke des strahlenden elektromagnetischen Energie in Volt pro Quadratmeter. [Squares sind hier nur zur Veranschaulichung verwendet wie die divergierenden Welle ist eigentlich konisch-Helix wie in Abbildung 2F sehen].

(2F) Die Frequenz des schraubenförmig polarisierte elektromagnetische Strahlung von der Erde konstant bleibt. Wie jedoch m Ansätze M beschleunigt der spiralförmigen elektromagnetischen Strahlung die differentielle Rotation zwischen jedem Atomkern und Elektronen-Käfig, von denen m hergestellt ist. Als ein Ergebnis werden die "relative" Atomfrequenzstandard steigt und damit die Ausgabe des "atomic Generators zunimmt, gleichmäßig zunehmende die anziehende elektromagnetische Kraft zwischen m und M entsprechend einem quadratischen Maßstab wie m verläuft entlang der elektromagnetischen Spirale. M So zieht m mit quadratischer [d2] gleichmäßige Beschleunigung. In der Abbildung auf der rechten Seite, wird m dargestellt spiralförmig in Richtung M mit der elektromagnetischen Welle stationär, aber in Wirklichkeit nähert m M in einer geraden Linie, wie die Welle Spiralen in m.
(2G) Somit Newton-Gleichung für die Schwerkraft; wo die Kraft ist proportional zu den Massen (m und M) der beiden anzieht Körpern und der Stärke der Kraft abnimmt umgekehrt mit dem Quadrat des Abstandes zwischen ihnen (d2).
F = GmM/d2
G ist Newtons Gravitationskonstante 6.67428 x 10-11 N m2 kg -2 - die momentane magnetische Wechselfeld Kraft zwischen zwei beliebigen Elektronen-Magneten in benachbarten Atomen.
Maurice Cotterell gibt eine erweiterte und vertiefte Erläuterung dieses Prozesses in seinem neuesten Buch "FutureScience", in dem die Einführung, sagt:
Die 12 großen Geheimnisse der Physik
Sie können glauben, dass Isaac Newton die Kraft, die Äpfel zu Boden fallen lässt entdeckten vergeben werden, aber er tat es nicht. Er gab einfach die Kraft (F) einen Namen ("Gravity") und stellte fest, dass die Stärke der Kraft, was immer es auch sein mag, von der Größe der Erde (Masse M2) abhängt. Er hat auch herausgefunden, dass die Stärke der Kraft auf den Apfel auf, wie weit der Apfel ist von der Erde aus zu beginnen und er bemerkte, wie Galileo vor ihm, dass ein Apfel fällt es beschleunigt und bewegt sich schneller und schneller, bis es hängt den Boden berührt.
Zuerst stellen Newton auf der Beziehung zwischen der Kraft und der Masse in Kurzform (a Formel) selbst, dass F (die Stärke der Kraft) durch Multiplizieren m1 durch M2 und dann durch Dividieren des Ergebnisses durch das Quadrat gefunden werden konnte der Abstand zwischen ihnen (d2). Es gab nur ein Problem: jedes Mal, wenn er die Berechnung beendete er mit der falschen Antwort. Er entdeckte schließlich, dass der einzige Weg, um die richtige Antwort zu bekommen, die falsche Antwort '667 milliardstel 'multiplizieren war. Er wusste nicht, wo diese winzige Menge an Kraft kam, aber wie er mit Gravity getan, gab er dem geheimnisvollen Zahl einen Namen - "Die Gravitationskonstante" G. Dies machte seine Formel F = G x m1 x M2 / d2. Es ist schwer zu glauben, dass seit damals, also seit mehr als 350 Jahren noch niemand versteht, was die Schwerkraft ist oder was es bewirkt oder warum müssen wir die falsche Antwort von G zu multiplizieren, um den richtigen zu erwischen. Bis zum heutigen Tag, versteht niemand, was G ist oder sogar, wo es herkommt. Das ist, wie hoch wir sind. Niemand versteht, warum Gegenstände auf den Boden fallen.
Der zweitwichtigste peinliches Problem für die moderne Wissenschaft ist, dass niemand, warum positiven Ladungen in der Mitte der Atome einfach nicht nur auseinander springt das ist, was man erwarten würde, da positive abstößt positive versteht. Um den Widerspruch zu überwinden, beschloss man, dass die positiven Ladungen müssen zusammengeklebten werden in irgendeiner Weise und so, für die vergangenen 75 Jahre haben sie für den "Leim" oder genauer gesucht, mehr als 300 Arten von Leim - aber noch haben keine gefunden.
Auch niemand versteht (da positiv negativ anzieht), warum die umlaufenden negativen Elektronen der Atome nicht einfach in die positiven Bits in der Mitte des Atoms gesaugt. Sie einfach "kann es nicht verstehen."
Wenn Sie einen Magneten auf der Tür eines Kühlschranks, werden Sie wahrscheinlich denken, dass die Wissenschaftler zu verstehen, wie ein Magnet funktioniert tatsächlich, aber sie tun es nicht. Soweit sie betroffen sind, scheint es durch Magie arbeiten, damit sie ihm den Namen Magnet.
Schalten Sie das Licht an und Sie ohne Zweifel halten es für selbstverständlich, dass die Leute, die Strom versorgen zu verstehen, wie es funktioniert, aber sie tun es nicht. Physiker sind ziemlich sicher, dass ein elektrischer Strom ist einfach die Bewegung der atomaren negativen Ladungen entlang eines Drahtes. Das Problem ist, dass niemand versteht, warum, wenn ein Strom fließt, ein Magnetfeld um den Draht herum erscheint.
Als sie zum Himmel schauen nachts, kann Astrophysiker nicht verstehen, was die Sterne Cluster zusammen zu Galaxien, weil ihre Berechnungen widersprechen, was ihre Augen sehen kann. Um dies zu überwinden, sagen sie, dass es andere Quellen der Schwerkraft gibt, wie Planeten und Staub, die nicht gesehen werden kann, weil es dunkel ist. So nannten sie ihre Fantasie Planeten "dunkle Materie", zumindest für den Augenblick, bis sie herausfinden können, warum ihre Berechnungen nicht sinnvoll. Weder kann sie verstehen, warum Sterne Spirale in Galaxien, aber sie klammern sich an die Hoffnung, dass, wenn (oder ob) sie verstehen, wie die Schwerkraft tatsächlich funktioniert, dass der Grund für den doppelten Spirale der Galaxienentstehung klar werden.
"FutureScience", erklärt auf einfache Weise, wie Elektrizität und Magnetismus Arbeit auf atomarer Ebene, und wie sie zusammen arbeiten, um die Schwerkraft zu erzeugen und damit offenbaren die zugrunde liegende Wissenschaft hinter Newtonsche - die zugrunde liegende Wissenschaft, die er vergeblich versucht zu entdecken - der Grund, warum Gravity ist proportional zu den Massen der beiden zieht Objekten, warum es immer schwächer im Verhältnis zum Quadrat der Entfernung zwischen ihnen, und die Natur der mysteriösen "Gravitationskonstante", die zu verwirren Forscher das so weitergeht Tag. Es erklärt, warum alle Objekte auf der Erde beschleunigen auf 32 Meter pro Sekunde pro Sekunde. Dies erklärt, warum das Atom von 8 Orbital Schalen und warum die Schalen füllen mit Elektronen die Weise, dass sie zusammengesetzt ist. Sie die Natur der sogenannten "dunklen Materie", erklärt der Grund, warum Spiralgalaxien sind spiralförmig, warum das Zentrum der Erde ist kochend heiß, wie die Erde das Magnetfeld erzeugt wird, wie man Gravitationswellen erzeugen, wie die Schwerkraft Wellen können verwendet werden, um unbegrenzte Mengen von freier Energie produzieren, wie antigravity Wellen erzeugen, wie antigravity Wellen zu entkoppeln Wasserstoffbrücken in Wasser verwendet werden, Abtrennung von Wasserstoff aus Sauerstoff und bietet unbegrenzten Nachschub an freien Wasserstoff zu Wasserstoff betriebene Autos zu betanken, und wie antigravity Strahlung kann verwendet werden, um den Zerfall der Materie im Wasser und lebenden Gewebe (Phasor Waffentechnologie) verursachen.
Das Buch geht auf die Ursache der Sonnenflecken-Zyklus zu erklären und wie die Sonne beeinflusst das Leben auf der Erde: die Ursache der globalen Erwärmung und der globalen Abkühlung, wie die 289-Tage Spinnen so die Fruchtbarkeit reguliert bei Frauen, wie die Strahlung der Sonne 12 Arten von Ursachen genetische Mutationen, die in 12 Typen der Persönlichkeit (Sonne-Astrologie) führen, wie Sonnenflecken verursachen Schizophrenie, wie die Sonne Bio-Rhythmen und unseren Tag-zu-Tag Verhalten steuert, wie die Sonne Katastrophe Zyklen verursacht und den Aufstieg und Fall der Zivilisationen und wie Mobiltelefone und Stromleitungen Krebs verursachen.
Wie die Entdeckungen Gemacht Wurden
Im Jahr 1935, in einem Versuch, warum Protonen im Zentrum der Atome zu erklären nicht einfach Frühjahr auseinander, schlug ein Forscher namens Yukawa, dass eine andere Substanz oder Partikel müssen "Leim" existieren die Protonen im Kern zusammen - eine Art von atomaren "Klettverschluss '. Aber ein Kriegsdienstverweigerer zum Yukawa wies darauf hin, dass, wenn in der Tat das der Fall wäre, dann müsste es zwei Arten von Klett sein - ein Samt Seite und eine Hakenseite (sozusagen). Aber ein anderer Forscher darauf hingewiesen, dass Protonen in der Samt-Seite abgedeckt würde nicht zu anderen Protonen in der Samt-Seite abgedeckt bleiben, und dass die Protonen in der Hook-Seite abgedeckt würde nicht zu anderen Protonen mit dem Haken-Seite abgedeckt bleiben. So wies ein anderer Forscher heraus, dass für ein solches System zu arbeiten, müsste es drei Arten von jedem der drei Typen sein. So wurde die verrückte Gebiet der Teilchenphysik geboren. In den folgenden Jahrzehnten wurden Teilchenphysiker Milliarden Dollar, um herauszufinden, was das Atom stabil gewährt. Seitdem haben sie mehr als 300 imaginären sub-atomaren Teilchen gesucht. Die Concise (Oxford) Science Dictionary Kommentare:
“…das ganze aufwendige Theorie ist umständlich ... keiner der kleineren Teilchen je in Experimenten identifiziert worden ... die Theorie erhebt keinen Anspruch auf überprüft worden”.
FutureScience zeigt, dass keines der Teilchen tatsächlich existieren und, noch wichtiger, dass keiner notwendig sind. Um zu erklären, warum das Atom federt nicht auseinander, gibt der Autor auf festen Boden und in den 1930er Jahren Pionierarbeit von Ernest Rutherford und James Chadwick und zeigt, dass durch einfache Änderung der wahrgenommenen Form des Elektrons und des Neutrons, die Schwerkraft Mechanismus ausgesetzt ist, Wegerklären die Geheimnisse des Atoms und viele der Geheimnisse des Kosmos. Das Buch richtet sich an den allgemeinen Leser ohne Vorkenntnisse of Science richtet und verwendet viele Illustrationen, die Konzepte einfach und prägnant zu vermitteln.
Maurice Cotterell Webseite ist http://www.mauricecotterell.com/
Maurice kommentiert auch die jüngste kaltes Schmelzverfahren Generator Entwicklung von Rossi wie folgt:
Die E-Cat Generator produziert nicht ‘Kalte Fusion’
Die Energie erzeugt (auch genannt E-Cat) soll eine kalte Fusion
oder Wärmequelle, Low Energy Nuclear Reaction (LENR), Erfinder Andrea Rossi mit
Unterstützung von Physiker Sergio Focardi baute sein. Ein italienischer Patent
die eine Formal aber keine technische Prüfung erhalten beschreibt das Gerät als
einen Prozess und Ausrüstung um exotherme Reaktionen, insbesondere von Nickel
und Wasserstoff zu erhalten. Rossi und Forcardi sagen, dass das Gerät funktioniert
mit dem beheizten Wasserstoff in Nickel, Transmutation es in Kupfer und
produzieren Wärme. Eine internationale Patentanmeldung hat einen ungünstigen
internationalen vorläufigen Bericht über Patentierbarkeit erhalten, weil es
schien ' verstoßen Sie gegen die allgemein anerkannten
Gesetze der Physik und etablierten Theorien ' und um dieses
Problem zu umgehen, sollte die Anwendung enthalten haben, experimentelle
Beweise oder eine solide theoretische Grundlage in der aktuellen
wissenschaftlichen Theorie. (http://www.peswiki.com)

Wie sie denken, dass es funktioniert: Sie denken, dass die Energie erzeugt durch Platzierung Nano-Größe oder -Mikro-kleine Teilchen von Nickel in einem Reaktor zusammen mit Druckkabine Wasserstoffgas und spezielle Katalysatoren (unbekannte aus Propriatory Gründen) funktioniert. Wenn Sie den Inhalt des Reaktors ist (durch eine Reihe von Widerständen im Reaktor), auf 400 oder 500 Grad Celsius erhitzt, beginnen Kernreaktionen statt. Die Stärke der Reaktion kann geändert werden, indem man den Druck des Wasserstoffs im Reaktor. Die Energie-Output kann bis zu 400 mal größer als der Eingang Energie sein. Im Reaktor befinden sich keine Edelmetalle oder radioaktiven Stoffen. Wenn nicht in Gebrauch, der Reaktor geöffnet werden kann und keine Strahlung entdeckt werden kann. Der Prozess scheint Nickel in Kupfer und Spur Mengen anderer Elemente wie Zink zu verwandeln. Es wird nicht funktionieren, Wth Deuterium (schwerem Wasserstoff), aber sie weiß nicht warum.
Es ist nicht 'Kalte Fusion' - und
wie es funktioniert? Es funktioniert durch "Regelmäßige Skalierung":

Der E-Cat-Generator verwendet periodische Skalierung, um Wärme zu erzeugen. Der Wasserstoff als Kraftstoff im Prozeß benutzt, saugt in Umgebungswärme und konvertiert, die Wärme in Schwerkraft Wellen - weshalb Flüssigwasserstoff das effektivste super Kühlmittel ist. Der Korkenzieher Stil elektromagnetische schwere-von den Wasserstoffatomen begeistern dann die Nickel-Atome verursacht Nickel, heißer erhalten. Der Wasserstoff dann saugt mehr Wärme aus Nickel und strahlt mehr Schwerkraft-Wellen, die weiter zu, das Nickel bombardieren. Einige der Kraftstoff wird dabei verbraucht. Dieser kumulative Erregung wird fortgesetzt, bis die Verfügbarkeit von Wärme in der Luft und das Nickel durch Energie Übertragung Erwägungen eingeschränkt ist.

Abbildung 7 in "Wie Schwerkraft Werke" zeigt, wie die ersten beiden atomaren orbitalen Schalen um 90 Grad versetzt sind. In diesem Fall nimmt die Neutron-negativen den ersten virtuellen orbitalen "Radius". Die Elektromagnet-Umlaufbahn muss daher durch 90 Grad ausgeglichen werden, wie gezeigt. Aus diesem Grund die elektrische Welle von den Neutron positive Auseinandersetzungen mit der magnetischen Welle aus der Umlaufbahn Elektromagnet, und umgekehrt, und die zwei elektromagnetischen Wellen gegenseitig aufheben. Daher kann nicht Deuterium Schwerkraft Wellen ausstrahlen.
Der E-Cat-Generator funktioniert nicht
mit Deuterium (schwerem Wasserstoff), da Deuterium nicht Schwerkraft Wellen
ausstrahlen kann-beweisen, dass die E-Katze periodische Skalierung verwendet.
Professor John RR Searle Britanniens entwickelten ein elektrisches System zur Erzeugung von zwei Ringe von Magneten versponnen zueinander basiert. Die Magneten Orientierungen einander gegenüber, um ein magnetisches Feld zu erzeugen splatter.

Die äußeren Magneten in der Abbildung oben werden als "Rollen" bezeichnet. Wenn drei Ringe von Walzen ineinander gestellt werden, dann dreht sich der Außenring von selbst, ohne äußere Kraft aufgebracht wird. Wenn Aufnehmerspulen um die Außenseite platziert werden, dann elektrischer Strom mit einem COP von Unendlichkeit erzeugt. Das Verfahren des Aufdruckens das notwendige magnetische Muster auf den beiden Rollen und den Statoren ist ein schwieriger und teurer Prozess.
Dr. Terry Moore hat vor kurzem eine Replikation Modell dieser Searle Technologie gebaut und sein Modell Video ist verfügbar http://www.youtube.com/watch?v=bb3N1epMG7A. Die Searle Gerät zeigt auch eine Gravitations-Wirkung und John gebaut hat, was lose als "flying disc" mit dieser Technologie beschrieben werden. Wenn hohe Spannung an die Vorrichtung angelegt wird, wenn es sich dreht, dann eine umgebende Korona entwickelt und stark steigender electrogravitic Kräfte erzeugt.
Es wurde berichtet, dass Tesla eine Vorrichtung, die ihn um Töne auf große Entfernungen zu hören erlaubt hergestellt. Ich habe noch nie irgendwelche Details der Schaltung von Tesla verwendet gesehen. Allerdings hat Dave Lawton ein solches Gerät produziert, und er berichtet, dass er Gespräche statt viereinhalb Meilen entfernt von ihm zu hören. Interessanterweise wurden die Klänge aus der Ferne auch Reisen durch eine solide Steinmauer rund drei Meter dick. Die Schaltung für dieses Gerät ist in diesem Dokument beschrieben.
Meiner Meinung ist die Vorrichtung nicht Abholung Audiosignale in der Art eines herkömmlichen Mikrophon wo Luft Druckwellen vibrieren eines Wandlers, Erzeugen eines elektrischen Signals, das dann verstärkt wird. Das interessante daran ist, dass es deutlich möglich ist, dass ein anderer Mechanismus ins Spiel hierher zu kommen. Diese Meinung wird von der Tatsache, dass Dave die Schaltung eine aktualisierte Version eines Monopols Schwerkraft-Wellen-Detektor unterstützt. Dave verwendet das Gerät den "Sound" des Shumaker-Levy Kometen Kollision mit Jupiter aufnehmen.
Die hier gezeigte Schaltung ist durchaus konventionellen elektronisch genommen umfassend zwei Operationsverstärker 741 als zweistufiger Verstärker geschaltet. Die Besonderheit ist, wo eine kleine Menge von weißem Rauschen wird in das Mikrofon Eingang rückgekoppelt:

Das weiße Rauschen wird durch den 5-Volt-Zenerdiode erzeugt. Die Höhe dieses weiße Rauschen Komponente wird durch den 1,5 MOhm variablen Widerstand plus die 10K festen Vorwiderstand gesteuert. Während das Spektrum dieser beiden Komponenten ist 10K bis 1,501 Meg. die Arbeitsstellung ist normalerweise sehr hoch, so dass nur eine sehr kleine Menge von weißem Rauschen in den Eingang des ersten op 741 zugeführt. amp. die Mikrofon-Eingang ändern.
Die Einstellung dieser Injektion von weißem Rauschen ist die wichtigste Kontrolle über diese höchst ungewöhnliche Schaltung, und es wurde festgestellt, dass, wenn die Einstellung genau richtig ist, die Schaltung das Gefühl einer Beschallungsanlage hat gerade im Begriff zu gehen instabile vom positiven Feedback. Das Gerät aufbauen sieht wie folgt aus:

Die Theorie der Operation wurde uns von Gregory Hodowanec im April 1986 Ausgabe des Radio-Electronics Magazine, wo er vorbringt die Theorie, dass die Quelle der Geräusche in elektronischen Geräten durch Gravitationswellen verursacht wird und er schlägt vor, dass es Monopol Gravitationswellen gestellt . Dies gilt nicht gegen die Gravitationswellen von Einstein vorhergesagt. Gregory sieht diese Monopolantenne Schwerewellen als viel stärker als jene von Einstein vorgeschlagen, und somit viel einfacher zu detektieren.
Er schlägt auch vor, dass Monopol Gravitationswellen sind seit vielen Jahren nicht mehr gesehen und wurden als "Niederfrequenz Lärm" Signale oder "Flimmern" beschrieben worden. Diese Signale wurden ebenfalls genannt Microwave Background Radiation, angeblich von der "Big-Bang" verursacht, obwohl diese Ursache von einigen bestritten wird.
Gregory sieht unser Universum als eine endliche, sphärische, geschlossenes System, dh einen schwarzen Körper. Monopole Gravitationswellen in Planck-Zeit verbreiten so ihre Auswirkungen überall erscheinen fast gleichzeitig. Gravity Wellenenergie können gewöhnliche Gegenstände vermittelt werden. So wird vorgeschlagen, daß die Tatsache, daß eine vollständig entladene Elektrolytkondensator kann eine Ladung entwickeln, wenn aus allen getrennt Schaltung ist auf die Wechselwirkung des Kondensators mit Monopolantenne Schwerewellen.
Gregory schlägt die folgende Schaltung für die Prüfung Monopol Gravitationswellen:

Details hierzu und die Theorie finden Sie unter www.rexresearch.com/hodorhys/remag86/remag86.htm Dave daß Kreislauf entnommen und erweitert sie im wesentlichen hinzugefügt Verstärkung plus einer kontrollierten Zufuhr von weißem Rauschen, ohne sich auf die Merkmale eines Kondensators, Kondensatoren notorisch Variable in genauen Eigenschaften zu geben.
Das Gerät wird durch Drehen des Gain bis die Schaltung gerade erreicht Eigenschwingung und dann die Sicherung der Verstärkung off geringfügig betrieben. Das weiße Rauschen Quelle wird dann eingestellt, bis das Gerät produziert einen etwas Echo Qualität des Klangs. Das Ergebnis ist eine Vorrichtung, die ungewöhnlichen Eigenschaften aufweist. Die Schaltung ist so einfach und billig, dass man leicht ausprobieren für sich selbst.
Butch hat eine faszinierende Motor / Generator-System auf dem Ausgleich der magnetischen und elektrischen Kräften beruht konzipiert. Dieser kluge Entwurf arbeitet nach den folgenden Aussagen von Butch gemacht:
1. Wenn ein Magnet entfernt von einem Eisenkerndrossel Spule bewegt, erzeugt er eine Spannung:

Die Spannung für jede gegebene Magnet und Geschwindigkeit der Bewegung erzeugt wird, ist direkt proportional zu der Anzahl der Windungen des Drahtes, aus denen sich die Spule.
2. Wenn ein Magnet weg von einer Luftspule bewegt wird, sondern auch eine Spannung erzeugt. Jedoch ist der große Unterschied, dass die Spannung der entgegengesetzten Polarität ist. Mit anderen Worten werden die Plus-und Minus-Anschlüsse vertauscht:

Wiederum ist die Spannung für jede gegebene Magnet und Geschwindigkeit der Bewegung erzeugt wird, direkt proportional zu der Anzahl von Windungen von Draht aus denen sich die Spule.
Wenn also diese beiden Anordnungen miteinander verbunden sind, erzeugen sie ein System, wo die Spannungen gegenseitig aufheben genau, vorausgesetzt, dass die Anzahl der Windungen in jeder Spule eingestellt werden, um genau die gleichen Spannungen zu erzeugen. Die mechanische Anziehungs-und Abstoßungskräfte auch Gleichgewicht, so dass die Schaltung angeordnet ist, um keinen Netto Wirkung haben werden, wenn der Rotor gedreht wird,:

Daraus folgt dann, dass dieser Motor in einen bestehenden Anordnung Schaltung könnte, ohne den Betrieb dieser Schaltung eingeführt werden. Die Anordnung würde wie folgt aussehen:

Hier gibt es keine Netto elektrischen oder magnetischen Widerstand auf dem Rotor als die Magneten weg von den Spulen. Die Batterie liefert Strom an die Last in der üblichen Weise und Rotoranordnung hat keinen Einfluss auf den Betrieb der Schaltung.
Wenn jedoch der Rotor 100O oder so erreicht, vorbei an den Spulen kann die Schalter geöffnet werden. Dies lässt den Rotor in einem unausgeglichenen Zustand mit wobei eine Anziehung zwischen einem Magneten und dem Eisenkern der einen Spule. Es gibt keine passende Abstoßung zwischen dem anderen Magneten und dem Luftkern der anderen Spule. Dies erzeugt eine Drehkraft auf der Rotorwelle, indem sie es Spinnen und nützliche mechanische Kraft, die verwendet werden, um zusätzliche Leistung zu erzeugen können. Diese zusätzliche mechanische Leistung effektiv frei, als der ursprüngliche Schaltung nicht durch den Einschluß des Rotorsystems betroffen.
Aus praktischer Sicht zu hohen Drehzahl und lange Lebensdauer, die Schalter geben, müsste ein FET-Transistor sein mit elektronischer Zeitmessung im Zusammenhang mit der Position des Rotors.
Es besteht keine Notwendigkeit für den Rotor um nur zwei Magnete haben. Es wäre effizienter, wenn sie vier hatten:

Oder besser noch, acht:

Und wenn du gehst zu acht haben, gibt es keine Notwendigkeit, die v-förmigen Ausschnitten die Turbulenzen nur erstellen, wenn die Spinnerei, so stellen den Rotor kreisförmige haben:

Und der Stator die Spulen tragenden übereinstimmt den Rotor:

Ferrit ist ein besseres Material für die Kerne der Spulen. Die Statoren gehen beide Seiten der Rotoren und das Loch in der Mitte der Statoren ist, um einen Freiraum für die Welle, auf der die Rotoren montiert sind, geben:

Ein System dieser Art muß genaues Timing, die ausschließlich zu der Rate der Drehung in Beziehung steht. Dies wird am besten durch die Verwendung eines bistabilen Multivibrators wie in der Elektronik Tutorial von Kapitel 12 beschrieben angeordnet. Sie werden bemerken, die beiden Timing-Spulen auf der rechten Seite des Diagramms oben dargestellt. Diese werden verwendet, um die bistabile Ein und Aus umzuschalten, und sie sind in der Position einstellbar, so dass sowohl die On und Off sehr genau eingestellt werden kann. Der Ausgang des bistabilen eingestellt ist, ein FET-Transistor ein-und auszuschalten, um Leitungsvermittlung, die weder durch die Schaltrate oder der Zahl von Malen der Schalter betätigt ist betroffen zu ergeben.
Der Rotor / Stator-Kombination kann verdrahtet entweder als treibende Motor oder einem elektrischen Generator handeln. Der Unterschied besteht in der Addition von einer Diode:

Mit dieser Anordnung für jeden Rotor alle vier Paare Fülldrähte Spulen sind über einander parallel verdrahtet, und alle vier Luft-entkernt Spulen sind über einander parallel verdrahtet. Um die Übersichtlichkeit zu verbessern, die obige Abbildung zeigt nur eine der vier Paare, aber in Wirklichkeit gibt es vier Drähte kommen in der linken Seite der einzelnen die Schraubklemmen.

Im Fall des Generators Anordnung besteht die Möglichkeit, zu jedem der vier Paare parallel zu schalten, wie in der Motoranordnung oder um sie in Reihe zu verbinden. Parallel geschaltet sind, können die Spulen aufrechtzuerhalten einen größeren Stromverbrauchsfensters, während, wenn in Reihe geschaltet sind, sie eine höhere Spannung bereitzustellen. Die Spannung könnte durch Erhöhen der Anzahl von Windungen auf jeder Spule erhöht werden.
Joseph Newman ist ein Mann, der mich beeindruckt. Er führt Experimente, berichtet über die Ergebnisse und dann stützt theoretische Rückschlüsse auf die Ergebnisse seiner eigenen Experimente. Dies ist die wahre wissenschaftliche Methode.

Joseph wurde ein Patent erteilt und er hat ein Buch geschrieben. Ich würde empfehlen, dass Sie eine Kopie seines Buches kaufen und unterstützen seine Arbeit durch das tun, aber leider, wie ich es verstehe, die Druckplatten für das Buch wurden bei einem Brand zerstört und gedruckte Exemplare seines Buches sind effektiv unerreichbar. Sie können eine. Pdf-Version aus dem Internet herunterladen
www.free-energy-info.tuks.nl Website, aber bitte beachten Sie, dass die gesamte Dateigröße 100 Mb ist und so wird der Download einige Zeit dauern. Das Herunterladen im Hintergrund kann aus hatte werden http://www.mediafire.com/view/?oe5obw6offoqfs3 oder die alternative
http://www.filefactory.com/file/b4g6b3d/Newman.pdf Link, während der Link zum eigenen Web-Joseph-Standort ist http://www.josephnewman.com/.
In sehr kurzer Abriss hat Joseph einen Motor, der freien Energie zugreifen kann gebaut. Er hat eine Theorie darüber, wo die überschüssige Energie herkommt und wie es durch seine Entwürfe erworben. Er hat auch eine große stationäre Motor gebaut, um seine Theorie zu demonstrieren, und er hat einen Motor in ein Auto gebaut. Das Auto Motor läuft auf sehr geringe Akkuleistung. Joseph Patent ist im Anhang enthalten.
Mit freundlicher Genehmigung des Joseph Newman Organisation, werde ich versuchen, Sie zu den wichtigsten wissenschaftlichen Schlussfolgerungen von Joseph und dem Energy Machine, die er entwickelt und die auf dieser Grundlage der Schlussfolgerungen erreicht einzuführen. Joseph hat einen scharfen forschenden Geist und denkt die Dinge durch sich selbst, anstatt blind zu akzeptieren, was er erzählt. Diese Beschreibung enthält Abbildungen und Formulierung von Teilen Joseph Buch im Jahr 1984 veröffentlicht wurde, und ich möchte meinen Dank für die Erlaubnis gegeben, dieses Material zu verwenden, zum Ausdruck bringen.
Joseph Newmans Motoren alle bestehen aus einem sehr starken Permanentmagneten, der sich dreht oder oszilliert, in oder um eine Spule mit einer sehr großen Anzahl von Windungen der Kupferdraht. Die Spule wird durch einen Batteriesatz erregt wird, und das Magnetfeld von der Spule erzeugte liefert die erforderliche Kraft, um den Permanentmagneten zu bewegen. Eine mechanische Schaltvorrichtung oder "Kommutator" kehrt die Richtung des Stromflusses durch die Spule jedes Halbzyklus und in manchen Modellen auch schneidet den Stromeingang zwischen den Stromumkehrungen.
Der Hauptunterschied zwischen Joseph Entwürfe und früheren Motoren ist eine Skala wie Joseph verwendet sehr große Spulen und sehr große Keramik-Magnete mit einem Gewicht von bis zu 700 Pfund. Seine kleineren Motoren mit leistungsfähigen Seltenerd-Magneten und die Spulen sind mit 100.000 Umdrehungen aus Kupferdraht gewickelt. Dies schafft eine sehr hohe Spulenwiderstand und der Akku Spannungen sind entsprechend hoch, da in den hunderten bis tausenden von Volt-Bereich.
Das Drehmoment oder Drehen zugeführten Leistung des Magneten in dieser Motoren proportional der Magnetstärke, die Anzahl der Windungen in der Spule und dem Strom in der Spule. In Joseph Motoren können sehr große Drehmomente bei sehr kleinen Strömen entwickelt werden. In einer Demonstration, weist ein Motor, der auf 3.000 Volt bei 0,8 Milliampere solcher Kraft, daß es nicht möglich, den Motor durch Halten der Zwei-Zoll (50 mm) Durchmesser Welle zu stoppen, wenn der Strom durch versuchen, ihn zu stoppen angehoben werden kann, bis 3 Milliampere oder neun Watt Leistung.
Joseph Motoren sind unterschiedlich in anderer Hinsicht. Wenn Leuchtstoffröhren über der Motorwicklung verbunden sind, leuchtet sie aufgrund der Spule Kollabieren Magnetfeldes jedes Mal die Stromrichtung umgeschaltet wird. Diese Leuchtstoffröhren verwendet werden, um den mechanischen Schalter durch Lichtbogenbildung Beschädigung zu schützen. Die zusätzliche Leistung in diesen Rohren hergestellt ist bei einer sehr hohen Frequenz von 10 bis 20 MHz. Diese Hochfrequenz-Strom wurde genau gemessen und übertrifft das Batterie-Einlass-/Auslassende aktuellen um einen Faktor von fünf-bis zehnmal in den unterschiedlichen Motoren. Der gemessene Strom und die Spannung in der Phase waren, was auf eine reale Leistung.
Um das Denken hinter dieser Motoren zu verstehen, müssen wir Joseph Experimente und die Abzüge, die er aus diesen experimentellen Ergebnissen aus folgen. Joseph betrachtet, und dachte sorgfältig über Aussagen der beiden wissenschaftlichen Riesen James Clerk Maxwell und Michael Faraday machte, und dies führte ihn zu wertvollen Einsichten:
Es scheint, dass Maxwell und Faraday die einzigen Menschen, die "Linien" der magnetischen Kraft tatsächlichen physikalischen Einheiten sind berücksichtigt und nicht nur ein Mittel zur Darstellung von fiktiven Kräfte und jene "Kraftlinien" waren tatsächlich Ströme von Materie in Bewegung.
Maxwell sagt,: “Im Gespräch der Energie des Feldes, möchte ich jedoch wörtlich zu verstehen. Alle Energie ist die gleiche wie mechanischer Energie, sei es in Form der Bewegung oder in die der Elastizität, oder in einer anderen Form existiert. Die Energie der elektromagnetischen Phänomene ist mechanische Energie”.
Joseph dann als Michael Faraday Electrical Generator und die Auswirkungen der Art und Weise, in der sie betrieben:

Hier wird eine Drahtschlinge nach unten bewegt wird ab Stufe "A" bis "B". Diese Bewegung bewirkt, dass ein elektrischer Strom nach links entlang des Drahts fließen, wie durch die roten Pfeile dargestellt. Joseph Frage war "warum es in diese Richtung gehen jedes Mal der Draht in dieser Weise bewegt wird?"

Wenn der Draht nach oben durch das gleiche Magnetfeld bewegt, dann wird der Strom, der in dem Draht bewegt sich in die entgegengesetzte Richtung. Warum? Wie sieht die aktuelle "wissen", welchen Weg zu gehen?

Wenn man das Magnetfeld umzudrehen durch Umkehren der Position der Magnetfelder und verschieben die Drahtschlinge in der gleichen Weise wie zuvor, fließt der Strom in die entgegengesetzte Richtung. Wie sieht die aktuelle "wissen", welche Richtung zu fließen, oder die Art und Weise rund um die Magnete eingeschaltet werden, da sie nicht anfassen?

Der nächste Interessant ist, dass, wenn die Drahtschleife oben und unten bewegt zwischen den Magneten, sondern sich als parallel zu dem Fluß fließt zwischen den Polen, dann fließt kein Strom in dem Draht, egal, wie schnell der Draht bewegt wird, und nach unten.

Ein weiterer Punkt ist, dass, wenn die Drahtschlinge bewegt wird langsam oben durch den magnetischen Fluss, der elektrische Strom, der als Ergebnis dieser langsamen Bewegung fließt, bewegt sich mit Lichtgeschwindigkeit, fließt von “A” nach “B”.

Nun, wenn die Drahtschleife getrennt wird und umgedreht, der Teil, der am war "A" Jetzt "B" bewegt, und die gleiche Bewegung des Drahtes durchgeführt - der Stromfluss in genau der gleichen Richtung entlang obwohl ihre der Draht umgekehrt (da der Draht wurde umgekehrt). Dies zeigt, dass die Richtung des Stromflusses nicht durch den Draht selbst betroffen.
Gemäß konventionellen Lehren war diese elektrischen Stromflusses nicht ein Ergebnis des Magnetfeldes die magnetischen Kraftlinien sein sollten imaginären, bestehend aus Potenzielle Energie und keine kinetische Energie. Es wurde klar, Joseph, dass diese konventionellen Unterricht falsch war. Stattdessen schien es klar, dass das Magnetfeld der Teilchen, welche mechanische Eigenschaften aufweisen besteht, und diese Teilchen müssen in der Lichtgeschwindigkeit werden, die innerhalb des Magnetfeldes.
Eine zentrale Frage zu sein schien: "Wie funktioniert die aktuelle" wissen ", welche Richtung zu fließen?", Wie die Richtung war immer konsistent. Nach reiflicher Überlegung, kam es zu Joseph, dass die Antwort durch die Handlungen eines Kreisels vorgesehen war:

Hier, wenn die Achse des sich drehenden Schwungrad oder Gyroskop, nach unten gedrückt wird, bewegt sich in Richtung von den roten Pfeile dargestellt. Wenn jedoch die Achse nach oben gedrückt:

dann sind die Achse bewegt sich in die entgegengesetzte Richtung wie die roten Pfeile dargestellt. Dieser Effekt wird natürlich umgekehrt werden, wenn die Drehrichtung des Kreisels umgekehrt (wie sie sein werden, wenn von der anderen Seite her gesehen, in der gleichen Weise wie der Strom-Flußrichtung im Draht dann aufgehoben, wenn die Magnetpole vertauscht over).
Nun, wenn das Gyroskop Achse oben und unten bewegt auf beiden Seiten gleichmäßig, es gibt keine resultierende Kraft seitwärts:

Die Aktion des Kreisels abgestimmte Achse des Stromflusses im Draht in jeder Hinsicht, so dass es klar geworden, dass die Partikel Joseph fließt zwischen den Polen des Magneten wurden Verspinnen ebenso wie sich mit der Geschwindigkeit des Lichts. Diese gyroskopischen mechanischen Bewegung der Teilchen entfallen alle Merkmale des Stromflusses in einer Leitung, die sie durch ein Magnetfeld bewegt wird. Dies ist ein wichtiger Einblick in die Teil des Joseph.
Kann ich bemerken, daß diese Partikel nicht aus dem Magnet selbst, sind jedoch in fließenden von der Null-Punkt-Energiefeld, dass der Fluss durch die gebrochenen Symmetrie des Nullpunktsenergie Feld durch den Dipol Wirkung der Pole erzeugt wird, verursacht der Magnet. Deshalb ist Energie (erscheint) können von Magneten über Jahre hinweg gezogen werden.
Joseph ging dann auf die physischen Aspekte des Permanentmagneten zu betrachten. Es waren zwei sehr wichtige Tatsachen, die in Betracht gezogen werden musste. Der erste von diesen ist, dass unterschiedliche Materialien deutlich unterschiedliche magnetische Eigenschaften aufweisen:

Eine Leiste aus Weicheisen geworden ist ein Permanentmagnet, wenn kurz mit einem starken Magnetfeld gepulst, aber wenn genau die gleichen Niveau von magnetischen Pulsen mit einer ähnlichen Stange aus einer Legierung aus Eisen, Nickel und Kobalt aufgebracht wird ein Permanentmagnet produzierte , sondern das Magnetfeld der Legierung ist sehr viel stärker ist als die des Weicheisen bar. Dies zeigt, dass die molekulare Struktur des Stabes einen großen Effekt auf die resultierende Magnet hat.
Nebenbei, bitte beachten Sie, dass die stärkeren Magnete erhältlich sind heute so stark, dass sie sich leicht verletzen. Wenn Sie den Hörer eines Magneten und versehentlich in der Nähe zu einem zweiten zu bekommen, wird die lose Magneten springen einige Zoll und versuchen, auf die ein in der Hand zu verbinden, Zerkleinern Sie Ihre Finger in den Prozess und beweisen, sehr hart zu verschieben, um zu tun mit der Verletzung. Ich habe auch gesehen, wie er behauptet, dass die US-"AlNiCo" (Aluminium / Nickel / Kobalt-Legierung) Magneten gezielt mit K40-Isotop, das sie unbrauchbar macht ziemlich schnell dotiert. Die Quelle dieser Informationen ist höchst zweifelhaft, aber die zusätzlichen Umsätze Vorteile der Magnet Hersteller würden erheblich sein. Außerdem würden die Vorteile für die Menschen wollen, die Schaffung von Freie-Energie-Magnet-Motoren unterdrücken Dur als viele talentierte US Erfinder wahrscheinlich denken, dass ihre erfolgreiche Magnet-Motoren Misserfolge waren, weil die Magnete erschien "der Macht abgelassen" werden, indem sie verwendet in ihrem Design, wenn in der Tat, das Design vollkommen gut ist. Also werde ich überlasse es Ihnen, sich Ihre eigene Meinung über die Angelegenheit und bemerken, dass Bill Muller fand, dass seine mächtige chinesische hergestellten Magnete in einwandfreiem Zustand waren nach elf Jahren des Gebrauchs.
Ein weiterer Punkt, Joseph als die Tatsache, dass, wenn aufeinanderfolgende magnetische Impulse zu einem ferromagnetischen Metall bar angewendet werden, die resultierende magnetische Feldstärke einen bestimmten Maximalwert erreicht, und weitere pulsierende hat keinen weiteren positiven Effekt:

Dies wird als die magnetische Impuls Ausrichten Atomen im Metall sein. Schließlich werden alle Atome ausgerichtet und so nicht weitere Wirkung hergestellt werden durch weitere Taktung. Diese Ausrichtung kann zerstört werden, wenn die Metallstange auf eine ausreichend hohe Temperatur erhitzt wird, zwingt die Atome in einem solchen energetischen Zustand, dass die Ausrichtung verloren geht.
Es sollte vielleicht hier betont werden, dass der Magnet selbst hat keine Macht, trotz der scheinbaren zu haben. Tom Bearden erklärt dies deutlich mit dem Hinweis, dass das, was passiert ist, dass die entgegengesetzten Pole des Magneten eine "Dipol", die die random 'quantum Schaum' Natur der lokalen Umgebung (der Nullpunkt-Energie-Feld) Ungleichgewicht geschaffen und das bewirkt eine kontinuierliche Energie fließt aus der Umwelt. Der "Magnet" Macht aus der Umgebung und nicht aus der Magnet selbst kommen.
Wenn Sie dies schwer zu glauben und denken, dass Sie gerade wieder die elektromagnetische Energie, die Sie in das Metall gepumpt beim Erstellen des Magneten in den ersten Platz zu finden, dann gelten einfache Arithmetik. Angenommen, dass Sie wieder genau 100% der ursprünglichen Energie und berechnen, wie lang, dass Strommenge erlauben würde der Magnet unterstützt seines Eigengewichts gegen die Schwerkraft, wenn sie einer vertikalen Metallfläche angebracht ist. Dann fragen Sie sich, wie kommt der Magnet kann es für Jahre und Jahre zu tun am Ende. Punkt erwies sich schlüssig?
Joseph Schluss, dass die Anziehungskraft der "unlike" Magnetpole und der Abstoßung der "like" Pole wird durch die gyroskopischen Spin Richtung der tatsächlichen physischen Ströme der "Kraftlinien", die er hat gezeigt, dass sowohl der wissenschaftlichen Riesen, verursacht Maxwell und Faraday waren überzeugt waren tatsächlichen physikalischen Einheiten. Die intuitive Genie Nikola Tesla beschrieb den Nullpunkt Energiefeld als mit den physikalischen Eigenschaften eines Gases, in der Lage, die Bewegung, Druck auszuüben, und doch mit einer Teilchengröße so klein, dass sie durch jede physische Material fließen. Joseph kam zu dem Schluss, dass dieses Feld Strömung eine bestimmte Spin Richtung hat wie es fließt, natürlich für fließt durch den magnetischen Dipol eines Magneten verursacht. Es sei daran erinnert, dass die wissenschaftliche Lehre des heutigen Bildungseinrichtungen mindestens 50 Jahre nicht mehr aktuell ist. Wir haben die ungewöhnliche Situation, in der wissenschaftlichen Literatur von hundert Jahren ist tatsächlich eine bessere Qualität als die von heute, der nicht der wirklichen Welt überhaupt gut. Derzeit ist Irrglaube lebendig und sehr gut.
Zum Beispiel produziert Maxwell-Gleichungen beschreiben, wie die Welt funktioniert. Zugegeben, diese Gleichungen sehr schwer für die Menschen zu verstehen. HA Lorentz vereinfacht diese Gleichungen und seine Ergebnisse werden fälschlicherweise als Maxwell, die sie sicherlich nicht beschrieben. Tom Beardon zeigt es auf diese Weise, betrachten ein Segelboot entlang durch die Kraft des Windes gegen die Segel angetrieben:

Maxwell sagt, dass es eine riesige Schneise der Wind über den Ozean, antreiben kann eine lange Reihe von tausend Segelboote nebeneinander. Dies ist die tatsächliche physikalische Fall. Lorentz hat "vereinfachten" Dinge mit den Worten: "Wir werden ein Boot und nur ein Boot zu betrachten. Wie der Rest der Wind nicht berührt jeden Teil des Bootes können wir es ignorieren ". Das ist zwar für die ein Boot wahr, was naturwissenschaftlichen Unterricht jetzt sagt, ist, dass der Wind kann nur die Macht einer einzigen Boot. Dies ist nicht der eigentliche Fall, da die Umwelt Wind nicht dem Einschalten nur ein Boot begrenzt (Segelregatten würde nicht viel Spaß machen, wenn dies der Fall wäre!). Dies ist natürlich nur eine Illustration. Maxwell-Gleichungen decken Energie und Kraft für das ganze Universum, und befassen sich mit allen Fällen. Lorentz übernommen hat einen der Bedingungen durch die Maxwell-Gleichungen, nur die Gruppe, die sich "geschlossene Systeme" gelten beschriebenen Sub-Set - nur ein Boot auf dem Ozean. Die Wissenschaft hat auf diese verriegelt und nun zuversichtlich besagt, dass alles, was ist ein "geschlossenes" System, wenn in der Tat, wie der Nullpunkt Energiefeld fließt durch alles, überall zu allen Zeiten, und ist in der Lage zu liefern unbegrenzte zusätzliche Energie überall und jederzeit Zeit, es ist wahrscheinlich nicht eine einzige Instanz eines "geschlossenen" System überall im Universum.
Joseph Newman, und alle anderen schweren Erfinder haben gegen diese "klassischen" naturwissenschaftlichen Unterricht, die jetzt so verfestigt, daß es geworden das Äquivalent von religiösen Dogmen und "Wissenschaftler" zu bekämpfen sind nicht bereit, gültige Beobachtungen, die nicht in passen betrachten mit der sehr begrenzten Lorentz Konzept der Umwelt. Sie sagen: "Perpetuum mobile unmöglich ist", was bedeutet, dass Newton falsch war, wenn er, dass ein sich bewegender Körper wird zum Verschieben auf unbestimmte Zeit, wenn eine Kraft wirkt auf sie zu stoppen zu halten ist. Vermutlich, dann kann die Erde nicht auf einer Umlaufbahn um die Sonne (Gott, ich hoffe, es hört nicht auf, heute als das wäre sehr umständlich) zu halten. Komm - get real!!
Sie können dann sehen, dass, wenn Joseph Tests durchführt und dann stützt seine Schlussfolgerungen auf den Ergebnissen dieser Tests, dass er wendet die wahre wissenschaftliche Methode, und die Menschen, dass seine verifizierte Ergebnisse unmöglich sind zu sagen, weil Lorentz so sagt, sind nicht in der wissenschaftlich ehrlich. Kein ehrlicher Mensch kann ignorieren echte wissenschaftliche Beobachtungen.
Josephs Abzug dass magnetische Kraftlinien des tatsächlichen physikalischen Teilchen Spinnen in Kreiselbewegung, wenn sie entlang ihrer magnetischen Pfad an der Lichtgeschwindigkeit bewegen, gebildet war nicht etwas, was offensichtlich für Wissenschaftler war, trotz der Tatsache, dass sowohl Maxwell und Faraday hatten sowohl explizit diese Kraftlinien als "kinetische magnetische Energie" beschrieben:

Als ein Draht verläuft vor und über dem Ende eines Stabmagneten, fließt der Strom in eine Richtung, Pausen, und fließt dann in die entgegengesetzte Richtung. Dies tritt aufgrund der gyroskopischen Strömungsrichtung der Partikel. Zum Beispiel auf der einen Seite des Südens Ende des Magneten, die Kraftlinien Spin "up", während auf der anderen Seite des gleichen südlichen Ende, drehen sie "down". Ein sich drehender Kreisel wird im rechten Winkel zu der auf ihn wirkenden Kraft zu bewegen, um so die gyroskopisch Spinning Partikel die Partikel des Drahtes stoßen, bewegen sie "up" oder "down" den Draht im rechten Winkel zu der Richtung, in die sie zum ersten Mal begegnet der Draht. Bitte beachten Sie, dass es die gyroskopischen Spin Richtung der magnetischen Teilchen, die 'Anziehung "oder" Abstoßung "und nicht die Strömungsrichtung bestimmt jener Partikel entlang ihrer Kraftlinie ist:

Es sollte auch klar, dass, obwohl wir "Linien" von
Kraft um eine magnetische Vorrichtung zu ziehen, die Realität ist, dass diese
wirklich sind Schalen von Kraft und der magnetische Fluss ist wirklich wie
fließendes Wasser in einem Fluss werden. Während wir Pfeile schöpfen können, um
die Richtung und die Stärke der Ströme in einem Diagramm des Flusses zeigen,
ist die Realität, natürlich, dass es Wasser ist an allen Punkten im Fluss und
nicht nur entlang der Linien, die wir entscheiden, zu zeichnen. Das gleiche
gilt für den magnetischen Fluß um einen Magneten, existiert sie wie eine feste
Masse fließt durch und um den Magneten. Sie sehen es nicht oder fühlen, da die Partikel so klein sind.
Nun zu den Details, wie ein Gerät zu konstruieren, um die Vorteile dieser magnetischen Bewegung und Leistung mehr Strom als benötigt wird, um sie zu betreiben nehmen. Lassen Sie mich daran erinnern, wieder, dass wir sprechen hier von einem Coefficient of Performance (COP), die größer als 1 in einem System, das eine umfassende Energie-Effizienz von weniger als 100% hat, ist. Dies ist natürlich aufgrund der zusätzlichen Energie einströmende von der Null-Punkt-Energiefeld. Joseph visualisiert die scheinbare Energiegewinn als Umwandlung von einer kleinen Menge der Materie in ihre Energieform (E = mC2), und während das ist wohl richtig, es wird Teilchen der Nullpunkt-Energie Feld, das sie in ihrer Energie umgewandelt werden Teilchen bilden und nicht aus dem Metall des Magneten. Es muss daran erinnert, dass die Teilchen des Nullpunkt-Energiefeld Vertauschen von Energie bis physischer Form sowieso die ganze Zeit zu halten. Energie wird nie "verbraucht", sondern lediglich von einer Form in eine andere umgewandelt und die Nullpunkt-Energie-Feld enthält eine solche unglaublichen Menge an Energie, die all der sichtbaren Materie im gesamten Universum aus der Energie könnte in einem einzigen erstellt werden cc des Nullpunkt-Energiefeld. Also, wenn ein paar sub-sub-sub-mikroskopischen Teilchen der Nullpunkt-Energie Feldschalter in ihre Energieform zu produzieren, was aussieht wie überschüssige Kraft an uns, das ist ein Element so trivial auf dem Gebiet, dass es nicht einmal wert, erwähnenswert - weniger als die Wirkung der Einnahme ein Sandkorn aus einem Strand 100 Meilen lang. Die konventionelle Vorstellung, wie die Dinge sind, ist so weit weg von der Realität, dass es lächerlich ist, (und das ist auch ohne etwas zu sagen über die Wirkung, dass die Zeitachse Dimension auf die Energiebilanz und den Fluss von Energie hat).
Aber zurück zu Joseph-Design. Zunächst weist er darauf hin, dass es in der Regel vereinbart ist (mit freundlicher Genehmigung von Gustav Kirchhoff), dass in der Situation hier gezeigten:

In jedem gegebenen Zeitpunkt wird die Menge des Stroms, der in das System ("X") genau um den Betrag des Stroms, der aus dem System ("X") angepaßt ist. Aber, wenn Messeinrichtungen wird über der Spule im Augenblick der Abschaltung angeschlossen, fließt ein zusätzlicher Betrag von Strom ("X") von der Spule. Dies ist allgemein anerkannt, und es zeigt, dass eine Menge des aktuellen "X" in die Spule fließt und doch eine Menge von "2X" strömt aus ihm heraus (COP = 2).
Joseph untersucht diese Situation in praktisches Detail wie folgt:

Betrachten Sie eine Luftspule mit einem inneren Durchmesser von 10 Meter, eine Höhe von 8,32 Meter und würde mit 1.000 Meter der 40-Gauge-Kupferdraht. Dass die Länge des Drahtes hat einen Widerstand von 1.049 Ohm und wiegt £ 0,02993. Wenn 100 Volt DC über sie angeschlossen ist, dann ein Strom von etwa 95 mA fließen, was eine Leistungsaufnahme von 9,5 Watt. Mit nur 31,8 Umdrehungen, wird es produzieren ein schwaches Magnetfeld von 0.012 Gauss, mit einem bloßen 0,000014 Joule Energie in ihr gespeichert. Mit einem winzigen Induktivität von nur 0,003 Henries, wenn der Strom angehalten wird und die Enden der Spule miteinander kurzgeschlossen würden nur eine unbedeutende Strom fließen.
Nun wiederholen Sie das Experiment, aber diesmal verwenden 5-Gauge-Kupferdraht. Da es einen Widerstand von 0,3133 Ohm pro 1000 Fuß Länge. Um den gleichen Widerstand gleich und passen die vorherige Stromfluss, eine massive Länge von 3.348.000 Meter verwendet werden muss. Diese Länge des Drahtes wiegen 335,469.6 Pfund, 16,77 Tonnen. Die 10-Fuß-Innendurchmesser Spule, 8,32 Meter groß, mit diesem Draht gewickelt wird etwa 90.000 Umdrehungen. Wenn 100 Volt Gleichspannung wird nun über die Spule angeschlossen ist, werden die gleichen 95 Milliampere Strom mit einer Eingangsleistung von 9,5 Watt, die gleichen wie vorher fließen. Aber aufgrund der größeren Spule massiv, hat es ein Magnetfeld von 23,7 Gauß, die 1905 mal größer als die vorherige Spule ist, und mit 116 Joule Energie in dem magnetischen Feld gespeichert. Dies ist eine phänomenale 8.000.000 mal mehr Energie als in der 40-Gauge Spule des vorherigen Beispiel. Ein phänomenal größeren Stromfluß würde nur auftreten, wenn der aktuelle Eingangs wurde gestoppt und die Spule kurzgeschlossen, da das würde eine Induktivität von 25.700 Henries die mehr als acht Millionen Mal die Induktivität der Spule zu erzeugen vorherigen:

Joseph baute dann eine kleinere Version von seinem Entwurf, wie hier gezeigt:

Dieser Prototyp verwendet 5-Messgerät isolierter Kupferdraht mit einem Gewicht von 4.200 Pfund und 300 Pfund 30-Messgerät Kupferdraht gewickelt über die 5-Gauge-wicklung und eine massive 4-Fuß-langen, 20-Zoll-Durchmesser-Permanentmagnet einige 600 Pfund Gewicht. Die Spule wurde mit einen Innendurchmesser von 4 m und einer Höhe von über 3 Meter, Wunde auf einem GfK-Rohr gewickelt. Das Gesamtgewicht war ungefähr 5.000 Pfund.
Wer es war wurde gefragt: "Auf der Grundlage Ihrer Erfahrung, wie viel Strom wäre zu einfach mechanisch Betriebsgenehmigung?". Die Antworten reichten von 200 Watt bis 1000 Watt. Lernen, dass es eine Luft-entkernt Spule hatte, erklärte andere Fachkräfte, in ihrem Gutachten, das Gerät höchst ineffizient sein würde, da es kein Eisenkern enthalten. Jedoch kann aus den hier bereits vorgestellten Entwurfsinformationen zeigen, dass die tatsächlichen notwendigen Stromaufnahme weniger als 1,5 Watt, die Bereitstellung einer Leistung weit über 100 % ist.
Dr. Roger Hastings, Prinzip Physiker bei Sperry Univac Corporation und ehemaliger außerordentlicher Professor für Physik an der North Dakota State University, diesen Prototyp getestet und zeigte, dass es einen 800 % Wirkungsgrad –, die eine Coefficient of Performance von 8.0 die beeindruckend ist. Dr. Hastings schätzungsweise zusätzlich mit einer 1,5 Watt Leistungsaufnahme, die rückseitige emf 80.000 Watt überschritten. Im Betrieb dreht sich die Magnet 600 Pfund, handgefertigten mit nur 200 u/min.
Josephs-Patent ist im Anhang zeigt vier verschiedene Arten der Umsetzung seiner Design-Prinzipien. Es ist ganz klar, dass Joseph seinen Punkt durch die Herstellung erwies und Bau eine Vorrichtung, die Oliver Lorentz als unmöglich, dank seiner werfen die freie-Energie-Abschnitte der Maxwell Gleichungen. Joseph Newman hat eindeutig unseren Respekt verdient.
Sie können Builds und Tests von kleinen Modellen in J L Naudin sehen.
http://jnaudin.free.fr/html/qm11bp.htm.
Im Jahr 1871 erhält Daniel Cook US-Patent 119.825 für "eine Verbesserung der Induktionsspulen". Cook angesehenen Dr. Harold Aspden hielt dies für ein sehr ernstes Stück der Ausrüstung sein, die als gepaarte vernetzt Kondensatoren, und seiner Meinung nach trägt zu großes Gewicht. Es ist eine sehr einfache Vorrichtung, die interessant zu testen konnte, zumal es sich nicht um irgendwelche Elektronik oder komplizierte Konstruktion.
Howerd Halay, der ein erfahrener Freie-Energie-Entwickler ist, sagt “was Cook sagt, ist:" Strom wird immer von einer hohen Spannung fließen, um eine niedrige Spannung. Cook arbeitet nach dem Prinzip eines Nadelimpulses Kollabieren Gegen-EMK in der Weise, dass der Strom stets in derselben Richtung fließt. Bei diesem Verfahren ständig überwindet er den Startstrom, der von entgegengesetzter Polarität ist. Es erhöht sich ständig in der Spannung, bis die Grenze der Komponenten erreicht wird. Um sie zu starten, können Sie eine weitere Spule überlagert, die das "Start" Strom induziert verwenden, oder alternativ können Sie einen Magneten verwenden, um diese Anlaufstrom zu erzeugen. Das Gerät geht dann in "Durchgehen" Modus, so dass Sie auf eine ausreichende Isolierung und ausreichenden Durchmesser Draht verwenden, um Feuer zu verhindern. Dann benutzt er ein geniales Gerät Ausreißer in Form einer leistungsfähigen Regelwiderstand zu verhindern. Der Widerstand wird dann kurzgeschlossen, um Leistung aus dem System zu ziehen. Der Regelwiderstand verhindert, dass das Gerät heruntergefahren. Cook Sie, dass Sie genügend lange Kabel für das Gerät zu arbeiten. Er empfiehlt die Verwendung von 2000 Fuß Draht. Er verwendet auch eine lange und dicke Eisenkern. Dies wird zu einer Begrenzung der Frequenz auf ein beherrschbares Maß zu haben, und es wird auch die Hochspannung zu begrenzen, um einen realistischen Wert. Ich glaube, dass dies Thomas Henry Moray Geheimnis und die langen Leitungen, die Moray verwendet wurden bewusste Irreführung. (Moray verwendet einen Elektromagneten zu seinem Ausgangsstrom zu induzieren). Ich glaube auch, dass dies auch Steven Mark Geheimnis. Ein weiterer Punkt, die ich im Zusammenhang mit Versuchen, die von ‘Grumage'gemacht entdeckt, daß alle diese Geräte müssen statische Elektrizität zu bedienen. Dies erklärt, warum Morays Gerät manchmal nicht starten (dh feuchte Wetter). Diese OU-Geräte sind in der Tat die statische Elektrizität Wirbel oder Saugern. Auch Bedini die Geräte funktionieren weniger gut in der Nacht (wenn statische Elektrizität Intensität wird durch Mangel an Sonnenlicht reduziert - damit schaffen Morgentau). Die Untersuchung der Daniel Cook Patent weist auf die Verwendung veralteter Begriffe, die in der 1842 Buch "Handbuch der Magnetism" von Daniel Davis Junior zu finden ist (http://www.free-energy-info.com/Davis.pdf)”.
Das Cook-Patent einige Begriffe verwenden, die möglicherweise nicht vertraut sind, zu viele Menschen sind Begriffe, die waren vor 170 Jahren üblich, aber nicht heute häufig verwendet. Daniel Davis werden diese Begriffe verwendet, wodurch sie leichter zu verstehen. Beispielsweise sieht er, dass jede Spule wird einen Schraube-Connector genannt ein "Tasse" an jedem Ende des Drahtes und so, anstatt bis ans "Ende" einer Spule, bezieht er sich auf den "Tasse" den des Todes. Davis führt auch einige Experimente, die uns helfen können zu verstehen wie Daniel Cook bewegungslos Generator funktioniert. Einige der Experimente kennen und einige sind nicht. Er beginnt mit dem Bau von Batterien, nass mit Kupfer und Zink Elektroden mit einer Kupfersulfatlösung zwischen ihnen. Er stellt fest, dass mit zwei oder mehreren in Reihe, die elektrische Wirkung größer ist geschaltet:

Dies ist normal und was wir erwarten wenn Batterien zusammen in Reihe anschließen. Er bestimmt auch, dass die Macht, die solche Batterie bereitstellen kann, erhöht die benetzte Oberfläche mit zunehmender:

Dies ist nicht überraschend, aber dieser Effekt kann einen unerwarteten Effekt erzeugen. Die Methoden der Abfragung der elektrische Effekte von Davis verwendet schließen ein Galvanometer (die effektiv, einem Voltmeter) und die Intensität von einem elektrischen Schlag fühlte sich von einem Menschen halten die Enden des eine Induktionsspule. Hierzu Davis windet sich eine Pfannkuchen-Spule aus flachen, isolierten metallischen Multifunktionsleiste, und Orte, die es in verschiedenen in der Nähe einer großen schraubenförmig Positionen gewunden Spule hat eine große Anzahl von Drehungen:

Wenn der Schalter "S" geschlossen wird, die Spulen als ein Luft-Kern-Transformator und der sich rasch verändernde Stromfluss in der Spule "A" induziert eine Spannung in Spule "B". Dass induzierte Spannung hoch wie "B" Kunststoffspule hat viele Kurven und ein erheblicher Schock kann gefühlt werden, wenn die Enden von den Todes gehalten werden, wie oben gezeigt.
Davis fand dann platzieren von mehreren dünnen Blech zwischen den Windungen hätten wenig bewirkt, aber wenn eine 2,5 mm Dicke Eisenplatte verwendet wird, gibt es wenig oder gar keine induzierte Spannung in Spule "B". Interessant ist, wenn eine radiale Schlitz in die Platte geschnitten wird, dann es hat wenig oder keine Auswirkungen auf die induzierte Spannung und starke Erschütterungen wieder spürbar sind. Die induzierte Spannung ist sehr kurzer Dauer, wenn der Schalter geschlossen ist, als der Strom fließt durch die Spule, die "A" einen stabilen Zustand sehr schnell erreicht und so gibt es nicht mehr ein unterschiedlicher Magnetfeld. Ein interessanter Effekt ist gesehen, wenn der Schalter links geschlossen ist und eine der Platten Batterie ausgelöst wird, reduzieren, es Fläche benetzt hat. Eine induzierte Spannung entsteht in Spule "B" für die gesamte Dauer der Bewegung der Platte, produzieren eine viel mehr Gesamtwirkung. Das Galvanometer zeigt, dass die Spannung über der Spule "A" wirksam bleibt und dennoch die induzierte Spannung weiter. Dies ist vermutlich, von der Widerstand der Spule "A" wird so niedrig, dass der Stromfluss durch sie durch die Batterie Fähigkeit begrenzt wird, Strom zu liefern also Auslösen einer Platte den Strom durch die Spule senkt ohne Änderung der Versorgungsspannung und der Verringerung Stromfluss in der Spule eine Verringerung Magnetfeld und eine längere Ausgabe ab Coil "B erzeugt".
Davis dann experimentiert mit cascading Spulen zu sehen, ob die viel höhere induzierte Spannung eine noch größere Wirkung in eine zusätzliche Spule erzeugen kann, und findet, dass es funktioniert:

Davis stellt die folgenden Beobachtungen über die Richtung des Stromflusses für induzierte Spannungen in einer Kette von Spulen, die auseinander gestreut, um magnetische Interaktion zu vermeiden. Das heißt, wird die Richtung des Stromflusses nicht durch magnetische Induktion, aber stattdessen, ausschließlich durch umgekehrte EWF verursacht. Hierzu verwendet er ein Pluszeichen "+" an der Stromfluss in eine Richtung und ein Minus-Zeichen "-" an der Stromfluss in die entgegengesetzte Richtung. Er ergießt sieben Windungen wie folgt:

Die daraus resultierende
Flussrichtungen sind:
|
Spule |
Beim Einschalten |
Beim Einschalten Aus |
|
1 |
+ |
+ |
|
2 |
- |
+ |
|
3 |
+ |
- |
|
4 |
- |
+ |
|
5 |
+ |
- |
|
6 |
- |
+ |
|
7 |
+ |
- |
Die patent-Zeichnungen geben einen Eindruck der ein kleines, kompaktes Gerät. Das ist nicht der Fall, als die kleinste Größe angegeben von Daniel Cook ist ein Bündel von Eisen Drähte 600 Millimeter (2 Fuß) Länge und 50 mm (2 Zoll) im Durchmesser, Wunde mit Spulen, die mindestens 150 Meter (500 Fuß) haben der Draht in jede Spule und im Idealfall zweimal der Länge des Drahtes. Wenn abgeschlossen, das ist ein großes und schweres Gerät und es ist wahrscheinlich, dass Miniatur-Versionen nicht funktionieren. Cook sagt:
Meine Erfindung bezieht sich auf die Kombination von zwei oder mehr, einfache oder zusammengesetzte, spiralförmigen Windungen mit Eisenkernen oder Magnete, in so vorgenommen, dass einen konstanten Strom ohne die Hilfe eines Akkus zu produzieren.
Fig.1 stellt die verschiedenen Teile eines zusammengesetzten spiralförmige Spule und Eisenkern.

Fig.2 ist eine perspektivische Ansicht von meiner Erfindung.

Bei der Durchführung meiner Erfindung, sehe ich mich nicht auf eine bestimmte Art der Spulenaufbau oder auf eine bestimmte Größe der Draht zu beschränken, nur die Beobachtung, dass die Menge des Drahtes in den verschiedenen Spulen muss ausreichen, um das gewünschte Ergebnis zu erzeugen; Auch muß die verwendet werden, um die Drähte zu isolieren geeignetes Material zur Herstellung der erforderlichen Folge. Allerdings habe ich in der Regel lieber die gleiche Größe von Draht in den Bau sowohl einfache und zusammengesetzte Spulen zu verwenden.
Bei der Konstruktion von einfachen Spulen, um die erforderliche Spannung und Stromstärke zu erzeugen, ist es wünschenswert, um eine lange Eisenkern verwendet, wie als A in Fig.1 gezeigt. Dieser Eisenkern kann zwei, drei oder gar sechs Fuß in der Länge, und zwei, drei oder mehr Zoll im Durchmesser sein. Die Spule sollte von guter Qualität Kupferdraht gewickelt werden, mit Seide oder Schellack isoliert. Der Eisenkern A kann ein massiver Stab oder ein Bündel von einzelnen Eisendrähte, letztere geben bessere Ergebnisse und die mehr Strom für einen gegebenen Drahtdurchmesser sein. Während der Draht fein oder grob sein, bevorzuge ich, No.16 (1,23 mm Durchmesser) oder auch dicker Draht zu verwenden, da die Ausgangsleistung im Verhältnis zu der Länge und dem Durchmesser des Drahtes.
Bei der Verwendung von Verbindung Spulen ist es bevorzugt in einigen Fällen eine kleine Draht sagen, No.30 (0,255 mm Durchmesser), oder sogar weniger, für die Primärspule und No.16 oder noch größer für die Sekundärspule zu verwenden. Mit dieser Kombination der Ausgangssekundärstrom der Primärspule sehr klein im Vergleich mit dem Anschluß der Sekundärstrom von der Sekundärspule, einen geringen Widerstand an den endständigen sekundären somit eine schnellere Wirkung erzielt wird. Alternativ kann die Primärspule nicht isolierter Draht in einem festen Helix gewunden ist, wobei nur zwischen den Spulen isoliert ist, wobei in diesem Fall gibt es keine oder nur geringe Anfangs gegenüberliegenden Sekundärstrom .
Spiralförmig gewickelte Spulen allein mit großen Mengen von Draht ähnliche Ergebnisse zu erzielen. Ein Bandschnecke kann für die Sekundärspule C etwa in der Breite und von jeder geeigneten Länge ersetzt werden, die aus drei, sechs, zwölf oder vierundzwanzig Zoll, aber immer mit ausreichender Länge, um seinen Ausgangsstrom auf das Niveau notwendig, sich selbst zu erhalten erhöhen durch ihre Wirkung auf die Primärspule B. bei der Verwendung von Mischspulen, ist es wichtig, dass die Sekundärspule sollte in der gleichen Richtung wie die Primärspule gewickelt ist, und die Primär- und Sekundärspulen querverbunden sein, wie in Fig.2. Die Aktion wird dann wie folgt:

Der Sekundärstrom der Sekundärspule C wird durch die gegenüberliegenden Primärspule B zirkulieren, während im gleichen Zeitpunkt wird ein Sekundärstrom von der Primärspule B wird erzeugt und zirkulieren durch die gegenüberliegende Sekundärspule C, beide Ströme im gleichen fließenden Richtung in der entgegengesetzten Spulen B und C, wodurch eine kombinierte magnetische Wirkung auf den Eisenkern A in der Mitte. Die einander gegenüberliegenden Anfangs- Sekundärströme der zwei Spulen B und C überwältigt, nicht in den Hauptstromkreis D der Vorrichtung zeigen, wobei acht verschiedene Ströme in der Wirkung einer gesamten Schaltung der zwei Paare von Spulen entwickelt, zwei endständige und zwei erste Sekundärströme zu jedem Paar von Spulen, die vier ersten secondarys ständig gegen die Verbreitung der vier Anschlusssekundärströme, aber die ersten secondarys Befinden deutlich niedriger Spannung und Strom als die der endständigen sekundären, überwunden werden, so dass eine ausreichende Überschuss Anschlussleistung, um den Widerstand des primären Draht zu überwinden und laden die Bar A in dem Maße notwendig, um sich in die entgegengesetzte Sekundärspule zu reproduzieren. Auf diese Weise wird ein konstanter Strom in alle Spulen im Fluss gehalten.
Diese Spulen können mit 500 Fuß bis 1000 Fuß oder mehr für jede der primären und sekundären Spulen aufgebaut sein. Je länger und besser isoliert den Draht, desto größer ist das von der Vorrichtung erhaltene Leistung. Je größer der Drahtdurchmesser ist, desto größer der Strom erhalten.
Wenn nur einzelnen Spulen verwendet werden sollen, ist es vorzuziehen, eine Drahtlänge von 1.000 Meter oder mehr in jeder Spule haben. Die Wirkung ist die gleiche wie bei der Verbindung Spulen, aber nur vier Ströme erzeugt werden: zwei Anfangs und zwei Anschlußströme, die letztere ständig fließt in die gleiche Richtung - in Wirkung, wobei es nur einen Strom in der gleichen Richtung.
Die Wirkung in den Spulen kann durch Verwendung eines Permanentmagneten, einen Elektromagneten oder durch Pulsen eine zusätzliche Wicklung, die um die Außenseite von einer der Spulen der Vorrichtung gewickelt gestartet werden. Wenn der Lastkreis aus irgendeinem Grund nicht, stoppt die aktuelle sofort. Es ist dann notwendig, um den Startvorgang erneut, um das Gerät neu gestartet zu werden durchzuführen. Dies kann durch dauerhaftes Verbinden eines Widerstandes über den Anschluß der Last, so daß, wenn der Laststromkreis unterbrochen wird, kann das Gerät unter stark reduzierten Strom weiter, bis die Last wieder überwunden werden. Durch dieses Mittel wird die Vorrichtung das direkte Äquivalent einer Batterie.
Ein Rheostat D kann in den Hauptkreislauf eingebracht werden, den Strom zu begrenzen und das Überhitzen der Wicklungen zu vermeiden, durch die Zeichnung von übermäßigen Mengen an Strom. Die Eisenkerne können auch zur Erzeugung von elektromagnetischer Bewegung, wenn das Gerät in Betrieb verwendet werden.
********
Im Jahr 1870 gab es nichts viel in der Art von elektronischen Komponenten zur Verfügung, um Daniel, die außergewöhnlich gut getan, um seine selbst angetrieben Design zu produzieren. Mit einer Größe von 0,6 bis 1,8 m in der Länge und der erheblichen Gewicht der Eisenkerne, ist es nicht selbst auf mobile Anwendungen verleihen. Mit heute Komponenten kann Daniels System in einer viel kompakter und leichter Form reproduziert werden. Ich weiß nicht, wer sie ihren Ursprung, aber ich vor kurzem auf der "Rene-Rator" Schaltung, die die Daniel Cook-Design mit Ringkerne (vermutlich Ferrit) zeigt, kam statt der langen Eisenkerne mit Spulen gewickelt und Dioden verwendet werden, um die Rückkopplungssteuerung .
Es ist klar, dass die Leistung einer solchen Anordnung wird durch die Kapazität der Toroide, um magnetische Flüsse zu befördern begrenzt sein und so könnte ich vorschlagen, dass die 'NanoPerm' Nanotechnologie Hochleistungs-Ringkerne wie die
http://www.magnetec.us/shop/details.php?id=73&kategorie=5&main_kat=&start=50&nr Toroid aus Magnetec GmbH kann die Performance verbessern. Allerdings verstehen bitte offenbar an, dass ich nicht diese Schaltung gebaut und während ich glaube, es würde gut funktionieren, werden Experimente, um die besten Arbeitsregelungen zu finden benötigt werden. Die Schaltung ist wie folgt dargestellt:

Sie werden feststellen, dass die Richtung der Spulenwicklungen nicht angegeben ist, und so ist es Ihnen überlassen, um die Magnete und Eingangswicklungen, so dass sie einander gegenüberliegend anzuordnen.
Es scheint sicher, daß die Schaltung bei ihrer Resonanzfrequenz zu schwingen, und daß die Frequenz wird hoch sein. Als Daniel fand es notwendig, den Strom mit einem Helligkeitsregler, könnte es ratsam, Kontrollen auf der Strecke platzieren, um Ausreißer aus der positiven Rückmeldungen in der Schaltung verwendet zu verhindern. Ein Leistungsschalter zwischen den beiden Ringkerne angeordnet könnte eine Sicherheitsbegrenzung auf aktuellen aufzuerlegen und die Isolation der Verdrahtung zu schützen. Ein Metalloxid-Varistor über eine der Eingangsspulen platziert könnte verwendet werden, um das erzeugte, falls dies als notwendig erachtet Spannung zu begrenzen.
Ich würde ein gutes Geschäft des Experimentierens erwarten, erforderlich sein, um eine gute Arbeitskreis zu finden, und so mein Freund Edmund Koch, die bei der Verwendung von Simulationssoftware erlebt wird, bat ich um die Schaltung und deren Betrieb zu beurteilen, damit könnte es eine Einschätzung sein von welchen Faktoren die größte Wirkung. Die Magnetkraft in Bezug auf die Qualität und Größe des Toroids ist wichtig, weil, wenn der Magnet stellt die Ringkern in Sättigung, das wäre wohl nicht hilfreich bei der Stromproduktion, aber das, natürlich, ist bloß meine uninformierten Meinung und Testergebnisse sind die einzige Möglichkeit, um die Schaltung zu optimieren.
Nachdem die Schaltung untersucht, Edmund, dass die Anordnung anders sein sollte, und er hat das folgende Diagramm erzeugt:

Edmund sagt: Jeder Ausgang Spulen "Halbwelle (in rot dargestellt), ist Stellimpulses der gegenüberliegenden Eingangsspule, das Magnetfeld Einfluss der Permanentmagnet auf dem Ringkern entgegensetzt. Beachten Sie, wie das zyklische Sperrung und Vergrößerung schafft eine natürliche Resonanz zwischen den Spulen wie die Ebbe und Flut der aktuellen regeneriert und von den Permanentmagneten aufrechterhalten. Besonders hervorzuheben sind die selbstverstärkende Eigenschaften durch die Vereinheitlichung der Richtungen der Wicklungen und die Polarität Platzierungen der Magnete und die beiden Ausgänge und Eingänge 'anschließende Kollabieren Felder' Gegen-EMK entwickelt. Ich finde die Struktur dieser Schaltung faszinierend zu sein, besonders wenn man bedenkt, wie die Richtungen der Wicklungen und den nachfolgenden zenden Felder können direkt Einfluss verwendet werden, und deshalb betonen die Gesamtfeldstärke von jeder Spule. Die Richtungen aller Wicklungen sind von entscheidender Bedeutung nicht nur für die Felder in jedem Toroid und der beabsichtigten Funktion der Diode, sondern auch für die korrekte Wechselwirkung zwischen den beiden, stark verschachtelten Ausgangsspulen. Die ursprüngliche Zeichnung war dysfunktionalen auf zahlreiche Details.
Dieser Schaltkreis weist zwei Ausgänge auf und keine externen Ein- und so ist es durch Anlegen eines Wechselspannungssignals zu einer der beiden Magnetspulenpaare gestartet werden muss.
Wie bereits erwähnt, selbst I gibt lieber Schutz der Schaltung vor Überspannung oder der Strom steigt auf einen unannehmbar hohen Pegel, der eine Überhitzung des Drahts und eine mögliche Beschädigung der Isolation des Drahtes verursachen würde. Während eine Sicherung ist in der folgenden Abbildung gezeigt, würde ich einen Leistungsschalter bevorzugen. Die Metalloxid-Varistor ist für was auch immer Spannungs Sie beabsichtigen, den Kreislauf zu laufen gewählt, und die Dioden müssen in der Lage mehr Strom als der Draht verwalten zu handhaben sein. Ich würde vorschlagen, dass schnell wirkende Dioden eingesetzt werden. Diese Maßnahmen sind nicht auf den Betrieb der Schaltung und es ist wahrscheinlich, dass viele Menschen sie für unnötig zu sein. Allerdings, wenn Sie sie aufnehmen möchten, dann würde ich die folgende Schaltungsanordnung vorschlagen:

Wenn Sie diese Schaltung aufbauen und damit es funktioniert, dann lass es mich wissen mit Details der Spulen, Ringkerne und Magnete verwendet werden, so dass Ihr Erfolg auch andere Replikatoren helfen.
Eine der größten Ausgaben für viele Familien die Kosten für Heizung oder Kühlung ein Zuhause. Jedes Gerät, das mit dieser Aufgabe helfen kann, ist auf jeden Fall willkommen. Michael Eskeli hat mehrere interessantesten Entwürfe, die übersehen worden wegen des Mangels an Wert dessen, was sie zu tun haben kann produziert.
Normalerweise verwendet ein zentrales Heizsystem ein teures Verfahren zum Erwärmen einer Flüssigkeit, typischerweise Öl, das dann durch Radiatoren um das Gebäude durch eine niedrige Energie gepumpt. Die überwiegende Mehrheit der Kosten ist in Heizungs-, typischerweise wird ein Ofen und sehr wenig bei Bewegung des erwärmten Flüssigkeit durch die Heizkörper ausgegeben. In diesem Entwurf von Michael, die Kosten der Heizung Null, und alles, was übrig bleibt, ist ein Low-Power-(viertel bis halbe Pferdestärke) Eingang für die Spinnerei einen Rotor gegen die Reibung der Lager und Stopfbuchse erforderlich.
Da dies unmöglich scheint, ist ein wenig sehr technische Erklärung gegeben hier. Diese Informationen wurden von der Website von Scott Robertson am kommen http://www.aircaraccess.com/ mit seiner freundlichen Genehmigung. In groben Zügen besteht das Gerät aus einem scheibenförmigen Gehäuse mit einem eng anliegenden Rotorspinnvorrichtung darin. Ein unter Druck stehendes Gas und eine Flüssigkeit unter Druck gespeist sind sowohl in die Vorrichtung und sie vermischen in einer pulsierenden Sequenz, die abwechselnd komprimiert und löst den Druck auf die beiden Fluide. Dieses erhitzt beide Flüssigkeiten sehr effektiv, und interessanterweise, ohne die Verwendung von irgendeinem Benutzer bereitgestellten Heizleistung und ohne den Einsatz jeglicher Heizöl. Das nächste Absatz ist für Ingenieure, so dass, wenn Sie etwas nicht verstehen, dann einfach ignorieren, da das Wichtigste ist, zu verstehen, was das Gerät tut, anstatt genau, wie sie es tut.

Die Wärmepumpen-Arbeitszyklus: Das Beispiel obigen Diagramm zeigt die Sequenz der Ereignisse, die von der Drehung der Scheibe innerhalb des Gerätegehäuses verursacht. dies “Druck / Enthalpie” oder “Druck / interne Energie” Diagramm zeigt die Drücke und Temperaturen während eines einzigen Druck des Geräts. Mit Stickstoff als das Gas, beginnt der Zyklus bei Punkt "1" mit einem Druck von 150 Psi und einer Temperatur von 60 Grad F. Eine Druckwelle trifft nun die Mischung aus Stickstoff und die Flüssigkeit. Diese Druckwelle bewegt uns darauf "2", wo hat der Druck auf 540 Psi gestärkt worden, der löst die Temperatur auf 280 Grad F.
Umzug nach Nummer "3" ist, wo die gewünschte Wärme im gesamten Gas übergeben ist eine Flüssigkeit (Aufgaben der Heizung das ganze Objekt der Übung), obwohl der Druck aufrechterhalten wird, also an Stelle "3" gibt es einen Druck von 540 Psi und einer Temperatur von 138 Grad F. Als nächstes kommt eine große Rückgang der Druck, der uns darauf "4" ziehen die Temperatur bis unter dem Gefrierpunkt: 250 Psi bei nur 4 Grad F. Zeigen Sie auf "5" der Druck weiter auf 150 Psi gelöscht wird, noch bei 4 Grad F. Nummer "6" nimmt uns 250 PSI bei 60 Grad F aus wo der Zyklus zurück uns zur Nummer "1" führt und die Sequenz beginnt alles wieder.
Die Komprimierung erfolgt auf Bein 1 bis 2 und Bein 5 bis 6. Die tatsächlichen Beträge sind 53,2 und 13,5, geben eine Kompression Insgesamt von 66,7 B/lb.
Der Ausbau erfolgt in Bein 3 bis 4, Bein 4 bis 5, Und Bein 6 bis 1. Die tatsächlichen Beträge sind 31,6, 16,6 und 18,7, geben eine Expansion Gesamt von 67,0 B/lb.
Wie diese beiden nahezu identisch sind, ist das Gesamtergebnis der ein kompletter Zyklus effektiv arbeitsfreien.
Dieser Arbeitszyklus leicht durchgeführt werden kann, durch die Zentrifuge-Typ Wärmepumpe. Dies ist eine Einheit, die hat nur ein beweglicher Teil, den Rotor, das Arbeitsmedium, z. B. Stickstoff, ist mit dem Rotor versiegelt und zirkuliert in Passagen im Rotor. Die Verbreitung des Arbeitsmediums innerhalb des Rotors erfolgt durch Dichte Kontrolle allein, gemäß der oben beschriebenen Arbeit-Zyklus und Es gibt keine Arbeit-Eingabe für das Arbeitsmedium von die Rotorwelle. Damit die Arbeit-Eingabe für den Wärmeübergang ist gleich NULL, und eine Wärmepumpe arbeitsfreien ergibt.
In der Abbildung unten gezeigt zeigt eine axiale Querschnitt und einer End-Ansicht mit Abschnitten entfernt, einen typische Wärmepumpe-Rotor geeignet für den Einsatz mit dem oben besprochenen Arbeit-Zyklus.
Im Diagramm 10 ist der Wärmetauscher erwärmt-Flüssigkeit, 11 ist der Wärmeversorgung-Wärmetauscher in zwei Teile und 12 sind die Flügel in Passagen, die das Arbeitsmedium von der Peripherie ins Zentrum der Scheibe zurückgeben. Der Zyklus-Workprozess ist den nicht-Flow-Typ für das Arbeitsmedium in diesen Rotor, und dies bietet höheren Leistung, die im obigen Beispiel.

Die zu erwärmende Flüssigkeit ist normalerweise eine Flüssigkeit, wie Wasser, das eintritt, und verlässt den Rotor über die Rotorwelle. Ähnlich ist die Wärmeversorgung zirkuliert durch den Wärmetauscher 11, eine Flüssigkeit, die über und tritt verlässt Rotorwelle Passagen.
Die Arbeit-free Wärmepumpe hat offensichtlich viele Anwendungen. Ein solcher Einsatz ist in Erwärmen alle Arten von Gebäuden und Häusern, was zu Kosten-Beheizung, da kein Kraftstoff benötigt wird, und der Energieverbrauch ist fast Null. In der Wärmepumpe oben gezeigt, wird der Strom benötigt wird, um den Rotor gegen Reibung, die ein Viertel bis zur Hälfte PS-Motor erfordern fahren.
Eine weitere Anwendung ist in der Stromerzeugung, wodurch die Kosten-freien Strom, da das Gerät benötigt keine Kraftstoff, die Energiequelle entweder Luft, oder Wasser aus einigen natürlichen Quelle. (Attached Turbine erzeugt die Kraft, ein Teil davon wird verwendet, um die Wärmepumpe Reibungsverluste zu überwinden, und der Rest ist für die Erzeugung von Elektrizität). Weitere Anwendungen sind in tragbare und Transportfahrzeuge, etc.
Die Vorrichtung und Verfahren und Arbeitsabläufen sind patentiert. Für grundlegende Wärmepumpe, siehe US-Patent 3.926.010 und das kanadische Patent 984.827.
Michael Eskeli.
Hier ist eine von vielen Patenten Michael:
US-Patent
3.650.636 21. März 1972 Erfinder:
Michael Eskeli
DREH
GASKOMPRESSOR
ABSTRAKT
Verfahren und Vorrichtung für einen Kompressor zum Verdichten von Luft, Gasen und Dämpfen isotherm unter Verwendung eines flüssigen Stroms, um das Gas zu verdichten; die Flüssigkeit, die aus einem Flügelrad intermittierend mit dem Gas zwischen diesen Impulsen und komprimierte Flüssigkeit durch die Flüssigkeit mitgerissen, wobei die Flüssigkeit mit hoher kinetischen Energie beim Verlassen des Laufrades und zur Verlangsamung des kinetische Energie umgewandelt wird, um sowohl für die Flüssigkeit und mitgeführter Gasdruck. Zudem wird der Kompressor vorteilhaft verwendet werden, um Dämpfe zu komprimieren, wobei die Flüssigkeit das gleiche Fluid wie das Gas, wobei die Kondensation des Gases zu der Flüssigkeit auftritt, und Verdichtungsarbeit reduziert wird.
US
Patent References:
|
|
November 1911 |
Lafore |
|
|
|
November 1914 |
Kieser |
|
|
|
August 1916 |
Buss |
|
|
Kreiselpumpe |
März 1924 |
Hariveau |
|
|
Vakuumpumpe |
Dezember 1924 |
Bogdanoff |
|
|
Kesselspeisepumpe Gerät |
Juli 1935 |
Becker |
|
|
Jet betriebenes Gerät bei zirkulierender oder Komprimieren eines Fluids |
September 1961 |
Salmon et al. |
|
|
Gas oder Flüssigkeit Kompressor |
März 1963 |
DeLancey |
HINTERGRUND
DER ERFINDUNG
Diese Erfindung bezieht sich allgemein auf Vorrichtungen zur Verdichtung
von Gasen, Luft und Dampf, in dem eine Flüssigkeit in engem Kontakt mit dem Gas
oder Dampf komprimiert werden.
BESCHREIBUNG
DER STAND DER TECHNIK
Es sind zahlreiche Geräte und Maschinen verfügbar zum Komprimieren eines
Gases oder eines Dampfes. In einige dieser Maschinen eine Flüssigkeit gedreht
wird in einem exzentrischen Gehäuse, so dass die Maschine Rotors bewirkt, dass
die Flüssigkeit zu pulsieren und der Raum zwischen den Rotorblättern erhöht
oder verringert wird, und diese Variation komprimiert das Gas. Diese Maschinen
werden als Flüssigkeitskolben Maschinen des Typs. Eine andere Vorrichtung ist
der Ejektor Kompressor, wo ein Strom von Flüssigkeit oder Gas zum Mitreißen des
Gases oder Dampfes verwendet wird, um komprimiert werden, und die kinetische
Energie des Stroms in einer divergierenden Düse zu einem Druck umgewandelt.
Der Hauptnachteil des Flüssigkeitskolbens Art Maschine ist seine
schlechte Effizienz, da die Flüssigkeit gedreht wird, in die Maschine und
erfordert relativ große Leistungsaufnahme zum Komprimieren des Gases. In dem
Ejektor Kompressor, ist die Geschwindigkeit des Flüssigkeitsstroms begrenzt und
es mitnimmt schlecht irgendeines Gases, daher der Wirkungsgrad der Vorrichtung
ist sehr schlecht. Die verfügbare kinetische Energie in dem Flüssigkeitsstrom
ist hoch, aber wegen der schlechten Mitreißen des Gases durch die Flüssigkeit,
sind die Ergebnisse für das Gerät gering.
KURZBESCHREIBUNG DER
ZEICHNUNGEN

Fig.1 ist eine Endansicht des Verdichtergehäuses, zeigt das Äußere.

Fig.2 ist eine Seitenansicht und ein Abschnitt des Gehäuses und das
Laufrad des Verdichters.

Fig.3 ist eine Seitenansicht und einen Schnitt des Laufrades, und

Fig.4 ist eine Endansicht des Laufrades, welche die Fluiddurchgänge.
BESCHREIBUNG DER BEVORZUGTEN VERKÖRPERUNGEN
Es ist ein Objekt dieser Erfindung zu bieten eine Methode und ein Gerät für die Komprimierung von Gasen oder Dämpfen im wesentlichen isothermally, in dem die kinetische Energie durch einen flüssigen Stream enthaltenen verwendet wird, sagte Gas zu einem höheren Druck zu komprimieren, wo die Flüssigkeit für die Verlangsamung der Geschwindigkeit erhöht seinen Druck und erhöhen den Druck des Gases in ihm mitgerissen wird. Außerdem ist es ein Objekt dieser Erfindung eine Methode und ein Gerät, in dem das Gas kann teilweise oder vollständig im liquid Stream somit senken die Arbeit der Komprimierung verdichtet werden; dieser auftritt, wenn das Gas oder Dampf komprimiert wird, ist die gleiche Flüssigkeit als die Flüssigkeit; ist das Gas komprimiert die Dampf-Phase die Flüssigkeit und die Flüssigkeit, die für verwendet wird, wie das Motiv-Fluid der flüssigen Phase des Fluids ist.

Unter Bezugnahme auf Fig.1, ist es
angezeigt eine End-Ansicht des Kompressors, wo 10 ist das Kompressor-Gehäuse, 11
ist flüssiger Einlaß, 12 ist das Gas
oder Dampf-Bucht und 13 ist die
Steckdose.

In Fig.2, eine Seitenansicht des Kompressors gezeigt. Das Laufrad 22 gedreht wird durch die Welle 28, von Lagern und versiegelt durch die
Verpackung 23 und Stopfbuchse 24. Abwechselnd eine Gleitringdichtung
verwendet werden könnten. Die Flüssigkeit, die verwendet werden als Treibmittel
tritt durch Öffnung 11, geht durch
das Laufrad 22 und verlässt das
Laufrad mit einer hohen Geschwindigkeit und der Eingabe des Halsabschnitt 21 und von dort dem Diffusorabschnitt 29 in dem Gehäuse 10. Nach Verlassen des Diffusors mit einem höheren Druck und bei
einer niedrigeren Geschwindigkeit, wird die Gas-und Flüssigkeits-Gemisch in
Ringraum 30 gesammelt und von dort
tritt durch Öffnung 13. Das flüssige
Gas aus mitreißt Ringraum 31, und
das Gas in den ringförmigen Raum von außen durch die Öffnung 12.

In Fig.3, das Laufrad 22 ist
näher dargestellt, wobei der Fluiddurchgang 38 ist, und 36 ist die
Öffnung für die Antriebswelle.

In Fig.4, das Laufrad dargestellt, wobei mit 22 das Laufrad 38 und
wobei der Fluiddurchgang.
Im Betrieb werden die Kompressor-Funktionen in einer Weise ähnlich zu einem Ejektor Kompressor. Ein Treibfluid in einer Passage in dem Laufrad auf eine hohe Geschwindigkeit beschleunigt, dies entspricht dem Motiv Fluiddüse in einem Jet Ejektor. Jedoch der Fluidstrom die Ausgabe von dem Laufrad, wenn es sich dreht, nicht kontinuierlich ist, wie durch das Verdichtergehäuse gesehen, da in diesem besonderen Fall weist das Laufrad vier Fluidkanäle, mit festem Material dazwischen. Daher wird die Strömung von Laufrad, wie durch das Verdichtergehäuse gesehen, pulsiert, mit leeren Räume zwischen der Hochgeschwindigkeits Flüssigkeit; diese Leerstellen durch die Gas aus den Ringräumen, Punkt 31, Fig.2 gefüllt, und wobei das Gas rasch mit der Flüssigkeit zu dem äußeren ringförmigen Raum 30 bewegt wird, und von dort zu entladen. Diese Maßnahme verbessert die pulsierende Mitreißen des Gases durch die Flüssigkeit und vollständiger nutzt die kinetische Energie in dem Flüssigkeitsstrom.
Die Dimensionierung der Fluiddurchlässe und die Berechnungen im Zusammenhang mit ihnen, werden vollständig in der Thermodynamik Literatur für Strahlpumpen und Dampfinjektoren beschrieben. Der Raum der Kanal 38 in Fig.3, wäre entweder konvergierenden für Flüssigkeiten, die nicht verdampfen, müssen beim Verlassen des Durchgangs oder der Durchgang an seinem Auslaß könnten werden divergierenden für Fluide, das entweder teilweise oder vollständig beim Verlassen der Passage verdampfen wird. Der nicht-verdampfende Flüssigkeiten würde Wasser ein Beispiel sein, und der teilweise verdampfenden Typen, Butan wäre ein Beispiel, sowohl bei Normaldruck Temperaturen und bei niedrigen Drücken. Wie in den Figuren. 2-4, 38 Durchgänge umfassen einen konvergierenden Abschnitt am nächsten zum Mittelpunkt des Laufrades sind aber zumindest nicht zusammenlaufenden am Austrag. Vorzugsweise ist das mindestens nicht-konvergierenden Abschnitt einen divergierenden Abschnitt zur besseren Ausnutzung der zur Verfügung stehende Energie im Antriebsfluid zu höheren Austrittsgeschwindigkeiten erreichen.
Das Fluid in Fig.4 Passagen gezeigt, können Artikel 38, radial sein wie dargestellt, oder als vorwärts oder rückwärts gekrümmt, je nach dem verwendeten Fluid. Auch der Halsabschnitt 21, der Fig.2, kann Schaufeln richtige Form zu Kreisbewegung des Fluids zu verhindern, nachdem es das Laufrad verlässt. Flügel dieser Art werden üblicherweise in Turbinen und Pumpen verwendet und werden daher hier nicht beschrieben. Es gibt vier Fluidkanäle in Fig.4 gezeigt, aber diese Zahl wird bestimmt, wenn Berechnungen für die Größe der Durchgänge, und die Frequenz der Pulse von Flüssigkeit erforderlich ist, um geeignete Druck und Volumen Beziehungen innerhalb des Kompressors beizubehalten gemacht werden, auch die Drehzahl des Laufrades würde in diesen Berechnungen zu gelangen.
Normalerweise
beträgt die Menge an Flüssigkeit groß, wenn die Menge an Gas oder Dampf
verglichen. Wenn daher Verdichten eines Gases, wird die Wärme der Kompression
von dem Gas auf die Flüssigkeit übertragen, was zu einer Temperaturerhöhung der
Flüssigkeit sowie des Gases. Diese Temperaturerhöhung ist viel weniger, als es
für das Gas alleine sein, woraus nahezu isotherme Verdichtung und deshalb
verringert Verdichtungsarbeit wie zum isentropen Kompression, welche oft in
Drehkompressoren verwendet verglichen. Auch, wenn eine Flüssigkeit, die in dem
Laufrad erweitern wird verwendet wird, mit einem expandierenden Fluiddurchgang,
wird die Temperatur des Treibmediums abgesenkt und die Fluidgeschwindigkeit
stark erhöht, was zu einer wesentlich besseren Wirkungsgrad des Verdichters,
dies ist ähnlich dem Funktion der konvergierenden-divergierenden divergierende
Düsen in Strahlpumpen.
Der Betrieb des Kompressors aus der obigen Beschreibung Bezug zu entnehmen.
Flüssige Source mit dem Laufradeintritt Fig.1,
11 und ein Gas oder Dampf Source mit dem Gaseinlaß Fig.1, 12 verbunden ist. Austrag aus dem Kompressor ist aus Fig.1, 13. Eine geeignete Stromquelle,
wie zum Beispiel einen Elektromotor, ist mit der Welle Fig.2, 28 verbunden,
wodurch die Welle zu drehen. Die Flüssigkeit wird durch die Wirkung des dem
Laufrad beschleunigt, und wenn es durch den Ringraum Fig.2, 31 verläuft in einer pulsierenden Strömung, nimmt diese das
Gas und führt es zum Ringraum 30,
von wo es Entladungen.
Baustoffe für den Kompressor wäre ähnlich denen von Pumpen für Flüssigkeiten machen. Gusseisen, Stahl, Bronze, Messing, Edelstahl und verschiedenen Kunststoffen verwendet werden könnten.
FORDERUNGEN
Was beansprucht wird als neue ist wie folgt
1. Maschine zum Verdichten gasförmigen Fluids und mit der Hauptbestandteile:
2. Die Maschine nach Anspruch 1,
wobei die mindestens nicht-konvergierenden Abschnitt divergiert.
Kalte Fusion wurde zunächst mit großer Begeisterung angenommen. Es schien, dann diskreditiert werden, in erster Linie als eine Frage der Angst, die Finanzierung zu verlieren für die Jahrzehnte alt "heißen" Fusionsforschung. In der heutigen Zeit gibt es einige zweihundert Labors. die die Feststellungen bestätigt haben, und so gibt es keinen Zweifel an der Realität des Systems. Im Wesentlichen heißt es, dass die Kernfusion bei Raumtemperatur unter bestimmten Bedingungen erfolgen. Es wird jedoch eine kommerzielle Arbeitseinrichtung erreicht nun den Markt mit Details auf Sterling Allan Webseite:
http://peswiki.com/index.php/Directory:Andrea_A._Rossi_Cold_Fusion_Generator.
Wenn Sie die Hintergrunddetails der kalten Fusion Geschichte wollen, dann gibt es mehrere Web-Sites, die die Fortschritte auf diesem Gebiet zu folgen, darunter "Cold Fusion Zeiten" an, wo erhebliche http://world.std.com/~mica/cft.html Detail zur Verfügung steht. Obwohl eine kalte Fusion Generator ist unwahrscheinlich, dass etwas, das Sie zusammen in Ihrem Hinterhof klopfen kann, der Prozess wird stetig in Richtung allgemeine Verwendung Kanten. Im Jahr 2012 wird die Rossi "Ecat" kalte Fusion Generator voraussichtlich starten. Die Website http://ecat.com/ ist bereits die Bestellungen und die Heim Einheit zur Erzeugung von 10 Kilowatt, wird erwartet, dass eine jährliche Betriebskosten von nur $ 20 haben.
Im August 2015 gewann Rossi eine vollständige Patent für seine kommerziellen Design. Zu diesem Zeitpunkt hatte Rossi eine ein Megawatt-Generator arbeitet perfekt und kontinuierlich für ein ganzes Jahr. Hier ist sein Patent:
US-Patent 9115913 Datum: 25. August 2015 Erfinder: Andrea Rossi
ERHITZER
ZUSAMMENFASSUNG
Eine Vorrichtung zum Erwärmen von Fluid mit einem Behälter zum Aufnehmen zu erwärmenden Fluids und ein Kraftstoffscheibe in Kontakt mit dem Fluid. Der Kraftstoff-Wafer umfasst eine Kraftstoffmischung, Reagenzien und einen Katalysator enthält, und einen elektrischen Widerstand oder eine andere Wärmequelle in thermischer Verbindung mit dem Kraftstoff-Gemisch und dem Katalysator.
Beschreibung:
HINTERGRUND
Viele Wärmeübertragungssysteme verwenden heiße Flüssigkeiten als Wärmeträger. Solche Systeme umfassen einen Wärmeerzeuger, ein Wärmeübertragungsmedium in thermischer Verbindung mit der Energiequelle, und eine Pumpe, um das erwärmte Medium auf, wo der Wärmebedarf zu bewegen. Aufgrund seiner hohen Wärmekapazität und seine Fülle, ist eine gemeinsame Wärmeträgerflüssigkeit Wasser, sowohl in seiner flüssigen und gasförmigen Phase.
Eine Vielzahl von Wärmeerzeugern sind im allgemeinen Gebrauch. Zum Beispiel in Kernkraftwerken, bietet Kernspaltungsenergie zur Erwärmung von Wasser. Es gibt auch solare Wasser-Heizungen, die Sonnenenergie zu nutzen. Jedoch beruhen die meisten Wärmeübertragungsquellen auf eine exotherme chemische Reaktion, insbesondere bei der Verbrennung von Brennmaterial.
ZUSAMMENFASSUNG
In einem Aspekt stellt die Erfindung eine Vorrichtung zum Erwärmen von Fluid, wobei die Vorrichtung einen Tank zur Aufnahme zu erwärmenden Fluids und ein Kraftstoffscheibe in Fluidverbindung mit dem Fluid, das Kraftstoffwafers mit einer Kraftstoffmischung, die Reagenzien und Katalysator und eine Wärmequelle, beispielsweise ein elektrischer Widerstand in thermischer Verbindung mit dem Kraftstoff-Gemisch und dem Katalysator.
Unter den Ausführungsformen, bei denen das Kraftstoffgemisch enthält Lithium- und Lithiumaluminiumhydrid, in denen der Katalysator umfasst eine Element der Gruppe 10, wie beispielsweise Nickel in Pulverform oder in einer beliebigen Kombination davon.
In anderen Ausführungsformen wird der Katalysator in Pulverform, behandelt wurde, um seine Porosität zu erhöhen. Beispielsweise kann der Katalysator Nickelpulver, das behandelt wurde, um seine Porosität zu erhöhen.
In jenen Ausführungsformen, die einen elektrischen Widerstand umfassen, kann die Vorrichtung auch eine elektrische Energiequelle, beispielsweise eine Spannungsquelle oder Stromquelle in elektrischer Verbindung mit dem Widerstand.
Bei den anderen Ausführungsformen sind solche, bei denen der Brennstoff-Wafer umfasst eine Mehrschichtstruktur mit einer Schicht des Kraftstoffgemisches in thermischer Kommunikation mit einer Schicht, die den elektrischen Widerstand.
In noch anderen Ausführungsformen enthält der Kraftstoff Wafer ein Zentralheizeinsatz und ein Paar von Kraftstoffeinsätze auf beiden Seiten des Heizeinsatzes angeordnet ist.
Eine Vielzahl von Behältern verwendet werden kann. Zum Beispiel kann in einigen Ausführungsformen umfasst der Behälter eine Ausnehmung zur Aufnahme des Brennstoff Wafers. Unter diesen sind Ausführungsformen, bei denen der Behälter enthält auch eine Tür zum Verschließen der Ausnehmung aufweist. In noch anderen Ausführungsformen der Behälter eine Strahlungsabschirmung.
Ebenfalls eingeschlossen unter den Ausführungsformen sind diejenigen, die weiter eine Steuervorrichtung in Verbindung mit der Spannungsquelle. Unter diesen sind Controller, der die Spannung in Reaktion auf die Temperatur des Fluids, das erwärmt wird, variieren.
In einer weiteren Ausführungsform bietet die Erfindung eine Vorrichtung zur Aufnahme und zum Heizen eines Fluids weist die Vorrichtung auch Mittel zum Halten einer Kraftstoffmischung, die einen Katalysator und ein Reagens und ein Mittel zum Einleiten eines Reaktionsfolge von dem Katalysator vermittelt, um eine exotherme Reaktion hervorrufen.
Ein weiterer Aspekt der Erfindung ist eine Zusammensetzung zur Erzeugung von Wärme, wobei die Zusammensetzung eine Mischung von Porosität verstärkte Nickelpulver, Lithiumpulver und Lithiumaluminiumpulver und eine Wärmequelle in thermischer Verbindung mit der Mischung zum Einleiten einer Nickel katalysierten exothermen Reaktion.
Eine weitere Implementierung der Erfindung weist ein Verfahren zum Erwärmen eines Fluids, wobei das Verfahren das Anordnen einer Mischung aus Nickelpulver, Lithiumpulver, und Lithiumaluminiumhydrid in thermischer Verbindung mit dem Fluid; und Erhitzen der Mischung, wodurch eine exotherme Reaktion in der Mischung eingeleitet wird.
Diese und andere Merkmale der Erfindung werden aus der folgenden detaillierten Beschreibung und den begleitenden Figuren, in denen:
KURZE BESCHREIBUNG DER FIGUREN

Fig.1 zeigt ein Wärmeübertragungssystem mit einer Wärmequelle;

Fig.2 ist eine Schnittansicht der Wärmequelle in Fig.1;

Fig.3 ist ein Querschnitt des Wafers zur Verwendung bei der Wärmequelle;

Fig.4 zeigt einen beispielhaften Widerstand in der Mittelschicht des Wafers in Fig.3 gezeigt.

Fig.5 zeigt die Wärmequelle aus Fig.1, die mit einem herkömmlichen Ofen.

Fig.6 zeigt mehrere Wärmequellen in Reihe geschaltet sind, wie sie in Fig.2.

Fig.7 zeigt mehrere Wärmequellen parallel geschaltet sind, wie sie in Fig.2.
AUSFÜHRLICHE BESCHREIBUNG

Bezug auf Fig.1 umfasst ein Wärmeübertragungssystem 10 eine Leitung 12 zum Transportieren eines erwärmten Fluids in einem geschlossenen Kreislauf zwischen einer Wärmequelle 14 und einer thermischen Last 16. In den meisten Fällen, beispielsweise wenn es hydraulischen Widerstand zu überwinden ist, eine Pumpe 18 treibt das erwärmte Fluid. In einigen Fällen, beispielsweise wenn das erwärmte Fluid Dampf ist, ist die Fluid eigenen Druck, die ausreichen, um das Fluid anzutreiben. Eine typische Wärmelast 16 umfaßt Heizkörpern, wie sie üblicherweise zur Beheizung von Innenräumen verwendet werden.

Wie in Fig.2 gezeigt, ist die Wärmequelle 14 einen Tank 20 mit einem zusammengesetzten Abschirmung aus Blei, einem Einlaß 22 und einem Auslaß 24, die beide mit dem Rohr 12 verbunden Innenraum des Tanks 20 enthält Fluid zu sein erwärmt. In vielen Fällen ist das Fluid Wasser. Jedoch können auch andere Flüssigkeiten verwendet werden. Außerdem braucht die Flüssigkeit nicht ein flüssiges Fluid sein, kann aber auch ein Gas sein, wie Luft.
Tank 20 hat eine Tür 26, die mit einem Behälter 28 in den Tank vorsteht führt. Kühlrippen 30 ragen von der Wand des Behälters 28 in den Behälter 20. Um die Wärmeübertragung, die Aufnahme 28 und die Rippen 30 sind typischerweise aus einem Material mit hoher thermischer Leitfähigkeit, wie Metall zu maximieren. Ein geeignetes Metall ist man nicht der Korrosion unterliegt, wie beispielsweise Edelstahl.
Aufnahme 28 enthält einen Mehrschichtwafer 32 zur Erzeugung von Wärme. Eine Spannungsquelle 33 ist mit dem Wafer 32 und eine Steuerung 35 zum Steuern der Spannungsquelle 33 in Reaktion auf die Temperatur der Flüssigkeit in dem Tank 12 verbunden ist, wie durch einen Sensor 37 bestimmt.

Wie in Fig.3 gezeigt, ist die Mehrschichtstoffscheibe 32 weist einen Heizabschnitt 34, der zwischen zwei Kraftstoffabschnitte 36 und 38. Der Heizabschnitt 34 weist eine zentrale Schicht 40, die aus einem isolierenden Material hergestellt ist, wie beispielsweise Glimmer eingeklemmt, und das Stützen ein Widerstand 42.

Fig.4 zeigt eine
typische Mittelschicht 40 mit
Öffnungen 44, durch die ein
Widerstandsdraht 42 gewickelt wurde.
Diese Widerstandsdraht 42 ist mit der
Spannungsquelle 33. Die ersten und zweiten Isolierschichten 46 und 48 aus einem Material, wie Glimmer-Schichten verbunden sind, zu
umschließen die zentrale Schicht 40,
um eine elektrische Isolierung von den benachbarten Brennstoffabschnitte 36 und 38 bereitzustellen.
Jede der Kraftstoffabschnitte 36 und 38 verfügen über eine Paar von
thermisch leitfähigen Schichten 50
und 52, wie Stahlschichten. Zwischen
jedem Paar von leitfähigen Schichten 50,
52 eingefügt ist ein Kraftstoffschicht 54,
der ein Kraftstoffgemisch mit Nickel, Lithium und Lithiumaluminiumhydrid LiAIH4
("LAH"), die alle in Pulverform enthält. Vorzugsweise der Nickel
behandelt wurde, um seine Porosität durch Erhitzen des Nickelpulvers zu Zeiten
und Temperaturen so ausgewählt, daß in der Mikro-Hohlräume, die inhärent in
jedem Teilchen des Nickelpulvers vorhandenes Wasser Überhitzung zu erhöhen, zum
Beispiel. Der resultierende Dampfdruck bewirkt, Explosionen, größere Hohlräume
sowie zusätzliche kleinere Nickelteilchen erstellen.
Der gesamte Satz von Schichten zusammen allseits verschweißt, um eine
abgedichtete Einheit zu bilden. Die Größe des Wafers 32 ist nicht wichtig für seine Funktion. Jedoch ist der Wafer 32 leichter zu handhaben, wenn sie in
der Größenordnung von einem halben Zoll dick und 12 Zoll auf jeder Seite (12 x
300 x 300 mm) ist. Die Stahlschichten 50 und 52 sind typischerweise 1 mm dick, und die Glimmerschichten 40 und 48, die von einer schützenden Polymerschicht überzogen sind, in der
Größenordnung von 0,1 mm Dicke. Jedoch
können auch andere Dicken verwendet werden.
Beim Betrieb wird eine Spannung von der Spannungsquelle 33 angelegt, um den Widerstand zu heizen 42. Wärme von dem Widerstand 42
wird dann durch Wärmeleitung zu den Kraftstoffschichten 54, wenn er eine Reihe von Reaktionen auslöst, von denen der letzte
ist reversibel überführt. Diese
Reaktionen, die durch die Gegenwart des Nickelpulvers katalysiert, sind:
3LiAlH4 → Li3AlH6 + 2Al + 3H2
2Li3AlH6 →
6LiH + 2Al + 3H2
2LiH + 2Al → 2LiAl + H2
Sobald die Reaktion Sequenz initiiert, kann die Spannungsquelle 33 ausgeschaltet werden, wenn die Reaktionsfolge ist selbsterhaltend. Jedoch kann die Reaktionsgeschwindigkeit nicht konstant sein. Daher kann es wünschenswert sein, auf der Spannungsquelle 33 zu bestimmten Zeiten drehen, um die Reaktion zu beleben sein. Um zu bestimmen, ob die Spannungsquelle 33 eingeschaltet werden sollte, stellt der Temperatursensor 37 ein Signal an die Steuerung 35, die dann bestimmt, ob oder nicht, um eine Spannung in Reaktion auf das Temperatursignal anzuwenden. Es wurde festgestellt, dass, nachdem die Reaktion ungefähr 6 Kilowattstunden Energie erzeugt wird, wünschenswert, etwa 1 kWh elektrische Energie anzuwenden, um die Reaktionssequenz Belebung ist.
Schließlich wird die Effizienz der Wafer 32 zu dem Punkt, wo es nicht wirtschaftlich, kontinuierlich die Reaktionssequenz Belebung ist verringern. An diesem Punkt kann der Wafer 32 einfach ausgetauscht werden. Typischerweise Wafer 32 wird ca. 180 Tagen Dauerbetrieb aufrecht zu erhalten, bevor ein Austausch wünschenswert wird.
Das Pulver in dem Kraftstoffgemisch besteht hauptsächlich aus kugelförmigen Teilchen mit Durchmessern im Nanometerbereich zwischen 1 bis Nanometer und 100 Mikrometer Mikrometer, zum Beispiel. Variationen in dem Verhältnis der Reaktanten und der Katalysator dazu neigen, die Reaktionsgeschwindigkeit regeln und sind nicht kritisch. Es hat sich jedoch herausgestellt, daß eine geeignete Mischung würde eine Ausgangsmischung aus 50% Nickel, 20% Lithium und 30% LAH enthalten. In dieser Mischung wirkt Nickel als Katalysator für die Reaktion und ist nicht selbst ein Reagenz. Während Nickel ist besonders nützlich wegen ihrer relativen Abundanz Die Funktion kann aber auch durch andere Elemente in der Spalte 10 des Periodensystems, wie Platin oder Palladium, durchgeführt werden.
Fig.5 auf Fig.7 zeigen eine Vielzahl von Möglichkeiten, um die Wärmequelle 14 in Fig.1 zu verbinden. In Fig.5 wird die Wärmequelle 14 stromabwärts von einem herkömmlichen Ofen 56 platziert in diesem Fall ist die Steuerung 35 wahlweise verbunden, um die herkömmlichen Ofen zu steuern. Als Ergebnis wird die herkömmlichen Ofen 56 ausgeschaltet bleiben, wenn die Ausgangstemperatur der Wärmequelle 14 fällt unter eine gewisse Schwelle ist, zu welchem Zeitpunkt der Ofen 56 wird gestartet. In dieser Konfiguration sind die herkömmlichen Ofen 56 als ein Back-up-Einheit.
In Fig.6 sind erste und zweite Wärmequellen 58 und 60, wie sie in Fig.1 bis Fig.4 beschrieben in Reihe geschaltet sind. Diese Konfiguration liefert eine höhere Ausgangstemperatur, als dies mit nur einem einzigen Wärmequelle 58 selbst vorgesehen sein. Zusätzliche Wärmequellen können in Reihe hinzugefügt werden, um die Temperatur weiter zu erhöhen.
In Fig.7 sind erste und zweite Wärmequellen 62 und 64, wie sie in Fig.1 bis Fig.4 beschrieben parallel geschaltet. In dieser Konfiguration kann der Ausgangspegel größer ist als das, was durch einen einzigen Wärmeübertragungseinheit selbst bereitgestellt werden könnte erfolgen. Zusätzliche Wärmeübertragungseinheiten können parallel weiter zu erhöhen Leistung hinzugefügt werden.
Es wurden eine Reihe von ganz hervorragende Männer, die große Einsicht gehabt haben, wie das Universum ist und wie es funktioniert. Einer von ihnen ist Karl Schappeller, die praktisch unbekannt ist. Einer der Gründe dafür ist die Tatsache, dass die Bekanntmachung seiner Arbeit wurde stark von Menschen, die nicht wollen, dass sein Verständnis zu weithin bekannt geworden entgegen. Ein Gerät von Karl produziert, um zu beweisen, dass sein Verständnis der Dinge richtig war, produzierte beträchtliche Mengen an überschüssiger Energie, und während ich nicht von jedem, der sein Gerät repliziert hat weiß, ich bin hier auch eine kurze Präsentation über das Thema, geschrieben von Henry Stevens http://www.missilegate.com/rfz/index2.htm und das Buch von Cyril Davson, die er erwähnt, kann heruntergeladen werden unter http://www.free-energy-info.tuks.nl/Davson.pdf und vollständig zu lesen.
In der Präsentation von Henry Stevens, erwähnt er UFOs oder fliegenden Scheiben. Es hat eine Propagandakampagne gegen die allgemeine Öffentlichkeit geführt seit mehr als fünfzig Jahren, mit dem Ziel, die Menschen zu überzeugen, dass "UFOs" sind nicht real, und wenn sie waren, dann würden sie die Fahrzeuge der "kleine grüne Männchen" sein. Diese Kampagne war bemerkenswert effektiv und Mitgliedern der Öffentlichkeit im Allgemeinen wird sofort entlassen fliegenden Scheiben als "unmöglich" und nicht etwas, was jeder vernünftige Mensch für einen Augenblick in Betracht ziehen würden. Diese Haltung basiert auf einer fast völligen Mangel an Kenntnis der Fakten. Es gibt in dieser Zeit eine große Zahl von fliegenden Scheiben, die von Menschen gebaut und in der Lage spektakulären Flug Fähigkeiten. Es gibt zwei Sorten: solche, die die Atmosphäre zur Bedienung und solche, die dies nicht tun.
Wenn Sie glauben, dass dies völliger Quatsch ist dann werfen Sie einen Blick auf die folgenden US-Patente:
US 2,718,364, Ernest
Crabtree ![]()
US 2,772,057, John
Fischer ![]()
US 2,876,965, Homer Streib 
US 2,912,244, Otis Carr ![]()
US 2,927,746, Walter
Mellen ![]()
US 2,935,275, Leonard
Grayson ![]()
US 2,953,320, Robert Parry 
US 2,997,254, Thomas
Mulgrave 
US 3,018,068, Frost &
Earl ![]()
US 3,020,002, John Frost ![]()
US 3,020,003, Frost &
Williams
![]()
US 3,022,963, Frost &
Earl ![]()
US 3,024,966, John Frost ![]()
US 3,065,935, Duberry/Frost/Earl ![]()
US 3,066,890, Nathan Price ![]()
US 3,067,967, Irwin Barr ![]()
US 3,123,320, Eldon
Slaughter ![]()
US 3,124,323, John Frost ![]()
US 3,243,146, Paul Clover ![]()
US 3,312,425, Lennon &
Varner ![]()
US 3,395,876, Jacob Green ![]()
US 3,397,853, William
Richardson ![]()
US 3,410,507, Paul Moller ![]()
US 3,432,120, Efrain
Guerrero ![]()
US 3,442,469, Troy Davis ![]()
US 3,469,802, Roberts
& Alexander ![]()
US 3,514,053, Gilbert
McGuiness ![]()
US 3,519,224, Boyd/Mallory/Skinner
![]()
US 3,750,980, Samuel
Edwards ![]()
US 3,774,865, Olympio
Pinto ![]()
US 3,946,970, Ben
Blankenship ![]()
US 4,014,483, Roderick
MacNeil ![]()
US 4,193,568, Norman
Heuvel ![]()
US 4,214,720, Edwin
Desautel ![]()
US 4,269,375, John Hickey ![]()
US 4,457,476, Frank
Andresevitz ![]()
US 4,804,156, Rodney
Harmon
![]()
US 4,824,048, Kyusik Kim ![]()
US 4,955,962, Christian
Mell ![]()
US 5,072,892, Alfred
Carrington ![]()
US 5,170,963, August Beck 
US 5,178,344, Vaclav
Dlouhy 
US 5,203,521, Terence Day ![]()
US 5,344,100, Allan
Jaikaran ![]()
US 5,351,911, George Neumayr
US 6,270,036 Charles Lowe ![]()
Diese kleine Auswahl an 46 Patenten ist nur diejenigen, die das bekannte Rundschreiben "fliegende Untertasse" Form haben beschränkt. Glauben Sie ernsthaft, dass nicht ein einziger dieser Patente einen Test Prototyp, oder flog, dass sie alle wurden von "kleinen grünen Männchen" pilotiert hatte?
Ich habe kein Interesse an fliegende Maschinen, die eine Atmosphäre braucht, da sie nur erweiterte Versionen von herkömmlichen Flugzeugen sind. In den frühen 1900er Jahren entwickelt Nikola Tesla und gebaut, was er als seine "Flugmaschine" beschrieben. Dies war ein kleines Gerät ohne Flügel und die 'flog' ohne die Verwendung eines Brennstoffs. Dieses Design von Teslas wurde von den Deutschen genommen und während des Zweiten Weltkriegs entwickelt und experimentiert mit. Nach dem Krieg wurde es in die USA und weiter bei Groome See entwickelt, und in dieser Zeit, die USA, Großbritannien, Kanada und die russische Regierung haben große Arbeitskopien, die sie halten, so geheim wie nur irgend möglich bekommen. Eine große Titelgeschichte ist, dass diese Schiffe auf "Außerirdische", die eine solche fortgeschrittenen Stand der Technik, dass wir niemals in der Lage sein, es zu verstehen haben, gehören. Es ist eine gute Geschichte, da es nicht möglich ist, sie zu widerlegen. Wenn Sie ein gutes Angebot von spezifischen Informationen zu diesem Thema möchten, dann lesen Sie "The Hunt for Zero Point" von Janes Forscher und Schriftsteller Nick Cook.
Während ich kein besonderes Interesse an electrogravitic Antrieb (oder "Anti-Schwerkraft", wie es im Volksmund bekannt ist und falsch bezeichnet), wenn die fachlichen Interessen nehmen Sie dann einen Blick auf die YouTube Video-Sequenz von Stan Deyo haben, der war einer der Menschen, die entwickelt electrogravitic Antrieb für eine internationale Gruppe, vor einigen Jahrzehnten. Stan erklärt: "Schwerkraft" als das Produkt aus Spin, die die Raum-Zeit-Kontinuum und er zeigt praktische Mechanismen zur Erzeugung einer Fahrt von diesem Grundsatz in seinem Vortrag auf: http://www.youtube.com/watch?v=ubka5f1vUC8
Das Gerät von Karl Schappeller Autor: Henry Stevens
War die Schappellers Gerät ein Motor im deutschen Bereich Antriebs-Untertassen verwendet? Dies ist eine Möglichkeit. Weil so wenig über dieses Gerät in englischer Sprache berichtet wurde, ist das folgende ein Bericht beschreibt Karl Schappeller und sein Gerät im Detail.
Karl Schappeller (1875-1947) ging buchstäblich aus in Armenhaus zum Besitz eines Schlosses zu Lebzeiten geboren. Sein wirtschaftlicher Erfolg wurde in seinen Experimenten spiegelt sich in Energie als Laien-Wissenschaftler, die ihren Höhepunkt in der Erfindung einer freien Energie Gerät, das viel Aufmerksamkeit um 1930 angezogen. Schappellers machte keinen Hehl aus seiner Erfindung und aktiv gesucht private Finanzierung herzustellen und zu vertreiben, die Ergebnisse seiner Forschung. Er stand in Kontakt mit finanziellen Sorgen, und er sprach sogar mit einem Vertreter der britischen Admiralität über die Nutzung seiner Geräte an die Macht Royal Navy Schiffe (1).
Zu dieser Zeit, 1930, wurde das Gerät irgendwie angeeignet und weitere auf die von einer staatlichen Organisation der deutschen Weimarer Republik, der Reichsarbeitsgemeinschaft oder Reich Works Association (RAG) gearbeitet. Mindestens ein Ziel der RAG war, um Deutschland autark in der Energieerzeugung. Insbesondere veröffentlichten sie ihre Absichten zu vielen Schappeller Geräte in einem System von Broadcast Energieverteilung in Deutschland, die in der gesamten Eliminierung der elektrischen Gitter (2) zur Folge hätte nutzen. Wie wir wissen, übernahm Adolf Hitler die Macht drei Jahre später und aus strategischen Gründen, er war auch sehr daran interessiert, dass Deutschland unabhängig von ausländischen Energiequellen. Es ist bekannt, dass die politischen und wissenschaftlichen Strukturen wurden auf dem Energiemarkt Problem zu umgehen eingestellt, wie später durch die Synthetisierung von Benzin und Öl aus Kohle durch das 3. Reich belegt. Einer dieser politischen und wissenschaftlichen Strukturen wurde im SS enthalten und es ist bekannt, dass Karl Schappeller tatsächlich traf SS Reichsfueher Heinrich Himmler in Wien im Jahr 1933 (3).

Links: Inventor Karl Schappeller Rechts: Karl Schappeller die Device. A. Stahl Außengehäuse. B. Besondere keramische Auskleidung in die Rohre eingebettet sind. C. Hohl-Center,
durch glühende Magnetismus im Betrieb gefüllt. D. Tubes, Schaltung und earthling.
Glücklicherweise gibt es gute Beschreibungen der Schappellers Gerät, auf denen in deutscher und englischer Sprache zu ziehen. Per Vril-Mythos ist eine komplette Diskussion Schappellers, seine Einheit, die Geschichte und die Kontroverse umgibt. "Vril, Die Kosmische Urkraft Wiedergeburt von Atlantis" und "Weltdynamismus Streifzuege DURCH technisches Neuland eine Hand von Biologischen symbolen" stellen einen Versuch durch die RAG, ihre Ideen in Form einer Broschüre zu popularisieren. Schließlich britischen Elektro-und Maschinenbauingenieur, Cyril W. Davson, besucht Karl Schappeller in Österreich und verbrachte drei Jahre Lernen von seinem Gerät und seine Theorie vor dem Zweiten Weltkrieg. Davson die beschreibenden Buch "Die Physik des Primary State of Matter", wurde im Jahr 1955 geschrieben, nach dem Krieg und der Tod Schappellers .
Vor der Beschreibung der Vorrichtung selbst versteht es sich, dass alle Schappeller und Schreiben über seine Vorrichtung glauben, dass die Energie-Quelle angezapft Äther Energie, manchmal auch als "Raumkraft" oder "Raumenergie", das Raum-Energie werden soll ist (4)(5)(6). Diese Vorrichtung wurde auch die in der Lage sein, vielleicht mit Tuning, Emittieren Äther als Strahlungsenergie (7). Die Physik der Äther-Energie wird von Davson beschrieben, wie "primäre Physik" im Gegensatz zu "klassischen Physik", die seiner Meinung nach nur eine sekundäre, Derivative Verständnis sein gelten könnte..
Äther
Theorie
Für Leser, die "Äther" noch nie gehört haben, ist vielleicht die einfachste Erklärung für Äther-Physik, die von den späten Dr. Hans A. Nieper (7) mit dem Titel "Revolution in Technik, Medizin und Gesellschaft". Aether könnte als Energiequelle, die aus überall gleich auf einmal gedacht werden. Das Universum könnte erwogen werden, wie oft gesagt wird, auf "ein Meer von Energie" sein. Es bildet einen Hintergrund von Energie überall, und da es überall ist die ganze Zeit, ist es schwierig machen unabhängige Messung davon. Dieser Äther Energie ist in ständiger Bewegung. Alle Energie ist Strahlungsenergie, nach dieser Theorie. Dies kann leicht zu elektromagnetischer Strahlung erkannt werden, aber es ist auch für diese sehr schwer Ding genannt Schwerkraft. Newton beschrieb die Auswirkungen der Schwerkraft, aber er nie erzählt uns genau, was es war. Dr. Nieper sagt uns, dass die Schwerkraft ist wirklich ein Stoß, und nicht ein zu ziehen. Gravity ist die Beschleunigung und wird durch den Äther Feld verursacht. Wieder ist alles Energie strahlende Energie, deren grundlegende Basis ist Äther Strahlung.
Aus dem oben genannten Buch von Dr. Nieper:
Darüber hinaus haben Nieper das Axiom, dass “alle natürlichen Beschleunigungen können zu einer einzigen einheitlichen Grundprinzip, nämlich das Abhören (oder Bremsen) eines Feldenergie Eindringen von außen (Erdbeschleunigung, magnetischen, elektromagnetischen, elektrostatischen und radiesthesic Beschleunigung) zurückzuführen".
Bei dem Versuch, Äther zu erklären, könnte es als eine alles durchdringende Flüssigkeit gedacht werden, besetzen den ganzen Raum. Diese Flüssigkeit Konzept ist nützlich, weil eine Flüssigkeit nicht komprimiert werden kann, sondern nur die Energie zu übertragen versucht, ihn von einem Ort zum anderen zu komprimieren. Dies ist, wie die Bremsen eines Fahrzeugs Arbeit. Der Fahrer betätigt das Bremspedal, wenn er zu verlangsamen oder zu stoppen will. Der Kolben des Bremspedals versucht, die Flüssigkeit in dem Hauptzylinder zu komprimieren. Der Hauptzylinder auf jedes Rad durch Metallrohre voller Flüssigkeit verbunden ist. Wenn Druck auf den Hauptzylinder von dem Fahrer gebracht wird, um jede der vier Radzylinder voller derselben Flüssigkeit, die die Kraft überträgt, Bewegen des Bremsmechanismus, verlangsamt die Räder des Fahrzeugs übertragen.
In ähnlicher Weise dient der Äther zur Energieerzeugung durch diese "nicht kompressiblen" Qualität zu übertragen. In einem primären und sekundären elektrischen Spule elektrische Spule, beispielsweise bedeutet Induktion im sekundären nicht statt direkt von der primären als wird nun von dem aktuellen physikalischen, sondern ist die Induktion zwischen den beiden Wicklungen durch den Äther Feld. Dieses Konzept der Energie Übertragungsfunktion des Äthers Feld wird auch durch Davson ausgedrückt.
Mit diesem Ansatz, dass alle energiereicher Strahlung ist, die Bremswirkung des Äthers Strahlung, also die Verlangsamung oder das Anhalten dieser Strahlung, kann eine Übertragung auf andere Formen von Energie verursachen. Das Wort "Energie" das gesamte elektromagnetische Spektrum. Das beinhaltet, elektrische, magnetische und elektrostatische Felder. Dies bedeutet Wärme. Dies bedeutet auch, Schwerkraft. Wieder ist die Gravitation die primäre Strahlung des Äthers Feld. Es strahlt von jedem Punkt im Universum gleich.
Dieses Konzept scheint lächerlich, bis er etwas nachgedacht wird. Man könnte fragen: "Wie kann die Schwerkraft ein Push sein, wenn wir es besser wissen?" Nach all die Dinge auf die Erde fallen, nicht wahr? Die Antwort ist, dass die Auswirkungen, die wir fühlen, und rufen "Schwerkraft" durch Abschirmung Äther sind. Aether Strahlung kann gebremst werden, dass wird verlangsamt und absorbiert durch Masse. Es wird dann wieder abgestrahlt oder umgewandelt in Masse. Es wird als langsamer Äther Strahlung oder auch als Wärme wieder abgegeben. Einige der es kann, und ist, in Masse im Inneren eines Planeten umgewandelt. Wenn es einen Verlust von Äther Strahlung, dann wird Abschirmung. Somit würde ein Planeten von dieser Strahlung in eine Richtung abzuschirmen. Diese Richtung ist immer zur Mitte, die die Richtung der größten Masse ist, und das ist, was wir als "down" zu beschreiben. Dies ist einfach der Bereich, der die maximale Menge an Schutzgas enthält. In allen anderen Richtungen der Äther-Strahlung weiterhin seine Druck auf uns ausüben. Der Bereich der minimal-Abschirmung liegt direkt gegenüber dem Bereich der maximalen Abschirmung, so Dinge fallen (oder mehr richtig beschleunigt oder "geschoben") in Richtung der Erde.
Denken Sie darüber für eine Minute. Als im Weltraum ist eher wie unter Wasser. Unterwasser ist der Druck an allen Punkten so ähnlich, dass wir schwerelosen fühlen. Wir sind schwerelos im Weltraum, weil der Äther Feld übt einen Push auf uns aus allen Richtungen gleichermaßen. Im Raum erhält, je näher man zu einem großen Körper je stärker die Push ist aus der entgegengesetzten Richtung, da die Körper abschirmt oder wandelt die Äther Strahlung. Das Ergebnis dieser Bemühungen ist ein Mechanismus, völlig verschieden von "Schwerkraft", wie wir sie kennen, sondern erscheinen als genau den gleichen beobachteten Phänomene.
Die Schönheit dieser Äther Theorie der Gravitation ist, dass die Schwerkraft funktioniert wie jede andere Form von Strahlung. Ihr zugrunde liegenden Ursache, Äther Strahlung kann, um Masse umgewandelt werden, oder, in bestimmten Fällen wieder abgestrahlt oder in andere Energieformen. Kein Unified Field Theory notwendig ist. Der Äther Feld ist das einheitliche Feld. Ferner besteht keine Notwendigkeit, für etwas separaten genannt "Anti-Schwerkraft" aussehen. Wenn die Schwerkraft ist ein Push dann ist es Anti-Schwerkraft. Alles, was wir tun müssen, um ein UFO zu machen, ist diese besondere Schwere Frequenz zu finden und herauszufinden, wie es zu erzeugen.
Aether Physik war eine verlorene Physik. Physik wurde Anfang des 20. Jahrhunderts von den angeblichen Ergebnisse des Michelson-Morley-Experiment entführt. Dieses Experiment ausgegangen, dass "Äther" Sache war. Es gibt einige Verwirrung hier. Wir wissen jetzt, dass Teilchen, die sich in der Nähe der Lichtgeschwindigkeit als Wellen gemessen, das ist Energie, und nicht als Angelegenheit. Dennoch hat Äthertheorie unter Physikern, die wiederum zu diskreditieren andere, die das Thema zu erhöhen diskreditiert worden. Es ist nur durch die Bemühungen von "Freie-Energie-Geräte" und Freie-Energie-Forscher, dass dieses Wissen wird an uns zurückzusenden. Ohne diese Äthertheorie der Grund diese Vorrichtungen arbeiten kann überhaupt nicht erläutert. Ablehnung der Äther Theorie erlaubt diese Geräte als "theoretisch unmöglich" abgetan werden und so "betrügerische" implizit. Sie werden ausgegrenzt und wies sie als "Perpetuum mobile devices". Nach ständiger Physik, verletzt Perpetuum mobile Geräte die physikalischen Gesetze der Erhaltung der Energie. Ohne Äther Theorie als Erklärung, sie gegen die Gesetze der Erhaltung der Energie und so ihre Gegner sind in der Lage, einfach entlassen sie aus der Hand. Die einfache Tatsache, dass einige dieser freien Energie Geräte tatsächlich funktioniert, scheint nicht diese Wissenschaftler im geringsten zu stören. Anstatt zu ändern, die Theorie, die beobachteten Tatsachen gerecht zu werden, sind die Fakten ignoriert und gegebenenfalls durch Dogma. Ob es uns gefällt oder nicht, wir sind in einer Energie Dark Age leben.
Statt Äthertheorie haben wir alle geführt worden, um auf Einstein und seine Theorien der Relativität zu konzentrieren. Zwei oder drei Generationen von Wissenschaftlern haben sich auf "versuchen, Einstein als richtig erweisen" verschwendet. Diese fehlgeleitete Denken hat in Stagnation geführt. Man braucht nicht weiter gehen als die vielen "freien Energie"-Geräte, die dem Niveau der Mitteilung trotz der akzeptierten wissenschaftlichen Theorie zu sehen, dass diese Aussage wahr ist entstanden sind.
Unnötig zu sagen, arbeiteten deutsche Wissenschaftler der NS-Zeit unter keinen solchen Illusionen. Sie haben nie aufgegeben Äther Physik. Dies war der Hauptgrund, warum Bereich Antriebs UFOs zuerst in Deutschland entwickelt wurden. Nach dem Zweiten Weltkrieg zwei verschiedene Wissenschaften entwickelt, beide genannten "Physik". Einer war der Relativitätstheorie-basierte Konzept in den Schulen gelehrt, während die zweite, eher esoterischen Art, wurde heimlich von der geheimen Regierung verwendet, für tiefe "black Projekte".
Struktur der Vorrichtung Schappeller
Gemäß der Beschreibung Davson, auf das wir angewiesen wird das Schappeller Gerät wirklich aus zwei getrennten Einheiten, dem Rotor und der Stator besteht. Der Stator ist wie folgt aufgebaut: Die Oberfläche ist rund oder kugelförmig, aus zwei Halbschalen aus Stahl. Diese Halbschalen enthalten die innere Struktur und luftdicht sind. Angebracht an der "Pol" von jeder Halbschale ist ein Eisenstab-Magnet, von denen die meisten innerhalb der Kugel positioniert ist. Dies bedeutet, dass der Hauptteil jeder Magnet im Inneren der Stahlkugel ist, eine gegenüber der anderen. Es gibt einen Raum zwischen den zwei Stabmagneten in den Mittelpunkt der Kugel ist.
Einem isolierenden Keramikmaterial, ist auf der Innenseite der Stahlkugel platziert, so dass eine hohle zentrale Bereich. Innerhalb dieses hohlen Bereichs, und um den Raum zwischen den Magneten sind zwei Spulen angebracht sind. Diese beginnen am Pol des Stabmagneten und in der Mitte der Kugel enden, mit einer Verbindung, die aus der Kugel zum Rotor. Diese Spulen gewickelt sind mit einem hohlen Kupferrohr mit einer speziellen, geheimen Substanz namens "Elektret" gefüllt. Beim Verlassen der Kugel, werden die Elektret-gefüllte Kupferrohre mit herkömmlichen Kupferdraht ersetzt. Eine elektrische Verbindung von der äußeren Oberfläche von einem Pol mit einem Pol einer speziellen Typ der Batterie, die am anderen Pol geerdet ist, oder alternativ auf eine spezielle Vorrichtung bezeichnet eine "Ur-Maschine", die später diskutiert werden hergestellt.
Diese Elektret ist ein Permanentmagnet in der Sphäre. Diese Art von Magnetismus ist nicht identisch mit Ferromagnetismus oder Elektromagnetismus, ist es viel stärker (8). Die tatsächliche Zusammensetzung der Schappellers die Elektret bleibt ein Geheimnis, aber ein anderes Elektret wurde von Professor Mototaro Eguchi worden. Es besteht aus Carnaubawachs und Harz, vielleicht auch mit etwas Bienenwachs. Es wurde in einem starken elektrischen Feld gehalten, während Backen langsam, bis sie erstarrt. Für die Zwecke der Produktion von Schappellers Kugeln, wäre eine komplette Elektret Fertigungsstätte muss so eingerichtet werden, die keine Parallele in der Gegenwart Wissenschaft (9).
Bevor er in Betrieb gesetzt ist, wird die gesamte Luft aus dem hohlen Kern der Kugel gepumpt. Dieser gesamte Kugel auf einer Schwenkeinrichtung montiert ist, so dass die Pole von der vertikalen zur horizontalen bewegt werden. Der Stator ist nicht auf den Rotor angebracht ist. Der Stator kann, ohne den Rotor zu funktionieren und der Stator ist in der Lage, elektrische Energie ohne den Rotor. Der Rotor könnte auch verwendet werden, um zusätzliche elektrische Energie zu erzeugen.
Der Rotor besteht aus einem Stahlrad besonderer Bauart fixiert auf der Welle angetrieben zu werden, und umgeben auf ihrer äußeren Oberfläche durch die Magneten angezogen und durch die Kraft des Ständers abgestoßen. Der Kupferdraht, der an den internen Elektret-gefüllte Kupferrohr, durchläuft dieses Rades und liefert elektrische Leistung zu den Magneten. Die Magnete sind hohl und gefüllt mit der gleichen Elektret. Es gibt immer eine ungerade Anzahl von Magneten.
Eine Variante dieses Rotors kommt zu uns aus Täufer, der dieser Weiterbildung bezieht sich als "Ur-Machine". Diese Maschine besteht aus sechs Kugel Einheiten zusammengesetzt, wie oben beschrieben, fünf Umdrehungsachse eines sechsten die entweder oberhalb oder unterhalb der Ebene der anderen umlaufenden Kugeln positioniert ist. Eine siebte Einheit würde verwendet, um die fünf rotierenden Kugeln zu drehen und so versetzt sein würde, und nicht an die andere angebracht. Die fünf rotierende Kugeln berechnen würde die sechste stationären Bereich. Die sechste und siebte Kugeln wäre als eine Anode und Kathode funktionieren und so das Gerät zu erden. Die Ur-Maschine verwendet werden, um andere Bereiche anstelle einer Batterie-Erdungsschalter Prozedur (10).
zu aktivieren.
Als Kraftmaschine, einen Motor, würde der Rotor verwendet, um eine Antriebswelle zu drehen. Der Stator würde versetzt werden, das heißt, aus der Mittelstellung verschoben im Verhältnis zum Rotor. Schappeller geklappt verschiedenen Winkeln Wirkungsgrad (11). Die Antriebswelle kann verwendet werden, um eine beliebige Anzahl von Leistung Maschine Anwendungen wie, zum Beispiel, die Propeller eines Schiffs.
Mittel
zur Operation
Die Vorrichtung wird durch eine Verbindung zu einem völlig eindeutige Batterie und einer Verbindung zur Erde (12) gestartet. Ein spezifisches Anregungsimpuls muss mit dem Gerät (13) gegeben werden. Dieser elektrische Impuls wird durch das Eisen-Magneten durchgeführt und springt die Lücke in der Mitte der Kugel mit dem anderen Eisen-Magneten.
Was geschah dann setzt dieses Gerät abgesehen von allen anderen. Im Vakuum der Kugel befindet sich im Zentrum zwischen den beiden Stabmagneten ein Feld der "glühende Magnetismus" eingerichtet. Diese leuchtende Magnetismus ist etwas völlig einzigartig. Es wird als ein magnetisches Feld erfasst, aber viel leistungsfähiger und im Gegensatz zu allen Magnetfeld durch einen Eisenstab oder einer elektrischen Spule erzeugt wird. Sobald die erste Eingabe gemacht worden war, um das Gerät zu starten, kann die Batterie und Masse getrennt werden. Die Vorrichtung dann weiterhin auf seine eigene (14) zu betreiben.
Für das Verständnis von dem, was wirklich geschieht hier haben wir den Stabmagneten betrachten. Wir denken an eine Eisenstange mit zwei Pole, einen positiven und einen negativen oder vielleicht ein Nordpol und ein Südpol. Aber es gibt wirklich drei Komponenten des Stabmagneten. Es sind die beiden Pole und die neutrale Zone zwischen den Polen. Wenn wir den Magneten halbiert erhalten wir zwei neue Pole. Für die Schappellers Gerät, ist diese neutrale Zone sehr wichtig. Stellen Sie sich ein Stabmagnet Durchlaufen der vertikalen Achse der Kugel. Dann stellen Sie sich der mittlere Abschnitt herausgeschnitten. Wir haben jetzt einen Nordpol an der Spitze der Kugel, ein Südpol an der Unterseite der Kugel, so wie wir mit dem Planeten Erde zu tun. Im Zentrum haben wir einen fehlenden Abschnitt mit einem Südpol, den Nordpol gegenüberliegenden oben auf die Kugel und ebenso einen Nordpol gegenüber dem Südpol auf der Unterseite der Kugel. Wir haben jetzt vier Pole und eine Spaltung Stabmagneten mit einer Lücke in ihrem mittleren Abschnitt.
Es ist diese Lücke in der Mitte, wo Schappellers der "glühende Magnetismus" durch Erdung, dh Aufladen des Geräts über eine spezielle Batterie und einem Erdungsanschluss erzeugt wird. Diese leuchtende Magnetismus ist das Geheimnis. Davson zitiert Schappellers Berechnungen und gibt diese Form des Magnetismus als tausend Mal stärker als die von gegenwärtigen Magnetismus (15) erzeugt. Er stellt auch fest, dass in dieser Form des Magnetismus der Strom stationär ist, während der Magnetismus abgestrahlt wird (16).
Um dies noch einmal sagen, macht Davson in seinem Buch, dass diese glühende Magnetismus nicht im sekundären Physik gefunden, das heißt, in der modernen Physik, und dass diese glühende Magnetismus eine Manifestation des primären Physik ist. Als Phänomen der primären Physik ist es verantwortlich und erzeugen kann, Wärme, Elektrizität und Magnetismus.
Nach anfänglichen Stimulation und in einem Zustand der glühende Magnetismus, ist keine weitere Eingabe von Energie aus der Batterie benötigt. Das Gerät ist in der Lage, in Energie, um es direkt aus dem umgebenden Äther, binden diese Energie aber seine magnetischen Elektret-Material, das ist die Füllung in den hohlen Kupferspulen der internen Spule, und dann wieder strahlen Energie Erzeugung von Wärme, Strom, Magnetismus oder mechanische Arbeit in Abhängigkeit von der Anwendung.
Anders ausgedrückt, ist diese Vorrichtung eine Implosion und wird als solche (17) (18) beschrieben. Im Gegensatz zum Schauberger Vorrichtung, die mit dem Wort assoziiert Implosion wird, arbeitet der Schappeller Vorrichtung rein auf dem energetischen Niveau. Energie wird zur Mitte gezogen, durch den Magneten, in den Bereich der glühenden Magnetismus, und dann strahlte nach außen.
Meine erste Erklärung für diese Ausgabe von Strahlungsenergie beinhaltet das Konzept der Bloch Wall. Ein Bloch Wand wird von Scientific Enzyklopädie Van Norstrand die, 1958 Edition, Seiten 201 und 202, wie folgt definiert:. "Dies ist eine Übergangsschicht zwischen benachbarten ferromagnetischen Domänen in verschiedenen Richtungen magnetisiert ist Die Wand hat eine endliche Dicke von einigen hundert Gitterkonstanten, wie Es ist bevorzugt, die energetisch Spinrichtungen langsam verändern von einer Ausrichtung zu einem anderen, durch die Wand gehen und nicht an eine abrupte Diskontinuität"(18) aufweisen.
In Elektromagnetik die Bloch Wall ist außerhalb der Hardware. Es ist der Punkt der Teilung der kreisenden Wirbel, oder Spin, der elektronischen magnetischen Energien der Nord-und Südpol. Der negative Nordpol Magnetismus dreht nach links, während die positive Südpol dreht nach rechts. Energie wird in das Gerät durch die Schappeller unisolierten Pole geführt ist und geführt und auf dem Weg zur Mitte der Einheit geschleudert. Der Punkt von Null Magnetismus, kein Spin und magnetische Umkehr, wo die beiden Spin-Feldern kommen, ist die Bloch Wand (19).

Bloch Wand, eine Schwerkraft Wellenquelle als Funktion des elektromagnetischen Spektrums?
(Dr. Richard Le Fors Clark)

Schwingkreis. Geladenen Kondensators
(elektrisches Feld) Entladungen durchgeführt Strom
Durch isolierten Draht der Spule berechnen (Magnetfeld), die Einleitungen, Ladekondensator.
Oszillierende elektrische und
magnetische Felder zu ergeben elektromagnetische
Wellen.
Der Block Wall strahlt Energie aus. Denken Sie daran, wenn die Energie in so muss gehen kommt. Die Bloch Wand kann zu generieren Funk, Radar und andere Elektromagneten Frequenzen aber was ist am interessantesten ist, dass es tatsächlich in der Lage ist zu strahlen Schwerkraft nach Dr. Richard Le Fores Clark. Nach dieser Interpretation ist die Verbindung von zwei dipolar erzeugte Kraft-Feldvektoren, einem Quadrupol Kraftfeld oder Schwerkraft nach Dr. Clark generiert. Gravity ein Quadrupol Quelle, strahlt es in einer kreisförmigen, 360O, Muster von zwei Zyklen. Dr. Clark hat den Punkt der Emission festgesetzt unter dem Radar und über Infrarot bei 1012 Hz (20). Dr. Richard Le Fors Clark glaubt, dass die Schwerkraft eine Strahlungsquelle (20) und so ist es ein "Push ".
Ein weiteres Gutachten
Ende 2001 schrieb ich einen Zeitschriftenartikel auf dem Schappellers Vorrichtung (20), die die meisten des Materials oben beschrieben enthalten. In diesem Artikel, bat ich alternative Erklärungen für die Schappellers Gerät. Erhielt ich einen Brief von Herrn Michael Watson, BSc, Charted Physiker und Mitglied des Institute of Physics in das Vereinigte Königreich. Aber es gab etwas in Mr. Watson den Hintergrund noch beeindruckender als seine beruflichen Qualifikationen. Cyril W. Davson war ein Freund der Familie, den Mr. Watson gut kannte in seiner Jugend und mit wem er Schappellers und seine Ideen etwas ausführlicher bei vielen Gelegenheiten erörtert. In Mr. Watson Brief war eine kurze Zusammenfassung der Schappellers Theorie, in der er durch die meisten der verwirrende Terminologie geschnitten.
Diese Zusammenfassung ist für eine Reihe von Gründen wichtig. Mr. Watson Zusammenfassung des Schappellers die Äthertheorie wie Davson beschriebenen passt wunderbar in die Ideen der Schauberger noch scheint für experimentelle Ergebnisse Teslas am Äther ermöglichen, wie erklärt Bill Lyne. Das Folgende ist, was ich von Mr. Watson Brief gelernt:
Die meisten von uns haben die beiden Hauptsätze der Thermodynamik gehört. Dies sind Gesetze der Wärme. Der erste Hauptsatz der Thermodynamik besagt, dass Energie eingespart wird, was bedeutet, dass der Gesamtbetrag der Energie im Universum bleibt immer die gleiche. Dies ist keine Überraschung für die meisten von uns, und es ist nicht das eigentliche Anliegen hier.
Was ist bedenklich ist der Zweite Hauptsatz der Thermodynamik, die Wärme und Entropie diskutiert. Das Wort "Entropie" könnte der als ein Zustand der Zufälligkeit oder Chaos gedacht werden. Negative Entropie würde dann bedeuten Bewegung hin zu einem weniger zufällig oder mehreren geordneten Zustand einer bestimmten Sache. Wenn wir dies auf einem System anzuwenden, dann Entropie nimmt tendenziell zu, bis das System bricht in völliges Chaos. Dies tritt auf, wenn das System mit zusätzlichen Fremdenergie wieder aufgeladen. Ein konkretes Beispiel hierfür könnte hilfreich sein:
Stellen Sie sich ein neues Auto kommen gerade vom Fließband. Es hat eine sehr viel Energie ergriffen werden, um zu finden, zu verfeinern, zu schmieden, schweißen und lackieren Metallteile dieses Auto. Das gleiche Konzept gilt auch für alle anderen Komponenten des Wagens. Diese Energie und Organisation darstellt hochorganisierte Zustand, oder, mit anderen Worten, ein Zustand negativen Entropie.
Was passiert als nächstes zeigt Entropie. Das Auto gekauft wird. Ob es sich um harte oder angetrieben sitzt nur in der Garage nicht auf lange Sicht wichtig, weil was passiert mit dem Auto ist, dass es auseinander zu fallen beginnt. Diese Änderung kann auf den ersten klein und kann nur auf der molekularen Ebene auftreten, aber es kommt trotzdem. Der Motor, Getriebe, Lack, Gummi, Elektronik, etc. alles wird mit der Zeit versagen. Auch wenn es das Auto sitzt nur in der Garage, in tausend Jahren wird das Metall schließlich oxidieren. Schließlich, das Auto rostet weg Bildung einer rotbraunen Haufen. Dies ist genau das Gegenteil der Organisation und Energie verwendet, um das Auto zusammen. Diese Desorganisation ist die Entropie. Das einzige, was diesen Trend umzukehren wird, wie wir alle wissen, sind zusätzliche Eingänge von Energie durch den Eigentümer in Form von Wartung und Reparatur.
Alle Dinge in einem relativen Zustand der Ordnung bewegen sich einem Zustand der Unordnung. In der Wärme, wird die Hitze immer in einem kälteren Ort, von einem wärmeren Ort fließen. Wenn etwas erhitzt wird gibt es einen Anstieg in der Entropie. Mit zunehmender Wärme seiner Moleküle schneller bewegen in zufälliger Chaos, wie eine Bombe, wenn es explodiert tut. Zunehmende Wärme bedeutet zunehmende Beliebigkeit und Chaos, Entropie. Kalt, dann kann im Hinblick auf die negative Entropie zu sehen. Jede kalten Gegenstand ist einfach organisierter und weniger zufällig als das gleiche Objekt, wenn es erwärmt wird.
Schappellers hatte etwas über den Zweiten Hauptsatz der Thermodynamik zu sagen. Er sagte, es war eine andere und unbekannte thermodynamischen Zyklus, die gegenüber dem Zweiten Gesetz läuft. Um diese Idee zu benennen wir nennen es "Reverse Thermodynamik". Es ist die Umkehrung der Zweite Hauptsatz der Thermodynamik, dass es zu einer Zunahme der Entropie. Es gibt nicht nur eine Steigerung in Ordnung, aber es ist eine Zunahme der Kälte! Schappellers nach Mr. Watson Brief, baute seine kugelförmige Gerät in erster Linie die Prinzipien hinter dieser umgekehrt Thermodynamik demonstrieren. Es war nicht so eine praktische Maschine konzipiert.
Um die Differenz zwischen dem Zweiten Hauptsatz der Thermodynamik und Reverse Thermodynamik zwei theoretische Maschinen untersucht werden muss nachweisen. Eigentlich ist eine Maschine läuft nach dem Zweiten Hauptsatz der Thermodynamik überhaupt nicht theoretisch. Verbrennungsmaschinen sind von diesem Typ. Der Einfachheit halber benutzen wir einen Holzofen wie die Art von Benjamin Franklin für die Heizung eines Hauses erfunden.
Holz wird in einem hohlen Behälter mit Eisen einen einstellbaren Loch an einem Ende gebracht. Der einstellbare Loch gesteht Luftsauerstoff. Eine erste kleine Wärmezufuhr auf das Holz und Sauerstoff zugesetzt, bis Verbrennung auftritt. Ein großer Teil der Wärme erzeugt wird, wenn das Holz zu brennen beginnt. Wir wissen, Hitze ausdehnt. Kohlenstoff, Kohlendioxid und Wasserdampf auch Nebenprodukte der Verbrennung erzeugt wird. Entropie erhöht wird. Da Entropie erhöht, so ist die Verschmutzung so vielleicht können wir alle einig, dass dies ein gutes Beispiel für die zerstörerische Technologie ist so charakteristisch für die Welt, in der wir leben.
In unserem Beispiel einer theoretischen thermodynamischen Maschine umgekehrt die Nebenprodukte der vorangegangenen Beispiel kann als Brennstoff verwendet werden. Aber Schappellers die Maschine hat die zusätzliche Eigenschaft, kreativ, also negativ entropische. Schappellers glaubten diesen kreativen Prozess zu individualistisch, so brauchen wir eine bestimmte Vorlage als Muster für diese Schöpfung zu verwenden. Wärme, Wasser und Kohlendioxid werden in dieser Maschine zugeführt. Erstaunlicherweise wird Sauerstoff als Nebenprodukt dieser Reaktion ergab! Die Wärme wird auch in umgekehrter Thermodynamische Schappellers der Maschine aufgenommen! Diese Absorption von Wärme ist eine andere Art zu sagen, dass die Maschine implosive in der Natur statt expansive oder explosives wie die Wärme erzeugenden Maschine. Was ist erstaunlichsten ist jedoch, dass die Entropie tatsächlich reduziert nachgiebig, was nicht erstellt Holz hat!
Eigentlich ist diese Maschine nicht theoretisch nicht. Es existiert und funktioniert, wie wir sprechen. Diese Maschinen sind überall um uns herum. Wir nennen diese Maschine "Leben". In diesem Fall ist unsere Maschine ist ein Baum. In dem Baum, wird die Energie, Sonnenlicht absorbiert und in einem Kalt-Verfahren mit Wasser und Kohlendioxid, um Holz zu bilden. Die Vorlage als Muster für diese scheinbar intelligent, kreativ, verwendet einfach ein Samenkorn. Bei dieser Art von Reaktion ist die "kalte" Kraft ist etwas anderes als die Abwesenheit von Wärme. Diese kalte ist ein aktiver kalt. Es ist eine "Verdichtung", implosive kalt. Es ist eine Leben spendende kalt. Dies ist ein kalter, Leben . spendende Kraft, um Watson zu zitieren: "Dieser Prozess ist Lebenskraft und die Umkehrung der zweite Hauptsatz der Thermodynamik, es ist die vitale Kraft: Vril."
Dies ist ein großer Unterschied zwischen der Physik der Schappellers und Schauberger und der Physik des neunzehnten Jahrhunderts. Die Physik des neunzehnten Jahrhunderts alles erklären in Bezug auf die unbelebte. Gesetze der Physik werden mithilfe unbelebten Beispiele. Chemische Reaktionen beschrieben, die stammen aus unbelebter Modelle. Animate Modelle sind einfach gemacht, um mit der unbelebten vorausgesetzt, dass das Leben übereinstimmen, ist nur ein Spezialfall, die schließlich gezeigt, dass nichts als Chemie und so unterliegen den gleichen zweite thermodynamische Gesetz als unbelebt sein werden. Schappellers und Schauberger sagen beide auf ihre eigene Weise, dass dies nicht so ist. Sie sagen, die jeweils auf ihre eigene Weise, dass ein neues und anderes Gesetz der Thermodynamik zu lebendigen Kräfte gilt. Sie sagen, dass dies eher einem Prozess des Lebens als bisherige Theorien erlauben. Sie sagen, diese Kraft ist kreativ. Wer diese neuen Ideen gezeichnete behauptet, dass es nicht nur ein neues physikalisches Gesetz, sondern eine neue Wissenschaft und Deutschland werde den Weg in diese neue Wissenschaft führen. Lassen Sie uns einen genaueren Blick auf, was behauptet wird, um die Physik hinter dieser neuen Wissenschaft zu sein.
Das erste Konzept zu berücksichtigen ist kalt. Kälte in diesem Sinne bedeutet nicht die bloße Abwesenheit von Wärme. Dies ist interstellaren kalt, die Kälte im Vakuum des Weltraums gefunden. In dieser relativen Vakuum wird Materie nicht in ausreichender Menge verwendet werden, um diesen zu messen kalten gefunden. Denken Sie darüber nach, wie wir messen kalt. Wir messen Materie, die kalt ist. Wir messen die Wärme in Luft oder Wasser zum Beispiel. In Abwesenheit von Materie wie würde kalten gemessen werden? Es besteht kein Zweifel, dass, wenn wir könnten zum Beispiel, setzen Sie ein Thermometer in ein Glas Wasser in den Tiefen des Weltraums, die Temperatur erfasst würden an oder sehr nahe dem absoluten Nullpunkt, 0O Kelvin oder -273O Celsius oder Fahrenheit -460O sein.
Das Vorhandensein oder die Abwesenheit von Materie im Weltraum können Gegenstand von Vermutungen sein. Das Vorhandensein oder Nichtvorhandensein von Energie im Weltraum ist etwas allgemein akzeptiert. Zum Beispiel, wir alle wissen, dass das Licht durch den interstellaren Raum passiert. Wir sehen den Beweis, wenn wir einen Blick auf die Sterne, Planeten oder Mond. Neben sichtbares Licht, andere elektromagnetische Strahlungen ungehindert durch den Raum. Dazu gehören Röntgen-, Gamma-und kosmische Strahlung. Doch neben der elektromagnetischen Strahlung viele Menschen glauben jetzt, dass in den Tiefen des Alls dort wohnt eine andere Form der Energie wird auch dort wie überall um uns herum gefunden. Diese Energie irgendwann hört auf den Namen "Null-Energie", sondern für unsere Zwecke können wir nennen es einfach "Äther Energie". Es wird manchmal argumentiert, dass diese Energie wirklich ist das Ergebnis des Äthers als der Äther selbst und die Äther ist wirklich egal. Für einen Moment, lassen Sie uns diese Diskussion zu verschieben und sich auf dem riesigen, erstreckt sich der interstellare Raum, der mit Äther Energie gefüllt sind, in der Nähe oder am absoluten Nullpunkt.
Mr. Watson weist darauf hin, Dawson Worte auf Seite 83 "Die Physik der Primary State Of Matter", wo er sagt: "Cold ist daher nicht die Abwesenheit von Wärme, primäre Wärme und Kälte, die nichts mit molekularen Aktion zu tun (in den Kosmos ) gibt es keine Moleküle vorhanden ".
Der Leser erinnern sich vielleicht, dass etwas Seltsames in elektrische Energie geschieht am absoluten Nullpunkt. Zum Beispiel, wenn eine Scheibe aus leitendem Material zum absoluten Stillstand gehalten wird und die Scheibe eine elektrische Ladung gegeben wird der elektrische Strom herum und um die Scheibe immer zirkulieren, nie verlieren ihre Energie, wie sie bei würde die Scheibe auf einem Büro saßen Schreibtisch bei Raumtemperatur. Diese Eigenschaft des kalten ist maßgeblich an der Lagerung von mindestens einer Form von Energie. Die ausgedehnten kalten interstellaren Vakuum muss als eine riesige Energiespeicher Meer in einem Zustand erhöhter negativer Entropie gesehen werden. Schappellers nannte diese ungerichtete Materie-Energie potentielle Reserven "latent Magnetismus". Aus diesem latenten Magnetismus, sowohl Energie und Materie mit der entsprechenden Stimulation produziert werden konnten. Die nicht-angeregten elektromagnetischen Feldes durch Schappellers wurde einfach als latente Magnetismus angesehen. Matter ist ein Kondensation von bipolaren Äther. Daher Elektromagnetismus ein Produkt der Materie ist und nichts mehr als bipolare Äther in einem anderen Zustand. Latent Magnetismus sein könnte, dann begeistert in die Materie. Latent Magnetismus durch eine der thermodynamischen Prinzipien diskutiert beeinflusst werden könnte, der Zweite Hauptsatz der Thermodynamik oder umgekehrt Thermodynamik. Dieses riesige Äther Feld, dessen bemerkenswerteste Merkmal ist die Eigenschaft des kalten, latent und wartet auf Impulse, ist der Vorgänger von Energie und Materie, wie wir sie kennen.
Da primäre kalt, diese riesige Reserve von negativer Entropie Potenzial, sowohl für die Materie und Energie, und da alle Energie schließlich artet in Wärme um, so folgt daraus, dass, wie Davson bringt es wieder auf Seite 83: "Primary Wärme, wie kann nun verstanden wird, ist der kalte Energie besteht ". Das ist wie eine überraschende Wortspiel scheint, vor allem von einem Mann der Wissenschaft, doch folgt diese Aussage vollkommen aus Schappellers Argumentation.
Wir wenden uns nun Schappellers Konzept der "Stress". Sowohl Hitzestress und Kältestress kann auf ein elektromagnetisches Feld angelegt werden. Hitzestress ist die übliche Art der Beanspruchung, die auf elektromagnetische Felder in der Sekundarstufe Physik. Sekundäre Physik ist die Physik der alltäglichen Welt nach Schappellers. Primäre Physik ist die Physik sich mit der kalten Kraft und Äther was Materie und Energie, die die sekundären Reaktionen darstellen und so Schappellers verwendet den Begriff "secondary Physik", um unsere Welt zu beschreiben, wie wir es kennen.
Ein Beispiel von Wärme Belastung des elektromagnetischen Feldes ist der Kondensator und die Spule. Ein geladenen Kondensators erzeugt ein elektrisches Feld und ein geladenes Spule erzeugt ein Magnetfeld. Ein aufgeladener Kondensator und Spule, durch einen Draht verbunden abwechselnd laden und entladen einander Erzeugung elektromagnetischer Strahlung Einheit die Wärme durch den Widerstand des Drahtes verursacht verschlechtert das gesamte Verfahren in Wärme um. Wärmebelastung des Elektromagnetismus ist + / -.
Kältestress auf das elektromagnetische Feld ist etwas völlig Neues für unsere Wissenschaft und Technologie. Es wird auch in Bezug auf + / gesehen - aber die Maschinen verwendet, um es zu produzieren sind nicht im Welt bekannt. Mr. Watson nicht sagen, aber wenn wir unsere Beispiele wärmebeansprucht Maschinen, den Kondensator und die Spule zurück, betonte die entsprechende Kältemaschinen kann die Schappellers Kugel und die Schappellers Spule Elektret sein. Die Kugel sammelt die Ladung durch den Magneten hält und kondensiert sie in ihrer glühenden Mitte entsprechend dem elektrischen Feld des Kondensators. Die inneren Spulen mit Elektret gefüllt erzeugen ein Magnetfeld in der Gegenwart des intensiven und pulsierenden elektrischen Feldes. Gemäß meiner Auslegung ist die ganze Schappeller Kugel einen kombinierten Kondensator / Spule in einer Maschine möglich durch eine anfängliche Eingabe Kältestress kombiniert.
Wie in unserem Beispiel des Kondensators / Spule Interaktion Erzeugung eines elektromagnetischen Welle, existiert so eine Anziehung zwischen einer Maschine gehorcht den Zweiten Hauptsatz der Thermodynamik und ein Gehorsam gegenüber dem Gesetz des Rückwärts Thermodynamik. Diese Attraktion kann die Interaktion führen. Zum Beispiel kann ein implodierenden oder zentripetalen Wirbel Paar mit einem explodierenden oder zentrifugale Wirbel. Die zentripetalen Wirbel ist ein Beispiel für ein System nach dem Gesetz von Reverse Thermodynamik, während die Zentrifugalkraft vortex stellt System nach dem Zweiten Hauptsatz der Thermodynamik. Wir haben all diese beiden Systeme gemeinsam im Alltag zu sehen. Die gemeinsame Toilette ist eine solche Maschine, obwohl die Zentrifugalkraft Seite bildet im Abflussrohr, die außer Sichtweite ist.
Vielleicht gibt es ein weiteres Beispiel, die mehr Germane zu unserer Diskussion ist. Es ist die Darstellung des Vril Kraftwerk. (Dieser Motor Diagramm wird hier als ein Beispiel für die Diskussion verwendet und ist keine blinde Zustimmung des Diagramms die Existenz oder Richtigkeit.)

In dieser Interpretation dieses Diagramms, sind wir wirklich mit zwei separaten Geräten. Erstens ist die zentrale Einrichtung, die eine sphärische verfeinerte Version des Schappeller Kugel sein kann. Ein Ausgabeaufschlag würde in die Sphäre zugerechnet werden, es zu starten, nach dem das Gerät weiterhin sammeln die umgebende Energie. Dies ist ein Reverse Thermodynamische Maschine. Die Sphäre erzeugt ein Magnetfeld, das durch Drehen des Schappeller Gerät ausgeglichen werden konnten. Das Offset-Feld würde zuzuführen und so zu drehen, die Arme des elektrischen Generators umgebenden Bereich. Der elektrische Generator versammelten elektrischer Energie, Zuführen der vier großen Rundfunk Befestigungen an den Wänden des Untersatzes. Diese Vorrichtungen könnten zum Beispiel Tesla Spulen Pfannkuchen. Der elektrische Generator ist ein Beispiel einer Maschine Einhaltung der zweite thermodynamische Gesetz.
Beide Komponenten des Kraftwerks sind zusammen in einem einzigen System gebunden, da die abgegebene Energie der Ausstrahlung Leuchten an den Wänden der Untertasse zusätzliche Energiezufuhr für den Bereich darstellen. Die beiden Komponenten ziehen sich gegenseitig an und nutzen und aufeinander angewiesen, wie sie und zirkulieren rezirkulieren Energie. Wie dem Energieniveau einer Komponente steigt auch die Energie des anderen. Tatsächlich kann das größte Problem die Verwendung eines solchen Motors werden immer einige mittels stoppen.
Die tatsächliche Levitation könnte die insbesondere elektromagnetische Strahlung, die aus der Kugel sein. In dieser Interpretation werden die Broadcast-Leuchten verwendet werden, um die Untertasse zu steuern. Davson gibt Ausgangsfrequenzen für die Kugel als 106 (20).
Mr. Watson weist in seinem Brief, dass ein Grund-Maschinen nutzen die Reverse thermodynamischen Prinzip nicht erkannt worden ist, dass ein kalter Magnetfeld betont wird, ist eine kalte Maschine. Selbst ein zentripetalen Wirbel kühlt statt erwärmt. Alle unsere Geräte zur Messung letztendlich messen Wärme in irgendeiner Form. Messung der Kälte ist schwieriger. Das Beispiel bereits benannt, ist das Problem der Messung der Temperatur im interstellaren Raum in Abwesenheit von Materie ein Beispiel für dieses Problem.
Schließlich wird der Leser daran erinnern, dass Herr Watson darauf hinweist, dass Elektromagnetismus manifestiert Bipolarität, wodurch vier Komponenten in allen. Dies sind + / - hot Elektromagnetismus und + / - kalt Elektromagnetismus. Der Leser wird sich erinnern, dass zwei heiße elektromagnetische Komponenten verbunden werden können (der Kondensator und die Spule) und eingestellt werden in einem Zyklus Herstellung einer elektromagnetischen Welle. Ist es möglich, daß zwei komplementäre heißen und kalten elektromagnetische elektromagnetische Maschinen in Zyklus Herstellung nicht einer bi-polaren aber ein quadropolar, 360O Strahlung auf die Schwerkraft, wie dem von Dr. Richard Le Fores Clark beschrieben produzieren könnte eingestellt werden?
Geplante Einsatzgebiete für die Schappellers Geräte
Wenn die obige Diskussion hat überhaupt eine Bedeutung bei der Suche nach einer Antwort auf die UFO-Frage, war ein Einsatz, für die die Schappellers Gerät bestimmt sein muss, dass eines Kraftwerks für eine Flugmaschine. War das so? Die Schappellers Gerät hatte vielen geplanten Nutzungen. Im Jahr 1930 dieses Gerät wurde als Quelle von Broadcast-Energie, erinnert an Tesla, sowohl für deutsche Haushalte und Industrie geplant. Die Vorrichtung könnte auch als Generator, Batterie, Transformator oder Antenne (21) verwendet werden. Es wird berichtet, dass gegen Ende des Krieges die SS die Möglichkeit der Verwendung dieses Geräts in Form eines Todesfalls ray (22) recherchiert. Aber zusätzlich und in Antwort auf unsere Frage, wurde die Schappellers Gerät als Levitation für eine Flugmaschine vorgesehen. Hier sind einige dieser Diskussion aus unseren Quellen:
"Die neue dynamische Technologie wird in Zukunft in der Lage sein, um elektrische Lokomotiven und Fahrzeuge ohne die Herstellung von teuren Armaturen und überall durch den Anschluss an die atmosphärische Spannung Netzlaufwerk. Hypothetisch ist sicherlich die Installation von einer ausreichenden Anzahl von zentralen Verstärkung Einrichtungen, die Transporte aus der Ur-Maschine die spezifische magnetische Impuls vom dynamischen Kugelelement. Neue Arten von Luftfahrzeugen mit magneto-statisch Stromversorgung und Steuerung, die vollständig Crash und Kollision Nachweis sind, könnten für einen Bruchteil der Kosten der heutigen Flugzeugs eingebaut werden und ohne langwierige Einarbeitung von jedem, werden Wartungsarbeiten diese Flugzeuge". (From "Vril Die Kosmische Urkraft Wiedergeburt von Atlantis" von Johannes Täufer, Seite 48).
"Unser Ziel muss es sein, voranzutreiben das Raumschiff Problem zu einem neuen Verständnis und Realisierung Hier eine definitive Postulat hergestellt werden kann:" Ein kugelförmiges Raumschiff mit seiner eigenen Atmosphäre "auch technische Schaffung von kleinen Planeten mit weltweit dynamischen Vortrieb und Auftrieb!. Wird das möglich sein? - Major Mächte in der Welt bereiten sich auf jeden Fall Zeit, vor allem in Deutschland ".
Die oben von "Weltdynamismus Streifzuege DURCH technisches Neuland eine Hand von Biologischen symbolen" Seiten 11 und 12. Bitte beachten Sie die Verwendung der Worte "sphärische Raumschiff" (Kugelraumschiff).
Von Davson die "Physik der Primary State Of Matter", Seite 240: "Der Rotor ist laminiert, um Verwirbelungen und die Magneten zu verhindern ragen nicht, der Rotor Peripherie ist somit vollständig equi-Radial Der Rotor wird an der Welle befestigt zu sein. angetrieben und der Stator ist etwa einen Meter über der Erdoberfläche fixiert. Letzteres ist natürlich flexibel, da die Erde auf das Meer oder sogar auf dem Fußboden eines Äther-Schiff gehören kann. "
Von Davson, Seite 199:. "Wie bereits erläutert worden ist, die neue Technik wird sich nicht mit der Luft als Trägermedium, sondern direkt mit dem Äther Daher kann der Körper eine vertikale verschlossenen Zylinder mit konischen Enden oder jede andere sein geeigneter Form. Ein solches Gremium offensichtlich starr und unelastisch ist, und es muss ein Äther Stress ausreichender Intensität enthalten, um seine Masse gegen dorthin Stress der Erde Spannungsfeld unterstützt, was bedeutet, dass die glühende Magnetismus Kern im Ständer, in dem Körper angehoben werden, muss die Intensität nach der Höhe, in welcher der Äther-Schiff angehoben und gleichzeitig unterstützt auf der Durchreise, als Äther Stress oder Bereich variieren, selbst umgekehrt proportional dem Quadrat der Entfernung von der Erdoberfläche. Die tatsächliche Gestaltung und Lösung von all den verschiedenen Problemen bei der Herstellung von solchen Schiffen, die Wahl der Methoden des Antriebs, unabhängig von unabhängigen oder direktional, auf die neue Technik gehören, während wir hier sind nur im Prinzip interessiert angewendet das Problem der Gravitation. "
Schließlich ist aus Davson, Seite 177: "Nun der Grund, dass eine nicht unterstützte Körper zu Boden fällt, ist in erster Linie, weil es" kein Halten "auf dem Medium Es wurde zuvor erklärt, dass jedes inerte Masse oder Körper nur eine latente Spannungsfeld hat welche. fungiert lediglich als die Kraft des Zusammenhalts und der hat keine Mobilität und somit nur eine latente innere Spannungen Feld und kein externer Spannungsfeld. Dies bedeutet, dass es keine "hold" auf einem elastischen Medium wie den Äther oder die Luft hat, also muss er fallen , und es fällt in Richtung der größeren induktiven Energieübertragung.
Wenn die induktive Energie, durch irgendeine Ursache außen, plötzlich vorgenommen werden könnten immer größer, würde es einen Punkt, wenn der Körper abgestützt werden würde, oder eher suspendiert, bevor es die Erdoberfläche erreicht. Die neue Technik könnte dies, indem Sie einen Schappellers Stator im Körper in Frage, wo der Körper entsprechend aufgebaut ist zu erreichen, damit die Einrichtung eines glühenden magnetischen Spannungsfeld, das zu halten oder halten würde das Gewicht oder die Masse der Einheit Körper ausgesetzt, nicht in der Luft "das Spannungsfeld hätte keine Reaktion auf die Luft", sondern nur auf das Magnetfeld der Erde Spannungsfeld. Dies ist die Grundlage des neuen Prinzips für 'Äther Schiffe".
Der Einsatz der Schappellers Mechanismus ist nur die Hälfte der gesamten Erklärung. In einem Feld Vortrieb Untertasse es möglich zwei Arten von "drive" benötigt. Die erste ist die "Auftrieb" oder Schweben. Beschäftigung der Levitation macht das Handwerk lebhaft. Es wiegt nichts. Wenn es nichts wiegt es kann sehr leicht bewegt werden. "Antrieb", ist Impuls-oder Antriebskraft das zweite Laufwerk eingebunden. Es bewegt sich das Handwerk gerichtet. Levitation nur würde durch die Schappeller System geliefert werden. Gerichtete Bewegung ist bisher am besten erklären, in meinem Kopf, mit den Tesla Flachspulen wie Bill Lyne erläutert.
Abschließende Gedanken auf dem Schappellers Geräte
Am Ende, was kann der Schappellers Gerät gesagt werden? Sicherlich hat es existieren. Es lenkte die Aufmerksamkeit und Finanzierung von Leuten innerhalb der Bundesregierung der Zeit. Es wurde von einem qualifizierten Außenseiter, ein britischer Ingenieur, für einen Zeitraum von drei Jahren untersucht und beurteilt wurde, echt zu sein.
Es gibt jedoch einige offensichtliche Probleme. Exotic Energien wurden evozierte die bisher nicht zufriedenstellend erklärt. Daher sind die Fakten noch nicht bewiesen. Sicherlich mehr Beweise vor den Ansprüchen für dieses Gerät, verlangt oder die beteiligten Energien kann ganz akzeptiert. Vorerst müssen wir diese Diskussion beiseite zu legen, wartet auf weitere Zusammenhänge.
Es gibt einige Lösungen mit diesem Gerät verbunden auch. Wenn wir die Idee, dass sowohl die Schauberger und die Schappellers Geräte auf der Theorie der Implosion tätig zu akzeptieren, dann eine Erklärung dazu dienen, sie beide zu erklären. Es ermöglicht auch eine Äther-als-Materie Erklärung. Dies kann in den Beweisen von Nikola Tesla gesammelt passen. Die Gemeinsamkeit dieser Geräte könnten dann gesucht und vielleicht werden eine effizientere Geräte als Folge gebaut. Wir holen dieses Thema wieder in der Diskussion Abschnitt dieses Buches.
Es sollte darauf hingewiesen werden, dass die Suche nach diesem "neuen Wissenschaft" ist nicht spezifisch für Schappellers oder Schauberger. Mr. Watson weitergegeben diesen Worten aus Ehrenfried Pfeiffer, eine Wissenschaftlerin, die mit Dr. Rudolf Steiner um 1920 zusammen. Obwohl er nicht glücklich ist mit der Übersetzung, schickte er, wie er es gefunden, die ist, wie es hier vorgestellt wird:
"... Die Methode der Wissenschaft, in einer materialistischen Sinn, basiert auf der Analyse Splitting auseinander, Desintegration, Trennung, seziert und alle Verfahren, die zu zerstören und auseinander zu nehmen, um an der Leiche zu arbeiten, anstatt zu wachsen, sich zu entwickeln basiert , zu synthetisieren dass der menschliche Geist durch diese Methoden der Bremsung außer gefangen genommen wurde:., dass ich sah die Quelle unserer gegenwärtigen Situation Meine Frage (nach Rudolf Steiner) war daher:. ist es möglich, eine andere Kraft oder Energie in der Natur zu finden, die an sich nicht das Ziel der Zerstäubung und Analyse, sondern baut und synthetisiert? Würden wir entdecken, dass konstruktive Kraft, die Dinge lebendig macht und wachsen, entwickeln adäquate Aufbau von Methoden Untersuchung, schließlich verwenden diese Kraft für eine andere Art von Technik angewendet, um Maschinen anzutreiben, als wegen der inneren Natur dieser Kraft oder Energie, die wir vielleicht in der Lage, eine andere Technologie, soziale Struktur, konstruktives Denken des Menschen als destruktive Denken schaffen? Diese Kraft muss den Impuls des Lebens haben, der Organisation in sich, wie die sogenannten physischen Energien haben die Spaltung, Trennung Trend in sich. "
Meine Frage an
Rudolf Steiner im Oktober 1920 und im Frühjahr 1921 war daher: "Gibt es
eine solche Kraft oder Energiequelle existieren? Kann nachgewiesen werden? Könnte eine
altruistische Technologie auf es zu bauen? "
Meine Fragen wurden wie folgt beantwortet: "Ja, es gibt eine solche Kraft, ist aber noch nicht entdeckt ist, was allgemein den Äther (nicht die physische Äther), aber die Kraft, die Dinge wachsen lässt, lebt zum Beispiel in den Samen bekannt als. Samenkraft. Bevor Sie mit dieser Kraft arbeiten können, müssen Sie seine Präsenz zeigen. Da wir Reagenzien in der Chemie haben, so müssen Sie ein Reagenz zur ätherischen Kraft zu finden. Es wird auch als formative ätherische Kraft, weil es die Kraft, die die Form bezieht, Form, Muster eines Lebewesens -. Wachstums Sie könnten versuchen, auf die Kristallisationsprozesse organische Substrate zugegeben Es ist dann möglich, Maschinen, die auf reagieren zu entwickeln, und werden von dieser Kraft angetrieben Steiner erläuterte dann die Prinzipien der.. Anwendung dieser Kraft als Quelle für eine neue Energie ... "
Da diese Suche nach einer neuen Wissenschaft mit den begleitenden neuen Maschinen hatten eine relativ lange Geschichte in Deutschland, sicherlich vor-Datierung der dritten Reich, ist es fast sicher, dass die Schappellers Gerät oder andere entlang einem ähnlichen Verständnis errichtet weitere wurden während der NS-Zeit entwickelt . Was wurde es nach dem Krieg nicht bekannt ist. Es kann angenommen werden, dass dieses Gerät nicht entgangen die Prüfung der zahlreichen alliierten Geheimdienste Einheiten mit Kämmen Deutschland Beispiele für die deutsche Wissenschaft beauftragt werden. Vielleicht eines Tages ein Bericht der Regierung werden de-klassifiziert erklären dies alles, wie es im Fall von anderen Freie-Energie-Maschine war, nämlich die Hans Coler Gerät, das von den Briten im Jahre 1978 wurde freigegeben (23) und die arbeiteten, nach Mr. Watson, nach den gleichen Grundsätzen der kalten Magnetismus. Bis dass die endgültige Abrechnung kommt, werden Aspekte der Schappellers Gerät noch ein Geheimnis bleiben. Und bis eine endgültige Abrechnung kommt, muss die Frage, ob nicht die Schappellers Gerät als Quelle des Feldes Antrieb wurde in der deutschen fliegenden Untertassen verwendet, aufgeschoben werden.
Quellen
und Referenzen
1. Bahn, Peter, Ph.D. and Heiner Gehring, 1997, pages 120-131, Per Vril-Mythos Eine geheimnisvolle Energieform in Esoterik,Technik und Therapie, Omega Verlag, Duesseldorf
2. Taeufer, Johannes, 1930, page 31."Vril" Die KosmischeUrkraft Wiedergeburt von Atlantis, commissioned and distributed by the Reichsarbeitsgemeinschaft "Das kommenden de Deutschland", Astrologischer Verlag Wilhelm Becker, Berlin-steglitz
3. Bahn/Gehring, 1997, page 131
4. Bahn/Gehring, 1997, pages 120-124, 130
5. Weltdynamismus Streifzuege durch technisches Neuland an Hand von bioloaischen Symbolen, 1930. pages 14-15, commissioned and distributed by the Reichsarbeitsgemeinschaft "Das Kommenden de Deutschland", Otto Wilhelm Barth Verlag, Berlin
6. Davson, Cyril W., 1955, pages 50-59, The Physics Of The Primary State Of Matter And Application Through the Primary Technique, Elverton Books, London
7. Nieper, Hans A., Ph.D., 1985, Conversion of Gravity Field Energy/Revolution in Technology. Medicine and Society. M.I.T. Management Interessengemeinschaft fuer Tachyonen-Geld-EnergyGmbH, Friedrlch-Rueder-Strasse 1, 2900 Oldenbuurg, Germany (available in German and English language versions)
8. Davson, Cyril W., 1955, pages 212-213
9. Davson, Cyril W., page 231
10. Davson, Cyril W., pages 217, 223
11. Taeufer, 1930, pages 30-32
12. Davson, 1955, page 230
13. Davson, 1955, page 226
14. Taeufer, 130, page 30
15. Taeufer, page 32
16. Davson, 1955, page 231
17. Davson, 1955, page 231
18. Davson, 1955, page 57
19. Taeufer, 1930, pages 38-40
20. Clark, Richard Le Fors, Ph.D., 1987, page 64, "The Earth Grid, Human Levitation And Gravity Anomalies", contained in Anti-Gravity And The World Grid edited by David Hatcher Childress, Adventures Unlimited Press, Stelle, Illinois
21. Stevens, Henry, 2001, "Infinite Energy", pages 9-13, Volume 7, Issue 40
22. Davson, 1955, page 244
23. Bahn/Gehring, 1997, page 115
24. British Intelligence Objectives Sub-Committee Final Report Number 1043, item number 31, "The Invention Of Hans Coler, Relating To An Alleged New Source Of Power, Bryanston Square, London
Es gibt einen weiteren wenig bekannten Effekt, der ein hohes Potential für ein nützliches Technik hat, und dies ist die Wasserhammereffekt durch den plötzlichen Kondensation von Wasserdampf hergestellt. Unter geeigneten Bedingungen kann die Wirkung genutzt werden, um Antriebsenergie liefern.

Eine der Techniken, die verwendet worden ist oben gezeigt. Hier wird Dampf unter 55 psi Druck in eine röhrenförmige Struktur durch eine Ringöffnung gezwungen. Daß Dampf durchläuft dann eine ringröhrenförmige Düse, wo es trifft eines Stroms von stark belüftetes Wasser. Die Blasen in dem Strom von Wasser in den das Venturi-Effekt der Wasserströmung an kleinen Öffnungen, die in dem Rohr gezogen. Das Ergebnis ist eine rasche Folge von Wasserschlag Schockwellen, die, wegen der Form der Stoßwelle Kammer, erhöhen die Wasser beim Austritt aus dem Rohr. Dies erzeugt einen Schub in die Gegenrichtung wirksam Ausbilden eines Strahltriebwerks, das besonders für Wasserfahrzeuge geeignet ist. In der Abbildung oben gezeigt, wird das Gerät gezeigt, wie ein Unterwasser-Jet-Engine bezeichnet. Das Diagramm ist aus der Webanzeige bei http://www.newscientist.com/data/images/ns/cms/dn3321/dn3321-1_843.jpg und ist copyright von New Scientist.
Weitere Informationen zu dieser Form von Energie finden Sie unter:
http://www.kirsner.org/pages/condInduceWatHamText.html und
http://www.energeticforum.com/renewable-energy/3093-condensation-induced-water-hammer
Dies wird am besten durch sein Patent beschrieben, wobei ein leicht umformuliert Version hier gezeigt:
Dieses Patent beschreibt ein Gerät, das ein wenig schwierig zu visualisieren und so einige Farbschattierungen von Teilen verwendet wurde, um Fragen zu helfen sein kann. Im Wesentlichen ist es zwei kreisförmige Rotoren drehen innerhalb eines Abschnitts von Kunststoffrohren. Diese Rotoren elektrostatische Energie, die Menschen fälschlicherweise geführt worden, zu glauben, ist keine Quelle für erhebliche Macht. Dieser Entwurf von William Hyde weist einen elektrischen Ausgang, der etwa zehn mal größer ist als die mechanische Eingangsleistung erforderlich ist. A Coefficient Of Performance = 10 Ergebnis wie folgt, muss erheblich sein, zumal das Gerät ist ziemlich einfacher.
Patent US 4.897.592 30. Januar 1990 Erfinder: William W. Hyde
Elektrostatische
Energiefeld Stromerzeugungsanlage
Abstrakct:
Extern geladenen Elektroden eines elektrostatischen Generator induzieren Ladungen entgegengesetzter Polarität auf den Segmenten eines Paars von gegenüberliegenden Statoren mittels elektrischer Felder innerhalb der ein Paar Rotoren während der Drehung beschränkt sind, um die Ladung bindenden Bindungen Feld zwischen gegenüberliegenden Rotoren und Statoren von einer Abschirmung schwanken Wirkung der Rotoren in einer Ebene senkrecht zu der Feldfluß. Eine hohe elektrische Potentialdifferenz zwischen den Statoren aus solchen Drehung der Rotoren induziert, wird durch eine Ausgangsschaltung in einen reduzierten angelegten Gleichspannung an eine Last mit einer entsprechend erhöhen Strom durch ihn geleitet transformierten.
US-Patent-Referenzen:
2522106 Elektrostatischen Maschine Sep 1950 Felici 310/309
3013201 Self-excited Variable Kapazität
Electrostatic Generator Dec 1961 Goldie 322/2A
4127804 Elektrostatische Energie-Konvertierungssystem Nov 1973 Breaux 322/2A
4151409 Gleichstrom Variable Kapazität
Elektrischen Generator Apr 1979 O' Hare 250/212
4595852 Electrostatic Generator Jun 1986 Gundlach 310/309
4622510 Parametrische elektrischen Maschine Nov 1986 Cap 322/2A
Beschreibung:
Diese Erfindung bezieht sich auf die Erzeugung von elektrischer Energie durch Umwandlung von Energie von einem elektrostatischen Feld.
Die Umwandlung von Energie aus einer statischen elektrischen Feldes in nutzbare elektrische Energie mittels eines elektrostatischen Generator ist bereits in der Technik gut bekannt, wie durch die Angaben in dem US-Patent veranschaulicht. Nr. 2.522.106, 3.013.201, 4.127.804, 4.151.409 und 4.595.852. Im Allgemeinen umfasst die Energieumwandlung mit einem solchen Stand der Technik elektrostatische Generatoren zugeordnet den Eintrag von mechanischer Energie zur Trennung von Ladungen, so dass ein beträchtlicher Teil des Ausgangssignals aus der Umwandlung von mechanischer Energie abgeleitet ist.
Es ist daher eine wichtige Aufgabe der vorliegenden Erfindung, einen elektrostatischen Generator in dem elektrische Leistung aus der Energie der statische elektrische Felder mit einer minimierten Eintrag mechanischer Energie abgeleitet wird bereitzustellen.
Zusammenfassung:
In Übereinstimmung mit der vorliegenden Erfindung, werden statische elektrische Felder zwischen den Elektroden außen an Ladungspegel entgegengesetzter Polarität gehalten und ein Paar interner Statorscheiben mit segmentförmigen Flächen dielektrisch beabstandet sind, um darauf Ladungen durch die elektrischen Felder induziert beschränken etabliert. Ein Paar von Rotorscheiben gedreht werden innerhalb kontinuierlichen elektrischen Felder in Ebenen senkrecht zu der Feldfluß zu örtlich variieren die Ladung Gestänge durch die elektrischen Felder zwischen den Elektroden und Statorscheiben aufgebaut. Solche Veränderungen der Ladung Gestänge durch Drehung des elektrisch leitenden Segmenten des Rotors winklig voneinander beabstandet sind, um teilweise schirmen die Statorscheiben von den elektrischen Feldern erfolgt. Die Segmente jedes Rotorscheibe gegenüberstehenden Flächen haben die Elektroden in ihrem Bereich die Statorscheibe auf insgesamt Gesichtsbereich dh abzuschirmen geladenen eine Hälfte der Gesamtfläche der gegenüberliegenden Segmentflächen auf der Statorscheibe an die die induzierten Ladungen beschränkt sind. Ladungen an den Rotoren und Statoren von elektrischen Verbindungen durch die Rotorwellen aufgebaut entzerrt. Die Statorscheiben sind elektrisch mit einer elektrischen Last durch eine Ausgangsschaltung Transformieren eines hohen Potentials zwischen den Statorscheiben in eine reduzierte Gleichspannung an einen entsprechend multipliziert Strom durch die Last durchzuführen verschaltet.
Kurze Beschreibung der Zeichnungen:
Diese und andere Aufgaben und Merkmale der vorliegenden Erfindung werden aus der folgenden Beschreibung in Verbindung mit den bevorzugten Ausführungsformen davon unter Bezugnahme auf die beigefügten Zeichnungen, in denen gleiche Elemente oder Teile ersichtlich werden durch die gleichen Bezugszeichen in allen verschiedenen Ansichten bezeichnen in den Zeichnungen gezeigt und wo:

Fig.1 ist ein vereinfachtes elektrisches Schaltbild entsprechend dem Energieumwandlungssystem nach der vorliegenden Erfindung.

Fig.2 ist eine seitliche Schnittansicht eines elektrostatischen Generator verkörpert das System der 1 nach einer Ausführungsform der Erfindung.

Fig.3 und Fig.4 werden partielle Schnittansichten im wesentlichen durch Flugzeuge übernommen, die durch Schnittlinien 3 -- 3 und 4 -- 4 in Fig.2.

Fig.5A und Fig.5B sind schematische teilweise angelegt Draufsichten der elektrostatischen Generator den Fig.2 bis Fig.4, unter statischen und dynamischen Ladungsverteilung Bedingungen bzw..

Fig.6 ist ein elektrisches Schaltungsdiagramm des Ausgangskreises des Generators in 2 gezeigt, gemäß einer Ausführungsform.
Detaillierte
Beschreibung der bevorzugten Ausführungsform:

Bezugnehmend nun auf die Zeichnungen im Detail, Fig.1 schematisch die Energieumwandlungssystem nach der vorliegenden Erfindung allgemein mit der Bezugszahl 10 bezeichnet. Wie in Fig.1 gezeigt, umfasst das System ein Paar von elektrostatischen Feldern 12 und 14 durch elektrostatische Ladungen entgegengesetzter Polarität beaufschlagt, um Elektrodenplatten 16 und 18 aus einer externen Energiequelle errichtet. Somit wird das elektrostatische Feld 12 zwischen Elektrode 16 und einer Statorscheibe 20 festgelegt werden, wobei das elektrostatische Feld 14 zwischen Elektrode 18 und einer Statorscheibe 22 hergestellt wird. In Übereinstimmung mit der vorliegenden Erfindung werden Verbindungen elektrostatische Ladung durch den Fluß von den Bereichen zwischen den Elektroden und Statoren eingerichtet periodisch durch Verschiebung innerhalb der kontinuierlichen Energiefelder 12 und 14 in Reaktion auf die Drehung der Rotoren 24 und 26 mit unterschiedlich ausgerichteten Ebenen senkrecht zu ihrer gemeinsame Drehachse und der Feldfluß, wie beschrieben werden wird.
Die Rotoren sind mechanisch mit einem Elektromotor 28, wie schematisch in Fig.1 dargestellt, die sie rotiert um ihre gemeinsame Achse miteinander verbunden sind. Elektrische Energie kann von der elektrischen Felder 12 und 14 während der Rotation der Rotoren 24 und 26 entnommen werden (vom Motor 28) durch eine Ausgangsschaltung allgemein mit dem Bezugszeichen 30 bezeichnet. Die Ausgangsschaltung 30, wie in einer vereinfachten Weise in Fig.1 gezeigt, zwei Paare von stromleitenden Dioden 32A, 32B und 34A, 34B. Die Dioden jedes Paares sind mit entgegengesetzter Polarität verbunden sind und jedes Paar ist parallel zu einem der Statoren 20 und 22 verbunden. Die Dioden jedes Paares ebenfalls elektrisch über eine elektrische Last durch die Widerstände 36A und 36B mit Kondensator Netze 38A und 38B zwischen jedem Paar von Dioden mittels derer das Spannungspotential zwischen den Statoren 20 und 22 für eine reduzierte verschaltet dargestellt verbunden erhöhten Strom durch den elektrischen Verbraucher.

Bezugnehmend nun auf die Fig.2, Fig.3 und Fig.4 ist insbesondere eine physikalische Ausführung der Energieumwandlungssystem in Fig.1 gezeigt ist. Die Elektroden 16 und 18 sind in der Form von kreisförmigen Platten oder Scheiben aus einem elektrisch leitfähigen Metall mit äußeren Oberflächen 40 und 42 angepasst ist, um von der externen Quelle wie bereits erwähnt berechnet hergestellt. Die innere Oberfläche 44 der Elektrode 18 ist dabei geeignet ist, eine positive Ladung entgegengesetzter Polarität auf die negative Ladung der Elektrode 16, die in einer stabilen Form innerhalb eines Ions dielektrischen Oberflächenabschnitt 46 der Elektrode 16 gehalten wird aufrechtzuerhalten. Das Energieumwandlungssystem kann innerhalb eines äußeren Gehäuses 48, an die die Elektroden 16 und 18 befestigt sind eingeschlossen werden.
Mit weiterem Bezug auf Fig.2, die Statoren 20 und 22 durch das Gehäuse 48 in axialer Richtung fixiert beabstandeten Beziehung zu den Elektroden 16 und 18 angebracht sind, mit Lagern 50 und 52 vorgesehen Tragen des angetriebenen Rotorwelle Antreiben der Wellenanordnung, die elektrisch leitfähig Wellenabschnitte besitzt 54 und 56, an die die Rotoren 24 und 26 sind jeweils verbunden. In der Ausführungsform in Fig.2 dargestellt ist, ist der Antriebsmotor 28 mechanisch mit den Wellenabschnitten 54 und 56 durch eine elektrisch nicht leitende Schaftabschnitt 58 des Antriebswellenaufbaus für die gleichzeitige Drehung der beiden Rotoren 24 und 26 mit der gleichen Geschwindigkeit miteinander verbunden sind und in der gleichen Richtung um ihre gemeinsame Drehachse senkrecht zu den parallelen beabstandeten Ebenen, mit denen die Elektrode und Statorscheiben ausgerichtet sind. Die elektrisch leitfähigen Wellenabschnitte 54 und 56 sind jeweils verkeilt oder gesichert in jeder geeigneten Weise an Nabenteile 60 und 62 der Rotoren und sind mit Flanschabschnitten 64 und 66 bildenden elektrischen Wischer in Kontakt mit gegenüberliegenden Oberflächen der Statoren 20 und 22 vorgesehen, welches induktiv durch die statischen elektrischen Felder 12 und 14 den entsprechenden Grad an entgegengesetzten Polarität aufgeladen.

Wie deutlicher in Fig.2 und Fig.3 ersichtlich ist, weist der Rotor 24 mehrere winkelmäßig beabstandete, Feld Gestänge Steuern Segmente 68 radial nach außen von dem Nabenteil 60. Jedes Rotorsegment 68 ist aus einem elektrisch leitfähigen Metall mit einer Stirnfläche 70 auf einer axialen Seite, vor denen die benachbarten Elektrode 16 gefertigt. Die Flächen 70, vor denen die Elektrode 16 werden positiv durch das elektrische Feld 12, die sich zwischen der dielektrischen Oberfläche 46 der Elektrode 16 und der Statorscheibe 20 aufgeladen. Während das elektrische Feld 12 ragt durch die Zwischenräume 72 zwischen den Rotorsegmenten 68, die Rotorsegmente 68 selbst abzuschirmen Abschnitte der Statorscheibe 20 von dem elektrischen Feld.
Der Rotor 26 ist in ähnlicher Weise mit Rotorsegmente 74 winkelmäßig voneinander durch Bereiche 76, durch die das elektrische Feld 14 erstreckt sich zwischen den positiv geladenen Oberfläche 44 der Elektrode 18 und dem Stator 22 beabstandet ausgebildet. Die Rotorsegmente 74 des Rotors 26, wie in Fig.2 gezeigt, sind mit dielektrischen Oberflächenabschnitte 78 Aufarbeitung der intern geladene Oberfläche 44 der Elektrode 18 vorgesehen. Während die Rotorsegmente 74 negativ werden durch das elektrische Feld 14 innerhalb der Oberflächenabschnitte 78 berechnet, sondern auch Abschnitte der Abschirmung Statorscheibe 22 von dem elektrischen Feld, wie im Fall der Rotorsegmente 68 bereits beschrieben. Die interne dielektrische Oberflächenabschnitt 46 der Elektrode 16 und der dielektrischen Oberflächenabschnitte 78 der Rotor 26 wirken als Stabilisator, um Wirbelströme und Auslaufen von negativer Ladung zu verhindern. Ferner wird in Anbetracht der elektrischen Verbindungen zwischen den Rotoren und den Statorscheiben aufgebaut, wird die Ladung auf jedem Stator mit derjenigen der Ladung auf seinem zugehörigen Rotors entzerrten.

Wie in Fig.2 und Fig.4 gezeigt, umfasst der Statorscheibe 20 mehrere Segmente 82, auf die Ladungen beschränkt sind, eng voneinander durch dielektrische Abstandshalter 80 beabstandet. Die Segmente 82 sind elektrisch mit der Rotorsegmente 68 durch Rotorwelle Abschnitt 54 miteinander verbunden sind. In ähnlicher Weise sind die Segmente 84 der Stator 22 elektrisch mit der Rotorsegmente 74 durch Rotorwelle Abschnitt 56 miteinander verbunden sind. Die Statorsegmente 82 und 84 werden daher auch aus elektrisch leitendem Metall. Jedes der Segmente 82 des Stators 20 ist elektrisch durch die Ausgangsschaltung 30 mit jedem der Segmente 84 des Stators verbunden sind. Die Statorscheiben fest innerhalb des Gehäuses 48 montiert, zentral montiert die Lager 50 und 52, durch die die elektrisch nicht leitenden Motorwelle 58 gelagert ist, wie in der Ausführungsform der Erfindung in Fig.2 dargestellt angezeigt. Ferner ist die Gesamtfläche der geladenen Segmentflächen auf jeder der Statorscheiben größer als die Gesamtfläche der Flächen 70 oder 78 auf den Segmenten jeder zugehörigen Rotorscheibe 24 oder 26. Gemäß einer Ausführungsform ist die gesamte eingesetzte Statoroberfläche Bereich zweimal die des Rotors Gesichtsbereich.

Gemäß der Ausführungsform der Erfindung in Fig. 6 dargestellt ist, umfasst die Ausgangsschaltung 30 die zwei entgegengesetzt gepolte kapazitive Schaltung Netze 38A und 38B über jedes ausgerichtete Paar von Statorsegmenten 82 und 84 auf den Statoren 20 und 22 verbunden mittels der entgegengesetzt gepolte Dioden 32A und 34A. Jedes dieser Netzwerke kapazitive Schaltung umfasst einen Kondensator 86, werden die gegenüberliegenden Seiten davon durch entgegengesetzt gepolten Dioden 88 und 90 zu positiven und negativen Last Klemmen 92 und 94, über die eine geeignete elektrische Spannung zum Betreiben einer elektrischen Last aufgebaut wird. Die Diode 88 ist mit dem Verbindungspunkt 102 zwischen Diode 104 und einer Seite des Kondensators 106 verbunden. Die Diode 88 ist auch mit der Verbindung zwischen einer Seite des Kondensators 100 und der Diode 32A verbunden. Die Diode 90, auf der anderen Seite, ist mit dem Verbindungspunkt 96 zwischen der Diode 108 und Kondensator 100 miteinander verbunden sind. Auch ist die Diode 90 an den Verbindungspunkt zwischen der anderen Seite des Kondensators 106 und der Diode 34A verbunden. Die vorstehende Schaltungsanordnung kapazitive Netzwerk 38A ist dieselbe wie die des Netzwerks 38B mittels derer ausgerichteten Paaren der Statorsegmente 82 und 84 die elektrischen Potentiale zwischen ihnen transformiert wurden in eine untere Spannung an den Lastanschlüssen 92 und 94 führen zu einem höheren Laststrom.

Fig.5A zeigt die Verteilung der Ladungen in den elektrischen Feldern 12 und 14 zwischen den Elektroden und Statoren unter statischen Bedingungen, unter denen jeder der Rotorsegmente 68 und 74 in Ausrichtung mit einem der Statorsegmente 82 und 84 positioniert sind, um dadurch abschirmen etabliert alternative Statorsegmente von den elektrischen Feldern. Die Ladungen durch die elektrischen Felder aufgebaut werden daher zu den Flächen der alternativen Statorsegmente Konfrontation mit den Elektroden eingeschlossen und sind mit den Ladungen auf etablierte entzerrten und beschränkt sich auf die abschirmenden Flächen der Rotorsegmente Konfrontation mit den Elektroden aufgrund der elektrischen Verbindung zwischen den Rotoren und Statoren wie bereits erwähnt. Wie in Fig.5B, wenn die Rotoren gedreht werden dargestellt, werden die Bindungen Ladung durch die elektrischen Felder zwischen den Elektroden und alternativen Statorsegmente 82 oder 84 geschaffen durch den beweglichen Rotorsegmente 68 oder 74 unterbrochen, so dass zuvor abgeschirmt Statorsegmente ausgesetzt zu werden die Felder wieder herzustellen Feldenergie Bindungen mit den zugehörigen Elektroden. Eine solche Maßnahme bewirkt, elektrischen Potentialen, um zwischen den Statorsegmenten 82 und 84 festgelegt werden.
Es wird aus der vorhergehenden Beschreibung, daß die elektrostatische Energie Felder 12 und 14 mit entgegengesetzter Polarität aufgebaut gehalten zwischen den außen geladenen Elektroden 16 und 18 und den intern geladenen Statoren 20 und 22 unter statischen Bedingungen wie in Fig.5A dargestellt erkennbar. Während der Rotation werden die Rotoren 24 und 26 kontinuierlich in den Energiefeldern 12 und 14 positioniert ist, Kräfte in Richtungen senkrecht zu der Feldfluß die die Energie Verbindungen zwischen Elektroden und Statoren zu Unterbrechungen und Wiederherstellung von Energie Bindungen mit Abschnitten unterschiedlicher Statorsegmente als verursachen auszuüben in Fig.5B dargestellt. Solche Energie Gestänge standortbezogene ändert und die Ladung Bindung und Übermittlungsentgelt Aktionen zwischen Elektroden und Statoren erzeugt ein elektrisches Potential und Strom zwischen Statoren durch die Ausgangsschaltung 30. Somit, wenn die Ausgangsschaltung beladenen Extrakte Energie aus der elektrischen Felder 12 und 14 als Ergebnis der Verknüpfung Feld Ladung Bindung und Übermittlungsentgelt Aktionen durch die Drehung der Rotoren induziert. Die Statorsegmente 82 und 84 von den elektrischen Feldern durch die Bewegungseinrichtung Rotorsegmente 68 und 74, wie in Fig.5B dargestellt abgeschirmt, haben elektrische Potentiale der Polarität entgegengesetzt zu denen der äußeren Elektroden 16 und 18 aufgrund des Feldes Gestänge Ladung Übermittlungsentgelt Aktion. Zuvor abgeschirmt Statorsegmente an die elektrischen Felder von den bewegenden Rotorsegmente ausgesetzt, haben das gleiche elektrische Potential wie die Polarität der externen Elektroden wegen Feld Gestänge Bindewirkung. Da die Kräfte auf die jeweiligen Rotoren durch die elektrischen Felder 12 und 14 mit entgegengesetzter Polarität über die gemeinsame Handlung Rotorwelleneinheit senkrecht zu diesen Bereichen ausgeübt wird, abzubrechen solche Kräfte einander. Der Energieeintrag in das System kann daher im wesentlichen beschränkt auf mechanische Lagerverluste und Ventilationsverluste bei der Konvertierung von elektrostatischen Feldes in elektrische Energie sowie elektrische Widerstandsverluste und anderen elektrischen Verluste in der Ausgangsschaltung 30 gestoßen.
Basierend auf den vorstehenden Betriebseigenschaften, wird die Drehung der Rotoren in Übereinstimmung mit der vorliegenden Erfindung nicht ausführen irgendeine wesentliche Arbeit gegen die äußeren elektrischen Feldern 12 und 14, da es keine Nettoänderung in der Kapazität wodurch das System mit einer reduzierten Energie umzuwandeln Eingangs von mechanischer Energie und einen hohen Wirkungsgrad der durch minimalen Verlust an Ladung auf den Elektroden belegt. Es wurde daher gefunden, dass die Arbeitsbedingungen Ausführungsformen der vorliegenden Erfindung weniger als zehn Prozent der elektrischen Energieausgabe für die mechanische Eingabe erfordern. Ferner wird gemäß einem Prototyp der Erfindung wurde eine relativ hohe Ausgangsspannung von 300.000 Volt über den Statoren erhalten. Aufgrund dieser hohen Spannung, nachdem eine Ausgangsschaltung 30 eine Spannung und Strom Reduzieren Multiplizieren Attribut wie bereits beschrieben, wurde so gewählt, als das System geeignet für viele praktische Anwendungen zu rendern.
Anfang Oktober
2011, erklärte Sir Christopher Woodhead, ehemaliger Chief Inspector of Schools
in England, dass Kinder der Schule im Alter von 14 verlassen und Auszubildende.
Während ich persönlich habe eine hohe Meinung von Lehrstellen für bestimmte
Berufe, erscheint mir dies ein direkter Versuch, das Bildungsniveau der
britischen Bevölkerung noch weiter, als es bereits jetzt zu senken, wo viele
Vertriebsmitarbeiter sind nicht einmal führen die meisten werden
Grundrechenarten als Teil ihres Jobs.
Die Grundlage
dafür, wie wir unser Leben leben und zu verstehen, die Dinge um uns herum, die
Gesellschaft, die persönlichen Beziehungen, die Werte der Familie und
dergleichen, in das, was wir durch "die Behörden" sagte verwurzelt.
Leider ist vieles, was Ihnen gesagt wurde, einfach nicht wahr. Sie haben belogen
über Wissenschaft, Astronomie, Umwelt, globale Erwärmung, Regierung, Steuern,
Krieg, Energie, Erfindungen, Bildung, Terrorismus, Gesundheit, Finanzen und
Medien, um nur einige Themen, die in den Sinn zu nennen.
Wissenschaft: Es
war und ist immer noch systematische, bewusste und häufig brutale Unterdrückung
der wissenschaftliche Tatsache. Uns wird gesagt, dass Sie "verbrennen
Brennstoff" zu haben, um an die Macht, die dann "verbraucht",
wenn wir sie an die Macht unser Leben verwenden zu produzieren. Dies ist eine
bewusste Lüge. Wir sind "wissenschaftliche" Dinge, die reine
Phantasie sind erzählt und entwickelt, um die Wahrheit von uns halten. Das Ziel
ist es, die Menschen auf diesem Planeten unwissend, schwach und unterliegt den
Menschen, die die realen Fakten zu kennen und alle möglichen Reichtum aus der
gewöhnlichen Person zu entfernen.
Astronomie:
Uns wird gesagt, dass die einzige Art, wie wir in den Raum bekommen
können, um Raketen zu verwenden. Die Leute, die das sagen nicht nur wissen, es
ist eine Lüge, aber sie selbst haben electrogravitic Fahrzeuge für mindestens
50 Jahre jetzt. Diese Art von Müll ist in etwa das Äquivalent von Leuten sagt,
dass sie nur umgehen, durch Hüpfen auf einem Bein. Uns wird gesagt, dass die
Lichtgeschwindigkeit konstant ist, und das ist eine Lüge. Uns wird gesagt, dass
nichts schneller als die Lichtgeschwindigkeit zu gehen, und das ist eine Lüge.
Uns wird gesagt, dass die Schwerkraft hängt Masse, und das ist eine Lüge. Uns
wird gesagt, dass die Erde der einzige Planet in unserem Sonnensystem, der eine
Atmosphäre hat, und das ist eine Lüge. In der Tat ist fast alles, was uns
gesagt korrekt.
Umwelt: Wir erfahren, dass wir unser Leben durch das Verbrennen von "fossilen Brennstoffen", die nur in begrenzter Menge sind und so gibt es "eine Energiekrise" ausführen müssen. Während ein Teil des Öls durch den Zerfall von Organismen und Vegetation in früheren Epochen, Ölquellen, die gepumpt vermeintlich trockenen gelegt wurden produziert wird tatsächlich füllen sich wieder mit Öl in der Kruste der Erde und dem erstellten nicht von verwesenden Pflanzen und Organismen kommen. Auch gibt es die geringste Notwendigkeit, um Öl für Strom zu verbrennen, oder zentralen Kraftwerken und zerbrechlich Drähte laufen in der ganzen Landschaft. Diese Dinge werden von der mächtigen Elite wollte, um gewöhnlichen Menschen zu kontrollieren und sie von ihrem Geld trennen.
Globale Erwärmung: Uns wird gesagt, dass der Mensch die Verbrennung fossiler Brennstoffe verursacht die globale Erwärmung durch die Produktion von Kohlendioxid. Dies ist die lächerlichste Müll möglich. Kohlendioxid ist ein Erdgas, notwendig für das Pflanzenwachstum, was wiederum ist essentiell für unser Überleben. Kohlendioxid-Werte haben längst das Niveau in der jeder Anstieg hat fast keine weitere Auswirkung auf Erwärmung. Der Prozentsatz vom Menschen hergestellt ist trivial, da die überwiegende Mehrzahl kommt aus Vulkanen, wird die nächste größte Menge durch Tiere und Insekten produziert und Mannes Beitrag ist gering. Die globale Erwärmung und globale Abkühlung sind natürliche Ereignisse, die stattfanden, lange bevor der Mensch war etwa in erheblichen Zahlen und sicherlich Jahrhunderte vor der Verbrennung von fossilen Brennstoffen begonnen. Der Beitrag von all den Autos in alle würden nur etwa 1,7% des Mannes geringen Beitrag und das Getue über "Carbon Footprint" ist nur ein con, die verwendet wird, um mehr Geld aus der gewöhnlichen Menschen zu extrahieren.
David
Archibald in diesem Dokument: http://www.davidarchibald.info/papers/Climate%20Outlook%20to%202030.pdf veröffentlichte die Grafik hier im Jahr 2006
gezeigt

Dieser Graph zeigt deutlich, dass auch ein großer
Anstieg in der vorliegenden Kohlendioxidgehalt fast keine Auswirkungen auf die
atmosphärische Temperatur hat. Es wurde auch ermittelt, dass eine Erhöhung auf
620 ppm würde eine Temperaturerhöhung von nur 0.16OC geben. Die
obige Grafik gezeigt, zusammen mit seinen Berechnungen sollte jede weitere
Diskussion über die Reduzierung von Kohlendioxid-Emissionen beendet haben. Dies
hat jedoch ganz sicher nicht der Fall gewesen.
Aus finanziellen Gründen wurde eine Entscheidung
offenbar getroffen worden, um den Druck auf die Verringerung des Kohlendioxids,
was sinnlose Investitionen auf neue Technologie zur Abscheidung und Speicherung
von Kohlendioxid, "beautiful" Windmühlen absolut überall und die
obligatorische Verwendung von Bio-Kraftstoff (was sich negative Auswirkungen
auf die Nahrungsmittelproduktion). Nicht über alle Einnahmen, die
"Regierungen" von "Klima-Steuern" bekommen sind vergessen.
All diese Steuern und die massive Ausgaben der
Steuerzahler Geld, wirklich bedroht die wirtschaftlichen Grundlagen der
gesamten westlichen Welt, aber noch schlimmer sind die Folgen der Verpflichtung
zur Bio-Kraftstoff. Dieser tolle Strategie hat eine nahezu Verdopplung der
Kosten für Speiseöl und Grundnahrungsmitteln wie Reis verursacht, weil
Ackerland wird nun für die Herstellung von Biokraftstoffen verwendet wird.
Diese Steigerungen sind Schlagen armen Ländern das Schlimmste, da die Menschen
nicht mehr leisten können, für Grundbedürfnisse zu bezahlen.
Wenn die Absicht der IVU-Richtlinie und die Politiker
der Welt ist es, Menschen zu Tode hungern, dann sind sie auf jeden Fall auf dem
richtigen Weg durch ihre fortgesetzte Beharren auf den angeblich schädlichen
Auswirkungen von Kohlendioxid. In Wirklichkeit ist das Treibhausgas, das den
größten Einfluss hat eigentlich Wasserdampf, auf die rund 98% aller Erwärmung.
Ich frage mich, wie die Politiker gehen, um Wasserdampf ab, in unserer
Atmosphäre zu verhindern!
In seinem Video "An Inconvenient Truth" von
Al Gore weist auf die enge Korrelation zwischen den Schwankungen der globalen
Temperaturen und die Konzentration von Kohlendioxid in der Atmosphäre. Er
darauf hin, starke steigt und fällt in der mittleren globalen Temperatur (von
denen fast alle sind, bevor die Menschheit begann brennendes Öl) und den damit
verbundenen starken steigt und fällt der Kohlendioxid-Konzentration in der
Luft. Was er ist sehr vorsichtig, um zu vermeiden, zu erwähnen ist, dass die
Veränderungen der Kohlenstoff dixide Konzentration, lag hinter den globalen
Temperaturänderungen von einigen 600 Jahren. Die Kohlendioxid-Konzentrationen
sind ein Resultat der globalen
Erwärmung und nicht die Ursache davon.
Dies wird auch durch die Rede von Prof. Ian Plimer dem
britischen Parlament gegeben betont. Diese Rede kann https://www.youtube.com/watch?v=iEPW_P7GVB8&feature=youtu.be
gesehen werden und wird hier wiedergegeben:

Ich bin ein Geologe. Und das einzige, was wir verpassen im Blick auf den Klimawandel ist die Vergangenheit. Klima schon immer verändert. Klimaänderungen in der Vergangenheit größer und schneller als alles, was wir erleben, in unserem Leben gewesen, und der Meeresspiegel immer verändert, nicht von der bescheidenen paar Millimeter, die Menschen mit Verbindungen zu. Wir haben in der Vergangenheit hatten, Meeresspiegel Wechsel "nur" 1500 Meter - das ist eine Änderung des Meeresspiegels !! Und wenn wir in der Geschichte zurückblicken Zeitpunkt hatte die Atmosphäre, wenn eine sehr große Menge von Kohlendioxid darin. Es hat jetzt weniger als 0,04%. Wo kam das Kohlendioxid gehen? Es ging in Kreide, Kalkstein, Muscheln und Leben, und wir haben Sequestrierung von Kohlendioxid aus der Atmosphäre nur 10500000000 Jahre. Dieser Planet wurde Entgasung von Kohlendioxid, da es zunächst an diesem Donnerstag vor 4567000000 Jahre gebildet.
Kohlendioxid ist ein Gas. Es wurde die Atmosphäre für eine außergewöhnlich lange Zeitspanne dominiert und wir nun auf einen gefährlich niedrigen Pegel. Wenn wir die Hälfte der Menge an Kohlendioxid in der Atmosphäre, wir haben keine Landpflanzen. Kohlendioxid ist pflanzliche Nahrung. Es ist nicht ein Schadstoff. Um Wörter zu verwenden, wie die Verschmutzung mit Kohlendioxid ist irreführend und trügerisch. Aber die Vergangenheit gibt uns eine wunderbare Geschichte. In der Vergangenheit haben wir sechs großen Eiszeiten hatten. Wir befinden uns derzeit in einer Eiszeit. Es begann vor 34.000.000 Jahre, als Südamerika hatte das Gefühl, sich von der Antarktis zu ziehen und es gibt eine circum polaren aktuellen Satz bis die Antarktis isoliert und wir beginnen, um den antarktischen Eisschildes zu bekommen. Wir haben Eiszeiten und Warmzeiten hatten. Wir sind derzeit in Warmzeit, und während dieser 34.000.000 Jahre haben wir die Erde gekühlt. Aber weniger als 20% der Zeit, die wir haben Eis auf dem Planeten Erde hatte. Der Rest der Zeit ist es wärmer und feuchter war, und es wurde in der Atmosphäre war mehr Kohlendioxid. Und was hat das Leben zu tun? Es gedieh.
Sechs der sechs großen Eiszeiten wurden eingeleitet, wenn der Kohlendioxidgehalt der Atmosphäre war höher als jetzt - in der Tat, bis zu tausend Mal höher als jetzt. So haben wir aus dem geologischen Beweis, absolut keine Beweise dafür, dass Kohlendioxid Klima angetrieben. Aus irgendeinem Grund ist der wichtigste Treiber des Klimawandels, dass guten Pass von Wärme in den Himmel, die wir als "The Sun". Sie hörten es hier zuerst - es ist wirklich ziemlich ungewöhnlich !! Und wir unsere Entfernung von der Sonne ändern 100.000 Jahren ist unsere Umlaufbahn ändert sich von elliptisch bis rund, und wir haben einen Zyklus von 90.000 Jahren der Kälte und 10.000 Jahre warm. Wir sind in einer dieser warmen Zyklen jetzt. Alle 43.000 Jahre die Achse ändert ein wenig, und alle 21.000 Jahre haben wir ein bisschen wie ein Taumel bekommen. Jede dieser Orbital Veranstaltungen sind wir weiter von der Sonne Ab und zu erhalten wir durch kosmische Strahlen, die von einer Supernova-Ausbruch von irgendwo da draußen bombardiert, und wenn das Magnetfeld der Sonne kann nicht Auto fahren diese entfernt, beginnen wir, Low-Level-Wolken bilden. Wir haben sehr gute Hinweise, dass dieser Prozess nun schon seit sehr langer Zeit bekam.
Hin und wieder, Kontinente in Bewegung, und sie mit sehr schnellen Raten zu bewegen. Sie bewegen sich etwa zehn Zoll jedes Jahr. Und auf einmal ein Kontinent kann über einen Pol und zu einer anderen Zeit kann es am Äquator sein. Diese Bewegung Kontinenten den Hauptwärmebilanz auf der Erde verändern, und das ist die Meeresströmungen. Die Ozeane führen weit mehr Wärme als die Atmosphäre tut. Hin und wieder, wegen der großen geologischen Prozesse wir eine große Beule auf dem Meeresboden, neuer Vulkangestein zu bekommen. Das ändert sich Meeresströmungen. Jedes Jahr haben wir 10.000 Kubikkilometer Meerwasser, das durch neue Vulkangestein auf dem Meeresgrund geht. Das Wärmeaustausch. Die Reaktion zwischen Meerwasser und den Felsen stoppt die Ozeane immer Säure. Als wir aus Felsen laufen, werden die Ozeane sauer geworden - aber warten Sie nicht auf, es wird eine lange Zeit sein.
Wir sehen 1500 Vulkane auf dem Planeten Erde. Wir messen nur zwanzig von ihnen, und nur sehr wenige dieser Messungen sind sehr präzise, aber sie sagen uns, dass ein wenig Kohlendioxid tritt aus dieser Vulkane. Aber was wir nicht hören, ist, dass es zumindest 3.470.000 Vulkane am Meeresboden, die riesige Mengen an Kohlendioxid austreten. Wir haben Pools von flüssigem Kohlendioxid auf dem Meeresboden. So früh erste Kohlendioxid - wo ist es hin und wo haben sie ausbrechen? Wo kommt es her? Es kam von Felsen. Was hat es für den Planeten tun? Wir haben nicht zu braten und zu sterben. Wir hatten nicht einen außer Kontrolle geratenen Treibhauseffekt.
Nun, das ist nur die Geologie - (!) Das ist nicht wichtig Lassen Sie uns mehr Neuzeit. In neuerer Zeit haben wir Bohrkernen, die durch die Eismassen gegangen. Schnee, wenn er fällt, Fänge und Fallen etwas Luft. Dass Luft im Eis eingeschlossen. Wir können später zu extrahieren sie aus dem Bohrkern und messen die Menge an Kohlendioxid in der Luft, und wir mit unseren Zyklen der Eiszeit und Warmzeiten zu sehen, dass, wenn wir fertig sind ein interGletscher Ereignis, dass wir setzen Kohlendioxid 800 Jahren später. Also, was ist, dass uns mitzuteilen? Es sagt uns, dass Temperatur treibt Kohlendioxid und nicht, dass Kohlendioxid Antriebstemperatur. Ach ja - aber das ist nur Hunderttausende von Jahren - vergessen, dass.
Nun, lasst uns zu moderneren Zeiten zu gehen. Wir haben die Messung von Temperaturen genau seit 1850 und ist die Genauigkeit von plus oder minus 1 Grad Celsius für die alten Messungen. Wir gesagt, dass diese 0,7 Grad Celsius steigen wird, um eine Katastrophe zu schaffen !! Ich habe nur einen einzigen Schritt weg und ich habe eine 0,7 Grad Celsius steigen musste. Wo sehen Sie Menschen für Ihre Sommerferien gehen? Sie gehen in einem warmen Klima. Wir sind Kreaturen aus dem Rift Valley - wir mögen warmen Klimazonen. Wenn jemand von Helsinki nach Singapur geht, gibt es eine durchschnittliche Temperaturanstieg von 22 Grad Celsius. Singapurer nicht tot umfallen in den Straßen von der Temperatur. Also, wir sind Geschöpfe der warmen Klima. Wir haben die Messung von Temperaturen und wir haben eine leichte Erwärmung von 1860 bis 1890. Dann eine leichte Abkühlung bis 1910 und dann eine Erwärmung bis 1940 zu sehen ist, so dass es zu sagen, dass die Nordwestpassage war offen. Dann wird ein Kühl bis 1977, und jetzt Erwärmen bis zum Ende dieses Jahrhunderts, und nun in einem Zeitraum von Kühl wir. So haben wir diese Zyklen der Erwärmung und Abkühlung hatte. Seltsamerweise sind diese Zyklen tatsächlich auf Veränderungen in Wärmebilanz in den Ozeanen zusammen.
So haben wir diese 60-Jahres-Zyklen über einen langen Erwärmung Ereignis. Wir sind in einer Zeit der globalen Erwärmung. Es hat sich seit vor die Mindest 330 Jahre gewärmt. Das waren die Zeiten, wenn Sie die Eisschichten auf der Themse hatten. Dies sind die Zeiten, als die holländischen Meister gemalt hoar Frost und bitterkalten Bedingungen. Das war die Zeit, wenn die Sonne war etwas inaktiv und wir keinerlei Aktivität der Sonnenflecken hatte. Also, wir sind in einer langen Zeit der Erwärmung und eine der Fragen, die ich stellen in diesem Buch ("Himmel und Erde: Globale Erwärmung: Die verschwundenen Science" von Prof. Plimer) ist ", die Teil der letzten 330 Jahre der Erwärmung ist durch menschliche Aktivitäten und welcher Teil natürlich ist? "Das sind Fragen, die Kinder sollten ihre Lehrer fragen, und sie sind absichtlich nicht zu beantwortende Fragen, denn ich bin der Ansicht, dass viele Kinder werden Umwelt Propaganda in den Schulen zugeführt und nicht in der angesichts der kritischen und analytischen Einrichtungen in der Lage sein, ein Argument zu sezieren sein.
So sind wir in einer Zeit der Erwärmung - was ist die Sorge? Es ist ganz normal. Und lassen Sie uns einfach an Geschichte zurückblicken. Die eine Sache, die das Klima der Industrie (was es ist) ignoriert, ist Geschichte. In der Römerzeit war es warm. Es war deutlich wärmer als heute. Wir wissen, dass sie immer gute Aufzeichnungen. Sie wuchsen Oliven den Rhein bis nach Borne. Sie hatten Weintrauben in Yorkshire. Wir wissen aus ihrer Kleidung, die es warm war (möglicherweise wurden sie in einer Orgie geht, aber ich denke, dass eher es war warm) und dass die Erwärmung plötzlich in 535 AD, und wir den dunklen Zeiten eingetragen. In 535 AD hatten wir Krakotoa die die Atmosphäre mit Aerosolen gefüllt. Und es war kein großer Vulkan - nur 30 Kubikkilometer von Aerosolen in die Atmosphäre gehen. Wir hatten größeren in Yellowstone und sie selbst umfangreiche in Neuseeland, wo 10.000 Kubikkilometer Aerosole in die Atmosphäre gegangen war (und wir beten für ein anderes als das ist der einzige Weg, dass wir sie in Rugby zu schlagen - wischen Sie sie heraus ). Wir hatten zwei Vulkanen, einem in Rahall und eine in Krakatau in Indonesien in 535-536 AD, die zu den Dark Ages. Es war cool. Was ist passiert? Crops fehlgeschlagen. Wir hungern. Wir hatten Unruhen. Wir hatten Kannibalismus. Wir brachen aus, dass in den mittelalterlichen Warming. Die erste zu spüren waren die Wikinger als die Meere wurde ruhiger. Sie konnten weitere Fischerei zu bekommen. Sie tatsächlich bekam nach Neufundland, die sie "Vinland" genannt. In Grönland, wurden Trauben und Gerste wachsen. Die Trauben waren tief, da es keinen Permafrost. Es war eine wunderbare milde Klima, fünf Grad wärmer als heute. Erik der Rote sagte: "Komm nach Grönland, es ist ein wunderbares Klima 'und es war. Und dann sind wir über 23 Jahre geringer Sonnenaktivität und in 23 Jahren sind wir von der mittelalterlichen Erwärmung in der Kleinen Eiszeit ging, und das, wie gesagt, endete vor 330 Jahre.
Also, was glauben Sie, würde nach einer kleinen Eiszeit geschehen - glauben Sie, dass es kälter oder wärmer, dass es bekommen würde? Der einzige Grund, dass die Argumente der Wissenschaft haben keinen Schwung in der Gesellschaft hat ist, dass sie auf die letzten 30 Jahre oder 40 Jahre von Temperaturmessungen in Verbindung gebracht. Ich sehe mit Interesse, dass das Met Office sagt uns, dass dies der wärmste Jahr auf Aufzeichnung. Sie könnten auf einem anderen Kalender zu mir, aber ich glaube nicht, dass in diesem Jahr noch nicht abgeschlossen ist. Und im letzten Jahr war ich in London, als ich im Jahr zuvor war, und es war miserabel - es war kalt, es war sehr kalt. So, das Art von Vorhersagen kurz vor einem großen Klimakonferenz vorgenommen, muss man sehr skeptisch gegenüber. In Wissenschaft, ist Skepsis nicht ein abwertender Wort. In der Wissenschaft gibt es keinen Konsens. In der Wissenschaft gibt es ständige Schlachten. Ein gutes Beispiel: Wir alle "wusste", dass wir bekamen Geschwüre aus einem sauren Magen und Stress, und wir nahmen Pillen und rieb unsere Bäuche und hoffte, die Geschwüre weggehen würde. Aber zwei Wissenschaftler, die nicht nach dem Mainstream wurden, die nicht nach dem Konsens wurden, argumentierten, dass dies auf ein Bakterium war. Und niemand hörte. Letztendlich nahm einer von ihnen die Bakterien, entwickelt Geschwüre, nahm das Gegenmittel, und dass sie für den Nobelpreis bekam. Sie müssen nicht den Nobelpreis bekommen für folgende Konsens oder sagen, dass die Wissenschaft angesiedelt. Ich glaube, wir haben eine enorme Korruption der Wissenschaft und der wissenschaftlichen Methode hatte. Ich glaube, dass die Gelder, die im Umlauf sind für Klimaforschung (die aktuellen Modeerscheinung und Mode ist), sind ziemlich pervers. Ich glaube, wir setzen Wissenschaft nach hinten und kommt die nächste Pandemie unvermeidlich, können wir nicht die Waffen, um damit umzugehen - wir könnten gehen winken Kräutern und singen, anstatt ein Gegenmittel. So, das ist für mich diese Climate Industry hat einen großen Angriff auf die wissenschaftliche Methode hergestellt. Es war ein Angriff auf meine Wissenschaft und Geschichte, und die Dinge sind glücklicherweise ändern.
Beende ich mit einem letzten Punkt: Sie haben Ihr Climate Change Act, wir haben gerade eine Kohlenstoff-Steuer in Australien. Nineteen Rechnungen ging durch das Parlament, und unsere Kohlenstoff-Steuer ist es, aus unserer beschäftigungs Branchen in Australien senken Kohlendioxidemissionen. Und es ist wunderbar - (!) Wir die Welt in Selbstmord geführt haben und unsere Carbon Tax ist um 5% knock down unsere Emissionen. Jetzt können Sie die Summen tun können, und die Summen sind sehr einfach. Das IPCC sagt, dass 3% der jährlichen Emissionen von Menschen. Warum ist es, dass 3% Laufwerke Klimawandel und nicht das andere 97% ist mir ein Rätsel, aber das ist eine andere Sache. Australien löschte 1,5% der weltweiten CO2-Emissionen. Sie können die Berechnungen durchführen und von Australien Klopfen wieder ihre Emissionen um 5%, werden wir im Jahr 2050 haben sich die globalen Temperaturen von 0,00007 Grad Celsius abgesenkt. So dass ich hoffe, dass Sie genießen unser Opfer in so dass Sie ein wärmeres Klima hier in England !!
Regierung und Steuern: Es scheint, dass der einzige Zweck der Regierung, die Leute an der Macht auf Kosten des gewöhnlichen Menschen zu bereichern. Menschen in einer Demokratie sein sollen "frei", aber das ist eine grobe Täuschung. Wenn Sie arbeiteten die ganze Woche in einem Unternehmen und am Ende der Woche haben Sie £1.000 bar bezahlt wurden. Wenn Sie nach Hause gehen zu beginnen, droht eine bewaffnete Bande von Schlägern Sie und stiehlt £800 Ihres £1.000 und das jede Woche passiert ohne scheitern. Also, was halten Sie von dieser Anordnung denken? Gut oder schlecht? Das ist, was die Regierung für Sie erledigt zu diesem Zeitpunkt. Aber Sie sagen, "wir leben in einer Demokratie, so können wir die Politiker feuern". Das ist das Äquivalent von unter drei Ausgänge von Ihrem Arbeitsplatz und jeder Ausfahrt eine andere Bande von Schlägern bereit, Sie zu berauben. Ja, ja, haben Sie die Wahl. Sie können wählen, welche Ausfahrt zu benutzen und daher, raubt die insbesondere Schlägertrupp Sie.
Sie denken, das ist übertrieben Fall? Ich habe gesehen, wie er berechnet, dass 80% der alles, was Sie verdienen, weg von Ihnen in "Steuern" übernommen und ist es gerechtfertigt, diese Zahl, wenn man was trägt zu den Kosten der alles, was Sie tun, zu betrachten. Sie zahlen Steuern. Können Sie sich erinnern werden gefragt, ob Sie bereit wären, Steuern zahlen?
Oh, aber Sie
sagen, wir brauchen Steuern, um für öffentliche Dienstleistungen, Gesundheit,
Bildung, Verkehr usw. Ja wir zahlen, aber wie viel von Ihrem Geld geht
tatsächlich auf, dass. In Großbritannien gibt es eine große jährliche
"Kfz-Steuer", die mit der Ausrede, dass es nötig war, um den Bau und
die Reparatur von Straßen zu finanzieren eingeführt wurde. Ich verstehe, dass
mindestens 85% dieses Geldes nicht auf den Straßen verbracht. Es ist eine
massive Steuer auf Kraftstoff und ich habe die Zahl von 85% erwähnt gesehen.
Wenn dies der Fall ist, sollten Kraftstoff nur ein Sechstel des Preises
berechnet, und dass zusätzliche Kosten findet es seinen Weg in fast alles,
Nahrung, Kleidung, Elektrogeräte, alle hergestellten Sachen, Heizung, Strom,
Gasversorgung, etc. etc . Darüber hinaus gibt es große Steuern auf Alkohol,
Tabak, Dienstleistungen, Reisen und alles andere, was "Politiker denken
können. Also bist du ein freier Mensch leben in einer freien Demokratie? Wer
bist du Witze? Haben Sie eigentlich "Sucker" auf die Stirn
gestempelt? Für weitere Informationen, besuchen Sie http://www.yourstrawman.com wo die Fakten sind klar festgelegt.
Nehmen wir den Fall von Amerika. Das Ziel des Bürgerkrieges war, Geld für den skrupellosen machen. Eine wirklich
große Betrug auf das
amerikanische Volk zu diesem Zeitpunkt verübt. Sie glaubten (und
die meisten immer noch tun), dass die Vereinigten
Staaten die Regierung der amerikanischen Nation ist. Das ist nicht der Fall. "Die Vereinigten Staaten von Amerika"
ist eigentlich ein kommerzielles Konglomerat
von privaten Unternehmen, Unternehmen mit Namen wie "The State of Arizona", oder "The State of Texas". Bundessteuern sind auf
das amerikanische Volk auferlegt, aber das geht direkt in die privaten
Finanzen dieser Unternehmen und
nicht ein einziger Dollar geht es
um jede gewöhnliche amerikanische
Bürger profitieren. Es gibt viel mehr Details dazu in Kapitel 15.
Krieg: Die breite Öffentlichkeit gehalten unterliegen was als "Regierung" durch Angst und Unwissenheit. Die Regierung kündigt an, dass einige Länder angegriffen und erobert werden, um "frei" die Menschen und die Demokratie braucht. Also, in der Regel ohne realistische Grund, das Land wird angegriffen und erobert, viel von der Zivilbevölkerung getötet, zugefügt massiven Sachschäden und große Not und Elend für viele Menschen verursacht. Dies wird von den Politikern organisiert. Haben sie sich zu nehmen an den Kämpfen? Nein Wer profitiert von dem Krieg? Antwort: die Arme Herstellern und Unternehmen wie Halliburton die Besteuerung Geld bezahlt werden für den Wiederaufbau, was die lokale Armee hat gerade noch Zeit verbracht zu zerstören. Das Land angegriffen wird wahrscheinlich haben sie das Vermögen gestohlen und dann mit einem massiven gefälschte Schulden aufgebürdet werden, so dass sie gezwungen werden kann, unglaubliche Mengen an "Zinsen" für Jahrzehnte später zahlen. Der glückliche Land wurde angegriffen, beschädigt, Bürger getötet, Infrastruktur zerstört, Vermögen gestohlen und dann beraubt Jahre später von den Menschen, die diese Verwüstungen verursacht. Sie hat gesagt, dass Sie in "einer freien Demokratie" leben, nicht wahr?
Energie: Die Energie-Unternehmen sind sehr daran interessiert, Sie zu verkaufen Brennstoff für Sie brennen auf "get" Energie, um Ihre Fahrzeuge, Haushaltsgeräte, Heizung, etc. Sie sind auch sehr daran interessiert, dass Sie sollten nicht entdecken, dass Sie durch die Energie, die kann umgeben laufen verwendet für all jene Dinge, ohne die Zahlung der örtlichen Energie-Unternehmen nichts. Die meisten Leute denken, dass die elektrische Energie, die fließt aus der Steckdose in Ihrem Haus (und für die Sie ein gutes Geschäft zu bezahlen), kommt entlang der Drähte aus dem Generator-Station, die fossile Brennstoffe verbrennt, die Generatoren antreiben. Das ist nicht der Fall, da nicht ein einziges Elektron des aktuellen Sie stammt tatsächlich aus dem Kraftwerk, sondern wird lokal von kostenlose Umweltenergie gesammelt. Wenn du wüsstest, wie es zu tun, dann würden Sie haben keine Notwendigkeit für das EVU, Stromleitungen im ganzen Land, Kraftwerken oder bei der Ölförderung und Versand der ganzen Welt. Autos müssen nicht Brennstoff zu laufen, aber dass die Informationen stark unterdrückt und Sie werden belogen, wenn Sie gesagt, dass Sie ein Kraftstoff für den Betrieb Ihres Lebens zu verbrennen müssen.
Erfindungen: Als sie entdecken, dass es so etwas wie eine freie Energie, die meisten Leute denken, dass, was wir brauchen, ist ein wissenschaftlicher Durchbruch, um die notwendige Technologie, damit jeder haben freien Energie zu entwickeln. Die Realität ist, ganz im Gegenteil, da die Technologie entdeckt wurde und buchstäblich tausende Male durchgeführt. Sie werden belogen, wenn Ihnen gesagt wird, dass freie Energie "unmöglich" ist. Wie ich zuverlässig erfahren, dass allein in Amerika mehr als 40.000 freie Energie-Patente durch die (private Unternehmen genannt) Patentamt wurden beschlagnahmt. Erfinder werden dann von einem gag um unter dem absurden Vorwand, dass die Erfindung "des National Security Bedeutung" Schweigen gebracht. Erfinder, die nicht versuchen, ihre Erfindungen patentieren eingeschüchtert sind, einige ermordet werden, einige sind angegriffen und ihr Ruf verschmiert sind einige illegal in psychiatrische Anstalten gebracht, einige sind gerahmt und alle leiden massive finanzielle Opposition, wenn sie beginnen Herstellung eines Produkts versuchen zum Verkauf - nicht einmal Cal-Tech gelungen, Vergangenheit, dass die finanzielle Block zu bekommen. Ich persönlich kenne einige Forscher, die unrechtmäßig einschüchtern.
Bildung: Es ist ein massives Programm der "Verdummung" Bildung mit der bewussten Lehre von Dingen, die bekannt ist als völlig falsch kombiniert werden. Nach nur wenigen Jahrzehnten davon können viele Erwachsene nicht durchführen Grundrechenarten oder bauen einfache Sätze in ihrer Muttersprache. Science and Engineering werden vernachlässigt und die meisten Menschen nicht verstehen, wie die Dinge funktionieren. Die meisten Schulen nicht mehr erlauben Schüler Experimente in Chemie oder Physik durchführen, in der Regel mit der Ausrede, dass es "zu gefährlich". Studenten wird gesagt, dass es keine solche Sache wie das Perpetuum mobile, das so lächerlich zu sagen, dass Wasser nicht nass ist. Newton sagte tatsächlich, dass die Schwerkraft ist ein Push und nicht eine Zugkraft wie die mis-Übersetzung seines lateinischen Original Text angezeigt. Diese falsche Vorstellung der Schwerkraft wird trotz der Tatsache, dass viele Regierungen electrogravitic Fahrzeugen seit den frühen 1960er Jahren, angetrieben durch elektromagnetische Wellen gerade unterhalb der Frequenz des Infrarot gelehrt widerlegen was soll Newtons sein, in einer am meisten durchschlagenden Mode. Jeder Wissenschaftler, der aus der Reihe tanzt und räumt ein, dass Studierende, die sind Müll gelehrt wird sofort mit allen möglichen Mitteln zu diskreditieren, lächerlich und isolieren ihn angegriffen. Das Ziel in all dies ist zu manövrieren die allgemeine Öffentlichkeit in einer schwachen Position, wo sie sind unwissend, ungebildet, gefüttert falsche Informationen und abgelenkt mit den Dingen nicht von Bedeutung. Das ultimative Ziel ist die Sklaverei der Massen, ohne dass sie sich dessen bewusst, dass sie, die versklavt werden.
Terrorismus: Der wichtigste Weg, um die Menschen ihre Rechte und tun, was Sie wollen, ist durch Angst. Das Buch "1984" (datiert auf diese Weise, weil es im Jahr 1948 geschrieben wurde) erklärt, wie das gemacht wird. Fiktive Feinde erfunden, um Leute zu erschrecken und sie zu stoppen beschweren, wenn große Mengen an ihr Geld zu Interessen unter dem Deckmantel des Seins vor, um sie von diesem vorgestellt Gefahren zu schützen gegeben. Der "Kalte Krieg" war komplett gefälschte mit beiden Seiten, sie als Ausrede. Die Invasion der kleineren Länder ist nie, nie, aus dem Grund, da öffentlich, sondern ist immer für finanziellen Gewinn durch das Volk an der Macht und ihre kommerziellen Kollegen. Die Gründe für diese Invasionen gegeben sind so lächerlich, dass es nie aufhört, mich zu überraschen, dass die Öffentlichkeit tatsächlich akzeptieren und glauben, diese wilden Geschichten. Einer der Stränge dieser kontinuierlichen Täuschung gegen die öffentliche geführt ist fake "Terrorismus" häufig von "false flag"-Attacken verstärkt die perfekt unschuldige Menschen, die angeblich aus dieser Angriffe sind zu diskreditieren. Alle realen Terroranschlägen sind in der Regel eine Reaktion auf Grausamkeiten gegen die angeblichen "Terroristen" begangen. Die Unternehmen der gewerblichen Wirtschaft für Regierungen passieren, sind die größten Terroristen um.
Gesundheit: Die Pharma-Industrie ist einer der größten Geldverdienen Operationen auf dem Planeten. Es kann als ein Schock für Sie, aber sie wollen nicht, Menschen zu heilen. Stattdessen wollen sie die Menschen auf teure Medikamente zu stark überhöhten Preisen zu gehen. Langfristigen gesundheitlichen Behandlungen sind ihre ideale Situation, die sie bietet mit einer durchgehenden Einnahmequelle. Einige Leute haben mit sehr wirksame Heilmittel für Krebs und andere schwere Krankheiten kommen, und diese Menschen haben die gleichen ungerechtfertigten, empörend Behandlung erhalten als die Erfinder des Freie-Energie-Geräte tun. Die Pharmaindustrie ist sich bewusst, der sehr vorteilhaften Wirkungen von kolloidalem Silber, aber sie wird nie eine da sie nicht patentieren und laden Sie sehr überhöhten Preisen für sie. Folglich sind sie nicht interessiert als ihr einziges Ziel ist es, Geld zu verdienen, und es ist definitiv nicht, Menschen zu heilen.
Der verstorbene Bob Beck betonte in seinem Video-Vortrag eventuell noch verfügbar:

Hier ist ein Auszug aus diesem Vortrag:
In den letzten fünf Jahren habe ich mein eigenes Geld (keine Regierung oder Hochschulfinanzierung) in die Untersuchung ein Ding, das sich als das Merkwürdigste für alle Krankheiten, die ich jemals persönlich zu hören sein, verbracht hat, und ich habe in diesem Bereich schon über 40 Jahre.
Ich habe einen Stapel von IRB Studies - PCR Laborberichte großen Krankenhäusern in den Vereinigten Staaten, und solange diese peer-reviewed veröffentlichten, ich bin eigentlich nicht sie niemandem zeigen, wer ist nicht ein Arzt wegen der ärztlichen Schweigepflicht.
Nun, wie viele von euch gelesen, dass es keine Heilung für AIDS? Das ist eine absolute Lüge. Es hat eine perfekt funktionierende, 95% genaue Heilmittel für HIV und Krebs und Herpes und Hepatitis und Epstein-Barr und etwa ein Dutzend andere unheilbare Krankheiten, die am 11. März 1990 an der Albert Einstein College of Medicine in New York City wurde erfunden von Dr. Kelly und Wymans.
Und was geschah mit diesem Durchbruch, der viel wichtiger als Penicillin, Antibiotika, alles, was Sie nennen? - Es wurde unterdrückt. Und warum hat diese Informationen von Ihnen vorenthalten - Informationen, die Sie ganz einfach selbst beweisen kann (nehmen Sie nicht mein Wort, das hier für alles: check it out)? Ich fand vor kurzem, dass die Mafia etwa 51% der großen Pharma-Häuser sowie die Arbeit der anderen Seite der Strecke mit den illegalen Drogen aus Süd-und Zentralamerika und China besitzt.
Die medizinischen Kartelle in diesem Land (USA) werden Sie von $ 50.000 bis $ 200.000 aufladen, wenn Sie Krebs im Endstadium und haben dies für Chirurgie und Chemotherapie und Bestrahlung und Krankenhausversorgung.
Betrachten wir ein Paket von Spearmint Kaugummi Wrigley Kaugummi. Das Päckchen Kaugummi kostete mich eine Nickel (5 Cent oder $ 0,05), als ich ein junger Mann war und ich zahlte $ 1,32 für das Paket an der Chicago Airport vor kurzem - $ 1,00 für das Zahnfleisch plus $ 0,32 für Steuern und Handhabung. Der Preis für dieses Paket von Kaugummi ist jeden Cent (cent), dass es dauert zu heilen [und ich bin eigentlich nicht dieses Wort als nur ein Arzt kann das Wort "Heilung" verwendet verwenden] die meisten der bekannten Krankheiten in Amerika heute . Und warum haben Sie nicht gehört dazu? - Weil General Electric, Westinghouse, und die anderen Unternehmen haben Milliarden von Dollar in X-Strahlen, CAT-Scanner und MRT, die Gesundheits-Organisationen vermietet gebunden sind, und für $ 1,32 kann man sich ohne Ärzte heilen, ohne Pharma, ohne Medikamente, sicherlich ohne Operation, sicherlich ohne Chemotherapie, ohne Medikamente, ohne Kräuter, keine Homöopathie Heilmittel - Sie können es für sich selbst zu tun und es ist getan.
Leute fragen "warum nicht ich habe davon gehört, warum gibt es kein Krankenhaus Studien?". Es gibt Hunderte von ihnen. Hier ist ein Testergebnis: Zu diesem Zeitpunkt, der elfte August 1998 Dieser Patient hatte nur etwa 3.063 Partikel von HIV im Blut. Aber jetzt, da dieser Test entwickelt, der PCR am dritten November 1998, (einige Monate später), war der Graf von weniger als 1 in hundert, was bedeutet, dass das Testergebnis Null war, soweit diese Prüfung betraf. Wir haben einen Stapel von diesen Berichten einen Fuß und einen halben (45 cm) tief, wo jeder dieser Vollbild AIDS-Patienten, jeder, obwohl einige von ihnen auf lebenserhaltende Systeme oder benötigt Begleiter waren, um sie aus dem Lift Bett, sind diese Menschen symptomfrei jetzt. Jeder einzelne von ihnen ist wieder bei der Arbeit. Nicht einer von ihnen hat die Symptome von AIDS. Also, wenn Sie in Ihrer Zeitung gelesen, dass eine absolute Lüge ist "der Erlös aus der Baseball-Spiel an diesem Samstag wird die Suche nach einem Heilmittel für AIDS gespendet werden."
Es ist und war, ein Heilmittel für AIDS – alle AIDS - ein Heilmittel für etwa 95% der Krebs, eine 100% ige Heilung für Epstein-Barr, Hepatitis, Lupus, eine 50% ige Heilung für Herpes, und ich habe Finanzierung diese aus meiner eigenen Tasche. Ich habe absolut nichts zu verkaufen. Gott war außerordentlich gut zu mir - ich denke, dass ich über das meines Vaters ist hier los, und ich bin dafür bezahlen mich und ich bin der Welt geben.
Es gibt einen kostenlosen Papierform mit dem Titel "Take Back Your Power" (ein web download link dafür ist http://www.free-energy-info.tuks.nl/Beck.pdf) brauchen Sie nicht Ärzte, Krankenschwestern, Chiropraktiker, Kräuter , Pharma-, Chirurgie. Nur wenn Sie sich zusammen mit den politisch korrekten Lösungen brauchen Sie diese Dinge, dass Ihre Nachbarn haben für all diese vielen Generationen ab. Es gab mit dem Titel "Blood Elektrifizierung und Immune System Restoration mit Mikroströme - Eine bewährte, Startling, Rapid, kostengünstige und sichere Erkennung für Positive, Steuerbare Remissionen". Jetzt haben wir festgestellt, dass diese Informationen unterdrückt wurde. Die Ärzte, die dies entdeckten, und lassen Sie mich Ihnen sagen, über die Entdeckung: Im Jahr 1990 legte sie ein paar kleine Platin-Drähte in einer Petrischale, die stark infiziert menschlichen Blut enthalten, und die Infektion war eine sehr, sehr starke Dosis von HIV die angeblich die Ursache von AIDS. Sie fanden, dass, wenn sie dieses Blut elektrifiziert, die HIV konnte nicht mehr für Rezeptorstellen im Blut zu befestigen. Das bedeutet, dass die gesunden Zellen nicht durch das HIV infiziert werden. Die einzige Erwähnung dieser unglaublichen Entdeckung war in Science News 30. März 1991, Seite 207, " Schockierend Behandlung für AIDS Vorgeschlagene ', und es erzählt, wie diese beiden Ärzte hatten ein Papier zu diesem Prozess gegeben zu sagen,' die Experimente am 14. März am beschriebenen Washington DC an der ersten International Symposium on Combination Therapies, zeigten, dass die schockierten Viren die Fähigkeit, ein Enzym entscheidend für ihre Reproduktion und konnte nicht mehr dazu, die weißen Blutkörperchen verklumpen verloren - die wahre Schlüssel Anzeichen einer viralen Infektion.
Die einzigen Papiere, die konnte ich feststellen, dass kam in der amerikanischen Presse waren Science News und Artikel in Longevity News 'Stromschlag die AIDS-Virus'. Aber was passiert in der Longevity Artikel (das war Dezember 1992, Seite 14), war, dass Dr. Colley sagte ‘wird es 15 Jahre dauern, bis dieser Prozess ist bereit für Experimente an Menschen’.
Wir haben es zu tun, sub-rosa, mit Zustimmung des Patienten, über fünf Jahre hier, und wir haben die Testergebnisse zu beweisen. Wenn ich Vorträge war in einem Raum von etwa 800 Personen, kam ein 80-jähriger Mann auf und sagte: ‘Bob, ich nach Hause wurde heute geschickt hatte mein Krebs allem durch mein System metastasiert. Mir wurde gesagt, nach Hause zu gehen und meinen Willen, wie ich am meisten hatte, etwa zwei oder drei Wochen zu leben. Ich ging nach Hause und ich habe meinen Willen und ich sah Ihr Artikel in einer Zeitschrift, und ich tat es. Ich bin jetzt frei von allen Krebs. Meine Biopsien sind sauber, sind meine CAT-Scans sauber. Ich ging wieder an die Arbeit, und da ein Anwalt, musste ich 16 Stunden pro Tag zu arbeiten, um sich über die ganze Arbeit, die ich verpasst hatte, während ich auf der Intensivstation war. Jetzt bin ich Joggen 3 Meilen pro Tag’ (und es waren Tränen rannen über sein Gesicht).
Wir haben Frauen, die Lupus seit etwa zehn Jahren kaum in der Lage, um es von der Couch vor dem Fernseher zu machen ins Schlafzimmer. Sie sind zurück in den Malls jetzt ihr Geld, Wandern rund um und in der Lage zu halten Arbeitsplätze in Vollzeit. Hat jemand von euch wissen, Linda Wright? Sie brachte in einem sauberen Bluttest 1 Tag und sagte: "Mein Arzt hatte dies auf zwei verschiedenen Labors zu schicken - er hat noch nie eine Person mit sauberem Blut nach, dass Person Lupus gesehen hatte."
Wir haben Dutzende von diesen Leuten, und nicht einer von diesen Leuten ging zum Arzt für die Heilung, außer für die Menschen, die auf dieser Institutional Review Board Studie sind in einem Krankenhaus in Huntington Beach und Newport Beach, Kalifornien. Nun, der Punkt ist meiner bescheidenen Meinung nach, und wir können nichts dagegen zu setzen, weil wir, dass es wahr ist, zu diesem Zeitpunkt wissen, als ich anfing, diese Ich dachte, 'Das ist irgendwie interessant. "Ich habe in 500 Dinge, die noch nie gearbeitet sah die Rife Maschine nie gearbeitet, Holderclarke die Maschine nicht funktioniert, viele, viele, viele dieser Geräte nur geringfügig zu arbeiten, und ich fühlte: "Ich bin im Begriff, in genommen werden wieder ', ich habe Mucalsky mehreren Oszillatoren gebaut wie Sie wissen. Ich habe fast alle elektro-medizinische Geräte gebaut, da ich in Kalifornien waren (seit dem Zweiten Weltkrieg begann), und diese Dinge funktionieren am besten, marginal. Aber die Sache, die Sie für sich selbst bauen kann, gibt es nichts, was Sie kaufen. Der Schaltplan und alle Anweisungen für den Bau dieser, sind in dem Papier. Dies ist die eine, die ich im Jahr 1991 zum Bau eines experimentellen Studie mit zu machen, und Sie können ein Set aus einem Elektronik-Geschäft zu bekommen. Ich bekomme nicht ein Nickel aus der Zehntausende von Dollar wert von diesen Kits, die sie verkauft haben.

Auch wenn Sie nicht wissen, was ein Widerstand oder ein Kondensator ist, legen Sie die Liste auf der Zähler bei Radio Shack und ihnen sagen, Sie geben, was auf der Liste steht. Der Verkaufspreis ready-made ist rund 150 $. Wenn Sie es selbst bauen es kostet $ 15 bis $ 20 und wird diese Maschine nicht nur Kolloide, das ist die stärkste Medizin auf den Menschen bekannt, (das ist, warum die FDA hat es ausgestanzt vor kurzem).
SOTA Instruments Inc. Canada (1-800-224-0242) baut diese Geräte, weil der Besitzer den Artikel gelesen in PACE-Magazin und seine Frau hatten chronische Müdigkeit und Epstein-Barr so schlecht, dass sie nicht funktionsfähig war. Sie ist jetzt auf und um und ist total gut heute, weil mein Mann baute diese kleine Box für etwa 15 $. Die Box-Riemen auf der Arm mit den Elektroden auf den Radial-und Ulna Arterien positioniert und stellt eine sehr kleine Elektrifizierung in den Körper, die alle Parasiten, Viren, Pilze, Bakterien, Keime entfernt - alles in das Blut, das nicht hingehört und war nicht dort die Tage, die Sie geboren wurden, schließlich (nach zwei oder drei Wochen) neutralisiert und verworfen durch Ihren Körper, tot oder lebendig von der Milz, den Nieren und der Leber. Dies ist verdammt spannend, aber wenn die Krankenhäuser dieser Patentschrift versucht, beschreibt das US-Patent 5.188.738 präsentierte Dr. Colley am 23. Februar 1993, das Verfahren, wie sie vierzehn andere Patente von der Harvard MIT, Seite 1, Spalte 1 'sagt, weil dieses Problem (das Tatsache, dass es keine bekannten Antibiotikums oder Impfstoff für eine dieser unheilbaren Erkrankungen) die vorliegende Erfindung wurde ersonnen, um alle Bakterien, Viren (einschließlich des AIDS-Virus), Parasiten und Pilze in Blut von einem Spender beigetragen enthaltenen dämpfen, wobei diese gerendert unwirksam infizieren normalerweise gesunden menschlichen Zelle. Bevor diese Ansprüche durch die Patentprüfer akzeptiert wurden, mussten sie die Prüfer mit massiven Nachweise zu erbringen.
Jetzt gibt es eine Heilung, ein Heilmittel bekannt und es kostet $ 1,32 pro Patient, so gibt es kein Geld in diese, wenn sie versuchen, Sie zu verkaufen Kombinationstherapien für $ 20.000 bis $ 60.000 pro Jahr.
Ich empfehle, dass Sie das Papier bekommen, wie es die genauen Elektrodenpositionen die gefunden worden sind, um die besten zu arbeiten und den maximalen Strom in das Blut enthält. Es ist fast, als ob Gott der Schöpfer hatte die Hintertür Zugang zu den Problemen verschlossen und mit einem Gegner wie der Heilige Geist, der in ist - die Bibel sagt, "nach innen schauen, nicht ohne '. Und dieses Mal ist der Widersacher innerhalb. Die "Aliens" in Ihrem Blut sind die Dinge, die halten Sie werden Ihre Lebensdauer auf 70 oder 80 Jahre. Viele, vor vielen Generationen nach der heiligen Texte, lebte sie mehrere hundert Jahre alt, Solomon, David, Methusalem, etc.
So haben wir etwa ein Dutzend verschiedene medizinische Lehrbücher einschließlich Grey 's Anatomy überfallen, und wir haben die genauen Orte, an denen Sie das Lymphgewebe, wo diese Keime gehen zu Winterschlaf werden zugreifen können veröffentlicht. Nachdem Sie sich klar, und erhalten Sie einen Persilschein, nach drei bis fünf Jahren werden Sie erneut infizieren sich, wenn viele dieser Viren, die latent, starten keimenden. Und mit diesen Informationen, und diese Schaltpläne und diese Anweisungen haben wir buchstäblich euch gegeben zurück zu sich.
Wir werden Ihnen zeigen, all dies, bevor ich hier verlassen. Dies ist nicht meine Meinung nicht mehr, wir haben genug Beweise, dass es eine Tatsache ist, und wir können Sie sich verlassen. Wenn Sie zu faul, zu dumm, zu elektronisch beeinträchtigt oder zu verängstigt, um Ihre eigenen zu bauen, gibt es 40 bekannte Unternehmen (und wahrscheinlich hundert, dass ich nichts weiß), die den Bau dieser Dinge sind in Vollzeit und sie werden immer das Beste bemerkenswerte Berichte zurück. Ich glaube erfüllen diese Menschen, und nein, ich nicht bekommen, ein Nickel aus jedem einzelnen dieser Unternehmen, und alle diese Informationen in Ihrem Papier.
Nun, was haben wir sonst noch für Sie hier zu sehen. Niemand hat jemals an diesen Tag an AIDS gestorben. Wussten Sie, dass? Sie haben der opportunistischen Infektionen, Lungenentzündung, Carkinson-Sarkom, etc. etc., die angreifen und zerstören kann Ihr Körper, wenn Ihr Immunsystem nicht verarbeiten kann die Last starb in der Tat es heißt 'HIV' (Human Immunschwäche Virus) 'AIDS 'wird Immune Deficiency Syndrome erworben. Nun ist dies die einzige Möglichkeit, die ich kenne, ich kenne die Leute, die die Bücher auf Ozontherapie geschrieben habe, werde ich nicht erwähnen ihren Namen, ich weiß, die Ärzte, die mit allen von den Kräutern und Drogen sind. Ich habe mit den Leuten, die mit Dr. David Ho arbeitete, die auf der letzten Woche Time Magazine Cover war als Wissenschaftlerin des Jahres, der entdeckt hat, dass, wenn Sie zwei oder drei Chemotherapeutika zur gleichen Zeit verwenden, müssen Sie einen Cocktail Wirkung haben und sprach es reduziert die HIV Anzahl der PCR Anzahl im Blut mühsam. Aber was er nicht sagen, und ich denke, ich werde diese, die in der Los Angeles Times 10. Dezember 1996 war zu lesen: "Drug-Combo klopft HIV unten, nicht aus". Und eine grundlegende Sache passiert, sie einige dieser Patienten, die auf eine Kombinationstherapie, die übrigens kostet $ 20.000 bis $ 60.000 pro Jahr, sobald sie unter diese Cocktails gestoppt waren, nahm, bekamen sie immens erhöhten zählt in die Millionen oder Milliarden von AIDS zählt , als ob diese Chemotherapeutika, (AZT, DDI, DD5 usw.) hatte diese Viruslast niedergehalten im Blut solange sie ihn nach. Die Minuten hielten sie an, erholte sich, und viele der Leute waren schwer krank und sie mussten sie wieder auf ihn sofort.
Also, wenn Sie auf dieser Cocktail-Therapie beginnen, werden Sie mit ihm für das Leben stecken, solange Sie leben, und wie man es von der Internationalen AIDS-Konferenz in Japan im letzten Jahr kennen, fanden sie, dass keiner dieser AZTs usw. verlängerte das Leben eines einzigen Aids-Patienten sogar um einen Tag. Ihr ist einfach ein Versprechen, werden sie entwickelt, um Ihr Geld zu bekommen, während sie euch Hoffnung geben. Ich wurde geschlagen und blutig, ich war auf den Kopf geschlagen und hatte Blut läuft über mein Gesicht, gefolgt von "AIDS Act Up 'David Buller wurde festgestellt, dass lief diesen Kreuzzug in New York City im Februar. Er rief die New Yorker Hotel und sagten, sie würden abbrennen das Hotel, so gaben sie mir einen Bodyguard (die nicht da war es die ganze Zeit) und sagte: "Bob, verwenden Sie nicht die Tür, sondern gehen um die Rückseite und nutzen Sie den Service Eingang - nie aus der Tür des Hotels. Der letzte Tag, als ich dort war und ich hatte zu laufen, einen Shuttle zu mir auf die New Jersey Flughafen, um mich nach Hause zu bringen, gab es einen Mann stand auf der anderen Straßenseite mit einer Videokamera und einem Mann, der mich über die getroffen Kopf und mich blutig, und ich wusste nicht jagen ihn die Straße hinunter, weil mein Knie nicht sehr gut, da ich über keine Knorpel in ihnen.
Aber wann ist das letzte Mal, dass du mich gesehen hast Ivan - etwa drei Jahren, vor vier Jahren? Merkst du alles, was anders ist? Ich verlor 130 Pfund - wog ich 290 und ich habe Bilder von mir, es zu beweisen. Meine Haare auf der Oberseite war dünner als einige meiner alten guten Freunde hier. Sobald ich die Beseitigung der Gegner bekam - die Aliens in meinem Blut, nahm mein Immunsystem vorbei und ich losgeworden der ein halbes Pfund oder so von Parasiten, die jeder Mann, jede Frau und jedes Kind in Amerika (wenn er mehr als vier Tagen alt) trägt. Ein Neugeborenes hat nach vier Stunden hauchte genug Luft zu infizieren. Wenn Sie in Amerika leben, gibt es 140 bekannte einheimische Parasiten. Wenn Sie in Afrika oder den Tropen leben, gibt es 500 identifiziert und bekannt Parasiten und wahrscheinlich halb so viele wieder, dass sind unbekannt. Wenn wir diese Parasiten stieg aus meinem Körper durch das Tragen dieses Gerät an meinem Handgelenk, passiert eine erstaunliche Sache. Ich begann, Gewicht zu verlieren wie verrückt. Ich dachte, 'mein Gott, ich habe Magenkrebs hat oder bin ich Dahinsiechen mit etwas?'. Nein, ich war in einem besseren Zustand als ich, bevor ich begann.
Das ist eine Theorie: etwa 30% der Parasiten, die beim Menschen zu leben, und diese können aus vierzehn Fuß (4,27 m) lang reichen, wenn sie einen Bandwurm auf mikroskopische Größe (das ist, warum sie an Mikroskope zu bedienen haben, sind tun Stuhlanalyse wenn Sie für eine Prüfung zu gehen), wurden diese Parasiten meine Einstellung Appetit. Wenn Sie darüber für eine Minute denken wird, ist es nicht das, was Sie essen und wie viel Sie essen das hat irgend etwas mit Ihrem Gewicht zu tun. Es ist, wie viel von dem, was Sie essen, Sie als Fett zu speichern, da die Parasiten die P51, die Leptin verändert haben und etwa fünf oder sechs bekannten neuro-Sender im Hypothalamus zu füttern morgen. Viele dieser Parasiten haben mit Säugetieren koexistiert - Affen, Elefanten .... nach zwanzig Millionen Jahren und den Anthropologen wird Ihnen sagen, dass sie sie finden, wenn sie eine Karkasse in den Eisschollen eingefroren zu finden, haben diese Dinge hatten Parasiten so lange wie jemals ein Mensch auf dem Planeten gewesen ist. Diese Parasiten haben gelernt, sie als eine Mahlzeit verwenden und dich nicht töten, weil sie dann los, um sich sterben, wie Ebola, die es natürlich in ein paar Wochen läuft. Viele dieser Viren zu tun, aber diese Parasiten fast töten und verwenden Sie für eine Mahlzeit in der gleichen Weise, dass wir senden Rindern zu einem Feed Dachboden, bevor wir sie nehmen auf den Markt. Und wenn diese Parasiten aus meinem Körper verschwunden, und dies ist nachweislich durch Dunkelfeld-Mikroskopie, Phasenkontrast-Mikroskopie, jeder Arzt, der diese Analyse macht kann es beweisen, Sie müssen nicht mein Wort dafür nehmen, verlor ich alle das Gewicht und die vor dieser Zeit hatte ich $ 10.000 Cash Währung "unter dem Tisch" für jeden, der dieses Gewicht bekommen konnte von mir angeboten.
Ich hatte Dutzende von Diätpläne versucht. Ich hatte diese Dosen-Mahlzeit Jenny Craig Art Abenteuern versucht. Ich hatte mit schwangeren Stute Urin injiziert. Ich weiß, dass einige von euch haben über die gleichen Dinge gewesen. Ich hatte rechtliche Amphetamine genommen, um meinen Appetit zu kontrollieren ... Ich hatte alles versucht, bis ich fast selbst umgebracht hatte. Und bis ich die wahre Ursache von dem, was ich glaube, ist etwa 30% der Menschen, die übergewichtig sind gefunden, und dies war sicherlich mir, ich war furchtbar peinlich, um die Stewardess läuft den Gang hinunter mit einem Gurt-Extender zu finden, weil der Sitz -Gürtel würde nicht um mich fit. Ich konnte nicht in der Kabine in einem Restaurant sitzen, weil ich würde auf einem Stuhl sitzen, etc. etc.
Die Dame an der Rückseite des Raumes, hatte Jane inoperablen Krebs als ich sie traf. Sie sagte: "Ich werde zusammen mit blutreinigender hier, und nicht der Chemo-und Strahlentherapie, die der Arzt sagte, wenn ich nicht ich werde sterben hatte." Und ihre Tochter Cathy war empört, weil ihre Mutter nicht tat all dieser Chemotherapie und haben ihre Haare fallen aus ... Jetzt ist sie total gut. Ihre letzten physicals - Biopsien und CAT-Scans - haben gezeigt, nicht ein Fleck von Krebs irgendwo in ihrem Körper. Weder haben Dutzende von "Terminal" Krebspatienten.
Nun, warum macht diese Arbeit für Krebs? Wir begannen die Arbeit mit viralen und Mikroben und parasitäre Krankheiten. Wenn Onkologen im Osten berichten viele, viele, viele Krebs heilt begann, mussten wir eine Telefonkonferenz zwischen etwa für oder fünf von uns haben. Nun, was wirklich passiert hier? Ich glaube es nicht, bis ich den medizinischen Beweis sehen. Also ich denke, Sie wissen, dass vor etwa drei Monaten Explorer Magazin einen Artikel mit dem Titel 'Total Cancer Remissionen durch Blut Elektrifizierung mit Silber Kolloid kombiniert "veröffentlicht. Und dieser Artikel von zwei Seiten wird in seiner Gesamtheit in der Zeitung, die Sie nehmen sollten, mit nach Hause nachgedruckt.
Social Security nicht möchten, dass Sie leben, wenn Sie 65 Jahre alt sein zu bekommen. Ich bin jetzt vorbei, dass. Ich weiß nicht, wie es zu handeln, aber ich bin vorbei, dass ich in meinem siebziger bin. Der Direktor für Soziale Sicherheit - ich werde nicht schweigen seinen Namen, weil er mich holt am Flughafen, wenn ich in Washington bin und treibt mich, wohin ich gehe - ich habe in seinem Haus übernachtet - sagt: "Bob, wir jemanden wollen , die erreicht 65 bis wie Schnur-Holz in einem Altersheim gespeichert werden und angesichts Mind-Control-Medikamente wie Valium und ihn sterben lassen, weil Social Security ist bankrott jetzt wird es nicht in fünf Jahren bankrott, wie es bankrott ist jetzt . Und wenn Sie perfekte Wiederherstellung der Gesundheit dieser Menschen mit einem Gerät, das in jede Hemdtasche passt, wird der Arbeitsmarkt nicht absorbieren die Menschen immer aus der Schule heute. Auch wenn McDonalds hat eine intelligente Kasse, können sie nicht addieren oder subtrahieren, sie kann kaum schreiben einen Absatz, und Sie möchten diese erfahrenen Menschen wieder in den Arbeitsmarkt? '. Ich sagte: "Hölle ja! 'I 65 war fast zehn Jahre her.
Ein weiteres Problem: diese Schritte auf den Zehen aller Interessen. Sie erwarten, um Hunderte von Tausenden von Dollar von dir machen: Health Management Organisationen, Versicherungen, Krankenhäuser, ... Wenn Sie ein Boot, das, was in den Haushalt des Bootes geschrieben Builder dort unten in San Pedro. Diese medizinischen Menschen erwarten zu sehen Sie dort einige Tage und verbringen eine Menge Geld, aber wenn Sie dies für sich selbst zu tun, werden Sie auch bekommen. Es gibt siebzehn von uns, die ich kenne, und ich weiß, sechzehn von ihnen persönlich, die diesen Tag unsterbliche Blut haben. Nun ist dies eine ziemlich dramatische Behauptung ist, so lassen Sie mich Ihnen sagen, was es bedeutet. Gegen Ende des letzten Jahres gab es eine Dunkelfeld-Mikroskopiker 'Mike', Sie kennen seinen Namen, er weltberühmt ist, er ist der Kerl, der Ärzten trainiert auf der ganzen Welt, wie diese Art von Technologie für die diagnostische Arbeit zu nutzen. Er lud ein, wer war auf einem dieser Geräte für etwa sechs Monate Kerl, und er sagte: "Lassen Sie uns Ihr Blut zu sehen", so dass er stach mit dem Finger, bringe diese Tropfen Blut in einem Objektträger und schaute sie an. Und er sagte: "Sie haben keinen Hintergrund Unordnung in Ihrem Blut." Natürlich konnte sie nicht sehen Viren als dies war ein Lichtmikroskop mit einer Vergrößerung von etwa dreitausend Mal, hinten beleuchteten. Er sagte: "nur eine Minute - ich muss etwas falsch gemacht haben", so steckte er einen weiteren Finger, dann ging er in die Ohrläppchen und machte eine Rutsche und sagte: "Was hast du getan? Wer jemals mit mir gekommen, Mann, Frau oder Kind, in den letzten 13 Jahre, können Sie sehen die Parasiten, viele der Keime, Mikroben und Bakterien schwimmen um im Blut, sondern Sie müssen nicht überhaupt. Der Patient sagte, dass er auf das Blut-Reiniger so Dr. Mike sagte: "Gib mir einige von denen, ich habe sie auf einige meiner Patienten zu testen - ich glaube dir nicht." Er tat es, und sie arbeiteten.
Jetzt, in Colorado wird Blut als "Giftmüll" oder Sondermüll. Es muss abgeholt und entsorgt werden durch Verbrennung von registrierten Giftmüllentsorgung Menschen. Dr Mike hatte diese drei oder vier Dias in einem Kasten unter seinem Labortisch geworfen. Er blickte auf dieser Box zu 27 Tage danach und überprüft die Folien wieder unter dem Mikroskop. Das Blut war noch am Leben. Die Halbwertszeit von humanem Blut auf einem unverschlossenen Mikroskopobjektträger ist zwischen zwei und eine halbe bis vier Tage maximal. Siebenundzwanzig Tage waren vergangen, und die roten Blutkörperchen wurden im Plasma genau das gleiche wie der Minute, als er das Blut gezogen hatte schwimmen. Es war nicht gekerbte (Wellenschliff am Rand) - ein Fibrin-Reaktion war nicht, obwohl es an den Rändern verdampft war gesetzt. Lassen Sie uns nun auf den Punkt kommen. Einen Monat später, dass manche 51 Tage später wird diese Folien noch nicht bis zur Entsorgung abgeholt, geprüft, so Mike sie wieder. Das Blut war "Wagenburg": Es war vor etwa einem halben Millimeter Fleck in der Mitte, wo die Zellen nicht verdampft war und noch am Leben waren.
Die Menschen in seiner Praxis, die vorher mit dem Blut Reinigungsmittel getestet hatte nun unsterbliche Blut. Nun, was bedeutet das? Wenn "der Widersacher innerhalb 'er nicht ein Mann mit einem roten Schwanz und Hörner werden irgendwo da draußen mit der Nummer 666. So wie der Heilige Geist in diesem Tempel wohnt, könnte so der Gegner, zumindest die Aliens, die mit uns seit vielen, vielen Monden beteiligt sind dort und man kann sie sehen, wenn Sie auf eine Dunkelfeld-Mikroskopiker gehen, wenn Sie diejenigen loswerden, die wissen, was passieren wird weiß? Was mir passiert ist. Ich war so fett, dass ich in einem Rollstuhl saß und ich hatte für tot gegeben. Die Ärzte, die zu mir kamen, Freunde von mir, die Ärzte, die nicht einen Hausbesuch in Beverley Hills in dreißig Jahren gemacht wurden, kamen bis zu meiner Wohnung sagen: "Bob, würden Sie besser, was Sie habe entsorgen bekommen - du wirst nie wieder laufen können. Ich war so viele Tests gegeben. Ich brachte Dr. Alexander Everett aus Washington, bezahlte seinen Weg, ihn in der Red Lion Hotel. Er arbeitete an mir, bis er sagte: "Bob, ich muss jetzt zurück, es gibt nichts, dass jemand für Sie tun können." Und ich war in einem Rollstuhl, aber ich bin mir verdammt sicher nicht tot! Alles ist gut wieder zu arbeiten.
Mein Blutdruck, wenn ich diese gemittelte 219 begann vor über 190 und war grenzwertig Diabetiker mit Blutzucker von 425 bis 475. Heute ist mein Blutdruck ist 130 bis 140 über 70 bis 75 und nach nur drei Wochen meinen Blutzucker bis 150, die zu jener Zeit als normal wurde fallengelassen hatte.
Also ich bin hier, um diese Informationen mit Ihnen zu teilen. Ich habe nichts zu verkaufen. Es gibt Leute, die verkaufen Dinge, ich bin nicht einer von ihnen. Teil davon ist, weil ich glaube, dass Gottes Werk frei gegeben werden sollte. Ich erwarte, dass meine Belohnung woanders bekommen, wenn ich nicht komme zurück auf diesem Planeten von schmerzhaften Unterfangen. Ich habe eine Menge von Theorien über dies und auch die Food and Drugs Administration hat an meine Tür mit gezogenen Waffen auf 3.00 in der Früh kommen. Ich habe von den Menschen, die Unterstützung der pharmazeutischen Häusern, die nicht wollen, dass ein $1,32 Heilung für Aids geschlagen.
Bob spricht auch von seiner Verwendung von kolloidalem Silber, (ein Dokument, auf dem heruntergeladenen mit dem Download-Link kann http://www.free-energy-info.tuks.nl/Silver.pdf) obwohl Bobs Herstellungsverfahren sieht eher einfach. Er sagt:
Dies ist ein Glas Wasser, das ich aus der Küche. Ich habe eine 9-Volt-Batterie genommen und ein wenig "Weizenkorn" Lampe (6 bis 12 Volt 55 mA) in Reihe mit der Batterie und die beiden silbernen Drähten. Es gibt keine bekannte Keime, Bakterien oder Mikroben, die überleben, was ich zu gerade jetzt tun werde können. Ich werde diese zwei silberne Drähte in diesem Glas Wasser gelegt, etwa einen halben Zoll (12 mm) auseinander, und lassen Sie sie dort für etwa drei Minuten. Das ist alles was man braucht. Dies ist Leitungswasser und Sie können diese Silberkolloid für etwa ein Zehntel eines Cents pro Gallone zu machen und das ist die stärkste Medizin auf den Menschen bekannt. Nach drei Minuten Bob rührt das Kolloid mit einem Kunststoff-Messer und veranschaulicht, wie ein Laserstrahl reflektiert die mikroskopischen Partikel von Silber im Wasser suspendiert und anschließend dem Wasser trinkt. Bob trinkt zwei oder drei Gläser Kolloid jeden Tag. Das Kolloid verhindert, dass Sie vom Vertrag sekundäre Infektionen während der ersten drei Wochen, während Sie auch immer mit dem Blut Elektrifizierung Prozess.

Finanzen: Geld hat nur Wert, wenn durch etwas von Wert gesichert. Der größte Kauf, dass die meisten Leute machen ist der Kauf einer Immobilie. Dies wird oft durch Aufnahme einer Hypothek mit einem Finanzinstitut wie eine Bank oder ein Building Society durchgeführt. Dazu unterzeichnen die meisten Menschen eine Hypothek Vereinbarung mit der Bank, die Vereinbarung zur Rückzahlung der Kreditsumme plus ein großes Interesse, in der Regel über einen Zeitraum von vielen Jahren. Wenn Sie standardmäßig auf die Rückzahlungen, die typischerweise nach vielen Jahren der Zahlungen nimmt die Bank Ihre Immobilie und verkauft es um so viel Geld zu gewinnen, wie sie können. Was Sie nicht gesagt ist, dass die Hypothek Vereinbarung ist ein Vertrag und kein Vertrag ist gültig, wenn etwas von Wert durch beide Parteien und die vollständige Offenlegung aller Umstände wird angeboten. Die Bank bietet nichts von Wert, da es erfindet nur das Geld, schaffen es aus der Luft gegriffen und ohne jede Unterstützung von etwas wert. Die Bank Vorschriften tatsächlich verbietet die Bank aus Verleihen Geld hinterlegt durch seine Mitglieder, so kann eine Bank nicht rechtmäßig in einem solchen Hypothek Vereinbarung durch die eingezahlten Gelder mit ihm gesichert eingeben. Darüber hinaus ist kein Vertrag gültig, wenn es eine "nasse Tinte" Unterzeichnung durch beide Parteien und eine nasse Tinte Signatur nur von einem Menschen gemacht werden können. Eine Bank kann keine feuchte Tinte Unterschrift, noch kann eine andere individuelle unterzeichnen einen Vertrag im Namen von jemand anderem, so ist keine Hypothek Vereinbarung tatsächlich gültig Recht. Auch die Bank ist sich dessen bewusst und nicht deutlich zu machen, Ihnen die Hypothekengläubiger, steht im Widerspruch zu der "full disclosure" Anforderung eines Vertrages, die ausreicht, um den Vertrag ohnehin ungültig ist. Deshalb, wenn eine Bank versucht, Ihre Immobilie wegen fehlender Zahlungen zu nehmen, sind sie rechtswidrig handelt und sind nicht berechtigt, dies zu tun. Sie in der Regel weg mit ihm, weil die meisten Menschen nicht bewusst sind, die wirklichen Sachverhalts.
Die Medien: Es wird erwartet, zu glauben, dass die Medien eine ehrliche und unvoreingenommene Informationsquelle ist. Die Realität ist, dass alle wichtigen Medien mit nur wenigen, sehr reich Individuen gehört, und ihr Ziel ist nicht, unvoreingenommene Berichterstattung. Es scheint, dass sie drei Hauptziele haben.
Erste, sie wollen Geld und objektive und wahrheitsgemäße Berichterstattung stellen nicht unbedingt zu diesem Ziel helfen. Sie werden nie, nie, zu finden ehrliche Berichterstattung der nichts mit der freien Energie oder andere positive Sache, die Menschen für sich selbst tun kann. Zum Beispiel, wenn ein "Bericht" an sagen, ein HHO Booster gemacht wird, mpg zu verbessern und zur Verringerung schädlicher Emissionen drastisch, wird es angeordnet, dass die angeblichen Ergebnisse zeigen, dass diese Sache nicht lohnen werden. Vergleichen Sie das mit der Tatsache, dass Dr. Scott Cramton können HHO Gas aus der Elektrolyse von Wasser zu verwenden, um den Brennstoffbedarf eines Dieselmotors um mindestens 60% zu reduzieren. Egal, wie Sie versuchen, werden keine größeren news outlet jedem Bericht die ehrlichen Fakten, dass die übermäßige Einnahmen der Ölkonzerne beschädigen könnten.
Zweite, sie wollen so viel Angst zu erzeugen und Sorgen wie möglich, weil tun, dass über einen längeren Zeitraum verursacht die durchschnittliche Person zu sein zugänglich, die ihre Freiheiten weggenommen. Es erleichtert die Einführung der Überwachung auf alle, Ausweispapiere (Geburtsurkunde, Führerschein, Reisepass, Sozialversicherungsnummer, Stimm-Register, National Census Rekord, etc. - sehr viel in der Nazi-Besatzung Stil), den Krieg mit Ländern, die über nie geschadet Sie, wenn man bedenkt Menschen gerecht zu sein auf der Grundlage ihrer Staatsangehörigkeit unehrenhaft, und dergleichen. Versuchen Sie das Zählen der Elemente in der täglichen Nachrichten, die negativ sind gemeldet - Morde, Anschläge, Unehrlichkeit, Todesfällen durch Unfälle, Todesfälle durch Naturkatastrophen, Entführungen, Piraterie, Gewalt, Umweltzerstörung, usw., und vergleichen Sie diese Zahl auf die Anzahl der positiven Dinge berichtet, on - glückliche Ereignisse, Handlungen der Güte, erfolgreiche Ventures, etc. und sehen, was Ration Sie erhalten Tag für Tag für Tag. Dies ist nicht nur Umsatz Auftrieb zu, weil die Leute über Katastrophen zu lesen lieben. Stattdessen ist es eine bewusste, langfristige Politik der psychologischen Kriegsführung gegen normale Menschen.
Dritte, sie bewusst lenken die Aufmerksamkeit der Menschen weg von allem von wirklicher Bedeutung durch Förderung und Unterstützung übermäßige Interesse an Dingen, nicht von Bedeutung. Es ist eine bewusste Verdummung fast aller TV-Programme in Großbritannien, die Förderung von übermäßig gewalttätige Videospiele, die Förderung von trivia wie Prominente und ihre Aktivitäten, Diäten, Klatsch, Mode und anderen irrelevanten Themen. Sie möchten, dass Sie all Ihre Aufmerksamkeit auf diese Dinge zu geben und nicht bemerken, was eigentlich vor sich geht überall um euch herum.
Joseph H. Cater hat ein Buch mit dem Titel "Ultimate Reality" das finde ich unmöglich, zu jeder angemessenen Preisniveau zu kaufen. Darin weist er darauf hin viele Dinge, die er unterstützt mit starken Beweise. Diese Dinge scheinen erschreckend, weil und nur weil die gegenwärtige Bildungssystem gezielt ermutigt uns, die Dinge, die eindeutig nicht wahr halten. Google Bücher haben eine partielle Kopie der "The Ultimate Reality" an:
Die Dinge, die Joseph Cater Zustände sind so ungewöhnlich, dass es leicht sein würde, ihn abzuschreiben als Kurbel. Allerdings sichert er, was er sagt, mit einer beachtlichen Zahl von realistischen Beweise, die es sehr schwer zu ignorieren, was er sagt, trotz der Tatsache, dass die meisten seiner Erkenntnisse rundweg widersprechen, was wir von einem frühen Alter gelehrt worden ist, und so als Realität zu akzeptieren. Ob Sie akzeptieren, was er sagt, ist völlig bis zu Ihnen, aber es ist schwierig für einen ehrlichen Menschen zu seiner Präsentation lehnen aus der Hand.
Er legt uns ein starkes Argument, denn es ist eine bewusste Programm der wissenschaftlichen Fehlinformationen und Unterdrückung zu halten die breite Öffentlichkeit völlig unwissend in Bezug auf die tatsächlichen physikalischen Gegebenheiten des Sonnensystems und des Universums im Allgemeinen gerichtet, und als ein Ergebnis, ist die Wirklichkeit sehr weit von der landläufigen Vorstellung. Herr Cater der Beschreibung der Materie bietet begründete Erklärungen für eine ganze Reihe von Anomalien, die konventionelle Wissenschaft nicht ausreichend erklären kann, und er zitiert zahlreiche Experimente, die feste Beweise dafür, dass das, was er sagt, eine wesentliche Grundlage in der Tat besitzt.
Hier ist eine kurze Zusammenfassung von einigen, was er sagt in seinem Buch "The Ultimate Reality":
Die größte einzelne Faktor ist in der irrigen Theorie der subatomaren Teilchen. Herr Cater fest, dass die Realität tatsächlich ist viel einfacher als herkömmliche Theorie besagt. Das Universum ist mit einer Reihe von energiereichen Teilchen, die er beschreibt als "höherer Ordnung Aether" und "niederer Ordnung Aether" gefüllt. Diese Ätherteilchen stehen in ständigem zufällige Bewegung bei verschiedenen Frequenzen und sie produzieren eine Reihe von verschiedenen Arten von zusammengesetzten Teilchen darunter "Hard Elektronen" (mit denen wir bereits vertraut sind) und "Soft Elektronen", die sehr unterschiedliche Eigenschaften haben. Soft Elektronen harte Elektronen in sich zu ziehen, Maskierung die Eigenschaften dieser harten Elektronen. Kombinationen von Ätherteilchen bilden Photonen und alle Materie besteht aus Photonen und diese Ätherteilchen zusammen.
Die Einsatzkräfte, die alle Materie regeln im Universum sind nur elektrostatische Kraft und die magnetische Kraft, und die Aktionen von beidem werden von vielen verschiedenen Kombinationen der beiden Arten von Elektronen verändert. Als Licht besteht aus Photonen sind und wie sie mit den zwei Arten von Elektronen interagieren, viele wissenschaftliche beobachteten Fakten haben zu völlig falschen Abzug geleitet. Herr Cater zeigt, dass die New World Order "Elite" sorgfältig fördern und unterstützen diese falschen Schlussfolgerungen, zu unterdrücken Informationen und physikalisch verändern Beobachtungen, bevor sie die Öffentlichkeit zu erreichen. Herr Cater weist auf eine Reihe von Fällen, in denen die Änderung von Daten wurde nicht ausreichend, um die Fakten zu unterdrücken.
Es ist nicht möglich, alle Punkte, die Herr Cater Marken zu nennen, so haben Sie bitte Verständnis, dass die folgenden nur eine kleine Auswahl aus einem zusammenhängenden Ganzen und ein Großteil der Belege, die er bietet in seinem Buch hier weggelassen ist.
Herr Cater, sagt:
1. Die aktuelle Gravitationstheorie völlig falsch und Schwerkraft durch eine Komponente des elektromagnetischen Spektrums von ungefähr eine Billion Zyklen pro Sekunde (0,3 bis 4,3 mm Wellenlänge; oberhalb und unterhalb des Radars Infrarotbereich) verursacht. Die Theorie der Schwerkraft vorgebracht von Sir Isaac Newton nicht für die Menge der Ablenkung eines Senklot ausmachen Nähe ein Berg. Asteroid so klein wie 150 Meilen im Durchmesser, können haben eine Oberflächengravitation ungefähr das gleiche wie der Erde und einige Asteroiden Monde eigene umkreisen um sie herum. Dies wäre unmöglich, wenn Newton Recht hatte.
Durch die wirkliche Ursache der Schwerkraft verfügt unser Mond einen viel höheren Oberflächengravitation als erwartet (und folglich eine ernste Atmosphäre). NASA hatte ein großes Problem mit der lunar landing von 1969, weil, wenn die wahren Tatsachen bekannt wurde, dann es würde zeigen, die ein großer Teil der Physik, wie sie derzeit präsentiert wird, ist falsch und sie möchten die Dinge zu halten, genau so, wie sie heute sind. Der Mond, gemeinsam mit den meisten Planeten, ist nicht fest. Als Teil der lunar Lander auf der Oberfläche des Mondes wieder gesunken war, zeigte eine seismische Melder auf der Oberfläche hinterlassen, dass der Mond wie eine Glocke für etwa eine Stunde danach vibrierte. Das wäre nicht passiert, wenn Mond solide waren.
Es gibt sehr eindeutigen Beweis, dass die NASA die Mondlandung, die sehr stark zensiert hat aber ihre Versuche um die Unterdrückung haben mangelhaft gewesen und einige offensichtliche Hinweise vorhanden sind. NASA behauptete beispielsweise die Raumanzüge der Astronauten wog 185 lbs auf der Erde. Fotos vorhanden sind, zeigen ein Astronaut über nach hinten gelehnt und dann wieder seine Balance. Das wäre eine physikalische Unmöglichkeit auch unter reduzierter Schwerkraft, und dies bedeutet, dass die "Life Support" Systeme tatsächlich leer waren und nicht erforderlich, da eine Atmosphäre herrscht. Die hohe Oberflächengravitation wird auch gesehen, wenn die Astronauten lief. Sogar die verlangsamt-Down-Version, die von der NASA veröffentlicht kann nicht hinwegtäuschen, dass die Länge der Treppe und die Höhe über dem Boden, die gleich sind, wie sie auf Erden wäre.
Wenn der Mond ein Sechstel der Schwerkraft der Erde hatte, wie von der konventionellen Wissenschaft behauptet wird, wäre der Punkt, an dem die Anziehungskraft der Erde die des Mondes gleicht, etwa 22.000 Meilen vom Mond. Die Encyclopaedia Britannica besagt diese Entfernung als etwa 40.000 Meilen, die mit verschiedenen anderen Quellen übereinstimmt. Das konnte nur so sein, wenn der Mond Oberflächengravitation viel höher als die vermeintlichen ein Sechstel der Erdanziehungskraft waren.
Bei mehr als einer Gelegenheit ein Apollo-Astronauten stolperte und fiel auf sein Gesicht. Unter einem Sechstel Schwerkraft, die gerade nicht, vor allem mit einer Passform und aktiver Astronaut geschehen würde. Auch war das Rover-Fahrzeug in späteren Landungen verwendet 10' lang, 7,5 ' breit und 4' hoch mit 32-Zoll-Durchmesser Räder. Das Gewicht der Erde war 460 Pfund und unter einem Sechstel Schwerkraft, das wäre nur 75 Pfund, aber die Astronauten hatte große Schwierigkeiten, die es aus dem Lunar-Modul entladen. Ingenieure auf der Erde hatte bereits entschieden, dass unter einem Sechstel Schwerkraft die Bedienung, der Rover hätte 20' lang und haben eine 20' treten. Mit einem geladenen Erde-Gewicht von 1.600 Pfund es müsste ein Wendekreis von gut über 80 Fuß Kippgefahr bei 10 mph oder mehr als 20 Meter mit 5 km/h und absteigende steile Hügel wäre nicht möglich ohne größere Probleme. Doch die Astronauten steile Hügel hinab und machten sehr scharfe Kurven mit maximaler Geschwindigkeit.
Eines der Fotos von der Apollo 12-Reise zurückgebracht zeigte einen Astronauten tragen Instrumente aus einer Bar hängen. Die Instrumente hatten eine Erde-Gewicht von 190 Pfund, angeblich 31 Pfund auf dem Mond, aber die ausgeprägte Verbeugung der Bar würde nicht durch nur 30 Pfund verursacht wurden.
Die frühen
Mond Reisen erklärten die Astronauten, wenn sie die Atmosphäre verlassen, die
Sterne nicht sichtbar waren. Dies ist verständlich, da die Atmosphäre Starlight
streut, Sternen größer erscheint und so mit dem bloßen Auge sichtbar zu machen.
Außerhalb der Atmosphäre es gibt keine Streuung und die Sterne sind zu klein,
um ohne ein Teleskop gesehen werden. Auf der Reise der Apollo 11 erklärte kurz
vor Erreichen des Mondes, Collins "jetzt sind wir in der Lage, beginnt
wieder zu sehen und erkennen von Konstellationen zum ersten Mal auf der Reise. Des Himmels voller Sterne... es sieht aus
wie es Nacht-Seite auf der Erde". Dies zeigt, dass der Mond eine
erhebliche Atmosphäre durch viel höhere Schwerkraft als ein Sechstel der Erde
verursacht hat, obwohl die Brechung des Lichts durch die Atmosphäre, die
kleiner als die Brechung durch die Erdatmosphäre verursacht ist.
Herr Cate weist darauf hin, dass NASA kennt das wirkliche Wesen der Schwerkraft und Electrogravitic Laufwerke hatte lange vor der 1969 Mond geschossen. Nicht nur das, sondern aufgrund der Tatsache, dass der Mond größer als zur Zeit glaubte, ist weiter entfernt und besitzen eine höhere Oberflächengravitation, diese Rakete macht während des Fluges verwendet wurde ergänzt durch eine Electrogravitic-Antrieb. Ehrlich wer, den Beweis studiert hat ist sich bewusst, dass es viele Boote mit Electrogravitic-Laufwerke und die meisten davon in den letzten sechzig Jahren gesehen, sind menschgemacht. (Alle Regierungen sind sehr daran interessiert, diese Information zu unterdrücken, wie Landesgrenzen nicht sein könnte beibehalten, wenn Electrogravitic Fahrzeuge der Öffentlichkeit zugänglich wurden).
2. Relativitätstheorie von Albert Einstein vorgeschlagen, ist nicht korrekt und Herr Cater verbringt einige Zeit zeigen, dass die Relativitätstheorie falsch ist. Vor Einstein wurde die Quer-Wellen-Theorie des Lichts allgemein akzeptiert. Waves können nicht ohne ein Medium, das in irgendeiner Weise an sie übertragen schwingt existieren. Daher wurde die "Äther", die alle der Universum durchdringt akzeptiert. Das Michelson-Morley-Experiment wurde dies zu testen. Ein Lichtstrahl in zwei Teile, die aus unterschiedlichen Pfaden gleich lang durchqueren aufgeteilt wurden. Die Bewegung der Erde durch den Äther sollte dann bewirken, dass die rekombinierten Strahlen Beugungsmuster zeigen. Sie tat es nicht. Es sprach mit niemandem, dass, wenn Licht waren, indem sie durch den Äther verzögert, dann Gremien wie Planeten wäre erheblich verzögert durch ihre Passage durch und würde verlangsamen und zu stoppen auftreten. Dieses Experiment führte auch zu der Idee, dass die komische die Lichtgeschwindigkeit eine Konstante ist, trotz der bekannten Tatsache, daß die Geschwindigkeit des Lichts durch das Wasser nur zu 75% ist die Geschwindigkeit von Licht durch den Raum. Es wurde auch vorgeschlagen, dass die Geschwindigkeit und die Richtung der Bewegung eines Betrachters nicht tat Materie, verlangsamt Diese Zeit nach unten auf einem sich bewegenden System, dass ein Körper in der Richtung der Bewegung, und dass verkürzen die Masse eines Körpers desto schneller erhöhen, dass Körper bewegt. Das sind lächerliche Vorschläge. Die berühmte Formel E = mC2 Gleichung wurde tatsächlich von Oliver Heaviside Jahrzehnte vor Einstein veröffentlicht i abgeleitett.
Physiker behaupten, dass Teilchenbeschleunigern die Zunahme der Masse mit Geschwindigkeit zu demonstrieren. Dies ist nicht der Fall und die Experimente zeigen auf ein sehr wichtiges Prinzip, die ein besseres Verständnis vieler physikalischer Phänomene bietet. Es ist eine Tatsache, dass ein Magnetfeld um einen geladenen Körper entwickelt, wenn es eine Geschwindigkeit gegeben wird. Woher das Magnetfeld her? Im Teilchenbeschleuniger, da die Partikel beschleunigt, Magnetfelder um sie herum entwickelt. Die Umwandlung einer Art von Energie in eine andere Art - wie der Gesamtenergie des Systems konstant bleibt, muß sich das Magnetfeld auf Kosten des elektrostatischen Feldes entwickelt haben. Diese Umwandlung von abstoßende elektrostatische Ladungen Magnetfelder bewirkt, dass die Partikel verklumpen, was den falschen Eindruck einer Zunahme der Masse. Ferner ist, wie die elektrostatische Komponente sinkt auf fast Null, verringert sich die beschleunigende Kraft auf nahe Null auch, was den falschen Eindruck, dass ein materieller Körper kann nicht schneller als die Lichtgeschwindigkeit. Die Realität ist, dass Körper reisen kann ein Vielfaches der Lichtgeschwindigkeit.
Nach der Allgemeinen Relativitätstheorie, ein Gravitationsfeld wird tendenziell im Laufe der Zeit und je stärker das Gravitationsfeld langsamer, je mehr die Wirkung gekennzeichnet. Es wurde festgestellt, dass Caesium Uhren schneller in Höhenlagen, als sie am Boden zu tun laufen. Dies wurde als Beweis für die Gültigkeit von Einsteins Ideen worden. Die Konzentration der weiche Partikel höher ist in der Nähe der Boden als in großen Höhen und macht die Uhren schneller in Höhenlagen laufen. Was die Lichtgeschwindigkeit nicht abhängig von der Geschwindigkeit der er die Quelle stellt die Sagnac Experiment von 1913 direkter Beweis, dass die beobachteten Geschwindigkeit des Lichts in Abhängigkeit von der Geschwindigkeit der er die Quelle ist, widerlegen Relativity. Herr Cater bietet umfangreiche Demonstrationen (wie andere Menschen), dass Einsteins Abzug nicht korrekt sind.
3. Es ist klar, dass die Schwerkraft verantwortlich für die Gezeiten, aber der Standard Erklärung ist völlig unzureichend, da sie auf der Annahme, dass die gravitative Effekte unbegrenzte Eindringtiefe haben basieren. In anderen Worten, ist die einzige Dämpfung beim Durchgang durch Materie aufgrund der inversen Quadrat Gesetz, das eigentlich ein Verstoß gegen das Gesetz der Erhaltung der Energie wäre.
Es ist wohlbekannt, daß ein Körper nicht eine Beschleunigung relativ zu einer anderen Stelle abgegeben, wenn beide Einrichtungen die gleiche Beschleunigung erfahren. Daraus folgt dann, dass da große Gewässer beschleunigt werden relativ zur Erde die Gezeiten verursachen, das Wasser wird erleben eine andere Beschleunigung als die Erde als Ganzes, sonst gäbe es keine Gezeiten von Wasser über die Oberfläche der Erde . Unter der Annahme, dass die Schwerkraft hat unbegrenzte Eindringtiefe führt zu Problemen bei der Bilanzierung von Gezeiten. Da die Abstände zwischen der Sonne und der Erde und dem Mond und der Erde im Vergleich zum Durchmesser der Erde sind groß, werden alle Teile der Erde fast die gleiche Anziehungskraft aus diesen externen Körper erfahren, wenn die Schwerkraft hat unbegrenzte Penetration. Hochwasser eher auftreten, wenn der Mond ist es Zenit, sowohl direkt unter dem Mond und gleichzeitig auf der gegenüberliegenden Seite der Erde.
Der Erdbahn wird zum Äquator um 28 Grad geneigt und so ist der Mond nie weiter Richtung Norden oder Süden über 28 Grad. Nach Newtons Theorie sollten die höchsten Gezeiten der Nähe des Äquators vorkommen, aber die Realität ist, dass die höchsten Gezeiten viel weiter entfernt vom Äquator, Nord und Süd von ihm erlebt werden. Herr Cater bietet eine vertiefte Diskussion dieser Effekte, die zeigen, dass Newtons Konzept der Schwerkraft ist falsch.
4. Es ist allgemein anerkannt, dass Energie, in jeder Form, strömt von einem höheren Potential an eine untere. Das Gesetz der Umverteilung der Energiezustände, dass, wenn elektromagnetischer Strahlungsenergie mit Materie interagiert, ist die resultierende Strahlung als Ganzes, von einer niedrigeren Frequenz als die ursprüngliche Licht. Deshalb Temperaturen in niedrigeren Höhenlagen in der Regel höher sind als die in höheren Lagen, wie Sonnenlicht durch Luft wandelt zu niedrigeren Frequenzen einschließlich Infrarot aktiviert die thermische Bewegung der Atome und Moleküle, wodurch Wärme. Jeder dynamische Einheit weniger aktiv ist als Ganzes, als die einzelnen Teile, aus denen er. Die höhere Aether bestehen aus den kleineren, aktiven Partikel während die unteren Aether der großen, komplexen und daher weniger aktiven Teilchen zusammengesetzt sind. Beide Aether belegen den gleichen 3-dimensionalen Raum (das ist der Raum nur dass es).
Wenn Licht von einem gegebenen Frequenzbereich erzeugt wird, werden nur die Aether mit diesem Licht zugeordnet direkt aktiviert. Lichtphotonen sind aus Kombinationen von Aether Teilchen zusammengesetzt. Photonen kombinieren, um die eindringenden Partikel, die dieses Licht zu begleiten bilden. Teilchen von Licht in den unteren Frequenzbereichen zusammengesetzt werden als "weich" bezeichnet, während diejenigen Partikel mit Gammastrahlen und oberhalb zugeordnet als "hart" Partikel bezeichnet werden.
Weiche Partikel größer als die Photonen durchdringenden, aus dem sie hergestellt sind, weil im Gegensatz zu den größeren weichen Teilchen, Photonen haben eine relativ große Oberfläche im Verhältnis ihrer Masse. Weichen Partikeln und besonders weich Elektronen, spielen eine wichtige Rolle in allen Lebensprozessen und andere chemische Reaktionen. Die Energie oder Feldintensität und um den höheren Aether Teilchen größer als der der unteren Aether. Der Durchmesser eines Partikels ist umgekehrt proportional zu der durchschnittlichen Frequenz von seinen konstituierenden Licht.
5. Die Energien abgestrahlt von der Sonne kontinuierlich in immer niedrigeren Frequenzen umgewandelt, wie sie tief in der Erde. Auf diese Weise wird nahezu die gesamte ursprüngliche ultravioletter Strahlung in niedrigeren Frequenz durch die Zeit durchdringt die Schale der Erde transformiert. Es ist die Verwandlung eines Teils der Strahlung von der Sonne in Schwerkraft-induzierenden Strahlung, die die Erde und die anderen Planeten in einer Umlaufbahn um die Sonne hält und die Illusion, dass die Sonne zu 30 Mal Erdschwerkraftvektor hat. Es sollte erwähnt werden, dass weiche Teilchen Feststoff leichter als die harten Partikel sind selbstverständlich Bestandteil der Materie eindringen.
Alle Materie kontinuierlich strahlt weiche Partikel von vielen verschiedenen Arten aufgrund der Wechselwirkungen der Elementarteilchen. Diese abgestrahlten Teilchen eine Transformation Effekt, gemäß dem Transformationsgesetz beim Durchgang durch große Konzentrationen der Materie. Wenn dies eintritt, wird ein Teil der Strahlung in Schwerkraft-induzierenden Strahlung umgewandelt. Dies ist die Quelle für einige der Oberfläche Schwerpunkt sowohl der Erde und dem Mond. Der größte Faktor für Erde und Mond Schwerpunkt ist die Umwandlung von Strahlung aus der thermischen Bewegung der Atome und Moleküle. Die Partikel, die sich aus dieser Tätigkeit der unteren Frequenz-Photonen zusammen. Solche Strahlung wird leichter in Schwerkraft-induzierenden Strahlung verwandelt, weil es näher an diesem Frequenzband zu beginnen ist. Ein wesentlicher Teil dieser Strahlung, mit Ursprung Meilen unter der Oberfläche ist, in Schwerpunkt-produzierenden Energien durch die Zeit, erreicht die Oberfläche umgewandelt. Die meisten der Schwere Strahlung der Erde und dem Mond ist in den obersten 50 Meilen ihrer Krusten erstellt. Unterhalb dieser Ebene hat viel von der Energie von der Sonne in weichere Partikel umgewandelt worden, und das Material der Erde und Mond mit ihnen durchdrungen.
Diese weiche Partikel Bildschirm aus Schwerkraft-Strahlung besser als Feststoff tut. Dies liegt daran, die Aether mit denen sie verbunden sind, näher an Häufigkeit der Schwere Strahlung Band sind. Dies erklärt, warum Mond Schwerkraft ist nahezu gleich auf die Erde die Schwerkraft. Zur gleichen Zeit, ist es klar, warum die Cavendish Experiment zur Bestimmung der sogenannten "Gravitationskonstante" irreführend war - es gab nicht genug Material in den Gremien im Experiment verwendet werden, um jegliche Strahlung Transformation zu erzeugen. Die gravitative Effekte durch die Körper produziert wurden ausschließlich auf die thermische Bewegung der Moleküle, die ohne irgendwelche Umwandlungen von Strahlung. Die thermische Bewegung der Moleküle produziert Infrarot und nur ein infinitesimaler Anteil dieser Strahlung liegt im Schwerkraft-produzierenden Frequenzbereich. Diese "Gravitationskonstante" plus die Idee der unbegrenzten Schwerpunkt Penetration, erfordert die Wissenschaftler davon aus, dass die Erde eine enorme Masse und einen Eisenkern 4000 Meilen im Durchmesser hat.
Es ist bezeichnend, dass einige der Cavendish Experimente zeigten, dass die Schwerkraft Effekte mit der Temperatur variiert. Wenn die große Kugel verwendet Ionen die Experimente erhitzt wurde, hatte die kleinere Kugel eine größere Tendenz in Richtung der größeren Kugel bewegen. Wenn die größere Kugel abgekühlt war, zurückgetreten die kleinere Kugel. Dies wurde entfernt als durch Konvektion verursacht, obwohl sie zu erklären, wie Konvektionsströme eine solche Wirkung zu produzieren gescheitert erklärt. Eine ausführliche Darstellung der kann dies in der 11. Auflage der Encyclopaedia Britannica im Abschnitt "Gravity" gefunden werden. (Wenn sie das Luftströmungen wurden die Ergebnisse verfälscht war, dann sollte das Experiment in einer Box, die die Luft entfernt hatten wiederholt worden).
Wie bereits erwähnt, erzeugt Materie Infrarotstrahlungen, die teilweise in die Schwerkraft Strahlungen transformiert werden. Im Fall von Bergketten, gibt es nicht genug, um wesentliche Teile Materie solcher Strahlungen in Schwerkraft Strahlungen zu transformieren. Ein Großteil der Strahlung wird von den Gipfeln und Hängen der Berge zu entkommen, bevor sie umgewandelt werden, da ihre durchschnittliche Höhe der Regel klein im Vergleich zu ihrer horizontalen Dimension. Die Schwerkraft Strahlungen hergestellt tief im Inneren der Berge werden teilweise von der darüberliegenden Masse dispergiert. Dies ist die Ursache der Pflaume bob Rätsel, das ein Ärgernis ist, konventionelle Physiker, weil die Senklot ist nicht auf die Berge, soweit herausgezogen geforderte Newtonschen Gesetze.
Ein weiteres Problem ist, dass im Vergleich zur Sonne, die Erde nur einen verschwindend kleinen Menge an Strahlung pro Flächeneinheit strahlt aber es ist in der Lage, den Mond in seiner Umlaufbahn um die Erde zu halten. Selbst wenn man für die Infrarot-Strahlung, die von der Erde zum Mond und die Umstellung auf zusätzliche Gravitationsstrahlung da, es würde immer noch nicht ausreichen, um den Mond in seiner Umlaufbahn zu halten, es sei denn der Mond waren hohl und hatte eine Schale nicht mehr als hundert Meilen dick.
Im Jahr 1978 waren die Wissenschaftler schockiert zu entdecken, dass einige der Asteroiden Monde, die Bahn haben, um sie auf respektable Geschwindigkeiten. Nach Newton ist dies unmöglich, da der Schwerpunkt eines Asteroiden wäre viel zu schwach, um dies zu ermöglichen. Wenn ein Körper ein paar Meilen über ist, ist es groß genug für Gravitationsstrahlung hergestellt werden. Dieser Effekt nimmt rasch wie die Größe des Körpers so weit erhöht mehrere Infrarot transformiert wird, als es von den äußeren Schichten der Masse gescreent. Der Effekt dauert an, bis der Körper etwa 150 Meilen im Durchmesser und über diesen Punkt hinaus hält die Abschirmwirkung der Außenschichten Schritt mit der Rate der Erhöhung der Transformationsrate von Infrarot-Strahlung in Schwerkraft. Dies bedeutet, dass alle Planeten praktisch die gleiche Oberfläche Schwerpunkt haben.
6. Herr Cater erklärt, wie weiche und harte Partikel und die begrenzte Eindringtiefe der Schwerkraft berücksichtigen Erath Umwälzungen, die Kontinentaldrift, Erdbeben und Vulkane. Er bemerkt auch, dass, wenn die Erde eine ganz feste Kugel und die Newtonschen Version der Schwerkraft richtig wäre, dann wäre die Erde völlig starr und keine Veränderungen der Erde auftreten würde außer einigen kleineren Erosion, und es wäre sicherlich keine Berge inzwischen verlassen sein.
7. Eine der grundlegenden physikalischen Gesetzen beinhaltet die Beziehung zwischen den elektrostatischen und magnetischen Feldern. Einer verwandelt sich in die andere und umgekehrt. Trägheit ist ein dritter Faktor in der Beziehung zwischen den elektrostatischen und magnetischen Felder involviert. Die kinetische Energie des sich bewegenden Ladung wird in seiner Magnetfeld manifestiert. Die Magnetfeldlinien steigt auf Kosten der es elektrostatischen Feld (geändert durch das Gesetz der Erhaltung der Energie diktiert). Die Rolle der Trägheit und die Bedingungen für seine Größenordnung sind nun offensichtlich. Die Trägheit eines Körpers abhängig ist seine Fähigkeit, ein Magnetfeld zu erzeugen, wenn es eine Geschwindigkeit gegeben wird. Je größer die Trägheit, je größer dieser Fähigkeit.
Die Größenordnung der Trägheit eines Körpers ist direkt proportional zu der Energie des Magnetfeldes, das der Körper entwickelt für eine gegebene Erhöhung der Geschwindigkeit. Daraus folgt, dass Trägheit abhängig von der insgesamt elektrostatische Ladung eines Körpers ist. Dies gilt auch für sogenannte "neutrale" Materie wahr. In der vermeintlich ungeladenen Zustand haben alle Atome und Moleküle eine positive Nettoladung. Deshalb entwickeln sogar Atome und Moleküle ein magnetisches Feld, wenn sie eine Geschwindigkeit angegeben.
1901, gefunden Max Planck daß er nur daraus die korrekte Verteilung der Frequenz der Strahlungsenergie in dem Hohlraum eines schwarzen Körpers als Funktion der Temperatur dieser Körper, wenn er vorhanden ist, dass Energie in diskreten Einheiten angenommen. Kam er mit NHV wobei N eine ganze Zahl ist, V die Frequenz des Lichts beteiligt und H eine universelle Konstante (ausgedrückt in Bezug auf Energie multipliziert mit der Zeit, das heißt, erg-Sekunden). Dies wird nun als Planck-Konstante bezeichnet und ist 6,6 x 10-27 erg-Sekunden.
Die kinetische Energie eines Photons Lichts umgekehrt proportional zur Frequenz. Je niedriger Frequenz-Licht, besteht aus größeren und massiven Photonen, mit der gleichen Geschwindigkeit wie die Photonen höherer Frequenz. Im Durchschnitt wird die Anzahl der Photonen in jedem gegebenen Strahl, und die Anzahl der zugehörigen weichen Elektronen eine Konstante, unabhängig von der Frequenz. Dies ist in Übereinstimmung mit dem Ergebnis, daß der mittlere Abstand, oder mittlere freie Weglänge zwischen Aether Teilchen von gleicher Art, ist eine Konstante, unabhängig von den Aethern beteiligt. Die durchschnittliche Anzahl der Photonen, umfassend ein weiches Elektronen werden auch unabhängig von der Frequenz. Dies bedeutet, dass der Durchmesser der Oberfläche von einem weichen Elektronen, wird ebenfalls umgekehrt proportional zur Frequenz. Weiches Elektronen begleitenden Licht, mit einer Geschwindigkeit, die kleiner als die des Lichts ist reisen. Die weichen Elektronen Fahrt aufnehmen, durch Bombardierungen schneller bewegenden Photonen.
Aus einer oberflächlichen Blick scheint es, dass die mittlere Geschwindigkeit der Elektronen weichen sollte unabhängig von der Frequenz des Lichts mit ihnen verbunden sind. Dies ist nicht so. Die weichen Elektronen mit der höheren Frequenz, Reisen mit einer höheren Geschwindigkeit verbunden sind, und hierin liegt der Schlüssel zum photoelektrischen Effekt. Obwohl die untere Masse der höheren Frequenz weiche Elektronen durch die geringere kinetische Energie der höheren Frequenz Bombardieren Photonen versetzt ist, ist die Oberfläche größer im Verhältnis zur Masse. Dies bedeutet, daß im Verhältnis zur Masse, die Elektronen mit der höheren Frequenz Licht verbunden wird eine größere Bombardement von Photonen und so eine größere beschleunigende Kraft zu empfangen. Das Verhältnis zwischen Oberfläche und Volumen oder Masse, ist umgekehrt proportional zu dem Verhältnis zwischen dem Durchmesser der beiden gegebenen Kugeln. Da die anderen Faktoren auszugleichen, folgt, dass die resultierende durchschnittliche kinetische Energie der Elektronen weiche proportional zu Masse, direkt proportional zu der Frequenz des Lichtes, mit dem sie assoziiert ist. Als weiche Elektronen mit einer Fläche zusammenstoßen, sind die harten Elektronen, die sie enthalten, freigesetzt und sie beschießen die Oberfläche, die Herstellung der photoelektrischen Effekt. Sie werden mit der gleichen Geschwindigkeit unterwegs sein als die weichen Elektronen, die sie untergebracht ist, so dass ihre mittlere kinetische Energie ist proportional der Frequenz von Licht.
Quantenmechanik gilt als die monumentale Leistung des zwanzigsten Jahrhunderts Physik. In Anbetracht der oben dargelegten, ist es nicht verwunderlich, dass mathematische Jonglieren mit Planck-Konstante wäre für viele experimentelle Ergebnisse (in einem quantitativen Sinne) ausmachen. Quantenmechanik Experten haben beachtliche Erfolge in dieser Hinsicht genossen, vor allem im Bereich der atomaren Spektren, ohne zu wissen warum. In Wirklichkeit ist die Quantenmechanik nicht einmal als eine Theorie oder ein Konzept zu qualifizieren. Es ist lediglich ein Versuch, mathematische Beschreibungen bestimmter Phänomene, die mit Planck-Konstante und seine gültige Annahme als Ausgangspunkt zu geben. Modern "theoretische" Physiker haben absolut keine Ahnung, warum ihre Mathematik stimmt mit bestimmten experimentellen Ergebnissen. Doch haben sie sich zu glauben, dass, indem sie mathematische Beschreibungen solcher Phänomene, sie haben tatsächlich erklärt sie.
Es wird nun deutlich, warum eine Masse kann durch den Raum mit einer konstanten Geschwindigkeit reisen, und stoßen keine Bremskraft. Die Aether-Teilchen sind so aktiv, dass die Schließkräfte an der Rückseite des sich bewegenden Körpers, neigen dazu, die Widerstandskräfte an der Vorderseite auftreten gleichkommen. Der hintere Teil wird eine temporäre Lücke, die schnell in wird von den umgebenden Äther Partikeln gefüllt, eine Wirkung sehr ähnlich wie die Coander Effect. Während der Füllung in-Verfahren werden die Teilchen, die das grundlegende Rückseite des Körpers mit Aether Teilchen sich mit einer höheren Geschwindigkeit als normal bombardiert. Auch sind die Aether-Partikel, aus denen die Masse besteht, so relativ dünn sind gesamten Raum verteilt, ist die Situation entspricht einer großen Masse Durchfahren einer hoch verdünnten Atmosphäre.
8. Beim Erzeugen eines Photons werden die Aether in der Nachbarschaft plötzlich komprimiert. Einige der Aether Partikel sind gezwungen nahe genug beieinander, um aneinander zu haften. Dieses Aggregat wird dann nach außen mit hoher Kraft auf eine Weise ähnlich zu einer zusammengedrückten Feder freigegeben wird angetrieben. Das Photon erreicht die Geschwindigkeit des Lichts, nachdem diese beschleunigende Kraft aufgewendet worden ist, die in einem Abstand gleich dem sogenannten Wellenlänge geschieht. Dieser Prozess wird in der gleichen Region wiederholt und anderen Photons erzeugt, folgt der erste, nur einer Wellenlänge hinter. Eine breite Palette von Aether werden periodisch während der Produktion von gewöhnlichem Licht beeinflusst. Dies führt zu einer Vielzahl von solchen unzählige Partikel vermehrt in alle Richtungen mit vielen verschiedenen Wellenlängen. Da viele Photonen in alle Richtungen projiziert werden, werden viele Kollisionen führen, was zu einem erheblichen Teil, miteinander in Aggregaten haften.
Die große Mehrheit der weichen Elektronen werden bei Schwankungen in Lichtgeschwindigkeit entstehen, wenn durch Medien unterschiedlicher Dichte, und sogar in es Passage durch den Weltraum. Jede Verlangsamung, erzeugt einen Rückstau von Photonen und eine konsequente Kombination in relativ großen Aggregaten. Am Anfang, bewegen diese Aggregate sehr viel langsamer als die freien Photonen. Folglich einige der Photonen, die zu einem späteren Zeitpunkt erstellt wurden, aufzuholen und sich an das Aggregat. Ihre Kollisionen mit den Aggregatteilchen bewirkt, dass die Partikel zu beschleunigen. Dies ist der Ursprung der Teilchen, die immer begleiten Licht. Teilchen auf diese Weise gebildet wird stark variieren in Größe, Stabilität und Durchdringungsfähigkeit. Es hat sich gezeigt, dass weiche Teilchen gewöhnlicher Materie leichter als die harten Partikel eindringen. So kombinieren Ätherteilchen um Photonen, die wiederum zu kombinieren, um leichte Teilchen zu bilden. Dies wird Lichtteilchen in Photonen zerfallen.

Atome aus harten Teilchen, die einheitlich in der Größe und Struktur sind und es folgt, dass sie von einem ganz anderen Verfahren hergestellt wurden besteht. Wenn Licht ein Medium eintritt, tritt ein Konglomerat von weichen Partikel durch die Tätigkeit der Elementarteilchen der Atome, die das Medium umfassen, erstellt. Dies führt dazu, das Licht zu verlangsamen und die Teilchen des Lichts Menge zusammen innerhalb des Mediums. Wenn ein Lichtstrahl tritt ein Medium in einem Winkel, wird der Abschnitt der Eingabe erster einen kürzeren Abstand als der Rest des Strahls während des gleichen Zeitintervalls reisen. Der Teil des Strahls in die mittlere später wird durch magnetische Anziehung der Teilchen gezogen wird, in Richtung der Seite, welche die Oberfläche zuerst erreicht. Dies bewirkt, dass der Lichtstrahl verbogen oder die Richtung ändern sein, Buchhaltung für die Brechung des Lichts, die noch nie hinreichend erklärt worden sei.
Herr Cater geht dann auf die berühmte Welle-Teilchen-Paradoxon zu lösen, und die auch darauf hin, dass die berühmte Michelson-Morley Experiments tatsächlich widerlegen die Quer-Wellen-Theorie des Lichts.
9. Es muss klar, dass die Gesetze der Natur im Grunde einfach sind. Um ein tieferes Verständnis der Natur der Elektronen, Protonen und elektrostatische Kräfte zu gewinnen, ist es notwendig, für eine unkomplizierte Bild der fundamentalen Teilchen und die Ursache ihrer Verhaltensmuster zu suchen. Die Kollision Gesetzen denen die Moleküle eines Gases zu den Aethern verwendet werden. Auch kann es abgezogen, dass elektrostatische Kräfte das Ergebnis eines Ungleichgewichts der Ätherteilchen bombardieren fundamentalen Teilchen der Materie sind.
Es scheint logisch, anzunehmen, dass Elektronen und Protonen eine sphärische Form aufweisen, wie eine Kugel ist die stabile und effiziente geometrische Form. Es hat auch die kleinste Oberfläche für jedes gegebene Volumen. Allerdings führt eine solche Annahme zu unüberwindlichen Schwierigkeiten. Elektronen und Protonen haben eine bevorzugte Richtung der Spins in Bezug auf ihre Bewegungsrichtung ist. Das Elektron folgt die linke Hand-Regel, während die Protonen-Spins nach einem rechtshändigen. Mit einer perfekten Kugelform konnten sie keine bevorzugte Richtung der Spin. Jedoch können die bevorzugten Spinrichtungen leicht berücksichtigt werden, wenn die Partikel birnenförmig oder eiförmig sind und sie hohl sind.
Wenn Aether Partikel eine bevorzugte Richtung der Bewegung weg von der Elektronen durch Reflexionen ein pulsierendes elektrisches Feld ergibt. Die übermäßige Strömung weg von der Elektronen neigt dazu, die Bombardierung von eingehenden Ätherteilchen reduzieren. Eine temporäre niedrigen Ätherdruck um das Teilchen ist ein Ergebnis dieser und in wiederum verringert reduziertem Druck die Überlegungen und das bewirkt, dass die Aether, um sich erneut zu bewegen und ein plötzlicher Anstieg in Aether Bombardement Ergebnisse. Dies ist so etwas wie die Coander Effect. Der Zyklus wird dann wiederholt. Es ist zu erwarten, dass eine elektrostatische Feld keine Ausnahme ist, und in dieser Hinsicht "elektrostatische" ist irreführend werden. Die Schwankungen sind bei einer derart hohen Frequenz, die experimentellen Ergebnisse wird die (durchschnittliche) Kraft als eine Konstante sehen.
Das Verhalten der Strahlen von Elektronen und Protonen in starken Magnetfeldern und elektrischen Feldern zeigt, dass Protonen ungefähr 1836 Mal haben die träge Masse der Elektronen. Trägheit ist direkt proportional zur Ladung, die anzeigt, dass die Gesamtladung eines Protons 1836 mal so groß ist wie diejenige eines Elektronenstrahls ist. Die Idee, dass das Wasserstoffatom ein Elektron und einem Proton besteht noch nie in Frage gestellt worden. Um aus einem Science-Magazin zu zitieren: "Wenn Protonen ineinander abstürzen, geben sie Schauer von Elektronen, die, dass Protonen bestehen aus Partikeln stärker basisch als selbst gemacht schlägt".
Auf der Grundlage der relativen Ladung Effekte allein folgt, dass ein Wasserstoffatom, anstatt nur eine Elektronen-Umlaufbahn ein Proton, dass es mindestens 1836 umlaufenden Elektronen. Da jedoch das Proton hat verhältnismäßig wenig Bewegung im Vergleich zu der Elektronen hat eine weitaus größere Anteil des elektrostatischen Feldes des Elektronenmikroskops verwandelt. Dies bedeutet, dass, um das Wasserstoffatom in der Nähe eines neutralen Ladung haben, es müssen Tausende von Elektronen werden in ein Wasserstoffatom. Dies scheint ein Paradoxon als die Menge an Strom benötigt, um eine gegebene Menge an Wasserstoff in der Elektrolyse gibt an, dass nur ein Elektron notwendig für jedes Atom von Wasserstoff freizusetzen erstellen.
Wissenschaftler haben noch nie die Quelle der Elektrizität, mit der elektrischen Ausrüstung begriffen. Es gibt unbegrenzte Mengen überall um uns herum, durchdringt alle bekannten Raum. Diese harte Elektrizität wird durch weichere Partikel, die auch im gesamten Raum verteilt sind getarnt. Der Fluß dieses grenzenlose Quelle von Elektronen leicht in Bewegung gesetzt werden. Der Strom in der Elektrolyse eingesetzt lediglich löst die Strömung von weit größerer Mengen. Auch wenn ein Wasserstoffatom ionisiert wird, muss er nur einen sehr kleinen Prozentsatz der es die Elektronen statt nur einem Proton reduziert verlieren.
Matter wird sichtbar gemacht durch die stetige Bildung von weichen Partikeln durch die Aktivitäten der fundamentalen Teilchen erzeugt. Es ist dann ersichtlich, dass gefrorenen Wasserstoff wäre völlig unsichtbar, wenn elektrostatische Felder waren nicht cyclischen und das Wasserstoffatom hatte nur ein Elektron. Cyclische elektrostatische Felder sind weitgehend verantwortlich für die komplexe spektrale Muster aller der Elemente. Das zyklische Muster von Hard-Teilchen-Wechselwirkungen sind komplex. Diese Komplexität steigt schnell wie die Anzahl der Partikel in den fundamentalen Atom zunimmt.
Da Elektronen bei viel höheren Geschwindigkeiten im Atom bewegen als Protonen zu tun, decken sie viel mehr Gebiet und so ein höherer Prozentsatz ihrer elektrostatischen Ladung in magnetische Energie transformiert. Dies bedeutet, dass die positive Ladung des Atoms wird die negative Ladung überwiegen und so geben das Atom eine positive Gesamtladung. Dies erklärt, warum Strom neigt dazu, in Richtung Boden und die Erde bewegen müssen besitzen eine positive Ladung.
Die elektrostatische Feld in der Nähe der Wirkungen Atom in enger Nähe zu den Elektronen, negativ sein wird. Bewegen nach außen abnimmt dieser negative Effekt schnell und eine Zone der positiven Feld Effekt vor. Die Position und die Intensität dieser Zonen bestimmt teilweise die chemischen und physikalischen Eigenschaften des Atoms. Es gibt Bereiche, wo die Atome einander anziehen wird, und Regionen, in denen sie einander abstoßen werden. Ätherteilchen haben eine ähnliche Struktur und folgen dem gleichen Muster.
Die Geschwindigkeit der umlaufenden Elektronen in Atomen ist nicht einheitlich. Es gibt periodischen Schwankungen aufgrund gegenseitiger Interferenzen innerhalb des Atoms selbst und aus benachbarten Atomen, zusätzlich zu den pulsierenden elektrostatischen Feldern. Es ist zu beachten, dass die Eigenschaften des Atoms nicht beachtet einzeln, sondern als eine kollektive Gruppe. Die Region der Aktivität der Protonen relativ klein ist und eine bedeutende Anzahl von Elektronen werden hier eingeschlossen. Diese Region ist der Ursprung der Neutronen, die tatsächlich Wasserstoffatome sind eingeklappt. Es ist interessant zu bemerken, dass, wenn Wasserstoff zu extrem hohen Drücken ausgesetzt ist, es wie eine hohe Konzentration von Neutronen verhält und durch den Behälter, der unter Druck gesetzt wird, als ob sie nicht vorhanden sind.
Eine detailliertere Erörterung der Struktur des Neutrons in Ordnung ist. Das neue Konzept von Tausenden von Elektronen mit dem Wasserstoffatom (ganz zu schweigen von den anderen Atomen sagen), sieht zum ersten Mal, ein Mittel der Rechnungslegung für die Eigenschaften des Neutrons.
Wenn eine Wolke von Elektronen umkreist das Proton in enge Nähe mit der Zone von Abstoßung gezwungen, wie oben beschrieben, werden ihre Bewegungen beschränkt. Als Ergebnis gibt es eine Verringerung der mittleren Geschwindigkeit mit einer daraus folgenden Zunahme ihrer negativen elektrostatischen Ladung. Dies liefert eine stärkere Bindung zwischen dem Proton und der Elektronen. Die Umlaufgeschwindigkeit kann wegen der Zone der Abstoßung umgebenden Proton und die Verdrängung der Elektronen erhöht werden. Die insgesamt höhere negative Ladung der Elektronen fast völlig hebt die positive Ladung des Protons. Das Ergebnis ist ein Partikel, das elektrisch neutrale, soweit die meisten Experimente bestimmen.
Die Elektronenwolke umfassend den Wasserstoffatom ist ferner aus dem Proton entfernt und die einzelnen Elektronen werden nicht in ihrer Kreisbewegungen beschränkt. Die mittlere Geschwindigkeit ist wesentlich höher und folglich weist das Wasserstoffatom eine hohe positive Ladung. Die Atome der gasförmigen Elemente, wie Wasserstoff und Sauerstoff, sind hoch magnetisch. Daher kombinieren zwei Atomen in der gleichen Weise wie zwei Stabmagnete, um ein Molekül, das aus zwei Atomen bilden. Dies ist der Grund, weshalb die Moleküle fast aller gasförmigen Elemente bestehen aus zwei Atomen. Die Kombination hat einen noch höheren insgesamt positive Ladung als ein einzelnes Atom hat. Als Folge dessen haben die Moleküle eine starke gegenseitige Abstoßung der sie weit verbreitet bei normalen Temperaturen und Drücken getrennt hält. So bleiben sie ein Gas auch bei extrem niedrigen Temperaturen.
Die Anwesenheit von Elektronen in dem "Kern", Annullieren Abstoßungskräfte, zusammen mit den magnetischen Feldern, die aus den Bewegungen der Neutronen, die Hauptquelle der sogenannten "geheimnisvolle Kraft Halten des Kerns zusammen". In Wirklichkeit ist die Pinch-Effekt von Magnetfeldern die wichtigste Kraft, die das Atom zusammenhält. Magnetische, elektrostatische, Gravitations-, Kern-, und andere, denen sie seltsame Namen zugeschrieben haben: Orthodox Physiker haben das Bild, indem sie behaupten, dass viele verschiedene Kräfte existieren kompliziert. In der Realität existieren nur elektrostatischen und magnetischen Kräfte und es zwei und nur zwei, basische Teilchen - Elektronen und Protonen. Da die elektrostatische Feld Effekte um den Elektronen und Protonen-cyclisch sind, werden die magnetischen Felder, die sie erzeugen auch eine cyclische Intensität.
10. Obwohl weder Spin in Ruhe, beginnen sowohl das Elektron und das Proton in einer bestimmten Richtung zu drehen, wenn sie eine Geschwindigkeit angegeben. Dies steht im Gegensatz zu den Behauptungen der modernen Theoretiker, die zu Teilchen Spin sprechen mit tollkühner. Das Elektron folgt immer die linke-Hand-Regel, während das Proton folgt der rechten-Hand-Regel.
Wenn in einem elektrostatischen Feld platziert, sie in einer solchen Weise, dass das große Ende in der Richtung ihrer Bewegung zugewandten bewegen, unabhängig von ihrer ursprünglichen Ausrichtung. Der Grund dafür ist nicht schwer zu erkennen. Wenn sie hohl sind und der Mantel mit einer bestimmten Dicke im Verhältnis zu seinen Durchmesser, dann das größere Ende haben größere Oberfläche im Verhältnis zur Masse als es das kleinere Ende haben. Die Dicke der Schale an dem kleineren Ende wird viel größer im Verhältnis zu seinen Durchmesser. Dies bedeutet, dass Aether Bombardement am größeren Ende wird dazu neigen, um ihm eine höhere Beschleunigung als der, zu dem kleineren Ende vermittelt und als Ergebnis wird das größere Ende voraus in der Richtung der Bewegung gezwungen werden.
Das Bild ist noch unvollständig. Damit die Partikel, um eine bevorzugte Richtung der Spin haben, muss die Stirnfläche in der Art einer rechten oder linken Schraube genutet werden. Eine solche Form ist konsistent mit den jüngsten Experimente am Argonne National Laboratory, das die Zerschlagung der Protonenstrahlen am Ziel Protonen soll untersucht. Die Ergebnisse zeigten, dass Protonen nicht sphärisch sind. Eine ausführliche Darstellung solcher Experimente können in dem Artikel "The Argonne Experimente und das Ende der Quarkery" von Eric Lerner, die im Oktober-November 1997 Ausgabe der Fusion Magazin erschienen ist. In dem Artikel zeigte er, dass einige der grundlegenden Annahmen der Quantenmechanik widersprechen, und er verzichtet mit der gängigen Theorie in der Teilchenphysik, die eine ständig wachsende Familie von hypothetischen Teilchen namens "Quarks" angenommen.
Es wurde festgestellt, dass ein Magnetfeld eines sich bewegenden Ladung umgibt. Die magnetischen Linien sind in Form von Kreisen. Ein Elektron oder Proton eher Ätherteilchen mit sich herumtragen es in einer kreisförmigen Bewegung, wie sie durch den Äther bewegt. Dies ist aufgrund der gegenseitigen Abstoßung zwischen den Teilchen und den Aether Ätherteilchen umfassend den Teilchen. Die reaktiven Kräfte bewirken die Teilchen sich zu drehen und sie produzieren eine Wirbelbewegung im Äther selber. Je größer die Geschwindigkeit der Teilchen ist, desto schneller dreht, und die mehrere Aether Teilchen dazu gebracht werden, um sie in Richtung des Spin fließen. Es ist diese Strömung der Teilchen um einen Aether bewegenden Ladung, die die Magnetfeldlinien beobachteten Wirkungen erzeugt. Eine dreidimensionale Ansicht dieses Magnetfeldes zeigt, dass es einen Korkenzieher Spirale oder Wirbel ähnelt.
Die Aether-Teilchen, die normalerweise dazu führen Abstoßung zwischen zwei benachbarten Partikeln in Ruhe, würde drehen, wenn sie beide bewegen und der elektrostatischen Abstoßung abfällt und von einem Magnetfeld, welches die beiden Teilchen zusammenzieht ersetzt. Dieser Effekt wird auch in zwei benachbarte Drähte mit einem schweren Stroms, der in der gleichen Richtung gesehen. Die Drähte aufeinander zu gezogen.
Wenn zwei ungleiche Ladungen entlang zusammen bewegen, sie in entgegengesetzte Richtungen drehen, Erzeugen von Magnetfeldern entgegengesetzter Polarität aufweist, um die Teilchen auseinanderzudrücken strebt.
Eine Elektronen oder Protonen bewegen sich in einem Magnetfeld zwei Kräfte auf ihn einwirken. Eine Kraft dazu neigt, sie nach unten drücken, die magnetischen Kraftlinien wegen übermäßiger Aether Teilchens Bombardements in einer Richtung der Strömung. Die andere Kraft steht senkrecht auf den Feldlinien. Wenn die Geschwindigkeit des Teilchens ist hoch, dann wird der letztere Kraft ist bei weitem der größere Bedeutung. Diese Kraft resultiert aus der Bernoulli-Prinzip. Magnetfelder neigen dazu, große Mengen weicher Elektronen einzufangen.
11. Die herkömmliche Theorie des Erdmagnetismus fehlt Verdienst. Nach ihr ist der Hauptteil des Erdmagnetismus das Ergebnis der elektrischen Ströme im geschmolzenen Eisenkern 2000 Meilen unter der Oberfläche der Erde. Selbst wenn ein solcher Kern existierten, würde der Abschluss noch falsch sein. Wissenschaftler sind etwas vage, wie ein Magnetfeld könnte 2.000 Meilen über einen elektrischen Strom bedenkt, dass es eine sehr starke Strömung nimmt zu produzieren selbst schwache magnetische Effekte eine kurze Strecke vom Stromfluss zu verlängern. Der elektrische Widerstand des Eisens an den angeblichen Temperaturen des Kerns wäre erschütternd, was die Frage aufwirft, wie die notwendigen massiven Potentialdifferenz erzeugt wird, um einen großen Strom im Kern in erster Linie zu fahren.
Eine große Fülle von Beweisen unterstützt die Schlussfolgerung, dass Erdmagnetismus durch die Rotation der Erde produziert wird. Die Intensität des Feldes ist abhängig von der Konzentration von negativen Ladungen in der Atmosphäre und der Kruste und auf der Rotationsgeschwindigkeit. Da die Konzentration von Ladungen in der Atmosphäre schwankt in einem 24-Stunden-Zyklus kann das magnetische Feld erwartet werden entsprechend schwanken. Dies ist eine Tatsache.
Angeblich ungeladene Atome und Moleküle sind nicht elektrisch neutral, sondern besitzen eine positive Ladung. Es war schon immer seit den Tagen von Newton angenommen worden ist, dass Trägheit direkt proportional zur Masse. Dies hat sich gezeigt als unrichtig als Trägheit abhängt Gesamtladung und ist daher unabhängig von Masse. Daraus folgt, dass ein Atom weniger Trägheit als irgendeine der Elementarteilchen von denen es zusammengesetzt ist. Die kleine Gesamtladung eines Atoms ist das Ergebnis des ausgleichenden von positiven und negativen Ladungen. Es ist leicht Fähigkeit, um ein Magnetfeld für eine Einheit Erhöhung der Geschwindigkeit zu erzeugen ist auf Elektronen nach der linken Regel während Protonen die rechte Regel folgen. Die Trägheit eines Atoms ist begrenzt, weil die Magnetfelder die Elektronen und Protonen, aus denen es aufgebaut ist, sich gegenseitig aufheben, um ein großes Maß. Stripping Elektronen aus einem Atom gibt es eine starke positive Ladung und viel größere Trägheit, obwohl es jetzt weniger Masse. Hinzufügen Elektronen kann es auch zu einer Erhöhung es Trägheit, wenn die zusätzlichen Elektronen es bis zum Ende mit einem größeren federführend als zuvor führen. Der Nobelpreisträger Gabriel Lippman bestätigte dies, als er fand, dass Körper in einem geladenen Zustand größeren Widerstand gegen Beschleunigung als sie in ihren ungeladenen Zustand haben müssen.
Da die Materie verhält sich wie eine positive Ladung, so folgt, dass die Schwerkraft Strahlung positiven Ladungen in einer Richtung entgegengesetzt zu der Richtung ihrer Vermehrung zu beschleunigen. Ein Gravitationsfeld stößt negative Ladungen. Wenn das Haar auf dem Kopf einer Person eine starke negative Ladung gegeben wird, steht sie gerade nach oben aufgrund der negativen Ladungen auf den Haaren tragen, die Haare mit ihnen als die Ladungen durch die Schwerkraft nach oben geschoben werden.
Der größte Teil der Strahlung und weicher Stoffteilchen decken nur einen relativ schmalen Bereich des elektromagnetischen Spektrums. Sie werden von den Wechselwirkungen der Elementarteilchen des Atoms zusätzlich zu den Wechselwirkungen der Atome selbst produziert. Übrigens ist es die weichen Teilchen Photonen nahe besteht und in, dem sichtbaren Bereich die Permeat Materie dass die Materie sichtbar. Wenn nur die harten Partikel vorhanden waren, würde Feststoff unsichtbar sein, obwohl völlig greifbar.
Der führende Teil der Schwerkraft Strahlungsfront produziert negative Ladung Effekte, während der hintere Teil vergangen ist und die ein Körper muss erheblich reduziert haben negative Ladung Effekte. Der Spin der Teilchen in Gravitationsstrahlung einen gyroskopischen Effekt, der die Partikel orientiert in der gleichen Position und die Teilchen eine geringe Tendenz zu streuen informiert.

Die schneller bewegenden Photonen überholen die weichen Teilchen und neigen dazu, sie in unregelmäßigen Mustern haften, wodurch eine perforierte und extrem rauhen Oberfläche auf diesen Teil der Partikel, nicht unähnlich einer positiven Ladung. Dies hat eine Tendenz, heben sich deutlich von den negativen Feldeffekten auf diesem Teil des Partikels. Die Bombardierungen beschleunigen die Teilchen in einem solchen Ausmaß, daß keine weiteren Photonen können sie beachten. Daher bleibt der hintere Teil eine positive Ladung oder wenigstens eine negative Ladung wesentlich reduziert.
Ein anderer wichtiger Faktor, der zu einer reduzierten negativen Ladung am hinteren beiträgt, ist, dass es eine viel größere Konzentration Photonen in diesem Bereich als vorhanden auf dem vorderen Abschnitt. Dies ist ein Ergebnis einer Sicherung von Photonen durch die geringere Geschwindigkeit der weichen Partikel begleitenden Strahlung verursacht. Dieses Photon Konzentration neigt dazu, die normale Äther Bombardierungen (die die elektrostatische Effekte zu erzeugen) aus ihrem gewohnten Pfade zu lenken. Da die Schwerkraft Strahlungen Kräfte erzeugen, folgt daraus, dass es Wechselwirkungen, die schließlich die Strahlung zerstreuen, Buchhaltung für die begrenzte Eindringung der Schwerkraft Strahlung. Gravity ist eine elektrostatische Wirkung, nicht irgendein Raumkrümmung oder geheimnisvolle Kraft, mit unwägbaren Eigenschaften. Wenn die Materie mit ausreichenden Mengen an negativen Ladungen, besonders weich Elektronen imprägniert ist, wird es schwerelos werden und sogar schweben.
Einige Individuen haben die Fähigkeit, die Umkehrung der Levitation tun, möglicherweise durch Ausstoßen großer Mengen negativer Ladung von ihrem Körper. Ein Zwerg, der ein normales Körpergewicht von 123 £ unter strengen Anti-Betrugs-Bedingungen, dass er sein Gewicht auf 900 £ erhöhen könnte gezeigt hatte.
Die Physik der Levitation wurde zum Teil nachgewiesen, wenn Raketen gefunden wurden, verloren die meisten ihrer ursprünglichen Gewichts nach einer Reise durch die Van-Allen-Gürtel und der Rückkehr zur Erde haben. Der Gewichtsverlust weiterhin für einige Zeit und Behältern, in denen Teile der Rakete platziert wurden, auch an Gewicht verloren. Die Strahlung Gürtel enthält hohe Konzentrationen von negativen Ladungen aller Art, von harten Elektronen zu den sehr weichen diejenigen. Die Rakete wurde imprägniert mit negativen Ladungen, wie sie durch diese Region übergeben, absorbieren eine abnorme Menge. Die durchdringende weichere Partikel öffnete die Tür für die härteren Partikel zu geben. Der Gewichtsverlust des Behälters würde durch die Rakete verursacht worden verlieren allmählich einige seiner überschüssige negative Ladungen und diejenigen Ladungen in den Behälter absorbierten.
12. Schneller als das Licht reisen ist möglich, weil die Beschleunigung der Schwerkraft Strahl reist mit der Masse beschleunigt wird. Bei extrem hohen Geschwindigkeiten, oder wo die meisten der elektrostatischen Potential der Materie umgewandelt wurde, wird Kohäsionskräfte neigen zu brechen und das Material wird nicht mehr ein zusammenhängendes Feststoff sein. Allerdings kann Raumschiffen reisen oft Lichtgeschwindigkeit sofern das Schiff und die Insassen mit der richtigen Kombination von negativen Ladungen, die jede umfangreiche Umgestaltung des elektrostatischen Masse in magnetische Energie würde verhindern, imprägniert sind. Bei ultrahohen Geschwindigkeiten, die Schließkräfte auf der Rückseite des Fahrzeuges nicht mehr für den Durchlasswiderstand auszugleichen, so bedarf es einer stationären Anwendung der Beschleunigungskräfte zu erhalten Geschwindigkeiten Vielfaches der Lichtgeschwindigkeit.
Die Nachweise über Raumschiff Antriebs zeigt, dass der berühmte Heaviside Gleichung E = mC2 weit vertreten das Energiepotenzial der Materie fällt. Aus der kinetischen Energie Gleichung E = 0.5mV2 folgt, dass ein Körper reisen nur das 1,5-fache der Lichtgeschwindigkeit (das ist noch nicht einmal eine Reisegeschwindigkeit für die meisten Raumschiffe) eine kinetische Energie, die den Wert des gefeierten Heaviside Gleichung übertrifft hat. Bei dieser Geschwindigkeit, ist nur ein winziger Teil der Energiepotenzial der Masse freigegeben worden. Die Sinnlosigkeit der berühmten Gleichung ist auch offensichtlich, denn Trägheit ist nur abhängig von Nettoladung und nicht unbedingt auf Masse oder Menge des Materials.
13. Ein weiterer Punkt, der die Gültigkeit der hier präsentierten Informationen zeigt, ist
die Tatsache, dass Bestimmungen der Schwerkraft "Konstante" "g" ist immer deutlich höher, wenn in
Bergwerken gemessen. Dies ist
zu erwarten, da die weiche Elektronenkonzentration wesentlich höher
unterhalb der Oberfläche, als es über
der Oberfläche ist. Eine weitere
Tatsache, die Physiker stört (und
damit gegebenen wenig Publizität)
ist, dass Objekte am unteren Rand des Schächte
Gewicht deutlich weniger als sie sollten nach dem Newtonschen Konzept der Schwerkraft.
Ein weiteres Rätsel, das mit dem akademischen Sicht zu beschädigen, ist, dass Experimente zeigen,
dass die Schwerkraft nicht vermitteln die gleiche Beschleunigung für alle Stoffe. Um zu versuchen, mit dieser Tatsache umzugehen, müssen
sie eine geheimnisvolle fünfte Kraft,
die angeblich eine extrem schwache
abstoßende Kraft mit einem begrenzten
Bereich liegen wird einzuführen. Es soll weiter
verbreitet zu sein in einigen
Stoffen als in anderen. Die
Konzepte bereits erläutert hier
zeigen, dass dies zu erwarten ist. Verschiedene Atome und Moleküle haben unterschiedliche Wirkungen gesamte positive Ladung proportional zu
der Anzahl von fundamentalen Teilchen,
aus denen sie hergestellt werden. Folglich
werden sie nicht die gleiche Erdbeschleunigung gegeben werden,
selbst wenn die Masse identisch ist.
14. Wir kommen nun zu Fragen wie kommen; Wie funktioniert das Gesetz der Umverteilung von Energie-Arbeit? Was sind die wirklichen Prinzipien Farbwahrnehmung? Warum ist die Lichtgeschwindigkeit unabhängig von ihm die Frequenz? Warum ist diese Geschwindigkeit gleich dem Verhältnis zwischen einer elektromagnetischen und elektrostatischen Einheit der Ladung? Die Antworten auf diese Fragen noch nie zuvor gegeben.
Wenn Materialien, die hohen Temperaturen ausgesetzt sind, treten große Schwankungen in der Geschwindigkeit der Elektronen in ihren Umlaufbahnen. Dies wiederum schafft Wechselwirkungen und Interferenzeffekte zwischen Elektronen sich in entgegengesetzten Richtungen in Atomen und von Elektronen in benachbarten Atomen. Diese Interaktionen erzeugen Veränderungen in den elektrostatischen Feld Auswirkungen der Elektronen, die regelmäßige und deutliche Veränderungen in ihrem sogenannten Bahnen führen wird. Dies ist, weil die Ladung des Elektrons variiert mit seiner Geschwindigkeit. Abrupte Änderungen in der Geschwindigkeit eines Teilchens stören die Aether, die bei der Bildung von Photonen führt.
Je größer die Atome, je komplexer die Wechselwirkungen und folglich die kompliziertere die spektrale Muster. Die Photonen mit den Elektronen, bestimmen den Bereich der Aether, die gestört werden. Diese Aether sind eng mit dem elektrostatischen Feldstärke der Elektronen verbunden sind. So ergibt sich aus dieser neuen Definition der Planck-Konstante, warum gerade diese Definition ist zu berücksichtigen, in all der Berechnungen über die Frequenz von Licht in Wechselwirkung produziert genommen werden.
Die elektrostatische Feld Effekte um ein Elektron hängt von dem Bereich und Höhe der Aether Ablenkung von den Seiten der Partikel. Dieser Bereich ist nicht notwendigerweise die gleiche wie der Bereich von Aethern durch plötzliche Änderungen in der Geschwindigkeit der Elektronen beeinflusst, aber es besteht eine direkte Korrelation zwischen den beiden. Plancksche Konstante hat eine Rolle während des gesamten Verfahrens, da alle Ätherteilchen die gleiche kinetische Energie besitzen.
Das Gesetz der Umverteilung der Energiezustände, dass, wenn Licht mit Materie interagiert, neuen Licht mit einer niedrigeren Frequenz als der durchschnittliche Originalbild erzeugt wird. Eine der einfachsten Vorführungen dies scheint einen blauen oder violetten Licht durch eine Vielzahl von Filtern von jedem Typ. Das austretende Licht ist immer rot. Alle Farben, die wir normalerweise sehen, sind Kombinationen von verschiedenen Frequenzen von Photonen. Ein breiten Frequenzbereich von weichen Teilchen und Photonen dazu neigen, in Gruppen zusammengefasst werden. Dies bedeutet, dass Lichtbänder in den blau, indigo und violett reicht werden andere Farben auf die Rotweine enthalten, obwohl die Roten machen nur einen sehr kleinen Prozentsatz. Das menschliche Auge sieht nur die dominante Farbe und Prismen können nicht trennen. Die Farbe Experimente Edwin Land bewies dies der Fall zu sein.
Im Mai 1959 Ausgabe des Scientific American, Land zeigte, dass zwei schwarze und weiße Folien aus Schwarz und Weiß-Film produziert wurden, um gefilterte Licht von zwei verschiedenen (vernünftigerweise beabstandet) Teile des Spektrums ausgesetzt, waren die resultierenden überlagerten Bilder in Farbe . Dies zeigt, dass es subtile Kombinationen von Frequenzen für das Auge, um Farbe wahrnehmen, wenn das Licht nicht in einem schmalen Frequenzband benötigt. Ansonsten wird das Auge die Dinge in verschiedenen Schattierungen von Schwarz und Weiß, die alle Farben enthalten, aber in den falschen Kombinationen als Farben sehen zu sehen. Dies ist, was geschieht, für Menschen, die unter "Farbenblindheit" sind.
Unter bestimmten Bedingungen, reflektiertes Licht von einem Spiegel kann eine größere Intensität als das einfallende Licht. Das Licht muss von hoher Intensität sein. Wenn die Teilchen des einfallenden Lichts mit dem Spiegel kollidieren, sind diejenigen, die reflektiert werden sofort zum Stehen gebracht. Dadurch entsteht eine gewaltige Störung der Aether, die bei der Schaffung neuen Photonen, die zu den Photonen, die reflektiert werden hinzugefügt werden resultiert. Darüber hinaus sind viele der Photonen reflektiert und erzeugt, zu kombinieren, um weiche Elektronen zu bilden, und so das reflektierte Licht weist einen höheren Anteil an weichem Elektronen als der einfallende Lichtstrahl.

Daraus folgt, dass wiederholte Reflexionen von einer Lichtquelle wie beispielsweise die Sonne, würde in einem hoch letale laserähnliche Strahls führen. Dies hat bei zahlreichen Gelegenheiten unter Beweis gestellt. Der vielleicht bemerkenswerteste Demonstration der Nähe von White Sands, New Mexico in den frühen 1950er Jahren aufgetreten. Es wurde von einem Bekannten von einem persönlichen Freund von Herrn Cater der Zeuge, und es war etwas, was er nicht hätte gesehen haben. Über 35 vier Fuß Durchmesser Spiegel wurden, so dass der resultierende Strahl an der Felswand des Berges wurde gerichtet ist. Es wird sofort erstellt ein ordentliches Loch durch 200 Fuß aus massivem Fels.
Ein Mitarbeiter von Herrn Cater ist festgestellt, dass, indem sie eine starke negative Ladung auf den Spiegeln, dass ihre reflektierende Kraft deutlich erhöht. Er beauftragte eine Reihe von metallischen Spiegel zu 20.000 Volt und festgestellt, dass nach 10 wiederholten Reflexionen von der Sonne, die resultierende Strahl sehr tödlich war. Dies zeigt, dass es die negativen Ladungen auf einer Spiegelfläche, die es den größten Teil des Lichts, das auf ihn fällt reflektieren, abgeschieden ist. Einfallendes Licht sofort hinterlegt negativen Ladungen auf der Oberfläche und diese Ladungen abstoßen den Rest des Lichts. Je intensiver die einfallende Licht ist, desto höher die Konzentration von negativen Ladungen auf der Oberfläche platziert. Dies trägt der Tatsache Rechnung, dass hoch tödliche Strahlen reflektiert von der Oberfläche nicht zerstören den Spiegel. Die Spiegel müssen metallisch und vorzugsweise konkav. Glasspiegel funktionieren nicht so viel von dem ankommenden Licht verloren geht, bevor es die reflektierende Oberfläche erreicht, und ein Großteil der Schockwirkung der Lichtreflexion aufgrund der Verlangsamung des Glases ankommende Strahl verloren. Das einfallende Licht muss den Spiegel als nahezu senkrechter Richtung zu schlagen wie möglich ist. Falls weich Elektronen mit bekannten Farben sehr vorteilhaft verbunden sind, könnten konzentriert mit dieser Methode eine schnelle Heilung zu produzieren.
15. Die Frage stellt sich: Warum ist die Lichtgeschwindigkeit unabhängig von ihm die Frequenz? Dies ist implizit in den Maxwell-Gleichungen, aber es ist immer noch nicht erklärt. Wenn die Aether gestört werden, um ein Photon zu erzeugen, werden ein Bruchteil davon komprimiert und eine große Anzahl dicht genug beieinander sind gezwungen, aneinander haften. Je höher die Aether beeinflusst, um so schneller und plötzlich diese Verschiebung um damit ein Photon herzustellenden auftreten, ansonsten werden die Ätherteilchen entweichen diese Komprimierung, da sie sehr wirksam sind. Diese momentane Kompression schnell wieder normal, eher wie eine komprimierte Feder freigegeben wird. Dieser schleudert die Zugstufe Aggregat Photon vorwärts am Lichtgeschwindigkeit. Der Abstand dieser Rebound gleich der sogenannten Wellenlänge oder Distanz, über die das Photon der Lichtgeschwindigkeit beschleunigt wird.
Dies ist genau das, was passiert, wenn niedere Aether gestört werden, um niedrigere Frequenz Photonen bilden, außer dass der Rebound erfolgt über eine größere Distanz mit einem niedrigeren durchschnittlichen Beschleunigung des Photons. Da das verzogene Muster ist in beiden Fällen erreicht die beide Photonen die gleiche Geschwindigkeit, die unabhängig von der tatsächlichen Wellenlänge erzeugt wird. Da beide Photonen die gleiche Schub zu erhalten, ist ersichtlich, dass niedrigere Frequenz Photonen muß eine größere Masse, dh der Frequenz von Licht ist, ist umgekehrt proportional zu der Masse der Protonen, die dieses Licht zu bilden haben.
Das Verhalten der Elektronen und Protonen in einem Teilchenbeschleuniger zeigt, dass an der Lichtgeschwindigkeit, alle ihre elektrostatische Potential in magnetische Energie umgewandelt wurde. Dies zeigt, dass die Geschwindigkeit des Lichts in Bezug auf seine Quelle das Verhältnis der es elektromagnetische Einheit der Ladung ("EMU") und dessen elektrostatische Einheit der Ladung ("ESU") ist. Das Verhältnis EMU / ESU gleich der Lichtgeschwindigkeit "C". Berechnen aus diesen Angaben, zeigt, dass der Gesamtdruck auf einem einzigen Elektron durch den umgebenden Aether ausgeübt 14,4 Dyn die einen Druck über das normale Erfassen, wenn die winzigen Größe eines Elektronen betrachtet wird darstellt.
16. Wir müssen nun die Rolle der weichen Elektronen in der Förderung chemischen Veränderungen und Erhaltung des Lebens zu betrachten. Es wurde wiederholt bestätigt, dass Magnetfelder erhebliche heilende Eigenschaften haben und das Pflanzenwachstum stimulieren. Was noch nicht realisiert worden ist, dass es sich nicht um die Magnetfelder, die sich für diesen Effekt verantwortlich sind, aber es sind die weichen Elektronen, die sie erfassen und zu konzentrieren. Ein Pol eines Magneten hat vorteilhafte Effekte für bestimmte Erkrankungen, während der Gegenpol ist nicht so effektiv.
Eine der wichtigsten Eigenschaften von weichen Elektronen ist ihre Fähigkeit, chemische Veränderungen zu fördern. Eine Änderung in einem Molekül nicht wahrscheinlich stattfinden, ohne Verminderung der chemischen Bindung oder Anziehung zwischen seinen konstituierenden Atome nehmen. Weichen Partikeln interpenetrierende das Molekül wird über diesen Zustand durch Ausführen härter Elektronen in mit ihnen, was wiederum schwächt diese Bindung durch Versetzen der Wirkungen positive Ladung des Kerns zu bringen. Weiche Partikel neigen dazu, eine Vielzahl von härteren Teilchen zu tarnen. Dies ist eine sehr wichtige Eigenschaft, weil auf diese Weise andere Atome, die gehen, um an der chemischen Veränderung zu nehmen, auch ihre zonale Effekte vorübergehend so verändert, dass sie in engeren Kontakt während der Reaktion kommen kann. Die weichen Partikel neigen dazu, als Katalysatoren für die Umsetzung von Teilchen wirken und die weichen Partikel neigen dazu, in dem Verfahren erhalten desintegriert, Freigeben zusätzlicher Energie, welche die Reaktion beschleunigt und ermöglicht die normalerweise starke elektrostatische Feld Effekte innerhalb des Atoms an ihren ursprünglichen Zustand zurückkehren. Die Freisetzung der harten Elektronen in den weichen Partikeln, die zerfallen enthalten ist die Quelle eines Großteils der Hitze während chemische Reaktionen hergestellt.
17. Die Eigenschaften des Wassers: Wasser ist ein universelles Katalysator wegen seiner einzigartigen Fähigkeit, sammeln und konzentrieren eine enorme Menge von weichen Elektronen aller Arten. Dies ist der Grund, warum Wasser hat die höchste spezifische Wärme von einem Know Substanz. Die große Menge an Energie in Wasser in Form von weichen Partikeln enthalten ist, wurde von Experimentatoren mehrfach nachgewiesen. Zum Beispiel zeigen eine Reihe von Berichten Brennkraftmaschinen ausgeführt mit Wasser als Kraftstoff. Keine vernünftige Erklärung dafür gegeben worden ist, wie es sein im Gegensatz zu allen Regeln der Chemie erscheint. Allerdings enthielt der Zerfall der instabiler weiche Partikel im Wasser, wenn die Verdichtung und Zündung im Inneren des Motors, Konten für diese scheinbare Unmöglichkeit unterzogen.
Wasser ist ein einzigartiges Substanz von zwei der chemisch aktive Elemente, von denen beide gasförmigen Elemente zusammen. Die Tatsache, dass drei Sauerstoffatomen kombinieren können, um Ozon zu bilden, anzeigt, dass das Sauerstoffatom extrem magnetisch ist, die anzeigt, dass ein höherer Prozentsatz an seinen Orbitalelektronen in annähernd der gleichen Ebene bewegen. Dies lässt weniger Orbitalelektronen dazu neigt, die positive Ladung des Kerns und andere Abschnitte des Atoms versetzt. Folglich besitzen zwei Seiten des Sauerstoffatoms eine übermäßig starke positive Gesamtladung. Wenn Wasserstoffatomen mit einem Sauerstoffatom kombiniert sind die electro9ns auf der Seite der Wasserstoffatome benachbart zu dem Sauerstoffatom beiseite geschoben. Dies ist auf dem Segment des Sauerstoffatoms in der die meisten Elektronen des Sauerstoffatom umkreist. Der normale Fluss der Elektronen um das Proton des Wasserstoffatoms abgeleitet wird, um eine Strömung, die den Sauerstoff-Atom und den äußeren Umfang der Wasserstoffatome umgibt geworden. Daraus resultiert eine starke magnetische und elektrostatische Bindung zwischen den Wasserstoffatomen und das Sauerstoffatom. Das Elektron Umströmung der Wasserstoffatome ist extrem schnell, was zu einem sehr hohen positiven Gesamtladung an den Wasserstoffatomen. Da gibt es eine sehr starke gegenseitige Abstoßung zwischen den Wasserstoffatomen, dürfen sie bis auf der gegenüberliegenden Seite des Sauerstoffatoms, Wasser geben die Struktur HOH. Dieses Molekül hat eine starke und umfangreiche positive Zonen, so die Anziehungskraft Zone ist ein beträchtlicher Entfernung von den Molekülen. Deshalb ist das spezifische Gewicht von Wasser ist gering, trotz der starken positiven Ladung der Moleküle.
Die große Affinität von Wasser für den weichen Elektronen ist jetzt offensichtlich. Die große positive Zonen zwischen den Molekülen sind Oasen für weiche Elektronen es durch das abgeschwächte gezogen, aber signifikanten Anziehungskraft der harten Elektronen durch den weichen Elektronen eingefangen. Obwohl weichen Elektronen groß sind im Vergleich zum harten Elektronen, sind sie immer noch sehr klein im Vergleich zu einem Atom. Daher können die Abstände zwischen Wassermolekülen Hafen große Mengen weicher Elektronen, ohne dass sie an die Wassermoleküle gebunden.
Vielleicht die verwirrenden Funktion des Wassers ist, dass es, wenn es friert erweitert. Die hohe Konzentration von weichen Elektronen schwächt die Kräfte der Anziehung und Abstoßung zwischen den Molekülen. Als Ergebnis sind die mittlere kinetische Energie der Moleküle an den Gefrierpunkt noch ausreichend groß, damit die Moleküle bewegen sich in die und aus den Zonen der Anziehung und Abstoßung, ohne in dem Anziehungszone beschränkt. Die Kühlung muss weiter, bis die weichen Elektronen-Konzentration erreicht die Bühne, wo die Anziehungskräfte stark genug, um die Moleküle der attraktiven Zone beschränken. Wenn dies auftritt, wird das Wasser ein Feststoff ist. Da das attraktive Zone ist eine übertriebene Abstand von den Molekülen, wird der durchschnittliche Abstand zwischen den Molekülen größer als zum Zeitpunkt war das Wasser in flüssigem Zustand ist. Auf dem Gefrierpunkt, ist die molekulare Aktivität niedrig genug ist, um zu ermöglichen weiche Elektronen betreten oder verlassen die Substanz, ohne zu zerfallen. Damit das Wasser aus einem Feststoff in eine Flüssigkeit zurück umgewandelt werden, muß die gleiche Menge weichen Elektronen injiziert es als wurden entfernt, wenn es aus einer Flüssigkeit zu einem Feststoff verändert werden.
Die Schmelz-und Gefrierpunkt von Wasser unterscheiden sich erheblich aufgrund der unterschiedlichen Mengen von weichen Elektronen in ihr enthalten ist. Eine weitere Besonderheit ist, dass bei kaltem Wetter, Warmwasserleitungen eine stärkere Tendenz zu frieren als Kaltwasserleitungen zu tun haben. Dies liegt daran, dass die Erwärmung des Wassers fuhren viele der weichen Elektronen normalerweise im Wasser enthalten sind, und aufgrund der niedrigen Temperatur der Umgebung, wobei diese weichen Elektronen wurden nicht ersetzt, und als Folge davon zu einem Einfrieren verfestigen, geschieht leichter .
Man neigt dazu, der Kolloide als ultra-kleine Partikel von Feststoffen zu denken. Allerdings kann Wassermoleküle aneinander haften, um Aggregate aus Wassermolekülen, die effektiv sind, Kolloiden sowie bilden. Kolloide haben starke elektrische Eigenschaften wie durch die Tatsache, dass sie nicht durch die Schwerkraft beeinflusst angedeutet. Das Feld Zonen um einen solchen kolloidalen Gruppe wird viel stärker sein als, dass rund ein einzelnes Wassermolekül. Wasser mit einem hohen Anteil an solchen Gruppen können kolloidale erfassen eine sehr große Anzahl von Elektronen, die weiche positiv auf die Gesundheit sind. Anormalen Bedingungen an bestimmten Orten kann die Bildung von Wasser-Kolloide und das kann für die heilenden Eigenschaften des Wassers in einigen Orten, wie Lourdes in Frankreich ausmachen.
18. Harte Partikel können durch weichere Teilchen und dieser ist tief in einem breiten Spektrum von Phänomenen, aus der Übertragung von Wärme und Strom beteiligt erfasst werden, um die Bildung von Wolken.

AAether Partikel Zonen von Anziehung und Abstoßung. Da Photonen Ätherteilchen zusammengesetzt sind, werden sie wiederum besitzen Zonen von Anziehung und Abstoßung. Im Falle der Aether Partikel, werden diese Zonen entsprechend kleiner im Verhältnis zu dem Durchmesser der Photonen. Wenn Protonen an Elektronen oder Protonen bilden verbinden, sind die gleichen Zonen, die zwischen diesen Partikeln. Jedoch sind die Zonen der Anziehung Minuten gegenüber dem Durchmesser des Elektronen oder Protonen verglichen wird und dabei Partikel, selten, wenn überhaupt nah genug zusammen bei ausreichend niedrigen Geschwindigkeiten für die Anziehungskräfte wirksam werden.
Die Situation ist völlig anders aus, wenn zwei ähnliche Partikel aus Photonen aber mit sehr unterschiedlichen Frequenzen, einander nähern. Elektrostatische Anziehung oder Abstoßung wird erheblich verringert, da jeder mit Aether, die erheblich voneinander abweichen zugeordnet ist. Wenn sie Ionen direktem Kontakt miteinander sind, neigt elektrostatische Abstoßung zu verschwinden, da wenig oder keine Bombardements auf den einander zugewandten Seiten sein kann. Da jedes Teilchens mit Aether zugeordnet ist etwas anders, werden sie dazu neigen, zu durchdringen. Dies bedeutet, dass sie vollständig innerhalb der Aether Anziehungszonen voneinander. Als Ergebnis wird das härtere Partikel durch die weichere eingefangen. In ähnlicher Weise werden die eingefangenen Partikel härter wiederum erfassen noch härteren Teilchen und dieser Prozess wird fortgesetzt, bis Elektronen normalerweise mit Elektrizität verbunden eingeschlossen sind. Diese Kombination von Partikeln dazu neigt, um die elektrostatischen Kräfte, die normalerweise durch die geschlossenen Partikel erzeugt aufheben, Tarnen der eingefangenen Partikel härter so dass ihr Vorhandensein nicht ohne weiteres erkennbar.

Die Aether Teilchen normalerweise Beschießen die harten Elektronen und Protonen, die elektrostatische Feld Wirkungen zu erzeugen, dazu neigen, aus ihren normalen Pfade durch die Anwesenheit von Teilchen oder weicheren Medien zwischen die abstoßende gleiche Ladungen und / oder die Gewinnung ungleiche Ladungen abgeleitet werden. Diese weicheren interpenetrierendes Teilchen herzustellen einen ultra-hohen Konzentration von Aether Teilchen um den harten Partikeln. Die Bewegung dieser Aether Partikel stark eingeschränkt ist. Dies bietet eine Barriere für den höheren Aether Teilchen, die normalerweise bombardieren die harten Partikel. Dies hat eine Tendenz, sie zu verlangsamen, und jeder der mit den harten Partikeln kollidieren, also mit wesentlich weniger Auswirkungen als normal, daher neigen sie dazu, sich elektrisch neutral und ihrer Bewegung verlangsamt nahezu Stillstand.
Weiche Partikel durchdringen Materie sowie die Räume zwischen Materie, aber sie tun nicht in großem Umfang, neutralisieren die elektrostatische Feld Auswirkungen der fundamentalen Teilchen, weil sie stärker konzentriert sind und ihre schnelle Bewegung neigt dazu, capture verhindern. Allerdings sind weitere Konzentrationen von weichen Partikel von der richtigen Art, injiziert in die Materie, kann machen die Elementarteilchen im Atom elektrisch neutral und die Sache wird, was als "entmaterialisiert" bekannt. Dieses Konglomerat von weichen und harten Teilchen rendert die weichen Partikel elektrisch neutral.
Es sei darauf hingewiesen, dass nur harte Teilchen oder die Elementarteilchen des Atoms, hohl sind. Alle anderen Teilchen einschließlich Photonen, nicht über diese Tendenz wegen der Art ihrer Bildung. Wenn die weichere Partikel waren hohl, wären sie nicht in der Lage zu härteren Teilchen einzufangen. Harte Partikel Eingabe eines hohlen, weichen Teilchen, würde behaupten, ihre Gebühren und damit eine gegenseitige Abstoßung. Deshalb würden sie sofort fliehen. Photonen, wenn hohle würde tendenziell weniger stabil, und die Wahrscheinlichkeit der Bildung anderer Partikel würde nachlassen.
Wenn eine weiche Teilchen zerfällt, kommt es zu einer Kettenreaktion. Der Zerfall gibt die beschränkt, schwerer Teilchen. Die Energie beim Zerfall freigesetzt ist in der Regel ausreichend, um die schwächeren harte Teilchen, die es ursprünglich erfasst zerfallen. Dies wiederum führt zur Zersetzung von noch härteren Partikel sind, bis die sehr harten und stabilen Strom Elektronen freigesetzt. Sehr interessante Experimente in Polen von zwei Wissenschaftlern durchgeführt; Howsky und Groot, zeigten die Fähigkeit von weichen Elektronen aufzunehmen und Tarnung schwerer Elektronen, und sie unter bestimmten Bedingungen freizulassen. Diese Experimente waren auch eine große Bestätigung der anderen Prinzipien hier bereits erwähnt, vor allem jene mit Levitation beteiligt.
Eine kleine Quarz wurde zu einem Oszillator, der Funkfrequenzen von mehreren Kilowatt erzeugt angebracht. Dies führte zu der Kristall seine Transparenz verliert und erhöhen Sie die Lautstärke 800%. Der Kristall wird angehoben und trug den Oszillator sowie eine 55 Pfund Gewicht, bis zu einer Höhe von zwei Metern über dem Boden. Ein Bericht über diese wurde in einer Ausgabe von Science and Invention Magazin gegeben und darin enthalten ein Foto des Levitation.
19. Die Energien in einer Pyramide eingeengt erwiesen sich als äußerst vorteilhaft für Menschen. Soft Partikel Bombardierungen aus dem Weltall und vor allem von der Sonne, im Inneren der Pyramide konzentrieren. Einige, die durch die Oberfläche der Pyramide werden auf einem solchen Ausmaß, dass das Schwerefeld der Erde Feld Abwehr der negativen Ladungen, neigt dazu, sie im Inneren, bis Zusammenstöße mit anderen Teilchen treibt sie draußen zu halten verlangsamt.
Die meisten der Teilchen durch die Pyramide gesammelt, entlang der Kanten, wie erwartet werden würde konzentrieren, da Strom auf jedem geladenen Körper neigt viel tun dasselbe, mit Konzentrationen an Punkten und Kanten. In der Tat haben Pyramide Frames sich als fast genauso wirksam wie die geschlossene Pyramide, wenn, und nur wenn, eine Kontinuität in dem Rahmen und ohne Brüche in einem der Verbindungsteile.
Die weichen Elektronen auf einer Pyramide Rahmen oder geschlossenen Pyramide gesammelt, bald erreichen Sättigungspunkt und fortgesetzte Bombardierung führt der Überschuss nach unten fallen im Inneren der Pyramide. Dies, gepaart mit der Schwerkraft abstoßenden Kräfte, verursacht eine hohe Konzentration im Inneren der Pyramide. Die Proportionen der Pyramide sind offenbar ein Faktor in seiner Leistung. Wenn die Seiten zu steil sind, werden viele der weichen Elektronen bewegen sich entlang der Kanten in den Boden außerhalb statt innerhalb der Pyramide gezwungen. Wenn die Seiten nicht steil genug ist, wird nicht viele Partikel gesammelt, als sie das Material an nahezu einem rechten Winkel, der nur eine geringfügige Reduktion der Geschwindigkeit bewirkt auftreffen. Wenn sie in einem schärferen Winkel treffen, gibt es eine größere Tendenz für sie durch das Material festgehalten werden.

Wenn zwei Seiten der Basis mit magnetischen Nord ausgerichtet sind, ist es angeblich effektiver. Pyramiden gerendert potenter durch Auskleiden des Inneren von einem nichtmetallischen umschlossenen Pyramide, mit Metallfolie, wie Aluminium oder Kupfer. Die Folie kann eine größere Menge des weichen Elektronen um den nichtmetallischen äußeren Abschnitt an, da die weichen Partikel nicht durch die metallische Substanz als leicht passieren, wodurch ein Back-up von weichen Partikeln. Während des Prozesses, absorbiert die Folie große Mengen von weichen Partikeln bevor viele von ihnen die Pyramide eingeben kann. Pyramiden strahlen auch weiche Elektronen nach oben von der Spitze.
Viele der weichen Partikel, die kurzzeitig an der Außenseite der Pyramide gestoppt werden nach oben durch das Schwerefeld der Erde Feld abgestoßen, und ebenso, durch weiche Elektronen an der Pyramide. Dadurch entsteht ein Effekt, der weiche funnelling Elektronen ausstößt vom Scheitelpunkt der Pyramide. Die Schwerkraft der Erde beschleunigt weiche Partikel in einem weit größeren Ausmaß, als es gewöhnliche Materie tut, als weiche Partikel mit Aethers, die viel näher an denen der Schwerpunkt-induzierende Partikel als der Fall ist für gewöhnliche Materie verbunden sind. Nachdem der Pyramide gesättigt ist, eine größere Menge an weichen Partikeln denn je wird Inneren konzentrieren. Die Folie wird zu strahlen weiterhin eine hohe Konzentration von weichen Partikeln während der Nacht, wenn die Anzahl von Partikeln Beschießen der Pyramide erheblich reduziert wird.
Es wird festgestellt, dass Pyramiden besser arbeiten während des Sommers als zu jeder anderen Zeit des Jahres. Sie sind auch wirksam bei niederen Breiten weil der Großteil der Energie von der Pyramide eingeengt kommt von der Sonne. Es gibt widersprüchliche Meinungen über die Wirksamkeit von Pyramiden aus diesem Grund, da es wenig Verständnis für die Prinzipien beteiligt. Zum Beispiel können diejenigen, die mit Pyramiden in Kanada experimentieren behaupten, dass sie nicht arbeiten, während die in Southern California ihnen widersprechen wird. Eine Pyramide erhöht nicht den Fluss von weichen Partikeln durch den Bereich durch die Pyramide bedeckt als die gleiche Konzentration strömt außerhalb des Gebiets. Was für eine Pyramide ist, wird der allgemeine Fluss weiche Partikel behindern und zu produzieren ein Back-up der Partikel innerhalb und unterhalb der Pyramide, und folglich eine höhere Konzentration von weichen Elektronen in diesen Regionen. Das Material in einer Pyramide verwendet ist von großer Bedeutung. Dies wurde deutlich, als ein reicher Mann in der Midwest baute eine pyramidenförmige Haus fünf Stockwerke hoch, die dann mit vergoldeten eisernen bedeckt war. Die Phänomene produziert waren völlig beispiellos. Zum Beispiel wurde das Grundwasser an die Oberfläche gezwungen und überschwemmten den ersten Stock. Das war, weil der weiche Partikelkonzentration innerhalb und unterhalb der Pyramide war so groß, dass das Grundwasser mit einer solchen abnormen Konzentration von negativen Ladungen, dass es nach oben durch die Schwerkraft der Erde abgestoßen wurde imprägniert.
Gold-Atome haben eine extrem hohe positive elektrostatische Feld Effekte, mehr als jede andere darstellt. Dies ist, warum Gold ist das formbare aller Stoffe. Dies bedeutet, dass weiche Elektronen eine größere Affinität für Gold als für irgendeinen anderen Metall haben. Als Ergebnis werden die ungewöhnlich hohe Konzentrationen an weichen Elektronen um Gold konzentrieren. Dieser Effekt wird deutlich erhöht, wenn Gold in Kontakt mit Eisen. Diese unterschiedlichen Metallen produzieren eine EMF, die wiederum verursacht einen Fluss von Elektrizität oder Wirbelströme was in der Eisen magnetisiert. Das Magnetfeld erzeugt, erfasst zusätzliche weiche Elektronen. Eine höhere Konzentration von weichen Elektronen wird durch diese Kombination dann könnte durch eine ähnliche Dicke der Goldfolie allein hergestellt werden erstellt. Daraus folgt, dass bei weitem die effektivste Material, das für Pyramiden verwendet werden könnten vergoldete Blech (verzinktem Eisen sollten nicht verwendet werden) ist.
Mit allem die gleiche ist, desto größer die Größe einer Pyramide, desto besser die Leistung. Der Grund dafür ist, dass, je dicker die Schicht aus konzentriertem weichen Elektronen durch die die ankommenden weichen Partikel passieren muss, je mehr sie sich nach unten beim Passieren verlangsamt. Dies führt zu einer größeren Sicherung von weichen Elektronen und einer Erhöhung der Konzentration in der Pyramide. Ein weiterer Grund ist, dass eine große Pyramide ein größeres Verhältnis von Volumen zu Oberfläche aufweist. Weiches Elektronen kontinuierlich undicht weg von der Oberfläche der Pyramide, je größer die Pyramide, der untere der Prozentsatz Elektronen, die weich ist verloren. Folglich sind sehr kleine Pyramiden unwirksam.
20. Viktor Schauberger von Österreich wurde durch die Tatsache, dass große Bergforelle könnte unbeweglich bleiben, solange sie in der am schnellsten fließende Wasser in Strömen gefiel verwirrt. Wenn sie gestört, sie stromaufwärts zu entkommen mit fantastischer Geschwindigkeit. Er bemerkte auch, dass das Wasser bis wird durch wirbelnde Strudel Maßnahmen, die sie um Hindernisse herum fließt berechnet. Da das Wasser stark gerührt wird, gibt es große Mengen von harten und weichen Elektronen an die Fische, bewirkt die gesamte Außenfläche des Fisches auf eine hohe negative Ladung erhalten. Diese Ladung stößt die äußeren Elektronen der Wassermoleküle, Wegbrechens Drag und als Ergebnis übt das Wasser fast Null-Kraft auf den Fisch. Dieser Effekt ist umso verbesserte wie der Fisch bewegt sich vor, viel mehr, als wenn der Fisch ging flussabwärts. Die negative Ladung trägt auch die Fische springen, wie die Schwerkraft der Erde steigert es nach oben.
21. Brown Gas, durch eine Form der Elektrolyse von Wasser erzeugt hat Eigenschaften, die für die meisten Wissenschaftler verwirrenden scheinen. Mit ihm lässt Stahl zu einem Ziegel geschweißt werden und die Flamme ist nicht schädlich für die menschliche Fleisch. Die Flammentemperatur hängt ganz wofür wird es angewendet. Es kann auch zu einer Verminderung nuklearer Strahlung um 96%. Die Eigenschaften von Browns Gas bestätigen die oben genannten Informationen. Wasser hat eine sehr große Kapazität zu weichen Elektronen neben den bereits in der Struktur von Wasser zu speichern. Brown trennte sich nicht Wasser in Wasserstoff und Sauerstoff. Stattdessen fügte er zusätzliche Soft-Elektronen der Wassermoleküle. Diese zusätzlichen Kosten stark geschwächt die Kohäsionskräfte zwischen den Molekülen, die Umwandlung der Wasser zu einem instabilen Gas. Alle Eigenschaften von Browns Gas folgen natürlich davon. Unter Schweißbedingungen liefern die überwiegende Konzentrationen von Elektronen weichen die Freisetzung von ausreichenden Mengen von harten Elektronen, um die benötigte Wärme zu erzeugen. Darüber hinaus ermöglichen die weichen Elektronenkonzentrationen Eisenatome teilweise durchdringen Ziegel Moleküle, um eine Bindung zwischen Ziegel und Eisen herzustellen. Auch mit der ultra-hohe Konzentration von weichen Elektronen, kann das Gas leicht neutralisieren die positiven Ladungen der radioaktiven Strahlung.
22. Wir müssen die Quelle der Strahlungsenergie der Sonne zu untersuchen. Eine Sache, die alle Sonnen gemeinsam zu haben scheinen, ist ihre Größe. Die Astrophysiker sprechen von weißen Zwerg Sonnen des Planeten Größe oder weniger. Es ist klar, dass etwaige Ansprüche von Astronomen oder Astrophysiker über himmlische Festlegungen getroffen, etwa die gleiche Grad der Verdienst wie die anderen wissenschaftlichen Ansprüche, die bereits erwähnt wurden haben. Es gibt nichts, um die Existenz eines Weißen Zwerges zu rechtfertigen. Für eine Sache, aufgrund seiner angeblich geringen Größe und Gravitationseinfluss ist, konnte es nur über sehr kleine Körper von Asteroiden Größe im Orbit um ihn herum und die müsste nur einen Katzensprung entfernt von ihm sein. Nach den trügerischen Theorien der orthodoxen Wissenschaft besteht ein Weißer Zwerg von Atomen mit praktisch alle ihre Elektronen abgestreift, so dass es enorme Schwerkraft. Es wird gezeigt, dass keine Möglichkeit Astrophysikern genauen Bestimmung des Abstandes oder die Größe eines Himmelskörpers aufweisen.
Je größer der Körper, je größer seine Masse oder Volumen im Verhältnis zu seinen Oberflächenbereich. Dies bedeutet, dass, wenn die Größe zunimmt, ist es weniger wahrscheinlich, dass die Energien durch die normale Aktivität der Atome in das Körperinnere hergestellt wird von der Oberfläche ohne eine resultierende Erhöhung der Temperatur an der Oberfläche austreten kann. Die abgestrahlte Energie wird von der Oberfläche in Form von Photonen und andere Partikel aller Typen sein. Unter eine kritische Größe, ist die Oberfläche der ausreicht, damit alle der Strahlungsenergie in seinen Innenraum geschaffen, ohne eine Erhöhung der Temperatur zu entkommen. In der Tat wird ein solcher Körper Wärme verlieren, wenn sie ausreichend Energie empfängt von seiner Umgebung.
Als ein Körper an Größe zunimmt, ist es Oberfläche zunehmend unzureichender damit die abgestrahlte Energie im Inneren es sich ohne ein Aufbau von Wärme bei, und unten, die Oberfläche entweichen. Die Oberfläche wird nicht strahlen die Wärme oder Energie nach außen so schnell wie es im Inneren erzeugt wird. Die Geschwindigkeit, mit der Energie von einer Fläche abgestrahlt wird schnell ansteigt mit einem resultierenden Anstieg der Oberflächentemperatur. Diese variiert wie der vierten Potenz der seine absolute Temperatur. Beispielsweise innerhalb eines bestimmten Temperaturbereichs, wenn die Temperatur verdoppelt wird, abgestrahlt die Rate, mit welcher Energie in Form von Photonen und weichen Partikel, um einen Faktor von 16.
Die kritische Größe eines solchen Körpers wird auf seine Zusammensetzung abhängen. Zum Beispiel, wenn es eine hohe Konzentration von schwach radioaktive Substanzen enthält, wird diese kritische Größe kleiner sein. Wenn der Körper hohl ist, so sind die Abmessungen müßten größer sein. Die roten Riesen, wenn sie auch auf die Abmessungen beansprucht zu schließen, müsste hohl und haben eine relativ dünne Schalen, sonst wären sie nicht rot wie ihre Oberflächentemperaturen wäre astronomisch.
Die eigentliche Quelle der Energie, die abgestrahlt wird schließlich in den Raum ist die weichen Teilchen und Photonen, die normalerweise abgestrahlt werden von den Atomen des Materials innerhalb einer Sonne. Dies ist auf die Aktivitäten der fundamentalen Teilchen. Wegen der großen Masse einer Sonne, ist eine abnorme Konzentration dieser weiche Partikel immer in den Innenraum. Diese Konzentration ist am größten in der Nähe der Oberfläche. Es ist ein stetiger Anstieg der Intensität von der Mitte nach außen hin. Dies führt zu einem kontinuierlichen Desintegration eines hohen Prozentsatz dieser Teilchen in der Nähe der Oberfläche, durch eine starke Erhöhung der Temperatur, was wiederum zu einer größeren Geschwindigkeit des Zerfalls, mit der Freisetzung von härteren Teilchen, welche die höheren Temperaturen herzustellen. Begleitet Gleichzeitig gibt es eine Erhöhung der Rate, mit der die weichen Partikel erzeugt werden. Die Temperatur wird stetig abnehmen, wie das Zentrum wird angefahren und keine Sonne eine relativ kühlen Innenraum haben.
Das Prinzip, dass die Größe der wichtigste Faktor in einem himmlischen Körper die Fähigkeit zu strahlen ist, wird durch das Verhalten von sehr großen Planeten wie Jupiter und Saturn bestätigt. Eine Anwendung dieses Prinzips bedeutet, dass Organe von einer solchen Größe beginnen sollte strahlenden mehr Energie als sie aus externen Quellen erhalten. Neueren Bestimmungen zeigen, dass Jupiter und Saturn zu tun, in der Tat, strahlt mehr Energie, als sie von der Sonne empfangen sein. Eine Sonde zeigte eine überraschend höhere Temperatur in der oberen Atmosphäre des Jupiter, als man früher glaubte, zu existieren.
Es wird nun klar, dass die herkömmliche Theorie, dass die Strahlungsenergie der Sonne durch thermonukleare Reaktionen erzeugt wird, sagt kompletter Unsinn ist. Eine Sache zu prüfen ist, dass, wenn dies der Fall wäre, die Strahlung der Sonne wäre so tödlich, dass kein Leben könnte auf einem der Planeten im Sonnensystem existieren.
Gelegentlich ganzen Universum, bauen die schrittweise von Wärme im Inneren von Sonnen wird sehr viel größer, möglicherweise aufgrund der Menge der radioaktiven Elemente im Inneren durch Transmutation verursacht. In solchen Fällen, Sicherheitsventile in Form von Sonnenflecken, nicht mehr kümmern uns um die überschüssige Energie steigt und große Teile sprengen, Loslassen astronomischen Mengen von Strahlung. Nach der Explosion wird die Supernova eine ausgebrannte Körper im Vergleich zu den früheren Zustand. In Anbetracht der unzähligen Milliarden von Sternen in unser Blickfeld, und da nur wenige Supernovae wurden im Laufe der Geschichte zu beobachten, ist es logisch zu dem Schluss, dass es nicht das Schicksal der großen Mehrheit der Sterne.
Eines der Phänomene über die Sonne, die völlig verblüfft alle Wissenschaftler, ist, dass es sich schneller zu drehen am Äquator, als es in den höheren Breiten macht scheint. Sonnenflecken in der Nähe des Äquators einen Umlauf um die Sonne in weniger Zeit als in den höheren Breiten. Dies ist ein ärgerliches Paradox, das nicht missachtet werden können, indem diese Wissenschaftler geschoben werden, wie es da draußen ist für alle zu beobachten.
Der Teil der Sonne, die wir sehen, ist ein sehr fluidische Decke. Die Region um die Sonne den Äquator könnte schneller, wenn zu drehen, und nur dann, wenn eine stetige externe Zug auf dieser Region ausgeübt. Andernfalls würde innere Reibung schließlich einen gleichförmigen Bewegung. Dies bedeutet, daß die Körper in einer Umlaufbahn in der Nähe des Äquators und in der Nähe der Oberfläche, sind Erzeugen einer hohen Konzentration von Schwerkraft-induzierenden Strahlungen. Es wird deutlich, dass diese Stellen nicht aus normaler Materie bestehen und sind wahrscheinlich von Atomen und Molekülen aus weicher Partikel, die wenig durch die Strahlung der Sonne beeinflusst werden zusammengesetzt. Solche Körper erzeugen könnte eine Konzentration der Schwerkraft Strahlungen deutlich außer Verhältnis zu ihrer Masse. Wird diese Art von Material konstruiert, wären sie praktisch unsichtbar.
23. Fehler bei der Bestimmung der Größe und Entfernung der Planeten gemacht worden. Charles Fort zitiert viele Beispiele von Fiaskos die Astronomen die Behauptungen der extremen Genauigkeit bei der Bestimmung stellaren und astronomische Entfernungen Lügen strafte. Seine Offenbarungen tat wenig, um ihren Ruf als Inbegriff der Integrität zu verbessern.
Die Grundsätze von Astronomen in ihren Messungen verwendet werden, sind im Wesentlichen die gleichen wie die von Vermessungsingenieure in Messen von Entfernungen und Höhen verwendet. Allerdings gebe einige Gutachter, dass sie nicht in der Lage, die Höhe der Berge mit einem gewissen Grad an Präzision und ihre Messungen kann durch so viel wie 10% zu bestimmen. Herr Cater hat getestet, mit einem Höhenmesser, der auf auf Meereshöhe Null war und dann angetrieben, um den Gipfel eines Berges bei 42o 30 'nördlicher Breite, die angeblich eine Höhe von 9.269 Meter haben wird. Der Höhenmesser Lesung verabschiedet eng mit den etablierten Lagen von Städten entlang der Strecke von 1.000 bis über 4.000 Meter. Allerdings, an der Spitze des Berges, war die Lesung nur 8.800 Meter. Herr Cater dann setzen Sie den Höhenmesser auf den 9.269 Meter zurückzuführen auf die Berg-und nachvollziehbar seine Route. An jedem Ort auf der Rückfahrt, der Höhenmesser ständig darauf hingewiesen Erhebungen mehr als 400 Meter höher als zuvor. Auch nach mehreren Monaten war der Höhenmesser immer noch mehr als 400 Meter höher als sie sein sollte. Ein ähnlicher Test wurde auf einem Berg mit einem aufgezeichneten Erhöhung von 4078 Fuß und am Kopf durchgeführt, zeigte der Höhenmesser 3750 feet obwohl es mit anderen etablierten Erhebungen vereinbarten viel weiter unten.
Die Tatsache, dass der Höhenmesser korrekt war an allen Stellen außer dem Gipfel des Berges (dessen offizieller Höhe wurde durch Triangulation gefunden) zeigt, dass die Methoden, die von Vermesser und Astronomen beschäftigt bei weitem nicht korrekt sind. Die Höhen der Berge durch Triangulation ermittelt wird immer erheblich mehr als den wahren Wert. Es gibt zwei Faktoren beteiligt. Zuerst wird die Atmosphäre kontinuierlich dichter als ein von der Oberseite des Berges absteigt. Zweitens wird die Konzentration größer Orgon näher am Boden. Dies bedeutet, dass Lichtstrahlen von einem Berg werden gebrochen und so scheinen von einem Punkt deutlich über dem Gipfel des Berges ausgingen. Dies wurde auch von einem barometrischen Test am Gipfel des Mount Everest, dass es tatsächlich ist 27.500 Fuß Höhe und nicht die 29.000 Meter bisher angenommen zeigt bestätigt.
Ein Freund von Herrn Cater hatte sein Vermögen befragt, um die Anbauflächen zu bestimmen. Danach überprüft er einige der Strecken durch Triangulation bestimmt, mit einem Maßband und fanden erhebliche Fehler. Brechung des Lichtes deutlich werfen Triangulation Ergebnisse aus. Der Großteil der Brechung Effekte werden durch Orgon-Konzentration verursacht. Die Messung des Berges Erhebungen zu unterschiedlichen Zeiten aufgenommen geben unterschiedliche Werte, und dies ist aufgrund von Schwankungen in Orgon-Konzentrationen, die höher sind an heißen sonnigen Tagen, als an kühlen bewölkten Tagen. Auch sie sind in der Regel höher in den Sommermonaten eher als zu anderen Zeiten des Jahres.
Die obigen Beispiele zeigen, die Unzuverlässigkeit der Ergebnisse durch Triangulation erhalten. Astronomen mit weiteren Faktoren konfrontiert sind, wenn sie Triangulation, wie der Van-Allen-Gürtel anzuwenden versuchen, unterschiedliche Konzentrationen von Orgon im gesamten Raum, etc. Es ist nicht realistisch anzunehmen, dass Astronomen Planeten und astronomische Entfernungen mit großer Genauigkeit zu bestimmen.
Es gibt mehrere Faktoren, die die Astrophysiker und Astronomen nicht berücksichtigt haben in ihren Berechnungen berücksichtigt. Die vielleicht wichtigste von diesen ist die Tatsache, dass alle elektromagnetischen Strahlungen einschließlich Schwerkraft in freiem Raum, leiden eine Dämpfung wirksam, die deutlich über der des inversen quadratischen Gesetz ist. Überall im Universum ist mit weichen und harten Partikel aller Art durchzogen. Diese Teilchen wurden von Planetensystemen abgestrahlt für unzählige Alters. Dieser Grundsatz wird durch Schwankungen in der Geschwindigkeit des Lichtes und der Schwerkraft Dämpfung demonstriert.
Es ist ein stetiger Rückgang der Lichtgeschwindigkeit, wie sie durch den Raum bewegt. Die Gründe hierfür können aus den folgenden Überlegungen gesehen werden. Normalem Licht oder Licht, das Paar eine relativ kurze Strecke von seiner Quelle hat, sofort wieder seine ursprüngliche Geschwindigkeit nach Durchlaufen eines dichten Medium wie Glas oder Wasser. Wie zuvor gezeigt, ist dies aufgrund der engen Bündelung von Elektronen Photonen und weich in einem gegebenen Strahl. Die Konzentrationen von Partikeln in einem Lichtstrahl dazu neigt, nach einer Reise große Entfernungen zu verringern. Der Vater sie reist, desto abgeschwächten der Strahl. Dies bedeutet, daß seine Fähigkeit, seine Geschwindigkeit nach dem Passieren von einem Medium mit einer gegebenen Dichte an einer von geringerer Dichte zu erhöhen, verringert werden. Dies ist natürlich aufgrund der Streuung und Dissipation der Teilchen innerhalb der Strahl, da es die Ansammlung von Teilchen, die sich in zufälligen Richtungen durch den Raum auftritt.
Da Konglomerate von weichen Partikel durchdringen alle bekannten Raum, und die Verteilung ist nicht einheitlich, so folgt daraus, dass das Licht wird Brechungseffekte erleben, auch wenn sie durch freien Speicherplatz. Deshalb, auch unter den besten Bedingungen, mit den Beobachtungen, die jenseits der Atmosphäre haben, können astronomische Beobachtungen nicht mit beliebiger Genauigkeit hergestellt werden. Die Schwierigkeit liegt dabei natürlich noch verschärft, wenn die Beobachtungen innerhalb der Atmosphäre hergestellt sind. Es ist kein Wunder, dass Charles Fort eine Fülle von Beweisen, die vollständig entlarvt des Astronomen Ansprüche von großer Präzision gefunden.
Die Schwankung in weichem Partikelverteilung, zusammen mit den Brechungseffekte der Atmosphäre, schließt die Möglichkeit von Fehlern Ausmittelung indem viele Beobachtungen und Anwenden des mathematischen Verfahrens der kleinsten Quadrate. Herkömmliche statistische Theorie verwischt tatsächlichen kleine Variationen und verzerrt Daten durch solche Mittelung Prozesse. Die grobe Fehler, die bis trotz dieser Methoden zuschneiden sprechen für sich.
Um die Orbital Abstand von verschiedenen Planeten zu messen, war es notwendig, den Abstand der Erde von der Sonne zu finden. Ursprünglich wurde dieser angeblich durch Messung der Winkel, dass zwei weit voneinander entfernten Beobachtungspunkten auf der Erde mit der Sonne machte gefunden. Dies wird als die Parallaxe-Verfahren bekannt. Der Abstand zur Sonne wurde aus diesen Winkeln und den Abstand zwischen den Beobachtungspunkten berechnet. Die Größe der Sonne könnte dann bestimmt werden, und die Kenntnis der Umlaufzeit der Erde um die Sonne, wurden der Sonne Masse und Oberfläche die Schwerkraft, indem die falsche Newtonschen Konzept der Gravitation berechnet.
In jüngerer Zeit wurde der Abstand zur Sonne, als die "astronomische Einheit" bekannt angeblich ein hohes Maß an "Präzision" durch Messen des Abstandes des Körpers Eros durch die Parallaxe-Methode, wenn es um die Erde am nächsten war bestimmt. Die Kenntnis der Zeitraum von Eros 'Umlaufbahn, wurde der Abstand zur Sonne durch den Einsatz von Keplerschen Gesetz, dass "das Quadrat der Zeiträume von zwei Planeten proportional zur dritten Potenz ihrer mittleren Entfernungen von der Sonne sind", sagt berechnet. Da die Umlaufzeiten der Planeten zu einem angemessenen Grad an Genauigkeit bekannt sind, konnten die meisten der anderen Unbekannten innerhalb des Sonnensystems durch die Kenntnis der Sonne angeblichen Masse und Oberfläche die Schwerkraft berechnet werden. Spätestens jetzt sollte klar sein, dass es ein Wunder, oder zumindest eine der seltsamsten Zufälle immer, wenn die tatsächlichen Abstände fiel auch nur annähernd mit den berechneten Werten.
Wenn der Newtonschen Konzept gültig waren und die Planeten wurden im Orbit nur die Auswirkungen von der Oberfläche der Sonne Schwerkraft, hielt dann die Umlaufzeiten der Planeten wäre ein zuverlässiges Mittel zur Bestimmung planetarischen Distanzen. Da es erwiesen ist, dass die Konzepte, auf denen diese Berechnungen wurden falsch sind, kann es sicher geschlossen werden, dass die Größe der Bahnen erheblich anders aus, was die Astronomen gekennzeichnet. Als Folge der Verlustleistung Auswirkungen der Strahlung, die weit über das, was aus dem inversen Quadrat Recht erwartet werden kann, folgt daraus, dass Planeten Distanzen sehr verschieden von den akzeptierten Werten sind.
Diese übermäßige Dämpfung der Schwerkraft Auswirkungen der Sonne ist in der angeblichen raschen Anstieg der Orbital-Abstände der äußeren Planeten wider. Die vermeintlichen Orbital Abstände sind wie folgt:
Earth: 1,0 astronomischen Einheiten.
Mars: 1,52 (Differenz 0,52)
Die Asteroiden: 2,76 (Differenz 1,24)
Jupiter: 5,2 (Differenz 2,44)
Saturn: 9,58 (Differenz 4,38)
Uranus 19,16 (Differenz 9,68) und
Neptune 30,24 (Differenz 11,08)
Daraus folgt nicht, dass je länger die Umlaufzeit, desto größer ist die planetarische Entfernung. Zum Beispiel, innerhalb gewisser Grenzen, desto größer und massereicher der Planet über eine bestimmte kritische Menge ist, desto langsamer bewegen muss, um in einer bestimmten Umlaufbahn zu bleiben. Dies liegt daran, dass die Summe der Wirkungen der Schwerkraft der Sonne nicht durchdringen und auf die gesamte Masse in dem Umfang sind, dass sie es mit einer kleineren Planeten. Zum Beispiel könnte ein Planet wie Saturn in einer stabilen Umlaufbahn innerhalb der Erdumlaufbahn platziert werden. Aber es müsste so langsam in seine Umlaufbahn, dass es Umlaufzeit wäre viel größer als die der Erde. Dies bedeutet, dass Umlaufzeiten kein verlässlicher Gradmesser für eine relative kreisende Distanzen.
Obwohl planetaren und stellaren Distanzen völlig unbekannt soweit wie Astronomen betroffen sind, und zu diesem Zeitpunkt gibt es keine verlässlichen Mittel zur Verfügung zu bestimmen sie, können die Durchmesser von einigen der inneren Planeten, einschließlich Jupiter und Saturn, weit genauer als berechnet alle anderen Werte in dem Bereich der Astronomie. Die Halbachsen von der planetarischen Satelliten im Verhältnis zum Durchmesser Planetengetriebe sowie deren Perioden kann genau bestimmt werden. Die Bestimmung dieser Konstante ist nicht in nennenswertem Ausmaß durch die Dissipation Faktoren des Lichts beeinflusst bereits erwähnt, da eine Planeten und dessen Satelliten sind etwa im selben Abstand von der Erde. Der Hauptfaktor, der es ermöglicht, annähernd der Durchmesser von jeder dieser Planeten macht, ist die Erkenntnis, daß sie praktisch die gleiche Oberfläche wie die Erde die Schwerkraft tut.
Wenn ein Satellit ist sehr klein, wie es der Fall mit den Satelliten des Mars kann ein Planetengetriebe Durchmesser mit hoher Genauigkeit berechnet werden. In der Tat, ist der Mars der einzige Planet im Sonnensystem, dessen Durchmesser zuverlässig bestimmt werden können. Erstaunlicherweise wird Mars heraus, um einen Durchmesser von etwa 11.300 Meilen haben. Mit ungewöhnlichen Methoden, Cater Herr schätzt den Durchmesser der Sonne wie über 2.500.000 Meilen und in einem Abstand von etwa 277.000.000 Meilen von der Erde entfernt. Der Mond Durchmesser bei 5.200 Meilen bei einem mittleren Abstand von 578.000 Meilen, Schalendicke 115 Meilen und Oberflächen-Schwerkraft 98% auf der Erde. Mit einem geringeren Grad an Genauigkeit, wird der Durchmesser der Venus bei 23.000 Meilen und Merkur bei über 8.000 Meilen beurteilt. Jupiter Durchmesser etwa 230.000 Meilen und Saturn etwa 200.000 Meilen. Es ist höchst unwahrscheinlich, dass die anerkannten Entfernungen zu den Sternen auch nur annähernd korrekt sind.
24. Harte Elektronen wandern durch Metalle besser als durch Nichtmetalle. Dies deutet darauf hin, dass sie umfangreicher positive elektrostatische Felder zwischen den Atomen und Molekülen als bei Nicht-Metallen auftreten. Gleichzeitig sind die Atome in Metallen meist mobil oder frei bewegen, als dies der Fall bei festen Nichtmetallen. Deshalb ist die beste elektrische Leiter sind auch die besten Wärmeleiter. Es ist bedeutsam, dass alle der schwereren Atomen Metalle sind, mit Ausnahme von Radon das ein Gas ist. Dies bedeutet, dass solche Atome einen höheren positiven Nettoladung, die eine stärkere gegenseitige Abstoßung für größere Entfernungen auf Atomen, die nicht unmittelbar miteinander verbunden verursacht haben. Diese größere Verlängerung der positiven Zone um solche Atome gibt ihnen mehr Freiheit, ohne die Bindung, die sie zusammenhält. Die abstoßenden Kräfte benachbarter Atomen, erhöht die Mobilität eines beliebigen Atom.
Die schwereren Atome enthalten mehr Protonen und Neutronen gebündelt zusammen. Der Außendruck benötigt, um eine Gruppe von gegenseitig abstoßenden Partikel zusammenzuhalten ist unabhängig von der Anzahl der vorhandenen Partikel.
Man könnte daraus schließen, dass die schwersten Atome die besten Dirigenten machen, aber dies ist nicht der Fall. Silber, Kupfer und Aluminium sind die besten Leiter obwohl ihre positiven Feld Zonen nicht so umfangreich, sie weniger Trägheit haben und so werden leichter aus der Bahn einer Strömung von Hart Elektronen geschoben. Elektronen, die längs von Leitern fließen ständig kollidieren mit Atomen in Bewegung. Daher erfordern eine gleichmäßige Anwendung einer elektromotorischen Kraft an den Enden des Leiters, um sie zu halten fließt. Die Atome der Nichtmetalle sind stärker in die Position gesperrt und daher nicht so viel von einer Tendenz, sich aus dem Weg, und das ist, warum sie gute Isolatoren machen. Elektronen folgen die Linien geringeren Widerstands und so neigen sie dazu, auf der Oberfläche des Leiters, wo es weniger Tendenz, mit Atomen kollidieren bewegen.
Die Regeln für die Leitfähigkeit von weichen Elektronen unterscheiden sich etwas von denen der harte Elektronen. Soft Elektronen sind enorm, wenn zu hart Elektronen verglichen. Dies ist zu erkennen, wenn man bedenkt, dass der mittlere Durchmesser eines Partikels direkt proportional zu den sogenannten Wellenlänge des Lichts aufweist es (oder umgekehrt proportional zur Frequenz) ist. Die Aethers mit Atomen und deren grundlegender Teilchen assoziiert sind wesentlich höhere Frequenz als die mit weichen Partikeln assoziiert. Dies bedeutet, dass Atome wenig Widerstand gegen den Durchtritt von Elektronen weichen bieten. Jedoch sind die magnetischen Felder, die sich aus thermischen Bewegung bestimmter Atome und Moleküle mit Aethers, die näher in der Frequenz zu den Aethers direkt mit weichen Elektronen zugeordnet sind beteiligt. Folglich wird weichen Elektronen mit diesen Bereichen zu interagieren. Dies erklärt, warum Metalle im allgemeinen einen größeren Widerstand für den Durchgang von Elektronen weiche als Nicht-Metallen.
Die ordentliche elektrischen Transformator stellt ein Rätsel. Die Sekundärseite des Transformators weiter gießen oder auswerfen Elektronen aus einer scheinbar unbegrenzte Quelle. Es gibt eine begrenzte Anzahl von freien Elektronen im Leiter, die recht schnell erschöpft sein sollte. Das Standardargument zur Berücksichtigung für die Stromquelle ist, dass freie Elektronen in der Schaltung die Elektronen zuzuführen und über immer wieder verwendet. Eine einfache Berechnung zeigt, dass freie Elektronen in Leitern nicht die Quelle von Elektrizität.
Betrachten Sie einen Draht zwei Millimeter im Durchmesser, die etwa 10 Ampere Strom trägt. Der Elektronenfluss in der Nähe der Oberfläche des Drahtes eingeengt. Da der Strom in einem Leiter wandert bei etwa der Geschwindigkeit des Lichts, wie ein Draht 186.000 Meilen langen müßte 10 Coulomb von Strom über seiner Oberfläche zu jedem Zeitpunkt verteilt. Die Fläche dieses Drahtes ist 1.840.000 Quadratmetern. Ein paralleler Plattenkondensator mit dieser Plattenfläche und eine Trennung von einem Millimeter, würde eine Kapazität von 0,016 Farad. Selbst mit einem Potential über seine Platten von 100 Volt, wäre es immer nur dann auf ein Äquivalent von 1,6 Coulomb konzentrieren, und ein guter Teil dieser elektrostatische Ladung wäre aufgrund der Verschiebung der Elektronen und Protonen der Atome. Diese Spannung ist mehr als ausreichend, um alle der freien Elektronen an der Oberfläche der Platten konzentrieren. Ebenso würden alle der freien Elektronen in dem Draht beispielsweise beteiligt, wenn der Strom mit 100 Volt gehalten würden. Natürlich wäre ein Draht so lange zu viel Widerstand gegen eine nennenswerte Strom mit 100 Volt zu tragen, aber das hat nichts mit dem Argument, gerade gegeben tun. In der Tat ist sogar 6 Volt weit mehr als genug ist, um einen Strom von 10 Ampere in einem Draht von 2 mm Durchmesser zu erzeugen. Daher gibt es nicht genügend freie Elektronen in jeder Leiter zu einer nennenswerten Strom zuzuführen. Dies bedeutet, dass die Quelle von Elektronen in Stromfluss nicht aus freien Elektronen in dem Leiter. Die Schlussfolgerung ist daher, dass die harten Elektronen irgendwie gelingt, durch die Isolierung des Leiters und fließen in den Draht von außen zu bekommen.
Nach dem Gesetz von Ursache und Wirkung, da ein Strom hat Trägheit, erzeugt eine Änderung in der Primärstrom des Transformators, eine Kraft in der entgegengesetzten Richtung in der sekundär. Diese reaktive Kraft erzeugt eine Störung der Aethers, die die Spannung oder Elektromotorische Kraft produzieren als Folge der erhöhten Aether Bombardement. Die EMF in der Sekundärwicklung des Transformators induziert, erstellt eine temporäre elektrische Lücke in der Draht, der alle Arten von negativen Ladungen zieht den Draht. Die weicheren Elektronen schnell zu durchdringen die Isolation und Anschlag an der Oberfläche des Drahtes, da sie nicht so leicht weiß Reisezeit durch eine harte Elektronenleiter. Diese weicheren Elektronen absorbieren meisten der elektrostatische Kräfte in der Isolation, die die Strömung von Hart Elektronen behindert, so dass die harten Elektronen durch die Isolation passieren und in den Draht.
Elektrische Ladungen, von Photonen in fast allen Frequenzbereichen zusammensetzt, durchdringen den ganzen Raum, da sie kontinuierlich abgestrahlt werden durch Sterne im gesamten Universum. Sie werden nicht leicht erkannt, da sie in Form von Konglomeraten mit den härteren Teilchen, die sich innerhalb der weicheren sind. Die resultierenden Kombinationen sind sehr durchdringend und es dauert etwas wie eine Spannung in einem Leiter induziert, die schwerer Partikel aus den weicheren trennen. Die Leistung eines Transformators kann stark von vollständig Abschirmen der Sekundärwicklung mit einem guter elektrischer Leiter wie Kupfer oder reinem Aluminium beeinträchtigt werden. Dies liegt daran, dass die Abschirmung dazu neigt, den Fluss von weichen Partikeln zu der sekundären behindern. Dieser Effekt wurde durch ein Experiment bestätigt.
Die Begriffe "EMF" und "Spannung" zu klären. Die wahre Natur der Phänomene mit diesen Begriffen assoziiert wurde nie vollständig geklärt. All das ist bekannt, dass, wenn ein Leiter als EMF ausgesetzt wird, ein Stromfluss hergestellt wird. Außerdem wird die Spannung mit der Menge an Energie oder Arbeit, die einen Strom erzeugen kann assoziiert. Ein EMF eines gegebenen Werts induzieren kann einen Strom mit einer bestimmten Spannung. Die erzeugte Spannung ist direkt proportional zu der EMK auf dem Leiter eingeprägt. Auch ist die Energie des aktuellen direkt proportional zur Spannung. Die Stromstärke eines Stroms ist ein Maß für die Anzahl der Elektronen, die durch jedes Segment eines Leiters pro Sekunde. Da Wattleistung, oder die gesamte kinetische Energie dieses Stromflusses gleich der Stromstärke durch die Spannung multipliziert, folgt, daß auch die Stromstärke direkt proportional zu der Energie des Stromflusses. Daher ist Spannung ein Maß für die mittlere kinetische Energie der Elektronen, die entlang des Leiters. Dies wiederum ist direkt proportional zu dem Quadrat der durchschnittlichen Geschwindigkeit der Elektronen. Diese einfache Definition von Spannung leider fehlen in allen gängigen Lehrbüchern.
Eine EMF induziert eine beschleunigende Kraft auf ein Elektron. Was ist das Wesen dieser Kraft? Grundsätzlich gibt es zwei Methoden zur Herstellung eines EMF. Einer ist durch Unterziehen des Leiters mit einem fluktuierenden Magnetfeld, und die andere ist durch Aussetzen des Leiters mit einer Potentialdifferenz, beispielsweise durch Verbindung er zwischen den entgegengesetzten Polen einer Batterie. In diesem Beispiel hat ein Pol der Batterie eine negative Ladung, während der entgegengesetzte Pol ist positiv. Der Fluss der Elektronen ist das Ergebnis einer Elektronenkonzentration in einem Punkt neigt, in einen Bereich fließen kann, wo es einen Mangel.
Die EMK durch direkten elektrostatischen Kraft, welche wiederum eine duale Natur produziert. Es besteht die Tendenz für negative Ladungen an positiven Ladungen angezogen werden, und dann gibt es auch die gegenseitige Abstoßung zwischen negativen Ladungen. Die Spannung erreicht ist direkt proportional zu der Potentialdifferenz, die zwischen den Polen der genannten Batterie. Die Potentialdifferenz gleich der kinetischen Energie der Elektronen im Wechsel von einem zu dem anderen Potential gewonnen.
Die EMF durch eine fluktuierende magnetische Feld erzeugt gibt die gleichen Ergebnisse, aber der Prozess ist anders. Wenn ein Leiter mit einem fluktuierenden Magnetfeld ausgesetzt wird, wie mit der Sekundärwicklung eines Transformators, werden die "freie" Elektronen des Leiters und der äußeren Elektronen der Atome, die nicht so innig mit den Atomen verbunden sind, um Differenz-Aether freiliegenden Bombardierungen. Es entspricht einer elektrostatischen Kraft. Wenn ein Magnetfeld ändert, wird die Änderung nicht gleichzeitig erfolgen während dieser Raumvolumen durch das Feld besetzt, aber es entwickelt sich von einem Teil zum anderen. Dies schafft Differential elektrostatische Aether Teilchens Bombardements auf Elektronen innerhalb des Feldes. Wenn ein Leiter magnetischen Linien schneidet, wie mit einem AC-Generator werden die Elektronen auf die gleichen Bedingungen durch Elektronen, die sich zwischen den Polen eines Magneten erlebt unterzogen. Die beschleunigende Kraft wird in einer Richtung senkrecht zur Richtung, in der die Elektronen in dem Leiter zum Verschieben gefunden werden wird.
Wenn es selbst ein kleiner Bruchteil der freien Elektronen in dem bestehenden Materie, wie durch unsere Physiker geglaubt, würden die Wirkungen der negativen Ladung Angelegenheit so groß sein, dass diese Stellen wäre nicht nahe zueinander kommen. Ein Großteil der Ladung auf den Kondensatoren kommt von außerhalb des Kondensators, wie es der Fall mit dem Stromfluss in den Leitern. Eigentlich sind freien Elektronen in einem Leiter praktisch nicht existent. Hart Elektronen, die nicht ein Teil der Atome durch die weichen Teilchen Materie Permeat eingefangen. Die weichen Partikel freisetzen, wenn harte Elektronen zur EMF in einem Strom oder der Spannung an den Platten eines Kondensators ausgesetzt ist.
Der Strom in einer geraden Draht gleichmäßig entlang der Oberfläche verteilt, wo der Elektronenstrom trifft auf den geringsten Widerstand. Die freigesetzten harte Elektronen, die direkt von der EMF betroffen sind, neigen dazu, als eine Einheit teilweise durch gegenseitige magnetische Anziehung statt bewegen. Dieses Gerät lässt eine vorübergehende Lücke hinter ihm, die schnell von umgebenden harten Elektronen gefüllt ist. Viele solcher Gruppen sind fast gleichzeitig in einem Leiter bei etwa der Lichtgeschwindigkeit begonnen, obwohl sich die Elektronen bei einer viel geringeren Geschwindigkeit fahren. Wenn ein EMF mit einem Leiter angelegt wird, wird so etwas wie die Domino-Effekt in den Aethers gesetzt. Dieser Effekt läuft mit der Geschwindigkeit des Lichts, da es in einer ähnlichen Art und Weise hergestellt wird.
Dass die Quelle des fließenden Strom in Stromleitungen sowie dass durch Generatoren erzeugt wird, stammt aus weichen Partikeln, und Permeat umgeben den Bereich, während Polarlichter nachgewiesen. Wenn aurora Aktivität ungewöhnlich hoch ist, haben Transformatoren in Kanada bekannt zu brennen und sogar explodieren. Zur gleichen Zeit hat Erhöhung des Stromflusses in Stromleitungen waren groß genug, um trip Leistungsschalter so weit südlich wie Texas. Wie bereits erläutert, wird die Konzentration der weichen Elektronen in der Atmosphäre stark während auroral Phänomene erhöht. Einige Bereiche erhalten höhere Konzentrationen als andere auf dem gleichen Breitengrad.
Eine Schleife aus Draht oder einer Spule bietet Impedanz Wechselstrom. Diese Eigenschaft wird als "Induktivität" bekannt. Da eine einzelne Drahtschleife aufweist Induktivität, folgt daraus, dass die Wirkung in Bezug auf eine Schleife zu erklären ist. Elektronen neigen Reisezeit zu entlang der Oberfläche eines Leiters, da dies der Pfad des geringsten Widerstandes. Die Hauptquelle des Stroms ist die hohe Konzentration von weichen Elektronen, die um einen Leiter zu sammeln und durchdringen das Material. Dies ist aufgrund der relativ hohen positiven Ladung des Leiters. Die höchste Konzentration an der Oberfläche und einen kurzen Abstand unterhalb der Oberfläche vorhanden. Wenn ein EMF an den Leiter angelegt wird, werden freie Elektronen in Bewegung gesetzt. Während dieses Prozesses neigen weichen Elektronen bei und unmittelbar unter der Oberfläche konzentriert, um zerfallen und mehrere harte Elektronen. Dies wird durch die Konzentration der weichen Elektronen verstärkt wird, was wiederum bewirkt, ist eine Bewegung der weichen Partikel, wodurch sie extrem instabil.
In einer geraden Draht, nimmt die meisten dieser Auflösung und fast alle der Elektronenfluss Ort unterhalb der Oberfläche. Dieser Zustand erheblich verkürzt die mittlere freie Weglänge der Elektronen und der Fluss stoppt sofort nach der aufgebrachte EMF abgeschaltet wird. Folglich wird ein Wechselstrom die gleiche ohmsche Widerstand in einer geraden Draht wird ein Gleichstrom begegnen. Allerdings ist die Situation anders, wenn der Leiter durchgeschleift.
Wenn eine EMF zu einer Schleife angelegt wird, wobei die freien oder freigegeben harten Elektronen unter der Oberfläche nach außen durch die Zentrifugalkraft gezwungen, wo ein noch größerer Zerfall weichen Elektronen rührt die größte Konzentration an der Oberfläche. Die mittlere freie Weglänge der Elektronen stark erhöht und die Strömung weiterhin für eine kurze Periode nach der EMB sich in der Richtung des Stromflusses aufhört. Wenn die EMK in der entgegengesetzten Richtung fort wie im Fall eines Wechselstroms, muss die Kraft zu widersetzen, die Dynamik des Elektronenflusses noch weiterhin in der entgegengesetzten Richtung zu derjenigen des neuen EMK Richtung. Daraus folgt, daß diese Impedanz ist direkt proportional zu der Anzahl der Windungen und der Frequenz der Wechselspannung. Es ist logisch anzunehmen, dass die Verzögerungsrate des Elektronenflusses eine Konstante ist, wenn die EMK gleich Null ist. Das heißt, die schneller, daß die EMK in der entgegengesetzten Richtung angelegt wird, je höher die Strömungsgeschwindigkeit, die kommen wird. Es wird eine lineare Funktion sein.
Es wäre nun scheint offensichtlich, dass, wenn der AC beseitigt oder hat zu einer gepulsten DC geändert wurde, wird die Spirale einen Anstieg der Stromstärke in dem ein gerader Draht wird nicht produzieren. Experimente haben dies bestätigt. Es wurde festgestellt, dass der Eingang Stromstärke von einem aktuellen erheblich erhöht wurde, nachdem es durch eine Spule geleitet. Die Erhöhung war am größten in der Anfangsphase des angelegten EMF und bald auf einen niedrigeren Wert abgefallen als die Konzentration der weichen Elektronen um den Draht wurde reduziert. Daraus folgt, dass eine Spule die Impedanz nur einen Wechselstrom bieten. Daraus folgt, dass gepulste DC zahlreiche Vorteile gegenüber AC hat. Es kann verwendet werden, um Transformatoren sowie AC Betrieb ohne Leiden Impedanz werden.
Ein stetiger Gleichstrom den gleichen Widerstand erfährt in einer Spule, wie er in einem geraden Draht der gleichen Länge tut. Die schwankende EMF erzeugt extreme Bewegung der Elektronen um weich und innerhalb des Drahtes, was den Zerfall eines großen Prozentsatzes von ihnen, und die Freisetzung von einer hohen Konzentration an harten Elektronen. Dies gilt nicht während des stetigen Fluss von Gleichstrom auftreten. Während der erstmaligen Anwendung von DC gibt es eine Welle von zusätzlichen Strom während der Aufbau des EMF. Wenn der Strom abgeschaltet ist, wird es einen Anstieg der momentane Strom in der entgegengesetzten Richtung. Der Überschuß von Elektronen auf der Oberfläche des Leiters und in der Spule wird natürlich in Richtung des Hohlraums außerhalb der Spule und in der entgegengesetzten Richtung zu der der Strom floss fließen. Die Konzepte gerade beschrieben angewendet beim Bau eines autarken elektrischen Generator werden.
Wenn ein Wechselstrom an eine Spule angelegt wird, muss die EMK zu überwinden, die Impedanz jedes Mal die EMF Richtung ändert. Die größte Menge an Widerstand tritt zu Beginn jeder Änderung, dann stetig abnimmt, wenn der Strom aufbaut. Der Widerstand wird auf ein Minimum sein, wenn der Strom erreicht, es ist Maximum. Mit AC, die EMK Richtung ändert sehr häufig und daher ist die maximale Widerstand ist für einen hohen Prozentsatz der Zeit auftreten.
Der Fluss von Elektronen in einem Draht zu einer kreisförmigen magnetischen Fluss um diesen Draht. Wie zuvor erwähnt, neigen die magnetischen Effekte zwischen Elektronen bewegenden zusammen, um einander aufheben. Sie werden zusammen erstellt und die daraus resultierenden Aethers umfassen die gesamte Gruppe. Dies tritt auch zwischen benachbarten Drahtsegmente im Coil. Die magnetischen Effekte durchgeführt werden, zwischen den Segmenten und einem kontinuierlichen Fluß Äther erfolgen, das die gesamte Spule, die senkrecht zur Richtung des Stromflusses, auftreten wird. Das Magnetventil wird dann wie ein Stabmagnet mit kontinuierlicher Kraftlinien verhalten.
Die Atmosphäre der Erde produziert Erdmagnetismus in der gleichen Weise, dass ein Elektromagnet ein Magnetfeld erzeugt. Veränderungen in der Atmosphäre bewegen sich mit der Erde in einer kreisförmigen Bewegung. Obwohl es wenig Bewegung der Ladungen relativ zur Oberfläche, wird ein Magnetfeld noch erstellt. Magnetlinien, oder Aethers, fließen aus dem Süden magnetischen Bereich der magnetischen Nord-Region als Ergebnis dieser rotierenden Ladungen.
25. Trotz der
Tatsache, dass unsere illustren Physiker haben es geschafft, als höchst
destruktive nach einer Atombombe zu entwickeln, haben sie noch keine
Vorstellung von der Art und Quelle der Energie nach einer Detonation
freigesetzt. Wie bei allen anderen bekannten Phänomene, versuchen sie die
Illusion, dass sie und begreifen haben erklärt, es zu schaffen. In der Tat hat
der akademischen Wissenschaft noch nicht befriedigende Erklärungen für eine der
einfachsten und gebräuchlichsten alltägliche Phänomene geliefert. Die Energie,
die durch nukleare Geräte freigesetzt wird entfernt fest, daß sie eine Umwandlung
von Materie in Energie in Übereinstimmung mit der falschen Beziehung E = MC2 erläutert. Viele Leser, vor allem in Orthodoxie durchdrungen,
können schockiert zu erfahren, gibt es keine Umwandlung von Masse in Energie
während eines solchen Prozesses, noch von einem Prozess, in dem Energie
freigesetzt werden! Die enorme Hitze in einem Atomexplosion hergestellt ist ein
unnormaler Menge harter Elektronen plötzlich von der vollständigen Zerfall
allen weichen Elektronen innerhalb der Fläche der Explosion freigesetzt. Das
intensive Licht, das die Explosion begleitet, ist das Ergebnis der Photonen
frei durch den Zerfall dieser weichen Elektronen.
Der Schlüssel für die Auslösung der Reaktion ist die
Neutronen. Wie bereits angedeutet, ist ein Neutron äquivalent zu einem
zusammengeklappten Wasserstoffatom, und doch ist es mehr als dieses. Ein
Wasserstoffatom hat eine starke positive Nettoladung, während das Neutron hat
keine Nettoladung. Dies bedeutet, daß ein Neutronen hat sich weit mehr harte
Elektronen von einem Wasserstoffatom gesammelt. Da ein Neutron hat keine
Ladung, kann es nicht auf das Gewicht eines Atoms hinzufügen, wie allgemein
geglaubt wird.
Die Konzepte in dieser Abhandlung eingeführt machen all
die alten Überzeugungen über atomare Struktur ungültig. Das Gewicht eines Atoms
ist de seitenständigen fast ausschließlich nach der Anzahl der
Orbitalelektronen und die Anzahl der Protonen in seinen Kern. Dies wird später
noch genauer erörtert werden. Es gibt eine Ausnahme oder zwei der obigen Regel
im Falle bestimmter radioaktiver Elemente, bei denen die Anwesenheit von
Neutronen tatsächlich reduzieren das Gewicht eines Atoms. Ein Austausch von
überschüssigen Elektronen zwischen Protonen und Neutronen im Kern und damit
Transformationen von Protonen in Neutronen und umgekehrt auftreten können. Die
Neutronen wesentlich mehr Männer als die Protonen in den schwereren Atomen,
insbesondere diejenigen, die radioaktiv sind. Während der Austausch zwischen
Protonen und Neutronen, überschüssige Neutronen in Protonen und Elektronen
zerfallen hart werden von einigen der Atome ausgeworfen. Dies führt zu einer
Umwandlung entsprechender Atomen. Gleichzeitig bewirken die enorme
Wechselwirkungen zwischen Elektronen in dieser Weise freigesetzt sowie aus dem
Zerfall von weichen Elektronen in der Nähe der höheren Aethers gestört werden,
was letztlich zu der Produktion von Gamma-Strahlen.
Das Isotop der häufigeren Uran-238-Atom als U235 bekannt
ist leichter und dennoch ist es spaltbaren und radioaktiver als Uran 238. Es
ist leichter, weil es angeblich weniger Neutronen als die gewöhnlichen
Uran-Atom. Das Gegenteil ist der Fall. Das U235 mit mehr Neutronen ist
radioaktiv. Die größeren Wechselwirkungen innerhalb des Kerns führen zu mehr
harte Elektronen freigesetzt, die die gesamte positive Ladung es Kern
reduziert.
Es ist ein kontinuierlicher Austausch von ausgeworfen
Protonen verwandelt zurück in Neutronen und umgekehrt unter den U235-Atome.
Eine ähnliche, aber weniger heftig Austausch stattfindet zwischen den Atomen
des U238. Ein geringer Prozentsatz der U238-Atome erhalten mehr als ihren
Anteil an diesen Austausch und damit in U235-Atome verwandeln. Die meisten der
harten Elektronen freigesetzt, die zu solchen Austauschvorgänge und
Transformationen beitragen, ist das Ergebnis des Zerfalls der weichen
Elektronen, die die Atome Permeat. Daraus folgt, dass der wichtigste Faktor der
Radioaktivität das Vorhandensein von weichen Elektronen, die die harten
Elektronen Haus ist! Wenn daher die weiche Elektronenkonzentration während der
Nähe einer radioaktiven Substanz reduziert wird, wird es weitgehend verlieren
seine Radioaktivität. Bis jetzt hat es keinen Zweifel aufgetreten dem Leser,
dass ein Reich Cloud-Buster bei einem radioaktiven Material hingewiesen würde
dazu führen, dass es Radioaktivität verlieren! Dies ist nachgewiesen worden,
der Fall sein. Zum Beispiel hält ein glühendes Stück Radium abstrahlenden wenn
es vor einem Cloud-buster platziert wird.
Die Quelle der Energie während einer nuklearen Explosion
freigesetzt wird jetzt klar. Wenn ein spaltbares Material wie U235 oder
Plutonium mit zusätzlichen Neutronen beschossen wird, bewirkt die erhöhte
Aktivität in den Kernen selbst die stabilen weichen Elektronen in der Nähe zu
zerfallen. Eine Kettenreaktion von weichen Elektronen Desintegration in
Bereichen weit über die Grenzen der spaltbares Material Ergebnisse. All die
harten Elektronen und Protonen ursprünglich von den weichen Partikeln getarnt
sind plötzlich freigegeben. Eine enorme Gamma-ray Produktion auch auftritt.
Ausreichende Mengen an spaltbarem Material plötzlich brachte in einer
ausreichenden Erhöhung der Neutronenbeschuss der inneren Atome wie ein Ergebnis
zu erzeugen führen. Es wird als die "kritische Masse" bekannt. Die
korrekte Fusion von Wasserstoffatomen kann auch dazu führen genügend weichen
Elektronen Desintegration um ein ähnliches Ergebnis zu erzeugen. Es ist nun
ersichtlich, gibt es keine Umwandlung von Masse in Energie während des
Prozesses. Alle fundamentalen Teilchen der beteiligten Atome bleiben intakt. In
der Tat gibt es noch mehr Masse nach einem Blast als es zuvor als Ergebnis der
zusätzlichen harten Elektronen und Protonen freigesetzt. Wieder einmal ist es
offensichtlich, dass die Relativitätstheorie in keiner Weise betroffen ist.
Der monströse Falschmeldung der
Öffentlichkeit von der Defence Department der Regierung gefördert, wird nun
mehr als offensichtlich. Ein Reich Cloud-Buster kann komplett deaktivieren
nuklearen Einrichtungen für große Entfernungen, indem den weichen
Elektronen-Konzentration aus der Nähe eines solchen Gerätes. In der Tat kann
ein Cloud-buster für Downing Flotten Flugzeuge mit Atomwaffen verwendet werden.
Verbrennung ist auch abhängig von weichen Elektronenkonzentrationen was
natürlich auch Strahltriebwerken. Deshalb Düsentriebwerke oder Raketen können
nicht in einem Bereich von einem Cloud-buster betroffen funktionieren. Die
Tatsache, dass eine einfache Cloud-Buster kann einen Atomreaktor aus großer
Entfernung auszuschalten hat bei zahlreichen Gelegenheiten bewiesen. Zum
Beispiel, während der Zeit Reich wurde die Durchführung intensive Versuche mit
einem Cloud-Buster in Arizona in den frühen 1950er Jahren ein großer Reaktor
mehrere hundert Meilen südöstlich beenden Funktionieren. Dies bedeutet, dass
Hunderte von Milliarden Dollar Steuern, die sind geschleust jedes Jahr eine
milliardenschwere Atomindustrie und andere verwandte Industriezweige, die
überholt werden vom Gerät durch Reich verwendet unterstützen.
Es ist offensichtlich, dass die
ordnungsgemäße Verwendung der Cloud-buster könnte die moderne Kriegsführung
zurück zu werfen in die Steinzeit. Offensichtlich ist die Zeichnung der weichen
Partikel weg von jeder Gruppe würde vollständig entnerven jedes einzelne und
sogar ihn in einen Block aus gefrorenem Fleisch. Obwohl ein cloud-buster konnte
nicht komplett deaktivieren einen Teilchenstrahl Waffe könnte es bringen Jedes
Fahrzeug mit einer solchen Vorrichtung, bevor es in die richtige Position
bekommen konnte. Das Potenzial des Cloud-Buster ist vielleicht größer als
selbst Reich selbst realisiert. Da Wärme von einem Körper zum anderen durch
weiche Elektronen, die schwerer Elektronen freigesetzt übertragen wird, kann
das Cloud-buster als hocheffiziente Kühlsystem indem weichen Elektronen weg vom
Körper verwendet werden. Es wurde deutlich gemacht, dass dieses einfache Gerät
machen kann derzeit Brandbekämpfung Techniken überholt. Durch den Einsatz von
Cloud-Buster in der richtigen Weise könnte der Verlust von Leben und Eigentum
durch Feuer und Stürme eine Sache der Vergangenheit geworden. Es bietet auch
dramatische Beweis für die Gültigkeit von vielen der neuen Konzepte in dieser
Abhandlung eingeführt.
Radioaktivität war das Thema
eines lächerlichen, wenn nicht amüsant, Fiasko mehr als vor zwei Jahrzehnten,
wenn zwei Physiker Lee und Yang, den Nobelpreis im Jahr 1957. Der Vorfall, der
breite Öffentlichkeit gegeben wurde, betrifft einen Fehler in der Parität
Prinzip. Die Parität Prinzip wurde als "eine mathematische Konzept
unmöglich, in physikalischen Begriffe" definiert worden. Wie ein solches Konzept
könnte irgendeinen Einfluß auf die physische Realität haben, ist nicht klar.
Generell kann alles im Zusammenhang mit der Realität in Bezug auf die Realität,
die in Übereinstimmung mit dem Gesetz von Ursache und Wirkung definiert werden.
Unglaublich, wurde ein
Experiment entwickelt, um die Gültigkeit dieser große Offenbarung zu testen. Es
wurde auf der Idee, dass eine radioaktive Substanz sollte mehr Teilchen in
einer bevorzugten Richtung auszuwerfen, als in jedem anderen basiert.
Radioaktivem Kobalt gewählt wurde. Es wurde bis auf nahe dem absoluten
Nullpunkt abgekühlt und freigelegt, um ein starkes Magnetfeld durch einen
Elektromagneten erzeugt wird, um die Kerne auszurichten. Ein weiterer Physiker,
Dr. Wu, hatte sechs Monaten harter Arbeit gewidmet Aufbau des Experiments.
Tatsächlich wurde festgestellt, dass mehr Partikel wurden aus dem einen Pol des
Elektromagneten als die andere ausgeworfen. Welche Pole war es? Natürlich war
es die Pole, aus denen die magnetischen Feldlinien geflossen. Selbstverständlich
kann die lediglich Experiment demonstriert, dass Partikel zu reisen unten
magnetischen Kraftlinien neigen. Der Überschuss an Teilchen, die aus dem Pol
kamen, die kaum aus dem Atom ausgeworfen. Sie hatten eine so geringe
Anfangsgeschwindigkeit, dass unabhängig von welcher Richtung sie passiert
zunächst unterwegs sein, das Magnetfeld würde ihre endgültige Fahrtrichtung
diktieren.
Lee und Yang wurden jede
wissenschaftliche Auszeichnung, darunter den Nobelpreis, als Ergebnis dieses
Experiments gewährt. Anstatt ihnen den Nobelpreis, wäre die Vergabe eines Oscar
angemessener gewesen. Begleitend zu den umfangreichen Publizität diese Komödie
Handlung war ein Foto, das in einer prominenten Magazins zeigt einer der
Empfänger, die auf eine groteske mathematische Gleichung mit über 100
Begriffen! Er wurde angeblich erklärt die Beweggründe für ihre große
Offenbarung.
Der große nuklearen Schrecken scam sollte als die größte Lüge des Jahrhunderts zu bewerten. Dieses Herstellungsverfahren ist so kolossal sogar Herr Cater ist etwas peinlich, zuzugeben, dass er auch in von ihm genommen, wie jeder andere war, außer diejenigen, die direkt an der Verschwörung aber Herr beteiligten Cater es nie in Frage gestellt, wie er andere allgemein akzeptierte Überzeugungen hatte. Die lange verborgene Wahrheit ist: Strahlung von radioaktiven Stoffen ist relativ harmlos! Man kann tatsächlich im Wasser schwimmen aus sogenannten hoch aktiver nuklearer Abfälle, das Wasser trinken und tatsächlich auf sie gedeihen. Auch kann man umgehen reine U235 und sogar Plutonium (der Kraftstoff für A-Bomben) mit bloßen Händen den ganzen Tag lang, und erleiden keine negativen Auswirkungen. Natürlich übermäßigen Exposition gegenüber dieser Strahlung kann feindlich, wie aus jeder anderen Art von Strahlung wie Sonnenlicht auftreten. Die Wirkungen sind jedoch nicht sofort und dauerhaft, wenn die Quelle der Störung entfernt wird. Der Volksglaube, dass Mutationen können von dieser Strahlung führen, dass die Auswirkungen künftiger Generationen, ist völliger Unsinn. Eine Studie über die Auswirkungen auf die Opfer von Hiroshima und Nagasaki belegen dies. Die einzigen Mutationen sind unmittelbare Schäden an Zellen und spätere Fehlfunktionen von ultra-hohen Konzentrationen.
Aus den oben genannten Enthüllungen verdanken wir zu einem mutigen und engagierten Person, die seit 35 Jahren in der Atomindustrie tätig. Er war eng in jedem Aspekt der Produktion von Kernbrennstoffen und den Bau von Reaktoren beteiligt. Er ist Galen Windsor, von Richland, Washington. Die sogenannten tödlichen nuklearen Strahlungen sind relativ harmlos, mit sehr begrenzten Penetration. Im Jahr 1987 hatte Galen bereits Vorträge in 77 verschiedenen Städten über einen Zeitraum von zwei Jahren. Seine Anmeldeinformationen sind beeindruckend. Er hat in allen wichtigen Stilllegung des Reaktors Projekt in Amerika gearbeitet. Er wurde in den analytischen Prozess Bestandskontrolle, die für die Messung und Steuerung der Kernbrennstoff Inventar für diesen Projekten beteiligt war. Er hat nur wenige Kollegen in diesem Bereich und alle von ihnen mit ihm einverstanden, aber Angst haben zu sprechen. Er ist einer der weltweit größten Autoritäten der radioaktiven Strahlung Messung.
Er und andere haben Plutonium Verarbeitung mit ihren bloßen Händen, bis Strahlenmeßgeräte bei jedem Reaktor eingebaut wurden. Regeln wurden über die Höhe der Exposition gegenüber Strahlung, die nicht überschritten werden dürfen gelegt. Wenn die Regeln nicht befolgt wurden, verschwand die Arbeiter und wurde nie wieder von niemandem gesehen. Der Grund ist offensichtlich. Wenn Wort sickerte durch, dass radioaktive Stoffe unterhalb der kritischen Masse harmlos waren, dann gäbe es weit verbreitete Diebstähle solcher Produkte sein. Die Iie, dass radioaktive Stoffe nur mit extremen Sicherheitsvorkehrungen gehandhabt werden müssen unter allen Umständen eingehalten werden. Die High-Level zur Verfügung Akt von 1982 fordert für die Endlagerung der sogenannten hochaktiven Abfälle 3.000 Meter unter der Erde. Dieser hochaktive Abfälle besteht aus wiederverwendbaren Uran und enthält nützliche Metall-Isotope. Jede Tonne lohnt es etwa 10 Millionen US-Dollar.
Genug gesammelt worden zu zahlen aus dem National Debt. Portland General Electric besitzt die Trojan Reaktor und hatte ein Sammelbecken Problem. Windsor angeboten, alle ihre abgebrannten Brennelemente aus ihren Händen nehmen. Er würde versenden, speichern, und tun alles, was nicht auf Kosten der sie getan werden müsse, wenn sie es ihm geben würde. Sie sagten ihm, "die Hölle, Galen Windsor Go -. Wir schätzen es mehr als Plutonium oder gold Wir werden spielen, das Plutonium Zukunft selbst".
Windsor nach Kalifornien im Jahr 1965 getroffen, um beim Design und der Aufbau einer Wiederaufbereitungsanlage für Kernbrennstoff. Nachdem es im Jahr 1973 gebaut wurde, wurde eine Anordnung des Präsidenten ausgestellt, welche sagte der Anlage war nicht ausgeführt werden. Zu diesem Zeitpunkt hatten sie 170 Tonnen abgebrannten Brennelemente in dem Behälter gespeichert. Auch wurde die maximal zulässige Belastung weiter um einen Faktor von 10 reduziert. Dies war der Beginn von Windsor Rebellion gegen "das Establishment". Er schwamm in einem 660.000 Gallonen-Pool mit der abgebrannten Brennelemente. Die radioaktiven Stoffe darin enthalten waren genug, um eine Wassertemperatur von 100 aufrechtzuerhalten ° F und das Wasser zu leuchten mit einem bläulichen Licht in der Dunkelheit. Er entdeckte, dass der Tank gutes Trinkwasser zur Verfügung gestellt.
Windsor wurde auch über das, was in den Grabstätten der sogenannten Low-Level Atommüll gefragt. Die Antwort war, dass es keine nuklearen Abfälle, nur Materialien in einem Reaktor zurückgewonnen und genutzt werden vorteilhaft hergestellt. Low-Level-Abfall ist eine Ausrede für eine Federally-Mandat nicht kontrollierbarem Entsorgungssystem, so dass das organisierte Verbrechen kann keine loszuwerden Beweise, die sie wollen, und dass sie nie wieder ausgegraben. Auch, so dass niemand herausfindet, deren Körper in diesen Trommeln. Dies ist, was in Fässer, die im Meer fallen gelassen enthalten sind.
Windsor erklärte ferner, (und er war in der Lage zu wissen), dass im Jahr 1947 die Vereinigten Staaten in die UdSSR geschickt alle notwendigen Materialien und Technologien, A-Bomben bauen! Dies war im Rahmen der Genehmigung von Präsident Truman. Im Jahr 1949 explodierte sie ihre erste A-Bombe. Später wurden die Rosenbergs wegen angeblicher Umdrehen nuklearen "Geheimnisse" der Russen hingerichtet.
Laut Windsor, nach 1975 große Reaktoren hatte nicht mehr eine Zukunft. Sie werden schrittweise abgeschafft. Der berüchtigte Three-Mile Island Vorfall war kein Zufall. Es hat keinen Schaden, und niemand wurde verletzt. Aber, es auf die Öffentlichkeit die angebliche Gefahr von Reaktoren zu beeindrucken. Windsor befürwortete die Verwendung von vielen kleinen Reaktoren systematisch verteilt. Sie könnten nicht nur zur Herstellung ausreichender Mengen von Strom verwendet, sondern auch für die Beseitigung von Kälte von verpackten Lebensmitteln. Wenn kurz auf die Strahlung von derartigen Reaktoren ausgesetzt werden sie unbegrenzt haltbar. A Federal Energie Kartell ist der Grund, dass die effektive Nutzung von vielen kleineren Reaktoren nicht implementiert ist. Sie steuern die Menge an Strom, die Verfügbarkeit und den Preis. Windsor festgehalten, dass keine Reaktoren wurden richtig gebaut werden. In jedem Fall kann Reaktoren in keiner Weise entsprechen die Verwendung von autarken elektrischen Generatoren für Strom, aber ihre Verwendung in Konservierung von Lebensmitteln ist faszinierend.
Aus dem oben Gesagten wird deutlich, dass die jüngsten Publizität im Zusammenhang mit der Gefahr von Radon-Gas in den Häusern eine weitere monströse Hoax ist! Es könnte mit Sauerstoff in größeren Mengen gemischt werden und atmete lange Zeiträume ohne Beschädigung.
Die Frage nun erhebt, ist, warum die Strahlung von radioaktiven Quellen relativ harmlos sind? Drei Arten von Strahlung ausgehen von ihnen: alpha, beta und gamma-Strahlen. Alpha Strahlen bestehen aus Helium-Kernen oder einer kleinen Gruppe von Protonen, Neutronen und Elektronen. Die Zahl der Neutronen und Protonen sind trotz der gerühmten Ansprüche Kernphysiker unbekannt. Da sie völlig unwissend wie ihre wahre Natur, die Natur der Schwerkraft und weichen Teilchenphysik, sie haben keine Mittel zur Bestimmung solcher Werte. Betateilchen sind die harten Elektronen gewöhnlicher Strom und Gammastrahlen sind negativen Ladungen Aether Teilchen in der gleichen Größenordnung wie die der harten Elektronen besteht. Als solche haben sie nicht mehr Eindringvermögen als ein Strom von harten Elektronen und sind nicht mehr schädlich als die harten Elektronen, wenn sie dringen zu tun. Da sie aus der gleichen Aethers wie Atome und Moleküle bestehen, folgt daraus, dass sie nicht zu durchdringen Materie als leicht als weichere Teilchen. Dies lässt die Alpha-Strahlen. Es wurde bereits gezeigt, dass positive Ladungen feindlich lebende Gewebe sind, da sie die negativen Ladungen lebenden Organismen benötigen absorbieren neigen. Jedoch Alphateilchen haben auch wenig Durchdringungsvermögen aus den gleichen Gründen wie oben angegeben, und schnell absorbieren Elektronen zu unschädlichem Heliumgas zu werden. Windsor gab Demonstrationen solcher Tatsachen bei seinen Vorträgen durch die Verwendung von einem Geigerzähler.
Die Einnahme von großen Mengen von Alpha-Teilchen durch hohe Konzentrationen von Orgon-Energie ist eine andere Sache. Reich nannte es tödliche Orgon-Energie. Der Orgon in den Körper und löst Alphateilchen ganzen lebenswichtigen Organe und produziert, was als Strahlenkrankheit bezeichnet. Reich und seine Assistenten hatten diese Erfahrung. Wenn die Ursache des Problems entfernt wurde sie schnell erholt. Gelegentlich kann tödlich Orgon im Körper verbleiben und zu späteren Zeiten, lassen die positiven Ladungen zu verschiedenen Zeitpunkten, wodurch Nachwirkungen schwerwiegend. Dieses Problem kann durch die Behandlungen im Inneren Orgon-Akkumulatoren oder Pyramiden, nachdem sie dem tödlichen Orgon ausgesetzt gelindert werden. Dies ist, was Reich und seine Helfer taten.
Galen Windsor erklärte auch, dass die Bombe auf Hiroshima abgeworfen enthielt 20 Pfund U235. Die eine über Nagasaki explodierte hatte 2,5 kg oder etwa 5 Pfund Plutonium. Diese Werte wurden eifersüchtig Geheimnisse für eine lange Zeit bewacht. Windsor ist wahrscheinlich der erste, der es wagte zu offenbaren sie der Öffentlichkeit hat. Der Autor wurde mit dem verstorbenen Stanislaw Ulam, ein Mathematiker, der die kritische Masse dieser Elemente für Bomben berechnet hatte während der Arbeit am Manhattan-Projekt kennen. Es war ein tiefes, dunkles Geheimnis, und er würde mit seinem Leben getrennt haben, bevor er etwas so heilig wäre offenbaren. Der Grad der hang-up Beamtentum hat auf Geheimhaltung ist von einer Größenordnung schwer zu verstehen, und welche Schritte sie unternommen, um es zu versichern haben, ist noch umwerfend. Es ist so infantile und kindisch, dass es keine Wörter in der englischen Sprache sie adäquat zu beschreiben.
Radioaktive Stoffe wie Plutonium produzieren ihre eigene Wärme und je größer die Masse, desto höher ist die Temperatur der Masse. Dies folgt identisch, das gleiche Prinzip, durch die die Sonne erzeugt sie die Energie oder das Verhältnis zwischen Masse und Oberfläche. Der wesentliche Unterschied ist, dass Plutonium in ein paar cubic inches, was gewöhnliche Materie macht in einer Kugel 2.500.000 Meilen im Durchmesser zu tun!
Interessanterweise sieht Windsor etwa 30 Jahre jünger als sein chronologisches Alter vermuten lassen würde. Er erklärte auch, er immer erlitt eine gesunde Bräune aus seiner Arbeit mit radioaktiven Stoffen. Es ist bezeichnend, dass Reich und sein Assistent eine ähnliche Erfahrung in ihrer Arbeit mit Orgonenergie hatte. Es ist klar, Windsor und Reich den gleichen Energien, hohe Konzentrationen von weichen Elektronen ausgesetzt waren. Die ständige Exposition gegenüber hohen Orgon Konzentrationen während seiner Arbeitszeit ist, was Galen Windsor jungen gehalten. Natürlich sind die hohen Konzentrationen Orgon wurde von weichen Elektronen Clustering um die radioaktiven Substanzen, die einen konstanten Strom von positiven Ladungen erzeugt wird.
Sie fragen sich vielleicht, warum Windsor und einige andere könnten radioaktive Stoffe mit Straffreiheit zu behandeln, während andere entweder starben oder litten an schweren körperlichen Problemen, nachdem sie der Strahlung ausgesetzt. Wie bereits erwähnt, radioaktiven Materialien abstrahlen stark positiv Teilchen, die extrem schädlich sind aufgeladen. Einige sind durch weiche Elektronen absorbiert und sich DOR (deadly Orgon-Energie). Sie können in den Körper eindringen und bleiben für lange Zeiträume vor zerfallenden und Loslassen der tödlichen Partikel. Diese Teilchen sind sehr träge, wenn die negativen Teilchen einschließlich Soft Elektronen verglichen.
Die Opfer des radioaktiven Niederschlags sind nicht für längeren Zeitraum zu hohen Konzentrationen von positiven Ladungen ausgesetzt. Außerdem ist der Bereich der Einwirkung sehr groß, folglich, der Coanda-Effekt nicht zum Tragen kommen und es besteht kein Rauschen Orgonenergie um die Situation zu lindern, wie es der Fall mit Windsor, wenn er direkt auf extrem hohe Konzentrationen von radioaktiven Materialien ausgesetzt . Jedes Opfer radioaktiver Verseuchung kann, indem sie mit hohen Konzentrationen von Orgon über längere Zeiträume wie es Reich und seine Assistenten nach der Erfahrung radioaktiven Krankheit ausgesetzt geheilt werden. Sie hatten eine starke Dosis von DOR erhalten wie bereits erwähnt. An hohe Konzentrationen von Radioaktivität ausgesetzt entspricht in einem Orgon-Akkumulator platziert.
-------------------------
Dies ist nur eine Zusammenfassung eines Teils der Herr Cater Buch, das 586 Seiten hat. Eine Reihe von Themen werden nicht einmal erwähnt. Herr Cater spricht auch von:
Supraleitung.
Die Eigenschaften von Helium bei tiefen Temperaturen.
Geheimnis Flecken auf der Erde, einschließlich der berühmten Oregon Vortex.
Gravitations-Anomalien.
Der Ursprung des Van-Allen-Gürtel.
Die Forschung von William Reich.
Orgone Energie.
Die Oranur Experiment.
Das Reich Cloudbuster (das ist auch eine Waffe von großer Macht).
Atmosphärischen Erscheinungen.
Drei praktische Free-Energy-Geräten.
Das große Potenzial von Kristallen in der Gewinnung von Free-Energy.
Die Arbeit von Nikola Tesla mit Free-Energy.
Die Searle Effect und viele andere Themen.
Wenn Sie ein Exemplar seines Buches kaufen wollen, ist es angeblich unter diesen beiden Verkaufsstellen:
http://www.healthresearchbooks.com/ oder in das Vereinigte Königreich aus http://www.amazon.co.uk. Ich habe bestellt und für ein Exemplar dieses Buches drei Mal und jedes Mal bezahlt, behauptete der Lieferant nicht in der Lage zu liefern, was zum Verkauf ausgeschrieben
So, nachdem absorbiert einige, was Herr Cater zu sagen hat, fühlen Sie sich, dass Sie wurden fair behandelt werden, und dass die wahre wissenschaftliche Details wurden Sie als Teil Ihrer allgemeinen Bildung präsentiert?
Patrick Kelly
http://www.free-energy-info.tuks.nl
http://www.free-energy-info.com
http://www.free-energy-info.co.uk
http://www.free-energy-devices.com