Patentanmeldung EP0405919
1. Februar 1991 Erfinder:
Juan C. Aguero
WASSER
ANGETRIEBENE VERBRENNUNGSMOTOR-SYSTEM
Bitte beachten
Sie, dass dies ein Wieder formuliert Auszug aus dieser Patentanmeldung. Es wird
ein Verfahren beschrieben, das behauptet wird, kann zur Steuerung einer
Brennkraftmaschine aus einem Gemisch aus Wasserdampf und Wasserstoffgas.
ZUSAMMENFASSUNG
Dies ist ein Energietransformationssystems für Fahren, zum Beispiel ein Verbrennungsmotor, der Wasserstoffgas als Brennstoff verwendet. Das Gas wird durch Wasserelektrolyse an Bord erhalten, und wird dann in die Brennräume eingespritzt. Die Elektrolyse wird in einer Elektrolysetank 15 durchgeführt, wobei von dem Motor erzeugten elektrischen Strom erregt. Der Wasserstoff strömt von einem Vorratsbehälter 23 über Sammelzylinder 29, um Vorrichtung 39. Vergaser Der Wasserstoff wird dann in die Maschine zusammen mit trockenem gesättigten Dampf und mindestens einen Teil des Wasserstoffes zugeführt wird kann vor dem Eintritt 51 erhitzt werden. Ein kühler und kontrollierte Verbrennung mit dem Dampf erreicht und darüber hinaus relativ geringeren Mengen Wasserstoff benötigt werden. Dies wird wahrscheinlich durch den Dampf, der als Temperaturmoderator bei der Aufnahme und Verbrennung des Wasserstoffs und zusätzlich expandiert während des Expansionshubs verursacht.
GEBIET DER ERFINDUNG
Die vorliegende Erfindung bezieht sich auf Energiewandlersystemen, insbesondere im Zusammenhang mit einer Brennkraftmaschine durch Wasserstoffgas, dh bei der die Haupttreibmittel zu der Verbrennungskammern aufgenommen ist Wasserstoff betrieben. Noch spezieller bezieht sich die vorliegende Erfindung auf Verfahren und Mittel zum Erzielen von Wasserstoffgas in einer effizienten und relativ kostengünstige Weise, und zum Zuführen des Gases in die Verbrennungskammern unter Bedingungen, die für eine kontrollierte Zündung und eine optimale Energieumwandlung. Die vorliegende Erfindung bezieht sich auch auf Mittel und ein Verfahren zum Betrieb einer Brennkraftmaschinenanlage von einem verfügbaren, billigen und nicht verunreinigenden Wasserstoff Materie enthält, wie Wasser, als ein Kraftstoffzufuhr.
Im Allgemeinen kann die Erfindung Anwendung in allen Systemen, die
Verbrennungsprinzipien, angefangen von großen Installationen wie Strom
funktioniert relativ kleiner Automobilsysteme, wie Lokomotiven, Lastkraftwagen,
Automobile, Schiffe und Motorboote. In der folgenden Beschreibung wird die
Erfindung im allgemeinen für die Anwendung im Kfz-Bereich offenbart, jedoch
kann auch eine Anpassung und Anwendung in anderen Bereichen als in dem Bereich
der vorliegenden Erfindung angesehen werden.
HINTERGRUND
Schwindende Ressourcen, gefährliche Kontamination, steigende Preise und unzuverlässig Abhängigkeit von anderen Ländern machen es zunehmend erforderlich, eine Alternative zu fossilen Brennstoffen wie Öl (Kohlenwasserstoffe) und Ölderivate als Primärenergieträger in Automobilen zu suchen. Bis jetzt scheint keine der versuchten Alternativen zu ihren Wert als Ersatz für Benzin erwiesen haben, sei es, weil der inhärente Nachteile, dass eine Kontaminierung, Sicherheit, Kosten, etc., oder weil der Mensch noch nicht in der Lage, eine praktische Art der Anwendung finden die alternativen Energieformen an inländische Automobile.
Zum Beispiel ist Elektrizität eine gute Alternative im ökologischen Sinn, sowohl im chemischen als auch akustisch, aber es scheint, die am wenigsten effiziente Energieform bekannt, die zusammen mit den hohen Kosten der Herstellung von Elektromotoren und den schweren Speicherbeschränkungen, soweit Kapazitäten und sein Größe haben es kommen in den Markt zumindest vorerst gestoppt. Das gleiche gilt generell auch bei Solarenergie angeht.
Die Kernenergie ist eine effiziente, verfügbar und relativ billig, aber sehr gefährlich. Synthetische Brennstoffe können sicher die Antwort in der Zukunft sein, jedoch erscheint es, daß keine praktisch genug entwickelt wurden. Verwendung von Gasen, wie Methan oder Propan, oder Alkohol aus Zuckerrohr destilliert, hat auch versucht worden, aber für einen oder anderen Grund die Vermarktung hat, um kleine Bereiche beschränkt. Methanol zum Beispiel ist ein vielversprechender synthetischem Kraftstoff, aber es ist extrem schwierig, bei kaltem Wetter zu zünden ist und einen niedrigen Energiegehalt (etwa die Hälfte von Benzin).
Die Verwendung von Wasserstoffgas als Ersatz für Benzin wurde in letzter Zeit
experimentiert. Die Chemie Forscher Derek P. Gregor zitiert als zu glauben,
dass Wasserstoff ist der ideale Brennstoff in nicht nur ein Gefühl.
Wasserstoffverbrennung produziert Dampf als einzige Rest, einen entscheidenden
Vorteil gegenüber konventionellen Kraftstoffen verunreinigt wie Benzin und
Kohle. Leider gibt es kaum Wasserstoff auf der Erde in seiner natürlichen
freier Form, sondern nur in chemischen Verbindungen, von dem muss sie mit
kompliziert, teuer und oft gefährlichen industriellen Prozessen gewonnen werden
kombiniert. Darüber hinaus, wenn dieses Hindernis überwunden, wäre es immer
noch notwendig sein, zu transportieren und zu speichern den Wasserstoff in
Tankstellen und darüber hinaus finden Sie eine sichere und praktische Art der
Beladung und Speicherung in Kraftfahrzeugen. Mercedes-Benz für eine mit einem
Fahrzeug, das mit einem speziellen Tank zum Speichern von Wasserstoffgas
ausgestattet Experimentieren und eine Einrichtung zum Zuführen des Gases zu dem
Einspritzsystem, anstelle des herkömmlichen Benzintank und Schaltung, ohne
jedoch noch ein zufriedenstellendes Maß an Sicherheit und Wirtschaftlichkeit
-Effizienz. Die Verwendung von trockenen Wasserstoffgas als Treibmittel ist
bisher gefunden worden, um eine allgemein unkontrollierte Zündung, eine große
Temperaturabweichung nach oben, die zu zerstörerisch für den Kammerwänden
bewiesen zu produzieren. Die Lebensdauer des Motors wurde auf weniger als
10.000 km (ca. 6000 Meilen) begrenzt.
OFFENBARUNG DER ERFINDUNG
Die Erfindung basiert auf der Entdeckung eines Energiewandlersystem zugrunde, eine Brennkraftmaschine ausgeführt werden und insbesondere auf der Entdeckung einer Methode und Mittel zur zuverlässig und wirtschaftlich, sicher und sauber Kraftstoff einer Brennkraftmaschine mit Wasserstoff, und Erhalt der Wasserstoff in eine nutzbare Form zu diesem Zweck aus einem billigen und reichlich vorhanden Substanz wie Wasser. Der Wasserstoff kann unter optimalen Bedingungen erzeugt, um die in den Motor eingespeist werden wird.
Gemß der Erfindung wird Wasserstoff an Bord von einer leicht verfügbaren
wasserstoffhaltigem Quelle wie ionisiertes Wasser, das einer Elektrolyse
unterzogen wird, von wo der Wasserstoff in jeden Zylinder des Motors über die
Aufnahme eingespritzt erhalten. Das Wasserstoffgas vermischt mit Wasserdampf
(Dampf bei Atmosphärentemperatur ) und Umgebungsluft, und wenn dieses Gemisch
im Brennraum gezündet wird, scheint die Wasserdampf (Dampf), um als ein
Temperaturmoderator ersten wirken und dann im Expansionstakt zu unterstützen.
Vorzugsweise ist der Dampf trocken gesättigter Dampf, der als ein Moderator,
begrenzt die maximale Temperatur der Verbrennung, um damit die in Zylinder,
Ventile und Kolbenelemente zu erhalten; und bei der Unterstützung der
Expansion, entspannt sich der Dampf schnell zusätzlichen Druck auf den
Kolbenboden tragen, die Erhöhung der mechanischen Ausgangsleistung des Motors.
In anderen Worten, die Aufnahme von Wasserdampf in der Wasserstofftreibmittel,
wie durch die vorliegende Erfindung mildert vorgeschlagen, die negativen
Auswirkungen von Wasserstoff und erhöht die positiven Auswirkungen in dem
Verbrennungszyklus.
Als Ergebnis dieser Entdeckung wurde niedriger als zuvor erwartet ist die Wasserstoffmenge erforderlich ist, um den Motor anzutreiben, damit die Elektrolyse braucht nicht produzieren mehr als 10 cc / sec (beispielsweise für eine 1400 cm³-Motor). So ist die Menge an Strom für die Elektrolyse erforderlich, ein Stolperstein in früheren Versuchen, niedriger ist, so sehr, dass On-Board-Wasserstoffproduktion jetzt machbar.
Die Erfindung beinhaltet eine Vorrichtung, die ein erstes System zur Erzeugung von Wasserstoff und einem zweiten System für die Vorbehandlung und Zufuhr des Wasserstoffs auf die Einlaßventile an den Zylinderdeckel. Der Wasserstoff-Erzeugungssystem besteht im Wesentlichen aus einer Elektrolysevorrichtung, die elektrolytisch angepasst (dh zumindest teilweise ionisiert) Wasser oder einer anderen geeigneten wasserstoffhaltigen Substanz erhält. Eine elektrische Stromversorgung an die Elektroden der Elektrolyse-Vorrichtung zur Erzeugung des Wasserstoff verbunden ist und den Strombedarf und die Geräteabmessungen sind für eine maximale Wasserstoffproduktionsrate von etwa 10 cm³ / sec für einen typischen Automobilanwendung ausgelegt.
Das zweite System umfasst Mittel, beispielsweise einer Vakuumpumpe oder dergleichen, um von dem ersten System zu ziehen aus der Wasserstoff, eine Einrichtung zum Zuführen des Wasserstoffgases zu den Einlaßventile, eine Einrichtung zum Konditionieren des Feuchtigkeitsgehalts der Wasserstoff, Vergasereinrichtung oder dergleichen zum Mischen des Wasserstoffs mit atmosphärischer Luft oder einem anderen Kraftstoff ermöglicht, sowie Mittel zur Steuerung und Aufrechterhaltung eines vorgegebenen Gasdruckventil oder einen Bereich für die zu der Mischeinrichtung zugeführten Wasser.
Das Gerät wurde getestet und überraschend gut. Es wurde herausgefunden, dass
dies schien das Ergebnis der Wasserdampfgehalt in der elektrolytischen
Wasserstoffgas Die Überwindung der Probleme in den bekannten Systemen, die
relativ trockenen Gases in die Zylinderkammern eingespritzt wird, oder
höchstens mit einem relativ geringen Anteil an Feuchtigkeit kommen gestoßen
werden aus der Luft selbst.
In der bevorzugten Ausführungsform wird das Elektrolysesystem mit einer gepulsten Gleichstromsignal von bis zu 80 A bei zwischen 75 und 100 Volt betrieben. Der Elektrolyt wird in 10 Liter Wasser destilliertes Wasser mit Natriumchlorid ausgesalzen mit einer Konzentration von etwa 30g Salz pro Liter Wasser, 150g Salz. Andere Konzentrationen sind möglich, abhängig von der Art des Motors, Brennstoff- und Stromverbrauch usw. Die maximale Geschwindigkeit der Wasserstoffproduktion für eine typische inländische Pkw-Motor benötigt bei 10 cc / s geschätzt. Dieser Wasserstoff wird durch eine Pumpe zum Erzeugen eines Druckkopfs von etwa 2 Kg / cm 2, um den erzeugten Wasserdampf enthaltenden Wasserstoff zu einem Behälter mit einem Mittel zum Entfernen der unerwünschten Überschuss an Feuchtigkeit aus dem Gas vorgesehen lockt. Das Gas ist also gemischt mit dem gewünschten Gehalt an Wasserdampf, falls sich der Vergaser oder Mischeinrichtung eintritt.
In dem Fall, dass der erzeugte Wasserstoff nicht genügend Dampfgehalt aufweisen, können trocken gesättigten Wasserdampf zu Wasserstoff zugegeben werden, wie es weiter zu dem Motor. Dies kann zweckmäßigerweise durchgeführt, bevor es in den Vergaser und ist mit der Einlassluft gemischt. Ein Teil des Gases kann über einen Wärmetauscher Serpentin mit dem Abgaskrümmer verbunden rangiert werden. Dadurch erwärmt einen Teil des Gases, bevor es in die Basis des Vergasers eingespritzt wird. Diese erhitzte Gaseinspritzung arbeitet wie ein Kompressor. Der Haupt ungeheizten Wasserstoffstrom direkt in den Venturisystem des Vergasers, wo es mit Luft von der Aufnahme Schlaganfall Vakuum abgezogen mischt geleitet.
KURZE BESCHREIBUNG DER ZEICHNUNGEN
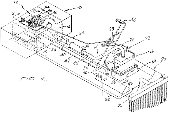
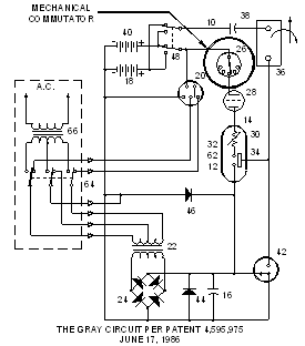
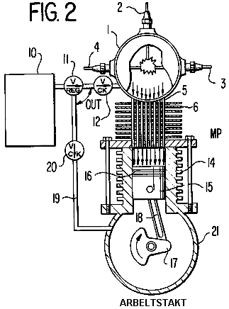
Fig.1 ist eine schematische Anordnung der ersten und zweiten Systems und zeigt die Elektrolysevorrichtung zur Gewinnung von Wasserstoff, und die Schaltungsmittel zum Einspritzen des mit Dampf aufgeladenen Wasserstoff in die Brennräume eines Automotors nach einer Ausführungsform der vorliegenden Erfindung.

Fig.2 ist ein Aufriss der
Elektrolysevorrichtung der Fig.1.

DETAIL
EINER AUSFÜHRUNGSFORM
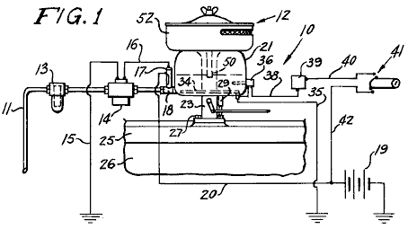
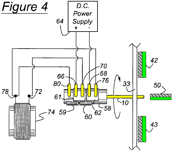
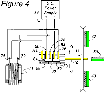
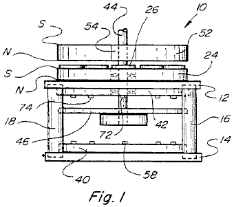
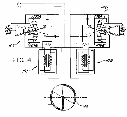
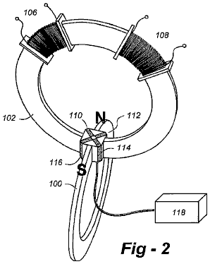
Fig.1 zeigt ein System 11 zur Gewinnung von Wasserstoff vorderen Wasser aus einem Reservoir oder Tank (nicht dargestellt) zu einem Einlaß 13 der Elektrolysezelle 15 wird das Wasser durch Zugabe von Natriumchlorid, um es zu ionisieren und aktivieren Elektrolyse wenn elektrische Leistung salzen verrohrt mit einem Paar von Klemmen 17 angelegt Wie später genauer offenbart wird, den Strom zu den Anschlüssen 17 ist in der Form einer Gleichstrom-Impulssignal von 65 Ampere bei 87 Volt, über einen geeigneten Wandler erzeugt aus angelegt wird, in dem Fall, dass das gegenwärtige System wird an einem Kraftfahrzeug, dem Standard Automotive 12 Volt Gleichstrom Ebene angewendet. Die Vorrichtung 15 hat verschiedene Ausgänge, von denen eines der Wasserstoffgasaustritt 19, der durch ein Magnetventil 21 in einen Akkumulator oder Reservoir Zylinder 23. Sonstige Auslässe der Elektrolysevorrichtung 15 zum Entfernen von Elektrolyse Abwässern, wie Natriumhydroxid und Chlor Gas, verbunden ist zu dem weitere Referenz wird unten gemacht.
Eine
Vakuumpumpe 25 oder einer ähnlichen,
extrahiert Gas aus dem Reservoir 23
auf und gibt sie durch eine Wasserstoffkreislaufsystem 27 zu dem Reservoir 23
wirkt als Druckpuffer einer Systemschnittstelle zwischen der
Elektrolysevorrichtung 15 und der Pumpe 25. Das Reservoir 23. Mai ist ein 2000 cc Hubraum, Edelstahl-Zylinder mit dem Ventil 21 Dosierung der Durchgang von Gas
durch sie, so dass der Behälter anfänglich mit etwa 1.500 ml Wasserstoff bei
Normaldruck und Temperatur (NVV) Bedingungen gefüllt. Zu diesem Zweck kann der
Zylinder 23 mit einem Manometer 28V,
die den Zustand des Ventils 21
steuert elektronisch bereitgestellt werden.
Ventil 21 kann ein Jefferson
Modell SPS-Magnetventil, von OTASI,
Pumpe 25 sendet Wasserstoff durch das Rohr 26, zu dem auch ein Bypass 24 zur Inspektion und Sicherheitszwecke zusammen mit einem Zweiwegeventil 28 vorgesehen ist, und in einen zweiten Zylinder 29, die enthält Mittel 31, die eine Turbulenz oder eine labyrinthartige Bewegung verursachen das Gas, um die schweren Mischung zu kondensieren, schematisch gezeigt als Tropfen 32, in dem Gasstrom vorhanden. Das kondensierte Gemisch sammelt sich in der Form von destilliertem Wasser 33 an der Unterseite des Zylinders 29. In der Nähe der Oberseite des Zylinders befindet sich ein Auslaß 35, durch den Wasserstoffgas, beladen mit einer guten Wasserdampfmenge wird transportiert bis 37. Auch Mischer an der Oberseite des Sammelzylinders 29, ist ein Temperatursensor 38, der mit einer elektronischen digitalen Thermometers Schaltung (nicht gezeigt) verbunden ist.
Mischer 37 umfasst ein
Vergaser-Gerät 39 für das Mischen
von Wasserstoff mit Luft vor der Fütterung des Gemisch in die Brennräume. Der Wasserstoff wird durch ein 3/8 Zoll (9,5
mm) Durchmesser Rohr 41 vom Trockner
Zylinder 29 und dann in die Venturi
Abschnitt 43 der Vergaser 39 durch ein paar 5/16 Zoll (8 mm)
Durchmesser Rohre oder Wasserstoff injizierenden Düsen 45 geleitet. Venturi
Abschnitt 43 ist ein Abschnitt der Aufnahme Luftdurchlass, der verengt, um die
Luftgeschwindigkeit an der Stelle zu erhöhen, wo Wasserstoff für das Mischen
von gezeichnet wird. Die Venturi-Aufnahme 42
kann durch ein Gitter 46 ausgeglichen
werden. Allerdings scheint es, dass keine Luftfilter für den Mixer gut
funktionieren benötigt wird. Das Vergaser-Gerät 39 möglicherweise eine vereinfachte Form der einen konventionellen
Vergaser, da das Treibmittel, d.h. Wasserstoffgas, direkt an der Venturi 43 verfüttert wird. Eine Absperrklappe
oder dergleichen, angeschlossen an ein Gaspedal (nicht dargestellt) des
Motor-Car, kontrolliert, die Luft-Zufuhr-Rate und damit die Drehzahl des
Motors. Diese Mixer-Gerät 39 wird
wie ein konventioneller Vergaser ist montiert, so dass dem Auslass an der
Unterseite mit der Einlass-Ventile in den Zylinder-Caps kommuniziert.
Am Unterteil der Vergaser ist eine zusätzliche Wasserstoff-Aufnahme 47 an ein anderes 3/8 Zoll (9,5 mm)
Durchmesser Rohr 49 die Teil des
Wasserstoffs durch eine Heizung 51
shunts angeschlossen. Diese Heizung besteht aus einer serpentine Röhre 51 Chrom/Kobalt-Legierung, montiert in
enger Wärmeaustausch Beziehung mit dem Körper des Auspuffkrümmers 50 (schematisch dargestellt) um einen
Teil des beheizten Gas das Kraftstoff-Gemisch hinzufügen, bevor es in die
Brennräume durch die entsprechende Zulassung-Ventile in die Zylinder-Caps
gezeichnet wird. Vor Eintritt Heizung, gelangen die Wasserstoff-Mischung auf
eine nahe kritische Temperatur zur Detonation. Es wurde festgestellt, dass dies
verbessert die Leistung (z.B. die Motor-Glätte) bei einigen Drehzahlbereichen,
und es wie ein Kompressor funktioniert.
In der Praxis zeigte der Motor für die vorliegende Erfindung einen hohen Wirkungsgrad, bei Verwendung von drei-Elektroden-Zündkerzen und eine elektronische Zündanlage (nicht dargestellt).
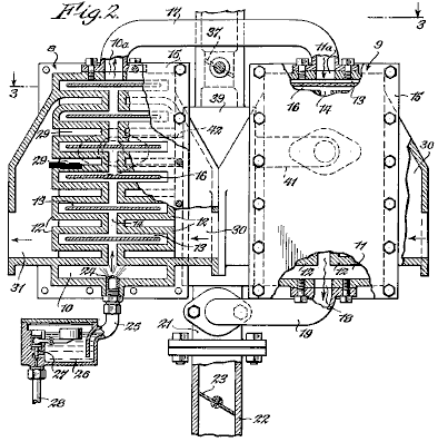
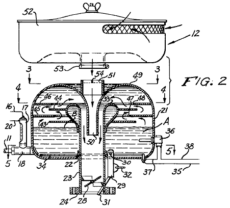
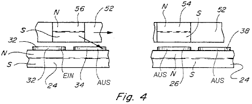
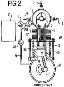
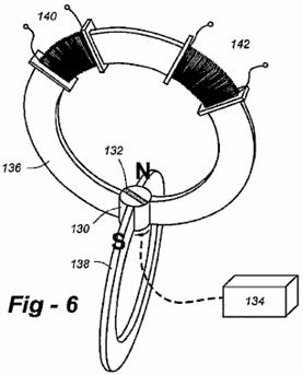
Fig.2 zeigt die Elektrolyse-Zelle 15 in Fig.1 ausführlicher beschrieben. Es besteht aus ein rechteckiges Prisma-Reservoir 53 mit ein paar spaced-apart vertikale Elektroden 55. Der Stausee messen kann, z. B. 24 cm lange von 20 cm breit und 28 cm hoch. Sowohl Anode und Kathode 55 können jede doppelte Elektroden aus Kohlenstoff mit einem Abstand zwischen den Elektroden 55 der gleichen Polarität von ca. 10 cm. Alternativ bestehen, die Anode 55A kann ein Ring aus Kohlenstoff während die Kathode 55C eine Eisen-Gitter zylindrische Elektrode ist. Jeder Elektrode 55 hat eine Klemme 57, an der Spitze für die Eingabe von elektrischen Energie, wie bereits erwähnt. Bei jeder Außenseite der Elektroden 55 gibt es eine poröse Membran 59 aus einem Blatt Amianto (Asbest) für die Abhaltung der Wasserlösung 61 in während zur gleichen Zeit lassen die Elektrolyse-Produkte hergestellt, durchlaufen d. h. Wasserstoff und Sauerstoff. So, das Wasserstoffgas strömt durch die Membran 59 in einer Gaskammer Sammler 56 und beendet heraus durch Rohr 19 um den Verbrennungsmotor Kraftstoff. Die Wasserstoff-Pipe 19 möglicherweise eine Dosierwaage Ventil 62 für die Regulierung der Strom von Wasserstoff. Der Sauerstoff kann auf der anderen Seite heraus in die Atmosphäre durch eine Steckdose 63 abgelassen werden.
Es gibt ein Heizelement 64, eingetaucht in das Salzwasser 61, gespeist durch einen Widerstand an eine 12 Volt Gleichstrom-Spannungsversorgung angeschlossen. Dies heizt das Wasser bis ca. 85 Grad C (185 Grad F) um die galvanische Aktion die Elektrolyse der wässrigen Lösung 61 aktuelle zu verbessern. Ein Thermostat mit einer solid-State-Silizium Temperatursensor kann verwendet werden, um die Temperatur des Wassers über einen Schwellenwert-Komparator fahren ein Relais, die den Strom in das Heizelement 64 kontrolliert zu steuern.
Die Elektrolyse des erhitzten Salzwasser-Lösung 61 erzeugt außerdem, wie Abwässer, Chlorgas (Cl2) und
Natriumhydroxid (NaOH). Das Chlorgas kann durch eine Öffnung 65 am oberen Ende des Reservoirs 53 oder aber in einen geeigneten
Entsorgungsbehälter gespeichert entlüftet werden (nicht gezeigt). Das Natriumhydroxid präzipitiert und kann
periodisch durch Abgriff 67 am Boden
der Elektrolysezelle entfernt werden.
Es ist wichtig zu beachten, dass die Praxis der vorliegenden Erfindung erfordert praktisch keine Veränderungen im Motor selbst. Das heißt, können vorhandene Benzinmotoren mit kaum Anpassungen verwendet werden. Zündung auf die tote Oberseite des Verdichtungstakts oder mit einer 1,5 Grad-Verzögerung am meisten eingeleitet, und es hat sich als geeignet gefunden, um die Lücken der Aufnahme und Auslassventil Drücker erweitern und benutzen Drei-Elektrodenzündkerzen. Allerdings ist es ratsam, einige nichtrostenden Verbindung, wie Kunststoffe für das Auspuffrohr und Schalldämpfer benutzen, wenn man bedenkt, dass die Verbrennungsrückstände ist heißer Dampf.
Fig.1 zeigt ebenfalls schematisch, die elektrische Energieversorgung 71 mit den Anschlüssen 17 des Würfels 15. Elektrischer Strom wird bei 12 Volt Gleichstrom von der Autobatterie / Wechselstromgeneratorsystem 73 durch eine Wechselrichtereinrichtung 75 zur Erzeugung gleichstrom Impulse gewonnen und verarbeitet verbunden 65 Ampere bei 87 Volt. Pulserregung der Elektrolyse wird, das Verhältnis der Wasserstoffproduktionsrate um elektrische Leistung zu maximieren.
US Patent 3.980.053 14.
September 1976 Erfinder: Stephen
Horvath
KRAFTSTOFF-VERSORGUNG-APPARAT FÜR
VERBRENNUNGSMOTOREN
Bitte beachten
Sie, dass dies ein Wieder formuliert Auszug aus diesem Patent. Es beschreibt
die Wasserspaltung Verfahren von Stephen Horvath.
ZUSAMMENFASSUNG
Kraftstoffzuführvorrichtung erzeugt Wasserstoff und Sauerstoff durch Elektrolyse von Wasser. Es wird eine Elektrolysezelle, die eine kreisförmige Anode von einer Kathode, umgeben mit einer porösen Membran, die zwischen ihnen verbunden ist. Die Anode ist geriffelt und die Kathode ist geschlitzt, um Anoden- und Kathodenbereichen von im wesentlichen gleicher Fläche bereitzustellen. Ein gepulster elektrischer Strom zwischen der Anode und Kathode für die effiziente Erzeugung von Wasserstoff und Sauerstoff vorgesehen sind.
Die Elektrolysezelle ist mit einem Schwimmer, der den Pegel des Elektrolyten in der Zelle detektiert, ausgerüstet, und das Wasser wird auf die Zelle, wie erforderlich, um das Wasser durch das Elektrolyseverfahren verlorenen ersetzen zugegeben. Der Wasserstoff und der Sauerstoff werden in den Kammern, die ein integraler Teil der Elektrolysezelle werden gesammelt, und diese zwei Gase in einer Mischkammer, wo sie in dem Verhältnis von zwei Teile Wasserstoff auf ein Teil Sauerstoff gemischt wird. Das Gemisch aus Wasserstoff und Sauerstoff fließt zu einer anderen Mischkammer, in welcher er mit Luft aus der Atmosphäre gemischt.
Das System wird als in einem Auto und einem Dual-Steuerung, die von der Autodrossel betätigt wird installiert, ersten Meter des Wasserstoffs und Sauerstoff-Gemisch in die Kammer, worin sie mit Luft und mißt dann die kombinierte Mischung in das Auto kombiniert wird offen Motor. Die Verbrennungswärme von reinem Wasserstoff und Sauerstoff-Mischung ist größer als die eines Benzin-Luft-Gemisch von vergleichbarer Lautstärke und Luft ist daher im Gemisch mit dem Wasserstoff und Sauerstoff, um ein Verbundstoffgemisch, das eine Verbrennungswärme, die der von a hat produzieren normale Gas-Luftgemisch. Diese Verbundstoffgemisch von Luft, Wasserstoff und Sauerstoff, dann kann direkt an einen herkömmlichen Verbrennungsmotor ohne Überhitzung und ohne Erzeugung eines Vakuums in dem System geliefert werden.
HINTERGRUND
DER ERFINDUNG
Diese Erfindung betrifft Verbrennungsmotoren . Insbesondere ist es mit einer Kraftstoffversorgungseinrichtung, mittels derer eine Brennkraftmaschine kann auf einer Kraftstoff bei Bedarf durch die Elektrolyse von Wasser erzeugten Wasserstoff- und Sauerstoffgasen besteht laufen betreffenden.
Bei der Elektrolyse wird eine Potentialdifferenz zwischen einer Anode und einer Kathode in Berührung mit einem elektrolytischen Leiter angelegt, um einen elektrischen Strom durch den Elektrolytleiter herzustellen. Viele geschmolzene Salze und Hydroxide sind elektrolytischen Leiter, aber in der Regel der Leiter ist eine Lösung aus einer Substanz, die in der Lösung dissoziiert, um Ionen zu bilden. Der Ausdruck "Elektrolyt" wird hier verwendet, um eine Substanz, die in Ionen dissoziiert, wenigstens in einem gewissen Ausmaß, wenn er in einem geeigneten Lösungsmittel zu verweisen. Die entstandene Lösung wird als "Elektrolytlösung" bezeichnet werden.
Faradaysche Gesetze vor, dass in jeder Elektrolyseprozesses die Masse der Substanz an einer Anode oder Kathode freigesetzt ist in Übereinstimmung mit der Formel
m = z q
wobei m die Masse der Substanz in
Gramm befreit, z die
elektrochemische Äquivalent des Stoffes, und q ist die Elektrizitätsmenge geleitet, in Coulomb. Eine wichtige
Folge der Faradayschen Gesetze ist, dass die Geschwindigkeit der Zersetzung
eines Elektrolyten hängt von aktuellen und ist unabhängig von Spannung.
Beispielsweise wird in einer herkömmlichen Elektrolyseverfahren, bei denen ein
konstanter Strom I Ampere fließt Sekunden T, Q = It und der Masse des Materials
abgelagert oder gelöste auf I unabhängig von Spannung hängen, vorausgesetzt,
daß die Spannung, die für die Elektrolyse erforderliche Minimum überschreitet
um fortzufahren. Für die meisten Elektrolyte, ist die minimale Spannung sehr
gering.
Es gab frühere Vorschläge zur Verbrennungsmotoren mit einem Kraftstoff aus
Wasserstoffgas besteht laufen. Beispiele solcher Vorschläge sind in US-Pat. Nr.
1.275.481, 2.183.674 und 3.471.274 und britischen Schriften Nr., 353.570 und
364.179. Es wurde weiterhin vorgeschlagen, den Wasserstoff aus der Elektrolyse
von Wasser ableiten, wie von
Wie in meinem oben erwähnten Stammanmeldung offenbart der Stand der Technik zeigt auch elektrolytische Reaktionen mit Gleichstrom oder gleichgerichtete Wechsel, die zwangsläufig eine Brummkomponente haben; Ein Beispiel für erstere ist beispielsweise in Kilgus US Pat. No. No. 2.016.442 und ein Beispiel für die in Emich al letztere. Das US-Patent. No. 3.485.742. Es wird angemerkt, dass die Kilgus Patent offenbart auch die Anwendung eines Magnetfelds auf seinen Elektrolyt, der Bereich gesagt wird, dass die Erzeugung von Gas an den beiden Elektroden zu vergrößern.
ZUSAMMENFASSUNG DER ERFINDUNG
Die Vorrichtung der Erfindung betrifft einen pulsierenden Strom an eine elektrolytische Lösung eines Elektrolyten in Wasser. Insbesondere wird die hohe Impulse ziemlich hohen Stromwert und entsprechend niedrige Spannung in der Elektrolytlösung durch eine direkte Eingangsversorgung erzeugt wird, um eine Ausbeute von Elektrolyseprodukten, so daß diese Produkte direkt an der Brennkraftmaschine zugeführt werden, zu erzeugen. Die durch die Vorrichtung der vorliegenden Erfindung erzeugt pulsierenden Strom ist, von normalen Schwankungen, die in Gleichrichtung Wechselstrom erfolgen und wie nachstehend verwendete Ausdruck gepulster Strom wird verstanden Strom mit einem Tastverhältnis von weniger als 0,5 werden, unterschieden werden.
Es ist eine spezifische Aufgabe dieser Erfindung, eine Kraftstoffversorgungsvorrichtung für einen Verbrennungsmotor, durch die Gase Wasserstoff und Sauerstoff durch Elektrolyse von Wasser erzeugt werden, miteinander vermischt und direkt zu der Brennkraftmaschine zugeführt werden.
Eine noch weitere Aufgabe der Erfindung ist es, für die Verwendung mit einem Verbrennungsmotor mit Einlass- bereitzustellen, bedeutet, um ein brennbares Kraftstoff, Kraftstoffzufuhrvorrichtung, umfassend erhalten:
ein Gefäß, um eine Elektrolytlösung des Elektrolyten in Wasser gelöst zu halten;
eine Anode und eine Kathode, die mit der Elektrolytlösung in dem Behälter zu kontaktieren;
elektrische Versorgungsmittel zwischen der Diode und dem Kathodenimpulse elektrischer Energie in einen pulsierenden Strom in der Elektrolytlösung zu induzieren, um dadurch durch Elektrolyse von Wasserstoffgas an der Kathode und Sauerstoffgas an der Anode zu erzeugen, anzuwenden;
Gassammei- und Abgabemittel, um die Wasserstoff- und Sauerstoffgase zu sammeln und zu leiten, um die Motoreinlaßmittel; und
Wasseraufnahmemittel zur Aufnahme von Wasser in das Gefäß, um durch Elektrolyse
bilden Verlust.
Damit die Erfindung vollständiger erläutert ein bestimmtes Beispiel eines Autoverbrennungsmotor mit Kraftstoffversorgungsvorrichtung gemß der Erfindung ausgestattet wird nun im Detail unter Bezugnahme auf die beigefügten Zeichnungen beschrieben.
KURZE BESCHREIBUNG DER ZEICHNUNGEN
Fig.1 ist eine Draufsicht eines Teils des Fahrzeugs mit seinem Motorraum ausgesetzt ist, um das Layout der Kraftstoffversorgungsvorrichtung und die Art und Weise, in der es zu dem Fahrzeugmotor verbunden ist, zu zeigen;

Fig.2 ist ein Schaltbild des
Kraftstoffzufuhrvorrichtung;

Fig.3 ist eine Draufsicht eines Gehäuses, das elektrische Komponenten der Kraftstoffversorgungseinrichtung führt;

Fig.4 ist eine Seitenansicht des
Gehäuses in 3 gezeigt;

Fig.5 ist ein Querschnitt auf der
Linie 5-5 in Fig.3;

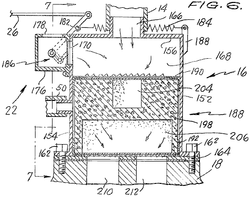
Fig.6 ist ein Querschnitt auf der
Linie 6-6 in Fig.3;
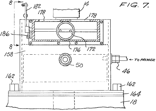
Fig.7 ist ein Querschnitt auf der
Linie 7-7 in Fig.5;

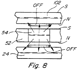
Fig.8 ist eine perspektivische Ansicht eines in den Komponenten enthalten Diode Wärmesenke in Fig.5 und Fig.7 illustriert;
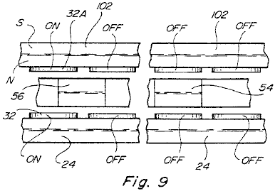
Fig.9 zeigt ein Transformator-Spulenanordnung in der elektrischen Komponenten, die innerhalb des Gehäuses montiert;

Fig.10 ist ein Querschnitt auf der
Linie 10-10 in Fig.4;
Fig.11 ist ein Querschnitt auf der
Linie 11-11 in Fig.5;

Fig.12 ist ein Querschnitt durch
eine Reihenklemme in dem Boden des Gehäuses angebracht ist;

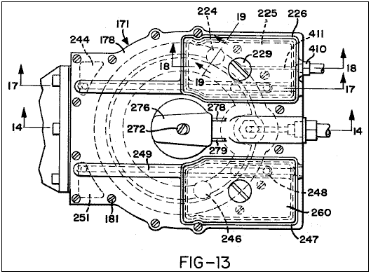
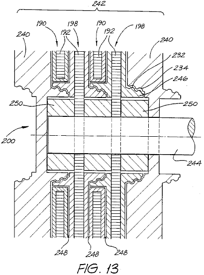
Fig.13 ist eine Draufsicht auf eine
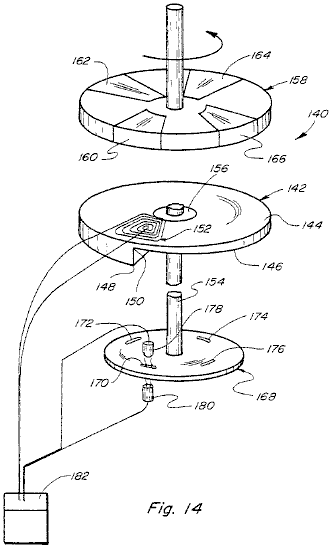
Elektrolysezelle, in der Kraftstoffzufuhrvorrichtung eingebaut;

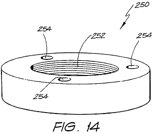
Fig.14 ist ein Querschnitt entlang
der Linie 14-14 in Fig.13;

Fig.15 ist ein Querschnitt allgemein
entlang der Linie 15-15 in Fig.14;

Fig.16 ist ein Querschnitt auf der
Linie 16-16 in Fig.14;

Fig.17 ist ein Querschnitt auf der
Linie 17-17 in Fig.13;

Fig.18 ist ein Querschnitt entlang
der Linie 18-18 in Fig.13;
Fig.19 ist ein vertikaler Querschnitt durch ein Gasventil im Allgemeinen auf der Linie 19-19 in Fig.13 genommen;

Fig.20 ist eine perspektivische
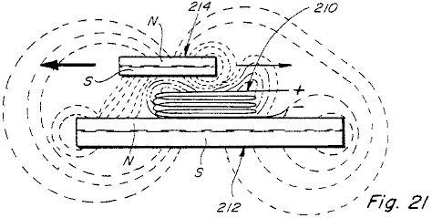
Ansicht einer Membrananordnung in der elektrolytischen Zelle angeordnet ist;
Fig.21 ist ein Querschnitt durch
einen Teil der Membrananordnung;
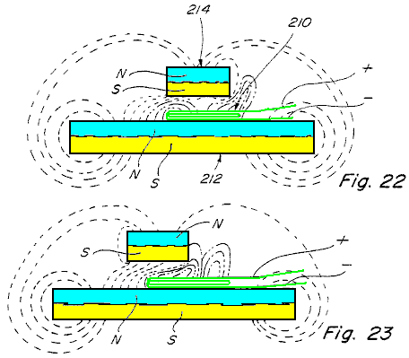
Fig.22 ist eine perspektivische
Ansicht eines Schwimmers in der Elektrolysezelle angeordnet ist;

Fig.23 ist eine Vergrößerung eines
Teils von Fig.14;
Fig.24 ist ein vergrößerter
Querschnitt entlang der Linie 24-24
in Fig.16;
Fig.25 ist eine perspektivische Ansicht einer Wassereinlaßventilteil in der in Fig.24 gezeigten Komponenten enthalten;

Fig.26 ist ein Querschnitt entlang
der Linie 26-26 in Fig.16;
Fig.27 ist eine auseinandergezogene und teilweise gebrochene Ansicht einer Kathode und Kathoden Kragen am oberen Ende der Kathode angebracht;
Fig.28 ist ein vergrößerter
Querschnitt, der einen Teil der Komponenten der Fig.15;

Fig.29 ist eine perspektivische Ansicht eines Ventil Abdeckteil;
Fig.30 zeigt eine Gas Misch- und
Abgabeeinheit der Vorrichtung allgemein in einer Seitenansicht, jedoch mit
einer Luftfilteranordnung enthält das Gerät im Schnitt gezeigt;

Fig.31 ist ein vertikaler Querschnitt durch die Gasmischung und Fördereinheit mit dem Luftfilteranordnung entfernt;
Fig.32 ist ein Querschnitt entlang
der Linie 32-32 in Fig.31;

Fig.33 ist eine perspektivische Ansicht eines Ventils und Strahldüsenanordnung in dem Gas Misch- und Fördereinheit eingebaut;
Fig.34 ist ein Querschnitt allgemein
entlang der Linie 34-34 in Fig.31;
Fig.35 ist ein Querschnitt durch
eine Elektromagnetanordnung;

Fig.36 ist ein Querschnitt entlang
der Linie 36-36 in Fig.32;
Fig.37 ist eine Rückansicht eines
Teils der Gasmischung und die Zufuhreinheit;

Fig.38 ist ein Querschnitt entlang
der Linie 38-38 in Fig.34;
Fig.39 ist eine Draufsicht auf den unteren Abschnitt des Gas Misch- und Fördergerät, das von dem oberen Abschnitt entlang der Grenzfläche 39-39 von Fig.30 gebrochen;

Fig.40 ist ein Querschnitt entlang
der Linie 40-40 in Fig.32; und
Fig.41 ist eine Draufsicht eines
unteren Körperteil des Gas Misch- und Abgabeeinheit.

BESCHREIBUNG
DER BEVORZUGTEN AUSFÜHRUNGSFORM
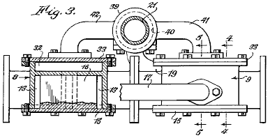
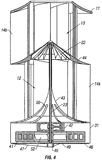
Fig.1 zeigt eine Anordnung im Allgemeinen als 31 bezeichnet ist mit einer Motorabteilung 32, in dem ein Verbrennungsmotor 33 ist hinter dem Radiator montiertem 34. Motor 33 ist ein herkömmlicher Motor und, wie dargestellt, kann es zwei Reihen von Zylindern in "V” haben Bildung. Insbesondere kann es ein V8-Motor sein. Es ist im allgemeinen von herkömmlicher Bauart und Fig.1 zeigt die übliche Lüfter 34 Lüfterriemen 36 und Generator oder Wechselstromgenerator 37.
In Übereinstimmung mit der Erfindung ist der Motor nicht auf den üblichen Erdölbrennstoff laufen jedoch mit Kraftstoffversorgungsvorrichtung, die es mit einer Mischung von als Produkte einer Wasserelektrolyseverfahren in der Kraftstoffversorgungseinrichtung durch erzeugten Wasserstoff- und Sauerstoffgase liefert ausgestattet. Die wesentlichen Komponenten der Kraftstoffversorgungsvorrichtung sind eine elektrolytische Zelle im Allgemeinen als 41 bezeichnet, und eine Gasmischung und Fördereinheit 38, die in der Zelle 41 erzeugten Gase Wasserstoff und Sauerstoff zu mischen und um die Motor 33. liefern Die Elektrolysezelle 41 Wasser erhält durch eine Wasserzufuhrleitung 39, um die Elektrolytlösung in ihr. Es hat eine Anode und eine Kathode, welche die Elektrolytlösung zu kontaktieren, und im Betrieb der Vorrichtung Impulsen elektrischer Energie zwischen der Anode und der Kathode, um Impulse von hohem Strom durch die Elektrolytlösung zu erzeugen. Einige der elektrischen Komponenten erforderlich ist, die Impulse der elektrischen Energie zwischen der Anode und Kathode angelegt produzieren, sind in einem Gehäuse 40 auf einer Seite des Motorraums 32. Der Autobatterie 30 ist an der anderen Seite des Motorraums angebracht geführt.
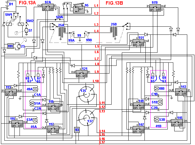
Bevor die physikalische Konstruktion der Kraftstoffversorgungsvorrichtung wird ausführlich beschriebenen allgemeinen Grundsätze seines Betriebs wird zunächst mit Bezug auf das elektrische Schaltbild der Fig.2 beschrieben.
In den dargestellten Schaltungsanschlüsse 44, 45, 46 sind alle mit der positiven Klemme der Fahrzeugbatterie 30 und Anschluß 47 ist mit dem negativen Anschluß der genannten Batterie verbunden ist. Schalter 48 ist der übliche Zündung des Autos und Schließen dieses Schalters liefert einen Strom an die Spule 49 eines Relais 51. Der bewegliche Kontakt 52 des Relais 51 mit Strom bei 12 Volt von dem Anschluß 45, und wenn das Relais durch Schließung betätigt des Zündschalters 48 wird Strom über diese Kontakt versorgt die Leitung 53, so daß die Leitung 53 kann als Aufnahme einer positiven Eingang und die Leitung 54 von der Klemme 47 kann als ein gemeinsamer negativer für die Schaltung in Betracht gezogen werden in Betracht gezogen werden. Schließen des Zündschalters 48 liefert auch Strom an einer Seite der Spule 55 eines Elektromagneten 56. Die andere Seite der Magnetspule 55 wird durch eine Verbindung mit dem Wagenkasten im Motorraum geerdet. Wie unten Solenoid 56 erläutert werden muß erregt werden, um ein Ventil, welches Zufuhr von Wasserstoff und Sauerstoffgas an den Motor steuert, geöffnet werden und das Ventil schließt abzuschneiden, dass die Versorgung sobald Zündschalter 48 geöffnet.
Die Funktion des Relais 51 ist mit
Schaltungsleitung 53 direkt mit dem
Pluspol der Fahrzeugbatterie, so daß er ein positives Signal empfängt direkt
und nicht über den Zündschalter und Verkabelung.
Die Schaltung enthält eine Schaltung, die Impulsgenerator Unijunktionstransistor Q1 mit zugehörigen Widerständen R1, R2 und R3 und Kondensatoren C2 und C3 umfaßt. Diese Schaltung erzeugt Impulse, die verwendet werden, um einen NPN-Silizium-Leistungstransistor Q2, der seinerseits über einen Kondensator C4 Zündimpulse für einen Thyristor T1 ausgelöst werden.
Der Widerstand R1 und der Kondensator C2 sind in Reihe in einer Linie 57, die sich auf einem der festen Kontakte eines Relais 58. Die Spule 59 des Relais 58 ist zwischen Leitung 53 und einer Linie 61, die von dem beweglichen Kontakt des Relais erstreckt, verbunden ist die gemeinsame negative Leitung 54 über ein normalerweise geschlossenes Druckschalter 62. Die Steuerleitung 63 der Schalter 62 in einer Weise verbunden ist, um unten an einem Gassammelraum der elektrolytischen Zelle 41, um einen Steueranschluss, wodurch Schalter 62 bereitzustellen beschrieben geöffnet wird, wenn das Gas in die Sammelkammer einen bestimmten Druck erreicht. Vorausgesetzt jedoch, daß der Schalter 62 geschlossen bleibt, wird das Relais 58 arbeitet, wenn Zündschalter 48 geschlossen ist, um eine Verbindung zwischen den Leitungen 57 und 61 dadurch bereitzustellen, um den Kondensator C2 an die gemeinsame negative Leitung anschließen 54. Der Hauptzweck des Relais 58 ist es, eine leichte Verzögerung in dieser Verbindung zwischen dem Kondensator C2 und dem gemeinsamen negativen Leitung 54, wenn die Schaltung zuerst eingeschaltet. Dies wird die Erzeugung von Triggerimpulsen an den Thyristor T1 bis eine erforderliche elektrische Bedingung im Transformatorschaltung erreicht, die unten beschrieben werden, zu verzögern. Relais 58 ist hermetisch abgedichtet und hat eine symmetrische Anker, so dass er in jeder Stellung betrieben werden kann und erhebliche Erschütterungen oder Vibrationen zu widerstehen, wenn der Wagen in Gebrauch ist.
Wenn die Verbindung zwischen dem Kondensator C2 und die Leitung 54 ist über ein Relais 58 erfolgt, wird ein Unijunction-Transistor Q1 als Oszillator fungieren, um positive Ausgangsimpulse in der Leitung 64 mit einer Impulsrate, die durch das Verhältnis von R1 gesteuert wird liefern: C1 und bei einer Pulsstärke R3: durch das Verhältnis R2 bestimmt. Diese Impulse werden den Kondensator C3. Elektrolytkondensator C1 ist direkt zwischen dem gemeinsamen positiven Leitung 53 und die gemeinsame Minusleitung 54, die Schaltung von allen statischen Rauschfilter verbunden.
Der Widerstand R1 und der
Kondensator C2 werden so gewählt,
dass am Eingang des Transistors Q1
werden die Impulse der Sägezahnform sein. Dies wird unter Kontrolle der Form
der in dem nachfolgenden Schaltkreis und dem Sägezahnimpuls Form erzeugten
Impulse ist so gewählt, da angenommen wird, dass es einen zufriedenstellenden
Betrieb des Pulskreislauf erzeugt. Es sollte jedoch betont werden, dass andere
Impulsformen, beispielsweise Rechteckimpulse, verwendet werden könnten. Der
Kondensator C3 entlädt sich über
einen Widerstand R4 mit
Auslösesignale für den Transistor Q2
bereitzustellen. Der Widerstand R4
ist mit dem gemeinsamen negativen Leitung 54
verbunden ist, um als Gate-Strombegrenzungsvorrichtung für den Transistor Q2 dienen.
Die Triggersignale durch den Transistor Q2 über das Netzwerk des Kondensators C3 und eines Widerstands R4 wird in Form von positiven Pulsen stark dotierten Form hergestellt. Der Kollektor des Transistors Q2 ist mit der positiven Versorgungsleitung 53 über den Widerstand R6 verbunden, während der Emitter dieses Transistors ist mit dem gemeinsamen negativen Leitung 54 über den Widerstand R5 verbunden. Diese Widerstände R5 und R6 steuern die Stärke mit einem Kondensator C4, der über einen Widerstand R7 an die gemeinsame negative Leitung 54 entlädt angelegten Stromimpulse, wodurch anzuwenden Ansteuersignale an das Gate des Thyristors T1. Das Gate des Thyristors T1 empfängt eine negative Vorspannung von der gemeinsamen Minusleitung über den Widerstand R7, die somit dient Zündung des Thyristors durch Einschaltstromspitzen zu verhindern.
Die an das Gate des Thyristors T1 angelegt Zündimpulse sehr scharfen Spitzen bei der gleichen Frequenz wie die Sägezahn-Wellenform von Impulsen Unijunction-Transistor Q1 aufgebaut auftritt. Es ist bevorzugt, daß diese Frequenz in der Größenordnung von 10.000 Impulsen pro Minute und Details bestimmter Schaltungskomponenten, die dieses Ergebnis erreicht wird, aus der unten aufgelistet ist. Der Transistor Q2 dient als Schnittstelle zwischen Unijunction Transistors Q1 und der Thyristor T1, Verhinderung eines Rückflusses von EMK aus dem Gate des Thyristors, die sonst mit dem Betrieb des Transistors Q1 stören könnten. Wegen der hohen Spannungen, die durch den Thyristor und die hohe Rück-EMK an den Transistor Q2 angelegt bearbeitet wird, muss die letztere Transistor auf einem Kühlkörper montiert werden.
Die Kathode des Thyristors T1 ist über eine Leitung 65 an die gemeinsame negative Leitung 54 angeschlossen und die Anode ist über eine Leitung 66 zu der Mitte der Sekundärspule 67 einer ersten Stufe Transformators TR1 verbunden. Die beiden Enden der Transformatorspule 67 sind über Dioden D1 und D2 und eine Leitung 68 mit dem gemeinsamen negativen Leitung 54 verbunden, um eine Vollweggleichrichtung des Transformatorausgang bereitzustellen.
Erste Stufe Transformator T1 hat
drei Primärwicklungen 71, 72, 73
gewickelt ist zusammen mit Sekundärspule 67
um einen Kern 74. Dieser Transformator kann eine herkömmliche
Halbschalen-Bauweise mit einem Ferritkern ist. Die Sekundärspule auf einem Spulenkörper
angeordnet ist um den Kern und die Primärspulen 71 und 73 können bifilar über die Sekundärspule gewickelt werden
aufgewickelt werden. Die andere Primärwicklung 72 kann dann über die Spulen 71,
73. Primärspulen 71 und 73 sind an einer Seite durch
eine Leitung 75 zu der einheitlichen
positiven Potential Schaltungsleitung 53
und an ihren anderen Seiten durch die Linien 79, 81, die mit aufgewickelt werden die Kollektoren der
Transistoren Q3, Q4. Die Emitter der Transistoren Q3, Q4 sind ständig über eine Leitung 82 an die gemeinsame negative Leitung 54 ein Kondensator C6 ist zwischen den Leitungen 79
verbunden ist, 81 als Filter
verhindert jede Potentialdifferenz zwischen den Kollektoren der Transistoren Q3, Q4 wirken.
Die beiden Enden der Primärspule 72 sind durch Linien 83, 84 an die Basen der Transistoren Q3, Q4 verbunden. Diese Spule wird Zentrum durch eine Linie 85 über den Widerstand R9 mit der Plusleitung 53 und über den Widerstand R10 an die gemeinsame Minusleitung 54 verbunden tippte.
Wenn Strom zuerst an die Schaltung Transistoren Q3 und Q4 angelegt werden in ihren nichtleitenden Zustand und wird
dort kein Strom in der Primärspulen 71,
73 jedoch, der positive Strom in Leitung 53 wird über den Widerstand R9
ein Auslösesignal angelegt bereitzustellen mit dem Mittelabgriff der Spule 72 und diesem Signal arbeitet, um
alternative Hochfrequenzschwingung der Transistoren Q3, Q4, die in schnellen Wechselimpulse in der Primärspulen 71 führen wird ausgelöst, mit dem
Mittelabgriff der Spule 72 wird gesteuert
durch angewendet 73. Das Auslösesignal das Widerstandsnetzwerk mit
den Widerständen R9 und R10, sofern
seine Grße nicht ausreichend ist, um es zu ermöglichen, Q3 und Q4 gleichzeitig auslösen, aber ausreichend ist, um einen
jener Transistoren auszulösen. Daher nur
einer der Transistoren wird durch den Anfangsauslösesignal gezündet, um zu
bewirken, dass ein Strom durch die jeweilige Primärspule 71 oder 73. Die benötigte,
um den Transistor in den leitenden Zustand zu halten Signals viel geringer als
erforderlich, um es zunächst Triggerfluß, so daß, wenn der Transistor leitend
wird, ein Teil der mit dem Mittelabgriff der Spule 72 zugeführte Signal wird mit dem nicht-leitenden Transistor
umgeleitet werden, um sie auszulösen. Wenn der zweite Transistor so gebrannte
leitend wird, fließt Strom durch den anderen der Primärspulen 71, 73 fließen kann, und da die Emitter
der beiden Transistoren direkt miteinander verbunden sind, wird der positive
Ausgang des zweiten Transistors der Erst- verursachen gebrannt Transistor
abgeschaltet. Wenn der Strom durch den Kollektor des zweiten befeuerten
Widerstand Tropfen gezogen wird, wird ein Teil des Signals auf dem
Mittelabgriff der Spule 72 zurück zu
dem Kollektor des ersten Transistors, der erneut gebrannt wird umgeleitet. Es
wird gesehen werden, daß der Zyklus wiederholt dann unbegrenzt, so daß die
Transistoren Q3, Q4 abwechselnd
gefeuert und abgeschaltet in sehr rascher Folge. Somit fließen Stromimpulse in
abwechselnder Folge durch die Primärwicklungen 71, 73 bei einer sehr hohen Frequenz, wobei diese Frequenz konstant
und unabhängig von Änderungen der Eingangsspannung zu der Schaltung. Die sich
rasch alternierende Impulse in der Primärspulen 71 und 73, die so lange wie die Zündung weiterhin wird der Schalter
48 geschlossen bleibt, wird eine
höhere Spannung Signale bei der gleichen Frequenz in der Sekundärspule des
Transformators 67 erzeugt.
Ein Mulden Kondensator C5 durch einen Widerstand überbrückt R8 ist über eine Leitung 86 an die Leitung 66 von der Sekundärspule des Transformators TR1 verbunden und liefert das Ausgangssignal von diesem Transformator, der über eine Leitung 87 zu einer zweiten Stufe Transformators TR2 zugeführt wird.
Wenn Thyristor T1 ausgelöst leitend
wird die volle Gebühr von dump Kondensator C5
ist mit Stufen-Transformator TR2
zweiten freigelassen. Gleichzeitig die erste Stufe des Transformators TR1 aufhört, weil dieses momentanen
Kurzschlusses über sie und folglich Thyristor T1 Mitteilungen angeordnet, dh funktionieren wird nichtleitend.
Dies ermöglicht eine Ladung wieder in Dump Kondensator C5 zur Freigabe, wenn der Thyristor wird als nächstes durch ein
Signal von dem Transistor Q2
ausgelöst gebaut werden. Also während jedem der Intervalle, wenn der Thyristor
in seinen nichtleitenden Zustand die rasch alternierende Impulse in der
Primärspulen 71, 73 des
Transformators TR1 durch den kontinuierlich oszillierenden Transistoren Q3, Q4
Erzeugnis hergestellt, über die Transformatorkopplung relativ hohe Spannung von
Ausgangsimpulsen die bis zu bauen eine hohe Ladung in Kondensator C5, und diese Ladung plötzlich
freigegeben, wenn der Thyristor ausgelöst. In einer typischen Vorrichtung, die
ein 12-Volt-Gleichstrom Versorgungsbatterie Impulse in der Größenordnung von 22
Ampere bei 300 Volt kann in der Leitung 87
erzeugt werden.
Wie zuvor erwähnt Relais 58 ist in der Schaltung vorgesehen, um eine Verzögerung bei der Verbindung des Kondensators C2 mit dem gemeinsamen negativen Leitung 54. Diese Verzögerung bereitzustellen, wenn auch sehr kurz ist, ist ausreichend, um die Transistoren Q3, Q4 ermöglichen anschwingen zu Transformators TR1 zu bewirken, Aufbau einer Ladung im Kondensator C5 Dumping vor dem ersten Auslösesignal angelegt wird, um T1 Thyristor nach Entladung des Kondensators führen.
Transformator TR2 ist ein Abwärtswandler, der Impulse von sehr hoher Stromfluß bei niedriger Spannung erzeugt. Es wird in die Anode der elektrolytischen Zelle 41 aufgebaut und umfaßt eine Primärwicklung 88 und eine Sekundärspule 89 gewickelt um einen Kern 91 der Sekundärspule 89 ist aus schwerem Draht gebildet ist, um den großen Strom darin induziert Griff und seine Enden verbunden sind, direkt an die Anode 42 und Kathode 43 der elektrolytischen Zelle 41 in einer Weise, die unten beschrieben werden.
In einer typischen Vorrichtung, würde das Ausgangssignal von der ersten Stufe
Transformators TR1 300 Volt Pulse in
der Größenordnung von 22 Ampere bei 10.000 Impulse pro Minute und einem
Tastverhältnis von etwas weniger als 0,006 sein. Dies kann von einer
einheitlichen 12-Volt und 40 Ampere Gleichstrom Versorgung mit den folgenden
Schaltungskomponenten erzielt werden:
Components:
R1 2.7 k ohms 1/2 watt 2% Widerstand
R2 220 ohms 1/2 watt 2% Widerstand
R3 100 ohms 1/2 watt 2% Widerstand
R4 22 k ohms 1/2 watt 2% Widerstand
R5 100 ohms 1/2 watt 2% Widerstand
R6 220 ohms 1/2 watt 2% Widerstand
R7 1 k ohms 1/2 watt 2% Widerstand
R8 10 m ohms 1 watt 5% Widerstand
R9 100 ohms 5 watt 10% Widerstand
R10 5.6 ohms 1 watt 5% Widerstand
C1 2200 mF 16v Elektrolytkondensator
C2 2.2 mF 100v 10% Kondensator
C3 2.2 mF 100v 10% Kondensator
C4 1 mF 100v 10% Kondensator
C5 1 mF 1000v Ducon
Papierkondensator 5S10A
C6 0.002 mF 160v Kondensator
Q1 2N 2647 PN Unijunktionstransistor
Q2 2N 3055 NPN Silizium-Leistungstransistor
Q3 2N 3055 NPN Silizium-Leistungstransistor
Q4 2N 3055 NPN Silizium-Leistungstransistor
T1 btw 30-800 rm schnell
Abschaltthyristor
D1 a 14 p diode
D2 a 14 p diode
L1 Kontrollleuchte
Sv1 kontinuierlich bewertet Magnet
Rl1 pw5ls hermetisch dichte Relais
Ps1 p658a-10051 Druck betriebenen
Mikroschalter
Tr1 halbe Tasse Transformatorkerne 36/22-341
Spulenkörper 4322-021-30390 Wunde bereitzustellen einem Windungsverhältnis zwischen Sekundär- und Primär von 18:1
Sekundärspule
67 = 380 Umdrehungen
Primärspule 71 = 9 Umdrehungen
Primärspule 73 = 9 Umdrehungen
Primärspule 72
= 4 Umdrehungen
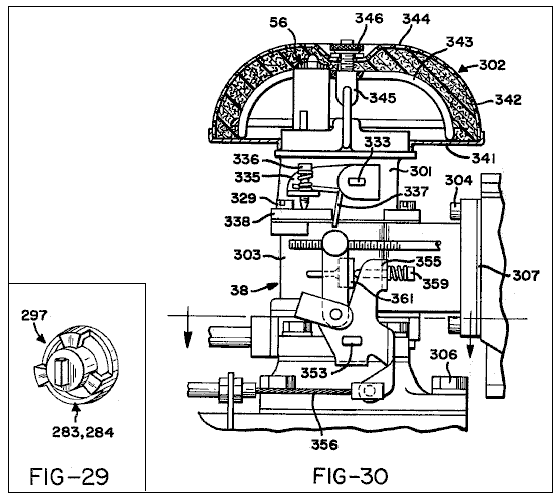
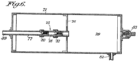
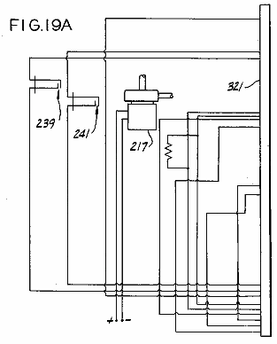
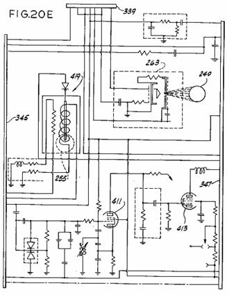
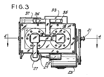
Die Installation der obigen Schaltungskomponenten ist in Fig.3 bis Fig.13 dargestellt. Sie sind in und an einem Gehäuse, das allgemein als 101 bezeichnet ist und die an einer Seitenwand des Fahrzeugmotorraum 32 über eine Halterung 102 Gehäuse 101, das als ein Aluminiumgussteil ausgebildet sein kann befestigt montiert ist, weist eine Vorderwand 103, obere und untere Wände 104, 105 und Seitenwände 106, 107. Alle diese Wände haben externe Kühlrippen. Die Rückseite des Gehäuses 101 ist durch eine Leiterplatte 108, die in ihrer Position durch einen umlaufenden Rahmen 109 aus einem isolierten Kunststoffmaterial zwischen der Leiterplatte und die Montagehalterung 102, eine Isolationsfolie gespannt gebildet 111 des Korkens zwischen den gehaltenen geklemmt gehalten geschlossen Rahmen 109 und die Halterung 102.
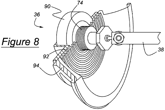
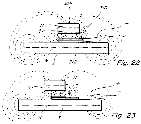
Die Leiterplatte 108 trägt alle oben genannten Schaltungskomponenten mit Ausnahme der Kondensator C5 und Transistoren Q3 und Q4. Fig.5 veranschaulicht die Position, in welcher der Transistor Q2 und die Spulenanordnung 112 des Transformators TR1 auf der gedruckten Leiterplatte montiert. Transistor Q2 müssen erhebliche Wärmeentwicklung zu widerstehen und es wird daher auf einem speziell konstruierten Kühlkörper 113 an die Leiterplatte 108 festgeklemmt durch Klemmschrauben 114 und Muttern 115. Wie am deutlichsten in Fig.7 und Fig.8 dargestellt montiert, Kühlkörper 113 weist eine flachen Grundplattenabschnitt 116, der im allgemeinen diamantförmig ist und eine Reihe von stabförmigen Kühlrippen 117 Projekts zu einer Seite der Grundplatte um ihren Umfang herum. Es hat ein Paar von Senkbohrungen 118 der Klemmschrauben und ein ähnliches Paar von Löchern 119, um die Verbindungsstifte 121, die den Transistor Q2 an die Leiterplatte zu verbinden empfangen. Löcher 118, 119 sind mit Nylonbuchsen 122 und einem Formica Blatt 123 ist zwischen dem Transistor und dem Kühlkörper montiert ausgekleidet, so dass das Waschbecken von dem Transistor elektrisch isolierte.
Die Spulenanordnung 112 des
Transformators TR1 (siehe Fig.9) aus einem Gehäuse 124, die Transformatorspulen und den
damit verbundenen Kerns und erstere und von einem Kunststoffschließplatte 125.
Zur Klarheit sind die anderen Schaltungskomponenten auf der Leiterplatte 108 montiert sind, in den Zeichnungen nicht dargestellt. Diese sind kleine Komponenten und die Art und Weise, in der sie angebracht sein, damit die Leiterplatte vollständig herkömmlich sein.
Kondensator C5 ist innerhalb des Gehäuses 101. Genauer gesagt ist in einer Position zwischen einem Flansch 131, der sich vom Boden 105 des Gehäuses und eine Klemmfläche 132 durch eine Klemmschraube 133, die in einer Gewindebohrung im Gehäuse montiert ist, in Eingriff steht geklemmt montiert Seitenwand 106 und wird in Position durch eine Sperrschraube 134 Flansch 131 hat zwei Löcher 135 (siehe Fig.6), in dem die Anschlußvorsprünge 136 der Kondensator C5 sind, beherbergt. Die Anschlussstifte 137 aus Bosse 136 vorstehen, sind an der Anschlussplatte 108 durch Drähte (nicht gezeigt) und entsprechende Verbindungsstifte, die durch Löcher in der Leiterplatte erstrecken und an die entsprechenden Leiterbahnen auf der anderen Seite dieser Platine verlötet.
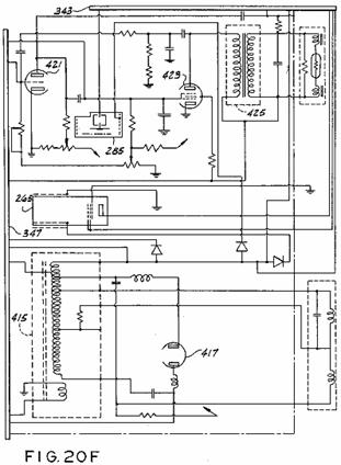
Die
Transistoren Q3 und Q4 sind an der
Vorderwand 103 des Gehäuses 101, so daß der gerippte Hülle dient
als verlängerter Wärmesenke für diese zwei Transistoren angebracht. Sie sind an
der Gehäusewand angebracht ist und elektrisch mit der Leiterplatte in gleicher
Weise verbunden sind, und dies wird von Fig.10,
die die Montage des Transistors Q3
zeigt illustriert. Wie in dieser Figur gezeigt, wird der Transistor in seiner
Position durch Klemmschrauben 138
und Muttern 139 eingeklemmt ist,
welche auch dazu dienen, elektrische Verbindungen mit den entsprechenden
Leitern der Leiterplatte über die Leiterdrähte 141. Den dritten Anschluss
von dem Emitter des Transistors auf der liefern gemeinsamen negativen Leiter
der gedruckten Schaltung durch Leiter hergestellt 142. Schrauben 130 und
den Leiter 142 erstrecken sich durch
drei Öffnungen in der Gehäusevorderwand 103
und diese Löcher sind mit einem elektrisch isolierenden Nylonbuchsen 143, 144 ausgekleidet wird. Eine Formica Blatt 145 zwischen dem Gehäuse eingeklemmt
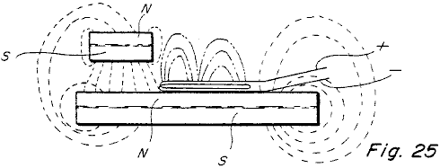
Druck betrieben Mikro 52 ist auf
einer Halterung 147 nach innen von
der Vorderwand 103 des Gehäuses
vorsteht montiert 101 angrenzend an
die obere Wand 104 des Gehäuses und
der Drucksensoreinheit 148 für
diesen Schalter ist in einer Öffnung 149
durch die obere Wand 104. Wie am
deutlichsten installiert in Fig.11
zu sehen ist, wird die Druckerfassungseinheit 148 aus zwei im allgemeinen zylindrischen Körper 150, 151, zwischen denen eine flexible
Membran 152 ist eingespannt, um eine
Membrankammer 153. Der Gasdruck des Fühlrohr 63 liefern über eine an die Kammer 153 angelegt umfasst Durchgang kleinen Durchmessers 154 des Körperelements 150 und einen größeren Durchgang 155 in einem Kappenteil 156. Das Kappenelement und die Körperelemente
aneinander befestigt und festgeklemmt, um den oberen Gehäuseplatte 104 mit Hilfe von Spannschrauben 157 Fühlrohr 63 ist mit dem Durchgang 155
in Kappenelements 156 durch eine
sich verjüngende Gewindeanschluss 158
und die Schnittstelle zwischen Kappenelements 156 und des Körperglieds 150
wird durch einen O-Ring 159
abgedichtet.
Das untere Ende des Körperteils 151
der Drucksensoreinheit 148 weist eine
mit Innengewinde versehene Öffnung, die eine Schraube 161, die an ihrem unteren Ende als eine gebildete, außen verzahnten
Stellrades 162. Ein
Schalterbetätigungs Kolben 163
erstreckt sich durch eine zentrale Bohrung in Anpassung erhält Rad 162, so daß sie an einem Ende die
flexible Membran 152 und an dem
anderen Ende das Antriebselement eingreift 164
des Mikroschalters 62. Das Ende des Kolbens 163, die die Membran einen Flansch 165 als ein Druckpolster und eine Schraubendruckfeder dienen
eingreift 167 umgibt Kolben 163 zwischen dem Flansch 165 und dem Stellrad 162 zum Vorspannen des Kolbens nach
oben gegen die Wirkung des Gasdrucks auf die Membran wirkende 152 in der Kammer 153. Der Druck, bei dem
Diaphragma 152 wird Plunger 163 nach unten gegen die Wirkung der
Feder 167 zu zwingen handeln zu
bewirken, dass die Betätigung des Schalters 62 kann durch sich drehende Schnecke 161 und die Einstellung dieser Schraube kann durch eine
Einstellschraube 168 in einer
Gewindebohrung in dem oberen Teil der Gehäusevorderwand 103 angebracht gehalten und nach innen vorstehen, um zwischen
aufeinanderfolgenden Zähnen passen variiert werden Stellrades 162.
Nach korrekter Einstellung der Schraube 161 wird erreicht Stellschraube 168 wird in seiner Position durch Klemmschraube 169, die dann durch eine permanente
Dichtung 170 abgedichtet, um
Manipulationen zu verhindern, verriegelt werden. Mikroschalter 62 ist auch elektrisch mit den
entsprechenden Leitern der Leiterplatte verbunden über Leitungen innerhalb der
Gehäuse und Steckerstifte.
Elektrische Verbindungen werden zwischen den Leitern der Leiterplatte 108 und die interne Verdrahtung der Schaltung über einen Klemmenblock 150 (Fig.12) in einer Öffnung des Gehäusebodens 105 durch Schrauben 160 eingestellt hergestellt und mit Anschlussplatten 140 montiert.
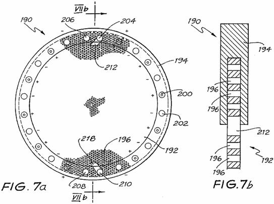
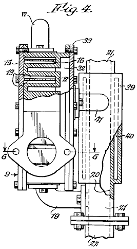
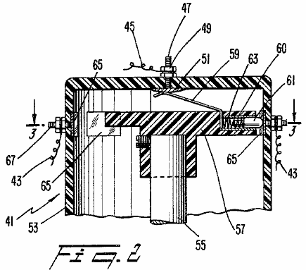
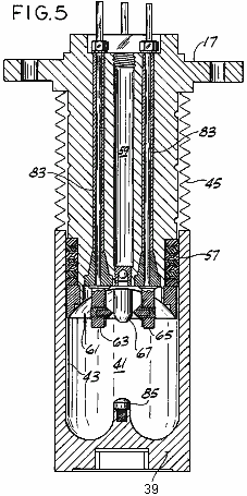
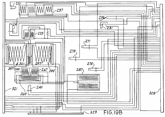
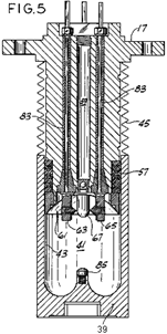
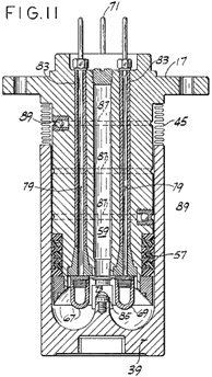
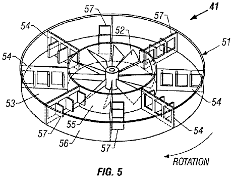
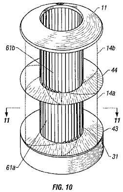
Die physische Herstellung der elektrolytische Zelle 41 und die zweite Stufe Trafo TR2
ist in Fig.13 bis Fig.29
dargestellt. Die Zelle besteht aus einem äußeren Gehäuse 171 mit einer röhrenförmigen periphere Wand 172 und oben und unten Verschlüsse 173, 174. Unteren Verschluss
174 umfasst eine gewölbte Decke 175 und eine elektrisch isolierte Scheibe
176, die an das Ende der peripheren
Wand 172 von Umfangsrichtung Abstand
spannen gehaltenen Ohrstecker 177. Spitze Schließung 173 besteht aus ein paar Deckplatten 178, 179, von Angesicht zu Angesicht zu entsorgen und Besitz
Umfangsrichtung Abstand Klemmhebel Ohrstecker 181 in Bohrungen im oberen Ende des peripheren Wand 172 eingeschraubt. Die periphere Wand des Gehäuses wird mit
Kühlrippen 180 angeboten.
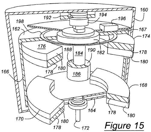
Die Anode 42 der Zelle ist in der Regel Stahlrohr-Formation. Es wird vertikal innerhalb der Außenmantel und wird zwischen den oberen und unteren Isolatoren 182, 183 geklemmt. Oberen Isolator 182 verfügt über einen zentralen Chef Teil 184 und eine ringförmige Peripherie Flansch 185 am äußere Rand davon zwischen oberen Verschluss Platte 179 und am oberen Ende des peripheren Wand 172 geklemmt ist. Untere Isolator 183 hat einen zentralen Chef Teil 186, einen ringförmigen Flansch-Teil rund um den Chef-Teil und einen äußeren Stahlrohr Teil 188 aufstehen vom äußeren Rand der Flansch Teil 187 187. Isolatoren 182, 183 werden aus einem elektrisch isolierenden Material gefertigt, die auch Alkali resistent ist. Polytetrafluorethylen ist ein geeignetes Material.
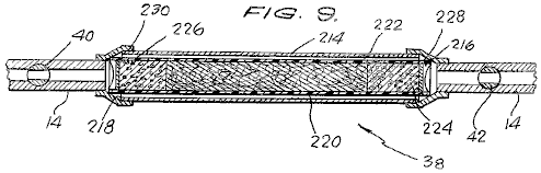
Wenn durch die obere und untere Verschlüsse, Isolatoren 182, zusammengehalten bilden 183 einen Gehäuse in die, den Anode 42 und die zweite Stufe Trafo TR2 entsorgt werden. Anode 42 ist in der Regel Stahlrohr-Formation, und es wird einfach zwischen Isolatoren 182, 183 mit seiner zylindrischen innere Peripherie befindet sich die Chef-Teile 184, 186 von diesen Isolatoren geklemmt. Sie bildet eine Transformator-Kammer, wird durch die Boss-Teile von zwei Isolatoren geschlossen und die mit einem geeigneten Transformatoröl gefüllt ist. O-Ring Dichtungen 190 sind zwischen den zentralen Bosse der Isolator-Platten und die Anode ausgestattet, Verlust des Öls aus der Transformator-Kammer zu verhindern.
Der Transformator Kern 91 wird als eine laminierte mild-Stahl-Stange des quadratischen Abschnitt gebildet. Es wird vertikal zwischen der Isolator Chef Teile 184, 186, und dessen Enden befinden sich in Vertiefungen in die Chef-Teile. Der primäre Transformator wickeln 88 ist nach dem First-Wunde tubuläre ehemalige 401 direkt auf tailliert core 91, während die sekundäre wicklung 89 auf eine zweite tubuläre ehemalige 402 um nach außen hin von der primären wicklung innerhalb der Öl-gefüllte Transformator-Kammer verteilt werden gewickelt ist.
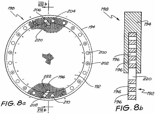
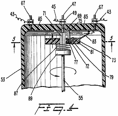
Die Kathode 43 in Form eines in Längsrichtung geschlitzten Rohr, das in dem
Umfangswandabschnitt 183 eingebettet
ist, wobei diese durch Formen des Isolators um die Kathode erreicht. Die
Kathode weist acht gleich beabstandete Längsschlitze 191, so daß sie im wesentlichen aus acht Kathodenstreifen 192 zwischen den Schlitzen angeordnet
sind, oben und unten nur, wobei die Schlitze mit dem isolierenden Material des
Isolators 183 gefüllt sind und
miteinander verbunden sind.
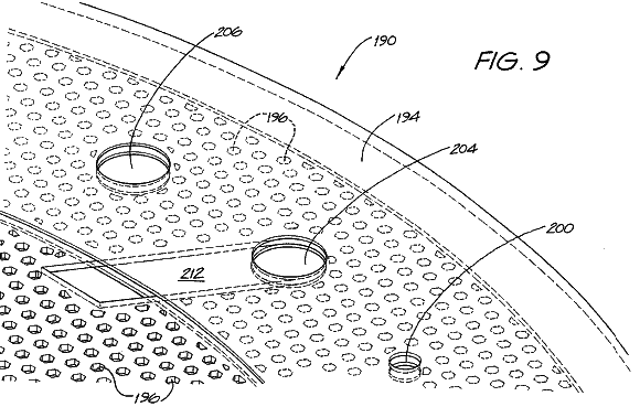
Sowohl die Anode und die Kathode aus Nickel plattierten Flussstahl. Der Außenumfang der Anode wird bearbeitet zu acht in Umfangsrichtung beabstandeten Nuten 193, die bogenförmigen Wurzeln Treffen auf scharfe Kämme haben oder Rippen 194 zwischen den Rillen definiert zu bilden. Die acht Anoden Kämme 194 sind radial in der Mitte der Kathodenstreifen 192 und dem Umfang der Anode gemessen entlang seiner Außenfläche ausgerichtet ist gleich den kombinierten Breiten der, gemessen an den inneren Oberflächen dieser Streifen Kathodenstreifen, so daß über den Hauptteil ihrer Länge der Anode und Kathode gleiche wirksame Flächen. Dieser Ausgleich von Bereichen im allgemeinen nicht zur Verfügung standen in zylindrischen Kunst Anoden / Kathodenanordnungen vor.
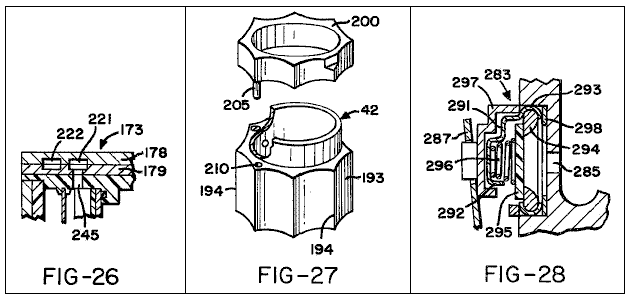
Wie am
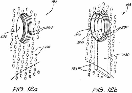
deutlichsten in Fig.27 zu sehen ist
das obere Ende der Anode 42 wird
entlastet und mit einem ringförmigen Kragen 200 der Außenumfang, der so geformt ist, um eine Verlängerung der
Außenumfangsfläche der Riffel Anode bilden ausgestattet. Dieser Kragen ist aus einem elektrisch
isolierten Kunststoffmaterial, wie Polyvinylchlorid oder Teflon gebildet. Ein
Positionierungsstift 205 erstreckt
sich durch den Kragen 200 nach oben
in eine Öffnung im oberen Isolationsplatte 182
vorsteht und nach unten in einem
Der ringförmige Raum 195 zwischen
der Anode und der Kathode dient als Elektrolytlösungskammer. Zunächst diese
Kammer ungefähr 75% voll mit einer Elektrolytlösung von 25% Kaliumhydroxid in
destilliertem Wasser gefüllt. Da der Elektrolysereaktion schreitet Wasserstoff-
und Sauerstoffgase sammeln sich im oberen Teil dieser Kammer und Wasser wird
zugegeben, um das Niveau der Elektrolytlösung in der Kammer aufrechtzuerhalten.
Isoliermanschette 200 schirmt die
Kathode im oberen Bereich der Kammer, wo Wasserstoff und Sauerstoffgase zu
sammeln, um jede Möglichkeit der Lichtbogenbildung durch diese Gase zwischen
der Anode und der Kathode zu verhindern.
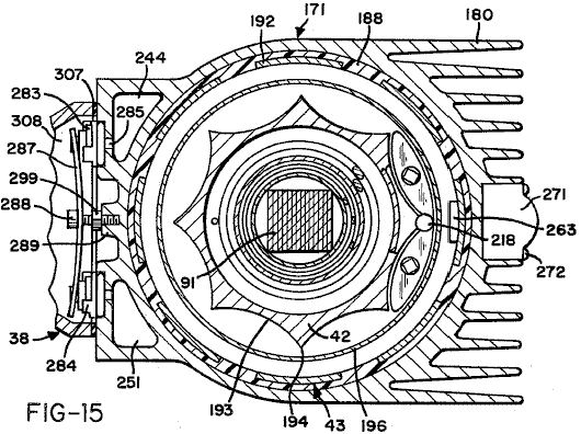
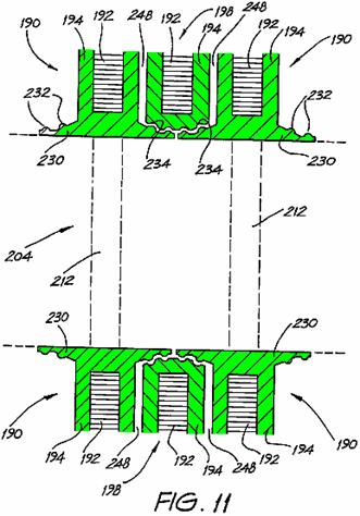
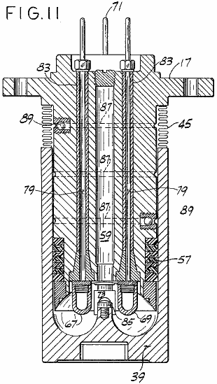
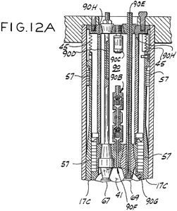
Elektrolytkammer 195 ist durch eine röhrenförmige Membran 196 von gewebten Nylongittermaterial 408 erstreckte sich über einen rohrförmigen Spulenkörper 197 aus sehr dünnem Blech gebildet unterteilt. Wie am deutlichsten in Fig.20 und Fig.21 dargestellten früheren 197 hat obere und untere Randabschnitte 198, 199 von in Umfangsrichtung beabstandeten Streifenabschnitte 201. Die Nylonmaschenmaterial 408 kann einfach auf der oberen gefaltet und unteren Isolatoren 182, 183 so verbunden, daß erstere von allen anderen Komponenten der Zelle elektrisch isoliert. Material 408 hat eine Maschenweite, die so klein sind, daß die Maschenöffnungen nicht passieren Blasen von mehr als 0,004 Zoll (0.1016 mm) Durchmesser und das Material kann daher als Barriere gegen Vermischen von Wasserstoff und Sauerstoff an der Kathode und Anode erzeugten dienen jeweils während sie die Elektrolyt ist Stromfluss zwischen den Elektroden. Der obere Randbereich 198 der Membran 197 ehemaligen ist tief genug, um eine feste Barriere, durch die Tiefe des Gassammelraum oberhalb der Elektrolytlösung Ebene bilden, so dass es zu keiner Vermischung von Wasserstoff und Sauerstoff in dem oberen Teil der Kammer ist.
Frischwasser wird über ein Einlassanschlussstück 211 in der oberen Verschlußplatte 178. Die Elektrolytlösung strömt von der äußeren zu den inneren Abschnitten der Kammer 195 durch das Maschenmembran 408 ausgebildet ist, in den äußeren Abschnitt der Kammer 195 aufgenommen.
Düse 211 weist einen Strömungskanal 212, die sich zu einer Elektrolyteinlassventil 213 durch einen Schwimmer 214 in Kammer 195 gesteuert Ventil 213 umfasst eine Hülse 215 innerhalb einer Öffnung, die sich nach unten durch die obere Verschlussplatte 179 und der umlaufenden Flansch 185 des oberen Isolators 182 und montiert Bereitstellen eines Ventilsitz zusammenwirkende Ventilnadel 216 mit Nadel 216 ruht auf einer Unterlage 217 auf dem oberen Ende des Schwimmers 214 so, daß, wenn die Elektrolytlösung auf dem geforderten Niveau der Schwimmer hebt die Nadel fest gegen den Ventilsitz. Der Schwimmer vertikal gleitet auf einem Paar von quadratischen Abschnitt Gleitstangen 218, die sich zwischen den oberen und unteren Isolatoren 182 und 183. Diese Stäbe, die aus Polytetrafluorethylen gebildet ist, kann sich durch entsprechende Löcher 107 durch den Schwimmer werden.
Die Tiefe der Schwimmer 214 ist so
gewählt, daß die Elektrolytlösung füllt nur etwa 75% der Kammer 195, so dass der obere Teil der Kammer
als Gasraum, die eine Ausdehnung des erzeugten Gases durch die Erwärmung in der
Zelle unterbringen kann.
Elektrolyse der Elektrolytlösung in der Kammer 195 verläuft, wird Wasserstoffgas an der Kathode und Sauerstoff an der Anode produziert. Diese Gase Blase nach oben in das obere Teil der Kammer 195, wo sie in den inneren und äußeren Kammern getrennt bleiben Membran definiert, und es ist anzumerken, daß die Elektrolytlösung eintritt, dass ein Teil der Kammer, die mit Sauerstoff gefüllt ist, anstatt Wasserstoff so gibt es werden keine Möglichkeit einer Leckage von Wasserstoff wieder durch den Elektrolyten Einlaßdüse.
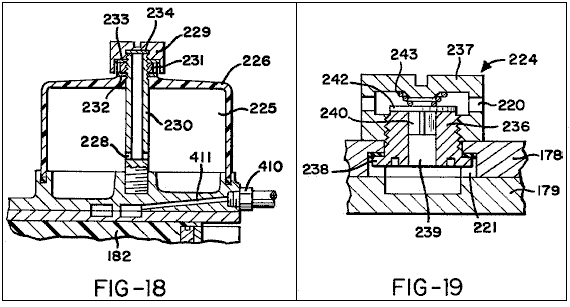
Die Stoßflächen der oberen Verschlussplatten 178, 179 haben zusammenpassende Ringnuten bilden innerhalb des oberen Verschluß inneren und äußeren Gassammeldurchlässe 221, 222 Außendurchgang 222 ist kreisförmig, und es mit dem Wasserstofffach Kammer 195 über acht Ports 223 sich nach unten kommuniziert durch die obere Verschlußplatte 179 und dem peripheren Flansch des oberen Isolators 182 durch ein Einwegventil 224 (Fig.19) in ein Reservoir 225, bereitgestellt durch die benachbarten Kathodenstreifen 192. Das Wasserstoffgas strömt nach oben durch Öffnungen 223 in den Kanal 222 und von dort nach oben ein Kunststoffgehäuse 226 durch eine Dichtung 227. Der untere Teil des Gehäuses 114 über einen Mittelzapfen 229 und versiegelt, um obere Verschlussplatte 178 verschraubt ist mit Wasser gefüllt. Stud 229 ist hohl und sein unteres Ende eine Queröffnung 228, so daß beim Entfernen einer Verschlußkappe 229 von ihrem oberen Ende kann als ein Filter, der nach unten von Wasser in das Stausee 225. Kappe 229 paßt über eine Mutter zu gießen verwendet werden 231, welche die Klemmwirkung am Kunststoffgehäuse 226 und elastische Dichtungen 232, 233 und 234 stellt zwischen der Mutter und dem Deckel zwischen der Abdeckung und der Mutter und zwischen der Kappe und dem oberen Ende des Bolzens 229 angebracht.
Einwegventil 224 eine Buchse 236, die nach unten in den ringförmigen
Wasserdurchgang 221 vorsteht und
weist einen Ventilkopfteil 237
Schraube an ihrem oberen Ende versehen, um Klemmwirkung auf obere
Verschlussplatte 178 zwischen dem
Kopfteil und einem Flansch 238 an
der liefern umfaßt unteren Ende der Buchse 236
Buchse 236 hat eine zentrale Bohrung
239, wobei das obere Ende davon
empfängt den rautenförmigen Querschnitt Schaft eines Ventilelements 240, die auch einen
Ventilplattenabschnitt 242 gegen das
obere Ende der Buchse vorgespannt ist durch die Druckfeder 243. Das Ventilelement 240 wird gegen die Wirkung der Feder 243 durch den Druck des
Wasserstoffgases in dem Durchgang 221
angehoben wird, um damit das Gas in das Innere der Ventilkopf 237 sich durch Öffnungen 220 in dem Element in das Stausee 225 übergeben und dann.
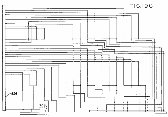
Wasserstoff wird aus dem Stausee 225 über eine Edelstahl krummen Rohres 241, das mit einem Durchgang 409. Durchgang 409 erstreckt sich auf einen Port 250, die sich durch die Deck- und Bodenplatten der Schließung erweitert 178, 179 und oberen Isolators 182 verbindet zurückgezogen vertikal innerhalb des Gießens Gehäuses 171. Kanal 244 einen dreieckigen Querschnitt aufweist. Wie nachfolgend erläutert wird, durchläuft der Wasserstoff aus diesem Kanal in eine im Gas Misch- und Abgabeeinheit 38, die mit dem Gehäuse verschraubt ist 171 definierten Mischkammer.
Sauerstoff wird von der Kammer 195
über den inneren Ringdurchgang 221
in dem Verschluss oben zurückgezogen.
Passage 221 nicht
kreisförmig, sondern hat eine ausgebogte Konfiguration um den Wassereinlaß
erstrecken. Sauerstoff wird es durch acht Ports 245 durch obere Verschlussplatte 179 und dem ringförmigen Flanschabschnitt des oberen Isolators 182 erweitert Der Sauerstoff nach oben
von Durchgang 222 fließt durch ein
Einwegventil 246 und in einen
Vorratsbehälter 260 durch ein
Kunststoffgehäuse 247 zur Verfügung
gestellte Anordnung ist ähnlich der für den Entzug von Wasserstoff und wird
nicht im Detail beschrieben. Es genügt zu sagen, dass der Boden der Kammer mit
Wasser gegeben und der Sauerstoff wird durch eine gekrümmte Röhre 248, einen Auslasskanal 249 in obere Verschlussplatte 178 und einem Anschluss, der nach unten
durch Verschlussplatten 178, 179 und
oberen Isolator 182 erstreckt
zurückgezogen in einen dreieckigen Querschnitt Sauerstoffleitung 251, die sich vertikal innerhalb des
Gehäuses 171 gegenüberliegend
angeordnet Wasserstoffleitung 244. Der Sauerstoff wird auch für die Gasmischungskammer
der Misch- und Fördereinheit 38
geliefert.
Die Druckfühlrohr 63 zum Schalter 62 ist über einen sich verjüngenden Gewindeanschluss 410 und einen Durchgang 411 im oberen Verschlussplatte 178 direkt an der ringförmigen Wasserdurchgang 222. Wenn der Druck in dem Durchgang über einen vorbestimmten Pegel ansteigt verbunden Schalter 62 betätigt wird um den Kondensator C2 von der gemeinsamen Minusleitung 54. Dadurch wird der negative Signal von dem Kondensator C2, die notwendig ist, um einen kontinuierlichen Betrieb der Impulserzeugungsschaltung zur Erzeugung der Triggerimpulse Thyristor T1 und diese Zündimpulse daher eingestellt aufrechtzuerhalten trennen. Der Transformator TR1 weiterhin in Betrieb bleiben Dumping Kondensator C5, sondern verlangen, weil Thyristor T1 nicht getriggert Dumping Kondensator C5 wird einfach bleiben, bis der Wasserstoffdruck in dem Kanal 222 geladen wird, und somit in der Kammer 195 unter den vorbestimmten Pegel und Zündimpulse angelegt werden werden, noch einmal, um T1 Thyristor. Druckbetätigter Schalter 62 steuert somit die Geschwindigkeit der Gasproduktion nach der Geschwindigkeit, mit welcher es zurückgezogen ist. Die Steifigkeit der Steuerfedern zur Gasaustrittsventile 224, 246 muss natürlich so gewählt werden, um das Entweichen des Wasserstoffs und Sauerstoff in den Verhältnissen, in denen sie durch die Elektrolyse erzeugt wird, dh in den Verhältnissen 2:1 zu nach Volumen.
Stauseen 225, 260 werden als Sicherheitsmaßnahme vorgesehen. Wenn eine plötzliche Gegendruck in den Druckleitungen entwickelt war dies nur bruch das Kunststoffgehäuse 226, 247 und nicht zurück in die Elektrolysezelle übertragen werden. Schalter 62 würde dann arbeiten, um weitere Erzeugung von Gasen innerhalb der Zelle zu stoppen.
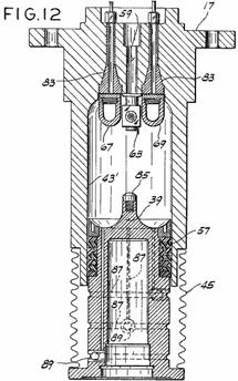
Die elektrischen Anschlüsse der Sekundärtransformatorspule 89 an die Anode und die Kathode sind in Fig.14 gezeigt. Ein Ende der
Spule 89 ist als Draht 252, der in ein Sackloch in der
Innenfläche der Anode, wo er durch eine Madenschraube 253 in eine Gewindebohrung eingeschraubt gegriffen erstreckt sich
vertikal in die Anode unterhalb Kragen 200. Eine verjüngte Nylon ausgedehnt Stecker 254 ist über Schrauben 253 befestigt, um gegen den Verlust von
Öl aus dem Inneren der Anode abzudichten.
Das andere Ende der Spule 89
als Draht 255 verlängert, um durch
eine Messingbuchse 256 in der
Bodenisolator 183 horizontal
übergeben und dann das Gehäuse 171
zwischen der unteren isolierenden Platte 176
und des Isolators 183 zu verlassen.
Wie am deutlichsten in Fig.23 gezeigt ist, hat Messingbuchse 256 einen Kopf-Flansch 257 und an seinem unteren Ende mit einer Mutter 258, wodurch diese fest eingespannt befestigt. Dichtungen 259, 261 befinden sich unterhalb Kopfflansch 257 und vor Mutter 258 angeordnet.
An der Stelle, an der Draht 255 wird horizontal ausgedehnt, um das Gehäuse der oberen Fläche der Scheibe 176 zu verlassen und die untere Fläche des Isolators 183 sind genutet zu empfangen und zu klemmen auf den Draht. Scheibe 176 und des Isolators 183 sind ebenfalls radial nach außen an dieser Stelle erweitert, Laschen, die sich erstrecken unter Gehäuse 171 zu bilden und eine korrekte Isolierung der Draht durch an der äußeren Peripherie des Gehäuses.
Außerhalb des Gehäuses wird der Draht 255
zu einer Kathodenanschlussschraube 262
Anschlußbolzen 262 verbunden hat
einen Kopf, der in einer Fassung in separaten Kopfteil 263 geformt, um den zylindrisch gekrümmten Innenumfang der Kathode
und vernickelt einem chemischen Angriff wider passen empfangen wird durch die
Elektrolytlösung. Der Schaft des
Anschlußbolzens erstreckt sich durch Öffnungen in der Kathode und der
Umfangswandabschnitt 188 des
Isolators 183 und Luft Isolierbuchse
in einer ausgerichteten Öffnung in der Gehäusewand 172. Der Kopfteil 263
des Anschlußbolzens angebracht ist gegen die innere Peripherie des gezogenen
die Kathode durch Anziehen einer Spannmutter 265 und dem Ende des Drahtes 255
eine Öse, die durch Festziehen einer Klemme Endmutter 267 eine Unterlegscheibe 268
zwischen der Mutter 265 und eine
Unterlegscheibe 266 eingespannt ist
zwischen der Mutter 265 vorgesehen
ist und die Bürste 264 und einen
Dichtungs O-Ring 269 ist in einer
ringförmigen Nut im Schraubenschaft versehen, um den Innenumfang der Hülse, um
ein Entweichen der Elektrolytlösung zu verhindern, in Eingriff. Die
Terminal-Verbindung wird durch eine Abdeckplatte 271 in Position gehalten durch Befestigungsschrauben 272 bedeckt.
Die beiden Enden der Primärtransformatorspule 88 sind mit den Leitungen 273, 274, die nach oben durch den mittleren Teil des oberen Isolators 183. Erweitern Streifen Die oberen Enden der Leiter 273, 274 nach oben ragen als Pins in einem Sockel 275 in der Spitze gebildet der obere Isolator 183. Die Oberseite Buchse 275 ist durch eine Abdeckung 276, die durch einen Mittelzapfen 277 und durch den gehaltenen Drähte 278, 279 von der externen Schaltung sind erweitert und mit den Leitern 273 verbunden sind geschlossen, 274 durch Steckhülsen 281, 282.
Die in Fig.14 gezeigte Wandleranschlüsse sind in Übereinstimmung mit der Schaltung von Fig.2, das heißt die Enden der Sekundärwicklung 89 sind direkt zwischen der Anode und der Kathode verbunden ist. Transformator TR2 ist ein Abwärtstransformator und der Annahme einer Eingabe von Impulsen von 22 Ampere bei 300 Volt und eine Spule Verhältnis zwischen Primär- und Sekundärseite 10:1 Ausgang, zwischen der Anode und der Kathode wird Impulse von 200 Ampere bei werden aufgetragen eine niedrige Spannung in der Größenordnung von 3 Volt. Die Spannung wird auch über die für die Elektrolyse, fortzufahren und die erzielten sehr hohen Strom erzeugt eine hohe Ausbeute an Wasserstoff und Sauerstoff erforderlich. Die rasche Einleitung von Energie, die den großen Stromfluss erzeugt wird durch eine Abgabe von Wärme begleitet. Diese Energie wird nicht ganz verloren gehen, dass die daraus folgende Erwärmung der Elektrolytlösung erhöht die Mobilität der Ionen, um die Geschwindigkeit der Elektrolyse zu erhöhen neigt.
Die Konfiguration der Anode und der Kathodenanordnung der Elektrolysezelle 41 von erheblicher Bedeutung ist. Die
geriffelten Außenumfang der Anode bewirkt eine Konzentration des Stromflusses,
die eine bessere Gasausbeute während einer gegebenen Elektrodenfläche
erzeugt. Diese besondere Konfiguration
bewirkt auch, dass der Oberflächenbereich der Anode zu verlängern und gestattet
eine Anordnung, bei der die Anode und die Kathode gleichOberflächenBereichen,
um elektrische Verluste zu minimieren wünschenswerteste ist. Es ist auch
wünschenswert, dass die Anoden- und Kathodenoberflächen, bei dem Gas erzeugt
wird aufgeraut werden, beispielsweise durch Sandstrahlen. Dies fördert die
Trennung der Gasblasen von den Elektrodenoberflächen und vermeidet die
Möglichkeit von Überspannungen.
Die Anordnung der sekundären Transformator, bei dem die zentrale Anode von der Kathode umgeben wird, ist ebenfalls von großer Bedeutung. Die Anode, die aus einem magnetischen Material hergestellt ist, wird durch das Magnetfeld des Transformators TR2 beaufschlagt zu werden, während der Periode der Erregung der genannten Transformators, einer starken Leiter des magnetischen Flusses. Dies wiederum erzeugt ein starkes Magnetfeld in dem Zwischenelektrodenzwischenraum zwischen der Anode und der Kathode. Es wird angenommen, daß dieses Magnetfeld erhöht die Mobilität der Ionen in Lösung, wodurch die Leistungsfähigkeit der Zelle zu verbessern.
Der durch den Transformator TR2 erzeugte Wärme wird über die Anode zu der Elektrolytlösung durchgeführt, und erhöht die Mobilität der Ionen innerhalb des oben erwähnten Elektrolytlösung. Die Kühlrippen 180 sind an dem Gehäuse 171 in Ableitung unterstützen überschüssigen erzeugten Wärme versehen ist. Die Position des Transformators innerhalb der Anode ermöglicht auch die Anschlüsse der Sekundärspule 89 an die Anode und Kathode, um kurze, gut geschützt Leitern erfolgen.
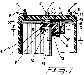
Wie oben in der Elektrolysezelle 41 erzeugte Wasserstoffgas und Sauerstoff genannten und in den Kanälen 244 gesammelt wird 251 zu einer Gasmischungskammer der Misch- und Fördereinheit 38. Genauer gesagt, werden diese Gase von den Kanälen 244, 251 geliefert über Fluchtventile zuge 283, 284 (Fig.15), die in einer Position über Auslaöffnungen 285, 286 aus den Kanälen durch eine Blattfeder 287. die äußeren Enden der Feder 287 gehalten werden, in Eingriff mit den Ventilen 283, 284 und der mittlere Teil der Feder ist sich nach innen durch einen Klemmbolzen 288 in einer Chef 289 in dem Zellengehäuse 171 gebildet in eine Gewindebohrung eingeschraubt verneigte.
Das Ventil 283 ist in Fig.28 und Fig.29 detailliert und
Ventil 284 ist identisch aufgebaut.
Ventil 283 umfaßt einen inneren
Ventilkörper 291 mit einem
Kappenteil 292 und eine ringförmige
Stirnringabschnitt 293, der einen
ringförmigen Ventilsitz 294 besitzt
eine Ventilscheibe 295 durch eine
Ventilfeder 296 gegen das Umsetzen
des Kappenabschnitts 292 gegen den
Ventilsitz vorgespannt ist. eine äußere Ventilabdeckung 297 paßt um das innere Element 291
und wird durch die Feder 287 in
Eingriff, um das innere Element fest in eine Buchse in der Wand des
Zellengehäuses zu zwingen so die Wasserstoffabgabeöffnung 285. Der Endring Abschnitt 293 der inneren Abdeckung Körperteil
Betten auf einer Dichtung 298 in der
Buchse.
Während des normalen Betriebs der Vorrichtung die Ventile 283, 284 dienen als einfache Einwegventile durch Bewegungen der gefederten Ventilplatten. Wenn jedoch ein übermäßiger Gasdruck innerhalb der Elektrolysezelle entstehen diese Ventile wieder gegen die Wirkung der Haltefeder 287 zu Druckentlastung bieten gezwungen werden. Das entweichende überschüssige Gas strömt dann in die Atmosphäre über den Misch- und Fördereinheit 38, wie unten beschrieben. Der Druck, bei dem die Ventile 283, 284 werden entfernt, um den Druck anzuheben Linderung kann durch entsprechende Einstellung der Bolzen 288, die Einstellung durch eine Mutter 299 gehalten wird, eingestellt werden.
Die Konstruktion der Gas Misch- und Abgabeeinheit 38 ist in Fig.30 und Fig.40 dargestellt ist. Es weist einen oberen Körperabschnitt 301, der eine Luftfilteranordnung 302 trägt, einen Zwischenkörperabschnitt 303, die durch sechs Bolzen 304 an dem Gehäuse der Elektrolysezelle 41 angeschraubt ist, und aufeinanderfolgende untere Körperteil 305, 300, von denen die letztere ist zu dem Ansaugkrümmer des Motors durch vier Bolzen 306 verschraubt.
Die Schraubverbindung zwischen dem Zwischenkörperteil 303 und das Gehäuse der Elektrolysezelle wird durch einen
Dichtungsring 307. Diese Verbindung umgibt Ventile 283, 284, die Wasserstoff- und
Sauerstoffgase in eine Mischkammer 308
(Fig.34) durch das Körperteil
anliefern direkt versiegelt 303. Die Gase erlaubt, innerhalb dieser Kammer
zusammen zu mischen und die resultierende Wasserstoff- und Sauerstoff-Gemisch
gelangt über kleine Durchmesser horizontalen Durchgang 309 in dem Körperabschnitt 303,
der Durchgang durch eine Drehventilelement 311. Das Ventilteil 311 durchlaufen konisch verjüngt und gehalten wird innerhalb einer
sich entsprechend verjüngenden Ventilgehäuse durch eine Feder 312 (Fig.38) Umsetzen gegen eine Buchse 313, die in das Körperteil 303
eingeschraubt und dient als eine Halterung für den rotierenden Ventilschaft 314.
Das Ventilelement 311 weist
einen diametralen Ventilöffnung 315
und kann gedreht werden, um das Ausmaß, zu dem
Kanal 309 erstreckt sich zu dem unteren Ende der einen größeren Durchmesser senkrechten Durchgang 316, der an ein Magnetventil 310 befreit in einem Ventil und Düsenanordnung, die allgemein als 317 bezeichnet eingebaut oben erstreckt.
Anordnung 317 umfasst einen Hauptkörper am oberen Ende durch eine Kappe 322 321 (Fig.32) geschlossen wird, wenn die Anordnung von zwei Aufnahmebolzen 323 an dem Körperabschnitt 303 geklemmt ist, um eine Gaskammer 324, aus dem Gas durch Düsen gezogen zu bilden 318 in zwei vertikale Bohrungen oder Kehlen 319 (Fig.31) in Körperabschnitt 303. Die Unterseite des Körpers 321 ist eine Gewindeöffnung in dem sie eingebaut ist ein Außengewinde Gewindeventilsitz 325 des Ventils 310 eine Ventilglied 326 nach unten gegen vorgespannt, Sitz 325 durch eine Feder 327, die 322 Feder 327 gegen die Kappe reagiert umschließt einen zylindrischen Schaft 328 des Ventilelements 326, die nach oben ragt durch eine Öffnung in der Kappe 322 stammen, so daß sie auf durch Solenoid 56 beaufschlagt werden, die unmittelbar oberhalb des Ventils angebracht ist im oberen Körperbereich 301.
Solenoid 56 besteht aus einem äußeren isolierenden Gehäuse 366, das zwei Befestigungsflansche 367. Dieses Gehäuse beherbergt die Kupferwicklungen bildende Spule 55. Diese sind an einem Kunststoffspulenkörper aufgewickelt 369 um eine zentrale Flußstahl Kerns angeordnet 371. Der Kern weist einen Bodenflansch besitzt umfasst 372 und die Spule und Spulen gehalten sind in dem Gehäuse durch isolierende Verschluss 373 eingespannt, auf den durch Flansch 372 beim Festziehen einer Spannmutter 374, die mit dem anderen Ende des Kerns angebracht ist.
Der obere Körperabschnitt 301 der
Einheit 38 ist röhrenförmig, aber
auf einer Seite darauf eine Innenfläche geformt ist, um das Außenprofil
Solenoidgehäuse 366 und
Befestigungsflansche 367. Zwei
Befestigungsschrauben 375 Schraube
in Löchern in dieser Fläche zu entsprechen, und Eingriffsschlitze 376 in die has Befestigungsflansche 367, so daß die Höhe des Magnetventils
über 310 eingestellt werden kann.
Die beiden Anschlüsse 377 sind durch
Leitungen (nicht gezeigt), die in die Einheit 38 über die Luftfilteranordnung ausgedehnt werden kann, in der
elektrischen Schaltung verbunden ist.
Wenn der Elektromagnet 56 erregt wird seinen magnetisierten Kern anzieht Ventilschaft 328 und das Ventilelement 326 angehoben, bis Schaft 328 liegt an dem unteren Flansch 372 des Magnetkerns. Somit Ventil 310 geöffnet wird, wenn der Zündschalter geschlossen ist, und wird unter dem Einfluß der Feder 327 zu schließen, wenn der Zündschalter geöffnet wird. Vertikale Einstellung der Stellung der Magnetspule steuert den Hub des Ventilelements 326 und somit die maximale Brennstoffströmungsrate durch die Einheit 38.
Elektrolytzelle 41 erzeugt Wasserstoff im Verhältnis 2:1, um eine Mischung, die durch sich ganz brennbaren ist.,Wie es in Verbindung mit bestehenden Brennkraftmaschinen verwendet das Volumen von Wasserstoff und Sauerstoff für den Normalbetrieb erforderlich ist, ist jedoch geringer als die eines normalen Kraftstoffluftgemisches. Somit wird eine direkte Anwendung in einem solchen Motor nur Wasserstoff und Sauerstoff in der erforderlichen Leistungsanforderungen zu erfüllen Menge in einen Vakuumzustand innerhalb des Systems führen. Um dieses Vakuum Bereitstellung überwunden wird, um Make-up Luft über die Luftfiltereinheit 302 und oberen Körperbereich 301 in Kehlen 319 zeichnen.
Oberkörperabschnitt 301 hat einen
einzigen Innendurchgang 328, durch
die Zusatzluft an den dualen Kehlen 319.
Es ist an dem Körperabschnitt 303
befestigt durch Klemmbolzen 329 und
eine Dichtung 331 ist zwischen den
zwei Körperabschnitten sandwichartig geliefert. Die Menge der Ausgleichsluft
zugelassen wird von einem Luftventilklappe 332
über Durchgang 328 angeordnet und
drehbar gesteuert auf einer Welle 333,
an die er mit Schrauben 334
befestigt angebracht Die Ventilklappe ist gekerbt um Solenoidgehäuse 366 passen Wellen 333 erstreckt sich durch die Wand des Körperabschnitts 301 und Außenseite dieser Wand ist mit
einer Halterung 335, die eine
verstellbare Einstellschraube 336
trägt und eine Vorspannfeder 337.
Feder 337 stellt eine
Drehvorspannung auf die Welle 333
und während des normalen Betriebs der Brennkraftmaschine ausgerüstet ist
einfach die Klappe 332 in einer
Position durch den Eingriff der Einstellschraube 336 mit einem Flansch 338
des Körperabschnitts 301 bestimmt
diese Position ist eine, in der die Klappe fast vollständig verschließt
Durchgang 328, um nur eine kleine
Menge Zusatzluft einzugeben, diese kleine Menge einstellbar ist durch
entsprechende Einstellung der Schraube 336
Schraube 336 ist mit einer Feder 339 versehen, so dass sie ihre
Einstellung zu halten.
Obwohl Klappen 332 dienen in der Regel nur um die Menge an Zusatzluft zu Einheit 38 zugelassen einzustellen, es dient auch als Überdruckventil, wenn hohe Drücke aufgebaut werden, entweder durch übermäßige Erzeugung von Wasserstoff und Sauerstoffgas oder durch die Verbrennung Gase in den Ansaugkrümmer des Motors. In jedem Fall angewendet der Gasdruck auf die Klappen 332 wird veranlassen, so zu drehen, um den Durchgang 328 zu öffnen und zu ermöglichen Gase zurück durch den Luftfilter entweichen. Es wird in Fig.32 ersichtlich, dass die Klappe Befestigungswelle 333 ist von der Mitte des Durchganges 328 derart versetzt, dass Innendruck neigt dazu, die Klappe zu öffnen und damit genau das Gegenteil von dem Luftventil in einem herkömmlichen Benzinvergaser.
Luftfilteranordnung 302 umfasst eine ringförmige Bodenwanne 341, die eng auf die Oberseite des oberen Gehäuseteils 301 und gewölbten Filterelement 342 zwischen einem inneren Rahmen 343 und einem äußeren Stahlgitter Abdeckung 344 gehalten passt Die Montage erfolgt in Position durch einen Draht gehalten und Ringschraube Montage 345 und Spannmutter 346.
Der Körperteil 305 der Einheit 38 (Fig.31), die an dem Körperabschnitt 303 durch die Klemmbolzen 347 befestigt ist, trägt Drosselventilvorrichtung, um die Motorgeschwindigkeit zu steuern. Es verfügt über zwei vertikale Bohrungen 348, 349 als Fortsetzung der dualen Kehlen, die im Körperabschnitt 303 gestartet dienen und diese mit Drosselklappe Klappen 351 durch Befestigungsschrauben 354. Beide Enden der Welle 353 montiert, 352 zu einem gemeinsamen Drosselklappenwelle 353 fixiert sind durch die Wand des Körperabschnitts 305 erstreckt sich nach außen zu projizieren daraus. Ein Ende dieser Welle ist mit einem Bügel 355, über welche sie als in einem herkömmlichen Vergaser mit einem Drosselkabel 356 und auch auf ein Automatikgetriebe Kick-down-Steuerverbindung 357. Eine Vorspannfeder 358 wirkt auf die Welle 353 zum Vorspannen Drosselanschlussklemmen angeschlossen ist Klappen in Richtung der geschlossenen Position, wie durch den Eingriff der eine Einstellschraube 359 durch eine Klammer 355 mit einer Platte 361 von dem Körperabschnitt 303 vorsteht geführt bestimmt.
Das andere Ende der Drosselventilwelle 353
trägt einen Hebel 362 das äußere
Ende davon ist mit einer Drahtverbindung 407,
mittels dessen eine Steuerverbindung mit dem Ventilschaft 314 des Ventilelements 311
über einen weiteren Hebel 406, um
das angeschlossene gemacht verbunden äußeren Ende des Ventilschafts. Diese
Kontrollverbindung ist derart, daß Ventilglied 311 ist zu allen Zeiten positioniert, um eine Menge des
Gasgemisches entsprechend dem Motordrehzahl übergeben, wie durch die
Drosseleinstellung bestimmt. Die anfängliche Einstellung der Ventilelement 311 kann durch die Wahl zwischen zwei
Verbindungsöffnungen 405 in Hebels 406 und durch Biegen von Verbindungs 407 eingestellt werden.
Körperabschnitt 303 ist mit dem unteren Körperabschnitt 300 der Einheit 38 durch vier Spannbolzen 306. Der untere Körperteil hat zwei Löcher 364, 365, welche Form Fortsetzungen der doppelten Hals befestigt und die nach unten abweichen, um den Wasserstoff direkt an Sauerstoff-Luft-Gemisch durch diesen Kehlen geliefert außen zu den beiden Ufern Zylindereinlässe. Da diese Kraftstoff trocken ist, eine geringe Menge an Öldampf wird, um es über einen Durchgang 403 im Körperabschnitt 305 hinzugefügt, um eine obere Zylinderschmierung vorzusehen. Passage 403 empfängt Öldampf durch ein Rohr 404 mit einem Abgriff des Motors abgegriffen Deckel verbunden. Es an einem erleichterten oberen Flächenteil 368 des Körperabschnitts 300 zwischen den Löchern 364, 365. Der Dampf trifft auf die hinterarbeiteten Stirnteil und ist in die beiden Löcher mit den Gasen in den Motor gezogen werden abgelenkt sich entlädt den Öldampf.
In der dargestellten Gas Misch- und Fördereinheit 38, wird das besagte Durchgang 309,
vertikalen Durchgang 316, die Kammer
324 und die Düsen 318 bilden Transferdurchtrittsmittel,
über die der Wasserstoffgemisch mit dem Gasströmungskanal passieren mittels der
dualen Kehlen besteht ersichtlich, über die es geht auf den Motor. Die
Transferdurchtrittsmittel ein Gasdosierventil des Ventilelements 311 bestehen hat und das Magnetventil
angeordnet ist, in die Übertragungskanaleinrichtung zwischen dem Dosierventil
und der Gasströmungskanals bedeutet. Die Gasdosierventil ist auf maximalen
Durchfluss zu geben durch die Übertragungs-Durchlaßmittel mit Vollgas
Einstellung der Drosselklappen 351,
betrieben 352. Das Magnetventil dient als Ein / Aus-Ventil,
so dass, wenn der Zündschlüssel auf die Gaszufuhr geöffnet zu dem Motor positiv
abgeschnitten, sodass die Möglichkeit einer spontanen Verbrennung in den
Zylindern, wodurch der Motor "laufen auf" verhindert wird. Es wirkt
auch zu stoppen Gas in der Elektrolysezelle und in der Mischkammer der Misch- und
Fördereinheit, so dass Gas wird sofort auf der Motor wieder gestartet werden.
Dumping Kondensator C5 wird ein Verhältnis der Ladezeit zu der Zeit, die weitgehend unabhängig von der Pulsfrequenz und der Pulsrate durch den Oszillationstransistor Q1 bestimmt muß so gewählt werden wird entladen zu bestimmen, so dass die Entladungszeit ist nicht so lang, um eine Überhitzung der zu produzieren Transformatorspulen und insbesondere die Sekundärspule 89 des Transformators TR2. Experimente zeigen, dass Überhitzungsprobleme werden bei Impulsraten von weniger als etwa 5.000, und dass das System wie ein Gleichstrom-System verhalten, mit folglich reduzierten Leistung bei Impulsraten von mehr als etwa 40.000 festgestellt. Ein Puls von etwa 10.000 Impulse pro Minute wird fast optimal. Mit der Sägezahnwelle Eingang und stark dotierten Ausgangsimpulse des bevorzugten Oszillatorschaltung das Tastverhältnis der bei einer Frequenz von 10000 Impulsen pro Minute erzeugten Impulse betrug etwa 0,006. Diese Impulsform hilft Überhitzungsprobleme in den Komponenten der Oszillatorschaltung an den beteiligten hohen Pulsraten zu minimieren. Ein Tastverhältnis von bis zu 0,1, wie aus einem Rechteckwellen-Eingangs führen, wäre es möglich, aber bei einer Pulsrate von 10.000 Impulsen pro Minute einige der Komponenten der Oszillatorschaltung wird dann benötigt, um ungewöhnlich hohe Wärmeeinträge standhalten. Ein Arbeitszyklus von etwa 0,005 wäre ein Minimum, das mit der veranschaulichten Art von Oszillatorschaltung erhalten werden könnte.
Aus der vorstehenden Beschreibung ist ersichtlich, daß die elektrolytische Zelle 41 wandelt Wasser zu Wasserstoff und Sauerstoff, wenn Zündschalter 44 geschlossen ist, um Magnet 51 aktiviert werden, und das Wasserstoff und Sauerstoff in der Kammer 308 gemischt Schließung des Zündschalters aktiviert auch Solenoid 56 um den Eintritt von Wasserstoff und Sauerstoff-Gemisch in die Kammer 319, wenn sie mit der Luft in die Kammer durch die Luftventilklappe 332 zugelassen mischt wie oben beschrieben, Luftventilklappe 332 eingestellt, um Luft in einer Menge zuzugeben, als erforderlich ist, um ein zu vermeiden erlauben Vakuumzustand in dem Motor.
Im Betrieb wird das Drosselkabel 356
bewirkt Halterung 355 bis etwa
Drosselklappenwelle 353, die Klappe 351 dreht, um die Menge an
Wasserstoff-Sauerstoff-Luft-Gemischs, das in den Motor zu steuern schwenken.
Zugleich Welle 353 wirkt über die in
Fig.37 gezeigt, um die Position der
Welle 314 zu steuern, und die Welle 314 Gestänge stellt die Menge des
Wasserstoff-Sauerstoff-Gemisch zur Vermischung mit der Luft vorgesehen ist. Wie in Fig.30
gezeigt, kann Halterung 355
ebenfalls an einer Welle 357, die
mit dem Fahrzeugantrieb verbunden ist, verknüpft werden. Welle 357 ist eine häufige Art von Welle für
Herunterschalten in einem vorbeifahrenden Gang, wenn die Drosselklappe über
einen vorbestimmten Punkt vorgeschoben wurde verwendet. So wird eine kompakte
Kraftstofferzeugungssystem, das mit den bestehenden Verbrennungsmotoren und das
konzipiert wurde, um in eine Standard-Pkw passen kompatibel ist.
WASSERBRUCHZELL
Bitte beachten Sie, dass dies ein Wieder formuliert Auszug aus dem Patent und die Diagramme wurden leicht angepasst. Es wird eine Vorrichtung zur Spaltung von Wasser in Wasserstoff und Sauerstoffgase durch Elektrolyse unter Verwendung von Elektroden, die auf der Außenseite der Zelle angeordnet sind.
ZUSAMMENFASSUNG
Fraktur Zellvorrichtung, die eine kapazitive Bruch Zelle 20 umfaßt einen Behälter 21 mit Wänden 21a und 21b aus nicht elektrisch leitendem Material zur Aufnahme eines flüssigen Dielektrikums 26 gebildet, und voneinander beabstandet sind Elektroden 22 und 23 außerhalb des Behälters 21 angeordnet ist mit dem flüssigen Dielektrikum 26 zwischen die Elektroden, und einen Mechanismus (8a und 8b in Fig.1 und Fig.2) zum Anlegen positiven und negativen Spannungsimpulsen an jede der electrods 22 und 23. Im Gebrauch, wenn eines von einem positiven Spannungspuls und ein negativer Spannungsimpuls wird an eine der zwei Elektroden angelegt wird, wird der andere einen positiven Spannungspuls und ein negativer Spannungsimpuls an die andere der beiden Elektroden angelegt wird, wodurch ein elektrisches Wechselfeld zu schaffen für die dielektrische Flüssigkeit zum Bruch der dielektrischen Flüssigkeit 26 bewirken. Die Vorrichtung kann zur Erzeugung von Wasserstoffgas verwendet werden.
WASSERBRUCHZELL
GERÄT
Diese Erfindung bezieht sich auf ein Bruchzellenvorrichtung und ein Verfahren zum Erzeugen von Brenngas aus solchen Bruchzellenvorrichtung. Insbesondere, aber nicht ausschließlich, bezieht sich die Erfindung auf eine Vorrichtung und ein Verfahren zum Bereitstellen von Brenngas aus dem Wasser.
Herkömmlicherweise sind die Hauptmethoden der Spaltung einer Molekülspezies in seine Einzel atomaren Bestandteile wurden entweder rein chemischen oder rein elektrolytische:
Rein chemischen Reaktionen immer auch "fremde" Reagenzien und nicht die Wechselwirkung von (l) einer angelegten elektrischen Einflüsse von außen, und (2) eine einfache Substanz beinhalten. Herkömmliche Elektrolyse beinhaltet den Durchgang eines elektrischen Stroms durch ein Medium (der Elektrolyt), wie Strom das Produkt der Ionendurchfahrten zwischen den Elektroden der Zelle. Wenn Ionen auf entweder der Kathode oder der Anode einer herkömmlichen elektrolytischen Zelle angezogen wird, sie entweder zu empfangen oder abzug Elektronen auf den Kontakt mit der jeweiligen Elektrode. Solche Elektronenaustausch bilden die aktuellen bei der Elektrolyse. Es ist nicht möglich, herkömmliche Elektrolyse einem nützlichen Grad ohne den Durchgang dieses Stroms bewirken; es ist ein Merkmal des Verfahrens.
Eine Anzahl
von Vorrichtungen wurden kürzlich beschrieben, die auf "Bruch" der,
bewirken vorgeben insbesondere Wasser mittels Resonanzelektrostatische
Phänomene. Insbesondere eine bekannte Vorrichtung und ein Verfahren zur
Herstellung von Sauerstoff und Wasserstoff aus Wasser wird in der
Solche bekannten Bruchvorrichtungen, die bislang immer vorge, als Teil ihrer Eigenschaften, die physikalischen Kontakt eines Satzes von Elektroden mit dem Wasser oder einem anderen Medium auf gebrochen werden. Das Hauptverfahren zum Begrenzen Stromfluss durch die Zelle ist die Bereitstellung eines Hochimpedanzstromversorgungsnetz und die starke Abhängigkeit von der Zeitbereichs-Leistung der Ionen in dem Wasser (oder ein anderes Medium), die angelegte Spannung, die effektiv "eingeschaltet off "in jedem Zyklus vor der Ionentransit kann in nennenswertem Umfang auftreten.
Bei Verwendung eines solchen bekannten System gibt es offensichtlich eine obere Grenze für die Zahl der Ionenwanderung, Elektronenaufnahmen, und damit Molekül-Atom-Störungen, die während einer gegebenen momentanen Anwendung einer äußeren Spannung auftreten können. Um effektiv zu erfüllen, erfordern derartige Vorrichtungen anspruchsvolle strombegrenzende und genauen Schaltmechanismen.
Ein gemeinsames Merkmal aller oben beschriebenen solchen bekannten Bruchvorrichtungen, die bewirkt, dass sie sich verhalten, als ob sie herkömmlichen Elektrolysezellen zu irgendeinem Zeitpunkt nach der Anwendung der externen Spannung waren, ist, dass sie Elektroden tatsächlich in Kontakt mit dem Wasser oder anderen haben Medium.
Die vorliegende Erfindung strebt danach, ein alternatives Verfahren zur Herstellung bestimmter Bruch einfachen Molekülspezies, beispielsweise Wasser bereitzustellen.
Gemäß einem Aspekt der vorliegenden Erfindung wird ein Bruchzellvorrichtung, die eine kapazitive Bruchzelle, umfassend einen Behälter mit Wänden aus elektrisch nicht leitendem Material zur Aufnahme eines flüssigen Dielektrikum und beabstandeten Elektroden außerhalb des Behälters positioniert ist mit dem flüssigen Dielektrikum zwischen den Elektroden, und einen Mechanismus zum Aufbringen von positiven und negativen Spannungsimpulsen an jede der Elektroden, so dass, wenn eine der einen positiven Spannungspuls und einem negativen Spannungsimpuls an eine der beiden Elektroden angelegt wird, wird der andere Spannungsimpuls angewendet die andere Elektrode, wodurch ein elektrisches Wechselfeld zu schaffen für die dielektrische Flüssigkeit zum Bruch der dielektrischen Flüssigkeit verursachen.
In der Vorrichtung dieser Erfindung müssen die Elektroden nicht in Kontakt mit der dielektrischen Flüssigkeit, die gebrochen oder zerstört werden soll. Das zu brech Flüssigkeit werden die einfache Dielektrikum eines Kondensators. Keine rein ohmsche Element Leitfähigkeit innerhalb des Bruch Zelle vorhanden ist und, im Einsatz, es fließt kein Strom durch eine Ionenträgermechanismus innerhalb der Zelle. Die erforderliche Bruch oder Unterbrechung des flüssigen Dielektrikums durch die angelegte elektrische Feld bewirkt wird, während nur eine einfache Verschiebungsstrom innerhalb der Zelle auftritt.
Vorzugsweise ist das flüssige Dielektrikum Wasser, zB destilliertes Wasser, Leitungswasser oder deuteriertem Wasser.
Günstig JEDE elektrode Eine bipolare elektrode umfasst.
Der Mechanismus zum abwechselnden Anlegen positiver und negativer Impulse, bietet Schritt Spannungen abwechselnd an die beiden Elektroden mit einer kurzen Zeitperiode während jeder Ladungsspannungszyklus, in dem kein Schritt Spannung an beiden Elektroden angelegt wird. Typischerweise Schritt Spannungen über 15 kV, typischerweise etwa 25 kV, die auf beiden Seiten eines Bezugspotential, zB Erde, werden an die Elektroden angelegt. Tatsächlich Züge von Impulsen mit alternierenden positiven und negativen Werte werden an die Elektroden angelegt, um als die verschiedenen Elektroden angelegt werden die Impulse "phasenverschoben". In dem Fall, in dem jede Elektrode eine bipolare Elektrode ist, wobei jede bipolare Elektrode erste und zweite Elektrodenplatten "" elektrisch voneinander isoliert sind, umfassend eine Folge von positiven Pulsen angeordnet ist, um eine Elektrodenplatte jeder bipolaren Elektrode und einem Zug aufgebracht werden negative Impulse angeordnet ist, mit der anderen Elektrodenplatte jeder bipolaren Elektrode aufgebracht werden. Eine Elektrodenplatte einer bipolaren Elektrode bildet, eine erste Gruppe mit einer Elektrodenplatte der anderen bipolaren Elektrode und der anderen Elektrodenplatte des einen bipolaren Elektrode einen zweiten Satz mit der anderen Elektrodenplatte der anderen bipolaren Elektrode bildet. Für jeden Satz wird ein positiver Impuls auf eine Elektrodenplatte aufgetragen und ein negativer Impuls wird gleichzeitig an der anderen Elektrodenplatte aufgebracht. Durch abwechselndes Umschalten der Anwendung der positiven und negativen Impulse von der einen zur anderen Gruppe von Elektrodenplatten, wird ein "alternierender" elektrisches Feld über dem dielektrischen Material in dem Behälter enthalten erzeugt. Die Impulszüge synchronisiert sind, so daß es eine kurze Zeitspanne zwischen dem Entfernen von Impulsen aus einer Elektrodenplattensatz und der Anwendung der Impulse, die der anderen Elektrodenplatte eingestellt.
Gemäß einem weiteren Aspekt der vorliegenden Erfindung wird ein Verfahren zum Erzeugen von Gas, umfassend Anlegen eines positiven und negativen Spannungsimpulsen alternierend an die Elektroden (die auf beiden Seiten, jedoch nicht in Kontakt mit einer dielektrischen Flüssigkeit), wobei die Spannungspulse angelegt, so daß, wenn eine der einen positiven Spannungsimpuls und ein negativer Spannungsimpuls an eine der beiden Elektroden, der andere aus einem positiven Spannungspuls und ein negativer Spannungsimpuls angelegt wird, um die andere der beiden Elektroden angelegt wird, die angelegte Spannung Impulse ein elektrisches Wechselfeld über die dielektrische Flüssigkeit verursachen Bruch der dielektrischen Flüssigkeit in gasförmigen Medien. Vorzugsweise Spannungen von mindestens 15 kV, z.B. 25 kV, auf jeder Seite einer Referenzwert, z.B. Erde, sind über die dielektrische Flüssigkeit angelegt, um das elektrische Wechselfeld zu erzeugen.
Eine Ausführungsform der Erfindung wird nun lediglich beispielhaft auf die beigefügten Zeichnungen beschrieben, mit besonderem Bezug, in denen:

Fig.1 ist ein Schaltbild des Bruchzellenvorrichtung gemäß der Erfindung;

Fig.2 zeigt detaillierter einen Teil des Schaltplans der Fig.1;

Fig.3 zeigt die verschiedenen Wellenformen an verschiedenen Teilen der Schaltungsdiagramm Fig.1;

Fig.4 ist ein schematisches Schaltbild eines Bruchzelle zur Verwendung in der Bruchzellenvorrichtung gemäß der Erfindung,

Fig.5 zeigt Züge von Impulsen an die Elektroden der Fraktur Zellenvorrichtung angelegt erfindungsgemäße.
Wenn ein großes elektrisches Feld an einem Paar von Elektrodenplatten, die auf beiden Seiten einer Zelle mit Wasser angewandt, eine Störung der Wassermoleküle auf. Eine solche Störung ergibt Wasserstoffkernen und HO- Ionen. Eine solche molekulare Störung ist von geringem Interesse im Hinblick auf die bis zu einem nutzbaren Ergebnis aus der Zelle. Eine protonenreichen Zone existiert, solange das Feld existiert und schnell wiederherstellt Gleichgewicht Ionenprodukt, wenn das Feld entfernt wird.
Eine spürbare
Nebeneffekt ist jedoch, daß die Hydroxylionen (die der +ve geladenen
Wenn zu diesem Zeitpunkt wird die Ladung von den Platten entfernt, gibt es eine Tendenz, dass die Ladungszonen zu bewegen, wenn auch sehr langsam, in Richtung des Zentrums der aktiven Zelle. Die Ionentransitgeschwindigkeiten von freien Elektronen und der Wasserstoffkerne sind jedoch etwa zwei Größenordnungen größer als entweder H30+ -Ionen oder OH-Ionen.
Wenn die Ladungen
werden nun an den Platten ersetzt, aber mit entgegengesetzter Polarität, die
interessante und potentiell nützliche Aspekt des Verfahrens offenbart.
Wasserstoffkern Migration in Richtung des neuen VE-Platte und
Freie-Elektronen-Migration beschleunigt erfolgt in Richtung der neuen
Auch vorhandene OH-Radikale sind weiter von Wasserstoffkernen abgestreift und in den Prozeß einzubringen. Aktiv, im Entstehen begriffenen 0-- Ionen schnell ihre elektronische Raumladung an der +ve-Feld und einatomigen Sauerstoff bildet, bilden die zweiatomigen Moleküls und ähnlich sprudelt aus der Zelle.
Somit wird die kontinuierliche Anwendung eines starken elektrischen Feldes, Ändern der Polarität in jedem Zyklus ausreichend ist, um Wasser in seine Bestandteile gasförmigen Elementen zu stören, unter Verwendung eines kleinen Bruchteil des in herkömmlichen Elektrolyse oder chemische Energetik erforderliche Energie, und wodurch die Wärmeenergie der Enthalpie der Bildung der zweiatomigen Bindungen im Wasserstoff und Sauerstoff.

Die Vorrichtung zur Durchführung des vorstehenden Verfahrens wird nachstehend beschrieben. Insbesondere ist die elektronische Schaltung, die Erfindung zu bewirken, in dem vereinfachten Blockdiagramm der Fig.1 gezeigt ist. In Fig.1 eine Pulswiederholfrequenz (PRF) Generator 1 enthält einen astabilen Multivibrator Uhr läuft mit einer Frequenz, die Voreinstellung für jede Anwendung, aber in der Lage, über einen Bereich von etwa 5-30 kHz variiert werden. Der Generator 1 treibt durch Auslösen mit der Rückflanke der Wellenform, eine Pulsbreite (PW) Timer 2.
Der Ausgang des Zeitgebers 2 ist eine Folge von regelmäßigen Impulsen, deren Breite durch die Einstellung des Zeitgebers 2 und deren Wiederholungsfrequenz durch die PRF Generator 1 bestimmt.
Ein Gate-Uhr 3 eine einfache 555-Typ-Schaltung, die eine Wellenform zu erzeugen (siehe Fig.3a) mit einer Dauer von 1 bis 5 ms, zum Beispiel umfasst 2 ms, wie in Fig.3a gezeigt. Das Tastverhältnis dieser Wellenform ist, um etwa 95% variabel von 50%. Die Wellenform wird an einen Eingang von jedem eines Paares von UND-Gatter 5a und 5b und auch auf eine binäre Division-durch-Zwei-Zähler 4. Das Ausgangssignal des Zählers 4 ist in Fig.3b gezeigt ist.
Das Signal von dem Teile-durch-zwei-Zähler 4 wird direkt an das UND-Gatter 5b dien Phase-2-Treiberschaltung 7a angewendet, sondern vor dem Aufbringen auf das UND-Gatter 5a dienPhasen l Treiberschaltung 7a invertiert. Der Ausgang des UND-Gatters 5a ist daher ((CLOCK und (NOT (CLOCK) / 2)) und das Ausgangssignal des UND-Gatters 5b ist ((CLOCK) und (CLOCK / 2)), die Wellenformen, die angelegt werden Impulsfolgetore 6a und 6b, die in Fig.3c und Fig.3d gezeigt.
Züge von 5-30 kHz-Impulse werden an den Verstärker 7a und 7b abwechselnd anzutreiben, mit einem kleinen "Aus" -Periode, während welcher keine Impulse entweder Verstärkers angelegt. Die Dauer eines jeden "Aus" -Periode ist abhängig von der ursprünglichen Arbeitszyklus des Taktzeitgeber 3. Der Grund für die geringe "Aus" -Periode in den Treiberwellenformen ist, lokale Koronabogen zu verhindern, wenn die Phasen auf jeden Zyklus ändern.
Der Antriebsverstärker 7a und 7b jeweils mit einem BC182L Transistors 10 (siehe Fig.2), kleiner torusförmigen 2:1 Impulsübertrager 11 und einen BUZll Leistungs-MOSFET 12 und gelten Impulspakete in den Primärwicklungen der jeweiligen 25-kV-Leitung-Ausgangs Transformatoren 8a und 8b eine EHT-Wechselspannung mit hoher Frequenz an ihren Sekundärwicklungen zu erzeugen. Die Sekundärwicklungen sind "angehoben" von der Systemmasse und liefern nach einer einfachen Einweg-Gleichrichtung, das angelegte Feld für die Anwendung auf die Zelle 20 (siehe Fig.4).
Zelle 20 umfaßt einen Behälter 21 mit Wänden 21a, 21b aus einem elektrisch isolierenden Material, beispielsweise einem thermoplastischen Material, wie beispielsweise Polymethylmethacrylat, typischerweise etwa 5 mm voneinander beabstandet sind, und bipolare Zellenelektroden allgemein mit 22 und 23 bezeichnet und typischerweise von Aluminiumfolie ausgebildet ist, außerhalb der Wände 21a und 21b angeordnet. Jede bipolare Zellenelektrode ein Paar von Elektrodenplatten 22a und 22b aufweist (oder 23a und 23b) auf jeder Seite der Zelle 20, die voneinander durch eine elektrisch isolierende Schicht 24 (oder 25), zB getrennte Polycarbonat Kunststoffmaterial etwa 0,3 mm dick.
Die Elektrodenplatten 22a und 23a bilden einen Satz (Satz A) der Elektrodenplatten auf gegenüberliegenden Seiten des Behälters 21 positioniert, und die Elektrodenplatten 22b und 23b, eine andere Gruppe von Elektrodenplatten, die an gegenüberliegenden Seiten des Behälters 21. Eine isolierende Schicht 25 positioniert zu bilden, zB von Polycarbonat-Material kann ähnlich zu dem isolierenden Schichten 24a oder 24b zwischen jeder bipolaren Zellenelektrode 22 (oder 23) und seinem benachbarten Behälterwand 21a (oder 21b) positioniert werden. Ein flüssiger Elektrolyt, vorzugsweise Wasser, ist in dem Behälter 21 platziert.
Bei der
Verwendung wird eine Folge von positiven Impulsen an die Elektrodenplatten 22a und 23b angelegt, und ein Zug von
negativen Impulsen an die Elektrode 23a
und 22b angelegt. Die Zeitsteuerung der Impulse, ist schematisch in Fig.5, die veranschaulicht, gezeigt,
dass für den Satz A (oder Satz B), wenn ein positiver Impuls angelegt
wird, um die

Durch die Anordnung der Impulse von Elektrodenplattensatz B in der Periode angelegt wird, wenn keine Impulse an die Elektrodenplatte Menge A angewendet werden, stellt sich die Situation, in der Paare von Impulsen aufeinanderfolgend an die Elektrodenplatten unterschiedlicher Sätze von Elektrodenplatten angelegt wird, gibt dass eine kurze Zeitspanne, wenn keine Impulse zwischen zwei aufeinanderfolgenden Anwendung der Impulse an Paare von Elektrodenplatten aufgebracht. In anderen Worten, mit Blick auf Fig.5, Impulse P1 und Q1 gleichzeitig an die Elektrodenplatten 22a und 23a angelegt. Die Impulse P1 und Q1 von gleicher Pulslänge und, am Ende der Zeitdauer gibt es eine kurze Zeitspanne t vor Impulse R1 und S1 an die Elektrodenplatten 23b, 22b aufgetragen und.
Die Impulse R1 und S1 von gleicher Pulslänge wie die Impulse P1 und Q1 und am Ende ihrer Dauer, gibt es eine weitere Zeit t vor der nächsten Impulse P2 und Q2 sind an die Elektrodenplatten 22a und 23a angelegt. Es versteht sich, dass, wenn ein Impuls des einen Vorzeichens zu einer der Elektrodenplatten einer Menge angewendet wird, wird ein Impuls von dem entgegengesetzten Vorzeichen an die andere Elektrodenplatte der genannten Menge angewendet.
Darüber hinaus durch den Wechsel von der einen zur anderen Elektrodenplatte setzen Sie die in den Behälter aufgebracht Polaritäten wiederholt, was zu einer "Wechsel" elektrisches Feld über den "flüssigen Dielektrikum" Wasser im Behälter geschaffen schaltet.
Patent WO
9528510 26. Oktober
1995 Erfinder: Spiro Ross
Spiros
VERBESSERUNGEN
BEI DER ELEKTROLYSE SYSTEME UND
DIE
VERFÜGBARKEIT DER ÜBERMÄßIGEN EINHEIT ENERGIE
Diese Patentanmeldung zeigt die Einzelheiten eines Elektrolyseurs System, es wird behauptet, erzeugt höhere Leistung als die Eingangsleistung benötigt, um es zu betreiben.
ZUSAMMENFASSUNG
A geschleift Energiesystem zur Erzeugung von Überschußenergie zur Verfügung, Arbeit zu verrichten ist, offenbart. Das System umfasst eine Elektrolysezelleneinheit 150, die eine Zufuhr von Wasser zu Wasserstoffgas abgetrennten 154 und Sauerstoff 156 durch die Elektrolyse von einer Gleichstrom-Spannung 152 über die jeweiligen Anoden und Kathoden der Zelleneinheit 150. Ein Wasserstoffgas-Empfänger 158 empfängt und speichert aufgebracht angetrieben befreien Wasserstoffgas von der Zelleneinheit 150 und die Sauerstoffgas-Empfänger 160 empfängt und speichert befreiten Sauerstoffgas durch die Zelleneinheit 150 eine Gasexpansionseinrichtung 162 expandiert die gespeicherten Gase Expansionsarbeit zurückzugewinnen und eine Gasverbrennungseinrichtung 168 mischt und verbrennt befreit der expandierte Wasserstoffgas und Sauerstoffgas zu verbrenne Arbeit zurückzugewinnen. Ein Anteil der Summe der Expansionsarbeit und der Verbrennungsarbeit stützt Elektrolyse der Zelleneinheit die Betriebsgasdruck in den Gas Empfängern beibehalten 158, 160, so dass das Energiesystem ist selbsttragend, und es ist die überschüssige Energie, die von der Summe von Energien.
TECHNISCHES
GEBIET DER ERFINDUNG
Die vorliegende Erfindung betrifft die Erzeugung von Wasserstoffgas und Sauerstoffgas aus Wasser, entweder als Gemisch oder als getrennte Gase, die durch das Verfahren der Elektrolyse, und bezieht sich ferner auf Anwendungen für die Verwendung der freigesetzten Gases. Ausführungsformen der Erfindung beziehen sich insbesondere auf eine Vorrichtung für die effiziente Erzeugung von diesen Gasen und der Gase in einem Verbrennungsmotor und einer Implosion Pumpe zu verwenden. Die Erfindung offenbart ebenfalls ein Energieerzeugungssystem mit geschlossenem Regelkreis, wo latente Molekular Energie wird als eine Form von "freien Energie" befreit, damit das System sich selbst tragen.
Es wird auf gemeinsamen Besitz der internationalen Patentanmeldung PCT / AU94 / 000.532, die die internationale Anmeldedatum der 6. September 1994.
Stand der
Technik
Die Technik der Elektrolyse von Wasser in Gegenwart eines Elektrolyten, wie Natriumhydroxid (NaOH) oder Kaliumhydroxid (KOH), um Wasserstoff- und Sauerstoffgas (H2, O2) freizusetzen, ist bekannt. Das Verfahren beinhaltet das Aufbringen einer Gleichstrom Potentialdifferenz zwischen zwei oder mehr Anoden / Kathoden-Elektrodenpaare und zum Liefern des Mindestenergie, die HO-Bindungen (dh 68,3 kcal je Mol @ STP) zu brechen.
Die Gase werden in den stöchiometrischen Verhältnissen für O2 hergestellt: H2 von 1: 2, die jeweils von der Anode (+) und der Kathode freigesetzt (-).
Es kann auf der folgenden Texte vorgenommen werden:
"Moderne Elektrochemie, Band 2, John O'M. Bockris und Amulya KN Reddy, Plenum Publishing Corporation",
"Electro-Chemical Wissenschaft, J. O'M. Bockris und DM Drazic, Taylor and Francis Limited" und
"Brennstoffzellen, deren Elektrochemie, J. O'M. Bockris und S. Srinivasan, McGraw-Hill Book Company".
Eine Diskussion der experimentellen Arbeit im Zusammenhang mit Elektrolyseverfahren kann von "Hydrogen Energy, Teil A, Wasserstoffwirtschaft Miami Energy Conference, Miami Beach, Florida, 1974 von T. Nejat Veziroglu, Plenum Press" bezogen werden. Die Arbeiten von J. O'M vorgestellt. Bockris auf den Seiten 371 bis 379, von F. C. Jensen und FH Schubert auf den Seiten 425 bis 439 und von John B. Pangborn und John C. Sharer auf den Seiten 499 bis 508 sind von besonderer Bedeutung.
Auf einem Makromaßstab, die Menge des erzeugten Gases hängt von einer Anzahl von Variablen, einschließlich der Art und der Konzentration der Elektrolytlösung verwendet wird, die Anoden / Kathoden-Elektrodenpaar Oberfläche der Elektrolytwiderstand (das entspricht Ionenleitfähigkeit, die eine ist Funktion von Temperatur und Druck), erreichbare Stromdichte und Anode / Kathode Potentialdifferenz. Die abgegebene Gesamtenergie muss ausreichen, um die Wasserionen dissoziieren, um Wasserstoff- und Sauerstoffgase zu erzeugen, noch Plattierung (Oxidation / Reduktion) des metallischen oder nicht-metallischen leitenden Materialien, aus denen die Elektroden ausgebildet sind, zu vermeiden.
OFFENBARUNG
DER ERFINDUNG
Die Erfindung offenbart ein geschleiften Energiesystem zur Erzeugung von Überschußenergie zur Verfügung, Arbeit zu verrichten, wobei das genannte System umfasst:
Eine Elektrolysezelleneinheit, die eine Zufuhr von Wasser für abgetrennte Wasserstoffgas und Sauerstoffgas durch Elektrolyse befreienden aufgrund eines über die jeweiligen Anoden und Kathoden der Zelle angelegt Gleichstrom-Spannung;
Ein Wasserstoffgas-Empfänger zum Empfangen und Speichern des Wasserstoffgases durch die Elektrolysezelle freigesetzt;
Eine Sauerstoffgas-Empfänger zu dem Sauerstoffgas durch die Elektrolyse-Zelle freigesetzt zu empfangen;
Eine Gas-Erweiterung-Kammer ermöglichen den Ausbau der gespeicherten Gase, Erweiterung Arbeit wiederherzustellen; und
Eine Gasverbrennung Mechanismus für die Vermischung und Verbrennung der erweiterten Wasserstoff und Sauerstoff Gasen, Verbrennung Arbeit wiederherzustellen; und worin erhält ein Anteil an der Summe der Ausbau-Arbeit und Verbrennung die Elektrolyse von der Elektrolyse-Zelle um den operativen Gasdruck in Wasserstoff und Sauerstoff-Gas-Empfängern zu behalten, damit das Energiesystem autark ist und überschüssige Energie gibt.
Die Erfindung offenbart ferner ein Verfahren zur Erzeugung von Überschußenergie zur Verfügung, die Arbeit durch das Verfahren der Elektrolyse machen, wobei das Verfahren die Schritte umfaßt: Elektrolysieren von Wasser durch eine Gleichstrom-Spannung, um getrennte Wasserstoffgas und Sauerstoffgas zu befreien; separaten Empfangen und Speichern der Gase Wasserstoff und Sauerstoff in einer Weise der Selbst Druck ist; separat Erweiterung des gespeicherten Gases auf Expansionsenergie wiederzugewinnen; Verbrennung der Gase erweitert, um Verbrennungsenergie wiederzugewinnen; und Anlegen eines Teils der Summe der Expansionsarbeit und die Verbrennungs Arbeit als Gleichstrom-Spannung die Betriebsgasdrücke zu erhalten und aufrechtzuerhalten, die Elektrolyse, wobei überschüssige Energie zur Verfügung steht, um dies zu tun.
Die Erfindung offenbart auch ein Verbrennungsmotor bereitgestellt von Wasserstoff und Sauerstoff bestehend aus:
Zumindest einen Zylinder und
Mindestens eine Hubkolben im Zylinder;
Ein Wasserstoffgaseinlassöffnung in Verbindung mit dem Zylinder zur Aufnahme einer Zufuhr von Druck Wasserstoff;
Ein Sauerstoffgaseinlassöffnung in Verbindung mit dem Zylinder zur Aufnahme einer Zufuhr von Drucksauerstoff; und
Eine Auslassöffnung in Verbindung mit dem Zylinder, und wobei der Motor in einem Zweitakt-Weise betrieben, wobei an der Oberseite des Hubs wird Wasserstoffgas durch die jeweilige Einlassöffnung zu der Zylinder Antreiben des Kolbens nach unten zugeführt, Sauerstoffgas dann betrieben werden wird durch den jeweiligen Einlassanschluss zu dem Zylinder, um den Zylinder weiter nach unten fahren, wonach selbst Detonation auftritt, und der Kolben bewegt sich nach unten auf der Hub und wieder nach oben mit der Auslassöffnung geöffnet wird, um zu erzwingen die Wasserdampf entstehende gelieferten die Detonation.
Die Erfindung offenbart auch eine Implosion Pumpe, bestehend aus;
Eine Verbrennungskamme r angeordnet ist, und in Verbindung mit,
Ein Oberbecken und einem unteren Reservoir durch einen vertikalen Abstand voneinander getrennt sind, über die Wasser zu pumpen ist, diese Kammer erhalten mischten Wasserstoff und Sauerstoff bei einem ausreichenden Druck auf ein Volumen von Wasser die Entfernung von dort nach oben in das Reservoir zu heben, das Gas Kammer dann gezündet, um ein Vakuum in der Kammer zu erzeugen, um Wasser aus dem unteren Reservoir zu ziehen, um die Kammer zu füllen, wobei ein Pumpzyklus festgelegt und kann wiederholt werden.
Die Erfindung offenbart auch ein Parallelstapelanordnung aus Zellplatten für eine Wasserelektrolyseeinheit, die Zellenplatten abwechselnd einer Anode und Kathode der Elektrolyseeinheit bilden, und die Anordnung mit getrennten Wasserstoffgas und Sauerstoffgas-Auslassöffnungen, die jeweils mit den Anodenzellplatten verbunden und die Kathodenzelle Platten und in Längsrichtung entlang des Plattenstapels. Diese Auslaöffnungen sind so angeordnet, dass sie von den Anoden- und Kathodenplatten zu isolieren.
BESCHREIBUNG
DER ZEICHNUNGEN
Fig.11a bis Fig.16 festgestellt Internationale Anmeldung Nr. PCT / AU94 / 000532 reproduziert um die Beschreibung der vorliegenden Erfindung zu helfen, aber hier als Fig.1A bis Fig.6 bezeichnet:
Fig.1A und Fig.1B zeigen eine Ausführungsform einer Zellenplatten:

Fig.2A Und Fig.2B zeigen eine komplementäre Zellplatte zu der Fig.lA und Fig1B:

Fig.3 zeigt ein Detail der Perforationen und Portierung der Zellenplatten nach den Fig.1A, Fig.1B, Fig.2A und Fig.2B:

Fig.4 zeigt eine Explosions gestapelte Anordnung der Zellenplatten nach den Fig.1A, Fig.1b, Fig.2A und Fig.2B:

Fig.5A zeigt eine schematische Ansicht des Gasseparationssystems der Fig.4:

Fig.5B zeigt eine stilisierte Darstellung der Fig.5a:

Fig.5C zeigt eine elektrische Ersatzschaltung Fig.5A und

Fig.6 zeigt einen Gassammelsystems zur Verwendung mit der Zellbank Trennsystem der Fig.4 und Fig.5a.

Fig.7A und Fig.7B sind Ansichten einer ersten Zellenplatte:

Fig.8A und Fig.8B sind Ansichten einer zweiten Zellplatte:

Fig.9 zeigt eine Detailansicht des Randbereich des ersten Zellenplatte:

Fig10 zeigt eine Explosions gestapelte Anordnung der Zellenplatten in Fig.7A und Fig.8A gezeigt:

Fig.11 ist eine Querschnittsansicht von drei der in Fig.10 in der Nähe einer Gasöffnung gezeigten gestapelten Zellenplatten:

Fig.12A und Fig.12B zeigen jeweils Details der ersten und zweiten Zellenplatten in der Nähe einer Gasöffnung:

Fig.13 ist eine Querschnittsansicht einer Zelleneinheit von vier gestapelten Zellenplatten in der Nähe einer Verbindungswelle:

Fig.14 zeigt eine perspektivische Ansicht einer Feststellmutter in der Anordnung der Fig.13 verwendet:

Fig.15 zeigt eine idealisierte Elektrolysesystem:

Fig.16 bis Fig.30 sind graphische Unterstützung des Systems von Fig.15 und die Verfügbarkeit von über Energieeinheit:















Figs. 31a to 31e show a hydrogen/oxygen gas-driven internal combustion engine:



Fig. 32a bis Fig.32c zeigen eine gasbetriebene Pumpe Implosion:

AUSFÜHRLICHE
BESCHREIBUNG UND BESTE ART DER LEISTUNG
Fig.lA und 2A zeigen Ausführungsformen
eines ersten und zweiten Zelltyp Platte 90,
98 als Seitenansicht. Fig.1B und Fig.2B sind
Teilquerschnittsansichten entlang der jeweiligen Mittellinien, wie gezeigt.
Gemeinsame Bezugszeichen wurden, wo geeignet, verwendet. Die Platten 90, 98 können die Funktion haben,
entweder mit einer Anode (+) und einer Kathode (-), wie ersichtlich werden
wird. Jedes umfaßt eine Elektrodenscheibe 92,
die perforiert mit hexagonal geformten Öffnungen 96. Die Scheibe 92 wird
aus Stahl oder aus harzgebundenen Kohlenstoff oder leitfähigen Polymermaterial
hergestellt ist. Die Scheibe 92 ist in einem kreisförmigen
Beispielhaft
für eine
Die hexagonalen Löcher in einem 1-mm-Scheibe einen Abstand von 2 mm zwischen den Ebenen, die doppelte Dicke der Platte, um die gleiche Gesamtoberfläche vor der Perforation 1 mm entfernt von der nächsten angrenzenden Perforation erhalten, und der dazu erlauben Stromdichte optimal. Ein (flach zu flach) Abstand von 1 mm zwischen den hexagonalen Löcher erforderlich, da ein kleinerer Abstand wird in Wärmeverlusten führen und einen größeren Abstand wird auf das Gesamtgewicht der Platte hinzufügen.
Die Hülse 94 ist aus PVC-Material ausgebildet und beinhaltet eine Reihe von gleich beabstandeten Wellenbohrungen 100, 102. Die Löcher sind für den Durchgang von Verbindungswellen in einer gestapelten Anordnung der Platten 90, 98 bildet den Masseleiter für die jeweiligen Anoden- und Kathodenplatten vorgesehen. Je weiter zwei oberen Bohrungen 104, 106 tragen jeweils eine Leitung jeweils zur Ausströmen von Sauerstoff und Wasserstoffgase. Die weiteren Bohrungen 108, 110 an der Unterseite der Hülse 94 für den Einlass von Wasser und Elektrolyten, die den jeweiligen Zellenplatten 90, 98 vorgesehen.
Fig.3 zeigt eine vergrößerte Ansicht eines Abschnitts der Zellenplatte 90 in Fig.1A. Gezeigten Die Anschlussöffnung 104 ist mit den sechseckigen Perforationen 96 in der Hülse 94 durch einen internen Kanal 112. Eine ähnliche Anordnung ist in Platz für den anderen Port Loch 106 verbunden ist, und für die Wasser- / Elektrolytzufuhrlöcher 108, 110.
Wenn es der Fall, dass die Gase Wasserstoff und Sauerstoff befreit werden getrennt gehalten werden (das heißt nicht in Form einer Mischung gebildet werden kann) ist, dann ist es notwendig, diese Gase zu trennen, wenn sie erzeugt werden. Im Stand der Technik wird dies durch den Einsatz von Membranen, die den Durchgang von Gasen zu blockieren und effektiv auf jeder Seite der Membran zu isolieren, das Wasser / Elektrolyt erreicht. (Membran - Wasserpfad dh Wasser) Ionentransfer hat damit die gesamte leitende Natur des Membranmaterials erleichtert. Dies führt zu einer Erhöhung der Ionenwiderstand und damit eine Verringerung des Wirkungsgrades.
Fig.4 zeigt eine Explosions gestapelte Anordnung von vier Zellplatten, wobei ein alternatives Stapeln von zwei (Anode) Zellenplatten 90 und zwei (Kathode) Zellplatten 98. Die beiden Enden der gestapelten Anordnung der Zellenplatten abgrenzt eine einzelne Zelleneinheit 125.
Zwischen jedem benachbarten Zellenplatte 90 angeordnet ist, 98 ist ein PTFE-Trenn 116. Obwohl nicht in Fig.4 gezeigt, umfasst die Zelleneinheit getrennten Wasserstoff und Sauerstoffgasleitungen, die jeweils durch die gestapelte Anordnung der Zellenplatten gelangen über die Durchgangslöcher 106, 104 jeweils. In ähnlicher Weise werden die Leitungen für die Zufuhr von Wasser / Elektrolyt vorgesehen sind, die durch die Löcher 108, 110 an der Unterseite der jeweiligen Platten 90, 98. Nur zwei Paaren von Anoden- / Kathodenzelle werden Platten gezeigt. Die Anzahl solcher Platten kann sehr pro Zelleneinheit 125 erhöht werden.
Ebenfalls nicht dargestellt sind die Zwischenleiterwellen, die elektrisch miteinander alternative gemeinsamen Zellplatten. Der Grund für die mit einer großen Lochdurchmesser in einer Zelle Platte benachbart zu einem Loch mit kleinerem Durchmesser in die nächste Zelle Platte ist, so dass eine Verbindungswelle wird durch das Loch mit größerem Durchmesser übergeben, und eine elektrische Verbindung nicht machen (dh mit PVC-Schlauch isoliert ) und nicht nur eine elektrische Verbindung zwischen abwechselnden (common) Zelle bildenden Platten.
Fig.4 ist eine Explosionsansicht einer Zelleneinheit 125 Anordnung. Wenn vollständig konstruiert werden alle Elemente in engem Kontakt gestapelt. Mechanische Befestigung wird durch die Verwendung eines von zwei Klebstoffen, wie (a) erreicht "PUR-FECT LOK" (TM) 34-9002, das ein Urethan-Reaktiv-Schmelzklebstoff mit einem Hauptbestandteil von Methylen Bispheny / Dirsocynate ist (MDI), und (b) "MY-T-BOND" (TM), das ist ein PVC-Kleber auf Lösungsmittelbasis. Beide Klebstoffe sind Natriumhydroxid resistent, was notwendig ist, weil der Elektrolyt 20% iger Natronlauge. In diesem Fall befindet sich die nur Wasser / Elektrolyt innerhalb des in der Zelle enthaltenen Plattenhülse Bereich 94. Somit ist die einzige Weg für den Einlass von Wasser / Elektrolyt durch den unteren Kanal 118, 122 und der einzige Auslaß für die Gase von den oberen Kanälen 112, 120. In einem System aufgebaut und durch den Erfinder getestet, die Dicke der Zellenplatten 90, 98 beträgt 1 mm (2 mm auf der Felge aufgrund der PVC-Hülse 94), mit einem Durchmesser von 336 mm. Die Zelleinheit 125 ist von der nächsten Zelle von einer isolierenden PVC Segmentierungs Scheibe 114. Eine Segmentierung Scheibe 114 wird auch am Anfang und Ende der gesamten Zellbank platziert segmentiert. Wenn es zu keiner Trennung der freigesetzten Gase ist, dann werden die PTFE-Membranen 116 weggelassen und die Hülse 94 nicht erforderlich ist.
Die PTFE-Membran 116 ist faserig und hat 0,2 bis 1,0 Mikron Zwischenräume. Ein geeigneter Typ ist der Typ Katalog-Code J, von Tokyo Roshi International Inc (Advantec) geliefert. Das Wasser / Elektrolyt füllt die Zwischenräume und die Ionenstrom fließt nur über das Wasser - es gibt keinen Beitrag der Ionenfluß durch die PTFE-Material. Dies führt zu einer Verringerung der Widerstandsfähigkeit gegenüber Ionenfluss. Das PTFE-Material hat auch eine "Blasenpunkt", der eine Funktion des Drucks ist, also durch Steuern der relativen Drücke an jeder Seite der PTFE-Trennblätter, die Gase "gezwungen" werden durch die Zwischenräume, um ein Gemisch zu bilden, oder auf andere Weise gehalten getrennt. Weitere Vorteile dieser Anordnung sind eine geringere Kosten für den Bau, verbessert die betriebliche Effizienz und eine größere Widerstandsfähigkeit gegen Fehler.
Fig.5A ist eine stilisierte und schematische Explosionsansicht einer linearen Anordnung von drei in Reihe geschalteten Zelleneinheiten 125 sind der Übersichtlichkeit halber nur sechs Verbindungswellen 126-131 gezeigt. Die Wellen 126-131 durchlaufen die entsprechenden Wellenbohrungen 102, 100 in den verschiedenen Zellplatten 90, 98 in der gestapelten Anordnung. Die Polarität an jeder der freiliegenden Ende Wellen angebracht, an dem der Gleichstrom Versorgung angeschlossen ist angegeben. Die Wellen 126-131 nicht über die gesamte Länge der drei Zellbanken 125. Laufen Die Darstellung ist ähnlich wie die in Fig.7A und Fig.8 gezeigten Anordnung. Ein Drittel der vollen Gleichstrom Versorgungsspannung wird über jede Anoden / Kathoden-Zellen-Plattenpaar 90, 98.
Ferner sind die Gaskanäle 132, 133, die jeweils für Wasserstoff und Sauerstoff, die durch die Durchgangslöcher 104, 106 in den Zellplatten 90, 98 auch Ausweises. In ähnlicher Weise, Wasser / Elektrolyt-Leitungen 134, 135, die durch die Wasserdurchgangslöcher 108, 110 in den Zellplatten werden ebenfalls gezeigt.
Fig.5B zeigt vor allem, wie die relative Potentialdifferenz in der Mitte Zellbank 125 Änderungen. Das heißt, die Plattenelektrode 90a nun als Kathode (dh relativ negativ), um Wasserstoff zu erzeugen, und die Plattenelektrode 98a jetzt als Anode (dh relativ positiver), um Sauerstoff zu erzeugen. Dies ist der Fall bei jeder zweiten Zelleneinheit. Die Pfeilspitzen in Fig.5B gezeigte zeigen die Elektronen- und Ionenstromkreis. Fig.5C ist ein elektrisches Ersatzschaltbild-Darstellung von Fig.5B, wobei die Widerstandselemente stellen den ionischen Widerstand zwischen angrenzenden Anoden / Kathodenplatten. Somit kann gesehen werden, dass die Zelleinheiten in Serie verbunden sind.
Aufgrund der Änderung der Funktion der Zelle Platten 90a und 98a werden die komplementären Gase an jeder befreit, damit die jeweiligen Kanäle 112 sind an der entgegengesetzten Gasleitung 132, 133 verbunden. Praktisch kann dies durch einfache Umkehrung der Zellenplatten 90, 98 erreicht werden.
Fig.6 zeigt die drei Zelleneinheiten 125 von Fig.5A zu einem Gassammelanordnung verbunden. Die Zelleneinheiten 125 sind in einem Tank 140, der mit Wasser / Elektrolyt in der angegebenen Stufe h gefüllt ist. Das Wasser wird, wie die Elektrolyse Prozeß verbraucht und Auffüllen Versorgung wird über den Einlass 152 der Wasser- / Elektrolytstand h kann über das Schauglas 154. Im Normalbetrieb angesehen werden kann, werden die verschiedenen Ströme von Wasserstoff und Sauerstoff erzeugt und weitergegeben aus den Zelleinheiten 125 bis jeweiligen ansteigenden Spalten 142, 144. Das heißt, der Druck des Elektrolyten auf gegenüberliegenden Seiten der PTFE-Membran 116 ausgeglichen ist, kann somit die Gase nicht beizumischen.
Die Spalten 142, 144 auch mit dem Wasser / Elektrolyt gefüllt, und, wie es an den Elektrodenplatten verbraucht wird, Auffüllen von Elektrolyt Versorgung durch Zirkulation durch den Wasser- / Elektrolytleitungen 134, 135 vorgesehen. Die Zirkulation wird durch Mitnahme durch die freigewordenen Gase verursacht wird, und durch die Kreislaufwirkung der Leitungen und Spalten.
Der obere Umfang des Behälters 140 bildet zwei Waschtürme 156, 158, die jeweils für die Erfassung von Sauerstoff und Wasserstoffgase. Die Gase passieren eine entsprechende Spalte 142, 144, und aus den Spalten über Öffnungen an einer Stelle innerhalb der verschachtelten Leitbleche 146. Der Punkt, an dem die Gase verlassen die Spalten 142, 144 ist unter dem Wasserspiegel h, was jede turbulente Strömung zu regeln und dient mitgerissenen Elektrolyten. Die Leitbleche 146 über dem Niveau h Peeling entfernt die Gas jeder mitgerissen Elektrolyt und das gereinigte Gas tritt dann durch die jeweiligen Gasaustrittsspalten 148, 150 und so zu einem Gas-Empfänger. Die Höhe h in dem Tank 140 kann durch jedes geeignete Mittel mit wobei das Nachfüllwasser durch das Einlassrohr 152 zugeführt und zwar einschließlich eines Schwimmerschalters, wieder.
Die freigesetzten Gase werden immer von der Wasser- / Elektrolytlösung durch die Differenz der Dichten zu trennen. Aufgrund der relativen Höhe des entsprechenden Satzes von Ablenkblechen, und aufgrund der Dichtedifferenz zwischen den Gasen und dem Wasser / Elektrolyt, ist es nicht möglich, dass die freigesetzten Gase Wasserstoff und Sauerstoff zu mischen. Die Anwesenheit des vollständigen Wasservolumen in dem Tank 140 unterhält die Zellplatten in einem getauchten Zustand und dient ferner dazu, den Stoß in irgendeinem inneren Detonationen sollten sie auftreten, zu absorbieren.
In dem Fall, dass eine Gasmischung wird benötigt, so werden zunächst die beiden Strömungsventile 136, 137 jeweils in der Sauerstoffgas -Austrittskanal 132 und der Wasser / Elektrolyteinlassöffnung 134 geschlossen angeordnet. Dies blockiert den Austrittspfad für das Sauerstoffgas und zwingt den Einlaß Wasser / Elektrolyt in der Einlassleitung 134 über ein Einweg-Rückschlagventil 139 übergeben und der Pumpe 138. Die Wasser / Elektrolyt in dem Tank 140 unter Druck steht aufgrund ihrer Tiefe (Volumen), und die Pumpe 138 arbeitet, um den Wasserdruck / Elektrolyt zu den Anodenzellplatten 90, 98a auftretenden um bei erhöhtem Druck in Bezug auf das Wasser / Elektrolyt auf der anderen Seite der Membran 116 zu erhöhen.
Diese Druckdifferenz ist ausreichend, um zu bewirken, das Sauerstoffgas durch die Membran wandern, damit vermischten Sauerstoff und Wasserstoff werden über die Gasförderleitung 133 und Spalte 144 befreit Da kein Rückkehrpfad für das Wasser / Elektrolyt von der Pumpe 138 zugeführt wird, der Druck über die Zellenplatten 90, 98a wird weiter zunehmen, und zu einem Punkt, wo der Unterschied ausreichend ist, daß das Wasser / Elektrolyt kann auch durch die Membran 116. Typischerweise-Differentialdruck im Bereich von 1,5 - 10 psi erforderlich ist, 10 - 40 psi Wasser / Elektrolyt - den Durchtritt von Gas, und eine Druckdifferenz im Bereich von zu ermöglichen.
Während nur drei Zelleneinheiten 125 gezeigt sind, klar jede Anzahl, in Reihe geschaltet sind, implementiert werden kann.
Ausführungsformen der vorliegenden Erfindung wird nun beschrieben. Gegebenenfalls die gleichen Bezugszahlen verwendet.
Fig.7A und Fig.7B zeigen eine erste Art
von Zellplatte 190 jeweils als
Stirnansicht und als ein vergrößerter Querschnitt entlang der Linie VIIb-VIIb. Die Zellenplatte 190 unterscheidet sich von dem in Fig.1A und Fig.1B in einer Anzahl wichtiger Aspekte gezeigt
vorherigen Zelle Platte 90. Der Bereich der Elektrodenscheibe 192 innerhalb der Hülse 194 aufgenommen ist nun perforiert. Die
Funktion dieser Löcher ist, um das Gewicht der Zellenplatte 190. Die Wellenlöcher 200, 202 wieder durch die Elektrodenscheibe
192 passieren weiter zu reduzieren,
aber so, nehmen auch die oberen Löcher 204,
206 durch welche die Leitungen für das Ausströmen des freigesetzten
Wasserstoffs und Sauerstoffgase. Die
unteren Löcher 208, 210, für den
Einlass von Wasser und Elektrolyten vorgesehen ist, nun auch im Bereich der
Hülse 194 zusammenfallend mit der
perforierten Randbereich des Elektrodenscheibe 192. Die Kanäle 212, 218, die jeweils mit der
Anschlussöffnung 204 und der Zufuhr
befindet
Fig.8A und Fig.8B zeigen eine zweite Art von Zellplatte 198 als Begleiter auf der ersten Zellenplatte 190, und als die gleichen jeweiligen Ansichten. Die zweite Zellenplatte 198 ist etwas ähnlich zu der Zellplatte 98 zuvor in Fig.2A und Fig.2B gezeigt. Die Unterschiede zwischen ihnen sind die gleichen wie die jeweiligen Differenzen zwischen der in Fig.1A und Fig.1B gezeigten Zellenplatte und das eine in Fig.7A und Fig.7B gezeigt. Die Anordnung der jeweiligen Kanälen 220, 222 in Bezug auf den Port 206 und der Wasserzufuhrloch 208 sind ebenfalls dargestellt.
Bei der Herstellung der Zellenplatten 190, 198, ist die Hülse 94 Einspritzung von PVC über den Kantenrand der Elektrodenscheibe 192 gebildeten Kunststoffmaterial geformt.
Die Spritzgussverfahren ergibt die vorteilhafte Bildung von verbindenden Angüsse bilden innerhalb der Perforationen 196 in dem Bereich der Scheibe 192 in der Hülse 194 gehalten, wodurch feste Verankerung der Hülse 194 an der Scheibe 192.
Fig.9 ist eine ähnliche Ansicht wie Fig.3, jedoch für das modifizierte Öffnungsanordnung und Perforationen (gestrichelt gezeigt, wo von der Hülse abgedeckt), der außerhalb der Hülse 194 der Bereich der Scheibe 192 innerhalb und unmittelbar.
Fig.10 zeigt eine Zelleneinheit 225 in Form einer Explosions abwechselnden Stapeln von ersten und zweiten Zellenplatten 190, 198, sehr in der gleichen Weise wie Fig.4. Nur zwei Paare von Anoden / Kathoden-Zellenplatten gezeigt sind, aber die Anzahl solcher Platten kann sehr pro Zelleneinheit 225. Die Membran 216 erhöht werden, vorzugsweise ist der Typ QR-HE Siliciumdioxidfaser mit der Alternative als PTFE. Beide sind aus Tokio Roshi verfügbar International Inc. (Advantec) von Japan. Typ QR-HE ist ein hydrophobes Material mit 0,2 bis 1,0 Mikron Zwischenräume, und fähig ist, den Betrieb bei Temperaturen bis zu 1,000OC. Die Zelleinheit 225 kann mit anderen solchen Zelleneinheiten 225 kombiniert werden, um ein zusammenhängendes Zellbank in der gleichen Weise zu bilden, wie in Fig.5A, Fig.5B und Fig.5C gezeigt.
Weiterhin können die Zelleinheiten gesetzt werden, wie es in Fig.6 gezeigt ist, in einem Gassammelanordnung zu verwenden. Der Betrieb des Gasseparationssystems unter Verwendung der neuen Zellplatten 190, 198 ist in der gleichen Weise wie zuvor beschrieben.
Fig.11 ist eine vergrößerte
Querschnittsansicht von drei Zellenplatten in der Nähe des Sauerstoffanschluss 204. Die Zellenplatten bestehen aus
zwei des ersten Typs der in Fig.7A
dargestellt, die eine positive Platte Platte 190 und eine einzige der zweite Typ von Platte 198 in Fig.8A gezeigt,
die eine negative
Das Ergebnis dieser Anordnung ist, dass die freiliegende Metallfläche der negativen Zellenplatten 198 stets von dem Fluss von Sauerstoffgas aus der positiven Zellenplatten 190 freigesetzt, wodurch die Möglichkeit einer spontanen Explosion zu vermeiden, indem das Mischen des abgetrennten Wasserstoffs und Sauerstoff isoliert Gasen. Diese Anordnung überwindet auch die unerwünschte Produktion von entweder Sauerstoffgas oder Wasserstoffgas in dem Gaskanal.
Für den Fall der Gasöffnung 206 der Durchführung der Wasserstoffgas wird die relative Anordnung der Zellenplatten umgekehrt, so dass eine geflanschte Basis wird nun auf die Hülse 194 von dem anderen Typ von Zellplatte 198 ausgebildet Dies stellt die umgekehrte Anordnung zu der in Fig.11 gezeigt.
Fig.12A und Fig.12B zeigen perspektivische Seitenansichten von benachbarten Zellplatten, mit Fig.12A, die eine positive Zellplatte 190 und Fig.12B, die eine negative Zellplatte 198. Die Gasanschluss 206 so gebildet ist, um Wasserstoffgas zu tragen. Die Paarungsbeziehung zwischen dem geflanschten Fuß 230 und dem Endrand der Hülle 194 der positiven Zellenplatte 192 zu sehen ist, insbesondere das Zusammenwirken zwischen den Rippen 232 und den Nuten 234.
Fig.13 ist eine Querschnittsansicht von vier Zellenplatten in einer gestapelten Anordnung von zwei Segmentierungs Platten 240 begrenzt ausgebildet, die zusammen eine Zelleneinheit 242. Es gibt also zwei positiven Zellenplatten 190 und zwei negative Zellenplatten 198 in alternierender Anordnung. Der Querschnitt ist in der Nähe einer Wellenbohrung 202, durch die ein negativer Gängen leitenden Welle 244 aufgenommen. Die Welle 244 ist daher in engem Kontakt mit den Elektrodenplatten 192 der negativen Zellplatten 198. Die Elektroden Scheiben 192 der positiven Zellenplatten 190 erstrecken sich nicht um die Welle 244. Die Hülse 194 der alternierenden negativen Zellenplatten 198 erneut zu kontaktieren eine Form von mit Flanschen versehenen Fuß 246, obwohl in diesem Fall die komplementär geformten Rippen und Rillen nur auf der Hülse der negativen Zellenplatten 198 auf der Hülse 194 der positiven Zellenplatten 190. Die Segmentierung Platten 240 dienen dazu ausgebildet ist, und nicht begrenzen die gestapelten Platten, die eine einzelne Zelle 242, mit denen der Zelleneinheiten 242, die in einer linearen Anordnung gestapelt, um eine Zellbank zu bilden, so wie es in Fig.5A gezeigt.
Ein Gewindewellenmutter 250 wirkt als ein Abstandshalter zwischen die Verbindung mit der Welle 244. Fig.14 benachbarten Elektroden ist eine perspektivische Ansicht des Wellenmutter 250, die den Faden 252 und drei Vertiefungen 254 zur Befestigung von Muttern, Schrauben oder dergleichen.
In all den Fig.11 bis Fig.13 wird die Trennmembranmaterial 216 nicht gezeigt, aber in den Zwischenräumen 248 zwischen benachbarten Zellenplatten 190, 198 liegt, erstreckt sich zu den Rändern der Elektrodenplatten 192 in der Nähe der Gasöffnungen 204, 206 oder der Wellenbohrungen 200, 202.
Eine
Elektrolyse Wasserstoff und Sauerstoffgas System mit einem
Gasseparationssystem, wie oben beschrieben wurde, kann daher betrieben werden,
um jeweilige Hochdruck speichert Gas herzustellen. Das heißt, dass die
getrennten Gase Wasserstoff und Sauerstoff durch Elektrolyse Verfahren
freigesetzt werden, in separate Gas Empfängern oder Druckbehälter
gespeichert. Der Druck in jeder mit der
Fig.15 zeigt eine idealisierte Elektrolysesystem, umfassend eine Elektrolysezelle 150, die eine Zufuhr von Wasser verbraucht werden soll, erhält. Der Elektrolysevorgang wird durch ein Gleichstrom-Potential (Es) 152. Die Potentialdifferenz an der Zelle 150 angelegt angetrieben ist daher ausreichend, um das Wasser in Wasserstoff und Sauerstoffgas abhängt, unter anderem der Wasserdruck PC und dem Rückdruck der Elektrolyse werden Gas PB auf der Oberfläche des Wassers mit der Wassertemperatur Tc handelt, zusammen. Die getrennten befreiten Gase Wasserstoff und Sauerstoff durch eine Priming-Funktion, auf einen hohen Wert nach Lagerung in entsprechenden Druckbehältern 158, 160 unter Druck, die durch Gasleitungen 154, 156 durchgeführt.
Das unter Druck stehende Speicher Gase werden dann zu einer Energieumwandlungsvorrichtung, die den Fluss des unter Druck stehenden Gases in mechanische Energie umwandelt (beispielsweise ein Druckabfall Vorrichtung 162) geleitet. Diese mechanische Energie zurückgewonnen WM ist für verwendet werden, um nützliche Arbeit zu liefern. Die mechanische Energie WM auch wieder in elektrische Form konvertiert werden, werden für die Verwendung zur Verfügung.
Die resultierenden Abgase werden über die Leitungen 164, 166 in eine Verbrennungskammer 168. Hier geben wird, werden die Gase verbrannt werden, um Wärme zu erzeugen, QR, mit dem Abfallprodukt, wobei Wasserdampf. Die zurückgewonnene Wärme QR kann in die Elektrolysezelle zurückgeführt werden, um die Beibehaltung der vorteilhaften Arbeitstemperatur der Zelle zu unterstützen.
Die zuvor beschriebene Brennkammer 168 kann alternativ eine Brennstoffzelle sein. Die Art der Brennstoffzelle von Phosphorsäure-Brennstoffzellen durch den Schmelzkarbonat-Brennstoffzellen und Festoxidzellen variieren. Eine Brennstoffzelle erzeugt sowohl Wärme (QR) und elektrischer Energie (WE) und kann somit sowohl Wärme als auch an die Zelle 150 zu liefern oder zu ergänzen oder ersetzen Sie den Gleichstrom Versorgungs (Es) 152.
In der Regel können diese Brennstoffzellen vom Typ Lasercell TM wie von Dr. Roger Billings, der PEM-Zelle von Ballard Power Systems Inc. Kanada oder den Keramik-Brennstoffzelle (Solid Oxide) als verfügbar entwickelt wie von Ceramic Fuel Cells Ltd., Melbourne entwickelt werden, Australien.
Es ist natürlich notwendig, den Druck der Gase Speicher aufzufüllen, wodurch die anhaltende Verbrauch an elektrischer Energie benötigt. Die wiedergewonnene elektrische Energie, die wir im Überschuß der zur Erfüllung der Elektrolyse bei der erhöhten Temperatur, Antriebsenergie und dient dazu, die externe elektrische Energiequelle 152 zu ersetzen, wodurch der Energieregelschleife abgeschlossen, nachdem das System anfänglich grundiert und gestartet.
Der vorliegende Erfinder hat festgestellt, dass es einige Kombinationen von Druck und Temperatur, wo die Effizienz des Elektrolyseprozesses wird vorteilhaft in Bezug auf die Gesamtenergierückgewinnung, entweder als mechanische Energie durch einen Gasstrom mit hohem Druck oder als Wärmeenergie durch aufgrund der Verbrennung (oder mittels einer Brennstoffzelle), in Bezug auf die elektrische Energie verbraucht wird, um das Ausmaß der zurückgewonnenen Energie über dem erforderlichen Elektrolyse an der Betriebsdruck und die Temperatur aufrechtzuerhalten Energie. Dies wurde durch Experimente belegt. Diese Vorstellung hat "über die Einheit" bezeichnet worden.
"In der Einheit" Systeme können als weitgehend fallen kategorisiert werden in drei Arten von physikalischen Phänomenen:
(i) Eine elektrische Vorrichtung, die 100 Watt erzeugt elektrische Energieausgang mit 10 Watt elektrischer Energie eingegeben wird, wodurch eine 90 Watt Overunity (elektrische) Energie.
(ii) eine elektrochemische Vorrichtung wie eine
Elektrolysevorrichtung, bei 10 Watt elektrischer Energie eingegeben wird, und 8
Watt ausgegeben wobei der Heizwert des Wasserstoffs und Sauerstoff-Gasausgang .
Während dieses Prozesses wird 2 Watt elektrischer Energie in thermische Energie
umgewandelt wird aufgrund der spezifischen Ineffizienz des Elektrolysesystems
verloren. Pressure - als Über Einheit Energie - ist unwiderlegbar während des
Prozesses der Wasserstoff- und Sauerstoffgasentwicklung während der Elektrolyse
erzeugt. Druck ist ein Produkt des Contain der beiden getrennten Gase. Das
Gesetz der Erhaltung der Energie (wie in "Chemie Experimentelle
Grundlagen" verwiesen, von Parry, RW bearbeitet; Steiner, LE; Tellefsen,
RL;.. Dietz, PM Kapitel 9, S. 199-200,
(iii) An electro-chemical device which produces an excess of thermal energy after an input of electrical energy in such devices utilised in "cold fusion" e.g. 10 watts of electrical energy as input and 50 watts of thermal energy as output.
Die vorliegende Erfindung stellt die Entdeckung der Mittel, durch die die bereits erwähnte zweite Phänomen verkörpert in "über die Einheit" und die Realisierung von "freien" Energie führt. Wie zuvor erwähnt, ist dies das Verfahren der befreienden latente Energie der Moleküle. Die folgende Sequenz von Ereignissen wird die Basis der Verfügbarkeit von über-Einheit Energie.
In einer einfachen zwei Platte (Anode / Kathode) Elektrolysezelle, eine angelegte Spannungsdifferenz von 1,57 Volt Gleichstrom zieht 0,034 Ampere pro cm2 und führt zur Freisetzung von Wasserstoff und Sauerstoffgas aus der jeweiligen Elektrodenplatte. Der Elektrolyt wird bei einer konstanten Temperatur von 400°C gehalten wird, und ist geöffnet, um Atmosphärendruck.
Die Ineffizienz einer Elektrolysezelle ist aufgrund ihrer ionischen Widerstand (ungefähr 20%), und erzeugt ein Nebenprodukt der thermischen Energie. Der Widerstand verringert, ebenso wie die minimale Gleichstrom-Spannung benötigt, um die Elektrolyse zu fahren, wenn die Temperatur ansteigt. Die Gesamtenergie erforderlich, um die Bindungselektronen von dem Wassermolekül dissoziiert ebenfalls abnimmt, wenn die Temperatur steigt. Tatsächlich wirkt thermische Energie als Katalysator, den Energiebedarf bei der Herstellung von Wasserstoff und Sauerstoffgase aus dem Wassermolekül reduzieren. Verbesserungen in der Effizienz sind erhältlich durch eine Kombination von thermischer Energie selbst und der NaOH Elektrolyt sowohl wirkt, um den Widerstand der Ionenstromfluss zu reduzieren.
Thermal 'Knacken' des Wassermoleküls ist bekannt, dass bei 1,500OC auftreten, wobei die Bindungselektronen in seine Bestandteile in Gasform gespalten und anschließend "separate" das Wassermolekül. Das thermische Cracken erlaubt dann die Wärmeenergie, um ein Verschleißteil zu werden. Isolierung eingebracht, um thermische Energie zu sparen, aber es wird immer einige thermische Energieverluste sein.
Dementsprechend ist die thermische Energie sowohl einem Katalysator und einer Verbrauchs (in dem Sinne, dass die thermische Energie erregt Bindungselektronen auf einen höheren energetischen Zustand) bei dem Elektrolyseverfahren. Ein Nettoergebnis aus der vorangehenden Verfahrens ist, dass Wasserstoff ist gegen thermische Energie erzeugt, da thermische Energie reduziert die Gesamtenergiebedarf der Elektrolyseanlage.
Bezugnehmend auf das Diagramm mit dem Titel "Flow Rate bei einer gegebenen Temperatur" in Fig.16 gezeigt, wurde berechnet, daß bei einer Temperatur von 2,0000C, 693 Liter Wasserstoff / Sauerstoff-Gas vermischt (2:1) erzeugt. Der Wasserstoffgehalt dieses Volumen 462 Liter. Bei einem Energiegehalt von 11 BTU pro Liter Wasserstoff, dann ergibt sich ein Energiebetrag von 5.082 BTU (11 x 462). Verwendung der BTU: Kilowattumrechnungsfaktor von 3413:1, 5.082 BTU des Wasserstoffgases gleich bis 1,49 kW. Vergleichen Sie dies mit 1 kW, um die 693 Liter Wasserstoff / Sauerstoff (einschließlich 463 Liter Wasserstoff) zu produzieren. Die Verwendung dieser Vorrichtung daher identifiziert, die thermische Energie durch den Prozeß der Elektrolyse wird in Wasserstoff umgewandelt. Diese Ineffizienzen, dh erhöhter Temperatur und NaOH Elektrolyt und Temperatur zu senken bis zu einem Punkt bei etwa 1000OC wobei der ionische Widerstand auf Null reduziert, und der Volumenmenge pro kWh erhöht erzeugten Gase.
Das Absenken der Gleichstrom-Spannung erforderlich, die Elektrolyse aufgrund der höheren Temperaturen zu fahren ist in dem Diagramm in Fig.17 mit dem Titel "Der Einfluß der Temperatur auf die Zellspannung" gezeigt.
Die Daten in Fig.16 und Fig.17 zwei Quellen. Von 0OC
bis einschließlich 100OC erhaltene Zellspannungen waren die von
einer Elektrolyseanlage, wie oben beschrieben, erhalten. Von 150OC
bis zu 2.000OC erhalten Zellenspannungen sind theoretische
Berechnungen durch eine anerkannte Autorität auf diesem Gebiet, Prof. J. O'M
vorgestellt. Bockris. Im einzelnen wurden diese Ergebnisse in "Hydrogen
Energy, Teil A, Wasserstoffwirtschaft" präsentierte, Miami Energy
Conference,
Durch Untersuchung der Fig.17 und Fig.18 (betitelt "Flussrate von Wasserstoff und Sauerstoff von 2:1"), ist ersichtlich, daß mit zunehmender Temperatur in der Zelle, die Spannung erforderlich, die Wassermolekül dissoziiert wird reduziert, da sein ist der Gesamtenergiebedarf. Dies führt dann zu einer höheren Gasdurchfluss pro kWh.
Da durch die Begrenzung der Materialien innerhalb des Systems begrenzt, die betrieblich angemessene Temperatur des Systems 1000OC. Dieser Temperaturbereich ist jedoch nicht als Einschränkung betrachtet werden. Diese Temperatur ist auf die Grenzen der derzeit im Handel erhältlichen Materialien. Genauer gesagt, dieses System kann Material wie Druck Silica Fibre für die Hülse um die Elektrolyseplatte und hydrophoben Silica Fibre (Teil Nr. QR-100HE von Tokyo Roshi International Inc., die auch als "Advantec" bekannt geliefert) für die Membran zu verwenden (wie zuvor diskutiert), der die Elektrolysescheibenplatten trennt. In dem Prozess des Zusammensetzens der Zellen, das Membranmaterial, in Buchsen Elektrolyseplatten 190,198 zueinander durch Verwendung von hochtemperaturbeständigen Klebstoff angeklebt Siliciumdioxid (zB die "Aremco" Produkt "Ceramabond 618", die einen Betriebstoleranzvorgabe von hat, 1.000OC).
Für die Elektrolyse über zumin 1.000OC und Nutzung von elektrischer Energie bei einer Rate von 1 kWh, 167 Liter Sauerstoff und 334 Liter Wasserstoff pro Stunde erzeugt werden beschriebenen Zelle mit dem Elektrolyten.
Die Quarzglasfaser Membran 116 zuvor erörtert trennt die Sauerstoff- und Wasserstoffgasströme durch den Mechanismus der Dichtetrennung und erzeugen ein separater Speicher für Sauerstoff und Wasserstoff bei einem Druck. Der Druck der erzeugten Gase kann von 0 bis 150.000 Atmosphären. Bei höheren Drücken können Dichtetrennung nicht auftritt. In diesem Fall können die Gasmoleküle magnetisch von dem Elektrolyten getrennt werden, falls erforderlich.
Unter Bezugnahme auf die Versuche von Messrs Hamann und Linton geführt (SD Hamann und M. Linton, Trans. Faraday Soc. 62,2234-2241, speziell Seite 2.240), diese Forschung hat bewiesen, dass höhere Drücke kann die gleiche Wirkung wie höhere erzeugen Temperaturen, dass die Leitfähigkeit mit steigender Temperatur und / oder Druck zunimmt. Bei sehr hohen Drücken, dissoziiert das Wassermolekül bei niedrigen Temperaturen. Der Grund dafür ist, dass die Bindungselektronen wird leichter, wenn unter hohem Druck entfernt. Das gleiche Phänomen tritt auf, wenn die Bindungselektronen bei einer hohen Temperatur (zB 1,500OC), aber bei niedrigen Drücken sind.
Wie in Fig.15 gezeigt, sind Wasserstoff und Sauerstoffgase in unabhängige Gasströme in separate Druckbehälter 158, 160 druckbeständig bis 150.000 Atmosphären strömt getrennt. Die Trennung der beiden Gase verhindert, wodurch die Möglichkeit einer Detonation. Es sollte auch beachtet werden, dass hohe Drücke die Verwendung von hohen Temperaturen in dem Elektrolyt zu ermöglichen, da der höhere Druck erhöht den Siedepunkt von Wasser ist.
Experimente zeigen, dass 1 Liter Wasser 1.850 Liter Wasserstoff / Sauerstoff (in einem Verhältnis von 2:1) ergeben nach Zersetzung Gasmischung, diese signifikanten Differenz (1:1.850) ist die Quelle für den Druck. Strippen der Bindungselektronen aus dem Wassermolekül, das anschließend wandelt Flüssigkeit in einen gasförmigen Zustand, wird Energie frei, die als Druck genutzt werden kann, wenn diese in einem geschlossenen Raum stattfindet.
Eine Diskussion der experimentellen Arbeit im Verhältnis zu den Auswirkungen der Druck im Elektrolyseverfahren kann von "Hydrogen Energy, Teil A, Wasserstoffwirtschaft Miami Energy Conference, Miami Beach, Florida, 1974 von T. Nejat Veziroglu, Plenum Press" bezogen werden. Die von F. C. referierten Jensen und FH Schubert auf den Seiten 425 bis 439 und von John B. Pangborn und John C. Sharer auf den Seiten 499 bis 508 sind von besonderer Bedeutung.
Dabei ist auf die oben veröffentlichte Material gezogen werden; insbesondere auf Seite 434, dritter Absatz, wo wird verwiesen auf "Fig.7 zeigt die Wirkung von Druck auf die Zellspannung ..." Fig.7 auf Seite 436 ("Wirkung von Druck auf SFWES Single Cell") gibt an, dass, wenn der Druck erhöht wird, dann steigt auch die Mindestgleichstrom-Spannung.
Diese Zitate wurden für die Einarbeitung Zwecken und nicht als nachweisbare und empirische Tatsache ist. Experimentieren vom Erfinder faktisch an, dass erhöhter Druck (bis zu 2450 psi) in der Tat verringert die Minimalgleichstrom-Spannung.
Diese jetzt nachweisbare Tatsache, tatsächlich senkt wobei erhöhter Druck Mindestgleichstrom-Spannung, wird durch die Ergebnisse der Herren Nayar, Ragunathan und Mitra 1979, die in ihrer Arbeit verwiesen werden, beispielhaft dargestellt:. "Die Entwicklung und der Betrieb von einer hohen Stromdichte Hochdruck voran Elektrolysezelle ".
Nayar, M.G .; Ragunathan, P. und Mitra, S. K. International Journal of Hydrogen Energy (Pergamon Press Ltd.), 1980, Vol. 5, S. 65-74. Ihre Tabelle 2 auf Seite 72 ausdrücklich unterstreicht dies wie folgt:. "Bei einer Stromdichte (ASM) von 7000 und bei einer Temperatur von 800°C zeigt die Tabelle identisch Zell Spannungen an beiden Druck von 7,6 kg / cm2 und 11,0 kg / cm2 Aber bei Stromdichten von 5.000, 6.000, 8.000, 9.000 und 10.000 (bei einer Temperatur von 800°C) wurden die Zellspannungen darunter bei einem Druck von 11,0 kg / cm2, als bei einem Druck von 7,6 kg / cm2. "Die vorliegende Erfindung damit deutlich verbessert die von Herrn MG verwendete Vorrichtung Nayar et al, zumindest in den Bereichen der Zellen-Plattenmaterialien, die Stromdichte und Zellenkonfiguration.
In der bevorzugten Form sind die Elektrodenplatten 192 sind perforiert Stahl, leitfähigen Polymeren oder perforierten Harz gebundene Kohlenzellenplatten. Der Durchmesser der Perforationslöcher 196 wird gewählt, um die doppelte Dicke der Platte, um die gleiche Gesamtoberfläche vor der Perforation aufrechtzuerhalten. Nickel wurde in dem erwähnten System aus dem Stand der Technik verwendet wird. Das Material hat einen höheren elektrischen Widerstand als Stahl oder Kohlenstoff, der die vorliegende Erfindung mit einem niedrigeren Spannungsfähigkeit pro Zelle.
Die zuvor erwähnte bekannte System zitiert einen minimalen Stromdichte (nach der Konvertierung von ASM zu Ampere pro Quadratzentimeter.) Auf 0,5 Ampere pro cm2. Die vorliegende Erfindung arbeitet auf die ideale Stromdichte, durch Experimentieren festgestellt, um die Zellspannung, die 0,034 Ampere pro cm2 auf ein Mindestmaß.
Wenn mit dem oben erwähnten System verglichen wird, eine Ausführungsform der vorliegenden Erfindung arbeitet effizienter aufgrund einer Stromdichte Verbesserung um einen Faktor von 14,7, die Nutzung von besser leitenden Zellenplattenmaterial, welches zusätzlich senkt Zellenspannung, eine niedrige Zellenspannung von 1,49 bei 800°C im Gegensatz zu 1,8 Volt bei 80°C und eine kompakte und effiziente Zellenkonfiguration.
Um weiter zu untersuchen, die Ergebnisse der Fa. MG Nayer, et al, führte der Erfinder Experimente unter Verwendung von viel höheren Drücken. Für Nayer, et al, wurden die Drücke 7,6 kg / cm2 bis 11,0 kg / cm2, wohingegen Drücke Erfinders waren von 0 psi bis 2450 psi in einer Wasserstoff / Sauerstoff-Gemisch Elektrolysesystem.
Diese Elektrolysesystem wurde von der Sekundärspule eines Transformators etwa auf maximal 50 Ampere eingestellt und mit einer Leerlaufspannung von 60 Volt betrieben. Darüber hinaus wird diese Elektrolysesystem mit reduzierten Oberflächenbereich, um ausgelegt, dass es in einem Hydraulikbehälter für Testzwecke untergebracht werden. Die reduzierte Oberfläche anschließend verursacht die Produktionseffizienz Gas, wenn sie mit früheren (dh sehr effizient) Prototypen im Vergleich zu fallen. Die Gasströmungsgeschwindigkeit wurde beobachtet, daß etwa 90 Liter pro Stunde bei 70°C in diesem System im Gegensatz zu 310 Litern pro Stunde bei 700°C von früheren Prototypen erhalten werden. Alle folgenden Daten und Grafiken wurden von der in Fig.19 gezeigten Tabelle entnommen.
Unter Bezugnahme auf Fig.20 (betitelt "Volt pro Druck erhöhen"), kann man sehen, daß bei einem Druck von 14,7 psi (dh 1 Atmosphäre), wird die Spannung gemessen als 38,5V und bei einem Druck von 2.450 psi, die Spannung gemessen 29,4V. Dies bestätigt die Ergebnisse Nayar et al, der erhöhte Druck senkt Spannung des Systems. Darüber hinaus sind diese Experimente widersprechen der Schlussfolgerung gezogen FC Jensen und FH Schubert ("Hydrogen Energy, Teil A, Wasserstoffwirtschaft Miami Energy Conference, Miami Beach, Florida, 1974 von T. Nejat Veziroglu, Plenum Press", S. 425-439, insbesondere Abb. 7 auf Seite 434), wobei dass "... als der Druck des Wassers elektrolysiert zu, so tut dies auch die Mindestgleichstrom-Spannung". wie Versuche des Erfinders sind aktuelle und nachweisbare, präsentiert der Erfinder nun seine Erkenntnisse als aktueller Stand der Technik und nicht der zuvor akzeptiert Erkenntnisse Schubert und Jensen.
Unter Bezugnahme auf die Fig.21 (mit dem Titel "A pro Druckerhöhung"), kann man sehen, daß bei einem Druck von 14,7 psi (dh 1 Atmosphäre als Testlauf No. 1), die aktuelle als 47,2A und bei einem Druck von Mess 2.450 psi (Testlauf Nr 20), wurde der Strom als 63A gemessen.
Unter Bezugnahme auf die Fig.22 (mit dem Titel "Kilowatt pro Druckerhöhung"), Prüfung der Leistung von Testlauf 1 (1,82 kW) bis hin zu Testlauf No. 20 (1,85 kW) gibt an, dass es keinen großen Anstieg der Energieeintrag bei höheren Drücken, um eine ausreichende Gasströmung aufrechtzuerhalten.
Unter Bezugnahme auf die Fig.23 (mit dem Titel "Widerstand (Ohm) pro Druckerhöhung") wurde der Widerstand von Testlauf 1 (0,82 Ohm) zu Testlauf No. 20 (0,47 Ohm) berechnet. Diese Daten zeigen, dass die Verluste in dem Elektrolysesystem aufgrund des Widerstands bei hohen Drücken sind vernachlässigbar.
Derzeit akzeptierten Konvention besagt, dass Wasserstoff gelöst, aufgrund der hohen Drücke im Elektrolyten würde eine Erhöhung des Widerstands führen, da Wasserstoff und Sauerstoff sind schlechte Leiter Ionenfluß. Das Ergebnis davon wäre, dass dies die Produktion von Gasen zu verringern.
Diese Tests zeigen, dass die Ionen, die den Weg um die H2 und O2-Moleküle in der Lösung und bei höheren Drücken, Dichtetrennung immer bewirken, dass die Gase aus dem Wasser zu trennen, und aus der Elektrolyseplatten erleichtern die Bewegung der Gase. Ein sehr anschaulich Analogie für dieses Phänomen ist, wo die Ionen ist etwa so groß wie ein Fußball und die Gasmoleküle jeweils etwa die Größe eines Fußballfeldes wodurch die Ionen eine große Rollfeld, in dem das Molekül Rock.
Unter Bezugnahme auf die Fig.24 (mit dem Titel "Druckdifferenz (Zunahme)"), kann man sehen, dass der Wasserstoff / Sauerstoff-Gemisch durch einen signifikanten Druckanstieg bei jedem aufeinanderfolgenden Testlauf von Testlauf No. 1 zu Testlauf Nr 11. Testen verläuft danach zeigte, daß das Wasserstoff / Sauerstoff-Gemisch innerhalb der Elektrolytlösung implodiert am Punkt der Konzeption (wobei auf der Oberfläche der Platte).
Unter erneuter Bezugnahme auf die Tabelle der Fig.19, kann er die Zeit in Testlauf Nr 12 von der Ausgangstemperatur auf die Endtemperatur genommen wurde etwa die Hälfte der Zeit in Testlauf Nr 10. Die genommen halbiert verstrichene Zeit (von merken, 400C bis 700C) ist auf den höheren Druck verursacht die Wasserstoff / Sauerstoff-Mischung zu zünden, die später in dem System zusammengebrochen, wodurch thermische Energie freigesetzt wird.
Unter Bezugnahme auf die in Fig.25 gezeigten Tabelle (mit dem Titel "Flow Rate Analyse Per Druckerhöhung"), diese Ergebnisse wurden etwa aus Strömungsgeschwindigkeit-Tests bis zu 200 psi und Daten aus Fig.24 gebracht. Diese Ergebnisse führen zu den Daten der Fig.25 über Gasdurchsatz pro Druckanstieg. Bezugnehmend auf Fig.25 kann man sehen, daß bei einem Druck von 14,7 psi (1 Atmosphäre) einen Gasproduktionsrate von 88 Litern pro kWh erreicht wird. Bei 1890 psi erzeugt das System 100 Liter pro kWh. Diese Ergebnisse weisen darauf schließen, dass höhere Drücke wirken sich nicht auf den Gasproduktionsrate des Systems, zwischen Druck von 14,7 psi (1 Atmosphäre) und 1890 psi konstant bleibt die Gasproduktionsrate.
Ableiten von allen der obigen Daten, erhöhter Druck nicht nachteilig auf die Leistung der Zelle (Gasproduktionsrate) in Trennsysteme, bei denen Gase Wasserstoff und Sauerstoff getrennt als kombinierte Mischung hergestellt, noch. Daher wird in einem geschlossenen Elektrolyseanlage, die die Erfindung kann der Druck erlaubt, auf einen vorbestimmten Wert aufzubauen und bleiben auf dieser Ebene durch kontinuierliche (on-demand) Nachschub. Dieser Druck ist der Über Einheit Energie, weil sie während der normalen Elektrolyse Betrieb ohne zusätzlichen Energieeintrag erreicht ist. Diese Über Einheit Energie (dh der erzeugte Druck) verwendet werden, um die erforderliche elektrische Energiezufuhr zu dem Elektrolysesystem aufrechtzuerhalten sowie Nutzarbeit.
Die folgenden Formeln und die anschließende Daten nicht die scheinbare Effizienz durch Druckerhöhung in dieser Elektrolyseanlage gewonnen zu berücksichtigen, wie die gewonnenen Wirkungsgrade durch die zuvor zitierte Hamann und Linton Forschung hervorgehoben. Dementsprechend sollte die Über Einheit Energie daher als konservative Ansprüche und die solche beansprucht Über Einheit Energie würde in der Tat treten bei wesentlich niedrigeren Drücken zu berücksichtigen.
Diese Über Einheit Energie kann durch die Verwendung eines Druck Formel wie folgt formalisiert werden: E = (P - PO) V die die Energie (E) in Joule pro Sekunde, die von einem Volumen (V) extrahiert werden kann, ist die kubische ist Meter von Gas pro Sekunde bei einem Druck (P) in Pascal gemessen und wobei PO der Umgebungsdruck (dh 1 Atmosphäre).
Um insgesamt verfügbaren Über Einheit Energie zu formulieren, werden wir zuerst die obige Formel jedoch nicht berücksichtigt Effizienzverluste zu nehmen. Die Formel basiert auf einer Durchflussrate von 500 Liter pro kWh 1,000OC basiert. Wenn die Gase in dem Elektrolysesystem erzeugt, werden sie zugelassen Selbst komprimieren bis 150.000 Atmosphären, erzeugen dann ein Volumen (V) von 5,07 x 10-8 m3/sec.
Arbeiten [Joules/sec] = ((150-1) x 108) 5,07 x 10-8 m3/sec = 760,4 Watts
Die Diagramme in Fig.27 bis Fig.29 (Über Einheit in Wattstunden) zeigen Über Einheit Energie zur Verfügung ohne Effizienzverluste. Jedoch in einer normalen Arbeitsumgebung Ineffizienzen angetroffen werden, wenn Energie von einer Form in eine andere umgewandelt.
Die Ergebnisse dieser Berechnungen wird die Höhe des Mehrüber Einheit Energie anzuzeigen, nachdem das Elektrolysesystem mit seiner erforderlichen 1 kWh zugeführt worden, um den Betrieb der Erzeugung der 500 Iph von Wasserstoff und Sauerstoff (getrennt in einem Verhältnis von 2:1 zu erhalten).
Die folgenden Berechnungen verwenden die Formel oben angegeben, einschließlich der Wirkungsgrad. Die Verluste, die wir übernehmen 10% Verlust durch die Energieumwandlungsvorrichtung sein (Umwandlung Druck in mechanische Energie, die durch die Vorrichtung 162 in Fig.15 dargestellt ist) und 5% Verlust aufgrund des Gleichstrom-Generator Wir mit insgesamt 650 Wattstunden, die von den Druckgasen führt.
Zurückkehrend zu den 1 kWh, die Elektrolyse erforderlich ist, wird diese 1 kWh (während der Elektrolyse) in Wasserstoff und Sauerstoff umgewandelt. Die 1 kWh von Wasserstoff und Sauerstoff in einer Brennstoffzelle zugeführt. Nach der Umwandlung in elektrische Energie in der Brennstoffzelle, sind wir mit 585 Wattstunden aufgrund einer 65% Wirkungsgrad in der Brennstoffzelle gelassen (35% Wärmeverluste werden zurück in Elektrolyseeinheit 150 über Qr in Fig.15 zugeführt).
Fig.30 zeigt grafisch, die Gesamtüber Einheit Energie zur Verfügung Kombination einer Brennstoffzelle mit dem Druck in dieser Elektrolyseanlage in einem Bereich von 0 bis 150 kAtmospheres kAtmospheres. Die Daten in Fig.30 kompiliert wurden unter Verwendung der zuvor genannten Formeln, wo die Wattstunden Ergebnisse basieren auf Einbeziehung der 1 kWh erforderlich, um die Elektrolyseanlage fahren basieren, unter Berücksichtigung aller Ineffizienzen im idealisierten Elektrolyseanlage (komplett die Schleife) und dann das Ausgangsenergie von der Druckelektrolyseanlage mit dem Ausgang der Brennstoffzelle. Dieser Graph zeigt an, damit die Energieschwelle (bei etwa 66 kAtmospheres), wo der idealisierten Elektrolysesystem wird selbsterhaltend.
Um skalieren dieses System für die Praxis, beispielsweise Kraftwerke, die 50 MW zur Verfügung stehende elektrische Energie (als Beispiel) erzeugen wird, wird die erforderliche Eingangsenergie auf das Elektrolysesystem 170 MW (welches kontinuierlich durchgeschleift wird) sein.
Die Speicher der Hochdruckgase mit einem Wasserstoff / Sauerstoff-Brennkraftmaschine verwendet werden, wie in den Fig.31A bis Fig.31E. Die Geschäfte von Hochdruckgase können entweder mit Formen von Kraftmaschinen mit einem Expansionstakt, einschließlich Turbinen, Dreh, Wankel und Bahnmotoren verwendet werden. Einen Zylinder einer Brennkraftmaschine dargestellt, jedoch ist es in der Regel, aber nicht notwendigerweise immer der Fall, dass es zu anderen Zylinder des Motors versetzt zueinander im Zeitpunkt ihrer Schlaganfall. Der Zylinder 320 nimmt einen Kolbenkopf 322 und die Kurbel 324 mit dem unteren Ende der Kurbel 324 ist mit einer Welle 326. Der Kolbenkopf 322 weist herkömmliche Ringe 328 Abdichten des Umfangs des Kolbenbodens 322 an der Bohrung des Zylinders 320 verbunden ist .
Eine Kammer 330, oberhalb der Oberseite des Kolbenkopfes 322 befindet, empfängt eine Versorgung reguliert getrennten Wasserstoffgas und Sauerstoffgas über entsprechende Einlaßöffnungen 332, 334. Es ist auch ein Auslassanschluss 336 Entlüften von Gas aus der Kammer 330.
Betriebszyklus des Motors beginnt, wie in Fig.31A gezeigt ist, mit dem Einspritzen von unter Druck stehenden Wasserstoffgas, in der Regel bei einem Druck von 5.000 psi bis 30.000 psi, aus einem Reservoir des Gases gelegt (nicht dargestellt). Das Sauerstoffgas-Port 334 ist zu diesem Zeitpunkt geschlossen, ebenso wie die Abgasöffnung 336 Daher ist, wie in Fig.31B gezeigt, der Gasdruck drückt den Kolben Kopf 322 nach unten und treibt die Welle 326. Der Hub wird als Abstand gezeigt "A".
Zu diesem Zeitpunkt wird die Sauerstoffeinlaß 334 mit einem Strom von unter Druck stehenden Sauerstoff wiederum typischerweise bei einem Druck von 5.000 psi bis 30.000 psi geöffnet, wobei der Volumenstrom die Hälfte des Wasserstoffs bereits injiziert, so daß der Wasserstoff und das Sauerstoffgas in die Kammer 330 sind der Anteil 2:1.
Konventionelle Erwartungen, wenn ein Gas in einem geschlossenen Raum (zB wie einem geschlossenen Zylinder) sind die Gase eine kühlende Wirkung auf sich selbst haben und in der Folge seiner unmittelbaren Umgebung (zB Kühlsysteme / Kühl). Dies ist nicht der Fall mit Wasserstoff. Die umgekehrte gilt, wenn Wasserstoff, wie es eingespritzt wird, heizt sich auf und anschließend erwärmt sich in der unmittelbaren Umgebung. Dieser Effekt, der als der Kehrwert der anderen Gasen, ergänzt um die Effizienz der Gesamtenergiebilanz bei der Herstellung von über Energieeinheit.
Wie in Fig.31C gezeigt ist, hat der Kolbenkopf 322 einen weiteren Hub, als Abstand "B" gezeigt ist, zu welcher Zeit es selbst Detonation der Wasserstoff- und Sauerstoff-Gemisch bewegt wird. Die Wasserstoff- und Sauerstoff Einlässe 332, 334 sind zu diesem Zeitpunkt geschlossen, ebenso wie die Abgas 336.
Wie in Fig.31D gezeigt, der Kolbenkopf weiter nach unten durch einen zusätzlichen Hub als Abstand "C" gezeigt ist, zu einem Gesamthub von Abstand "D" dargestellt angetrieben. Die hinzugefügte Kolbenverschiebung tritt aufgrund der Detonation.
Wie in Fig.31E gezeigt, ist die Auslassöffnung 336 nun geöffnet, und auf Grund der kinetischen Energie der Welle 326 (oder durch die Wirkung des anderen der mit der Welle verbundenen Kolben), der Kolbenkopf 322 nach oben getrieben somit Absaugen der Abdampf von der Abgasöffnung 336 so lange, bis sich die Situation der Fig.31E erreicht, so daß der Zyklus wiederholen kann.
Ein besonderer Vorteil eines Verbrennungsmotors in Übereinstimmung mit dem in Fig.31A bis Fig.31E gezeigten Anordnung aufgebaut ist, dass keine Verdichtungstakt erforderlich ist und weder eine Zündanlage erforderlich, um die Arbeitsgase zu zünden, sondern das unter Druck stehende Gase selbst entzünden, wenn vorgesehen ist im Korrekturanteil und unter Bedingungen von hohem Druck.
Nutzbare mechanische Energie von der Brennkraftmaschine entnommen werden kann und verwendet wird, um Arbeit zu verrichten ist. Eindeutig die Versorgung mit unter Druck stehendem Gas ist vom Elektrolyseverfahren, damit die mechanische Arbeit weiter getan werden wieder aufgefüllt werden. Jedoch glaubt der Erfinder, dass es möglich sein sollte, um ein Fahrzeug anzutreiben mit einer Brennkraftmaschine des in Fig.31A bis Fig.31E beschriebenen Art, mit dem Fahrzeug mit einem Speicher, der von der Elektrolyseprozess erzeugten Gase und noch möglich sein, verpflichten üblichen Länge Fahrten mit dem Fahrzeug, das eine Versorgung der Gase im Druckbehälter (in einer etwas ähnlichen Weise, und der Größe, Benzintanks in herkömmlichen Verbrennungsmotoren ).
Bei der Anwendung von Über Einheit Energie in Form von unter Druck stehendem Wasserstoff und Sauerstoffgase zu dieser Brennkraftmaschine für den Zweck der Bereitstellung von akzeptablen Bereich (zB Entfernung zurückgelegt hat), unter Druck, wie oben erwähnt gespeicherten Gase können notwendig sein, um das Problem der Massenträgheit zu überwinden (zB Start-Stopp-Fahrt). Einbeziehung der gespeicherten Druckgase erleichtert außerdem das Ranging (dh zurückgelegte Strecke) des Fahrzeugs.
Über Einheit Energie (wie in dieser Vorlage behauptete) für eine mittelgroße Pkw wird bei einer kontinuierlichen Geschwindigkeit zwischen 20 kW und 40 kW lieferbar. Im Fall eines über Einheit Energie versorgt Fahrzeugs eine Wasserzufuhr (zB ähnlich einer Tankschutzfunktion ) ist im Fahrzeug durchgeführt werden.
Offensichtlich wird elektrische Energie bei der Erzeugung der Gase verbraucht. Jedoch ist es auch durch den Erfinder, daß eine über die Einheit Energiesystem kann die erforderliche Energie, wodurch das Problem des Verbrauchs fossiler Brennstoffe entweder in herkömmlichen Verbrennungsmotoren oder bei der Erzeugung des Stroms, um den Elektrolyseprozess mit Kohle fahren Überwindung bereitzustellen, dadurch gekennzeichnet, Öl oder Erdgas Generatoren.
Experimente der Erfinder zeigen, dass, wenn 1.850 Liter Wasserstoff / Sauerstoff-Gasmischung (im Verhältnis 2:1) zur Detonation gebracht wird, ist das resultierende Produkt 1 Liter Wasser und 1.850 Liter Vakuum, wenn der Wärmewert des Wasserstoff und Sauerstoffgas Mischung abgeführt. Bei Atmosphärendruck 1 Liter zugemischten Wasserstoff / Sauerstoff (2:1) enthält 11 BTUs thermischer Energie. Bei der Detonation wird diese Wärmemenge ohne weiteres mit einer Geschwindigkeit gemessen in Mikrosekunden, die anschließend bewirkt eine Implosion (inverse Differenz von 1.850:1) abgeleitet wird. Versuche des Erfinders bei 3 Atmosphären (Wasserstoff / Sauerstoff-Gas mit einem Druck von 50 psi) durchgeführt wurden, bewiesen, daß eine vollständige Implosion nicht auftritt. Selbst wenn jedoch die Implosion Behälter erhitzt (oder wird erwärmt) bis 40OC Gesamt Implosion noch auftreten.
Das ab sofort Funktion der eigenwillige Implosion kann durch eine Pumpe, die von dieser Aktion genutzt werden. Eine solche Pumpe erfordert notwendigerweise eine Elektrolysegassystem, wie es oben beschrieben ist, und insbesondere in Fig.6 dargestellt.
Fig.32A bis Fig.32C zeigen die Verwendung von Implosion und seiner Zyklen in einer Pumpvorrichtung 400. Die Pumpe 400 wird zunächst von einem Wassereinlaß 406. Der Zulauf grundiert 406 ist dann geschlossen und der Wasserstoff / Sauerstoff-Gaseinlass 408 geöffnet wird.
Wie in Fig.32B gezeigt ist, zwingt die zugemischte Wasserstoff / Sauerstoffgas das Wasser nach oben durch das Einweg-Rückschlagventil 410 und das Auslassrohr 412 in die obere Reservoir 414. Die Einweg-Rückschlagventile 410, 416 nicht damit das Wasser zurückfallen in den Zylinder 404 oder dem ersten Reservoir 402. Diese Kraft entspricht Anheben des Wassers über eine Entfernung. Das Gaseinlaßventil 408 wird dann geschlossen, und die Zündkerze 418 zündet das Gasgemisch, das eine Implosion (Vakuum) bewirkt. Luftdruck drückt das Wasser in dem Behälter 402 bis 420 durch die Röhre.
Fig.32C zeigt das Wasser, das die von der vorherigen Aktion in den Pumpenzylinder 404 übertragen. Die Implosion ist daher in der Lage, "Aufzug" des Wassers aus dem unteren Reservoir 402 über eine Strecke, die ungefähr der Länge der Röhre 420.
Die Hubkraft des Implosion Pumpe ist daher ungefähr die Summe der beiden genannten Strecken. Dies beendet den Pumpzyklus, der dann wiederholt werden, nachdem das Reservoir 402 nachgefüllt worden ist.
Wesentliche Vorteile dieser Pumpe sind, dass es keine Membranen, Laufräder oder Kolben dabei im wesentlichen keine beweglichen Teile (mit Ausnahme von Solenoiden und Einweg-Rückschlagventile) mit müssen. Als solches ist die Pumpe wesentlich wartungsfrei im Vergleich zu aktuellen Pumpentechnik.
Es ist vorgesehen, dass diese Pumpe mit den offensichtlichen vorstehenden positiven Eigenschaften und Vorteile in Pumpen von Flüssigkeiten, Halbflüssigkeiten und Gase können alle gegenwärtig bekannten allgemeinen Pumpen ersetzen und Vakuumpumpen mit signifikanten Nutzen für die Endverbraucher dieser Pumpe.
Dies ist ein sehr interessantes Patent, das ein einfaches System zum Überwinden das schwierige Problem der Speicherung der durch die Elektrolyse von Wasser erzeugten Wasserstoff / Sauerstoff-Gasgemisch beschrieben. Normalerweise ist das "HHO" Gasgemisch zu gefährlich, um komprimiert und wie Propan und Butan, gespeichert sind, aber das Patent stellt fest, daß hydroxy Gas kann zu einer benignen lediglich Spülen durch einen flüssigen Kohlenwasserstoff umgewandelt werden. Henry spricht automatisch von Terpentin in der Patentschrift, die stark darauf hin, dass er es selbst verwendet, und damit wäre es wahrscheinlich eine gute Wahl für alle Tests des Prozesses sein.
Dieses Patent ist mehr als 130 Jahre alt und hat erst kürzlich die Aufmerksamkeit von den verschiedenen "watercar" Internet Gruppen gebracht. Daher sollten Sie sie sorgfältig vor der Verwendung geprüft werden. Alle Tests sollten mit äußerster Vorsicht durchgeführt werden, wobei alle Vorsichtsmaßnahmen gegen Verletzungen und Schäden sollte die Mischung explodieren. Es sollte betont werden, dass hydroxy Gas hochexplosiv ist, mit einem Flammenfrontgeschwindigkeit viel zu schnell, um durch herkömmliche kommerzielle Rückschlagsicherungen enthalten sein. Es ist immer wichtig, eine Waschflasche verwenden, um versehentliche Zündung des Gases aus dem Elektrolysezelle kommen enthalten, wie hier gezeigt:

Für die Zwecke eines Tests der Ansprüche dieses Patents sollte es ausreichen, um die Wäscher mit Terpentin, anstatt Wasser zu füllen sein, aber wenn möglich, es wäre gut, einen zusätzliche Bubbler-Container für das Terpentin, haben in dem Fall die Wäscher mit dem Wasser zwischen den Terpentin und die Quelle der Flamme kommen sollte. Alle Tests sollten erfolgen in einem offenen Raum Remote gezündet und die Person, die Ausführung des Tests sollte auch hinter einem robusten Objekt geschützt werden. Ein Nachteil der hydroxy-Gas ist, dass es erfordert eine sehr kleine Öffnung in der Düse, die zur Aufrechterhaltung einer kontinuierlichen Flamme und die Flamme-Temperatur kann sehr hoch sein aber völlig abhängig, was die Flamme angewendet wird. Wenn dieses Patent korrekt ist, sollte das modifizierte Gas produziert durch den Prozess Verwendungsdauer in jeder konventionellen Gas-Brenner sein. David Quirey in Kapitel 10 verwendet diese Methode einen unveränderten Generator auf Wasser laufen, obwohl David Aceton statt Terpentin verwendet.
US Patent 308.276 18.
November 1884 Erfinder: Henry
M. Paine
PROZESS DER HERSTELLUNG LEUCHTENDEN GAS
Es bekannt, dass habe ich, Henry M. Paine, ein Bürger der Vereinigten Staaten, der Aufenthalt in Newark, in der Grafschaft Essex und Bundesstaat New Jersey, einige neuen und nützlichen Verbesserungen in den der Herstellung Illuminating Prozessgas-erfunden werden; und ich erklären hiermit, dass eine vollständige, klare und genaue Beschreibung der Erfindung, wie sein folgendes ermöglichen andere fachkundige, denen es unterschieden, um machen und verwenden dieselben, verweisen wird, musste der beigefügten Zeichnung, und Buchstaben oder Zahlen des Verweises gekennzeichnet, die einen Teil dieser Spezifikation ausmachen.
Die vorliegende Erfindung bezieht sich auf die Prozesse für die Herstellung von leuchtenden-Gas, wie erklärt und her hier. Bis jetzt wurde immer festgestellt, dass erforderlich ist, um die enthaltenen Gase Wasser halten voneinander ab dem Zeitpunkt der Produktion bis hin zur Zündung, als Wasserstoff und Sauerstoff wird in die richtigen Proportionen für eine vollständige Wiedervereinigung, vorhanden Form eine hoch Explosive Mischung getrennt. Folglich zwei Gase entweder im separaten Inhaber erhalten und nur zum Zeitpunkt der Zündung, zusammengebracht wurden sonst alleine Wasserstoff gespeichert wurde der Sauerstoff zur Verbrennung Unterstützung von freien ausgestellt wurde, und das so gewonnene Wasserstoff-Gas hat wurde Gassensor allein durch eine flüssige Kohlenwasserstoff, die Leuchtkraft der Flamme vermittelt auf der Durchreise.
Ich habe entdeckt, dass die gemischte Gase, die durch die Zersetzung von Wasser durch Elektrolyse mit absoluter Sicherheit, wenn durch eine flüchtige Kohlenwasserstoffe verwendet werden können; und meine Erfindung besteht aus das neue Gas damit erreicht, und der Prozess für die Behandlung des Gasgemischs, wobei es sicher für Verwendung und Lagerung unter den gleichen Bedingungen wie bei der Verwendung von normalen Kohle-Gas überwiegt, und sich in ein höchst Lichtäther Gas verwandelt so wiedergegeben wird, hier beschrieben.

In der beigefügten Zeichnung zeigt die Sektionaltore Höhenunterschiede, ein Apparat angepasst, um meine Erfindung durchzuführen G ein Produzent ist für die Generierung der Gasgemische, vorzugsweise durch die Zersetzung von Wasser durch elektrischen Strom. A ist ein Tank, teilweise mit Terpentin, Camphen oder andere Kohlenwasserstoff Flüssigkeit gefüllt, wie von B. Die beiden Schiffe sind verbunden durch das Rohr C, deren Ende unter der Oberfläche der Terpentin beendet und hat ein breites Mundstück C', mit zahlreichen kleinen Perforationen, damit das Gas durch die Terpentin in steigt fein streamt oder Blasen, so dass er eng in Kontakt mit der Kohlenwasserstoff geschaltet werden kann.
Über der Wasseroberfläche der Terpentin gibt es möglicherweise eine Membran E, Drahtgewebe oder Lochblech, und darüber eine Schicht aus Wolle oder anderen Faser verpackt ausreichend dicht zu fangen alle Teilchen der Kohlenwasserstoff Flüssigkeit kann mechanisch in der Schwebe gehalten werden, sondern locker genug, um den freien Durchgang der Gase zu ermöglichen. Das Rohr F, führt die Gasgemische aus direkt an die Brenner oder auf einen Inhaber.
Ich bin mir bewusst, dass die Kohlenwasserstoffe in der Hersteller von Wassergas aus Dampf verwendet wurden, und, wie oben aufgeführt, Wasserstoff Gas allein hat schon Gassensor; aber ich kenne keine Versuche unternommen, die explosive Gasgemische auf diese Weise zu behandeln.
Experimente haben bewiesen, dass die Höhe der Terpentin oder anderen flüchtigen Kohlenwasserstoff aufgegriffen, durch die Gase in diesem Prozess sehr klein ist und dass der Verzehr von der Kohlenwasserstoff nicht angezeigt wird, zu einem festen Verhältnis des Volumens der Gasgemische tragen es durchlaufen. Ich versuchen jedoch nicht, die die Kohlenwasserstoff-Aktion auf die Gase zu erklären.
Was ich als meine Erfindung in Anspruch nehmen und den Wunsch mit Patentschriften, sichern ist-
Der hier beschriebene Prozess zur Herstellung von Gas, das Zerlegen Wasser durch Elektrolyse und gemeinsam übergeben der konstituierenden Gasgemische Wasser so erhaltene, durch eine flüchtige Kohlenwasserstoffe, wesentlich als und zu dem Zweck dargelegten besteht.
US Patent 6.960.975 1.
November 2005 Erfinder:
Boris Volfson
RAUMFAHRZEUG, ANGETRIEBEN DURCH DEN
DRUCK
INFLATIONÄRE VAKUUM-STAATES
ZUSAMMENFASSUNG
Ein Raumfahrzeug durch den Druck des Inflationsvakuumzustand angetrieben wird, sofern mit einem hohlen supraleitenden Schild, eine innere Abschirmung, eine Energiequelle, eine Trägerstruktur, obere und untere Mittel zur Erzeugung eines elektromagnetischen Feldes, und ein Flussmodulationsregler. Gekühlte Hohlsupraleitende Abschirmung wird durch ein elektromagnetisches Feld, was zu der quantisierten Wirbel Projizieren eines gravitomagnetische Feld, das eine Raumzeitkrümmungs Anomalie außerhalb des Raumfahrzeugs bildet Gitterionen erregt. Die Raum-Zeit-Krümmung Ungleichgewicht, das Raum-Zeit-Krümmung die gleiche ist wie die Schwerkraft, sieht der Raumfahrzeugantrieb. Das Raumfahrzeug von der Raum-Zeit-Anomalie umgeben, kann sich mit einer Geschwindigkeit bewegen, nähert sich der Lichtgeschwindigkeit charakteristisch für das modifizierte locale.
US-Patent-Referenzen:
3626605 Dec., 1971 Wallace.
3626606 Dec., 1971 Wallace.
3823570 Jul., 1974 Wallace.
5197279 Mar., 1993
6353311 Mar., 2002 Brainard et al.
Weitere Referenzen:
M.T. French, "To the Stars by Electromagnetic Propulsion", http://www.mtjf.demon.co.uk/antigravp2.htm#cforce.
Evgeny Podkletnov, "Weak Gravitational Shielding Properties of Composite Bulk YBa2Cu33O(7-x) Superconductor Below 70K Under E.M. Field", LANL database number cond-mat/9701074, v. 3, 10 pages, Sep. 16, 1997.
N. LI & D.G. Torr, "Effects of a Gravitomagnetic Field on Pure Superconductors", Physical Review, vol. 43, p. 457, 3 pages, Jan. 15, 1991.
Evgeny Podkletnov, Giovanni Modanese "Impulse Gravity Generator Based on Charged YBa2Cu33O7-y Superconductor with Composite Crystal Structure", arXiv.org/physics database, #0108005 vol. 2, 32 pages, 8 figures, Aug. 30, 2001.
S. Kopeikin & E. Fomalont,
"General Relativistic Model for Experimental Measurement of the Speed of
Propagation of Gravity by VLBI", Proceedings of the 6th European VLBI
Network Symposium Jun. 25-28, 2002,
Sean M. Carroll, "The Cosmological Constant", http://pancake.uchicago.edu/˜ carroll/encyc/, 6 pages.
Chris Y. Taylor and Giovanni Modanese, "Evaluation of an Impulse Gravity Generator Based Beamed Propulsion Concept", American Institute of Aeronautics and Astronautics, Inc., 2002.
Peter L. Skeggs, "Engineering Analysis of the Podkletnov Gravity Shielding Experiment", Quantum Forum, Nov. 7, 1997, http://www.inetarena'.com/˜ noetic/pls/podlev.html).
HINTERGRUND
DER ERFINDUNG
Die Existenz einer magnetischen ähnlichen Gravitationsfeld wurde auch von Physikern für die allgemeine Relativitätstheorie, Gravitationstheorien und Kosmologie etabliert. Die Folgen der Wirkung von elektromagnetisch beeinträchtigt Schwerkraft erheblich sein und haben viele praktische Anwendungen, vor allem in der Luft- und Raumforschung.
Es gibt für die Umwandlung von Elektromagnetismus in eine Schubkraft, die möglicherweise erzeugt eine große Vortriebskraft bekannt sind. Fliehkraftschub, Impuls Schub und Schubimpuls: Nach diesen Verfahren wird der Maschinenschub von drehenden, schwing Massen in der folgenden Weise hergestellt. ("To the Stars by Electromagnetic Propulsion", M. T. French, http://www.mtjf.demon.co.uk/antigravp2.htm#cforce).
Allerdings ist die elektromagnetische Antriebs bei einer Umgebungsraum oder Raum, der nicht künstlich verändert wird, ist nicht praktisch für interstellare Reisen wegen der großen Entfernungen. Kein interstellare Reisen durchführbar ohne irgendeine Form der Verzerrung des Weltraums. Wiederum ist keine Veränderung der Raum ohne entsprechende Verformung zeit möglich. Gravitomagnetischen Veränderung von Raum, was in der Raum-Zeit-Krümmung Anomalie, die den Raum Fahrzeug anzutreiben könnte, könnte ein gangbarer Weg, um zukünftige Raumfahrt sein.
In den späten 1940er Jahren, HBG Casimir bewiesen, dass der Unterdruck ist weder Partikel noch feldfrei. Es ist eine Quelle der Nullpunktabweichung (ZPF) von Gebieten, wie der Vakuum gravitomagnetischen Feld. ZPF Felder führen zu echten, messbaren körperlichen Folgen wie die Casimir-Kraft. Die quantisierten Hand hergestellt elektromagnetischen Vorgänge, wie sie in Supraleitern auftritt, beeinflussen die ähnlich quantisierten ZPFs. Der wahrscheinlichste Grund ist die Elektron-Positron-Erzeugung und Vernichtung, zum Teil entsprechend der "Polarisation" von Evgeny Podkletnov bei der Erklärung der gravitomagnetischen Wirkung angeblich von ihm im Jahr 1992 ("Weak Abschirmung Eigenschaften von Verbundschütt beobachtet gelegen YBa2Cu33O(7-x) Superconductor Unten 7OK Unter E. M. Feld ", Evgeny Podkletnov, LANL database number cond-mat/9701074, v. 3, 10 pages, 16 Sep. 1997).
Die
Untersuchung von Gravitomagnetismus jedoch gut begonnen, bevor Podkletnov. Im
Im
Im
Im
Im
In den frühen 1980er Jahren, Sidney Coleman und F. de Luca beachten, dass die Einsteinean Postulat einer homogenen Universum, während korrekt im Allgemeinen ignoriert quantisierten lokale Schwankung der Druck des Inflationsvakuumzustand, diese Schwankungen verursacht lokale kosmische Katastrophen. Während die masselose Partikel breiten sich durch große Teile des Universums mit Lichtgeschwindigkeit, diese Anomalie Blasen, abhängig von ihrer niedrigen oder hohen relativen Vakuumdichte verursachen eine lokale Erhöhung oder Verringerung der Ausbreitungswerte für diese Teilchen. Wissenschaftler anderer Meinung über die Möglichkeit und mögliche Wege, um künstlich Modelle solcher Anomalien.
In den frühen 1990er Jahren, Ning Li und D. G Torr beschrieben, ein Verfahren und eine Einrichtung zum Umwandeln eines elektromagnetischen Felds in eine gravitomagnetische Feldes. Li und Torr vorgeschlagen, dass unter den richtigen Bedingungen, die winzigen Kraftfelder von supraleitenden Atome kann "Paar", Compoundierung in Kraft bis zu dem Punkt, wo sie eine Abstoßungskraft "auf reinen Supraleiter Auswirkungen einer gravitomagnetischen Feld" erzeugen (N. Li und DG Torr, Physical Review, Band 43, Seite 457, 3 Seiten, 15. Januar 1991).
Eine Reihe von Experimenten, in den frühen 1990er Jahren von Podkletnov und R. Nieminen geführt, angeblich zu einer Verringerung der Gewichte der Objekte über einer Schwebe gebracht, rotierenden supraleitenden Scheibe, um Hochfrequenzmagnetfeldern ausgesetzt. Diese Ergebnisse wesentlich unterstützt den Ausbau der Einstainean Physik von Li & Torr angeboten. Podkletnov und Giovanni Modanese haben einige interessante Theorien, warum könnte die Gewichtsreduktion Wirkung eingetreten sind vorgesehen, unter Berufung auf Quantengravitationseffekte, insbesondere eine lokale Veränderung der kosmologischen Konstante. Die kosmologische Konstante, unter normalen Umständen, ist überall gleich. Aber nach Podkletnov und Modanese vor einer Schwebe, rotierenden supraleitenden Scheibe hochfrequenten Magnetfeldern ausgesetzt, es geändert wird. ("Impulse Gravity Generator Based on Charged YBa2Cu33O7-y Superconductor with Composite Crystal Structure", Evgeny Podkletnov, Giovanni Modanese, arXiv.org/physics database, #0108005 volume 2, 32 pages, 8 figures, Aug. 30, 2001).
In der Papier Juli 2004 die Hypothese aufgestellt, dass Ning Wu exponentiellen Abfall der Eichfeld Gravitation, charakteristisch für die instabile Vakuum, wie sie die durch Podkletnov und Nieminen, ist die Wurzel der Abschirmung Effekte (Abschirmung Effekte in Eichtheorie der Schwerkraft, Ning Wu, arXiv: hep-th / 0307225 v 1 23 Jul 2003, 38 Seiten inkl 3 Figuren, Juli 2004).
Im Jahr 2002
Edward Fomalont und Sergei Kopeikin maß die Geschwindigkeit der Ausbreitung der
Schwerkraft. Sie bestätigten, dass die Ausbreitungsgeschwindigkeit der
Schwerpunkt der Lichtgeschwindigkeit entspricht.
("Allgemeinrelativistische Modell für experimentelle Messung der
Ausbreitungsgeschwindigkeit der Gravitation durch VLBI", S. Kopeikin und
E. Fomalont, Proceedings des 6. Europäischen VLBI-Netzwerk Symposium 25-28 Juni
2002,
Die Stringtheorie vereint die Schwerkraft mit allen anderen bekannten Kräfte. Nach Stringtheorie werden alle Interaktionen von fundamentalen Teilchen durchgeführt, und alle Teilchen nur winzigen Schleifen Raum selbst bildet die Raum-Zeit-Krümmung. Gravity und gebogen Raum sind die gleiche Sache, mit der Geschwindigkeit der Lichtcharakteristik der jeweiligen Krümmung ausbreiten. Angesichts der Fomalont und Kopeikin Entdeckung kann man schließen, dass, wenn es eine Änderung in der Ausbreitungsgeschwindigkeit der Schwerkraft innerhalb des Raum-Zeit-Krümmung, dann wird die Geschwindigkeit des Lichts in der Nachbarschaft, würde ebenfalls betroffen sein.
In der allgemeinen Relativitätstheorie, jede Form von Energie wirkt sich das Gravitationsfeld, so dass die Vakuumenergiedichte wird eine potenziell entscheidende Zutat. Traditionell wird das Vakuum als die gleiche überall im Universum zu sein, so dass die Vakuumenergiedichte ist ein Universal-Nummer. Die kosmologische Konstante Lambda ist proportional zum Unterdruck:
![]()
Wo:
G ist Newtons Gravitationskonstante und
c ist die Lichtgeschwindigkeit
("Die kosmologische Konstante", Sean M. Carroll, http://pancake.uchicago.edu/~carroll/encyc/, 6 Seiten). Neuere Theorien erlauben jedoch lokale Vakuumfluktuationen, wo auch die "universal" Konstanten betroffen sind:
![]()
Die Analyse der Physik Gesetze die kosmologische Konstante zu definieren, kann eine Schlussfolgerung gezogen werden, dass, wenn eine schwebende, rotierenden supraleitenden Festplatte zu hohen Magnetfeldern ausgesetzt die kosmologische Konstante innerhalb einer Ortschaft betrifft, wäre es auch die Vakuumenergiedichte beeinflussen. Nach der allgemeinen Relativitätstheorie wird die Gravitation als Folge der Krümmung der Raumzeit proportional zu der kosmologischen Konstante erklärt. Somit würde die Änderung der Anziehungskraft der subatomaren Teilchen des Vakuums eine lokale Anomalie in der Krümmung der Raum-Zeit-Einsteinean verursachen.
Es ist die vierte Dimension. Lorentz und Einstein zeigte, dass Raum und Zeit untrennbar verbunden. Später in seinem Leben, Einstein die Hypothese aufgestellt, dass die Zeit schwankt sowohl lokal als auch universell. Ruggero Santilli, für den Ausbau der Relativitätstheorie anerkannt, hat die isocosmology Theorie, die für variable Zinssätze der Zeit ermöglicht. Es ist auch ein Kraftfeld nur bei Geschwindigkeiten über der Lichtgeschwindigkeit entdeckt. Die Energie dieses Kraftfeld wächst als ihre Ausbreitungsgeschwindigkeit sinkt bei der Annäherung an Lichtgeschwindigkeit. Nicht irgendein Lichtgeschwindigkeit: Die Lichtgeschwindigkeit von einem Gebietsschema. Wenn die Bedingungen der Gebietsschema geändert wurde, würde diese Änderung die lokale Zeit Rate in Bezug auf die Geschwindigkeit außerhalb der betroffenen Gebietsschema oder Umgebungsrate beeinflussen. Die gravitomagnetischen Feld elektromagnetisch erzeugt könnte eine solche locale Modifier sein.
Die Analyse der Ausbau der Einstainean Physik von Li & Torr angeboten, könnte man diese Schwerkraft, Zeit zu schließen, und der Lichtgeschwindigkeit kann durch die Anwendung der elektromagnetischen Kraft, um einen Supraleiter geändert werden.
Durch die Schaffung eines Raum-Zeit-Krümmung Anomalie mit gesenktem Druck von Inflationsvakuumzustand um ein Raumfahrzeug verbunden ist, mit der niedrigsten Unterdruckdichte direkt vor dem Fahrzeug befindet, kann ein Zustand erzeugt werden, in denen die Schwerkraft mit abgesenkten Unterdruck Dichte assoziiert zieht der Fahrzeug vorwärts in veränderten Raum-Zeit.
Durch die Schaffung eines Raum-Zeit-Krümmung Anomalie mit erhöhtem Druck des Inflationsvakuumzustand rund um die Raumfahrzeug verbunden ist, mit der Spitze des höchsten Unterdruck Dichte direkt hinter dem Fahrzeug befindet, ein Zustand geschaffen werden könnten, wo eine Abstoßungskraft mit erhöhten Unterdruckdichte assoziiert drückt das Raumfahrzeug vorwärts in modifizierten Raumzeit. Aus dem oben genannten kosmologischen Konstante Gleichung umgeschrieben:
![]()
es ist klar, dass die Zunahme des Unterdruckdichte zu einer deutlichen Erhöhung der Lichtgeschwindigkeit führen. Wenn das Raumfahrzeug in der Anomalie in dem die lokalen Lichtgeschwindigkeit höher ist als die Lichtgeschwindigkeit von der Umgebungsdruck, und wenn dieses Fahrzeug sich diese lokalen Lichtgeschwindigkeit, das Raumfahrzeug würde dann möglicherweise die charakteristische Lichtgeschwindigkeit überschreiten Bewegen für den Umgebungsbereich.
Die Schwebe-und-Drehsupraleiterscheibe, die Podkletnov verwendet, um das Objekt des Experiments aus der durch die Energie des Vakuums erzeugten Anziehungs schützen, wurde von außen durch die extern betriebene Magnetspulen erregt ist. So ist Podkletnov das System stationär per Definition nicht für Reisen in der Luft oder Raum geeignet. Selbst wenn der supraleitende Platte Teil des Fahrzeugs vorgenommen, und wenn es durch den über das Hand verfügbare Energie mit Energie versorgt wird, ist die resultierende Anomalie einseitig, nicht umhüllt, und sie nicht die variable Lichtgeschwindigkeit (VSL) Umgebung für den Handwerk.
In einer kürzlich (2002) Artikel, Chris Y. Tailor und Modanese vorschlagen, einen Impuls Schwerkraft-Generator Regie beschäftigen, von einem externen Standort, eine anomale Strahl auf einem Raumschiff, diesen Strahl, die als eine Abstoßungskraft felderzeugenden Antrieb für das Raumfahrzeug. ("Evaluation eines Impuls Gravity Generator Based Balkenantriebskonzept", Chris Y. Taylor und Giovanni Modanese, American Institute of Aeronautics and Astronautics, Inc., 2002, 21 Seiten, 10 Abbildungen). Die Autoren des Artikels, jedoch nicht berücksichtigen, die mächtigen quantisierten Prozesse Feld Dispersion, die die Entfernung der Ausbreitung der Stoßkraft stark einschränken würde. Bestenfalls könnte die Implementierung dieses Konzepts in der Beschleunigung und Verzögerung in kurzen Abständen von der Impulsschwerkraftgenerator und nur entlang einer geraden Bewegungslinie zu unterstützen. Wenn die Reise Ziel ist ein Raumfahrt-Mission, anstatt der Shuttle-like pendeln, ist das vorgeschlagene System von geringem Nutzen.
Nur eine autarke Handwerk, mit der internen Gravitationsgenerator und die interne Energiequelle hinter diesem Generator ausgestattet, die notwendige Flexibilität, um neue Grenzen von Raum zu erkunden würde. Die Modifizierung der Raum-Zeit-Krümmung der ganzen Raumfahrzeugen würde die Sonde zu ermöglichen, die Lichtgeschwindigkeit charakteristisch für das modifizierte locale nähern, diese Lichtgeschwindigkeit, wenn sie von einer Stelle in dem Umgebungsraum beobachtet, potentiell viele Male höher als die Umgebungslicht-Geschwindigkeit. Dann werden unter einer ausreichenden lokalen Energien, das heißt, Kräfte auf dem Weltraumfahrzeug verfügbar ist, sehr groß intergalaktisch Distanzen könnte herkömmlichen Planeten Abstände reduziert werden.
In "Die erste Fahrt zum Mond" (1903), HG Wells erwartet Gravitationsantriebsmethoden, als er beschreibt die Schwerkraft abstoßen "cavorite." Entdeckt von Professor Cavor wirkt das Material als "Schwerkraft Schild" ermöglicht Cavor des Fahrzeugs, um den Mond zu erreichen. Prof. Cavor baute eine große kugelförmige Gondel durch cavorite Fensterläden, die geschlossen oder geöffnet werden kann auf allen Seiten umgeben. Als Prof. Cavor geschlossen alle Rollläden Blick auf den Boden und öffnete die Fensterläden mit Blick auf den Mond, nahm die Gondel aus für den Mond.
Bis heute hat kein cavorite entdeckt. Doch neuere Forschungen auf dem Gebiet der Supraleitung, Nanomaterialien und Quantenzustand des Vakuums, einschließlich der von Li, Torr, Podkletnov und Modanese hat in wichtige neue Informationen über die Interaktion zwischen einem Gravitationsfeld und besondere Zustände von Materie auf eine Folge Quantenebene. Diese neue Forschung eröffnet die Möglichkeit, mit neuen elektromagnetisch erregt supraleitenden Materialien ermöglicht stabile Zustände von Energie, die Materialien, die nicht nur bei der Kontrolle der lokalen Gravitationsfelder, sondern auch bei der Schaffung neuer gravitomagnetischen Felder.
HINTERGRUND
DER ERFINDUNG AUFGABEN UND VORTEILE
Es gibt vier Aufgaben dieser Erfindung:
Das erste Ziel ist es, ein Verfahren zum Erzeugen
eines Druckanomalie Inflationsvakuumzustand, die elektromagnetische Antriebs
führt werden.
Die zweite Aufgabe ist, ein Raumfahrzeug in der Lage ist, elektromagnetisch erzeugten Vortriebs bereitzustellen. Die Umsetzung dieser beiden Objekte führt zur Entwicklung des Raumfahrzeugs durch Gravitations Ungleichgewicht mit der Schwerkraft zieht angetrieben und / oder Anti-Schwerkraft drückt, vorne die Raumfahrzeug.
Die dritte Aufgabe ist es, ein Verfahren zum Erzeugen eines Druckanomalie Inflationsvakuumzustand bereitzustellen, und zwar die lokale Erhöhung des Niveaus von Unterdruck Dichte mit der größeren Krümmung der Raum-Zeit zugeordnet ist. Die Lichtgeschwindigkeit in solchen Anomalie wäre höher als die Geschwindigkeit von Licht in dem Umgebungsraum .
Die vierte Aufgabe ist es, das Raumfahrzeug in der Lage zum Erzeugen einer ungleich verteilten externen Anomalie ganz um dieses Fahrzeugs, insbesondere die Anomalie mit dem erhöhten Wert des Unterdrucks Dichte bereitzustellen. Die Anomalie ist in der Weise, dass die Schwerkraft zieht das Raumfahrzeug vorwärts in dem modifizierten Raum-Zeit mit einer Geschwindigkeit möglicherweise Annäherung an die spezifisch für diese modifizierten locale Lichtgeschwindigkeit gebildet. Wenn der Vakuumdruck Dichte des locale modifiziert wesentlich höher als der Umgebungsdruck ist, kann die Geschwindigkeit des Fahrzeugs möglicherweise höher als die Umgebungslichtgeschwindigkeit.
ZUSAMMENFASSUNG
DER ERFINDUNG
Die Erfindung betrifft Geräte von den künstlich veränderten Eigenschaften der Druck des Inflationsvakuumzustand zu Geschwindigkeiten möglicherweise Annäherung an die spezifisch für dieses modifizierten locale Lichtgeschwindigkeit mit Eigenantrieb. Ferner betrifft die Erfindung Vorrichtungen, die die Erzeugung der Raum-Zeit-Anomalie durch den erhöhten Unterdruck Dichte aufweist. Die Vorrichtungen der Kombination dieser Funktionen kann in der Lage, bei Geschwindigkeiten wesentlich höher als die Lichtgeschwindigkeit im umgebenden Raum bewegen.
Die Vorrichtung dieser Erfindung ist ein Raumfahrzeug. Die Außenhülle des Raumfahrzeugs wird durch eine Hohlscheibe, kugelförmig oder dergleichen höhlten 3-dimensionalen Gestalt eines Supraleitermaterials, nachfolgend einem hohlen supraleitenden Abschirmung gebildet. Eine innere Abschirmung ist innerhalb der hohlen supraleitenden Abschirmung angeordnet. Der innere Schirm ist vorgesehen, um Mannschaft und lebenserhaltende Geräte im Inneren zu schützen.
Eine Trägerstruktur, oberen Mittel zum Erzeugen eines elektromagnetischen Feldes und Senkeinrichtung zur Erzeugung eines elektromagnetischen Feldes zwischen dem hohlen supraleitenden Abschirmung und dem inneren Schirm angeordnet sind. Ein Flussmodulationssteuerung innerhalb der inneren Abschirmung angeordnet zugänglich für die Besatzung zu sein.
Elektrische Energie wird in einer Stromquelle im Inneren der hohlen supraleitenden Abschirmung angeordnet generiert. Die elektrische Energie wird in ein elektromagnetisches Feld in der oberen Mittel zum Erzeugen eines elektromagnetischen Feldes und die unteren Mittel zum Erzeugen eines elektromagnetischen Feldes umgewandelt.
Elektromotoren, die auch im Inneren der hohlen supraleitenden Abschirmung angeordnet ist, wandeln die elektrische Energie in mechanische Energie.
Die mechanische Energie, und das elektromagnetische Feld durch Drehen des hohlen supraleitenden Abschirmung und der oberen und unteren Mitteln zum Erzeugen eines elektromagnetischen Feldes, die gegen einander.
Das elektromagnetische Feld wird in ein gravitomagnetische Feldes im Hohlsupraleitende Abschirmung umgewandelt.
Die gravitomagnetischen Feld vermehrt nach außen, senkrecht zu den Wänden des hohlen supraleitenden Abschirmung bildet einen Druckanomalie Inflationsvakuumzustand im Bereich der Fortpflanzung. Der Druckanomalie Inflationsvakuumzustand eines Raums der relativ geringeren Unterdruck Dichte vor dem Raumfahrzeug und ein Gebiet mit relativ hohem Unterdruck Dichte hinter dem Fahrzeug zusammen.
Der Unterschied in der Vakuumdruckdichte treibt das Raumfahrzeug der vorliegenden Erfindung vor.
KURZE
BESCHREIBUNG DER ZEICHNUNGEN
Fig.1 ist eine Querschnittsansicht durch die vordere Ebene entlang der Mittelachse eines Raumfahrzeugs durch das Verfahren und Vorrichtung der vorliegenden Erfindung vorgesehen getroffen.

Fig.2A und Fig.2B sind Diagramme, als Perspektivansichten dargestellt, die einige der physikalischen Prozesse aus einer dynamischen Anwendung eines elektromagnetischen Feldes an einem hohlen supraleitenden Abschirmung ergibt. Nur eine Zeile quantisiert Wirbel, von Skala dargestellt, wird zur Veranschaulichung vorgestellt.


Fig.3A und Fig.3B sind Diagramme, als perspektivische Ansichten dargestellt, die eine Unterdruckdichteanomalie mit gesenktem Druck von Inflationsvakuumzustand und einem Unterdruck Dichteanomalie mit erhöhtem Druck des Inflationsvakuumzustand bzw. zugeordnet. Beide Anomalien werden auf dem Hintergrund der Welt Krümmung der Inflationsvakuumzustand gezeigt.


Fig.4A und Fig.4B sind Diagramme, als perspektivische Ansichten dargestellt, die eine Raum-Zeit-Anomalie mit gesenktem Druck von Inflationsvakuumzustand und einer Raum-Zeit-Anomalie mit erhöhtem Druck des Inflationsvakuumzustand bzw. zugeordnet. Beide Abweichungen werden auf dem Hintergrund des Universal-Raum-Zeit gezeigt.


Fig.5A, Fig.5B, Fig.6, Fig.7A, und Fig.7B Diagramme von Raum-Zeit-Krümmung von Anomalien durch das Raumfahrzeug der vorliegenden Erfindung erzeugt wird, diese Anomalien die Bereitstellung für den Antrieb des Raumfahrzeugs.

ZEICHNUNGEN - REFERENZ-ZIFFERN
# 1 hohlen supraleitenden Schild
# 2 inneren Schirm
# 3 Oberschale
# 4 Unterschale
# 5 Tragstruktur
# 6 oberen Drehelement
# 7 unteren Drehelement
# 8 oberen Mittel zum Erzeugen eines elektromagnetischen Feldes,
# 9 und Senkeinrichtung zur Erzeugung eines elektromagnetischen Feldes,
# 10 Feldlinien
# 11 Stromquelle
# 12 lebenserhaltende Geräte
# 13 Fluss Aussteuerungsreglers
# 14 Besatzungs
# 15 im Uhrzeigersinn Schild Bewegungsvektor
# 16 gegen den Uhrzeigersinn EMF Bewegungsvektor
# 17 Drahtgitter
# 18 im Uhrzeigersinn quantisiert Wirbel der Gitterionen
# 19 nach außen gravitomagnetischen Feldvektor
# 20 gegen den Uhrzeigersinn Schild Bewegungsvektor
# 21 im Uhrzeigersinn EMF Bewegungsvektor
# 22 gegen den Uhrzeigersinn quantisiert Wirbel der Gitterionen
# 23 nach innen gravitomagnetischen Feldvektor
# 24 Unterdruckdichteanomalie mit gesenktem Druck von Inflationsvakuumzustand assoziiert
# 25 Universal-Krümmung der Inflationsvakuumzustand
# 26 Unterdruckdichteanomalie mit erhöhtem Druck des Inflationsvakuumzustand assoziiert
# 27 Raum-Zeit-Anomalie mit gesenktem Druck von Inflationsvakuumzustand assoziiert
# 28 Raum-Zeit-Anomalie mit erhöhtem Druck des Inflationsvakuumzustand assoziiert
# 29 Universal-Raum-Zeit-
#30 im Wesentlichen tropfenförmigen Raum-Zeit-Krümmung Anomalie mit gesenktem Druck von Inflationsvakuumzustand assoziiert
# 31 im Wesentlichen tropfenförmigen Raum-Zeit-Anomalie mit erhöhtem Druck des Inflationsvakuumzustand assoziiert
# 32 im Wesentlichen eiförmigen Raum-Zeit-Anomalie mit gesenktem Druck von Inflationsvakuumzustand assoziiert
# 33 Bereich der untersten Unterdruckdichte
# 34 im Wesentlichen eiförmigen Raum-Zeit-Anomalie mit erhöhtem Druck des Inflationsvakuumzustand assoziiert
# 35 Bereich der höchsten Unterdruck Dichte
BESCHREIBUNG
DER GEGENWÄRTIG BEVORZUGTEN AUSFÜHRUNGSFORM
Fig.1 ist eine Querschnittsansicht durch die vordere Ebene entlang der Mittelachse eines Raumfahrzeugs durch das Verfahren und Vorrichtung der vorliegenden Erfindung vorgesehen gemacht. Ein hohler supraleitender Abschirmung 1 bildet eine äußere Schutzhülle des Raumfahrzeugs. Der Hohlsupra Abschirmung 1 kann als Hohlscheibe, Kugel oder dergleichen 3-dimensionalen geometrischen Figur durch den 2-dimensionalen Drehung einer Kurve um die Mittelachse gebildet geformt werden.
In der bevorzugten Ausführungsform ist die Hohlsupraleitenden Abschirmung 1 eines Supraleiters wie YBa2Cu33O7-y oder einem ähnlichen Hochtemperatursupraleiter mit einer zusammengesetzten Kristallstruktur, um eine Temperatur von etwa 40OK abgekühlt. Der Fachmann auf dem Gebiet kann die Verwendung von vielen anderen Niedrig- und Hochtemperatursupraleiter vorstellen, die alle innerhalb des Umfangs dieser Erfindung.
Eine innere Abschirmung 2 ist im Inneren des hohlen supraleitenden Abschirmung 1. Die innere Abschirmung 2 ist aus einer oberen Schale 3 und einem unteren Schale 4, die Schalen 3 und 4 miteinander anschließt angeordnet. Aus Isolationsmaterialien, wie Schaumkeramik ausgeführt wird, der innere Schirm 2 schützt die Umgebung innerhalb der Abschirmung mit der elektromagnetischen Feldes und extremen Temperaturen.
Eine Tragstruktur 5 ist zwischen dem hohlen supraleitenden Abschirmung 1 und der inneren Abschirmung 2, die konzentrisch zu der hohlen supraleitenden Abschirmung angeordnet. Die Tragstruktur 5 umfasst einen oberen Drehelement 6 und einem unteren Drehelement umfasst 7.
Der obere Drehelement 6 ist schwenkbar im Inneren des hohlen supraleitenden Abschirmung 1 angeordnet und kann die Oberschale 3. Die untere Drehelement 7 ist schwenkbar innerhalb der hohlen supraleitenden Abschirmung 1 angeordnet umhüllen und kann die Unterschale 4. Umschlag Obwohl die bevorzugte Ausführungsform zwei Drehelemente, die dem Fachmann in der Technik kann nur eine Drehelement oder drei oder mehr Drehelemente alle innerhalb des Umfangs dieser Erfindung vorstellen.
Obere Mittel zum Erzeugen eines elektromagnetischen Feldes, 8 sind zwischen den hohlen supraleitenden Abschirmung 1 und der Oberschale 3. Die oberen Mittel zum Erzeugen eines elektromagnetischen Feldes, 8 sind mit dem oberen Drehelement 6 fixiert an ein elektromagnetisches Feld durchdringbaren Abstand zu dem hohlen supra angeordnet Schirm 1.
Nieder Mittel zur Erzeugung eines elektromagnetischen Feldes 9 zwischen den Hohlsupraleitenden Abschirmung 1 und der Unterschale 4. Die untere Einrichtung zum Erzeugen eines elektromagnetischen Feldes 9 bei einem elektromagnetischen Feld durchlässigen Abstand zum Hohlsupra angeordnet sind, um den unteren Drehelement 7 fixiert Schirm 1.
Die oberen Mittel zum Erzeugen eines elektromagnetischen Feldes 8 und die unteren Mittel zum Erzeugen eines elektromagnetischen Feldes 9 könnte Solenoidspulen oder Elektromagneten sein. In dem Verfahren der Arbeitsweise des Raumfahrzeugs, wobei das elektromagnetische Feld durch Flusslinien 10 identifiziert ist, steuerbar und variabel an die hohlen supraleitenden Abschirmung 1 aufgetragen.
Elektromotoren sind im Inneren des hohlen supraleitenden Abschirmung entlang ihrer Mittelachse angeordnet ist.
Eine Energiequelle 11 ist im Inneren der hohlen supraleitenden Abschirmung 1 angeordnet und kann innerhalb des unteren Gehäuses angeordnet sein 4. Die Energiequelle 11 ist elektrisch verbunden mit den oberen Mitteln zum Erzeugen eines elektromagnetischen Feldes 8, die unteren Mittel zum Erzeugen eines elektromagnetischen Feldes 9, und die Elektromotoren. Die oberen Mittel zum Erzeugen eines elektromagnetischen Feldes 8, die unteren Mittel zum Erzeugen eines elektromagnetischen Feldes 9, und die Elektromotoren ermöglichen die Drehung des oberen Drehelement 6 und dem unteren Drehelement 7. Die Stromquelle 11 kann ein Atomkraft Generator.
Lebenserhaltende Geräte 12 ist im Inneren des Innenschirm 2 angeordnet ist, und kann in der Unterschale 4. Die lebenserhaltende Geräte 12 angeordnet ist, kann Sauerstoff, Wasser und Lebensmittel erweitert werden.
Ein Flussmodulationssteuerung 13 ist innerhalb der inneren Hülle 2 angeordnet ist, und kann innerhalb des oberen Gehäuses angeordnet werden 3. Die Flussmodulationssteuerung 13 ist in Kommunikation mit den oberen Mitteln zum Erzeugen eines elektromagnetischen Feldes 8, die unteren Mittel zum Erzeugen eines elektromagnetischen Feldes, 9 ist die Stromquelle 11 und die Elektromotoren.
Das Flussmodulationssteuerung 8 kann als ein Computer oder einem Mikroprozessor ausgeführt werden. Das Flussmodulationssteuerung 8 ist mit einer Fähigkeit zur Modulation der Leistungsparameter der oberen Mittel zum Erzeugen eines elektromagnetischen Feldes 8, die unteren Mittel zum Erzeugen eines elektromagnetischen Feldes 9, die Stromquelle 11 und die Elektromotoren vorgesehen ist.
Ein Stab 14. Mai innerhalb der oberen Schale 3 des inneren Schirms 2 angeordnet sein und kann aus einem oder mehreren Astronauten bestehen. Die Mannschaft hat einen freien Zugang zu den lebenserhaltende Geräte 12 und dem Fluss Aussteuerungsreglers 8. Ein Fachmann auf dem Gebiet, kann eine vollautomatische, unbemannte Handwerk, das auch im Rahmen dieser Erfindung ist, vorstellen.
Ein Fachmann kann auch vorstellen, die die Ausführungsform (nicht dargestellt), ebenfalls innerhalb des Umfangs dieser Erfindung, wobei die hohlen supraleitenden Abschirmung schwenkbar ist und die Tragstruktur mit den Mitteln zur Erzeugung eines elektromagnetischen Feldes an der Außenseite befestigt ist der inneren Abschirmung.
Fig.2A und Fig.2B sind Diagramme, die die Ergebnisse der quantisierte elektromagnetische Turbulenz innerhalb der supraleitenden Schale der hohlen supraleitenden Abschirmung durch die relative Drehbewegung der hohlen supraleitenden Abschirmung gegen die oberen Mittel zum Erzeugen eines elektromagnetischen Feldes vorgesehen ist.
Fig.2A zeigt den Uhrzeigersinn relative Drehbewegung des hohlen supraleitenden Schild, diese Bewegung durch einen im Uhrzeigersinn Schild Bewegungsvektor 15 identifiziert, und die gegen den Uhrzeigersinn eine relative Drehbewegung der oberen Mittel zur Erzeugung eines elektromagnetischen Feldes, diese Bewegung durch eine Gegen identifiziert Uhrzeigersinn EMF Bewegungsvektor 16.
Das elektromagnetische Feld, steuerbar und variabel durch die oberen Mittel zum Erzeugen eines elektromagnetischen Feldes, deren verschiedene Positionen durch ein Drahtgitter 17 identifiziert aufgebracht, um den hohlen supraleitenden Abschirmung (nicht gezeigt) bewirkt quantisierte elektromagnetische Turbulenz innerhalb des hohlen supraleitenden Abschirmung. Diese Turbulenz wird durch eine Vielzahl von quantisierten Uhrzeigersinn Wirbel Gitterionen 18. Nur eine Zeile der quantisierten Uhrzeigersinn Wirbel Gitterionen 18 (nicht maßstabsgetreu), wird nur zu Illustrationszwecken gezeigt dargestellt. Jeder der quantisiert Uhrzeigersinn Wirbel Gitterionen 18 ein gravitomagnetischen Feld von einer nach außen gravitomagnetischen Feldvektor 19 senkrecht von der hohlen supraleitenden Schild gerichtet identifiziert.
Fig.2B zeigt die gegen den Uhrzeigersinn eine relative Drehbewegung des hohlen supraleitenden Schild, diese Bewegung durch eine gegen den Uhrzeigersinn Schild Bewegungsvektor 20 identifiziert, und die relative Drehbewegung im Uhrzeigersinn des oberen Mittel zur Erzeugung eines elektromagnetischen Feldes, diese Bewegung durch eine fest Uhrzeigersinn EMF Bewegungsvektor 21.
Das elektromagnetische Feld, steuerbar und variabel durch die oberen Mittel zum Erzeugen eines elektromagnetischen Feldes durch das Drahtgitter 17 identifiziert, an dem hohlen supraleitenden Abschirmung (nicht gezeigt) angelegt wird, bewirkt, dass quantisierte elektromagnetische Turbulenz innerhalb des hohlen supraleitenden Abschirmung, diese Turbulenz durch eine Mehrzahl vertreten der gegen den Uhrzeigersinn quantisiert Wirbel der Gitterionen 22. Nur eine Zeile der gegen den Uhrzeigersinn quantisiert Wirbel der Gitterionen 22, (nicht maßstabsgetreu), ist nur zu Illustrationszwecken gezeigt. Jede der Gegenuhrzeigersinn quantisiert Wirbel Gitterionen 22 erzeugt ein gravitomagnetische Feld durch eine innere gravitomagnetische Feldvektor 23 senkrecht in Richtung des hohlen supraleitenden Abschirmung gerichtet identifiziert.
Die elektrischen Anforderungen für die Bereitstellung des Li-Torr Wirkung sind wie folgt:
Podkletnov wurde unter Verwendung der Hochfrequenzstrom von 105 Hz erfasst. Er benutzte auch 6 Magnetspulen @ jeder 850 Gauss. Die Effizienz des Systems berichtet, erreichte 100% und die Summe-Feld in der Podkletnov Scheibe betrug etwa 0,5 Tesla. Die maximale Gewichtsverlust durch Podkletnov berichteten 2,1%.
Die bevorzugte Ausführungsform der Vorrichtung der vorliegenden Erfindung ist in der Lage Gehäuse 2-3 Astronauten und daher wird in Betracht gezogen, um ungefähr 5 Meter im Durchmesser an der breitesten Stelle ist. Der bevorzugte Raum Fahrzeugbeschleunigung wird mit 9,8 m / s / s vorsieht, dass die Schwerkraft an Bord ist ähnlich wie die auf der Oberfläche der Erde.
Die Einrichtung zum Erzeugen eines elektromagnetischen Feldes kann von 124 Magnetspulen umfassen. Gleichzeitig 100% Effizienz durch Podkletnov berichtet, das Gesamtfeld benötigt die Bereitstellung der Beschleunigung von 9,8 m / s / s 5000 Tesla oder etwa 40 Tesla pro Spule. Skeggs schlägt vor, dass auf der Podkletnov Gerät, von 850 Gauss entwickelt auf der Oberfläche der Spule, das Feld die die Supraleiter und wodurch die Gravitomagnetismus nur 400 Gauss ("Engineering Analyse der Podkletnov Gravity Abschirmung Experiment, Peter L. Skeggs, Quantum Forum, 7. November 1997, http://www.inetarena.com/~noetic/pls/podlev.html, 7 Seiten). bedeutet dies 47% Effizienz der Geräte.
Auf diese 47% Effizienz Raumfahrzeug, das Gesamtfeld erforderlich Erreichen der 9,8 m / s / s Beschleunigung über 10.600 Tesla oder 85,5 Tesla pro jede 124 Magnetspulen. Es ist zu beachten, dass bei dieser Beschleunigungsrate, es fast ein Jahr dauern würde, bis das Raumfahrzeug, um die Geschwindigkeit von Licht erreicht werden.
Es muss auch darauf hingewiesen, dass Skeggs eine Diskrepanz zwischen den Li-Torr Schätzungen und praktische Ergebnisse Podkletnov die erkannt werden. Wenn experimentelle Ergebnisse Podkletnov sind fehlerhafte während die Li-Torr Schätzungen wirklich für den Raumfahrzeug der vorliegenden Erfindung, dann ist der Energiebedarf für die Erreichung der gesuchten Geschwindigkeit wäre wesentlich höher als die oben Schätzung 10.600 Tesla.
Podkletnov dem Schluss, dass, damit der Unterdruck Dichteanomalie stattfinden soll, muss der erdnahen Gerät in den Zustand der Meissner Schwebe sein. Wie alle Raumkörper, der Raum ist ein Fahrzeug unter dem Druck der Inflationsvakuumzustand und die Schwerkraft, die in der Migration Lokalität des expandierenden Universums, die in jedem einzelnen linearen Richtung, im Wesentlichen im Gleichgewicht. So kann das Raumfahrzeug, das Erfordernis des Meissner Schwebe gewellt.
Die Ausbreitung der gravitomagnetischen Feld durch die nach außen gravitomagnetischen Feldvektor 19 und dem nach innen gravitomagnetischen Feldvektor 23 identifiziert würden exotischen quantisierten Prozesse in das Vakuum subatomaren Teilchen, die Partikelpolarisation, ZPF Feldausfälle, und die Materie-Energie-Transformation per E = mC2 gehören verursachen . Die Kombination dieser Verfahren würden im Schwere Anomalie führen. Gemäß der allgemeinen Relativitätstheorie, wird Schwerkraft als Ergebnis der Krümmung der Raum-Zeit proportional zu der Gravitationskonstante erläutert. Somit würde die Änderung der Anziehungskraft der subatomaren Teilchen des Vakuums eine lokale Anomalie in der Krümmung der Raum-Zeit-Einsteinean verursachen.
Die Schwerkraft ist das gleiche wie gebogene Raum, mit der Geschwindigkeit des Lichts charakteristisch für den jeweiligen Raum-Zeit-Krümmung ausbreiten. Wenn es gebogen Raum betroffen ist, gibt es eine Änderung in der Ausbreitungsgeschwindigkeit der Schwerkraft innerhalb des Raum-Zeit-Krümmung Anomalie. Der lokale Lichtgeschwindigkeit nach Fomalont und Kopeikin immer gleich der lokalen Ausbreitungsgeschwindigkeit der Gravitation, ist auch innerhalb der Ortschaft Raum-Zeit-Krümmung Anomalie betroffen.
Schaffung von Raum-Zeit-Krümmung Anomalien neben oder in unmittelbarer Nähe, das Raumfahrzeug, diese Anomalien gekennzeichnet durch die lokalen Schwerkraft und Licht-Drehzahländerung, ist die wichtigste Aufgabe der vorliegenden Erfindung.
Fig.3A zeigt ein Diagramm einer Vakuumdruckdichteanomalie mit gesenktem Druck von Inflationsvakuumzustand 24 auf dem Hintergrund der Welt Krümmung der Inflationsvakuumzustand 25. Die Unterdruckdichteanomalie mit gesenktem Druck von Inflationsvakuumzustand 24 assoziiert wird gebildet eine Vielzahl der nach innen gravitomagnetischen Feldvektoren. Nach Angaben der kosmologischen Konstante Gleichung,
![]()
wobei:
Die kosmologische konstanten Lambda, ist proportional zu dem Vakuumenergiedruck rho-lambda, G Newtons Gravitationskonstante und c die Lichtgeschwindigkeit ist, so dass die Krümmung der Raum-Zeit proportional zu der Gravitationskonstante. Gemäß der allgemeinen Relativitätstheorie, ist die Änderung des Unterdrucks Dichte proportional zu der Änderung in der Raum-Zeit-Krümmung Anomalie. Durch den Austausch der Rho-Lambda mit dem Vakuum-Druckdichte, P mal der Vakuumenergiekoeffizienten Kappa und Ersetzen von c mit:
Delta-Abstand / Delta-Zeit der Gleichung hergeleitet:
![]()
und können jetzt bauen einen Unterdruck Dichte Krümmung Diagramm.
Der Vakuumdruck Dichte Krümmung Anomalie mit gesenktem Druck von Inflationsvakuumzustand 24 zugeordnet ist hier als eine abgeflachte Oberfläche, die den abgesenkten Druck des Inflationsvakuumzustand gezeigt. Diese Anomalie ist das Ergebnis der exotischen quantisierten Prozesse in den subatomaren Teilchen durch die quantisierten Turbulenzen in der hohlen supraleitenden Abschirmung auftretenden verursacht. Die XYZ-Achsen die drei Dimensionen des Raumes und die P-Achse stellt die Vakuumdruckdichte .
Fig.3B zeigt ein Diagramm einer Vakuumdruckdichteanomalie mit erhöhtem Druck des Inflationsvakuumzustand 26 auf dem Hintergrund der Allgemeinen Krümmung der Inflationsvakuumzustand 25. Die Unterdruckdichteanomalie mit erhöhtem Druck des Inflationsvakuumzustand 26 assoziiert gebildet durch eine Vielzahl von nach außen gravitomagnetische Feldvektoren. Die Anomalie ist hier als eine konvexe Oberfläche, die den erhöhten Druck von Inflationsvakuumzustand gezeigt. Die Diagramme Fig.3A und Fig.3B sind nicht maßstabsgetreu, das zur Anomalie Größen aus Gründen der Klarheit übertrieben dargestellt.
Fig.4A und Fig.4B zeigen Diagramme einer Raum-Zeit-Anomalie mit gesenktem Druck von Inflationsvakuumzustand 27 verbunden sind, und eine Raum-Zeit-Anomalie mit erhöhtem Druck des Inflationsvakuumzustand assoziiert bzw. 28, die jeweils auf dem Hintergrund ein Diagramm Universal-Raum-Zeit-29.
Die quaterised Julia-Menge Qn+1 = Qn2 + C0 wird angenommen, dass eine genaue mathematische Darstellung des Weltraumzeit sein. Der generische Quaternion Q0 gehört zur Julia-Menge mit der Quaternion C verbunden sind, und n gegen unendlich. Wenn wir davon ausgehen, dass die Quaternion Wert C0 wird mit der Universal-Raum-Zeit-29 verbunden sind, ist der Wert von C1 Quaternion C für die Raum-Zeit-Anomalie mit gesenktem Druck von Inflationsvakuumzustand 27 verbunden sind, und C2 ist der Wert der Quaternion C die Raum-Zeit-Anomalie mit erhöhtem Druck des Inflationsvakuumzustand 28 verbunden ist, dann können wir zwei Diagramme zu konstruieren.
Das Diagramm von Fig.4A zeigt das Raum-Zeit-Anomalie mit gesenktem Druck von Inflationsvakuumzustand 27 als quaterised Julia-Menge in einem 4-dimensionalen Raum enthalten assoziiert: Qn+1 = Qn2 + C1 auf dem Hintergrund des Weltraumzeit 29 vertreten durch Qn+1 = Qn2 + C0.
Das Diagramm Fig.4B zeigt die Raum-Zeit-Anomalie mit erhöhtem Druck des Inflationsvakuumzustand 28 als quaterised Julia zugeordnet ist Qn+1 = Qn2 + C2, auch auf dem Hintergrund des Weltraumzeit 29 von Qn+1 = Qn2 + C0 vertreten. Auf beiden Diagrammen die XYZ-Achsen repräsentieren drei Dimensionen des Raumes, und die T-Achse die Zeit darstellt. Die Diagramme sind nicht maßstäblich: Anomalie Größen werden zur Verdeutlichung übertrieben, und die Hälften quaterised Julia Menge, üblicherweise der hypothetischen Anti-Universum zugeordnet sind, weggelassen.
Fig.5A, Fig.5B, Fig.6, Fig.7A und Fig.7B zeigen vereinfachte Diagramme von Raum-Zeit-Krümmung von Anomalien durch das Raumfahrzeug der vorliegenden Erfindung erzeugt wird, diese Anomalien die Bereitstellung für den Antrieb des Raumfahrzeugs. In jedem Fall wird der Druckanomalie Inflationsvakuumzustand von einem Bereich von relativ geringer Unterdruck Dichte vor dem Raumfahrzeug und einem Bereich mit relativ hohem Unterdruck Dichte hinter dem Raumfahrzeug umfasst. Da der untere Druck des Inflationsvakuumzustand mit größerer Schwerpunkt zugeordnet ist und der höhere Druck wird mit der höheren Rückstellkraft zugeordnet ist, wird das Raumfahrzeug aufgefordert, aus dem Bereich der relativ höheren Unterdruck Dichte auf den Bereich von relativ geringer Unterdruck Dichte bewegen .
Fig.5A zeigt das erste Beispiel einer Raum-Zeit-Krümmungsänderung . Dieses Beispiel zeigt eine wesentlich tropfenförmigen Raum-Zeit-Krümmung Anomalie mit gesenktem Druck von Inflationsvakuumzustand 30 neben dem hohlen supraleitenden Abschirmung 1 des Raumfahrzeugs verbunden. Die Anomalie 30 wird durch die Ausbreitung eines gravitomagnetische Feld abstrahlenden orthogonal von der Vorderseite der hohlen supraleitenden Abschirmung 1. Diese gravitomagnetische Feld kann durch die relative Bewegung im Uhrzeigersinn der oberen Mittel zum Erzeugen eines elektromagnetischen Feldes vorgesehen sein, und die relative Bewegung entgegen dem Uhrzeigersinn vorgesehen ist der hohlen supraleitenden Bereich, von oberhalb der Raumfahrzeug beobachtet.
In diesem Beispiel ist der Unterschied zwischen der Raum-Zeit-Krümmung im wesentlichen tropfenförmigen Raum-Zeit-Anomalie mit gesenktem Druck von Inflationsvakuumzustand, und der Umgebungs Raum-Zeit-Krümmung verbunden sind, die Raum-Zeit-Krümmung die gleiche ist wie die Schwerkraft, Ergebnisse im Gravitationsstörungen, mit der Schwerkraft zieht die Raumfahrzeug vorwärts.
Fig.5B zeigt das zweite Beispiel der Raum-Zeit-Krümmungsänderung. Dieses Beispiel zeigt einen im wesentlichen tropfenförmigen Raum-Zeit-Anomalie mit erhöhtem Druck des Inflationsvakuumzustand 31 benachbart dem hohlen supraleitenden Abschirmung 1 des Raumfahrzeugs verbunden. Die Anomalie 31 wird durch die Ausbreitung eines gravitomagnetische Feld abstrahlenden orthogonal von der Rückseite des hohlen supraleitenden Abschirmung vorgesehen. Diese gravitomagnetischen Feld kann durch die relative Bewegung gegen den Uhrzeigersinn der unteren Einrichtung zum Erzeugen eines elektromagnetischen Feldes, und die relative Bewegung im Uhrzeigersinn des hohlen supraleitenden Bereich vorgesehen sein, wie von unterhalb der Raumfahrzeug beobachtet.
In diesem Beispiel ist die Differenz zwischen dem Raum-Zeit-Krümmung im wesentlichen tropfenförmigen Raum-Zeit-Anomalie mit erhöhtem Druck des Inflationsvakuumzustand, und der Umgebungsraumzeitkrümmung zugeordnet ist, die Raum-Zeit-Krümmung, die die selben wie die Schwerkraft, ergibt sich die Gravitationsstörungen, mit der Rückstoßkraft und die Raumfahrzeug vorwärts.
Fig.6 zeigt das dritte Beispiel der Raum-Zeit-Krümmungsänderung. Dieses Beispiel zeigt die Bildung des im wesentlichen tropfenförmigen Raum-Zeit-Anomalie mit gesenktem Druck von Inflationsvakuumzustand 30 in Verbindung mit dem im wesentlichen tropfenförmigen Raum-Zeit-Anomalie mit erhöhtem Druck des Inflationsvakuumzustand 31 verbunden Diese Kombination von Anomalien kann durch die relative Bewegung im Uhrzeigersinn der oberen Mittel zum Erzeugen eines elektromagnetischen Feldes und die relative Bewegung im Uhrzeigersinn des hohlen supraleitenden Bereich in Verbindung mit der relativen Bewegung im Uhrzeigersinn der unteren Einrichtung zum Erzeugen eines elektromagnetischen Feldes, wie von oberhalb des Raumfahrzeugs beobachten vorgesehen sein.
In diesem Beispiel ist die Differenz zwischen dem Raum-Zeit-Krümmung im wesentlichen tropfenförmigen Raum-Zeit-Anomalie mit abgesenktem Druck des Inflationsvakuumzustand zugeordnet ist, und die Raum-Zeit-Krümmung der im wesentlichen tropfenförmigen Raum-Zeit-Anomalie assoziiert mit erhöhten Druck des Inflationsvakuumzustand ergibt sich der Raum-Zeit-Krümmung die gleiche ist wie die Schwerkraft, im Gravitationsstörungen, mit der Schwerkraft zieht, und die Abstoßungskraft drückt, die nach vorne Raumfahrzeug.
Fig.7A zeigt das vierte Beispiel der Raum-Zeit-Krümmungsänderung . Dieses Beispiel zeigt die Bildung von einer im wesentlichen eiförmigen Raum-Zeit-Anomalie mit abgesenktem Druck des Inflationsvakuumzustand 32 um den hohlen supraleitenden Abschirmung 1 des Raumfahrzeugs verbunden. Die Anomalie 32 wird durch die Ausbreitung gravitomagnetische Feld ungleich verteilten Dichte vorgesehen, der gravitomagnetische Feld abstrahlenden in alle Richtungen orthogonal von der hohlen supraleitenden Abschirmung. Die Ausbreitung der ungleich verteilten gravitomagnetischen Feld führt zu dem ähnlich ungleich verteilt Raum-Zeit-Krümmung Anomalie. Diese ungleich verteilten gravitomagnetische Feld kann durch die relativ schneller Bewegung im Uhrzeigersinn der oberen Mittel zum Erzeugen eines elektromagnetischen Feldes in bezug auf den hohlen supraleitenden Bereich mit der relativ langsameren Bewegung gegen den Uhrzeigersinn der unteren Einrichtung zur Erzeugung eines elektromagnetischen Feldes vorgesehen ist, verbunden, von oberhalb der Raumfahrzeug beobachtet.
Ein Bereich, der niedrigsten Unterdruckdichte 33 des im wesentlichen eiförmigen Raum-Zeit-Anomalie mit gesenktem Druck von Inflationsvakuumzustand 32 befindet sich direkt vor dem Raumfahrzeug befindet verbunden.
In diesem Beispiel wird die Variation in der Raum-Zeit-Krümmung im wesentlichen eiförmigen Raum-Zeit-Anomalie mit abgesenktem Druck des Inflationsvakuumzustand zugeordnet ist, die Raum-Zeit-Krümmung, die die selben wie die Schwerkraft, zu einer Gravitations Ungleichgewicht, mit der Schwerkraft Ziehen des Raumfahrzeugs nach vorne in modifizierten Raum-Zeit-.
Fig.7B veranschaulicht das fünfte Beispiel der Raum-Zeit-Krümmung Modifikation auch mit dem Zweck der Bereitstellung einer Antriebs modifiziert Raumzeit. Dieses Beispiel zeigt die Bildung von einer im wesentlichen eiförmigen Raum-Zeit-Anomalie mit erhöhtem Druck des Inflationsvakuumzustand 34 um den hohlen supraleitenden Abschirmung 1 des Raumfahrzeugs verbunden. Die Anomalie 34 wird durch die Ausbreitung gravitomagnetische Feld ungleich verteilten Dichte vorgesehen, der gravitomagnetische Feld abstrahlenden in alle Richtungen orthogonal von der hohlen supraleitenden Abschirmung. Die Ausbreitung der ungleich verteilten gravitomagnetischen Feld führt zu dem ähnlich ungleich verteilt Raum-Zeit-Krümmung Anomalie. Diese ungleich verteilten gravitomagnetische Feld kann durch die relativ langsamer Bewegung gegen den Uhrzeigersinn von der oberen Mittel zum Erzeugen eines elektromagnetischen Feldes in bezug auf den hohlen supraleitenden Bereich vorgesehen werden, in Kombination mit der relativ schneller Bewegung im Uhrzeigersinn der unteren Einrichtung zum Erzeugen eines elektromagnetischen Feldes, von oberhalb der Raumfahrzeug beobachtet.
Ein Bereich, der höchsten Unterdruck Dichte 35 des im wesentlichen eiförmigen Raum-Zeit-Anomalie mit erhöhtem Druck des Inflationsvakuumzustand 34 ist direkt hinter dem Raumfahrzeug befindet verbunden.
In diesem Beispiel wird die Variation in der Raum-Zeit-Krümmung im wesentlichen eiförmigen Raum-Zeit-Anomalie mit erhöhtem Druck des Inflationsvakuumzustand zugeordnet ist, die Raum-Zeit Krümmungselbe wie die Schwerkraft, zu einer Gravitationsungleichgewicht mit der Abstoßung Kraft, die das Raumfahrzeug vorwärts in modifizierten Raumzeit bei Geschwindigkeiten nahe der Lichtgeschwindigkeit charakteristisch für diese modifizierten Bereich. Diese Lichtgeschwindigkeit ist viel höher als die Lichtgeschwindigkeit im umgebenden Raum ist.
Durch die Schaffung alternativer Anomalien und Modulation ihrer Parameter, würde der Raum Fahrzeugbesatzung erweitern und zusammenzuziehen Zeit und Raum auf Anfrage. Das Raumfahrzeug und strahlt ein Unterdruck Modifizieren kontrollierbar modulierte gravitomagnetischen Feld in alle Richtungen, würde schnell in der unebenen Raum-Zeit-Anomalie sie geschaffen zu bewegen, nach vorne gezogen durch Schwerkraft oder durch die Rückstoßkraft gedrückt wird. Es Frequenzbereich der Anomalie wird erwartet, dass mehrere quantisierte Grenzen anstatt einen einzigen plötzlichen Grenze von Raum und Zeit in unmittelbarer Nähe des Fahrzeugs beeinflussen können. Drehzahl, Geschwindigkeit der Zeit und Raumrichtung könnte bei Bedarf und auf eine schnelle Weise verschoben werden. Das modulierte Lichtgeschwindigkeit könnte das Raumfahrzeug für interstellare Reisen zu machen. Aufgrund der zeitlichen Steuerung in die neu geschaffene isospace würden die Beschleunigungen allmähliche und die Winkel der Abweichung relativ glatt sein. Die Schwerkraft Abschirmung würde weiter zu schützen Piloten von den negativen Auswirkungen der Schwerkraft bei schnellen Beschleunigungen, Richtungsänderungen und plötzlichen Haltestellen.
***************************
Wenn Sie den Gedanken der Erzeugung eines Gravitationsfeld zu finden, schwierig, sich mit zu kommen, dann erwägen, die Arbeit von Henry Wallace, der als Ingenieur bei General Electric vor etwa 25 Jahren war und der einige unglaubliche Erfindungen, die die zugrunde liegende Physik der entwickelt Gravitationsfeld. Nur wenige Menschen haben von ihm oder seiner Arbeit gehört. Wallace entdeckt, dass ein Kraftfeld, ähnlich oder auf das Gravitationsfeld im Zusammenhang, ergibt sich aus der Wechselwirkung der sich relativ zueinander bewegenden Massen. Er baute Maschinen, die zeigten, dass dieses Feld könnte durch Spinnen Massen der elementaren Material mit einer ungeraden Anzahl von Nukleonen erzeugt werden - dh ein Kern mit einer Mehrfach halbzahligen Wert von h-Bar, der Höhe des Drehimpulses. Wallace verwendet Bismut oder Kupfer Material für seine Drehkörper und "kinnemassic" Feldkonzentratoren.
Abgesehen von den immensen Nutzen für die Menschheit, die sich aus einem besseren Verständnis der physikalischen Natur der Schwerkraft und anderen fundamentalen Kräfte führen könnte, könnte Wallaces Erfindungen enormen praktischen Wert bei der Bekämpfung der Schwerkraft oder die Umwandlung der Schwerkraft Felder in Energie für nützliche Arbeit. Also, warum hat niemand von ihm gehört? Man könnte meinen, der Entdecker der wichtige Erkenntnisse, wie dies als ein großer Wissenschaftler angekündigt und für Dynamit Preise nominiert werden. Könnte es sein, dass seine Erfindung nicht funktioniert? Jeder kann die Patente erhalten. Studieren Sie sie - Wallace - General Electric - detaillierte Beschreibungen der Operationen - Messungen der Effekte - Zeichnungen und Modelle - es authentisch ist. Wenn Sie mit Werkzeugen handlich sind, dann können Sie auch selbst bauen. Es funktioniert.
Henry wurde zwei Patente in diesem Bereich erteilt:
US Patent 3626606 -- "Method and Apparatus for Generating a Dynamic Force Field", Dec 14, 1971. Er wurde auch gewährt US Patent 3823570 -- "Heat Pump" (basierend auf Technologie ähnlich wie die beiden oben genannten Erfindungen), July 16, 1973.
Diese Patente können abgerufen werden unter http://www.freepatentsonline.com
US Patent
642.434 12. November 1932 Erfinder: Charles N. Pogue
VERGASER
Dieses Patent beschreibt eine Vergaser-Design, die in der Lage, sehr hohe mpg Zahlen produzieren mit Hilfe der in den USA Benzin in den 1930er Jahren, aber die nicht mehr verfügbar ist, wie die Ölindustrie will nicht funktionalen Hoch mpg Vergaser der Öffentlichkeit zur Verfügung und so zu sein, mischen in verschiedene Additive zu verstopfen solche Vergaser.
BESCHREIBUNG
Diese Erfindung betrifft eine Vorrichtung zur Gewinnung eines innigen Kontakt zwischen einer Flüssigkeit in einem dampfförmigen Zustand und einem Gas, und insbesondere auf eine solche Vorrichtung, die als ein Vergaser für Verbrennungsmotoren dienen kann.
Vergaser üblicherweise für die Zufuhr eines brennbaren Gemisches von Luft und flüssigem Kraftstoff zu Verbrennungsmotoren verwendet wird, umfassen eine Schale, in der eine Zufuhr des Kraftstoffs in der flüssigen Phase und einem Kraftstoffstrahl, der von dem flüssigen Kraftstoff in einen Durchgang erstreckt, gehalten, durch die Luft wird durch den Sog der Motorzylinder gezogen. Auf der Saugseite oder der Ansaugtakt des Zylinders, wird Luft über gezogen und um den Kraftstoffstrahl und eine Ladung von flüssigem Kraftstoff angesaugt, zerkleinert und während seines Durchgangs zu den Motorzylindern partiell verdampft. Ich habe jedoch festgestellt, dass in solchen Vergaser, eine relativ große Menge des zerstäubten flüssigen Kraftstoff nicht verdampft und tritt in den Motorzylinder in der Form von mikroskopischen Tröpfchen. Wenn eine solche Ladung im Motorzylinder gezündet, wird nur der Teil des flüssigen Kraftstoffs, die in dem dampfförmigen (molekularen) Zustand umgewandelt worden ist, verbindet sich mit der Luft zu einem explosiven Gemisch zu ergeben. Der verbleibende Teil des flüssigen Kraftstoffs, der in die Zylinder des Motors gezogen wird, und verbleibt in der Form kleiner Tröpfchen, explodiert nicht und verleihen die Stromversorgung des Motors, sondern verbrennt mit einer Flamme und erhöht die Temperatur des Motors über die, bei der der Motor arbeitet am effizientesten, dh 160O bis 180O F.
Gemäß dieser Erfindung wird ein Vergaser für Brennkraftmaschinen ist in dem im wesentlichen das gesamte flüssige Kraftstoff in den Motorzylinder bereitgestellt wird in der Dampfphase, und folglich in der Lage ist die Kombination mit der Luft, um eine Mischung, die explodiert und verleihen ein bilden sich maximale Menge an Energie an den Motor, und der will nicht brennen, und die Temperatur des Motors übermäßig zu erhöhen.
Ein Gemisch aus Luft und Flüssigkraftstoff in der Dampfphase tatsächlich in den Motorzylinder durch Verdampfen alle oder einen großen Teil des flüssigen Kraftstoffs, bevor sie in den Ansaugkrümmer des Motors eingebracht wird, erhalten wird. Dies wird vorzugsweise in einer Verdampfungskammer durchgeführt, und die "trockene" dampfförmigem Kraftstoff aus dem Anfang der Kammer in das Saugrohr auf der Einlaß- oder Saughub des Motors gezogen wird. Der Begriff "trocken" hier verwendet, bezeichnet der Kraftstoff in der Dampfphase, das mindestens im wesentlichen frei von Tröpfchen des Kraftstoffs in der flüssigen Phase, die bei der Zündung nicht verbrennen explodiert ist.
Insbesondere
umfasst die Erfindung ein Vergaser verkörpert eine Verdampfungskammer in deren
Boden eine konstante Flüssigkeitskörper Brennstoff aufrechterhalten wird, und
in der Spitze der es stets eine Zufuhr von "trockenen" verdampften
Kraftstoff, bereit für die Aufnahme durch der Ansaugkrümmer des Motors. Die
Zufuhr von verdampftem flüssigem Brennstoff wird durch Ziehen von Luft durch
die Zufuhr von flüssigem Brennstoff in den Boden der Verdampfungskammer
gehalten wird, und durch die ständige Atomisieren eines Teils des flüssigen
Kraftstoffs, so dass es leichter in die Gasphase übertreten. Dies wird
vorzugsweise durch einen doppelwirkenden Saugpumpe aus dem Ansaugkrümmer, die
eine Mischung aus dem flüssigen Brennstoff und die Luft vor einer
Die Erfindung wird weiter in Verbindung mit den beigefügten Zeichnungen beschrieben, jedoch ist diese weitere Offenbarung und Beschreibung ist als ein Beispiel der Erfindung angesehen werden und das gleiche wird dabei nicht außer wie in den Ansprüchen dargelegt ist begrenzt.
Fig.1 ist eine Seitenansicht eines Vergasers gemß meiner Erfindung.

Fig.2 ist eine vertikale Schnittansicht
durch die Mitte der Fig.1

Fig.3 ist eine Horizontalschnittansicht auf der Linie 3-3 der Fig.2.

Fig.4 ist eine vergrßerte vertikale Schnittansicht durch einen der Pumpenzylinder und der angrenzenden Teile des Vergasers.

Fig.5 ist eine vergrößerte Ansicht durch die vollständige doppelt wirkende Pumpe und zeigt die zugeordnete Verteilerventil.

Fig.6 ist eine vergrößerte vertikale Schnittansicht durch die Zerstäuberdüse zum Zuführen einer Ausgangsladung für den Motor.

Fig.7 und Fig.8 sind detaillierte Schnittansichten von Teilen 16 und 22 in Fig.6

Fig.9 und Fig.10 sind detaillierte Schnittansichten, die den Einlaß und Auslaß zu den Zylindern der Zerstäubungsvorgang Pumpen.

Bezugnehmend auf die Zeichnungen bezeichnet die Zahl 1 eine kombinierte Verdampfungskammer und die Kraftstoffwanne, in dem flüssiger Brennstoff auf der Ebene in Fig.1 durch einen Schwimmer-Ventil 2 die Steuerung der Strömung von flüssigem Brennstoff durch die Leitung 3, die von der Vakuum führt angegeben beibehalten Tank oder anderen flüssigen Brennstoffreservoir.
Die Verdampfungskammer 1 ist von einer Kammer 4 durch die heiße Abgase aus dem Motor durch die Leitung 5 am Boden der Kammer angeordnet geben umgeben. Diese Gase passieren um die Verdampfungskammer 1 und heizen die Kammer, die die Verdampfung des flüssigen Kraftstoffs beschleunigt. Die Gase passieren dann durch die obere Austrittsrohr 6.
Kammer 4 für die heißen Abgase, wird wiederum durch Kammer 7, in die Luft zum Verdampfen Teil des flüssigen Kraftstoffs in der Kammer 1 tritt über eine untere Ansaugleitung umgeben 8. Diese Luft strömt nach oben durch die Kammer 4 durch den die heißen Abgase passieren und so wird die Luft erwärmt. Ein Teil der erwärmten Luft strömt dann wenn Leitung 9 in einen Perlator 10 in den Boden der Verdampfungskammer 1 angeordnet und in dem flüssigen Kraftstoff untergetaucht. Der Belüfter 10 ist aus einem relativ flachen Kammer, die über einen wesentlichen Abschnitt des Bodens der Kammer erstreckt und eine große Anzahl von kleinen Öffnungen 11 in seiner oberen Wand besteht. Die erhitzte Luft in die Belüftungseinrichtung verläuft durch die Öffnungen 11 als kleine Blasen, die dann nach oben durchlaufen den flüssigen Brennstoff. Diese Blasen zusammen mit der Wärme an die Verdampfungskammer durch die heißen Abgase vermittelt, bewirken eine Verdampfung eines Teils des flüssigen Kraftstoffs.
Ein weiterer Teil der Luft aus der Kammer 7 durch eine Verbindung 12 in den Durchgang 13, durch welchen Luft direkt aus der Atmosphäre in den Einlasskrümmer. Durchgang 13 ist mit einem Ventil 14, das normalerweise durch eine Feder geschlossen gehalten 14a vorgesehen, dessen Spannung kann mittels des Gewindesteckers 14b eingestellt werden. Einlass 13 hat eine nach oben gerichtete Verlängerung 13a, in welchem ein Drosselventil 13b zum Unterstützen beim Starten des Motors. Durchgang 13 verläuft durch die Verdampfungskammer 1 und mit seinem inneren Ende, das mit dem Durchgang 15 über das Verbindungselement 15a, das zu dem Ansaugkrümmer des Motors befestigt ist. Durchgang 15 ist mit der üblichen Drosselklappe 16, die die Kraftstoffmenge zu den Motorzylindern aufgenommen steuert und folglich, regelt die Geschwindigkeit des Motors.
Der Teil des Durchlasses 13, das durch die Verdampferkammer verläuft eine Öffnung 17 normalerweise durch das Ventil 17a, die durch die Feder 17b gegen seinen Sitz gehalten wird, geschlossen ist, kann die Spannung, die durch einen Gewindestopfen 17c eingestellt werden. Wenn Luft vorbei Ventil 14 und durch den Durchgang 13 auf der Einlaß- oder Saughub des Motors gezogen wird, wird Ventil 17a von ihrem Sitz abgehoben werden und ein Teil des trockenen Stoffdampf aus dem oberen Teil der Verdampfungskammer wird in den Kanal gesaugt werden kann 13 durch die Öffnung 17 und vermischen sich mit der Luft in sie, bevor sie in Durchgang 15.
Um die Luftmenge, die von der Kammer 7 bis Belüfter 10 und in den Durchgang 13, Leitung 9 und die Verbindung 12 zu regulieren sind mit geeigneten Ventilen 18 und 19 versehen. Das Ventil 18 in der Leitung 9 ist mit Absperrklappe 16 in dem Kanal synchronisiert 15. Ventil 19 ist einstellbar und vorzugsweise mit Drosselklappe 16, wie gezeigt synchronisiert, aber dies ist nicht wesentlich.
Der Boden des Durchgangs 15 ist in Form eines Venturi 20 und eine Düse 21 zum zerstäubten flüssigen Brennstoff gebildet wird und Luft an oder nahe an den Punkt der größten Einschränkung. Düse 21 ist vorzugsweise mit Kraftstoff von der Zufuhr von flüssigem Brennstoff in den Boden der Verdampfungskammer zugeführt wird, und zu diesem Zweck wird ein Teil 22 innerhalb der Verdampfungskammer durch eine entfernbare Schraubstopfen 23 befestigt mit einer angeflanschten unteren Ende 24 Stopfen 22 erstreckt sich durch eine Öffnung im Boden der Kammer 1 und wird in den Boden des Elements 22. Dies bewirkt, daß die untere Wand der Kammer 1 eingeschraubt, um sicher zwischen dem unteren Ende des Elements 22 eingespannt werden und der Flansch 24 und damit sicheren Rückhalteelement 22 in Platz.
Stecker 23 ist mit einem Schauglas 24 und die sich von der Schüssel 24 vorgesehen sind mehrere kleine Durchlässe 25 seitlich erstreckt, und einem zentralen vertikalen Durchgang 26. Die seitlichen Durchgänge 25 Register mit entsprechenden Durchgängen 27 in dem unteren Ende des Elements 22 auf einer niedrigeren Ebene befindet als die, mit der Kraftstoff steht in Kammer 1, wobei flüssiger Kraftstoff ist frei, um in die Schüssel 24 übergeben.
Vertikalen Durchgang 26 kommuniziert mit einer vertikalen Düse 28, die innerhalb des erweiternden unteren Ende Düse 21 endet, der Außendurchmesser der Düse 26 kleiner als der Innendurchmesser der Düse 21 ist so, dass ein Raum zwischen ihnen für den Durchgang von Luft oder bereitgestellt und Dampfgemische. Düse 26 ist auch mit einer Reihe von Einlässen 29 versehen, für Luft oder Luft und Dampf-Gemische und ein Kraftstoffeinlass 30 Brennstoffeinlass 30 kommuniziert mit einer Kammer 31 in dem Element 22 und der Düse 28. Die Kammer 30 wird geliefert umgebende flüssige Brennstoff mittels eines Durchgangs 32, der durch ein Nadelventil 33, den Schaft davon gesteuert wird, erstreckt sich zur Außenseite des Vergasers und mit einer Rändelmutter 34 zum Einstellen Zwecken.
Das obere Ende des Elements 22 ist hohl, um einen Raum 35 umgibt, die die Düsen 21 und 28. Die untere Wand des Durchgangs 13 ist mit einer Reihe von Öffnungen 35a versehen, damit Dämpfe Raum 35 durch sie geben aufzuführen. Die Dämpfe können anschließend durch Einlässe 29 gehen in der Düse 28 und um das obere Ende der Düse 28 in das untere Ende der Düse 21.
Die sich von Kammer 31 an der Seite gegenüber Durchgang 32 ist ein Durchgang 36, der mit einer Leitung 37, die durch den Durchgang 13 nach oben erstreckt, in Verbindung steht, und eine Verbindung durch einen seitlichen Fortsatz 39, mit dem Durchgang 15 genau über der Drosselklappe 16. Der Teil der Leitung 37, die durch den Durchgang 13 erstreckt, ist mit einer Öffnung 39, durch die Luft oder Luft und Kraftstoffdampf kann in die Leitung 37 mischen sich und das Zerstäuben des flüssigen Kraftstoffs durch den Kanal gezeichnet werden kann. Um weiter in dieser Zerstäubung des flüssigen Brennstoffs durch die Leitung 37 zu unterstützen, ist die Leitung 40 kurz unterhalb Öffnung 39 begrenzt.
Das obere Ende der Leitung 37 steht in Verbindung mit der Atmosphäre durch die Öffnung 41, durch die Luft direkt in den oberen Teil der Leitung gezogen werden. Der Anteil der Luft, um brennbare Dämpfe kommt durch die Leitung 37 wird durch das Nadelventil 42 gesteuert.
Als Düse 21 in das untere Ende des Durchgangs 15 gelangt direkt Saugwirkung in dem Saugrohr wird wiederum für einen Sog auf Düse 21, die dazu führen wird ein Gemisch von zerstäubten Treibstoff und Luft direkt in das Saugrohr gezogen werden. Dies wird als wünschenswert herausgestellt, wenn der Motor gestartet wird, insbesondere bei kaltem Wetter, könnte es sein, "schlanke" da dann nicht eine ausreichende Versorgung mit Dampf in der Verdampfungskammer oder die Mischung aus Luft und Dampf, die durch Durchgang 13 sein, um zu bewirken, eine Aufforderung Starten des Motors. Zu solchen Zeiten Schließen des Drosselventils 13b bewirkt, dass die maximale Saugleistung auf Düse 21 und die maximale Menge an Luft und zerstäubter Brennstoff ausgeübt wird, um direkt in das Saugrohr gezogen werden. Nachdem der Motor gestartet worden ist, wird nur ein kleiner Teil des brennbaren Luft und Dampfmischung für einen korrekten Betrieb des Motors notwendig ist durch die Düse 21 als Drosselventil angesaugt wird dann offen in einem größeren Ausmaß zu sein und im wesentlichen die gesamte Luft und Dampf Gemisch für den Betrieb des Motors notwendig wird durch das untere Ende 20 des Durchgangs 15 um die Düse 21 gezogen werden.
Leitung 37, die sich aus der Kraftstoffkammer 31 zu einem Punkt über Drosselklappe 16 stellt eine ausreichende Kraftstoffmenge, wenn der Motor mit einem Tal 16 geschlossen oder nahezu geschlossen ist im Leerlauf.
Die Hüllen bilden Kammern 1, 4 und 7, wird mit den notwendigen Öffnungen versehen werden, um anschließend geschlossen werden, so daß die verschiedenen Teile zusammengebaut werden, und danach eingestellt oder repariert.
Der Ansaughub des Motors erzeugt einen Sog in den Ansaugkrümmer, was wiederum bewirkt, dass Luft über Federventil 14 in den Durchgang 13 gezogen werden und gleichzeitig wird ein Teil des trockenen Stoffdampf von der Oberseite der Verdampfungskammer 1 wird durch die Öffnung 17 gezogen Vergangenheit Ventil 17a mit der Luft sich durch den Durchgang zu vermischen. Dieses Gemisch strömt dann durch den Durchgang 15 zu dem Ansaugkrümmer und Motorzylindern.
Die Zeichnung des Trockenstoffdampf in den Durchgang 13 erzeugt einen Unterdruck in der Kammer 1, die Luft veranlasst, in die Kammer 7 herum erhitzt Kammer 4, von wo es über die Verbindung 12 und das Ventil 19 durchläuft gezogen werden, in den Durchgang 13 und durch die Leitung 9 und das Ventil 18 in Belüfter 10, aus dem es Blasen nach oben durch den flüssigen Kraftstoff in dem Boden der Kammer 1, mehr flüssigen Kraftstoff zu verdampfen.
Um bei der Aufrechterhaltung einer Zufuhr von trockenem Kraftstoffdampf in dem oberen Abschnitt der Verdampfungskammer 1 zu unterstützen, wird der Vergaser mit Mitteln zum Zerstäuben eines Teils des flüssigen Kraftstoffs im Verdampferkammer 1. Diese Zerstäubungseinrichtungen vorzugsweise aus einem doppelt wirkenden Pumpe umfasst bereitgestellt die durch die Saugwirkung in dem Saugrohr des Motors vorhandenen betrieben wird.
Der doppelt wirkende Pumpe ist aus einem Paar von Zylindern 43, die mit ihren unteren Enden in der Verdampfungskammer 1 angeordnet sind besteht, und von denen jede eine hin- und hergehende Pumpenkolben 44 darin montiert ist. Kolben 44 sind Stangen 45, die sich von ihren oberen Enden, die durch Zylinder 46 und weisen Kolben 47 auf auf sie innerhalb der Zylinder 46 angebracht.
Zylinder 46 sind an jedem Ende mit einem Verteilerventil V, die die Zylinder mit dem Ansaugkrümmer verbindet abwechselnd, so daß die Saugwirkung in der Sammelleitung bewirkt, daß die beiden Kolben 44 als doppeltwirkende Saugpumpe Ansteuerung verbunden.
Das Verteilerventil V ist aus einem Paar von Scheiben 48 und 49, zwischen denen eine hohle Kammer 50 hin- und herbewegbar, die ständig mit der Ansaugseite im Saugrohr vorhandenen Durchgangsverbindung 51 mit einem Ventil 52 darin unterworfen befindet, besteht. Kammer 50 weist ein Paar von oberen Öffnungen und ein Paar von unteren Öffnungen. Diese Öffnungen sind so in Bezug auf die Leitungen, die mit den gegenüberliegenden Enden der Zylinder 46, der das Ansaugen des Motors gleichzeitig drückt ein Kolben 47 nach oben und gleichzeitig nach unten zwingt das andere angeordnet ist.
Die schwingKammer 50 hat eine T-förmige Verlängerung 53. Die Arme dieser Verlängerung werden abwechselnd von den oberen Enden der Kolbenstangen 45 in Eingriff, um zu bewirken, das Ventil V die nacheinander an den Ansaugkrümmer angeschlossen Zylinder 46.
Feder 54 bewirkt ein schnelles Öffnen und Schließen der Öffnungen, die zu den Zylindern 46, so dass zu keiner Zeit wird die Ansaugung des Motors auf sowohl der Kolben 47. Die Spannung zwischen den Scheiben 48 und 49 und der Schwingkammer 50 kann ausgeübt werden, durch Schrauben 55 geregelt.
Die besondere Form des Wegeventils V wird hier nicht beansprucht wird, so wird eine weitere Beschreibung des Betriebs nicht erforderlich ist. Soweit die vorliegende Erfindung betroffen ist, kann jede Form von Mitteln in Bewegung versetzt, um Kolben 47 für das Ventil V und seine zugehörigen Teile ausgewechselt werden.
Die Zylinder 43 sind jeweils mit Einlässen und Auslässen 56 und 57 vorgesehen, die jeweils unterhalb der Kraftstoffpegel in der Kammer 1 angeordnet Die Einlässe 56 sind mit horizontal und nach oben verlaufenden Leitungen 58, die durch den Vergaser nach außen passieren verbunden. Die oberen Enden dieser Leitungen sind mit 59 vergrößert und mit einem sich vertikal erstreckenden Schlitz 60 der erweiterten Enden 59 sind auf der Innenseite mit Gewinde zum Stecker nehmen 61. Die Position dieser Stecker in bezug auf Schlitze 60 geliefert wird, bestimmt die Menge an Luft, kann durch die Schlitze 60 und in den Zylinder 43 auf dem Saughub der Kolben 44 weiterzugeben.
Die oberen Wände der horizontalen Abschnitte der Leitungen 58 haben eine Öffnung 62 für den Durchtritt von flüssigem Kraftstoff aus der Kammer 1. Der Umfang, in dem flüssigen Kraftstoff durch diese Öffnungen passieren durch Nadelventile 63 gesteuert, deren Stiele 64 passieren, durch die und aus des Vergasers und enden in gerändelten Einstellmuttern 65.
Der horizontale Abschnitt jeder Leitung 58 ist auch mit einem Rückschlagventil 66 (in Fig.10 gezeigt), die ermöglicht, dass Luft in die Zylinder über die Leitungen 58 gezogen werden, verhindert aber flüssiger Kraftstoff ist nach oben durch die Leitungen auf dem Abwärtshub des Zwangs bereitgestellt Kolben 44.
Outlets 57 verbinden mit horizontalen Rohren 67, die in einer einzigen offenen Rohr 68, die nach oben erstreckt verschmelzen. Das obere offene Ende des Rohres endet, bis zur Hälfte der Höhe der Verdampfungskammer 1 und ist mit einem Bügel 69, der eine Prallplatte 70 direkt über dem offenen Ende des Rohres 68 positioniert trägt vorgesehen.
Die horizontalen Rohre 67 sind mit Rückschlagventilen 71 versehen, welche die vermischte Luft und Kraftstoff zu ermöglichen, von den Zylindern 43 durch die Kolben 44 gezwungen werden, aber die Kraftstoffdampf aus, die von der Kammer 1 in die Zylinder 43 gezogen wird.
Beim Betrieb, Kolben 44 zu der Aufwärtsbewegung Schlaganfälle, ziehen eine Gebühr von Luft und flüssigem Kraftstoff in die Zylinder 43, und auf der Abwärtsbewegung Schlaganfall, entladen Sie die Ladung in einem zerstäubten Zustand durch die Rohre 67 und 68 gegen die Prallplatte 70, weitere atomises die Partikel von flüssigem Brennstoff, so daß sie leicht verdampfen. Alle Teile des flüssigen Kraftstoffs, die nicht verdampfen, setzen Sie sich nach unten in den Vorrat an flüssigem Kraftstoff in den Boden der Verdampfungskammer, wo sie mit dem Verdampfungs Einfluss der Blasen von erwärmter Luft aus dem Belüfter 10 unterworfen und kann wieder passieren in die Zylinder 43.
Wie zuvor angegeben, der verdampfte Kraftstoff zur Einleitung in den Ansaugkrümmer des Motors wird aus dem oberen Teil der Verdampfungskammer 1 entnommen, um sicherzustellen, dass der Dampf in diesem Abschnitt der Kammer wird keine oder im wesentlichen keine mitgerissene Tröpfchen enthalten von flüssigem Kraftstoff ist die Kammer 1 in obere und untere Abschnitte, die durch die Wände 71 und 72, die aus allen Richtungen konvergieren geteilt, um eine zentrale Öffnung 73. Bei der so in einen oberen und unteren Abschnitten, die nur durch die relativ geringe verbunden sind geteilt Verdampferkammer bilden, Öffnung 73, irgendwelche Tröpfchen durch die aufsteigenden Blasen aus dem Belüfter 10 mitgerissen, in Kontakt mit der geneigten Wand 72 zu kommen und in den unteren Teil der Kammer wieder in den Hauptkörper der flüssige Brennstoff ausgelenkt werden. Ebenso ist die Tröpfchen des zerstäubten Kraftstoffs aus dem oberen Ende des Rohres 68 am Schließblech 70 gedrückt wird, zurück in den Körper aus flüssigem Kraftstoff und nicht abgelenkt werden, treten in dem oberen Teil der Kammer.
Um die Geschwindigkeit des Betriebs der Zerstäubungsvorgang Pumpe kann von der Geschwindigkeit, mit der der Motor läuft, und weiter geregelt werden, dass die Menge der zugeführten Luft von der Kammer 7, um die Fritte 10 und den Durchlass 13 durch den Anschluss 12 kann wenn die Geschwindigkeit des Motors zunimmt erhöht werden, werden die Ventile 18, 19 und 52 und die Drosselklappe 16 werden alle durch eine geeignete Verbindung L verbunden, so daß als Drosselventil 16 geöffnet wird, um die Geschwindigkeit des Motors zu erhöhen, werden die Ventile 18, 19 und 52 wird auch geöffnet werden.
Wie in Fig.2, die den Durchgang der Abgase von dem Motor in der Heizkammer 4, zwischen der Verdampfungskammer und der Luftkammer 7 angeordnet gezeigt ist, wird durch das Ventil 74. Das Öffnen und Schließen des Ventils 74 gesteuert wird durch eine gesteuerte Thermostat in Übereinstimmung mit der Temperatur in der Kammer 4 mittels eines verstellbaren Metallstab 75 mit einem hohen Ausdehnungskoeffizienten, wobei die optimale Temperatur kann in der Verdampfungskammer gehalten wird, unabhängig von der Umgebungstemperatur.
Aus der vorstehenden Beschreibung ist es verständlich, dass die vorliegende Erfindung stellt einen Vergaser zur Versorgung von Verbrennungsmotoren werden ein vermengt Gemisch aus Luft und Flüssigkraftstoffdampf frei von mikroskopischen Tröpfchen an flüssigem Kraftstoff, die anstelle verbrennen explodiert in den Zylindern, und daß eine Versorgung mit solchen trockenen Brennstoff verdampft wird ständig im Vergaser gepflegt.
US Patent 1.997.497 9. April 1935 Erfinder: Charles N. Pogue
VERGASER
Dieses Patent beschreibt eine Vergaser-Design, die
in der Lage, sehr hohe mpg Zahlen zu produzieren war mit Hilfe der zur
Verfügung Benzin in den USA in den 1930er Jahren, aber die nicht mehr verfügbar
ist, wie die Ölindustrie will nicht funktionalen Hoch mpg Vergaser zu sein für
die Öffentlichkeit zur Verfügung.
BESCHREIBUNG
Diese Erfindung betrifft eine Vorrichtung zur
Gewinnung eines innigen Kontakt zwischen einer Flüssigkeit in einem wirklich
dampfförmigen Zustand und einem Gas, und insbesondere eine solche Vorrichtung,
die als ein Vergaser für Verbrennungsmotoren dienen kann, und ist eine
Verbesserung der Form der Vorrichtung gezeigt mein Patent 1.938.497, am 5.
Dezember 1933 gewährt.
Im Vergaser üblicherweise für die Zufuhr eines brennbaren Gemisches von Luft und flüssigem Kraftstoff zu Verbrennungsmotoren verwendet wird, wird eine relativ große Menge des zerstäubten flüssigen Kraftstoff nicht verdampft und tritt in den Motorzylinder mehr oder weniger in Form von mikroskopisch kleinen Tröpfchen. Wenn eine solche Ladung im Motorzylinder gezündet, wird nur der Teil des flüssigen Kraftstoffs, der in die dampfförmige und folglich molekularen Zustand umgewandelt worden ist, verbindet sich mit der Luft zu einem explosiven Gemisch zu ergeben. Der verbleibende Teil des flüssigen Kraftstoffs, der in die Zylinder des Motors gezogen wird, bleibt in der Form von kleinen Tröpfchen und explodiert nicht die Stromversorgung des Motors zu verleihen, sondern verbrennt mit einer Flamme und erhöht die Motortemperatur über die, bei der der Motor am meisten effizient, dh von 160°F bis 180°F.
In meinem früheren Patent gezeigt und beschrieben ist eine Form des Vergasers, in dem der flüssige Brennstoff im wesentlichen vollständig vor seiner Einführung verdampft in die Motorzylinder, und bei dem eine Einrichtung zur Aufrechterhaltung einer Umkehrzufuhr "trockenen" Dampf zur Verfügung gestellt zur Einführung in den Motorzylinder. Solch ein Vergaser wird über dem Standard-Vergasertyp genannten gefunden, und eine bessere Leistung mit viel weniger Brennstoffverbrauch ergeben.
Es ist eine Aufgabe der vorliegenden Erfindung, einen Vergaser, in dem der flüssige Brennstoff aufgebrochen und im Voraus hergestellt und unabhängig von der Saugwirkung des Motors und in dem ein Vorrat an Trockendampf unter Druck gehalten werden kann, bereit zum Einführung in den Motorzylinder zu allen Zeiten. Es ist daher eine Aufgabe der Erfindung, einen Vergaser in dem das trockene Dampf wird in einem ausreichenden Maße, bevor es mit dem Hauptteil der Luft, die in die Motorzylinder führt gemischt erhitzt wird auch, zu veranlassen, so dass sie expandieren relativ leichter und mehr innig mit der Luft, vor der Explosion in den Motorzylinder zu.
Ich habe gefunden, daß, wenn der Vorrat an Trockendampf erhitzt
und, bevor sie mit der Luft gemischt expandiert ist, ein
größerer Anteil der potentiellen Energie des Brennstoffs erhalten wird und das Gemisch aus Luft und Kraftstoffdampf
wird in den Motorzylindern zu explodieren, ohne jede scheinbare Verbrennung des Kraftstoffs, der in ungebührlich erhöhen
der Betriebstemperatur der
Brennkraftmaschine führen würde.
Insbesondere umfasst die vorliegende
Erfindung einen Vergaser in dem
flüssigen Kraftstoffdampf wird von einem Hauptverdampfungskammer zumindest unter einem leichten Druck geleitet, in und durch eine Wärmekammer, wo er dazu gebracht wird, weiter in dem Tröpfchen
von flüssigem Kraftstoff entweder
verdampft oder aus
dem Dampf getrennt wird, so dass
der Kraftstoff schließlich in die
Motorzylinder eingebracht ist
in den wahren Dampfphase.
Die Kammer, in der der flüssige Brennstoff Dampf erwärmt wird und veranlaßt wird, zu erweitern, ist vorzugsweise aus einer Reihe von Durchgängen, durch die der Dampf und die Abgase aus dem Motor Pass in
gewundenen Bahnen in einer
solchen Weise, daß die Abgase in
Wärmeaustausch gebracht umfasst
Zusammenhang mit dem Dampf und geben einen Teil ihrer Wärme an die Dampf, wodurch Erwärmung und Ausdehnung des Dampfes.
Die Erfindung wird weiter in Verbindung
mit den beigefügten Zeichnungen beschrieben,
jedoch ist diese weitere Offenbarung
und Beschreibung ist lediglich
als Veranschaulichung der Erfindung
zu verstehen, und die Erfindung ist nicht auf die
so beschriebene Ausführungsform
beschränkt.
BESCHREIBUNG DER
ZEICHNUNGEN
Fig.1 ist eine vertikale Querschnittsansicht durch einen Vergaser gemß meiner Erfindung.

Fig.2 ist eine horizontale Schnittansicht durch die Hauptverdampfungskammer oder Zerstäuben, genommen auf der Linie 2-2 von Fig.1

Fig.3 ist eine Seitenansicht des Vergasers.

Fig.4 ist eine Detailschnittansicht einer der Sprühdüsen und seine zugehörigen Teile

Fig.5 ist eine Detailquerschnittsansicht, die die Mittel zum Steuern des Durchgangs von Gasen aus der Dampfkammer expandiert in den Ansaugkrümmer des Motors.

Fig.6 ist eine perspektivische Ansicht eines der Ventile in Fig.5 gezeigten

Fig.7 ist eine Querschnittsansicht, die Einrichtungen zum Einstellen der in Fig.5 gezeigten Ventile
Fig.8 ist eine Querschnittsansicht entlang Linie 8-8 von Fig.7
Bezugnehmend auf die Zeichnungen bezeichnet die Zahl 1 einen Haupt verdampfenden und Zerstäubungskammer für den flüssigen Brennstoff an der Unterseite befindet, und mit, einer Dampfheizung und expandierenden Kammer 2.
Die Verdampfungskammer ist mit einer perforierten falschen Boden 3 vorgesehen und ist normalerweise mit flüssigem Brennstoff auf die Ebene x gefüllt. Luft tritt in den Raum unterhalb des Zwischenbodens 3 über die Leitung 4 und gelangt nach oben durch die Perforationen 5 in dem falschen Boden und dann Blasen nach oben durch den flüssigen Brennstoff, Verdampfen eines Teils davon.
Um den Kraftstoffstand x in Kammer 1 zu erhalten, durchläuft flüssigen Kraftstoff von der üblichen Kraftstofftank (nicht gezeigt) durch die Leitung 8 in und durch ein Paar von Düsen 9, die ihren Auslässen in der Kammer 1 angeordnet sind, direkt über dem Spiegel des Flüssigbrennstoffs in ihm. Die Pumpe 7 kann aus jedem zugelassenen Form sein, ist jedoch vorzugsweise von der Membranbauart, die als solche Kraftstoffpumpen sind heute zur Standardausrüstung meisten Autos.
Die Düsen 9 sind außen an ihren unteren Enden mit Gewinde zu deren Montage in der Kammer 1 zu erleichtern und ihnen erlauben, leicht entfernt werden kann, sollte eine Reinigung erforderlich sein.
Die oberen Enden der Düsen 9 werden von Venturirohren 10 umgeben ist, mit einer Prallfläche 11, die an ihren oberen Enden gegenüber den Austrittsöffnungen der Düsen angeordnet. Der flüssige Brennstoff, der von den Enden der Düsen 9 in die Sperrabschnitte der Venturirohre gedrückt, bewirkt eine schnelle Zirkulation der Luft und der Dampf in der Kammer durch die Rohre 10 und bringt die Luft und der Dampf in innige Berührung mit dem flüssigen Brennstoff, mit dem Ergebnis, dass ein Teil des flüssigen Kraftstoffs verdampft. Der Teil des flüssigen Kraftstoffs, der nicht verdampft wird, trifft auf die Prallflächen 11 und wird weiter gebrochen und abgelenkt wird nach unten in den nach oben strömenden Strom von Luft und Dampf.
Pumpe 7 wird geregelt, um eine größere Menge an flüssigem Brennstoff zu den Düsen 9 als wird verdampfendes liefern. Der Überschuß fällt in die Kammer 1 und bewirkt, daß die Flüssigkeit um das angegebene Niveau gehalten werden. Wenn der flüssige Brennstoff über diesen Wert ansteigt, wird ein Schwimmerventil 12 angehoben wird, so dass der überschüssige Kraftstoff aus Überlaufrohr 13 auf der Einlassseite der Pumpe 7 fließt in das Rohr 14, die Leitung 6 zurückführt solche Anordnung ermöglicht eine große Menge an flüssiger Kraftstoff durch die Pumpe 7 ohne mehr Kraftstoff aus dem Kraftstofftank herausgezogen, als tatsächlich verdampft und in dem Motor verbrauchten zirkulieren. Als Schwimmerventil 12 wird von dem Ende des Auslassrohrs 13, sobald der Flüssigkeitspegel unter dem angegebenen Wert fällt gesetzt, gibt es keine Gefahr der Dampfdurch in das Rohr 14 und von dort aus in die Pumpe 7 und stören den normalen Betrieb.
Das obere Ende der Verdampfungs und Zerstäubungskammer 1 geöffnet und Dampf durch Einblasen von Luft durch den flüssigen Kraftstoff in dem Boden der Kammer ausgebildet ist und daß als Ergebnis der Zerstäubung an den Düsen 9 ausgebildet, gehen in den Heiz- und expandierenden Kammer 2. Ist deutlich in Fig.1 gezeigt, Kammer 2 weist eine Reihe von gewundenen Durchgänge 15 und 16, die von unten nach oben. Die Kraftstoffdampf gelangt durch die Durchlässe 15 und die Abgase des Motors durchlaufen Gänge 16, ein geeigneter Eingang 17 und Ausgang 18 ist für diesen Zweck vorgesehen.
Der Dampfdurch nach oben in einem Zickzackweg durch Durchlässe 15, wird in Wärmeaustauschbeziehung mit den heißen Wänden der Durchgänge 16 durch die heißen Abgase durchlaufen gebracht werden. Die gesamte Länge der Durchgänge 15 und 16 derart ist, und durch Halten des Dampfes in Wärmeaustauschbeziehung mit den heißen Abgasen über einen wesentlichen Zeitraum, dass ein relativ großer Vorrat an der flüssigen Kraftstoff immer in der Kammer 2 gehalten wird, wird die Dampf absorbieren ausreichend Wärme zu veranlassen, zu erweitern, mit dem Ergebnis, dass, wenn es von der Oberseite der Kammer 2 abgezogen wird, wird sie in den wahren Dampfphase vorliegen, und aufgrund der Ausdehnung, relativ leicht.
Etwaige kleine Tröpfchen von flüssigem Kraftstoff von der Dampfkammer in 1 mitgerissen wird in den unteren Durchgängen 15 auszufällen und zurückfließen in die Kammer 1, oder auch durch die von den Auspuffgasen beim Durchgang durch die Kammer 2 aufgenommene Wärme verdampft werden.
Das obere Ende der Dampfleitung 15 steht mit den Öffnungen 19 benachbart zu dem oberen Ende einer Fallstromluftschlauch 20 führt zu dem Ansaugkrümmer des Motors. Ventile 21 sind in Öffnungen 19 angeordnet, so dass der Durchgang des Dampfes durch sie in die Luftröhre gesteuert werden kann. Ventile 21 sind vorzugsweise von der Drehkegeltyp und werden wie unten beschrieben gesteuert.
Es sind geeignete Mittel zum Veranlassen des Dampfes vorgesehen ist, um in der Kammer 2 unter einem Druck größer als Atmosphärendruck gehalten werden, so dass, wenn die Ventile 21 geöffnet sind, wird der Dampf in das Luftrohr 20 unabhängig von der Motor Ansaugen gedrängt werden. Eine solche Einrichtung kann eine Luftpumpe (nicht gezeigt), um Luft durch Leitung 4 zu zwingen, in die Kammer 1 unter dem falschen Boden 3 aufweisen, aber ich bevor lediglich Rohr 4 mit einem trichterförmigen Eintrittsende 22 und die Platzierung direkt hinter der üblichen Motorlüfter bereitzustellen 23. Dieses bewirkt, daß Luft durch das Rohr 4 mit einer ausreichenden Kraft, um den gewünschten Druck in der Kammer 2 zu halten passieren und wobei die Luft durch den Kühler durch das Gebläse in die Kammer 1 gezogen wird, vor seiner Einführung vorgewärmt werden und wird daher größere Mengen an zu verdampfen der flüssige Brennstoff. Falls gewünscht, kann Rohr 4 durch einen elektrischen oder anderen Heizelement umgeben werden oder Abgase aus dem Motor durchgeleitet um sie zur weiteren Vorwärmung des sie durchströmenden Luft vor ihrer Einleitung in den flüssigen Kraftstoff in dem Boden der Kammer 1 ist.
Luftrohr 20 ist mit einem Drosselklappen-Ventil 24 und ein Drosselventil 24a vorgesehen ist, wie dies bei Vergasern für Verbrennungsmotoren verwendet üblich. Das obere Ende der Luftröhre 20 erstreckt sich oberhalb Kammer 2 ein Abstand, der ausreicht, um ein Luftfilter und / oder Schalldämpfer erhalten, falls gewünscht.
Eine niedrige Geschwindigkeit oder Leerlaufdüse 25 mit seinem oberen Ende mit dem Durchgang durch die Luftröhre 20 benachbart zu dem Drosselventil 24 und seinem unteren Ende in dem flüssigen Kraftstoff in dem Boden der Kammer 1 zum Zuführen von Kraftstoff zum Motor, wenn der Ventile sind in einer solchen Position, um die Durchgänge 19 zu schließen, ist die Passage durch Leerlaufdüse 25 so klein ist, daß unter normalen Operationen, die Ansaugung es nicht ausreichend ist, um Kraftstoff aus dem Boden der Kammer 1 zu heben.
Um den Motor von Fehlzündungen in Dampfkammer 2 zu verhindern, werden die Enden der Kanäle 19 mit einem feinmaschigen Sieb 26, die, die auf dem Prinzip der die Grubenlampe, wird der Dampf in Kammer 2 explodiert im Falle einer Fehlzündung zu verhindern abgedeckt, das aber im wesentlichen nicht mit dem Durchgang des Dampfes aus der Kammer 2 in das Luftrohr 20 nicht stört, wenn die Ventile 21 geöffnet sind. Luftrohr 20 ist vorzugsweise in der Form eines Venturi mit der größten Einschränkung ist, an diesem Punkt, wo sich die Öffnungen 19 befinden, so dass, wenn die Ventile 21 geöffnet sind, wird es eine Zugkraft auf den Dampf, der durch die erhöhte Geschwindigkeit des verursachten Luft an dem verengten Abschnitt des Luftrohrs 20 gegenüber den Öffnungen 19, sowie eine Ausstoßkraft auf sie durch den Druck in der Kammer 2.
Wie in Fig.3 gezeigt, ist der Betriebsmechanismus der Ventile 21 zu dem Betätigungsmechanismus für die Drosselklappe 24 verbunden, so dass sie geöffnet und geschlossen gleichzeitig mit dem Öffnen und Schließen des Drosselventils, so dass die Menge an Dampf zugeführt der Motor wird, zu allen Zeiten, in einem angemessenen Verhältnis zu den Anforderungen an den Motor gelegt. Zu diesem Zweck ist jedes Ventil 21 hat eine Verlängerung oder Betätigungsschaft 27, durch eine der Seitenwände der Dampferwärmung hervor und Ausbau Kammer 2. Verpackung Verschraubungen 28 der gewöhnlichen Konstruktion, Surround-Stämme 27, wo sie durch die Kammerwand passieren, um das Austreten von Dampf an den Punkten zu verhindern.
Betätigungsarme 29 sind starr mit den äußeren Enden der Stiele 27 befestigt sind und sich aufeinander zu erstrecken. Die Arme sind schwenkbar und einstellbar an einem Paar von Verbindungsgliedern 30 verbunden, die an ihren unteren Enden schwenkbar an einem Betätigungsglied 31, das wiederum schwenkbar mit dem Arm 32, der fest an einer äußeren Verlängerung 33 des Schaftes befestigt ist, verbunden ist des Drosselventils 24 Erweiterung 33 hat auch starr mit ihm verbunden ist, der Arm 34, um die Betätigungsverbindung 35, die von dem Mittel zum beschleunigen des Motors verbunden ist.
Die Einrichtung zum Einstellen der Verbindung zwischen den oberen Enden der Verbindungsglieder 30 zu Ventilschäften 27 der Ventile 21, so daß die Menge an Dampf aus der Kammer 2 geliefert wird, kann reguliert werden, um den effizientesten Betrieb des jeweiligen Motors, an dem der Vergaser angebracht verursachen umfasst Winkel Folien 36, auf denen die oberen Enden der Verbindungsglieder 30 befestigt sind, und die sich nicht drehen kann, aber in Führungsbahnen 37 in den Armen 29. Die Objektträger 36 angeordnet gleiten haben Löcher, durch welche Schrauben 38 Gewindegang. Schrauben 38 sind drehbar in den Armen 29 angebracht sind, sind jedoch gegen Längsbewegung gehalten, so dass, wenn sie gedreht werden, gleitet 36 wird dazu gebracht, entlang der Führungsschienen 37 zu verschieben und seine relative Position der Glieder 30 an den Ventilschaft 27, so dass ein mehr oder weniger Bewegung, und folglich wird eine größere oder geringere Öffnung der Öffnungen 19 stattfinden, wenn Drosselklappe 24 betätigt.
Aus Sicherheitsgründen und für den effizientesten Betrieb des Motors, der Dampf in der Kammer 2 nicht erhitzt werden, oder über einen vorbestimmten Betrag expandiert, und um das Ausmaß, in dem der Dampf erhitzt wird, zu steuern, und infolgedessen ist das Ausmaß, zu welchem sie ausdehnt, wird ein Ventil 39 in der Abgasleitung 16 benachbart zu dem Einlaß 17. Ventil 39 ist vorzugsweise theromstatically gesteuert, wie zum Beispiel von einem expandierenden Stange Thermostat 40, der durch die Kammer 2. Jedoch verläuft, können auch beliebige andere Mittel zur Verfügung gestellt werden Verringerung der Menge an heißen Abgasen Eingabe Durchgang 16, wenn die Temperatur des Dampfes in der Kammer, erreicht oder überschreitet die optimale.
Der Vergaser wurde im Detail in Verbindung mit einem Fallstromvergasertyp beschrieben worden, aber es ist zu verstehen, dass ihre Nützlichkeit nicht auf diese bestimmte Art von Vergaser beschränkt sein soll, und dass die Art, in der das Gemisch aus Luft und Dampf wird in die Motorzylinder eingeführt ist unwesentlich, sofern die Vorteile der Vergaser geht.
Der Begriff "Trockendampf" wird verwendet, um den physikalischen Zustand des Flüssigkeitskraftstoffdampf nach der Entfernung von Flüssigkeitströpfchen oder Nebel, die oft in dem, was üblicherweise einen Dampf bezeichnet mitgeführtem definieren.
Aus der vorstehenden Beschreibung ist ersichtlich, daß die vorliegende Erfindung stellt einen Vergaser in dem das Aufbrechen des flüssigen Brennstoffs für die anschließende Verwendung ist unabhängig vom Ansaugen von dem Motor ist und dass, nachdem der flüssige Brennstoff aufgebrochen, so gehalten wird, unter Druck in einem beheizten Raum für eine Zeitspanne, die ausreicht, um alle mitgerissenen Flüssigkeit zu trennenden Teilchen zu erlauben oder verdampft und in den Trockendampf erlauben expandieren vor seiner Einführung in die und Mischung mit dem Hauptvolumen des strömenden Luft in die Motorzylinder.
US Patent 2.026.798 7. Januar 1936 Erfinder: Charles N. Pogue
VERGASER
Dieses Patent beschreibt eine Vergaser-Design, die in der Lage, sehr hohe mpg Zahlen produzieren mit Hilfe der in den USA Benzin in den 1930er Jahren, aber die nicht mehr verfügbar ist, wie die Ölindustrie will nicht funktionalen Hoch mpg Vergaser der Öffentlichkeit zur Verfügung und so zu sein, mischt in Zusatzstoffen, die einen solchen Vergaser verstopfen.
BESCHREIBUNG
Die Erfindung betrifft Vergaser für den Einsatz mit Verbrennungsmotoren und ist eine Verbesserung gegenüber den in meiner Patente Nr. 1.938.497, am 5. Dezember 1933 und 1.997.497 erteilt gezeigt Vergaser am 9. April 1935 gewährt.
In meinen früheren Patenten, ein inniger Kontakt zwischen solchen als Brennstoff für Verbrennungsmotoren verwendet, und ein Gas, wie Luft, wird durch Veranlassen des Gases zu sprudeln durch einen Körper der Flüssigkeit erhalten. Das verdampfte Flüssigkeit in eine Dampfkammer, die vorzugsweise erwärmt läuft und irgendwelche Flüssigkeitstropfen auf dem Körper der Flüssigkeit im molekularen Zustand, so daß wieder, mit dem Ergebnis, dass der in die Verbrennungskammern eingeleiteten Brennstoffs frei von flüssigen Teilchen, und eine innige Mischung mit der Luft erhalten wird, um eine explosive Mischung, aus der näher an der in dem flüssigen Brennstoff enthaltene maximale Energie gewonnen zu geben. Außerdem, da es keine in die Verbrennungskammern eingeleiteten flüssigen Teilchen, wird es keine Verbrennung des Kraftstoffs und folglich wird die Temperatur des Motors nicht oberhalb derjenigen, bei der er am effizientesten arbeitet, erhöht werden kann.
In meinem Patent 1.997.497 wird die Luft, die Blase durch den Körper des flüssigen Kraftstoffs wird in und durch den Kraftstoff unter Druck gezwungen wird, und die Kraftstoffdampf und Luft in eine Kammer, wo sie erhitzt und veranlaßt wird, zu erweitern über. Die Einführung von Luft unter Druck und die Expansion des dampfförmigen Gemisches gewährleistet einen ausreichenden Druck in der Dampfheizung und expandierenden Kammer gehalten, um zumindest einen Teil davon, um daraus in den Ansaugkrümmer, sobald das Ventil ausgestoßen wird verursachen Steuern des Durchgangs, um es geöffnet wird.
In Übereinstimmung mit der vorliegenden Erfindung werden verbesserte Mittel zur Aufrechterhaltung der dampfförmige Gemisch in der Dampferwärmungskammer unter einem vorbestimmten Druck und für die Regelung solcher Druck, so dass es auf das Optimum für die besonderen Bedingungen, unter denen der Motor zu sein, vorausgesetzt zu betreiben. Ein solches Mittel weist vorzugsweise eine Kolbenpumpe mit einem unterdruckbetätigten Motor betätigt zu zwingen den Dampf in und durch die Kammer. Die Pumpe ist mit einem geeigneten Druckregelventil vorgesehen, so daß, wenn der Druck in der Dampferwärmungskammer die vorbestimmte Menge überschreitet, wird ein Teil des Dampfgemisches überbrückt von der Auslaßseite zur Einlaßseite der Pumpe ist, usw. zurückgeführt werden.
Die Erfindung wird weiter in Verbindung mit den beigefügten Zeichnungen beschrieben werden, aber solche weitere Offenbarung und Beschreibung ist lediglich als Veranschaulichung der Erfindung zu verstehen, und die Erfindung ist nicht auf dieses Ausführungsbeispiel der Erfindung beschränkt.
BESCHREIBUNG DER ZEICHNUNGEN
Fig.1 ist eine Seitenansicht eines Vergasers gemß der Erfindung.

Fig.2 ist eine Draufsicht des Vergasers

Fig.3 ist eine vergrßerte vertikale Schnittansicht.

Fig.4 ist ein Querschnitt auf der Linie 4-4 der Fig.3

Fig.5 ist eine detaillierte Schnittansicht der Linie 5-5 der Fig.3

Fig.6 ist ein Querschnitt durch die Pumpe und Antriebsmotor, entlang der Linie 6-6 von Fig.2

Fig.7 ist eine Längsschnittansicht durch die Pumpe auf der Linie 7-7 der Fig.2 entnommen

Fig.8 ist eine Längsschnittansicht durch einen Teil des Pumpzylinders, welche den Kolben im Aufriß.

In den Zeichnungen wird ein Verdampfen und Zerstäuben Kammer 1 an der Unterseite des Vergasers angeordnet und hat einen Auslaß an seinem oberen Ende für den Durchtritt von Kraftstoffdampf und Luft in eine primäre Dampf Heizkammer 2.
Die Verdampfungskammer 1 ist mit einer perforierten falschen Boden 3 vorgesehen und ist normalerweise mit flüssigem Brennstoff zu der Ebene in Fig.1 angegeben gefüllt. Luft wird über Leitung 4 in den Raum unterhalb des Zwischenbodens 3 eingeführt und dann durch die Perforationen 5 in dem falschen Boden, der es in einer Vielzahl von feinen Blasen, die nach oben durch den flüssigen Kraftstoff über dem falschen Boden passieren bricht.
Flüssiger Kraftstoff zum Aufrechterhalten des Pegels in der Kammer angedeutet 1 von der üblichen Kraftstofftank (nicht gezeigt) über die Leitung 6 und wird durch die Pumpe 7 über die Leitung 8 durch ein Paar von Düsen 9 mit ihren Auslässen in der Kammer 1 befindet, gerade über das Zwangs, Pegel des flüssigen Kraftstoffs darin. Pumpe 7 kann aus jedem zugelassenen Form sein, ist jedoch vorzugsweise von der Membranbauart, die als solche Kraftstoffpumpen sind heute zur Standardausrüstung meisten Autos.
Die Düsen 9 sind außen an ihren unteren Enden mit Gewinde zu deren Montage in der Kammer 1 zu erleichtern und ihnen erlauben, leicht entfernt werden sollten erforderliche Reinigung zu werden.
Die oberen Enden der Düsen 9 werden von Venturirohren 10, die Leitbleche 11 an ihren oberen Enden gegenüber den Austrittsöffnungen der Düsen angeordnet ist, wie dargestellt ist und im Detail in meinem Patent No. 1.997.497 beschrieben umgeben. Der flüssige Brennstoff, der von den Enden der Düsen 9 in die Sperrabschnitte der Venturirohre gedrückt, bewirkt eine schnelle Zirkulation der Luft und der Dampf in der Kammer durch die Rohre 10 und bringt die Luft und der Dampf in einen innigen Kontakt mit dem flüssigen Kraftstoff, mit so dass ein Teil des flüssigen Kraftstoffs verdampft. Unverdampftem Abschnitte der flüssige Brennstoff treffen auf die Prallflächen 11 und somit weiter aufgebrochen und umgelenkt nach unten in den nach oben strömenden Strom von Luft und Dampf.
Pumpe 7 wird geregelt, um eine größere Menge an flüssigem Brennstoff zu den Düsen 9 als wird verdampfendes liefern. Die überschüssige Flüssigkeit Brennstofftropfen in die Kammer 1, die die Flüssigkeit dort um das angegebene Niveau gehalten werden verursacht. Wenn der flüssige Brennstoff über dieses Niveau steigt, Schwimmerventil 12 geöffnet und das überschüssige Kraftstoff fließt durch Überlaufrohr 13 in die Leitung 14, die zurück zur Leitung 6 an der Einlassseite der Pumpe 7 führt. Eine solche Anordnung ermöglicht eine große Menge von flüssigem Brennstoff, um durch die Pumpe 7 ohne mehr Kraftstoff aus dem Kraftstofftank herausgezogen, als tatsächlich verdampft und vom Motor verbrauchten zirkulieren. Wie Schwimmerventil 12 wird auf das Ende des Ablaufrohres 13 gesetzt, sobald der Flüssigkeitspegel unter den angegebenen Wert fällt, besteht keine Gefahr der Dampf Übergang in Rohrleitung 14 und von dort in Pumpe 7 mit seinen normalen Betrieb stören.
Die Menge von flüssigem Brennstoff durch die Düsen 9 und durch den Durchgang von Luft durch den Körper der Flüssigkeit verdampft wird, ist ausreichend, um eine geeignet angereicherten dampfförmigen Gemisches zum Einführen in den Durchgang, was zu dem Ansaugkrümmer des Motors, bereitzustellen, durch welche das Hauptvolumen Luft strömt.
Dampf durch Lufteinblasen durch die flüssiger Kraftstoff in dem Boden der Kammer 1 ausgebildet ist, und dass durch die Zerstäubung in den Düsen 9 ausgebildet, gehen von der Oberseite der Kammer in den Primär Heizkammer 2. Wie klar in Fig.1 gezeigt, Kammer 2 einen relativ langen Spiralkanal 15, durch den das Dampfgemisch geht allmählich nach innen zu einem zentralen Auslass umfasst 16, an dem eine Leitung 17, die zu einer Kolbenpumpe 18, die das dampfförmige Gemisch in Leitung 19, die zu einem zentralen Einlaß 20 drückt unter Druck verbunden ist, einer sekundären Heizkammer 21, die sich wie die Primär Heizkammer weist eine relativ lange Spirale. Das dampfförmige Gemisch gelangt nach und nach außen durch die Spiralkammer 21 und tritt in einen Abwind Luftschlauch 22, der zu dem Ansaugkrümmer des Motors, durch einen Auslaß 23 durch einen Drehkegelventil 24 gesteuert.
Um den Motor von Fehlzündungen in Dampfkammer 2 zu verhindern, werden die Enden der Durchgang 19 mit einem feinmaschigen Sieb 25, die, die auf dem Prinzip der eine Grubenlampe, wird der Dampf in Kammer 2 explodiert im Falle einer Fehlzündung zu verhindern abgedeckt, aber im Wesentlichen nicht mit dem Durchgang des Dampfes aus der Kammer 21 in das Luftrohr 22 stört, wenn das Ventil 24 offen ist.
Das Luftrohr 22 ist vorzugsweise in der Form eines Venturi mit größter Einschnürung an diesem Punkt in dem Ablauf 23 angeordnet ist, so daß, wenn das Ventil 24 geöffnet ist, wird es eine Zugkraft auf das dampfförmige Gemisch aufgrund der erhöhten Geschwindigkeit des die Luft an dem verengten Abschnitt der Luftröhre gegenüberliegenden Auslass 23, sowie eine Ausstoßkraft auf sie durch den Druck in der Kammer 21 durch die Pumpe 18 aufrechterhalten.
Sowohl die Primär- und Sekundärspiralwärmekammern 15 und 21 und der zentrale Abschnitt des Luftrohrs 22 sind durch ein Gehäuse 26 mit einem Einlass 27 und einem Auslass 28 für ein geeignetes Heizmedium, wie die Gase, die aus dem Auspuffkrümmer umschlossen.
Pumpe 18 verwendet, um das dampfförmige Gemisch aus primären Heizkammer 2 in und durch die zweite Kammer 21 zu zwingen, umfaßt eine Arbeitskammer 29 zum Hohlkolben 30 mit einem Einlaß 31 durch ein Ventil 32 gesteuert wird, und einen Auslaß 33, die durch ein Ventil gesteuert wird 34. Das Ende der Arbeitskammer 29 zu der Leitung 17, die das dampfförmige Gemisch aus primären Heizkammer 2 leitet verbunden ist, ein Einlaßventil 35 und das gegenüberliegende Ende der Arbeitskammer ist ein Auslass 36 durch das Ventil 37 gesteuert positioniert in einer Hilfskammer 38, an die Ausgangsleitung 19, die die dampfförmigen Gemisches zu dem sekundären Heizkammer 21. Jedes der Ventile 32, 34, 35 und 37 ist der Einwegtyp leitet unter Druck verbunden ist. Sie werden als die Schwerkraft betätigten Klappenventile gezeigt, aber es versteht sich, dass federbelastete oder andere Typen von Einwegventilen können auf Wunsch verwendet werden können.
Eine Seite des Kolbens 30 ist mit einer Zahnstange 39, die in eine Nut 39a der Wand, die den Zylinder der Pumpe aufgenommen ist. Die Zahnstange 39 steht in Eingriff mit einer Betätigungsstirnzahnrad 40 an einem Ende der Welle 41 und der in einem an dem Pumpenzylinder gebildeten Gehäuse 42 durchgeführt. Das andere Ende der Welle 41 trägt ein Stirnrad 43, das in Eingriff und wird durch eine Zahnstange 44 an einem Kolben 46 eines doppeltwirkenden Motors 47. Die besondere Konstruktion des doppelt wirkenden Motors 47 durchgeführt werden betätigt ist nicht wesentlich, und sie kann aus einer Vakuum allgemein zum Betreiben Scheibenwischer für Fahrzeuge verwendet wird, in welchem Fall ein flexibler Schlauch 48 würde mit dem Ansaugkrümmer des Motors, um das notwendige Vakuum zum Betätigen des Kolbens 45 bereitzustellen angeschlossen sein.
Unter dem Einfluss des doppelt wirkenden Motors 47, der Kolben 30 der Pumpe weist eine hin- und hergehende Bewegung in der Arbeitskammer 29. Die Bewegung des Kolbens in Richtung der in Fig.7 links neigt, das dampfförmige Gemisch in der Arbeitskammer zwischen der Kompresse Ende des Kolbens und dem Einlass von Leitung 17 und verursacht Ventil 35 bis dicht an die Eintrittsöffnung gedrückt wird. In gleicher Weise werden die Ventile 32 und 34 sind aufgebrochen und das dampfförmige Gemisch in den Teil der Arbeitskammer durch den Einlaß 31 in dem Ende des Kolbens 30 gedrückt wird, in das Innere des Kolbens, wo das dampfförmige Gemisch verdrängt dort an und drückt sie in den Raum zwischen dem rechten Ende des Kolbens und dem rechten Ende der Arbeitskammer. Der Durchgang des dampfförmigen Gemisches in das rechte Ende der Arbeitskammer durch den Unterdruck dort angelegt ergänzt, wenn der Kolben nach links bewegt. Während einer solchen Bewegung des Kolbens wird das Ventil 37 geschlossen gehalten und verhindert Rücksaugung des dampfförmigen Gemisches aus dem sekundären Heizkammer 21.
Wenn der Motor 47 reversiert, Kolben 30 nach rechts bewegt und das dampfförmige Gemisch in dem rechten Ende der Arbeitskammer vorbeiVentil 37 durch das Rohr 19 in die sekundäre Heizkammer 21. Zur gleichen Zeit gedrückt wird, wird ein Vakuum angelegt hinter Kolben 30, die in dem linken Ende der Arbeitskammer führt, die wiederum mit dem Dampfgemisch aus dem primären Wärmekammer 2 gefüllt.
Da der Betrieb der Pumpe 47 ändert sich in Übereinstimmung mit der Ansaugöffnung im Saugrohr erzeugt, sollte sie so geregelt werden, daß das dampfförmige Gemisch wird bei einer ausreichenden Geschwindigkeit, um einen größeren Druck dort als nötig zu halten, in der sekundären Heizkammer gepumpt. Damit der Druck in der Arbeitskammer kann zu allen Zeiten auf dem optimalen aufrechterhalten werden, wird ein Rohr 50 mit einem einstellbaren Druckregelventil 51 ist zwischen den Einlaß- und Auslaßrohre 17 und 19 angeschlossenen Ventils 51 wird ein Teil des Titels dampfförmige Gemisch aus der Pumpe abgegeben umgangen wird zu dem Einlass 17, so dass ein Druck, der durch die Anlage des Ventils 51 wird zu allen Zeiten in vorbestimmten der zweiten Wärmekammer 21 aufrechterhalten werden.
Luftrohr 22 ist mit einem Drosselklappen-Ventil 52 und ein Drosselventil 53 vorgesehen ist, wie es üblich ist bei Vergasern für die Verwendung mit Verbrennungsmotoren geeignet. Betriebs Stiele 54, 55 und 56 für die Ventile 52, 53 und 24 jeweils durch das Gehäuse 26. Ein Betätigungsarm 57 ist starr mit dem äußeren Ende des Schaftes 55 befestigt und ist mit einer Stange 58, die auf dem Armaturenbrett des Autos erstreckt erstrecken oder einem anderen Ort bequem für den Fahrer. Das äußere Ende des Schafts 56 des Ventils 24, der Auslass 23 von der sekundären Heizkammer 21 steuert über ein Ende eines Betätigungsarmes 59 sicher an ihm befestigt. Das andere Ende ist schwenkbar mit 60, die nach unten erstreckt verknüpfen und schwenkbar mit einem Ende eines Kniehebels 61, fest mit dem Ende des Schaftes 54 des Drosselventils 52. Das andere Ende des Kniehebels angebracht ist, um eine Verbindung Betätigungsstange 62, die, wie Stange 58, erstreckt sich zu einem Ort bequem für den Fahrer. Ventile 24 und 52 werden zum gleichzeitigen Betrieb so verbunden, dass, wenn die Drosselklappe 52 geöffnet wird, um die Geschwindigkeit des Motors zu erhöhen, wird das Ventil 24 auch geöffnet werden, um eine größere Menge des erhitzten dampfförmige Gemisch aus dem sekundären Wärmekammer 21 zuzulassen.
Während das Ansaugen durch die Pumpe 18 normalerweise einen ausreichenden Unterdruck in dem primären Heizkammer 2 zu schaffen, um zu bewirken, dass Luft in und aufwärts durch den Körper von flüssigem Brennstoff in den Boden des Verdampfungskammer 1 gezogen werden, in einigen Fällen kann es wünschenswert sein, wichtige Zusatzmittel für durch die Flüssigkeit zwingt die Luft, die in und nach oben, und in solchen Fällen kann eine Hilfspumpe für diesen Zweck zur Verfügung gestellt werden, oder der Luftleitung 4 mit einem trichterförmigen Einlass, der sich hinter dem Motorventilator 63 angeordnet ist, vorgesehen sein, die üblicherweise hinter dem Motorkühler platziert.
Die vorhergehende Beschreibung wurde in Verbindung mit einem Fallstromvergasertyp gegeben worden, aber es versteht sich, dass die Erfindung nicht auf die Verwendung mit dieser Art von Vergaser und die Art, in der das Gemisch aus Luft und Dampf wird in die eingeführte verwenden ist Motorzylinder ist unwesentlich, sofern die Vorteile der Vergaser geht.
Vor der Vergaser in Gebrauch genommen wird, wird das Druckregelventil 51 in der Umgehungsleitung 50 so eingestellt werden, dass der Druck am besten zu den Bedingungen, unter denen der Motor betrieben werden soll, wird in der sekundären Heizkammer 21 gehalten werden. wenn das Ventil 51 ist somit festgelegt worden ist und der Motor gestartet wird, die Pumpe 18 wird ein Teilvakuum in der Primär Heizkammer 2 zu schaffen und bewirken, dass Luft durch die Leitung 4 zu sprudeln nach oben durch den flüssigen Brennstoff in den Boden des Verdampfungs und Zerstäubungskammer gezogen werden 1 mit der resultierenden Verdampfen eines Teils des flüssigen Kraftstoffs. Zur gleichen Zeit wird Pumpe 7 in Betrieb gesetzt werden und flüssigen Kraftstoff aus dem Kraftstofftank durch die Düsen 9, die in einer zusätzlichen Kraftstoffmenge führt, dass verdampfte gepumpt werden. Die aus solchen Zerstäubung des flüssigen Brennstoffs und der Durchgang von Luft durch den Körper der Flüssigkeit entstehende Dampf wird in und durch spiralförmige Kammer 1, wo sie von den Verbrennungsprodukten in der umgebenden Kammer durch das Gehäuse 26. Der gebildete erwärmenden passieren Kraftstoffdampf und Luft wird nach und nach innen gehen durch Auslaß 16 und durch die Leitung 17 zur Pumpe 18, die sie in die sekundäre Heizkammer 21, in der sie bei dem vorbestimmten Druck durch das Druckregelventil 51. das dampfförmige Gemisch wird aufrechterhalten werden zwingen in der Kammer 21 weiter erwärmt und gelangt spiralig nach außen, um den ventilgesteuerten Auslass 23, der in das Luftrohr 22 öffnet, die den Hauptluftvolumen zu dem Ansaugkrümmer des Motors führt.
Die Beheizung des Dampfgemisch in den Wärmekammern 2 und 21 ist, neigt sie zu veranlassen sich auszudehnen, aber in Expansionskammer 21 aufgrund des Druckregelventils 51 verhindert jedoch, sobald der erhitzten dampfförmige Gemisch gelangt Ventil 24 und ist in die durch das Einlassrohr 22 strömende Luft eingeführt wird, ist sie frei expandieren und dadurch relativ leicht sein, so dass ein inniger Mischung mit der Luft, bevor sie das Gemisch in den Motorzylindern Explosions erhalten. Somit ist ersichtlich, dass die vorliegende Erfindung nicht nur Mittel, wobei das dampfförmige Gemisch aus Heizkammer 21 in die Luft, die durch Luftrohr 22 durch eine positive Kraft gedrückt wird, es ist jedoch auch in einem solchen Ausmaß erwärmt, daß nach Verlassen Kammer 21 wird in einem Ausmaß zu erweitern, um eine Dichte geringer als wenn sie direkt aus dem Verdampfungs eingeführt und Zerstäubungskammer 1 in das Luftrohr 22 müsste.
Der Großteil der von der dampfförmige Gemisch verlassen Kammer 1 wird in der ersten Hälfte des äußersten Spiral des primären Wärmekammer 2 im Tank getrennt werden und in den Körper des flüssigen Kraftstoffs zurück abgelassen 1. Alle mögliche flüssige Partikel, die nicht mitgeführte flüssige Partikel so getrennt werden, werden auf mit dem Dampfgemisch und aufgrund der Zirkulation der genannten Mischung und die Anwendung von Wärme durchgeführt wird, wird verdampft, bevor das dampfförmige Gemisch in den Luftschlauch 22 von der sekundären Heizkammer 21. So wird nur "trocken eingebracht werden "Dampf wird in die Motorzylinder und einer Verbrennung in den Motorzylindern flüssiger Partikel des Kraftstoffs, der dazu neigen würde, die Motortemperatur über seinem effizientesten Niveau heben eingeführt wird, wird vermieden.
Während die vollen Vorteile der Erfindung werden durch Verwendung sowohl einer primären und sekundären Heizkammer erhalten, die primäre Heizkammer kann, falls gewünscht, weggelassen werden und das dampfförmige Gemisch direkt aus dem Verdampfungs gepumpt und Zerstäubungskammer 1 in den Spiral Heizkammer 21.
Aus der vorstehenden Beschreibung ist ersichtlich, daß die vorliegende Erfindung stellt eine Verbesserung gegenüber der in meinem Patent 1.997.497 offen Vergaser, daß es möglich ist, das dampfförmige Gemisch in der Heizkammer 21 unter einem vorbestimmten Druck zu halten, und dass, sobald als das dampfförmige Gemisch wird in den Hauptteil der Luft, die in den Ansaugkrümmer des Motors eingeführt wird, ihn zu erweitern und erreichen eine Dichte, bei der sie eine innige Mischung mit der Luft zu bilden. Ferner hat die Einführung des dampfförmigen Gemisches in den Luftstrom im Rohr 22 verursacht eine bestimmte Menge an Turbulenz, die auch dazu neigt, eine innige Mischung aus Dampfmoleküle mit der Luft zu geben.
US Patent 2.219.922 22. Oktober 1940 Erfinder: Ivor B. Newberry
VERDAMPFER FÜR VERBRENNUNGSMOTOREN
Dieses Patent beschreibt eine Vergaser-Design, die in der Lage, sehr hohe mpg Zahlen produzieren mit Hilfe der in den USA Benzin in den 1930er Jahren, aber die nicht mehr verfügbar ist, wie die Ölindustrie will nicht funktionalen Hoch mpg Vergaser der Öffentlichkeit zur Verfügung und so zu sein, mischt in Zusatzstoffen, die einen solchen Vergaser verstopfen.
BESCHREIBUNG
Die Erfindung betrifft Verdampfungsvorrichtungen für Kraftmaschinen, und insbesondere befaßt sich mit Verbesserungen in Vorrichtungen der Art, bei der Rückstellung wird für die Verwendung der Abgase der Motoren als Heizmedium in der Verdampfung des Kraftstoffs zu unterstützen gemacht betreffenden.
Eine Aufgabe der Erfindung ist es, eine Vorrichtung, die den Kraftstoff in einer solchen Weise, dass seine potentielle Energie kann vollständig genutzt werden Bedingung bereitzustellen, wodurch eine bessere Motorleistung und eine Einsparung des Kraftstoffverbrauchs sichergestellt und die Bildung von Kohlenstoffablagerungen in den Zylindern des Motors und die Erzeugung von Kohlenmonoxid und andere unerwünschte Gase.
Eine weitere Aufgabe ist es, eine Vorrichtung, die so ausgelegt ist, dass der Kraftstoff in die Zylinder des Motors in einem stark verdampft, trocken und expandierten Zustand geliefert wird, zu schaffen, diese Aufgabe Betrachtung einer Vorrichtung, die als ein Abgasfeld vorhanden ist, in dem die Verdampfung und Expansion der flüssigen Komponenten wird bei Unteratmosphärendruck erfolgt und bevor diese mit der Luftkomponente vermischt.
Eine noch weitere Aufgabe ist es, eine Vorrichtung, die die Komponenten des Kraftstoffs in der Weise, dass sie gleichmßig und innig vermischt werden, ohne die Verwendung eines Vergasers Bedingung bereitzustellen.
Eine noch weitere Aufgabe ist es, eine Vorrichtung, die die Verwendung von verschiedenen inferior und kostengünstige Kraftstoffqualitäten ermöglicht, bereitzustellen.
BESCHREIBUNG DER ZEICHNUNGEN
Fig.1 ist eine Seitenansicht der Vorrichtung, wie dem Motor eines Kraftfahrzeugs angewendet.

Fig.2 ist eine vergrößerte Ansicht der Vorrichtung, teilweise im Aufriß und teilweise im Schnitt.

Fig.3 ist ein Schnitt entlang der Linie 3-3 von Fig.2 gemacht

Fig.4 ist ein Schnitt entlang der Linie 4-4 der Fig.3 aufgenommen

Fig.5 ist ein Teilschnitt entlang der Linie 5-5 der Fig.3 genommen

Fig.6 ist ein Schnitt entlang der Linie 6-6 von Fig.4 genommen.

BESCHREIBUNG
Die so dargestellten Vorrichtung umfasst ähnliche Gehäuse 8 und 9, die zusammen als eine Einheit befestigt sind, und die so ausgebildet sind verdampfende Kammern 10 bzw. 11, wobei es sich versteht, dass die Anzahl der Gehäuse kann variiert werden, um bereitzustellen. Zwei Reihen von Rippen 12 in jeder der Verdampfungskammern gebildet, wobei die Rippen jeder Reihe voneinander so beabstandet sind Zweigkanäle 13 zur Verfügung zu stellen und ausgewählt ist aus den Rippen der benachbarten Reihe beabstandet ist, um Hauptkanäle 14 zu schaffen, mit dem die Zweig Passagen kommunizieren.
Die Verdampfungskammern sind durch Abdeckplatten verschlossen 15. Die Abdeckplatten tragen Leitbleche 16, die in den Räumen zwischen den Rippen 12. Die Leitbleche über die Hauptdurchgänge 14 und in verlängern unterstützt werden, aber kurz vor den Enden der Zweigleitungen 13 zur Verfügung zu stellen verschlungenen Wegen. Auslass 10a der Kammer 10 ist durch Leitung 17 mit dem Einlaß 11a der Kammer 11 Auslass 18 der Kammer 11 wird durch eine Leitung 19 mit der Mischkammer 20, die am unteren Ende der Leitung 21, die wiederum mit und Erweiterung verbunden ist befinden verbunden ist 22 dem Einlasskrümmer 22a des Motors. Verlängerung 22 enthält ein Ventil 23, das durch einen Hebel 23a (Fig.1) und die Stange 23b in eine herkömmliche Drosselklappe angeschlossen ist (nicht gezeigt).
Der flüssige Brennstoff wird in die Verdampfungskammer 10 durch die Düse 24, die durch Leitung 25 zu einem Reservoir 26, in dem das Kraftstoffniveau wird durch schwimmergesteuerte Ventil 27 aufrechterhalten verbunden ist eingeleitet, wobei der Brennstoff in das Reservoir durch die Leitung 28 zugeführt.
In Übereinstimmung mit der Erfindung, die Rippen 12 sind hohl, wobei jede ausgebildet ist, um eine Zelle 29. Die Zellen, die in einer Reihe von Rippen an einer Seite offen in eine Einlaßkammer 30 zu schaffen, während die Zellen des Begleiters Reihe an einer Seite in einen offenen Auslaßkammer 31. Die Zellen der beiden Reihen von Rippen an ihren Rückseiten münden in eine Verbindungskammer 32, die hinter den Rippen angeordnet ist und die durch eine Deckplatte 33. Die Gehäuse 8 und 9 geschlossen sind Ende-an-Ende angeordnet, so dass die Austrittskammer 9 kommuniziert mit der Einlasskammer 8, wobei die Gase aus dem Auspuffkrümmer 34 in die Einlasskammer des Gehäuses 9 durch die Verlängerung 34a eingeführt. Die Abgase geben Sie die Reihe von Zellen auf der rechten Seite des Gehäuses, durchlaufen die Zellen in die Verbindungskammer an der Rückseite und geben Sie dann die Einlasskammer des Gehäuses 8. Sie geben nacheinander durch die zwei Reihen von Zellen und geben Abgas Rohr 35. Die Abgase verlassen die Austrittskammer 31 und den Weg, den sie reisen ist eindeutig durch die Pfeile in 6 dargestellt. Da die Gase durch Gehäuse 8 und 9 übergeben, wird die Geschwindigkeit in einem solchen Maße, dass ein Abluftkasten (Schalldämpfer) oder andere zum Schweigen Gerät überflüssig werden reduziert.
Es wird ersichtlich sein, dass, wenn der Motor in Betrieb eine normale Temperatur, die in die Kammer 10 eingeleitete Flüssigkeit Kraftstoff sofort bei Kontakt mit den heißen Wänden der Rippen 12. Verdampfenden Das so hergestellte in zwei Ströme, von denen einer bewirkt wird unterteilt Dampf zu jeder der Zweigleitungen an der einen Seite des Gehäuses eintreten und die andere wird bewirkt, daß jede der Zweigleitungen an der entgegengesetzten Seite des Gehäuses zu gelangen. Die beiden Ströme von Dampf zu verschmelzen, während sie um die abschließende Trennwand passieren und in die Leitung 17 ein, sind aber wieder geteilt und erhitzt in einer ähnlichen Weise, wie sie durch das Gehäuse 9 fließen Jeder der Dampfströme in ständigem Kontakt mit den stark erwärmten Wänden des Rippen 12. Dieser Durchgang des Dampfes durch die Gehäuse bewirkt, dass der Dampf in einem solchen Maße, dass eine trockene hoch verdampfte Gas erzeugt erhitzt werden. In diesem Zusammenhang wird darauf hingewiesen, dass die Verdampfungskammern unter einem Vakuum gehalten wird, und daß die Verdampfung wird in der Abwesenheit von Luft durchgeführt werden. Umwandlung der Flüssigkeit in stark expandierte Dampf wird somit sichergestellt. Die Strömung der Abgase durch Gehäusen 8 und 9 ist in Gegenrichtung zur Strömung des Dampfes. Der Dampf wird in Stufen aufgeheizt und in die Kammer 20 an ihrem höchsten Temperatur vorgelegt.
Nach dem Passieren durch einen herkömmlichen Filter 36 die Luft, die mit dem Brennstoffdampf gemischt wird, tritt in Leitung 21, wobei die Luftmenge durch das Ventil 37 in die Mischkammer 20. Um reguliert Die Erfindung erwägt auch die Erwärmung der Luft vor ihrem Eintritt Hierzu wird ein Mantel 39 ist um das Rohr 21 ausgebildet der Mantel weist eine Kammer 40 auf, die mit der Kammer 32 des Gehäuses 9 durch die Einlaßleitung 41 und mit der entsprechenden Kammer des Gehäuses 8 durch Auslassrohr kommuniziert 42. Ein Teil der Abgase ist wodurch veranlaßt wird, durch die Kammer 40 passieren, um die Luft zu erwärmen, wenn es durch die Leitung 21 auf seinem Weg zu der Mischkammer. Ventil 37 ist angeschlossen, um durch Arme 43 und 43a und Verbindung 44, so daß das Volumen der Luft in die Mischkammer eingelassen wird proportional erhöht, wenn die Dampfmenge erhöht wird Ventil 23. Da der Kraftstoffdampf und Luft sind sowohl auf eine hohe Temperatur erwärmt und in einem stark expandierten Zustand, wenn sie in die Mischkammer eintreten, werden sie ohne weiteres vereinigen, um eine gleichförmige Mischung, die Verwendung von einem Vergaser oder einer ähnlichen Vorrichtung zu diesem Zweck unnötig bereitzustellen.
Aus dem Vorstehenden wird deutlich, daß die Bauteile der Kraftstoffmischung werden separat vor ihrem Eintritt in die Mischkammer erhitzt 20. Da der Dampf, der erzeugt wird, trocken (enthaltend keine Tröpfchen an flüssigem Kraftstoff) und stark expandiert, eine vollständige Verbrennung gewährleistet ist, . Die potentielle Energie durch die Dampf dargestellt wird, kann somit voll ausgenutzt werden, wodurch eine bessere Motorleistung und eine Einsparung von Kraftstoffverbrauch sicherzustellen. Gleichzeitig wird die Bildung von Kohlenstoffablagerungen in der Verbrennungskammern und die Erzeugung von Kohlenmonoxid und andere unerwünschte Abgase verhindert. Die Vorrichtung hat den weiteren Vorteil, daß auf der der Kraftstoff vor seinem Eintritt in die Brennkammern erwärmt aufgrund der hohen Temperatur, können verschiedene inferior und kostengünstige Kraftstoffsorten mit zufriedenstellenden Ergebnissen verwendet werden.
US Patent
2.982.528 2. Mai 1940 Erfinder: Robert S. Shelton
DAMPFKRAFTSTOFFSYSTEM
Dieses Patent beschreibt eine Vergaser-Design, die in der Lage, sehr hohe mpg Zahlen zu produzieren war mit Hilfe der zur Verfügung Benzin in den USA in den 1930er Jahren, aber die nicht mehr verfügbar ist, wie die Ölindustrie will nicht funktionalen Hoch mpg Vergaser zu sein für die Öffentlichkeit zur Verfügung.
BESCHREIBUNG
Diese Erfindung betrifft Verbesserungen in Dampfkraftstoffsysteme, die für Verbrennungsmotoren verwendet werden sollen.
Eine Aufgabe dieser Erfindung ist es, ein Kraftstoffdampfsystem, welches eine große Kraftstoffersparnis, da etwa die achtfache Autos, die von der herkömmlichen Kraftmaschine erhalten wird, wird durch die Verwendung dieses Systems bereitgestellt bereitzustellen liefert.
Eine weitere Aufgabe der Erfindung ist es, ein Kraftstoffdampfsystem, das mit einem Behälter versehen ist, um flüssigen Brennstoff, der erwärmt wird, um Dampf aus dem der Verbrennungsmotor betrieben bereitzustellen enthalten ist.
Mit den obigen und anderen Aufgaben und Vorteile im Hinblick auf die Erfindung besteht aus den neuen Details der Konstruktion, Anordnung und Kombination von Teilen weiter unten ausführlicher beschrieben, gekennzeichnet und in den begleitenden Zeichnungen dargestellt sind.
BESCHREIBUNG
DER ZEICHNUNGEN
Fig.1 ist eine Seitenansicht eines Kraftstoffdampfsystems, das die Erfindung.

Fig.2 ist eine vergrßerte Ansicht, teilweise im Schnitt, die den Vergaser, die Teil des in Fig.1 gezeigten Systeme.

Fig.3 ist ein Querschnitt auf der Linie 3-3 in Fig.2

Fig.4 ist ein Querschnitt auf der Linie 4-4 in Fig.2

Fig.5 ist ein Querschnitt auf der Linie 5-5 in Fig.2

Die in den Zeichnungen verwendeten Bezugszeichen beziehen sich immer auf den gleichen Punkt in jeder der Zeichnungen. Die Kraftstoffdampfsystem 10 enthält eine Rohrleitung 11, die mit dem Kraftstofftank an einem Ende und mit einem Vergaser 12 an dem gegenüberliegenden Ende verbunden ist. In Leitung 11 befindet sich ein Kraftstofffilter 13 und eine elektrische Kraftstoffpumpe 14 Leitung 15 erdet die Pumpe und Draht 16 verbindet die Pumpe mit einem Kraftstoffmesser 18, auf der sich ein Schalter 17, der mit einer Batterie 19 des Motors durch angeschlossen montiert Draht 20.
Die Kraftstoffanzeige / Schalter ist von herkömmlicher Konstruktion und von der Art ist in den US-Patenten No. 2.894.093, No. 2.825.895 und No. 2.749.401 offenbart. Der Schalter ist so aufgebaut, dass ein Schwimmer in der Flüssigkeit in der Messröhre, wird ein Paar von Kontakten, wenn die Flüssigkeit steigt und dieser unterbricht die elektrische Pumpe 14 zu dem Schwimmer senkt aufgrund des Verbrauchs des flüssigen Kraftstoffs in den Körper, der Schwimmer fällt, Schließen der Kontakte und Inbetriebnahme der Pumpe 14, die den flüssigen Brennstoff in den Körper regeneriert.
Vergaser 12 umfasst einen kuppelförmigen kreisförmigen Schüssel oder Reservoir 21, der mit einem mittig angeordneten Flansch versehenen Öffnung 22, wodurch der Behälter 21 ist auf einem rohrförmigen Hals 23. Ein apratured Bund 24 am unteren Ende des Halses 23 ist an der Einlass positioniert ist vorgesehen, Verteiler 25 einer Brennkraftmaschine 26 und Befestigungen 27 sichern die Manschette mit dem Verteiler in einer festen Position.
Ein Dampfregelklappe 28 ist schwenkbar in dem unteren Ende der Aussparung 23 und das Ventil 28 steuert den Eintritt des Dampfes in dem Motor angebracht und so steuert seine Geschwindigkeit.
Eine Kraftstoffpumpe 29, einen Einlaß 30, ist im Boden des Vorratsbehälters 21, so daß der Einlaß 30 steht mit dem Inneren des Behälters montiert ist. A spurt oder Futterrohr 31 mit der Pumpe 29 erstreckt sich in den Hals 23, so daß mittels einer Verknüpfung 32, die mit der Pumpe 29 und mit einem Gestänge zum Steuerventil 28 und dem Gaspedal des Motors ist, können rohe Brennstoff in gezwungen Hals 23, um den Motor zu starten, wenn es kalt ist.
Das obere Ende der Kehle 23 ist auf sich selbst gedreht, um eine bauchige hohle Abschnitt 33 in dem Reservoir 21 bieten ein Heizstab 34 in dem Boden des Behälters und Draht 35 Gründe das Heizgerät aufgestellt. Ein Thermostat 36 ist in der Wand des Behälters angebracht ist und sich in sie. Draht 37 verbindet das Thermostat zum Heizgerät 34 und Draht 38 verbindet das Thermostat auf die Thermostatsteuerung 39. Draht 40 verbindet die Steuerung an den Zündschalter 41, der wiederum mit Batterie 19 über Drähte 20 und 42 verbunden ist.
Ein Paar von relativ zueinander beabstandeten parallelen perforierten Ablenkplatten 43 und 44 sind mit dem bauchigen Abschnitt 33 am oberen Ende des Halses 23 verbunden ist, und ein zweites Paar von perforierten Ablenkplatten 45 und 46 nach innen erstrecken sich von der Wand des Behälters 21 parallel zu jedem einander und parallel zu den Platten 43 und Leitblech 44.
Die Prallbleche sind in einer versetzten Beziehung zueinander angeordnet sind, so daß Prallplatte 45 ist zwischen Leitplatten 43 und 44 und der Ablenkplatte 46 über Prallplatte 44 erstreckt.
Prallplatte 45 weist eine zentrale Öffnung 47 und Prallplatte 46 weist eine zentrale Öffnung 48, die einen größeren Durchmesser als die Öffnung 47. Die gewölbte Oberseite 49 des Reservoirs 21 hat, erstreckt sich in einen rohrförmigen Lufteinlass 50, der nach unten in den Hals 23 und einer Halterung erstreckt Ring 51 ist auf der Außenseite der gewölbten Oberseite positioniert ist, vertikal mit Einlass 50. Ein Luftfilter 52 ist auf dem Befestigungsring 51 durch eine Kupplung 53 angebracht ist, wie es die übliche Vorgehensweise ausgerichtet ist, und eine Spinne 54 ist in dem oberen Ende des montierten Montagering 51 zum Aufbrechen der Luft, wenn sie von Luftfilter 52 tritt Ring 51.
Im Betrieb, wenn Vergaser 12 auf der Brennkraftmaschine anstelle eines herkömmlichen Vergasers angebracht wird Zündschalter 41 eingeschaltet ist. Aktuelles von der Batterie 19 führt dazu, dass die Pumpe 14 für flüssigen Kraftstoff in den Vorratsbehälter 21 bis Schwimmerschalter 18 schneidet die Pumpe aus, wenn der flüssige Brennstoff A hat Stufe B im Behälter erreicht zu bewegen. Die Steuerung 39 ist so eingestellt, dass Thermostat 36 die Heizeinrichtung 34 zu betreiben, bis der flüssige Brennstoff eine Temperatur von 105OF zu welchem Zeitpunkt Heizeinrichtung 34 werden abgeschnitten erreicht hat. Wenn der flüssige Kraftstoff die richtige Temperatur erreicht hat, wird Dampf vorhanden sein, die durch die Pfeile in Fig.2 angezeigten Kurs zu folgen.
Der Motor wird dann gestartet, und wenn der Fußschalter betätigt wird, wird die Pumpe 29 wird rohen flüssigen Brennstoff veranlassen, das Saugrohr 25 geben, bis der Dampf aus dem Vergaser in den Verteiler gezogen zu führen, dass der Motor laufen. Wenn der Brennstoff verbraucht ist, wird die Pumpe 14 wieder betätigt, und die Heizung 34 wird von Thermostaten 36 zu betreiben, wird der Betrieb so beschrieben wird fortgesetzt, solange der Motor in Betrieb ist und der Zündschalter 41 eingeschaltet ist. Reservoir 21 wird von 4 auf 6 Pints (2 bis 4 Liter) von flüssigem Kraftstoff zu halten und da nur der Dampf aus dem erwärmten Kraftstoff den Vergaser 12 zu veranlassen, den Motor zu laufen, wird der Motor wird für eine lange Zeit, bis mehr Kraftstoff betrieben gezeichnet in den Behälter 21.
Leitbleche 43, 44, 45 und 46 sind in versetzter Beziehung angeordnet, um ein Verspritzen des flüssigen Brennstoffs innerhalb des Vergasers zu verhindern. Die Höhe B des Kraftstoffs im Tank 21 wird durch den Schalter 18 und mit allen Elementen richtig versiegelt, die Dampf-Brennstoffsystem 10 den Motor effizient zu betreiben konstant gehalten.
Das Ventil 28 steuert den Eintritt von Dampf in das Saugrohr 25, steuert die Drehzahl des Motors in der gleichen Weise wie das Steuerventil in einem herkömmlichen Vergaser.
US Patent 3.294.381 27. Dezember 1966 Erfinder: Harold Schwartz
VERGASER
Dieses Patent beschreibt eine Vergaser-Design, die in der Lage, sehr hohe mpg Zahlen zu produzieren war, mit dem in den USA erhältlich Benzin zu der Zeit aber, die nicht mehr verfügbar ist, wie die Ölindustrie will nicht funktionalen Hoch mpg Vergaser zu sein für die Öffentlichkeit zur Verfügung.
BESCHREIBUNG
Diese Erfindung betrifft einen Vergaserkonstruktion . Eine Aufgabe der vorliegenden Erfindung ist es, einen Vergaser, in dem der Kraftstoff durch die heißen Abgase eines Motors, bevor es mit Luft kombiniert und in den Motor eingespeist behandelt werden.
Eine weitere Aufgabe der Erfindung ist es, einen Vergaser wie oben charakterisiert, welche die Abluft-beladene Kraftstoff in einer Weise zirkuliert, um es von außerordentlich großen Globuli von Kraftstoff frei bereitzustellen, wodurch sichergestellt wird, dass nur fein verteilt und vorgewärmten Brennstoff nebelartiger Konsistenz ist mit dem Ansaugkrümmer des Motors zugeführt.
Die vorliegende Vergaser, wenn zum Zuführen des Sechszylinder-Motor des beliebten Auto verwendet wird, verbessert die Meilen pro Gallone Leistung unter normalen Fahrbedingungen mit einer gemeinsamen Kraftstoffqualität, um über 200%. Diese erhöhte Effizienz wurde aus der Vorwärmung des Brennstoffes erreicht und ständig unter geringem Druck durch Saugen an dem Vergaser für den Zweck der Aufrechterhaltung der Versorgung mit Brennstoff während des Betriebs des Motors angewendet auferlegt. Dieser Unterdruck in dem Vergaser führt zu einer erhöhten Verdampfung des Kraftstoffs in den Vergaser und erhöht die Effizienz des Betriebs.
Diese Erfindung hat auch für seine Objekte; einen Vergaser, die positiv in Betrieb ist, bequem zu bedienen, einfach in seine Arbeitsposition installiert ist, leicht von dem Motor entfernt, wirtschaftlich herzustellen ist, eine relativ einfache Konstruktion und der allgemeine Überlegenheit und Wartungsfreundlichkeit.
Die Erfindung umfasst auch neuartige Konstruktionsdetails und neue Kombinationen und Anordnungen von Teilen, die ausführlicher im Verlauf der folgenden Beschreibung deutlich wird und die sich auf die beigefügten Zeichnungen basieren. Jedoch sind die Zeichnungen und die folgende Beschreibung beschreibt lediglich eine Ausführungsform der vorliegenden Erfindung und sind nur als Illustration und Beispiel gegeben.
BESCHREIBUNG
DER ZEICHNUNGEN
In den Zeichnungen beziehen sich alle Bezugszeichen auf die gleichen Teile in jeder Zeichnung.
Fig.1 ist eine teilweise aufgebrochene Draufsicht auf einen Vergaser gemß der vorliegenden Erfindung mit einem Kraftstoffversorgungs gezeigt aufgebaut, Fütterung und Rückgabesystem.

Fig.2 ist eine vertikale Schnittansicht des Vergasers entlang der Ebene der Linie 2-2 in Fig.1

Fig.3 ist eine teilweise Seitenansicht und teilweise Schnittansicht des Vergasers, die zusätzliche konstruktive Einzelheiten

Der Vergaser ist bevorzugt auf der üblichen Fallstromluftrohr 5, das einen Luftstrom durch den Luftfilter aufnimmt montiert. Rohr 5 ist mit einer Drossel oder Drosselventil, die den Fluss steuert und umfasst ein Fluss zunehmende Venturi-Durchgang vorgesehen. Diese gemeinsamen Merkmale der Kraftstoffzufuhr zu dem Motor-Ansaugkrümmer sind nicht gezeigt, da diese Funktionen sind gut bekannt und sie werden auch in meiner anhängigen Patentanmeldung mit der Seriennummer 182.420 jetzt aufgegeben bart. Die vorliegende Vergaser verkörpert Verbesserungen gegenüber der Offenbarung der früheren Anmeldung.
Die vorliegende Vergaser weist ein Gehäuse 6 auf die Luftröhre 5 montiert und entwickelt, um einen flachen Pool von Brennstoff 7 zu halten, ein Kraftstoffeinlass 8, das in einer Sprühdüse 9, ein Abgaskrümmer 10 bis beheizten Abgase für die Einleitung in die Spritz führen Kraftstoff kommen aus der Düse 9 und zur Beheizung des Pools von Kraftstoff 7 darunter. Mittel 11, um die Kraftstoffdämpfe-Mischung zu scheuern zu großen Kraftstofftröpfchen aus dem Gemisch zu beseitigen (die Tröpfchen in Pool 7 unten fallen), ein Düsenrohr 12, um die gewaschene Mischung aufzunehmen und die Mischung unter Venturi-Wirkung in das Luftrohr 5, wobei passieren er mit Luft kombiniert und bereit für die Injektion hergestellt in den Ansaugkrümmer des Motors. Sammlung Rohr 13 ist mit einem Auslaß 14 zum Abziehen von überschüssigem Kraftstoff vom Pool 7 während des Betriebs des Vergasers verbunden ist.
Die mit dem Vergaser verbunden System ist in Fig.1 gezeigt und umfasst einen Brennstofftank 15, einen im allgemeinen herkömmlichen Kraftstoffpumpe 16 zum Ansaugen von Kraftstoff aus dem Tank und in der er zum Einlaß 8, einen Kraftstofffilter 17 und eine Pumpe 18 in Verbindung Reihe zwischen dem Kraftstofftank und Austritt 14 auf Leitung 13 unter Ansaugen zu bringen und überschüssigen Kraftstoff vom Vergaser zum Tank 15 für die Rezirkulation zu dem Einlass 8 zu ziehen.
Vergasergehäuse 6 kann kreisförmig sein, wie gezeigt und sehr flach im Vergleich zu seinem Durchmesser, um so einen großen flachen Boden 20, der mit der zylindrischen Wand 21, hält das Brennstoffbecken 7. Abdeckung 22 umschließt den oberen Teil des Gehäuses sind. Der Boden 20 und Deckel 22 haben zentrale Öffnungen, durch welche das Fallstromrohr 5 erstreckt, ausgerichtet ist, dieses Rohr bildet das Innere des Gehäuses, wodurch ein ringförmiger Innenraum 23.
Der Kraftstoffeinlass 8 ist an dem durch eine abnehmbare Abdeckung 22 Anschluss. Sprühdüse 9 erstreckt sich durch die Abdeckung. Während die Zeichnung zeigt Spray-emittierenden Löcher 24 angeordnet, um ein Spray um die Düse 7 zu schaffen, kann die Düse so ausgebildet, dass das Spray gerichtet ist, wie gewünscht, um die effizienteste Ineinander des gesprühten Kraftstoffs mit der durch den Verteiler 10 zugeführte Wärme Gasen erzielen.
Der Verteiler ist als Rohr 25, hat und das Ende 26 sich von dem herkömmlichen Wärmesteigkammer (nicht gezeigt) des Motors, der Pfeil 27 anzeigt Abgasstrom in das Rohr 25. Das Rohr kann den unteren Teil des Gehäuses 6 zu umschließen gezeigten, um den Pool von Brennstoff 7 durch Wärmeübertragung durch die Wand des Gehäuses zu erwärmen. Das Sammelrohr ist mit einem Abgabeende 28, das in das Gehäuse in einer nach innen und nach oben in Richtung Düse 9 erstreckt sich gezeigt, so dass die Abgase in das Rohr strömt vermischen sich mit der aufgespritzten Kraftstoff und erwärmen es, wie es die Düse verläßt.
Das Kraftstoff-Wascheinrichtung 11 ist als eine gekrümmte Kammer 29 innerhalb des Gehäuses 6 angeordnet gezeigt, mit einer Reihe von Prallwänden 30, die den Rauch beheizten Kraftstoffnebel einen gewundenen Pfad zu folgen und die schwereren Kraftstofftröpfchen, die dann nach unten verlaufen abzuhören verursachen bereitgestellt die Stirnseiten der Prallwände, durch Öffnungen 31 in der Bodenwand 32 der Waschkammer 29 in den Innenraum 23 des Gehäuses 6 über das Niveau der Kraftstoffpool 7.
Pickup Rohr 13 ist ebenfalls dargestellt, wie durch Gehäusedeckel 22 getragen und kann so eingestellt, daß sein unteres offenes Ende so von dem Gehäuseboden 20 angeordnet, um das Pooltiefe 7, der vorzugsweise unter der Bodenwand 32 der Wasch regulieren Kammer 29. Da dieses Rohr unterliegt der Absaugung der Pumpe 18 durch den Auslass 14 und Filter 17 wird das Niveau des Pools 7 von überschüssigem Brennstoff aufrechterhalten wird, um Tank 15 durch die Pumpe 16 zurückgeführt.
Es ist ersichtlich, daß die Oberfläche der Lache 7 unterliegt nicht nur dem Venturi-Wirkung in Rohr 5, aber auch auf der Ansaugseite der Pumpe 18 ist, wie es zieht überschüssigen Kraftstoff zurück zum Kraftstofftank 15. Somit bleibt die Oberfläche des Schwimmbeckens ist unter etwas geringer ist als der atmosphärische Druck, die Geschwindigkeit der Verdampfung nimmt von der Beckenoberfläche, der entstehende Dampf kombiniert mit dem Strom aus der Waschkammer zu dem Abwind Rohr 5.
US Patent 3.653.643 4. April 1972 Erfinder: Oliver M. Tucker
VERGASER
Dieses Patent beschreibt einen Vergaser Design, das mit Hilfe der zur Verfügung Benzin in den USA zu der Zeit in der Lage, sehr hohe mpg Zahlen zu produzieren war.
ZUSAMMENFASSUNG
Vergaser mit einem Gehäuse mit einem Fluidreservoir in der Unterseite, einen Lufteinlaß an der Oberseite des Gehäuses, einer Abgabeleitung, die koaxial innerhalb des Gehäuses montiert ist und kurz vor der Oberseite des Gehäuses und eine poröse Verdampferfilter des Reservoirs im Wesentlichen füllt . Ein Leitblech ist konzentrisch innerhalb des Gehäuses angebracht und in den Verdampfungsfilter in dem Reservoir erstreckt sich teilweise um die ankommende Luft durch den Filter umzulenken. Der Pegel des flüssigen Kraftstoffs in dem Reservoir oberhalb der Boden des Schwalltopfes gehalten, so dass die Luft in den Vergaser durch den Einlass muss durch den flüssigen Kraftstoff und das Verdampfen Filter in dem Reservoir vor dem Austrag durch den Auslaß passieren. Eine Sekundärlufteinlass in der Oberseite des Gehäuses zum Steuern des Kraftstoff-Luft-Verhältnis des verdampften Kraftstoffes, der in die Druckleitung vorgesehen ist.
HINTERGRUND
DER ERFINDUNG
Es ist allgemein bekannt, dass flüssige Brennstoff muß, um eine vollständige Verbrennung zu erhalten verdampft werden. Unvollständige Verbrennung von Kraftstoff in Verbrennungsmotoren ist eine Hauptursache der Luftverschmutzung. In einem typischen Automobil Vergaser wird der flüssige Brennstoff zerstäubt und in einem Verteiler von etwa 3,14 Quadratzoll Querschnittsfläche in den Luftstrom eingespritzt wird. In einem Acht-Zylinder 283 cubic inch laufendem Motor etwa 2400 rpm erfordert 340.000 Kubikzoll Luft pro Minute. Die Luftgeschwindigkeit in dem Ansaugkrümmer bei dieser Motordrehzahl ungefähr 150 Fuß pro Sekunde, und es wird somit ungefähr 0,07 Sekunden dauern, ein Teilchen von Kraftstoff aus dem Vergaser an die Verbrennungskammer zu bewegen und der Kraftstoff wird in der Brennkammer bleibt etwa 0,0025 Sekunden.
Es ist denkbar, dass in dieser kurzen Zeitspanne, eine vollständige Verdampfung des Kraftstoffs wird nicht erreicht, und als Folge davon tritt eine unvollständige Verbrennung, was zu einer weiteren Luftverschmutzung. Die flüssigen Brennstoffpartikel wenn nicht verdampft, kann an den Zylinderwänden abzulagern und verdünnt das Schmierölfilm dort Förderung teilweise Verbrennung des Schmieröls und eine weitere Ergänzung des Verschmutzungsproblem. Zerstörung der Schmierölfilm durch die Verbrennung können auch mechanische Abnutzung der beiden Zylinder und der Kolbenringe zu erhöhen.
ZUSAMMENFASSUNG
DER ERFINDUNG
Der Vergaser dieser Erfindung sorgt für die vollständige Verbrennung von flüssigem Brennstoff in einen Verbrennungsmotor, mit einer entsprechenden Verringerung der Luftschadstoffe in den Abgasen. Dies wird durch Zuführen von verdampftem oder vollständig trockenes Gas in die Verbrennungskammer erreicht. Die Primärluft wird zunächst, bevor sie durch eine Verdampfungsfilter, die in flüssigen Kraftstoff aus einem Vorratsbehälter in dem Vergaser ausgetaucht wird filtriert. Das verdampfende Filter bricht kontinuierlich die Primärluft in kleine Blasen, wodurch die Oberfläche für die Verdampfung des flüssigen Kraftstoffs zur Verfügung zu. Sekundärluft wird dem angereicherten Kraftstoff-Luft-Gemisch durch ein Sekundärluftfilter vor Eintritt des Brennstoff-Luft-Gemisch in die Verbrennungskammern des Motors aufgenommen. Erste Filtration sowohl der Primär- und Sekundärluft entfernt alle Fremdkörper, die in der Luft vorhanden sein können, und die dazu führen können, erhöhten Verschleiß im Motor. Der Vergaser stellt auch sicher Lieferung einer sauberen trockenen Gases in den Motor aufgrund der Schwerkrafttrennung einer Flüssigkeit oder Schmutzpartikel aus dem Kraftstoff angereicherten Primärluft.
Andere Aufgaben und Vorteile werden aus der folgenden ausführlichen Beschreibung bei Betrachtung in Verbindung mit der beigefügten Zeichnung, in welcher die einzige Figur zeigt eine perspektivische Querschnittansicht des Vergasers der Erfindung gelesen.

BESCHREIBUNG
DER ERFINDUNG
Die hier offenbarte Vergaser 40 ist zur Verwendung mit einer Verbrennungskraftmaschine, wo die Luft durch den Vergaser gezogen, um den Kraftstoff in den Vergaser vor dessen Eintritt in den Motor verdunsten angepasst.
In dieser Hinsicht wird die Strömung von flüssigem Brennstoff, Gas oder Öl, in den Vergaser durch ein Schwimmerventilanordnung 10 mit einer Quelle für flüssigen Kraftstoff durch die Kraftstoffleitung 12 und mit dem Vergaser 40 verbunden durch ein Verbindungsrohr 14. Die gesteuerte Strömung von flüssigem Brennstoff durch die Schwimmerventilanordnung 10 wird durch einen Schwimmer 16 gesteuert, die schwenkbar innerhalb einer Schwimmerkammer 18 montiert ist und operativ mit einem Schwimmerventil 20 verbunden.
In Übereinstimmung mit der Erfindung wird der flüssige Brennstoff in den Vergaser 40 durch ein Rohr 14 aufgenommen, ist vollständig von der Primärluft für den Motor innerhalb des Vergasers verdampft und in ein Abgaberohr 100, das mit dem Verteiler verbunden ist mit Sekundärluft vor dem Eintritt vermischt 102 des Motors. Genauer enthält Vergaser 40 ein zylindrisches Gehäuse oder Pfanne 42, eine Bodenwand 44, die einen flüssigen Brennstoff und Filterbehälter 46. Eine verdampfende Filter 48 ist so angeordnet innerhalb des Reservoirs 46 bildet und sich nach oben über einen Abstand von der Bodenwand 44 des Gehäuse 42. Die Verdampfungsfilter 48 wird verwendet, um kontinuierlich aufbrechen der Primärluft in einer großen Anzahl von kleinen Bläschen, wie es durch die flüssiger Brennstoff in dem Reservoir 46. Dadurch steigt die Oberfläche pro Volumen an Luft zur Verfügung für die Verdampfung des flüssigen Brennstoffes, wie detaillierter unten beschrieben. Dieser Filter 48 besteht aus einem dreidimensionalen Skelettmaterial, das waschbar ist und nicht störanfällig unter den Betriebsbedingungen des Vergasers gebildet. Ein geschäumter Schaumkunststoff Polyurethan-Filter mit etwa 10 bis 20 Poren pro Inch hat erfolgreich in dem Vergaser verwendet.
Das Gehäuse 42 ist oben durch eine Haube oder Abdeckung 50 geschlossen, die an Ort und Stelle durch jedes geeignete Mittel befestigt werden kann. Die Haube hat einen größeren Durchmesser als der Durchmesser des Gehäuses 42 und enthält einen absteigenden Flansch 52 und einen absteigenden Schallwand 54 Flansch 52 konzentrisch angeordnet ist und nach außen über die Seiten des Gehäuses 42, um einen Primärlufteinlass 56. Baffle 54 ist konzentrisch zu bilden im Gehäuse 42 positioniert, um eine Primärluftkammer 58 und eine zentrale Mischkammer erzeugen 60.
Primärluft wird durch den Lufteinlaß 56 in das Gehäuse 42 gesaugt und wird durch die Primärluftfilter 62, der entfernbar in dem Raum zwischen dem Flansch 52 und der Außenseite der Wand des Gehäuses 42 mittels eines Bildschirms 64. Der Primärluftfilter 62 angebracht wird abfiltriert kann aus dem gleichen Filtermaterial wie der Verdampferfilter 48 erfolgen.
Da die Primärluft die Primärluftkammer 58 gelangt es durch den flüssigen Kraftstoff in Reservoir 46 mittels der zylindrischen Ablenkvorrichtung 54 abgelenkt Dieses Leitblech erstreckt sich von der Haube 50 weit genug, um den oberen Abschnitt des Verdampfungsfilter 48. Der Primär dringen Luft muss um den Boden der Ablenkplatte 54 und durch sowohl den flüssigen Brennstoff und der Verdampfungsfilter 48 vor dem Eintritt in die Mischkammer 60 übergeben.
Der Pegel des flüssigen Kraftstoffs im Vorratsbehälter 46 befindet sich oberhalb der Unterkante der Prallfläche 54 mittels des Schwimmventilbaugruppe 10. Die Funktion des Schwimmerventilanordnung 10 ist allgemein bekannt, gehalten wird. Schwimmerkammer 18 wird auf etwa der gleichen Höhe wie Reservoir 46 angeordnet und Schwimmer 16 schwenkt in Reaktion auf einen Abfall des Pegels des flüssigen Kraftstoffs in der Schwimmerkammer und öffnet das Schwimmerventil 20.
Eines der wichtigen Merkmale der vorliegenden Erfindung ist die Effizienz der Verdampfung des flüssigen Kraftstoffs durch die Strömung von der großen Anzahl von Blasen durch das Reservoir. Man glaubt, dass durch die kontinuierliche Zerfall der Blasen verursacht werden, da sie durch den Verdampfungsfilter 48. Es ist bekannt, daß die Geschwindigkeit der Verdampfung durch eine Luftblase Gang verursacht durch eine Flüssigkeit unbehelligt passieren, ist relativ langsam aufgrund der Oberflächenspannung der Blase. Jedoch, wenn die Blase kontinuierlich gebrochen wird, die Oberflächenspannung der Blase verringert wird und ein kontinuierlicher Verdampfungsprozess eintritt. Dieses Phänomen wird angenommen, dass die Ursache für die hohe Verdampfungsgeschwindigkeit des flüssigen Kraftstoffs in den Vergaser der vorliegenden Erfindung liegen.
Ein weiteres Merkmal der Vergaser der vorliegenden Erfindung ist ihre Fähigkeit, trockenes Gas zu dem zentralen Mischkammer 60 im Gehäuse 42. Da die Strömung der Primärluft in dem mittleren Mischkammer 60 zu liefern ist, vertikal nach oben, die Kraft der Schwerkraft keine Tröpfchen verhindern flüssiger Kraftstoff hoch genug steigt im Vergaser an das Ablaufrohr 100 einzugeben die Lieferung der trockenen Gas zur Zufuhrröhre erhöht die Effizienz der Verbrennung und verringert dadurch die Menge an unverbrannten Gasen oder Schadstoffen, die durch den Motor in die Luft aufgebraucht sind.
Es sind Mittel zum Einlassen von Sekundärluft in den zentralen Mischkammer 60, um das richtige Brennstoff-Luft-Verhältnis für eine vollständige Verbrennung erforderlich zu erzielen. Eine derartige Einrichtung ist in der Form einer Sekundärluftfilteranordnung 80 an einem Einlaßrohr 82 in Öffnung 84 in der Haube 50 vorgesehen montiert Das Sekundärluftfilteranordnung 80 enthält eine obere Platte 86, eine untere Platte 88, und eine Sekundärluftfilter 90 zwischen den Platten 86 und 88. vDie Sekundärluft-Filter 90 daran gehindert wird, in die Einlassröhre 82 mittels eines zylindrischen Siebes 92, die eine Fortsetzung des Rohrs 82. Die Sekundärluft durch den äußeren Umfang des Sekundärluft-Filter 90 durchläuft bildet saugt wird positioniert, durch das Sieb 92 und in das Rohr 82. die Strömung der Sekundärluft durch den Schlauch 82 ist mittels einer Drosselklappe 94 gesteuert wird, wie es allgemein in der Technik verstanden.
Vollständiges Mischen des trockenen Gas angereicherten Primärluft mit der ankommenden Sekundärluft innerhalb des Gehäuses 42 wird mittels Deflektor 96 an dem Ende des Rohrs 82. Deflektor 96 positioniert erzielt eine Anzahl von Schaufeln 98, die gedreht werden, um ein outwardly- bereitzustellen abgelenkt kreisförmigen Luftstrom in den zentralen Mischkammer 60 und damit die Schaffung einer Erhöhung der Turbulenzen der Sekundärluft, wie es mit dem Brennstoff angereicherten Primärluft kombiniert. Der Ablenker verhindert Kavitation am oberen Ende des Auslassrohrs 100 auftritt.
Die Strömung des Kraftstoff-Luft-Gemisch zu dem Motor mittels einer in der Steckdose oder Abgaberohr 100. Der Betrieb des Drosselventils 104 und Absperrklappe 94 sind beide in herkömmlicher Weise gesteuert wird Drosselklappe 104 gesteuert.
DER BETRIEB
DER VERGASER
Primärluft wird in das Gehäuse 42 durch den Primärlufteinlass 56 eingesaugt und anschließend nach oben durch Primärluftfilter 62, wo im wesentlichen alle Fremdteilchen aus der Primärluft entfernt. Das gefilterte Primärluft dann in den zentralen Mischraum 60. All der Primärluft strömt durch die Verdampfungsfilter 48 in dem Reservoir 46. Die Verdampfungsfilter versehen abwärts fließt durch die Primärluftkammer 58, unter Ablenkplatte 54, durch die Kraftstofffilterbehälter 46, und nach oben 48 kontinuierlich bricht die Primärluftstrom in die Tausende von kleinen Bläschen, die Verringerung der Oberflächenspannung und Erhöhung der für die Verdampfung des flüssigen Brennstoffs vorhanden die Luftoberfläche. Da die Außenfläche jeder Blase wird kontinuierlich von der Verdampferfilter 48 gebrochen und in ständigem Kontakt mit dem flüssigen Kraftstoff, wie die Luftblase durch den Verdampferfilter 48 passiert, gibt es eine bessere Möglichkeit für die Verdampfung des Kraftstoffes vor dem Eintritt in das zentrale Mischkammer 60. Der vertikale Aufwärtsströmung des Kraftstoffs angereicherten Primärluft in dem mittleren Mischkammer gewährleistet, dass keine flüssigen Brennstofftröpfchen in die Zuführungsröhre 100 durchgeführt werden.
Der Kraftstoff angereicherten Primärluft gründlich mit durch das Rohr 82 die Sekundärluft, die in mittels des Ablenksystems 96, die die Turbulenz der Primär- und Sekundärluft innerhalb der zentralen Mischkammer erhöht und verhindert Kavitation in Förderröhre 100. Die auftretenden vermischt vollständig vermischt Brennstoff angereicherten Primärluft und die Sekundärluft passieren dann durch das Förderrohr 100 in den Ansaugkrümmer des Motors.
US Patent 4.177.779 11. Dezember 1979 Erfinder: Thomas H. Ogle
KRAFTSTOFFVERBRAUCH
SYSTEM FÜR EINE BRENNKRAFTMASCHINE
ZUSAMMENFASSUNG
Ein Kraftstoffverbrauchs-System für einen Verbrennungsmotor, die, wenn in einem Kraftfahrzeug installiert ist, überwindet die Notwendigkeit für eine herkömmliche Vergaser, Kraftstoffpumpe und Kraftstofftank. Das System arbeitet unter Verwendung der Motorunterdruck Kraftstoffdämpfe aus einem Gasbehälter durch eine Dampfleitung mit einem Dampfausgleichs der direkt über dem Ansaugkrümmer des Motors angeordnet ist, zu zeichnen. Der Gasbehälter ist aus schwerem Stahl, oder dergleichen ausgebildet, um die große Unterdruck standhalten und weist eine Lufteinlaßventil zur Steuerung mit dem Gaspedal gekoppelt ist. Der Dampf Entzerrer stellt sicher Verteilung der richtigen Mischung aus Luft und Dampf zu den Zylindern des Motors für die Verbrennung, und umfasst auch eine eigene Lufteinlaßventil für die Steuerung mit dem Gaspedal gekoppelt ist. Das System nutzt Dampfhemmenden Filter in der Dampfleitung, Gasbehälter und Dampf Equalizer, um den richtigen Dampf / Luftgemische für den ordnungsgemäßen Betrieb zu liefern. Der Dampftank und Kraftstoff darin enthalten sind, werden durch Motorkühlmittel durch eine Leitung innerhalb des Tanks erhitzt wird. Aufgrund der extrem mageren Kraftstoffgemischen durch die vorliegende Erfindung verwendet wird, kann Benzinverbrauch von mehr als 100 Meilen pro Gallone erreicht werden.
HINTERGRUND DER ERFINDUNG
1. Gebiet der
Erfindung
Die vorliegende Erfindung ist auf Verbrennungsmotoren bezogen, und insbesondere in Richtung einer Kraftstoffwirtschaftlichkeit für eine Brennkraftmaschine, die, wenn sie an einem Kraftfahrzeug angewendet wird, überwindet die Notwendigkeit für herkömmliche Vergaser, Kraftstoffpumpen und Kraftstofftanks gerichtet ist, und ermöglicht stark verbesserten Kraftstoffverbrauch zu erzielen.
2. Beschreibung
des Standes der Technik
Der Stand der Technik beweist viele verschiedene Ansätze für das Problem der Erhöhung der Effizienz eines Verbrennungsmotors. Aufgrund der steigenden Kraftstoffpreise und die Popularität von Kraftfahrzeugen als ein Transportmittel, ein großer Teil der Anstrengungen in diesem Bereich wird in der Regel zur Verbesserung des Kraftstoffverbrauchs von Kraftfahrzeugen gerichtet. Zusammen mit erhöhter Laufleistung hat viel Arbeit mit Blick auf die Verringerung der Schadstoffemissionen von Kraftfahrzeugen getan.
Ich bin mir der folgenden US-Patente, die im Allgemeinen zu Systemen zur Verbesserung der Effizienz und / oder Verringerung der Schadstoffemissionen von Verbrennungsmotoren ausgerichtet sind:
______________________________________
Chapin 1,530,882
Crabtree et al 2,312,151
Hietrich et al 3,001,519
Hall 3,191,587
Wentworth 3,221,724
Holzappfel 3,633,533
Dwyre 3,713,429
Herpin 3,716,040
Gorman, Jr. 3,728,092
Alm et al 3,749,376
Hollis, Jr. 3,752,134
Buckton et al 3,759,234
Kihn 3,817,233
Shih 3,851,633
Burden, Sr. 3,854,463
Woolridge 3,874,353
Mondt 3,888,223
Brown 3,907,946
Lee, Jr. 3,911,881
Rose et al 3,931,801
Reimuller 3,945,352
Harpman 3,968,775
Naylor 4,003,356
Fortino 4,011,847
Leshner et al 4,015,569
Sommerville 4,015,570
______________________________________
Die Chapin US-Pat. No. 1.530.882 offenbart ein Kraftstofftank durch einen Wassermantel, von denen der letztere in einem Kreislaufsystem mit dem Kühler des Kraftfahrzeugs enthalten, umgeben. Das erhitzte Wasser in dem Zirkulationssystem bewirkt, dass die in dem Brennstofftank, um leicht zu verdampfen. Absaugen aus dem Ansaugkrümmer bewirkt, dass Luft in den Tank zu sprudeln Luft durch den Brennstoff gezogen werden, um die Bildung der gewünschten Dampf, wird dann mit dem Verteiler zur Verbrennung gezogen.
Die Buckton et al U.S. Pat. No. 3.759.234 geht ein Kraftstoffsystem, die zusätzliche Dämpfe für eine Brennkraftmaschine mittels eines Behälters, der ein Bett aus Kohlegranulat enthält bietet. Der Wentworth und Hietrich et al US-Pat. Nr. 3.221.724 und 3.001.519 auch Gasrückführungssystemen, die Filter von Kohlegranulat oder dergleichen nutzen zu unterrichten.
Die Dwyre US-Pat. No. 3.713.429 Verwendungen, zusätzlich zu der normalen Kraftstofftank und Vergaser, ein Hilfstank, der eine Kammer auf der Unterseite, die dazu ausgebildet ist, Kühlmittel aus dem Motorkühlsystem für die Herstellung von Kraftstoffdämpfen zu empfangen, während der Walker US Pat. No. 3.395.681 offenbart eine Kraftstoffverdampfungssystem, das einen Kraftstofftank für die normale Kraftstoffbehälter zu ersetzen umfasst, und die einen Frischluftkanal, um Luft in den Behälter umfaßt.
Das Fortino
US-Pat. No. 4.011.847 lehrt ein Kraftstoffversorgungssystem, bei dem der
Kraftstoff hauptsächlich durch Umgebungsluft, die unter dem Niveau des
Kraftstoffs freigesetzt wird, verdampft, wobei der Crabtree et al US Pat. No.
2.312.151 lehrt ein Verdampfungssystem, das eine Gas und Lufteinlassöffnung in
einer Verdampfungskammer und in dem eine Reihe von Ablenkplatten zum Bewirken
einer Mischung der Luft und des Dampfes innerhalb des Tanks umfasst. Die
Während die vorangegangenen Patenten Hinweise, eine Verbreitung von Versuchen, die Effizienz zu erhöhen und / oder Verringerung der Schadstoffemissionen aus Verbrennungsmotoren, hat keine praktische System noch ihren Weg auf den Markt.
AUFGABEN
UND ZUSAMMENFASSUNG DER ERFINDUNG
Es ist daher eine primäre Aufgabe der vorliegenden Erfindung, eine neue und verbesserte Kraftstoffersparnis für eine Brennkraftmaschine, die den Wirkungsgrad des Motors verbessert bereitzustellen.
Eine weitere Aufgabe der vorliegenden Erfindung ist, ein einzigartiges System für die Kraftstoffwirtschaftlichkeit eines Verbrennungsmotors, die eine praktische, operative und leicht realisierbare Mittel zum dramatisch Erhöhung der Benzinverbrauch von herkömmlichen Kraftfahrzeugen schafft.
Eine weitere Aufgabe der vorliegenden Erfindung ist es, eine verbesserte Kraftstoffersparnis für Brennkraftmaschinen, die auch die Schadstoffemissionen reduziert werden.
Die vorangehenden und andere Aufgaben werden in Übereinstimmung mit einem Aspekt der vorliegenden Erfindung durch die Bereitstellung einer Kraftstoffdampf für eine Brennkraftmaschine mit einem Saugrohr, das einen Behälter zur Aufnahme von Kraftstoffdampf aufweist, erreicht wird, montiert ein Dampf Equalizer und Fluidverbindung mit dem Ansaugkrümmer des Motors, und einer Dampfleitung, die den Tank mit der Dampf Equalizer zur Abgabe von Kraftstoffdampf von der ersteren zum letzteren zu verbinden. Der Dampf Entzerrer weist ein erstes Ventil, um es für die Steuerung der Zufuhr von Luft zu dem Dampf Equalizer verbunden ist, während der Tank ein zweites Ventil, um es für die Steuerung der Zufuhr von Luft zu dem Behälter verbunden ist. Eine Drossel steuert die ersten und zweiten Ventile so, dass das Öffnen der ersten Ventilvorausgeht, und die Öffnung des zweiten Ventils während des Betriebs übersteigt.
In Übereinstimmung mit anderen Aspekten der vorliegenden Erfindung wird ein Filter in der Dampfleitung angeordnet ist, um den Fluss von Kraftstoffdampf aus dem Tank zu dem Dampf Entzerrer zu verzögern. In einer bevorzugten Form umfasst der Filter Kohlenstoffteilchen und einen schwammartigen Sammlung von beispielsweise Neopren Fasern umfassen. In einer bevorzugten Ausführungsform ist ein im Wesentlichen rohrförmiges Gehäuse in Reihe in der Gasleitung positioniert umfasst der Filter, wobei das Gehäuse einen zentralen Teil, die ein Gemisch aus Kohlenstoff und Neopren, und Endabschnitte, die Kohlenstoff, an jeder Seite des zentralen Abschnitts angeordnet ist.
In Übereinstimmung mit einem anderen Aspekt der vorliegenden Erfindung wird ein zweites Filter in der Dampf Equalizer wieder Verzögern der Strömung des Kraftstoffdampfes zu dem Ansaugkrümmer des Motors angeordnet ist. Das zweite Filter ist stromabwärts des ersten Ventils angeordnet ist und in einer bevorzugten Form weist die in einem Paar von Aussparungen in einem porösen Trägerteil ausgebildet ist Kohlenstoffteilchen. Das poröse Trägerelement, das aus Neopren bestehen kann, umfasst einen ersten ausgesparten Abschnitt gegenüber einer Dampfeinlassöffnung in der Dampf Equalizers auf der der Dampfleitung verbunden ist, angeordnet ist, während ein zweiter ausgenommener Abschnitt gegenüber dem Einlaßverteiler des Motors positioniert.
In Übereinstimmung mit noch weiteren Aspekten der vorliegenden Erfindung wird ein dritter Filter in dem Tank zur Steuerung der Strömung von Kraftstoffdampf in den Dampfkanal im Verhältnis zu dem Grad des Vakuums in dem Tank positioniert ist. Das Filter weist insbesondere einen Mechanismus zur Reduzierung der Menge von Kraftstoffdampf zugeführt, um die Dampfleitung, wenn der Motor im Leerlauf ist und wenn der Motor eine konstante Geschwindigkeit erreicht. Die Drossel wirkt, um das zweite Ventil, wenn der Motor im Leerlauf zu schließen, und wenn der Motor eine konstante Geschwindigkeit erreicht hat, um dadurch den Unterdruck im Behälter zu erhöhen. In einer bevorzugten Form umfasst das dritte Filter ein Rahmen schwenkbar innerhalb des Behälters angebracht ist und zwischen ersten und zweiten Arbeitsstellungen bewegbar ist. Der erste Betriebsposition entspricht einem offenen Zustand des zweiten Ventil, während die zweite Betriebsstellung in eine Schließstellung des zweiten Ventils entspricht. Der Tank umfasst einen Dampfauslaß mit dem ein Ende der Dampfleitung verbunden ist, so dass die zweite Betriebsstellung des Rahmens platziert das dritte Filter in Verbindung mit der Dampfaustrittsöffnung.
Insbesondere weist der dritte Filter in einer bevorzugten Form Kohlenstoffteilchen zwischen zwei Schichten aus einem schwammartigen Filtermaterial, das aus Neopren umfassen kann, und Folien einge zum Abstützen der geschichteten Zusammensetzung innerhalb des schwenkbaren Rahmens. Eine Leitung ist an dem dritten Filter zum Einlegen in direkter Fluidverbindung mit der Dampfaustrittsöffnung, wenn sich der Rahmen in seiner zweiten Betriebsstellung angeordnet ist.
In Übereinstimmung mit noch weiteren Aspekten der vorliegenden Erfindung wird eine Leitung zwischen dem Ventildeckel der Brennkraftmaschine und dem Dampf Entzerrer zum Lenken des Öldurchblase dem Dampf Equalizer, um Ventil Klappern zu minimieren verbunden. Der Behälter weist vorzugsweise auch eine Kupferleitung in der Unterseite von ihr, die in Reihe mit dem Kühlsystem des Kraftfahrzeugs zum Aufheizen des Tanks und zur Erzeugung mehr Dampf verbunden ist, positioniert. Ein günstiger Nebenprodukt des Umlaufsystems reduziert die Betriebstemperatur des Motors, um die Betriebseffizienz weiter zu verbessern.
KURZE
BESCHREIBUNG DER ZEICHNUNGEN
Verschiedene Aufgaben, Merkmale und damit verbundene Vorteile der vorliegenden Erfindung werden vollständiger gewürdigt werden, gleich werden besser aus der folgenden detaillierten Beschreibung der Erfindung verstanden, wenn sie in Verbindung mit den beigefügten Zeichnungen, wobei in Betracht gezogen:
Fig.1 ist eine perspektivische Ansicht, die die verschiedenen Komponenten, die zusammen eine bevorzugte Ausführungsform der vorliegenden Erfindung, wie sie in einem Kraftfahrzeug installiert;

Fig.2 ist eine Querschnittsansicht einer der Komponenten der in Fig.1 dargestellten bevorzugten Ausführungsform entlang der Linie 2-2

Fig.3 ist eine Schnittansicht des in Fig.2 dargestellten Gasbehälter entlang der Linie 3-3

Fig.4 ist eine vergrßerte Schnittansicht,
welche detaillierter eine Komponente des in Fig.3 gezeigten Gasbehälter entlang der Linie 4-4

Fig.5 ist eine perspektivische, teilweise Schnittansicht, die eine Filterkomponente des Dampftanks Fig.2

Fig.6 ist eine Querschnittsansicht einer weiteren Komponente der bevorzugten Ausführungsform der in Fig.1 illustrierten Ausführungsform der vorliegenden Erfindung entlang Linie 6-6

Fig.7 ist eine teilweise Seitenteilschnittansicht des in Fig.6 dargestellten Dampf Entzerrer entlang der Linie 7-7

Fig.8 ist eine Seitenansicht, die das Gasgestänge des in Fig.7 dargestellten Dampf Entzerrer entlang der Linie 8-8

Fig.9 ist eine Längsschnittansicht einer weiteren Filterkomponente der bevorzugten Ausführungsform in Fig.1 dargestellt

Fig.10 ist eine Ansicht einer anderen Komponente der vorliegenden Erfindung

Fig.11 ist eine auseinandergezogene, perspektivische Ansicht, die die Hauptkomponenten des Filterabschnitts des Dampf-Entzerrer gemäß der vorliegenden Erfindung veranschaulicht.

DETAILLIERTE
BESCHREIBUNG DER BEVORZUGTEN AUSFÜHRUNGSFORM
Bezugnehmend nun auf die Zeichnungen, in denen Teile numeriert elbe in jeder Zeichnung, und insbesondere auf Fig.1, die eine bevorzugte Ausführungsform der vorliegenden Erfindung veranschaulicht, wie in einem Kraftfahrzeug installiert ist.
Die bevorzugte Ausführungsform enthält als Hauptkomponenten eine Kraftstoffdampfbehälter 10, in dem der Kraftstoffdampf wird gespeichert und für die anschließende Einspeisung in den Verbrennungsmotor 20. Auf der Oberseite des Kraftstoffdampfbehälters 10 erzeugt ein Lufteinlaßsteuerventil 12, dessen Aufbau montiert und der Betrieb wird im folgenden näher beschrieben.
Der Verbrennungsmotor 20 schließt einen Standard-Saugrohr 18 auf dem Saugrohr 18 angebracht ist, ein Dampfausgleichskammer 16 verbunden ist zwischen dem Kraftstoffdampfbehälter 10 und dem Dampfausgleichskammer 16 ist eine Dampfleitung oder einen Schlauch 14 zum Durchführen der Dämpfe aus in dem Tank 10 in die Kammer 16.
Bezugszeichen 22 bezeichnet im allgemeinen ein Lufteinlaßsteuerventil, das auf dem Dampfausgleichskammer 16. Somit montiert ist, ist das System mit zwei getrennten Lufteinlassventile 12 und 22, die jeweils über Leitungen 24 und 26 mit dem Gashebel gekoppelt sind das Kraftfahrzeug, das die Form einer Standard Gaspedals 28. Die Lufteinlassventile 12 und 22 sind in einer solchen Weise synchronisiert, annehmen kann, daß die Öffnung des Lufteinlaßsteuerventil 22 der Dampf Equalizer 16 immer vor und die Öffnung übersteigt der Lufteinlaßsteuerventil 12 des Kraftstoffdampfbehälter 10, aus Gründen, die mehrere später klarer.
Das Kühlsystem des Fahrzeugs umfasst herkömmlicherweise einen Radiator 30 zum Speichern von flüssigem Kühlmittel, das durch den Motor 20 in der bekannten Art und Weise zirkuliert wird. Ein Paar von Schläuchen 32 und 34 sind vorzugsweise in den normalen Heizleitungen von dem Motor 20 so erhitzte flüssige Kühlmittel aus dem Motor 20 zu einer Erwärmung Spule 36 direkt gekoppelt, vorzugsweise aus Kupfer, das im Dampftank 10. Ich habe festgestellt, dass das Wasser-Kreislauf-System, bestehend aus Schläuchen, 32, 34 und 36 drei verschiedene Funktionen dient. Erstens verhindert es die Gasbehälter vom Erreichen der kalten Temperaturen, denen es ansonsten als Ergebnis der Hochvakuumdruck und die Luftströmung durch sie unterzogen werden. Zweitens dient das erwärmte Kühlmittel an die Verdampfung des in dem Tank 10 gespeicherten Kraftstoff durch Erhöhen der Temperatur zu verbessern. Drittens, das flüssige Kühlmittel nach Verlassen Tank 10 über die Leitung 34, bis zu dem Punkt, wo der Motor 20 kann dann bei wesentlich niedrigeren Betriebstemperaturen laufen, um die Effizienz weiter zu erhöhen und die Lebensdauer des Motors werden abgekühlte.
In Reihe mit Dampfleitung 14 enthalten ist eine Filtereinheit 38, die ausgelegt ist, um den Fluss von Kraftstoffdampf aus dem Tank 10 zu dem Dampf Entzerrer 16. Der genaue Aufbau der Filtereinheit 38 wird detaillierter unten beschrieben werden verzögern. Ein Druckregelventil 40 ist stromaufwärts von der Filtereinheit 38 in der Leitung 14 positioniert und wirkt als eine Feineinstellung für die Leerlaufdrehzahl des Fahrzeugs. Auf der anderen Seite der Filtereinheit 38 in der Leitung 14 positioniert ist, ein Sicherheitsschließventil 42, die ein Einwegventil umfasst. Starten des Motors 20 wird das Ventil 42 geöffnet, um die Motorunterdruck zu ermöglichen, den Behälter 10 übertragen werden, aber beispielsweise wird eine Rückzündung des Ventils, um eine mögliche Explosion zu verhindern schließen. Der Tank 10 kann auch mit einem Drain 44 an dem Boden des Tanks positioniert vorgesehen werden.
Auf der Seite des Dampfausgleichskammer 16 positioniert ist, ein Primer-Verbindung 46, die durch eine im Armaturenbrett Primer Steuerknopf 48 zum Tank 10 verbunden ist über die Leitung 47. Eine Leitung 50 erstreckt sich von der Ölentlüftungskappenöffnung 52 in einem Ventildeckel gesteuert werden können, 54 des Motors 20 zu dem Dampf Entzerrer 16, den Öldurchblase zum Motor als Mittel zum Eliminieren Ventilklappern zuzuführen. Dies wird aufgrund der extremen mageres Gemisch aus Kraftstoffdampf und Luft in die Verbrennungszylinder des Motors 20 in Übereinstimmung mit der vorliegenden Erfindung zugeführt wird als notwendig erachtet.
Unter Bezugnahme auf Fig.2 und Fig.3, die Kraftstoffdampfbehälter 10 der vorliegenden Erfindung ist detaillierter in orthogonalen Schnittansichten dargestellt und gesehen wird, um ein Paar von Seitenwänden 56 und 58, die vorzugsweise aus Hochleistungsstahl bestehen werden, umfassen Platte (zB 1/2 Zoll (13 mm) dick), um die Hochvakuumdruck in ihm entwickelt. Behälter 10 zu widerstehen ferner obere Wand 60 und die untere Wand 62 und Vorder- und Rückwand 64 bzw. 66.
In der Vorderwand 64 des Tanks 10 ist eine Kupplung 68 zur Verbindung der Heizungsschlauch 32 mit der innenliegenden Kupferleitung 36 Tank 10 ist auch mit einem Paar von vertikal angeordneten ebenen Stützplatten 70 und 72, die etwas innerhalb der Seite positioniert sind positioniert Wände 56 und 58 und im wesentlichen parallel zu ihnen. Stützplatten 70 und 72 strukturelle Integrität zu verleihen, um den Tank 10 und sind ebenfalls mit einer Mehrzahl von Öffnungen 74 (Fig.2) am unteren Ende davon vorgesehen, um eine Fluidverbindung durch es zu gestatten. Der Boden des Tanks 10 ist im allgemeinen mit einem bis fünf Gallonen, und den Wänden der Behälter 10 zusammen mit Platten 70 und 72 definieren drei Tankkammern 76, 78 und 80, die gefüllt sind, durch Öffnungen 74, die in Fluidverbindung miteinander.
In der oberen Wand 60 des Tanks 10 ist eine Öffnung 82 zum Anordnen eines Endes der Dampfleitung 14 in Fluidverbindung mit der Innenkammer 76 des Behälters 10. Eine zweite Öffnung 84 ist in der oberen Wand 60 des Tanks 10 positioniert ist, über die der Lufteinlaß-Steuerventil 12 angeordnet ist. Die Ventilanordnung 12 weist ein Paar von herkömmlichen Absperrklappen 86 und 88, die über eine Steuerstange 90 mit einem Steuerarm 92 Querlenker 92 verbunden sind, die ihrerseits schwenkbar unter der Kontrolle eines Kabels 24 und ist zwischen einer festen beweglichen Linienposition in Fig.2 durch Bezugszeichen 92 und einem in Fig.2 angedeutet gestrichelte Position durch das Bezugszeichen 92'.
Stange 90 und die Ventile 86 und 88 sind in einem Gehäuse 94 mit einer Grundplatte 96, die an einer Abdeckung 98. Wie in Fig.1 gesehen angebracht wird, gelagert, wobei die Basisplatte 96 weist mehrere kleine Lufteintrittsöffnungen oder Öffnungen 100 auf beiden Seiten gebildet sind der Klappen 86 und 88, die verwendet werden, für einen Zweck, um klarer später geworden.
Stange 90 ist ebenfalls in einem Flansch 102, der montiert ist, um Bedeckung 98 gelagert ist, während eine Rückstellfeder 104 zum Steuerhebel 92 gelagert ist, um über den Flansch 106 abdecken 98.
Durch die Schallwand und Stützplatten 70 und 72 von den Seitenkammern 78 und 80 des Tanks 10 erstreckt, in Fluidverbindung mit den Öffnungen 100 ist ein Paar von Luftleitungen 108 und 110, die jeweils eine Zungen-Ventil 112 und 114 an den Enden angeordnet sind, zur Steuerung von Luft und Dampf durchströmt. Der Reed-Ventile 112 und 114 zusammen operage mit den kleinen Öffnungen 100 in der Grundplatte 96 ausgebildet, um die richtige Menge an Luft in den Behälter 10 bereitzustellen, während der Motor im Leerlauf ist und die Klappen 86 und 88 geschlossen sind,.
An der Vorderwand 64 des Tanks 10 montiert ist ein Drehstützelement 132 zur schwenkbaren Aufnahme einer die im Allgemeinen durch das Bezugszeichen 134 angegeben ist und in einer perspektivischen dargestellten Ansicht in Fig.5 teilweise geschnitten Filterelements. Die einzigartige, schwenkbaren Filterelement 134 umfasst ein Rahmenteil 136 mit einem Stift-Aufnahmestutzen 138, der sich entlang einem Seitenteil davon. Der innerhalb des Rahmens 136 enthalten eigentliche Filtermaterial eine Schicht aus Kohlenstoffpartikeln 148, die zwischen einem Paar von Schichten aus schwammartige Filtermaterial, das zum Beispiel aus Neopren bestehen kann eingeschlossen ist. Die Neopren-Schichten 144 und 146 und Kohlenstoffpartikel 148 werden durch Ober- und Unterbildschirme 140 und 142, die innerhalb erweitern gehalten und werden durch gesichert Rahmenteil 136 wird eine dickwandige Gummischlauch 150 mit einem zentralen Ringraum 151 gesichert an die Spitze der Bildschirm 140, um mit der Öffnung 82 der oberen Wand 60 (siehe Fig.2) passen, um, wenn die Filteranordnung 134 in seiner in Fig.2 dargestellt durchgezogene Linie Arbeitsstellung. In der letzteren Position kann es erkannt werden, dass der Dampfleitung 14 Dampf zieht Dämpfe direkt aus dem Filterelement 134, und nicht aus dem Innenbereich 76 des Behälters 10. Im Gegensatz dazu, wenn das Filterelement 134 in seiner alternativen Betriebsposition ist, durch gestrichelte Linien in Fig.2 angedeutet, die Dampfleitung 14 zieht Dämpfe hauptsächlich aus den inneren Abschnitten 76, 78 und 80 des Tanks 10.
Fig.4 ist eine vergrößerte Ansicht einer der Reed-Ventilanordnungen 114, die die Art und Weise, in welcher das Ventil öffnet und schließt sich in Reaktion auf die bestimmte Unterdruck innerhalb des Behälters 10. Die Ventile 112 und 114 angelegt illustriert sind entworfen, um gerade genug Luft einzulassen mit dem Tank 10 aus den Öffnungen 100 im Leerlauf, um ein Abwürgen des Motors zu verhindern.
Unter Bezugnahme auf Fig.6, Fig.7 und Fig.8, die Dampfausgleichskammer 16 der vorliegenden Erfindung ist zu sehen, Vorder- und Rückwände 152 und 154, jeweils eine obere Wand 156, eine Seitenwand 158, und eine andere umfassen Seitenwand 160. Die Dampfausgleichskammer 16 ist mit dem Verteiler 18, wie durch eine Vielzahl von Bolzen 162, unter dem eine herkömmliche Dichtung 164 angeordnet werden sichergestellt.
In der oberen Wand 156 des Dampf Equalizer 16 ist eine Öffnung 166 zur Verbindung des Auslaßendes Dampfleitung 14 mit einem Misch- und Ausgleichskammer 168. Angrenzend an das Misch- und Ausgleichskammer 168 in der Wand 154 ausgebildet ist, eine weitere Öffnung 170, die in Verbindung steht mit der Außenluft über die Öffnung 178 in dem oberen Abschnitt des Gehäuses 176 ausgebildet die Menge an Luft durch die Öffnungen 178 und 170 wird durch ein herkömmliches Klappenventil 172 Drosselklappe 172 gesteuert aufgenommen wird durch eine Steuerstange 180 gedreht wird, was wiederum, ist mit einem Steuerarm 182. Kabel 26 ist mit dem Ende des Steuerarmes 182 am weitesten von der Mittellinie verbunden ist, und wirkt gegen die Rückstellvorspannkraft der Feder 184 gekoppelt ist, wobei die letztere an der Seitenplatte 152 des Dampf Equalizer 16 über einem aufrechten Journal Flansch 188. Das Bezugszeichen 186 allgemein eine Drosselklappe Betätigungsgestänge, wie deutlicher in Fig.8 gezeigt ist, und die eine herkömmliche Konstruktion aufweist, wie sie von einem Fachmann auf dem Gebiet erkannt werden.
Unter Mischen und der Ausgleichskammer 168 angeordnet ist, eine Filtereinheit, die allgemein durch das Bezugszeichen 188. Die Filtereinheit 188, die in einer Explosionsansicht in Fig.11 dargestellt ist, angedeutet ist, weist eine obere Kunststoffabdeckung 190 geriffelte und eine untere Kunststoff gerillten Deck 192. Benachbart zu den oberen und unteren Abdeckungen 190 und 192 ist ein Paar von Siebgewebe Elemente 194 bzw. 196. Zwischen den Siebmaschen Elemente 194 und 196 positioniert ist, ein Stützelement 198, die vorzugsweise aus einem schwammartigen Filtermaterials gebildet wird, wie zum Beispiel Neopren. Das Stützelement 199 hat an seiner oberen und unteren Oberflächen ein Paar von Aufnahmen 200 und 202, deren Durchmesser so bemessen sind ähnlich wie die Öffnung 166 in der oberen Platte 156 und der in dem Ansaugkrümmer 18 gebildeten Öffnungen, die jeweils durch die Bezugszeichen gebildet werden, 210 und 212 in Fig.6.
In Gefäßen positioniert 200 und 202 sind Kohlenstoffpartikel 204 und 206, jeweils für Dampfverzögerung und Steuerzwecke.
Unter Bezugnahme auf Fig.9, die Filtereinheit 38 in der Dampfleitung 14 ist in einem Längsschnitt dargestellt und wird gesehen, einen äußeren flexiblen zylindrischen Schlauch 214, der geeignet ist, mit Schlauch 14 an beiden Enden durch ein Paar von Adapters aufweisen montiert Elemente 216 und 218 in dem äußeren Schlauch 214 Enthalten ist ein zylindrischer Behälter 220, vorzugsweise aus Kunststoff, die Häuser, in ihrem Zentrum, einem Gemisch aus Kohlenstoff und Neopren Filterfasern 222. An den beiden Enden des Gemisches 222 sind Kohlenstoffpartikel abgeschieden 224 und 226, während die gesamte Filtereinheit innerhalb des Behälters 220 von Ende Bildschirme 228 und 230, die Durchgang von Dämpfen erlauben, durch sie, während die Kohlenstoffpartikel 224 und 226 an Ort und Stelle hält gehaltenen.
Fig.10 zeigt eine Form des Druckregelventils 40, das in der Leitung 14 angeordnet ist, dieses Ventil einfach steuert die Menge an Flüssigkeit, die durch die Leitung 14 über einen sich drehenden Ventilelement 41 hindurchtreten kann.
Im Betrieb wird das Druckregelventil 40 anfänglich eingestellt, um so glatt für den bestimmten Kraftfahrzeug, in dem das System installiert ist, eine Leerlauf wie möglich zu erreichen. Die Not-Aus-Ventil 42, welches geschlossen ist, wenn der Motor ausgeschaltet ist, einfängt allgemein genug Dampf zwischen ihm und dem Dampf Equalizer 16, um den Motor 20 anfangs gestartet, der hintere Einlaßventile 12 auf den Behälter 10 vollständig geschlossen sind, während die Lufteinlassventile 22 an den Entzerrer 16 sind offen, um eine Luftladung in den Dampf Entzerrer vor der Dampf aus dem Behälter zuzulassen, wodurch die bereits bestehenden Dampfes in der Dampf Entzerrer in den Krümmer gedrückt wird. Die kleinen Öffnungen 100 in der Grundplatte 96 am Tank 10 gebildet gebe gerade genug Luft zur Betätigung der Reedventile zu ausreichenden Dampf und Luft zu ermöglichen, durch Dampfleitung 14 gezogen werden und der Entzerrer 16 mit dem Motor 20 in Ruhestellung ist. Der vordere Luftventile 22 werden immer vor den hinteren Luftventile 12 und die Verbindungen 24 und 26 eingestellt werden, um Gaspedal 28 gekoppelt, so dass der Grad der Öffnung des vorderen Ventile 22 über dem Öffnungsgrad der hinteren Ventile 12 immer.
Beim anfänglichen Starten des Motors 20, durch den geschlossenen Zustand der hinteren Ventile 12 wird ein hoher Unterdruck in dem Tank 10, der die Filteranordnung 134 in dem Tank 10 positioniert bewirkt geschaffen, um in ihre Betriebsposition mit durchgezogenen Linien in Fig.2 steigen. Auf diese Weise kann eine relativ kleine Menge von Dampf direkt vom Filter 134 durch Dampfleitung 14 an den Motor gezogen werden, um den letzteren zu ermöglichen, auf einer extrem mageren Mischung ausgeführt.
Nach Anfangsbeschleunigung, wird der vordere Lufteinlassventil 22 weiter zu öffnen, während der hintere Schmetterlingsanordnung 12 beginnt sich zu öffnen. Letztere Maßnahme wird der Unterdruck in dem Behälter 10 zu reduzieren, wobei die Filteranordnung 134 wird auf seiner in gestrichelten Linien in Fig.2 dargestellt alternativen Betriebsposition abgesenkt werden. In dieser Stellung kann das untere Ende der Filteranordnung 134 tatsächlich in der innerhalb des Tanks 10. Dementsprechend enthaltenen flüssigen Kraftstoff ruhen, bei der Beschleunigung wird die Filteranordnung 134 vor direkter Fluidverbindung mit der Öffnung 82, so daß die Dampfleitung verschoben 14 zieht dann Kraftstoffdampf und Luft aus dem gesamten Tank 10 eine reichere Verbrennungsgemisch in den Motor, der während der Beschleunigung notwendig ist, bereitzustellen.
Wenn das Kraftfahrzeug erreicht eine konstante Geschwindigkeit, und die Bedienungsperson erleichtert vom Gaspedal 28, das hintere Klappenventilanordnung 12 schließt, aber die vorderen Lufteinlass 22 bleibt offen bis zu einem gewissen Grad. Das Schließen des hinteren Lufteinlass 12 erhöht den Unterdruck in dem Behälter 10 bis zu dem Punkt, wo der Filteranordnung 134 ist bis zu seinem anfänglichen Betriebsposition gezogen. Wie dargestellt ist, in dieser Stellung ist die Öffnung 82 im wesentlichen in Ausrichtung mit der Öffnung 151 des Schlauchs 150 an die Filtereinheit 134 in direkter Fluidverbindung mit der Dampfleitung 14 zu platzieren, wodurch die Menge an Dampf-Luft-Gemisch dem Motor zugeführt Verminderung. Alle durch die Leitung 14 zugeführt, während der Filter 134 ist an dieser Position Dampf wird angenommen, dass unmittelbar vor der Filtereinheit selbst gezogen werden.
Ich habe extrem hohe mpg Zahlen zu erhalten, mit dem System der die vorliegende Erfindung, die auf einen V8-Motor eines konventionellen 1971 amerikanischen Autos installiert. In der Tat haben Kilometerraten von über 100 Meilen pro US-Gallone wurden mit der vorliegenden Erfindung erreicht. Die vorliegende Erfindung eliminiert die Notwendigkeit für herkömmliche Kraftstoffpumpen, Vergaser und Kraftstofftanks, um dadurch mehr als ausgeglichen, was die Komponenten der vorliegenden Erfindung könnten ansonsten die Kosten für ein Auto hinzuzufügen. Das System kann mit leicht verfügbaren Komponenten und Technologien gebaut werden, und können in Form eines Kits als auch in der Erstausrüstung geliefert werden.
US Patent 7.151.332 19. Dezember 2006 Erfinder: Stephen Kundel
MOTOR MIT
OSZILLIERENDE UND ROTIERENDE DAUERMAGNETEN
Dieses Patent beschreibt einen Motor hauptsächlich von den Permanentmagneten angetrieben. Dieses System verwendet ein Schwingrahmen, um die sich bewegenden Magneten so zu positionieren, dass sie eine kontinuierliche Drehkraft auf die Abtriebswelle zu schaffen.
ZUSAMMENFASSUNG
Ein Motor, der einen Rotor hat zur Drehung um eine Achse gelagert ist, und wenigstens ein Paar von Rotormagneten Winkligkeit um die Achse beabstandet sind und auf dem Rotor, mindestens einem Hubmagneten und einen Aktuator zum Bewegen des Hubmagneten zyklisch hin und weg getragen von dem Paar von Rotormagneten und damit die Drehung der Rotormagnete relativ zu dem Hubmagneten.
US-Patent-Referenzen:
0561144 June, 1896 Trudeau
1724446 August, 1929
2790095 April, 1957 Peek et al.
3469130 September, 1969 Jines et al.
3703653 November, 1972
3811058 May, 1974 Kiniski
3879622 April, 1975 Ecklin
3890548 June, 1975 Gray
3899703 August, 1975 Kinnison
3967146 June, 1976 Howard
3992132 November, 1976 Putt
4011477 March, 1977 Scholin
4151431 April, 1979 Johnson
4179633 December, 1979 Kelly
4196365 April, 1980 Presley
4267647 May, 1981 Anderson et al.
4629921 December, 1986 Gavaletz
4751486 June, 1988 Minato
5402021 March, 1995 Johnson
5594289 January, 1997 Minato
5634390 June, 1997 Takeuchi et al.
5751083 May, 1998 Tamura et al.
5925958 July, 1999 Pirc
6169343 January, 2001 Rich, Sr.
6343419 February, 2002 Litman et al.
6841909 January, 2005 Six
20020167236 November, 2002 Long
20040140722 July, 2004 Long
HINTERGRUND
DER ERFINDUNG
Diese Erfindung betrifft das Gebiet von Motoren. Insbesondere betrifft sie einen Motor, dessen Rotor durch den gegenseitigen Anziehung und Abstoßung der Permanentmagneten auf dem Rotor und ein Oszillator angeordnet angetrieben.
Verschiedene Arten von Motoren verwendet werden, um eine Last zu treiben. B. hydraulische und pneumatische Motoren verwenden den Fluss von unter Druck gesetzter Flüssigkeit und Gas, jeweils, um einen Rotor mit einer Last verbunden zu treiben. Solche Motoren müssen ständig mit Druckfluid von einer Pumpe durch Energie in Rotationsenergie von einer Antriebsmaschine, umgewandelt angetrieben, wie einem Verbrennungsmotor zugeführt werden. Die verschiedenen Energieumwandlungsprozesse, die Strömungsverluste und Pumpverluste zu verringern, die Betriebseffizienz des Motors Systeme dieses Typs.
Herkömmliche Elektromotoren sind die an einen stromführenden Leiter in einem Magnetfeld aufgebrachte Kraft. In einem Gleichstrom Motors das Magnetfeld entweder durch Permanentmagnete oder durch Feldspulen klar definierten Feldpolen an einem Stator umwickelt ist. Die Leiter an dem die Kraft entwickelt werden auf einem Rotor angeordnet und mit elektrischem Strom versorgt. Die Kraft in der Spule induziert wird zur Rotordrehmoment, dessen Grße variiert mit der Größe des Stroms und die Stärke des Magnetfeldes an, Streufluss, Luftspalte, Temperatureffekten, und die elektromotorische Gegenkraft zu verringern jedoch den Wirkungsgrad des Motors.
Permanent Dipolmagnete einen magnetischen Nordpol, einen magnetischen Südpol, und magnetische Felder jeden Pol umgibt. Jeder Magnetpol zieht einen Pol von entgegengesetzter magnetischer Polarität. Zwei Magnetpole der gleichen Polarität einander abstoßen. Es ist erwünscht, dass ein Motor entwickelt, so dass dessen Rotor durch die gegenseitige Anziehung und Abstoßung der Pole der Permanentmagneten betrieben werden.
ZUSAMMENFASSUNG
DER ERFINDUNG
Ein Motor gemäß der vorliegenden Erfindung umfasst einen Rotor zur Rotation um eine Achse gelagert ist, ein erstes Paar von Rotormagneten mit ersten und zweiten Rotormagneten beabstandet winkelig um die Achse und auf dem Rotor, einem Hubmagneten gelagert ist und eine Betätigungseinrichtung zum Bewegen der Hubmagnet zyklisch zu und weg von dem ersten Paar von Rotormagneten und zyklisch Drehen des ersten Paares von Rotormagneten relativ zu dem Hubmagneten. Vorzugsweise ist der Motor ein zweites Paar von Rotormagneten auf dem Rotor gelagert, die axial von dem ersten Paar von Rotormagneten, des zweiten Paars mit einer dritten Rotormagneten und eine vierte Rotormagneten beabstandet winkelig um die Achse des dritten Rotormagneten angeordnet ist. Der Hubmagnet ist axial zwischen dem ersten und dem zweiten Rotormagnetpaaren angeordnet ist, und das Stellglied zyklisch den Hubmagneten in Richtung auf und weg von den ersten und zweiten Paare von Rotormagneten.
Die Magnete sind vorzugsweise permanent Dipolmagnete. Die Pole des Hubmagneten angeordnet sind, dass sie in entgegengesetzten seitlichen Richtungen zeigen.
Der Motor kann durch den Rotor um seine Achse manuelles Drehen gestartet werden. Die Drehung wird durch das Stellglied verwendet, um die Hin- Magneten in Richtung der ersten Rotormagnetpaar bewegen und weg von dem zweiten Rotormagnetpaar bei Rotordrehung bringt die Referenz Pol des ersten Rotormagneten näher an der entgegengesetzten Pol des Hubmagneten und der gegenüberliegenden Pol des zweiten Rotormagneten näher an der Bezugs Pol des Hubmagneten. Dann bewegt sich das Stellglied den Hubmagneten in Richtung auf den zweiten Rotor Magnetpaar und weg von dem ersten Rotormagnetpaar bei Rotordrehung bringt die Referenzpol des dritten Rotormagneten näher an der entgegengesetzten Pol des Hubmagneten und der entgegengesetzte Pol des vierten Rotormagneten näher an der Referenz Pol der Hubmagnet.
Ein Motor gemäß der vorliegenden Erfindung benötigt keine Energiequelle, um eine Feldspule zu erregen, da die Magnetfelder des Rotors und des Oszillators durch Permanentmagnete erzeugt wird. Ein Neun-Volt-Gleichstrom-Batterie ist mit einem Stellglied-Schaltmechanismus eingesetzt, um die Polarität des Elektromagneten an der Rotorfrequenz abwechseln. Das Solenoid ist über einen Permanentmagneten der Betätigungseinrichtung, so daß Drehung des Rotors und der wechselnden Polarität eines Magneten bewirkt, daß das Stellglied, um die Hin- Magnet bei einer Frequenz und Phasenlage, die am effizientesten zur Rotordrehung oszillieren suspendiert.
Der Motor ist leicht und tragbar ist, und benötigt nur einen handelsüblichen tragbaren Gleichstrom-Batterie, ein Stellglied für den Oszillator anzutreiben. Kein Motorantriebselektronik erforderlich. Der Betrieb des Motors ist praktisch still.
Verschiedene Aufgaben und Vorteile dieser Erfindung ergeben sich für den Fachmann auf dem Gebiet aus der folgenden detaillierten Beschreibung der bevorzugten Ausführungsform, wenn diese im Lichte der beigefügten Zeichnungen gelesen wird.
KURZE
BESCHREIBUNG DER ZEICHNUNGEN
Diese und andere Vorteile der vorliegenden Erfindung werden dem Fachmann auf dem Gebiet aus der folgenden detaillierten Beschreibung einer bevorzugten Ausführungsform in Verbindung mit den beiliegenden Zeichnungen betrachtet wird, in denen:

Fig.1A ist eine Seitenansicht eines Motors gemäß der vorliegenden Erfindung;

Fig.1B ist eine perspektivische Ansicht des Motors der Fig.1A

Fig.2 ist eine Draufsicht auf die der Motor der Fig.1A und Fig.1B, die die Rotormagnete horizontal angeordnet, und die hin- und hergehenden Magneten nahe einem Ende ihrer Bewegungsbereich befindet

Fig.3 ist eine Draufsicht des Motors der Fig.2, die die Rotormagnete gedreht, eine halbe Umdrehung aus der in Fig.2 gezeigten Position, und die Hubmagnete nahe dem gegenüberliegenden Ende ihrer Bewegungsbereich befindet

Fig.4 ist ein schematisches Diagramm einer ersten Zustand des
Aktuators Schaltsystems des Motors der Fig.1

Fig.5 ist ein schematisches Diagramm eines zweiten Zustand des
Aktuators Schaltsystems des Motors der Fig.1.

Fig.6 ist eine Querschnittsansicht einer Hohlwelle mit der Rotorwelle, die einen Kontaktfinger und Brückenkontaktplatten des Schaltanordnung ausgerichtet.

Fig.7 ist eine isometrische Ansicht, die die Schaltkontaktfinger an Schwenkarmen befestigt sind und auf den Brückenverbinder des Schaltsystems sitz

Fig.8 ist isometrische Querschnittsansicht eines Treibers, der einen Elektromagneten und Permanentmagneten zum Oszillieren der Betätigungsarm in Reaktion auf die Drehung der Rotorwelle umfasst, die.

Fig.9 ist eine Draufsicht einer alternativen Anordnung der Rotormagneten, wobei sie horizontal und um neunzig Grad von der in Fig.2 gezeigten Position angeordnet gedreht und die Hubmagnete sind nahe einem Ende ihrer Verschiebungsbereich befindet

Fig.10 ist eine Draufsicht, die den Rotormagneten Anordnung Fig.9 gedreht, eine halbe Umdrehung aus der in Fig.9 gezeigten Position, und die Hubmagnete nahe dem gegenüberliegenden Ende ihrer Verschiebungsbereich befindet; und

Fig.11 ist eine Draufsicht des Motors, die eine dritte Anordnung der Rotormagnete, die in Bezug auf die Achse und den Hubmagneten geneigt sind.

Fig.12 ist ein Diagramm, das die Winkelverschiebung der Rotorwelle 10 und die lineare Verschiebung der Hubmagnete

Fig.13 ist eine Draufsicht auf ein Paar von Rotormagneten horizontal angeordnet und Hubmagnete nahe einem Ende ihrer Bewegungsbereich befindet

Fig.14 ist eine Draufsicht des Motors der Fig.13, welche die Rotormagnete gedreht, eine halbe Umdrehung aus der in Fig.13 gezeigten Position und der Hubmagnete nahe dem gegenüberliegenden Ende ihrer Bewegungsbereich befindet; und

Fig.15 ist eine perspektivische Querschnittsansicht einer weiteren Ausführungsform des Motors nach der vorliegenden Erfindung.
DETAILLIERTE
BESCHREIBUNG DER BEVORZUGTEN AUSFÜHRUNGSFORM

Ein Motor gemäß der vorliegenden Erfindung, in der Fig.1A und Fig.1B dargestellt enthält eine Rotorwelle 10 zur Drehung um die Achse 11 auf Lagern 12 und 14 an vertikalen Trägern 16 und 18 eines Rahmens. Ein Oszillator Mechanismus Oszillatorarme 20, 22 und 24 drehbar auf den Lagern 26, 28 gelagert und 30 jeweils an einem horizontalen Träger 32, der an jedem axialen Ende mit den vertikalen Trägern befestigt ist, befestigt 16 und 18. Die Schwingarme 20, 22 und 24 sind mit Durchgangsbohrungen 15 mit der Achse 11 der Rotorwelle 10 ausgerichtet ist, wobei die Löcher eine Drehung der Rotorwelle und Schwenkschwingung der Arme, ohne Interferenz zwischen dem Rotor und den Armen.
Sich in entgegengesetzten diametralen Richtungen von der Rotorachse 11 und an der Rotorwelle 10 befestigt sind vier Platten 33, axial zueinander entlang der Rotorachse beabstandet ist, wobei jede Platte stützPermanentMagnete an der Platte befestigt ist und mit der Rotorwelle drehen.
Jede Schwenk Oszillator Arm 20, 22 und 24 der Oszillatormechanismus Stützpermanentmagneten zwischen den Magneten der Rotorwelle angeordnet. Helical Schraubendruckrückstellfedern 34 und 35 gelten, entgegengesetzt gerichtete Kräfte auf Arme 20 und 24 Oszillator, wie sie über ihre jeweiligen Schwenkstützen 26 und 30 schwenken auf. Aus der Sicht der Fig.1A und Fig.1B, wenn die Feder 34 wird durch Verschiebung des Oszillators Arm komprimiert wird, gilt die Feder eine Kraft nach rechts, um den Arm 20, um ihn in seine Neutralstellung zurück, Ausgangsposition neigt Oszillator. Als Feder 35 wird durch die Verschiebung des Arms 24 zusammengedrückt wird, gilt die Feder eine Kraft nach links auf den Arm 24 dazu neigt, diesen in seine neutrale Ausgangsstellung zurückzukehren.
Die Oszillatorarme 20, 22 und 24 schwingen um ihre stützte Lager 26, 28 und 30, wie sie in Antwort bewegen zu einem Aktuator 36, der einen Betätigungsarm 38 durch Lager 39, 40 und 41 mit den Oszillatorarmen 20 befestigt sind, 22 und 24 auf. Stellglied 36 bewirkt Betätigungsarm 38 sich linear nach links und rechts von der in Fig.1A und Fig.1B gezeigten Position hin und her bewegt. Die Lager 39, 40 und 41, damit die Oszillatorarme 20, 22 und 24 zu schwenken und das Federbein, ohne gegenseitige Störung zu übersetzen. Paare von Führungsrollen 37a und 37b entlang der Betätigungsarm 38 beabstandet ist, umfassen jeweils ein Rad auf einer gegenüberliegenden Seite des Stellgliedarmes 38 an dem anderen Rad der Rad-Paar befindet, zum Führen lineare Bewegung der Strebe und die Aufrechterhaltung der Schwingarme 20, 22 und 24 im wesentlichen in einer vertikalen Ebene, wenn sie schwingen. Alternativ können die Oszillatorarme 20, 22 und 24 durch einen Mechanismus, der die Magnete auf der Oszillatorarme linear mit Stellarm 38 anstelle des Schwenkens über die Rotorwelle 10 bei 26, 28 und 30 hin und her bewegen können ersetzt werden.

Fig.2 zeigt eine erste Anordnung der Permanentrotormagneten 42 bis 49, die um die Achse 11 drehen, und sind mit der Rotorwelle 10 befestigt, und die Permanent Hubmagneten 50-52, die entlang der Achse 11 zu bewegen und an den Schwingarmen befestigt sind 20, 22 und 24. Jeder Magnet einen Pol der Referenz Polarität und einen Pol mit entgegengesetzter Polarität von der Polarität des Sollwerts. Zum Beispiel Rotormagnete 42, 44, 46 und 48, auf einer Seite der Achse 11 befindet, haben jeweils eine Nord, positiv oder Referenzpol 54 zugewandten Aktuator 36 und einen S, negativ oder Gegenpol 56 abgewandten Aktuators. Ähnlich Drehmagneten 43, 45, 47 und 49, um die Rotormagnete 42, 44, 46 und 48, die jeweils diametral gegenüberliegend einen Südpol zugewandt Aktuator 36 und einem Nordpol abgewandten Aktuators. Die Nordpole 54 der Kolbenmagnete 50-52 Gesicht nach rechts aus der Sicht in Fig.2 und Fig.3 und ihren Südpolen gesehen 56 Gesicht nach links.

Fig.4 zeigt eine Schalteranordnung in dem Bereich des linken Endes der Rotorwelle 10. Ein Zylinder 58, vorzugsweise aus PVC gebildet ist, angeordnet ist, um die Rotorwelle befestigt 10. Zylinder 58 weist Kontaktplatten 59 und 60, vorzugsweise aus Messing, angeordnet auf seiner Außenfläche, ausgerichtet winklig ist und sich etwa 180 Grad um die Achse 11, wie in Fig.5 gezeigt. Zylinder 58 weist Kontaktplatten 61 und 62, vorzugsweise aus Messing, auf seiner äußeren Oberfläche angeordnet ist, ausgerichtet ist winklig, der sich etwa 180 Grad um die Achse 11 und axial versetzt zu den Platten 59 und 60 zu kontaktieren.
Ein Gleichstrom Leistungsversorgung 64 hat einen elektrisch über Kontaktfinger 66 und 68 verbunden sind, zu den Platten 61 und 62 zu kontaktieren, jeweils positiven und negativen Anschlüssen. Ein dritter Kontaktfinger 70, gezeigt Berührungsplatte 61 verbindet Anschluß 72 einer Magnetspule 74 elektrisch mit dem positiven Anschluß der Stromversorgung 64 über Kontaktfinger 66 und Kontaktplatte 61. Ein viertes Kontaktfingers 76, gezeigten Berührungsplatte 62 verbindet Terminal 78 der Magnetspule 74 elektrisch mit dem negativen Anschluss der Stromversorgung 64 über Kontaktfinger 68 und die Kontaktplatte 62 eine fünfte Kontaktfinger 80, die axial mit Kontaktplatte 59 ausgerichtet sind und axial von der Kontaktplatte 61 versetzt ist, ist ebenfalls mit dem Anschluß 78 verbunden Solenoid 74.
Vorzugsweise ist die Gleichstrom Netzteil 64 ist ein Neun-Volt-Batterie oder eine Gleichstrom-Netzteil, dessen Eingang kann eine herkömmliche 120V, 60Hz-Stromversorgung sein. Der Gleichstrom Stromversorgung und Schaltmechanismus unter Bezugnahme auf die Fig.4 bis Fig.7, kann durch eine Wechselstromquelle direkt an den Anschlüssen 72 und 78 des Elektromagneten 74 als Eingangsstromzyklen, die Polarität des Elektromagneten 74 im Wechsel, der Betätigungsarm 38 verbunden, bewegt sich relativ zu einem ringförmigen Permanentmagneten 90 (ersetzt werden in Fig.8 gezeigt), und die Hubmagnete 50 bis 52 hin und her über die Schwingarme 20, 22 und 24, die von dem Betätigungsarm 38 angesteuert werden.

Fig.5 zeigt den Zustand der Schalteranordnung beim Rotorwelle 10 hat ungefähr 180 Grad von der in Fig.4 dargestellten Position gedreht. Wenn die Schalteranordnung ist in der in Fig.5 gezeigten Zustand, Gleichstrom Leistungsversorgung 64 hat einen elektrisch durch Kontaktfinger 66 und 68 verbunden, um Platten 59 und 60 zu kontaktieren, jeweils positiven und negativen Anschlüssen. Kontaktfinger 70, gezeigt Berührungsplatte 60 verbindet Anschluß 72 der Magnetspule 74 elektrisch mit dem negativen Anschluss der Stromversorgung 64 über Kontaktfinger 68 und die Kontaktplatte 60 Kontaktfinger 80, gezeigt Berührungsplatte 59 verbindet Anschluß 78 der Magnetspule 74 elektrisch mit dem positiven Anschluß durch Kontaktfinger 66 und die Kontaktplatte 59 Kontaktfinger 76, die axial mit Kontaktplatte 62 ausgerichtet sind und axial von der Kontaktplatte 60 versetzt ist, bleibt auf diese Weise angeschlossen an den Anschluß 78 der Magnetspule 74, die Polarität des Elektromagneten 74 zyklisch ändert, wenn der Rotor 10 dreht sich durch jeden halben Umdrehung.

Fig.6 zeigt im Querschnitt, wobei der Zylinder 58, die ausgerichtet ist und von der Rotorwelle 10 ist ein Kontaktfinger 70 angetrieben wird und die Kontaktplatten 59 bis 62 der Schaltanordnung, die mit der Rotorwelle und dem Zylinder um die Achse 11 drehen.

Wie Fig.7 zeigt, sind axial beabstandete Arme 82, die auf einer Stummelwelle 71 gelagert, die vorzugsweise aus Teflon oder einem anderen selbstschmierenden Material hergestellt ist, um das Schwenken der Arme um die Achse der Welle 71. Jeder Kontaktfinger 66, 68 zu erleichtern, 70, 76 und 80 ist am Ende eines Arms 82 angeordnet ist, und Spannfedern 84 an jedem Arm 82 befestigt ist, drücken die Kontaktfinger 66, 68, 70, 76 und 80 kontinuierlich in Richtung auf einen Eingriff mit den Kontaktplatten 59-62.

Fig.8 zeigt den Aktuator 36 zur Hin- und Herbewegung des Betätigungsarms 38 in Reaktion auf die Drehung der Rotorwelle 10 und der wechselnden Polarität des Elektromagneten 74. Das Stellglied 36 weist der Magnetspule 74, die toroidale Permanentmagneten 90, eine elastische flexible Spinne 92 zum Tragen der Elektromagnet über der Ebene des Magneten, und einen Korb oder einen Rahmen 94, an dem der Zahnkranz befestigt ist. Der Betätigungsarm 38 ist an der Magnetspule 74. Die Polung der Magnetspule 74 ändert Rotorwelle 10 dreht, wodurch das Solenoid und Betätigungsarm 38 aufgrund der wechselnden Polarität des Elektromagneten relativ zu der von dem toroidförmigen Permanentmagneten 90 hin und her bewegen. Da die Magnetpolaritätsänderungen der Betätigungsarm 38 bewegt sich linear durch die Wechselkräfte von Anziehung und Abstoßung des Magneten 74 relativ zu den Polen des Magneten 90. Der Betätigungsarm 38 ist mit der Oszillatorarme 20, 22 und 24 verursacht befestigt sie zu schwenken, und die Kolbenmagneten 50-52, den Oszillator Armen gesichert, sich zu revanchieren. Alternativ werden die Hubmagnete 50 - 52 kann direkt an dem Arm 38 befestigt sein, so dass die Magnete 50 bis 52 hin und her bewegen, ohne Notwendigkeit eines zwischengeschalteten Schwingungskomponente.
Es ist wichtig, an dieser Stelle in der Beschreibung, dass, wenn zwei Magnete einander nähern ihre Pole gleicher Polarität einander aber leicht versetzt gegenüber, gibt es eine Tendenz für die Magnete an den entgegengesetzten Pol des anderen Magneten rotieren beachten. Daher wird in der bevorzugten Ausführungsform der vorliegenden Erfindung, bei welcher die Schalteranordnung des Aktors 36 wechselt zwischen den Zuständen der Fig.4 und Fig.5 ist die Winkelstellung leicht außer Phase mit der Winkelposition der Rotorwelle 10 zu helfen Schlinge oder treiben den Betätigungsarm 38 in der Rückwärtsrichtung bei der bevorzugten Stellung der Rotorwelle. Die optimale Phasenverschiebung beträgt ca. 5-8 Grad. Auf diese Weise nutzt man die Tendenz jedes Rotormagneten ist um seine eigene Magnetfeld rotiert genommen, wenn etwas von der jeweiligen Hubmagneten versetzt, und die Abstoßungskraft zwischen gleichen Polen den Hubmagneten und den Rotormagneten optimiert ist, um den Rotormagneten zu treiben die Rotorachse 11, wodurch die Gesamteffizienz des Motors zunehmender.

Fig.12 ist ein Diagramm mit den Winkelversatz 96 der Rotorwelle 10 und lineare Verschiebung 98 der austauschenden Magneten 50 – 52. Punkt 100 Ende des Bereichs der Verschiebung der austauschenden Magneten 50 – 52 siehe Fig.2 und Fig.9 und Punkt 102 darstellt dem anderen Ende des Bereichs der Verschiebung der austauschenden Magneten 50 – 52 siehe Fig.3 und Fig.10. Zeigen Sie 104 stellt die Winkellage des Rotors Magnete 42 – 49 in der horizontalen Ebene dargestellt in Fig.2 und Fig.9 und Punkt 106 stellt die Winkelposition der Rotor Magnete 42 – 49 halbe Drehung um die horizontale Drehung Flugzeug in Fig.3 und Fig.10 dargestellt. Vorzugsweise sind die oszillierende Magnete 50 – 52 und Rotor Magnete 42 – 49 phasenverschoben: die oszillierende Magnete-Führung und die Rotor-Magnete lag um mehrere Grad. Die oszillierende Magnete 50 – 52 erreichen die jeweiligen Extremitäten ihrer Reihe von Reisen, bevor der Rotor-Rotation bewegt sich die Rotor Magnete 42 – 49 in der Horizontalebene.
Wenn die Referenz Polen 54 und Gegenteil Stangen 56 des Rotors Magnete 42 – 49 und Hubkolben-Magnete, die 50 – 52 angeordnet sind, wie in Fig.2 und Fig.3 dargestellt, die Rotor-Position stabil ist, wann sind die Rotor-Magnete in der horizontalen Ebene. Die Rotor-Position ist in jeder Winkelposition instabil, und es bewegt sich in Richtung horizontale Stabilität von einer instabilen Position und ist am wenigsten stabil, wenn die Rotor Magnete 42 – 49 in einer senkrechten Ebene sind. Der Grad der Stabilität der Rotorwelle 10 ist eine Folge der gegenseitigen Anziehung und Abstoßung der Pole der Rotor Magnete 42 – 49 und hergehenden Magnete 50 – 52 und die relative Nähe zu den Polen. In Fig.2 befinden sich die oszillierende Magnete 50 – 52 eine erste Stadttor der Reise. Klicken Sie in Fig.3 die oszillierende Magnete 50 – 52 haben erwidert bis zum gegenüberliegenden Ende der Reise, und die Rotor-Magnete haben halbe Revolution gedreht, von der Position, die in Fig.2 dargestellt.
Wenn der Rotor gestoppt wurde, kann die Drehung leicht manuell gestartet werden durch die Anwendung von Drehmoment in beiden Richtungen. Betätiger 36 trägt Rotor drehen, nachdem es mit der Stromquelle verbunden ist. Drehung der Rotorwelle 10 um Achse 11 wird durch zyklische Bewegung der austauschenden Magnete 50 – 52, deren axiale Befestigung zwischen den Rotor Magnet Paaren 42 – 43, 44 – 45, 46 – 47 und 48 – 49, die Disposition der ihre Pole in Bezug auf die Polen die Rotor-Magnete und die Frequenz und Phase Beziehung ihre eingestellt relativ Drehung der Rotor Magnete unterstützt. Betätiger 36 unterhält der Rotor 10 drehen und Betätiger Arm 38 oszillierende mit der gleichen Frequenz, Phase-Beziehung, wie unter Bezugnahme auf Fig.12 beschrieben.
Mit den Rotormagneten 42 und 49, wie in Fig.2 gezeigt, von oben gesehen, die Nordpole 54 den Rotormagneten auf der linken Seite der Achse 11 Fläche einer ersten axialen Richtung 110, das heißt, in Richtung auf das Stellglied 36, und die Nordpole 54 den Rotormagneten auf der rechten Seite der Achse 11 in die entgegengesetzte axiale Richtung 112 vom Aktuator 36. Wenn die Rotormagnete 42 bis 49 werden, wie in Fig.2 angeordnet, die Nordpole 54 von Kolbenmagneten 50-52 liegen diese nebeneinander Südpol 56 des Rotormagneten 45, 47 und 49, und die Südpole 56 des Hubmagneten 50 bis 52 sind angrenzend an die Nordpole 54 des Rotormagneten 44, 46 und 48.

Ferner wird, wenn die Rotorwelle 10 dreht, um die in Fig.2 gezeigte Position werden die Hubmagnete 50 - 52 in der Nähe, so daß die Nordpole 54 des Hubmagneten 50 - 52 befinden sich in oder einem Ende ihrer axialen Bewegung, in der Nähe der Südpol 56 des Rotormagneten 45, 47 bzw. 49, und eine relativ weiter entfernt von den Nordpolen 54 der Rotormagnete 43, 45 bzw. 47. Ähnlich sind die Südpole 56 Hubmagneten 50 - 52 sind dicht an den Nordpolen des Rotormagneten befindet 44, 46 bzw. 48, und relativ weiter entfernt von den Südpolen der Rotormagnete 42, 44 bzw. 46.
Mit den Rotormagneten 42 und 49 drehbar in einer horizontalen Ebene um eine halbe Umdrehung aus der Stellung von Fig.1B, wenn sie von oben betrachtet, wie in Fig.3 gezeigt, die Nordpole 54 des Hubmagneten 50 - 52 sind angrenzend an die S Pole des Rotormagneten 42, 44 und 46 und die Südpole 56 des Hubmagneten 50 - 52 sind angrenzend an die Nordpole 54 der Rotormagnete 43, 45 bzw. 47. Wenn der Rotor 10 Welle befindet, wie in Fig.3 gezeigt, werden die Hubmagnete 50 - 52 sind an oder nahe dem entgegengesetzten Ende ihrer axialen Bewegung von der Fig.2 befindet, derart, daß die Nordpole 54 des Hubmagneten 50 - 52 sind in der Nähe der Südpol 56 des Rotormagneten 42, 44 bzw. 46, und relativ weit entfernt von den Nordpolen der Rotormagnete 44, 46 bzw. 48. Ähnlich wird, wenn die Rotorwelle 10 angeordnet ist, wie in Fig.3, die Südpole 56 des Hubmagneten 50 - 52 sind in der Nähe der Nordpole des Rotormagneten 43, 45 bzw. 47, und relativ weiter entfernt von den Südpolen der Rotormagnete 45, 47 bzw. 49.
Im Betrieb wird die Drehung des Rotorwelle 10 in Winkelrichtung entweder manuell oder mit einem Starter-Stellglied gestartet wird (nicht gezeigt). Aktuator 36 bewirkt Hubmagneten 50 - 52 zu oszillieren bzw. hin- und herbewegen an der gleichen Frequenz wie der Rotationsfrequenz der Rotorwelle 10, dh einem Zyklus der Hin- und Herbewegung pro Drehungszyklus, vorzugsweise mit dem in Fig.12 dargestellten Phasenbeziehung. Wenn die Hubmagnete 50 - 52 sind angeordnet, wie in Fig.2 gezeigt, wird die Rotorwelle 10 um eine halbe Umdrehung von der Position der Fig.3 zu der Position der Fig.2 durchgeführt haben.
Drehung des Rotors 10 wird unterstützt durch die gegenseitige Anziehung zwischen den Nord-Polen 54 der austauschenden Magnete 50 – 52 und der Südpol 56 von der Rotor-Magnete, 43, 45, 47 und 49, die dann jeweils die North Pole der Hubkolben-Magnete 50 – 52, am nächsten sind und gegenseitige Anziehung zwischen den Südpol Hubkolben-Magnete 50 – 52 und die North Pole der Magneten Rotor 42, 44, 46 und 48, die dann jeweils die North Pole der austauschenden Magneten am nächsten sind.
Angenommen, dass Rotorwelle 10 im Gegenuhrzeigersinn dreht, wenn er von dem Aktuator 36 betrachtet, und die Rotormagnete 42, 44, 46 und 48 sind oberhalb Rotormagnete 43, 45, 47 und 49 mit der Rotorwelle 10 positioniert ist, so dass die Hubmagnete 50 - 52 sind etwa in der Mitte zwischen den in Fig.2 und Fig.3 und erfolgt in Richtung der in Fig.2 gezeigten Position gezeigten Positionen als Rotations verläuft, der Südpol des jeweiligen Hubmagneten 50 - 52 eine abwärts gerichtete Anziehungs der Nordpol 54 des nächsten der Rotormagnete 44, 46 und 48 und der Nordpol 54 jedes Kolbenmagneten 50 - 52 zieht nach oben der Südpol 56 des nächsten Rotormagneten 45, 47 und 49. Diese gegenseitige Anziehung die Pole bewirkt, daß der Rotor weiterhin im Gegenuhrzeigersinn dreht, um die Position der Fig.2.
Dann beginnen die oszillierende Magnete 50 – 52 auf dem Weg zu der Position, die in Fig.3 dargestellt, und Rotorträgheitsmoment überwindet die stetig abnehmende Kraft der Anziehung zwischen den Polen, wie sie sich gegenseitig auseinander, erlaubt die Rotorwelle 10 weiterhin seine Rotation entgegen dem Uhrzeigersinn in die senkrechte Ebene, wo befinden sich Rotor Magnete, 43, 45, 47 und 49 über Rotor Magnete 42, 44, 46 und 48. Wie Rotorwelle 10 dreht Vergangenheit der senkrechten Ebene, die oszillierende Magnete 50 – 52 weiterhin die Position des Fig.3, Annäherung an den Südpol 56 von jeder hergehenden Magnet 50 – 52 zieht nach unten den Nordpol des nächsten Rotor-Magneten, 43, 45 und 47, und der Nordpol 54 jeder hergehenden Magnet 50 – 52 zieht nach oben Südpol 56 des nächsten Rotor Magneten 42, 44 und 46, verursacht den Rotor 10 Drehen gegen den Uhrzeigersinn bis zur Position von Fig.3. Rotorträgheitsmoment die Rotation entgegen dem Uhrzeigersinn verwaltet, die oszillierende Magnete 50 – 52 beginnen, auf dem Weg zu der Position angezeigt, die in Fig.2 und die Rotorwelle 10 gibt auf der vertikalen Ebene Rotor Magnete, 43, 45, 47 und 49 befinden sich wo über Rotor Magnete, 42, 44, 46 und 48, damit abschließen einer voller Umdrehung.

Fig.9 und Fig.10 eine zweite Anordnung des Motors, in dem die Pole der Rotormagnete 142 bis 149 parallel sind, und in die gleiche Richtung wie die der Kolbenmagnete 50 - 52. Der Betrieb des Motors angeordnet, wie in Fig.9 und Fig.10 gezeigt ist identisch mit der mit Bezug auf Fig.2 und Fig.3 beschriebene Operation. In der Ausführungsform der Fig.9 und Fig.10, die Pole der Kolbenmagnete 50 - 52 Gesicht mehr direkt die Pole der Rotormagnete 142 - 149 in der Anordnung von Fig.2 und Fig.3. Die Kräfte der Anziehung und Abstoßung zwischen den Polen sind mehr in der Ausführungsform der Fig..9 und Fig.10 daher wird mehr Drehmoment entwickelt. Die Größe des Drehmoments ist eine Funktion der Grße der magnetischen Kräfte und die Distanz, durch welche jene Kraft bedienen.

Fig.11 zeigt eine dritte Ausführungsform des Motors, in dem der radiale äußere Bereich der Rotorplatten 33' relativ zur Achse 11 versetzt sind, so dass die Pole des Rotormagneten 42 - 49 sind relativ zu den Polen der Hubmagnete verkantet 50 - 52. Der Betrieb des wie in Fig.11 gezeigt, angeordneten Motor ist identisch mit der unter Bezugnahme auf Fig.2 und Fig.3 beschrieben Betrieb.

Fig.13 und Fig.14 zeigen eine vierte Ausführungsform des Motors, bei dem jeder der beiden Hubmagnete 50 und 51 ist an einer axial gegenüberliegenden Seite des Rotormagnetpaar 44 und 45. Der Betrieb der angeordneten Motor angeordnet ist, wie in Fig.13 und Fig.14 gezeigt, ist identisch auf den Betrieb unter Bezugnahme auf Fig.2 und Fig.3 beschrieben.
Die Richtung der Drehausgang kann in jeder Winkelrichtung in Abhängigkeit von der Richtung des Ausgangsdrehmoments ist.
Der Motor kann produzieren Hin- Ausgang Stellarm 38 anstelle des oben beim Trennen Betätigungsarm 38 vom Stellglied 36 und das Verbinden einer Kurbel oder eine funktionell ähnliche Vorrichtung beschrieben Drehausgang, in dem Antriebspfad zwischen dem Stellglied und der Rotorwelle 10. Der Kurbel wandelt die Drehung der Rotorwelle 10 eine Hin- und Herbewegung des Betätigungselements 30. In diesem Fall ist die Rotorwelle 10 ist drehbar in jeder Richtung durch die Energiequelle angetrieben wird, und die Ausgabe wird auf den Arm 38 hin und her, die antriebsmßig verbunden bleibt getroffen auf die Schwingarme 20, 22 und 24. Die Hubmagnete 50, 51 und 52 treiben die Schwingarme 20, 22 und 24.

In der
perspektivischen Querschnittsansicht in Fig.15
gezeigt, ein Außengehäuse 160
enthält einen Motor gemäß der vorliegenden Erfindung funktioniert im
Wesentlichen die gleiche wie die Ausführungsform der in Fig.1A und Fig.1B gezeigt effizienter Motor, aber mit einer
kommerziellen Aussehen. Der Rotor
besteht aus Scheiben 162 und 164,
die von einer äußeren Trommel 166
aus nicht magnetischem Material miteinander verbunden sind. Die Oberseite 167 der Trommel 166 bildet eine magnetische Abschirmung der den Rotor umgibt. Auf
der unteren
Hubkolben 184, der sich vertikal bewegt, aber sich nicht dreht, unterstützt Hubmagneten 186, deren Referenz Pol 188 und Gegenpol 190 winklig um die Achse des Kolbens 184.
Ein Solenoid 192, vergleichbar mit Magneten 90 des in Fig.8 dargestellten Stellglied 36, ist angrenzend an ein Solenoid 194, vergleichbar mit Magnetspule 74 von Fig.4 und Fig.5 befindet. Die Polarität des Magneten 194 wechselt sich der Rotor dreht. Einfach gesagt, als eine Folge des wechselnden Polarität des Elektromagneten 194, der hin- und hergehende Kolben 184 hin und her bewegt, der wiederum weiterhin um die Rotor effizienter Voraus über die Anziehungs- und Abstoßungskräfte zwischen den Hubmagneten 186 und Rotormagnete 168, 170, 174 und 176, wie oben in einem der verschiedenen Ausführungsformen, die Abbildungen Fig.2, Fig.3, Fig.9, Fig.10, Fig.11, Fig.13 und Fig.14 beschrieben und gezeigt. Natürlich, wie der wechselnden Polarität des Elektromagneten kann den Motor in Bewegung die Drehung des Rotors gebracht, so können sie, wie oben beschrieben. Ein Fotosensor 196 und der Sensorring 198 verwendet werden kann, als eine Alternative zu der in Fig.4 auf Fig.7 beschriebenen mechanischen Ausführungsform, um die Winkelposition des Rotors zu bestimmen, um die Polarität des Elektromagneten 194 mit dem Rotor zu wechseln, um korrespondieren mit der in Fig.12 gezeigten Phase und Zyklus.
US Patent 5.455.474 3. Oktober 1995 Erfinder: Charles
Flynn
MAGNETISCHER
MOTOR KONSTRUKTION
Dieses Patent gibt Details eines Permanentmagnetmotors, Elektromagneten Abschirmung verwendet, um eine kontinuierliche Drehung zu erzielen. Die Eingangsleistung ist sehr klein und sogar eine 9-Volt-Batterie in der Lage, den Motor zu betreiben. Die Ausgangsleistung ist erheblich und der Betrieb bis zu 20.000 Umdrehungen pro Minute möglich ist. Bau ist auch sehr einfach und innerhalb der Fähigkeiten des durchschnittlichen Heimwerker. Es sollte klar sein, daß die Kraft dieses Motors kommt von den Permanentmagneten und nicht vom kleinen Batterieeingang zum Lock-up der Magnetfelder zu verhindern.
ZUSAMMENFASSUNG
Die vorliegende Erfindung ist ein Motor mit Permanentmagneten positioniert, so dass es eine magnetische Wechselwirkung zwischen ihnen. Eine Spule in den Raum zwischen den Permanentmagneten angeordnet ist, verwendet, um die magnetische Wechselwirkung zu steuern. Diese Spule ist mit einer elektrischen Potentialquelle verbunden sind und gesteuerte Schalt so daß das Schließen des Schalters legt eine Spannung über der Spule und beeinflußt die magnetische Wechselwirkung zwischen den Permanentmagneten, um eine Drehbewegung der Abtriebswelle zu erzeugen.
US-Patent-Referenzen:
3096467 Brushless DC. motor with permanent magnet rotor July, 1963 Angus et al. 318/138
3569806 Starting Arrangement for Solid-State Motor March, 1971 Brailsford 318/254
3670189 Gated Permanent Magnet Motor June, 1972
3796039 Electric Micromotor March, 1974 Lucien 310/268
3883633 Commutatorless Motor May, 1975 Kohler 310/152
4151431 Permanent Magnet Motor April, 1979 Johnson 310/12
4187441 High-power-density Brushless DC Motor February, 1980 Oney 310/112
4758756 Vernier-type Electrodynamic Machine July, 1988 Pouillange 310/152
4875110 Rotary-head Apparatus with Motor Magnet October, 1989 Kazama 310/268
4972112 Brushless DC Motor November, 1990 Kim 310/181
5179307 Direct Current Brushless Motor January, 1993 Porter 310/268
Ausländische Referenzen:
DE210005 July, 1960 310/181
JP0025153 February, 1982 310/181
JP01521078 September, 1982 310/152
JP0002840 January, 1987 310/152
HINTERGRUND DER ERFINDUNG
Die vorliegende Erfindung ist eine Verbesserung gegenüber den in den Patentanmeldungen 07 / 322.121 und 07 / 828.703 offenbarten Erfindungen. Die in diesen Anmeldungen offenbarten Vorrichtungen beziehen sich auf Mittel, um nützliche Energie zu erzeugen unter Verwendung von Permanentmagneten als Antriebsquelle. Dies gilt auch für die vorliegende Erfindung, die eine wichtige Verbesserung gegenüber den bekannten Konstruktionen und eine, die einfacher zu konstruieren ist repräsentiert, dazu gebracht werden, selbst ab sein, ist leichter einzustellen, und ist es weniger wahrscheinlich sich verstellen. Die vorliegende Konstruktion ist auch relativ einfach zu steuern, ist relativ stabil und erzeugt eine erstaunliche Menge an Ausgangsenergie unter Berücksichtigung der Quelle der Antriebsenergie, die verwendet wird. Die vorliegende Konstruktion ermöglicht die Verwendung von Permanentmagneten als Quelle für Antriebsenergie, zeigt jedoch ein neuartiges Mittel zur Steuerung der magnetischen Wechselwirkung zwischen den Magnetelementen in einer Weise, die relativ robust ist, erzeugt eine erhebliche Menge an Ausgangsenergie und Drehmoment, und in einer Vorrichtung geeignet ist, verwendet werden, um erhebliche Mengen an Energie, die für viele verschiedene Zwecke zu erzeugen.
Die vorliegende Erfindung betrifft eine feste Tragstruktur mit einer oder mehreren festen Permanentmagnete wie etwa ein ringförmiger Permanentmagnet auf sie mit den Polflächen des Permanentmagneten an gegenüberliegenden Seiten des Magneten befestigt ist. Die Vorrichtung hat eine oder mehrere relativ flachen Spulen um den Rand einer der Seiten des Magneten positioniert sind, und eine Welle durch den Permanentmagneten mit einem oder mehreren anderen Permanentmagneten es angebracht ist, erstreckt. Die beabstandeten Permanentmagneten und der feste Permanentmagnet haben ihre Polaritäten angeordnet, um eine magnetische Wechselwirkung zwischen ihnen zu erzeugen. Die Vorrichtung umfasst auch einen Schaltkreis zum selektiven und sequentiellen Erregen der Spulen, um die magnetische Wechselwirkung zwischen den Magneten in einer derartigen Weise zu steuern, um die Drehung zwischen ihnen zu erzeugen. Verschiedene Verfahren können verwendet werden, um die Anwendung von Energie an die Spulen mit einem Timer oder einem Kontrollmechanismus, der auf der Drehwelle montiert zu steuern. Dieses Design kann unternommen werden, um selbststart sein oder mit anfänglicher Hilfe gestartet werden, um die Drehung zu etablieren.
OBJEKTE DER ERFINDUNG
Es ist eine Hauptaufgabe der vorliegenden Erfindung, die Konstruktion und den Betrieb einer relativ einfachen, motorähnlichen Vorrichtung unter Verwendung von Permanentmagneten in einer einzigartigen Weise, um eine Dreh- oder anderen Bewegungsformen erzeugen zu lehren.
Eine weitere Aufgabe ist es, die Konstruktion und den Betrieb einer relativ einfachen, motorähnlichen Vorrichtung zu lehren, die neue Mittel zum Koppeln und / oder Entkoppeln relativ zueinander beweglichen Permanentmagneten, um eine Bewegung zu erzeugen.
Eine weitere Aufgabe ist es, neue Mittel zum Steuern der Kopplung und Entkopplung der relativ zueinander beweglichen Permanentmagneten.
Ein weiteres Ziel ist die Erzeugung von Rotationsenergie weniger kostspielig und zuverlässiger zu machen.
Eine weitere Aufgabe ist es, eine neue Art der Erzeugung von Energie durch Variieren magnetischen Wechselwirkungskräfte zwischen den Permanentmagneten zu lehren.
Eine weitere Aufgabe ist es, einen kostengünstigen Weg zur Herstellung von Energie zur Verfügung.
Eine weitere Aufgabe ist es, eine Ersatzenergiequelle für den Einsatz in Umgebungen, wo konventionelle Motoren, Generatoren und Motoren eingesetzt werden.
Diese und andere Aufgaben und Vorteile der vorliegenden Erfindung werden nach Betrachtung der folgenden ausführlichen Beschreibung von bevorzugten Ausführungsformen in Verbindung mit den beigefügten Zeichnungen.
KURZE BESCHREIBUNG DER ZEICHNUNGEN

Fig.1 ist eine Seitenansicht einer magnetisch angetriebenen Vorrichtung gemäß der vorliegenden Erfindung konstruiert.

Fig.2 ist eine Explosionsansicht der Vorrichtung in Fig.1 gezeigten.

Fig.3 ist eine fragmentarische Seitenansicht einer der beweglichen Magneten und des feststehenden Magneten, in einer Position der Vorrichtung.

Fig.4 ist eine Ansicht ähnlich Fig.3, welche die Beziehung zwischen den anderen beweglichen Magneten und des feststehenden Magneten in der gleichen Drehposition der Vorrichtung, aber.

Fig.5 ist eine Teilansicht ähnlich Fig.3, die jedoch eine Abstoßung Wechselwirkung zwischen den relativ zueinander beweglichen Permanentmagneten.

Fig.6 ist eine Ansicht ähnlich der Fig.4 für die in Fig.5 gezeigten Zustand.

Fig.7 ist eine Seitenansicht, die ein weiteres Ausführungsbeispiel, das in der Lage ist, auch größere Energie und Drehmoment.

Fig.8 ist eine Teilansicht ähnlich Fig.3 für die Vorrichtung der Fig.7.

Fig.9 ist eine Ansicht ähnlich der Fig.4 für die in Fig.7 gezeigte Konstruktion.

Fig.10 ist eine Ansicht ähnlich Fig.3 für die in Fig.7, aber mit der Polarität einer der festen Permanentmagnete vertauscht gezeigten Vorrichtung.

Fig.11 ist eine Teilansicht ähnlich der Fig.4 für die Vorrichtung, wie in Fig.7 und Fig.10 gezeigten.

Fig.12 ist eine Seitenansicht einer weiteren Ausführungsform der Vorrichtung.

Fig.13 ist ein schematisches Schaltbild der Schaltung für die Vorrichtungen der Fig.1, Fig.7 und Fig.12.

Fig.14 ist eine perspektivische Ansicht einer anderen Ausführungsform.

Fig.15 ist eine vereinfachte Ausführungsform der Vorrichtung, die die Verwendung von einem rotierenden Magneten und eine Spule in der Ebene zwischen den rotierenden und stationären Magneten positioniert.

Fig.16 ist eine vereinfachte Ausführungsform der Vorrichtung, die Verwendung eines beweglichen Magneten und drei Spulen in einer Ebene angeordnet zu sein, zwischen dem rotierenden und dem stationären Magneten.

Fig.17 ist eine Seitenansicht einer Luftspule mit einer Spannung über diese angelegt und zeigt in gestrichelten Linien das Feld der Spule.

Fig.18 ist eine Ansicht ähnlich Fig.17, zeigt aber die Luftspule, die benachbart zu einer Seite eines Permanentmagneten, welche in gestrichelten Linien das magnetische Feld des Permanentmagneten ohne elektrisches Potential über der Luftspule angewendet.

Fig.19 ist eine Seitenansicht ähnlich zu Fig.18 mit einem elektrischen Potential über der Luftspule aufgebracht, welche in gestrichelten Linien die Form des elektrischen Felds der Luftspule und dem Magnetfeld des Permanentmagneten.

Fig.20 ist eine Seitenansicht ähnlich zu Fig.19, zeigt jedoch eine zweite Permanentmagnet oberhalb des ersten Dauermagneten angeordnet und zeigt in gestrichelten Linien die magnetischen Felder der beiden Permanentmagnete, wenn kein elektrisches Potential über der Luftspule verbunden.

Fig.21 ist eine Ansicht ähnlich zu Fig.20, aber mit den Permanentmagneten in einer anderen relativen Position und mit einer über der Luftspule angelegten Spannung, wobei die Ansicht, die die Formen der elektro-magnetische Feld der Luftspule und die modifizierten Formen des magnetischen Felder der zwei Permanentmagneten; und



Fig.22 bis Fig.25 sind ähnlich den Fig.21 und zeigt den elektromagnetisches Feld der Luftspule und die Magnetfelder der Magnete in vier unterschiedlichen relativen Positionen der Permanentmagnete.
DETAILLIERTE BESCHREIBUNG
In
den Zeichnungen bezeichnet die Zahl 10
bezieht sich auf eine Vorrichtung gemäß der vorliegenden Erfindung aufgebaut
ist. Die Vorrichtung 10 enthält eine feststehende
Basisstruktur mit einer oberen Platte 12,
einer unteren

Auf
der oberen Platte 12 montiert ist,
einen festen Permanentmagneten 24
gezeigten ringförmigen Gestalt, die seine Nordpol angrenzend an die obere
Oberfläche der Platte 12 und seinem
Südpol abgewandten Platte 12.

Mit
Bezug auf Fig.2 wird der
Permanentmagnet 24 gezeigt, der
sieben Spulen 26-38 montierten Flach
auf seiner Oberseite. Sieben Windungen dargestellt sind, und die Spulen 26-38 haben elektrische Verbindungen
durch die Platte 12 mit anderen
Schaltungselementen, die später in Verbindung mit Fig.13 beschrieben wird, hergestellt. Ein weiteres Element 40 ist auf der oberen Fläche der unteren
Eine
Welle 44 (gezeigt vertikal halber
orientiert) durch fluchtende Löcher in den Elementen 42, 12 und 24. Das untere Ende der Welle 44 wird auf die Platte 46,
die ein Paar von gekrümmten Öffnungen 48
und 50 aufweist, verbunden mit jeder gezeigten diametral erstreckt anderen,
etwas von der Kante der Scheibe 46. Der Zweck dieser Öffnungen 48 und 50 wird später erklärt werden.
Welle
44 ist an eine weitere Scheibe 52, die auf der Welle angeordnet ist,
um angrenzend an die Spulen 26-38
positioniert werden verbunden. Scheibe 52
hat ein Paar von Permanentmagneten 54
und 56 angebracht oder in sie diametral entgegengesetzt zueinander
positioniert. Magneten 54 und 56 haben ihre Nord- und Südpole
ausgerichtet, wie in Fig.2 gezeigt,
dh mit an ihren Unterseiten und ihre Südpole an den Oberseiten gezeigten
Nordpole. Dies geschieht so, dass es die
gegenseitige magnetische Anziehung und Kopplung zwischen den Magneten 54 und 56 und dem feststehenden
Magneten 24. Die Polung der Magnete 54 und 56 und / oder des Magneten 24 kann auch, wenn für einige Zwecke erwünscht umgekehrt werden
kann produzieren relative magnetische Abstoßung zwischen ihnen.
Unter
erneuter Bezugnahme auf Fig.2, ist
die untere
Wenn
eine Spule ist auf der Oberseite einen Permanentmagneten, wie Permanentmagnet 24 befestigt und es erregt, um den Fluß
in einer symmetrischen Magnetfeldes, was zu einem nicht-symmetrischen Bereich
zu konzentrieren, wenn ein weiterer Permanentmagnet ist über der Spule auf dem
Magneten 24. Diese Ergebnisse wirkt in unebenen oder
ungleichmäßige Kräfte erzeugt werden, wenn die Spule erregt wird, und dies
bewirkt ein Drehmoment zwischen den zwei Permanentmagneten, die an einer der
Permanentmagnete relativ zu dem anderen zu bewegen versucht.

Fig.3 zeigt die Position, wenn einer der Magnete 54 ist unmittelbar über eine der Spulen, beispielsweise Spule 26. In dieser Position würde es magnetische
Kopplung zwischen den Magneten 54 und 24
so lange wie es keine Spannung über der Spule 26 zu sein, wenn eine Spannung an die Spule 26 gelegt wird, beginnt die magnetische Kopplung zwischen den
Magneten 54 und 24, wo die Spule
angeordnet brechen. Dies bedeutet, dass, wenn es irgendeine entwickelte
Drehmoment, wird es zu beiden Seiten der Spule 26 entwickelt werden, ohne Erregung der Spule 26 wird es eine vollständige Anziehung zwischen den Magneten 24 und 54 und keine Drehkraft erzeugt
werden kann.

Bezugnehmend
auf Fig.4 wird die relative Position
der beweglichen Magnete 54 und 56 für
eine Position der Scheibe 52. Beispielsweise ist der Magnet 54 unmittelbar über der Spule 26 angeordnet gezeigt, während der
Magnet 56 wird beiderseits
Abschnitte der Spulen gezeigt 32 und 34.
Wenn in dieser Position die Spule 32 erregt wird, sondern die Spulen 34 und 26 nicht erregt sind, dann wird
die magnetische Kopplung zwischen dem Magnet 56 und der Magnet 24
wird in einer durch den Pfeil in Fig.4
dargestellt gezeigten Winkel ausgerichtet werden, und dieses attraktive
Kupplung wird dazu neigen, Scheibe 52
nach rechts zu bewegen. Da die Spule 26 nicht eingeschaltet ist, besteht
vollständige Kopplung zwischen den Magneten 54 und dem Magneten 24,
aber dies hat keine Wirkung, da es nicht eine Richtungskraft haben.
Gleichzeitig, Spule 38, die die
nächste Spule auf der sich der Magnet 54
bewegt, wird auch nicht eingeschaltet und so wird es keine Drehwirkung auf
Scheibe 52 haben, ist.
Als
Scheibe 52 weiter dreht, werden
verschiedene Spulen in der Gruppe 26-38
nacheinander erregt werden, um weiterhin eine Drehmagnetkopplungskraft zwischen
der Scheibe 52 und dem Magneten 24. Es sollte jedoch beachtet werden herzustellen,
daß das gesamte Drehkraft durch eine Wechselwirkung zwischen den
Permanentmagneten und keine Drehkraft wird von den Spulen oder durch andere Mittel
erzeugt wird. Die Spulen sind lediglich nacheinander erregt werden, um zu
steuern, wo die magnetische Wechselwirkung auftritt, und dies wird in einer
Weise durchgeführt, um Scheibe 52 zu
veranlassen, zu drehen. Es sollte auch
klar sein, dass ein, zwei oder mehr als zwei Permanentmagnete wie etwa die
Permanentmagnete 54 und 56 können
sich auf der rotierenden Scheibe 52
angebracht sein und die Form und Größe des sich drehenden Scheibe 52 kann entsprechend eingestellt
werden, um aufzunehmen die Anzahl der Permanentmagnete in ihm montiert ist. Auch kann Scheibe 52 aus einem nichtmagnetischen Material aufgebaut sein, die einzige
Anforderung ist, dass eine ausreichende Struktur vorgesehen, um die
Permanentmagneten während der Drehung zu unterstützen. Dies bedeutet, dass Scheibe 52 nicht notwendigerweise ausgebildet
rund sein, wie in der Zeichnung gezeigt.

Fig.5 und Fig.6 sind ähnlich wie Fig.3
und Fig.4 zeigen jedoch eine Konstruktion, bei der die Permanentmagnete 54 und 56 sind über schaltet, so daß,
anstatt ihren Nordpolen zugewandt Magneten 24
haben ihren Südpolen zugewandt Magneten 24,
sondern auf der gegenüberliegenden Seite der Spulen wie Spulen 26-38. Der Aufbau und der Betrieb der von Fig.5 und Fig.6 dargestellten
abgewandelten Vorrichtung ist ähnlich zu dem oben beschriebenen, außer daß
anstelle der Erzeugung magnetischer Anziehungskräfte zwischen den Magneten 54 und 56 und dem Magnet 24 magnetische Abstoßungskräfte erzeugt
werden, und diese Abstoßungskräfte können ebenfalls in einer ähnlichen Weise,
um die Drehung des Elements 52 zu
erzeugen, unabhängig von ihrer Konstruktion verwendet werden.

Fig.7 zeigt eine modifizierte Ausführungsform umfasst alle Elemente
angezeigt, die in Fig.1 und Fig.2
aber darüber hinaus hat eine zweite stationäre Permanentmagnet 102 wird über rotierende Scheibe 52 montiert und hat die
Spule-Mitglieder wie Spule Mitglieder 26A-38A
montiert an der Unterseite. Magnet 102 kann betreibt mit den Magneten 54 und
56 ähnlich wie der Magnet 24 und
in genau der gleichen Weise, die durch die Herstellung von Kraft der Anziehung
zwischen den Magnet-Mitgliedern oder durch die Herstellung von Abstoßung Kräfte
zwischen ihnen, jede verwendete relative Drehbewegung zwischen Rotor und Stator
zu produzieren ist. Es ist auch vorgesehen,
um den Bau in Fig.7 damit
produzieren gezeigt, Anziehung zwischen den Magneten 54 und 56 auf der einen Seite davon und kooperierenden Abstoßung
Kräfte Kräfte, die die Rotation erzeugen Kräfte produziert auf der
gegenüberliegenden Seite hinzufügen.

Fig.8 und Fig.9 sind ähnlich wie Fig.3
und Fig.4 zeigen jedoch die Beziehung zwischen den Magneten 54 und 56 und die Elemente 24 und 102 auf gegenüberliegenden
Seiten angeordnet. Diese Figuren zeigen eine Form der Wechselwirkung zwischen
den drehenden Magneten 54 und 56 und
den stationären Magneten 24 und 102
angeordnet, wie in Fig.7 gezeigt.
Bei dieser Konstruktion erzeugt das Gerät nur attraktive Drehkraft.

Fig.10 und Fig.11 sind ähnlich Fig.8
und Fig.9, außer daß in diesen Figuren sowohl Anziehungs- und
Abstoßungskräfte dargestellt ist in Verbindung mit den stationären Magneten auf
gegenüberliegenden Seiten der Drehmagneten erzeugt. Man beachte auch, daß die
Spulen auf gegenüberliegenden Seiten der Scheibe 52 erregt werden in einer anderen Anordnung erregt.

Fig.12 ist eine Seitenansicht ähnlich Fig.7,
zeigt aber die Art und Weise, in der mehrere stationäre und rotierende
magnetische Elemente, wie die Scheiben 24
und 102 können auf der gleichen Welle montiert sein, in fast jede Anzahl von
Grundeinheiten, die Menge des erzeugten Drehmoments zu erhöhen durch die
Vorrichtung. In Fig.12 kann dieselbe Stromquelle und die gleiche
Schaltungsanordnung verwendet, um die Fototransistoren und die
Infrarot-Strahler Energie werden. Je nachdem, ob Anziehung oder Abstoßung
Kräfte werden verwendet, um die Drehung oder eine Kombination aus ihnen zu
erzeugen, hängt von der Reihenfolge, in der die Windungen mit den stationären
Magnetelementen zugeordnet erregt werden, hängen.

Fig.13 ist ein Schaltbild für die in Fig.1 und Fig.2 gezeigten Vorrichtung,
die die Schaltungsverbindungen für die Spulen 26-38 und für die mit ihnen
verbundenen Schaltkreiselementen. Eine ähnliche Schaltung kann für die in Fig.7
und Fig.12 gezeigten Konstruktion verwendet werden. Die Schaltung umfasst auch
Verbindungen zu den verschiedenen Fototransistoren und Infrarotstrahler .
In
Fig.13 ist die Schaltung 120 mit einer Stromversorgung 122, die eine Batteriestromversorgung,
eine gleichgerichtete Stromversorgung Wechselstrom oder eine Wechselstrom- oder
gepulste Spannungsversorgung sein kann, gezeigt. Die positive Seite 124 der Stromversorgung 122 ist mit einer Seite von jeder der
Spulen 26-38, die Spule 26 und den mit ihr verbundenen
Schaltungen verbunden ist fett Umriss mit einer Seite eines Widerstands 128 und einer gezeigt und mit
Verbindungen gezeigt Seite der Fototransistoren 58-70. Die gegenüberliegende
Seite der Spule 26 ist mit einem
Anschluß des MOSFET 126. Die gegenüberliegende Seite des Widerstands 128 ist mit einer Seite der
Infrarotemitter 72 verbunden ist,
sowie auf die entsprechenden Seiten von allen der anderen Infrarotstrahler
verbunden 74-84. Die
gegenüberliegenden Seiten der Infrarotstrahler 72-84 werden durch Leitung 130
zu der negativen Anschlußseite 132
der Stromversorgung 122 mit der
Schaltung verbunden ist, wie gezeigt, sind die Infrarot-Strahler 72-84 sind alle kontinuierlich erregt
und erzeugen Licht denen von den jeweiligen Fototransistoren 58-70, wenn eine der Öffnungen 48 bzw. 50 läuft zwischen ihnen erfaßt
werden. Wenn dies geschieht, wird der entsprechende Fototransistor 58 leiten und damit wird eine positive
Spannung an die zugeordnete MOSFET 126
anzuwenden, Drehen des MOSFET auf, und daß die Spannung der Quelle 122 auch über der Spule 26. Die Schaltung dafür angewandt
werden ist von der Quelle 122 durch
die Spule 26, der durch den MOSFET 126 zu und durch die Leitung 134 zu der entgegengesetzten Seite der
Source 122. Wenn die
Versorgungsspannung an der Spule 26
angelegt wird, arbeitet sie zu begrenzen oder zu verhindern magnetische
Kommunikation zwischen welch auch immer einer der Magnete 54 oder 56 passiert, angrenzend an die Spule 26, die in dem Raum zwischen diesem Magneten 54 oder 56 und dem Magneten 24.
Diese Schaltung ist in Fettdruck in Fig.13 gezeigt ist, positioniert
werden. Durch richtiges Timing und die
Steuerung des Anlegens von Spannung an die verschiedenen Spulen 26-38 in der beschriebenen Weise kann
die magnetische Kopplung zwischen den Magneten 54 und 56 und den Magneten 24
genau kontrolliert werden und führen zu Winkel magnetische Anziehung zwischen
dem Magneten 54 (oder 56) und der Magnet 24, welche eckig Anziehung (oder Abstoßung) ist in eine Richtung,
Rotation der rotierenden Teile der Struktur angezeigt, die in Fig.1, Fig.2, Fig.7 und Fig.12 zu
verursachen. Es versteht sich, daß jede
der Wicklungen 26-38 wird in der
gleichen Weise gesteuert werden, das heißt, wird eine Spannung über sie zu
gegebener Zeit erscheinen, um die Richtung der magnetischen Kopplung Steuerung
vornimmt in einer Weise, um die Drehung zu erzeugen. Die rotierenden Teile
weiter zu drehen, und die Drehgeschwindigkeit kann in jedem gewünschten
Geschwindigkeit gehalten werden. Verschiedene Mittel können verwendet werden,
um die Drehgeschwindigkeit zu steuern, beispielsweise durch Steuern des
Zeitablaufs des Gleichstrom oder eine andere an die verschiedenen Spulen
angelegten Spannung, wie durch die Verwendung eines alternierenden oder
gepulsten Stromquelle anstelle einer Gleichstromquelle oder durch das Laden der
Vorrichtung um dessen Drehzahl zu begrenzen.
Es
ist besonders wichtig zu beachten, dass die erforderliche, um die betreffende
Vorrichtung erforderliche Energie ist minimal, da nur sehr wenig elektrische
Energie gezogen wird, wenn eine Spannung auf die verschiedenen Spulen angelegt
wird, wenn sie erregt sind.
Eine
bekannte Gleichung für herkömmliche Kraftwerke verwendet werden, ist:
Leistung
(in Watt) = Drehzahl x Drehmoment / 9,55
somit,
W = S x T / 9.55
Diese
Gleichung hat Anwendung in der vorliegenden Vorrichtung, da in der vorliegenden
Vorrichtung wird das Drehmoment als konstant angenommen werden, während die
Geschwindigkeit ist die Variable beschränkt. Die gleiche Gleichung kann
umgeschrieben werden:
T = 9.55 x W /
Diese
Gleichungen, wo zutreffend, dass die Geschwindigkeit zunimmt, in Watt, geteilt
durch die Drehmoment ebenso müssen jedoch um einen Faktor von 9,55. So, wenn
das Drehmoment konstant oder nahezu konstant, bei steigender Geschwindigkeit
muss die Leistung zu erhöhen und zu einem sehr schnellen Rate.
Es
sollte verstanden werden, dass die vorliegende Vorrichtung dazu gebracht
werden, eine beliebige Anzahl von in einer gestapelten Beziehung angeordnet
sind, um die Leistung zu erhöhen, (siehe Fig.12)
feststehenden und rotierenden Magneten haben, und es ist auch möglich, eine
beliebige Anzahl von Spulen montiert auf die verschiedenen stationären
Magneten. Bei den in den gezeigten Konstruktionen Fig.1, Fig.7 und Fig.12 sieben Spulen auf jeder der stationären
Magneten sondern montiert ist mehr oder weniger Spulen könnten auf jedem der
ortsfesten Magneten in Abhängigkeit von der Leistung und anderen Bedingungen
der Vorrichtung verwendet werden. Wenn die Anzahl der Spulen geändert wird die
Anzahl der Lichtquellen und Photodetektoren oder Transistoren ändern sich
entsprechend. Es ist auch wichtig zu beachten, dass der Zeitpunkt des
Einschaltens der verschiedenen Fototransistoren ist wichtig. Der Zeitpunkt
sollte so sein, dass in Fig.4
gezeigt ist, beispielsweise, wenn eine der Spulen, wie die Spule 32 erregt wird, um die Kopplung in
einer Richtung zwischen dem Magneten 56
und dem Magneten 24 zu verhindern,
die benachbarte Spule 34 nicht mit
Energie versorgt werden. Die Gründe dafür wurden bereits erläutert.

Fig.14 zeigt eine weitere Ausführungsform 140
des Motors. Diese umfasst einen stationären Permanentmagneten 142, die eine flache obere Oberfläche 144 aufweist und eine untere Oberfläche
146, die in Umfangsrichtung
schraubenförmig ist, so daß das Element 142
variiert in der Dicke von einem Ort maximaler Dicke bei 148 zu einer Stelle minimaler Dicke bei 150. Die Dicke des Elements 142
variiert einheitlich angezeigt. Nahe der Stelle des dicksten Bereich 148 des Permanentmagneten 142 und benachbart zu der Oberfläche 144 ist eine Luftspule 152 gezeigt ist, durch eine Mehrzahl
von Wicklungen gebildet ist. Ein Wellenelement 154 ist durch das Lager 156
gelagert ist, um eine Drehung relativ zu dem stationären Permanentmagnet 142 zu ermöglichen, und ist mit einer
drehenden Scheibe 158 verbunden Die
Scheibe beinhaltet vier beabstandete Permanentmagnete 160, 162, 164 und 166 angebracht oder in ihm. Die Permanentmagnete 160-166 sind so positioniert, drehen
nahe dem stationären Permanentmagnet 142,
aber mit der Spule 152 zwischen ihnen
angeordnet ist. Spule 152 ist in
einem Schaltkreis ähnlich dem in Fig.13
gezeigten, und so wird die Schaltung nicht erneut beschrieben verbunden.
Die
Prinzipien der Arbeitsweise der in Fig.14
gezeigten Vorrichtung 140 sind
ähnlich wie die oben in Verbindung mit Fig.1
und anderen Figuren beschrieben. Es ist
wichtig, zu beachten ist jedoch, daß die Permanentmagneten 160-166 drehen sich relativ zum Permanentmagneten 142 aufgrund des zunehmenden Kopplung
zwischen ihnen und den Dauermagneten durch die zunehmende Umfangsdicke des
Permanentmagneten. Somit das Element 158
im Gegenuhrzeigersinn jedes Mal einen der Magnete bewegt 160-166 in einer Position benachbart zu dem dicksten Abschnitt 148 des festen Dauermagneten 142 der Spule 152 wird Spannung haben über diese angelegt zu drehen, wie gezeigt
wird, und, andernfalls würde es eine Tendenz für das Element 158 zu stoppen oder um die Drehkraft zu
reduzieren. Um diese die Spule 152
zu überwinden, ist jedes Mal, wenn einer der Permanentmagneten 160-166 ist in der gezeigten Position
mit Energie versorgt. Die Drehscheibe 158
wird durch die Welle 154 an
rotierenden Scheibe 168, die vier
Öffnungen 170, 172, 174 und 176
entsprechend den Positionen der Permanentmagneten 160-166 aufweist, verbunden, so dass jedes Mal, wenn einer der
Permanentmagneten bewegt sich zu einer Position benachbart bis zum dicksten
Abschnitt 148 des stationären
Permanentmagnet 142 die Spule 152 erregt werden, und dies wird zu
reduzieren oder zu eliminieren, die Kopplung zwischen dem rotierenden und dem
stationären Magneten, die sonst die Drehabschnitte verlangsamen würde nach
unten.
Der
mit der Spule 152 angeschlossene
Schaltung enthält die gleichen oben in Verbindung mit Fig.13, die variierende eine Fotozelle 178, einen Infrarot-Sender 180
und ein MOSFET 182 in einem
Schaltkreis verbunden, wie es in Fig.13
gezeigt ist beschriebenen Grundelemente. Die Zeitsteuerung der Erregung der
Spule 152 ist wichtig und sollte so
sein, daß die Spule als die jeweiligen Dauermagnete 160-166 Übergang zu einer Position in Ausrichtung oder wesentlicher
Ausrichtung mit dem verdickten Abschnitt 148
des stationären Permanentmagnet 142
erregt.

Fig.15 zeigt ein Prinzip vereinfachten Form 190 der vorliegenden Vorrichtung, die ein Drehelement 52A mit einem einzigen
Permanentmagnetteil 54A darauf
montiert ist. Die Vorrichtung weist auch einen stationären Permanentmagnet 24A mit einer einzigen Luftspule 26A in dem Raum zwischen den Elementen 52A und 24A in der bereits
beschriebenen Weise angeordnet ist. Die Konstruktion 190 ist nicht selbstanlauf als die bevorzugten Ausführungsformen,
wie der Ausführungsform 10, aber die
Drehabschnitte kontinuierlich gedreht werden, nachdem die Vorrichtung als durch
manuelles Drehen des Drehabschnitte begonnen. Der Aufbau 190 wird andere Abschnitte, wie oben beschrieben, aber die Ausgabe
von der Konstruktion kleiner als der am Ausgang der anderen Konstruktionen
hergestellt werden.
Fig.16 zeigt eine andere vereinfachte Version 200 der Vorrichtung, wobei das Element 52B ist ähnlich wie die in Fig.15
gezeigten entsprechenden Drehelements 52A.
Die feste Struktur, die die Permanentmagneten 24B weist jedoch drei Wicklungen 26B, 28B und 30B, die in beabstandeten Intervallen benachbart zu
der oberen Oberfläche davon angeordnet ist. Die in Fig.16 gezeigte Konstruktion wird mehr Leistung als die in Fig.15, aber kleiner als die der
anderen Konstruktionen, wie sie in den Fig gezeigten Aufbau herzustellen. 1, 2, 7 und 12. Selbstverständlich sind auch viele andere
Variationen der Bauten in der Anmeldung gezeigt möglich, einschließlich
Konstruktionen mit mehr oder weniger Spulen, mehr oder weniger rotierenden
magnetischen Teile, mehr oder weniger rotierende Elemente, wie Scheibe 52 und mehr oder weniger stationären
Elementen wie Magnete 24 und 142.
Fig.17 bis Fig.25 einige der Unterstrich Prinzipien der
vorliegenden Erfindung veranschaulichen.

Fig.17 zeigt eine Luftkernspule 210,
im Raum positioniert ist, mit einem elektrischen Potential über diese angelegt.
Mit der angelegten Erregungsspannung, die elektro-magnetische Feld der
Luftspule 210 erstreckt sich im
Wesentlichen gleichmäßig in den Raum oberhalb und unterhalb der Spule, wie in
gepunkteten umrissen gezeigten.

Fig.18 zeigt die Luftspule 210
benachbart zu einer Seite (der Nordseite) des Permanentmagneten 212 positioniert, in Fig.18 keine Spannung über der
Luftspule 210 angelegt und damit die
Spule nicht ein elektromagnetisches Feld zu erzeugen, wie in Fig.17. Unter diesen Umständen hat die
Luftspule 210 keinen Einfluß auf das
Magnetfeld des Permanentmagneten 212
und dem Feld des Permanentmagneten wird im wesentlichen wie durch die
gepunkteten Umrisse in Fig.18
gezeigt.

Fig.19 ist ähnlich wie Fig.18,
außer daß in Fig.19 die Luftspule 210 hat ein elektrisches Potential über
diese angelegt und besitzt daher eine wiederum durch gestrichelte Linien
dargestellt aufgebaut elektromagnetisches Feld.
Die
elektro-magnetische Feld der Luftspule 210
modifiziert das Magnetfeld des Permanentmagneten 212 in der gezeigten Weise. Ist die Spule 210 ist in Kontakt mit platziert oder in der Nähe der Oberfläche,
des Permanentmagneten und wird erregt, so daß dessen Polarität entgegengesetzt
zu derjenigen des Permanentmagneten ist, dann wird das Feld erzeugt wird,
ähnlich wie in Fig.19 gezeigt. Man
beachte, dass das Feld der Spule 210
und das Feld des Permanentmagneten 212
direkt unterhalb der Luftspule 210
entgegen und wirken daher einander aufheben. Spule 210 würde definiert, um eine Gegenmagnetomotorische Kraft mit der
das Feld des Permanentmagneten 212
in der Abbruchbereich, wo die Luftspule 210
vorhanden wirkt und den Betrag des Feldes in den Bereich des Permanentmagneten 212, die abgebrochen wird, zu erzeugen
der Rest der Differenz der magnetomotorischen Kraft zwischen dem Bereich des Permanentmagneten
212 und der Gegenmagnetomotorische
Kraft der Luftspule 210 zu beachten,
dass, da das Feld des Permanentmagneten 212
ist nur in dem Bereich der Luftspule 210
geändert wird, die geometrische Eigenschaften des Magnetfeldes des
Permanentmagneten 212 kann selektiv
von der Größe des der Spule 210
verändert bezogen werden, wobei die Anzahl von Luftspulen 210 und die Menge an Gegenmagnetomotorische Kraft von der Luftspule
210 erzeugte.

Fig.20 ist ähnlich wie Fig.9, außer
daß ein zweiter Permanentmagnet 214
ist an einer Stelle oberhalb der Luftspule 210
beabstandet In Fig.20 keine Spannung
über der Luftspule 210 angelegt
positioniert und damit die Luftspule 210
kein elektro haben Magnetfeld. Somit Fig.20 zeigt nur die kombinierte
Einfluss der Felder der Permanentmagneten 212
und 214. Da die Permanentmagnete 212
und 214 sind so positioniert, daß ihre jeweiligen Nord- und Südpole sind
nahe beieinander, wird eine starke Anziehungskraft zwischen ihnen an der Stelle
der Luftspule 210.

Fig.21 ist eine Ansicht ähnlich Fig.20,
jedoch mit einem elektrischen Potential über der Luftspule 210 und mit dem oberen Permanentmagnet 214 nach links relativ zu seiner Position in Fig.20 verschiebbar eingesetzt. Man beachte, dass in Fig.21 die Form des elektro-magnetische
Feld der Luftspule 210 konzentriert
und etwas verschoben nach rechts und nach oben. Diese Verschiebung des elektro-magnetischen
Feldes konzentriert die magnetische Kopplung zwischen den Magneten 212 und 214 nach links, wodurch die
Erhöhung der Neigung des oberen Permanentmagnet 214 nach links zu bewegen. Eine
viel kleinere magnetische Kopplung tritt zwischen dem rechten Ende der
Permanentmagneten 212 und 214 und
damit die Kraft, die dazu neigt, den Permanentmagneten 214 nach rechts zu bewegen, ist viel geringer als die Kraft, die
dazu neigt, sie nach links zu verschieben. Dies wird durch die Größe der Pfeile in Fig.21 gezeigt illustriert.



Fig.22
bis Fig.25 vier
verschiedene Positionen des oberen Permanentmagneten 214 gegenüber dem unteren Permanentmagnet 212 in Fig.22 durch die
Position des oberen Permanentmagneten 214
relativ zu der Luftspule 210
befindet sich eine Konzentration des magnetischen Kopplungskraft dazu neigt, zu
bewegen der obere Permanentmagnet 214
nach links. Diese Kraft steigt in Fig.23
und Fig.24 bis der obere Permanentmagnet 214 die in Fig.25
gezeigte Stellung, in der alle der Magnetkupplung ist im wesentlichen vertikal
zwischen den Permanentmagneten 212 und
214, und in dieser Position ausgerichtet es wenig oder erreicht kein
Drehmoment infolge der Kopplung von Energie zwischen den Permanentmagneten 212 und 214 dazu neigt, sie relativ
zueinander zu bewegen.
Die Prinzipien, die in Fig.7 bis Fig.25 sind das Herzstück der vorliegenden Erfindung und
erklären, woher die Energie kommt von einer Relativbewegung zwischen den
Permanentmagneten zu erzeugen.
Die vorliegende Vorrichtung hat eine Anwendung für die unterschiedlichsten Zwecke und Anwendungen einschließlich fast jeden Zweck in dem ein Motor oder Motorantrieb erforderlich ist, und wo die Energiemenge und / oder erforderlich ist, um die Antriebskraft zu erzeugen, kann auf Null wenig variieren. Der Anmelder hat Vorrichtungen der in der Größenordnung von 20.000 Umdrehungen pro minute und mit erheblichen Drehmoment hierin beschrieben drehen kann mit sehr hoher Geschwindigkeit Typ. Andere geringere Geschwindigkeiten können ebenfalls hergestellt werden, und die erfindungsgemße Vorrichtung können, um selbst ab, da gilt für die in den Figuren gezeigten Konstruktionen werden Fig.1, Fig.2, Fig.7 und Fig.12. Aufgrund der wenig Leistung benötigt, um das Gerät zu betreiben Anmelder hat wie einer Neun-Volt-Batterie in der Lage den Betrieb derselben mit einer handelsüblichen Batterie.
US Patent 4.229.661 21.
Oktober 1980 Erfinder:
Claude Mead und William Holmes
KRAFTWERK
FÜR WOHNWAGEN
Hinweis: Dieses Patent ist kein freier Energie Patent, aber es muss für die Stromversorgung für die Menschen in einem Wohnwagen, die häufig off-grid die aber gelegentlich ist so positioniert, wo elektrische Netz vorhanden ist, einen Vorschlag für eine integrierte und praktisches System . Es beschreibt ein praktisches System für die Speicherung von Windenergie für die Hochleistungsstromversorgung, usw. von Interesse.
ZUSAMMENFASSUNG
Ein Kraftwerk für Wohnmobile, Wohnwagen und dergleichen, für den Fang von Low-Power-Windenergie, Speicherung der Energie in Form von Druckluft und liefert sie bei Bedarf in Form von elektrischen Haushaltsstrom . Die Vorrichtung umfasst eine Windturbine, die einen Luftkompressor, der einen Speicherbehälter speist antreibt. Falls erforderlich, wird die Druckluft treibt eine Turbine mit einem elektrischen Generator gekoppelt ist. Verschiedene Druckregler verwendet werden, um die Geschwindigkeit des Generators zu steuern. Die Windkraftanlage ist auch mit einer Lichtmaschine, die eine Bank der Batterien aufgeladen hält gekoppelt. Ein Gleichstrom Motor auf den Batterien läuft, wird verwendet, wenn erforderlich, um den Antrieb des Luftverdichters bei starkem oder langen Stromverbrauch zu steigern. Es ist vorgesehen zum schnellen Laden des Kraftwerks entweder aus einer Zufuhr von komprimierter Luft oder von einer Wechselstromquelle aus.
US-Patent-Referenzen:
2230526 Windkraftanlage Februar 1941 Claytor 290/44
2539862 druckluftbetriebenes Turbine Kraftwerk Januar 1951 Rauschen 290/44
3315085 Energieversorgung für Flugzeuge April 1967 Mileti Et Al. 290/55
3546474 Elektro-hydraulisches Getriebe macht Dezember 1979 DeCourcy Et Al. 290/1
4150300 elektrische und thermische System für Gebäude April 1979 VanWinkle 290/55
HINTERGRUND DER ERFINDUNG
Der aktuelle
Mangel an fossilen Brennstoffen und die öffentliche Sorge um die Qualität der
Umwelt haben eine eilige Suche nach alternativen Energieformen ausgelöst. Die
Erfassung und Nutzung der Sonnenenergie, und ihre Ableitung, Windkraft, ist das
Ziel der vielen neuen Erfindungen. Aufgrund der Ineffizienz der
Sammelvorrichtung und Speichermedien, hat die Verwendung dieser Energieformen
zu Low-Power-Briefpapier Anwendungen beschränkt. Dennoch sollten Windkraft
ausreichend für jede Anwendung sehr geringer Leistung oder eine kurze,
gelegentlich niedriger bis mittlerer Leistung der Energieversorgung erfordert.
Diese Umstände sind anzutreffen, zum Beispiel, in einem gekühlten
Eisenbahnwaggon, wo gelegentliche Ausbrüche von Energie werden benötigt, um das
Kühlsystem, um eine niedrige Temperatur im Auto zu halten laufen. Ähnliche
Verhältnisse sind in einigen mobilen Wohneinheiten wie zum Beispiel ein
Wohnwagen gefunden.
ZUSAMMENFASSUNG DER ERFINDUNG
Es ist dementsprechend eine Aufgabe der vorliegenden Erfindung, ein neues Kraftwerk für Wohnmobile zu schaffen, und dergleichen, die Windenergie, speichert sie in der Form von Druckluft erfasst, und liefert sie auf Anforderung in der Form von elektrischen Haushaltsstrom .
Eine weitere Aufgabe dieser Erfindung ist es, ein Kraftwerk, das umweltschädliche Stoffe keine Entladung nicht in die Atmosphäre.
Noch eine weitere Aufgabe der Erfindung ist es, ein Kraftwerk, das durch die Erfassung der Wirkung des Windes oder der Wirkung des Luftstroms, die durch die Bewegung des Fahrzeugs wieder aufgeladen werden kann.
Eine weitere Aufgabe der Erfindung ist es, ein Kraftwerk, das aus einer Haushaltsstrom Steckdose aufgeladen werden kann.
Es ist auch eine Aufgabe dieser Erfindung, ein Kraftwerk, das aus einer Druckluftquelle, wie sie in der Automobilservicestationen gefunden nachgefüllt werden kann.
Eine zusätzliche Aufgabe der Erfindung ist es, ein Kraftwerk, das als Reaktion auf ein sehr niedriges Niveau von Windenergie für eine kurze Zeitdauer ist.
Diese und andere Aufgaben werden durch ein Kraftwerk, das einen Windturbinen, die einen Luftkompressor umfaßt erreicht. Die Luftzufuhr des Kompressors wird im Tank gelagert und nach Bedarf verwendet werden, um eine Turbine zu aktivieren. Die Turbine, die ihrerseits mit einem Generator, der Haushaltsstrom erzeugt gekoppelt. Die Windkraftanlage wird auch Generatoren, die eine Reihe von elektrischen Batterien verbunden. Gelegentlich, wenn das Netzablauf erfordert, ist ein Motor auf den Akkubetrieb verwendet werden, um den Ausgang des Luftkompressors steigern. Es ist vorgesehen zum Antrieb des Verdichters von einer externen Wechselstromquelle hergestellt. Der Lufttank über einen separaten Einlass, durch den sie von einer Quelle von Druckluft aufgefüllt werden.
DIE ZEICHNUNGEN

Fig.1 ist die allgemeine Blockschaltbild des gesamten Kraftwerks;

Fig.2 ist eine Vorderansicht der Windkraftanlage und der mechanischen Kopplung mit der Antriebswelle;

Fig.3 ist eine Querschnittsansicht entlang der Linie 3-3 von Fig.2 mit den Propellerverbindungsmechanismus in der eingerückten Position aufgenommen;

Fig.4 ist eine Ansicht ähnlich der in Fig.3 veranschaulicht, die jedoch die Propellerverbindungsmechanismus in der ausgerückten Position.
BESCHREIBUNG DER BEVORZUGTEN AUSFÜHRUNGSFORM DER ERFINDUNG

Bezugnehmend nun auf Fig.1 ist dort eine schematische Darstellung der bevorzugten Ausführungsform der Erfindung gezeigt. Eine Windkraftanlage mit einem Propeller 1 und einer orthogonalen Kupplungsanordnung 2 treibt eine Welle 3 auf eine Fliehkraftkupplung 4. Diese Art der Kupplung ist so ausgelegt, um sich in Eingriff, wenn die Drehzahl der Antriebswelle 3 eine bestimmte minimale voreingestellte Grenze erreicht, verbunden. Die Platte der Kupplung wird zunächst zu einem Kompressor 5 und die zweite angeschlossen ist, um zwei Gleichstrom-Generatoren 6 und 7. Block 5 stellt einen adiabatischen Verdichter eine Eingangsantriebs von etwa einem Viertel PS erfordert.
Der Ausgang des Kompressors 5 wird durch ein Rückschlagventil in einer Rohrleitung 8 mit einem Tank 9 verbunden Einlassrohr geschützt und führt das Einlassrohr 9 mündet in einen Auffangbehälter 10 in der Lage hält 60 Gallonen von Druckluft unter einem Druck von maximal 200 Pfund pro Quadratzoll. Die Gleichstrom-Generatoren 6 und 7 liefern eine Reihe von elektrischen Batterien 23. Die Batterien speisen einen Gleichstrom Motor 16. Der Gleichstrom Motor wird wiederum mit einem zweiten Kompressor 17. Der zweite Kompressor 17 verbunden ist, ähnlich zu dem ersten Kompressor 5 und durchgeschaltet auf Leitung 18 zum Tank Einlassrohr 9. Ein dritter Kompressor 19 ähnlich zu dem ersten und dem zweiten Verdichter wird in den Tank Einlassrohr 9 durch das Rohr 20. Der dritte Kompressor 19 verbunden ist, durch einen Wechselstrommotor 21 angetrieben.
Ein Druckbegrenzungsschalter Anordnung 14 erfaßt den Druck in dem Aufnahmetank durch eine Leitung 13. Eine Hochdruck-Schalters in der Baugruppe 14 aktiviert wird, wenn der Haltetank die maximale sichere zulässigen Druck erreicht. Dieser Schalter über die Leitung 15 bewirkt, daß das Auskuppeln der Kupplung 4 und schaltet Gleichstrom Motor 16 und Wechselstrom Motor 21 ein zweiter Schalter in der Anordnung 14 wird aktiviert, wenn der Haltedruck unter einen voreingestellten Grenzwert.
Dieser zweite Schalter durch die Leitung 15 schaltet den Gleichstrom Motor 16. Es ist nun zu sehen, dass, wenn der Tankdruck unter dem untersten Grenzwert, der erste und der zweite Kompressor 15, 17 aktiviert werden. Wenn der Tankdruck über der niedrigsten vorgegebenen Grenze geht, wird nur der erste Kompressor 5 aktiviert werden. Wenn der Haltetankdruck die maximal tolerierbare Grenze erreicht alle Verdichter deaktiviert. Der Eingriff der Fliehkraftkupplung 4 auf einen Wert entsprechend der minimalen Leistung, die notwendig, um den ersten Kompressor 5 und die Gleichstrom-Generatoren 6 und 7 fahren Wenn die Geschwindigkeit des Windes fällt unter diesen Pegel gesetzt ist, wird die Welle 3 freies laufen.
Der Sammeltank 10 weist einen separaten Einlaß 11 durch ein Rückschlagventil 12. Der Vorratstank ist mit einer Turbinenspeisetank 30 durch die Leitung 24 durch das Ventil 25. Der Turbinenspeisetank 30 ist mit dem Einlass einer Turbine 33 durchgeschaltet gesteuert geschützt Rohr 31 durch das Ventil 32. Die Turbine 33 gesteuert wird durch die Ausdehnung des von der Turbine Zuführtank 30. Die Turbine 33 zugeführte Druckluft angetrieben ist ähnlich zu der Druckluft-Motoren in bestimmten Impaktoren und Bohrer verwendet. Die Turbine treibt einen Wechselstromgenerator 35 entwickelt, um rund fünf Kilowatt Haushaltsstrom bei 60 Hz und 110 Volt liefern. Die Turbine wird durch Betätigung des Ventils 32 durch einen Ein / Aus-Schalter 36. Die Drehzahl der Turbine 33 wird durch den Druck des in der Turbine Tank 30 angesammelte Luft bestimmt gesteuert gedreht wird der Druck durch den Sensor 27 an die angeschlossenen wachten Turbinenvorlagebehälter 30 durch Rohr 26 Sensor 27 enthält eine Reihe von oberen und unteren Grenzwert. Wenn die Turbine Zuführtank Druck unter den unteren Grenzwert, wird das Ventil 25 über die Steuerleitung 28 geöffnet, wenn der Druck in dem Turbinenspeisetank 30 den oberen Grenzwert erreicht, wird das Ventil 25 geschlossen ist. Die Ober und Untergrenze der Sensoren 27 sind nicht festgelegt, aber mit geringfügigen Veränderungen in Reaktion auf die Drehzahl der Turbine 33.
Die Drehzahl der Turbine 33 und des Generators 35 wird durch den Geschwindigkeitssensor 34 überwacht die Ausgabe des Geschwindigkeitssensors 34 ist umgekehrt proportional zu der Geschwindigkeit der Turbine 33. Der Geschwindigkeitssensor-Signal 29 zugeführt wird, wenn der Ausgangssensor 27 Frequenz des Generators 35 weicht von der erforderlichen 60 Hz, werden die oberen und unteren Grenzwerte des Sensors 27 entweder erhöht oder verringert. Wenn die Drehzahl des Generators wird durch eine Erhöhung in den Laststrom verlangsamt, werden die oberen und unteren Grenzwerte der Sensor 27, um den Druck im Turbinenzulaufbehälter 30. Die Turbine 33 wird die Druckänderung durch zunehmende reagieren erhöhung seine Drehzahl. Der Ausgang des Generators 35 ist für den Gebrauch durch die Leitungen 38 und 40 durch einen Schalter 37 gesteuert wird.
Der Druck in dem Haltebehälter 10 kann aus zwei externen Quellen erhöht werden. Erstens kann Druckluft durch den Einlass 11. Sekunde eingeführt werden, der Wechselstrommotor 21 kann an eine externe Quelle für elektrische Energie durch die Leitungen 39 und 40 durch den Schalter 37 gesteuert werden, die externe Stromquelle kann auch mit einem Batterieladegerät 22 angewendet werden das liefert die Reihe von Batterien 23. In einer alternativen Version der bevorzugten Ausführungsform wird vorgeschlagen, daß ein Wechselstrom / Gleichstrom-Wandler 41 verwendet, um den Gleichstrom der Motor 16 von der externen Stromversorgung zu steuern. In einem solchen Fall wird der Wechselstrommotor 23 und dem dritten Kompressor 19 nicht notwendig sind.
Das Kraftwerk gerade beschrieben ist in erster Linie entwickelt, um an Bord eines Wohnwagen installiert werden. Das Kraftwerk wird Wind ("äolisch") Energie in den Zeiträumen, wenn der Wind weht oder der Anhänger in Bewegung zu akkumulieren. Die Energie wird in zwei Formen gespeichert. Zuerst wird es in der Form von Druckluft in den Vorratsbehälter 10. Sekunde gespeichert wird, wird es in Form von Gleichstrom in der Reihen von Batterien 23 gespeichert wird Beide Speichermedien sind ökologisch sauber. Darüber hinaus kann das elektrische System die Leistung des Druckluftsystems bei starkem Stromverbrauch oder längere Nutzung zu steigern. Für zusätzlichen Komfort kann das System von einem externen elektrischen Energiequelle wie einer Steckdose oder aus einer externen Druckluftquelle, wie sie in Tankstellen gefunden für den Einsatz von Fahrzeugführern betankt werden. Es sollte auch beachtet werden, dass dieses Kraftwerk vielseitig ist, daß sie nicht nur aus der Bewegung von Fluiden, wie Luft oder Wasser, aber auch aus der Bewegung des Fahrzeuges angetrieben werden kann. Im letzteren Fall würde die Welle 3 unmittelbar an dem Rad des Fahrzeugs gekoppelt werden.

Unter Bezugnahme auf Fig.2 bis Fig.4 ist die Details der Propeller 1 und Koppelfeld 2 dargestellt Der Propeller ist durch die Tatsache, dass es vor platzt der Wind, der das Gerät beschädigen können, geschützt bemerkbar. Die Nabe 45 des Propellers 1 ist auf einer Welle 46 mittels einer konischen Spindel 46. Die Nabe hat einen zentralen Hohlraum 51 passend zum Umriß der Spindel 47. Die Nabe 45 ist gegen die Spindel gehalten wird mittels einer Schraubenfeder 48 montiert ist ruht gegen einen einstellbaren Anschlag 49. Ein Überschuß der Druck des Windes vor dem Propeller 1 wird die Nabe 45 zurück gegen die Feder 48 gezogen werden, zu verursachen, löst es von der Spindel 47. An diesem Punkt der Propeller 1 wird frei ohne Antreiben zu drehen die Welle 46. Der Druck der Schraubenfeder 48 kann durch Drehen des Rings 50 um den Gewindebasis des Anschlags 49 eingestellt werden.
Die verschiedenen mechanischen und elektromechanischen Komponenten des Kraftwerks, wie die Fliehkraftkupplung, Kompressoren, Generatoren, Turbinen, Ventile und druckaktivierte Schalter sind dem Fachmann bekannt.
Der Geschwindigkeitssensor 34 kann mit einem elektronischen Integrator, dessen Ausgangssignal 29 Amplitude proportional zu der Frequenz des Wechselstrom-Generator 35. Das Signal 29 wird dann verwendet, um die Empfindlichkeit des Sensors zu modulieren Schalter 27. Diese Technik ist auch für den Fachmann bekannt sind, implementiert werden kann in elektromechanischen Technologie.
Patentanmeldung
WO2009065210 (A1) 28. Mai 2009 Erfinder: Richard Willis
ELEKTRISCHER
GENERATOR
Diese Patentanmeldung umfasst eine Vorrichtung, die dadurch gekennzeichnet ist, um eine wesentlich höhere Ausgangsleistung als die Eingangsleistung benötigt, um es auszuführen, und es keine beweglichen Teile hat.
ZUSAMMENFASSUNG
Einen elektrischen Generator, umfassend eine Induktionsspule mit einem ersten Magneten benachbart zu dem ersten Ende der Induktionsspule, so daß der in der elektromagnetischen Einflusses der Induktionsspule angeordnet sein, wenn es erregt wird, und zum Erzeugen eines Magnetfelds in der Umgebung von zumindest der ersten Stirn der Induktionsspule. Es ist auch ein zweiter Magnet in der Nähe des zweiten Ende der Induktionsspule, so daß in dem elektromagnetischen Feld der Induktionsspule sein, positioniert wird, wenn die Induktionsspule erregt ist, und zur Erzeugung eines Magnetfeldes um wenigstens das zweite Ende der Induktionsspule . Ein Stromeingangskreis versorgt die Induktionsspule. Ein Zeitgeber wird in der Stromeingabeschaltung, um die elektrischen Impulse erzeugen und die Steuerung ihrer Timing gesetzt. Ein Stromausgangsschaltung Leistung von der Induktionsspule.
GEBIET DER ERFINDUNG
Die vorliegende Erfindung bezieht sich auf einen Stromgenerator, und
insbesondere auf eine "over-unity" Stromgenerator.
HINTERGRUND
DER ERFINDUNG
Der Strom wird gewöhnlich in einer Anzahl von Weisen erzeugt werden, einschließlich fossiler Brennstoff versorgt elektroGeneratoren Kohle versorgt elektro Generatoren, Wasserströmung angetrieben elektroGeneratoren, Nuklearreaktortyp Generatoren und so weiter. In jedem Fall gibt es eine Reihe von Nachteilen, die mit diesen Methoden verbunden sind, insbesondere Ineffizienz und auch der Mangel an einer Stromquelle.
Kürzlich
magnetischen Generatoren entwickelt, die elektrische Energie aus dem Magnetfeld
der Erde zu produzieren. Grundsätzlich wird ein Eingangs Magnetfeld schnell
ein- und ausgeschaltet werden, oder alternativ mehr als ein Eingang Magnetfeld
selektiv ein- und ausgeschaltet werden, und zwar im Wechsel, um ein stärkeres
Magnetfeld in einer elektromagnetischen Vorrichtung, die selektiv an eine
elektrische verbunden ist beeinflussen Stromausgangsschaltung. Eine
resultierende elektrische Leistung in der Leistungsausgabeschaltung erzeugt.
Es sind auch magnetische Generatorschaltungen, die mehr elektrische Leistung als die, die an die Schaltung angelegt wird. Dies scheint zwar auf den Gesetzen der Physik zu widersprechen, es docs nicht, sonst, wie Magnetgeneratorschaltungen würde nicht funktionieren. Diese magnetischen Generatorschaltungen arbeiten, auf dem Grundprinzip, dass die Raum-Zeit-Kontinuum ist sehr energisch, einschließlich Energiefelder wie das Magnetfeld der Erde.
Es sollte verstanden werden, dass elektrische Felder und magnetische Felder nicht ein Eigenleben zu haben. Eine rein elektromagnetisches Feld in einem Koordinatensystem kann als ein Gemisch von elektrischen und magnetischen Feldern in einem anderen Koordinatensystem angezeigt. In anderen Worten, kann ein magnetisches Feld zumindest teilweise in ein elektrisches Feld, oder umgekehrt schalten.
Es ist auch bekannt, dass ein System, das weit vom Gleichgewicht der in ihm ist der Energieaustausch mit seiner Umgebung kann stetig und frei aufzunehmen Umweltenergie und dissipieren ihn in externen Belastungen. Ein solches System kann eine Leistungszahl ("COP") größer als 1. Bei einem COP von mehr als 1, eine elektrische Stromversorgungssystem muss eine zu nehmen, oder aller seiner Eingangsenergie, von seiner aktiven externen Umwelt haben. In anderen Worten, muss das System offen sein, um zu empfangen und Energie umwandeln von seiner äußeren Umgebung, im Gegensatz zu nur der Umwandlung von Energie von einer Form in eine andere.
Das US-Patent 6.362.718 am 26. März 2002 Patrick et al ausgestellt., Offenbart einen elektromagnetischen Generator ohne bewegliche Teile. Diese elektromagnetische Generator einen Permanentmagnet in einem rechteckigen ringförmigen Magnetkern mit einem magnetischen Pfad an einer Seite des Permanentmagneten, und einen zweiten magnetischen Pfad zu der anderen Seite des Permanentmagneten angeordnet ist. Ein erster Eingangsspule und einer ersten Ausgangswicklung erstrecken sich um Abschnitte des ersten magnetischen Pfad, wobei der erste Eingangsspule zumindest teilweise zwischen dem Permanentmagneten und der ersten Ausgangsspule positioniert. Ein zweiter Eingangsspule und eine zweite Ausgangswicklung erstreckt sich um Teile der zweiten magnetischen Pfad, wobei der zweite Eingangsspule zumindest teilweise zwischen dem Permanentmagneten und dem zweiten Ausgangsspule positioniert. Die Eingangsspulen alternativ durch eine Schalt- und Steuerschaltkreis getaktet und bieten induzierten Stromimpulse in den Ausgangsspulen. Antrieb elektrischer Strom durch jede der Eingangsspulen reduziert ein Niveau der Fluß von dem Permanentmagneten in der Magnetpfad, um die das Eingangsspule erstreckt.
In einer
alternativen Ausführungsform der Patrick et al elektromagnetischen Generator,
der Magnetkern enthält eine kreisförmige beabstandete Platten, mit Pfosten und
Permanentmagnete in abwechselnder Weise zwischen den Platten erstreckt. Eine
Ausgangsspule erstreckt sich um jeden dieser Beiträge. Eingangsspulen, der sich
um Abschnitte der Platten gepulst, um die Induktion von Strom in den
Ausgangsspulen verursachen.
Die offensichtlichen Problemen mit der elektrischen Magnetgenerator ist im US-Patent 6.362.718 offenbart erscheinen doppelte sein. Erstens ist es in der Herstellung teurer als nötig, da es vier Spulen. Zweitens, während es offenbar erreicht eine Leistungszahl von mehr als 3,0, ist eine viel größere Leistungszahl leicht erzielbar. Dies wird angenommen, daß dies auf die spezifische physikalische Konfiguration der Magnetpfade.
Es ist eine Aufgabe der vorliegenden Erfindung, einen elektrischen Generator mit einem Leistungszahl wesentlich größer als 1 ist.
ZUSAMMENFASSUNG
DER ERFINDUNG
In Übereinstimmung mit einem Aspekt der vorliegenden Erfindung wird eine neuartige elektrische Generator mit einer Induktionsspule bekannt. Es ist ein erster Magnet an dem ersten Ende der Induktionsspule positioniert ist, um in der elektromagnetisches Feld der Induktionsspule, wenn die Induktionsspule erregt ist, und zur Erzeugung eines Magnetfeldes um mindestens das erste Ende der Induktions Spule. Es ist auch ein zweiter Magnet in der Nähe des zweiten Ende der Induktionsspule positioniert ist, um in der elektromagnetisches Feld der Induktionsspule, wenn die Induktionsspule erregt wird, und zum Erzeugen eines Magnetfelds in der Umgebung zumindest das zweite Ende der Induktionsspule. Eine Stromeingangsschaltung Strom an die Induktionsspule. Ein Zeitsteuereinrichtung im Eingangsstromkreis, um elektrische Impulse zu schaffen, und zum Steuern des Zeitpunkts dieser elektrischen Impulse an die Induktionsspule hindurchgeführt wurde. Ein Stromausgangsschaltung Leistung von der Induktionsspule.
Weitere Vorteile, Merkmale und Eigenschaften der vorliegenden Erfindung sowie die Betriebsverfahren und Funktionen der zugehörigen Elemente der Struktur und die Kombination von Teilen und Wirtschaftlichkeit der Herstellung werden bei Betrachtung der folgenden detaillierten Beschreibung und desto deutlicher beigefügten Ansprüche unter Bezugnahme auf die beigefügten Zeichnungen, die hier beschrieben sind:
KURZE
BESCHREIBUNG DER ZEICHNUNGEN
Die neuen Merkmale, von denen angenommen wird gemäß der vorliegenden Erfindung
charakteristisch für den elektrischen Generator zu sein, da ihre Struktur,
Organisation, Verwendung und Betriebsweise, zusammen mit seinen weiteren
Aufgaben und Vorteilen, werden aus den folgenden Zeichnungen besser verstanden
werden, in denen eine bevorzugte Ausführungsform der Erfindung wird nun
beispielhaft veranschaulicht werden. Es ist ausdrücklich jedoch darauf
hingewiesen, daß die Zeichnungen nur zum Zweck der Veranschaulichung und
Beschreibung dienen und nicht als eine Definition der Grenzen der Erfindung
beabsichtigt sind. In den begleitenden Zeichnungen:

Fig.1 ist ein elektrisches
Schaltbild der ersten bevorzugten Ausführungsform des elektrischen Generators.

Fig.2 ist ein schematisches Blockdiagramm
der ersten bevorzugten Ausführungsform des elektrischen Generators des Fig.1.

Fig.3 stellt ein Oszilloskop Wellenform am Eingangsstromkreis nach dem Zeitmechanismus ergriffen.

Fig.4 stellt ein Oszilloskop Wellenform
am Ausgangsstromkreis vor der ersten Gruppe von Dioden unmittelbar nach der
Spule ergriffen.

Fig.5 ein Oszilloskop Verlauf am Ausgang Kraftschluss an der Last ist; und,
Fig.6 ist ein elektrisches Schaltbild des zweiten bevorzugten Ausführungsbeispiels des elektrischen Generators.
DETAILLIERTE BESCHREIBUNG DER BEVORZUGTEN
AUSFÜHRUNGSFORMEN
Bezugnehmend
auf Fig.1 bis Fig.6 der Zeichnung
ist ersichtlich, daß durch Fig.1 bis
Fig.5 veranschaulichen eine erste bevorzugte Ausführungsform des
Stromgenerators der vorliegenden Erfindung, und Fig.6 zeigt eine zweite bevorzugte Ausführungsform der sein
Stromgenerator gemäß der vorliegenden Erfindung.

Es wird nun auf die Fig.1 bis Fig.5, die eine erste bevorzugte Ausführungsform des elektrischen Generators der vorliegenden Erfindung zu zeigen, wie die durch die allgemeine Bezugsziffer erfolgen 20. Der elektrische Generator 20 weist eine Induktionsspule 30 mit einem ersten Ende, 31 und ein zweites Ende 32. Die Induktionsspule 30 weist vorzugsweise einen Kern 34, der aus irgendeinem geeigneten Typ von Material, wie Ferrit, Mu-Metall, Permalloy, Kobalt, jede nicht-permeablen Metallmaterial oder jede andere geeignete Art von Material hergestellt ist. Die Spule 30 ist mit Kupferdraht, der einen einzigen Größe oder mehreren Größen in Abhängigkeit von der Größe der Eisenkern 34 kann aufgewickelt.
Es ist ein erster Magnet 40 benachbart zu der Induktionsspule 30 angeordnet, vorzugsweise an dem ersten Ende 31, um innerhalb des elektromagnetischen Feldes der Induktionsspule 30, wenn die Induktionsspule 30 erregt wird. Der erste Magnet 40 ist ein Permanentmagnet seine Nord-Pol gegenüber dem ersten Ende 31 der Induktionsspule 30. In der ersten bevorzugten Ausführungsform, ist der erste Magnet 40 stationär in Bezug auf die Induktionsspule 30, und noch stärker bevorzugt ist in mit Verbindung zu treten, oder sogar gesichert 40. Der erste Magnet 40 ist das erste Ende 31 der Induktionsspule 30. Die Grße der Spule und der Kupferdraht verwendet, um die Spule zu wickeln auch von der Größe des ersten Magneten hängt es um ein Magnetfeld um zumindest das erste Ende 31 des ersten Magneten 30 zu schaffen.
Es gibt auch einen zweiten Magneten 50, die benachbart der Induktionsspule 30 angeordnet, vorzugsweise an dem zweiten Ende 32 der Induktionsspule 30, sondern in einem Abstand von etwa 1,0 cm oder so von dem Spulenkern 34, jedoch innerhalb des elektromagnetischen Feldes der Induktionsspule 30, wenn die Induktionsspule 30 erregt wird. Der Spalt zwischen dem zweiten Ende 32 der Induktionsspule 30 und dem zweiten Magnet 50 kann ein Luftspalt sein oder ein Vakuum sein.
Der zweite Magnet 50 ist ein Permanentmagnet, der es Nordpol, der dem zweiten Ende 32 der Induktionsspule 30. In der ersten bevorzugten Ausführungsform ist der zweite Magnet 50 stationär in Bezug auf die Induktionsspule 30. Die Grße der Spule, und der Kupferdraht verwendet, um sie aufzuziehen, hängt auch von der Größe des zweiten Magneten 50. Der zweite Magnet 50 ist dazu da, um ein Magnetfeld um zumindest das zweite Ende 32 der Induktionsspule 30 zu schaffen.
Wie aus Fig.1 ersichtlich ist, ist der erste
Magnet 40 positioniert, so dass es
Nordpol ist, der dem ersten Ende 31
der Induktionsspule und seinem Südpol ist abgewandt vom ersten Ende 31 der Induktionsspule 30.
Die erste End 31 der
Induktionsspule 30 erzeugt ein
Magnetfeld, wenn südafrika diese stromführend ist. Auf diese Weise wird der Nordpol des ersten
Magneten 40 und der Südpol des
ersten Endes 31 der Induktionsspule
gegenseitig anziehen.
In ähnlicher Weise, jedoch entgegengesetzt, wobei der zweite Magnet 50 ist so angeordnet, dass es Nordpol ist, der dem zweiten Ende 32 der Induktionsspule und seinem Südpol ist abgewandten zweiten Ende 32 der Induktionsspule 30. Das zweite Ende 32 des Induktionsspule 30 erzeugt ein Nord Magnetfeld, wenn die Induktionsspule 30 erregt wird. Auf diese Weise wird der Nordpol des zweiten Magneten 50 und der Nordpol des zweiten Endes 32 der Induktionsspule gegenseitig abstoßen.
Eine Leistungseingangsschaltungsabschnitt, wie durch das allgemeine Bezugszeichen 60 angedeutet, ist für die Stromversorgung der Induktionsspule und einer elektrischen Stromquelle 62. In der ersten bevorzugten Ausführungsform besteht, wie dargestellt, die Eingangsquelle der elektrischen Leistung 62 umfasst eine Gleichstrom Leistungsquelle, insbesondere einer Batterie 62, sondern zusätzlich oder alternativ einen Kondensator (nicht gezeigt). Die elektrische Energiequelle kann von weniger als 1,0 Volt, mehr als 1.000.000 Volt betragen und kann von weniger als 1,0 Ampere bis mehr als 1.000.000 Ampere reichen. Alternativ wird in Betracht gezogen, dass die Eingangsquelle der elektrischen Leistung kann mit einer Stromquelle (nicht gezeigt).
Eine Eingangsgleichrichter 64, der vorzugsweise, aber nicht notwendigerweise, einen Vollwellengleichrichter 64 weist einen Eingang 66, die elektrisch mit der elektrischen Stromquelle 62 verbunden und hat auch einen Ausgang 68. Eine erste Diode 70 wird an seinem positiven Ende 70a mit einem Anschluß 68a der Ausgang 68 des Gleichrichters 62. Eine zweite Diode 72 ist an seinem negativen Ende 72a zu dem anderen Anschluß 68b der Ausgang 68 des Gleichrichters 62 verbunden.
Es ist auch ein Zeitsteuermechanismus 80 in der Eingangsstromkreisabschnitt 60, der, wie gezeigt, ist elektrisch in Reihe mit der ersten Diode 70. Diese Zeitmechanismus angeschlossenen sowohl erzeugt elektrische Impulse und die Zeitsteuerung dieser elektrischen Impulse, die an die zugeführt werden Induktionsspule 30. Die Impulse sind im wesentlichen Sägezahn-Wellenformen, wie in Fig.3 zu sehen ist.
In der ersten
bevorzugten Ausführungsform ist die Zeitsteuereinrichtung 80 eine manuelle Zeitgeber in der Form einer Reihe von
"Punkten" von dem Zündsystem des Fahrzeugs, da sie Hochspannung und
hohen Stromstärken standhalten kann. Alternativ wird in Betracht gezogen, dass
der Zeitsteuerungsmechanismus könnte eine elektronische Zeitgeberschaltung
sein. Es wird auch erwogen, dass ein TGBT Einheit aus einem MIG-Schweißgerät
könnte als Basis der Zeitsteuereinrichtung 80. Es wurde festgestellt werden, dass eine
Zeitmessvorrichtung, die eine physikalische Unterbrechung in seiner
"Aus" Konfiguration stellt funktioniert gut als Streuströme nicht
ansetzen durch die Schaltung zu diesem Zeitpunkt. Der Zeitsteuermechanismus
kann jede geeignete Gestaltung aufweisen, solange sie an der Anordnung der
Magneten 50 in dem Rotor 52 in der zweiten bevorzugten
Ausführungsform in Fig.6 gezeigt
antworten.
Wenn die Vorrichtung in Gebrauch ist, sind die Magnetfelder, die durch den ersten Magneten 40 und zweiten Magneten 50 in Verbindung mit der Spule 30, die jeweils etwas Pilzform, und schwingt hin und her, in Bezug auf ihre Größe, in einer Weise entsprechend auf den Zeitpunkt der elektrischen Impulse von der Stromeingangsschaltung 60, wie durch den Zeitmechanismus 80 gesteuert.
Die Stromeingangsschaltung 60 weist einen Ein / Aus-Schalter 88 zum Abschalten der Energiezufuhr zu der Induktionsspule 30. Der erlauben Ein / Aus-Schalter 88 kann alternativ in einer anderen geeigneten Stelle in der Stromeingangsschaltung 60 angeordnet werden.
Leistungsausgabe-Schaltungsabschnitt, durch das allgemeine Bezugszeichen 90 angedeutet ist, um Leistung von der Induktionsspule und eine elektrische Last 92, die in der ersten bevorzugten Ausführungsform einer Batterie 92 ist, kann jedoch zusätzlich oder alternativ einen Kondensator (nicht gezeigt) oder irgendeine andere geeignete elektrische Lastvorrichtung.
Die Stromausgangsschaltung 90 hat auch einen Ausgangsgleichrichter 94 mit einem Eingang 96 ein Ausgangssignal 98, die elektrisch mit der elektrischen Last 92 verbunden über ein Paar von in Durchlaßrichtung vorgespannten Dioden 100a, 100b, die die elektrische Last 92 von der Stromversorgung der Induktionsspule 30. Ein verhindern erste Diode 102 ist elektrisch an seinem positiven Ende 102a mit einem Anschluss 94a der Eingang des Gleichrichters 94 verbunden und ist elektrisch mit seinem negativen Ende 102b an einem Ende der Induktionsspule 30. Eine zweite Diode 104 ist an seinem negativen Ende verbunden 104a mit dem anderen Anschluß 94b der Eingang des Gleichrichters 94 und ist elektrisch an seinem positiven Ende 104b mit dem anderen Ende der Induktionsspule 30. Der Ausgang der Spule, bevor die Dioden 102, 104 entnommen verbunden ist in Fig.4 gezeigt.
-------------------------------------------------------------
Hinweis: Es ist deutlich wahrscheinlicher, dass es einen
Schreibfehler in Fig.1, weil, wie es die Brücke Eingang gezogen wird, ist Punkt
98 und nicht 96, wie im Text angegeben. Wenn dies der Fall ist, dann sind die
zwei Diodenbrücken sind identisch und der Ausgangsabschnitt sollte so gezogen
werden:

obwohl es ist keineswegs offensichtlich, warum die Dioden 102
und 104 sind notwendig, da ihre Funktion scheint durch die
Ausgangsbrückendioden vorgesehen werden.
-------------------------------------------------------------
Die Ausgabe an die elektrische Last 92 von der Leistungsschaltung 90 kann von weniger als 1 Volt bis zu mehr als 1.000.000 Volt betragen und kann von weniger als einem Ampere bis mehr als 1.000.000 Ampere reichen. Wie aus Fig.5 ersichtlich, ist die Ausgabe an die elektrische Last 92 umfaßt allgemein spitzenförmige Impulse, die sowohl negative als auch positive Komponenten.
Wie leicht in Fig.1 und Fig.2 ersichtlich, ist der Eingangsstromkreis 60 ist elektrisch parallel mit der Induktionsspule 30 und der Ausgangsleistung Schaltungsabschnitt 90 ist elektrisch parallel mit der Induktionsspule 30 verbunden ist.
Die verschiedenen Dioden und Gleichrichter in dem elektrischen Generator 20 kann aus jedem geeigneten Spannung von ungefähr 12 Volt bis über 1.000.000 Volt sein und langsame Erholung oder eine schnelle Wiederherstellung zu haben, wie gewünscht. Ferner können die verschiedenen Dioden und Gleichrichter in anderen geeigneten Formaten konfiguriert werden. Es können auch zusätzliche Kondensatoren, um die Ausgangsleistung zu erhöhen, bevor das Abgas in die Ausgabeschaltung angrenzend an die elektrische Last 92 aufgenommen sein.
Es wurde festgestellt, dass die Festlegung des Zeitpunkts zu sechshundert Impulse pro Minute (10 Hz) stellt eine Wellenform in der Stromausgangsschaltung 90, die im Allgemeinen spitzenförmige Impulse mit einer Dauer von etwa 20 Nanosekunden aufweist. Es wird angenommen, daß der Fluß der Leistungsimpulse, die Eingaben in die Induktionsspule 30 sind schnell Verschiebung des Magnetfeldes in der Induktionsspule 30, die verwandt mit dem Fluß der Leistungsimpulse Schaffung eigener Echos hin und her. Die verschiedenen elektromagnetischen Schwingungen in der Spule eine sehr viel höhere Frequenz in der Leistungsschaltung 90 als in der Stromeingangsschaltungsabschnitt 60.

Jetzt wird auf Fig.6, verwiesen werden die eine zweite bevorzugte Verkörperung des elektrischen Generators der vorliegenden Erfindung, zeigt, wie durch allgemeine Referenz Ziffer 220 angezeigt. Der zweite bevorzugte Ausführungsform elektrische Generator ähnelt der erste bevorzugte Ausführungsform elektrische Generator 20 die zweite Magnet besteht aus mehreren beweglichen Magneten 250, in der Regel acht Dauermagneten 250. Diese Magnete sind montiert auf einem Rad 252, die ist frei zu drehen. Im Idealfall sind diese Magnete auf identische Weise zueinander auf die Rotor-Scheibe 252 montiert. Falls gewünscht, kann geeignete Anzahl von Magneten im Rotor montiert. Dementsprechend werden mindestens ein Rotor Magnet 250 in das elektromagnetische Feld der Induktionsspule 230, wenn die Spule aktiviert ist. Die Rotor-Magnete können ein geeigneter Stärke und jede geeignete Art von Magneten, und keineswegs geeignet, z. B. einen geeigneten Kleber auf den Rotator montiert ist oder Sie in die Scheibe geformt werden, wenn der Rotor aus Kunststoff gefertigt ist. In der Praxis wird die Rotor-Scheibe angetrieben Runde durch das Magnetfeld der Induktionsspule wenn es aktiviert ist. Es ist auch möglich, dass der erste Magnet für ein Rotor-Magnet in der gleichen Weise wie für den zweiten Magneten 250 beschrieben.
Wie aus der
obigen Beschreibung und von den begleitenden Zeichnungen verstanden werden
kann, bietet die vorliegende Erfindung einen elektrischen Generator mit einem
Coefficient of Performance größer als 1,0. und genauer gesagt, einen
elektrischen Generator hat eine Coefficient of Performance deutlich größer als
1,0. Ein elektrischer Generator, nachdem ein Coefficient of Performance
deutlich größer als 1,0 ist vorhanden, unbekannte in der vorherigen Technologie.
Graham Gunderson Festkörperstromerzeuger ist in der US-Patentanmeldung wie folgt dargestellt 2006/0163971 A1 vom 27. Juli 2006. Die Details sind:
ZUSAMMENFASSUNG
Festkörper-elektrische
Generator zumindest einen Permanentmagneten, der magnetisch mit einem
ferromagnetischen Kern mit zumindest einem
HINTERGRUND
Diese Erfindung bezieht sich auf ein Verfahren und eine Vorrichtung zur Erzeugung elektrischer Energie mittels Festkörper bedeutet.
Es ist seit langem bekannt, dass die Bewegung eines Magnetfeldes über einen Draht wird eine elektromotorische Kraft (EMK) oder der Spannung längs des Drahtes zu erzeugen. Wenn dieser Draht in einem geschlossenen elektrischen Stromkreis ein elektrischer Strom, der fähig ist zum Durchführen der Arbeit verbunden ist, wird durch diesen geschlossenen Kreislauf durch die induzierte elektromotorische Kraft angesteuert.
Es ist auch seit langem bekannt gewesen, daß diese sich ergebende elektrische Strom bewirkt, daß der geschlossenen Kreislauf mit einem sekundären, induzierte Magnetfeld, dessen Polarität entgegensetzt das primäre magnetische Feld, das zuerst die EMF induziert umkreist wird. Dieser magnetische Widerstand schafft gegenseitige Abstoßung als Drehmagnet-Ansätze wie ein geschlossener Kreislauf, und eine gegenseitige Anziehung als dieser beweglichen Magneten bewegt sich von dem geschlossenen Kreislauf. Diese beiden Maßnahmen sind in der Regel auf den Fortgang des beweglichen Magneten verlangsamen oder verursachen "ziehen", wodurch der elektrische Generator als eine magnetische Bremse, deren Wirkung ist direkt proportional zur Menge des elektrischen Stromes erzeugt handeln.
Historisch gesehen, Verbrennungsmotoren, Wasserkraftwerke und Wasserdampf zugeführt Turbinen wurden verwendet, um dieses Magnetbremswirkung, die in mechanische Generatoren tritt überwinden. Eine große Menge an mechanischer Energie erforderlich, um eine große Menge an elektrischer Leistung zu erzeugen, da die magnetische Brems ist im Allgemeinen proportional zu der Menge an elektrischer Energie erzeugt.
Es hat seit langem wurde die Notwendigkeit für einen Generator, der reduziert oder eliminiert die bekannten magnetischen Brems Interaktion, wobei dennoch die Erzeugung nützlicher elektrischer Energie. Die Notwendigkeit für eine bequeme, kostengünstige und leistungsstarke erneuerbaren Energiequellen bleibt dringlich. Wenn die magnetischen Felder in einem Generator in Bewegung versetzt und die Interaktion mit anderen Mitteln als mechanischen Kraft Einrichtung kann die elektrische Leistung, ohne die Notwendigkeit von raub begrenzten natürlichen Ressourcen geliefert werden, also bei weitem größere Wirtschaftlichkeit.
Zusammenfassung der Erfindung
Es ist seit langem bekannt, dass die Quelle des Magnetismus in einem Permanentmagnet ein Spinn elektrischer Strom innerhalb ferromagnetischen Atome bestimmter Elemente, persistierende unbestimmte Zeit in Übereinstimmung mit wohldefinierten Quantenregeln. Diese Atomstrom umgibt jedes Atom, wodurch jede Atom verursacht, um ein Magnetfeld zu emittieren, als Miniaturelektromagneten .
Diese Atomstrom nicht in Magneten allein existieren. Es besteht auch bei gewöhnlichen metallischen Eisen, und in jedem Element oder einer Metallegierung, die "magnetisiert" sein kann, das heißt, jedes Material, das Ferromagnetismus aufweist. Alle ferromagnetischen Atome und "magnetische Metalle" enthalten, wie Quantenatomelektromagneten .
In bestimmten ferromagnetischen Materialien ist die Orientierung Achse jedes Atomelektro flexibel. Die Orientierung des Magnetflusses sowohl innerhalb als auch außerhalb des Materials, schwenkt leicht. Solche Materialien werden als magnetisch "weich" bezeichnet wird, als Folge dieser Magnet Flexibilität.
Permanentmagnet-Materialien sind magnetisch "harte". Die Orientierungsachse jeweils anstelle innerhalb eines starren Kristallstruktur fixiert. Die von diesen Atomen hergestellt Gesamtmagnetfeld nicht leicht zu bewegen. Diese Einschränkung richtet den Bereich der gewöhnlichen Magneten dauerhaft, daher der Name "permanent".
Die Achse des Kreisstromfluss in einer ferromagnetischen Atom die Achse des Magnetismus in einem anderen ferromagnetischen Atom direkt, über ein Verfahren, wie "Spinaustausch" bekannt ist. Daraus ergibt sich eine weichmagnetischen Material, wie Roheisen, die nützliche Fähigkeit zu zielen, zu konzentrieren und leiten das Magnetfeld aus einem magnetisch harten Dauermagneten emittiert.
In der vorliegenden Erfindung wird starre Bereich ein Permanentmagnet ist in eine flexible magnetisch "weiches" magnetisches Material gesendet. offensichtlich Standort der Permanentmagnet ist, von den Punkten in der weichmagnetischen Material beobachtet wird, effektiv zu bewegen, vibrieren und scheinen Position zu verschieben, wenn die Magnetisierung der weichmagnetischen Material wird durch Zusatzmittel moduliert (ähnlich wie die Sonne, betrachtet unter Wasser, wird sich zu bewegen, wenn das Wasser gerührt wird). Durch diesen Mechanismus kann die für die Erzeugung von Elektrizität erfordert, Bewegung innerhalb eines weichmagnetischen Material hergestellt werden, ohne die physikalische Bewegung oder einen mechanischen Kraft.
Die vorliegende Erfindung fasst die virtuelle Bewegung der Magnete und ihre Magnetfelder, ohne die Notwendigkeit für mechanische Einwirkung oder bewegliche Teile, um die hier beschriebenen elektrischen Generator zu erzeugen. Die vorliegende Erfindung beschreibt einen elektrischen Generator, wo Magnetbrems als Ausdruck von Lenz Gesetz bekannt, sind nicht gegen die Mittel, mit denen die Magnetfeldenergie dazu gebracht wird, zu bewegen. Die synthetisierte magnetische Bewegung wird ohne mechanische oder elektrische Widerstand erzeugt. Dieses synthetisierte magnetische Bewegung durch Kräfte gemäß der Lenzschen Gesetz erzeugt unterstützt, um die Beschleunigung des synthetisierten magnetische Bewegung statt physische "Magnetbrems" zu produzieren, gemeinsam mechanisch betätigten elektrischen Generatoren. Aufgrund dieser neuartigen magnetischen Wechselwirkung ist die Festkörper statischen Generator der vorliegenden Erfindung eine robuste Generator und erfordert nur einen kleinen elektrischen Kraft zu betreiben.
Kurze Beschreibung der Zeichnungen
Die beigefügten Zeichnungen nur typische Ausführungsformen dieser Erfindung sind und daher nicht als ihren Umfang einschränkend sein, da die Erfindung andere gleichermaßen wirksame Ausführungsformen.

Fig.1 ist eine Explosionsansicht des Generators dieser Erfindung.

Fig.2 ist eine Querschnittansicht des Generators dieser Erfindung.

Fig.3 ist ein schematisches Diagramm der Magnetwirkung in dem Generator von Fig.1 und Fig.2 auftretenden.

Fig.4 ist ein Schaltungsdiagramm, welches ein Verfahren zum Betreiben des elektrischen Generators dieser Erfindung.
Detaillierte Beschreibung der Erfindung
Fig.1 zeigt eine teilweise auseinandergezogene Ansicht einer Ausführungsform eines elektrischen Generators dieser Erfindung. Die Teilenummern in Fig.2 und Fig.3 gelten auch.

Zeichen 1 ein Permanentmagnet mit es Nordpol nach innen in Richtung der weichen ferromagnetischen Kern des Gerätes. Ähnlich Ziffer 2 Permanentmagnete (vorzugsweise von gleicher Größe, Form und Zusammensetzung) mit ihren Südpolen nach innen in Richtung der gegenüberliegenden Seite oder der gegenüberliegenden Oberfläche der Vorrichtung ab. Die Buchstaben "S" und "N" bezeichnet, diese Magnetpole in den Zeichnungen. Andere magnetische Polaritäten und Konfigurationen können mit Erfolg eingesetzt werden; die lediglich gezeigten Muster veranschaulicht ein effizientes Verfahren zur Zugabe von Magneten an dem Kern.
Die Magnete können aus jedem polarisierten magnetischen Material gebildet sein. In der Reihenfolge ihrer Wirksamkeit, die wünschenswertesten Dauermagnetwerkstoffe sind Neodym-Eisen-Bor ("NIB"), Samarium-Kobalt, AlNiCo-Legierung oder "Keramik" Strontium-Barium oder Blei-Ferrite. Ein primärer Faktor Permanentmagnetmaterial-Zusammensetzung ist die Magnetflussstärke der bestimmten Materialart. In einer Ausführungsform der Erfindung können diese Magnete auch mit einem oder mehreren Elektromagneten Erzeugung der erforderlichen magnetischen Fluss ersetzt werden. In einer anderen Ausführungsform der Erfindung kann eine überlagerte Gleichstrom-Vorspannung an das Stromausgangskabel, um den erforderlichen Magnetfluss zu erzeugen, aufgebracht werden, zu ersetzen oder erweitern, die Permanentmagnete.
Bezugszeichen 3 bezeichnet den magnetischen Kern. Dieser Kern ist eine kritische Komponente des Generators. Der Kern bestimmt die Ausgangsleistungskapazität, die optimale Magnettyp, die elektrische Impedanz und der Betriebsfrequenzbereich. Der Kern kann jede beliebige Form, aus ferromagnetischem Material besteht, durch ein beliebiges Verfahren (Sintern, Gießen, Kleben Bandaufwickelfläche, etc.) gebildet sein. Eine Vielzahl von Formen, Materialien und Verfahren ist in der Technik zur Herstellung von Magnetkernen bekannt. Effektive gemeinsame Materialien sind amorphe Metalllegierungen (wie im Rahmen des "Metglas" Marke von Metglas Inc., Conway, SC erhältlich), nanokristallinen Legierungen, Mangan und Zink-Ferrite sowie Ferrite aus jedem geeigneten Element mit einer beliebigen Kombination von magnetisch "harte" und "weichen" Ferrite, pulverförmige Metalle und ferromagnetische Legierungen, Bleche aus Kobalt und / oder Eisen und Silizium-Eisen "Elektroblech". Diese Erfindung erfolgreich verwendet, einem beliebigen ferromagnetischen Material, während sie als behauptet. In einer Ausführungsform der Erfindung und zum Zwecke der Veranschaulichung, eine kreisförmige "Toroid" Kern dargestellt. In einer Ausführungsform der Erfindung kann die Zusammensetzung Eisenpulver, üblicherweise von vielen Herstellern erhältlich verklebenden.
Unabhängig von Kern-Typ, wird der Kern mit Löchern hergestellt wird, durch welche, können Drähte bestehen. die Löcher gebohrt oder geformt, um ferro Volumen des Kerns eindringen. Die gezeigte Ringkern 3 weist radiale Bohrungen in Richtung einer gemeinsamen Mitte. Wenn beispielsweise steif Drahtstäbe durch jede dieser Öffnungen eingesetzt werden kann, würde diese Stäbe an dem Mittelpunkt des Kerns entsprechen, wodurch ein ähnliches Aussehen wie ein Rad mit Speichen. Wenn eine quadratische oder rechteckige Kern (nicht dargestellt) verwendet wird, dann werden diese Löcher sind vorzugsweise parallel Flachseiten des Kerns ausgerichtet sind, wodurch steife Stäbe durch die Löcher geführt, um eine quadratische Gittermuster zu bilden, wie die Stangen kreuzen einander im Inneren "Fenster "Bereich der Kern umrahmt. Während in anderen Ausführungsformen der Erfindung können diese Löcher mögliche Orientierung oder Orientierungsmuster zu tragen, wird eine einfache Reihe von radialen Löchern als ein Beispiel veranschaulicht.
Bezugszeichen 4 zeigt einen Draht, oder ein Bündel
von Drähten, die Abholung und führen die Ausgangsleistung des Generators.
Typischerweise wird dieser Draht isoliert Kupfer, obwohl andere Materialien,
wie Aluminium, Eisen, dielektrischen Material, Polymere und
Halbleitermaterialien können substituiert sein.
Es kann in Fig.1 und Fig.2 zu
sehen ist, dass die Pässe Draht 4
abwechselnd durch benachbarte Löcher im Kern 3. Der Weg, den Draht 4
genommen gebildet wogt, wie es geht in entgegengesetzter Richtung durch jedes
benachbarte

Das Bezugszeichen 6 in Fig.1, Fig.2 und Fig.3, weist auf eine teilweise Darstellung der Eingangswicklung oder Induktionsspule verwendet werden, um die Felder der Permanentmagneten zu verschieben, innerhalb des Kerns. Typischerweise wird dieser Drahtspule umgibt den Kern, Verpackung um ihn herum. Für die gezeigte Ringkern, Eingangsspule 6 ähnelt den äußeren Wicklungen eines typischen Ringdrossel - eine gemeinsame elektrische Komponente. Aus Gründen der Übersichtlichkeit sind nur einige Windungen der Spule 6 in jeder der Fig.1, Fig.2 und Fig.3 dargestellt. In der Praxis kann diese Spule den gesamten Kern oder bestimmte Abschnitte des Kerns, einschließlich oder ohne die Magneten abzudecken.
Fig.2 zeigt das gleiche elektrische Generator der Fig.1, transparent unten durch von oben, so daß die relativen Positionen der Kernlöcher (als gepunktete Linien dargestellt), der Pfad der Ausgangsleitung 4 und die Position der Magnete (weiß schraffierten Flächen für Magnete unter dem Kern und grün schraffierten Flächen für Magneten über dem Kern) werden deutlich gemacht. Die wenigen repräsentativen Windungen der Eingabespule 6 sind in rot in Fig.2 gezeigt.
Der
dargestellte Generator verwendet ein Kern mit 8 radial gebohrten Löchern. Der
Abstand zwischen diesen Löchern ist gleich. Wie gezeigt, ist jedes

Fig.3 zeigt den gleichen Aufbau, von der Seite betrachtet. Die Krümmung des Kerns auf der Seite zum Zwecke der Veranschaulichung gezeigt abgeflacht. Die Magnete sind schematisch dargestellt, von der Oberseite und der Unterseite des Kerns vorstehen, und mit Pfeilen, welche die Richtung des magnetischen Flusses (die Pfeilspitzen weisen auf den Magneten Nordpol).
In der Praxis können die freien, ungebunden polaren Enden des Generators Magneten gelassen werden "wie besehen" im Freien, oder sie können mit einer gemeinsamen ferromagnetischen Pfad verbindet die ungebunden Nord- und Südpolen sowie als magnetisches "Grund" zur Verfügung gestellt werden. Die gemeinsame Rückleitung wird in der Regel aus Stahl, Eisen oder ähnlichem Material, die die Form eines Eisengehäuse Gehäuse des Gerätes. Es kann zusätzlich die Aufgabe, eine Schutz Chassis dienen. Der magnetische Rück kann auch eine andere ferromagnetische Kern aus einem ähnlichen elektrischen Generator auf die Oberseite des dargestellten Generators übereinander stapeln. Es kann ein Stapel von Generatoren sein, mit gemeinsamen Magneten zwischen den Generatorkerne. Solche Zusätze möglich sind, ohne direkten Einfluss auf das Funktionsprinzip des Generators selbst, und daher aus diesen Darstellungen weggelassen.
Zwei Beispiel Flussdiagramme sind in Fig.3 gezeigt. Jedes Beispiel wird in einem Raum zwischen schematisch dargestellten Teileingangsspulen 6 gezeigt eine positive oder negative Polarität Marker zeigt die Richtung des Eingangsstroms durch die Eingangsspule angelegt. Diese angelegte Strom erzeugt "Modulieren" Magnetfluss, der verwendet wird, um scheinbare Bewegung der Permanentmagneten zu synthetisieren, und wird als zweischweifigen horizontalen Pfeil (a) entlang des Kerns 3. Jedes Beispiel zeigt diesen zweischweifigen Pfeil (a), der auf der rechten oder auf der linken Seite in Abhängigkeit von der Polarität des angelegten Stroms.
In jedem Fall vertikaler Strömungs Eingabe des Kerns (b, 3) von den externen Permanentmagneten (1,2) längs innerhalb des Kerns gekehrt, in Richtung des Doppelpfeilschwanz (a), der den magnetischen Fluss des Eingangsspule. Diese gekrümmten Pfeile (b) in dem Raum zwischen den Magneten und den Löchern, kann man erkennen, zu verschieben oder zu verbiegen (a --> b), wie wenn sie Ströme oder Luftstrahlen unter einem sich verändernden Wind waren.
Die resultierende federnde Bewegung der Felder der Permanentmagneten, verursacht das Flußmittel (b) hin und her über die Löcher und Leiter 4, die durch diese Löcher durchläuft bürsten. Wie in einem mechanischen Generator, wenn die magnetische Fluss Bürsten oder "Schnitte" seitwärts über eine Leitung auf diese Weise die Spannung in dem Leiter induziert. Wenn eine elektrische Last an den Enden dieses Drahtleiter (Bezugszeichen 5 in Fig.1 und Fig.2) verbunden ist, fließt ein Strom durch die Last über diesen geschlossenen Kreislauf, Zuführen elektrischer Leistung in der Lage, die Arbeit auszuführen. Eingabe eines alternierenden Strom durch die Einkoppelspule 6, erzeugt ein magnetisches Wechselfeld (a) bewirkt, daß die Felder der Permanentmagneten 1 und 2 innerhalb des Kerns 3 verschoben (b) Induzieren elektrischen Stroms durch eine Last (an den Klemmen befestigt 5), als ob die feststehenden Magneten (1,2) selbst waren körperlich in Bewegung. Dies ist jedoch keine mechanische Bewegung vorhanden.
In einer mechanischen Generator, induzierte Strom Versorgung einer elektrischen Last, kehrt durch Ausgangsleitung 4, die Schaffung eines Sekundär induzierte Magnetfeld, Ausüben von Kräften, die den ursprünglichen Magnetfeld Induktion der ursprünglichen EMF wesentlich zu widersetzen. Da Lastströme induzieren ihre eigenen, sekundäre Magnetfelder gegen die ursprünglichen Akt der Induktion auf diese Weise, die Quelle des ursprünglichen Induktion erfordert zusätzliche Energie, um sich selbst wieder herzustellen und weiterhin Strom erzeugen. In mechanischen Generatoren, wird die Energie-induzierende Bewegung von Magnetfeldern des Generators körperlich betätigt, die eine starke Antriebsmaschine (wie zum Beispiel eine Dampfturbine), um die EMF-Erzeugung von Magnetfeldern "Bewegung gegen die Bremswirkung des Ausgangs induzierte Wiederherstellung Magnetfelder (das induzierte Feld c und das induzierende Feld b), destruktiv sich gegenüberstehen, die letztlich durch physikalische Kraft, die üblicherweise durch den Verbrauch von anderen Energiequellen erzeugt wird, die überwunden werden müssen.
Der elektrische Generator der vorliegenden Erfindung nicht durch mechanische Kraft betätigt. Es macht Gebrauch von der induzierten sekundären Magnetfeldes in einer solchen Weise, um nicht Gegensatz zu bewirken, sondern stattdessen, Addition und resultierende Beschleunigung Magnetfeld Bewegung. Da die vorliegende Erfindung ist nicht mechanisch betätigt, und weil die Magnetfelder nicht handeln, um sich gegenseitig einander gegenüberliegend zu zerstören, ist die vorliegende Erfindung nicht den Verbrauch natürlicher Ressourcen, um Strom zu erzeugen müssen.
Induzierte
Magnetfeld des jetzigen Generator, von elektrischem Strom durch die Last fließt
und zurück durch Ausgangsleitung 4
ergibt, ist, dass einer geschlossenen Schleife umschließt jedes Loch im Kern.
Die induzierten Magnetfelder erzeugen magnetischen Fluß in der Form von
geschlossenen Schleifen innerhalb des ferromagnetischen Kerns. Das magnetische
Feld "umkreist" jedes
Innerhalb
dieses Generators, das Magnetfeld von Ausgangsdraht 4 umgibt unmittelbar jedes
Jedoch wird dieses magnetische Widerstand wirksam gegen den Permanentmagneten, die die Injektion deren Fluss in den Kern gerichtet, aber nicht die Quelle des magnetischen Wechseleingabefeld 6. In der vorliegenden Festkörper-Generator induzierte Ausgangsstrom (4, c) gerichtet, die Permanentmagnete (1,2) nicht die Eingangsflussquelle zu widersetzen (6,a) die Synthese wird die virtuelle Bewegung jener Magneten (1,2), indem es magnetisierende Wirkung auf Kern 3.
Die vorliegende Generator beschäftigt Magneten als Quelle des Treibdruck Antrieb des Generators, denn sie sind das Unternehmen, die gegenüber oder von der Gegenreaktion von Ausgangsstrom, die Stromversorgung wird eine Last induzierten "gegen geschoben". Experimente zeigen, dass qualitativ hochwertige Permanentmagnete magnetisch auf diese Weise für sehr lange Zeit "gegen geschoben" werden, bevor er entmagnetisiert oder "verbraucht".
Fig.3 veranschaulicht Induktion repräsentativen Flusspfeile (b) entgegengesetzt gerichtet gegen induzierte Vertreter Fluss (c). In Materialien, die typischerweise verwendet werden, um Kern 3 zu bilden, die Felder in entgegengesetzten Richtungen fließt, dazu neigen, sich gegenseitig, wie positive und negative Zahlen gleich groß Summe auf Null gelöscht werden.
Auf der verbleibenden Seite jeder Bohrung, gegenüber dem Permanentmagneten, erfolgt keine gegenseitige Widerstand statt. Induzierte Fluß (c) durch den Generator Laststrom verursacht bleibt vorhanden; jedoch induzierende Fluß von den Permanentmagneten (b) nicht vorhanden ist, da kein Magnet vorhanden ist, an dieser Seite, um die erforderliche Fluss bereitzustellen. Dies lässt die induzierte Fluß (c) rings um die Bohrung sowie Eingangsstrom (a) von den Eingangsspulen 6, weiter seinem Weg entlang des Kerns, die auf beiden Seiten jeder Öffnung.
Auf der Seite jeder Öffnung in dem Kern, wo ein Magnet vorhanden ist, der Maßnahme (b) und Reaktion (c) Magnetflusses im wesentlichen gegenseitig aufheben, die in entgegengesetzten Richtungen innerhalb des Kerns geleitet. Auf der anderen Seite eines jeden Loches, in dem kein Magnet vorhanden ist, Eingangsstrom (a) und der Reaktionsstrom (c) eine gemeinsame Richtung. Magnetflusses addiert in diesen Zonen, wo Induktionsflusses (c) hilft dem Eingangsstrom (a). Dies ist das Gegenteil des typischen Generatorwirkung, wo induzierte Fluß (c) wird in der Regel gegen die "input" Fluss Ursprung der Induktion.
Da die magnetische Wechselwirkung ist eine Kombination von Magnetfluss Widerstand und die magnetische Flussbeschleunigung gibt es nicht länger eine magnetische Gesamtbrems oder völligem Gegensatz Wirkung. Die Brems- und Opposition wird von einer gleichzeitigen magnetischen Beschleunigung innerhalb des Kerns gegenüber. Da mechanische Bewegung nicht vorhanden ist, die äquivalente elektrische Wirkung reicht von Leerlauf oder nicht abgelehnt, so zu einer Stärkung und die allgemeine Beschleunigung des elektrischen Eingangssignals (in Spulen 6). richtige Auswahl des Permanentmagneten (1,2) Material und Flussdichte, Kern 3 Material magnetischen Eigenschaften, Kernlochmuster und Abstand und Ausgabemedium Verbindungstechnik, schaffen Ausführungsformen, wo die vorliegende Generator wird die Abwesenheit von elektrischer Belastung am Eingang angezeigt werden und / oder eine Gesamtverstärkung des Eingangssignals. Dies verursacht letztendlich weniger Eingangsenergie, um den Generator zu arbeiten erforderlich. Daher wird, wie immer mehr Energie aus dem Generator-Ausgangsleistung Führen nützlicher Arbeit, abnehmenden Mengen an Energie entzogen sind im Allgemeinen erforderlich, um es zu betreiben. Dieser Prozess wird fortgesetzt, die gegen den Dauermagneten (1,2), bis sie entmagnetisiert werden.

In einer Ausführungsform der vorliegenden Erfindung veranschaulicht Fig.4 eine typische Betriebsschaltung, die den Generator der vorliegenden Erfindung. Ein Rechteckwellen -Eingangssignal aus einer Transistor-Schaltkreis wird an den Eingangsklemmen (S) aufgebracht wird, auf die primäre (A) aus einem Abwärtstransformator 11. Die Sekundärwicklung (b) des Eingangstransformators kann eine einzelne sein, drehen, in Reihe mit einem Kondensator 12 und dem Generator 13 Eingangsspule (c), bilden einer Reihenresonanzschaltung. Die Frequenz der angelegten Rechteck (S) sind, Spiel, oder ein fester Unter Harmonische der Resonanzfrequenz der 3-Element-Transformator-Kondensator-Spulen-Eingangsschaltung ist.
Generator 13 Ausgangswicklung (d) mit ohmscher Last L über den Schalter 14 verbunden ist, wenn Schalter 14 geschlossen ist, erzeugt Leistung bei L, die jeder Widerstandslast ist, zum Beispiel, und Glühlampe oder Widerstandsheizung abgegeben.
Sobald die Eingabe-Resonanz erzielt wird, und die Rechteckwellenfrequenz bei aufgebracht ist, so dass die kombinierten reaktiven Impedanz der Gesamtinduktivität (b + c) in der Größe gleich zu der gegenüberliegenden Blindwiderstand der Kapazität 12 ist, die elektrischen Stromphasen durch, und Spannung auf, Generator 13 Eingangsspule (c) wird von 90° zueinander fließen in Resonanz Quadratur. Leistung von der Rechteckwellen -Eingangsenergiequelle S aufgebracht gezogen wird nun auf einem Minimum sein.
In diesem Zustand kann die Resonanz vorhandene Energie im Generatoreingang durch Verbinden einer Spannungssonde für die Testpunkte (v), für die Generatoreingangsspule befindet, zusammen mit einer Stromsonde um den Punkt (I) gemessen werden können, in Reihe angeordnet die Generatoreingangsspule (c). Die momentane Vektorprodukt aus diesen beiden Messungen gibt die Energie zirkuliert am Eingang des Generators, letztlich Verschiebung Felder der Permanentmagneten, um nützliche Induktions erstellen. Diese Situation bleibt bestehen, bis die Magnete nicht mehr magnetisiert.
Es versteht sich für den Fachmann, dass eine quadratische (oder andere) Welle kann direkt an die Generatoreingangsanschlüsse (c) ohne die Verwendung von anderen Komponenten angelegt werden, sein. Während dies wirksam bleibt, kann von Vorteil Wieder Erzeugung Effekte nicht voll umfänglich mit solchen direkten Anregung realisiert werden. Verwendung eines Schwingkreises, insbesondere unter Einschluß eines Kondensators 12, wie angedeutet, erleichtert Rezirkulation von Energie innerhalb der Eingangsschaltung, in der Regel, effiziente Anregung und eine Verringerung der erforderlichen Antriebsleistung, die als Lasten aufgebracht werden.
Geben
Sie .... Die Mallory Anschluss Mark McKay, PE 3/2/2006

E.V. Gray Version 2.0 Typ Motor EMA6 1977 - Mit
freundlicher Genehmigung Dr. Peter Lindemann
Betrachten wir die inzwischen klassischen 1977 Foto
(oben) von Herrn EV Gray demonstriert seine EMA6 Motor für die Anleger in der
Sportsman Lodge in Burbank, CA. Dieses Foto wurde von Tom Valentine, der eine
Reihe von informativen Artikeln über die EV Grau Saga schrieb übernommen. Dr.
Peter Lindemann erhielt die Original-Film von Herr Valentine Peters Forschung
für sein Buch "Die Freie Energie Geheimnisse des Kalten Strom" zu
unterstützen.
In einer fruchtbaren Versuch, zusätzliche technische
Informationen von diesem historischen Foto zu extrahieren Dr. Lindemann
angeordnet, um es digital erhöht. Eines der Ziele dieser Bemühungen war es, die
Schrift auf dem großen grauen Speicherkondensator direkt unter dem Motor zu
entziffern. Sie lautete:
MALLORY
IN
TYP TVC-606
5,0 MFD 5000 VGLEICHSTROM
Mallory is a Begriff Auf dem Gebiet der Elektronik.
Denkt man ein Mallory sie heute denken, in der Regel der Premium-Grossen blauen
Elektrolytfilterkondensatoren, sterben den High-End-lineare Stromversorgung
Markt in den 70er und 80er jahren Geprägt. Ritter auf seinem Höhepunkt der PR
Mallory Unternehmen War ein Kraftwerk der
Herr PG Mallory Begann im Jahr 1916 mit der Erfindung
des Mercury-Batterie. 1965 entwickelte das Unternehmen sterben Bekannte
Duracell Alkaline Batterie.

Die Nordamerika Kondensator Company (NACC)
hat seinen Hauptsitz in

Mallory Kondensatoren und Duracell Akkus aus
des Autors Experimental Parts Reserve
Ein weiterer wichtiger Mallory Erfindung
sehr in Bezug auf die EV Gray-Technologie, war der 1920 die Entwicklung des
"Elkonode", besser bekannt damals einfach als "Vibrator".
Heute wird diese Vorrichtung ist kaum bekannt. In seiner Zeit diente es als
eine wichtige Subsystem Anfang Gleichstrom-Wandler. Diese wurden verwendet, um
die niedrige Spannungspegel von Akkumulatoren auf die von Vakuumröhren
erforderlich Bedienebenen, die 200 bis 500 VGLEICHSTROM war zu erhöhen. Diese
jetzt vergessen elektromechanische Komponente war das funktionale Äquivalent
von zwei Gegentakt-Leistungstransistoren in einem modernen Schaltnetzteil . Zu der Zeit,
wenn es um die mobile Elektronik kam gab es zwei Möglichkeiten. 1) Ein Vibrator basierte Stromrichter, oder
2) Ein schwerer dynamo-Motorbasis Konverter. Für Anwendungen unter 30 Watt der
Vibrator Ansatz war kleiner, leichter, billiger und effizienter als die Alternative.
Deshalb musste das Militär ein ernsthaftes Interesse dieser Technologie, aber
es in den Massenmarkt die Nachfrage nach kleinen Röhrenautoradios, wo das große
Geld gemacht wurde war.
Die P.G. Mallory Co. fast vollständig
dominiert das obere Ende Power-Vibrator Markt seit 40 Jahren und war für fast
alle der Leistungsverbesserungen durch die 40er und 50er Jahre verantwortlich.
Doch müssen alle guten Dinge zu beenden. Dieses lukrative Produktlinie kam zu
einer Vollbremsung im Jahr 1957 mit der Entwicklung von Niederspannungssignal
und Leistungstransistoren. Aber Mallory noch geschafft, eine Schneide in vielen
seiner anderen Marktbereichen für mehrere Jahre danach halten.

So ist es keine große Überraschung, wenn man in der 1973 Scagnetti EV Grau Artikel lautet:
Der Motor, der selbst läuft
Von Jack Scagnetti von `Sonde Die Unknown" im Juni 1973.
"Mallory
Electric Corporation von Carson City,
Hauptbeitrag zu der Gestaltung von elektronischen Pulsen Systems. "
Es ist alles ziemlich offensichtlich, dass Herr Gray hatte einen riesigen Investitionen in Mallory Typ-Komponenten. Wenn seine Erfindung hat Hauptstrom werden dann würde der Mallory Co. erste Chance auf einen riesigen neuen Automotive-Markt gehabt $ 300 - $ 600 im Wert von robusten HV Speicherkondensatoren, nicht auf eine Investition von doppelt so viel für Vibrator Stromrichter oder vergleichbare Festkörperersatz, der Mallory machte auch erwähnen - Jedes neue Fahrzeug zwischen benötigen.
Es ist wirklich einfach, um zu sehen, wie Mallory Herr Gray kann einige Führungskräfte davon überzeugt haben, wie es wäre, in ihrem besten Interesse mindestens sein, um ihn finanziell zu helfen, oder ihm ein wenig Hardware-Spende von ihren Vibrapack Teilung in Irvine CA. Herr. Gray beeindruckend Demonstrationen bekannt als sehr effektiv bei der überzeugende technische Fachkräfte, dass er auf etwas Großes war, sofern er überhaupt die Möglichkeit, eine solche Darstellung zu einem echten Entscheider machen durfte. Wahrscheinlich einige inspirierte und aufschluss 3. Ebene Personal Person geschafft, ihn mit einem Pickup-Lade überschüssiger Vibrator Konverter, die waren in Ordnung bringen, oder wäre, völlig veraltet.

Beispiele für die PR
Mallory Linie "Vibrapacks" (Gleichstrom-Wandler) von 1955 Katalog
Alle Modelle haben eine 30
Watt Leistung mit Ausnahme der auf der rechten Seite, der bei 60 Watt ausgelegt
ist
Aber diese Geschichte eine wichtige Wendung in es ...... ..
Die Mallory Unternehmen,
Mr. Gray hat genug Geld, um Erwähnung davon in der obigen Zeitschriftenartikel
zu machen war nicht der PG Mallory & Company Inc., aber die Mallory
Electric Company von Carson City, Nevada, Designer und Hersteller von einer
Vielzahl von OEM und nach -Markt Automobil Zündanlagen.



Eine kleine Probe des
modernen Mallory Marke After Market Ignition Products 2006
Mr. Marion Mallory war die
seltene Art von unabhängigen Person, die ein Unternehmen am Freitag dem 13.
Februar 1925 beginnen würde, war er selbstgemachte Erfinder mit der Note
Bildung vierte, der nicht nur in seinem Handwerk brilliant war, sondern hatte
auch, was es braucht, um ein Geschäft zu verwalten. Wenn er jemals Mr. Gray
Gesicht getroffen zu Angesicht die beiden Männer hätten viel gemeinsam gehabt
haben, vor allem von einem kreative Energie Standpunkt. Herr Mallory machte
sein Geld in einer Vielzahl von Automobil-, Motorrad und Marine Zündanlagen.
Jahrelang war er der Hauptlieferant für die Ford Motor Company für
Zündverteiler und ihre Upgrades. Er erhielt etwa 30 Staaten und 10
internationale Patente für eine Vielzahl von signifikanten Verbesserungen in
der Zündungstechnik, sowohl in der elektrischen und mechanischen Anlagen. Er
war verdammt gut an Unternehmen, aber seine persönliche Schwäche war
Hochleistungs-Autorennen. Der Markt für Rennwagen Teile ist nicht sehr groß,
aber die Tätigkeit, die er unterstützt, ist sehr süchtig.
Herr Mallory endlich mit
den erstickenden und kontraproduktiv Anforderungen der United Auto Workers
Union zugeführt. In einem seltenen Akt der Individualismus entschied er sich,
Vorkehrungen zu treffen, um seine gesamte Unternehmen, mit allem Drum und
Zündspulen nach
Angesichts der Timing von Ereignissen ist sehr wahrscheinlich, dass Herr Gray Marion Mallory nie getroffen. Es ist fast sicher, dass die Verbindung zum Mallory Unternehmen war ausschließlich zwischen Mr. Gray und 'Boot' Mallory. Dies wurde auch durch die Tatsache, dass diese beiden Männer waren etwa im gleichen Alter mit Mr. Gray als 5 Jahre alt geholfen.
Für ihre gesamte berufliche Karriere Marion und 'Boot' Mallory waren immer auf der Suche nach verbesserten Zündungssysteme, sowohl für gute Unternehmenspraxis und, natürlich, der Wunsch, die schnellsten Autos auf der Rennstrecke Sport. Ihr Wissen und praktischer Erfahrung deckte alle Ansätze zur Zündanlage Design, sowohl in der elektrischen und mechanischen Bereichen. Es ist interessant festzustellen, dass sie entwickelt und hergestellt magneto Systeme sowie traditionelle Verteilersysteme. Zu verstehen, dass diese beiden Technologien sind sehr unterschiedlich zueinander.


In den Autorennen Kreisen war es immer bekannt, dass kapazitive Entladung Zündungen System weit überlegen sind die Einschränkungen der Standardkettering Induktionssystem, insbesondere bei hohen Drehzahlen. Dr. Tesla patentierte die erste CD Zündsystem so früh wie 1898, aber es war nie wegen der schweren Konstruktion und Komponenten Einschränkungen produziert. Marion Mallory und seine Ingenieure konnten eine Arbeits kapazitiver Entladung System schließlich zu einem Rennwagen-Motor im Jahr 1948 verbunden Dieser erste Entwurf wurde gebaut unter Verwendung eines Thyratron Gasrohr und Vakuum-Röhrenschaltung. Als ein Ergebnis war es teuer, sperrig und unhandlich, nicht zu erwähnen fragile und wirtschaftlich nicht machbar ist. Aber trotz all seiner Schwächen der kapazitiven Abzugssysteme (CD) zeigte deutlich seine überragende Leistung im Labor und auf der Strecke. Wäre es nicht für die zufällige und plötzlicher Ausfall dieser Alpha-Testeinheiten (wegen der Vibration) könnten sie immer noch in der professionellen Autorennen eingesetzt wurden ihrer Stückkosten gewesen, unabhängig.

Glass Hydrogen Thyratron der 40er Jahre
Von "Impulsgeber" Radiation
Laboratory MIT 1948
Zwei neue Technologien waren nötig, um
CD-Systeme in Gang zu bringen.
1) eine Methode, die 6 oder 12 V Gleichstrom
Spannung der Speicherbatterie an den 400-500-Volt-Bereichs mit einer
verfügbaren Strom von mindestens 100 mA zu erhöhen. (40-50 Watt)
2) Eine Komponente oder Technik, die die sperrigen, zerbrechlichen und machthungrige Thyratron, die als Master-Taktsteuerschalt gehandelt ersetzen würde.

Moderne Mallory "2006"
Kondensatorentladungszündsystem Komponenten
Beide Lösungen kam etwa zur gleichen Zeit. Leistungstransistoren wurde der Luftfahrtindustrie im Jahr 1954. Dies ermöglichte die Entwicklung des frühen Gegentakt-Schaltnetzteile, deren Ausgangs waren weit über das, was eine mechanische Leistung Vibrator könnte (bis zu 90 Watt zunächst) zu liefern. Komplette Transistor Wandler waren an den Bastler Anfang 1958 verfügbar Wir können also davon ausgehen, dass Prototypen Leistungstransistoren wurden in etwa 1955 zur Verfügung Industrie.



Frühe Werbung für ein 90 Watt (gepulst)
Hobbyist 12V bis 450V Gleichstrom-Konverter
Vom Magazin "QST" Januar 1958
(Unsere Größenreduzierung im Vergleich zu
den 60 Watt Vibrapack)
Der zweite wichtige Durchbruch kam mit der Erfindung des Thyristor oder Thyristor (SCR) von Bell Labs 1957 General Electric schnell kaufte die Rechte für diese vielversprechende Technologie und verschwendete keine Zeit, bringen es in die Produktion. Die Herstellung von Halbleiter-Leistungsgleichrichtern und Transistoren war bereits in vollem Gange, so, den Aufbau eines SCR unter Verwendung der vorhandenen Produktionsanlagen wurde ein Slam-Dunk. Nach Angaben der GE SCR Handbuch 1964 3. Auflage, das Modell C35 bereits auf dem Gebiet seit 1958.

Silicon Controlled Rectifier available to
Industry and Military in 1958
Mit diesen
neuen Solid-State-Komponenten zur Hand Marion & 'Boot' Mallory waren aus
und Laufen. Ihre erste Beta-Test Rennstrecke CD Zündsystem wurde in begrenzten
Mengen im Herbst 1961 eingeführt, nachdem Ihre erste Marktproduktionsmodelle
nicht Händler zu erreichen, bis 1964. Es dauerte 3 Jahre detaillierte
Entwicklung und warten auf die SCR-Markt niederlassen vor der Entscheidung über
eine endgültige Produktionsdesign. Während die grundlegenden
Funktionsprinzipien einer CD Zündstromkreis geradlinig immer eine langlebige
Schaltung, auch wenn sie auf die Temperatur, Spannung und Vibration Extremen
ausgesetzt funktionieren wird, ist eine andere Sache. Zu dieser Zeit in
Industriekultur neue Produkte in

Also, im Zeitraum von 1960 bis 1970, wo könnte Mr. Gray gegangen, als er brauchte etwas seltener angewandten technischen Know-how auf batteriebetriebenen Hochspannungspuls-Systeme? Die Lösung scheint fast auf der Hand.
Wir haben
keinen Zweifel, dass Herr Gray und 'Boot' Mallory waren auf einem Vornamen. Sie
können bereits eine Art von Beziehung entwickelt haben, während das Unternehmen
noch in
Es wurde darauf hingewiesen, die von sachkundigen Quellen, dass alle nach dem Gebrauchtmarkt Zündanlagen Leistungstransistoren der Mallorys für die 6-12V zu 450V Wandlerteil. So fragen wir uns, warum Mr. Gray immer noch mit veralteten Vibrator Packungen im Jahr 1973? 'Boot' hätte sicherlich geliefert Mr. Gray mit den modernsten Geräten, zusammen mit den SCR und Ex-Coil-Komponenten in einem kleinen, in sich geschlossene, kundenspezifische, und de-Paket abgehört.
Wir vermuten, dass 'Boot' tat bieten diese komplette Transistor-CD-Systeme und dass Herr Gray war gespannt auf die reduzierte Größe, erhöhte Lebensdauer und verbesserte Wirkungsgrade, die die neuen Halbleiter-Bauteile, versprochen. Vor allem nach, ständig mit Vibratoren, die das Ausbrennen während seiner Probeläufe gehalten kämpfen. Aber hat das Radiant-Energy (RE) Generation ihre eigene besondere Herausforderungen zu bewältigen. Eine wichtige technische Frage ist, was mit dem elektromagnetischen Impuls (EMP) wie Effekt, dass, wenn ein RE Kreis einen bestimmten Leistungspegel erreicht passiert zu tun. Wenn all das überschüssige Energie nicht richtig an das System häufig (hoffentlich nachdem ich einige ernsthafte Arbeit) entweicht aus den Leiterbahnen, jede Metallgegenstand in 20 'oder so des Generators aufzuladen überbrückt. Eine Vielzahl von blau-weiß Funken aus jedem metallischen Gegenstand in einem Raum durchbrechen, durch die induzierte Spannung. Dies ist sicherlich ein interessantes Licht-Show, mit die Lichter ausgeschaltet, aber verheerend für jeden in der Nähe von Transistor oder IC, die eine beliebige Anzahl von Draht mit ihm verbunden ist. Transistoren und ICs, die in metallisierten Schutz Säcken oder Kisten gelagert werden scheinen, um zu überleben.

Wenn dies der Fall war, dann können wir uns vorstellen, wie enttäuscht Mr. Gray gefühlt haben mag, wenn seine neue Transistorwandler begann zu scheitern, vielleicht sogar katastrophal. Glücklicher und dann meinen wir glücklicher, die SCRs konnten die RE-Angriff überleben. Wäre dies nicht wegen der ständigen Systemausfall der Fall das EV Gray Technologie würde ernsthaft auf der Nase von 1965 unterschritten hat und nie in der Lage, die demonstriert Leistungsstufen, die wir so sehr gerne neu zu erzeugen. Die Transistoren, scheitern, weil sie mit super dünne Grundstrukturen, die empfindlich auf moderate Spannungsdifferenzen sind aufgebaut sind. Thyristoren sind mit dicken Siliziumschichten, die relativ robuster sind gebaut. Allerdings wird eine schlecht konzipierte Triggerschaltung in einem RE-Anwendung eine schwere SCR noch zerstören, wenn die entsprechenden Gate-Überspannungsschutz Methoden nicht eingesetzt werden. Aufgrund dieser Erfahrungen aus erster Hand Herr. Gray fuhr fort, viele Überspannungsschutzgeräte für seine zukünftigen Kreise zu installieren. Dies ist sehr deutlich in der Gestaltung der in seiner Umwandlung Rohr Patent # 4.595.975 gezeigten Leistungsversorgung .
Es scheint, dass Herr Gray war gezwungen, zurück zu gehen und nutzen die fehleranfällig veraltet Vibrator packt, dass er begann mit. Gemäß dem ersten Patent diese wurden für den primären Gleichstrom Spannungswandlungs verwendet. Wir vermuten, dass die Ingenieure von Mallory wurden dafür gewonnen, Herr. Gray heiraten den Vibrator Pack auf dem SCR-System. Der SCR hinaus half das Scheitern Problem zu lösen, indem die Wölbung Strom über die Kontakte Vibrator. Dies ist nicht eine unkomplizierte Benutzeroberfläche und einige erfahrene elektronische Know-how erfordert. Die Herausforderung ist die begrenzte Stromkapazität des Vibrators Ausgleich der niedrigen Impedanz des SCR-Speicherkondensator.

Schematische Schaltpläne für zwei PR Mallory
Vibrapacks
60 Watt-Modell auf der linken Seite - 30
Watt-Modell auf der rechten Seite
Andere Forscher behaupten, dass Herr Gray nie beabsichtigt, Transistoren in den ersten Platz zu nutzen. Dies ist, weil eine RE Theorie besagt, daß der nicht-klassischen Prozess beginnt in den winzigen Lichtbögen während des Schließen und Öffnen der Vibrator Kontakte gebildet. Dieses technische Problem ist nach wie vor für die Diskussion und experimentelle Überprüfung offen.

Allerdings sind wir uns einig, dass der SCR CD Kreis ist immer noch ein wichtiges Subsystem mit dem EV Gray-Technologie, aber es ist nicht die ganze Geschichte für eine komplette Über Einheit (OU) Prozess. Wir glauben weiterhin, dass Herr. Gray nicht den Kern seiner "geheimen" auf 'Boot' oder andere Personen am Mallory Electric Company offen zu legen. Es wäre, dass 'Boot' zu erscheinen, wegen seiner einzigartigen individualistische Erziehung, Recht respektiert Herr. Gray, seine eigene Kreationen. 'Boot' war offensichtlich weitsichtig genug, um etwas mehr Geschäftspotenzial in diesem Projekt sehen, nicht um eine ganz neue Klasse von zukünftigen Rennmaschinen zu nennen. Ein Hauptgrund für diese aufgeklärte Haltung war, dass 'Boot' nicht haben, um mit einer kurzsichtigen Regierungs Vorstand, dessen Mitglieder mehr Sorgen um nächsten Quartalen Aktienkurs als riskante Chancen auf Alter verändernden Technologien zu kämpfen.
Die CD-Untersystem des Gray-Motor nicht in dem Patent # 3.890.548 offenbart. Mr. Gray tat erwähnen die Verwendung von Zündspulen in der Patentschrift, aber nicht sie in der schematischen Darstellung zeigen. Die einfachste Lösung zum Schutz seiner "geheimen" war, um nur die CD-Untersystem aus der Schaltung zu beseitigen. Da Herr. Gray nur versuchen, einen neuen Typ von Schrittmotor in dieser ersten Patents offenbaren. Das Weglassen eines "kleinen" Stromversorgung "Feature" hatte nicht vor, etwas zu den Patent Rezensenten bedeuten. Aber die Teufel im Detail, vor allem wenn man versucht, diese zu rekonstruieren verloren Technik 30 Jahre später.
Es gibt eine gute Möglichkeit, dass Herr Gray wurde einen Gefallen wieder in 'Boot' durch die Nichtfreigabe der proprietären CD Schaltungen. Sie könnte sehr gut ein Gentlemen Zustimmung und ein Joint Venture zu diesem Thema haben. 'Boot' nicht brauchen, Geheimnis der freien Energie der Herr Gray kennen. Seine hohe Marge Stück von der Aktion wurde, weil jeder neue EV Gray Motor würde 18 oder mehr komplette CD Netzteile, einschließlich der patentierten Konstruktionsdetails der Mallory Zündspulen müssen gesperrt. Erfolg Herr. Gray wollte 'Boot' Erfolg Mallorys sein - GROSSEN. Eine klassische Win-Win-Situation. Es ist kein Wunder, dass 'Boot' bereitwillig Kontrollen auf diese unbekannte und unver erzogen Erfinder aus Kalifornien. Während die PR Mallory Gesellschaft wurde unwissentlich wird einige profitieren von diesem Durchbruch ernten die Mallory Electric Company im Begriff war, den Jackpot zu knacken.
Als rein spekulativ Beobachtung, es gewesen sein mag 'Boot' Mallory, der Herr Gray in, wie Sie Patente zu schreiben und versuchen, seine geistigen Eigentums Form schützen die großen Wirtschaftsanwälte bescheid. Was, zu zeigen, und was nicht, um zu zeigen, was zu zeichnen und was nicht zu ziehen und was den Rest der Zeit zu sagen. Mit dieser Technologie es würde ein gefundenes Fressen sein, so schnell, bevor die erste Beta-Test traf die Straße und 'Boot' wusste es. Herr Gray wahrscheinlich erhalten eine Lebensdauer von Insider-Informationen, wie man Geheimnisse seines Vermögens von einem Mann, der dort gewesen und gesehen hatte, wie ein großes Geschäft wirklich funktioniert zu halten, Geld zu verdienen und zu decken.
Wir alle wissen, dass Herr Gray erlitt einen schweren Rückschlag, als sein Forschungsanlage wurde im Jahr 1974 von den Agenten des Los Angeles Bezirksstaatsanwalt -Büro wegen des Verdachts auf Wertpapierbetrug durchsucht. Aber von 1977, wie in der obigen Foto zu sehen, Herr Gray hatte genug erholt, um sein erstes Patent zu erhalten, erstellen, debuggen und zeigen seine zweite Generation Motor. Was ist nicht allgemein bekannt, in Freie Energie Kreise, also Herr Gray erlitt einen weit größeren Verlust im Jahre 1978 im Alter von 48, wenn 'Boot' Mallory bei einem Autounfall ums Leben Er war immer bekannt, um etwas von der Leine zu führen Fuß.
Verschwunden war die finanzielle, technische und Morchel-Unterstützung. Soweit wir beobachten können, scheint es, dass die EV Gray Motor nicht signifikant weit über die EMA6 Modell (oben) zu entwickeln. Die überlebenden Mallory Frauen verkaufte die Firma an Super-Shops von Irvine, Kalifornien, im Jahr 1979. Herr Gray weiterhin eine angemessene Investitionskapital suchen, so dass er zu kontrollieren und Produktion seiner kraftstofflose Motoren im eigenen Haus konnte. Er hat auch auf seiner popping Spulendemonstrations verbessert und aktualisiert, um einen kontinuierlichen Prozess, der Antigravitations Möglichkeiten, sehr beeindruckend deutet. Es wurde auch gemunkelt, dass Herr Gray fast nicht genug Geld, um die Produktion beginnen zu sammeln.
Leider wissen wir auch, dass zehn Jahre später starb Herr Gray unter un-gelöst Umständen in Sparks, NV im April, ist 1989 Sparks östlich von Reno, Nevada, die etwa 50 Meilen nördlich von Carson City, NV ist. Einige Forscher behaupten, dass der Hauptgrund, warum Herr Gray fest einer seiner mehreren Labors in dieser Stadt war wegen der unschätzbare technische Erfahrung von einigen der im Ruhestand Mallory Techniker noch in der Gegend leben.

Wir wurden auch glauben, dass es 'Boot' Mallory war die ersten formalen Einführungen zwischen Herr. Gray und der Alternative Auto-Erfinder Herr. Paul M. Lewis, Schöpfer der "Faszination" gemacht. Sie können sich vorstellen, die mögliche kreative Energie, die zwischen diesen drei einzigartigen Individuen während sie saßen um den Tisch teilen eine Vielzahl von Vorhaben und weit reichende Träume Flossen haben könnte.
Heute
Hinweis: Dieses Dokument ist in einer Reihe von Herr McKay im Rahmen seiner Untersuchung des Werkes von Edwin Gray senior produziert und er lädt Leser, ihn zu kontaktieren, wenn sie irgendwelche Fragen oder konstruktive Kritik über die Arbeit des Herr Gray haben. Herr McKay-E-mail-Adresse ist mmckay@tycoint.com
Nehmen einen genaueren Blick auf das Demo-Equipment
Oktober 24, 2006
Das ist das klassische Foto E.V. Grays "Popping Coil" Demonstration Apparatur. Dieses kann auf Peter Lindemann's Web Site gefunden werden. Dieses Foto wurde von Tom Valentine 1973 aufgenommen. Herr. Gray ist der Mann in der Mitte und Fritz Lens (neue Schwiegervater) ist auf der rechten Seite. Der Mann auf der linken Seite ist nicht identifizierten (am ehesten Richard Hackenburger VP of Engineering).

Jahrelang
konnte über alle eins sagen zu dem Foto gab es eine Menge Ausrüstung in diese
Demonstrationen beteiligt war. Die Quelle der Energie scheint zu einer
gemeinsamen großen Automobil-12-Volt-Batterie. Identifizierbare Komponenten
sind die benutzerdefinierten aus Luft-Transformator und das Triplett-630-A-Multimeter,
der Rest an die technischen Details verbirgt sich die schwarzen
Plexiglas-Instrument-Feldern. Von selbst ergibt dieses Foto nicht viele
Informationen. Im Jahr 2004 ein
ehemaliger E.V. Gray-Investor kamen hervor und präsentiert Peter Lindemann und
John Bedini mit einer Periode Sammlung von historischen Momentaufnahmen. Fünf
von diesen Fotos waren der gleichen Apparatur, die auf dem obigen Foto zu Mr.
Valentine gezeigt wurde. Die Location war anders, aber die Ausrüstung und das
Layout scheint dasselbe zu sein. Es wird angenommen, dass diese neuen
Investor-Fotos bei Herr. Grays Shop in
Die Investor-Fotografien:

Investor Foto #013C
Gesamtansicht
Dies ist ein guter Schuss das ganze Demo-Gerät von einem Ende der Tabelle zeigt die Batterie, zwei knallende Spulen und eine Sichtweise von der Luft-Transformator. Trotz der begrenzten Fokus zeigt dieses Foto, dass die knallen Spulen parallel geschaltet werden, da beide die White führt auf der linken Seite auf dem Minuspol der Batterie beendet werden. Auch an der Batterie angeschlossen ist eine Komponente, die zu einer analogen Messung aktuelle Shunt - ein niedriger Wert hoch aktuellen Widerstand Gerät zu sein scheint. Allerdings gibt es kein Meter mit dieser Komponente verbunden werden, denn dann in einer normalen Anwendung wäre. Dies deutet darauf hin, dass es einfach als eine Strombegrenzung Widerstand niedriger Wert verwendet wird. Es ist zweifelhaft, dass diese Komponente je gedacht war, in einer Dosierleistung verwendet werden. Die Ausgabe hätte einer sehr kurzen Spannungsimpuls, die nicht aufgezeichnet oder auf irgendwelchen von Testinstrumenten, die in diese Bilder gezeigt beobachtet werden.
Es wird angenommen, dass die beiden schwarz führt auf der rechten Seite des Transformators Luft getrennt und hängen direkt auf den Boden. Man vergleiche diese Situation auf das Tom Valentine-Foto bei diesen schweren schwarz führt zwei der die Flugschreiber verbunden sind.
Vier schwarze
Kabel an den rechten

Investor Foto #012D
Eine Spule mit dem zweiten Demo Setup knallen "Rechts"
Dieses Foto stammt am selben Ort einige Zeit früher wo waren die Umstände etwas anders. Die kleinen weißen Tisch und seine Teilnahme an Ausrüstung, die in Zukunft Juni 74 Fotos angezeigt wird sind keine voreingestellten. Dieses Foto (Jan 74) entwickelte sich 6 Monate vor Foto #013C. Die Ausrüstung auf dem großen Tisch scheint an den gleichen relativen Positionen. Was zeigt dieses Foto ist, dass es eine zweite "Popping Coil"-Demonstration findet am anderen Ende (rechts) der Tabelle.
Es wird vorgeschlagen, dass diese total Versammlung der "Black Boxes" (ein Dutzend oder mehr Subsysteme) tatsächlich zwei verschiedene und unabhängige Demonstrationen, eine "Popping Coil"-Demo auf der linken Seite und ein anderes unterstützt ähnliche "Popping Coil" demo auf der rechten Seite. Die Fotos finden Sie ermöglichen eine bessere technische Analyse der Demo Geräte auf der linken Seite der Tabelle. Es ist unbekannt, was die tatsächlichen Unterschiede zwischen diesen zwei Demonstrationen waren, aber es ist offensichtlich, dass die Spulen geholt wird offensichtlich Größenunterschiede haben. In Foto-012D die Spule in der mittleren Luft über zweimal die Größe des Elektromagneten, die am anderen Ende der Tabelle in Foto #013C gezeigt ist. Das Tom Valentine-Foto zeigt eine Reihe von Elektromagneten (im Ruhezustand in der unteren rechten Ecke), die mindestens viermal die Größe der Spulen verwendet für die Demonstration, die auf der linken Seite der Tabelle eingerichtet wurde. Die gestartete Spule oben abgebildet ist jedoch nicht dasselbe (d.h. 50 % kleiner) als die Spule auf dem Foto Tom Valentine angezeigt, obwohl diese mit denselben Geräten betrieben werden wird.
Es wird vermutet, dass die Demo auf der rechten Seite etwas mit einer höheren Sendeleistung oder eine erweiterte Methode der energetischen Verwertung zu tun hatten. Höchstwahrscheinlich war die Demo auf der linken Seite soll die technische Einführung auf die Grundidee einer Abstoßung motor Konzept, während die Demo auf der rechten Seite einige wichtigen technischen Fortschritt angezeigt hatte.
Foto #012D ist dunkel, aber es hilft zeigt, die die beiden weißen Drähte aus der DPST-Messer-Schalter für die linke Demo an die zwei Kästen gleicher Größe mitten auf den Tisch, ein Draht pro Box anschließen.

Investor Foto #013B
120
V Wechselstrom
Stromversorgung erforscht
Dieses Juni 1974 Foto ist eine schöne Aussicht auf die über "links" Vorführgeräte. Das Hauptproblem hier ist die zusätzliche Ausrüstung auf dem kleinen weißen Tisch. Hier sehen wir einige identifizierbare Gegenstände, eine Neon-Transformator, eine 2KW Variac Spartransformator, einem Kassettenrecorder und eine Klemmleiste Barriere Typ. Die Frage ist: Was ist das Extramaterial für?
Es scheint, dass dieser Aufbau ist eine Variation von der normalen Ausrüstung Demonstration wie im Tom Valentine Foto zu sehen. Es scheint, dass die Air Transformer wird vom System getrennt und wurde von der Macht durch die Ausrüstung auf dem weißen Tisch vorgesehen ersetzt. Sehr wahrscheinlich ist dies ein Versuch war, zu zeigen, dass AC Netzspannung kann zu "Cold Electricity" umgewandelt werden. Es ist wichtig, die Schwankungen in diesem speziellen Schaltungsaufbau, wie es gibt einige Anhaltspunkte für die Funktion der verschiedenen Black Boxes.
Beachten Sie zunächst, dass die beiden weißen Adern, die mit dem Trennschalter DPST gehen nun mit einem Anschluss der Black Box angeschlossen ist, während eine rote Jumper verbindet sich mit dem weißen Kabel 'früheren Anschlusspunkt. Vergleichen Sie dies mit, wie diese weißen Adern sind in der Tom Valentine Foto verbunden.
Es ist nicht alles zusammen klar, wie die Neon-Transformator und Spartransformator angeschlossen sind, sondern ein Standard-Ansatz wäre, haben die Variac Kontrolle der Netzspannung an die Neon-Transformator. Diese Variac hat die Fähigkeit, seine Ausgangsspannung um 25% über seinen Eingang zu erhöhen. Wenn dies Neontransformator waren üblicher 15KV 30 mA Einheit dann den RMS-Ausgangsspannung kann auf ein Maximum von 18 KV eingestellt worden sein. Dies ist vergleichbar mit der Ausgabe eines Auto Zündspule. Der Spitzengleichstrom Spannungspotential würde etwa 25KV gewesen. Allerdings ist es unwahrscheinlich, sie wurden bei diesem hohen Spannungs Betrieb für sehr lange aufgrund der Größe, Gestaltung und der Bau der temporären Leiter.
Da ein Einzelpaar von Leitern (gelb und schwarz Jumper) fallen unter die Oberseite der weißen Tabelle wird vorgeschlagen, dass es ein Hochspannungsdiodenstapel unterhalb des Tisches auf einem Regal, das in Halbwellenbetrieb arbeitet. Hatte Vollwellenbetrieb wurde dann vier Drähte würde sehen Verlassen der oben in der Tabelle (die immer noch eine Möglichkeit).
Die Nutzung
von Gleichstrom-Impulse ist sehr klar in der Grau Motor Patent. Es hat
Foto # 013B zeigt den besten Blick auf die Demonstration Ausrüstung für die "Rechts" Demonstration. Es scheint von fünf schwarz-Boxen, zwei kleine, zwei große und eine kleine Wohnung einen zusammengesetzt sein. Wenn ein Trennschalter verwendet, um den knallen Spule starten Sie es nicht auf diesen Fotos zu sehen. Ein Lufttransformator scheint von diesem Gerät Sammlung fehlen. Allerdings betrachten die zylindrische Objekt unter dem großen Tisch in Fotos # 012D und 013D # gesehen. Das ist etwa so groß wie eine Gallone Farbdose und hat gelbe Band an der Spitze. Drei schwarze Kabel (und möglicherweise ein Viertel) zu sehen, die zu diesem Gerät werden. Es wird vorgeschlagen, dass dies die Lufttransformator für diese Geräte verwendet. Es hat einen größeren Durchmesser (8 ") als die Luft, die für den Transformator verwendet wird" Links "Demonstration (4 Zoll). Es wird angenommen, dass die Fahrzeugbatterie an dem linken Ende des großen Tisches gesehen ist die Hauptstromquelle für beide Demonstrationen. Ein Triplett 630-A Multimeter zu sehen, die Festlegung auf der rechten Seite des Tisches werden.
Untersuchen Sie die Luft Transformator in seiner Trenn Konfiguration. Beachten Sie, wie sich die beiden schwarzen Adern rollen die Spule auf den Boden. Dies kann nur mit zwei getrennten Schichten erreicht werden. Der nächste Leiter ist Teil der ersten Schicht. Aus dieser Beobachtung die relative Polarität des Lufttransformators bestimmt werden.
Der Kern des Lufttransformators scheint etwa 4 Zoll im Durchmesser, im Vergleich zu den 2 Zoll x 4 Zoll Stützblöcken. Es scheint sich um eine Dual-Layer-Konstruktion sein, wie eine Art von Rohr wurde über eine weitere gerutscht. Das Innenrohr ähnelt grau elektrischen PVC, aber dünner (könnte Plan 20 Rohr sein). Das Außenrohr ist ein dunkelbraunes Material, das nicht eine gemeinsame moderne Baustoff. Es ist näher an einem älteren Faserverbundmaterial, die für Abwasserrohr in den 50er Jahren verwendet wurde. Warum die Notwendigkeit für zwei verschachtelte Kerne? Ist der dielektrische Durchschlag des Kerns so groß von einem Problem für so ein kleines Luft Transformator? Die Isolationsfestigkeit der (angenommenen) Zündkerzenkabel ist in der Nähe von 50 KV und sollte viel für die zu erwartenden Betriebsspannungen sein. Darüber hinaus scheint es einen kräftigen Schicht elektrischer schwarzem Klebeband zwischen dem Kern und der schweren Wicklungen sein.
Es wurde vorgeschlagen, dass die schwarze Band umfasst eine einzelne Schicht aus 16 AWG-Kupferlackdraht, der eine Wicklung 3-4-mal länger als die beobachteten Zündkabel "Vorwahlen" bildet. Diese Funktion (falls vorhanden) wird als eine zusätzliche Energierückgewinnungsuntersystem sein.

Investor Foto #013C
Gruppe Foto-Session
Dieses Foto ist zu unscharf viel zusätzliche Details, (verglichen mit Foto # 013C) aber die 35mm-Kamera, die von dem Herrn gehalten wird auf der rechten Seite ist klar genug zu extrahieren. Beachten Sie auch, das Flash-Cube Schnappschuss-Kamera sitzt neben dem Spartransformator. Kameras sind in Hülle und Fülle in diesem Porträt. Dies deutet darauf hin, dass diese besondere Sammlung von Fotos (Juni 74) waren das Ergebnis einer geplanten Veranstaltung, bei ausgewählten Investoren übernehmen alle Schnappschüsse, sie wollten nicht erlaubt. Es wird angenommen, dass es sich um ein seltenes Ereignis. Deshalb können wir sicher sein, dass die zu diesem Zeitpunkt angezeigte Ausrüstung hatte persönlich von Herr. Gray desinfiziert, dass keiner das Wesentliche seiner "Secret" zu versichern würde offengelegt werden.
Die gut gekleideten Herrn, auf der linken Seite, scheint, die eine andere Kassettenrecorder mit einem schwarzen Kunststoff-Mikrofon in den Fingern gehalten.

Investor Foto #013D
Zählen Sie die Turns auf dem Luft Trafo
Es geht um die besten Foto verfügbar, die die Gesamt-Layout der beiden Spulen knallen Demonstrationen. Ein Großteil der wesentlichen Details sind in dieser Präsentation versteckt, aber einige der Subsystem Verbindungen bestimmt werden.
Die untere
Hinweis: Dieses Dokument ist Teil einer Reihe von Mr. McKay im Rahmen seiner Untersuchung der Arbeit von Edwin Gray Senior und lädt er die Leser, ihn zu kontaktieren, wenn sie irgendwelche konstruktiven Anmerkungen oder Fragen über die Arbeit des Herr. Gray haben hergestellt. Herr. McKay E-Mail-Adresse ist mmckay@tycoint.com
Geheimnisse der EMA4 und EMA5 Kontrolle
Kommutatoren (noch ungelöst)
Während die technischen Offenbarungen von
der Demontage von Mr. Gray Custom Elektromagneten vorgesehen ist wichtig, sind
die von den EMA4 und EMA5 Steuer Kommutatoren gesammelten Beobachtungen noch
interessanter (und verwirrend).
Vor der Rückgewinnung des EMA4 & EMA5
dachte man, dass die angebrachte weiße zylindrischen Vorrichtung auf dem
hinteren Ende des EMA6 war eine einfache Drehpositions Timing
Kommutatoreinrichtung. Nach Patent 4.595.975 ein Kommutator artigen Vorrichtung
in der schematischen Darstellung enthalten sind. Es schien eine Art von
mechanischen Drehschalter, der zeitgesteuerten Impulsen der Macht kontrolliert,
um durch die Anoden der CSET fließen. Also, wenn das Patent und die Fotos
werden zusammen untersucht das scheint plausibel.



Die EMA6 - mit Steuer Kommutator auf äußerste Linke EMA4 Motor auf dem
Rücken Tabelle Abgespeckte
Wie sich herausstellt die EMA4 und EMA5
Motoren ergab eine viel komplexere Komponenten für Forscher zu bedenken. Diese
Kollektoren wurden in einer Weise, dass sie weit mehr Kontakte als das, was für
eine einfache Positionsrückmeldung erforderlich, enthalten gebaut. Die Geräte,
die mit jedem Motor kam wurden entwickelt, um so ziemlich die gleichen sein,
aber sie anders verdrahtet wurden. Weitere Steuerleitungen wurden mit dem EMA5
als mit der EMA4 genutzt. Dies stünde im Einklang mit der Tatsache, die einen
Elektromagneten EMA4 Paar zu Puls, während der EMA5 hatte drei hatten nur. Die
EMA5 Kommutator verwendet 9 seiner 15 Kontakte und wurde mit 7 Steuerleitungen
verbunden. Die EMA4 Kommutator auch 9 von seinen Kontakten, aber nur mit 3
Steuerleitungen verbunden.

Eine Prüfung auf Verschleiß an den
Kommutator Kontaktflächen, von möglichen Lichtbogen und Heizung, zeigten fast
keine Anzeichen einer Verschlechterung. Die Schlussfolgerung aus dieser
Beobachtung zu erreichen war, dass was auch immer Energie durch diese Geräte
übergeben müssen auf einem sehr niedrigen Niveau gewesen. Diese zumindest zwei
bis drei Größenordnungen kleiner als das, was nötig wäre, um alle Stator und
Rotorspulen auf einmal zu pulsieren. Geschätzte klassischen Strompegel von
weniger als 1 mA bei 200 Volt wurden als eine Obergrenze vorgeschlagen. Mr.
Wooten sucht diese Motoren von einem mechanischen Standpunkt aus, indem er
seine Fachkompetenz, und berichtete, dass jeder Motor schien mindestens mehrere
hundert Betriebsstunden angemeldet haben. Dennoch würde man nie feststellen,
dass viel nützen, indem du allein der Kontaktflächen. Es ist möglich, dass die
Kollektoren können ersetzt worden, bevor sie aus dem Verkehr gezogen, aber das
ist eine lange gedreht.

Norman Wooten Anzeige der Nicht
veröffentlicht Komplexitäten des Timing-Kollektor von der EMA5 Grau Motor an
der 2001 KeelyNet Conference 5 - Courtesy Dr. Peter Lindemann

Die Beobachtung der Mangel an Verschleiß,
ist die neue Überzeugung, dass die Kollektoren wurden, die sowohl Steuerzeit
und Positionssignale an Herrn Gray Energiewandler. Sie wurden trotzig nicht
direkt Umschalten der Grundleistung, die den Stator und Rotorspulen ging.
Weiterhin wurden diese Zeitsignale komplexer als jemals gedacht. In den
wiederhergestellten Motoren der Kommutator Abschnitt und der Motor Elektro
wurden unabhängig verdrahtet.
Die Beobachtung der Mangel an Verschleiß,
ist die neue Überzeugung, dass die Kollektoren wurden, die sowohl Steuerzeit
und Positionssignale an Herrn Gray Energiewandler. Sie wurden trotzig nicht
direkt Umschalten der Grundleistung, die den Stator und Rotorspulen ging.
Weiterhin wurden diese Zeitsignale komplexer als jemals gedacht. In den
wiederhergestellten Motoren der Kommutator Abschnitt und der Motor Elektro
wurden unabhängig verdrahtet.
Es gibt 15 Kontakte und zwei unabhängige
Aluminiumschleifringe in jedem Kollektor-Baugruppe. Drei dieser Kontakte sind
rechteckig (6 x 18 mm) Kupferschienen, die dreimal größer ist als die
restlichen 6 mm Durchmesser Kupferstab Kontakte. Für beide Motoren scheint es
zwei allgemeine Zeitmuster, die beim Blick auf die Winkelabstand Beziehungen
dieser Kontakte entstehen, sind.
1.) Die drei großen rechteckigen Kontakte
und 6 der kleineren Kontakte sind in gleichem Abstand 40° voneinander um den
Umfang des Montagerings. Diese würden eine kontinuierliche Bahn gleichmäßig
beabstandeten Satz Kurzzeitimpulse, die proportional zur Geschwindigkeit des
Motors liefern, mit jedem dritten Impuls mit dreifache Impulsbreite von den
anderen. Aber dies ist nicht das, was wurde verkabelt, um die Energiewandler zu
gehen.
2.) Es ist auch ein sich wiederholendes Muster
mit drei gruppierte Kontakte. Diese Gruppe wird von zwei kleinen und einem
großen Kontakt zusammen. Diese scheinen auf den "Brennen" der
Elektromagneten zusammenhängen, wenn der Wischer ist ca. 6° oberen Totpunkt
vorbei.


Der Drehaluminiumschaft Wischer beherbergt
eine federbelastete metallische "Pinsel", die jeden Kontakt mit dem
Schleifring in sequentieller Reihenfolge verbindet. Eine zweite
Aluminiumschleifring installiert wurde, war aber nicht in der EMA4 verwendet.
Wenn der Schleifring wurden als eine Schaltung gemeinsame dann würde das in
Abbildung 01 gezeigte Zeitmuster die Folge sein. Wiederum nicht alle der
Kontakte wurden entweder Motors verwendet. Dies ist in der Tat rätselhaft.
Anscheinend verschiedene Schaltungskonfigurationen wurden geplant, dass alle
diese Kontakte verwendet haben könnte
.

Zeitdiagramm 01 für Steuer Kommutatoren für
den EMA4 und EMA5 EV Grau Motors
Herr. Gray verwendet eine Konstruktion,
Technik, die in der Regel nicht in Rotationsanlagen gesehen. Es gibt drei
Schleifringanordnungen in jeder dieser beiden Motoren. Eine Anordnung ist in
den Kollektor-Baugruppe verwendet und hat zwei Schleifringe mit einer
gemeinsamen Wischer. Die beiden anderen Schleifringübertrager werden zur
Pulsleistung durch die Rotorelektromagneten durch. Einer vor und der andere ist
auf der Rückseite des Motors. Alle drei dieser Schleifringkörper haben eine
ungewöhnliche Innendesign. Dies liegt
daran, den Abstreifer und die "Bürste" sind um die Innenseite einer
stationären Gleitring rotiert. Das ist genau das Gegenteil, um 98% aller
anderen Industriemaschinen in der Welt, die Schleifringe zu verwenden. Fast
immer sind die Schleifringe an der rotierenden Welle angebracht ist und die Kontakte
oder "Bürsten" stationär sind. Der offensichtliche Vorteil dieses
gemeinsamen Ansatzes besteht darin, dass die Bürsten leicht ausgetauscht
werden, wenn sie nach unten zu tragen. Ein weiterer wichtiger Vorteil ist, dass
die "Pinsel" kann leicht Platz für einige Unzulänglichkeiten in der
Rundheit der Schleifringe, die gegen sie reiben. Dies liegt daran, die Bürsten
in gefederten Halterungen, mit denen sie sich zurück und vierten bewegen können
montiert. In Herr. Gray Design, eine Bürste oder Wischerwechsel würde weit mehr
Demontage erforderlich. Auch ist nicht ersichtlich, dass dieses Design könnte
fast so viel Abweichung von Toleranz als Standardbürste und
Schleifringanordnung kann ermöglichen. Wir wissen einfach nicht, was die
Anwendung spezifischer Grund war, dass diese Art von Lösung gefördert; es ist
sicherlich nicht aus der Betrachtung der Motoren allein auf der Hand. Mr.
Wooten macht geltend, dass er ein viel besseres System entwickelt haben, um die
Macht in den Rotor und mehrere andere große mechanische Systemverbesserungen zu
erhalten. Bisher hat niemand seinen Anspruch umstritten.
Es ist interessant festzustellen, dass der
obere Totpunkt die Position, wo die Elektromagneten rechtwinklig zueinander
ausgerichtet sind, erfolgt, wenn sich der Wischer am ersten kleinen runden
Kontakt in der Gruppe von drei Kontakten, sondern dass die größere rechteckige
Kontakt. Herr. Gray bezeichnet diese Position als 0°. Es wurde vorgeschlagen, dass ein bestimmter
Betrag der Winkelverschiebung zwischen den gegenüberliegenden Elektromagneten,
wenn in dem Abstoßungsmodus, um sicherzustellen, daß die erzeugten Kräfte in
eine Richtung ausgerichtet benötigt. Vielleicht Herr. Gray festgestellt, dass
der optimale Winkel, für diese Größe Motor ist rund 6 Grad. Die tatsächliche
Arbeitswinkelverschiebung eingestellt werden konnte. Vielleicht war es nur eine
bequeme Bezugspunkt und hatte nichts mit der Funktion des Motors zu tun.

Nach Angaben der Jacke Informationen die
Steuerleitungen, die weg von den Kollektoren werden zu 25KV bewertet. Dennoch
ist ihre Gesamtdurchmesser entspricht common # 14 AWG THHN Haushalts Draht
(0,12 Zoll Durchmesser). Das ist viel kleiner als typische elektronische
Hochspannungsleitung, die diese Art der Spannungswert hat. Dieser Draht war
wohl eine teure Spezialkabel in seiner Zeit.
Der kleine Abstand zwischen dem Wischer und
der Kontakte in den Gruppen von drei nahe, dass Herr Gray keine klassischen
Steuerspannungen, die einen Differenz größer als 200 V hatten nutzen. Wenn
klassische Elektronenfluss teilgenommen haben höhere Spannungen als dies
verursacht haben Bogenbildung an den beiden Vorder- und Hinterkanten der
Kontakte als Wischer angesprochen und daraus zurückgezogen. Wiederum
Bogenbildung wurde nicht beobachtet. Und was war der Zweck der teuren
Hochspannungskabel? Ein Vorschlag ist, dass alle an die Kommentatoren
angeschlossenen Steuerspannungen wurden bis zu einem gewissen hohen Wert erhöht
und die Unterschiede weniger als 200 Volt. Dies bedeutet, dass der gesamte
Kommutator wurde "schwimmend" zu einem bestimmten hohen Potential
über dem Boden. Die Gesamtnylonkonstruktion des Kommentators Montage legt nahe,
dass es hätte leicht diese Art von Hochspannungs-Betrieb (5 kV bis 20 kV)
unterstützt haben. Die Kollektoren auf dem EMA4, EMA5 und EMA6 alle montiert
nahezu unabhängig und extern vom Motor richtig. Dieses Konstruktionsmerkmal
kann eine Notwendigkeit für ein hohes Maß an Isolierung zwischen dem Motor und
dem Kommutator implizieren. Wenn ja, dann ist es durchaus möglich, dass der
Kommutator hat irgend hohe Fließspannung .
Der Zweck der verschiedenen Taktsignale
innerhalb der Freie Energie-Gemeinschaft diskutiert worden, aber bisher keine
allgemeinen Schlussfolgerungen wurden ausgeschrieben, die erklären würde, wie
sie Kreis den Betrieb des Energiewandlers beeinflusst.
Es scheint, dass der Energiewandler benötigt
mindestens zwei Datenströme, nur ein Teil davon war die einfache
Positionsinformation. Der Rest dieser kurzen Kontaktschlüsse werden als
Signale, die den Energiewandler für den nächsten Impuls oder zur Vorbereitung
könnten vielleicht ermöglichen eine Art von Energierückgewinnungszyklus. Es
gibt vier Kontakte zwischen jedem oberen Totpunkt Stellung; daher gibt es
Bestimmungen für bis zu vier Zustandsänderungen für jeden Stromimpuls. Nicht
alle von ihnen zu der Zeit wurden diese Motoren außer Betrieb genommen
verwendet, aber sie hätte.
Mr. Wooten, 2001 in seinem Video, behauptet,
dass die Kollektorfächer wurden mit "Luberplate" gefüllt. Dies ist
der Handelsname für Premium-Qualität weiß Lithium Maschinenfett. Da Herr Gray
schien nicht zu scheuen keine Kosten für den Bau dieses Teilmontage, dann
welche Norm eingehalten könnte vielleicht ein besonderes High Voltage Teflon /
Silikon-Isolierung Verbindung, die in der X-Ray Geschäft verwendet wird haben
können. Dies würde dazu beitragen, die Spannungsdifferenz von Steuersignalen Herr
Gray um vielleicht 500 Volt oder so erstrecken. Allerdings Verschmieren
Isolierung Fett (oder jede Art von Fett) auf beweglichen elektrischen Kontakte
ist ein riskantes Geschäft. Dies ist, weil es schwierig ist, ein System, das
zuverlässig wischen wird all das Fett aus den Kontakten unmittelbar vor dem
Kontakt und dennoch eine gleichbleibende Verbindung mit geringem Widerstand zu
bauen.
Beide Kommutatoren wurden gebaut, so dass
die Kontakte in einem beweglichen Nylonring untergebracht ist. Dieser Ring
wurde in einem größeren höhlten Zylinders, der als Gehäuse einwirkt, so dass
die ganze Sammlung von 15 Kontakten könnte zusammen in Bezug auf die
Wellenposition eingestellt werden installiert. Eine Maschine, die Stellschraube
für eine Vielzahl von Timing-Winkeleinstellungen erlaubt (-40° bis + 40°). Bei einer Einstellung von 16°, nach Notizen
auf dem Kommutator geschrieben, der Schrittmotor rückwärts laufen würde.
Wahrscheinlich nicht bei vollem Drehmoment, aber dies zeigt, dass diese Motoren
waren reversibel.
Nach der Erholung der EMA4 und EMA5 Motoren
die Idee, dass Herr Gray Energieanlagen waren Schmutz einfach ist gekommen, um
in Frage gestellt werden. Der überarbeitete Gedanke ist, dass low energy
technology der Herr Gray kann einfach gewesen, aber die höheren Energietechnik
scheint nun komplexer sein.

EMA4 Rückansicht EMA4 Vorderansicht
Fotos von EMA4 und EMA5 Motoren sind mit
freundlicher Genehmigung von Herrn Norman Wooten über KeelyNet
Hinweis: Dieses Dokument ist Teil einer
Reihe von Herr McKay im Rahmen seiner Untersuchung der Arbeit von Edwin Gray
Senior und lädt er die Leser, ihn zu kontaktieren, wenn sie irgendwelche
konstruktiven Anmerkungen oder Fragen über die Arbeit des Herr Gray haben
hergestellt. Herr McKay E-Mail-Adresse
ist mmckay@tycoint.com
E. V. Gray Historical Series
Beginnend mit dem Start Motor

. Der Start Motor wie im Jahr 2000 EMA4 und EMA5 Motors gefunden als im Jahr 2000 gefunden
EV Gray einmal, um John Bedini kommentiert, dass seine frühen freie Energie Experimente wurden durchgeführt mit der Stange Industriemotoren modifiziert. Es wird angenommen, dass, wenn Herr Gray endlich ausreichende Mittel bekam, fuhr er fort, um eine Reihe von kundenspezifischen Motoren, die eine bessere Nutzung der einzigartigen Eigenschaften von seinem nicht-klassischen "Cold Electricity" nehmen könnte zu bauen. Diese experimentellen Entwürfe wurden mit dem Modellnummern EMA1 durch EMA6 gestempelt. Die EMA4-E2 und die EMA6 sind seine gut kennen Konstruktionen und werden immer mit Herr Gray Arbeit verbunden. Aber es gab auch andere Übergangsmodelle gebaut.
Es kann eine wieder Beispiel für eine Pre-EMA-Serie Motor, der als Funktionsprüfstand eine der ersten Investoren Vorführmodell (um 1963-1969) gedient haben könnte, und sehr wahrscheinlich.
Im Jahr 2000 Freunde von Norm Wooten entdeckt zwei Original EV Gray Motoren in einem Geschäft irgendwo in Texas (wahrscheinlich Grande Prairie, Texas, wo Herr Gray war ein Geschäft in 1986). Dies waren die EMA4 und die EMA5 Prototypen. Mr. Wooten erworben diese Stücke der Geschichte aus dem Gebäude Landlord. Dann nahm er sie in sein Geschäft, in dem sie sorgfältig demontiert wurden. Später produzierte er eine sehr empfehlenswert Video seiner Beobachtungen für die Keely Konferenz 2001 in Florida. Dieser informative Band von Clear-Tech finden Sie unter http://www.free-energy.cc/index.html in DVD-und VHS-Formate. Zu der Zeit "Motor starten" wurde als unbedeutend und daher nicht zu sehr genau hinsah.
Nach erheblichen mechanischen Analyse der EMA4 und EMA5 kam Herr Wooten zu dem Schluss, dass dieses Gerät enthalten keine offensichtlichen freien Energie Geheimnisse. Die lebenswichtigen Energiewandler, die diese einzigartigen Motoren angetrieben hatten, wurden nicht gefunden. Ein paar Jahre später entschied er sich, diese Sammlung zu verkaufen.
Herr Allan Francoeur von Penticton, BC, lange freie Energie Forscher und Erfinder, kaufte die gesamte Partie für US $5.000 im Jahre 2003. Dieses Paket enthalten die beiden Prototypen Bewertung Motoren (EMA4 und EMA5), einer der Herr Gray fortschrittliche Spule knall Setups (Teilblick) und eines 1940 geändert unscheinbares Industriemotor. Es wurde angenommen, zu der Zeit, dass diese bescheidenen suchen Maschine war ein Hochspannungsgenerator (5 kV) von Mr. Gray benutzt, um seine Speicherkondensatoren für Kraft Experimente aufladen. Später wurde es vorgeschlagen, dass es sich um eine Gleichstrom Motor zum Starten Herr Grays großen Versuchsmotoren und so wurde es schließlich als einfach "Motor starten" bekannt. Der Start Motor könnte auch gedacht worden, um ein dyno-Motor sein können. In dieser Funktion konnte er als dynamischer gehandelt haben.

Kundenspezifische Adapter Flansch hinzugefügt, um die Vorderseite des Motor
Für eine Reihe von Gründen, dieser Autor hält diesen Ausrüstungsgegenstand war eine tatsächliche Arbeits EV Gray Schrittmotor vor dem Bau der benutzerdefinierten EMA Modelle
Effekthascherei Sagt Alles
Herr Gray verbrachte etwas ernstes Geld zu haben, diese einfache Motor verkleidet weit über eine praktische Tisch Notwendigkeit. Wenn er um die Details der internen Verdrahtung von der gelegentlichen Investor Besuch verbergen wollte, dann einige dickem Blech wäre eine kostengünstige Lösung sein. Doch wurde diese "Start Motor" mit einem speziell angefertigten drei Stück drei Farb (rot, weiß und blau) aus eloxiertem Aluminium Verkleidungssatz ausgestattet. Der große rote Abschnitt wurde mit einem Dutzend kleiner bearbeitet Lüftungsschlitzen ausgestattet. Diese drei Stücke von nicht-funktionalen Augenschmaus wahrscheinlich kostete ihn 50-mal, was der Motor hat sich gelohnt, aber möglicherweise wichtige gedacht haben genug, zu der Zeit, zu helfen, seine frühen Business Development-Aktivitäten voranzutreiben.
Wie sich herausstellt, ist der Start Motor kein Motor, sondern eine 5 kW Gleichstrom Erregergenerator, um 1940, verwendet werden, um die Feldspule Leistung für einen größeren Generator (75KW zu 150 KW) liefern. Der 4-polige ausgeprägten Statorpole ist mit zwei Magnetspulen, die in einer Verbindung Wunde Konfiguration funktionieren ausgestattet. Es hat auch einen unabhängigen Satz von Schleifringen, die mit den Ankerspulen verbunden sind, und damit für die externe Regelung zu ermöglichen. Es sieht seltsam aus, im Vergleich zu modernen Generatoren, weil es einen Kommutator, wie ein Gleichstrom-Motor, sowie zwei zusätzliche Schleifringe wie einen Wechselstrommotor. Mit dem Aufkommen der Festkörper-Leistungsgleichrichter die Schleifringe und Kommutatorlamellen in kleinen Generatoren wurden vollständig eliminiert, so dass Sie nur selten (wenn überhaupt) sehen diese Art der Konstruktion. Extern angebrachte Erreger auch vom größeren Generators behoben Sätze sowie für den gleichen Gründen. Dieser gleiche Entwurf wurde auch als "Dreidraht-Generator". Diese wurden in den 20er Jahren verwendet werden, um unsymmetrische Dreidraht-Gleichstrom Leistung für Kombination Motor und Lichtlasten liefern.

Änderung Einzelheiten
Herr Gray hat ein benutzer Nachrüstung mit dem vorderen Ende des Motors. Diese Änderung sollte eine Adapterplatte die es ermöglicht, verschiedene angeflanschten Getriebe angebracht werden können. Er installiert auch eine einfache Magnetsonde zwischen zwei der Statorwicklungen. Der Start Motor wurde neu konfiguriert, um seine Macht durch ein # 4 AWG-Kabel (siehe die Diskussion über die für die EMA4 verwendeten Kabels) zu empfangen. Es ist ein 2 Ohm 100 Watt Widerstand auf der Start Motor der Seite, die eine # 14 AWG-Kabel werde einen Schleifring und der andere, sich an andere hat verbunden (nicht angeschlossen). Die Rückkehr große rote Kabel (Masse?) Wurde direkt an die Generatorrahmen verbunden, wenn es in der Tasche haben. Mit Prime Power Reise durch den Rahmen eines Generators oder Motors ist trotzig nicht ein traditionelles elektrisches Praxis. Mit Ausnahme der Neuverdrahtung der Statorspulen, die Sonde und der Verkleidung der Rest des Kraft scheint "Lager" werden. Es gab zwei Entstörkondensatoren mit den Schleifringen, die ähnlich wie 50 Automobilverteiler Kondensatoren sind verbunden. Dies schien die Erstausrüstung und nicht ersetzt worden. Einer der Schleifringbürsten scheint einmal ersetzt haben.

Die Erholung und einfache Analyse des Start Motor nur verstärkt, was bereits über Herr Gray-Technologie vermutet:
1. Es gibt keinen offensichtlichen Over-Unity-Prozess in dieser Drehkonverter finden. (Aber das bedeutet nicht, dass es keine gibt)
2. Dieses Gerät wurde entwickelt, um alle Stator und Rotorspulen auf einmal gepulst werden. Dies ist eine operative Funktion, die in Herr Gray Motorensysteme gemeinsam angezeigt.
3. Angelegte Spannung Überlegungen: Die effektive klassischen Spannungspotential der Energie, die durch diese Vorrichtung geleitet sicherlich nicht 600 Volt übersteigen und wahrscheinlich nicht über 300 Volt zu erhalten. Hatte Herr Gray überschritten diese Parameter, angesichts des Alters dieser Erregerwicklungen Generatoren, würde er einen Isolationsfehler riskiert haben. Die typischen klassischen Betrieb eines Erregergenerator wie dies in der Regel 120 V Gleichstrom bei 50 Ampere.
Interessante Gedanken:
Warum wurde Herr Gray immer noch an diesem frühen Prototyp Demonstration Motor (für etwa 15 Jahren) in erster Linie? Technisch gesehen, scheint es, dass es war ein Relikt aus seiner Entwicklung Vergangenheit im Vergleich zu den entwickelten EMA4 und EMA5 Bewertung Motoren. Er sicherlich gutes Geld bezahlt, dieses Gerät von seinem Van Nuys, CA-Shop nach Texas verschifft haben, also muss es etwas wert gewesen sein. "Motor starten" wiegt etwa £75. Die beste Spekulationen auf dem Laufenden ist, dass Herr Gray war wahrscheinlich die Rettung seines wichtiger Meilenstein Ausrüstungsteile für eine zukünftige Ausstellung in einigen nationalen technischen Museums. Wenn dies wahr ist, dann teilweise die Bedeutung des "Start Motor" sollte nicht zu Ende sein sah.
Das Schema für die "Start Motor" unten am besten Versuch des Autors, mit völlig Demontage des Motors, um die geänderte interne Verdrahtung zeigen.

Al Francoeur hat sich sehr gut um diese früheste erhaltene Beispiel Herr Gray-Technologie übernommen. Es wurde repariert, geschmiert, gereinigt und jetzt Sport eine neue Lackierung. Alles was man braucht ist eine Reproduktion EV Gray Pulsenergie-Konverter, um das "Start Motor" wieder zum Leben erwecken.
Wenn ein Durchbruch jemals wird neu entdeckt, die die Geheimnisse der verwendet werden, um "Kalten Strom" create-Methoden dann dieses modifizierte Erregermotor könnte am Ende als funktions Ausstellung im Smithsonian entriegelt. Dies hätte das, was Herr Gray bestimmt die ganze Zeit.


Eine Zusammenstellung von E-Mail-Korrespondenz von Herrn Tad Johnson und andere Kolleginnen und Forschungen über die Versuche mit der "ED Gray" Energieumwandlungsvorrichtung
Von:
Tad
Johnson <h2opowered@c...>
Betreff: ERE Produziert von Unfall Datum: Do 13. Februar 2003
02.18 Uhr
(Tad Johnson) Schauen
Sie sich die unten auf der Seite erklärt die "Probleme" Jochen hat
festgestellt, beim Schießen dieses 300kV Marx-Generator. Sieht aus, um das, was
wir nach, seit er kann nicht scheinen, um es durch Erdung und andere Mittel zu
beseitigen. Auch einen Blick auf die Gesamtleitungszeiten (64uS) mit Anstiegs-
und Abfallzeiten wesentlich geringer möglicherweise im 5-10uS Bereich.
http://www.kronjaeger.com/hv/hv/pro/marx/index.html
"Die Entladung scheint
großen Spannungsspitzen im Boden und / oder Netzleitungen induzieren. Dies
wurde in einem verbrannten Netz führte zu wechseln und eine zerstörte
Fehlerstromschutzschalter. Erdung des Marx-Generator getrennt und Entkopplung
des Ladespannung Boden mit einem Widerstand hilft etwas. Dies kann sich als ein
großes Problem sein, da der Marx-Generator erzeugt natürlich eine riesige
Spannungsstufe mit einer Anstiegszeit vermutlich im Mikrosekundenbereich und
die anschließende Entladung erzeugt einen ähnlich steilen Stromimpuls, kA oder
mehr sein könnte. "

(Tim Martin)
Haben Sie einen Plan, um für die einfache Einstellung der Frequenz der Impulse
ermöglichen? Ich denke, es wird wichtig sein, genau stimmen das Gerät sein, um
bestimmte Effekte zu erkennen.
(Tad Johnson) Die Frequenz ist
einstellbar bis zu einem Grad durch Einstellung der Funkenstreckenabstand und
Kappengröße. Die Kappen Ich verwende sind 500pF so Frequenz sollte im
kHz-Bereich, je nachdem, wie viel Stromstärke der Stromversorgung Laden Sie den
Stapel mit sein. Wir waren gerade für die HV-Widerstände heute. Alles, was ich
noch zu tun ist, bauen die CSET und herauszufinden, die Ladeschaltung.
Wasserstoff oder magnetisch Löschfunken am Ausgang könnte später für noch
höhere Frequenz und mehr Schutz vor Stromumkehrungen hinzugefügt werden.
Betreff: Hallo Leute, Datum:
Sa 15. Februar 2003 11.52 Uhr
(Jani V.) Ich
dachte, Sie würden gern meine Version auf Ed Gray Kreis Im Ordner
"romisrom" sehe ich gerade erstellt haben, sind ein paar Bilder von
ihr, ich werde vollständige schema mit Komponentendaten so schnell hinzufügen,
wie ich in der Lage, es zu ziehen ...
Tad, ich hoffe, aus dem Bild
"convtube" finden Sie einige Tipps für Ihre CSET finden. -Jani-

Betreff: CSET design Datum: Sun 16. Februar 2003 08.28 Uhr
(Tad Johnson) Danke für die
Info. Ich wollte baute es ähnlich, obwohl ich im Begriff war, 1,250 "Acryl
Ich habe bereits verwenden, um das Kupferrohr zu zentrieren. Ich habe einige
neue Informationen über mein Netzteil I wird in Kürze veröffentlichen. Sieht
aus wie die Anstiegszeit wird 10nS mit a sein ~ Pulsbreite von 50US und eine
Abfallzeit von 40US ohne tailbiter Schluss oder ohmsche Last von etwa .1Ohm um
die Abfallzeit zu schärfen. ich kann diese später hinzufügen. Frequenz sollte
über 25Khz, da ist.
Betreff: Tesla /
Gray Geräte-Update Datum: Do 27. Februar 2003 07.08 Uhr
(Tad Johnson) Mein Gray Gerät
ist nun betriebsbereit, obwohl ich dummerweise gebraten ein paar Leuchtreklame
Transformatoren in den Prozess der versucht, die Schleife Sammelgitter Energie
wieder an die Stromversorgung ohne irgendeine Form der Trennschaltung. Es
scheint, ich bin jetzt an dem Punkt, dass Gary Magratten wurde beim Versuch,
mit einem großen Energieimpuls zu tun und dann messen. Stromkreisparameter
sind:
2000VAC @ 19.2Khz @ 20mA in eine
12KV / 40mA / 100nS Vollwegbrücke in ein 2-Stufen-Marx-Generator mit 400 pF /
30KV Keramik "Türgriff" Mützen in einem magnetisch abgeschreckt
Funkenstrecke mit Nadelspitzen aus Messing in den CSET aus Edelstahl Kugeln auf
Gewindemessingstangen. Sammlung Raster ist 316 Rohrdurchmesser Edelstahl 2
".
Gesamtausgangsimpuls 54uS breit
mit ~ 10nS Aufstieg und ~ 42nS fallen.
Ich denke an die Ausführung der
Ausgangsenergie im Sekundär eines 3KV Mikrowelle Transformator, einen
niedrigeren Spannungsbelastung Macht, obwohl ich nicht sicher bin, wie der
Transformator-Sekundär wird hand
der Eingang, vor allem
angesichts der Häufigkeit. Eine andere Möglichkeit wäre, Kappengröße erhöhen
auf dem Marx-Generator Teil der Schaltung, um die Frequenz zu etwas um 60-120Hz
senken und verwenden sie dann in einer herkömmlichen Form.
Bilder und Schemata folgen in
Kürze. Alle Ideen werden sehr geschätzt.
Tad



Datum: Fr 28.
Februar 2003 08.25 Uhr
(Tim Martin) Ich habe ein paar
Fragen.
Ist es möglich, sicher die
Spannung und die Frequenz des Ausgangs CSET?
(Tad Johnson) Ja, ich habe die
Daten unten, indem Sie eine 50Megaohm Widerstand zu messen, obwohl ich ungern
als der noch Haken, die 3500-Dollar-Rahmen zu. Ich mehr Mut, dies zu tun,
nachdem ich den Garantiebestimmungen für sie. Alle Daten die bisher auf einer
wahren RMS LCR-Meter entnommen.
Was ist die Netzstromaufnahme
des Leuchtreklame Transformator? (Tim Martin)
Sollte 1,5 Amp pro die Spezifikationen
sein. Aber ich werde es mit meinen wahren RMS-Meter (Strom 5A max auf dem
Zähler) zu überprüfen.
(Tim Martin) Wäre es möglich,
den CSET Ausgabe in eine große Bleiakkumulatorbatterie Dump?
(Tad Johnson) Ja, aber ich habe
gehört, es "kalt kochen" bei dieser Spannung. Scheint schwer an der
Batterie sein, aber ich habe nicht viel Wissen über sie. Ich möchte die
Spannung vor der an die Batterie anschließen, um einen vorzeitigen Ausfall zu
vermeiden, zurücktreten.
(Tim Martin) Würde die
Leuchtreklame Transformator richtig funktionieren, wenn auf eine kleine>
Gleichstrom / Wechselstrom-Wechselrichter auf der 12-Volt-Batterie
angeschlossen?
(Tad Johnson) Es sollte.
Betreff: Gray Schalt Bilder Datum: Sa 1. März 2003
10.19 Uhr
(Tad Johnson) Neue Bilder
hochgeladen, die die Gray Kreislauf, nachdem sie abgestimmt. Probleme mit hohen
Auflagen, da die Widerstände nicht bewertet mehr als 10 Watt auf dem
Marx-Generator, beginnen sie ein wenig heiß. Bilder zeigen einen 120 V AC / 60
Hz / 1,5 A Neon-Transformator betreiben Sie ihn seit meiner beiden anderen 12V
Gleichstrom Wechselrichter wurden wegen schlechten Urteil geraucht. Keine
Verbindung zum CSET Gitter war während dieser Testlauf, da ich meist Tuning die
Marx an die 120-V-Versorgungs neon-Stack vorhanden ist. Frequency war .5-1Khz
zu diesem Test.
Neue Stromversorgung hier haben
heute, damit ich die 12V Gleichstrom Version versuchen Lade die Marx bei
höheren Frequenzen (20 kHz) zu stapeln.
Blitz an der Kamera macht es
schwer, Bogen über Lücken zu sehen, aber es ist da.
Gesamtkosten der gesamten
Vorrichtung ist jetzt etwa US $ 145.
Betreff: Re: [ElectroRadiantResearch] Gray Schalt Bilder Datum: Sun 2. März 2003 16.36 Uhr
(Tim Martin) bemerkte ich in
Ihre Bilder, die Sie nicht haben eine große Hochspannungs-Luftkern wie Gray und
Magratten in ihren Schaltungen. Ist das un-nötig?
(Tad Johnson) Mir wurde gesagt,
die Luftkern war ein Schritt bis zu 120 V AC/60 Hz-Lampen und andere ohmsche
Lasten laufen seit ohmsche Lasten nicht über Frequenz sorgen. Ich habe nicht
errichtet ein Luftkern zurücktreten, aber ich könnte, wenn ich nicht bekommen
ein Motor bald gebaut.
(Tim Martin) Also, was hast du
gesagt, die klaren "Plexiglas" Material? Echt Plexiglas (tm) in
diesen Dimensionen ist ziemlich teuer.
(Tad Johnson) Acryl. Resists zu
50KV in dieser Dimension 1,125 Zoll dick. Sehr preiswert. 18 Zoll x 18 Zoll
Platz ist 20 Dollar. Habe ich etwa die Hälfte ein.
Betreff: Grid
Energie Datum: Sun 2. März
2003 23.02 Uhr
(Tad Johnson) Interessante
Erkenntnisse nach dem Ausführen des Grau-Schaltung für ein paar Stunden:
ERE manifestiert nicht, wenn
kein Widerstand an der Funkenstrecke Ende des CSET. Wiederholen null Leistung,
wenn kein Widerstand vorhanden. Desto mehr Widerstand, desto mehr wird die
Wirkung scheint sich zu manifestieren.
Mit 300 Ohm oder mehr der
Widerstand beginnt das Gitter beiseite zu legen eine erschreckende Menge an
Energie. Genug, um eine 50 Watt, 500 Ohm Widerstand in weniger als 30 Sekunden
zu rauchen. Meine Eingang war 12 Watt
Gesamt von der Wand. Die Ausgabe
des CSET Raster ist nicht messbar. Erdung ist auch immer ein Problem, da ich
das Ende der CSET mit einem Widerstand zwischen nicht ausgeführt zurück zum
Boden. Auch die Energie, die aus dem Netz scheint schädlich, sogar bei schnellen
Anstiegs- und Abfallzeiten im Gegensatz zu anderen Informationen da draußen zu
sein.
Jemand irgendwelche guten Ideen
für die Messung dieser hohen Stromstärken haben, Hochspannungsenergie würde ich
sehr glücklich sein. Wir brauchen genaue Leistung an dieser Stelle. Ich fühle
Betreff: Re: [ElectroRadiantResearch] Grid Energie Datum: Mo 3. März 2003 11.05 Uhr
(Tim Martin) Es klingt, als ob
Lindemann von selbst, dass eines der Probleme, Grau war, wurde mit der
Machtfülle zu tun richtig war.
(Tad Johnson) Ja, aber wir
werden sehen, wie viel Energie. Das ist, was ich bin nach. Wenn es möglich ist,
eine kleine 12 Watt Netzteil, um einen Gewinn von mindestens doppelt so sehen,
dann machen die Schaltung für die Anwendung Ich interessiere mich wird einfach
(kleine Antriebskraft, Roller, usw.).
(Tim Martin) Glauben Sie, dass
die CSET Ausgang verhält sich anders als "normale" Strom? Ich bin
neugierig auf Ihr Aussage über einen zusätzlichen Widerstand Erhöhung der
Wirkung.
(Tad Johnson) Es scheint, als
gäbe es MUSS Widerstand am Ende des CSET sein, um für die CSET Raster an die
Macht zu machen. dies scheint die "Bündelung up-Effekt" Lindemann
sprach sein, und das Tesla erlebt hatte. Es kann sein, dass, wenn diese HV
Impuls trifft den Widerstand ist wie sie trifft einen Backsteinmauer und
explodiert nach außen ins Netz (Weg des geringsten Widerstandes).
(Tim Martin) Auch glaube ich,
dass die Frequenz bestimmen, ob der Effekt ist schädlich. Achtung!
(Tad Johnson) Ich meine es so
vorsichtig, wie ich kann, aber ich habe schon ein kleiner Zwischenfall hatte.
(Tim Martin) Eine weitere Sache,
die Sie könnten versuchen, ist, indem eine normale 100-Watt-Glühbirne auf dem
Ausgang des CSET ohne Schließen des Stromkreises. Einzeldraht Kraftübertragung
ist ein verwandtes Phänomen.
(Tad Johnson) Ja, das
funktioniert mit einer Neonröhre, ich habe schon Neonröhren laufen aus dem Netz
Energie. sie schön leuchten mit voller Helligkeit.
Betreff: Fwd: Re: [alfenergy] Grid Energie Datum: Sun 2. März 2003 11.35 Uhr
(Willard) Ich kann schlagen vor, eine
Reihe von Glühbirnen in Serie als eine Last. 5 Glühbirnen von 100 Watt je zum
Beispiel.
(Tad Johnson) Ich werde
versuchen, dass, obwohl ich wirklich brauchen, um irgendwie ein Amperemeter
darauf und der Umfang. Ich musste die Spannung 2920-1460 Dropdown nur so konnte
ich den Effekt genug, um mit den Komponenten verwende ich ohne sie zu zerstören
Arbeit zu verringern. Meter überlastet, wenn versucht wird Netzspannung an der
verdoppelten Einstellung aus der Marx-Generator zu messen. Ich verwende einen 100Megaohm, 100watt
HV-Sonde, die mehr als ausreichend für diesen Spannungen sein sollte. sehr
seltsam.
Betreff: Re: [alfenergy] magnetische Löschfunken Datum: Di 4. März 2003 11.35 Uhr
(Peer) Die magnetische
Löschfunken ist notwendig, um kontinuierlich zu verhindern Lichtbögen. Ist das
richtig?
(Tad Johnson) Nr, hilft es, den
Lichtbogen zu löschen, und bringen die Abfallzeiten zurück, um etwas mehr
normal. Die Wellenform nach Berechnungen ist ~ 10nS steigen, 50US breit, mit
einer langen Abfallzeit, das ist, wie Marx-Generatoren arbeiten. Um die
Abfallzeit wieder bringen ~ 20 ns reichen wir brauchen, um das Ende des
Impulses Clip. Sie können diese durch den Lichtbogen vorzeitig zu töten, oder
Sie können einen niedrigen Widerstand Last am Ausgang der Funkenstrecke
(Schwanzbeißer Kreis) setzen, oder Sie können beides. Mein Ziel war ~ 10nS
Anstieg, 20uS Puls, ~ 20ns fallen, mit einer Pause von 500us zwischen den Impulsen.
Betreff: Re: [alfenergy] Tad Datum: Datum: Mi 5. März 2003 11.44 Uhr
(Unbekannt Mitglied) Ich
versuche, Ihre Schaltung, um die Arbeitsweise der CSET besser zu verstehen,
wieder aufzubauen. Die ursprüngliche Schaltung von Gray selbst gebaut hatte eine
mächtige Eingangs. Schwere Batterien wurden verwendet, um die Schaltung zu
betreiben. Sie verwenden nur ein kleiner Strom und einen viel höheren
Widerstand am CSET.
(Tad Johnson) Ja, das ist meine
Idee, den Stromverbrauch so gering wie möglich zu halten, aber immer noch zu
sehen der Effekt. Und ich habe es wirklich gesehen, mit einem 9-12
Watt-Netzteil, so dass es da ist. Ich bin jetzt die Beleuchtung Neonröhren vom
Netz Energie allein, sollte dies nicht möglich sein, da sie einen Energiegewinn
von mindestens 100% oder um weitere 9 Watt bedeuten, insgesamt 18watts für die
gesamte Schaltung machen.
http://www.amazing1.com/voltage.htm
Am unteren Ende
der Seite finden Sie die Stromversorgung, die ich zur Zeit benutze sehen (MINIMAX2)
ATTENTION! High Voltage Experimenters
High Voltage Transformers
|
Low cost thumb sized modules may be battery powered and used for
experimental research in: Plasma Guns, Shock Wands, Anti-Gravity, Hovercraft, Tesla
Coils, Ion Guns, Force Fields, Electrical Pyrotechnics, Stun Guns, Etc..
|
|
MINIMAX5
- 7000 Volt With IOG9
Plans..............................$29.95
MINIMAX4
- 4000 Volt With IOG9 Plans..............................$19.95
MINIMAX3
- 3000 Volt With IOG9 Plans..............................$17.95
MINIMAX2
- 2000 Volt With IOG9 Plans..............................$14.95
MINIMAX1
- 1000 Volt...............................................................$9.95
Bag of
five 2
to 3000 volt units-some requiring minor repair, others more.
MINIBAG1
- Includes Basic Schematic..............................$19.95
Unbekannt Mitglied) Ich versuche, Ihre Schaltung zu kopieren, mit einem
mittelgroßen 6,5kV HeNe-Laser Versorgung.
Der Ausgang (Grid-Leistung) I zu erhalten, ist jedoch winzig klein.
Tad
Johnson) Das ist in Ordnung, meine Versorgungs ich jetzt nur 1460V @ 8mA !!
Aber diese Spannung wird in der Marx-Generator verdoppelt. Der Marx-Generator
wird anstelle des großen Kondensator und der Vakuumschaltröhre in dem Grau
Patente eingesetzt. Dies beseitigt die Notwendigkeit für teure und komplizierte
Schaltungstechniken, da der Marx-Generator schaltet in weniger als 50 ns und
ausgeschaltet, daß gleiche Menge an Zeit, solange Sie nicht größere
Kondensatoren. 400pF Kappen @ 1460V @ 8mA gibt mir 500 HZ. Aber 1900pF im
selben Versorgungs gibt nur mich 1-2HZ, aber viel höhere Stromstärke Impuls,
wenn die Lücke Feuer. Wenn mehr Stromstärke in der Stromversorgung (zB 20mA)
wird diese Rate wäre natürlich viel höher und besser kontrollierbar sein.
http://home.earthlink.net/~jimlux/hv/marx.htm [Appendix 1]
http://members.tm.net/lapointe/MarxMain.html [Appendix 2]
http://www.kronjaeger.com/hv/hv/src/marx/index.html
[Appendix 3]
(Tad Johnson) Die
Kondensatoren stammen aus:
http://www.alltronics.com/capacito.htm
Die 400pF 30KV
diejenigen sind US $12,50 jedes. Der
6,5-kV-1500pF jeweils 99 Cent. Die billigeren funktionieren genauso gut, wenn
nicht besser! Wenn Sie wirklich wollen einen großen Stromimpuls kaufen die
14uF, 20KV, 2800 Joule Kondensator!

KERAMIK
HOCHSPANNUNGS-ÜBERTRAGUNG CAP
400pF @ 30KV, TC N4700. Gemacht
von TDK.
20P007 $12.50
SANGAMO ENERGIE ENTLASTUNG KONDENSATOR
14 uF 20KV 2800 Joule 14" x 8" x 24" --- Mineralöl gefüllt
20P002 $250.00
(Unbekannt Mitglied) Vielleicht gibt es ein Geheimnis, das ich noch nicht
gesehen haben. Meine CSET ist keine Pfeife, sondern ein
runden
Käfig von Kupferdraht miteinander verlötet. Wenn eine messbare
Strahlungsenergie durchgeführt wird, sollte dies ein Ich denke, durch die
kleine CSET Gitter Ich habe bemerkt werden.
(Tad
Johnson) Sie werden an diesem Gitter sehen Energie unabhängig von ihr ist
Entwurf. Ich bin mit einem Rohr aus rostfreiem Stahl, aber jede Kupfer,
Aluminium oder etwas anderes sollte auch funktionieren. mehrere Schichten
aus
verschiedenen Metallen (Kupfer innen, Aluminium außen sollte Leistung als auch
zu erhöhen) .Auch, bewegen Sie den CSET Funkenstrecke in die Röhre wie sagte
Skip. Ich hätte dies getan haben, wie gut, aber ich war faul. Dies sollte die
Energie in der Startaufstellung zu maximieren. Verwenden Sie ein paar
Neonröhren zu laufen aus dem Netz. 220VAC @ 10mA ist, was meine Lampen sind,
verwende ich zwei in Reihe und sie leuchten mit voller Helligkeit aus dem Netz
Energie allein. Eine Führung, um Gitter, einem an Masse. Sie leuchten auf halbe
Helligkeit nur Berühren des Gitters und nicht geerdet. Ich versuche,
herauszufinden, was ich tat, als ich lief die 50watt Widerstand über das Netz
ausgegeben werden, um es so heiß, wie es immer war zu bekommen. Diese Schaltung
Gitterausgang variiert stark je nachdem, wie es so abgestimmt ist, gibt es
viele Dinge noch testen.
Ich
möchte wirklich, um eine Rücklaufversorgungs bald aber versuchen.
http://www.electronicsic.com/fly.htm

(Unbekannt
Mitglied) Vielleicht ist meine abgeschreckt Funkenstrecke nicht funktioniert.
Wie wird bei Ihnen aufgebaut?
(Tad Johnson) I verwendet einen
Kunststoffblock auf beiden Seiten und verwendet einen Forstner Bit (1/2 ")
zu Kern ein Loch in dem Kunststoff, dann I Leim auf die Keramikmagneten in das
Loch auf beiden Kunststoff kleben. dann habe ich einen Router, einen Slot zu
machen, damit ich den Magneten Abstand von der Spaltelektroden anzupassen. die
Magnete TWIST den Lichtbogen und hau sie ab Anfang, das gibt uns ein schneller
Abfallzeit.
(Unbekannt Mitglied) Haben Sie
die R4 geschlossenen Inneren des CSET Rohr oder außerhalb? Ist es ein
Hochspannungstyp oder ein normales?
(Tad Johnson) außerhalb und es
ist eine normale 10K, 3 Watt Widerstand, von Panasonic, von Digikey bestellt.
Die gleichen Widerstände im Marx Stapel verwendet. Ich habe auch versucht eine
HVR-1X, 12KV / 550mA Diode (THV512T ist neue Teilenummer). Das funktioniert gut,
auch.
http://www.electronicsic.com/diode.htm
LEISTUNGSDIODEN
(in der Mikrowelle verwenden)
![]()
X
|
THV512T 12KV - 550mA $3.20 each |
|
|
|
|
|
Ersatz für : |
HVR-1X-3 12KV - 550mA |
|
HVR-1X-4 9KV - 550mA |
|
Anderen Dioden, die ich gekauft habe waren VG3, VG6 und VG12
aus
http://www.amazing1.com/parts.htm
|
22KV HV Diode For KILOVOLT MAGNIFIERS |
$3.95 |
|
|
3KV HV Diode - Used LGU4, IOG3, etc. |
$1.95 |
Betreff: Gray Schalt Änderungen Datum: Mi 5. März 2003 11.18 Uhr
(Tad Johnson) Ich beendete meine Schaltungsmodifikationen nach Anregungen. Ich
verdreifacht die Kapazität in der Marx Bank, die CSET Lücke in der Mitte der
Sammelgitter installiert und hat eine 25nF Kappe auf den Ausgang des CSET Grid
im Einklang mit der Last. Die Lampen leuchten mindestens als doppelt so hell
wie zuvor. Aber was ist wirklich aufregend für mich war, dass ich im Begriff
war, auf dem Marx Lücke zu arbeiten und so ging ich um kurze Kappe Bank. In dem
Moment, ich kurz diese Bank von Kappen fühlte ich den "Energiewelle",
die tatsächlich in Richtung des Hoch schob mein Hemd.
Hat
jemand gesehen, beim Entladen eine Kappe Bank aufweisen und von der Nähe? Sehr
seltsam Anomalie. Macht mich glauben, dass Tesla muss haben mit sehr viel
höheren Spannung und viel höhere Kapazität als dieser Schaltung arbeitet, um
diese Welle ständig an jeder Lücke Brennen spüren. Dies ist offensichtlich, was
wir suchen, um zu reproduzieren.
Betreff: Re: [alfenergy] Magnetic Löschfunken Datum: Do 6. März 2003 09.16 Uhr
(Alan Fran) I haben die Funktion
eines magnetischen Löschfunken getestet. Ich habe einen Marx-Generator, um
kurze Impulse HV erstellen. Die Funkenstrecke war einfach zwei Enden eines
Kupferdrahtes einander mit einem Abstand von etwa 2 mm gegenüber. Ich habe eine
umge und legte einen starken Neodym-Magnet an jeder Seite der
Schraubstockbacke. Der Spalt zwischen den beiden Magneten betrug etwa 17 mm.
(Die Magnete sich gegenseitig anzuziehen) die Anordnung war so, dass man leicht
die umge mit Magneten zu entfernen, ohne die Funkenstrecke.
Ohne Magneten ein Lichtbogen oft
nach einem Funken aufgetreten ist und die Frequenz der Funke war alle Zeiten
ändern und es gab eine kleine Pause ohne einen Funken, teilweise. Aus dieser
Sicht kann ich schließen, die Funkenstrecke ohne Magnet ist nicht so gut
funktioniert, weil der unteren Funkenfrequenz und den auftretenden Lichtbögen.
(Tad Johnson) Ja, ich habe das
selbst auch gefunden. Aus diesem Grund Ich mag den Magnetspalt so viel.
(Alan Francoeur) Mit den
Magneten, war die Frequenz des Funkens ist höher, und es gab keine stehenden
Lichtbogen überhaupt. Jedes Mal, wenn ein Lichtbogen gern den Lichtbogen
entstehen stieg aus wie eine Kerze im Wind.
Als ich ein kleines (8 Watt)
Neon-Lampe zwischen der Laster, die aus Stahl hergestellt wurde und irgendwie
als Gitter serviert und erden Anschluss der Neon-Licht leuchtet wöchentlich und
die Lade Frequenz ein wenig verändert auch die Lade Lärm verändert! Und dies,
obwohl es kein galvanischer Kontakt zwischen der Marx-Generator und der
Neon-Lampe.
(Tad Johnson) Ich verstehe
nicht, warum Frequenz ändert sich, wenn Sie eine Last an das Netz
anzuschließen, aber ich habe gesehen, wie gut.
(Alan Francoeur) Aber ich habe
auch nach der genannten Funkenstrecke zurück zum Boden strömen die aktuelle.
Dies wurde durch eine 50-Ohm-Widerstand eine HV-Sonde und einem Oszilloskop
durchgeführt.
(Tad Johnson) Ich mache eine
neue HV-Sonde wird 1GOhm die Größe sein. Ein bisschen hoch, aber ich habe viele
Probleme mit der 100MOhm, die ich jetzt zu verwenden.
(Alan Francoeur) Ohne Magneten:
die Zeitdauer des Funkens konnte kaum gemessen werden, sondern schien> 500
ns.
Mit Magneten: die Zeitdauer des
Funkens war auf jeden Fall kürzer und das Bild über den Umfang war klar. Die
Zeitdauer betrug 100 us bis 200 ns.
(Tad Johnson) Great! Dies ist,
was wir suchen.
(Alan Francoeur) In beiden
Fällen sehen Sie eine positive Hochspannungsimpuls, die die Kapazität des
Bildschirms über den Umfang überschreitet. Dann wird ein kleiner negativer
Puls, wie die Hälfte einer Sinuswelle folgt. Danach gibt es schnelle
Oszillationen. Vielleicht Bild nicht die wahre Stromfluss zeigen, wegen der
parasitären Kapazitäten der verwendeten Widerstand.
(Tad Johnson) Das Klingeln ist,
was wurde durcheinander mein Frequenzzähler bis ich denke. Ich könnte nicht
immer werden die richtige Frequenz der Impulse gemessen. Induktoren können
anstelle der Widerstände verwendet werden, um Verluste zu reduzieren, obwohl
der Ausgang wird natürlich verschieden sein und müssen beseitigt oder geschärft
werden.
(Alan Francoeur) Eine weitere
Untersuchung war, dass die Verwendung von nicht-Magnet könnte ein Mehr
Entladung (viele kleine Entladungen) auftreten. Mit Magnet gab es immer eine
Entladung. Vielleicht haben Sie die gleiche Erfahrung.
(Tad Johnson) Ja, genau. Deshalb
Tesla auch diese Magnete um die Lücke. Er versuchte, für eine kleinere und
engere Energieentladung.
(Alan Francoeur) Tad, haben Sie
versucht, der Magnete in der grauen Rohr zu setzen? Daher wäre es nicht
notwendig, einen separaten Funkenstrecke und vielleicht mehr Macht in der Grau
Rohr haben.
(Tad Johnson) Ich habe nicht
versucht, aber ich kann sie bald versuchen.
Betreff: Fortschritt Datum: Do 13. März 2003 22.42
Uhr
(Tad Johnson) keine Fortschritte
auf dem Gray-Schaltung in dieser Woche, wie ich immer auf eine Drehbank, um
Teile zu machen und tun, eine bessere Qualität der Arbeit, damit ich finanziell
nicht in der Lage, die HV-Widerstand für die Messung noch das Thyratron oder
Funken Rohre zu kaufen gewesen gearbeitet .
Ich zog meine
Wasserstoffverbrennungsentwickeltes Gerät, aus dem Laden, da die
Kraftstoffpreise sind langsam lächerlich. Auto schon bekommt 33mpg, aber 38 bis
40 wäre besser.
Ich will Bilder von ihm zu
setzen, wenn ich es wieder zum Laufen.
Ich werde auf dem Grau Schaltung
wieder in ein oder zwei Wochen, obwohl arbeiten. bleiben Sie dran,
Betreff: Re:
[ElectroRadiantResearch] Success ??? Datum:
Fr 21. März 2003 21.17 Uhr
(Jani V.) Am vergangenen
Wochenende habe ich endlich eine Chance, meine Ed Gray-Maschine testen und ich
denke, die Electro-Radiant-Ereignis manifestiert einmal. Wenn ich den Test
lief, blitzte 40 W Glühbirne vor dem ganzen Bündel von Ladung, die zu den
Netzen gesammelt wurde, zu entladen, obwohl die Sicherheitsfunkenstrecke (schema
Test1a, schauen meine Ordner romisrom). Ich versuchte, das Radiant-Ereignis
duplizieren aber es hat nicht einmal manifestieren. Ich denke, dass der
Unterbrecher-rotierenden Stab verbrannt irgendwie, weil es Widerstand in der
Nähe von zwei Megaohm erhöht!!! Ich habe auch den Kohlewiderstand
unterschiedlich zu machen, denn es ist nicht sehr stabil, Widerstandsbereich
zwischen 50 bis 500 Ohm je nach der Temperatur. Ich habe auch in der
Funkenstrecke hinzugefügt eine starke NIB Magneten Bogen schneller geschnitten.
Ich denke, das magnetisch Löschfunken ist sehr wichtig, ERE zu produzieren. Wie
auch immer, muss Test erneut durchgeführt werden, um sicherzustellen, dass es
ERE, dass manifestieren weder eine andere Entladung ....... leider meinen Tests
ist sehr langsam, weil ich in einem anderen Ort durch meine Arbeit und meine Testgeräte
sind ein weiterer Ort. So kann es eine Weile dauern.
(Tad Johnson) Herzlichen
Glückwunsch! wie ein erfolgreicher Testlauf klingt. Sie sollten konstante
Leistung aus dem Netz zu bekommen, sobald die Schaltung ist so abgestimmt und
stabilisiert. 300 Ohm am Ende des CSET scheinen perfekt in meinem letzten
Testlauf sein.
Halten Sie sich die gute Arbeit,
egal wie langsam geht es, es lohnt sich für die Menschheit.


Betreff: Fortschritt Datum: Sun 30. März 2003 17.21
Uhr
Hallo Leute,
Ich habe nicht so viel zu tun
auf dem Grau-Gerät für ein paar Wochen, seit ich eine Beziehung gesehen,
gefühlt von mir auseinander nach 8 Jahren, in denen mit dieser Frau zu fallen.
Ich bin aufgeregt, um zu sehen,
die Fortschritte, die Jani gemacht und Peer auf ihren Schaltungen und
hoffentlich finden Sie einige "Antrieb", um auf meinem System bald
wieder zu arbeiten.
Besten Wünsche,
Tad
Hinweis: Dieses Dokument ist Teil einer Reihe von Herr McKay im Rahmen seiner Untersuchung der Arbeit von Edwin Gray Senior und lädt er die Leser, ihn zu kontaktieren, wenn sie irgendwelche konstruktiven Anmerkungen oder Fragen über die Arbeit des Herr Gray haben hergestellt. Herr. McKay E-Mail-Adresse ist mmckay@tycoint.com
Gespräch zwischen Mark Gray und
Mark McKay auf 5/19/2007
Mark Gray ist E.V. Grays 6. Kind in1958 in
Südkalifornien geboren. In den vergangenen Jahren ist er als
Teile-Zimmer-Manager für einen Schulbezirk-Werkstatt, die mehr als 200 Busse
hält. Er ist eine alleinerziehende Mutter, die lebt mit seinen drei erwachsenen
Kindern. (Zwei Töchter und einen Sohn).
Mark Gray wurde von seinem Vater, E.V. Gray,
für den Großteil der Zeit zwischen 1979 und Anfang 1988 In dieser Zeit war er
in seiner Eigenschaft als Generalassistent. Er reiste und arbeitete an sieben Standorten,
einschließlich einer zweiwöchigen Reise nach Israel.
Unter der Leitung seines Vaters er in den
Bau der Großteil der "Trigger-Wagen" (Die Wandlersysteme unter den
Schrittmotoren), die in der 1896 ZTEX Werbevideo angezeigt werden, unterstützt.
Er hat auch in Sicherungsteile von benutzerdefinierten Herstellern unterstützt
wird, mit Klebeband Video die Technologie, unterstützt mit verschiedenen
Vorführungen, fuhr das Unternehmen Lkw und schrieb Lizenzvereinbarungen. Dies
sind nur einige der Vielzahl von Aufgaben er während seiner Amtszeit des
Service.
Mark getrennt auf gutem Fuß von seinem Vater
Anfang 1988, als die Finanzierung lief aufgrund der Unterschiede zwischen EV
Gray und bestimmte Investoren, um die Kontrolle und die Zukunft der
Technologie. Diese Unterschiede wurden erhöht, wenn ein angeblicher Regierung
Kontakt, Interesse an einer möglichen Forschungs- und Entwicklungsprogramm auf
dem Schalt- / Auslöse Aspekt der Technologie in das Bild kamen Ende 1987 -
Anfang 1988.
Während Mark hatte einen enormen Belastung
durch spätere Technologie seines Vaters (1979-1988), wird seine detaillierte
Verständnis der zugrunde liegenden Prinzipien funktioniert fast verschwunden.
Er tat, was ihm gesagt wurde, zu tun und wurde für seine Dienste angemessen
entschädigt, aber nie intensiv mit der Arbeitsweise der Technologie. Für die
letzten 20 Jahre Mark wurde komplett von der Technologie seines Vaters
geschieden und hat fast alles, was er über sie wusste, vergessen. Er bedauert,
nicht mehr Aufmerksamkeit geschenkt und nicht nachdem ein echtes Interesse an
den "A und O" der Prozesse genommen.
Mark war sehr bereit, diese anekdotischen
technische Leckerbissen, die Einfluss auf die Wiederentdeckung dieses verlorene
Technologie haben könnte teilen.
Die Mark I (Converter Schaltelement Rohr)

Das zylindrische Glas-Abdeckung ist ein
Colman Gaslaterne Abdeckung
● KOMMENTAR: Das ist wirklich begrenzt
die Größe der Innendruck, was immer Gase vorhanden sein können. Die Größe der
Endkappen kann Drücke bis zu 6000 psi zu unterstützen. Mit solch einer dünnen
Glas umhüllen etwas mehr als 3 psi wäre schwierig. "Er wollte nicht, den
hohen Preis für eine bearbeitete Gehäuse zahlen"
● alle elektrischen Anschlüsse wurden von oben gemacht
KOMMENTAR: Ich zwei elektrischen Anschlüssen finden nur an der Oberseite
des Gerätes (die schwarze Mittelleiter und der weiße Leiter mit dem großen
gelben einzelne Pin-Anschluss Deshalb ist die "Grid" ist mit nichts
verbunden, es sei denn, um eine der angeschlossen ist. Elektroden.
● die Lücke war einstellbar
● die innere Gas wurde vermutet, dass Stickstoff aus einem
Schweißteil Haus sein
KOMMENTAR: Herr E.V. Gray war sehr vertraut mit Schweißgasen. (Bezug
nehmend auf S6F) "Er hat nicht mit allem, was exotisch engagieren"
● Zweck der Grids: "Vielleicht zu vertuschen, was er wollte
nicht, Menschen zu sehen?"
KOMMENTAR: Wie eine zusätzliche Serienbauteil, vielleicht einer
HV-HF-Spule?
● Gab es eine elektrische Verbindung zu der
"Grids"? "Ich
erinnere mich nicht"
● "wurden die Elektroden aus Wolfram oder Titan. Welche
überhaupt Material Russland berühmt ist. "[Titan]
Ignitrons auf der "Red Motorwagen"
installiert
Die Mark II "Silver Zylinder"
(Ignitron)
● Dies war ein von der
Stange kommerzielle Vorrichtung, die einen Metallzylinder betrug etwa 2
"Durchmesser und 6" lang.
● Die Anschlussisolatoren waren Glas
● Es war ein zwei nur Endgerät, mit
Drähten nach oben und unten verbunden.
● Die runden Flanschen
wurden maßgeschneiderte Endstücke zusätzliche gerippten Alu-Kühlkörper, die um
den Umfang angebracht wurden zu sichern.
● Das Band in der Mitte
war ein Kühlerklemme, um alles zusammenzuhalten. Manchmal werden zwei Klemmen
verwendet.
● Diese Geräte haben
gelegentlich verschleißen oder ausfallen. Neue Einheiten wurden im Regal
bestückt
● Diese Geräte
enthalten Quecksilber und daher zurückgezogen Einheiten wurden hinsichtlich der
Lagerung behandelt.
● Wenn diese Einheiten arced in dir
einen blauen Blitz durch das Terminal Glas sehen.
KOMMENTAR: Es scheint, diese Geräte der
Klasse A Ignitrons. Sie sind die richtige Größe, rechte Formfaktor und enthalten
Quecksilber. Jedoch ein Ignitron ein drei oder mehr Endgerät. Es arbeitet
ähnlich wie eine sehr hohe Strom Thyratron. Wenn es keine Steueranschlüsse für
das Zünder, dann einen Einsatz hätte ein fester Abstand Funkenstrecke und
Überspannung der nur bis er gefeuert. Ein Vorteil dieser Vorgehensweise würde
eine saubere Quecksilberoberfläche nach jedem Impuls ist. Die in dem Video 1986
beobachtete Impulsrate in der Größenordnung von 2 Hz.
Es ist unklar, Widerrist diese Ignitrons
wurden als Ersatz für die CSET oder Komponenten zusätzlich zu dem CSET. Bisher
unterstützt die beste Erklärung, die Idee, dass die Ignitrons die Funktion der
rotierenden Funkenstrecken, die im Kollektorabschnitt EV waren ersetzt Grays
frühen Motorkonstruktionen. Die 1986 Promotion Video wird zeigen, dass E.V.
Grau verwendet mehrere dieser Geräte für seine Motoren (bis zu sechs pro
Wagen). E.V. Gray wahrscheinlich ein neuartiges System, wo die Komplexität der
alten Frontend Dreh Zündspalt Array nicht mehr benötigt, wodurch die Herstellungskosten
pro Motor stark reduziert.
Magnetdraht für die Spulen Popping:
● Alle der Draht für den Bau der
Geschoss Spulen war Standard-Kupferlackdraht
● Eine Gesellschaft
wurde zur Bearbeitung des Aluminium- oder Kunststoffspulen Formen
(normalerweise Nylon) unter Vertrag. Ein weiteres Unternehmen wurde engagiert,
zum Wickeln der Spulen. "Wir haben versucht, wickeln ein paar unserer
eigenen Spulen. Aber nicht viele "
Draht an besonderen Orten eingesetzt:
"Das Draht gab es die teuren Silikon
gefüllt Draht, der in diesem Zusammenhang verwendet werden musste", die
auf dem Foto des Batterieladegerät Wechselrichter und die Kabel kommen aus dem
Speicherkondensator.
KOMMENTAR: In der Cannady Interview wurde
festgestellt, wie "Kalt Strom" würde die Isolierung auf Leitern zu
zerstören. Anscheinend E.V. Grau fand eine vorläufige Lösung für dieses Problem
durch die Verwendung spezieller Draht in den Stellen, wo es notwendig war.
Ein Ausflug zu den
Kondensator-Verkauf
Mark Gray erzählt eine Erfahrung, die er
hatte, als er beauftragt, einige defekte Kondensatoren in einem
benutzerdefinierten Anbieter in Südkalifornien zurück.
Die interne Verbindung zwischen dem äußeren
Kondensatoranschluss und den internen Platten hatte sich geöffnet, weil die
Drahtstärke war zu klein, wodurch es zum Scheitern verurteilt. Um diese
Beschwerde aus erster Hand zu erforschen, der Verkäufer öffnete ein defektes
Gerät mit einem Dosenöffner. Da die Verbindung war zu diesem Zeitpunkt getrennt
war noch eine beträchtliche Ladung noch in der Einheit verlassen. Es war eine
unerwartete zufällige entladen, die einen lauten Knall verursacht. Anscheinend
ist der Verkäufer schnell getroffen Reparatur Modifikationen an allen
Kondensatoren zurück kostenlos. Mark berichtet, dass die Platten waren grau mit
Schichten aus einem weißen Material dazwischen. Die gesamte Einheit war mit
einer dicken klares Gel gefüllt. Mark Gray behauptet, er erinnert sich Werte
von 500 mF bei 5 kV.
KOMMENTAR: Diese Art der Konstruktion
impliziert eine geringe Induktivität Plattenkondensator vielmehr, dass die
höhere Induktivität gerollt Designs. Die Restspeicherladung impliziert eine
geringe Verlust Konstruktion. Ich weiß nichts über die dielektrische wissen,
könnte es ein Standard-Poly Material gewesen sein. Eine andere Autorität
behauptet E.V. Gray Gebrauchtwagen Mica. Ich weiß nicht, welche Farbe Glimmer
wird, wenn in einem großen Kondensator eingebaut. "Cold Strom" ist
auch für seine laute Entladungen bekannt.
Der "Auslösen Warenkorb"


Mark Gray behauptet, dass das Herz und die
Seele der EV Gray-Technologie ist die "auslosen Warenkorb". Dies ist
die Stromversorgung, die die Quelle der anomalen Energie für alle Geschoss
Demonstrationen war. Das Interessante an diesem System ist, dass es von 220 V
AC, gegen alle EV Grays früheren Motoren und Schaltungen.
KOMMENTAR: Einige Forscher haben
vorgeschlagen, dass der EV Gray-Technologie erforderte den Einsatz von
Nasszelle Bleibatterien für die Erzeugung von "Kalt Strom".
Offensichtlich ist dies nicht der Fall mit der Existenz dieses Wagen. Jedoch
kann die Gesamt OU Qualitäten dieser Technik mit der Verwendung von Netzstrom
beeinträchtigt wird. Aber zu der Zeit, E.V. Gray suchte Militärkunden, die von
den Antriebs Funktionen dieser Geräte profitieren.
"Trigger Warenkorb Männlich:"
Langsam Kurbel bis die Auto-Transformator,
bis die Rohre zu schießen begann, dann sehen die Voltmeter Wenn es um 5000 Volt
bekam ich schnell drehen Sie die Auto-Transformator und feuern das
Projektil."
KOMMENTAR: In der Hintergrundgeräusch des
Demo-Video hören wir etwa 20 Geräusch vor dem das Projektil ist bereit für den
Start. Es scheint, E.V. Gray Entladen eines Kondensators in einen anderen
Kondensator. Sobald dieser Ladevorgang beendet war er die gesammelten anomaler
Energie durch seine entgegen Spulen entladen würde, um ein Projektil zu
starten. Ich weiß nicht, was er für eine Entladungsschalter eingesetzt.
Wenn Mark Gray las eine analoge Spannung
Meter, dann können wir ziemlich sicher, dass die anomale "Kalt
Strom", wenn in einem Kondensator gespeichert, kann als positive
klassische Spannung beobachtet werden können. Das ist sehr im Einklang mit Tom
Bearden Beschreibung von "Negative Masse Energie" - wenn die beiden
Phänomene überhaupt zusammen. Frühere Fotos zeigen E.V. Grau mit einem analogen
Triplett 630-A Multimeter, um die Spannung von "Black Boxes", die
davon ausgegangen, Speicherkondensatoren in seinen frühen "Popping
Coil" Demonstrationen (1973) sein, sind zu messen.
Wenn die Pops wir hören (20 oder so pro
Start) sind von den vier Ignitrons oben auf dem Wagen, dann ist es vernünftig
anzunehmen, dass die Quelle Gleichstrom-Versorgungsspannung betrug mehr als 5
kV. Wenn die Ignitrons verbunden waren, so dass sie selbst Trigger, indem Sie
den Zünder an die Anode, dann gäbe es ein plötzlicher Einbruch über jedes Mal
die Spannungsdifferenz zwischen der Anode und Kathode erreicht etwa 1500 V
Gleichstrom zu pulsen. Dies würde bedeuten, daß die Source-Versorgungsspannung
war zumindest nicht geringer als 8 KV.
Da gab es eine konzertierte Anstrengung, um
nach Erreichen 5 KV drehen Sie den Spartransformator, würde ich vermuten, dass
EV Gray war seine Gewohnheit Kondensatoren Lade Recht, ihre Auslegungsgrenzen.
Hilfskondensatoren:

KOMMENTAR: In diesem Foto, beachten Sie die
"Projectile Warenkorb" auf der linken Seite. Sechs verschiedene Arten
von Projektil aus diesem Demonstrationsplattform ins Leben gerufen. Die unten
auf dieser Warenkorb enthält eine ziemlich beträchtliche Kondensatorbank-Array.
Sie können nur 70% der in den Einkaufswagen zu sehen. Dies würde bedeuten, dass
es etwa 9 große Kondensatoren in der ersten Reihe. Wenn zwei Reihen verwendet
werden, dann wird ein insgesamt 18 Kondensatoren benötigt. Ich nehme an, diese
Art der gespeicherten Energie benötigt wurde, um die "Hover"
Demonstrationen oder die große 71 Pfund Einführung zu unterstützen.
Mark Gray behauptet, dass diese Wagen war in
E.V. Grays Besitz zum Zeitpunkt seines Todes. Er hat vor, unter den
Familienmitgliedern, wo dieses Stück der Ausrüstung ging erkundigen.
KOMMENTAR: Ich behaupte, dass, wenn diese
aus dem Warenkorb eine einfache Fahrt mit dem überschüssigen Wiederverkäufer
gespeichert, wer dann immer habe es schaffte es nicht in Betrieb. Laut Mark
Gray, sein Vater seine letzten Tage verbrachte Zerlegen Sie dieses Gerät.
Dieses System wäre weit oben auf der Liste der Dinge zuerst tun.
"Teilen
Sie das Positive?"
Auf die Frage, ob sein Vater ihm je erzählt
über die grundlegende Energieumwandlungsprozess Mark Gray erinnert eine
Erfahrung, wo ihn sein Vater gesagt, "Die Energie beginnt mit dem Pluspol
[des Speicherkondensators / Dipol] dann ein Teil davon geht auf die
Versorgungsbatterie und ein Teil davon geht zum Last
KOMMENTAR: Diese Art der Topologie wird in
der Patent 4.595.975 gezeigt, aber die tatsächlichen technischen Sinne kann man
nur vermuten.
Das "Wireless Projektil"
Mark Gray behauptet, dass einige potenzielle
Investoren würden fragen: "Was gut ist dieses System, wenn Sie müssen
Leitungen angeschlossen, um das Projektil haben? Das wird nicht funktionieren.
"So entwickelte er diese Demonstration Gerät zu zeigen, dass die Geschosse
wirklich nicht Drähte müssen. Eigentlich sie nur für eine kurze Distanz, über
die hinaus die Grße der abstoßenden Kräfte abfällt schnell benötigt werden. Die
obige Setup ein Schleifkontakt, der in dem kleinen Schwarz-Weiß-Turm ist auf
der linken Seite der größeren schwarzen Zylinder. Diese Anordnung ermöglicht
ungefähr 6-8 Zoll der Fahrt vor einem elektrischen Kontakt ist unterbrochen. Zu
diesem Zeitpunkt hat der Fahrmassen meisten der Stoßimpuls es wird erhalten
empfangen. Die schwarzen Abstoßungsspulen aus Kupferlackdraht, der etwa 2 Zoll
tief ist zusammengesetzt. Die Außenseite ist mit schwarzem Vinyl Elektriker
Band bedeckt. Mark sagte auch, dass es schwer war, den Schleifkontakt wegen der
Rotation nach einem Schuss zu verbinden. Offenbar nahm sie einen Besenstiel und
eine Leiter, um die Demo Ruhe.
KOMMENTAR: Die messbare Spannung der
Energie, die den kleinen schwarzen Zylinder auf dem (aus weißem Kunststoff
Untertasse auf der Unterseite) angetrieben wurde gesagt, 5KV sein. Nun ein
Blick auf die Länge des Bogens trail [12 Zoll] des kleinen Kontaktturm (links)
nach dem Start. Überlegen Sie, welche Art von Spannung wurde an dieser Stelle
erzeugt.
Der Staat der Akkus vor einer Prüfung oder Demonstration für einen Motor
Warenkorb
"Wenn ein Motorwagen wurde für einen
Test (oder Demonstrations) vorbereitet beide Sätze von Batterien wurden
vollständig geladen"
KOMMENTAR: So viel zu der Idee, mit einer
leeren Batterie starten. Diese Theorie geht davon aus, daß das Blei-Sulfit war
das Medium, das einen Impuls der klassischen Strom in "Cold
Electricity" umgewandelt haben könnte
Eine weitere Kalt Strom Demo mit dem "Start Motor"

Die weißen runden Zifferblatt Instrument
sitzt oben auf der "Motor starten" auf dem Multi-Demonstration
Warenkorb ist ein Thermometer. Die andere runde Zifferblatt Instrument liegend
auf dem Tisch direkt unterhalb des runden Regelwiderstand ist eine mechanische
Drehzahlmesser. [Biddle Meter]
Die Bedeutung der Funkenstrecke
E.V. Gray sagte Mark Gary, dass die Funkenstrecke war sehr wichtig.
KOMMENTAR: Viele andere Forscher glaube ich auch.

Der lila Motor

Eine Familie-Gruppenfoto
Motor-Namen:
Während die älteren E.V. Gray-Motoren
gezählt waren, wurden die neueren Versionen in den 80er Jahren entsprechend
eine Farbe genannt. Es war rot-Motor, Die blau-Motor, der lila Motor, der
weißen Motor und schwarz-Motor. Jeder sollte einen bestimmten Aspekt dieser
Technologie zu demonstrieren oder Kopf ab häufige Fragen, die immer wieder im
Laufe der Jahre entstanden waren.
Stump die
Experten Zeit:
Einmal eine professionelle Forscher vom MIT,
durfte die Ausrüstung zu untersuchen, während Entwicklung im Canyon Country,
CA, (möglicherweise für einige Anleger-Review) stattfand. Er hatte Flug
Vereinbarungen folgendes verlassen Montag und hatte das ganze Wochenende plus
ein Tag für seine Ermittlungen. Offenbar gab es keine Beschränkungen was er
betrachten konnte. Dieser Mann war angeblich eines der Co Inventers, die erste
Anti-Hai-Abschreckungsmittel entwickelt. Er untersuchte und mindestens einen
ganzen Tag beobachtet und dann machte eine Bemerkung zum Effekt, "Wenn ich
dieses heraus, nicht herausfinden kann dann alles meiner akademischen
Ausbildung ist wertlos". Er das
Wochenende durchgearbeitet und ließ die folgenden Montag ohne vorläufige
klassische Erklärung.
Kommentar: Sicher wäre es schön zu sehen, ob
diese Person eine Telefon-Interview gewähren würde. Ich bin sicher, dass er
keine ganze Menge über seine Erfahrungen sprechen, als er nach Boston zurück.
Mich ich Frage, ob er nun möchte?
Andere Fragen per E-mail:
Ihr Wissen dein Vater (oder
seiner Gehilfen) besitzen oder verwenden Sie eine dieser gemeinsame
Elektronik-Shop-Instrumente?
Oszilloskop
Radio Frequency (RF) Generator
Allgemeine Signal Generator
Impulsgeber
Transistor Tester
Q-Meter
Grid Dip Meter
Frequenzmesser
Digitalzähler
Kondensator-Tester
Batterietester
Spectrum Analyzer
Gleichstrom-Netzteil
Natürlich kann jeder Informationen über eine allgemeine
Beschreibung, vielleicht einer Marke und Modell-Nummer und eine Vorstellung
davon, was das Instrument verwendet. Wenn es von wem verwendet wurde, und.
Antwort 1) Es gab einige Meter
beteiligt, aber ich erinnere mich nicht, was Meter könnte die verwendet wurden
oder für sie für verwendet worden sein.
2) Der "Kern" der Technologie scheint auf den
Leiterplatten-Trigger und der spezifischen Verdrahtung zu den
Off-Board-Komponenten befinden. Von den Fotos wissen wir, dass große
Leistungstransistoren verwendet. Es ist ziemlich offensichtlich, dass andere
Board-Komponenten wurden als gutl.
Haben Sie vielleicht wissen,
welche Arten von Hauptkomponenten auf diesen Brettern waren? Wir können davon ausgehen, dass es eine Reihe von unterstütz
Widerständen und kleinen Kondensatoren
Silizium-Gleichrichter (SCR)
Steuerrelais
Große Leistungswiderstände
Transformer
Induktivitäten oder Drosseln
Hochfrequenzspulen
Röhren
Diodes
Gleichrichter
Leistungs-MOSFETs
Varistoren
Potentiometer - variable Widerstände
andere
Modell Anzahl der Leistungstransistoren?
Natürlich eine allgemeine Beschreibung, ungefähre Zahl und eine
Ahnung, wie ihre Funktion wäre hilfreich.
Antwort 2) Die meisten Kenntnisse
auf den Leiterplatten können Nelson, Rocky 'Shlaff (oder Schlaff) aus der
Gegend von Los Angeles sein. Ich erinnere mich, dass die Leiterplatten wurden
in Canyon Country entwickelt und für eine Weile die Dienste eines
Elektronik-Berater wurde erworben, um Entwicklung zu helfen einige dieser Schaltung.
Ich erinnere mich nicht den Namen des Beraters.
3) Wir wissen,
dass Sie einen Großteil der Arbeit an diesem Gerät haben t.
Gab es einen bestimmten Teil dieser "Karren", das
dein Vater reserviert für sich allein zu arbeiten?
Antwort 3) Eigentlich, mein Vater
keinen bestimmten Bereich eine der Technologien, die ich denken kann, zu
schützen. Viele hatten ihre Augen auf, und auf der ganzen Technologien, die
gebaut wurde, gegossen. Nelson Schlaff und mir haben die meisten die Montage
der Technologie. Es gab andere von Zeit zu Zeit, die mit der Technologie gebaut
beteiligt waren.
4) In Bezug auf die "auslosen Warenkorb". Sie sagte,
dass während des Betriebs Sie eine bestimmte Kapazität zu 5000 Volt vor dem
Start eines Projektils berechnen. Sie sagte auch, der Spannungseingang war 220V
AC.
Hier sind einige allgemeine Fragen über die über alle Bau den
Warenkorb gelegt.
Welche Größe Schutzschalter war nötig, um die
Stromversorgung der "auslosen Warenkorb" 30 A, 40 A, 50 A, höher?
Wurde ein Transformator zu
verwenden, um die Spannung von 220V AC auf eine höhere Spannung zu erhöhen?
Wenn 5000 Volt war der letzte
messbare Ausgangsspannung, dann war es eine höhere Spannung an anderer Stelle
in der Schaltung, die Sie wissen, der verwendet?
Wurden Induktivitäten oder
"Drosseln" auf dieser Warenkorb enthalten?
Haben Sie jemals den Reparaturen
an der "auslosen Warenkorb" zu machen, wenn ja, was wurde ersetzt und
wie oft?
Es gibt 4 "Ignitrons"
auf der Trigger-Warenkorb. Waren alle diese jederzeit verwendet, oder haben
verschiedene Demonstrationen nutzen eine unterschiedliche Anzahl dieser Geräte?
Antwort 4) Das einzige, was ich
erinnere mich, über die Spannung wurde die Kondensatoren geladen, um 5,000v ??
für eine einmalige Entladung (Vortrieb eines Magneten) ist jedoch die
Schwebemagnet wurde durch eine konstante Brenn der Rohre erreicht.
5) In Bezug auf
die Herkunft und die Art der für die "Konverter" verwendet
Transistor-Leiterplatten.
Wurden diese Schaltungen im Haus
gebildet oder zusammengeführt ? Hast du machen? Hat sich die Designänderung im
Laufe der Jahre? Wenn diese Platten versagt, die sie reparieren lassen? Wurden
Ersatz zur Hand gehalten?
Antwort 5) Ich weiß nicht viel
erinnern, wenn überhaupt nötig war, Wartung auf den Leiterplatten, noch habe
ich erinnere mich mit jeder als Ersatzteile hergestellt. Ich glaube, dass alle
F & E und Konstruktionen der Technik geschah im Haus.
Edwin Vincent Gray
(1925-1989)
Edwin Gray wurde in Washington, DC im Jahre 1925 geboren, war einer von
14 Kindern. Mit elf Jahren begann er sich in dem aufstrebenden Gebiet der
Elektronik, als er beobachtete, wie einige der ersten Demonstrationen der
primitiven Radar wird über den Potomac River getestet. Er verließ mit 15 und
trat der Armee, wurde aber schnell für sein minderjähriges entladen. Mit 18
Jahren trat er in die Marine und diente drei Jahre der Kampfeinsatz im Pazifik.
Er entkam nur knapp dem Tod, als eine Bombe explodierte auf seiner Schiffsdeck
bei einem Angriff. Er erhielt eine ehrenvolle medizinische Entlastung nachdem
er einige Zeit in einem Nabel Krankenhaus mit Kopfverletzungen.
Nach dem 2. Weltkrieg, heiratete er seine erste Frau, Geraldine, und
gründete eine Familie in Maryland. Er arbeitete als Auto-Körper und Kotflügel
Reparatur Mann. Im Jahr 1956 zog er mit seiner Familie nach Venedig,
Kalifornien. Ein paar Monate später zog er nach Santa Monica, wo er sein erstes
Geschäft mit dem Namen "Broadway Collision" begann. Ein paar Jahre
später eröffnete er ein zweites Geschäft in West Los Angeles. Beide Standorte
früh im Jahr 1960 aufgrund einer Wirtschaftskrise gescheitert. Er zog nach
Prescott Arizona, und dann zu Littleton, Colorado in 1961. Von 1962 bis 1964
arbeitete er in Las Vegas, Nevada, immer in der Auto-Körper-Reparatur-Geschäft.
1965 verlegte Grau nach Südkalifornien wieder, und eine Partnerschaft
mit George Watson. Watson war ein Meister Autolackierer mit einem Kundenstamm
von Hollywood-Stars. Ein neuer Standort wurde in Van Nuys, Kalifornien, am
Calvert Straße gegründet namens "The Body Shop". Es war ein
One-Stop-High-End-kundenspezifische Auto-Körper und Lackiererei. Das Geschäft
florierte auch für die nächsten drei Jahre, bis ein Konflikt der romantischen
Interessen endete seine erste Ehe (mit sieben Kindern) Anfang 1968. Eine
Scheidung im Jahre 1969 gefolgt.
(Im Jahr 1971 heiratete Renate Gray Lenz, die Tochter von Fritz Lenz.
Sie hatten drei Kinder. Diese Beziehung dauerte 7 Jahre. Grau danach heiratete
drei Mal.)
Gegen Ende des Jahres 1969 beendet Grau seine Karosseriegeschäft, es nie
wieder zu üben. Er verkaufte 2/3 der Van Nuys Gebäude an seinen Neffen und neu
ausgestattet, den restlichen Teil zu bauen und zu fördern, seine nächste
Unternehmens. Irgendwie hatte Ed Gray eine plötzliche und dramatische
Verschiebung von der Karosseriegeschäft an einen unabhängigen Erfinder mit
einer außergewöhnlichen Technologie, nahezu ohne vorherige Hintergrund in der
Elektronik.
Mitglieder seiner Familie sind immer noch von der schnellen Übergang
ratlos. Einige sagen, dass ihr Vater gelegentlich blinkt tiefer Inspiration
geschlagen. Andere Forscher sagen, dass Gray müssen heimlich gearbeitet haben
die Motoren seit Jahren, aber Familienmitglieder bestritten. Gray selbst sagte
einer seiner Partner, die er erhalten diese Informationen von einem russischen
Einwanderer namens Dr. Popov, der es von Nikola Tesla bekommen hatte. Aber noch
einmal, Familienmitglieder behaupten, keine Kenntnis von diesen angeblichen
Ereignisse. Zwar gibt es Ähnlichkeiten zwischen Grays Technologie von 1970 und
Tesla "Method of Conversion" Technologie aus dem Jahr 1893, gibt es
keine bekannte Linie, um die Verbindung zwischen diesen beiden Prozessen zu
verfolgen. Niemand sah Gray Studium der Arbeit von Tesla oder laufen keine
Vorversuche. Niemand, der noch am Leben ist, die mit diesen Ereignissen
verbunden war, weiß, wo die Technologie kam aus oder wie sie sich entwickelt.
Im Jahr 1971 gebildet Gray eine Kommanditgesellschaft mit dem Namen
EVGRAY Enterprises, Ltd. 1972, hatte Graue genug Investitionen und Entwicklung
Know-how gesammelt, um einen 10 PS Motor Prototyp zu bauen. Dieses Gerät wurde
Crosby Research Laboratories zur Auswertung an der Cal-Tech eingereicht. Crosby
Research Institute wurde von Bing Crosby gehört und von seinem Bruder Larry
Crosby laufen. Dieser Motor zeigte eine Leistung von 10 PS (7460 Watt
mechanische Energie) für die extrem niedrige Stromaufnahme von 26,8 Watt. Dies
ist eine scheinbare Energiegewinn von 278 mal dem Eingang! Dies ließ die Cal-Tech
Wissenschaftler sehr unbequem. Der Bericht stellt den Motor bei "mehr als
99% Wirkungsgrad" betrieben, aber der Rest der Daten ist ein wenig
verwirrend.
Auf Grund dieses Berichts kam Bing Crosby an Bord als Großinvestor. So
tat 'Boot' Mallory, der Mallory Electric Company, der die Hochspannungs
Zündspulen in Grays Schaltungen verwendet wird. Bis Anfang 1973 EVGRAY
Enterprises, Inc. abgeschlossen hatte ein 100 PS Motor Prototyp namens EMA4-E2.
Fünfzehn private Investoren wurden nun beteiligt. Ed Gray erhielt auch ein
"Certificate of Merit" von Ronald Reagan, dann Gouverneur von
Kalifornien, in diesem Zeitraum.
Bis zum Sommer 1973 wurde Gray Demonstrationen seiner Technologie zu
tun, mit etwas sehr positives Presse. Später in diesem Jahr zusammengetan Gray
mit Automobil-Designer Paul M. Lewis, die erste Kraftstofflose, Elektro-Auto in
Amerika zu bauen. Aber Ärger braute, wenn ein verärgerter Ex-Mitarbeiter machte
eine Reihe von unbegründeten Beschwerden an die lokalen Behörden.
Am 22. Juli 1974 überfielen die Los Angeles
Staatsanwaltschaft das Büro und Shop von EVGRAY Enterprises, und
beschlagnahmten alle ihre Geschäftsunterlagen und Arbeits Prototypen. 8 Monate
lang versuchte der DA zu bekommen Grays Aktionäre gegen ihn einzureichen, aber
keiner würde. Da er nur 15 Investoren, haben viele der SEC-Bestimmungen keine
Anwendung. Im März 1976 bat Gray schuldig zu zwei kleinere SEC Verstöße wurde
bestraft, und der Fall abgeschlossen. Nach dieser Untersuchung beendet ist, die
Staatsanwaltschaft nie wieder einer seiner funktionsfähigen Prototypen.
Trotz dieser Schwierigkeiten wurden eine Reihe von
guten Dinge passiert. Seine erste US-Patent, auf der Motorkonstruktion, die im
Juni 1975 veröffentlicht und von Februar 1976, Gray wurde für "Erfinder
des Jahres" von der Los Angeles Patentanwaltsverband, für "die
Entdeckung und beweist eine neue Form von elektrischer Energie nominiert
". Trotz dieser Unterstützung, gehalten Gray einen viel niedrigeren Profil
nach dieser Zeit.
Aber es gab auch andere Rückschläge. Paul Lewis zog
aus seinem Vertrag mit Gray in Gray 1975, als nicht eine Produktionsmotors für
Lewis 'Faszination Auto zu liefern. Gray machte einen letzten verzweifelten
Versuch, das erforderliche Kapital zu sichern, um seinen Motor in die
Produktion durch den Aufruf einer Pressekonferenz im Jahr 1976 und demonstriert
seine nahezu vollständige, zweite Generation 100 PS-Motor, der EMA-6 erhalten.
Leider hat dieses Ereignis keine zusätzlichen Mittel für das Unternehmen zu
sichern. Kurz darauf starb Bing Crosby im Jahr 1977, gefolgt von 'Boot' Mallory
1978. Dies ließ Gray ohne seine beiden stärksten Unterstützer.
1979 Gray reorganisiert sich in ZETEX, Inc. und
EVGRAY Enterprises, Inc. aufgehört zu existieren. In dem Verfahren der
Unternehmensrestrukturierung, alle seine früheren Aktionäre verloren all ihr
Geld. Gray zog dann seine Entwicklungstätigkeit auf Kalona, Iowa, wo neue
Investoren wurden seine Forschungen unterstützen. Diese Arbeitsbeziehung
scheiterte auch, wenn diese neue Partner versucht eine feindliche Übernahme. In
einem plötzlichen Mitternacht Flug, in der Mitte des Winters, geladen Gray die
Technik mit all seinem Hab und ging nach San Diego, CA, wo für 18 Monate blieb.
Im Jahr 1982 zog er seine Operationen zu Canyon
Country, Kalifornien, wo er angestellt drei Assistenten zum Aufbau mehrerer
großer Demonstrationswagen . Nach einem Jahr der Arbeit, hat Gray misstrauisch
gegenüber der Loyalität seiner Mitarbeiter. Er abrupt feuerte alle von ihnen,
wenn sie für die Arbeit an einem Morgen berichtet. Danach wechselte er zu einem
zweiten Ort in Canyon Country und setzte sich mit der Konstruktion, bis Anfang
1984. Später in diesem Jahr seinen Betrieb wieder in Las Vegas, wo er bis zum
Frühjahr 1985. Im Sommer desselben Jahres zog er zog er nach die fast verlassene
Stadt Rat ID (Bevölkerung 816), wo sein ältester Sohn 'Eddie' hatte nieder.
Im Rat, fertig Gray den Bau von fünf
verschiedenen Motor-Prototypen und einige andere Arten von
Demonstrationsanlagen. Dann begann er zu Werbevideos produzieren und lud lokale
TV-Sender auf seine Arbeit zu berichten. Gray dann suchte die Dienste eines
Wild Cat Ölförderung Anwalt und fand Mr. Joe Gordon von Texas zu tun Arbeit in
Montana. Die beiden Männer eine Partnerschaft unter Mr. Gordon etablierten
Geschäfts Western States Oil. Sie haben auch eine Niederlassung
Holdinggesellschaft gegründet im Cayman-Inseln, aus dem Lager in das neue
Unternehmen zu verkaufen. Gray entschied sich wieder zu bewegen, diesmal nach
Grand Prairie, Texas, um seine Exposition gegenüber internationalen Investoren
zu verbessern.
Auf Grund seiner Videos allein, der Cayman
Island Operation war Verkauf von Aktien und schnell der Kapitalbeschaffung.
Interessierte Investoren aus Israel überzeugt Gray zu zwei Wochen im Heiligen
Land zu verbringen, wo eine Reihe von emotionalen Gruppenverhandlungen statt.
Eine entsprechende Vereinbarung wurde nie erreicht. Sie räumte ein, dass die
Technologie statt viel versprechend, aber es war noch nicht reif genug, um
sofort auf dem Schlachtfeld eingesetzt werden. Neben Gray bestand auf die
Aufrechterhaltung einer Mehrheitsbeteiligung an, was immer viel geschnitten
wurde. Für welchen Gründen auch immer, kam Gray zurück mit einem völlig
unterschiedlichen Ansatz.
Inzwischen sind die Agenten, die verkauft
hatte sein Lager auf den Cayman Islands beschlossen, sich hohe Provisionen plus
was auch immer andere Mittel, die sie die Kontrolle über hatte zu geben, und
zwar schnell, um Israel selbst zu bewegen. Offenbar hatte sie auch die
ursprüngliche Aktienemission überverkauft um etwa das Dreifache.
Gefühl betrogen selbst, Gray unternahm einen
letzten, verzweifelten Versuch, angemessene Anerkennung für seine Leistungen
erhalten. Er hat tatsächlich schrieb Briefe an jedes Mitglied des Kongresses,
Senatoren und Abgeordneten sowie dem Präsidenten, Vizepräsident, und jedes
Mitglied des Kabinetts, mit der US-Regierung seine Technologie für Reagans
"Star Wars" -Programm. Bemerkenswert ist, als Reaktion auf diese
Briefkampagne, Gray erhielt nicht eine einzige Antwort oder sogar eine Bestätigung!
Im Jahr 1987 stellte eine Person namens
Reznor Orr sich, die behaupten, eine "Regierung Kontakt" sein. Mr.
Orr ersten gemacht unkompliziert Angebote für alle Grays Technologie geradezu
für einen bescheidenen Preis zu kaufen. Diese ursprünglichen Vorschläge nicht
mit Zustimmung Grays gerecht zu werden, und er drehte sie alle nieder. Etwa zur
gleichen Zeit, Grays Einnahmequelle von den Cayman-Inseln angehalten. Herr Orr
nächsten Angebote waren viel weniger freundlich, und mit bestimmten versteckte
Drohungen. Als Herr Orr die Stadt verlassen, "zu lassen, Herr Gray darüber
nachdenken", Gray realisiert er ein ernsthaftes Problem. Das Geld und
bedroht hatte er schnell eine massive Räumungsverkauf, einschließlich
persönliche Gegenstände und Familie Möbel, die er seit Jahren gehabt hatte. Nur
die Geräte und Materialien konnte er in seinen Ford F-700 Koffer stopfen wurden
verschont. Gray fuhren nach Portland, Oregon, und versteckte sich für sechs
Monate.
Irgendwann während der 1987 - 1988 wurde
Gray krank mit einer schweren Lungenentzündung und wurde ins Krankenhaus
eingeliefert. Er war ein starker Raucher sein ganzes Leben gewesen. Er hat nie
vollständig von dieser Krankheit genesen und benötigt Sauerstoff von diesem
Punkt an. Seine reduzierte Lungenkapazität machte es sehr viel schwieriger,
seine Arbeit fortzusetzen.
Von Portland zog er nach Sparks, Nevada.
Gray gemietet eine Kombination Wohn- und Ladenflächen in einem hellen
Industriegebiet. Er entladen seinem Lastwagen und fing an, alle seine
Demonstration Wagen demontieren. Er war mit Dorothy McKellips Zu der Zeit
lebte, der behauptet, Gray noch tat Experimente während des Tages, aber am
Abend alle Komponenten wurden wieder auseinandergenommen und mit anderen Teilen
gemischt. Früh eines Morgens im April des Jahres 1989, etwa 02.00 Uhr, jemand
plötzlich schlug hart auf einem der Schaufenster. Gray, in seinem
kompromittierten Gesundheitszustand, stieg aus seinem Gewehr und ging die
Treppe hinunter zur Abschreckung den Eindringling mit einem Warnschuss. Die Waffe
konnte nicht schießen. Ein paar Minuten später, Dorothy fand Ed auf dem Boden.
Es wird vermutet, dass die resultierende Stress Gray, einen Herzinfarkt
erleiden, auch wenn die genaue Todesursache wurde nie ermittelt. Er war 64. Die
Identität des späten Abend Besucher nicht bekannt ist.
Grays ältester Sohn "Eddie" flog
nach Sparks, Nevada, um die Leiche seines Vaters zu identifizieren. Später
verbrachte er mehrere Monate zu versuchen zu helfen, ein Kansas-Gruppe wieder
die Technik. Aber würde Dorothy nicht frei jeder Grays Ausrüstung, bis sie eine
große Zahlung für sich selbst erhalten hatte. Die Kansas Gruppe bekam dann
einen Gerichtsbeschluss in den Besitz der Technologie. Aber das Dokument
schlecht formuliert und nicht genau definieren, was "Technologie"
wirklich bedeutete. Der Auftrag hat Zustand, dass sie Rechte auf alle Motoren
hatten. Dorothy gefangen diese Tatsache und gab ihnen nur die nackten Motoren,
wobei alle Stromrichter und andere Dinge in ihrem Besitz. Dorothy dann
beschlossen, das letzte Lachen, bevor diese sich abzeichnende Rechtsstreit
könnte noch viel weiter zu eskalieren. Sie hatte alle übrigen Geräte, Videos,
Teile, Zeichnungen, Notizen und Labor abtransportiert und warf in der lokalen
Mülldeponie. Offenbar keiner der verbleibenden Systeme, die Kansas-Gruppe auf
der Hand hatten, waren vollständig genug, um zu rekonstruieren. In der
Zwischenzeit wurden die restlichen Millionen von Dollar an Investorenkapital in
der Cayman Islands Bankkonto des Betrugs des Über Verkauf des Aktien behaftet. Letztlich
sind diese Mittel wurden entweder von der lokalen Regierung in Geldstrafen
beschlagnahmt oder einfach von der Bank geschluckt, denn niemand könnte das
Geld, ohne verhaftet zu widerrufen.
[Dieser Bericht über das Leben und die
Zeiten von Edwin V. Gray von Mark McKay, der Spokane, Washington
zusammengestellt, nach zahlreichen Interviews mit einer Reihe von Ed Gray
überlebenden Kinder. Dieses Konto ist ein Versuch, Stück zusammen die genaueste
Nacherzählung Ed Gray Geschichte aller Zeiten für die Öffentlichkeit zur
Verfügung gestellt. Viele Details in diesem Konto sind in direktem Widerspruch
zu früheren Konten wie in den Zeitungsausschnitte aus den 1970er Jahren
ausgewiesen. Diese früheren Konten sollte nun als fehlerhaft angesehen werden.]
Auswerten
Gemeinsame FE gekoppelten Induktor Systeme im Hinblick auf Verzögerung
Zeilenparameter

Gekoppelten Induktivitäten sind ein zentraler
Bestandteil in einer Reihe von etablierten Free Energy-Technologien. Sie wurden
von Robert Prentice, Marvin Cole (EV Gray), Eric Dollard, John Bedini, Stan
Meyer und möglicherweise Lester Hendershot verwendet. Dies ist zusätzlich zu
der Vielzahl von gekoppelten Induktionsspulen, die Dr. Tesla in seinem
jahrzehntelanger Forschung beschäftigt. Generell nähern modernen unabhängige
Forscher diese Vorrichtungen vom Standpunkt der klassischen Transformator
Theorie und neigen dazu, ihren Betrieb auf diese Weise anzuzeigen. Ich schlage
vor, dass in vielen Fällen, diese Geräte dazu bestimmt waren, als
Übertragungsleitungen oder Verzögerungsleitungen verwendet, um von den
einzigartigen Eigenschaften mit dieser Topologie zu nehmen. Dies ist besonders
wichtig, wenn die Eigenschaften eines Hochenergiefunken werden entwickelt, um
schnellen Anstieg zu erreichen und Abfallzeiten (<10 ns).
Volumina detaillierte technische Bücher sind
zu diesem komplexen Thema gewidmet. Spezifische Anwendungen sind zahlreich,
weil so viele Strom- und Informationssignale werden durch Übertragungsleitungen
der einen oder anderen Art durchgeführt. Im Bereich der freien Energie die
Funktion einer Verzögerungsleitung erscheint jedoch relativ einfach sein. Sein
Ziel ist es, gemeinsam zu handeln, als eine besondere Art von Gleichstrom
geladenen Kondensator, die schnell liefern wird eine festgelegte Menge von
störenden Energiefunkenstrecken. In Anwendungen, die einen Funken nicht
betreffen, wie die John Bedini Motor, sie (neben anderen Zwecken) für scharfe
Übergangspulsformung verwendet wird, unter Verwendung der gleichen
Arbeitsweise.
Es gibt zwei messbare Parameter einer
Verzögerungsleitung, die die Grundlage der meisten technischen Analyse, die
diese Geräte benutzt werden wird sind.
1) Die effektive Spannung Zeitverzögerung
von einem Ende zum anderen, wie Td abgekürzt in Sekunden gemessen
2) Der Wellenwiderstand Zo in Ohm gemessen
Beide Werte können leicht mit
Standardelektronik gemessen werden. 1 10 Meg Sonden und einem Tektronix PG 501 Impulsgenerator:
In diesem Beitrag wird ein LeCroy 9361 Dual-Channel 300 MHz Oszilloskop mit
zwei Standard-10 zu nutzen. Ein Fluke 87 VOM wird verwendet, um den Widerstand
der Potentiometer-Einstellungen bestimmen.
Ein guter Ort, um dieses Thema zu beginnen
ist, wie ein Handelsverzögerungslinienfunktionen zu beachten. In diesem
Beispiel ist ein alter 465 Tektronix Oszilloskop twin-lead vertikalen
Eingangsverzögerungsleitung ausgewertet. Um beste siehe seinen Betrieb wurde
das PG 501 zum engsten Puls sie produzieren könnte (25 ns) gesetzt und direkt
an die Verzögerungsleitung Eingang. Ein 100 Ohm Potentiometer auf 50 Ohm
eingestellt und an die Verzögerungsleitung Ausgang verbunden. Die zweite
Oszilloskop-Sonde wurde im Nebenschluß mit der Beendigung Potentiometer
verbunden.


Die Zweikanal-Spur des Oszilloskops (oben)
zeigt deutlich den Eingangsimpuls (obere Spur auf Kanal 2) und den
Ausgangsimpuls (untere Spur Kanal 1) um 120 ns verzögert. Während diese
einfachen Ansatz wird leicht feststellen, die Verzögerungszeit in einem sehr
geringen Verlust Instrument Verzögerungsleitung, zur Schaffung
Verzögerungszeiten in hausgemachten gekoppelten Induktionsspulen erfordert
einen anderen Ansatz. Wenn dieses vorliegenden Verfahrens sind den meisten
realen gekoppelte Induktoren verwendet, wird der Ausgangsimpuls, so wird
gedämpft, dass sie kaum sichtbar sein. Der Abbau des Eingangsimpuls erhöht,
wenn die Spule unter Test grßer wird.
Wie sich herausstellt, ist die Energie in
einem 25 ns Impuls nur zu schwach, um in jedem selbstgemachte gekoppelten
Induktors beobachtet werden. Dies ist, weil die parasitäre Kapazität filtert
alle Hochfrequenzkomponenten. Kurze Impulse werden nur in den unvermeidlichen
Verluste, die sich in Handaufzug Induktivitäten Verschlucken. Jedoch kann eine
andere einfache Methode, unter Verwendung derselben Ausrüstung kann verwendet
werden, um diese Einschränkungen zu überwinden. Wenn die Testeingangsimpuls bis
zu einem gewissen geeigneten Länge erweitert dann die reflektierten
Pulswellenformen angezeigt werden können (um die aufgebrachte Energie zu
erhöhen). Die tatsächliche Verzögerungszeit ½ der beobachteten Zeit zwischen
der Vorderflanke des angelegten Impulses und der Änderung der Antwort, die
durch den Abschlusswiderstand verursacht wird.
Ein gutes Beispiel wäre, um Messungen an
einem typischen Bedini SG Motorwicklung zu machen. Die Spule, die gemessen ist
eine bifilare Konstruktion mit # 19 AWG Kupferlackdraht für die "Macht
Wicklung" und # 24 AWG Kupferlackdraht für die "Auslösen Wicklung"
mit 420 Windungen auf einem Radio Shack Drahtspule. Die Weicheisen Schweißstäbe
für den Kern verwendet wurden entfernt.

Der erste Schritt ist, den Wert der ein
Lastwiderstand RL aufzubauen, die genau der effektiven Zo der gekoppelten
Induktivität testende übereinstimmen wird. Dies geschieht durch Anwendung einen
geeigneten Impuls auf den Eingang der Verzögerungslinie (in diesem Beispiel,
dass wir einen 10 uS Puls verwenden) und speichern dann drei Spuren:
a) oberen Trace: Verzögerungslinie ist
geöffnet am Ende Ausgabe
b) mittlerer Trace: Verzögerungslinie endet
an einem Potentiometer angepasst Zo angepasst für "maximale
Kantigkeit"
c) senken Trace: Verzögerungslinie ist an
seinem Ausgang Ende kurzgeschlossen
Welche "maximale Kantigkeit"
bedeutet eine Frage des persönlichen Geschmacks ist, da gibt es immer und
Überschreitungen zu beschäftigen. Jedoch wenn das Potentiometer in der Nähe der
optimale Wert ist, machen kleine Variationen einen großen Unterschied in der
beobachteten Form.
Wenn das Potentiometer "gewählt
ist", dann er aus dem Prüfstand entfernt wird und seinen Widerstandswert
mit einem VOM gemessen. In diesem Beispiel wurde das Ergebnis 40,6 Ohm.
Wenn die Schweißen Stangen in den Kern
eingefügt werden, ist in dieser Reihe von Messungen keine sichtbare Veränderung
bemerkt.
Der nächste Schritt besteht darin, erweitern
unsere Zeitbasis am oben genannten Puls und Speichern einer anderen drei
Spuren, die nach den gleichen Verfahren wie oben.

Vorderflanke eines Impulses auf einen Bedinis SG gekoppelten Induktor
aufgebracht unter drei Lastbedingungen
Hier hat sich die Zeitbasis um einen Faktor von 10x erweitert worden, um
die Vorderkante des angelegten Impulses bei 200 nS / div anzuzeigen. Die obere
Kurve ist der offene Zustand. Die mittlere Spur ist mit abgestimmt Zo Lade
getan und die untere Kurve ist der Kurzschluss prüfen. Alle drei Kurven laufen
an einem Punkt. Dieser Punkt festgelegt, wie lange es dauert, die angelegte
Impulsvorderkante bis zum Ende des gekoppelten Induktors und Rückreise. Die Art
der Last, die er am Ende angebracht findet, bestimmt dann, wie es von dort auf
zu reagieren.
Messen der Zeit zwischen der Vorderkante und dieser Kreuzung, dann mit 2
erreichen wir die Einwegverzögerungszeit für die gekoppelte Induktivität zu
test Dividieren. Aus diesem Bedini Coil messen wir ein Td von 415,5 ns.
Mit diesem Verfahren können wir weitergehen, um andere Arten von FE
gekoppelten Induktor Systeme zu bewerten:
Die trifilaren Lindemann Coil - 1000
Umdrehungen

Zo
= 108 Ohms Td of 885 nS.

Das Mike Motor Spule - 100 '# 22
Lautsprecherkabel

Zo = 112 Ohms Td of 293 nS.

50 KV 8 Zoll Prototyp Cole FFF

Zo
= 180 Ohms Td of 52 nS.
Patentanmeldung
WO 2006/045333 A1 4. Mai 2006 Erfinder Mike Brady
PERMANENTMAGNET
MASCHINE
ABSTRAKT
Die Erfindung schafft eine magnetische abstoßMotor, umfassend: um die Welle (26) angeordnet eine Welle (26), die sich drehen kann um es Längsachse, einem ersten Satz (16) von Magneten (14) in einem Rotor (10) zur Drehung mit die Welle, und einen zweiten Satz (42) von Magneten (40) in einem Stator (32), der den Rotor umgibt angeordnet ist. Die zweite Reihe von Magneten in Wechselwirkung mit der ersten Gruppe von Magneten und die Magnete der beiden Gruppen zumindest teilweise abgeschirmt, so daß ihre magnetischen Feldstärke in der Richtung des Spaltes zwischen dem Rotor (10) und dem Stator zu konzentrieren (32).
HINTERGRUND
Diese Erfindung betrifft einen magnetischen abstoßMotor oder Antriebsmechanismus. Ein solcher Mechanismus kann für einen elektrischen Generator antreibt, ein Fahrzeug, ein Schiff, ein Flugzeug, oder dergleichen sein.
Konventionelle Energiequellen basieren auf fossilen Brennstoffen oder sekundäre Energiequellen wie Kernenergie oder Elektrizität durch welches Mittel abgeleitet, für die Quelle der Antriebsleistung. Alle diese Quellen der Macht mit Nachteilen behaftet, wie die Ursache der Verschmutzung, des Transports oder der Übertragung über große Entfernungen erforderlich ist, um zum Zeitpunkt der Verwendung, und da kostspielige zu kaufen. Somit besteht ein Bedarf für eine Energiequelle, die im Wesentlichen schadstofffrei im Betrieb, im wesentlichen keine externe Energie benötigt, und die einfach zu warten ist.
ZUSAMMENFASSUNG
Diese Erfindung stellt ein magnetisches abweisenden Motor, umfassend: eine Welle, die um ihre Längsachse drehen kann, eine erste Gruppe von Magneten, die um die Welle herum angeordnet sind und sich mit der Welle zu drehen, und eine zweite Gruppe von Magneten in einem umgebenden Stator die angeordnet Rotor, wobei der zweite Satz von Magneten mit dem ersten Satz von Magneten reagiert, zu screenen beide Sätze sie teilweise magnetisch, um ihre magnetischen Feldes in einem Spalt zwischen den beiden Sätzen von Magneten zu lenken. Somit ist die Interaktion von zumindest einigen der den Magneten der ersten und zweiten Sätze drängen sich die Welle dreht.
Die Wechselwirkung kann die Nettokraft der gleiche Magnetpole einander abstoß wodurch die Magnete voneinander weg drängt, aber da nur die Rotormagnete können durch diese Druckkraft bewegt werden können, ist die Welle gedrückt wird, um in eine Position zu drehen, wo das Abstoß Kraft geringer ist.
Der Rotor kann im Wesentlichen scheibenförmig ist und die erste Gruppe von Magneten in einem peripheren Bereich des Rotors, der sich mit der Welle dreht, befinden. Der Stator kann in Form eines Paares von Armen mit dem Rotor ausgerichtet sein. Diese Ständer Arme relativ zueinander und weg von dem Rotor bewegt werden, um den Spalt zwischen dem Rotor und dem Stator, selektiv eingestellt werden kann. Der Spalt kann von Hand durch ein System von Gewichten, die durch Zentrifugalkraft bewegen und bilden so eine Drehgeschwindigkeitssteuerung, die automatisch einwirkt eingestellt werden, zum Beispiel durch ein Handrad, oder automatisch, beispielsweise, das heißt, je kleiner der Spalt ist, desto größer die Abstoßungskräfte zwischen den Magneten des Rotors und Stators.
Sowohl der Rotor und der Stator kann mehr als ein Satz von Magneten. Die Magnete können an den Sockeln, die in Richtung des Umfangs des Rotors erstrecken, angeordnet werden. Diese Buchsen können im wesentlichen zylindrisch ist und in einer Ebene, die senkrecht zur Längsachse der Rotorwelle angeordnet sein. Diese Anschlüsse können auch in einem spitzen Winkel bezüglich der Tangente an den Umfang der Rotorscheibe, wenn die Öffnung der zylindrischen Buchse angeordnet ist angeordnet ist. Ähnlich können die Statormagneten Buchsen relativ zum inneren Umfang des Stators geneigt werden. Diese Winkel zwischen 18 Grad und 40 Grad, vorzugsweise jedoch zwischen 30 Grad und 35 Grad betragen.
Diese Buchsen können eine Buchse Auskleidung zumindest teilweise aus einem magnetischen Abschirmmaterial aus. Die Buchse Auskleidung kann den gesamten Umfang der Buchsen Leitung, so daß nur die Öffnung zum Äußeren unliniertes bleibt. In einer anderen Ausführungsform der Erfindung kann die magnetische Siebbelag einen wesentlichen Prozentsatz der gesamten Buchse Auskleidung, beispielsBedeckung 50% des Fassungsfutter .
Die Magnete können Nd-Fe-B mit den Abmessungen, die satt in der Beläge der Fassungen passen. Diese Magnete können von zylindrischer Form und haben einen Durchmesser von 37 mm, 75 mm Länge und eine magnetische Stärke von 360.000 Gauss. Die Buchse Futter, magnetische Abschirmung und der Magnet kann alle eine Bohrung durch sie hindurch, um einen Sicherungsstift, vorzugsweise positioniert zu empfangen, so daß es parallel zur Längsachse des Schafts ist.
Die Anzahl der Buchsen in dem Rotor und der entsprechende Stator kann so unterscheiden, daß es keine Eins-zu-Eins-Beziehung zwischen den Buchsen in dem Rotor und den Buchsen in den entsprechenden Stator. Ähnlich kann die Anzahl der Magnete in weiteren Rotor / Stator-Sets von der ersten Rotor / Stator-Sätze in Reihenfolge unterscheiden, daß die zwei Sätze sind aus dem Register zu einem bestimmten Zeitpunkt. Einige Steckdosen kann leer entweder dem Rotor oder dem entsprechenden Stator oder beide bleiben. Der Motor kann einen oder mehrere Rotor / Stator-Paar von diesem Typ in einem Stapel angeordnet sind. Es ist bevorzugt, dass die Magnete der benachbarten Rotoren aus Register sein, dh gestaffelt oder versetzt zueinander.
BESCHREIBUNG
DER ZEICHNUNGEN

Fig.1 ist eine perspektivische Ansicht, die eine Rotorscheibe zeigt.

Fig.2 ist eine perspektivische Ansicht, die einen Stapel der Fig.1 Rotoren in einer zusammengebauten Anordnung.

Fig.3 ist eine perspektivische Ansicht, die einen linken Arm eines Ständers.

Fig.4 ist eine perspektivische Ansicht, die einen rechten Arm eines Ständers

Fig.5 ist eine perspektivische Ansicht, die einen Stapel von Statoren oder Fig.3 und Fig.4 in einem zusammengebauten Anordnung.

Fig.6 ist eine perspektivische Ansicht, die eine Buchse Auskleidung eines Stators oder eines Rotors.

Fig.7 ist eine perspektivische Ansicht, die einen der Magnete.

Fig.8 ist eine perspektivische Ansicht, die eine Ausführungsform des magnetischen abstoßMotor mit einem elektrischen Generator gekoppelt ist.
BESCHREIBUNG
BEVORZUGTER AUSFÜHRUNGSFORMEN
Mit Bezug auf 1, einem im wesentlichen scheibenförmigen Rotors 10 ist aus einem nichtmagnetischen Material hergestellt ist. Der Rotor 10 weist eine Vielzahl von Magnetaufnahmezonen 12, in der es für Aufnahme von Magneten 28 vorgesehen (in späteren Figuren gezeigt).

der einen ersten Satz 16 von Magneten. Die Aufnahmebereiche 12 sind in Form von in Umfangsrichtung erstreckenden, voneinander beabstandeten und im wesentlichen zylindrische Buchsen 18, die in einer Ebene, die senkrecht zur Drehachse 10 des Rotors und in einem Randbereich der Scheibe angeordnet sind.
Im Bereich der Sockel 18 weist der Rotor 10 auch durch Löcher 20 in seiner Seitenflächen 22, die parallel zu der Drehachse des Rotors erstreckt. Der Rotor 10 weist auch eine Mittelbohrung 24, um die Welle 28, die in späteren Figuren dargestellt ist zu erhalten. Die Steckdosen 18, sind vorzugsweise unter einem spitzen Winkel relativ zu der Tangente an den Umfang der Rotorscheibe 10, vorzugsweise zwischen 30 und 35 abgewinkelt, um die Mundöffnung der Buchsen 18. Idealerweise ist dieser Winkel zwischen 18 und 40 Grad, und Grad. In einer besonders bevorzugten Ausführungsform ist der Winkel 34 Grad.

Wie in Fig.2 dargestellt, sind die Buchsen 18, erhalten (oder beinhalten) eine Buchse Auskleidung 28 (detaillierter in späteren Figuren gezeigt), die zumindest teilweise aus einem magnetischen Abschirmungsmaterial hergestellt ist, ob metallisch oder nicht-metallisch, beispielsweise Graphit. Die Buchse Auskleidung 28 bedeckt die gesamte Ausdehnung der Hülsen 18, so daß nur die Öffnung nach außen freigelegten bleibt.
In der Rotoranordnung 30 der Fig.2, drei Rotoren Scheiben 10 sind in einer Reihe auf der Welle 26. Die Verbindung zwischen den Rotorscheiben 10 und die Welle 26, als auch zwischen den Rotorscheiben selbst gestapelt worden sind, können hergestellt werden durch Verbindungsmittel, die allgemein bekannt sind. Im Allgemeinen kann der Motor eine beliebige Anzahl von Rotorscheiben 10 und entsprechenden Statoren 32 haben, da die Wirkung der Verwendung von mehreren Rotorscheiben 10 parallel ist kumulativ. Jedoch kann es nützlich für den reibungslosen Betrieb des Motors 1, um die Rotorscheiben 10 so anzuordnen, dass die Magnete der benachbarten Rotorscheiben sind so gestaffelt oder versetzt zueinander sein.

Unter Bezugnahme auf Fig.3 und Fig.4 ist ein Stator 32 dargestellt. Dieser Stator ist aus einem nichtmagnetischen Material hergestellt ist. Der linke Arm 34 und der rechte Arm 36, zu kombinieren, um den Stator 32. Jeder der Arme 34 und 36 bilden, einen im wesentlichen halbkreisförmige Form und ist so bemessen, dass das entsprechende Rotorscheibe 10 in radialer Richtung umschließen und noch immer ein Spalt zwischen dem Stator 32 und der Rotorscheibe 10. Die Arme 34 und 36 von einem Stator 32 können relativ zueinander bewegt werden und ihre entsprechenden Rotorscheibe 10, so daß der Spalt zwischen den Armen und dem Rotor Disc kann auf verschiedene Werte eingestellt werden.
Der Stator 32 weist mehrere Magnetaufnahmezonen 38, bereit, um die Magnete 40 zu akzeptieren, (die in einer späteren Figur dargestellt sind) der Magnetanordnung 42. Diese Aufnahmebereiche sind wieder in Form von in Umfangsrichtung erstreckenden, im wesentlichen zylindrischen Buchsen 44, die sind in einer Ebene, die senkrecht zu der Längsachse der Welle 26. In dem Bereich der Steckbuchsen 44 ist positioniert, weist der Stator 32 durch die Löcher 46 angeordnet, in seiner Seitenflächen 48, wobei diese Löcher parallel zur Längsachse der Welle 26 erstreckt.
Diese Anschlüsse 44 sind wieder in einem spitzen Winkel relativ zu einer Tangente an dem inneren Umfang des Stators 32 an der Mundöffnung der Buchsen 44, vorzugsweise zwischen 18 und 40 Grad und mehr bevorzugt zwischen 30 und 35 Grad ist dieser Winkel abgewinkelt. Der Winkel der Buchsen 18 und 44 und der relativen Positionierung zwischen ihnen, muss eingestellt werden, um für eine gute Leistung des Motors zu ermöglichen.

Fig.5 eine Statoranordnung aus drei Statoren entwickelt, um die Rotoranordnung von Fig.2 zu passen. Wie mit Bezug auf die Buchsen 18 von Fig.2 beschrieben, werden die Buchsen 44 empfangen (oder beinhalten) eine Buchse Auskleidung 50, die mindestens teilweise aus einem magnetischen Abschirmmaterial hergestellt (detaillierter in späteren Figuren gezeigt). Die Buchse Auskleidung 50 bedeckt die gesamte Ausdehnung der Hülsen 44, so daß nur die Öffnung nach außen freigelegten Reste.

Mit Bezug auf Fig.6 eine Buchse Auskleidung 28, 50 der Rotorscheibe 10 oder dem Stator 32 ist in genauer gezeigt. Die Buchse Auskleidung 28, 50 gebildet ist, um in die Buchsen 18, 44 zu passen, und kann vollständig aus einem Material, das magnetische Abschirmungseigenschaften hergestellt sein. In einer bevorzugten Ausführungsform ist die Buchse Auskleidung 28, 50 ist aus diamagnetischen Graphit und wird teilweise durch eine zusätzliche Abschirmung 52 aus einem Material mit starker magnetischer Abschirmungseigenschaften, zB umgeben Edelstahl. In der in Fig.6 gezeigten Ausführungsform ist die Abschirmung 52 umgibt etwa 50% des Fassungsauskleidungsoberfläche.
Somit kann durch mindestens teilweise die Buchsen 18, 44 mit einem magnetischen Abschirmungsmaterial, das magnetische Feld der eingefügten Magneten 14, 40 ist, so zu sagen, die axial mit der Buchse 18, 44 fokussiert, anstatt über den Magneten zerstreut.
Ferner Löcher 54 durch die Buchse Auskleidungen 28, 50 vorgesehen sind und an die jeweils Durchgangslöcher 20 und 46 in der Rotorscheibe 10 und dem Stator 32, diese entsprechen. Somit kann ein Rückhaltestift 56 nach dem Magneten 14 eingeführt werden kann, ist 40 im Sockel 18, 44 eingeführt, um eine lösbare Befestigung für die Magneten 14, 40 in die Buchse Auskleidung 28, 50 und der Buchse 18, 44, um so zu verhindern, machen Vertreibung der Magnetquellen im Betrieb.

Fig.7 zeigt eine typische Magnetquelle 14, 40 in diesem Motor-Design verwendet. Die Magnetquellen 18, 40 können natürliche Magnete induzierten oder Elektromagnete sein. Die Magnetquelle ist beispielsweise ein Nd-Fe-B-Magneten, welche die erforderlichen Dimensionen benötigt, um ordentlich in die Buchse 18, 44 und Buchse Auskleidung 28, 50 passen jeweils hat. In einer bevorzugten Ausführungsform ist die Magnetquelle 18, 44 ist ein im Wesentlichen zylindrisch geformten Magneten mit einem Durchmesser von 37 mm, einer Länge von 75 mm und liefert 360.000 Gauss. Allerdings ist die Magnetquelle 18, 44 können unterschiedlich geformt, um zylindrisch sein und können verschiedene Eigenschaften haben. In jedem Fall muß die Magnetquelle 18, 44 weisen ein Durchgangsloch 58, um den Haltestift aufzunehmen 56.

Die in Fig.8 gezeigten Magnetmotor ist auf dem Rahmen 60 montiert und mit einem elektrischen Generator 62 gekoppelt In dieser speziellen Ausführungsform hat der Motor drei Rotorscheiben 10 der bereits beschriebenen Art. Diese werden auf einer einzigen sich drehenden Welle 26 montiert und werden durch drei Statoren 32 angetrieben wird, wie bereits beschrieben, wodurch die Welle 26 im Uhrzeigersinn um es Längsachse. Welle 26 kann mit einem Getriebe, um einen mechanischen Vorteil zu erlangen verbunden werden. Die Ständerarme können von einem Schrittmotor 64 bewegt werden.
Die Anzahl der Buchsen in den Rotorscheiben 10 und ihren entsprechenden Statoren 32 kann so unterscheiden, daß es keine Eins-zu-Eins-Beziehung zwischen den Buchsen 18 in der Rotorscheibe 10 und Sockel 44 in dem entsprechenden Stator 32. Auch die Zahl von Magnetquellen im Stator 32 und der Rotor-Scheibe 10 kann dies unterscheiden, daß ein Teil der Magnetquellen 14, 40 sind aus dem Register zu einem bestimmten Zeitpunkt. Einige Fassungen kann leer sein, das heißt ohne eine Magnetquelle, entweder in der Rotorscheibe 10 oder dem Stator 32 oder beides.
Die Buchsen 18 der Rotorscheiben 10 versetzt werden kann, dh relativen Versatz an die Buchsen der benachbarten Rotoren oder sie sich im Register Linie können. Somit kann die Magnetmotor Zeitabstimmung durch die relative Positionierung der Magnetquellen 14 benachbarter Rotorscheiben 10 sein.
Somit ist die Interaktion von zumindest einigen der Magnetquellen 14, 40 des ersten und zweiten Satzes 16, 42 drückt die Welle 26 zu drehen. Sobald sich die Welle zu drehen beginnt, wobei die mehreren gleichzeitigen Wechselwirkungen bewirkt die Welle 26 weiter dreht.
Wie bereits erwähnt, kann der Motor eine beliebige Anzahl Rotorscheiben 10 haben und entsprechende Ständersätze 32. Obwohl das genaue Einstellung der Motorelemente wichtig ist, kann eine andere Ausführungs Gegenstand dieser Erfindung vorstellen.
Patent US 4.179.633 18. Dezember 1979 Erfinder: Donald A. Kelly
MAGNETISCHE
LAUFWERK
ZUSAMMENFASSUNG
Diese Permanentmagnetplattenlaufwerk besteht aus zwei magnetischen Komponenten, eine große angetriebene flachen Scheibe, die eine einheitliche Reihe von identischen Magnetsegmenten und eine zweite magnetische Antriebseinrichtung, die mehrere oszillierende magnetische Paare von gegenüberliegenden identischen Magnetsegmenten. Der Magnetmechanismus simuliert die Wirkung eines Takthemmungsmechanismus, daß die oszillierende Magnetpaare gleichmäßig zwischen den Scheibenmagneten Segmente schwingt, um kontinuierliche Plattendrehung zu induzieren. Alle der mehreren oszillierenden Magnetpaare werden von einem Motor oder Motoren, die eine exzentrische Bewegung durch eine geeignete Untersetzungsgetriebeeinheit bereitzustellen oszilliert. Die kleinen Gleichstrom-Motoren sind durch mehrere Arrays von Silizium-Solar-Photovoltaik-Zellen an einer geeigneten Stelle auf dem Dach mit Strom versorgt.
4.082.969 Magnetische Drehmomentwandler April 1978 Kelly 310/103
4.100.441 Magnetische Übertragung Juli 1978 Landery 310/103
HINTERGRUND
DER ERFINDUNG
In der heutigen Zeit der Magnetplattenantrieb der Entwicklungsstufe, wo die oszillierende Magnetpaare wird das Magnetsegmentscheibe zu drehen, wenn die Schwingungen erfolgt manuell erreicht. Die Drehung der Scheibe ist glatt und kontinuierlich, wenn der Hand Schwingung gleichmäßig und kontinuierlich, und die Wiedergabegeschwindigkeit kann erhöht werden, wie die Schwingungsfrequenz erhöht wird.
Da das angemessene Funktionieren der magnetischen / mechanisch-Umbaukonzept ist nun mit einem funktionierenden Prototyp, eine praktische und wirtschaftliche Selbst und / oder externe Schwingung nachgewiesen Einrichtung für die oszillierende magnetische Paare müssen nun weiterentwickelt werden. Das Magnetplattenlaufwerk wurde ursprünglich entwickelt, um die selbsttätigen mittels eines mehrlappig Nocken und Schubstangenanordnung, jedoch ist dieser Ansatz nicht zum Erfolg bis heute bewährt.
Ein Nachteil für den selbstbetätigten Typ von Magnetplattenlaufwerk ist, dass die Scheibe mit einer niedrigen, festen Geschwindigkeit ausgegeben, die von der natürlichen Magnetfeld Interaktion zwischen den beteiligten zusammenwirkenden Magnetsegmenten ist eingeschlossen.
Eine Halbmesser direkte Verschiebung Multinockenlappen wurde zum ersten Prototyp verwendet, aber das hat nicht wegen der hohen Drehwiderstand durch die hohen Nocken Winkel auferlegt zu arbeiten. Eine umlaufende, direkte Verschiebung Multinockenlappen wurde auch versucht, aber das war nicht erfolgreich, weil der moderate und ausreichend Nocken Widerstand gegen Verschiebung Stange schieben.
Andere Nocken Konfigurationen sind geplant und entwickelt, um sicherzustellen, dass keine möglichen Kompromiss zur selbsttätigen mechanischen Schwingung übersehen wird. Ein anderer möglicher Ansatz zur Selbstbetätigung für Magnetplattenlaufwerk ist durch die Anwendung eines Doppelpegel magnetischen Kommutator, die direkt an die Plattenantriebswelle verbunden ist. Die magnetischen Kommutatorsegmenten abwechselnd anziehen entsprechenden radialen Magneten auf Ziehstangen, die an jedem der Schwingungsplatten der Magnetpaare angelenkt sind.
Während die automatische Ansteuerung der Magnetplatteneinheiten kann wünschenswert für einige Selbstversorger-Power-Anwendungen sein, wird der Nieder, Festdrehzahlausgang nicht als attraktiv und vielversprechend für eine breite Palette von Haushalts-Power-Anwendungen. Wegen der mangelnden Flexibilität der Geschwindigkeitsausgang des Auto betätigt Gerätetyp die, die Entwicklung einer variablen Geschwindigkeit, wird von außen in Schwingung versetzt Disc-Typ-Einheit erforderlich, um die wachsende Nachfrage nach alternativen und Hilfsenergie bedeutet für viele Anwendungen.
Die Anpassung eines großen Magnetplattenlaufwerk und kleinen solarbetriebenen Gleichstrom Elektromotoren ist eine nahezu ideale Anordnung, da eine einzelne oder eine Reihe von kleinen Präzisionsgleichstrom-Motoren können ohne weiteres durch bescheidene Arrays von Silizium-Solarzellen an einer geeigneten Stelle auf dem Dach befindet, versorgt werden. Kleine hocheffizienten, sind Kugellager Gleichstrom-Motoren zur Verfügung, die, wenn sie auf geeignete Untersetzung Laufwerke angeschlossen, können ein einfaches Exzentermechanismus mit ausreichender Leistung und variabler Geschwindigkeit drehen, um Schwingung einer Serie von vier bis sechs Magnetschwingpaare Statormagneten verursachen .
Diese Reihe von magnetischen Schwingpaare werden alle zusammen mit geraden Bindung an die hin- und hergehende Bewegung von der Antriebswelle oszillierend zu den anderen Schwingwellen der Reihe übertragen angeschlossen werden. Dies ist ein wünschenswerter mehrere Antriebsanordnung anstatt separate kleine Gleichstrom-Motoren, da synchron automatisch gewährleistet ist, anstatt komplexer und weniger zuverlässigen elektrischen Synchronisationsanforderungen. Weil es keine gesperrten synchron für diese Art der externen Oszillatoreinrichtung müssen die mehreren magnetischen Schwingungspaare des minimalen Interferenz-Typ sein, indem sie müssen nicht in die Scheibenmagneten Segmente verklemmen. Obwohl das reibungslose Funktionieren des Magnetplatteneinheit verlangt, dass die schwingenden Magnetpaaren muss Magnetsegment Störungen Kreis der Disc eingeben, müssen Ablenkungsmittel, um alle Schwingungsplatten hinzugefügt, um sicherzustellen, dass der kontinuierlich umlaufenden Scheibe leicht alle der Bypass werden oszillierenden Magnetpaare.
Die großen Magnetplatteneinheit aus einem Grund unmagnetischen kreisförmigen Scheibe, die mit mehreren Hochenergiepermanentmagnetsegmente sind gleichmäßig um den Rand der Scheibe beabstandet bestehen. Die Antriebswelle der Scheibe dreht sich auf Präzisionskugellagern und ausgewählt werden, um in entweder einer horizontalen oder einer vertikalen Ebene drehen können. Die Platte eine angetriebene Komponente des Magnetantriebsanordnung, und sie kann an der Last oder einem elektrischen Generator verbunden sein.
Die mehreren oszillierenden Magnetpaare sind die Antriebskomponente der Plattenantriebseinheit und aus flachen, nicht magnetischen Schwingplatten, auf denen identische hochenergetischen Dauermagneten sind an jedem Ende dieser oszillierenden Platten gesichert. Die Magnetsegmente mit entgegengesetzten Polen an den Seiten belichtet, relativ zueinander, so daß eine Nord-Süd-Pol Paar reagiert auf Magnetsegmente der Disk angeordnet. Die Drehrichtung der angetriebenen Scheibe hängt von der Polarität des Magneten der Disk in Bezug auf die oszillierende Magnetpaaren .
Die oszillierenden Magnetpaare geben eine volle hin und her Pendeln zwischen zwei benachbarten lokalen Festplatte Magnetsegmente machen, so dass eine alternative "Ziehen und Schieben-Effekt" auf dem Magnetsegmentscheibe induziert. Die Grundgleichlauf zwischen Magnetsegmente der Disc und die vielfältigen oszillierenden Magnetpaare eng simuliert die Wirkung eines Uhr- Hemmungsmechanismus in Bezug auf die natürliche "Verzahnung" Wirkung zwischen den Funktionskomponenten.
Diese allgemeine Magnetplattenantriebsanordnung gewährleistet ein angenehmes und kontinuierliche Drehung für die angetriebene Scheibe mit einem Optimum von magnetischer Energie Austausch zwischen den Schwingungsstationen und der Magnetscheibe, weil in der Nähe der Polfläche zur Polfläche Exposition. Es wird nun angenommen, dass diese Art der vorhandenen Magnetplattenlauf naht ein theoretisches Maximum von Konvertierungsleistung möglich, vor allem wenn sie mit anderen Arten von magnetischen / mechanische Einrichtungen wie Magnet Wurm und Wurm-Discs im Vergleich, Sporn Paare, Mitra Paare und alle Arten minderwertiger, linearen magnetischen Geräten.
Die Attraktivität des Grundmagnetscheibe und oszillierenden Paare ist, dass eine nahezu ideale Hebelfaktor wird in magnetischen / mechanische Umwandlung Regelungen eingeführt. Einfach gesagt, wird deutlich weniger Energie benötigt, um die schwingende Paare als aus der Nähe von Polfläche zu Pol hergestellt schwingen Gesicht magnetische Wechselwirkung zwischen den magnetischen Komponenten funktioniert.
Die Wechsel und einheitliche "Ziehen und Schieben" Gewalt durch die oszillierende Magnetpaare auf den Scheibenmagneten Segmente auferlegten erzeugt keine direkte Rück- oder Gegenkraft Reaktion auf den Fahr oszillierenden Magnetsegmente, die der Master-Schlüssel für eine nützliche und praktische Magnet / mechanische Umsetzung Laufwerk . Die Rück- oder Gegenreaktionskraft auf den oszillierenden Magnetpaare direkt durch die festen Drehpunkte der Schwingplatten mit einem Minimum an Belastungsstrafe zu dem Antrieb der oszillierenden Magnetpaaren auferlegt genommen.
Alle anderen Arten von rotierenden Magnet / mechanische Umwandlungsvorrichtungen, mit der möglichen Ausnahme der Schnecke und Wurm Disc-Typ, eine unerwünschte Rückreaktionskraft an der Antriebskomponenten und die daraus resultierenden unwirksam Leistung. Die magnetischen Schnecke und Schneckenrad Platteneinheiten haben sich nicht als ausreichend lohnt sich für kommerzielle Anwendungen aufgrund der sehr hohen permanenten magnetischen Energie, die notwendig und aufgrund der niedrigen Geschwindigkeit Ausgang dieser Mechanismen.
Wenn die Konfiguration Vergleiche aller Arten von möglichen magnetischen / mechanische Wandlervorrichtungen vorgenommen wird angemerkt, dass die Kombination aus einer Magnetplatte durch mehrere oszillierende Magnetpaare angetrieben werden als eine praktische und nützliche Permanentmagnet Konvertieranordnung zu stehen. Der Anreiz für die Entwicklung dieser Magnetplattenlauf war die direkte Folge der Gesamt enttäuschende Leistung der Sonnenenergieumwandlung Bemühungen und die Frustrationen mit Komponentenkosten, Wirkungsgrad und ein Mangel an geeigneten Energiespeicher aufgetreten. Während der Sonnenenergie ist weithin bekannt für seine Zukunftspotenzial eine Alternative Energiequelle gepriesen, relativ wenige Ingenieure sprechen zu relativ schlechten Gesamt Kosten / Nutzen aufgrund Tagen gegenüber dem Ende des bedecktem Himmel in den Wintermonaten, wenn die Energie am dringendsten benötigt wird, vor allem in den nördlichen Breiten.
Aufgrund der weniger als ausreichende Sonnenenergieumwandlung Aussichten für die überwiegende Mehrheit der amerikanischen Hausbesitzer, andere alternative, kleinen, dezentralen, müssen Energiequellen erforscht und auf eine Crash-Programm Basis entwickelt werden. Wenn dies nicht innerhalb der nächsten Jahrzehnte getan müssen wir die Alternative einer stark reduzierten Lebensstandard aufgrund der alarmierenden Anstieg in der Rate der Energiekosten zu akzeptieren.
Das Magnetplattenlauf stellt eine praktische Lösung bei der Anwendung von permanenten Magnetismus in der Entwicklung und Kommerzialisierung einer dezentralen, leise, kraftstofffreie, Haushaltsgroße alternative Energiesystem. Während die Leistung von einer einzelnen Magnetplatteneinheit klein sein kann, ist die Ausgangsleistung konstant ist und nicht allgemein auf die Intensität einer externen Energiequelle abhängig, als vorhanden Solaranlagen zu tun.
ZUSAMMENFASSUNG DER ERFINDUNG
Die Magnetplattenantriebseinheit besteht aus einem großen Antriebsscheibe aus einem nichtmagnetischen Metall auf der mehrere Permanentmagnete gleichmäßig um den Rand herum beabstandet sind besteht. Die Scheibenantriebswelle dreht sich auf Drehzapfen gelagert Kugellager und können in fast jeder herkömmlichen Position drehen, und kann mit jedem praktischen großen Durchmesser ausgebildet sein.
Die identischen oszillierenden Magnetpaare sind die Antriebskomponenten des Plattenlaufwerks und aus flachen, nicht-magnetische Platten, auf denen, sind Paare von identischen Permanentmagneten an beiden Seiten der Schwingplatten befestigt sind. Diese Magnetpaare entgegengesetzte Polflächen einander zugewandt sind. Drehrichtung der Disc wird durch die Polarität von allen Magneten der Disc in Bezug auf die Polarität der oszillierenden Magnetpaare bestimmt.
Die oszillierende Magnetpaar eine vollständige und zurück Schwingung während jeder Rotorscheibe Magnet vergeht. Dies erzeugt eine Zugkraft auf den Scheibenmagneten bei Annäherung an den Oszillator Magnet und dann, wenn der Oszillator bewegt, daß der Magnet entfernt, eine Schubkraft auf den Magneten auf der sich drehenden Scheibe durch den zweiten Magneten des oszillierenden Magnetpaar angelegt. Die Synchronisation der Scheibe und den oszillierenden Magnetpaare müssen für eine kontinuierliche und gleichmäßige Drehung der Scheibe gehalten werden. Diese Bewegung ist ähnlich der Wirkung eines Taktauslösemechanismus.
Das Verfahren zum Bewegen der oszillierenden Magnetpaaren ein oder mehrere Solargleichstrom-Motoren. Diese Motoren treiben Schubstangen, die in Kontakt mit Kugellager an den Schwingplatten befestigt sind. Da die Exzenter muss bei relativ niedrigen Geschwindigkeiten zu bewegen, muß ein geeignetes Untersetzungsgetriebe zwischen den Motoren und den Kipphebel verwendet werden.
Um eine korrekte Synchronisation aller Schwing Komponenten zu erhalten, werden gerade Verbindungen verwendet, um alle der angetriebenen Schwingungswellen auf die Antriebsschwingungswelle zu verbinden. Vier oder fünf Schwingungsstationen können von einem Fahrer Schwingungswelle angetrieben werden, so dass ein Plattenlaufwerk mit einer großen Anzahl von Schwingungssender mehrere Gleichstrom-Motoren erfordern, um alle anderen Schwingungswellen anzutreiben.
Es ist wichtig, dass die mehreren, identischen Schwingungsplatten und deren Magnetpaaren in der Breite als der Raum zwischen zwei benachbarten Scheibenmagneten Segmente geringfügig kürzer sein, so dass ein optimaler Zug- und Druckkraft auf den lokalen Plattenmagnetsegmente induziert. Die eine Seite des Schwingmagnet paar "zieht" auf Permanentmagnet der Disc und dann die andere Oszillator Magnet "schiebt" Permanentmagnet der Disc ab, wie es wurde an Ort und Stelle durch die Schwingung bewegt.
Alle der oszillierenden Magnetpaare oszillieren auf stationären Stangen oder Wellen, und alle von den Exzentern und Gleichstrom Motorantriebe bleiben auf einer Grundplatte befestigt. Die anderen Enden der Schwingstäbe oder Wellen sind durch eine Form der Halterung abgestützt zu halten, der Schwingplatten parallel zu den Scheibenmagneten Segmente werden. Jeder, der eine exzentrische Kugellager bewegt, um die Arme auf den Schwingungsplatten angebracht muss eine volle 360-Grad-Umdrehung in der Winkelverschiebung Bogen zwischen zwei benachbarten Rotorscheibe Magnetsegmente zu machen. Zwei kleine Schwenkwinkel sind die extremen, nichtmagnetischen Enden der Schwingplatten angebracht, damit diese Platten frei mit einem Minimum an Reibung schwingt.
Die Grunddrehbeziehung zwischen den Magnetschwingpaaren und dem Magnet segmentierte Scheibe, ein Lager auf der Getriebeuntersetzungsverhältnis für das Getriebe-Antriebseinheit, um den kleinen Gleichstrom-Motoren gekoppelt erforderlich sind. Ziemlich schnelle Oszillation erforderlich ist, um eine einigermaßen akzeptable Scheibengeschwindigkeit, die für die meisten Leistungsanwendungen benötigt werden erhalten. Die Größe der Exzenter, der die oszillierende Magnetpaare oszilliert wird durch die volle Schwingbogen nötig und die mechanische Vorteil, der durch die Schwingungsplatte, um die optimale Rotation der Magnetplattenantriebseinheit führen erforderlich bestimmt werden.
Proper Magnetplattenlauf Funktionieren erfordert die Ziehen Magneten der oszillierenden Magnetpaare, um Interferenzen Kreis der Disc im gegenseitigen Magnetfeldbereich zwischen den beiden lokalen zusammenwirkenden Magneten am Rand der Disc eingeben. Da die Medien kontinuierlich drehen, die Aberkennung der Phase der "Ziehen" Magneten bringt die "Schieben" Magneten des Paares zur Interferenz Kreis der Disc im gegenseitigen Magnetfeldzone, für eine effektive Interaktion mit der benachbarten Scheibenmagnet-Segment.
Alle der Magnetsegmente an den Schwingplatten, die die magnetischen Paare bilden muss im Einklang mit den entsprechenden Disk Magnetsegmente, um ein optimales Zusammenspiel zwischen ihnen aufrecht zu erhalten.
Weil es keine natürliche, Lock-in Synchronismus für diese Art von Magnetplattenlaufwerk sind die mehreren Magnet oszillierenden Magnetpaaren der minimalen Interferenztyp, die der Zugabe von Kunststoff Deflektoren zu den Schwingungsplatten, die Ziehmagneten des Paares zu verhindern, besteht sein Verklemmen in die Scheibe-Magnetsegmenten. Da die oszillierende Magnetpaare niemals verklemmen in die Scheibe und ihre Drehung zu stoppen, werden die Kunststoff Ablenker ermöglichen die Schwingungsplatten und Magnetpaare sich von allen Scheibenmagneten Segmenten auslenkbar ist.
Die Permanentmagnete für beide Komponenten des Plattenlaufwerkes ausgewählt werden, müssen einheitlich identisch sein und eine möglichst hohe Energieprodukt oder magnetische Induktion und Koerzitivfeldstärke. Beide magnetischen Eigenschaften eine bedeutende Rolle bei der Bestimmung des wahren Wertes des Magnetplattenlaufwerkseinheit zu spielen. Zur Zeit des Seltenerdmetalls / Kobalt-Permanentmagnete haben die höchsten magnetischen Eigenschaften für diese Anwendung, aber ihre Kosten sind sehr hoch, und noch nicht als kosteneffektiv für die Magnetplattenlaufwerks. Seit Kosten wird auch in der Wettbewerbswert der Laufwerk spielen eine wichtige Rolle, die Magnete ausgewählt muss die höchstmögliche Kosten / Nutzen-Verhältnis zeigen, zusammen mit langer Lebensdauer.
Rechteckigen keramischen Permanentmagneten mit einem großen Flach Polflächen für den Plattenantrieb Prototypen bevorzugt, und es gibt keine theoretische Grenze für die Größe der beiden zusammenwirkenden Komponenten. Eine praktische Grenze für die tatsächliche Größe der Komponenten wird durch Gewicht und Materialkosten sowie Einschränkungen Platz verhängt, aber fast jede praktische Zahl und Größe der gleichmäßig identisch Magneten verwendet werden, um das Magnetplattenlauf bilden.
Es wird von Vorteil sein, in Gruppen von bis zu ca. 12 bis 24 Einzelmagneten, die in Längen von vier oder fünf Einheiten und doppelte oder dreifache Breiten je nach Scheibendurchmesser angeordnet sind, aufzubauen jedes Scheibenmagneten Station sein. Eine Platte mit großem Durchmesser Einheit ist immer wünschenswert, da der Drehmomentausgang für die Platteneinheit ist abhängig von der von allen von den oszillierenden Magneten Paar Stationen multipliziert mit dem Plattenradius erzeugt tangentiale Magnetkraft.
Der große Durchmesser Gabegeschwindigkeit relativ langsam ist, in dem 20 bis 30 Umdrehungen pro Minute Bereich, so daß die Plattenausgabegeschwindigkeit muß bis zu einem nützlichen 750-1200 rpm intensiviert Drehzahlbereich durch eine Riemenantriebsanordnung. Das Magnetplattenlaufwerk ausgegeben wird am besten angepasst ist, um einen elektrischen Generator oder Wechselstromgenerator ausgeführt werden, um elektrische Leistung für verschiedene Haushaltszwecke zu erzeugen.
Ein Vorteil der Verwendung von Silizium-Solarzellen auf einer exponierten Lage Dach als Stromquelle ist, dass sie fähig ist, eine Teil EMF unter nicht-Sonnenlicht / bedecktem Himmel. Bei voller Sonneneinstrahlung das produzierte das Magnetplattenlaufwerk mit ihrer maximal möglichen Geschwindigkeit zu laufen, mit reduziertem Sonnenlicht Ebenen Erzeugen eines entsprechenden anteiligen Reduzierung der Scheibenabtriebsdrehzahl elektrische Energie.
Eine praktikable Möglichkeit besteht für die Verwendung einer größeren Anzahl von Silizium-Photozellen, als es normalerweise für vollen Sonnenlicht Operation erforderlich sein. Die Anzahl der Zellen ausgewählt wäre in der Lage läuft das Magnetplattenlaufwerk mit voller Geschwindigkeit unter bedecktem Himmel, mit Überschuss vollem Sonnenlicht Strom zu Speicherbatterien überbrückt. Diese Option ist eine wünschenswerte Anordnung, da die Scheibe der vollen elektrischen Eingangsleistung jeden Tag sicher sein, mit Batteriestrom zur Verfügung zu stellen den Verlust von irgendwelchen dunklen Tageshimmel Bedingungen.
Die Hauptaufgabe der Erfindung ist es, das höchste Ausgangsdrehmoment für die große angetriebene Scheibe von der niedrigsten möglichen Drehmomenteingang für die mehreren oszillierenden Magnetpaare bereitzustellen, wie eine sinnvolle Leistungsaufwärtseinrichtung für elektrische Anwendungen erzeugt.
Eine weitere Aufgabe der Erfindung ist es, einen Aufwärtsstromquelle, die zu wettbewerbsfähigen Kosten hergestellt werden kann, erfordert keine brennbaren Brennstoff und ist umwelt während die Ausführung automatisch und kontinuierlich.
Es ist eine weitere Aufgabe der Erfindung, eine natürliche Energiequelle, die eine extrem lange Lebensdauer hat, mit einer maximalen Betriebswirksamkeit, Komponente Abbaubeständigkeit, mit einem Minimum an Teilen Austausch und Wartung bereitzustellen.
Die verschiedenen Merkmale der Erfindung bei der Grundkonstruktionsgeometrie ergeben sich aus der folgenden Beschreibung und den Zeichnungen, die die bevorzugte Ausführungsform zu veranschaulichen noch deutlicher. Es sollte verstanden werden, dass Variationen in der spezifischen Komponenten vorgenommen werden, ohne vom Geist und Umfang der Erfindung, wie beschrieben und veranschaulicht werden.
Unter
Bezugnahme auf die Zeichnungen:

Fig.1 eine obere Außenansicht des Magnetplattenlauf.

Fig.2 ist eine Außenseitenansicht des Magnetplattenlauf.

Fig.3 ist eine vergrößerte Draufsicht auf eine Schwingmagnetpaares.

Fig.4 ist eine Aufsicht, die Aufbruchs Ansicht von mehreren oszillierenden Magnetpaare zusammen mit Gestänge verbunden.
BESCHREIBUNG
DER BEVORZUGTEN AUSFÜHRUNGSFORM
Die Erfindung 1 ist aus zwei Grundkomponenten : eine große angetriebene Scheibe 2 und mehreren oszillierenden Magnetpaare 3, die eng miteinander verbunden sind und auf eine gemeinsame Grundplatte 4 befestigt.

Mehrere identische Permanentmagnete 2a, gleichmäßig auf dem Umfang der großen Abtriebsscheibe 2 beabstandet ist, mit Hilfe von Stützwinkeln 2b und 2c Winkeln, die an der Scheibe 2 befestigt sind, mit Standard-Hardware.
Eine Antriebswelle 5 wird auf die Platte 2 mittels einer Nabe 2d durch zwei Kugellager 6 eines der Kugellager 6 befestigt ist, und getragen wird, in eine Bohrung in der Grundplatte 4 befestigt, während das andere Kugellager 6, wird in einen Kastenbasis 7, die an der Grundplatte 4 befestigt ist, mit der Standard-Hardware ausgerüstet.

Die mehreren oszillierenden Magnetpaare 3, sind eine flache, nicht-magnetischen Platte 3a mit entgegengesetzten Pol Magnetsegmente 3b und 3c an der Seite des flachen Schwingungsplatte 3a angebracht. Zwei Lagerböcke 3d, sind an der Oberseite und Unterseite der flachen Platte 3a, welche die Schwingungsplatte 3a schwenkbar an der Schwenkstange 8. Ein Ende der Schwenkstange 8, in die Grundplatte 4 befestigt, und das entgegengesetzte befestigt, Ende durch einen langgestreckten Z-förmigen Halterung 8a abgestützt.

Ein Arm 9 wird auf einer ebenen Fläche der flachen Platte 3a, die den Stift 10a, der die Kugellager 10 trägt unterstützt, wie es auf der Exzenterscheibe 11. Die exzentrische Scheibe 11 Rollen befestigt sind, mit dem langsamen, befestigt Geschwindigkeitswelle der Untersetzungseinheit 12, die durch den kleinen Gleichstrom Motor 13. Eine Rückspannungsfeder 14 angetrieben wird, verbunden ist, um die Schwingungsplatte 3a durch Öse 3e. Das entgegengesetzte Ende der Rückspannfeder 14 wird von der Post 15, die in die Grundplatte 4 Motors 13 gedrückt bleibt, so wird durch mehrfache Anordnungen von Silizium-Solarzellen 16. Elektrische Leitungen 16a eingeschaltet wird, führen Solar umgewandelten Strom die Motoren 13, mit jedem in der Batterien 16b gespeichert Überstrom.
Die motorisch angetriebenen Schwingstationen werden die Master-Stationen für diese Erfindung 1, aus der drei vor fünf Slave-Stationen Schwingung angetrieben werden. Die hin- und hergehende Bewegung wird durch gerade Verbindungen verbunden, 17, die mit den Verbindungsarmen 18, die ihrerseits an der flachen Platte 3a befestigt gesteckt werden übertragen.
Alle Slave-Oszillation Stationen müssen genau auf genau der gleichen Winkelposition als Master Fahrschwingungsstation, so dass alle Stationen synchronisiert werden, um einwandfreie Funktion der Drehscheibe 2 erlauben eingestellt werden.
Für sehr große Scheiben 2, mit vielen Scheibenmagnete, mehrere Master-Stationen Schwingung, mit einer festen Anzahl von Slave-Stationen Oszillation erforderlich. Alle Masteroszillatorantriebswerke müssen elektrisch synchronisiert werden, um die Gesamt Synchronisation aufrechtzuerhalten, mit all den Exzentern 11, im gleichen Winkel beim Anlauf der Scheibe einzustellen.
Jedes Ende der Antriebswelle 5, mit einer Geschwindigkeit Aufwärtsriemenantriebsanordnung, die hier nicht dargestellt ist, verbunden werden.
Kunststoff Deflektoren 19 sind auf beiden Seiten der Schwingungsplatten 3a, angrenzend an die gegenüberliegenden Magneten Segmente 3b aufgenommen und 3c, die genaue Position in Abhängigkeit von der Drehrichtung der Scheibe 2. Diese wirken als Entstörungsvorrichtung für die Magnete .
Magnetfeldvorspannung Winkeln 3f und 3g (Fig.3), werden für die Seiten der Platte 3a erforderlich, um eine optimale "Zug-Druck" Sequenz auf der großen Antriebsscheibe 2 zu gewährleisten, da die magnetischen Schwingungspaare 3, betätigt werden. Der Vorspannwinkel 3f ist an die Magnetsegment 3b angepasst, während schrägwinkligen 3g ist mit Magnetsegment 3c abgestimmt.
Keine der Lastkomponenten, die mit dem Gerät extern sind, wie beispielsweise einen elektrischen Generator oder Wechselstromgenerator, werden als Teil der vorliegenden Erfindung gezeigt, da eine Vielzahl von Lastvorrichtungen und Anordnungen sind möglich für den Magnetplattenlauf.
US Patent 2.030.759 11. Feb. 1936 Erfinder: Bob Neal
KOMPRESSOR-EINHEIT
Diese Erfindung betrifft den Aufbau eines Kompressors, und insbesondere auf eine kombinierte flüssigkeitsbetriebenen Motor und Kompressor.
Die primäre Aufgabe der vorliegenden Erfindung ist das Vorsehen eines Kompressors dieser Art, worin ein automatisch ausgeglichen Kurbelwelle und Fluid Entzerrer innerhalb eines Speichertanks angeordnet ist, die es ermöglicht, in der der Motor auf konstante Reservebehälterdruck zu arbeiten, so dass zusätzliche Geräte zu betätigen, wobei die Kolben des Motors auch automatisch ausgeglichen und angehalten, wenn der Motor in Betrieb ist.
Eine weitere Aufgabe der Erfindung ist die Bereitstellung eines Motors, der durch Druckluft betrieben wird, wobei die Luft von Kompressoren, die in einer Bank mit der Motorkonstruktion sind geliefert.
Eine weitere Aufgabe dieser Erfindung ist die Bereitstellung eines Motors dieser Art der neuartigen Konstruktion wie der Motor und der Verdichter werden von der gleichen Kurbelwelle, die von dem automatisch symmetrischen betätigt wird, so dass ein hoher Wirkungsgrad erreicht wird.
Eine noch weitere Aufgabe der Erfindung ist die Bereitstellung eines Motors dieser Art, die vergleichsweise einfach in der Konstruktion, besonders zuverlässig und effizient in ihrem Betrieb stabil, haltbar und kostengünstig herzustellen ist.
Mit diesen und anderen Aufgaben im Blick besteht die Erfindung in den Merkmalen der Konstruktion, Kombination und Anordnung von Teilen, wie vollständiger hier beschrieben wird, dargestellt in den beigefügten Zeichnungen ist.

In den Zeichnungen ist Fig.1 eine perspektivische Ansicht der Maschine in Übereinstimmung mit der Erfindung konstruiert.

Fig.2 ist eine vertikale Querschnittansicht durch den Verdichterteil des Triebwerks.

Fig.3 ist eine vertikale Querschnittsansicht durch den Leistungsteil des Motors.

Fig.4 ist eine Detailansicht der Kurbelwelle des Motors.

Fig.5 ist eine vergrßerte Querschnittsansicht durch eines der Elektroheizer für den Motor.

Fig.6 ist eine vertikale Längsquerschnittsansicht durch die Luftvorratsbehälter, einschließlich des Entzerrers.
Die gleichen Bezugszeichen werden für jedes einzelne Teil in jeder Ansicht in jeder Zeichnung verwendet.

Bezugnehmend auf die Zeichnungen im Detail, wobei der Motor in seiner Gesamtheit bildet einen Zylinderblock 10, der im Inneren der Reihe von Kompressorzylinder 11 und den Antriebszylinder 12. Der Block 10 ist der V-Typ und die oberen Enden der Zylinder werden durch den abnehmbaren Köpfen 13 und 14, die an Stelle von herkömmlichen Kopfschrauben 15. Unter Block 10 geschlossen gehalten werden ist das Kurbelgehäuse 16, der abnehmbare Platten 17 an den gegenüberliegenden Seiten, an Ort und Stelle durch Befestigungsmittel 18 gehalten hat, und setzte so um dicht sein. Der Block 10 ist mit Kammern, um einen Wassermantel 19 rund um die Zylinder zu liefern, wobei am vorderen Ende des Blocks sind Wasserpumpen 20, Zirkulieren von Wasser durch die Einlaßleitung 21, die durch den Auslass in die Ummantelung und das Wasser tritt aus dem Mantel führt Rohr 22 neben den Pumpen 20, ein Gebläse 23, das aus dem gleichen Riemens 24, der die Pumpen antreibt betrieben wird.
Arbeiten im Inneren der Zylinder 11 sind die Hubkolben 25, die Stangen 26 Gleiten durch Stopfbuchsen 27 und den Traversen 28, die auf ihrer Montageschieber feststehenden Führungen 29, die an den Wänden des Kurbelgehäuses 16. Diese Traversen 28 sind mit Einbau befestigt sind Bolzen 30 und bilden eine Schwenkverbindung mit den Verbindungsstangen 31, die um ihre kurbeln 33 durch ihr Lager 32 verbunden sind kurbeln 33 sind Teil einer ausbalancierte Kurbelwelle 34, die in gelagerten Haltern 35 an dem Kurbelgehäuse 16 befestigt ist, wobei die Welle mit den benötigten Lager 36.

Die inneren Enden der Zylinder 11 sind mit inneren Ende Köpfe 37, die mit Lufteinlassöffnungen 38 mit Federkugeleinlasskontrollen 39 ausgestattet ist, sind das eintretende Luft durch die Durchgänge 40, die außerhalb des Blockes 10 Verschraubungen 27 öffnen in die montierte vorgesehen ausgestattet 37 leitet.
Die Leiter 13 und 37 sind mit den Druckluftanschlüssen 41 und 42, die mit Federball Kontrollen 43. Die Köpfe 13 sind auch mit den zentralen Lufteinlässe 44, die mit Federprüfungen 45. Kupplungen 46 befestigen die ausgestattet sind, zur Verfügung gestellt ausgestattet sind, zur Verfügung gestellt Luftauslässe 41 und 42 zu ihren Austrittszufuhrleitungen 47 und 48. Diese Rohre führen zu einer Hauptleitung 49, die in den mittleren Kanal 50 des Blocks 10 befindet.

Am hinteren Ende des Blocks 10, auf der Welle 36 montiert ist, gibt es ein herkömmliches Schwungrad 51.

Arbeiten im Inneren der Zylinder 12 sind die Kolben 52 mit ihren Kolbenstangen 53 Durchrutschen Stopfbuchsen 54 und in Querhäupter 55, welche entlang ihrer Montageführungen 56 gleiten befestigt, an den Innenwänden des Kurbelgehäuses 16. Die Traversen 55 sind Bolzen befestigt 57, die ein Schwenkgelenk für die Verbindungsstangen 58, die durch ihre Lager 59 zu ihren kurbeln 60 der Kurbelwelle 34, die inneren Enden der Zylinder 12 verbunden sind, bereitzustellen, die durch die inneren Leiter 61 und den zugehörigen Verschraubungen 54 geschlossen.
Auf den Zylindern 12 sind Schieber Kisten 62, in dem sich die Schiebeventile 63, wobei diese durch Einwurf Stangen 64 betätigt durch Nocken 65 und der Ventile für die Aufnahme und den Ausstoß von Luft in die und aus den Zylindern 12, durch die Öffnungen 66 bedient und 67, und diese Ventile 63 sind mit Anschlüssen 68 für die Lieferung von Luft unter Druck von der Einlaßpassagen 69 gemeinsam mit einem Rohr 70 aus einem Druckluftvorratsbehälter 71.
Der Boden des Kurbelgehäuses 16 ist mit einer abnehmbaren Platte 72, die an Ort und Stelle durch Befestigungselemente 73 gesichert angebracht ist, und wenn diese Platte entfernt wird, wird ein Zugang zu der Kurbelwelle 34 und der Lager für den Motor, wie auch andere Teile innerhalb des Kurbelgehäuses.

Führt in den Zylindern 11 sind die Durchgänge 74 einer Schmiersystem (nicht gezeigt). Die Druckluftvorratsbehälter 71 weist im Inneren ein Vier-Augen-Druckstutzen 75, durch Elements 76, die zu diesem Equalizer unterstützt ein Lufteinlassrohr 77, die durch ihre mit einem Ventil versehenen Abschnitt 78 mit dem Druckluftspeicher 79 verbindet in der Equalizer 75 ist, sind der Abstand Federkugel überprüft 80 und 81, von denen eines für die Eingangsseite und die andere für die Austrittsseite des Equalizers. Dieses Rohr 77 ist mit der Hauptleitung 49 verbunden, während eine Leitung 82 verbindet Rohr 70. Der Behälter ist auch mit einem automatischen Überdruckventil 83 versehen und dieses Ventil kann aus jedem zugelassen sein.

Um die Rohre 70, die mit der Luft zu verbinden platziert Durchlässe 69 (Fig.3) sind elektrische Heizung 84, um die Druckluft über Gefriertemperatur zu erwärmen, wenn aus dem Tank 71 zu den Zylindern 12 getragen auf dem Block 10 geliefert wird, ist ein elektrischer Generator 85, die von der Welle 34 (Fig.2) über einen Riemen 24 (Fig.1) und diesem Generator angetrieben wird, in einem elektrischen Schaltkreis, der auch die Heizelemente 84, so daß diese von Strom von dem Generator geliefert Betrieb enthalten.
Der Druckluftvorratsbehälter 71 mit dem Equalizer ist so konstruiert, dass es möglich ist, Luft in dieses zu pumpen, während es einen Luftdruck von 200 Pfund pro Quadratzoll enthält, während die Kompressoren nur Pumpen im Vergleich zu 15 Pfund pro Quadratzoll (atmosphärischer) Druck. Eine Außenluftdruckquelle mit dem Tank, um diesen Druck von den Zylindern 11 des Motors abgeleitet vermehren gekoppelt werden.
Patent US 4.292.804 6. Oktober 1980 Erfinder: Leroy K. Rogers
VERFAHREN UND VORRICHTUNG ZUR
BETRIEBS-EIN
MOTOR AUF VERDICHTETES GAS
ZUSAMMENFASSUNG
Die vorliegende Erfindung betrifft ein Verfahren und eine Vorrichtung zum Betreiben eines Motors mit einem Zylinder, der einen hin- und hergehenden Kolben von einem Druckgas angetrieben. Die Vorrichtung umfasst eine Quelle für komprimiertes Gas zu einem Verteiler, der das komprimierte Gas an den Zylinder befördert verbunden. Ein Ventil ist vorgesehen, um Druckgas zu dem Zylinderzuzugeben, wenn sich der Kolben in einer etwa dem oberen Totpunkt Position.
In einer Ausführungsform der vorliegenden Erfindung ist der Zeitpunkt der Öffnung des Ventils advanced damit das Druckgas zu dem Zylinder progressiv weiter vor dem oberen Totpunkt Position des Kolbens, wenn die Geschwindigkeit des Motors zunimmt zugelassen.
In einer weiteren Ausführungsform der vorliegenden Erfindung wird ein Ventilbetätigungselement vorgesehen, welches die Länge der Zeit, während der das Ventil geöffnet bleibt, komprimierte Gas in dem Zylinder, wenn die Geschwindigkeit des Motors zunimmt zugeben erhöht.
Eine noch weitere Ausführungsform der vorliegenden Erfindung betrifft eine Vorrichtung zum Anpassen einer konventionellen Brennkraftmaschine für den Betrieb mit Druckgas.
US Patent Referenzen:
3,881,399 May., 1975 Sagi et al. 91/187.
3,885,387 May., 1975 Simington 60/407.
4,018,050 Apr., 1977 Murphy 60/412.
BESCHREIBUNG
HINTERGRUND
UND ZUSAMMENFASSUNG DER VORLIEGENDEN ERFINDUNG
Die vorliegende Erfindung ist ein Verfahren und eine Vorrichtung zum Betreiben eines Motors mit einem Druckgas als Treibfluid. Insbesondere bezieht sich die vorliegende Erfindung auf eine Vorrichtung zur Anpassung eines bereits vorhandenen Brennkraftmaschine für den Betrieb mit einem Druckgas.
Die Luftverschmutzung ist eines der größten Probleme der heutigen Welt. Eine der Hauptursachen für die Luftverschmutzung ist die normale Brennkraftmaschine, die in den meisten heutigen Kraftfahrzeugen verwendet wird. Verschiedene Vorrichtungen, wie viele Gegenstände vom Gesetzgeber gefordert, wurden in einem Versuch, um die Schadstoffe, die eine Brennkraftmaschine saugt, um die Luft zu begrenzen, vorgeschlagen. Allerdings sind die meisten dieser Geräte haben mit beschränktem Erfolg sowohl teuer und komplex erfüllt und sind häufig. Eine saubere Alternative zum Verbrennungsmotor zum Antrieb von Fahrzeugen und anderen Maschinen benötigt.
Ein komprimiertes Gas, vorzugsweise Luft, würde ein ideales Antriebsfluid für einen Motor vorzusehen, weil damit die üblichen Verunreinigungen aus einem Verbrennungsmotor ausgestoßen zu eliminieren. Vorrichtung zum Umwandeln eines Verbrennungsmotors für den Betrieb mit Druckluft ist in der US-Pat. No. 3.885.387 erteilt am 27. Mai 1975 bis Simington. Die Simington Patent offenbart eine Vorrichtung mit einer Druckluftquelle und einem rotierenden Ventilstellglied, das sich öffnet und schließt, eine Vielzahl von mechanischen Tellerventile. Die Ventile liefern Druckluft in zeitlicher Folge an die Zylinder eines Motors mittels eines Adapters in den Zündkerzenlöchern. Jedoch wird die Ausgangsdrehzahl eines Motors dieser Art durch die Geschwindigkeit der mechanischen Ventilen und die Tatsache, dass die Länge der Zeit, über welche jedes der Ventile geöffnet bleibt nicht, wenn die Geschwindigkeit des Motors zunimmt variiert werden kann.
Eine andere Vorrichtung zur Umwandlung einer Brennkraftmaschine für den Betrieb mit Dampf oder Druckluft ist in der US-Pat. No. 4.102.130 erteilt am 25. Juli 1978 bis Stricklin. Die Stricklin Patent offenbart eine Vorrichtung, die die Ventilsteuerzeiten eines herkömmlichen Viertaktmotors, so dass Änderungen der Einlaß- und Auslaßventile geöffnet einmal für jede Umdrehung des Motors statt jeden zweiten Umdrehung des Motors. Ein Umschaltventil vorgesehen ist, die Frischdampf oder Druckluft liefert, um die Einlassventile und anschließend umgekehrt, um zu ermöglichen die Auslassventile, um den expandierten Dampf oder Luft in die Atmosphäre abzugeben. Ein Umkehrventil dieser Art jedoch nicht eine zuverlässige Vorrichtung zu schaffen, daß die Menge des Treibfluid in die Zylinder eingespritzt, wenn es erwünscht ist, die Geschwindigkeit des Motors zu erhöhen. Ferner ist eine Vorrichtung des Typs, in dem Stricklin Patent offenbart die Verwendung von mehreren Umschaltventilen, wenn die Zylinder in einem Mehrzylindermotor sind sequentiell abgefeuert werden.
Daher ist es eine Aufgabe der vorliegenden Erfindung, ein zuverlässiges Verfahren und eine Vorrichtung zum Betreiben eines Motors, oder Umwandeln eines Motors für den Betrieb mit einem Druckgas bereitzustellen.
Eine weitere Aufgabe der vorliegenden Erfindung ist es, ein Verfahren und eine Vorrichtung, die wirksam ist, um eine ständig zunehmende Menge des komprimierten Gases zu einem Motor, wenn die Geschwindigkeit des Motors zunimmt liefern bereitzustellen.
Eine noch weitere Aufgabe der vorliegenden Erfindung ist es, ein Verfahren und eine Vorrichtung, die einen Motor mit Druckgas mit einer Geschwindigkeit, die ausreicht, um eine herkömmliche Automobil bei Autobahngeschwindigkeiten antreiben arbeiten wird.
Es ist noch eine weitere Aufgabe der vorliegenden Erfindung, ein Verfahren und eine Vorrichtung, die leicht an einem Standardbrennkraftmaschine ist, um die Brennkraftmaschine für den Betrieb mit einem Druckgas umzuwandeln.
Eine weitere Aufgabe der Erfindung ist es, ein Verfahren und eine Vorrichtung, die kühle expandierten Gases von einer Druckgasmotor ausgestoßen nutzt nachweist, einen Klimaanlageneinheit und / oder eine Öl-Kühler zu arbeiten.
Diese und andere Aufgaben werden durch das Verfahren und die Vorrichtung der vorliegenden Erfindung zum Betreiben eines Motors mit mindestens einem Zylinder, der einen hin- und hergehenden Kolben und unter Verwendung von Druckgas als Treibfluid realisiert. Die Vorrichtung umfasst eine Quelle für komprimiertes Gas verbunden, ein Verteiler ist zum Fördern des komprimierten Gases zu dem oder den Zylindern. Ein Ventil zum Einlassen der Druckgas zu dem Zylinder bereitgestellt wird, wenn sich der Kolben in einer etwa dem oberen Totpunkt Position innerhalb des Zylinders. Ein Abgas wird zum Ausstoßen des expandierten Gases aus dem Zylinder, wenn der Kolben wieder in etwa dem oberen Totpunkt Position.
In einer bevorzugten Ausführungsform der vorliegenden Erfindung wird eine Vorrichtung zum Variieren der Dauer jedes Motorzyklus, über den das Ventil geöffnet bleibt, komprimierte Gas in dem Zylinder in Abhängigkeit von der Drehzahl des Motors zuzulassen vorgesehen. In einer weiteren bevorzugten Ausführungsform der vorliegenden Erfindung ist eine Vorrichtung zum Vorschieben der Zeitsteuerung des Öffnens des Ventils angeordnet ist, um das komprimierte Gas an den Zylinder progressiv weiter vor dem oberen Totpunkt Position des Kolbens zuzulassen, während die Geschwindigkeit Maschine zunimmt.
Weitere Merkmale der vorliegenden Erfindung umfassen ein Ventil zur Steuerung der Druckgasmenge zu dem Verteiler aufgenommen. Auch ein Teil des Gases, das in den Zylinder erweitert und durch das Auslaßventil erschöpft ist, wird zu einem Kompressor erneut komprimiert werden, geliefert und zu der Druckgasquelle. Ein Getriebezug eingelegt werden kann, um den Kompressor selektiv bei unterschiedlichen Betriebsgeschwindigkeiten anzutreiben, in Abhängigkeit von dem Druck an der Druckluftquelle und / oder der Geschwindigkeit des Motors aufrechterhalten wird. Weiterhin kann ein zweiter Teil des Abgases verwendet wird, eine Schmierflüssigkeit für den Motor zu kühlen oder um eine Klimaanlage zu betreiben.
In einer bevorzugten Ausführungsform der vorliegenden Erfindung wird das Ventil zum Einlassen von komprimiertem Gas zu dem Zylinder elektrisch betrieben. Die Einrichtung zum Verändern der Dauer jedes Motorzyklus, über welche das Einlaßventil offen bleibt, wie die Geschwindigkeit des Motors zunimmt, umfasst ein Drehelement, dessen effektive Länge zunimmt, wenn die Drehzahl des Motors zunimmt, was zu einem ersten Kontakt auf der rotierenden Element elektrisch mit einem zweiten Kontakt auf dem Drehelement verbunden werden kann, für eine längere Zeitdauer jedes Motorzyklus. Der zweite Kontakt wird das Ventil verursacht, es in einer offenen Position für eine längere Zeitdauer jedes Motorzyklus zu bleiben, da die Geschwindigkeit des Motors zunimmt.
Noch weitere Merkmale der vorliegenden Erfindung umfassen eine Adapterplatte zur Abstützung des Verteilers über dem Ansaugkrümmer einer herkömmlichen Brennkraftmaschine nach einem Vergaser entfernt worden ist, damit Luft in die Zylinder des Motors durch den Ansaugkrümmer und konventionellen Einlaßventile gelangen. Eine andere Adapterplatte über eine Abgasdurchgang des Verbrennungsmotors angeordnet ist, um die Querschnittsfläche des Abgasdurchgangs zu verringern.
KURZE
BESCHREIBUNG DER ZEICHNUNGEN
Bevorzugte Ausführungsformen eines Verfahrens und einer Vorrichtung zum Betrieb eines Motors gemäß der vorliegenden Erfindung wird unter Bezugnahme auf die beigefügten Zeichnungen, in denen Komponenten haben die gleichen Bezugszeichen in jeder Zeichnung beschrieben.
Fig.1 ist eine schematische Darstellung einer Vorrichtung gemäß der vorliegenden Erfindung an einem Motor angeordnet ist:

Fig.2 ist eine Seitenansicht einer Ausführungsform einer Ventilbetätigungsvorrichtung gemäß der vorliegenden Erfindung.

Fig.3 ist eine Querschnittsansicht entlang der Linie 3-3 in Fig.2 genommen.

Fig.4 ist eine Querschnittsansicht einer zweiten Ausführungsform einer Ventilbetätigungsvorrichtung gemäß der vorliegenden Erfindung.

Fig.5 ist eine Ansicht entlang der Linie 5-5 in Fig.4.

Fig.6 ist eine Querschnittsansicht einer dritten Ausführungsform einer Ventilbetätigungsvorrichtung gemäß der vorliegenden Erfindung;

Fig.7 ist eine Ansicht entlang der Linie 7-7 in Fig.6.

Fig.8 ist eine Querschnittansicht einer Getriebeeinheit, einen Kompressor gemß der vorliegenden Erfindung anzutreiben.

DETAILLIERTE BESCHREIBUNG DER BEVORZUGTEN AUSFÜHRUNGSFORMEN
Mit Bezug auf Fig.1 wird ein Motorblock 21 (gestrichelt dargestellt) mit zwei Zylinderbänken, wobei jede Bank, die Zylinder 20 mit Kolben 22, die darin in herkömmlicher Weise hin und her bewegen (nur einer davon ist in Phantomlinien dargestellt). Während die veranschaulichte Motor ein V-8-Motor, ist es offensichtlich, dass die vorliegende Erfindung ist anwendbar auf einen Motor, der eine beliebige Anzahl von Kolben und Zylindern wobei nur zu Illustrationszwecken die V-8-Motor, verwendet werden. Druckgasbehälter 23 ist vorgesehen, um ein Druckgas unter hohem Druck gespeichert. Es kann auch wünschenswert sein, einen kleinen elektrischen oder Gaskompressor umfassen, um komprimiertes Gas um das komprimierte Gas in dem Tank 23 gehalten wird in einer bevorzugten Ausführungsform Ergänzung bereitzustellen, ist das komprimierte Gas Luft, die aus jeder geeigneten Quelle erhalten werden kann.

Eine Leitung 25 transportiert das Gas von dem Behälter 23, wenn ein herkömmliches Absperrventil 27 offen ist zurückgezogen. Darüber hinaus wird ein Magnetventil 29 vorzugsweise durch eine geeignete Schlüsselmotorschalter (nicht gezeigt) betätigt auch in der Leitung 25 im Normalbetrieb angeordnet ist, das Ventil 27 ist offen zu jeder Zeit mit dem Magnetventil 29, die als ein gepflegtes selektive Absperrventil zu starten und den Motor 21 zu stoppen.
Ein geeignetes Regelventil 31 ist stromabwärts von dem Magnetventil 29 angeordnet und wird durch ein Gestänge 33 mit einem Drosselgestänge 35, die vom Bediener betätigt durch jede geeignete Vorrichtung wie beispielsweise ein Fußpedal (nicht gezeigt). Die Leitung 25 tritt in ein Ende eines Verteilers 33 und ist an einem Ende eines Rohres 35, das am anderen Ende geschlossen ist, verbunden ist. Eine Vielzahl von Löchern, die gleich der Anzahl der Zylinder im Motor 21 sind, sind auf beiden Seiten des Rohres 35 entlang der Länge des Rohres 35 vorgesehen.
Wenn die vorliegende Erfindung verwendet wird, eine herkömmliche Brennkraftmaschine für den Betrieb mit Druckgas anzupassen, wird eine Adapterplatte 36 vorgesehen, um den Verteiler 33 in beabstandeter Beziehung von der üblichen Einlassöffnung in der Einlasssammelleitung des Motors zu unterstützen, nachdem ein herkömmlicher Vergaser hat wurde entfernt. Auf diese Weise wird Luft gestattet, die Brennkraftmaschine durch die üblichen Durchgänge betreten und zu den Zylindern durch entsprechende Ansaugventile aufgenommen werden (nicht dargestellt). Die Adapterplatte 36 ist an dem Motorblock 21 und dem Verteiler 33 durch eine beliebige geeignete Vorrichtung, beispielsweise Schrauben befestigt.
Jedes der Löcher in dem Rohr 35 in flüssigkeitsdichter Weise, um eine einzige Leitung 37. Jede Leitung 37 trägt das Druckgas auf einen einzigen Zylinder 20. In einer bevorzugten Ausführungsform verbunden sind, ist jede der Leitungen 37 1/2 Zoll Druckkunststoffschlauch durch geeignete Anschlüsse mit dem Verteiler 33 und dem Rohr 35 angebracht Jede der Leitungen 37 ist mit einem Ventil 39, das in einer Öffnung in der Nähe der Spitze jedes der Zylinder 20 vorgesehen, in dem Fall einer Konvertierung gesichert ist verbunden einer Standard-Brennkraftmaschine können die Ventile 39 in geeigneter Weise in einer Gewindebohrung in dem Zylinder 20 typischerweise für eine Zündkerze der Brennkraftmaschine eingeschraubt werden kann. In einer bevorzugten Ausführungsform sind die Ventile 39 sind Magnetventile betätigt, um ein schnelles und zuverlässiges Öffnen und Schließen der Ventile 39 liefern.
Jedes der Ventile 39 wird durch eine Ventilbetätigungseinrichtung 41 durch eine von einer Vielzahl von Drähten 43. Das Ventilstellglied 41 wird von einer Welle des Motors ähnlich der Antrieb für einen herkömmlichen Verteiler von einem Verbrennungsmotor angetrieben wird erregt. Das heißt, eine Welle 55 der Ventilbetätigungseinrichtung 41 wird synchron mit dem Motor 21 mit der halben Drehzahl des Motors 21 angetrieben.

Eine erste Ausführungsform der Ventilbetätigungseinrichtung 41 (Fig.2 und Fig.3) empfängt elektrische Energie über einen Draht 45, der in geeigneter Weise durch eine Batterie mit Energie versorgt wird, und einer Spule, falls erforderlich (nicht gezeigt), wie es üblich ist in eine Verbrennungsmotor. Der Draht 45 ist mit einer zentralen Stange 47 durch eine Mutter 49. Der Pfosten 47 ist mit einer leitenden Platte 51 in einem Gehäuse 53 für das Ventilstellglied 41. Innerhalb des Gehäuses 53 angeordnet ist verbunden angebracht, wobei die Welle 55 weist ein Isolierelement 57 befestigt ist ein Ende der Welle 55 und dreht sich mit dieser, wenn die Welle 55 durch den Motor 21. Ein erstes Ende eines flexiblen Kontakt 59 kontinuierlich gegen die leitende Platte 51 vorgespannt, um Strom aus der Batterie oder einer anderen geeigneten Quelle erhalten angetrieben. Das andere Ende des Kontakts 59 ist mit einer leitenden Hülse 60, die in ständigem Kontakt mit einer Feder vorgespannten Kontakt 61, der innerhalb der Hülse 60. Der Kontakt 61 angeordnet ist, wird durch eine Feder 63, die den Kontakt 61 in Richtung einer Seitenwand drückt gedrückt ist verbunden des Gehäuses 53.

Mit Bezug auf Fig.3, eine Mehrzahl von Kontakten 65 sind voneinander beabstandet und um den Umfang des Gehäuses 53 an dem gleichen Niveau wie die federvorgespannte Kontakt angeordnet 61. Jeder Kontakt 65 ist elektrisch an einen Pfosten 67, erstreckt außerhalb des Gehäuses 53. Die Anzahl der Kontakte 65 entspricht der Anzahl der Zylinder im Motor 21. Eine der Leitungen 43, die die Ventile 39 zu betätigen ist, ist an jedem der Stifte 67 gesichert.
Im Betrieb, wenn die Welle 55 dreht sich synchron mit dem Motor 21, dem isolierenden Element 57 dreht, und Strom wird schließlich zu aufeinanderfolgenden Paaren der Kontakte 65 und die Drähte 43 durch den federbelasteten Kontakt 61 und dem flexiblen Kontakt 59. Auf diese Weise gelieferten jedes der elektrischen Ventile 39 aktiviert und in der richtigen zeitlichen Abfolge geöffnet, um Druckgas zu jedem der Zylinder 20 zuzulassen, um die Kolben 22 auf einer Abwärtsbewegung anzutreiben.
Die in Fig.2 und Fig.3 dargestellten Ausführungsbeispiel ist wirksam, wodurch jedes der Ventile 39 für einen ausreichend langen Zeitraum, um ausreichend Druckgas zu jedem der Zylinder 20 des Motors 21 zuzulassen offen zu bleiben, um den Motor 21 anzutreiben dar. Die Länge von jedem der Kontakte 65 um den Umfang des Gehäuses 53 ist ausreichend, um die Geschwindigkeit des Motors zu ermöglichen, indem der Gasgestänge 35, das Gestänge 33 betätigt, um das Regelventil weiter zu öffnen, wenn durch die Bedienungsperson gewünscht wird, erhöht werden, 31 bis mehr Druckgas aus dem Tank 23 zu dem Verteiler 33. Jedoch zugeben, wurde gefunden, dass die Menge an Luft durch die Ventile 39, wenn unter Verwendung der ersten Ausführungsform der Ventilantrieb zugelassen 41 (Fig.2 und Fig.3) ist wesentlich höher als erforderlich ist, um den Motor 21 bei einer Leerlaufdrehzahl zu betreiben. Daher kann es wünschenswert sein, ein Ventilstellglied 41, das in der Lage Variieren der Dauer jedes Motorzyklus, über welche die Magnetventile 39 betätigt werden, ist also zu liefern, bleiben offen Druckgas zuzulassen, wenn die Geschwindigkeit des Motors 21 variiert.

Eine zweite Ausführungsform eines Ventilstellglieds 41, die variieren kann die Dauer jedes Motorzyklus, über welche jedes der Ventile 39 offen bleibt, um komprimiertes Gas in die Zylinder 20 in Abhängigkeit von der Drehzahl des Motors 21 zugeben werden unter Bezugnahme auf beschrieben Fig.4 und Fig.5, wobei Elemente entsprechend jenen von Fig.2 und Fig.3 die gleichen Bezugszahlen. Der Draht 45 von der Stromquelle ist an dem Pfosten 47 durch die Mutter 49. Der Pfosten 47 befestigt hat einen ringförmigen Kontaktring 69 elektrisch mit einem Ende der Stange 47 verbunden und innerhalb des Gehäuses 53. Die Welle 55 dreht sich mit einer Hälfte angeordnet die Geschwindigkeit des Motors, wie in der Ausführungsform von Fig.2 und Fig.3.

An einem oberen Ende der Welle 55, einen Keilwellenabschnitt 71 empfängt ein Schiebe Isolierelement 73. Der Keilabschnitt 71 der Welle 55 hält das isolierende Element 73 sicher, wie es mit der Welle 55 dreht, erlaubt aber das Isolierelement 73 axial entlang gleiten die Länge der Keilabschnitt 71 in der Umgebung der Welle 55, einer leitfähigen Hülse 72 ist in einer Bohrung 81 in einer oberen Oberfläche des isolierenden Elements 73 allgemein parallel zu der Keilabschnitt 71 eine Kontakt 75, in Richtung der ringförmigen Kontaktring vorgespannt 69 durch eine Feder 77, ist innerhalb der Leiterhülse 72 und mit ihr in Kontakt angeordnet ist. Die leitfähige Hülse 72 kontaktiert auch einen Leiter 79 an einer Basis der Bohrung 81.
Der Leiter 79 erstreckt sich zu der oberen Oberfläche des isolierenden Elements 73 in der Nähe eines äußeren Umfangs des isolierenden Elements 73, wo der Leiter 79 ist elektrisch mit einer flexiblen Kontakt 83. Die flexible Kontakt 83 verbindet, einer nach dem anderen verbunden sind, mit einer Reihe von radial Kontakte 85, die auf einer oberen Innenfläche des Gehäuses 53 eine schwache Feder 87 um den Keilabschnitt 71 angeordnet positioniert sind, ein Anschlagelement 89 auf der Welle 55 befestigt ist und das isolierende Element 73 leicht vorspannen Dämmelements 73 in Richtung der in Eingriff obere Innenfläche des Gehäuses 53, um den Kontakt zwischen dem flexiblen Kontakt 83 und der oberen Innenfläche des Gehäuses 53. Wie am besten in Fig.5 gesehen gewährleisten, sind die radialen Kontakten 85 auf der oberen Innenfläche des Gehäuses 53 im allgemeinen im angeordnet sind die Form von radialen Speichen, die sich von der Mitte des Gehäuses 53 mit der Anzahl der Kontakte gleich der Anzahl der Zylinder 20 in dem Motor 21. Die Anzahl von Graden, die von jedem der radialen Kontakten 85 allmählich mit zunehmendem Abstand von der erhöht abgedeckt Mitte der oberen Innenfläche des Gehäuses 53 zunimmt.
Im Betrieb der Vorrichtung von Fig.4 und Fig.5, wie die Welle 55 dreht, fließt der Strom entlang einer Bahn durch das Sieb 45 nach unten durch Pfosten 47 an dem ringförmigen Kontaktelement 69, die in ständigem Kontakt mit dem federbelasteten Kontakt 75 ist. Der elektrische Strom durch die leitende Hülse 72 auf den Leiter 79 und dann zu dem flexiblen Kontakt 83. Da der flexible Kontakt 83 dreht zusammen mit dem Isolationselement 73 und der Welle 55, wobei die Spitze des flexiblen Kontakt 83 nacheinander in Eingriff jedem die radialen Kontakten 85 auf der oberen Innenseite des Gehäuses 53. Da die Geschwindigkeit des Anstiegs Welle 55, das isolierende Element 73 und der flexible Kontakt 83 daran befestigt, nach oben bewegen sich entlang der Keilabschnitt 71 der Welle 55 aufgrund der radialen Komponente der Keile in Richtung der Drehung unter dem Einfluß der Zentrifugalkraft. Als Isolationselement 73 nach oben bewegt, ist der flexible Kontakt 83 so gebogen, daß die Spitze der Kontakt 83 weiter nach außen radial von der Mitte des Gehäuses 53 (wie in Phantomlinien in Fig.4 zu sehen ist) erstreckt. In anderen Worten ist die effektive Länge des flexiblen Kontakt 83 zunimmt, wenn die Drehzahl des Motors 21 erhöht.
Da der flexible Kontakt 83 ist gebogen und die Spitze des Kontakts 83 nach außen bewegt, bleibt die Spitze in Kontakt mit jedem der radialen Kontakten 85 für eine längere Zeitdauer jedes Motorzyklus aufgrund der erhöhten Winkelbreite der radialen Kontakten mit zunehmendem Abstand von der Mitte des Gehäuses 53. Auf diese Weise wird die Länge der Zeit, über welche jedes der Ventile 39 offen bleibt, erhöht, wenn die Drehzahl des Motors erhöht wird. Somit wird eine größere Menge an Druckgas oder Luft in die Zylinder mit zunehmender Geschwindigkeit injiziert. Umgekehrt, wenn die Drehzahl abnimmt und die Bewegungen Isolationselement 73 nach unten entlang der Keilabschnitt 71, eine minimale Menge von Luft in den Zylinder aufgrund der kürzeren Länge des einzelnen radialen Kontakt 85, der in Kontakt mit dem flexiblen Kontakt 83 eingespritzt wird. auf diese Weise ist die Druckgasmenge, die während des Leerlaufs des Motors 21 verwendet wird, auf ein Minimum, während die Druckgasmenge, die erforderlich ist, um die Geschwindigkeit des Motors 21 auf ein geeignetes Niveau zu erhöhen, um ein Fahrzeug auf einer Autobahn zu fahren ist leicht verfügbar.

Dargestellt in Fig.6 und Fig.7 ist eine dritte Ausführungsform einer Ventilbetätigungsvorrichtung 41 gemäß der vorliegenden Erfindung. Diese Ausführungsform weist einen gekrümmten Isolierelement 91 mit er erstes Ende schwenken kann, wobei durch jede geeignete Einrichtung wie Schrauben 92 an der Welle 55 zur gemeinsamen Drehung mit der Welle 55. Die Schraube 92 befestigt ist, in eine Gewindebohrung im eingeschraubten Isolationselement 91, so dass eine Lasche 94 an einem Ende der Schraube 92 greift in eine Nut 96 in der Welle 55 vorgesehen ist auf diese Weise ist die isolierende Element 91 dreht sich positiv mit der Welle 55 jedoch die Welle 55 schneller rotiert, die andere Ende 98 des isolierenden Elements 91 gestattet, nach außen unter dem Einfluß der Zentrifugalkraft zu schwenken, da der Nut 96 in der Welle 55 eine Feder 93 vorgesehen, die zwischen dem zweiten Ende 98 des Elements 91 und der Welle 55 verbunden fordert die das zweite Ende des Elements 91 in Richtung der Mitte des Gehäuses 53.

Ein Kontakt 99 ähnlich dem Kontakt 59 (Fig.2) angeordnet ist, so dass ein Ende des Kontaktstückes 99 ist in ständigem Kontakt mit der leitenden Platte 51 mittig innerhalb des Gehäuses angeordnet ist 53. Das andere Ende des Kontaktes 99 eine leitfähige eingreift in der Bohrung 102 die Hülse 101 angeordneten Kontaktelement 95 wird in der leitfähigen Hülse 101 in konstanten Kontakt mit der Hülse 101. Die Bohrung 102 angeordnet ist, im Allgemeinen parallel zu der Welle 55 nahe dem zweiten Ende des gekrümmten Isolierelement 91. Das Kontakt 95 wird von einer Feder 97 in Richtung der oberen Innenfläche des Gehäuses 53 zum selektiven Kontakt mit jeder der Mehrzahl von Kontakten 85, die radiale Länge des Lichtbogens in Richtung der äußeren Umfangsfläche des Gehäuses 53 (Fig.6) erhöhen vorgespannt.
Wenn die in Fig.6 und Fig.7 gezeigten Vorrichtung in Betrieb ist, wenn sich die Welle 55 dreht die gebogene Isolationselement 91 dreht sich mit der Welle 55 und dem zweiten Ende 98 des isolierenden Elements 91 dazu neigt, sich um die Welle 55 aufgrund der Zentrifugalkraft geschwenkt Kraft. Somit ist, wie die effektive Länge der Erhöhungen Kontakt 95, das heißt, wie die gekrümmte Isolierelement 91 schwenkt weiter nach außen, die Anzahl der Drehungsgrade während der die Kontakt 95 ist in Kontakt mit jedem der radialen Kontakten 85 auf der oberen Innenfläche des Gehäuses 53 erhöht sich dadurch, daß jedes der Ventile 39 offen für eine längere Zeitdauer jedes Motorzyklus, was wiederum ermöglicht, mehrere komprimierte Gas in das jeweilige Zylinder 20, um die Geschwindigkeit des Motors 21 weiter erhöht bleiben.
Mit Bezug auf Fig.1, ein mechanisches Gestänge 104, das vorher zu dem Drosselgestänge 35 verbunden ist, schreitet die Initiierung der Öffnung jedes Ventils 39, so daß Druckgas in den jeweiligen Zylinder eingespritzt wird weiter, bevor der Kolben 22 in den jeweiligen Zylinder 20 erreicht den oberen Totpunkt Position, wenn die Geschwindigkeit des Motors wird durch Bewegung des Gasgestänges 35. Die Vorschubgestänge 104 ist ähnlich zu einem herkömmlichen mechanischen Standard Voraus an einem Verbrennungsmotor eingesetzt wird erhöht. In anderen Worten, die Verbindung 104 variiert die Beziehung zwischen den Winkelpositionen zu einem Punkt auf der Welle 55 und einem Punkt auf dem Gehäuse 53 der Kontakte enthält. Alternativ könnte eine herkömmliche Unterdruck ebenfalls eingesetzt werden. Durch Vorschieben der Zeitpunkt des Öffnens der Ventile 39 kann die Drehzahl des Motors leichter erhöht werden.
Der Betrieb des Motorzyklus nach der vorliegenden Erfindung wird nun beschrieben. Das komprimierte Gas in jeden Zylinder des Motors 21 eingespritzt treibt den jeweiligen Kolben 22 nach unten, um eine herkömmliche Kurbelwelle (nicht gezeigt) zu drehen. Die Bewegung des Kolbens bewirkt, dass die nach unten Druckgas, um schnell und kühl zu erweitern. Wenn der Kolben 22 beginnt, sich in dem Zylinder 20 eine geeignete Abgasventil (nicht gezeigt) angeordnet, um einen Abgasdurchgang zu schließen nach oben zu bewegen, wird durch jede geeignete Vorrichtung geöffnet. Das expandierte Gas wird dann durch den Abgaskanal ausgestoßen wird. Wenn der Kolben 22 beginnt, sich wieder nach unten zu bewegen, öffnet sich ein Einlassventil geeignet, um Umgebungsluft in den Zylinder einzulassen. Das Einlaßventil schließt sich, und die Umgebungsluft auf der anschließenden Aufwärtsbewegung des Kolbens komprimiert, bis der Kolben den ungefähr dem oberen Totpunkt Position, zu welchem Zeitpunkt das Druckgas erneut in den Zylinder 20 eingespritzt, um den Kolben 22 nach unten, und der Zyklus fahren beginnt von neuem.
Im Fall der Anpassung einer herkömmlichen Brennkraftmaschine für den Betrieb mit Druckgas, eine Vielzahl von Platten 103 sind so angeordnet, vorzugsweise über ein Ende der Abgasdurchgänge, um die Austritts Größe der Abgasdurchgänge des herkömmlichen Verbrennungsmotors zu reduzieren. In der dargestellten Ausführungsform ist eine einzelne Platte mit einer Öffnung in der Mitte zur Außen Auslassdurchlassweg auf jeder Bank des V-8-Motor verschraubt, während ein weiteres Einzelblech mit zwei Öffnungen in ihm, mit einer Öffnung gegenüber jedem der angeordnet Innenabgasdurchgänge auf jeder Bank des V-8 Motor. Eine Leitung 105 ist in geeigneter Weise an jedem der Adapterplatten angebracht, um das Abgas auf einer geeigneten Stelle tragen. In einer bevorzugten Ausführungsform sind die Abgasleitungen 105 von 1,5 Zoll (38 mm) Durchmesser Kunststoffschlauch gefertigt.
In einer bevorzugten Ausführungsform sind die Abgasleitungen 105 einer Bank des V-8-Motor in einer Linie 107 gesammelt und zu einem Einlaß eines Kompressors 109. Der Druck des Abgases aus dem Motor 21 austretenden gemäß der vorliegenden Erfindung eingespeist beträgt ungefähr 25 psi Auf diese Weise läuft der Kompressor 109 nicht das Abgas in den Kompressor zu ziehen, da das Gas aus dem Motor 21 ausgestoßen wird, bei einem positiven Druck. Der positive Druck des eintretenden Fluids erhöht die Effizienz und reduziert den Verschleiß des Kompressors 109. Das Abgas wird in dem Kompressor 109 komprimiert und durch eine Leitung 111 und ein Rückschlagventil 113 an die Druckgasspeichertank 23. Das Rückschlagventil 113 zurück verhindert, dass der Fluss der in dem Behälter 23 zurück zu dem Kompressor 109 gespeicherten komprimierten Gases.
Ein geeigneter Drucksensor 115 ist an einem oberen Ende des Tanks 23 angeordnet und sendet ein Signal auf einer Leitung 117, wenn der Druck einen vorbestimmten Wert, und wenn der Druck unter einen vorbestimmten Pegel überschreitet. Die Leitung 117 steuert eine elektrisch betätigte Kupplung 119 an dem vorderen Ende des Kompressors 109. Die Kupplung 119 wird betätigt, um in und außer Eingriff des Kompressors 109 von einer Antriebsriemenscheibe 121 auch so positioniert, der von der Leitung 117 geführte Signal aktiviert eine geeignete Ventil 123 am Verdichtergehäuse 125 angeordnet, um die Luft, die in das Verdichtergehäuse 125 von der Leitung 107 zu erschöpfen, wenn die Kupplung 119 ist der Kompressor 109 von der Antriebsscheibe 121 ausgerückt.
In einer bevorzugten Ausführungsform wird, wenn der Druck der Tank 23 erreicht etwa 600 psi, wird die Kupplung 119 ausgerückt und der Kompressor 109 deaktiviert, und das Ventil 123 wird geöffnet, um das expandierte Gas geliefert, um den Kompressor 109 von der Leitung 107 zu der Abgas Atmosphäre. Wenn der Druck in dem Tank 23 unter ca. 500 psi, sendet der Sensor 115 ein Signal an die Kupplung 119 in Eingriff und Schließen des Ventils 123, wodurch der Kompressor 109 den Betrieb zum Zuführen der Behälter 23 mit Druckgas.
Die Riemenscheibe 121, die den Kompressor 109 über die Kupplung 119 antreibt, über einen Riemen 127, durch eine Riemenscheibe 129, die über ein Getriebe 131 arbeitet mit Bezugnahme auf Fig.1 und Fig.8 ist eine zweite Riemenscheibe 133 an die angetrieben wird Getriebe wird durch einen Riemen 135 von der Scheibe 137 auf einer Antriebswelle 139 des Motors 21. Die Riemenscheibe 137 treibt ein Keilwelle 140, die ein erstes Zahnrad 141 und einen zweiten größeren Zahnrad 143 auf ihn gesetzt hat angeordnet, die mit rotiert angetrieben die Keilwelle 140. Die Keilwelle 140 ermöglicht eine axiale Bewegung der Zahnräder 141 und 143 entlang der Welle 140.

Im Normalbetrieb (wie in Fig.8 zu sehen ist), das erste Zahnrad 141 greift in ein auf einer Welle 147, die Riemenscheibe 129. Die Wellen 140 und 147 sind in geeigneten Lagern 149 an jedem Ende davon positioniert ist antreibt ordneten dritten Zahnrad 145. Wenn die Drehzahl des Motors 21 unter einen vorgegebenen Pegel, ein geeigneter Sensor 151 in Reaktion auf die Drehzahl der Antriebswelle 139 des Motors 21 erzeugt ein Signal, das über eine Leitung 153 an einen Solenoid-Aktuator 155 im Getriebekasten angeordnet tragene 131. Solenoidaktuators 155 bewegt sich die erste und zweite Zahnräder 141, 143 axial entlang der Keilwelle 140 nach rechts, wie in Fig.8 zu sehen, so dass die zweite, größere Zahnrad 143 eine vierte kleinere Zahnrad 157 auf der Welle angeordnet ist, eingreift, 147. Das Verhältnis des zweiten Getriebes 143 in den vierten Gang 157 ist vorzugsweise etwa 3:1.
Auf diese Weise wird, wenn die Drehzahl des Motors 21 wieder unter den vorbestimmten Pegel, wie durch den Sensor 151 (der vorbestimmte Pegel unzureichend ist, um den Kompressor 109 mit einer ausreichenden Geschwindigkeit, um die 500-600 Pfund Druck, der vorzugsweise in generieren fahren erfaßten der Tank 23), ist die Solenoid-Aktuator 155 aktiviert, um die Zahnräder gleiten 143, 141 axial entlang der Keilwelle 140, so dass die zweite, größere Zahnrad 143 in Eingriff mit dem vierten, kleineren Zahnrad 157, um die Riemenscheibe 129 und somit den Kompressor 109 zu fahren eine höhere Rate, um den gewünschten Druck zu erzeugen. Wenn die Drehzahl des Motors zunimmt oberhalb des vorbestimmten Pegels, die in einer bevorzugten Ausführungsform etwa 1500 Upm, das Solenoidbetätigungsglied 155 wird durch den Sensor 151 deaktiviert wodurch der Zahnräder 143 und 141 nach links, wie in Fig.8 zu sehen, so dass das erste Zahnrad 141 greift wieder mit dem dritten Zahnrad 145, um eine 1:1-Verhältnis zwischen der Ausgangswelle 139 des Motors 21 und der Riemenscheibe 129 zu bewirken.
Das andere Ufer des V-8 Motor hat seine Austrittsöffnungen mit Adapterplatten 103 ähnlich denen auf der ersten Bank angeordnet. Jedoch wird das Abgas aus dieser Reihe des Motors 21 nicht aufgefangen und durch den Verdichter 109 zirkuliert In einer bevorzugten Ausführungsform wird ein Teil des Abgases in eine Leitung 159 gesammelt und in einem vergrößerten Kammer 161. Eine zweite Fluid zugeführt wird durch eine Leitung 163 in die Kammer 161 durch den kühlen Abgas aus dem Motor 21 austretenden in die Leitung 159. Die zweite Flüssigkeit in der Leitung 163 gekühlt wird entweder in einem Getriebe mit dem Motor 21 oder einem Abschnitt des zugehörigen enthaltenen Getriebeöl sein das Öl verwendet wird, um den Motor 21 zu schmieren ein zweiter Teil des Abgases aus der zweiten Bank des V-8-Motor, wird von der Leitung 159 in einer Leitung 165 entfernt und als ein Arbeitsfluid in einer Klimaanlage oder aus einem anderen verwendet Verwendung geeignet.
Es sei darauf hingewiesen, dass die insbesondere für das Sammeln und Verteilen des Gases von dem Motor 21 verbraucht verwendet Anordnung würde durch die Verwendung, für die der Motor verwendet wird, bestimmt werden. In anderen Worten, kann es vorteilhaft sein, das Abgasrohr, so dass ein größerer oder kleinerer Anteil des Abgases wird durch den Verdichter 109. Es sollte auch beachtet werden, geleitet, dass seit der Abgasleitungen 105 sind Kunststoffschlauch, eine Umordnung der Zeilen neu anordnen zu einem anderen Zweck ist einfach und kostengünstig.
Im Betrieb der Brennkraftmaschine der vorliegenden Erfindung wird der Verbrennungsmotor 21 durch Erregung des Magnetventils 29 und eine beliebige geeignete Startvorrichtung (nicht gezeigt), beispielsweise einen herkömmlichen elektrischen Starter als an einer Brennkraftmaschine verwendet wird gestartet. Druckgas aus dem vollen Behälter 23 fließt durch die Leitung 25 und einen variablen Betrag des komprimierten Gases mit dem Verteiler 33 durch Steuerung des Regelventils 31 durch das Gestänge 33 und der Bedienungsperson betätigt Gasgestänge zugelassen 35. Das verdichtete Gas wird auf verteilte jede der Leitungen 37, die zu den einzelnen Zylindern 20. Der Druckgas zu jedem der Zylinder 20 in zeitlicher Beziehung zu der Position der Kolben innerhalb der Zylinder zugelassen, indem die Ventile 39 mit der Ventilbetätigungseinrichtung 41 zu führen.
Wenn es gewünscht ist, um die Geschwindigkeit des Motors zu erhöhen, bewegt der Bediener den Gasgestänge 35, das gleichzeitig zugibt eine größere Druckgasmenge zu dem Verteiler 33 aus dem Tank 23 durch eine weitere Öffnung des Regelventils 31. Das Timing des Ventilaktuators 41 ist ebenfalls durch das Gestänge 104. Noch weiter vorgeschoben wird, wie die Geschwindigkeit der Maschine 21 zunimmt, nimmt die effektive Länge des Drehkontakt 83 (Fig.4) oder 95 (Fig.6) zu, wodurch elektrischen Kontaktierung eines breiteren Abschnitts einer der stationären Kontakte 85 radial um jedes der Ventile 39 bewirken eine längere Zeitdauer jedes Motorzyklus, um eine größere Druckgasmenge zu jedem der Zylinder 20 zuzulassen offen bleibt.
Wie gesehen werden kann, wobei die Kombination des Regelventils 31, die mechanische Voraus 104 und dem Ventilstellglied 41, zu kombinieren, um einen komprimierten Gasmotor, schnell und effizient an verschiedene Betriebsgeschwindigkeiten zu erzeugen. Jedoch sind alle drei der Kontrollen müssen nicht gleichzeitig eingesetzt werden. Zum Beispiel könnte die mechanische Voraus 104 ohne den Vorteil des einen der unterschiedlichen Ventilantriebe 41, sondern der Hochgeschwindigkeitsbetrieb des Motors verwendet werden können, nicht so wirksam sein. Durch die Erhöhung der Dauer jedes Motorzyklus, über welche jedes der Ventile 39 offen bleibt, komprimierte Gas während Niederdrehzahlbetrieb und effizienten Hochgeschwindigkeitsbetrieb sind beide möglich, jeden der Zylinder 20, wenn die Geschwindigkeit zunimmt, die Erhaltung von Druckgas zuzulassen.
Nachdem das Druckgas zu dem Zylinder 20 aufgenommen hat der Kolben 22 nach unten innerhalb des Zylinders gedrückt, um die Welle 139 des Motors, wobei der Kolben 22 bewegt sich nach oben innerhalb des Zylinders 20 anzutreiben, und zwingt das expandierte Gas durch eine geeignete Abgasventil (nicht gezeigt ) durch die Adapterplatte 103 (falls verwendet) und in die Abgasleitung 105. Die kühle Abgas kann dann in jeder geeigneten Anordnung gesammelt werden, um komprimiert und wieder in den Tank 23 oder für jeden gewünschten Zweck, einschließlich der Verwendung als ein Arbeitsfluid in verwendet eine Klimaanlage oder als Kühlmittel für Öl.
Bei Verwendung der Vorrichtung und des Verfahrens der vorliegenden Erfindung, einen gewöhnlichen Verbrennungsmotor für den Betrieb mit Druckgas kann man sehen, dass erhebliche Gewichtseinsparung erreicht werden, anzupassen. Beispielsweise kann der gewöhnliche Kühlsystem mit einem Kühler, Lüfter, Schläuche usw. beseitigt, da das komprimierte Gas gekühlt wird, wenn es in dem Zylinder ausdehnt werden. Darüber hinaus gibt es keine Explosionen innerhalb des Zylinders, um Wärme zu erzeugen. Weitere Gewichtsreduzierungen sind durch Verwendung Kunststoffschlauch für die Leitungen, die das Druckgas zwischen dem Verteiler und der Zylinder und der Abgasleitungen führen erhalten. Wiederum wird schweren Schlauch nicht erforderlich, da es nur wenig oder keine Wärme durch den Motor der vorliegenden Erfindung erzeugt wird. Zusätzlich das Rauschen, das durch einen Motor gemäß der vorliegenden Erfindung erzeugt wird, ist deutlich geringer als die von einem normalen Verbrennungsmotor erzeugt, da es keine Explosionen stattfinden innerhalb der Zylinder.
Patent
US 3.744.252 10. Juli 1973 Erfinder: Eber Van Valkinburg
GESCHLOSSENE MOTIV-POWER-SYSTEM
NUTZUNG
KOMPRIMIERTER FLÜSSIGKEITEN
ZUSAMMENFASSUNG
Gespeicherte Energie in einem komprimierten elastischen Fluid in einer kontrollierten Art und Weise verwendet, um eine unelastische Fluid unter Druck zu setzen und diese Druckbeaufschlagung zu halten. Das unter Druck unelastischen Fluid dem Laufrad aus einem Hauptantrieb gedrosselt. Nur ein Teil der Ausgangsenergie von der Antriebsmaschine verwendet wird, um das unelastische Fluid zirkulieren, um so einen nahezu konstanten Volumenbilanz im System aufrechtzuerhalten.
BESCHREIBUNG
Das Ziel der Erfindung ist es, eine geschlossene Schleifenleistungssystem, das die expansive Energie eines komprimierten elastischen Fluids verwendet, wie beispielsweise Luft, unter Druck zu setzen und aufrecht zu erhalten über die gesamte Betriebszyklus des Systems unter Druck einen zweiten nicht-elastischen und nicht-komprimierbaren Fluid, wie etwa Öl. Das unter Druck stehende Nicht-elastische Fluid in kontrollierter Weise durch eine Drossel mit dem Drehlaufrad einer Turbine oder dergleichen freigegeben wird, mit einer Ausgangswelle. Diese Welle ist mit einer Pumpe für den nicht-elastischen Fluids, hält automatisch die notwendige Zirkulation für den Betrieb der Antriebsmaschine notwendig gekoppelt und führt ein in der Nähe Volumenbilanz in dem System zwischen den zwei Flüssigkeiten, die durch die selbstjustierende freien Kolben getrennt sind Geräte. Die Pumpe für den nicht-elastischen Fluids umfasst eine automatische Bypass für den nicht-elastischen Fluid, welches die Möglichkeit der Aushungerung der Pumpe, die zur Entlastung des nicht-elastischen Fluid bei niedrigem Druck aus dem Abgas der Turbine wird eliminiert. Andere Merkmale und Vorteile der Erfindung werden im Verlauf der folgenden detaillierten Beschreibung offensichtlich.
KURZBESCHREIBUNG
DER ZEICHNUNGEN

Fig.1 ist eine teilweise schematische Querschnittsansicht eines geschlossenen Antriebskraft-System gemß der Erfindung.

Fig.2 wird im System eine perspektivische Teilansicht eines Drehantriebsmotors genutzt.

Fig.3 ist ein vergrößerter vertikaler Teilschnitt durch die Antriebsmaschine in einem rechten Winkel zu seiner Rotationsachse genommen.

Fig.4 ist ein vergrößerter vertikaler Teilschnitt auf der Linie 4-4 der Fig.1 aufgenommen.

Fig.5 wird ein ähnlicher Abschnitt der Linie 5-5 der Fig.4 genommen.
DETAILLIERTE
BESCHREIBUNG

Bezugnehmend auf die Zeichnungen im Detail, wobei die gleichen Zahlen auf die gleichen Teile in jeder Zeichnung bezeichnet die Zahl 10 eine Vorratsflasche oder Tank für ein komprimiertes elastisches Fluid, wie etwa Luft. Vorzugsweise wird die Luft in der Flasche 10 bis etwa 1.500 Pfund pro Quadratzoll komprimiert Die Druckluft aus der Flasche 10 wird durch eine geeignete Druckregelventil 11 in die Kammer 12 aus einem Hochdrucktank 13 auf einer Seite eines freien Kolbens 14 in der Bohrung eines solchen Tanks geliefert. Der freie Kolben 14 trennt die Kammer 12 für Druckluft von einer zweiten Kammer 15 für eine unelastische Fluid, wie Öl, auf der gegenüberliegenden Seite des freien Kolbens. Der freie Kolben 14 kann sich axial innerhalb der Bohrung des zylindrischen Behälters 13 bewegen und ständig selbst einstellende es, eine richtige volumetrische Verhältnis zwischen den beiden getrennten Fluide des Systems aufrechtzuerhalten. Der freie Kolben hat die Fähigkeit, die beiden Flüssigkeiten, Luft und Öl, während der Betrieb des Systems vollständig getrennt zu halten.
Das Regelventil 11 liefert Druckluft zu der Kammer 12 unter einem Druck von etwa 500 Pfund pro Quadratzoll Die Arbeits unelastisch Flüssigkeit, Öl, die die Kammer 15 der Hochdrucktank 13 füllt unter 500 Pfund pro Quadratzoll gehalten Druck durch die Expansionskraft der elastischen Druckluft in der Kammer 12 auf den freien Kolben 14 Das Öl in der Kammer 15 ist mit einem Antriebsmotor 16 über eine geeignete Versorgungs Regel- oder Drosselventil 17 geliefert werden, wie ein Öl-Turbine, die steuert die Lautstärke von Drucköl an den Antriebsmotor geliefert.
Die Turbine 16 verkörpert einen Stator, bestehend aus einem Gehäusering 18 und Abschlussplatten 19 verbunden, um sie in einer fluiddichten Weise. Sie verkörpert ferner ein einzelnes oder mehrere Stufe Laufrad oder Rotor mit Schaufelrädern 20, 21 und 22 in der dargestellten Ausführungsform. Die peripheren Schaufeln 23 dieser Turbinenräder empfangen das Antriebsfluid aus der Druckkammer 15 durch seriell verbundene Düsen 24, 25 und 26, im wesentlichen tangential durch den Statorring 18 verbunden, wie in Fig.3 gezeigt. Die erste Düse 24 in Fig.1 schematisch dargestellt ist, direkt mit dem Auslass des Drosselventils 17. Die aufeinanderfolgenden Düsen 25 und 26 liefern das unter Druck stehende Arbeitsfluid seriell zu den Schaufeln 23 des Turbinenräder 21 und 22 sind alle von der Turbine verbunden ist Räder in geeigneter Weise zu einer zentralen axialen Ausgang gekoppelt oder Arbeitswelle 27 der Turbine 16.

Rückdruckdichtblöcke 28, der Faser, innerhalb von Ausnehmungen 29 des Gehäuserings 18 enthalten ist, um Vermischung der Arbeitsflüssigkeit und Abgas in jeder Stufe der Turbine zu verhindern. Ein Druckdichtblock 28 ist tatsächlich nur in der dritten Stufe zwischen Einlass 26 und Auslass 31 erforderlich, da der Druckverteilung, aber solch ein Block in jeder Stufe enthalten sein, wie in Fig.1 gezeigt. Die obere Oberfläche, einschließlich einer geneigten Flächenabschnitt 30 an jedem Block 28, reagiert mit dem unter Druck stehenden Flüssigkeit, um das Faserblock gegen die benachbarte, beschaufelten Turbinenrad abgedichtet zu halten; und je länger die Steigung auf den Block zu erhöhen, es ist oberen Oberfläche ist, desto größer wird der Siegeldruck, wodurch diese gegen den Umfang des Rades ist.
Die von der letzten Stufe der Turbine 16 ist ein Niederdruckarbeitsfluid Abgasdüse 31, die das Arbeitsfluid liefert, Öl in eine Ölvorratskammer oder ein Stausee 32 einer Niederdrucktank 33, die mit der benachbarten Stirndeckel verschraubt werden kann Platte 19 der Turbine, wie bei 34 angedeutet das Öl in die Vorratskammer 32 von der Ausstoßstufe der Turbine bei einem Druck von ungefähr 3-5 Pfund pro Quadratzoll In einer zweiten Kammer 35 des Niederdruckbehälter 33 aus der Kammer 32 durch einen automatischen Bewegen bzw. selbsteinstellende freien Kolben 36, Druckluft mit einem Ausgleichsdruck von 3-5 psi abgetrennt wird von einem zweiten Druckregelventil 37. Das Druckregelventil 37 mit der Druckluftzufuhrleitung 38, die sich von dem Regelventil 11 mit der Hochdruckkammer 12 für Druckluft erstreckt gehalten.
Innerhalb der Kammer 32 ist eine Zahnradpumpe 39 oder dergleichen, dessen Eingangswelle über eine Kupplung 40 mit der Turbinenwelle 27. Geeignete Reduktionsgetriebe 41 für die Pumpe kann innen vorgesehen sein, wie gezeigt, verbunden ist, oder in irgendeiner anderen herkömmlichen Weise die zu Zahnrad auf der Drehgeschwindigkeit der Turbinenwelle abgeleitet. Die Pumpe 39 ist mit dem Öl in der gefüllten Kammer 32 durch die Abgasdüse oder Leitung 31 von der Turbine geliefert geliefert. Die Pumpe, wie dargestellt, hat zwei Einzelsteckdose oder Vorlaufleitungen 42 jeweils mit einer Rückdruck -Rückschlagventil 43 darin verbunden ist, und jeder liefert eine gleiche Volumen an Drucköl zurück in die Hochdruckkammer 15 bei einem Druck von etwa 500 Pfund pro Quadratzoll Die Pumpe 39 hat auch zwei Einzel Fluideinlässe. Die verwendete Pumpe ist vorzugsweise von der Art auf dem Markt als "Hydreco Tandem Zahnradpumpe", Best.-Nr. 151.515, L12BL oder gleichwertige bekannt. Bei einigen Modellen, könnten andere Arten von Pumpen verwendet werden, einschließlich Pumpen mit einem einzigen Einlaß und Auslaß. Die dargestellte Pumpe im Uhrzeigersinn oder gegen den Uhrzeigersinn zu betreiben und wird 14,1 Gallonen pro minute liefern bei 1.800 Umdrehungen pro Minute und 1.500 Pfund pro Quadratzoll Daher wird in der vorliegenden Anmeldung der Pumpe 39, es wird bei deutlich weniger als ausgelastet und werden unter keinen unnötigen Stress sein.


Da die Pumpe hängt für seine Versorgung mit Flüssigkeit über die Lieferung von Öl bei einem niedrigen Druck von der Turbine 16 in die Kammer 32, eine automatisch arbeitende Umgehungshülsenventileinrichtung 44 für Öl versehen, wie in Fig.1, Fig.4 und Fig.5 angegebenen. Diese Vorrichtung umfaßt eine äußere Hülse oder ein Rohr 45 mit einem Ende direkt starr wie bei 46 mit dem beweglichen freien Kolbens 36. Diese Hülse 45 befestigt ist mit Schlitzen 47 zwischen ihren Enden versehen. Eine zusammenwirkende Innenhülse 48 greift teleskopartig und verschiebbar in der Hülse 45 und weist eine geschlossene Stirnwand 49 und Anschlüsse oder Schlitze 50 zwischen seinen Enden, wie gezeigt. Die Hülse 48 steht mit einer der Vorlaufleitungen 42 mittels eines Winkels 51 und der Hülse 48 ist auch mit dem benachbarten Ende der Pumpe 39 verbunden, wie dargestellt.
Solange die Kammer 32 wird mit Niederdrucköl ausreicht, um den niedrigen Luftdruck in der Kammer 35 auf der gegenüberliegenden Seite des freien Kolbens 36 ausgleichen gefüllt werden solche Kolben, wie in Fig.1 und Fig.4 gezeigt ist, so daß das positioniert werden Schlitze 47 und 50 der beiden Hülsen 45 und 48 sind aus einer Ausrichtung und damit aus ihnen besteht kein Strömungsweg. Unter solchen Umständen wird das Öl aus der Kammer 32 in die Pumpe eintreten und wird von den beiden Leitungen 42 mit dem erforderlichen Druck in die Kammer 15 geliefert werden, falls der Ölversorgung von der Turbine 16 zu der Kammer 32 verkleinern, so daß die Pumpe 39 möglicherweise nicht ausreichend zugeführt werden, dann wird die resultierende Druckabfall in der Kammer 32 bewirkt, dass der freie Kolben 36 sich nach links in Fig.1 zu bewegen und bringen die Schlitze 47 in Ausrichtung oder teilweisen Ausrichtung mit den Schlitzen 50, wie in Fig.5. Dies wird sofort die Schaffung eines Umgehungs für Öl von einer Leitung 42 zurück durch den Ellbogen 51 und die Rohre 48 und 45 und deren Registrierung Schlitze zu der Ölkammer 32, um diese Kammer eingefüllt und jederzeit richtig unter Druck zu halten. Die Umgehungsanordnung ist vollständig automatisch und reagiert auf eine verringerte Zufuhr von Öl aus der Turbine in die Kammer 32, so lange wie die erforderliche Druckluftdruck von 3-5 Pfund pro Quadratzoll ist in der Kammer 35 gehalten.
Kurz zusammengefasst, arbeitet das System wie folgt. Das unter Druck unelastisch und nicht komprimierbaren Fluid, Öl aus der Kammer 15 in die Turbine 16 durch die Verwendung des Drosselventils 17 in einer Steuerstation gedrosselt. Die resultierende Drehung der Welle 27 erzeugt die erforderliche mechanische Energie oder Arbeit, um einen gegebenen Vermittlung treiben, wie ein Propeller. Eine relativ kleine Komponente dieses Arbeitsenergie wird durch die Kupplung 40 verwendet, um die Pumpe 39, die die notwendige Volumenstrom von Öl aus der Turbine wieder in die Hochdruckkammer 15 aufrechterhält ansteuern, wobei die automatische Bypass 44 kommt in Betrieb, wenn nötig.
Die letzte Quelle von Energie für den geschlossenen Energiesystem ist die komprimierte elastische Flüssigkeit, Luft in den Behälter oder die Flasche 10, die durch die Regelventile 11 und 37 hält einen konstanten Luftdruck in dem erforderlichen Maß in jede der Kammern 12 und 35. Wie beschrieben, wird der Luftdruck in der Hochdruckkammer 12 ungefähr 500 psi und in der Niederdruckkammer 35 wird etwa 3-5 Pfund pro Quadratzoll
Es kann in Fig.1 beobachtet, daß der Tank 33 ist relativ zu dem Behälter 13 ein, um den durch die Pumpe und die zugehörigen Komponenten besetzt kompensieren. Die verwendbaren Mengen der beiden Tanks ungefähr gleich sind.
In einer betriebenen Ausführungsform der Erfindung sind die beiden freien Kolben 14 und 36 und die Tankbohrungen Empfangen sie Fig.8 Zoll im Durchmesser. Die ungefähren Durchmesser der beschaufelten Turbinenräder 18 Zoll. Die Pumpe 39 ist ungefähr 10 cm lang und 5 cm im Durchmesser. Der Tank 13 ist etwa 21 Zentimeter lang zwischen den Stirnwänden gekrönt. Der Tank 33 ist 10 Zoll im Durchmesser benachbart zu der Pumpe 39.
US Patent 4.428.193 31. Januar 1984 Erfinder: Josef Papp
INERTGAS-BRENNSTOFF, KRAFTSTOFF-VORBEREITUNG-APPARATE
UND
SYSTEM FÜR DAS EXTRAHIEREN VON NÜTZLICHE ARBEIT DES
KRAFTSTOFFS
ZUSAMMENFASSUNG
Ein Inertgas Brennstoff im wesentlichen aus einer präzisen, homogene Mischung aus Helium, Neon, Argon, Krypton und Xenon. Vorrichtung zur Herstellung des Kraftstoff enthält eine Mischkammer, die Rohrleitung, um eine Bewegung jedes inerte Gas in und durch die verschiedenen Stationen der Vorrichtung zu ermöglichen, eine Vielzahl von elektrischen Spulen zum Erzeugen magnetischer Felder, ein Vakuummessgerät, ionisiert, Kathodenstrahlröhren, Filter, a polarisieren und ein Hochfrequenzgenerator. Ein Motor zum Extrahieren von Nutzarbeit aus dem Brennstoff zumindest zwei Schließzylinder für Kraftstoff, wobei jeder Zylinder von einem Kopf und einem Kolben definiert. Eine Mehrzahl von Elektroden erstrecken sich in jede Kammer, einige, die schwach radioaktiven Materials. Der Kopf hat eine im Allgemeinen konkave Vertiefung zugewandt eine allgemein halb-ringförmigen Vertiefung in der Oberfläche des Kolbens. Der Kolben ist in Bezug auf den Kopf aus einer ersten Position in eine zweite Position und zurück, die lineare Bewegung wird in eine Drehbewegung von einer Kurbelwelle umgewandelt axial beweglich ist. Elektrik des Motors umfasst Spulen und Kondensatoren, die jeden Zylinder, einen elektrischen Generator und eine Schaltung zur Steuerung des Stromflusses innerhalb des Systems zu umkreisen.
HINTERGRUND
DER ERFINDUNG
Diese Erfindung betrifft geschlossene Hubkolbenmotoren, dh solche, die benötigen keine Luftzufuhr und nicht auf solche Motoren, die Inertgase als Brennstoff emittieren Abgase und insbesondere. Sie betrifft auch solche inerten gasförmigen Brennstoffen und eine Vorrichtung zur Herstellung.
Derzeit verfügbare Verbrennungsmotoren leiden unter mehreren Nachteilen. Sie sind in ihrer ineffizienten Ausnutzung der Energie, die in ihrer Brennstoffe. Der Brennstoff selbst ist in der Regel ein Erdölderivat mit einer ständig steigenden Preis und manchmal begrenzt verfügbar. Die Verbrennung eines solchen Brennstoff führt normalerweise Schadstoffe, die in die Atmosphäre abgegeben werden. Diese Motoren benötigen Sauerstoff, und daher sind in Umgebungen, beispielsweise unter Wasser oder Weltraum, bei dem gasförmiger Sauerstoff ist relativ verfügbar besonders ungeeignet. Vorliegenden Verbrennungsmotoren sind ferner relativ aufwendig mit einer großen Anzahl von beweglichen Teilen. Größere Einheiten, wie fossilen Kraftwerken, entweichen einige der Nachteile der vorliegenden Brennkraftmaschine, aber nicht, unter anderem solche von Umweltverschmutzung, der Kraftstoffpreise und die Verfügbarkeit von Kraftstoff.
Mehrere alternative Energiequellen vorgeschlagen worden, wie die Sonne (durch direkte Sonnenkraftgeräte ), Kernspaltung und Kernfusion. Aufgrund der mangelnden Akzeptanz, Kosten anderer Schadstoffe, technische Probleme, und / oder das Fehlen der Entwicklung, diese Quellen sind nicht vollständig das Problem gelöst. Außerdem hat die Herstellung von Brennstoff für Kernspaltung und Kernfusionsreaktoren vordem ein kompliziertes Verfahren teure Vorrichtung erfordern.
ZUSAMMENFASSUNG DER ERFINDUNG
Unter den verschiedenen Aufgaben der vorliegenden Erfindung können die Bereitstellung eines Motors, der effizient ist angemerkt werden; das Bereitstellen eines Motors, der nicht häufig Betankungs erfordert; die Bereitstellung einer Maschine, die keine Schadstoffe im Betrieb entwickelt; das Bereitstellen eines Motors, der insbesondere für den Einsatz in Umgebungen ohne freien Sauerstoff geeignet ist; die Bereitstellung einer Maschine, die keinen Sauerstoff in Betrieb erforderlich ist; das Bereitstellen eines Motors, der eine relativ geringe Anzahl von beweglichen Teilen; die Bereitstellung eines Motors mit einer relativ einfachen Konstruktion; das Bereitstellen eines Motors, der in Leicht- und Schwerlastanwendungen benutzt werden kann; die Bereitstellung einer Maschine, die relativ billig ist, um und zu betreiben; die Bereitstellung eines Kraftstoffs, der weithin verfügbaren Komponenten verwendet; die Bereitstellung eines Kraftstoffs, der relativ billig ist; die Bereitstellung eines Kraftstoffs, der nicht ein Erdölderivat ; die Bereitstellung eines relativ einfachen und kostengünstigen Vorrichtung zur Herstellung von inerten Gasen zur Verwendung als Kraftstoff; die Schaffung einer solchen Vorrichtung, welches Inertgase in präzisen, vorbestimmten Verhältnissen vermischt; und die Schaffung einer solchen Vorrichtung, die Verunreinigungen aus dem Inertgas-Gemisch beseitigt. Andere Aufgaben und Merkmale werden nachfolgend teils offensichtlich und teils im folgenden hingewiesen.
Kurz gesagt, in einem Aspekt der Motor der vorliegenden Erfindung weist einen Kopf mit einer im wesentlichen konkaven Vertiefung in ihm der Kopf definieren ein Ende einer Kammer, einem Kolben mit einem im wesentlichen halb-ringförmigen Vertiefung in ihrer oberen Oberfläche, wobei der Kolben das andere definiere Ende der Kammer, und eine Vielzahl von sich in die Kammer für die Anregung und das Zünden des Arbeitsfluid-Elektroden. Der Kolben kann entlang seiner Achse in Richtung von dem Kopf zu bewegen und von diesem weg, wodurch das Volumen der Kammer zu verändern, abhängig von der Position des Kolbens relativ zu dem Kopf.
In einem anderen Aspekt umfasst der Motor der vorliegenden Erfindung einen Kopf, der ein Ende der Kammer definiert, einen Kolben, der das andere Ende der Kammer definiert, eine Vielzahl von um die Kammer gewickelt zum Erzeugen von Magnetfeldern in der Kammer Magnetspulen und zumindest vier Elektroden, die sich in die Kammer zum Anregen und Zünden des Arbeitsfluids. Die Magnetspulen sind allgemein koaxial mit der Kammer. Die Elektroden werden im allgemeinen mit gleichem Abstand von der Achse der Kammer angeordnet sind und jeweils normal positionierten, um 90 Grad von den benachbarten Elektroden. Leitungen zwischen gegenüberliegenden Paaren von Elektroden schneiden im allgemeinen auf der Achse der Kammer, um einen Brennpunkt zu definieren.
In einem weiteren Aspekt umfasst der Motor der vorliegenden Erfindung einen Kopf, der ein Ende einer Kammer definiert ist, einen Kolben, der das andere Ende der Kammer definiert, wobei mindestens zwei elektrische Wicklungen, die um die Kammer gewickelt zum Erzeugen von Magnetfeldern in der Kammer, und eine Mehrzahl von Elektroden, die sich in die Kammer für die Anregung und das Zünden des Arbeitsfluids. Die elektrischen Spulen sind allgemein koaxial mit der Kammer. Und das Arbeitsfluid eine Mischung von Inertgasen.
Die Vorrichtung der vorliegenden Erfindung zur Herstellung einer Mischung von inerten Gasen zur Verwendung als Brennstoff weist eine Kammer, elektrischen Spulen zum Erzeugen von vorbestimmten Magnetfelder in der Kammer, geeignet Schläuche für den Quellen der vorgewählten inerten Gase zur Strömung der Gase aus verbunden werden die Quellen mit der Kammer und Ionisatoren zur Ionisierung der Gase.
Der Brennstoff gemäß der vorliegenden Erfindung umfasst eine Mischung von inerten Gasen, einschließlich etwa 36% Helium, ca. 26% Neon, etwa 17% Argon, ungefähr 13% Krypton und etwa 8% Xenon Vol.
KURZE BESCHREIBUNG DER ZEICHNUNGEN
Fig.1 ist eine Seitenansicht eines Motors dieser Erfindung:
Fig.2 ist eine Rückansicht eines Motors der Erfindung:

Fig.3 ist eine Draufsicht eines Motors der Erfindung:

Fig.4 ist eine Querschnittsansicht allgemein entlang der Linie 4-4 der Fig.3 eines Motors der Erfindung:

Fig.5 ist eine Querschnittsansicht eines Zylinders eines Motors der Erfindung:

Fig.6 ist eine Draufsicht der Unterseite eines Zylinderkopfes einer
Brennkraftmaschine dieser Erfindung:

Fig.7 ist eine Ansicht einer Elektrodenstange eines Motors der
Erfindung:

Fig.8 ist eine Ansicht, mit Teilen, weggebrochen einer Art von Elektrode, die in einen Motor dieser Erfindung verwendet:

Fig.9 ist eine Ansicht allgemein
entlang der Linie 9-9 der Fig.8 genommen:

Fig.10 ist eine Querschnittsansicht
einer zweiten Art von Elektrode, die in einen Motor dieser Erfindung verwendet:

Fig.11 ist eine Querschnittsansicht ähnlich Fig.5 und zeigt den Kolben in seiner obersten Position:

Fig.12 ist eine Querschnittsansicht ähnlich Fig.5, die eine alternative Zylinder in einem Motor der vorliegenden Erfindung verwendet:

Fig.12A ist eine Querschnittsansicht ähnlich zu Fig.5 und Fig.12, jedoch in verkleinertem Maßstab, wobei Teile weggebrochen sind, zeigt eine weitere Ausführungsform eines Zylinderkopfes in einem Motor der vorliegenden Erfindung verwendet:

Fig.13A und Fig.13B schematische Darstellungen der elektrischen Schaltung für einen Motor der Erfindung:

Fig.14 ist ein schematisches Diagramm eines alternativen Hochspannungszündungssystem für einen Motor der Erfindung:

Fig.15 ist ein schematisches Schaltbild eines elektronischen Schalteinheit für einen Motor der vorliegenden Erfindung:
Fig.16 ist ein schematisches Diagramm eines Regler / elektronische Schalteinheit für einen Motor der Erfindung:

Fig.17A bis Fig.17D sind schematische Diagramme eines Brennstoff-Mischer der vorliegenden Erfindung:




Fig.18 ist eine schematische Darstellung der Mischkammer Teil des Brennstoff-Mischer in Fig.17A bis Fig.17D gezeigten:

Fig.19A bis Fig.19E sind schematische Darstellungen eines Teils der elektrischen Schaltung der Kraftstoffmischer in Fig.17A bis Fig.17D gezeigten:





Fig.20A bis Fig.20F Prinzipschaltbilder von dem Rest der elektrischen Schaltung der Kraftstoffmischer in Fig.17A bis Fig.17D gezeigten:






Hinweis: Entsprechende Bezugszeichen bezeichnen entsprechende Teile in allen Ansichten der Zeichnungen.
BESCHREIBUNG EINER BEVORZUGTEN AUSFÜHRUNGSFORM

Bezugnehmend auf die Zeichnungen ist in Fig.1
gezeigt ist ein Zweizylinder-Verbrennungsmotor 11 mit einem Block 13,
vorzugsweise aus einem nichtmagnetischen Material, wie Aluminium, einer
nichtmagnetischen Kopf 15 und ein
Paar von Zylinderköpfen 17A und 17B
aus einem magnetisierbaren Material, wie beispiels wie 0,1 bis 0,3% C-Stahl.
Ebenfalls in Fig.1 gezeigt ist ein
Schwungrad 19 mit einer Kurbelwelle 21, einem Generator 23, einer Hochspannungsspule 25, einen Verteiler 27 durch einen teilweise bei 29 mit der Kurbelwelle dargestellten
Getriebeanordnung befestigt ist, und ein elektrisches Kabel 31 befestigt welche ist mit dem
Verteiler und den beiden Zylindern verbunden ist. Kabel 31 (siehe Fig.2) ist
ebenfalls elektrisch mit einer Schalteinheit 33, die vorzugsweise aus einer Vielzahl von gesteuerten
Siliciumgleichrichtern (SCRs) oder Transistoren. Auch in Fig.2
dargestellt ist eine zweite elektrische Verbindung des Kabels an den Zylindern,
die Verbindung in der Regel am 35.
Drehen auf Fig.3 angedeutet ist,
wird ein Anlassermotor 37 sowie eine
bessere Sicht auf den Anschlüssen 35
bis gezeigt, jeder Zylinder.

Ein Querschnitt des Motors wird in Fig.4 gezeigt. Die Zylinderköpfe sind mit ihnen verbunden sind, gekennzeichnet Kolben 39A und 39B, die jeweils die Köpfe und die Kolben einander gegenüberliegende Enden eines Paares von Kammern oder Zylinder 41A und 41B auf. Die Kolben sind aus einem magnetisierbaren Material hergestellt ist. Obwohl nur zwei Kammern gezeigt sind, kann der Motor eine beliebige Anzahl enthalten. Es wird jedoch bevorzugt, aus Gründen nachstehend dargelegt, dass es eine gerade Anzahl von Zylindern. Kolben 39A und 39B in axialer Richtung zu bewegen in bezug auf ihre entsprechenden Köpfe von einer ersten Position (die Position des Kolbens 39A in Fig.4) zu einer zweiten Position (die Position des Kolbens 39B) und zurück, wobei jeder Kolben in geeigneter Weise mit der Kurbelwelle 21. Wie in Fig.4 gezeigt, kann diese geeignete Verbindung eine Verbindungsstange CR, einen Kolbenbolzen WP und einen unteren Kolbenabschnitt oder Arbeitskolben LP umfassen. Die Verbindungsstangen und / oder Arbeitskolben ist aus nicht magnetisierbarem Material bestehen. Wenn ein geteilter Kolben verwendet, Kolben 39A und 39B sind in geeigneter Weise verbunden ist, um untere Kolbenabschnitte LP durch Verschrauben, federbelastete Presspassen oder dergleichen. Kolben 39A und 39B um 180 Grad voneinander in Bezug auf die Kurbelwelle befestigt ist, so dass, wenn ein Kolben im oberen Totpunkt (TDC) der andere im unteren Totpunkt (BDC) und umgekehrt. Zusätzliche Paare von Zylindern wie gewünscht, aber die Kolben jedes Paares ist mit der Kurbelwelle voneinander befestigt werden 180 Grad hinzu. Selbstverständlich kann die relative Position jedes Kolbens in Bezug auf ihre jeweiligen Kopf bestimmt das Volumen der Kammer.

Integral mit den Kolbenkörper sind Wände 43, die die Wände der Kammern zu bilden. Vorzugsweise wird eine Menge von luftdichten Faltenbalg 45, der einen ähnlichen Aufbau wie das unter der Bezeichnung ME 197-0009-001 vom Belfab Company of Daytona Beach, Fla. Verkauft werden, in geeigneter Weise zwischen den Wänden 43 und Zylinderköpfe 17A und 17B befestigt um eine luftdichte Abdichtung zwischen jedem Kolben und dessen Zylinderkopf zu bilden. Während Wände 43 und Kolben 39 können aus einem magnetisierbaren Teil bestehen, hat eine bevorzugte und effizientere Konstruktion Wände 43 getrennt vom Kolben 39 und aus einem nicht magnetisierbaren Material hergestellt ist. Die Länge der Zeit, die eine gegebene Motor läuft, ist eine Funktion der Wirksamkeit der Dichtungssystem. Mittel, beispielsweise Faltenbälge 45, zum hermetischen Abdichten der Zylinder wird die Zeitdauer zu optimieren. Eine solche hermetische Abdichtung ist zwischen Wänden 43 und Zylinderköpfen 17 befestigt werden, um eine luftdichte Abdichtung zwischen ihnen zu bilden. Diese Dichtung könnte der luftdichte Bälge gezeigte System oder ein anderes Dichtsystem wie etwa eine Öldichtungssystem.
Zylinderkörper 47 (siehe Fig.4) aus nichtmagnetischem Material, wie rostfreiem Stahl, erstreckt sich von dem Befestigungspunkt jeder balgförmigen seiner Zylinderkopf an der Basis der entsprechenden Kolben, Formhülsen für jeden Kolben in dem jeder Kolben bewegt. Drei Sätze von elektrischen Spulen 49A, 49B, 51A, 51B und 53A, 53B sind um rund Kammern 41A und 41B gewickelt Hülsen 47 und somit zur Erzeugung von Magnetfeldern in den Kammern, wobei diese Spulen in der Regel mit ihren jeweiligen koaxialen Kammern. Jede dieser Spulen eine Induktivität von ungefähr 100 mH. Es ist bevorzugt, daß 14-19 Gauge-Draht zum Wickeln diese Spulen wird und dass die Spulen mit einer geeigneten Beschichtung, wie # 9615 Härters aus Furane Plastics, Inc., Los Angeles, Kalifornien, oder der Beschichtung durch die verkaufte beschichtenden Epoxylite Corp., South El Monte, Kalifornien, unter der Handelsbezeichnung Epoxylite 8683. Jede Kammer wird auch durch ein Paar von Kondensatoren umgeben, C1A, C1B und C2A, C2B umwickelt, Kondensatoren C1A, C1B, der eine Kapazität von etwa 1,3 Mikrofarad aufweist, und Kondensatoren C2A, C2B, der eine Kapazität von etwa 2,2 Mikrofarad. Die Spulen und Kondensatoren werden in gehärtetem Epoxid aus Glasfasermaterial 55. Das Epoxidharz und Härter unter den Bezeichnungen EPI Bond 121 und # 9615 Härter Furane Plastics, supra, sind zufriedenstellend vergossen, jedoch anderen Epoxy Material, das bei Temperaturen bis stabil bleiben auf 200 Grad F würde wahrscheinlich auch akzeptabel sein. Es ist bevorzugt, dass eine kleine Menge Graphit, wie das unter der Handelsbezeichnung Asbury 225 von Asbury Graphite, Inc. aus Rodeo, Calif. Erhältlich bei der Epoxid-Vergussmasse zu Kernteilchen in der Kammer ausgebildet Entweichen aus der Vorrichtung zu verhindern, aufgenommen werden. Zehn bis 15% Graphit zu Epoxy Gewichts ist mehr als genug.

Ein typischer Zylinder ist im Schnitt in Fig.5 gezeigt ist, und zeigt den Kolben in seiner voll ausgefahrenen Position in Bezug auf den Kopf und zeigt viele Details auf einem etwas größeren Maßstab als die der Fig.4. Ein Satz von Dichtungen 57, die aus einem Material hergestellt, wie das unter der Handelsbezeichnung Teflon von der DuPont Company, Delaware, verkauft wird zwischen dem Zylinderkopf und der Wand 43 positioniert, um ein Entweichen des Arbeitsfluids aus der Kammer 41. Ein Füllrohr 59 zu verhindern mit einem Kugelventil an seinem unteren Ende in Füllen der Kammer mit dem Arbeitsmedium verwendet, aber während des Betriebs der Maschine geschlossen ist.
Der Zylinderkopf hat eine allgemein konkave Vertiefung darin mit 61 bezeichnet ist und das obere Ende der Kammer definiert. Eine Mehrzahl von Elektroden zum Anregen und Zünden des Arbeitsfluids erstrecken sich durch den Zylinderkopf in die Kammer. Zwei dieser Elektroden, die im Schnitt in Fig.5 gezeigt und mit 63 und 65, haben Wolfram Punkten 75, während die beiden anderen, markierte 67 und 69 (siehe Fig.6 für die Elektrode 69) werden die Behälter genannt, bzw. die Anode und die Kathode ist. Die Elektroden werden im allgemeinen mit gleichem Abstand von den Achsen der Kammern beabstandet und sind im Allgemeinen koplanar zueinander sind, senkrecht zu den Achsen der Kammern ihrer gemeinsamen Ebene. Jede Elektrode ist 90 Grad von benachbarten Elektroden in dieser Ausführungsform positioniert und sind im Allgemeinen so positioniert, dass eine Linie, die von der Anode zur Kathode und einer Linie zwischen den beiden anderen Elektroden schneiden sich an einem Brennpunkt im Allgemeinen auf der Achse der Kammer. Der radiale Abstand jeder Elektrode von dem Brennpunkt wird aus einem Grund unten diskutiert befestigt. Der allgemeine Aufbau der Elektroden 63 und 65 ist in Fig.6 bis Fig.9 gezeigt. Diese Elektroden eine leitfähige Stange 71 (siehe Fig.7), vorzugsweise aus Messing oder Kupfer; eine leitende, im wesentlichen rechteckige Platte 73 (siehe Fig.6, Fig.8 und Fig.9); und Wolfram Punkt 75 montiert in einer leitfähigen Basis 77 im allgemeinen rechtwinklig zu der Platte (siehe Fig.8 und Fig.9).

Der Aufbau der Anode und der Kathode wird in Fig.10 gezeigt. Jedes verfügt über einen leitenden Stab 79 und einen Behälter 81. Die Kathode Behälter im
wesentlichen reinem Aluminium. Falls gewünscht, können Aluminiumlegierungen,
beispielsweise weniger als 5% Kupfer, 1% Mangan und 2% Magnesium verwendet
werden. In einer Ausführungsform enthält die Kathode Behälter etwa vier Gramm
Thorium-232 und ist mit Argon gefüllt. In der gleichen Ausführung der
Anodenbehälter ist aus Kupfer oder Messing und enthält etwa zwei Gramm Rubidium-37
und etwa drei Gramm Phosphor-15 hermetisch in Mineralöl versiegelt. In einer
zweiten Ausführungsform ist die Kathode noch Aluminium, aber mindestens zwei
Gramm Rubidium-37 zusätzlich zu den etwa vier Gramm Thorium-232 in entweder
Argon oder Mineralöl enthält. In dieser zweiten Ausführungsform ist die Anode
auch Aluminium und mindestens 4 Gramm Phosphor-15 und mindestens 2 Gramm
Thorium-232 in Argon oder Mineralöl. Alternativ kann Mesothorium für Thorium
verwendet werden kann Strontium-38 für die Rubidium verwendet werden, und
Schwefel-16 ist möglicherweise für den Phosphor verwendet werden. Stangen 71 und 79 erstrecken sich durch die
Zylinderkopf 17 nach außen, wo
elektrische Verbindungen zu den Elektroden hergestellt. Jede Stange wird durch
eines der vier isolierenden Hülsen 83
umgeben, wobei der untere Teil jedes der sich nach außen konisch erweitert, um
fest in der Zylinderkopfsitz.

Der Kolben weist eine im wesentlichen halbringförmige Vertiefung in seiner oberen Oberfläche (siehe Fig.4, Fig.5 und Fig.11) und trägt einen leitenden Entladungspunkt 85 aus Kupfer, Messing oder Bronze, die allgemein entlang der Achse der Kammer. Wenn der Kolben in der Regel erweitert, ist die Entnahmestelle eine beträchtliche Entfernung von den Elektroden. Aber wenn sich der Kolben in seiner oberen Position (siehe Fig.11), die Entnahmestelle ist allgemein zwischen allen vier Elektroden angeordnet ist und in der Nähe davon, wobei es Zwischenräume zwischen den Elektroden und dem Einleitungspunkt. Wenn sich der Kolben in dieser oberen Position befindet, erstrecken sich die Elektroden leicht in die halb-ringförmigen Vertiefung in der Kolben Oberseite und die Kammer wird in der Regel in Form toroidal. Das Volumen der in Fig.11 gezeigten Kammer kann von etwa 6,0 Kubikzoll (100 cm³) oder größer sein. Bei dem derzeitigen Stand der Technik 1500 Kubikzoll (25000 cc) scheint die obere Grenze sein. Eine Mehrzahl von Anschlüssen 87 und Einwegventile 89 Rückarbeitsfluid, das von der Kammer zurück in entweicht, solange ein Dichtungssystem wie Balg 45 verwendet wird.
Eine alternative Zylinderkopf / Kolben-Anordnung ist in Fig.12 gezeigt. Der Hauptunterschied zwischen dieser Anordnung und der von Fig.5 ist, daß die Kammerwände, hier bezeichnet 43' einstückig mit dem Kopf ausgebildet. Als Ergebnis Dichtungen 57 durch den Kolben nicht durch den Kopf ausgeführt wird, ist die Befestigung der Faltenbälge 45 etwas anders, und die Fluidrückführventile und Anschlüsse sind Teil des Kolbens statt des Kopfes. Ansonsten sind diese Anordnungen sind im Wesentlichen gleich. Vorzugsweise sind die Zylinder der beiden Anordnungen hermetisch abgedichteten.

Eine weitere Ausführungsform eines Zylinderkopfes / Kolben-Anordnung in der vorliegenden Erfindung verwendet wird, in Fig.12A gezeigt. In dieser Anordnung kann eine konische Hülse 17C Geschwister zwischen Zylinderkopf 17 und dem Kolben 39, eine Vielzahl von Dichtungen 57 vorgesehen sind, und Elektroden 67 und 69 haben eine etwas andere Form. Auch in dieser Ausführungsform ist eine Kammer 90 im Zylinderkopf 17 zur Speicherung zusätzlicher Arbeitsfluid vorgesehen, dh ist der Zweck der Kammer 90, um die Betriebszeit zwischen den Tanken durch Zirkulieren des Arbeitsfluids, und zwar erstrecken. die Mischung von inerten Gasen beschrieben, zwischen dem Zylinder 41 und der Kammer 90, wie benötigt, so dass die Reaktionen in dem Zylinder 41 nicht negativ beeinflusst werden. Um dies zu erreichen, umfasst diese Ausführungsform weiterhin eine Zweiwege-Umlaufventil 90B, ein Entlastungsventil 90C und Kanal oder Durchgang 90D zum Evakuieren und Füllen Kammer 90, eine Leitung oder einen Durchgang 90E zum Evakuieren und Füllen Zylinder 41, der einen Durchgang 90F zwischen der Kammer 90 und Zylinder 41, in dem Zweiwegeventil 90B angeordnet ist, ein Sensor 90G und eine Vielzahl von kleinen Druckentlastungslöchern 90H. Die Entlastungslöcher 90H dienen, den Druck auf Balg 45 sich der Kolben bewegt sich von UT nach OT entlasten.
Bei größeren Motoren Löcher 90H mit Einwegventile ersetzt werden. Zwei-Wege-Ventil 90B wird entweder durch Sensor 90G gesteuert oder von Hand betätigt wird, wie gewünscht, um die Zirkulation von Gasen zwischen Kammer 90 und Zylinder 41. Der Sensor selbst einen Zustand das Öffnen oder Schließen des Ventils 90B und Signale, die Bedingung, erkennt ermöglichen zum Ventil. Zum Beispiel kann der Sensor 90G Druck im Zylinder 41 zu messen, während sich der Kolben im oberen Totpunkt befindet. Ein vorbestimmter Zylinderdruck kann dazu führen, eine Feder zu komprimieren, wodurch das Ventil zu öffnen oder zu schließen, wenn angemessen. Eine nachträgliche Änderung des Zylinderdrucks würde dann eine weitere Änderung der Ventil. Ein weiterer Sensor (nicht dargestellt) kann die physikalische Position des Kolbens durch eine physische Reise-Schalter oder einem elektrischen Auge zu messen, oder es könnte Winkelabstand von dem oberen Totpunkt auf dem Vertrieb oder der Kurbelwelle messen. Der Sensor muss der Gasdruck in der Kammer 90 bei einer Atmosphäre zu halten, plus oder minus 5%, und im oberen Totpunkt, sollte Zylinder 41 auch bei diesem Druck ist. Wenn das Gas aus dem System verloren geht, ist es wichtig, den richtigen Druck in dem Zylinder 41. Alternativ zu halten, einen kleinen Durchgang zwischen dem Zylinder 41 und der Kammer 90 kann in einer passiven Weise zu funktionieren, um das gleiche Ergebnis zufriedenstellend erreichen. Aus dem obigen kann gesehen werden, dass diese Ausführungsform den ausgehöhlten Mitte des Zylinderkopfes zur Speicherung zusätzlicher Arbeitsfluid, das Fluid zwischen der Kammer 90 und dem Zylinder 41 über ein Ventilsystem zirkuliert, umfassend Ventil 90B und 90G Sensor mit dem bewegten Kolben Veranlassen der Gase zirkulieren.
Der elektrische Schaltkreis für den Motor 11 umfasst (siehe Fig.13A) eine 24 V Batterie B1, einen Zündschalter SW1, einen Startschalter SW2, Startermotor 37, eine Hauptschaltungsschalter SW4, einem Abwärtswandler 93 (beispielsweise ein 24 V bis 3,5 V Transformator), einen Schalter SW6 für die Stromversorgung der Zündspule 25 (in Fig.13A und Fig.13B als zwei separate Zündspulen 25A und 25B dargestellt), und verschiedene Entkopplungsdioden.
Der Schaltkreis Fig.13A enthält auch eine Hochfrequenz -Spannungsquelle oder Oszillator 95 zum Zuführen schnell variierende Spannung über zwei elektronische Stromreglern 97A, 97B (siehe Fig.13B für Regler 97B) zu den Anoden- und Kathodenelektroden von jedem Zylinder, und eine Hochspannungsverteilung 99 zur Verteilung von 40.000 Volt Impulse zu den Zylindern. Händler 99 hat zwei Wischer 99A und 99B und liefert drei Impulse zu jedem Zylinder pro Zyklus. Wischer 99A und 99B um 180 Grad phasenverschoben sind und jeweils arbeitet, um Impulse an seinem jeweiligen Zylinder von OT bis 120 Grad danach zuzuführen. Mehr Impulse sind wünschenswert und daher eine bessere Verteileranordnung (in Fig.14 gezeigt) verwendet werden. Die in Fig.14 gezeigte Anordnung enthält zwei Zündspulen 101, 103, einen einfachen Verteiler 105 und ein Paar von Magnetzündungsschaltungen 107 und 109, wie unten beschrieben. Natürlich sind viele andere Zündanlagen könnte auch entwickelt werden. Zum Beispiel könnte eine einzige Schaltung anstelle von Schaltungen 107, 109, könnten zusätzliche Induktionsspulen der Zündspulen hinzugefügt werden verwendet, um das Starten zu unterstützen oder ein Widerstand könnte der Zündspulen hinzugefügt werden, um eine konstante 40.000 Volt-Ausgang unabhängig davon sicherzustellen, Motordrehzahl. Auch könnte ein Festkörper-Verteiler anstelle des mechanischen Verteiler verwendet werden beschriftet 99.

Unter Rückbezug auf Fig.13A, bei
Motoren mit mehr als 1000 PS eine Hochfrequenzquelle 95 verwendet werden, um die Motordrehzahl zu steuern. Die
Ausgangsfrequenz wird durch ein Fußpedal ähnlich eines Gaspedals in einem
herkömmlichen Fahrzeug gesteuert. Die Ausgangsfrequenz variiert über einen
Bereich von ungefähr 2.057 MHz bis ungefähr 27,120 MHz mit einem Ausgangsstrom
von etwa 8,4 Ampere. Die Geschwindigkeit des Motors 11 wird von der Ausgangsfrequenz des Quelle 95. Der Hochfrequenzstrom gesteuert werden, wie unten beschrieben,
ist an jedem Zylinder der Reihe nach durch die Schaltung nachfolgend
beschrieben gerichtet. Für Motoren mit 300 bis 1000 PS (nicht gezeigt) könnte
eine Hochfrequenzquelle mit einer konstanten Leistung von 27,120 MHz mit einem
konstanten Strom von 3,4 Ampere, die kontinuierlich für alle Zylinder geliefert
wird, verwendet werden. In diesem Fall ist ein Spartransformator, wie er unter
der Handelsbezeichnung Variac durch General Radio Company, durch ein Fußpedal
gesteuert verkauft variiert die Spannung an jedem Zylinder 5 bis 24 Volt
Gleichstrom von 4,5 Ampere, mit Leistung aus der Batterie oder dem
Wechselstromgenerator. Der Strom von der
Gleichstrom Variac wird von Zylinder zu Zylinder durch zwei kleine
elektronischen Schalteinheiten, die wiederum von größeren elektronischen Schalteinheiten
gesteuert geschaltet. Für die kleinsten Motoren (nicht gezeigt) könnte ein
Hochfrequenzgenerator eine konstante Leistung von 27,120 MHz mit einem
konstanten Strom von 4,2 Ampere zu den Zylindern während des Startens nur
liefern. Geschwindigkeitssteuerung würde durch einen Variac, wie oben
beschrieben, die die Gleichstrom-Spannung an die Zylinder wiederum in einem
Bereich von 5 bis 24 Volt bei einem Strom von 5,2 Ampere zugeführt kontrolliert
erzielt werden. In diesem Fall, wenn der Motor läuft, wird die volle Spannung
benötigt, um zu zünden die (kleinere) Anzahl von Gasen von den Elektroden in
dem anderen Zylinder des Paares erhalten wird.
Die Schaltung Fig.13A umfaßt auch den Generator, einen Spannungsregler und Relais 111, fünf elektronischen Schalteinheiten 113, 115, 117, 119 und 121, die Elektroden 63 und 65 mit der Kammer 41A zugeordnet (hiernach Kammer 41A wird manchmal als das genannte "A" und Zylinderkammer 41B wird manchmal als die "B" Zylinder), der Anode 67, Kathode 69, Magnetspulen 49A, 51A und 53A, Kondensatoren C1A und C2A und verschiedene Entkopplungsdioden bezeichnet. Die elektronischen Schalteinheiten können eine Vielzahl von Formen annehmen. Zum Beispiel enthält eine einfache Form (siehe Fig.15) ein Paar von SCRs 123 und 125. Die Schalteinheit ist an dem Anschluss EIN zu der entsprechenden Linie auf der Eingangsseite und an der Klemme AUS mit der entsprechenden Leitung auf der Ausgangsseite verbunden. Wenn eine Spannung von 3,5 Volt von der Batterie über einen Verteiler zugeführt wird, zum Beispiel in den EIN-Terminal, SCR 125 leitet, wodurch ein Stromkreis durch die Schalteinheit vollendet wird. Umgekehrt, wenn 3,5 Volt an die AUS Anschluß angelegt ist SCR 123 leitend und der Schaltkreis unterbrochen. Ebenso kann die Schaltung zum Regler 97A und 97B (siehe Fig.16) zwei SCRs 127 und 129 und einen PNP-Transistor 131. In dieser Schaltung, wenn SCR 127 angesteuert wird, zwingt der Transistor 131 in den leitenden Zustand, wodurch der Schaltkreis durch das Ausfüllen Regler. Wenn SCR 129 angesteuert wird, ist der Stromkreis über den Transistor 131 unterbrochen. Eine Anzahl von anderen Konfigurationen können anstelle derjenigen von Fig.15 und Fig.16 verwendet werden, und nicht alle SCRs verwenden würden. Zum Beispiel könnte eine Triode verwendet werden, um zwei Haupt SCRs ersetzen oder Transistoren könnten statt SCRs verwendet werden.
Ein Paar von Niederspannungsverteilungen 135 und 137 sind auch in Fig.13A gezeigt. Verteiler 135 und 137 bieten Ansteuerimpulse für die elektronische Schalteinheiten Fig.13A und Fig.13B. Natürlich könnten Festkörper Händler auch ersetzen mechanische Verteiler 135 und 137.
Darüber hinaus umfasst der Motor-Schaltkreis (siehe Fig.13B) fünf elektronischen Schalteinheiten 143, 145, 147, 149 und 151 entsprechend den Einheiten 113, 115, 117, 119 und 121 der Fig.13A sind die Elektroden 63 und 65 der "B" Zylinder, Anode 67, Kathode 69, elektrische Spulen 49B, 51B und 53B, Kondensatoren C1B und C2B und verschiedene Entkopplungsdioden. Die Schaltung Fig.13B ist im Allgemeinen die gleichen wie die entsprechenden Abschnitte Fig.13A, so dass die Beschreibung eines in den meisten Fällen gilt für beide. Natürlich, wenn mehr als zwei Zylinder verwendet werden, wobei jedes Paar von Zylindern wäre mit ihnen, wie es in Fig.13A und Fig.13B gezeigt verknüpft haben, Schaltungen. Die Schaltung Fig.13A ist mit der von Fig.13B durch die Linien L1 bis L17 geschaltet.
Das Arbeitsfluid und der Kraftstoff für den Motor sind ein und dieselben und bestehen aus einer Mischung von inerten Gasen, wobei die Mischung im wesentlichen aus Helium, Neon, Argon, Krypton und Xenon. Es ist bevorzugt, dass die Mischung enthält 35,6% Helium, Neon 26,3%, 16,9% Argon, 12,7% Krypton, 8,5% Xenon Volumen, nachdem es wurde berechnet, dass diese spezielle Mischung ergibt die maximale Betriebszeit ohne Auftanken. Im allgemeinen kann das Ausgangsgemisch enthalten, bezogen auf das Volumen, etwa 36% Helium, ca. 26% Neon, etwa 17% Argon, ungefähr 13% Krypton und etwa 8% Xenon. Diese Mischung ergibt sich aus einer Berechnung, die die Gesamtladung für jedes der nach der Kompensation für die Tatsache, dass ein Inertgas, nämlich verwendeten Gase ausgleicht. Radon wird nicht verwendet. Das Vorstehende wird durch eine spektroskopische Blinken, wie unten beschrieben, die während des Mischprozesses auftritt bestätigt. Wenn eines der Gase in der Mischung weniger als die vorgeschriebene Prozentsatz, wird es übererregt. In ähnlicher Weise, wenn eines der Gase mehr als die vorgeschriebene Prozentsatz, dass Gas untererregt sein. Diese Prozentsätze nicht mit der Größe des Zylinders variieren.
Betrieb des Motors ist wie folgt: Bei Raumtemperatur ist jeder Zylinder mit
einem einer Atmosphäre Ladung des Kraftstoff-Gemisches von etwa 6 Kubikzoll
(100 cm³) / Zylinder mittels Einfüllrohr gefüllt (im Falle des kleinsten
Motors) 59. Die Füllrohre werden dann aufgesetzt und die
Zylinder in dem Motor installiert, wie in Fig.4
gezeigt, ein Kolben in seiner voll ausgefahrenen Position und der andere in der
vollständig zurückgezogenen Position. Um den Motor zu starten, werden die
Zündung und Starter-Schalter geschlossen, so ist Schalter SW6. Dies bewirkt, dass der Anlassermotor, um den Motor, was
wiederum bewirkt, daß die Wischarme der Verteiler dreht Kurbel. Der
Startvorgang beginnt, beispielsweise wenn sich die Kolben in der in Fig.4 gezeigten Positionen. Zündspule 25 und Verteiler 99 (siehe Fig.13A)
erzeugen ein 40.000 Volt-Impuls, die zugeführt wird, zu der Elektrode 65 der Kammer 41A. Daher besteht ein
augen hohes Potential zwischen den Elektroden 63 und 65 und der Platten auf jeder. Die Entnahmestelle am Kolben 39A grenzt diese Elektroden zu diesem
Zeitpunkt und Funken auftreten, zwischen einer oder mehreren der Elektroden und
dem Entladungspunkt, um teilweise zu erregen, zB ionisieren, das gasförmige
Brennstoffgemisch.
Der gasförmige Kraftstoff-Gemisch in dem Zylinder 41A durch in der Kammer durch die Spule 49A eingestellt Magnetfelder erregt. Diese Spule wird mit der Ausgangsseite der elektronischen Schaltungseinheit 121 und, über die Schalteinheit 113, um die Batterie und den Generator angeschlossen ist. Zu dieser Zeit, also zwischen etwa 5 Grad vor dem oberen Totpunkt OT und wird Verteiler 135 liefert ein Schaltsignal zu Einheit 121 Jeder Strom vorhanden auf der Eingangsseite der Einheit 121, daher durchläuft Einheit 121 auf Spule 49A mit Energie zu versorgen. Außerdem wird Hochfrequenzstrom von dem Oszillator 95 über den Regler 97A bis Spule 49A zugeführt. Dieser Strom durch Regler und Relais 97A passiert, weil die vom Verteiler 135 bis Einheit 121 geliefert Gating-Signal wird auch geliefert, um 97A weiterzuleiten. Der Strom von der Schalteinheit 121 und von dem Oszillator 95 ist ebenfalls mit der Anode und der Kathode zugeführt. Es wird berechnet, dass dies bewirkt, dass radioaktive Strahlung (Röntgenstrahlen), um zwischen der Anode und der Kathode fließen, wodurch eine weitere Anregung der gasförmigen Mischung.
Da der Anlasser weiterhin Kurbeln, beginnt Kolben 39A nach unten bewegt, Kolben 39B beginnt, nach oben bewegt, und die Wischerarme der Verteiler drehen. (Unnötig zu sagen, eine Solid-State-Händler nicht drehen würde. Der Verteiler kann Fotozellen zu nutzen, entweder hellem oder reflektiertem Licht, sondern als Kontaktstellen). Nach 45 Grad Drehung, Verteiler 135 liefert einen Steuerimpuls an die elektronische Schalteinheit 119, wodurch ein Stromkreis geschlossen wird durch die Einheit 119. Die Eingabe in Einheit 119 ist mit der gleichen Linie, die Stromzufuhr zu der Spule 49A verbunden. Die Fertigstellung der Schaltung durch die Einheit 119 bewirkt daher Spule 51A in der gleichen Weise wie Spule 49A erregt werden. Nach weiteren 45 Grad Drehung, Händler 135 Tore auf elektronischen Schalteinheit 117, die einen Schaltkreis, um die gleiche Richtung abgeschlossen ist. Der Ausgangsanschluß der Einheit 117 verbunden ist, um die Spule 53A, so dass diese Spule erregt ist, wenn die Einheit 117 angesteuert wird. Alle drei Spulen des "A" Zylinder unter Spannung bleiben und daher Erzeugen von Magnetfeldern in der Kammer 41A, bis der Kolben 39A erreicht UT.
Wenn der Kolben 39A bewegt sich von
OT nach UT, zwei zusätzliche 40.000-Volt-Impulse (insgesamt drei) vom Verteiler
99 auf der "A" Zylinder zugeführt. Diese
Impulse sind beabstandet ungefähr 60 Grad. Wenn mehrere Impulse erwünscht sind,
kann der in Fig.14 gezeigten
Vorrichtung verwendet werden. In diesem Fall können die Magnetventile im
allgemeinen bei 107A, 107B und 109A
angegeben, 109B erregt wird, um eine
Reihe von schnellen Hochspannungsimpulse zugeführt werden, wie in Fig.14 zu den Zylindern angedeutet,
Verteiler 105 arbeitet, um Impulse
zu liefern nur erstellen einer aus dem Paar von Zylindern zu einem Zeitpunkt.
Wenn der Kolben 39A BDC erreicht, Händler 135 einen Impuls an den AUS Anschlüssen von elektronischen Schalteinheiten 121, 117 bzw. 119, so dass alle drei Spulen 49A, 51A und 53A entregt werden. Etwa zur gleichen Zeit, das heißt, zwischen etwa 5 Grad vor dem oberen Totpunkt OT und für den Kolben 39B Verteiler 137 liefert einen Steuerimpuls an den EIN Anschlüssen von elektronischen Schalteinheiten, die von dem Generator 113 und 115. Die Eingangsleistungen zu Einheiten 113 und 115 kommen, durch den Regler 111 und aus der Batterie, und die Ausgangssignale werden direkt an Spulen 49A und 53A verbunden. Deshalb, wenn Einheiten 113 und 115 werden auf gated, Spulen 49A und 53A sind reenergised. Aber in diesem Teil des Zyklus sind die Spulen mit der entgegengesetzten Polarität erregt wird, wodurch eine Umkehrung des Magnetfeldes in der Kammer 41A. Man beachte, dass Spule 51A überhaupt nicht während dieses Teils des Zyklus bestromt. Kondensatoren C1A und C2A werden ebenfalls während des UT nach OT des Zyklus berechnet. (Während der UT nach OT Teils des Zyklus, diese Kondensatoren geladen und / oder durch den gleichen Strömen, wie sie an die Anode und Kathode zugeführt, da sie direkt an sie angeschlossen sind, entladen).
Wenn der Kolben 39A nach oben bewegt, Elektroden 63 und 65 dienen als Aufnahmepunkte, um einen Teil des Stroms aus der Kammer 41A zu führen, dieser Strom durch den angeregten Gase in der Kammer erzeugt. Dieser Strom wird über die Leitung L7, elektronische Schalteinheit 151. Die gleichen Steuerimpuls, der auf 113 Einheiten gated und 115 wurde auch vom Verteiler 137 über die Leitung L12 zum Tor geliefert an die Schalteinheit 151 von den Elektroden übertragen, so dass der Strom von Kammer 41A führt durch die Einheit 151 mit der Anode, Kathode und Kondensatoren der Kammer 41B sowie über die Schalteinheiten 147 und 149 bis 49B, 51B und 53B Spulen. Somit kann gesehen werden, dass der Strom in einem Zylinder während eines Teils des Zyklus erzeugt wird, auf dem anderen Zylinder überführt, um in die Erregung des Gasgemisches in dem letzteren zu unterstützen. Man beachte, dass dieser Strom reguliert, um eine Konstante in Motor Strom aufrechtzuerhalten. Es sollte angemerkt werden, dass vierundzwanzig Volt von dem Generator immer auf den Elektroden 63 und 65 während des Betriebs vorhanden sein, um pre-Erregung der Gase bereitzustellen.
Aus dem obigen kann gesehen werden, dass die Verteiler 135 und 137 in Verbindung mit der elektronischen Schalteinheiten 113, 115, 117, 119, 121, 143, 145, 147, 149
und 151 bilden die Mittel zum individuellen Erregen Spulen 49A, 49B, 51A, 51B, 53A und 53B.
Insbesondere bilden sie die Mittel, um alle Spulen eines gegebenen Zylinder von
dem anderen Zylinder, wenn der Kolben des ersten Zylinders bewegt sich von OT
zu UT zu erregen und zu betreiben, um von dem Wechselstromgenerator zu erregen
nur zwei (dh weniger als alle) der Spulen wenn die Kolben bewegt sich von UT
nach OT. Zusätzlich sind diese Komponenten bilden die Mittel zum Erregen der
Spulen mit einer gegebenen Polarität, wenn sich der Kolben dieses Zylinders
bewegt sich von OT nach UT und zum Erregen der ersten und dritten Spulen mit
der entgegengesetzten Polarität, wenn die Kolben sich von UT zum OT.
Wie ebenfalls zu sehen ist, Schalteinheiten 121 und 151 zusammen mit Verteilern 135 und 137 bilden die Mittel zum Schließen eines Schaltkreises zur Stromfluss von der Kammer 41A in die Kammer 41B im UT nach OT des Zyklus von Kammer 41A und zum Schließen eines Schaltung zum Stromfluss von der Kammer 41B in die Kammer 41A in dem OT zu UT Teils des Zyklus von Kammer 41A. Oszillator 95 bildet die Einrichtung zum Zuführen einer zeitvariablen elektrischen Spannung an die Elektroden von jedem Zylinder, und der Oszillator 95, Verteiler 135 und 137 und Regler 97A und 97B bilden zusammen die Mittel zum Zuführen des sich zeitlich ändernde Spannung während eines vorbestimmten Teils des Zyklusses jedes Kolbens. Außerdem Verteiler 99 zusammen mit Zündspulen 25A und 25B bilden die Mittel zum Zuführen von Hochspannungsimpulsen an die Zylinder zu vorbestimmten Zeiten während des Zyklus jedes Kolbens.
Der Zyklus des Kolbens 39B ist genau dasselbe wie das des Kolbens 39A mit Ausnahme des 180-Grad-Phasendifferenz. Für jeden Zylinder wird berechnet, dass die Anregung, wie oben beschrieben, bewirkt, dass die Gase in Schichten in der Mischung, nämlich Helium zu trennen, den niedrigsten Atomgewicht Gas, im allgemeinen in der Mitte jeder Kammer neon Bilden der nächsten Lage angeordnet sind, und usw., bis wir Xenon, die in physischen Kontakt mit den Kammerwänden ist. Der Eingangsstrom (Leistung), um dies zu tun ist die berechnete Potenzial des Gasgemisches. Da Helium ist in der Mitte der Kammer angeordnet ist, ist der Brennpunkt der Elektrode entlädt und die Entladung zwischen der Anode und Kathode in der Heliumschicht, wenn sich der Kolben nahe dem oberen Totpunkt. Wenn der Kolben sich leicht unter OT, die Elektronen von den Elektroden 63 und 65 nicht mehr schlagen die Spitze des Kolbens, sondern wird in der Mitte des Zylinders schneidet (dieser wird als "Fokuspunkt Elektron und Partikelkollision"), wie die Alpha-, Beta- und Gammastrahlung aus der Anode und Kathode. Natürlich ist das Helium in genau diesem Ort und zu dieser Zeit stark ionisiert. Somit sind die Elektroden zusammen mit der elektrischen Stromquelle verbundene Mittel zum Ionisieren des Inertgases darstellt.
Es wird berechnet, dass als Ergebnis aller vorgenannten Wechselwirkung tritt eine Zündentladung in welcher das Helium spaltet in einem Volumen zu Wasserstoff von nicht mehr als 2 bis 3 x 10-6 Kubikmillimetern bei einer Temperatur von etwa 100.000.000 Grad F. Natürlich diese Temperatur auf einen sehr kleinen Raum beschränkt ist, und die Schichtung der Gase isoliert die Zylinderwände davon. Solche Wärme regt den angrenzenden Helium, so dass ein Plasma auftritt. Folglich gibt es eine Minute Fusionsreaktion in der Helium bestehend aus der Energieumwandlung eines einzelnen Heliumatom, die genügend Energie freisetzt, um den Kolben in der Kammer in Richtung UT mit einer Kraft in ähnlicher Größenordnung wie der in einem Zylinder eines herkömmlichen erzeugten Antriebs Verbrennungsmotor. Die Elektroden 63 und 65 erstrecken sich in die Argonschicht während jeder Kolben in seiner UT nach OT Schlaganfall, um abholen einige der aktuellen in dieser Schicht fließt. Es kann eine oder zwei Zyklen für die Gase in den Zylindern, um ausreichend angeregt eine Zündung erfolgt geworden.
Sobald Zündung auftritt, der elektrische Betrieb des Motors weiter wie bisher, ohne dass der Betrieb des Anlassermotors. Verteiler 99 liefert drei Impulse pro Zyklus (oder mehr, wenn die magnetischen Zündsystem gemß Fig.14 verwendet wird) zu jedem Zylinder; und Verteiler 135 und 137 weiter auf "ein" und "aus" Auftastimpulse an die elektronischen Schalteinheiten liefern. Die Drehzahl des Motors wird, wie oben erläutert, durch die Frequenz des Stroms von dem Oszillator 95 (oder im Falle von kleineren PS-Einheiten, durch die Gleichstrom-Spannung an die Zylinder des Variac geliefert) geregelt.
Wegen der geringen Menge an Kraftstoff in jedem Zyklus verbraucht wird, wird berechnet, dass ein Zylinder kann bei 1200 UpM etwa 1000 Stunden mit einer Gasladung ausgeführt wird, wenn nicht mehr. Man beachte, dass sogar bei 1200 UpM, wird intensive Hitze vorkommende nur 0,002% der Zeit. Das bedeutet, dass Eingangsleistung muss nur sporadisch angewendet werden. Diese Kraft kann zu einem Zylinder von dem anderen Zylinder seines Paares mittels elektronischen Schalteinheiten, die im Falle der Thyristoren, werden selbst durch eine geringe Spannung (zum Beispiel 3,5 V) Strom ausgelöst geliefert werden. Somit wird, da elektrische Energie in einem Zylinder erzeugt wird, verwendet, um die Gase in dem anderen Zylinder eines Paares anzuregen, ist es zweckmäßig, dass die Zylinder paarweise, wie oben erörtert. Kondensatoren sind natürlich verwendet werden, um diese Energie zur Verwendung während der richtige Teil des Zyklus jedes Zylinders zu speichern.
Aus dem obigen sollte gewürdigt werden, dass die Maschine der vorliegenden
Erfindung hat mehrere Vorteile gegenüber den derzeit vorgeschlagenen
Fusionsreaktoren, wie beispielsweise kleinere Größe, niedrigeren
Energieanforderungen usw. Was sind die Grundlagen dieser Vorteile? Für einen,
hier vorgeschlagenen Fusionsreaktoren Wasserstoff und seine Isotope Verwendung
als Brennstoff anstelle von Inertgasen. Vermutlich ist dies, weil Wasserstoff
benötigt weniger Aufregung Macht. Das ist zwar richtig, die Eingangsleistung,
die zur Wasserstoff machen Reaktoren arbeiten erforderlich macht die
Anregungsleistung nahezu unbedeutend. Um beispielsweise ein Wasserreaktor vor
Kurzschlüssen zu halten, muss das Wasserstoffgas aus den Reaktorwänden getrennt
werden, während es in den Plasmazustand gibt. Diese Trennung wird durch die
Aufrechterhaltung eines Vakuums in der Nähe von in dem Reaktor und durch die
Konzentration des Gases in der Mitte des Reaktors (typischerweise ein Toroid)
durch eine kontinuierliche, intensive Magnetfeld erreicht. Dementsprechend
erfordert die Trennung eine große Menge an Eingangsenergie.
In der vorliegenden Erfindung wird auf der anderen Seite, ist der höhere Anregungsenergie des Kraftstoffs mehr als kompensiert durch die Tatsache, dass die Eingangsenergie für den Betrieb kann durch Manipulation der einzigartigen Eigenschaften der Edelgase minimiert werden. Zuerst wird Helium als Inertgas für die Fusion in der vorliegenden Erfindung verwendet. Das Helium wird in erster Linie isoliert von den Wänden des Behälters durch die Überlagerung der anderen inerten Gasen, die Schichtung durch die verschiedenen Anregungspotential (aufgrund der unterschiedlichen Atomgewichten) der verschiedenen inerten Gasen ist, wobei die Anregung durch die Wirkung verursacht der Elektroden, Anode und Kathode in einem Magnetfeld. Diese Anregung bewirkt, dass die Gase jeweils in umgekehrten Verhältnis zu ihrer Ordnungszahlen erregt werden, wobei die leichteren Gase entsprechend mehr angeregt. Helium bildet somit den zentralen Kern mit den anderen vier Gase bildenden Schichten in der angegebenen Reihenfolge auf der Helium. Das Helium wird in zweiter Linie isoliert von den Wänden des Behälters durch eine bescheidene Vakuum (im Vergleich zum Vakuum in Wasserreaktoren ), die durch die "erstickt" -Effekt der Spulen und teilweise durch die Erweiterung der Verbrennungskammer, wenn der Kolben teilweise hervorgerufen wird, bewegt sich von OT nach UT. (Unaufgeregt werden die Gase bei einer Atmosphäre bei OT). Zweitens, Argon, die mittlere Gas der fünf, ist ein guter elektrischer Leiter und wird ein ausgezeichneter Leiter, wenn (wie nachstehend erläutert) ist es während des Mischvorgangs polarisiert ist. Durch die Platzierung der Elektroden, so daß sie in der Argonschicht sind, kann elektrische Energie von einem Zylinder zur Verwendung in der anderen abgreifbar. Während einer Kolbenbewegung vom UT nach OT, die Gase veranlaßt werden, in den Zylinder durch die Änderung der Polarität der Spulen, die auf UT auftritt zirkulieren.
Während eines solchen Kreislauf, bleiben die Gase geschichtet, wodurch sich die Argonatome relativ nahe beieinander liegen, wodurch die Leitfähigkeit des Argon optimieren. Diese Leitfähigkeit Optimierung wird weiterhin durch eine leichte Drosselung, die durch die Magnetfelder verstärkt. Die Zirkulation der hochleitfähigen Argon ergibt sich ein kontinuierliches Schneiden der magnetischen Kraftlinien, so daß der Strom fließt durch die Elektroden. Diese Produktion von Elektrizität ist ähnlich dem rotierenden Kupferdraht Schneiden der magnetischen Kraftlinien in einem herkömmlichen Generator, außer dass die rotierende Kupferdraht durch den rotierenden, hochleitfähigen Argon ersetzt. Die Strommenge, die in dieser Weise hergestellt werden kann, ist eine Funktion davon, wie viele magnetische Feldlinien zur Verfügung zu schneiden. Wenn eine der Spulen, oder alle drei der Spulen oder zwei benachbarte Spulen erregt wurden, würde es nur ein Feld mit Strom an jedem Ende hergestellt werden. Durch Erregen der oberen und der unteren Spule sind zwei separate Feldern erzeugte Elektrizität an vier Punkten erzeugt.
Ein Fünf-Spulensystem, wenn es genügend Platz, würde drei Felder mit der oberen, unteren und mittleren Spulen erregt zu produzieren. Sechs Punkte für die Stromproduktion würde. Die Anzahl der Spulen, die auf einem gegebenen Zylinder installiert werden kann, ist eine Funktion der räumlichen Beschränkungen. Die Rekombination von Gasatomen im UT nach OT Phase bewirkt, dass die Strahlung von elektrischer Energie, die auch eine kleinere Teil des Stroms, der die Elektrode aufnimmt. Weitere nicht-geerdeten Elektroden in jedem Zylinder würde mehr Strom führen, abgegriffen. Es sollte beachtet werden, dass während des UT nach OT Phase werden die Anode und die Kathode ebenfalls im Argonschicht und ebenso wie die Elektroden nehmen sie Strom, welche die Kondensatoren auf der Zylinderladungen werden. Drittens Inertgase bleibt eine Mischung und nicht wegen der Vollständigkeit der Elektronenschalen kombinieren. Sie werden deshalb auch zu einem Zyklus geeignet, wobei sie ständig organisiert und reorganisiert. Viertens, da die Heliumatome verbraucht werden, müssen die anderen Gasen in der Lage, die Ladung des verbrauchten Gases zu absorbieren, so dass die Gesamtladung der Mischung bleibt gleich.
Der zweite Grund dieser Vorteile der vorliegenden Motor über vorgeschlagene Fusionsreaktoren betrifft die Tatsache, dass die Wasserstoffreaktoren zu entwickeln, die Hitze Dampf erzeugt, um Turbinen zur Erzeugung elektrischer Energie zu machen. Dies erfordert enorme Eingangsenergie auf einer kontinuierlichen Basis. Die vorliegende Erfindung arbeitet mit einem geschlossenen Kreislauf unter Verwendung von Kolben und eine Kurbelwelle, die nicht einen kontinuierlichen Plasma sondern eine seltene und kurzer Dauer (10-6 Sekunden) Plasma, erfordert daher viel weniger Eingangsenergie erfordert. In der vorliegenden Erfindung wird ein Plasma, die länger als 10-6 Sekunden nicht erforderlich, da ein ausreichender Druck in der Zeit, um den Motor einzuschalten erzeugt. Ein Plasma von längerer Dauer kann zu Motorschäden, wenn die Wärmekapazität waren ausreichend intensiv, um durch die Inertgas Schichten auf die Zylinderwände übertragen werden. Eine ähnliche Wärmestau in der Maschine auftreten können, wenn die Wiederholungsrate erhöht wird. Eine solche Erhöhung kann verwendet werden, um die Leistung pro Motorgröße jedoch auf Kosten des Hinzufügens eines Kühlsystems zu erhöhen, unter Verwendung teurer Motorkomponenten sowie den Kraftstoffverbrauch. Man beachte, dass, obwohl Schichten Inertgase isolieren die Zylinderwände, könnte es einige leichte Erhöhung der Temperatur der Gasschichten nach einer Anzahl von Zyklen, dh, nachdem eine Anzahl von Zündungen.
Erwägung, Wasserstoff Fusionsreaktoren nicht direkt Leistung zu erzeugen, indem
ein Kolben (wegen des erforderlichen Vakuums), verwendet die vorliegende
Erfindung die Schicht Inertgase, die Leistung des Plasmas zu jeder Gas wiederum
übertragen, bis die Leistung auf einen Kolben aufgebracht, die kann leicht in
eine Drehbewegung umgesetzt werden. Die geschichteten Gase den Kolben
abzufedern auch von der vollen Kraft der Zündung. Außerdem werden die Felder in
den Zylinder, der Expansion zu bewirken, daß die Gase zu schrumpfen, wodurch
etwas von dem Druck, der durch die Explosion erzeugte Aufnahme und verhindert
Aufbrechen der Zylinderwände.
Es wird nun auf Fig.17A bis Fig.17D ist eine Vorrichtung 201 zur Herstellung des Kraftstoffgemisches für den Motor 11. Der Bequemlichkeit Vorrichtung 201 wird als eine Misch obwohl es sich versteht, daß die Vorrichtung nicht nur mischt, die Gase, die den Kraftstoff zu bilden gezeigten sondern führt auch viele andere wichtige Funktionen. Die fünf Bestandteil inerte Gase sind in präzisen, vorbestimmten Anteilen eingeführt. Die Mischextrakte, Filter und neutralisiert die nicht inerten Gasen und anderen Verunreinigungen, die in dem Gasgemisch zu finden sind. Es erhöht auch die potentielle Kapazität der Gasatome, entlädt die Krypton- und Xenon-Gase, polarisiert der Argongase ionisiert die Gase in einer Weise, daß die Ionisation wird beibehalten, bis das Gas verwendet wurde und ansonsten bereitet sie für die Verwendung als Brennstoff in Motor 11. Insbesondere ist der Mischer die Gase leichter, während des Betriebs des Motors zu erregen. Mischen bedeutet keine atomare oder molekulare Kombination oder Vereinigung von Gasen, weil Inertgase chemisch verbinden, im allgemeinen wegen der Vollständigkeit der äußeren Schale von Elektronen. Während des Mischens der verschiedenen Gase zu bilden, die eine homogene Mischung. Das Mischen der fünf Inertgase Vorrichtung 201 ist etwas analog zu Herstellung eines fünfteiligen flüssigen Chemikaliengemisch durch Titration. In einer solchen Mischung sind die Anteile der verschiedenen Chemikalien genau durch visuelles Beobachten der Endpunkt jeder Reaktion bei der Titration bestimmt. In der Vorrichtung 201, eine sichtbare spektroskopische Lichtblitz begleitet den gewünschten Endpunkt der Einführung jeder neuen Gases, wenn es seine richtige, vorberechnet Anteil erreicht. (Jedes Gas hat seinen eigenen, charakteristischen, spektroskopische Display). Die Enden Punkte theoretisch berechnet und werden durch vorgegebene Spannungen auf jede aus einer Gruppe von ionisierender Köpfe in der Vorrichtung bestimmt, wie unten beschrieben.

Der Mischer 201 enthält (siehe Fig.17A) eine Einlassöffnung, bei 203, die während des Betriebs mit einer
Quelle 205 von Heliumgas, einer
Lehre 206 Glasrohr 207 mit einer Mehrzahl von Zweigen B10-B25 für die Strömung von der
verbundenen der allgemein Gase durch den Mischer, eine Mehrzahl von Ventilen V1-V11 in den Zweigen, die Ventile
geöffnet oder geschlossen, wie erforderlich, drei Gasreservoirs 209, 211 und 213 zur Aufbewahrung von
kleinen Mengen Helium, Argon und Neon-Gas bzw. werden, einer ionisierenden und
Filtereinheit 215 zum Filtern von
unerwünschten nicht-inerte Gase und Verunreinigungen aus dem Kraftstoffgemisch
für die Regelung der Gasatom Elektronenladung und absorbieren die frei
fließenden Elektronen, eine Gasströmungszirkulationspumpe 217, zwei ionisierende Köpfe 219
und 221 und drei Qualitäts Kontrolle und Auslassventile V12-V14. Der Mischer weist außerdem (siehe Fig.17B) eine
Hochfrequenz-Entladungsröhre 225,
eine nicht-zielgerichtete Kathodenstrahlröhre 227, zwei weitere ionisierende Köpfe 229 und 231, zwei zusätzliche Gasspeicher 233 und 235 zur
Aufbewahrung von kleinen Mengen an Xenon und Krypton, ein Viermagnetspule 237, eine Gruppe von Ventilen V15-V24, die Ventile V23 und V24 Befinden Qualitätskontrolle
und Auslaßventilen und einer Vielzahl von zusätzlichen Glasschlauchzweige B26-B32.
In Bezug auf Fig.17C enthält Mischer 201 auch zusätzliche ionisierende Köpfe 239, 240 und 241, zusätzliche Ventile V25-V46, V39A und V40A, werden die Ventile V29 und V32 als Qualitätskontrolle und Auslassventile und Ventil V39A, ein Rückschlagventil, ein Vakuum und Manometer 242 zwischen den Ventilen V35 und V36, die Schlauchabschnitte B34-B49 (B39 Zweig aus zwei Teilen B39A und B39B), ein Paar von Einlassöffnungen 243 und 245, die während des Betriebs auf Quellen 247 und 249 aus Argon und Neon-Gas verbunden, Lehren 250A und 250B, eine Funkenkammer 251, ein Wasserstoff und Sauerstoff Rückhaltekammer 253, die No. 650 Stahlstaub in einem Seide-Filter, ein Ionenmessgerät 255 (die eine RG 75K Typ Ion Messer von Glasinstrumente sein können, Inc., Pasadena, Calif.) zum Entfernen der überschüssigen inerten Gasen aus der Mischung, inneren und äußeren Spulen der Glasröhren 257 und 259 umgibt, eine Mischkammer 261, einen fokussierten Röntgenröhre 263 zum Unterziehen der Mischung durchströmt zu 15-20 millirem alpha Strahlung und 120-125 millirem Betastrahlung, eine gerichtete Kathodenstrahlröhre 265, zwei Einzel parallel Magnetspulen 266 und 267, und eine Fokussierungsmagnetspule 269. Es ist wichtig, die 266 und 267 werden in unmittelbarer Nähe Mischkammer 261 und Spulen (siehe Fig.17D) der Mischer weist auch drei weitere ionisierende Köpfe 271, 273 und 275, zwei Eingangsöffnungen 277 und 279, die im Betrieb sind die Quellen 281 und 283 aus Krypton und Xenon verbunden, Messer 284A und 284B, eine Hochfrequenzentladungsröhre 285, ein Doppel parallel Magnetspule 287 umgibt einen Polarisator 289 zum Polarisieren des Argon, wobei polarisieren feine Stahlpartikel, die durch Spulen 287 polarisiert sind, und die ihrerseits zu polarisieren Argon, eine zweite Wasserstoff-Rückhaltekammer 291, die ein Paar von Rohrzweigen B50 und enthaltend B51, zwei Filter 293 und 295 und eine Vielzahl von Ventilen V47-V59, die Ventile V57 und V59 als Qualitätskontrolle und Auslassventile.
Inneren und äußeren Glasrohr Spulen 257
und 259 und Mischkammer 261 sind
im Querschnitt in Fig.18 gezeigt.
Glaszwischenspulen 257 und 259 sind
zwei Magnetspulen 297 und 299 mit
einer Induktivität von ungefähr 130 mH. Ein Joch Spule 301 ist in einem Halbkreis um die Mischkammer 261. Innerhalb Mischkammer 261 ist ein Paar von Sieben 303 und 305 angeordnet positioniert die
Isolatoren 307 und 309, und ein Paar
von Funkenstrecken allgemein bei 311 und
313. Ein Hochdeutet Frequenz
amplitudenmodulierten Quelle bietet 120 V Wechselstrom, 60 Hz, 8,4 Amp, 560
Watt, 27.120 bis 40.000 MHz plus oder minus 160 kHz Strom über stark isolierte
Drähte 315 und 317 in die Kammer.
Diese Drähte sind etwa zwölf Spurweite, wie sie als Zündkabel für
Verbrennungsmotoren eingesetzt. Zusätzlich 95
Volt Gleichstrom wird über einen kleineren geliefert (zB 16 bis 18 Gauge)
isolierten Draht 319. Wie unten bereit Durchflußkammer 261 beschrieben, werden die Gase
gemischt werden, und werden in geeigneter Weise darin und durch die Wirkung der
verschiedenen im vorliegenden Felder behandelten die Kammer.

Die Magnetspulen, Ionisation Köpfe, und die Pumpe 217, zusammen mit den erforderlichen elektrischen Verbindungen,
sind schematisch in Fig.19A bis Fig.19E
dargestellt. Genauer gesagt, leitet 239
und 241 sind in Fig.19A
dargestellt, wie die Pumpe 217. Jeder Ionisierungs Kopf weist zwei Elektroden
mit einem Spalt zwischen ihnen, Ionisation durch den Kopf strömenden Gase
führen, wobei die Elektroden an eine elektrische Stromquelle angeschlossen ist. Pumpe 217
ist direkt mit einer Stromquelle verbunden sind (entweder Wechselstrom oder
Gleichstrom, wie durch die jeweilige Pumpe erforderlich verwendet werden). Die
Verbindungen zwischen dem Schaltkreis auf Fig.19A
und Fig.19B werden auf als Stopfen 321
dargestellt, wobei es sich versteht, daß dieser Stecker ein geeignetes
Eins-zu-Eins-Verbindung zwischen den Leitungen Fig.19A und die der Fig.19B
.
Die verbleibenden ionisierende Köpfe und alle Magnetspulen sind in Fig.19B gezeigt. Zur besseren Übersichtlichkeit sind die Spulen in einer unkonventionellen Form dargestellt. Quadruple Spule 237 (an der Oberseite der Fig.19B gezeigt) eine Seite von gemeinsam, aber die anderen Seiten auf verschiedene Leitungen jede Wicklung verbunden. Spule 223 besteht aus zwei Windungen, die parallel. Spulen 297 und 299, die, um die Mischkammer überlappend dargestellt, wobei es sich versteht, dass Spule 297 ist eigentlich Innere Spule 299. Jochspule 301, wie gezeigt, erstreckt sich auf halbem Weg von der Unterseite zur Oberseite der Spulen 297 und 299. Twin parallel Magnetspulen 267 sind parallel miteinander verbunden sind, wobei beide Seiten der Fokussierspule 269 zu einem Knoten des Coils 267. Verbindung Ebenso Spulen 287 sind parallel geschaltet. Die Verbindungen zwischen den Linien Fig.19B und diejenigen Fig.19C und Fig.19D sind als Stecker 323 und 325 dargestellt, obwohl auch andere geeignete eins-zu-eins-Verbindungen könnte sicherlich gemacht werden. Fig.19C zeigt die Verbindungsstrecken zwischen Fig.19B und Fig.19E. Ein Stopfen 327 oder eine andere geeignete eins-zu-eins-Verbindungen verbindet die Linien Fig.19C und Fig.19E.
Eine Vielzahl von Energiequellen, wie die oben erwähnten Variacs, geeignete Spannungen und Ströme sowie eine Mehrzahl von Relais 329, und Stopfen 331 sind an Fig.19D und Fig.19E dargestellt. Die Verbindungen zwischen diesen beiden Zahlen ist als Steck 333. Gezeigten Es sollte erkannt werden, dass die Variacs können vom Operator nach Bedarf, um die gewünschten Spannungen zu den genannten Spulen und Ionisieren Köpfe liefern eingestellt werden kann. Es sollte auch realisiert werden, dass die gewünschten Relais geschlossen oder geöffnet, wie durch Verbinden oder Trennen der beiden Teile des entsprechenden Steckers 331. Das heißt, durch die Verwendung von Steckern 331 benötigt werden, kann der Bediener die Bestromung der ionisierenden Köpfen und magnetischen Steuerung Spulen, wie gewünscht. Stecker 331 sind auch eine Hilfe bei der Überprüfung, um sicherzustellen, dass jede Komponente ist im Betriebszustand gerade vor seiner Verwendung. Natürlich müssen die Manipulation der Leistungsquellen und der Relais nicht manuell durchgeführt werden; es automatisiert werden kann.

Der Rest der Schaltung für den Mischer auf Fig.20A
bis Fig.20F gezeigt. Zur Vereinfachung Steckern 335, 337, 339, 341, 343, 345 und 347 sind als Verbindungs die in
den verschiedenen Figuren gezeigten Schaltung dargestellt, obwohl auch andere
geeignete eins-zu-eins-Verbindungen können verwendet werden. Das Chassis der
Vorrichtung wird auf diese Figuren gestrichelt dargestellt ist, und ist
geerdet. Die Stromversorgung für die Vorrichtung zum Teil auf Fig.20A und Fig.20D gezeigt und enthält
einen Eingang 349 (siehe Fig.20D), die mit 120 Volt verbunden
ist, 60 Hz während des Betriebs und einen Eingang 351, der an die verbundenen oben genannten Hochfrequenzgenerator
oder eine andere geeignete Quelle von ungefähr 27.120 MHz Strom. Das Netzteil
weist ein Paar von Tuner 353,
zahlreiche RLC-Schaltungen, eine Triode 355,
eine Pentode 357 mit einem
ZnS-Bildschirm, einen Stelltransformator 359,
ein Eingangssteuer 361, eine zweite
Stelltransformator 363 (siehe Fig.20A), die zusammen mit ein Filter 365 bildet eine 2,0 Volt
(Spitze-Spitze) Stromversorgung 367,
eine Pentode 369, einem
Stelltransformator 371 und ein Widerstandsnetzwerk,
die allgemein mit 373 Exemplarische
Spannungen in der Stromversorgung im Betrieb sind: die Anoden der Triode 355 ist bei 145V, wird das Steuergitter
bei 135V und die Kathode bei -25V. die Spannung an der Oberseite der rechten
Wicklung des Transformators 359
-5V. Die Anode Pentode 357 ist bei 143V das obere Gitter
geerdet ist (wie es der ZnS-Bildschirm), wird der untere Netz angeschlossen an
den Transformator 359 und die
Steuerelektrode bei 143V. das Eingangssignal zu liefern, 367 beträgt 143Volt Wechselstrom, während sein Ausgang, wie oben
angegeben, ist 2V (Spitze-Spitze). Die Anode der Pentode 369 ist auf 60V, die Gitter bei -1,5V, wobei die Steuerelektrode
bei 130V, und die Kathode ist im wesentlichen auf Masse. Das Ausgangssignal des
Widerstandsnetzwerks 373, 375
bezeichnet, ist bei 45V.
Auch auf Fig.20D gezeigte Funkenkammer 251. Funkenkammer 251 enthält eine geringe Menge Thorium, bei 377 angegeben, und eine Mehrzahl von parallel Messingplatten 379. Wenn die Gase in den Mischer gelangen die richtige Ionisation emittierten Alphateilchen das Thorium als Lichtblitze in die Funkenkammer gezeigt.
Bezugnehmend auf Fig.20B, umfasst ionisierende und Filtereinheit 215 ein Paar von leitenden Trägern 381 für eine Mehrzahl von Leitern 383, die Träger und die Leiter mit einer Spannungsquelle, einen isolierenden Träger 385 zum zusätzlichen Leiter 387 und einer ZnS-Bildschirm angeschlossen 388, die Licht emittiert, wenn Verunreinigungen aus dem gasförmigen Brennstoffgemisch entfernt. Einheit 215 enthält auch einen zweiten Satz von verschachtelten Leitern, die allgemein mit 389, eine Kaltkathodenröhre 391 und eine Röntgenröhre allgemein bei 393. Auch auf Fig.20B gezeigt deutet ist ein RLC-Netzwerk 395, die einen Ausgang hat für ein Linie 397, die bei 35V ist, wobei diese Spannung an der Röntgenröhre zugeführte.
Hochfrequenzentladungsröhre 255
(siehe Fig.20C) eine leitende
Elektrode 399 an einem Ende an die
Hochfrequenzstrom angelegt wird, um die Gase in den Mischer, und eine Elektrode
/ Heizungsanordnung 401 an dem
anderen anzuregen, eine Spannung von 45V mit einem Eingang 402 des Rohres aufgebracht wird. Es ist wünschenswert, daß eine
geringe Menge von Quecksilber, bei 403
angegeben, in dem Rohr 225
aufgenommen werden, um eine Entladung des Heliumgases zu fördern. Magnetspulen 237 weisen darin ein Paar von allgemein
parallelen Leiter 405, dem ein
Hochfrequenzsignal angelegt wird, angeordnet ist. Wenn Gas durch die Spulen 237 und zwischen den parallelen Leitern
405 fließt deshalb, um der
Kombination aus einem Gleichstrom Magnetfeld der Spule und der
Hochfrequenzwellen, die von den Leitern, die Leiter wirken als Sendeantennen
unterzogen wird. Der resultierende hochfrequente Magnetfeld bewirkt, dass die
Atome, instabil zu werden, wodurch der Motor auf einen gegebenen Atoms
Quantenniveau mit wesentlich weniger Eingangsleistung zu ändern, als es
normalerweise erforderlich sein kann. Das Volumen jeder Gasatom auch kleiner
sein. Auch auf Fig.20C gezeigt ist
ungerichtete Kathodenstrahlröhre 227.
Die Gitter der Röhre 227 sind bei 145V, ist die
Steuerelektrode an Masse, während die Anode auf 35V bis 80V (Spitze-Spitze).
Der Zweck der ungerichteten Katodenstrahlröhre 227 Photonen auf die Gasgemisch hinzuzufügen. Um diese Photonen zu
erzeugen, hat Rohr 227 eine allgemein
bei 407 angedeutet Kammer 261 zweischichtigen ZnS Beschichtung,
wie oben beschrieben, ist auch schematisch in Fig.20C gezeigt, zusammen mit einem RLC-Netzwerk 409.
Die Stromversorgung für den Mischer (siehe die untere Hälfte von Fig.20E und Fig.20F) umfaßt auch zwei
pentodes 411 und 413, einen
Transformator 415 und eine Diode
Rohr 417. Die Steuerelektrode des Pentode 411 bei 5V bis 40V (Spitze-Spitze),
sind die Gitter bei 145V, die Anode auf 100V, und die Kathode ist 8V bis 30V
(Spitze-Spitze). Die Steuerelektrode des Pentode 413 ist bei 115V, während das Gitter und die Kathode bei -33 V. Die
Anode der Röhre 413 ist mit dem
Transformator 415. Auch auf
Fig.20E gezeigt sind ein Relais 419
mit Ionen assoziierten abzuschätzen 255
und fokussierte Röntgenröhre 263 mit
Ionisationskopf 240. Der obere Eingang mit dem Rohr 263 verbunden ist, ist auf 45V bis 80V
(Spitze-Spitze).
Wendet man Fig.20F wird es Rohre 265 und 285 gezeigt Directed Kathodenstrahlröhre 265 ist eine Pentode artigen Röhre 227 Hochfrequenz-Entladungsröhre 285 angeschlossen enthält einen Leuchtschirm und mit einer Hochfrequenzquelle verbunden ist. Auch auf Fig.20F gezeigt ist eine Triode 421 mit ihrer Anode bei 30V, deren Kathode an Masse, und dessen Steuergitter bei -60V; eine Pentode 423 mit ihrer Anode auf 135V bis 1000V Spitze zu Spitze, deren Kathode an Masse, mit seiner Steuerelektrode bei 143V, dessen Gitter bei 20V; und einen Transformator 425. Es sollte verstanden werden, dass verschiedene Anordnungen von anderen als den oben beschriebenen elektrischen Komponenten können für die gleichen Funktionen durchzuführen sein.
Der Betrieb des Mischers wird am besten unter Bezugnahme auf Fig.17A bis Fig.17D verstanden und ist wie folgt: Vor und während des Betriebs des Mischers und insbesondere Kammer 261 gehalten wird hermetisch verschlossen und evakuiert. Um den Mischvorgang zu beginnen, wird Helium in den Mischer über Einlaöffnung 203. Dann wird wieder Vakuum gezogen wird, durch eine Vakuumpumpe (nicht gezeigt), um das Ventil V38 verbunden ist zugelassen, um die Kammer zu spülen. Diese Spülung wird mehrmals wiederholt, um die Zweigschläuche des Mischers vollständig zu reinigen. Der Mischer ist jetzt betriebsbereit. Die Ionisation Köpfe neben Mischkammer 261 auf eine Spannung entsprechend etwa 36% des berechneten Gesamt Ionisierungsspannung verbunden wird Gleichstrom Strom erlaubt, durch Magnetspulen 297 und 299 herum Kammer 261, und der Hochfrequenzstromfluss durchgelassen die Mischkammer. Helium wird dann langsam zugegeben, über Port 203, in den Mischer. Von Port 203 durchläuft das Helium durch Ionisation Kopf 219 in Glasröhren Spule 259. Diese Glasspule, der nicht der Magnetspulen 297 und 299, ist in der divergierenden Abschnitt eines magnetischen Feldes. Das Helium langsam durch Glasspule 259 fließt, sanft aufgeregt. Von Spule 259 fließt das Helium durch Zweig B45, um den Kopf 275 und von dort Ionisation, über den Zweig B28, um Ionisation Kopf 229 (siehe Fig.17B). Von Kopf 229, strömt das Gas durch ungerichtete Kathodenstrahlröhre 227, um hochfrequente Entlader 225. Der Hochfrequenz-Entlader 225, mit Heizelement, Einleitungen, trennt oder vollständig neutralisiert die Ladung aller radioaktiven und / oder kosmische Teilchen, die sind im Heliumatom zusätzlich zu den Protonen, Neutronen und Elektronen.
Das Gas tritt Entlader 225 über den Zweig B26 und leitet Hochfrequenzentladungseinrichtung 285. Die Hochfrequenzentladungseinrichtung 285, ohne Heizelement, stört die Frequenz der Schwingung, die die Gasatome miteinander verbindet. Dieser bereitet die Heliumatome, so daß die Elektronen leichter vom Kern während der Anregung und Zündung im Motor verteilt werden. Entladungseinrichtung 285 enthält einen Phosphorbildschirm oder Ablagerung (ähnlich wie die Beschichtung auf eine Kathodenstrahlröhre), die Entladungen in der Röhre sichtbar macht. Von Entlader 285 gelangt das Helium durch gerichtete Katodenstrahlröhre 265 und fokussiert Röntgenröhre 263. Directed Katodenstrahlröhre 265 erzeugt Kathodenstrahlen, die sich in Längsrichtung unterhalb und entlang des Gasleitungsrohres und zurück bewegen. Danach gelangt das Helium nacheinander durch Zweig B21, Ionisation Kopf 221, Zweig B23, zwei parallele Magnetspule 266 und Zweig B25 in die Mischkammer 261 Helium fließt langsam in und durch Gerät 201. Die Heliumatome werden ionisiert als Folge der Anregung durch Magnetkraft, hochfrequente Schwingungen und Ladung von den Ionisation Köpfe erworben. Wenn ausreichend Helium hat das Gerät eingegeben wird, wird die Ionisationsenergie (die ca. 36% des Gesamt ist) völlig absorbiert. Spektroskopisches Lichtblitz in der Mischkammer Signale, die genaue, richtige Menge Helium wurde erlaubt, einzugeben. Der Eintrag von Helium wird dann sofort durch das Schließen des Ventils V3 gestoppt.
Der nächste Schritt bei der Vorbereitung des Kraftstoffs ist, Neon zu der Mischung hinzuzufügen. Das Potential an den entsprechenden Ionisation Köpfe, insbesondere den Kopf 241 (siehe Fig.17C), wird durch die Zugabe von etwa 26%, was in insgesamt etwa 62% des gesamten berechneten Potential und das Ventil V31 führt angehoben wird geöffnet, wodurch Neon langsam in den Mischer über den Port 245. Das Gas strömt durch die Zweig B36, Ionisation Kopf 241 und Zweig B35 direkt in die Mischkammer. Da die zu einem früheren Zeitpunkt Helium vollständig geladen ist, das Neon absorbiert alle der erhöhten Ionisationspotential. Sobald die neon erwirbt die zusätzliche Gebühr, eine spektroskopische Lichtblitz auftritt, und der Bediener Ventil V31 geschlossen.
In gleicher Weise wird das Potential auf der Ionisation Köpfe durch Zugabe von
ca. 17% für insgesamt etwa 79% des gesamten berechneten erhöhte Potential und
dann wird das Ventil V30 geöffnet,
um Argon über den Port 243. Das Gas
in den Mischer zuzulassen durchläuft Zweig B34,
Ionisation Kopf 239 und Zweig B33 in die Mischkammer 261. Auch wenn die richtige Menge an
Argon zugelassen wurde, gibt es einen spektroskopischen Lichtblitz und der
Bediener Ventil V30
geschlossen. Als nächstes wird das
Potential auf der Ionisation Köpfe durch Zugabe von ca. 13% erhöht werden, um
in insgesamt etwa 92% des gesamten berechneten Potential und das Ventil V58 (siehe Fig.17D) führen wird geöffnet, um Krypton in das System zuzulassen.
Die Krypton-Gas durchläuft Zweig B51,
Ionisation Kopf 271 und Zweig B48 in die Kammer 261. Nach der Emission eines spektroskopischen Lichtblitz durch das
Gas, schließt der Bediener Ventil V58.
Schließlich wird das Potential auf der Ionisation Köpfe durch Zugabe von etwa
8%, was die Ionisationspotential zum vollständigen 100% des berechneten Ionisationsspannung
und Ventil V56 bringt geöffnet wird,
um in den Mischer zuzulassen Xenon über den Port 279. Das Gas gelangt erhöhte
durch Zweig B50, Ionisation Kopf 273 und Zweig B47 in die Mischkammer. Wenn die richtige Menge an Gas, zugelassen
wurde, eine spektroskopische Lichtblitz auftritt, signalisiert dem Bediener,
Ventil V56 zu schließen. Beachten
Sie, dass es zwei Filter / Absorbereinheiten, markierten 253 und 291. Einheit 253
ist mit der Neon und Argon-Einlaß Zweige B33
und B35 verbunden, während das Gerät 291
ist mit dem Krypton und Xenon Einlass Zweige B47 und B48 verbunden. Diese beiden Einheiten absorbieren
Wasserstoffrest und unbeweglich zu den Wasserdampf erzeugt, wenn die Pumpe
wälzt die Gase und erzeugt Unterdruck-Staaten.
Nachdem alle Gase werden in den gewünschten Anteilen zugegeben werden alle Ventile geschlossen. (Die Mischung in der Mischkammer und in dem benachbarten Schlauch bei einer Atmosphäre Druck zu diesem Zeitpunkt). Sobald dies geschehen ist, werden die Intervall Ventile des Systems alle geöffnet (aber die Ein- und Auslassventile geschlossen bleiben), damit Sie wie folgt vor, um die Mischung in der gesamten Rohrleitung zirkulieren: Zweig B44, Magnetspulen 267 und 269, Ionisation Kopf 240, Zweig B29, Ionisation Kopf 231, Zweig B24, Ionisation Kopf 219, die Pumpe 217, Zweige B15 und B39A, Ionisation Messer 255, Zweige B38 und B42, Ionisation Kopf 275, Zweig B28, Ionisation Kopf 229, ungerichtete Kathodenstrahlröhre 227, Vierbett-Magnetspule 272, Ionisation Kopf 221, Zweig B23, zwei parallele Magnetspule 266, Zweig B25 und Mischkammer 261. Wenn diese Schaltung anfänglich geöffnet wird, fällt der Druck der Mischung 40% bis 50%, da ein Teil der Rohr hatte zuvor unter gewesen Vakuum. Pumpe 217 wird dann gestartet, damit die Gase zu sein, langsam und gleichmäßig gemischt.
Wegen der Totraum in dem Schlauch und der Reaktionszeit des Bedieners kann es
vorkommen, daß die Anteile der Gase nicht exakt den oben dargelegten. Dies wird bei der Zirkulationsschritt
beseitigt. Wenn das Gas durch Ionisation Messer 255 strömt, wird die überschüssige Luft aus dem Gemisch, so daß die
korrekten Proportionen erhalten werden entfernt. Dazu das Raster der Mess 255 ist auf 100% Ionisationsenergie zogen und ist um ca. 165 Grad
F. Diese Temperatur von 165 Grad F auf Siedepunkt von -165 Grad F Xenon in Höhe
bezogen beheizten aber mit umgekehrtem Vorzeichen. Xenon ist das schwerste der
fünf inerten Gase in der Mischung. Da
die Gasmischung durch Ionisation Messer 255
strömt, werden die Gasatome, die über ihren vorgegebenen Prozentsätze sind aus
der Mischung verbrannt und deren Ladung durch die verbleibenden Gasatome von
dem Gitter der Ionisation Messgerät erfasst.
Da die Gase unter einem Teilvakuum, ist die Ionisation Messer in der
Lage, die Gasprozent sehr genau einzustellen. (Anmerkung: Die in den beiden
letzten Absätzen beschriebenen Schritte werden wiederholt, wenn die fertigen
Gase werden in der unten beschriebenen abschließenden Schritt der
Qualitätskontrolle zurückgewiesen).
Der nächste Schritt beinhaltet die Reinigung der Mischung, so dass nur die fünf Inertgase bleiben, absorbieren keine freien Elektronen und Regelung der elektrischen Ladung in der Mischung. Zu diesem Zweck wird der Stromkreis, bestehend aus den folgenden Komponenten ist: Zweig B44, Magnetspule 267, die Magnetspule 269, Ionisation Kopf 240, Zweig B29, Ionisation Kopf 231, Zweig B24, Ionisation Kopf 219, die Pumpe 217, Zweige B15 und B39, Magnetspule 287 (siehe Fig.17D) Polarisator 289, Zweig B17, ionisierende und Filtereinheit 215, Zweige B16, B42 und B41, Röntgenröhre 263, Zweig B21, Ionisation Kopf 221, Zweig B23, Magnetspule 266, Zweig B25, und der Mischkammer 261. Die Gase sollten dieses Kurses mindestens dreimal durchzuführen.
Der letzte Schritt erforderlich, um die Mischung für die Abfüllung vorzubereiten Polarisation des Argon. Die dazu notwendigen Kreislauf besteht aus den folgenden Komponenten: Mischkammer 261, Zweig B44, Magnetspule 267, die Magnetspule 269, Ionisation Kopf 240, Kathodenstrahlröhre 265, Zweig B40, Rohrspule 257, Zweige B49 und B30, Ionisationskopf 231, Zweig B24, Ionisation Kopf 219, die Pumpe 217, Zweige B15 und B39, zwei parallele Magnetspule 287 (siehe Fig.17D) Polarisator 289, Zweig B17, ionisierende und Filtereinheit 215, Zweige B16, B42 und B20, Ionisationskopf 229, Kathodenstrahlröhre 227, die Magnetspule 237, Ionisation Kopf 221, Zweig B23 und Magnetspule 266. Auch dies wird mindestens dreimal wiederholt. Der Schlüssel zu der Polarisation des Argon Polarisator 289 und zwei parallelen Magnetspule 287, die es umgibt. Polarisator 289 ist eine Glasflasche, die mit fein pulverisiertem Weicheisen, die leicht magnetisiert werden kann, gefüllt ist. Die gefüllte Flasche ist in der Tat, der Eisenkern der Spulen. Die Eisenpartikel, schließen sich die magnetischen Kraftlinien, die Linien strahlenförmig von der Mitte zum Nord- und Südpol. Das ionisierte Gasgemisch durch das magnetisierte Eisenpulver mittels Pumpendruck und Vakuum gezwungen, wodurch das Argongas Polarisieren. Filter 293 und 295 werden als um metallische Partikel aus dem Gas zu filtern gezeigt angeordnet.
Das Gemisch wird nun doppelt geprüft mittels Funkenkammer 251 bei Atmosphärendruck, da die Fusionsreaktion in der Maschine
bei einer Atmosphäre gestartet. Da die Gase in der Mischvorrichtung 201 sind bei einem Unterdruck muß
ausreichend Gase in Funkenkammer 251
gepumpt werden, um Atmosphärendruck zu erzielen. Um dies zu tun Ventile V33, V36 und V40A geschlossen und
Zirkulationspumpe 217 pumpt den
Gasen in der Mischvorrichtung über Zweige B15
und B39A, durch das Rückschlagventil in V39A Funkenkammer 251,
bis das Vakuum und die Druckmesser 242
zeigt an, daß die Gase innerhalb Abfunkkammer 251 bei Normaldruck. Ventil V34 wird geschlossen. Die Funkenkammer
ähnelt einer Nebelkammer. Sechs oder mehr Hochleistungsmessingkondensatorplatten
in der Kammer angeordnet 1/8 Zoll bis ¼ Zoll (6 mm zu 3 mm) auseinander. Eine
kleine Plastikbehälter hält das Thorium 232.
Eine Seite der Kammer ist mit einer dicken Glasscheibe, durch die Funken in der
Kammer beobachtet werden kann ausgestattet.
Ein Potential wird an den Messingplatten in der Kammer und das zwischen
den Platten fließt, wird gemessen, gegeben. Wenn dieser Strom entspricht genau
der Ionisationsstrom ist das Gemisch akzeptabel. Ein Unterschied von mehr als
5% ist nicht akzeptabel. Ein geringerer Unterschied kann durch Rückführung des
Gases in den Mischer und insbesondere durch Ionisation Messgerät 255, wie zuvor in dem
Zirkulationsschritt beschrieben, behoben werden. Ein zweiter Test wird dann die
Gase, die den ersten Test bestehen gegeben. Eine berechnete Hochfrequenzstrom
allmählich auf die Funkenkammer Kondensatorplatten auferlegt. Diese Erregung
bewirkt Neutronen aus dem Thorium 232, die, wenn die Mischung
zufriedenstellend, kann leicht als ein dünner Lichtfaden in der Kammer gesehen
werden emittiert werden. Wenn die Mischung nicht zufriedenstellend ist, kann
Licht Entladungen nicht zu sehen, und die Hochfrequenzschaltung wird kurz aus
und ausschalten, bevor die gewünschte Frequenz erreicht ist.
Um die Mischung Flasche wird das Ventil V33 geöffnet und die Ventile V36 und V40 geschlossen. Während der Abfüllung Polarisator 289, zwei parallele Magnetspule 287, Ionisationseinheit 215 und Vakuummessgerät 255 elektrisch erregt (alle elektrischen Systeme sind bereits abgefallen), um die Stabilität der Mischung zu verbessern. Die hergestellten Gase werden aus der Mischvorrichtung über Niederlassungen B24 und B16, Ionisationseinheit 215, Zweig B17 zurückgezogen, filtert 293 und 295, Polarisator 289, zwei parallele Magnetspule 287, Zweig B39, Ionenmessgerät 255, das Rückschlagventil V39A, Zweig B38 und Funkenkammer 251. Wenn gewünscht, nach der Abfüllung des Mischers kann durch Öffnen der Ventile V12, V13, V14, V23, V24, V29, V32, V57 und V59 erschöpft sein. Natürlich kann man auch die Brennstoffaufbereitungsprozess zu automatisieren kontinuierlich zu sein, damit es nicht notwendig sein, das Abgas.
Im Betrieb der Mischvorrichtung 201
müssen bestimmte Betriebsfaktoren berücksichtigt werden. Zum einen können keine
elektrischen Geräte an, ohne die Pumpe in Betrieb ist, weil ein elektrisches
Gerät, das auf es können neben Gas, das nicht zirkuliert beschädigen. Zum
anderen ist zu beachten, dass die gerichtete Katodenstrahlröhre 265, ungerichtete Kathodenstrahlröhre 227 und fokussierten Röntgenröhre 263 dienen verschiedenen Funktionen zu
unterschiedlichen Zeitpunkten in dem Mischvorgang werden. In einem Modus,
bieten sie Glühkathode Strahlung, die nur in einem Vakuum stattfinden kann.
Wenn Gase durch diesen Vorrichtungen strömt, bieten sie eine kalte
Kathodenentladung. Zum Beispiel, während Argon Polarisation und der
Zirkulationsschritt konzentrierte Röntgenröhre 263 steht unter Unterdruck und wirkt sich auf die durch
Heißkathodenstrahlung durch Ionisationskopf 240 strömenden Gasen. Während der Einführung der verschiedenen Gase
in die Mischvorrichtung 201 und
während der Rückführungsschritt, werden die Gase durch fokussierte Röntgenröhre
263, die die Gase durch eine kalte
Kathodenentladung beeinflußt fließt.
Es wird bevorzugt, dass jede schaltbare elektrische Komponente in der Mischvorrichtung 201 trotz der Tatsache, dass einer der Pole jeweils gemeinsam verdrahtet sein könnte in einem separaten Kreislauf angeschlossen werden. In einer gemeinsamen Erdungsschaltung, wenn ein Gerät eingeschaltet wird, alle anderen Einheiten aktivieren können, weil die Gase in der Vorrichtung sind leitend. Darüber hinaus, wenn eine Einheit auf einer gemeinsamen Leiter wurden mit Hochfrequenzstrom erregt wird, die anderen würden ebenfalls betroffen sein. In die gleiche Richtung, kann der Hochfrequenzstrom nicht verwendet werden, wenn die Kathodenstrahlröhren, die Röntgenröhren oder den Einleiter sind beheizt und unter Vakuum, weil die Heizung Filamenten ausbrennen.
Schließlich muss die Stromquelle, die variablen Gleichrichter und die elektrischen Messgeräten mehr als drei Meter von Mischvorrichtung 201, da der Hochfrequenzstrom ist schädlich für die Gleichrichter, wodurch sie durchbrennen oder Kurzschlüsse lokalisiert werden.
Es ist zu hoffen, dass eine kurze Zusammenfassung der von dem Erfinder in der
Erstellung dieser Erfindung verwendeten Begriffe wird hilfreich für den Leser
sein, wobei es sich versteht, dass diese Zusammenfassung ist in keiner Weise
beabsichtigt, die Ansprüche, die folgen oder ihre Gültigkeit berühren
begrenzen. Das erste Konzept ist die Verwendung eines inerten Gasgemisches bei
etwa einer Atmosphäre bei OT (bei Zündung) als Brennstoff in einem
Kernenergieproduktionsprozess. Das
zweite Konzept ist die Schichtung der verschiedenen Inertgasen, die Schichtung
ist entworfen, um die Eingangsenergie in den innersten Schichten während der
Pre-Spannung und die Zündung zu beschränken, um thermische Isolierung für den
Behälterwänden während und nach der Zündung zu schaffen, um Leistung von resultierenden
Sende die Zündung durch die Schichten der Reihe nach auf den Kolben, um den
Druck bei der Zündung erzeugt wird, um die Zylinderwände zu schützen
absorbieren, und um eine geordnete, vorhersehbare Positionierung des
Argonschicht während des UT nach OT Teils des Motorzyklus bereitzustellen. Das
dritte Konzept dieser Erfindung beinhaltet die Verwendung in einem Zylinder
eines Paares erzeugt, um Funktionen in dem anderen Zylinder des Paares
ausführen elektrischen Strom. Dieser Begriff umfasst die Teilkonzepte zum
Erzeugen elektrischen Stroms durch Atom Rekombination und der Stromerzeugungs
anstelle von der Drehung der geschichteten Inertgase in jedem Zylinder aufgrund
der geänderten Polarität der Ringspulen am UT resultierende aus vernünftige
Platzierung Spulen, zu erzeugen Magnetfeldlinien, die durch eine nahezu
perfekte Leiter (polarisierte Argon) abgeschnitten werden und von einer
Bewegung des fast perfekten Leiter durch das Magnetfeld.
Die vierte und fünfte Konzepte dieser Erfindung sind die Transformation von schnellen, intensiven, aber kurzer Dauer Kernreaktionen in Druck, der von Inertgas Inertgas übertragen wird, bis sie erzeugt lineare kinetische Energie auf den Kolben, die Energie in eine Drehbewegungsenergie umgewandelt wird, von einer Kurbelwelle, und die Verwendung eines Wellengenerator zur Strom beabstandeten Feldspulen im UT nach OT des Zyklus jedes Zylinders bereitzustellen.
Die sechste Konzept betrifft eine geeignete Vorbehandlung Erregung des Inertgases Kraftstoff und insbesondere umfasst die Teilkonzepte vorge Anregen des Kraftstoffs in der Mischprozess, der Manipulation der Ströme in den Spulen umgibt jeden Zylinder, zum Entladen der Kondensatoren umgibt jedes Zylinder zu vorbestimmten Zeiten in den Zyklen, verursachen einen Strom von elektrischen Teilchen zwischen den Elektroden und einer leitenden Abgabestelle fließen am Kolben emittieren Alpha-, Beta- und Gammastrahlung aus einer Anode und einer Kathode, die schwach radioaktiven Materials zur Kolbens Abwurfstelle, der die Beschleunigung der alpha, beta und gamma-Strahlen, die durch die Anwendung eines Hochspannungsfeld, und deren Situierung Kondensatorplatten 90 Grad von der Anode und der Kathode zu verlangsamen und zu reflektieren Neutronen während der Zündung erzeugt. Die siebte Gedanke besteht in der Bereitstellung eines Spalt Zündung Minute Granulat-Type, die Wärme aus dem bewirkt eine Minute Fusion als Folge der Zündkammer Form und Anordnung als Ergebnis der Kollision der Alpha-, Beta- und Gammastrahlung und die elektrischen Teilchen in einem Brennpunkt in Verbindung mit der Entladung der Kondensatoren, die den Zylinder durch die Elektroden umgibt, und als ein Ergebnis der Erhöhung des magnetischen Feldes in der Richtung der Bewegung jedes Kolbens.
US Patent 3.977.191 31. August 1976 Erfinder: Robert G. Britt
ATOMARE
AUSDEHNUNG REFLEX OPTIK POWERMOTOR QUELLE ("AEROPS")
ZUSAMMENFASSUNG
Ein Motor ist vorgesehen, die Luftverschmutzung und Lärm erheblich reduzieren wird durch die Bereitstellung einer geschlossenen System Motorstromquelle, die keine Abgas noch Einlasskanäle hat. Der Motor enthält einen sphärischen hohlen Druckkammer, die mit einer reflektierenden Spiegelfläche vorgesehen ist. Eine Edelgasgemisch in der Kammer wird durch Elektroden mit Energie versorgt und die Arbeit wird von der Expansion des Gasgemisches gegen einen Kolben abgeleitet.
ZUSAMMENFASSUNG DER ERFINDUNG
Ein Atomexpansionsreflexoptik -Energiequelle (AEROPS) Maschine, mit einem zentralen Kurbelwelle durch ein Kurbelgehäuse umgeben. Das Kurbelgehäuse weist eine Anzahl von Zylindern und eine Anzahl von Kolben in den Zylindern befindet. Die Kolben sind mit der Kurbelwelle durch eine Anzahl von Verbindungsstangen verbunden sind. Wenn sich die Kurbelwelle dreht, bewegen sich die Kolben in einer Hin- und Herbewegung innerhalb der Zylinder. Eine Anordnung bestehend aus einer Anzahl von hohlen, kugelförmigen Druckkammern, mit einer Anzahl von Elektroden und Hohlrohre mit Luftkühlrippen ist an der Oberseite jedes Zylinders angebracht. Die erforderlichen Dichtungen vorgesehen sind, wie erforderlich, um die komplette Motorbaugruppen von Atmosphärendruck zu versiegeln. Eine Einrichtung ist vorgesehen, um das hohle kugelförmige Druckkammeranordnung und die Motorkurbelgehäuse mit Edelgasgemischen durch eine Reihe von Ventilen und Rohren zu berechnen. Eine Quelle für Mittelspannungsimpulse an zwei der sich in jedem der Hohlkugeldruckkammern Elektroden angelegt.
Wenn eine Quelle von Hochspannungsimpulsen wird von einer elektrischen Drehverteiler Wechsel zu anderen, die sich in jedem der Hohlkugeldruckkammern in einem kontinuierlichen Zündfolge Elektroden angelegt, elektrische Entladungen stattfinden, in regelmäßigen Abständen in den verschiedenen Hohlkugeldruckkammern. Wenn die elektrische Entladungen stattfinden, sind hochenergetischen Photonen auf vielen verschiedenen elektromagnetischen Frequenzen freigegeben. Die Photonen treffen auf die Atome der verschiedenen gemischten Gasen, beispielsweise Xenon, Krypton, Helium oder Quecksilber bei unterschiedlichen elektromagnetischen Frequenzen, die jeweils selektiv empfindlich ist, und die Atome werden angeregt. Die ersten Photonen emittiert werden, zurück in die Masse der angeregten Atome durch eine reflektierende Spiegeloberfläche an der Innenwand eines bestimmten Hohlkugeldruckkammer reflektiert und dies löst mehr Photonen von diesen Atomen freigegeben. Sie sind ebenfalls reflektiert und treffen auf andere Atome in Erregung und Photonenenergie Release. Die Elektronen umkreisen den Protonen jedes angeregte Atom in jeder Hohlkugeldruckkammer Erhöhung der Geschwindigkeit und nach außen von der Mitte aus zu erweitern über Zentrifugalkraft verursacht die Atome auf das Bild in der Größe. Folglich wird eine Druckwelle entwickelt wird, die Gase ausdehnen und der Druck des Gases erhöht.
Wenn die Gase expandieren, wird der erhöhte Druck auf die Oberseite der Kolben in den einzelnen Zylindern selektiv durch den elektrischen Verteiler gebrannt aufgebracht. Die Kraft periodisch zu den Kolben aufgebracht wird, um die Verbindungsstangen, welche die Kurbelwelle drehen, um Drehkraft zu erzeugen übertragen. Drosselventile und Verbindungsrohre bilden einen Bypass zwischen gegenüberliegenden Hohlkugeldruckkammern jedes Motorbereich, wodurch ein Mittel zur Kontrolle der Motordrehzahl und Leistung bietet. Die Mittel, durch die angeregten Atome werden in den normalen Mindestenergie im Grundzustand und minimalen Druckpegel zurückgekehrt ist, wird durch Unterbrechung der elektrischen Entladung zwischen den Mittelspannungselektroden, durch Kühlung der Atome zur Verfügung gestellt, wie sie durch eine Wärmeübertragungsanordnung übergeben und durch die Erhöhung der Volumenbereich oberhalb der Kolben am unteren Ende ihres Arbeitshubs. Die AEROPS Motor wie oben beschrieben eine versiegelte Einheit Stromquelle, die keine Lufteinlass noch Abgas hat. Die AEROPS Motor ist daher umweltfreundlich.
KURZE ZIEL DER ERFINDUNG
Diese Erfindung betrifft die Entwicklung eines Atomexpansionsreflexoptik -Energiequelle (AEROPS) Motor, mit den Vorteilen einer höheren Sicherheit, Wirtschaftlichkeit und Effizienz gegenüber den im Stand der Technik offenbart. Die Hauptaufgabe der vorliegenden Erfindung ist es, einen neuen Motor-Power-Technologie, die Luftverschmutzung und Lärm erheblich reduziert werden, durch die Bereitstellung einer geschlossenen System Motorstromquelle, die keine Abgas noch Einlasskanäle aufweist.
Die Motorleistung wird durch die Erweiterung der Atome verschiedener Edelgasgemische zur Verfügung gestellt. Der Druck der Gase nimmt in regelmäßigen Abständen, um die Kolben und die Kurbelwelle in den Motor zu fahren, um einen sicheren Drehkraft zu erzeugen. Die Aufgaben und andere Vorteile der vorliegenden Erfindung werden besser verständlich, die Fachleuten auf dem Gebiet verstanden werden, wenn im Licht der beigefügten Zeichnungen betrachtet wird.
KURZE BESCHREIBUNG DER ZEICHNUNGEN
Fig.1 ist eine Seitenansicht der Hohlkugeldruckkammeranordnung, die Quellen von Gasgemischen und elektrische Versorgungs:

Fig.2 ist eine Seitenansicht des primären Motor Krafthub:

Fig.3 ist eine Seitenansicht des primären Motor Kompressionshub:

Fig.4 ist eine Rückansicht eines Sechszylindermotors "AEROPS":

Fig.5 ist eine Draufsicht auf die Sechszylinder-Motor "AEROPS":

Fig.6 ist ein elektrisches Schaltbild der Quelle für Mittelspannungs:

Fig.7 ist ein elektrisches Schema der Quelle von Hochspannungs:

DETAILLIERTE BESCHREIBUNG

Mit Bezug auf Fig.1 der Zeichnungen umfasst der AEROPS Motor ein Hohlkugeldruckkammer 1 mit einer isolierten Hochspannungselektrode 2 auf der Oberseite, einen isolierten Mittelspannungs-Elektrode 3 auf der rechten Seite angebracht ist, und einen isolierten gemeinsamen Masseelektrode 4 auf der linken Seite montiert ist, wie in diesem besonderen Darstellung gezeigt. Elektroden 2, 3 und 4 erstrecken sich durch die Wand der Hohlkugeldruckkammer 1 und jede Elektrode eine Druckdichtung bildet. Eine Mehrzahl von Hohlrohren 5 in einem zylindrischen Muster angeordnet, erstrecken sich durch die Wand der Hohlkugeldruckkammer 1, und jede hohle Röhre ist mit der Druckkammer angeschweißt, um eine Druckdichtung zu bilden. Die gegenüberliegenden Enden der Hohlrohre 5 erstrecken sich durch die Montageplatte MP und ebenfalls verschweißt, um eine Druckdichtung zu bilden. Eine Mehrzahl von Wärmeübertragungsrippen 6 sind in Abständen entlang der Länge geschweißt der Hohlrohre 5. Eine helle reflektierende Spiegelfläche 7 ist auf der Innenwand des Hohlkugeldruckkammer 1. Eine Quelle von Hochspannungs 8 bereitgestellt wird periodisch verbundenen mit den isolierten Hochspannungselektroden 2 und 4. Eine Quelle für Mittelspannungs 9 von einem Entladungskondensator mit dem isolierten Mittelspannungs-Elektroden 3 und 4 verbunden ist eine Quelle von Edelgasgemischen 10, beispielsweise Xenon, Krypton, Helium und Quecksilber unter Druck in der Hohlkugeldruckraum 1 durch das Druckregelventil 11 angelegt wird und das Rückschlagventil 12.

Bezugnehmend nun auf Fig.2 der Zeichnungen ist die in Fig.1 gezeigte komplette Baugruppe 13 auf der Oberseite des Zylinders 14 über die Montageplatte MP befestigt. Die erforderlichen Dichtungen oder andere Mittel vorgesehen sind, um den Motor zu versiegeln und den Verlust von Gasen zu verhindern, in die Atmosphäre. Der Kolben 15 im Zylinder 14 angeordnet hat mehrere Ringe 16, welche die Dichtung gegen die Innenwand des Zylinders. Der Kolben 15 ist mit der Kurbelwelle 17 durch die Verbindungsstange 18. Die Quelle von Edelgasmischungen 10 wird unter Druck in dem Kurbelgehäuse 21 über Druckregelventil 11 angelegt wird, das Rückschlagventil 12 und Kapillarrohr 19. Der Kolben 15 ist nun ausgeglichen zwischen gleich Gasdrücken. Unter der Annahme, dass der Motor läuft und der Kolben 15 nur auf der oberen Totpunkt (OT), eine Quelle für Mittelspannungs aus einer Kondensatorentladungssystem 9 (Fig.6 eine einzelne typische Kondensatorabschnitt) wird an die Elektroden 3 angelegt wird und 4. Eine Quelle von Hochspannungsimpulsen aus einer Standard Zündspule 8 (wie in Fig.7 gezeigt) an die Elektroden 2 und 4 und der Gase in der Hohlkugeldruck angelegt Kammer 1 ionisiert und elektrisch leitfähig gemacht. Eine elektrische Entladung findet zwischen den Elektroden 3 und 4 durch die Gase in der Hohlkugeldruckkammer 1.
Die elektrische Entladung Mitteilungen hochenergetischen Photonen auf vielen verschiedenen elektromagnetischen Frequenzen. Die Photonen treffen auf die Atome der verschiedenen Gase, beispielsweise Xenon, Krypton, Helium und Quecksilber bei unterschiedlicher elektroFrequenzen, zu denen jedes Atom selektiv empfindlich und die Atome von jedem Gas erregt werden. Die ersten Photonen emittiert werden, durch die reflektierende Spiegelfläche 7. Dies löst mehr Photonen von diesen Atomen freigesetzt werden zurück in die Masse der angeregten Atome reflektiert und sie ebenfalls von der Spiegelfläche 7 reflektiert und treffen auf andere Atome in Anregungs- und mehr Photonen freigesetzt, wie die Kettenreaktion fortschreitet. Die Elektronen in der Umgebung der Protonen jedes angeregte Atom Geschwindigkeitssteigerung umlaufenden und sich nach außen in einer neuen Schwingmuster erweitern auf einen Anstieg in Zentrifugalkraft. Folglich wird eine Druckwelle in den Gasen der Gesamtdruck der Gase innerhalb der Hohlkugeldruckkammer 1 zunimmt entwickelt, wie die Atome weiter. Wenn die Gase dehnen sie sich durch die Hohlrohre 5 übergeben und Druck auf die Oberseite des Kolbens 15. Der Druck drückt den Kolben 15 und die Kraft und die Bewegung des Kolbens wird durch die Pleuelstange 18 auf die Kurbelwelle 17 übertragenen Drehung in eine Uhrzeigersinn. An diesem Punkt des Betriebs wird der Arbeitshub beendet ist und der Kondensator in der Mittelspannungs-Kondensatorentladungssystem 9 ausgetragen wird. Die angeregten Atome in den normalen Grundzustand und die Gase wieder in den normalen Druckpegel. Der Kondensator in der Mittelspannungs-Kondensatorentladungssystem 9 wird während der Zeitperiode zwischen (OT) Arbeitshübe aufgeladen.

Bezugnehmend nun auf Fig.3 der Zeichnungen wird die Kompressionstakt des Motors gezeigt. In diesem Maschinenzyklus die Gase über dem Kolben durch die Rohre der Wärmeübertragungsanordnung wieder in der Hohlkugeldruckkammer gedrückt. Die Gase werden gekühlt, während die Wärme in den Rippen der Wärmeübertragungsanordnung geleitet und von diesem weg durch einen Luftstrom durch die Rippen getragen. Ein Beispiel ist in Fig.4, der Schleuderluftpumpe P bietet eine Luftdruckwelle nach wie Flossen gezeigt.

Einige der grundlegenden Elemente der Erfindung, wie in Fig.1, Fig.2 und Fig.3 gesetzt werden jetzt in Fig.4 und Fig.5, die alle Details eines Sechszylinder-Boxermotor "AEROPS" zeigen gezeigt.
Unter Bezugnahme auf Fig.4 und Fig.5 der Zeichnungen. Fig.4 ist eine Ansicht des hinteren Abschnitts des Motors, welche die Kurbelwelle Mittelachse und zwei der sich horizontal gegenüberliegenden Zylindern. Soweit der Rückseite R, Mitte M und vor F Abschnitte der Maschine besitzen identische Merkmale, nur der hintere Abschnitt R Motor hängt im Detail, um Wiederholungen zu vermeiden und im Interesse der Vereinfachung erarbeitet werden. Die Kurbelwelle 17A besteht aus drei Kurbeln 120 Grad voneinander in einer 360-Grad-Kreis angeordnet, wie gezeigt. Beide Schubstangen 18A und 18B sind mit dem gleichen Kurbel verbunden. Ihren entgegengesetzten Enden verbinden, um die Kolben 15A und 15B, die in Zylindern 14A und 14B angeordnet. Jeder Kolben Druckdichtringe 16A und 16B. Die Hohlkugeldruckkammer Baugruppen, bestehend aus 1A und 1D auf Zylinder 14A und 14B über Montageplatten MP montiert. Die erforderlichen Dichtungen vorgesehen sind, wie erforderlich, um die komplette Motorbaugruppen von Atmosphärendruck abdichten.

Die Quelle des Gasgemische 10A unter Druck auf Druckregelventil 11A über das Rückschlagventil 12C auf der Hohlkugeldruckkammer 1D aufgebracht und fließt durch das Rückschlagventil 12A, durch das Rückschlagventil 12B mit dem Hohlkugeldruckkammer 1A, und Der Gasstrom-Netzwerk aus Kapillaren unter Punkt 19A stellt den Strom der Gase zu dem hinteren Abschnitt R des Motors. Der Mittelabschnitt M und der vordere Abschnitt F beide Gasstrom Netze identisch mit dem aus Kapillaren unter Punkt 19A, während der Gasstrom über Netzwerk ist für alle Motorteile. Drosselventil 20A und das Verbindungsrohr bilden eine variable Bypass zwischen Hohlkugeldruckkammern 1A und 1D der Motordrehzahl und die Macht zu kontrollieren. Motorabschnitte R, M und F jeweils diese Bypassdrossel Netzwerk. Die drei Drosselklappen haben ihre Steuerwellen sie verbunden sind. Eine Quelle für Mittelspannungsimpulse 9A an Mittelspannungselektroden 3A und 3D verbunden. In einer besonderen Ausführungsform der Mittelspannung 500 Volt. Eine Quelle von Hochspannungsimpulsen 8A ist mit 2A durch die Verteilerelektrode, wie gezeigt. Elektrode 4A ist eine gemeinsame Basis verbunden. Zentrifugal-Luftpumpen P Kraft Luft durch Wärmeübertragungsrippen 6A und 6B, die in der Röhren 5A und 5B strömenden Gase zu kühlen.
Fig.5 ist eine Draufsicht auf die “AEROPS” Motor, der die sechs Zylinder und Kurbelwellenanordnung aus der Rückseite R, Mitte M und vor F Abschnitte. Die Kurbelwelle 17A auf Lagern B angebracht, und ein Mehrfachwellendichtung S ist, sowie die erforderlichen Dichtungen an anderen Stellen, um einen Verlust von Gasen in die Atmosphäre zu verhindern. Die Hohlkugeldruckkammern 1A, 1B, 1C, 1D, 1E und 1F sind detailliert mit Hochspannungselektroden 2A, 2B, 2C, 2D, 2E, 2F und Mittelspannungselektroden 3A, 3B, 3C, 3E und 3F gezeigt. Der gemeinsame Masseelektroden 4A, 4B, 4C, 4D, 4E, 4F sind nicht in Fig.5 gezeigt, sind aber typisch für die gemeinsamen Masseelektroden 4A und 4D in Fig.4 gezeigt. Es sollte beachtet werden, dass die Kurbeln an der Kurbelwelle 17A sind so angeordnet, um direkt gegenüberliegenden Zylindern anstatt eines herkömmlichen versetzten Zylinderkonstruktion bereitzustellen.

Fig.6 ist ein elektrisches Schaltbild der Quelle für Mittelspannungs 9A. Der vollständige Betrieb des Wandlers wird wie folgt erläutert: Die Batteriespannung 12 V Gleichstrom angelegt wird, um T1, der Ströme verursacht durch die Widerstände R1, R2, R3 und R4 geben Transformator. Da es nicht möglich, diese beiden Wege in Widerstand genau gleich sein, wird eine Hälfte der Primärwicklung von T1 eine etwas höhere Stromfluss. Unter der Annahme, dass der Strom durch die obere Hälfte der Primärwicklung ist etwas höher als der Strom durch die untere Hälfte, die in den beiden Rückkopplungswicklungen (die Enden bis R3 und R2) entwickelt Spannungen neigen dazu, den Transistor Q2 an und der Transistor Q1 auszuschalten. Die erhöhte Leitfähigkeit des Q2 verursacht zusätzliche Strom durch die untere Hälfte der Primärwicklung des Transformators fließt. Der Anstieg des Stroms induziert Spannungen in den Rückkopplungswicklungen, treibt ferner Q2 leitend und Q1 in Abschaltung, dem gleichzeitig Energie an die Sekundärseite des T1. Wenn der Strom durch die untere Hälfte der Primärwicklung von T1 einen Punkt, wo sie nicht mehr durch Erhöhung des Widerstandes der Primärkreislauf und eine Sättigung des Transformatorkerns erreicht, über dem Transistor an das Signal von der Rückkopplungswicklung auf Null fällt und dadurch Drehen Q2 aus. Der Strom in diesem Abschnitt der Primärwicklung Tropfen sofort, was zu einem Zusammenbruch des Feldes um den Wicklungen T1. Dieser Kollaps in Feldfluß, quer durch alle der Wicklungen im Transformator entwickelt Spannungen in den Transformatorwicklungen, die in entgegengesetzter Polarität, die von dem ursprünglichen Feld entwickelten Spannungen. Diese neue Spannung treibt jetzt Q2 in Abschaltung und treibt Q1 leitend. Das zusammenfallende Feld gleichzeitig liefert Energie an die Sekundärwicklungen L1, L2, L3, L4, L5 und L6. Die Ausgangsspannung der einzelnen Wicklungen über die Widerstände R5, R6 und R7 und die Diode Gleichrichter D1, D2, D3, D4, D5 und D6 wurden, wodurch die Kondensatoren C1, C2, C3, C4, C5 und C6 sind mit einem Medium angeschlossen zu -Spannung Potential der gezeigten Polarität. Die Ausgangsspannung wird an den Punkten 3A, 3B, 3C, 3D, 3E und 3F zur Verfügung gestellt die den jeweiligen Mittelspannungs-Elektroden, die auf den Motor in Fig.4 und Fig.5 gezeigt verbunden sind.

Bezugnehmend nun auf Fig.7 der Zeichnungen stellt eine herkömmliche "Kette" Zündsystem eine Quelle von Hochspannungsimpulsen 8A von etwa 40.000 Volt zu einem Verteiler, der selektiven Ausgangsspannung an 2A, 2B, 2C, 2D, 2E und liefert 2F, die den jeweiligen Hochspannungs-Elektroden, die auf den Motor in Fig.4 und Fig.5 gezeigt verbunden sind. Der Verteiler wird von der Kurbelwelle des Motors 17A (Fig.5) um eins zu eins mechanische Übersetzung angetrieben.
Unter erneuter Bezugnahme auf Fig.4 und Fig.5 der Zeichnungen ist der Betrieb des Motors wie folgt: Unter der Annahme, dass eine Quelle von Edelgasgemischen, beispielsweise Xenon, Krypton, Helium und Quecksilber unter Druck in die Hohlkugeldruck angelegt Kammern 1A, 1B, 1C, 1D, 1E und 1F und intern mit dem Kurbelgehäuse 21A durch Druckregelventil 11A und die Rückschlagventile 12A, 12B und 12C; und die Source des Mittelspannungs 9A angelegt wird, um 3A, 3B, 3C, 3D, 3E und 3F Elektroden; und eine Quelle von Hochspannungsimpuls 8A angelegt wird um 2A durch den Steuerverteiler-Elektrode ist der Gasgemische in der Hohlkugeldruckkammer 1A ionisiert und eine elektrische Entladung erfolgt unmittelbar zwischen den Elektroden 3A und 4A.
Hochenergie-Photonen werden auf vielen verschiedenen elektromagnetischen Frequenzen freigegeben. Die Photonen treffen auf die Atome der verschiedenen Gase, beispielsweise Xenon, Krypton, Helium und Quecksilber bei unterschiedlicher elektroFrequenzen, zu denen jeweils besonders empfindlich ist, und die Atome jedes Gas erregt werden. Die ersten Photonen emittiert werden, zurück in die Masse der angeregten Atome durch die nach innen reflektierende Spiegeloberfläche an der Innenwand des Hohlkugeldruckkammer 1A reflektiert. Dies löst mehr Photonen von diesen Atomen freigesetzt werden, und sie ebenfalls von der Spiegeloberfläche reflektiert werden, und treffen auf andere Atome in Anregungs- und mehr Photonen freigesetzt als die Kettenreaktion fortschreitet. Die Elektronen umkreisen den Protonen jedes angeregte Atom in der Hohlkugeldruckkammer 1A Geschwindigkeitssteigerung und nach außen in einer neuen Schwingmuster erweitern auf einen Anstieg in Zentrifugalkraft. Folglich wird eine Druckwelle in den Gasen der Gesamtdruck der Gase innerhalb der Hohlkugeldruckkammer 1A ansteigt entwickelt, wie die Atome weiter.
Wenn die Gase expandieren sie passieren durch die Hohlrohre 5A Aufbringen von Druck auf die Oberseite des Kolbens 15A. Die Kolben 15A ausgeübte Druck wird über die Verbindungsstange 18A an der Kurbelwelle 17A ein Drehen im Uhrzeigersinn übertragen. Da die Kurbelwelle 17A dreht sie drückt den Kolben 15B über Verbindungsstange 18B in Richtung eines Kompressionshubs, zwingt die Gase auf die Oberseite des Kolbens durch Hohlrohre 5B in der Hohlkugeldruckkammer 1D. Wenn die Gase durch die Hohlrohre 5A und 5B übergeben die in den Gasen enthaltene Wärme wird in die Wärmeübertragungsrippen 6A und 6B, wo es durch eine Explosion von Luft, die durch die Rippen von der Zentrifugalkraft Luftpumpen P. Auf diese abgeführt geführt Betriebspunkt der Arbeitshub des Kolbens 15A abgeschlossen ist und der Kondensator in der Mittelspannungs-Kondensatorentladungssystem 9A abgegeben wird. Die angeregten Atome in den normalen Grundzustand und die Gase wieder in den normalen Druckpegel. Der Kondensator in der Mittelspannungs-Kondensatorentladungssystem 9A wird während der Zeitperiode zwischen den Arbeitshüben der Kolben 15A aufgeladen.
Die oben Krafthub Zyklus auftritt genau das gleiche in den übrigen Zylindern als die Hochspannungs Zündfolge verläuft in Bezug auf die Position des Verteilerschalters. Wie der “AEROPS” Motor sechs Power-Schläge pro einzelne Kurbelwelle Revolution, liefert die Laufwerke in der Kurbelwelle der Verteilerläufer im Verhältnis eins zu eins-Welle. Der komplette Hochspannungs Zündfolge 1, 4, 5, 2, 3, 6, während sich die Hochspannung an 2A, 2B, 2C, 2D, 2E und 2F jeweils Elektroden. Ein Mittel zur Kontrolle der Motordrehzahl und die Leistung wird durch eine Vielzahl von Drosselventilen und Verbindungsrohren, die einen Bypass zwischen gegenüberliegenden Hohlkugeldruckkammern jedes Maschinenabschnitts zu bilden.
Die “AEROPS” Motor wie oben beschrieben eine versiegelte Einheit Stromquelle, die keine Lufteinlass noch Abgas hat und ist somit umweltfreundlich.
Vor kurzem einige zusätzliche Informationen über Floyd Sweet-Gerät, hat öffentlich von einem Mitarbeiter von Floyd, der gerade mit seinem Vornamen von "Maurice" und wer geht entlassen worden, nachdem er erreicht das Alter von siebzig Jahren hat entschieden, dass es Zeit ist, diese zusätzlichen Informationen veröffentlichen.
Maurice sagt: Nach
Beobachtung der Kommentare im vergangenen Jahr über die Sweet-VTA Energiegeräte
gemacht, beschloss ich, "aus der Versenkung kommen" und erklären, was
im Grunde ist nicht bekannt, über Floyd Süß ("Sparky") und seine
Energie-Gerät.
Denken Sie daran, was
ich bin 70 Jahre alt, sehr Computer-Analphabet, mein Hintergrund Als
hauptsächlich Politikwissenschaft (Hochschulabschluss); Rücksprache mit State
gesetzgebende, Mental Health (ehemaliger Exekutivdirektor des fünf Kliniken);
und, den Erwerb Venture Capital für High Tech. Ausrüstung (wie medizinische
Geräte) und verschiedene Projekte. Meine Geschichte ist sehr ungewöhnlich und
seltsam, aber trotzdem WAHRE! In meinem Alter habe ich niemanden, mit dem, was
ich Ihnen sagen, zu beeindrucken. Mein einziges Interesse ist, um Fehler
möglichst zu korrigieren und bestimmte Informationen bekannt!
Denken Sie daran, dass
ich noch nie eine Ausbildung in der Elektronik hatte. Das war ein echter
Vorteil für mich, denn ich hatte keine elektrischen Prinzipien, die ich hatte,
um UN-LERNEN in alles, was Floyd sagte uns haben. Leider, einer meiner Brüder,
die seit 35 Jahren in der Elektronik ausgebildet wurde "weggeblasen",
wenn Floyd sagte ihm, dass "er brauchte, um die Konzepte, die er über die
Wirkung eines Elektronen gelehrt umkehren und behandeln sie wie es war
positiv". Daher ist für Sparkys Modellierung Elektronen fließen und in der
Gegenrichtung zu dem, was in der Regel durch einen geschulten Physiker
modelliert wirkt. Sehen Sie, was ich meine? Der Dekan der School of Science des
MIT, die überprüft, dass Sparky hatte eine MSEE Grad und wurde Dritter in
seiner Klasse von mehr als zweihundert.
Hoffentlich
aufrichtige Forscher in der Lage, einige nützliche Informationen in dem, was
ich versuche, in die Zukunft, die ihnen helfen, zu duplizieren, was Floyd hatte
erklären, zu erhalten. In dieser Hinsicht, einen Tag nach Floyd hatte
wiederholt fragte mich: "Was ist das Gerät Maurice?" und ich gab ihm
immer wieder die falsche Antwort und sagte, dass es eine Energie-Gerät war,
wurde mir schließlich klar, dass das, was ihm wichtig war, war, dass er für das
Gerät eine Zeitmaschine sein - die Betonung nicht auf der Energie. Er sagte
mir, nie zu vergessen, dass das Wichtigste war, dass das Gerät ein "Time
Machine".
Maurice lenkt die
Aufmerksamkeit auf die Tatsache, dass Floyd Süßer Abschluss als MSEE vom
Massachusetts Institute of Technology im Jahr 1969 und seine Diplomarbeit
"Dynamics of Magnetic Domains" wird durch das MIT als Wissenschaft in
Magnetkonzepte beispiellose werden. Er erhielt den begehrten Deans Award für
seine wissenschaftliche Forschung und seiner akademischen Ebene in
Elektrotechnik Leistung den dritten Platz in der Geschichte des MIT School of
Science. Er hat ein außergewöhnliches Talent auf dem Gebiet der
Ingenieurmathematik nicht auf sein Konzept der elektromagnetischen und der
damit verbundenen elektrischen Erscheinungen und das Verständnis der abstrakten
immateriellen Anlagen benötigt die unvorhergesehene, vorherzusagen, zu
erwähnen.
Maurice sagt: In über
1988 John, der meine zwei Brüder und ich waren mit im Bereich High Tech
beteiligt erkannte, dass mein Bruder, der Arzt (Doktor Bruder) war,
interessierte sich negative Energie Produkte für die Behandlung des physischen
Körpers (ähnlich wie Rife / Tesla Frequency Machines). John war früher bei der
NASA mit Floyd Süße eingesetzt. John
lebte in Kalifornien in der Nähe von Floyd (Sherman Oaks).
Mein Arzt Bruder und
ich wurden von John Floyd eingeführt und wir geduldig gewartet, für die Zeit,
in der wir die VTA-Gerät zu sehen. Wir sahen sie auf den Tisch in seinem Haus
während der verschiedenen Besuche, aber es war nicht in Betrieb. Floyd war wie
viele Erfinder, die Spiele mit Ihnen gespielt. Jedes Mal, wenn wir 13 Stunden
zu fahren, um zu sehen ihn denken wir konnten sehen, das Gerät arbeitet, aber
er eine Entschuldigung dafür, nicht einschalten zu müssen würde, sonst hätte er
gerade den Zweck unserer Reise zu ignorieren.
Bei einem Besuch,
schaute ich hinüber zu Floyd und er war "Angeberei" seine
Bariumferrit Stabmagneten. Der Magnet war ungefähr 1/2 Zoll dick, 7 Zoll lang
und 3 Zoll breit. Er hatte ein kleines Stück Metall, das auf der Oberseite des
Magneten stand in einem 45 Grad-Winkel. Soweit ich mich erinnere, behauptete
er, dass die 45-Grad-Winkel wurde in der Behandlung des Magneten benötigt, so
dass es Skalarwellen erfassen könnte. Die Magnete wurden vor allem die als ein
"Tor" für die Skalarwellen. Außerdem, wenn Sie legte ein Stück dünner
"flexibel" (Bandtyp) Metall flach auf der Oberseite des Magneten,
würde die Mitte des "Bandmetall" sein "saugte" flach in der
Mitte des Magneten und den beiden Enden die "Band Metall" würde
verneigte-up an den Enden des Magneten sein. Auch wurde mir von einem anderen
Erfinder verstehen, dass wir später eingeführt, um Floyd, dass der
"Acht" Design (Flussstrom?) Auf der Oberseite des Magneten spielte eine
wichtige Rolle in der Funktionsweise des Magneten - ich weiß nicht wirklich
wissen, über das Konzept und kann zusätzliche Informationen nicht weiterleiten.
Ein
weiterer Besuch demonstriert Floyd den fließenden Fluss des Magneten. Er hatte
einen TV-Monitor und er würde die Magnet durch den Bildschirm platzieren und
sah man die schönen Farben des Flusses als es zog über den Bildschirm. Mein
Elektronik-Bruder erzählte mir, dass Floyd ihm gesagt hatte, dass er eine
Möglichkeit der Behandlung der Magnet über die Kalibrierung des skalaren Welle
Winkels kommt mit dem TV-Monitor hatte. Eine Randnotiz ist, dass Floyd erfreute
sich an sagen, Leute, wenn sie gefragt, wie er seine Magneten behandelt, sie
sollten zuerst die Magnete heiß. Dies offenbar "vermasselt"
Magnetismus und er genoss dies aus irgendeinem seltsamen Grund zu tun!
Schließlich,
nach 12 Fahrten in der kalifornischen Wüste verständigt Floyd zeigen uns das
Gerät in Betrieb. In seiner Verteidigung Floyd behaupten einige
Demonstrationen, dass seine Magnete "pulverisiert worden hatte" von
künstlichen Erdbeben durch Mexiko kommen früher geplant. Er entwarf eine Art
Puffer in das Gerät, das das Problem beseitigt, aber es war eine andauernde
Problem für eine Zeit. Das erinnert mich jetzt, ich schweife ab muss, weil ich
Ihnen sagen, über die Regierung (oder wer?) Beteiligung bei uns muss.
Als
wir anfingen, Floyd zu besuchen, waren unsere Telefone "hörte alle"
Ich weiß nicht von wem -. Mein Elektronik-Bruder arbeitete Vollzeit mit der Air
National Guard und seine Spezialität war elektronische Sicherheit, Crypto, etc.
in unserer Region und die umliegenden Staaten mit SAC-Basen gebunden. Darüber
hinaus hatte er Set up "Reinraum" für den Präsidenten der Vereinigten
Staaten bei seinem Besuch in unserem Staat. Ich erwähne dies, weil auch meine
Elektronik-Bruder Anfangs zweifelhaft war, dass wir alle überwacht wurden. Bei
einer Gelegenheit hatte mein Arzt Bruder seine komplette vorherige
Telefongespräch wiedergegeben zu ihm, wenn er Telefon (zwanzig Minuten ans) -
Ich glaube, es war wohl eine Art "Versager" Wer war unsere Telefone
überwachen. Meine größte Beschwerde war die konsequente am frühen Morgen 03:00
Anruf und dann ein "auflegen", wenn Sie beantwortet, aus welchem
Grund, ich weiß nicht, andere als Belästigung Zwecken.
Ich
gebe Ihnen die oben genannten Informationen, damit Sie, die schwere verstehen
können der was wir involviert waren.
Floyds
Energievorrichtung war vor allem drei Dinge:
(1)
Es war eine heilende Gerät - negative Elektrizität - negative Zeit. In der
Theorie erneut die Vorlage in Ihrer DNA mit dieser Energiequelle festlegen und
daher reinigen den Körper von allen Unreinheiten, die Ihre Vorfahren im Laufe
der Zeit erworben hatte. Darüber hinaus könnte Sie aktuelle Krankheit
(Viren/Bakterien) im Körper mit den richtigen Frequenzen töten, und dies alle
anderen Körperzellen nicht stören. Deshalb Floyd mein Arzt-Bruder zu helfen,
das richtige medizinische Protokoll für seine Technologie erreichen
erforderlich. Darüber hinaus Wenn Sie im Anhang dieser e-Mail Personalaufwand
beachten, ist eine einzeilige Element der Ausgaben für AIDS-bezogene
Materialien in denen Floyd und mein Bruder der Doktor ein wirkliches Interesse
hatte. Mein Arzt Bruder hatte ein Abkommen mit Floyd, drei medizinischen
Interferometer zu bauen, die alle einen Edelgas-Plasma in ihnen müssten. Ich
sah tatsächlich eines dieser Geräte in Betrieb. Am Ende der (ca. 20 Zoll lang)
röhrenförmige Struktur, die Sie spüren konnte, eine Taktung, ausgegeben am Ende
des Rohres an welchem Teil des Körpers wollte dich behandelt. Mein Bruder der
Doktor hatte zwei Interferometer von Floyd, die ungefähr 4 Fuß langen waren
bestellt.
(2)
das VTA-Energie-Gerät ist wohl der weltweit schlimmsten Waffe. Floyd behauptete
wie Nicola Tesla, führen Sie "künstliche Erdbeben" - neben Gebäude
zerstören. Als ich von den Leuten in der Welt Intelligenz, die wir verstanden
nach de informiert sahen wir das Gerät betreiben, drei Länder haben sogenannte
"Tesla-Kanone;" Russland, Amerika und ich haben nie herausgefunden, die
das dritte Land war. Wie bereits erwähnt, ist diese Energiequelle was
deaktiviert Floyds VTA Ausrüstung über viele Monate, bis er seine
"Puffer" in seinem Gerät integriert hat. Darüber hinaus ist, warum
die Bundesregierung solch ein Interesse hatte an was wir mit Floyd während der
Zeit Taten, die wir mit ihm verbracht.
(3)
das Gerät wurde eine Energie-Quelle für zu Hause (könnte negativen Energie in
positive Energie zu ändern). Es war auch eine Energie-Quelle für das Auto und
viele andere Zwecke. Die Kosten für den Bau eines dieser Energie-Geräte war nur
ungefähr US $200,00 - unglaublich!
Beschreibung der
VTA-Gerät:
Am Tag, den wir
endlich zu sehen, das Gerät in Betrieb, hatte mein Arzt-Bruder und ich
schließlich meinen Elektronik-Bruder um uns in Sherman Oaks, Kalifornien, die
Demonstration zu sehen begleiten überzeugt. Mein Bruder der Doktor und ich
machte die vorläufigen Reisen, Floyd abzüglich unserer Elektronik-Bruder zu
sehen, weil er buchstäblich einen "Ungläubigen Thomas", als stark
involviert im Bereich Elektronik und voll von Maxwells Theorien der Elektronik,
etc. war. Ja, könnte man sagen, dass er eine traditionelle Elektronik-Person
war. Aber aus diesem Grund wir brauchten mein Elektronik-Bruder, unsere
BÜHNENZAUBERER zu sein, für den Fall, dass das Gerät war nicht, wie es
dargestellt wurde, um zu sein. Wir hatten einen anderen Zeugen
"Gary", ein Mitarbeiter von mir war, bringen in der
Venture-Capital-Finanzierung, wenn das Gerät erwies sich als geltend gemacht
werden.
Der Tag, wenn wir der
VTA Gerät in Betrieb Zeugen, ist eine die ich nie vergessen werden. Um
tatsächlich ein Gerät arbeiten, sehen die Kosten nur $200 Dollar zu machen und
die die saubere Energie schaffen könnten, die Sie jemals brauchen würde, war
der "Hammer". Ich weiß, ich
"verändert worden sein" seitdem zu wissen, dass ein solches Gerät
existiert. Jetzt für eine kurze Beschreibung des Gerätes:
Dies sind keine
genauen Messungen aber nur Annäherungen. Das Gerät wurde auf was ich glaube,
"Plexiglas" (Acryl). Nichts verborgen war. Sie konnte alles sehen,
oben und unten durch den Kunststoff. Plexi-Glas-Konstruktion war etwa 18 Zoll
Quadrat. Wir durften das Gerät zur Abholung und um Floyds Wohnzimmer tragen,
damit Sie sehen kann, gab es keine anderen elektrischen Verbindungen darauf.
Am Anfang der
Plexi-Glas-Fall gab es drei toroidal Spulen gewickelt mit dünnen Wicklungen aus
lackiertem Kupferdraht. Es gab zwei Barium-Ferrit-Bar Magnete (ca. 7 Zoll x 3
Zoll x 1/2 Zoll). Heute war ein Volt-Meter die 120v angezeigt, wenn das Gerät
eingeschaltet war. Auch gab es ein Ampere-Meter gemessen die elektrischen
Ströme fließen, wenn Floyd verschiedene Dinge auf-und-off während der
Demonstration eingeschaltet. Die Elemente, die zum Laden Demonstration
enthalten den Brenner-Teil des Ofens, ein Fön, ein Fan und fünf hundert Watt
Globe Lampe. Das faszinierende für mich an die Licht-Demo war, dass die Lichter
eine Leuchten wie die obenliegende Lichter in Ihrer Küche - ein sehr weiches, KÜHL
aussehen. Nicht das Aussehen einer traditionellen helle Glühbirne wie Sie haben
in Ihrer Lampe auf einen traditionellen-Night-Stand.
Ich vergaß zu
erwähnen, dass das Gerät gestartet wurde, durch Anfügen einer 9-Volt-Batterie,
die ich verstehe, der magnetische Fluss in Bewegung begann. Floyd würde dann
die "Zopf" auf dem Gerät anschließen und es wäre nur eine
kreisförmige Energieeinheiten.
Floyd mehr Last auf
dem Gerät so: die Umgebungstemperatur um das Gerät (Spulen) anfängt zu
niedriger. Zusätzlich, je nachdem, wie viel Last Sie hinzugefügt, das Gerät
würde anfangen, etwas von seinem Gewicht verliert und dann hatten Sie schweben
langsam stattfinden. An dieser Stelle sollte angemerkt werden, dass auf ein
Treffen mit Floyd, seiner Frau Rose, verwendet einige Kraftausdrücke, wenn
erzählt, wie eines Tages Floyd gehalten mehr und mehr laden zum Gerät
hinzufügen und er fast "gebracht" der Apartment-Komplex er in Sherman
Oaks lebte. Das Gerät ausgeschaltet, ging er hinaus auf seiner Terrasse und gab
es ein Erdbeben Kalifornien! Seine Nachbarn wussten nie, was er in seiner
Wohnung hatte. In diesem Zusammenhang fand ich nie heraus, was das große Stück
der Ausrüstung in seinem Schlafzimmer war. Es erstreckte sich buchstäblich von
der Decke auf den Boden. Es war so schwer, dass der Boden, verneigte sich-in
und versunkene war und, dass "big Sucker" knurrende Geräusche hatte,
als es auf war - ich nie fand heraus, was es war. Es war wie eine Art
Transformator groß.
Der Rest der
Geschichte:
Sie
sind wahrscheinlich fragen, was der Artikel über Ron Brandt geht. Es ist eine lange
Geschichte, aber nachdem ich Ron und seinem Labor den ganzen Weg von der
Mündung des Nationalparks Zion zu "irgendwo" Oregon, ihn verstecken -
er wurde mit "Tachyon Beams" mit seinen medizinischen Geräten und
nach nur ein paar Minuten sind die "Schwarzen Helikopter" auftauchen
würde - soooo auf Wunsch mein Arzt Bruders zog ich Ron nach Oregon zu der Zeit
dachte ich, Ron war ein "echter flocke" denn als ich half ihm, seine
Mail weitergeleitet werden aus einer kleinen Stadt in Süd-Utah, . er mich
gefragt, wie man ein Wort schreibt "electric", so dass er in der
vollständigen Adresse von "Brandt Electric" stellen könnte Weiterhin
sagte Ron er nur hier auf dieser Erde war, bis 2012 - jetzt war es von 1987 bis
1988 - und dann hatte er zu verlassen, um zu einem anderen Planeten gehen! ich
wollte jetzt zu meinem Arzt Bruder, der mir in dieser ganzen bewegt Ron Sache
bekam schießen! Mein Arzt sagte mir, dass Bruder Ron musste schnell gehen, denn
Ron hatte ihm gesagt, dass ein Erdbeben in der kommenden nächsten Tagen -
Richtig!
Nun,
ich denke, was ein paar Tage später ist passiert? Das größte Erdbeben seit
vielen Jahren in diesem bestimmten Ort stattgefunden hat und es sogar
ausgelöscht die heißen Quellen in den Resorts entlang des Virgin River, der
durch Zion Nationalpark und durch die kleine Stadt der Jungfrau, wo Ron lebte
läuft. Ich da herausgefunden, dass Ron Erdbeben Geräte erfunden hatte zusammen
mit Philo T. Farnsworth (Erfinder des Fernsehens) Enkel und sechs Monate
früher, hatte sie tatsächlich vorhergesagt die vorherige große Erdbeben in
Kalifornien und ihre Vorhersage war durch nur sechs Minuten! Die Regierung
besteht darauf, dass sie wollen, dass die Ausrüstung, so dass ist einer der
Gründe, für alle "versteckt".
Nun,
warum bin ich Ihnen all diese vorläufige Informationen über Ron Brandt? Nun
scheint es, daß Ron hat ein Magnetmotor, der nur 75 Pfund wiegt, und die
Leistung, die äquivalent zu der eines 300 PS-Brennkraftmaschine erzeugen kann.
Außerdem kann der Motor einen retro-fit in jedem vorhandenen Fahrzeug ohne die
Notwendigkeit, eine neue Fahrzeug zu entwerfen. Das ist die Verbindung, die ich
später in Bezug auf Ron, der nicht einmal buchstabieren könnte
"elektrischen" zu erklären und Floyd, die dritte in allen
Erfindungen, immer von MIT kommen platziert wurde - Alles, was ich sagen kann,
ist "WOW"!
EREIGNISSE UM FLOYDS
TOD:
Ich
werde jetzt gehen es an Ihnen zu entscheiden, ob oder nicht Floyd eines
natürlichen Todes gestorben oder wurde von einem gewissen Person, Gruppe oder
einer Regierung "herausgenommen".
Im
Sommer 1994 mein Arzt Bruder plötzlich "ohnmächtig", in einem unserer
Venture Capital Meetings und wurde ins Krankenhaus gebracht. Nach einer MRT des
Kopfes, wurde entdeckt, dass er einen Gehirntumor hatte und es war der
schlimmsten Art (sehr schnell wachsend). Dies schien unmöglich, wie mein Arzt
Bruder hatte immer überwacht seinen Körper täglich wie er gelegentlich einen
Selbstversuch mit bestimmten Medikamenten. Mit dem 11. November 1994, hatte
mein Arzt Bruder starb. Er erzählte uns, vor dem Tod, dass "sie" (wer
"sie" waren) hatte bei der Platzierung der am schnellsten wachsenden
Krebstumor in sein Gehirn gelungen - Wie? - Ich habe keine Ahnung! Ich habe nie
herausfinden. Was ist wichtig für die Freie-Energie-Feld war, dass mein Bruder
war Arzt im täglichen Kontakt mit Floyd und seinen Mitarbeitern über die
Energie-Geräten. Ich war nicht so wichtig, und im Grunde nur in Begleitung
meines Arztes Bruder Meetings und Art "wurde in der Holzarbeit
verloren". Intellektuell war ich wirklich keine Bedrohung für jedermann.
Ich war nur bei den Sitzungen zu helfen erwerben Risikokapital.
Noch
am Tag, dass mein Arzt Bruder starb, meine Elektronik Bruder und ich waren in
der Wohnung von John, (Floyds Mitarbeiter der NASA), die aus unerfindlichen Gründen
hatte meine Brüder und ich, unsere Heimatstadt, wo wir lebten, gefolgt, kaufte
ein Haus und sich dort nieder. Wir haben uns nicht beschwert, als er unseren
Vermittler mit Floyd war. Doch der Schritt noch schien mir fremd. Der Grund,
warum meine Elektronik Bruder und ich waren mit John ist, dass John hatte eine
Telefonkonferenz mit Floyd und uns, angeordnet, um zu sehen, ob es eine
Möglichkeit für Floyd, irgendeine Art von Energieeinrichtung, die den
Magnetmotor, der Ron Brandt hatte treiben könnten. Meine Brüder und ich hatte
alle vertraglichen Rechte auf Rons Magnetmotor, der in jedem Auto verwendet
werden könnten. Ich dachte mir, dass jetzt kann ich wirklich herausfinden, wie
"echte" Ron (der nicht einmal buchstabieren können "elektrische")
war, als ich ihn abgestimmt mit Floyd vom MIT. Ich konnte nicht glauben, was
ich hörte, wie Floyd und Ron unterhielt in den höchsten elektronischen Niveaus",
die die" Hölle "ist Ron" Ich dachte. Floyd vereinbart, dass er
kein Problem haben, machen den Prototyp für Rons Magnetmotor, um das Auto
anzutreiben.
Floyd
arbeitete hauptsächlich mit meinen Elektronik Bruder an diesem Projekt als
Floyd benötigt alten Vakuumröhren, die meine Elektronik Bruder musste für das
Gerät zu erwerben, und mein Bruder Elektronik war eine echte "Bank"
Person, die Floyd schien über akademische Elektrotechniker begünstigen.
Im
Frühjahr 1995, während Floyd wurde auf unserer Energievorrichtung, die für das
Auto, John (NASA) und Floyd waren begeistert, dass es sollte eine Durchsage aus
dem Weißen Haus über Floyds VTA Energiegerät sein. Es scheint, dass Floyd war
eine Vergangenheit Freund von Senator John Glen (das ehemalige NASA-Astronaut)
und er Glen einer der Energie-Geräten gegeben hatte. Leider gab Glen das Gerät
an das Department of Energy, der nach Floyd, übergeben Sie das Gerät ein, um
General Motors. Floyd war wütend und wie ich verstanden Floyd wurde dann werde
GM für zwei hundert Millionen Dollar zu verklagen. Soweit ich weiß, Floyd nie
das Gerät zurückgekommen. Ich werde mich immer an die extreme Enttäuschung auf
den Gesichtern der Floyd und Johannes, als sie merkten, dass die Reise in
Washington Gleichstrom für die Ankündigung, nicht stattfinden wird.
Im
Juli 1995, Floyd lassen Sie uns wissen, dass die Energie-Geräte fertig war und
wir waren in Besitz zu nehmen. Floyd nun im Desert Palms gelebt, und das ist,
wo wir es abholen. Nach reiflicher Überlegung haben wir beschlossen, wir besser
nicht ein Flugzeug mit dem Gerät, wie wir waren nicht sicher, ob irgend
magnetischen Effekte auf die Instrumente der Ebene, in das sie transportiert -
es war neue Technologie, die immer noch viele Fragen beantwortet werden. Statt
dessen haben wir beschlossen, unser Auto zu Desert Palms fahren und bringen Sie
das Gerät wieder selbst.
Floyd rief uns am Tag zuvor waren wir zu gehen und fragte uns, ob
er das Gerät für ein paar zusätzliche Tage halten konnte. Er sagte, er habe
"jemand" kommen (ich dachte, er sagte, China) und wollte sie das
Gerät zeigen. Wir haben gesagt, ok, wir planen, um ihn abzuholen, wenn er
fertig war.
Einen Tag später, bei etwa 7.00 Uhr Pacific Time, gab es einen
verzweifelten Anruf von Floyd Frau Violet (Floyd Rose Frau gestorben war und er
hatte wieder geheiratet) zum Haus meiner Elektronik Bruders. Meine Elektronik
Bruder war nicht zu Hause, und meine Schwester-in-law, seine Frau nahm den
Anruf von Violet. Violet war sehr traumatisiert, als sie meine
Schwester-in-law, die Floyd war tot erklärte. Es gab viel Geschrei los ist in
den Hintergrund. Die Leute, die dort waren, behaupteten, sie waren vom FBI und
Floyds Ausrüstung gehörte ihnen. Rose war sehr verwirrt, mit dem Tod von Floyd
und Menschen, die sie nie vor der Einnahme alle Geräte aus dem Haus zu warten
Lieferwagen gesehen hatte. Sie fragte meine Schwester-in-law, was zu tun und
meine Schwester-in-law hatte keine Ahnung, wie sie wissen, was meine Brüder
nicht und ich musste los!
Violet sagte auch, dass etwa 17.00 Uhr in der vergangenen Nacht,
zwei Männer, die sie nie zuvor gesehen hatte, zeigte bis zu Floyd zu sehen.
Floyd war mit ihnen für eine gewisse Zeit und dann verließen sie. Um ca. 08.00
Uhr, Floyd wurde mit einer Tasse Kaffee, als er auf den Boden fiel aus dem
Stuhl. Sie rief einen Krankenwagen und als sie ankamen, ließ sie nicht reiten
mit ihnen. Violet war 75 Jahre alt und nicht fahren wollte. Etwa zwanzig
Minuten später ist der Krankenwagen gerufen zurück zu Violett und sagte ihr,
sie hätte nicht gedacht, Floyd würde "es" !! Wie ich es verstehe, war Floyd Leiche
eingeäschert. Wie bald, ich weiß es nicht. Das Endergebnis für meine Brüder und
ich ist, dass alle unsere Energie-Anlagen, die Floyd hat für uns gemacht wurde
- von wem ??
Wer waren die beiden Männer, die ein paar Stunden vor seinem Tod
mit Floyd erfüllt? War alles in Floyds Kaffee legte von diesen Männern? Violet
sagte, sie habe sie noch nie gesehen, und sie seltsam schien!
Warum konnte Violet nicht mit ihrem Mann im Krankenwagen gehen? Ich
habe gesehen, dass es viele Male, wenn Familie darf passieren, vor allem, wenn
Alter angeht!
Wie hat sich das FBI (wenn es das ist, wer sie waren), dass Floyd
war tot, und zeigen sich in der sehr frühen Morgenstunden (ca. 06.00 Uhr) nur
wenige Stunden, nachdem er spät in der Nacht starb?
SIE WERDEN DIE RICHTER - ALLES WAS ICH WEIß IST, DASS ALLE UNSERE
ENERGIE-GERÄTE (MEDICAL UND AUTO-MAGNET-MOTOR) VERSCHWUNDEN SIND!!! WO SIE SIND
UND WER SIND DIE, FÜR DIE SIE VERANTWORTLICH??
Hier sind einige der bekannten Fakten über Floyds Energievorrichtung:
Die Erfindung ist
ein einheitliches-Feldgerät und so kombiniert die beiden elektromagnetischen
und Gravitationseffekte in der gleichen Einheit. Für eine kleine
Leistungsaufnahme von nur 0,31 Milliwatt, produziert das Gerät mehr als 500
Watt Ausgangsleistung, die ein Energiegewinn von mehr als 1,5 Millionen ist.
Der Prototyp, keine beweglichen Teile hat, ist ungefähr 6 Zoll x 6 Zoll x 4
Zoll in Größe und tippt eine unerschöpfliche Energiequelle. Bis heute bis zu
einem Kilowatt Leistung in aktuellen Tests, die nur winzige Eingangsleistung
erforderlich produziert machen das Gerät zu betreiben.
Unsere normalen
Tag zu Tag Energie ist "positive Energie". Die von Floyds Gerät
erzeugte Energie ist "negative Energie", aber trotzdem, es Kräfte
gewöhnlichen Ausrüstung, die Licht und Wärme als normal. Ein Gerät wie dieses
hat einen großen Einfluss auf die Welt haben, wie wir sie kennen, denn:
1. Es
kann leicht gebaut werden. Die Komponenten sind ganz gewöhnliche und die Kosten
für die Materialien an der Demonstration Prototyp war nur ein paar $100, und es
wurde in nur wenigen Stunden aufgebaut, mit einfachen Werkzeugen und Geräten.
2. Die
Testergebnisse sind so beeindruckend, dass es keine Frage der Messfehler, wenn
der Energiegewinn in der Größenordnung von 1,5 Millionen Mal.
3. Es
zeigt mit Laborpräzision, die das "Gesetz" der Erhaltung der Energie
wird nicht angezeigt, während der Betrieb dieses Gerätes, das ist etwas, das
die meisten Wissenschaftler haben Schwierigkeiten bei der Annahme ist
anzuwenden.
Das Gerät verfügt
über eine sehr hohe Leistung. Wenn ein 1 Milliwatt 60Hz Sinuswelle zugeführt
wurde, legte der aus Mächte 500 Watt Standard-Netzspannungslampen, Herstellung
sowohl Wärme und Licht. Die Vorrichtung hat eine positive Rückkopplungsschleife
so ist es Verstärkung hängt direkt von der Ausgangslast und die Eingangsleistung
bleibt unverändert. So, um die Ausgangsleistung zu erhöhen, alles, was
notwendig ist, um zusätzliche Glühlampen oder Geräte für die Ausgabe zu
verbinden.
Wenn ein Motor
wurde zusätzlich zu den Lampen verbunden, lief der Motor ganz genau unter Last
und die Glühbirnen blieb so hell wie eh und je. Weil es ein "kalter
Strom" Gerät ist, können die Drähte Zuführen der Belastung sehr viel
kleiner im Durchmesser sein als es normal, dass die Last und diese Drähte in
den Adern gefrieren zu allen Zeiten. Wenn der Leistungs trifft den Widerstand
der Wendeln der Glühlampen, wandelt es in konventionellen "heißen
Strom" und die Filamente führen in genau der gleichen Weise, wie sie es
tun, wenn sie von "heißen Strom" gespeist.
Im Jahr 1988 produzierte Floyd ein Papier, das er als sehr wichtig zu sein. Der folgende Text ist ein Versuch, den Inhalt seiner mathematischen ausge Art der Präsentation zu reproduzieren. Wenn Sie in komplizierte mathematische Darstellungen sind nicht, dann nur auf Vergangenheit bewegen und nicht über die folgenden technischen Material zu kümmern, oder alternativ einen kurzen Mager durch und nicht mit der Mathematik zu stören. Floyd sagt:
Was ist der als
"leeren Raum", dachte tatsächlich enthält fast alles, was im
Universum. Es ist die Heimat für alle Arten von unsichtbaren Energiefeldern und
wird mit allen Arten von sehr realen Kräfte brodelt.
Jede Art von
Materie erzeugt ein Energiefeld und diese Energiefelder miteinander
interagieren in vielen komplizierten Weise der Herstellung aller Arten von zusätzlichen
Effekten. Diese Energiefelder sind das "Zeug" von Raum, oder, wie es
manchmal beschrieben, "die virtuelle Vakuum". Der Raum ist
vollgepackt mit allen möglichen Dingen, sondern weil er keine Luft enthalten,
neigen wir dazu, zu denken, dass es nichts in ihm. Die meisten Leute denken,
dass "Vakuum" bedeutet "ohne Luft", sondern als
Wissenschaftler von Raum als "Vakuum" sprechen sie bedeuten nicht,
dass überhaupt, und sie verwenden das Wort "Vakuum", um zu beschreiben,
um zu beschreiben (grob gesprochen) den Ort, ist zwischen der Sterne und
Planeten des Universums, und Floyd bezieht sich auf den großen Platz als
"Vakuum", also bitte nicht denken, dass es etwas mit Luft zu tun, wie
es funktioniert definitiv nicht hat.
Floyd sagt: Wir
alle denken, dass wir wissen, was Licht ist, aber die Realität ist, dass ein
Lichtteilchen ist nichts anderes als eine große Störungen im
elektromagnetischen Feld. Wenn es dem Material oder mit einem anderen Feld
wechselwirkt, jede elektromagnetische Feld mit nicht in irgendeiner Weise durch
das Vakuum verändert werden. Elektromagnetische Felder sind ein grundlegender
Bestandteil der Struktur des Vakuums selbst. Das ganze Universum wird von einem
konstanten Magnetfeld durchdrungen. Das Feld besteht aus unzähligen Nord- und
Süd-Pol-Magneten in einer völlig zufällige Streuung gemacht.
Einstein hat
Oliver Heaviside-Gleichung E = mC2, die eine Art zu sagen, dass Energie ist spitz und Materie
sind austauschbar (oder zwei verschiedene Seiten ein und derselben Sache). Die
Energie überall im Universum ist so groß, dass die neuen Teilchen der Materie
ins Dasein Pop & Drop in ihre Energieform viele Billionen Mal pro Sekunde.
Eigentlich für eine so kurze Zeit, die sie als "Partikel" ist nicht
wirklich angemessen existieren sie, vielleicht "virtuellen Teilchen"
könnte eine bessere Beschreibung.
Wenn wir jedoch
erzeugen ein bewegtes Magnetfeld, verändert sie die zufällige Natur dieser
Energie im kleinen Teil der Vakuum wo wir gerade sind, und die
Unterdruckenergie wird viel weniger zufällig und ermöglicht eine sehr große
Menge an Druckenergie zu sein, in unsere Geräte erstellt und das tun, was wir
als "nützliche Arbeit" zu denken - Erzeugung von Wärme und Licht, die
Stromversorgung Motoren und Fahrzeugen etc. Dies wurde in Laborversuchen in der
Woche vom 19. Juni 1988 bewiesen und es ist die zugrunde liegende
Funktionsprinzip meines "Phase-Konjugierte Vacuum Triode" Gerät.
Die durch diese
Vorrichtung erzeugte Energie "negative Energie", die umgekehrt zu der
Energie, mit der wir vertraut sind. Der Funke von einem Kurzschluss in einer
negativen Energiesystem verursacht übermäßig hell und kalt und es ein kaum
hörbares Zischen ohne Sprengkraft produziert. Schmelzen von Drähten nicht
auftritt, und diese Art der negativen Strom durch den menschlichen Körper nur
mit dem Gefühl einer Kühl.
Drähte, die viel
negative Energie tragen kühl bleiben jederzeit und so klein, Drähte können
Geräte mit Hunderten von Watt Strom versorgen. Dies wurde im Labor nachgewiesen
worden, und die Energiequelle ist nicht begrenzt, da es die virtuellen Vakuum
des Raumes selbst..
Die Natur der Raumfahrt:
Raum selbst ist
die Fähigkeit, Energie aufzunehmen. Betrachten wir für einen Moment die
folgende Abbildung:
Ein Signal (Energie) vom Punkt "A"
auf "B", die durch einen endlichen Abstand getrennt sind darauf
übertragen. Betrachten wir drei Zeiträumen:
1. Das Signal wird von Punkt A gestartet
2. Das Signal befindet sich in dem
Zwischenraum zwischen den Punkten A und B.
3. Das Signal am Punkt B
Wenn 3
gleichzeitig mit 1. wir sagen, dass das Signal bei unendlicher Geschwindigkeit
gereist. Wenn dies der Fall wäre, dann wird das Signal niemals in den
Zwischenraum gewohnt und daher gibt es keinen Raum zwischen dem Punkt A und
Punkt B und so sowohl den Punkten A und B müssen an der gleichen Stelle sein.
Für den realen Raum, um zwischen den beiden Punkten vorhanden sind, ist es
notwendig, daß ein Signal sich zwischen ihnen, "verloren" gehen, um
die beiden Punkte hat, das heißt, aus der Berührung mit den beiden Punkten für
eine endliche Zeitdauer.
Jetzt wissen wir,
dass für den realen Raum, um zwischen zwei Punkten existiert, wird ein Signal,
die zwischen ihnen muss mit einer endlichen Geschwindigkeit zwischen ihnen
bewegen und wenn sie das nicht tun, dann kann es keine Zwischenraum sein. Wenn
der Raum kann ein Signal, die zwischen zwei Punkten nicht unterbringen, dann
hat es keine Funktion und keine Realität. Raum, der eine endliche, von Null
verschiedenen Signalgeschwindigkeit unterstützt - Wir sind dann mit dem
einzigen realen Raum, die Heimat der realen und virtuellen Vakuum links.
Ein ähnliches Argument gilt für die Impedanz
des Raumes. Ein Medium ist nur Platz für positive Energie, wenn das Medium
widersteht sie auf ein vernünftiges Maß. Weder eine unendlich starke Feder noch
ein unendlich schwache Feder kann Energie komprimiert absorbieren. Weder eine
unendlich große Masse noch eine unendlich kleine Masse absorbieren oder
aufnehmen Energie durch eine Kollision vermittelt und das gleiche gilt für die
Raumfahrt. Energie kann einen Raum von der Nullimpedanz mehr als eine Kraft
tragen nicht in einer Masse der Größe Null. In ähnlicher Weise könnte Energie
nicht in Raum, der eine unendliche Impedanz hat. Daraus folgt, dass die realen
Raum muss:
1. Finite
Ausbreitungsgeschwindigkeit und
2. Finite
Impedanz.
Eine andere
Betrachtungsweise ist dies statt Berücksichtigung der tatsächlichen
Geschwindigkeit der Ausbreitung eines Signals durch den Raum, um die Länge der
Zeit "t", die das Signal benötigt, um durch den Teil des Raums geben
berücksichtigen. Man kann einen Abschnitt des Raumes als etwa 1 Nanosekunde
breite wenn es ein Signal 1 Nanosekunde, um es zu durchqueren denken. Das
heißt, die Energie oder Signal, das in den Teil des Raumes, lässt es wieder 1
Nanosekunde später. Signalausbreitungsgeschwindigkeit in dem Raum, in der wir
leben, mit der Geschwindigkeit des Lichts.
Allgemeine Beschreibung der Energy Transfer:
Betrachten Energie
gerade fließt und nivellieren eine Übertragungsleitung. Die Energie ist nicht
"wissen" die Breite des Kanals, durch die es vorbei. Wenn der
Energiefluss erreicht einen Punkt, wo die Leitfähigkeit des Kanal senkt aber
die Größe und Form des Kanals gleich bleiben, dann nicht so viel Energie
fließen kann und einige zurück entlang dem Kanal reflektiert wird. Der
Energiestrom nicht "weiß", wenn (a) die Leitfähigkeit geändert hat
oder (b) die Geometrie geändert hat. Der Energiestrom Richtung sehr leicht
ändern, und dies so weit wie sie betroffen ist, ist die Änderung von (a)
verursacht äquivalent zu der Änderung von (b) verursacht.
Der Kanal, durch
den die Energieflüsse hat eine Breite und Höhe und die Breite dividiert durch
die Höhe wird als "Seitenverhältnis" des Kanals. Energiestrom ein
Seitenverhältnis und wenn das Seitenverhältnis ist gezwungen, zu ändern, dann
einige der fließende Energie wird so zu reflektieren, um die Gesamtbildformat
unverändert zu lassen.
Das
Seitenverhältnis des Energiestroms ist ähnlich wie das Seitenverhältnis des
Raums selbst. Obwohl das Seitenverhältnis der Raum kann sich ändern, ist es
Grundgeschwindigkeit "c" die Lichtgeschwindigkeit im Raum kann nicht
wirklich ändern. Diese Geschwindigkeit ist nur unsere Art der Visualisierung
von Zeitverzögerung, wenn Energie befindet sich in einer Region des Weltraums.
Uniform Raum hat nur zwei Parameter:
(1)
Seitenverhältnis und
(2)
Zeitverzögerung
Seitenverhältnis
definiert die Form (aber nicht das Ausmaß) jedes Energieflusses, die einen
bestimmten Bereich des Raums eintritt. Geschwindigkeit oder Länge definieren
die Zeit, während der die Energie in einem Bereich des Raumes untergebracht
werden.

Hat ein
Energiefluss Reise durch eine Schnittstelle ungehindert, oder ist ein großer
Teil davon reflektiert werden? Raum verfügt über Ruhezonen, durch die Energie
gleitet nahezu unreflektiert. Es hat auch laut Zonen, in denen der Energiestrom
wird inkohärent, springt herum und spaltet auseinander. Diese lauten Zonen im
Raum entweder entweder schnell ändernden Geometrie oder sich schnell ändernden
Impedanz.
Elektromagnetische Energie:
Die Rate der
Energiefluss durch eine Oberfläche kann mit "E" das elektrische Feld,
und "H" die magnetische Feldstärke berechnet werden. Der Energiefluss
durch den Raum ist E x H pro Flächeneinheit (der es Querschnittsbereich
"Conduits") und die Energiedichte E x H / C, wobei C die
Lichtgeschwindigkeit im Raum.
Wenn es passiert,
zwei Signale von genau gleicher Festigkeit sind, die durch zueinander in
entgegengesetzten Richtungen in der Weise, dass ihre "H" Felder
aufheben, dann, wenn jeweils eine Stärke von E / 2 und H / 2, die Energie
Dichte E x H / 2C, und es wird das Aussehen eines stabilen E-Feld haben. Auf
die gleiche Weise, wenn die E-Felder aufheben, erscheint das Ergebnis auf eine
stetige Feld "H" ist.
Elektrische und
magnetische: Die moderne Physik basiert auf der fehlerhaften Annahme, dass
Elektromagnetismus enthält zwei Arten von Energie. Dies führt zu der barocken
Blick auf die physische Realität. Unter dieser Ansicht scheint Energie mit dem
Quadrat der Feldstärke in Verbindung gebracht werden, sondern als ein
vernünftiger Ansicht, dass es direkt auf die Feldstärke. Es sei daran erinnert,
dass weder Einstein noch modernsten Physiker waren oder sind, mit dem Konzept
der "Energiestrom " hier beschriebenen vertraut. Doch noch überlebt
ihre Arbeit durch die Energie zu ignorieren aktuelle Konzept, skalare
Elektromagnetik, die Werke von Tom Bearden, Kaluza-Klein und andere, die
Heaviside Interpretationen der Maxwell-Gleichungen bestreiten.
Der Irrtum der Verschiebungsstrom:
Herkömmliche
elektromagnetische Theorie schlägt vor, dass, wenn ein elektrischer Strom
fließt einen Draht in einen Kondensator, verteilt es sich über die Platte,
wodurch eine elektrische Ladung auf der Platte, die wiederum führt zu einem
elektrischen Feld zwischen den Platten des Kondensators. Die wertvolle Konzept
der Kontinuität wird dann durch die Annahme eines Verschiebungsstrom "nach
Maxwell" erhalten. Dieser Strom ist eine Manipulation des elektrischen
Feldes "E" zwischen den Platten des Kondensators, wird das Feld mit
den Merkmalen des elektrischen Stromes, und damit auch den Stromfluss in der
Schaltung. Dieser Ansatz ermöglicht Kirchhoff'schen Gesetze und andere
wertvolle Konzepte obwohl oberflächlich beibehalten werden, scheint es, daß an
dem Kondensator gibt es eine Pause in dem kontinuierlichen Fluss von
elektrischem Strom.
Der Fehler in
diesem Modell erscheint, wenn wir merken, dass wir feststellen, dass die
aktuellen in die Kondensator nur an einem Punkt auf der Kondensatorplatte. Wir
werden dann mit der großen Schwierigkeit, die erklärt, wie die elektrische
Ladung den Draht nach unten strömt plötzlich verteilt sich gleichmäßig über die
gesamte Kondensatorplatte mit einer Geschwindigkeit von mehr als
Lichtgeschwindigkeit nach links. Diese paradoxe Situation wird durch einen Fehler
in der Basismodell erstellt. Arbeiten Sie in High-Speed-Logik, die von Ivor
Catt durchgeführt hat gezeigt, dass das Modell der konzentrierten Kapazität ist
fehlerhaft und Verschiebungsstrom ist ein Artefakt des fehlerhaften Modell. Da
jeder Kondensator verhält sich ähnlich wie eine Übertragungsleitung, ist es
nicht mehr notwendig, einen Verschiebungsstrom für den Kondensator, als es
notwendig ist, um so für eine Übertragungsleitung zu tun zu postulieren. Die
Entfernung der "Verschiebungsstrom" aus der elektromagnetischen
Theorie hat sich auf Argumente, die unabhängig von der klassischen Streit, ob
der elektrische Strom bewirkt, dass das elektromagnetische Feld oder umgekehrt
sind ansässig.
Die Motional E-Feld:
Von all den
bekannten Bereichen; elektrische, magnetische, Gravitations- und Bewegungs
E-Feld, die einzigen, die nicht in der Lage, die gegen abgeschirmt sind die
induzierten Bewegungs E-Feld und das Gravitationsfeld. Die Art der
bewegungsinduzierte elektrische Feld ist ziemlich einzigartig. Um sie besser zu
verstehen, müssen wir durch Verwerfen einige irreführenden Ideen zu starten.
Wenn magnetische Fluss senkrecht über einen Leiter bewegt wird, wird eine
elektromotorische Kraft ("EMF") elektromagnetisch
"innerhalb" des Leiters induziert. "Innerhalb" ist ein
Begriff, der von der gemeinsamen Idee des Vergleichens des elektrischen
Stromflusses in einem Kabel mit dem Wasserstrom in einer Rohrleitung kommt.
Dies ist eine sehr irreführend Vergleich. Die wahre Phänomen stattfindet hat
wenig wie die die Produktion eines räumlich-verteilten elektrischen Feld
gedacht. Wir sehen, dass das Modell der Ursprung wahrscheinlich aus dem Betrieb
als "Fluss Schneiden", die ein sehr irreführender Begriff ist zu
haben. Ein besserer Begriff "zeitlich variierende Flussmodulation"
keine Trennung der Feldlinien implizieren. Wahrlich, Feldlinien bilden immer
geschlossenen Kreisläufen und mathematisch als Linienintegrale ausgedrückt.
Es ist ein
Trugschluss, den Begriff "Schneiden", die zeitlich variierenden
Trennung, die in Wirklichkeit nicht der Fall jemals eintreten bedeutet, zu
verwenden. Ein bewegungsinduzierte E-Feld ist tatsächlich in dem Raum durch den
oben beschriebenen sich bewegenden magnetischen Flusses belegt erstellt. Das
Feld ist es, ob oder nicht ein Leiter in dem Raum vorhanden ist. Im Hinblick
auf die Definition, können wir sagen, daß, wenn magnetische Fluss von Vektor
Intensität B-bar über einen Raumbereich mit Vektorgeschwindigkeit V Stange
bewegt wird, um ein elektromagnetisch induzierte elektrische Feldvektor B x V
erscheint im Raum im rechten Winkel zur beide B-Bar und V-Bar. Deshalb:
E
= B-bar x V-bar . . . . . . . . . . . . . . . . . . . (1)
Es ist dieser
Bereich, der auf die Schwerkraft in Beziehung steht, und die praktisch
unshieldable ist. Dieses Feld kann die Bewegungs E-Feld bezeichnet werden. Laut
Tom Bearden, " Es scheint, daß die geladenen Teilchen im Atom wirken wie
winzige Magnete und ihre Bewegung im Raum um das Atom würde dieses Bewegungs
E-Feld zu erstellen ". Die von den beiden positiven und negativen
Ladungen Felder würde zu einem gewissen Grad aufheben, aber aufgrund der hohen
Umlaufgeschwindigkeit der negativen Elektronen relativ zu derjenigen der
positiven Protonen würde das induzierte Feld der Elektronen das resultierende
Feld dominieren. Das Feld infolge dieser Ladungen erzeugt werden würde,
proportional zu dem inversen Quadrat der Entfernung der Schwerkraft tut
variieren. Das durch die translatorische Bewegung der Ladungen erzeugt werden
würde, umgekehrt proportional der dritten Potenz der Entfernung ab. Dieses
Konzept völlig vereint die elektromagnetische und Gravitationsfeldtheorien und
erklärt die starke und schwache Kraft innerhalb des Atoms.
Feldsuper Position und die Vakuum Triode:
Elektromagnetische
Induktion ohne messbare Magnetfeld ist nicht neu. Es ist bekannt, daß im Raum
um eine korrekt aufgewickelt Ringspule besteht kein Magnetfeld. Dies ist
aufgrund der Überlagerung der Felder. Wenn Wechselstrom durch einen
Transformator flackernden, umgibt jedoch ein elektrisches Feld. Wenn wir das
Prinzip der Superposition gelten für die Vakuum Triode, wird es immer
deutlicher, wie das Gerät in Betrieb ist.
Das Prinzip der
Superposition fest, dass "um die resultierende Intensität der überlagerten
Felder zu berechnen, jedes Feld muss individuell behandelt werden, als ob die
anderen waren nicht vorhanden" Das Ergebnis wird durch die Vektoraddition
der einzelnen Felder als auf produziert allein. Nehmen wir einmal an, die den
Aufbau der Triode, die zwei bi-filare Spulen innerhalb der Felder zweier
konditioniert Magneten angeordnet sind. Wenn der Strom in der einen Hälfte der
Leiter in den Spulen (das heißt, nur ein Strang der Doppelwicklungen in jeder
Spule) nimmt zu, sowohl der Strom und das Magnetfeld folgt dem rechten
Handregel. Die daraus resultierende Bewegungs E-Feld wäre, um sowohl vertikale
und innen gerichtet. Zur gleichen Zeit wird der Strom in dem anderen Strang
jeder Wicklung abnimmt und sowohl der Strom und das Magnetfeld die rechte
Hand-Regel befolgen auch. Die resultierende Bewegungs E-Feld erneut senkrecht
zu beiden, und nach innen gerichtet. So ist das resultierende kombinierte
Feldintensität doppelte entweder einen der Leiter für sich betrachtet erzeugten
Intensitäts. Mathematisch ausgedrückt ist dies:
E = (B x V) + (-B x -V) oder
E = 2 (B x V) . . . . . . . . . . . . . . . . . . . . . . .
(2)
Wobei: E die
elektrische Feldstärke
B die magnetische Feldstärke und
V ist die Elektronendriftgeschwindigkeit
(B x V), die das
erste Glied in der Gleichung ist, stellt den Fluss des Magnetfelds, wenn die
Elektronen in eine Richtung bewegt, während (-B x -V) ist der zweite Term in
der Gleichung definiert die Strömungs des Magnetfelds, wenn die Elektronen in
die andere Richtung bewegt. Dies zeigt, daß Feldstärke ist direkt proportional
zu dem Quadrat der von der Last an der Einrichtung erforderlichen Strom. Dies
ist aufgrund seiner proportionalen Beziehung mit dem virtuellen Wert des
Magnetfelds, das Theorie besagt, ist proportional zum Strom ist. Elektrometer
Lesungen waren immer nah an parabolisch, was darauf hinweist, dass die Quelle
war der unendliche Kapazität. Ferner wurde durch Versuche bestimmt, dass das
magnetische Feld nicht mit der Temperatur ändern. Außerdem gibt es keinen
Grund, noch identifiziert, die man führen würde, zu glauben, dass die
Elektronendriftgeschwindigkeit ändert. Es ist bemerkenswert festgestellt
worden, daß die Vakuum Triode verläuft etwa 20von unter Umgebungs.
Induzierten elektromotorischen Kraft -
Positive Energie:
Wenn ein E.M.F.
("EMK") in eine geschlossene metallische Schaltung fließt ein Strom
angelegt wird. Die elektromotorische Kraft entlang einer geschlossenen Bahn
"C" im Raum wird als Arbeit pro Einheitsladung (dh W / Q) durch die
elektromagnetischen Felder auf einer kleinen Testladung fertig definiert bewegt
auf Weg C Seit Arbeit ist das Linienintegral Force ("F "), die Arbeit
pro Einheit Ladung ist das Linienintegral der Kraft pro Ladung (in Newton pro
Coulomb) haben wir:

Das Skalarprodukt
"(F / Q) x dtdl" ist das Produkt aus (F / Q) x cos x dl wobei θ
den Winkel zwischen den Vektoren F / Q und dl.
Die elektrische
Kraft pro Einheitsladung ist die elektrische Feldstärke ("E") in Volt
pro Meter. Die Magnetkraft pro Einheit Ladung V x B, wo "V"
bezeichnet die Geschwindigkeit der Testladung in Metern pro Sekunde und
"B" steht für die magnetische Flussdichte in Webers pro Quadratmeter.
In Bezug auf die kleineren Winkel θ zwischen V und B, dem Kreuzprodukt von
V und B ist ein Vektor mit der Grße VB Sin θ. Die Richtung des Vektors V x
B ist im rechten Winkel zu der Ebene, die Vektoren V und B entsprechend der
Rechtehandregel (das heißt, V x B in der Richtung der Daumen, während sich die
Finger zu kräuseln, durch den Winkel θ enthält von V in Richtung B). Da die
gesamte Kraft pro Ladung E + VB, die Gesamt emf in Bezug auf den Feldern ist:

Wie sich aus
Gleichung (4), daß die EMK abhängig von der Vorwärtsgeschwindigkeit, mit der
die Testladung entlang des Pfades bewegt C. Dies ist jedoch nicht der Fall.
Wenn V und dl in Gleichung (4) die gleiche Richtung haben, und ihre zugehörigen
Skalarprodukt null. So wird nur die Komponente von V, die nicht mit dl
ausgerichtet ist (das heißt, mit θ = 0), kann auf die EMK beitragen Diese
Komponente hat nur Wert, wenn der Differenzpfadlänge dl hat eine
Seitwärtsbewegung. So, V in der Gleichung (4) repräsentiert die
Seitwärtsbewegung der dl, wenn es irgendwelche gibt. Die Felder E und B in
Gleichung (4) kann auch als Funktion der Zeit als auch Funktionen der
Raumkoordinaten repräsentiert werden. Darüber hinaus wird die Geschwindigkeit V
des jeweiligen Differenz Weglänge dl kann mit der Zeit variieren. Jedoch
Gleichung (4) vollständig die emf ausdrückt oder Spannungsabfall entlang dem
Pfad C als Funktion der Zeit. Diese Komponente des EMK bestehend aus dem
Linienintegral V x B die Bewegungs E-Feld, da es den Wert nur, wenn Pfad C ist,
die sich durch ein Magnetfeld, Verfahrbereich Magnetflußlinien. Für stationäre
Pfade gibt es keine Bewegungs E-Feldes und der Spannungsabfall ist einfach das
Integral des elektrischen Feldes "E". Geräte, die getrennte Ladungen
erzeugen EMF und ein bekanntes Beispiel hierfür ist eine Batterie, die
chemischen Kräfte, um gesonderte Berechnung nutzt. Andere Beispiele umfassen
das Erhitzen eines Thermoelements, Belichtung einer Photozelle, um einfallendes
Licht oder das Reiben verschiedener Material auf elektrostatische
Ladungstrennung herzustellen. Elektrische Felder werden auch von zeitlich
veränderliche magnetische Felder erzeugt. Dieses Prinzip ist bereits ausführlich
in der Produktion von elektrischer Energie von den
Energieversorgungsunternehmen genutzt.
Das Linienintegral
der elektrischen Feldstärke "E" um jeden geschlossenen Pfad
"C" entspricht -dφ / dt, wo φ stellt den magnetischen Fluss
über eine Oberfläche "S" mit dem geschlossenen Pfad "C" wie
es ist Kontur. Die positive Seite der Fläche S und die Richtung der
Linienintegral um Kontur C, werden von der rechten Regel bezogen (die
gekrümmten Finger sind so ausgerichtet, darauf hinzuweisen um die Schleife in
Richtung Integration und die erweiterten Daumen weist darauf hin, die positive
Seite der Fläche S). Der magnetische Fluss φ ist das Flächenintegral der
magnetischen Flussdichte "B", wie hier dargestellt:

In Gleichung (5),
die Vektordifferenzfläche "ds" hat eine Fläche von ds und Richtung
ist es senkrecht zur Ebene der ds, von der positiven Seite von dieser
Oberfläche vorstehen. Die Teilzeitableitung φ definiert ist als:

Dies wird als der
magnetische Strom, der durch Oberflächen S. Bei einer sich bewegenden
Oberfläche S bezeichnet wird, die Grenzen des Flächenintegral in Gleichung (6)
sind Funktionen der Zeit, sondern die Gleichung gilt weiterhin. Es ist wichtig,
an dieser Stelle klarzustellen, dass, wenn wir zu bewerten den Wert d &
phi; / dt über eine Oberfläche, die in der Nähe Magnetfelds Tätigkeit bewegt,
die Oberfläche zu behandeln wir, als ob sie stationär zum Zeitpunkt geprüft
wurden. Die Teilzeitableitung φ ist die Zeitrate der Änderung des Flusses
durch die Oberfläche S, nur aufgrund der sich ändernden magnetischen Felddichte
B. Jeder Anstieg von φ aufgrund der Bewegung der Oberfläche in dem B-Feld
ist, nicht einbezogen dass die Berechnung.
In Fortsetzung
dieser Diskussion führt zu beachten, dass ein elektrisches Feld, sind in jedem
Bereich, der eine zeitveränderliche Magnetfeld vorliegen. Dies wird durch die
folgende Gleichung gezeigt:

In dieser
Gleichung ist φ der magnetische Fluss in Webers aus der positiven Seite
jeder Oberfläche mit Pfad C als ihre Kontur. Kombinieren der Gleichungen (7)
und (4) können wir die EMK zu berechnen zu einem geschlossenen Weg C wie
abgebildet:

oder in einer
anderen Form:

Also, die E.M.F.
um einen geschlossenen Pfad besteht in der Regel aus zwei Komponenten. Die
Komponente d & phiv; / dt ist die Variations E.M.F. und die zweite
Komponente ist die Bewegungs E-Feld. In Gleichung (9), (V x B) dl können,
mittels eines Vektoridentität mit B x (V x dl) A ersetzt werden. V ist die
Seitwärtsgeschwindigkeit d: der Vektor V x dl Größenordnung Vdl und einer
Richtung normal zu der Oberfläche ds strichen wird durch die Bewegungslänge dl
in Zeit dt. Vermietung Bn bezeichnen die Komponente B normal zu diesem Bereich,
können wir sehen, dass die Menge -B x (V x dl) wird -BnVdl und Gleichung 9 kann
als umgeschrieben werden:

Es ist klar, das
Integral Bnv um die geschlossene Kontur C mit Seitwärtsgeschwindigkeit der Grße
V für jede Länge dl quert, ist einfach die zeitliche Änderungsrate des
magnetischen Flusses durch die Oberfläche von C begrenzt Diese Änderung ist
direkt durch den Durchgang von Weg C durch Magnetflusslinien. Daher ist die
vollständige Ausdruck für elektromotorische Kraft in Gleichung (10) ist die
zeitliche Änderungsrate des Magnetflusses über eine Oberfläche S, begrenzt
durch den geschlossenen Weg C, aufgrund der sich ändernden Magnetfeldes und der
Bewegung der Bahn durch das magnetische Feld. Gleichung (10) geschrieben werden:
![]()
Hinweis: Die
Unterscheidung zwischen Gleichungen (7) und (11) ist, dass die Gleichung (7)
nur die variational EMK enthält, während die Gleichung (11) die Summe der
variational und motional EMK-Werte ist. In Gleichung (7) teilweise Zeit
Ableitung des magnetischen Flusses φ ist die Rate der Flux ändern aufgrund
nur zum zeitlich veränderliche Magnetfeld, während Gleichung (11) enthält die
Gesamtzeit Ableitung der Flux-Rate ändern aufgrund der zeitlich veränderlichen
Magnetfeld und Pfad C Passage durch das Magnetfeld. Wenn der geschlossene Pfad
C nicht durch die Linien des magnetischen Flusses übergeben wird, entsprechen
dann Gleichung (7) und Gleichung (11).
Es ist auch
wichtig, darauf hin, dass Dφ/dt in Gleichung (11) nicht unbedingt die
Gesamtzeit Änderungsrate der Fluss φ über die Oberfläche S. bedeutet Der
Flux über Oberfläche S grenzt sich beispielsweise an die geschlossene Kontur C
des linken Teils des Stromkreises in Fig.1 dargestellt.

Der Fluß ändert
sich, da die Spule durch die Drehung des Zylinders abgespult, wie dargestellt.
Da jedoch B statisch ist, besteht keine Variations emf und da die Leiter nicht
Modulieren Flußlinien, gibt es keine Bewegungs emf Somit d & phi; / dt in
der Gleichung (11) null ist, auch wenn das Flussmittel mit der Zeit ändert.
Beachten Sie, daß d & phi; / dt als die den rechten Teil des Ausdrucks in
Gleichung (10) definiert, und d & phi; / dt nicht breiter ist als die zu
interpretieren.
In der Anwendung
der vorliegenden Gleichungen ist es erforderlich, daß alle Stromdichten und die
Bewegungen werden in einer einzigen, festgelegten Koordinatensystem bezeichnet.
Insbesondere werden die Geschwindigkeiten aller bezüglich dieses System allein
nicht als Relativgeschwindigkeiten zwischen den Leitern oder Bewegen Flußlinien
auszulegen. Das Koordinatensystem wird willkürlich ausgewählt, und die Größen
der Variations und Bewegungsfelder hängen von der Auswahl.
Beispiel 1:
Ein grundlegender
elektrischer Generator ist in Fig.2 gezeigt:

Die parallele, stationäre
Leiter, durch Abstand "l" getrennt, eine stationäre Voltmeter über
ihnen verbunden. Die Schaltung wird durch einen sich bewegenden Leiter zu den
parallelen Leitern mittels zweier Schleifkontakte angeschlossen sind,
geschlossen. Dieser Leiter wird bei y = 0 zum Zeitpunkt t = 0 verbunden sind,
und es bewegt sich nach rechts mit einer konstanten Geschwindigkeit V = Vay.
Die angelegte Fluß B durch Punkte auf Fig.2 dargestellt und hat eine Stärke von
B = BO CosBY Coswt ax. Die Einheitsvektoren in Richtung der Koordinatenachsen
sind ax, ay und az entsprechend.
Lösung: Es sei S
die ebenen rechteckigen Fläche der geschlossenen elektrischen Schaltung
begrenzt ist, mit einer positiven Seite wie die Seite zu ihnen hin ausgewählt.
Der Gegenuhrzeigersinn-E.M.F. in dem Kreislauf ist d & phiv; / dt mit
φ bedeutet den magnetischen Fluss von der positiven Seite der S (As ds = 1
dy ax). Das Skalarprodukt
B x ds BO l Cosby, Coswt dy; Integrieren von y = 0 bis y = y ergibt:
![]()
Mit y1 bezeichnet
den momentanen y Position des beweglichen Draht. Der Gegenuhrzeigersinn-E.M.F.
durch Ersetzen y mit vt und Auswertung d & phgr; / dt gefunden. Das
Ergebnis ist:
![]()
Die Variations
(Transformator) Komponente wird mit Hilfe von Gleichung (12) bestimmt und ist
wBOl / BsinBy sinwt wo y = vt. Dies ist die erste Komponente auf der rechten
Seite der Gleichung (13).
Anmerkung: y1
wurde als Konstante bei der Auswertung der Teilzeitableitung φ behandelt.
Die Bewegungs
E-Feld ist das Linienintegral V x B entlang der Bahn des beweglichen Leiters.
Als V x B -BO vcosBy1 coswt Axt und als dl ist dz Axt, Auswertung des Integrals
-BO vcosBy1 coswt dz von Z = 0 bis z = 1 ergibt sich eine Bewegungs E-Bereich
der -BO lvcosBv1 coswt. Diese Komponente resultiert aus Modulation
der Feldlinien durch das sich bewegende Leiter. Wenn das Voltmeter keinen Strom
zieht, kann es keine elektromagnetische Kraft auf die freien Elektronen der
Draht sein. Daher ist die EMK entlang des Weges der metallischen Leiter
einschließlich des beweglichen Leiters, ist Null.
Beispiel 2:
Angenommen, die Leiter mit den gleitenden Abgriffe stationär (V =
0), und es wird bei y = y1 entfernt. Auch wird angenommen, dass das Magnetfeld
B wird durch ein System von sich bewegenden, die nicht in 2 gezeigt sind, und
diese Leiter sind mit einer konstanten Geschwindigkeit V = Vay reisen Leitern
hergestellt. Zum Zeitpunkt t = 0, ist das Magnetfeld B BO sinBy ax.
Ermitteln der Spannung über den Spannungsmesser.
Lösung: Es ist keine Bewegungs E-Feld, da die Leiter in Fig.2 in
Ruhe (feststehend) bezüglich unserer ausgewählten Koordinatensystem. Jedoch
wird das Magnetfeld an Punkten in Bezug auf das Koordinatensystem festgelegt
mit der Zeit ändert und im Ergebnis besteht eine Variations emf Da das B-Feld
zur Zeit t = 0 ist BO sinBy ax und hat eine Geschwindigkeit von V =
Vay kann errechnet werden, daß die B-Feld als Funktion der Zeit ist BO
SIN [B (y-vt)] ax. Dies wird durch Feststellung, daß ein Beobachter zur Zeit t
= 0, die auf der konstanten Geschwindigkeit (V = Vay) des sich bewegenden Strom
fährt, verifiziert, eine y-Koordinate y = y + Vt und entsprechend
unterschiedlichem Ausdruck für B hätte . Er würde ein konstantes Feld zu
beobachten, wo die magnetische Stromdichtes:
![]()
Der Gegenuhrzeigersinn-E.M.F. können, indem sie die negativen eines
integralen des obigen Ausdrucks für die rechteckige Fläche durch die
elektrische Schaltung mit der positiven Seite begrenzt zu Ihnen, mit den
Grenzen der Null und y angekommen werden. Die resultierende EMK ist gleich:
![]()
Das ist die Spannung an dem Messgerät.
Induzierte Motional Field - Negative Energie:
Konventionelle Theorie besagt, dass elektrische Felder und
magnetische Felder sind verschiedene Dinge. Betrachten wir für einen Moment,
eine Gebühr mit einem elektrischen Feld um ihn herum. Wenn die Ladung bewegt
wird, dann wird ein Magnetfeld entwickelt und die sich bewegende Ladung stellt
ein Strom. Wenn ein Beobachter waren mit der Ladung bewegen sich entlang, dann
hätte er keine Relativbewegung, keinen Strom und kein Magnetfeld sehen. Ein
stationärer Beobachter sehen Bewegung, Strom und ein Magnetfeld. Es scheint,
dass ein magnetisches Feld ist ein von einem Bewegungs Bezugsrahmen beobachtet
elektrischen Feldes. Und falls wir eine Masse mit einem Schwerkraftfeld um ihn
herum, und wir die Masse bewegen und eine Massenstrom, ein neues Feld wird
ebenfalls erstellt. Es ist eine andere Art von Schwerkraftfeld ohne Quelle und
ohne Waschbecken. Man nennt sie die "Protational Feld" und wird auch
als die "Lense-Thirring-Effekt" bekannt. Dieses Feld und es ist
Leitprinzipien bilden die Grundlage für zukünftige Anti-Schwerkraft-Geräte
(siehe Fig.1 bis Fig.4) zu bilden.

Innerhalb der beschränkt sind der Vakuum Triode Feld ist der
Raum-Zeit-Kontinuum durch die Felder, die in Gegenwart von angeregten
kohärenten Raum Fluss hergestellt werden umgekehrt. Diese Quanten sind aus
angezogen worden, und letztlich von der virtuellen Vakuum, das unendlich nicht
erschöpfbaren Diac Sea extrahiert. Für eine detailliertere mathematische Format
sehen Tom Bearden Papier "Die Phase Conjugate Vacuum Triode" (23.
April 1987). Ein Großteil der Theorie, die wahrscheinlich gilt für die Vakuum
Triode ist im Bereich der phasenkonjugierten Optik entwickelt.
Im Hinblick auf die Über Einheit Phänomene, ist es wichtig zu
beachten, dass, solange positive Energie vorhanden ist, in einem positiv
fließender Zeitregime, dann Einheit und Over-Unity Leistungsgewinne sind nicht
möglich. Die Summe der Verluste aufgrund von Widerstand, Impedanz, Reibung,
magnetische Hysterese und Wirbelströme Ventilationsverluste bei rotierenden
Maschinen immer Gesamteffizienz unter Eins zu reduzieren für ein geschlossenes
System. Die Gesetze der Erhaltung der Energie gelten für alle vier Systeme.
Jedoch ändert sich die induzierte Bewegungs E-Feld des Systems, auf denen diese
Gesetze angewendet werden müssen. Da der Unterdruck Triode ist in mehr als vier
Dimensionen und stellt eine Verbindung zwischen der multidimensionalen Realität
der Quantenzustand und der Dirac-See, sind wir nun mit einem offenen System und
nicht das "geschlossenes System", in dem alle Schutz und
thermodynamischen Gesetzen entwickelt.
Einheit zu erreichen, muß die Summe aller magnetischen und ohmsche
Verluste gleich Null sein. Um diesen Zustand zu erreichen, um negative Energie
und negativen Zeitbedarf erstellt werden. Wenn dies erreicht ist, null wird
alle ohmschen Widerstand und alle Energie fließt dann entlang der Außenseite
der Leiter in der Form einer besonderen Raum ein. Negative Energie ist
vollständig in der Lage Beleuchtung Glühlampen, Motoren laufen und die
Durchführung aller Funktionen von positiver Energie bisher getestet. Wenn
parallel mit positiver Energie jedoch Stornierung (Vernichtung) der Gegenmacht
Typen laufen auf. Diese wurde vollständig im Labor getestet.
Sobald die Einheit erreicht wurde und das Tor zum Dirac-See
geöffnet, über-Einheit wird durch das Laden der offenen Tor mehr und mehr, die
es weiter zu dem Punkt öffnet betroffen, wo die direkte Kommunikation /
Interaktion mit dem Kern des Atoms selbst erreicht wird. Ausgang der Vakuum
Triode ist nicht proportional zu der Erregungseingabe die Ausgabe durch die Vorrichtung
erzeugten direkt proportional zu der Belastung, die auf sie gesetzt wird, ist.
Das ist die einzige Last abhängigen Variablen für Geräteausgang.
Ausgangsspannung und Frequenz der Triode ist immer noch durch die
Konditionierung des Bewegungs E-Feld in den Permanentmagneten und dem kleinen
geregelten Erregersignal, das durch einen kleinen Oszillator konstant.
Verordnung konstant bleibt und die Triode Ausgabe sieht in eine
In-Phase-Zustand (cos = 1 Kvar = 1) unter allen Lasteigenschaften.
der Unterdruck Triode ist eine Festkörpervorrichtung, die aus
Anlage Permanentmagneten der Lage, ein Bewegungsfeld. Dieses Feld öffnet das
Tor zum Dirac-See, von wo aus negativer Energie fließt in Empfangsspulen der
Triode ist. Die Spulen sind mit sehr kleinem Durchmesser Draht gewickelt aber
trotz, dass in der Lage, mehr als 5 Kilowatt Nutzleistung sind. Dieses an sich
ist ein deutlicher Indikator, dass die Art der elektrischen Energie, die von
der Vorrichtung gesammelt wird, ist keine herkömmliche elektrische Energie. Die
in der Konstruktion der Vorrichtung verwendet würden nicht in der Lage, die
solche großen Strömen ohne übermäßige Wärmegewinn sein Drahtstärken jedoch der
Triode von Spulen tatsächlich kühler laufen als bei 5 kW geladen.
Die Grundmagneten wurden frei von den Bindungskräfte, die sie
gezwungen, stationären einpoligen einheitliche magnetische Flussgeräte sein
gebrochen. Sie sind jetzt in der Lage, einfach unterstützen Masse, wie mit dem
Transformator Stahl Abbildung gezeigt. Sie können nun ganz einfach gemacht, um
eine dynamische Bewegungsfeld, indem eine kleine Menge Anregung anzunehmen.
Genauer gesagt, 1 Milliampere bei 10 Volt (10 Milliwatt) von Anregung bei 60 Hz
können die Spulen der Triode vom Diracsee mehr als 5.000 Watt nutzbaren
negative Energie empfangen. Es ist noch nicht festgelegt, wie viel mehr Energie
sicher entfernt werden kann.
Patentanmeldung
GB 2130431A 31. Mai
1984 Erfinder: Meguer
Kalfaian
Verfahren und Mittel zur Erzeugung Perpetuum mobile
mit hoher Leistung
Es gibt eine Patentanmeldung, die einige sehr interessante Ideen und Ansprüche hat. Es hat sich für eine lange Zeit gewesen, aber es war nicht bis vor kurzem bemerkt worden. Persönlich habe ich den Eindruck, dass es mehr ein Konzept und nicht als solide basierten Prototypen erprobte Gerät, aber das ist nur mein Eindruck, und Sie brauchen, um über die Angelegenheit machen sich Ihr eigenes Bild.
ZUSAMMENFASSUNG
Die unbefristete statische Energien, wie sie in der Elektronen (Selbst Spin) und dem Dauermagneten (Druck und Zug) kombiniert werden, um eine dynamische Funktion zu bilden. Elektronen von einer Heizwendel F emittiert werden dauerhaft innerhalb der zentralen Magnetfeld eines zylindrischen Magneten M5 gefangen. Ein zweiter Magnet M6, in entgegengesetzter Polarität zu den Polen der Elektronen verursacht polaren Neigung und Präzession. Diese Präzession strahlt einen leistungsstarken elektromagnetischen Feldes mit einer Spule L zwischen dem zylindrischen Magneten und einer Vakuumkammer C angeordnet - Wunde in einer Richtung senkrecht zu den Polarachsen der Elektronen. Alternativ wird die elektromagnetische Strahlung als kohärentes Licht emittiert. Die ursprüngliche Quelle von Elektronen wird nach Einschlüsse geschlossen.
TECHNISCHE DATEN
Verfahren und Mittel zur
Herstellung ständiger Bewegung mit hoher Leistung. Diese Erfindung betrifft
Verfahren und Mittel zur Erzeugung ständiger Bewegung. Eine Aufgabe der
Erfindung ist es daher, um nützliche Perpetuum mobile für Versorgungszwecke zu
produzieren.
KURZE AUSFÜHRUNGSFORM DER ERFINDUNG
Das Elektron ist selbst Spin von Anfang an von seiner Geburt in der Zeit der Erschaffung der Materie erworben und stellt eine ewige Energie. Aber selbst Spin allein, ohne polare Bewegung nicht praktisch und daher können nützliche Energie daraus nicht abgeleitet werden. Auch der Permanentmagnet eine Quelle der ewigen Energie, aber seit seiner Pole stationär sind, können nützliche Energie daraus nicht abgeleitet werden.
Die Eigenschaften dieser zwei
Arten von statischen Kräfte unterscheiden sich jedoch voneinander, und daher
sind die zwei Arten von Energie in einer solchen Weise, kann die kombinierte
Ausgabe in ständiger Polbewegung umgewandelt werden kombinierbar.
In einem Ausführungsmodus, eine zylindrische Vakuumkammer mit einem Faden und
einer Kathode im Inneren, innerhalb des zentralen Magnetfeld eines
zylindrischen Permanentmagneten umschlossen ist, die Magnetisierung davon in
einer Richtung entweder der Längsachse oder der von der Mitte zu sein, die
äußere Umfangsfläche des Zylinders. Wenn Strom durch das Filament geleitet,
werden die von der Kathode emittierten Elektronen in einen Strahl in der Mitte
der zylindrischen Kammer, die durch das Magnetfeld des Magnetzylinder komprimiert.
Somit wird, wenn der Strom durch das Filament abgeschaltet wird, werden die
Elektronen in dem Strahl verbleiben dauerhaft im Inneren des Magnetfeldes
eingeschlossen.
Bei einer solchen Anordnung sind
die Pole der Elektronen einheitlich ausgerichtet. Wenn ein zweiter
Permanentmagnet gegen den Träger in abstoß Polarität gehalten wird, werden die
Pole der Elektronen aufgeschoben und von ihrer normalen Längspolarachsen
geneigt. In solchen gekippten Ausrichtungen nun die Elektronen beginnen Wackeln
(Präzession) in Kreiselbewegungen, ebenso wie ein Kreisel, wenn es zu einer
Seite geneigt ist. Die Frequenz dieses Wackeln (Präzessionsbewegung Resonanz)
hängt von den Feldstärken der zwei Magneten, ähnlich zu der Resonanz der
Violinensaite relativ zu seiner Spann Dehnung. Die polaren Bewegungen der
Elektronen strahlen ein elektromagnetisches Feld, das von einer Spule gesammelt
werden kann und dann in jeder gewünschten Art von Energie umgewandelt. Aufgrund
der gleichförmig ausgerichtet Elektronen ist das Ausgabefeld kohärent und die
Ausgangsleistung hoch ist.
Beobachteten Beispiele, auf denen die
Erfindung basiert:
Das Gerät kann am besten durch Beispiele eines Kreisels in Taumelbewegung
beschrieben werden. Unter Bezugnahme auf die Darstellung der Fig.1 sei angenommen, daß der Kreisel T ist aus einem magnetischen Material
hergestellt sind, wie durch ihre Pole Zeichen (S und N) angegeben.
Obwohl die obere magnetisch, wird die Drallbewegung nicht strahlt jede Art von
Feld, das empfangen und in ein nützlicher Typ von Energie umgewandelt werden
kann. Dies ist aufgrund der bekannten Tatsache, daß, wird die Strahlung nur
dann erzeugt, wenn die Pole des Magneten in Bewegung sind, und in diesem Fall
stationär sind die Pole.

Wenn ein Magnet M1 wird aus einer Richtung senkrecht zur Längs Polachse der Oberseite, wie in Fig.2 gezeigt gehalten wird, wird die polare Achse des oberen wie dargestellt gekippt werden kann, und die auf dem Spinnen in dieser geneigten Richtung zu halten. Wenn der Magnet M1 wird entfernt, aber die oben versuchen in seine ursprüngliche vertikale Stellung wieder zu erlangen, aber dabei wird es in Kreiselbewegung, wie in Fig.3 gezeigt wackeln. Je schneller die oben dreht, dann desto schneller ist die Taumelbewegung wird.

Der Grund dafür, dass die obere kippt winklig, jedoch nicht wackelt, wenn der
Magnet M1 wird von der horizontalen
Richtung gehalten ist, dass die einseitige Pull verhindert die oben bewegt weg
von der Magnetfeld kostenlos kreis Wobble. Statt den Magneten M1 von der Seite
der Spitze, kann man auch den Magneten zu halten von einer Richtung oberhalb
der Oberseite, wie in Fig.4 gezeigt.
In diesem Fall wird jedoch die polaren Zeichen zwischen dem Magneten und der
Platte sind wie Zeichen ausgerichtet, so dass anstelle der Zugwirkung besteht
Schubwirkung zwischen dem Magneten und der Oberseite - verursacht Winkelneigung
der Oberseite, wie in gezeigt, Fig.4.
Die Schubwirkung des Magnetfeldes von oberhalb der oberen nun innerhalb einer
Kreisfläche angeglichen, so dass der obere Freiheit in gyroskopische Drehung
taumeln findet.
Der wichtige Punkt bei der oben
gegebenen Erklärung ist, dass die obere versucht, seine ursprüngliche vertikale
Position zu erhalten, aber es ist daran durch den stetigen Abwärtsschub aus dem
statischen Magnetfeld des Magneten M2
verhindert. Also, solange die oben
dreht, so wird in einem stationären Zustand wackeln. Da es nun, Polbewegung im
Taumelbewegung des oberen, diese Taumelbewegung kann leicht in nutzbare Energie
umgewandelt werden kann. Um diese Umwandlung in unbefristete Energie zu machen,
aber die oberen sind werden ständig dreht. Natur hat bereits eine ständig
Spinnmagnetplatte, die aufgerufen wird, vorgesehen ist, "das
Elektron" - garantiert, um für immer zu drehen, mit einer Rate von 1,5 x
1023 (einhundertfünfzigtausend
Milliarden Milliarden Umdrehungen pro Sekunde).
KURZE BESCHREIBUNG DER ZEICHNUNGEN

Fig.1 veranschaulicht eine
Magnetkreisel, verwendet werden, um die Grundprinzipien der Erfindung zu
beschreiben.

Fig.2 zeigt eine kontrollierte
Oberseite für die Grundprinzipien der Erfindung zu beschreiben.

Fig.3 und Fig.4 illustrieren Kreisel in Wackeln Staaten für die Grundsätze
der Erfindung zu beschreiben.

Fig.5 zeigt, wie ein Elektron in einen Taumelzustand unter der Steuerung des Permanentmagneten angesteuert werden.

Fig.6 ist eine praktische Anordnung
zur Gewinnung Perpetuum.

Fig.7 zeigt eine natürliche
Atomanordnung zur Erlangung präzessionalen Resonanz.

Fig.8 zeigt eine andere Art von
Elektronenfallen Permanentmagnet, der in Fig.6
verwendet.

Fig.9 ist eine Modifikation der Fig.6; und

Fig.10 ist eine Modifikation der
Elektronenfallen Magneten inFig.6
verwendet.
BESTE ART DER DURCHFÜHRUNG DER
ERFINDUNG
Bezugnehmend auf die beispielhafte Darstellung der Fig.4 ist der Kreisel T an der Basis B, die durch die Schwerkraft geschwenkt.

Im Fall des Elektronenstrahls, aber es muss fest zwischen einigen Magnetkräfte
gehalten werden. So wird unter Bezugnahme auf die Darstellung der Fig.5 sei angenommen, daß ein Elektron
e ist in der Mitte eines zylindrischen Magneten M4 gelegt. Die Richtung Magnetisierung
des Magneten M4 und dem polaren
Orientierung des Elektrons e sind in der Zeichnung markiert. In diesem Fall,
wenn ein Permanentmagnet M3 ist an
dem offenen Ende des zylindrischen Magneten M4 gesetzt, wird das Elektron e
präzedieren, in einer Art und Weise, wie anhand der Kreisel beschrieben. Die
Schwierigkeit bei dieser Anordnung ist, daß Elektronen nicht in freier Luft getrennt
werden, und eine Vakuumkammer erforderlich ist, wie in der folgenden:


Fig.6 zeigt eine Vakuumkammer C, die eine zylindrisch gewickelte
Filament F, zu der Batterie B1 über den Schalter S1 verbunden ist, enthält. Somit wird,
wenn der Schalter S1 eingeschaltet
wird, der Faden F wird angezündet,
und es Elektronen freisetzt. Außerhalb der Vakuumkammer C ist ein zylindrischer Permanentmagnet-M5, die die emittierten Elektronen zu einem Strahl in der Mitte der
Kammer komprimiert gelagert.
Wenn der Strahl gebildet wird, wird der Schalter ausgeschaltet, so daß der Elektronenstrahl ständig in der Mitte der Kammer gefangen.
Der Permanent Einfangen der Elektronen in der Kammer C eine dauerhafte Speicherung von statischen Energie. Somit wird, wenn ein Permanentmagnet M6 ist platziert, um die polare Ausrichtung der gleichförmig gepoltes Elektronen in dem Strahl zu neigen, beginnen sie präzedieren ständig bei einer Resonanzfrequenz, wie sie von den Feldstärken der Magnete M5 und M6 bestimmt.
Die präzedierende Elektronen in dem Strahl wird Quadratur abstrahlen Phased elektromagnetisches Feld in einer Richtung senkrecht zu den Polarachsen der Elektronen.
Somit kann eine Spule L zwischen dem Magneten M5 und der Vakuumkammer C angeordnet werden, um das abgestrahlte Feld aus dem Strahl empfängt. Die Ausgabe kann dann in verschiedenen Modi für praktische Zwecke, beispielsweise für Gleichstrom Stromverbrauch gleichgerichtet eingesetzt werden.
Der Elektronenstrahl-Erzeugungs zylindrischen Magneten M5, die auch eine Fokussierungsmagnet bezeichnet werden kann, wird gezeigt, bipolar entlang der Längsachse ist. Die Magnetisierungsrichtung kann jedoch von der zentralen Öffnung zu dem äußeren Umfang des Magneten, wie durch den Magneten M7 gezeigt wird, in der Fig.8, aber die präzessierenden Magnet M6 wird in jedem Fall erforderlich.

In der Anordnung nach Fig.6, habe
ich eine Stromsteuergitter enthalten G.
Während es nicht wesentlich für den
Betrieb der Anordnung gezeigt ist, kann es zu einem hohen negativen Potential B2 durch den Schalter S2 verbunden werden gerade vor dem
Umschalten auf die S1 AUS Position,
so dass während der Abkühlperiode des Glühfadens, es wird kein Entweichen von
Elektronen aus dem Strahl auf der Kathode auftritt. Auch kann das Gitter G EIN während der Heizperiode der
Kathode geschaltet werden, so dass Elektronen nicht zwangsweise aus der Kathode
während der Heizperiode freigesetzt und damit keine Schäden an der Kathode oder
des Filaments verursacht.
Biologische präzessionalen Resonanz
Electron präzessionalen Resonanz auftritt in lebendem Gewebe Materie, wie sie
in Laborversuchen beobachtet. Dies wird als ESR (Elektronenspinresonanz) oder
PMR (Spinresonanz). In Gewebegebiet ist jedoch die präzessierenden Elektron
zwischen zwei Elektronen eingeschlossen, wie in Fig.7 gezeigt, und die polare Ausrichtung von den polaren Zeichen
und Schattierungen angedeutet, für die Klarheit der Zeichnung.

Simulation
Die Anordnung gemß Fig.7 können
künstlich in einer Art und Weise, wie in Fig.9,
wobei das Elektronen einfangende Magnet ein Paar von parallelen beabstandeten
Magneten M8 gezeigt simuliert
werden. In der tatsächlichen Praxis wird jedoch der Aufbau dieses Magnetpaar M8 kann geändert werden. Beispielsweise
kann ein zweites Paar von Magneten M8
zwischen den zwei Paaren angeordnet werden, so dass die Richtungen der
Querfelder zwischen den beiden Paaren kreuzen auf der zentralen Längsachse der
Vakuumkammer zueinander senkrecht. Der
innere Bereich abstrahlenden Oberflächen dieser beiden Paare von Magneten
können miteinander kreisförmige, und die zwei Paare zusammengebaut werden,
entweder durch physikalischen Kontakt oder voneinander getrennt.
Änderungen
Mit Bezug auf die Anordnungen der Fig.6,
Fig.9 und Fig.10, wenn sich das Elektron in Präzession Kreiselbewegung, der
abgestrahlten Feldes in einer Richtung parallel zur Polachse des Elektrons, ist
eine einphasige Korkenzieher-Wellenform, die, wenn sie bei Lichtfrequenz
Präzession erzeugt die Strahlung die Wirkung von Licht.

Wohingegen das Feld in einer Richtung senkrecht zu der Achse des
Elektronenstrahls erzeugt ein Quadratur-phasengesteuerte elektromagnetische
Strahlung. So kann anstelle der Verwendung des Ausgangssignals des Elektronen
Präzession als Energieträger, so kann für die Feldstrahlung entweder Licht oder
elektromagnetische Wellen, wie durch die Pfeile in Fig.9 angedeutet, verwendet werden. In diesem Fall wird das
Ausgangsfeld kohärente Strahlung sein.
In Bezug auf die Anordnung der Fig.6 ist die Elektronenemissions gezeigt, innerhalb des zentralen Magnetfelds des Fokussiermagneten M5 auftreten. Es kann in der Praxis erwünscht ist jedoch, dass diese Elektronen in den zentralen Bereich des zylindrischen Magneten aus einer Kanonenanordnung eingespritzt wird, wie es in einer beispielhaften Anordnung von Fig.10 gezeigt. In diesem Fall wird die Unterdruckkammer C zu der rechten Seite angeflanscht, zur Montage einer Elektronenemissionskathode 1 (das Filament nicht dargestellt), und eine gekrümmte Elektronenbeschleunigungspistole 2. Der zentrale Teil dieses Flansches wird der Einfachheit halber ausgespart Montieren einer Elektronen Kippen Magneten (wie gezeigt), so nahe wie möglich an den Elektronenstrahl. Im Betrieb, wenn ein Strom durch das Filament geleitet, und eine positive Spannung angelegt wird (nicht dargestellt) an der Pistole 2 werden die emittierten Elektronen von der Kathode beschleunigt und in den zentralen Bereich des Magneten 11. Unter der Annahme, dass das offene Ende eingespritzt der die Waffe 2 überlappt etwas das offene Ende des zylindrischen zentralen Feld des Magneten M1, und die an der Pistole 2 ist sehr gering angelegte positive Beschleunigungsspannung werden die beschleunigten Elektronen das zentrale Feld des Magneten M1 geben und zu reisen, um die andere Ende des Feldes. Aufgrund der geringen Geschwindigkeit Beschleunigung der Elektronen aber sie nicht verschütten können aus dem Feld, und sich darin dauerhaft eingeschlossen ist.
In Bezug auf die Richtung, in der die Spule L1 angeordnet ist, dessen Wicklungskopfes in einer Richtung senkrecht zur Längsachse des Trägers ist, auf welchen sich die polaren Achsen der Elektronen gleichförmig parallel zueinander ausgerichtet. Bei einem praktischen Betrieb kann die Spule L1 in der Form einer Oberflächenwickelt um eine Rohrform über den zylindrischen Vakuumkammer angebracht gewickelt werden.
In Bezug auf die Funktionsfähigkeit der Vorrichtung, wie hierin offenbart, auf die Darstellung in Fig.7 zeigt, dass der Feldausgang in einer Richtung parallel zu der Polachse des Elektrons singulären gestaffelt werden, und sie erzeugt die Wirkung von Licht, wenn die Präzessionsfrequenz ist bei einer Lichtfrequenz. Wohingegen der Ausgang in einer Richtung senkrecht zu der Polachse des Elektrons Quadratur auslaufen, die im elektromagnetischen Feld ausgeübt Übertragungs manifestiert.
In Bezug auf die experimentelle Hinweise, ein Artikel mit dem Titel "Magnet-Resonanz bei hohen Druck" im "Scientific American" von George B. Benedek, Seite 105 zeigt eine Präzession Kern, und zeigt die Richtung des elektromagnetischen Feldes Strahlung durch die Präzession Kern. Die gleiche Technik wird auch in der medizinischen Apparat "Kernspinresonanz" jetzt in zahlreichen Krankenhäusern für die Bildgebung maroden Geweben verwendet (siehe "High Technology" Nov. Dez. 1982. Siehe auch die Technik der Erkennung Elektronenspinresonanz, in dem Elektronen (als "freie Radikale"), werden durch die Anwendung von externen Magnetfeldes an das Gewebe egal präzediert. Bei all diesen Verfahren sind die elektromagnetischen Felderfassungsspulen senkrecht zu den Polarachsen der präzedierenden Elektronen oder der Kerne gerichtet.
Im Hinblick auf die Erzeugung von Licht durch eine Präzession Elektronen in einer Richtung parallel zur Polachse der Präzession Elektronen finden eine experimentelle Referenz dem Titel "Freie Elektronen machen leistungsstarke neue Laser" in "High Technology" veröffentlicht Februar 1983 Seite 69.
Im Hinblick auf den Aspekt der Herstellung und Lagerung der Elektronen in einer Vakuumkammer, ist es eine bekannte Tatsache, indem der Praxis, dass die Elektronen innerhalb des zentralen Feldes eines zylindrischen Permanentmagneten eingeschlossen, und sie werden eingefangen bleiben, solange der Magnet bleibt Position.
Im Hinblick auf die Leistung des Erhaltens präzessionalen Resonanz der Elektronen, ist das einfache Beispiel eines Taumel oberen ausreicht, als Nachweis der Funktionsfähigkeit.
Nachdem, und im Hinblick auf die Anregungen zahlreicher Möglichkeiten der Abwandlungen, Anpassungen, Änderungen und Substitutionen von Teilen beschrieben, die bevorzugte Ausführungsformen der Erfindung sollte es offensichtlich sein, die dem Fach in verwandten Gebieten, die andere Möglichkeiten sind innerhalb des Geistes und Umfangs der Erfindung.
US Patentanmeldung 20090096219
16. April 2009 Erfinder: Annis
& Eberly
ENERGIE-ERZEUGUNG-APPARATE UND METHODEN
BASIEREND AUF MAGNETISCHEN FLUSS WECHSELN
ZUSAMMENFASSUNG
Verfahren und Vorrichtungen zur Stromerzeugung durch den Betrieb einer Schaltung auf einer einzigen Magnetflusspfad. Eine magnetisierbare Teil stellt den Flußpfad. Ein oder mehrere elektrisch leitende Spulen sind um das Element gewickelt ist, und einen Reluktanz oder Flußmittel-Schaltvorrichtung verwendet wird, um den Fluss zu steuern. Wenn sie betätigt wird, bewirkt, dass die Schaltvorrichtung eine Umkehrung der Polarität (Richtung) des magnetischen Flusses des Permanentmagneten durch das Element, um dadurch elektrischen Wechselstrom in jeder Spule induziert wird. Der Fluß-Schaltvorrichtung kann unbeweglich oder Rotations sein. In den bewegungsAusführungsFormen werden zwei oder vier Reluktanz Schalter betätigt, so dass der magnetische Fluss von einem oder mehreren stationären Permanentmagnet (en) durch das magnetisierbare Teil umgekehrt ist. In alternativen Ausführungsformen umfasst das Flussschaltvorrichtung einen Körper von hoher Permeabilität und niedriger Permeabilität Materialien zusammengesetzt ist, so dass, wenn der Körper gedreht wird, wird das Magnetfeld des Magneten wird nacheinander durch die magnetisierbare Teil umgekehrt ist.
GEBIET DER
ERFINDUNG
Die vorliegende Erfindung betrifft Verfahren und eine Vorrichtung, bei der der magnetische Fluss von einem oder mehreren Permanentmagneten wird wiederholt in der Polarität (Richtung) durch einen einzigen Flußweg um die herum eine leitende Spule oder Spulen zum Zweck der Induzierung Strom in den Spulen gewickelt vertauscht.
HINTERGRUND
DER ERFINDUNG
Die elektromechanische und
elektromagnetische Methoden in Bewegungs elektrische Generatoren und
Generatoren beteiligt sind wohlbekannt. Generatoren und Motoren verwenden oft
Permanentmagneten und weisen üblicherweise einen Rotor und einen Stator und
eine Spule oder Spulen in der eine EMK (elektromotorische Kraft) induziert
wird. Die für die Stromerzeugung beteiligt Physik wird durch den Generator
Gleichung V = ∫ (vxB) .dl beschrieben.
Permanentmagnete von Materialien, die eine
hohe Zwang, eine hohe magnetische Flussdichte eine hohe magnetische Bewegungskraft
(mmf) aufweisen, und keine signifikante Verschlechterung der magnetischen Kraft
im Laufe der Zeit sind nun üblich. Beispiele hierfür sind keramische
Ferrit-Magneten (Fe2O3); Samarium-Kobalt (SmCo5);
Kombinationen aus Eisen, Neodym und Bor; und andere.
Magnetpfade für Transformatoren sind oft aus
laminierten Eisenmaterial aufgebaut ist; Induktoren verwenden oft
Ferritmaterialien, die für Betrieb mit höherer Frequenz für beide Geräte
verwendet werden. Hochleistungs-magnetischen Materialien zur Verwendung als die
Magnetbahnen innerhalb eines Magnetkreises sind nun verfügbar und sind für die
(schnelle) Schalt Magnetflußlinien mit einem Minimum von Wirbelströmen
geeignet. Ein Beispiel ist die FINEMET® nanokristallinem Kernmaterial von der
Hitachi Japan hergestellt.
Nach Moskowitz, "Permanent Magnet
Design und Produkthandbook" 1995, Seite 52, Magnetfluss kann man sich als
Flusslinien, die immer zu verlassen und in die Oberflächen der
ferromagnetischen Materialien im rechten Winkel, der kann niemals wahr rechtwinkligen
dreht gedacht werden, die Reise nur in geraden oder gekrümmten Bahnen, die die
folgen kürzeste Distanz und die den Weg des geringsten Widerwillen.
Ein "Zurückhaltung Schalter" ist
ein Gerät, deutlich erhöhen kann oder Abnahme (in der Regel erhöhen) die
Zurückhaltung (Widerstand gegen magnetische Bewegungskraft) eines magnetischen
Pfad in einem direkten und schnellen Weise und anschließend wieder zu seiner
ursprünglichen (in der Regel niedriger) Wert eine direkte und schnelle Weise.
Eine Zurückhaltung Schalter hat typischerweise analogen Eigenschaften. Im
Gegensatz dazu hat eine aus / ein elektrischer Schalter typischerweise ein
digitales Merkmal, da es keinen Strom "Durchbluten". Mit dem
gegenwärtigen Stand der Technik Reluktanz Schalter haben Magnetflussdurchschlagen.
Reluktanz Schalter kann mechanisch implementiert werden, wie beispielsweise, um
zu bewirken Kugel Bewegung um einen Luftspalt, oder elektrisch durch mehrere
Mittel, oder durch andere Mittel erzeugen. Ein elektrisches Mittel ist die Verwendung
von Steuerspulen um die Magnetflußwege gewickelt sind.
Eine weitere elektrische Einrichtung ist die
Platzierung innerhalb der Flusspfad von bestimmten Klassen von Materialien, die
ändern sich (in der Regel erhöhen) ihre Zurückhaltung bei der Anwendung von
Elektrizität. Ein anderes elektrisches Mittel ist, um einen Bereich des
Schaltmaterial zu sättigen, so daß der magnetische Widerstand der von Luft
durch Einführen Leiten von elektrischen Leitungen in dem Material nach Konrad
und Brudny in "Verbessertes Verfahren für virtuelle Luftspaltlänge
Computation", in IEEE Transactions on Magnetics, Vol. 41, No. 10, Oktober
2005.
Die Patentliteratur beschreibt eine Reihe
von Konstrukten, die entwickelt wurden, um die Mengen des Magnetflusses in
alternativen Flußwege durch unverhältnismäßig Aufteilen des Flusses von einem
ortsfesten Permanentmagnet oder Magnete zwischen oder unter alternativen
Flußwege wiederholt zwecks Stromerzeugung variieren. Die Zunahme des Flusses in
einem Magnetpfad, und der entsprechenden Abnahme in der anderen Bahn (en) die
Grundlage für die Induktion elektrischen Strom, wenn die Spulen sind um die
Pfade gewickelt. Die für die Stromerzeugung beteiligt durch diese Konstrukte
Physik wird durch den Transformator Gleichung V = -∫dB / dt.ds
beschrieben. Eine Vielzahl von Zurückhaltung Schaltmittel eingesetzt worden, um
dazu führen, das Flussmittel zu erhöhen / zu verringern durch einen bestimmten
alternativen Pfad mit einer entsprechenden Abnahme / Zunahme des den anderen
Weg und dies wiederholt.
Ein mittels Schalt Fluß entlang alternative
Pfade zwischen den entgegengesetzten Polen eines Permanentmagneten haben den
vom RJ Radus, Engineers Digest, July 1963 beschrieben Flußtransfer Prinzip
enthalten.
Aufgrund der Bereitstellung einer alternativen
Flusswege von im allgemeinen ähnlicher Geometrie und Permeabilität, dass unter
bestimmten Bedingungen die alternativen Pfad ersten ausgewählten oder der Weg
für die Mehrheit des Flusses wird eine "bevorzugte Pfad" bleiben,
dass es mehr Fluss beizubehalten und ausgewählte der andere Weg, trotz der
Wege, die gleiche Zurückhaltung. (Es gibt keine automatische Entzerrung des
Flusses unter ähnlichen Pfaden erweitert).
Moskowitz, "Permanent Magnet Design und
Produkthandbook" 1995, S. 87 erörtert dieser Effekt in Bezug auf die
industrielle Verwendung von Permanentmagneten, um durch Drehen des
Permanentmagneten an heben und lassen Roheisen, Stahl und (fast) ab über
Zurückhaltung Schalt das besteht aus das elektrische Pulsen der Spulen um die
Magnetflusspfade (die Reluktanz Schalter) gewickelt.
Experimentelle Ergebnisse mit vier
rechteckigen Eisenstangen (relative Permeabilität = 1000) zusammen in einem
Quadrat mit einer Stabpermanentmagnet angeordnet zwischen zwei der einander
gegenüberliegenden Stangen (Flußdichte an einem Pol = 5000 Gauss gemessen)
ungefähr in einer Mittelposition gezeigt, dass das Entfernen und Ersetzen der
einer der Stirnleisten, die parallel zur ist Stabmagnet wird in etwa 80% des in
der Bar, die in Kontakt blieben Restfluss zur Folge haben. Die Ergebnisse
zeigten weiter, dass der bevorzugte Pfad ist eine Steigerung um Zurückhaltung
zu zehn Mal aus, dass der zur Verfügung stehenden alternativen Weg vor seiner
überproportionalen Fluss Bedingung ergeben und Transfer zum alternativen Pfad zu
erleben.
Flynn US-Pat. No. 6.246.561; Patrick et al.
Das US-Patent. No. 6.362.718; Pedersen und den US-Patenten. No. 6.946.938 allen
ein Verfahren und eine Vorrichtung zum Schalten (Division) die Menge der
magnetischen Flusses von einem stationären Permanentoffen oder die Magneten
zwischen und alternative Pfade für den Zweck der Erzeugung von Strom (und /
oder der Antriebskraft). Sie sorgen für die Erhöhung des magnetischen Flusses
in einem Weg mit einer entsprechenden Abnahme der anderen Bahn (en). Es sind
immer mindestens zwei Pfade.
ZUSAMMENFASSUNG DER
ERFINDUNG
Die vorliegende Erfindung betrifft Verfahren
und Vorrichtungen zur Erzeugung von Strom durch den Betrieb eines Schaltkreises
basierend auf einer einzigen Magnetflusspfad. Eine magnetisierbare Teil stellt
den Flußpfad. Ein oder mehrere elektrisch leitende Spulen sind um das Element
gewickelt ist, und einen Reluktanz oder Flussschaltvorrichtung wird verwendet,
um den Fluß zu steuern. Wenn sie betätigt wird, bewirkt, dass die
Schaltvorrichtung eine Umkehrung der Polarität (Richtung) des magnetischen
Flusses des Permanentmagneten durch das Element, um dadurch elektrischen
Wechselstrom in jeder Spule induziert wird.
Gemäß der Erfindung kann die
Flussschaltvorrichtung unbeweglich bzw. Dreh sein. In den bewegungslos
Ausführungsformen werden vier Haltung Schalter durch eine Steuereinheit, die
ein erstes Paar von Schaltern zu öffnen (zunehmende Zurückhaltung) verursacht
betrieben werden, während ein anderes Paar von Schaltern in der Nähe
(abnehmende Zurückhaltung). Die Anfangspaar wird dann geschlossen, wenn das
andere Paar wird geöffnet, und so weiter. Diese 2x2 Öffnungs- und Schließzyklus
wiederholt und, wie es der Fall ist, wird der magnetische Fluss von dem
stationären Permanentmagnet (e) in der Polarität durch das magnetisierbare Teil
umgekehrt wird, wodurch Strom in den Leiterspulen erzeugt werden. Eine
alternative unbeweglich Ausführungsform zwei Reluktanz-Schalter und zwei Spalte
von Luft oder anderen Materialien.
In alternativen Ausführungsformen umfasst
das Flussschaltvorrichtung einen Körper von hoher Permeabilität und niedriger
Permeabilität Materialien zusammengesetzt ist, so dass, wenn der Körper gedreht
wird, wird das Magnetfeld des Magneten wird nacheinander durch die
magnetisierbare Teil umgekehrt ist. In der bevorzugten Ausführungsform ist der
Körper zylindrisch ist und eine zentrale Achse, und der Körper um die Achse
rotiert. Der Zylinder ist aus einem hochpermeablen Material zusammengesetzt,
außer für den Abschnitt des Material niedriger Permeabilität, die den Zylinder
in zwei Halbzylinder unterteilt. Zumindest eine elektrisch leitende Spule ist
um den magnetisierbaren Element gewickelt ist, so dass, wenn der Körper rotiert
wird ein elektrischer Strom in der Spule induziert. Der Körper kann durch
mechanische, elektromechanische oder andere Kräfte gedreht werden.
Verfahren zum Erzeugen von elektrischem
Strom, umfaßt die Schritte des Bereitstellens eines magnetisierbaren Element
mit einer elektrisch leitenden Spule gewickelt ist, und sequentielles Umkehren
des Flusses von einem Permanentmagneten durch das Element, wodurch elektrischer
Strom in der Spule induziert wird.
KURZE
BESCHREIBUNG DER ZEICHNUNGEN

Fig.1 ist eine schematische Darstellung eines
Magnetkreises nach der Erfindung.

Fig.2 ist eine
perspektivische Ansicht einer Ausführungsform der Erfindung auf der Basis
unbeweglich Magnetflussschalter.

Fig.3 ist eine Detailzeichnung eines
bewegungsFlussSchalter gemäß der Erfindung.

Fig.4 ist eine Detailzeichnung eines Reluktanz-Schalters
gemäß der Erfindung.

Fig.5 ist eine
Detailzeichnung eines alternativen unbeweglich Flussschalter gemäß der
Erfindung, die Spalte aus Luft oder anderen Materialien verwendet.

Fig.6 ist ein
schematisches Schaltbild eines Systems unter Verwendung eines
Rotationsflussschalter gemäß der Erfindung.

Fig.7 ist eine Detailzeichnung eines
Rotationsflussschalter gemäß der Erfindung.

Fig.8 ist ein
schematisches Diagramm einer Schaltung gemäß der Erfindung unter Verwendung von
zwei Permanentmagneten und einer einzigen Flußpfad.

Fig.9 zeigt eine
mögliche physische Ausführungsform der Vorrichtung mit den Komponenten von Fig.8, einschließlich einer
Zurückhaltung Schalterzentrale.

Fig.10 Shows und Anordnung von miteinander verbundenen
elektrischen Generatoren erfindungsgemäße.
DETAILLIERTE BESCHREIBUNG DER BEVORZUGTEN AUSFÜHRUNGSFORMEN

Fig.1 ist eine schematische Darstellung eines
Magnetkreises nach der Erfindung unter Verwendung einer bewegungsFlussSchalter.
Die Schaltung weist die folgenden Komponenten: einen Permanentmagneten 102, Einzel Flußpfad 104, leitenden Spulen 106, 108 und vier Reluktanz Schalter 110, 112, 114, 116. Unter der Steuerung der Einheit 118 schaltet Reluktanz 110, 114 offen ist (zunehmende
Zurückhaltung), während die Schalter 112,
116 in der Nähe (abnehmende Zurückhaltung). Zurückhaltung Schalter 110, 114 dann in der Nähe, während die
Schalter 112, 116 geöffnet, und so
weiter. Diese 2 x 2 Öffnungs- und Schließzyklus wiederholt und, wie es der Fall
ist, wird der magnetische Fluss von dem stationären Permanentmagnet 102 in der Polarität durch einzigen
Flußpfad 104 umgekehrt wird, wodurch
Strom in leitenden Spulen 106, 108
erzeugt werden.
Eine effiziente Form des Permanentmagneten 102 ist eine "C", in dem die
Pole in enger Nachbarschaft zueinander und in Eingriff mit dem Flussschalter.
Die einzelne Fluss durch einem magnetisierbaren Element 100 mit Enden, die in unmittelbarer Nähe zueinander sind, und auch
mit dem Flussschalter in Eingriff durchgeführt wird, auch in einer
"C" -Form. In dieser und in anderen Ausführungsformen die 2 x 2
Schaltzyklus gleichzeitig ausgeführt werden. Als solche Steuerschaltung 118 ist vorzugsweise mit einem
quarzgesteuerten Uhr Fütterung digitale Zähler, Flip-Flops, Tor-Pakete oder
dergleichen, um Anstiegszeit einstellen, Abfallzeit, Klingeln und andere
parasitäre Effekte realisiert. Die
Ausgangsstufe der Steuerschaltung kann FET (Feldeffekttransistor-Schalter) zum
Weiterleiten von analogen oder digitalen Signalen auf die Reluktanz Schalter
nach Bedarf verwenden.

Fig.2 ist eine Perspektive einer möglichen
physikalischen Ausführungsform der Vorrichtung unter Verwendung der Komponenten
aus Fig.1, die ihre relativen
Positionen zueinander. Reluktanz-Schalter 110,
112, 114, 116 kann unterschiedlich implementiert werden, wie nachstehend
beschrieben, jedoch wird in der Regel die gleiche relative Position innerhalb
der Vorrichtung zu besetzen.

Fig.3 ist eine detaillierte Zeichnung des
bewegungsFlussSchalter. Verbindungssegmente 120, 122, 124, 126 müssen aus einem hochpermeablen
ferromagnetischen Material hergestellt sein. Die zentrale Volumen 128 kann ein Durchgangsloch ist, einen Luftspalt, oder sie kann aus
Glas, Keramik oder einem anderen Material geringer Permeabilität gefüllt sein. Ein Supraleiter oder eine andere Struktur
aufweisen den Meissner-Effekt kann alternativ verwendet werden.
In der in Fig.2 und Fig.3 dargestellten Ausführungsform schaltet Reluktanz 110, 112, 114, 116 sind mit einer
Festkörperstruktur unbeweglich Vorgang erleichtert implementiert. Die derzeit
bevorzugte bewegungslos Haltung Schalter wird durch Toshiyuki Ueno &
Toshiro Higuchi beschrieben, in der Zeitung "Untersuchung auf dynamische
Eigenschaften der magnetischen Flusssteuergerät der Laminierung aus
magnetostriktivem Material piezoelektrischem Material", The University of
Tokyo 2004 deren Gesamtheit eingebaut hierin durch Bezugnahme. Wie in Fig.4 gezeigt, wird dieser Schalter aus
einem Laminat aus einer GMM (Riesen-magnetostriktiven Material 42), einem
TbDyFe Legierung auf beiden Seiten von einem PZT (piezoelektrisch) Material 44, 46 zu dem Strom angelegt wird,
gebunden sind. Das Anlegen von Elektrizität an den PZT schafft Belastung des
GMM, dessen Reluktanz verursacht zunehmen.

Andere Anordnungen sind anwendbar,
einschließlich derjenigen, in der anhängigen US-Patentanmeldung Serien-Nr bart.
2006/0012453, deren gesamter Inhalt hierin durch Bezugnahme aufgenommen ist.
Diese in dieser Referenz offenbarte Schalter werden auf die magneto (ME) Wirkungen
von Flüssigkristallmaterialien in Form von magnetorestriktiven und
piezoelektrischen Effekten beruhen. Die Eigenschaften der ME Materialien sind
zum Beispiel in Ryu et al, "Magneto Effect in Composites aus
magnetorestriktiven und piezoelektrische Materialien," Journal of Electro,
Vol. 8, 107-119
Filipov et al, "Magnetoelektrische
Effekte bei Piezoresonance in ferromagnetischen-ferroelektrische
Schichtverbunden," Abstrakt, American Physical Society Meeting (März 2003)
und Chang et al., "Magneto-Band von Stacked Nanographit-Bänder",
Abstrakt, American Physical Society Meeting (März 2003). Der gesamte Inhalt
jedes dieser Papiere sind ebenfalls hierin eingeschlossen.
Weitere Alternativen sind Materialien, die
beheizten sequenziell und abgekühlt (oder abgekühlt und zum Aufwärmen oder
aktiv beheizt und gekühlt) über und unter dem Currie Temperatur und damit die
Modulation Zurückhaltung kann. Gadolinium ist ein Kandidat seit seiner Currie
Punkt nahe Raumtemperatur. Hochtemperatur-Supraleiter sind weitere Kandidaten,
wobei das Material in einer isolierten Kammer bei einer Temperatur im
wesentlichen bei oder nahe der Currie Punkt abgekühlt. Mikrowellen oder andere
Energiequellen in Verbindung mit der Steuereinheit verwendet, um dieses
Schaltdauer hält. Je nachdem, wie fest die Schalter enthalten sind, die weitere
Expansion begrenzende `Joche" kann oder auch nicht um den Block am besten
in Fig.4 zu sehen nötig sein.

Fig.5 ist eine Detailzeichnung eines alternativen
unbeweglich Flussschalter gemäß der Erfindung, die Spalte aus Luft oder anderen
Materialien verwendet. Diese Ausführungsform verwendet zwei elektrisch
betriebenen Reluktanz Schalter 110, 114 und zwei Spalten 113, 115, so daß, wenn
die Schalter in einer vorbestimmten Weise aktiviert werden, wird das Magnetfeld
des Magneten 102 ist entlang der Schaltsegmente die Schalter enthält, durch die
blockiert und gezwungen Lücke haltige Segmente, wodurch die Flussumkehr durch
die magnetisierbare Teil 100. Bei Aktivierung der beiden Zurückhaltung Schalter
110, 114, der Fluss, suche einen Weg der deutlich geringeren Zurückhaltung,
dreht wieder auf den ursprünglichen Pfad der (nicht deaktiviert) Zurückhaltung,
die Schalter, um dadurch den Fluß umzukehren durch das Element 100. Man
beachte, dass die Flussschalter kann auch elektromagnetische um lokale Regionen
der Schalter derart, daß magnetische Widerstand der von Luft (oder
Spaltmaterial), Erstellen einer virtuellen Spalt durch Konrad beschrieben
sättigen und Brudny im Hintergrund der Erfindung.
Insbesondere Flussschaltvorrichtung gemäß
dieser Ausführungsform verwendet einen Permanentmagnet einen Nordpol 'N' und
einen Südpol S '' in entgegengesetzter Beziehung über einen Spalt ein Volumen
definiert. Ein magnetisierbares Element mit Enden `A 'und' B 'wird in
entgegengesetzter Beziehung über einen Spalt Austausch des Volumens unterstützt
und ein Flußmittel Schalter einen feststehenden Block in dem Volumen mit vier
Seiten, 1-4, mit zwei gegenüberliegenden Seiten, um N verknüpften und S, die
jeweils mit den anderen zwei gegenüberliegenden Seiten, die an A und B
angeschlossen sind. Der Block ist aus einem magnetisierbaren Material durch
zwei elektrisch betätigte Magnetflussschalter und zwei Spalten mit Luft oder
anderen Material (ien) gefüllt segmentiert aufgebaut. Eine Steuereinheit in
elektrischer Verbindung mit den Flussschalter wirksam ist, um:
a) passiv erlauben eine Standardflusspfad
durch Seiten 1-2 und 3-4, dann
b) aktiv eine Flusspfad durch Seiten 2-3 und
1-4, und
c) wiederholen a) und b) auf einer
sequentiellen Basis.

Als Alternative zu einem
bewegungsFlussSchalter kann ein Rotationsflussschalter verwendet, um die 2 x 2
alternierende Sequenz zu implementieren. Unter Bezugnahme auf Fig.6 und Fig.7, Zylinder 130 mit einem Flusskanal 132 wird durch ein Antriebsmittel
gedreht wird, 134. Dies bewirkt, daß
die Hälften des Zylinders 130, um
zwei gleichzeitige und getrennte Magnetflussbrücken (stellen also eine
"geschlossene" Reluktanz Umschaltbedingung ), in dem eine gegebene
Ende magnetisierbaren Element 136
ist mit einem der Pole des stationären Permanentmagneten 138. Gleichzeitig gekoppelt, wird das andere Ende der einzigen
Flußpfad Träger 136 mit dem
entgegengesetzten Pol der stationären Permanentmagnet 138 gepaart.
Fig.7 ist eine Detailansicht des Zylinders. Jede
90º-Drehung des Zylinders bewirkt, dass die erste Flussbrücken durchbrochen
werden (eine "offene" Reluktanz schaltet Zustand) und eine zweite
Gruppe von Flussbrücken geschaffen werden, an denen die jeweiligen Ende des
Elements 136 wird dann mit dem
entgegengesetzten Pol der gebrückten stationären Dauermagneten 138. Eine vollständige Drehung des Zylinders 130 bewirkt, dass vier solcher
Auflösungen. Jedes Flußumkehr innerhalb einzelner Flusspfad 2 bewirkt ein elektrischer Strom in
leitende Spule (n) 140, 142. In
dieser Ausführungsform hervorgerufen werden, ist es wichtig, eine präzise,
konsistente Abstand zwischen jedem der "Hälften" zu halten
(rotierend) Zylinder 130 in Bezug
auf die Pole der Permanentmagneten 138
und den Enden der Flussbahnträger 136,
wie die Magnetfluss-Brücken werden durch die Zylinder 130 versehen, wenn sie rotiert.
Drehzylinder 130 aus Material hoher magnetischer Permeabilität, die vollständig
durch den Magnetluftspalt 132. Ein
bevorzugtes Material ein nanokristallines Material wie FINEMET® von Hitachi
unterteilt ist, erfolgt. Der Flusskanal 132
kann Luft, Glas, Keramik oder irgendeinem Material mit niedriger magnetischer
Permeabilität ist. Ein Supraleiter oder eine andere Struktur aufweisen den
Meissner-Effekt kann alternativ verwendet werden.
Eine effiziente Form der magnetisierbaren
Element 136 ist ein "C",
in der seine entgegengesetzten Enden mit einem gleichen Radius wie Zylinder 130 gekrümmt sind und sich in engster
Nähe mit rotierenden Zylinder 130. Der Permanentmagnet 138 ist ebenfalls vorzugsweise C-förmig, in dem der gegensätzlichen
Pole sind mit einem gleichen Radius wie Zylinder 130 gebogen und in der möglichst nahe bei sich drehenden Zylinder 130 Fertigung und Montage Überlegungen
auch andere Formen diktieren.

Während die bisher beschriebenen verwenden
einen einzigen Permanentmagneten Ausführungsformen sind gemß der Erfindung
unter Verwendung einer Vielzahl von Permanentmagneten, während dennoch die
Erzeugung einer einzigen Flußpfad andere Ausführungsformen möglich. Fig.8 zeigt eine Schaltung unter
Verwendung von zwei Permanentmagneten und eine einzige Flussweg. Fig.9
zeigt eine mögliche physische Ausführungsform der Vorrichtung, basierend auf
den Komponenten der Fig.8, die eine
Zurückhaltung Schaltersteuereinheit 158.

Unter der Steuerung der Einheit 158, so schaltet Zurückhaltung 150, 152 offen (zunehmende
Zurückhaltung), während die Schalter 154,
156 in der Nähe (abnehmende Zurückhaltung). Zurückhaltung Schalter 150, 152 dann in der Nähe, während die
Schalter 154, 156 geöffnet, und so
weiter. Diese 2 x 2 Öffnungs- und Schließzyklus wiederholt und, wie es der Fall
ist, wird der Magnetfluß von stationären Permanentmagneten 160, 162 in der Polarität durch das magnetisierbare Teil umgekehrt
wird, wodurch Strom in leitenden Spulen 166,
168 erzeugt werden.
In der bevorzugten Implementierung dieses
Ausführungsbeispiels sind die Magnete mit ihren N- und S-Pole umgekehrt
angeordnet sind. Das magnetisierbare Element ist zwischen den beiden Magneten
zwischen jedem Ende des Bauteils und die Pole jedes Magneten angeordnet sind,
und es gibt vier Fluss Schaltern SW1-SW4,
zwei. Die Reluktanz Schalter sind mit den oben unter Bezugnahme auf die
beschriebenen Strukturen implementiert
Fig.1 bis Fig.3.
Für zusätzlichen Besonderheit, angenommen,
dass die ersten Magneten besitzt Nord- und Südpole, N1 und S1, das zweite Magnet Nord- und
Südpolen, N2 und S2, und das Element
weist zwei Enden A und B. Unter der Annahme, SW1 zwischen N1 und A, SW2 befindet ist zwischen A und S2 ist SW3 zwischen N2 und B und SW4 ist zwischen B
und S1, die Steuerschaltung
betreibbar ist, um SW1 und SW4 zu aktivieren, aktivieren Sie SW2 und SW3, und wiederholen Sie diesen Vorgang auf einer sequentiellen
Basis. Wie bei den anderen hierin beschriebenen Ausführungsformen aus Gründen
der Effizienz, wird das Schalten gleichzeitig durchgeführt werden.
In allen hier beschriebenen die für den
Permanentmagneten (en) verwendete Material kann entweder ein Magnetanordnung
oder eine einzelne magnetisierte Einheit Ausführungsformen. Bevorzugte
Materialien sind keramische Ferritmagneten (Fe203),
Samarium Kobalt (SmCo5) oder Kombinationen aus Eisen, Neodym und
Bor. Die einzelnen Flusspfad wird durch ein Material mit hoher magnetischer
Permeabilität ausgeführt und konstruiert ist, um Wirbelströme zu minimieren.
Ein solches Material kann einen laminierten Eisen oder Stahl Montage oder
Ferritkern wie in Transformatoren eingesetzt werden. Ein bevorzugtes Material
ist ein nanokristallines Material wie FINEMET®. Die leitende Spule oder Spulen
sind um die Durchführung der einzelnen Flusspfad so viele Windungen wie
erforderlich, um die Spannung, Strom oder Leistung Ziele Material gewickelt.
Ordentliche, Standard, isoliert, Kupfer Lackdraht (Motorkabel ) ausreichend und
akzeptabel. Supraleitende Materialien können ebenfalls verwendet werden.
Zumindest ein Teil des Strom in den Leiterspulen induziert wird, kann wieder in
die Schaltsteuereinheit zugeführt werden. In dieser Betriebsart kann
Zündimpulse von Strom aus einer chemischen oder Solarbatterie vorgesehen
werden, je nach Bedarf.

Obwohl in den Ausführungsformen der Fig.2 und Fig.6 Magnet und
flussführender Materialien sind flache Elemente liegen in zueinander
senkrechten Ebenen mit Flußmittel tragenden Materials außerhalb der vom
Magneten beschrieben Volumen liegen, kann der Flusspfad innerhalb `'die
entsorgt werden Magnetvolumens oder in einem Winkel ausgebildet ist. Die
physikalische Größe der Elemente kann ebenfalls variiert, um die Vorteile von
Herstellungsverfahren oder andere Vorteile zu nehmen. Fig.10, zeigt beispielsweise eine Anordnung von Magnetkreisen, die
jeweils eine oder mehrere Spulen, die in Reihe, parallel oder
Reihen-Parallel-Kombinationen sein können, in Abhängigkeit von Spannung oder
Stromanforderungen. In jedem Fall können die Magnete gebracht oder hergestellt
unter Verwendung von Techniken, die auf der Mikroelektronik werden. Wenn
mechanische Fluss Schalter verwendet werden können sie unter Verwendung der
MEMs-Art-Techniken hergestellt werden. Wenn bewegungslos Schalter verwendet
werden, können die Materialien gebracht und / oder abgelagert werden. Die Wege
sind vorzugsweise im Voraus dann nahm gewickelt und in Position gebracht, wie
dargestellt. Die in Fig.9 gezeigte
Ausführungsform ist ebenfalls für die Miniaturisierung und die Replikation.
US Patent 6.800.955 5.
Oktober 2004 Erfinder:
William McDavid jnr.
Flüssigkeit betriebenen Energie-Mengenumwerter
Hinweis: Die
Formulierung dieses Patent wurde geändert, um es einfacher zu verstehen. Dieses
Patent William bezieht Teile der seinen Entwurf entsprechend der Richtung der
Strömung durch das Gehäuse und so er nennt das erste Teilstück der
"downstream" Kammer und der folgenden Kammer als "upstream"
Kammer. Obwohl Wasser genutzt werden könnten, beschreibt dieses Patent im
Wesentlichen einen hocheffiziente Wind-powered Generator. Abmessungen: 1 Zoll =
25,4 mm.
Zusammenfassung:
Ein Fluid-angetriebene
Energieumwandlungsvorrichtung, die in einem sich bewegenden Fluid in
mechanische Energie Energie umwandelt. Eine starre zylindrische Rahmen
toroidaler Leitbleche bildet ein "stromaufwärts" ringförmig oder
ringförmige Kammer und eine "nachgeschaltete" Ringkammer, wobei jede
der Kammern mit offenen Seiten, um den Eintritt der Flüssigkeit zu erlauben.
Die toroidalen Leitbleche schaffen einen stromaufwärtigen Antriebs Wirbels in
einer stromaufwärtigen zentralen Wirbelkammer, und einen nachgeschalteten
Extraktions Wirbel in der entgegengesetzten Richtung in einem stromabwärtigen
zentralen Wirbelkammer dreht. Eine Reihe von schwenkbaren Lamellen umgeben die
Wirbelkammern und diese ermöglichen die Flüssigkeit jede Kammer nur in Richtung
des Wirbeldrehung einzugeben und das Fluid durch die Seiten der Vorrichtung austreten
kann. Die Antriebswirbeldurchläuft, und sich dreht, eine Turbine in einer
zentralen Öffnung zwischen den beiden Kammern positioniert wird. Die
Turbinenschaufeln werden durch den Drehimpuls des Antriebsfluids Wirbel
zuzüglich des von jeder Turbinenschaufel erzeugte Auftrieb, plus der
zusätzlichen Unterstützung durch den Wirbelumkehr verliehen gedreht.
US-Patent-Referenzen:
McDavid, Jr. – US 6,710,469
McDavid, Jr. – US 6,518,680
Walters –
Beschreibung:
HINTERGRUND DER ERFINDUNG
1. Technisches Gebiet der Erfindung
Die vorliegende Erfindung bezieht
sich allgemein auf elektrische Wandlervorrichtungen und Energie, und
insbesondere auf eine fluidbetriebene Energieumwandlungsvorrichtung, die die
Energie des Windes oder der fließenden Wassers in mechanische oder elektrische
Energie umwandelt.
2. Beschreibung der verwandten
Technik
Der Einsatz von Wind oder fließendes Wasser, um Strom für verschiedene
Anwendungsmöglichkeiten viele Jahrhunderte zurück. In der heutigen Zeit, Wind
und Wasser verwendet worden, um Strom zu erzeugen. Wasserkraftwerken verwendet
worden, um große Mengen an elektrischer Energie für eine breite Verteilung zu
erzeugen. Dies erfordert jedoch große permanente Veränderungen der Umwelt zu
den Bereichen, in denen Dämme gebaut und Stauseen steigen. Windkraftanlagen im
Allgemeinen verwendet worden, um mechanische Arbeit nur in begrenztem Umfang
durchzuführen, oder um Elektrizität zu erzeugen. Mit der zunehmenden Nachfrage
nach zusätzlichen oder alternativen Energiequellen werden alle möglichen
Quellen, die mehr Kontrolle gegeben. Dies gilt insbesondere für die Quellen,
die nicht-umweltschädliche und unerschöpflich sind. Frei fließenden Wasserkraft
und Windkraftanlagen liefern diese Quellen, und die Erfassung der erhöhten
Energie aus Wind und Wasser hat viel Rücksicht erhalten.
Kommerzielle Wasserkraft und Windkraft-Stromerzeugungsvorrichtungen, die
derzeit im Einsatz sind, haben jedoch mehrere Nachteile. Windkraftanlagen,
insbesondere, sind teuer, ineffizient, gefährlich, laut und unangenehm zusammen
zu sein. Um eine große Anzahl von Wind erfassen, bestehende Windkraftanlagen
sind sehr groß. Infolgedessen können sie nicht ganz Bevölkerungszentren
verteilt werden, muss aber in einiger Entfernung installiert. Dann, wie
Staudämme mit Wasserkraftgeneratoren, muss die elektrische Energie, die sie
erzeugen, übertragen werden, mit erheblichen Kosten und mit erheblichen
Energieverlust, den Ballungszentren, wo die Energie gebraucht wird.
Es wäre wünschenswert, kleinere Wasserkraft betriebene und
Windkrafteinheiten in den Ballungszentren zu verteilen. Zum Beispiel wäre es
wünschenswert, eine windbetriebene Einheit für jede Gebäudestruktur aufweisen,
wodurch die Verteilung der Erzeugungsleistung über die gesamte Fläche, und
macht die Energiezufuhr weniger anfällig für lokale Ereignisse wie Stürme oder
Erdbeben. Eine solche dezentrale Erzeugung würde auch die am weitesten
verbreitete und Einwand lösen Windkraft, nämlich, dass der Wind nicht die ganze
Zeit zu blasen. In einem großen geografischen Gebiet, aber fast immer Wind weht
irgendwo. Daher kann mit Windgeneratoren, die den ganzen Bereich verteilt sind,
Kraft könnte in den Bereichen, wo der Wind weht, und dann mit dem Rest des
Netzes übertragen erzeugt werden., Mit vorhandener Technologie, kleinere
Einheiten geeignet zum Verteilen der gesamten Bevölkerung, gehören jedoch nicht
wirksam genug, um eine ausreichende Menge an Energie, um eine Struktur
anzutreiben, wie ein Haus oder Bürogebäude zur Verfügung stellen. Darüber
hinaus sind solche Einheiten optisch aufdringlich und laut, so dass sie für den
Einsatz im Wohn- oder andere bevölkerungs Einstellungen ungeeignet.
Bestehende windbetriebenen Elektrizitätserzeugungsvorrichtungen
verwenden üblicherweise einen Propeller auf der horizontalen Welle eines
Generators, der wiederum an der Oberseite eines Turms angebracht. Dies ist eine
ineffiziente Design, da die Energie aus dem Wind durch eine Verringerung der
Windgeschwindigkeit, wie es durch den Propeller verläuft extrahiert. Dies
schafft eine Tasche von sich langsam bewegenden Luft hinter dem Propeller, die
die Umgebungs Wind weht um galoppierte. Daher wird nur der äußere Teil der
Propellerblätter verwenden den Wind wirksam.
Um diesem Effekt entgegenzuwirken, moderne Windmühle Designs verwendet
extrem lange Propellerblätter. Die Verwendung eines solchen massiven Klingen
hat jedoch seine eigenen Nachteile. Zum einen werden die Propeller bekannt,
getötet oder verletzt Tausende von großen Vögeln pro Jahr. Zum anderen können
die riesigen Schaufeln gefährlich sein, wenn das Gerät nicht strukturell und
der Propeller bricht los. In diesem Fall kann der Propeller sich sehr weit
fliegen kann und zu schweren Schäden oder Verletzungen an etwas oder jemanden
in den Weg kommen. Drittens enthält der Propellerentwurf eine inhärente
Gravitations Ungleichgewicht. Die ansteigenden Schaufeln auf der einen Seite
des Propellers Nabe gegenüberliegenden Dichte während der absteigenden
Schaufeln auf der anderen Seite der Nabe sind mit der Schwerkraft fallen.
Dieses Ungleichgewicht erzeugt ein hohes Maß an Schwingung und Belastung für
das Gerät. Folglich muss das Gerät strukturell verbessert werden, mit großem
Aufwand, um die Schwingungen und Belastungen standhalten und so zu vermeiden
häufige Wartung und / oder Austausch.
Es würde daher vorteilhaft sein, eine fluidbetriebene
Energieumwandlungsvorrichtung, die die Nachteile der existierenden
Vorrichtungen überwindet. Eine solche Einrichtung könnte die Windenergie oder
der Energie des fließenden Wassers in mechanische Energie oder elektrische
Energie liefern zu nutzen. Die vorliegende Erfindung stellt eine solche
Vorrichtung.
ZUSAMMENFASSUNG
DER ERFINDUNG
Ein Aspekt ist die vorliegende
Erfindung eine fluidbetriebene Energieumwandlungseinrichtung zur Umwandlung von
Energie in einem sich bewegenden Fluids in mechanische Energie. Die Vorrichtung
weist einen starren, zylindrischen Gestell, das eine "upstream"
ringförmig (ringförmige) Kammer und eine "downstream" Ringkammer hat.
Jede der Kammern weist Seiten, die offen, um den Eintritt des sich bewegenden
Fluids zu ermöglichen. Ein erster Satz von Prallflächen sind in Längsrichtung
in der oberen Kammer montiert ist, und diese erzeugen eine Antriebs Wirbel, der
in einer ersten Richtung dreht, wenn das sich bewegende Fluid durch die stromaufwärts
gelegene Kammer offenen Seiten der stromaufwärtigen Kammer betritt. Eine Reihe
von schwenkbaren Lamellen sind, die in den Öffnungen zwischen den Prallflächen
angeordnet ist, wodurch ein zentraler Wirbelkammer auf der Längsachse der
Vorrichtung zentriert.

Diese erste Gruppe von Luftschlitzen
ermöglicht die Eingabe des sich bewegenden Fluids in dem stromaufwärtigen
zentralen Wirbelkammer nur dann, wenn das Fluid in der ersten Richtung dreht.
Sie verhindern auch das Fluid von dem Austritt aus der stromaufwärts gelegenen
mittleren Wirbelkammer durch die Seiten der Vorrichtung. Die Vorrichtung
umfasst auch einen Boden des stromaufwärtigen Ringkammer, die nach oben in
Richtung der unteren Kammer als Boden neigt läuft zur zentralen Längsachse der
Vorrichtung.

Dieser schrägen Boden bewirkt, dass
die Laufwerk-Vortex "stromabwärts" (nach oben für Luft) durch die
vorgelagerten zentralen Vortex-Kammer und Pass durch eine zentrale Öffnung
befindet sich zwischen der vorgeschalteten ringförmige Kammer und die
nachgeschaltete ringförmige Kammer fließen. Eine Länge Antriebswelle ist
zentral in die zentrale Blende montiert, und eine Turbine ist an der
Antriebswelle in die zentrale Blende montiert. Die Turbine wird gedreht durch
den Vortex Laufwerk als Laufwerk Wirbel durchläuft die zentrale Blende.

Die Vorrichtung kann auch eine zweite Gruppe von Leitblechen in
Längsrichtung in der "stromabwärts" (oben für Luft) Kammer
angebracht, die um einen Extraktions Wirbel, der in der entgegengesetzten
Richtung dreht schaffen arbeiten, wenn das sich bewegende Fluid der
stromabwärtigen Kammer durch die offenen Seiten der stromabwärtigen Kammer
betritt . Zusätzlich kann ein zweiter Satz von schwenkbaren Lamellen in die
Öffnungen zwischen dem zweiten Satz von Prallflächen angeordnet werden, umgibt
einen stromabwärtigen zentralen Wirbelkammer. Die zweite Gruppe von
Luftschlitzen zulassen Eintritt des sich bewegenden Fluids in den
stromabwärtigen zentralen Wirbelkammer nur dann, wenn das Fluid in der Richtung
entgegengesetzt zu der Richtung der Strömung in der " flussaufwärts
" Sturz dreht. Diese Lamellen verhindern auch das Fluid von der
stromabwärts gelegenen zentralen Wirbelkammer austritt durch die Seiten der
Vorrichtung. Auf diese Weise wird die Turbine durch den Antriebswirbel rotiert
der Antrieb Wirbels durchläuft die Turbine und die Richtung umkehrt, um die
Richtung des Extraktions Wirbels übereinstimmen.
Für Starkwindbedingungen oder bei durch Wasserströmung angetrieben, die
Antriebswirbel und Wirbelextraktion kann in der gleichen Richtung drehen. Der
erste Satz von schwenkbaren Lamellen bilden die stromaufwärtigen zentralen
Wirbelkammer, und der zweite Satz von schwenkbaren Lamellen den stromabwärtigen
zentralen Wirbelkammer bilden. Die erste Gruppe von Luftschlitzen gestattet die
Einfuhr von Wind und Wasser in den stromaufwärtigen zentralen Wirbelkammer nur
dann, wenn das Fluid in der ersten Richtung dreht.
KURZE
BESCHREIBUNG DER ZEICHNUNGEN
Die Erfindung wird besser verstanden
werden und ihre zahlreichen Aufgaben und Vorteile werden offensichtlich für den
Fachmann durch Bezugnahme auf die folgenden Zeichnungen, in Verbindung mit der
begleitenden Beschreibung, in denen:

Fig.1 ist eine perspektivische Ansicht einer ersten
Ausführungsform der vorliegenden Erfindung, die Windenergie in mechanische oder
elektrische Energie umwandelt;

Fig.2 ist eine Draufsicht der
Ausführungsform von Fig.1

Fig.3 ist eine Seitenansicht
der Ausführungsform von Fig.1

Fig.4 ist eine Querschnittsansicht die Verkörperung von Fig.1 mitgenommen Linie 4 - 4 von Fig.3 mit einem elektrischen Generator installiert, um elektrische
Energie zu produzieren;

Fig.5 ist eine perspektivische Ansicht von einem Flüssigkeit
gefüllte Schwungrad für die vorliegende Erfindung geeignet;

Fig.6 ist eine Draufsicht auf
die mit Flüssigkeit gefüllte Schwungrad Fig.5

Fig.7 ist eine Querschnittsansicht einer Ausführungsform der
vorliegenden Erfindung, die die Energie des fließenden Wassers in elektrische
Energie umwandelt;

Fig.8 ist eine perspektivische Ansicht der Ausführungsform von Fig.1 mit den Längs Leitbleche
durchsichtig gezeichnet, so daß der ringförmige Mittelwand (Mitteldeck) und der
Turbine zu sehen ist

Fig.9 ist eine horizontale
Querschnittsansicht der Ausführungsform von Fig.1 entlang der Linie 9 -
9 der Fig.8

Fig.10 ist eine perspektivische
Ansicht einer zweiten Ausführungsform der vorliegenden Erfindung, die die
Windenergie in mechanische oder elektrische Energie umwandelt, mit den Längs
Leitbleche durchsichtig gezeichnet, so dass eine Reihe von angelenkten
Längsschlitze kann gesehen werden; und

Fig.11 ist eine horizontale
Querschnittsansicht der Ausführungsform von Fig.10 entlang der Linie 11
- 11.
In den Zeichnungen werden gleiche
oder ähnliche Elemente mit identischen Bezugszeichen in den verschiedenen
Ansichten bezeichnet, und die verschiedenen dargestellten Elemente sind nicht
notwendigerweise maßstabsgetreu gezeichnet.
DETAILLIERTE BESCHREIBUNG DER AUSFÜHRUNGSFORMEN

Fig.1 ist eine perspektivische
Ansicht einer Ausführungsform der vorliegenden Erfindung, die die Windenergie
in mechanische oder elektrische Energie umwandelt. Die
Energie-Umwandlungsvorrichtung 10
enthält eine feststehende Verkleidung 11
umgibt einen stromaufwärtigen (nieder) ringförmig oder ringröhrenförmige Kammer
12 und eine stromabwärts gelegene
(obere) ringförmige Kammer 13. Die Verkleidung kann aus jedem geeigneten
starren Material, wie Holz aufgebaut sein aus Kunststoff, Metall oder
ähnliches. Die Verkleidung kann aus einem transparenten Material hergestellt
sein, so dass das Gerät optisch unauffällig. In der bevorzugten Ausführungsform
der vorliegenden Erfindung ist die Verkleidung zylindrisch ist und aus einem
hochwertigen, UV-geschützten Kunststoff.
Das Verkleidungsteil 11
umfaßt einen Satz von longitudinalen Prallplatten, die gekrümmt sind und in
einem ringförmigen Muster angeordnet sind. Upstream Leitbleche 14a in der stromaufwärtigen
ringförmigen Kammer 12 angebracht
ist, und stromabwärts Ablenkplatten 14b
in der stromabwärtigen ringförmigen Kammer 13
angebracht In der bevorzugten Ausführungsform der vorliegenden Erfindung werden
etwa sechs torusförmigen Längs Ablenkplatten in jeder Kammer angebracht sind.
Die Leitbleche funktionieren, um den Wind in jede Kammer zu führen. Die sich
verjüngenden Querschnittsfläche zwischen den Leitblechen bewirkt, dass die Luft
zu beschleunigen, wenn sie in Richtung der Mitte der Vorrichtung bewegt, die
Schaffung von zwei Hochgeschwindigkeitswirbel (eine stromaufwärtige Antriebs
Wirbel und einem nachgeschalteten Extraktions Vortex). Obwohl die Erfindung
hier in erster Linie als eine vertikal ausgerichteten Zylinder beschrieben
wird, sollte verstanden werden, dass die Vorrichtung auch in anderen Positionen
angebracht werden, beispielsweise eine horizontale Ausrichtung, welche in dem
Gerät führt einen stromaufwärtigen ringförmigen Kammer und einem
stromabwärtigen Ringkammer werden die sind in der gleichen Höhe. Alternativ
kann, wie unten in Verbindung mit Fig.7
erwähnt, kann die Vorrichtung umgedreht werden, wenn sie in Wasser verwendet
werden, da Wasserwirbel bewegen sich leicht nach unten anstatt nach oben.
In der Fig.1 dargestellten
Ausführungsform in dem Niedriggeschwindigkeitswind ist der
Eingangsenergiequelle, Leitbleche 14a
die stromaufwärtige und die stromabwärtige Ablenkplatten 14b sind in entgegengesetzten Richtungen gekrümmt sind. Die
Leitbleche schaffen somit zwei Hochgeschwindigkeitswirbel, die in
entgegengesetzte Richtungen drehen. Wie unten in Verbindung mit Fig.4 beschrieben, wird die Richtung
der Wirbelströmung in einer Turbine zwischen dem vorgeschalteten ringförmigen
Kammer 12 und der stromabwärtigen
ringförmigen Kammer 13 angeordnet
umgekehrt wird, wodurch eine zusätzliche Drehkraft auf die Turbinen Zugabe. In
der hydroelektrischen Ausführungsform, in der Wasser fließt, die
Eingangsenergiequelle, und in der Hochgeschwindigkeitswindbedingungen, wie wenn
die Vorrichtung auf einem Fahrzeug montiert ist, können die stromaufwärts und
die stromabwärts gelegenen Prallplatten Leitbleche in der gleichen Richtung
gekrümmt sein. In diesen speziellen Ausführungsformen sind deshalb die
Leitbleche schaffen zwei Hochgeschwindigkeitswirbel, die in der gleichen
Richtung drehen. Die Vorrichtung kann aus einem Schwachwindvorrichtung mit
einer Hochwindvorrichtung durch Entfernen der Gegendreh stromabwärtigen
Ringraum 13 und mit einer
stromabwärtigen Ringraum, der einen Wirbel in die gleiche Richtung wie die
Antriebsdrehwirbel erzeugt ersetzen umgewandelt werden.
In der bevorzugten Ausführungsform
der vorliegenden Erfindung, Kunststoffnetz (nicht dargestellt) können die Ein-
und Austrittsöffnungen der Verkleidung 11
auf Vögel, Tiere oder Fremdkörper in das Gerät 10. Zusätzlich verhindern umgeben, ist das Gerät nicht strukturell,
jede defekte Teile werden durch die Maschen statt zu fliegen in die Umgebung
und Schäden oder Verletzungen verursachen enthalten.

Fig.2 ist eine Draufsicht der
Ausführungsform von Fig.1. Der obere
Teil der Verkleidung 11 weist eine
zentrale Öffnung 21, durch die die
Luft in der Wirbelextraktion der Vorrichtung austritt. In der bevorzugten
Ausführungsform wird die Extraktion Wirbel verlßt die Vorrichtung in einem
Gegen zyklonischen Richtung dreht (im Uhrzeigersinn in der nördlichen
Hemisphäre), so dass es eher abführt als die Schaffung potentiell schädlichen
Wirbelwinde. Die Turbine 22 ist
durch die Öffnung sichtbar. Die Turbine dreht sich um eine zentrale
Antriebswelle 23.

Fig.3 ist eine Seitenansicht
der Ausführungsform von Fig.1
veranschaulicht das Profil der Motorhaube 11,
der stromaufwärts gelegenen Ringraum 12,
der stromabwärts gelegenen Ringraum 13
und die Prallplatten 14a und 14b. Das Verkleidungsteil kann an einer Basis 31 und der Basis 31 montiert werden, können ebenfalls verwendet, um zusätzliche
mechanische Baugruppen einzuschließen, wie beispielsweise einem Schwungrad und
/ oder einen elektrischen Generator.

Fig.4 st eine
Querschnittsansicht der Ausführungsform von
Fig.1 entlang der Linie 4 - 4
von Fig.3 mit einem Schwungrad 41 in der Basis 31 zusammen mit einem elektrischen Generator 42 zur Stromerzeugung installiert. Umgebungswindströme gleichzeitig
in den vorgeschalteten Ringkammer 12
durch den stromaufwärtigen Leitbleche 14a
und in die nachfolgende Ringkammer 13
durch den stromabwärts gelegenen Prallplatten 14b durch die Seiten der Verkleidung 11. Die Leitbleche führen
das Umgebungswind in Richtung der Mitte der Vorrichtung 10. Ein geneigten
Parabelboden (Deck) 43 des
stromaufwärtigen ringförmigen Kammer 12
bewirkt, dass der Wind nach stromabwärts in die mittig angeordnete Turbine 22, die auf der zentralen Antriebswelle
23. Die Vorrichtung 10 erzeugt Leistung durch Führen
Umgebungswind dreht Strom strömt in zwei Hochgeschwindigkeitswirbel
stromaufwärts und stromabwärts von der Turbine, die der Wind strömt in
mechanische Energie durch Drehen der Antriebswelle 23 bei hohen Drehzahlen und hohem Drehmoment von der Turbine durch
drei Primärfaktoren erzeugt umwandelt:
(1) jede Schaufel der Turbine ist
wie eine Kugel, die den Drehimpuls des Laufwerk Wirbel erfasst förmig;
(2) jede Schaufel der Turbine hat
eine Querschnittsform einer Tragfläche, die Auftrieb in der Drehrichtung der
Turbine erzeugt; und
(3) im Schwachwindbedingungen die
Umkehrung der Richtung der Wirbeldreh fügt zusätzliche Kraft auf die Turbine in
der Drehrichtung.
Die große Schwungrad 41 kann
mit dem rotierenden Turbinenantriebswelle 23
angebracht werden, in einer Ausführungsform kann das Schwungrad ein
Permanentmagnet, durch Kupferwicklung umgeben sein. Das Schwungrad kann sowohl
als interne Energiespeicher wegen seines Drehimpulses zu dienen, und als
Lichtmaschine für den Generator 42
unter dem Deck 43 des
stromaufwärtigen Ringkammer 12. Ein Festkörper-Elektronikregler (nicht
dargestellt) befestigt, verwendet werden die elektrische Stromlast zu steuern.
Der Regler führt eine Nulllast bis eine voreingestellte
Rotationsgeschwindigkeit (UPM) erreicht ist. Die Last wird dann in der
Reihenfolge, um Elektrizität zu erzeugen, erhöht, während die Drehzahl der
Turbine auf einen vorgewählten Pegel.

Fig.5 zeigt eine
perspektivische Ansicht eines anderen Ausführungsbeispiels des Schwungrads 41. In dieser Ausführungsform umfasst
das Schwungrad (gestrichelt dargestellt) ein hohles scheibenförmiges Gehäuse 51, das mit einer Flüssigkeit wie
Wasser gefüllt ist. Die gezeigte
Gestaltung weist einen Kühlventilator 52
in der Nabe des Schwungrades, das mit der Antriebswelle 23 und das Schwungrad sich dreht, um eine Strömung von Kühlluft,
die verwendet wird, um die benachbarten Generator 42 (Fig.4 und Fig.7)
abkühlen zu erzeugen. Die Anordnung des
Ventilators in der Nabe des Schwungrades bildet eine ringförmige Kammer 53 whicht das Fluid hält. Innerhalb der
Kammer befindet sich ein Satz von radialen Trennwänden 54, die sich von der Innenwand 55
zur Außenwand 56 der Kammer. Jede
der radialen Schotten umfasst Drehtore oder Klappen 57. In dem Beispiel hier
gezeigte weist jeder radiale Schott drei schwenkbare Türen.
Während der Beschleunigung des Schwungrades 41, diese Gatter 57 in
die entgegengesetzte Drehrichtung auf. Dies ermöglicht es dem Fluid, durch die
radialen Schotten 54 fließen,
wodurch Anlaufträgheit. Das Fluid kommt dann langsam bis zur Geschwindigkeit
aufgrund der Reibung mit den Innen- und Außenwänden 55 und 56 der ringförmigen Kammer, und durch die Bewegung der
radialen Schotten durch das Fluid. Während der Verlangsamung des Schwungrades,
die Tore schließen aufgrund der Vorwärtsbewegung des Fluids. Dies schafft feste
radiale Schotten und bewirkt, dass die Schwungscheibe als feste Schwungrad
auszuführen. Der Drehimpuls des Schwungrades hilft dann die
Winkelgeschwindigkeit der Antriebswelle 23
zu halten, wenn die Eingangsleistung der Wind abfällt.

Fig.6 ist eine Draufsicht auf
die mit Flüssigkeit gefüllte Schwungrad 41
in Fig.5, welche die Laufschaufeln
des Lüfters 52 in der Nabe des
Schwungrades, die Ringkammer 53, die
radialen Schotten 54 und die Gatter 57 in die geschlossene (Verzögerung)
Position.
Somit kann die mit Flüssigkeit gefüllte Schwungrad 41 ist besonders gut zur Verwendung mit diesem
Energieumwandlungsvorrichtung 10
gemäß der vorliegenden Erfindung geeignet. Die mit Flüssigkeit gefüllte
Schwungrad ermöglicht eine schnelle Spin-up von der Antriebswelle 23 durch eine Verringerung der
Anlaufträgheit, aber wider Verzögerung wie eine feste Schwungrad. Diese
Merkmale können erheblich steigern die Effizienz der Windangetriebener oder
Wasserkraftanlage, die mit variierenden Eingangsleistungspegeln arbeitet. Durch
einfaches Umdrehen des Schwungrads kann das fluidgefüllte Schwungrad mit
Systemen, die entweder im Uhrzeigersinn oder gegen den Uhrzeigersinn zu drehen
verwendet werden. Als zusätzliches Feature wird Versandgewicht stark reduziert,
da die Flüssigkeit an der Stelle der Verwendung hinzugefügt werden.

Unter erneuter Bezugnahme auf Fig.4
ist ein ringförmiger Mittelwand (Mitteldeck) 44 teilt den Ringraum 12
stromaufwärts von dem stromabwärtigen Ringraum 13. Die Oberseite der
Mitteldeck Steigungen von der Turbine, so dass die Umgebungswind Eingabe des
stromabwärtigen Ringraum weg von der Turbine zu strömen. Dies erzeugt einen
Bereich mit reduziertem Luftdruck auf der stromabwärtigen Seite der Turbine 22, die den Luftstrom aus
stromaufwärtigen ringförmigen Kammer 12
durch die Turbine erhöht. Jede Schaufel der Turbine 22 ist eine gekrümmte Tragfläche, die Drehimpulse von der Drehung
der Antriebs Wirbel der Umkehrung der Wirbelrichtung und den aerodynamischen
Auftrieb, der von der Tragfläche in der Drehrichtung der Turbine erzeugt wird,
empfängt.
In der bevorzugten Ausführungsform der vorliegenden Erfindung wird die
Turbine 22 und das Schwungrad 41 kann aus Metall hergestellt sein.
Ferner können alle Metallteile beschichtet werden, beispielsweise aus
Kunststoff, Chrom oder Farbe um Korrosion zu verhindern. Wie oben erörtert,
kann das Schwungrad ein Permanentmagnet sein kann oder zu einer Flüssigkeit
gefüllte Schwungrad sein. Alle Lager wie Lager 45 kann magnetische Abstoßung-Schwebelager, so dass es keinen
physischen Kontakt zwischen den beweglichen und feststehenden Elemente der
Vorrichtung. Die Basis 31 kann auf
einer Trägerplatte 46 und / oder
eine Stützstrebe 47 in Abhängigkeit
von der Struktur, auf der das Gerät montiert ist und die Ausrichtung der
Vorrichtung zu montieren.
Die zentrale Antriebswelle 23
kann auch das Kühlgebläse 52, das
Kühlluft durch Öffnungen 49 in der
Trägerplatte stützt und leitet die Luft durch den Generator 42. Die erwärmte Luft kann durch
Luftschlitze 50 in dem parabolischen
Deck 43 des stromaufwärtigen
Ringkammerausgabeantriebs 12, wo sie
vermischt sich dann mit dem Antriebsluftstrom in der Ringkammer stromaufwärts,
um den Innenraum der Vorrichtung und der Turbine 22 zu entfrosten.
Die Vorrichtung 10 kann in
seinen Abmessungen variieren, abhängig von der speziellen Anwendung, für die
sie verwendet wird. Zum Beispiel können die Abmessungen einer Windkraftanlage,
die auf dem Dach eines Hauses montiert ist zwischen 40 Zoll und 48 Zoll im
Durchmesser und zwischen 60 Zoll und 78 Zoll in der Höhe sein. In dieser
Konfiguration weist die Turbine 22
einen Durchmesser, der etwa die Hälfte des Durchmessers der Außenseite der
Verkleidung 11 (dh etwa 20 bis 24
Zoll im Durchmesser). Größere Versionen können für größere Gebäude wie Fabriken
oder Bürogebäude mit einer erhöhten Skaleneffekte genutzt werden. So kann
beispielsweise ein Bürogebäude ein Gerät, das 20 Meter im Durchmesser und 20
Meter hoch mit einer Turbine, die 10 Meter im Durchmesser ist zu verwenden. In
einem Fahrzeug angebrachte Vorrichtung (beispielsweise für einen
Personenkraftwagen ) für Starkwindbedingungen ausgelegt ist, kann etwa 24 Zoll
Durchmesser und 6 Zoll in der Höhe sein. Der Generator und Schwungmasse, falls
vorhanden, innerhalb der Kontur des Fahrzeugs, an einem Gepäckträger befestigt
werden, oder. Eine kleine Wasserkraft
Version des Geräts, die in einem laufenden Bach oder Fluss platziert ist
möglicherweise ähnliche Abmessungen wie der fahrzeugseitigen Gerät haben.
Zusätzlich kann, da der Ausfluss des Wasserkraft-Version nach unten gerichtet
ist, ein Deflektor kann in flachen Gewässern verwendet werden, um die Erosion
der Strombett zu verhindern.
Es sei darauf hingewiesen, dass wenn
die vorliegende Erfindung vertikal ausgerichtet ist, die Turbine 22, Generator 42 und das Schwungrad 41
um eine vertikale Achse rotieren. Daher unterliegen die unterstützenden
Strukturen nicht die Vibration und Stress produziert durch Schwerkraft Effekte
im Stand der Technik Geräte in denen Propeller um eine horizontale Achse
drehen. Überdies ist außergewöhnliche Wind-Wirkungsgrad von die vorliegende
Erfindung realisiert, wie es lenkt und den ambient-Wind-Fluss in Wirbel, die
mehrmals die Geschwindigkeit der Strömung ambient Wind haben beschleunigt, wenn
sie die Turbine erreichen. Darüber hinaus erstellt die Beschleunigung der
Luft-Strömung in der vor- und nachgelagerten ringförmigen Kammern ein
Tiefdruckgebiet, das Luft in das Gerät über eine effektive Querschnittsfläche
zieht, die größer ist als die physische Querschnittsfläche des Geräts.
Infolgedessen stellt die vorliegende Erfindung einen neuen und verbesserten
Windkraft Mengenumwerter ist ruhiger, sicherer, effizienter und kostengünstiger
als die vorhandenen Geräte.

Bezugnehmend nun auf Fig.7, ist dort eine
Querschnittsansicht einer Ausführung der vorliegenden Erfindung, die die
Energie des fließenden Wassers in elektrische Energie (dh eine
Wasserkrafteinrichtung) umwandelt. Es gibt drei Hauptunterschiede zwischen dem
Wasserkraft Ausführung von der Nieder Wind-angetrieben Ausführungsform der Fig.1 bis Fig.4. Zunächst Leitbleche der stromaufwärtige 14a und die nachgeschalteten
Prallflächen 14b-Kurve in die
gleiche Richtung. Die Leitbleche schaffen somit zwei
Hochgeschwindigkeitswirbel, der in der gleichen Richtung drehen. Dies ist eine
effiziente Konstruktion, wenn das durch die Vorrichtung strömende Fluid ein
inkompressibles Fluid, wie etwa Wasser. Zweitens arbeitet die Vorrichtung
effizienter, wenn es umgedreht wird und vertikal montiert, da Wasser Wirbel
nach unten bewegt aufgrund der Schwerkraft. Der dritte Unterschied besteht
darin, das Verhältnis der Höhe der Vorrichtung zu dem Durchmesser der
Vorrichtung. Wie oben erwähnt, kann die hydro-elektrischen Ausgestaltung der
Vorrichtung eine Höhe aufweist, die kürzer ist im Vergleich zu seinem
Durchmesser zu haben, und kann eine Höhe haben, die gleich oder kleiner ist als
sein Durchmesser ist, aufweisen.

Fig.8 ist eine perspektivische
Ansicht der Ausführungsform von Fig.1
mit dem torusförmigen Längs Ablenkplatten 14a
und 14b gestrichelt gezeichnet, so daß der ringförmige Mittelwand
(Mitteldeck) 44 und der Turbine 22 zu sehen ist.

Fig.9 ist eine horizontale
Schnittansicht die Verkörperung von Fig.1 mitgenommen Linie 9 - 9 der Fig.8. In dieser Ansicht ist ersichtlich, dass die upstream
ringförmige Kammer 12 in eine Reihe
von kleineren Kammern unterteilt ist 12a
bis 12f durch den Ringkern längs Schallwände 14a. Die inneren enden Längen Schikanen definieren eine zentrale
Vortex-Kammer 12g (illustriert durch
einen gestrichelten Kreis) in der vorgelagerte Strudel entsteht und aus dem
vorgelagerte Strudel betritt die Turbine 22.
Die zentrale Vortex-Kammer 12g hat einen Durchmesser, der ungefähr
gleich dem Durchmesser der turbine.

Fig.10 ist eine perspektivische
Ansicht von einem zweiten Verkörperung der die vorliegende Erfindung, dass
wandelt Windenergie in mechanische oder elektrische Energie, verblüfft mit
Längs, 14a und 14b in Phantom
gezeichnet, so dass eine Reihe von längs-Jalousien schwenkbar 61a und 61b zu sehen. Die aufklappbaren
Jalousien sind in die Öffnungen zwischen der längs-Schikanen montiert. Die
Jalousien können in einer kreisförmigen Konfiguration überall von der
Außenkante der längs-Schikanen an der Innenseite montiert Rand der Schikanen.
In der Version gezeigt, die Jalousien sind in Längsrichtung montiert an der
Innenseite Rand Dämpfereinsätzen, um den Umfang der zentralen
Vortex-Kammer-12g. Jedes der Jalousien ist schwenkbar auf der einen Seite (d.
h. die Luv Seite wie Wind gelangt durch die Schikanen) so, dass die
Lüftungsschlitze in Richtung der zentralen Vortex-Kammer durch die Kraft des
Windes eingehende geöffnet werden kann. Die Breite der einzelnen
Lüftungsschlitze ist etwas größer als der Abstand zwischen Jalousien, so dass
jeder Lüftungsschlitze leicht aufklappbaren Rand der nächsten Lüftungsschlitze
überlappt. Dadurch wird verhindert, dass die Jalousien nach außen öffnen.

In Fig.11 es ist angezeigt, eine horizontale Schnittansicht die
Verkörperung von Fig.10 mitgenommen
Linie 11 - 11. Während des Betriebs ist Wind weht in die
Richtung angezeigt, von der Außenseite des Energie-Mengenumwerter soll durch
den Ringkern Längen Schikanen 14a in
stromauf Kammern, 12a und 12b. Die
Schikanen blockieren den Wind vom Betreten der anderen Kammern 12c durch 12f. Der Wind fließt durch Kammern, 12a und 12b, und betritt die zentrale Vortex-Kammer
12g durch Öffnen der aufklappbaren
Längen Jalousien 61a, die zwischen
den Einbauten in die Öffnungen definieren montiert sind Kammern, 12a und 12b. Die verbleibenden Jalousien bleiben
geschlossen, verhindert, dass des Windes durch die Seiten des Geräts verlassen.
So sind die Wind-aktiviert-Jalousien,
faktisch unidirektionale Ventile, so dass den Wind durch die Seiten des Geräts
in der zentralen Vortex-Kammer fließen, sondern nur dass den Wind bis zur
Ausfahrt durch die Spitze der Kammer und durch die Turbine 22.

Unter erneuter Bezugnahme auf Fig.10
ist ersichtlich, dass die Längsschlitze 61a
in der stromaufwärtigen Kammer 12
angebracht sind auf der gegenüberliegenden Seite von den Lamellen angelenkt 61b in der unteren Kammer 13. Dies, weil die Wirbel in der unterstromigen
Kammer dreht montieren die entgegengesetzte Richtung von dem Wirbel in der
stromaufwärtigen Kammer und der stromabwärtigen torusförmigen Ablenkplatten 14b des Wind Trichter in die
Luftschlitze 61b in die
entgegengesetzte Richtung. Wie die Luftschlitze 61a in der stromaufwärtigen Kammer 12, 61b die Lamellen in der unteren Kammer 13 wirken als Einwegventile so dass der
Wind in den zentralen Wirbelkammer durch die Seiten der Vorrichtung zu fließen,
jedoch nur so dass der Wind durch den Ausgang Oberseite der Kammer, und aus dem
Gerät. Diese Konfiguration hilft dabei, die Festigkeit von sowohl der
stromaufwärts und den stromabwärts gelegenen Wirbel während des Betriebs der
Vorrichtung zu halten.
Es sollte erkannt werden, dass ein gewisser Grad an verbesserten
Energieumwandlungsleistung kann in einer Konfiguration, in der es torusförmigen
Leitbleche 14a erhalten und
Schwenkklappen 61a nur in der
vorgelagerten Ringraum 12 ist, da
dies sicherstellt, dass alle der Wind oder andere Flüssigkeit, die in der
Seiten der oberen Kammer strömt durch die Turbine. Die Zugabe von toroidalen Ablenkplatten 14b in der stromabwärtigen Ringraum 13 stellt zusätzliche verbesserte
Leistung, insbesondere, wenn die Drehrichtung des stromabwärtigen Wirbel ist
entgegengesetzt der Richtung des stromaufwärtigen Wirbel. Optimale Energieumwandlungsleistung wird durch
eine Einrichtung mit entgegengesetzt konfigurierten torusförmigen vorgesehen
Leitbleche 14a und 14b und
gegenüberliegend angelenkten Lamellen 61a
und 61b, sowohl für den stromaufwärtigen ringförmigen Kammer 12 und dem stromabwärtigen Ringraum 13.
Hier die vollständige
Schritt-für-Schritt-Anleitungen für die eine ganz einfach einzelne Zelle
Booster Entwurf von "HoTsAbI" - ein Mitglied der Yahoo 'watercar'
Forum-Gruppe. Dies ist eine sehr
elegante und einfache Elektrolyse-Verstärkereinheit, die den durchschnittlichen
mpg 18 bis 27 (50% Steigerung) auf seinem 1992 5-Liter Chevy 'Caprice' Auto
angehoben hat.

Achtung: Das ist kein Spielzeug. Wenn Sie
machen, und verwenden Sie eine von diesen, so tun Sie dies auf eigene Gefahr.
Weder die Designer des Boosters, der Autor dieses Dokuments oder der Anbieter
der Internet-Anzeige sind in keiner Weise haftbar sollten Sie keine Verluste
oder Schäden durch eigene Aktionen zu leiden. Während angenommen wird, ganz
sicher zu machen und mit einem Verstärker dieser Konstruktion zu sein, sofern
die unten aufgeführten Sicherheitshinweise befolgt werden, wird betont, dass
die Verantwortung liegt bei Ihnen und Sie allein.
Das Gerät zieht 15 Ampere, die leicht durch
das vorhandene Fahrzeugwechsel behandelt wird. Die Konstruktion nutzt ABS
(Acrylnitril-Butadien-Styrol) Kunststoffschlauch mit einem Elektrolyten,
Natriumhydroxid (NaOH - in Amerika als "Red Devil" Lauge, 1 Teelöffel
in 8 Liter destilliertes Wasser gemischt verkauft) und die Gasmischung erzeugt
wird direkt in zugeführt die Lufteinlassfilter des Auto-Motor. Die Elektroden
sind aus Edelstahl mit der negativen Elektrode einen Zylinder um die positive
Elektrode.
Die Schaltung ist so geschaltet, daß sie nur
eingeschaltet, wenn das Fahrzeug Zündschalter geschlossen. Ein Relais hohe
Spannung im Elektrolyseur, der drei Zoll (75 mm) im Durchmesser und ungefähr 10
Zoll (250 mm) hoch ist. Der Elektrolyseur Kreis wird von einem 30-A-Sicherung
abgesichert. Der Elektrolyseur hat mehrere Edelstahl-Drahtgeflecht Bildschirme
über der Wasseroberfläche:

Der Ausgang des Elektrolyseurs auf eine
Dampffalle auf über ein Einwegventil in eine Sicherheitswaschflasche zugeführt
wird, auch mit mehreren Stahldrahtmaschensiebe aus rostfreiem angebracht und
dann. Die Waschflasche hat auch Edelstahlgewebe Bildschirme, die das Gas zu
durchlaufen hat, bevor er die Waschflasche austritt. Das Gas wird dann durch
einen Luftkompressor Artwasser Falle geleitet, um Restfeuchtigkeit zu
entfernen, und wird in die Lufteinlaßöffnung des Fahrzeuges eingespritzt.
Obwohl in dem Diagramm nicht gezeigt ist, werden die Behälter von pop-out
Armaturen, die einen zusätzlichen Schutz in extrem unwahrscheinlichen Ereignis
eines der kleinen Gasmengen bereitzustellen, die von jedem Mittel gezündet
geschützt haupt.

Das Amperemeter wird verwendet, um
anzuzeigen, wenn das Wasser sollte der Elektrolyseur, der typischerweise nach etwa
80 Stunden Fahrt und wird durch eine Kunststoff-Schraubkappe an der Oberseite
der Elektrolysekappe getan hinzugefügt werden (deutlich in der das erste Bild
dargestellt). Dieses Gerät verwendet im Handel erhältlich sein, aber der
Designer ist jetzt zu viel zu tun, um sie auszugleichen, so ist er großzügig
die Pläne kostenlos wie abgebildet veröffentlicht.
Der Designer sagt: Lesen Sie bitte
alle diese Anleitung sorgfältig und vollständig, bevor Sie Ihr Projekt. Dieses
Projekt ist der Bau eines Elektrolyseurs Einheit dazu bestimmt ist, den Betrieb
eines Fahrzeugs, indem durch die Elektrolyse von Wasser erzeugten Gase, auf die
in den Motor gezogen, wenn es ausgeführt wird Luft zu verbessern. Es gibt keine
magische darüber. Die durch Elektrolyse erzeugte 'HHO' Gas wirkt als
Zündvorrichtung für den normalen Kraftstoffs durch das Fahrzeug verwendet. Dies
erzeugt eine viel bessere Brennqualität, extra zusätzliche Energie aus dem
normalen Kraftstoff, woraus eine bessere Durchzugskraft, Laufruhe, Kühler
Motorbetrieb, die Reinigung von alten Verbrennungsrückstände im Motor und in
der Regel die Verlängerung der Lebensdauer des Motors.
ELEKTROLYSEUR TEILLISTE
1. Ein 7-Zoll lange x 3 Zoll Durchmesser Stück
ABS-Schlauch mit Quadrat geschnitten endet - entgraten die Kanten.
2. Ein 3 Zoll (75 mm) Durchmesser ABS-Stecker -
reinigen Sie die Gewindekappe.
3. Ein
Gewindeadapter DWV 3 Zoll (75 mm) Durchmesser HXFPT Gewindekappe
("DWV" und "HXFPT" gibt männliche und weibliche
Gewindekanaltyp -Kunststoffkappen).
4. Ein 3 Zoll (75 mm) Durchmesser ABS Kappe.
5. Ein 4 Zoll (100 mm) Edelstahlschraube 6 mm x
20.
6. Zwei Edelstahl 1 Zoll lang (25 mm) 6 mm x 20
Zylinderschraube
7. Einer 10/32 Zoll x 1/4 Zoll Edelstahlschraube
8. Fünf Scheiben und acht Edelstahl Muttern ¼
Zoll (6 mm) x 20
9. Ein Stück Edelstahl Shimstock 11 Zoll x 6 Zoll
0,003 Zoll dick
10. Ein
Stück Stahl 14-Gauge-Kabel Edelstahl Netz 8 Zoll x 3 Zoll
11. Ein
3/8 Zoll Nylon Stecker
12. Eine
¼ Zoll x ¼ Zoll NPT (National Pipe Tap) Stecknippel
13. Installateure
Band
TOOLS LISTE
1. Handbohrmaschine
2. Blechschere
(zum Schneiden von Stahlgitter und Shimstock)
3. 6
mm NPT Leitungs und 5/16 Zoll-Bohrer
4. 3/8
Zoll NPT Leitungs und 0.5 Zoll-Bohrer
5. 10/32
Zoll-Hahn und 1/8 Zoll-Bohrer
6. Ein
Klammer und ein Stück von 1 inch x 1 inch Holzleiste
7. Sechskantschlüssel
"T-Griff" Schlüssel, um die Kopfschraube passen
8. Kreuzschlitz-Schraubendreher
9. Kleine
Rollgabelschlüssel

Schnitt und Passform Shimstock
in ABS Schlauch,
11 Zoll eignet sich gut als das gibt eine 1 Zoll
Überlappung.

Zum Bohren, mit einem Holzleiste.
Sicherstellen, dass die Shimstock bündig mit wenigstens einer Kante der Röhre.
Verwenden Sie den Unterputzkante der Unterseite des Elektrolyseurs.

Klemmen Sie sicher und bohren Sie zwei Löcher
0,165 Zoll, eine
auf jeder Seite, die senkrecht zueinander, so gut Sie können. Diese
Löcher werden getappt 1/4 Zoll
x 20

Die Shimstock Löcher brauchen, um aus
aufgebohrt, um die Kopfschraube akzeptieren.

Hinweis: Das ist, warum 2 Löcher gebohrt
(die Montage zu erleichtern). Als nächstes legen Sie die Elektrode in den Lauf.
Es ist uns wichtig, ein
Edelstahlmutter im Inneren, um die Kopfschraube Sitz.

Man beachte, dass die Shimstock bündig mit
dem Boden des Röhrchens. Die Endmontage für die Elektroden. Beachten Sie, dass
die Kopfschrauben jeweils Edelstahlmuttern in den Lauf, um zum Shimstock Platz.
Die Schraube auf der linken Seite wird als das Negative Batterieanschluss für
die Zelle verwendet werden, während die Schraube auf der rechten Seite
lediglich Platz für die Shimstock werden.

Das Oberteil ist ein Gewindeadapter DWV 3
Zoll HXFPT. Der untere Teil ist ein 3-Zoll-ABS-Stecker, reinigen, die
Gewindekappe. Bereiten Sie die Deckkappe und Stecker: Bohren Sie ein 3/8 Zoll
NPT Durchmesser in der Mitte der Gewindekappe (das ist die Hauptfüllung
Stecker). Bohren Sie ein 1/4 Zoll NPT auf der Seite (um den Schlauchanschluss
nehmen).

Bereiten Sie die Bodenkappe: Bohren und
tippen Sie auf 1/4 Zoll x 20 Loch in der Mitte. Installieren Sie die
Kopfschraube mit einem Edelstahlmutter. Ziehen und eine Waschmaschine und
Edelstahlmutter außerhalb installieren.

Dies ist die positive Batterieanschluss.

Dies ist das hier auf den Kopf gezeigt
fertigen Zelle. Montieren Sie das Gerät mit ABS Kleber.

Als nächstes bereiten die Edelstahlgewebe. Schneiden Sie es sorgfältig,
um im Inneren der Gewindekappe passen. Verwenden Sie mindestens 3 Stück.

Nach der Montage des Gitter fest in die
Kappe, montieren Sie ihn mit einem 10/32-Zoll-Edelstahl-Schraube auf der
gegenüberliegenden Seite zu dem 1/4 Zoll Gewindebohrung für den
Schlauchanschluss. Dies ist eine Flammensperre, so stellen Sie sicher, dass die
gesamte Innen dicht bedeckt. Beachten Sie, dass die Seiten einpacken. Drehen
Sie die einzelnen Ebenen, um das Korn des Netzes in den aufeinanderfolgenden
Schichten kreuzen.

Verwenden weißen "Band Klempner"
auf allen Gewindefittings.
Dieses Gerät ist die durchschnittliche
Meilen pro Gallone Leistung meiner 1992 5-Liter Chevy Caprice 18-27 mpg, die
eine 50% ige Erhöhung ist angehoben. Es ermöglicht einen sehr gepflegten,
professionell aussehende Installation, die sehr gut funktioniert:


Alle 3/8 Zoll Kunststoff-Fittings inklusive
Einwegventile, kommen aus Ryanherco und bestehen aus Kynar, um Wärme zu
widerstehen. Die Wasserfalle ist von einem Luftkompressor. Die 3/16 Zoll
Schlauch oder Schlauch ist auch Hochwärmetyp von Automatikgetriebe
Kühlmittelleitungen. Ich benutze Gleichstrom und begrenzt mit einem
Thermoschalter und LYE Gemischeinstellung. Wenn Sie Hilfe, dann E-Mail-hotsabi
(at) gmail (dot) com benötigen (Put "e-cell" in den Titel Ihrer
E-Mail).
Kommentare von Patrick Kelly:
Diese Konstruktion ist sehr einfach
zu bauen, aber es ist nur eine einzige Zelle mit der ganzen des Fahrzeug
Spannung daran gesetzt, ein gutes Geschäft der elektrischen Energie geht beim
Erwärmen des Elektrolyten, anstatt das wollte Hydroxy Gas.
Wenn genügend Platz vorhanden ist,
um zwei in, passen dann mit beiden können Sie die Hälfte des Stroms verwenden
und halbiert die in den Einheiten erzeugten Wärme und verdoppelt die Länge der
Zeit zwischen Nachfüllen des Gerätes mit Wasser:

Bitte nicht den Eindruck, dass, wenn
eine kleine Menge von HHO Gas erzeugt eine sehr positive Wirkung auf den
Betrieb eines Fahrzeugs, dass das Hinzufügen von viel mehr HHO Gas wird sogar
bessere Ergebnisse liefern, denn das ist nicht der Fall. Jedes Fahrzeug ist
anders und hat eine andere optimale Durchflussrate von HHO Gas haben und wenn
das optimale Rate überschritten wird, obwohl die mpg Verbesserung kann
eigentlich nicht reduziert werden erhöht. Wenn Sie Zweifel haben, starten wird
ein geringer Strom (mit verdünnter Elektrolyt), die weniger Gas produzieren
wird und sehen, was die Ergebnisse sind mpg. Dann versuchen Sie einen etwas
kräftigeren Mischung und überprüfen Sie die mpg über mehrere Gallonen
Kraftstoff. Dies ermöglicht es Ihnen, um die Booster-Strom, bei dem Ihr
jeweiliges Fahrzeug arbeitet am besten zu bestimmen. Dies ist kein Wettbewerb
zu sehen, wer die höchste Gas Ausgabe erzeugen kann, sondern es ist ein
Prozess, um herauszufinden, was die höchste mpg Ihr Fahrzeug, wenn Sie diese
einfachen Booster-Design geben.
Die Durchmischung des Elektrolyten: Bitte denken Sie daran, dass der Natrium-oder
"Lauge" (Lowes Speicher: Roebic 'Heavy Duty' Kristall ablassen
Öffner) ist eine stark ätzende Substanz, die mit Sorgfalt behandelt werden
muss.
Bewahren Sie sie immer in einem
stabilen luftdichten Behälter, die "GEFAHR! - Natriumhydroxid"
eindeutig gekennzeichnet ist. An einem sicheren Ort, wo sie nicht von Kindern,
Haustieren oder Menschen, die keine Notiz von dem Etikett nicht stattfindet
erreichbar aufbewahren. Wenn Ihr Versorgung mit Natriumhydroxid in einer
starken Plastiktasche, dann, wenn Sie den Beutel zu öffnen, sollten Sie alle
Inhalte auf einem stabilen, luftdicht, Kunststoff-Vorratsbehälter, die Sie
öffnen und schließen, ohne zu riskieren den Inhalt zu verschütten können
übertragen. Hardware-Läden verkaufen Plastikeimer mit luftdichten Deckel, die
für diesen Zweck verwendet werden kann.
Bei der Arbeit mit trockenen
Flocken oder Granulat, Schutzbrille, Gummihandschuhe, ein langärmeliges Hemd,
Socken und lange Hosen. Auch nicht tragen Ihre Lieblings-Kleidung beim Umgang
mit Hydroxy-Lösung, da es nicht die beste Sache, um auf der Kleidung zu
bekommen. Es ist auch ratsam, eine Gesichtsmaske, die Mund und Nase bedeckt
tragen. Wenn Sie das Mischen von festem Natriumhydroxid mit Wasser das Hydroxid
immer zum Wasser gegeben, und nicht umgekehrt, und mit einem Kunststoffbehälter
für die Mischung, vorzugsweise einer, der die doppelte Kapazität der fertigen
Mischung. Das Mischen sollte in einem gut belüfteten Bereich, der nicht zugig
wie Luftströmungen können die trockenen Hydroxid um Schlag geschehen.
Beim Mischen des Elektrolyten,
nie mit warmem Wasser. Das Wasser sollte kühl, weil die chemische Reaktion
zwischen dem Wasser und dem Hydroxid erzeugt viel Hitze. Wenn möglich, stellen
Sie den Mischbehälter in einen größeren Behälter mit kaltem Wasser gefüllt, so
dass wird Ihnen helfen, um die Temperatur niedrig zu halten, und wenn Sie Ihre
Mischung sollte "überkochen" es wird die Leckagen. Fügen Sie nur eine
kleine Menge an Hydroxid in einer Zeit unter ständigem Rühren, und wenn Sie
aufhören Rühren aus irgendeinem Grund, legte die Deckel wieder auf den
Behälter.
Sollte trotz aller
Vorsichtsmaßnahmen, etwas Natronlauge auf der Haut erhalten Sie, waschen Sie
sie unter fließendem kalten Wasser und tragen Sie etwas Essig auf der Haut.
Essig ist sauer, und wird dazu beitragen Ausgleich der Alkalität des Hydroxid.
Sie können Zitronensaft verwenden, wenn Sie keinen Essig Hand - aber es ist
immer empfehlenswert, eine Flasche Essig handlich zu halten.
Die folgenden Links führen zu verschiedenen wissenschaftlichen Papiere und Dokumente von Interesse. Als Web-basierte Ressourcen sind sehr anfällig zu verändern und zu verschwinden, wenn Sie eines dieser Download zu lesen, schlage ich vor, dass Sie speichern sie auf Ihrer lokalen Festplatte, falls sie zu einem späteren Zeitpunkt nicht mehr zur Verfügung. Wenn aus irgendeinem Grund der www.free-energy-info.co.uk Website nicht verfügbar ist, dann können Sie versuchen www.free-energy-info.com oder www.free-energy-devices.com oder www.free-energy-info.tuks.nl die Mirror-Sites sind.
http://www.free-energy-info.tuks.nl/P1.pdf 4 Mb Gepulste Gleichstrom-Elektrolyse
http://www.free-energy-info.tuks.nl/P2.pdf 360 Kb Wasserbogenexplosionen
http://www.free-energy-info.tuks.nl/P3.pdf
388 Kb Plasma-Elektrolyse
http://www.free-energy-info.tuks.nl/P4.pdf 321 Kb Kaltwassernebelexplosionen
http://www.free-energy-info.tuks.nl/P5.pdf 151 Kb Der Motorbetrieb mit Wasserstoff, um den Kraftstoffmehr
http://www.free-energy-info.tuks.nl/P6.pdf 63 Kb Blasen und Dampf Strom
http://www.free-energy-info.tuks.nl/P7.pdf 600 Kb Stan Meyer: Wasser-Brennstoffzelle
http://www.free-energy-info.tuks.nl/P8.pdf 3.5 Mb Stan Meyer: Wasser-Brennstoffzelle
http://www.free-energy-info.tuks.nl/P9.pdf 303 Kb Stan Meyer : Wasser als Kraftstoff
http://www.free-energy-info.tuks.nl/P10.pdf 68 Kb Solare Wasserstofferzeugung
http://www.free-energy-info.tuks.nl/P11.pdf 328 Kb Passiv Kühlung
http://www.free-energy-info.tuks.nl/P13.pdf
347 Kb Ein Solar Eismaschine
http://www.free-energy-info.tuks.nl/P14.pdf 711 Kb Smart-Designtechnologie Abschirmung
http://www.free-energy-info.tuks.nl/P15.pdf 215 Kb Physik für Ingenieure
http://www.free-energy-info.tuks.nl/P16.pdf 2.5 Mb Brennstoffzellen-Handbuch
http://www.free-energy-info.tuks.nl/P17.pdf 62 Kb Prof. Kanarev Low Stromelektrolyse
http://www.free-energy-info.tuks.nl/P18.pdf 8
Mb
Grundsätze der Ultra Relativität von Shinichi Seike
http://www.free-energy-info.tuks.nl/P21.pdf 754 Kb Die Theorie der Anti-Schwerkraft
http://www.free-energy-info.tuks.nl/P22.pdf 13.3 Mb Physik ohne Einstein von Dr. Harold Aspden
http://www.free-energy-info.tuks.nl/P23.pdf 6.9 Mb Moderne Aether Wissenschaft von Dr. Harold Aspden
http://www.free-energy-info.tuks.nl/P24.pdf 10 Mb Vereinheitlichte Physik von Dr. Harold Aspden
http://www.free-energy-info.tuks.nl/P25.pdf 1.5 Mb Permanentmagnetmotor Design
http://www.free-energy-info.tuks.nl/P26.pdf 402 Kb Das Meer von Energie durch Thomas Henry Moray
http://www.free-energy-info.tuks.nl/P31.pdf 14.5 Mb Teslas Wissenschaft der Energie von Dr. Thomas Valone
http://www.free-energy-info.tuks.nl/P32.pdf 605 Kb Hochspannung, Hochfrequenz-Wechselströme von Tesla
http://www.free-energy-info.tuks.nl/P33.pdf
632 Kb "Verlorene
Genius" Biographie von Nikola Tesla
http://www.free-energy-info.tuks.nl/P34.pdf 488 Kb Gedämpften Wellen von Nikola Tesla
http://www.free-energy-info.tuks.nl/P41.pdf 3.2 Mb Electrogravitic-Systeme von Dr. Thomas Valone
http://www.free-energy-info.tuks.nl/P42.pdf 2.5 Mb Null - Punkt Energiegewinnung von Dr. Thomas Valone
http://www.free-energy-info.tuks.nl/P63.pdf 181 Kb Skalare Wellen von Konstantin Meyl
http://www.free-energy-info.tuks.nl/P65.pdf 592 Kb EsotericScience.com Präsentation
http://www.free-energy-info.tuks.nl/P66.pdf 450 Kb Das Genesis-Projekt
http://www.free-energy-info.tuks.nl/Lodge.pdf 27 Mb. Moderne Ansichten der Elektrizität durch Sir Oliver Lodge
http://www.free-energy-info.tuks.nl/Lodge2.pdf 9 Mb. Die Äther des Raumes von Sir Oliver Lodge
http://www.free-energy-info.tuks.nl/Lodge3.pdf 22 Mb. Eigenschaften der negativen Elektrizität: Sir Oliver Lodge
http://www.free-energy-info.tuks.nl/TeslaBook.pdf 36 Mb.
Die Erfindungen, erforscht und Schreiben von Tesla
http://www.free-energy-info.tuks.nl/DonKelly.pdf 13 Mb.
Freien Energie-Geräte und Systeme von D.A. Kelly
http://www.free-energy-info.tuks.nl/Blitz.pdf 30 Mb. Ultraschall von Jack Blitz
http://www.free-energy-info.tuks.nl/Magnetos.pdf 9.5 Mb. Zündmagnete einfach erklärt von F. H. Hutton
http://www.free-energy-info.tuks.nl/TeslaPatents/TeslaPatents.pdf 100 Mb. Alle Tesla veröffentlichten Patente
http://www.free-energy-info.tuks.nl/Magnetic_Motor.pdf 511 Kb Magnetische Motoren von Lawrence Tseung
http://www.free-energy-info.tuks.nl/Maxwell.pdf 2.2 Mb Das elektromagnetische Feld von James Clerk Maxwell
http://www.free-energy-info.tuks.nl/Davson.pdf 46.7 Mb Davson Buch über Karl Schappeller Arbeit
http://www.free-energy-info.tuks.nl/Newman.pdf 97 Mb Die Energiemaschine von Joseph Newman
http://www.free-energy-info.tuks.nl/Combine.pdf 2.1 Mb Strahlungsenergie und übermäßige Einheit: D. Combine
http://www.free-energy-info.tuks.nl/Rodin.pdf 3 Mb Das Rodin-Projekt von Marko Rodin
http://www.free-energy-info.tuks.nl/SEG.pdf 594 Kb Magnetische Gravitationsforschung: Roschin und Godin
http://www.free-energy-info.tuks.nl/Stan_Meyer_Full_Data.pdf 3.8 Mb Technische Zusammenfassung: S. Meyer
http://www.free-energy-info.tuks.nl/LTseung.pdf 3.2 Mb Übermäßige Einheit Geräte von Lawrence Tseung
http://www.free-energy-info.tuks.nl/Smith.pdf 2.0 Mb. Resonante Energie-Methoden von Donald Lee Smith
http://www.free-energy-info.tuks.nl/Cottrell.pdf 2.8 Mb. Wie Gravity Werke von Maurice Cottrell
http://www.free-energy-info.tuks.nl/Davidson.pdf 4.5 Mb. Form Leistung von Dan Davidson
Videos
http://www.free-energy-info.tuks.nl/Meyer.wmv 4.6 Mb
http://www.free-energy-info.tuks.nl/Newman.avi 53 Mb
http://www.free-energy-info.tuks.nl/pyramid.avi 25 Mb
http://www.free-energy-info.tuks.nl/stage1.wmv 1.9 Mb
http://www.free-energy-info.tuks.nl/stage2.wmv 1.9 Mb
http://www.free-energy-info.tuks.nl/stage3.wmv 3.7 Mb
http://www.free-energy-info.tuks.nl/WFCrep2.wmv 1 Mb
http://www.free-energy-info.tuks.nl/stan.wmv 4.5 Mb
http://www.free-energy-info.tuks.nl/WFCrep.wmv 5.3 Mb
http://www.free-energy-info.tuks.nl/Bills.avi 17 Mb
http://www.youtube.com/watch?v=-6MDHF39XmU&NR