Anhang
Die
Draht-Größen angegeben für den Einsatz in einigen Entwürfen sind American Wire
Gauge, also eine Vergleichstabelle anzeigen Großbritannien “Standard Wire Gauge”
(mit Längen auf einer 500-Gramm-Spule von Kupferlackdraht) und “American Wire
Gauge'” ist hier gegeben:
|
AWG |
Dia mm |
Area sq. mm |
SWG |
Dia mm |
Area sq. mm |
Max Amps |
Ohms / metre |
Metres Per 500g |
Max Hz |
|
1 |
7.35 |
42.40 |
2 |
7.01 |
38.60 |
119 |
|
|
325 |
|
2 |
6.54 |
33.60 |
3 |
6.40 |
32.18 |
94 |
|
|
410 |
|
3 |
5.88 |
27.15 |
4 |
5.89 |
27.27 |
75 |
|
|
500 |
|
4 |
5.19 |
21.20 |
6 |
4.88 |
18.68 |
60 |
|
|
650 |
|
5 |
4.62 |
16.80 |
7 |
4.47 |
15.70 |
47 |
|
|
810 |
|
6 |
4.11 |
13.30 |
8 |
4.06 |
12.97 |
37 |
|
|
1,100 |
|
7 |
3.67 |
10.60 |
9 |
3.66 |
10.51 |
30 |
|
|
1,300 |
|
8 |
3.26 |
8.35 |
10 |
3.25 |
8.30 |
24 |
|
|
1,650 |
|
9 |
2.91 |
6.62 |
11 |
2.95 |
6.82 |
19 |
|
|
2,050 |
|
10 |
2.59 |
5.27 |
12 |
2.64 |
5.48 |
15 |
0.0042 |
|
2,600 |
|
11 |
2.30 |
4.15 |
13 |
2.34 |
4.29 |
12 |
0.0047 |
|
3,200 |
|
12 |
2.05 |
3.31 |
14 |
2.03 |
3.49 |
9.3 |
0.0053 |
17.5 m |
4,150 |
|
13 |
1.83 |
2.63 |
15 |
1.83 |
2.63 |
7.4 |
0.0068 |
|
5,300 |
|
14 |
1.63 |
2.08 |
16 |
1.63 |
2.08 |
5.9 |
0.0083 |
27 m |
6,700 |
|
15 |
1.45 |
1.65 |
17 |
1.42 |
1.59 |
4.7 |
0.0135 |
|
8,250 |
|
16 |
1.29 |
1.31 |
18 |
1.219 |
1.17 |
3.7 |
0.0148 |
48 m |
11 kHz |
|
17 |
1.15 |
1.04 |
|
|
|
2.9 |
0.0214 |
|
13 kHz |
|
18 |
1.024 |
0.823 |
19 |
1.016 |
0.811 |
2.3 |
0.027 |
|
17 kHz |
|
19 |
0.912 |
0.653 |
20 |
0.914 |
0.657 |
1.8 |
0.026 |
85 m |
21 kHz |
|
20 |
0.812 |
0.519 |
21 |
0.813 |
0.519 |
1.5 |
0.036 |
|
27 kHz |
|
21 |
0.723 |
0.412 |
22 |
0.711 |
0.397 |
1.2 |
0.043 |
140 m |
33 kHz |
|
22 |
0.644 |
0.325 |
23 |
0.610 |
0.292 |
0.92 |
0.056 |
|
42 kHz |
|
23 |
0.573 |
0.259 |
24 |
0.559 |
0.245 |
0.729 |
0.070 |
225 m |
53 kHz |
|
24 |
0.511 |
0.205 |
25 |
0.508 |
0.203 |
0.577 |
0.087 |
|
68 kHz |
|
25 |
0.455 |
0.163 |
26 |
0.457 |
0.164 |
0.457 |
0.105 |
340 m |
85 kHz |
|
26 |
0.405 |
0.128 |
27 |
0.417 |
0.136 |
0.361 |
0.130 |
|
107 kHz |
|
27 |
0.361 |
0.102 |
28 |
0.376 |
0.111 |
0.288 |
0.155 |
500 m |
130 kHz |
|
28 |
0.321 |
0.0804 |
30 |
0.315 |
0.0779 |
0.226 |
0.221 |
700 m |
170 kHz |
|
29 |
0.286 |
0.0646 |
32 |
0.274 |
0.0591 |
0.182 |
0.292 |
950 m |
210 kHz |
|
30 |
0.255 |
0.0503 |
33 |
0.254 |
0.0506 |
0.142 |
0.347 |
1125 m |
270 kHz |
|
31 |
0.226 |
0.0401 |
34 |
0.234 |
0.0428 |
0.113 |
0.402 |
1300 m |
340 kHz |
|
32 |
0.203 |
0.0324 |
36 |
0.193 |
0.0293 |
0.091 |
0.589 |
1900 m |
430 kHz |
|
33 |
0.180 |
0.0255 |
37 |
0.173 |
0.0234 |
0.072 |
0.767 |
2450 m |
540 kHz |
|
34 |
0.160 |
0.0201 |
38 |
0.152 |
0.0182 |
0.056 |
0.945 |
3000 m |
690 kHz |
|
35 |
0.142 |
0.0159 |
39 |
0.132 |
0.0137 |
0.044 |
1.212 |
3700 m |
870 kHz |
Patent US 6.867.514
15 März 2005 Erfinder:
Frank J. Fecera
DAUERMAGNET MOTOR
Diese Patentanmeldung zeigt die Einzelheiten eines Permanentmagnetmotors. Es sollte bemerkt werden, daß, während in diesem Text, Frank, dass Permanentmagnete Speichern einer endlichen Menge von Magnetismus in der Tat, die Magnetpole bilden einen Dipol, einen kontinuierlichen Fluss von Energie aus dem Quanten-Schaum des Universums gezogen bewirkt, und daß sein Fluss fortgesetzt, bis zu dem Zeitpunkt, der Dipol zerstört. Die Energie, die Befugnisse jeder Permanentmagnet-Motor kommt direkt aus dem Energiefeld Nullpunkt und nicht die tatsächlich von der Magnet selbst. Ein Eisenstück kann durch eine einzige Nanomagnetimpulsmagnetic in einem Magneten umgewandelt werden. Es macht keinen Sinn, dass ein Impuls von dieser Dauer könnte Monate Dauerleistung von etwas in der Magnet selbst gespeichert sind, aber es macht durchaus Sinn, wenn diese kurzen Impuls erzeugt einen magnetischen Dipol, der als Gateway für den Zufluss von Nullpunkt-Energie wirkt aus der Umwelt.
ABSTRAKT
Ein Motor bietet unidirektionale Drehantriebskraftmotive power ist. Der Motor hat einen allgemein kreisförmigen Stator mit einer Ständerachse, einer Außenfläche und einer Umfangsgrenzlinieline of demarcation bei ungefähr einem Mittelpunkt der Außenfläche. Der Motor umfasst auch eine oder mehrere Stator-Magneten an der Außenfläche des Stators befestigt ist. Die Stator-Magnete sind in einer allgemein kreisförmigen Anordnung um die Ständerachse angeordnet und ein erstes Magnetfeld. Ein Anker ist an dem Stator befestigt ist, so daß es dreht sich mit dieser, den Anker mit einer Achse parallel zur Ständerachse. Einen oder mehrere Rotoren, von dem Anker durch eine Achse angeordnet sind und mit ihm gekoppelt, damit jeder Rotor um eine Achse zu drehen, wobei jeder Rotor in einer Ebene rotierenden Allgemeinen mit der Achse des Ankers ausgerichtet ist. Jeder Rotor weist einen oder mehrere Rotormagnete, wobei jeder Rotormagneten zum Erzeugen eines zweiten Magnetfeldes. Das zweite Magnetfeld jedes Rotormagneten erzeugten Wechselwirkung mit dem ersten magnetischen Feldes, um zu bewirken, wobei jeder Rotor um die Rotorachse drehen. Eine Verbindungsanordnung verbindet Antriebs jeden Rotor zu dem Stator, um den Anker zu veranlassen, um die Ankerachseaxis, wodurch die unidirektionale Drehantriebskraftmotive power des Motors zu drehen.
HINTERGRUND
DER ERFINDUNG
Diese Erfindung bezieht sich auf dynamoelektrische Motorstrukturen und insbesondere Dreh- und Linearmotoren mit Permanentmagneten. Herkömmliche Elektromotoren beruhen auf der Wechselwirkung von Magnetfeldern, um eine Kraft, die in beiden Dreh- oder Linearbewegung Ergebnisse. Die Magnetfelder in herkömmlichen Elektromotoren Erzeugen eines Drehstrompower werden, indem ein extern bereitgestellte elektrische Strom durch die Leiter entweder in einem Stator erzeugt wird (dh stationären Teil des Motors), der einen Rotor (dh Drehabschnitt ) oder sowohl den Stator und den Rotor. Die Drehkraft des Motors ergibt sich aus einem rotierenden Magnetfeld, das durch Kommutieren des elektrischen Stroms erzeugt wird, entweder durch ein Umschalten des Stroms durch verschiedene Leiter, wie in einem Gleichstrommotor oder durch eine Polaritätsumkehr des elektrischen Stroms in einer Wechsel Strommotor.
Es ist gut bekannt, daß eine Klasse von Materialien, wie ferromagnetische Materialien bekannt sind, sind auch geeignet zur Erzeugung eines Magnetfeldes mit einmal erregt ist. Ferromagnetische Materialien mit hoher Koerzitivkraft als Permanentmagnete bekannt. Permanentmagnete sind in der Lage Speichern einer endlichen Menge an Energie und die Fähigkeit beibehalten wird, um eine wesentliche Magnetfeld zu erzeugen, bis die gespeicherte Energie verbraucht ist.
Es sind elektrische Motoren, die Permanentmagneten entweder in der Statorteil des Motors bzw. der Rotorteilportion des Motors zu verwenden. Diese Motoren erreichen eine kleine Größe für die Leistungsmenge, die durch den Motor geliefert, da die Motoren zu vermeiden, die stromführenden Leiter, um das magnetische Feld, welches sonst durch die Dauermagneten erzeugt wird, zu erzeugen. Diese herkömmlichen Permanentmagnetmotoren erfordern noch eine externe Stromquellesource of an ein rotierendes Magnetfeld erzeugen.
Es sind auch
Dauermagnetmotoren, die Permanentmagnete sowohl für den Stator und dem Rotor
verwendet entwickelt. Zum Beispiel US-Pat. Nr 4598221 offenbart einen
Permanentmagnet-Motor, der auf einer externen Stromquelle, um die Magnetfelder
des Rotors um neunzig Grad mit Bezug auf den wechselwirkenden Stator
Magnetfelder drehen stützt die kontra magnetische Anziehung und Abstoßung
zwischen dem Rotor und den Stator-Magneten zu eliminieren . In einem anderen
Es gibt viele Fälle, wo eine Motorwirkungaction erforderlich ist und keine Quelle für externe Stromquelle vorhanden. Dementsprechend würde ein Motor, der ausschließlich auf die in Permanentmagneten gespeicherten Energie beruht nützlich sein.
KURZE
ZUSAMMENFASSUNG DER ERFINDUNG
Kurz gesagt, umfaßt die vorliegende Erfindung einen Rotor für die Verwendung in einem Permanentmagnetmotor und zum Antrieb durch Rotation des Rotors um eine Rotorachseaxis. Der Rotor weist mindestens einen ersten U-förmigen Magneten mit einer Rückseite und ein erstes Magnetfeld. Die Drehung des Rotors um die Rotorachse durch ein Zusammenwirken eines Teils der ersten magnetischen Feldes unmittelbar an der Rückseite des mindestens einen U-förmigen Magneten mit einem stationären zweiten Magnetfeldes verursacht.
Ein weiterer Aspekt der vorliegenden Erfindung weist einen Rotor zum Antrieb durch eine Drehung des Rotors um die Rotorachse und durch eine Translation des Rotors in einer Richtung der Rotorachse. Der Rotor umfasst: einen ersten U-förmigen Magneten mit einem Nordpol, einen Südpol und eine Rückseite, wobei die erste U-förmige Magnet zum Erzeugen eines ersten magnetischen Feldes; einen zweiten U-förmigen Magneten mit einem Nordpol und einem Südpol, der Südpol des zweiten U-förmigen Magnet Anlage an der Nordpol des ersten U-förmigen Magneten; und einen dritten U-förmigen Magneten mit einem Nordpol und einem Südpol, den Nordpol des dritten U-förmigen Magneten anliegenden den Südpol des ersten U-förmigen Magneten. Ein Teil des ersten Magnetfeldes von dem ersten U-förmigen Magneten direkt an der Rückseite des ersten U-förmigen Magneten erzeugten interagiert mit einem stationären vierten Magnetfeldes an den Rotor zu drehen. Ein zweites Magnetfeld, das von dem Nordpol des zweiten U-förmigen Magneten, und eine dritte Magnetfeld von dem Südpol des dritten U-förmigen Magneten erzeugten interagieren mit dem vierten Magnetfeld erzeugt, um den Rotor in Richtung der zu übersetzen Rotorachse.
Ein weiterer Aspekt der vorliegenden Erfindung umfasst einen Rotor mit einer Rotorachse und einem Strahlruder-Achse in einer Ebene der Scheibe und die Achse schneidet. Der Rotor stellt Antriebskraft durch eine Drehung des Rotors um die Rotorachse und durch eine Translation des Rotors in einer Richtung der Rotorachse. Der Rotor umfasst: einen ersten U-förmigen Magneten mit einem Nordpol und einem Südpol, und eine Rückseite, den Nordpol und den Südpol allgemein mit den Triebachse ausgerichtet ist, die erste U-förmige Magnet zum Erzeugen eines ersten magnetischen Feldes; ein erstes Triebmagnetenmagnet mit einer Richtung der Magnetisierung in der Regel mit dem Triebmagnetachsemagnetaxis, der ersten Triebmagnetmagnet being benachbart zu und von dem Nordpol des ersten U-förmigen Magneten beabstandet ausgerichtet sind; und einen zweiten Magneten mit einer Triebmagnetisierungsrichtungdirection of magnetisation in der Regel mit dem Triebmagnetachsemagnet axis ausgerichtet ist, das zweite Triebwerk Magnet in der Nähe vom und zum Südpol des ersten U-förmigen Magneten angeordnet ist, die erste U-förmige Magnet zwischen dem ersten zwischen und das zweite Triebwerk Magneten. Ein Teil des ersten Magnetfeldes von dem ersten U-förmigen Magneten direkt an der hinteren Seite des ersten U-förmigen Magneten erzeugten interagiert mit einem stationären vierten Magnetfeld um den Rotor zu drehen, ein zweites Magnetfeld durch den ersten erzeugten verursachen Triebmagnetenmagnet und eine dritte Magnetfeld von dem zweiten Triebwerksmagneten erzeugt, die jeweils mit einem stationären fünften Magnetfeld wechselwirken, um den Rotor in Richtung der Rotorachse zu übersetzen.
Ein weiterer Aspekt der vorliegenden Erfindung weist einen Rotor zum Antrieb durch die Drehung des Rotors um eine Rotorachseaxis und Translation des Rotors in Richtung der Rotorachse. Der Rotor weist mindestens einen Rotormagneten zum Erzeugen eines ersten Magnetfeldes, wobei das erste Magnetfeld des Rotormagneten in Wechselwirkung mit mindestens einem feststehenden U-förmigen Magneten erzeugt wird, die U-förmigen Magneten mit einer Rückseite und zur Erzeugung eines zweiten Magnetfeldes. Die Dreh- und Translationsbewegungsenergiemotive power des Rotors wird durch eine Wechselwirkung eines Teils des zweiten Magnetfeldes direkt an der Rückseite des U-förmigen Magneten mit dem ersten Magnetfeld bereitgestellt.
Ein weiterer Aspekt der vorliegenden Erfindung umfasst einen Motor Bereitstellen unidirektionale Drehantriebskraftmotive power. Der Motor weist einen allgemein kreisförmigen Stator mit einer Ständerachse, eine äußere Oberfläche und eine Umfangsgrenzlinieline of demarcation bei ungefähr einem Mittelpunkt der Außenfläche; mindestens einen Stator Magnet an der Außenfläche des Stators befestigt ist, wobei der mindestens eine Stator-Magnet in einer allgemein kreisförmigen Anordnung um die Statorachse und das Erzeugen eines ersten magnetischen Feldes angeordnet ist; ein Anker mit dem Stator zur Drehung damit befestigt ist; der Anker mit einer Achse parallel zur Ständerachse; mindestens einen Rotor, wobei der Rotor von dem Anker durch eine Achse angeordnet sind und mit ihm gekoppelt, um eine Drehung um eine Achse des Rotors zu ermöglichen, der Rotor in einer Ebene im wesentlichen mit der Ankerachseaxis, des Rotors ausgerichtet rotierende, mit wenigstens einem Magnet Erzeugen eines zweiten Magnetfeldes, wobei das zweite Magnetfeld durch den Rotormagneten erzeugten Wechselwirkung mit dem ersten magnetischen Feld, um den Rotor um es Achse drehen zu verursachen; und eine Antriebsverbindungsanordnunglinkage assembly zum Verbinden des Stators Rotors, um zu bewirken, dass der Anker drehbar bezüglich seiner Achse wie der Rotor bezüglich seiner Achse, wodurch die unidirektionale Drehantriebskraftmotive power des Motors.
In einem weiteren Aspekt ist die vorliegende Erfindung auf einen Motor gerichtet Bereitstellen unidirektionale Drehantriebskraftmotive power, umfassend: einen im allgemeinen kreisförmigen Stator mit einer Achse, eine Außenfläche und eine Umfangsgrenzlinieline of demarcation um die Außenfläche, die Grenzlinie mit einer Vor- bestimmten Richtung um die Statorachse und Abtrennen einer ersten Seite der Außenfläche und einer zweiten Seite der äußeren Oberfläche, wobei wenigstens ein Paar von Ständermagnetenmagnets ist an der äußeren Oberfläche angebracht ist zum Erzeugen eines ersten Magnetfeldes, wobei das Paar von Magneten, die ein ersten Statormagnet einen Nordpol und einen Südpol und einen zweiten Statormagnet einen Nordpol und einen Südpol, wobei der Südpol des ersten Stators Magnet auf der ersten Seite der Außenfläche und der Nordpol des ersten gelegen Statormagnet am nächsten zu der Grenzlinie, wobei der Nordpol des zweiten Stators Magneten auf der zweiten Seite der äußeren Oberfläche und der Südpol des zweiten Stators Magneten am nächsten zu der Grenzlinie, wobei die mindestens eine entfernt Paar von Ständermagnetenmagnets entlang der Grenzlinie angeordnet, so dass ein erster zwischen-Magnet Abstand entlang der Grenzlinie zwischen dem Nordpol des ersten Stators Magneten und der Südpol des zweiten Stators Magneten eines benachbarten Paares der am Mess mindestens ein Paar von Ständermagnetenmagnets ist im Allgemeinen gleich einer gemessen entlang der Grenzlinie zwischen dem Südpol des ersten Stators Magneten und dem Nordpol des zweiten Stators Magnet zweiten interMagnetAbstandmagnet distance; ein Anker mit dem Stator befestigt ist, der Anker mit einer Achse parallel zur Statorachse und dem Stator zur Drehung damit befestigt ist; und mindestens einen Rotor mit dem Anker befestigt ist, wobei der mindestens eine Rotor von dem Anker angeordnet und durch eine Achse zur Drehung um eine Achse des Rotors verbunden ist, der Rotor in einer Ebene rotierenden allgemeinen mit der Ankerachse ausgerichtet ist, die Rotor mit mindestens einem Rotormagneten, der Rotormagnet zum Erzeugen eines zweiten Magnetfeldes, das mit dem ersten Magnetfeld interagiert, um den Rotor drehend um die Achse des Rotors zu schwingen und um eine Kraft in einer Richtung der Rotorachse zu erzeugen, wodurch wodurch der Anker, der in der vorgegebenen Richtung um die Läuferachse zu drehen, um die unidirektionale Drehantriebskraftmotive power des Motors bereitzustellen.
In einem weiteren Aspekt ist die vorliegende Erfindung auf die Bereitstellung eines Kraft unidirektionale lineare Antriebskraft, umfassend: einen linearen Stator mit einer im allgemeinen gekrümmten Querschnitt und einen Längstrennungslinieline of demarcation senkrecht zu dem Querschnitt, die sich an um einen Mittelpunkt einer Oberfläche des Stators zwischen einem ersten Ende und einem zweiten Ende des Stators, wobei der Stator zumindest eine Magnet zwischen dem ersten Ende und dem zweiten Ende, wobei der Magnet eine Magnetisierungsrichtung bei etwa einem rechten Winkel zu der Grenzlinie angeordnet sind, und Erzeugen eines ersten Magnetfeldes, die Amplitude des ersten Magnetfelds im allgemeinen gleichförmig entlang der Trennlinie mit Ausnahme einer vorgegebenen Anzahl von null-Bereiche, wobei das erste Magnetfeld im wesentlichen eine Schiene mit dem Stator verbunden ist null, wobei die Schiene eine Längsachse im allgemeinen parallel zu der Grenzlinie und eine spiralförmige Nut mit einer vorbestimmten Teilung um den Umfang der Schiene laufen; mindestens einen Rotor, der eine mit der Achse der Schiene ausgerichteten Rotorachse, wobei der Rotor an der Schiene, wobei der Rotor so verbunden, daß der Rotor sich frei um die Achse der Schiene und Schieber entlang der Schiene zu drehen mindestens eine U förmigen Magneten mit einer Rückseite und zum Erzeugen eines zweiten Magnetfeldes, wobei ein Teil des zweiten Magnetfeldes direkt an der Rückseite des U-förmigen Magneten mit dem ersten Magnetfeld interagiert, um den Rotor um die Achse des drehbar Schiene; eine Lageranordnung, um die schraubenförmige Nut, die Lagerbaugruppe um die Drehbewegung des Rotors um die Achse der Schiene eine lineare Bewegung entlang der Schiene Verbinden des Rotors; und eine Querverbindung der Lageranordnung eines ersten Rotors eine Verbindung zu einem zweiten Rotor, wodurch Addieren der Linearbewegung entlang der Schiene von dem ersten Rotor und dem zweiten Rotor, um die unidirektionale lineare Antriebskraft bereitzustellen.
In noch einem weiteren Aspekt ist die vorliegende Erfindung auf die Bereitstellung eines Kraft unidirektionalen Antriebskraft, umfassend: eine Schiene mit einer Längsachse und wenigstens einer spiralförmigen Rille mit einer vorbestimmten Teilung um den Umfang der Schiene laufen; mindestens einen ersten spiralförmigen Stator konzentrisch Schiene umgibt, wobei der erste spiralförmige Stator mit der vorgegebenen Steigung der Nut und eine Längsachse im allgemeinen parallel zu der Achse der Bahn, zumindest eine erste Ständermagnetenmagnet mit dem ersten schraubenförmigen Stator ange die erste Ständermagnetenmagnet zum Erzeugen eines ersten magnetischen Feldes; mindestens einen Rotor mit einer Achse im allgemeinen mit der Achse der Schiene ausgerichtet ist, wobei der Rotor mit der Schiene verbunden, so daß der Rotor sich frei um die Achse der Schiene und Schieber entlang der Schiene zu drehen, zumindest einen Rotor der Rotor aufweist Magnet zum Erzeugen eines zweiten Magnetfeldes, wobei das zweite Magnetfeld in Wechselwirkung mit dem ersten Magnetfeld des ersten Ständermagneten erzeugt, um den Rotor um die Achse der Schiene zu drehen verursachen; und eine Lagerbaugruppe Verbinden des Rotors mit der schraubenförmigen Nut um den Umfang der Bahn, wobei die Lageranordnung, um die Drehbewegung des Rotors um die Schiene auf die unidirektionale lineare Bewegung entlang der Schiene.
Ein weiterer Aspekt der vorliegenden Erfindung ist die Bereitstellung eines Kraft unidirektionalen Antriebskraft, umfassend: eine Schiene mit einer Längsachse und eine schraubenförmige Nut auf der Schiene laufen, wobei die Nut mit einem vorgegebenen Abstand; mindestens einen ersten spiralförmigen Stator, der eine Vielzahl von diskontinuierlichen beabstandeten ersten Rippen, wobei jede erste Rippe die Schiene teilweise umgeben mit einer im allgemeinen gleichmäßigen Abstand von der Schiene, wobei die erste schraubenförmige Stator mit der vorgegebenen Steigung der Nut und eine Längsachse im Allgemeinen mit der Schiene ausgerichtet sind, wobei zumindest eine erste Stator-Magneten an jeder Rippe angebracht ist, wobei jeder erste Stator-Magneten zum Erzeugen eines ersten magnetischen Feldes; mindestens einen Rotor mit einer Achse im allgemeinen mit der Achse der Schiene ausgerichtet ist, wobei der Rotor mit der Schiene verbunden, so daß der Rotor sich frei um die Achse der Schiene zu drehen und entlang der Schiene gleiten kann, wobei der Rotor zumindest einen aus Rotormagneten zum Erzeugen eines zweiten Magnetfeldes, wobei das zweite Magnetfeld in Wechselwirkung mit dem ersten Magnetfeld des ersten Ständermagneten erzeugt, um den Rotor um die Achse der Schiene zu drehen verursachen; und eine Lagerbaugruppe Verbinden des Rotors mit der schraubenförmigen Nut auf der Schiene, die Lagerbaugruppe um die Drehbewegung des Rotors um die Schiene in eine lineare Bewegung entlang der Schiene.
Die vorliegende Erfindung ist weiterhin auf die Bereitstellung eines Kraft unidirektionalen Antriebskraft, umfassend: eine Schiene mit einer Längsachse und einer allgemein sinusförmigen Nut um den Umfang der Schiene läuft, die sinusförmige Nut mit einer vorbestimmten Periode; mindestens einen Stator mit einer im allgemeinen gekrümmten Querschnitt und einen Längstrennungslinieline of demarcation senkrecht zu dem Querschnitt ungefähr in einem Mittelpunkt einer Oberfläche des Stators angeordnet ist, wobei die Oberfläche des Stators im allgemeinen in gleichem Abstand von und parallel zu der Achse angeordnet ist der Schiene; mindestens einen Stator Magneten an der Oberfläche des Stators Erzeugen eines ersten magnetischen Feldes angebracht ist, der Stator Magneten mit einer Magnetisierung, die von der Grenzlinie der Sinuskurve mit einer vorbestimmten Periode und eine vorbestimmte maximale Amplitude und sinusförmig versetzt ist in eine Vielzahl von abwechselnden ersten und zweiten Sektoren unterteilt ist, mit einer Grenze zwischen dem ersten und zweiten Wechselsektorensectors bei der maximalen Amplitude der Sinuskurve, die Richtung der Magnetisierung der Ständermagnetenmagnet entgegengesetzt in Richtung der ersten und zweiten Segmente auftritt; mindestens einen Rotor, der eine mit der Achse der Schiene ausgerichteten Achse, wobei der Rotor mit der Schiene verbunden, so daß der Rotor sich frei um die Achse der Schiene und Schieber entlang der Schiene zu drehen, wobei der Rotor mindestens einen U- förmige Magnet mit einer Rückseite und zum Erzeugen eines zweiten Magnetfeldes, wobei die U-förmigen Magneten auf dem Rotor angeordnet, so dass die Rückseite des U-förmigen Magneten ist passend zu dem ersten und zweiten Segmente des Stators der Rotor dreht um die Rotorachse, wobei ein Zusammenwirken eines Abschnitts der zweiten Magnetfeld unmittelbar neben der Rückseite des U-förmigen Magneten mit dem ersten Magnetfeld bewirkt, daß der Rotor in Drehung um die Achse der Schiene zu schwingen; und eine Lagerbaugruppe Verbinden des Rotors mit der sinusförmigen Rille um die Schiene, wobei die Lageranordnung Umwandlung der Schwingbewegung des Rotors um die Schiene auf die unidirektionale lineare Bewegung entlang der Schiene.
Die vorliegende Erfindung ist auch auf einen Motor Bereitstellen unidirektionalen Antriebskraft, umfassend: eine Schiene mit einer Längsachse und einer schraubenförmigen Nut um den Umfang der Schiene läuft, die schraubenförmige Nut mit einer vorbestimmten Teilung; mindestens einen Stator mit einer im allgemeinen mit einer Längstrennungslinieline of demarcation bei ungefähr einem Mittelpunkt der Oberfläche des Stators angeordnet ist, wobei die Oberfläche des Stators im Allgemeinen gleich weit entfernt von und parallel zu der Achse der Schiene angeordnet ist; mindestens einen Stator Magneten an der Oberfläche des Stators angebracht ist, wobei der Stator Magneten mit einer Magnetisierungsrichtung, die um eine magnetische Achse parallel zu der Grenzlinie mit einem vorbestimmten Abstand dreht, wodurch das Erzeugen eines ersten magnetischen Feldes mit einer im wesentlichen gleichförmigen Grße entlang die magnetische Achse und dreht sich um die magnetische Achse mit der vorgegebenen Steigung des Statormagneten Drehung; mindestens einen Rotor, der eine mit der Achse der Schiene ausgerichteten Achse, wobei der Rotor mit der Schiene verbunden, so daß der Rotor sich frei um die Achse der Schiene und Schieber entlang der Schiene zu drehen, wobei der Rotor mindestens einen U- geformten Magneten zum Erzeugen eines zweiten Magnetfeldes, wobei die U-förmigen Magneten auf dem Rotor angeordnet, so dass ein Abschnitt der zweiten Magnetfeld unmittelbar neben der Rückseite des U-förmigen Magneten mit dem ersten Magnetfeld des Stators Magneten interagiert den Rotor darüber ist Achse zu drehen; und eine Lagerbaugruppe, um die schraubenförmige Nut verbindet den Rotor, wobei die Lageranordnung um die Drehbewegung des Rotors um die Schiene auf die unidirektionale lineare Bewegung entlang der Schiene.
KURZE
BESCHREIBUNG DER VERSCHIEDENEN ANSICHTEN DER ZEICHNUNGEN
Die vorstehende Zusammenfassung sowie die folgende ausführliche Beschreibung von bevorzugten Ausführungsformen der Erfindung werden besser verstanden, wenn sie in Verbindung mit den beigefügten Zeichnungen gelesen werden. Zum Zweck der Veranschaulichung der Erfindung sind in den Zeichnungen Ausführungsformen, die gegenwärtig bevorzugt werden. Es sollte sich jedoch verstehen, dass die Erfindung nicht auf die gezeigten genauen Anordnungen und Mittel beschränkt ist. In den Zeichnungen zeigen:

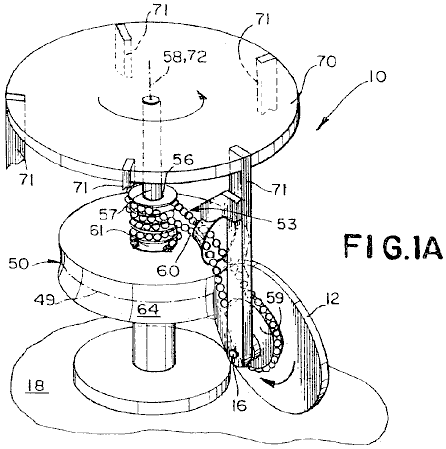
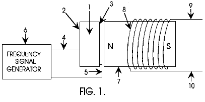
Fig.1A ist eine schematische perspektivische Zeichnung einer ersten bevorzugten Ausführungsform eines Kraft Bereitstellen unidirektionalen Antriebskraft;

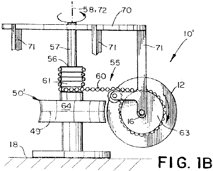
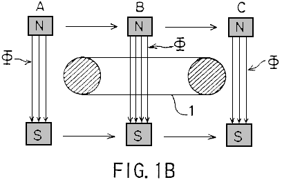
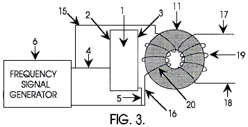
Fig.1B ist eine schematische perspektivische Zeichnung einer zweiten bevorzugten Ausführungsform des Kraft;

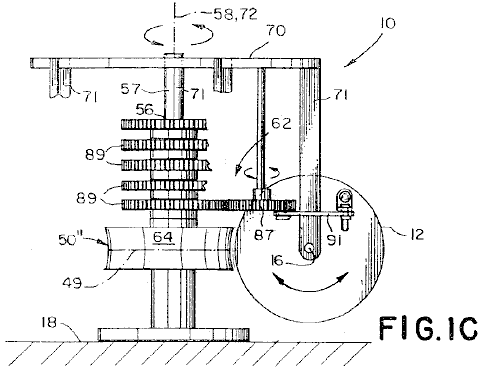
Fig.1C ist eine schematische perspektivische Zeichnung einer dritten bevorzugten Ausführungsform des Kraft;

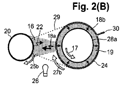
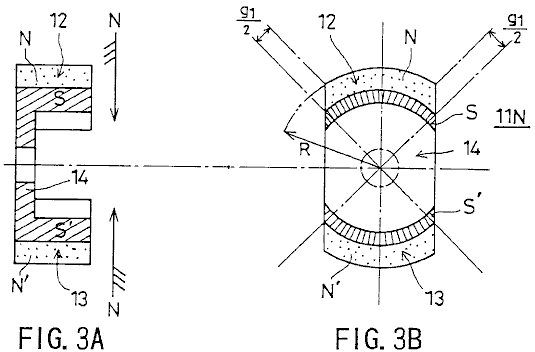
Fig.2 ist eine schematische Draufsicht auf einen Rotor, der drei Paar von U-förmigen Magneten;

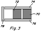
Fig.3 ist eine schematische Draufsicht des Stators mit einer Vielzahl von Ständermagnetenmagnets zum Erzeugen eines gleichförmigen Magnetfeldes, außer in einzelnen Nullbereich, flach ausgelegt zur besseren Veranschaulichung;

Fig.4 ist eine schematische Draufsicht auf einen Stator mit einer Mehrzahl von Stator-Magneten, die um eine magnetische Achse zu drehen, flach ausgelegt ist zur Vereinfachung der Darstellung;

Fig.5 ist eine schematische Draufsicht auf einen Stator mit einer Mehrzahl von Stator-Magneten, die sinusförmig von einer Grenzlinie versetzt sind, flach ausgelegt ist zur Vereinfachung der Darstellung;

Fig.6 ist eine schematische perspektivische Ansicht einer vierten bis siebten bevorzugten Ausführungsform des Kraft;

Fig.7A ist eine schematische Draufsicht eines Rotors in der vierten bevorzugten Ausführungsform und in einer achten bevorzugten Ausführungsform des Motors verwendet;
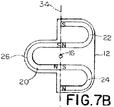
Fig.7B ist eine schematische Draufsicht eines Rotors in einer fünften bevorzugten Ausführungsform und in einer neunten bevorzugten Ausführungsform des Motors verwendet;
Fig.7C iist eine schematische Draufsicht auf einen Rotor in einem sechsten bevorzugten Ausführungsbeispiel und in einer zehnten bevorzugten Ausführungsform des Motors verwendet;
Fig.7D ist eine schematische Draufsicht eines Rotors in der siebten bevorzugten Ausführungsform und in einer elften bevorzugten Ausführungsform des Motors verwendet;

Fig.8A ist eine schematische Draufsicht auf einen Stator, der in der vierten, fünften, achten und neunten bevorzugten Ausführungsformen der Motor verwendet;

Fig.8B ist eine schematische Schnittansicht des in Fig.8A gezeigten Stators entlang der Linie 8B-8B;

Fig.8C ist eine schematische Draufsicht auf einen Stator, der in der sechsten und der zehnten bevorzugten Ausführungsformen des Motors verwendet;

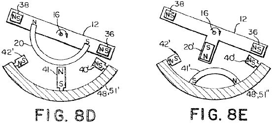
Fig.8D ist eine schematische Seitenansicht der in Fig.8C gezeigten Stators entlang der Linie 8D-8D genommen mit der in gezeigten Rotors gezeigt Fig.7C;
Fig.8E ist eine schematische Seitenansicht einer alternativen Stator mit dem in gezeigten Rotors gezeigt Fig.7D;

Fig.9 ist eine schematische perspektivische Ansicht der achten bis elften bevorzugten Ausführungsform des Kraft;

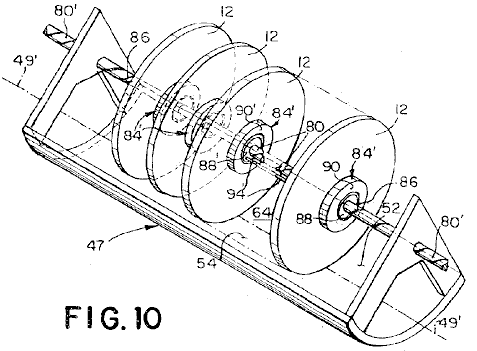
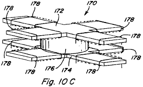
Fig.10 ist eine schematische perspektivische Ansicht einer zwölften bevorzugten Ausführungsform der Motor;

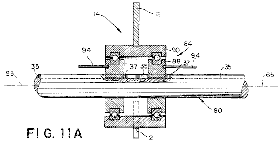
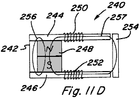
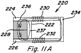
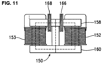
Fig.11A ist eine Draufsicht einer Rotoranordnung in der achten bis elften bevorzugten Ausführungsformen verwendet;

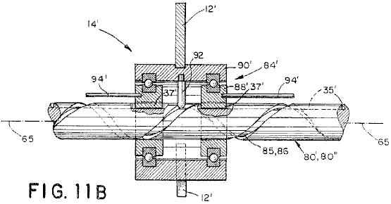
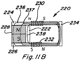
Fig.11B ist eine Draufsicht einer Rotoranordnung in der zwölften bis sechzehnten bevorzugten Ausführungsform verwendet;

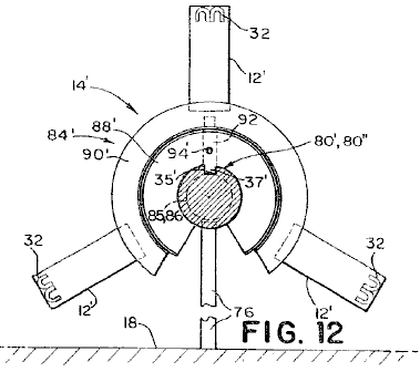
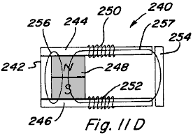
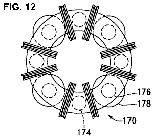
Fig.12 ist eine Endansicht des in Fig.11B gezeigten Rotoranordnung, die ferner eine Schiene Post;

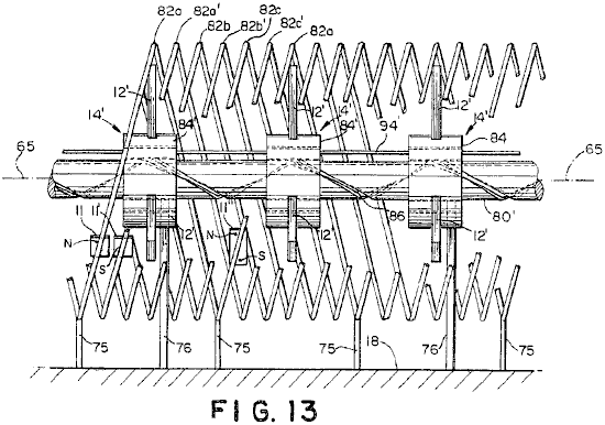
Fig.13 ist eine Seitenansicht einer dreizehnten bevorzugten Ausführungsform der Motor;

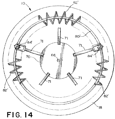
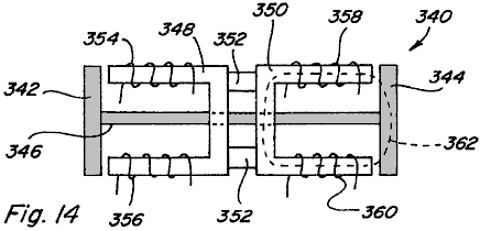
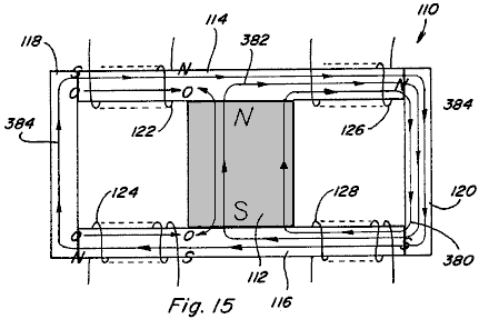
Fig.14 ist eine Draufsicht eines Dreh Konfiguration der dreizehnten bevorzugten Ausführungsform;

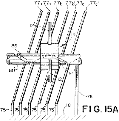
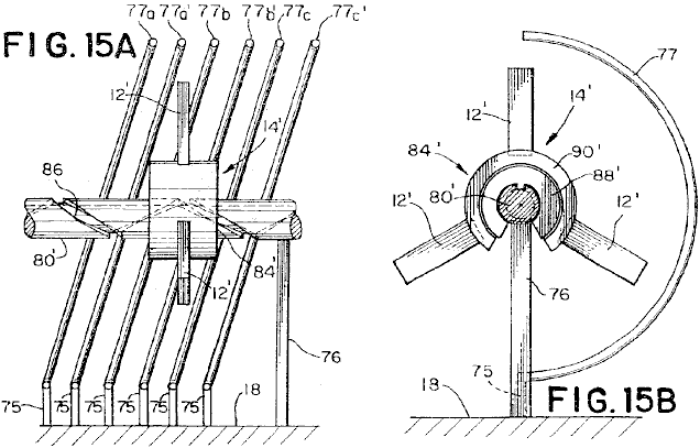
Fig.15A ist eine Seitenansicht eines Teils einer vierzehnten bevorzugten Ausführungsform, die Rippen voneinander beabstandet;

Fig.15B ist eine Stirnansicht der vierzehnten Ausführungsform gezeigt in Fig.15A;

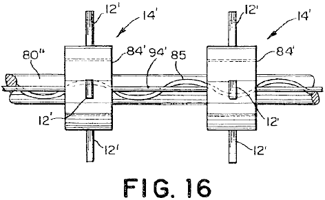
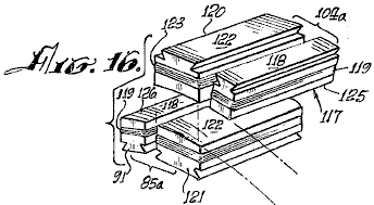
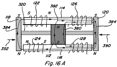
Fig.16 ist eine Draufsicht auf einen Teil der fünfzehnten bevorzugten Ausführungsform der Motor;

Fig.17 ist eine Vorderseitenansicht der fünfzehnten bevorzugten Ausführungsform im gezeigten Fig.16;

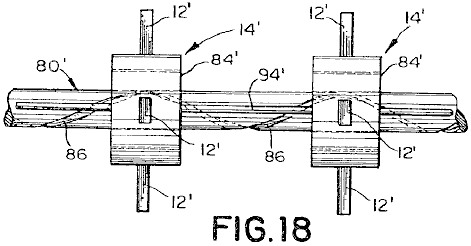
Fig.18 ist eine Draufsicht auf einen Teil der sechzehnten bevorzugten Ausführungsform eines Motors; und

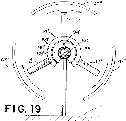
Fig.19 ist eine Vorderseitenansicht der sechzehnten bevorzugten Ausführungsform der Motor in gezeigten Fig.18.
DETAILLIERTE
BESCHREIBUNG DER ERFINDUNG
Es wird durch den Fachmann, dass Änderungen an den oben beschriebenen, ohne von dem breiten erfinderischen Konzept davon Ausführungsformen vorgenommen werden können. Es versteht sich daher, dass diese Erfindung nicht auf die offenbarten Ausführungsformen beschränkt, sondern es ist beabsichtigt, Modifikationen innerhalb des Geistes und Umfangs der vorliegenden Erfindung, wie er durch die beigefügten Ansprüche definiert. Es sollte auch verstanden werden, dass die Artikel "ein" und "der" in den Ansprüchen verwendet, um ein Element zu einem einzigen Element oder einer Vielzahl von Elementen ohne eine Begrenzung hinsichtlich der Anzahl der Elemente beziehen, definieren.
Frühere Versuche, eine Arbeitspermanentmagnetmotorpermanent magnet motor zu konstruieren haben Schwierigkeiten aufgrund der gleichzeitigen anziehenden und abstoßenden Eigenschaften eines Permanentmagneten erreicht. Ein Prinzip ist entdeckt worden, wo, indem ein Magnetfeld an der Rückseite von einem oder mehreren an einem Rotor mit einem zweiten stationären Magnetfeld montiert U-förmigen Magneten, ein Drehmoment erzeugt wird, dass der Rotor um eine Drehachse des Rotors dreht. Ferner kann durch geeignete Formgebung des zweiten Magnetfeldes kann der Rotor veranlaßt werden, auch in der Richtung der Rotorachse übersetzen.

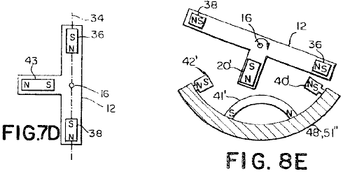
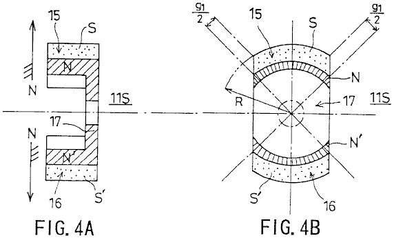
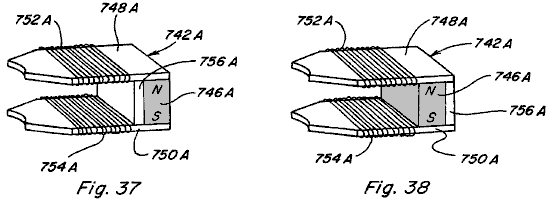
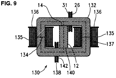
Dementsprechend Verwendung des oben erwähnten Prinzip und Bezug nehmend auf Fig.7A, ist ein Aspekt der vorliegenden Erfindung ist auf einem Rotor 12 zur Verwendung in einem Motor gerichtet und die Antriebskraft der Achse 16 und bietet durch eine Drehung des Rotors 12 um eine Rotor eine Übersetzung der Rotor 12 in einer Richtung der Rotorachse 16. In einem Aspekt der Rotor 12 einen ersten U-förmigen Magneten 20, in dem die U-förmigen Magneten 20 erzeugt ein erstes Magnetfeld. Eine Drehung des Rotors 12 um die Rotorachse 16 durch ein Zusammenwirken eines Abschnitts der ersten Magnetfeld unmittelbar benachbart zu einem hinteren 26 des U-förmigen Magneten 20 mit einem stationären zweiten Magnetfeldes verursacht. Eine Übersetzung des Rotors 12 in Richtung der Rotorachse 16 wird durch eine Wechselwirkung des ersten Magnetfeldes benachbart zu einem Nordpol 23 und einem Südpol 25 des U-förmigen Magneten 20 mit dem feststehenden zweiten Magnetfeldes verursacht. Wie vom Fachmann fachkundige erkannt werden, wird die Konstruktion des Rotors 12 nicht auf einen einzigen U-förmigen Magneten 12 ist eine Vielzahl von U-förmigen Magneten 20, um den Umfang des Rotors 12 angeordnet ist, begrenzt innerhalb des Geistes und den Umfang der Erfindung.
Ein weiterer Aspekt der vorliegenden Erfindung wird in Fig.7B gezeigt ist, umfasst einen Rotor 12, der einen ersten U-förmigen Magneten mit einem Nordpol und einem Südpol Erzeugen eines ersten Magnetfelds; einen zweiten U-förmigen Magneten 24 mit einem Nordpol und einem Südpol dem Südpol des zweiten U-förmigen Magneten 24 anliegenden dem Nordpol des ersten U-förmigen Magneten 20; und einen dritten U-förmigen Magneten 22 mit einem Nordpol und einem Südpol mit dem Nordpol des dritten U-förmigen Magneten 22 anliegenden den Südpol des ersten U-förmigen Magneten 20. Ein Teil des ersten Magnetfeldes, erzeugt durch der erste U-förmige Magnet 20 direkt an der hinteren 26 des ersten U-förmigen Magneten 20 wirkt mit einem ortsfesten vierten Magnetfeldes an den Rotor 12 dreht. Ein zweites Magnetfeld, das von dem Nordpol des zweiten U-förmigen Magneten 24 und einer dritten Magnetfeld durch den Südpol des dritten U-förmigen Magneten 22 erzeugt wird jeweils wechselwirken mit der vierten magnetischen Feldes, um den Rotor 12 zu übersetzen in verursachen die Richtung der Rotorachse 16.
Ein weiterer Aspekt der vorliegenden Erfindung ist in Fig.7C gezeigt ist, umfaßt einen ersten U-förmigen Magneten 20 mit einem Nordpol und einem Südpol Erzeugen eines ersten magnetischen Feldes. Der Nordpol und der Südpol des U-förmigen Magneten 20 sind im allgemeinen mit einem Triebachseaxis 34, die in der Ebene des Rotors 12 liegt, und schneidet die Rotorachse 16 ausgerichtet eine erste Triebmagnet 36 ist nahe zu und beabstandet von der Nordpol des ersten U-förmigen Magneten mit einer Magnetisierungsrichtung, die im allgemeinen mit der Triebachse 34 ausgerichteten Magnet eine zweite Triebmagnet 38 ist nahe zu und von der Südpol des ersten U-förmigen Magneten 20 mit einem Abstand Richtung der Magnetisierung ebenfalls in der Regel mit dem Triebmagnetachsemagnet axis 34. ein Teil des ersten Magnetfeldes von dem ersten U-förmigen Magneten erzeugt wird mit einem feststehenden vierten ausgerichteten 20 unmittelbar an der Rückseite 26 des ersten U-förmigen Magneten 20 zusammenwirkt, Magnetfeld um den Rotor 12 zu drehen. Ein zweites Magnetfeld, das von sowohl dem Nordpol und dem Südpol des ersten Magneten Ruder 36 und ein drittes Magnetfeld sowohl von der Nordpol und der Südpol des zweiten Triebwerksmagneten 38 erzeugt wird bzw. Interaktion mit einem fünften Magnetfeldes zu bewirken, der Rotor 12 in der Richtung der Rotorachse 16. In einem weiteren Aspekt der Rotor 12 übertragen wird, wie in Fig.7D gezeigt ist, kann ein Stabmagnet 43 für den U-förmigen Magneten 20 substituiert sein kann und die vierte Magnetfeld durch ein oder mehrere U-förmigen Magneten, wobei die Stabmagneten 43 wirkt mit einem Teil des vierten stationären Magnetfeld benachbart zu der Rückseite eines U-förmigen Magneten gebildet.
Wie vom Fachmann fachkundige zu erkennen ist, sind die Polaritäten der Magnete in den Fig.7A, Fig.7B, Fig.7C und Fig.7D kann umgekehrt werden und dennoch innerhalb des Geistes und Umfangs der Erfindung sein.


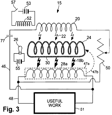
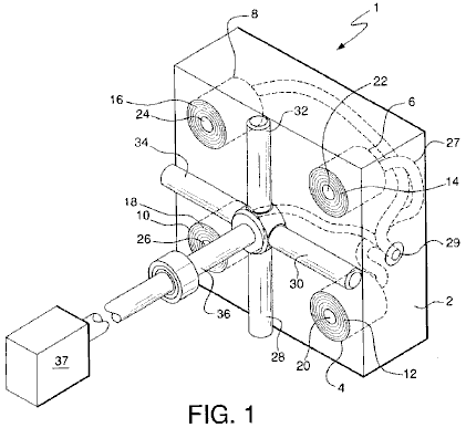
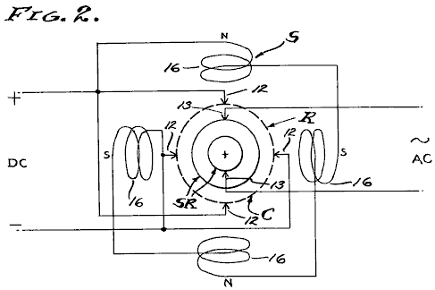
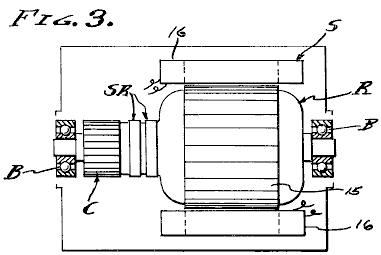
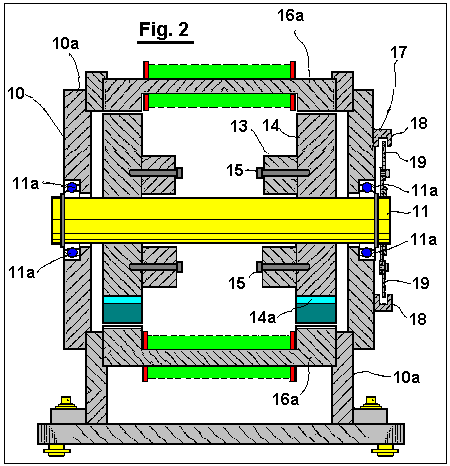
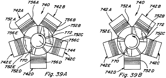
Bezugnehmend auf Fig.1A, Fig.2 und Fig.3 ist eine erste bevorzugte Ausführungsform eines Motors 10 unter Verwendung des Rotors 12 und bietet unidirektionale Drehantriebskraft dargestellt. Die erste bevorzugte Ausführungsform weist einen im allgemeinen kreisförmigen Stator 50 mit einer Ständerachse 72 und eine Umfangsfläche 64 an einer Basis 18 befestigt ist; einen Anker 70, eine Ankerdrehachse 58 fällt mit der Ständerachse 72 zu dem Stator 50 durch eine Ankerachse 57 zur Drehung um die Drehachse des Ankers 58 befestigt ist; und fünf Rotoren 12 (von denen nur einer zur Verdeutlichung gezeigt), wobei die Rotoren 12 in Intervallen von etwa 72° um den Anker 70. Jeder Rotor 12 ist von dem Anker durch einen Anker beabstandet Strebe 71 angeordnet und an der Ankerstrebe befestigt 71 durch eine Achse, die zur Drehung um eine Achse 16 des Rotors 12 in einer Ebene im wesentlichen mit der Ankerdrehachse 58. der Motor 10 weiter ausgerichtet eine Antriebsgestängeanordnung 53, die jeden Rotor 12 und der Stator 50 zusammen, die Verbindung 53 drängt den Anker 70 über die Ankerdrehachse 58, wie jeden Rotor zu drehen 12 um ihre jeweiligen Rotorachse 16. wie der Fachmann die Anzahl der Rotoren 12 ist nicht auf die fünf Rotoren 12 offenbarten beschränkt ist in der ersten Ausführungsform. Jede Anzahl von Rotoren 12 von einem auf weniger als gäbe es Raum für die Montage auf den Anker 70 werden innerhalb des Geistes und Umfangs der Erfindung.
Vorzugsweise ist die Oberfläche 64 des Stators 50 ist gekrümmt, mit einem Krümmungs entsprechend dem Bogen der Rotoren 12. Jedoch ist es für den Fachmann, dass die Oberfläche 64 muß nicht gekrümmt sein, sondern könnte geschätzt planar sein und trotzdem werden innerhalb des Geistes und Umfangs der Erfindung. Wie der Fachmann erkennen, der Stator 50 ist lediglich als eine stationäre Stützkonstruktion für Statormagneten und als solche bestimmt sind, wird die Form des Stators 50 sollen nicht Steuern der Größe und Form des Luftspaltes zwischen den Magneten an dem Stator 50 befestigt und die Magnete an den Rotoren 12 befestigt.
Vorzugsweise ist der Stator 50 aus einem Material (oder einer Kombination von Materialien), das eine magnetische Suszeptibilität von weniger als 10-3, dh ein Material Anzeige paramagnetischen oder diamagnetischen Eigenschaften. Beispielsweise könnte der Stator 50 aus einem nichtmagnetischen Metall, wie Aluminium oder Messing hergestellt sein. Auch könnte der Rotor 12 aus einem natürlichen Material, wie Holz, Glas, einem polymeren Material oder einer Kombination von beliebigen der oben genannten Materialien in den Geist und Umfang der Erfindung abzuweichen. Ferner versteht es sich, dass die vorstehend genannten Materialien für die Statoren und alle anderen Teile des Motors 10, der die magnetische Wechselwirkung zwischen dem Stator und dem Rotor von allen der offenbarten bevorzugten Ausführungsformen des Motors 10 erheblich beeinträchtigen kann bevorzugt sein.
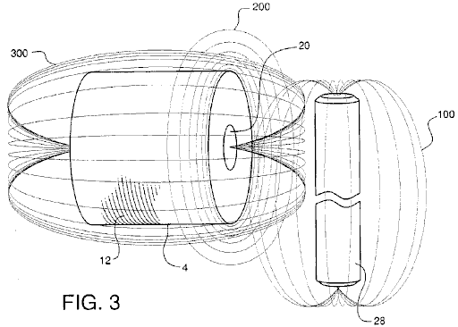
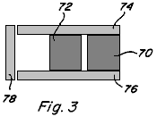
In der ersten bevorzugten Ausführungsform ist die Oberfläche 64 des Stators 50 eine Umfangsgrenzlinie 49 bei ungefähr einem Mittelpunkt der durch einen Schnittpunkt mit der Oberfläche 64 von einer Ebene senkrecht zur Ankerdrehachse 58 gebildeten Oberfläche 64 wie gezeigt in Fig.3, der Stator 50 umfasst eine Vielzahl von Stabmagneten 68 an der Außenfläche 64 entlang der Trennlinie 49 befestigt ist, ausgenommen in einem einzigen Nullbereich 78, wo die Amplitude des ersten Magnetfeld wesentlich reduziert wird. Die Stabmagnete 68 haben eine Magnetisierungsrichtung bei etwa einem rechten Winkel zu der Grenzlinie 49, wodurch ein erstes Magnetfeld benachbart zu der äußeren Oberfläche 64 schaffen, wobei die Größe und die Richtung im wesentlichen gleichförmig entlang der Umfangsgrenzlinie 49 um die Achse 58 des Stators 50, außer im Nullbereich 78. Wie dem Fachmann ersichtlich ist, braucht der Ständerachse 72 nicht zusammenfällt mit der Ankerdrehachse 58. Entsprechend einem Stator 50 um angeordnet sein, die Ankerachse 58 an jedem Ort, an dem der Ständerachse 72 parallel zur Ankerachse 58 und der Oberfläche 64 des Stators 50 liegt der Umfang der Rotoren 12, wodurch die Interaktion zwischen dem ersten Magnetfeld und dem zweiten Magnetfeld um die Ankerachse 58 ist innerhalb des Geistes und Umfangs der Erfindung.
Vorzugsweise, wie weiter in Fig.3 gezeigt, werden die Stabmagnete an der Oberfläche 64 des Stators 50 angebracht, so daß die Magnetisierungsrichtung der Stabmagnete 68 sind etwa senkrecht zu einer radialen Linie des Rotors 12 zu der Strich Magneten 68 könnte auch an der Oberfläche 64 des Stators angebracht werden, so dass die Magnetisierungsrichtung der Stabmagnete 68 mit einer radialen Linie des Rotors ausgerichtet ist 12. Die Stabmagnete 68 sind vorzugsweise Anschlag, um die im wesentlichen gleichmäßige erste bilden Magnetfeld. Es ist jedoch nicht für die Stabmagnete 68 aneinander anliegen notwendig. Ferner ist es nicht notwendig, eine Vielzahl von Stabmagneten 68 zu verwenden, um das erste magnetische Feld zu bilden. Ein einzelner Magnet eine gleichmäßige erste magnetische Feld in dem Bereich, in dem das erste Magnetfeld in Wechselwirkung mit dem zweiten Magnetfeld des Rotors 12 würde die erforderliche erste Magnetfeld bereitzustellen. Auch kann die Anzahl der Nullbereiche 78 mehr als einen, in Abhängigkeit von der gewünschten Geschwindigkeit des Motors sein, wie unten erläutert.
Vorzugsweise sind die Stator-Magnete 68 Permanentmagnete aus einer Neodym-Eisen-Bor-Material. Wie jedoch von Fachleuten auf dem Gebiet erkannt werden, jede Art von Permanentmagnet-Material anzeigt ferromagnetischen Eigenschaften kann für die Ständermagneten 68 beispielsweise eingesetzt werden, Ständermagnete 68 aus Samarium-Kobalt, Barium-Ferrit oder Alnico innerhalb des Geistes und den Umfang der Erfindung. Es sollte verstanden werden, dass diese Permanentmagnetmaterialien oder deren Äquivalente sind für den Stator-Magneten und den Rotormagneten aller offenbarten bevorzugten Ausführungsformen der Motor 10 auch bevorzugt, während die Verwendung von Permanentmagneten ist bevorzugt, die Verwendung von elektro werden Magneten für einige oder alle der Magnete innerhalb des Geistes und Umfangs der Erfindung.
Wie oben diskutiert, kann der Stator 50 eine vorbestimmte Anzahl von Null-Bereiche 78 auf der Oberfläche des Stators 64. In der ersten bevorzugten Ausführungsform sind, wird die einzelne Null-Bereich 78 durch eine Abschirmung aus einem ferromagnetischen Material, wie Eisen gebildet, angeordnet benachbart zu der Oberfläche 64. jedoch, wie Fachleuten auf dem Gebiet klar ist, kann die Nullbereich 78 auch durch ein Fehlen der Stabmagnete 68 in der Region übereinstimmt mit dem Nullbereich 78. Der Nullbereich 78 gebildet werden wesentlich reduziert Magnetfeldgröße kann auch durch eine Hilfsmagnetfeld in geeigneter Weise durch einen oder mehrere Permanentmagneten oder durch einen oder mehrere Elektromagnete angetrieben von einem so angeordnet, dass das Hilfsmagnetfeld im Wesentlichen aufhebt des ersten magnetischen Feldes in dem Nullbereich elektrischer Strom erzeugt gebildet werden 78. In dem Fall der Elektromagneten, der elektrische Strom kann aus synchron mit der Drehung der Rotoren 12, die durch den Nullbereich 78 eingeschaltet werden, um Energie zu sparen. Vorzugsweise wird das erste Magnetfeld um zehn Prozent oder weniger der magnetischen Kraft außerhalb des Bereichs null reduziert. Jedoch wird der Motor 10 mit einer Reduktion von nur fünfzig Prozent zu betreiben. Dementsprechend ist ein Motor 10 mit einer wesentlichen Verringerung des ersten Magnetfeldes von fünfzig Prozent oder weniger in den Geist und Umfang der Erfindung.

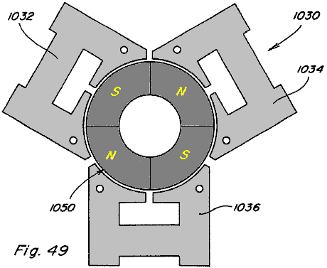
Wie in Fig.2 gezeigt, der Rotor 12 der ersten bevorzugten Ausführungsform umfaßt drei Paare 32, 32', 32’’ der
aneinanderliegenden U-förmigen Magneten 20
beabstandet ist bei etwa 120 Grad-Abständen um den Umfang des Rotors 12. Vorzugsweise die
U-förmigen Magneten 20 mit im
wesentlichen identischen magnetischen Eigenschaften und
angeordnet sind, um entgegengesetzte
Pole der Anstoß einander haben. Die Paare 32, 32', 32’’ der aneinanderliegenden U-förmigen
Magneten 20 sind so angeordnet, daß der Nordpol und der
Südpol jedes U-förmigen
Magneten 20 Fläche in Richtung der Achse des Rotors 16 und der Rückseite 26 jede U-förmige
Magnet 20,
gegenüber der Nord und der Südpol des U-förmigen Magneten 20, steht aus der Achse des Rotors 16 zu der Oberfläche 64 des Stators 50. die Paare 32, 32', 32’’ der U-förmigen Magneten 20
sind an dem Rotor 12
so angeordnet, dass ein Abschnitt der
zweiten Magnetfeld unmittelbar neben der hinteren 26 jedes U-förmigen Magneten 20 wirkt mit einem ersten
feststehenden Magnetfeld um den
Rotor 12
zu drehen, bewirken, über ihre jeweiligen Rotorachse 16 der
Fachmann wird erkennen, dass es nicht
notwendig ist, genau drei Paaren
32, 32', 32’’ des U-förmigen Magneten 20 auf dem Rotor
12 haben zum
Beispiel die Anzahl der U förmigen Magneten 20 (oder Gruppen
von aneinander liegenden U-förmigen
Magneten) beabstandet um den Umfang des Rotors 12 kann aus lediglich einem einzigen U-förmigen Magneten 20 reichen, bis zu
einer Anzahl von Magneten nur
durch den physischen Raum um den
Umfang begrenzt, des Rotors
12. Ferner ist die Zahl der aneinanderstoßenden U-förmigen Magneten 20
innerhalb jeder Gruppe von Magneten
32 nicht auf zwei Magneten beschränkt, sondern kann auch im Bereich von
1 bis zu einer Anzahl von Magneten nur durch den physischen Raum um den Umfang begrenzt, der Rotor 12.
Vorzugsweise ist der Rotor 12 aus einem
Material (oder einer Kombination
von Materialien) hergestellt, das eine magnetische Suszeptibilität von weniger als
10-3 ist. Dementsprechend könnte der Rotor nach einem der gleichen Materialien verwendet werden, um
den Stator zu machen, wie beispielsweise hergestellt werden,
da ein nicht-magnetisches Metall, Holz,
Glas, ein Polymer oder eine Kombination von beliebigen der
vorstehend in Fig.1A gezeigten ist
der Rotor 12
vorzugsweise mit der Rückplatte 26 der U-förmigen Rotormagneten 20 geformt
ist, am Umfang des Rotors 12 angeordnet,
so dass die U-förmigen
Magneten 20 Gang in der Nähe
der Umfangstrennungslinie 49 auf der
Außenfläche 64
des Stators 50, wenn der Rotor 12 dreht. Wie jedoch für
Fachleute in der Technik ist,
die Struktur des Rotors 12 nicht scheibenförmig sein. Der
Rotor 12 kann
eine Struktur einer Form, die
um die Rotorachse 16 rotierenden und fähig, den U-förmigen Magneten 20, so daß, wenn
sich der Rotor 12
dreht, werden die U-förmigen Magneten
20 in enger Nachbarschaft mit der äußeren gekommen innerhalb des Geistes und Umfangs der Erfindung Fläche 64 des Stators
50. Zum Beispiel kann eine der Streben an einem zentralen Lager, wobei jede Strebe besitzt eine
oder mehrere U-förmigen Magneten
20 geschaltet sind Rotor 12 ist.
In der ersten bevorzugten
Ausführungsform, die Verbindung 53, die jeden Rotor
12 und den
Stator 50
umfasst eine Kugelkette Antrieb 60, der mit einem
Stator Kettenrad 61 auf dem
Stator 50
in Eingriff steht, und einen exzentrischen Rotor Ritzel 59
an jedem Rotor 12, so daß, wie jeweils
Rotor 12 dreht sich um ihre jeweiligen
Rotorachse 16
wird der Anker 70 gezwungen, um die
Ankerdrehachse 58.
die exzentrische Rotorritzel 59 bewirkt,
daß die augenblickliche Winkelgeschwindigkeit des Rotors 12 um die Rotorachse 16, um über der
mittleren Winkel erhöhen drehen Geschwindigkeit des Rotors 12, wie jedes Paar 32, 32', 32’’ des U-förmigen Magneten
20 durch den Nullbereich 78. wie der
Fachmann erkennt, könnte der Rotor Kettenrad 59 kreisförmig
und der Stator werden Kettenrad 61
exzentrisch und weiterhin bewirken, dass die Winkelgeschwindigkeit
des Rotors 12
zu erhöhen. Ferner
wird die Kugelkette 60 in Kombination mit dem Stator Kettenrad 61
und dem exzentrischen Rotor
Kettenrad 59 sind nicht die einzigen Mittel zur mit dem Stator 50. Zum Beispiel verbindet jeden Rotor 12 könnte die
Kugelkette 60 auch ein Riemen
sein. Ferner könnte das Gestänge 53 eine Antriebswelle zwischen jedem Rotor 12 und dem Stator 50 umfassen,
wobei die Antriebswelle mit einem
Winkelgetriebe an jedem Ende der Welle mit einem zusammenpassenden
Kegelrad an dem Rotor 12 und
dem Stator 50. Ein automatischer Gang Schaltmechanismus würden Zahnräder, wie jeder U-förmigen Magnetpaar 32, 32', 32’’ verschieben 'betrat die null Regionen 78, um die momentane
Winkelgeschwindigkeit des Rotors 12, wie das Paar 32, 32', 32’’ zu erhöhen, des Rotormagneten
20 durch den Nullbereich 78 geleitet
Alternativ kann das Gestänge 53 kann
ein Übertragungssystem, elliptischen
Zahnräder umfassen.
Während es bevorzugt ist, dass die momentane
Winkelgeschwindigkeit des Rotors 12 um über der
mittleren Winkelgeschwindigkeit des
Rotors 12,
wie jedes Paar von U-förmigen
Magneten 20 durch den Nullbereich 78 erhöht
wird, ist es nicht notwendig, die
erhöhte Winkelgeschwindigkeit bereitzustellen des Rotors 12, um eine Antriebskraft von dem Motor 10 bereitzustellen.
Vorzugsweise sind die Durchmesser
des Rotors 59 und Stators Kettenrad
Kettenrad 61 sind so gewählt, daß
die hinteren 26
jedes U-förmigen Magneten 20 durch ein und
nur ein Nullbereich 78 für jede
vollständige Umdrehung des Rotors
12 um die jeweiligen Rotorachse 16 wenn der Anker 70 dreht sich um
den Ankerdrehachse 58. Entsprechend wird die Drehzahl des Ankers 70, um die
Umdrehungsgeschwindigkeit der durch
den Ausdruck des Rotors 12 bezogen werden:
Sa = (Nr / Ns) x Sr ............. (1)
Wo:
Sa ist die Winkelgeschwindigkeit des Ankers 70 (RPM);
Nr die Anzahl der U-förmigen Magneten 20 (oder Gruppen von aneinander anliegenden U-förmigen Magneten 32) an einem Rotor 12;
Ns die Anzahl der Null-Bereiche 12 auf dem Stator 50; und
Sr ist die Winkelgeschwindigkeit des Rotors 12 (RPM).
Der Zeitpunkt der Drehung des Rotors 12 um seine jeweilige Rotorachse 16 und der Anker 70 um den Ankerdrehachse 58 ist derart, daß jeder U-förmigen Magneten 20 (oder U-förmigen Magnetpaar 32, 32', 32’) auf jedem Rotor 12 tritt in einen Nullbereich 78 an einem Punkt, wo die magnetische Wechselwirkung zwischen dem ersten Magnetfeld und dem zweiten Magnetfeld wird wesentlich reduziert, wodurch eine Umschaltung des zweiten Magnetfelds. Da jeder Rotor 12 weiterhin um die Rotorachse 16 und der Anker 70 dreht sich um den Ankerdrehachse 58 zu drehen, die U-förmige Magnet 20 Spuren eine schräge Weg durch den Nullbereich 78. Da die U-förmigen Magneten tritt aus dem Nullbereich 78, der U-förmige Magnet 20 trifft der starken ersten Magnetfeld, welches das U-förmige Magnet 20 drängt, um die Drehung des Rotors 12 um die Rotorachse 16 weiter.
Wie zuvor diskutiert, kann die erste bevorzugte Ausführungsform der Motor 10 eine einzelne Nullbereich 78 und fünf Rotoren 12, wobei jeder Rotor 12 mit drei Paaren 32, 32', 32’’ der aneinanderliegenden U-förmigen Magneten 20. Vorzugsweise sind die Rotoren 12 aufweist gleichmäßig um den Ankerdrehachse 58 und die Paare 32, 32', 32’’ des U-förmigen Magneten 20 sind gleichmäßig um den Umfang des jeweiligen Rotors 12 zu beabstandet ist, wobei die Paare 32, 32', 32’’ beabstandet 'des U-förmigen Magneten 20 an jedem Rotor 12 sind mit Bezug aufeinander um ein Fünftel einer Umdrehung des Rotors 12 stufenweise (also der Kehrwert der Anzahl der Rotoren), so daß die Paare 32, 32', 32’’ des U-förmigen Magneten 20 aller Rotoren 12 geben die Nullregion bei im Wesentlichen gleichmäßigen Abständen um eine mehr oder weniger kontinuierliche magnetische Wechselwirkung zwischen dem ersten Magnetfeld des Stators 50 und des zweiten Magnetfeldes der Rotoren 12. Wie weiter der Fachmann auf dem Gebiet erkannt werden wird, ist die Antriebskraft von dem Motor proportional zu der Anzahl der Rotoren 12 und der Anzahl der Magnete 20 an jedem Rotor 12 als auch die Festigkeit des Rotors 12 Magnete 20 und der Stator 50 Magnete 68. Dementsprechend ist die Anzahl der Rotoren 12 und die Anzahl der Paare 32, 32', 32’’ des U-förmigen Magneten 20 sind nicht auf fünf Rotoren 12 und drei Paare von U-förmigen Magneten 32 ähnlich begrenzt, die Anzahl der null Bereiche 78 ist nicht auf eins beschränkt. Die Anzahl der U-förmigen Magneten 20 und die Anzahl der Null-Bereiche 78 sind nur durch Einhaltung der durch die Gleichung (1) festgelegten Regel begrenzt.


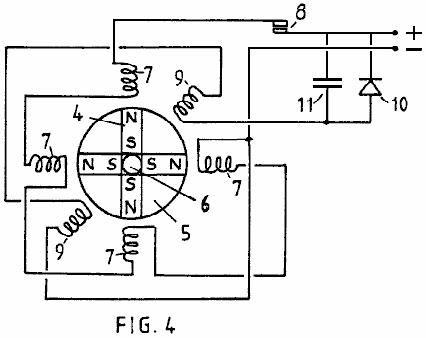
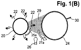
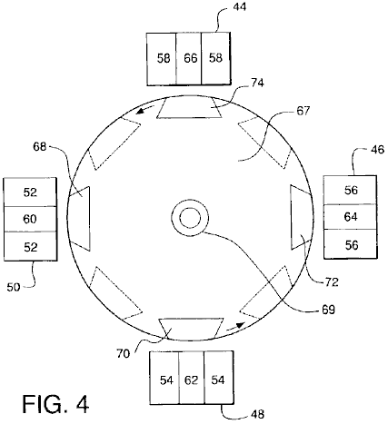
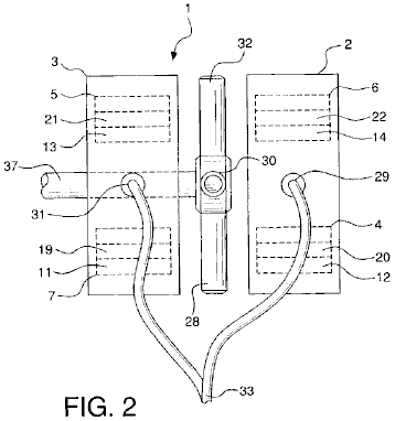
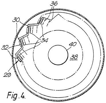
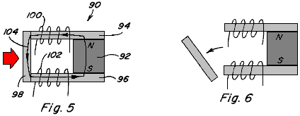
Bezugnehmend auf Fig.1B, Fig.2 und Fig.4 ist ein zweites bevorzugtes Ausführungsbeispiel eines Motors 10 bietet unidirektionale Drehantriebskraft dargestellt. Die zweite bevorzugte Ausführungsform weist einen im allgemeinen kreisförmigen Stator 50’ mit einer Ständerachse 72 mit Magneten 68' an einer Oberfläche 64 des Stators 50 'befestigt ist; ein Anker 70 zum Stator 50’ durch eine Ankerachse 57 zur Drehung um eine Ankerdrehachse 58 fällt mit der Ständerachse 72 befestigt ist; und fünf Rotoren 12 (der Klarheit halber, von denen nur eine gezeigt ist) mit drei Paaren 32, 32', 32’’ der aneinanderliegenden U-förmigen Magneten 20, der Rotoren 12, die in Abständen von etwa 72 Grad um den Anker 70 angeordnet sind. jeder Rotor 12 ist von der Armatur durch eine Strebe 71 mit einer Achse für eine Drehung in der Ebene der Ankerdrehachse 58 um einen Rotor 12 der Drehachse 16. Der Motor 10 weiter beabstandet sind und an der Stütze 71 befestigt ist ein Antriebsgestänge 55 Verbinden jeder Rotor 12 und der Stator 50 zusammen, um zu bewirken wird der Anker 70 über die Ankerdrehachse 58, wie jedes Rotors um seine jeweilige Rotorachse 16 drehbar 12 dreht.
Die zweite bevorzugte Ausführungsform ist identisch mit der ersten bevorzugten Ausführungsform, mit Ausnahme von zwei Unterschieden. Ersten, anstelle des ersten Magnetfeldes gleichförmig sowohl in Größe und Richtung entlang der Umfangsgrenzlinie 49 (außer in einem oder mehreren Nullbereiche 78 wie in der ersten bevorzugten Ausführungsform), die Richtung des ersten magnetischen Feldes dreht sich um eine Magnet Achse parallel zu der Umfangsgrenzlinie 49 mit einer vorbestimmten Periodizität entlang der Grenzlinie 49. Bevorzugt ist der erste Magnetfeld von einem oder mehreren Stator-Magneten 68' ausgebildet, an der Außenfläche 64 des Stators 50’ angebracht ist, jeder Magnet 68' mit einer Magnetisierungsrichtung, die das erste magnetische Feld um die magnetische Achse drehen bewirkt. In der zweiten bevorzugten Ausführungsform, wie in Fig.4 gezeigt, die Ständermagnete 68' sind gleich großen Stabmagneten, um den Stator 50’ befestigt, so daß die Stabmagnete 68' Spirale auf dem Stator 50’ mit der vorbestimmten Periodizität. Wie jedoch offensichtlich für den Fachmann auf dem Gebiet würde die erste Magnetfeld muß nicht von Stabmagneten gebildet sein, aber (oder Gruppen von Magneten), so könnte aus einem einzigen Magneten gebildet werden, daß die Richtung der Magnetisierung der einzelnen Magneten rotiert um die magnetische Achse.
Der zweite Unterschied zwischen der ersten Ausführungsform und der zweiten bevorzugten Ausführungsform ist, dass das Gestänge 55 der zweiten bevorzugten Ausführungsform nicht eine Komponente zur Erhöhung der Winkelgeschwindigkeit des Rotors 12 über die mittlere Geschwindigkeit des Rotors 12. Dementsprechend wird in der zweiten bevorzugten Ausführungsform eine kreisförmige Rotorritzel 63 wird anstelle des exzentrischen Rotors Buchse 59 verwendet wird, wodurch eine konstante Drehgeschwindigkeit des Rotors 12 um die Rotorachse 16, wenn der Anker 70 dreht sich um den Stator 50'.
Wie den Fachleuten in der Technik ist, die Drehung der Richtung des ersten Magnetfelds um die Umfangsgrenzlinie 49 kommutiert das zweite Magnetfeld, überwinden die Notwendigkeit der Nullbereiche 78. In jeder anderen Hinsicht ist der Betrieb des zweiten Ausführungsbeispiels ist die gleiche wie die der ersten Ausführungsform. Das heißt, die Umdrehungsgeschwindigkeit von jedem Rotor 12 ist im Zusammenhang mit der Umdrehungsgeschwindigkeit des Ankers 70 durch die Gleichung (1), wobei der Parameter Ns die Anzahl von Drehungen um die Grenzlinie 49 des ersten Magnetfeldes entlang der Linie Abgrenzung 49. Bei der zweiten bevorzugten Ausführungsform, wie in Fig.4 gezeigt, ist die Anzahl der Umdrehungen des ersten Magnetfelds ein. Dementsprechend, da es drei Paare 32, 32', 32’’ des U-förmigen Magneten 20, wobei jede der fünf Rotoren 12 macht ein Drittel Umdrehung für jede volle Umdrehung des Ankers 70 um die Ankerachse 58 jedoch der Fachmann auf dem Gebiet erkannt werden, um den Motor 10 könnte für das erste Magnetfeld ausgebildet werden beliebige Anzahl von ganzen Perioden der Rotation um die Ankerachse 58 aufweisen vorgesehen, dass die Umdrehungsgeschwindigkeit der Rotoren 12 wurde eingestellt, um konform zu Gleichung (1).


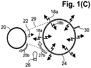
Unter Bezugnahme auf Fig.1C, Fig.2 und Fig.5 ist eine dritte bevorzugte Ausführungsform eines Motors 10 bietet unidirektionale Drehantriebskraft dargestellt. Die dritte bevorzugte Ausführungsform umfaßt einen im allgemeinen kreisförmigen Stator 50'', einem Boden 18 und eine Achse 72 montiert ist, mit den Magneten 68'' an die Oberfläche 64 des Stators 50'', einem Anker 70 und dem Stator 50'' befestigt befestigt durch eine Achse 57 zur Drehung um eine Ankerdrehachse 58 fällt mit der Ständerachse 12 und fünf Rotoren 12 (der Klarheit halber, von denen nur eine gezeigt ist) mit drei Paaren 32, 32', 32’’ der aneinanderliegenden U-förmige Magnete 20, die Rotoren 12, die in Abständen von etwa 72 Grad um den Anker 70. Jeder Rotor 12 ist von dem Anker durch einen Anker beabstandet Strebe 71 angeordnet und an dem Anker befestigt Strebe 71 von einer Achse zur Drehung um eine Achse 16 der Rotor 12 in einer Ebene im wesentlichen mit der Ankerachse 58 um eine Achse 16 des Rotors 12. Der Motor 10 weiter ausgerichtet beinhaltet ein Antriebsgestänge 62, die jeden Rotor 12 und der Stator 50 zusammen, um den Anker 70 zu bewirken, um den Anker zu drehen Drehachse 58, wie jeder Rotor 12 schwingt um ihre jeweiligen Rotorachse 16.
Die dritte bevorzugte Ausführungsform ist identisch mit der ersten bevorzugten Ausführungsform mit Ausnahme von drei Unterschieden. Ersten, anstelle des ersten Magnetfeldes gleichförmig sowohl in Größe und Richtung um die Umfangsgrenzlinie 49 (mit Ausnahme der Nullzone 78), das erste magnetische Feld wird durch ein sinusförmiges Muster mit einer vorbestimmten Spitzenamplitude und eine verschobene vorher festgelegten Periode entlang der Umfangsgrenzlinie 49, mit der Richtung des ersten Magnetfeldes in abwechselnden entgegengesetzten Richtungen entlang der Grenzlinie 49 zwischen jeder Spitze-Amplitude des sinusförmigen Muster.
Vorzugsweise, wie in Fig.5 gezeigt ist das erste magnetische Feld durch eine Vielzahl von Stabmagneten 68'' auf der Oberfläche 64 des Stators 50 angeordnet' ausgebildet, so daß die Magnetisierung des Stabmagneten 68'' in der sinusförmigen verschoben Muster von der Grenzlinie 49 um die Umfangstrennungslinie 49. Das sinusförmige Muster der Stabmagnete 68'' ist in erste und zweite Bereiche unterteilt ist, die Grenze davon kommt es an den Spitzen der sinusförmigen Muster. Die Richtung der Magnetisierung des Stabmagneten 68'' in entgegengesetzter Richtung in den ersten und zweiten Sektoren, die eine Kommutierung der zweiten Magnetfeld und bewirkt, daß die Rotoren 12 in Drehrichtung wie der Rotor um die Rotorachse 16 rückwärts 12 oszilliert und dreht sich um den Ankerdrehachse 58.
Vorzugsweise ist die sinusförmigen Muster der Magnete hat eine vorbestimmte Spitzenamplitude, so dass jeder Rotor 12 schwingt etwa +/- dreißig (30) Grad von einer neutralen Position. Jedoch ist der Wert der Spitzenamplitude nicht kritisch für die Ausführung des Motors 10. Ferner kann die vorbestimmte Periode der sinusförmigen Muster ausgewählt werden, um einen beliebigen Wert haben, für die die Anzahl von Zyklen der sinusförmigen Muster um die Oberfläche 64 der Stator 50'' ist eine ganze Zahl.
Wie dem Fachmann im Stand der Technik zu sein, müssen das erste Magnetfeld von den Stabmagneten 68'', sondern könnte aus einem einzigen Magneten gebildet sein (oder Gruppen von Magneten), so dass das erste Magnetfeld würde sinusförmig verschiebbar ausgebildet werden um die Drehachse des Ankers 58 und würde in entgegengesetzten Richtungen zwischen jeder Spitze der sinusförmigen Musters abwechseln. Ferner ist, wie es von Fachleuten auf dem Gebiet erkannt werden, die Verschiebung des ersten magnetischen Feldes braucht nicht exakt sinusförmig sein. Zum Beispiel kann die Verschiebung in Form eines Sägezahns oder in einer Form mit einem Abschnitt mit konstanter plus und minus Amplitudenwerte, die in den Geist und Umfang der Erfindung abzuweichen.
Als Ergebnis des ersten Magnetfeld sinusförmig versetzt und abwechselnd jeweils eine halbe Periode, wobei jeder Rotor 12 um einen Winkel entsprechend etwa der Spitzenamplitude der Sinuskurve, wenn der Rotor 12 folgt der Statormagnete 68'' oszilliert. Dementsprechend ist ein zweiter Unterschied zwischen der dritten Ausführungsform und der ersten Ausführungsform in der Struktur der Verbindung 62. In der dritten bevorzugten Ausführungsform, die in Fig.1C gezeigt, ist der Verbindungsmechanismus 62 umfasst eine Kolbenstange 91 mit einem jeweiligen ersten Verbindungs jeden Rotor 12 Getriebe 87 drehfest mit dem Anker 70. Die Kolbenstange 91 ist schwenkbar an jedem Rotor 12 und jedem ersten Zahnrad 87, so daß die Schwingbewegung des Rotors 12 wird die Drehbewegung des ersten Zahnrads 87. Jedes erste Zahnrad 87 umgewandelt montiert ist ist an eine zweite Zahnrad 89 auf den Stator 50 in einer festen Position angebracht gekoppelt. Die Drehbewegung des jeweiligen ersten Gang 87, der Anker 70 über die Ankerdrehachse 58, während die Rotoren 12 schwingt um die Rotorachse 16. Wie vom Fachmann erkannt werden, zu drehen, die Geschwindigkeit des Motors 10 ist durch das Verhältnis des ersten Getriebes 87 auf das zweite Zahnrad 89 in Übereinstimmung mit dem Ausdruck festgelegt:
Sa = (1 / Ns) x Sr .................... (2)
Wo:
Ss ist die Winkelgeschwindigkeit des Ankers 70 (RPM);
Ns die Anzahl der ersten Magnetfeldperioden um den Stator 50''; und
Sr st die Winkelgeschwindigkeit des Rotor 12 (RPM).
Da jeder Rotor 12 schwingt, anstatt kontinuierlich dreht, nur eine einzelne Rotormagneten. (oder eine Gruppe von Magneten) auf einem bestimmten Rotor 12 wirkt mit dem einzigen Stator 50'. Entsprechend einer dritten Differenz zwischen dem dritten bevorzugten Ausführungsbeispiel und dem ersten Ausführungsbeispiel ergibt sich aufgrund der oszillierenden Bewegung jedes Rotors 12, wobei jeder Rotor 12 der dritten bevorzugten Ausführungsform nur ein einziges Paar von Magneten 32 hat jedoch, wie von geschätzt die Fachleute in der Technik weitere Statoren 50'' kann um den Umfang der Rotoren 12 und zusätzliche Paare von U-förmigen Magneten 20 zugegeben werden können, auf jedem Rotor 12 aufgenommen werden, um magnetisch mit jedem zusätzlichen Stator 50'' zusammenwirken, wodurch zusätzliche Antriebskraft.



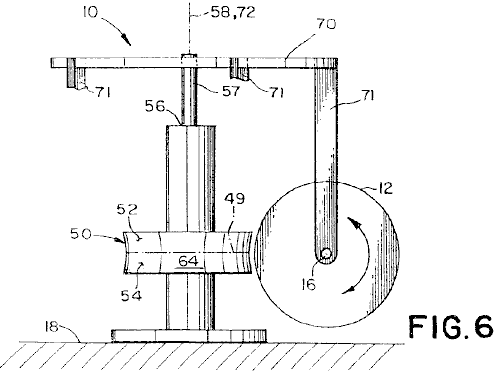
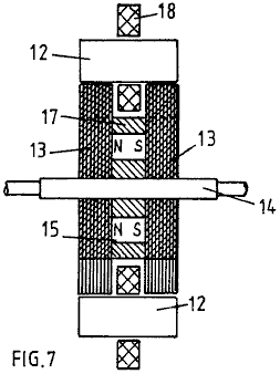
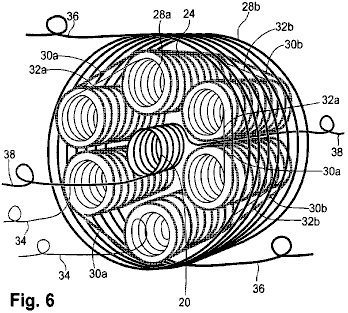
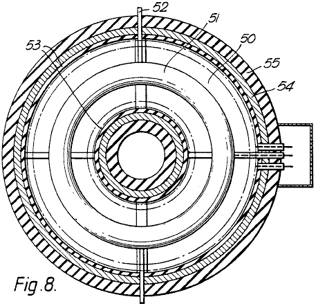
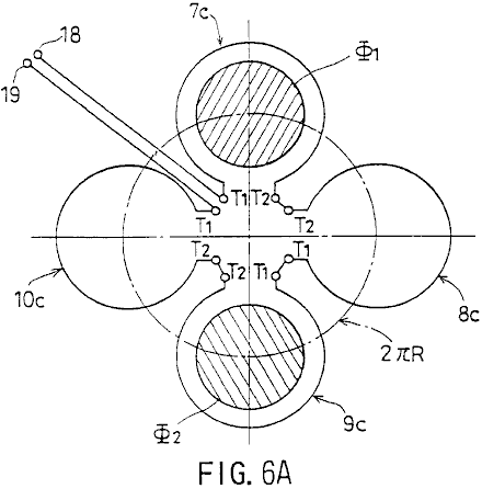
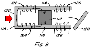
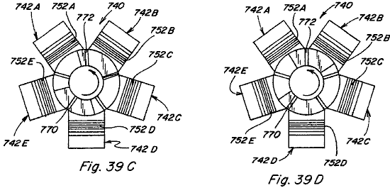
Unter Bezugnahme auf die Fig.6, Fig.7A, Fig.8A und Fig.8B ist eine vierte bevorzugte Ausführungsform der Permanentmagnet-Motor 10 zum Bereitstellen unidirektionale Drehantriebskraft dargestellt. Die vierte bevorzugte Ausführungsform weist einen im allgemeinen kreisförmigen Stator 51 mit einer Ständerachse 72, an einer Basis 18. Der Stator 51 weist eine äußere Oberfläche 64 in einer ersten Seite 52 und einer zweiten Seite 54 durch eine umlaufende Trennlinie 49 unterteilt angebracht, mit eine vorbestimmte Richtung um die Ständerachse 72, um einen Mittelpunkt an der äußeren Oberfläche 64.
Vorzugsweise ist die Oberfläche 64 des Stators 51 ist gekrümmt, mit einem Krümmungs entsprechend dem Bogen der Rotoren 12. Jedoch ist es für den Fachmann, dass die Oberfläche 64 muß nicht gekrümmt sein, sondern könnte geschätzt planar sein und trotzdem werden innerhalb des Geistes und Umfangs der Erfindung. Wie vom Fachmann erkannt werden, wobei der Stator 51 lediglich als eine stationäre Stützstruktur für Statormagnete und als solche bestimmt sind, wird die Form des Stators nicht beabsichtigt, die Steuerung der Größe und Form der Luftspalt zwischen die Magneten am Stator befestigt, und die Magnete an den Rotoren befestigt sind.
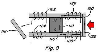
Wie in Fig.8A gezeigt ist, sind ein oder mehrere Paare von Ständermagneten 46 an der Außenfläche 64 entlang der Trennlinie 49. Jedes Paar von Ständermagneten beabstandet ange 46 umfasst einen ersten Stator-Magneten 40 mit einem Nordpol und einem Südpol und eine zweite Stator-Magneten 42 mit einem Nordpol und einem Südpol. Der Südpol jedes Magneten ersten Stator 40 wird auf der ersten Seite 52 der Außenfläche 64 befindet, und der Nordpol des ersten Stators Magnet 40 ist in der Nähe des Grenzlinie 49. Der Nordpol jedes zweiten Statormagneten 42 ist auf der zweiten Seite 54 der Außenfläche 64 und der Südpol des zweiten Stators jeder Magnet 42 angeordnet ist in der Nähe der Grenzlinie 49. Die erste und die zweite Stator-Magneten 40, 42 sind entlang der Trennlinie 49 beabstandet so dass eine erste, gemessen entlang der Grenzlinie 49 zwischen dem Nordpol des ersten Stators Magneten 40 und der Südpol des zweiten Stators Magnet 42 eines benachbarten Paares von Magneten 46 inter MagnetAbstand im allgemeinen gleich einer zweiten inter Magnetabstand zwischen dem Südpol des ersten Statormagnet 40 und dem Nordpol des zweiten Statormagnet 42 entlang der Demarkationslinie 49 gemessen.
In der vierten bevorzugten Ausführungsform, die Statormagnete 40, 42 sind Stabmagnete. Vorzugsweise sind der Nordpol des ersten Stators jedes Magneten 40 und der Südpol des zweiten Stators jeder Magnet 42 in Richtung auf die vorbestimmte Richtung geneigt. Auch werden die Stabmagnete vorzugsweise auf der Oberfläche 64 des Stators 50 ausgerichtet, dass der Südpol eines jeden ersten Magneten 40 und der Nordpol des zweiten Magneten 42 jeweils näher an der Peripherie jedes Rotors 12 als die entgegengesetzte Polarität Pol jeder der Magnete 40, 42 werden von den Fachleuten auf dem Gebiet erkannt werden, die Ständermagnete 40, 42 nicht Stabmagnete sein. Zum Beispiel, jeder Stator Magnet 40, 42 kann ein U-förmiger Magnet sein oder könnte aus getrennten Magneten vorgenommen werden, solange das erste Magnetfeld von den Magneten erzeugt wurde, im allgemeinen äquivalent zu der durch die Stabmagnete erzeugt wird.
In der vierten bevorzugten Ausführungsform ist ein Anker 70, der eine Ankerdrehachse 58 fällt mit der Ständerachse 72 zu dem Stator 51 durch eine Ankerachse 57, die Achse 57 ermöglicht den Anker 70 Anker frei um die Ständerachse 72 angebracht. Jeder Rotor 12 ist von der Armatur 70 durch einen Anker beabstandet Strebe 71 und ist an dem Anker angebracht Strebe 71, um frei um die Rotorachse 16 Rotorachse 16 ausgerichtet ist, zu drehen, so dass sich der Rotor 12 dreht sich in eine Ebene im allgemeinen mit den Ankerdrehachse 58. In der vierten bevorzugten Ausführungsform ausgerichtet sind fünf Rotoren 12 mit dem Anker 70 befestigt Vorzugsweise sind die Rotoren 12 sind gleichmäßig um den Umfang des Stators 50 beabstandet mit einem Abstand von den Rotoren 12, wie an der Oberfläche 64 des Stators 51, die etwa gleich einem ganzzahligen Vielfachen der doppelten Intermagnetabstand gemessen. Wie der Fachmann auf dem Gebiet wird erkennen, ist es jedoch nicht erforderlich, die Rotoren 12 gleichmäßig beabstandet sind. Ferner kann die Anzahl der Rotoren 12 so wenig wie ein und so groß wie Größe und Raumbeschränkungen erlauben. Wie vom Fachmann erkannt werden, muss der Ständerachse 72 nicht zusammenfällt mit der Ankerdrehachse 58. Entsprechend einem Stator 50 um die Ankerachse 58 an jeder Stelle angeordnet, an dem der Ständerachse 72 parallel zu sein, die Ankerachse 58 und der Oberfläche des Stators 50 liegt der Umfang der Rotoren 12, wodurch die Interaktion zwischen dem ersten Magnetfeld und dem zweiten Magnetfeld um die Ankerachse 58 ist innerhalb des Geistes und Umfangs der Erfindung.
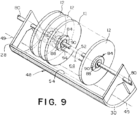
Bezugnehmend auf Fig.7A, jeder Rotor 12 umfaßt einen ersten U-förmigen Magneten 20 zum Erzeugen eines zweiten Magnetfeldes. Die erste U-förmige Magnet 20 ist an dem Rotor 12 positioniert, so daß der Nordpol und der Südpol des ersten U-förmigen Magneten 20 Flächen in Richtung der Achse 16 des Rotors 12 und der Rückseite 26 des ersten U-förmigen Magneten 20 liegt der Umfang des Rotors 12. Wenn der hintere 26 des ersten U-förmigen Magneten 20 ist benachbart zu dem Nordpol des einen der ersten Ständermagnete 40 entlang der Grenzlinie 49, einen Abschnitt der zweiten magnetischen Gebiet unmittelbar benachbart zu der hinteren 26 der ersten U-förmigen Magneten 20 wirkt mit einem Teil des ersten Magnetfeldes durch den Nordpol des ersten Stators Magneten 40 erzeugt, um den Rotor 12 zu veranlassen, in einer Richtung gegen den Uhrzeigersinn zu drehen. Wenn der Rotor 12 rotiert im Gegenuhrzeigersinn, wobei ein Teil des zweiten Magnetfeldes mit dem Südpol des ersten U-förmigen Magneten 20 wirkt mit einem Teil des ersten Magnetfeldes mit dem Südpol des ersten Stators Magnet 40 zugeordnet ist, was zu einer Kraft in Richtung der Rotorachse 16, Abstoßen des U-förmigen Magneten 20 und verursacht den Rotor 12 in der vorbestimmten Richtung um die Statorachse zu übersetzen. Wenn sich der Rotor 12 bewegt sich von ersten Ständermagneten 40 in der Vor-Richtung des zweiten Magnetfeldes benachbart zu der Rückseite 26 des U-förmigen Magneten 20 wirkt mit dem Abschnitt des ersten magnetischen Feldes mit dem Südpol des zweiten Stators zugeordnet Magnet 42 von dem Paar von Magneten 46, wodurch der Rotor 12 in Rückwärtsrichtung zu drehen und in der Richtung im Uhrzeigersinn. Der Abschnitt des zweiten Magnetfeldes mit dem Nordpol des U-förmigen Magneten 20 wird dann mit dem zugehörigen Abschnitt des ersten magnetischen Feldes mit dem Nordpol des zweiten Stators Magnet 42 wieder, die zu einer Kraft in Richtung zugeordnet wirkt der Rotorachse 16, Abstoßen des U-förmigen Magneten 20 und der Rotor 12 verursacht in der vorbestimmten Richtung zu verschieben. Ein Schwingungszyklus wird dann mit dem zweiten Magnetfeld des Rotors 12 in Wechselwirkung mit dem ersten Magnetfeld des benachbarten Paares von Magneten 46. wiederholt, wobei der Rotor 12 drehend schwingt um die jeweilige Rotorachse 16 und erzeugt eine Kraft in Richtung des die Rotorachse 16, wodurch der Anker 70 in der vorbestimmten Richtung um den Ankerdrehachse 58 zu drehen, um die unidirektionale Drehantriebskraft des Motors. Wie für den Fachmann ersichtlich ist, ist die vierte Ausführungsform nicht auf einen einzigen Stator 51 und einen einzigen U-förmigen Magneten beschränkt 20. Zusätzliche Statoren mit ersten und zweiten identisch zu dem Stator 51 angeordnet ist, zu interagieren Statormagnete 40, 42 mit entsprechenden U-förmigen Magnete um den Umfang jedes Rotors beabstandet sind mit dem Geist und Umfang der Erfindung.

Bezugnehmend nun auf Fig.6, Fig.7B und Fig.8A ist eine fünfte
bevorzugte Ausführungsform der Permanentmagnet-Motor
10 zum Bereitstellen
unidirektionale Drehantriebskraft
dargestellt. Die Struktur und der
Betrieb der fünften bevorzugten
Ausführungsform ist ähnlich zu der
vierten bevorzugten Ausführungsform, außer, dass jeder Rotor 12 weist ferner einen
zweiten U-förmigen Magneten 24 mit einem Nordpol
und einem Südpol dem Südpol
des zweiten U-förmigen Magneten 24 anliegenden dem
Nordpol des ersten U-förmigen
Magneten 20 und einer dritten U-förmigen
Magneten 22 mit
einem Nordpol und einem Südpol,
wobei der Nordpol des dritten U-förmigen Magneten 22 anliegenden dem
Südpol des ersten U-förmigen Magneten 20. Wenn der Rotor 12 rotiert aufgrund
der Wechselwirkung des Abschnitts des zweiten Magnetfelds angrenzend an der Rückseite des U-förmigen Magneten 20 mit dem ersten Magnetfeld
eine dritte Magnetfeld von dem Nordpol des erzeugten
die zweiten U-förmigen
Magneten 24 und ein viertes Magnetfeld durch den Südpol des dritten
U-förmigen Magneten 22 jeweils erzeugten
interagieren mit dem ersten Magnetfeld von jeder
Ständermagnetpaar 46
erzeugt, um jeden Rotor 12 zu veranlassen,
um eine Kraft zu erzeugen, die in Richtung der Rotorachse
16, wodurch der Anker 70 veranlaßt
wird, in der vorgegebenen Richtung um die Achse 58 des Stators 51 zu drehen, um die
unidirektionale Drehantriebskraft des Motors.
In der fünften bevorzugten
Ausführungsform wird der Abschnitt des zweiten Magnetfeldes benachbart zu der Rückseite 26 des ersten U-förmigen Magneten 20 dient dazu, den Rotor
12 zu drehen,
während die zweiten und dritten U-förmigen
Magneten 24, 22 erzeugen die Magnetfelder
der Bereitstellung Kraft in Richtung der Rotorachse 16. Entsprechend ist die fünfte bevorzugte
Ausführungsform potenziell leistungsfähiger
als der vierten bevorzugten Ausführungsform. Wie vom Fachmann erkannt werden, die Ständermagnete 40, 42 nicht Stabmagnete sein.
Zum Beispiel könnte jeder Ständermagneten 40, 42 durch einen U-förmigen Magneten ersetzt werden oder könnte
aus getrennten Magneten vorgenommen werden, solange das erste
Magnetfeld von den Magneten erzeugt
wurde, im Allgemeinen äquivalent
zu der durch die Stabmagnete
erzeugten.



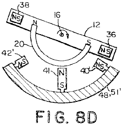
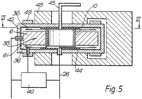
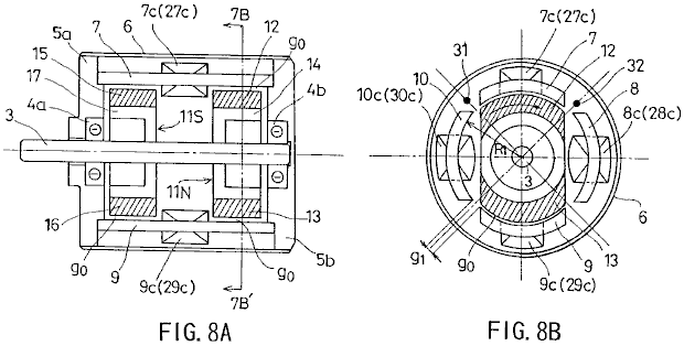
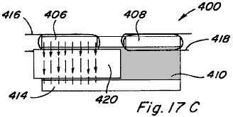
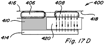
Unter Bezugnahme auf Fig.6 und Fig.8C und Fig.8D zeigt ein sechstes bevorzugtes Ausführungsbeispiel des Motors 10. Die Struktur und der Betrieb der sechsten Ausführungsform ist identisch mit derjenigen der fünften bevorzugten Ausführungsform, außer dass:
(1) Der Stator Magnete 40', 42' auf der Oberfläche 64 des Stators 51' sind in einer etwas anderen Ausrichtung;
(2) eine zusätzliche Ständermagneten 41 ist an jedem Paar von Stator-Magneten 46 und Mehr
(3) die U-förmigen Magneten 22, 24 an jedem Rotor 12 befestigt sind, mit Stabmagneten 36, 38 ersetzt.
Konkret und wird nun auf Fig.8C, die Magnetisierungsrichtung eines jeden ersten Statormagnet 40' und jeder zweite Statormagnet 42' ausgerichtet, um im allgemeinen senkrecht zur Grenzlinie 49 statt in der vorgegebenen Richtung geneigt sein um den Ankerdrehachse 58, wie in der fünften Ausführungsform. Auch der Stator 51' enthält auch einen dritten Stator-Magneten 41 auf der Außenfläche 64 entlang der Trennlinie 49 in der Mitte zwischen jeder ersten Stator-Magneten 40' montiert ist und jede zweite Stator-Magneten 42'. Wie in Fig.8C und Fig.8D gezeigt ist, wird die dritte Ständermagneten 41 so ausgerichtet, dass die Magnetisierungsrichtung des dritten Magneten 41 ist mit der Achse 16 des Rotors 12 ausgerichtet ist.
Wie in Fig.8C und Fig.8D gezeigt ist, die
in der sechsten bevorzugten
Ausführungsform verwendet Rotor 12 umfasst einen
ersten U-förmigen Magneten 20, ähnlich wie
bei der fünften bevorzugten
Ausführungsform. Anstelle des
zweiten und dritten U-förmigen
Magneten 24, 22 in der fünften
bevorzugten Ausführungsformen verwendet wird, umfasst der sechsten bevorzugten
Ausführungsform ist jedoch ein erster
Druckgeber Stabmagneten 36, aus mit dem Südpol des ersten U-förmigen beabstandet und nahe Magneten 20 und in der Regel mit
einem Druckgeber Magnetachse
34 und einer zweiten Triebwerksstabmagneten 38 ausgerichtet,
von der auf den Nordpol des ersten U-förmigen Magneten 20 angeordnet und in
der Nähe und im Allgemeinen auch
mit der Triebmagnetachse 34. Die Triebachse ausgerichtet ist 34 liegt
in der Ebene des Rotors 12 und schneidet
die Rotorachse 16. Ähnlich wie
bei der fünften bevorzugten Ausführungsform
wird das Zusammenwirken der Teil
der zweiten Magnetfeld unmittelbar
neben der Rückseite des U-förmigen
Magneten 20 mit dem
ersten Magnetfeld stellt die Rotationskraft für die Rotoren 12 zu dem Rotor 12 dreht sich im Uhrzeigersinn (von dem zweiten Ende 30 des Stators 51' gesehen), einem
dritten Magnetfeld sowohl von der
Nordpol und der Südpol
des zweiten Triebwerks erzeugten Magneten 36 wirkt mit dem
ersten Stator Magnet 40 'wiederum eine
Kraft in der Richtung der Rotorachse 16. In
ähnlicher Weise, wenn sich der Rotor 12 dreht sich im Gegenuhrzeigersinn eine vierte Magnetfeld sowohl von der Nordpol und der Südpol
des erzeugten das erste Triebwerk Magnet 38 interagiert mit
dem zweiten Ständermagneten 42' eine Kraft in
Richtung der Rotorachse 16. Die durch die Kraft
in der Richtung der Rotorachse 16 ist, um den Anker 70 zu veranlassen, in
einer vorbestimmten Richtung zu drehen
um die Ankerdrehachse 58, um die unidirektionale Drehantriebskraft des Motors 10 bereitzustellen.
In der sechsten bevorzugten Ausführungsform ist der Stator Magnete 40', 41, 42' und den Triebwerksmagnete
36, 38 sind Stabmagnete.
Wie jedoch von Fachleuten auf dem Gebiet erkannt werden, die Ständermagnete
40', 41, 42' und den Triebwerksmagnete
36, 38 braucht nicht
Stabmagnete sein. Zum Beispiel könnte jeder Ständermagneten 40', 42' einen U-förmigen
Magneten oder könnte aus getrennten
Magneten vorgenommen werden,
solange das erste Magnetfeld von den
Magneten erzeugt wurde, im
Allgemeinen äquivalent zu der durch
die Stabmagnete erzeugten.

Bezugnehmend nun auf Fig.6, Fig.7D und Fig.8E wird eine siebte bevorzugte Ausführungsform des Motors 10. Die Struktur und der Betrieb der siebten bevorzugten Ausführungsform gezeigt, ist ähnlich zu der sechsten bevorzugten Ausführungsform, außer dass die dritte Ständermagneten 41' auf der Oberfläche 64 des Stators 51'' angeordnet entlang der Grenzlinie 49 ist eine U-förmige Magnet 41' mit der Rückseite des U-förmigen Magneten 41' des Rotors 12 und die Magnetisierungsrichtung senkrecht zu der Linie gegen Abgrenzungs 49; und die U-förmigen Magneten 20 ist mit einem Stabmagneten ersetzt 20' ausgerichtet, um die Magnetisierungsrichtung mit einer radialen Linie des Rotors 12. Wie in der sechsten bevorzugten Ausführungsform jede Statormagnet ausgerichtet haben, 40, 42' könnte ein U-förmigen Magneten oder könnte aus getrennten Magneten vorgenommen werden, solange das erste Magnetfeld von den Magneten 40', 42' erzeugte Stator war in der Regel entspricht, die von den Stabmagneten erzeugten.




Bezugnehmend auf Fig.7A, Fig.8A, Fig.8B, Fig11A und Fig.9 wird eine achte bevorzugte Ausführungsform der Motor 10 zum Bereitstellen unidirektionale lineare Antriebskraft dargestellt. Die achte bevorzugte Ausführungsform umfaßt einen linearen Stator 48 mit einer im allgemeinen gekrümmten Querschnitt senkrecht zu einer Längstrennungslinie 49, die sich an einer Fläche 64 des Stators zwischen einem ersten Ende 28 und einem zweiten Ende 30 und Teilen der Oberfläche 64 des Stators 48 in einer ersten Seite 52 und einer zweiten Seite 54. Vorzugsweise ist der allgemein gekrümmten Querschnitt des Stators 48 ist konkav. Jedoch wird es von Fachleuten auf dem Gebiet, dass der Querschnitt muss nicht konkav sein, sondern könnte auch eben oder konvex sein und immer noch innerhalb des Geistes und Umfangs der Erfindung liegen, ersichtlich werden.
Die lineare Stator 48 ist identisch mit der im allgemeinen kreisförmigen Stators 51 mit Ausnahme der Fläche 64 des Stators 48 linear in der Richtung der Grenzlinie 49 anstelle von kreisförmig in der Richtung der Grenzlinie 49.
Die achte bevorzugte Ausführungsform umfaßt die erste und die zweite Stator-Magneten 40, 42 (siehe Fig.8A), die Lage und Orientierung der praktisch identisch ist mit der Ausrichtung und Position der Ständermagnete 40, 42 sind auf der kreisförmigen Stators 51. Dementsprechend, zu dem linearen Stator 48 befestigt ist, ein oder mehrere Paare von Magneten 46, wobei jedes Paar von Stator-Magneten 46 zum Erzeugen eines ersten Magnetfeldes und einen ersten Stator-Magneten 40 mit einem Nordpol und einem Südpol, und eine zweite Stator-Magneten 42 mit einem Nordpol und einen Südpol. Der Südpol jedes Magneten ersten Stator 40 wird auf der ersten Seite 52 der Außenfläche 64 angeordnet, wobei der Nordpol des ersten Stators Magnet 40 am nächsten zu der Grenzlinie 49. Der Nordpol jedes zweiten Statormagneten 42 ist auf der zweiten Seite 54 der Außenfläche 64 mit dem Südpol des zweiten Stators jedes Magneten 42 liegt am nächsten zu der Grenzlinie 49. Die erste und die zweite Stator-Magneten 40, 42 sind entlang der Trennlinie 49 beabstandet so dass eine erste, gemessen entlang der Grenzlinie 49 zwischen dem Nordpol des ersten Stators Magneten 40 und der Südpol des zweiten Stators Magnet 42 eines benachbarten Paares von Magneten 46 interMagnetAbstand im allgemeinen gleich einer zweiten inter- Magnet Abstand entlang der Demarkationslinie 49 zwischen dem Südpol des ersten Statormagnet 40 und dem Nordpol des zweiten Statormagnet 42 gemessen.
In der achten bevorzugten Ausführungsform, die Statormagnete 40, 42 sind Stabmagneten, der Nordpol des ersten Stators jedes Magneten 40 und der Südpol des zweiten Stators jeder Magnet 42 ist in Richtung des zweiten Endes 30 des linearen Stators 48 auch geneigt, wie in Fig.8A gezeigt, sind die Stator-Magnete 40, 42 sind auf der Oberfläche 64 des Stators 51 ausgerichtet, dass der Südpol eines jeden ersten Magneten 40 und der Nordpol des zweiten Magneten 42 jeweils näher an der Peripherie jeder Rotor 12 als die entgegengesetzte Polarität Pol jedes der Ständermagnete 40, 42 wird von den Fachleuten auf dem Gebiet ersichtlich ist, sind die Stator-Magnete 40, 42 nicht Stabmagnete sein. Zum Beispiel könnte jeder Ständermagneten 40, 42 einen U-förmigen Magneten oder könnte aus getrennten Magneten vorgenommen werden, solange das erste Magnetfeld von den Magneten erzeugt wurde, im Allgemeinen äquivalent zu der durch die Stabmagnete erzeugt wird.
Die achte bevorzugte Ausführungsform umfasst auch Schiene 80 mit einer sich allgemein parallel zu der Grenzlinie 49 des Stators 48. Fünf Rotoranordnungen 14 umfasst einen Rotor 12 und eine Lageranordnung 84 Längsachse verschiebbar an der Schiene 80 befestigt ist.

Vorzugsweise ist die Lageranordnung 84, wie in Fig.11A gezeigt ist, umfasst ein Paar von ersten Lagern 88 verschiebbar an der Schiene 80 befestigt und gezwungen, sich entlang der Schiene ohne irgendeine wesentliche Drehung zu gleiten, durch einen Vorsprung 37 in jeder ersten Lager 88, die ist mit einer Längsnut 35 auf der Schiene 80. ein zweites Lager 90 ist zur Drehung mit dem Paar der ersten Lager 88 durch Kugellager verbunden verkeilt. Der Rotor 12 ist an dem zweiten Lager 90. Damit das jeder Lageranordnung befestigt Rotor 12 angebracht 84 ist frei drehend um die Schiene 80 zu schwingen, und um eine Kraft entlang der Schiene 80 in Richtung des zweiten Endes des Stators zu erzeugen, 30.
Vorzugsweise umfasst die achte bevorzugte Ausführungsform einer Querverbindung 94, die jede Lageranordnung 84 zusammen durch Verbinden der ersten Lager 88 der jeweiligen Lagereinheit 84, wodurch Addieren der Linearbewegung entlang der Schiene 80 jedes Rotors 12 verbindet.
Vorzugsweise ist jeder Rotor 12 umfasst ein oder mehrere einem Rotormagneten 20, die jeweils Rotormagnet 20 zum Erzeugen eines zweiten Magnetfeldes, das mit dem ersten Magnetfeld interagiert, um den Rotor 12 drehend um die Achse der Schiene 80 zu schwingen, und um eine Kraft zu erzeugen, bewirken, in Richtung der Achse der Schiene 80, um die unidirektionale lineare Antriebskraft des Motors. In der achten bevorzugten Ausführungsform ist jeder Rotor 12 im wesentlichen identisch mit dem für das vierte bevorzugte Ausführungsbeispiel beschrieben Rotor 12. Dementsprechend weist jeder Rotormagnet einen ersten U-förmigen Magneten 20 mit einem Nordpol, einen Südpol und eine Rückseite 26, einen ersten Abschnitt der zweiten Magnetfeld unmittelbar neben der hinteren 26 des U-förmigen Magneten 20 mit zusammenwirkenden jedes erste Magnetfeld erlaubt, die Rotoren 12 zu veranlassen, drehbar um die Schiene 80. Ein zweiter Teil des zweiten Magnetfeld neben dem Norden und den Südpol des ersten U-förmigen Magneten 20 wirkt mit dem ersten Magnetfeld, um die Ursache zu schwingen Rotor 12 eine Kraft in Richtung der Achse der Schiene 80, wodurch die unidirektionale lineare Antriebskraft des Motors zu generieren. Wie es für Fachleute in der Technik ist, identisch mit derjenigen der vierten bevorzugten Ausführungsform, außer dass die Bewegung der vernetzten Rotoren 12 ist die Arbeitsweise der achten bevorzugten Ausführungsform ist linear entlang der Schiene 80 anstatt über die Dreh Ankerdrehachse 58. Entsprechend der Kürze halber eine Beschreibung der Arbeitsweise der achten bevorzugten Ausführungsform wird nicht wiederholt.
Bezugnehmend auf Fig.7B, Fig.8A, Fig.8B, Fig.11A und Fig.9 ist eine neunte bevorzugte Ausführungsform der Motor 10 zum Bereitstellen unidirektionale lineare Antriebskraft dargestellt. Wie es den Fachleuten in der Technik ist der Aufbau und der Betrieb der neunten bevorzugten Ausführungsform praktisch identisch mit derjenigen der fünften bevorzugten Ausführungsform, außer dass die Bewegung der vernetzten Rotoren 12 linear anstelle von Dreh um die Anker Drehachse 58. Entsprechend der Kürze halber wird eine Beschreibung der Struktur und der Betrieb der neunten bevorzugten Ausführungsform wird nicht wiederholt.
Unter Bezugnahme auf die Fig.7C, Fig.8C, Fig.8D, Fig.9 und Fig.11A ist eine zehnte bevorzugte Ausführungsform der Motor 10 zum Bereitstellen unidirektionale lineare Antriebskraft dargestellt. Wie es den Fachleuten in der Technik ist der Aufbau und der Betrieb der zehnten bevorzugten Ausführungsform praktisch identisch mit derjenigen der sechsten bevorzugten Ausführungsform, außer dass die Bewegung der vernetzten Rotoren 12 linear anstelle von Dreh um die Anker Drehachse 58. Entsprechend der Kürze halber wird die Funktionsweise der zehnten bevorzugten Ausführungsform wird nicht wiederholt.
Unter Bezugnahme auf die Fig.7D, Fig.8C, Fig.8E, Fig.9 und Fig.11A ist eine elfte bevorzugte Ausführungsform der Motor 10 zum Bereitstellen unidirektionale lineare Antriebskraft dargestellt. Der Aufbau und der Betrieb der elften bevorzugten Ausführungsform ist praktisch identisch mit der siebten bevorzugten Ausführungsform, außer dass die Bewegung der Quer ausgekleidet Rotoren 12 linear anstelle von Dreh um die Ankerdrehachse 58. Entsprechend der Kürze halber die Betrieb der zehnten bevorzugten Ausführungsform wird nicht wiederholt.


Unter Bezugnahme auf die Fig.2, Fig.3, Fig.10 und Fig.11B ist eine zwölfte bevorzugte Ausführungsform der Motor 10 für die Bereitstellung von linearen Antriebskraft gezeigt. Wie in 10 gezeigt, umfasst der zwölften bevorzugten Ausführungsform wird eine lineare Stator 47 mit einer im allgemeinen gekrümmten Querschnitt senkrecht zu einer Trennlinie 49', die sich entlang einem Mittelpunkt des Stators 47 zwischen einem ersten Ende 28 und einem zweiten Ende 30 die lineare Stator 47, eine Schiene 80' zur linearen Stator 47 verbunden, der eine Achse im wesentlichen parallel zu der Grenzlinie 49', ein oder mehrere Rotoranordnungen 14' aufweist Rotoren 12 an der Schiene 80' verbunden mit einer Lageranordnung 84' und eine Querverbindung 94' miteinander verbindet die Verbindungen 84' der benachbarten Rotoren 12. Vorzugsweise ist die im allgemeinen gekrümmten Querschnitt des Stators 47 ist konkav mit einer Krümmung entsprechend dem Bogen der Rotoren 12. Jedoch wird es der Fachmann auf dem Gebiet, daß die im allgemeinen gekrümmten Querschnitt muss nicht konkav sein, sondern kann planar oder konvex sein und immer noch innerhalb des Geistes und Umfangs der Erfindung liegen, ersichtlich.
Wie in Fig.3 gezeigt, umfasst die lineare Stator 47 einen oder mehrere Magnete 68 auf der Oberfläche 64 des linearen Stators 47 angeordnet sind, wobei jeder Magnet 68 mit einer Magnetisierungsrichtung bei etwa einem rechten Winkel zu der Grenzlinie 49' gerichtet und was zu einem ersten Magnetfeld allgemein im rechten Winkel zu der Grenzlinie 49' ausgerichtet. Die Grße des ersten Magnetfeldes ist im allgemeinen gleichförmigen, außer in dem Nullbereich 78, in dem die Größe des ersten magnetischen Feldes wesentlich reduziert wird. Die lineare Stator 47 der zwölften bevorzugten Ausführungsform ist praktisch identisch mit der kreisförmigen Stator 50 der ersten bevorzugten Ausführungsform, mit Ausnahme des linearen Stators 50 ist linear in der Richtung der Grenzlinie 49’ anstelle von kreisförmig um die Drehachse des Ankers 58. auch ist die Anordnung der Magnete 68 auf der Oberfläche 64 des Stators 47 und der Struktur der Nullbereich (en) 78 die gleiche wie bei der ersten bevorzugten Ausführungsform, wie in Fig.3 gezeigt und wie vollständig in der beschriebenen Diskussion der ersten Ausführungsform. Dementsprechend wird für die Zwecke der Kürze wird eine detailliertere Beschreibung der Struktur des linearen Stators 47 nicht wiederholt.
Die Rotoren 12 der zwölften bevorzugten Ausführungsform haben jeweils eine Drehachse 16, die mit einer Achse der Schiene 80’ ausgerichtet ist. Die Rotoren 12 sind an der Schiene 80’ durch die Lageranordnung 84', so dass jeder Rotor 12 frei ist, um die Schiene 80' zu drehen und entlang der Schiene 80 gleiten' verbunden. Vorzugsweise ist, wie in Fig.2 gezeigt, wobei jeder Rotor 12 weist drei Paare von U-förmigen Magneten 32, 32, 32', jedes U-förmigen Magneten mit einer Rückseite 26 und zum Erzeugen eines zweiten Magnetfeldes. Ein Teil des zweiten Magnetfeldes benachbart zu der hinteren Seite 26 der jeweiligen U-förmigen Magneten 20 in Wechselwirkung mit dem ersten magnetischen Feld zu bewirken, dass jeder Rotor 12 um die Achse der Schiene 80. Die Rotoren 12 der zwölften Ausführungsform zu drehen sind die gleichen wie die Rotoren in der ersten bevorzugten Ausführungsform, wie in Fig.2 oben beschrieben und ausführlicher diskutiert. Entsprechend der Kürze halber die detaillierte Beschreibung der Rotoren 12 wird nicht wiederholt.

Wie aus Fig.11B hervorgeht, hat die Schiene 80' mit eine schraubenförmige Nut 86 mit einem vorher festgelegten Pitch (d.h. Runden/Längeneinheit) eine Peripherie der Schiene 80' herumlaufen. Die Lager-Assembly 84' verbindet jeder Rotor 12 der schraubenförmigen Nut 86, konvertieren die Drehbewegung der einzelnen Rotor 12 rund um die Schiene 80' in die lineare Bewegung entlang der Schiene 80'. Wie aus Fig.11B hervorgeht, umfasst die Lager-Assembly 84' ein paar der ersten Lager 88' auf der Schiene 80' montiert und auf schieben Sie entlang der Schiene 80' ohne jede beträchtliche Drehung beschränkt, und ein zweites Lager 90', montiert auf einer Außenfläche das erste Lager 88' für den Empfang des Rotors 12. Vorzugsweise hat jeden ersten Lager 88' einen Boss 37 der eine Längsrille 35 tätig, so dass jeder ersten Lager 88' Folien auf der Schiene 80' ohne Rotation als das zweite Lager 90' dreht sich auf die ersten Lager 88'. Es wird durch die fachkundige geschätzt werden, andere Methoden zur Sicherung der ersten Lager 88' auf die Schiene 80' beschäftigen, wie zum Beispiel, durch die Macht des Querschnitts der Schiene 80' Jahren (flach an den Polen). Wie in der ersten bevorzugte Ausführungsform muss jeder Rotor 12 mit einer Rate drehen, wodurch im hinteren Teil jeder u-förmige Magnet 20 auf den Rotor 12 auf der Durchreise eine null Region 78 jeder vollen Umdrehung des Rotors 12. Dementsprechend entspricht die vorgegebene Tonhöhe der schraubenförmigen Nut 86 auf der Schiene 80' vorzugsweise:
Pg = (1 / Nr) x Pr ..................... (3)
Wo:
Pr = die Steigung der Nullbereiche 78 (null Regionen / Längeneinheit);
Nr = die Anzahl der U-förmigen Magnete (oder Gruppen von aneinander liegenden U-förmigen Magneten) auf einem Rotor 12; und
Pg = die Steigung der schraubenförmigen Nut 86 (Umdrehungen / Längeneinheit).
Vorzugsweise
die Teile der schraubenförmigen Nut 86
entspricht jede null Region 78 haben
ein sofortiger Taktabstand größer als die vorgegebene Tonhöhe der Nut 86 vorzusehen, dass die Winkelgeschwindigkeit
des Rotors jedes 12 so jeweils die
Paare 32, 32', 32'' U-förmige
Magnete 20 verläuft durch eine der
null Regionen 78. Jedoch, wie durch
die fachkundige geschätzt wird, ist es nicht notwendig, die größere sofortige
Tonhöhe im Auftrag für den Motor 10
Triebfahrzeuge zu versorgen.
Wie oben beschrieben, verbindet die Querverbindung 94' Lager-Baugruppe 84" der benachbarten Rotoren 12. Wie in Fig.10 dargestellt, die Querverbindung 94' verbindet die ersten Lager 88' der einzelnen Lager Assemblys 84' und dem ersten Lager 88' der angrenzenden Lager Assemblys 84', sodass die lineare Bewegung aller Rotor Assemblys 14' hinzugefügt werden zusammen, um die unidirektionale lineare Triebkraft des Motors 10 bieten.
Wie bereits erwähnt bevorzugt die erste Verkörperung des Motors 10 verfügt über eine einzige null Region 78 und fünf Rotoren 12, jeder Rotor 12 mit drei paar 32, 32', 32'' Vorgesetzten U-förmige Magnete 20. Vorzugsweise die Rotoren 12 sind gleichmäßig verteilt entlang der Schiene 80' und die Paare 32, 32', 32'' U-förmige Magnete 20 sind einheitlich in der Peripherie von jeder jeweiligen Rotor 12 angeordnet; Darüber hinaus werden die Paare 32, 32', 32'' U-förmige Magnete 20 in Bezug auf jeder Rotor 12 durch ein Fünftel einer Revolution des Rotors 12 schrittweise, so dass die Paare 32, 32', 32'' U-förmige Magnete 20 alle Rotoren 12 durch die null Region 78 mit einer wesentlichen gleichmäßig Rate bieten eine mehr oder weniger kontinuierliche Interaktion zwischen der ersten Magnetfeld und das zweite Magnetfeld die Rotoren 12, was zu einer mehr oder weniger kontinuierliche drängen die Rotor-Assemblys 14' zweite Ende des Stators 47. Durch diese fachkundige geschätzt wird, dass die Motiv-Macht bereitgestellt durch den Motor 10 proportional zu der Anzahl der Rotoren 12 und die Anzahl der u-förmige Magnete 20 auf jedem Rotor 12. Dementsprechend sind die Anzahl der Rotoren 12 und die Anzahl der Paare 32, 32', 32'' Magnete 20 für die vorliegende Erfindung nicht auf fünf Rotoren 12 und drei Paare 32 U-förmigen Magneten 20 beschränkt. Auch ist die Zahl der null Regionen eine begrenzt. Die Anzahl der u-förmige Magnete 20 und null Regionen 78 sind nur durch Einhaltung der Regel gemäß der Gleichung 3 begrenzt..


Bezugnehmend nun auf Fig.2, Fig.11B, Fig.12 und Fig.13 ist eine dreizehnte bevorzugte Ausführungsform der Motor 10 mit einer Schiene 80' von Schienenbefestigungspfosten 76 gelagert und mit einer Längsachse 65. Eine schraubenförmige Nut gezeigten 86 mit einer vorbestimmten Steigung verläuft um den Umfang der Schiene 80.
Die dreizehnte bevorzugte Ausführungsform umfasst auch drei erste Schrauben Statoren 82a, 82b, 82c (82), die konzentrisch um die Schiene 80', die drei Paare 32, 32', 32'' des U-förmigen Magneten 20 auf jeder der fünf Rotoren 12. Vorzugsweise montiert die erste schraubenförmige Statoren 82 haben die gleiche Teilung wie der vorgegebenen Steigung der Nut 86 und eine Längsachse im allgemeinen parallel zur Achse 65 der Schiene 80'. Eine Vielzahl erster Ständermagneten 11 mit einer Magnetisierungsrichtung mit einer Radiallinie jeder Rotor 12 ausgerichtet sind, entlang jeder ersten schraubenförmigen Stator 82 mit den ersten Ständermagneten 11 zum Erzeugen eines ersten magnetischen Feldes angeordnet ist.
Die dreizehnte bevorzugte Ausführungsform umfasst ferner mehrere zweite wendelförmige Statoren 82a', 82b', 82c' (82') abwechselnd mit der ersten schraubenförmigen Statoren 82' entlang der Achse 65 der Schiene 80', und mit der vorgegebenen Teilung der Nut 86. Jeder zweite schraubenförmige Stator 82 mit einer Magnetisierungsrichtung mit einer radialen Linie des Rotors 12 ausgerichtet ist und eine Richtung der Magnetisierung in entgegengesetzter Richtung zu den ersten Ständermagnete 11' hat darauf eine Vielzahl von zweiten Stator-Magneten 11' montiert auf jedem der ersten spiralförmigen Statoren 82. Als Folge der zweiten spiralförmigen Statoren 82' montiert ist auf halbem Wege zwischen der ersten schraubenförmigen Statoren 82, einem Punkt bei etwa einem Mittelpunkt zwischen jedem Rotormagnetpaar 32, 32', 32'' passend zu einem der zweiten spiralförmigen Statoren 82', da jeder Rotor 12 dreht sich um die Achse 65 der Schiene 80' und gleitet entlang der Schiene 80'.
Die dreizehnte bevorzugte Ausführungsform enthält auch fünf Rotoren 12, (aus Gründen der Klarheit nur drei gezeigt sind), die eine Drehachse 16 im allgemeinen mit der Längsachse 65 der Schiene 80' ausgerichtet ist. Jeder Rotor 12 ist mit der Schiene 80' durch eine Lageranordnung 84', so dass der Rotor 12 sich frei um die Achse 65 der Schiene 80' und Schieber entlang der Schiene 80' zu drehen. Vorzugsweise ist jeder Rotor 12 weist drei Paare 32, 32', 32'' des U-förmigen Magneten 20, wobei jeder U-förmige Magnet 20 erzeugt ein zweites Magnetfeld, von denen ein Teil benachbart zu einem hinteren 26 des Paares von U-förmigen Magneten 20 wirkt mit dem ersten Magnetfeld des jeweiligen ersten Ständermagneten, um jeden Rotor 12 zu veranlassen, um die Achse 65 der Schiene 80' zu drehen.
Die Lageranordnung 84' (im Detail in Fig.11B und Fig.12 gezeigt) verbindet jeden Rotors 12 zu der schraubenförmigen Nut 86 um den Umfang der Schiene 80. Die Lageranordnung 84' ist ähnlich zu der Lageranordnung 84' beschrieben die zwölfte bevorzugte Ausführungsform, mit Ausnahme der Öffnungen in den ersten Lagern 88' und in dem zweiten Lager 90', die die Lageranordnung 84' an der Schienenbefestigungspfosten 76, wie die Lageranordnung 84' bewegt sich entlang der Schiene 80' zu ermöglichen.
Der dreizehnten bevorzugten Ausführungsform kann entweder als ein Linearmotor oder ein Rotationsmotor ausgebildet sein. Im Fall des Linearmotors sind die Achsen der Schiene 80' und jedes schraubenförmige Stator 82 im Wesentlichen gerade. Die Schiene 80' ist an der Basis 18 durch Schienenbefestigungspfosten 76 in Abständen entlang der Schiene 80 angeordnet unterstützt. Die Pfosten 76 sind an Stellen längs der Schiene 80' an dem die Drehung des Rotors 12 orientiert, die die Öffnungen in dem ersten und dem zweiten Lager 88', 90’ angeordnet, um den Montagepfosten 76. Jeder Schrauben Stator entsprechen, 82a, 82b, 82c ist auf der Basis von Ständerbefestigungsstifte 75. Die Rotoren 12 sind durch eine Querverbindung 94 jeder Lageranordnung 84' zu dem ersten Lager 88' der Lageranordnung 84' aus', die die ersten Lager 88 verbindet 'verbunden unterstützten einen benachbarten Rotor 12. In dieser Weise wird die Drehbewegung der jeweiligen Rotoranordnung 14' addiert, um die lineare Antriebskraft des Linearmotors bereitzustellen.

Die dreizehnte bevorzugte Ausführungsform kann auch als ein Drehmotor 10 aufgebaut, wie in Fig.14 gezeigt werden. In diesem Fall sind die Achsen der Schienen 80' und den schraubenförmigen Statoren 82 kreisförmig ausgebildet. Die kreisförmig angeordnete Motor 10 umfasst einen Anker 70 zentral innerhalb des Umfangs der Bahn 80' angeordnet. Der Anker 70 dreht sich um eine Ankerdrehachse 58 drehbar in einem Motorgehäuse 18 verbunden, an dem die Schiene 80' wird ebenfalls durch Befestigungsstangen befestigt 76 (nicht gezeigt). Die Steigung des ersten und des zweiten schraubenförmigen Statoren 82, 82', gemessen bei einem Radius von der Schiene 80, ist vorzugsweise gleich der vorbestimmten Steigung der schraubenförmigen Nut 86. Der Anker 70 ist fest mit dem ersten Lager 88 befestigt ist (siehe Fig.11B) jeder Lageranordnung 84' durch einen Anker Strebe 71 dadurch miteinander, indem sie das Drehantriebskraft eines jeden Rotoranordnung 14. Damit die Ankerbein 71 nicht mit den ersten und zweiten spiralförmigen Statoren 82, 82’ stören, die erste und die zweite schraubenförmige Statoren 82, 82' werden gebildet, um eine Öffnung in Richtung der Ankerdrehachse 58 haben.
Vorzugsweise hat jeden ersten Kegelrad Stator 82a, 82b, 82c darauf eine Pluralität der ersten Stator Magneten 11 mit jeder Stator-Magnet 11 mit der Richtung der Magnetisierung durch eine radiale Linie des Rotors 12 ausgerichtet montiert. Vorzugsweise sind die ersten Kegelrad Statoren 82 gleichmäßig entlang der Längsachse 65 der Schiene 80' mit jedem ersten Kegelrad Stator 82 entsprechende an eines der Pluralität von Magnet-Paaren 32, 32', 32” angeordnet. Vorzugsweise ist jeder Rotor 12 auf der Schiene 80' so positioniert, dass die Rotor-Magnet-Paare 32, 32', 32” treffend auf eines der entsprechenden ersten Kegelrad Statoren zählt 82 als der Rotor 12 um die 65 der Schiene 80 und Folien-Achse entlang der Schiene 80' dreht. Jedoch, wie die fachkundige zu schätzen, die Rotor-Magnet-Paare 32, 32', 32”, muss nicht direkt neben passendem jedes Kegelrad Stator 82 als die Rotoren 12 drehen sein um eine rotierende Kraft zu erzeugen.
Wie durch die fachkundige geschätzt wird, kann der Motor 10 Alternativ ohne die zweite Kegelrad Stator 82' aufgebaut werden. Im einfachsten Fall könnte der Motor 10 besteht aus nur einem einzigen ersten Kegelrad Stator 82 und einem einzigen Rotor 12, bestehend aus einer einzigen U-förmige Magnet 20 das zweite Magnetfeld erzeugen. Der einzelne Rotor 12 ist vorzugsweise in der Furche 86 auf der Schiene 80' so positioniert, dass der U-förmige Rotor Magnet 20 ständig am einzigen ersten Kegelrad Stator 82 treffend ist. Folglich interagiert ein Teil des zweiten Magnetfeldes direkt neben einem rückseitigen 26 des U-förmigen Magneten 20 mit dem ersten Magnetfeld erzeugte jeder ersten Stator-Magnet 11'' auf die schraubenförmige Stator 82 auf den Rotor 12 drehen um die Achse 65 der Schiene 80 und zur Folie entlang der Schiene 80' verursachen montiert. Vorzugsweise, wenn nur einem einzigen ersten Stator 82 Satz erste Statoren 82 verwendet wird, jeder ersten Stator-Magnet 11'' hat eine Richtung der Magnetisierung orientierten in der Ebene des Rotors 12 und in der Regel senkrecht auf eine radiale Linie des Rotors 12 zu sein. Nordpol und Südpol des ersten Stator Magneten 11'' sind vorzugsweise auseinander liegen, so dass wenn ein Pol des ersten Stator Magneten 11 direkt auf den Rotor Magnet 20 angebracht ist, der Pol der entgegengesetzten Polarität gleichmäßig vom U-förmigen Magneten 20 des Rotors 12 verteilt ist. Als eine fachkundige freuen uns, eine Pluralität der U-förmige Rotor Magnete 20 und entsprechende erste Kegelrad Statoren verwendet werden könnte. Weitere, wie die fachkundige zu schätzen, andere Konfigurationen der Rotor Magnet 20 und dem Stator Magneten 11 sind möglich, die verlassen sich auf die neuartige Attribute des magnetischen Feldes neben der Rückseite 26 des u-förmigen Rotor Magnet 20. Z. B. könnte die zuvor beschriebenen Stator-Magnet 11'' senkrecht zur Verbindungslinie des Rotors 12 radial sein, zwei separate bar Magnet, Abstand auseinander, mit der Magnetisierung von jedem der zwei Magneten mit einer radialen Linie des Rotors und in entgegengesetzte Richtungen der Magnetisierung ausgerichtet.

Unter Bezugnahme auf Fig.15A und Fig.15B wird eine vierzehnte bevorzugte Ausführungsform des Motors dargestellt 10. Die vierzehnte Ausführungsform ist in der Struktur identisch zu der dreizehnten bevorzugten Ausführungsform, mit Ausnahme, dass der Stator eine Vielzahl von ersten Rippen 77a, 77b, 77c aufweist (77) und zweiten Rippen 77a', 77b', 77c' (77') anstelle der ersten und der zweiten spiralförmigen Statoren 82, 82' der dreizehnten Ausführungsform. Durch Substitution Rippen 77, 77' für die Schrauben Statoren 82, 82', ist die Befestigung des Ankers 70 mit den Rotoren 12 vereinfacht. Wie die Fachleute in der Technik erkennen werden, ist die Länge der Rippen 77, 77' kann aus so wenig wie 45 Grad bis 265 Grad variieren, wobei der Antriebskraft des Motors 10 proportional zu der Länge der Rippen.
Vorzugsweise sind die ersten und die zweiten Rippen 77, 77' einen Abstand und einen Abstand, der dem vorbestimmten Steigung der Schiene 80 entspricht. Weiterhin ist die Ausrichtung der ersten und zweiten Ständermagnete 11, 11' und der U-förmige Rotormagneten 20 wäre identisch mit dem dreizehnten Ausführungsbeispiel. Demzufolge ist der Betrieb der vierzehnten Ausführungsform identisch mit der der dreizehnten Ausführungsform und wird hier nicht im Interesse der Kürze nicht wiederholt.



Unter Bezugnahme auf die Fig.5, Fig.16 und Fig.17 ist ein fünfzehnten bevorzugten Ausführungsform der Motor 10 mit einer Schiene 80'' mit einer Längsachse 65 und eine allgemein sinusförmige Nut 85 mit einer vorher festgelegten Periode herumlaufen gezeigt ein Umfang der Schiene 80”.
Vorzugsweise umfasst der fünfzehnten bevorzugten Ausführungsform sind drei im Wesentlichen identischen Statoren 50'' in einer kreisförmigen Weise um die Schiene 80 angeordnet. Jeder Stator 50'' weist eine Oberfläche 64 gegenüber der Schiene 80'' angeordnet und im allgemeinen im gleichen Abstand von und parallel zu der Achse 65 der Schiene 80'. Wie in Fig.5 und Fig.17 gezeigt ist jeder Stator 50'' weist eine im allgemeinen gekrümmten Querschnitt und einen Längstrennungslinie 49 senkrecht zu dem Querschnitt und um einen Mittelpunkt der Fläche 64 angeordnet.
Eine Vielzahl von Ständermagneten 68'' zum Erzeugen eines ersten magnetischen Feldes 'sind an der Oberfläche 64 des Stators 50” befestigt. Die Stator-Magnete 68'' sind auf der Oberfläche 64 in einer sinusförmigen Muster um die Trennungslinie 49. Die sinusförmigen Muster versetzt hat einen vorher festgelegten Zeitraum und einem vorbestimmten Maximum (Peak) Amplitude entlang der Trennlinie 49. der Fall, wenn die Schiene 80'' und die Längsgrenzlinie 49 des Stators 50'' sind in einer geraden Linie ist die Periode der Sinuswelle vorzugsweise gleich der Periode der Nut 85 auf der Schiene 80.
Die sinusförmigen Muster ist auch in eine Vielzahl von ersten und zweiten alternierenden Sektoren mit einer Grenze zwischen den alternierenden Sektoren auf jeder Höchstwert (Peak) Amplitude der Sinuswelle auftritt unterteilt. Die Richtung der Magnetisierung der Ständermagnete 68'' entgegengesetzt ist in der ersten und zweiten Segmente, so dass die Richtung des ersten magnetischen Feldes in jedem ersten Abschnitt entgegengesetzt zu der Richtung des ersten magnetischen Feldes in jedem zweiten Segment ist. Vorzugsweise ist die Richtung der Magnetisierung der Ständermagnete 68'' ist im Allgemeinen senkrecht zu einer radialen Linie des Rotors 12. Alternativ kann die Richtung der Magnetisierung der Ständermagnete 68” könnten in der Regel mit einer radialen Linie des Rotors 12 ausgerichtet werden. Ferner kann, wie ersichtlich, die dem Fachmann in der Technik, der ersten Magnetfeld muß nicht durch eine Mehrzahl von Stabmagneten gebildet werden, sondern können von einem einzigen Magneten gebildet wird, so daß das erste Magnetfeld würde sinusförmig von der Linie verschoben werden Abgrenzung 49 und würde in entgegengesetzten Richtungen zwischen den Spitzen der Sinuskurve zu wechseln. Ferner ist, wie es von Fachleuten auf dem Gebiet erkannt werden, die Verschiebung des ersten magnetischen Feldes braucht nicht exakt sinusförmig sein. Zum Beispiel kann die Verschiebung in Form eines Sägezahns oder in einer Form mit einem Abschnitt mit konstanter plus und minus Amplitudenwerte, die in den Geist und Umfang der Erfindung abzuweichen.
Vorzugsweise umfasst der fünfzehnten bevorzugten Ausführungsform fünf Rotoren 12, wobei jeder Rotor 12 mit einer Achse 16 mit der Achse der Schiene 80'' ausgerichtet. Jeder Rotor 12 ist mit der Schiene 80'' durch eine Lageranordnung 84', so dass der Rotor 12 sich frei um die Achse der Schiene 65 und gleiten entlang der Schiene 80” zu drehen. Vorzugsweise ist jeder Rotor 12 drei U-förmigen Magnetpaare 32, 32', 32'', wobei jedes Paar aus zwei U-förmigen Magneten 20. Jeder U-förmige Magnet 20 hat eine Rückseite und erzeugt ein zweites Magnetfeld. Jede der U-förmigen Magnetpaare 32, 32', 32'' ist an jedem Rotor 12 so angeordnet, daß die Rückseite 26 eines jeden U-förmigen Magneten 20 ist angebracht, um den ersten und zweiten Segmenten des sinusförmigen Muster als das mindestens eine Rotoranordnung 14 dreht sich um die Rotorachse 16, wobei ein Zusammenwirken eines Abschnitts der zweiten Magnetfeld unmittelbar neben der hinteren 26 jedes U-förmigen Magneten 20 mit dem ersten Magnetfeld mit einer entsprechenden Stator 50'' Ursachen der mindestens eine Rotor 12 drehend um die Achse 65 der Schiene 80'' oszilliert. Fachleute auf dem Gebiet werden erkennen, dass es nicht notwendig ist, drei Paare von U-förmigen Magneten 32, 32', 32'' haben. Zum Beispiel kann die Anzahl der U-förmigen Magneten 20 (oder Gruppen von aneinander anliegenden U-förmigen Magneten) beabstandet um den Umfang des Rotors 12 kann aus lediglich einem einzigen U-förmigen Magneten 20 liegen, oder sie können bis zu einem Bereich in Reihe Anzahl der Magnete nur durch den physischen Raum um den Umfang des Rotors 12 zu der Zahl der aneinanderstoßenden U-förmigen Magneten 20 in der Gruppe von Magneten begrenzt 32 kann auch im Bereich von 1 bis zu einer Anzahl von Magneten nur durch den physischen Raum begrenzt um den Umfang des Rotors 12. Vorzugsweise ist die Anzahl von Statoren 50'' ist gleich der Anzahl der U-förmigen Magnetpaare 32, 32', 32''. Wie jedoch von Fachleuten auf dem Gebiet erkannt werden, die Anzahl der Statoren 50'' ist nicht auf drei beschränkt, sondern kann eine beliebige Zahl im Bereich nach oben von einem, wo die Anzahl der Statoren 50'' sein vorzugsweise gleich würde die Zahl der U -förmigen Magnetpaare 32, 32', 32''.
Wie in Fig.16 gezeigt, die Lageranordnung 84' wandelt die oszillierende Bewegung des mindestens einen Rotors 12 um die Schiene auf die unidirektionale lineare Bewegung entlang der Schiene 80' durch Befolgen des sinusförmigen Nut 85 in der Schiene 80' mit dem Vorsprung 92 (in Fig.11B gezeigt). Eine Querverbindung 94 verbindet die Lageranordnung 84' der benachbarten Rotoren 12 zusammen, wodurch Addieren der Linearbewegung der jeweiligen Rotoranordnung 14' entlang der Schiene, um die unidirektionale lineare Antriebskraft bereitzustellen. Der Aufbau der Lageranordnung 84' und der Querlenker 94 ist in Fig.11B und Fig.12 gezeigt, und die Operation ist identisch mit der Verbindung 84' und dem Querverbindungsglied 94 zum zwölften Ausführungsform beschrieben. Dementsprechend wird eine detaillierte Beschreibung des Gestänges 84' und dem Querverbindungsglied 94 nicht wiederholt, für die aus Gründen der Kürze.
In einem anderen Aspekt kann der fünfzehnten bevorzugten Ausführungsform auch in einer kreisförmigen Anordnung ähnlich der vierzehnten Ausführungsform konfiguriert werden. In der fünfzehnten bevorzugten Ausführungsform ist die schraubenförmige Stator 82' um die Rotoren 12. In diesem Fall' beabstandet ist in Fig.14 gezeigt mit einer oder mehreren gekrümmten Statoren 50” ersetzt, wird die Periode des sinusförmigen Muster aus den Ständermagneten im angepasst entsprechend dem Abstand von der Oberfläche 64 des jeweiligen Stators 50'' von der Ankerdrehachse 58, damit die U-förmigen Magneten 20 auf die Rotoren 12 bleiben passend zur ersten und zweiten Segmente, wenn die Rotoren 12 Schieber entlang der Schiene 80''. Dementsprechend werden eine Beschreibung dieser Elemente kreisförmige Anordnung der fünfzehnten Ausführungsform, die die gleichen wie bei der linearen Ausführungsform nicht wiederholt, für die aus Gründen der Kürze.
Bezugnehmend auf Fig.4, Fig.18 und Fig.19 ist ein sechzehnten bevorzugten Ausführungsform der Motor 10 zum Bereitstellen unidirektionalen Antriebskraft mit einer Schiene 80'' mit einer Längsachse 65 und eine schraubenförmige Nut 86 mit einer Vor- gezeigt bestimmt Tonhöhe um einen Umfang der Schiene 80 läuft.
Vorzugsweise wird die sechzehnte bevorzugte Ausführungsform umfasst ferner drei allgemein gleich Statoren 50', wobei jeder Stator 50' mit einer Oberfläche 64 zur Achse 65 der Schiene 80. Jeder Stator 50' hat eine Längstrennungslinie 49 liegt im allgemeinen äquidistant angeordnete und parallel um einen Mittelpunkt der Fläche 64 vorzugsweise eine Vielzahl von Ständermagneten 68 zum Erzeugen eines ersten magnetischen Feldes sind an der Oberfläche des Stators 50' befestigt. Die mehreren Statormagneten 68' weisen eine Magnetisierungsrichtung, die um eine magnetische Achse parallel zu der Grenzlinie 49. In dem Fall, in dem die Schiene 80'' dreht und die Längsgrenzlinie 49 des Stators 50' in einer gerade ist die Steigung der Drehung des Statormagneten 68' vorzugsweise gleich der vorbestimmten Steigung der schraubenförmigen Nut 86 auf der Schiene 80.
Das sechzehnte Ausführungsbeispiel umfasst ferner fünf Rotoren 12, wobei jeder Rotor 12 mit einer Drehachse 16 mit der Achse 65 der Schiene 80. Jeder Rotor 12 ausgerichtet ist mit der Schiene 80, so dass der Rotor 12 sich frei um die Achse 65 zu drehen der Schiene 80 und der Schiene entlang gleiten 80. Jeder Rotor 12 weist drei Paare 32, 32', 32'' des U-förmigen Magneten 20 um den Umfang des Rotors 12 angeordnet sind, die jeweils U-förmigen Magneten 20 zum Erzeugen eines zweiten magnetischen Feld. Die U-förmigen Magneten 20 sind an jedem Rotor 12 positioniert, so dass ein Abschnitt der zweiten Magnetfeld unmittelbar benachbart zur Rückseite 26 des U-förmigen Magneten 20 wirkt mit dem ersten Magnetfeld, welches durch die Vielzahl von Ständermagneten 68' erzeugt wird um jeden Rotor 12 zu veranlassen, um die Rotorachse 16. Der Fachmann in der Technik wird erkennen, drehen, dass es nicht notwendig ist, genau drei Paare von U-förmigen Magneten 32, 32', 32'' haben. Zum Beispiel kann die Anzahl der U-förmigen Magneten 20 (oder Gruppen von aneinander anliegenden U-förmigen Magneten) beabstandet um den Umfang des Rotors 12 kann aus lediglich einem einzigen U-förmigen Magneten 20 liegen, oder sie kann bis zu einem Bereich in Reihe Anzahl der U-förmigen Magneten 20 nur durch den physischen Raum um den Umfang des Rotors 12 zu der Anzahl der aneinander U-förmigen Magneten 20 in der Gruppe von Magneten 32 kann auch im Bereich von 1 bis zu einer Anzahl von Magneten begrenzt nur durch begrenzte der physische Raum um den Umfang des Rotors 12.
Die sechzehnte Ausführungsform umfasst auch eine Lagerbaugruppe 84, um die Drehbewegung jeder Rotor 12 um die Schiene 80' zur unidirektionalen linearen Bewegung entlang der Schiene 80'', um die schraubenförmige Nut 86, die Lageranordnung 84’, die jeden Rotor 12. Eine Querverbindung 94 verbindet den Lageranordnung 84' der benachbarten Rotoren 12 zusammen, um dadurch Zusammenaddieren der linearen Bewegung jedes Rotoranordnung 14' entlang der Schiene 80', um die unidirektionale lineare Antriebskraft bereitzustellen. Der Aufbau der Lageranordnung 84' und der Querlenker 94 ist in Fig.11B und Fig.12 gezeigt ist, ist identisch mit der Lageranordnung 84' und die Querverbindung 94 für die zwölfte Ausführungsform beschrieben. Dementsprechend wird eine Beschreibung des Gestänges 84 und dem Querverbindungsglied 94 nicht wiederholt, für die aus Gründen der Kürze.
In einem weiteren Aspekt der sechzehnten bevorzugten Ausführungsform der Motor 10 in einer kreisförmigen Anordnung ähnlich der vierzehnten Ausführungsform ausgebildet sein, wie in Fig.14 gezeigt ist, außer daß der schraubenförmige Stator 82' in Fig.14 gezeigt ist mit einem oder ausgetauscht mehrere Statoren 50' um die Rotoren 12 in diesem Fall angeordnet ist, die Steigung der Drehung der Mehrzahl von Stator-Magneten 68' in Übereinstimmung mit dem Abstand von der Oberfläche 64 des jeweiligen Ständers 50' von der Ankerdrehachse justiert 58, damit die U-förmigen Magneten 20 auf die Rotoren 12 bleiben mit der Mehrzahl von Stator-Magneten 68' ausgerichtet sind, während die Rotoren 12 drehen, um die Achse 65 der Schiene 80' und Schieber entlang der Schiene 80'. Dementsprechend werden eine Beschreibung dieser Elemente der kreisförmigen Anordnung der sechzehnten Ausführungsform, die die gleichen wie bei der geraden Linie Konfiguration nicht wiederholt, für die aus Gründen der Kürze.
Patent US 4.151.431
24 April 1979 Erfinder:
Howard R. Johnson
PERMANENTMAGNET-MOTOR

Dies ist eine neu formulierte Auszug aus diesem Patent. Es beschreibt einen Motor allein durch Permanentmagnete und die behauptet wird, kann einen elektrischen Generator anzutreiben angetrieben.
ZUSAMMENFASSUNG
Die Erfindung ist auf das Verfahren der Verwendung des ungepaarten Elektronenspins in ferromagnetischen und anderen Materialien als Quelle von Magnetfeldern zur Erzeugung von Energie ohne Elektronenfluss in Normalleitern auftritt gerichtet und Permanentmagnetmotoren für dieses Verfahren verwendet, um eine Leistung zu erzeugen Quelle. In der Praxis der Erfindung das ungepaarte Elektronenspins im Permanentmagneten auftretenden verwendet werden, um eine Bewegungskraftquelle allein durch die supraleitenden Eigenschaften eines Permanentmagneten zu erzeugen, und der magnetische Fluss, der durch den Magneten gesteuert wird, und konzentriert, um die erzeugten magnetischen Kräfte zu orientieren in einer solchen Weise, um nützliche Arbeit zu produzieren kontinuierlich wie die Verschiebung eines Rotors bezüglich eines Stators. Das Timing und die Orientierung der magnetischen Kräfte zu den durch die Dauermagneten erzeugt Rotor und Stator Komponenten wird durch die richtige geometrische Beziehung dieser Bauteile erreicht.
HINTERGRUND DER ERFINDUNG:
Herkömmliche Elektromotoren beschäftigen magnetischen Kräfte entweder Rotations- oder Linearbewegung erzeugen. Elektromotoren arbeiten nach dem Prinzip, dass, wenn ein Leiter, der einen Strom trägt, in einem Magnetfeld angeordnet ist, wird eine Magnetkraft auf sie ausgeübt wird. Normalerweise wird in einem herkömmlichen Elektromotor, wobei der Rotor oder der Stator oder beide sind so verdrahtet, dass die durch Elektromagnetfeldern Anziehung, Abstoßung, oder beide Arten von Magnetkräften, um eine Kraft auf den Anker, was eine Drehung oder lineare auferlegen Verschiebung des Ankers. Herkömmliche Elektromotoren Permanentmagneten entweder in den Anker oder Stator-Komponenten zu verwenden, das bisher kaum erfordern den Aufbau eines elektromagnetischen Feldes, auf den Permanentmagneten wirken. Auch wird Umschaltzahnrad benötigt, um die Erregung der Elektromagneten und der Orientierung der Magnetfelder die Herstellung der Antriebskraft zu steuern.
Es ist meine Überzeugung, dass das volle Potenzial in Permanentmagneten bestehenden magnetischen Kräfte nicht erkannt wurde oder wegen unvollständiger Informationen und Theorie in Bezug auf Atombewegung in einem Permanentmagneten auftretenden genutzt. Ich glaube, daß eine gegenwärtig unnamed atomaren Teilchen mit der Elektronenbewegung eines supraleitenden Elektromagneten und der verlustfreie Stromfluss in Permanentmagneten zugeordnet ist. Die ungepaarten Elektronenfluss ist ähnlich in beiden Situationen. Diese kleinen Teilchen wird angenommen gegenüberliegenden verantwortlich zu sein, um ein Elektron und im rechten Winkel zu der Bewegungs Elektronen befinden. Muss diese Teilchen sehr klein, um alle bekannten Elemente in ihren verschiedenen Stadien sowie deren bekannte Verbindungen eindringen (es sei denn, sie haben ungepaarte Elektronen welche Capture diese Partikel, wie sie sich bemühen, Durchgang) sein.
Die Elektronen in Eisenmaterialien unterscheiden sich von denen in den meisten Elementen, daß sie ungepaarten gefunden werden, und wobei ungepaarte spinnen um den Kern in der Weise, daß sie auf Magnetfelder reagieren, sowie die Schaffung selbst ein Magnetfeld. Wenn sie gepaart wurden, würden ihre magnetischen Felder aufheben. Jedoch ist ungepaarten schaffen sie eine messbare Magnetfeld, wenn ihre Spins in einer Richtung orientiert ist. Die Spins in rechten Winkeln zu ihrer Magnetfelder.
In Niob Supraleiter in einem kritischen Zustand ist, werden die magnetischen Kraftlinien nicht mehr im rechten Winkel sein. Diese Änderung muss durch Festlegung der erforderlichen Bedingungen für ungepaarte Elektronenspins anstelle des Elektronenflusses in dem Leiter, und die Tatsache, dass sehr leistungsfähige Elektromagnete können mit Supraleitern gebildet werden veranschaulicht den enormen Vorteil der Erzeugung des Magnetfeldes durch ungepaarte Elektronenspins, anstatt herkömmliche Elektronenfluss. In einem supraleitenden Metall, wobei der elektrische Widerstand größer in dem Metall als der Protonenwiderstand, schaltet der Ablauf zu Spins Elektron und das positive Teilchen parallel fließen in das Metall in der Weise in einem Permanentmagneten die auftreten, wenn ein starkes Strömungs magnetischer Teilchen positive oder Magnetfluss bewirkt, dass die ungepaarten Elektronen in rechten Winkeln zu drehen. Unter Tieftemperatursupraleitungsbedingungen der Gefrierpunkt der Kristalle anstelle macht es möglich, dass die Spins um fortzufahren, und in einem Permanentmagneten die Kornorientierung des magnetisierten Materials ermöglicht diese Spins, die ihnen erlauben, weiter und verursacht den Fluß parallel zum Metallfluss . In einem Supraleiter wird zunächst die Elektronen fließt und die positive Partikel dreht; später, als kritische, die umgekehrte stattfindet, das heißt, das Elektron dreht und der positive Partikel rechtwinklig fließt. Diese positiven Teilchen Gewinde oder arbeiten sich durch den Elektronenspins, die in dem Metall.
In gewissem Sinne kann ein Permanentmagnet als ein Raumtemperatur -Supraleiter sein. Es ist ein Supraleiter, da der Elektronenstrom nicht aufhört, und das Elektronenflusses werden können, um Arbeit durch das Magnetfeld, das sie erzeugt tun. Bisher hat sich diese Energiequelle nicht verwendet worden, weil es nicht möglich war, die Elektronenfluss zu modifizieren, um die Schaltfunktionen des Magnetfeldes zu erreichen. Derartige Schaltfunktionen sind in einem herkömmlichen Elektromotor in denen elektrischer Strom verwendet, um die viel größere Elektronenstrom in den Eisenpolstücke auszurichten und zu konzentrieren, das Magnetfeld an der richtigen Stelle, um den Schub des Motors notwendig Anker bewegen geben gemeinsam. Bei einem herkömmlichen Elektromotor wird das Schalten durch die Verwendung von Bürsten, Kommutatoren, Wechselstrom oder anderen Mitteln erfolgen.
Um die Schaltfunktion in einem Permanentmagnetmotor zu erreichen, ist es notwendig, die magnetische Streuung zu schützen, so dass es als eine zu große Verlustfaktor bei den falschen Stellen nicht. Die beste Methode, um dies zu tun ist, um den magnetischen Fluss in dem Ort zu konzentrieren, wo sie am effektivsten. Timing und Schalten in einem Permanentmagnet-Motor durch Konzentrieren des Flusses und mit der richtigen Geometrie der Motorrotor und Stator zum effizientesten Einsatz der Magnetfelder machen erreicht werden. Durch geeignete Kombination von Materialien, Geometrie und magnetischen Konzentration, ist es möglich, einen mechanischen Vorteil von hohen Verhältnis, größer als 100 zu 1, in der Lage, kontinuierliche Antriebskraft zu erzielen.
Nach meinem Wissen frühere Arbeiten mit Permanentmagneten erfolgen, und Antriebsvorrichtungen, die Permanentmagneten, haben nicht die in der Praxis des erfinderischen Konzepts gewünschte Ergebnis erzielt, und es ist mit der richtigen Kombination von Materialien, Geometrie und magnetischen Konzentration, dass das Vorhandensein von die magnetischen Spins innerhalb eines Permanentmagneten können als Antriebskraft genutzt werden.
ZUSAMMENFASSUNG DER ERFINDUNG:
Es ist eine Aufgabe der Erfindung, den Magnetspinn Phänomen der ungepaarten Elektronen in ferromagnetischen Material auftritt nutzen, um die Bewegung einer Masse in einer unidirektionalen Weise zu erzeugen, um so zu ermöglichen, einen Motor, der lediglich durch die im Permanentmagneten auftretenden magnetischen Kräfte angetrieben werden. Sowohl lineare als auch Drehmotortypen können hergestellt werden. Es ist eine Aufgabe der Erfindung, die korrekte Kombination von Materialien, Geometrie und magnetischen Konzentration bereitzustellen, um einen Motor anzutreiben. Ob der Motor ein Lineartyp oder vom Drehtyp, in jedem Fall der "Stator" kann aus mehreren festen Verhältnis zueinander Permanentmagneten bestehen, um eine Spur zu erzeugen. Diese Strecke ist linear für einen Linearmotor und Kreis für einen Rotationsmotor. Eine Ankermagnet wird sorgfältig über dieser Schiene so positioniert, dass ein Luftspalt zwischen ihr und der Schiene vorhanden ist. Die Länge der Ankermagnet durch Pole entgegengesetzter Polarität definiert, und die längere Achse des Ankers Magnet in der Richtung seiner Bewegung hingewiesen.
Die Statormagnete befestigt sind, so dass alle gleichen Pole gegen die Ankermagneten. Die Ankermagnet weist Pole, die sowohl zu angezogen werden und von der benachbarten Pole der Statormagneten abgestoßen, so attraktiv und Abstoßungskräfte wirken auf den Ankermagneten, um es zu bewegen.
Die anhaltende Antriebskraft, die auf den Anker wirkt Magneten wird durch das Verhältnis der Länge der Ankermagneten, um die Breite und der Abstand der Statormagnete verursacht. Dieses Verhältnis der Magnet und der Magnetabstände und mit einer akzeptablen Luftspaltabstand zwischen Stator und Anker Magneten erzeugt eine kontinuierliche Kraft, die die Bewegung der Ankermagneten bewirkt.
In der Praxis der Erfindung wird die Bewegung des Ankers relativ zu den Magneten Statormagneten ergibt sich aus einer Kombination von Anziehungs- und Abstoßungskräfte zwischen den Stator und Anker Magneten. Durch Konzentrieren der Magnetfelder der Ständer und der Ankermagnete die Antriebskraft auf den Anker Magnet auferlegt wird verstärkt und in den offenbarten Ausführungsformen sind die Mittel zum Erreichen dieses Magnetfeld Konzentration gezeigt.
Dieses
Verfahren besteht aus einer
Vorzugsweise sind mehrere Ankermagnete verwendet, und diese sind relativ zueinander in der Richtung ihrer Bewegung versetzt. Eine solche Gegen oder Staffelung der Ankermagnete verteilt die Impulse der Kraft auf den Ankermagneten und ergibt eine glattere Anwendung von Kräften auf die Ankermagneten Herstellung eines glatter und gleichmäßiger Bewegung des Ankerbauteils eingeführt.
Im Dreh Ausführungsform der Permanentmagnet-Motor der Erfindung sind in einem Kreis die Statormagnete angeordnet und die Ankermagnete rotieren um den Statormagneten. Es ist ein Mechanismus dargestellt, der Anker relativ zum Stator bewegen kann, und dies steuert die Grße der magnetischen Kräfte, die Änderung der Rotationsgeschwindigkeit des Motors.
KURZE
BESCHREIBUNG DER ZEICHNUNGEN
Die Aufgaben und Vorteile der zuvor erwähnten Erfindung werden aus der folgenden Beschreibung und den beigefügten Zeichnungen erkannt werden:
Fig. 1 eine schematische Darstellung des Elektronenflusses in einem Supraleiter Angabe der ungepaarten Elektronenspins,
Fig. 2 ist eine Querschnittsansicht eines Supraleiters unter einem kritischen Zustand, welches die Elektronenspins,
Fig. 3 ist eine Ansicht eines Permanentmagneten, welche die Flussbewegung durch,
Fig. 4 ist eine Querschnittsansicht, die den Durchmesser des Magneten Fig.3,
Fig. 5 ist eine Aufrissdarstellung eines Linearmotors Ausführungsform der Permanentmagnet-Motors der Erfindung, welches eine Position des Ankers relativ zu den Magneten Statormagneten, und gibt die auf den Anker Magneten auferlegt magnetischen Kräften,
Fig. 6 ist eine Ansicht
ähnlich Fig.5 illustriert
Verschiebung des Ankermagneten relativ zu den Ständermagneten, und der Einfluß
der magnetischen Kräfte darauf an dieser Stelle,
Fig. 7 ist eine weitere Seitenansicht ähnlich Fig.5 und Fig.6 veranschaulicht eine weitere Verschiebung des Ankers Magnet nach links, und der Einfluß der magnetischen Kräfte darauf,
Fig. 8 ist eine Draufsicht auf eine lineare Ausführungsform der erfinderischen Konzept ein Paar von Ankermagnete in verknüpften Beziehung oberhalb der Statormagnete angeordnet Veranschaulichung,
Fig. 9 eine diametrale Aufrissschnittansicht eines Dreh Ausführungsform Motor in Übereinstimmung mit der Erfindung, entlang der Schnitt IX-IX der Fig.10 genommen und
Fig. 10 ist eine Seitenansicht des Rotationsmotors Ausführungsform entlang XX in Fig.9 übernommen.


BESCHREIBUNG
DER BEVORZUGTEN AUSFÜHRUNGSFORMEN
Um die Theorie des erfindungsgemßen Konzepts besser zu verstehen, wird Bezug genommen auf die Fig.1 bis Fig.4. In Fig.1 ein Supraleiter 1 dargestellt, die eine positive Partikelstrom wie durch einen Pfeil 2 dargestellt ist, wie die ungepaarten Elektronen der Eisenleiter 1 drehen sich mit rechten Winkeln zu der Protonenfluss in dem Leiter durch die spiralförmige Linie dargestellt und Pfeil 3. in Übereinstimmung mit der Lehre der Erfindung das Durchdrehen der eisen unpaarigen Elektronen Ergebnisse der Atomstruktur von Eisenwerkstoffen und das Spinnen atomare Teilchen wird angenommen, entgegengesetzt in der Lade- und in rechten Winkeln zu den sich bewegenden Elektronen angeordnet sein. Es wird angenommen, sehr klein zu sein in der Größe durchdringen können andere Elemente und deren Verbindungen, wenn sie ungepaarten Elektronen, die Abscheidung dieser Teilchen, wenn sie sich bemühen, passieren.
Das Fehlen des elektrischen Widerstandes der Leiter in einer kritischen Supraleiterzustand ist seit langem anerkannt, und Supraleiter verwendet worden, um eine sehr hohe magnetische Flußdichte Elektromagneten zu erzeugen. Fig.2 einen Querschnitt einer kritischen Supraleiter und die Elektronenspins durch die Pfeile 3. Ein Permanentmagnet kann als ein Supraleiter als das Elektronenströmung darin nicht aufhört werden angezeigt und kann ohne Widerstand und ungepaarten Elektrospinn Teilchen existieren, die in der Praxis der Erfindung verwendet werden, um Motorkraft zu erzeugen. Fig.3 zeigt einen hufeisenförmigen Permanentmagneten bei 4 und der magnetische Fluß durch sie ist durch Pfeile 5 angedeutet, wobei vom Südpol zum Nordpol und durch das magnetische Material des Magnetflusses . Der akkumulierte Elektronenspins mit dem Durchmesser des Magneten 5 sind in 6 in Fig.4 dargestellt auftritt und die Spinnelektronen Partikel Spin in rechten Winkeln in der Eisen als Fluß läuft durch die Magnetmaterials.
Durch die Verwendung der Elektronenspinn Theorie Eisenmaterial Elektronen ist es möglich mit der richtigen ferromagnetische Materialien, Geometrie und magnetischen Konzentration die Spinn Elektronen zu nutzen, um eine Antriebskraft in einer kontinuierlichen Richtung zu erzeugen, wodurch ein Motor, der Arbeit verrichtet.
Es ist ersichtlich, dass die Ausführungsformen von Motoren unter Verwendung der Konzepte der Erfindung können viele Formen annehmen, und in der dargestellten Form die grundlegenden Zusammenhänge der Komponenten, um die erfinderischen Konzepte und Prinzipien offen dargestellt. Die Beziehungen der Mehrzahl von Magneten Definieren des Stators 10 sind am besten aus den Fig.5 bis Fig.8. Die Statormagneten 12 sind vorzugsweise von rechteckiger Konfiguration, Fig.8 und so magnetisiert, daß die Pole bestehen an den großen Flächen der Magnete, wie aus der N (Nord) und S (Süd) geschätzt Bezeichnungen . Die Statormagneten umfassen Seitenkanten 14 und 16 und Endränder 18. Die Stator-Magnete werden auf einer Trägerplatte 20, die vorzugsweise aus einem Metall mit einer hohen Permeabilität für Magnetfelder und magnetische Fluss montiert, wie das unter der Handelsmarke Netic CoNetic Perfection Mica Company of Chicago, Illinois verkauft. Somit wird die Platte 20 in Richtung zum Südpol der Ständermagnete 12 angeordnet sein und vorzugsweise in direktem Eingriff mit dieser, wobei ein Klebematerial zwischen den Magneten und der Platte, um genau zu lokalisieren und zu beheben die Magnete auf der Platte angeordnet werden, und positionieren der Statormagnete mit Bezug zueinander.
Vorzugsweise unterscheidet sich leicht der Abstand zwischen den Ständermagneten 12 zwischen den benachbarten Stator-Magnete als eine solche Variation in Abstand sich die Kräfte, die auf den Anker Magneten an ihren Enden in eine glattere Bewegung des Ankermagneten auferlegt, zu jedem gegebenen Zeitpunkt und damit Ergebnisse relativ zu den Statormagneten. Somit sind die Statormagneten so positioniert relativ zueinander definieren eine Führung 22 mit einer Längsrichtung von links nach rechts wie in den Figuren gesehen. Fig.5 bis Fig.8.
In den Fig. 5 bis Fig.7 nur eine einzige Ankermagnet 24 wird offenbart, während in Fig.8 ein Paar von Ankermagnete gezeigt. Zum Verständnis der Konzepte der Erfindung wird die Beschreibung hier auf die Verwendung von einzelnen Ankermagnet sein, wie in Fig.5 bis Fig.7
Die Ankermagnet ist aus einem langgestreckten Konfiguration, wobei die Länge erstreckt sich von links nach rechts, Fig.5, und kann aus einem rechteckigen Querschnittsform aufweisen. Magnetfeld Konzentrieren und Orientierung der Magnet 24 ist in einer bogenförmigen gebogenen Konfiguration wie durch konkave Flächen 26 und konvexen Flächen 28, und die Stangen sind an den Enden des Magneten definiert ist, wie aus Fig.5 ersichtlich ist. Für weitere Magnetfeld konzentriert Zwecke die Enden des Ankermagneten sind durch Schrägflächen 30 so geformt, dass die Querschnittsfläche minimiert am Magnetenden 32, und der magnetische Fluss, der zwischen den Polen des Ankermagneten, wie durch die Lichtpunktiert angedeutet. In gleicher Weise sind die Magnetfelder der 6 sind die Statormagneten 12 sind mit der Lichtpunktiert angedeutet.
Die Ankermagnet 24 ist in einer beabstandeten Beziehung über dem Stator Spur 22. Dieser Abstand kann durch die Montage des Ankermagneten auf einem Objektträger bewerkstelligt werden aufrechterhalten, zu führen oder zu verfolgen, über die Statormagneten, der auch das Ankermagneten könnten auf einem Fahrzeug mit Rädern montiert werden Wagen oder Schlitten auf einer nicht-magnetischen Oberfläche oder Führungsbahn abgestützt zwischen den Stator-Magneten und dem Ankermagneten angeordnet ist. Zu einer klareren Darstellung, die Mittel für die Unterstützung der Ankermagnet 24 nicht dargestellt ist, und solche Mittel keinen Teil der Erfindung bilden, und es versteht sich, dass das Mittel die Unterstützung der Ankermagneten verhindert, dass die Ankermagnet Bewegung weg von den Statormagneten werden es, oder eine Annäherung daran, aber erlaubt eine freie Bewegung der Ankermagnet nach links oder rechts in einer Richtung parallel zu der von den Statormagneten definierten Spur 22.
Es wird darauf hingewiesen, dass die Länge der Ankermagneten 24 ist geringfügig größer als die Breite der zwei der Ständermagnete 12 und der Abstand zwischen ihnen ist. Die Beaufschlagung des Ankermagneten, wenn sie in der Position der Fig.5 magnetischer Kräfte werden Abstoßungskräfte 34 auf Grund der Nähe der gleichen Polarität Kräfte und Anziehungskräfte auf 36 aufgrund der entgegengesetzten Polarität der Südpol des Ankermagnet sein, und der Nordpol Bereich der Sektormagneten. Die relative Stärke dieser Kraft wird durch die Dicke der Kraftlinie dargestellt.
Die Resultierende der auf den Anker Magneten auferlegt, wie in Fig.5 gezeigt Kraftvektoren erzeugen, eine primäre Kraftvektor 38 in Richtung der linken Seite, Fig.5, Verschieben des Ankermagnet 24 nach links. In Fig.6 die auf den Anker wirkende magnetische Magnetkräfte werden durch die gleichen Bezugszeichen wie in Fig.5 dargestellt. Während die Kräfte 34 bilden Abstoßungskräfte dazu neigen, den Nordpol des Ankermagneten von den Stator-Magneten zu bewegen, auf dem Südpol des Ankermagneten und einige der Abstoßungskräfte verhängt die Anziehungskräfte, neigen dazu, den Anker Magnet weiter zu bewegen die linke und die resultierende Kraft 38 weiter in Richtung der linken Seite der Ankermagnet weiterhin nach links gedrückt werden. Fig.7 stellt eine weitere Verschiebung des Ankers Magnet 24 nach links mit Bezug auf die Position von Fig.6 und die darauf einwirkenden Magnetkräfte sind mit den gleichen Bezugszeichen wie in Fig.5 und Fig.6 dargestellt, und der Stator Magneten wird weiterhin nach links zu bewegen, und eine solche Bewegung setzt sich fort über die Länge des von den Statormagneten 12, Spur 22.
Auf die Ankermagneten umgekehrt wird, so dass der Nordpol an der rechten wie in Fig.5 betrachtet, und der Südpol an der linken positioniert, ist die Richtung der Bewegung der Ankermagneten relativ zu den Ständermagneten in Richtung der rechten und der Bewegungslehre ist identisch zu dem oben beschriebenen.
In Fig.8 eine Mehrzahl von Ankermagnete 40 und 42 dargestellt sind, die durch Verbindungen 44 verbunden sind die Ankermagneten sind mit einer Form und Konfiguration, die identisch zu derjenigen der Ausführungsform der Fig.5, aber die Magnete in Bezug auf jeden versetzten in der Richtung der Magnetbewegung, dh die Richtung des von den Statormagneten 12 definiert indem so gestaffelt mehrere Ankermagnete eine glattere Bewegung der miteinander verbundenen Ankermagnete erzeugt Spur 22 als bei der Verwendung eines einzigen Ankers Magneten gegen gibt es Unterschiede in den bei jedem Ankermagnet, da es über der Spur 22 bewegt, aufgrund der Änderung der magnetischen Kräfte daran angelegten Kräfte. Die Verwendung von mehreren Ankermagnete neigt dazu, "glätten" die Anwendung der Kräfte auf verlinkten Ankermagnete auferlegt, was zu einer glatteren Bewegung der Ankermagnetbaugruppe. Natürlich kann jede Anzahl von Ankermagnete können miteinander verbunden sein, die nur durch die Breite des Statormagneten Spur 22 begrenzt.
In Fig.9 und Fig.10 ein Dreh Ausführung umfassen die erfinderischen Konzepte veranschaulicht. In dieser Ausführungsform ist die Wirkungsweise ist identisch zu dem oben beschriebenen, aber die Ausrichtung der Ständer- und Ankermagnete ist derart, daß die Drehung der Ankermagnete um eine Achse, statt einer linearen Bewegung erreicht produziert.
In Fig.9 und Fig.10 ist mit 46 eine Basis dargestellt als Träger für einen Statorteil 48. Das Statorteil 48 ist aus einem nichtmagnetischen Material hergestellt sind, wie synthetischem Kunststoff, Aluminium oder dergleichen dient. Der Stator weist eine zylindrische Oberfläche 50 mit einer Achse, und eine Gewindebohrung 52 ist konzentrisch in dem Stator definiert ist. Der Stator weist eine ringförmige Nut 54 Aufnahme eines ringförmigen Hülse 56 mit hoher magnetischer Feld Permeabilität wie Netic Co-Netic und eine Vielzahl von Ständermagnete 58 sind auf der Hülse 56 in beabstandeter Umfangsbeziehung befestigt, wie ersichtlich, in Fig.10. Vorzugsweise sind die Statormagneten 58 mit konvergierenden radialen Seiten, um eine Keilanordnung mit einer gekrümmten Innenfläche Eingriffhülse 56 sein Fläche 60 gebildet, und ein konvexer Pol.
Der Anker 62 ist in der dargestellten Ausführungsform ist eine tellerförmige Gestalt mit einem radialen Stegabschnitt und einen axial verlaufenden Abschnitt 64. Der Anker 62 ist aus einem nichtmagnetischen Material gebildet ist, und ein ringförmiges Riemenaufnahmerille 66 darin definiert Empfangen eines Riemens zur Kraftübertragung von dem Anker an einen Generator oder eine andere Stromverbraucher. Drei Ankermagnete 68 sind auf der Ankerteil 64 befestigt ist, und eine solche Magnete sind von einer Konfiguration ähnlich zu der Ankermagnetanordnung der Fig.5 bis Fig.7.
Die Magnete 68 sind in Bezug zueinander in einer Umfangsrichtung versetzt sind, wobei die Magnete nicht exakt platziert 120 Grad voneinander entfernt, sondern eine leichte Winkelversetzung der Ankermagnete ist wünschenswert, "glätten" die magnetischen Kräfte auf den Anker auferlegt aufgrund der magnetischen Kräfte, die gleichzeitig auf jeden der Ankermagnete eingeführt. Die Staffelung der Ankermagnete 68 in Umfangsrichtung erzeugt den gleichen Effekt wie der Versatz der Ankermagnete 40 und 42, wie in Fig.8 gezeigt.
Der Anker 62 ist auf einer Gewindewelle 70 durch Wälzlager 72 angebracht, und die Welle 70 wird in den Stator Gewindebohrung 52 und kann mit dem Knopf 74 gedreht werden, auf diese Weise die Drehung des Knopfes 74 und die Welle 70, axial den Anker 62 in Bezug auf die Statormagnete 58, und eine solche axiale Verschiebung wird sehr die Größe der auf den Anker Magneten 68 durch den Statormagneten wodurch die Geschwindigkeit der Drehung des Ankers Steuerung auferlegten magnetischen Kräfte. Wie aus den Figuren zu beachten. Fig.4 bis Fig.7, Fig.9 und Fig.10 besteht ein Luftspalt zwischen den Läufermagneten und den Stator-Magneten und die Abmessung dieses Abstandes, bewirkt die Grße der auf den Anker oder die Magnete ausgeübten Kräfte. Wenn der Abstand zwischen den Ankermagneten und den Stator-Magneten wird die auf die Ankermagnete von den Statormagneten auferlegt Kräfte reduziert werden erhöht und die resultierende Kraft 8 vector dazu neigt, die Ankermagnete in ihrer Bewegungsbahn steigt zu verdrängen. Jedoch ist die Abnahme des Abstandes zwischen dem Anker und Statormagneten erzeugt ein "Pulsieren" in der Bewegung der Ankermagneten, die zu beanstanden ist, kann aber bis zu einem gewissen Grad durch Verwendung einer Vielzahl von Ankermagneten minimiert. Erhöhen des Abstandes zwischen dem Anker und Statormagnete verringert die Pulsation Tendenz des Ankermagneten, sondern reduziert auch die Größe der auf den Anker Magneten auferlegt magnetische Kräfte. Somit ist der effektive Abstand zwischen dem Anker und Statormagnete, dass der Abstand, der die maximale Kraftvektor in Richtung der Ankermagnetbewegung erzeugt, mit einer minimalen Erzeugung von unangenehmen Pulsation.
In den offenbarten Ausführungsformen ist die hohe Durchlässigkeit Platte 20 und die Hülse 56 sind zur Konzentration des Magnetfelds der Statormagnete offenbart, und die Ankermagnete geschlagen sind und Enden aufweisen, für die magnetische Feldkonzentration Zwecke geformt. Während solche Magnetfeldkonzentrationsmittel in höherer Kräfte auf den Ankermagneten gegebenen Magnet Intensitäten auferlegt Ergebnis ist es nicht beabsichtigt, dass die erfinderischen Konzepte die Verwendung solcher Magnetfeldkonzentrationsmittel begrenzt werden.
Wie aus der obigen Beschreibung der Erfindung ersichtlich, die Bewegung der Anker oder die Magnete ergibt sich aus dem beschriebenen Zusammenhang von Komponenten. Die Länge der Ankermagneten bezogen auf die Breite der Statormagnete und der Abstand zwischen ihnen, die Abmessung des Luftspalts und die Konfiguration des magnetischen Feldes, kombiniert, zum gewünschten Ergebnis und Bewegung. Die erfinderischen Konzepte angewendet werden kann, obwohl diese Beziehungen können in Grenzen noch nicht definiert, variiert werden, und die Erfindung soll alle Dimensionsverhältnisse, die das gewünschte Ziel der Ankerbewegung erreicht umfassen. Beispielhaft, mit Bezug auf die Fig.5 bis Fig.7 wurden die folgenden Abmessungen in einem Betriebs Prototyp verwendet:
Die Länge der Ankermagnet 24 ist 80 mm, die Ständermagnete 12 sind 25 mm breit, 6 mm dick und 100 mm lang und kornorientiertem. Der Luftspalt zwischen den Polen des Ankermagneten und den Statormagneten ist ungefähr 38 mm und der Abstand zwischen den Statormagneten ist ungefähr 12 mm.
In der Tat sind die Statormagneten definieren ein Magnetfeld Spur mit einer einzigen Polarität in Querrichtung an beabstandeten Stellen durch die von den Linien, die zwischen den Polen des Stators und dem Magneten auf den Anker ausgeübte Magnetkraft unidirektionale Kraft erzeugten Magnetfelder unterbrochen wird ein Ergebnis der bestehenden als Anker Magnet Abstoßung und Anziehung Kräfte durchquert dieses Magnetfeld Track.
Es ist zu verstehen, dass das Konzept der Erfindung umfaßt eine Anordnung, bei der Ankermagnet-Komponente stationär ist und die Statoranordnung ist zur Bewegung und bildet die Bewegungskomponente, und andere Variationen des Erfindungsgedankens werden dem Fachmann auf dem Gebiet ohne werden von dem Umfang davon. Der hier verwendete Begriff "Spur" soll sowohl lineare als auch kreisförmige Anordnung der statischen Magneten und die "Richtung" oder "Länge" der Strecke gehören wird, dass die Richtung, die parallel oder konzentrisch zu der beabsichtigten Richtung des Ankermagnetbewegung.
US Patent 5.625.241 29 April 1997 Erfinder: Harold E.
Ewing et al.
"KARUSSELL" ELEKTRISCHEN GENERATOR
Dies ist eine auszugsweise umformuliert, dieses Patent die eine kompakte, mit eigener Stromversorgung, kombiniert Permanentmagnetmotor und elektrischen Generator zeigt. Es gibt ein wenig mehr Informationen am Ende des Dokuments.
ZUSAMMENFASSUNG
Permanentmagnetgenerator oder Motor mit feststehenden Spulen in einem Kreis angeordnet sind, einen Rotor, auf dem Permanentmagneten in Sektoren unterteilt und positioniert sind, um die Spulen zu bewegen benachbart angebracht, und ein Karussell entsprechenden Gruppen von Permanentmagneten trägt die durch die Zentren der Spulen, die Karussell-Filme mit dem Rotor durch seine magnetisch daran gekoppelt.
Erfinder:
Ewing, Harold E. (
Chapman, Russell R. (
Porter, David R. (
3610974 Oct, 1971 Kenyon 310/49.
4547713 Oct, 1985 Langley et al. 318/254.
5117142 May, 1992 Von Zweygbergk 310/156.
5289072 Feb, 1994 Lange 310/266.
5293093 Mar, 1994 Warner 310/254.
5304883 Apr, 1994 Denk 310/180.
HINTERGRUND
DER ERFINDUNG
Es gibt zahlreiche Anwendungen für kleine elektrische Generatoren in Ratings von wenigen Kilowatt oder weniger. Beispiele sind elektrische Leistungsquellen für die Notbeleuchtung in Gewerbe- und Wohngebäuden, Stromquellen für entfernte Standorte wie Berghütten und tragbare Stromquellen für Wohnmobile, Sportboote usw.
Bei all diesen Anwendungen ist die Zuverlässigkeit des Systems ein Hauptanliegen. Da das Stromversorgungssystem wird wahrscheinlich ohne den Vorteil der regelmäßigen Wartung untätig für längere Zeit, und weil die Eigentümer und Betreiber ist oft in der Wartung und dem Betrieb solcher Geräte unerfahrenen kann die gewünschte Zuverlässigkeit nur durch System erreicht werden Einfachheit und die Eliminierung von Komponenten wie Batterien oder andere Sekundärstromquellen, die gewöhnlich für die Generatorerregung verwendet.
Ein weiteres wichtiges Merkmal für solche Erzeugungsausrüstung ist die Miniaturisierung insbesondere bei tragbaren Geräten. Es ist wichtig, in der Lage, die erforderliche Leistung in einem relativ kleinen Generator zu erzeugen.
Beide Anforderungen sind in der vorliegenden Erfindung durch eine neue Anpassung der Permanentmagnetgenerator oder magneto in einer Ausführung, die sich besonders zum Hochfrequenzbetrieb als Mittel zur Maximierung der Ausgangsleistung pro Volumeneinheit gerichtet.
BESCHREIBUNG
DES STANDES DER TECHNIK
Permanentmagnet-Generatoren oder Magnete trotzdem häufig für viele Jahre beschäftigt. Frühe Anwendungen solcher Generatoren sind die Lieferung von elektrischem Strom für Zündkerzen in Kraftfahrzeugen und Flugzeugen. Frühe Telefonen verwendet Magnetos in elektrische Energie zum Klingeln zu erhalten. Das Model T Ford Automobils auch Magnetos seiner elektrischen Lichter einschalten.
Die vorliegende Erfindung unterscheidet sich vom Stand der Technik Magnetzünder in seiner neuen physikalischen Struktur, in der eine Vielzahl von Permanentmagneten und elektrischen Wicklungen sind in einer Weise, die Hochgeschwindigkeits / Hochfrequenzbetrieb als ein Mittel zur Erfüllung der Anforderung der Miniaturisierung ermöglicht angeordnet. Zusätzlich wird das Design durch den Einsatz von einem rotierenden Karussell, das eine Vielzahl von Feldquellmagnete durch die Zentren der stationären elektrischen Wicklungen in dem die erzeugte Spannung wird dadurch induzierte trägt verbessert.
ZUSAMMENFASSUNG
DER ERFINDUNG
In Übereinstimmung mit der beanspruchten Erfindung wird eine verbesserte elektrische Dauermagnet-Generator mit der Fähigkeit zur Abgabe einer relativ hohen Ausgangsleistung aus einer kleinen und kompakten Aufbau zur Verfügung gestellt. Der Einbau eines rotierenden Karussells zum Befördern der primären Feldmagneten durch die elektrischen Wicklungen in dem Induktions tritt verstärkt Feldstärke an den Stellen kritisch Generation.
Es ist daher eine Aufgabe dieser Erfindung, einen verbesserten Permanentmagnetgenerator oder magneto zur Erzeugung von elektrischer Energie bereitzustellen. Eine weitere Aufgabe dieser Erfindung ist es, in einem derartigen Generator eine relativ hohe elektrische Leistung von einer kleinen und kompakten Aufbau bereitzustellen. Eine weitere Aufgabe dieser Erfindung ist es, solch ein hohes Niveau an elektrischer Energie aufgrund der hohen Drehzahl und Hochfrequenzbetrieb von denen der Generator der Erfindung in der Lage ist, zu erzielen.
Eine weitere Aufgabe dieser Erfindung ist es, ein Hochfrequenz-Leistungsfähigkeit durch die Verwendung einer neuartigen Feldstruktur, in welcher die primären Permanentmagnete sind durch die Mitten der Induktionswicklungen des Generators durch eine rotierende Karussell getragen werden.
Eine noch weitere Aufgabe dieser Erfindung ist es, eine Einrichtung zum Antreiben des rotierenden Karussell, ohne die Hilfe von mechanischen Verbindungs sondern aufgrund der magnetischen Kopplung zwischen den anderen mechanisch angetriebenen Magnete und die auf dem Karussell montiert ist.
Eine noch weitere Aufgabe dieser Erfindung ist es, eine verbesserte Fähigkeit zur Hochgeschwindigkeits- / Hochfrequenzbetrieb durch die Verwendung eines Luftlagers als ein Träger für das Drehkarussell bereitzustellen.
Noch eine andere Aufgabe dieser Erfindung ist es, bei einer solchen verbesserten Generator eine ausreichend hohe magnetische Felddichte in den Stellen kritisch Spannungserzeugung ohne Rückgriff auf die Verwendung von Lamellen oder andere Medien, um das Magnetfeld zu kanalisieren ist.
Weitere Aufgaben ein Vorteile der Erfindung werden offensichtlich, wenn die folgende Beschreibung fortschreitet und die Merkmale der Neuheit, welche die Erfindung kennzeichnen werden mit Ausführlichkeit in den Ansprüchen im Anhang zu und einen Teil dieser Beschreibung bilden hingewiesen.
KURZE
BESCHREIBUNG DER ZEICHNUNGEN
Die vorliegende Erfindung kann leichter unter Bezugnahme auf die beigefügten Zeichnungen, in denen:

Fig.1 ist eine vereinfachte perspektivische Ansicht des Karussells elektrische Generator der Erfindung;

Fig.2 ist eine Querschnittsansicht der Fig.1 entlang der Linie 2--2;

Fig.3 ist eine Querschnittansicht des Generators von Fig.1 und Fig.2 entlang der Linie 3--3 der Fig.2 entnommen;

Fig.4 ist eine Querschnittsansicht der Fig.3 entlang der Linie 4--4;

Fig.5 ist eine teilweise perspektivische Ansicht, die die Orientierung einer Gruppe von Permanentmagneten in einem Zwanzig-Grad-Sektor des Generators der Erfindung, wie in Richtung des Pfeils 5 von Fig.3 betrachtet;

Fig.6 ist eine Darstellung der physischen Anordnung von elektrischen Wicklungen und Permanentmagneten innerhalb des Generators der Erfindung, wie in der Richtung in Fig.1 gesehen von Pfeil 6;

Fig.7 ist eine Wellenform, die Flußverkettungen für eine gegebene Wicklung als Funktion der Drehstellung der Wickel relativ zu den Permanentmagneten;

Fig.8 ist ein schematisches Diagramm, das die ordnungsgemäße Verbindung der Generatorwicklungen für eine hohe Stromniederspannung Auslegung des Generators;

Fig.9 ist ein schematisches Diagramm, welches eine Reihenschaltung von Generatorspulen für eine Niederstrom -Hochspannungskonfiguration;

Fig.10 ist ein schematisches Diagramm, das eine Serie / Parallelschaltung der Generatorwicklungen für Zwischenstrom und Spannungsbetriebs;

Fig.11 ist eine perspektivische Darstellung eines modifizierten Karussell Magnetanordnung in einer zweiten Ausführungsform der Erfindung verwendet wird;

Fig.12A und Fig.12B zeigen obere und untere Ansichten der Karussell Magnete der Fig.11;

Fig.13 ist eine Querschnittsansicht der modifizierten Magnetanordnung von Fig.11 entlang der Linie 13--13 mit anderen Merkmalen des modifizierten Karussellstruktur entnommen auch gezeigt;

Fig.14 ist eine Änderung der Karussell-Struktur gezeigt in Fig.1-13, worin eine vierte Karussell-Magnet an jedem Bahnhof befindet; und

Fig.15 zeigt die Verwendung der beanspruchten Vorrichtung eine gepulste Gleichstromquelle.
BESCHREIBUNG DER BEVORZUGTEN
AUSFÜHRUNGSFORM

Insbesondere unter Bezugnahme auf die Zeichnungen durch Bezugszeichen, Fig.1 zeigt die externen Proportionen eines Karussells elektrischen Generator 10 gemäß der Erfindung. Wie in Fig.1 gezeigt, ist Generator 10 durch ein Gehäuse 11 mit Befestigungsfüßen 12 geeignet sein, den Generator mit einer flachen Oberfläche 13. Die Oberfläche 13 umschlossen ist vorzugsweise horizontal, wie in Fig.1 gezeigt.
Das Gehäuse 11 hat die Ausmaße einer kurzen Zylinders. Eine Antriebswelle 14 erstreckt sich axial aus dem Gehäuse 11 durch ein Lager 15. Der elektrische Ausgang des Generators erfolgt über ein Kabel 16 gebracht.

Die Querschnittsansicht von Fig.2 zeigt die aktiven Elemente in einem Zwanzig-Grad-Sektor des Stators und in einer Zwanzig-Grad-Sektor des Rotors aufgenommen wird.
In der ersten Ausführung der Erfindung, gibt es achtzehn identisch Statorsektoren, jeder eine Wicklung bzw. Spule 17 gewickelt zu einem rechteckigen Spulenrahmen bzw. Spule. Spule 17 ist von einem Statorrahmen 18, die auch als eine Außenwand des Rahmens 11 dienen kann statt.
Der Rotor ist ebenfalls in achtzehn Sektoren, von denen neun nehmen drei Permanentmagnete jeweils einschließlich einer inneren Rotormagnet 19, einer oberen Rotormagneten 21 und einer unteren Rotormagneten 22. Alle drei dieser Magnete haben ihren Südpolen zugewandt Spule 17 unterteilt, und alle drei sind direkt am Rotorrahmen 23, der direkt an Antriebswelle 14 befestigt ist.
Die anderen neun Sektoren des Rotors sind leer, dh sie sind nicht mit Magneten bestückt. Die unbewohnte Bereiche werden mit den bevölkerten Bereichen, so dass benachbarte Sektoren bevölkert von einer unbewohnten Sektor getrennt werden, wie in Fig.3 und Fig.6 gezeigt ist abwechselten.
Unter erneuter Bezugnahme auf Fig.2, Generator 10 enthält auch ein Karussell 24. Das Karussell umfaßt neun Paare von Karussell Magneten 25 eingespannt zwischen dem oberen und unteren Halteringen 26 bzw. 27. Der untere Haltering 27 ruhen in einer Luftlagerkanal 28, der befestigt ist, um im Inneren des Spulenkörpers der Spule 17 Luftdurchgänge (nicht gezeigt) Stator 18 zugeben, Luft in den Raum zwischen der unteren Oberfläche des Rings 27 und der oberen oder inneren Oberfläche Kanal 28. Diese Anordnung ein Luftlager, das Karussell 24 ermöglicht, sich frei innerhalb der Spulen 17 um die Drehachse 29 des Rotorrahmens 23 drehen umfasst.
Karussell 24 wird ebenfalls in 18 zwanzig Grad Sektoren einschließlich neun besiedelte Bereiche mit neun unbestückte Bereiche in alternierender Reihenfolge durchsetzt unterteilt. Jede der neun besiedelte Bereiche enthält ein Paar Karussell Magneten wie in dem vorhergehenden Absatz beschrieben.

Die geometrische Beziehung zwischen den Magneten des Rotors, den Karussell-Magneten und der Spulen, wird durch Fig.3, Fig.4 und Fig.5 verdeutlicht. In jeder der drei Figuren ist die Mitte jeder besiedelten Rotorsektor dargestellt ausgerichtet mit der Mitte einer Spule 17. Jeder besiedelten Karussellbereich, der magnetisch in Position mit einem besiedelten Rotor Sektor gesperrt ist, wird somit auch mit einer Spule 17 ausgerichtet ist.

In einer der ersten Ausführung der Erfindung, die Abmessungen und Abstände der Rotormagnete 19, 21 und 22 und das Karussell Magneten 25A und 25B des Karussells Magnetpaare 25 wurden wie in Fig.5 gezeigt. Jeder der Rotormagnete 19, 21 und 22 gemessen einem Zoll von zwei Zoll von einem halben Inch mit Nord- und Südpol an entgegengesetzten einem Zoll von zwei Zoll Gesichtern. Jedes der Karussells Magneten 25A und 25B gemessen zwei Zoll von zwei Zoll von einem halben Inch mit Nord- und Südpol an entgegengesetzten zwei Zoll von zwei Zoll Gesichtern. Die Magnete wurden von Magnet Vertrieb und Produktion, Culver City, Kalifornien Die Karussell Magneten waren Teil No.35NE2812832 erhalten; die Rotormagnete waren kundenspezifische Teile gleicher Festigkeit (MMF), aber die Hälfte der Querschnitt der Karussell-Magneten.
Spulenträger und andere Mitglieder im stationären Magnetfeldmuster entfernt werden aus Delrin oder Teflon Kunststoff oder gleichwertige Materialien hergestellt. Die Verwendung von Aluminium oder anderen Metallen einzuführen Wirbelstromverlusten und in einigen Fällen exzessive Reibung.
Wie in Fig.5 gezeigt, Karussell Magneten 25A und 25B stehen in Rand, parallel zueinander, ihre Nordpole einander zugewandt und voneinander entfernt ein Zoll. Wenn von direkt über der Karussell Magneten angezeigt wird, wird der Raum zwischen den beiden Magneten 25A und 25B als ein Zoll von zwei Zoll Rechteck. Wenn das Karussell Magnetpaar 25 ist perfekt in Position magnetisch verriegelt ist oberen Rotormagnet 21 unmittelbar über dieser einen Zoll von zwei Zoll Rechtecks unteren Rotormagnet 22 ist direkt darunter, und deren Ein-Zoll von zwei Zoll Gesichter die direkt mit ihr ausgerichtet ist, die S-Pole der zwei Magnete 21 und 22 einander zugewandt sind.
In gleicher Weise wird, wenn von der Achse der Drehung des Generators 10 angezeigt wird, wird der Raum zwischen Karussell Magneten 25A und 25B wieder als einem Zoll von zwei Zoll Rechteck, und das Rechteck wird mit der von einem Zoll von zwei Zoll flucht Gesicht der Magnet 19, der Südpol des Magneten 19 das Karussell Magnetpaar 25 gegenüber.
Rotormagnete 19, 21 und 22 sind so nahe wie möglich angeordnet, um Magnete 25A und 25B Karussell, während immer noch den Durchgang für die Spule 17 über und um das Karussell Magneten und durch den Raum zwischen den Karussells Magneten und den Rotormagneten.
In einem elektrischen Generator, ist die Spannung in der Generatorwicklungen induzierten proportional zu dem Produkt aus der Anzahl der Windungen in der Wicklung und der Geschwindigkeit der Änderung der Flussverkettungen, die als die Wicklung durch das Magnetfeld erzeugt wird, gedreht. Eine Untersuchung der magnetischen Feldmuster ist daher wesentlich für ein Verständnis der Generatorbetrieb.
In Generator 10, Magnetfluss von den Nordpolen der Karussell Magneten 25A und 25B ausgehend durch die Rotormagnete passieren und dann zu den Südpolen der Magnete Karussell zurück. Die Gesamtflussfeld wird somit durch die kombinierte MMF (magnetomotorische Kraft) der Karussell und Feldmagneten angetrieben wird, während die Flussmuster durch die Orientierung der Rotormagnete und Karussell bestimmt.

Das Flussmuster zwischen Karussell Magneten 25A und 25B und den oberen und unteren Rotormagneten 21 und 22 ist in Fig.4 dargestellt. Magnetflusslinien 31 vom Nordpol des Magneten Karussell 25A erstrecken sich bis zum Südpol des oberen Rotormagneten 21, durchlaufen Magneten 21 und kehren als Linien 31’ zum Südpol des Magneten 25A. Zeilen 33, ebenfalls aus der Nordpol des Magneten 25A zum Südpol des unteren Rotormagneten 22 erstrecken, durchlaufen Magneten 22 und zum Südpol des Magneten 25A als Linien 33'. Ebenso Linien 32 und 34 aus dem Nordpol des Magneten 25B durch Magnete 21 und 22, übergeben sind, und zurück, wie die Leitungen 32’ und 34' zum Südpol des Magneten 25B. Flußverkettungen in der Spule 17 durch die Linien von Karussell-Magnet 25A ausgeh hergestellt sind von entgegengesetzter Richtung von den von Karussell Magnet 25B ausgeht. Da die induzierte Spannung ist eine Funktion der Rate der Veränderung der Nettoflussverkettungen, ist es wichtig, diesen Unterschied in Sinne erkennen.

Fig.6 zeigt eine ähnliche Flussmuster für Fluß zwischen Karussell Magneten 25A und 25B und Innenrotormagneten 19. Auch hier sind die Leitungen von Karussell Magneten 25A ausgehender und durch den Rotormagneten 19 Flußverkettungen in Spule 17, die entgegengesetzt sind in Sinn aus diesen hergestellt erzeugen durch Linien von Magneten 25B.
Die Anordnung der Magnete mit Karussell die Nordpole einander zugewandt neigt dazu, in der gewünschten Bahn einzuschließen und den Fluß zu kanalisieren. Diese Anordnung ersetzt die Funktion der magnetischen Joche oder Laminierungen aus mehreren herkömmlichen Generatoren.
Flußverkettungen durch Magnete 25A und 25B erzeugt werden, entgegengesetzt in der Sinn unabhängig von der Drehposition Spule 17 einschließlich des Falls, wo Spule 17 mit dem Karussell und Rotormagnete sowie für die gleichen Spulen ausgerichtet ist, wenn sie mit einem unbewohnten Rotors ausgerichtet Sektor.
Unter Berücksichtigung der Flußmuster Fig.4 und Fig.6 und Erkennen der gegenüberliegenden Sinn Bedingungen gerade beschriebenen Netto Flußverkettungen für eine bestimmte Spule 17 sind geschlossen, wie in Fig.7 gezeigt,.

In Fig.7 werden die Nettoflussverkettungen (Coil-Windungen x Linien) als Funktion der Spulenposition in Grad aufgetragen. Spulenposition wird hier als die Position der Mittellinie 35 der Spule 17 relativ zu der in Grad in Fig.6 gezeigten Winkelskala definiert. (Beachten Sie, dass die Spule stationär ist und die Skala ist an dem Rotor befestigt ist. Wenn sich der Rotor dreht sich im Uhrzeigersinn, die relative Position der Spule 17 entwickelt sich von null bis zehn bis zwanzig Grad etc.).
Bei einer relativen Position der Spule zehn Grad, ist die Spule zwischen den Magneten 25A und 25B zentriert sind. Unter der Annahme, symmetrische Flussmuster für die zwei Magneten, genau die Flussverkettungen von einem Magneten die Flussverkettungen von der anderen, so dass Netto Flußverkettungen Null abzubrechen. Da die relative Spulenposition nach rechts bewegt, Verknüpfungen von Magneten 25A Abnahme und die aus Magneten 25B Anstieg, so dass Netto Flußverkettungen Aufbau von Null und läuft durch einen maximalen negativen Wert zu einem bestimmten Zeitpunkt zwischen zehn und zwanzig Grad. Nach Erreichen der negativen Maximum, Flußverkettungen verringern, die durch Null bei 30 Grad (wobei Spule 17 ist in der Mitte eines unbestückten Rotorsektor), und dann steigt auf einen positiven Maximalwert an einem Punkt gerade jenseits 60 Grad. Diese zyklische Veränderung wiederholt sich die Spule nacheinander Felder aus besiedelten und unbesiedelten Rotorsektoren unterzogen.
Da der Rotor drehbar, net Flußverkettungen für alle achtzehn Spulen angetrieben werden mit einer Rate, die durch das Flussmuster nur in Kombination mit der Drehgeschwindigkeit des Rotors beschrieben bestimmt verändert wird. Momentane Spannung in der Spule 17 induziert wird, ist eine Funktion der Steigung der in Fig.7 und Rotorgeschwindigkeit gezeigten Kurve, und Spannungspolaritätsänderungen als die Steigung der Kurve abwechselnd positiv und negativ.
Es ist wichtig, hier anzumerken, dass eine Spule bei zehn Grad positioniert ist, wie eine negative Steigung ausgesetzt, während die benachbarte Spule ist mit einer positiven Steigung ausgesetzt. Die Polaritäten der Spannungen in den zwei benachbarten Spulen induziert sind daher entgegengesetzt. Für Reihen- oder Parallelschaltungen von ungeraden und geraden Spulen kann diese Polarität Diskrepanz durch die Installation der ungeradzahligen und geradzahligen Spulen entgegengesetzt korrigiert (Odds gedreht Ende für Ende gegenüber gleicht) oder durch Umkehrung Start- und Zielverbindungen der ungeraden relativ zu werden, auch nummeriert Spulen. Jede dieser Maßnahmen werden alle Spulenspannungen Additiv machen als für Reihen- oder Parallelverbindungen erforderlich. Sofern die Feldmuster für besiedelten und unbesiedelten Sektoren sind nahezu symmetrisch ist, werden jedoch die Spannungen, die in ungeradzahligen und geradzahligen Spulen induziert haben unterschiedliche Wellenformen. Dieser Unterschied wird nicht durch die Spule Umkehrungen oder Rückwärtsverbindungen in dem vorhergehenden Absatz erörtert korrigiert werden. Sofern die Spannungsverläufe sind sehr fast dasselbe, werden Kreisströme zwischen geraden und ungeraden Spulen fließen. Diese Kreisströme werden Generatorwirkungsgrad reduzieren.

Um solche Kreisströme und die damit verbundenen Verlust der operativen Effizienz für nicht symmetrische Feldmuster und unübertroffene Spannungsverläufe verhindern, können die Serien-Parallel-Anschlüsse der Fig.8 in einer Hochstrom-Niederspannungs-Konfiguration des Generators verwendet werden. Wenn die achtzehn Spulen werden nacheinander ein bis achtzehn nach Position um den Stator nummeriert werden alle geradzahligen Spulen parallel geschaltet sind, werden alle ungeradzahligen Spulen parallel geschaltet sind, und die zwei parallelen Spulengruppen in Reihe verbunden, mit umgekehrter Polarität für eine Gruppe dargestellt, so dass Spannungen in Phase relativ zum Ausgangskabel 16 sein.

Für eine Niederstrom -Hochspannungs -Konfiguration kann die Reihenschaltung aller Spulen, wie in Fig.9 gezeigt, verwendet werden. In diesem Fall ist es nur notwendig, die Polaritätsdifferenz zwischen geraden und ungeraden Spulen zu korrigieren. Wie bereits erwähnt, kann dies mit Hilfe von gegenüberliegenden Start- und Zielverbindungen für ungerade und gerade Spulen oder durch Installation anderer Spulen umgekehrt, Ende zum anderen erreicht werden.

Bei Zwischen Strom- und Spannungskonfigurationen können verschiedene Serien-Parallel-Verbindungen eingesetzt werden. Fig.10, zeigt beispielsweise drei Gruppen von sechs Spulen jeweils in Reihe geschaltet sind. Kreisströme vermieden werden, solange geradzahligen Spulen nicht parallel ungeraden Spulen. Parallelschaltung von in Reihe geschalteten gerade / ungerade Paare wie dargestellt ist zulässig, weil die Wellenformen der Serie Paare sollten sehr sorgfältig angepasst werden.

In einer anderen Ausführungsform der Erfindung sind die zwei großen (zwei Inch mal zwei Inch) Karussell Magneten durch drei kleinere Magnete ersetzt werden, wie in Fig.11, Fig.12 und Fig.13 dargestellt ist. Die drei Karussells Magneten umfassen eine innere Karussell Magneten 39, eine obere Karussell Magneten 41 und einen unteren Karussell Magnet 42 in einer U-förmigen Konfiguration angeordnet sind, die die U-förmige Konfiguration der Rotormagnete 19, 21 und 22. Wie in dem Fall übereinstimmt der ersten Ausführungsform liegen die Rotor- und Karussell Magnete nur in abwechselnden Bereichen des Generators.

Die Enden der Karussellmagneten sind abgeschrägt, um eine kompaktere Anordnung der drei Magneten ermöglichen. Wie in Fig.12 gezeigt ist, misst jeder Magnet ein Zoll von zwei Zoll lang und einen halben Zoll dick. Der Südpol nimmt die abgeschrägte einem Zoll von zwei Zoll Gesicht und der Nordpol ist an der gegenüberliegenden Seite.

Modifiziertes Karussellstruktur 24', wie in Fig.13 gezeigt, weist eine obere Lagerkarussellplatte 43, eine untere Karussell Lagerplatte 44, eine äußere zylindrische Wand 45 und eine zylindrische Innenwand 46. Die obere und untere Lagerplatten 43 und 44 passen mit die oberen und unteren Lagerelemente 47 bzw. 48, die stationär und in den Formen der Spulen 17 Lagerplatten 43 und 44 sind geformt, um Luftkanäle 49, die als Luftlager für die Drehlagerung des Karussells 24' dienen bereitzustellen befestigt sind. Die Lagerplatten sind auch geschlitzt sind, um die oberen und unteren Kanten 51 der zylindrischen Wände 45 und 46 erhalten.
Modifiziertes Karussellstruktur 24' bietet eine Reihe von Vorteilen gegenüber der ersten Ausführungsform. Das angepaßte Magnetkonfiguration des Karussells und dem Rotor liefert engere und sicherere Verbindung zwischen dem Karussell und dem Rotor. Die kleineren Karussell Magneten auch eine deutliche Reduzierung der Karussell Gewicht. Dies wurde von Vorteil in Bezug auf die reibungslose und effiziente Drehlagerung des Karussells gefunden.

Die Modifikation des Karussells Struktur wie in den vorstehenden Absätzen beschrieben ist, kann einen Schritt weiter mit der Zugabe eines vierten Karussell Magnet 52 an jeder Station genommen, wie in Fig.14 gezeigt werden. Die vier Karussell Magneten 39, 41, 42 und 52 bilden nun einen quadratischen Rahmen mit jedem der Magnetflächen (Nordpole) vor einer entsprechenden Innenfläche der Spule 17 Carousel Magneten dieser Modifikation kann wieder als sein in Fig.12 gezeigt . Ein zusätzliches Rotormagnet 53 kann auch, wie gezeigt mit dem Karussellmagneten 52 hinzugefügt werden, in Ausrichtung Diese zusätzlichen Modifikationen der Feldmuster und das Maß der Kopplung zwischen dem Rotor und dem Karussell weiter zu verbessern.
Das Karussell elektrische Generator der Erfindung ist besonders gut geeignet für Hochgeschwindigkeits-Hochfrequenzbetrieb, wo der Hochgeschwindigkeits kompensiert niedrigeren Stromdichten, als es mit einem magnetischen Medium zum Leiten des durch die Feldgeneratorspulen erreicht werden. Für viele Anwendungen, wie Notbeleuchtung, ist auch die Hochfrequenz vorteilhaft. Leuchtstoffbeleuchtung, zum Beispiel, ist effizienter in Bezug auf die Lumen pro Watt und die Vorschaltgeräte sind kleiner bei hohen Frequenzen.
Während die vorliegende Erfindung in Richtung auf die Bereitstellung einer kompakten Generator für Spezialgeneratoranwendungen gerichtet sind, ist es auch möglich, die Vorrichtung als ein Motor durch Anlegen einer geeigneten Wechselspannungsquelle, um das Kabel 16 und die Kupplung Antriebswelle 14 an eine Last zu betreiben.

Es ist auch möglich, die Vorrichtung der Erfindung als ein Motor unter Verwendung eines gepulsten Gleichstrom-Energiequelle betrieben werden. Ein Steuersystem 55 zur Bereitstellung einer solchen Operation ist in Fig.15 dargestellt. In dem Steuersystem 55 eingebaut sind ein Rotorstellungssensor S, eine speicherprogrammierbare Steuerung 56, eine Leistungssteuerschaltung 57 und ein Potentiometer P.
Basierend auf Signalen von dem Sensor S empfangen, die Steuerung 56 bestimmt den geeigneten Zeitpunkt für die Spulenerregungs maximalen Drehmoments und einen reibungslosen Betrieb zu gewährleisten. Dies erfordert die Bestimmung der optimalen Positionen des Rotors und des Karussells zu Beginn und am Ende der Spulenerregung. Für einen reibungslosen Betrieb und das maximale Drehmoment, sollten die von den wechselwirkenden Felder der Magnete und die erregten Spulen entwickelte Kraft unidirektional auf den maximal möglichen Grad.
Typischerweise wird die Spule nur 17,5 Grad oder weniger bei jeweils 40 Grad Drehung des Rotors erregt werden.
Das Ausgangssignal 58 der Steuerung 56 ist ein binäres Signal (hoch oder niedrig), die als ein EIN und AUS-Befehl für die Spulenerregungs interpretiert wird.
Der Leistungssteuerschaltkreis umfasst einen Halbleiterschalter in Form eines Leistungstransistors oder eines MOSFET. Es reagiert auf das Steuersignal 58 durch Drehen der Halbleiterschalter ein und aus zu initiieren und zu beenden Spulenerregung. Momentanspannungsamplitude an die Spulen bei Erregung zugeführt wird mittels des Potentiometers P. Motordrehzahl und das Drehmoment gesteuert werden, wodurch in Reaktion auf Änderungen Potentiometer.
Das Gerät ist auch für den Betrieb als ein Motor mit einem Kommutator und Bürsten für die Steuerung der Spulenerregung anpassbar. In diesem Fall wird der Kollektor und Bürsten ersetzen die speicherprogrammierbare Steuerung und die Leistungssteuerungsschaltung als das Mittel zur Bereitstellung gepulster Gleichstromerregung. Dieser Ansatz ist weniger flexibel aber möglicherweise effizienter als die zuvor beschriebene programmierbare Steuerung.
US Patent 3.781.601 25 Dezember 1973 Erfinder:
Pavel Imris
OPTISCHE GENERATOR EINES
ELEKTROSTATISCHEN FELDES MIT LÄNGS-
OSZILLATION BEI LICHT FREQUENZEN FÜR DEN
EINSATZ IN EINEM STROMKREIS
Bitte beachten Sie, dass dies ein Wieder formuliert Auszug aus diesem Patent. Sie beschreibt eine gasgefüllte Röhre, die viele 40-Watt-Leuchtstoffröhren zum Einsatz von weniger als 1 Watt Leistung jedes betrieben werden kann.
ZUSAMMENFASSUNG
Ein optisches Generator eines elektrostatischen Feldes an Lichtfrequenzen zur Verwendung in einem elektrischen Schaltkreis, wobei der Generator mit einem Paar von beabstandeten Elektroden, die in einer gasgefüllten Röhre aus Quarzglas oder einem ähnlichen Material mit mindestens einer Kondensatorkappe oder Platte benachbart Elektrode und ein Dielektrikum gefüllten Behälters, der das Rohr, wobei der Generator im wesentlichen den elektrischen Wirkungsgrad der elektrischen Schaltung zu.
HINTERGRUND
DER ERFINDUNG
Diese Erfindung bezieht sich auf verbesserte elektrische Schaltungen, und insbesondere auf Schaltungen unter Verwendung eines optischen Generator eines elektrostatischen Feldes an Lichtfrequenzen.
Das Maß für die Effizienz einer elektrischen Schaltung kann allgemein als das Verhältnis der Ausgangsenergie in der gewünschten Form (beispielsweise Licht in einer Beleuchtungsschaltung) an die elektrische Eingangsenergie definiert werden. Bis jetzt hat sich die Effizienz vieler Schaltungen nicht sehr hoch. Zum Beispiel wird in einer Beleuchtungsschaltung unter Verwendung von 40-Watt-Fluoreszenzlampen, nur etwa 8,8 Watt Eingangsenergie pro Lampe tatsächlich in sichtbares Licht umgewandelt und stellt damit einen Wirkungsgrad von lediglich etwa 22%. Die verbleibenden 31,2 Watt wird hauptsächlich in Form von Wärme dissipiert.
Es wurde vorgeschlagen, dass bei Lichtstromkreisen mit Leuchtstofflampen, Erhöhen der Frequenz des angelegten Stroms wird die gesamte Schaltungseffizienz zu erhöhen. Während bei einer Betriebsfrequenz von 60 Hz, ist der Wirkungsgrad 22%, wenn die Frequenz 1 MHz erhöht wird, würde der Wirkungsgrad der Schaltung nur teil 25,5% steigen. Auch, wenn die Eingangsfrequenz auf 10 GHz erhöht, die Gesamtschaltungseffizienz nur 35% betrug.
ZUSAMMENFASSUNG
DER VORLIEGENDEN ERFINDUNG
Die vorliegende Erfindung verwendet eine optische elektrostatische Generator, der wirksam für die Herstellung von hohen Frequenzen im Bereich des sichtbaren Lichts von etwa 1014 bis 1023 Hz ist. Der Betrieb und die Theorie der optischen elektrostatischen Generator und beschrieben worden ist in meiner gleichzeitig anhängigen Anmeldung mit der Seriennummer 5248, eingereicht am 23. Januar 1970. Wie in meinem genannten diskutiert mitanhängigen Anmeldung, wird die vorliegende optische elektrostatischen Generator nicht entsprechend durchführen mit den anerkannten Normen und Standards der gewöhnlichen elektromagnetischen Frequenzen.
Optische elektroGenerator nach der vorliegenden Erfindung verwendet werden kann, einen großen Bereich von Frequenzen zwischen einigen Hertz und die in der Licht-Frequenz zu erzeugen. Dementsprechend ist es eine Aufgabe der vorliegenden Erfindung, eine verbesserte elektrische Energieniveaus unter Verwendung meiner optische elektroGenerators bereitzustellen, wobei die Ausgangsenergie in der gewünschten Form wesentlich effizienter als bisher möglich ist, unter Verwendung von Standardschaltungstechniken und Ausrüstung. Es ist eine weitere Aufgabe der vorliegenden Erfindung, eine derartige Schaltung für die Verwendung in Leuchtstofflampen oder andere Beleuchtungsschaltungen bereitzustellen. Es ist auch eine Aufgabe der vorliegenden Erfindung, eine Schaltung mit in Verbindung mit elektrostatischen Abscheidern für Staub und Partikel-Auffang- und Entfernung, wie auch viele andere Zwecke verwendet werden kann..
BESCHREIBUNG DER ZEICHNUNGEN
Fig.1 ist eine schematische Darstellung, die ein optisches elektroGenerator der vorliegenden Erfindung in einer Beleuchtungsschaltung für Leuchtstofflampen verwendet:

Fig.2 ist eine schematische Anordnung einer Hochspannungsschaltung, die eine optische elektrostatischen Generator:

Fig.2A ist eine Schnittansicht durch einen Teil des Generators und
Fig.3 ist eine schematische Schnittansicht, die eine optische elektrostatischen Generator in Übereinstimmung mit der vorliegenden Erfindung, insbesondere für den Einsatz in Wechselstromkreis, sie kann aber auch in Gleichstromschaltungen verwendet werden:

BESCHREIBUNG DER DARGESTELLTEN AUSFÜHRUNGSFORMEN
Bezugnehmend auf die Zeichnungen und auf Fig.1 im besonderen wird eine Niederspannungsschaltung unter Verwendung einer optischen elektrostatischen Generator dargestellt. Wie in Fig.1, einer Wechselstromquelle elektrische Energie 10 dargestellt ist, ist eine Verbindung zu einem Lichtstromkreis. Verbunden mit einem Abgriff der Spannungsquelle 10 ist ein Gleichrichter 12 zur Verwendung bei Gleichstrom erforderlich. Die dargestellte Schaltung ist mit einem Schalter 14, die geöffnet oder geschlossen werden kann je nachdem, ob Gleichstrom oder Wechselstrom verwendet wird. Schalter 14 wird geöffnet, und ein Schalter 16 wird geschlossen, wenn Wechselstrom verwendet wird. Mit Schalter 14 geschlossen und der Schalter 16 offen ist, arbeitet die Schaltung als Gleichstromkreis.

Sich von Schaltern 14 und 16 Leiter 18, die sich auf eine optische elektrostatischen Generator 20 Leitung 18 ist durch einen Isolator 22 geführt und an eine Elektrode 24 von der Elektrode 24 beabstandet verbunden ist, ist eine zweite Elektrode 25 installierte, geschlossene Elektroden 24 und 25, die vorzugsweise aus Wolfram oder einem ähnlichen Material hergestellt ist, ist ein Quarzglasrohr 26, das mit einem ionisierbaren Gas gefüllt ist 28, wie Xenon oder einem anderen geeigneten ionisierbaren Gases, wie Argon, Krypton, Neon, Stickstoff oder Wasserstoff ist, als auch der Dampf von Metallen wie Quecksilber oder Natrium.
Umgibt jedes Ende des Rohrs 26 und angrenzend an die Elektroden 24 und 25, sind Kondensatorplatten 30 und 32 in Form von Kapseln. Ein Leiter ist mit der Elektrode 25 und durch einen zweiten Isolator 34. Um das Rohr geleitet, Elektroden und Kondensator Kappen ist ein Metallmantel in der Form einer dünnen Folie aus Kupfer oder einem anderen Metall, wie Aluminium. Umschlag 36 von dem führenden Leiter in den und aus dem Generator mittels der Isolatoren 22 und 34. Umschlag 36 ist mit einem dielektrischen Material, wie etwa Transformatorenöl, hochgereinigten destilliertes Wasser, Nitrobenzol oder einem anderen geeigneten flüssigen Dielektrikum gefüllt beabstandet. Darüber hinaus kann die dielektrische ein Feststoff, wie Keramikmaterial mit relativ kleinen Molekülen sein.
Ein Leiter 40 ist mit der Elektrode 25, durch Isolator 24 geführt und dann zu einer Reihe von Fluoreszenzlampen 42, die in Reihe geschaltet sind. Es ist die Lampen 42, die das Maß für die Effizienz der Schaltung, die die optische elektrostatischen Generator sein wird 20. Ein Leiter 44 vervollständigt die Schaltung aus den Leuchtstofflampen an den Abgriff des elektrischen Energiequelle 10. Zusätzlich ist der Schaltkreis mit einer Masse 46, die durch einen anderen Leiter 48. Umschlag 36 wird durch Leitung 50 und in dem dargestellten Diagramm geerdet, Leitung 50 ist mit dem Leiter 44 verbunden.
Die
Kondensator Kappen oder Platten 30 und
32, bilden eine relativ Kondensator mit der Entladungsröhre. Wenn eine
Hochspannung an die Elektrode der Entladungsröhre angelegt wird, werden die
Ionen des Gases erregt und auf ein höheres Potential als ihre Umgebung
gebracht, das heißt der Hülle und dem umgebenden Dielektrikum ist. An diesem
Punkt wird das ionisierte Gas in der Tat eine
Wenn diese relative Kondensator entladen, wird der elektrische Strom nicht als man normalerweise erwarten würde abnehmen. Stattdessen wesentlichen konstant bleibt es aufgrund der Beziehung zwischen der relativen Kondens ator und einem absoluten Kondensator, der zwischen dem ionisierten Gas und dem beabstandeten Metallmantel 36. Eine Schwingungswirkung in der relativen Kondensator auftritt gebildet wird, aber der elektrische Zustand der absoluten Kondensator Reste im wesentlichen konstant.
Wie ebenfalls in der gleichzeitig anhängigen Anmeldung Serial No. 5.248 beschrieben, gibt es eine Schwingungswirkung zwischen dem ionisierten Gas in der Entladungslampe und dem Metallmantel 36 vorhanden sein, wenn die Kondensator Kappen eliminiert, aber die Effizienz der elektrostatischen Generator wesentlich verringert werden.
Die Fläche der Elektrode kann eine beliebige gewünschte Form aufweisen. Jedoch eine konische Spitze 600 hat sich als zufriedenstellend erwiesen, und es wird angenommen, dass ein Einfluss auf den Wirkungsgrad des Generators zu haben.
Darüber hinaus ist die Art von Gas zur Verwendung in dem Rohr 26 ausgewählt, ebenso wie der Druck des Gases in dem Rohr, beeinflussen auch den Wirkungsgrad des Generators, und wiederum die Effizienz der elektrischen Schaltung.
Um die erhöhte Effizienz einer elektrischen Schaltung unter Verwendung der optischen elektroGenerators der vorliegenden Erfindung sowie die Beziehung zwischen dem Gasdruck und elektrische Effizienz zu demonstrieren, kann eine Schaltung ähnlich der in Fig.1 gezeigten mit 100 Standard-40 Watt verwendet werden, kühlen weißen Leuchtstofflampen in Reihe geschaltet sind. Optische elektrostatischen Generator enthält ein Quarzglasrohr mit Xenon gefüllt ist, mit einer Reihe von verschiedenen Rohren, die wegen der unterschiedlichen Gasdrücken weiteres verwendbar.
Tabelle 1 zeigt die Daten, die erhalten werden, in Bezug auf die optische elektrostatischen Generator. Tabelle 2 zeigt die Lampenleistung und die Effizienz für jede der in Tabelle 1 folgenden dargestellten Prüfungen ist eine Beschreibung der Daten in jeder der Spalten der Tabellen 1 und 2.
|
Spalte |
Beschreibung |
|
B |
Gas im Entladungsröhre verwendet |
|
C |
Gasdruck im Rohr (in Torr) |
|
D |
Feldstärke über das Rohr (in Volt pro cm gemessen. Der Länge zwischen den Elektroden) |
|
E |
Stromdichte (n Mikroampere pro sq. Mm gemessen. Der Rohrquerschnittsfläche) |
|
F |
Strom (in Ampere gemessen) |
|
G |
Leistung über dem Rohr (in Watt pro cm berechnet. Der Länge zwischen den Elektroden) |
|
H |
Spannung pro Lampe (in Volt gemessen) |
|
K |
Strom (in Ampere gemessen) |
|
L |
Widerstand (berechnet in Ohm) |
|
M |
Eingangsleistung pro Lampe (in Watt berechnet) |
|
N |
Lichtstrom (in Lumen gemessen) |
Tabelle 1
|
|
|
Optische |
Generator |
Ergebnisse |
|
|
|
A |
B |
C |
D |
E |
F |
G |
|
Test No. |
Art der Entladungs- lampe |
Druck von Xenon |
Feldstärke über Lampe |
Stromdichte |
Strom |
Leistung über Lampe |
|
|
|
(Torr) |
(V/cm) |
(A/sq.mm) |
(A) |
(W/cm.) |
|
1 |
Mo elec |
- |
- |
- |
- |
- |
|
2 |
Xe |
0.01 |
11.8 |
353 |
0.1818 |
2.14 |
|
3 |
Xe |
0.10 |
19.6 |
353 |
0.1818 |
3.57 |
|
4 |
Xe |
1.00 |
31.4 |
353 |
0.1818 |
5.72 |
|
5 |
Xe |
10.00 |
47.2 |
353 |
0.1818 |
8.58 |
|
6 |
Xe |
20.00 |
55.1 |
353 |
0.1818 |
10.02 |
|
7 |
Xe |
30.00 |
62.9 |
353 |
0.1818 |
11.45 |
|
8 |
Xe |
40.00 |
66.9 |
353 |
0.1818 |
12.16 |
|
9 |
Xe |
60.00 |
70.8 |
353 |
0.1818 |
12.88 |
|
10 |
Xe |
80.00 |
76.7 |
353 |
0.1818 |
13.95 |
|
11 |
Xe |
100.00 |
78.7 |
353 |
0.1818 |
14.31 |
|
12 |
Xe |
200.00 |
90.5 |
353 |
0.1818 |
16.46 |
|
13 |
Xe |
300.00 |
100.4 |
353 |
0.1818 |
18.25 |
|
14 |
Xe |
400.00 |
106.3 |
353 |
0.1818 |
19.32 |
|
15 |
Xe |
500.00 |
110.2 |
353 |
0.1818 |
20.04 |
|
16 |
Xe |
600.00 |
118.1 |
353 |
0.1818 |
21.47 |
|
17 |
Xe |
700.00 |
120.0 |
353 |
0.1818 |
21.83 |
|
18 |
Xe |
800.00 |
122.8 |
353 |
0.1818 |
22.33 |
|
19 |
Xe |
900.00 |
125.9 |
353 |
0.1818 |
22.90 |
|
20 |
Xe |
1,000.00 |
127.9 |
353 |
0.1818 |
23.26 |
|
21 |
Xe |
2,000.00 |
149.6 |
353 |
0.1818 |
27.19 |
|
22 |
Xe |
3,000.00 |
161.4 |
353 |
0.1818 |
29.35 |
|
23 |
Xe |
4,000.00 |
173.2 |
353 |
0.1818 |
31.49 |
|
24 |
Xe |
5,000.00 |
179.1 |
353 |
0.1818 |
32.56 |
Tabelle 2
|
|
|
Fluorescent |
Lamp |
Section |
|
|
A |
H |
K |
L |
M |
N |
|
Test No. |
Spannung |
Strom |
Widerstand |
Eingang- senergie |
Lichtleistung |
|
|
(Volts) |
(Amps) |
(Ohms) |
( |
(Lumen) |
|
1 |
220 |
0.1818 |
1,210 |
40.00 |
3,200 |
|
2 |
218 |
0.1818 |
1,199 |
39.63 |
3,200 |
|
3 |
215 |
0.1818 |
1,182 |
39.08 |
3,200 |
|
4 |
210 |
0.1818 |
1,155 |
38.17 |
3,200 |
|
5 |
200 |
0.1818 |
1,100 |
36.36 |
3,200 |
|
6 |
195 |
0.1818 |
1,072 |
35.45 |
3,200 |
|
7 |
190 |
0.1818 |
1,045 |
34.54 |
3,200 |
|
8 |
182 |
0.1818 |
1,001 |
33.08 |
3,200 |
|
9 |
175 |
0.1818 |
962 |
31.81 |
3,200 |
|
10 |
162 |
0.1818 |
891 |
29.45 |
3,200 |
|
11 |
155 |
0.1818 |
852 |
28.17 |
3,200 |
|
12 |
130 |
0.1818 |
715 |
23.63 |
3,200 |
|
13 |
112 |
0.1818 |
616 |
20.36 |
3,200 |
|
14 |
100 |
0.1818 |
550 |
18.18 |
3,200 |
|
15 |
85 |
0.1818 |
467 |
15.45 |
3,200 |
|
16 |
75 |
0.1818 |
412 |
13.63 |
3,200 |
|
17 |
67 |
0.1818 |
368 |
12.18 |
3,200 |
|
18 |
60 |
0.1818 |
330 |
10.90 |
3,200 |
|
19 |
53 |
0.1818 |
291 |
9.63 |
3,200 |
|
20 |
50 |
0.1818 |
275 |
9.09 |
3,200 |
|
21 |
23 |
0.1818 |
126 |
4.18 |
3,200 |
|
22 |
13 |
0.1818 |
71 |
2.35 |
3,200 |
|
23 |
8 |
0.1818 |
44 |
1.45 |
3,200 |
|
24 |
5 |
0.1818 |
27 |
0.90 |
3,200 |
Die Gestaltung einer Rohrkonstruktion für die Verwendung in der optischen elektrostatischen Generator von der in Fig.1 verwendet wird, kann durch Berücksichtigung der Radius der Röhre, wobei die Länge zwischen den Elektroden in der Röhre und der Leistung über der Röhre erreicht werden.
Ist R der minimale Innenradius des Rohrs in
cm, L die minimale Länge in
Zentimeter zwischen den Elektroden, und W
die Leistung in Watt an der Lampe, kann die folgende Formel aus der Tabelle 1 erhalten:
R = (Strom [A] / Stromdichte [A / sq.mm]) /
Pi
L = 8R
W = L[V/cm] x A
Beispielsweise wird für Test Nr 18 in Tabelle 1:
Der Strom ist 0,1818 A,
Die Stromdichte 0.000353 A / sq.mm und
Die Voltage Distribution ist 122,8 V / cm; deshalb
R = (0.1818 / 0.000353)2 /3.14 = 12.80 mm.
L = 8 x R = 8 * 12.8 = 102.4 mm (10.2 cm.)
W = 10.2 x 122.8 x 0.1818 = 227.7 VA oder 227.7 watts
Die prozentuale Wirksamkeit des Betriebs der Leuchtstofflampen in Test No. 18 kann aus der folgenden Gleichung berechnet werden:
% Wirkungsgrad = (Output Energie / Eingangsenergie) x 100
Über eine einzelne Leuchtstofflampe, ist die Spannung 60 Volt und der Strom 0,1818 Ampere daher die Eingangsenergie zu der Lampe 42 ist 10,90 Watt. Der Ausgang des Leuchtstofflampe ist 3.200 Lumen, die 8,8 Watt Leistung der Lichtenergie darstellt. Somit wird die eine Leuchtstofflampe bei 80,7% Wirkungsgrad, der unter diesen Bedingungen.
Wenn die optische Generator ist der gleiche wie für Test No. 18 beschrieben, und es gibt 100 Leuchtstofflampen in Reihe in der Schaltung, wobei die Gesamtleistungsaufnahme ist jedoch 227,7 Watt für den optischen Generator und 1.090 Watt für 100 Leuchtstofflampen oder insgesamt von 1.318 Watt. Die Gesamtleistungsaufnahme in der Regel erforderlich, um die 100-Leuchtstofflampen in einer normalen Schaltung zu betreiben wäre 100 x 40 = 4000 Watt betragen. So unter Verwendung des optischen Generators in der Schaltung, etwa 2680 Watt an Energie gespart.
Tabelle 1 ist ein Beispiel für die Funktionsweise der vorliegenden Erfindung für eine bestimmte Leuchtstofflampe (40 Watt kühles Weiß). Jedoch können ähnliche Daten für andere Beleuchtungsanwendungen erhalten werden, von den Fachleuten auf dem Thema.

In Fig.2 ist eine Schaltung gezeigt, die eine optische elektrostatischen Generator 20a, ähnlich verwendet, um den Generator 20 aus Fig.1. In Generator 20, die lediglich einen Kondensator Kappe 32a wird verwendet, und es ist bevorzugt einen dreieckigen Querschnittsgestaltung. Darüber hinaus ist die zweite Elektrode 25a direkt in den Rückleiter 52, ähnlich dem in meiner gleichzeitig anhängigen Anmeldung mit der laufenden Nr 5.248 dargestellten Anordnung verbunden ist, eingereicht 23. Januar 1970.
Diese Anordnung ist bevorzugt für sehr hohe Spannungsschaltungen und der Generator ist besonders geeignet für GLEICHSTROM-Nutzung.
In Fig.2 haben gemeinsame Elemente die gleichen Zahlen, die in Fig.1 verwendet wurden, erhalten.

In Fig.3 wird noch eine weitere Ausführungsform einer optischen elektrostatischen Generator 20b gezeigt. Dieser Generator ist insbesondere zur Verwendung mit Wechselstromkreisen geeignet. In dieser Ausführungsform können die Kondensatorplatten 30b und 32b Flansche 54 und 56, die nach außen in Richtung der Umhüllung 36 während der Nutzung der Optikelektrogenerator in Verwendung in einer Leuchtstofflampen-Schaltung beschrieben worden erstrecken, versteht sich, dass viele andere ist Schaltungstypen verwendet werden. Beispielsweise kann die Hochspannungsausführungsbeispiel in einer Vielzahl von Schaltungen, wie etwa Blitzlampen, Hochgeschwindigkeitssteuerungen, Laserstrahlen und Impulse hoher Energie verwendet werden. Der Generator ist auch in einer Schaltung einschließlich elektro Teilchenfällung Luftverschmutzung Steuervorrichtungen, die chemische Synthese in der elektrischen Entladungssysteme, wie Ozongeneratoren und Ladeeinrichtung für Hochspannungsgeneratoren der Van de Graff-Typ sowie Teilchenbeschleunigern besonders verwendbar. Fachleuten auf dem Gebiet werden viele andere Verwendungen und Schaltungen ersichtlich.
Patent GB 763.062 5 Dezember 1956 Erfinder: Harold Colman and Ronald
Seddon-Gillespie
VORRICHTUNG ZUR HERSTELLUNG EINES ELEKTRISCHEN
STROMS
Dieses Patent zeigt die Details eines leichtes Gerät, das mit Hilfe eines Elektromagneten mit eigener Stromversorgung und chemische Salze Strom produzieren können. Die Lebensdauer des Gerätes benötigen, bevor ein Wiederaufladen ist auf einige 70 Jahre geschätzt. Der Betrieb wird durch einen Sender, der das chemische Probe mit 300 MHz Funkwellen beschießt gesteuert. Dies stellt radioaktive Emissionen aus dem Chemikaliengemisch für einen Zeitraum von einer Stunde maximal, so dass der Sender braucht, um fünfzehn bis 30 Sekunden einmal pro Stunde durchgeführt werden. Das chemische Gemisch wird durch eine Bleischirm abgeschirmt schädlichen Strahlung, die den Benutzer zu verhindern. Der Ausgang von der winzigen Vorrichtung beschrieben wird auf etwa 10 Ampere bei 100 bis 110 Volt Gleichstrom sein.
BESCHREIBUNG
Diese Erfindung betrifft eine neue Vorrichtung zur Erzeugung von elektrischem Strom die Vorrichtung in der Form eines völlig neuartigen Sekundärbatterie. Die Aufgabe dieser Erfindung ist, eine Vorrichtung der oben genannten Art, die wesentlich leichter im Gewicht als bereitzustellen, und hat eine unendlich größere Lebensdauer als bekannte Batterie oder ähnliche Eigenschaften und die as-re aktiviert werden kann, und wenn es in einer minimalen Zeit, die erforderlich .
Gemäß der vorliegenden Erfindung stellen wir Vorrichtung eine Generatoreinheit, die einen Magneten, eine Einrichtung zum Aufhängen eines chemischen Gemischs in dem Magnetfeld umfaßt, wobei die Mischung von Elementen, deren Kerne instabil infolge des Beschusses durch Kurzwellen zusammengesetzt, so dass der Elemente werden radioaktiv und Freigabe von elektrischer Energie, wobei die Mischung zwischen gelagert ist und in Kontakt mit einem Paar von unterschiedlichen Metallen, wie Kupfer und Zink, einem zwischen diesen Metallen montierten Kondensator, ein Anschluss, der elektrisch mit jedem der Metalle verbunden ist, mittels zum Fördern der Wellen zu dem Gemisch und einer Bleiabschirmung um die Mischung auf schädliche Strahlung aus der Mischung zu vermeiden.
Vorzugsweise wird die Mischung der Elemente Cadmium, Phosphor und Cobalt mit einem Atomgewichte von 112, 31 und 59 jeweils zusammengesetzt ist. Die Mischung, die aus pulverförmiger Form sein kann, wird in einem Rohr aus nicht-leitende, eine hohe Wärmewiderstandsmaterial befestigt ist und zwischen granuliertem Zink an einem Ende des Rohres und granuliert Kupfer an dem anderen Ende, wobei die Enden des Rohres zusammengedrückt durch Messing Kappen geschlossen ist und das Rohr in eine geeignete Halterung, so dass es zwischen den Polen des Magneten durchgeführt. Der Magnet ist vorzugsweise ein Elektromagnet und wird durch die von der Einheit erzeugt Strom erregt.
Das Mittel zum Fördern der Wellen zu der Mischung kann ein Paar von Antennen, die genau ähnlich der Antennen der Sendeeinheit zur Erzeugung der Wellen ist, wobei jede Antenne aus vorsteht und mit dem Messingkappe an jedem Ende der Röhre befestigt ist.
Die Sendeeinheit, die zum Aktivieren der Erzeugungseinheit verwendet wird, kann von jeder herkömmlichen Art, die auf Ultrakurzwelle sein und ist vorzugsweise Kristall mit der gewünschten Frequenz gesteuerte.
BESCHREIBUNG DER ZEICHNUNGEN

Fig.1 ist eine Seitenansicht einer Form der Vorrichtung.

Fig.2 ist eine Endansicht

Fig.3 ist ein schematisches Schaltbild.
In der Ausführungsform der vorliegenden Erfindung dargestellt ist, umfasst die Generatoreinheit eine Basis 10, auf der die verschiedenen Komponenten montiert sind. Diese Basis 10, die nach oben vorst daraus ein Paar Arme 11, die eine Wiege Gehäuse 12 für eine Quarzröhre 13, die Halterung 12 vorzugsweise aus Federmaterial hergestellt, so daß das Rohr 13 fest, aber lösbar in Position gehalten zu bilden. Die Arme 11 sind in bezug auf die Pole 14 eines Elektromagneten 15 angeordnet, so daß das Rohr 13 wird unmittelbar zwischen den Polen des Magneten erstrecken, um so in dem stärksten Magnetfeld, das durch den Elektromagneten werden entfernt. Der Magnet dient dazu, die durch den Kassetten emittiert wird, wenn sie in Betrieb ist Alpha- und Betastrahlen zu steuern.
Die Enden des Quarzrohrs 13 sind jeweils mit einer Messingkappe 16 vorgesehen, und diese Deckel 16 ausgebildet sind, um innerhalb der Feder in Eingriff Wiegen 12 und die Spulen 17 wobei der Magnet so angeordnet ist, zugeordnet ist, dass, wenn die Basis 10 der Einheit ist in eine horizontale Ebene, die Pole 14 des Magneten sind in einer im wesentlichen vertikalen Ebene.
Auch in den Wiegen verbunden ist ein blei Kondensator 18, die bequem in der Basis 10 der Einheit untergebracht und parallel zu diesem Kondensator 18 angeschlossen werden kann, ist ein geeignetes Hochfrequenzinduktionsspule 19. Die Einheit ist mit einer Bleiabschirmung 20 so vorgesehen, schädliche Strahlung von der Quarzröhre zu verhindern, wie später beschrieben wird.
Das Quarzrohr 13 ist darin an einem Ende eine Menge des granulierten Kupfer, die in elektrischem Kontakt mit den Messingkappe 16 an diesem Ende des Rohres angebracht ist,. Auch innerhalb des Rohrs angebracht ist und in Kontakt mit der granulierten Kupfer ist eine chemische Mischung, die in Pulverform ist und der Fähigkeit zur Freisetzung von elektrischer Energie ist und das radioaktive wird wenn sie einer durch ultrakurze Funkwellen Bombardement.
In dem anderen Ende des Rohrs angebracht ist und in Kontakt mit dem anderen Ende des pulverisierten chemische Mischung eine Menge von granuliertem Zink, das sich in Kontakt mit den Messingkappe an diesem Ende der Röhre ist, wobei die Anordnung, dass die chemische Mischung ist zwischen dem granulierten Kupfer und granulierten Zink komprimiert.
Nach außen ragenden voneinander Messingkappe 16 verbunden und elektrisch mit ihnen verbunden ist, ist eine Antenne 21. Jede Antenne 21, die genau in der Abmessung, Form und elektrische Eigenschaften auf die Antenne mit einer Sendeeinheit zugeordnet ist, die von den vorher genannten Ultrakurzwellen erzeugen.
Der Elektromagnet 15 wird praktischerweise durch ein zentral angeordneten Säule 22, die an der Basis 10. Am oberen Ende der Säule 22 dort befestigt wird durch ist eine Querstange 23, welche die Hochfrequenzspule 19 mit einem Ende angehängt ist. Das andere Ende der Querstange 23 umgebogen in die gekrümmte Form, wie bei 24 gezeigt, und ist angepasst, um gegen einen gekrümmten Abschnitt 25 der Basis 26 des Elektromagneten 15. Eine geeignete Verriegelungseinrichtung zum Halten der gekrümmten Teile vorgesehen ertragen 24 und 25 in der gewünschten Winkelstellung, so daß die Position der Pole 14 des Elektromagneten um die Achse der Quarzröhre 13 eingestellt werden.
Die Sendereinheit ist aus einem beliebigen geeigneten herkömmlichen Typs zum Erzeugen extrem Kurzwellen und kann Kristall gesteuert, um sicherzustellen, daß es bei der gewünschten Frequenz, mit der Notwendigkeit der Abstimmung ist, angeboten werden. Wenn der Sender ist nur erforderlich, um einen Kurzbereich arbeiten, kann es bequem Batterie betrieben werden, aber wenn es sich um eine größere Bereich arbeiten, kann sie aus einer geeigneten Stromversorgung, wie das Netz betrieben werden. Wenn der Sender abgestimmt werden soll, so kann die Abstimmung durch ein Zifferblatt mit einem Mikrometer-Nonius, damit die notwendige Abstimmung Genauigkeit kann erzielt werden, vorausgesetzt, betrieben werden.
Die, die in dem Quarzrohr enthalten ist Gemisch der Elemente Cadmium, Phosphor und Cobalt 112, 31 bzw. 59 besteht, mit den Atomgewichten . Praktischerweise können diese Elemente in der folgenden Verbindungen vorliegen, und wobei der Schlauch bis dreißig Milligramm Gemisch enthalten kann, die Verbindungen und deren Gewichtsanteilen sind:
1 Teil Co (NO3) 2 6H2O
2 Teile CdCl2
3 Teile 3Ca (PO3) 2 + 10C.
Die Kartusche, die aus dem Rohr 13 mit der chemischen Mischung in sie besteht vorzugsweise aus einer Anzahl von kleinen Zellen in Serie gebaut wurden. Mit anderen Worten, unter Berücksichtigung der Patrone von einem Ende zu dem anderen, an einem Ende und in Kontakt mit den Messingkappe, gäbe es eine Schicht aus Kupferpulver, dann eine Schicht des chemischen Gemischs, dann eine Schicht aus pulverförmigem Zink, eine sein Schicht aus Kupferpulver usw. mit einer Schicht aus Zinkpulver in Kontakt mit der Messing-Kappe am anderen Ende der Patrone. Mit einer Kartusche etwa vierzig fünf Millimeter lang und fünf Millimeter Durchmesser, können einige vierzehn Zellen aufgenommen werden.
Die Halterungen 12, bei dem das Messingkappen 16 eingreifen, können sich Endgeräte, von dem die Ausgabe der Einheit ergriffen werden können zu bilden. Alternativ kann ein Paar von Anschlüssen 27 auf der Wiegen 12, diese Klemmen 27, die sich mit geeigneten Antennen 28 versehen, die genau in den Abmessungen, der Form und elektrischen Eigenschaften von den Antennen mit dem Sender verbunden ist, diese Antenne 28 entsprechen verbunden werden, anstelle der Antennen 21.
Im Betrieb mit dem Quarzrohr, das die oben genannte Mischung zwischen dem granulierten Kupfer und granulierten Zink und mit dem Rohr selbst in der Position zwischen den Polen des Magneten liegt, wird der Sender eingeschaltet und die Ultrakurzwellen aus es durch die Antennen empfangenen angebracht an jedem Ende des Rohres und in Kontakt mit dem Kupfer und Zink sind, wobei die Wellen so durch das Kupfer und Zink, und durch das Gemisch, so dass das Gemisch durch den kurzen Wellen und dem Cadmium, Phosphor und Cobalt zugeordnet bombardiert weitergegeben die Mischung radioaktiv und Freigabe von elektrischer Energie, die zu dem granulierten Kupfer und granulierten Zink übertragen wird, wodurch ein Strom, der zwischen ihnen in einer ähnlichen Weise zu der von einem Thermopaar erzeugte Stromfluß fließt. Es wurde festgestellt, daß bei einer Mischung mit der vorstehenden Zusammensetzung, die optimale Energieabgabe wird erreicht, wenn der Sender mit einer Frequenz von 300 MHz arbeitet.
Die Bereitstellung eines Quarzrohres ist notwendig, daß die Mischung entsteht eine beträchtliche Wärmemenge, während sie mit dem Bombardement der kurzen Wellen reagiert. Es wird festgestellt, daß das Rohr nur während einer Stunde, und dass das Rohr nach einer Stunde Betrieb entlädt sich halten, das heißt, die radioactiveness des Rohrs wird erst eine Stunde dauern, und es ist daher notwendig, wenn das Gerät kontinuierlich ausgeführt werden, dass der Sender für eine Zeitdauer von etwa fünfzehn bis dreißig Sekunden Dauer einmal pro Stunde betrieben werden.
Mit einem Quarzrohr mit einer Länge von etwa fünfundvierzig Millimeter und einen Innendurchmesser von fünf Millimetern und enthält dreißig Milligramm des chemischen Gemischs, die geschätzte Energie, die aus dem Rohr für eine Entladung von einer Stunde gegeben wird, 10 Ampere zwischen 100 und 110 Volt. Um das Rohr zu ermöglichen, verströmen diese Entladung, ist es nur notwendig, den Sender mit der gewünschten Frequenz für einen Zeitraum von rund fünfzehn bis dreißig Sekunden Dauer zu betreiben.
Der Strom, der durch die Röhre während ihrer Entladung gegeben wird, ist in Form von Gleichstrom. Während der Entladung der Röhre werden schädliche Strahlung in Form von Gammastrahlen, Alphastrahlen und Betastrahlen emittiert und es ist daher notwendig, das Gerät in einer Bleiabschirmung montieren, um die schädlichen Strahlungen beeinflussen Personen und Sachen in der Umgebung zu verhindern, das Gerät. Die Alpha- und Beta-Strahlen, die von der Patrone, wenn sie in Betrieb ist, emittiert werden, werden durch den Magneten gesteuert wird.
Wenn die Einheit bis zu einigen Vorrichtungen, die durch eine Spannungsversorgung angeschlossen ist, ist es notwendig, geeignete Sicherungen gegen die Patrone kurzgeschlossen, welche dazu führen könnten, dass die Patrone explodiert schützen bereitzustellen.
Das geschätzte Gewicht einer solchen Einheit, die die notwendige Abschirmung, pro Kilowattstunde Ausgangs, ist etwa 25% von jeder bekannten Standardtyp eines Akkumulators, welche heute in Gebrauch ist, und es wird geschätzt, dass die Lebensdauer des chemischen Gemischs ist wahrscheinlich im Bereich von siebzig bis achtzig Jahren, als im Dauereinsatz.
Es ist somit erkennbar, daß wir eine neue Form einer Vorrichtung zum Erzeugen eines elektrischen Stroms, der deutlich leichter als der Standard-Typ des Akkumulators zur Zeit bekannt ist, ist vorgesehen, die eine unendlich größere Lebensdauer als der Standard-Typ des Akkumulators hat und welche wieder aufgeladen oder wieder aufgenommen, wie und wenn gewünscht und von einer entfernten Position in Abhängigkeit von der Ausgangsleistung des Senders. Eine solche Form der Batterie hat viele Anwendungen.
Patent
FREI DREHENDEN GENERATOR
Elektrische Energie wird häufig durch Drehen der Welle eines Generators, der eine Anordnung von Spulen und Magneten darin enthaltene erzeugt. Das Problem ist, dass, wenn Strom von den Abzugs Spulen eines typischen Generator gezeichnet, wird es viel schwieriger, die Generatorwelle zu drehen. Das in diesem Patent gezeigte gerissen Design überwindet diese Probleme mit einer einfachen Konstruktion, bei der der Aufwand, um die Welle zu drehen nicht durch den Strom von dem Generator gezeichnet verändert.
ZUSAMMENFASSUNG
Ein Generator der vorliegenden Erfindung wird der Ringpermanentmagnet Bahnen 2 und 2' ausgebildet, befestigt und auf zwei Bahnen 1 und 1' befestigt um eine Drehachse 3, die magnetische Induktion primären Kernen 4 und 4' befestigt und über Außenumfangsflächen der festen die Ringpermanentmagneten ausbildet 2 und 2' in einem vorbestimmten Abstand von den äußeren Umfangsoberflächen, magnetische Induktion Sekundärkerne 5 und 5' befestigt und an die magnetische Induktion primären Kernen 4 und 4' befestigt sind und jeweils zwei Kupplungs, Löcher 6 und 6' gebildet darin, tertiäre Kerne 8 und 8' für die Kupplung in beiden Koppellöchern 6 und 6' von jedem der zugeordnete magnetische Induktion Sekundärkerne 5 und 5' gegenüberliegend zueinander, und Reaktionsspulen 7 und 7' eingesetzt sind. Die Ringpermanentmagnet -Bahn 2 und 2' sind von 8 Sätze von Magneten mit abwechselnden Nord- und Südpole gebildet und Magneten miteinander in axialer Richtung verbunden entgegengesetzte Polaritäten bzw. und ein Paar zu bilden.
BESCHREIBUNG
TECHNISCHES
GEBIET
Die vorliegende Erfindung betrifft Generatoren, und insbesondere auf einen lastfreien Generator, der Wirkungsgrad des Generators durch Löschen oder Beseitigung der sekundären repulsive Last maximieren kann, ausgeübt auf den Rotor während der elektrischen Leistungserzeugung
ENTSPRECHENDE TECHNOLOGIE
Der Generator ist eine Maschine, die aus Quellen der verschiedenen Energiearten wie physikalische, chemische oder Kernkraftenergie erhalten mechanische Energie, beispielsweise wandelt, in elektrische Energie. Generatoren auf Basis linearer Bewegung sind kürzlich entwickelt worden, während die meisten Generatoren als Drehgeneratoren aufgebaut. Erzeugung einer elektromotorischen Kraft durch elektromagnetische Induktion ist ein gemeinsames Prinzip Generatoren unabhängig von ihrer Größe oder ob der Generator ist eine Wechselstrom oder Gleichstrom generator.
Der Generator ist eine starke Magneten wie Permanentmagneten und Elektromagneten zum Erzeugen von Magnetfeldgradienten, sowie einen Leiter zur Erzeugung der elektromotorischen Kraft, und der Generator ist so aufgebaut, um einen von ihnen zu ermöglichen relativ zu dem anderen zu drehen. Abhängig davon, welche dem Magneten und den Leiter dreht Generatoren können in Drehfeldgeneratoren, bei denen die Magnetfeld dreht und rotierenden Ankergeneratoren in dem der Leiter dreht klassifizieren.
Obwohl der Permanentmagnet zur Erzeugung des magnetischen Feldes verwendet werden, wird der Elektromagnet im allgemeinen verwendet, die aus einer Magnetfeldspule um einen Kern gewickelt gebildet wird, damit der Gleichstrom durch sie hindurch zu fließen. Selbst wenn ein starker Magnet verwendet wird, um die Drehgeschwindigkeit, erhöhen in der Regel die elektromotorische Kraft von einem Leiter erzeugt wird, nicht so groß. Somit ist in einer allgemein verwendeten Systems, eine große Anzahl von Leitern in dem Generator vorgesehen ist und die elektromotorischen Kräfte von den jeweiligen conductare erzeugt seriell addiert, um so eine hohe elektrische Leistung zu erzielen.
Wie oben diskutiert, kann ein üblicher Generator erzeugt Strom durch mechanisches Drehen eines Magneten (oder Permanentmagneten) oder eines Leiters (Elektromagnet, elektrisch ansprechende Spule und dergleichen), während Rückwärtsstrom zu diesem Zeitpunkt durch die magnetische Induktion (elektromagnetische Induktion) erzeugt und durch die strömende Spule verursacht magnetische Kraft, die den Rotor zieht, so daß der Rotor selbst um unnötige Belastung, die erreicht unterworfen mindestens zweimal die Stromerzeugung.

Fig.6 veranschaulicht, dass die Last, wie oben erörtert ist auf einem Rotor in einer oben erwähnten Drehfeldtyp Generator ausgeübt wird.
Mit Bezug auf Fig.6 ist ein Permanentmagnet Bahn 104 um eine Drehachse 106, so dass N-Pole und S-Pole abwechselnd auf der äußeren Umfangsfläche des Zuges befindet angeordnet. In einem gewissen Abstand von der äußeren Peripherie des Permanentmagnetreihe 104 nach außen ist eine magnetische Induktionskern 100 angeordnet und eine Spule 102 ist um die magnetische Induktion Kern 100 gewickelt.
Als Dauermagnetreihe 104 dreht, der in der Spule durch Permanentmagnetreihe erzeugte Magnetfeld 104 Änderungen induzierten Strom durch die Spule fließen zu lassen 102. Dieser induzierte Strom ermöglicht die Spule 102, um ein Magnetfeld 110, das bewirkt, dass eine abstoßende Kraft auf permanente ausgeübt erzeugen Magnetreihe 104 in der Richtung, die die Rotation der Magnetreihe stört.
Zum Beispiel wird in dem in Fig.6 gezeigten Beispiel ist der S-Pol des magnetischen Feldes 110 zugewandt Permanentmagnetreihe 104. Der S-Pol des Permanentmagnetreihe 104 Ansätze Spule 102 aufgrund der Drehung des Permanentmagnetreihe 104, wodurch die Rückstellkraft wie oben beschrieben.
Wenn umgekehrter Strom in einer Spule in Reaktion eines Ankers um einen magnetischen Induktionskern eines Generators gewickelt ist, so dass die resultierende Lade hindert den Rotor dreht, umgekehrte Magnetfeld des Ankers ansprechend Spule stärker proportional zu dem Stromausgang und daher ein Last entsprechend mindestens dem zweifachen Momentanverbrauch auftreten können.
Wenn elektrische Leistung von 100 W verwendet wird, zum Beispiel um Magnetfeld von mindestens 200W erzeugt wird, so daß eine enorme Menge an Last wirkt der Rotor um die Drehung des Rotors behindern.
Alle der herkömmlichen Generatoren sind, um nicht nur eine mechanische Grundlast ausgesetzt, dh die Belastung, wenn die elektrische Energie nicht verbraucht wird, sondern eine Sekundärlast durch Umkehrstrom, der proportional zum elektrischen Energieverbrauch und mindestens zweimal damit zu einer Belastung von zogen ist der momentane Verbrauch.
Solch eine Menge der Ladung ist ein Hauptfaktor der Verringerung der elektrischen Leistung der Produktionseffizienz und Lösung des obigen Problems erforderlich ist.
OFFENBARUNG
DER ERFINDUNG
Eine Aufgabe der vorliegenden Erfindung ist es, einen Generator, der Erzeugung von elektrischer Energie mit einem hohen Wirkungsgrad durch die Aufheben der sekundären Last außer der mechanischen Belastung des Generators, dh Aufheben der Belastung, der durch erzeugte bereitzustellen, um Rückstrom eines reaktionsSpule einen Anker um einen magnetischen Induktionskern gewickelt ist, um vollständig zu verhindern, das sekundäre Last ausgeübt wird.
Kurz gesagt, ist die vorliegende Erfindung auf einen lastfreien Generator mit einer Drehachse, einem ersten Ringmagneten Bahn, einen zweiten Ringmagneten Zug, einer ersten Mehrzahl von ersten Primärkernen magnetische Induktion, einer ersten Mehrzahl von zweiten Primärkernen magnetische Induktion angewendet eine erste Spule anspricht, und einen zweiten ansprechenden Spule.
Der erste Ringmagnet Zug hat N-Pole und S-Pole aufeinanderfolgend auf einem äußeren Umfang eines ersten Drehumlaufbahn um die Rotationsachse angeordnet sind. Der zweite Ringmagnet Zug hat Magneten aufeinanderfolgend auf einem äußeren Umfang eines zweiten Drehumlaufbahn um die Drehachse in einem vorgegebenen Abstand von der ersten Umlaufbahn angeordnet ist, dass die Polaritäten der Magneten auf der zweiten Umlaufbahn entgegengesetzt zu den Polaritäten entgegengesetzt sind Stellen auf der ersten Umlaufbahn sind. Die erste Vielzahl von ersten Magnetinduktions primären Kernen entlang einer ersten Umfangsfläche des ersten Ringmagneten Bahn in einem vorbestimmten Abstand von der ersten Umfangsfläche befestigt. Die erste Vielzahl von zweiten Magnetinduktionsprimärkerne entlang einer zweiten Umfangsfläche des zweiten Ringmagneten Bahn in einem vorbestimmten Abstand von dem zweiten Peripherieoberfläche fixiert. Eine erste Vielzahl von ersten Kopplungs magnetische Induktion Kernen und einer ersten Mehrzahl von zweiten Kopplungs magnetische Induktion Kerne in Paaren vorgesehen sind, um einen geschlossenen Magnetkreis zwischen dem ersten und zweiten magnetischen Induktion primären Kernen gegenüberliegend zueinander in der Richtung der Drehachse bilden. Die erste reaktions Spule um den ersten Kupplungsmagnetinduktionskern gewickelt. Die zweite reaktionsSpule ist um den zweiten Kupplungsmagnetinduktionskern gewickelt ist, wobei die Richtung der Wicklung der zweiten sensiblen Spule relativ zur ersten Spule umgekehrten reaktions.
Vorzugsweise wird in dem lastfreien Generator der Erfindung umfasst der erste Ringmagnet Zug einen Permanentmagnetreihe entlang der äußeren Peripherie der ersten Umlaufbahn angeordnet ist, und der zweite Ringmagnet Bahn enthält einen Permanentmagnetreihe entlang der äußeren Peripherie angeordnet sind die zweite Drehumlaufbahn .
Noch bevorzugter schließt das lastfreie Generator der vorliegenden Erfindung umfasst ferner eine erste Vielzahl von ersten magnetischen Induktion Sekundärkerne an jeweiligen Außenumfängen der ersten magnetischen Induktion primären Kernen bereitgestellt und jeweils mit ersten und zweiten Verbindungslöcher, und eine erste Vielzahl von zweiten magnetische Induktion Sekundärkerne an jeweiligen Außenumfängen der zweiten magnetischen Induktion primären Kernen und mit jeweils dritten und vierten Verbindungslöcher vorgesehen. Die ersten Kupplungsmagnetinduktionskerne sind in die ersten und dritten Verbindungslöcher zur Verbindung der ersten und zweiten magnetischen Induktion Sekundärkerne eingesetzt, und die zweiten Kopplungs magnetische Induktion Kerne sind in die zweite und vierte Kopplungslöcher zum Koppeln des ersten und zweiten magnetischen Induktion eingesetzt Sekundärkerne.
Alternativ hat der lastfreien Generator der vorliegenden Erfindung vorzugsweise eine erste Vielzahl von ersten in Drehrichtung um die Drehhilfen, die Zickzack zueinander und eine erste Vielzahl von zweiten in Drehrichtung um ordneten Reaktionsspulen verbunden angeordnet sind Reaktionsspulen die Drehachse, die Zickzack miteinander verbunden sind.
Alternativ kann in dem lastfreien Generator der vorliegenden Erfindung vorzugsweise die erste Vielzahl gleich 8 ist, und die in der Drehrichtung um die Drehachse angeordneten ersten Reaktionsspulen 8 sind verbunden, Zickzack zueinander, und die 8 Spulen zweiten sensiblen in der Drehrichtung um die Drehachse angeordnet sind, verbunden Zickzack zueinander.
Dementsprechend ist ein Hauptvorteil der vorliegenden Erfindung ist, dass zwei Reaktionsspulen aufgewickelt, die jeweils in entgegengesetzten Richtungen um eine gepaarte Eisenkernen verbunden sind, um Rückwärts von Umkehrströmen (induzierte Ströme) durch die beiden Reaktionsspulen fließenden Strom erzeugte magnetische Kräfte aufzuheben, so daß der Sekundär Last, die die Drehung des Rotors beeinträchtigt wird vollständig verhindert und somit eine lastfreie Generator vorgesehen sein, um nur eine Last, die gleich oder kleiner als mechanische Belastung ist, wenn Stromerzeugung nicht durchgeführt ausgesetzt ist, dh der Drehbelastung sogar wenn der Generator betrieben wird, um die maximale.
Ein weiterer Vorteil der vorliegenden Erfindung ist, dass die Rückwärtsmagnetkraft, wie bei den herkömmlichen Generatoren gefunden aufgrund außer der Primärschwerkraft des Rotors und der dynamischen Energie des Rückwärtsstrom auftritt, wenn der Rotor sich dreht, nicht erzeugt, und dementsprechend Lastenergie Rotor wird eliminiert, um die Menge der elektrischen Leistung relativ zu der herkömmlichen elektrischen Energieerzeugungssystems zu erhöhen und somit zur Verbesserung der elektrischen Energieproduktion und Wirtschaftlichkeit.
KURZE BESCHREIBUNG DER ZEICHNUNGEN
Fig.1 ist eine Querschnittsansicht eines Drehfeldtyp-Generator gemäß einer Ausführungsform der vorliegenden Erfindung, die eine Anordnung eines Permanentmagneten, magnetische Induktion Kerne und Spulen.

Fig.2 ist eine schematische Teilansicht, die eine Magnetanordnung der Permanentmagnet-Rotor und eine Anordnung aus einem magnetisch ansprechender Spulen, die um dieses Rotors in einer Ausführungsform der vorliegenden Erfindung platziert.

Fig.3 veranschaulicht eine Struktur der magnetisch ansprechenden Spulen und Kerne in der Ausführungsform der vorliegenden Erfindung.

Fig.4 ist eine vergrßerte Draufsicht eines magnetisch empfindlichen Kernen und Spulenabschnitte der lastfreien Generator der vorliegenden Erfindung, die magnetische Fluss hindurch.

Fig.5 zeigt eine Explosionsansicht um eine zentrale Achse den Verbund der Magnetfeld-Spulen, bzw. um tertiäre Kerne, die rund um die Permanentmagnet-Rotor in Fig.1 nach die vorliegende Erfindung gewickelt werden.

Fig.6 veranschaulicht die Erzeugung des sekundären Last in einem herkömmlichen Generator.

BESTE ARTEN ZUM AUSFÜHREN
DER ERFINDUNG
Der Aufbau und Betrieb eines lastfreien Generator gemäß der vorliegenden Erfindung werden nun in Verbindung mit den Zeichnungen beschrieben.
Fig.1 zeigt eine Querschnittsstruktur des lastfreien Generator der Erfindung senkrecht zu einer Drehachse 3.
Fig.2 teilweise eine Querschnittsstruktur des lastfreien Generator der Erfindung parallel zur Rotationsachse 3. Insbesondere in Fig.2 ist nur eine der acht Gruppen von magnetischen Induktion primären Kernen 4 und 4' um die Drehachse angeordnet sind 3, wie unten beschrieben ist repräsentativ gezeigt.

Bezugnehmend auf Fig.1 und Fig.2 ist der Aufbau der lastfreien Generator der Erfindung beschrieben. Permanentmagnet Züge 2 und 2' in Ringformen angebracht und befestigt, um jeweilige linke und rechte Bahnen 1 und 1' vorgesehen ist relativ zu der Drehachse 3 mit einem bestimmten Abstand zwischen ihnen. Permanentmagnet-Züge 2 und 2' werden auf linken und rechten Bahnen 1 und 1' befestigt beziehungsweise, dass die Polaritäten auf der Außenumfangsfläche jedes Magneten Zug bezogen auf die Drehachse abwechselnd N-Pole und S-Pole. Die Permanentmagnet Züge sind um die Achse drehbar ist. Weiterhin sind die zugewandten Pole der jeweiligen Permanentmagnetreihe 2 und der Permanentmagnet Zug 2' in Bezug auf die Richtung der Drehachse 3 angeordnet sind, gegenüberliegend zu sein,.

Wie in Fig.2 gezeigt ist, sind Drehachse 3 und ein Gehäuse 9 durch ein Lager 10 in einem bestimmten Abstand angeschlossen vom Permanentmagneten ausbildet 2 und 2'.
In einem vorbestimmten Abstand vom Permanentmagneten Züge 2 und 2', die magnetische Induktion primären Kernen 4 und 4' mit den jeweiligen Wicklungen, die um sie gewunden sind so befestigt, Gehäuse 9.
Darüber hinaus werden magnetische Induktion Sekundärkerne 5 und 5', die jeweils zwei Kupplungsöffnungen 6 und 6' ausgebildet ist durch Stapeln und Verbinden einer Vielzahl von dünnen Kernen angebracht aufgebaut und an die magnetische Induktion primären Kernen 4 und 4' jeweils und die sekundären Kerne fest angeschlossen sind und fest zu Fall 9.
Magnetische Induktion tertiären Kerne 8 und 8’ der magnetischen Induktion Sekundärkerne 5 und 5' sind jeweils in Verbindungslöcher 6 und 6' eingeführt ', um einige der magnetischen Induktion Sekundärkerne 5 und 5' voneinander.
Responsive Spulen 7 und 7' in entgegengesetzte Richtungen zueinander um jeweilige magnetische Induktion Kerne 8 und 8' gewickelt.
Fig.3 veranschaulicht eine Struktur der magnetischen Induktion Sekundärkerne 5 und 5', die magnetische Induktion Kerne 8 und 8' und Reaktionsspulen 7 und 7' n der Richtung senkrecht zu der Drehachse 3 ausgebildet ist.
Wie oben erklärt, sind jeweils gegeneinander um die magnetische Induktion Kerne 8 und 8' die Richtungen der Wicklungen des Reaktionsspulen 7 und 7’, die einige magnetische Induktion Sekundärkerne 5 und 5'.
In der in Verbindung mit Fig.1, Fig.2 und Fig.3 beschriebenen Aufbau der Drehachse 3 des Generators dreht, permanent magnetischen Bahnen 2 und 2' entsprechend zu drehen, um magnetisch empfindlichen Ströme (elektromagnetisch induzierten Strom) in Reaktionsspulen erzeugen 7 und 7' und die so erzeugte Strom kann für den Einsatz gezogen werden.

Wie in Fig.3 gezeigt, sind die Spulen um magnetische Induktion Kerne 8 und 8', die jeweils in den entgegengesetzten Richtungen in den Generator der vorliegenden Erfindung gewickelt ist, und die Richtungen der durch die Strömung von den induzierten Strömen erzeugten Magnetfeldern angeordnet sind, dass der N-Pol und S-Pol abwechselnd erfolgt um die Drehachse 3.

Fig.4 zeigt magnetische Felder in einem Satz von Magnetinduktion Sekundärkerne 5 und 5', die magnetische Induktion Kerne 8 und 8' und Reaktionsspulen 7 und 7' induziert.
Bei Eisenstreifen an beiden Enden des jeweiligen Magnetinduktionssekundärkerne 5 und 5 ', eine Rückwärtsstrom -Magnetfeld durch reaktionsSpule 7 bei der Drehung von N und S-Pole von Permanentmagneten Züge 2 und 2' erzeugt wird in Richtung MA in Fig.4 gezeigt, zum Beispiel, während eine Rückwärtsstrom -Magnetfeld durch ansprechende Spule 7 erzeugt wird, in Richtung der MB in Fig.4. Folglich werden die durch den Stromfluss erzeugten magnetischen Gegenfelder gegenseitig aufheben. Die Kerne sind aus einer Vielzahl von Eisenstreifen, um Wärme durch Wirbelströme erzeugt beseitigen gebildet.
Das magnetische Feld des Rotors hat somit keine Abhängigkeit von der Stromfluss, der Belastung durch die induzierte Magnetisierung Phänomen verschwindet verursacht wird, und Energie der Bewegung, die für Drehung an dem mechanischen Grundbelastung des Rotors selbst auf den Rotor aufgebracht wird.
Zu dieser Zeit wird ein Magnetkreis mit magnetischen Induktion Sekundärkerne 5 und 5' und die magnetische Induktion tertiären Kerne 8 und 8' sollte geformt sein "squ." Form. Wenn die Schaltung nicht als strukturierte "squ." Form, ein Teil der umgekehrten Magnetfeld wirkt als elektrische Kraft, welche die Drehkraft des Rotors behindert.
Ferner bildet der Dauermagnet 2 und 2' des Rotors angeordnet sind, um entgegengesetzte Pole einander auf der linken und rechten Seite, wie in Fig.2, um so den magnetischen Fluss dar gezeigt haben. Jeder Rotor hat abwechselnd angeordneten Magneten, beispielsweise acht Stangen vorgesehen sind, um den Wirkungsgrad des Generators zu verbessern.
Eine detailliertere Beschreibung des Betriebsprinzips wird nun gegeben. Wenn der Rotor in Fig.1 einmal dreht, S und N Pole des Permanentmagneten 2 und 2' auf den Umfang des Rotors angebracht nacheinander zuzuführen Magnetfelder primären Kernen 4 über Induktion und Magnetfeld entsprechend in einem Pfad von einem erzeugten Umlaufbahn des Rotors entlang Induktions primären Kern 4, Induktionssekundärkern 5, Induktions tertiären Kern 8, Induktionssekundärkern 5', Induktions primären Kern 4' mit dem anderen Umlaufbahn des Rotors, wie in Fig.2 gezeigt.
Dementsprechend
fließt ein Strom in der durch dieses elektrische Feld beeinflußt Spulen zur
Erzeugung elektrischer Energie. Zum Beispiel, wenn der erzeugte Strom wird als
erzeugte Ausgangs zum Einschalten eines elektrischen Lampe oder für die
Verwendung als Antriebsenergie, verwendet der Strom durch die Spulen erzeugt,
die umgekehrten Magnetfelder. Allerdings sind diese umgekehrte magnetische
Felder nicht Permanentmagneten 2 und 2'
auf den Rotor in Fig.2 befestigt
beeinflussen, da die umgekehrte magnetische Felder in der gleichen
Größenordnung bzw. von S und

Fig.5 veranschaulicht eine Art der Verbindung magnetisch ansprechenden Spulen 7 und 7' um die magnetische Induktion tertiären Kerne 8 und 8' gewickelt mit acht Polen.
Bezugnehmend auf die Fig.5, entsprechend einem Verfahren zum Verbinden von magnetisch ansprechenden Spulen 7 und 7', Leitung 1a1 ansprechend Spule 7' (einer gezogenen Linie der Draht um eine erste Magnetinduktionskern 8 gewickelt) ist mit der Leitung 1a2' verbunden (ein langwieriger Linie des Drahtes um eine zweite magnetische Induktion Kern 8 aufgerollt) und dann Linie 1a2 (die andere gezogenen Linie des Drahtes um eine zweite magnetische Induktion Kern 8 aufgerollt) ist mit der Leitung 1a3' verbunden, und anschließend Linien 1a und 1a' nacheinander in Zick-Zack-Weise verbunden sind Stromfluss zu ermöglichen. Des Weiteren reagiert Spule 7 ist angeordnet, um Linien von 1b1 in Zick-Zack-Form dargestellt verbinden, so dass Leitungen 1b und 1b' nacheinander verbunden sind. Auf diese Weise Leitungen 1b, 1b' und Leitungen 1a und 1a' der jeweiligen magnetisch ansprechenden Spulen 7 und 7' miteinander verbunden sind. Insgesamt sind insgesamt vier elektrische Leitungen zur Nutzung erstellt.
Wenn elektrische Leistung entsprechend der vorliegenden Erfindung erzeugt werden, wie oben beschrieben, insbesondere einen geschlossenen Kreislauf wird durch Reaktionsspulen 7 und 7’ aufweist, die um die magnetischen Kerne Induktions der Wunde, werden elektrische Ströme in Reaktionsspulen 7 und 7’ induziert Generator, und die jeweils durch Reaktionsspulen 7 und 7’ erzeugten induzierten Magnetfelder könnte eine große Last, die die Drehkraft des Rotors eingreift verursachen. Wie in Fig.4 gezeigt, ist die Richtung der Faltung von einem Coil 7 entgegengesetzt zu der der anderen Spule 7 ', so daß der durch die Rückströme (induzierte Ströme) in Reaktionsspulen 7 und 7’ erzeugte magnetische Kraft, gewunden um Magnetinduktionskern 4 ist nicht auf die magnetische Induktion Kerne 8 und 8’ entsprechend keiner Umkehrmagnetkraft auf Permanentmagneten 2 und 2' übertragen werden.
Daher wird jedes Mal, wenn die N-Pole und S-Pole einander abwechseln, weil der Wechsel in Fig.2, die Umkehrmagnetkräfte in der rechten und linken Richtung entgegengesetzt zu der Richtung der Pfeile durch MA bezeichnet sind Permanentmagnete 2 und 2' und MB ganz verschwinden, wie in Fig.4 gezeigt. Folglich werden die durch die Rückströme verursachte Rückwärtsmagnetkräfte nicht von Permanentmagneten 2 und 2' und dementsprechend keiner Last außer der mechanischen Grundlast beeinflusst wird, auf den Generator der Erfindung ausgeübt.
Wie oben diskutiert, kann die Lastfrei-Generator der vorliegenden Erfindung Sekundärlast außer mechanische Belastung des Generators, dh die Belastung durch die Rückströme durch die Reaktionsspulen fließenden verursacht werden genullt werden. Im Hinblick auf diese lastfreien Generator wird auch dann, wenn 100% des durch die magnetische Induktion (elektromagnetische Induktion) erzeugten verwendet, die magnetische Sekundärlast durch die Rückströme außer dem mechanischen Grundlast nicht als Last dienen.
Obwohl die Anzahl der Pole des Rotors ist als 8 in der obigen Beschreibung beschrieben wurde, ist die vorliegende Erfindung nicht auf eine solche Struktur beschränkt, und die Erfindung kann seine Wirkung zeigt, wenn die geringere oder größere Anzahl von Polen aufgebracht wird.
Ferner kann, obwohl der Magnet des Rotors als Permanentmagneten in der oben beschriebenen Struktur beschrieben, die Erfindung ist nicht auf einen solchen Fall beschränkt, und der Magnet des Rotors kann ein Elektromagnet sein, zum Beispiel.
Zusätzlich, obwohl die obige Beschreibung auf die Struktur des Drehfeldtyps Generator angelegt, kann der Generator des Drehanker -Typ sein.
Experimentelles
Beispiel
Eine detailliertere Beschreibung des Generators der vorliegenden Erfindung wird im folgenden die auf Basis der spezifischen experimentellen Beispielen der Erfindung.
Der Generator der vorliegenden Erfindung und einem herkömmlichen Generator wurden verwendet, um die elektrische Leistung der Produktionseffizienz und der Menge an Ladung zu messen und die resultierenden Messungen.
Experimentelles Beispiel 1
Ein Generator 12 poligen Wechselstrom (AC) zur Batterieladung verwendet wurde, und der elektrischen Leistung und der Last bei 50% der elektrischen Leistung wurde ebenfalls verwendet wie jene, wenn 100% der elektrischen Leistung verwendet wurde gemessen. Die oben Generator ein einphasiges Wechselstrommotor und dem verwendeten Energiequelle war 220V, mit 1.750 Umdrehungen pro Minute und der Wirkungsgrad von 60%. Das Ergebnis der Messung unter Verwendung der Kraft eines Motors an 0.5HP und Ampere .times.volt Messgerät ist in Tabelle 1 gezeigt.
Experimentelles
Beispiel 2
Die Messung wurde unter den gleichen Bedingungen wie in Versuchsbeispiel 1 durchgeführt und ein Generator verwendet wurde, war diejenige, die gemäß der vorliegenden Erfindung, die gleichen Bedingungen wie denen des Produkts des bestehenden Modells oberhalb aufweisen wurde. Das Ergebnis der Messung unter Verwendung Ampere x Volt Messgerät ist in Tabelle 1 gezeigt.
Tabelle 1
|
|
50% Strom |
Gebraucht |
100% Strom |
Gebraucht |
|
Art der Generator |
Strom
Ausgang ( |
Größe
der Last ( |
Strom
Ausgang ( |
Größe
der Last ( |
|
Konventionelle: |
100 |
221 |
14 |
347 |
|
Diese Erfindung: |
100 |
220 |
183 |
200 |
Aus dem Ergebnis der experimentellen Beispiel 1 oben, wird der Grund für die beträchtliche Verringerung der Stromabgabe, wenn der Stromverbrauch betrug 100% bezogen auf den Stromverbrauch von 50% bei dem herkömmlichen Generator als die signifikante Erhöhung des Abstoß Last ausgeübt wird an den Generator, wenn 100% des Stroms verwendet wird.
Auf der anderen Seite, in den Generator der vorliegenden Erfindung gab es keinen nennenswerten Unterschied in der Höhe der Belastung zwischen den Fällen, in denen 50% des Stroms verwendet wurde, und 100% davon wurden jeweils verwendet. Vielmehr wird die Menge der Last etwas vermindert (ca. 20 W), wenn 100% des Stroms verwendet. Im Hinblick darauf versteht es sich, dass die Menge der erzeugten elektrischen Leistung des Generators der vorliegenden Erfindung näherungsweise als Stromverbrauch steigt, was sich von dem herkömmlichen Generator Erzeugung elektrischer Leistung, die deutlich abnimmt, wenn der Stromverbrauch zunimmt verdoppelt .
Abschließend wird der Betrag der Last über soll numerischen Wert relativ zu der mechanischen Belastung des Generators, wie oben beschrieben. Jede Sekundärlast, außer dies kann also Belastung durch die Rückströme in den Ankerreaktionsspulen erzeugt Null bestätigt werden.
Experimentelles
Beispiel 3
12V Gleichstrom Generatoren mit ähnlichen Bedingungen, wie sie im experimentellen Beispiel 1 wurden verwendet, um die Messung unter den gleichen Bedingungen (Wirkungsgrad 80%) zu machen. Das Ergebnis der Messung ist im folgenden dargestellt.
Tabelle 2
|
|
50% Strom |
Gebraucht |
100% Strom |
Gebraucht |
|
Art der Generator |
Strom
Ausgang ( |
Größe
der Last ( |
Strom
Ausgang ( |
Größe
der Last ( |
|
Konventionelle: |
103 |
290 |
21 |
298 |
|
Diese Erfindung: |
107 |
282 |
236 |
272 |
Der Gleichstromgenerator hat einen höheren Wirkungsgrad (80%) als die des Wechselstrom generators, während die Verwendung der Bürste erhöht die Kosten des Gleichstromgenerators. Wenn 100% des Stroms verwendet wurde, die Menge der Last etwas vermindert, die ähnlich der in Tabelle 1 und den Stromausgang gezeigt Ergebnis wurden etwa mindestens 2,2-fachen, wenn 50% des Stroms verwendet.
Experimentelles
Beispiel 4
A 220V einphasigen Wechselstrom-Generator (0.5HP) mit ähnlichen Bedingungen wie in Versuchsbeispiel 1 verwendet wurde, und die Umdrehungen pro Minute (rpm) verändert wurde, um die Messung unter der Bedingung von 100% Verbrauch des erzeugten machen Elektrizität. Das Ergebnis der Messung ist in der folgenden Tabelle 3 dargestellt.
Tabelle 3
|
1750 |
rpm |
3600 |
rpm |
5100 |
rpm |
|
Strom
Ausgang ( |
Größe
der Last ( |
Strom
Ausgang ( |
Größe
der Last ( |
Strom
Ausgang ( |
Größe
der Last ( |
|
130 |
160 |
210 |
228 |
307 |
342 |
(Mengen der erzeugten elektrischen Leistung und der Last, wenn die Umdrehungen pro Minute des Generators der vorliegenden Erfindung variiert wurde)
Wie in Tabelle 3 oben gezeigt ist, wie die Drehung pro Minute (rpm) erhöht, wie aus dem Jahre 1750, 3600 bis 5100, die Menge an elektrischer Energie erhöht, die jeweils von 130 210 bis 307W und folglich die Differenz zwischen der Menge der erzeugten elektrischen Leistung und der Lastmenge abnimmt, um eine relative Verringerung der Größe der Last als die Umdrehungen pro Minute (rpm) verursachen erhöht.
Experimentelles
Beispiel 5
Die Messung wurde durch Änderung der Anzahl von N und S-Pole der Permanentmagnete der Erfindung unter den gleichen Bedingungen wie denen des experimentellen Beispiels 1 und unter der Bedingung, daß 100% des erzeugten Stroms verwendet wurde getan.
Das Ergebnis der Messung ist unten dargestellt.
Tabelle 4
|
2- |
polig |
4- |
polig |
8- |
polig |
|
Strom
Ausgang ( |
Größe
der Last ( |
Strom
Ausgang ( |
Größe
der Last ( |
Strom
Ausgang ( |
Größe
der Last ( |
|
80 |
152 |
130 |
200 |
265 |
296 |
(Mengen der erzeugten elektrischen Leistung und Belastung, wenn die Anzahl der Pole der Permanentmagneten des Generators der Erfindung geändert wurde)
Aus der obigen Tabelle 4 wird verständlich, daß, wenn die Anzahl der Pole zunimmt, sowohl die Mengen der erzeugten elektrischen Leistung und Lasterhöhung. Jedoch ist das Verhältnis der Menge der erzeugten elektrischen Energie zur Menge der Belastung monoton zunimmt. In der obigen Tabelle in Bezug auf die Menge der Ladung, die nur die erste mechanische Belastung auftritt und elektrische Sekundär wird nicht ausgeübt.
Die Erhöhung der Anzahl der Pole bewirkt Erhöhung der Anzahl von erhöhten Pole, in der Anzahl der Linien des magnetischen Flusses, die Traverse Spulen und folglich die elektromotorische Kraft erhöht, um die Menge der erzeugten elektrischen Leistung zu erhöhen. Andererseits ist die Menge der mechanischen Last einen konstanten Wert unabhängig von der Erhöhung der Anzahl der Pole, so dass die mechanische Belastung Menge relativ verringert, um die Differenz zwischen der Höhe der Last und der Menge der erzeugten elektrischen Leistung zu verringern.
Detaillierte Beschreibung der vorliegenden Erfindung, die oben gegeben worden ist, ist nur für den Zweck der Präsentation Beispiel und Illustration und nicht zur Einschränkung. Es wird teuer geschätzt, dass der Geist und der Umfang der Erfindung nur durch die beigefügten Schutzumfang der Ansprüche begrenzt werden.
Patentanmeldung U.S. 20020125774 6. März 2002 Erfinder: Alberto Molina-Martinez
KONTINUIERLICHE ELEKTRISCHE
GENERATOR
Diese Patentanmeldung zeigt die Details einer Vorrichtung, die behauptet wird, kann ausreichend Strom erzeugen, um sowohl sich selbst und externe Lasten zu versorgen. Es hat auch keine beweglichen Teile.
ZUSAMMENFASSUNG
Eine stationäre zylindrische elektromagnetischen Kern, aus einem Stück dünnen Beschichtungen auf die gewünschte Höhe gestapelt sind, mit geschlossenen Nuten radial verteilt, wobei zwei dreiphasigen Wicklungsanordnungen sind in denselben Schlitzen angeordnet, einer an der Mitte, einem an der Außenseite, für die Zweck der Schaffung einer Dreh elektromagnetische Feld durch zeitweiliges Anlegen einer Dreiphasenstrom an eine der Wicklungen und durch dieses Mittel, Ansaugen einer Spannung an der zweiten, in der Weise, dass die ausgehende Energie ist viel größer als die Eingabe. Eine Rückkehr Willen Feedback das System und die temporäre Quelle wird dann abgeschaltet. Der Generator wird von selbst auf unbestimmte Zeit laufen, dauerhaft Erzeugung einer großen Überschuß an Energie.
HINTERGRUND
DER ERFINDUNG
1. Gebiet der Erfindung
Die vorliegende Erfindung betrifft allgemein elektrische Energieerzeugungssysteme. Genauer gesagt betrifft die vorliegende Erfindung selbst Einspeisung elektrischer Stromerzeugungseinheiten.
2. Beschreibung der verwandten Technik
Seit Nikola Tesla erfand und patentierte seine Mehrphasensystem für Generatoren, Induktionsmotoren und Transformatoren, keine wesentliche Verbesserung auf dem Gebiet gemacht. Die Generatoren würde die mehrphasige Spannungen und Ströme durch mechanische Drehbewegung, um ein magnetisches Feld zu zwingen sich zu drehen in der Generator radial beabstandete Windungen zu erzeugen. Die Basis des Induktionsmotorsystem war es, ein elektromagnetisch Drehfeld anstelle eines mechanisch gedrehten Magnetfeld, das zu induzieren würden Spannungen und Ströme auf die elektromotorischen Kräfte als nutzbare mechanische Energie oder Leistung zu generieren,. Schließlich werden die Transformatoren würde die Spannungen und Ströme zu manipulieren, um sie möglich für ihre Verwendung und Weitergabe für größere Entfernungen.
In allen vorhandenen Elektrogeneratoren eine kleine Menge an Energie, die normalerweise weniger als ein Prozent des ausgehenden Macht in großen Generatoren, werden die mechanisch gedreht Elektromagnetpole, die Spannungen und Ströme in Leitern mit einer relativen Geschwindigkeit oder Bewegung zwischen ihnen induziert wird Sie begeistern und die polaren Massen.
Der Rest der in den Prozess der Gewinnung von Strom eingesetzten Energie wird benötigt, um die Massen zu bewegen und um die Verluste des Systems zu überwinden: die mechanischen Verluste; Reibungsverluste; Bürsten Verluste, Ventilationsverluste; Ankerrückwirkung Verluste; Luftspaltverluste; synchrone Reaktanz Verluste; Wirbelstromverluste; Hystereseverluste, von denen in Verbindung, werden nach dem übersteigenden Leistungsaufnahme (mechanische Energie) erforderlich ist, um immer kleinere Mengen an elektrischer Energie zu erzeugen, verantwortlich.
ZUSAMMENFASSUNG DER ERFINDUNG
Der kontinuierliche elektrische Generator besteht aus einem stationären zylindrische elektromagnetische Kern, hergestellt aus einem Stück dünne Lamellen zusammen gestapelt, um einen Zylinder zu bilden, wo zwei drei-Phasen-Wicklung Regelungen in den gleichen Slots ohne physische relative Geschwindigkeit oder Verschiebung zwischen ihnen platziert werden. Wenn eine der Wicklungen mit einer temporären Dreiphasen-Quelle verbunden ist, eine rotierende elektromagnetische Feld erstellt wird und das Feld auf diese Weise erstellt wird die stationären Spulen der zweiten wicklung, Louisianas, Spannungen und Ströme schneiden. In der gleichen Art und Weise und Umfang wie in der gemeinsamen Generatoren wird ungefähr ein Prozent oder weniger der ausgehende Kraft erforderlich machen, die das rotierende Magnetfeld gespannt bleibt.
In der kontinuierlichen elektrischen Generator gibt es keine mechanische Verluste; Reibungsverluste; Pinsel Verluste; Luftwiderstandsverlust Verluste; Armatur Reaktion Verluste; oder Lücke Verluste, da keine Bewegung jeglicher Art. Es gibt: synchrone Reaktanz Verluste, Wirbelstromverlusten und Hysterese Verluste, die in der Planung, Bau und die Materialien des Generators, aber im selben Block wie gemeinsame Generatoren sind.
Einem Prozent oder weniger der von heutigen elektrischen Generatoren erzeugte Energie geht auf um ihr eigenes Magnetfeld zu erstellen; eine mechanische Energie, die die Gesamtleistung der heutigen Generatoren überschreitet wird verwendet, um sie drehen in den Prozess der Gewinnung elektrischen Ströme von ihnen zu machen. In der kontinuierlichen elektrischen Generator gibt es keine Notwendigkeit für Bewegung, da das Feld ist in der Tat bereits elektromagnetisch drehen, wird also alles, was mechanischer Energie nicht erforderlich sein. Unter ähnlichen Bedingungen spannende Strömungen ist Masse und Wicklungen Hauptentwurf, der kontinuierliche elektrische Generator deutlich effizienter als vorhanden Generatoren, was auch bedeutet, dass es deutlich erzeugen kann, mehr als die Energie zum Betrieb benötigten. Der kontinuierliche elektrische Generator können Rückmeldungen des Systems, die temporäre Quelle kann getrennt, und der Generator läuft auf unbestimmte Zeit.
Als mit jedem anderen Generator, kann die kontinuierliche elektrische Generator mit einem minimalen Teil der elektrischen Energie produziert sein eigenes elektromagnetisches Feld begeistern. Der kontinuierliche elektrische Generator muss nur gestartet werden, bis seine inducting drei-Phasen-Wicklung an eine Dreiphasen-externe Quelle anschließen, für einen Augenblick, und dann getrennt werden, zum Starten des Systems als die hier beschriebenen. Dann läuft getrennt, es auf unbestimmte Zeit generieren eine große Überschuss an elektrischer Energie im Umfang seiner Gestaltung.
Der kontinuierliche elektrische Generator werden entworfen und berechnet mit alle mathematischen Formeln zu entwerfen und berechnen elektrische Generatoren und Motoren heutzutage verwendet. Es erfüllt alle Gesetze und Parameter zur Berechnung elektrische Induktion und Stromerzeugung heute.
Mit Ausnahme der Recht Erhaltung der Energie, das durch selbst, ist keine mathematische Gleichung, sondern ein theoretisches Konzept und von dem gleichen Grund hat keinen keine Rolle bei der mathematischen Berechnung der einen elektrischen Generator eines beliebigen Typs, befolgt der kontinuierlichen elektrischen Generator alle Gesetze der Physik und Elektrotechnik. Der kontinuierliche elektrische Generator verpflichtet uns, das Gesetz der Erhaltung der Energie zu überprüfen. Nach meiner persönlichen Überzeugung kommt der Strom nie aus der mechanischen Energie, die wir eine Maschine, um die Massen gegen alle Widerstände bewegen umsetzen. Das mechanische System liefert eigentlich den Pfad für die Kondensation von Elektrizität. Der kontinuierliche elektrische Generator ist ein effizienteren Weg zur für die Stromerzeugung.
BESCHREIBUNG
DER ZEICHNUNGEN
Fig.1 zeigt einer Ausführungsform der vorliegenden Erfindung.

Fig.2 zeigt eine interne Schaltplan für die Verkörperung der die vorliegende Erfindung, die in Fig.1 gezeigt.

Fig.3 zeigt eine einzelne Laminat für alternative Verkörperung der die vorliegende Erfindung.

Fig.4 zeigt eine zweiteilige einzelne Laminat für einer weiteren Alternative Ausführungsform der vorliegenden Erfindung.


Fig.5 zeigt einen Schaltplan für eine Personifikation der die vorliegende Erfindung, gebaut aus dem Laminat in Fig.3 oder Fig.4 gezeigt.

Fig.6 zeigt das Muster des magnetischen Flusses produziert durch die vorliegende Erfindung.

Fig.7 zeigt die rotierende Magnetfeld-Muster, die durch die vorliegende Erfindung hergestellt.

Fig.8 zeigt das komplette System für die vorliegende Erfindung.

Fig.9 ist eine erweiterte Ansicht der alternativen Ausgestaltung der vorliegenden Erfindung in Fig.3 oder Fig.4 gezeigt.

DETAILLIERTE
BESCHREIBUNG DER ERFINDUNG
Die vorliegende Erfindung ist eine kontinuierliche und autonome elektrischer Generator, erzeugen mehr Energie als es betreiben muss, und die bietet sich der zum Betrieb notwendige Energie. Die Grundidee besteht darin, die Induktion von elektrischen Spannungen und Ströme ohne körperliche Bewegung durch den Einsatz von einem rotatorischen Magnetfeld, erstellt von einem Dreiphasen-Stator vorübergehend an eine drei-Phasen-Quelle angeschlossen, und platzieren stationäre Dirigenten auf dem Pfad der genannten rotierende Magnetfeld, den Wegfall der mechanischen Kräfte
.

Das Grundsystem kann in Fig.1, die eine Ausführungsform der vorliegenden Erfindung zeigt, beobachtet werden. Es gibt eine stationäre ferromagnetische Kern 1 mit einer Dreiphasen Zuförderungsverfahren Wicklungen 3, um 120 Grad und Y 6, um eine elektromagnetische Drehfeld, wenn ein Dreiphasen-Spannung bereitzustellen verbunden ist; für den Fall, einer zweipoligen Anordnung. Innerhalb dieser Kern 1 ist eine zweite stationäre ferromagnetische Kern 2, ohne Zwischenraum zwischen ihnen ist, ohne Luftspalt. Diese zweite Kern 2 hat auch eine dreiphasige stationären Wicklungsanordnung (4a in Fig.4b und 4b in Fig.2), wie in Fig.1 und Fig.2 mit dem externen Kern Zuförderungsverfahren Wicklungen 3 gezeigt ausgerichtet sind Es ist nicht Bewegung zwischen den beiden Kernen, da kein Luftspalt zwischen ihnen.
Es gibt keine Welle auf beiden Kern da diese nicht rotierenden Kernen. Die beiden Kerne können aus gestapelten isolierten Blechen oder von isolierten komprimiert und gebunden ferromagnetisches Pulver hergestellt werden. Das System arbeitet entweder Weise Zuförderungsverfahren dreiphasigen Spannungen und Strömen auf der stationären Leiter 4a der inneren Windungen 4b, Aufbringen Dreiphasenströme an den Klemmen A 5a, B 5b und C 5c der Außenwicklungen 3; oder Zuförderungsverfahren dreiphasigen Spannungen und Ströme an den Außenwicklungen 3, indem Dreiphasenströme mit den Anschlüssen T1 7a, 7b T2 und T3 7c der inneren Windungen 4b. Wenn ein Dreiphasenspannung wird an den Klemmen A 5a, B 5b und 5c C, werden die Ströme gleich groß, aber in der Zeit um einen Winkel von 120 Grad verschoben werden. Diese Ströme erzeugen magneto Motiv-Kräfte, die wiederum erzeugen eine Drehmagnetfluss. Die Anordnungen können stark variieren, da sie mit den derzeitigen Lichtmaschinen und Drehstrom-Motoren auftreten, aber die Grundlagen die gleichen bleiben, eine stationäre aber elektromagnetisch rotierenden Magnetfeld, Zuförderungsverfahren Spannungen und Ströme an den stationären Leitern auf dem Weg gelegt des rotierenden Magnet Feld. Das Diagramm zeigt einen zweipoligen Anordnung zu den beiden Wicklungen, sondern viele andere Anordnungen können verwendet werden, wie sie in Generatoren und Motoren gemeinsame.

Fig.2 zeigt die dreiphasige Anordnung der internen Wicklung 4b, vorgesehen ist, in der Praxis symmetrischen Spannungen und Ströme aufgrund einer Raumwinkel von 120 Grad. Es ist vergleichbar mit einem zweipoligen Anordnung. Viele andere dreiphasigen oder mehrphasigen Anordnungen verwendet werden können. Wo immer ein Leiter von einem magnetischen Rotationsfeld überquert, wird eine Spannung an seinen Anschlüssen hervorgerufen werden. Die Verbindungen hängen von der Verwendung, die man mit dem System geben wird. In diesem Fall werden wir eine Drei-Phasen-Spannung in den Anschlüssen T1 7a, 7b T2 und T3 7c und eine neutrale 8. Die Ausgangsspannung ist abhängig von der Dichte des Drehmagnetflusses, der Anzahl der Windungen des Leiters, der Frequenz haben (statt der Geschwindigkeit) und der Länge des Leiters durch das Feld überquert, wie in jedem anderen Generator.
Fig.3 zeigt eine alternative Ausführungsform der vorliegenden Erfindung, bei der der Generator von mehreren einstückigen Blechlamellen 9, als ein Zylinder in der gewünschten Höhe gestapelt sind. Diese Ausführungsform kann auch aus einem einteiligen Block komprimierter gemacht werden und verklebt isolierten ferromagnetischen Pulvers. Die gleichen Schlitz 10 wird der interne 4a / 4b und die Außenwicklungen 3 aufzunehmen, das heißt, das Ansaugen und die induzierten Wicklungen (siehe Fig.5). In diesem Fall wird ein 24-Schlitz-Laminat gezeigt, aber die Anzahl von Schlitzen kann in weiten Grenzen je nach Ausführung und Bedarf variieren.
Fig.4 zeigt einen zweiteiligen Einzel Laminat für eine andere alternative Ausführungsform der vorliegenden Erfindung. Aus praktischen Effekte können die Laminierung in zwei Teile 9a und 9b unterteilt sein, wie gezeigt, um das Einführen der Spulen zu erleichtern. Dann werden sie stabil ohne Trennung zwischen ihnen montierten, als ob sie nur aus einem Stück sind.
Die oben beschriebenen Laminate können mit dünner gebaut werden (0,15 mm Dicke oder weniger) isolierten Lamellen 9 oder 9a und 9b aus einem Material hoher magnetischer Permeabilität und Verluste geringer Hysterese wie Hiperco 50A, oder ähnliches, um Verluste zu verringern oder mit Druck galvanisch getrennte ferromagnetische Pulver, das untere Wirbelstromverluste hat und kann auch kleine Hystereseverluste haben, die der Generator hocheffizienter machen können.
BETRIEB DES GENERATORS
Der kontinuierliche elektrische Generator wie beschrieben und gezeigt in den folgenden Zeichnungen entworfen und berechnet, um ein stark rotierendes elektromagnetisches Feld mit kleinen spannenden strömen zu produzieren. Mithilfe von ein laminiertes Material, wie die genannten Hiperco 50A, erreichen wir rotierenden magnetischen Feldern oben zwei Tesla, da gibt es keine Luft Lücke Verluste, mechanische Verluste, Luftwiderstandsverlust Verluste, Armatur Reaktion Verluste usw. wie gesagt. Dies erhalten Sie durch die Anwendung eines temporären drei-Phasen-Strom auf den Terminals A, B und C-12 von der Louisianas Spulen, 13, 14 und 15 (5a, 5b und 5c in Fig.1), Abstand 120 Grad voneinander ab (siehe Fig.5).

Fig.5 zeigt die räumliche Verteilung
der inducting Wicklungen 13, 14 und 15
sowie die induzierten Wicklungen 18a,
18b, 19a, 19b, 20a und 20b. Die
Die inducting Spulen, 13, 14 und 15 entworfen und berechnet so, dass der Generator gestartet werden kann, mit gemeinsamen Dreiphasen-Spannung (230 Volt 60 Hz pro Phase, zum Beispiel) Linien. Wenn die lokalen Linien Spannungen nicht geeignet sind, können wir die Spannung auf die gestalteten Ebene durch eine Variable Dreiphasentransformator, ein elektronischer Variator oder Wechselrichter etc. Steuern. Sobald wir haben solche starkes Magnetfeld drehen und überqueren die stationären induzierten Spulen 18a, 18b, 19a, 19b, 20a und 20b, eine drei-Phasen-Spannung wird an die Klemmen T1, T2, T3 und N-21 im Verhältnis der magnetischen Flussdichte induziert werden, die Anzahl der verwandelt sich in den Windungen, die Frequenz (anstelle der Geschwindigkeit) verwendet, die Länge der Leiter schneiden durch das rotierende Feld, wie jede andere Lichtmaschine. Wir verbinden können, wie wir Y oder Delta, usw., wie in jeder anderen Wechselstromgenerator oder Generator wünschen. Die ausgehenden Strömungen werden drei-Phasen-Strömungen (oder Poly-Leiterströme je nach Vereinbarung) und wir können eine neutrale 21 haben, verwenden wir eine Y-Verbindung, wie jede andere Lichtmaschine.
Die ausgehende Alternative Spannungen und Ströme sind perfekt sinusförmigen Wellen perfekt angeordnete rechtzeitig und völlig symmetrisch. Die Spannungen und Ströme die durch diese Methode sind in konventioneller Weise nutzbar. Jede Spannung kann hergestellt werden, je nach Ausführung.
Fig.6 zeigt das Magnetfluss-Muster, produziert von der drei-Phasen-inducting-Wicklungen 13, 14 und 15. Dieses Muster ist ähnlich wie das Muster einer Asynchronmaschine Statoren. Da gibt es kein Luftspalt; der ganze Pfad für den magnetischen Fluss ist homogen mit unveränderter Materialien. Der Kern besteht aus dünnen isolierte Lamellen eine hohe magnetische Permeabilität und geringe Hysterese Verlust Material; Wirbelstromverlusten sind aufgrund der dünnen Laminierung minimal. Es gibt keine Zähler Flussmittel oder Armatur Reaktionen, die damit der magnetische Fluss in der Nähe von Sättigung mit einer kleinen spannenden aktuellen oder input Energie sein kann. Aufgrund der Zeit, die zwischen den drei Phasen und die räumliche Verteilung der inducting Wicklungen wird eine rotierende Magnetfeld im Kern, erstellt werden, wie in Fig.7 dargestellt.
Sobald der Generator gestartet wird, wird ein kleiner Teil des gewonnene Energie (Fig.8 und Fig.9), Fütterns inducting Spulen 3 (in Fig.1) oder 13, 14 und 15 (in Fig.5), wie in keinem anderen Auto begeistert Wechselstromgenerator oder Generator zurückgesendet. Natürlich Spannungen und Phasen sollten vollkommen identisch und ausgerichtet, und ggf. die Feedback-Spannungen sollten kontrolliert und behandelt werden durch Variable Transformatoren, Elektronische Variators, Phase Shifter (um Phasen auszurichten) oder andere Art von Spannung oder Phase-Controller.
Eine mögliche Methode besteht für die Verwendung eines elektronischen Konverter oder Variator 25 die zunächst konvertiert zwei oder drei Zeilen von Wechselstrom 24 zu direkten Strom durch eine elektronische Gleichrichter 26 und dann elektronisch, Gleichstrom 27-drei - Phasen aktuelle 28, dreiphasig Ströme rechtzeitig 120 Grad für den elektromagnetischen Feldern A, B und C 3. Abstand zu liefern. Einige Variators oder Wandler akzeptiert zwei Linien der Spannung, während andere nur eine dreiphasige Netzspannung nehmen werden. Diese Verkörperung verwendet ein Variator von 3 kVA, die zwei 220-Volt-Leitungen akzeptiert.
Das rotierende Magnetfeld erstellt durch die Ströme, die durch die inducting drei-Phasen-Wicklungen 13, 14 und 15, wird eine Spannung induzieren, über die Terminals T1, T2, T3, N, 29 (7a, 7b, 7c, 8 in Fig.2). Dann, von den ausgehenden aktuellen Linien 29, eine Ableitung erfolgt 30, System, konvertieren die Futtermittel wieder Alternativen Strömungen zurück zu ernähren, mittels elektronischer Diode zurück Gleichrichter 31, aktuelle 32 und dann die elektronische Konverter oder Variator 25 zu den Gleichstrom-Terminals von der elektronischen Gleichrichter 26 (siehe Fig.8). Sobald das Feedback verbunden ist, der kontinuierlichen elektrischen Generator kann von der temporäre Quelle 24 getrennt werden und weiterhin die Erzeugung von elektrischer Energie auf unbestimmte Zeit.
In Fig.9 ist eine alternative Ausführungsform des kontinuierlichen elektrischen Generator zu beachten. Die Grundprinzipien sind die gleichen wie für die oben beschriebene und in Fig.1 und Fig.2 gezeigten Ausführungsform. Die grundlegenden Unterschiede in der Form der Lamellen und der physikalischen Verteilung der Wicklungen, wie diskutiert und zuvor gezeigt. Eine Variation der Rückführung, mit einer variablen und Verschiebungswandler ist ebenfalls gezeigt.
Der ferromagnetische Kern 11 ist aus einem einteiligen Laminate 9, wie in Fig.3 gezeigt ist (oder zwei halber 9a, 9b, wie in Fig.4 gezeigt) zu der gewünschten Höhe gestapelt. Die Schlitze 10, wie zuvor angedeutet, wird Platz für sowohl das Ansaugen von 13, 14 und 15 und die induzierte 18a-b, 19a-b und 20a-b Wicklungen in dem gleichen Schlitz 10 bzw. 16 und 17. Die eingehenden drei Phasenleitungen 12 Vorschub die Zuförderungsverfahren Dreiphasenwicklungen 13, 14 und 15. Sie sind eingezogen, zunächst durch den temporären Quelle 33 in dem ersten Beispiel, und durch die Drei-Phasen-Rück 34 einmal den Generator von selbst läuft.
Die Zuförderungsverfahren Wicklungen 13, 14 und 15 haben eine zweipolige Anordnung, aber viele andere dreiphasigen oder mehrphasigen Vorkehrungen getroffen werden können, um ein elektromagnetisches Drehfeld zu erhalten. Diese Wicklungen werden in Y (nicht gezeigt) in die in Fig.1, Fig.2 und Fig.8 gezeigten Ausführungsform gezeigt auf die gleiche Weise verbunden, sondern kann auf viele verschiedene Arten verbunden werden. Die Zuförderungsverfahren Wicklungen 13, 14 und 15 sind in dem inneren Abschnitt 16 des Schlitzes 10 (Fig.5) befindet.
Die induzierten Wicklungen 18a-b, 19a-b und 20a-b einen zweipoligen Anordnung genau gleich der Anordnung für die Einspeise Wicklungen 13, 14 und 15, aber viele andere Vorkehrungen getroffen werden können, je nach der Konstruktion und den Bedürfnissen. Die induzierten Wicklungen sind in einer Weise, dass der Generator die bestmöglichen synchronen Reaktanz und der Widerstand müssen berechnet werden. Auf diese Weise wird der größte Teil des ausgehenden Macht, die Ladung, anstatt sich um den Innenwiderstand zu überwinden, zu gehen. Diese Wicklungen sind in Y verbunden, um einen neutralen 21, in der Ausführungsform der vorliegenden Erfindung in Fig.2 gezeigt auf die gleiche Weise zu erzeugen, sondern kann in unterschiedlicher Weise entsprechend den Anforderungen angeschlossen werden. Die induzierten Wicklungen 18a-b, 19a-b und 20a-b sind in dem äußeren Abschnitt 17 des Schlitzes 10 befindet.
Die ausgehenden Drei-Phase und Nulllinien 21 kommen aus den induzierten Wicklungen 18a-b, 19a-b und 20a-b. Die Dreh Magnetfeld in dem Kern erzeugt (siehe Fig.6 & Fig.7) von den Einspeise Wicklungen 13, 14 und 15 induziert eine Spannung an den Anschlüssen T1, T2 und T3, sowie eine neutrale, 29 von jedem der drei-Phasen-Ausgangsleitungen 21 ist eine Rück Ableitung 34, Feedback das System gemacht.
Die temporäre dreiphasigen Quelle 33 wird vorübergehend an die Klemmen A, B und C 12 die kontinuierliche elektrische Generator müssen mit einer externen dreiphasigen Quelle für einen Augenblick, und dann abgeschaltet gestartet werden.
Auch wenn die Rücklaufleitungen Spannung berechnet und genau mit der TAB die induzierten Wicklungen auf der Spannung von den Einspeise Windungen (je nach Ausführung) benötigt erhalten werden, kann es praktisch sein, einen dreiphasigen variablen Transformator oder eine andere Art von Spannungsregler platzieren 35 in der Mitte für eine präzisere Einstellung der Rückspannung .
Nach dem Drehtransformator 35 angeordnet, der Dreiphasenschiebertransformator 36 zu korrigieren, und richten jede Phasenverschiebung der Spannungen und Ströme Winkeln vor dem Rücklauf verbunden ist. Dieses System funktioniert ähnlich wie die in Fig.8 gezeigte System, das einen Variator oder ein Wandler 25 verwendet.
Sobald die Spannung und die Phasen mit dem temporären Quelle 33 ausgerichtet ist, sind die Rücklaufleitungen 34 mit den Eingangsleitungen A, B und C 12 mit Rückkopplungsverbindung 37 verbunden und die temporäre Quelle 33 wird dann abgeschaltet. Die kontinuierliche elektrische Generator wird auf unbestimmte Zeit arbeitet ohne externe Energiequelle, die eine große Energieüberschuss fest.
Die von diesem System bereitgestellt ausgehende elektrische Energie verwendet wurde, um Licht und Wärme, führen Mehrphasen-Motoren zu produzieren, erzeugen nutzbar einphasigen und mehrphasigen Spannungen und Ströme, Spannungen und Ströme verwandeln mittels Transformatoren wandeln die alternative ausgeh Poly -Phase Ströme in Gleichstrom, als auch für andere Verwendungen. Die durch die beschriebenen Weise erhalten hat Strom ist so vielseitig und perfekt wie das heute mit gemeinsamen elektrischen Generatoren erhalten Strom. Aber die kontinuierliche elektrische Generator ist autonom und nicht auf einer anderen Energiequelle abhängt, sondern sich selbst, wenn es läuft, ist; kann überall ohne Einschränkungen durchgeführt werden; es kann in jeder Größe gebaut werden und liefert jede Strommenge unbegrenzt, entsprechend dem Design.
Die kontinuierliche elektrische Generator ist und bleibt eine sehr einfache Maschine. Die Grundpfeiler des Systems liegen in den extrem niedrigen Verluste aus einem nicht-Bewegungserzeugungssystem, und in einem sehr niedrigen synchrone Reaktanz Design.
Die induzierten Wicklungen sind in einer Weise, dass der Generator die bestmöglichen synchronen Reaktanz und der Widerstand müssen berechnet werden. Auf diese Weise wird der größte Teil des ausgehenden Macht, die Ladung, anstatt sich um den Innenwiderstand zu überwinden gehen.
Patentanmeldung
HALBLEITER KOMPONENTEN
Diese Patentanmeldung zeigt die Details einer Vorrichtung, die es in Anspruch genommen wird, kann Strom über einen Festkörper-Oszillator zu erzeugen. Es ist zu beachten, dass, während Konstruktionsdetails sind, die bedeuten, dass der Erfinder konstruiert und getestet mehrere dieser Geräte ist dies nur eine Anwendung und nicht ein erteiltes Patent werden.
ZUSAMMENFASSUNG
Resonanzschwinger elektrische Netzteil zum Betreiben einer Blitzlampe, zum Beispiel, oder andere elektrisch betriebene Vorrichtung arbeitet ohne bewegliche mechanische Teile oder elektrolytische Wirkung. Das Netzteil ist in einem zylindrischen Metallmantel enthalten ist, und in einer bevorzugten Ausführungsform auf einem Kipposzillator und einer Glühlampe verbunden ist. Innerhalb der Hülle, und von diesem isoliert ist, ist eine Halbleitertablette mit einer Metallbasis mit der externen Schaltung verbunden. Eine Metallsonde in Kontakt mit einem Punkt auf der Halbleitertablette und mit einem zylindrischen Ferritstab, die axial mit der Hülle ausgerichtet ist. Wund über den Ferritstab, konzentrisch als "primäre" mit vielen Windungen und einer "sekundären" mit weniger Windungen als die Primär bezeichnet Wendeln.
Ein Ende der Primärspule mit der Sonde verbunden ist und das andere Ende ist mit der Sekundärspule verbunden. die Leitungen von der Sekundärspule sind mit dem Sägezahngenerator über einen einstellbaren Kondensator angeschlossen ist. Schwingung innerhalb der Hülle Resonanz verstärkt, und die induzierte Spannung in der Sekundärspule zum Aufbringen auf Kippgenerators und Lampe gleichgerichtet. Selen und Germanium-Basis-Halbleiterzusammensetzungen, die Te, Nd, Rb und Ga in unterschiedlichen Anteilen Bereich für die Tablette verwendet.
HINTERGRUND
DER ERFINDUNG
Dies ist eine Continuation-in-Teil meiner gleichzeitig anhängigen Patentanmeldung Nr 77.452 reichte 2. Oktober 1970 mit dem Titel "Electric Power Pack" jetzt verlassen.
In vielen Situationen ist es wünschenswert, eine elektrische Energiequelle, die nicht abhängig von Leitungen von einem zentralen Kraftwerk, und damit, tragbare Stromversorgung ohne bewegliche Teile verwendet worden sind. typischerweise, wie tragbaren Kraftpakete wurden primäre oder sekundäre Elektrolysezellen, die Erzeugung oder Speicherung elektrischer Energie für die Freigabe durch chemische Reaktion. Solche Batterien haben eine begrenzte Menge an Energie enthalten, und müssen oft in kurzen Intervallen ersetzt werden, um Geräte in Betrieb zu halten.
Daher wird als ein Beispiel, Blinklichter werden üblicherweise entlang von Autobahnen und anderen Orten verwendet werden, um gefährliche Bedingungen zu warnen. Diese blinkende Lichter an entfernten Standorten sind in der Regel Glüh- oder Gasentladungslampen bis zu einem gewissen Art von Entspannung Oszillator durch eine Batterie angeschlossen ist. Die in solchen blinkende Lichter verwendet Batterien haben eine begrenzte Lebensdauer und müssen regelmäßig ersetzt werden, in der Regel jeweils 250 bis 300 Betriebsstunden. Dies beinhaltet eine relativ große Arbeitskosten im Austausch der verbrauchten Batterien durch neue und zusätzliche Kosten für Primärzellen oder zum Aufladen von Sekundärzellen. Es ist wünschenswert, ein elektrisches Netzteil in der Lage, eine ausreichende Menge an elektrischer Energie über einen längeren Zeitraum, so dass das Erfordernis für einen periodischen Austausch der Elektrolysezellen vermieden werden können. Ein solches Netzteil ist wertvoll, auch wenn deutlich teurer als Batterien wegen der für die regelmäßige Austausch erforderlich stark reduzierten Arbeitskosten.
KURZE ZUSAMMENFASSUNG DER ERFINDUNG
Es ist in der Praxis dieser Erfindung gemß einer bevorzugten Ausführungsform vorgesehen, halbleitende Zusammensetzungen, ausgewählt aus der Gruppe bestehend aus:
Selen, von 4,85% bis 5,5% Tellur, von 3,95% bis 4,2% Germanium, 2,85% bis 3,2% Neodymium, und von 2,0% bis 2,5% Gallium.
Selen, von 4,8% bis 5,5% Tellur, von 3,9% bis 4,5% Germanium, zwischen 2,9% bis 3,5% Neodymium, und von 4,5% bis 5% Rubidium und
Germanium mit, von 4,75% auf 5,5% Tellur, von 4,0% auf 4,5% Neodym und von 5,5% auf 7,0% Rubidium.
ZEICHNUNGEN
Diese und andere Merkmale und Vorteile der Erfindung werden ersichtlich und besser durch Bezugnahme auf die folgende detaillierte Beschreibung einer bevorzugten Ausführungsform verstanden, wenn sie im Zusammenhang betrachtet mit den folgenden Zeichnungen:

Fig.1 veranschaulicht in einer auseinandergezogenen schematischen, nach den Prinzipien der vorliegenden Erfindung eine Blitzlampe mit einer elektrischen Stromversorgung verbunden konstruiert.

Fig.2 zeigt im Längsschnitt, das Netzteil der Fig.1

Fig.3 ist ein elektrisches Schaltbild des Systems.
BESCHREIBUNG
Fig.1 zeigt schematisch eine typische Blitzlampe mit einer Stromversorgung gemäß den Prinzipien dieser Erfindung aufgebaut ist. Wie in dieser bevorzugten Ausführungsform dargestellt ist, ein elektrisches Netzteil 5 ist elektrisch mit einer Kippschwingungsoszillatorschaltkreis (nur schematisch dargestellt) auf einer herkömmlichen gedruckten Leiterplatte 6 verbunden.
Das Netzteil 5 und die Leiterplatte sind in einem Metallkasten 7, die einen Teilquer Trennwand 8 besitzt, der zwei Räume, einen für das Netzteil und die andere für die Leiterplatte, die in Kontakt verhindert wird erzeugt montierten die Metall-Box mit jedem geeigneten Isolations Montage. Vorzugsweise werden diese Komponenten in Position in einer herkömmlichen Weise eingegossen.
Ein Deckel 9, mit Befestigungslaschen 10, ist auf dem Feld nach der Montage vernietet. Eine kleine Klemmleiste 11, auf der einen Seite des Kastens 7 montiert, stellt elektrische Kontakte zur Verbindung mit einer Last, wie etwa einer Glühlampe (nicht in Fig.1 gezeigt). die Lampe ein Blitzlicht, wenn der Kipposzillator Schaltern. Obwohl das beschriebene System für eine Blitzlampe verwendet wird, wird es offensichtlich sein, daß andere Lasten können mit der Erfindung betrieben werden.

In Fig.2, die elektrische Netzteil 10 ist im Längsquerschnitt dargestellt und hat die Abmessungen wie folgt: Diese Abmessungen sind beispielhaft für die Stromversorgung einer konventionellen Blinkleuchte vorgesehen ist, und es wird klar sein, dass auch andere Abmessungen können verwendet werden für andere Anwendungen. Insbesondere können die Abmessungen, um höhere Leistungsniveaus und unterschiedlichen Spannungs- oder Strompegel zu erhalten, erweitert werden. Das Aggregat besteht aus einem zylindrischen Metallrohr 16 besteht, mit eng anliegenden Metallkappen 17 an jedem Ende, die vorzugsweise an der Röhre abgedichtet werden, nachdem die inneren Elemente an Ort und Stelle eingesetzt ist. Das Metallrohr 16 und Kappen 17, die vorzugsweise aus Aluminium sind, bilden somit einen geschlossenen leitenden Hülle, welche in einer typischen Ausführungsform hat einen Innendurchmesser von etwa 0,8 Zoll und eine Länge von etwa 2,25 Zoll.
Innerhalb eines Endes der Umhüllung angebracht ist, eine Kunststoffschale 18, deren Abmessungen sind nicht kritisch, jedoch wird bevorzugt eine Wanddicke von mindestens 1/16 Zoll. Im Kunststoffbecher 18 montiert ist ein Halbleiter-Tablette 19 mit einem flachen Boden und etwas gewölbt gegenüberliegenden Seite. Die Zusammensetzung der Halbleitertablette 19 wird in folgenden näher beschrieben. Typischerweise hat die Halbleitertablette eine Masse von etwa 3,8 g. Eine Metallscheibe 21 unterhalb des Bodens des Tabletts 19 in der Schale 18 positioniert ist, und ist vorzugsweise haftend innerhalb der Schale verbunden ist. Die Metallscheibe ist fest mit dem Boden der Tablette vorhanden sein, damit ein guter elektrischer Kontakt über eine beträchtliche Fläche des Halbleiter erhalten.
Ein Ohr 22 an einer Kante der Platte ist mit
einem Draht 23, der durch eine kurze
Isolierhülse 24, die durch ein
Ein paar Runden Metall 26 Scheiben, sind im Inneren Röhre 16 ausgestattet und sind vorzugsweise zementiert um Verschiebung zu verhindern. Die beiden Scheiben 26, sind im gleichen Abstand von den gegenüberliegenden Enden des Umschlags und sind abgesehen von etwas mehr als 1,15 Zoll angeordnet. Die Scheiben jeweils eine zentrale Öffnung 27, und gibt es eine Vielzahl von Bohrungen 28, erweitern durch die Scheibe in einem kreisförmigen Array auf halbem Weg zwischen dem Zentrum der Scheibe und seiner Peripherie. Die Löcher 28 sind vorzugsweise im Größenbereich von etwa 0,01 bis 0,06 Zoll im Durchmesser, und es gibt 12 auf jeder Scheibe befindet sich in 300 Abständen um den Kreis.
Die beiden Scheiben 26 teilen das Innere des zylindrischen Umschlags in drei Kammern und das Muster der Bohrungen 28 ermöglicht eine Kommunikation zwischen den Kammern und wirkt sich auf die elektrischen Eigenschaften der Backröhre. Es wird vermutet, dass das Muster der Bohrungen die induktive Kopplung zwischen die Hohlräume in den Umschlag betrifft und die Schwingungen in ihnen beeinflusst.
Obwohl eine Anordnung von 12 Löcher bei 30 Grad-Zentren besonders vorteilhaft in der Illustrierten Verkörperung gefunden worden ist, es findet sich in anderen Regelungen, die ein Muster von 20 Löcher auf 18 Grad Zentren oder ein Muster von 8 Löcher in 45-Grad-Zentren, sorgt für einen optimalen Betrieb. In beiden Fällen ist der Kreis der Löcher 28 auf halbem Weg zwischen Zentrum und Peripherie der Scheibe.
Zwischen den Scheiben 26 montiert ist eine Kunststoff Spule 29 hat eine innere Distanz von 1,1 Zoll zwischen den Flanschen. Die Kunststoff Spule 29 vorzugsweise hat relativ dünne Wände und eine interne Bohrungsdurchmesser von 1/8 Zoll. Ein Kunststoff Montage Stecker 31, wird durch die zentrale Blende 27 der Scheibe 26 am weitesten von der Halbleiter-Tabelle 19 und in die Bohrung der Spule 29 eingefügt. Der Kunststoff-Stecker 31 ist vorzugsweise auf die Scheibe 26 zementiert, um die Assembly zusammen zu halten.
Auch in die Bohrung der Spule 29 montiert ist eine zylindrische Ferritkern 32, 1/8 Zoll Durchmesser und 3/4 Zoll lang. Obwohl ein Herzstück jeder magnetische Ferrit bevorzugt wird, können andere ferromagnetischem Material mit ähnlichen Eigenschaften verwendet werden, falls gewünscht. Der Kern 32, ist in elektrischen Kontakt mit einem Metall 33 ungefähr 1/4 Zoll lang. die Hälfte der Länge des Prüfpunkts 33 ist in Form eines Zylinders innerhalb der Spule 29 positioniert und die andere Hälfte ist in Form eines Kegels, endet in einem Punkt 34 in Kontakt mit der gewölbte Oberfläche der Halbleiter-Tafel 19, wo es einen elektrischen Kontakt mit der Halbleiter in einem relativ kleinen Punkt macht.
Der elektrische Kontakt wird auch mit der Sonde 33 über eine Leitung 36, die sich durch eines der Löcher 28 in der Scheibe 26 näher an der Halbleitertablette und von dort zu einer Primärspule 37 hindurchtritt, auf der Kunststoffspule 29. Die Primärspule 37 gewickelt ist in Form von 800 bis 1000 Windungen entlang der Länge der Spule gewickelt ist, und die Leitung 38 an dem gegenüberliegenden Ende der Spule 37 ist mit einer der äußeren Zuleitungen 39 des Netzteils verlötet. Diese Leitung 39 verläuft durch eine der Öffnungen 28 in der Platte am weitesten entfernt von der Halbleitertablette 19, und durch eine isolierende Hülse 41 in der Metallröhre 16.
Die Leitung 39 ist auch mit einem Ende einer
Sekundärspule 42, die von 8 bis 10
Windungen um den Mittelteil der Primärspule 37. Eine dünne, isolierende
Fig.3 veranschaulicht schematisch die elektrische Schaltung, die ein elektrisches Netzteil nach den Prinzipien dieser Erfindung aufgebaut ist. An der linken Seite der Fig.3 ist die Anordnung der Elemente in einer Kombination aus elektrischen und mechanischen Schaltposition innerhalb des Rohrs 16 auf leichte Korrelation mit der in Fig.2 dargestellten Ausführungsform veranschaulicht. Somit wird der Halbleitertablette 19, die Sonde 33 und des Ferritkerns 32 sind sowohl in ihrer mechanischen und elektrischen Anordnung gezeigt, wobei der Kern induktiv mit den Spulen 37 und 42. Die Leitung 23 von der Metallbasis der Halbleitertablette 19 gekoppelt ist, verbunden ist an einen variablen Kondensator 47, wird die andere Seite mit der Leitung 44 von der Sekundärspule 42. Die Leitung 44 ist auch mit einer Gleichrichterdiode 48 durch einen hochohmigen Widerstand 49 nebengeschlossen verbunden ist.
Es wird gesehen werden, dass der variable Kondensator 47 ist in einem Schwingschaltkreis mit der Induktionsspulen 37 und 42, die durch den Ferritkern 32 gekoppelt sind, und diese Schaltung enthält auch die Halbleitertablette 19, in Punktkontakt mit der Sonde 33 besteht. die mechanische und elektrische Anordnung dieser Elemente stellt einen Resonanzhohlraum, in dem Resonanz auftritt, wenn der Kondensator 47 richtig getrimmt wird. Die Diode 48 richtet die Schwingungen in dieser Schaltung um eine geeignete Gleichstrom zum Betreiben einer Glühlampe 50 oder ähnliche Belastung bereitzustellen.
Die Gleichrichterdiode 48 ist mit einem komplementären Symmetrie Entspannung zur Schaltung Leistung an die Last 50. Die Diode ist direkt mit dem Kollektor eines PNP-Transistors 51, der in einer umgekehrten Verbindung verbunden ist. der Emitter des PNP-Transistors ist mit einer Seite der Last 50 über einen Zeitgeberwiderstand 55. Die Basis des Transistors 51 ist über einen Widerstand 52 und einen Kondensator 56 mit dem Kollektor eines NPN-Transistors 53 verbunden ist, dessen Emitter an der anderen Seite der Last 50. Die Basis des NPN-Transistors 53 ist an die Diode durch einen Widerstand 54. Der Emitter des PNP-Transistors 51 zu der Basis des NPN-Transistors 53 zugeführt gekoppelt durch den Widerstand 55. der Stromfluss durch die Lampe 50 ist auch durch einen Widerstand 57, die Paare der einen Seite der Lampe und den Emitter des NPN-Transistors 53 mit den beiden Spulen 37 und 42 über die gemeinsame Leitung 39 begrenzt.
Das elektrische Netzgerät wird angenommen, dass aufgrund einer Resonanzverstärkung bedienen, sobald eine Schwingung in dem Hohlraum, insbesondere den zentralen Hohlraum zwischen den Scheiben 26. Diese Schwingung, die offenbar erreicht schnell Amplituden ausreichend für Nutzleistung eingeleitet worden ist, dann Halbwellen zur Verwendung gleichgerichtet durch die Diode 48. bei einer solchen Anordnung hat sich ein Spannungspegel von mehreren Volt erhalten wurde, und eine ausreichende Leistung für den intermittierenden Betrieb einer Lampe erfordern etwa 170 bis 250 Milliwatt nachgewiesen wurde. Die Resonanzverstärkung ist offenbar aufgrund der geometrischen und elektrischen Verbindung der Elemente, die induktive Kopplung der Komponenten in einem geeigneten Resonanzkreis bereitzustellen. Diese Verstärkung ist auch, zumindest teilweise aufgrund der einzigartigen Eigenschaften von Halbleitern in der Tablette 19, die elektronischen Eigenschaften besitzt aufgrund einer Zusammensetzung für ein einzigartiges Atomanordnung hat sich die genaue Beschaffenheit nicht gemessen.
Die Halbleiter Tablette elektronischen Eigenschaften, die bestimmt werden durch es ist Zusammensetzung und drei solcher Halbleiter für den Einsatz in der Kombination zufriedenstellend sind identifiziert worden. In zwei von diesen, ist die Basis-Halbleitermaterial Selen mit geeigneten Dotierungselemente vorgesehen, und in der dritten, ist das Basiselement Germanium, auch in geeigneter Weise dotiert. Die Halbleiter Tabletten durch Schmelzen und Gießen in einer Anordnung mit einem großen Kristallstruktur verleiht. Es hat sich nicht als notwendig erwiesen, um eine ausgewählte Kristallorientierung, um die gewünschten Effekte zu erzielen ist.
Eine bevorzugte Komposition des Halbleiters enthält etwa 5 % GHT Tellur, etwa 4 % des Gewichts der Germanium, ca. 3 % nach Gewicht von Neodym und 4,7 % des Gewichts der Rubidium, mit der Balance der Komposition wird Selen. Diese Zusammensetzung kann durch das Schmelzen diese Materials zusammen oder durch Auflösen der Materials in geschmolzenem Selen erfolgen.
Ein weiteres äußerst vorteilhafte Zusammensetzung hat etwa 5 % GHT Tellur, etwa 4 % nach Gewicht von Germanium, etwa 3 % des Gewichts der Neodym und ca. 2,24 % nach Gewicht von Gallium, mit der Balance wird Selen. Um diese Komposition zu machen, ist es wünschenswert, die sehr niedrigen Schmelzpunkt von Gallium in Form von Gallium-Selenid anstelle von elemental Gallium hinzufügen gefunden.
Eine dritte geeignete Zusammensetzung hat etwa 5 % GHT Tellur, etwa 4 % des Gewichts der Neodym, etwa 6 % des Gewichts der Rubidium, mit der Balance wird Germanium. Diese bevorzugten Kompositionen sind nicht absolute und wurde festgestellt, dass das Niveau der Dotierstoff in die Kompositionen in Grenzen ohne einen erheblichen Verlust der Leistung variiert werden kann. So wird festgestellt, dass der Anteil der Tellur in der bevorzugten Zusammensetzung zwischen 4,8 % und 5,5 % liegen kann nach Gewicht; Das Germanium reichen von 3,9 % auf 4,5 % nach Gewicht; Neodym kann zwischen 2,9 % und 3,5 % nach Gewicht und Rubidium kann variieren von ca. 4,5 % bis 5,0 % nach Gewicht. Das Gleichgewicht der bevorzugten Zusammensetzung ist Selen, obwohl es auch festgestellt hat, dass nominale Beimischungen toleriert werden können und kein großer Sorgfalt erforderlich ist, leichte Verunreinigungen zu verhindern.
Die anderen Selen Basis Zusammensetzung nützlich in der Praxis dieser Erfindung kann eine Tellur-Konzentration im Bereich von etwa 4,85 % auf 5,5 % Gewichtsprozent, Germanium im Bereich von etwa 3,95 % auf 4,2 % Gewichtsprozent, Neodym im Bereich von ca. 2,85 % auf 3,2 % nach Gewicht und Gallium im Bereich von 2,0 % auf 2,5 % nach Gewicht haben. Wie die bevorzugten Zusammensetzung der Saldo ist Selen und nominale Beimischungen können toleriert werden. Es wird empfohlen, das Gallium in Form von Gallium-Selenid nicht als elementares Gallium mit einem entsprechenden Rückgang der Selen verwendet, um die Zusammensetzung bilden hinzufügen.
Der oben genannten Selen Basis Kompositionen sind einfacher zu machen und weniger teuer als die Germanium-Basis-Zusammensetzung und sind daher für die meisten Anwendungen vorzuziehen. Man findet das sind besonders geeignet für relativ kleine Halbleiter-Tabletten bis zu ungefähr 1 Zoll oder ein bisschen weniger. Für relativ große Tabletten wird es bevorzugt, die Germanium-Basis-Komposition zu verwenden.
Die Germanium-Basis-Zusammensetzung hat eine Tellur-Ebene im Bereich von etwa 4,75 % auf 5,5 % Gewichtsprozent, Neodym im Bereich von 4,0 % auf 4,5 % nach Gewicht und Rubidium im Bereich von etwa 5,5 % auf 7,4 % nach Gewicht. Es wird auch festgestellt, dass es von größerer Bedeutung sind weiterhin Reinheit der Germanium Basis Kompositionen als die Selen-Basis-Kompositionen. Obwohl die genaue Reinheitsgrade nicht festgestellt haben, ist es mehr als 99 %.
Es wurde festgestellt, dass es nicht notwendig, einzelne Kristalle in der Halbleiter-Tabletten haben und bequeme Korngröße von etwa 1 Millimeter über Entschädigung erscheint. In den oben genannten Kompositionen bei der angegebenen Bereiche überschreiten Schwingung in das Power Pack fällt schnell ab und kann insgesamt einzustellen.
Die Gründe, die diese Kompositionen sind zufriedenstellend in der Anordnung, die Resonanz Verstärkung ist nicht mit Sicherheit ermittelt. Es ist möglich, dass die Halbleiter als Quelle der Elektronen für die Bereitstellung eines Oszillationsströmung in der Schaltung dient. Dies ist, natürlich mit einen relativ großen Bereichskontakt auf einer Seite der Halbleiter-Tablet und einen Punkt Kontakt auf einer anderen Fläche kombinieren. Resonanz Strom in den Spulen gewickelt auf dem Ferrit-Stab, induziert eine unterschiedliche Magnetfeld in der resonanten auskleidet und die elektrische Verbindung zwischen dem Ferrit Stab und der Metall-Sonde, bietet ein Feedback diese Schwingung auf das Halbleiter-Tablett.
insbesondere ist darauf hinzuweisen, dass die Schwingung in der Schaltung nicht begonnen, wenn es von einem oszillierenden Signal initiiert wird. Um dies zu erreichen, ist es nur erforderlich, ein paar MillivoltWechselstromfür ein paar Sekunden auf die Halbleiter-Tablette und die zugehörigen Spulen gekoppelt, es anzuwenden. Das Ausgangssignal auf die Grundlage der Halbleiter-Tablette angewendet und die Führung 39 ist vorzugsweise im Frequenzbereich von 5,8 bis 18 Mhz und kann bis zu 150 Mhz. Ein solches Signal aus konventionellen Quellen angewendet werden kann und kein großer Sorgfalt erscheint notwendig, um ein single-Frequency Signal und Rauschen zu eliminieren. Sobald solche Überwachungsrelais für die Schaltung und die Schwingungen initiiert angewendet wurde, erscheint es nicht notwendig sein, ein solches Signal wieder anwenden. Dies ist offenbar aufgrund des Feedbacks von den Ferrit Stab der Sonde, welche nimmt Kontakt, mit dem Halbleiter-Tablett.
Energie wird, natürlich in die Lampe oder ein anderes Gerät Nutzung abgebaut, da die Kombination arbeitet. Verschlechterung der Halbleiter-Tablette kann so Energie herkommen, wie Schwingungen weiter; besteht eine solche Verschlechterung, ist es jedoch ausreichend langsam, für viele Monate ohne Anwesenheit eine Stromquelle betrieben werden kann. Solch eine Quelle der Energie kann durch ambient Hochfrequenz-Strahlung, zusammen in den schwingenden Hohlraum von der externen führt erweitert werden. Dies ist ein überraschendes Phänomen, weil die Leitungen klein sind im Vergleich zu was normalerweise eine angemessene Antenne gelten würde, und es ist daher postuliert, dass stimuliert Verstärkung auch eine Folge der einzigartigen Elektronenkonfiguration der Halbleiter mit oben angegebenen Zusammensetzung.
Obwohl nur eine Verkörperung des elektrischen Hydraulikaggregat gebaut nach Prinzipien dieser Erfindung beschrieben und hier dargestellt wurde, werden viele Modifikationen und Variationen für eine fachkundige offensichtlich. So kann beispielsweise ein größeres Netzteil axial in einem zylindrischen Behälter mit verschiedenen elektronischen Elementen, die in den ringförmigen Raum angeordnet vereinbart werden. Es ist daher zu verstehen, dass andere Konfigurationen im Rahmen der Erfindung enthalten sind.
US-Patent 3.890.548
17. Juni 1975 Erfinder:
Edwin V. Gray snr.

GEPULSTE KONDENSATOR ENTLADUNG ELEKTRISCHER MOTOR
Bitte beachten Sie, dass dies eine neu formulierte Auszug aus Edwin Gray's Patent 3.890.548. Er beschreibt seine Hochspannungs-Motor und die Schaltung verwendet, um es zu fahren. Bitte beachten Sie, dass die zugrunde liegende Technologie von Marvin Cole entwickelt wurde und Edwin Gray es nicht verstand. Auch Edwin wollte um jeden Preis eine nützliche Technologie verbergen beim Abrufen von Patenten an Investoren zu ermuntern bitte haben Sie Verständnis, dass dieses Patent nicht erklären, wie Sie ein funktionierendes System dieser Art machen soll.
ZUSAMMENFASSUNG DER ERFINDUNG
Diese Erfindung bezieht sich auf Elektromotoren oder Motoren, und vor allem auf eine neue elektrische Maschine einschließlich elektromagnetische Pole in einer Konfiguration mit Stator und elektromagnetische Pole in einer Konfiguration mit Rotor, worin in eine Form davon, der Rotor ist drehbar innerhalb der Stator-Konfiguration und wo beide aktiviert sind, durch Kondensator entlädt sich über Rotor und Stator Elektromagnete im Augenblick der Anpassung an ein Rotor-Elektromagnet mit einem Stator-Elektromagnet. Der Rotor-Elektromagnet ist im gleichen Augenblick aus der Stator-Elektromagnet durch die Entladung des Kondensators durch die Windungen von Rotor und Stator Elektromagneten abgestoßen.
In einem beispielhaften Rotary Motor nach dieser Erfindung Rotor Elektromagnete 120 Grad voneinander entfernt, auf einem zentralen Stiel entsorgt werden können, und wichtige Stator Elektromagnete können 40 Grad auseinander in das Motorgehäuse über die Stator-Peripherie entsorgt werden. Andere Kombinationen der Elemente der Rotor und Stator Elemente können genutzt werden, um Drehmoment oder die Rate der Drehung erhöhen.
In einer anderen Form ein zweiter Elektromagnet ist einseitig aller wichtigen Stator-Elektromagnete in eine Mittellinie 13,5 Grad von der Mittellinie des Stator Magneten positioniert, und diese sind in einem vorab festgelegten Muster oder Sequenz begeistert. Ebenso ist auf eine Seite der jeden Elektromagnet Rotor, ein zweiter Elektromagnet in einem 13,5 Grad Mittellinie von der großen Rotor-Elektromagnet verteilt. Elektromagnete in Rotor und Stator Assemblys sind identisch, die individuelle Elektromagnete jedes Axial ausgerichtet und die Spulen der einzelnen wird verdrahtet, so dass jeder Rotor elektromagnetische Pole haben die gleiche magnetische Polarität als der Elektromagnet im Stator mit denen es ausgerichtet ist und die es zum Zeitpunkt der Entladung des Kondensators konfrontiert ist.
Aufladen der Entladung Kondensator oder Kondensatoren wird durch einen Stromkreis switching erreicht wobei elektrischer Energie aus einer Batterie oder einer anderen Quelle von Gleichstrom-Potential durch Berichtigung von Dioden abgeleitet ist.
Der Kondensator Versorgungskreises umfasst ein paar Hochfrequenz-Switcher die jeweiligen KFZ-Typ-Zündspulen, die als Step-up Transformatoren zu ernähren. Die "sekundäre" jeder der die Zündspulen berät eine Hochspannungs-Rechteckwelle ein Hälfte-Welle-Gleichrichter eine Hochspannungs-Ausgangsimpulses d-c-Energie jedes switching Wechsel von der Hochfrequenz-Wechsler zu generieren. Nur eine Polarität wird verwendet, so dass ein unidirektionale Puls auf der Fundamentplatte Anklage angewendet wird.
Aufeinanderfolgende unidirektionaler Impulse werden auf dem Kondensator oder Fundamentplatte bis entlassen gesammelt. Entlastung der Bank-Kondensatoren erfolgt über eine Funkenstrecke von Arc-Over. Die Lücke Abstand bestimmt die Spannung auf die Entlastung oder Bogen über auftritt. Ein Array von Lücken entsteht durch feste Elemente im Motor Gehäuse und Verschieben von Elementen, die auf die Rotorwelle positioniert. In dem Augenblick wenn die beweglichen Lücke-Elemente während der Rotor-Rotation gegenüber festen Elemente positioniert sind, tritt auf die Entlastung durch die Windungen der ausgerichteten Rotor und Stator Elektromagnete, die Aktion der Abstoßung zwischen Stator und Rotor-Elektromagnet-Kerne zu produzieren.
Eine Vielzahl von festen Abstand Elemente sind gekleidet in einem motor Gehäuse, um die Speicherorte der Stator-Elektromagnete im Gehäuse zu entsprechen. Die Rotor-Lücke-Elemente entsprechen die Positionen der Rotor-Elektromagneten auf den Rotor so dass im Augenblick der korrekten Ausrichtung der Lücken, die Kondensatoren eingeleitet werden, um den notwendigen Strom durch den Stator und Rotor Spulen, Elektromagnete, einander abstoßen zu verursachen zu produzieren.
Die Ladestation Schaltungen sind paarweise angeordnet und sind derart, dass die Entlastung durch Rotor und Stator Wicklungen des Elektromagneten,, die befinden sich gegenüber einander entsteht, wenn die Funkenstrecke Elemente ausgerichtet sind und Bogen-Over.
Die Geschwindigkeit des Rotors kann mittels einer Kupplung-Mechanismus verbunden mit dem Rotor geändert werden. Die Kupplung verschiebt die Position des Rotor-Lücke-Elemente, so dass die Entlastung wird die Stator-ankern in einer Weise zu fördern oder zu verzögern zum Zeitpunkt der Entlassung in Bezug auf die normalen Rotor/Stator-Ausrichtung-Positionen ansteuert. Die Entlastung durch den Rotor und Stator tritt dann, wenn der Rotor Stator von 6,66 Grad für Geschwindigkeit voraus bestanden hat.
Führt die Entlastung auftreten, wenn die Rotor-Position des Stators nähert Abstoßung Puls auftritt 6,66 Grad vor die Ausrichtungsposition der Rotor und Stator Elektromagneten, wodurch sich die Drehzahl des Motors.
Der Kupplung-Mechanismus zum Ausrichten von Kondensator Entladung Lücken für Entlastung wird als ein Kontrollkopf beschrieben. Es kann verglichen werden zu einem Brand-Steuerelement Mechanismus in einem Verbrennungsmotor, "feuert" die Elektromagnete und bietet eine Rendite von auf Einleitung über das Ziel hinausschießt potenzielle zurück an die Batterie oder andere Energiequelle.
Die Aktion der Kontrollkopf ist extrem schnell. Aus der vorstehenden Beschreibung kann davon ausgegangen, dass eine Zunahme der Geschwindigkeit oder ein Rückgang der Drehzahl innerhalb der Frist auftreten kann, in denen der Rotor-Elektromagnet zwischen zwei beliebigen angrenzenden Elektromagnete in der Stator Assembly bewegt. Das sind 40 Grad auseinander, also Geschwindigkeitsänderungen in maximal ein Neuntel einer Revolution erfolgen können.
Die Rotor-Geschwindigkeit ändern-Aktion des Steuerelements Kopf und seine Struktur werden geglaubt, um weitere neue Features der Erfindung, wäre, als sie normal 120 Grad feuern Positionen während einheitliche Geschwindigkeit der Drehung Bedingungen beibehalten, Verlagerung auf 6,66 Grad längere oder kürzere Intervalle für die Geschwindigkeit, indem den Roman Shift-Mechanismus in der Rotor-Kupplung-Versammlung ändern.
Dementsprechend ist die bevorzugte Verkörperung dieser Erfindung einem Rotary-Elektromotor worin Motordrehmoment, durch Entlastung des hohes Potenzial von einer Bank von Kondensatoren, durch Stator und Rotor Elektromagnet-Spulen entwickelt wird wenn die Elektromagnete ausgerichtet sind. Die Kondensatoren Zahlen von Batterien durch einen switching Mechanismus, und werden über Spark Lücken gesetzt, die Entlastung der Kondensator Ladung Spannung durch die Elektromagnet-Spulen zu erreichen, wenn die Lücken und vorgegebenen Rotor und Stator-Elektromagnet-Paare in einer Flucht sind entlassen.
Beispielhafte Verkörperungen der Erfindung sind hierin dargestellt und beschrieben. Diese beispielhafte Abbildungen und Beschreibung sollte nicht angenommen werden, als die Erfindung der Verkörperungen gezeigt, zu begrenzen, weil diejenigen, die in die Künste Versuchsabläufe zur Erfindung andere Verkörperungen im Lichte der Beschreibung in den Anwendungsbereich der angefügten Ansprüche begreifen können.
KURZE BESCHREIBUNG DER ZEICHNUNGEN

Fig.1 ist eine erklärende schematische Darstellung eines Kondensators aufgeladen und Entladen Schaltung in die vorliegende Erfindung.

Fig.2 ist ein Blockdiagramm eines beispielhaften Motor-Systems gemäß der Erfindung.

Fig.3 ist eine perspektivische Ansicht eines typischen Motors-Systems gemäß der Erfindung, gekoppelt an ein KFZ-Getriebe.

Fig.4 eine axiale Schnittbild wird in Zeile 4---4 in Fig.3 genommen werden

Fig.5 ist eine Schnittansicht entlang der Linie 5 --- 5 in Fig.4 getroffen
Fig.6 und Fig.7 Teilschnittansichten, die einem Teil der Fig.5 und zeigt aufeinanderschobenen Positionen des Motorrotors darin.

Fig.8 explodierten Perspektive Sichtweise ist vom Rotor und Stator des Motors von Fig.3 und Fig.4

Fig.9 eine Schnittansicht wird in Zeile 9---9 von Fig.4 genommen werden

Fig.10 ist eine Teilschnittansicht, ähnlich der Ansicht von Fig.9 ist, die eine andere Konfiguration von Elektromagneten in einer anderen Motor Ausführungsform der Erfindung.

Fig.11 ist eine Schnittansicht an der Linie 11 --- 11 in Fig.3 und veranschaulicht den Steuerkopf oder neuartige Geschwindigkeitswechsel-Steuersystem des Motors.

Fig.12 ist eine Schnittansicht, in Zeile 12 --- 12 in Fig.11 genommen, die einen in dem Gangwechsel-Steuersystem der Fig.11 verwendeten Kupplungsscheibe

Fig.13 ist eine fragmentarische Auffassung auf Linie 13---13 in Fig.12

Fig.14 zeigt ein Schnittbild, genommen in Zeile 14---14 in Fig.11, eine Kupplung Platte, die kooperiert mit der Kupplung-Teller mit Fig.12

Fig.15 eine fragmentarische Schnittbild wird in Zeile 15---15 von Fig.13 genommen werden

Fig.16 ist eine perspektivische Ansicht der Elektromagnete in die vorliegende Erfindung in Anspruch genommen.

Fig.17 zeigt eine schematische Darstellung kooperierende mechanische und elektrische Eigenschaften der Programmierer Teil der Erfindung.

Fig.18 ist ein elektrischer Schaltplan eines Motors nach der Erfindung der elektrischen Beziehungen der elektromagnetischen Komponenten verkörpert ein neues Prinzip der Erfindung, und

Fig.19 zeigt eine entwickelten Auffassung in Zeile 19---19 von ABB, die Standorte der Vertriebenen Funkenstrecke Elemente der Geschwindigkeit Wechselmechanik eines Motors nach der Erfindung.
BESCHREIBUNG
DER BEVORZUGTEN AUSFÜHRUNGSFORM
Wie bereits erwähnt, ist das Grundprinzip des Betriebs des Motors der Erfindung ist die Entladung eines Kondensators über eine Funkenstrecke, und durch eine Induktivität. Wenn ein Paar von Induktionsspulen verwendet wird, und die jeweiligen Magnetkerne davon einander gegenüberliegend entgegengesetzter magnetischer Polung angeordnet sind und angeordnet sind, die Entladung durch sie bewirkt, dass die Kerne sich gegenseitig mit erheblicher Kraft abstoßen.

Unter Bezugnahme auf den Schaltplan von Fig.1, eine Batterie 10 erregt einen Impuls erzeugenden Vibrator-Mechanismus 16, der von dem magnetischen Typ sein kann mit einer integrierten Anker 15 bewegen zwischen den Kontakten 13 und 14 oder der Transistor-Typ (nicht gezeigt ), mit dem eine Hochfrequenz bipolar gepulste Ausgang wird in Primär 17 des Transformators 20. Die Impulsamplitude wird in sekundär 19 des Transformators 20. Wellenform 19a gestufte hergestellt stellt den bidirektionalen oder bipolare gepulste Ausgabe. Ein Diodengleichrichter 21 erzeugt einen unidirektionalen Impulsfolge, wie bei 21a angedeutet, um den Kondensator zu hohe Rechnung 26. Aufeinander unidirektionale Impulse der Welle 21a Ladekondensator 26, wie bei 26a angedeutet, bis die Spannung am Punkt A steigt hoch genug, um eine verursachen Funken über der Funkenstrecke 30. der Kondensator 26 entlädt über die Funkenstrecke, durch die elektromagnetische Spule 28 ein Stromimpuls erzeugt wird, der Kern 28a magnetisiert. Gleichzeitig eine weitere im wesentlichen identisch Ladesystem 32 erzeugt eine Entladung durch die Induktionsspule 27 in Funkenstrecke 29, den Kern 27a zu magnetisieren. Kerne 27a und 28a sind mit den Spulen 27 bzw. 28 gewickelt sind, so daß deren magnetische Polaritäten gleich sind. Da die Kerne 27a und 28a einander gegenüberstehen, neigen sie dazu, auseinander fliegen, wenn die Entladung auftritt, durch die Spulen 27 und 28 aufgrund der Abstoßung gleicher Magnetpole, wie durch den Pfeil 31 angezeigt Wenn Kern 28a befestigt oder stationär, und der Kern 27a ist beweglich, so Kern 27a Werkzeuge 33 mit ihm verbunden, um Arbeit zu verrichten haben, wenn der Kondensator entlädt.
Bezugnehmend auf Fig.1 und Fig.2 ein Gleichstrom Stromquelle oder Batterie 10, energetisiert Pulsatoren 36 (zumindest zwei Vibratoren 16, wie zuvor beschrieben), wenn der Schalter 11 zwischen der Batterie 10 und Pulsator 36 geschlossen ist, zur Anwendung relativ hochfrequente Impulse an die Primärwicklungen Transformatoren 20. Die Sekundärwicklungen der Transformatoren 20 sind Aufwärts Wicklungen, die bipolare Impulse anzuwenden, wie Hülsen 19a (Fig.1), um die Dioden in Wandler 38. Das gleichgerichtete unidirektionale pulsierende Ausgang jeder der Dioden in Wandler 38 wird durch die Verzögerungsspulen 23 und 24 geleitet, wodurch ein Kabelbaum 37 bildet, über den Fall des Motors gewickelt ist, wie nachstehend beschrieben, von der angenommen wird, um einen statischen schwimmFlussFeld bereitzustellen. Die Ausgangssignale von den Verzögerungsleitungen 37, Antriebs jeweiligen Kondensatoren in Banken 39, um die Kondensatoren aufweist, um einen relativ hohen Ladepotential aufzuladen. Ein Programmierer und der Rotor und Stator Magnetsteuerfeld 40, 41, 42, wird durch Funkenspalten positioniert ist, wie nachfolgend beschrieben, so dass an vorbestimmten Positionen des Rotors während der Drehung des Motors, wie im folgenden beschrieben, ausgewählte Kondensatoren der Kondensatorbänke 39 wird für die Funkenstrecken durch den Rotor und Stator-Elektromagneten 43 und 44. Der Wandler 38, Programmierer 40 zu entladen, und steuert 41 und 42 bilden einen Serienschaltungszweig über die Sekundärwicklungen von Transformatoren 20 mit dem Boden oder der Punkt mit Bezugspotential, 45. die Kondensatorbänke 39 sind über die Funkenstrecken der Programmierer 40 (der Rotor und Statormagneten steuert 41 und 42) ausgetragen. Die Entladung erfolgt durch die Spulen des Stators und Rotors Elektromagnete 43 und 44 bis 45. Ständererdschluß und Rotorelektromagneten vergleichbar, die bei 27 gezeigt sind, 27a, 28 und 28a in Fig.1.
Die Entladung der durch die Spulen des Stators und des Rotors die Elektromagnete 43 und 44 wird durch eine Entladungs Über- oder Rückimpuls, der auf eine Sekundärbatterie 10a aufgebracht ist, diese überschüssige Energie zu speichern, begleitet. Das Überschwingen Impuls liefert, um die Batterie 10a, weil, nach der Entlassung, der einzige Weg offen dafür ist, dass mit der Batterie 10a, da die Lücken in 40, 41 und 42 sind zusammengebrochen, weil die Kondensatoren in Banken 39 entladen werden und noch nicht erholte sich der Hochspannungs Ladung von den Hochfrequenz-Impulsgeber 36 und den Wandler Gleichrichtereinheiten 38.
Im Falle einer Fehlzündung in den Programmiersteuerschaltungen 40, 41 und 42, sind die Kondensatoren durch einen Rotor Sicherheits Entladeschaltung 46 entladen und wieder in Batterien 10-10a, zusätzlich zu ihrer Eigenschaft. Die Schaltung 46 ist zwischen den Kondensatorbänken 39 und die Batterien 10, 10a verbunden ist.

Unter Bezugnahme auf die Fig.3 wird ein Motor oder Motor 49 nach der vorliegenden Erfindung mit einem Kraftfahrzeuggetriebe 48. Das Getriebe 48 verbunden dargestellt, stellt eine von vielen Formen von Lasten an dem Motor angelegt werden kann. Ein Motorgehäuse 50, umhüllt den nachfolgend beschriebenen Betriebsmechanismus. Der Programmierer 40 ist axial an einem Ende des Gehäuses angebracht. Durch die Öffnungen 51 und 52, einen Riemen 53 koppelt an eine Riemenscheibe 57 (in dieser Ansicht nicht gezeigt) und mit einem Generator 54 mit dem Gehäuse 50. Eine Riemenscheibe 55 an dem Wechselstromgenerator angebracht ist, hat zwei Nuten, eine für die Riemen 53 um die Antriebsriemenscheibe 58 auf der Welle (nicht gezeigt) des Motors 49, und die andere für einen Riemen 58 mit einer Riemenscheibe 59 an einer Pumpe 60 verbunden, um das Gehäuse 50, ein Klemmenkasten 61 an dem Gehäuse, Verbindungen zwischen der Batterieanordnung 62 und der Motor befestigt 49 über Leitungen 63 und 64.
Ein Einlass 65 für Luft, ist gekoppelt, um die Pumpe 60 über die Rohrleitungen 68 und 69 und von der Pumpe 60 über die Rohrleitung oder Rohrleitungen 66 und 70 mit dem Inneren des Gehäuses 50 über Verbindungsflansche 67 und 71. Der Luftstrom dazu neigt, den Motor zu kühlen, und die Luft kann bevorzugt bei einer konstanten Temperatur und Feuchtigkeit gehalten werden, so dass eine konstante Funkenstrecke Entladungsbedingung beibehalten werden. Ein Kupplungsmechanismus 80 ist auf Programmier 40 vorgesehen.

Bezugnehmend auf Fig.4, Fig.5 und Fig.9 Rotor 81 weist Spinnenanordnungen 83 und 84 mit daran angebrachten drei Elektromagnet-Spulenanordnung auf, von denen zwei in Fig.4 gezeigt, auf 85, bei 85a und 85b und auf 86 bei 86a und 86b. Eine der dritten Elektromagnet-Spulenanordnungen 87a bezeichnet, ist in Fig.5 gezeigt, von dem Wellenende. Wie deutlicher in der perspektivischen Ansicht von 8 gezeigt ist, ein drittes Speichenkreuz-Anordnung 88 stellt eine zusätzliche Steifigkeit und eine zentrale Unterstützung des Rotormechanismus an der Welle 81.

Der Elektromagnet setzt 85a, 85b, 86a, 86b, 87a und 87b auf den Rotor 81 und Spinnen 83, 84 und 88 angeordnet, die jeweils Paare von Fronteinheiten 85a, 86a und 87a und Paare von Rückeinheiten 85b, 86b und 87b. Jedes Paar besteht aus einem großen Elektromagneten und einen kleineren Elektromagneten, wie im folgenden beschrieben, die in einem isolierenden Material 90, die die Elektromagnet-Spulenanordnungen voneinander isoliert und schützt die Elektromagneten fest an ihrem Platz auf der Spinne / Rotorkäfig 81 eingebettet sind, 83, 84 und 88.
Die Innenwand 98 des Gehäuses 50 ist mit einem elektrisch isolierenden Material 99, in dem eingebettete Elektromagnetspulen beschichtet, wie nachfolgend beschrieben wird, und die Innenbereiche der Endplatten 100 und 101 des Gehäuses 50 auf der isolierenden Oberfläche 98 des Gehäuses 50 wird eine Reihe von Stator-Elektromagneten Paare 104a, identisch mit Elektropaare 85a, 86a, 87a usw. Elektromagnetpaare wie 104a und 105a alle 40 Grad um das Innere des Gehäuses 50 angeordnet, um einen Stator zu bilden, montiert zusammenwirkt, mit dem Rotor 81-88. Ein Luftspalt 110 mit sehr enger Toleranz zwischen dem Rotor und Stator Elektromagneten und Luft aus der Pumpe 65 strömt durch diesen Spalt definiert.
Wie in Fig.8 gezeigt, sind die Elektromagnetanordnungen, wie etwa 85 bis 87, der Rotor und Magnetanordnungen, wie beispielsweise 104a des Stators sind so in ihrer jeweiligen isolierenden Kunststoffträger (Rotor und Stator), dass sie glatt abgerundete eingebettet in eine konkave Kontur auf dem Rotor, um glatte und kontinuierliche Rotation des Rotors 81 in das Statorgehäuse 50 gestatten der Luftspalt 110 ist einheitlich an allen Positionen jedes Rotorelement innerhalb der Statoranordnung, wie deutlich in Fig.16 gezeigt.

Der Rotor 81 und Spinnen 83, 84 und 88 sind starr an der Welle 111 gelagert in Lageranordnungen 112 und 113, die von herkömmlicher Art sind, zum einfachen Drehung der Rotorwelle 111 innerhalb des Gehäuses 50 angebracht.
Um den zentralen Außenfläche des Gehäuses 50 gewickelt sind eine Anzahl von Drahtwindungen 23 und 24, um einen statischen Flussspule 114, die eine Verzögerungsleitung bereitzustellen, wie zuvor beschrieben. Fig.5, Fig.6, Fig.7 und Fig.9 sind Querschnittsansichten der Rotoranordnung 81-88 angeordnet, um die Positionierung und Ausrichtung der Rotor und der Stator Elektromagnetspulenanordnungen in aufeinanderfolgenden Stufen der Drehung des Rotors durch einen Teil 81-88 zeigen eines Betriebszyklus davon. Zum Beispiel ist in Fig.5 die Rotoranordnung 81-88 ist gezeigt, so positioniert, daß ein kleiner Rotor der Elektromagnetanordnung 91 ist mit einem kleineren Stator Elektromagnetanordnung 117 ausgerichtet.
Wie in weiteren Einzelheiten in Fig.16 veranschaulicht, kleine Elektromagnetanordnung 117 besteht aus einem Eisenkern 118, gerillt, so daß eine Drahtspule 119 herum gewickelt werden. Kern 118 ist die gleiche in der Ständerelektromagneten 117, wie es in der Rotorelektromagneten 91 ist.
Als Positions 13,33 Grad nach rechts von Rotorelektromagneten 91, wie in Fig.5 und Fig.16 betrachtet, gibt es einen zweiten oder Hauptrotorelektromagneten 121, die eine Wicklung 123 um seinen Kern 122 den Elektromagneten 91 hat und 121 sind das Paar 85a der Fig.4 und Fig.8.

An einer Position, 13,33 Grad nach links von Ständerelektromagneten 117, wie in Fig.5 gesehen, gibt es einen zweiten oder Hauptständerelektromagneten 120, dessen Kern 122 ist von der gleichen Konfiguration wie Kern 122 des Rotors 121. Ein Elektromagnetwicklung 123 über die Kern 122 des Elektromagneten 120 ist mit dem gleichen Zeichen wie Wicklung 123 auf Elektromagneten 121.
Elektromagnetanordnung Paar 85a auf dem Rotor ist identisch aufgebaut wie die des Elektromagneten Statoranordnung Paar 104a, abgesehen von der Umkehrung der Elemente 117-120 und 91-121 der jeweiligen Paare.
Es gibt keine Elektromagnetpaare 120 bis 117 (104a) in 40 Grad -Intervallen um das Innere des Gehäuses 50. Die Mittellinie der Kern 122 des Elektromagneten 120 befindet 13,33 Grad nach links von der Mittellinie der Kern 118 des Elektromagneten 117 positioniert ist. drei Paare von Elektromagneten 85a, 86a und 87a werden auf Rotoranordnung 81-88 vorgesehen, wie in Fig.5 gezeigt.
Andere Kombinationen sind möglich, aber die Anzahl von Elektromagneten in den Rotor immer in fester Bruchteil der Anzahl von Elektromagneten in dem Stator ist. Wie in Fig.8 gezeigt, für die Rotoranordnung 85a und 85b gibt es drei von jedem der vorderen und hinteren Paare von elektromagnetischen Baugruppen. Ähnlich, wie in Fig.4 und Fig.8 gezeigt, gibt es neun vorderen und hinteren Paaren von Elektromagneten in dem Stator, wie 104a und 104b.
Um den Betrieb des Rotor 81-88 innerhalb des Statorgehäuses 50 einer Motordreh gemß dieser Erfindung am besten zu verstehen, die Positionen der Rotor-Elektromagnete 91 und der Stator-Elektromagnete 117 sind anfangs exakt in der Linie an der 13,33 Grad peripheren Ausgangsposition markiert auf der vertikalen Mittellinie der Fig.5. Die Wicklungsrichtung der Spulen dieser Magnete ist derart, daß ein Gleichstrom durch die Spulen 119 eine insbesondere gleiche Magnetpolarität auf jeder der nebeneinanderliegenden Flächen 125 der Magneten 117 und 126 des Magneten 91 (Fig.5) zu erzeugen. Fig.16 und Fig.6 zeigen den nächsten Schritt in der Bewegung, wobei die zwei Hauptelektromagnete 120 im Stator und 121 in dem Rotor ausgerichtet sind.
Wenn die Gleichstrom Entladungen von den entsprechenden Kondensatoren in Banken 39 gleichzeitig erfolgen über Funkenstrecken durch die Spulen 119 der Elektromagnete 117 und 91, in dem Augenblick ihrer Ausrichtung ihre Kerne 118 einander abstoßen, um die Rotoranordnung 81-88 zu veranlassen, zu drehen im Uhrzeigersinn in der durch den Pfeil 127 das System nicht in der umgekehrten Richtung zu bewegen, weil er im Uhrzeigersinn von der in Fig.3 gezeigten Wechselstrommotor 54 gestartet angegebenen Richtung, oder durch andere Startermittel. Wenn im Gegenuhrzeigersinn begonnen hat, wird der Motor weiter entgegen dem Uhrzeigersinn dreht.
Wie bereits erwähnt, die Ableitung der Kondensator tritt über einen sehr kurzen Zeitintervall über die zugehörige Funkenstrecke und die resultierende magnetische Abstoßungsaktion Bewegung auf den Rotor. Die Entladungsereignis tritt auf, wenn Elektromagneten 117 und 91 ausgerichtet sind. Wie in Fig.5 gezeigt, ist der Rotor Elektromagneten 91a mit Ständerelektromagneten 117c ausgerichtet ist, und der Rotor Elektromagneten 91b ist mit Ständerelektromagneten 117e gleichzeitig, dass ähnliche Elektromagnete 117 und 91 ausgerichtet sind, ausgerichtet sind. Eine Entladung erfolgt durch alle sechs dieser Elektromagnete gleichzeitig (das heißt, 117, 91, 117c, 91a, 117e und 91b). Ein Kondensator und eine Funkenstrecke für jede Spule jedes Elektromagneten erforderlich. Wo, wie in der in Fig.8 gezeigten Anordnung, vorne und hinten paarweise verwendet werden, sowohl die axiale in-line vorderen und hinteren Spulen gleichzeitig durch die Entladung aus einem einzelnen Kondensator oder eine Bank von parallel geschalteten Kondensatoren wie 25 und erregt 26 (Fig.1). Obwohl Fig.4 und Fig.8 zeigen die Verwendung von vorderen und hinteren Elektromagneten, sollte es offensichtlich sein, daß nur ein einziger Elektromagnet in jedem Stator-Position und einem entsprechenden einzigen Elektromagneten in der Rotorposition verwendet werden, um die Abstoßungswirkung der bewerkstelligen Rotors gegenüber dem Stator. Wie festgestellt, jeder Elektromagnet benötigt eine Entladung aus einem einzelnen Kondensator oder eine Kondensatorbank über eine Funkenstrecke, damit es erregt wird, und die magnetische Polarität der nebeneinander angeordneten Magnetkern Flächen müssen gleich sein, um die abstoßende Maßnahmen erforderlich, um zu bewirken, erzeugen die Drehbewegung.
Mit Bezug auf die Fig.5 und Fig.6 bewirkt die Abstoßung Aktion der Rotor 13,33 Grad im Uhrzeigersinn zu bewegen, während die Elektromagnete 91, 91a und 91b weg von Elektromagneten 117, 117c und 117e bewegen, um Elektromagnete 121, 121a und 121b in die jeweiligen Ausrichtung bringen Elektromagnete 120a, 120d und 120f. Zu diesem Zeitpunkt wird ein Kondensatorentladung über einer Funkenstrecke in die Spulen 123 eintritt, so bewegt die Rotors. Eine weitere 13,33 Grad vor, wie in Fig.7 gezeigt, große Elektromagnete 121, 121a und 121b in Ausrichtung mit kleineren Elektromagnete 117a, 117d und 117f, zu welchem Zeitpunkt eine Entladung auftritt, um die Abstoßung Handlung zu wiederholen sind, diese Aktion fort solange Gleichstrom Energie wird an das System angelegt, um die Kondensatorbatterien aufzuladen.
Fig.18 veranschaulicht die Abfolge der Kondensatorentladungen über entsprechende Funkenstrecke Klemmenpaare. Neun einzelne Statorspulen und drei einzelnen Rotorspulen mit ihren jeweiligen Verbindungen mit den Funkenstrecken und Kondensatoren, mit denen sie zum Ablassen verbunden sind, gezeigt. Wenn die geeigneten Zündspalt Klemmen ausgerichtet sind, an den Punkten in der Positionierung der Rotoranordnung für effektivste Abstoßungswirkung von nebeneinander liegenden Elektromagnetkerne, erfolgt die Entladung der entsprechenden geladenen Kondensatoren über das zugehörige Funkenstrecke durch die jeweiligen Spulen. Die Kondensatoren werden entladen ist Sätzen von drei, durch Sätze von drei Spulen in jeder Ausgabestellung, wenn der Rotor durch die Rotorpositionen bewegt. In Fig.18 werden die Rotorelektromagneten linear angeordnet, und nicht auf einer kreisförmigen Basis, um die elektrische Wirkung eines elektrischen Motors gemß der Erfindung zu zeigen. Diese Motor-Elektromagneten 201, 202 und 203 sind mit Statorelektromagneten 213, 214 und 215 bei 0 Grad, 120 Grad und 240 Grad ausgerichtet sind. Die Statorelektromagneten entsprechend in einem linearen Schema dargestellt wie aus der Statorbaugruppe gerollt und nebeneinander gelegt. Zur Klarheit der Beschreibung werden die Kondensatoren mit der Rotorbetrieb 207, 208, 209 und 246, 247, 248, 249, 282 und 283 verbunden sind, in vertikaler Ausrichtung mit den jeweiligen Positionen der Rotorspulen 201, 202 und 203, wie sie angeordnet sind bewegt sich von links nach rechts, wobei diese der Drehung des Rotors im Uhrzeigersinn. Die Statorwicklungen 213, 214, 215, 260, 261, 262, 263, 264, 265, 266, usw. werden und Kondensator-Kombinationen nebeneinander angeordnet sind, wieder auf die Beschreibung zu erleichtern.
Eine
isolierende
Wenn der Elektromagnet-Spulen 213, 214 und 215 und 201, 202 und 203 erregt, bewirkt die Abstoßung Aktion die Rotoranordnung auf, wo eine neue Gruppe von gleichzeitigen Entladung tritt in die Rotorspulen 201, 202 und 203 von den Kondensatoren 246 Position 2 zu bewegen, 248 und 282 über die Spalte 201a - 240, 202b - 242 und 203c - 244. Gleichzeitig weil spalt U-Elemente 222, 225 und 228 sind ebenfalls nach 2 mit der Rotoranordnung zu positionieren, Kondensator 261 wird durch Elektromagnetspule 260 ausgetragen wird, Kondensator 265 wird durch die elektromagnetische Spule 264 abgegeben wird, und der Kondensator 269 wird durch die elektromagnetische Spule 268 in Ausrichtung mit der Position 2 der Rotorelektromagnetspulen ausgestoßen wird, so zu bewirken, dass die Rotorelektromagneten an Position 3, wobei die Entladungsmuster wird nun mit Kondensatoren 247 wiederholt bewegen, 249 und 283 entladen, durch den Rotorelektromagnetspulen 201, 202 und 203 und die Kondensatoren 263, 267 und 281 entladen bzw. durch den Stator Elektromagnetspulen 262, 266 und 280.
Nach jeder Entnahme die Ladeschaltungen 219 bis 221 und 272 bis 277 für die Ständer Kondensatoren und 210-212 und 284-289 für die Rotorkondensatoren werden kontinuierlich von einer Batteriequelle, wie zuvor mit Bezug auf Fig.1 beschrieben, betrieben ständig aufladen die Kondensatoren an die angeschlossen ist jeder. Diejenigen, die in der Technik bewandert ist klar, dass, da jeder Kondensator Entladungen über einem zugeordneten Funkenstrecke, die sich ergebende Potentialabfall über den Spalt macht die Lücke einen offenen Stromkreis, solange der Kondensator zum Funkenüberpegel für den Spalt aufzuladen. Dies tritt auf, bevor ein Wiederaufladen Rotorelement an der nächsten Position in der Drehung gelangt.
Die
mechanische schematische Darstellung der Fig.17,
weiter erläutert, die den Betrieb der Funkenstrecken-Entladungsprogrammiersystem.
Eine vordere
Vertreter Lücke Terminals zu den Umfängen der Scheiben 230, 291 gezeigt, - 293, klar anzugeben, wie, wie die Scheiben drehen unisono entsprechen die Lücke Ausrichtungen, so dass drei Rotorspulen immer eine Linie mit drei Statorspulen bei 120-Grad-Abständen um die Dreh Pfad, wodurch ein Ausrichtungs alle 40 Grad, wobei es neun Statorwicklungen. Somit gibt es drei simultanen Ableitungen in Ständerspulen und drei in die Rotorspulen auf jeder 40-Grad-Position. Neun Positionen verdrängt 40 Grad auseinander liefern insgesamt 27 Ablaufstellen für Kondensatoren in den Rotorspulen 27 und Ablaufstellen für Kondensatoren in den Statorwicklungen in einer Umdrehung des Rotors.
Es versteht sich, daß, wie in Fig.17 und Fig.18 dargestellt ist, neun Einzelelektromagnetspulen im Stator und drei in dem Rotor dargestellt, um in seiner einfachsten Form, wie die drei Rotorelektromagneten vorwärts von gestuften zeigen Ausrichtung mit drei der Statorelektromagneten, wenn die entsprechenden Funkenstrecken miteinander fluchten, um die Entladung der Kondensatoren durch die nebeneinanderliegenden Paare von Rotor / Stator-Elektromagneten zu bewirken. Die Abstoßung bewegt den Rotorelektromagneten aus dem Ständerelektromagneten zu dem nächsten Ausrichtungsposition 40 Grad weiter. In dem Intervall, bis eine andere Rotorelektromagneten, 120 Grad entfernt ist, wird mit dem Stator Elektromagneten, der gerade gepulst waren, der zugehörige Kondensator aufgeladen fluchten. Somit bewegt sich der Rotor von einer Position zu der nächsten, mit auftretenden jeweils 40 Grad Drehung, insgesamt neun pro Umdrehung Kondensator entlädt. Es sollte offensichtlich sein, dass, mit anderen Rotor / Stator-Kombinationen, die Anzahl der Elektromagneten Koinzidenzen und Funkenstrecke entlädt variiert werden. Beispielsweise wird bei den in den Fig.4 bis Fig.8 gezeigten Spulenpaare, werden insgesamt 27 Entladungen auftreten. Obwohl es 18 Statorelektromagneten und 3 Rotorelektromagneten wird die Entladungsmuster von der speziellen Funkenstreckenanordnung bestimmt.
Die Rotor / Stator-Konfiguration Fig.5 und Fig.8, an denen die großen und kleinen Paar von Elektromagneten, wie beispielsweise 85a und 104a (die Begriffe "kleinen" und "großen", bezogen auf den Unterschied in der Größe der Elemente) umfassen neun Paaren von Elektromagneten in dem Stator, wie 104a, mit drei Paaren von Elektromagneten des Rotors, wie zum Beispiel 85a. Aufgrund der 13,33 Grad Trennung zwischen den größeren und kleineren Elektromagneten geschickt Paar 85a, mit dem gleichen Abstand von kleinen und großen Elektromagneten des Stators Paar 104a, die Reihenfolge der Rotation und Entladung über dem Ausführungsbeispiel von beschrieben, bezüglich 0,5, beinhaltet folgendes:
1. Eine kleinere Element 117 des Ständerpaar 104a ist mit dem kleineren Element 91 der Rotorpaar 85a ausgerichtet ist. Über die Entlastung, bewegt diese den Rotor vor 13,33 Grad.
2. die Hauptrotorelement 122 des Paares 85a, nun mit dem Hauptständerelement 120b des nächsten Stator Elektromagnetpaares ausgerichtet ist, in dem Stator-Array, wie in Fig.6 gezeigt. Über die Entlastung, bewegt sich der Rotor vor 13,33 Grad.
3. Damit erhöht sich die kleineren Rotor Elektromagneten 91 in Ausrichtung mit dem Hauptständerelektromagneten 120b des Paares 104d und der großen Elektromagneten 122 (nur entladen) des Paares 85a in Ausrichtung mit kleinen Elektromagneten 117b Paar 104d, und die Rotorfunkenstreckenelemente in Ausrichtung mit einer anderen Position der Spaltelemente mit Kondensatoren nicht in der vorherigen Position des Rotors abgelassen wird.
Es sei an dieser Stelle, dass es die Positionierung eines drehbaren Funkenstrecke Array ähnlich dem in Fig.17 und Fig.18, die den Zeitpunkt der Entladung der Kondensatoren, um diese Lücke Anschlüssen steuert dargestellt erinnert. Daher kann jeder Elektromagnet erregt wird zweimal nacheinander in getrennten Kondensatoren, während der Rotor bringt entsprechende Lücke Anschlüsse in Ausrichtung mit den Spulenanschlüssen eines bestimmten Elektromagneten.
Obwohl somit große Elektromagneten 120b Paar 104d gerade eingeschaltet wurde, wie oben beschrieben, kann nun wieder zusammen mit geringen Rotorelektromagneten 91 in Schritt 3 mit Energie versorgt werden, da der Rotor bewegt wird, um einen neuen Satz von Anschlüssen der Funkenstreckenanordnungen verbunden Kondensatoren, die noch nicht ausgestoßen worden sind. Diese Kondensatoren entladen nun durch Elektromagneten Rotor 91 und Stator Elektromagneten 120b, so dass der Rotor, um voranzukommen weitere 13,33 Grad, damit wieder Ausrichten von zwei kleineren Elektromagneten wieder, wobei diese 117b des Ständerpaar 104d und 91 des Rotorpaar 85a. Der Rotor ist nun seit Schritt 1 oben bewegt 40 Grad. Die Sequenz wird nun so lange wiederholt. Es ist zu beachten, dass bei jedem Schritt 13,33 Grad, die Entladungen den Rotor weitere 13,33 Grad. Es gibt 27 Schritte pro Umdrehung mit neun Ständerspulenpaare. Die Entladungs Sequenz nicht einheitlich ist, wie in Tabelle 1 gezeigt ist Im Stator drei großen Elektromagneten 120 Grad voneinander entfernt werden zweimal in Folge mit Energie versorgt, gefolgt von einer Pause von einem Schritt, während drei kleinere Elektromagneten des Stators um 120 Grad auseinander, während der Pause eingeschaltet. In dem Rotor während einer Pause Schritt folgenden zwei kleinere Elektro Erregung Schritte die großen Elektromagneten erregt wird. Insgesamt 27 Zündungen werden diese in den neun Paaren von Spulen des Stators erreicht.
In Tabelle 1 ist die linke Spalte zeigt den Standort jeder Rotorarm 85, 86 und 87 an einem willkürlich gewählten Schritt Nummer 1 Position. Zum Beispiel wird in Schritt 1 Rotorarm 85 einen kleineren Stator und Rotor kleinere Elektromagneten in Ausrichtung für Kondensatoren, durch sie gleichzeitig an der 13,33-Grad-Position zu entladen.

Ebenso in Schritt 1 ist der Rotorträger 86 an der 133,33-Grad-Position, die zwei kleine Elektromagneten ausgerichtet, bereit für die Entladung hat. Gleichzeitig wird der Rotorträger 87 an der 253,33-Grad-Position mit zwei kleineren Elektro ausgelegt für das ausgerichtet ist. Die anderen Schritte der Sequenz aus Tabelle 1 hervorgeht, für jede Position der drei Rotorarme in jedem Schritt und die Nebeneinanderstellung der entsprechenden Stators und Rotors Elektroelemente an dieser Position.
In der in schematischer Form in Fig.18, wobei einzelne Elektro Konfiguration gezeigt vereinfachte Motoranordnung ist die Ausrichtung einheitlich und die Entladungs Sequenzen folgen nacheinander.
Wie bereits erwähnt, wird eine Änderung in der Geschwindigkeit durch Verschieben der Stator Zündspalt Klemmen auf der (bei 236 in Fig.17 und Fig.18 gezeigt) Rotor entweder im oder gegen den Uhrzeigersinn 6,66 Grad, so dass die Entladungsposition der Statorelektromagneten verschoben bewirkt . Bezugnehmend auf die Fig.11 bis Fig.15, die gleichzeitige Entladung der ausgewählten Kondensatoren in der verschobenen Elektromagneten bewirkt eine Verzögerung, wenn der Rotor Elektromagneten nähert sich der Stator Elektromagneten zum Zeitpunkt der Entladung oder eine Beschleunigung, wenn der Rotor Elektromagneten, verlässt das Ständerelektromagneten zum Zeitpunkt der entladen Puls. In jedem Fall gibt es eine abstoßende Reaktion zwischen den Stator- und Rotorelektromagneten, die diese Änderung in der Geschwindigkeit bewirkt.
Unter Bezugnahme auf Fig.11 ist das Kupplungsmechanismus 304 um die Welle 111 elektromagnetisch in herkömmlicher Weise betrieben, um die Funkenstrecke Mechanismus 236, der normalerweise in Ausrichtung mit entsprechenden passenden Rotorfunkenstrecke Scheiben 291, 292 und 293. Kupplung 304 betätigt wird, zu verdrängen eine feste Antriebselement 311 enthält einen elektromagnetischen Antrieb (nicht gezeigt) Spule und ein Motorelement 310, das, wenn der elektromagnetische Antriebsspule erregt ist, kann durch einen Gleichstrom betrieben werden. Der Betrieb des Motorelements 310 bringt in Betrieb, Zündspalt Elementen 224R, 223R bzw. 223f, 224f des Systems in Fig.4, Fig.5 und Fig.8, wie in Fig.19 veranschaulich.
Die festen Ständerwicklung Funkenstrecke Klemmenpaare 223, 224 und 266, 267 sind über einen zylindrischen Rahmen 322, die in einem isolierenden Material hergestellt ist, angeordnet. In dem illustrativen Beispiel der Fig.17 und Fig.18, gibt es neun derartige Funkenstrecke Klemmenpaare um den Umfang des Zylinderrahmen 324 positioniert im Motor der Fig.4 bis Fig.8 sind insgesamt 27 solche Funkenspalt-Paare beteiligt. Zusätzlich, obwohl in der Zeichnung nicht dargestellt, gibt es auch Paare von Anschlüssen, wie 223r oder 223f, 224r bzw. 224f und 226r oder 226f, 267r oder 267f, verschoben 6,66 Grad auf jeder Seite der Paare 223, 224 oder 266, 267 und allen anderen Paaren in der Funkenstrecke Array, werden die Buchstaben "r" und "f" bezeichnet "spät" oder "schneller". Dieser verdrängt Paare sind in die Steuerung der Geschwindigkeit des Motors Rotor verwendet. Die verschobenen Paaren nicht gezeigt sind in dem Betrieb der Kupplung 304 wird die Drehzahländerungssteuerelement beteiligt.
Kupplung 304 ist mit der Welle 111 in die zugeordneten das bewegliche Element 310 zieht Kupplungsscheibenelement 316 auf der Welle 111, vom Kupplungsscheibenelement 322, wenn sie durch eine Spannung geeigneter Polarität an seiner Motorelektromagneten 311. Solche Kupplungs Antriebe sind in bekannter aufgebracht erregt diese Arbeit.
Der Kupplungsmechanismus 304 der Fig.11 und Fig.19, wenn es nicht erregt ist, ist in der in Fig.11 gezeigten Konfiguration. Der Aktiv-Konfiguration der Kupplung 304 ist nicht näher dargestellt. Bei Erregung wird Funkenstreckenelement 222 auf der Scheibe 236 nach rechts verschoben, wie in Fig.11 mit den Positionen der festen Funkenstreckenanschlüsse 223f, 224f und 267r, 266r angesehen, die durch gestrichelte Linien 236X, in Ausrichtung. Wenn die Scheibe in Position 236X, der abgeflachten Kante 332 der Stift 330 in der Scheibe 325 Fahrten auf der Oberfläche 350 der Scheibe 322. Normalerweise sind die abgeflachten Kanten 351 der Stifte 330 sind an der flachen Kante 352 in der Aussparung 331 der Scheibe 322. Die engagiert Verschiebung der Scheibe 322 auf der Welle 111 wird durch die Wirkung der Kupplung 304 gegen die Feder 314 (Fig.11) durchgeführt wird. Einen elektrischen Schalter (nicht gezeigt) des Kupplungsmechanismus 304 erregt es von einer Gleichstromquelle und hat zwei Positionen, eine für die Verzögerung und eine für die Beschleunigung. In beiden Positionen, Kupplung 304 eingerückt, um die Kupplungsscheibe 322 vom Kupplungsscheibe 325 zu ziehen, einen Moment. Für die verlangsamen oder beschleunigen Position der verschobenen Ausrichtung der Funkenstreckenelemente 222 ist mit dem 224f, 223f und die 224r, 223r Funkenstrecken-Anschlusselemente. Jedoch können nur die 224f, 223f Funkenstreckenelemente in Anlage mit entsprechenden Kondensatoren für die Beschleunigung Stellung geschaltet, während in den Auslauf Position nur die 223r und 224r Funkenstreckenelemente in der Schaltung mit ihren zugeordneten Kondensatoren geschaltett.
Natürlich, wenn isolierende Scheibe 236 wird durch Kupplung 304 verschoben wird, seine Lücke Anschlüsse 222, 225 und 228 (Fig.14 und Fig.18) werden alle in die Ausrichtungsposition 236X verschoben, um die "r" und "f engagieren, um "Linien der festen Funkenstreckenelemente. Obwohl das Beschleunigen und Verzögern Positionen Scheibe 236 sind die gleichen, die Umschaltung in den Betrieb der 223, 224 oder 266, 267 beispielhaft "r" oder "f" Paaren von Anschlüssen, die bestimmt, ob sich der Rotor zu beschleunigen oder zu verlangsamen, ist es .
Die momentane Verschiebung Kupplungsscheibe 322 vom Kupplungsscheibe 325 zu einer Drehung der Scheibe 325 zu Scheibe 322 über einen Winkel von 120 Grad. Die Rastkugel und Federmechanismus 320, 321 in der Scheibe 325, positioniert sich zwischen einer Rastvertiefung 328 und einem nachfolgenden man 328 in einer Position 120 Grad weg auf Scheibe 325.
Wie bereits erwähnt, lässt Flach 332 von Stift 330 Fahrten auf der Oberfläche 350 der Scheibe 322 und Stift 330 die Stifthalterille 331/352 entlang der Rampe 333 in der Scheibe 322 während der momentanen Aufhebung der Scheibe 322 durch die Kupplung 304 Pin 330 fällt in die nächste Nut 331 an einem Punkt 120 Grad weiter zu den Scheibe -322 Pin 330 an seinen Platz in der Nut 331 auf der Rampe 334 Pins 330 sind in die Sockel 353 drehbar, so dass sowohl für Rechts- oder Linkslauf, wird der flach 351 engagieren die flache 352 durch die besondere Rampe es Begegnungen.
Die Verzögerung oder Beschleunigung durch die Wirkung der Kupplung 304 in einem 120-Grad-Intervall der Drehung des Scheibe 325. Während dieses Intervalls erfolgt somit kann Scheibe 322 einen Bruchteil dieses Bogens nur bewegen.
Es ist früher beschrieben worden ist, wird eine elektromotorische Motorsystem, bei dem zumindest einen Elektromagneten in einer festen Position und einen zweiten Elektromagneten mit ähnlicher Konfiguration wird es in einem magnetischen Polaritätsbeziehung, so dass, wenn die Kerne der Elektromagnete erregt werden, die nebeneinander gegenüber Kern Gesichter stoßen einander ab. Ein Kern fixiert und der zweite Kern frei zu bewegen, werden alle Anhänge auf den zweiten Elektromagnetkern mit ihm zu bewegen. Wenn also mehrere feste Kerne zu einer kreisförmigen Grenz Gehäuse und innerhalb des Gehäuses angeordnet ist, Kerne auf einer Welle frei bewegen können, ist die Welle rotations jedesmal die nebeneinander liegenden festen und drehbaren Kerne ausgerichtet sind und unter Spannung vorgespannt. Sowohl die festen und beweglichen Kernen verbunden sind, um Spaltanschlußelemente und die zugeordneten anderen Anschlußelementen der Funkenstrecken sind mit den Kondensatoren, die von gepulsten unipolaren Signalgeneratoren zu hohe Spannung aufgeladen werden geschalteten Funken. Diese Kondensatoren sind durch die Elektromagnete über die Funkenstrecken entladen. Durch Umschalten ausgewählten Gruppen von Kondensatoren in ausgewählten Paaren von Zündspalt Elemente zur Abgabe durch den Elektromagneten wird der Rotor von der kreisförmigen Anordnung Systemen beschleunigt und verzögert.
Durch den Einschluss einer feststehenden Elektrofeld in einer linearen Konfiguration, mit einem linear beweglichen Elektromagneten, dem ein Arbeitswerkzeug angebracht ist, Erregen der nebeneinander angeordneten Paaren von Elektromagneten, durch Kondensatorentladung, führt zur Erzeugung von Linearkraft für Werkzeuge wie Stanzpressen, oder Entladen Geschosse mit erheblichen Energie.
US-Patent 4.595.975 17.
Juni 1986 Erfinder: Edwin V. Gray snr.
EFFIZIENTES NETZTEIL FÜR INDUKTIVE LASTEN GEEIGNET
Bitte beachten
Sie, dass dies ein Wieder formuliert Auszug aus diesem Patent. Es beschreibt
die Schaltung mit Edwin Gray Leistungsröhre verwendet. Bitte beachten Sie,
Edwin wollte um jeden Preis, um eine nützliche Technik zu verbergen, während
sich Patente, Investoren zu ermutigen, so haben Sie bitte Verständnis, dass
dieses Patent ist nicht dazu gedacht, Ihnen zu sagen, wie man ein funktionierendes
System dieser Art zu machen.
Fig.1 ist ein schematisches Schaltbild des elektrischen Antriebssystems.
Fig.2 ist eine geschnittene Seitenansicht der elektrischen Wandlerelement.
Fig.3 ist eine Längsschnittansicht entlang der Linie 3-3 von Fig.2 genommen.
Fig.4 ist eine Längsschnittansicht entlang der Linie 4-4 von Fig.2 genommen.
Fig.5 ist ein schematisches Schaltungsdiagramm des Wechselstromeingangsschaltung.
ZUSAMMENFASSUNG DER ERFINDUNG
Die vorliegende Erfindung stellt ein effizienteres Antriebssystem mit einer Quelle elektrischer Spannung; einen Vibrator, der das Niederspannungsquelle zum Bilden eines Impulssignals verbunden ist; einen Transformator an den Vibrator zum Empfangen des Impulssignals verbunden ist; eine Hochspannungsquelle, soweit vorhanden, an einen Brückengleichrichter angeschlossen ist; oder den Brückengleichrichter mit der Hochspannungsimpulsausgang des Transformators verbunden ist; einen Kondensator zum Empfangen des Spannungsimpuls ausgegeben wird; ein Wandlerelement mit einem ersten und zweiten Anoden, das elektrisch leitfähige Mittel zum Empfangen einer Ladung zu der zweiten Anode und einer Ausgangsklemme an die Ladungs angeschlossenen Empfangseinrichtung angeordnet ist, wobei die zweite Anode mit dem Kondensator verbunden ist; einen Kommutator, der Quelle der elektrischen Spannung und der ersten Anode verbunden ist; und eine induktive Last mit dem Ausgangsanschluss verbunden ist, wodurch ein Hochenergieentladung zwischen den ersten und zweiten Anoden zu der Ladung übertragen Empfangseinrichtung und dann zu der induktiven Last.
Als Unterkombination umfasst die vorliegende Erfindung auch ein Wandlerelement,
umfassend ein Gehäuse; einen ersten Niederspannungs-Anode mit dem Gehäuse
montiert ist, angepasst ist, um die erste Anode mit einer Spannungsquelle
verbunden werden kann; einen zweiten Hochspannungsanode an dem Gehäuse montiert
ist, angepasst ist, um die zweite Anode mit einer Spannungsquelle verbunden
werden kann; eine elektrisch leitfähige Einrichtung um die zweite Anode angeordnet
und davon beabstandet zum Aufnehmen einer Ladung, wobei der
Ladungsaufnahmeeinrichtung an dem Gehäuse angebracht ist; und einen
Ausgangsanschluß, der mit dem Ladungsempfangseinrichtung, wobei das Endgerät
angepasst ist, um eine induktive Last angeschlossen werden.
Die Erfindung schließt auch ein Verfahren zum Bereitstellen von Strom an eine induktive Last, umfassend die Schritte: Bereitstellen einer Spannungsquelle, pulsierende eines Signals von der Quelle; Erhöhen der Spannung des Signals; Gleichrichten des Signals; Speichern und Erhöhung des Signals; Leiten des Signals an einer Hochspannungsanode; Bereitstellen einer niedrigen Spannung auf eine zweite Anode eine hohe Energieentladung zu bilden; elektro Kopplung der Entladung zu einem Ladungsempfangselement; Durchführung der Entladung an eine induktive Last; Koppeln eines zweiten Kondensators mit der Last; und Koppeln des zweiten Kondensators mit der Source.
Es ist ein Ziel der vorliegenden Erfindung, ein System zum Antreiben einer induktiven Last, das System ist wesentlich effizienter als jedes derzeit bestehende bereitzustellen. Eine weitere Aufgabe der vorliegenden Erfindung ist es, ein System zum Antreiben einer induktiven Last, die zuverlässig ist, ist preiswert und einfach aufgebaut ist.
Die vorstehenden Aufgaben der vorliegenden Erfindung zusammen mit verschiedenen anderen Aufgaben, Vorteile, Merkmale und Ergebnisse davon werden für den Fachmann auf dem Gebiet angesichts dieser Offenbarung sein kann mit dem Ausführungsbeispiel der Erfindung im Detail beschrieben und veranschaulicht erreicht werden, in den beigefügten Zeichnungen.
BESCHREIBUNG
DER BEVORZUGTEN AUSFÜHRUNGSFORM
Während die vorliegende Erfindung für verschiedene Modifikationen und alternative Konstruktionen ist eine Ausführungsform in den Zeichnungen gezeigt und werden hier im Detail beschrieben. Es versteht sich jedoch, dass es nicht die Absicht, die Erfindung auf die besondere Form bekannt gemacht werden; sondern im Gegenteil, soll die Erfindung alle Modifikationen, Äquivalente und alternative Konstruktionen innerhalb des Geistes und Umfangs der Erfindung fallen, wie er in den beigefügten Ansprüchen ausgedrückt.
Es wird hier eine elektrische Antriebssystem, das auf der Theorie, elektrischer Niederspannungsenergie aus einer Quelle umzuwandeln, wie einer elektrischen Speicherbatterie mit einem hohen Potential, Hochstromenergieimpuls, der Lage, eine Arbeitskraft auf den induktiven Ausgang ist offen das Gerät, das effizienter ist als das, was in der Lage ist, die direkt von der Energiequelle entwickelt hat, ist es. Die Verbesserung der Effizienz wird durch die Fähigkeit der Vorrichtung verbessert, um den Teil des Anfangsenergie entwickelt zurückzukehren, und nicht durch die induktive Last in der Erzeugung von mechanischer Energie anderweitig verwendet, um die gleichen oder zweiten Energie Reservoir oder eine Quelle für den Einsatz, oder für die Lagerung.
Dieses System erfüllt die oben durch die Nutzung der "elektrostatische" oder "Impuls" Energie, die durch eine hochintensive Funken in einem speziell konstruierten elektrischen Umwandlungsschaltelement Röhre erzeugt angegebenen Ergebnisse. Dieses Element verwendet eine Niederspannungs-Anode, eine Hochspannungs-Anode, und eine oder mehrere "elektrostatische" oder Ladungsaufnahmegitter. Diese Gitter sind von einer physikalischen Größe, und in geeigneter Weise positioniert ist, dass sie mit der Größe des Rohrs kompatibel sein, und deshalb direkt auf die Energiemenge, die auf vorhergesehen werden, wenn das Gerät in Betrieb ist.
Die Niederspannungs-Anode kann eine Widerstandseinrichtung, um die Steuerung der Strommenge aus der Energiequelle entnommen wird helfen zu integrieren. Diese Niederspannungs-Anode ist mit der Energiequelle durch einen mechanischen Kommutator bzw. ein Festkörper-Impulsgeber, die den Zeitpunkt und die Dauer der Energiefunken innerhalb des Elementes steuert. Der Hochspannungs-Anode mit einem Hochspannungspotential durch die zugeordneten Schaltungen entwickelt verbunden. Eine Energieentladung tritt in dem Element, wenn die externen Steuerstromkreise zu ermöglichen. Dieser kurzzeitige Hochspannung wird die Hochstromenergieimpuls von den "elektrostatischen" Gitter innerhalb der Röhre, vorübergehend gespeichert und dann zu der induktiven Ausgangslast überfangen.
Die Erhöhung der Effizienz bei der Umwandlung der elektrischen Energie in
mechanische Energie in der induktiven Last zu erwarten ist, um die Nutzung der
meisten optimalen Zeitpunkt der Einführung der elektrischen Energie an die
Last-Vorrichtung, für die optimale Zeitdauer zurückzuführen.
Eine weitere Verbesserung der Energieeinsparung wird durch die Erfassung einer signifikanten Teil des von der induktiven Last erzeugt wird, wenn die nutzbare Energiefeld kollabiert Energie bewerkstelligt. Diese Energie wird üblicherweise in Lastverluste, die im Gegensatz zu dem gewünschten Energienutzung sind, und wurden bisher angenommen worden, da keine geeignete Einrichtung entwickelt worden, um diese Energie zu nutzen und es wieder auf eine geeignete Energiespeichervorrichtung abgeführt.
Die vorliegende Erfindung ist mit zwei Konzepte oder Merkmale betreffende. Die erste dieser Eigenschaften ist mit der Einführung eines Erregungs Strom durch den Induktor beobachtet. Die Spule erzeugt eine Gegenkraft (Gegen-EMK oder CEMP), die die in den Induktor eingebrachte Energie entgegensetzt. Diese Gegen-EMK erhöht während der Dauer der eingebrachte Energie steigt.
In normalen Anwendungen von einem Wechselstrom an eine induktive Last für mechanische Anwendungen wird die nützliche Arbeit des Induktors vor der Beendigung der Energiezufuhr durchgeführt. Die aufgetragene überschüssige Energie wird dadurch vergeudet.
Frühere Versuche zur Energieeinsatz an eine Induktivität von Zeitdauern zu dieser Zeit, wenn die optimale Übertragung der induktiven Energie in mechanische Energie begrenzt ist auftreten können, haben durch die Fähigkeit einer solchen Einrichtung, um den hohen Strom benötigt, um die Energieübertragung zu optimieren Griff begrenzt .
Die zweite Eigenschaft beobachtet wird, wenn der Erregungsstrom von der Spule entfernt wird, wenn der Strom verringert wird, erzeugt der Induktor ein EMF, die die Entfernung von Strom oder, mit anderen Worten gegenüberliegt, erzeugt eine Energiequelle an dem Ausgang der Drossel, die simuliert der ursprüngliche Energiequelle, durch die tatsächliche Energie von der Schaltung durch die mechanische Belastung entfernt reduziert. Dieses "regeneriert", oder überschüssige Energie zuvor verloren aufgrund eines Fehlers, eine Speicherfähigkeit für diese Energie zu liefern.
In dieser Erfindung wird eine Hochspannungs-Hochstrom-Kurzzeit-Energie-Impuls
ist mit der induktiven Last durch die Umwandlungselement angelegt. Dieses
Element ermöglicht die Verwendung von bestimmten dieser Energie in einem Bogen
über eine Funkenstrecke prägt, ohne die resultierende Verschlechterung der
Schaltungselemente in der Regel mit hohem Energielichtbögen verbunden.
Diese Erfindung stellt auch für die Erfassung eines bestimmten Teils der Energie von der Hoch induktiven Stoß durch das plötzliche Zurückziehen des eingeführten Strom erzeugte induziert. Das abrupte Absetzen von Strom ist Begleiter auf die Beendigung des anregenden Lichtbogen. Die so entstandene Spannungsspitze auf einen Kondensator, der Paare die damit verbundenen Strom zu einer sekundären Energiespeicher verhängt.
Eine neuartige, aber nicht wesentlich, bietet Schaltungsanordnung zum Schalten der Energiequelle und der Energiespeichereinrichtung. Dieses Schalten kann so angeordnet sein, um automatisch zu vorgegebenen Zeitpunkten zu betätigen. Das Schalten kann auf durch Experimente mit einem bestimmten Gerät festgelegte Zeiträume sein oder kann durch irgendeine Steuervorrichtung, die den relativen Energiegehalt der zwei Energiespeicher misst betätigbar.

Bezugnehmend nun auf Fig.1, wird das
System 10 in zusätzlichen
Einzelheiten beschrieben. Das Potential für die Hochspannungsanode, 12 des Wandlerelements 14 wird über den Kondensator 16. Diese Spannung wird durch Ziehen
einer niedrigen Strom von einer Batteriequelle 18 durch den Vibrator 20.
Die Wirkung des Vibrators erzeugt entwickelt ist, um ein Erstellen pulsierende
Eingangs zum Transformator 22. Der
Wicklungsverhältnis des Transformators so gewählt ist, um die Spannung an einen
Brückengleichrichter 24. Der Ausgang
des Gleichrichters ist dann eine Reihe von Hochspannungsimpulsen mit
bescheidenen Strom angelegt optimieren. Wenn die verfügbare Quelle ist schon
von der Hochspannung vom Wechselstromtyp, kann es direkt mit dem
Brückengleichrichter verbunden sein.
Durch sich wiederholende Anwendung dieser Ausgangsimpulse von dem Brückengleichrichter mit dem Kondensator 16, einen Hochspannungs-Hochpegel Ladung auf dem Kondensator gebaut.
Steuerung des Umwandlungsschaltelement Rohr durch einen Kommutator 26 eine Reihe von Kontakten, die radial um eine Welle oder ein Festkörper-Schalteinrichtung empfindlich zu Zeit oder einer anderen Variablen kann zu diesem Kontrollelement verwendet werden, angebracht gehalten wird. Ein Einweg-Energiepfad 28 Schaltelement vom Röhrentyp ist zwischen dem Kollektoreinrichtung und der Umwandlungsschaltelement Röhre hoher Energie Bogenbildung am Kommutator Stromweg verhindern eingeführt. Wenn das Schaltelement Röhre geschlossen ist, wird Strom von der Spannungsquelle 18 durch ein Widerstandselement 30 und einem Niederspannungsanode 32. Dies führt zu einer hohen Energieentladung zwischen den Anoden in den Umwandlungsschaltelement Rohr 14 geleitet.
Der Energiegehalt des Hochenergieimpulses elektrostatisch auf das Umwandlungs gekoppelt Gitter 34 des Wandlerelements. Diese elektrostatische Ladung wird durch einen Ausgangsanschluß 60 (Fig.2) über die Last-Induktivität 36 angelegt und induziert eine starke elektromagnetische Feld über die induktive Last. Die Intensität des elektromagnetischen Feldes wird durch den Hochspannungspotential auf der elektrostatischen Gitter und der erforderlich ist, um den Energieimpuls zu entwickeln sehr kurzen Zeitdauer entwickelt bestimmt.
Wenn die induktive Last ist magnetisch mit einer mechanischen Last verbunden ist, wird eine starke Anfangsdrehmoment entwickelt, das wirksam verwendet werden kann, um körperliche Arbeit zu erzeugen.
Nach Beendigung des Energie-Impulses (Bogen) innerhalb der
Umwandlungsschaltelement Rohr die induktive Last abgekoppelt wird, so dass das
elektromagnetische Feld über die induktive Last zu kollabieren. Der
Zusammenbruch dieses Energiefeld induziert in der induktiven Last eine
Gegen-EMK. Diese Gegen-EMK erzeugt einen hohen positiven Potential über einen
zweiten Kondensator, der wiederum in den zweiten Energiespeicher bzw. Batterie 40 als Ladestrom induziert. Die Höhe
der Ladestrom zur Verfügung zu der Batterie 40 hängt von den Anfangsbedingungen in der Schaltung zum Zeitpunkt
der Entladung innerhalb des Umwandlungsschaltelement Rohr und der Menge an
mechanischer Energie, die von der Arbeitslast verbraucht.
Ein Funkenstreckenschutzvorrichtung 42 ist in der Schaltung, um die induktive Last und die Gleichrichterelemente von übermßig großen Entladeströmen Schutz enthalten. Sollte die Potentiale innerhalb der Schaltung vorbestimmte Werte, die durch die mechanische Größe und der Abstand der Elemente innerhalb der Schutzeinrichtung festgesetzt wurde, wird die überschüssige Energie abgeführt (Bypass) von der Schutzeinrichtung zu der gemeinsamen Schaltung (elektrische Masse).
Die Dioden 44 und 46 Bypass das überschüssige Überschwingen erzeugt, wenn der "Energy Conversion Schaltelement Tube" ausgelöst. Ein Schaltelement U kann entweder Energiespeicherquelle als Primärenergiequelle verwendet werden, während die andere Batterie als die Energiewiedergewinnungseinheit verwendet. Der Schalter erleichtert Vertauschen die Quelle und die Wiedergewinnungseinheit zu optimalen Abständen, die von der Verwendung des Umwandlungsschaltelement Rohr bestimmt werden. Dieses Schalten kann manuell oder automatisch durchgeführt werden, da durch die Wahl des Schaltelements aus einer großen Vielzahl zum Zweck leicht verfügbaren Informationen ermittelt.


Fig.2, Fig.3, und Fig.4 zeigen den mechanischen Aufbau der Umwandlungsschaltelement Rohr 14. Ein Außengehäuse 50 kann aus einem beliebigen isolierenden Material wie beispielsweise Glas sein. Die Anoden 12 und 22 und Gitter 34a und 34b sind fest durch nichtleitende Abstandsmaterial befestigt 54 und 56. Die Widerstandselement 30 in die Niederspannungsanode Pfad eingeführt, um die Spitzenströme durch das Umwandlungsschaltelement Röhre steuern. Das Widerstandselement kann aus einem Stück sein, oder sie kann aus einem oder mehreren Widerstandselementen aufgebaut, um das gewünschte Ergebnis zu erzielen.
Das Anodenmaterial kann identisch für jede Anode sein, oder sie können aus unterschiedlichen Materialien für jeden Anode sein, wie durch die effizienteste Nutzung der Vorrichtung diktiert, wie durch entsprechende Forschungs Zeitpunkt der Herstellung für die beabsichtigte Verwendung bestimmt. Die Form und der Abstand der elektro Gitter ist auch anfällig für mit Anwendung (Spannung, Strom, und der Energiebedarf) Variation.
Es ist die Auffassung der Erfinder, dass durch geschickte Zusammenpassen der Elemente des Umwandlungsschaltelement Rohr und der richtigen Auswahl der Komponenten, der Schaltkreiselemente des Systems, können die gewünschten theoretischen Ergebnisse erzielt werden. Es ist dem Erfinder Behauptung, dass diese Paarung und Auswahlprozess ist gut innerhalb der Fähigkeiten von intensiver Forschung und Entwicklungstechnik.
Sei hier, dass Substitution einer Quelle von Wechselstrom-Elektro Rahmen der erforderlichen Strom- und / oder Spannungsformung und / oder Zeitpunkt, entweder vor der als primäre Energiequelle anzugeben, oder Des- nachdem sollten nicht so ausgelegt werden, um die beschriebene Nutzung oder Anwendung von Primärenergie in irgendeiner Weise zu ändern. Solche Energieumwandlung kann leicht durch eine Vielzahl von gut etablierten Prinzipien erreicht. Die bevorzugte Ausführungsform der Erfindung übernimmt lediglich die optimale Nutzung und optimalen Nutzen aus dieser Erfindung, wenn sie mit tragbaren Energievorrichtungen im Prinzip ähnlich dem Nasszelle oder Trockenbatterie verwendet.
Diese Erfindung schlägt vor, die in einem intern erzeugten elektrischen
Hochspannungsspitze (Energieimpuls ) enthaltenen Energie zu verwenden, um
elektrische Energie einer induktiven Last, diese induktive Last wobei
anschließend zur Umwandlung der so in ein nützliches elektrisches oder
mechanisches Ausgangssignal zugeführten Energie.
Im Betrieb wird die Hochspannung, Kurzzeit-Elektro Dorn durch Entladen des Kondensators 16 über die Funkenstrecke in dem Umwandlungsschaltelement Röhre erzeugt. Die erforderliche Hochspannungspotential auf den Kondensator in inkrementell Additiv Schritte vom Brückengleichrichter 24 gespeichert, wenn die Energiequelle eine Gleichstrom-Energiespeichervorrichtung, wie zum Beispiel der Batterie 12, dem Eingang des Brückengleichrichters wird durch den Spannungsaufwärtstransformator 22, der wiederum mit Energie versorgt wird von dem Schwinger 20 oder Festkörper- Chopper oder eine ähnliche Vorrichtung, um korrekt treiben die Transformator und Gleichrichterschaltungen vorgesehen.
Wenn die Energiequelle ein Wechselstrom schaltet 64 Trenntransformator 22 und den Eingang des Brückengleichrichters 24 wird durch den Spannungsaufwärtswandler 66 vorgesehen ist, die wiederum von dem Schwinger 20 oder Festkörper- erregt Chopper oder eine ähnliche Vorrichtung, um korrekt treiben die Transformator und Gleichrichterschaltungen.
Die Wiederholungen Ausgang des Brückengleichrichters inkrementell erhöht die Kondensatorladung in Richtung maximal. Diese Ladung ist elektrisch direkt an die Hochspannungsanode 12 des Umwandlungsschaltelement Rohr verbunden ist. Wenn die Niederspannungs-Anode 32 ist mit einer Stromquelle verbunden ist, wird ein Lichtbogen in der Schaltelementrohr entspricht dem Potential auf der Hochspannungsanode gespeicherten bezeichneten 62 des Umwandlungsfunkenstrecke erzeugt, und der Strom, die von der Niederspannungs-Anode.
Da die Dauer des Lichtbogens sehr kurz ist, kann die Momentanspannung und Momentanstrom beide sehr hoch. Die augenblicklichen Spitzenscheinleistung ist also sehr hoch. Innerhalb des Umwandlungsschaltelement Rohr wird diese Energie durch die Gitter 34a und 34b absorbiert montiert umlaufend um das Innere des Rohres.
Steuerung des Energiespitze innerhalb des Umwandlungsschaltelement Rohr wird durch eine mechanische oder Festkörper Kommutators erreicht, dass die Leiterbahn von der Niederspannungsanode mit der Stromquelle in dem Moment geschlossen wird, wenn die Abgabe von Energie an die Ausgangslast ist sehr günstig. Eine beliebige Anzahl von Standard-High-Genauigkeit, sind variable Stelleinrichtungen zur Verfügung. Wenn die Steuerung der Wiederholungsrate der Produktion des Systems erforderlich ist, wird es durch die Steuerung der Zeit der Verbindung auf der Niederspannungsanode erreicht.
So kann ein elektrischer Antriebssystem mit einer Niederspannungsquelle mit
einem Vibrator gekoppelten versehen werden, um einen Transformator und einen
Brückengleichrichter einen hohen Spannungsimpulssignal mit einem ersten
Kondensator bereitzustellen. Wo eine Hochspannungsquelle ist anderweitig
verfügbar ist, kann es direkt an einem Brückengleichrichter verbunden sein,
wodurch ein pulsierendes Signal mit einem ersten Kondensator. Der Kondensator
ist wiederum mit einer Hochspannungsanode eines elektrischen
Umwandlungsschaltelement Rohr gekoppelt. Das Element enthält auch einen
Niederspannungsanode, die ihrerseits mit einer Spannungsquelle durch einen
Kommutator, ein Schaltelement Rohr und einem variablen Widerstand verbunden
ist. Um die Hochspannungsanode angebracht ist ein Ladungsaufnahmeplatte, die
wiederum mit einer induktiven Last, eine Hochspannungsentladung von dem Element
zu der Last zu übertragen gekoppelt. Auch mit der Last gekoppelt ist einen
zweiten Kondensator zum Speichern des Gegen-EMK, die durch die kollabierenden
elektrischen Feldes der Last, wenn der Strom zu der Last wird blockiert. Der
zweite Kondensator ist wiederum mit der Spannungsquelle gekoppelt ist.
Patent GB 2.282.708 12.
April 1995 Erfinder: Harold Aspden (
ELEKTROMOTOR / GENERATOR
Diese Fassung des Patents wurde in einem Versuch neu gefasst, um es einfacher zu lesen und zu verstehen. Es beschreibt den Aufbau eines gepulsten Elektromagneten / Permanentmagnet-Motor, der in der Lage ist eine höhere Leistung als seine eigene Eingangsleistung ist.
ZUSAMMENFASSUNG
Ein elektrodynamischer Motor-Generator hat einen Schenkelpol Permanentmagnetrotor in Wechselwirkung mit ausgeprägten Statorpolen, eine Maschine, die auf der magnetischen Reluktanz-Prinzip zu bilden. Die intrinsische ferromagnetische Kraft der Magnete bietet das Antriebsmoment, indem die Pole in das Register während Stromimpulse entmagnetisieren die Statorpole als die Pole zu trennen. Soweit weniger Leistung für einen Ständer Entmagnetisierung als in den Reluktanzantrieb durch das thermodynamische System Antreiben des ferromagnetischen Zustand zugeführt benötigt wird, arbeitet die Maschine regenerativ durch Statorwicklung Zusammenschaltung mit ungleicher Anzahl von Rotor- und Statorpolen. Ein Rotorkonstruktion offenbart (Fig.6 und Fig.7). Der Stromimpuls kann so sein, Abstoßung von den Rotorpolen zu verursachen.
GEBIET DER
ERFINDUNG
Diese Erfindung bezieht sich auf eine Form des Elektromotors, der eine Erzeugungsfunktion dient, daß die Maschine generatorisch wirken, um elektrische Ausgangsleistung zu entwickeln oder kann mechanische Antriebsmoment mit ungewöhnlich hohen Wirkungsgrad in Bezug auf die elektrische Antriebsleistung zu erzeugen.
Der Bereich der Erfindung ist, dass der geschaltete Reluktanzmotoren, dh Maschinen, die vorspringenden Pole aufweisen und bei durch die gegenseitige magnetische Anziehung und / oder Abstoßung zwischen magnetisierte Pole.
Insbesondere betrifft die Erfindung eine Form der Reluktanzmotor, die enthält Permanentmagnete magnetische Polarisation zu etablieren.
HINTERGRUND
DER ERFINDUNG
Es hat Vorschläge gegeben, die in der Vergangenheit für die Maschinen, bei denen die relative Bewegung der Magnete können in irgendeiner Weise zu entwickeln ungewöhnlich starke Krafteinwirkungen, die angeblich in mehr Leistung als als elektrische Eingangs geliefert führen.
Von orthodoxen Elektrotechnik Grundsätzen diese Vorschläge haben schien akzeptierten Prinzipien der Physik zu widersprechen, aber es wird immer deutlicher, dass die Übereinstimmung mit dem ersten Hauptsatz der Thermodynamik kann ein Gewinn in der elektromechanischen Servorestbetrag, sofern es durch eine thermische Kühlung abgestimmt.
In diesem Sinne ist die physikalische Hintergrund des Kühlmediums erstrecken umfassen, nicht nur die Maschinenstruktur und des unmittelbaren Umgebungsbedingungen, sondern auch die Teilquantenniveau, was bezeichnet, in der modernen Physik braucht man, die Nullpunktfeldes . Dies ist das Feld Aktivität des Vakuums Medium, das in dem Raum zwischen Atomkernen und Atomelektronen vorhanden ist und der Sitz der Maßnahme, dass die Plancksche Konstante zugeordnet ist. Energie wird ständig zwischen dieser Tätigkeit und die gleiche Ausdehnung Materie bildet aber normalerweise Energieschwankungen zu erhalten, unter dem Strich ein Gleichgewichtszustand, so dass diese Aktion geht unbemerkt an der Technologie-Ebene ausgetauscht.
Physiker werden immer mehr und mehr bewusst, dass, wie bei der Gravitation, Magnetismus, so ist ein Weg, auf dem wir Zugang zum Meer von Energie, die das Vakuum durchdringt zu gewinnen. Historisch gesehen hat sich die Energiebilanz rechnerisch durch die Zuordnung "negative" Potenzial, Gravitation oder Magnetismus geschrieben. Dies ist jedoch nur eine verschleierte Art zu sagen, dass das Vakuumfeld, in geeigneter Weise durch die gravitierenden Masse eines Körpers in der Ortschaft oder durch Magnetismus in einem Ferromagneten beeinflusst hat sowohl die Fähigkeit und das Bedürfnis, Energie zu vergießen.
Nun aber gibt es wachsende Bewusstsein der technologischen Energieerzeugungspotenzial dieses Feld Hintergrund und Interesse ist die Entwicklung in den Techniken für 'Pumpen' die Kopplung zwischen Materie und Vakuumfeld an die Macht von dieser versteckten Energiequelle abzuleiten. Solche Forschung kann feststellen, dass diese Aktion auf dem 2.7K kosmische Hintergrundtemperatur des Raumes Medium, durch das sich die Erde bewegt sich mit etwa 400 km / s zeichnen. Die Wirkung in Betracht gezogen, könnte liefern Wärme, oder Lieferung einer nützlicher elektrischen Energieform, die zurückgesetzt werden, um Wärme zu verlassen einen kühlen "Kondensstreifen" im Raum wie eine Maschine, fährt mit dem Körper der Erde durch diesen Raum.
In der reinen Physik gesehen ist
der jüngste Datensatz in der August 1993 Ausgabe von Physical Review E, vol
relevanten Hintergrund. 48, S. 1562 bis 1565 unter dem Titel: ".
Extrahieren von Energie und Wärme aus dem Vakuum", die von DC Cole und HE
Puthoff verfasst. Obwohl die Verbindung nicht in diesem Papier, eine der seinen
Autor präsentiert experimentelle Hinweise über dieses Thema zu einem April 1993
Konferenz in
Die Erfindung, die unten beschrieben wird, arbeitet durch Gewinnung von Energie aus einem Magnetsystem in einem Kraft und der einschlägigen wissenschaftlichen Hintergrund dieser Technologie kann von den Lehren der EB Moullin, einem Cambridge Professor für Elektrotechnik, die der Präsident der Institution war klar, of Electrical Engineers in Großbritannien, die dem Stand der Technik wird nachfolgend als Teil der Erklärung der Wirkungsweise der Erfindung beschrieben.
Die hier vorgestellte Erfindung betrifft spezifische strukturelle Gestaltungsmerkmale einer Maschine für robusten Betrieb geeignet, aber diese haben auch die Neuheit und besonderes Verdienst in einem Funktionsbetrieb. Beschrieben wird eindeutig von Vorschlägen des Standes der Technik, nämlich ein neuartiges Motor von Gareth Jones an einem Symposium 1988 in Hull, Kanada unter der Schirmherrschaft des Planetarischen Gesellschaft für Clean Energy gehalten vorgeschlagen. Jones vorgeschlagen die Anpassung eines Automobils Generator, den Dreiphasen-Wechselstrom für die Berichtigung und Verwendung als eine Energieversorgung für die Elektrik im Kraftfahrzeug erzeugt. Dieser Generator weist einen Dauermagnetläufer und Jones vorgeschlagen, dass es verwendet werden könnte, mit einem hohen Wirkungsgrad Zunahme und Drehmomentleistung, indem Sie es als Motor mit dem Dreiphasen-Wicklungskreis angeregt, so daß starke Abstoßung zwischen den Magnetpolen und die Förderung zu Statorpole nach den Polen hatte in das Register zu kommen.
Allerdings ist die Jones Maschine nicht einer Nutzung der Vorteile der Erfindung zu beschreiben ist, weil es nicht unbedingt ein Reluktanzmotor mit Schenkelpolen sowohl Stator und Rotor. Die Statorpole in der
Jones Maschine werden durch die Wicklungsanordnung in einem geschlitzten Stator Form gebildet, wobei die zahlreichen Schlitze gleichmäßig um den inneren Umfang des Stators verteilt sind und ein Schaftsystem, das sich für die magnetische Fluss Aktionen anhand der EB Moullin beschrieben verleiht nicht bildende Experiment.
Die Jones-Maschine arbeitet durch Erzeugen eines rotierenden Statorfeldes, die in einer Richtung, schiebt die Rotorpole vorne anstatt Ziehen in der Weise, in der normalen Synchronmotor zu sehen. Dementsprechend stützt sich der Jones Maschine an der elektrischen Stromanregung des Motors Herstellung eines Feldsystems, das sich leicht drehen, hat aber eine Polaritätsmuster, die von der Kommutierungssteuerung gezwungen wird, hinter den Rotorpolen in Aktivieren eines kontinuierlichen Abstoßungsplatte halten.
Ein weiterer Vorschlag des Standes der Technik, die sich von dieser Erfindung ist, dass der eine der Klägerinnen, H. Aspden, nämlich das Thema der UK-Patent Nr 2.234.863 (Gegenstück US-Patent Serien No.4,975,608). Obwohl diese letzteren Erfindung wird Energie aus dem unter dem gleichen physikalischen Verfahren der vorliegenden Erfindung betrifft die Technik für den Zugriff auf diese Energie nicht optimal in Bezug auf die Struktur oder das Verfahren verwendet wird. Während in dieser früheren Offenbarung ist das Schalten des Reluktanzantriebs erregt die Pole in ihrem Ansatz Phase der vorliegenden Erfindung, in einem Aspekt, bietet deutliche Vorteile durch Entmagnetisierung oder Umkehrung der Magnetisierung in der Pole Trennung Betriebsphase.
Es unerwartete Vorteile in den durch die vorliegende Erfindung vorgeschlagene Implementierung, da neuere Forschung hat bestätigt, dass sie weniger Eingangsleistung über einen Luftspalt Abschalten der gegenseitigen Anziehung zwischen einem Magneten und einem Elektromagneten, als es, um ihn einzuschalten. Üblicherweise wird bei Elektromagnetismus ist eine Umkehrsymmetrie erwartet, die sich aus herkömmlichen Lehre der Weg nach vorn und zurück magnetomotorischen Kräfte regeln die resultierende Fluss in einem magnetischen Kreis.
Dies wird weiter nach den Umfang der Erfindung beschreiben, erläutert.
KURZBESCHREIBUNG
DER ERFINDUNG
Gemäß einem Aspekt der Erfindung, einen Stator konfiguriert, um eine Reihe von Statorpolen umfaßt, liefern ein elektrodynamischer Motor / Generator-Maschine, eine entsprechende Menge von Magnetisierungswicklungen am Stator Polsatz angebracht ist, einen Rotor mit zwei Abschnitten, von denen jeder einen Satz der Schenkelpolstücke, wobei die Rotorabschnitte axial entlang der Drehachse des Rotors beabstandet ist, Rotormagnetisierungseinrichtung, die zwischen den beiden Rotorabschnitten angeordnet ist angeordnet, um eine unidirektionale Magnetfeld magnetisch polarisiert die Rotorpole zu erzeugen, wobei die Polflächen des einen Rotors Abschnitt alle eine Nord-Polarität und die Polflächen des anderen Rotorabschnitt alle eine Süd-Polarität und elektrischen Schaltungsverbindungen zwischen einem elektrischen Stromquelle und dem Stator Magnetisierungswicklungen angeordnet, um den Betrieb der Maschine durch die Aufnahme von Stromimpulsen einer Dauer bestimmt regulieren entsprechend der Winkelposition des Rotors, wobei die Impulse in einer Richtung neigt, die Polarisation in den Stator durch den Rotor Polarisation wie Stator- und Rotorpole induziert entgegensetzen getrennt von einer in-Register-Position, wobei die Wirkung der Rotormagnetisierungseinrichtung eine Reluktanzmotor Antriebskraft auf Stator- und Rotorpole in das Register und die Wirkung der Stator Magnetisierungswicklungen bringen sich gegen die Gegenhaltung Bremswirkung als die Pole zu trennen.
Gemäß einem Merkmal der Erfindung wird die Schaltung, die den elektrischen Stromquelle und dem Stator Magnetisierungswicklungen zur Stromimpulse, die eine ausreichende Stärke und Dauer, um die Entmagnetisierung der Ständerpole liefern, wie der Stator und Rotorpole getrennt von einer in -Register Position.
In dieser Hinsicht wird festgestellt, dass, um die Reluktanz Antriebsmoment bzw. Bremsmoment zu unterdrücken, je nachdem, ob Pole konvergieren oder trennen, eine bestimmte Menge an elektrischer Energie ist den Magnetisierungswicklungen auf dem Stator zugeführt werden. In einem gewissen Sinn diese Wicklungen sind wirklich 'Entmagnetisieren Wicklungen ", weil die Polarität der Schaltverbindungen zugeben, die Impulsstrom in der Entmagnetisierung Richtung.
Es ist jedoch üblicher, an Wicklungen auf Magnetkerne als "Magnetisierungswicklungen", auch wenn sie als Primärwicklungen oder Sekundärwicklungen funktionieren, die ehemalige Dienste der Magnetisierung Funktion mit Eingangsleistung und die letztere serviert eine Entmagnetisierung Funktion mit Rückgabe der Leistung beziehen.
Gemäß einem weiteren Merkmal der Erfindung ist die Schaltung, die den elektrischen Stromquelle und dem Stator Magnetisierungswicklungen entwickelt, um Stromimpulse, die von ausreichender Stärke und Dauer zu liefern, um eine Umkehr des magnetischen Flusses in Richtung der Statorpole als Stator und Rotor bereitzustellen Pole getrennt von einem register Position, wobei, um Energie von der elektrischen Stromquelle zugeführt wird, um zusätzliche vorwärts-Antriebsdrehmoment bereitzustellen ziehen.
Gemäß einem weiteren Merkmal der Erfindung wird die elektrische Stromquelle zu einem Stator Magnetisierungswicklung eines ersten Statorpol umfaßt, zumindest teilweise die elektrischen Impulse im Stator Magnetisierungswicklung eines unterschiedlichen zweiten Statorpol induziert, der Statorpol Satzes verbunden Konfiguration in Bezug auf den Rotor Polsatz Konfiguration derart ist, dass der erste Statorpol in Deckung kommt mit einem Rotorpol als zweite Statorpol trennt sich von ihrer registerhaltigen Lage mit einem Rotorpol.
Das heißt, die Magnetisierungswicklungen zweier Statorpole sind so verbunden, dass sowohl eine "Entmagnetisierung" -Funktion, eine im Widerstand gegen die magnetische Wirkung der gegenseitigen Anziehung in Ziehstangen in das Register, eine Wirkung, die einen Stromimpuls-Ausgang und eine bei der Absorption entwickelt dienen dieser Stromimpuls wieder durch Widerstand gegen den magnetischen Zwischenpol-Aktion, um den Statorpol entmagnetisieren sich deren zugeordnetes Rotorpol trennt.
Um die Funktion dieser Schaltungsverbindung zwischen Stator Magnetisierungswicklungen geregelt zu erleichtern, wird eine Phasendifferenz benötigt und dies wird durch die Gestaltung der Maschine an eine andere Anzahl von Polen in einem Satz von Ständerpolen von der Anzahl der Rotorpole in jeweils eingeführten Rotorabschnitt. Zusammen mit der Doppelrotorabschnitt Funktion hat dies den zusätzlichen Vorteil der Sicherstellung einer glatteren Drehmoment Aktion und Reduktionsmagnetflussschwankungen und Leckeffekte, die im wesentlichen die Effizienz der Maschine beitragen.
Somit wird gemäß einem weiteren Merkmal der Erfindung ist der Stator-Konfiguration bietet Polstücke gemeinsam sind an beiden Rotorabschnitte in dem Sinne, dass, wenn Stator und Rotorpole in die Registrierung des Ständerpolschuhe bilden Brückenglieder für Magnetfluß Verschluss in einer magnetischen Schaltung, die der Rotormagnetisierungsmittel zwischen den beiden Rotorabschnitten angeordnet.
Vorzugsweise enthalten die Anzahl der Pole in einer Gruppe von Ständerpolen und die Anzahl der Rotorpole in jeder Sektion keinen gemeinsamen ganzzahligen Faktor, die Anzahl der Rotorpole in einem Rotorabschnitt gemeinsam ist die gleiche wie die in dem anderen Rotorteil und der Anzahl der Pole in einem Stator eingestellt und die Anzahl der Pole in einer Rotorabschnitt unterscheidet sich von einem, wobei die Polflächen von ausreichender Winkelbreite, um sicherzustellen, dass der von den Rotormagnetisierungseinrichtung erzeugte magnetische Fluß kann einen kreisförmigen magnetischen Flussschließ Route durch finden das Überbrückungspfad eines Statorpol und durch entsprechende Rotorpole für jede Winkelposition des Rotors.
Es ist auch bevorzugt aus einem Designgesichtspunkten für die Ständer Polflächen dieser Erfindung, eine Winkelbreite, die nicht größer als die Hälfte der Winkelbreite des Rotorpols ist und für die Rotorabschnitte kreisförmige Stahlbleche, in denen die Rotorpole enthalten, haben gebildet, wie große Zähne am Umfang der Rotormagnetisierung Mittel eine Magnetkernstruktur die Stirnseiten anliegen beiden Baugruppen solcher Lamellen, die die beiden Rotorabschnitte.
Gemäß einem weiteren Merkmal der Erfindung sind die Rotormagnetisierungsmittel wenigstens einen Permanentmagneten mit ihren Polarisationsachse parallel zu der Rotorachse angeordnet ist. Der Motorgenerator kann eine gelochte Metallscheibe, die aus einem nicht-magnetisierbaren Substanz auf einer Rotorwelle angebracht und in der zwischen den beiden Rotorabschnitte umfassen, wobei jede Öffnung mit standort für einen Permanentmagneten, wobei die auf den Permanentmagneten einwirkenden Fliehkräfte der Rotor dreht werden von den in der Disk eingestellt Belastungen absorbiert. Auch kann der Rotor auf einer Welle, die aus einem nicht-magnetisierbaren Substanz, wobei an magnetische Leckage aus dem Rotormagnetisierungs minimieren Mittel angebracht sein, durch diese Welle.
Gemäß einem weiteren Aspekt der Erfindung, einen Stator konfiguriert, um eine Reihe von Statorpolen umfaßt, liefern ein elektrodynamischer Motor-Generator-Maschine, ein entsprechender Satz von Magnetisierungswicklungen am Stator Polsatz angebracht ist, einen Rotor mit zwei Abschnitten, von denen jeder einen Satz der Schenkelpolstücke, wobei die Rotorabschnitte axial entlang der Drehachse des Rotors beabstandet ist, bedeutet Rotormagnetisierung im Rotor Struktur eingebaut und angeordnet ist, um die Rotorpole ist, wobei die Polflächen einen Rotorabschnitt haben alle eine Nord-Polarität zu polarisieren und die Polflächen des anderen Rotorabschnitt haben alle eine Süd-Polarität und elektrischen Schaltverbindungen zwischen einer elektrischen Stromquelle und dem Stator Magnetisierungswicklungen angeordnet, um den Betrieb der Maschine durch die Aufnahme von Stromimpulsen für eine Dauer, die gemäß der Winkelposition der zu regulieren Rotor, der Impulse in einer Richtung neigt, die Polarisation in den Stator durch den Rotor Polarisation wie Stator- und Rotorpole induziert entgegensetzen aus einem In-Registerposition, wobei die Wirkung der Rotormagnetisierungseinrichtung eine Reluktanzmotor Antriebskraft zu bringen Stator trennen und Rotorpole in das Register und die Wirkung der Stator Magnetisierungswicklungen wendet sich gegen die Gegenhaltung Bremswirkung als die Pole zu trennen.
Gemß einem Merkmal dieses Aspekts der Erfindung wird die elektrische Stromquelle zu einem Stator Magnetisierungswicklung eines ersten Statorpol umfaßt, zumindest teilweise die elektrischen Impulse im Stator Magnetisierungswicklung eines unterschiedlichen zweiten Statorpol induzierten angeschlossen, Statorpol eingestellte Konfiguration in Bezug auf den Rotor Polsatz Konfiguration derart ist, dass der erste Statorpol in Deckung kommt mit einem Rotorpol als der zweite Statorpol trennt sich von ihrer registerhaltigen Lage mit einem Rotorpol..
KURZE BESCHREIBUNG DER ZEICHNUNGEN

Fig.1 präsentiert Magnetkern Testdaten zeigt, wie der Volt-Ampere Blindleistung für die Einrichtung eines konstanten magnetischen Flusses Aktion in einem Luftspalt, wie von konstanten Wechselspannung Anregung einer Magnetisierungswicklung gewährleistet, bleibt hinter der zugehörigen Kraft des potenziellen implizit in die Krafteinwirkung auf diesem Luftspalt.

Fig.2 bildet das Teststruktur, an der Fig.1 Daten gelten.

Fig.3 zeigt die Magnetisierung Aktion bei der Arbeit bei der Entstehung von magnetischen Fluss, um einen Luftspalt zu durchlaufen und um eine Ecke in einem Kreislauf durch einen Magnetkern.

Fig.4 zeigt die Konfiguration einer Testvorrichtung verwendet werden, um das Funktionsprinzip der beschriebenen Erfindung zu beweisen.

Fig.5 in ihren verschiedenen Darstellungen zeigt die progressive Rotorpol zu Pol Beziehung Stator ein Rotor dreht sich über einen Bereich von Winkelpositionen bei einer bevorzugten Ausführungsform einer Maschine nach der Erfindung.

Fig.6 zeigt die Form eines Scheibenelements, die Position für vier beschriebenen Permanentmagnete in der Maschine liefert.

Fig.7 zeigt einen Querschnitt der Magnetkreisstruktur einer Maschine, die die Erfindung.

Fig.8 zeigt eine sechs Statorpol Konfiguration mit einem siebenpoligen Rotor und zeigt eine schematische Serie angeschlossen Verknüpfung der Magnetisierungswicklungen von diametral gegenüberliegenden Statorpolen.
DETAILLIERTE
BESCHREIBUNG DER ERFINDUNG
Die Tatsache, dass man Energie von der Quelle, die die Befugnisse der intrinsischen ferromagnetischen Zustand ist nicht explizit sich aus bestehenden Lehrbüchern zu extrahieren, aber es implizit ist und in der Tat hat sich ausdrücklich einmal darauf hingewiesen, in einem Lehrbuch von EB Moullin verfasst. Sein Buch "Die Prinzipien des Elektromagnetismus 'von Clarendon Press, Oxford (3rd Edition, 1955) veröffentlicht wird beschrieben, auf den Seiten 168 bis 174 eine mit dem Effekt der Luftspalte zwischen den Polen in einem Magnetkreis betreffenden Experiment. Die erhaltenen Daten sind in Fig.1, wo Professor Moullin zeigt eine Kurve, die Wechselstromeingangs für verschiedene Luftspalte wiedergegeben, da die angelegte Spannung konstant ist. In der gleichen Figur präsentiert Moullin die theoretische Strom, müssten angewendet werden, um die gleiche Spannung, so dass die entsprechenden Pole Kräfte über den Luftspalt zu erhalten, vorausgesetzt, (a) keine Streufluss und (b) daß eine vollständige Gleichstellung von induktive Energiezufuhr und der mechanische Energiepotential für die Magnetisierung, die in dem Luftspalt in einem Viertelzyklus -Periode an der Wechselstromerregungsfrequenz festgestellt wird.

Die Daten
zeigen, dass, obwohl das Niveau der magnetischen Polarisation liegt deutlich
unter dem Sättigungswert, wobei auf einen Bereich, der als lineare
Permeabilitätsbereich in Transformatorausbildung angesehen wird beschränkt,
gibt es einen deutlichen Rückgang-off von Strom, und damit der V--AMP
Blindleistungseingang erforderlich, da Strom erhöht, im Vergleich zu dem durch
die mechanische Potential nach oben in den Luftspalten gebaut vorhergesagt. Es sei denn, Streufluss zu hoch ist, da es
klare Hinweise anomaler Energie Aktivität.
Moullin diskutiert die Streufluss von diesem Experiment gefolgert weist aber darauf hin, dass es beträchtliche Geheimnis, warum die Wirkung von einer kleinen Lücke, die mit Sicherheit nicht in viel Streufluss im Spaltbereich zur Folge haben sollte, hat dennoch eine enorme Wirkung bei der Entstehung, was zu erheblich sein Leck im Licht der energie Diskrepanz. Moullin nicht in Betracht, dass Energie hatte in der Nullpunkt-Feld-System zugeführt worden und so verließ er die Frage mit der Feststellung, dass es praktisch unmöglich ist, Streufluss rechnerisch vorherzusagen.
Er war natürlich bekannt, magnetische Domänenstruktur und seinem Argument, daß der Streufluß Problem wurde mit dem, was er einen "Gieren" Wirkung des Flusses bezeichnet, während es um den Magnetkreis verläuft angeschlossen. Normalerweise, sofern der Grad der Polarisierung unter dem Knie der BH-Kurve, die bei etwa 70% der Sättigung in Eisenkerne der allgemeinen Kristallzusammensetzung auftritt, erfordert sehr wenig magnetisierende Feld, um die magnetische Flussdichte zu ändern. Das setzt voraus, dass alle Anstrengungen unternommen werden, um Luftzwischenräume zu vermeiden. Die Maßnahme beinhaltet Domänenwandbewegungen, so dass die magnetischen Zustände der benachbarten Domänen ändern in verschiedenen Kristallachsen der leichten Magnetisierung und dies beinhaltet sehr wenig Energie zu ändern.
Wenn ein Luftspalt vor der Flusskreis und die Magnetisierungswicklung wird nicht auf den Luftspalt sitzt Jedoch weist der Eisenkern sich der Sitz eines progressiven Feldquelle verbindet die Wicklung und die Lücke ist. Es kann nur dazu dienen, in diesem Sinne durch die Feldlinien in die Domänen gezwungen, sich etwas von den bevorzugt leichten Achsen der Magnetisierung dreht, mit der Hilfe der Grenzflächen um den gesamten Kern. Diese Aktion bedeutet, dass Gewalt und Folge von der Existenz des Luftspaltes, der Fluss ist durch den Kern von diesem "Gieren" Aktion durchgeführt werden. Es bedeutet, dass erhebliche Energie erforderlich ist, um die Einrichtung der Felder innerhalb des Eisenkerns zu drücken. Wichtiger ist jedoch, von dem Standpunkt der vorliegenden Erfindung bedeutet dies, dass die magnetische Polarisationseffekte in benachbarten magnetischen Domänen in der Eisen nicht mehr gegenseitig parallel oder senkrecht zu sein, um entlang der Achsen der leichten Magnetisierung ausgerichtet bleiben. Dann wird in der Tat ist der Magnetisierungs Aktion nicht nur, dass der Magnetisierungswicklung um den Kern gewickelt, sondern wird auch die der benachbarten ferromagnetischen Polarisation letzteren wirken gemeinsam als Vakuumenergie angetrieben Magnete und abgelenkt ineinander zu entwickeln, die zusätzliche vorne magnetomotorischen Kräfte.
Die Folgen davon sind, dass die intrinsische ferromagnetischen Stromquelle mit seiner thermodynamischen Bestell Aktion trägt zur Arbeit verrichtet beim Aufbau Kräfte über den Luftspalt. Die Aufgabe, in technologischer Hinsicht, ist dann, diese Energie nutzbar zu machen, wie die Lücke geschlossen, wie Polen in einem Reluktanzmotor zusammen kommen, und vermeiden Sie wieder diese Energie als die Pole zu trennen, wobei es möglich ist, wenn die Steuerquelle primäre Magnetisierung auch von der Pole-Lücke entfernt und die Entmagnetisierung tritt auf, wenn die Pole an der nächsten Position.
Diese Energiesituation zeigt sich in der Moullin Daten, da die konstante Wechselspannung impliziert eine konstante Flussamplitude über den Luftspalt, wenn kein Streufluss in den Spaltbereich. Ein konstanter Fluß-Amplitude impliziert eine konstante Kraft zwischen den Polen und so die Spaltbreite in Beziehung zu dieser Kraft ist ein Maß der mechanischen Energie Potential des Luftspalts. Die Blind Volt-Ampere Strombewertung im Laufe des Quartals-Periodendauer, die die Polarisation Nachfrage kann dann mit der mechanischen Energie so zur Verfügung gestellt werden, verglichen werden. Wie bereits erwähnt, ist dies, wie Moullin abgeleitet die theoretische Stromkurve. In der Tat, wie seine Daten zeigen, benötigt er weniger Strom als die mechanische Energie vorgeschlagen und in seinem Experiment Hinweise auf die Vakuumenergiequelle, die unbemerkt und wird erst jetzt offenbart sich in Maschinen, die unseren Energiebedarf dienen können, so hatte er.
In der Forschung, die zu dieser Patentanmeldung die Moullin Experiment wurde wiederholt, um einen Zustand, bei dem eine einzelne Magnetisierungswicklung dient drei Luftspalte zu verifizieren. Die Moullin Testkonfiguration ist in Fig.2 gezeigt, aber in Wiederholung des Experiments in der Forschung, die zu dieser Erfindung wurde eine Suchspule, die auf dem Brückenelement angebracht ist und diese wurde verwendet, um das Verhältnis der an die Magnetisierungswicklung angelegten Spannung zu vergleichen, und dass in der Suchspule induziert.
Das gleiche Abfall-Funktion in die aktuelle Nachfrage beobachtet, und es gab eindeutige Beweise für erhebliche überschüssige Energie im Luftspalt. Dies war neben der induktiven Energie zwangsläufig musste in den Magnetkern verriegelt, um die "Gieren" Wirkung der bereits erwähnten Magnetfluss zu verkraften.
Es wird daher betont, dass in den Fluss Priming "Gieren" Aktion, Energie induktiv in dem Magnetkern gespeichert, obwohl dies befunden worden, um die Energie der Streufluss außerhalb des Kerns sein. Der Luftspalt Energie ist auch Induktionsenergie. Beide Kräfte werden auf die Quellenwicklung, wenn das System wieder entmagnetisiert, da ein Luftspalt fest.
Wenn jedoch schließt der Luftspalt nach oder während der Magnetisierung, viel von dem induktiven Energie geht in die mechanische Arbeitsleistung. Hinweis dann, daß die Energie als mechanische Arbeit freigesetzt wird, nicht nur, dass sich im Luftspalt gespeichert, sondern daß bei der Unterstützung des "Gier 'gespeichert. Hierbei ist dann angebracht, ein noch stärkeres Beitrag zum dynamischen Maschinenleistung, eine, die nicht durch die Berechnung der Gleichgewichtszustand angenommen wurde erwartet.
Angesichts der obigen Erläuterung der Energiequelle, werden die strukturellen Merkmale, die Gegenstand der vorliegenden Erfindung sind nun beschrieben.
Die "Gieren" Aktion ist in Fig.3, die zeigt, wie Magnetflusses navigiert eine rechtwinklige Biegung in einem Magnetkern beim Durchgang durch einen Luftspalt dargestellt. Durch zu starke Vereinfachung wird angenommen, daß der Kern eine Kristallstruktur, die eine bevorzugte Magnetisierungsachse entlang der gestrichelten Linie Pfad. Ohne Luftspalt weist die durch eine Magnetisierungswicklung benötigte Strom nur genügend magnetomotorische Kraft, die Auswirkungen der nichtmagnetischen Einschlüssen und Verunreinigungen in der Kernsubstanz zu überwinden und eine sehr hohe magnetische Permeabilitäten anzuwenden. Sobald der Luftspalt entsteht Jedoch hat dieses Kernsubstanz, um einen Weg für den Aufbau der magnetomotorischen Kraft in Regionen aus der Lokalität des magnetisierenden Wicklung weg erstreckt finden. Es können dies nicht, es sei denn, seine Wirkung ist so stark, dass der magnetische Fluss in der gesamten Magnetkreis durch die Kernsubstanz überall aus Ausrichtung mit einer bevorzugten einfachen Magnetisierungsachse ausgelenkt wird. Daraus ergibt sich die Flussvektoren durch die Pfeile dargestellt bewegen aus der Ausrichtung mit der gestrichelten Linie gezeigt.
Es gibt einen "Dominoeffekt " voran ganzen Weg um den Kern von dem Sitz der Magnetisierungswicklung und, wie bereits erwähnt, nutzt diese die innere ferromagnetische Energie, die in einem System ohne Luftspalt nur beeinflusst werden durch Magnetisierung über dem Knie der BH-Kurve. Die magnetische Fluss Drehung erfolgt über diesem Knie, während sie in einer idealen Kern der Magnetismus entwickelt mit sehr hohen Durchlässigkeit in einem Bereich bis zu diesem Knie, weil sie sehr wenig Energie, um eine magnetische Domänenwand seitlich zu verdrängen und zu fördern eine 900 oder A1800 Flußumkehr muss. Tatsächlich kann man eine magnetische Permeabilität von 10.000 unter dem Knie und über dem Knie 100 haben, wobei letzteres schrittweise Verringerung bis die Substanz magnetisch sättigt.

In der in Fig.2 und Fig.3 dargestellten Situation ist die Feldstärke durch die Magnetisierungswicklung 1 auf einem Magnetkern 2 hat, höher zu sein entwickelt, die größer ist der Luftspalt, um den gleichen Betrag der Magnetisierung zu erreichen, indem die Spannung gemessen wird in einer Wicklung (nicht dargestellt) auf dem Brückenglied 3. jedoch aufgrund dieser Luftspalt gibt es Potenzial für die Nutzung der Energie in diesem Luftspalt geliefert durch die Eigennullpunkt -Feld, das für die magnetische Permeabilität Konten nicht vorbei Einheit und induziert hier kann man sehr erhebliche überschüssige Energie Potential, da Einbau in eine Maschine Design, das vom Kongress fährt zu betrachten.
Einer der Antragsteller wurde eine operative Testmaschine, die konfiguriert ist, wie schematisch in Fig.4 dargestellt aufgebaut. Die Maschine ist erwiesen sich als wesentlich mechanische Leistung als als elektrischen Eingang zugeführt wird, bis zu einem Verhältnis von 7 zu liefern: 1 in einer Version, und es wirken kann regenerativ, um elektrische Energie zu erzeugen.

Was in Fig.4 gezeigt ist ein einfaches Modell entwickelt, um die Wirkungsweise zu demonstrieren. Es besteht aus einem Rotor, in welchem vier Permanentmagneten 4 angeordnet sind, um vier Pole bilden. Die Magnete sind in vier Sektoren eines nicht-magnetischen Scheibe 5 mit einem Polyurethanschaum hoher Dichte Füllstoff gebunden ist, und die Verbundplatte wird dann auf einem Messingspindel 6, die zwischen einem Split Flanschkupplung montiert. In der Figur nicht gezeigt ist die Struktur hält die Spindel vertikal in Lagern oder das Sternrad Kommutatoranordnung zur oberen Welle der Spindel angebracht.
Man beachte, dass die Magnete vorliegenden Nordpole an dem Umfang der Rotorscheibe und den Südpolen zusammen, indem sie fest in dem Bindematerial festgelegt gehalten. Eine Reihe von vier Statorpole wurden mit Magnetkernen aus Standard elektromagnetischen Relais wurden um die Rotorscheibe angeordnet ist, wie gezeigt, ausgebildet. Die Magnetisierungswicklungen 7 auf diesen Kernen sind gezeigt, um in Reihe durch Kommutatorkontakte 8 von einer Gleichstromversorgung verbunden ist und mit Strom versorgt werden. Zwei weitere Statorkerne durch ähnliche elektromagnetische Relaiskomponenten ausgebildet sind, durch deren Wicklungen 9 in der gezeigten Zwischenwinkelstellungen dargestellt ist, und diese sind in Reihe mit einem Gleichrichter 10 durch einen Kondensator 11 überbrückt verbunden und angeschlossen.
Die Rotorwelle 6 ist mit einem mechanischen Antrieb (nicht dargestellt), die die so gebildete durch den Motor entwickelten Drehmoments nutzt und dient als ein Mittel zum Messen mechanische Leistung von der Maschine geliefert gekoppelt.
Im Betrieb, unter der Annahme, dass die Rotorpole zunächst gehalten off-Register mit den entsprechenden Statorpolen und der Halt wird dann freigegeben wird, wird das starke Magnetfeld Wirkung der Permanentmagnete des Rotors drehen, um die Stator- und Rotorpole in Register zu bringen. Ein Permanentmagnet hat eine starke Anziehungskraft auf Weicheisen und so diese erste Impuls der Drehung wird durch die potentielle Energie der Magneten angetrieben.
Jetzt, mit der Rotor als Schwungrad tätig sind und Trägheit wird es eine Tendenz zu über-nehmen Sie das register Pole-Position haben, und das wird ein Reverse-Attraktion mit dem Ergebnis, dass der Rotor schwingt bis Dämpfung bringt sie zur Ruhe zu beteiligen. Wenn jedoch die Kontakte der kommutierende Schalter geschlossen sind als die Pole gekommen
Die kommutierenden Schalter 8 braucht nur noch für einen begrenzten Zeitraum von Winkelbewegung nach dem oberen Totpunkt register Position der Stator- und Rotorpole geschlossen. Die durch diesen Schalter von diesen Impulsen mitgelieferte Netz bewirkt, dass der Rotor weiter drehen und hohe Geschwindigkeiten erreicht werden, wenn die Maschine ihre volle Motorik entwickelt.
Tests auf einer solchen Maschine haben gezeigt, dass mehrere mechanische Energie kann als elektrisch von der Source-Versorgung die Aktion durch die Löschschalteinheit geliefert bracht. Der Grund dafür ist, dass, während die Energie im Luftspalt zwischen Rotor- und Statorpolen, die mechanisch den Polen abgegriffen wird in das Register kommen wird durch die Eigenkraft der Ferromagnet versehen ist, ein entmagnetisierendes Wicklung auf dem Teil des Kernsystems gekoppelt in diesem Luftspalt benötigt sehr wenig Strom, um die in diesem Luftspalt wirkenden mechanischen Kraft zu beseitigen. Vorstellen, wie eine Wicklung auf dem in Fig.2 gezeigten Brückenglied. Die Wirkung des Stroms in dieser Wicklung, die rittlings auf dem "Gieren" Flux in diesem Brückenglied auch aus dem Quellwirkung der Magnetisierungswicklungen 1 entfernt liegt, angeordnet ist äußerst wirksam im Widerstand gegen die Magnetisierungs Einfluß aus der Ferne übermittelt. Folglich sehr wenig Energie benötigt wird, um die magnetische Kopplung über den Luftspalt übertragen überwinden.
Obwohl die gegenseitige Induktivität zwischen zwei beabstandeten Magnetisierungswicklungen hat eine Wechselwirkung, unabhängig davon, welcher Wicklung ist primär und welches sekundär ist, wird die Aktion in die jeweilige Maschine Situation, die beschrieben beinhaltet die "Solenoid" Beitrag der "Gieren" ferromagnetischen Fluss vertreten Aktion. Letzteres ist nicht reziproke da der Fluß "Gieren" hängt von der Geometrie des Systems. Eine Magnetisierungswicklung Regie Fluss direkt über einen Luftspalt hat einen anderen Einfluss auf das Handeln im ferromagnetischen Kern aus einer Leitung Fluss lateral der Luftspalt und es gibt keine Gegenseitigkeit bei dieser Aktion.
In jedem Fall sind die Tatsachen Experiment haben ergeben, dass, insbesondere durch eine deutliche Diskrepanz in solchen Wechselwirkung ist mehr mechanische Energie in den Rotor als als Eingang von der Stromquelle, zugeführt werden.
Dies wurde weiter durch die Verwendung der zwei Statorwicklungen 9 bis in einem Generator Sinn für den Durchtritt der Rotorpole antworten demonstriert. Ein elektrischer Impuls in jeder Wicklung durch den Durchgang eines Rotorpols induziert und durch Verbinden des so erzeugten Stroms, um den Kondensator 11 aufzuladen dies wird durch die Trägheit der Rotorscheibe 5 eingeschaltet wird, kann die Gleichstromversorgung erweitert werden, um zu verbessern die Effizienz noch weiter.
Tatsächlich ist die Maschine in der Lage, die überschüssige Leistungsabgabe des ferromagnetischen Systems durch Stromerzeugung Laden einer Batterie mit einer höheren Rate zeigen als eine Versorgungsbatterie entladen.
Diese Erfindung ist mit einem praktischen Ausführungsbeispiel der Motorgenerator Prinzipien gerade beschriebenen und Ziele in ihrer bevorzugten Ausführungsform, um eine robuste und zuverlässige Maschine, in dem die Zahnbelastungen in der Rotorpole, die schwankenden Belastungen Kommunikation hoher Reluktanzantrieb Drehmoment bereitzustellen betreffenden, werden nicht durch einen keramischen Permanentmagneten haftet aufgrund seiner spröden Zusammensetzung zum Bruch absorbiert.
Eine weitere Aufgabe ist es, eine Struktur, die zerlegt und wieder zusammengesetzt, um die Permanentmagneten ersetzt werden kann, aber eine noch weitere wichtige Aufgabe besteht darin, dass zur Minimierung der Streu Streufluß Schwingungen von den starken Permanentmagneten. Deren Drehung in der in Fig.4 dargestellten Vorrichtung wäre übermäßige Wirbelstrominduktion in der Nähe Metalls zu bewirken, einschließlich der von der Maschine selbst, und die solche Effekte minimiert werden, wenn die Flussänderungen an Pfaden durch Stahllamellen und, wenn die Quellfluss von geschlossenen die Magnete hat eine Symmetrie oder um Symmetrie um die Rotationsachse.
Somit ist das ideale Design in diesem Sinne eine, wo der Dauermagnet einen Hohlzylinder auf einem nichtmagnetischen Rotorwelle befindet sich aber, obwohl das Struktur ist im Rahmen dieser Erfindung wird die beschriebene Maschine mehrere separate Permanentmagneten nutzen approximierenden, in Funktion, wie eine zylindrische Konfiguration.
Bezugnehmend auf Fig.4, es wird ferner angemerkt, dass der magnetische Fluss, der aus den Nordpolen wird, seinen Weg entlang Leckagepfade durch Luft zu finden, wieder in die Südpole werden. Für Zeiten, in jedem Zyklus des Maschinenbetriebs der Fluß wird durch die Ständerkerne angezogen werden, sondern der Durchgang durch Luft wesentlich ist und so die Kraft der Magneten wird nicht voll genutzt, und es gibt die unerwünschten Wirbelstromeffekte .
Um dieses Problem stellt die Erfindung zwei separate Rotorabschnitte und die Statorpole zu Überbrückungselemente, die mit einer optimalen Gestaltung, damit der Fluß von den Magneten, um eine Route um einen Magnetkreis mit minimalem Leckstrom durch Luft zu finden, wie der Fluß durch gerichtete überwinden eine oder andere Paare von Luftspalten, wo die Drehmomentwirkung entwickelt.

Es wird nun Bezug auf Fig.5 gestellt und die Sequenz der Rotorpositionen gezeigt. Man beachte, dass der Statorpol Breite wesentlich kleiner als die des Rotorpole ist. Tatsächlich zum Betrieb unter Verwendung der Prinzipien dieser Erfindung ist es vorteilhaft, dass der Stator einen viel kleineren Polbreite haben, um so die effektive Polbereich zu konzentrieren. Ein Statorpol Breite die Hälfte des Rotors angemessen ist, aber es kann auch kleiner sein, und dies hat den sekundären Vorteil, dass sie kleiner Magnetisierungswicklungen und so Einsparungen bei den Verlust der Stromkreis zugehörigen.

Der Stator weist acht Polstücke als Brückenglieder 12 in Fig.7 deutlicher dargestellt, die eine Schnittansicht durch zwei Rotorabschnitten 13 axial auf einer Rotorwelle beabstandet zeigt 14. Es gibt vier Permanentmagnete 15 zwischen den Rotorabschnitten positioniert ist und in den Öffnungen 16 angeordnet ist in einer Scheibe 17 aus einem nicht-magnetischen Substanz mit hoher Zugfestigkeit, in Fig.6 gezeigt ist die letztere. Die Rotorabschnitte sind von Disc Lamellen Elektroband, das sieben große Zähne, die ausgeprägten Pole aufweist. Magnetisierungswicklungen 18 auf den Brückengliedern 12 montiert stellen den Mechanismus für die Wirkung des Motor-Generators, die beschrieben wird.
Die Steuerschaltung ist nicht beschrieben, wie Gestaltung solcher Schaltkreise beinhaltet Fachmann durch die in der Elektrotechnik Technik verbundenen besaß.
Es genügt daher, die Vorteile der strukturellen Konfiguration der Kernelemente der Maschine zu beschreiben. Diese betreffen in erster Linie die Magnetwirkung und, wie aus Fig.7 vorstellen kann, der Magnetfluss von den Magneten trägt die Rotorbleche durch Verfahren der ebenen Flächen der Lamellen, und in die Ebene der Lamellen umgelenkt, um durch die eine oder andere passieren des Statorpols Brückenglieder, wieder durch einen ähnlichen Weg durch den anderen Rotor.
Durch Verwendung von acht Statorpolen und sieben Rotorpole, wobei letzterer eine Polbreite gleich der Hälfte der Polteilung in einem Winkel Sinn, wird es aus Fig.5 ersichtlich ist, dass es immer eine Flusspassage durch den kleinen Luftspalt zwischen Stator und Rotorpole. Doch wie ein Pol Kombination ist register die diametral gegenüberliegende Pole Kombinationen sind aus Register.
Wie unter Bezugnahme auf Fig.4 beschrieben wird der Betrieb der Maschine beinhaltet das so dass der Magnet an Stator- und Rotorpole in Ausrichtung zu ziehen und dann, wenn sie sich trennen, pulsierend die Wicklung auf dem entsprechenden Ständerelement, das Mitglied zu entmagnetisieren. In der Fig.4 System wurden alle Stator Magnetisierungswicklungen zusammen gepulst, was keine optimale Art und Weise, um eine mehrpolige Maschine anzutreiben.
In der Maschine mit der Polstruktur mit einem weniger Rotorpol als Statorpole (oder eine äquivalente Ausführung, bei welcher es eine weniger Statorpol als Rotorpole) diese pulsierende Wirkung kann in seinen Anforderungen an die Stromversorgung verteilt werden, und obwohl dies macht die Kommutierung Schaltkreis teurer die resultierende Nutzen überwiegt dieser Kosten. Jedoch gibt es ein Merkmal dieser Erfindung, mit dem dieses Problem gemildert, wenn nicht beseitigt werden.
Nehmen wir an, dass der Rotor die in Fig.5(a) mit dem Rotorpol gezeigten Position hat bezeichnet R1 auf halbem Weg zwischen Statorpole S1 und S2 und sich vorstellen, dass diese in Richtung zog die register Position Statorpol S2. Bei Erreichen der in Registerstellung, wie in Fig.5(c) gezeigt ist, angenommen, dass die Magnetisierungswicklung Statorpol S2 wird durch einen Stromimpuls, der aufrechterhalten wird, bis der Rotor die Fig.5(e) Position erreicht angeregt.
Die Kombination dieser beiden Maßnahmen wird ein Vorwärtsantriebsimpuls angetrieben durch den Permanentmagneten in der Rotorstruktur und dem Stromimpuls, Bremswirkung wird eine geringere Menge an Energie von der elektrischen Energiequelle, die es liefert gezeichneten drückt verliehen haben. Dies ist das gleiche Verfahren, wie es unter Bezugnahme auf Fig.4 beschrieben.
Aber jetzt sollten Sie die Ereignisse in der Rotor Aktion diametral gegenüber dem gerade beschriebenen auftreten. In der Fig.5(a) Position Rotorpol R4 wurde vollständig in das Register mit Statorpol S5 kommen und so Statorpol S5 ist bereit, entmagnetisiert werden. Jedoch ist die magnetische Kopplung zwischen den Rotor- und Statorpolen dann am stärksten ist. Beachten Sie jedoch, dass in diesem Fig.5(a) Position R5 ist seine Trennung von Statorpolen und der Magnetisierungswicklung Statorpol S6 beginnen muss dann beginnen zu ziehen Kraft Entmagnetisierung zu initiieren. Während dieser folgenden Periode der Polabstand die Leistung von dem Magnet wird mit viel Aktion zieht R1 und S2 zusammen als erforderlich ist, um diese Strompuls erforderlich, um zu entmagnetisieren S6 zu erzeugen. Es folgt daher, daß, bezogen auf den Forschungsergebnissen des Regenerativ-Anregung in dem Testsystem der Fig.4, die Reihenschaltung der Magnetisierungswicklungen Statoren S2 und S6 wird ohne kommutative Schalt benötigen, bieten die regenerative Leistung benötigt für die Maschinenbedienung.
Die Ergänzungsmaßnahmen der beiden Magnetisierungswicklungen während des Polverschluß und Poltrennung ermöglicht die Konstruktion einer Maschine, die, da der Nullpunkt-Vakuumenergie die Stromversorgung des Ferromagneten speist Eingangsleistung, werden an diesem Energieträger führen und damit kühlen die erhaltFeldSystem.
Es gibt verschiedene Gestaltungsmöglichkeiten bei der Umsetzung, was gerade vorgeschlagen. Viel hängt von der beabsichtigten Verwendung der Maschine. Wenn es beabsichtigt ist, mechanische Leistung liefern die regenerative elektrische Leistung Aktion können alle verwendet werden, um die Entmagnetisierung mit jeder Überschuss Beitrag zu einer stärkeren Antriebsmoment durch Umkehren der Polarität der Statorpole während Poltrennung mit Strom versorgt werden.
Wenn das Objekt, um Elektrizität durch
Betrieb im Generatorbetrieb zu
erzeugen, dann könnte man eine Maschine
zu entwerfen, die zusätzliche Wicklungen
auf dem Stator zum Abgeben elektrischer
Leistung. Es scheint jedoch bevorzugt, die Maschine als Motor zu betrachten und maximieren die Effizienz in dieser Eigenschaft bei der Benutzung eine mechanische
Kopplung mit einem Wechselstromgenerator von herkömmlicher Bauart für die Funktion
von elektrischem Strom.
Im letzteren Fall ist es immer noch scheint es vorteilhaft,
die Selbsterregung Funktion
bereits beschrieben Kommutierungs-Probleme zu verringern.
Die Frage, die Bereitstellung für die Inbetriebnahme der Maschine kann mit einem separaten Anlassermotor angetrieben von einer externen Versorgung oder durch die Bereitstellung für aktuelle pulsierende,
sagen wir, zwei Statorpole begrenzt angesprochen werden. So kann zum Beispiel mit der acht Statorpol Konfiguration
die überkreuz verbundenen Magnetisierungswicklungen
könnten drei Ständerpaare
frei zur Verbindung mit einer gepulsten externen Versorgungsquelle
begrenzt, wobei die beiden Statorteile
Magnetisierungswicklungen übrig.

Wenn die letztere Funktion nicht benötigt wurden, sind die Stator-Magnetisierungswicklungen würden alle in Paaren auf einer wirklich diametral gegenüberliegenden Basis verbunden werden. So Fig.8 zeigt ein Rotor-Stator-Konfiguration mit sechs Statorpolen Interaktion mit sieben Rotorpole und Stator Magnetisierungswicklungen paarweise miteinander verbunden sind.
Die Erfindung bietet daher eine Vielzahl von Ausführungsmöglichkeiten, die im Lichte dieser Offenbarung werden dem Fachmann in der Elektrotechnik Gebiet offensichtlich, basieren jedoch auf das Wesentliche aber einfachen Prinzip, dass ein Rotor einen Satz der Pole der gemeinsamen Polarität, die mit einem Satz von Statorpolen, die unterdrückt werden oder in Polarität während Poltrennung rückgängig magnetisch in das Register angezogen werden. Die Erfindung bietet jedoch auch die wichtige Funktion der Minimierung der Kommutierung und eine weitere für einen magnetischen Fluss, der die Verschluss Streufluß und Schwankungen der Streufluß minimiert und so trägt zur Effizienz und hohe Drehmomentleistung als auch die Haltbarkeit und Zuverlässigkeit einer Maschine, die Erfindung.
Es wird angemerkt, dass, obwohl eine Maschine beschrieben wurde, die zwei Rotorabschnitten verwendet, ist es möglich, eine Verbundversion der Maschine mit mehreren Rotorabschnitten aufzubauen. Für den Fall, dass die Erfindung findet Verwendung in sehr großen Motorgenerator Maschinen das Problem, sehr großen Magneten kann durch eine Gestaltung, in der zahlreiche kleine Magnete montiert sind überwunden werden. Die durch Bezugnahme auf Fig.6 bei der Bereitstellung von Positionierungsöffnungen, die Magnete Haus beschriebenen Strukturkonzept macht dieser Vorschlag sehr gut möglich. Weiterhin ist es möglich, die Magnete mit einem Stahlzylinder ersetzen und einen Solenoid als Teil der Statorstruktur und zwischen den Rotorabschnitten angeordnet. Dies würde die Einrichtung eines axialen Magnetfeldes die Magnetisierung des Stahlzylinder und so Polarisieren des Rotors. Jedoch würde die in diesem Elektromagneten zugeführte Leistung von der erzeugten Leistung ablenken und so eine derartige Maschine nicht so wirksam wie die Verwendung von Permanentmagneten, wie beispielsweise sind jetzt verfügbar.
Dennoch sollte man erhebliche Fortschritte bei der Entwicklung der warmen Supraleitermaterialien finden, kann es möglich sein, die sich selbst generierenden Motor-Generator Merkmale der Erfindung zu nutzen, mit der selbstkühlenden Eigenschaften, um den Betrieb des Gerätes in einem Gehäuse bei niedrigen Temperaturen und Ersetzen der Magneten durch eine supraleitende Magnetständer unterstützt.
Patentanmeldung
AUTARK
STROM GENERATOR MIT ELEKTRONEN DER GERINGE
TRÄGE MASSE UM INDUKTIVE ENERGIE ZU VERGRÖßERN
Diese Patentanmeldung zeigt einen sehr ordentlichen batterielosen elektrischen Generator mit einer theoretischen Leistung von bis zu ein "Coefficient Of Performance" von 59, bei Verwendung von Cadmiumselenid. Die Diskussion über die theoretischen Aspekte des Entwurfs enthält eine große Menge an historischen Informationen und deckt den Ursprung des "Gesetzes" der Erhaltung der Energie, die seit Jahrzehnten, obwohl er falsch, hat ein großes Hindernis für die wissenschaftliche Entwicklung der freien-Energie-Geräte.
ZUSAMMENFASSUNG
Elektrische Schwingungen in einem metallischen "Sendespule" abstrahlen induktiven Photonen zu einer oder mehreren "Energievergrößerungsspulen" eines Photoleiters enthielt oder dotierte Halbleiter Beschichten eines metallischen Leiters oder eines Supraleiters besteht. Elektronen mit geringer Massenträgheit in der Energievergrößerungsspule (n) erhalten von der Sendespule, eine Querkraft, die keinen in-line Rückkraft, die diese Kraft aus der Energie-Erhaltungssatz befreit. Die massearmen Elektronen im Energievergrößerungsspule (n) erhalten die normale Elektronenmasse geteilt durch die geringere Masse erhöhte Beschleunigung proportional. Sekundär ausgestrahlte induktiv-Photonenenergie ist proportional zu der Elektronen größere Beschleunigung mit 0,13 x normalen Elektronenmasse vergrößert, quadriert, zB die induktive Energievergrößerungsfaktor von CdSe Photoelektronen ist 59 mal. Vergrößerte induktiven Photonenenergie aus dem Energievergrößerungsspule (n) induziert oszillierende elektrische Energie in einem oder mehreren metallischen "Ausgangsspule (n)". Die elektrische Ausgangsenergie der Energieeingabe überschreitet, wenn der von der vergrößerten Photoneninduktionsenergie in Richtung auf die Ausgangsspule (n), als es als Gegenkraft zu der Sendespule gerichtet. Nachdem eine externe Energiequelle auslöst, die Schwingungen, Rückmeldungen von dem erzeugten überschüssige Energie macht die Vorrichtung ein sich selbst erhalt Generator von elektrischer Energie für nützliche Zwecke.
FELD
Diese Offenbarung stellt ein Fachgebiet, in dem praktische elektrische Energie wird in Übereinstimmung mit der über Ausnahme von der Energiespar Regel, die Hermann von Helmholtz beschrieben in seinem 1847 Lehre zum Energiesparen geschaffen: "Wenn. . . Körper besitzen Kräfte, die auf Zeit und Geschwindigkeit ab, oder die auf andere als Linien, die jedes Paar von Materialpunkte vereinen Richtungen wirken. . . dann Kombinationen solcher Körper sind möglich, bei denen Kraft kann entweder verloren oder als infinitum gewonnen werden ". Eine induktive Querkraft qualifiziert sich für Helmholtz 'ad infinitum Regel, aber diese Kraft nicht ausreicht, der sich um eine höhere Energieausbeute als Eingang, wenn Elektronen von normalen Masse angewandt verursachen aufgrund ihrer einzigartigen Ladung-zu-Masse-Verhältnis. Die erhöhte Beschleunigung von Leitungselektronen von weniger-then-normal träge Masse, wie sie in Photoleitern, dotierte Halbleiter und Supraleiter auftritt, ist proportional zu der Normalelektronenmasse geteilt durch die geringe Elektronenmasse, und die Vergrößerung des harnessable induktive Energie ist proportional zum Quadrat der größeren relativen Beschleunigung.
HINTERGRUND
Magnetkraft Helmholtz Ausnahme von
der Energiespar Regel genügt auch, weil Magnetkraft quer zu der Kraft, die sie
verursacht, und Magnetkraft wird durch die "Relativgeschwindigkeit"
(dh senkrecht zur Verbindungslinie) zwischen elektrischen Ladungen bestimmt.
Vergrößerung der magnetischen Kraft und Energie wurde von
Anmelderin hat geschlossen, daß Leimer Energievergrößerungs war wahrscheinlich aufgrund massearmen Elektronen befreit wurden und leitend gemacht in der Antenne durch Alphastrahlung, die erlaubt diese speziellen Elektronen eine größere als normale Beschleunigung durch die empfangenen Rundfunk Photonen gegeben. Der Anmelder hat daraus ableiten, dass solche massearmen Elektronen müssen in einem Dünnfilm-Beschichtung aus Kupferoxid (CuO) auf der Antennenleitung stammen. CuO ist ein mattschwarz polykristallinen halbleitenden Verbindung, die in situ im Zuge Glühen des Drahtes in Gegenwart von Luft entwickelt sich auf Kupfer- und Bronzedraht. Solche CuO Beschichtungen von der Anmelderin auf historischen Labor Draht im Science Museum an der Universität Oxford, Großbritannien und auf Kupferdraht Haus der damaligen Zeit in den USA beobachtet, was darauf hinweist, dass CuO Beschichtungen waren an der Tagesordnung. In späteren Jahren, Glühen unter Bedingungen stattfinden, dass die meisten Oxidation zu verhindern gefunden hat. Dies wird durch Säurebehandlung folgt, um alle verbleibenden Oxide zu entfernen, so dass glänzenden Draht.
Im gleichen Jahr, dass die
englische Übersetzung Leimer Papier erschien in Scientific American, 16-jährige
Alfred M. Hubbard von Seattle, Washington, angeblich erfunden fuelless
Erzeuger, die er später zugab, beschäftigt Radium. Antragsteller interpretiert
dies so verstanden werden, dass Leimer Energie Vergrößerung wurde von Hubbard
mit Rückmeldung verwendet werden, um es selbsttragend zu machen. Drei Jahre
später Hubbard öffentlich gezeigt, in einem relativ fortgeschrittenen fuelless
Generator, der eine 20-Watt-Glühbirne (Anon. 1919a) beleuchtet. Eine seriöse
Physikprofessor aus
Zeitungsfotos (Anon. 1920a) eines mehr eindrucksvoll unter Beweis Hubbards fuelless Generator, zeigen eine Vorrichtung als 14 Zoll (36 cm) lang und 11 Zoll (28 cm) Durchmesser beschrieben, durch vier schwere elektrische Kabel verbunden, um eine 35 Pferdestärken (26 kW) starken Elektromotor. Der Motorantrieb verlautet ein 18-Fuß-offen Start um einen wie bei einer Geschwindigkeit von 8 bis 10 Knoten (Anon. 1920b). Die Veranstaltung wurde von einer vorsichtigen Nachrichtenreporter, die sorgfältig auf Drähte, die zu versteckten Batterien angeschlossen worden sein könnten, indem Sie den Gerät und Motor vom Boot überprüft haben, behauptet erlebt. Radioaktive Zerfallsenergie kann als Hauptstromquelle eliminiert, da etwa 108-mal mehr als Radium gesamten Weltversorgung würde gemeldete elektrische Energieleistung von 330 Ampere und 124 Volt Gleich Hubbards benötigt wurden, werden.
Lester J. Hendershott von
Pittsburgh,
Um der Anmelderin bestem Wissen, die einzige Darstellung, die Öffentlichkeit über die Innenraumkomponenten eines dieser berichtet Generatoren besteht aus einer Skizze (Bermann 1928h) von Hubbards Gerät ähnlich groß wie der in seinem 1919 Demonstration dargestellten Vorrichtung hergestellt wurde. Es stellt einen komplexen Satz von parallelen Spulen Abmessungen 6 Zoll (15 cm) in der Länge und 4,5 Zoll (11,4 cm) im Außendurchmesser. Vier Leitungen aus isoliertem Draht, mit dem Isolations geschält zurück, dargestellt sind kommen aus dem Ende der Vorrichtung. Was die vier Drähte wurden zu intern verbunden wurde nicht dargestellt. Hubbards Beschreibung der internen Anordnung der Spulen in dem Gerät der Regel entspricht der Zeichnung (Anon 1920a.): "Es setzt sich aus einer Gruppe von acht Elektromagnete, die jeweils mit Primär- und Sekundärwicklung aus Kupferdraht, der um einen großen Stahl angeordnet sind gemacht Kern. Der Kern weist ebenfalls eine einzige Wicklung. Über die gesamte Gruppe von Zellen ist eine Sekundärwicklung ". Nichts berichtet wurde, oder darüber, wie Komponenten funktioniert miteinander oder wieviel Radium abgebildet ist, verwendet wurde und wobei das Radium positioniert wurde. Die einzigen Anschlüsse auf der Zeichnung nicht sichtbar waren zwischen den äußeren Windungen der acht Elektromagnetspulen. Diese Verbinder zeigen, daß die Richtung der Windungen abwechseln zwischen Uhrzeigersinn und Gegenuhrzeigersinn in benachbarten Spulen, so daß die Polarität jedes Elektromagneten wäre gegenüberliegenden haben zu der es benachbart Nachbarn.
Wenn die Hubbard und Hendershot Geräte tatsächlich betrieben wie berichtet, sie anscheinend nie erreicht Annahme oder kommerziellen Erfolg. Unter der Annahme, die tatsächlich geleisteten Arbeitsgeräten kann ihren Mangel an Erfolg basiert weitgehend finanziell oder Lieferung gewesen sind, oder mit Skepsis von Gläubigen in der Energiespar Lehre sowohl, verschärft. Wie viel Radium wurde von Hubbard in seinem größeren Generator eingesetzt, kann nur vermutet werden, aber unter der Annahme einer typischen Labor Radium Nadel mit 10 Milligramm Radium wurde verwendet, im Jahr 1929, dass Betrag würde $ 900 im Jahr 1920 gekostet haben, fallen zu $ 500 Soviel Radium in einem fuelless Generator würde Kosten so viel wie ein preiswertes Automobil in den 1920er Jahren haben. Möglicherweise war viel mehr als 10 Milligramm Radium verwendet.
Im Jahr 1922, als die Radium Company of America Pittsburgh, Pa., Angeblich seine Arbeit mit Hubbard auf seine Erfindung (1928h) eingestellt, die der gesamten Weltversorgung des Radiums war nur etwa 250 Gramm. Mit der Annahme, dass extreme nur 1 Milligramm Radium wurde pro Generator erforderlich, könnte weniger als 10% eines einzelnen Jahresproduktion von Autos in den USA Mitte der 1920er Jahre mit solchen Generatoren geliefert worden sein. Hatte offenbar Hendershott versucht, die Technologie durch die zeigen, dass die fuelless Generator konnte die Palette der Flugreise auf unbestimmte Zeit zu verlängern beleben, aber seine Technik noch nie angezogen einen Sponsor aus allen privaten, öffentlichen oder philanthropischen Unternehmen.
Das US-Patent. No. 4.835.433 an Brown, oberflächlich ähnelt die Zeichnung von Hubbards Gerät. Brown Gerät erscheint, die gleiche Anzahl und im wesentlichen die gleiche allgemeine Anordnung von Drahtspulen als Hubbard Generator haben, so nahe wie aus den Zeitungsartikel darstellen, dass Gerät zu verstehen. Offenbar wurde keine Information über entweder die Hubbard oder Hendershot Geräte während der Verfolgung des '433-Patent betrachtet. Brown diskutiert die Umwandlung von Energie der radioaktiven Zerfallsprodukte, hauptsächlich alpha-Emissionen, um elektrische Energie durch Verstärken elektrischen Schwingungen in einem hohen Q-LC-Schaltung durch radioaktive Materialien bestrahlt. "Während des Absorptionsprozesses wird jedes alpha-Teilchen mit einem oder mehreren Atomen in der Leiter kollidieren Klopf Elektronen von ihren Umlaufbahnen und in der Leiterverleih gewisse kinetische Energie auf die Elektronen, wodurch seine Leitfähigkeit zunehmen". (Spalte 3, Zeile 68 bis Spalte 4, Zeile 5). Ein Anspruch wurde von Brown gemacht, dass das Gerät verwendet einen Halbleiter oder Photoleiter, die massearmen Elektronen Energie Vergrößerung zur Verfügung gestellt haben könnte.
Brown dadurch eine Leistung von 23 Ampere bei 400 Volt, die weitaus größer ist als alle der Zerfallsenergie von seinem gemeldet radioaktiven Gehalt von 1 Milligramm Radium, die von schwach radioaktivem Uran und Thorium Pulverstangen umgeben vertreten ist. Angetrieben Thorium hochpyrophoren, so wird es typischerweise in einer Stickstoffatmosphäre versiegelt, um eine Selbstentzündung zu verhindern. In seinem Gerät, Brown angeblich beschränkt das Thorium in Karton ohne Erwähnung der Dicht aus Luft. Dieser Zustand würde eine Kernschmelze, die so massiv out-of-control Elektro-Produktion hätte ausgelegt werden könnte eingeladen haben.
Nach bestem Wissen des Anmelders
hat niemand außer dem Antragsteller immer darauf hingewiesen, dass die
Anwesenheit von Kupferoxid auf ihren Leitungen könnten Energie Vergrößerung zur
Verfügung gestellt haben. Wenn Hubbard Vorrichtung tatsächlich arbeiten, sind
bestimmte Merkmale des Designs unexplainable von der Anmelderin, nämlich die
Verwendung von vier statt zwei große elektrische Kabel sein Gerät zu einem
elektrischen Motor zu verbinden, und die Verwendung von alternierender
Polarität anstelle von Einzelpolaritätsrichtung in der Orientierung der
mehreren Spulen um einen zentralen Spule. Antragsteller ist daher der
Auffassung, dass die Spezifikation setzt hier dargelegten ursprünglichen
Konfigurationen der elektrischen Energie-Generatoren, die keinen bekannten
Präzedenzfall haben.
ZUSAMMENFASSUNG
Um den Bedarf für elektrische Generatoren, die in der Lage ist sich selbst erzeugenden erhebliche Mengen an elektrischer Energie in verschiedenen Umgebungen gibt, und die tragbar sowie stationär sind, Vorrichtungen und Verfahren zur Vergrößerung eines elektrischen Eingangs vorgesehen ist, und (mit Rückführung) zur Erzeugung von Adressen nutzbare elektrische Leistung auf unbestimmte Zeit ohne Kraftstoff oder andere externe Energiequelle, mit Ausnahme ab. Die Vorrichtung verwendet Elektronen niedrige effektive Masse, die größer als die normale Beschleunigung von Elektronen in einer Menge, die umgekehrt proportional zur effektiven Masse erhalten. Die Anmelderin hat festgestellt, dass die wirksame Masse die gleiche wie die Elektronen wahren Trägheitsmasse. Die Photonenenergie, die abgestrahlt wird, wenn ein Elektron beschleunigt wird, ist proportional zum Quadrat der Beschleunigung, also die Zunahme der abgestrahlten Photonenenergie von einem verstärkten massearmen Elektronen über die Energie von einer normalen Elektronen gleich dem inversen Quadrat des Effektiv ist Masse, zB die berechnete Energie Vergrößerung von photoleitenden Elektronen in Cadmiumselenid, mit einer Elektronen effektive Masse von 0,13 bereitgestellt wird, ist 59 mal. Die Verwendung einer Querkraft, die eine direkte Rückkraft fehlt, um massearme Elektronen oszillierend zu beschleunigen, umgeht jede gleich-and-Gegenkraft, die die Anwendung des Energieerhaltungssatz der Kinetik und Thermodynamik berufen würde.
Die verschiedenen Ausführungsformen der Vorrichtung, die entweder ausgebildet sind, um kontinuierlich zu vergrößern einen Eingang oszillierende elektrische Energie oder als selbsttragender elektrischer Generator dienen, beschäftigen drei Hauptkomponenten:
Mindestens
eine Sendespule
Mindestens eine Energievergrößerungsspule, bestehend aus einem Material, produziert in einer "Bedingung" massearmen Elektronen und
Mindestens eine Ausgangsspule.
Es ist wünschenswert, dass die Vorrichtung auch eine Einrichtung zur Feststellung der Bedingung in bezug auf den Energievergrößerungsspule (n). Sofern in dem Rest dieses Textes, wobei die Anzahl der Windungen eines bestimmten Typs ist, um in der Einzahl bezeichnet deutet, versteht es sich, dass eine Vielzahl von Windungen des jeweiligen Typs kann alternativ verwendet werden können.
Elektrische Schwingung in der Sendespule, die aus einem metallischen Leiter besteht, bewirkt Strahlung induktiver Photonen von der Sendespule. Die Energie-Vergrößerungsspule in einer Position relativ zu der Sendespule befindet, um induktive Photonen von der Sendespule zu empfangen. Die induktiven Photonen strahlenförmig von elektrischen Schwingungen in der Sendespule, vermitteln eine Querkraft auf die massearme Elektronen im Energievergrößerungsspule ohne Rückkraft an der Sendespule. Die mehr als normal Beschleunigungen, die in den massearmen Elektronen der Energie-Vergrößerungs Spule hergestellt werden, produzieren mehr Strahlungsenergie der induktiven Photonen als normal.
Die Ausgangsspule so positioniert
ist, um den vergrößerten induktiven Photonenenergie aus dem
Energievergrößerungsspule empfangen. Die Energie, die von der Ausgangsspule,
die aus einem metallischen Leiter besteht empfangenen induktiven Photonen, wird
in einem oszillierenden elektrischen Strom normaler Elektronen umgewandelt.
Damit die elektrische Ausgabe des elektrischen Eingangs zu überschreiten, wird
der Ausgangsspule in der Weise, dass es mehrere der vergrößerten
induktiv-Photonenenergie ist als die, die Rücken an der Sendespule ausgerichtet
ist, um als eine Rückkraft wirken empfängt entfernt. Dieses "Energiehebel" bewirkt, dass die
Abgabe elektrischer Energie, um die elektrische Energiezufuhr übersteigen.
Als Beispiel kann die Energie-Vergrößerungsspule eines supraleitenden
Materials, bei dem die "Bedingung" ist eine Temperatur (zB ein
Tieftemperatur), bei der die supraleitenden Material eine supraleitende
Verhalten gekennzeichnet durch Herstellung von massearmen Elektronen enthalten.
Als weiteres Beispiel kann die Energie-Vergrößerungsspule eines lichtleitenden Materials, wobei die "Bedingung" ist eine Situation, in der das photoleitfähige Material wird durch eine Wellenlängenphotonenstrahlung ausreicht, um das photoleitende Material des Energievergrößerungsspule verursachen beleuchtet umfassen um Leitungselektronen zu erzeugen, das niedrige effektive Masse. In diesem letzteren Beispiel können die Mittel zur Bestimmung des Zustand eines Photoleitererreger (zB ein oder mehrere LEDs) angeordnet und konfiguriert ist, um das fotoleitfähige Material des Energievergrößerungsspule mit der Wellenlänge der Photonenstrahlung zu beleuchten umfassen.
Als noch ein weiteres Beispiel ist die "Bedingung" die Anwesenheit eines bestimmten Dotierstoffs in einem Halbleiter, die einen massearmen Elektronen als Ladungsträger zur Verfügung stellt. Auch beispielhaft die Energievergrößerungsspule kann ein halbleitendes Element oder eine Verbindung, die mit einem bestimmten Element oder eine Verbindung, die diesen leitend massearmen Elektronen macht ohne Beleuchtung durch Photonen-Strahlung außer von der Umgebungs Photonen dotiert worden ist, umfassen.
Verschiedene Ausführungsformen der Vorrichtung umfassen jeweils verschiedenen Anzahlen und Anordnungen der Hauptkomponenten. Die verschiedenen Ausführungsformen kann zusätzlich eine oder mehrere der Schaltungen, Energiezuführeinrichtungen, Abschirmung und andere Komponenten umfassen, um die Aufgabe zugrunde, eine selbsterhaltende elektrische Energiequelle für nützliche Zwecke zu erfüllen.
Ebenfalls bereitgestellt werden Verfahren zum Erzeugen eines elektrischen Stroms. In einer Ausführungsform eines solchen Verfahrens wird eine erste Spule mit einer elektrischen Schwingung ausreicht, um die erste Spule um induktive Photonen abstrahlen erregt. Zumindest einige der abgestrahlten induktiven Photonen von der ersten Spule durch eine zweite Spule empfangen wird, als "Energievergrößerungsspule", bestehend aus einem Material, das massearmen Elektronen erzeugt. Die empfangenen induktiven Photonen verleihen jeweiligen Querkräfte auf die massearme Elektronen, die massearme Elektronen bewirken, Beschleunigungen in dem Material, das größer als Beschleunigungen, die sonst durch die normale freie Elektronen erfährt der Querkräfte erfahren werden erleben.
Leiten der beschleunigten massearmen Elektronen in der zweiten Spule bewirkt, dass die zweite Spule, um einen vergrößerten induktiven Kraft zu erzeugen. Der vergrößerte Vertheilungskraft wird durch eine dritte Spule, die dritte Spule eine oszillierende elektrische Leistung von normalen Leitungselektronen, die größer ist als die anfängliche Energieschwingung hat produzieren bewirkt übermittelt. Ein Teil des oszillierenden elektrischen Ausgangssignal wird als Rückmeldungen von der dritten Spule auf der Sendespule ausgerichtet, so dass die elektrische Schwingung an der Sendespule bereitzustellen. Dieser Teil des oszillierenden elektrischen Strom zu der Sendespule ausgerichtet ist wünschenswerterweise ausreichend, um selbsttragend Generation induktiver Photonen von der ersten Spule, ohne die Notwendigkeit einer externen Energiequelle führen. Der Überschuss oszillierenden elektrischen Ausgabe von der dritten Spule auf ein Werkschleife geleitet werden.
Das Verfahren kann ferner den Schritt des Beginns der Erregung der ersten Spule auf die Erzeugung des oszillierenden elektrischen Ausgangs beginnen umfassen. Das "Einschalten" Schritt kann umfassen zeitig Aussetzen der ersten Spule mit einem externen Schwing induktive Kraft oder beispielsweise an eine externe Magnetkraft, die einen elektrischen Impuls auslöst.
Die vorangehenden und zusätzliche Merkmale und Vorteile der Erfindung werden leichter aus der folgenden detaillierten Beschreibung, die unter Bezugnahme auf die begleitenden Zeichnungen fortfährt.
KURZE
BESCHREIBUNG DER ZEICHNUNGEN

Fig.1(A) ist eine perspektivische Ansicht, die schematisch eine Sendespule in Beziehung zu einer energieVergrößerungsSpule derart, daß induktiver Photonen von der Sendespule fortpflanzen, um die Energie-Vergrößerungsspule.

Fig.1(B) ist eine schematische Endansicht der Sendespule und Energievergrößerungsspule Fig.1(A), ferner darstellt Strahlung induktiver Photonen von der Sendespule und den jeweiligen Richtungen des Elektronenflusses in den Spulen.

Fig.1(C) ist eine schematische Endansicht der Sendespule und Energievergrößerungsspule Fig.1(A), weitere Darstellung der Herstellung von nach innen und nach außen abstrahlende Strahlungs vergrößerten induktiven Photonen von der Energievergrößerungsspule.

Fig.2(A) ist eine perspektivische Ansicht eines internen Ausgangsspule, die schematisch, koaxial innerhalb des Energie-Vergrößerungsspule verschachtelt, um eine effiziente Induktion der internen Ausgangsspule durch die Energie-Vergrößerungsspule, wobei die in der internen Ausgangsspule etablierten Induktionsstrom an die Stromversorgung ein gebrauchtes ermöglichen Last über den internen Ausgangsspule.

Fig.2(B) ist eine schematische Endansicht der in Fig.2(A) gezeigt ist, weiter, das den größeren Betrag des vergrößerten induktiven Photonenstrahlung, die durch die externe Ausgangsspule im Vergleich zu dem geringeren Betrag, der zu der Sendespule als tätig geworden ist empfangen Spulen ein Back-Kraft.

Fig.3 ist ein elektrisches schematisches Diagramm eines repräsentativen Ausführungsbeispiels einer Vorrichtung zur Erzeugung von.

Fig.4 ist eine schematische End-Ansicht einer repräsentativen Ausführungsform, die einen zentral angeordneten Sendespule, die durch sechs Energievergrößerungsspulen, die jeweils und der Achse, die im wesentlichen parallel zu der Achse der Sendespule umgeben ist. Eine jeweilige interne Ausgangsspule koaxial ineinander Energievergrößerungsspule verschachtelt, und die Energievergrößerungs Spulen sind so angeordnet, dass im Wesentlichen alle Photonen induktiven strahlenförmig von der Sendespule zu erfassen, um.

Fig.5 ist eine schematische Stirnansicht des Ausführungsbeispiels der Fig.4, das ferner einen externen Ausgangsspule koaxial zu der Sendespule angeordnet und konfiguriert ist, um alle sechs Energievergrößerungs Spulen umgeben, um so nach außen abstrahlende induktiven Photonen von der Energievergrößerungs einzufangen Spulen. Ebenfalls dargestellt ist die größere Menge des vergrößerten induktiven Photonenstrahlung, die von den internen Ausgangsspulen und der externen Ausgangsspule im Vergleich zu der geringeren Menge an induktiven Photonenstrahlung, die gegenüber der Sendespule ausgerichtet ist, um als eine Rückkraft wirken empfangen wird . Ebenfalls dargestellt sind die Arrays von LEDs zur Anregung der Energievergrößerungs Spulen photoleitenden werden verwendet.

Fig.6 ist eine perspektivische Ansicht der Ausführungsform von Fig.4 und Fig.5, aber weitere Darstellung jeweiligen Zwischenspulen Anschlüsse für die Energievergrößerungs und interne Ausgangsspulen sowie entsprechende Leitungen für die Sendespule, internen Ausgangsspulen und externe Ausgangsspule.

Fig.7 ist ein Kopf-Seitenansicht, die schematisch beispielhafte Stromflussrichtungen in der Sendespule, Energievergrößerungs Spulen internen Ausgangsspulen und externe Ausgangsspulen, sowie in den verschiedenen interSpulenAnschlüsse der Ausführungsform von Fig.4.

Fig.8 ist eine schematische Stirnansicht, die ein Ausführungsbeispiel der Art, in der Zwischenspulen-Verbindungen zwischen benachbarten Energievergrößerungs Spulen hergestellt werden.

Fig.9(A) ist eine schematische Stirnansicht, die die Spulenkonfiguration einer Ausführungsform, bei der eine Sendespule und eine interne Ausgangsspule innerhalb eines Energievergrößerungsspule, die wiederum innerhalb einer äußeren Ausgangsspule verschachtelt. Eine metallische Separator mit einer im wesentlichen parabolischen Form, und wobei zwischen der Sendespule und dem internen Ausgangsspule befindet, reflektiert einen Teil des sonst unbenutzten induktiven Photonenstrahlung, die durch die Energie-Vergrößerungsspule empfangen wirksame Strahlung zu maximieren. Auch verhindert die metallische Abschirmung des internen Ausgangsspule von der Sendespule geschickt, die Strahlentherapie.

Fig.9(B) ist eine schematische Endansicht der Spulenkonfiguration Fig.9(A), weiter, das den metallischen Separator als Schutzschild wirkt, um die Rückstrahlungskraft einzuschränken Erreichen der Sendespule und gleichzeitig den internen Ausgangsspule um einen wesentlichen Teil des vergrößerten Strahlung zu empfangen aus der energieVergrößerungs Spule. Ebenfalls dargestellt ist die größere Menge des vergrößerten induktiven Photonenstrahlung, die durch das interne Ausgangsspule und dem externen Ausgangsspule im Vergleich zu dem geringeren Betrag, der von der Sendespule aufgenommen wird, um als Stützkraft wirken empfangen wird.

Fig10(A) ist eine schematische Stirnansicht, die die Spulenkonfiguration von noch einem weiteren Ausführungsbeispiel, das in mancher Hinsicht ähnlich zu der Ausführungsform von Fig.4 ist, unter Einschluss der jeweiligen ferromagnetischen Kerne im Inneren der Sendespule und der internen Ausgangsspulen. Ebenfalls dargestellt ist eine metallische Abschirmung um die gesamte Vorrichtung.

Fig.10(B) ist eine schematische Endansicht einer Sendespule eines weiteren Ausführungsbeispiels, in dem eine ferromagnetische Hülse koaxial um die Sendespule angeordnet.
DETAILLIERTE BESCHREIBUNG
Allgemeine
technische Hinweise
Ein Verständnis, wie "unendliche Energie" fälschlicherweise kam von der wissenschaftlichen Gemeinschaft abgelehnt, klärt die Grundlage der vorliegenden Erfindung. Die in den nachfolgend beschriebenen Ausführungsformen beschrieben elektrodynamische Funktion, entspricht Helmholtz alternative Energie Regel, die besagt, dass eine Kraft, die im Einklang mit nicht ist ist ursächliche Kraft "verloren gehen oder gewonnen ad infinitum". Diese Regel wurde in enthalten "Über die Erhaltung der Kraft" ("Über die Erhaltung der Kraft"), dass Hermann Helmholtz Lieferungen an die Physikalische Gesellschaft zu Berlin im Jahr 1847. Aber Helmholtz fälschlicherweise angenommen, dass "alle Aktionen in der Natur sind reduzierbar auf Kräfte Anziehung und Abstoßung, die Intensität des auf die Abstände zwischen den beteiligten Stellen je allein den Kräften .... so ist es unmöglich, eine unbegrenzte Menge an Kraft, die Arbeit verrichtet als Folge beliebiger Kombination von natürlichen Objekten "zu erhalten.
Helmholtz weigerte sich, die Idee, dass die magnetische Energie qualifiziert sich für ad infinitum Status obwohl Ampere (1820) magnetische Kraft auf parallelen geraden Leiter ist offensichtlich quer zur Richtung der elektrischen Ströme anstatt im Einklang mit den Strömen zu akzeptieren. Er weggelassen Erwähnung, dass die Magnetkraft in Ampere (1825) wichtige Erfindung, die solenoidalen Elektromagneten wird durch Ströme in den Schleifen seiner Wicklungen, die sich quer zu der Richtung der Magnetkraft verursacht wird. Auch gelang es ihm nicht zu erwähnen, dass Ampere als die Magnetkraft eines Permanentmagneten, die von Minute Querkreisströme, die nun als Elektronen, und in Querrichtung drehen Bahn erkannt werden verursacht werden.
Helmholtz, der als Militärarzt ohne formale Studium der Physik gebildet wurde, stützte sich stattdessen auf eine veraltete metaphysische Erklärung der magnetischen Kraft: "Magnetische Anziehung kann vollständig aus der Übernahme von zwei Flüssigkeiten, die anziehen oder abstoßen im umgekehrten Verhältnis abgeleitet werden kann das Quadrat ihrer Entfernung .... Es ist bekannt, dass die externen Effekte eines Magneten kann immer durch eine gewisse Verteilung der magnetischen Flüssigkeit auf seiner Oberfläche dargestellt werden ". Ohne von diesem Glauben an magnetische Flüssigkeiten, zitiert Helmholtz Wilhelm Weber (1846) ähnlich falsche Interpretation, dass magnetische und induktive Kräfte werden in der gleichen Zeile wie die zwischen den beweglichen elektrischen Ladungen, die die Kräfte verursachen gerichtet.
Weber hatte gedacht, dass er Coulomb, magnetischen und induktiven Kräfte in einem einzigen, einfachen Gleichung vereinigen konnte, aber Webers fehlerhaft Magnetkraft Begriff führt zu dem absurden Ergebnis, dass ein Dauerstrom in einer geraden Draht induziert einen stetigen Strom in einer parallelen Draht . Auch dann, wenn eine Änderung der Strom nicht eine elektromotorische Kraft in Einklang zu induzieren mit der aktuellen, als Weber-Gleichung ergab. Die induzierte Kraft statt Offset, die deutlicher die weiteren, dass zwei verschachtelte koaxiale Spulen getrennt wird. Was wie eine direkt entgegengesetzte Rückkraft ist eigentlich eine gegenseitige induktive Kraft.
Helmholtz 'Behauptung, dass die Gesamtsumme der Energie im Universum ist ein fester Betrag, der unveränderlich ist in der Menge von Ewigkeit zu Ewigkeit appellierte an seine jungen Freunde. Aber die älteren Wissenschaftler der Physikalischen Gesellschaft zu Berlin erklärt, sein Papier zu "phantastische Spekulation" und einer "gefährlichen Sprung in sehr spekulativen Metaphysik" zu sein, so war es für die Veröffentlichung in Annalen der Physik abgelehnt. Anstatt zu akzeptieren diese Ablehnung konstruktiv, Helmholtz fand einen Drucker bereit, ihm zu helfen seine Arbeit selbst zu veröffentlichen. Helmholtz leitete die Veröffentlichung mit einer Erklärung, dass seine Zeitung hatte vor der Society gelesen wurde, aber er unaufrichtig vorenthalten Erwähnung ihrer vollständigen Ablehnung. Unvorsichtigen Leser haben seit den falschen Eindruck, dass seine universelle Energie-Erhaltungssatz hatte der Gesellschaft Unterstützung anstatt seine Kritik erhielten.
Helmholtz (1862, 1863) veröffentlicht sein Konzept so: "Wir haben bis zu einem universellen Naturgesetz, das ... drückt eine perfekt Allgemeinen und besonders charakteristische Eigenschaft aller Naturkräfte geführt, und die ... ist es, durch gesetzt werden die Seite der Rechtsvorschriften der Unveränderlichkeit der Masse und der Unveränderlichkeit der chemischen Elemente". Helmholtz (1881) erklärt, dass jede Kraft, die nicht Energie zu sparen haben würde "im Widerspruch zu Newtons Axiom, das die Gleichheit der Wirkung und Gegenwirkung für alle Naturkräfte etabliert" (sic). Mit dieser betrügerischen Falschdarstellung von Newtons streng mechanischen Prinzip, hatte Helmholtz listig in pendeln die tiefen Respekt für die Newtonschen Gesetze, seine unwissenschaftliche Lehre erfolgreich. Anschließend wurde das Großkreuz am Helmholtz durch die Könige von Schweden und Italien und der Präsident der Französisch Republik verliehen, und er wurde von den deutschen Kaiser in Adel mit dem Titel "von" seinem Namen hinzugefügt begrüßt. Diese prestigeträchtigen Auszeichnungen machte seine Lehre so gut wie in der wissenschaftlichen Gemeinschaft unangreifbar.
Ampere Prinzip der transversal magnetischen Anziehung und Abstoßung zwischen elektrischen Strömen hatte in eine Gleichung für die Magnetkraft zwischen bewegte elektrische Ladungen von Carl Friedrich Gauß gemacht worden (im Jahre 1835 geschrieben, posthum 1865 veröffentlicht). Der kritische Teil der Gauß-Gleichung zeigt, und die moderne Physik Texte einverstanden sind, dass Magnetkraft quer zu der Kraft, die eine relative Geschwindigkeit vermittelt (dh senkrecht zu einer Verbindungslinie) zwischen den Ladevorgängen. Fehlt ein direkter Rückkraft kann eine transversale magnetische Kraft eine größere Kraft als die Kraft, die sie verursacht herzustellen.
Die einzige Physiker im Druck zu erkennen, die tiefe Bedeutung der Arbeiten von Gauß war James Clerk Maxwell (1873), der erklärte: "(Wenn Gauss-Formel korrekt ist), kann Energie auf unbestimmte Zeit in einem begrenzten System mit physikalischen Mitteln erzeugt werden". Mit Helmholtz "Gesetz" voreingenommen, wählte Maxwell nicht magnetischen Querkraft Gleichung Gauß 'glauben und akzeptiert Wilhelm Weber (1846) fehlerhaften Inline-Formel statt. Maxwell gab es zu wissen von Gauß (1845) Schelten Weber für seine falschen Richtung der Magnetkraft als "eine vollständige Sturz Ampere Grundformel und die Übernahme von wesentlichen eine andere".
Im Jahr 1893, der kritische Teil der Ampere-Formel für die magnetische Kraft, die Weber und Maxwell abgelehnt und dem Helmholtz hatte mit seinem Gegenteil metaphysische Erklärung ersetzt wird, wurde für die Grundlage für die internationale Maß für elektrischen Strom vorgeschlagen, der Ampere (oder Verstärker), in Bezug auf die transversale magnetische Kraft, die der Strom erzeugt definiert werden. Aber Helmholtz 'Lehre war so undurchdringlich für Tatsachen, dass jeder, der dieses "Gesetz" in Frage gestellt Verleumdung und Spott konfrontiert zu werden.
Die erste Anerkennung unbegrenzte Energie kam von Sir Joseph Larmor, die im Jahr 1897 berichtet: "Ein einzelnes Ion e, beschreibt eine elliptische Umlaufbahn unter einer Anziehungskraft auf einen festen Mittelpunkt ... muss schnell verlieren ihre Energie durch Strahlung ... aber in den Fällen, der gleichmäßigen Bewegung, es ist nur der Betrag, der benötigt wird, um die Dauerhaftigkeit der Bewegung im Äther zu erhalten ". Offenbar, um Kritiker seiner ketzerischen Konzept zu besänftigen, bot Larmor einen halbherzigen Widerruf im Jahr 1900: "Die Energie der Orbitalgruppen ... würde im Laufe der Zeit zu sein, sinnvoll durch Strahlung abgeführt, so dass solche Gruppen nicht von Dauer sein".
1911
Niels Bohr (1924) wurde von der Vorstellung, dass die Strahlung von einer umlaufenden Elektronen würde schnell seine Energie abfließen, so daß die Elektronen sollte in den Kern spiral gestört. Whittaker (1951) heißt es: "Bohr und Mitarbeiter verlassen das Prinzip ..., dass ein Atom, das emittierende oder Strahlung absorbiert werden muss verlieren oder zu gewinnen Energie. An seiner Stelle, führten sie den Begriff oder virtuelle Strahlung, die in ... Wellen ausbreiten wurde die aber keine Energie oder Dynamik zu übertragen ". Anschließend wird die gesamte wissenschaftliche Gemeinschaft entlassen Larmor-Strahlung als Quelle der realen Energie, weil er nicht auf die allgemein anerkannte Lehre Helmholtz 'entsprechen.
Helmholtz einschränkende Vorstellung, dass die überwiegende Menge an Licht und Wärmestrahlung von den vielen Milliarden von Sternen im Universum nur aus zuvor gespeicherten Energie kommen, hat Wissenschaftler geführt, dass Verschmelzung von bereits bestehenden Wasserstoff zu Helium übereinstimmen, liefert fast alle die Energie, bewirkt, dass Licht und Wärme von der Sonne und andere beginnt zu strahlen. Wenn ja, dann wird das gesamte Universum ganz dunkel geworden, nachdem die vorhandenen Wasserstoffversorgung in den Sternen liegt in etwa 20.000.000.000 Jahre verbraucht. William A. Fowler (1965) angenommen, dass im Wesentlichen der gesamte Wasserstoff im Universum "entstand aus den ersten Minuten der frühen Hochtemperatur-High-Density-Phase des expandierenden Universums, den so genannten "Big Bang"... "Relikt" Strahlung aus dem "Big Bang" Darüber hinaus ist die Hintergrundenergie des Universums wurde von einigen angenommen, dass.
Um den Big Bang Idee, dass alle Sterne im Universum zur gleichen Zeit entstanden zu akzeptieren, war es notwendig, die Tatsache, dass die meisten Sterne sind viel jünger oder viel älter als die vermeintlichen Alter des einmaliges Ereignis, das angibt, dass die Missachtung Energie muss von einer wiederkehrenden Quelle stammen. Der Big Bang ist völlig abhängig von der Idee, dass das ganze Universum sich ausdehnt, die sich aus der Interpretation, die Hubbles Rotverschiebung mit der Entfernung von der Lichtquelle, eine Doppler-Verschiebung des zurückweichenden Sterne und Galaxien stammten. Dieser Ausbau-Universum Interpretation wurde von William G. Tifft (1976, 1977), der festgestellt, dass beobachteten Rotverschiebungen sind nicht zufällig und gleichmäßig verteilt über einen Bereich von Werten, wie sie von den Dopplerverschiebungen von einer großen Anzahl von zu erwarten erschüttert zurückweichenden Sterne und Galaxien. Stattdessen werden die beobachteten Rotverschiebungen alle fallen bei gleichmäßiger, quantisierten Werte.
Außerdem Shpenkov und Kreidik (2002) bestimmt, dass die Strahlungstemperatur, die der Grundperiode von der Orbital-Bewegung der Elektronen in dem Wasserstoffatom 2.7289oK die gemessene Temperatur von Hintergrundstrahlung von 2.725oK plus oder minus 0.002oK einstimmt. Dies stellt ewige Nullpegel Larmor Strahlung aus interstellarem Wasserstoffatome im Universum verteilt. Also, Helmholtz 'Idee, dass "die Energie im Universum ist ein fester Betrag unveränderlich in der Menge von Ewigkeit zu Ewigkeit" nicht aufstehen, um bekannte Tatsachen.
Die große Gesamtmenge von hitze Photonen, die ständig von Larmor-Strahlung erzeugt wird, für die Beleuchtung von Sternen und die enorme Hitze und Druck in aktiven Galaxienzentren ausmachen. Basierend auf der Tatsache, dass Photonen aufweisen Impuls Photonen müssen Masse besitzen, da, wie Newton erläutert, ist Dynamik Masse mal Geschwindigkeit, das in diesem Fall ist "c". Folglich wird die Erzeugung von Photonen durch Induktion oder durch Strahlungs Larmor, schafft auch neue Masse. Die Bedingungen, die Fowler suchte für Wasserstoff Nukleosynthese, sind offenbar auf unbestimmte Zeit in aktiven Galaxien und vielleicht in der Sonne und anderer Sterne ab einer bestimmten Größe geliefert. Diese Erfindung verwendet eine ähnliche unbegrenzte Energiequelle.
Ein anderes Prinzip, die wichtig für diese Spezifikation ist, ist, dass die Energieübertragung durch elektrische Induktion wurde durch die Anmelderin gefunden, dass in der gleichen Weise wie bei der Übertragung von Energie durch die Sende- und Empfangs oszillierender Funksignale zu arbeiten. Eine Querkraft ist in beiden Fällen kommuniziert, sinkt die Kraft in gleicher Weise mit Abstand, und die Effekte der Abschirmung und Reflexion identisch sind. Da Funksignale werden durch Photonen vermittelt hält Antragsteller, dass induktive Kraft wird auch durch Photonen vermittelt. Die Strahlung der neu gebildeten induktiven Photonen ergibt, wenn ein beschleunigter Ladungs erfährt eine Änderung in der Richtung der Beschleunigung. Induktive Strahlung tritt auf, wenn die Beschleunigung des elektrischen Ladungen umgekehrt wird, wie in RÖNTGENS Bremsstrahlung in Hertz linearen Oszillators (plus alle anderen Funksendeantenne), und in den Spulen von einem Wechselstrom durch.
In einem ähnlichen Fall, wenn elektrische Ladungen bewegen sich in einer geschwungenen Bewegung aufgrund einer sich ständig ändernden Zentripetalbeschleunigung, induktive Photonen kontinuierlich abgestrahlt. Dazu gehört auch die Strahlung von Elektronen um Atomkerne (Larmor-Strahlung) und von Leitungselektronen in einem Drahtspule fließt, ob der Strom stabil ist oder nicht. Kreisförmig hergestellt induktiven Photonen induzieren eine Kreisbewegung (Diamagnetismus) in beweglichen Elektronen in der Nähe der Achse der Kreisbewegung der Elektronen befinden.
Sowohl die Rückwärtsbeschleunigung und zentripetalen Beschleunigung Fällen induktive Photonen vermitteln eine Kraft auf beweglichen Elektronen, die quer zur Ausbreitungspfad des Photons ist. Wie Lapp und Andrews (1954) berichtet, "Niederenergetische Photonen erzeugen Photoelektronen im rechten Winkel zu den Weg ...". Das gleiche rechtwinklige Kraft ohne direkte Rück Kraft, gilt aber auch, an alle Leitungselektronen, die durch niederenergetische Photonen beschleunigt werden. Deswegen kann der induktive Energie für die Befreiung von der Energieerhaltungssatz nach demselben Prinzip ad infinitum Helmholtz, die magnetische Energie befreit.
Die Querkraft, die induktiv erzeugten Photonen, um mobile Elektronen geliefert, ist in entgegengesetzter Richtung zur gleichzeitigen Bewegung der Primärladung, welche die Strahlung erzeugt. Dies wird durch das Faradaysche induzierten Strom entgegengesetzt zu dem induzierenden Strom und durch den diamagnetisch induzierte Kreisbewegung, die in einer Drehrichtung, entgegengesetzt zu der kreisförmigen Bewegung der Elektronen in der Spule Herstellung gezeigt. Eine oszillierende Strömung von Elektronen innerhalb einer Schleife eines Drahtspule induziert eine Kraft auf die Leitungselektronen, die in die entgegengesetzte Richtung in benachbarten Schleifen des gleichen Drahtes. Dies führt zu einer Selbstinduktion.
Wichtige auf diese Beschreibung ist die Erkenntnis, dass die durch Photonen Energie kinetische anstatt elektromagnetischen. Induktiv abgestrahlt Photonen niedriger Energie, Lichtstrahlen und Röntgenstrahlen nicht durch und elektrischen oder magnetischen Feldes infolge der Photonen 'neutrale Ladung abgelenkt werden. Ich auch nicht neutral Photonen tragen ein elektrisches oder magnetisches Feld mit ihnen. Photonenstrahlung wird durch eine Änderung in der Beschleunigung einer elektrischen Ladung erzeugt wird, so dass nur in speziellen Fällen hat es eine elektro Ursprungs, die eine magnetische Kraft umfasst. Um diese Fakten zu ehren, verwendet Antragsteller den Begriff "elektro Spektrum" an Stelle von "elektromagnetische Spektrum".
Ein anderes Prinzip, die wichtig für diese Beschreibung ist die Erkenntnis, dass, obwohl die Ladung des Elektrons einen konstanten Wert unter allen Bedingungen ist die Masse eines Elektrons nicht eine feste, unveränderliche Menge. Alle freien Elektronen, wie in Kathodenstrahlen, genau die gleiche Menge an Masse an Unter relativistische Geschwindigkeiten. Dies wird als "normal" Masse und wird von mir bezeichnet. Freie Elektronen haben eine einzigartige Verhältnis Ladung zu Masse, die die Magnetkraft von einer Unter relativistische Geschwindigkeit auf derartigen Elektronen verliehen wird, genau gleich der Energiezufuhr mit "normalen" Elektronen resultierenden macht.
Auch wenn eine normale Elektron eine Unter relativistische Beschleunigung gegeben ist, ist die Induktionskraft darauf erzeugt die gleich der Kraft, die er empfängt. Die Masse der hochleitenden Elektronen von Metallen ist offenbar ganz in der Nähe normal, aber alle sehr geringen induktiven Energiegewinne würden von Ineffizienzen ausgeblendet werden. Die Allgegenwärtigkeit von freien Elektronen und der Leitungselektronen von Metallen ist der Ansicht, die Elektronenmasse ist ein nie unterschiedlicher Gestalt die es ermöglicht, den Energieerhaltungssatz, um magnetische Energie und induktiven Energie gelten geführt.
Genaue Bestimmungen der Elektronenmasse in festen Materialien wurden von Zyklotron-Resonanz, die auch als diamagnetische Resonanz ermöglicht. Die diamagnetischen Kraft durch den stetigen Fluss von Elektronen in einer Drahtspule erzeugt wird, induziert die beweglichen Elektronen aus einem Halbleiter in einer kreisförmigen Bahn von unbestimmter Radius, aber bei einer bestimmten Winkelfrequenz zu verschieben. Diese Frequenz wird nur für das induktive Kraft und der Masse der Elektronen zusammen. Zur gleichen Zeit wird eine abstoßende Magnetkraft, die durch die relative Geschwindigkeit zwischen der Elektronenstrom in der Spule und der Leitungselektronen entwickelt, wodurch die beweglichen Elektronen des Halbleiters in einer schraubenförmigen Bahn von der Spule weg anstatt in planarer Kreis zu bewegen. Nur zwei Messungen notwendig sind, um die Masse eines solchen Elektronen bestimmen: die Zyklotronfrequenz, die mit der Frequenz der Kreisbewegung der Elektronen in Resonanz, und die Stärke der induktiven Kraft, die durch den Strom und die Abmessungen der Spule bestimmt wird. Da die Zusammenarbeit erzeugte Magnetfeld auf die gleichen Parameter bezogen, dient seinen Mess als Surrogat für induktive Kraft.
Da die gemessene Masse von Leitungselektronen in Halbleitern weniger als normal ist, hat eine komplizierte Erklärung verabschiedet, um die Konstanz der Elektronenmasse, um die Helmholtz-Energie-Lehre unterstützen verteidigen. Eine zusätzliche Kraft wird angeblich von der Schwingungsgitter-Wellenenergie des Kristalls erhalten (in dem, was hätte ein Akt der Selbstkühl sein), um normale Massen Elektronen schneller als auf einer Kreisbahn erwartet bewegt, wodurch das Aussehen geben, dass das Elektron weniger Masse als normal. Bei dieser Erläuterung wird der Elektronenstrahl als ein verschmiert-out Welle anstatt eines Teilchens, das von der Billardkugel artigen Rückstoß eines Elektrons widersprochen wird, wenn es durch eine Strahlungsquant gestoßen werden, wie durch Arthur Crompton und beschrieben Samuel Allison (1935).
Die Fehlerhaftigkeit, die Energie lieh kann eine Erhöhung in der Geschwindigkeit mit einem Elektronenstrahl bereitzustellen, ist deutlicher in dem Fall einer linearen Bewegung. Die effektive Masse-Theorie der Ansicht, daß der größere Lineargeschwindigkeit wird durch einen Schub zum normalen Massen Elektronen durch eine "longitudinale Welle" von einem gegebenen verliehen verursacht außen aufgebrachte Kraft in der gleichen Richtung wie die Bewegung der Elektronen. Da diese Längswelle wird auch als eine Quelle in der Kristallgitterschwingungen haben, setzt die effektive Masse-Theorie auf eine Umkehrung der Entropie in Verletzung der zweite Hauptsatz der Thermodynamik.
Kein vernünftiger Beitrag der direkten Richtungs Energie kann von einer beliebigen Quelle aufgerufen werden, ungewöhnlich großer Geschwindigkeit auf die Leitungselektronen in Halbleitern zu vermitteln. So wird der Betrieb der hierin beschriebenen Ausführungsformen der Vorrichtung, beruht auf Elektronen mit Partikeleigenschaften und Elektronen mit weniger dann normal träge Masse ohne Berufung keine besonderen Kräfte. Dies wird durch Brennan (1999) Anweisung unterstützt, dass "das komplizierte Problem eines Elektronen bewegenden innerhalb eines Kristalls unter der Wechselwirkung eines periodischen aber kompliziert Potential kann mit der von einem einfachen freien Teilchen verringert werden, aber mit einer modifizierten Masse". Der Begriff "wirksame" wird hier als überflüssig erachtet, die sich auf wirklich träge Masse, aber "effektive Masse" hat immer noch Relevanz in Bezug auf die Nettoveränderung der Orbital Stellenangebote oder "Löcher" in die entgegengesetzte Richtung von massearmen Elektronen.
Mit F = ma erhält ein massearmen Elektronen größere Beschleunigung und eine höhere Geschwindigkeit von einer bestimmten Kraft als ein Elektron der normalen Masse. Die Geschwindigkeit und die kinetische Energie in einer elektrisch geladenen Körper durch eine Kraft ausgeübt wird, werden durch die elektrische Ladung unabhängig von der Masse des Körpers bestimmt. Mit einer kleineren Menge an Masse, kann ein Körper, um eine größere Geschwindigkeit bei jeder gegebenen Kraft zu erreichen. Daher wird die durch die Ladung auf dieser höheren Geschwindigkeit erzeugte magnetische Kraft größer ist als es normalerweise für die gleiche Menge an Kraft sein. Dies ermöglicht massearmen Elektronen um eine magnetische Kraft, die größer ist als die angewendete Kraft zu erzeugen.
Auch wird die Menge an Strahlungsenergie von induktiven beschleunigten Elektronen eines Elektronenladung ohne Rücksicht auf die Masse bezogen. Die Energie der induktiven Strahlung mit dem Quadrat des Elektrons Beschleunigung nach Larmors (1900) Gleichung, während die Beschleunigung umgekehrt proportional zur geringerer Elektronenmasse relativ zu normalen Elektronenmasse. Daher kann die größer als die normale Beschleunigung des massearmen Elektronen, erlaubt die Rückstrahlung des vergrößerten induktiv-Photonenenergie mit einem Vergrößerungsfaktor, der proportional zum inversen Quadrat des Elektrons Masse, beispielsweise der induktiven Energievergrößerungsfaktor von Cadmiumselenid Photoelektronen mit 0,13 der normalen Elektronenmasse ist (0,13) 2, die 59-mal ist.
Elektronen erscheinen zu erwerben oder zu vergießen Masse von Photonen, um die Zwänge von besonderer Bahnen um Kerne passen, weil jeder Umlaufbahn bestimmt eine sehr spezifische Elektronenmasse. In Metallen, wo die Leitungselektronen scheint als würde eine Gas bewegen, könnte man denken, dass sie die normale Masse freier Elektronen übernehmen würde. Aber die größte mittlere freie Weglänge der Elektronen in den leitenden Metallen ist angeblich etwa 100 Atomabstände zwischen Kollisionen (Pops, 1997), so dass die Leitungselektronen offenbar zurückfallen in die Umlaufbahn von Zeit zu Zeit und damit ihre metallspezifische Massenwerte wiederzugewinnen.
Als Leitungselektronen gelangen von einem Metalltyp zu einem anderen, werden sie entweder verlieren oder gewinnen wärme Photonen ihrem Masse unterschiedlichen Umlauf Einschränkungen anzupassen. In einer Schaltung, die zwei verschiedene metallische Leiter in der Reihe miteinander in Kontakt gebracht, wird die Strömung von Leitungselektronen in einer Richtung, die Emission von Wärme Photonen an der Verbindungsstelle zu bewirken, während ein Elektronenfluss in der Rückwärtsrichtung bewirkt Kühlung als das Ergebnis Umgebungswärme-Photonen, die von der Leitungselektronen an der Kreuzung (Peltier-Kühleffekt ) absorbiert. Wenn ein Metall mit einem Halbleiter, dessen leitende Elektronen viel geringere Masse als bei Metallen verbunden sind, an ihrer Verbindungsstelle tritt viel größeren Heiz- oder Kühl.
John Bardeen (1941) berichtet, dass die (effektive) Masse der supraleitenden Elektronen in Niedertemperatur-Supraleitern ist nur 10-4 so groß wie die Masse der normalen Elektronen. Dies zeigt sich, wenn supraleitende Elektronen werden auf eine viel höhere Geschwindigkeit als normal kreisförmig in diamagnetisch induzierten Wirbelströme, die in riesigen Magnetkräfte, die in der Lage ist schwebende schwere magnetische Objekte ergibt beschleunigt. Elektronen mit 10-4 fache normale Masse sind offenbar frei, (oder fast leer) der Photonenmasse enthalten, so normal Elektronen ableiten, um etwa 104mal mehr enthalten Photon Masse besitzen als die nackten Elektrons eigenen Masse.
Die Mittel, durch die Photonmasse innerhalb eingebaut oder von Elektronen ausgestoßen wird, kann aus bekannten Angaben abgeleitet werden. Basierend auf dem Thompson Streuquerschnitt, ist die klassische Radius einer normalen Elektronen 2 x 10-15 cm. Wenn das Elektron einheitliche Ladung über einen Bereich von diesem Radius, die Umfangsgeschwindigkeit würde erheblich die Lichtgeschwindigkeit, um den beobachteten magnetischen Moment bereitzustellen überschreiten. Dehmelt (1989) bestimmt, dass der Radius des Spinn Ladung, die eines Elektrons Magnetismus erzeugt, ist ungefähr 10-20 cm. Dieser scheinbare Missverhältnis erklärt werden kann, wenn das Elektron als eine hohle Schale (die im Einklang mit der nackten Elektrons winzige Masse im Vergleich zu den sehr großen Radius ist), und wenn die negative Ladung der Schale ist nicht die Quelle des magnetischen Moments.
Es ist seit langem bekannt, daß ein Photon in ein Negativ-Ionen (Elektronen) und ein positives Ion (Positronen) aufgeteilt werden, die jeweils die gleiche Menge an Ladung, aber mit entgegengesetztem Vorzeichen. Elektronen und Positronen in elektrisch neutralen Photonen rekombinieren, so ist es offensichtlich, dass Photonen von einem positiven und einem negativen Ion besteht. Zwei Ionen Spinnen umeinander konnte Wellennatur des Photons zu produzieren. Die einzige Größe Photonen Ion, das als eine separate Einheit existieren kann eine Ladung von genau plus eins oder minus eins, wohingegen die Ionen eine sehr viel größere oder sehr viel kleinere Ladung und Masse zu haben, wenn in Photonen kombiniert, solange die beiden Ionen sind in Ladung und Masse gleich. Kombiniert in ein Photon, die zwei Ionen scheinbar zusammen so stark, dass ihre Einzelvolumina sehr viel kleiner sind als separate Entitäten zogen.
Wenn ein Dipol Photon tritt in eine Elektronenhülle wird seine Negativionen Teil voraussichtlich in Richtung der Shell Zentrum von Coulomb-Abstoßung gezwungen werden, während des Photons positives Ion würde durch die negative Ladung der Schale gleichmäßig in alle Richtungen angezogen werden. Die negativen Ionen, Photonen würde wahrscheinlich in einem einzigen Körper auf Elektronenmikroskopheim fusionieren, während die positiven Ionen würden Abschnitt um die zentrale negative Ionen Orbit Drehimpuls des Photons zu halten. Die hohe Umfangsgeschwindigkeit des umlaufenden Photonen Masse würde Teile der Photonenmaterial ermöglichen, ausgliedern und zum Verlassen des Elektronenschale mit der gleichen Geschwindigkeit, mit der sie das Elektron, das heißt, die Lichtgeschwindigkeit eingegeben. Das Kreisen des positiven Photonenladung bei Dehmelt des kleinen Radius, wahrscheinlich macht das magnetische Moment, in die Elektronen von normalen Masse zu beobachten ist.
Befreiten massearmen Leitungselektronen im intrinsischen Halbleiter und im dotierten Halbleiter, meist gegen den Erwerb Masse von Umgebungswärme Photonen durch die wärmeisolierenden Eigenschaften der Halbleiter geschützt (die auch Photoleiter sind ihrer Natur). Demgegenüber injiziert massearmen Elektronen in wärmeleitendem Metall, rasch erfassen Masse von Umgebungswärme Photonen durch die Existenz von kryogenen Bedingungen, aber sie anfällig für interne Erwärmung erzeugten Photonen durch übermäßige Induktion.
Leitungselektronen von Metallen, typischerweise bewegen als Gruppe Driftgeschwindigkeiten von weniger als einem Millimeter pro Sekunde, wobei die Geschwindigkeit der elektrischen Wirkungen erreicht den Lichtgeschwindigkeit ist. (Photonen werden wahrscheinlich in der Bewegung der elektrischen Energie in metallischen Leitern beteiligt.) Im Gegensatz dazu kann leitende massearmen Elektronen einzeln bei großen Geschwindigkeiten im Supraleiter und Halbleiter bewegen. Brennan (1999, p. 631) berichtet, die Driftgeschwindigkeit eines bestimmten Elektronen Bewegen in einem Halbleiter, zu einem Mikrometer in etwa 10 Pikosekunden, was äquivalent zu 100 Kilometern pro Sekunde sein.
Die Konzentration der Leitungselektronen in Metallen ist die gleiche wie die Anzahl der Atome, während in Halbleitern, die Mobilmassearme Elektronen, die frei beweglich sind, kann stark mit der Menge des bestimmten Photonenstrahlung empfangen variieren. Da die Größe des elektrischen Stroms ist eine Zusammenfassung der Anzahl der beteiligten Elektronen, mal ihre jeweiligen Driftgeschwindigkeiten, der Strom, der von einem kleinen Ensemble von photoleitendem bewegenden Elektronen mit hoher Geschwindigkeit entwickelt, die Strom von einer wesentlich größeren Anzahl von Leitungselektronen überschreitet die sich mit einer sehr niedrigen Geschwindigkeit in einem Metall.
Ein allgemeines Merkmal der Eigenhalbleiter ist, dass sie sich in photoleitfähigen Verhältnis zu der Menge des Beschusses auf ein besonderes elektronenfreisetz Frequenz (oder ein Band von Frequenzen) der Photonenenergie, bis zu einer gewissen Grenze. Die Menge der Bombardierung durch die bestimmte Wellenlänge (oder äquivalent die Frequenz), steigt zusammen mit allen anderen Photonenwellenlängen, wenn die Umgebungstemperatur ansteigt, das heißt, als die Fläche unter Plancksche Schwarzkörperstrahlungskurve ansteigt. Folglich wird die Leitfähigkeit von Halbleitern weiter mit der Temperatur zu erhöhen, während die Leitfähigkeit sinkt auf fast Null bei einer niedrigen Temperatur, sofern Supraleitung auftritt.
Eine einzige hochenergetische Alpha-Teilchen kann eine große Anzahl von massearmen Elektronen in einem Dünnfilm-Halbleiter befreien, als Leimer (1915) Energievergrößerungs Experiment scheint zu zeigen. Leimer Alphastrahlung wurde in der Nähe des entfernten Endes eines suspendierten Antennendraht Dunkel Länge entfernt, wenn er das maximale magnetische Energieanstieg in der Spule von dem Amperemeter in dem Empfänger erfahren. Die massearmen Elektronen hatte, die gesamte Länge des aufgehängten Antenne und die Verbindungsleitung zu dem Empfangsgerät, ohne auf irgendwelche Fanglöcher zurückgelegt haben. Angenommen, diese Elektronen durchlaufen eine Entfernung von 1 bis 10 m in weniger als einem halben Zyklus der Hochfrequenz (das heißt, weniger als 4 Mikrosekunden bei 128 kHz), zu welchem Zeitpunkt die Richtung des massearmen Elektronen würden vertauscht haben dies wäre äquivalent zu Geschwindigkeiten von 25 bis 250 km / sec.
Eine große Anzahl von supraleitenden Elektronen in Bewegung durch induktive Photonenstrahlung eingestellt werden. Im Gegensatz dazu können induktive Photonenstrahlung meist durch Photoleitern, die geringe Konzentrationen von mobilen, massearmen Elektronen bestehen. Anmelderin Auslegung Leimer-Versuch ist, dass die freigesetzten massearmen Elektronen des Halbleiterbeschichtung der Antennendraht, nicht direkt von den induktiven Photonen des Radiosignals beschleunigt, sondern wurden durch ein oszillierendes elektrisches Feld in die erzeugte hohe Geschwindigkeiten beschleunigt Metalldraht durch die Funk Photonen.
Ein Rückblick auf ein Experiment von File und Mills (1963) durchgeführt wird, zeigt, dass die sehr geringe Masse der supraleitenden Elektronen zu bewirken, daß Supra von normalen elektrischen Ströme unterscheiden verantwortlich. Eine supraleitende Solenoidspule (bestehend aus einem Nb-25% Zr-Legierung Draht unterhalb 4,3oK) mit den Anschlüssen punktgeschweißten zusammen, um einen durchgehenden Leiter zu machen, wurde eingesetzt. Extrem langsam Rückgang der induzierte Supra wurden beobachtet, was zu einem enormen Anstieg der Selbstinduktion der Spule zurückgeführt werden kann. Da eine Supra nähert seine maximale Lade asymptotisch beim Entladen, ein geeignetes Maß der Aufladung der Spule oder Entladungsrate ist die "Zeitkonstante". Die Zeitkonstante hat den gleichen Wert für beide Laden und Entladen, und es wird definiert als (a) die Zeit zum Laden der Spule auf 63% der maximalen Menge an Strom in der Spule induzierbar von einem bestimmten diamagnetischen Kraft oder (erforderliche b) die erforderliche Zeit, um 63% der Spule induzierten Strom zu entladen.
Im Normalleiter wird die induktive Zeitkonstante von der Induktivität der Spule, dividiert durch den Widerstand der Spule berechnet wird. Durch Verwendung einer empirischen Gleichung wird die Induktivität der Spule in seine nicht-supraleitenden Zustand berechnet, um 0,34 Henry, basierend auf einer doppelschichtigen Magnet von 384 Windungen, die 4 Zoll (10 cm) Durchmesser und 10 Zoll gemessen (sein 25 cm) lang. Der Widerstandswert des 0,020 Zoll (0,51 mm) Drahtdurchmesser bei einer Temperatur von 5oK. (gerade oberhalb Tc) wird unter Verwendung von Daten für allein Zr, bis 400 Ohm geschätzt. (Widerstands Daten nicht für Nb oder Gegenstand Legierung verfügbar). Unter nicht-supraleitenden Bedingungen wird die Zeitkonstante zum Laden und Entladen diese Spule dadurch berechnet, um ca. 8 x 10-5 sec.
Die Zeit, die zum Aufladen eines Supra in der
Spule in dem Experiment wurde nicht berichtet. Aber angesichts der berichteten 50 Wieder energisings und magnetische Bestimmungen
in 200 Stunden durchgeführt wird, der gemessene Ladezeit in den supraleitenden
Zustand berechnet wird, nicht mehr als 4 Stunden im Durchschnitt.
Mit Bardeen ist (1941) Formel, die besagt, dass m etwa gleich mich mal 10-4 für die Größenordnung der Masse des niedrigen Tc supraleitenden Elektronen ist, und unter Verwendung von Larmor-Gleichung (1900), die induktive Strahlungsleistung mit dem Quadrat der Beschleunigung bezieht der Ladung, wird die Induktivität der Spule soll bis (104)2 = 108 mal in den supraleitenden Zustand zu erhöhen. Somit ist der berechnete Anstieg der Zeitkonstante zum Laden die Supra 8 x 10-5 x 108, die 8000 Sekunden oder 2,2 Stunden beträgt, was der gleichen Größenordnung wie die maximale Ist-Ladezeit. Die Selbstinduktion erhöht um diesen Betrag, weil die massearmen Elektronen 104 mal schneller beschleunigt.
Im Falle der Entladung wurde die Zeitkonstante des Supra von File und Mills von über Zeiträume von 21 und 37 Tagen beobachtet gemessenen Rückgänge projiziert. Die Projektionen der beiden 63% sinkt vereinbart genau auf 4 x 1012 Sekunden (= 1,3 x 105 Jahre). Daher ist die Zeitkonstante des Entladungssupra Grundlage vorst tatsächlichen Messungen, um 5 x 1016 mal über die Zeitkonstante für Elektronen von normalen Masse erhöht.
Die treibende Kraft beim Laden, war die aufgebrachte induktive Kraft gewesen, während die treibende Kraft bei der Entladung war die Supra, die 108 fach vergrößert hatte. Daher wird während der Entladung der Suprastrom, die Zeitkonstante wird wiederum durch 108 fache erhöht, so dass der berechnete Gesamt Erhöhung der Zeitkonstante der Entladung beträgt 108 x 108 = 1016 mal größer ist als die normale Zeitkonstante. Dieser berechnete Wert der nicht-supraleitenden Zeitkonstante, das ausschließlich auf die Erhöhung der induktiven Strahlung aufgrund der extrem niedrigen Elektronenmasse basiert, vergleicht vorteilhaft in der Größe mit den tatsächlich beobachteten Wert von 5 x 1016 fache der normalen Zeitkonstante.
Die supraleitende Spule benötigt nicht mehr als vier Stunden zum Aufladen der Supra, noch bei der anschließenden Entladung wurde die supraleitende Spule projiziert, um induktive Photonenenergie von der Zentripetalbeschleunigung der supraleitenden Elektronen für 130.000 Jahre vor einem Rückgang von 63% zu strahlen. Wenn dieses Experiment konnte, wo keine Energie benötigt würde, um kritische kryogenen Bedingungen zu erhalten, wie im Weltraum, sei die langen Entladungs dieser erregten Spule deutlich in Form von neu erzeugten Photonen induktiv strahlenförmig von der supraleitenden niedrigen demonstrieren die Schaffung von Energie -Masse Elektronen, die um der Spule Schleifen zirkulieren. Anmelder interpretiert dies als die zeigen, dass massearmen Elektronen fähig induktiven Energievergrößerungs ausschließlich auf ihre Masse relativ zu der normalen Elektronen beruhen.
In den unten beschriebenen Ausführungsformen wird das vergrößerte induktiven Energie des massearmen Elektronen in Spulen für elektrische Energieerzeugung durch Anwendung eines Stroms von induktiv beschleunigt Photonen, die in Richtung abwechselnd verwendet. Dies wiederum treibt massearmen Elektronen in einer oszillierenden Weise, so dass diese gezwungen Umkehr beinhaltet nur eine einzige Stufe der induktiven Energie Vergrößerung, anstatt der zwei Stufen (Beschickung und natürlich Entladung) in dem vorhergehenden Experiment.
Arbeitsweise
Induktive Photonen strahlenförmig von einem oszillierenden elektrischen Strom in einer Sendeleitung (beispielsweise von einem Hochfrequenzwellen-Sendeantenne) zu befördern, eine Kraft auf Leitungselektronen in einem Empfangsleiter, das heißt quer zu der Einfallsrichtung der einfallenden Photonen auf die induktive Empfangsleiter . Als Ergebnis wird keine Hilfskraft direkt zurück zu der Sendeleiter übertragen. Der Anmelder hat entdeckt, daß die Wirkung dieser Querkraft auf massearmen Elektronen in einem Empfangsleiter ist analog der Wirkung des transversalen Magnetkraft Gauß am freien Elektronen in einem Leiter, die nicht Gegenstand der Kinetik Gesetz der Erhaltung der Energie. Wenn das empfangende Leiter hat massearmen Leitungselektronen, dann würde dies Querkraft größere Beschleunigung auf die massearmen Elektronen vermitteln als dass es in den normalen freien Elektronen zu vermitteln. Die daraus resultierende größere Driftgeschwindigkeiten von massearmen Elektronen als normal freien Elektronen im Empfangsleiter würde eine erhöhte Grße der induktiven Kraft durch die massearmen Elektronen in der Empfangsleiter hergestellt Ausbeute und damit Herstellung einer Vergrößerung der Energie der Bestrahlung von induktiven Photonen.
Die Richtung der Querkraft durch die eingestrahlten Photonen auf induktive Leitungselektronen in dem Empfangsleiter verliehen wird, entgegengesetzt zu der Richtung des entsprechenden Elektronenfluss in der Sendeleiter. Diese Beziehung ist ähnlich der induktive Kraft auf die Elektronen in der Sekundärspule eines Transformators, der auch gegenüber der Richtung des Elektronenflusses in der Primärspule.
Verschiedene Ausführungsformen des Antragstellers elektrischen Generator beschäftigen induktive Photonen abgestrahlt von elektrischen Schwingungen in einer "Sendespule". Induktive Photonen von der Sendespule in Richtung auf und induktiven Photonenempfangsspule eingestrahlt wird, bezeichnet eine "Energievergrößerungsspule", die eine photoleitfähige oder supraleitenden Material oder einem anderen geeigneten Material besteht, wie unten beschrieben. Die Energie-Vergrößerungsspule in einem günstig für die Herstellung von massearmen Elektronen, die in die elektrische Leitung im Energievergrößerungsspule teilnehmen Zustand versetzt. Zum Beispiel, wenn die Energie-Vergrößerungsspule aus photoleitfähigen Material hergestellt ist, die Spule mit einem Erregerphotoleitung vorgesehen. Alternativ, wenn die Energievergrößerungsspule aus einem supraleitenden Material hergestellt ist, die Spule in einer Umgebung bei einer Temperatur (T) nicht größer als die kritische Temperatur (Tc) angeordnet sind; das heißt, T < Tc. In dem vorhergehenden Beispiel kann der Photoleitung Erreger eine Beleuchtungsquelle, die eine geeignete Wellenlänge excitive elektro Strahlung liefert. Wenn die Energie-Vergrößerungsspule aus einem dotierten Halbleiter, der Bedingung, die mobile massearmen Elektronen liefert bereits existiert besteht.
Im Energievergrößerungsspule ist, desto größer als die normale Beschleunigung der massearmen Elektronen erzeugt eine größere als die normale induktive Kräfte in Form von mehr als der normalen Strahlungs induktiver Photonen von der Spule. Die resultierende erhöhte induktive Photonenenergie von der Fotoleiter oder Supraleiter in nützliche elektrische Energie in einer Ausgangsspule induktiv mit der Energievergrößerungsspule gekoppelt umgewandelt. Die Ausgangsspule aus isoliertem metallischen Draht hergestellt werden. Eine beispielhafte Ausgangsspule koaxial angeordnet und innerhalb verschachtelt, die Energie-Vergrößerung Spule. Eine Spule dieser Art ist hier als ein "internes Ausgabespule".
Die Fähigkeit der vorliegenden Vorrichtung, um mehr Ausgangsenergie als Energiezufuhr zu erzeugen, ist an der Ausgangsspule, die mehr des vergrößerten Energie von der Energie-Vergrößerungsspule als als Rückkraft von der Ausgangsspule in den energieVergrößerungszurück basierend Spule. Dieses Prinzip wird hier "Energie nutzen" bezeichnet.
Die Schwingungen in der
Energievergrößerungs Spule von einer externen Energieeingangsquelle, ein
Initiieren Impuls des Elektronenflusses in der Sendespule liefert initiiert.
Beispielsweise kann die externe Energieeingabequelle eine benachbarte
unabhängige Elektromagnet sein oder ein benachbarter Permanentmagneten relativ
zu der Sendespule bewegt sich rasch. Der initiierende Impuls beginnt eine
Schwingung in der Sendespule, der Strahlung von induktiven Photonen stimuliert
von der Sendespule an die Energievergrößerungsspule. Energie von der externen
Energieeingangsquelle wird durch die Vorrichtung, so lange die
Energievergrößerungsspule nicht als unabhängiger Oszillator auf einer anderen
Frequenz handeln vergrößert. Unabhängige Oszillation wird vorzugsweise durch Verbinden
der Enden oder Klemmen der Energievergrößerungsspule miteinander in einer
Weise, dass es zu einem kontinuierlichen Spule oder einem kontinuierlichen
Mehrspulensystem oder Systeme, zusammen in der Weise, dass die Kontinuität
verbunden vermieden vorhanden ist für die Durchführung von massearmen
Elektronen über den gesamten Spulensystem. Die Energie-Vergrößerungsspule erzeugt induktiv mehr Energie in der
Ausgangsspule als die Energie des Anfangsimpulses . Die daraus resultierende
vergrößerte Ausgabe der von der Vorrichtung erzeugten elektrischen Energie wird
für nützliche Zwecke in einem Arbeitsschleife zur Verfügung.
Nach dem Start wurde die Vorrichtung selbst erhalt Verwendung einer
parallel zu dem Arbeitskreis, der die Sendespule umfasst ordneten Rückkopplungsschleife
gebildet wird, und mit einem Kondensator in der Rückkopplungsschleife
angeordnet ist, um ihm einen L/C-Schaltkreis bilden, das heißt, nachdem
Inbetriebnahme der Vorrichtung unter Verwendung der externen
Energieeingangsquelle wird die Vorrichtung selbstschwing, die die externe
Energieeingabequelle aus der Vorrichtung, ohne dass die Vorrichtung zu
Erzeugung elektrischer Energie nicht mehr ausgekoppelt werden kann.
Während des normalen autarken Betrieb wird ein Teil des Ausgangssignals von elektrischer Energie zu der Sendespule von der Rückkopplungsschleife zurückgeführt, wodurch die Notwendigkeit, die externe Energie-Eingangsquelle für die Aufrechterhaltung der Schwingungen in der Sendespule verwenden, zu überwinden. Mit anderen Worten, nach der Inbetriebnahme, die externe Energie, die von der Sendespule verwendet wurde, erregt das photoleitende Material oder das supraleitende Material in der Energievergrößerungsspule wird durch einen Teil der durch die Vorrichtung selbst erzeugt Ausgangsenergie ersetzt. Der Rest der elektrischen Ausgangsenergie ist im Arbeitskreis für nützliche Zwecke.
Einleiten der Erzeugung von elektrischer Energie durch die Vorrichtung, nutzt die Tatsache, daß das induktive Rückkraft von der Ausgangsspule (auf der Sendespule und damit letztlich, Rücken) gesendet, um die Energie-Vergrößerungsspule, kommt zu der Sendespule ein Zyklus hinter dem entsprechenden Puls, der den Elektronenfluss initiiert. Das Ein-Zyklus-Verzögerung des Rückkraft, sowie eine entsprechende Ein-Zyklus-Verzögerung in der Rückkopplungs, können kleine in der Sendespule erzeugt wird, um fortschreitend größere elektrische Ausgänge jedes nachfolgenden Zyklus erzeugen Ausgangsimpulse. Folglich, unter der Annahme, dass die elektrische Last nicht im Anlauf mäßiger, nur relativ wenige Initiieren Zyklen von der externen Energieeingabequelle typischerweise zur Erzielung Produktion durch die Vorrichtung von einem Betrag der Ausgangsleistung ausreicht, um die Last sowie Antrieb benötigt werden wie die Bereitstellung ausreichender Energieeinspeisung zurück zu der Sendespule nachhaltig.
Eine Halbperiode der einen Taktverzögerung auftritt zwischen einer anfänglichen Beschleunigung von Elektronen in der Sendespule und einer entsprechenden Ausgangsschwingung im Energievergrößerungsspule. Diese Halbperiode Verzögerung tritt auf, weil Induktions Photonen werden nicht aus der anfänglichen Beschleunigung der Elektronen in der Sendespule eingestrahlt wird, sondern abgestrahlt werden, wenn die Elektronen Umkehr beschleunigt. (Kramers 1923 und Compton und Allison, 1935, S.106). Da die neu gebildeten Photonen werden von der jeweiligen Abbremsung der Elektronen in der Sendespule, noch weitere neue Photonen werden gleichzeitig durch die neue Richtung gebildet Beschleunigung unter oszillierende Bedingungen abgestrahlt (dh Rückwärtsrichtung). Somit wird die Strahlung von Photonen von Elektronen abwechselnd in entgegengesetzter Richtung beschleunigt wird vom Förderkraft weiterhin jeder Halbperiode nach der ersten Halbwelle.
Anmelder entdeckte, dass ein Halbzyklus Verzögerung tritt auch zwischen der anfänglichen Elektronenfluss in der Primärspule von einer bestimmten Art von Transformator, der lediglich von Spulen koaxial verschachtelt anstatt induktiv durch einen Eisenkern gekoppelt sind, und die resultierende Elektronen Strömung in der Sekundärspule induziert. Wenn dieser Vorrichtung angelegt wird, diese Feststellung anzuzeigen, daß eine zweite Halbzyklusverzögerung zwischen der Beschleunigung des massearmen Elektronen im Energievergrößerungsspule und dem entsprechenden Elektronenstrahlstrom in der Ausgangswicklung induzierten auftritt. Das Feedback von der Ausgangsspule erhöht die Elektronenfluss in der Sendespule einen kompletten Zyklus nach dem ersten Puls.
Wie oben diskutiert, umfasst die Energievergrößerungsspule entweder ein Photoleiter, einen dotierten Halbleiter oder Supraleiter als Quelle und als ein Leiter, massearmen Elektronen. Der allgemeine Aufbau der Spule ist ähnlich in beiden Fällen. Wobei die Spule einen Photoleiter oder dotierte Halbleiter, einen Operations Vorteil bei normalen Temperaturen, und die Spule mit einem Supraleiter hat eine Betriebsvorteil bei unterkritischen Temperaturen (T < Tc), wie beispielsweise im Weltraum.
Repräsentative Ausführungs


Es wird nun auf Fig.1(A) bis Fig.1(C) und Fig.2(A) und Fig.2(B), die eine Sendespule 20 an eine Wechselstromquelle 21. Die Sendespule verbunden ist, gezeigt, die eine wünschenswerte zylindrisches Profil darzustellen hergestellt, wünschenswerter Weise mit einem kreis Querschnitt als die effizientesten Konfiguration. In Fig.1(A) und Fig.1(B), werden die elektrischen Schwingungen von der Quelle 21 zu der Sendespule 20, wo sie verursachen induktiven Photonen 22, von der Sendespule strahlen durchgeführt. Die abgestrahlten Photonen 22 vermitteln Querkräfte in der gleichen Weise, dass ein Radio-Sendeantenne sendet Schwingungsenergie. Die Sendespule 20 kann eine einzelne Schicht oder mehrere Schichten von isolierten Metalldraht (zB isolierten Kupferdraht) sein. Eine Schicht ist ausreichend, aber eine zusätzliche Schicht oder Schichten können Betriebseffizienz zu steigern. Falls erforderlich oder gewünscht, können die Drahtwindungen auf einem zylindrischen Substrat aus einem geeigneten Dielektrikum gebildet sein.
Die induktiven Photonen 22 strahlenförmig von der Sendespule 20, ausbreiten, um einen Energievergrößerungsspule 24, die wünschenswerterweise ein zylindrisches Profil parallel zur Sendespule erstreckt. In der in Fig.1(A) und Fig.1(B) gezeigten Ausführungsform, wird die Energievergrößerungsspule 24 nicht an den Enden zu beenden, sondern es mit einem Verbindungsstück 30 ausgebildet ist, um einen kontinuierlichen Leiter zu bilden. Die Energie-Vergrößerungsspule 24 ist wünschenswerterweise eine schraubenförmige Spule aus einem Material, das eine photoleitfähige oder supraleitenden Material oder einem anderen geeigneten Material hergestellt ist. Falls erforderlich oder gewünscht, kann die Energie-Vergrößerungsspule auf einem Substrat, das, falls vorhanden, wünschenswerterweise ist durchlässig für das Induktionsphotonenstrahlung durch die Spule erzeugt wird, gebildet werden.
In Einem Energievergrößerungsspule 24 Aus einem supraleitenden Werkstoff Hergestellt ist, Wird Eine große Population von leitfähigen massearmen Elektronen in der Spule, INDEM sterben Temperatur der Spule Auf einen Punkt unterhalb der Kritischen Temperaturamt für das Werkstoff Erzeugt Wird. Als Ein beispiel Werden subkritischen temperaturen im Weltraum leicht erhältlich oder Werden unter kryogenen bedingungen.
In einem Energievergrößerungsspule 24 eines Photoleitermaterial hergestellt wird eine große Population von leitfähigen massearmen Elektronen in der Spule, die durch Beleuchten der Spule mit Photonen einer geeigneten Wellenlänge, wie Photonen, die von einer Photoleitungserreger 26. Der Photoleiter erzeugte hergestellt Erreger 26 wünschenswerterweise liegt und konfiguriert ist, um im Wesentlichen mindestens die gleiche Seite des Energievergrößerungsspule 24, die induktiv Photonen 22 empfängt Strahlungs direkt von der Sendespule 20. Alternativ zu beleuchten, die Photoleitungserreger 26 angeordnet und so konfiguriert werden, (nicht gezeigt), um alle Seiten des Energievergrößerungsspule 24 beleuchten In der dargestellten Ausführungsform kann die photoleitende Erreger 26 mindestens eine Glühlampe (wie dargestellt), die durch eine herkömmliche Schaltungsanordnung mit Energie versorgt. Alternativ kann das photoleitende Erreger 26 mindestens eine Gasentladungslampe oder eine oder mehrere Licht emittierende Dioden sein. Das von der Photoleitung Erreger 26 erzeugten Wellenlänge kann beispielsweise im Infrarotbereich (IR), sichtbare und ultraviolette (UV) oder Röntgenbereich, wie durch die jeweilige Photoleitermaterials in der Energie-Vergrößerungsspule 24 eine weitere mögliche erforderliche Form der Photoleitung Erreger 26, ist eine Quelle von Photonen im Gigahertz oder Terahertz-Abschnitt des elektrokinetischen Spektrums. Andere Photoleitung Erreger entsprechend nach Bedarf, um eine geeignete Wellenlänge von der Funkwellenabschnitt des elektrokinetischen Spektrum zu erzeugen. Die Beleuchtung kann entweder direkt von der Photoleitung Erreger 26 zur Energievergrößerungsspule 24 oder von einem entfernt angeordneten Photoleitung Erreger zur Energievergrößerungsspule über optische Fasern, Lichtrohre oder dergleichen gefördert werden kann.
Fig.1(B) und Fig.1(C) sind jeweils orthogonale Seitenansichten der Sendespule 20 und energieVergrößerungsSpule 24 in Fig.1(A) gezeigt. Die Strahlung der induktiven Photonen 22 von der Sendespule 20, ist schematisch in Fig.1(A), Fig.1(B) und Fig.1(C) durch kleine, gezackten Pfeile angedeutet. Die durch die Photonen 22 mit den leitenden massearmen Elektronen in Richtungen zuge im Energievergrößerungsspule 24, alternativen Kräfte, die auf die jeweiligen Richtungen der gleichzeitige Elektronenfluss in der Sendespule 20 entgegengesetzt sind Wann immer die bestimmte Schwingungsphase Elektronenfluß in der Sendespule 20 in der Richtung des gekrümmten Pfeils 25a benachbart zu der Sendespule 20 in Fig.1(B), veranlaßt die resultierende Querkraft einen Photonenfluss massearmen Elektronen in die Energievergrößerungsspule 24, die durch die gekrümmte dargestellt Pfeil 27a benachbart zur Energievergrößerungsspule 24.
Der schraffierte Sektor 29, in Fig.1(B) gezeigt ist, zeigt den Anteil der induktiv-Photonenstrahlung 22 von der Sendespule 20, tatsächlich von der gezeigten einzelnen Energievergrößerungsspule 24 empfangen wird, im Vergleich zu den gesamten 360-Grad-Strahlungs induktiver Photonen 22 von der Sendespule 20. Abgesehen von einer kleinen Menge von induktiven Photonenabstrahlung von den Enden der Sendespule 20 hat, die relative Menge der gesamten Energie des induktiven Photonenstrahlung durch die Energievergrößerungsspule 24 empfangen wird, durch die ermittelte Winkel von der Energie-Vergrößerungsspule 24, bezogen auf die gesamten 360 Grad der induktiven Photonenstrahlung von der Sendespule 20 gegenüberliegt.
In Fig.1(C) sind die massearmen Leitungselektronen des Energievergrößerungsspule 24 auf eine höhere Driftgeschwindigkeit als normal freien Elektronen im Energievergrößerungsspule 24 würde beschleunigt. Wie oben erwähnt, wird die Sendespule 20 mit Wechselstrom Elektronenfluss, der eine periodische Umkehr der Richtung des Elektronenflusses in der Sendespule 20 (vergleiche die Pfeilrichtung 25b in Fig.1(C) mit der Richtung des Pfeils 25a in verursacht erregt Fig.1(B). Jedes Richtungsumkehr des Elektronenflusses in der Sendespule 20, bewirkt eine entsprechende Umkehrung der Richtung der Beschleunigung der massearmen Elektronen im Energievergrößerungsspule 24 (vergleiche die Pfeilrichtung 27b in Fig.1(C) mit der Richtung der Pfeil 27a in Fig.1(B). Jede solche Umkehrung der Beschleunigungsrichtung bewirkt eine entsprechende Strahlungs induktiver Photonen (gezackten Pfeile 18a, 18b) radial nach außen und radial nach innen bzw. von der Energievergrößerungsspule 24 Hinweis, dass die Pfeile 18a und 18b grßer als die Pfeile bezeichnet sind, die induktiven Photonen (Pfeile 22) von der Sendespule 20. Dies zeigt symbolisch Energie Vergrößerung. Beachten Sie auch, dass der vergrößerten Energie induktiv-Photonenabstrahlung des energie-Vergrößerung Spule 24, im wesentlichen die Hälfte nach innen gerichtet ist (Pfeile 18b) und im wesentlichen die andere Hälfte wird nach außen abgestrahlt (Pfeile 18a).

Es wird nun auf Fig.2(A), die Sendespule 20 und der Energievergrößerungsspule 24, gezeigt sind. Die Energie-Vergrößerungsspule 24 in Fig.2(A) weist einen inneren Ausgangsspule 28a, die wünschenswerterweise ist koaxial im Inneren und ist von der gleichen Länge wie die Energievergrößerungsspule 24. Ein Arbeitsschleife 48 kann bis an die Enden verbunden werden der interne Ausgangsspule 28a, wodurch eine elektrische Schaltung, bei der eine Last 49 ist symbolisch als Widerstand angegeben gebildet wird. Die interne Ausgangsspule 28a und die Leiter der Arbeitsschleife 48, wünschenswerterweise von isolierten metallischen (zB Kupfer) Draht.

Fig.2(B) zeigt einen Querschnitt der in Fig.2(A) gezeigten Spulen. In Fig.2(B) ist die vergrößerte induktiven Photonenenergie (schraffierter Bereich 19) von der Energie-Vergrößerungsspule 24 erzeugt wird und radial nach innen in Richtung des inneren Ausgangsspule 28a gerichtet ist, bewirkt eine entsprechende oszillierende Elektronenflusses in der internen Ausgangsspule 28a. Somit ist die Arbeitsschleife 48 über die internen Ausgangsspule 28a verbunden ist, wird mit größerer Energie als durch die Energievergrößerungsspule 24 von der Sendespule 20. Die Richtung des Elektronenflusses aufgenommen ist (Pfeil 17) in der internen Ausgangsspule 28a ist entgegengesetzt zu der Strömungsrichtung (Pfeil 27b) im Energievergrößerungsspule 24, die wiederum gegenüberliegend zu der Richtung des Elektronenflusses 25b in der Sendespule 20.
In Fig.2(B) ist die ringförmige schattierten Bereich 19 zwischen der Energievergrößerungsspule 24 und der internen Ausgangsspule 28a, zeigt an, dass im Wesentlichen die gesamte nach innen gerichtete vergrößerten induktiven Photonenenergie (das heißt ungefähr die Hälfte der Gesamtstrahlungsenergie ) aus der Energie-Vergrößerungsspule 24 gerichtet ist und von diesem das interne Ausgangsspule 28a eingefangen. Im Gegensatz dazu ist die schraffierte Sektor 16, der sich von der Energievergrößerungsspule 24 zu der Sendespule 20, zeigt an, dass ein relativ kleiner Teil der nach außen gerichteten vergrößerten Strahlung 18a von der Energievergrößerungsspule 24 geleitet, um die Sendespule 20, wo das Strahlung stellt einen entsprechenden Stützkraft. Abgesehen von der geringen Menge an induktiven Photonenabstrahlung von den Enden der Energievergrößerungsspule 24 verloren geht, die relative Menge des vergrößerten induktiven Photonenstrahlung (Sektor 16) Bereitstellen des Rückkraft an der Sendespule 20, ist eine Funktion der Winkel, der von dem Sektor 16 gegenüberliegt, gegenüber dem 360-Grad-Strahlung von der Energie-Vergrößerungsspule 24.
Das Verhältnis der vergrößerten Energie 18b vom energieVergrößerungsSpule 24 und durch den internen Ausgangsspule 28a empfangen, um den vergrößerten Energie 18a empfangen als Stützkraft von der Sendespule 20, bezeichnet die Energie "Hebelwirkung" durch die vorliegende Vorrichtung erzielte. Wenn dieses Verhältnis größer als eins ist, dann wird die Energieabgabe von der Brennausgangsspule 28a überschreitet die Energiezufuhr zu der Energievergrößerungsspule 24. Diese Energiehebel ist der Schlüssel zum autarken Betrieb der Vorrichtung, insbesondere wenn die Vorrichtung verwendet wird, um eine Last zu treiben. In anderen Worten, mit einem ausreichend großen Energievergrößerungsfaktor von der Energievergrößerungsspule 24, die elektrische Energie in der Arbeitsschleife 48 erreicht ist, überschreitet die Eingangsenergie, die Schwingungen in der Sendespule 20. Das elektrische Eingangsleistung erzeugt an die Sendespule 20 erzeugt dadurch vergrößerten elektrischer Leistung in der internen Ausgangsspule 28a, die nützliche Arbeit im Arbeitsschleife 48 ausführen kann, während Eigenversorgungs die Fortsetzung des Betriebs der Vorrichtung.

Es wird nun Bezug auf Fig.3, die schematisch Aspekte der Vorrichtung 15 zur Selbsterzeugung von elektrischer Leistung verantwortlich, die durch Verwendung einer Rückkopplungsschleife 46 mit den Leitern des Rückkopplungsschleife 46 kann aus isolierten metallischen erfolgen gemacht Draht. (In Fig.3, die gestrichelten Linien 47a und gepunkteter Pfeil 47b zeigen, dass die internen Ausgangsspule 28a tatsächlich koaxial innerhalb des Energievergrößerungsspule 24 positioniert, wie oben beschrieben, aber in der Figur ist als außerhalb der abgebildeten Energievergrößerungsspule zur Vereinfachung der Darstellung). Die Rückkopplungsschleife 46 führt einen Teil der elektrischen Energie von der internen Ausgangsspule 28a, zurück zu der Sendespule 20. Der verbleibende Teil der elektrischen Energie von der internen Ausgangsspule 28a ist mit der Arbeitsschleife 48 geleitet, wo das Energie wird für Nutzarbeit 51. Die relativen Anteile von zu der Rückkopplungsschleife 46 und dem Werk Schleife 48 abgegebenen Ausgangsleistung verwendet wird, kann durch Einstellen eines variablen Widerstands 50 variiert werden.
Wie oben erwähnt, wird eine anfängliche elektrische Energiequelle für "Starten" der Vorrichtung 15 durch die Einleitung einer Schwingung in der Sendespule 20. Nach dem Start unter üblichen Betriebsbedingungen verwendet wird, ist die Vorrichtung 15 Eigenresonanz und erfordert nicht mehr die Eingangs Energie von der ersten Quelle. Die bestimmte Induktivität und verteilte Kapazität der Sendespule 20, sowie alle anderen Kapazitäten und Induktivitäten in der Vorrichtung, einen bestimmten entsprechenden Frequenz der Selbstresonanzschwingung. In der Rückkopplungsschleife 46 ist ein Kondensator 77, daß die Vorrichtung einen L/C-Schaltkreis, der auf seiner Eigenfrequenz schwingt macht. Die Frequenz kann durch Verändern der Kapazität oder Induktivität der Vorrichtung oder beide geändert werden. Der Kondensator 77 kann ein variabler Kondensator, um den die Frequenz eingestellt werden kann.
Wie in Fig.3 gezeigt, kann die anfängliche Quelle oszillierenden elektrischen Energie ein Impuls von einem externen Elektromagneten 52 angetrieben durch eine eigene Energiequelle (beispielsweise einer Batterie 53, wie gezeigt, oder andere Gleich- oder Wechselstromquelle) sein. Beispielsweise kann der Elektromagnet 52 in der Nähe der Sendespule 20 oder einem anderen Abschnitt der Rückkopplungsschleife 46 durch eine momentane Entladung aus der Batterie 53 über einen Schalter 57. Die in dem Elektromagneten 52 erzeugte resultierende Impuls geliefert platziert werden und mit Energie versorgt, initiiert einen entsprechenden elektrischen Impuls in der Sendespule 20 auf, die sich selbst erhaltende Schwingungen initiiert in der Vorrichtung 15. In einer anderen Ausführungsform kann der Elektromagnet 52 kurzzeitig von einer Wechselstromquelle mit Energie versorgt werden (nicht gezeigt). In noch einer anderen Ausführungsform kann die anfängliche Quelle einen Permanentmagneten, der sich rasch in der Nähe der Sendespule 20 oder einem anderen Teil der Rückkopplungsschaltung bewegt (entweder mechanisch oder manuell) sein. In jedem Fall wird die Impuls durch die Anfangsquelle initiiert elektrische Schwingungen in der Sendespule 20, die entsprechende oszillierende induktiven Photonenstrahlung 22 von der Sendespule 20 zu erzeugen, wie schematisch in Fig.3 durch dünne gezackten Pfeile dargestellt. Der induktive Photonenstrahlung 22 von der Sendespule 20 bewirkt, die wiederum Rückstrahlung des vergrößerten induktiven Photonenenergie 18b aus massearmen Elektronen in die Energievergrößerungsspule 24, wie schematisch in Fig.3 durch dicke Pfeile gezeigt gezackten. Fig.3 zeigt eine photoleitende Energievergrößerungsspule 24, die von einer Glühlampe Photoleitfahigkeit Erreger 26 durch eine eigene Stromquelle 55 erregt beleuchtet wird (beispielsweise ein extern angeschlossener Batterie wie gezeigt).
Ein ausreichend hoher Energievergrößerungsfaktor der Vorrichtung 15 ermöglicht die vergrößerten Energie von der Energievergrößerungsspule 24 eine größere Energie im internen Ausgangsspule 28a als die Energie des entsprechenden Anfangsimpuls zu induzieren. Ein Teil des vergrößerten elektrische Energie wird an die Sendespule 20 über die Rückkopplungsschleife 46 zurückgeführt, um die Schwingungen aufrechtzuerhalten.
Die verbleibende überschüssige Energie von der internen Ausgangsspule 28a ist für die Anwendung in Nutzarbeit über die Arbeitsschleife 48 vorhanden In einer Ausführungsform kann ein Teil dieser Nutzarbeit zum Beleuchten der Photoleitung Erreger 26 in einer Vorrichtungskonfiguration verwendet werden (Schaltung nicht dargestellt) bei dem die Energie-Vergrößerungsspule 24 umfasst einen Photoleiter. In einer anderen Ausführungsform kann ein Teil dieser Nutzarbeit zum Aufrechterhalten kryogenen (T < Tc) Bedingungen für eine Vorrichtungskonfiguration in dem der Energievergrößerungsspule 24 umfaßt einen Halbleiter verwendet werden.
Nach dem Starten Schwingungen in der Vorrichtung 15 aufbaut Elektronenfluss schnell, so lange die Last 49 nicht abziehen zu viel von der Ausgangsenergie bei der Inbetriebnahme. Bei Erreichen Betriebs Gleichgewicht ist der Ausgang der elektrischen Leistung von der Vorrichtung 15 ein schnell Wechselstrom. Der Wechselstrom-Ausgang kann durch herkömmliche Mittel beseitigt werden, um Gleichstrom zu erzeugen, und das Ausgangssignal geregelt werden kann, wie erforderlich, unter Verwendung herkömmlicher Mittel. Viele Variationen der herkömmlichen Schaltung sind möglich, wie etwa, aber nicht ausschließlich, eine automatische Spannungsregler, Stromregler, die solenoidale Schalter, Transformatoren und Gleichrichter beschränkt,
Tc-Supraleiter, wie im Handel erhältliche, flexible, Niob-Zirkon-Draht, die leicht zu einer Spule geformt werden kann .. Andere Ausführungsformen, wie oben erwähnt, der - in Bezug auf die Energievergrößerungsspule 24 kann ein Ausführungsbeispiel von einem niedrigen erfolgen Tc-Supraleiter - energieVergrößerungsSpule 24 kann mit einem photoleitenden Material oder ein hochgeführt werden. Die meisten Hochtemperatur - Supraleitern (und einige Photoleiter) haben keramikartigen Eigenschaften und erfordern daher die Anwendung spezieller Verfahren zur Bildung des Materials in eine zylindrische Spule mit elektrischen Durchgang gänzlich. Einige im Handel erhältliche Hochtemperatur - Supraleitern sind in Band oder Bandform. Die Energie-Vergrößerungsspule 24 kann freistehend oder auf einem starren Substrat unterstützt werden.
Beispielsweise kann eine Energievergrößerungsspule 24 aus einem Band aus einem flexiblen fotoleitendes Material wie das Material in dem Patent US 6.310.281 beschrieben, die hierin als Referenz einbezogen werden. Kurz gesagt, wird eine Schicht von Stress-kompatiblen Metall auf einem Kunststoffband gelegt. Dann wird das photoleitende Material wird auf beiden Seiten der Metall bedeckten Band und den Kanten des Bandes, so daß das Band vollständig um beschichtet abgeschieden. Eine solche Konfiguration ermöglicht massearmen Elektronen in der fotoleitenden Material, um Energie von induktiven Photonen von der Sendespule 20 emittiert auf einer Seite des Bandes während die Wiederabstrahlungs vergrößerten Energie von beiden Seiten des Bandes zu empfangen.
In einem anderen Beispiel wird ein flexibles Photoleiterbandes von flexiblen organischen Polymer mit photoleitenden Eigenschaften hergestellt. (Hohe elektrische Leitfähigkeit in photoleitfähigen Polymeren beobachtet wird, um das Vorhandensein von massearmen Elektronen in dem Material zurückgeführt). Die flexible photoleitende Band kann auf einer dielektrischen rohrförmigen Träger aufgewickelt werden, um die Energie-Vergrößerungs Spule bilden 24.
In noch einem anderen Beispiel wird eine Dickfilm -Beschichtungs photoleitfähiger Cadmiumsulfid (CdS) oder Cadmium-Selenid (CdSe) auf einer Drahtspule, die durch Sintern als Paste, die ein Pulver aus fein gemahlenem CdS oder CdSe-Kristalle mit Wasser und vermischt umfasst ausgebildet mindestens ein Fluidisierer wie Cadmiumchlorid, bei einer Temperatur von 5500oC bis 6000oC in einer kontrollierten Atmosphäre. Beim Sintern sind die Grenzen der kleinen Kristalle geschmolzen mit dem erwärmten Fluidisierer, so dass die Kristalle zusammen nachwachsen und zu verfestigen, wenn der Fluidisierer verdampft und die gesinterte Beschichtung gekühlt wird. Alternativ werden Kupferoxide anstelle auf blankem Kupfer oder Bronze Draht durch Erwärmen des Drahtes oberhalb von etwa 2600oC in einer Sauerstoffatmosphäre oder durch Anwendung von chemischen Oxidationsmitteln gebildet.
In noch einem anderen Beispiel wird eine Spule aus keramikähnliche Supraleiter oder Photoleiter durch Bandguss, Strangpressen, Schlickergießen, Kälte oder Heißpressen oder Beschichtung des Materials als eine schraubenförmig auf einem rohrförmigen dielektrischen Substrats angeordnet Dünnschicht. Die Anordnung wird wärmebehandelt in einem Ofen mit kontrollierter Atmosphäre gegen interkristalline Kontakte zu erhöhen. Alternativ wird die Dünnschicht aus Supraleiter oder Photoleiter über die gesamte Außenseite des dielektrischen Substrats gebildet, gefolgt von der Entfernung ausgewählter Abschnitte des Supraleiters oder Photoleiter, um die gewünschte schraubenförmige Spule zu bilden. In einigen Photoleitern und dotierten Halbleitern, nur ein kleiner Teil einer Population von induktiven Photonen auf das Material eingestrahlt wird, Aufprall und Ausbeute Beschleunigung, massearmen Elektronen in dem Material. Dies ist aufgrund der geringen Dichte der photoleitfähigen massearmen Elektronen in dem Material. In einem derartigen Fall induktiv-Photonenstrahlung, die durch das Material effizient durch normalen Freileitungselektronen in einem Metallstreifen, der wünschenswerterweise in unmittelbaren Kontakt mit oder eingebettet in das Material eingefangen werden. Die Beschleunigung des normalen freien Elektronen im metallischen Leiter, baut ein elektrisches Feld, das bei der Beschleunigung der massearmen Photoelektronen unterstützt. In dieser Konfiguration ist es wünschenswert, daß das photoleitende Material vollständig über und um die Metallstreifen so angeordnet sein, dass die Photoleiterflächen sowohl nach innen und außen, mit beiden Seiten des Photoleiters oder dotierte Halbleiter in elektrischem Kontakt mit einander.
Ein Faktor bei der Wahl des Photoleitermaterials bei der Bildung des Energievergrößerungsspule 24 verwenden, ist die potentielle Energie, die Vergrößerung von massearmen Elektronen eines N-Typs oder P-Typs photoleitendes Material realisiert werden kann. Andere wichtige Faktoren sind die Menge des massearmen Elektronen, die für eine gegebene Menge der Beleuchtung und dem tatsächlichen elektrischen Leitfähigkeit des Materials in der photoleitfähigen Materials sind. Normlicht-Empfindlichkeitsmessungen eine allgemeine Gesamtindex für die Fähigkeit eines Photoleiters, um effektiv in Vergrößerungsenergie dienen.
Cadmiumsulfid und Cadmiumselenid, haben die üblichen photoleitfähigen Verbindungen, die im Handel erhältlich sind, Vergrößerungsfaktoren berechnet von 37 bzw. 59. Die Spitzenempfindlichkeit Wellenlänge von Cadmiumsulfid ist 515 Nanometer (im grünen Teil des sichtbaren Spektrums) und Cadmiumselenid ist 730 Nanometer (im nahen Infrarot-Bereich des Spektrums). Cadmiumsulfid kann mit Cäsiumelenid unter gewissen Bedingungen gemischt werden, so dass das resultierende Gemisch annimmt leitenden Eigenschaften zwischen diesen beiden Werten. Mischungen können mit einer Peakwellenlängen, die den Wellenlängen von im Handel erhältlichen LEDs von vielen Größen und Beleuchtungsstärken abgestimmt sind hergestellt werden. Einige Halbleitern, die photoleitende werden bei einer Wellenlänge kleiner als die von derzeit verfügbaren LEDs erzeugt Wellenlänge kann nur durch Erhitzen leitfähigen massearmer Elektronen erfolgen.
Die Anmelderin hat gefunden, daß Galliumarsenid entwickelt wesentlich höhere Leitfähigkeit als Kupfer oder Silber bei einer Temperatur von 1000oC und daß die leitfähigen Elektronen niedriger Masse. Auch Alpha-Strahlung in der Lage zu befreien vielen massearmen Elektronen in einigen Halbleitern. Eine zweite Elektronen vergleichsweise geringe Masse wurden möglicherweise von Cuprioxid von Alpha-Strahlung zusammen mit dem äußeren Kupfer Elektronen in Leimer (1915) Experimente befreit haben, da die gemessene Energie Vergrößerung überschritten die Vergrößerung von Zyklotronresonanz CuO, die am wahrscheinlichsten betrifft nur berechnet, zur Masse des äußeren Elektronenstrahlen.
Dotierstoffe zu einem Halbleiter hinzugefügt werden, um es leitend von massearmen Elektronen ohne Beleuchtung zu machen. Auch sind die Beleuchtungsempfindlichkeit und Leitfähigkeit Cadmiumsulfid durch Zugabe kleiner Mengen von Donor-Typ-Dotierstoffe wie erhöhte, aber nicht beschränkt auf, Sulfide, Selenide, Telluride, Arseniden, Antimoniden und Phosphide der Typ-IIIa Elemente beschränkt: Aluminium, Gallium, Indium und Thallium. In dieser Hinsicht kann die Photoleiter mit hoher Empfindlichkeit photovoltaischen Zellen so viele wie fünf verschiedenen Verbindungen umfassen. Die tatsächlichen Mischungen photoleitenden Verbindungen und Dotierungsmittel in handelsüblichen Solarzellen verwendet oft Handelsgeheimnisse. Aber die Empfindlichkeit und Leitfähigkeiten der Zellen sind in der Regel gegeben oder meßbar sind und diese Daten können in vorteilhafter Weise der Auswahl eines bestimmten photoleitenden Verbindung zur Verwendung in der Vorrichtung verwendet werden.
Andere photoleitende Verbindungen oder Elementen kann in energieVergrößerungs Spulen verwendet werden. Zum Beispiel können die Leitungselektronen von Silicium, eine Energie-Vergrößerungsfaktor des 15-mal. Photoleiter mit sehr hohen Vergrößerungsfaktoren umfassen, sind aber nicht beschränkt auf, Galliumarsenid, Indiumphosphid, Galliumantimonid, Cadmium-Zinn-Arsenid und Kadmium Arsenid Energievergrößerungsfaktoren im Bereich zwischen 200-fach und 500-fach berechnet haben, und Quecksilber-Selenid begrenzt (1100-mal), Indiumarsenid (2000-mal), Quecksilber-Tellurid (3400-mal) und Indiumantimonid (5100-mal).
Die Tiefe des optischen Übertragungs bestimmt weitgehend die optimale Dicke der photoleitenden Filmen für Energievergrößerungs Spulen. Zum Beispiel wird die höchste optische Übertragung von gesinterten CdS berichtet bis 20 Mikrometer betragen, da jedoch die mittlere Korngröße zunimmt (und die mittlere Porosität nimmt ab) mit einer Zunahme der Filmdicke ist die maximale Leitfähigkeit eines Sinterfolie mit einer Dicke von 35 Mikrometer (J. S, Lee et al., 1987).
Das gewählte Metall eingebettet werden müssen nicht chemisch mit dem Photoleiter zu reagieren. Zum Beispiel reagiert Aluminium mit Galliumarsenid (GaAs) in einer elektrischen Umgebung, um den leitenden Charakter sowohl der GaAs und dem Aluminium zu ändern. Gold, Platin und Palladium kann in vielen Fällen dazu dienen, weil diese Materialien sind chemisch relativ inert. Gold kombiniert chemisch mit Tellur, jedoch so Gold ist nicht geeignet für das Einbauen in Quecksilbertellurid. Cadmium-Beschichtungen über eine gemeinsame Metall dient dazu, die Reaktivität in den Fällen zu lindern, wo Cadmiumsulfid oder Cadmiumselenid als Fotoleiter verwendet,.

Die obige Diskussion hat, zur Vereinfachung der Erläuterung im Zusammenhang mit der Vorrichtung, einschließlich einer Energievergrößerungsspule 24 jedoch, wie erwähnt, die Verwendung einer einzelnen Energievergrößerungsspule 24 induktiv Photonen von der Sendespule 20 zu erfassen, führt Verlust (durch nicht-Capture) der meisten der induktiven Photonen von der Sendespule 20. Dieser Anteil der erfassten induktiven Photonen stark in einer Ausführungsform, bei der mehrere Energievergrößerungs Spulen 24 im wesentlichen vollständig die Sendespule 20 umgeben, erhöht werden, wie wie in Fig.4 gezeigt. In dieser Ausführungsform werden die Energievergrößerungs Spulen 24 im wesentlichen vollständig umgeben die Sendespule 20 und (wenn sechs Energievergrößerungsspulen 24 dargestellt sind) nur drei Energievergrößerungs Spulen 24 angemessener Durchmesser, noch konnte im wesentlichen vollständig umgeben den Sende Spule 20 ist nicht beschränkt, außer wie möglich an Verpackungs Bedenken im Zusammenhang, um die maximale Anzahl von Energievergrößerungs Spulen 24, die verwendet werden könnten. Die dargestellte Konfiguration der Fig.4, hat eine wünschenswerte Anzahl von sechs energieVergrößerungs Spulen 24. In Fig.4 die schattierten Bereiche 31, die gemeinsam betrachtet, zu veranschaulichen, dass fast alle 360 Grad der induktiven-Photonenstrahlung 22 von der Sendespule 20 werden durch die Energievergrößerungs Spulen 24. Nicht in Fig.4 gezeigt erhalten werden Photoleitfahigkeit Erreger (Artikel 26 in Fig.3) zum Beleuchten von jeweiligen Abschnitten der Energievergrößerungs Spulen 24 in einer photoleitenden Form der Vorrichtung 15 verwendet.

Fig.4 zeigt auch jeweilige interne Ausgangsspulen 28a verschachtelten koaxial und koextensiv innerhalb jedes der Energievergrößerungs Spulen 24. Wie bereits erwähnt, empfängt jeder interne Ausgabespule 28a fast die gesamte induktive Photonenstrahlung radial nach innen von dem Vermehrungs jeweilige Energievergrößerungsspule 24. Es ist wünschenswert, die Gesamtenergieabgabe der Ausführungsform der Fig.4, kann durch Umgeben der Anordnung von Energie-Vergrößerungs Spulen 24 mit einer externen Ausgangsspule 28b, von denen die Leiter sind wünschenswerterweise von gedämmten erhöht werden Metalldraht (Fig.5). In diesem Ausführungsbeispiel etwa die Hälfte der nach außen ausbreitet vergrößerten induktiven Photonenstrahlung (große Pfeile 18) von jeder Energievergrößerungsspule 24 (ein derartiger Spulen ist in Fig.5 markiert) wird durch die externe Ausgangsspule 28b übermittelt. Diese erfassten Strahlung wird durch die schraffierte Sektor 35 bezeichnet sind, wenn diese nach außen gerichteten induktiven Strahlung von allen Energievergrößerungs Spulen 24 mit allen nach innen gerichtete Strahlung von den Energievergrößerungsspulen 24 durch ihre innere Ausgangsspulen 28a, 28b erfasst hinzugefügt fangen, die Rückkraft -Energie durch die Energie-Vergrößerungs Spulen 24 auf die Sendespule 20 gerichtet weitem übersteigt (der Rückkraft -Energie von einer Energievergrößerungsspule 24 ist als der schattigen Sektor 16 gezeigt). Somit wird die sich ergebende Energie "Hebelwirkung" durch die Vorrichtung zeigte im wesentlichen, indem die externe Ausgangsspule 28b erhöht.
Die Ausführungsform der Fig.5 umfasst auch jeweilige Arrays (betrachtet endweise) von Licht emittierenden Dioden (LEDs), die zusammen als Photoerreger 26 für die Energievergrößerungsspulen dien 24. Die LED-Arrays sind Rücken an Rücken angeordnet sind und zwischen benachbarten angeordnet Energievergrößerungs Spulen 24. Jedes Array in Fig.5 können mehrere LEDs oder auch nur eine LED umfassen.

Fig.6 eine perspektivische Ansicht einer Vorrichtung 15 mit einer Anordnung ähnlich zu der in Fig.5 gezeigten Anordnung Spulen. In Fig.6, die jeweils energieVergrößerungs Spule 24 umfasst eine spiralförmige Spule aus einem supraleitenden oder photoleitende Material in Draht oder Band (bandförmige) Form.
Immer wenn mehrere Energievergrößerungs Spulen 24 verwendet werden, die jeweiligen Richtungen der Elektronenfluss in ihnen wünschenswert finden in der gleichen Kreisrichtung wie gesehen endseitigen. Somit ist der Fluss von Elektronen in allen Energievergrößerungs Spulen 24 während einer Phase eines Schwingungszyklus und entgegen während der anderen Phase im Uhrzeigersinn. Das gleiche Prinzip gilt für den Fluß der Elektronen in die Ausgangsspulen 28a, 28b. (Aber in einer solchen Ausführungsform der Elektronenfluss in der Ausgangsspulen 28a, 28b, ist in der entgegengesetzten Richtung zu dem Elektronenfluss in der Energievergrößerungsspulen 24). Diese Beziehungen des Elektronenflusses in den Spulen während einer bestimmten Phase eines Schwingungszyklus werden in Fig.7 gezeigt.
Die energieVergrößerungsSpulen 24 sind wünschenswerterweise in Serie miteinander verbunden sind, mit zwischen den Spulen-Anschlüsse 30a, 30b in die gleiche Richtung des Elektronenflusses, der im Uhrzeigersinn oder gegen den Uhrzeigersinn sein kann (wie von einem Ende einer solchen Spule gesehen) aufrechtzuerhalten. Diese Richtung des Elektronenflusses in einer Spule wird die "Händigkeit" der Spule bezeichnet. Wenn die Energievergrößerungs Spulen 24 haben alle die gleiche Händigkeit, so werden die Enden von benachbarten Energievergrößerungsspulen 24 sind in einem Kopf-an-Fuß Weise progressiv in einer Richtung um die Gruppe von Spulen (nicht gezeigt). ("Kopf " bezieht sich auf das Ende nach vorn gerichteten und "Fuß" bezieht sich auf die nach hinten gerichteten Ende der Vorrichtung in Bezug auf den Betrachter). In diesem Fall wird der Zwischenspulen-Anschlüsse 30a, 30b, muß entweder vollständig durch die Vorrichtung oder auf der Außenseite der Vorrichtung in seiner ganzen Länge, was die Effizienz und kann einen unerwünschten Verschleiß verursachen, wenn die Steckverbinder Vibrationen ausgesetzt geben. Eine weitere wünschenswerte Anordnung ist in Fig.6 dargestellt, in der kurzen interSpulenAnschlüsse 30a, überqueren Sie direkt den Kopf-an-Kopf zwischen einer energieVergrößerungsSpule 24 und einem benachbarten Energievergrößerungsspule 24, und kurze interSpulenAnschlüsse 30b überqueren direkt Fuß zu Fuß in den nächsten Energievergrößerungs Spulen 24. In dieser Konfiguration ist die Händigkeit der Windungen der energieVergrößerungs Spulen 24 wechselt von rechts nach links mit links nach rechts in den angrenzenden energieVergrößerungs Spulen 24. In der gleichen Weise wie eine Rechtsschraube Fortschritte von Kopf bis Fuß, wie es im Uhrzeigersinn gedreht wird, und eine linkshändige Schraube bewegt sich in die entgegengesetzte Richtung, im Uhrzeigersinn Elektronenfluss in einem rechtshändigen Schrauben Fortschritte von Kopf bis Fuß und im Uhrzeigersinn Elektronenfluss in einem linkshändigen Schrauben Fortschritte vom Fuß bis zum Kopf.
Die einlagige internen Ausgangsspulen 28a in Fig.6 stellen die gleiche Situation, in der diese Spulen in Reihe geschaltet sind. Es ist wünschenswert, die zwischen den Spulen-Anschlüsse 32a überqueren direkt von einem internen Ausgangsspule 28a zum benachbarten internen Ausgangsspule 28a, Kopf-an-Kopf und die zwischen den Spulen-Anschlüsse 32b überqueren direkt Fuß zu Fuß von einer internen Ausgangsspule 28a zu dem benachbarten internen Ausgangsspule 28a. Das gleiche Händigkeit Konvention gilt generell für alle in Reihe geschalteten internen Ausgangsspulen 28a auf diese Weise verbunden. Das Kopf-an-Kopf zwischen den Spulen-Anschlüsse 32a und Fuß zu Fuß zwischen den Spulen-Anschlüsse 32b für das interne Ausgangsspulen 28a, braucht nicht mit der gleichen entsprechenden Anschlüssen 30a, 30b für die energieVergrößerungsSpulen 24 zusammenfallen.
In einer anderen Ausführungsform (nicht dargestellt) ist jeder interne Ausgabespule zweischichtigen, mit beiden führt entweder am Kopf oder Fuß. Eine solche Konfiguration ermöglicht eine kurze und direkte Verbindungen zwischen benachbarten internen Ausgangsspulen. Mehrschichtige interne Ausgangsspulen kann effizienter sein, aber die zusätzlichen Schichten aus gewickeltem Draht erhöhen die Masse der Vorrichtung, die ein Problem in mobilen Anwendungen geeignet sein können. Mehrere Drahtlagen, die Starkstrom kann auch zu Überhitzung führen, was erfordern kann, dass etwas Platz zwischen den einzelnen internen Ausgangsspule 28a und die Umgebung energieVergrößerungsSpule 24 (von links nach eine oder mehrere Leitungen des Kühlmittels durch die Vorrichtung unterzubringen zu einem Opfer einiger Effizienz). Das Kühlmittel kann zum Beispiel gezwungen werden Luft (im Falle von Photoleitern oder dotierte Halbleiter) oder verflüssigtes kryogenes Gas (im Falle von Supraleitern).
Fig.6 zeigt auch zwei Außenleitern 34 zu den jeweiligen internen Ausgangsspulen 28a verbunden. Elektronen fließen durch die Leiter 34 und die internen Ausgangsspulen 28a in Reihe geschaltet. Darüber hinaus sind zwei Außenleitern 36 sind an den jeweiligen Enden des äußeren Ausgangsspule 28b verbunden ist und zwei Außenleitern 38 sind an jeweiligen Enden der Sendespule 20 verbunden ist.

Fig.7 ist eine schematische Endansicht der Vorrichtung von Fig.6, welche die relative Richtung des Elektronenflusses in den verschiedenen Wicklungen und in den für die Einzelschicht-Spulen beschrieben interSpulenVerbindungen. Bei einer bestimmten Schwingungsphase, die im Uhrzeigersinn Elektronenfluss durch den Pfeil 39a in der Sendespule 20 bezeichnet induziert Uhrzeigersinn Elektronenfluß 39b in allen Energievergrößerungs Spulen 24. Der vergrößerte Strahlung Uhrzeigersinn Elektronenfluss in der Energievergrößerungs Spulen 24, induziert Uhrzeigersinn Elektronenfluss in allen internen Ausgabespulen 28a, wie durch die Pfeile 39c angedeutet. Die entgegen Elektronenfluß durch den Pfeil 39d bezeichnet im externen Ausgangsspule 28b in entgegengesetzter Richtung des Elektronenflusses in den energieVergrößerungs Spulen 24.
Der Elektronenstrom in dem Zwischenspulenanschlüsse 30a, die sich zwischen benachbarten Energievergrößerungs Spulen 24 durch die Pfeile 39e gekennzeichnet und der Elektronenstrom in dem Zwischenspulenanschlüsse 32a, die sich zwischen benachbarten internen Ausgangsspulen 28a ist durch die Pfeile 39f angegeben. Während der nächsten Schwingungsphase, alle in Fig.7 gezeigt Richtungspfeile Reverse selbst.
Verbinden der internen Ausgangsspulen 28a miteinander in Reihe ist dann Vorteile, wenn es gewünscht ist, die Ausgangsspannung von der Vorrichtung 15. Alternativ zu maximieren, kann der interne Ausgangsspulen 28a zueinander parallel geschaltet werden, wenn es erwünscht ist, die elektrischen Ausgangsstrom von der Maximierung Vorrichtung 15 unter Minimierung der Ausgangsspannung. In dieser alternativen Konfiguration alle internen Ausgangsspulen 28a sind wünschenswerterweise mit der gleichen Händigkeit gewickelt, wobei jede Spule 28a mit zwei entsprechenden Leitungen. Die Leitungen an einem Ende (beispielsweise dem Fußende) des Spulen 28a sind miteinander verbunden, und die Leitungen mit dem anderen Ende (dem Kopfende) der Spulen 28a sind miteinander verbunden. Das resultierende parallele Spulensystem wird in üblicher Weise in eine andere Schaltungsanordnung der Vorrichtung verbunden ist (nicht gezeigt).
Als weitere Alternative kann der interne Ausgangsspulen 28a miteinander verbunden werden, um mehr als eine Ausgangsschaltung (solange genügend Energie für die Verwendung als Rückkopplung an die Sendespule 20 und zur Verwendung bei der Schaffung günstiger Bedingungen für die Produktion eines Überschusses Nieder- hergestellt bereitzustellen Massen Elektronen). Alternativ kann die relative (n) Spannung und Stromstärke (s) der Ausgangsleistung durch Ändern des Verhältnisses der Anzahl der Windungen in den energieVergrößerungsSpulen 24 zu der Anzahl der Windungen in der internen Ausgangsspulen 28a variiert werden. Wiederum alternativ die Energievergrößerungs Spulen 24 können in einer separaten Weise eingesetzt werden, um mehr als eine Energievergrößerungseinheit bereitzustellen. Jede Einheit kann eine oder mehrere Energievergrößerungsspulen, ihre jeweiligen Schaltungs interner Ausgangsspulen dienen kann umfassen.
Die beiden Leiter 36 an den externen Ausgangsspule 28b verbunden ist, können die internen Ausgangsspulen 28a verbunden werden oder verwendet werden können (ohne mit dem internen Ausgangsspulen 28a) nur mit dem externen Ausgangsspule 28b, einen unabhängigen Ausgangsschaltung bereitzustellen (nicht gezeigt). Die beiden Leiter 38 zu der Sendespule 20 verbunden ist, sind in der Rückkopplungsschleife 46 verbunden, so daß Elektronenfluss in der Sendespule 20 in der gleichen Kreisrichtung, wie in dem internen Ausgangsspulen 28a.

Fig.8 zeigt noch eine andere Ausführungsform der Vorrichtung 15, bei der jeder Energievergrößerungsspule 24 weist eine dünne Folie oder dicke Folie aus einer polykristallinen oder einer anderen geeigneten Photoleiter in einer schraubenförmigen Weise abgeschieden direkt auf einem röhrenförmigen Substrat 40 vorzugsweise aus Keramik oder aus andere geeignete dielektrische Material. für jedes Energievergrößerungsspule 24 wird die polykristalline Photo als Schraubenband auf der Außenseite des röhrenförmigen Substrats 40 Die Schraubenband des Photoleiters kann einen dünnen Film aus Metall in sie eingebettet enthalten ausgebildet. In bestimmten Fällen kann die Zwischenspulen Verbindungen zwischen benachbarten Energievergrößerungs Spulen 24 durch die Verlängerung der abgeschiedenen Fotoleiter aus den Helices um Bereiche 44 an den Enden der rohrförmigen Substrate 40 entfernt kontaktieren und sich zu Kontaktflächen 44 auf benachbarten röhrenförmigen Substrate 40 hergestellt werden. der elektrische Kontakt zwischen benachbarten Energievergrößerungs Spulen 24 wird unter mäßigem Druck über die Kontaktflächen 44, die in Fig.8 gezeigt sind, hergestellt. Um die einzelnen Kontaktflächen 44 zu unterscheiden, werden sie in einer getrennten Position, bevor sie zusammengepresst, um Kontakt herzustellen gezeigt. Um die Integrität der Kontaktflächen 44 zu erhalten, die Energievergrößerungs Spulen 24 können in gegenseitiger Nähe von einem der verschiedenen nicht-metallischen Befestigungsmittel gehalten wird, um kontinuierlichen elektrischen Kontakt zwischen allen photoleitenden Abschnitte herzustellen. Zum Beispiel, Bolzen 43 und Muttern 45 aus einem Kunststoff, wie Nylon, oder einem anderen dielektrischen Material, können verwendet werden. Eine andere Variante ist, um den Kontaktdruck einer Spule zur nächsten mittels Federklammern zu halten. Somit wird in einer Ausführungsform die Energievergrößerungsspulen 24 sind verbunden, um in endlosen Kontakt miteinander zu sein, ohne kapazitive Pause zwischen ihnen. Der Rest der Vorrichtung kann in der gleichen Weise wie die Photoleiter konstruiert werden oder oben beschriebenen dotierten Halbleiter Ausführungsform, wobei die gleiche Aufmerksamkeit auf die Richtung des Elektronenflusses in jeweiligen Spulen beobachtet.

Die Spulenkonfiguration von noch einem weiteren Ausführungsbeispiel ist in Fig.9(A) und Fig.9(B) gezeigt. Eine rohrförmige Substrat 40 trägt eine schraubenförmige, dünne Folie oder dicke Folie, Dipol-Energietyp-Vergrößerungsspule 24, die innerhalb verschachtelt ist und koaxial mit einem einzigen externen Ausgangs-Spule 28b. Im Inneren des röhrenförmigen Substrats 40 verschachtelt und mit entsprechenden Achsen parallel zu der Achse des röhrenförmigen Substrats 40, sind eine Sendespule 20 und eine interne Ausgangsspule 28a. Die Sendespule 20 und der internen Ausgangsspule 28a auf gegenüberliegenden Seiten einer reflektierenden metallischen Separator 59. Der Separator 59 angeordnet ist, im Querschnitt über seine gesamte axiale Erstreckung im wesentlichen parabolisch, und ist so positioniert, dass die Längskanten berühren, oder beinahe berühren, kann das röhrenförmige Substrat 40. der Separator 59 der gemeinsamen, nichtmagnetischen Metall, wie Aluminium oder Magnesium bestehen. Die Sendespule 20 ist auf der konkaven Seite des Trennelements 59 positioniert, wobei die Achse der Sendespule 20 ist im geometrischen Mittelpunkt 60 der Parabel positioniert ist und parallel zu der Achse des Energievergrößerungsspule 24. Der energie- angeordnet Vergrößerungsspule 24 in dieser Ausführungsform umfasst einen Dünnfilm oder Dickfilmfotoleiter schraubenförmig auf dem röhrenförmigen Substrat 40 ausgebildet A Photoleitfahigkeit Erreger 26 ist im Inneren des Separators 59 (röhrenförmigen Substrats 40 angeordnet ist, ist aus einem starren Material, das transparent ist, gebildet Strahlung durch die Photoleitung Erreger 26) erzeugt wird. Alle anderen Formen der Energievergrößerungsspule 24, wie hierin beschrieben, einschließlich der supraleitenden Form kann in dieser Ausführungsform verwendet werden.
Der Separator 59 dient einem doppelten Zweck. Ein Zweck ist es, direkt in Richtung der Energievergrößerungsspule 24 der Abschnitt des induktiven Photonenstrahlung 22, die andernfalls nicht in Richtung der Trenneinrichtung ausgerichtet ist, wie durch die reflektierten Photonen gezeigten Strahlen 61 in Fig.6(A). (Reflexion dieser abgestrahlten Photonen nicht die Richtwirkung der Querkraft, die diese Photonen vermitteln sich nicht). Ein weiterer Zweck des Separators 59 ist es, als eine Abschirmung dienen, um die Menge des aktiven Strahlung 18b von der Energievergrößerungsspule 24, die als Stützkraft auf die Sendespule 20. Die eingeschränkte Rückkraft Strahlung durch gezeigt zurückgegeben wird einschränken der schraffierte Bereich 63 in Fig.9(B).

Der Abschnitt der nach innen gerichtete, vergrößerte induktiven Photonenstrahlung 18b, die von der internen Ausgangs Spule 28a empfangen wird, wird durch die schraffierte Fläche 65. Die proportionale Menge des nach außen gerichteten vergrößerten Strahlung 18a von der Energievergrößerungsspule 24, die empfangen wird, gekennzeichnet durch die externe Ausgangsspule 28b wird durch die schraffierte Fläche 67. Die Summe des vergrößerten Strahlung im Bereich 65, der die externe Ausgangsspule 28b erreicht gezeigt, im wesentlichen den vergrößerten Strahlung im Bereich 63 (die letztere dient als Rücklauf- überschreitet Kraft auf die Sendespule 20). Dieser Überschuß der eingesetzten Energie über den Rücken Kraft-Energie, liefert Energie nutzen. Diese Ausführungsform enthält auch einen Startmechanismus, und erste Stromquelle für die photoleitende Erreger, einen Schleife und eine Rückkopplungsschleife (nicht gezeigt) wie in den anderen hierin beschriebenen Ausführungsformen.

Bestimmte Merkmale können mit jedem der hier beschriebenen Ausführungsformen eingearbeitet werden, um funktionelle Praktikabilität hinzuzufügen. Zum Beispiel, unter Bezugnahme auf die schematische Darstellung eines Spulenkonfiguration in Stirnansicht in Fig.10(A) gezeigt ist, ein ferromagnetischer Kern 69 kann im Inneren der Sendespule 20 angeordnet werden, und ferromagnetischen Kernen 71 kann innerhalb der jeweiligen internen Ausgangsspulen 28a platziert werden. Diese Kerne erhöht die Induktivität der Vorrichtung, die die Frequenz der elektrischen Schwingungen, die durch die Vorrichtung erzeugt senkt. Zwar steigt der Induktivität kann bewirken, dass die Ausgangsspannung und den Strom in der Phase ist, kann die Phasendifferenz durch Zugabe Kapazität der Schaltung durch herkömmliche Mittel korrigiert werden. Ebenfalls gezeigt ist ein externer Metallabschirmung, die die Vorrichtung vollständig umschließt, um jede Strahlung von der Vorrichtung, die mit Radios, Fernseher, Telefone, Computer und andere elektronische Geräte stören könnten blockieren. der Schirm kann irgendeine von verschiedenen nicht-magnetische Metalle, wie Aluminium oder Magnesium bestehen.
Ein alternatives Mittel zum Erhöhen der Induktivität der Vorrichtung ist in Fig.10(B), das eine Variation der Stirnansicht nur der Sendespule 20, die in Fig.10(A) dargestellt ist, ist gezeigt. In Fig.10(B) wird eine ferromagnetische Hülse 73, die koaxial um die Sendespule 20 angeordnet.
Die jeweiligen Abmessungsverhältnisse der verschiedenen Komponenten im allgemeinen bleiben ähnlich zueinander unterschiedliche Größen Vorrichtung, mit Ausnahme der Längsabmessung, die im allgemeinen als kurz oder so lang sein wie gewünscht, bis zu einem gewissen praktischen Grenze. Die jeweiligen Sensoren der Drähte in der Sendespule 20 und der Ausgangsspulen 28a und 28b verwendet werden, sind im Einklang mit der von diesen Drähten übertragen elektrischen Strom, und die jeweilige Dicke der Isolierung (falls verwendet) auf den Drähten ist im Einklang mit der Spannung.
Der Außendurchmesser des inneren Ausgangsspulen 28a wünschenswerterweise nur geringfügig kleiner ist als der Innendurchmesser der jeweiligen Energievergrößerungsspulen 24, wie in Fig.6, Fig.7 und 8 gezeigt ist, wodurch sichergestellt wird, nahe einer jeden internen Ausgangs Spule 28a mit seinem jeweiligen Energievergrößerungsspule 24 mit Verlust des Wirkungsgrades kann der Außendurchmesser des inneren Ausgangsspulen 28a kleiner gemacht werden, um Platz für die Wärme von den stromführenden Leitungen entweichen kann oder durch ein Kühlmittel entfernt werden, wie Zwangsluft im Fall eines Photoleiters Typ oder in dem Fall eines supraleitenden Vorrichtung vom Typ dotierte Halbleitertyp der Vorrichtung oder durch ein tiefkalt verflüssigtes Gas.
Auch wünschenswerter, das externe Ausgangsspule 28b ist in Reihe mit der internen Ausgangsspulen 28a verbunden, um die Ausgangsspannung von der Vorrichtung 15 zu maximieren und die Wärme, die durch elektrische Ströme in der Vorrichtung möglichst gering zu halten. Die Ausgangsspannung kann nach unten und intensiviert werden der elektrische Ausgangsstrom trat zu der normalen Betriebsbereiche mit Hilfe eines Transformators, wobei die Primärseite des Transformators würde die Last der Arbeit Schleife 48 umfassen.
Wie oben diskutiert, kann jede Energievergrößerungsspule 24 einen Photoleiter oder einem spiralförmigen Muster auf einem jeweiligen dünnwandigen röhrenförmigen Substrats mit verlängerten vorgesehen ist dotierten Halbleiter umfassen, erhabenen Kontaktflächen an jedem Ende. Die energieVergrößerungsSpulen 24 sind wünschenswerterweise miteinander elektrisch in Reihe zu den erhabenen Kontaktflächen verbunden (statt kapazitiv). Die photoleitende Spulen wünschenswerterweise mit Klarlack oder Emaille, um elektrische Isolierung bereitzustellen und die Fotoleiter vor Oxidation und Verwitterung zu schützen beschichtet.
Wobei die massearmen photo Elektronen in den Energievergrößerungs Spulen 24 in einer Konzentration, die ausreichend für die Erfassung meisten induktiven Photonenstrahlung von der Sendespule 20 ist vorhanden, wobei jede Energievergrößerungsspule umfasst wünschenswerterweise eine dünne Metallband. Das Metall ist wünschenswerterweise in innigen Kontakt mit der massearmen Elektronen Träger. kann das Metall an der Außenseite einer dotierten Halbleiter sein, oder es kann in einer Fotoleiterband der Spule eingebettet werden, um die induktive Strahlung zu erfassen und ein elektrisches Feld, was wiederum hilft bei der Beschleunigung der massearmen Elektronen eingestellt. In der photo Ausführungsform das photoleitende Material wird wünschenswerterweise in der ganzen Metallbandes, so daß die massearme Elektronen werden an der Außenseite als auch die Innenseite und die Kanten der lichtleitenden Band auf das Teil oder die Teile, die zu belichten sind, geführt angeordnet ist Ausleuchtung auf der Außenseite. Die Breite des Metallbandes in wünschenswerter Weise ist ausreichend, um so viel von der induktiv-Photonenstrahlung von der Sendespule zu erfassen, wie praktisch ist, da Lücken zwischen den Windungen des Metallbandes in der Energie-Vergrößerungsspule erlauben induktive Strahlung der Sendespule zu passieren auf den internen Ausgangsspule. Da der Sendespule die Strahlung eine Halbwelle aus der Phase mit dem induktiven Strahlung von den massearmen Elektronen, die ganze Sendespule Strahlung, die Ausgangsspule erreicht, reduziert die Ausgangseffizienz der Vorrichtung.
Geeignete photoleitende Materialien (zB Cadmiumsulfid, Cadmiumselenid) zur Bildung der Energievergrößerungsspulen 24 sind im Handel erhältlich. Das photoleitende Material kann ein einziges Material oder eine Mischung von Materialien sein, und kann ausgebildet werden, indem beispielsweise Sputtern. Eine Mischung aus Cadmiumsulfid und Cadmiumselenid optimal eingestellt werden, um Energie-Vergrößerungs Spulen maximale Energie-Vergrößerungsfaktoren als Aussteller auf einer Spitzenwellenlänge passend zu den hellsten Photoleitung Erreger 26, die verfügbar sind, zu erhalten.
Im Hinblick auf die Photoleitung Erreger 26. Photoanregung der Energievergrößerungs Spulen 24 können durch eine oder mehrere LEDs vorgesehen werden, entweder oberflächenemittierenden oder Kantenstrahler, beispielsweise ausgewählt, um eine Ausgangswellenlänge auf dem Spitzenphotoleitung abgestimmt erzeugen Wellenlänge der Energievergrößerungs Spulen 24. In der Ausführungsform von Fig.7 und Fig.10(A), einzelne LEDs 26 sind in linearen Anordnungen positioniert ist Rücken an Rücken an entsprechenden Montageschienen. Die zusammengebauten Montagestangen mit LEDs in den Lücken zwischen benachbarten Energievergrößerungs Spulen 24 angeordnet, um zumindest die Seiten der jeweiligen Energievergrößerungs Spulen 24, die induktiv-Photonenstrahlung von der Sendespule empfangen beleuchten 20. LEDs sind vorteilhaft im Vergleich zu Glühlampen Lampen, da LEDs produzieren mehr Licht mit weniger Wärme und eine wesentlich längere Nutzungsdauer als Glühlampen. LEDs sind auch wegen ihrer geringen Größe, die Montage erleichtert, eine große Zahl von ihnen in dem relativ kleinen Raum zwischen benachbarten Energievergrößerungs Spulen 24 bevorzugt.
Obwohl die Erfindung in Verbindung mit mehreren repräsentativen Ausführungsformen beschrieben wurde, ist die Erfindung nicht auf diese Ausführungsformen beschränkt. Im Gegenteil, die Erfindung beabsichtigt, alle Modifikationen, Alternativen und Äquivalente zu umfassen, wie sie innerhalb des Geistes und Umfangs der Erfindung enthalten sein, wie durch die beigefügten Ansprüche definiert ist.
Verweise im Text zitiert
Helmholtz, H.,
1847, Uber die Erhaltung der Kraft,
G.A.Reimer,
Leimer, E., 1915, “Uber Radiumantennen”, Elektrotechnische Zeitschrift, Heft 8, Feb. 25, 1915. English translation: “On Radium Antannae” The Electrician, Apr. 21 1916, and “Radium and Aerials” Scientific American, Supplement No. 2127, Oct. 7, 1916.
Anon, 1919a, “Youthful Seattle Inventor and his Invention” (photos and captions), Seattle Post-Intelligencer, Dec. 17, 1919.
Anon., 1919b, “Youth’s Revolutionary invention is Backed by Professor - Hubbard’s New Energy No Fake, Says Seattle College Man”, Seattle Post-Intelligencer, Dec. 17, 1919,
Anon. 1920a,
“Hubbard Coil Runs Boat on
Anon., 1920b, “Drives Boat with New Electric Generator” (photos and captions), Seattle Post-Intelligencer, Jul. 29, 1920.
Anon., 1928a, “Noted Flyers Try Out New Motor at Selfridge Field” (photo), Detroit Free Press, Fen. 25, 1928.
Anon., 1928b,
“Fuelless Motor Shown; Gets Current From Air”,
White, H. C.,
1928c, “Lindbergh Tries Motor Earth Runs”,
Anon., 1928d, “Fuelless Motor Impresses Experts”, New York Times, Feb. 26, 1928.
Anon., 1928e,
“No-Fuel Motor Finds Backers”,
Anon., 1928f, “Fuelless Motor Is A Generator”, New York Times, Feb. 27, 1928.
Anon., 1928g, “Fuelless Motor Ends 2-year Task”, Seattle Post-Intelligencer, Feb. 27, 1928.
Bermann, R.
B., 1928 h, “Hubbard Believes Mystery Motor Based Upon His Own Invention”,
Ampere, A. M., 1820, “Memoire”, Annales de Chimie et de Physique.
Ampere, A. M., 1825, “Memoire”, Annales de Chimie et de Physique.
Weber, W.,
1846, Elektrodynamische Maassbestimmungen,
Weidmann’sche Buchhandlung,
Gauss, C. F., 1835, unpublished notes originally published posthumously in 1865 as “Grundgesetz Fur Alle Wechselwirkungen Galvanisvcher Strome” in Werke, Vol. 5, pp. 616-620; the correspondence from Gauss to Wilhelm Weber (1845) is on pp. 627-629.
Maxwell, J.
C., 1873, A Treatise on Electricity and
Magnetism, Clarendon Press,
Larmor, J., 1897, “On the Theory of Magnetic Influence of Spectra; and on the Radiation From Moving Ions”, Phil. Mag LXIII:503-512.
Larmor, J.,
1900, Aether and Matter,
Rutherford, E., 1911, Phil. Mag. XXI:669.
Planck, M., 1911, Verh. D. Deutsch. Phys. Ges. XIII:138
Bohr, N., Kramers, H. A., and Slater, J. C., 1924, Phil. Mag. XLVII:785
Whittaker, E.,
1951, A History of the Theories of Aether
and Electricity, Thos. Nelson & Sons,
Shpenkov, G. P., and Kreidik, L. G., “Microwave Background Radiation of Hydrogen Atoms”, Revista Ceencias Exastas e Naturais 4, n.1, pp. 9-18, January/June 2002.
Fowler, W. A., 1983, “Experimental and Theoretical Nuclear Astrophysics; the Quest for the Origin of the Elements”, Nobel Lecture, Dec. 8, 1983.
Tifft, W. G., 1976, “Discrete States of Redshift and Galaxy Dynamics I", Astrophysical Journal 206:38-56.
Tifft, W. G., 1977, “Discrete States of Redshift and Galaxy Dynamics I I: Systems of Galaxies”, Astrophysical Journal 211:31-46; and “Discrete States of Redshift and Galaxy Dynamics I I I: Abnormal Galaxies”, Astrophysical Journal 211:377-391.
Compton, A. H.
and Allison, S. K., 1935, “X-Rays in Theory and Experiment” 2nd Ed.,
Pops, H., 1997, “The Metallurgy of Copper Wire”, Innovations, Dec. 1997 (Copper Development Assoc.).
Lapp, R. E.
and Andrews, H. L., 1954, Nuclear
Radiation Physics, Prentice-Hall,
Bardeen, J., 1942, “Theory of Superconductivity” (abstr.), Phys. Rev. 59:298.
Dehmelt, H. G., 1989, “Experiments with an Isolated Subatomic Particle at Rest”, Nobel Lecture, Dec. 8, 1989.
File, J. and Mills, R. G., 1963, “Observation of Persistent Current in a Superconducting Solenoid”, Phys. Rev. Lett. 10(3), Feb. 1, 1963.
US Patent 6.946.767
20. September 2005
Erfinder: John Reardon
WECHSELSTROM-GENERATOR
Dies ist eine ausschnittsweise umformuliert dieses Patent, das eine hocheffiziente elektrische Generator Wechselstrom zeigt. Es wird angegeben, dass diese Ausführung des Generators nicht durch Lenz'schen beeinflusst und die experimentellen Ergebnisse zeigten eine 13.713% Verbesserung gegenüber herkömmlichen Leistungsabgabe.
ZUSAMMENFASSUNG
Ein Wechselstrom elektrischen Generator erzeugt drei verschiedene und unterschiedliche Magnetfelder zwischen gewickelten Spulenelementen und rotierenden Magneten, zwei Felder, von denen induzierten Feldern von Magnet Drehung verursacht. Eine Vielzahl von Magneten so positioniert sind, dass sie nach außen von einer Drehwelle erstrecken. Die Magnete sind in Umfangsrichtung um die Welle, so daß der Nordpol-Ende einen Magneten folgt dem Südpolende des nächsten Magneten oder derart, dass das polare Ende einen Magneten folgt ein Magnet mit der gleichen polaren Ende beabstandet. Eine Vielzahl von stationären Spulenelemente in einer beabstandeten Beziehung zu den Magneten angeordnet. Die Spulenelemente jeweils elektrische Wicklungen und Metallkernen, die die Längen der Spulenelemente erstrecken. Die Magneten rotieren in einem Abstand zu den Enden der Spulenelemente in einer Weise, dass Flusslinien der Magnete 'schneiden die Kerne in der Mitte von jedem der Spulenelemente . Dies induziert elektrische Wechselstrom hin und her entlang der Längen der Kerne schwingt. Diese oszillierende Strom erzeugt eine Auf- und Zuklappen durch jeden Zentimeter Wicklungen des Spulenelementsatz magnetischen Feldlinien, die ausdehnen und zusammenziehen. Das Auf- und Zuklappen Magnetfeld induziert eine Auf- und Zuklappen Magnetfeld und ein elektrisches Wechselfeld in den Spulenelementen.
US-Patent References:
4009406 Feb, 1977 Inariba.
4823038 Apr, 1989 Mizutani et al.
5696419 Dec, 1997 Rakestraw et al.
5821710 Oct, 1998 Masuzawa et al.
5973436 Oct, 1999 Mitcham.
6069431 May, 2000 Satoh et al.
6373161 Apr, 2002 Khalaf.
6462451 Oct, 2002 Kimura et al.
6541877 Apr, 2003 Kim et al.
6717313 Apr, 2004 Bae.
HINTERGRUND
DER ERFINDUNG
Wechselstromgeneratoren sind Drehvorrichtungen, die mechanische Energie in elektrische Energie umzuwandeln. Um eine elektromotorische Kraft, die durch eine mechanische Bewegung zu erzeugen, muss es eine Bewegung zwischen einer elektrischen Spule und einem magnetischen Feld in einer Weise, dass eine Änderung in dem Fluss, der durch die Spule leitet verursachen wird. Grundsätzlich wird die induzierte elektromotorische Kraft, die durch eine Änderung des Flusses, der durch die Spule gebracht.
Die Verwendung von Elektromagneten, den Magneten und Magnetkomponenten in Generatoren, um das Magnetfeld und die anschließende Auswirkung auf elektrischen Spulen zu schaffen, um elektrischen Strom zu erzeugen, letztlich ist bekannt. Solche magnetischen Generatoren arbeiten, indem die durch den Effekt der Änderung Polaritäten sowohl permanente als auch Elektromagnete abstoßenden Kräfte. Zum Beispiel gibt es elektrische Erzeugungseinrichtungen, die Elektromagneten, die in ihrer Position fixiert sind und welche veranStrom um selektiv erregt wird, beispielsweise Eisen oder anderen magnetischen Metallscheiben, Stäbe oder ähnliche Elemente an oder um den Magneten gedreht einzusetzen. Andere Systeme verwenden Elektromagneten oder Permanentmagneten, die in Drehung versetzt werden, durch verschiedene Mittel, in Bezug auf die Eisenkerne oder Spulen, Induzieren eines elektrischen Wechselstroms in den Spulen.
Es sind aber vor Wechselstromgeneratoren, die rotierende Magnetsysteme verwenden ineffizient und in der Regel keine ausreichende Strom an den mechanischen Aufwand angewendet zu liefern, bezogen.
ZUSAMMENFASSUNG DER ERFINDUNG
Es ist somit eine Aufgabe der vorliegenden Erfindung, die Beschränkungen und Nachteile des Standes der elektrischen Wechselstromgeneratoren ansprechen.
Es ist eine Aufgabe der vorliegenden Erfindung, einen Wechselstromgenerator, der eine erhebliche Menge an elektrischen Strom effizient und effektiv erzeugt werden.
Es ist eine weitere Aufgabe der vorliegenden Erfindung, einen Wechselstromgenerator, der beschäftigt rotierenden Magneten bereitzustellen induzieren erhöhten elektrischen Wechselstromes innerhalb der Eisenkerne von elektrischen Spulen.
Es ist noch eine weitere Aufgabe der vorliegenden Erfindung, einen Wechselstromgenerator, der einfach und leicht hergestellt werden kann und mit hoher Effizienz betrieben werden kann.
Diese und andere Aufgaben werden durch die vorliegende Erfindung wird eine elektrische Wechselstromgenerator, der drei verschiedene und unterschiedliche Magnetfelder zwischen gewickelten Spulenelementen und rotierenden Magneten zwei Feldern, von denen induzierten Feldern von Magneten Drehung verursacht schafft erhalten. Eine Vielzahl von Magneten so positioniert sind, dass sie nach außen von einer Drehwelle erstrecken. Die Magnete sind in Umfangsrichtung um die Welle, so daß der Nordpol-Ende einen Magneten folgt dem Südpolende des nächsten Magneten oder derart, dass das polare Ende einen Magneten folgt ein Magnet mit der gleichen polaren Ende beabstandet. Eine Vielzahl von stationären Spulenelemente in einer beabstandeten Beziehung zu den Magneten angeordnet. Die Spulenelemente jeweils elektrische Wicklungen und Metallkernen, die die Längen der Spulenelemente erstrecken. Die Magneten rotieren in einem Abstand zu den Enden der Spulenelemente in einer Weise, dass Flusslinien der Magnete 'schneiden die Kerne in der Mitte von jedem der Spulenelemente . Dies induziert elektrische Wechselstrom hin und her entlang der Längen der Kerne schwingt. Diese oszillierende Strom erzeugt eine Auf- und Zuklappen durch jeden Zentimeter Wicklungen des Spulenelementsatz magnetischen Feldlinien, die ausdehnen und zusammenziehen. Das Auf- und Zuklappen Magnetfeld induziert eine Auf- und Zuklappen Magnetfeld und ein elektrisches Wechselfeld in den Spulenelementen.
Die neuartigen
Merkmale, die als charakteristisch für die Erfindung angesehen werden, sind
insbesondere in den beigefügten Ansprüchen dargelegt. Die Erfindung selbst
jedoch, sowohl hinsichtlich ihrer Gestaltung, Konstruktion und Verwendung,
zusammen mit zusätzlichen Merkmalen und Vorteilen derselben werden am besten
beim Lesen der folgenden detaillierten Beschreibung unter Bezugnahme auf die
beigefügten Zeichnungen verständlich.
KURZE BESCHREIBUNG DER ZEICHNUNGEN

Fig.1 ist eine isometrische Darstellung der Schlüssel-Komponenten der vorliegenden Erfindung.

Fig.2 ist eine Seitenansichtsdarstellung der vorliegenden Erfindung, die die zwei untergebracht Sätze von Spulenelementen und ihre Beziehung mit den Magneten.

Fig.3 ist eine erläuternde Ansicht, die die Erzeugung von Feldlinien, welche die Grundlage für den Betrieb der vorliegenden Erfindung bildet.

Fig.4 ist eine alternative Ausführungsform der vorliegenden Erfindung.
DETAILLIERTE
BESCHREIBUNG DER ERFINDUNG

Fig.1 und Fig.2 zeigen eine übersichtliche Darstellung der Komponenten des Wechselstromgenerators 1 der vorliegenden Erfindung. Generator 1 umfaßt Gehäuse 2 und 3. Der Einfachheit halber und zum leichteren Verständnis wird nur Gehäuse 2 in Fig.1 gezeigt. Es muss jedoch verstanden werden, dass Generator 1 der vorliegenden Erfindung ist zur Verwendung mit beiden Gehäusen 2 und 3 konfiguriert Gehäuse 2 enthält Spulenelemente 4, 6, 8 und 10. Jedes Spulenelement mehrere Windungen aufweist 12, 14, 16, bzw. 18, um die innere Stahl oder ähnlichen Metallkerne 20, 22, 24 gewickelt ist, und 26, jeweils. Jedes Stahlkern sich über die volle Länge und direkt über jedem der Spulenelemente. Spulenelemente 4, 6, 8 und 10 sind innerhalb des Gehäuses 2, so dass die Stirnflächen der Spulenelemente und die Enden der Kerne 20, 22, 24 und 26 sind bündig mit der Außenfläche des Gehäuses 2 positioniert ist.

Umhüllung 3 enthält ferner vier Spulenelemente identisch positioniert, wie es im Hinblick beschrieben zu Schrank 2. Zwei der Spulenelemente 5 und 7 sind in Fig.2 gezeigt. Spulenelement 5 weist mehrere Windungen 13 und Mittelkern 21 und der Spulenelement 7 weist mehrere Windungen 11 und Mittelkern 21.
Magneten 28, 30, 32 und 34 sind an der Welle 36, die konfiguriert ist, um durch herkömmliche Stromquelle 37, gedreht werden, wie etwa ein Dieselmotor, Turbine, usw. Magnete 28, 30, 31 und 32 haben alle Enden mit außen erstreckenden Polaritäten. Magneten 28, 30, 32 und 34 sind in beabstandeter Beziehung zu den Enden der freigelegten Adern 20, 22, 24 und 26 der Spulenelemente 4, 6, 8 und 10 und im Abstand zu den Enden der vier freigelegten Adern positioniert in den vier Spulenelemente im Gehäuse 3 angeordnet ist, wobei Kerne 19 und 21 in Fig.2 gezeigt. Alle Magnete äquidistant auf und um die Welle 36 angeordnet, so dass der nach außen verlaufende Pol von einem Magneten in Umfangsrichtung folgt der sich nach außen erstreckenden Pol des nächsten Magneten. Die Nordpolar Ende eines Magneten kann das Südpol Ende des nächsten Magneten oder der polaren Ende ein Magnet folgen kann einen Magneten mit dem gleichen polaren Ende folgen.
Während vier Magneten und vier Kerne dargestellt sind, wird in Betracht gezogen, dass zusätzliche Magnete und Kernen konnte im Generator verwendet werden. Auch während Permanentmagnete sind in den Zeichnungen dargestellt ist, könnten auch Elektromagnete eingesetzt werden, da sie die gleiche Magnetfluss zu erzeugen.
Elektrischen Wechselstrom erzeugt wird, wenn Stromquelle 37 dreht die Welle 36, wodurch eine Drehung des Magneten 28, 30, 32 und 34 in beabstandeter, benachbarter Beziehung zu den Enden der Kerne 20, 22, 24 und 26 der Spulenelemente 4, 6, 8 und 10 und in beabstandeter, benachbarter Beziehung zu den Enden der Kerne 19 und 21 der Spulenelemente 7 und 5 und den Enden der Kerne der anderen zwei ähnlich ausgerichteten Spulenelemente im Gehäuse 3. Der Strom, der erzeugt wird, durch elektrisch leitfähige Verdrahtung 27, die an den Verbindungspunkten 29 in dem Gehäuse 2 und 31 im Gehäuse 3 an der Anschlussstelle 33 der erzeugte Strom verbindet, für die konsolidierte Getriebe übertragen.
Wie am besten in Fig.2 dargestellt, wenn der Magnet 28 wird im Raum gegenüber dem Ende des Kerns 20 des Schraubenelements 4 Flußlinien 100 des Magneten gedreht schneiden den Kern in der Mitte des Spulenelements. Dies induziert eine elektrische Wechselspannung, die hin und her entlang der Länge des Kerns 20 oszilliert Diese oszillierenden Strom erzeugt eine Auf- und Zuklappen Reihe von magnetischen Feldlinien 200, ausdehnen und zusammenziehen durch jeden Zentimeter Spulenwicklungen 12 Erweitern und Reduzieren Feld 200 induziert ein elektrisches Wechselfeld in der Spule Element 4, die durch eine Auf- und Zuklappen Magnetfeld 300. Es wird angemerkt, begleitet wird, deutlich, dass keine der magnetischen Feldlinien 100, 200 und 300 wirken in einer negativen Art und Weise oder in einer Gegenwirkung. Dies ermöglicht der vorliegenden Erfindung, die Beschränkungen der Lenz'schen Regel, die besagt, dass, wenn sich eine Änderung des magnetischen Flusses in einer Schaltung, eine induzierte elektromotorische Kraft wird Aufbau dazu neigt, einen Strom in einer Richtung, die die Flussänderung wider produzieren überwinden.

Fig.3 veranschaulicht eine alternative Ausführungsform der Erfindung, dass die in Fig.1 gezeigt wird. Wie in Fig.3, Spulenelement 44 mit äußeren Wicklungen 58 und inneren Stahlkern 66, Spulenelement 46 mit Wicklungen 56 und Kern 64, Spulenelement 48 mit Wicklungen 54 und Kern 62 und das Spulenelement 50 mit äußeren Wicklungen 52 und Kern gezeigt 60 angrenzend positioniert sind, um den Rotor 67, der auf der Welle 69 Magnete, 68 und 72 sind auf Rotor 67 montiert, so dass die North Pole der Magneten in Abständen Bezug auf Elemente, 44, 46, 48 und 50 Spule positioniert sind. Magnete 70 und 74 sind auf Rotor 67 montiert, so dass der Südpol der Magneten auch in Abständen Bezug auf Elemente, 44, 46, 48 und 50 Spule positioniert sind. Alle Magnete sind starr auf Rotor 67 montiert, so dass ein Nordpol eines Magneten Umfangsrichtung ein Südpol des nächsten Magneten in Zeile folgt. Der geplanten Abstand zwischen Magnet und Spule Element Zapfen ist etwa 0,0001 Zoll, obwohl den Umfang und die Benutzung der Erfindung nicht sind beschränkt auf diese Distanz als anzusehen.
Wie in der vorherigen Ausführungsform wird die Drehung des Magneten 68, 70, 72 und 74, durch die Drehung der Welle 69 und damit auch Rotor 67, bewirkt, dass die Flusslinien der Magnete zu Kernen 60, 62, 64 geschnitten, und 66 der Spulenelemente 44, 46, 48 und 50, was schließlich zu dem Ausgang von elektrischem Strom, wie zuvor beschrieben.
Es wird angemerkt, dass je größer der Durchmesser des Rotors 67 kann die weitere Spulenelementen um den Rotor angeordnet sein. Je größer die Anzahl von Spulenelementen, die langsamere Rotor 67 Bedürfnisse zu drehen; jedoch gibt es einen Energieverlust dabei. Darüber hinaus, während Rotor 67 ist als kreisförmig dargestellt, er kann als quadratisch sein oder andere geeignete mehrseitige Konfigurationen ausgebildet.
Diese einzigartige Form der Elektrizitätserzeugung erlaubt die Erzeugung von elektrischer Energie, beispielsweise irgendwo im Bereich von 4 bis 137 Mal stärker als vor, herkömmliche Mittel. Es hat auch den Vorteil, den Erhalt der Einheit Leistung mit sehr wenig Aufwand.
Als Beweis für eine solche Macht gewinnt, wird auf die unten beschriebenen experimentellen Ausgänge von Spulen und Magneten, die elektrische Leistung der herkömmliche Weg im Vergleich mit der vorliegenden Erfindung hergestellt werden. Der herkömmliche Weg zum Erzeugen von Energie, für die Zwecke der folgenden experimentellen Ausgänge, wie hierin Bezug genommen wird, wird durch Schneiden der Drähte, nicht die Kerne, von der Spule Wicklungen mit Flußmittel des Magneten erreicht.
In diesem Zusammenhang zeugt auch vorausgesetzt, dass die hierin beschriebene Methode zur Erzeugung von elektrischer Energie durch Lenzs Gesetz, unter Bezugnahme auf die Messwerte von den herkömmlichen Methoden als die u/min und die Größe der Spule Erhöhung erreicht nicht beeinträchtigt wird. Mit konventionellen Methoden die Werte ändern sich nicht linear, sondern weniger weil Lenzs-Gesetz die Ausgänge daran hindert, zunehmender proportional zur Geschwindigkeit und Größe der Spule. Im Vergleich dazu jedoch in der Methode der Herstellung macht der Erfindung betrifft, steigt in den Lesungen von V (Spannung), ich (derzeit), und P (Power), die tatsächlich größer als erwartet.
Es wird darauf hingewiesen, dass wie ein Transformator, wenn die Anzahl der Umdrehungen Verhältnis erhöht wird, V erhöht und ich abnimmt, das ist genau das, was die verschiedenen u/min-Lesungen für die Spulen unterschiedlicher Größe gesehen wird. Sie jedoch nicht vergrößern oder verkleinern proportional.
So stellt dies das ideale Modell für die Herstellung von elektrischen Energie, der die das allgemeine Gesetz, die besagt entspricht, dass zunehmender Geschwindigkeit die Spannung proportional, durch die Gleichung erhöht:
V = Q (gegen Gebühr) V (Geschwindigkeit) × B (magnetische Feldstärke). Dies gilt auch für eine Spule in diesem Transformatoren proportional dem runden-Verhältnis zu erhöhen.
Ausgänge mit Bezug auf die Spannung für die Spulen, 1100T, 2200T und 5500T, wird es gesehen, dass sie sich für die Arten von Spannungsausgänge für eine Transformator-Aktion entsprechen. Das heißt, wie die Runden-Ratio in steigt steigt ein Transformator auch die Spannung. Da der Anstieg der Spannung zwischen der Anzahl der Runden ist nicht genau 2 bis 5 mal, kann man wählen Sie eine der Spulen und annehmen, dass es korrekt ist und die anderen Spulen entsprechend anpassen. So werden durch die Festsetzung der 1100T-Spule, die anderen Spulen 2837T und 5896T beziehungsweise. Durch die Festsetzung der 2200T-Spule, werden die anderen Spulen 853T und 4572T. Und durch die Festsetzung der 5500T Spule, die anderen Spulen werden 1026T und 2646T beziehungsweise. Auch wenn die Anpassungen vorgenommen werden wie hier beschrieben, d. h., dass die Spulen größer sind, als ursprünglich gedacht, und sie für die Spannungen für die konventionelle Methode zur Erzeugung von Strom gelten, die Spannung erhöhen nicht proportional aber tatsächlich kleiner sind als sie sein, zusätzliche Beweis dafür, dass Lenzs-Gesetz Anwendung auf konventionellen Generatoren, jedoch nicht auf diese Erfindung hat sollen.
Die proportionale Änderungen in der Spannung in Bezug auf Geschwindigkeit kann auch gesehen werden. So, wenn man die 350 RPM Geschwindigkeit so genau, die 1200 und 1300 RPM RPM Geschwindigkeiten bis 906 RPM und 1379 RPM bzw. anzupassen. Angesichts der 1200 RPM Geschwindigkeit so genau, die 350 RPM und 1300 RPM Drehzahl 464 RPM und 1826 RPM auf. Und schließlich, wenn man die 1300 RPM Geschwindigkeit so genau, die 350 RPM und 1200 RPM Geschwindigkeiten zu 330 RPM und 854 RPM bzw.
Es wird darauf hingewiesen, dass bei der Verwendung der verschiedenen RPM Ablesungen, basierend auf dem oben Gesagten ist ersichtlich, daß in herkömmlicher Weise zum Erzeugen von Energie, gibt es Verluste, die mit den gemessenen Werten zugeordnet sind. Die ermittelten Werte zeigen wiederum die Anwendung der Lenz'schen Regel in der herkömmlichen Art und Weise zum Erzeugen von Energie, aber nicht zu dieser Erfindung. In der Tat, ob es eine Anpassung der Drehzahl RPM oder Spulengröße ist die Leistungserzeugung der vorliegenden Erfindung in keiner Weise durch Lenz'schen beeinflusst.
Da Lenz'schen keine Wirkung in diesem Generator kann man davon ausgehen, daß die Spannungen proportional zu erhöhen, um die Geschwindigkeit des Magneten Dreh werden. Daher kann man die erwarteten Spannungen bei 1800 RPM, die Geschwindigkeit, die notwendig bis 60 Hz erzeugen extrapolieren. Im Hinblick auf diesen Generator, für jede der drei Spulen von den 350 RPM 1200 RPM 1300 RPM Geschwindigkeiten, die folgenden Ergebnisse (Werte sind auf einer Spule / Magnet-basiert):

Der Grund,
warum, den der Strom nicht linear ändert da, die Gesetze der Physik von
Transformatoren bedeuten, d. h. wie Spannung basierend auf der Anzahl der
steigt, lehnt, die aktuellen geht proportional zu der Spannungsverstärkung, ist
aufgrund der Tatsache, dass die induktive Reaktanz auch steigt. Finden Sie in
der folgenden Tabelle für die induktive Reactances für jede Spule bei jeder
Geschwindigkeit.
Impedanz
(Z) oder Induktive Reaktanz (X(L)) für eine Schaltung mit nur einer Spule drin
ist die AC-Spannung geteilt durch den Wechselstrom und die Induktivität (L) Z/2
x Pi x F (Frequenz). Für einen Stromkreis mit einem Widerstand und einer Spule
Z =
Wurzel aus (R (Widerstand) kariert + X(L) kariert)).
Im
folgenden finden das Diagramm der Impedanz, die Geschwindigkeiten von Z für
alle Größen überhaupt Kunststoffspule für die konventionelle Methode zur
Erzeugung von Strom und die Methode der Stromerzeugung mit dieser Erfindung:
Wo:
"T"
steht für Umdrehungen,
"CM"
steht für konventionelle Methode und
"SI" steht für Thema Erfindung:
(1) Für 350 u/min für 1100T, 2200T und 5500T-Spulen,
1. (a) CM: 0.57v / 56.6 mA = 10.021
ohms = Z
(b) SI: 1.14v / 106.6 mA = 10.694
ohms = Z
2. (a) CM: 0.93v / 32.4 mA = 28.704
ohms = Z
(b) SI: 2.94v / 70.1 mA = 41.94
ohms = Z
3. (a) CM: 2.09v / 17.3 mA = 120.81 ohms = Z
(b) SI: 6.11v / 37.9 mA = 161.21
ohms = Z
(2) Für 1200 u/min für 1100T, 2200T und 5500T-Spulen:
1. (a) CM: 1.45v / 60.2 mA = 23.387
ohms = Z
(b) SI: 2.95v / 141 mA = 20.922
ohms = Z
2. (a) CM: 3.225v / 36.2 mA = 89.088
ohms = Z
(b) SI: 7.53v / 73.5 mA = 102.449
ohms = Z
3. (a) CM: 4.81v / 17 mA = 282.941 ohms = Z
(b) SI: 11.23v / 31.4 mA = 357.643
ohms = Z
(3) Für 1300 u/min für 1100T, 2200T und 5500T-Spulen:
1. (a) CM: 1.6v / 83 mA = 19.27 ohms = Z
(b) SI: 4.59v / 157 mA = 29.236
ohms = Z
2. (a) CM: 2.75v / 50.4 mA = 54.455
ohms = Z
(b) SI: 7.74v / 88.5 mA = 87.458
ohms = Z
3. (a) CM: 5.061v / 17.3 mA = 292.543
ohms = Z
(b) SI: 12.76v / 36.4 mA = 350.549
ohms = Z
(4) Für 400 u/min für 2300T Spule mit 24 gauge Draht und 0,5" Kern:
(a) CM: 0.15v / 3.7 mA = 40.541
ohms = Z
(b) SI: 2.45v / 26.2 mA = 93.511
ohms = Z
(5) Für 1200 u/min für 2300T Spule mit 24 gauge Draht und 0,5" Kern:
(a) CM: 0.37v / 2.7 mA = 137.037
ohms = Z
(b) SI: 4.1v / 10.3 mA = 398.058
ohms = Z
(6) Für 1400 u/min für 2300T Spule mit 24 gauge Draht und 0,5" Kern:
(a) CM: 0.58v / 2.4 mA = 241.667
ohms = Z
(b) SI: 8.3v / 7.8 mA = 1065.385
ohms = Z
(7) Für 400 u/min für 2300T Spule mit 24 gauge Draht und 0,75" Kern:
(a) CM: 0.23v / 4.2 mA = 54.762
ohms = Z
(b) SI: 0.37v / 7.2 mA = 51.389
ohms = Z
(8) Für 1200 u/min für 2300T Spule mit 24 gauge, Draht und 0,75" Kern:
(a) CM: 0.79v / 3.4 mA = 232.353
ohms = Z
(b) SI: 0.43v / 6.9 mA = 207.246
ohms = Z
(9) Für 1400 u/min für 2300T Spule mit 24 gauge, Draht und 0,75" Kern:
(a) CM: 0.79v / 3.21 A = 246.875
ohms = Z
(b) SI: 2.1v / 2.7 mA = 777.778
ohms = Z
(10) Für 400 u/min für 6000T-Spule mit 28 gauge, Draht und 0,5" Kern:
(a) CM: 0.49v / 2 mA = 245
ohms = Z
(b) SI: 5.48v / 0.13 mA = 421.538
ohms = Z
(11) Für 1200 u/min für 6000T-Spule mit 28 gauge, Draht und 0,5" Kern:
(a) CM: 1.25v / 1.5 mA = 833.333
ohms = Z
(b) SI: 15.04v / 4.1 mA = 3668.293
ohms = Z
(12) Für 1400 u/min für 6000T-Spule mit 28 gauge, Draht und 0,5" Kern:
(a) CM: 2.08v / 1.1 mA = 1890.909
ohms = Z
(b) SI: 18.76v / 2.5 mA = 7504
ohms = Z
(13) Für 400 u/min für 6000T-Spule mit 28 gauge, Draht und 0,75" Kern:
(a) CM: 0.64v / 1.7 mA = 376.471
ohms = Z
(b) SI: 7.97v / 7.4 mA = 1077.027
ohms = Z
(14) Für 1200 u/min für 6000T-Spule mit 28 gauge, Draht und 0,75" Kern:
(a) CM: 2.08v / 1.3 mA = 1600
ohms = Z
(b) SI: 20.4v / 5.6 mA = 3642.857
ohms = Z
(15) Für 1400 u/min für 6000T-Spule mit 28 gauge, Draht und 0,75" Kern:
(a) CM: 2.28v / 1.2 mA = 1900
ohms = Z
(b) SI: 28.4v / 2.1 mA = 13523.81
ohms = Z
Es wird darauf hingewiesen, dass, basierend auf die Variationen der Drahtstärke, Kern mit einer Größe und Anzahl der Umdrehungen, die folgenden Effekte statt:
(a) je kleiner der Draht Größe je höher die Gewinne unabhängig von Geschwindigkeit;
b je größer die Anzahl der Umdrehungen, in der Regel, je höher die Gewinne; und
(c) die kleinere Größe der Kern je höher die Gewinne.
Allerdings bleiben beim Vergleichen von Coils mit kleineren Kernen aber eine größere Anzahl von runden die Wirkung ungefähr das gleiche.
Schließlich sind die Magnete im Rotor platziert, so dass sie alle Nord- oder Südpol oben oder out sind. Ein reiner Half-Wave Generator entsteht ohne Berichtigung des AC-Signals, die sonst in einem normalen AC-Generator mit elektronischen Bauteilen in einer elektronischen Schaltung gelöst werden muss.
Experimentellen Werte für die Herstellung macht die konventionelle Art und Weise und mit der Erfindung betrifft:
Die Ergebnisse wurden erzielt man mit einem kleinen 3" Magneten mit einem Durchmesser von ±2" auf eine hohe 1,25" Spule 1" Durchmesser und 3/8" Zentrum/Kern aus Stahl. (Unbekannter Aderndurchmesser Größe.)
(a) Konventionelle Methode zur Erzeugung von Strom:
1. 0.324 volts
2. 2.782 mA (milli-amps)
3. 0.9014 mW (milli-watts)
(b) Diese Erfindung Methode zur Erzeugung von Strom:
1. 7.12 volts
2. 17.35 mA
3. 100.87 mW
(c) Damit verbundenen Gewinne von Volt, Strom und Watt:
1. 2,198% over conventional voltage output.
2. 624% over conventional current output.
3. 13,713% over conventional power output.
Folgende
Ergebnisse die Spannung, Umlauf- und Kraft gibt für eine 1100, 2200 und 5500
Zuges Spule 20 Gauge Kupfer Draht, 6" lang, 3" im Durchmesser mit
einem 0,75" Kern aus Stahl. Die
Ergebnisse sind diejenigen, die bei 350 u/min, 1200 u/min und 1300 u/min.
(A) 350 u/min für eine 1100 drehen Spule
Volts mA mW
(a) Konventionelle Methode: 0.57 56.6 32.3
(b) Diese Erfindung-Methode: 1.14 106.6 121.5
(c) Entsprechenden Gewinne: 200% 188.3% 376.6%
(B) 350 u/min für eine 2200 drehen Spule
Volts mA mW
(a) Konventionelle Methode: 0.93 32.4 30.1
(b) Diese Erfindung-Methode: 2.94 70.1 206.1
(c) Entsprechenden Gewinne: 316.1% 216.4% 684%
(C) 350 u/min für eine 5500 drehen Spule
Volts mA mW
(a) Konventionelle Methode: 2.09 17.3 36.2
(b) Diese Erfindung-Methode: 6.11 37.9 231.6
(c) Entsprechenden Gewinne: 292.3% 219.1% 640%
(D) 1200 u/min für eine 1100 drehen Spule
Volts mA mW
(a) Konventionelle Methode: 1.45 60.2 87.3
(b) Diese Erfindung-Methode: 2.95 141 416
(c) Entsprechenden Gewinne: 203.4% 234.2% 476%
(E) 1200 u/min für eine 2200 drehen Spule
Volts mA mW
(a) Konventionelle Methode: 3.225 36.2 116.75
(b) Diese Erfindung-Methode: 7.53 73.5 553.5
(c) Entsprechenden Gewinne: 233.5% 203% 474%
(F) 1200 u/min für eine 5500 drehen Spule
Volts mA mW
(a) Konventionelle Methode: 4.81 17 81.77
(b) Diese Erfindung-Methode: 11.23 31.4 352.6
(c) Entsprechenden Gewinne: 235.5% 184.7% 431.3%
(G) 1300 u/min für eine 1100 drehen Spule
Volts mA mW
(a) Konventionelle Methode: 1.6 83 132.8
(b) Diese Erfindung-Methode: 4.59 157 704.9
(c) Entsprechenden Gewinne: 280.6% 189.2% 530.8%
(H) 1300 u/min für eine 2200 drehen Spule
Volts mA mW
(a) Konventionelle Methode: 2.75 50.5 138.9
(b) Diese Erfindung-Methode: 7.74 88.5 685
(c) Entsprechenden Gewinne: 281.5% 175.2% 493.3%
(I) 1300 u/min für eine 5500 drehen Spule
Volts mA mW
(a) Konventionelle Methode: 5.061 17.3 87.56
(b) Diese Erfindung-Methode: 12.76 36.4 464.5
(c) Entsprechenden Gewinne: 252% 210% 530%
Die folgenden Messwerte stammen aus einer Spule mit 24 Gauge Draht, 0,5" Zentrum/Kern aus Stahl und 2300T.
(A) 400 rpm
Volts mA mW
(a) Konventionelle Methode: 0.15 3.7 0.56
(b) Diese Erfindung-Methode: 2.45 26.2 64.2
(c) Entsprechenden Gewinne: 1,633% 708% 11,563%
(B) 1200 rpm
Volts mA mW
(a) Konventionelle Methode: 0.37 2.7 1
(b) Diese Erfindung-Methode: 4.1 10.3 42.2
(c) Entsprechenden Gewinne: 1,108% 381% 4,227%
(C) 1400 rpm
Volts mA mW
(a) Konventionelle Methode: 0.58 2.4 1.39
(b) Diese Erfindung-Methode: 8.31 7.8 64.82
(c) Entsprechenden Gewinne: 1,433% 325% 4,657%
Die folgenden Messwerte stammen aus einer Spule, die mit 24 Gauge Draht, 0,75" Zentrum/Kern der Kupfer, 2300T.
(A) 400 rpm
Volts mA mW
(a) Konventionelle Methode: 0.23 4.2 0.97
(b) Diese Erfindung-Methode: 0.37 7.2 2.66
(c) Entsprechenden Gewinne: 137% 171% 235%
(B) 1200 rpm
Volts mA mW
(a) Konventionelle Methode: 0.79 3.4 2.69
(b) Diese Erfindung-Methode: 1.43 6.9 9.87
(c) Entsprechenden Gewinne: 181% 203% 367%
(C) 1400 rpm
Volts mA mW
(a) Konventionelle Methode: 0.79 3.2 2.53
(b) Diese Erfindung-Methode: 2.1 2.7 5.67
(c) Entsprechenden Gewinne: 266% 84% 224%
Die folgenden Lesungen wurden von einer Spule hergestellt aus 28 Gauge Draht, 0,5" Zentrum/Kern aus Stahl und 6000T.
(A) 400 rpm
Volts mA mW
(a) Konventionelle Methode: 0.49 2 0.98
(b) Diese Erfindung-Methode: 5.48 13 71.24
(c) Entsprechenden Gewinne: 1,118% 65% 7,269%
(B) 1200 rpm
Volts mA mW
(a) Konventionelle Methode: 1.25 1.5 1.88
(b) Diese Erfindung-Methode: 15.04 4.1 61.66
(c) Entsprechenden Gewinne: 1,203% 273% 3,289%
(C) 1400 rpm
Volts mA mW
(a) Konventionelle Methode:: 2.08 1.1 2.29
(b) Diese Erfindung-Methode: 18.76 2.5 46.9
(c) Entsprechenden Gewinne: 902% 227% 2,050%
Die folgenden Lesungen wurden von einer Spule hergestellt aus 28 Gauge Draht, 0,75" Stahl Zentrum/Core und 6000T.
(A) 400 rpm
Volts mA mW
(a) Konventionelle Methode: 0.64 1.7 1.09
(b) Diese Erfindung-Methode: 7.97 7.4 58.98
(c) Entsprechenden Gewinne: 1,245% 435% 5,421%
(B) 1200 rpm
Volts mA mW
(a) Konventionelle Methode: 2.08 1.3 2.7
(b) Diese Erfindung-Methode: 20.4 5.6 114.24
(c) Entsprechenden Gewinne: 981% 431% 4,225%
(C) 1400 rpm
Volts mA mW
(a) Konventionelle Methode: 2.28 1.2 2.74
(b) Diese Erfindung-Methode: 28.4 2.1 88.04
(c) Entsprechenden Gewinne: 1,246% 175% 2,180%
Die hochgerechneten Spannungen für die Elemente, die unmittelbar darüber an die 1800 u/min Geschwindigkeit für die Methode der Betreff Erfindung sind wie folgt:
(A) 400-1400 RPM, 0.5" core, 2300T:
(1) 11.025v
(2) 6.15v
(3) 10.68v
(B) 400-1400 RPM, 0.75" core, 2300T:
(1) 1.665v
(2) 2.145v
(3) 2.7v
(C) 400-1400 RPM, 0.5" core, 6000T:
(1) 24.66v
(2) 22.56v
(3)24.12
(D) 400-1400 RPM, 0.75" core, 6000T:
(1) 10.25v
(2) 30.6v
(3) 36.51v
Einige der oben genannten Messwerte scheinen nicht konsistent mit anderen. Dies ist zurückzuführen auf die Möglichkeit, dass die Kabelverbindungen fehlerhaft gewesen können oder die Nähe des Magneten relativ zum Kern oder die Spule nicht das gleiche war. Dies war nicht zu der Zeit berücksichtigt, die die Tests durchgeführt wurden.
Die folgenden Abbildungen stammen basiert auf der Prämisse, dass die Erfindung betrifft Merkmale eines Transformators, hat wenn die Anzahl der Umdrehungen auf die Spulen ändern. In fast allen diesen Fällen verhält sich die Erfindung betrifft genau wie einen Transformator, während konventionelle Weise Strom nicht.
KM = Konventionelle Methode;
DEM = Diese Erfindung-Methode;
|
350 u/min |
|
1100T - 2200T |
1100T - 5500T |
2200T - 5500T |
|
KM: |
erwartete Spannung: |
1.14 volts |
2.85 volts |
2.325 volts |
|
|
Ist-Spannung: |
0.93 volts |
2.09 volts |
2.09 volts |
|
|
erwartet Strom: |
28.3 mA |
11.32 mA |
12.96 mA |
|
|
Ist-Strom: |
32.4 mA |
17.3 mA |
17.3 mA |
|
|
erwartete Leistung: |
32.3 mW |
32.3 mW |
30.1 mW |
|
|
Ist-Leistung: |
30.1 mW |
36.2 mW |
36.2 mW |
|
|
erwarteten Spannungsverstärkung: |
2 |
5 |
2.5 |
|
|
tatsächliche Spannungsverstärkung: |
1.636 |
3.667 |
2.247 |
|
|
erwartete Stromverstärkung: |
0.5 |
0.2 |
0.4 |
|
|
tatsächliche Stromverstärkung: |
0.572 |
0.306 |
0.534 |
|
|
erwartete Leistungsverstärkung: |
1 |
1 |
1 |
|
|
tatsächliche Leistungsverstärkung: |
0.932 |
1.12 |
1.203 |
|
|
|
|
|
|
|
DEM: |
erwartete Spannung: |
2.28 volts |
5.70 volts |
7.35 volts |
|
|
Ist-Spannung: |
2.94 volts |
6.11 volts |
6.11 volts |
|
|
erwartet Strom: |
53.30 mA |
42.64 mA |
28.04 mA |
|
|
Ist-Strom: |
70.10 mA |
37.90 mA |
37.90 mA |
|
|
erwartete Leistung: |
121.74 mW |
243.05 mW |
206.09 mW |
|
|
Ist-Leistung: |
206.10 mW |
231.60 mW |
231.60 mW |
|
|
erwarteten Spannungsverstärkung: |
2 |
5 |
2.5 |
|
|
tatsächliche Spannungsverstärkung: |
2.579 |
5.36 |
2.078 |
|
|
erwartete Stromverstärkung: |
0.5 |
0.2 |
0.4 |
|
|
tatsächliche Stromverstärkung: |
0.658 |
0.356 |
0.5407 |
|
|
erwartete Leistungsverstärkung: |
1 |
1 |
1 |
|
|
tatsächliche Leistungsverstärkung: |
1.696 |
1.906 |
1.124 |
|
1200 u/min |
|
1100T - 2200T |
1100T - 5500T |
2200T - 5500T |
|
KM: |
erwartete Spannung: |
2.90 volts |
7.25 volts |
8.06 volts |
|
|
Ist-Spannung: |
3.225 volts |
4.81 volts |
4.81 volts |
|
|
erwartet Strom: |
30.10 mA |
12.04 mA |
14.48 mA |
|
|
Ist-Strom: |
36.2 mA |
17.0 mA |
17.0 mA |
|
|
erwartete Leistung: |
87.29 mW |
87.29 mW |
116.71 mW |
|
|
Ist-Leistung: |
2 |
5 |
2.5 |
|
|
erwarteten Spannungsverstärkung: |
2.22 |
3.32 |
1.49 |
|
|
tatsächliche Spannungsverstärkung: |
0.5 |
0.2 |
0.4 |
|
|
erwartete Stromverstärkung: |
0.6 |
0.28 |
0.47 |
|
|
tatsächliche Stromverstärkung: |
1 |
1 |
1 |
|
|
erwartete Leistungsverstärkung: |
1.34 |
0.94 |
0.70 |
|
|
|
|
|
|
|
DEM: |
erwartete Spannung: |
5.9 volts |
14.75 volts |
18.83 volts |
|
|
Ist-Spannung: |
7.53 volts |
11.23 volts |
11.23 volts |
|
|
erwartet Strom: |
70.50 mA |
28.20 mA |
29.40 mA |
|
|
Ist-Strom: |
73.50 mA |
31.40 mA |
31.40 mA |
|
|
erwartete Leistung: |
415.95 mW |
415.95 mW |
553.60 mW |
|
|
Ist-Leistung: |
553.50 mW |
352.60 mW |
352.60 mW |
|
|
erwarteten Spannungsverstärkung: |
2 |
5 |
2.5 |
|
|
tatsächliche Spannungsverstärkung: |
2.55 |
3.81 |
1.49 |
|
|
erwartete Stromverstärkung: |
0.5 |
0.2 |
0.4 |
|
|
tatsächliche Stromverstärkung: |
0.52 |
0.22 |
0.43 |
|
|
erwartete Leistungsverstärkung: |
1 |
1 |
1 |
|
|
tatsächliche Leistungsverstärkung: |
1.33 |
0.85 |
0.64 |
|
1300 u/min |
|
1100T - 2200T |
1100T - 5500T |
2200T - 5500T |
|
KM: |
erwartete Spannung: |
3.20 volts |
8.00 volts |
6.88 volts |
|
|
Ist-Spannung: |
2.75 volts |
5.06 volts |
5.06 volts |
|
|
erwartet Strom: |
41.50 mA |
16.60 mA |
20.20 mA |
|
|
Ist-Strom: |
50.50 mA |
17.3 mA |
17.3 mA |
|
|
erwartete Leistung: |
132.8 mW |
132.8 mW |
138.98 mW |
|
|
Ist-Leistung: |
138.9 mW |
87.56 mW |
87.56 mW |
|
|
erwarteten Spannungsverstärkung: |
2 |
5 |
2.5 |
|
|
tatsächliche Spannungsverstärkung: |
1.72 |
3.16 |
1.84 |
|
|
erwartete Stromverstärkung: |
0.5 |
0.2 |
0.4 |
|
|
tatsächliche Stromverstärkung: |
0.61 |
0.21 |
0.34 |
|
|
erwartete Leistungsverstärkung: |
1 |
1 |
1 |
|
|
tatsächliche Leistungsverstärkung: |
1.05 |
0.66 |
0.63 |
|
|
|
|
|
|
|
DEM: |
erwartete Spannung: |
9.18 volts |
22.95 volts |
19.35 volts |
|
|
Ist-Spannung: |
7.74 volts |
12.76 volts |
12.76 volts |
|
|
erwartet Strom: |
78.50 mA |
31.40 mA |
35.40 mA |
|
|
Ist-Strom: |
88.50 mA |
36.40 mA |
36.40 mA |
|
|
erwartete Leistung: |
720.63 mW |
720.63 mW |
685.0 mW |
|
|
Ist-Leistung: |
685.0 mW |
464.50 mW |
464.50 mW |
|
|
erwarteten Spannungsverstärkung: |
2 |
5 |
2.5 |
|
|
tatsächliche Spannungsverstärkung: |
1.69 |
2.78 |
1.65 |
|
|
erwartete Stromverstärkung: |
0.5 |
0.2 |
0.4 |
|
|
tatsächliche Stromverstärkung: |
0.56 |
0.23 |
0.41 |
|
|
erwartete Leistungsverstärkung: |
1 |
1 |
1 |
|
|
tatsächliche Leistungsverstärkung: |
0.95 |
0.64 |
0.68 |
Die folgenden Daten stellt die erwarteten und tatsächlichen Spannung Lesungen für die konventionelle Methode des Produzierens der Spannung und die Methode der Erfindung betrifft. In nahezu allen Fällen die hierin Erfindung mehr Spannung als die herkömmliche Methode hergestellt und verfügt über Gewinne, die höher als erwartet.
|
1100T |
|
350 - 1200 u/min |
350 - 1300 u/min |
1200 - 1399 u/min |
|
KM: |
erwartete Spannung: |
1.954 volts |
2.117 volts |
1.571 volts |
|
|
Ist-Spannung: |
1.45 volts |
1.60 volts |
1.60 volts |
|
|
erwarteten Spannungsverstärkung: |
3.429 |
3.714 |
1.083 |
|
|
tatsächliche Spannungsverstärkung: |
2.544 |
2.807 |
1.103 |
|
|
|
|
|
|
|
DEM: |
erwartete Spannung: |
3.909 volts |
4.234 volts |
3.196 volts |
|
|
Ist-Spannung: |
2.95 volts |
4.59 volts |
4.59 volts |
|
|
erwarteten Spannungsverstärkung: |
3.429 |
3.714 |
1.083 |
|
|
tatsächliche Spannungsverstärkung: |
2.579 |
4.026 |
1.556 |
|
2200T |
|
350 - 1200 u/min |
350 - 1300 u/min |
1200 - 1399 u/min |
|
KM: |
erwartete Spannung: |
3.189 volts |
3.454 volts |
3.494 volts |
|
|
Ist-Spannung: |
3.225 volts |
5.061 volts |
5.061 volts |
|
|
erwarteten Spannungsverstärkung: |
3.429 |
3.714 |
1.083 |
|
|
tatsächliche Spannungsverstärkung: |
3.468 |
2.957 |
0.853 |
|
|
|
|
|
|
|
DEM: |
erwartete Spannung: |
10.081 volts |
10.919 volts |
8.157 volts |
|
|
Ist-Spannung: |
7.53 volts |
7.74 volts |
7.74 volts |
|
|
erwarteten Spannungsverstärkung: |
3.429 |
3.714 |
1.083 |
|
|
tatsächliche Spannungsverstärkung: |
2.561 |
2.633 |
1.028 |
|
5500T |
|
350 - 1200 u/min |
350 - 1300 u/min |
1200 - 1399 u/min |
|
KM: |
erwartete Spannung: |
7.167 volts |
7.62 volts |
5.211 volts |
|
|
Ist-Spannung: |
4.81 volts |
5.061 volts |
5.061 volts |
|
|
erwarteten Spannungsverstärkung: |
3.429 |
3.714 |
1.083 |
|
|
tatsächliche Spannungsverstärkung: |
2.301 |
2.422 |
1.052 |
|
|
|
|
|
|
|
DEM: |
erwartete Spannung: |
20.951 volts |
22.693 volts |
12.166 volts |
|
|
Ist-Spannung: |
11.23 volts |
12.76 volts |
12.76 volts |
|
|
erwarteten Spannungsverstärkung: |
3.429 |
3.714 |
1.083 |
|
|
tatsächliche Spannungsverstärkung: |
1.838 |
2.088 |
1.049 |
|
2300T |
(0.5” kern 24 gauge draht) |
400 - 1200 u/min |
400 - 1400 u/min |
1200 - 1400 u/min |
|
KM: |
erwartete Spannung: |
0.45 volts |
0.525 volts |
0.432 volts |
|
|
Ist-Spannung: |
0.37 volts |
0.58 volts |
0.58 volts |
|
|
erwarteten Spannungsverstärkung: |
3.00 |
3.50 |
1.167 |
|
|
tatsächliche Spannungsverstärkung: |
2.467 |
3.867 |
1.568 |
|
|
|
|
|
|
|
DEM: |
erwartete Spannung: |
7.35 volts |
8.57 volts |
4.785 volts |
|
|
Ist-Spannung: |
4.10 volts |
8.31 volts |
8.31 volts |
|
|
erwarteten Spannungsverstärkung: |
3.00 |
3.50 |
1.167 |
|
|
tatsächliche Spannungsverstärkung: |
1.673 |
3.392 |
2.027 |
|
2300T |
(0.75” kern 24 gauge draht) |
400 - 1200 u/min |
400 - 1400 u/min |
1200 - 1400 u/min |
|
KM: |
erwartete Spannung: |
0.69 volts |
0.805 volts |
0.922 volts |
|
|
Ist-Spannung: |
0.79 volts |
0.79 volts |
0.79 volts |
|
|
erwarteten Spannungsverstärkung: |
3.00 |
3.50 |
1.167 |
|
|
tatsächliche Spannungsverstärkung: |
3.435 |
3.435 |
1.00 |
|
|
|
|
|
|
|
DEM: |
erwartete Spannung: |
1.11 volts |
1.295 volts |
1.688 volts |
|
|
Ist-Spannung: |
1.43 volts |
2.10 volts |
2.10 volts |
|
|
erwarteten Spannungsverstärkung: |
3.00 |
3.50 |
1.167 |
|
|
tatsächliche Spannungsverstärkung: |
3.865 |
5.676 |
1.469 |
|
6000T |
(0.5” kern 28 gauge draht) |
400 - 1200 u/min |
400 - 1400 u/min |
1200 - 1400 u/min |
|
KM: |
erwartete Spannung: |
1.47 volts |
1.715 volts |
1.459 volts |
|
|
Ist-Spannung: |
1.25 volts |
2.08 volts |
2.08 volts |
|
|
erwarteten Spannungsverstärkung: |
3.00 |
3.50 |
1.167 |
|
|
tatsächliche Spannungsverstärkung: |
2.551 |
4.245 |
1.664 |
|
|
|
|
|
|
|
DEM: |
erwartete Spannung: |
16.44 volts |
19.18 volts |
17.668 volts |
|
|
Ist-Spannung: |
15.04 volts |
18.76 volts |
18.76 volts |
|
|
erwarteten Spannungsverstärkung: |
3.00 |
3.50 |
1.167 |
|
|
tatsächliche Spannungsverstärkung: |
2,745 |
3.423 |
11.247 |
|
6000T |
(0.75” kern 28 gauge draht) |
400 - 1200 u/min |
400 - 1400 u/min |
1200 - 1400 u/min |
|
KM: |
erwartete Spannung: |
1.92 volts |
2.24 volts |
2.427 volts |
|
|
Ist-Spannung: |
2.08 volts |
2.28 volts |
2.28 volts |
|
|
erwarteten Spannungsverstärkung: |
3.00 |
3.50 |
1.167 |
|
|
tatsächliche Spannungsverstärkung: |
3.25 |
3.563 |
2.427 |
|
|
|
|
|
|
|
DEM: |
erwartete Spannung: |
23.91 volts |
27.895 volts |
23.80 volts |
|
|
Ist-Spannung: |
20.40 volts |
28.40 volts |
28.40 volts |
|
|
erwarteten Spannungsverstärkung: |
3.00 |
3.50 |
1.167 |
|
|
tatsächliche Spannungsverstärkung: |
2.56 |
3.563 |
1.392 |
US Patent 4.772.816
20. September 1988 Erfinder:
Geoffrey M. Spence
ENERGIE UMWANDLUNGS SYSTEM
Dies ist ein leicht umformuliert Auszug aus dieser Patentschrift, die einen wesentlichen elektrischen Leistung in der Lage, seine eigene elektrische Eingangs zu Eigenversorgungs sein, sowie die Erstellung Kilowatt überschüssige Energie hat. Die hoch angesehenen Dr. Harold Aspden Kommentare:
"Meiner Energy Science Report No. 8I, ich erwähnte auch das Gerät von Geoffrey Spence, ein Erfinder in Großbritannien Dies ist das Thema seiner US-Patent Nr 4.772.816 konzipiert. Elektronen, die in einer Kammer zwischen zwei konzentrischen Elektroden gebildet injiziert werden durch ein Paar von Magneten, die ein Magnetfeld auf der Mittelachse der konzentrischen Elektroden bereitzustellen in der inneren Elektrode abgelenkt. Von selbst, sollte dies keine überschüssige Energie hinzuzufügen, weil die in Beschleunigung der Elektronen eingespeiste Energie wird lediglich durch elektrostatische Abstoßung beim Laden der Mittelelektrode und so den Kondensator absorbiert. Wenn die Elektronenfluss pulsiert und es gibt Verbindungen zum Elektronenstrom aus dieser Mittelelektrode ziehen dann die Pulsation impliziert jedoch eine wiederkehrende Abfolge von Ladung und Entladung. Das ist Magie Kondensator-Funktion wird dann genutzt.
Die Fragen sind dann, ob der Spence Erfindung wirklich funktioniert und ob es wirtschaftlich rentabel ist? Nun, ich schrieb, dass Energy Science Bericht im Jahr 1996, vor sechs Jahren, und es ist nur ein paar Monaten, dass ich noch mehr von dem Projekt gehört. Geoffrey Spence hat den Prototyp Produkt der Stufe, wo er die Schleife in dem Sinne, dass ein Teil der Ausgangsleistung zurückgekoppelt, um die benötigt wird, um die Elektronenstrahlen zu erhalten Energie verleihen geschlossen entwickelt. Er hat eine sich selbst erhaltende Einheit, die Kilowatt elektrische Nutzleistung ohne sichtbare Energiezufuhr liefern kann”.
ZUSAMMENFASSUNG
Die Vorrichtung verwendet ein magnetisches Feld (80), um einen geladenen Teilchenstrahl radial in Richtung einer Zielelektrode (10) zu beschleunigen. Die erhöhte kinetische Energie der Partikel ermöglicht die Partikel auf die Zielelektrode (10) als ursprünglich dazu gegeben aufgeben mehr elektrische Energie. Dies lädt die Zielelektrode (10) und die erhöhte Energie wird aus der Vorrichtung durch Verbinden einer elektrischen Last, die zwischen der Targetelektrode und einen Punkt der niedrigeren oder höheren Potential extrahiert..
US-Patent-Referenzen:
1717413 Jun, 1929 Rudenberg 310/306.
3202844 Aug, 1965 Hatch 310/306.
3234411 Feb, 1966 Klein 310/306.
3312840 Apr, 1967 Gabor 310/306.
3393330 Jul, 1968 Vary 310/306.
3899696 Aug, 1975 Shimadu 310/306.
BESCHREIBUNG
Diese Erfindung betrifft ein Verfahren und eine Vorrichtung zum Erzeugen einer Potentialdifferenz zwischen zwei oder mehr Elektroden und mit geladenen Teilchen als Energieträger.
Elektrische Energie wird in der Regel durch die Verbrennung von fossilen Brennstoffen und eine Umwandlung der Energie in eine Drehbewegung, die elektrischen Generatoren antreibt veröffentlicht erzeugt. Dies ist kostengünstiger, wenn sie im großen Maßstab durchgeführt wird, ineffizient der Konvertierungsprozess; Nutzung der natürlichen Ressourcen und produzieren Abfallprodukte, die hohe Umweltbelastung verursachen können. Ein weiterer Nachteil ist, dass die elektrische Energie nicht direkt auf Straßenfahrzeugen oder Schiffen versorgt werden.
Das Energieumwandlungsverfahren dieser Erfindung beinhaltet keine gesundheitlichen oder Verschmutzungsgefahr und erzeugt elektrische Energie direkt von einem einstufigen Prozess ohne Abfallprodukte. Die Gesamtenergie-Umwandlungsfaktor und Leistungsgewicht beide hoch sind, so dass die Vorrichtung für die meisten festen und mobilen Anwendungen.
Eine bekannte Vorrichtung für nützliche Arbeit durch den Einsatz auf Elektronen mit einem Magnetfeld wird als "Elektronenschleuder". Dies beinhaltet eine torusförmige Druckkammer zwischen den Polen eines speziell geformten Elektromagneten. Thermionisch-erzeugten Elektronen werden in die Kammer mit einer anfänglichen elektrostatischen Energie von etwa 50 keV injiziert. Da das Magnetfeld baut sich während der positiv gehenden Halbzyklus, induziert er eine elektromotorische Kraft innerhalb der Donut, die Kraft beschleunigt die Elektronen und zwingt sie, sich in einer gekrümmten Bahn mit dem magnetischen Feld zu bewegen, durch die Wechselwirkung. Ein wichtiger Unterschied zwischen der Elektronenschleuder und den Energiewandler der vorliegenden Erfindung ist, daß im ersteren das Magnetfeld liegen, um in einem sehr kurzen Zeitraum zu erhöhen, um die Elektronen ausreichend zu beschleunigen, während bei der letzteren ist das Magnetfeld sein, nahezu konstant und die Elektronen fallen nach innen zu einer Mittelelektrode aufgeben sowohl ihre kinetische Energie und elektrische Ladung.
Die vorliegende Erfindung zielt auf die Bereitstellung eines Energiewandlers, die mobil sein können, und der einen Permanentmagneten oder einen erregten Quelle mit sich, um die elektrische Energie zunächst verliehen, um Teilchen zuzuführenden Ladungs amplifizieren verknüpften magnetischen Strahlung oder erzeugt eine so als "Vakuum" Kammer bildende Teil des Generators, die Energie erhöht wird von der Zielelektrode, die auf dem die Teilchen einfall extrahiert.
Dementsprechend stellt die vorliegende Erfindung einen Energiewandler.
Während die Erfindung nicht auf irgendeine besondere Theorie der Wirkungsweise beschränken zu wollen, wird auf der Tatsache, dass, wenn ein geladenes Teilchen gezwungen wird, durch einen radialen Abstand d (unabhängig von dem Weg, den sie tatsächlich folgt) durch ein Magnetfeld bewegt basierend der Intensität H, ist das Werk von der Partikel getan H x d. Für einen Elektronenstrahl, der eine Ladung e, und sich mit einer Geschwindigkeit v über die Distanz d, die Gesamtkraft auf der Elektronen ist die Zentripetalkraft die Summe H xexv ausgeübte weniger Kraft auf die Elektronen in die entgegengesetzte Richtung durch die Zentrifugalkraft, das ist die Summe von (m x v2) / r. Indem der Radius von der Mittelelektrode merklich größer ist als die Umlaufbahn des Gleichgewichts kann die Zentrifugalkraft minimiert werden, wodurch die Zentripetalkraft maximiert und damit die Arbeit zu bringen die Ladung auf der Elektrode erfolgen.
Das Verfahren, mit dem der Wandler dieser Erfindung arbeitet verwendet als Ladungsquelle, elektrisch geladenen Teilchen, beispielsweise Elektronen und / oder Ionen. Zwei oder mehr Elektroden in einer Niederdruckkammer untergebracht ist. Ein magnetisches Feld, wie unten angegeben durchquert die Kammer sie von der aus einem Permanentmagneten, Elektromagneten oder einer Quelle von Strahlung ausgeht. Eine externe Energiequelle wird verwendet, um die Ladung Teilchen durch ein elektrisches Feld geben an kinetischer Energie, beispielsweise durch Erhitzen, Beschleunigung oder von Kernstrahlung. Das Energieumwandlungsverfahren verwendet die Magnetfeld um die geladenen Teilchen entlang einer gewünschten Bahn zu übertragen, bis sie auf einer zentralen Elektrode (Kathode) auftreffen. Das Arbeiten an den Teilchen (daher das elektrische Potential von der Kathode erreicht wird) durchgeführt ist proportional zu der resultierenden Magnetkraft-fache der Distanz, über die die Kraft wirkt. Da die Partikel in der Kammer bewegen sie sich kreuzen das Magnetfeld. Dadurch entsteht eine auf die Teilchen wirkende Kraft ist proportional zur Feldstärke, Geschwindigkeit und elektrische Ladung der Teilchen und dem Sinus des Einfallswinkels zwischen der Bahn der Partikel und die magnetischen Kraftlinien, die Kraft. Diese Kraft hat eine Winkelkomponente und eine Zentripetalkraft, die die Partikel dazu zwingt, entlang einer Spirale Orbit reisen.
Eine entgegengesetzte Zentrifugalkraft wirkt auch auf den Teilchen entgegengesetzt zu der zentripetalen Magnetkraft. Das Elektrodenpotential ist proportional zu der erforderlichen Arbeiten an der geladenen Teilchen durchgeführt, um sowohl die Zentrifugalkraft und des elektrischen Feldes um die Kathode, wie die Ladungen zu akkumulieren, und die Potentialdifferenz zwischen den Elektroden zunimmt überwinden. Maximale Elektrodenpotential ist erreicht, wenn die Zentrifugalkraft und abstoßenden Kräfte gleich der Zentripetalkraft sind, nach deren Ablauf keine weiteren geladenen Teilchen die Elektrode zu erreichen. Der Radius der Elektrode bestimmt die Minimalwertspannung zwischen der Zentrale und einer Außenelektrode: die Mittelelektrode Radius reduziert (durch Sputtern oder Erosion) der Zentrifugalkraft zunimmt, wodurch die Anzahl der geladenen Teilchen, die die Zentralelektrode erreichen und daher das Elektrodenpotential für eine gegebene Feldstärke und die Partikelgeschwindigkeit . Die Massendifferenz zwischen Ionen und leichter geladenen Teilchen, wie Elektronen, führt zu unterschiedlichen Fliehkräften bei gegebenen Partikel kinetische Energien. Die Generatorausgangsleistung und Wirkungsgrad optimiert sind, wenn der Generator verwendet das maximale magnetische Feld, um die Zentrifugalkraft zu minimieren und die radiale Distanz zu maximieren, über die die Kraft wirkt, für eine gegebene Feldstärke. Teilchen mit der höchsten Ladung-zu-Masse-Verhältnis verwendet werden.
Niederdruckgase
als Ladungsquelle, wenn sie von Partikelkollision und Erregung in der Kammer
ionisiert werden. Dotierten Gase
können das Energieniveau für ionisierende Gasatome / Moleküle damit die
Effizienz zu verbessern minimieren. Jedoch ist das resultierende Magnetkraft
geringer für die schwereren Ionen aufgrund ihrer geringeren Geschwindigkeit, so
dass das elektrische Feld von der Hochspannungselektrode (Kathode) abgestrahlt
wird, kann entgegengesetzt geladenen Teilchen anzuziehen (+ Ionen) und
anschließend Entladen der Elektrode die Verringerung der Ausgangsspannung.
Verschiedene Verfahren können verwendet werden, um zu überwinden oder zu
reduzieren diesen Effekt werden. Zum Beispiel ein Verfahren wäre es, die
entgegengesetzte Ladungen zu trennen und / oder um elektrische vorgespannten
Gitter zu verwenden, um den Fluss der entgegengesetzten Ladungen auf der
Hochspannungselektrode zu steuern.
Gasförmige Systeme sind in der Regel komplexer als
einzigen Ladung konstruiert Systeme und höhere Ströme bei niedrigeren
Spannungen, während die einzigen Ladung Systeme, beispielsweise Elektronen in
Hochvakuumkammern verwendet wird, können höhere Spannungen zu erzeugen.
Das Magnetfeld kann von einem oder mehreren Permanentmagneten und / oder von einem oder mehreren Elektromagneten ist; ein statisches Magnetfeld erzeugt eine konstante Ausgangsspannung, während eine veränderliche Feld erzeugt eine veränderliche Spannung für Partikel mit gleicher Masse und Geschwindigkeit.
Eine externe Quelle verwendet wird, um die geladenen Teilchen zu beschleunigen sie anfänglichen kinetischen Energie, die als Wärme freigesetzt wird, wenn die Kollision der Teilchen mit der Elektrode zu geben. Wenn das durch die erhöhte Spannung zwischen den Elektroden dargestellt Energie größer ist als die erforderliche, um die geladenen Teilchen bereitzustellen Energie; und sie beschleunigen, ist der Umwandlungsprozess selbst tragendes, die Ausgangsenergie aus der Differenz zwischen der Summe der kinetischen Energie verloren und der erzeugten Energie. Ladung fließt von der Mittelelektrode über eine externe Last mit einer anderen Elektrode. Die elektrische Energie (Arbeit) freigegeben ist eine Funktion des Stroms (Summe der Ladungen, die pro Sekunde strömen mal) die Potentialdifferenz. Elektrische und thermische Leistung kann durch Variation gesteuert werden: die Feldstärke; die Partikelgeschwindigkeit; die Partikeldichte (mittlere freie Weglänge) und / oder über ein Gitter, um die Rate zu steuern, bei denen Teilchen erreichen die zentrale Elektrode. Der Ausgang ist ebenfalls proportional zu der Wärme verloren oder gewonnen, da die Translationsenergie des Teilchens proportional zu seiner Temperatur. Wärme an der Elektrode freigesetzte zu den Teilchen zurückgeführt werden, um ihre Energie zu erhalten, oder in einem Wärmetauscher für die äußere Anwendung verwendet werden. Der Generator verwendet normalerweise nicht reagierenden leitfähigen Material um eine chemische Reaktion von Gasen zu verhindern, Kühlmittel usw. mit den Elektroden, Behälterwänden oder anderen Komponenten. Verschiedene Teilchenbahnen, gerichtete Bewegungen und Positionierung der umlaufenden Partikel können mit entsprechenden Magnetfeldern eingesetzt werden. Das Niederdruckgas kann durch jedes geeignete Mittel ionisiert werden: ein Verfahren wäre es, eine Elektronen / Ionenkanone in der die Ebene und die Richtung der eingeleiteten Teilchen richtig für die angelegte Magnetfeld zu verwenden. In Gasvorrichtung, die Elektronen durch den äußeren Stromkreis fließt, bei Erreichen der Anode, rekombiniert mit einem gasförmigen Ionen, um ein neutrales Gas Atom / Molekül zu bilden. Diese atomaren Teilchen ordnungsgemäß wieder ionisiert durch Kollision und / oder die elektrischen Felder, die Energie, die direkt oder indirekt aus der Arbeit der auf die geladenen Teilchen wirkenden resultierenden Kraft erfolgen abgeleitet.
Damit die Erfindung besser verstanden werden kann, wird nun unter Bezugnahme auf die beigefügten schematischen Zeichnungen, die beispielhaft gegeben sind beschrieben wird, und bei dem:

Fig.1 zeigt schematisch einen Querschnitt des Generators; und der Pfad durch ein Teilchen in der Energieumwandlungsprozess verfolgt;

Fig.2 zeigt einen axialen Querschnitt durch einen Typ von Vorrichtung für die Erfindung unter Verwendung von Permanentmagneten ; und eine Gitter Steuerung Ionenwanderung zu der Kathoden.

Fig.3 zeigt einen Querschnitt der Vorrichtung von Fig.2 entlang der Linie A--A;

Fig.4 ist ein schematischer Schnitt durch eine Form eines Wandlers mit Elektronen, die eine kreisförmige Reihe von Elektronenquellen;

Fig.5 ist ein axialer Querschnitt durch eine weitere praktische Ausführungsform der Fig.4 Konverter;

Fig.6 ist ein Schnitt entlang der Linie VI--VI der Fig.5;

Fig.7 ist ein Querschnitt entlang eines Durchmessers des torusförmigen (toroidalen) Hochleistungswandler;

Fig.8 ist ein Schnitt auf der Linie A--A der Fig.7, und

Fig.9 ist ein Schema einer zweistufigen Konverter mit beiden Formen der geladenen Teilchen gleichzeitig.

Wie in Fig.1 gezeigt, wird ein geladenes Teilchen auf einer Bahn 2 in ein Magnetfeld eingespritzt, die sich normal zur Ebene der Zeichnung. Das Feld durchdringt den Raum 4 des ringförmigen Querschnitt innerhalb einer zylindrischen Kammer 6. Das Magnetfeld erzeugt eine Kraft auf die Partikel, die sich im rechten Winkel zu beiden, es ist die Bewegungsrichtung und dem Magnetfeld. Die resultierende Zentripetalkraft verursacht das Teilchen eine Spiralbahn 8 endet an der Mittelelektrode 10 beabstandet radial nach innen von der äußeren zylindrischen Elektrode 12. Der durch die Partikel erworbene zusätzliche Energie zu folgen, ist eine Funktion des radialen Abstands und der gewählten Stärke des magnetischen Feld zwischen den Elektroden. Diese Energie wird durch den Aufprall mit dem zentralen Elektrode gegeben, in Form von Wärme und / oder Arbeit bringt die Ladung gegen die gegenüberliegende elektrische Feld an der Elektrode erfolgt. In der Abwesenheit der zentralen Elektrode 10, würden die Elektronen die Umlaufbahn des Gleichgewichts 3 folgen, wobei dies die Bahn, gefolgt von einem Teilchen, wenn die Zentrifugal- und Zentripetalkräfte Gleichgewicht, was zu keiner Arbeit auf dem Teilchen gemacht.


Wie insbesondere in Fig.2 und Fig.3 gezeigt, ist der Energiewandler 1 besteht im wesentlichen aus einer ringförmigen Kammer 6 mit einer zylindrischen Außenelektrode 12; eine innere zylindrische Elektrode 10 und zwei gasdichte Wände 14 der elektrischen Isoliermaterial. In der Elektrode 12 ist eine Öffnung 22, durch die eine Elektronenkanone 20 Elektronen in den Raum 4. Zusätzlich oder alternativ zu injizieren, eine Ionenpistole 18 kann positiv geladenen Teilchen durch die Öffnung 16 zu injizieren.
Sitzt auf den Hauptflächen der Kammer 6 sind magnetische Polstücke 24, die zu einem homogenen Magnetfeld 80, welche den Raum 4 parallel zu der Achse der Kammer 6. Die Magnete können keramischen Permanentmagneten sein, oder sie können Elektromagnete sein quert. In jedem Fall können Mittel (nicht gezeigt) zum Einstellen der magnetischen Feldstärke vorgesehen sein.
Schwer Leiter 26 verbinden die zwei Elektroden mit den Anschlüssen 28 über die eine Widerstandslast platziert, um den Generatorausgang abzuleiten.
Eine Vakuumpumpe (nicht gezeigt) hat einen Einlaß in Verbindung mit dem Inneren der Kammer 6, so daß der Gasdruck in dem Generator reduziert werden kann, und bei, eine gewünschte subatmosphärischen Wert gehalten. Assoziiert mit der Pumpe oder von ihm getrennt, kann ein Mittel zur Sicherstellung, daß das Gas in dem Generator einer gewünschten Zusammensetzung, zum Beispiel eines, das die Möglichkeit einer ionisierenden Kollisionen zwischen den geladenen Teilchen und Gasatomen oder Molekülen verbessert werden. Ein solches geeignetes Gas würde Neon, das 0,1% Argon Volumen werden.
Um zu bewirken, dass der Generator zu arbeiten, ist es notwendig, die Vakuumpumpe zu starten und die Elektronenkanone oder jedem Partikelquelle zu erregen. Letzteres beinhaltet das Erwärmen eines Filaments von einer externen Energiequelle, bis das erforderliche Energie intern (Temperatur) erreicht ist, was wiederum bewirkt, dass ein Stück des thermisch emittierenden Materials, Elektronen zu emittieren. Wenn die Elektronen die Ladungsträger sind, werden sie durch ein geeignetes elektrisches Feld beschleunigt werden und in den Raum 4. Hier werden sie weiter durch die radiale elektrische Feld zwischen den Elektroden beschleunigt werden projiziert und gleichzeitig einen anzuwendenden Auslenkkraft sie durch das axiale Magnetfeld durch die sie hindurch.
Für eine Ionenquelle, die Elektronen beschleunigt, bis sie Auswirkungen auf einige Atome oder Moleküle, um einen Strom von Ionen, die ebenfalls in den Zwischenraum passieren zu erzeugen 4. Bei der gezeigten, die Elektronen an die zentrale Elektrode angezogen, während die Polaritäten Ionen gezogen werden in Richtung der äußeren Elektrode, die für die verschiedenen Orientierungen der Quellen 18 und 20 entfallen.
Alle Gasmoleküle, die in der Nähe vorbei oder zwischen werden die Elektroden durch Kollision und / oder elektrostatischen Feldes ionisiert. Ausgangsstrom kann dann durch eine Lastimpedanz an den Anschlüssen 28. Die Impedanz wird abgestimmt, um den Prozess internen Energieabfall unter einen Wert, der die Wieder Ionisation der Gasatome verhindern würde verhindern ihm verbunden werden. Da jedes Ion an der Anode deionisiert, werden die Gasatome sind in der Regel weiter, wieder in ihren jeweiligen Umlaufbahnen zirkulieren, bis erneute ionisiert, die resultierende Kraft zeichnen sowohl die Ionen und Elektronen (durch ausgefüllte Kreise dargestellt) (durch nicht ausgefüllte Kreise dargestellt).
Es ist vorgesehen, dass im Falle eines Wandlers mit Elektronen, könnte die Kammer auf einen ausgewählten Unterdruck evakuiert und abgedichtet werden.
In dieser Form der in Fig.4 gezeigten Erfindung weist jede Elektronenquelle bilden ein aus einer kreisförmigen Reihe 29 von Quellen hat einen Körper 30 aus elektro-emittierendes Material, wie Molybdän, durch Cäsium beschichtet, durch einen elektrischen Glühfaden 32 in Reihe geschaltet sind beheizt oder parallel zu einer elektrischen Energiequelle (nicht gezeigt). Unmittelbar vor jeder Emitter 30 ist ein Gitter 34 aus feinen Drähten, wobei alle Gitter mit einer Quelle von einstellbarer Spannung, um so den Fluss der Elektronen von dem Emitter zu steuern. Diese Elektronen werden durch eine oder mehrere Beschleunigungselektroden 36, an denen eine Potentialdifferenz längs der Elektronenbahn fest projiziert, so daß jede inkrementale Elektronenquelle injiziert einen Strom von Elektronen mit einer kinetischen Energie bekannt, in einen Raum 38, von dem in einem gezeichneten Kreis angedeutet die gestrichelte Linie, von der Ablenkmagnetfeld quert, in dem der zentrale, Ziel- Elektrode 40. Der Strom von Elektronen in das Magnetfeld eingespritzt wird, durch elektrische und / oder magnetische Felder fokussiert werden.
In den übrigen Figuren, die bereits Bezug genommen, um die Teile werden die gleichen Bezugszeichen beibehalten.

In der in Fig.5 gezeigten "flachen Scheibe" Konfiguration ist der Ringraum 6 in einem Körper 42 aus Wärmedämmmaterial umschlossen. Die Mittelelektrode 10 ist auf Isolatoren 44, die durch Leitungen 45 für den Durchtritt eines Kühlfluids und durch eine Ausgangsleitung 26 durchbohrt sind, die sich entlang der Rohrleitung erstrecken kann, so dass es zu gekühlt gelagert.
Fig.5 zeigt, wie die Ablenkungsmagneten ist im Allgemeinen U-förmig und weist zwei ringförmige Polstücke 48, so dass das Magnetfeld gleichförmig zwischen der Oberfläche der Elektrode 10 und dem Bereich 38 radial innersten der kreisförmigen Elektronenquelle, die elektrische Feld zwischen der Elektrode 36 und der Emissionsfläche 61 die Bereitstellung der Elektronen anfänglichen Beschleunigungen (kinetische Energie). Fig.5 zeigt auch, wie eine Spannung aus der Widerstandslast 40 (die somit als Potentiometer) abgegriffen und durch die an die Beschleunigungselektrode 36 zugeführt.
Kammer 6 ist auch mit zwei Ringmagnete 49 (oder einer kreisförmigen Reihe von inkrementellen Magneten) entwickelt, um die Richtung, in der die Elektronen in den Raum 38 übergeben Die Magneten sorgen lokale Magnetfelder, um sicherzustellen, dass die Elektronen die Grenze der Raum 38 zu erfüllen beeinflussen bereitgestellt tangential, also bei Null Radialgeschwindigkeit.



In dieser Form der Erfindung ist in Fig.7 und Fig.8 gezeigt ist, die einzelnen "flache Scheibe" Wandler der Fig.5 und Fig.6 sind in einer Art "Rundschreiben" Konstruktion, so angeordnet, dass sich die Magnetfelder entlang der Achse des resultierenden toroidförmigen Raum 50 durch einen einzigen torusförmigen Zielelektrode 51 durchdrungen, durch die ein Kühlfluid strömen kann, sowie Leitungen 52. Der Querschnitt der Fig.8 zeigt, daß die magnetischen Felder durch einen durch Wicklungen 53 erzeugte elektrische Feld ergänzt gewickelt auf einen Magnetkern 54 von einer Isolierung 55 begrenzt.
Abgesehen von der Tatsache, dass die Elektroden gemeinsam sind, zu allen Wandlern, die jeweils Einzelfunktionen, wie oben beschrieben. Offensichtlich ist die Stromquelle Antreiben der Heizeinrichtungen für die Elektronenkanonen 56; die Elektromagnete (falls vorhanden); die Beschleunigungselektroden und die Steuergitter, muss eine ausreichende Kapazität, um das größere Kraft erforderlich, um dieses "Ring" Konfiguration fahren liefern. Einige Änderungen müssten zur physikalischen Dimensionierung und Positionierung des relativ komplexen Aufbau hergestellt werden, aber wie alle diese sind leicht durch einen kompetenten Techniker verstehen, werden sie nicht weiter in dieser Beschreibung beschrieben.

Wie bereits erwähnt, sind die Wandler der vorliegenden Erfindung zwei Typen, dh elektronische und ionische. Fig.9 zeigt schematisch, wie sie können kombiniert werden, um die Vorteile ihrer Unterschiede zu nehmen. In dem zweistufigen Stromerzeugungsvorrichtung in Fig.9 gezeigt die erste Stufe besteht aus einem Ionisator 520 Zuführen einer Mischung aus geladenen Teilchen, das heißt Elektronen und Ionen, zu einem Separator 540, der die Elektronen an eine zweite Stufe, bestehend aus einer abgedichteten elektronischen Dienstleistungen Wandler 560 parallel mit einer gasförmigen Ionenkonverter 580.
Der Separator 540 kann die unterschiedlichen Partikelmassen, um sie zentrifugal zu trennen unter Verwendung von zum Beispiel der Energieumwandlungssystem nach Fig.1 (ohne die Target-Elektrode), oder es kann elektromagnetische Ablenkfelder oder einer physikalischen Diffusionsprozess zu verwenden, entweder allein oder in Kombination. Da dies jedoch nicht Teil des Gegenstands dieser Erfindung, wird es hier nicht im weiteren Detail beschrieben.
In den Generatoren der Fig.6 und Fig.8 werden die jeweiligen Teilchen magnetisch abgelenkt und radial beschleunigt wird, wie bereits oben beschrieben zu funktionieren.
Da jeder Generator ist konstruiert, um effizient mit seiner besonderen Form der Ladungsträger betreiben kann optimal gestaltet werden, wodurch die Energieabsorption durch Ionen und Elektronen rekombinieren, bevor jedes hat auf seinem jeweiligen Zielelektrode gefallen verursachte Verringerung. Da der elektronische Wandler beenden würde mit einer negativ geladenen Elektrode, während das Umgekehrte gilt für die ionische Wandler ist die Last 400 Energie aus der Vorrichtung auf die beiden Zielelektroden verbunden. Die beiden anderen Elektroden der Wandler können auf dem gleichen Potential wie durch angeschlossen zusammengehalten werden, oder deren Potentiale zu schweben.
Der Generator kann so gestaltet sein, um einen breiten Bereich von Ausgangsspannungen und Ströme zu erzeugen. Die niedrigeren Energieerzeuger sind leicht genug, mobil zu sein, so dass sie Fahrzeuge antreiben oder als Notstromgeneratoren handeln. Verschiedene Elektrode und Magnetkonfigurationen verwendet werden kann, und die Generatoren können in Reihe oder parallel geschaltet werden. Kühlwesten sind ausgestattet Überhitzung in Hochleistungs-Gerät zu verhindern, und der Generator ist in einem thermisch isolierenden Mantel umschlossen, um Wärmeverluste wodurch die Partikelgeschwindigkeiten zu reduzieren. Für Hochenergieerzeuger, kann es notwendig sein, für die Zwangskühlung der inneren Elektrode durch Rippen davon in einen Hochgeschwindigkeitsstrom geeigneten Kühlmittels vorsteht bereitzustellen.
Obwohl das Verfahren gemäß der vorliegenden Erfindung besonders geeignet, um mit externen elektrischen Energie ist, muß es verstanden werden, dass andere Quellen verwendet werden können, um die anfängliche Energieeintrag liefern, beispielsweise werden Sonnen- und Prozessabwärme sind einige der unterschiedlichen Energiequellen, die verwendet werden könnten. Die Steuerung des Ladungserzeugungsprozesses, mit anderen Mitteln, einschließlich einer oder mehrerer elektrisch vorgespannte Gitter erreicht werden, wie in Elektronenröhren verwendet.
US Patent 3.913.004
14. Oktober 1975
Erfinder: Robert W. Alexander
VERFAHREN UND VORRICHTUNG ZUR ZUNEHMENDEN STROM
Dieses Patent zeigt ein Verfahren zum Ändern einer elektrischen Standardgenerator dazu bestimmt, von einem separaten Motor angetrieben werden, so dass es ohne den Motor. In einem Beispiel zitiert, einen Gleichstrom-Eingang von 48 Volt bei 25 Ampere (1,2 kW) eine 110-Volt-Wechselstrom 60Hz Ausgang von 3,52 kW. Das ist eine Leistungszahl von 2,93 bei einem Ausgangspegel, um aus dem Netz den Betrieb eines Hauses geeignet.
ZUSAMMENFASSUNG
Eine Form des in einer solchen Weise, dass eine im Wesentlichen konstante Eingangsspannung in eine im wesentlichen konstante Ausgangsspannung umzuwandeln ordneten, rotierenden Maschine; mit generell einen Rotor, der an einer im wesentlichen konstanten Geschwindigkeit innerhalb eines Stators dreht, und welcher einen Transformatorkern unterworfen und mit einer primären Motortransformatorwicklung und eine Sekundärtransformator-Generatorwicklung; wobei transformiert und erzeugte Strom synchron wie erhöhte Ausgangsleistung kombiniert.
HINTERGRUND
Elektrische Energie wird häufig in Spannung, Phase, Frequenz verändert, und aus Wechsel direkten oder von der direkten zur Wechsel der Strom verändert. Spannungswandlung in Wechselstromkreisen ist in der Regel mit Hilfe von Transformatoren und im Gleichstromkreis ist in der Regel mit Hilfe von Motorgeneratoren. Phasenumwandlung wird auch entweder von Transformatoren oder Motorgeneratoren erreicht und Frequenzumwandlung wird am einfachsten durch den Motor-Generator getan.
Motor-Generatoren haben verschiedene Klassifikationen der Nutzung, wie folgt:
(1) Gleichstrom zu Gleichstrom, verwendet werden, um Batterien zu laden und Spannung zu steigern.
(2) Wechselstrom zu Wechselstrom, Frequenz- und Phasenumwandlung verwendet
(3) Wechselstrom in Gleichstrom für alle Arten von Service, wie zB Batterieladung, Generator und Motor-Erregung, Eisenbahnen, Elektrolyse und Drehzahlregelung, etc. und verwendet
(4) Gleichstrom in Wechselstrom verwendet, um in begrenztem Umfang für spezielle Anwendungen.
Zu diesem Zweck Kombination Motor-Generatoren wurden gebaut, wie dynamotors verstärkte Gleichspannung für Funkeinrichtungen und amplidynes für die Wiedergabe ein schwaches Signal mit einem höheren Leistungsniveau. Wenn ein besonderer Wechselstrom variabler Frequenz wird von einem Motor-Generator-Satzes erforderlich ist, und die Stromversorgung Gleichstrom wird die Geräte umfassen einen Gleichstrommotor für variable Geschwindigkeit und eine separate Lichtmaschine durch sie angetrieben. Eine solche Ausrüstung ist das Besondere in der Natur und durch Trennung von Motor und Generator und durch mehrphasige (meist dreiphasig) Generatorwicklungen und Spartransformatoren mit geeigneten Armaturen für den Erhalt der erforderlichen Spannungen; und eine Gleichdrehzahlregler für den Motor. Der Phasenausgang solcher Geräte ist selektiv und ihre Einzelphasenkapazität notwendigerweise begrenzt (66%), verglichen mit den drei Phasenleistung, wobei die Übertragungseffizienz für einphasige ist schlecht.
Wenn eine höhere Ausgangsleistung gewünscht wird, wird die Amplidyne mit Feldwicklungen und Bürsten zum Zweck ausgestattet eingesetzt, und in einigen Fällen von einer Konstantspannungseingang einer Konstantstromausgang, beispielsweise in der umgekehrten Drehwandler vorgesehen, um Gleichstromleistung umwandeln geben Wechselstrom jedoch ist die vorliegende Erfindung betrifft mit Verfahren und eine Vorrichtung zur Erhöhung der elektrischen Leistung und sorgt für eine dynamo-elektrische Wandler, der von einer elektrischen Energieversorgung arbeitet, um Wechselstrom am wirksamsten für eine Nutzlast zu produzieren.
Das Verfahren beinhaltet das gleichzeitige Kraftwandler-Generator ein, und die bevorzugte Ausführungsform der Vorrichtung beinhaltet eine dynamo-elektrischen Wandlers in Form einer Drehmaschine in einem einzigen Rotor in einem Stator dreh kombiniert, wobei der Rotor aus einem Transformator besteht Kern, der sowohl eine primäre Motortransformatorwicklung und eine Sekundärtransformator-Generatorwicklung und den Stator der magnetischen Feldpole zusammen.
Synchronwandler werden in einzelne Rotormaschinen kombiniert, um Gleichstrom aus Wechselstrom zu erzeugen, aber diese Wirkung ist ziemlich verschieden von der Wirkung der vorliegenden Erfindung, wenn Wechselstrom ist, von Gleichstrom in einem Rotor mit primären und sekundären Ankerwicklungen erzeugt wird, wie aus Anker unterscheiden Wicklungen, die für beide Wechselstrom- und Gleichstromkreisen. Mit der vorliegenden Erfindung werden sowohl eine Umwandlung und eine Erzeugungseffekt im Rotor, die alle von Natur aus synchronisiert und durch die Steckdose führt geliefert produziert. Wechselstrommotoren und Gleichstromgeneratoren sind in einer Maschine, die in einem Rotor kombiniert worden, und wird als Synchron Wandlern. Jedoch sind synchrone Wandler fehlt in ihrer Fähigkeit, Gleichstrom in Wechselstrom zu ändern, wenn Betrieb der früheren als Kraftmaschine, einen Generator gleichzeitig anzutreiben, und insbesondere auf einen Wechselstromgenerator synchron anzutreiben.
ZUSAMMENFASSUNG DER ERFINDUNG
Dieses Verfahren beinhaltet die Platzierung der Primärwicklung in einem Feld sowohl Motors entspricht und einen Transformatoreffekt bezüglich einer Sekundärwicklung auch in einem Feld, um einen Generator aufweisen Wirkung. In seiner bevorzugten Ausführungsform wird diese dynamoelektrischen Wandler Primär- und Sekundärwicklungen in einem Rotor kommutierten, eine Gleichstrom-Energieversorgung in abwechselnden und dadurch den Rotor in einem Stator Feld motivieren kombiniert umfasst. Die Primärwicklung ist in vorteilhafter Weise von weniger Windungen als die Sekundär und mittels der elektromotorischen Kraft treibt die Sekundärwicklungen der mehrere Windungen, um die magnetischen Kraftlinien zur Erzeugung von elektrischer Energie auf einem höheren Spannungspegel als der Gleichstromversorgung abgeschnitten. Diese Gleichstrom-betriebenen Motor ist Shunt Wunde mit den Ständerfeldpolen vollständig von der Gleichstrom-Energieversorgung mit Energie versorgt wird oder mit Permanentmagnetfeldpole vorgesehen, um effizient zu motivieren den Rotor und effizient zu erzeugen elektrische Energie in den Sekundärwicklungen. Der Wechselstrom-Ausgang der Sekundärwicklungen ist inhärent mit dem Transformator in Abhängigkeit von den Primärwicklungen in gemeinsamen Nuten der einzelnen Rotor kombiniert synchronisiert ist; und durch Addieren der Transformator und Generator Spannungen und Stromstärken, die Wattleistung ist entsprechend an dem Ausgang erhöht.
ZEICHNUNGEN
Die verschiedenen Aufgaben und Merkmale dieser Erfindung werden vollständiger aus der folgenden ausführlichen Beschreibung der typischen bevorzugten Form und der Anwendung, die in den beigefügten Zeichnungen vorgenommen wird, in denen zu verstehen:

Fig.1 eine diagrammatische schematische Ansicht der dynamo-elektrischen Wandlerkomponenten, die die vorliegende Erfindung.

Fig.2 ist ein Diagramm eines typischen Kommutatorbürste, Schleifringbürste und Feldpol Anordnung, die verwendet wird,.

Fig.3 ist ein Längsschnitt durch eine Maschine gemß der Stator und der Rotor auf Lagern mit dem Rahmen und Bürsten entfernt.

Fig.4 ist ein typisches Duplikat eines Oszilloskops Diagramm, das die Ausgangsleistung von der dynamo-elektrischen Wandler.
BEVORZUGTE AUSFÜHRUNGSFORM

Die dynamoelektrische Wandler ist schematisch in den Zeichnungen dargestellt und umfasst im Allgemeinen einen Rotor R auf beabstandeten Lagern B durchgeführt, um so auf einer Achse drehen, um eine konzentrisch innerhalb eines Stators S. Der Rotor R des Ankers umfasst, während der Stator S umfaßt das Feld, wobei ein Kollektor C mit Primärwicklungen 10 auf den Rotor und Schleifringe SR mit Sekundärwicklungen 11 auf dem Rotor zugeordnet ist. Bürsten 12 und 13 sind verschiebbar mit dem Kommutator und Schleifringe in Eingriff sind, durch herkömmliche Mittel, um Gleichstrom durch den Kommutator C durchzuführen und Wechselstrom über die Schleifringe SR durchzuführen. Die Bürsten 12 und miteinander verbundenen Primärwicklungen 10 einen Motor, während die Bürsten 13 und miteinander verbundenen Sekundärwicklungen 11 bestehen aus einem Generator oder Wechselstromgenerator.
In der Praxis sind die Feldwicklungen 16 separat erregt werden können oder aber auch parallel mit den Bürsten 12 oder überbrückt mit Bezug auf die primäre Motorwicklung 10. Die Motorisierung des Ankers Rotor R oder Fahren davon, bewirkt fortgesetzte Polaritätsumkehrungen auf einer Zyklusbasis als von der Drehgeschwindigkeit bestimmt wird, und dies führt natürlich magnetische Umkehrungen in den Rotorkern 15 und einer daraus folgenden Induktion in der Sekundärwicklung 11. Ein Merkmal dieser Erfindung ist die Kombination und kooperative Beziehung der primären und sekundären Wicklungen, besetzen gemeinsamen Schlitzen und umfassen einen gemeinsamen Abschnitt des Kerns 15 des Rotors R, wodurch ein Transformatorfunktion sowie eine Generatorfunktion, da die magnetischen Kraftlinien werden von den Sekundärwicklungen geschnitten haben. Der Stator S weist Feldpole von entgegengesetzter magnetischer Polarität, unabhängig von dem Anker erregt wird, oder als Permanentmagneten und vorzugsweise über die Gleichstrom-Eingangs überbrückt. Wie gezeigt, sind vier gleichmäßig beabstandete Feldpole in einer Umfangsrichtung angeordneten Serie.
In der Praxis sind die Primärstrommotor Wicklungen weniger Windungen in den Rotorschlitzen als die sekundären Wechselstrom Generatorwicklungen. Zum Beispiel sind die primären Motorwicklungen 10 sind flache Wunde zwischen Nord-Süd-Pole des Feldes, während die sekundäre Generatorwicklungen sind flache Wunde in der gleichen oder gemeinsamen Schlitzen des Rotors Anker. In einer typischen Einheit mit einer vier Bürsten Kommutator mit 20 bar und mit einem 20-Schlitz-Anker sind die Primärwicklungen 10 aus einer Anzahl von Leiterwindungen umfaßt effizient auf 48 Volt Gleichstrom bei 25 Ampere oder 1200 Watt zu ziehen, um bei 1750 UpM rotieren, während die Sekundärwicklungen 11 sind aus einer Anzahl von Leiterwindungen umfaßt effizient zum 60-Zyklus bei 32 Ampere oder 3,520 Watt liefern (durch Transformation und Erzeugen) 110 Volt Wechselstrom, das Voltmeter verwendet werden, um diese Werte auf eine tatsächliche Verringerung gelesen üben die kalibriert wird, um den Effektiv (RMS) Wert der reinen Sinus, die 70,7% der Spitzenspannung ist zu lesen.
Der "typische Einheit" wurde einer Maschine ursprünglich als selbsterregender 60 cps 110 Volt 2,5 kVA Generator zur Welle durch einen separaten Antriebsmotor angetrieben sein, konstruiert wurde. Zum einen wurde die Antriebsmaschine eliminiert. Die Erregerwicklungen sollten das Feld mit 45 Volt Gleichstrom durch den Kollektor geliefert zu erregen, während die Generatorwicklungen bestimmt waren, selbständig zu liefern 110-120 Volt Wechselstrom durch den Schleifringen. Das Wicklungsverhältnis zwischen den Erreger und Generatorwicklungen war ungefähr ein bis drei, und diese sind die Werte, die die in der vorliegenden Umsetzung in der Praxis eingesetzten Werten bestimmt. Es ist jedoch klar, dass andere Werte können durch Design an den gewünschten Eingangs- und Ausgangsspannungen und Stromstärken verwendet werden, für den Betrieb ist. Es ist auch zu verstehen, dass das Beispiel Reduktion offen praktizieren hierin ist nicht notwendigerweise die optimale Gestaltung, in dem anderen Eingangs-Ausgangs-Leistungsbilanzen werden in Betracht gezogen, wie beispielsweise eine Gleichstrom-Batterie-Eingangsspannung im wesentlichen gleich der Wechselstrom Netzspannung . In jedem Fall wird ein unerwarteter Anstieg der Macht durch die Durchführung dieser Erfindung realisiert.
Diese dynamoelektrische Wandler inhärent arbeitet bei einer im wesentlichen konstanten Winkelgeschwindigkeit, mit dem Ergebnis, daß die Wechselzyklen des Ausgangs im wesentlichen konstant sind. Ebenso kann die Gleichstrom-Eingangsspannung auf einem im wesentlichen konstanten Pegel, mit dem Ergebnis, daß die Wechselstrom-Ausgangsspannung ist ebenfalls im wesentlichen konstant gehalten werden. Wie gezeigt, ist der Ausgang einphasigen Wechselstrom in welchem Fall die Wirkleistung in Watt lieferte das Produkt aus Strom, Spannung und Leistungsfaktor. Da die Spannung im wesentlichen konstant ist, der Strom ändert sich mit Last auf den Ausgang gelegt, wie es durch die Leistungsfaktor beeinflußt. Es ist daher ersichtlich, dass die Scheinleistung Spannung mal Stromstärke dargestellt wird direkt aus dem Gleichstrom-Eingang erstellt und dem primären Motorwicklung 10, um den Rotor R für die zuvor beschriebenen Funktionen zu motivieren aufgebracht. Es wird auch deshalb gesehen werden, dass der Gleichstrom-Eingang in Wechselstrom kommutiert und durch Induktion von Windungen 10 in Wicklungen 11 umgewandelt.
Es wird auch deshalb gesehen werden, dass der Wechselstrom durch Motorisierung der Motor synchron von den Wicklungen 11 auferlegt erzeugt wird und alle mit dem Ende, dass die beiden Wechselströme einander ergänzen und eine zu der anderen. Es wird beobachtet, daß die Ausgangsleistung beträgt etwa das Dreifache der Eingangsleistung, die aufgrund des synchronen Überlagerung der transformierten Eingangsspannung und erzeugte Spannung unter Ausnutzung des ersteren zu dem Rotor, um die letzteren zu erzeugen betreiben. Ein Merkmal dieser Erfindung ist die Trennung der Primär- und Sekundärkreise und die folgende Trennung von dem invertierten Eingangsgleichstrom aus dem Auslaß Wechselstrom und die Nutzung der zugeführten Energie im Einklang mit Ausgangslast nach Stromstärke für die Operationen, auf die diese Dezember Maschine erforderliche angewandt.
Bei der Durchführung dieser Erfindung ist die dynamoelektrische Maschine in Design und die Primär- und Sekundärwicklungen 10-11 herkömmlichen werden in die gemeinsamen Schlitze des Ankers gewickelt werden, wie sie in selbsterregenden Generatoren sind. Die Primärwicklungen 10 sind jedoch Motor-Transformatorwicklungen und völlig wirken als solche. Ähnlich sind die Sekundärwicklungen 11 in die Ankernuten mit den Primärwicklungen 10 gewickelt und mit Strom versorgt wird, daß durch die Kommutierung und die Rotation des Ankers abwechseln, und folglich gibt es eine Transformatorfunktion zwischen den Primärwicklungen 10 und Sekundärwicklungen 11, und das Transformator-Funktion wird durch die Erzeugung eines überlagerten Strom durch die Sekundärwicklungen 11 Schneiden der magnetischen Kraftlinien vom umliegenden Stator vorgesehene Feld ergänzt. Folglich gibt es einen multiplizierenden Leistungs synchron durch den Schleifringen SR an die Ausgangsbürsten 13 angelegt, und dieser erhöhte Ausgangsleistung meßbar ist, wie zuvor beschrieben und doppelte oder nahezu das Dreifache der Eingangsleistung.
METHODE
Unter Bezugnahme auf dieses Verfahren zur Erhöhung der elektrischen Leistung wird die Eingangswechselspannung an eine Primärwicklung sowohl Motor und abwechselnd magnetisiert einen Kern aufgebracht. Die Primärwicklung ist in einem Feld eingetaucht und damit an den Motor verursacht wird, und gleichzeitig, um die erste Stufe der Transformation durchzuführen. Eine zweite Stufe der Transformation wird dann durchgeführt, indem eine Sekundärwicklung mit dem Kern als auch ein Transformator und eine Generatorwicklung, und der Ausgangsstrom betrieben wird daraus bei einem erhöhten Leistungswert im Vergleich mit der Eingangsleistung gezeichnet zugeordnet, da der Strom, transformatorisch induzierte beruht auf der beim Schneiden der magnetischen Kraftlinien durch Anlassen der Sekundärwicklung durch das Magnetfeld erzeugte Strom überlagert. Die direkte Anwendung von Netzstrom an der Primärwicklung wird jedoch in Betracht gezogen, und die vorliegende bevorzugte Ausführungsform verwendet Kommutierung der Gleichstrom, der dadurch an den Netzstrom bei der Autofahren den Wicklungen und dem Kern, in dem sie zusammen mit der Sekundärgeführt invertiert Wicklung. Das Nettoergebnis ist um das Dreifache, in, dass es einen Fahrfunktion, eine Abbildungsfunktion, und eine Erzeugungsfunktion, die alle von Natur aus synchronisiert, um die Ausgangsleistung in Bezug auf die Eingangsleistung zu erhöhen.

Aus dem Vorstehenden ist ersichtlich, daß diese Methode und die dynamo-elektrischen Wandler bezeichnet einen DEC synchron lagert, transformierten elektrischen Energie und mechanisch erzeugten elektrischen Energie, wenn invertierenden Gleichstrom in Wechselstrom, wie durch Beobachtung des Oszilloskops Diagramm in Fig.4 dargestellt ist, der dupliziert die Zeichnungen. Der Gleichstrommotor Schnitt der Rotor-Stator-Einheit an seinem Konstruktionsgeschwindigkeit auch mit geringen Toleranzen zu arbeiten, durch Anwendung bekannter technischer Prinzipien, und folglich wird der Wechselstromgenerator-Wechselstromabschnitt mit einer im wesentlichen gleichförmigen Frequenz betrieben, zum Beispiel 60 Zyklen pro Sekunde. Somit wird der Ausgangsspannungspotential an einem Maximum gehalten, während der Strom gezogen wird, wie erforderlich, innerhalb der Auslegungskapazität der Anlage.
Patent US 5.892.311 6. April 1996 Erfinder: Shigeaki Hayasaka
INDUKTION-GENERATOR, EIN PAAR DER
MAGNETISCHEN POLE DER GLEICHEN
POLARITÄT GEGENSATZ ZU EINANDER IN BEZUG
AUF EINE DREHUNG-WELLE
Dieses Patent umfasst eine Vorrichtung, die dadurch gekennzeichnet ist, eine größere Ausgangsleistung als die Eingangsleistung erforderlich, um es auszuführen.
ZUSAMMENFASSUNG
Ein Induktionsgenerator mit einem Paar Magnetpole derselben Polarität zueinander in Bezug auf eine Drehwelle gegenüberliegt, durch einen hohen Energieumwandlungswirkungsgrad ist. Die Induktionserzeugungs hat eine Drehwelle durch ein externes Mittel angetrieben wird; eine gerade Anzahl von (mehr als drei) Statorkernen vorgesehen, um die Drehwelle zu umgeben, wobei zwischen den benachbarten Statorkernen vorbestimmten Spalten vorgesehen sind; eine erste Monopol Rotor in der Drehwelle vorgesehen ist, umgeben von der geraden Anzahl von Statorkernen und mit einer ersten und zweiten Magnetpole derselben Polarität, die ersten und zweiten Magnetpole zueinander in Bezug auf die Drehwelle in eine entgegen Querschnitt; eine zweite Monopol Rotor in der Drehwelle vorgesehen ist, um die erste Monopol Rotor in einem vorbestimmten Abstand entlang der Drehwelle zugewandt, durch die gerade Anzahl von Statorkernen und mit dritten und vierten Magnetpole der gleichen Polarität entgegengesetzt zur Polarität umgeben der ersten und zweiten magnetischen Polen, wobei die dritten und vierten Magnetpole entgegengesetzt zueinander mit Bezug auf die Drehwelle ; eine Mehrzahl von Wicklungen in der geraden Anzahl von Statorkernen vorgesehen ist und entsprechend einer vorbestimmten Konfiguration verbunden sind.
US-Patent-Referenzen:
282472 Jan., 1883 Delaporte 318 / 197.
2982872 May., 1961 Fredrickson 310 / 163.
3858308 Jan., 1975 Peterson 29 / 598.
4780635 Oct., 1988 Neumann 310 / 216.
5030867 Jul., 1991 Yamada et al. 310 / 156.
5111095 May., 1992 Hendershot 310 / 168.
5402025 Mar., 1995 Saito et al. 310 / 156.
Andere Referenzen:
Publikation
"Novel Reluktanzmaschine Konzepte für Variable Speed Drives", Lipo,
TA, Proceedings vom Mittelmeer Elektro Konferenz,
BESCHREIBUNG
TECHNISCHES GEBIET
Die vorliegende Erfindung betrifft einen Induktionsgenerator mit einem Paar Magnetpole derselben Polarität, die bezüglich einer Rotationswelle einander entgegengesetzt sind.
Induktionsgeneratoren sind als eine Art von Elektrogerät aus relativ früher bekannt und in verschiedenen Formen für die einzelnen Anwendungen angepaßt ausgebildet. Neben Anwendungen in Kraftwerken, Schiffen und Flugzeugen haben Induktionsgeneratoren bequem im Haushalt oder zu Freizeitzwecken ebenfalls entwickelt und intensiv genutzt.
Ein Induktionsgenerator wandelt kinetische Energie in elektrische Energie. Aufgrund einer Notwendigkeit für die Verbesserung der Effizienz der Energienutzung, gibt es einen Bedarf für eine hocheffiziente Energieumwandlung.
HINTERGRUNDTECHNOLOGIE
Wie gut bekannt ist, ist ein Induktionsgenerator auf dem Prinzip, dass eine elektromotorische Kraft in einer Spule auf die Rate, mit der Magnetfluss kreuzt diese Spule (Faradayschen Gesetz der elektromagnetischen Induktion) induziert, proportional betrieben. Nach der Lenzschen Regel wird eine induzierte elektromotorische Kraft in einer Richtung, in der ein Strom, der gegenüber einer Änderung des Magnetflusses wirkt, erzeugt wird.


Zum Beispiel, wie in Fig.1A und Fig.1B gezeigt ist, unter der Annahme, dass der Magnetfluss phi Überqueren einer Ringspule 1 bei einer senkrechten Richtung bewegt, in der A bis B, wie durch den Pfeil angedeutet ist, fließt ein Strom I1 in Übereinstimmung mit dem Faradayschen Gesetz der elektromagnetischen Induktion, so daß der Zeiger einer Galvanometer 2 schwenkt im Uhrzeigersinn (Richtung +), und kehrt dann in die Nullstellung. Wenn die Magnetfluss phi bewegt sich in Richtung B zu C, fließt ein Strom I2, sodass die Anzeige des Galvanometers 2 schwenkt gegen den Uhrzeigersinn (- Richtung), und kehrt dann in die Nullstellung.
Im Allgemeinen wird eine Induktionsgenerator derart, daß eine elektromotorische Kraft wird nach Flemming rechte-Hand-Regel ein Leiterunterbrechungsmagnetflusslinien (Fig.1A) induziert ausgebildet bzw. durch die Magnetflusslinien, die durch den Leiter (Fig.1B) .
Ein Rotor in einem Induktionsgenerator ist üblicherweise als eine einteilige Körper, der abwechselnd angeordnete Nordpole und Südpole ausgebildet. Wenn es zwei Magnetpolen, dem N-Pol und der S-Pole sind einander entgegengesetzt. Wenn es mehr als zwei Magnetpole (beispielsweise vier Magnetpole oder sechs Magnetpole usw.), der N-Pol und der S-Pole alternieren, was zu einer NSNS-. . . Nachfolge.
In diesem Hintergrund ist ein unipolarer Induktionsgenerator ein Spezialfall, bei dem ein elektromotorische Kraft wird durch einen Leiter Schneiden des Magnetflusses beim Verschieben oder Drehen, und ein Gleichstrom wird durch einen Schleifring versorgt erzeugt. In anderen Worten ist ein unipolarer Induktionsmotor in seinem Aufbau, gekennzeichnet durch eine nicht-magnetische Wechselfeld in die gleiche Richtung, einzigartig.
Bei dem herkömmlichen Induktionsgenerator, wie oben beschrieben, der eine ist eine Verbesserung in der Energieumwandlungswirkungsgrad erreicht, so daß der Rotor aus einer Ferrit oder Seltenerde-Magnet, gekennzeichnet durch einen hohen Energieprodukt und einem kleinen Wende Permeabilität (permanente Permeabilität) konstruiert. Alternativ wird das Ausmaß der Entmagnetisierung aufgrund der Erzeugung eines Gegenmagnetfeld in einer Induktionsspule reduziert und die die einzigen Polarität des Rotors mit dem Stator in einen Magnetkreis zusammenwirken. Trotz dieser Maßnahmen, die Verringerung der Energieumwandlungseffizienz aufgrund einer Gegenmagnetfeld des Rotorkerns, und zwar aufgrund der Entmagnetisierung des Zählers Magnetfeld durch Ankerreaktionszeit verursacht stellt jedoch ein ernsthaftes Problem.
Die vorliegende Erfindung wurde in Anbetracht der vorstehenden Punkte entwickelt, und ihre Aufgabe ist es, einen Induktionsgenerator mit einem Paar Magnetpole derselben Polarität zueinander in Bezug auf eine Drehwelle, wobei ein hoher Energieumwandlungseffizienz gegen bereitzustellen erreicht.
OFFENBARUNG DER ERFINDUNG
Die vorliegende Erfindung stellt einen Induktionsgenerator mit einem Paar Magnetpole derselben Polarität, die bezüglich einer Rotationswelle, gekennzeichnet durch einander gegenüberliegen:
Eine Drehwelle durch externe Mittel angetrieben wird;
Eine gerade Anzahl von (mehr als drei) Statorkernen vorgesehen, um die Drehwelle zu umgeben, wobei zwischen den benachbarten Statorkernen vorbestimmten Spalten vorgesehen sind;
Eine erste Einzelgegenpolaritätsrotor in der Drehwelle vorgesehen ist, umgeben von der geraden Anzahl von Statorkernen und mit ersten und zweiten Magneten magnetisiert, so daß die gerade Anzahl von Statorkernen bleiben vor einer ersten Polarität, wobei die ersten und zweiten Magneten gegenüber miteinander in Bezug auf die Drehwelle in einem Querschnitt;
Eine zweite Einzelgegenpolaritätsrotor in der Drehwelle vorgesehen ist, um den ersten Einzelgegenpolaritätsrotor in einem vorbestimmten Abstand entlang der Drehwelle zugewandt, von der geraden Anzahl von Statorkernen umgeben, und einen dritten und einen vierten Magneten magnetisiert derart, daß die gerade Anzahl von Statorkernen bleiben vor einer zweiten Polarität, die entgegengesetzt zur Polarität der ersten Polarität ist, wobei die dritten und vierten Magneten entgegengesetzt zueinander bezüglich der Drehwelle angeordnet ist;
Eine Mehrzahl von Windungen in der geraden Anzahl von Statorkernen vorgesehen ist und entsprechend einer vorbestimmten Konfiguration, dadurch gekennzeichnet, dass verbunden mit:
Ein sich drehendes Magnetfeld, das elektromagnetische Induktion in der geraden Anzahl von Statorkernen, aufeinanderfolgend vom ersten, zweiten, dritten und vierten Magneten, wenn die ersten und zweiten Einzelgegenpolaritätsrotor gedreht werden erstellt verursacht; und
Periodische Zunahme und Abnahme der Anzahl von magnetischen Flusslinien, die durch eine gegebene Wicklung und zugehörige periodische Abnahme und Zunahme Überschreiten einer benachbarten Windung verursacht eine periodische elektromotorische Kraft, die eine rechteckige Wellenform ausgegeben werden.
In einem Aspekt der vorliegenden Erfindung entsprechend der vorbestimmten Konfiguration bilden erste und zweite Reihenschaltungen der Vielzahl von Windungen verbunden ist:
Der erste Serienschaltung ein periodisches ersten EMK mit einer rechteckigen Wellenform, wenn ein rotierendes Magnetfeld, das elektromagnetische Induktion in der geraden Anzahl von Statorkernen, aufeinanderfolgend vom ersten, zweiten, dritten und vierten Magneten, wenn die ersten und zweiten Ein- entsteht Unter gegenüberliegenden Polaritätsrotor gedreht werden; und
Die zweite Serienschaltung ein periodisches zweites elektromotorische Kraft einer rechteckigen Wellenform 1800 aus der Phase mit der ersten elektromotorischen Kraft, und mit der gleichen Periode wie die erste elektromotorische Kraft, wenn ein rotierendes Magnetfeld, das elektromagnetische Induktion in der geraden Anzahl von Stator bewirkt Kerne nacheinander durch die ersten und zweiten Einzelgegenpolaritätsrotor gedreht werden erstellt.
Der Induktionsgenerator der vorliegenden Erfindung kann auch umfassen:
Drehpositionserfassungseinrichtung zum Erfassen einer Position der ersten und zweiten Einzelgegenpolaritätsrotor während ihrer Drehung; und
Schalteinrichtung, die abwechselnd bewirkt positive Komponenten der ersten elektromotorischen Kraft, die eine rechteckige Wellenform und von der ersten Serienschaltung vorgesehen ist, oder positive Komponenten der zweiten elektromotorischen Kraft, die eine rechteckige Wellenform und von der zweiten Serienschaltung ausgegeben werden in Intervallen von einer elektrischen Winkel von 180 Grad.
In einem weiteren Aspekt der vorliegenden Erfindung wird die Mehrzahl von Wicklungen eine erste Wicklung, die in einem ersten Statorkern der geraden Anzahl von Statorkernen vorgesehen ist, einen zweiten in einem zweiten Statorkern benachbart zum ersten Statorkern so vorgesehen Wicklung aufzuwickeln, um eine Richtung entgegengesetzt zu einer Richtung, in der die erste Wicklung vorgesehen ist, eine dritte Wicklung, die in einem dritten Statorkern benachbart zum zweiten Statorkern so vorgesehen, dass in der gleichen Richtung wie die erste Wicklung, einen vierten wickeln zu Windung in einer vierten Stator Kern neben dem dritten Statorkern so in einer Richtung entgegengesetzt zu einer Richtung, in der die dritte Wicklung vorgesehen ist, gewickelt ist, die ersten bis vierten Wicklungen miteinander entsprechend einer vorbestimmten Konfiguration verbunden sind.
In noch einem anderen Aspekt der vorliegenden Erfindung umfasst die erste Serienschaltung eine erste Wicklung, die Wind in einer ersten Richtung in einem ersten Statorkern der geraden Anzahl von Statorkernen vorgesehen ist, eine zweite Wicklung in Reihe mit der ersten Wicklung in einer verbundenen und vorausgesetzt zweiten Statorkern benachbart zum ersten Statorkern so wie in einer zweiten Richtung entgegengesetzt zur ersten Richtung gewickelt ist, eine dritte Wicklung, die seriell mit der zweiten Wicklung verbunden ist und in einem dritten Statorkern benachbart zum zweiten Statorkern so wickeln, um die erste Richtung, eine vierte Wicklung seriell mit der dritten Wicklung verbunden ist und in einem vierten Statorkern benachbart zum dritten Statorkern so wie in der zweiten Richtung gewickelt ist; und
Die zweite Reihenschaltung einen fünften Wicklung Wind in der zweiten Richtung im ersten Statorkern vorgesehen ist, einen sechsten Wicklung seriell mit der fünften Wicklung und im zweiten Statorkern verbunden ist, um in der ersten Richtung gewickelt ist, eine siebte Wicklung seriell mit der sechsten Wicklung verbunden ist und im dritten Statorkern so vorgesehen, dass in der zweiten Richtung gewickelt ist, eine achte Wicklung in Reihe mit dem siebten Wicklung und im vierten Statorkern so vorgesehen, dass in der ersten Richtung gewickelt ist verbunden.
In noch einem anderen Aspekt der vorliegenden Erfindung die ersten bis vierten Magneten bogenförmig ist; und die gerade Anzahl von Statorkernen haben bogenförmige Querschnitte.
In noch einem anderen Aspekt der vorliegenden Erfindung ist der bogenförmige erste bis vierte Magnet und die Statorkerne, die bogenartige Querschnitte haben, haben eine fast identische Umfangslänge.
KURZE
BESCHREIBUNG DER ZEICHNUNGEN
Fig.1A und Fig.1B sind Diagramme, die das Prinzip eines Induktionsgenerators;
Fig.2A und Fig.2B sind Diagramme, die eine erste Ausführungsform der vorliegenden Erfindung;
Fig.3A und Fig.3B sind Diagramme, die ein Einzelgegenpolaritätsrotor 11N gemß der ersten Ausführungsform der vorliegenden Erfindung;
Fig.4A und Fig.4B sind Diagramme, die ein Einzelgegenpolaritätsrotor 11S gemß der ersten Ausführungsform der vorliegenden Erfindung;
Fig.5A, Fig.5B und Fig.5C sind Diagramme, die zeigen, wie Verdrahtungen miteinander gemäß dem ersten Ausführungsbeispiel der vorliegenden Erfindung verbunden ist;
Fig.6A ist eine Darstellung, die schematisch zeigt, wie ein rotierendes Magnetfeld gemß dem ersten Ausführungsbeispiel durchquert Wicklungen 7c-10c;
Fig.6B zeigt einen Magnetpfad;
Fig.7 ist ein Diagramm, das eine Wellenform einer Ausgangsspannung gemäß der ersten Ausführungsform;
Fig.8A und Fig.8B sind Diagramme, die eine zweite Ausführungsform der vorliegenden Erfindung;
Fig.9 ist ein Diagramm, das zeigt, wie Verdrahtungen miteinander gemäß einem zweiten Ausführungsbeispiel verbunden ist; und

Fig.10 ist ein Diagramm, das eine Wellenform einer Ausgangsspannung gemäß der zweiten Ausführungsform.
BESTER MODUS ZUR DURCHFÜHRUNG DER
ERFINDUNG

Fig.2A und Fig.2B zeigen eine erste Ausführungsform der vorliegenden Erfindung. Insbesondere ist Fig.2A eine Längsschnittansicht und Fig.2B ist eine Querschnittansicht in der Linie 1B-1B' von Fig.2A genommen.
Unter Bezugnahme auf Fig.2A und Fig.2B, 3 bezeichnet eine Drehwelle aus einem nichtmagnetischen Material durch eine externe Einrichtung ausgebildet ist und angetrieben wird; 4a und 4b Lager zum Stützen der Drehwelle 3; 5a und 5b sind Flansche mit den Lagern 4a und 4b vorgesehen sind; und 6 ist ein zylindrischer Gehäusedeckel zur Aufnahme der Flansche 5a und 5b.
Statorkerne 7, 8, 9 und 10 sind so angeordnet, dass die Drehwelle 3 zu umschließen, wobei äquidistante Abstände g1 zwischen den benachbarten Statorkernen vorgesehen. Jeder der Statorkerne 7, 8, 9 und 10 hat den gleichen bogenförmigen Querschnitt.
Eine Einzelgegenpolaritäts N-Pol-Rotor 11N und einen Einzelgegenpolaritäts S-Pol-Rotor 11S sind an der Rotationswelle 3 vorgesehen, so dass einander gegenüber zu sein. Die Einzelgegenpolaritätsrotor 11N und 11S durch die Statorkerne 7, 8, 9 und 10, wobei zwischen der Einzelgegenpolaritätsrotor und dem Statorkern ein kleiner Drehspalt g0 vorgesehen umgeben.
Bezugnehmend auf Fig.2B werden Wicklungen 7c und 9c im Uhrzeigersinn um den Statorkernen 7 und 9 vorgesehen sind. Wicklungen 8c und 10c im Gegenuhrzeigersinn um Statorkerne 8 bzw. 10 aufgewickelt. Die Windungen 7c, 8c, 9c und 10c sind zueinander in einem später beschriebenen Konfiguration geschaltet.

Fig.3A und Fig.3B zeigen die Einzelgegenpolaritätsrotor 11N. Insbesondere ist Fig3A eine Längsschnittansicht, und Fig.3B ist eine Querschnittsansicht. Die Einzelgegenpolaritätsrotor 11N weist bogenförmige Magnete 12 und 13, die um 180 Grad voneinander versetzt sind und magnetisiert sind, dass ihre Oberflächen, die den Statorkernen 7-10 stehen, sind N-Pole, während ihre Innenflächen sind S-Pole. Die bogenförmige Magnete 12 und 13 sind so konfiguriert, um die Umrisse der Statorkerne 7, 8, 9 und 10 Bezug nehmend auf Fig.3B, die Symbole N entsprechen und N' werden verwendet, um zwischen den Magneten 12 und 13 zu differenzieren, um.
Ein Rotorteil 14 ist so positioniert, dass eine Verbindung zu der bogenförmigen Magneten 12 und 13. Der Rotorteil 14 wird durch die bogenförmige Magnete magnetisiert 12 und 13 so, dass es den Oberflächen, die den bogenförmigen Magneten Fläche 12 und 13 sind S-poles und aus einer Substanz gebildet ist (beispielsweise ein Siliziumstahl) aus einem kohlenstoffarmen Stahl hergestellt, das darin mehrere Prozent Nichteisenmetall auf eine Schmiedegussprozess unterworfen gemischt. Der Eisenkern des Rotorteils 14 so ausgebildet ist, durch eine gut ausgewogene Magnetfeld, bei welchem die Durchlässigkeit annähernd einen Spitzenwert in einem unipolaren Magnetfeldes dadurch ausgeführt, dass der Eisenkern zeigt, um seine Umgebung.

Fig.4A und Fig.4B zeigen die Einzelgegenpolaritätsrotor 11S. Insbesondere ist Fig.4A eine Längsschnittansicht, und Fig.4B ist eine Querschnittsansicht.
Die Einzelgegenpolaritätsrotor 11S hat bogenförmige Magnete 15 und 16, 180-Grad gegeneinander versetzt sind und magnetisiert, so daß die Oberflächen davon gegenüber den Statorkernen 7-10 sind S-Pole, während ihre Innenflächen sind N-Pole. Die bogenförmige Magnete 15 und 16 sind so konfiguriert, dass die Kontur der Statorkerne 7, 8, 9 und 10 entsprechen.
Ein Rotorteil 17 ist so positioniert, dass eine Verbindung zu der bogenförmigen Magnete 15 und 16. Der Rotorteil 17 wird durch die bogenförmigen Magneten 15 und 16 magnetisiert so, dass es den Oberflächen, die den bogenförmigen Magneten Fläche 15 und 16 sind N -poles. Das Rotorstück wird aus einer Substanz, die aus einem kohlenstoffarmen Stahl mit darin verwickelt aufgebaut hat, mehrere Prozent von Nichteisenmetall auf eine Schmiedegussverfahren unterzogen. Der Eisenkern des Rotorteils 17 derart konstruierten verkörpert wird durch einen ausgeglichenen Magnetfeldes in dem die Durchlässigkeit annähernd einen Spitzenwert in einem unipolaren Magnetfeld daß der Eisenkern zeigt an seine Umgebung ist.
Die bogenförmige Magnete 12, 13, 15 und 16 haben die gleiche Umfangslänge, die ebenfalls gleich der Länge des Bogens, der durch den Umfang der Statorkerne 7, 8, 9 und 10. Genauer gebildet ist, ist diese Länge der Teilung des Gesamt hypothetischen Umfang minus die vier Lücken g1 durch vier erhalten. Unter Bezugnahme auf Fig.2A und Fig.2B ist der Drehspalt g0 gleich R1 - R, worin R1 eine Distanz zwischen der Mitte der Drehwelle 3 und der Innenfläche der Statorkerne 7-10, und R ist ein Abstand zwischen der Mitte der Drehwelle 3 und der Außenfläche der Einzelgegenpolaritätsrotor 11N und 11S, wie in Fig.3B und Fig.4B angedeutet.



Fig.5A, Fig.5B und Fig.5C, zeigen, wie die Verdrahtungen miteinander verbunden sind. T1 zeigt den Beginn einer Wicklung, T2 Ende einer Wicklung, und 18 und 19 Ausgangsanschlüsse. Genauer gesagt Fig.5A zeigt eine serielle Verbindung Konfigurations, Fig.5B eine Seriell-Parallel-Verbindungskonfiguration, und Fig.5C eine Parallelschaltung Konfiguration. Die serielle Anschlusskonfiguration kann die elektromotorische Kraft in den Wicklungen addiert werden induziert und ein hoher Spannungsausgang. Die Parallelanschlusskonfiguration kann Ströme von der elektromotorischen Kraft in den Wicklungen zu addieren induzierten resultierenden und stellt eine große Stromausgang.
Eine Beschreibung wird nun gegeben werden, unter Bezugnahme auf Fig.6A, Fig.6B und Fig.7, der Stromerzeugungsvorgang der seriellen Verbindungskonfiguration.

Fig.6A ist ein Diagramm, das schematisch, wie das rotierende Magnetfeld, das von den Einzelgegenpolaritätsrotor 11S und 11N vorgesehen kreuzt Wicklungen 7c bis 10c. Fig.6B zeigt einen Magnetpfad.
Bezugnehmend auf Fig.6A, Phi1 und Phi2 indicate rotierenden Magnetfluss entlang des Umfangs 2Pi x R. Fig.6B rotierenden zeigt die bogenförmige Magnete 12 und 15 direkt gegenüber dem Statorkern 7 über ihre gesamte Länge, und die bogenförmigen Magneten 13 und 16 direkt gegenüber dem Statorkern 9 über ihre gesamte Länge.

Wie in Fig.6B gezeigt ist, bildet der magnetische Fluß Phi1 einen magnetischen Pfad, wie folgt:
Der Rotorteil 14 (S) - die bogenförmigen Magnetpol 12 (N) - Statorkern 7 - der Drehspalt g0 - der bogenförmige Magneten 15 (S) - das Rotorteil 17 (N).
Die magnetische Fluss Phi2 bildet einen magnetischen Pfad wie folgt:
Der Rotorteil 14 (S) - die bogenförmigen Magneten 13 (N) - der Drehspalt g0 - der Statorkern 9 - der Drehspalt g0 - der bogenförmige Magneten 16 (S) - das Rotorteil 17 (N) .
Somit wird ein Magnetpfad parallel gebildet. In diesem Zustand durchquert der Magnetfluss Phi1 die Wicklung 7c und der magnetische Fluß durchquert den Phi2 Wicklung 9c.
Eine Beschreibung von der Rotation des Magnetflusses Phi1 fokussiert wird gegeben. Genauer gesagt, wird eine Beschreibung einer Änderung in der Art und Weise gegeben werden der magnetische Fluss Phi1 überquert die Wicklungen.

Unter Bezugnahme auf eine Wellenform eines in Fig.7 gezeigten Ausgangsspannung kreuzt die Gesamtheit des magnetischen Flusses Phi1 die Wicklung 10c zu einem Zeitpunkt t1. Zu einem Zeitpunkt t2 kreuzt die Gesamtheit des magnetischen Flusses Phi1 die Wicklung 7c. Zu einem Zeitpunkt t3, kreuzt die Gesamtheit des magnetischen Flusses Phi1 die Wicklung 8c. Zu einem Zeitpunkt t4 überschreitet die Gesamtmenge des magnetischen Flusses Phi1 die Wicklung 9c. Zu einem Zeitpunkt t5, kreuzt die Gesamtheit des magnetischen Flusses Phi1 die Wicklung 10c. Auf diese Weise dreht sich die magnetische Fluss Phi1 bei einer konstanten Geschwindigkeit während einer Zeit T, in einer Richtung im Uhrzeigersinn in Fig.6A.
Zwischen dem Zeitpunkt t1 und dem Zeitpunkt t2, eine elektromotorische Kraft mit einer absteigenden Dreieckswellenform von I in Fig.7 angedeutet, wird in der Wicklung 10c aufgrund einer Abnahme der Anzahl von magnetischen Flußlinien des magnetischen Flusses Phi Querung der erzeugten Wicklung 10c. Eine elektromotorische Kraft mit einer aufsteigenden Dreieckswellenform von I' in Fig.6 angedeutet, wird in der Wicklung 7c aufgrund einer Zunahme in der Anzahl der Magnetflusslinien des Magnetflusses Phi Überqueren der Wicklung 7c erzeugt. Dementsprechend ist es eine positive Rechteckwellenform von der Summe dieser Dreieckswellenformen erhalten Ausgabe an den Ausgangsanschlüssen 18 und 19.
Zwischen dem Zeitpunkt t2 und dem Zeitpunkt t3 wird eine elektromotorische Kraft mit einer aufsteigenden Dreieckswellenform, durch II in Fig.7 angedeutet, wird in der Wicklung 7c aufgrund einer Abnahme der Anzahl von magnetischen Flußlinien des magnetischen Flusses Phi Querung der erzeugten Wicklung 7c. Eine elektromotorische Kraft mit einer absteigenden Dreieckswellenform, mit II' in Fig.7 angegeben ist, wird in der Wicklung 8c aufgrund einer Zunahme in der Anzahl der Magnetflusslinien des Magnetflusses Phi Überqueren der Wicklung 8c erzeugt. Entsprechend ist eine negative rechteckige Wellenform durch die Summe dieser Dreieckswellenformen erhalten Ausgabe an den Ausgangsanschlüssen 18 und 19.
Zwischen dem Zeitpunkt t3 und dem Zeitpunkt t4, wird eine elektromotorische Kraft mit einer absteigenden Dreieckswellenform, mit III in Fig.7 angedeutet, wird in der Wicklung 8c aufgrund einer Abnahme der Anzahl von magnetischen Flußlinien des magnetischen Flusses Phi des erzeugten magnetischen Flusses Phi überqueren der Wicklung 8c. Eine elektromotorische Kraft mit einer aufsteigenden Dreieckswellenform, durch III' in Fig.7 angegeben ist, wird in der Wicklung 9c aufgrund einer Zunahme in der Anzahl der Magnetflusslinien des Magnetflusses Phi Überqueren der Wicklung 9c erzeugt. Dementsprechend ist es eine positive Rechteckwellenform von der Summe dieser Dreieckswellenformen erhalten Ausgabe an den Ausgangsanschlüssen 18 und 19.
Zwischen der Zeit t4 und der Zeit t5, wird eine elektromotorische Kraft mit einer aufsteigenden Dreieckswellenform, durch IV in Fig.7 angedeutet, wird in der Wicklung 9c aufgrund einer Abnahme der Anzahl von magnetischen Flußlinien des magnetischen Flusses Phi Überqueren der erzeugten Wicklung 9c. Eine elektromotorische Kraft mit einer absteigenden Dreieckswellenform von IV' in Fig.7 angegeben ist, wird in der Wicklung 10c auf einen Anstieg in der Anzahl der Magnetflusslinien des Magnetflusses Phi Überqueren der Wicklung 10c erzeugt. Entsprechend ist eine negative rechteckige Wellenform durch die Summe dieser Dreieckswellenformen erhalten Ausgabe an den Ausgangsanschlüssen 18 und 19.
Während der Magnetfluß Phi1 eine Umdrehung macht, wird eine elektromotorische Kraft, die eine synthetisierte Rechteckwellenform und einer Periode von T / 2 ausgegeben wird, wie in Fig.7 gezeigt. Da der magnetische Fluss Phi2 ermöglicht auch eine Drehung, während der magnetische Fluss Phi1 eine Drehung und einen Ausgang mit einer elektromotorischen Kraft, die eine ähnliche Rechteckwellenform ist die Grße der elektromotorischen Kraft zwischen den Anschlüssen 18 und 19 erhalten tatsächlich doppelt so in deutet Fig.7.
Auf diese Weise macht es diese Ausführungsform möglich, ein Gegenmagnetfeld zu stornieren und geben einen Induktionsgenerator mit einem Paar Magnetpole derselben Polarität zueinander in Bezug auf eine Drehachse von einer hohen Energieumwandlungseffizienz im Gegensatz und charakterisiert. Unsere Betriebs Praxis hat bestätigt, dass der Generator mit dem Aufbau dieser Ausführungsform stellt ein Energieumwandlungseffizienz, die hoch genug ist, um nur 1 / 5,2 des Antriebsdrehmoments für den herkömmlichen Generator erforderlich ist.

Fig.8A und Fig.8B zeigen eine zweite Ausführungsform der vorliegenden Erfindung. Insbesondere ist Fig.8A eine Längsschnittansicht, und Fig.8B ist eine Querschnittansicht in der Linie 7B-7B' von Fig.8A genommen.
Unter Bezugnahme auf Fig.8A und Fig.8B, 3 bezeichnet eine Drehwelle aus einem nichtmagnetischen Material, von einer externen Quelle ausgebildet ist und angetrieben wird; 4a und 4b sind Lager, die die Drehwelle 3 zu unterstützen, 5a und 5b sind Flansche Gehäuse der Lager 4a und 4b, und 6 ist ein zylindrischer Gehäusedeckel zur Aufnahme der Flansche 5a und 5b.
Statorkerne 7, 8, 9 und 10 sind so angeordnet, dass die Drehwelle 3 zu umschließen, wobei äquidistante Abstände g1 zwischen den benachbarten Statorkernen vorgesehen. Jeder der Statorkerne 7, 8, 9 und 10 einen gleichen bogenförmigen Querschnitt.
Eine Einzelgegenpolaritäts N-Pol-Rotor 11N und einen Einzelgegenpolaritäts S-Pol-Rotor 11S sind an der Rotationswelle 3 vorgesehen, so dass einander gegenüber zu sein. Die Einzelgegenpolaritätsrotor 11N und 11S durch die Statorkerne zwischen dem Einzelgegenpolaritätsrotor und dem Statorkern 7, 8, 9 und 10 eine kleine Drehspalt g0 vorgesehen umgeben.
Unter Bezugnahme auf Fig.8B werden Wicklungen 7c und 9c im Uhrzeigersinn um den Statorkernen 7 und 9 vorgesehen sind. Wicklungen 27c und 29c im Gegenuhrzeigersinn um den Statorkernen 7 bzw. 9 vorgesehen. Wicklungen 8c und 10c im Gegenuhrzeigersinn in der Statorkerne 8 und 10 vorgesehen. Wicklungen 28c und 30c sind im Uhrzeigersinn um die Statorkerne 8 bzw. 10 aufgewickelt. Die Windungen 7c, 8c, 9c, 10c, 27c, 28c, 29c und 30c sind miteinander gemß einem später beschriebenen Konfiguration verbunden.
Ein magnetischer Sensor (für Drehstellungserkennung) 31 ist zwischen den Statorkernen 7 und 10 und einem magnetischen Sensor (für Drehstellungserkennung) 32 ist zwischen den Statorkernen 7 und 8. Die magnetischen Sensoren 31 und 32 detektieren die magnetischen vorgesehen Feld, um die Position des Einzelgegenpolaritätsrotor 11N und 11S während ihrer Drehung zu bestimmen.
Die Einzelgegenpolaritätsrotor 11N hat eine Konfiguration, wie in Fig.3A und Fig.3B gezeigt, und die Monopol Rotor 11S hat eine Konfiguration, wie in Fig.4A und Fig.4B gezeigt.
Die Einzelgegenpolaritätsrotor 11N weist bogenförmige Magnete 12 und 13, 180-Grad gegeneinander versetzt sind und magnetisiert sind, dass ihre gegenüberliegenden Oberflächen der Statorkerne sind N-Pole, während ihre jeweiligen inneren Oberflächen sind S-Pole. Die bogenförmige Magnete 12 und 13 sind so konfiguriert, um die Umrisse der Statorkerne 7, 8, 9 und 10 entsprechen.
Ein Rotorteil 14 ist so positioniert, dass eine Verbindung zu der bogenförmigen Magneten 12 und 13. Der Rotorteil 14 ist aus einem kohlenstoffarmen Stahl mit mehreren Prozent der Nicht-Eisenmetall konstruiert, unter Verwendung eines Schmiedegussprozess. Der Eisenkern Rotorstück 14 durch diese Mittel ausgebildet, hat eine gut ausgewogene Magnetfeld, bei welchem die Durchlässigkeit annähernd einen Spitzenwert in einem unipolaren Magnetfeld daß der Eisenkern zeigt, um seine Umgebung.
Die Einzelgegenpolaritätsrotor 11S hat bogenförmige Magnete 15 und 16, die beabstandet voneinander positioniert 180-Grad sind und so magnetisiert, daß ihre Oberflächen, die den Statorkern zugewandt sind S-Pole, während ihre Innenflächen sind N-Pole. Die bogenförmige Magnete 15 und 16 sind so geformt und positioniert ist, um den Umriß der Statorkerne 7, 8, 9 und 10 entsprechen.
Ein Rotorteil 17 ist so positioniert, dass eine Verbindung zu der bogenförmigen Magnete 15 und 16. Der Rotorteil 17 ist aus einem kohlenstoffarmen Stahl mit mehreren Prozent der Nicht-Eisenmetall konstruiert, unter Verwendung eines Schmiedegussprozess. Der Eisenkern Rotorstück 17 auf diese Weise aufgebaut ist, hat eine gut ausgewogene Magnetfeld, bei welchem die Durchlässigkeit annähernd einen Spitzenwert in einem unipolaren Magnetfeld, das den Eisenkern zeigt, um seine Umgebung.
Die bogenförmige Magnete 12, 13, 15 und 16 haben die gleiche Umfangslängen, die gleich der Länge des Bogens, der durch den Umfang der Statorkerne 7, 8, 9 und 10. Genauer ist diese Länge erhalten wurde, gebildet ist, durch Dividieren durch vier, den gesamten Umfang hypothetischen minus vier Lücken g1. Bezugnehmend auf die Fig.3A, Fig.3B, Fig.4A, Fig.4B und Fig.8 ist der Drehspalt g0 gleich R1 - R.

Fig.9 zeigt, wie die Leiterbahnen miteinander verbunden sind. T1 zeigt den Beginn einer Wicklung, T2 Ende einer Wicklung, und 18 und 19 sind die Ausgangsanschlüsse.
Zwei serielle Schaltungen aus den Wicklungen gebildet ist. Schalter SW1 und SW2 zur Auswahl der jeweiligen Reihenschaltungen verwendet. Eine Schaltsteuerschaltung 40, die ein Erfassungssignal von den Magnetsensoren 31 und 32 verarbeitet, steuert die Schalter SW1 und SW2 selektiv in Übereinstimmung mit dem Erfassungssignal.
Wie in Fig.9 gezeigt, umfasst die erste Reihenschaltung der Wicklung 7c im Uhrzeigersinn des Statorkerns 7, die Wickel 8c seriell mit der Wicklung 7c verbunden und im Gegenuhrzeigersinn in dem Statorkern 8 angrenzend an den Statorkern 7 vorgesehen ist; die Wicklung 9c in Reihe mit der Wicklung 8c verbunden und im Uhrzeigersinn in der Statorkern 9; und die Wickel 10c seriell mit der Wickel 9c verbunden und im Gegenuhrzeigersinn in dem Statorkern 10 angrenzend an den Statorkern 9 vorgesehen.
Wie in Fig.9 gezeigt, umfasst die zweite Reihenschaltung der Wicklung 27c im Gegenuhrzeigersinn in dem Statorkern 7; die Wicklung 28c in Reihe mit der Wicklung 27c verbunden ist und im Uhrzeigersinn in der Statorkern 8; die Wicklung 29c in Reihe mit der Wicklung 28c verbunden ist und gegen den Uhrzeigersinn in dem Statorkern 9; und die Wickel 30c seriell mit der Wickel 29c verbunden und vorgesehen Uhrzeigersinn in dem Statorkern 10.
Gemäß der oben beschriebenen Konstruktion eines rotierenden Magnetfeldes, das elektromagnetische Induktion in den Statorkernen 7-10 nacheinander durch die bogenförmige Magnete 12, 13, 15 und 16, wenn das Einzelgegenpolaritätsrotor 11N und 11S sind entsteht Unter gedreht. Wie bereits unter Bezugnahme auf die Fig.6A, Fig.6B und Fig.7 erläutert, wie die magnetischen Feldlinien kreuzen die Wicklungen 7c bis 10c Anstieg in der Zahl, die magnetischen Flusslinien, die durch die benachbarten der Wicklungen 7c- 10c an Zahl abnehmen. Das heißt, dass die magnetischen Flusslinien periodisch zu erhöhen und in bezug auf eine gegebene Wicklung so dass eine erste elektromotorische Kraft, die eine rechteckige Wellenform ähnlich zu der in Fig.7 gezeigt ist, und einer Periode, die 1/2 der Periode des Dreh ist von der ersten Serienschaltung (7c 10c) ausgegeben.
Da die magnetischen Feldlinien, die durch eine der Wicklungen 27c-30c Anstieg in der Zahl, die magnetischen Flusslinien, die durch die benachbarten der Wicklungen 27c-30c Abnahme in der Zahl. Das heißt, dass die magnetischen Flusslinien periodisch zu erhöhen und in bezug auf eine gegebene Wicklung so dass eine zweite elektromotorische Kraft einer rechteckigen Wellenform 180-Grad aus der Phase mit der ersten elektromotorischen Kraft, und mit der gleichen Periode wie die erste elektromotorische Kraft wird von dem zweite Reihenschaltung (27c-30c). Das heißt, die zweite elektromotorische Kraft beträgt 180-Grad außer Phase mit dem in Fig.7 gezeigten elektromotorischen Kraft.
Bezugnehmend auf Fig.10, in Übereinstimmung mit dem Erfassungssignal von den Magnetsensoren 31 und 32, die Schalter SW1 und SW2 Effekt-Schalt bei 90-Grad Intervalle. Mit dieser Einrichtung werden die positiven Komponenten I und III der ersten elektromotorischen Kraft, die eine rechteckige Wellenform und von der ersten Serienschaltung vorgesehen ist und die positive Komponente II und IV des zweiten elektromotorischen Kraft, die eine rechteckige Wellenform und von der zweiten Serienschaltung vorgesehen ist abwechselnd bei 180-Grad Abständen und an den Ausgangsanschlüssen 18 und 19 ausgewählt.
Das heißt, dass gewährleistet diese Ausgestaltung eine hocheffiziente Energieumwandlungs wobei ein Gegenmagnetfeld aufgehoben wird, und eine Gleichstrom elektromotorische Kraft mit einer positiven Pegel richtig synthetisiert und ausgegeben. Es ist natürlich möglich, durch Verschieben der Schaltzeitgabe von einem 180-Grad synthetisieren und Ausgabe eines negativen Gleich EMK.
Gewerbliche Anwendbarkeit
Wie beschrieben wurde, gemß der vorliegenden Erfindung wird die Drehung der ersten und zweiten Einzelgegenpolaritätsrotor erzeugt ein rotierendes Magnetfeld, das einen Induktions bewirkt in einer geraden Anzahl von Statorkernen nacheinander. Da die magnetischen Feldlinien, die durch eines der ersten Durchgangs vierten Wicklungen vermehren, die magnetischen Flusslinien, die durch die benachbarten der ersten Durch vierten Wicklungen Abnahme der Zahl. Das heißt, dass die magnetischen Flusslinien periodisch zu erhöhen und mit Bezug auf eine gegebene Wicklung. Die elektromotorische Kraft als die magnetische Flusslinien, die durch eine Erhöhung der Wicklungszahl und die elektromotorische Kraft als die magnetische Flusslinien, die durch eine benachbarte Wicklung Abnahme der Zahl generiert wurden so synthetisiert, dass eine periodische Wechselelektromotorische Kraft mit einer Rechteckwellenform wird aus der erzeugten Synthese und ausgegeben. Auf diese Weise wird eine hocheffiziente Energieumwandlungs wobei ein Gegenmagnetfeld aufgehoben wird bereitgestellt.
Gemäß der ersten Serienschaltung der vorliegenden Erfindung wird die Drehung der ersten und zweiten Einzelgegenpolaritätsrotor erzeugt ein rotierendes Magnetfeld, das einen Induktions bewirkt in einer geraden Anzahl von Statorkernen nacheinander. Da die magnetischen Feldlinien, die durch eines der ersten bis vierten Wicklungen vermehren, die magnetischen Flusslinien, die durch die benachbarten der ersten bis vierten Wicklungen Abnahme der Zahl. Das heißt, dass die magnetischen Flusslinien periodisch zu erhöhen und in einer gegebenen Wicklung. Demnach wird das erste elektromotorische Kraft mit einer Rechteckwellenform wird ausgegeben. Gemäß dem zweiten seriellen Schaltkreis, da die magnetischen Feldlinien durch einen der fünften Durch Achtel Windungen nehmen an Zahl zu, die magnetischen Flusslinien, die durch die benachbarten der fünften Durch Achtel Wicklungen Abnahme der Zahl. Das heißt, dass die magnetischen Flusslinien periodisch zu erhöhen und in einer gegebenen Wicklung. Dementsprechend sind die zweiten elektromotorischen Kraft um 180-Grad außer Phase mit dem ersten elektromotorischen Kraft, und mit der gleichen Periode wie die erste elektromotorische Kraft ausgegeben wird. In Übereinstimmung mit dem Erfassungssignal von den Drehpositionserfassungseinrichtung, die Schalteinrichtung selektiv bewirkt, daß die positive Komponenten der ersten elektromotorischen Kraft, die durch den ersten seriellen Schaltkreis oder die positive Komponenten der zweiten elektromotorischen Kraft, die durch die zweite Reihenschaltung vorgesehen sein Ausgang bei 180-Grad-Intervallen. Auf diese Weise wird die Gleichstrom-EMK synthetisiert und ausgegeben. Dies führt zu einem hohen Wirkungsgrad der Energieumwandlung in dem ein Gegenmagnetfeld aufgehoben wird.
Neben umfangreichen Anwendungen in Kraftwerke, Schiffe, Flugzeuge usw., kann die vorliegende Erfindung Anwendungen im Haushalt zu finden oder können bequem für Freizeitnutzungen angepasst werden.
Patentanmeldung EU 82.400.992,2
22. Dezember 1982 Erfinder:
Larry T. Jamison
EINSATZ EINES ELEKTRISCHEN ENERGISER ENERGIEQUELLE
Diese Patentanmeldung zeigt die Details einer Vorrichtung, die es in Anspruch genommen wird, kann die Elektrizität ohne die Notwendigkeit für eine Kraftstoffherstellung. Es sollte beachtet werden, dass, während der Herstellungsdetails vorgesehen sind, die implizieren, dass der Erfinder konstruiert und getestet mehrere dieser Vorrichtungen, ist dies nur eine Anwendung, und nicht ein erteiltes Patent werden.
ZUSAMMENFASSUNG
Ein Energieerzeugungssystem bereitgestellt, das Energie erzeugt, für die Verwendung zum Beispiel in einem Elektrofahrzeug oder in einem Heimnetzwerk. Das System umfasst einen elektrischen Anspeisung (60) mit einem doppelt gewickelten Rotor und einem doppelt gewickelten Stator, zur Erzeugung elektrischer Energie, die in dem System gespeichert ist, zB in einer Batterie (66) Speicheranordnung, die anfängliche Erregung des Systems bietet. die gespeicherte Energie zu einem Elektromotor (68), treibt die Energiezuführeinrichtung (60), um dadurch zusätzliche Energie erzeugen geliefert. die Energieversorgungs der Lage ist, die Anforderungen des Systems zu liefern und um eine Last anzutreiben.
HINTERGRUND
DER ERFINDUNG
Die vorliegende Erfindung bezieht sich auf Energieerzeugungssysteme und insbesondere auf ein Elektrozaungerät-Motorsystem zum Bereitstellen von Energie, beispielsweise für ein Kraftfahrzeug oder als Teil einer Hausenergieanlage .
Mit der Einführung der so genannten "Energiekrise" und die damit verbundene Suche nach alternativen Energiequellen, um nach Öl zu ersetzen, hat große Aufmerksamkeit auf Kraftfahrzeuge als Chef Nutzer von Ölprodukten konzentriert. Ein Aspekt dieser Suche hat neues Interesse an elektrisch angetriebenen Fahrzeugen wie Elektroautos und dergleichen gefördert. Ein Hauptmangel von Elektrofahrzeugen Stand der Technik bestand die Notwendigkeit, die Batterien, die die Energie für den Elektromotor -Antriebssystem sorgen wieder aufzuladen.
Die vorliegende Erfindung überwindet dieses Problem durch die Bereitstellung eines elektrischen Anspeisung-Motorsystem, das mehr Energie als verbraucht ist, wodurch die überschüssige Energie ermöglicht wird, in dem Batteriesystem gespeichert werden, um bei Bedarf gezogen werden erzeugt. Somit wird die Notwendigkeit einer Wiederaufladung der Batterien mit herkömmlichen elektrischen Fahrzeugen verbunden mit dem System dieser Erfindung beseitigt. Es sollte beachtet werden, dass, während das System der Erfindung hat ein enormes Potenzial in Verbindung mit seiner Verwendung in Elektrofahrzeugen, wobei das System eindeutig nicht auf diese Verwendung beschränkt und wäre natürlich von Vorteil sein, wenn sie verwendet werden, beispielsweise als Energiequelle für ein Haus werden Energieanlage, als auch in vielen anderen Anwendungen.
In Übereinstimmung mit der Erfindung, und Energieerzeugungssystems der oben beschriebenen Art vorgesehen ist, die elektrische "Zaun" umfassend mindestens ein doppelt gewickelten Stator und mindestens einen doppelt gewickelten Welle montierten Rotor, der innerhalb eines Gehäuses angeordnet ist, elektrische Energie umfasst, und wobei der Rotor über eine geeignete elektrische Abzugsvorrichtung gesammelt und wobei zur Verwendung durch das System, und einem Elektromotor, angetrieben durch die Energiezuführeinrichtung zum Antrieb der Rotorwelle des Elektrozaungerät zur Verfügung. Eine Batterieanordnung wird zunächst verwendet, um Energie an das System zu liefern, und, wie oben angegeben, wird die überschüssige Energie durch die Energiezuführeinrichtung die über die durch das System und die Systemlast erforderlich erzeugt wird, wird durch das Laden der Batterien gespeichert. Der Motor umfasst einen Anker mit einer Mehrzahl von Wicklungsschlitzen darin und einer Vielzahl von Wicklungen sich in zwei in Umfangsrichtung beabstandeten Schlitzen in dem Anker gewickelt, das heißt eine solche Wicklung ist durch einen ersten Schlitz gewickelt ist (z Slot 1) und durch einen zweiten Abstand zurück Slot (zB Slot 5). Je nach Energiebedarf kann die Anspeisung ein Paar von Statoren und Rotoren, wobei die Rotoren auf einer gemeinsamen Welle montiert sind:. Der Motor ist vorzugsweise durch eine Anordnung eines Kommutators und mehrere Bürsten erregt wird, während eine Schleifring und zugehörige Bürsten mit einem Ausgangsbrückenschaltung verbunden sind, bilden die Energieabzugs zur Anspeisung.
Andere Merkmale und Vorteile der Erfindung werden in der detaillierten Beschreibung der bevorzugten Ausführungsformen, die folgt, dargestellt werden.

Fig.1 eine teilweise geschnittene Seitenansicht des elektrischen "Energiser" der Erfindung.

Fig.2 ist ein Blockdiagramm des gesamten Energie erzeugenden System der Erfindung

Fig.3 ist eine teilweise geschnittene Seitenansicht eines abgewandelten elektrischen Motor in Übereinstimmung mit der Erfindung konstruiert.

Fig.4 ist eine auseinandergezogene perspektivische Ansicht der Basiskomponenten des Motors der Fig.3.

Fig.5 ist eine Stirnansicht des Bürstenhalters auch in Fig.4 dargestellt ist.

Fig.6 und Fig.7 Einzelheiten der Wickelmuster des Motors der Fig.3.


Mit Bezug auf Fig.1 wird eine bevorzugte Ausführungsform des "energiser" der erfindungsgemäßen Vorrichtung dargestellt. Die Vorrichtung umfasst ein Gehäuse 10, in welchem sich befinden, in eine erste Kammer oder Abteil 10a, einen ersten Rotor 12 und einem ersten Stator 14 und, in einer zweiten Kammer 10b, einen zweiten Rotor 16 und einen zweiten Stator 18. Es sollte darauf hingewiesen, dass, obwohl zwei Stator-Rotor-Kombinationen sind in dieser Ausführungsform verwendet wird, kann eine einzelne Stator-Rotor-Kombination für einige Anwendungen verwendet werden kann. Das Gehäuse 10 wird in die Kammern 10a und 10b durch eine Mittelplatte 20 unterteilt ist, und er ein Paar von Endplatten 22 und 24. Die beiden Rotoren 12, 16 und die Statoren 14, 18 sind doppelt gewunden, und die Rotoren 12, 16 sind beinhaltet innerhalb ihrer jeweiligen Statoren 14 und 18 verschachtelt und zur Drehung auf einer gemeinsamen Welle 26. Die Welle 26 erstreckt sich längs durch das Gehäuse 10 und ist auf Lagern 28 und 30 durch Endplatten 22 und 24 getragen ist, und ein weiteres Lager 32, das unterstützt wird, von Mittelplatte 20.
Ein Paar Schleifringe 34 und 36 sind auf der Welle 26 angebracht und in Verbindung mit ihren entsprechenden Bürstenpaare 38 und 40. Schleifringe 34 und 36 sind an Rotoren 12 und 16 verbunden und gestatten den Strom in den Rotorwicklungen fließt, um durch die zugeordneten Bürstenpaare 38 und 40. Bürste Paare 38 und 40 gesammelt werden, auf jeweiligen Bürstenhaltern 42 und 44 angebracht werden. Die Anschlüsse der jeweiligen Brückenschaltungen 46 und 48 sind an Ständern 14 und 18 verbunden, während die Umwandlung Schienen 50 und 52 sind verbunden, um Halter 42 und 44 zu bürsten, wie angedeutet.

Ein Lüfter 54, ist auch auf Welle 26 montiert und eine Vielzahl von Öffnungen 201, 22a und 24a sind im Zentrum Platte 20 und Endplatten 22 und 24, zur Förderung der Kühlung des Geräts. Energiser von Fig.1 ist vorzugsweise in einem System integriert werden, wie in Fig.2 sehr schematische Weise gezeigt wo die Ausgabe der Energiser verwendet wird, um die Energieversorgung für den Antrieb eines Motors. Zu diesem Zweck ist die Energiser, das durch 60 in Fig.2 gekennzeichnet ist, über einen Regulator 62, Batterie Ladegerät 64 für Batterien 66 Motor 68 verbunden verbunden. Diese Batterien 66 dienen der ersten Einschaltung des Systems als auch hinsichtlich von Energiser 60 erzeugte Energie zu speichern. Es wird verstanden, dass Energiser 60 genug Energie liefert um macht motor 68 (welche wiederum Energiser 60 durch Rotation der Welle 26 Laufwerke) sowie Speicher für Energie im System bereitstellen. Es wird auch geschätzt werden, dass das System in Fig.2 schematisch dargestellt geeignet Steuerelemente (Schalter, Rheostate, Sensoren, etc.), anfängliche Einschaltung sowie entsprechende operative Kontrolle über das System zur Verfügung stellen enthält.

In einer bevorzugten Ausführungsform ist Motor 68 des Vordrucks in Fig.3 dargestellt. Wie dargestellt, der Motor hat eine in der Regel konventionelle Form (mit Ausnahmen, die unten aufgeführten) und verfügt über eines Skeletts 70, montiert auf einem Stiel 72 innerhalb Gehäuse 74. Gehäuse 74 enthält ein paar Endplatten 76 und 78, die Wellenlager 77 und 79 zu mounten. Öffnungen 76a und 78a sind in Endplatten 76 und 78 und ein Lüfter 80 ist montiert auf Welle 72, Kühlung.

Ein Kommutators 82 ist auch auf Welle 72 montieren und kooperiert mit zugehörigen Pinsel (nicht dargestellt in Fig.1), um zu den Wicklungen des Skeletts 70 aktuelle durchzuführen. Diese Zusammenarbeit zeigt sich am besten in Fig.4 ist eine Explosionsansicht zur Veranschaulichung des Skeletts 70, Kommutator 82 und ein Bürstenhalter 84.

Wie in Fig.5 dargestellt, Bürstenhalter 84 umfasst acht Pinsel Reittiere jeweils einen Slot 88 definieren 86, in denen ein paar Bürsten montiert ist. Einer Bürste 90 wird gezeigt in Fig.5, daß die zwei solche Bürsten in jedem Steckplatz 88 montiert werden, so dass 16 Bürsten erforderlich sind.
Der Motor der Fig.3 auf Fig.6 enthält acht Pole-Schuhe (nicht abgebildet) gesicherte Gehäuse 74 und welche bedienen, acht Feldspulen oder Wicklungen 92 (siehe Fig.3 und Fig.4) um die Peripherie der Armatur 72 weggetreten zu mounten.
Ein wichtiges Merkmal des Motors von Fig.3 auf Fig.6 betrifft die Art und Weise, in der die Wicklungen für Armatur 70 gewunden sind. Wie in Fig.3, Fig.6 und Fig.7 dargestellt, ist eine typische wicklung W1 in beiden Slots mit der Illustrierten wicklung verdoppelt Wunde zurück und Weiterbildung von Armatur Slot S1 Armatur Steckplatz S5 (siehe Fig.3 und Fig.6). Ebenso die wicklung in Steckplatz S2 weiterhin Steckplatz S6, die wicklung der Steckplatz Steckplatz S7, und so weiter für die Wicklungen neunundvierzig Bergbaubetrieb S3.
In einer bestimmten bevorzugten Ausführungsform ist der Motor, die oben beschriebenen ein 48-Volt-412 PS-Motor mit einer Betriebsgeschwindigkeit von 7.000 u/min Top. Ein Rheostat-Steuerelement (nicht dargestellt) wird verwendet, um die Eingangsspannung zu kontrollieren, und wie oben beschrieben, wird der Motor aus der Energiser von Fig.1 angetrieben. Es wird geschätzt, dass die Energie Abflug aus dem System vorzugsweise aus der Abtriebswelle des Motors, obwohl die elektrische Energie aus der Energiser-Ausgabe auch aus genutzt werden kann.
Obwohl die Erfindung in Bezug auf beispielhafte Verkörperungen beschrieben wurde, wird es durch die fachkundige, verstanden werden, dass Abweichungen und Änderungen in diesen Verkörperungen bewirkt werden können, ohne Abweichung von dem Umfang und dem Geist der Erfindung.
US Patent 5.436.518 25. Juli 1995 Erfinder:
Teruo Kawai
MOTIV STROMERZEUGUNG GERÄT
Bitte beachten Sie, dass dies eine neu formulierte Auszug aus diesem Patent. Es beschreibt einen Motor mit einer Ausgangsleistung größer als seine Eingangsleistung.
ZUSAMMENFASSUNG DER ERFINDUNG
Es ist ein Objekt der Erfindung ein Motiv Macht Generation Gerät bereitstellen, in denen das Auftreten einer Kraft, die in eine Richtung entgegengesetzt zur Richtung der Bewegung eines Rotors und/oder einem Stator verhindert wird, um effiziente Nutzung von elektrischer Energie auf Elektromagnete angewendet werden, sowie von einen Permanentmagneten erzeugte magnetische Energie zu ermöglichen.
Für die Erreichung das oben genannten Objekt umfasst die erste Erfindung einen Permanentmagneten entsorgt um eine rotierende Abtriebswelle der montiert ist, auf ein Lager, das eine magnetische Körper positioniert konzentrisch mit dem Permanentmagnet für Drehung mit der Abtriebswelle, die magnetische Körper ausgesetzt der magnetische Fluss des Permanentmagneten, eine Vielzahl von Elektromagneten fest montiert auf der Support-Mitglied, so dass sie einen vorgegebenen Abstand rund um die Peripherie des magnetischen Materials Abstand, jeden Magnetkreis der Elektromagnete, die unabhängig von einander und die Erregung Umstellung Mechanismus der Elektromagnete die sequenziell Magnetisierungsstromes, kann eines der Elektromagneten ist positioniert, im Hinblick auf eine Drehrichtung der Abtriebswelle, damit der Elektromagnet vermitteln eine magnetische Polarität magnetisch gegenüber derjenigen der magnetischen Pole der Permanentmagnet, wobei ein Magnetischer Fluss durch den magnetischen Körper Abtasten und somit ein Rotations-Drehmoment auf der Abtriebswelle anwenden konvergiert.
Nach der ersten Erfindung wenn eines der Elektromagnete, die sich weiter in
Drehrichtung der rotierende Abtriebswelle, ein magnetisches Feld erstellt,
indem der aufgeregt Elektromagnet und ein Magnetfeld befindet durch die
Permanentmagnet erstellt miteinander interagieren. So konvergiert der
magnetische Fluss durch die magnetische Körper in Richtung der beendeten
Elektromagnet, damit die rotierende Abtriebswelle um einen vorgegebenen Winkel
in Richtung der aufgeregt Elektromagnet zu drehen. Wenn die rotierende
Abtriebswelle durch den vorgegebenen Winkel gedreht wurde, der oben genannten
aufgeregt Elektromagnet de magnetisierte und anderen Elektromagneten derzeit
voran positioniert, in Bezug auf die Drehrichtung von der Rotor-Abtriebswelle
ist aufgeregt oder magnetisiert. Sequentielle Anregung von Elektromagneten in
der obigen Weise erlaubt Drehung der Abtriebswelle in eine vorgegebene
Richtung. In diesem Zusammenhang ist darauf hinzuweisen, dass die
Elektromagnete angeregt werden, um eine magnetische Polarität gegenüber
derjenigen der magnetischen Pole der Permanentmagnet und den Magnetkreis
aufgeregt Elektromagnete unabhängig von den benachbarten Elektromagneten ist.
So wird der magnetische Fluss von aufgeregt Elektromagneten erzeugt daran
gehindert, Sie auf der Durchreise Magnetoleiter der angrenzenden
Elektromagneten, die, wenn es vorkommt, Elektromagnete, magnetisiert werden,
damit die gleiche Polarität wie die magnetischen Pole der Permanentmagnet
herbeiführen. Dementsprechend wird keine anstößigen Kraft generiert, die
Rotation der Abtriebswelle stören könnten.
Um das oben genannte Objekt zu erreichen, die zweite Erfindung umfasst einen Permanentmagneten, montiert auf einem beweglichen Körper angeordnet beweglich entlang einer linearen Spur, einen magnetischen Körper montiert auf der Permanentmagnet magnetische Körper einen magnetischen Fluss von der Permanentmagnet ausgesetzt, eine Vielzahl von Elektromagneten Abstand einen angemessenen Abstand entlang der linearen Strecke der Elektromagnete mit Magnetoleiter, die unabhängig von einander und die Erregung-Mechanismus angeordnet, um jeweils die Elektromagnete Magnetisierungsstromes nacheinander als jede befindet sich der beweglichen Körper, (in Bezug auf die Richtung der Bewegung) zu übermitteln, um eine magnetische Polarität gegenüber, die von den magnetischen Pol der Permanentmagnet, der aufgeregt Elektromagnet vermitteln wobei ein magnetische Fluss durch den magnetischen Körper in eine vorgegebene Richtung konvergiert um lineare Bewegung der beweglichen Körper verursachen.
Nach der zweiten Erfindung wenn der Elektromagnet positioniert vor dem vorderen
Ende des beweglichen Körpers in Bezug auf die Richtung der Bewegung des
beweglichen Körpers angeregt wird, interagieren ein Magnetfeld erzeugt durch
die aufgeregt Elektromagneten und Magnetfeld erzeugt durch die Permanentmagnet
miteinander. So konvergiert ein magnetische Fluss durch den magnetischen Körper
in Richtung der aufgeregt Elektromagnet, um den beweglichen Körper einem
vorbestimmten Abstand gegenüber der aufgeregt Elektromagnet zu verdrängen. Wenn
der bewegliche Körper den vorgegebenen Abstand verschoben wurde, der bewegliche
Körper befindet sich unterhalb der oben genannten aufgeregt Elektromagnet und
anderen Elektromagneten befindet sich vor dem vorderen Ende des beweglichen
Körpers. Wenn dies geschieht, Anregung von der Elektromagnet oberhalb der
beweglichen Körper wird unterbrochen, und Anregung von der Elektromagnet nun
positioniert, vor das vorderen Ende des beweglichen Körpers initiiert.
Sequentielle Anregung von Elektromagneten in der obigen Weise erlaubt die
Bewegung der beweglichen Körper in eine vorgegebene Richtung, die sollte darauf
hingewiesen werden, dass keine anstößigen Kraft die Bewegung des beweglichen
Körpers beeinträchtigen würde aus dem gleichen Grund wie erstellt wird, die in
Bezug auf die erste Erfindung erklärt.
KURZE BESCHREIBUNG DER ZEICHNUNGEN
Fig.1 ist eine Vorderansicht Sichtbeton, teilweise im Abschnitt und teilweise weggelassen, eines Motors nach eine erste Ausführungsform der Erfindung;

Fig.2 ist eine Schnittansicht
entlang der Linie II - II in Fig.1;

Fig.3 ist eine Rückansicht der mit
einer Lichtabschirmungsplatte darauf vorgesehen Motor;

Fig.4A durch Fig.4H illustrieren den Betrieb des Motors, wenn die Elektromagnete sind begeistert oder magnetisierten;








Fig.5A ist eine erläuternde Ansicht, die einen magnetischen Weg des Magnetflusses erzeugt durch einen Permanentmagneten des Motors, wenn die Elektromagnete nicht magnetisiert;

Fig.5B ist eine erläuternde Ansicht, die einen magnetischen Pfad des magnetischen Flusses durch den Permanentmagneten des Motors sowie magnetischen Pfad des magnetischen Flusses, erzeugt durch die Elektromagnete;

Fig.6 durch Fig.9 sind
Querschnittsansicht illustriert eine abgewandelte Form des Motors;




Fig.10A durch Fig.10C sind
Querschnittansichten Betrieb des modifizierten Motors illustrieren;



Fig.11A durch Fig.11H sind erläuternde Diagramme Ergebnis Betrieb eines Motors in Form von einem Linearmotor nach eine zweite Ausführungsform der Erfindung;






DETAILLIERTE BESCHREIBUNG DER
BEVORZUGTEN AUSFÜHRUNGSFORMEN
Bevorzugte Ausführungsformen der Erfindung werden im Detail nachfolgend unter Bezugnahme auf die beigefügten Zeichnungen erläutert.
Gemäß einer ersten Ausführungsform der Erfindung wird eine Rotations-Ausgangswelle 11 in einem Lager, das zwischen vorderen und hinteren Seitenplatten 10a eines Stützelements 10 über Lager 11a angebracht, wie in Fig.1 und Fig.2 gezeigt. Ein Ring von Permanentmagneten 13 sind in den gegenüberliegenden Enden der Ausgangswelle angebracht ist, innerhalb der Seitenplatten 10a und diese bewegen sich mit der Rotorwelle 11. Die Permanentmagnete sind in der axialen Richtung magnetisiert. Ein Magnetkörper 14 ist starr zwischen jeder der Seitenplatten 10a der Rotorwelle 11 und den Permanentmagneten 13. Jeder dieser Magnetkörper 14 montiert hat alternate Kerben 14a und Magnetzähne 14b. Es sollte beachtet werden, dass der Fluss der Permanentmagneten 13 durch die jeweiligen Magnetkörper 14. Beispielsweise zeigt die Fig.1 den magnetischen Körper 14 mit drei Kerben 14a und drei Magnetzähne 14b werden. Die Permanentmagnete 13 und Magnetkörper 14 sind koaxial mit der Rotorabtriebswelle 11. Der positioniert entsprechenden Permanentmagnete 13 und Magnetkörper 14 dargestellt sind durch Bolzen 15 verbunden, um einen Rotor 12, der mit dem Drehausgangs befestigt bilden Welle 11.
Es sei darauf hingewiesen, dass das Trägerelement 10 und der Drehausgangswelle sind beide aus einem nicht-magnetischen Material hergestellt sein. Das Stützelement 10 kann so ausgebildet sein, beispielsweise aus rostfreiem Stahl, Aluminiumlegierungen oder Kunstharzen, während die Drehausgangswelle 11 kann aus rostfreiem Stahl gebildet sein, zum Beispiel. Somit wird der durch den Permanentmagneten 13 und Magnetkörper an einem axialen Ende der Drehausgangswelle 11 und dem durch den Permanentmagneten 13 und Magnetkörper an dem gegenüberliegenden axialen Ende der Ausgangswelle gebildeten magnetischen Kreis ausgebildeten Magnetkreis, unabhängig von einander. Die Magnetkörper 14 können aus magnetischen Materialien mit einer hohen magnetischen Permeabilität, wie beispielsweise verschiedene Arten von Stahlmaterialien, Siliziumstahlblech, Permalloy oder dergleichen gebildet sein.
Der Stator enthält Elektromagnete 16a bis 16l, die zwischen den Seitenplatten 10a angeordnet sind. Die Elektromagneten sind gleichmäßig um den Magnetstücken 14 angeordnet, so dass sie umgeben die Magnetkörper. Wie in Fig.1 gezeigt ist, kann zwölf Elektromagnete verwendet werden. Der Magnetkreis jedes der Elektromagnete 16a bis 16l so angeordnet ist, voneinander unabhängig zu sein, so daß kein Fluß eines magnetisierten Elektromagneten durch die Eisenkerne der Elektromagneten angrenzend verläuft.
Die Eisenkerne der Elektromagnete 16a
bis 16l sind parallel zur Rotorachse Welle 11 angeordnet und mit nur einem kleinen Spalt zwischen ihnen und
den Magnetkörper 14 angeordnet.
Einige der Elektromagnete 16a bis 16l sind an einer Position entsprechend dem Grenzabschnitte 14c1 bis 14c6 zwischen der Kerbe 14a und der Magnetzahn 14b liegt. Zum Beispiel, wie in Fig.1 gezeigt ist, Elektromagnete 16a, 16b, 16e, 16f, 16i und 16j sind gegenüber den Grenzabschnitten 14c1, 14C2, 14c3, 14C4, 14c5 und 14c6 positioniert.
Fig.5A zeigt einen Weg des Magnetflusses erzeugt durch den Permanentmagneten 13, wenn die Elektromagnete nicht erregt oder magnetisiert, während Fig.5B zeigt einen Weg des Magnetflusses erzeugt durch den Permanentmagneten 13 und einen Weg des Magnetflusses durch den Wicklungen der Elektromagneten, wenn die Elektromagnete magnetisiert sind. Wie aus Fig.5A und Fig.5B, klar sein, beide Wege des magnetischen Flusses repräsentieren eine unipolare Verteilung, bei der N-Pol oder S-Pol an den gegenüberliegenden axialen Enden wird gleichmäßig. Wenn die Elektromagnete magnetisiert sind, wobei die Magnetfelder des Permanentmagneten und Elektromagneten zusammenwirken oder miteinander interagieren, um ein Drehmoment zu erzeugen.
Anregungs Umschaltmechanismus 17 zum sequentiellen spannend oder die Magnetisierung des Elektromagneten 16a bis 16l ist grundsätzlich aus einer herkömmlichen Erregerstromkreis zur Versorgung jeder Wicklung der Elektromagnete 16a bis 16l Gleichstrom. In dieser Ausführungsform wird das Wechselteil zum Ändern elektrische Speisung der Elektromagnete 16a bis 16l enthält eine Vielzahl von optischen Sensoren 18 und eine Lichtabschirmplatte 19 zum Drehen der optischen Sensoren ein- und ausgeschaltet, wie in Fig.6 gezeigt.
Die optischen Sensoren 18 sind voneinander mit einem Zwischenraum zwischen ihnen zum Ermöglichen der Lichtschildplatte 19, durch ein lichtemittierendes Element und ein lichtempfangendes Element passieren beabstandet. Die optischen Sensoren 18 sind in der Außenfläche einer der Seitenplatten angeordnet ist, 10a in gleichen Abständen entlang des Umfangs beabstandet sind, so daß sie positioniert sind, um an die Elektromagnete 16a bis 16l entsprechen (beispielsweise der optische Sensor 18 ist gezeigt, angeordnet sein, in der Außenfläche der Rückseitenplatte). Die Lichtabschirmplatte 19 ist an der Drehausgangswelle 11 am Ende desselben befestigt ist, die Lichtabschirmplatte vom hinteren Seitenplatte 10a vorsteht, auf dem die optischen Sensoren angeordnet sind.
Gemäß der dargestellten Ausführungsform wird, wenn ein bestimmter optischer
Sensor 18 wird durch die
Lichtabschirmplatte 19 blockiert,
wird der Elektromagnet entsprechend einer solchen optischen Sensor 18 mit Strom versorgt.
Der Betrieb der oben beschriebenen ersten Ausführungsform wird unter Bezugnahme auf Fig.4A bis Fig.4H erläutert.
Wenn die Elektromagnete 16a bis 16l werden nicht mit Strom durch die Erregerwechselmechanismus 17, den Elektromagneten 16c, 16d, 16g, 16h, 16k und 16l mit einem kleinen Spalt zwischen ihnen auf die Magnetzähne 14b gegen versorgt lediglich als Magnet dienen Material im Magnetfeld des Permanentmagneten 13 angeordnet ist (siehe schraffierter Abschnitt in Fig.4A), um so die Magnetzähne 14b aufgenommen, und der Rotor 12 stationär bleibt.
Wenn die Elektromagnete 16a, 16e und 16i, die benachbart zu den Grenzabschnitt 14c1, 14c3 und 14c5 zwischen den jeweiligen Kerben 14a und der Magnetzähne 14b magnetisiert oder gleichzeitig angeregt durch die Anregung Umschaltmechanismus, wie in gezeigt. Fig.4B, das Magnetfeld des Permanentmagneten 13 und den Magnetfeldern der Elektromagnete 16a, 16e und 16i miteinander wechselwirken, so daß ein Magnetfluß 14d, die durch den magnetischen Körper 14 augenblicklich konvergiert zu den Elektromagneten 16a, 16e und 16i. Auf diese Weise wird der Rotor 12 mit einem Drehmoment in einer Richtung, in der der Magnetfluß 14d wird verbreitert, also entgegen dem Uhrzeigersinn, wie in Fig.4B betrachtet verliehen.
Fig.4C durch Fig.4G illustrieren Änderung der Breite des Magnetflusses 14d in Übereinstimmung mit der Drehung des Rotors 12. Wenn die Breite des Magnetflusses maximiert wird, dh wenn nur der Magnetzähne 14b sind den Elektromagneten 16a gegen, 16e und 16i, während die Kerben 14a sind vollständig von der Elektromagnete 16a, 16e und 16i versetzt ist, die Breite des Magnetflusses 14d maximiert. Somit wird eine Kraft, die zwischen dem Permanentmagneten 13 und der Elektromagnete 16a, 16e und 16i Absorptionskraft maximiert. Andererseits wird das auf den Rotor 12 wirkende Drehmoment wird Null.
Bevor die auf den Rotor 12 wirkende Drehmoment wird Null, dh als dem Grenzabschnitt 14c1, 14c3 und 14c5 Ansatz eine weitere Elektromagnete 16b, 16f und 16j vor (im Hinblick auf die Drehrichtung) positioniert sind, die Elektromagnete 16a, 16e und 16i werden entmagnetisiert und die Elektromagnete 16b, 16f und 16j, angeregt oder mittels des Anregungs Umschaltmechanismus 17. Somit magnetisiert, konvergiert der Magnetfluß 14d in Richtung des Elektromagneten 16b, 16f und 16j, wie in Fig.4H gezeigten so daß auf den Rotor ein Drehmoment wirkt, wie oben beschrieben.
Dann werden die Elektromagnete 16c, 16g
und 16k sind begeistert. Wenn der Grenzabschnitt 14c1, 14c3 und 14c5 Ansatz weitere Elektro 16d 16h und 16l voraus in bezug auf die Rotationsrichtung
positioniert ist, in Reaktion auf die Drehung des Rotors 12, der Elektromagnete 16c,
16g und 16k werden entmagnetisiert und die Elektromagneten 16d, 16h und 16l erregt oder erregt.
Wie oben erläutert, sequentiellen Anregung bzw. Erregung der Elektromagnete 16a bis 16l-Ursache-Wechselwirkung zwischen dem magnetischen Fluß des Permanentmagneten 13 und den Elektromagneten 16a bis 16l, wodurch ein Drehmoment auf den Rotor 12 aufgebracht.
Wenn dies geschieht, wird ein Drehmoment zwischen einem der Magnetpole des Permanentmagneten 13 (beispielsweise N-Pol) und die magnetischen Pole (zum Beispiel S-Pole) der Elektromagneten an ihren jeweiligen 16a bis 16l erzeugt positioniert Axialenden. Ein Rotationsdrehmoment wird auch zwischen dem anderen magnetischen Pol erzeugt (zum Beispiel S-Pol) der Permanentmagneten 13 und dem anderen Magnetpol (beispielsweise N-Pol) jedes der Elektromagnete 16a bis 16l auf der anderen axialen positioniert Ende.
Es sei darauf hingewiesen, dass bei einem magnetischen Pol, wie beispielsweise N-Pol des Permanentmagneten 13 bestimmte der Elektromagnete 16a bis 16l werden nur in der S-Pol magnetisiert ist, wodurch die Bildung eines Magnetkreises verhindert, infolge des Durchgangs werden Magnetflusses von den erregten Elektromagneten durch eine der benachbarten Elektromagnete, die über N-Pole magnetisch ähnlich dem Permanentmagneten 13 zu bringen neigt Es wird auch darauf hingewiesen, dass an dem anderen Magnetpol, beispielsweise S-Pol des Permanent Magneten 13 bestimmte der Elektromagneten nur dann mit N-Pol magnetisiert wird, wodurch die Bildung eines Magnetkreises zu verhindern, aufgrund des Durchgangs der Magnetfluss von den erregten Elektromagneten durch benachbarte Elektromagnete, was etwa S-Pole magnetisch ähnlich dem permanent bringen neigt Magneten 13. der Magnetfluß des Permanentmagneten 13 durch den magnetischen Körper 14, um den erregten Elektromagneten durch konvergiert werden (siehe die in Fig.4 durch Fig.4H gezeigten magnetischen Flusses 14d), wodurch Totzonen bilden, welche kein magnetischer Fluss spielt in den Magnetkörper 14 an einer Stelle gegenüber der nicht-erregten Elektromagneten. Dementsprechend wird keine Kraft erzeugt, die dazu neigen würde, die Drehung des Rotors 12 zu verhindern.
Angesichts der an die Elektromagnete 16a
bis 16l angelegten elektrischen Energie, im wesentlichen die gesamte
zugeführte elektrische Energie wird verwendet, um die Drehung des Rotors 12. Auf der anderen Seite tragen, und
im Hinblick auf die magnetische Energie des Permanentmagneten 18, die ganze magnetische Energie trägt
zur Drehung des Rotors 12.
Es wird auch darauf hingewiesen, dass, da die Kerben 14a und die Magnetzähne 14b sind abwechselnd in der äußeren Peripherie der magnetischen Materialien 14 in einem spitzen Winkel Konfiguration in Fig.4A bis Fig.4H gesehen angeordnet ist und die Elektromagnete sind an einer Position angeordnet, jeweils entsprechend den Grenzabschnitten zwischen den Kerben und den Magnetzähnen ist es für die Linie der Magnetkraft, in jeden Zwischenraum zwischen den Begrenzungsteilen und den Elektromagneten, wenn die Elektromagnete erregt, bis zu einem wesentlichen Grad geneigt sein erzeugt möglichst so daß ein ausreichender Grad an Rotationsmoment beim anfänglichen Erregung des Elektromagneten erzielt werden.
Die während eines tatsächlichen Lauftest des Motors gemäß der ersten Ausführungsform erhaltene Ergebnis ist in Fig.1 bis Fig.3 gezeigt.
Reinen Stahl wurde als magnetisches Material verwendet. Das magnetische Material war 30 mm in der Dicke und geformt, um Magnetzähne von 218 mm Durchmesser und Kerben von 158 mm Durchmesser aufweisen. Ein Ferritmagnet wurde als Permanentmagnet verwendet. Die Magnetkraft des Magneten betrug 1.000 Gauss. Elektrische Leistung von 19,55 Watt bei 17 Volt und 1,15 Ampere an die Elektromagneten angewendet. Die oben genannten Bedingungen hergestellten einer Drehzahl von 100 Upm, mit einem Drehmoment von 60,52 Kg-cm und einer Leistung von 62,16 Watt.
Alternative Ausführungsbeispiele werden nachfolgend unter Bezugnahme auf Fig.6 durch Fig.9 erläutert.
Die in Fig.6 gezeigten modifizierten Ausführungsform ist ähnlich zu der der ersten Ausführungsform dargestellten Motor, wie in Fig.1 bis Fig.3 gezeigt, mit der Ausnahme, daß jeder Elektromagnet 160 als Teil des Ständers verwendet wird, umfasst, ein Eisenkern 161 mit einem Paar von Beinen 162, die in Richtung der äußeren Peripherie der Magnetkörper (Außenumfang der Magnetzähne 14b) erstrecken, wobei jedes der Beine mit den Spulen 163 gewickelt die restlichen Komponenten im Wesentlichen identisch mit den in dem Motor gezeigt sind, in Fig.1 durch Fig.3. In Fig.16 sind ähnlich zu denen in Fig.1 bis Fig.6 die Komponenten durch gleiche Bezugszeichen bezeichnet. Es sollte beachtet werden, daß jede Spule 163 mit Strom versorgt werden, so dass ein Bein 162 (linke Seite in Fig.6) jedes der Eisenkerne 161 ist magnetisiert, um einen S-Pol, die magnetisch entgegengesetzt zu dem Magnetpol (sei N-Pol) des gegenüberliegenden Magnetkörpers 14, während der Schenkel 162 an dem anderen Ende jedes der Eisenkerne angeordnet ist magnetisiert, um N-Pol, die magnetisch entgegengesetzt zu dem Magnetpol (S-Pol) des gegenüberliegenden Magnet ist sein Körper 14.
Gemß dieser modifizierten Ausführungsform ist es möglich, eine Leckage des
Magnetflusses, die durch die Elektromagnete 160 in jeder Spalte zwischen den Flächen der magnetischen Pole der
Elektromagneten 160 und den äußeren
Peripherien der Magnetzähne 14b der
magnetischen Körper definiert deutlich reduzieren 14.
Ein in Fig.7 gezeigten alternativen Ausführungsform ist ähnlich zu der in Fig.1 bis Fig.8 gezeigten Motor, mit der Ausnahme, dass ein zusätzlicher Magnetkörper 14 ist auf der Drehausgangswelle 11 an ihm ist axialen Mittelpunkt montiert ist; zwei Permanentmagnete 130 sind frei auf der Ausgangswelle 11 in der in Fig.6 gezeigten Weise angebracht ist; und jeder Eisenkern 165 mit drei Beinen 166 an den gegenüberliegenden axialen Enden und den Mittelpunkt desselben angeordnet ist und sich zu den jeweiligen äußeren Umfang der Magnetkörper vorgesehen ist, wobei die Beine 166 an axial gegenüberliegenden Enden der entsprechenden Eisenkerne 165 positioniert sind, die mit Wund eine Spule 167, die Elektromagnete 164 bilden die übrigen Komponenten sind im wesentlichen die gleichen wie die in dem Motor in Fig.1 bis Fig.3 gezeigt. Es sollte hier angemerkt werden, dass die Drehausgangswelle 11 kann entweder aus magnetischen Materialien oder nicht-magnetischen Materialien gebildet sein.
Wie in Fig.7 gezeigt, ist jede der Spulen 167 mit Strom versorgt, so dass die Beine 166 an den gegenüberliegenden axialen Enden jedes der Eisenkerne 164 positioniert ist magnetisiert, um einen S-Pol, die magnetisch entgegengesetzt zu dem Magnetpol (sei N-Pol) des gegenüberliegenden Magnetkörpers 14 von diesem, das Bein 166 an dem Mittelpunkt des Eisenkerns 165 angeordnet ist magnetisiert, um N-Pol, die magnetisch entgegengesetzt zu dem Magnetpol (S-Pol) des gegenüberliegenden Magnet ist sein Körper 14.
In diesem Ausführungsbeispiel ist es auch möglich, wie in der in Fig.6 gezeigten modifizierten Ausführungsform ist, um das Austreten des von den Elektromagneten 164 hinaus erzeugten Magnetflusses signifikant zu reduzieren, ist es auch möglich, ein Drehmoment zu erhalten zwischen das Bein 166 in der Mitte des Eisenkerns und des Magnetkörpers 14 an dem axialen Mittelpunkt der Drehausgangswelle 11. Dementsprechend wird eine höhere Rotationsdrehmoment kann mit der gleichen Menge an Stromverbrauch erhalten werden positioniert, im Vergleich mit der Ausführungsform in Fig.6 gezeigten.
Eine in Fig.8 gezeigte weitere
Ausführungsform ist ähnlich der in Fig.1
bis Fig.3 gezeigten Motor, mit der Ausnahme, daß ein Permanentmagnet in
radialer Richtung magnetisiert und nicht in der axialen Richtung verwendet
wird. Der Permanentmagnet 131 eine
ringförmige Konfiguration aufweist, zum Beispiel ein N-Pol in der äußeren
Peripherie und einen S-Pol in der inneren Peripherie. Der Permanentmagnet 131 ist in einem Hohlraum 14e im jeweiligen Magnetkörper 14 an seinem Mittelabschnitt als an den
entgegengesetzten axialen Enden der Rotations-Ausgangswelle 11. Die übrigen Komponenten sind
identisch zu jenen im Motor in Fig1 bis
Fig.3. Die identisch mit den in dem
Motor in Fig.1 bis Fig.3 gezeigten
Komponenten werden durch die gleichen Bezugszeichen bezeichnet. Es sei darauf hingewiesen, dass diese
Ausführungsform auch die in Fig.6
gezeigten Elektromagneten 160 zu verwenden ist.
In dieser Ausführungsform kann die Drehausgangswelle 11 aus magnetischem Material ausgebildet werden, anstatt nicht-magnetischen Materialien.
Ferner in Fig.9 gezeigten Ausführungsform ist ähnlich der gezeigten in Fig.1 bis Fig.3, mit drei Ausnahmen Motors. Die erste Ausnahme besteht darin, dass ein Permanentmagnet in radialer Richtung magnetisiert und nicht in der axialen Richtung verwendet wird. Der Permanentmagnet 131, der eine ringförmige Konfiguration aufweist, zum Beispiel ein N-Pol in der äußeren Peripherie und einen S-Pol in der inneren Peripherie. Der Permanentmagnet 131 ist in einem Hohlraum 14e im jeweiligen Magnetkörper 14 an seinem Mittelabschnitt als an den axialen gegenüberliegenden Enden der Rotations-Ausgangswelle 11. Die zweite Ausnahme angeordnet ist erhalten ist, dass ein zusätzlicher Magnetkörper 14 ist an der angeordnet axialen Mittelpunkt der Drehausgangswelle 11 ist schließlich der dritte Ausnahme, daß der Eisenkern 165 mit drei Beinen 166 an den axialen gegenüberliegenden Enden angeordnet sind und den Mittelpunkt desselben versehen, und sich zu dem Außenumfang des magnetischen Körpers 14, wobei die Schenkel an der entgegengesetzten axialen Enden angeordnet sind, die mit entsprechenden Spulen aufgewickelt ist, um einen Elektromagneten 164 zu bilden, die übrigen Komponenten sind identisch zu jenen im Motor in Fig.1 bis Fig.3 gezeigt. Die identisch mit den in dem Motor in Fig.1 bis Fig.3 gezeigten Komponenten werden durch die gleichen Bezugszeichen bezeichnet.
Wie in Fig.9 gezeigt ist, ist jede Spule mit Strom versorgt, so dass die Beine 166, die an gegenüberliegenden axialen Enden des Eisenkerns 165 angeordnet sind, magnetisiert werden, um einen S-Pol, die magnetisch entgegengesetzt zu dem Magnetpol (N-Pol) der ist sein gegenüberliegenden Magnetkörpers 14. Dadurch wird der Schenkel 166 am Mittelpunkt des Eisenkerns 165 angeordnet sind magnetisiert, um N-Pol, die magnetisch entgegengesetzt zu dem Magnetpol (S-Pol) des gegenüberliegenden Magnetkörpers 14 ist sein.
Gemäß der oben beschriebenen Ausführungsform kann der Drehausgangswelle 11 aus magnetischem Material und nicht
aus nichtmagnetischen Materialien gebildet werden. Mit dieser Ausführungsform
ist es möglich, den gleichen Effekt wie mit dem in Fig.7 gezeigten Ausführungsbeispiel erhalten erhalten.
Weiterhin können die in Fig.10A bis Fig.10C gezeigten alternativen Ausführungsformen sind ähnlich zu dem in Fig.1 bis Fig.3 gezeigten Motor, mit der Ausnahme, dass, wie die in Fig.8 und Fig.9 ist ein ringförmiger Permanentmagnet gezeigten Ausführungsformen 131 verwendet wird, der in einem Hohlraum 140e in dem zentralen Abschnitt 140 des magnetischen Körpers 140 vorgesehen empfangen wird; der Magnetkörper 140 ist mit Einkerbungen 140a in dem äußeren Umfangsabschnitt davon vorgesehen ist, so daß der Spalt G zwischen dem Magnetkörper 140 und der Elektromagnet wird in der Drehrichtung des Rotors allmählich breiter; und die Elektromagneten gegen dem Spalt G mit einer mittleren Breite zwischen den Elektromagneten gegenüberstehenden dem Spalt G mit einer schmaleren Breite und den Elektromagneten gegenüber dem Spalt G mit einer breiteren Breite angeordnet sind erregt oder magnetisiert in einer sequentiellen Weise. Die übrigen Komponenten sind identisch zu jenen im Motor in Fig.1 bis Fig.3 gezeigt. In Fig.10A bis Fig.10C sind die Komponenten, die identisch zu denen in Fig.1 bis Fig.3 mit den gleichen Bezugszeichen bezeichnet. In diesem Zusammenhang sei darauf hingewiesen, daß das Bezugszeichen 140d zeigt magnetischen Flusses, der durch den Magnetkörper 140, um so konvergierten Zustand solcher Magnetflusses bei Erregung der Elektromagneten zu veranschaulichen.
In der gerade oben beschriebenen Ausführungsform ist es möglich, den Rotor in der Richtung gegen den Uhrzeigersinn zu drehen, wie in Fig.10A angezeigt, beispielsweise durch Erregen der Elektromagnete 16a, 16d, 16g und 16j, wie es in Fig.10A gezeigt ist, dann, die Elektromagnete 16c, 16f, 16i und 16l, wie in Fig.10B den Elektromagneten 16b, 16e, 16h und 16k dargestellt ist, und dann. Gemäß dieser Ausführungsform ist es möglich, eine stabile Rotationskraft sowie eine höhere Drehdrehmoment zu erhalten, obwohl der Drehzahl im Vergleich mit der obigen Ausführungsform reduziert.
Wie in Fig.10A gezeigt ist, sind vier Kerben 140a versehen. Es sollte jedoch angemerkt werden, dass zwei oder drei Stufen vorgesehen sein. Es ist auch möglich, das magnetische Material 140 an der Rotations-Ausgangswelle 11 in exzentrischer Weise in seiner Gesamtheit zu befestigen, ohne daß Kerben 140a.
Fig.11A bis Fig.11H sind illustrative Diagramme, die den Betrieb der zweiten Ausführungsform der Erfindung, wenn sie in einem Linearmotor-Typ entwickelt.
Nach dieser Ausführungsform ist ein beweglicher Körper 21 angepasst entlang eine lineare Strecke 20 einen Roller Förderband Typ verschoben werden. Der Track enthält
ein Bild, auf dem eine Vielzahl von Rollen positioniert sind, parallel
zueinander. Ein Permanentmagnet 22
wird auf dem beweglichen Körper 21
montiert. Ein magnetischer Körper 23
einer Platte-wie Konfiguration wird der Permanentmagnet 22 in die obere Fläche, um ein bewegliches Element bilden
befestigt. Es sei darauf hingewiesen, dass die magnetische Körper 23 magnetischen Fluss von der
Permanentmagnet 22 durchläuft. Eine
Vielzahl von Elektromagneten 25a, 25b,
25c, 25d usw. werden über das bewegliche Element 24 entlang der linearen Strecke positioniert Parallel zueinander
entsorgt. Diese Elektromagnete bilden
ein Stator 25. Magnetische Schaltungen die Elektromagnete 25a, 25b, 25c, 25d
und So weiter, sind unabhängig voneinander, so dass die Elektromagnete in einer
sequenziellen Weise mittels Anregung Umstellung Mechanismus (nicht abgebildet),
magnetisiert werden, um eine magnetische Polarität gegenüber den magnetischen
Pol der Permanentmagnet 22
haben. Ausgangsleistung Wellen eine Seitenfläche
des beweglichen Körpers 21, 21a
zugeordnet sind.
Betrieb des oben genannten zweiten Verkörperung werden unten erläutert.
Wie im Fig.11A gezeigt, und wenn kein Strom an den Elektromagneten, die Elektromagneten wird 25a und 25b positioniert Just über dem beweglichen Element 24 unterliegen Magnetfeld des Permanentmagneten 22 (siehe schattiert in Fig.11A). So absorbieren diese Elektromagnete magnetisch magnetischen Körper 23, so dass das bewegliche Element 24 bleibt gestoppt werden.
Wie im Fig.11B gezeigt, und wenn der Elektromagnet 25c, positioniert vor in Bezug auf die Richtung, in die das bewegliche Element 24 bewegt, begeistert ist, interagieren das Magnetfeld des Permanentmagneten 22 und das Magnetfeld des Elektromagneten 25c miteinander, so dass Magnetfluss 23a durch den magnetischen Körper 23 sofort in Richtung der Elektromagnet 25c konvergiert. Dadurch wird das bewegliche Element 24 magnetisch an der Elektromagnet 25c, absorbiert so, dass es, entlang der linearen Strecke 20 unter die antreibende Kraft verschoben wird, die in die Richtung, in der die Breite der Magnetfluss 23a umfassenderen, d.h. in die Richtung einer Pfeil-Marke im Fig.11B angezeigt wird.
Fig.11C durch Fig.11E zeigen eine
Veränderung in der Breite der magnetische Fluss 23a als Reaktion auf die Bewegung des beweglichen Elements 24. An dem Punkt, an dem die Breite der
Magnetfluss 23a maximiert wird, d.h.
wird wenn das vorderen Ende des magnetischen Materials 23 des beweglichen Elements 24
positioniert ist, kurz vor Übergabe der Elektromagnet 25c, die Breite des Flusses 23
maximiert. Zu diesem Zeitpunkt magnetische Absorption zwischen Permanentmagnet 22 und der Elektromagnet 25c wirkenden maximiert wird, aber die
antreibende Kraft auf das bewegliche Element ist gleich NULL.
Bevor die antreibende Kraft auf das bewegliche Element wird 24 komplett NULL, d. h. wenn das vorderen Ende des magnetischen Körpers 23 des beweglichen Elements 24 ist der Elektromagnet 25d vorbei, der Erregung-Umstellung-Mechanismus um Anregung von der Elektromagnet 25c zu stoppen und damit Anregung von der Elektromagnet 25d initiieren betätigt wird. So konvergiert der magnetische Fluss 23a, der Elektromagnet 25d, wie in Fig.11F, dargestellt, so dass eine antreibende Kraft auf dem beweglichen Element 24, wie in der vorherigen Phase wirkt.
Später, als Reaktion auf weitere Bewegung des beweglichen Elements 24, die Breite der Magnetfluss 23a wird reduziert, wie in Fig.11G und Fig.11H dargestellt und somit wird eine ähnliche Operation wiederholt werden.
Die sequentielle Anregung des Elektromagneten, wie oben erklärt, führt dazu, dass Interaktion zwischen den magnetischen Feldern von Permanentmagneten 22 und Elektromagneten, wobei eine antreibende Kraft auf das bewegliche Element 24 angewendet wird.
Es sei darauf hingewiesen, dass, wenn die magnetische Polarität der Permanentmagnet 22 konfrontieren die Elektromagnete ausgegangen wird, N-Pol sein, der Elektromagnet 25c magnetisiert ist, ausschließlich, um S-polig, um Bildung einen Magnetkreis aufgrund Übergang des magnetischen Flusses von der Elektromagnet 25c bis zu den angrenzenden Elektromagnete zu verhindern, werden 25b und 25d, welche Bildung, wenn es vorkommt, tendenziell dazu führen, dass die Polarität des Elektromagneten, N-Pol identisch mit den magnetischen Pol der Permanentmagnet 22 sein. Entsprechend, und in gewissem Sinne ähnlich wie in der ersten Ausführungsform wird keine Kraft erzeugt, die dazu neigt, die Bewegung des beweglichen Elements 24 stören.
Die vorliegende Erfindung eine Mehrzahl von Elektromagneten als ein Stator sind
so angeordnet, dass ihre jeweiligen Magnetoleiter voneinander unabhängig zu
werden. Die Elektromagnete werden auch angeordnet, so dass sie ausschließlich
magnetisiert oder aufgeregt, um eine magnetische Polarität gegenüber den magnetischen
Pol der Bekämpfung Permanentmagnet haben. So wird jeden Elektromagnet
verhindert immer um die gleiche Polarität wie die der Permanentmagnet, die
auftreten können, wenn Magnetfluss aus ein bestimmten Elektromagnet neben
Elektromagnete durchläuft magnetisiert. Dementsprechend wird keine Kraft
ausgeübt werden, die dazu neigt, die beabsichtigte Bewegung eines Rotors oder
ein bewegliches Element stören. Infolgedessen elektrischer Energie auf den
Elektromagneten angewendet kann effizient genutzt werden, während gleichzeitig,
magnetischer Energie in der Permanentmagnet enthalten kann-auch effizient
genutzt werden.
Die Spulen, die Konstituierung der Elektromagnete werden konsequent mit elektrischem Strom mit der gleichen Polarität, ohne irgendeine Änderung geliefert, so dass der Windungen Heizung verhindert werden kann. Darüber hinaus ist es möglich, vermeiden die Probleme der Schwingungs- und Geräuschverhalten, die auftreten können, durch eine abstoßende Kraft, die entsteht, wenn die Polarität der elektrischen Strom bereitgestellt, um die Spulen geändert wird.
Patent WO8300963 17. März 1983 Erfinder: Joseph W. Newman
ENERGIE-GENERATION-SYSTEM MIT HÖHEREN ENERGIEERTRAG
ALS EINGABE
Dieses Patent deckt eine Gerät, das behauptet wird, um eine größere Leistung als die zugeführte Energie benötigt, um sie auszuführen haben.
ZUSAMMENFASSUNG
System zur Generierung von offensichtliche Arbeit Bewegung, oder elektromagnetische Energie (Kraftfelder) oder elektrische aktuelle Nutzung die elektromagnetische Energie, die wenigen bildet und führt zu eine größere Leistung von Energie, als die ursprüngliche Eingabe der konventionellen Energie bedeutet und Lehren. Eine erste beispielhafte Verkörperung (Fig.1) des Generators verwendet eine enthaltene Flüssigkeit (117), die rund um eine Reihe von ausgerichtete Magnete (120); während eine zweite beispielhafte Verkörperung (Fig.3) ein spezielles Material (201) statt stationäre zwischen zwei statischen Magnete (202, 203), das spezielle Material mit seiner Atome ausgerichtet, sondern pflegen das resultierende Magnetfeld zumindest erheblich innerhalb seiner Grenze-Oberfläche verwendet; während der dritte und vierten beispielhafte Verkörperungen (Fig.5 und Fig.6) eine relativ schwere Spule (205), bestehend aus relativ großen Durchmesser Draht aus relativ großen Länge und Anzahl der Schleifen und Länge und eine relativ kleine energiespendende aktuelle ein drehbarer Permanentmagnet (200) fahren nutzen.

BESCHREIBUNG
HINTERGRUND DER ERFINDUNG
1. Gebiet der Erfindung:
Die vorliegende Erfindung bezieht sich allgemein auf Vorrichtungen oder Systeme (einschließlich Verfahren) zur Erzeugung nutzbarer Energie wie zum Beispiel elektrische Energie durch elektromagnetische Felder, elektrische Energie oder elektromagnetische Felder von der Materie, und insbesondere auf Vorrichtungen oder Systeme (einschließlich Verfahren) zur Herstellung von elektrischem Strom fließen für den Einsatz als elektrische Energie und magnetische Kraftfelder, die Bewegung (der Hand der Arbeit) oder elektrischen Stromfluss verursachen oder zur Erhöhung der elektromagnetischen potentielle Energie für die Verwendung oder mechanischer Energie zur Verfügung für den Gebrauch.
2. Stand der Technik:
Es gab viele Geräte im Laufe der Jahre zur Erzeugung von elektrischer Energie-vorgeschlagen, mit mechanischer Reibung, thermo-Strom, Fotoelektrizität, Piezoelektrizität, Elektrochemie und elektromagnetische Induktion wird der Chef Formen der Primärenergie in der Lage, Strom. Von diesen ist die einzige wesentliche Quelle von kommerzieller elektrischer Energie ist die mechanische Einwirkung von den elektrischen Generatoren und für mobile elektrische Leistung die chemische Wirkung von Batterien ist wichtig gewesen. Verwendbare Bewegung aus der Wechselwirkung zwischen dem Eingang der elektrischen Energie und der magnetischen und / oder elektromagnetischen Kraftfeldern (Elektromotoren) und Wärme oder Licht als Ergebnis einer Eingabe von elektrischem Strom durch herkömmliche mechanische Systeme, Heizungen, Glühbirnen usw. resultierte
Alle Systeme des Standes der Technik entsprechend zu starren sowohl in Physik und Elektrotechnik vermittelt mathematische Gesetze, die mit der Hypothese, starr durch die Industrie, Wissenschaft über den Zweiten Hauptsatz der Thermodynamik (1850) angenommen übereinstimmen konzipiert.
Aus dem Vorstehenden allgemein akzeptierten Hypothese wurde auch allgemein anerkannt und starr in Physik und Elektrotechnik gelehrt, dass der elektrische Strom in einem geschlossenen Stromkreis von einer Batterie, elektrischen Generator usw. Fließt wird in der mechanischen Vorrichtung verwendet, die von diesem Fluss von elektrischem Strom betrieben wird, und dass alle diese elektrischen Strom erzeugende Systeme nur löschte höchstens Arbeit gleich der Arbeit zunächst in das System, oder in Übereinstimmung mit allgemein anerkannten Gesetze besagt, dass eine bestimmte Strom-Erzeugungssystem konnte nur die Bildung eines gegebenen Energieabgabe und nicht mehr.
Diese Überzeugungen haben bis zu diesem Zeitpunkt blieb starr sowohl in der Industrie, Wissenschaft trotz Beweis von Einsteins (eigentlich Oliver Heaviside) Gleichung E = mC2 Kernreaktoren wandeln Materie in nutzbare elektromagnetische Energie in Form von Wärme, die Wasser in Dampf verwandelt zu konventionellen Energieanlagen drehen Produktion von elektrischem Strom durch herkömmliche elektrische Erzeugungseinrichtung. Dieses System ist äußerst ineffizient, die weniger als 1% der Energie des Atoms und Erzeugen einer Flut von kontaminierten Materialien, die ein ernsthaftes Problem, daß eine sichere Entsorgung verursacht hat.
Zusätzlich ist die Grundstromgeneratoren verwenden heute weltweit verwenden das Prinzip der eine relative Bewegung zwischen einem elektrischen Leiter (beispielsweise ein Rotor) und einem durch einen Magneten oder einen Elektromagneten (beispielsweise ein Stator) erzeugte Magnetfeld, die alle mit allgemein anerkannten Annahme, dass je größer die Relativgeschwindigkeit oder die Bewegung der beiden handelt, und je mehr normal oder senkrecht zu der relativen Bewegung des leitfähigen Materials, um den Kraftlinien des elektromagnetischen Feldes, desto größer wird der Wirkungsgrad der bekannten elektrisch sein Generator. Zusätzlich werden alle der Systeme des Standes der Technik werden auf der allgemein anerkannten Annahme, dass je größer die elektrische Leitfähigkeit des Materials, das durch das Feld bewegt, basierend, desto effizienter wird die elektrische Generation.
Aus der vorstehenden allgemeinen Hypothesen akzeptiert, auch ist allgemein anerkannt, dass es immer eine Bewegung zwischen beispielsweise den Rotor und Stator-Elemente sein, und das einzige allgemein akzeptierte elektrischen Leiter, ist, dass Materialien mit hoher elektrischer Leitfähigkeit, effektiv dienen ein System Stromerzeugung.
Jedoch in einem der Systeme (Fig.3) der vorliegenden Erfindung und zur Stromerzeugung kann mit relativ statischen Elementen und mit Materialien, die im Allgemeinen nicht als mit hoher elektrischer Leitfähigkeit sein auftreten, obwohl natürlich ebenfalls kann die vorliegende Erfindung nutzen sich relativ bewegenden Elemente sowie Materialien allgemein akzeptierter hohe elektrische Leitfähigkeit, wenn es so gewünscht wird, wie in den Systemen der in Fig.5 und Fig.6 dargestellten erfindungsgemäßen auftritt.
Vorherige Technologie hat es versäumt, bestimmte physikalische Aspekte der Materie und das Make-up von elektromagnetischen Feldern, die Ausfall durch die vorliegende Erfindung korrigiert wird verstehen.
KURZBESCHREIBUNG
DER ZEICHNUNGEN
Für ein weiteres Verständnis des Wesens und der Aufgaben der vorliegenden Erfindung sollte Bezug auf die folgende detaillierte Beschreibung in Verbindung mit den beigefügten Zeichnungen, in denen gleiche Teile gleiche Bezugszeichen gegeben und wobei Bezug genommen werden:

Fig.1 ist eine schematische Seitenansicht in allgemeiner, Darstellungsform einer ersten Ausführungsform eines elektrischen Generators auf der Grundlage der Grundsätze und Leitlinien der vorliegenden Erfindung.

Fig.2 ist eine vergrößerte Ansicht in allgemeiner Form einer elektrischen Ladung Aufnahmeelement, das in der in Fig.1 dargestellt Generator verwendet werden kann.

Fig.3 ist eine schematische Ansicht in generaliDarstellungsForm einer zweiten Ausführungsform eines elektrischen Generators, basierend auf den Prinzipien und Richtlinien der vorliegenden Erfindung.

Fig.4 ist eine schematische Ansicht in generaliDarstellungsForm der negativen und positiven Teilchen gyroskopischen Aktionen, die von einem Magneten ausgeht aufweist, um ein elektromagnetisches Feld zu bilden.


Fig.5 und Fig.6 zeigen schematische Ansichten in generali gegenständliche Form von dritten und vierten Ausführungsformen eines kombinierten elektrischen Generator und Motor unter Verwendung einer statischen, relativ große Spule, die durch eine relativ niedrige Strom Antreiben einer drehbaren Magneten, wobei in der Ausführungsform der erregt Fig.5 der drehbare Magnet an der Seite der Spule und in der Ausführungsform von Fig.6 positioniert die drehbare Magnet innerhalb der offenen Kern der Spule angeordnet ist.
DETAILLIERTE BESCHREIBUNG DER BEVORZUGTEN AUSFÜHRUNGS:
Grundprinzipien
und Leitlinien
In Übereinstimmung mit den Prinzipien der vorliegenden Erfindung und wie allgemein in Fig.3 dargestellt, ein elektromagnetisches Feld 10 umfaßt Ströme Quanten oder Teilchen 20, 30 der elektrischen Energie von jedem der Pole 21, 31 aus einem Magneten (oder Elektromagneten) fließenden 40 mit dem anderen Pol, im Anschluss an die "Kraftlinien" 11 des elektromagnetischen Feldes. Diese Teilchen 20, 30, angenommen werden, um mit der Geschwindigkeit des Lichts, werden immer aus einem Ende 21, 31, kommt bzw. des Magneten 40 und geht in den anderen Pol 31, 21, jeweils, von einem relativ hohen fließenden Energiequelle auf einen niedrigen Energiequelle.
Diese Partikel 20, 30 sind, wird angenommen, negativen und positiven Ladungen und haben einen Spin Herstellung einer Kreiselbewegung und folgen Sie den mechanischen Gesetzen der Kreisel Aktion.
Die Masse jedes der Teilchen 20, 30 ist gleich der Energie des Teilchens, dividiert durch die Lichtgeschwindigkeit im Quadrat. Die Umfangsgeschwindigkeit des gyroskopischen Spin der Teilchen wird angenommen, dass die Lichtgeschwindigkeit.
Zum Zwecke der Veranschaulichung und als selbst Nomenklatur wird die positive Ladung Teilchen 20 in eine Richtung ("N" bis "S") mit einer im Uhrzeigersinn drehen, und die negative Ladung Teilchen 30 in die entgegengesetzte Richtung mit einer gegen den Uhrzeigersinn drehen. natürlich, wenn ein Teilchen wie 20 oder 30 um hundertachtzig Grad und umgedreht wird, wird es die entgegengesetzte Ladung oder die Art des Teilchens.
Das elektromagnetische Feld 10 ist somit der geordneten Ablauf der positiven und negativen Ladungen 20, 30 sich mit der Geschwindigkeit des Lichts von der Nord- und Südpol 21, 31, auf die Süd- und Nordpole 31 bzw. 21, und folgen Sie den Pfaden von dem, was in der Technik als die "Kraftlinien" 11 des elektromagnetischen Feldes 10 bezeichnet.
Wie aus den Gesetzen der Gyroskope bekannt, bewegt sich ein Kreisel Teilchen oder Körper in rechten Winkeln zu der Richtung einer aufgebrachten Kraft. Daher wird, wenn eine Kraft auf den elektrischen Energiepartikeln 20, 30 angelegt wird, werden sie im rechten Winkel zu dieser Kraft zu bewegen.
Es sollte auch aus der Kreiselgesetzen, die die elektrische Energie Partikel 20, 30, wenn sie mit ihren Kreiselachse bewegen sich gerade in ein Objekt, neigen dazu, das Objekt gerade Klopfmerkt werden, aber, wenn es das Objekt trifft, die Teilchen in einem Winkel zu der Achse außer bei Null oder einhundertachtzig Grad, werden die Partikel in einem Winkel von der Geraden bewegt.
Zusätzlich wird darauf hingewiesen, dass ein Magnetfeld durch einen Strom durch einen Draht fließt, verursacht kommt von negativ und positiv geladenen Teilchen, wie beispielsweise 20, 30, mit einem Nettostrom von solchen Teilchen in die gleiche Richtung, aber mit entgegengesetztem Spin.
In dem System und Verfahren der vorliegenden Erfindung dienen die vorgenannten Grundsätze als Leitlinien in der vorliegenden Erfindung.
Ferner wird auf den Seiten gemacht DD23 DD27 mit der Offenlegungsdokument und auf Seite 8, Zeile 26 bis Seite 11, Zeile 23 der früheren Anmeldung Seriennummer 25.907 und seine Figuren 7-10.
Aus den vorstehenden Angaben, sind viele verschiedene Geräte, Strukturen und Methoden möglich, der Grundsätze und Leitlinien des Systems der vorliegenden Erfindung verkörpern, die im Allgemeinen zu nutzen wird ein Material oder Substanz oder Struktur, eine Kraft im richtigen Winkel, um den Ort Kreisel Partikel 20, 30, wobei die Partikel 20, 30 folgen einem Pfad oder die Pfade, die einander nicht aus nicht abgebrochen werden, wodurch elektrischer Strom an entsprechenden Ausgängen zur weiteren Verwendung oder zur Erhöhung der vorhandenen Potenziale elektrischer Energie für den ultimativen Einsatz.
Erste Ausführungsform (Bild 1)
Eine mögliche, beispielhafte Ausführungsform unter Verwendung der Prinzipien des Systems der vorliegenden Erfindung ist schematisch in der verallgemeinerte Darstellung Fig.1 gezeigt.

Wie in Fig.1 dargestellt ist, wird ein elektrischer Stromgenerator 100 umfasst eine äußere Umhüllung 115 und eine innere, Druck enthaltenden, geschlossenen Gehäuse 116 darin durch isolierende Stützen 105 ein Vakuum in dem Bereich 106 zwischen den beiden Gehäusen 115 besteht unterstützt, 116, der Unterdruck wird mittels der Vakuumleitung 104 mit ihrem Spur 107 und dessen Steuerventil 108. Das äußere Gehäuse 115 dient als Halter für den magnetischen Kraftfelder geregelt und induziert, und können beispielsweise aus Weicheisen, während der Unterdruck im Bereich 106 verhindert das Austreten oder Entladen der statischen elektrischen Ladungen, die sich auf der Außenseite des inneren Gehäuses 116 aufbauen könnten.
Ein Gas oder Gas-Flüssigkeits-Mischung 117, die eventuell auch mit Feststoffpartikeln, wie beispielsweise Blei oder Messing Späne, ist innerhalb des inneren Gehäuses 116 umgibt eine Reihe von ausgerichteten Magneten 120 durch isolierende Verstrebungen getragen enthalten oder Stützen 121 und zum Erzeugen eines hohen kombinierten elektromagnetisches Feld. Die Magneten 120, die beispielsweise sein kann, kryogenen Magneten haben ihre "N" und "S" Pole ausgerichtet (wie durch das "NS" und "ß" dargestellt), so dass sich ihre Magnetfelder einander verstärken.
Das Niveau des Gases oder Gas-Flüssigkeits-Gemisch 117 in dem Gehäuse 116 mittels der Leitung 122 mit dem Manometer 123 und einem Steuerventil 124. Der elektrische Strom Ausgangsleitungen 119 vorgesehen sind geregelt und nach unten erstrecken, um elektrisch mit einem Draht Pick bis System 118 (in Nahaufnahme in Fig.2 gezeigt), die beispielsweise in der Form von sehr dünnen Drähten bilden einer dicht beabstandeten Netzwerk oder Gitter oder aus einem porösen leitenden Metallkörper oder Folie, gelegen und in der erweiterten Flüssigkeit 117 in dem Gehäuse 116.
Es wird angemerkt, dass ein Fingerhut Gas eine toll Vielzahl von äußerst kleinen Körper, die in kontinuierlichen Zufallsbewegung bewegt bei extrem hohen Geschwindigkeiten sind. Daher gilt das Fluid 117 kontinuierlich eine Kraft auf den gyroskopischen Teilchen (analog Teilchen 20, 30 der Fig.3) sich mit der Geschwindigkeit des Lichts im hohen elektromagnetischen Feld (von den Magneten 120 erzeugt wird), da sie kontinuierlich miteinander kollidieren andererseits, die in dem Fluid 117 führt immer elektrisch geladen. Der beladene Flüssigkeit 117 seine elektrische Ladung an die Abholdrahtnetz 118 in dem Fluid angeordnet entlädt, und die so erzeugten und erzeugte elektrische Strom wird für die Verwendung über die elektrischen Ausgangsdrähte 119 entnommen.
Als eine Alternative zu mit inneren Magneten 120 enthalten, könnte sich das elektromagnetische Feld in der Flüssigkeit 117 benötigt von einer Quelle außerhalb der Grenzen des Fluids 117, solange eine signifikante Feld wurde im Fluid 117 erzeugt befindet hergestellt werden.
Zweite Ausführungsform (Fig.3)
Eine weitere beispielhafte, verallgemeinerte Ausführungsform unter Verwendung der Prinzipien des Systems der vorliegenden Erfindung ist in schematischer Form in Fig.3 gezeigt.
Der elektrische Stromgenerator 200 der Fig.3 umfasst einen erweiterten Teil 201 aus einem speziellen Material, dessen Atome besonders ausgerichtet, um elektrischen Strom zu erzeugen, wenn in einem elektromagnetischen Feld angeordnet sind, aber welche nicht selbst weisen außerhalb der Grenzflächen keine wesentliche Magnetfeld jedoch im wesentlichen enthält das Feld in sich. Dies steht im Gegensatz zu "magnetischen" Materialien, die ebenfalls Atom Ausrichtungs sondern die auch noch zu einer spürbaren Magnetfeld im umgebenden Bereich.
Der Generator 200 weist ferner beispielsweise zwei Magnete 202, 203 mit ihren Nord- und Südpol einander zugewandt sind, mit dem Element 201 zwischen ihnen angeordnet ist, und mit den drei Elementen 201-203 statisch gehalten mit Bezug zueinander. Aufgrund der speziellen Natur des Materials des Elements 201 und seiner speziellen Atom Ausrichtung ist, wird der Gleichstrom durch die Ausgangsleitung 204 infolge der gyroskopischen Wirkungen der Teilchen des durch die einander zugewandten Magneten 202 erzeugte elektromagnetische Feld 205 zu erzeugen, 203, auf die speziell ausgerichtet Atomen im Element 201, das Phänomen tritt auch bei, und auch wenn das Element 201 vollständig statisch in Bezug auf die Magnete 212, 203.
Jedoch kann es wünschenswert sein, in einigen Anwendungen zu erlauben oder zu erzeugen, eine gewisse relative Bewegung zwischen den Generatorelemente 201-203. Die Ausgangsleitung 204 erstreckt sich zu einer entsprechenden "Belastung" 206 zur Verwendung des elektrischen Stroms von dem Generator 200 eine Rücklaufleitung 207 den Stromkreis zurück zu dem Element 201 erzeugt wird.
Basierend auf Experimenten bisher, wird angenommen, dass aus Messing und Blei sind Materialien, können sich ihre Atomen besonders ausgerichtet, um mit den Kreisel Teilchen (analog Teilchen 20, 30) zwischen den Magneten 202, 203 fließt, in Wechselwirkung und wird im wesentlichen in ihrer Oberfläche enthalten, Grenzen, die durch die fluchtenden Atomen oder Molekülen erzeugten Magnetfelds.
Im Hinblick auf die Herstellung der geeigneten Material mit Atom Ausrichtung des Elements 201 wird festgestellt, daß die meisten Materialien scheinen ihre Atomen in zufälligen Richtungen ausgerichtet, wenn durch übliche Herstellungsverfahren gebildet. Es kann jedoch festgestellt, daß bestimmte Materialien können magnetische, indem das Material in ein elektromagnetisches Feld beim Abkühlen von einer Temperatur von etwa tausend Grad Celsius durchgeführt werden können. Der Magnetismus ist das Ergebnis Atom Ausrichtung des Materials in eine bestimmte Richtung (siehe Seiten DD19 durch DD21 des Disclosure Document). Alle Materialien sind davon betroffen, dass sie parallel oder in Kraftlinien, wenn in einem starken elektromagnetischen Feld auszurichten. Dementsprechend wird, wenn ein Material, während es gebildet wird, in einem extrem starken elektromagnetischen Feldes abgekühlt, die Atome des Materials eine bestimmte Ausrichtung zu nehmen. Das Atom Ausrichtungsrichtung könnte, je nachdem ob das elektromagnetische Feld mit dem Material oder in einem Winkel von neunzig Grad zu dem Material ausgerichtet variiert werden. Dies würde in den Atomen eines Materials mit ihrer besonderen elektromagnetischen Spinrichtung primär entlang der gleichen Achse führen.
Lediglich mit Atom Ausrichtung ist jedoch nicht ausreichend. Außerdem wird das Material für die Erfindung sollte so sein, dass es eine sehr geringe, wenn irgendein Magnetfeld im umgebenden Bereich. Somit ist anzumerken, dass die Außen elektromagnetische Feld, das aus dem Atom Ausrichtung des herkömmlichen Magnet auftritt, nicht in dem Material der Erfindung dupliziert, weil die elektromagnetische Energie aus Atom Ausrichtung in dem Material der Erfindung ergeben, werden in erster Linie in der enthalten sein Grenzen des Materials Es wird angenommen, dass Blei, hergestellt supra durch Eintauchen in ein Bad aus beispielsweise flüssigem Helium ist ein solches spezielles Material und kann beispielsweise als Material für Element 201 zu dienen.
Dies führt dann mit einem Material, das eine Kraft im richtigen Winkel auf die Kreiseltyp bewegten Teilchen in dem elektromagnetischen Feld zu platzieren wäre, um so zu bewirken, daß eine EMK erzeugt, selbst wenn das Material noch sitzen. (Siehe auch Absatz Seite DD23 und Absätze vier, A bis E, von Seite DDl9 des Disclosure Document).
Es wird angenommen, dass hohe enthielt Drücke sowie anderen Verfahren kann wahrscheinlich auch produzieren Atom Ausrichtung wie die Atome aus einem Leiter oder einem Material, um eine ausreichende äußere Kraft reagieren. (Siehe Absatz DD35 Seite des Disclosure Document). Diese Möglichkeit wird auch durch die Tatsache, dass harte Schläge oder Stöße ein Magnet entmagnetisiert werden angezeigt.
Die korrekte Vorgehensweise von Herstellungsmaterial beim Erreichen Atom Ausrichtung mit intern enthaltenen Kraftfelder wird die kontrollierte Freisetzung von elektrischer Energie in elektromagnetische Kraftfelder bewirken, wenn das Material der Erfindung ist in den Kraftlinien des elektromagnetischen Feldes angeordnet.
Dritten und vierten Ausführungsform (Bild 5 und Bild 6)
A. Verwandte Grundsätze
1. Zahlreiche wissenschaftliche Untersuchungen und Experimente des Erfinders zeigen, dass das Magnetfeld, das von einem elektrischen Strom durch einen Leiter fließt, entsteht, ist das Ergebnis der Atomausrichtung innerhalb dieses Leiters mit einer extrem hohen Geschwindigkeit, mit der Fähigkeit, Atom Ausrichtung umkehren ebenso schnell ohne die magnetische Hysterese mit herkömmlichen Materialien als verbunden "magnetischen". Vor dieser Zeit wurde angenommen und von der wissenschaftlichen Gemeinschaft gelehrt, dass das Magnetfeld durch einen elektrischen Strom führenden Leiter zugeordnet war das Ergebnis des elektrischen Stroms selbst und nicht von dem Leitermaterial, beispielsweise Kupfer, das angesehen wurde als "unmagnetisch. "Auch der Erfinder wurde beeinflusst und diese Lehren irreführen und versucht, mechanisch erklären und rechtfertigen die früheren Lehren, wie auf Seite DD-27 der Offenlegungsdokument, das ein wichtiger Bestandteil dieser Patentanmeldung ist zu sehen ist.
Wie in der vorliegenden Erfindung gelehrt werden, was mechanisch geschieht, ist jedoch, dass die Kreisel Teilchen, die den elektrischen Strom bewegen in einem Leiter in Wechselwirkung mit dem elektromagnetischen makeup der Atome des Leiters, wodurch sie extrem schnell auszurichten, wodurch dann die Freigabe einige deren elektromagnetische Make-up in Form eines magnetischen Feldes exakt wie im Detail für herkömmliche magnetische Materialien in der Offenlegungsschrift beschrieben.
Dies ist leicht nachgewiesen und indem zum Beispiel eine Größe 14-Gauge-Leiter einen Fuß lang, Aufwickeln zu einer Spule und mit dem die Spule zu einem Meter und eine 1,5-Volt-Batterie zu verstehen. Das am Zähler registrierten Gesamtstrom 1,5 Ampere, und die Stärke des Magnetfeldes von der Kurzschlussleiter angelegt wird extrem klein sein. Als nächstes wird die gleiche Art von Test erneut ausgeführt, aber mit der Länge des Leiters erhöht wird, um beispielsweise zweitausend Fuß, aber dennoch in einer Spule. Das am Zähler registrierten Gesamtstrom wird nun erheblich geringer sein, aber die Stärke des Magnetfeldes, das durch den Leiter erzeugt wird nun sehr groß sein!
Dies zeigt, dass das Magnetfeld nicht von der elektrischen Stromflusses, sondern ist das Ergebnis der Wechselwirkung der gyroskopischen Teilchen, aus denen der elektrische Strom in Wechselwirkung mit den Atomen des Leiters! Dies bewirkt, dass die Kreisel Partikel des elektrischen Stroms nicht in der Lage sein, die Schaltung so schnell wieder an die Batterie zu machen und damit das Messgerät zeigt weniger Strom gebraucht.
Das Magnetfeld ist das Ergebnis der Atomausrichtung des Leiters. Je mehr Atome in einem Leiter (bis zu einem Punkt), der von einer gegebenen Menge der elektrischen Stromeingang erzeugt stärker ist das Magnetfeld. Wiederum wird dies durch eine Änderung des Durchmessers der leitenden Drähte bewährt und mit den Längen der gleiche ist, wird das stärkste magnetische Feld des Leiters mit dem größten Durchmesser führen. Der Grund dafür ist, dass es mehrere leitende Atomen mit den Kreisel Teilchen der elektrische Strom sich durch den Leiter, der in einer größeren Anzahl von leitenden Atomen führt zu interagieren, die ausgerichtet sind, wodurch dann die Freigabe einige ihrer elektromagnetischen Make-up, genau wie dies im Detail in der Offenlegungsschrift als möglich für alle Materie erklärt.
Wenn das erzeugte Magnetfeld wurde streng auf die Menge an Strom, der durch einen Leiter basiert, wie im Stand der Technik gelehrt wird, dann das stärkste Magnetfeld würde sich ergeben, wenn Strom durch einen großen Durchmesser und kurze Länge Leiter ging, weil der Stromfluss durch die gesamte Schaltung größten ist zu dieser Zeit. Jedoch Experimente beweisen, dass der kürzere ein Leiter wird, desto größer wird der Stromfluss durch den gesamten Kreislauf und der eine geringere Festigkeit des umgebenden Magnetfeld dieses Leiters. Je länger das gleiche Leiter (bis zu einem Punkt) hergestellt, desto größer die umgebende Magnetfeld die Gesamtmasse des Leiters und die weniger Strom, der die gesamte Schaltung des gesamten Systems ermöglicht. Grund: mehr Atome!
2. Zahlreiche wissenschaftliche Untersuchungen und Experimente des Erfinders zeigen auch, dass das Magnetfeld erzeugt, wenn ein elektrischer Strom bewegt sich in einem Leiter verwendet nicht bis messbare Energie bei der Durchführung der Hand oder nicht offensichtliche Arbeit, Kraft oder Macht. Dies gilt unabhängig davon, wie stark oder immense die Leistung des Motors oder Elektromagnete.
Grund: das Magnetfeld aus den Leiter ist das Ergebnis einer extrem schnellen Atomausrichtung innerhalb dieses Leiters. Daher ist die Energie im Magnetfeld ist die Energie, die aus dem die Atome der Leiter! Diese Energie ist buchstäblich die Gleichung E = MC2 und daher die Energie wird angenommen, dass an der Lichtgeschwindigkeit bewegt werden.
Dieser Energieverbrauch kann nicht nach heutigen Messgeräten gemessen werden. Dies wurde in allen Einzelheiten in der erklärt wurde Disclosure Document und wird geglaubt, wahr aller Materie zu sein!
3. Dasselbe gilt für den elektrischen Strom, der von einer herkömmlichen Batterie kommt. Die elektromagnetische Energie, die von der Batterie ist die Energie, die aus dem die Atome des Materials der Batterie Auch in diesem Energieverbrauch ist nicht messbar von der heutigen Messgeräten. Stromzähler für alle Typen einfach mechanische Vorrichtungen, die die Menge an elektrischem Strom, der in diesem Gerät wird messen. Sie messen nicht die Menge der Masse, die in elektromagnetische Energie umgewandelt wurde.
Vorliegenden Lehren in der Wissenschaft Zustand, der elektrische Energie von einer Batterie fließt wird in der Vorrichtung von diesem Fluss von elektrischem Strom betrieben wird. Das ist überhaupt nicht wahr! Die elektromagnetische Energie aus dem Atom-Make-up einer Batterie freigesetzt hat eine relativ unbegrenzte Fähigkeit, offensichtliche Arbeit, Kraft oder Macht zu tun.
Dies ist leicht auch mit kleiner Motor und ein 1,5-Volt-Batterie bewährt. Mit einer Batterie an den Motor zu bedienen ist und mit einem Zähler verbunden ist, um Messwerte zu nehmen, wird der Motor dann physisch am Drehen durch physikalisches Halten oder Zurückhalten der Welle gestoppt wird. In diesem Moment wird der Motor der Durchführung keine offensichtliche Arbeit, Kraft oder Macht, aber das Messgerät einen größeren Stromfluss registrieren. Die Magnete des Motors entnommen und das Lesen wird immer noch die gleiche sein wird. Wenn der elektrische Strom verwendet wurde, um den Motor zu betreiben, so reicht das Messgerät mehr Strom zu registrieren, wenn der Motor lief.
Der elektrische Strom wird nicht nur den Motor zu betreiben, sondern, wenn es fließt durch die gesamte Schaltung zurück in die Batterie, aber auch keine zusätzlichen Arbeiten an Faradaysche Gesetze innerhalb der Batterie selbst basiert. Was passiert ist, dass die elektromagnetische Energie von den Atomen des Materials der Batterie veröffentlicht, sobald sie den Kreislauf durchgeführt haben, dann nehmen Sie eine "Abkürzung" und bewegen Sie große Stücke von der Masse aus einem Material der Batterie auf die andere Material der Batterie. Der Erfinder hat festgestellt, und in der Offenlegungsschrift, die die Wirkung der Schwerkraft war der nicht-offensichtliche Wirkung von elektromagnetischer Energie gezeigt. Sobald die Materialien der Batterie haben kombiniert, wird die extreme Sehnsucht nach den beiden Materialien zu verschmelzen physisch reduziert. Diese Materialien werden diese Fusion trotzdem möglich in den mechanischen Mitteln wird ständig versucht, und wenn der elektrische Strom von einer Batterie zunächst freigegeben wird nicht durch mechanische Mittel erlaubt, um die Schaltung in sich wieder zu vervollständigen, die elektromagnetische Energie dann (in einer relativen, theoretischen Sinne ) führen auf der Hand Arbeit, Kraft oder Macht. Der Grund: Die Kraft, die diesen Stromfluss initiiert (elektromagnetische Make-up von Atomen des Materials) ist konstant, ähnlich wie Hydraulikdruck, mit der Ausnahme, dass es wahrnehmbar ist, bewegt es sich an der Lichtgeschwindigkeit angenommen und werden mit den interagieren elektromagnetische Make-up von den Atomen des anderen Materialien, wodurch sie einen Teil ihrer elektromagnetischen Make-up in Form eines magnetischen Feldes freizugeben. Diese dann Fachen der Kapazität dafür offensichtlich oder nicht offensichtlichen Arbeitskraft bzw. Leistung, die dann reagieren kann mit einem anderen leitenden Spule oder mit der elektromagnetischen Energie innerhalb des Magnetfeldes eines herkömmlichen Magnet und multiplizieren diese Wirkung noch weiter, und so weiter und für eine relativ unbegrenzte Energiequelle.
Das gleiche gilt in nicht lassen die gegenwärtige zurück zu einem herkömmlichen Generator bekommen. Wenn eine mechanische Einrichtung ist so eingerichtet, dass der elektrische Strom "gefangen", ohne einen Stromkreis eingestellt, die Kreiselpartikel des laufenden haben eine Kapazität für die kontinuierliche Arbeit ohne Erhöhung der Leistungseintrag in die Generatorsystem. Allerdings, wenn der Stromkreis geschlossen ist und der elektrische Strom bewegt sich in das System funktioniert absolut keine offensichtlichen Arbeit, Leistung oder Kraft, so dass die Kreisel Partikel bis der Strom auf, wieder an den Generator wird dann erhöhen den Bedarf an mehr Energie in das System eingegeben . Grund: die gegnerische Wirkung von Magnetfeldern, wie in Lentz Gesetz definiert. Dieses Gesetz ist einfach eine Beobachtung dieser Wirkung, die vor jetzt noch nie vollständig verstanden.
4. Zahlreiche wissenschaftliche Untersuchungen und Experimente des Erfinders zeigen auch, dass es eine Korrelation zwischen der elektromagnetischen Spinorientierung der Atome der Nichtleiter, Halbleiter und Leiter, und die unterschiedlichen Ergebnisse mit einem elektrischen Strom erreicht, bei dem Versuch, durch bewegen diese Materialien oder bei der Bewegung diese Materialien durch ein Magnetfeld versucht, um elektrischen Strom zu induzieren. Die Eigenschaft der Widerstand gegenüber elektrischem Strom Bewegung wird im allgemeinen vom gleichen Typ Faktor bereits oben für den elektrischen Strom ein Magnetfeld erzeugt, wenn Bewegung in einem Leiter erläutert.
Die Kreisel Partikel in einem sich bewegenden Strom in Wechselwirkung mit den Atomen des Materials, durch das der Strom bewegen. Jedes Atom kann effizient nur mit Sonnen genaue maximale Menge an elektrischem Strom zu interagieren, und, bei dessen Überschreitung es zu einer Unterbrechung der geordneten Bewegung. Dann wird der Winkel der Freisetzung der gyroskopischen Teilchen aus den Atomen sind, dass der elektromagnetische Auslöser aus diesen Atomen in Form von Wärme, genau so, wie im Detail in der Offenlegungsschrift beschrieben. Dieser Effekt wird einfach durch die Tatsache, daß der Widerstand verringert relativ zu einer Erhöhung des Querschnitts des Materials beobachtet. Grund: einfach, mehrere Atome in diesem bestimmten Gebiet und für eine feste Eingangs von elektrischem Strom gibt es mehrere Atome zu empfangen und wirksam in Wechselwirkung mit den gyroparticles denen sich der elektrische Strom.
Wieder das gleiche gilt für die Widerstände zur gezielten Erzeugung von Wärme entwickelt. Solche Widerstände sind keine Materialien, die als gute Leiter von elektrischem Strom sind. Es wird festgestellt und ausführlich in der Offenlegungsschrift, die die elektromagnetische Spinorientierung der Atome eines Nichtleiters sich von der Leiteratome sind gezeigt und daher unterschiedliche Ergebnisse ergeben sich aus den gleichen Eingaben von elektromagnetischer Energie auf.
Dies wird einfach durch die Tatsache, dass, in einem Widerstand für einen gegebenen Betrag der elektrischen Stromeingang, mit zunehmendem Durchmesser erhöht die Wärmefreisetzung gesehen. Das bedeutet, dass die Eigenschaft der Widerstand verringert. Auf einem Leiter ist es genau das Gegenteil. Wenn der Durchmesser erhöht sich der Widerstand verringert wird, aber so ist der Wärmefreisetzung. Auch dies ist ein Hinweis darauf, dass die gyroparticles der elektrischen Strombewegung mit jedem Atom des Materials zusammenwirken. Dieser gleiche Effekt zeigt sich wieder in herkömmliche elektrische Induktion von einem Leiter in Wechselwirkung mit einem Magnetfeld. Versuche der Erfinder haben gezeigt, daß die Eigenschaft der herkömmlichen Induktions ist das Ergebnis der gleichen Eigenschaft des Widerstandes.
Wenn man aus einem Leiter vergrößert den Durchmesser, Längen gleich bleibt man die Menge des elektrischen Stroms im Verhältnis zur Gesamtzahl von Atomen in den Leitern unter Berücksichtigung hergestellt abnimmt. Oder, wenn man eine bestimmte Anzahl von Drähten gleichen Durchmessers und der Länge erfolgt, und bewegt einen Magneten über sie das erzeugte Strom wird wesentlich geringer sein, als wenn man den gleichen Durchmesser Draht, sondern nur einen Draht, und erhöht seine Länge erheblich und bildet sie in eine Spule bildet die gleiche Anzahl von Drähten auf jeder Seite und bewegt dann den gleichen Magneten auf nur einer Seite der genannten Spule, das erzeugt wird dann wesentlich größere elektrische Strom. Grund: die Eigenschaft des Widerstands. Dies ist die mechanische Wirkung im gyroskopischen elektromagnetischen Make-up und die Ausrichtung der Atome aller Materialien, die die mechanische Fähigkeit, eine bestimmte Aufgabe effizient bis zu einem Punkt über die Eingabe von zusätzlichen elektromagnetischen Energie auszuführen und dann mechanisch bewirkt unterschiedlichen Ergebnissen einmal dieser Schwellenwert überschritten wird.
Diese und alle anderen Gedanken und Innovationen in diesem und den vorherigen Offenbarungen der bisherigen Anwendungen und dem Disclosure Document zuvor angeführten Show, dass es viele verschiedene mechanische Möglichkeiten, um eine relativ unbegrenzte Quelle von Energie aus elektromagnetischer Energie, die die ganze Sache ist zu lösen und die sich aus dieser Erfindung.
B. Arbeits
Prototypen
Fig.5 und Fig.6 veranschau rau, funktionierende Prototypen dieser Aspekt der Erfindung. Diese Ausführungsformen sind nur relativ ineffizient Prototypen von Hand zum Zwecke der Demonstration der Erfindung gebaut ist. Es sollte selbstverständlich, dass die Prototypen, die von verschiedenen mechanischen Mitteln und Entwürfe, einfach extrem effizienter gestaltet und die dargestellten Ausführungsformen werden nur für allgemeine, Repräsentationszwecken dargestellt werden.
Wie in Fig.5 dargestellt, wird eine kombinierte elektrische Stromgenerator und einen elektromagnetischen Motor, der einen drehbar gelagerten Permanentmagneten 200, eine Batterie 201, Bürsten und Kommutator 202, Lager 203 und Kraft Montagewelle 204, und ein erstes primäre, magnetischen Erzeugungsspule 205 und eine zweite, sekundäre elektrische Erzeugungsspule 206. die beiden Spulen 205, 206 sind in paralleler Anordnung mit gleichzeitiger Kernmittellinien nebeneinander angeordnet, wobei der Magnet 200 zusammen mit der Spule 205 an oder nahe seinem Kern positioniert Mittellinie mit der Drehachse der Welle 204 auf der Mittellinie positioniert orthogonal.

In der Prototypen eine sehr kleine Batterie 201, zum Beispiel, die Größe "N", von 1,5 Volt verwendet wird. Wenn der Stromkreis geschlossen wird, wandelt die Batterie 201 eine unübersehbare Anzahl seiner Masse in elektrischen Strom (gyroskopischen Partikeln zu der Lichtgeschwindigkeit), die durch den Kommunikator geht und Bürsten 202 und tritt dann in magnetischen Herstellung Leiterspule 205, beispiels B. von isolierten 14-Gauge oder 15 Gauge Kupferdraht, wobei das Gesamtgewicht der Spule 205 hinweg zum Beispiel 70 bis 90 Pfund. Dies bewirkt, dass die Atome der Spule 205 auszurichten extrem schnelles anschließendes Loslassen einige ihrer elektromagnetischen Make-up (gyroskopischen Teilchen) in der Form eines magnetischen Feldes. Dieses Feld interagiert dann mit der Kreisel Teilchen, die das magnetische Feld, die von den Atomen des Materials des Permanentmagneten 200.
Dies bewirkt, dass Magneten 200 zu versuchen, dessen Magnetfeld eine Bewegung mit dem Magnetfeld Bewegung aus den Atomen der Spule 205 auszurichten, was zu einer Drehung des Magneten 200 und der Welle 204, an die er gebunden ist. Dies verändert dann die Position der Kommutator und Bürsten 202 relativ zu der jeweils anderen Ausgangspositionen, die dann bewirkt, daß der elektrische Strom von der Batterie 201 kommen, um in die entgegengesetzte Richtung wird in die Spule 205, so dass die Atome der Spule 205 extrem schnell umkehren ihrer Ausrichtung und die Polarität der magnetischen Felder, die er emittiert werden. Die umgekehrte Feld interagiert wieder mit dem Magnetfeld des Permanentmagneten 200, so dass es zu weiter zu drehen.
Dieser Prozess wird dann kontinuierlich wiederholt, wodurch eine kontinuierliche Drehung der Welle 204, die als eine Antriebskraftquelle auf viele verschiedene Arten verwendet werden kann. Ein Netz Riemenrad 207 beispielsweise unter Verwendung eines kontinuierlichen "V" Band als eine allgemeine Darstellung dieser Antriebskraftquelle für die Herstellung von nützlichen, offensichtlich Arbeit dargestellt. In einem Prototyp Testlauf mit einem kleinen 1,5 Volt, Typ "N" Batterien, die Welle 204 und der Magnet 200 - rotiert mit hoher Geschwindigkeit für etwa 12 Stunden, bevor Sie nach unten. Durch die Verbesserung der besonderen Konstruktionsmerkmale des Prototyps und durch Verwendung langlebiger Batterien kann die Rotationszeit der Welle 204 stark zu einem theoretischen Punkt erhöht Annäherung "ewigen" für alle praktischen Zwecke werden. Gleichzeitig die von der Spule 205 erzeugte magnetische Wechselfeld induziert in die Spule 206 elektrische Induktion, wodurch dann Spule 206, um einen Wechselstrom über seine erzeugen "Last", der Strom, um die herkömmliche Leistung von der Batterie 201 überschreitet. Die Batteriequelle 201 kann bei Bedarf ersetzt werden.
Es ist sehr wichtig zu verstehen, dass, je länger die Länge der Leitungsdraht in der Spule 205 ist, desto stärker wird das erzeugte Magnetfeld und das weniger elektrischer Strom, der den Stromkreis zu schließen wird und sich wieder in die Batterie und zerstören die mechanische Quelle sein der elektrische Strom. Dieser Effekt kann durch Erhöhung des Durchmessers des Leitungsdrahts in der Spule 205 und dann eine starke Erhöhung seiner Länge noch weiter in der Spule erhöht werden.
Grund: Die gyroskopischen Teilchen, die den elektrischen Strom wirken mit den Atomen der Spule 205. Die mehreren Atomen in der Spule 205, bezogen auf ihrer Gesamtlänge, desto länger dauert die gyroparticles des elektrischen Stroms zu ihnen und Austritt aus dem anderen Ende der Einfluss die Spule. Es ist dann leicht zu erkennen, daß, wenn die Richtung des Stroms in die Spule 205 fließt, wird dann umgekehrt, und ferner erhöht sich die Zeitverzögerung. Grund: Die Kreisel Teilchen Trägheit und sind vermutlich an der Lichtgeschwindigkeit bewegt werden, und sie sind mit den gyroskopischen Teilchen, die Atome der leitende Spule 205. Diese Atome haben auch Trägheit interagieren, und wenn die Richtung des Stroms in der Spule 205 umgekehrt wird, der ankommende Strom dann kollidiert mit dem Strom bereits in der Spule 205 in die entgegengesetzte Richtung.
Dies verursacht eine kurze Zögern während der Zeit der Strom bereits in der Spule wird gezwungen, seine Richtung umzukehren, wodurch dann Umkehren der Richtung der Atome innerhalb der Spule 205, die bereits beeinflusst haben, ausgerichtet zu werden. Dies bewirkt, daß eine konstante Kraft in der gesamten Schaltung, erlaubt aber nicht sehr viel Strom zurück in die Batterie 201 zu erhalten, um die mechanischen Mittel, die die Freigabe des elektrischen Stroms in der ersten Ort eingeleitet zerstören.
Daher sollte ferner verstanden werden, dass, je schneller sich die Stromrichtung umkehrt, in die Spule 205 ist, ist, desto effektiver arbeitet selbst Batterie 201 in 2 reine elektrische Energie (E = mC2) umgewandelt wird, ohne Zerstörung der mechanischen Situation, die initiiert Strom Release.
Es ist auch wichtig zu verstehen, dass, je stärker das Magnetfeld, die aus der Masse des Magneten 200 ist, desto größer wird ihre Drehgeschwindigkeit . Zusätzlich ist, desto größer das Magnetfeld aus der Masse der Spule 205 ist, desto größer wird die Drehgeschwindigkeit des Magneten 200 ist, und, bis zu einem Punkt, je größer der elektrische Stromeingang von der Batterie 201 ist, desto größer die Drehzahl des Magnet 200.
Grund: Je höher der elektrische Stromfluss in die Spule 205 ist, desto größer wird der Prozentsatz der Atome, die Spule 205, die ausgerichtet werden können. Dies hat wahrscheinlich die gleiche Beziehung wie ist das Erreichen Atom Ausrichtung in herkömmlichen magnetischen Materialien. Wenn Sie fertig sind Atom Ausrichtung in der Spule 205 erreicht ist, wird kein Betrag der aktuellen verursachen solche Atome, die Stärke des Magnetfeldes emittiert von den Atomen zu erhöhen.
Daher sollte es klar sein, dass für eine gegebene Eingabe von elektrischem Strom von der Batterie 201, die effizienteste Design, in dem die meisten Atome der Spule 205 sind an Atom Ausrichtung durch dieses gegebenen elektrischen Strom beeinflusst wird, welche den Durchmesser bedeutet und die Länge des leitenden Drahts der Spule 205 zu dem Punkt, dass die Stärke des erzeugten Magnetfelds ausreichend ist, um die Drehung des Magneten 200 auf eine Geschwindigkeit, die keine oder zumindest nur sehr wenig von dem elektrischen Strom, der zunächst aus der Batterie entnehmen kann verursachen 201, um den Stromkreis zu schließen und wieder in Batterie 201 und zerstören oder verringern die mechanische Wirkung, die die Umwandlung der Frage der Batterie 201 in elektrischen Strom in erster Linie induziert. Auch diese gewünschte Wirkung durch Erhöhen der Stärke des magnetischen Feldes durch die Atome des Permanentmagneten 200, erhöht werden.

Im zweiten Prototyp Ausführungsform Fig.6 ist der Aufbau und Betrieb des Prototyps im wesentlichen identisch mit der von Fig.5 mit der Haupt Ausnahme, dass der Magnet 300 / Welle 304 Elemente (und damit verbundene Unterelemente 302, 303 und 307 ) im Inneren von und in den Kern der Primärspule 305 positioniert ist, im Vergleich zu der Anordnung der Magneten 200 / Welle 204 Elemente nebeneinander und entlang der Seite der Spule 205 von Fig.5. Daher der Kürze wegen auf eine detaillierte Beschreibung der Elemente der Fig.6 wird nicht wiederholt, es wird jedoch darauf hingewiesen, dass die entsprechenden und analoge Elemente und Unterelemente sind in ähnlicher Weise in Fig.5 und Fig.6 nummeriert.
Es ist auch wichtig, um noch einmal betonen, dass die gezeigten Prototyp-Designs sind einfach dargestellt, um die Richtigkeit der Erfindung zu beweisen, und es sollte klar sein, dass die Erfindung äußerst effizienter gestaltet werden, indem sie alle der von der Spule 205 erzeugte Magnetfeld und entwerfen der Magnet 200 mit einer Form und Stärke, die wirksam in Wechselwirkung mit der Mehrzahl der magnetischen Felder von der Spule 205. die dargestellten Prototypen relativ sehr ineffizient in dieser Hinsicht, aber auch so, die Ergebnisse der Erfindung selbst deutlich den Stand der Technik übertrifft um von elektrischem Strom aus welcher Quelle und Interaktion mit einem Elektromotor oder was auch immer Arbeit zu nutzen wurde auf herkömmliche Weise durchgeführt werden.
Der Antragsteller hält es für sehr wichtig, nochmals zu betonen, in der Gebäude vielen unterschiedlichen Ausführungen dieser Erfindung ist zu berücksichtigen, die Tatsache gegeben, dass die Energie im Bereich der Kraft von jeder Art Magnet ist die Energie, aus dem die Atome des Materials werden von dem es stammt! Diese Energie ist eine echte Entity mit, es wird angenommen, eine Kreisel Aktion. Es ist buchstäblich Heavisides Gleichung E = mC2 und es wird angenommen, dass diese Energie bewegt sich mit der Geschwindigkeit des Lichts und macht die ganze Angelegenheit. Und dass diese Energie einen konstanten Druckeffekt zurück, um die Atome des Materials, aus dem er stammt, ähnlich Hydraulikdruck. Dieser Effekt wird zusätzlich vollständiger durch Angabe der folgenden vom Experimentieren von der Klägerin in dem Verfahren dieser Erfindung erhaltenen Ergebnisse zu verstehen.
a) Wenn das System zunächst auf eine 1,5-Volt-Größe N Batterie 201 oder 301 und dem Magneten 200 oder 300 und der damit verbundenen Drehung Entitäten in der Nähe oder in der Mitte der Spule 205 oder 305 an diesem befestigt, werden die folgenden Ergebnisse beobachtet:
Wenn die in der Spule 206 (306) erzeugte elektrische Strom wird dann zurück in die Spule 205 (305) in Übereinstimmung mit der richtigen Polarität zugeführt wird, wird die Drehgeschwindigkeit des Magneten 200 oder 300, dann zu beschleunigen. Wenn wieder in Spule 205 (305) in falscher Polarität zugeführt, wird die Drehgeschwindigkeit des Magneten 200 (300) verlangsamt.
Dies beweist, dass die Gesamtkraft von der Spule 205 (305) in Wechselwirkung mit dem Magneten 200 (300) größer ist, wenn die elektrische Energie von der Spule 206 (306) zurück in die Spule 205 (305) zugeführt wird, dann, wenn nur die erste elektrische Energie von Batterie 201 (301) in die Spule 205 (305) zugeführt! Wenn zwei oder drei Batterien sind elektrisch miteinander in Reihe geschaltet sind, um so beispielsweise drei oder vier und ein halbes Volt elektrischen Eingang zu erzeugen, wird dieser Effekt multipliziert. Erinnern, bis zu einem Punkt, je größer die Stromaufnahme, desto größer ist der Anteil der Atomausrichtung innerhalb der Spule 205 (305).
Dies erweist sich ferner, dass die in der Spule 206 (306) erzeugten elektrischen Stroms ist ein Ergebnis der gyroskopischen Teilchen freigesetzte Energie von den Magnetfeldern, die von der Elektromagnetische-Make-up von den Atomen der Spule 205 (305) wurde, und ist nicht Bestandteil des ursprünglichen Elektrische Energie aus den Atomen freigesetzt, aus denen die Materialien der Batterie 201 (301)! Die Spule 206 (306) kann aus dem System entnommen werden, oder die elektrischen Strom von dem System zugeführt wird, und die Drehgeschwindigkeit des Magneten 200 (300) nicht beobachtbar Veränderung. Jedoch wird die Drehgeschwindigkeit des Magneten 200 (300) wesentlich zu verändern, wenn der elektrische Strom von der Spule 206 (306) zurück in die Spule 205 (305) zugeführt!
Nun wird ein anderes Ergebnis:
b) Wenn der elektrische Strom von der Batterie 201 (301) schwächer zu dem Punkt, dass das Magnetfeld von der Spule 205 (305) geschwächt kommenden und zu verkleinern, so dass das Magnetfeld des Drehmagneten 200 (300) zu expandieren und dann merklich induzieren elektrischer Strom in die Spule 206 (306) und in die Spule 205 (305), dann umkehren Ergebnisse beobachtet werden. Wenn das Magnetfeld von der Spule 205 (305) groß ist, dann wird das Magnetfeld von dem Magneten 200 (300) gehalten! Wenn Spule 206 (306) ist dann kurzgeschlossen, wird die Rotation des Magneten 200 (300) merklich verlangsamt.
Wenn elektrischer Strom von der Spule 206 (306) in die Spule 205 (305) in falscher Polarität zurückgeführt wird, wird die Drehung des Magneten 200 (300) zu stoppen. Wenn wieder in Spule 205 (305) in der richtigen Polarität eingespeist, wird die Drehung des Magneten 200 (300) zu verlangsamen. Zu diesem Zeitpunkt wird die Drehung des Magneten 200 (300) kein Gas, egal wie stark verbunden!
Diese Ergebnisse zeigen, daß bei diesem Zeitpunkt wird das magnetische Feld von dem Magneten 200 (300) merklich induziert einen Strom in den Spulen 206 (306) und 205 (305), die die Drehung des Magneten 200 (300) gegenüberliegt. Dieser Effekt wurde bereits mechanisch ausgeführt, und es hat sich gezeigt, dass Lenz'schen war einfach eine Beobachtung dieser mechanischen Erklärung. Diese Ergebnisse zeigen, dass das Auf- und Zuklappen Magnetfelder von Spule 205 (305) und 206 (306) nicht merklich beeinflussen sich gegenseitig nachteilig.
Weil die resultierenden Magnetfelder von allen Spulen sind die Ergebnisse der schwankAtom Ausrichtung innerhalb der Spulen! Denken Sie daran, die Kreiselenergetischen Teilchen, aus denen die Magnetfelder eine Hydraulikdruck-Effekt zurück zu den Atomen, aus denen sie kamen. Auch daran erinnern, daß die Atome, aus denen das Material des Permanentmagneten 200 (300) ortsfest sind, um Ausrichtungsrichtung Atom! Daher ist die Druckwirkung von einem Gegenfeld, das der Magnet 200 (300) induzierte resultierende, ist unmittelbar. Wie Hydraulikdruck.
Jedoch das Magnetfeld von den Atomen der Spule 205 emittiert (305) relativ zur Aufnahme in den Atomen des Spule 206 (306) schwankt und aus Schritt sozusagen und daher in Einklang miteinander. Der Druckeffekt von der Induktion der Spule 205 (305) in die Spule 206 (306) ist ein Aktions- und Reaktionseffekt, der die Wendewirkung der Atome der Spule 205 (305) und zurück in den Atomen der Spule 206 (306) verstärkt.
Diese Maßnahme ist wieder ersichtlich, wenn die Erfindung in ein-100-15 Volt Wechselstrom eingehakt ist, und die Batterie 201 (301) nicht verwendet wird. Der Magnet 200 (300) nicht dreht, auch wenn das Magnetfeld von der Spule 205 (305) ist fest und wird alternierend. Grund: Der schwankende Magnetfeld ist so schnell, dass die Schwungmasse des Magneten 200 (300) nicht in eine Richtung von der Spule 205 (306) umgekehrt hat und damit zu beginnen, bevor das Magnetfeld, wodurch Magnet 200 (300) zu vibrieren nur mikroskopisch mit sechzig Zyklen pro Sekunde. Und im Fall einer sechzig Watt Lampe in das System der Spule 205 (306) eingehakt ist, wird es nur Licht schwach. Und es gibt eine Verzögerungszeit von zwei bis drei Sekunden, bevor es leuchtet auch schwach.
Wenn dann die Spule 206 (306) eingehakt zu einem Meter, gibt es eine Lese neunundvierzig Volt, und wenn der Zähler von einem anderen sechzig Watt-Lampe ausgetauscht wird es nur sehr schwach leuchten. Allerdings ist die sechzig Watt-Glühbirne angeschlossen an die Spule 205 (305) wird nun deutlich heller zu werden! Dies zeigt wiederum, daß die Aktions- und Reaktionsergebnisse der Atome der Spulen nicht merklich nachteilig zu einander. Wegen der Zeitverzögerung (von Schritt sozusagen), was bei der Verstärkung der Flipping Atom Ausrichtung der Spulen.
Von diesem weiteren Erläuterung der Erfindung ist ersichtlich, daß wünschenswerte Ergebnisse können durch die gewonnen werden:
Zum Beispiel in Fig.6 der Magnet 300 kann aus einer Konstruktion sein und / oder in einem Abstand von dem Innendurchmesser der Spule 305 angeordnet werden, und die Spule 306, wobei der Großteil des Magnetfeldes von dem Magnet 300 nicht den leitenden schnitten Schleifen der Spule 305 oder 306. doch die von der Spule 305 erzeugte magnetische Wechselfeld sollte effizient die Mehrheit seiner gyroskopischen Teilchen in Wechselwirkung mit der Mehrzahl der gyroskopischen Teilchen, die das magnetische Feld des Permanentmagneten 300, aber nicht direkt zur Reaktion mit der Atome, die Spule 305 oder 300 Magnet!
Wenn die magnetischen Kraftlinien des Magneten 200 (300) im rechten Winkel mit den leitenden Drähten der Spule 205 (305), 206 (306), wird eine Bremswirkung entstehen. Es sei darauf hingewiesen, dass, da der Innendurchmesser der Spule 205 (305) zunimmt, der Anteil der Zeit der Bremseffekt verringert wird.
Entlang dieser gleichen Zeile des Befehls, die Kommutatorsegmente 202 (302) kann aus einem großen Durchmesser und im Bereich der Bürsten klein gemacht wird, wodurch dann, wenn die Bürsten überqueren die Lücken in den Kommutatorsegmenten gemacht werden, es wird kein Kurzschluss an sein jederzeit direkt zurück zur Batterie 201 (301).
Durch die Kombination der Schleifringe und Bürsten (die Schleifringe kann mit einem kleinen Durchmesser gebildet werden) auf der Seite oder den Seiten der Bürsten und Kommutatorsegmente 202 (302), wird dann Batterie 201 (301) nicht mit Magneten 200 dreht (300).
Die 14-Gauge-15-Gauge-isoliertem Kupferdraht mit einem Gewicht von siebzig und £ 90 jeweils (31,5 kg und 40,5 kg) für die Motorspule 205 (305) und der Generatorspule 206 (306), die jeweils verwendet wird, in der ersten Hand hergestellt Prototypen der Ausführungsformen der Fig.5 und Fig.6, nur zu Demonstrationszwecken, kommen in Standard Eimer mit unterschiedlichem Gewicht von Großhandelsverkaufsstellen.
Es wurde dann in Rollen aufgewickelt, wie gezeigt, und wie gelehrt, verwendet desto leitender Draht ist, desto besser sind die Ergebnisse. Die Magnete 200 und 300 wurden jeweils zunächst über ein 2,5-Zoll (6,25 Zentimeter) Würfel und kann jeder Größe und Stärke gewünscht.
In einem weiteren, rau, von Hand gebaut, Demonstration, Prototyp der Erfindung des in Fig.6 gezeigten Art wurde der primäre oder Motorwicklung 305 der 5-Kupferdraht in einem einzigen, kontinuierlichen Draht, mit einem Gewicht von etwa 4100 Pfund (1,845 kg) mit einer Spulenschleifendurchmesser von 4,5 Fuß (135 cm), während die sekundäre oder Generatorspule 306 wurde aus 24-Gauge-Kupferdraht in einer einzigen durchgehenden Draht Wiege ungefähr 300 Pfund (135 Kilogramm) mit demselben hergestellt, ungefähre Spulenschleifendurchmesser von 4,5 Fuß (135 cm), wobei beide Spulen 305, 306 zufällig einen Zylinder von etwa 30 Zoll (75 Zentimeter) lang. Die Spulen 305, 306 sind um einen zylindrischen, Glasfaserkernkörper von etwa 200 Pfund (90 kg) mit einer vertikalen Längsmittellinienachse aufgebaut.
Der rotierende Magnet 300 wurde aus sechs gemacht, getrennte, parallele, zylindrische magnetische Säulen beabstandet um den Umfang eines hohlen zylindrischen Glasfaseroberfläche von ca. zwanzig Zoll (fünfzig Zentimeter) im Durchmesser angeordnet. Jede Säule war 30 Zoll bis 75 cm.) Lang und wurde aus einem Stapel 70 zusammengesetzt, einzelnen keramischen Ringmagneten in Scheibenform, wie Jobmaster Magnete aus Randallstown, Maryland, 21133 gemacht, USA Jede Scheibe hatte eine Dicke von sieben Sechzehntel ein Zoll (1,09375 cm), einem Innendurchmesser von 1 Zoll (2,5 cm.) und einem Außendurchmesser von 4 Zoll (10 cm). Die Scheiben wurden gestapelt und miteinander in 4 Inch befestigt (10 cm.) Durchmesser Fiberglasrohre in Längsrichtung auf der inneren Oberfläche der zwanzig Zoll (fünfzig cm.) Durchmesser Glasfaser Zylinder montiert.
Der Verbundmagnet 300 hatte ein Gesamtgewicht von etwa 400 Pfund (180 Kilogramm) und einer Gesamtlänge von 30 Zoll (75 cm.) Und einen Durchmesser von etwa 20 Zoll (50 cm)..
Der Magnet 300 wurde für eine Drehung auf einer horizontalen Welle 304, die sich über den hohlen Kern der Spulen 305, 306 Gang durch den Mittelpunkt der Längsmittellinie des Zylinders und senkrecht zur Längsmittellinie des Magneten 300 für montierte Drehung innerhalb des offenen Mittelbereich der zylindrisch angeordneten Spulen 305, 306 mit den Längsmittellinien der Spulen vertikal ausge.
Mit einem Gleichstrom-Batteriequelle 301 von zwei 12-Volt-Batterien und Laterne siebzehn 6 Volt Laterne Batterien alle in Reihe (in Höhe von 126 V), wurde eine gemessene Spannung von 126 Volt und einem gemessenen Strom von 99 Milliampere in der Primärspule 305 angemerkt. Gleichzeitig ein Spannungswert von 640 Volt und einer Stromstärke-Messung über 20 Milliampere in dem sekundären oder Generatorspule 306 angegeben, wobei der Magnet 300 mit einer Geschwindigkeit von 120 Umdrehungen pro Minute (rpm) rotiert. So wurde das System ausgibt und die Herstellung in der Generatorspule 306 nutzbare elektrische Energie von mehr als 102% der in der Motorwicklung 305 eingegeben! Dieses überschüssige nutzbare elektrische Energie, ist natürlich zusätzlich zu dem weitere nützliche mechanische Energie an das Ausführungs Abtrieb 307 auf der rotierenden Welle 304, auf dem das 400 Pfund, 30 Inch langen Magneten 300 mit 120 UpM rotierenden!
Somit stellt die Erfindung, durch die Nutzung der Energie der gyroskopischen Partikel in dem Magnetfeld, erzeugt eine höhere Energieleistung als die Energieeingabe in das System, wodurch Ergebnisse über derzeit anerkannten wissenschaftlichen Lehren der Welt.
Dieser Prototyp erreicht genau das, was bereits in allen Einzelheiten in früheren Patentanmeldungen der Anmelderin beschrieben worden. Es wurde einfach in diesem Prototyp ein stärkerer Magnet und einem größeren Durchmesser leitenden Draht großer Länge, die eine erheblich größere Anzahl von Atomen ausgerichtet, wenn der Strom in das System verwendet hat, und verwendet eine grßere Anzahl von Atomen in der Generatorspule feiner Durchmesser Leitungsdraht.
Während die Ergebnisse der Energie aus diesem Prototyp freigegeben ist sehr beeindruckend, andere, der Antragsteller hat immer noch nur an der Oberfläche gekratzt der Energie, die mit den Prinzipien der vorliegenden Erfindung gelöst werden kann.
Auch hier, wie schon betont wurde, der effizienteste Konstruktion ist eine, bei der die geringste Menge an Eingang Strom bewirkt den größten Anteil der Atomausrichtung .
Diese Daten stellen keine Abweichung von der bisherigen Arbeit des Antragstellers, ist aber nur als Ergänzung, dass die bereits in den früheren Patentanmeldungen betont wurde.
Durch Variation der Gleichstromspannung für die Batterie Quelle 301 zeigt, dass offensichtlich die Effizienz weiter steigen wird als die Eingangsspannung steigt! Auch die Hebelfaktor Vorteil der Erfindung in Verbindung mit der Trägheit der 400 Pfund Magnet 300 bei 120 Umdrehungen pro Minute rotierenden (selbst während bewirkt der elektrische Generator zu über 100% des Energieeintrags gestellt) beweist die Erfindung erheblich mehr als 100% betragen effiziente selbst bei diesem langsamen Umdrehungen pro Minute.
Es wird erwogen, dass der nächste Prototyp supraleitenden Material vom Typ für die Spule 305 mit einem Magneten 300 mit einer Magnetfeldstärke vergleichbar mit der crycogenic artigen Magneten zum Prozentsatz Atom Ausrichtung oder Größe zu verwenden. Dies wird in der Größe sehr viel kleiner und trotzdem mit der zur Verfügung stehende Arbeitsausgangs viel größer als der Prototyp gerade beschriebenen Geräts führen. Grund: Die effizienteste Art Design ist eine, wobei die geringste Menge an Stromeingang in die Motorwicklung produziert die größte Atom Ausrichtung der Motorwicklung und mit drehbaren Magnet ebenfalls vergleichbar in Kraft, in Bezug auf Größe.
Die Erfindung kann ohne die Verwendung der Spule 206 (306) und zum Erzeugen nur nutzbare mechanische Energie erfolgen.
Spule 206 (306) zusammengeführt oder mit Spule 205 (305) aufgewickelt werden.
Der Magnet 200 (300) kann ein Elektromagnet, ein Permanentmagnet, ein kryogenes Magnet nicht Magnet sein.
Das Design des Magneten 200 (300) kann eine starke, aber beibehalten Magnetfeld zu erzeugen.
Die Gestaltung der Spule 205 (305) kann verwendet werden, um das Magnetfeld des Magneten 200 (300) weiter zu halten.
Wechselstrom kann anstelle der Gleichstrom der Batterie 201 (301) verwendet werden, wenn der Magnet 200 (300) entsprechend ausgelegt.
Die Spulen 205 (305) und 206 (306) kann aus mehreren Spulen statt einer einzigen Spule gemacht werden.
Der Magnet 200 (300) kann aus mehreren Einzelmagneten statt lediglich aus einem einzigen Magneten erfolgen.
Aus dem Vorstehenden versteht es sich, dass im Gegensatz zu den Lehren des Stands der Technik wird wie folgt bei der Gestaltung der Spule 205/305 unter den Prinzipien der vorliegenden Erfindung erwünscht ist:
a) Diese zunächst in und durch die Spule fließt sollte klein sein verglichen mit der Energieabgabe des Systems;
b) einen relativ großen Durchmesser Draht oder sein Äquivalent wird für die Spule verwendet wird;
c) Eine relativ große Anzahl von Spulenwindungen oder Spulen verwendet;
d) Eine relative lange, durchgehende Länge von Spulendraht oder den Gegenwert verwendet wird; und
e) Die größte Magnetismus bei einer bestimmten Masse des Magneten 200/300 gewünscht kann aber so konzipiert, dass die magnetischen Kraftlinien, die Spulen in einem rechten Winkel nicht geschnitten werden.
Die vorliegende Erfindung bezieht sich auf jegliche mechanische Vorrichtung, die durch elektrische Energie betrieben wird. In Übereinstimmung mit den Prinzipien der vorliegenden Erfindung sollte die mechanische Vorrichtung ausgeführt sein, wobei der elektrische Strom so viel wie möglich nicht zurück zu der Quelle, aber der Stromkreis geschlossen wird, wodurch der "Druckkraft" durch das System konstant ist.
Was wurde erfunden, gebaut und bekannt geworden ist eine Erfindung von immenser Bedeutung, um das Wohlbefinden der ganzen Welt. Es gibt viele Geräte, was gezeigt und beschrieben wurde gelehrt aufgebaut sein. Es sei bekannt, dass alle Materie besteht aus elektromagnetischer Energie und das machte es gibt viele Möglichkeiten, diese mechanische Energie freisetzen, wie in den fünf vor, verwandte Patentanmeldungen dar und das Disclosure Document angesetzt werden. Setzt Energie jenseits konventioneller Energiefreisetzungsmechanismen, vor dieser Erfindung - Alle diese zukünftige Entwicklungen als Folge der vorliegenden Erfindung, die sein.
Einige der grundlegenden Konzepte der Erfindung sind nachstehend beschrieben:
l. Jede Vorrichtung, die eine Einrichtung, durch die der elektrische Strom (elektromagnetische Energie) innerhalb eines oder mehrerer Mitglieder außerhalb der Quelle beibehalten nutzt die ursprünglichen elektrischen Strom und dann, als eine Folge davon, ist in der Lage, eine kontinuierliche elektromagnetische Bewegung oder Strom if so über den gegenwärtig vorliegenden wissenschaftlichen Lehren erwünscht.
2. Jedes Produkt, das die elektromagnetische Energie bilden der Materie so beeindruckend Grad ebenso wie die Erfindung, dass es trotzt ab diesem Zeitpunkt mehrere der vorliegenden akzeptiert Gesetze der Physik und Elektrotechnik veröffentlicht.
3. Dass die Energiefreisetzung ist deutlich höher und in einigen Fällen besser kontrollierbar als die herkömmlichen Mittel zur Energiefreisetzung dieser Zeit.
Da viele variierende und unterschiedliche Ausführungsformen innerhalb des Umfangs des Erfindungsgedankens die hier gelehrt werden, und weil viele Modifikationen bei den Ausführungsformen hier in Übereinstimmung mit den Beschreibungsanforderungen des Gesetzes erläutert werden, versteht sich, dass die Details gegeben ist vorstehend als erläuternd in irgendeiner einschränkenden Sinne interpretiert werden und nicht.
Patent US 6.246.561 12. Juni 2001 Erfinder: Charles J. Flynn
METHODEN ZUM STEUERN DES PFAD DES MAGNETISCHEN
FLUSSES
VON A PERMANENTMAGNET UND GERÄTE, DIE MIT EINEM
MAGNETEN
Dieses Patent umfasst eine Vorrichtung, die dadurch gekennzeichnet ist, eine größere Ausgangsleistung als die Eingangsleistung erforderlich, um es auszuführen.
ZUSAMMENFASSUNG
Ein Permanentmagnetvorrichtung einen Permanentmagneten mit Nord- und Südpolflächen mit einem ersten Polstück benachbart einer Polfläche desselben und eines zweiten Polstücks angrenzend an die andere Polfläche erstreckt, um mindestens zwei möglichen Magnetflusspfade zu erstellen. Eine erste Steuerspule entlang eines Flusspfades angeordnet ist und eine zweite Steuerspule entlang der anderen Flusspfad positioniert ist, wobei jede Spule mit einer Steuerschaltung zum Steuern der Stromversorgung verbunden ist. Die Steuerspulen können in einer Vielzahl von Wegen erreicht wünschenswert Motiv und statischen Vorrichtungen, einschließlich lineare Hin- Vorrichtungen Linearbewegungsvorrichtungen, Drehbewegungsvorrichtungen und Energieumwandlungs erregt werden.
BESCHREIBUNG
GEBIET DER
ERFINDUNG
Diese Erfindung bezieht sich allgemein auf Permanentmagnetvorrichtungen und insbesondere, um einen Permanentmagnet-Steuerkomponente in dem die Strömung des Flusses vom Permanentmagnet ist zwischen zwei oder mehrere Flusswege durch Verwendung zeitgesteuerten Abgabe elektrischer Signale, die durch eine oder mehrere Spulen entlang platziert gesteuerte zumindest einer der Flusspfade. Solche Permanentmagneten Steuerkomponenten kann eine Vielzahl von Konfigurationen erleichtert die Verwendung dieser Komponenten in einer Vielzahl von Anwendungen, einschließlich Anwendungen, die die Erzeugung von hin- und hergehenden, linearen und Drehbewegung und Energieumwandlungs nehmen. Mehrere neuartige Dauermagnet-Drehbewegungseinrichtungen des Motorkonstruktionen, die durch Steuern der Weg des magnetischen Flusses von einem oder mehreren Permanentmagneten betrieben werden beschrieben, zum Beispiel Permanentmagnet-Drehmotors Konstruktionen mit erhöhter Effizienz und wünschenswerter Drehmomenteigenschaften im Vergleich zu vielen derzeit verwendeten Motoren.
HINTERGRUND
DER ERFINDUNG
Magnetische Anziehungskraft wird im Allgemeinen in einer Vielzahl von Arten von Permanentmagnetvorrichtungen einschließlich sowohl Linear- und Rotationsmotoren . Im Bereich eines solchen Permanentmagnetvorrichtungen gibt es eine kontinuierliche Verfolgung der erhöhten Effizienz und verringerte Komplexität.
Dementsprechend ist es eine Aufgabe der vorliegenden Erfindung, einen Permanentmagnet-Steuerkomponente in dem der Weg einer bestimmten Höhe der Permanentmagnetfluss kann durch eine geringere Höhe der elektromagnetischen Fluß gesteuert werden kann.
Eine weitere Aufgabe der vorliegenden Erfindung ist es, einen Permanentmagneten-Steuerkomponente in dem im wesentlichen alle der Fluß von einem Permanentmagneten zwischen mindestens zwei verschiedenen Flußwege des Permanentmagneten Steuerungskomponente geschaltet werden kann, um nützliche Arbeit in der Form zu ermöglichen von linearen, hin und her, und Drehbewegungen.
Noch eine weitere Aufgabe der vorliegenden Erfindung besteht darin, Permanentmagnetsteuerkomponenten und Motorkonstruktionen in dem Flußpfad Steuerung wird durch Erregen eines Elektromagneten 10, um den magnetischen Fluss von einem oder mehreren Permanentmagneten gegenüberliegen werden.
Eine weitere Aufgabe der vorliegenden Erfindung ist die Dauermagnet-Steuerkomponenten und Motorkonstruktionen in dem Flußpfad Steuerung wird durch Erregen eines Elektromagneten um den magnetischen Fluss von einem oder mehreren Permanentmagneten zu unterstützen vorgesehen wurde.
Noch eine weitere Aufgabe der vorliegenden Erfindung besteht darin, Permanentmagnetmotor mit verbesserten Betriebseigenschaften bereitzustellen 15 Konstruktionen.
ZUSAMMENFASSUNG
DER ERFINDUNG
Diese und andere Aufgaben der Erfindung werden durch eine Vorrichtung, die in einem Aspekt, ist ein Dauermagnet-Einrichtung erreicht, mit einem Dauermagneten mit Nord- und Südpolflächen, ein erstes Polstück, ein zweites Polstück, einen ersten Steuerspule, eine zweite Steuerspule, und eine Schaltungseinrichtung, die erste Polstück benachbart der Nordpolfläche des Permanentmagneten und mit einem ersten Pfadabschnitt, einem zweiten Pfadabschnitt und einen dritten Abschnitt positioniert ist, der erste Bahnabschnitt außerhalb eines Umfangs des N erstreckende Polfläche und die zweite Pfadabschnitt sich über den Umfang der Nordpolfläche erstrecken, um erste und zweite Flusswege für den magnetischen Fluß vom Nordpol Fläche des Permanentmagneten ausgeh definieren, wobei der erste Bahnabschnitt des ersten Polstück mit dem zweiten Pfadabschnitt des ersten Polstücks durch den dritten Abschnitt, der über dem Nordpolfläche des Permanentmagneten erstreckt, wobei das zweite Polstück angrenzend an die Südpolfläche und mit einem ersten Pfadabschnitt, und einen zweiten Pfadabschnitt, der erste Bahnabschnitt erstreckt außerhalb eines Umfangs der Südpolfläche und im wesentlichen mit dem ersten Pfadabschnitt des ersten Polstücks ausgerichtet ist, der zweite Bahnabschnitt sich über den Umfang der Südpolfläche und im wesentlichen mit dem zweiten Pfadabschnitt des ersten Polstücks ausgerichtet erstreckt, wobei die erste Steuerspule um den ersten Pfadabschnitt des ersten Polstückes angeordnet ist, die zweite Steuerspule, die um den zweiten Bahnabschnitt des ersten Polstücks angeordnet sind, die Schaltungseinrichtung verbunden ist, um jedes der ersten Steuerspule und die zweite Steuerspule, um abwechselnd erregt die erste Spule und die zweite Spule in einer zeitlich sequentiellen Weise.
Ein weiterer Aspekt der vorliegenden Erfindung stellt ein Verfahren zur Steuerung der Weg des Magnetflusses von einem Dauermagneten, Anordnen eines ersten Polstücks angrenzend an eine erste Polfläche des Permanentmagneten umfasst, um zumindest erste und zweite Bahnabschnitte über eine Verlängerung haben Umfang der ersten Polfläche. Ein zweites Polstück angrenzend eine zweite Polfläche des Permanentmagneten, um zumindest einen Abschnitt, der im wesentlichen ausgerichtet ist mit dem ersten und zweiten Pfadabschnitte des ersten Polstücks zu schließen. Eine erste Steuerspule entlang und um den ersten Pfadabschnitt des ersten Polstücks und einer zweiten Steuerspule entlang und um den zweiten Bahnabschnitt des ersten Polstücks platziert. Die erste Steuerspule wird wiederholt in einem Dauermagneten Magnetfluss entgegengesetzten Weise, um Magnetfluß des Permanentmagneten vom Durchlaufen des ersten Pfadabschnitt des ersten Polstücks zu verhindern erregt wird, und die zweite Steuerspule wird wiederholt in einem Permanentmagneten magnetisch erregt flux gegenüberliegenden Weise, um Magnetfluß des Permanentmagneten vom Durchlaufen der zweiten Bahnteil des ersten Polstücks zu verhindern.
Noch ein weiterer Aspekt der vorliegenden Erfindung stellt ein Verfahren zur Steuerung der Weg des Magnetflusses von einem Dauermagneten, indem ein erstes Polstück neben einem ersten Polfläche des Permanentmagneten, so daß zumindest zunächst und zweiten Pfadabschnitte über eine Verlängerung Umfang der ersten Polfläche. Ein zweites Polstück angrenzend eine zweite Polfläche des Permanentmagneten, um zumindest einen Abschnitt, der im wesentlichen ausgerichtet ist mit dem ersten und zweiten Pfadabschnitte des ersten Polstücks zu schließen. Eine erste Steuerspule entlang und um den ersten Pfadabschnitt des ersten Polstücks angeordnet, und eine zweite Steuerspule entlang und um den zweiten Bahnabschnitt des ersten Polstücks angeordnet. Die folgenden Schritte werden abwechselnd in wiederholter Weise durchgeführt werden:
(i) Erregen des ersten Steuerspule in einem Permanentmagnet-Magnetfluss Unterstützung Weise so zu koppeln, mit im wesentlichen dem gesamten magnetischen Fluss des Permanentmagneten, so daß im wesentlichen kein magnetischer Fluß des Permanentmagneten durchläuft den zweiten Pfadabschnitt des ersten Polstücks, wenn die erste Steuerspule ist so angezogen; und
(ii) Erregung des zweiten Steuerspule in einem Permanentmagnet-Magnetfluss entgegengesetzten Weise, um Paare mit im wesentlichen dem gesamten magnetischen Fluss des Permanentmagneten, so daß im wesentlichen kein magnetischer Fluß des Permanentmagneten durchläuft den ersten Pfadabschnitt des ersten Polstücks, wenn die zweite Steuerspule ist so erregt.
Ein weiterer Aspekt der vorliegenden Erfindung stellt Verfahren zur Kontrolle der Weg des Magnetflusses von einem Dauermagneten, indem ein erstes Polstück neben einem ersten Polfläche des Permanentmagneten, um zumindest erste und zweite Bahnabschnitte über einen Umfang erstreckenden haben der ersten Polfläche und Anordnen eines zweiten Polstücks angrenzend an eine zweite Polfläche des Permanentmagneten, um zumindest einen Abschnitt, der im wesentlichen ausgerichtet ist mit dem ersten und zweiten Pfadabschnitte des ersten Polstücks zu schließen. Eine erste Steuerspule entlang und um den ersten Pfadabschnitt des ersten Polstücks angeordnet, und eine zweite Steuerspule entlang und um den zweiten Bahnabschnitt des ersten Polstücks angeordnet. Die folgenden Schritte werden abwechselnd in wiederholter Weise durchgeführt werden:
(i) Erregen des ersten Steuerspule in einem Permanentmagnet-Magnetfluss Unterstützung Weise so zu koppeln, mit im wesentlichen dem gesamten magnetischen Fluss des Permanentmagneten, so daß im wesentlichen kein magnetischer Fluß des Permanentmagneten durchläuft den zweiten Pfadabschnitt des ersten Polstücks, wenn die erste Steuerspule ist so angezogen; und
(ii) Erregung des zweiten Steuerspule in einem Permanentmagnet-Magnetfluss entgegengesetzten Weise, um Paare mit im wesentlichen dem gesamten magnetischen Fluss des Permanentmagneten, so daß im wesentlichen kein magnetischer Fluß des Permanentmagneten durchläuft den ersten Pfadabschnitt des ersten Polstücks, wenn die zweite Steuerspule so erregt.
KURZBESCHREIBUNG
DER ERFINDUNG
Für ein besseres Verständnis der vorliegenden Erfindung sei auf die beigefügten Zeichnungen Bezug genommen, in denen:

Fig.1 ist eine perspektivische Ansicht einer Magnetvorrichtung, bei der der Magnetfluss von einem Magnetelement durchlaufen eine einzige Weg, um eine Kopplungskraft zu erzeugen;

Fig.2 ist eine perspektivische Ansicht einer Magnetvorrichtung, bei der der Magnetfluss von einem Magnetelement spaltet zwischen zwei Wegen;

Fig.3 ist eine Seitenansicht der zwei Magnetelemente, die parallel zwischen den Polschuhen anzuordnen;

Fig.4 ist eine Seitenansicht der zwei Magnetelemente in Reihe zwischen den Polstücken angeordnet sind;

Fig.5 und Fig.6 sind Seitenansichten einer Permanentmagneteinrichtung einen Permanentmagneten mit Polschuhen gegen die Polflächen davon positioniert ist und einen beweglichen Anker;



Fig.7, Fig.8 und Fig.9 sind Seitenansichten einer Permanentmagneteinrichtung einen Permanentmagneten mit Polschuhen gegen die Polflächen davon angeordnet sind, um zwei Magnetflusspfade bereitzustellen und einschließlich eines beweglichen Anker, der entlang jeder Magnetflusspfad angeordnet werden kann;









Fig.10, und Fig.10A – Fig.10H sind perspektivische Ansichten verschiedener Ausführungsformen der Permanentmagnet 5 Steuerkomponenten, die zwei oder mehr Magnetflusspfade;







Fig.11 und Fig.11A – Fig.11F sind Seitenansichten einer Permanentmagneteinrichtung einen Permanentmagneten mit Polschuhen gegen die Polflächen davon positioniert ist und einen beweglichen Anker und einem Permanent Bypass, der sich zwischen den Polschuhen;






Fig.12 und Fig.12A – Fig.12E Seitenansichten eines zweiPfad Permanentmagneteinrichtung, die zwei Bypässe;



Fig.13A – Fig.13C Seitenansichten eines Permanentmagnet -Linear Hubkolbenvorrichtung;

Fig.14 ist eine Seitenansicht eines elektromagnetischen linearen Hubkolbenvorrichtung;

Fig.15 ist eine Seitenansicht eines Zweipfad Permanentmagneteinrichtung, die Steuerspulen in einer Überschreitung Weise erregt;





Fig.16A-Fig.16E sind Seitenansichten einer linearen Hin- und Gerät mit Steuerspulen in einem von mehr als Weise mit Energie versorgt;




Fig.17A-Fig.17D zeigen eine weitere Ausführungsform einer linearen Hin- Vorrichtung;





Fig.18A-Fig.18E zeigen eine Linearbewegungsvorrichtung;

Fig.19 ist eine perspektivische Explosionsansicht einer Drehbewegungsvorrichtung;

Fig.20 ist eine teilweise zusammengebaut und aufgeschnittene Ansicht der Drehbewegungsvorrichtung von Fig.19;





Fig.21A-Fig.21E sind Draufsichten auf die teilweise Montage von Fig.20, die zeigen eine Drehbewegung desselben Ansichten,

Fig.22 ist eine zusammengebaute, weggeschnittene Ansicht der Drehbewegungsvorrichtung von Fig.19 mit einem Gehäuse;

Fig.23 ist eine perspektivische Explosionsansicht einer anderen Ausführungsform einer Rotationsbewegungsvorrichtung;

Fig.24 ist eine perspektivische Ansicht der Drehbewegungsvorrichtung von Fig.23 zusammengebauten;

Fig.25A-Fig.25B Seitenansichten des Drehbewegungsvorrichtung von Fig.24 mit der Endkappe entfernt, um das Rotorteil aussetzen;

Fig.26-Fig.28 zeigen Seitenansichten von verschiedenen Konfigurationen zum Schrägstellen der Drehrichtung in der Drehbewegung des Geräts Fig.24;


Fig.29A-Fig.29D Endansichten der Drehbewegungsvorrichtung von Fig.24 veranschaulicht eine Folge von seiner Drehbewegungen;

Fig.30 ist eine auseinandergezogene perspektivische Teilansicht einer anderen Ausführungsform einer Rotationsbewegungsvorrichtung;

Fig.31 ist eine perspektivische Ansicht der Drehbewegungsvorrichtung von Fig.30 zusammengebauten;


Fig.32A-Fig.32D sind Draufsichten auf die Drehbewegung des Geräts Fig.31 veranschaulicht, es ist eine Drehbewegung;

Fig.33 ist eine Seitenansicht des Drehbewegungsvorrichtung von Fig.31 zusammengebauten und mit einem Gehäuse;

Fig.34 ist eine perspektivische Ansicht einer anderen Ausführungsform einer Rotationsbewegungsvorrichtung;

Fig.35 ist eine Draufsicht auf den Drehbewegungsvorrichtung von Fig.34;

Fig.36 ist eine perspektivische Ansicht des Permanentmagnetrotorelement des Drehbewegungsvorrichtung von Fig.34;

Fig.37 und Fig.38 zeigen alternative Konfigurationen für die Steuerkomponente in die Drehbewegung der Vorrichtung Fig.34 eingebaut ist;


Fig.39A-Fig.39D sind Draufsichten auf die Drehbewegung des Geräts Fig.34 und zeigen seine Drehbewegung;





Fig.40-Fig.44 sind alternative Variationen der Schaltung zur Steuerung der Erregung des Zeitsteuerspulen in den verschiedenen Vorrichtungen der vorliegenden Erfindung;



Fig.45A-Fig.45C und Fig.45X-Fig.45Z sind Seitenansichten von zwei Pfad Power Conversion Geräte;




Fig.46 ist eine schematische Ansicht des Permanentmagnetabschnitt eines Rotors zur Verwendung in einigen Ausführungsformen der vorliegenden Vorrichtung;


Fig.47 und Fig.48 zeigen andere Ausführungsformen einer Linearbewegungsvorrichtung;

Fig.49 ist eine Draufsicht einer weiteren Ausführungsform eines Drehmotors artigen Aufbau; und

Fig.50 ist eine schematische Ansicht einer der drei Stator-Abschnitten der Vorrichtung in Fig.49 gezeigten.
DETAILLIERTE BESCHREIBUNG DER ZEICHNUNGEN

Unter Bezugnahme auf die Zeichnungen Fig.1-Fig.4 sind vorgesehen, um ein Verständnis der verschiedenen Aspekte oder Merkmale des in der vorliegenden Erfindung eingesetzten Technik erleichtern. Fig.1 stellt eine Vorrichtung 10 mit einer Magnetflusserzeugungselement 12, das einen Permanentmagneten oder Elektromagneten mit Magnetpolen 14 und 16 sein kann, wie gezeigt. Polstücke 18 und 20 sind angrenzend an die jeweiligen Stangen 14 und 16 angeordnet, um einen Pfad für den magnetischen Fluss der Element 12. Jedes Polstück 18 und 20 weist ein Polstück Endfläche 22 und 24. Wie in dieser Beschreibung verwendet wird, versteht es sich daß ein Polstück, unabhängig von ihrer Form oder Größe, vorzugsweise aus Weicheisen, Stahl oder einem anderen magnetischen Material gebildet ist, wobei das bevorzugte Material eine ist, die niedriger Reluktanz enthält, weist eine geringe Hysterese und eine hohe magnetische Flussdichte-Fähigkeit. Daher könnten die verschiedenen offenbarten und beschriebenen Polstücke ebenfalls vom Laminattyp aufgebaut sein.
Unter erneuter Bezugnahme auf Fig.1 ein Anker 26, die auch aus einem magnetischen Material gebildet ist, wird mit Ende gezeigt Flächen 28 und 30, die so angeordnet sind und so bemessen ist, die benachbart Polstück Endflächen 22 und 24, so dass, wenn so positioniert eine im wesentlichen kontinuierliche niedrige Reluktanz 32 zur Magnetfluß von Nordpol 14 vorgesehen, durch Polstück 18 durch Anker 26, durch Polstück 16 und den Südpol 16. Der Magnetfluß entlang solcher Pfad 32 führt zu einer Kraft, um den Anker zu halten neigt 26 in Position Polstück Ende ausgerichtet Flächen 22 und 24. Das resultierende magnetische Kupplung oder Haltekraft F zwischen benachbarten Polstück Stirnseite 22 und Ankerstirnfläche 28 vorgesehen, und zwischen benachbarten Polstück Stirnfläche 24 und der Ankerstirnfläche 30, kann durch die folgende Gleichung angenähert werden:
![]()
wobei B die magnetische Flussdichte, die durch die angrenzenden Endflächen und A ist die Oberfläche der benachbarten Stirnseiten. Unter der Annahme, dass, wenn B ist einheitlich Flusspfad 32 und dass der Bereich A der gesamten Stirnflächen 22, 24, 28 und 30 die gleiche ist, dann ist die Gesamthaltekraft FT26 der Anker 26 gegen die Polschuhe 18 und 20 werden sein:
![]()

In Fig.2 eine Vorrichtung 40 mit der gleichen magnetischen Fluss erzeugende Teil 12 mit Magnetpolen 14 und 16 gezeigt. Polstücke 42 und 44 sind benachbart zu jeweiligen Polflächen 14 und 16 auf zwei Pfade bereitstellen, im Gegensatz zu oben, für den magnetischen Fluß des Elements 12 umfasst insbesondere Polstück 42 einen ersten Pfadabschnitt 46 über einen Umfang erstreckenden Nordpolfläche 14 in einer Richtung und einen zweiten Bahnabschnitt 48 über den Umfang des Nordpolfläche 14 in einer anderen Richtung erstrecken. Ähnlich enthält Polstück 44 einen ersten Pfadabschnitt 50 über den Umfang des Südpolfläche 16 in einer Richtung und einem zweiten Pfadabschnitt 52 über den Umfang des Südpolfläche 16 in einer anderen Richtung verlaufenden erstreckt. Jedes Polstück Pfadabschnitt 46, 48, 50, 52 enthält eine jeweilige Stirnfläche. Ein erster Anker 54, die an den Stirnseiten des Polstücks Pfadkomponenten 48 und 52 benachbart angeordnet werden können, einen ersten Magnetflusspfad 56 und einen zweiten Anker 58 ist, die benachbart angeordnet werden, können die Endflächen des Polstücks Pfadkomponenten 46 und 50 einen zweiten Magnetflusspfad 60. Wenn der Flußträgerelemente Bereich entlang Flußwege 56 und 60 ist die gleiche wie die Flußträgerelemente Bereich entlang Flußweg 32 der Fig.1, die Magnetflussdichte entlang jeder Flußpfad 56 und 60 wird man -Half die magnetische Flußdichte entlang Flußweg 32 der Fig.1, da die gleiche Menge an Flussmittel zwischen zwei gleichen Pfade aufgeteilt. Der Effekt der Unterteilung eines gegebenen Betrag des magnetischen Flusses entlang zwei gleichen Flusswege statt dessen die entlang nur eines Flußweges durch Untersuchen der Haltekraft auf den Anker 54 im Vergleich zu der Haltekraft auf den Anker 26 aus Fig.1 ersichtlich ist. Wie bereits die magnetische Flussdichte entlang der Bahn festgestellt 56 wird die Hälfte, dass entlang Flusspfad 32 und damit die Gesamthaltekraft FT54 kann wie folgt bestimmt werden:
![]()
Es ist daher zu sehen, dass die Einteilung der gleichen Menge des magnetischen Flusses an zwei Flußwege anstatt entlang einem Flußweg das magnetische Halte- oder Verbindungskraft auf einen Anker auf ein Viertel eher als eine Hälfte als zu erwarten gewesen wäre. Diese unerwartete magnetische Halte oder Kupplungskraftdifferenz, von mehreren Flusswege entstehen, können vorteilhafte Eigenschaften in lineare bieten, Kolben- und Drehbewegung Geräte.


Unter Bezugnahme auf Fig.3 und Fig.4 ist das Verhalten von mehreren Magnetflussquelle parallel zueinander angeordnet sind und Reihen ist im Vergleich zu einer einzigen Flussquelle beschrieben. Wenn identische Flussquellen oder die Magnetfelderzeugungselemente 70 und 72 sind parallel angeordnet, wie in Fig.3 mit Polstücken 74 und 76, die benachbart der Pole ist, um einen Flußpfad durch Anker 78 bereitzustellen gezeigt, ist die Flußdichte B über Anker 78 doppelt so viel wie die Flussdichte wäre, wenn nur eine Magnetfelderzeugungs Mitglied anwesend waren. Jedoch bleibt der Feldstärke H von den zwei Elementen 70 und 72 resultierende unverändert. Dieses Ergebnis gilt unabhängig davon, ob die Teile 70 und 72 sind die beiden Permanentmagnete, sind beide Elektromagnete oder eine Kombination aus einem Permanentmagneten und einem Elektromagneten. Andererseits die Eigenschaften, die von Magnetfelderzeugungselementen 80 und 82 in Serie zwischen den Polstücken 84 und 86 angeordnet, von Pol zu Pol, mit dem Anker 88, wie in Fig.4 gezeigt, variiert in Abhängigkeit von der Art des Elemente 80 und 82.
In einem ersten Fall, wenn beide Teile 80 und 82 sind Permanentmagnete, wird die magnetische Feldstärke H von den zwei Permanentmagneten zurückzuführen sind doppelt so einen Permanentmagneten und der Flußdichte B über Anker 88 wird der gleiche sein, der Bewegung zu sein Dichte wäre, wenn nur ein Permanentmagnet-Element vorhanden waren.
In einem zweiten Fall, wenn beide Teile 80 und 82 sind Elektromagnete, die Feldintensität H wieder verdoppelt, und die Dichte nimmt B Flusses entsprechend der B / H-Kurve oder Beziehung des Polschuhs 84, 86 und dem Anker 88 Materialien.
In einem dritten Fall, wenn Glied 80 ist ein Permanentmagnet und Element 82 ist ein Elektromagnet, die Feldintensität H wieder verdoppelt, aber, da der Permanentmagnet in der Nähe Flußdichte Br Sättigungs die Flußdichte nur von Br zu Bmax erhöht werden der Permanentmagnet. An dem Punkt, wo Elektroartige Element 82 Kontakte Permanentmagnettyp -Element 80 wird das Magnetfeld des Elektromagneten artige Element 82 koppelt mit dem Fluß des Permanentmagnet-Typ-Element 82, bis die Flußdichte durch Permanentmagnet-Typ-Element 80 erreicht Bmax . An diesem Punkt zusätzliche Fluß von Elektroartige Element 82 nicht auf die Flussdichte entlang des Flusspfades beitragen soll, ein Umgehungspfad um den Permanentmagnet-Typ-Element vorgesehen ist. Die Verwendung eines solchen Umgehungspfade wird nachstehend beschrieben.


Steuern der Strömung des Flusses an beiden ein und mehrere Flußwege wird am besten unter Bezugnahme auf Fig.5 - Fig.9 beschrieben. In Fig.5 und Fig.6 eine Permanentmagneteinrichtung 90 einen Permanentmagneten 92 mit Polstücken 94 und 96, die benachbart zu ihm ist Polflächen und einen Anker 98 Abschluss einer niedrigen Reluktanz 104 von Pol zu Pol gezeigt. Steuerspulen 100, 102 sind entlang der Bahn 104. Wenn Steuerspulen 100, 102 nicht erregt ist, der magnetische Fluß des Permanentmagneten 92 folgt dem Pfad 104 positioniert, wie gezeigt, und der Anker 98 wird an Ort und Stelle gegen die Polstücke 94, 96 aufgrund der resultierenden gehaltenen Magnetkupplungskräfte. Wenn Spulen 100, 102 erregt werden, um eine gleiche, aber entgegengesetzte magnetische Fluß die des Permanentmagneten 92 zu schaffen, ist jedoch das Ergebnis, dass der Magnetfluss des Permanentmagneten 92 blockiert ist und kein magnetischer Fluß durchquert den Pfad, der Anker 98 und daher enthält keine magnetischen Kopplungskräfte wirken auf den Anker 98 ermöglicht es, sich wie in Fig.6 gezeigt, fällt. Der Permanentmagnet -Einrichtung 90 ist nützlich, wenn auch als weiter unten näher beschrieben, ist es vorteilhafter, mehrere Flußwege statt einer liefern.

In dieser Hinsicht ist in Fig.7 ein Permanentmagnet 110 umfasst einen Permanentmagneten 112, der Polstücke 114, 116 angrenzend an die Polflächen darauf mit Ankern 118, 120 der Durchführung von zwei niedriger Reluktanz Pfade 130, 132 von Pol zu Pol davon. Steuerspulen 122, 124 sind entlang der Bahn 130 und Steuerspulen 126 angeordnet ist, 128 sind entlang der Bahn 132 positioniert den beiden Pfaden vorgesehen sind, angenommen, dass der Gleich Reluktanz sein. Mit Energie versorgt keine Spulen, der magnetische Fluß des Permanentmagnet 112 teilt gleichmäßig entlang Flußpfad 130 und Flussweg 132, so dass beide Anker 118, 120 sind an einer magnetischen Kopplungskraft, die sie in Position gegen die Polstücke 114, 116 hält, unterworfen.

Wenn Spulen 122, 124 werden erregt, um einen Magnetfluß gleich große, aber entgegen den magnetischen Fluss, der entlang Flußpfad 130 von Permanentmagneten 112, wenn keine Spulen erregt werden, bewegt zu schaffen, ist das Ergebnis, dass der Magnetfluss des Permanentmagneten 112 wird blockiert und nicht Magnetfluss durchläuft den Pfad, der den Anker 118 und somit auch keine magnetischen Kopplungskräfte wirken auf den Anker 118 ermöglicht es, sich wie in Fig.8 gezeigt fällt umfasst. Ferner wird der magnetische Fluss Verfahrweg 132 sein, dass, wenn keine der Doppelspulen erregt werden und somit die magnetische Kopplungskraft auf den Anker 120 wird zu vier mal so groß, wenn keine Spulen erregt werden können. Durch Erregen Spulen 126, 128 in einer entgegengesetzten Art und Weise würde ein ähnliches Ergebnis, so dass Anker 120 erreicht werden würde sich lockern und derart, dass die magnetische Kopplungskraft auf den Anker 118 erhöht würde.
Wenn Spulen 122, 124 werden erregt, um einen Magnetfluß gleich und Unterstützen des Magnetflusses, der entlang Flußpfad 130, wenn keine Spulen erregt werden, bewegt sich darstellt, ist das Ergebnis, daß die Regelspulen Paar vollständig mit dem Magnetfluß des Permanentmagneten 112 und Nr Magnetfluss durchläuft den Pfad, der den Anker 120 und somit auch keine magnetischen Kopplungskräfte wirken auf den Anker 120 ermöglicht es, sich, wie in Fig.9 gezeigt, fallen umfasst. Ferner wird der magnetische Fluss Verfahrweg 130 sein, dass, wenn keine der Doppelspulen erregt werden und somit die magnetische Kopplungskraft auf den Anker 118 wird etwa vier mal, wenn keine der Spulen erregt sind. Durch Erregung Spulen 126, 128 in einer Art und Weise der Unterstützung wäre ein ähnliches Ergebnis erzielt werden, so dass Anker 118 entfallen würde und die magnetische Kupplungskraft auf den Anker 120 erhöht würde.
Basierend auf dem Vorstehenden ist es ersichtlich, dass der volle magnetische Kopplungskraft, die von dem Permanentmagneten 112 kann von einem Pfad auf einen anderen Pfad durch die Anwendung von einer Hälfte der Kraft es für eine Spule erfordern würde ausgeschaltet werden allein nach dem gleichen magnetischen erzeugen Fluss auf einem Weg. Die Fähigkeit, das gesamte magnetische Kopplungskraft leicht von einem Weg zu einem anderen umzuschalten, ermöglicht eine effiziente Kolben, lineare und Drehbewegung und Kraft Umwandlung zu erzielen.

Das Grundgerät verwendet, um Permanentmagnetfluß Teilung zu erreichen und um solche Permanentmagnetfluß Aufteilung zu steuern, ist hierin als eine definierte "Permanentmagnetsteuerkomponente", verschiedene Konfigurationen von denen beispielhaft nur und nicht einschränkend gezeigt, in Fig.10A - Fig.10F. Fig.10A zeigt einen Permanentmagnetsteuerkomponente 150, in dem die Polstücke 152 und 154 benachbart zu den Polflächen des Permanentmagneten 156 angeordnet sind, um zwei magnetische Flußpfade, die sich von entgegengesetzten Seiten des Permanentmagneten bereitzustellen. Steuerspulen 158 sind entlang jeder Bahn positioniert.

Fig.10B zeigt eine Permanentmagnetsteuerkomponente 160 in dem Polstücke 162 und 164 werden gegen die Polflächen des Permanentmagneten 166 positioniert ist, um zwei voneinander beabstandete, benachbarte Magnetflusspfade, die sich von der gleichen Seite des Permanentmagneten 166. Steuerspulen 168 liefern entlang jedem Pfad positioniert.

Fig.10C zeigt einen Permanentmagnetsteuerkomponente 170, in dem die Polstücke 172 und 174 sind so konfiguriert, um angrenzend zu vier- Flußwege vorsehen positionieren Polflächen von Permanentmagneten 176, wobei jeder Flußweg in einer jeweiligen Richtung von Permanentverlauf Magneten 176. Steuerspulen 178 sind auch entlang jedem Pfad positioniert.

Fig.10D zeigt eine andere Vierpfadkonfiguration eines Permanentmagneten-Steuerkomponente 180, in dem die Polstücke 182, 184 sind so konfiguriert und positioniert ist, vier Flusspfade für einen Permanentmagneten 186 zu schaffen, die mit einem Paar von beabstandeten, benachbarten Flusspfade, die sich von jeder Seite des Permanentmagneten 186. Steuerspulen 188 sind entlang jeder Bahn positioniert.

Fig.10E zeigt eine andere Vierpfadkonfiguration eines Permanentmagneten Steuerungskomponente 190 in dem alle vier Flußwege durch Polstücke 192 gebildet, 194 erstrecken sich von einer Seite des Permanentmagneten 196. Steuerspulen 198 sind entlang jeder Flußpfad positioniert.

Fig.10F noch weiter veranschaulicht einen Vier-Weg-Konfiguration eines Permanentmagnetsteuerkomponente 200, in dem die Polstücke 202, 204 erstrecken sich zu einer Seite des Permanentmagneten 206 mit Polstück 202, die vier Flusspfade mit Polstück 204 sowie eine kontinuierliche Rückweg. Steuerspulen 208 sind entlang jeder Bahn des Polstücks 202. Viele andere Variationen sind möglich, positioniert.
Dementsprechend ist es ersichtlich, dass eine Vielzahl von unterschiedlichen Konfigurationen von Permanentmagnetsteuerkomponenten möglich sind, in Übereinstimmung mit der vorliegenden Erfindung. Die wichtige Überlegungen für die Teilung der Permanentmagnetflusses derart Permanentmagnet-Steuerkomponenten umfassen, die sich jedes Polstück oder darüber hinaus, der äußere Umfang der Polfläche des Permanentmagneten in jeder Region, wo ein Flusspfad ist vorgesehen und gewährleisten, daß der Polfläche des Permanentmagneten schneidet jeder der Flußwege. Es ist nicht notwendig, dass jedes Polstück die gleiche Anzahl von Pfadabschnitte über den Umfang des jeweiligen Permanentmagneten Polfläche erstreckt umfassen, wie mit Bezug auf die Permanentmagnet-Steuerkomponente merkt 200. Obwohl zwei Steuerspulen sind entlang jeder der Flußwege gezeigten in Fig.10A bis Fig.10E, ist es von der Komponente 200 in Fig.10F offensichtlich, daß eine Steuerspule entlang eines Flusspfades angeordnet ist im allgemeinen für die Zwecke der vorliegenden Erfindung ausreichend. Ferner kann, obwohl in den dargestellten Konfigurationen jedes Polstück positioniert ist, um eine jeweilige Polfläche des Permanentmagneten zu treten, könnte ein kleiner Abstand zwischen einem Polstück und seinem benachbarten Permanentmagnetpol Fläche versehen werden, insbesondere bei Anwendungen, bei denen eine relative Bewegung zwischen dem Objekt Polschuh und der Permanentmagnet wird auftreten.

In seiner einfachsten Form eine Zweipfadpermanentmagnetsteuerkomponente benötigt lediglich eine Steuerspule entlang einer der Steuerpfade angeordnet, um den magnetischen Fluß eines Permanentmagneten zu erlauben, zwischen den beiden Bahnen eingeschaltet werden. Insbesondere wird eine Seitenansicht einer solchen Zweipfadkomponente 210 in Fig.10G gezeigt und umfasst einen Permanentmagneten 211 Polstücken 212 und 213 und Steuerspule 214, die an eine geeignete Steuerschaltung verbunden sein können. Durch abwechselnde Erregungssteuerspule 214 in einer gegenüberliegenden Art und Weise eine Unterstützung der Magnetfluß des Permanentmagneten zwischen dem Pfad, der Anker 215 und dem Pfad, der Anker 216. Wenn die Steuerspule 214 ist in einer gegenüberliegenden Art und Weise der magnetische Fluß erregt geschaltet wird queren den Pfad einschließlich Anker 215 und, wenn die Steuerspule 214 ist in einer Weise erregt Unterstützung der magnetische Fluß den Pfad einschließlich Ankers 216. Steuerspule 214 kann auch in einer beliebigen der Positionen 217, 218 platziert werden, oder 219, um den Fluss zu erzielen queren Pfad Schalt.

Ferner wird in dem in Fig.10H Steuerspule 217 gezeigt zwei Spulen Ausführungsform hinzugefügt wird. In einer solchen Vorrichtung kann Flußschaltfrequenz durch gleichzeitige Erregung Steuerspule 214 in einem Flussfördernde Weise und Steuerspule 217 in einem Fluss gegenüberliegenden Weise erreicht werden, und dann gleichzeitig durch Umkehren der Stromversorgung der jeweiligen Steuerspulen 214 und 217.

Es wird auf die Fig.11A - Fig.11F, die Vorrichtungen ähnlich der Fig.5 und Fig.6 außer dass ein Bypass aus magnetischem Material gebildet ist, ist in jedem Fall vorgesehen zeigen gemacht. In der Vorrichtung 220 von Fig.11A bis Fig.11C ein Bypass 222 ist aus Polstück 224 Polstück 226 vorgesehen und zwischen Permanentmagnet 228 und Steuerspulen 230, 232 angeordnet, mit dem Anker 234 befindet sich neben den Enden der Polstücke 224, 226. In Fig.11A ohne Spulenerregung, Magnetflusskomponenten 236 und 237 Reise wie gezeigt.

Wenn Spulen 230 und 232 sind in einer Beihilfe oder erregt Zugabe Weise wie in Fig.11B, ist das Ergebnis Permanentmagneten Magnetflusskomponenten 236 und 237 reisen, wie gezeigt, und mit dem zusätzlichen Magnetflusskomponente 238 von den Spulen 230 und 232 auch als Fahr gezeigt. Somit wird in Vorrichtung 220 das Erregen der Spulen in einer Unterstützung Weise ergibt sich eine erhöhte magnetische Kopplungskraft auf den Anker 234.

In Fig.11C Spulen 230, 232 sind in einer gegenüberliegenden Weise mehr als die im Dauermagnetflusskomponenten 236 und 237, wie gezeigt und überschüssige magnetische Flusskomponente 238 auf Reisen wie gezeigt reisen führt erregt. Somit wird in Vorrichtung 220 das Erregen der Spulen in einer gegenüberliegenden Weise übersteigt Ergebnisse der magnetischen Kopplungskraft auf den Anker 234, wenn auch kleiner als die in dem Fall von mehr als Fördernde.


In der Vorrichtung 240 von Fig.11D – Fig.11F ist zwischen Polstück 244 und dem Polstück 246 ein Bypass 242 vorgesehen, aber auf einer gegenüberliegenden Seite des Permanentmagneten 248 angeordnet ist, im Vergleich zu Steuerspulen 250, 252 und dem Anker 254 Permanentmagnetflusskomponenten 256 und 257 sind ohne Spulenerregung in Fig.11D gezeigt. In Fig.11E die Wege der Permanentmagnetflusskomponenten 256 und 257, sowie überschüssiges Spulenmagnetfluss 258 gezeigt, wenn die Spulen 250, 252 sind in einem Fördernde übersteigt Weise erregt.

In Fig.11F der Weg eines jeden Magnetflusskomponente 256, 257 und 258 gezeigt ist, wenn die Spulen 230, 232 in einer gegenüberliegenden Weise übersteigt erregt.

Fig.12A-Fig.12E zeigen eine Vorrichtung 270 ähnlich der in Fig.7-Fig.9 gezeigt, außer dass umgeht 272 und 274 sind vom Polstück 276 zum Polstück 278 vorgesehen Bypass 272 ist zwischen den Permanentmagneten 280 und Steuerspulen 282, 284 angeordnet ist und Bypass 274 zwischen Permanentmagnet 280 und Steuerspulen 286, 288 Armaturen 290 und 292 sind ebenfalls vorhanden entfernt. Wenn keine Spulen erregt Permanentmagnet Magnetflusskomponenten 294, 296, 298, und 300 Reise wie in Fig.12A gezeigt.

Wenn Spulen 282, 284 sind in einer gegenüberliegenden Weise Permanentmagnetflusskomponenten 295, 297 erregt und Reise 299, wie gezeigt, ohne Flusskomponente entlang des Pfades, der Anker 290 und somit auch keine Magnetkupplung einwirkenden Kraft umfasst. Dies wäre der Fall, wenn die Spulen 282, 284 auf den Pegel erregt wird, wo die Spulen magnetische Fluß nur Blocks, aber nicht überschreitet, die magnetische Flusskomponente 294 (Fig.12A) von Permanentmagneten 280. Wenn jedoch Spulen 282, 284 in einer gegenüberliegenden Weise ein Überschuß von mehr als Spule Magnetflußkomponente 301 erzeugt wird, das einen Pfad, der Anker 290 und Bypass 272 Ergebnisse fährt erregt, wie in Fig.12C gezeigt.


Spulen 286, 288 können in einer Art und Weise der Unterstützung, so dass alle Permanentmagnet magnetischen Flusses entlang dem Weg, der Anker 292 umfasst, wie in Fig.12D gezeigt, mit Energie versorgt werden. Wenn Spulen 286, 288 sind über dem Niveau der Fig.12D erregt dann das überschüssige magnetische Flusskomponente 304 durchquert den Pfad, der Anker 292 und Bypass-274, wie in Fig.12E gezeigt, wodurch die magnetische Kopplungskraft auf den Anker Erhöhung 292 umfaßt gegenüber Fig.12D. Der Vorteil, die solche Umgehungen in Permanentmagnet-Steuerkomponenten in bestimmten Anwendungen werden nachstehend offensichtlich.
Hubbewegung

Wie oben erwähnt, kann die Steuerung den Weg des Magnetflusses von einem Dauermagneten, die in einer Vielzahl von Anwendungen wie beispielsweise das Erreichen einer Hin- und Herbewegung sein. In dieser Hinsicht, wenn die Vorrichtung 110 von Fig.7 bis Fig.9 modifiziert ist, daß Anker 118 und 120 sind mit einem Schiebeschaft 320 befestigt, wie in Fig.13A bis Fig.13C gezeigt ist, und wenn der Abstand zwischen den Anker größer als das Ende ist zur Endlänge von Polstücken 114, 116 begrenzte Längsbewegung in beiden Richtungen (links und rechts in Fig.13A bis Fig.13C), und somit linear hin- und hergehende Bewegung, durch die zeitlich abwechselnde Abgabe elektrischer Signale an Spulen Steuerung 122 erreicht werden, 124 und Steuerspulen 126, 128. als Beispiel Fig.13A stellt die Position der Welle verbundenen Anker 118, 120, wenn die Spulen 122, 124 sind in einer gegenüberliegenden Art und Weise erregt werden, um den Fluss des Permanentmagneten 112 zu blockieren, so daß alle magnetischen Flusspfad 132 durchläuft, wie gezeigt, und, daß die resultierenden magnetischen Kopplungskraft nach links, wie durch den Pfeil 322 angedeutet.

Wie in Fig.13B gezeigt, wenn die Spulen 122, 124 entregt den Magnetfluß vom Permanentmagneten 112 wieder entlang dem Weg 130 durch die Anker 118 reisen jedoch aufgrund der Luftspalt 324 zwischen dem Anker 118 und der Polstücke 114, 116 die Reluktanz entlang der Bahn 130 deutlich größer ist als die Reluktanz längs Weg 132. Dementsprechend wird der Betrag des magnetischen Flusses, die entlang dem Weg 130 fließt, kleiner als der Betrag des Magnetflusses, der entlang der Bahn auf den Anker 118 strömt 132, so dass die magnetische Kopplungskraft zu sein wirkenden nach rechts wird wesentlich weniger als die magnetische Kopplungskraft auf den Anker 120 wirkt, der linken Seite, wie durch Pfeile 326 und 328, die Pfeile sind so bemessen, um die Stärke der jeweiligen Kraftrichtung repräsentieren gezeigten.

Fig.13C stellt die Position der Welle verbundenen Anker 118, 120 nach der Spulen 126, 128 sind in einer Weise erregt werden, um den Fluss des Permanentmagneten 112 entgegensetzen, so dass alle Flusspfad 130 durchläuft und die resultierende magnetische Kopplungskraft auf den Anker 118, abgebildet durch Pfeil 330, bewegt sich die Welle 10 verbundenen Anker 118, 120 nach rechts.
Steuerspulen 122, 124 und 126, 128 könnte auch in einer Flussfördernde Weise erregt werden, um das gleiche Ergebnis zu erzielen. In einer solchen Vorrichtung wäre Fig.13A Spulen dar 126, 128 erregt, um einen Magnetfluss entlang dem Weg 132 zu unterstützen, Fig.13B würden stellen wiederum keine Spulen erregt und Fig.13C würden Spulen repräsentieren 122, 124 erregt, um einen Magnetfluss entlang des Pfads zu unterstützen 130.
Somit ist es durch die abwechselnd Erregungs und Entregen Steuerspulen 122, 124 und 126, 128 eine lineare Hin- und Herbewegung der Welle verbunden Ankern 118, 120 erreicht werden kann. Ferner können solche Hubbewegung durch Erregen der Spulen in entweder einem gegenüberliegenden oder Beihilfe Weise erreicht werden. Die Magnetkupplung ausgeübten Kraft an einem gegebenen Anker bei die Regelspulen 20 erregt werden, um alle magnetischen Flusses entlang einer einzelnen Bahn, die umfasst, dass Anker wesentlich größer ist als die magnetische Kopplungskraft, die auf solchen Ankers durch eine identische Erregung der ausgeübt würde etablieren Steuerspulen in Abwesenheit des Permanentmagneten.

Dies wird unter Bezugnahme auf Fig.14, die eine Hubeinrichtung 340, in denen nur Spulen oder Elektromagnete verwendet werden, veranschaulicht gezeigt. Wie gezeigt Anker 342 und 344 sind durch die Welle 346 und jeder Anker 342 verbunden ist, 344 einen entsprechenden U-förmigen Polbahn Stück 348, 350, die Polbahn Stücke mechanisch durch ein nichtmagnetisches Material 352. Jede Polpfad Stück verbunden 348 und 350 hat entsprechende Steuerspulen 354, 356 und 358, 360 an ihnen entlang positioniert. Im Vergleich mit der Vorrichtung von Fig.13A bis Fig.13C, wenn Spulen 358, 360 der Vorrichtung 340 werden erregt, um magnetischen Flusses in jeder Richtung, im Uhrzeigersinn oder gegen den Uhrzeigersinn entlang der Bahn 362 zu bewirken, wird die elektrische Energiemenge die benötigt werden würde, um die gleiche magnetische Kopplung Kraft auf den Anker 344 zu erreichen, wie auf den Anker 120 oben in Fig.13A erreicht wäre zweimal, die in Fig.13A Spulen 122, 124 oder 126, 128 geliefert. Es wird deshalb gezeigt, daß durch Steuern oder Umschalten der Strömung des Magnetflusses von einem Dauermagneten, der zwischen mindestens zwei unterschiedlichen Wegen zu einer größeren Koppelkräfte pro Einheit der elektrischen Eingangsenergie und daher, dass eine solche Steuerung oder Schaltung mehr Arbeit ermöglichen, daß pro Einheit der elektrischen Eingangsenergie erreicht.
Wie oben beschrieben, wenn eine Spule über den Punkt hinaus, wo der magnetische Fluß durch die Spule Unterstützen der Höhe des Permanentmagneten des Flusses, die entweder entgegengesetzt oder voran erzeugt erregt wird, muss die zusätzliche Magnetflusses einen Weg mit niedriger Reluktanz zwischen den Polen der Spule dass produziert das überschüssige magnetische Fluss. Wenn eine vollständige niedriger Reluktanz Pfad nicht für die überschüssigen magnetischen Flusses vorgesehen ist, ist die Wahrscheinlichkeit für die Nutzung des überschüssigen magnetischen Flusses in Bezug auf die Herstellung von zusätzlichen magnetischen Kopplungskräfte. Der Weg für eine solche überschüssige Fluß nicht durch einen Permanentmagnetteil ist. Bei Baugruppen, die einen Anker auf jedem Weg sind, wird der Anker die notwendige Niederhaltung Pfad bereitzustellen.

Bezugnehmend auf Fig.15 werden die verschiedenen Komponenten des Magnetflusses in der Vorrichtung 110 (Fig.7 bis Fig.9) durch die Bezugszeichen 380, 382 dargestellt ist, und 384 für den Fall, wenn die Spulen 122, 124 erregt werden, um den magnetischen Fluß des Permanentmagneten wider 112 in einer Höhe, die die Höhe des Magnetflusses, der Permanentmagnet 112 würde veranlassen, durch Anker 118 zu strömen, wenn keine Spulen erregt werden, übersteigt. Fig.15 ist ebenfalls repräsentativ für den Fall, wenn die Spulen 126, 128 erregt werden, um den magnetischen Fluß des Permanentmagneten 112 um einen Betrag, der den Pegel des magnetischen Flusses, der Permanentmagnet 112 würde veranlassen, durch Anker 118 zu strömen, wenn keine Spulen überschreitet helfen erregt. Insbesondere Magnetflußkomponente 380 stellt den magnetischen Fluß des Permanentmagneten 112, die normalerweise durch den Pfad einschließlich Anker 120 fließt; Magnetflusskomponente 382 stellt den magnetischen Fluß des Permanentmagneten 112, die durch das Gegenfeld von Spulen 122 geleitet wird, 124, um den Weg, der Anker 120 weist durchqueren; und magnetische Flusskomponente 384 repräsentiert die durch die Spulen 122 erzeugten Magnetflusses 124, die über der Magnetfluss abgezweigt 382. Wie gezeigt ist, den überschüssigen magnetischen Fluß 384 durch die Spulen 122 erzeugt wird, durchläuft den Pfad 124, welches den Anker 120 umfasst und umgeht Permanent Magneten 112, um so auch den Weg, den Anker 118 zu durchlaufen umfaßt, die von den Spulen 122 erzeugten überschüssigen magnetischen Flusses, 124 fügt dem Permanentmagnetfluß entlang des Pfades, welches den Anker 120 umfaßt, wodurch die magnetische Kopplungskraft auf den Anker 120, während gleichzeitig die Bereitstellung einer magnetischen Kopplungskraft auf den Anker 118.

In einer Hubeinrichtung in dem Anker 118 und 120 sind durch eine Welle 320 verbunden, wie in Fig.13A bis Fig.13C und in Fig.16A gezeigt, und wieder wird überschüssige magnetische Fluss 384 magnetische Kopplungskraft 390 auf den Anker 120 wirkende links erhöhen. Da jedoch eine solche überschüssige Flußmittel 384 quert auch den Weg, den Anker 118 enthält, wie überschüssige magnetische Fluss 384 ergibt auch eine magnetische Kopplungskraft 392 auf den Anker 118, die nach rechts wirkt. Obwohl überschüssige magnetische Fluß 384 entlang des Pfades, der einen Anker 118 hat eine entgegengesetzte Polarität zu derjenigen, die den Weg durch den Permanentmagneten 112 durchlaufen würde, das magnetische Kopplungskraft auf den Anker 118 wirkt immer noch auf der rechten Seite, da Anker 118 nicht polaritätsempfindlich, also Anker 118 wird unabhängig von der Richtung des magnetischen Flusses entlang des Pfades angezogen werden. Der Gesamteffekt ist, dass eine resultierende Kraft, die die Differenz zwischen Kraft 390 und 392 wird Kraft auf die Welle verbundenen Anker 118, 120. Allerdings, wenn Armaturen 118 und 120 wurden von Permanentmagneten mit Polaritäten gebildet, wie oben gezeigt, und handeln Boden eines solchen Armaturen, würde die auf jedem Anker wirkende Kraft in der gleichen Richtung, und daher additiv.

In dieser Hinsicht wird auf Fig.16B genommen, in denen ein Zwei-Pfad-Gerät 371, die vier Steuerspulen 373, 375, 377 und 379 wobei die dargestellten Armaturen durch Permanentmagnete 381 und 383 mit Polaritäten wie dargestellt ausgebildet. Mit keine Spulen erregt sowohl Permanentmagnetanker 381 und 383 sind an den Enden der Polschuhe 385 und 387. Mit Spulen 373, in einer gegenüberliegenden Weise 375 erregt angezogen und die Spulen 377, 379 unter Spannung in einer Unterstützung Weise, die Anziehungskraft auf Permanentmagnet-Anker 383 wird in der Regel zu erhöhen und die Anziehungskraft auf Permanentmagnetanker 381 wird in der Regel zu verringern.

Dies wird unter Bezugnahme auf das Diagramm von Fig.16C, die ein Diagramm der Strom in den Steuerspulen auf der x-Achse die Verse des magnetischen Flusses in Gauss auf der y-Achse mit der Linie 389, die den Fluß entlang der Fördernde Seite strömt zeigt nachgewiesen der Vorrichtung 371 und die Leitung 391, die den Fluß entlang der gegenüberliegenden Seite der Vorrichtung 371. wie gezeigt, verringert sich der magnetische Fluss an der Spule gegenüberliegende Seitenstrom zunimmt Spule und einen Nulldurchgang bei Punkt 393. Hinter dem Punkt 393, Umkehrmagnetfluss beginnt hergestellt werden und würde in einer abstoßenden Kraft auf Permanentmagnetanker 381. in einigen Anwendungen, insbesondere solche, bei denen Permanentmagnetanker und Rotoren nicht genutzt führen kann, ist es wichtig zu Punkt 393, so daß der Magnetfluß rückwärts nicht erzeugt wird anerkennen.


In dieser Hinsicht wird Bezug auf Fig.16D und Fig.16E, in denen die Benutzung von Hall-Effekt-Schalter 401 und 403 durchgeführt, um die Kontrolle über die Spulenerregungsstrom in Situationen, wo es wünschenswert ist, Umkehrmagnetfluss zu verhindern, ist zu ermöglichen gemacht. Wie gezeigt, kleine umgeht 405 und 407 sind vorgesehen, mit Hall-Effekt-Schalter 401 und 403 in Lücken entlang ihnen positioniert, wobei die Schalter-Schaltung 409. Da die Fluss Reisen entlang der Bypass-Pfad auf Null fällt zu steuern, kann die Hall-Effekt-Schalter sein genutzt werden, um weitere Bestromung der Steuerspulen zu verhindern, so dass keine Umkehrfluss geschaffen.




Einer weiteren Ausführungsform eines Geräts 400 bietet Pendelbetrieb in Fig.17A bis Fig.17D angezeigt wird, in dem eine Permanentmagnet-Control-Komponente 402 mit zwei Flux Pfade kann, steht zur Verfügung. Ein erstes Stange Stück 404, hat zwei Abständen, angrenzenden Weg Teile 406 und 408, die über den Umfang der Pole Gesicht der Permanentmagnet 410 und eine zweite Pole Stück 412 enthält nur eine kontinuierliche Teil 414 überschreitenden Umfang das Pole-Gesicht der Permanentmagnet 410, jede Pfadteil 406 und 408 Pole Stück 404 wird zumindest ein Teil 412 des Pol Stück 414 erheblich angeglichen. Kontrolle Spule 416 befindet sich entlang der Stange Stück Pfadteil 406 und Kontrolle Spule 418 entlang Stange Stück Teils 408 positioniert. Ein Skelett 420 befindet sich in der Region zwischen Pol Stück Weg 404, 406 und Pole Stück Teil 414 und ist frei von Seite zu Seite wie dargestellt durch Pfeile 422 und 424 schieben.
Eine Frontansicht des Component-Gerät 400 mit keine Spulen aktiviert und Armatur 420 an einem mittleren Punkt zeigt Flux Armatur 420, vom Nordpol Antlitz der Permanentmagnet 410, durch die einzelnen Pole Stück Weg Teile 406 und 408, durchströmt und die Rückkehr zum Südpol Gesicht durch Pole Stück Teil 414. So teilt sich der magnetische Fluss gleichmäßig auf zwei Pfaden. Wenn Spule 416 in einer unterstützten Weise aktiviert ist oder wenn Spule 418 in entgegengesetzte Weise, alle oder einen Großteil der magnetische Fluss der dauerhaften Magneten aktiviert ist vorgenommen werden, kann durch Pole Stück Teil 406 fließen, die so eine resultierende Kraft der Magnetkupplung auf Armatur 420 bewirkt, dass es nach Links zu verschieben, wie im Fig.17C gezeigt.
Ebenso Wenn Steuerelement Kunststoffspule 416 in gegnerischen Weise aktiviert ist, oder wenn Steuerelement Spule 418 halfen Weise, alle oder einen Großteil der Dauermagnet-Flux aktiviert ist kann gemacht werden, Pole Stück Pfadteil 408 durchströmen, so dass eine resultierende Kraft der Magnetkupplung auf Armatur 420 verschieben nach rechts, wie im Fig.17D gezeigt wird. Dementsprechend kann durch abwechselndes Energiespendende und de energiespendende Spulen 416 und 418 eine oszillierende Bewegung des Skeletts 420 erreicht werden.
Lineartechnik

Unter Bezugnahme auf Fig.18A bis Fig.18E ist eine lineare Bewegung in Übereinstimmung mit der vorliegenden Erfindung beschrieben. Insbesondere ein Permanentmagnet Steuerungskomponente 440 einen Permanentmagneten 442 mit einem Polstück 444 dagegen positioniert ist Nordpol Gesicht und ein Polstück 446 gegen es Südpol Gesicht ist in einer Explosionsansicht in Fig.18A gezeigt, und in Fig.18B montiert positioniert.

Polstück 444 umfasst fünf Gangabschnitte 448A-448E, die über den Rand der Nordpolseite des Permanentmagneten 442 an einer Seite von ihm und an entsprechenden Positionen entlang ihrer Gesamtlänge zu verlängern, und es hat Pfadabschnitt 448A-448E jeweils mit einer Steuerspule 450A-450E um sie herum angeordnet ist. Polstück 446 umfasst einen Abschnitt 452 über den Rand der Südpolfläche des Permanentmagneten 442 auf die eine Seite davon erstreckt, und dieser Abschnitt 452 erstreckt sich entlang der gesamten Länge des Permanentmagneten 442. Eine Anzahl von Ankern 454 einen Pfad definieren, Relativbewegung zwischen Permanentmagnet Steuerungskomponente 440 und eine solche Armaturen 454 und durch Bereitstellung zeitlich Erregung der gegebenen Regelspulen 450A-450E solche relative Bewegung kann erreicht werden.



Die Folge von Seitenansichten in Fig.18C bis Fig.18E dargestellt illustrieren solche Relativbewegung,
mit Spulen 450A, wobei 450C und 450E in einer gegenüberliegenden Weise gleichzeitig in Fig.18C erregt ist,
mit Spulen 450A und 450D, die gleichzeitig in einer entgegengesetzten Weise in Fig.18D erregt und
mit Spulen 450B und 450D, die gleichzeitig in einer entgegengesetzten Weise in Fig.18E erregt.
In Fig.18C wird Magnetfluss nur entlang Pfadabschnitte 448B strömen und 448C des Polstückes 444 verursacht resultierenden durch die Pfeile 456, 458, die Permanentmagnet-Steuerungskomponente 440 nach links wirken, vorausgesetzt Anker 454 befestigt dargestellt sind magnetische Kopplungskräfte. Ebenso aufgrund des Zeitpunkts der späteren Spulenerregung resultierenden magnetischen Kräfte, die durch Pfeile 460, 462 in Fig.18D und Pfeile 464, 466 in Fig.18E dargestellt wirken um die Bewegung des Permanentmagnetsteuerkomponente 440 nach links fortsetzen. Wenn somit Permanentmagnetsteuerkomponente 440 wurden mit einem Gerät oder einer Struktur befestigt ist, kann eine gesteuerte Bewegung der Vorrichtung oder Struktur entlang der durch Anker 454 definierten Bahn erreicht werden. Umgekehrt, wenn Permanentmagneten Steuerkomponente 440 wurden fixiert und Ankern 454 wurden auf einem Gerät oder einer Struktur angeordnet, kontrollierten Bewegung der Vorrichtung oder Struktur könnte auch erreicht werden. Es ist auch leicht zu erkennen, dass durch Variieren der Spulenerregungssequenz und Zeitrelativbewegung in die entgegengesetzte Richtung erzielt werden kann. Ferner wird, wenn der Permanentmagnet wurde geformt Donut und die Anker in einem Umfangsmuster angeordnet sind, eine Drehbewegung würde ebenfalls erreichbar.
Drehbewegung

Ein Ausführungsbeispiel eines Drehbewegungsvorrichtung oder Motor 500, die verschiedene Permanentmagnetfluß Steuerungsaspekte der vorliegenden Erfindung beinhaltet, wird in der Explosionsansicht von Fig.19 und in der Teilmontageansicht von Fig.20 gezeigt ist. Motor 500 enthält eine Rotorbaugruppe, die eine Welle 502 und zugehörige obere Lager 504, einen nichtmagnetischen Scheibenelement 506 für eine Rotation mit der Welle 502 befestigt ist, und einen Rotor Polstück 508, die zur Drehung mit dem Plattenelement 506, wie durch die gelagerten umfasst Verwendung von Schrauben 510 Rotor Polstück 508 umfasst einen ringförmigen Abschnitt mit zwei sich nach innen erstreckende Magnetflußweg Abschnitte 512A und 512B. Statoranordnung des Motors 500 weist einen Donut oder ringförmige Permanentmagnet 514 mit einer nach oben gerichteten Nordpol Fläche benachbart und in enger Nähe zur Rotor Polstück 508, und einen nach unten gerichteten Südpol Fläche benachbart und in Kontakt mit einem Stator positioniert Polstück 516 Statorpolstück umfasst einen ringförmigen Abschnitt mit fünf nach innen vorstehende Bahnabschnitte 518A-518E. Jeder Pfad Abschnitt einen jeweiligen Wickelpfosten 520A-520E davon erstreckt und mit einem jeweiligen Steuerspule 522A-522E darauf gewickelt. Statorpolstück Flächen 524A-524E sind, welche auf den jeweiligen Wickelstellen 518A-518B, so daß sie die sein, positioniert werden kann, und wie in der Teilbaugruppe Fig.20 gezeigt ist, im wesentlichen mit der oberen Oberfläche des Permanentmagneten 514 ausgerichtet ist positioniert benachbarten Rotorbahnabschnitte 512A und 512B, wenn damit ausgerichtet sind. Jede der Wickelstellen 518A-518E und Statorpolstück Flächen aus magnetischem Material gebildet, und zwar als separate Teile gezeigt, ein integraler, einteiliger Stator könnte mit ähnlichen Wickelstellen ausgebildet sein und dem Polstück zugewandt bearbeiteten darauf. Untere Lager 526 wird auch gezeigt,.

Fig.21A bis Fig.21E Draufsichten des Teilmontage von Fig.20 mit magnetischen Flusses dargestellt. In Fig.21A Magnetflussreise wenn keine der Spulen 522A-522E erregt dargestellt. Unter Vernachlässigung Streufluß, aufgrund der niedrigen Reluktanz Pfad Rotor Polstück Pfadabschnitte 512A und 512B vorgesehen sind, wird die Mehrzahl der Magnetfluss von der Nordpolfläche des Permanentmagneten 514 radial nach innen entlang einer dieser Bahnabschnitte, bevor man ihn abwärts durch reisen die Statoranordnung und die Rückkehr zu der Südpolfläche des Permanentmagneten 514. Es wird angemerkt, dass der Rotor Polstück 508 weist zwei Wegabschnitte und Statorpolstücke 516 umfasst fünf Bahnteile, so daß Rotor Polstück Pfadabschnitte 512A und 512B immer verzerrt sein relativ zu dem Statorpolstück Flächen 524A-524E. Nur einem Rotor Polstück Pfadabschnitt kann direkt mit einem Statorpolstück Fläche zu einem bestimmten Zeitpunkt anzupassen. Durch abwechselndes Erregen der Steuerspulen jedes der Statorpolstücke Pfade kann eine Drehbewegung des Rotors erreicht werden.

Insbesondere unter Bezugnahme auf Fig.21B bis Fig.21D, einer Erregungssequenz, die in eine solche Drehbewegung wird beschrieben resultiert. In Fig.21B, Regelspulen 522A und 522C sind in einem Permanentmagnetfluss entgegengesetzten Art und Weise angesteuert. Permanentmagnet-Magnetfluss entlang Rotor Polstück Pfadabschnitt 512A neigt dazu, zu durchqueren, um Polstückstirnseite 524B Stator verursacht eine durch den Pfeil 526. Ebenso angegeben magnetische Kupplungskraft Permanentmagnetfluss entlang Rotor Polstück Pfadabschnitt 512B führt tendenziell zu Statorpol durchqueren Stück Fläche 524D bewirkt eine magnetische Kopplungskraft durch den Pfeil 528 angedeutet Das Ergebnis wird die Drehung des Rotors Polstück 508 im Uhrzeigersinn, wie durch Pfeil 530 angedeutet.

Unter Bezugnahme auf Fig.21C, kurz nach Rotor Polstück Pfadabschnitt 512B wird nicht mehr mit Statorpolstück Fläche 524D ausgerichtet ist, wird die Steuerung Spule 522C entregt und Regelwendel 522D ist in einer gegenüberliegenden Art und Weise, so dass die Permanentmagnetfluss entlang erregt Rotorpol Stück Weg 512B neigt dazu, zu durchqueren, um Polstückstirnseite 524E was zu magnetischen durch Pfeil 532 Steuerspule 522A angegeben Kupplungskraft Stator bleibt angezogen, so dass ein durch einen Pfeil 534 Ergebnisse zeigten, Magnetkupplungskraft. Dementsprechend wird eine Drehung im Uhrzeigersinn des Rotors Polstück 508 fort.

In Fig.21D, kurz nach Rotor Polstück Pfadabschnitt 512A nicht mehr mit Statorpolstück Gesicht 524B ausgerichtet sind, wird die Steuerung Spule 522A abgeschaltet und Steuerspule 522B ist in einem Permanentmagnet magnetischen Flusses entgegen Weise angezogen, so dass der Permanentmagnet magnetische Fluss entlang Rotorpol Stück Weg 512A neigt dazu, zu durchqueren, um Polstückstirnseite 524C, so dass eine magnetische Kopplung Kraft durch einen Pfeil 536 Ergebnisse zeigten Stator. Steuerspule 522D bleibt angezogen, so dass ein durch einen Pfeil 538 Ergebnisse und Rechtsdrehung des Rotors Polstück 508 angegeben magnetische Kupplungskraft wird fortgesetzt.

Wie in Fig.21E kurz nach Rotor Polstück Pfadabschnitt gezeigt, 512B nicht mehr mit Statorpolstück Gesicht 524E ausgerichtet sind, wird die Steuerung 522D Spule stromlos und Steuerspule 522E in einem Permanentmagnet-Magnetfluss entgegengesetzten Art und Weise, so dass die Energie versorgt Permanentmagnet-Magnetfluss entlang Rotorpol Stück Weg 512B neigt dazu, zu durchqueren, um Polstückstirnseite 524A Stator, so dass ein durch den Pfeil 540 angegeben magnetische Kupplungskraft. Steuerspule 522B bleibt angezogen, so dass eine magnetische Kopplung Kraft durch einen Pfeil 542 Ergebnisse zeigten, und Rechtsdrehung des Rotors Polstück 508 wird fortgesetzt.
Somit kann durch alternierende Erregen und Entregen Regelspulen 522A-522E, in einer vorbestimmten zeitlichen Abfolge auf der Basis der Drehung des Rotorbaugruppe weiterhin Drehbewegung des Rotors Polstück 508 kann erreicht werden. Eine solche Erregung / Entregung Schema erzielt Verwendung Schaltungen in der Technik üblich ist, wie beispielsweise die in der Anmelderin US-A-Steuerschaltung. Nrn. 5.463.263 und 5.455.474, sowie verschiedene der unten beschriebenen Schaltungskonfigurationen.

Bezugnehmend auf Fig.22, eine zusammengesetzte Ansicht des Drehmotors 500 ist, der ein Gehäuse oder eine Abdeckung aus einem oberen Gehäuseteil 544 gebildet ist und einen unteren Gehäuseteil 546, wobei Teile der jeweiligen Gehäuseteil aufgeschnitten gezeigt ist, um oben beschriebene Motorstruktur freizulegen. Es wird anerkannt, dass eine solche Gehäuseglieder 544 und 546 sollten aus einem nichtmagnetischen Material aufgebaut sein, und ebenso, dass die Motorwelle 502 und die Lager 504, 526 sollten aus einem nichtmagnetischen Material aufgebaut sein.


In einer anderen Ausführungsform wird eine Drehbewegungsvorrichtung oder Motor 580 in Übereinstimmung mit der vorliegenden Erfindung in einer perspektivischen Explosionsansicht in Fig.23 und in einer zusammengebauten Perspektivansicht in Fig.24 gezeigt. Zwei beabstandeten Permanentmagneten 582 und 584 sind zwischen Statorpolstücke 586 und 588 positioniert Statorpolstücke 586 umfasst zwei Bahnabschnitte 590A und 590B erstrecken sich von Dauermagneten 582, 584 in entgegengesetzte Richtungen. Ebenso Statorpolstücke 588 umfasst zwei Bahnabschnitte 592A und 592B erstrecken sich von Dauermagneten 582, 584 in entgegengesetzten Richtungen und mit Statorpolstück Pfadabschnitte 590A und 590B ausgerichtet werden kann. Steuerspulen 594, 596, 598 und 600 sind jeweils entlang einer Statorpolstück Wegabschnitt positioniert, wie dargestellt. Eine nicht-magnetische Welle 602 enthält ein Paar von zusammenpassenden länglichen Rotorelemente 604 und 606 aus einem magnetischen Material gebildet ist, angebracht an beabstandeten Stellen auf der Achse und in einem Winkel zueinander, Welle 602, die zwischen beabstandeten Permanentmagneten 582 und 584 eingestellt. Zwei Endkappe Elemente 608 und 610, aus einem nichtmagnetischen Material hergestellt sind, sind an den Enden der Statorpolstücke 586 und 588 befestigt und dienen zur Aufnahme Welle 602 und den jeweiligen Lagern 612 und 614 konfiguriert.

Die Enden der Statorpolstücke 506 und 508 sind für eine gewünschte Kopplungsverhältnis Rotorelemente 604 und 606 beispielsweise so konfiguriert, wie in den Ausführungs Endansichten von Fig.25A und Fig.25B, wobei die Endkappe 608 entfernt ist, das Ende der Statorpolstücke 586 kann einen gekrümmten Abschnitt 616, der konfiguriert ist, um eine variable Reluktanz Luftspalt 618 mit länglichen Rotorelementes 604. Das Ende der Statorpolstücke 588 umfasst einen gekrümmten Abschnitt 620, der auch konfiguriert ist, um ein erstellen umfassen variabler Reluktanz Luftspalt 622 mit Rotorteil 604.
Insbesondere umfasst Abschnitt 618 eine Umfangskrümmung, die eine Mittelpunktsverschiebung unter der Drehachse der Welle 602 und Rotorteil 604 hat, wie durch in Schatten gezeichneten Kreis 624 angegeben. Ähnlich enthält Abschnitt 620 eine Umfangskrümmungsradius, der einen Mittelpunktsverschiebung über der Drehachse der Welle 602 und Rotorglied 604. Wenn der magnetische Fluß entlang dem Pfad, der eine gegebene Ende der Anordnung, eine maximale Kopplung zwischen dem das Leiten hat Rotorglied und dem Stator Polschuhe tritt auf, wenn der Rotor so positioniert ist, wie in Fig.25B gezeigt. Dementsprechend stellen die dargestellten Rotorelement und Statorpolstück Konfigurationen selbst keinerlei Schräg zur Richtung der Drehung der Rotoranordnung.


In dieser Hinsicht sind verschiedene Konfigurationen für den Rotor und die Enden der Statorpolstücke in den Stirnansichten Fig.26 bis Fig.28, die Konfigurationen bieten Neigen der Drehrichtung dargestellt. Insbesondere in der Vorrichtung 620 der Fig.26 ein Rotorglied 622 mit Kerben 624 und 626, die Kerben sehen eine stärkere magnetische Kupplung mit den Stator-Polschuhen 628 und 630 an den Ecken 632 und 634, dass die Drehung verdreht ist im Uhrzeigersinn. Wenn Einkerbungen anstelle an den Ecken 632 und 634 liegt, würde verzerrt Drehung im Gegenuhrzeigersinn die Folge sein. Im Gerät konnte 620 solche Drehung gegen den auch von Rotor 622 von der Welle 636 zu entfernen, drehen Sie ihn bis zum Ende zu beenden, und ersetzt sie auf der Welle 636 erreicht werden.
In der Vorrichtung 640 der Fig.27 ist ein Abschnitt 642 der gekrümmten Endabschnitt Statorpolstücke 644 wird entfernt, und ein Teil 646 des gekrümmten Endabschnitts Statorpolstücke 648 wird entfernt. Diese Konfiguration führt zu größeren magnetischen Kopplung zwischen Rotorelement 650 und Statorpolstücke 644 an der Ecke 652 und eine größere magnetische Kopplung zwischen Rotorelement 650 und Statorpolstücke 648 an der Ecke 654, so dass eine Drehung verdreht ist im Gegenuhrzeigersinn. Drehung im Uhrzeigersinn könnte anstelle Modifizieren der gegenüberliegenden Seite der Statorpolstücke 644 und 648 erreicht werden.

Fig.28 zeigt eine Seitenansicht einer Vorrichtung 660, in dem die Achse 662 des gekrümmten Endabschnitts oberen Statorpolstücke 664 und unteren Statorpolstücke 666 ist in einem Winkel A angeordnet, wie gezeigt. Diese Konfiguration erzeugt eine ungleiche variabler Reluktanz Luftspalt, wo gegenüberliegende Ecken des Rotorelements 668 näher an die Polstücke 664 und 666. Weitere Ständer, den Winkel, bei dem das maximale magnetische Kopplung zwischen Rotorelement 668 und der Stator Polschuhe 664 und 666 auftritt, verzögert durch den Winkel A. Rotation würde in der Gegenuhrzeigerrichtung für die dargestellte Konfiguration.


Wieder mit Bezug auf Motor 580 von Fig.23 bis Fig.25, wird die Drehbewegung eines solchen Gerätes in den Stirnansichten Fig.29A bis Fig.29D dargestellt. In jedem Ende sehen die Endkappe entfernt wurde, um die Drehung des Rotors Mitglieder zeigen und in jedem Fig.29A bis Fig.29D eine Seitenansicht der Darstellung Rotorteil 604 und eine Seitenansicht der Darstellung Rotorteil 606 werden angezeigt Seite an Seite. In Fig.29A wird die Rotorteil 604 als Null Grad und Rotorelement 606 ist als neunzig Grad definiert. Steuerspulen 594, 598 sind in einem Permanentmagneten magnetische Fluss gespeist Unterstützung derart, dass keine magnetischen Flusses durch Statorpolstück Bahnabschnitte 590B und 592B durchläuft. Dies ermöglicht Rotorglied 606 aus seiner neunzig Gradposition und magnetischen Kopplung zwischen Rotorelement 604 und Statorpolstück Pfadabschnitte 590A und 592A bewegt eine Drehung in die in Fig.29B und Fig.29C gezeigten Position zu bewirken. Wenn Rotorelement 604 die in Fig.29D Steuerspulen dargestellt Neunziggradposition erreicht 594, 598 entregt sind aufgrund der magnetischen Kopplung zwischen Rotor und Steuerspulen 596, 600 sind in einem Permanentmagnet-Magnetfluss Unterstützung Weise eine Drehung weiter erregt Mitglied 606 und Statorpolstück Bahnabschnitte 590B und 592B. Somit ist es durch die abwechselnd Erregen der Steuerspulen der einzelnen Pfade mit jedem neunzig-Grad-Drehung des Rotors Elemente 604 und 606 wird die kontinuierliche Drehbewegung erreicht.
Die anfängliche Drehrichtung kann durch die Schaltungseinrichtung zum Steuerspulen 594, 598 und 596, 600 mit Energie zu versorgen, die Schaltungseinrichtung eine Schaltung zum Detektieren der Winkelposition der Rotorelemente gesteuert werden. Wenn insbesondere Rotorelemente 604 und 606 sind in Ruhe in den in Fig.29A gezeigten Position, und die Spulen 594, 598 sind in einem Fördernde Weise erregt wird, kann eine Drehung im Uhrzeigersinn oder gegen den Uhrzeigersinn sein. Wenn die gewünschte Richtung ist bei Erregung der Spulen 594 im Uhrzeigersinn, aber, der Rotor 598 Mitglieder beginnen, gegen den Uhrzeigersinn bewegen, wird die Erkennungsschaltung sofort stromlos Spulen 594, 598 und energetisieren Spulen 596, 600, so dass der Uhrzeigersinn erreicht.
Ferner umgeht Umgebung Permanentmagneten 582 und 584 könnten in Drehbewegungsvorrichtung 580 bereitgestellt werden, wie sie in Fig.12 gezeigt ist, und die Rotorelemente 604 und 606 können durch Permanentmagneten gebildet ist, um den Vorteil dieser Erregen der Steuerspulen in ergreifen ein Überschreiten Weise.


Eine dritte Ausführungsform eines Drehbewegungsvorrichtung oder Motor 650 ist in der teilweise perspektivische Explosionsansicht der Fig.30 und im zusammengesetzten Teilperspektivansicht Fig.31 gezeigt. In Kraft 650 die Statoranordnung enthält eine Steuerkomponente 651, der einen Permanentmagneten 652 mit einem Stator Polstück 654 benachbart Polfläche des Magneten und einem Statorpolstück 656 angrenzend an die gegenüberliegende Polfläche positioniert. Statorpolstücke 654 enthält einen Pfadabschnitt 658A auf einer Seite des Permanentmagneten 652 und einen Bahnteil 658B erstreckt, um die eine Seite desselben und von der ersten Wegabschnitt 658A beabstandet erstreckt. Steuerspulen 660 und 662 sind entlang der jeweiligen Statorpolstück Pfadabschnitte 658A und 658B positioniert.
In gleicher Weise Statorpolstück 656 beinhaltet Pfadabschnitte 664A und 664B, die in ähnlicher Weise von ihr erstreckt, um mit Stator Pfadabschnitte 658A und 658B ausgerichtet werden. Steuerspulen 666 und 668 sind entlang der jeweiligen Statorpolstück Pfadabschnitte 664A und 664B positioniert. Gegenüberliegend angeordnet, und mit Blick auf Steuerkomponente 651, eine ähnliche Steuerungskomponente 670 mit Permanentmagneten 672 Statorpolstück 674 mit Bahnabschnitte 676A und 676B mit den Steuerspulen 678 und 680, und Statorpolstück 682 mit Bahnabschnitte 684A und 684B, die ihren Steuerspulen 686 und 688. Das Ende von jedem der Polschuh Pfadabschnitte 658A, von einer allgemein gekrümmten Konfiguration 658B, 664A, 664B, 676A, 676B, 684A und 684B.
Rotoranordnung des Motors 650 weist einen nicht-magnetischen Welle 700 mit einem Permanentmagnet-Rotor 702 darauf montiert ist und die mit ihr dreht. Permanentmagnet-Rotor 702 ist im Allgemeinen ringförmig und segmentiert, um verschiedene Nord- und Südpol Flächen, die etwa alle neunzig Grad um sie rückgängig zu machen. Im zusammengebauten Zustand sind die oberen und unteren Oberflächen des Permanentmagnetrotors 702 auszurichten Polstücke 654, 656, 674, und 682 der Statoranordnung und sind vorzugsweise so konfiguriert, dass es einen minimalen Spalt zwischen der Außenfläche des Permanentmagnetrotorelement 702 und die gekrümmten Flächen der Polstück Wegabschnitte.

Die Drehung des Geräts 650 kann erreicht werden durch kontrollierte, zeitgesteuerte Einschalten und Freischaltung von Steuerspulen 660, 662, 666, 668, 678, 680, 686 und 688 ist. Beispielhafte Drehung mit Bezug auf die Draufsichten auf Fig.32A bis Fig.32B gezeigt die Gegenuhrzeigerdrehung Permanentmagnetrotors 702 durch einhundertachtzig Grad darzustellen. In Fig.32A Statorpolstück Wegabschnitt 658A der Komponente 651 ist aktiv und Statorpolstück Pfadabschnitt 658B ist nicht aktiv, die durch Erregen Steuerspule 660 in einem Dauermagneten Magnetfluss Unterstützung Weise oder durch Erregen Steuerspule 662 dadurch gelöst werden können, ein Permanentmagnet magnetischen Flusses entgegengesetzte Weise. Statorpolstück Pfadabschnitt 676B der Komponente 670 ist aktiv und Statorpolstück Pfadabschnitt 676A ist nicht aktiv, die durch Erregen Steuerspule 680 in einem Dauermagneten Magnetfluss Unterstützung Weise oder durch Erregen Steuerspule 678 in einem Dauermagneten Magnet erreicht werden kann Fluss gegnerischen Weise.
Somit werden Abschnitte 690 und 692 des Permanentmagnetrotor 702, die beide eine magnetische Nordpolarität wird durch den Nord-Polarität des Statorpolstück Pfadabschnitte 658A und 676B dementsprechend ausge abgestoßen werden. Abschnitte 694 und 696 des Permanentmagnetrotor 702, von denen beide eine Süd-Magnetpolarität, wird der aktive Pfad Abschnitte 658A und 676B angezogen werden. Zu dem Zeitpunkt, Rotorelementabschnitt 694 wird mit Statorpolstück Pfadabschnitt 658A ausgerichtet ist, wie in Fig.32B gezeigt ist, alle Spulen entregt, so daß alle Polstück Wegabschnitte aktiv sein, wie gezeigt. Polstück Bahnabschnitte 658B und 676A werden dann immer aktiv, während Polstück Bahnabschnitte 658A und 676B inaktiv gemacht werden. Dies wird durch die Erregung Steuerspulen 662 und 678 in einem Permanentmagneten magnetische Fluss Unterstützung Weise oder durch Einschalten Steuerspulen 660 und 680 in einem Permanentmagnet magnetischen Flusses entgegen Weise erreicht. Rotorelementabschnitte 690 und 692 wieder durch das Nord-Polarität der Pfadabschnitte 658B und 676A mit der es ausgerichtet abgestoßen, so dass die Drehung des Permanentmagnetrotors 702 wird fortgesetzt.

In Fig.32D alle Spulen gezeigt öffnet, wenn Rotorabschnitt 692 ausgerichtet mit Polstück Pfadabschnitt 658A. Durch Fortsetzen dieses zeitlichen Folge der Erregung und Entregung der Steuerspulen, weiterhin eine Drehbewegung erreicht wird. Wie oben erläutert, kann die anfängliche Drehrichtung durch Schaltungsmittel, welche die erste Richtung der Permanentmagnet-Rotor 702 erfasst und unmittelbar verändert die Spulenerregungsschema, wenn die Anfangsrichtung falsch gesteuert werden.

Eine Seitenansicht der zusammengebauten Motor 650 ist in Fig.33 gezeigt und umfasst ein oberes Gehäuse oder Gehäuseabschnitt 710, einen unteren Gehäuseabschnitt 712, oberes Lager 714 und ein unteres Lager 716.





Eine vierte Ausführungsform eines Drehbewegungsvorrichtung oder Motor 740 ist in Fig.34 bis Fig.39 dargestellt. Motor 740 umfasst fünf Ständersteuerungskomponenten 742A-742E um einen ringförmigen Permanentmagnet-Rotor 744 (Fig.36) positioniert. Wie mit Bezug auf Komponente 742A in Fig.37 gezeigt, umfasst jede Statorkomponente 742A einen Permanentmagneten 746A mit einem oberen Polstück 748A benachbart zu einer Polfläche angeordnet und einem unteren Polstück 750A angrenzend an die gegenüberliegende Polfläche positioniert. Steuerspulen 752A, 754A entlang jeweiligen Polstücken 748A, 750A positioniert. Ein Bypass-756A erstreckt sich vom Polstück 748A zu Polstück 750A und zwischen Dauermagneten 746A und Steuerspulen 752A, 754A positioniert. Alternativ könnte Bypass 756A auf der gegenüberliegenden Seite des Dauermagneten 746A vorgesehen, wie in Fig.38 gezeigt werden. Obwohl nicht gezeigt, wird angenommen, daß Permanentmagnetrotor 744 würde auf einer Achse für eine Drehung mit ihr und einem Motorgehäuse oder Gehäuse montiert werden könnte vorgesehen sein, wie beispielsweise bei Kraft 650 von Fig.33 gezeigt.
Unter Bezugnahme auf die Draufsichten auf Fig.39A bis Fig.39D, wird die Drehbewegung des Rotors 744 durch die Reihenfolge der Ansichten dargestellt. Bereiche 770 und 772 in Fig.39A bis Fig.39D stellen die magnetischen Nord- Regionen der Oberseite der Permanentmagnet-Rotor 744. In Fig.39A Steuerspulen 752E und 752C sind in einem Permanentmagneten erregt Begünstigung und höchstens derart, dass die Regionen 770 und 772 von Permanentmagnet-Rotor 744 durch Komponenten 742E und 742C zurückgeschlagen, während Permanentmagnetmotor Regionen 774 und 776 werden von Komponenten 742E und 742C angezogen. Die erhaltenen Kopplungskräfte wirken, um Dauermagnetrotor in einer Gegenuhrzeigerrichtung in die in Fig.39B gezeigte Position zu verschieben. Kurz nach Permanentmagnet-Rotor-Region 772 übergibt die in Fig.39C gezeigten Punkt, wird die Steuerung Spule 752B in einem Permanentmagneten und Unterstützung von mehr als Weise mit Energie versorgt, während Steuerspulen 752E und 752C auch unter Spannung bleiben und Linkslauf des Permanentmagnet-Rotor 744 wird fortgesetzt . Gerade nach der Dauermagnetrotor Region 772 Durchläufen durch die Steuerkomponente 742C Steuerspule 752C entregt, während die Steuerspulen 752E und 752B erregt bleiben, um Drehung im Gegenuhrzeigersinn fortgesetzt. Dann, kurz nach Permanentmagnet-Rotor Region 770 erreicht die in Fig.39D Steuerspule 752D gezeigten Stelle befindet sich in einer Dauermagnetfluss Beihilfe und übersteigt Weise mit Energie versorgt, während Spulen 752E und 752B erregt bleiben, um Drehung gegen den Uhrzeigersinn weiter. Somit wird, wie in den anderen Ausführungsformen, wiederholt und zeitlich Erregung und Entregung der Steuerspulen erzeugt die gewünschte Drehbewegung.

In Bezug auf die Steuern der Stromversorgung von Spulen in die Geräte oben beschrieben, verschiedene elektronische Steuerkreis / Schaltmittel und elektromechanische Schaltung / Schalt Maschinen werden in Fig.40 bis Fig.44 dargestellt. In der Schaltung 800 von Fig.40 eine gegebene Spule 802 ist in Reihe zwischen einer elektrischen Energiequelle 804 und einen Leistungs-MOSFET 806 eine LED 808 angeordnet ist, um eine elektrische Energiequelle 804 über den Widerstand 810 verbunden ist und positioniert ist, um auf einen Phototransistor 812 auftreffen welche ist in Reihe mit dem Widerstand 814. Ein Steuereingang des MOSFET 806 ist zwischen dem Phototransistor 812 und dem Widerstand verbunden ist. Dementsprechend, wenn die LED 808 aktiviert Phototransistor 812 wird der Spannungsabfall über dem Widerstand 814 aktiviert oder eingeschaltet wird, wird der MOSFET 806 und die Spule 802 erregt wird. Timed Erregung Spule 802 wird durch Anbringen eines Unterbrechers 816, wie in Fig.42 gezeigt, um die Welle 816 des Motors dient, zu steuern, so dass, wenn Brecher 814 rotiert mit der Welle 816 Spule 802 ist abwechselnd erregt und Ent- erregt. In einer Vorrichtung mit einer Vielzahl von Spulen eine entsprechende Vielzahl von LED / Photopaare vorgesehen sein.


In der Schaltung 820 von Fig.41 eine Spule 822 ist zwischen der elektrischen Energiequelle 824 und MOSFET 826 positioniert Ein Hallschalter 828 ist in Reihe geschaltet mit dem Widerstand 830. Hallschalter 828 ist auch mit dem Steuereingang des MOSFET 826 über den Widerstand 832 verbunden ist. In einem bestimmten Gerät Halle Schalter 828 würde aufgestellt, um auf eine Änderung des magnetischen Flusses zu reagieren, um das Ein- / Ausschalten des MOSFET 826 und damit die abwechselnde Erregung und Entregung der Spule 822 zu steuern, werden.

In Fig.43 eine Schaltung 840 zur Steuerung von zwei Spulen in entgegengesetzter Weise so vorgesehen, dass, wenn die Spule 842 erregt wird Spule 844 entregt ist, und derart, dass, wenn die Spule 842 entregt Spule 844 erregt wird. Beide Spulen 842 und 844 sind in Serie zwischen der elektrischen Energiequelle 846 und den jeweiligen Leistungs-MOSFETs 848 und 850. Ein angeschlossenen LED 852 und der Phototransistor 854 Anordnung vorgesehen ist, LED in Reihe mit dem Widerstand 856 und dem Phototransistor in Reihe mit dem Widerstand 858 verbunden ist, wenn die LED 852 dreht Phototransistor 854 auf dem Spannungsabfall am Widerstand 858 schaltet MOSFET 848 auf EIN und die Spule 842 erregt wird. Damals war der am Steuereingang des MOSFET 850 angelegte Spannung ist niedrig und damit MOSFET 850 ist AUS und die Spule 844 wird stromlos geschaltet werden. Als Unterbrecher 814 Blöcke LED 852 wird Fototransistor 854 ausgeschaltet und MOSFET 848 wird ebenfalls ausgeschaltet. Der Steuereingang des MOSFET 850 ist daher hoch gezogen durch den Widerstand 860 und der MOSFET 850 wird eingeschaltet, so daß die Spule 844 erregt.

In Fig.44 ein System 870 einschließlich Element 872 auf drehende Welle 874 vorgesehen ist, mit der linken Seite des Elements 872 abwechselnd leitend und 876 nicht-leitend bei 878. Die Spulen 880 und 882 sind mit den jeweiligen Bürsten 884 und 886 verbunden ist das positioniert sind während jeder Drehung des Wellenelements 872 zu kontaktieren. Mitglied 872 wird durch Bürste 890 verbunden Versorgung 888. So versorgen die Spulen 880 und 882 werden abwechselnd erregt und nicht erregt, da die jeweiligen Bürsten deren Kontakt mit den leitenden und nicht leitenden Abschnitte Mitglied 872.
Jeder dieser Schaltungseinrichtung, Variationen davon oder andere Schaltmittel können verwendet werden, um die zeitgesteuerte Erregung der Steuerspulen in den verschiedenen Ausführungsformen der vorliegenden Erfindung bereitzustellen.
Aus der vorstehenden Beschreibung der dargestellten Ausführungsformen, ist es offensichtlich, dass die Aufgaben der Erfindung erreicht werden. Zwar wurde die Erfindung im Detail beschrieben und dargestellt ist, ist es klar zu verstehen, daß dasselbe nur zur Darstellung und als Beispiel dient und nicht als Weg der Begrenzung genommen werden kann.
Zum Beispiel, obwohl die magnetischen Flusssteuertechniken der vorliegenden Erfindung sind als im Wesentlichen verschiedenen motorischen Anwendungen anwendbar diskutiert wurde, sind solche Magnetflusssteuerungstechniken, die in statischen Anwendungen.
Leistung Konvertierung
Mit Bezug auf Fig.45A bis Fig.45C wird der Fig.45A bis Fig.45C, das zwei Magnetflusspfade von rechteckigen Polstück 902, das obere Teil 904 und dem unteren Abschnitt 906 jeweils gegen einen entsprechenden Polfläche positioniert ist vorgesehen hat gezeigt, die Permanentmagneteinrichtung 900 Permanentmagnet 910. im Gegensatz zu der Vorrichtung der Fig.7 bis Fig.9, wegfallen Armaturen sind nicht vorgesehen. Stattdessen festen Anker in der Form von integralen Polstück Abschnitte 912 und 914 erstrecken sich vom oberen Abschnitt 904 zum unteren Abschnitt 906 Ausfüllen der beiden Flußpfade in dauerhafter Weise. Steuerspulen 916, 918 sind entlang einer Flusspfad und Steuerspulen 920, 922 sind entlang der anderen Flusspfad vorgesehen ist, eine solche Steuerspulen wirken als Primärwicklungen in der Vorrichtung vorgesehen 900. Eine Spule 924 ist um Polschuhabschnitts 912 und anderen Spule positioniert 926 um Polschuhabschnitt 914, wie Spulen 924, 926 positioniert Funktion als Sekundärwicklungen in Vorrichtung 900.

In Fig.45A keine Spulen erregt, und der Permanentmagnet magnetischen Fluss teilt sich gleichmäßig auf Pfaden 930 und 932, die Kopplung sowohl mit Spule 924 und der Spule 926.

In Fig.45B Spulen 916, 918 sind in einem Permanentmagnet-Magnetfluss Unterstützung Weise so zu koppeln, mit all den Magnetfluss des Permanentmagneten 910. All magnetische Fluss fließt entlang dem Pfad 930 erregt wird, wie mit der Spule 924 gezeigt, und somit Paare.

In Fig.45C Spulen 920, 922 sind in einem Permanentmagneten magnetische Fluss gespeist Unterstützung Weise, daß alle magnetischen Fluss durchquert Pfad 932 und Paare mit Spule 926. Durch die kontinuierliche abwechselnd Anzug und Erregerspulen 916, 918 und 920, 922 in einem solchen eine Art der Energieumwandlung wird durch die Kopplung mit den Spulen 924 und 926 der magnetische Fluss in der integralen Polstück Abschnitte 912 und 914, und damit die Flusskopplung mit entsprechenden Spulen 924 und 926 erreicht, ändert sich um einen Faktor von zweimal der Menge von durch Erregen Spulen 916, 918 und 920, 922 erzeugten magnetischen Flusses.

Die in Fig.45A und Fig.45X gezeigten Aufbau sind ähnlich zu dem in Fig.7 und Fig.47 dargestellten Aufbau. Der Unterschied in beiden Fällen bezieht sich auf Ersatz der zwei Flusswege und Armaturen mit einem weiterhin Flusspfad. Die Anordnung in Fig.7 weist einen Permanentmagneten und vier Spulen und die Anordnung in Fig.47 hat zwei Permanentmagnete und zwei Spulen. Obwohl die physikalischen Aspekte der beiden Anordnungen, und die Details des Flusssteuerungs variieren, wobei das Steuerverfahren zum Variieren der Permanentmagnete Flußmittel sind ähnlich und werden gleichzeitig beschrieben werden, und nur die Unterschiede aufgezeigt.

Bei kontinuierlicher Flußwege der statische Fluss vom Permanentmagnet oder Magneten ist nutzlos. Wenn jedoch die statischen Fluss des Permanentmagneten auf die Flusswege beschränkt wurden modifiziert, um sich zeitlich ändernde es Dienstprogramm für elektromagnetische Induktionsgeräte für Leistungsumwandlung wie Transformatoren und Stromrichter haben. Jedoch kann das gleiche Grundverfahren zur Steuerung des Flusses eines Permanentmagneten, um lineare und Drehbewegungen bieten auch die Zeit aufgetragen werden Variieren des statischen Fluß von dem Permanentmagneten. Die in Fig.45X gezeigte Konstruktion verwendet vier Steuerspulen und einen einzigen Permanentmagneten während der in Fig.45A gezeigte Konstruktion verwendet zwei Steuerspulen und zwei Permanentmagnete. Der Fluß, der normalerweise durch einen primären geliefert würden Wicklung wird von dem statischen Fluß des Permanentmagnet oder Magneten und den Steuerspulen zugeführt wandeln diese statischen Fluß in einer Zeit veränderlichen Flusses in neuartiger Weise. Beide Anordnungen verwenden zwei Sekundärspulen, die Sekundärspulen sich im Bereich der kontinuierlichen Flusspfad, der durch einen Anker oder Rotor in der linearen oder Drehanordnungen eingenommen würde platziert. Die Bereiche der Flußwege, die Arbeit auszuführen sind in allen Fällen gleich.
In allen Fällen können die Steuerspulen entweder in Reihe oder parallel geschaltet werden und die Sekundärspulen können entweder in Reihe oder parallel gewickelt werden. Mehr als eine Sekundärspule oder der Sekundärspule mit mehreren Abgriffen in den Arbeitsbereichen angeordnet werden und ferner mehrere Flusswege können mit einer oder mehreren Sekundärspulen in jedem der Arbeitsbereiche angeordnet verwendet werden. Dies wird durch die Offenbarungen der Linear- und Drehvorrichtungen hierin und basierend auf der Tatsache, daß die Arbeitsbereiche der Flusswege identisch sind offensichtlich gemacht.
Fig.45X und Fig.45A zeigen auch die Pfade des statischen Flusses der oder die Permanentmagneten, wenn kein Strom in den Steuerwicklungen fließt. In der in Fig.45X gezeigte Fluß von dem einzelnen Permanentmagnetanordnung teilt zwischen den beiden Arbeitsräumen des Flußweges. In der Anordnung von Fig.45A gesamte Fluß von einem der Permanentmagneten verläuft durch eine der Arbeitsbereiche und der gesamte Fluss von dem zweiten Permanentmagneten verläuft durch den anderen Arbeitsbereich. Jeder der Arbeitsbereiche in beiden Fällen werden durch Sekundärspulen besetzten.

Fig.45Y und Fig.45B zeigen die Steuerspulen mit der in Bezug auf die Polarität der Permanentmagnet oder Magnete enthalten gezeigten Polarität erregt. In Fig.45Y der gegenüberliegenden Spule, den Durchgang des Flusses von dem Permanentmagneten, und die Unterstützung Spulenpaare mit dem Fluss des Permanentmagneten und somit alle von dem Fluss des Permanentmagneten verläuft durch einen Arbeitsbereich, wie gezeigt. In Fig.45B der gegenüberliegenden Seite der Spule den Durchgang des Flusses vom Permanentmagneten auf der gegenüberliegenden Seite der Spule und der Unterstützung Seite der Spule koppelt mit dem Fluß des anderen Permanentmagneten und damit der gesamte Fluss von sowohl die Permanentmagneten verläuft durch den Arbeitsbereich, wie gezeigt.

Fig.45Z und Fig.45C zeigen die Steuerspulen mit einer Polarität entgegengesetzt zu der in Fig.45Y und Fig.45B gezeigt, erregt wird. Die gleiche Wirkung tritt auf, und die Ergebnisse in allen der oder die Permanentmagneten Pfadflusses, der durch den gegenüberliegenden Arbeitsbereiche.
Durch Wechseln der Polarität der Steuerspulen während eines Zyklus, erfährt einen Arbeitsbereich einen zunehmenden Fluß und dem gegenüberliegenden Bereich erfährt eine Abnahme der Flussmittel und während des nächsten Zyklus das Gegenteil geschieht. Dies resultiert in der Induktion einer Spannung in den Sekundärspulen, die durch die Größe der Flussänderung in dem Arbeitsbereich und der Zeit, in der diese Veränderung erfolgt, gesteuert wird. Die Neuheit dieser Entdeckung ist, dass die primäre Fluss Induzieren der Spannung in den Sekundärspulen wird durch den oder die Permanentmagneten geliefert und ist weit größer als die von den Steuerspulen zugeführten Bewegung.

Ferner ist in den Drehbewegungseinrichtungen des Fig.31 und Fig.34, ist es nicht notwendig, dass die jeweiligen Rotorelemente 702 und 744 von Permanentmagneten gebildet werden. Dabei kann jeder in Fig.46 dargestellten Form, wo Abschnitte 950 und 952 sind aus einem magnetischen Material wie Weicheisen, und Abschnitte 954 und 956 ausgebildet sind, durch eine nicht-magnetische Füllmaterial gebildet ergreifen.

Fig.47 und Fig.48 zeigen eine weitere Ausführungsform 1000 des Themas Gerät. Die Ausführungsform 1000 umfasst zwei beabstandete Dauermagnete 1002 und 1004 mit jeweils seinem Nordpol angrenzend an die obere Oberfläche und seinem Südpol benachbart der unteren Oberfläche. Eine magnetisierbare Überbrückungselement 1006 erstreckt sich über und in Kontakt mit der magnetischen Nordpole der Magnete 1002 und 1004 und ein anderes magnetisierbares Überbrückungselement 1008 in Kontakt mit den Süd-Magnetpole der beiden Permanentmagnete 1002 und 1004.
Die Elemente 1006 und 1008 erstrecken sich leicht über die gegenüberliegenden Seiten der jeweiligen Permanentmagnete 1002 und 1004 und ein Paar beabstandeter Ankerelemente 1010 und 1012 positioniert, um in den und aus dem Eingriff mit den Enden der Elemente 1006 und 1008 zu bewegen, Spulen 1014 und 1016 sind jeweils an die Mitglieder 1006 und 1008 in den Raum zwischen den Permanentmagneten 1002 und 1004 und der Anker 1010 und 1012, die durch eine Stange 1018 sie in Eingriff mit den jeweiligen Elementen hin und her bewegen können verbunden dargestellt montiert 1006 und 1008, wenn verschiedene Spannungen an die entsprechenden Spulen 1014 und 1016 angelegt.
In Fig.47 sind die Spulen 1014 und 1016 erregt, wie mit der Spule 1014 mit seinem Nord-Magnetpol Ende nach links und seinem Süd-Magnetpol Ende nach rechts und das andere dargestellte wahren der Spule 1016. In Fig.48, die Spannung an die entsprechenden Spulen 1014 und 1016 angelegt wird, umgekehrt, so daß die Polarität der dem linken Ende der Spule 1014 Sud und die Polarität der entgegengesetzten Ende des gleichen Spule 1014 einen magnetischen Nordpol. Das Umgekehrte gilt für die Spule 1016. In Fig.47 und Fig.48 ist anzumerken, dass die Beziehung von inniger und gegensinniger ist auf den Figuren gezeigt, um die Beziehung anzeigt, wenn die Spulen erregt werden wird. Beispielsweise in Fig.47, wenn die Spulen, wie gezeigt die Beziehung entgegen für den Permanentmagneten 1002 und ist in Bezug auf den Permanentmagneten 1004 Unterstützung Das Umgekehrte gilt, wenn die Spannung an den Spulen umgekehrt wird, wie in Fig.48 erregt. Die Bewegung des Ankers wird daher von einem geeigneten Zeitablauf der Spannung auf diesen Spulen gesteuert. Die gleichen Grundsätze angewendet werden, um eine Drehbewegung zu erzeugen, wie in Fig.42 gezeigt.

Fig.49 zeigt eine weitere Ausführungsform 1030 der vorliegenden Erfindung mit ähnlich zu denen in Verbindung mit Fig.47 und Fig.48 beschriebenen Prinzipien. Die Ausführungsform 1030 umfasst eine Vielzahl, drei gezeigt, stationärer Mitglieder 1032, 1034 und 1036.

Die Einzelheiten dieser Elemente sind besser in Fig.50 gezeigt, der die Einzelheiten des Elements 1036. Das Element zeigt ein Paar von Permanentmagneten 1038 und 1040, von denen jeder magnetisierbaren Elementen angebracht angrenzend an sie ist entgegengesetzten Seiten, wie in dem vorherigen Bau. Die Elemente 1042 und 1044 haben auch Spulen 1046 und 1048 sind, und die Spulen erregt werden, wie in Verbindung mit Fig.47 und Fig.48 beschrieben herzustellen inniger und gegensinniger Magnetismus. Der in Fig.49 gezeigte Aufbau kann drei Ständerabschnitte weisen, wie gezeigt, oder sie kann mehrere Statorabschnitte nach Wunsch haben. Der Rotor 1050 in dem Raum zwischen den Elementen 1032, 1034 und 1036 positioniert und einen Permanentmagnetabschnitt nder Teil seinem Nord-Magnetpol auf der Oberfläche, wie gezeigt, und die anderen Teile hat seine magnetische Südpol in der gleichen Oberfläche wie gezeigt . Die Dauermagneten 1038 und 1040 auf den Statoren in Wechselwirkung mit den Permanentmagneten auf dem Rotor, um die Drehbewegung zu erzeugen, und wird durch die Erregung der Spulen gesteuert.
US Patent 6.362.718 Dated:
26. März 2002
Erfinder: Stephen Patrick, Thomas Bearden, James Hayes, Kenneth
Moore und James Kenny
BEWEGUNGSLOS
ELEKTROMAGNETISCHEN GENERATOR
Bitte beachten Sie,
dass dies ein Wieder formuliert Auszug aus diesem Patent. Es beschreibt ein
elektrisches Gerät, die beide Mächte selbst und liefert Strom an zusätzliche
externe Geräte. Allerdings, wenn man bedenkt, dass Kelichiro Asaoka erhielt
US-Patent 5.926.083 (Kapitel 3) etwa zwei Jahre früher, ist es schwer zu
verstehen, wie dieses Patent könnte ausgezeichnet wurden, wenn die Asaoka
Patent war bereits vorhanden.
ZUSAMMENFASSUNG
Ein
elektromagnetischer Generator ohne bewegliche Teile enthält einen
Permanentmagneten und einen Magnetkern mit ersten und zweiten Magnetpfade. Ein
erster Eingangsspule und einer ersten Ausgangswicklung erstrecken sich um
Abschnitte des ersten magnetischen Pfad, während ein zweiter Eingangsspule und
eine zweite Ausgangswicklung erstreckt sich um Teile der zweiten magnetischen
Pfad. Die Eingangsspulen abwechselnd gepulst induzierten Stromimpulse in den
Ausgangsspulen bereitzustellen. Antrieb elektrischer Strom durch jede der
Eingangsspulen reduziert ein Niveau der Fluß von dem Permanentmagneten in der
Magnetpfad, um die das Eingangsspule erstreckt. In einer alternativen
Ausführungsform eines elektromagnetischen Generator, der Magnetkern enthält
einen ringförmigen beabstandeten Platten, mit Pfosten und Permanentmagnete in
abwechselnder Weise zwischen den Platten erstreckt. Eine Ausgangsspule
erstreckt sich um jeden dieser Beiträge. Eingangsspulen, der sich um Abschnitte
der Platten gepulst, um die Induktion von Strom in den Ausgangsspulen führen.
BESCHREIBUNG
1.
Gebiet der Erfindung: Diese Erfindung betrifft einen Magnetgenerator ohne
bewegliche Teile, um elektrische Energie zu erzeugen, und insbesondere auf eine
solche Vorrichtung in der Lage, die Stromversorgung selbst.
2.
Beschreibung des Standes der Technik: In der Patentliteratur eine Reihe von
magnetischen Generatoren, die jeweils einen Permanentmagneten, zwei magnetische
Pfade außerhalb des Permanentmagneten, von denen jeder zwischen den
entgegengesetzten Polen des Permanentmagneten, eine Schalteinrichtung zum
Bewirken Magnetfluß abwechselnd entlang jeder der zwei magnetische Pfade, und
einen oder mehrere Ausgangsspulen in denen Strom induziert, um durch Änderungen
in dem Magnetfeld in der Vorrichtung fließen zu fließen. Diese Vorrichtungen
arbeiten in Übereinstimmung mit einer Ausdehnung des Faradayschen Gesetz, das
anzeigt, dass ein elektrischer Strom in einem Leiter, der in einem sich
ändernden Magnetfeld induziert wird, selbst wenn die Quelle des magnetischen
Feldes stationär ist.
Ein
Verfahren zum Schalten von Magnetfluss überwiegend entlang einer der beiden
Magnetpfade zwischen den entgegengesetzten Polen eines Permanentmagneten
fließt, ist als eine "Flußtransfer Prinzip" von RJ Radus in Engineers
Digest, 23. Jul. Beschrieben, ist 1963. Dieses Prinzip verwendet auszuüben eine
starke magnetische Kraft an einem Ende sowohl der Nord- und Südpole und ein
sehr geringer Kraft an dem anderen Ende, ohne in dem Aufbau eines
Magnetgenerators verwendet wird. Dieser Effekt kann mechanisch oder durch
Antrieb von elektrischen Strom durch eine oder mehrere Steuerwicklungen, die
sich um längliche Versionen der Polschuhe 14. Verschiedene Vorrichtungen mit
dieser Wirkung sind in US-Patenten Nr. 3.165.723, 3.228.013 beschrieben
verursacht werden durch Bewegung Kugel, elektrisch, und 3.316.514.
Ein
weiterer Schritt in Richtung auf die Entwicklung eines Magnetgenerator ist in
dem US Patent No. 3.368.141 beschrieben ist, als Vorrichtung, die einen
Permanentmagneten in Verbindung mit einem Transformator mit ersten und zweiten
Wicklungen um einen Kern mit zwei Pfade für den magnetischen Fluss, der von
jedem Pol des der Permanentmagnet an einem Ende des Kerns, so dass, wenn ein
Wechselstrom induziert Magnetflußrichtung Änderungen im Kern, der magnetische
Fluß vom Permanentmagneten wird automatisch durch den Weg, der mit der Richtung
des magnetischen Flusses durch genommen entspricht gerichtet der Kern durch den
Strom. Auf diese Weise wird der magnetische Fluss intensiviert. Diese
Vorrichtung kann verwendet werden, um den Leistungsfaktor eines typischen
induktiv belasteten Wechselstromkreis zu verbessern.
Andere
Patente beschreiben magnetischen Generatoren, in denen elektrischer Strom von
einem oder mehreren Ausgangsspulen wird als vorhanden, um eine Last, in der
mehr auf herkömmliche Weise eines Generators hergestellt beschrieben. Zum
Beispiel beschreibt US-Patent Nr 4.006.401 beschreibt einen elektromagnetischen
Generator, der einen Permanentmagneten und ein Kernteil, in dem der magnetische
Fluß von den Magneten im Kern strömt, schnell durch Umschalten auf einen
Wechselstrom in einer Wicklung auf dem Kern zu erzeugen abgewechselt Mitglied.
Die Vorrichtung umfaßt einen Permanentmagneten und zwei separate
Magnetflußkreis Pfade zwischen den Nord- und Südpol des Magneten. Jede der
Leiterbahnen enthält zwei Schaltmittel zum abwechselnden Öffnen und Schließen
der Schaltungsbahnen, Erzeugen eines Wechselstroms in einer Wicklung auf dem
Kernteil. Jedes der Schaltmittel einen Schaltmagnetkreis schneidenden
Schaltungspfad, wobei das Schaltmagnetkreis mit einer Spule, durch die Strom
angetrieben wird, um magnetischen Fluss zu induzieren, um die Leiterbahn
erstreckt, um den Permanentmagneten zu sättigen. Die Stromversorgung der Spulen
treiben, wird direkt von dem Ausgang einer kontinuierlich angelegten
Wechselstromquelle abgeleitet ist. Was benötigt wird, ist eine
elektromagnetische Generator die Anwendung einer solchen Stromquelle nicht
erforderlich ist.
US-Patent
Nr 4.077.001 beschreibt ein Magnetgenerator oder Gleichstrom/ Gleichstrom-Wandler,
umfassend einen Permanentmagneten beabstandete Pole und ein permanentes
Magnetfeld, das sich zwischen den Polen des Magneten. Ein variabler
Reluktanz-Kern in dem Feld in einer festen Beziehung zu dem Magneten und der
magnetische Widerstand des Kerns angeordnet ist, variiert werden, um das Muster
der Kraftlinien des Magnetfeldes zu verschieben verursachen. Ein Ausgangsleiter
in dem Feld in einer festen Beziehung zu dem Magneten angeordnet ist und positioniert
ist, um durch die Schaltlinien der Permanentmagnetkraft geschnitten, so dass
eine Spannung in dem Leiter induziert werden. Der magnetische Fluss wird
zwischen alternativen Pfaden durch Schaltspulen der sich um Abschnitte des
Kerns eingeschaltet, wobei der Stromfluss zwischen diesen Schalt Spulen mittels
eines Paares von Transistoren durch die Ausgangssignale eines Flip-Flops
angesteuert abwechselten. Der Eingang zu dem Flip-Flop wird von einem
einstellbaren Frequenzoszillator angetrieben. Stromversorgung für das
Antriebsschaltung durch eine zusätzliche, separate Stromquelle versorgt. Was
benötigt wird, ist ein Magnetgenerator die Anwendung einer solchen Stromquelle
erfordert.
US-Patent
Nr 4.904.926 beschreibt eine andere Magnetgenerator mit der Bewegung eines
Magnetfeldes. Die Vorrichtung umfaßt eine elektrische Wicklung, die einen
magnetisch leitenden Zone mit Basen an jedem Ende, die Wicklungselemente
einschließlich der Entfernung eines induzierten Strom daraus. Der Generator
umfasst ferner zwei poligen Magneten, die jeweils einen ersten und einen
zweiten Pol, wobei jeder erste Pol in magnetischer Verbindung mit einem Boden
des magnetisch leitenden Zone. Der Generator umfasst ferner einen dritten Pol
Magnet, der dritte Pol Magnet orientierten intermediär der ersten Pole der
beiden Pole Elektromagnete, die dritte poligen Magneten mit einer Magnetachse
im Wesentlichen quer zu einer Achse des magnetisch leitenden Zone, der dritte
Magnet mit einem Pol am nächsten zu dem leitfähigen Bereich und in magnetische
Anziehungs Beziehung zu den ersten Polen der beiden Pole Elektromagnete, wobei
die ersten Pole davon sind wie Pole. Auch im Generator enthalten sind Elemente,
die in Form von Wicklungen, zum zyklischen Vertauschen der magnetischen
Polaritäten der Elektromagneten. Diese Umkehreinrichtung durch eine zyklische
Änderung der magnetischen Polaritäten der Elektromagneten, verursachen die
magnetischen Flusslinien der magnetischen Anziehungs Beziehung zwischen den
ersten Polen der Elektromagneten und dem nächstgelegenen Pol des dritten
Magneten entsprechend umkehren zugeordnet, wodurch eine Wischwirkung über der
magnetisch leitenden Zone als Magnetflußlinien Schwenk zwischen jeweiligen
ersten Pole der beiden Elektromagneten, um dadurch Elektronenbewegung induziert
in den Ausgangswicklungen und somit Erzeugen eines Stromflusses innerhalb der
Ausgangswicklungen.
US-Patent
Nr 5.221.892 beschreibt ein Magnetgenerator in Form eines Gleichstrom
Flußkompression Transformator mit einem magnetischen Kolben mit Pole eine
magnetische Achse definiert, und gekennzeichnet durch ein Muster von
Magnetflusslinien in Polarsymmetrie um die Achse. Die magnetischen Flußlinien
sind räumlich gegenüber dem Magnet Umschlag verschoben unter Verwendung von
Steuerelementen, die mechanisch relativ zu dem Kern sind. Weiterhin
bereitgestellt werden induktive Elemente, die auch mechanisch relativ zu dem
magnetischen Umschlag sind. Räumliche Verschiebung des Flusses gegenüber den
induktiven Elementen bewirkt einen elektrischen Stromfluss. Ferner werden
Magnetflussventilen, die für die Variation der magnetischen Widerstand, um eine
Zeitdomänenmuster erstellen liefern jeweils erhöht und verringert magnetischen
Widerstand für die Magnetventile, und dadurch über den induktiven Elementen.
Andere
Patente beschreiben Vorrichtungen, die supraleitenden Elemente, um eine
Bewegung des magnetischen Flusses hervorrufen. Diese Vorrichtungen arbeiten
nach dem Meissner-Effekt, der das Austreiben des Magnetflusses beschrieben aus
dem Inneren einer supraleitenden Struktur wie die Struktur unterzogen wird, den
Übergang zu einer supraleitenden Phase. Zum Beispiel beschreibt US-Patent Nr
5.011.821 beschreibt eine Stromerzeugungsvorrichtung, die ein Bündel von
Leitern, die in einem magnetischen Feld von Nord- und Südpolstücken einen
Permanentmagneten erzeugt platziert. Das Magnetfeld wird durch ein Paar von
dünnen Filmen aus supraleitenden Material durch den Leiterbündel hin und her
verschoben. Eine der Dünnschichten in dem supraleitenden Zustand versetzt,
während die andere dünne Film in einem nicht-supraleitenden Zustand. Da die
Zustände zyklisch zwischen beiden Folien umgekehrt wird, wird das Magnetfeld
hin und her durch das Bündel von Leitern ausgelenkt.
US-Patent
Nr 5.327.015 beschreibt eine Vorrichtung zur Erzeugung eines elektrischen
Impulses, der ein Rohr aus supraleitendem Material, einer Magnetflussquelle
montiert über einem Ende des Rohrs, ein Mittel, wie eine Spule, zum Abfangen
der entlang des Rohres angeordnet Fluss und eine Einrichtung zum Ändern der Temperatur
des Supraleiters angebracht um das Rohr. Da das Rohr schrittweise supra
gemacht, wird das Magnetfeld innerhalb der Röhre eingeschlossen wird, so einen
elektrischen Impuls in die Mittel zum Abfangen. Eine Umkehr der supraleitenden
Zustand erzeugt einen zweiten Impuls.
Keines
der oben beschriebenen patentierten Vorrichtungen verwenden einen Teil der
elektrischen Leistung in der Vorrichtung erzeugt, um die Umkehreinrichtung
verwendet, um den Weg des Magnetflusses verändern treiben. So wie bei herkömmlichen
Rundgeneratoren erfordern diese Vorrichtungen eine stabile Eingabe von Energie,
welche in Form von elektrischer Energie den Antrieb der Wendeeinrichtung einer
dieser magnetischen Generatoren oder der Drehmoment Antrieb des Rotors eines
herkömmlichen Rotationsgenerator sein kann. Jedoch besteht die Hauptfunktion
des Magnetabschnitts eines elektrischen Generators einfach Magnetfelder
entsprechend genaue Zeitsteuerung umzuschalten. Bei den meisten herkömmlichen
Anwendungen der magnetischen Generatoren, wird die Spannung über Spulen
geschaltet, wodurch Magnetfelder in den Windungen, die verwendet werden, um die
Felder der Permanentmagneten zu überschreiben, so daß eine beträchtliche Menge
an Energie muß zum Generator eingerichtet, um die Schalteinrichtung mit Strom
zu versorgen, wodurch der Wirkungsgrad des Generators.
Jüngste
Fortschritte in der Magnetmaterial, das sind vor allem durch Robert C.
O'Handley in Moderne Magnetische Materialien, Grundlagen und Anwendungen, John
Wiley & Sons, New York, S. beschrieben. 456-468, bieten nanokristallinen
magnetischen Legierungen, die besonders gut sind her ein schnelles Umschalten
des magnetischen Flusses geeignet sind. Diese Legierungen werden vorwiegend
kristalliner Körner oder Kristallite, die jeweils mindestens eine Dimension von
einigen wenigen Nanometern besteht. Nanokristalline Materialien können durch
Hitzebehandlung von amorphen Legierungen, die Vorstufen für die
nanokristallinen Materialien zu bilden, hergestellt werden, zu dem unlöslichen
Elemente, wie Kupfer, zugesetzt werden, um die Förderung massiven Keimbildung,
und die stabile, feuerfeste Legierungsstoffe wie Niob oder Tantalcarbid werden
zugegeben, um das Kornwachstum zu hemmen. Der größte Teil des Volumens der
nanokristallinen Legierungen ist zufällig verteilter Kristallite mit
Abmessungen von etwa 2-40 nm besteht. Diese Kristallite sind nukleierte und von
einer amorphen Phase gezüchtet, mit unlöslichen Elemente während des Verfahrens
des Kristallitwachstums abgelehnt. In magnetischen Bedingungen ist jeder
Kristallit ein Einzeldomänen-Partikel. Das verbleibende Volumen von
nanokristallinen Legierungen ist aus einer amorphen Phase in Form von
Korngrenzen mit einer Dicke von etwa 1 nm gebildet.
Magnetische
Materialien mit besonders nützlichen Eigenschaften werden aus einer amorphen Co-Nb-B
(Kobalt-Niob-Bor-Legierung) mit nahezu Null Magnetostriktion und relativ starke
Magnetisierung sowie eine gute mechanische Festigkeit und
Korrosionsbeständigkeit. Verfahren zum Tempern dieses Materials kann variiert werden,
um die Größe der Kristallite in dem Material gebildet ändern, mit einer daraus
resultierenden starken Effekt auf Gleichstrom Koerzitivkraft werden. Die
Fällung von Nanokristalliten verbessert auch Wechselstrom Leistung der
ansonsten amorphen Legierungen.
Andere
magnetische Materialien werden mit eisenhaltigen amorphen und nanokristallinen
Legierungen, die in der Regel zeigen größere Magnetisierung, die die
Legierungen auf Kobaltbasis gebildet. Solche Materialien sind zum Beispiel Fe-B-Si-Nb-Cu
(Eisen-Bor-Silizium-Niob-Kupfer) Legierungen. Während die Durchlässigkeit der
eisenreichen amorphen Legierungen wird durch die relativ große Mengen an
Magnetostriktion beschränkt, die Bildung eines nanokristallinen Materials von
einer derartigen amorphen Legierung drastisch reduziert dieses Niveau der
Magnetostriktion begünstigende leichten Magnetisierung.
Fortschritte
sind auch bei der Entwicklung von Materialien für Permanentmagneten hergestellt
ist, insbesondere bei der Entwicklung von Materialien, einschließlich
Seltenerdelemente. Solche Materialien umfassen Samarium-Kobalt, SmCo5,
die verwendet wird, um einen Permanentmagnet-Material mit der höchsten
Beständigkeit gegen Entmagnetisierung von jedem bekannten Material zu bilden.
Andere magnetische Materialien vorgenommen werden, beispielsweise unter
Verwendung von Kombinationen von Eisen, Neodymium und Bor ist.
ZUSAMMENFASSUNG
DER ERFINDUNG
Es
ist ein Hauptziel der die vorliegende Erfindung zu einen magnetischen Generator
zu bieten, der eine externe Stromquelle bei Betrieb des Generators überflüssig.
Es
ist ein zweites Ziel der vorliegenden Erfindung um einen magnetischen Generator
bereitzustellen, bei dem ein Magnetfluss-Pfad, ohne dass ein magnetisches Feld
geändert wird um seine Richtung ändern zu überwältigen.
Es
ist ein drittes Ziel der vorliegenden Erfindung einen magnetischen Generator
bereitstellen, in dem die Erzeugung von Strom erfolgt, ohne mechanisch bewegte
Teile.
Im
Apparat der die vorliegende Erfindung wird der Pfad von der magnetische Fluss aus
einen Permanentmagneten in einer Weise, die kein eigenes übermächtig die
Magnetfelder gewechselt. Darüber hinaus wird ein Prozess der selbst initiierte
iterative Umstellung zum Wechseln der magnetische Fluss aus der Permanentmagnet
zwischen alternativen magnetische Pfade innerhalb des Geräts mit der Spannung
für den Betrieb der iterativen switching bereitgestellt werden durch eines
Regelkreises bestehend aus Komponenten bekannt, dass niedrige Energie zu
nutzen. Mit selbst wechseln, eine Notwendigkeit an eine externe Stromquelle bei
Betrieb des Generators, mit eine separate Stromquelle, wie eine Batterie, die
nur für sehr kurze Zeit bei der Inbetriebnahme des Generators verwendet wird,
entfällt.
Nach
einen ersten Aspekt der vorliegenden Erfindung ist ein elektromagnetischer
Generator versehen, einschließlich einen Permanentmagneten, einen Magnetkern,
erste und zweite Eingabe Spulen, erste und zweite Ausgabe Spulen und
switching-Schaltung. Der Permanentmagnet hat die magnetischen Pole an
gegenüberliegenden enden. Der Magnetkern umfasst eine erste magnetische Pfad,
um den sich die erste Eingabe und Ausgabe-Spulen zu erweitern, und eine zweite
magnetische Pfad, um den der zweiten Eingabe und Ausgabe-Spulen, zwischen
entgegengesetzten Enden der der Permanentmagnet erweitern. Die switching
Schaltung treibt Strom abwechselnd durch die ersten und zweiten Eingaben
Windungen. Der elektrische Strom angetrieben durch die erste Eingabe Öl
bewirkt, dass die erste Eingabe Spule ein Magnetfeld, das sich gegen eine
Konzentration des magnetischen Flusses aus der Permanentmagnet innerhalb der
erste magnetische Pfad zu produzieren. Der elektrische Strom angetrieben durch
die zweite Eingabe Spule bewirkt, dass die zweite Eingabe Spule ein Magnetfeld,
das sich gegen eine Konzentration des magnetischen Flusses aus der
Permanentmagnet im zweiten magnetische Pfad zu produzieren.
Gemäß
ein weiterer Aspekt der vorliegenden Erfindung ist ein elektromagnetischer
Generator zur Verfügung, einschließlich einen Magnetkern, eine Vielzahl von
Dauermagneten, erster und zweiter Pluralitäten Eingabe Spulen, eine Pluralität
der Ausgabe Windungen und eine switching Schaltung. Der Magnetkern enthält ein
paar spaced-apart-Platten, von denen jeder eine zentrale Öffnung hat und erster
und zweiter Pluralitäten der Beiträge, die zwischen den Abstand-apart Platten
erweitern. Die Permanent-Magnete erstrecken sich zwischen die beiden Abstand
auseinander Platten. Jede Permanentmagnet hat die magnetischen Pole an
gegenüberliegenden enden, mit den Magnetfeldern der Permanentmagneten
ausgerichtet um in eine gemeinsame Richtung zu erweitern. Jede Eingabe Spule
erstreckt sich um einen Teil der Platte innerhalb der Abstand-apart Platten,
zwischen eine Post und einen Permanentmagneten. Eine Ausgabe-Spule erstreckt sich
um jeden Beitrag. Die switching Schaltung treibt Strom abwechselnd durch die
ersten und zweiten Eingaben Windungen. Elektrischer Strom angetrieben durch
jede Eingabe Spule in der ersten Pluralität der Eingabe Windungen bewirkt eine
Erhöhung im Magnetfluss in jedem Beitrag innerhalb der ersten Pluralität der
Beiträge von Dauermagneten auf jeder Seite der Post und eine Abnahme der
magnetische Fluss innerhalb jeder Beitrag innerhalb der zweiten Pluralität der
Beiträge von Dauermagneten auf jeder Seite des Pfostens. Elektrischer Strom
angetrieben durch jede Eingabe Spule in der zweiten Pluralität der Eingabe
Spulen verursacht einen Rückgang der magnetische Fluss innerhalb jeder Beitrag
innerhalb der ersten Pluralität der Beiträge von Dauermagneten auf jeder Seite
der Post und eine Zunahme der magnetische Fluss innerhalb jeder Beitrag
innerhalb der zweiten Pluralität der Beiträge von Dauermagneten auf jeder Seite
des Pfostens
KURZE BESCHREIBUNG DER ZEICHNUNGEN
Fig.1 ist
eine teilweise schematische vordere Erhebung ein magnetischer Generator und
zugehörigen Stromkreise errichtet gemäß eine erste Version der die erste
Verkörperung des die vorliegende Erfindung:

Fig.2 ist
eine schematische Ansicht einer ersten Version einer Schalt- und
Steuerschaltkreis innerhalb der zugeordneten elektrischen Schaltungen der Fig.12 ist eine schematische Ansicht
einer ersten Version einer Schalt- und Steuerschaltkreis innerhalb der
zugeordneten elektrischen Schaltungen der
Fig.1:

Fig.3 ist eine grafische Ansicht der
Antrieb Signale innerhalb der Schaltung von Fig. 2:

Fig.4
ist eine schematische Ansicht einer zweiten Version einer Schalt- und
Steuerschaltkreis innerhalb der zugeordneten elektrischen Schaltungen der Fig.1:

Fig.5 ist eine graphische Ansicht der
Ansteuersignale innerhalb des Schaltkreises von Fig.3 erzeugt wird:

Fig.6A ist eine graphische Darstellung einer ersten Antriebssignals innerhalb der Vorrichtung von Fig.1,
Fig.6B ist eine graphische Darstellung einer zweiten Treibersignal in der Vorrichtung von Fig.1,
Fig.6C ist eine graphische Darstellung eines Eingangsspannungssignals in der Vorrichtung von Fig.1,
Fig.6D ist eine graphische Darstellung eines Eingangsstromsignals in der Vorrichtung von Fig.1,
Fig.6E ist eine grafische Darstellung einer ersten Ausgangsspannungssignal in der Vorrichtung von Fig.1,
Fig.6F ist eine grafische Darstellung einer zweiten Ausgangsspannungssignal in der Vorrichtung Fig.1,
Fig.6G ist eine grafische Darstellung einer ersten Ausgangsstromsignal in der Vorrichtung von Fig.1,
Fig.6H ist eine graphische Ansicht eines zweiten Ausgangsstromsignals in der Vorrichtung von Fig.1:

Fig.7
ist eine grafische Darstellung der Ausgangsleistung innerhalb der Vorrichtung
von Fig.1 gemessen wird, als eine
Funktion der Eingangsspannung:

Fig.8
ist eine grafische Ansicht einer Leistungszahl, die aus Messungen in der
Vorrichtung der Fig.1 berechnet, als
Funktion der Eingangsspannung:

Fig.9 ist eine Querschnittsansicht
einer zweiten Version der ersten Ausführungsform der vorliegenden Erfindung:

Fig.10
ist eine Draufsicht eines Magnetgenerators gemß einer ersten Version auf eine
zweite Ausführungsform der vorliegenden Erfindung gebaut:

Fig.11 ist eine Vorderansicht des
Magnetgenerator von Fig.10:

Fig.12
ist eine Draufsicht eines Magnetgenerators in Übereinstimmung mit einer zweiten
Version der zweiten Ausführungsform der vorliegenden Erfindung gebaut:

DETAILLIERTE BESCHREIBUNG DER ERFINDUNG
Fig.1
ist eine teilweise schematische Vorderansicht, eines elektromagnetischen Generators
10 in Übereinstimmung mit einer
ersten Ausführungsform der vorliegenden Erfindung gebaut ist, um einen
Permanentmagnet 12 umfassen, um die
Eingangsleitungen des Magnetflusses sich von dem Nordpol des Magneten 14 zu liefern 12, nach außen in Magnetflußweg Kernmaterial 16.
Der
Flußpfad Kernmaterial 16 ist konfiguriert, um einen rechten magnetischen Pfad 18 und einen linken magnetischen Pfad 20, die sich beide nach außen zwischen
dem Nordpol 14 und dem Südpol 22 des Magneten 12 zu bilden.
Die
elektromagnetischen Generator 10 ist
mittels eines Schalt- und Steuerschaltung 24,
die abwechselnd treibt elektrischer Strom durch einen rechten Eingangsspule 26 und eine linke Eingangsspule 28. Diese Eingangsspulen erstrecken
sich jeweils um einen Teil des Kernmaterials 16 angetrieben, wobei die rechten Eingangsspule 26, die einen Teil der rechten
Magnetpfad 18 und mit dem linken
Eingangsspule 28, die einen Teil des
linken Magnetpfad 20. Ein rechtes
Ausgangsspule 29 auch einen Teil der
rechten Magnetpfad 18 umgibt, während
eine linke Ausgangs Spule 30 umgibt
einen Abschnitt des linken Magnetpfad 20.
In
Übereinstimmung mit einer bevorzugten Ausführung der vorliegenden Erfindung,
die Schalt- und Steuerschaltung 24
und die Eingangsspulen 26, 28 sind
so angeordnet, dass, wenn das rechte Eingangsspule 26 erregt wird, an seinem linken Ende 31 vorhanden ist, einen magnetischen Nordpol, das Ende am nächsten
zu dem Nordpol 14 des
Permanentmagneten 12, und so, dass,
wenn die linke Eingabespule 28
erregt wird, an seinem rechten Ende 32,
das auch das Ende vorhanden ist, einen magnetischen Nordpol in der Nähe des
Nordpols 14 des Permanentmagneten 12. wenn somit der richtige
Eingangsspule 26 magnetisiert ist,
wird ein magnetischer Fluß von dem Permanentmagneten 12 aus, der sich durch die rechte Eingangsspule 26. in ähnlicher Weise, wenn die linke
Eingabespule 28 magnetisiert,
Magnetfluß von dem abgestoßen Permanentmagneten 12 ist aus der sich durch den linken Eingabespule 28 abgestoßen.
Somit
ist ersichtlich, daß Antrieb elektrischer Strom durch den rechten Eingabespule 26 liegt einer Konzentration von Fluß
von dem Permanentmagneten 12
innerhalb der rechten Magnetpfad 18, wodurch zumindest ein Teil dieses Flusses
nach links Magnetpfad 20 übertragen
zu können die andere Hand, Antrieb elektrischer Strom durch den linken
Eingabespule 28 liegt einer
Konzentration von Fluß von dem Permanentmagneten 12 innerhalb des linken Magnetpfad 20, wodurch zumindest ein Teil dieses Flusses nach rechts
Magnetpfad 18 übertragen werden.
Während in dem Beispiel
der Fig.1, die Eingangsspulen 26, 28 sind auf beiden Seiten der N-Pol
des Permanentmagneten 12 angeordnet
ist, entlang eines Abschnitts des Kerns 16,
der sich von dem Nordpol des Permanentmagneten 12 angeordnet, es versteht sich, dass die Eingangsspulen 26, 28 können so leicht die abwechselnd
auf jeder Seite der S-Pol des Permanentmagneten 12 angeordnet ist, entlang eines Abschnitts des Kerns 16, der sich von dem S-Pol des
Permanentmagneten 12 angeordnet ist,
mit die Eingangsspulen 26, 28
verdrahtet, um zu bilden, wenn sie erregt wird, Magnetfelder mit Südpolen in
Richtung zum Südpol des Permanentmagneten 12.
In allgemeinen gerichtet, die Eingangsspulen 26, 28 sind entlang der Magnetkern beiderseits der eine geordnete
Ende des Permanentmagneten bildet einen ersten Pol, wie beispielsweise Nordpol,
mit den Eingangsspulen angeordnet sind, um Magnetfelder mit der Polarität des
ersten Pols zu dem ersten Pol des Permanentmagneten gerichtet sind.
Ferner enthält gemäß
einer bevorzugten Ausführungsform der vorliegenden Erfindung wird die
Eingangsspulen 26, 28 sind nicht mit
so viel Strom, der das Kernmaterial 16
in die Sättigung getrieben. Antreiben des Kernmaterials 16, um die Sättigung bedeutet, daß für den Anstieg der
Eingangsstrom kann ohne Bewirken entsprechende Veränderungen des Magnetflusses
auf, und daher, daß die Eingangsleistung verschwendet. Auf diese Weise wird die
Vorrichtung der vorliegenden Erfindung einen Vorteil im Hinblick auf die
effiziente Nutzung der Eingangsleistung über der Vorrichtung der US-PS
4.000.401, in dem ein Teil die beiden Enden jedes Magnetpfad in die Sättigung
getrieben, um zu blockieren Flussstrom.
In dem
elektromagnetischen Generator 10,
das Schalten des Stromflusses in den Eingangsspulen 26, 28 muss nicht ausreichend sein, um die Strömung des Flusses in
einem der Magnetpfade 18, 20 zu
stoppen und gleichzeitig den Fluss des Magnetflusses in dem anderen Magnet
Pfad. Die elektromagnetische Generator 10
Werke durch Änderung der Flussmuster; sie nicht vollständig von einer Seite zur
anderen umgeschaltet werden müssen,.
Experimente haben
festgestellt, dass diese Konfiguration überlegen ist, in Bezug auf die
Effizienz der Verwendung von Energie innerhalb der Eingangsspulen 26, 28, um elektrischen Strom in den
Ausgangswicklungen 29, 30 zu
erzeugen, um die Alternative der Anordnungseingangsspulen und die Schaltungen
fahren sie damit Fluss von dem Permanentmagnet durch den Eingangsspulen
angetrieben wird, wie sie mit Energie versorgt werden. Diese Anordnung der
vorliegenden Erfindung stellt einen bedeutenden Vorteil gegenüber dem
dargestellten Stand der Technik bekannten Verfahren, beispielsweise in der
US-PS 4.077.001, in dem der magnetische Fluss durch den erregten Spulen
angetrieben.
Die Konfiguration der
vorliegenden Erfindung hat auch einen Vorteil gegenüber den bekannten
Ausgestaltungen der US-Patente Nr. 3.368.141 und 4.077.001, dass der
magnetische Fluss zwischen zwei magnetischen Wechselwege 18, 20 mit nur einer einzigen Eingangsspule 26 geschaltet, 28 umgeben jeweils der abwechselnden magnetischen
Wege. Die Konfigurationen der US-Patente Nr. 3.368.141 und 4.077.001 erfordern
jeweils zwei Eingangsspulen auf jedem der Magnetpfade. Dieser Vorteil der
vorliegenden Erfindung ist sowohl in der Vereinfachung der Hardware und der
Steigerung der Effizienz der Leistungsumwandlung signifikant.
Die rechte
Ausgangsspule 29 ist elektrisch mit
einem Gleichrichter verbunden ist und Filter 33, einen Ausgang über einen Regler 34, der eine Ausgangsspannung durch die Verwendung von einem
Potentiometer 35. Das Ausgangssignal
des linearen Reglers 34 einstellbar
bietet angetrieben wird wiederum als vorgesehen ein Eingang zu einer Sensor-
und Schaltkreis 36. Unter der
Startbedingungen, die Sensor- und Schaltkreis 36 verbindet den Schalt- und Steuerschaltkreis 24 an eine externe Stromquelle 38,
das ist beispielsweise eine Starterbatterie. Nachdem die elektromagnetische
Generator 10 korrekt gestartet wird,
werden die Abtast- und Schaltkreis 36
erfasst, dass der Spannungsregler 34
von einem vorbestimmten Pegel erreicht hat, so dass die Leistungszufuhr zu der
Schalt- und Steuerschaltkreis 24
wird von der externen Stromquelle 38 geschaltet der Ausgang des Reglers 34. nach dieser Umschaltung erfolgt,
die elektromagnetische Generator 10
weiterhin ohne Anwendung äußerer Strom zu betreiben.
Der linke
Ausgangsspule 30 ist elektrisch an
einen Gleichrichter und Filter 40
wird dessen Ausgang mit einem Regler 42
verbunden ist, ist die Ausgangsspannung, die mittels eines Potentiometers 43. Der Ausgang des Reglers 42 eingestellt wird, die wiederum mit
an eine externe Last 44.
Fig.2 ist eine schematische Ansicht
einer ersten Version der Schalt- und Steuerschaltung 24. Ein Oszillator 50
treibt den Takteingang eines Flip-Flop 54,
wobei der Q und Q' Ausgänge der Flip-Flops 54
ist über den Treiber verbunden ist Schaltungen 56, 58 zur Leistungs-FETs 60,
62, so daß der Eingangsspulen 26, 28
werden abwechselnd betrieben. In Übereinstimmung mit einer bevorzugten
Ausführung der vorliegenden Erfindung, zu den Spulen 26, 28 durch die FETs 60, 62
wird von dem Ausgang der Erfassungs abgeleitet angelegte Spannung V und die
Schaltschaltung 36.
Fig.3 ist eine grafische Darstellung
der Signale Antreiben der Gates der FETs 60,
62 der Fig.2, wobei die Spannung
das Gate des FET 60 ist durch die Linie
64 dargestellt und mit dem
antreibenden Spannung FET 62 ist
durch die Linie 66 dargestellt wird
. Beide Spulen 26, 28 sind mit
positiven Spannungen betrieben werden.
Fig.4 ist eine schematische Ansicht
einer zweiten Version der Schalt- und Steuerschaltkreis 24. In dieser Ausführung wird ein Oszillator 70 treibt den Takteingang eines Flip-Flops 72, mit der Q und Q' Ausgänge der Flip-Flops 72 verbunden ist, um als Auslöser für Monoflops 74, 76. die Ausgänge der Monoflops 74, 76 sind wiederum durch Treiberschaltungen
78, 80 und die FETs 82, 84 zu fahren, so dass die
Eingangsspulen 26, 28 sind
alternierend mit Pulsen der Dauer kürzer als der Q und Q' Ausgänge des
Flipflops 72 angesteuert.
Fig.5 ist eine grafische Darstellung
der Signale Antreiben der Gates der FETs 82,
84 der Fig.4, mit der
Speisespannung der Gate-Elektrode des FET 82
durch die Linie 86 dargestellt und
mit der Speisespannung der Gate-Elektrode des FET 84, die dargestellt werden durch die Leitung 88.
Unter erneuter
Bezugnahme auf Fig.1 wird die
Leistung in der richtigen Ausgangsspule 29
nur dann, wenn der Pegel des magnetischen Flusses ändert sich in der rechten
magnetischen Pfad 18 erzeugt wird,
und in der linken Ausgangsspule 30
nur dann, wenn der Pegel des magnetischen Flusses ändert sich in der linke
Magnetpfad 20. Es ist daher wünschenswert, zu bestimmen, für
eine spezifische magnetische Generatorkonfiguration, um die Breite eines
Impulses Bereitstellen des schnellsten praktische Änderung des magnetischen
Flusses, und diese Impulsbreite entweder durch Variieren der Frequenz des
Oszillators 50 bereitzustellen der
Vorrichtung von Fig.2, so dass diese
Impulsbreite wird mit den in Fig.3
dargestellten Signalen vorgesehen, oder durch Variieren der Zeitkonstante des
Monoflops 74, 76 der Fig.4, so dass diese Impulsbreite
vorgesehen ist, durch die Signale der Fig.5
bei einer niedrigeren Oszillatorfrequenz. Auf diese Weise werden die
Eingangsspulen nicht länger als nötig. Wenn einer der Eingangsspulen wird für
eine Zeitdauer gelassen länger als notwendig, um die Änderung in der
Flussrichtung zu erzeugen, Energie wird durch Erhitzen innerhalb der
Eingangsspule ohne zusätzliche Erzeugung von Strom in dem entsprechenden
Ausgangsspule verschwendet.
Eine Anzahl von
Experimenten wurden durchgeführt, um die Eignung eines elektromagnetischen
Generator als der Generator 10 in Fig.1 aufgebaut bestimmen, um Energie
zu erzeugen, sowohl die Schalt- und Steuerlogik getrieben werden, indem
Leistung an die Eingangsspulen 26, 28
und zu fahren eine externe Last 44.
In der in diesem Experiment verwendeten Konfiguration der Eingangsspulen 26, 28 hat 40 Windungen
18-Gauge-Kupferdraht, und die Ausgangswicklungen 29, 30 hatte 450 Windungen 18-Gauge-Kupferdraht. Der
Permanentmagnet 12 hat eine Höhe von
40 mm (1,575 Zoll). Zwischen seinen
Nord- und Südpolen in Richtung des Pfeils 89,
eine Breite von 25,4 mm (1,00 Zoll), In der Richtung von Pfeil 90, und in der anderen Richtung, eine
Tiefe von 38,1 mm (1,50 Zoll). Der Kern 16 hat eine Höhe, in der Richtung des
Pfeils 89, von 90 mm (3,542 Zoll),
eine Breite in der Richtung des Pfeils 90,
von 135 mm (5.315 Zoll) und eine Tiefe von 70 mm (2,756 Zoll). der Kern 16 hat ein zentrales Loch mit einer
Größe, in der Richtung des Pfeils 89,
von 40 mm (1,575 mm), um den Magneten 12,
und eine Breite aufnehmen in Richtung des Pfeils 90, von 85 mm (3,346 Zoll). der Kern 16 wurde von zwei C-förmige Hälften hergestellt, trat an den
Leitungen 92, um Platz für das
Aufwickeln des Ausgangsspulen 29, 30
und Eingangsspulen 26, 28 über dem
Kernmaterial.
Das Kernmaterial
wurde eine laminierte Eisenbasis magnetischen Legierung von Honeywell als
METGLAS Magnetische Alloy 2605SA1 verkauft. Das Magnetmaterial war eine
Kombination aus Eisen, Neodym und Bor.
Die
Eingangswicklungen 26, 28 wurden bei
einer Oszillatorfrequenz von 87,5 KHz, die ermittelt wurde, um einen optimalen
Wirkungsgrad zu erzeugen mit einem Schaltsteuerkreis, wie in Fig.2 gezeigt konfiguriert angetrieben.
Diese Frequenz hat eine Periode von 11,45 Mikrosekunden. Das Flip-Flop 54 ist so angeordnet, um beispielsweise
festgelegt und zurückgesetzt auf steigende Flanken des Taktsignaleingang des
Oszillators, so daß jeder Impuls Antreiben einer der FETs 60, 62 hat eine Dauer von 11,45 Mikrosekunden und so daß
aufeinander Impulse werden auch an jedem FET werden durch 11,45 Mikrosekunden
getrennt sind getrennt.
Fig.6A bis Fig.6H, graphische
Ansichten von Signalen, die während des Betriebs des in Fig.1 und Fig.2, wenn die angelegte Eingangsspannung betrug 75 Volt
dargestellten Vorrichtung gleichzeitig aufgetreten. Fig.6A zeigt ein erstes Treibersignal 100 Fahr FET 60, der die richtige Eingangsspule 26. Fig.6B
Fahrt führt eine zweite Treibersignal 102,
Fahr FET 62, der, wenn er leitet,
bietet das Laufwerk an den linken Eingang Spule 28.
Fig.6C
und Fig.6D zeigen Spannungs- und
Stromsignale erzeugt werden, wenn die aktuelle Ansteuerung der FETs 60, 62 ist aus einer Batteriequelle
vorgesehen. Fig.6C zeigt das Niveau 104 der Spannung V und der
Nominalspannung der Batterie auf 75 Volt, einer abfallenden Übergangssignal 106 auf dieser Spannung jedes Mal, wenn
einer der FETs 60, 62 eingeschaltet
wird überlagert. Das spezifische Muster
dieser transienten Signals hängt von der Innenwiderstand der Batterie, als auch
auf eine Reihe von Eigenschaften des magnetischen Generators 10. In ähnlicher Weise zeigt Fig.6D der Strom 106 in die FETs 60, 62
von der Batteriequelle fließt. Da die
Signale 104, 106 zeigen die
Auswirkungen der Strom in beiden FETs 60,
62 fließt die Übergangsspitzen sind 11,45 Mikrosekunden auseinander.
Fig.6E bis Fig.6H
zeigen die Spannungs- und Strompegel, gemessen an den Ausgangsspulen 29, 30.
Fig.6E zeigt ein
Spannungsausgangssignal 108 des
rechten Ausgangsspule 29, während Fig.6F zeigt ein
Spannungsausgangssignal 110 des
linken Ausgangsspule 30. Zum Beispiel kann die Ausgangsstromsignal 116 von der rechten Ausgangsspule 29 umfasst eine erste vorübergehende
Spitze 112 verursacht, wenn ein
Stromimpuls in der linken Eingangsspule 28,
um den Magnetfluss, der durch die rechte Magnet steigern erzeugten Pfad 18 und eine zweite vorübergehende
Spitze 114 verursacht, wenn die
linke Eingabespule 28 abgeschaltet,
während die rechten Eingangsspule 26
eingeschaltet wird, eingeschaltet wird. Fig.6G zeigt ein Ausgangsstromsignal 116 von der rechten Ausgangsspule 29, während Fig.6H zeigt ein Ausgangsstromsignal 118 von der linken Ausgangsspule 30.
Fig.7
ist eine grafische Darstellung der Ausgangsleistung gemessen mit der
elektromagnetischen Generator 10 und
acht Stufen der Eingangsspannung, variierend von 10V bis 75V. Die Oszillatorfrequenz bei 87,5 kHz erhalten.
Die gemessenen Werte sind durch Punkte 120
dargestellt, während die Kurve 122
wird durch Polynom-Regression (a least squares fit) erzeugt.
Fig.8
ist eine grafische Ansicht eines Leistungskoeffizienten, definiert als das
Verhältnis der Ausgangsleistung zur Eingangsleistung für jedes der in Fig.7 gezeigten Messpunkte. An jedem
Messpunkt, wurde die Ausgangsleistung wesentlich höher ist als die
Eingangsleistung. Wirkleistungsmessungen wurden an jedem Datenpunkt mit
gemessenen Spannungs- und Strompegel berechnet, wobei die Ergebnisse über den
Zeitraum des Signals gemittelt. Diese Messungen stimme RMS-Leistung gemessen
mit einem Textronic THS730 Digital-Oszilloskop.
Während
der elektromagnetische Generator 10
war in der Lage den Betrieb bei sehr viel höheren Spannungen und Ströme ohne
Sättigung wurde die Eingangsspannung auf 75 Volt, da der Spannungsbegrenzungen
der Schaltkreise verwendeten beschränkt. Diejenigen mit Elektronik vertraut
ist, wird verstehen, dass die Komponenten für Schaltkreise geeignet für eine
höhere Spannung für den Einsatz in dieser Anwendung sind leicht verfügbar.
Die
experimentell gemessenen Daten extrapoliert, um den Betrieb bei einer
Eingangsspannung von 100 Volt vorherzusagen, wobei der Eingangsstrom als 140
mA, wobei die Eingangsleistung 14 Watt und mit einer daraus resultierenden
Ausgangsleistung als 48 Watt für jede der zwei Ausgangsspulen 29, 30, bei einer mittleren
Ausgangsstrom von 12 mA und einer mittleren Ausgangsspannung von 4000 Volt.
Dies bedeutet, dass für jede der Ausgangswicklungen 29, 30, der Leistungskoeffizient ("COP") würde 3,44
betragen.
Während
eine Ausgangsspannung von 4000 Volt, kann für einige Anwendungen benötigt wird,
kann auch die Ausgangsspannung durch eine einfache Änderung in der
Konfiguration des elektromagnetischen Generators 10. Die Ausgangsspannung
variiert wird leicht durch in den Ausgangswicklungen die Verringerung der
Anzahl der Windungen reduziert werden. Wenn diese Anzahl von Windungen 450 bis
12 verringert wird, wird die Ausgangsspannung auf 106,7 gefallen ist, mit einem
resultierenden Anstieg in dem Ausgangsstrom von 0,5 A für jeden Ausgangsspule 29, 30 (dh 53 Watt). Auf diese Weise
kann der Ausgangsstrom und die Spannung des elektromagnetischen Generator durch
Variieren der Anzahl von Windungen der Ausgangswicklungen 29, 30, ohne eine wesentliche Änderung der Ausgangsleistung, die
stattdessen durch den Eingangsstrom bestimmt wird, variiert werden, die
bestimmt den Betrag des magnetischen Flusses während des Schaltvorganges
pendelte.
Alle
der Leistungskoeffizienten signifikant größer als Fig.1. Diese sind in Fig.8
aufgetragen, und sie zeigen, dass die Ausgangsleistungspegeln in jedem der
Ausgangsspulen 29 gemessen, waren 30 wesentlich größer als die
entsprechenden Eingangsleistungen Antreiben sowohl der Eingangsspulen 26, 28. Daher ist es offensichtlich,
dass die elektromagnetischen Generator 10
kann in einem batterie Form aufgebaut werden, wie oben in Bezug auf Fig.1 diskutiert. In dem Beispiel der Fig.1, mit Ausnahme einer kurzen
Anwendung von Leistung von der externen Stromquelle 38, um den Prozess der Energieerzeugung, der erforderlich ist, um
Antrieb des Eingangsspulen 26, 28
Zu- vollständig aus Leistung innerhalb des rechten Ausgangs entwickelt
abgeleiteten Spule 29. Wenn die in
der einzigen Ausgangsspule 29
erzeugte Energie, ist mehr als ausreichend, um die Eingangsspulen 26, 28, eine zusätzliche Belastung 126 hinzugefügt werden, um mit Strom in
der Ausgangswicklung 29 erzeugt auf
der anderen Seite angesteuert werden fahren ist jede der Ausgangswicklungen 29, 30 verwendet werden, um einen Teil
der Eingangsspule Leistungsanforderungen anzutreiben, beispielsweise
Ausgangsspulen 26 die
Treiberspannung V für die FET 60
bereitzustellen, während die Ausgangsspule 28
kann die Antriebsspannung für den FET bereitzustellen 62.
Bezüglich
thermodynamischen Betrachtungen ist zu bemerken, dass, wenn die
elektromagnetische Generator 10 in Betrieb ist, ist es ein offenes System ist
nicht im thermodynamischen Gleichgewicht. Das System empfängt statische Energie
aus dem magnetischen Fluß des Permanentmagneten. Weil die elektromagnetischen
Generator 10 ist selbstgeschalteten ohne zusätzlichen Energieaufwand, die
thermodynamischen Betrieb des Systems ist ein offener dissipative System
empfangen, das Sammeln und Ableiten von Energie aus der Umwelt; in diesem Fall
von der im Permanentmagneten gespeicherten Magnetflusses. Weiterbetrieb des
elektromagnetischen Generator 10 Ursachen Entmagnetisierung des Permanentmagneten.
Die Verwendung eines magnetischen Materials, einschließlich Seltenerdelemente,
wie beispielsweise ein Samarium-Kobalt-Material oder aus einem Material wie
Eisen, Neodym und Bor wird bevorzugt im Rahmen der vorliegenden Erfindung, da
ein solches magnetisches Material hat eine relativ lange Lebensdauer in dieser
Anwendung.
Somit
sollte eine elektromagnetische Generator, der in Übereinstimmung mit der
vorliegenden Erfindung nicht als eine beständige Bewegungsmaschine betrachtet
werden, sondern vielmehr als ein System, in dem Fluss aus einem
Permanentmagneten abgestrahlt wird in Elektrizität umgewandelt, die beide
verwendet werden, um die Vorrichtung anzutreiben, und um eine externe Last
anzutreiben. Dies ist analog zu einem System, das einen Kernreaktor, bei dem
eine Anzahl von Brennstäben Energie abstrahlen, die verwendet wird, um die
Kettenreaktion weiterzumachen und um Wasser zur Erzeugung von elektrischer
Energie an externe Lasten zu treiben erhitzen.
Fig.9
ist eine Querschnittsansicht einer elektromagnetischen Generator 130 in Übereinstimmung mit einer
zweiten Version der ersten Ausführungsform der vorliegenden Erfindung gebaut
ist. Diese elektromagnetischen Generator 130
ist im Allgemeinen in der Konstruktion und im Betrieb der elektromagnetischen
Generator 10 in Übereinstimmung mit
der ersten Version dieser Ausführungsform aufgebaut ähnlich, außer daß der
Magnetkern 132 des
elektromagnetischen Generator 10 ist
in zwei Hälften aufgebaut, die entlang Linien 134, so dass jedes der Ausgangsspulen 135 auf einem Kunststoffspulenkörper 136, bevor es über die Schenkel 137 des Kerns 132
angeordnet gewickelt sein.
Fig.9
zeigt auch eine alternative Anordnung einer Eingangsspule 138. In dem Beispiel der Fig.1 sind beide der Eingangsspulen 26, 28 sind auf dem oberen Abschnitt
des Magnetkerns 16 angeordnet, wobei
diese Spulen konfiguriert ist, um einen magnetischen Felder mit Nordmagnetpole
an den inneren Enden 31, 32 der
Spulen 26, 28, wobei diese
Nord-Magnetpolen somit am nächsten zum Ende 14 des Permanentmagneten 12
mit seinem magnetischen Nordpol. Im Beispiel der Fig.9 ist ein erster Eingangsspule 26, wie oben in Bezug auf Fig.1
beschrieben wurde, aber die zweite Eingangsspule 138 ist angrenzend an den Südpol 140 des Permanentmagneten 12.
Diese Eingangsspule 138 ist
konfiguriert erzeugen einen magnetischen Südpol an ihrem inneren Ende 142, so daß, wenn die Eingangsspule 138 eingeschaltet wird, Fluss von dem
Permanentmagnet 12 wird von dem
linken magnetischen Pfad 20 in die
rechte Magnetpfad 18 gerichtet.
Fig.10
und Fig.11 zeigen einen elektromagnetischen Generator 150 gemäß einer ersten Version auf eine
zweite Ausführungsform der vorliegenden Erfindung aufgebaut ist, mit Fig.10 als eine Draufsicht und Fig.11 eine Vorderansicht. Diese
elektromagnetischen Generator 150
umfasst eine Ausgangsspule 152, 153
an jeder Ecke, und einen Permanentmagneten 154,
die sich entlang jeder Seite zwischen den Ausgangsspulen. Der Magnetkern 156 eine obere Platte 158, eine untere Platte 160 und eine Vierkantpfosten 162, die sich innerhalb der einzelnen
Ausgangsspule 152, 153. Sowohl die obere Platte 158 und die untere Platte 160
umfassen zentralen Öffnungen 164.
Jeder
der Permanentmagneten 154 ist mit
einer gleichen Pol ausgerichtet ist, wie beispielsweise Nordpol, gegen die
obere Platte 158. Acht
Eingangsspulen 166, 168 sind an
Positionen in der Umgebung der oberen Platte 158 zwischen einer Ausgangsspule 152, 153 und einem Permanent platziert Magnet 154. Jeder Eingang Spule 166,
168 ist angeordnet, um einen magnetischen Pol an seinem Ende am nächsten zu
dem benachbarten Permanentmagneten 154
mit der gleichen Polarität wie die Magnetpole der Magneten 154 benachbart zu der oberen Platte 158. Somit wird die Eingangsspulen 166 bilden, werden weiter durch die Ausgangswicklungen geschaltet,
um den magnetischen Fluss der Permanentmagnete 154 zu den benachbarten Ausgangsspulen 152 abzulenken, in Magnetwege 153.
Dann werden die Eingangsspulen 168
werden eingeschaltet, um den Magnetfluss der Permanentmagneten 154 von der benachbarten abzulenken
Ausgangsspulen 153, mit diesem Fluß
wird durch den Ausgangsspulen in Magnetwege umgeleitet 152. Somit werden die Eingangsspulen bilden eine erste Gruppe von
Eingangsspulen 166 und eine zweite Gruppe von Eingangsspulen 168, mit diesen ersten und zweiten Gruppen
von Eingangsspulen abwechselnd in der oben in Bezug auf Fig.1 für die einzelnen Eingangsspulen 26 beschriebenen Weise erregt wird, erzeugen 28. Die Ausgangsspulen Strom in einer ersten Folge von Impulsen
gleichzeitig innerhalb Spulen 152
auftritt und in einer zweiten Folge von Impulsen gleichzeitig innerhalb Spulen 153 auftretenden.
Damit
Strom durch Eingangsspulen 166
verursacht eine Erhöhung der Fluß von den Permanentmagneten 154 in den Stützen 162, die sich durch den Ausgangsspulen 153 und eine Abnahme der Fluß von den Permanentmagneten 154 in den Stützen 162, die sich durch den Ausgangsspulen 152. Anderer seits Strom durch Eingangsspulen 168 bewirkt eine Verringerung der Fluß von den Permanentmagneten 154 in den Stützen 162, die sich durch den Ausgangsspulen 153 und eine Zunahme der Fluß von den Permanentmagneten 154 in den Stützen 162, die sich durch den Ausgangsspulen 152.
Während
das Beispiel von Fig.10 und Fig.11
zeigt alle der Eingangsspulen 166,168
entlang der oberen Platte 158
bereitgestellt wird, wird verstanden werden, daß bestimmte dieser
Eingangsspulen 166, 168 könnte
alternativ auf der unteren Platte 160
bereitgestellt werden, in der Weise, allgemein in Fig.9 gezeigt, mit einem Eingangsspule 166, 168 sich innerhalb jeder Magnetkreis zwischen einem
Permanentmagneten 154 und einem
benachbarten Pfosten 162, die sich
in einer Ausgangsspule 152, 153 und
mit jedem Eingangsspule 166, 168
angeordnet ist, um zu erzeugen ein Magnetfeld mit einem magnetischen Pol, wie
die am nächsten Pol des benachbarten Permanentmagneten 154.
Fig.12
ist eine Draufsicht auf eine zweite Version 170 des zweiten Ausführungsbeispiels der vorliegenden Erfindung,
die ähnlich zu der ersten Version davon, das in Bezug auf Fig.10 und Fig.11 erläutert wurde, ist, mit der Ausnahme, dass eine
obere Platte 172 und eine ähnliche
untere Platte (nicht dargestellt) ringförmig sind, wobei die Permanentmagnete 174 und bucht 176, die sich durch den Ausgangsspulen 178 sind zylindrisch. Die Eingangsspulen 180 sind so ausgerichtet und umgeschaltet, wie oben unter
Bezugnahme auf Fig.9 und Fig.10
beschrieben.
Während
das Beispiel von Fig.12 zeigt vier
Permanentmagneten, vier Ausgangsspulen und acht Eingangsspulen ist es
selbstverständlich, dass die oben beschriebenen Prinzipien können auf elektromagnetische
Generatoren mit unterschiedlichen Anzahlen von Elementen angewendet werden.
Beispielsweise kann eine solche Vorrichtung eingebaut, um zwei
Permanentmagneten, zwei Ausgangsspulen und vier Eingangsspulen aufweisen oder
mit sechs Dauermagneten sechs Ausgangsspulen und zwölf Eingangsspulen
aufweisen.
In
Übereinstimmung mit der vorliegenden Erfindung ist für die Magnetkerne
verwendeten Material vorzugsweise ein nanokristallinen Legierung und
abwechselnd eine amorphe Legierung. Das Material ist vorzugsweise in
laminierter Form. Beispielsweise ist das Kernmaterial ein
Kobalt-Niob-Bor-Legierung oder einer auf Eisen basierenden magnetischen
Legierung.
Ebenfalls
in Übereinstimmung mit der vorliegenden Erfindung beinhaltet vorzugsweise das
Permanentmagnetmaterial ein Seltenerdelement. Zum Beispiel ist der
Permanentmagnet ein Samarium-Kobalt-Material oder einer Kombination aus Eisen,
Neodym und Bor.
US Patent 5.568.005 22.
Oktober 1996 Erfinder: Dan A. Davidson
AKUSTIK-MAGNETISCHE STROMERZEUGER
Bitte beachten Sie, dass dies ein Wieder formuliert Auszug aus diesem Patent. Wenn Sie interessiert den Inhalt, dann sollten Sie eine vollständige Kopie über das www.freepatentsonline.com Website zu erhalten. Dieses Patent beschreibt eine elektrische Vorrichtung, ähnlich der oben gezeigten MEG Vorrichtung antreiben kann sich beim Einschalten zusätzlicher externer Ausrüstungsteile.
ZUSAMMENFASSUNG
Die Acoustic Magnetfeld Generator verwendet ein akustisches Signal in ein Permanentmagnet ausgerichtet, um Anreize für die Kernstruktur des Magneten, um das Magnetfeld des Permanentmagneten zu bewegen oder schwingen verursachen. Dieser Effekt kann verwendet werden, um Leistung von dem oszillierenden Magnetfeld erschließen, indem eine Drahtspule in dem oszillierenden Feld werden. Wenn eine Wechselstromsignalgenerator gleichzeitig an einen akustischen Wandler und eine anregende Spule verbunden ist; wobei sowohl der akustischen Wandler und die stimulierende Spule innerhalb des Magnetfelds des Magneten liegt, das akustische Signal verstärkt die stimulierende Wirkung auf den Permanentmagneten Transformators. Der Schallwandler kann jede akustische Erzeugungs-Gerät wie einem piezoelektrischen, magnetostriktiven oder anderer akustischer Wandler sein. Die kombinierte Wirkung des akustischen Signals und des Anregungsspule erhöht die Effizienz des Dauermagneten Induktions Transformatoren.
HINTERGRUND
DER ERFINDUNG
Die vorliegende Erfindung betrifft eine Festkörperstromgenerator keine beweglichen Teile. Insbesondere macht die Erfindung eine neue Methode zur Stimulierung der Kernmaterial aus einem Permanentmagneten, so dass die elektronische Struktur des Atoms, vibriert und dadurch bewirken, dass das Magnetfeld des Permanentmagneten zu schwingen. Es ist eine wohlbekannte Tatsache, dass ein oszillierendes Magnetfeld wird elektrischer Strom in einer Spule induziert wie von Michael Faraday im letzten Jahrhundert entdeckt. Neu an dieser Erfindung ist die Entdeckung, dass ein akustisches Feld zur Stimulierung der Kernstruktur aus einem Material, um zu bewirken, daß die Elektronen unter dem Einfluß des akustischen Feldes wackeln. Wenn das Material magnetisch oder durch ein externes Magnetfeld magnetisiert wird dann vorübergehend das Magnetfeld unter dem Stimulus des akustischen Feldes zu vibrieren. Wird dieser Effekt mit einer Spule, die gleichzeitig stimuliert wird der Magnet dann die Effizienz der Stimulierung Feld der Permanentmagnet kombiniert wird verbessert. Wenn eine Aufnahmespule in dem oszillierenden Magnetfeld angeordnet ist, um einen Induktionstransformator zu schaffen, dann wird die Kombination aus der akustischen und magnetischen Stimulation erhöhen den Wirkungsgrad des Induktionstransformators.
Die relevantesten
Stand der Technik, dem Erfinder bekannt aus der
Die obigen Hinweise auf Pasichinsky, Richardson und de Rivas, verwenden alle induktiven Methoden, um die Bewegung eines permanenten Magnetfeldes stimulieren. Im de Rivas Erfindung "Elektromagnetische Generator 'wird der Fluß des Permanentmagneten mit induktiver Kopplung" durch Umschalten abwechselnd ". Im Richardson Offenbarung eine "Energieumwandlungssystem" der Fluss des Permanentmagneten ist auch "verschoben" auf induktivem Wege. Im Pasichinsky Offenbarung abwechselnden Magnetspulen induziert Fluänderungen in einem geschlossenen Magnetkreis und Ausgangsspulen mit der Schaltung verbunden werden durch die sich ändernden Fluß induziert, um ein Magnetfeld zu erzeugen. Alle diese Vorrichtungen sind im wesentlichen Variationen der Transformatorkonstruktion mit Permanentmagneten als Teil der Transformatorkerne und alle verwenden magnetische Induktion. Der Transformator Aspekt dieser Referenzen ist die Verwendung von Permanentmagneten als Transformatorkern mit Wicklungen, die um den Magnetkern, die mit Energie versorgt werden, um eine Schwingung oder Bewegung des Feldes des Permanentmagneten zu erzeugen gewickelt. Die oben genannten Referenzen werden in diesem Dokument als "Permanentmagnetwandler".
Weiterer Stand der Technik für die Erfindung relevant sind US Pat. No. 2.101.272 (1937), um HJ Scott Titel Combined Magnetostriktion und Piezo Selective Geräte; und U.S. Pat. No. 2.636.135 (1953) RL Peek, Jr. Titel Stress-Coupled-Core und Transformer-Kristall, und US. No. 2.834.943 (1958) zu RO Grisdale, et al mit dem Titel Mechanisch gekoppelter Elektromechanische und Magneto Transducer, und US-Patent. No. 3.246.287 (1966), um HF Benson berechtigt piezoelektrischen Transformators, und US Pat. No. 3.261.339 (1966) an HP Quinn berechtigt Magnetostriktive Transformator und US Pat. No. 3.274.406 (1966) an HS Sommers, Jr. mit dem Titel Acoustic elektromagnetische Vorrichtung und US Pat. No. 3.309.628 (1967), um FA Olson berechtigt YIG Variable Akustische Verzögerungsleitung und dem US-Patent. No. 3.457.463 (1969) an L. Balamuth dem Titel Verfahren und Vorrichtung zur Erzeugung von elektrischem Strom von geringer Größe, und US Pat. No. 4.443.731 (1984) von Butler et al. Titel Hybrid Piezoelektrische und magnetostriktive Transducer für akustische Wellen, und der US-A. No. 4.552.071 (1985), um RB Thompson Titel Verfahren und Vorrichtung zur Messung der Spannung.
Die Bezugnahme auf die oben zitierten PEEK, nutzt den Unterschied im Betrieb von piezoelektrischen und magnetostriktiven Kristalle, um eine Reaktion in einer zu erzeugen, wenn durch das andere stimuliert. Die Peek Patents nicht verwendet eine akustische Welle, einen Permanentmagneten, wie in der vorliegenden Erfindung zu stimulieren.
Die Bezugnahme auf Sommers oben zitiert, ist ein Wandler, der einen leitenden Stab oder ein Rohr, das relativ langsam Helikonwellen unterstützt, mit einem piezoelektrischen oder magnetostriktiven Kristall platziert neben verwendet. Der Wandler ist in einer solchen Weise, dass entweder verstärken akustischen Welle oder der elektrischen Welle durch die Wechselwirkung der zwei Materialien. Die Sommers Patent verwendet keine akustischen Welle, einen Permanentmagneten zu stimulieren, um eine Schwingung des Magnetfeldes, wie die vorliegende Erfindung funktioniert verbessern.
Die Bezugnahme auf Balmuth oben zitiert, verwendet mechanische Resonanz Schilf, Stäben oder Kammern, die mit den Wandlern, die piezoelektrische, magnetostriktive oder Transistor sind gekoppelt sind. Der elektrische Ausgang der Wandler anregt einen elektrischen Schaltkreis, wenn der Resonator empfängt akustische Energie wieder nicht verwendet eine akustische Welle, einen Permanentmagneten zu stimulieren, um eine Schwingung des Magnetfeldes, wie die vorliegende Erfindung funktioniert verbessern.
Die Bezugnahme auf Olson oben zitiert, verwendet einen akustisch ansprechenden Material, wie einem piezoelektrischen oder einem magnetostriktiven als Verzögerungsleitung für Mikrowellen-Signale dienen, und wieder verwendet nicht eine akustische Welle, einen Permanentmagneten zu stimulieren, um ein Schwingen des Magnetfeldes zu verbessern die vorliegende Erfindung tut.
Die Verweise auf Benson, Quinn, Grisdale, Scott und Butler oben zitiert, sind alle mit akustischen Wandlern, Schalldruck in ein elektrisches Signal umzuwandeln oder umgekehrt nur mit dem piezoelektrischen und / oder den magnetostriktiven Effekt betrifft. Die Benson Patent ist ein Unterwasserschallwandler, der Schallwellen der Kollision mit einem Wandler in ein elektromagnetisches Feld, das einen Transformator erregt umwandelt. Die Quinn Patent verwendet einen magnetostriktiven Effekt auf piezoelektrische Kristalle Ausgangs stimulieren eine hohe Spannung, die eine Umkehrung des Benson Patent ist. Die Grisdale Patent verwendet mechanisch gestapelte piezoelektrische oder magnetostriktive Kristalle, um eine effizientere mechanischen Gyrator herzustellen. Die Scott Patent Nutzungen und elektrischen Oszillator magnetostriktiven Stäbe, die Druck auf die Piezokristalle zur Ausgabe von den piezoelektrischen Kristallen setzen eine hohe Spannung anzuregen. Die Butler-Patent verwendet eine kombinierte Wirkung der piezoelektrischen und magnetostriktiven Kristalle, eine verbesserte akustische Energiedetektor herzustellen.
Die Bezugnahme auf Thompson oben zitiert, verwendet einen Permanentmagnetwandler, um Wirbelströme im Metall, das im Bereich des Wandlers induzieren oder Verwendungen bewegenden Wirbelströme in einem Metallstück, um ein Magnetfeld zu stimulieren. Die Induktion von Wirbelströmen ist das Ergebnis eines oszillierenden Magnetfeldes in dem Wandler erzeugten.
Keine der oben zitierten Referenzen Verwenden einer akustischen Welle, um die Atome aus einem Permanentmagneten zu stimulieren und sind daher nicht auf diese Erfindung bezieht.
ZUSAMMENFASSUNG
DER ERFINDUNG
Eine Aufgabe dieser Erfindung ist es, einen Stromgenerator keine beweglichen Teile bereitzustellen.
Eine weitere Aufgabe dieser Erfindung ist es, ein akustisches Feld zu verwenden, um die Kernebene des magnetischen Materials zu stimulieren und ein Verfahren zum Oszillieren des Magnetfeldes von Permanentmagneten.
Eine weitere Aufgabe dieser Erfindung ist es, ein einfaches Verfahren zur Erzeugung von elektrischer Energie, indem ein piezoelektrischer Wandler, der verwendet wird, um das Magnetfeld eines Permanentmagneten vibriert bereitzustellen. Wenn der Kern des Atoms durch das piezoelektrische in Schwingungen versetzt, ist es wiederum versetzt die elektronische Struktur von allen Atomen. Da die elektronische Struktur ist die Grundlage des magnetischen Feldes des Magneten dann das gesamte Magnetfeld des Magneten in Schwingung versetzt wird, wenn die elektronische Struktur vibriert. Spulen im vibrierenden Magnetfeld gebracht wird Spannung und Strom in ihnen induziert werden.
Es ist eine gut bekannte Tatsache, daß, wenn das Magnetfeld eines Permanentmagneten in Schwingung versetzt wird, ist es möglich, zur Erzeugung eines Wechselstroms in einer Spulenwicklung innerhalb des vibrierenden Magnetfeld gestellt. Was ist das Besondere an dieser Erfindung ist es, die Effizienz der Permanentmagnet-Transformatoren, indem akustische Stimulation von Piezoelektrika weiter stimulieren den Permanentmagneten, um die induktive Wirkung von Permanentmagnetwandler fügen erhöhen. Die Erfindung erreicht dies durch die Stimulierung der Permanentmagnetkerne von Permanentmagnetwandler mit einem Schallfeld von einem piezoelektrischen oder sonstigen akustisch aktiven Generator, der mit der gleichen Frequenz wie das elektrische Induktion der Permanentmagnetwandler in Schwingung versetzt wird, erzeugt.
KURZE
BESCHREIBUNG DER ZEICHNUNGEN
Fig.1 veranschaulicht einen Frequenzsignalgenerator und zum Ansteuern eines piezoelektrischen Wandlers, der in der akustischen Umgebung eines Strichtyp Permanentmagneten mit einer Ausgangsspule innerhalb des magnetischen Feldes des Dauermagneten angeordnet ist, befestigt.

Fig.2 veranschaulicht einen Frequenzsignalgenerator befestigt und Ansteuern eines piezoelektrischen Wandlers, der in der akustischen Umgebung der Ringkerntyp Permanentmagneten mit einer Ausgangswicklung, die um den Ringkern Permanentmagneten gewickelt ist.

Fig.3 veranschaulicht einen Frequenzsignalgenerator und zum Ansteuern eines piezoelektrischen Wandlers, der in der akustischen Umgebung von einem Ringkerntyp Permanentmagnetwandler und dem Signalgenerator angeschlossen ist, auch den Antrieb der Eingangswicklung des Ringkerntransformators Permanentmagnet.

Fig.4 veranschaulicht eine Frequenzsignalgenerator und zum Antrieb von zwei Ringkern Permanentmagnetwandler sowie einen akustischen Wandler, die in der akustischen Umgebung der toroidalen Kernen befestigt.

DETAILLIERTE BESCHREIBUNG DER ERFINDUNG

In Fig.1, st ein Frequenzsignalgenerator 6 an einen piezoelektrischen Wandler 1 über Leitungen 4 und 5 mit den Elektrodenoberflächen des piezoelektrischen Wandlers 2 bzw. 3 verbunden ist. Der piezoelektrische Wandler 1 besteht aus einem hoch dielektrischen Material wie Bariumtitanat oder Blei-Zirkonat-Titanat oder andere akustische Wandlermaterial für Schall- und Ultraschallgeneratoren hergestellt. Der piezoelektrische Wandler 1 ist in unmittelbarer Nähe zu dem Permanentmagneten 7 angeordnet, dass die Schallfeld des piezoelektrischen Wandlers 1 in das Permanentmagnetmaterial abstrahlen. A als Spule 8 gezeigten Permanentmagnetwandler in dem magnetischen Feld des Permanentmagneten 7 angeordnet, wenn der piezoelektrische Wandler 1 wird durch den Frequenzgenerator 6 dann eine Spannung stimuliert, und Strom wird erzeugt zwischen den Ausgangsleitungen 9 und 10 der Permanentmagnet Transformator.

Eine weitere Ausführungsform dieser Erfindung ist in Fig.2 gezeigt. welche ähnlich zu Fig.1 ist, mit einem ähnlichen Frequenzsignalgenerator 6 an ein piezoelektrisches Material 1 über Leitungen 4 und 5 mit den Elektrodenoberflächen des piezoelektrischen Wandler 2 und 3. Der piezoelektrische Wandler 1 ist wie oben definiert, ist, dass verbunden zu sagen, dass es aus einem für Schall- und Ultraschallgeneratoren Material aufgebaut. Der piezoelektrische Wandler 1 ist in unmittelbarer Nähe zu dem Permanentmagneten 11 angeordnet, so dass das akustische Feld für den piezoelektrischen Wandler 1 in dem Dauermagnetmaterial zu strahlen. A als Spule 12 gezeigten Permanentmagneten Transformator in dem magnetischen Feld des Permanentmagneten 11 angeordnet, wenn der piezoelektrische Wandler 1 wird von dem Frequenzgenerator 6 dann eine Spannung angeregt und Strom erzeugt wird zwischen den Ausgangsleitungen 13 und 14 des oben definiert magnetischem Trafo.

Fig.3 ist ähnlich zu Fig.1 und Fig.2 mit einem Frequenzsignalgenerator 6 an einen piezoelektrischen Wandler 1 über Leitungen 4 und 5 mit den Elektrodenflächen 2 und 3 des piezoelektrischen Wandlers verbunden ist. Der piezoelektrische Wandler 1 ist wie in der obigen Beschreibung definiert. Der Signalgenerator 6 ist mit der Eingangswicklung 20 des Permanentmagnetwandler vom toroidalen Permanentmagnetkern 11, Eingangsspule 20 und die Ausgangsspule 19. Der piezoelektrische Wandler 1 ist in unmittelbarer Nähe zu dem Permanentmagneten 11 so platziert, dass das akustische Feld der piezoelektrische Wandler 1 in dem Dauermagnetmaterial zu strahlen. Die durch 11, 19 und 20 definierten magnetischen Transformator in dem magnetischen Feld des Permanentmagneten 11 und ist mit dem Frequenzsignalgenerator 6 über Leitungen 15 und 16. Der Frequenzgenerator 6 regt den piezoelektrischen Wandler 1, der den Permanentmagneten verbunden stimuliert Transformator über das Schallfeld und gleichzeitig der Signalgenerator stimuliert auch die Spule elektromagnetisch. An der Ausgangsspule 19 und die Leistung wird eine Spannung und Strom erzeugt wird, kann aus den Ausgangsleitungen 17 und 18 des Magnetwandlers entnommen werden.

Eine weitere Ausführungsform dieser Erfindung ist in Fig.4 gezeigt, ist ein Frequenzsignalgenerator 6, die ein Paar von Permanentmagnet-Transformatoren 26, 35, 27 und 25, 36, bzw. 28, ebenfalls auf einen piezoelektrischen Wandler 1. Der piezoelektrische Wandler wie oben beschrieben. Der Signalgenerator wird über Eingangsleitungen 23 und 24 zu der Eingangswicklung 26 des Permanentmagnetwandler an der linken und an der Eingangsspule 25 des Transformators auf der rechten Seite verbunden. Die andere Eingangsleitung 38 des linken Permanentmagnetwandler dem verbleibenden Eingangsdraht 39 des rechten magnetischen Transformators verbunden. Der Ausgang des Signalgenerators in ebenfalls an dem piezoelektrischen Wandler 1 über die Anschlüsse 21 und 22 an den Anschluss des piezoelektrischen 33 und 34 jeweils verbunden. Der Ausgang des Dauermagnetwandler auf der linken Seite ist an eine Last 40 über einen Draht 30. Die restlichen Ausgangsleitungen 31 und 32 der linken und der Ausgang des Permanentmagnetwandler auf der rechten Seite ist mit der Last über einen Draht 29 verbunden und rechten Permanentmagnetwandler sind an der Last angeschlossen. Die Last 40 kann alles wie ein Motor oder elektrischen Lichtern oder von Geräten sein.
Diese Erfindung ist nicht auf die 4 verschiedene Varianten des in den Figuren gezeigten Erfindung beschränkt. Fig.1, Fig.2, Fig.3 und Fig.4, da es eine beliebige Anzahl von Cascading und elektrische Hook-up-Techniken, die erreicht ist, um Energie zu verstärken und die Vorteile der akustische Einfluss des piezoelektrischen auf das magnetische Material zu nehmen. Ebenso ist diese Erfindung nicht auf die Ringkern Konfiguration beschränkt, da es viele Arten von Permanentmagnetwandler mit einer beliebigen Anzahl von Magnetkern und Spulenkonfigurationen mit akustischen Stimulation je nach Leistung und Ausgangsanforderungen nach den Regeln der Elektronik verbessert werden kann sein und die mit dem Stand der Technik in Dauermagnet Transformatoren vertraut.
US Patent 6.545.444 8.
April 2003 Erfinder: John C.
Bedini
GERÄT UND VERFAHREN ZUR NUTZUNG DER
MONOPOL MOTOR
BACK-EMF ZU BATTERIEN KOSTENLOS
ERSTELLEN
Bitte beachten Sie, dass dies eine neu formulierte Auszug aus diesem Patent. Es beschreibt eine eigenständige Gerät, die einen externen Akku oder Batteriebank aufladen kann.
ZUSAMMENFASSUNG
Einem Back EMF Monopole Motor und Methode mit einem Rotor mit Magneten, die alle die gleiche Polarität und ein Monopol Zustand im momentanen Apposition mit einem Stück magnetisierte Stange ein Stator mit derselben Polarität, den Stator wird bestehend aus einer Spule mit drei Wicklungen: Power-Spule wickeln, Trigger-Spule wickeln und Erholung-Spule wickeln. Die rückseitige EMF-Energie ist behoben mit einer Hochspannung-Brücke, die die rückseitige EMF-Energie auf ein Hochspannungs-Kondensator für die Speicherung in einer Batterie Recovery überträgt. Die gespeicherte Energie kann dann über die Recovery-Batterie mit den Mitteln des einen Kontakt Rotor-Schalter für die weitere Lagerung entladen werden.
BESCHREIBUNG
Fachgebiet:
Die Erfindung bezieht sich im Allgemeinen auf der Erfassung der verfügbaren elektromagnetische Energie, die mit einem Gerät und die Methode zum Erstellen einer elektromagnetischen Kraft ("EMF") und verwenden dann die gespeicherte Energie in das System als gespeicherte Energie Recycling. Die Methode zum Erstellen von back EMF ist das Ergebnis der Kupplung/Entkopplung eine Spule an eine Spannungsquelle.
Hintergrund
Die Operation des heutigen normalen magnetischen Motoren, hat den Rotor Pol zieht den Stator-Pol, wodurch die Generation mechanische Macht von den Magneten auf den Rotor und Schwungrad. Während dieser Phase Energie fließt von der Magnetics Rotor/Schwungrad und wird als kinetische Energie in der erhöhten Rotation gespeichert. PoIe Rotor Stator Pole auslaufen und erstellen eine Bedingung von "ziehen" führt macht mit zurück in den magnetischen Abschnitt von Rotor und Schwungrad gestellt werden, das Drag gewaltsam zu überwinden. In eine perfekte, reibungsfreie motor, das net Kraftfeld wird daher bezeichnet als "sehr konservativ". Ein konservativsten EMF-Motor hat maximalen Effizienz. Ohne zusätzliche Energie, die ständig mit dem Motor zugeführt kann keine Nettoarbeit erfolgen durch das Magnetfeld seit der Hälfte der Zeit, die das magnetische Feld fügt Energie an die Last (der Rotor und Schwungrad) und die andere Hälfte der Zeit Energie von der Eingabe (Rotor und Schwungrad) abgezogen. Daher ist die Gesamtenergie net-Ausgabe 0 (null) in jedem solchen rotary Prozess ohne zusätzlichen Energieaufwand. Um einen heutigen magnetischer Motor zu verwenden, muss an den Motor ziehen zu überwinden und den Motor und seiner Ladung power kontinuierliche Energie zugeführt werden.
Motoren und Generatoren derzeit im Einsatz, alle solche konservative Felder verwenden und daher haben interne Verluste. Daher ist es notwendig, ständig Eingang alle Energie, die der Motor in den Laden ausgibt, plus mehr Energie zur Deckung von Verlusten innerhalb der Motor selbst. EMF-Motoren sind für Effizienz und Leistung ausgelegt, von wieviel Energie "input", in den Motor eigentlich "Ausgabe" Energie der Belastung führt. Normalerweise wird das Rating Coefficient of Performance ("COP") als Maß für die Effizienz verwendet. Der Bulle ist die eigentliche Ausgabe Energie geht in den Laden und einschalten, geteilt durch die Energie, die in das Gerät mit seiner Motor/laden-Kombination eingegeben werden muss. Gäbe es NULL interne gleich Verluste im Motor, dass "perfekt" Motor Polizist hätte 1.0. Das heißt, alle Energie input in den Motor wäre Ausgabe durch den Motor direkt in den Laden, und keines der Eingang Energie würde verloren oder löste sich im Motor selbst.
In magnetischen motor-Generatoren derzeit im Einsatz jedoch gibt aufgrund von Reibung und Design-Fehler, es immer interne Verluste und Ineffizienz. Etwas von der Energie, die Eingang in den Motor wird in diese interne Verluste abgeführt. Folglich ist die Energie, die an die Last wird immer kleiner als der Eingang Energie. Also ein Standardmotor mit einem COP von weniger als 1.0 arbeitet, dem wird ausgedrückt als COP < 1.0. Ein ineffizienter Motor kann einen COP von 0,4 oder 0,45, steht, während ein speziell konzipierte und hocheffizienter Motor Polizist 0.85 muss.
Konservative Bereich innerhalb eines Motors selbst gliedert sich in zwei Phasen. Herstellung eines konservativen Feldes umfasst net Symmetrie zwischen der Phase der "Power out" aus dem Magnetics Rotor/Schwungrad und der "power-zurück in" Phase von Rotor/Schwungrad zurück zu den Magnetics. Das heißt, sind die zwei Ströme von Energie in Größenordnung aber Gegenteil in Richtung identisch. Jede Phase allein wird als "asymmetrisch" bezeichnet, das heißt, hat es entweder: 1) ein net Energiefluss aus Rotor/Schwungrad; oder 2) ein Netto Energie-Fluss zurück in die Magnetics vom Rotor/Schwungrad. Vereinfacht ausgedrückt ist es als "Power out" und "Power back in" Phasen in Bezug auf den motor Magnetics bezeichnet.
Für die Power-Out-Phase, wird Energie abgeleitet vom EWF vorhandenen zwischen dem Stator Pole und eingehende Rotor Pol in eine Attraktion-Modus. In dieser Phase wird die Drehbewegung des Rotors und Schwungrad (Drehimpuls und kinetische Energie) erhöht. Kurz gesagt, macht der Rotor/Schwungrad (und damit die Belastung) aus den Bereichen zwischen Stator Pole und Rotor Pol (die elektromagnetische Aspekte des Systems) hinzugefügt.
Für die "Macht zurück" Phase muss Energie zurück in die Magnetics aus den Rotor und Schwungrad (und Belastung), die Widerstandskräfte zu überwinden bestehende zwischen Stator Pole und ausgehende Rotor Pol zugeführt werden. In dieser Phase wird Energie an die internen-Magnetfeld-System zurückgegeben, aus der Drehbewegung des Rotors und Schwungrad (Drehimpuls, die die Rotationsenergie multipliziert mit Zeit ist). Wie in der Physik bekannt ist, bietet ein Rotor/Schwungrad Drehimpuls eine bequeme Möglichkeit zum Speichern von Energie mit drehenden Rotor/Schwungmasse als ein Energie-Reservoir.
Die meisten heutigen konventionellen magnetischen Motoren verwenden verschiedene Methoden für Überwindung und teilweise Umkehr EMF zurück. Back EMF kann definiert werden, wie die Rückkehr Puls vom Coil phasenverschoben und ist das Ergebnis neu vermessen, das den Prozess der Umkehr Magnetics-Polarität, das heißt, ist Norden Süden, etc. bilden. Die Lastregelung ist Kurzschluss und der Rotor ist wieder in, daher Beseitigung ziehen angezogen. Dies kann erreicht werden durch mehr Energie in Gießen, die überwältigt der Lastregelung, damit produzieren ein forward EMF in dieser Region. Der Energieverbrauch für diese Methode ist durch den Betreiber eingerichtet.
Es ist bekannt, dass Veränderung der Spannung allein eine Lastregelung schafft und keine Arbeit erfordert. Dies ist da um die potenzielle Energie ändern Ändern der Form, dass potentielle Energie, sondern nur seine Helligkeit nicht erforderlich ist. Arbeit ist das Ändern der Form von Energie. Daher, solange die potenzielle Energie Form nicht geändert wird, kann die Größe geändert werden ohne Arbeit im Prozess durchführen zu müssen. Der Motor der die vorliegende Erfindung nutzt die Vorteile dieser zulässige Operation erstellen EMF asymmetrisch zurück, und ändern Sie dadurch seine eigenen verfügbaren Potenzial Nutzenergie.
Im Elektroantrieb wird das Potential (Spannung) geändert, durch die Eingabe von Energie, um auf die internen Kosten der Generator oder Akku funktionieren. Diese potentielle Energie ist innerhalb der Generator (oder Akku) zwingen die internen Kosten auseinander, bilden einen Quelle-Dipol aufgewendet. Dann pumpt das externe geschlossenen Kreislauf-System, das mit diesem Quellcode-Dipol Großserbien verbunden die verbrauchten Elektronen in der Grundlinie zurück durch die Lastregelung Quelle-Dipols, dadurch Streuung der Gebühren und der Dipol zu töten. Dies schaltet den Energiefluss von der Quelle-Dipol für die äußere Beschaltung. Als Folge dieser herkömmlichen Methode ist es notwendig zur Eingabe und zusätzlichen Energie, um wieder den Dipol wiederherstellen zu ersetzen. Die Schaltungen, die derzeit in den meisten elektrischen Generatoren genutzt wurden entwickelt, um auf den Energiefluss durch ständig Streuung aller die Dipol-Gebühren und zur Einstellung der Dipol zerstören zu halten. Daher ist es notwendig, um auf derselben Energie an den Generator zu seiner Quelle-Dipol wiederherstellen zu halten.
Eine Suche nach Stand der Technik gegen Monopole motor Geräte offenbaren und Methoden, die verfügbare Energie aus Recycling wieder EMF zu laden eine Batterie oder elektrischen Energie für andere Verwendungen wie in die vorliegende Erfindung beschrieben. Jedoch wurden die folgenden Stand der Technik-Patente überprüft:
US Pat. Nr. 4.055.789, Lasater, Batterie betriebener Motor mit Back EMF aufgeladen.
US Pat. Nr. 2.279.690, Z. T. Lindsey, Kombination Motor-Generator.
ZUSAMMENFASSUNG DER ERFINDUNG
Ein Aspekt des Geräts und die vorliegende Erfindung-Methode ist ein neuer Monopole elektromagnetische Motor, erfasst EMF Energie sichern. Die aufgezeichnete Back EMF-Energie kann verwendet werden, zu laden oder speichern elektrischen Energie in einer Batterie Recovery. Die Menge an Energie Verwertbarkeit, ist ausgedrückt in Watt abhängig von der Konfiguration, Schaltungen, Schaltung Elemente und die Anzahl und Größe der Statoren, Rotoren, Magnete und Spulen, die den Motor zu umfassen.
Der Motor verwendet eine kleine Menge von Energie aus einem Hauptakku zum "eine größere Eingabe von verfügbare Energie auslösen" durch Lastregelung, wodurch sich die potentielle Energie des Systems bereitstellen. Das System nutzt dann diese verfügbare potentielle Energie zu verringern, oder rückgängig zu machen, die Lastregelung, wodurch die Effizienz des Motors und somit der COP.
Wird die Energie in der ersten Phase (die Power-Out-Phase) durch zusätzliche verfügbare Energie in die Theorie der Elektrotechnik sich erhöht, kann dann die Energie in Phase 1 größer als die Energie in Phase erfolgen, die 2 (die Power-Rücken-in Phase) ohne den Operator Einrichtungsgegenstände die Energie genutzt. Dies erzeugt ein Feld, nicht-konservative nett. Netto macht kann dann aus dem rotierenden Stator und Schwungrad, getroffen werden, da die verfügbare Energie, die durch die zusätzlichen Effekte in den Stator und Schwungrad hinzugefügt ist überschüssige Drehimpuls von Rotor/Schwungrad umgewandelt und als solche gespeichert. Drehimpuls ist zu allen Zeiten konserviert, aber jetzt, einige der Drehimpuls hinzugefügt, um das Schwungrad durch zusätzliche Effekte in die Theorie der Elektrotechnik, anstatt durch den Betreiber eingerichtet wird hervorgerufen wird.
Das heißt, soll der Motor absichtlich eine Lastregelung selbst erstellen und so ihre potenzielle Energie, damit jede zusätzliche Kraft für einen Zeitraum beibehalten und die Anwendung zur Erhöhung der Drehimpuls und die kinetische Energie des Rotors und Schwungrad zu steigern. Insbesondere gilt diese Back EMF-Energie mit seiner nett Kraft bewusst in der Motor der die vorliegende Erfindung zu überwinden und sogar umkehren die herkömmliche Drag-Rückseite (die Lastregelung). Daher ist weniger Energiebedarf aus den Rotor und die Schwungmasse, die reduzierte Lastregelung zu überwinden und im Idealfall getroffen werden, keine erforderlichen seit der Rückseite, die EMF wurde überwältigt und konvertiert zum Weiterleiten von EMF durch die rückseitige EMF-Energie und Kraft. Im Motor Abschnitt konventionelle ziehen die Magnetics wird ein Forward-EMF-Abschnitt und der Rotor/Schwungrad anstatt zu reduzieren, es jetzt Energie hinzugefügt. Das wichtige ist, dass der Operator nur für die kleine Menge von Energie notwendig zahlt, die Lastregelung von der Hauptakku auslösen und muss nicht die viel größere Back EMF Energie selbst zu erbringen.
Daher, wenn die gewünschte Energie in Phase 1 (Power-Out-Phase) größer als die unerwünschten ziehen Energie in Phase 2, dann Teil der Leistung, die normalerweise entnommen den Rotor und die Schwungmasse durch die Felder in Phase 2 erfolgt, ist nicht erforderlich. Daher steht im Vergleich zu einem System ohne spezielle rückseitige EMF-Mechanismen, zusätzliche Stromversorgung von Rotor/Schwungrad. Der Rotor behält daher zusätzliche Drehimpuls und kinetische Energie, ein System, das nicht produziert gegenüber EMF selbst zurück. Folglich kann die überschüssige Drehimpuls von Rotor und Schwungrad beibehalten als zusätzliche Nettoleistung macht Außenlast genutzt werden.
In diesem Motor sind mehrere bekannte Prozesse und Methoden eingesetzt. Diese ermöglichen den Motor regelmäßig als offenes dissipative System (Empfang verfügbar überschüssige Energie aus Lastregelung) weit von thermodynamischen Gleichgewicht zu betreiben, wobei sie hervorbringt und erhält seine überschüssige Energie von einer bekannten externen Quelle.
Eine Methode wird genutzt, um eine viel größere Quelle der verfügbare externe Energie um ein spannungsfrei Spule vorübergehend zu produzieren. Design-Merkmale des neuen Motors bieten ein Gerät und die Methode, die sofort eine zweite Erhöhung erzeugen können, in dieser Energie gleichzeitig als Energiefluss umgekehrt wird. Daher ist der Motor produziert zwei asymmetrische zurück EMFs, eine nach der anderen, der die Energie in einer einzigen Spule, die drastisch erhöht die verfügbare Energie und bewirkt, dass die verfügbare überschüssige Energie auf die Rennstrecke als Impulse geben dann die gesammelt und genutzt werden.
Der Motor nutzt diese verfügbar Back EMF Überschussenergie zu überwinden und sogar umkehren der Ziehvorgang EMF zwischen Stator Pole und Rotor Pol, während Einrichtungsgegenstände nur kleine Triggerimpuls von Energie aus einem Hauptakku notwendig zu kontrollieren und die Richtung der Rückseite EMF Energiefluss zu aktivieren.
Unter Verwendung von solchen asymmetrischen selbst sichern EMFs bei jeder Umdrehung des Rotors, der Rotor und Schwungrad gemeinsam Dual Fokus alle überschüssige treibend Eingänge in angular Momentum (ausgedrückt als Energie multipliziert mit Zeit), erhöhte Drehmoment des Schaftes und Welle macht.
Darüber hinaus einige der die überschüssige Energie, die absichtlich erzeugt in der Spule durch die Nutzung der doppelten Prozess manifestiert sich in Form von überschüssige elektrische Energie in der Schaltung und kann genutzt werden, um ein Recovery-Akku oder Batterien aufzuladen. Die überschüssige Energie kann auch verwendet werden, um elektrische Lasten anzutreiben oder Rotor und Schwungrad an die Macht, mit dem Rotor/Schwungrad auch Einrichtungsgegenstände Welle Pferdestärken zur Versorgung von mechanischen lädt.
Der Motor nutzt ein Mittel, um die relativ kleine Menge von Energie von einem primären Akku die heiter asymmetrischen selbst Back EMF Aktionen initiieren zu erbringen. Dann ist Teil der verfügbaren überschüssige elektrische Leistung von Lastregelung erstellt Energie entnommen genutzt, um eine Wiederherstellung-Batterie mit stark gestiegenen Überspannung Impulsen aufladen.
Design-Merkmale des Motors Monopole nutzen einen magnetischen Pol der jeder Rotor und Stator-Magnet. Die Anzahl der elegant selbst zurück EMF in eine einzige Drehung des Rotors wird verdoppelt. Erweiterte Entwürfe erhöhen die Anzahl der selbst zurück EMFs in einer einzigen Rotor-Rotation mit dem Ergebnis, gibt es eine Zunahme der Zahl der Impulse pro Umdrehung, die die Leistung des neuen Motors zu erhöhen.
Die scharfe Spannung Spitze erzeugt in der Spule des Motors Monopole durch das schnell zusammenbrechenden Feld in die rückseitige EMF-Spule ist eine Recovery-Batterien im kostenlos-Modus und externe Elektrische Belastung verbunden. Netto daraus resultiert, dass die Spule asymmetrisch erstellt back EMF selbst in einer Weise, die verfügbare Energie und Impuls der Schaltung hinzufügt. Die verfügbare Energie gesammelt in der Spule wird verwendet, um die Back-EMF-Phase der Stator-Rotor-Felder zu einem forward EMF-Zustand mit den Impulsen, die Beschleunigung und hinzufügen Drehimpuls der Rotor und Schwungrad rückgängig zu machen. Die verfügbare Back EMF-Energie zusammengestellt in der Spule wird verwendet, um eine Batterie aufzuladen. Lasten können dann von der Batterie betrieben werden.
Einem Gerät und die Methode, in dem der Monopole Motor die Reaktion verändert, Querschnitt der Spulen in der Schaltung, die kurz die Reaktion ändert Querschnitt der Spule, in dem es aufgerufen wird. So, da dieser neue Motor nur eine kleine Menge Strom in Form eines auslösenden Impulses verwendet, ist es herbeirufen und kontrollieren die sofortige Veränderung der Spule Reaktion Querschnitt auf diese normalerweise verschwendete Energie-Flow-Komponente. Als Ergebnis des Motors erfasst und leitet einige dieser in der Regel verschwendet verfügbar Umwelt Energie, sammelt die verfügbare überschüssige Energie in der Spule und dann die Freigabe für den Einsatz in den Motor. Durch Timing und switching leitet das innovative Tor-Design des neuen Motors, die verfügbare überschüssige Energie so dass es überwindet und kehrt das Rückkehr EMF der Rotor-Stator Pole Kombination während normalerweise die Lastregelung und demonstriert die Erstellung des zweiten back EMF des Systems. Jetzt wird anstelle eines "gleich Retardierung" Gewalt in der Back-EMF-Region produziert wird, ein forward EMF erzeugt hinzufügt, der Rotor/Schwungrad-Energie, anstatt davon subtrahieren. Kurz gesagt, wird er weiter das Rotor/Schwungrad beschleunigt.
Daraus ergibt sich ein nicht-konservative Magnetfeld des Rotors Weg. Das Integral der Zeile des Feldes um diesen Pfad (d. h. die Nettoarbeit auf den Rotor/Schwungrad zur Steigerung ihrer Energie und Drehimpuls) ist nicht NULL sondern eine erhebliche Menge. Daher die Schaffung eine asymmetrische Back EMF Impuls magnetischer Motor:
1) nimmt seine überschüssige Energie von einer bekannten externen Quelle, die in der Regel nicht abgefangen Großteil der Energiefluss um die Spule;
2) weiter erhöht, die Quellcode-Dipolarity diese Back-EMF-Energie; und
3) produziert überschüssige Energie fließen direkt
aus der Quelle-Dipol erhöhte gebrochenen Symmetrie in seine heftigen Energieaustausch
mit den lokalen Vakuum.
Durch den Betrieb als offenes dissipative System, nicht im
thermodynamischen Gleichgewicht mit der aktiven Vakuum, das System kann
zulässigerweise empfangen verfügbare Energie von einer bekannten ökologischen
Quelle und dann diese Energie zu einer Last. Als offenes dissipative System
nicht im thermodynamischen Gleichgewicht kann dieser neuen und einzigartigen
Monopole Motor auf Rückseite EMF zu selbst, Belastungen und Verlusten
gleichzeitig ansteuert tippen Sie im vollständig Einhaltung der bekannten
Gesetze der Physik und Thermodynamik.
KURZE BESCHREIBUNG DER ZEICHNUNGEN
Fig.1 ist eine Seitenansicht der Perspektive eines Monopol Gegen-EMK-Motor mit einem einzigen Stator und einem einzigen rotor.

Fig.2 ist eine perspektivische Draufsicht einer Monopol Gegen-EMK-Motor mit einem einzigen Stator und einen einzigen Rotor.

Fig.3 ist ein Blockdiagramm zeigt die Schaltung für eine Monopol Gegen-EMK-Motor.
.
DETAILLIERTE BESCHREIBUNG DER ERFINDUNG
Eine Ausführungsform der vorliegenden Erfindung ist eine Vorrichtung und ein Verfahren für eine Monopol Gegen-EMK elektromagnetischen Motor. Wie in der Zusammenfassung der Erfindung beschrieben ist, entspricht dies Monopol-Motor allen anwendbaren elektrodynamischen Gesetze der Physik und ist im Einklang mit dem Gesetz von der Erhaltung der Energie, die Gesetze des Elektromagnetismus und andere damit zusammenhängende Naturgesetze der Physik.
Monopol Gegen-EMK elektromagnetischen Motor umfasst eine Kombination von Elementen und eine Schaltung zur Verfügung stehenden Energie (Gegen-EMK) in einem Rückgewinnungselement zu erfassen, wie etwa einen Kondensator, von Ausgangsspulen. Die verfügbare gespeicherte Energie in der Rückgewinnungselement wird verwendet, um eine Erholung Batterie zu laden.
Als Ausgangspunkt kann eine beliebige Methode der Beschreibung dieser Vorrichtung verwendet wird, nämlich der Strom elektrischer Energie und mechanischer Kräfte werden vom Anfang der Energie des an der Primärbatterie zu seiner endgültigen Speicherung in dem Wiederherstellungsbatterie nachgeführt.

Fig.1 ist eine perspektivische Seitenansicht der Monopolmotors gemäß einer Ausführungsform der Erfindung. Wie in Fig.1 gezeigt, elektrische Energie von der Primärbatterie 11 fließt periodisch durch Netzschalter 12 und durch Stromspule Verkabelung 13a. In einer Ausführungsform Stromschalter 12 ist lediglich ein Ein-Aus-Schalter mechanische und nicht elektronisch. Jedoch kann der Schalter 12 ein Halbleiterschaltkreis ein magnetischer Reed-Schalter, einen Kommutator, ein optischer Schalter, ein Hall-Effekt-Schalter, oder jede andere herkömmliche transistorisierte oder mechanischer Schalter sein. Spule 13 ist aus drei Wicklungen aus: Power-Spulenwicklung 13a, Trigger-Spulenwicklung 13b und Recovery-Spulenwicklung 13c. Jedoch kann die Anzahl der Wicklungen mehr oder weniger als drei betragen, in Abhängigkeit von der Größe der Spule 13, die Größe des Motors und der Menge der verfügbaren Energie erfasst werden, gespeichert und verwendet, wie in Watt gemessen. Elektrische Energie fließt dann in regelmäßigen Abständen von der Macht-Spulenwicklung 13a und durch den Transistor 14.
Triggerenergie auch periodisch durchströmt variablen Widerstand 15 und Widerstand 16 Klemmdiode 17 klemmt den Rückwärts Basis-Emitter-Spannung des Transistorschalters 14 in einem sicheren Sperrichtung Niveau, das den Transistor nicht beschädigt. Energie fließt an 18a und Polschuh 18b, eine Erweiterung des Stators 18a Stator. Polstück 18b ist elektrisch magnetisiert nur wenn der Transistorschalter 14 eingeschaltet ist und behält die gleiche Polarität wie die Rotorpole 19 - Nord-Pol in diesem Beispiel - wenn sie elektrisch magnetisiert. Die Nord Rotorpole 19a, 19b und 19c, die den Rotor 20 angebracht sind, kommen in momentane Apposition mit Polstück 18b schaffen eine momentane Monopol-Schnittstelle. Die Stangen 19a, 19b und 19c, die eigentlich Permanentmagnete mit ihren Nordpolen gegen vom Rotor 20 nach außen sind, halten die gleiche Polarität, wenn in momentane Ausrichtung mit Polstück 18b.
Rotor 20 ist um die Rotorwelle 21, die Antriebsriemenscheibe 22 befestigt, um die Rotorwelle 21 sind Rotorwellenlagerböcken 31a und 31b, wie in Fig.2 zu sehen ist beigefügt. Wenn sich der Rotor 20 zu drehen beginnt, die Stangen 19a, 19b und 19c, die jeweils in einer momentanen Monopol Schnittstelle mit Energie durch die Dioden-Brückengleichrichter 23 und Kondensator 24 fließt, die Anzahl der Kondensatoren aus einem weiten Bereich liegen kommt in Ausrichtung mit magnetisierten Polstück 18b, abhängig von der Menge an Energie, um vorübergehend, bevor sie vertrieben oder Flash in den Recovery-Batterie geladen 29. Zahnriemen 25 verbindet Antriebsscheibe 22 auf Zeitachse 21, um die Zeitscheibe 26, um die Zeitrades 26 befestigt gespeichert ist Kontakt Rotor 27, eine Kupfer-isolierten Schalter, der bei Rotation in Kontakt mit Bürsten auf mechanischer Schalter 28. Die Mittel zum Zählen der Anzahl der Rotorumdrehungen eine Zeitsteuerzahnrad oder ein Zahnriemen sein. Schließlich wird die Energieaufnahme durch den Gegen-EMK abgeleitet, die im Kondensator 24 gespeichert ist, dann ausgetragen und in der Erholung Batterie 29 gespeicherten.

Fig.2 ist ein mechanisches perspektivische Draufsicht der Monopolmotor der vorliegenden Erfindung, ohne elektrische Schaltung. Stator 18a besteht aus Spule 13, die aus drei separaten Spulenwicklungen besteht: Power-Spulenwicklung 13a, Trigger-Spulenwicklung 13b und Recovery-Spulenwicklung 13c. Polstück 18b ist am Ende des Stators 18a. Wenn sich der Rotor 20 dreht (die Rotorwelle 21 angebracht ist), bzw. kommt jeder Pol 19 in einem momentanen Monopol Schnittstelle Polstück 18b. Die Polarität des Polschuhs 18b konstant ist, wenn sie elektrisch magnetisiert. Rotorwelle 21 weist Rotorwellenlagerböcke 31a,b mit Zahnriemen 25 mit ihr beschäftigt damit verbunden für die Stabilisierung der Rotorwelle 21 der Rotorwelle 21 angebracht ist, Antriebsscheibe 22. Ein weiteres Mittel zur Zeitmessung kann ein Steuerzahnrad sein. Zahnriemen 25 steht mit Timer-Rad 26 an seinem anderen Ende. Timer-Rad 26 ist mit Taktwelle 30 Welle 30 ist mit Zeitwellenlagerböcke 32a,b stabilisiert befestigt. An einem Ende des Zeitsteuerwelle 30 angebracht ist, Kontakt Rotor 27 mit Bürste 28a, die bei einer Drehung des Zeitsteuerungswelle, kommt in Wischkontakt mit Bürsten 28b,c.
Fig.3 ist ein Blockschaltbild detailliert die Schaltung der Monopol Motors. Block 40 stellt die primäre Batterie 11 mit Energie zur Spulenblock 41, die Spulenwicklungen 13a,b,c repräsentiert fließt. Von Spulenblock 41 Energie fließt in drei Richtungen: zum auszulösen-Schaltungsblock 42, Transistor-Schaltungsblock 43 und Gleichrichter-Schaltungsblock 44 Energieströme aus Gleichrichter-Block 44 zu lagerKondensatorBlock 45 mit Energie aus Block 45 zu fließen sowohl Recovery-Batterieblock 46 und Rotor-Schalterblock 47.
Mit Bezug auf Fig.1 wird der Betrieb des Motors nach einer Ausführungsform der Erfindung beschrieben. Zum Zweck der Erläuterung sei angenommen, dass der Rotor 20 zunächst nicht bewegt, und einem der Pole 19 ist in der Drei-Uhr Position.

Zuerst wird der Schalter 12 geschlossen ist. Da der Transistor 14 ausgeschaltet ist, fließt kein Strom durch die Wicklung 13a.
Als nächstes wird der Motor durch Drehen des Rotors 20, beispielsweise im Uhrzeigersinn gestartet. Der Rotor kann von Hand gedreht werden, oder von einem herkömmlichen Motor-Startvorrichtung oder Schaltkreis (nicht gezeigt).
Wenn sich der Rotor 20 dreht, werden die Pole 19 bewegt sich von der Drei-Uhr Position in Richtung des Polstücks 18b und erzeugt einen Magnetfluss in den Wicklungen 13a, 13b und 13c. Genauer gesagt weist der Stator 18a und dem Polstück 18b umfassen ein ferromagnetisches Material, wie Eisen. Daher wird, wie Pol 19 bewegt sich näher zu dem Polstück 18b, magnetisiert sie den Polschuh 18b auf eine Polarität - Süd in diesem Fall - also entgegengesetzt zur Polarität des Pols 19 (der Norden ist). Diese Magnetisierung des Polstücks 18b erzeugt einen magnetischen Fluss in den Wicklungen 13a bis 13c. Weiterhin bewirkt diese Magnetisierung auch eine magnetische Anziehungskraft zwischen dem Pol 19 und dem Polstück 18b. Diese Anziehungskraft zieht den Stab 19 in Richtung des Polstücks 18b und verstärkt die Drehung des Rotors 20 so.
Der Magnetfluss in den Wicklungen 13a bis 13c erzeugt Spannungen an ihren jeweiligen Wicklungen. Genauer gesagt, wenn die Stange 19 dreht sich in Richtung des Polstücks 18b, die Magnetisierung des Stators 18a und den Polschuh 18b und somit der Magnetfluss in den Wicklungen 13a bis 13c erhöht. Diese zunehmende Fluß erzeugt Spannungen an den Wicklungen 13a-13c, so daß die gestrichelte (obere) Ende einer jeden Wicklung ist positiver als die Gegenseite. Diese Spannungen sind proportional zur Geschwindigkeit, mit der der magnetische Fluß ansteigt, und so, proportional zu der Geschwindigkeit der Stange 19 sind.
An einem gewissen Punkt wird die Spannung an der Wicklung 13b groß genug, um den Transistor 14c einzuschalten. Diese Einschaltzeit, das heißt, einem Trigger hängt Spannung auf der kombinierten seriellen Widerstand des Potentiometers 15 und dem Widerstand 16. Je höher dieser kombinierten Widerstand, desto höher ist die Auslösespannung und umgekehrt. Daher kann man den Pegel des Triggerspannung durch Einstellen des Potentiometers 15 eingestellt.
Zusätzlich kann in Abhängigkeit von der Höhe der Spannung über den Kondensator 24, die Spannung über der Wicklung 13c kann hoch genug sein, um ein Energierückgewinnungsstrom durch die Wicklung 13c zu fließen, den Gleichrichter 23 und den Kondensator 24. Wenn also die Ursache Erholungsstrom fließt, die Wicklung 13c Umwandeln magnetischer Energie von der rotierenden Pol 19 in elektrische Energie, die im Kondensator 24 gespeichert ist.
Einmal eingeschaltet, erzeugt der Transistor 14 einen gegenüberliegenden Magnetfluss in den Wicklungen 13a bis 13c. Genauer gesagt, ist der Transistor 14 einen Strom von der Batterie 11 durch den Schalter 12 und die Wicklung 13b. Dieser Strom zunimmt und eine zunehmende Magnetfluss, der durch die rotierende Pol 19 erzeugten Fluß entgegengesetzt ist.
Wenn die gegenüberliegende Magnetfluss die durch den rotierenden Pol 19 erzeugten Fluß übersteigt, verstärkt die Gegenfluss der Drehung des Rotors 20. Insbesondere wenn der Gegenstrom (die durch den zunehmenden Strom durch die Wicklung 13a erzeugt wird), die durch die erzeugten Flusses überschreitet Pol 19, die Magnetisierung des Polstücks 18 invertiert den Nordpol. Daher ist die Rückwärts Magnetpolstück 18 stößt die Stange 19 und damit übt eine Drehkraft auf den Rotor 20. Der Polschuh 18 dreht den Rotor 20 mit maximaler Effizienz, wenn das Polstück Magnetisierung invertiert, um Nord, wenn die Mitte der Pol 19 ist mit der Mitte des Polstücks ausgerichtet ist. Typischerweise wird das Potentiometer 15 eingestellt, um die Trigger-Spannung des Transistors 14 auf einem Niveau, erreicht oder angenähert ist, diese maximale Effizienz eingestellt.
Der Transistor 14 schaltet dann ab, bevor der gegenüberliegenden Flusses gegen die Rotation des Rotors 20. Im einzelnen funktioniert, wenn das Polstück 18 verbleibt magnetisiert Nordpol, es wird die nächste Pol 19 in einer Richtung (entgegen dem Uhrzeigersinn in diesem Beispiel) abstoßen gegenüberliegenden zur Drehrichtung des Rotors 20. Daher dreht sich der Motor Transistor 14 ausgeschaltet, und entmagnetisiert also das Polstück 18, bevor diese unerwünschte Abstoßung auftritt. Genauer gesagt, wenn die Gegenfluss des durch den Pol 19 erzeugten Fluß übersteigt, die Spannung an der Wicklung 13b Polarität umkehrt, so daß die gepunkteten Ende ist weniger positiv als die Gegenseite. Die Spannung an der Wicklung 13b, wenn die gegenüberliegende Fluss zunimmt. An einem gewissen Punkt wird die Spannung an der Basis des Transistors auf ein Niveau abnimmt, das den Transistor 14 ausschaltet. Diese Abbiegepunkt hängt von der Gesamtwiderstand des Potentiometers 15 und der Widerstand 16 und der Kapazität (nicht gezeigt) an der Basis des Transistors. Daher kann Potentiometer 15 eingestellt werden, oder andere herkömmliche Techniken können verwendet werden, um die Zeitsteuerung dieses Abbiegepunkt einzustellen.
Der Gleichrichter 23 und der Kondensator 24 wieder einzufangen die Energie, die durch das Magnetfeld (die Energie verloren gehen würden) freigesetzt wird, wenn der Transistor 14 abschaltet. Genauer gesagt, der Transistor 14 abrupt ab, unterbricht die Strom durch die Wicklung 13a fließt. Dies erzeugt Spannungsspitzen an den Wicklungen 13a-13c, wo die gestrichelten Enden weniger positiv sind als ihre jeweiligen gegenüberliegenden Enden. Diese Spannungsspitzen stellen die Energie wie der strominduzierten Magnetisierung des Stators 18a und Polstück 18b kollabiert freigegeben und kann eine Größenordnung von mehreren hundert Volt haben. Aber, da die Spannungsspitze über der Wicklung 13c steigt über der Summe der zwei Diodenabfälle von dem Gleichrichter 23, eine Energie-Rückgewinnungsstrom durch den Gleichrichter 23 fließt und die Spannung über dem Kondensator 24 den Kondensator 24. Somit verursacht es ein wesentlicher Teil der Energie beim Zusammenbruch der strominduzierten magnetischen Feldes freigegeben wird wieder eingefangen und als Spannung in den Kondensator 24. Außerdem gespeichert, wird die Diode 17 verhindert eine Beschädigung des Transistors 14 durch Klemmen des umgekehrten Basisemitterspannung verursachte durch die Spannungsspitze an der Wicklung 13b.
Die Energie kann eingefangen in einer Anzahl von Wegen verwendet werden. Zum Beispiel kann die Energie verwendet werden, um eine Batterie 29. In einer Ausführungsform zu berechnen, macht das Timer-Rad 26 zwei Umdrehungen pro Umdrehung des Rotors 20. Die Kontakt Rotor 27 schließt einen Schalter 28, und somit zeigt die 'Ladung am Kondensator 24 in die Batterie 29 kann einmal pro Umdrehung des Rades 26. Andere energie recapture Vorrichtungen und Techniken verwendet werden. Rotor 20 gestoppt werden kann, indem entweder die Bremse ist oder durch Öffnen des Schalters 12.
Andere Ausführungsformen der Monopol Motors in Betracht gezogen. Beispielsweise bleibt, anstatt für den gesamten Betrieb des Motors geschlossen wird, kann der Schalter 12 ein herkömmlicher optischer Schalter oder ein Hall-Effekt-Schalter, der öffnet und schließt sich automatisch an den entsprechenden Zeiten. Um die Leistung des Motors, die Anzahl von Statoren 18a und Polstücken 18b zu erhöhen, kann erhöht werden und / oder die Anzahl von Polen 19. Außerdem kann man den Stator 18a und dem Polstück 18b während der Anziehung der Pol 19 anstelle magnetisieren oder zusätzlich zum Magnetisieren des Stators und dem Polstück während der Abstoßung der Stange 19.
Darüber hinaus kann der Stator 18a weggelassen werden, so daß die Spule 13 wird eine Luftspule oder der Stator 18a und dem Polstück 18b kann einen Permanentmagneten zu komponieren. Darüber hinaus, obwohl der Transistor 14 wird als ein Bipolartransistor beschrieben, wird ein MOSFET-Transistor kann ebenfalls verwendet werden. Ferner kann das wiedererlangt Energie verwendet, um die Batterie 11 aufzuladen Zusätzlich werden, obwohl, wie in Uhrzeigersinn dreht beschrieben, kann der Rotor 20 im Gegenuhrzeigersinn drehen. Darüber hinaus, obwohl als Anziehen eines Rotorpols 19, wenn kein Strom fließt durch die Wicklung 13a und Abstoßen des Pol 19, wenn durch die Wicklung 13a ein Strom beschrieben ist, können das Polstück 18b aufgebaut sein, dass es zieht die Stange 19, wenn der durch die Wicklung fließt ein Strom 13a und stößt die Stange 19, wenn durch die Wicklung 13a fließt kein Strom.
In mehreren Stator / Rotor-Systemen kann jeder einzelne Stator einen erregt werden zu einer Zeit oder alle Statoren können gleichzeitig erregt werden. Eine beliebige Anzahl von Statoren und Rotoren können in der Konstruktion solcher mehreren Stator / Rotor-Monopolmotorkombinationen eingearbeitet werden. Obwohl es mehrere Statoren pro Rotor ist, kann es nur einen Rotor für einen einzigen Stator sein. Die Anzahl der Statoren und Rotoren, die einen bestimmten Motor umfassen würde, hängt von der Menge an Energie in Form von Watt benötigt. Eine beliebige Anzahl von Magneten in einer Monopol Mode verwendet wird, kann einen einzigen Rotor aufweisen. Die Anzahl der Magnete in einem bestimmten Rotor eingebaut ist abhängig von der Größe des von dem Motor erforderlich Rotor und Kraft. Die gewünschte Größe und -leistung des Motors feststellt, ob die Statoren wird parallel oder sequentiell gezündet werden. Energie wird durch die Erfassung der Energieaufnahme durch den Gegen-EMK als ein Ergebnis des einzigartigen Schaltung und Timing der Monopol Motors zugänglich gemacht. Einzelnen Motoren kann der Reihe nach mit jeder Motor mit verschiedenen Kombinationen von Statoren und Rotoren, oder sie können parallel angeschlossen werden. Jeder Rotor kann eine beliebige Anzahl von Rotormagneten, die alle ohne Änderung der Polarität angeordnet. Die Anzahl von Statoren für einen einzelnen Motor kann auch aus einem weiten Bereich liegen.
Ein Merkmal, das diesen Motor von allen anderen unterscheidet, ist die Verwendung von Monopolmagneten momentanen Apposition mit dem Polstück des Stators Aufrechterhaltung der gleichen Polarität, wenn magnetisiert. In dieser besonderen Ausführungsform gibt es drei Magneten und ein Polstück, das Polstück, das eine Verlängerung eines permanenterregten Stator.
US Patent 6.392.,370
21. Mai 2002 Erfinder:
John C. Bedini
DEVICE AND METHOD OF A BACK EMF
PERMANENT
ELECTROMAGNETIC MOTOR GENERATOR
ZUSAMMENFASSUNG
Diese Erfindung ist eine Gegen-EMK Permanent elektromagnetischen Motorgenerator und ein Verfahren unter Verwendung eines Umspurung Verfahren zum Einfangen verfügbar elektromagnetische Energie in dem System. Die Vorrichtung umfasst einen Rotor, der mit Magneten der gleichen Polarität; ein Zeitscheibe in Apposition zu einem magnetischen Hall-Effekt-Pickup-Schalter Halbleiter; und einem Stator bestehend aus zwei Stangen von einem Permanentmagneten mit magnetisierten Polstücken an einem Ende jedes Balkens verbunden. Es sind Ein- und Ausgangsspulen erzeugt durch Umwickeln jeder Stab mit einem leitenden Material wie beispielsweise Kupferdraht. Energie aus den Ausgangsspulen auf eine Wiederherstellung Gleichrichterdiode oder übertragen werden. Die Magnete des Rotors, der auf einer Welle gemeinsam mit dem Zeitsteuerungsrad angeordnet ist, sind in Apposition zu den magnetisierten Polstücken der beiden Stäbe. Die Erfindung arbeitet durch einen Prozess der Umspurung, das heißt, die Flussfelder, die durch die Spulen aufgrund der Umkehrung des Magnetfeldes in den magnetisierten Polstücken somit, was die Erfassung verfügbar Gegen-EMK Energieklappt . Weitere verfügbare Energie kann eingefangen werden und verwendet werden, um neue Energie zu tanken Sie die Batterie, und / oder in eine andere Richtung geschickt, um für die Arbeit verwendet werden. Als Alternative kann der Gegen-EMK verfügbare Energie in dem System abgeführt werden.
HINTERGRUND DER ERFINDUNG
1. Gebiet der Erfindung
Die Erfindung bezieht sich allgemein auf die Erfassung von elektromagnetischer Energie unter Verwendung eines Verfahrens und einer Vorrichtung zur EMK (elektromagnetische Kraft) und Rephasierung der Gegen-EMK zu recyceln und zu erfassen, die Gegen-EMK verfügbare Energie wieder zu erstellen. Gegen-EMK wird auch als Umspurung bezeichnet und kann als Energie aus Spulen erzeugt durch das Magnetfeld festgelegt werden, und nur von Spulen und nicht von Magneten.
2. Hintergrundinformationen und verwandten Technik
Betrieb einer normalen Magnetmotor hat den Rotorpol anzieht den Statorpol, was in der Erzeugung von Leistung von den Magneten auf dem Rotor und Schwungrad. Während dieser Phase fließt Energie von den Magnetismus dem Rotor / Schwungrad und wird in der zunehmenden Dreh gespeichert. Ein Rotorpol Verlassen eines Statorpols und die Schaffung einer Bedingung der Drag-zurück Ergebnisse der Macht mit den durch den Rotor und Schwungrad wieder in den magnetischen Abschnitt setzen, um zwangsweise die Drag zurück überwunden werden. In einer perfekten, reibungsfreien Motor, der nett Kraftfeld wird daher als die konservativsten bezeichnet. In anderen Worten, eine sehr konservative EMF maximalen Motoreffizienz . Ohne zusätzliche Energie kontinuierlich an den Motor zugeführt wird, können keine Nettoarbeit von dem Magnetfeld durchgeführt werden, da die Hälfte der Zeit das Magnetfeld Energie hinzufügt, um die Last (der Rotor und das Schwungrad) und der anderen Hälfte der Zeit, subtrahiert von Energie aus dem Last (der Rotor und Schwungrad). Deshalb ist die Gesamtnettoenergieertrag Null in einem solchen Rotationsverfahren ohne zusätzliche Energiezufuhr. Um eine heute Magnetmotor zu verwenden, müssen kontinuierliche Energie an den Motor zugeführt werden, um Drag-back zu überwinden und den Motor und seine Last zu versorgen.
Präsentieren EMF Motoren und Generatoren verwenden alle solche konservativen Felder und müssen daher interne Verluste. Daher ist es notwendig, ständig Eingangs die gesamte Energie, die die Motorausgänge an die Last, plus mehr Energie, um Verluste im Motor selbst zu decken. EMF Motoren sind für Effizienz und Leistung, um wie viel Energieeintrag in den Motor tatsächlich zu einer Ausgangsenergie zu der Last bewertet. Normalerweise ist die Leistungszahl Bewertung (COP) als Maß für die Wirksamkeit verwendet. Der COP ist die tatsächliche Ausgabe Energie, die in die Last und die Stromversorgung ist, geteilt durch die Energie, die Eingabe in das Gerät mit der Last sein muss. COP ist die Macht in die Last, dividiert durch den Leistungseintrag in die Motor- / Last-Kombination. Wenn es Null internen Verluste in einem Kraft, dass "perfekte" Motor würde eine Leistungszahl (COP) haben gleich 1,0. Das heißt, würden alle in den Motor eingespeiste Energie von der Motorausgangs direkt in die Last sein, und keiner der Eingangsenergie verloren oder in den Motor selbst abgeführt werden kann.
In magnetischen Motorgeneratoren derzeit in Verwendung ist jedoch durch Reibung und Design-Fehler, es gibt immer internen Verlusten und Ineffizienzen. Einige der Energieeintrag in den Motor wird in dieser internen Verluste abgeführt. Infolgedessen ist die Energie, die zur Last erhält immer kleiner als die Eingangsenergie. So ein Standard-Motor mit einer Leistungszahl von weniger als 1,0, die als COP <1.0 zum Ausdruck kommt. Eine ineffiziente Motor kann einen COP von 0,4 oder 0,45 zu haben, während eine speziell entwickelte, hocheffiziente Motor kann einen COP von 0,85 haben.
Die konservative Feld innerhalb eines Motors selbst kann in zwei Phasen unterteilt werden. Die Herstellung eines konservativen Feld beinhaltet nett Symmetrie zwischen dem "Power out" Phase von den Magnetismus auf den Rotor / Schwungrad und der "Macht zurück in" Phase vom Rotor / Schwungrad zurück zu den Magnetismus. Das heißt, daß die beiden Ströme von Energie (eine von den Magnetismus in den Rotor und das Schwungrad, und einem von dem Rotor und das Schwungrad wieder auf die magnetics) gleich groß aber entgegengesetzt gerichtet sind. Jede Phase allein wird als "asymmetrisch" zu sein; das heißt, es entweder:
1) ein Nettoenergiefluss aus dem Rotor / Schwungrad; oder
2) eine Nettoenergie fließen in den Magnetismus vom Rotor / Schwungrad.
Vereinfacht ausgedrückt, wird er als "Power Out" und "Macht zurück in" Phasen in Bezug auf die Motor Magnetismus bezeichnet wird. Daher sind die beiden asymmetrischen Phasen:
1) die Kraft-out-Phase; und
2) die "Macht zurück in" Phase, unter Bezugnahme auf die Magnetismus.
Für die Strom-out-Phase wird Energie aus der EMF, die zwischen dem Statorpol und eingehende Rotorpol in einer Attraktion Modus abgeleitet. In dieser Phase wird die Drehbewegung (Drehimpuls und kinetische Energie) des Rotors und des Schwungrades erhöht. Kurz gesagt, wird Energie an den Rotor / Schwungrad (und damit auf die Last) von den Feldern zwischen Stator und Rotorpol (die elektromagnetische Aspekte des Systems) zugegeben.
Für die "Macht zurück in" Phase muss Energie zurück in den Magnetismus vom Rotor und Schwungrad (und der Last) zugeführt werden, um die Beziehungen zwischen Statorpol und ausgeh Rotorpol Drag wieder Kräfte zu überwinden. In dieser Phase wird die Energie an den inneren Magnetsystem von der Drehbewegung des Rotors und des Schwungrads (der Drehimpuls, der die Rotationsenergie multipliziert mit der Zeit ist) zurückgeführt. Wie allgemein in der Physik bekannt, bietet Drehimpuls eines Rotor / Schwungrad einen bequemen Weg, um Energie mit dem Spinnrotor / Schwungmasse, die als Energiespeicher zu speichern.
Alle heute bekannten Magnetmotoren verwenden verschiedene Methoden zur Überwindung und teilweise umzukehren, Gegen-EMK. Gegen-EMK ist der phasenRückLaufImpuls von der Wicklung und wird auch als Umspurung bezeichnet. Die Lastregelung wird kurzgeschlossen und der Rotor wird wieder angezogen werden, damit die Beseitigung zurück ziehen. Dies kann durch Gießen mehr Energie, um die Gegen-EMK zu überwältigen, wodurch eine Vorwärts EMK in diesem Bereich erreicht werden. Die für dieses Verfahren erforderliche Energie muss vom Betreiber erbracht werden.
Der Motor der vorliegenden Erfindung verwendet nur eine kleine Menge an Energie zu "Trigger" eine viel größere Eingangs der verfügbaren Energie durch Zuführen von Gegen-EMK, wodurch die potentielle Energie des Systems erhöht wird. Es verwendet dann diese überschüssige potentielle Energie zu reduzieren oder umzukehren Gegen-EMK, wodurch die Effizienz des Motors und daher der COP steigt.
Wenn die Energie in Phase 1 (der Leistungs-out-Phase) wird durch zusätzliche verfügbare Energie in den Elektromagnetismus sich erhöht, wird die Energie in der Phase 1 kann größer als die Energie in der Phase 2 (die Leistung-back-in-Phase) ohne gemacht werden der Betreiber die Einrichtung des eingesetzten Energie. Dies erzeugt eine nicht-konservative Nettofeld. Nettoleistung kann dann von der sich drehenden Stator und dem Schwungrad entnommen werden, da die verfügbare Energie in den Stator und das Schwungrad durch die zusätzliche Wirkung übertragen, wird durch den Rotor / Schwungrad in zusätzliche Drehimpuls umgewandelt und als solche gespeichert. Der Drehimpuls wird zu allen Zeiten konserviert; aber nun einige der Drehimpuls des Schwungrades aufgenommen wird durch zusätzliche Effekte in den Elektromagnetismus, anstatt durch den Bediener bereitgestellt erzeugt.
Electrodynamicists davon ausgehen, dass das Potenzial zur Verfügung stehende Energie eines Systems kann nach Belieben und ohne Kosten geändert werden. Dies ist Gegen-EMK und ist in der Physik bekannt. Es wird auch regelmäßig von electrodynamicists in den theoretischen Aspekten beschäftigt. Um jedoch die Mathematik zu vereinfachen, electrodynamicists eine Gegen-EMK zweimal gleichzeitig zu erstellen, jedes Gegen-EMK, die sorgfältig ausgewählt, so dass die beiden zur Verfügung stehenden Kräfte, die erzeugt werden, gleich und entgegengesetzt sind, und heben sich gegenseitig "symmetrisch". Dies wird als "symmetrische Gegen-EMK" bezeichnet. Eine symmetrische Gegen-EMK-System kann nicht zu einem COP> 1,0.
Auf der anderen Seite erzeugt der Motor der vorliegenden Erfindung bewusst eine Gegen-EMK sich und seine potentielle Energie nur einmal zu einer Zeit, wodurch jede zusätzliche Kraft für einen bestimmten Zeitraum beibehalten und ihre Anwendung auf den Drehimpuls und kinetische Energie der Erhöhung Rotor und Schwungrad. Genauer gesagt, wird diese Gegen-EMK Energie mit seinem Nettokraft bewusst im Motor der vorliegenden Erfindung zu überwinden und sogar die Umkehrung der üblichen Drag zurück (das Gegen-EMK) angewendet. Daher braucht weniger Energie aus dem Rotor und Schwungrad entnommen werden, um die reduzierte Gegen-EMK zu überwinden, und im Idealfall keine ist, da die Back-EMF wurde überwältigt erforderlich und umgewandelt in EMF durch die Gegen-EMK Energie und Kraft weiterzuleiten. In dem Motor der vorliegenden Erfindung wird die herkömmliche Rück Drag Schnitt der Magnetismus eine voraus EMF Abschnitt und jetzt fügt Energie auf den Rotor / Schwungrad statt Subtraktion. Das wichtige Merkmal ist, dass der Bediener nur die kleine Menge an Energie erforderlich, um die Gegen-EMK anzustoßen, und nicht die wesentlich größere Gegen-EMK Energie selbst erbringen.
Wenn die gewünschte Energie in Phase 1 (der Strom aus Phase) ist somit größer als das unerwünschte "drag-back" Energie in der Phase 2 erfolgt, wird ein Teil der Ausgangsleistung in der Regel in der Phase 2 gezogen von dem Rotor und das Schwungrad von den Feldern zurück ist nicht erforderlich. Daher, im Vergleich zu einem System ohne die besonderen Gegen-EMK-Mechanismen ist zusätzliche Energie von dem Rotor / Schwungrad. Der Rotor hat weitere Drehimpuls und der kinetischen Energie, verglichen mit einem System, bei der keine Rück-EMK sich. Folglich kann die überschüssige Drehimpuls durch den Rotor und das Schwungrad festgehalten als zusätzliche Wellenleistung, um eine externe Last auf die Welle angeschlossenen Leistungs verwendet werden.
Ein Standard-Magnet Motor als das Ergebnis der Motor mit externer Energiezufuhr in das System durch den Bediener eingerichtet um die Phase 2 (Leistung zurück in den Magnetismus vom Rotor / Schwungrad), die durch eines von mehreren Verfahren und Mechanismen reduzieren. Der primäre Zweck dieses externen Energieeintrag in das System ist die Gegen-EMK zu überwinden und auch die unvermeidlichen Energieverluste in dem System bereitzustellen. Es gibt keine Energiezufuhr getrennt von der Bedienereingabe. Daher ist der COP von jedem Standard-Magnetmotor COP kleiner als 1,0. Die Effizienz einer Standard-Magnetmotor, reicht von weniger als 50% bis zu einem Maximum von etwa 85%, und hat so einen COP <1,0. Wenn nichts in den Motor, das eine Reduzierung der Gegen-EMK ohne dass der Bediener die Eingabe die gesamte Energie für die es sogar für eine reibungsfreie, ideal Permanentmagnet-Motor erzeugen wird, dann durchgeführt, kann der COP nie über 1,0.
Bis zur Einführung des Motors der vorliegenden Erfindung war es Standard-Universal-Praxis, die der Bediener muss alle verwendet, um die Gegen-EMK zu reduzieren, bieten für die internen Verluste Energie und Leistung die Last zu liefern. Es ist daher eine gemeinsame Überzeugung von der wissenschaftlichen Gemeinschaft, die ein idealer (verlustfrei) Permanentmagnetmotor kann einen COP von 1,0 nicht überschreiten. Das ist wahr, solange der Bediener selbst müssen die ganze Energie liefern. Da echte Dauermagnetmotoren haben echte interne Verluste, ein Teil der zugeführten Energie wird immer in den Motor selbst verloren, und das verlorene Energie ist für die Stromversorgung des Rotor / Schwungrad und Last zur Verfügung. Damit ein echter Dauermagnetmotor der herkömmlichen Art immer eine COP <1,0.
Die allgemeine Annahme, dass die COP eines Motors auf weniger als 1,0 beschränkt ist nicht unbedingt wahr, und das COP> 1,0 ist, ohne gegen die Gesetze der Natur, Physik, Thermodynamik oder gestattet. Es kann jedoch sofort erkennen, dass jeder Permanentmagnetmotor aufweist einen COP> 1,0 muss über einige Energieeintrag wieder in Form von Gegen-EMK haben.
Ein Problem betrifft, wie Back-EMF-Energie von externen Umgebung einer Schaltung für die spezifische Aufgabe der Reduzierung der Back-EMF Drag ohne dass der Bediener jegliche Eingabe dieser überschüssigen Energie zu versorgen erreicht werden. Kurz gesagt, ist die ultimative Herausforderung, einen Weg, um das System zu veranlassen zu finden:
1) sich zu einem offenen dissipative System, das ist ein System zur Verfügung Empfangen überschüssige Energie aus der Umwelt, in anderen Worten, von einer externen Quelle; und
2) verwenden Sie diese überschüssige Energie zur Verfügung, um die Drag-Gegen-EMK zwischen Stator und Rotor Pole zu reduzieren, wie der Rotorpol verlässt das Statorpol.
Wenn dieses Ziel erreicht werden kann, wird das System vom thermodynamischen Gleichgewicht entfernt liegen. Stattdessen wird es zu einem System außerhalb des thermodynamischen Gleichgewichts umgewandelt werden. Ein solches System ist nicht verpflichtet, die klassischen Gleichgewichtsthermodynamik gehorchen.
Stattdessen muss ein Out-of-Gleichgewicht thermodynamisches System die Thermodynamik der offene Systeme weit weg von den etablierten und bekannten Parametern des thermodynamischen Gleichgewichts zu gehorchen. Wie es in der Physik der Thermodynamik bekannt ist, kann eine solche offene Systeme zulässiger:
1) Selbst Ordnung;
2) selbst schwingen;
3) Ausgangs mehrere Gegen-EMK-Energie als Energieeintrag durch den Bediener (die verfügbare überschüssige Gegen-EMK-Energie von einer externen Quelle empfangen und ein Teil der Energie durch den Bediener als auch);
4) Kraft selbst sowie seine Lasten und Verluste gleichzeitig (in diesem Fall wird die gesamte Energie aus der verfügbaren externen Quelle empfangen wird und es keinen Eingangsenergie vom Operator); und
5) zeigen negative Entropie, das heißt, zu einem Anstieg der Energie, die in dem System verfügbar ist, und das ist unabhängig von der Energie, die durch den Bediener in das System.
Als Definition, Entropie entspricht etwa der Energie von einem System, das nicht mehr zur Verfügung für die Verwendung ist. Negentropie entspricht, zusätzliche Energie von einem System, das sich für die Verwendung verfügbar hat.
Im Gegen-EMK Permanentmagnet elektromagnetische Motorgenerator der vorliegenden Erfindung verschiedene bekannte Verfahren und Methoden verwendet, die die Erfindung periodisch als offener dissipative System zu operieren (Empfangs Verfügung überschüssige Energie aus Gegen-EMK) weit vom thermodynamischen Gleichgewicht ist, wobei es produziert und erhält seine überschüssige Energie aus einer bekannten externen Quelle.
Ein Verfahren wird verwendet, um vorübergehend zu produzieren eine viel größere Quelle der verfügbaren externen Energie um eine erregte Spule. Dann werden die einzigartigen Designmerkmale des neuen Motors stellt ein Verfahren und einen Mechanismus, der unmittelbar produzieren kann eine zweite Erhöhung dieser Energie, die gleichzeitig als der Energiefluss umgekehrt wird. Daher in der Lage, zwei asymmetrischen elektromotorischen Gegenkräfte, eine nach der anderen, der Energie in einer einzelnen Spule, die drastisch erhöht die zur Verfügung stehende Energie und bewirkt, dass verfügbare überschüssige Energie zu geben dann die Schaltung als ein Impuls ist, der Motor, das gesammelt und verwendet.
Die vorliegende Motor nutzt diese zur Verfügung überschüssige Gegen-EMK Energie zu überwinden und sogar umkehren die Back-EMF Drag zwischen Statorpol und Rotorpol, während Einrichtung nur eine geringe Auslöseimpuls von Energie notwendig, um zu kontrollieren und die Richtung der Gegen-EMK-Energiefluss zu aktivieren.
Durch die Verwendung einer Anzahl von solchen dualen asymmetrischen selbstelektromotorischen Gegenkräfte für jede Umdrehung des Rotors, wobei der Rotor und das Schwungrad zusammen konzentrieren alle überschüssigen treibend Eingänge in erhöhte Drehimpuls, Drehmoment und die Wellenleistung (Energie multipliziert mit der Zeit, ausgedrückt).
Weiterhin zeigt ein Teil der überschüssigen Energie, die durch die Verwendung des Doppelprozeß in der Spule absichtlich erzeugt selbst in Form von überschüssigen elektrischen Energie in der Schaltung und wird verwendet, um elektrische Verbraucher, beispielsweise eine Lampe, einen Ventilator, Motor oder einer anderen Strom Elektrogeräten. Der Rest der Überschußenergie in der Spule erzeugt wird, kann verwendet werden, um den Rotor und das Schwungrad anzutreiben, wobei der Rotor / Schwungrad auch Einrichtungswellenleistung für den Antrieb mechanischer Belastung.
Dieses neue und einzigartige Motor nutzt ein Mittel, um die relativ kleine Menge von Energie zu liefern, um die impulsive asymmetrischen Selbst zurück initiieren EMF Aktionen. Dann Teil der verfügbaren überschüssige elektrische Leistung aus der elektromotorischen Gegenkräfte gezogen wird genutzt, um die Batterie wieder aufzuladen mit drastisch über Spannungspulse erhöht.
Die einzigartigen Konstruktionsmerkmale dieses Motors nutzen beide Nord und Süd-Magnetpole jeder Rotor und Stator Magnet. Daher ist die Anzahl von Impulsselbstrück EMFs in einer einzigen Umdrehung des Rotors verdoppelt. Erweiterte Entwürfe erhöhen die Anzahl der Selbstrück EMFs in einer einzigen Rotordrehung mit dem Ergebnis, dass es eine Zunahme der Anzahl Impulse pro Umdrehung, die die Leistung des neuen Motors.
Die in der Spule des neuen Motors durch die schnell zusammenbrechenden Feldes in der Gegen-EMK-Spule erzeugten scharfen Spannungsimpuls an eine Batterie im Ladebetrieb und mit einer externen elektrischen Last verbunden ist. Das Nettoergebnis ist, dass die Spule erzeugt asymmetrisch Gegen-EMK sich in einer Weise, indem zur Verfügung stehende Energie und Impuls der Schaltung. Die in der Spule gesammelt überschüssige verfügbare Energie wird verwendet, um die Back-EMF-Phase der Stator-Rotor-Felder auf eine Vorwärts EMF Zustand umzukehren, und durch einen Impuls, indem die Beschleunigung und Drehimpuls auf den Rotor und das Schwungrad. Zur gleichen Zeit wird ein Teil der überschüssigen Energie in der Spule gesammelt verwendet, um elektrische Lasten wie Laden einer Batterie und Betreiben einer Lampe oder eine andere Vorrichtung antreiben.
Es ist bekannt, dass eine Änderung der Spannung allein erzeugt eine Gegen-EMK und erfordert keine Arbeit. Dies ist, weil die potentielle Energie verändert, nicht die Änderung der Form dieser potentiellen Energie erfordern, sondern nur ihre Größe. Streng genommen ist Arbeit die Veränderung der Form der Energie. Daher, solange die Form der potentiellen Energie nicht geändert wird, der Betrag kann zu arbeiten, ohne in dem Prozess auszuführen geändert werden. Der Motor der vorliegenden Erfindung nutzt diese zulässigen Betriebs Gegen-EMK asymmetrisch zu schaffen und damit die eigene nutzbar verfügbar potentielle Energie zu ändern.
In einem elektrischen Energiesystem wird das Potential (Spannung) durch Eingabe von Energie, um die Arbeit an den internen Kosten des Generators oder der Akku nicht geändert. Diese potentielle Energie wird im Generator (oder Batterie) aufgewendet, um neben der internen Kosten zwingen, Bilden einer Source-Dipol. Dann schnappt die externe geschlossene Kreislaufsystem zu dieser Quelle Dipol verbunden pumpt die verbrauchten Elektronen im Grundlinie zurück durch die Gegen-EMK des Quell Dipol und damit Streu die Kosten und die Tötung des Dipols. Dies schaltet den Energiefluss von der Quelle Dipol an die externe Schaltung. Als Folge dieser herkömmlichen Verfahren ist es eine Voraussetzung, um Eingangs- und zusätzliche Energie zu ersetzen, um den Dipol wieder herzustellen. Die derzeit in den meisten elektrischen Generatoren verwendet Schaltungen wurden entwickelt, um auf die Zerstörung der Energiefluss durch die kontinuierliche Streu alle Dipol Ladungen und zur Einstellung des Dipols zu halten. Daher ist es notwendig, sich auf Energiezufuhr an den Generator zu halten, um zu halten die Wiederherstellung seiner Quelle Dipol.
Eine Untersuchung der Elementarteilchenphysik ist erforderlich, um zu sehen, was liefert die Energie an die externe Schaltung. Da weder eine Batterie noch ein Generator liefert Energie an die externe Schaltung, sondern nur Energie liefert, um die Quelle Dipol bilden, wird ein besseres Verständnis der elektrischen Energie grundsätzlich verpflichtet, die verstehen, wie diese neuen motorischen Funktionen. Eine typische Batterie nutzt seine gespeicherte chemische Energie, um die Quelle Dipol zu bilden. Ein Generator nutzt seine Eingangswellendrehenergie, um ein internes magnetisches Feld, in dem die positiven Ladungen gezwungen werden, in einer Richtung und der negativen Ladungen in umgekehrter Richtung zu bewegen, wodurch die Source-Dipol bildet erzeugen. Mit anderen Worten, der Energieeintrag in den Generator nichts außer Form der Quelle Dipol. Keine der Eingangsenergie geht an die externe Schaltung. Wenn erhöhte Strom wird in die externe Last gezogen wird, gibt es auch erhöht verbracht Elektronenfluss zurück durch die Quelle Dipol gerammt, es schneller zerstören. Daher weist der Dipol-Rückstellenergie schneller eingegeben werden. Die chemische Energie der Batterie auch nur verbraucht, ihre internen Kosten zu trennen und bilden die Quelle Dipol. Auch wenn eine erhöhte Strom und Leistung in der externen Last gezogen wird, wird es zu einem verstärkten verbracht Elektronenfluss zurück durch die Quelle Dipol gerammt, es schneller zerstören. Dies führt zu einer Erschöpfung der Batterie gespeicherten Energie schneller, durch Erzwingen es müssen weiter die Wiederherstellung der Dipol schneller.
Sobald der Generator bzw. Batteriequelle Dipol gebildet wird (der Dipol wird auch an die externe Schaltung angeschlossen ist), ist es im Stand Physik, die der Dipol (wie jede Ladung) ist eine gebrochene Symmetrie in der Vakuumenergieflusses bekannt. Definitionsgemäß bedeutet dies, daß die Quelle Dipol Extrakte und Aufträge Teil dieser Energie aus seiner Vakuum Interaktion empfangen und gießt diese Energie als die Energie, die den gesamten Raum umgebenden Außenleiter in der angeschlossenen Schaltung fließt. Der größte Teil dieses enormen Energiefluss wogenden durch den Raum der äußeren Stromkreis der Schaltung nicht zu schlagen haupt Umgebung, und nicht abgefangen oder ausgenutzt zu werden. Es ist auch nicht in den Kreislauf umgeleitet, um die Elektronen anzutreiben, sondern geht auf in den Raum und wird nur "verschwendet". Nur ein kleiner "Hülle" des Energieflusses entlang der Oberfläche der Leiter auf die Oberfläche Ladungen in diesen Leitern und wird dadurch in den Kreislauf geleitet, um die Elektronen zu versorgen. Standardtexte zeigen den großen zur Verfügung, aber Energieverschwendung Strömungskomponente, sondern nur den kleinen Teil des Energieflusses, der die Schaltung wird von ihm gefangen trifft zu berechnen, und wird verwendet, um es anzutreiben.
In einer typischen Schaltung, ist der riesige verfügbar, aber "verschwendet" Komponente des Energieflusses über 10 hoch 13 mal so groß wie die kleine Komponente von den Oberflächenladungen abgefangen und in den Kreislauf geleitet, um es anzutreiben. Daher um jede Schaltung und Schaltungselement wie eine Spule, existiert eine große nicht abgefangenen, nicht divergiert Energiefluss, der viel größer als die kleine Energiefluss umgeleitet und von der Schaltung oder des Elements verwendet wird.
Somit besteht ein enormes ungenutztes Energiefluss jedes EMF Stromkreis, aus dem verfügbaren Überschussenergie kann abgefangen und durch die Schaltung erfasst, in unmittelbarer Umgebung, wenn jeweilige nichtlineare Aktionen initiiert, dass stark beeinflussen und die Reaktionsquerschnitt der Schaltkreis (dh seine Fähigkeit, diese aber in der Regel vorhanden verschwendet Energiefluß) abzufangen.
Das Verfahren, bei dem der Motor der vorliegenden Erfindung verändert den Wirkungsquerschnitt der Spulen in der Schaltung ist durch eine neue Verwendung, die sich momentan ändert den Wirkungsquerschnitt der Spule in dem sie aufgerufen wird. Somit wird durch diese neuen Motor mit nur einem kleinen Strom in Form eines Triggerimpulses, ist es in der Lage, hervorrufen und Steuerung der sofortigen Änderung der Spule Reaktionsquerschnitt zu dieser Regel verschwendete Energie Strömungskomponente. Infolgedessen fängt der Motor und leitet einen Teil dieser normalerweise verschwendet Umweltenergie, Sammeln der verfügbaren Überschußenergie in der Spule und der anschließenden Freigabe zur Verwendung im Motor. Mit dem Timing und Schalt, das innovative Design-Tor in dieser neuen Motor leitet die überschüssige Energie zur Verfügung, so dass sie überwindet und kehrt die Rückgabe-EMF des Rotor-Stator-polige Kombination während, was normalerweise die Gegen-EMK und demonstriert die Erstellung des zweiten Rück EMF des Systems. Anstatt nun eine "equal Retardation" Kraft, die in der Gegen-EMK-Region hergestellt, eine voraus EMF erzeugt, das Additiv dem Rotor / Schwungrad-Energie und nicht subtraktiven ist. Kurz gesagt, sie weiter beschleunigt den Rotor / Schwungrad.
Dies führt zu einer nicht-konservativen Magnetfeld entlang Pfad des Rotors. Das Linienintegral des Feldes um diesen Pfad (dh die Nettoarbeit auf dem Rotor / Schwungrad seine Energie und Winkelmoment erhöht) nicht Null ist, aber eine signifikante Menge. Daher ist die Schaffung einer asymmetrischen Gegen-EMK Impulsmagnetmotor:
1) nimmt seine verfügbare überschüssige Energie aus einem bekannten externen Quelle, die riesige üblicherweise nicht abgefangenen Teil des Energieflusses um die Spule;
2) erhöht weiter die Quelle Dipolarität dieses Gegen-EMK Energie; und
3) produziert Verfügung überschüssige Energie fließen direkt von der erhöhten gebrochene Symmetrie der Quelle Dipol in ihrer heftigen Energieaustausch mit der lokalen Unterdruck.
Keine Gesetze der Physik und Thermodynamik in die Verfahren und die Vorrichtung der vorliegenden Erfindung ist verletzt, und der Energieerhaltung gilt streng zu allen Zeiten. Dennoch durch Betreiben als offener dissipative System nicht im thermodynamischen Gleichgewicht mit der aktiven Vakuum, kann das System zulässiger erhalten Verfügung überschüssige Energie aus einer bekannten Umweltquelle und Ausgangs mehr Energie zu einer Last über muss durch den Bediener allein. Als offenes System nicht im thermodynamischen Gleichgewicht, kann dieses neue und einzigartige Motor in tippen, um Gegen-EMK zu sich selbst, Belastungen und Verluste gleichzeitig Energie, die vollständige Erfüllung der bekannten Gesetze der Physik und Thermodynamik.
Eine Suche nach dem Stand der Technik nicht, alle Geräte, die Energieaufnahme durch Gegen-EMK eines Permanent elektromagnetischen Motorgenerator zu recyceln, wie in der vorliegenden Erfindung beschriebenen zu offenbaren. Jedoch wurden die folgenden US-Patente des Standes der Technik überprüft:
1. Nein. 5.532.532 zu DeVault, et al., Hermetisch gekapselt Supraleitende Magnetmotor.
2. Nein 5.508.575 zu Elrod, Jr., Direct Drive Servoventil nach magnetisch belastete Lager.
3. No. 5.451.825 zu Strohm, Spannung Homopolare Machine.
4. Nein 5.371.426 zu Nagate et al., Rotor Für Brushless Motor.
5. No. 5.369.325 zu Nagate et al., Rotor für bürstenlose Elektromotor und Verfahren zur Herstellung.
6. No. 5.356.534 Zimmermann, verstorben et al., Magnetfeld Verstärker.
7. No. 5.350.958 zu Ohnishi, Superleitenden Drehmaschine, Supraleitender Spule und A Supraleitenden Generator Zur Verwendung in einem Beleuchtungskörper Nutzung von Solarenergie.
8. No. 5.334.894, um Nakagawa, Schrittmotor.
9. No. 5.177.054 Lloyd, et al., Flux Trapped Superconductor Motor und Method.
10. Nein 5.130.595 zu Arora, mehrere Magnetpfade Pulse Machine.
11. No. 4.980.595 zu Arora, Multiple Magnetics Pfade Machine.
12 No. 4.972.112 zu Kim, bürstenlose Gleichstrom-Motor.
13. No. 4.916.346 zu Kliman, Composite Rotorblech Zur Verwendung in Zurückhaltung Homopolare, Und Permanentmagnet-Maschinen.
14 No. 4.761.590 zu Kaszman, Elektromotor.
15. No. 4.536.230 von Landa, et al., Anisotrope
Dauermagnete.
16 No. Re. 31.950 zu Binns, Wechselstrom Generatoren und Motoren.
17 No. 4.488.075 zu DeCesare, Lichtmaschine mit Rotor Axial Flux Anregung.
18 No. 4.433.260 zu Weisbord et al., Hysterese Synchronmotor Verwendung polarisierten Rotor.
19 No. 4.429.263 auf Muller, Low Leakage Magnetic Flux Brushless Pulse geregelter Gleichstrom-Motor.
20 No. 4.423.343 auf Feld, II, Synchronmotor-System.
21 No. 4.417.167 zu Ishii et al., GLEICHSTROM Brushless Motor.
22 No. 4.265.754 zu Menold, Wasser-Aufbereitungsanlage und Methoden.
23 No. 4.265.746 Zimmermann, Sr. et al. Wasser-Aufbereitungsanlage und Methoden.
24 No. 4.222.021 Bunker, Jr., magnetische Geräte Erscheinen Um einen Single Pole Besitzen.
25 No. 2.974.981 zu Vervest et al., Ableiter für Eisenpartikeln.
26 No. 2.613.246 zu Spodig, Magnetic Systems.
27 No. 2.560.260 zu Sturtevant et al., Temperaturkompensiert Magnetschwebe.
ZUSAMMENFASSUNG DER ERFINDUNG
Die Vorrichtung und das Verfahren der vorliegenden Erfindung ist eine neue permanente elektromagnetischen Motor-Generator, der EMF Energie (Umspurung) zurück recycelt wodurch der Motor auf ein Energieniveau von COP herzustellen = 0,98, mehr oder weniger, je nach Konfiguration, Schaltkreise, Schaltelemente und die Anzahl und Größe von Statoren, Rotoren und Spulen, die den Motor umfassen. Der Rotor ist zwischen zwei Polschuhen des Stators befestigt. Der Motorgenerator wird zunächst aus einem kleinen Starterbatteriemittel, analog zu einer Zündkerze, die eine kleine Menge an Energie an den Motor sendet, wodurch die Förderung einer Drehbewegung vom Rotor erregt. Wenn sich der Rotor dreht, wird Energie von der umgebenden elektromagnetischen Feld, das eine asymmetrische Impulswelle der Rück-EMK erfasst. Die erzeugten und abgeschiedenen Energie kann in einer von mehreren Richtungen, auch wieder Energie in das erste Starterbatterie gerichtet werden, Drehen einer Welle für die Arbeit und / oder das Senden eines Stroms an einen Ventilator, Lampe oder andere derartige Vorrichtung mit Energie zu versorgen.
KURZE
BESCHREIBUNG DER ZEICHNUNGEN
FIG.1 ist die Draufsicht auf eine Gegen-EMK Permanent elektromagnetischen Motorgenerator mit einem einzigen Stator und einen einzigen Rotor.

Fig.1a ist eine Seitenansicht eines Geberrades und magnetischen Halleffekt-Sensor von dem Gegen-EMK-Motorgenerator.

Fig.1b ist eine Seitenansicht des Rotors der Gegen-EMK der Motorgenerator.

Fig.2 ist eine schematische Zeichnung mit eingebautem Schaltungsanordnung für die Gegen-EMK-Motorgenerator.

Fig.3 ist ein Kastendiagramm, das die Beziehungen der Gegen-EMK der Motorgenerator-Schaltung.

DETAILLIERTE
BESCHREIBUNG DER ERFINDUNG
Die vorliegende Erfindung ist eine Vorrichtung und ein Verfahren zum Erzeugen einer Rück-EMK-Permanent elektromagnetischen Kraftgenerator. Wie in den Hintergrundinformationen beschrieben wird, entspricht dieser neue Motor-Generator, um alle anwendbaren elektrodynamischen Gesetze der Physik und ist im Einklang mit dem Gesetz von der Erhaltung der Energie, die Gesetze des Elektromagnetismus und andere damit zusammenhängende Naturgesetze.
Die Gegen-EMK Permanent elektromagnetischen Motorgenerator aus einer Kombination von elektrischen, magnetischen Materials und Elementen, angeordnet ist, um elektromagnetische Energie verfügbar (Gegen-EMK) in einem Gleichrichter, oder einzelne Diode vom Ausgangsspulen zu erfassen. Die Erfassung der Gegen-EMK Energie wird auch als "Umspurung" bekannt. Als beliebige Startpunkt in der Beschreibung dieser Erfindung, eine Eingabe Batterie, als ein Mittel zur Energie sendet Leistung durch ein ON-OFF-Schalter und dann zu einer Zeitsteuermechanismus, wie etwa eine Magnettaktschalter (einem Halbleiter-Halleffekt -Magnetaufnahme Schalter), die durch einen Magneten auf einer Zeitscheibe ausgelöst wird. Die Zeitscheibe kann eine beliebige Anzahl von Magneten (dh eine oder mehrere), den Südpol ausgerichtet mit dem Hall-Effekt-Pickup-Schalter nach außen ausgerichtet und enthalten.
Das Timer-Rad ist am Ende einer Welle, die sich entlang der Mittellinie des Rotors, die wiederum eine beliebige Anzahl von Magneten enthalten befindet montiert (dh zwei oder mehr). Die Rotormagneten sind so angeordnet, dass sie die gleiche Polarität haben und im gleichen Abstand voneinander. Die Welle hat das Timing Rad an einem Ende befestigt ist, den Rotor, und einige Mittel für die Durchführung der Arbeit, wie ein Zapf am entgegengesetzten Ende. Es gibt jedoch andere Ausführungsformen, in denen die Position des Rotors, Zeitsteuerungsrad und Zapf andere Konfigurationen haben. Der Rotor ist auf einer Plattform oder einem Gehäuse, das in einer stationären Position in einem Stator fixiert ist.
Der Stator ist aus einem Permanentmagneten, um ein Mittel zum Leiten von elektromagnetischer Energie, wie beispielsweise zwei parallele Stäbe geschaltet sind, wobei jede Stange mit einem magnetisierten Polstück an einem Ende. Das Leitungsmaterial von der Bar können Eisen, Eisenpulver, Siliziumstahl, rostfreier Magnetstahl, Bleche aus leitendem Material oder einem anderen magnetisch leitenden Material bestehen. Jeder Balken hat eine Eingangsspule um sie gelegt. Die Spule kann aus Kupfer, Aluminium oder einem anderen geeigneten leitenden Material hergestellt sein. Das primäre oder Eingangsspule ist mit dem Schaltkreis verbunden. Eine zweite Spule auf der Oberseite der Eingangsspule zu einer Sekundärspule oder Ausgang. Die Sekundär- oder Ausgangswicklung ist mit der Wiedergewinnungsschaltung verbunden sind. Der Rotor ist symmetrisch zwischen den Polstücken der Balken des Stators befindet, und es enthält eine Reihe von Magneten, die alle die gleiche Polarität Nord oder Süd, wobei jeder Magnet in dem Rotor mit dem Polschuh der Drehung des Rotors ausgerichtet ist.
Wenn der Rotor von der Batterie des Schaltkreises mit Energie versorgt, es eine erste Magnetfeld, das sofort zu überwinden, ist, wie die magnetisierten Polstücken ausgerichtet mit den Rotormagneten. Wenn sich der Rotor zu bewegen beginnt, wächst die elektromagnetische Energie als Ergebnis der Flusstretend von den ausgerichteten Magneten des Rotors und Polstücken erzeugt wird. Die Spulen um die Bars "buck" des Permanentmagneten, welche die Bars. Dies wird als die "buck steigern" Prinzip bekannt. Wenn der Permanentmagnet wird durch die Spulen bucked, kehrt die Polarität der Polstücke, die mit den Rotormagneten wodurch der Rotor um seine Drehgeschwindigkeit zu erhöhen fluchten. Die von den Feldern, die in den Primär- und Sekundärspulen kollabiert sind, (die die Gegen-EMK in dem System erzeugt) Energie ist jetzt in Nicht-Gleichgewichts. Energie kann nun wieder in das System über die Schaltschaltungsanordnung gestellt werden. Verfügbare Energie aus der Gegen-EMK erfasst, kann in verschiedene Richtungen angewendet werden, einschließlich Wieder Einschalten des Eingangs Batterie, Speicher in einem Kondensator, die Umwandlung von einer Wiederherstellung Gleichrichter im Eingabe Batterie, einem Kondensator oder einem sekundären oder Recovery-Batterie gespeichert werden. Recovery Gleichrichter werden verwendet, um dieses Wechselstrom in Gleichstrom umzuwandeln. Verfügbare Energie kann verwendet werden, um eine elektrische Lampe, Lüfter oder andere Anwendungen zu erregen.
Die Welle in der Mitte des Rotors kann Energie in Form von Arbeit durch eine Zapf übertragen. Die Zapfwelle kann auf eine beliebige Anzahl von Sekundärwellen, Räder, Zahnräder und Riemen zu erhöhen oder zu verringern Drehmoment verbunden werden.
Dies ist eine Beschreibung der grundlegenden Erfindung, gibt es jedoch eine unzählige Anzahl von Kombinationen und Ausgestaltungen von Statoren, Rotoren, Hall-Effekt-Magnetaufnehmer Schalter, Spulen, Sammler Gleichrichtern und elektronischer Verbindungsarten, die auf einer einzigen Welle oder mehrere kombiniert werden können, Wellen in verschiedenen Kombinationen und Reihenfolgen und verschiedenen Größen verbunden. Es kann eine beliebige Anzahl von Statoren einem Rotor sein (allerdings kann es nur einen aktiven Rotors, wenn es einen einzigen Stator). Die Anzahl der Hall-Effekt-Erholung-Schalter können variieren, zum Beispiel im Fall von mehreren Statoren hochbeständigen Spulen, die Spulen können parallel sein, um einen niedrigen beständige Spule zu bilden, so dass ein Hall-Effekt-Sammler mit einer Schaltung können alle Brand die Statoren gleichzeitig. Die Anzahl der Magnete sowohl in der Zeitscheibe und dem Rotor kann auch in der Zahl als auch der Größe und Stärke der Magneten variieren. Jede Art von Magnet kann verwendet werden. Die Anzahl der Windungen sowohl der Eingangs- und Ausgangsspulen an jeder Stromschiene kann variieren in der Anzahl und in leitenden Material.
Der Motor-Generator, wie in Fig.1, eine perspektivische Draufsicht auf eine einzelne Stator, einzelnen Rotor-Gegen-EMK Motor gezeigt und besteht aus einem Mittel zur Bereitstellung von Energie, wie zB Eingangs Batterie 10 zum Leistungsschalter 11 geschaltet sind (in Fig. 2) und Hall-Effekt-Magnet Erholung-Schalter 13. Magnetic Sammler 13 Schnittstellen mit Timer-Rad 12, ein Zeitschalter zu bilden. Timer-Rad 12 enthält vier Magnete 14 mit dem Südpol eines jeden Magneten zugewandt magnetischen Tonabnehmer 13. Zeitscheibe 12 ist an einem Ende der Welle 15 befindet sich auf der Welle 15 befestigt ist, nach außen Rotor 16. Der Rotor 16 kann von jeder realistischen Größe und in diesem Beispiel der Rotor enthält vier Rotormagnete 17. Die Rotormagnete 17 sind so angeordnet, alle haben die gleiche Polarität.
Gegenüberliegenden Zeitsteuerungsrad 12 auf der Welle 15 ist ein Mittel zum Durchführen von Arbeiten, wie beispielsweise eine Zapfwelle 18. Der Rotor 16 ist in einer festen Position mit dem Rotormagneten 17 in dem magnetisierten Polstücken 19a und 19b ausgerichtet angebracht ist. Jedes Polstück 19a und 19b ist mit Eisenstangen 20a und 20b verbunden. Diese Eisenstangen werden durch einen Permanentmagneten 21 Draht verbunden ist um Eisenstangen 20a und 20b gewickelt, um Eingangsspulen 22a und 22b. Bei der Eingangsspulen 22a und 22b überlagert sind Ausgangsspulen 23a und 23b. Diese Ausgangsspulen mit Vollwellen-Brückengleichrichter 24a erste Erholung, die dann eine Verbindung zum Batterie 10 verbunden.
Fig.1a ist eine Seitenansicht der Gegen-EMK Motor Generator Taktungsrades 12 mit Hall-Effekt-Magnetaufnehmer 13 positioniert ist, um von jedem der vier Magnete 14 wiederum als Zeitsteuerungsrad 12 dreht ausgelöst werden. Die Magnete 14 haben ihre Südpol nach außen und sie gleichmäßig mit einer 90-Grad-Winkelabstand angeordnet sind.
Fig.1b ist eine Seitenansicht des Rotors 16 mit vier Rotormagnete 17 mit 90-Grad-Winkelabstand voneinander und mit gleicher Polarität.

Fig.2 ist ein schematisches Diagramm der Motorgenerator-Schaltung, die Eingangsspule Verbindungen von Eingangs Batterie 10 durch die Leistungsschalter 11, werden die Transistoren 30a,b,c Widerstände 31a-e, durch Stromversorgungsleitung 32 ("VCC +") und den magnetischen Aufnehmer 13. Magnetische Aufnehmer 13 ist in mit Taktungsrad Magnete 14 auf Taktscheibe ausgerichtet 12. Collector führen 33 und Masseleitung 34 führen die Signale von magnetischen Tonabnehmer 13. Wenn Strom umgekehrt, fließt es durch den Widerstand 31e und Transistor 30c zur Eingabe Batterie 10. Eingangsspulen 22a,b Macht zu senden, um Vollwellen-Brückengleichrichter 24a erste Erholung, die dann sendet Strom durch Schalter Recovery 27 wieder in das System und / oder an den Eingang Batterie 10 Ausgangsspulen 23a und 23b Macht durch einzelne Diode Sekunde senden Recovery Gleichrichter 24b der Besserung Batterie 25.
In dieser besonderen Ausführungsform wird der Wert und die Typennummer der Komponenten sind wie folgt:
Hall-Effekt-Magnet Sensor-Schalter 13 ist ein Nein. 3020;
Transistor 30a ist ein 2N2955;
Transistor 30b ist ein MPS8599;
Transistor 30c ist eine 2N3055 (oder TIP3055);
Die Widerstände 31a und 31b sind 470 Ohm
Widerstand 31b ist 2,2 K Ohm
Widerstand 31c ist 220 Ohm
Widerstand 31d ist 1 K Ohm
Erholung Gleichrichter 24a ist ein 10-Ampere, 400-Volt Gleichrichterbrücke.
Fig.3 ist ein Funktionsblockdiagramm, das den Ablauf der Spannung von Eingangs Batterie A, durch Rückgewinnungsschaltung B Umschaltschaltung C und Motorspulen D. Motor Spulen D verfügbar Gegen-EMK-Energie durch Rückgewinnungsschaltung B zu senden, und dann weiter zum Wiederherstellungs Batterie E und Eingabe Batterie A. erhältlich Gegen-EMK Energie kann auch von Schaltkreis C bis Rückgewinnungsschaltung B fließen.
In mehreren Stator / Rotor-Systemen kann jeder einzelne Stator einen erregt werden zu einer Zeit oder alle Statoren können gleichzeitig erregt werden. Eine beliebige Anzahl von Statoren und Rotoren können in der Konstruktion solcher mehreren Stator / Rotor-Motor-Generator-Kombinationen eingearbeitet werden. Obwohl es mehrere Statoren pro Rotor ist, kann es nur einen Rotor für einen einzigen Stator sein. Die Anzahl der Statoren und Rotoren, die einen bestimmten Motorgenerator aufweisen würde, hängt von der Menge an Energie in Form von Watt benötigt. Die gewünschte Größe und Leistung des Motors bestimmt, ob die Statoren wird parallel oder sequentiell gezündet durch die magnetische Hall-Effekt-Aufnehmer oder Aufnehmer. Die Anzahl der Magnete in einem bestimmten Rotor eingebaut ist abhängig von der Größe der von dem Motorgenerator erforderlich Rotor und Kraft. In einem Mehrfach Stator / Rotor-Motor-Generators kann das Taktungsrad einen oder mehrere Magnete aufweisen, muss aber einen Magneten Hall-Effekt-Aufnehmer für jeden Stator, wenn die Statoren nicht parallel angeordnet sind. Die Gegen-EMK-Energie wird durch das Umkehren der Polarität der magnetisierten Polstücken so Kollabieren des Feldes um die Spulen und die Umkehrung des Energieflusses zu den Freilaufdioden, die die Erfassung der Gegen-EMK zur Verfügung gestellt werden.
Einzelnen Motoren können nacheinander verbunden werden, wobei jeder Motor mit verschiedenen Kombinationen von Statoren und Rotoren, oder sie können parallel geschaltet werden. Jeder Rotor kann eine beliebige Anzahl von Magneten, die von einem Minimum von 2 bis höchstens 60. Die Anzahl der Statoren für einen einzelnen Motor kann von 1 bis 60 mit der Anzahl der Stromschienen im Bereich von 2 bis 120 liegen.
Was diese Motorgenerator von allen anderen ist das Vorhandensein eines Permanentmagneten, die die beiden Stromschienen, die magnetische Energie durch die Polstücke auf den Rotor zu übertragen, wodurch der Rotor zwischen den Polstücken Gewinnung. Mit zogen der Rotor zwischen den beiden Polstücken die Spulen zu wechseln die Polarität des Magnetfelds der Polstücke so, daß der Rotor aus abgestoßen. Daher besteht kein Strom und Spannung verwendet wird, um den Rotor anzuziehen. Der einzige Strom, der verwendet wird, ist die Abstoßung des Rotors zwischen den zwei leitenden bar Polstücke wodurch nur eine kleine Menge an Strom benötigt, um den Rotor abzustoßen. Dies wird als "eine Umspurung System" bekannt und ermöglicht die Erfassung von verfügbaren Back-EMF-Energie.
US-Patent-Anmeldung 2003/117111 26. Juni 2003 Erfinder: John C. Bedini
GERÄT UND METHODE FÜR IMPULS-AUFLADEN EINER BATTERIE
UND FÜR DEN ANTRIEB VON ANDEREN GERÄTEN MIT EINEM IMPULS
Dies ist ein leicht umformuliert Kopie dieser Patentanmeldung, die ein Verfahren zur puls Laden mehrerer Batterien oder Einschalten einer Heizung und / oder einen Motor zeigt. John Bedini ist eine intuitive Genie mit sehr beträchtliche praktische Fähigkeit, so dass jede Information, die von ihm sollte sehr sorgfältig erwogen werden. Am Ende dieses Dokumentes gibt es einige zusätzliche Informationen in dem Patent nicht gefunden.
ZUSAMMENFASSUNG
Diese zweiphasige Festkörper- Ladegerät kann Eingangsenergie von einer Vielzahl von Quellen einschließlich Wechselstrom, einer Batterie, einem Gleichstromgenerator, einer Gleichstrom-zu-Gleichstrom-Umrichter, Solarzellen oder anderen kompatiblen Quelle der Eingangsenergie zu erhalten. Phase 1 ist die Ladephase und der Phase 2 ist der Entladungsphase, in dem ein Signal oder Strom, gelangt durch eine doppelte Zeitschalter, die unabhängig voneinander kontrolliert zwei Kanälen, wodurch die beiden Phasen.
Das duale Zeitschalter wird durch einen logischen Chip oder Pulsbreitenmodulator gesteuert werden. Eine mögliche Gebühr darf in einer Kondensatorbank aufgebaut. Die Kondensatorbank wird dann von der Energieeingabequelle getrennt und dann ein Hochspannungsimpuls wird in der Batterie, die es gibt, um die Ladung zu erhalten speist. Die momentanen Trennung des Kondensators von der Eingangsenergiequelle ermöglicht eine frei schwebende Potential Ladung im Kondensator. Sobald der Kondensator fertiggestellt Entladen der Spannungsladung in der Batterie, der Kondensator trennt von der Ladebatterie und erneute Verbindung zu der Energiequelle, und damit auch den Zweiphasenzyklus..
TECHNISCHES
GEBIET
Diese Erfindung bezieht sich allgemein auf eine Batterieimpulsladegerät mit einem Festkörper-Vorrichtung und ein Verfahren, wo der Strom, der an die Batterie nicht konstant ist. Das Signal oder Strom kurzzeitig Schalter-Unterbrechung, wie sie entweder durch den ersten Kanal (Ladephase ) fließt, oder den zweiten Kanal (den Entladungsphase). Dieses Zwei-Phasen-Zyklus wechselt das Signal in die beiden Kanäle wodurch eine potentielle Ladung in einen Kondensator mit von der Stromquelle trennen einen Augenblick, bevor der Kondensator seine gespeicherte potentielle Energie in eine Batterie einrichten, um die Kapazität des gespeicherten Energie erhalten entlädt. Der Kondensator wird dann von der Batterie getrennt und mit der Stromquelle nach Beendigung der Abzugsphase wieder angeschlossen wird, wodurch die Lade-Entlade-Zyklus abgeschlossen wird. Die Batterie puls Ladegerät kann auch Geräte, wie einen Motor und ein Heizelement, mit Impulsen anzutreiben.
HINTERGRUND
UND STAND DER TECHNIK
Heute Ladegeräte verwenden einen konstanten Ladestrom in ihrem Betrieb ohne momentanen Trennung des Signals oder Strom wie es fließt entweder: (1) aus einem Primärenergieträger an das Ladegerät; oder (2) von der Ladeeinrichtung sich in einer Batterie zur Aufnahme der Ladung. Einige Ladegeräte werden in einem konstanten Strom durch eine von mehreren Methoden geregelt, während andere konstant und nicht reguliert. Es sind keine Batterieladegeräte gegenwärtig in der Technik oder zur Verfügung, wobei es eine momentane Signal oder Stromabschaltung zwischen der Primärenergieträger und das Ladegerät Kondensatoren einen Augenblick, bis die Kondensatoren entladen Sie die gespeicherte potentielle Energie in eine Batterie Erhalt der Impulsladung. Es gibt auch keine Ladegeräte ist bekannt, dass das Ladegerät von der Batterie Erhalt der Ladung, wenn die Ladekondensatoren erhalten Energie von der Primärquelle zu trennen. Die momentane Stromunterbrechung ermöglicht die Batterie eine kurze "Ruhezeit" und benötigt weniger Energie von der Primärenergiequelle, während setzen mehr Energie in die Batterie die Ladung empfangen, während die eine kürzere Zeit, es zu tun.
ZUSAMMENFASSUNG
DER ERFINDUNG
Ein Aspekt der Erfindung betrifft eine Festkörper-Vorrichtung und Verfahren zum Erzeugen eines Impulsstroms zu Impuls-Ladung einer Batterie oder einer Bank von Batterien, bei denen eine neue und einzigartige Methode wird verwendet, um zu erhöhen und zu erhalten, für eine längere Zeitdauer die Energie in der Batterie gespeichert, verglichen mit Konstantstrombatterieladegeräte . Das Gerät verwendet einen Zeitimpuls an ein Gleichstrom-Pulswellenform, um in den Batterieaufnahme die Ladung entladen erstellen.
Eine Ausführungsform der Erfindung verwendet eine Einrichtung zur Doppelschaltung, wie einem Pulsbreitenmodulator (PWM), zum Beispiel, einem Logikchip SG3524N PWM, und eine Einrichtung zum optischen Ankoppeln an eine Bank von Hochenergiekondensatoren einen zeitlich festgelegten Anfangs speichern Impulsladung. Dies ist der Ladephase oder Phase 1. Die geladenen Kondensatorbatterie entlädt dann die gespeicherte hohe Energie in die Batterie Erhalt der Ladung in zeitlichen Impulsen. Unmittelbar vor dem Entladen der gespeicherten Energie in der Batterie wird die Kondensatorbank zeitig unterbrochen von der Stromquelle, womit der Ladephase und dadurch die Kondensatorbank verlassen als freischwimmende Potentialladung von der Primärenergiequelle getrennt ist, um dann in die Batterie entladen. Die Übertragung von Energie von der Kondensatorbank an die Batterie komplettiert die Entladungsphase oder Phase 2. Die Zwei-Phasen-Zyklus wiederholt sich jetzt.
Diese Ausführungsform der Batterieimpulsladegerät Werke Übertragen von Energie von einer Quelle, wie beispielsweise eine Wechselstromquelle, um eine ungefilterte Gleichstromhochspannungsquelle, um die in einem Kondensator oder einer Kondensatorbatterie gespeichert werden. Schaltregler mit einem zeitgesteuerten Impuls ein, so zum Beispiel auf einen zweiten Impuls, der um 180 Grad für jeden Satz von Schaltfunktionen außer Phase ist. Die erste Funktion ist, um die Ladung in der Kondensatorbank von der Primärenergiequelle zu bauen; die zweite Funktion ist es, die Energiequelle von der Kondensatorbank zu trennen; Die dritte Funktion besteht darin, die gespeicherte Hochspannung an die Batterie durch eine Hochspannungsspitze in einem Zeitimpuls entladen, zum Beispiel auf einen zweiten Impuls; und die vierte Funktion ist, die Verbindung der Kondensatorbank auf die primäre Energiequelle.
Das Gerät arbeitet mit einem Zweikanal-Ein / Aus-Schaltmechanismus oder ein Eich / Re-Messfunktion, wobei das Ladegerät von der Primärenergiequelle ein Augenblick vor dem Puls-Ladegerät getrennt entlädt den Hochenergieimpuls in die zu ladende Batterie . Da die primäre Ladeschalter schließt, öffnet sich der sekundäre Entladeschalter, und umgekehrt in zeitlichen Impulsen, um die Zwei-Phasen-Zyklus zu beenden.
Die Mittel für eine Stromversorgung mit mehreren Optionen als Primärenergiequelle zur Verfügung variiert. Beispielsweise können primäre Eingangsenergie von einer Wechselstromquelle in die richtige Spannung (Transformator) verbunden sind; von einer Wechselstromgenerators ; von einem primären Eingangs Batterie; von Solarzellen; von einem Gleichstrom-zu-Gleichstrom-Umrichter; oder aus einem anderen anpassungsEnergieQuelle . Wenn ein Transformator ist die Quelle des primären Eingangsenergie, dann kann es ein Standard-Gleichrichtertransformator in Versorgungsanwendungen oder anderen Transformators für die gewünschte Funktion verwendet werden. Beispielsweise kann es eine 120-Volt-45-Volt-Netzabwärtstransformator, und der Gleichrichter ein Vollwellen-Brücken von 200 Volt bei 20 Ampere, die ungefiltert ist, wenn an den Ausgang des Transformators angeschlossen sein. Der positive Ausgang des Brückengleichrichters ist mit den Drains der parallel geschalteten Feldeffekttransistoren verbunden ist, und der negative Anschluß mit der negativen Seite der Kondensatorbank verbunden ist.
Der Feldeffekttransistor (FET) -Schalter können IRF260 FETs oder andere FET benötigt wird, um diese Funktion zu bewerkstelligen. Sämtliche FETs parallel verbunden sind, um die richtige Stromtragfähigkeit für die Impulse zu erzielen. Jeder FET kann durch einen 7-Watt, 0,05-Ohm-Widerstand mit einer gemeinsamen Bus-Anschluss der Spannungsquelle angeschlossen werden. Alle FET-Gates kann durch eine 240-Ohm-Widerstand an einen gemeinsamen Bus angeschlossen werden. Es kann auch ein 2 K-Ohm-Widerstand zwischen den FET-Gates und dem Transistor Drain gemeinsamen verdrahtet sein.
Ein Transistor, beispielsweise ein MJE15024 kann als Treiber für die Gates verwendet werden, die den Bus treibt, und der wiederum einen optischen Koppler treibt die Treibertransistor über den ersten Kanal. Eine erste Ladeschalter wird verwendet, um die Kondensatorbatterie, die als eine Gleichspannungsquelle an die Batterie wirkt, zu berechnen. Die Kondensatorbank wird dann von der Stromrichterschaltung getrennt. Die Impuls Ladegerät wird dann einem zweiten Feldeffektschalter durch den zweiten Kanal für die Entladungsphase überführt. Die Entladephase wird durch einen Transistor angesteuert und der Transistor wird über einen Optokoppler angesteuert. Wenn der zweite (Entladung) eingeschaltet wird, wird die Kondensatorbank Potentialladung in die Batterie gewartet, um die Ladung zu erhalten entladen. Die Batterieaufnahme die Ladung wird dann von dem Impulsladegerät Kondensatorbank, um den Zyklus zu wiederholen getrennt. Die Impulsladegerät kann jede geeignete Quelle für Eingangsleistung, einschließlich:
(1) Sonnenkollektoren, die Spannung an der Kondensatorbank zu erhöhen;
(2) eine Windkraftanlage;
(3) ein Gleichstrom-Gleichstrom-Inverter;
(4) einen Wechselstromgenerator;
(5) ein Wechselstrom-Motor-Generator;
(6) ein statischer Quelle wie eine Hochspannungsfunken; und
(7) andere Vorrichtungen, die das Potential der Kondensatorbank auslösen kann.
In einer anderen Ausführungsform der Erfindung kann man das Puls Ladegerät für ein Gerät wie beispielsweise einen Motor oder Heizelement mit Impulsen der Energie.
KURZE BESCHREIBUNG DER ZEICHNUNGEN

Fig.1 ist eine schematische Darstellung eines Festkörperimpulsladegerät gemß einem Ausführungsbeispiel der Erfindung.

Fig.2 ist eine schematische Zeichnung eines herkömmlichen Gleichspannungswandler, der verwendet werden kann, um die Stromversorgung des Impulsladegerät der Fig.1 gemäß einer Ausführungsform der Erfindung bereitzustellen.

Fig.3 ist eine schematische Zeichnung einer herkömmlichen Wechselstromversorgung, die verwendet werden können, um die Stromversorgung des Impulsladegerät der Fig.1 gemäß einer Ausführungsform der Erfindung bereitzustellen.

Fig.4A bis Fig.4D sind schematische Zeichnungen anderer herkömmlicher Stromversorgungen, die verwendet werden können, um die Stromversorgung des Impulsladegerät der Fig.1 gemäß einer Ausführungsform der Erfindung bereitzustellen.

Fig.5 ist ein Blockschaltbild der Festkörper-Puls-Ladegerät aus Fig.1 gemäß einer Ausführungsform der Erfindung.

Fig.6 ist ein Diagramm eines Gleichstrommotors, dass die Impulsladegerät der Fig.1 kann gemäß einer Ausführungsform der Erfindung fahren.

Fig.7 ist ein Diagramm eines Heizelementes, daß das Impulsladegerät der Fig.1 kann gemäß einer Ausführungsform der Erfindung fahren.
DETAILLIERTE
BESCHREIBUNG DER ERFINDUNG
Eine Ausführungsform der vorliegenden Erfindung ist eine Vorrichtung und ein Verfahren für eine Festkörper-Puls-Ladegerät, das eine gespeicherte potentielle Ladung in einer Kondensatorbank verwendet. Die Festkörper-Puls Ladegerät besteht aus einer Kombination von Elementen und Schaltungen zur Abscheidung und Speicherung zur Verfügung stehende Energie in einer Kondensatorbank. Die gespeicherte Energie in den Kondensatoren wird dann in den zu ladenden Batterie Puls laden. In einer Version dieser Ausführungsform gibt es einen ersten momentanen Trennung zwischen dem Ladegerät und der Batterie Empfangen der Ladung in der Ladephase des Zyklus, und einer zweiten momentanen Trennung zwischen dem Ladegerät und der Eingangsenergiequelle während der Entladungsphase des Zyklus .
Als Startpunkt, und ein beliebiges Verfahren in der Beschreibung dieser Vorrichtung und des Verfahrens, die Strömung eines elektrischen Signals oder Strom von der Primäreingangsenergie zur endgültigen Speicherung in der Batterie, der das Pulsladungs nachgeführt.

Fig.1 ist eine schematische Darstellung des Festkörper-Puls-Ladevorrichtung gemäß einer Ausführungsform der Erfindung. Wie in Fig.1 gezeigt, ist die primäre Eingangsenergiequelle mit dem Impulsladegerät ist eine Stromversorgung 11, von denen Beispiele in Fig.2, Fig.3 und Fig.4A bis Fig.4D gezeigt. Ein 12-Volt-Batterie, wie einer Niederspannungsenergiequelle 12 treibt eine Doppelschaltsteuerungsmittel wie etwa ein Logikchip oder einem Pulsweitenmodulator (PWM) 13.
Alternativ kann die Spannung von der Stromversorgung 11 an eine geeignete Stromversorgung, um den PWM 13. Die PWM 13. Mai ein SG3524N Logikchip Spannung an / umgewandelt werden, und die Funktionen als ein Oszillator oder Timer, um eine 2-Kanal-Ausgang mit Antrieb "aus "-Schalter, die, wenn sie auf, um entweder einen ersten optischen Isolator 14, oder alternativ miteinander verbunden sind, um einen zweiten optischen Isolator 15. Die ersten und zweiten optischen Isolatoren 14 und 15 können H11D3 optischen Isolatoren sein. Wenn der Logikchip 13 ist mit einem ersten Kanal verbunden ist, wird von einem zweiten Kanal unterbrochen wird, wodurch sich zwei Phasen der Signalrichtung; Phase 1 wird eine Ladephase und der Phase 2, einer Entladungsphase.
Wenn der Logikchip 13 ist mit der Ladephase eingeschaltet, wird das Signal an den ersten optischen Isolator 14 von dem optischen Isolator 14 fließt, das Signal seiner Strömung durch einen ersten NPN-Leistungstransistor 16, der einen N-Kanal-MOSFET 18a und einem aktiviert weiterhin N-Kanal-MOSFET 18b. Durch die MOSFETs 18a und 18b fließende Strom baut sich eine Spannung über einer Kondensatorbank 20, wodurch der Ladephase des Schaltaktivität abgeschlossen wird.
Die Entladephase beginnt, wenn der Logikchip 13 wird auf den zweiten Kanal umgeschaltet wird, mit Strom zu dem zweiten optischen Isolator 15 und fließt dann durch einen zweiten NPN-Leistungstransistor 17, der einen N-Kanal-MOSFET 19a und einen N-Kanal-MOSFET 19b schaltet. Nach der Logikchip 13 schließt den ersten Kanal und den zweiten Kanal öffnet, das Potential Ladung in der Kondensatorbank 20 ist frei schwimmend zwischen der Stromversorgung 11, von dem die Kondensatorbank 20 ist jetzt abgeschaltet und dann verbunden, um eine Batterie 22 zu erhalten die Ladung. Es ist an diesem Punkt in der Zeit, die das Potential Ladung in der Kondensatorbank 20 wird durch einen Hochenergieimpuls in die Batterie 22 oder eine Bank abgegeben (nicht dargestellt) von Batterien. Die Entladungsphase abgeschlossen ist, wenn die Batterie 22 empfängt die Ladung. Der Logikchip 13 schaltet dann den zweiten Kanal geschlossen und öffnet den ersten Kanal und damit auch den Lade-Entlade-Zyklus. Der Zyklus sich wiederholt mit dem Logikchip 13 steuert die Signalrichtung in einem der Kanäle eine an die Kondensatorbatterie oder an beiden an die Batterie 22 von der Kondensatorbank zu kanalisieren. Die Batterie 22 wird in der Ladephase eine momentane Ruhezeit ohne Dauerstrom gegeben.
Die Komponentenwerte für die beschriebene Ausführungsform sind wie folgt. Die Widerstände 24, 26,. . . 44b haben jeweils die folgenden Werte: 4,7K, 4,7K, 47K, 330, 330, 2K, 47, 47, 0,05 (7W), 0,05 (7W), 2K, 47, 47, 0,05 (7 W) und 0,05 (7W). Das Potentiometer 46 ist 10K, der Kondensator 48 ist 22 mF, und die Gesamtkapazität der Kondensatorbank 20 ist 0.132F. Die Spannung der Batterie 22 ist zwischen 12-24 V und die Spannung der Stromversorgung 11 ist 24-50V, so dass die Versorgungsspannung ungefähr 12-15V höher als die Batteriespannung.
Andere Ausführungsformen der Impulsladegerät in Betracht. Zum Beispiel können die bipolaren Transistoren 16 und 17 mit den Feldeffekttransistoren ersetzt werden, und die Transistoren 18a, 18b, 19a und 19b kann mit bipolaren oder Bipolartransistor mit isoliertem Gate (IGBT) Transistoren ersetzt werden. Ferner kann man die Komponentenwerte ändern, um die Zykluszeit zu verändern, die Spitzenimpulsspannung, die Ladungsmenge, die die Kondensatorbank 20 liefert an die Batterie 22 usw. Darüber hinaus ist die Impulsladegerät kann ein oder mehr als zwei haben, Transistoren 18a und 18b, und eine oder mehr als zwei Transistoren 19a und 19b.
Immer noch mit Bezug auf Fig.1 wird der Betrieb der oben diskutierten Ausführungsform der Impulsladegerät diskutiert. Um die erste Phase des Zyklus, in dem der Kondensatorbank 20 wird aufgeladen beginnt die Logikschaltung 13 deaktiviert den Isolator 15 und aktiviert den Isolator 14. Typischerweise wird die Schaltung 13 konfiguriert ist, um den Isolator 15 vor oder gleichzeitig zu deaktivieren, dass er schaltet den Isolator 14, obwohl die Schaltung 13 konfiguriert sein, um den Isolator 15 zu deaktivieren, nachdem er den Isolator 14 aktiviert.
Als nächstes erzeugt das aktivierte Isolator 14 einen Basisstrom, der den Transistor 16, der seinerseits einen Strom, der den Transistoren 18a und 18b aktiviert, aktiviert wird. Das aktivierte Transistoren 18a und 18b die Kondensatoren in der Bank 20 zu einem Ladespannung gleich oder annähernd gleich der Spannung der Stromversorgung 11 kleiner die niedrigste Schwellenspannung der Transistoren 18a und 18b aufgeladen. Um die zweite Phase des Zyklus, in dem die Kondensatorbank 20 Impuls lädt die Batterie 22, die logische Schaltung 13 deaktiviert den Isolator 14 und aktiviert den Isolator 15. Typischerweise beginnen, wird die Schaltung 13 konfiguriert ist, um den Isolator 14 vor oder bei der Deaktivierung gleichzeitig auf der Aktivierung des Isolators 15, wobei die Schaltung 13 konfiguriert sein, um den Isolator 14 zu deaktivieren, nachdem es den Isolator 15 aktiviert.
Als nächstes wird der aktivierte Isolator 15 erzeugt einen Basisstrom, der den Transistor 17, was wiederum einen Strom erzeugt, daß die Transistoren 19a und 19b aktiviert, aktiviert wird. Das aktivierte Transistoren 19a und 19b Entladung der Kondensatoren in die Bank 20 in die Batterie 22 bis zu der Spannung an der Bank 20 ist, oder ist in etwa gleich der Spannung über der Batterie 22 mit der niedrigsten Schwellenspannung der Transistoren 19a und 19b. Alternativ kann die Schaltung 13 den Isolator 15 zu einem Zeitpunkt zu deaktivieren, bevor die Bank 20 dieses Niveau der Entladung erreicht. Weil die Widerstände der Transistoren 19a und 19b, den Widerständen 44a und 44b und der Batterie 22 relativ gering sind, um die Kondensatoren in der Bank 20 Entladungs ziemlich schnell, wodurch die Bereitstellung eines Stromimpulses die Batterie 22 zu, wo aufzuladen das Impulsladegerät umfasst Komponenten mit den oben aufgeführten Werte, die Bank 20 liefert ein Strompuls mit einer Dauer von ca. 100 ms und einen Spitzenwert von etwa 250 A.

Fig.2 ist eine schematische Zeichnung eines herkömmlichen Gleichstrom-zu-Gleichstrom-Wandler 30, die als die Stromversorgung 11 der Fig.1 gemäß einer Ausführungsform der Erfindung verwendet werden kann. Ein Gleichspannungswandler wandelt eine niedrige Gleichspannung in eine höhere Gleichspannung oder umgekehrt. Daher kann ein solcher Wandler eine niedrige Spannung in eine höhere Spannung, die der Impulsladegerät der Fig.1 verwenden kann, um die Kondensatorbank 20 (Fig.1) zu laden konvertieren. Genauer gesagt, die Wandler 30 empfängt Energie von einer Quelle 31 wie beispielsweise eine 12-Volt-Batterie. Optischer Isolator Sensor 33 steuert einen NPN-Leistungstransistor, der an eine Primärwicklung 36 eines Leistungstransformators 32. Ein Logik-Chip oder Pulsbreitenmodulator (PWM) 34 abwechselnd ein- und ausgeschaltet wird eine IRF260 ersten N-Kanal-MOSFET 35a und einen Strom liefert ein IRF260 zweiten N-Kanal-MOSFET-35b, so dass, wenn der MOSFET 35a ist auf der MOSFET 35b ausgeschaltet ist und umgekehrt. Folglich ist die Schalt-MOSFETs 35a und 35b entsprechenden Abschnitte der Primärspule 36 anzutreiben, um eine Ausgangsspannung über eine Sekundärspule 38. Ein Vollwellen-Brückengleichrichter 39 erzeugt eine Gleichrichtung der Spannung über die Sekundärspule 38, und dies gleichgerichtete Spannung wird bereitgestellt das Impulsladegerät von Fig.1. Weiterhin kann die Sekundärspule 38 abgegriffen werden, um eine niedrigere Spannung für den PWM 13 von Fig.1 bereitzustellen, so dass der Gleichspannungswandler 30 als auch das Netzteil 11 und der Niederspannungsversorgung 12 von Fig.1 verwendet werden 0,1.

Fig.3 ist eine schematische Zeichnung einer Wechselstromversorgung 40, die als sowohl der Stromversorgung 11 und der Stromversorgung 12 der Fig.1 gemäß einer Ausführungsform der Erfindung verwendet werden kann. Die Stromaufnahme 42 an die Versorgungs 40 120 V Wechselstrom. Ein erster Transformator 44 und Vollweggleichrichter 46 bilden den Versorgung 11, und einen zweiten Transformator 48, Vollweggleichrichter 50 und die Spannungsregler 52 bilden den Versorgung 12.
Fig.4A bis Fig.4D sind schematische Zeichnungen verschiedener herkömmlicher Primärenergieeingangsquellen, die als Versorgungs 11 und / oder der Versorgungs 12 der Fig.1 gemäß einer Ausführungsform der Erfindung verwendet werden kann. Fig.4A ist eine schematische Zeichnung der in Reihe geschalteten Batterien. Fig.4B ist eine schematische Darstellung von seriell gekoppelten Solarzellen. Fig.4C ist eine schematische Darstellung eines Wechselstromgenerators und Fig.4D ist eine schematische Zeichnung von einem Gleichstrom-Generator.

Fig.5 ist ein Blockschaltbild der Festkörper-Puls-Ladegerät aus Fig.1 gemäß einer Ausführungsform der Erfindung. Block A ist die Stromversorgung 11, die jede geeignete Stromversorgung, wie sie in Fig.2, Fig.3 und Fig.4A bis Fig.4D gezeigt werden. Block B ist die Stromversorgung 12, die jede geeignete Energieversorgung wie beispielsweise ein 12 V Gleichspannungsversorgung oder der in Fig.3 gezeigten Versorgung sein kann. Block C ist der PWM 13 und seiner peripheren Komponenten. Block D ist der Ladeschalter, der den ersten optischen Isolator-Chip 14, der erste NPN-Leistungstransistor 16, den ersten Satz von zwei N-Kanal-MOSFETs 18a und 18b und ihrer Randwiderständen umfasst. Block E ist die Kondensatorbank 20. Block F ist die Entladungsschalter, der den zweiten optischen Isolator-Chip 15, der zweite NPN-Leistungstransistor 17, den zweiten Satz von zwei N-Kanal-MOSFETs 19a und 19b, und ihre peripheren Widerstände umfasst. Block G ist die Batterie oder Batteriebank 22, die als Puls geladen ist.
Ein einzigartiges Merkmal, das eine Ausführungsform des vorstehend beschriebenen, aus herkömmlichen Ladegeräten Impulsladegerät unterscheidet, ist das Verfahren das Laden der Batterie mit Stromimpulsen anstatt mit einem kontinuierlichen Strom. Folglich wird die Batterie eine Rücksetzperiode zwischen Impulsen gegebenen.
Fig.6 ist ein Diagramm eines Gleichstrommotors 60, daß die Impulsladegerät der Fig.1 kann gemäß einer Ausführungsform der Erfindung antreiben. Genauer gesagt, kann man den Motor 60 anstelle der Batterie 22 (Fig.1), so daß das Impulsladegerät treibt den Motor mit Stromimpulsen zu verbinden. Obwohl man nicht notwendigerweise die Impulsladegerät modifizieren, um den Motor 60 anzutreiben, kann man sie modifizieren, um sie effizienter zum Antreiben des Motors. Beispielsweise kann man die Werte der Widerstände der Peripherie des PWM 13 (Fig.1) zu modifizieren, um die Breite und die Spitze der Antriebsimpulse von der Kondensatorbank 20 (Fig.1) zu variieren.
Fig.7 ist ein Diagramm eines Heizelements 70, wie beispielsweise einem Trockner oder Wasser-Heizelement, dass das Impulsladegerät der Fig.1 kann gemäß einer Ausführungsform der Erfindung antreiben. Genauer gesagt, kann man das Heizelement 70 anstelle der Batterie 22 (Fig.1), so daß das Impulsladegerät treibt das Element mit Stromimpulsen zu verbinden. Obwohl man muss nicht den Puls-Ladegerät zu modifizieren, um das Element 70 zu fahren, kann man es ändern, um sie effizienter für den Antrieb des Elements. Beispielsweise kann man die Werte der Widerstände der Peripherie des PWM 13 (Fig.1) zu modifizieren, um die Breite und die Spitze der Antriebsimpulse von der Kondensatorbank 20 (Fig.1) zu variieren.
In den oben diskutierten Ausführungsformen werden bestimmte elektronische Elemente und Komponenten verwendet. Es ist jedoch bekannt, dass eine Vielfalt von verfügbaren Transistoren, Widerstände, Kondensatoren, Transformatoren, Steuerkomponenten, optische Isolatoren, Pulsbreitenmodulatoren, MOSFETs und anderen elektronischen Komponenten können in einer Vielzahl von Kombinationen verwendet, um ein entsprechendes Ergebnis zu erzielen.
Hinweise:
Die folgende Information ist nicht Teil des Johannes Patent. Es ist Information bestimmt hilfreich sein, aber da es nicht von John kommt es zu berücksichtigen, um Meinung und nicht die Tatsache angesehen werden. In der obigen Darstellung ist die SG3524N integrierten Schaltkreis wahrscheinlich nicht vertraut zu sein, viele Leser und eine Untersuchung der technischen Information nicht klar, welche Pinbelegung ist im Johanneskreis verwendet werden. Die folgenden Stiftverbindungen werden geglaubt, um korrekt zu sein, aber kann nicht garantiert werden.

Neben diesen SG3524N Stiftverbindungen, wird vorgeschlagen, dass die Pins 1, 4 und 5 verbunden sein, um statt nur Stift 8 gemahlen, und das einen 100-nF-Kondensator vom Stift 9 mit Masse verbunden sein. Pins 3 und 10 sind nicht angeschlossen. Die Pinbelegung für den Chip sind:
