Demande de
brevet EP0405919 1 février
1991 Inventeur : Juan C. Aguero
SYSTÈME DE
PROPULSION EAU MOTEUR À COMBUSTION INTERNE
S'il vous plaît noter
que ceci est un extrait reformulé de cette demande de brevet. Il décrit un
procédé selon lequel il est capable de faire fonctionner un moteur à combustion
interne à partir d'un mélange de vapeur et de gaz d'hydrogène.
RÉSUMÉ
Il s'agit d'un système
de transformation d'énergie destiné à entraîner, par exemple, un moteur à
combustion interne qui utilise le gaz d'hydrogène comme combustible. Le gaz est obtenu par électrolyse de l'eau à
bord et est ensuite injecté dans les chambres de combustion. L'électrolyse est effectuée dans une cuve
d'électrolyse 15, alimenté en courant électrique généré par le
moteur. L'hydrogène passe à partir d'un
réservoir 23, via le collecteur cylindre 29, à un dispositif du
carburateur 39. L'hydrogène est
ensuite introduite dans le moteur avec de la vapeur saturée sèche, et au moins une
partie de l'hydrogène peut être chauffé 51 avant l'admission. Une combustion plus frais et plus contrôlée est réalisée avec de la
vapeur et en outre relativement plus faibles quantités d'hydrogène sont
nécessaires. Ceci est probablement
dû à la vapeur d'eau qui agit comme un modérateur de température lors de
l'admission et la combustion de l'hydrogène et de l'expansion en outre au cours
de la course de détente.
DOMAINE DE
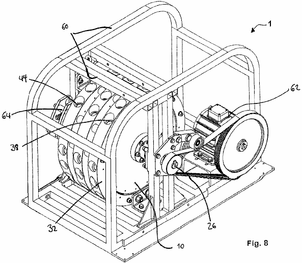
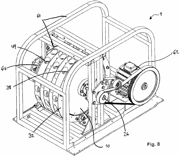
L'INVENTION
La présente invention
se rapporte à des systèmes convertisseurs d'énergie, en particulier en rapport
avec un moteur à combustion interne alimenté au gaz d'hydrogène, c'est à dire
dans lequel le propulseur principal admis dans les chambres de combustion est
de l'hydrogène. Plus particulièrement
encore, la présente invention concerne un procédé et des moyens pour obtenir de
l'hydrogène gazeux de manière efficace et relativement économique, et pour
fournir le gaz à la chambre de combustion dans des conditions d'allumage
commandé et la conversion optimale de l'énergie. La présente invention se rapporte également à
des moyens et un procédé pour faire fonctionner un système de moteur à
combustion interne à partir d'un atome d'hydrogène disponible, pas cher et non
contaminant contenant une matière comme de l'eau comme source de combustible.
En général, l'invention peut trouver une
application dans tout système employant des principes à combustion interne,
allant de grandes installations telles que l'électricité fonctionne à
relativement systèmes automobiles plus petites comme des locomotives, des
camions, des automobiles, des bateaux et des bateaux à moteur. Dans la description qui suit, l'invention est
décrite en général pour des applications dans le domaine automobile, mais son
adaptation et son application dans d'autres domaines peuvent également être
considérés comme entrant dans le cadre de la présente invention.
CONTEXTE
La raréfaction des ressources naturelles,
les niveaux de contamination dangereuses, la hausse des prix et de la
dépendance fiables sur d'autres pays font qu'il est de plus en plus nécessaire
de rechercher une alternative aux combustibles fossiles comme le pétrole
(hydrocarbures) et des dérivés du pétrole comme source d'énergie primaire dans
les automobiles. À ce jour, aucune des
tentatives de solutions de rechange semble avoir fait ses preuves comme un
substitut à l'essence, soit parce que d'inconvénients inhérents à la
contamination que, la sécurité, le coût, etc, ou parce que l'homme n'a pas
encore été en mesure de trouver un moyen pratique d'appliquer les formes
d'énergies alternatives aux voitures domestiques à moteur.
Par exemple,
l'électricité est une bonne alternative au sens écologique, à la fois
chimiquement et acoustique, mais il semble être la forme la moins efficace de
l'énergie connu, qui, avec le coût élevé de la fabrication de moteurs
électriques et les limites de stockage graves dans la mesure où la capacité et
taille ont cessé de se manifester sur le marché au moins pour le moment. La même chose est vrai en général, même si
l'énergie solaire est concerné.
L'énergie nucléaire est efficace, disponible et relativement pas cher, mais
extrêmement périlleuse. Les carburants
de synthèse peuvent certainement être la réponse à l'avenir, mais il semble
qu'aucun assez pratique ont été développés.
L'utilisation de gaz comme le méthane ou le propane, ou de l'alcool de
canne à sucre, a également été essayé, mais pour une raison ou une autre de sa
commercialisation a été limitée à de petites régions. Méthanol par exemple est un carburant de
synthèse prometteuse, mais il est extrêmement difficile à allumer par temps
froid et a une faible teneur en énergie (environ la moitié de celui de
l'essence).
L'utilisation du gaz
d'hydrogène comme substitut à l'essence a été expérimenté ces derniers
temps. La chimie chercheur Derek P.
Gregory est cité comme croire que l'hydrogène est le combustible idéal non
seulement dans un sens. Combustion de
l'hydrogène produit de la vapeur comme seul résidu, un avantage décisif sur la
contamination des carburants classiques comme l'essence et le charbon. Malheureusement, l'hydrogène existe à peine
sur la terre sous sa forme libre naturel mais seulement combiné à des composés
chimiques, à partir de laquelle il doit être extrait en utilisant des procédés
industriels complexes, coûteux et souvent dangereux. En outre, si cet obstacle a été surmonté, il
serait encore nécessaire pour transporter et stocker l'hydrogène dans les
stations-service et de trouver ailleurs un moyen sûr et pratique de chargement
et de stockage dans les véhicules à moteur.
Mercedes-Benz pour une expérimente un véhicule équipé d'un réservoir
spécial pour le stockage de l'hydrogène gazeux et des moyens pour fournir du
gaz au système d'injection, à la place du réservoir d'essence classique et
circuit, sans toutefois encore atteindre un degré satisfaisant de sécurité et
de coût -Efficacité. L'utilisation du
gaz d'hydrogène sec comme un propulseur a jusqu'ici été trouvé pour produire
une inflammation généralement incontrôlée, une grande hausse d'excursion de température
qui se sont révélées trop destructeur pour les parois de la chambre. La durée de vie du moteur a été limitée à
moins de 10.000 km (environ 6.000 miles).
DESCRIPTION DE
L'INVENTION
L'invention est basée
sur la découverte d'un système d'énergie du convertisseur pour faire
fonctionner un moteur à combustion interne et en particulier est basée sur la
découverte d'une méthode et un moyen pour de façon fiable, économique, sans
risque et proprement carburant d'un moteur à combustion interne avec de l'hydrogène,
et l'obtention de l'l'hydrogène sous une forme utilisable à cet effet d'une
substance pas cher et disponible en abondance comme l'eau. L'hydrogène peut être produit dans des conditions optimales pour être
introduit dans le moteur.
Selon l'invention, l'hydrogène est obtenu à
bord d'une source facilement disponible hydrogéné tel que l'eau ionisée qui est
soumise à une électrolyse, d'où l'hydrogène est injecté dans chaque cylindre du
moteur pendant la course d'admission.
L'hydrogène gazeux est mélangé avec de la vapeur d'eau (vapeur d'eau à
la température atmosphérique) et l'air ambiant, et lorsque ce mélange est
allumé à l'intérieur de la chambre de combustion, la vapeur d'eau (vapeur)
semble agir comme un modérateur de température en premier et ensuite aider à la
course de détente. De préférence, la
vapeur est de la vapeur sèche saturée qui, en tant que modérateur, limite la
température maximale de la combustion, contribuant ainsi à préserver les
éléments cylindres, soupapes et pistons; et pour aider à l'expansion, la vapeur
se dilate rapidement pour contribuer pression supplémentaire sur la tête de
piston, ce qui augmente la puissance de sortie mécanique du moteur. En d'autres termes, l'inclusion de la vapeur
d'eau dans le gaz propulseur de l'hydrogène tel que suggéré par la présente
invention atténue les effets négatifs de l'hydrogène et améliore les effets
positifs de celui-ci dans le cycle de combustion.
A la suite de cette
découverte, la quantité d'hydrogène nécessaire pour entraîner le moteur est
plus faible que ce qui était prévu jusqu'à présent, d'où l'électrolyse n'est
pas nécessaire de produire plus de 10 cm / s (par exemple, pour un moteur de
1400 cc). Ainsi, la quantité
d'électricité nécessaire à l'électrolyse, une pierre d'achoppement dans les
tentatives antérieures, est plus faible, si bien que le bord production
d'hydrogène est désormais possible.
L'invention concerne un
appareil comprenant un premier système de génération d'hydrogène et un second
système pour le conditionnement et la fourniture de l'hydrogène pour les
soupapes d'admission sur les bouchons des bouteilles. Le système de génération d'hydrogène est
constitué essentiellement d'un dispositif d'électrolyse qui reçoit electrolitically
adapté eau (c'est à dire au moins partiellement ionisé) ou une autre substance
contenant de l'hydrogène approprié. Une
alimentation électrique est relié aux électrodes du dispositif d'électrolyse
pour produire de l'hydrogène, et les exigences en matière d'électricité et les
dimensions de l'appareil sont conçus pour un débit d'hydrogène de sortie
maximale d'environ 10 cm / sec pour une application automobile typique.
Le second système comprend des moyens tels qu'une pompe à vide ou similaire
pour attirer l'hydrogène à partir du premier système, un moyen pour fournir le
gaz d'hydrogène pour les soupapes d'admission, des moyens pour conditionner la
teneur en humidité de l'hydrogène, un carburateur moyens ou analogue pour le
mélange de l'hydrogène avec de l'air atmosphérique ou tout autre substance
permettant la combustion, et des moyens pour contrôler et maintenir une valve
de pression du gaz ou de la gamme spécifiée pour l'hydrogène fourni au moyen de
mélange.
L'appareil a été testé
et a travaillé étonnamment bien. Il a
été découvert que cela semble être le résultat de la teneur en vapeur d'eau
dans le gaz d'hydrogène électrolytique surmonter les inconvénients rencontrés
dans les systèmes de l'art antérieur qui injecte un gaz relativement sec dans
les chambres de cylindres, ou tout au plus avec une relativement faible
proportion de l'humidité venant de l'air lui-même.
Dans le mode de
réalisation préféré, le système d'électrolyse est commandé par un signal pulsé
de courant continu de jusqu'à 80 Ampères à entre 75 et 100 Volts. L'électrolyte est distillé avec de l'eau
salée de chlorure de sodium à une concentration d'environ 30 grammes de sel par
litre d'eau, 150 grammes de sel dans 10 litres d'eau. D'autres concentrations sont possibles en
fonction du type de moteur, le carburant et la consommation d'électricité, etc
Le taux maximum de production d'hydrogène nécessaire pour un moteur de voiture
familiale typique a été estimé à 10 cc / sec.
Cet hydrogène est extrait par une pompe générant une tête de l'ordre de
2 kg / cm 2 de pression pour alimenter l'hydrogène contenant de la vapeur d'eau
générée à un récipient muni d'un moyen pour éliminer l'excès non désiré de
l'humidité du gaz. Le gaz est ainsi
mélangé avec le contenu désiré de vapeur quand il pénètre dans le dispositif du
carburateur ou du mélange.
Dans le cas où
l'hydrogène produit ne possède pas de teneur en vapeur d'eau suffisante, de la
vapeur saturée sèche peut être ajouté à l'hydrogène à mesure qu'il avance vers
le moteur. Ceci peut commodément effectuée, avant son
entrée dans le carburateur et est mélangé avec l'air d'admission. Une partie du gaz peut être shunté au moyen
d'un serpentin échangeur de chaleur raccordé à la tubulure d'échappement. Ce chauffe une partie du gaz avant qu'il ne
soit injecté dans la base du carburateur.
Cette injection de gaz chauffé fonctionne comme un compresseur. Le courant d'hydrogène non chauffée principal
est acheminé directement dans le système de venturi du carburateur, où il se
mélange avec l'air aspiré par le vide de la course d'admission.
BREVE DESCRIPTION DES DESSINS
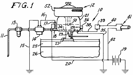
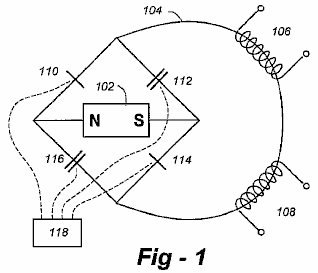
Fig.1 est une disposition schématique des premier et second systèmes et
représente le dispositif d'électrolyse pour l'obtention d'un atome d'hydrogène,
et les moyens de circuit pour injecter l'hydrogène chargé en vapeur dans les
chambres de combustion d'un moteur d'automobile, selon une forme de réalisation
de la présente invention.

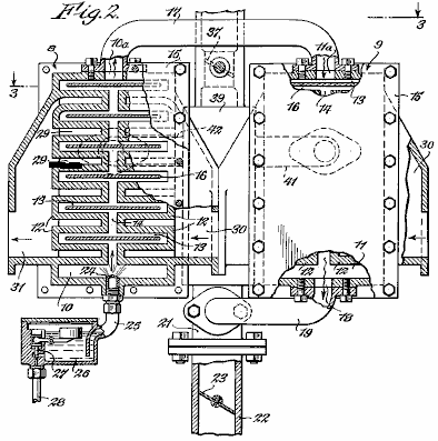
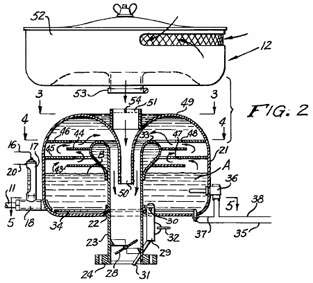
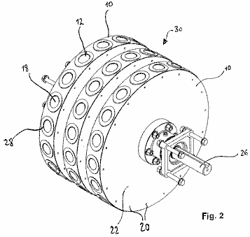
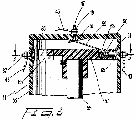
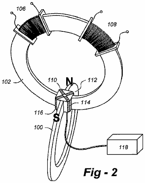
Fig.2 est une vue en élévation du dispositif d'électrolyse de la Fig.1.

COMPTE
RENDU DÉTAILLÉ DE L'INCARNATION
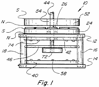
Fig.1 montre un système 11 pour obtenir de l'eau avant de l'hydrogène
d'ambiance à partir d'un réservoir ou réservoir (non représenté) à une entrée 13
d'une cellule d'électrolyse 15.
L'eau est salé par addition de chlorure de sodium à ioniser et activer
l'électrolyse lorsque l'alimentation électrique est appliquée à un 17
paire de bornes. Comme décrit plus en
détail par la suite, la puissance appliquée aux bornes 17 est sous la
forme d'un signal d'impulsion de courant continu 65 ampères à 87 volts, générée
par un convertisseur approprié à partir de, dans le cas où le système est
présent appliquée à une automobile, le niveau volt CC norme automobile 12. Le dispositif 15 comporte plusieurs sorties,
dont l'une est la sortie de gaz d'hydrogène 19 qui est relié par
l'intermédiaire d'une électrovanne 21 à un accumulateur ou un réservoir
cylindrique 23. D'autres sorties
de l'appareil d'electrolyse 15 sont pour l'élimination des effluents
d'électrolyse telle que l'hydroxyde de sodium et de chlore gaz, à laquelle il
est fait référence plus loin ci-dessous.
Une pompe à vide 25 ou
similaire, des extraits du gaz à partir du réservoir 23 et l'achemine à
travers un système de circuit d'hydrogène 27. Ainsi, le réservoir 23 agit comme un
tampon de pression d'une interface de système entre le dispositif d'électrolyse
15 et la pompe 25, le réservoir 23 mai une capacité de
2000 ml, d'un cylindre en acier inoxydable avec la valve 21 de dosage du
passage de gaz à travers elle, de sorte que le réservoir est initialement
remplie avec environ 1500 ml d'hydrogène sous pression normale et température
(TNP) conditions. A cette fin, le
cylindre 23 peut être pourvu d'une jauge de 28V qui commande l'état de
la vanne électronique 21. Vanne 21
peut être une électrovanne Jefferson Modèle SPS, disponible à partir de
OTASI, Santa Rosa 556, Córdoba, en Argentine.
La pompe à vide 25 est une pompe à diaphragme avec une poulie
d'entraînement et il est couplé par l'intermédiaire d'une courroie de
transmission à la sortie du vilebrequin du moteur. Un tel dispositif 25 peut être un
modèle Bosch disponible en Allemagne. La
poulie d'entraînement est découplé par un embrayage électromagnétique lorsque
la pression lue par une jauge de 28P vissée dans le côté de sortie de la
pompe 25 est supérieure à 2 kg / m². cm.
Pompe 25 envoie
de l'hydrogène à travers un tube 26, qui comprend également un by-pass 24
prévue à des fins de contrôle et de sécurité avec une vanne à deux voies 28,
et dans un second cylindre 29 qui comporte des moyens 31 qui
provoquent une turbulence ou un mouvement labyrinthique dans le gaz, afin de
condenser le mélange lourde, représentée schématiquement sous forme de
gouttelettes 32, présent dans le courant de gaz. Le mélange condensé recueille sous la forme
d'eau distillée, 33 au fond de cylindre 29. Près de la partie supérieure du cylindre, il
existe un orifice de sortie 35 à travers lequel de l'hydrogène gazeux,
chargé avec une bonne quantité de vapeur, est transportée au mélangeur 37 également
à la partie supérieure du cylindre collecteur 29, il existe un capteur
de température 38 qui est relié à un circuit électronique d'un
thermomètre numérique (non représenté).
Mixer 37 comprend
un dispositif de carburateur 39 de mélange de l'hydrogène avec de l'air
avant l'introduction du mélange dans les chambres de combustion. L'hydrogène est acheminé à travers un tube 41 de 9 mm diamètre du cylindre
sécheur 29 et ensuite dans la section de venturi 43 du
carburateur 39 par l'intermédiaire d'une paire de 5/16 pouces de
diamètre des tubes ou des buses d'injection d'hydrogène 45. La section de venturi 43 est un
section du passage d'air d'admission qui se rétrécit à augmenter la vitesse de
l'air à l'endroit où l'hydrogène est retiré pour le mélange. L'apport de venturi 42 peut être
couvert par un maillage 46. Toutefois,
il semble que pas de filtre à air est nécessaire pour le mélangeur à bien
fonctionner. Le dispositif de
carburateur 39 peut être une forme simplifiée d'un carburateur
conventionnel, étant donné que le gaz propulseur, c'est à dire de l'hydrogène gazeux,
est introduit directement dans le venturi 43. Un robinet à papillon ou analogue, relié à
une pédale d'accélérateur (non représentée) du moteur-voiture, commande le
débit d'admission d'air et donc la vitesse du moteur. Ce dispositif mélangeur 39 est monté
comme un carburateur conventionnel, de telle sorte que son orifice de sortie au
fond communique avec les soupapes d'admission dans les bouchons de bouteilles.
A la partie inférieure
du carburateur, il ya un apport supplémentaire d'hydrogène 47 reliée à
un autre tuyau 9 mm de diamètre 49 qui shunte une partie de l'hydrogène
à travers un réchauffeur 51. Cet
appareil de chauffage comprend un serpentin 51 d'un alliage de chrome /
cobalt, monté en étroite relation d'échange thermique avec le corps du collecteur
d'échappement 50 (représenté schématiquement) pour ajouter une partie du
gaz chauffé pour le mélange de carburant avant qu'il ne soit aspiré dans les
chambres de combustion par l'intermédiaire des soupapes d'admission
correspondantes sur les bouchons des bouteilles. Cette pré-admission étape de chauffage, le
mélange prend de l'hydrogène à une température proche de critique de
détonation. Il a été trouvé que cela
améliore la performance (par exemple la douceur du moteur) à des plages de
vitesses, et il fonctionne comme un compresseur.
Dans la pratique, le
moteur de la présente invention a montré une efficacité élevée pour
l'utilisation de trois électrodes des bougies d'allumage et un système
d'allumage électronique (non représenté).
Fig.2 montre la cellule d'électrolyse 15 décrite dans la Fig.1
plus en détail. Il est constitué d'un réservoir de prisme rectangulaire 53 avec
une paire d'électrodes verticales espacées 55. Le réservoir peut mesurer, par exemple, 24 cm
de long par 20 cm de largeur et 28 cm de hauteur. L'anode et la cathode 55 peuvent
comprendre des électrodes de chaque doubles carbone ayant un espacement entre
les électrodes 55 de la même polarité d'environ 10 cm. En variante,
l'anode 55A peut être une bague en carbone tandis que la cathode est de
55 C d'une électrode de fer à mailles cylindrique . Chaque électrode 55 comporte
une borne 57 à la partie supérieure pour l'entrée de puissance
électrique tel que mentionné précédemment.
Lors de chaque côté extérieur des électrodes 55, il est 59 une
membrane poreuse constituée d'une feuille de amianto (amiante) pour maintenir
la solution dans de l'eau 61 tout en laissant en même temps les produits
de l'électrolyse, à savoir l'hydrogène et l'oxygène, passer à travers. Ainsi, le gaz d'hydrogène passe à travers la
membrane 59 dans une chambre collectrice de gaz 56 et sort à
travers la conduite 19 pour alimenter le moteur à combustion. Le tuyau d'hydrogène 19 mai avoir une
soupape de dosage 62 pour régler le débit de l'hydrogène. L'oxygène d'autre part, peut être évacué dans
l'atmosphère à travers un orifice de sortie 63.
Il s'agit d'un élément
chauffant 64, immergé dans l'eau salée 61 alimenté à travers une
résistance reliée à une alimentation de 12 volts en courant continu. Ce chauffe l'eau à environ 85 degrés C (185
degrés F) pour renforcer l'action galvanique du courant d'électrolyse de la
solution aqueuse 61. Un
thermostat d'un capteur thermique solide de silicium à l'état peut être utilisé
pour contrôler la température de l'eau par l'intermédiaire d'un comparateur de
seuil la conduite d'un relais qui commande le courant dans l'élément chauffant 64.
L'électrolyse de la
solution d'eau salée chauffée 61 produit en outre, comme les effluents,
les gaz de chlore (Cl2) et d'hydroxyde de sodium (NaOH). Le chlore gazeux peut
être évacué à travers une ouverture 65 dans la partie supérieure du
réservoir 53 ou bien stockée dans un réservoir de stockage approprié
(non représenté). L'hydroxyde de sodium
précipite et peut être enlevé périodiquement par une vanne 67 à la
partie inférieure de la cellule d'électrolyse.
Il est important de
noter que la pratique de la présente invention ne nécessite pratiquement pas de
modifications dans le moteur lui-même.
C'est-à-dire les moteurs à essence existants peuvent être utilisés avec
pratiquement tous les ajustements.
L'allumage est déclenché à la mort haut de la course de compression ou
avec un décalage de 1,5 degré au plus, et il a été trouvé commode d'élargir les
lacunes de l'admission et soupapes d'échappement et en utilisant des poussoirs
tri-électrodes des bougies d'allumage.
Toutefois, il est conseillé d'utiliser un certain composé résistant à la
rouille tels que les plastiques pour le tuyau d'échappement et silencieux, en
gardant à l'esprit que le résidu de combustion est de la vapeur chaude.
Fig.1 montre
également de façon schématique, le bloc d'alimentation électrique 71 connecté
aux bornes 17 du cube 15.
Le courant électrique est obtenue à 12 volts CC à partir de la batterie
de la voiture système / alternateur 73 et traitées par un dispositif
inverseur 75 pour produire des impulsions de courant continu 65 ampères
à 87 volts. Pulse excitation de
l'électrolyse apparaît à maximiser le rapport de la vitesse de sortie de
l'hydrogène à l'entrée d'alimentation électrique.
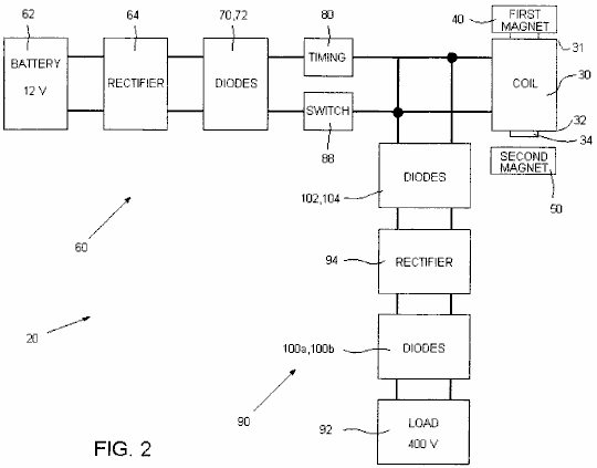
Brevet US 3,980,053 14 Septembre 1976 Inventeur: Stephen Horvath
APPAREIL D'ALIMENTATION EN
CARBURANT POUR
LES MOTEURS A COMBUSTION
INTERNE
S'il
vous plaît noter que ceci est un extrait reformulé de ce brevet qui décrit la
procédure dissociation de l'eau de Stephen Horvath.
RÉSUMÉ
Dispositif d'alimentation en combustible génère de
l'hydrogène et de l'oxygène par électrolyse de l'eau. L'invention concerne une cellule
d'électrolyse qui présente une anode circulaire entourée par une cathode avec
une membrane poreuse entre eux. L'anode
est cannelée et la cathode est fendue pour fournir des zones anodiques et
cathodiques de la zone de surface sensiblement égale. Un courant électrique pulsé est prévue entre
l'anode et la cathode pour la production efficace de l'hydrogène et de
l'oxygène.
La cellule électrolytique est munie d'un flotteur,
qui détecte le niveau d'électrolyte dans la cellule, et l'eau est ajoutée à la
cellule en fonction des besoins pour remplacer l'eau perdue dans le processus
d'électrolyse. L'hydrogène et l'oxygène
sont prélevés dans des chambres qui font partie intégrante de la cellule
électrolytique, et ces deux gaz sont alimentés à une chambre de mélange où ils
sont mélangés dans le rapport de deux parties d'hydrogène pour une partie
d'oxygène. Ce mélange d'hydrogène et de
l'oxygène s'écoule à une autre chambre de mélange où il est mélangé à l'air de
l'atmosphère.
Le système est décrit comme, premiers mètres étant installé
dans une voiture, et un système à double commande, qui est actionnée par le
papillon des gaz du véhicule le mélange d'hydrogène et d'oxygène dans la
chambre dans laquelle il est combiné avec l'air et ensuite mètres du mélange
combiné dans la voiture moteur. La
chaleur de combustion d'un mélange d'hydrogène et de l'oxygène pur est
supérieure à celle d'un mélange d'essence et d'air de volume comparable, et de
l'air est donc mélangé avec l'hydrogène et l'oxygène pour produire un mélange
composite qui a une chaleur de combustion voisine de celle d'un mélange gaz-air
normal. Ce mélange composite de l'air,
de l'hydrogène et de l'oxygène peut ensuite être fourni directement à un moteur
classique à combustion interne sans surchauffe et sans création d'un vide dans
le système.
ARRIERE-PLAN DE L'INVENTION
La présente invention concerne des moteurs à
combustion interne. Plus
particulièrement, elle concerne un appareil d'alimentation en carburant au
moyen de laquelle un moteur à combustion interne peut être exécuté sur un
carburant composé d'hydrogène et d'oxygène des gaz générés à la demande par
électrolyse de l'eau.
Dans l'électrolyse d'une différence de potentiel
est appliquée entre une anode et une cathode en contact avec un conducteur
électrolytique pour produire un courant électrique à travers le conducteur
électrolytique. De nombreux sels et
hydroxydes fondus sont des conducteurs électrolytiques mais habituellement le
conducteur est une solution d'une substance qui se dissocie dans la solution
pour former des ions. Le terme "
electrolyte " est utilisé ici pour désigner une substance qui se dissocie
en ions, au moins dans une certaine mesure, lorsqu'elle est dissoute dans un
solvant approprié. La solution
résultante est appelée une " solution d'électrolyte ".
Les lois de Faraday de l'électrolyse prévoient que
dans tout processus d'électrolyse la masse de substance libérée à une anode ou
cathode est en conformité avec la formule :
m = z q
où
m est la masse de substance libérée en grammes,
z est l'équivalent électrochimique de la substance,
et
q est la quantité d'électricité transmis, en
coulombs.
Une conséquence importante de lois de Faraday est
que le taux de décomposition de l'électrolyte est fonction du courant et est
indépendante de la tension. Par exemple,
dans un procédé d'électrolyse classique dans lequel circule un ampère de
courant constant I à T secondes, q = Il et la masse de matériau déposée ou
dissous dépendra I indépendamment de la tension, à la condition que la
tension dépasse le minimum nécessaire pour l'électrolyse de procéder. Pour la plupart des électrolytes, la tension
minimum est très faible.
Il n'y a eu des propositions antérieures pour faire
fonctionner les moteurs à combustion interne avec un carburant composé
d'hydrogène gazeux. Des exemples de ces
propositions sont décrits dans les brevets US. Nos. 1.275.481, 2.183.674 et
3.471.274 et les spécifications britanniques n °. 353570 et 364179. Il a en outre été proposé de dériver à
partir de l'hydrogène électrolyse de l'eau, comme exemplifié par le brevet US. N ° 1380183. Cependant, aucune des constructions de l'art
antérieur n'est capable de produire de l'hydrogène à une vitesse telle qu'il
peut être introduit directement dans les moteurs à combustion interne sans stockage
intermédiaire. La présente invention
permet un combustible constitué de gaz d'hydrogène et d'oxygène à être généré
par l'électrolyse de l'eau à une vitesse telle qu'il peut supporter le
fonctionnement d'un moteur à combustion interne. On obtient ce résultat par l'utilisation d'un
procédé d'électrolyse perfectionné du type généralement proposé dans la demande
initiale des présentes.
Comme
décrit dans ma demande initiale précitée l'art antérieur montre également des
réactions électrolytiques employant CC ou CA rectifié qui sera nécessairement
avoir une composante d'ondulation; un exemple du premier cas est illustré par
exemple dans le brevet US Kilgus. N ° 2016442 et un exemple de celui-ci étant
représenté sur la Emich al. Le brevet
des Etats-Unis. N ° 3485742. On notera
que la Kilgus brevet décrit également l'application d'un champ magnétique pour
son électrolyte, lequel champ est dit à augmenter la production de gaz au
niveau des deux électrodes.
RESUME DE L'INVENTION
Le dispositif de l'invention s'applique à un
courant pulsé d'une solution électrolytique d'un électrolyte dans l'eau. En particulier, il permet des impulsions
élevées de la valeur de courant relativement élevé et de manière appropriée à
basse tension qui seront générés dans la solution d'électrolyte par une
alimentation d'entrée directe pour produire un rendement de produits de
l'électrolyse de telle sorte que ces produits peuvent être introduits
directement dans le moteur à combustion interne. Le courant pulsé généré par le dispositif de
la présente invention est à distinguer des variations normales qui se
produisent dans la rectification du courant alternatif et, comme ci-après a
employé le terme de courant pulsé sera pris comme signifiant de courant ayant
un rapport cyclique de moins de 0,5.
C'est un objet spécifique de la présente invention
est de fournir un appareil d'alimentation en carburant pour un moteur à
combustion interne par lequel les gaz hydrogène et oxygène générés par
l'électrolyse de l'eau sont mélangés ensemble et alimentés directement vers le
moteur à combustion interne.
Un autre objet encore de l'invention est de
fournir, pour une utilisation avec un moteur à combustion interne ayant des
moyens d'entrée pour recevoir un combustible, un appareil d'alimentation en carburant
comprenant :
un récipient pour maintenir une solution
d'électrolyte de l'électrolyte dissous dans l'eau ;
une anode et une cathode pour contacter la solution d'électrolyte à l'intérieur
de la cuve ;
des moyens d'alimentation électrique pour appliquer
entre lesdites diodes et lesdites impulsions d'énergie électrique de la cathode
pour induire un courant pulsatoire dans la solution d'électrolyte de façon à
générer par l'électrolyse de l'hydrogène gazeux à la cathode et de l'oxygène
gazeux à l'anode ;
la collecte et la livraison de gaz des moyens pour
recueillir les gaz d'hydrogène et d'oxygène et à les diriger vers les moyens
d'admission du moteur; et
désigne l'admission de l'eau pour l'admission de
l'eau dans ladite cuve pour compenser la perte due à l'électrolyse.
Afin que l'invention peut être expliqué plus en
détail un exemple particulier d'un moteur à combustion interne de véhicule
équipé d'un appareil d'alimentation en carburant conformément à l'invention va
maintenant être décrite en détail en référence aux dessins annexés.
BREVE DESCRIPTION DES DESSINS
Fig.1 est une vue en plan d'une partie du véhicule avec
son compartiment moteur exposé pour montrer la disposition de l'appareil
d'alimentation en combustible et la façon dont il est connecté au moteur de la
voiture;

Fig.2 est un schéma de circuit du dispositif d'alimentation en
combustible ;

Fig.3 est une vue en plan d'un logement qui porte les composants
électriques de l'appareil d'alimentation en combustible ;

Fig.4 est une vue en élévation du boîtier représenté sur la Fig.3;

Fig.5 est une vue en coupe suivant la ligne 5--5 de la Fig.3 ;

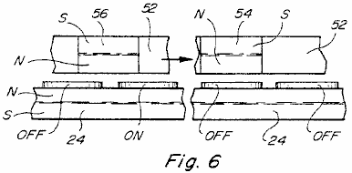
Fig.6 est une coupe transversale selon la ligne 6--6 de la Fig.3
;
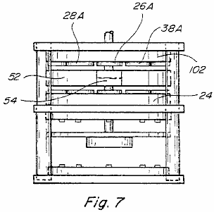
Fig.7 est une vue en coupe suivant la ligne 7--7 de la Fig.5 ;

Fig.8 est une vue en perspective d'un dissipateur de chaleur de la diode
incluse dans les composants illustrés dans Fig.5 et Fig.7 ;
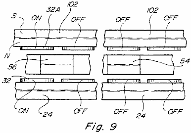
Fig.9 illustre un ensemble de bobines de transformateur inclus dans les
composants électriques montés à l'intérieur du boîtier ;

Fig.10 est une coupe transversale selon la ligne 10--10 de la Fig.4
;
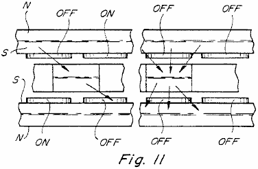
Fig.11 est une vue en coupe transversale selon la ligne 11--11 de
la Fig.5 ;

Fig.12 est une vue en coupe d'un bloc de jonction monté dans le fond du
boîtier ;

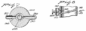
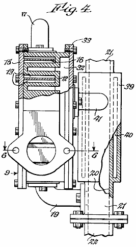
Fig.13 est une vue en plan d'une cellule d'électrolyse incorporé dans le
dispositif d'alimentation en combustible ;

Fig.14 est une vue en coupe transversale selon la ligne 14--14 de
la Fig.13 ;

Fig.15 est une section transversale généralement sur la ligne 15--15
de la Fig.14 ;

Fig.16 est une vue en coupe transversale selon la ligne 16--16 de
Fig.14 ;

Fig.17 est une vue en coupe transversale selon la ligne 17--17 de
la Fig.13 ;

Fig.18 est une vue en coupe transversale selon la ligne 18--18 de
la Fig.13 ;
Fig.19 est une coupe verticale à travers une vanne
de gaz prise généralement sur une ligne 19--19 dans Fig.13 ;

Fig.20 est une vue en perspective d'un assemblage de membrane disposée
dans la cellule électrolytique ;
Fig.21 est une coupe transversale à travers une partie de l'assemblage
de membrane ;
Fig.22 est une vue en perspective d'un flotteur disposé dans la cellule
électrolytique ;

Fig.23 est un agrandissement d'une partie de Fig.14 ;
Fig.24 est une vue en coupe agrandie selon la ligne 24--24 de Fig.16
;
Fig.25 est une vue en perspective d'un élément de
soupape d'entrée d'eau incluse dans les composants représentés dans Fig.24 ;

Fig.26 est une coupe transversale selon la ligne 26--26 dans Fig.16
;
Fig.27 est une vue éclatée et partiellement brisée d'un collier de
cathode et la cathode montée à l'extrémité supérieure de la cathode ;
Fig.28 est une vue en coupe agrandie montrant une partie des composants
de Fig.15 ;

Fig.29 est une vue en perspective d'un élément de couvercle de soupape ;
Fig.30 montre un mélange de gaz et de l'unité de distribution de
l'appareil en général en vue de côté mais avec un ensemble de filtration de
l'air inclus dans l'appareil représenté sur la section ;

Fig.31 est une vue en coupe verticale à travers le mélange de gaz et
l'unité de livraison de l'ensemble de filtre à air retiré ;
Fig.32 est une vue en coupe transversale selon la ligne 32-32 de Fig.31
;

Fig.33 est une vue en perspective d'un ensemble de soupape et la buse à
jet incorporé dans l'unité de mélange et de distribution de gaz ;
Fig.34 est une section transversale généralement sur la ligne 34--34
dans Fig.31 ;
Fig.35 est une coupe transversale à travers un ensemble de solénoïde ;

Fig.36 est une vue en coupe transversale selon la ligne 36--36 de
Fig.32 ;
Fig.37 est une vue en élévation arrière d'une partie de l'unité de
mélange et de distribution de gaz ;

Fig.38 est une coupe transversale sur la ligne 38--38 à Fig.34
;
Fig.39 est une vue en plan de la partie inférieure de l'unité de mélange
et de distribution de gaz, qui est arrachée de la partie supérieure le long de
l'interface de 39--39 Fig.30 ;

Fig.40 est une vue en coupe transversale selon la ligne 40--40 de
Fig.32 ; et
Fig.41 est un plan d'une partie de corps inférieure de l'unité de
mélange et de distribution de gaz.

DESCRIPTION DE LA RÉALISATION PRÉFÉRÉE
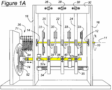
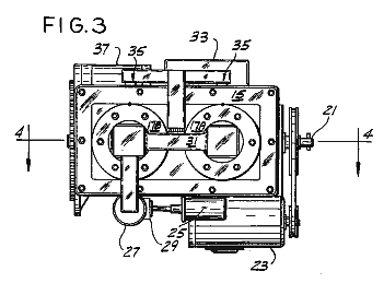
Fig.1 montre un ensemble désigné généralement
comme 31 ayant un compartiment moteur 32 dans lequel un moteur à
combustion 33 est monté derrière un radiateur 34 du moteur 33 est
un moteur classique et, comme représenté, il peut avoir deux rangées de
cylindres en " V ".
Plus précisément, il peut s'agir d'un moteur V8. Il est généralement de construction classique
et Fig.1 montre le ventilateur de refroidissement habituelle 34,
courroie de ventilateur 36 et générateur ou alternateur 37.
Conformément
à l'invention, le moteur ne tourne pas sur le carburant habituel de pétrole,
mais est équipé d'un appareil d'alimentation en carburant qui lui fournit un
mélange d'hydrogène et d'oxygène des gaz générés en tant que produits d'un
procédé d'électrolyse de l'eau réalisée dans le dispositif d'alimentation en
carburant. Les principaux composants de
l'appareil d'alimentation en carburant sont une cellule d'électrolyse désignées
généralement comme 41, et un mélange et de distribution de gaz unité 38
de mélanger les gaz hydrogène et oxygène générés dans la cellule 41 et
pour les délivrer au moteur 33. La cellule
électrolytique 41 reçoit de l'eau à travers une ligne d'alimentation
d'eau 39 pour amener la solution électrolytique à l'intérieur de lui. Il
possède une anode et une cathode qui sont en contact la solution d'électrolyte,
et en fonctionnement des impulsions de l'appareil de l'énergie électrique est
appliquée entre l'anode et la cathode pour produire des impulsions de
circulation de courant élevé à travers la solution d'électrolyte. Certains des composants électriques
nécessaires pour produire les impulsions d'énergie électrique appliquée entre
l'anode et la cathode sont réalisées dans un boîtier 40 monté sur un
côté du compartiment moteur 32.
La batterie de la voiture 30 est monté sur l'autre côté du
compartiment moteur.
Avant la construction physique de l'appareil de
distribution de carburant est décrit en détail les principes généraux de son
fonctionnement seront tout d'abord décrits en référence au schéma de circuit
électrique de la Fig.2.
Dans les bornes du circuit illustrés 44, 45, 46 sont
toutes connectées à la borne positive de la batterie du véhicule 30 et
la borne 47 est reliée à la borne négative de cette batterie. Commutateur 48 est le contacteur
d'allumage habituel de la voiture et la fermeture de ce commutateur fournit un
courant à la bobine 49 d'un relais 51. Le contact mobile 52 du relais 51 reçoit
du courant à 12 volts à partir de la borne 45, et lorsque le relais est
actionné par la fermeture du commutateur d'allumage 48 est alimentée de
courant à travers ce contact 53 à la ligne 53 de sorte que la
ligne peut être considérée comme la réception d'une entrée positive et la ligne
54 de la borne 47 peut être considéré comme un négatif commun
pour le circuit. La fermeture de
l'interrupteur d'allumage 48 fournit également un courant à côté de la
bobine 55 d'un électro-aimant 56.
L'autre côté de la bobine de solénoïde 55 est relié à la terre
par une connexion à la carrosserie du véhicule à l'intérieur du compartiment
moteur. Comme cela sera expliqué
ci-dessous solénoïde 56 doit être mis sous tension pour ouvrir une vanne
qui commande l'alimentation de gaz d'hydrogène et d'oxygène pour le moteur et
la soupape se ferme pour couper cette alimentation dès que le contact
d'allumage 48 est ouvert.
La fonction du relais 51 consiste à
connecter la ligne de circuit 53 directement à la borne positive de la
batterie du véhicule afin qu'elle reçoive un signal positif directement plutôt
que par l'intermédiaire du commutateur d'allumage et le câblage.
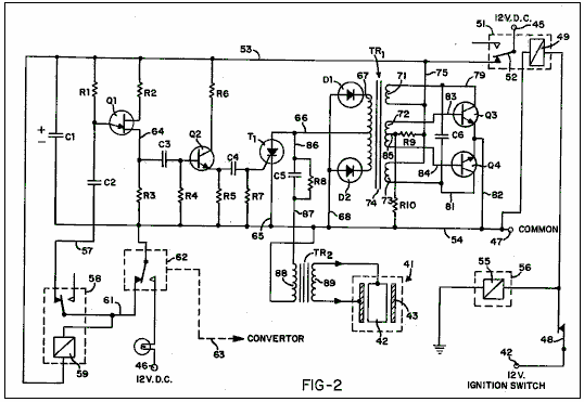
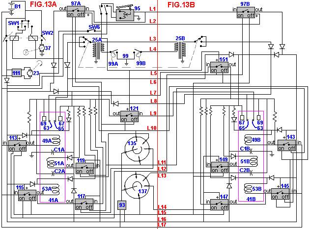
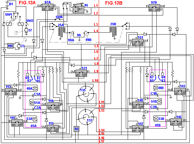
Le circuit comprend un circuit de générateur
d'impulsions qui comprend unijonction transistor Q1 par des résistances
associées R1, R2 et R3 et les condensateurs C2 et C3. Ce circuit produit des impulsions qui sont
utilisées pour déclencher une puissance de silicium NPN transistor Q2 qui
fournit à son tour par l'intermédiaire d'un condensateur C4 impulsions
de déclenchement d'un thyristor T1.
La résistance R1 et le condensateur C2 sont
connectés en série dans une ligne 57 s'étendant à l'un des contacts
fixes d'un relais 58. La bobine 59
du relais 58 est relié entre la ligne 53 et une ligne 61 qui
s'étend depuis le contact mobile du relais à la ligne négative commune 54 par
l'intermédiaire d'une pression normalement fermé, actionné par l'interrupteur 62
la ligne de commande de pression 63 du commutateur 62 est
reliée d'une manière qui sera décrite ci-après à une chambre de collecte de gaz
de la cellule électrolytique 41 pour fournir une connexion de commande
de sorte que commutateur 62 est ouvert lorsque le gaz dans la chambre de
collecte atteint une certaine pression.
Cependant, dès lors que l'interrupteur 62 reste fermé, le relais 58
va fonctionner lorsque le commutateur d'allumage 48 est fermé pour
fournir une connexion entre les lignes 57 et 61 de manière à connecter
le condensateur C2 à la ligne négative commune 54. Le but principal de relais 58 est de
fournir un léger retard à cet égard entre le condensateur C2 et la ligne
négative commune 54 lorsque le circuit première mise sous tension. Cela retardera la génération des impulsions
de déclenchement de thyristor T1 jusqu'à ce qu'une condition électrique
exigée a été obtenue dans le circuit de transformateur qui sera décrite
ci-dessous. Relais 58 est fermé
hermétiquement et présente une armature équilibré de sorte qu'il peut
fonctionner dans n'importe quelle position et peuvent résister à un choc ou une
vibration importante lorsque la voiture est en cours d'utilisation.
Lorsque la connexion entre le condensateur C2 et la ligne 54 est
constitué par un relais 58, unijonction transistor T1 agit comme
un oscillateur pour fournir des impulsions de sortie positive à la ligne 64 à
un taux d'impulsions qui est commandé par le rapport de R1 : C1 et à une
force d'impulsion déterminée par le rapport de R2 : R3. Ces impulsions charger le condensateur C3. Condensateur électrolytique C1 est
directement connecté entre la ligne positive commune 53 et la ligne
négative commune 54 pour filtrer le circuit de tout bruit statique.
La résistance R1 et le condensateur C2 sont
choisis de telle sorte que, à l'entrée de transistor Q1 les impulsions
seront d'une forme en dents de scie.
Ceci permet de contrôler la forme des impulsions produites dans le
circuit suivant et la forme d'impulsions en dents de scie est choisie car on
pense que cela produit le fonctionnement plus satisfaisant de l'ensemble de
circuits à impulsions. Il convient de
souligner, toutefois, que d'autres formes d'impulsions, tels que des impulsions
d'ondes carrées, pourraient être utilisés.
Le condensateur C3 se décharge à travers une résistance R4 pour
fournir des signaux de déclenchement pour le transistor Q2. La résistance R4 est connectée à la
ligne négative commune 54 pour servir de courant de gâchette pour le
dispositif de limitation du transistor Q2.
Les signaux de commande produits par le transistor Q2
par l'intermédiaire du réseau de condensateur C3 et une résistance R4
sera sous la forme d'impulsions positives de la forme fortement
enrichi. Le collecteur du transistor Q2
est connecté à la ligne positive d'alimentation 53 à travers la
résistance R6 tandis que l'émetteur de ce transistor est relié à la ligne
négative commune 54 à travers la résistance R5. Ces résistances R5 et R6 de
contrôler la force d'impulsions de courant appliquées à un condensateur C4,
qui se décharge à travers une résistance R7 à la ligne négative commune 54,
de manière à appliquer des signaux de déclenchement de la gâchette du thyristor
T1. La gâchette du thyristor T1
reçoit un biais négatif de la ligne négative commune via la résistance R7
qui sert ainsi à empêcher le déclenchement du thyristor par les courants
d'appel.
Les impulsions de déclenchement appliquées à la
gâchette du thyristor T1 seront pointes très pointues qui se produisent
à la même fréquence que les dents de scie des impulsions de forme d'onde
établies par le transistor unijonction Q1. Il est préférable que cette fréquence soit de
l'ordre de 10000 impulsions par minute et les détails des composants de
circuits spécifiques propres à réaliser ce résultat sont énumérés
ci-dessous. Le transistor Q2 sert
d'interface entre le transistor unijonction Q1 et thyristors T1,
empêcher le flux de fem de la gâchette du thyristor qui, autrement, pourraient
interférer avec le fonctionnement du transistor Q1. En raison des tensions élevées étant
manipulés par le thyristor et la force contre-électromotrice élevée appliquée
au transistor Q2, le dernier transistor doit être monté sur un
dissipateur de chaleur.
La cathode du thyristor T1 est reliée par
l'intermédiaire d'une ligne 65 à la ligne négative commune 54 et
l'anode est reliée par une ligne 66 vers le centre de l'enroulement secondaire
67 du premier transformateur TR1 de l'étape. Les deux extrémités
de la bobine du transformateur 67 sont reliées par des diodes D1 et
D2 et d'une ligne 68 à la ligne négative commune 54 pour
fournir redressement pleine onde de la sortie du transformateur.
Première étape transformateur T1 comporte trois
bobines primaires 71, 72, 73 enroulés ensemble avec la bobine secondaire
67 autour d'un noyau 74.
Ce transformateur peut être d'une construction classique de la
moitié de cuvette avec un noyau de ferrite.
La bobine secondaire peut être enroulé sur une bobine disposée autour du
noyau et les enroulements primaires 71 et 73 peuvent être enroulés à la
mode bifilaire sur la bobine secondaire.
L'autre bobine primaire 72 peut alors être enroulé sur les bobines
71, 73. Bobines primaires 71
et 73 sont reliées sur un côté par une ligne 75 au potentiel positif
uniforme de la ligne de circuit 53 et à leurs autres côtés par des
lignes 79, 81 à les collecteurs des transistors Q3, Q4. Les émetteurs des transistors Q3, Q4 sont
connectés de façon permanente par l'intermédiaire d'une ligne 82 à la
ligne négative commune 54. Un
condensateur C6 est connecté entre les lignes 79, 81 pour agir
comme un filtre empêchant toute différence de potentiel entre les collecteurs des
transistors Q3, Q4.
Les deux extrémités de l'enroulement primaire 72
sont reliées par des lignes 84 à 83, les bases des transistors Q3,
Q4. Cette bobine est prise centrale
par une ligne 85 reliée par une résistance R9 à la ligne positive
53 et par l'intermédiaire de la résistance R10 à la ligne
négative commune 54.
Lorsque l'alimentation est d'abord appliquée aux transistors du circuit Q3
et Q4 sera dans leurs états non-conducteur et il n'y aura pas de courant
dans les enroulements primaires 71, 73. Cependant, le courant positif dans la ligne 53 fournira
par la résistance R9 une de signal de déclenchement appliqué à la prise
centrale de la bobine 72 et ce signal a pour effet de déclencher
alternatif à haute fréquence d'oscillation de transistors Q3, Q4 qui se
traduira par des impulsions alternées rapides dans les enroulements primaires
71, 73 le signal de déclenchement appliqué à la prise de la bobine centrale
72 est commandée par le réseau de la résistance fournie par les
résistances R9 et R10 tels que son amplitude est insuffisante pour lui
permettre de déclencher simultanément Q3 et Q4, mais est suffisante pour
déclencher l'un de ces transistors. Par
conséquent, seul l'un des transistors est tiré par le premier signal de
déclenchement pour provoquer un courant circule à travers la bobine primaire
respectif 71 ou 73, le signal nécessaire pour maintenir le transistor à
l'état passant est très inférieure à celle nécessaire pour déclencher un
premier temps, de sorte que lorsque le transistor devient passant une partie du
signal appliqué à la prise centrale de la bobine 72 seront renvoyés vers
le transistor non conducteur à déclencher.
Lorsque le second transistor est ainsi tiré à devenir conducteur, le
courant s'écoule à travers l'autre des enroulements primaires 71, 73, et
étant donné que les émetteurs des deux transistors sont directement connectés
entre eux, la sortie positive du second transistor entraîne la première
transistor tiré à être coupée. Lorsque
le courant consommé par le collecteur du deuxième feu de gouttes de résistance,
une partie du signal sur la prise centrale de la bobine 72 est déviée
vers le collecteur du premier transistor qui est re-tiré. On verra que le cycle se répètera ensuite
indéfiniment de sorte que les transistors Q3, Q4 sont alternativement
tiré et coupé en séquence très rapide. Ainsi, des impulsions de courant coulent
en séquence alternée à travers les enroulements primaires 71, 73 à une
très haute fréquence, cette fréquence étant constante et indépendante des
variations de tension d'entrée vers le circuit.
Les impulsions alternant rapidement dans les enroulements primaires 71
et 73, qui se poursuivront aussi longtemps que contacteur d'allumage 48 reste
fermé, va générer des signaux de tension plus élevée à la même fréquence dans
le transformateur bobine secondaire 67.
Un condensateur C5 de vidage ponté par une
résistance R8 est reliée par une ligne 86 à la ligne 66 de
la bobine secondaire du transformateur TR1 et fournit la sortie de ce
transformateur qui est alimenté par la conduite 87 à un deuxième
transformateur TR2 de l'étape.
Lorsque le thyristor T1 est déclenché pour
devenir conducteur la pleine charge de condensateur de décharge C5 est
libéré à la deuxième transformateur TR2 de la scène. En même temps, la première étape du
transformateur TR1 cesse de fonctionner à cause de ce court-circuit
momentané placé à travers elle et, par conséquent, le thyristor T1 de
presse, c'est à dire devient non conducteur.
Cela permet gratuitement à être construit à nouveau dans une décharge
condensateur C5 pour la libération lorsque le thyristor est ensuite
déclenchée par un signal de transistor Q2. Ainsi, pendant chacun des intervalles lorsque
le thyristor est dans son état non conducteur les impulsions alternant
rapidement dans les enroulements primaires 71, 73 du transformateur TR1
produit par les transistors Q3 oscillant de manière continue, Q4 produits,
par l'intermédiaire du couplage par transformateur, relativement impulsions de
sortie à haute tension qui construisent une forte charge dans le condensateur C5,
et cette charge est libérée soudainement lorsque le thyristor est
déclenché. Dans un appareil typique
utilisant un 12 volts impulsions de la batterie en courant continu de l'ordre
de 22 ampères à 300 volts peut être produite dans la ligne 87.
Comme mentionné précédemment relais 58 est
prévu dans le circuit pour fournir un retard dans la connexion du condensateur C2
à la ligne négative commune 54.
Ce retard, bien que très
court, est suffisante pour permettre à des transistors Q3, Q4 de
commencer à faire osciller transformateur TR1 à accumuler une charge
dumping condensateur C5 avant le premier signal de déclenchement est
appliqué à thyristors T1 pour provoquer une décharge du condensateur.
Transformateur
TR2 est un transformateur abaisseur de tension qui produit des
impulsions de passage du courant très élevé, à faible tension. Il est construit
dans l'anode de la cellule électrolytique 41 et comporte un enroulement
primaire 88 et un enroulement secondaire 89 enroulé autour d'un
noyau 91 bobine secondaire 89 est formée d'un fil épais pour
manipuler le grand courant induit à ses extrémités et sont raccordés
directement à l'anode 42 et la cathode 43 de la cellule
électrolytique 41 d'une manière qui sera décrite ci-dessous.
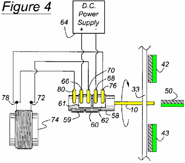
Dans un dispositif typique, la sortie du premier
transformateur TR1 stade serait impulsions de 300 volts de l'ordre de 22
ampères à 10 000 impulsions par minute et un rapport cyclique de un peu moins
de 0,006. Ceci peut être réalisé à
partir d'un 12 volts et 40 ampères de courant continu uniforme en utilisant les
composants de circuit suivantes:
Composants
:
R1 2.7 k ohms 1/2 watt 2% résistance
R2 220 ohms 1/2 watt 2% résistance
R3 100 ohms 1/2 watt 2% résistance
R4 22 k ohms 1/2 watt 2% résistance
R5 100 ohms 1/2 watt 2% résistance
R6 220 ohms 1/2 watt 2% résistance
R7 1 k ohms 1/2 watt 2% résistance
R8 10 m ohms 1 watt 5% résistance
R9 100 ohms 5 watt 10% résistance
R10 5.6 ohms 1 watt 5% résistance
C1 2200 mF 16v condensateur électrolytique
C2 2.2 mF 100v 10% condensateur
C3 2.2 mF 100v 10% condensateur
C4 1 mF 100v 10% condensateur
C5 1 mF 1000v condensateur papier ducon 5S10A
C6 0.002 mF 160v condensateur
Q1 2n 2647 PN transistor unijonction
Q2 2N 3055 NPN transistor de puissance de silicium
Q3 2n 3055 NPN transistor de puissance de silicium
Q4 2n 3055 NPN transistor de puissance de silicium
T1 btw 30-800 rm vite éteindre le thyristor
D1 a 14 p diode
D2 a 14 p diode
L1 lampe-témoin
Sv1 solénoïde de puissance continue
Rl1 pw5ls Relais scellés hermétiquement
Ps1 p658a-10051 les électrovannes de microrupteur
Tr1 noyaux de transformateur demi-tasse
36/22-341
Ancienne bobine 4322-021-30390 enroulée afin de fournir un rapport des spires
entre secondaire et primaire de 18:1
Bobine secondaire 67 = 380 tours
Bobine primaire 71 = 9 tours
Bobine primaire 73 = 9 tours
Bobine primaire 72 = 4 tours
Le
montage des composants du circuit ci-dessus est illustré sur la Fig.3 à
la Fig.13. Ils sont montés à
l'intérieur et sur un boîtier, qui est désigné généralement par 101 et
qui est fixé à une paroi latérale du compartiment moteur de la voiture 32 par
l'intermédiaire d'un support de montage 102 du logement 101, qui
peut être formé comme une pièce coulée d'aluminium, comporte une paroi avant 103,
parois supérieure et inférieure 104, 105 et des parois latérales 106,
107. Tous ces murs ont des
ailettes de refroidissement externes. Le
dos du boîtier 101 est fermée par une plaque de circuit imprimé 108 qui
est maintenu serré en position par un cadre périphérique 109 formé d'une
matière plastique isolé serré entre la carte de circuit imprimé et le support
de montage 102. Une feuille
isolante 111 du liège est maintenu entre le cadre 109 et le
support de montage 102.
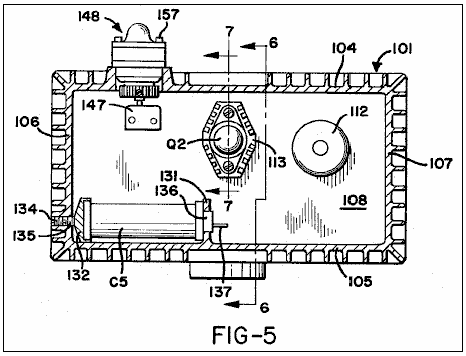
Carte de circuit imprimé 108 porte tous les composants
du circuit énumérés ci-dessus, sauf pour le condensateur C5 et
transistors Q3 et Q4. Fig.5
illustre la position dans laquelle le transistor Q2 et l'ensemble de
bobine 112 du transformateur TR1 sont montés sur la carte de
circuit imprimé. Le transistor Q2 doit
résister à un dégagement de chaleur important et il est donc monté sur un
dissipateur de chaleur, spécialement conçu pour serrer 113 carte de
circuit imprimé 108 par serrage des vis 114 et des écrous 115. Comme illustré le plus clairement sur la Fig.7
et la Fig.8, puits de chaleur 113 a un partie de plaque de base
plate 116 qui est généralement en forme de losange et une série
d'ailettes de refroidissement en forme de tige 117 projet sur un côté de
la plaque de base autour de sa périphérie.
Il a une paire de trous fraisés 118 des vis de serrage et une
paire similaire de trous 119 pour recevoir les broches du connecteur 121
qui relient transistor Q2 à la carte de circuit imprimé. Les trous 118, 119 sont alignés avec
les douilles de nylon 122 et une feuille Formica 123 est monté
entre le transistor et le dissipateur de chaleur de sorte que le dissipateur
est isolée électriquement du transistor.
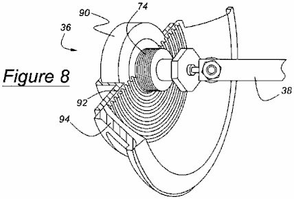
L'assemblage de bobine 112 du transformateur
TR1 (voir Fig.9) est constitué d'un boîtier 124 qui contient
des bobines du transformateur et le noyau associé et ancien et est fermée par
une plaque de fermeture en plastique 125 plaque 125 est maintenue
en position par un boulon de serrage 126 et est équipé de broches de
connecteurs électriques 127 qui sont simplement poussés à travers des
trous dans la carte de circuit 108 et sont soudés à conducteur en cuivre
approprié bandes 128 sur la face externe du conseil d'administration.
Pour plus de clarté les autres composants de
circuit montés sur la carte de circuit imprimé 108 ne sont pas illustrés
sur les dessins. Ce sont de petits
composants de taille standard et la manière dont ils peuvent être montés sur la
carte de circuit est tout à fait classique.
Le condensateur C5 est monté à l'intérieur
de l'enveloppe 101. Plus
précisément, il est serré en position entre une bride 131 qui se dresse
à partir de la surface 105 du boîtier et un coussinet de serrage 132 en
prise avec une vis de serrage 133, qui est monté dans un trou taraudé
dans un boîtier la paroi latérale 106 et est fixé en position par une
vis de blocage 134 de la bride 131 comporte deux trous 135 (voir
Fig.6), dans lequel les bossages 136 terminaux du condensateur C5
sont situées. Les broches de
raccordement 137 en saillie de patrons 136 sont connectés à la
carte de la borne 108 par des fils (non représenté) et les broches du
connecteur appropriés qui s'étendent à travers des trous dans la carte de
circuit imprimé et soudés sur les pistes conductrices appropriées sur l'autre
face de ce conseil.
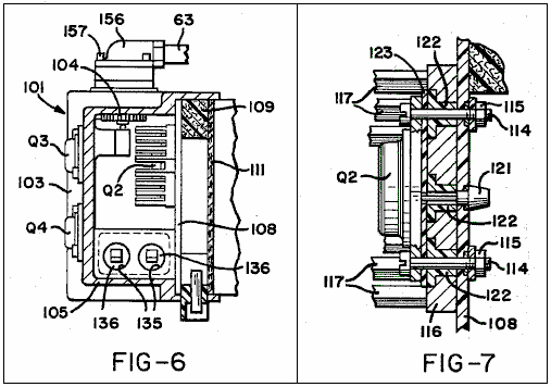
Les transistors Q3 et Q4 sont montés sur la
paroi avant 103 du boîtier 101 de sorte que l'enveloppe à
ailettes constitue un dissipateur de chaleur étendu pour ces deux
transistors. Ils sont montés sur la
paroi du boîtier et reliés électriquement à la carte de circuit imprimé de
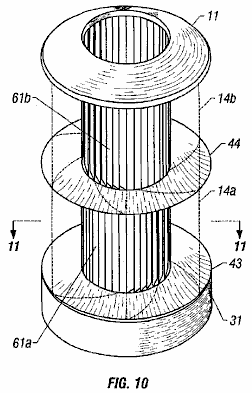
façon identique, ce qui est illustré par la Fig.10 qui montre le montage
du transistor Q3. Comme on le
voit sur cette figure le transistor est bloqué en position par serrage des vis 138
et des écrous 139 qui servent également à fournir des connexions
électriques avec les conducteurs appropriés de la carte de circuit imprimé par
l'intermédiaire de fils conducteurs 141.
La troisième connexion de l'émetteur du transistor à l'conducteur
négatif commun du circuit imprimé est faite par le chef 142. Vis 130 et 142 conducteurs s'étendent
à travers trois trous dans le mur avant du boîtier 103 et ces trous sont
alignés avec isolation électrique buissons en nylon 143, 144. A Formica feuille 145 est prise en
sandwich entre l'enveloppe la plaque 103 et le transistor, qui est donc
isolée électriquement de l'enveloppe.
Deux rondelles 146 sont placés sous les extrémités des fils
conducteurs 141.
Pression microrupteur actionné 52 est monté sur un support 147 faisant
saillie vers l'intérieur à partir de la paroi avant 103 du boîtier 101
adjacente à la paroi supérieure 104 du boîtier et l'unité de
détection de pression 148 de cet interrupteur est installé dans une
ouverture 149 à travers la paroi supérieure 104. plus clairement vu dans la Fig.11, l'unité
de détection de pression 148 est constitué de deux éléments de corps
généralement cylindriques 150, 151 entre lesquels un diaphragme flexible
152 est serrée pour fournir une chambre à membrane 153. La pression de gaz de tube de détection 63
est appliqué à la chambre 153 par l'intermédiaire d'un petit
diamètre passage 154 dans l'élément de corps 150 et un plus grand
passage 155 dans un élément de capuchon 156. Membres et le corps membres du capuchon sont
fixées ensemble et de serrage sur le boîtier plaque supérieure 104 au
moyen de vis 157 tube de détection 63 est reliée à la serrer
passage 155 dans l'élément de capuchon 156 par un connecteur à
filetage conique 158 et l'interface entre l'élément de capuchon 156 et
l'élément de corps 150 est scellée par un joint torique 159.
L'extrémité inférieure de l'élément de corps 151
de l'unité de détection de pression 148 a une ouverture à
l'intérieur vis filetée qui reçoit une vis 161 qui porte à son extrémité
inférieure est réalisée sous la forme d'une denture extérieure molette de
réglage 162 d'un commutateur d'actionnement piston 163 s'étend à
travers un alésage central dans l'ajustement roue 162 de sorte qu'il
vient en prise à une extrémité de la membrane flexible 152 et à l'autre
extrémité, l'élément d'actionnement 164 du microrupteur 62 l'extrémité
du piston 163 qui vient en prise la membrane présente une bride 165 pour
servir de tampon de pression et un ressort de compression hélicoïdal 167 encercle
piston 163 d'agir entre la bride 165 et la molette de réglage 162
pour solliciter le piston vers le haut contre l'action de la pression de
gaz agissant sur le diaphragme 152 dans la chambre 153 la
pression à laquelle diaphragme 152 forcera piston 163 vers le bas
contre l'action du ressort 167 à provoquer l'actionnement de
l'interrupteur 62 peut être modifiée par la vis 161 et le réglage
de cette vis en rotation peut être tenu par un vis de réglage 168 montée
dans un trou fileté dans la partie supérieure de la paroi avant du boîtier 103
et faisant saillie vers l'intérieur pour s'insérer entre les dents
successives de molette de réglage de 162 fois le réglage correct de la
vis 161 est atteint vis de réglage 168 seront verrouillés en
position par une vis 169 qui est ensuite scellé par un joint permanent 170
pour empêcher toute manipulation de verrouillage. Microrupteur 62 se raccorde également
électriquement aux conducteurs appropriées de la carte électronique par
l'intermédiaire de câbles dans les broches de connecteur et de logement.
Les connexions électriques sont faites entre les
conducteurs de carte de circuit imprimé 108 et le câblage interne du
circuit par un bornier 150 (Fig.12) fixé dans une ouverture du
fond du boîtier 105 par des vis 160 et équipé de plaques à bornes
140.
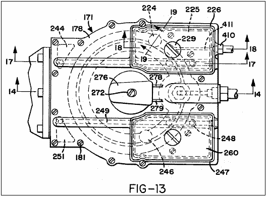
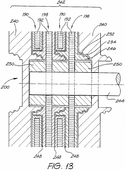
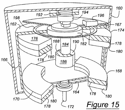
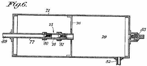
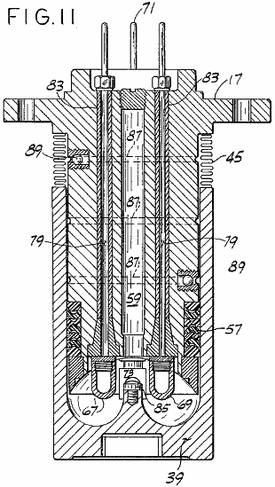
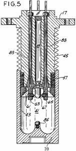
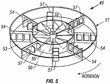
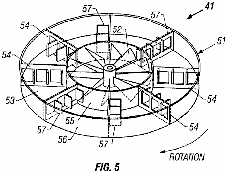
La construction physique de la cellule
électrolytique 41 et la deuxième étape de transformateur TR2 est
représenté dans la Fig.13 de Fig.29. La cellule comprend une enveloppe externe 171
possédant une paroi tubulaire périphérique 172 et les fermetures
supérieure et inférieure 173, 174 de fermeture de fond 174 est
constitué d'un couvercle en forme de dôme 175 et un disque
électriquement isolé 176 qui sont maintenus à la partie inférieure de la
paroi périphérique 172 de la circonférence goujons de serrage espacés 177
Haut de fermeture 173 est composé d'une paire de plaques supérieures
178, 179 disposés face à face et tenus par des goujons de serrage
espacés sur la circonférence 181 vissés dans des trous taraudés dans
l'extrémité supérieure de la paroi périphérique 172 la paroi
périphérique du boîtier est pourvu d'ailettes de refroidissement 180.
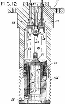
L'anode 42 de la cellule de formation est
généralement tubulaire. Il est disposé
verticalement à l'intérieur de l'enveloppe extérieure et est serrée entre les
isolateurs supérieur et inférieur 182, 183. Isolateur haut 182 a une partie de
bossage central 184 et un rebord périphérique annulaire 185 de la
partie du bord extérieur de laquelle est serrée entre la plaque de fermeture
supérieure 179 et l'l'extrémité supérieure de la paroi périphérique 172
inférieure d'isolant 183 a une partie de bossage central 186,
une partie de bride annulaire 187 qui entoure la partie de bossage et
une partie tubulaire extérieure 188 debout à partir de la marge
extérieure de la partie de bride 187.
Isolateurs 182, 183 sont moulées à partir de un matériau
électriquement isolant qui est également résistant aux alcalis. Le polytétrafluoroéthylène est une matière
appropriée.
Lorsque maintenues ensemble par des fermetures
supérieure et inférieure, isolateurs 182, 183 forment une enceinte à
l'intérieur de laquelle l'anode 42 et la seconde étape de transformateur
TR2 sont disposés. Anode de
formation 42 est généralement tubulaire et il est simplement serré entre
les isolateurs 182, 183 à sa périphérie intérieure cylindrique située
sur les portions de bossage 184, 186 de ces isolateurs. Il forme une chambre de transformateur qui
est fermée par les bossages des deux isolants et qui est rempli d'une huile de
transformateur approprié. Des joints
toriques 190 sont montés entre les bossages centraux des plaques
isolantes et l'anode pour éviter toute perte d'huile depuis la chambre de
transformateur.
Le noyau du transformateur 91 est formé comme une barre d'acier doux
laminé de section carrée. Il s'étend
verticalement entre les parties isolant boss 184, 186 et ses extrémités
sont situées dans des cavités dans les parties de patron. L'enroulement primaire de transformateur 88
est enroulée sur un premier gabarit tubulaire 401 monté directement
sur le noyau 91 tandis que l'enroulement secondaire 89 est
enroulé sur un deuxième gabarit tubulaire 402 de manière à être espacée
vers l'extérieur à partir de l'enroulement à l'intérieur de la chambre de
transformateur rempli d'huile primaire.
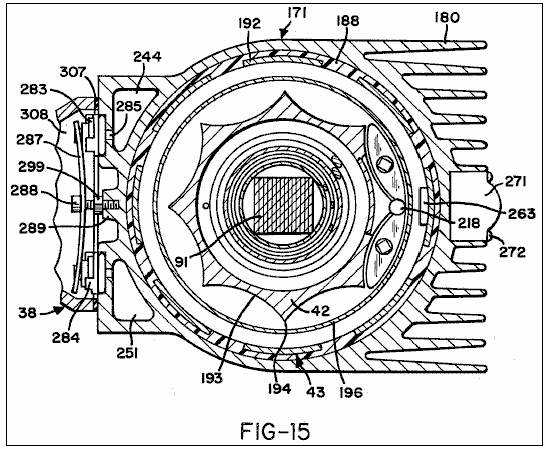
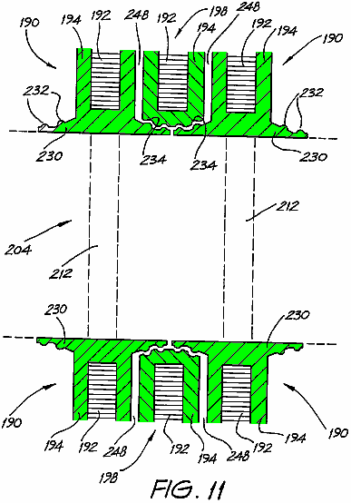
La cathode 43 sous la forme d'un tube fendu
longitudinalement, qui est noyée dans la portion de paroi périphérique 183,
ceci étant réalisé par moulage de l'isolant autour de la cathode. La cathode comporte huit fentes
longitudinales équidistantes 191 de sorte qu'il est essentiellement
constitué de huit bandes de cathode 192 disposées entre les fentes et
reliées entre elles au haut et au bas seulement, les fentes étant remplies d'un
matériau isolant de l'isolateur 183.
L'anode et la cathode sont réalisées en acier doux
plaqué de nickel. La périphérie externe
de l'anode est usinée pour former huit cannelures espacées sur la circonférence
193 qui ont arquée assemblée des racines à crêtes pointues ou arêtes 194
défini entre les cannelures. Les
huit sommets de l'anode 194 sont radialement alignées au centre des
bandes de cathode 192 et le périmètre de l'anode mesurée le long de sa
surface externe est égale aux largeurs combinées des bandes de cathode mesurée
au niveau des surfaces internes de ces bandes, de sorte que sur la partie
principale de leur longueur de l'anode et la cathode ont des aires effectives
égales. Cette égalisation des zones généralement n'ont pas été disponibles dans
l'art cylindriques arrangements anode / cathode antérieures.
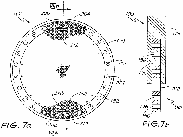
Comme le plus clairement sur la Fig.27 de
l'extrémité supérieure de l'anode 42 est relevée et muni d'une
collerette annulaire 200 de la périphérie extérieure de laquelle est
conformée pour former un prolongement de la surface périphérique extérieure de
l'anode cannelée. Ce collier est formé
d'un matériau plastique isolant électriquement tel que le chlorure de
polyvinyle ou le téflon. Une goupille de
positionnement 205 s'étend au travers de collier 200 pour
projeter vers le haut dans une ouverture de la plaque isolante supérieure 182
et à s'étendre vers le bas dans un trou 210 dans la cathode. Le collier est donc situé dans l'alignement correct annulaire par
rapport à l'anode et l'anode est correctement aligné par rapport à la cathode.
L'espace
annulaire 195 entre l'anode et la cathode sert de chambre de solution d'électrolyte.
Initialement, cette chambre est remplie d'environ 75 % de sa capacité avec une
solution d'électrolyte de 25 % d'hydroxyde de potassium dans de l'eau
distillée. Comme la réaction
d'électrolyse progresse gaz d'hydrogène et d'oxygène se rassemblent dans la
partie supérieure de cette chambre et de l'eau est admise à maintenir le niveau
de la solution d'électrolyte dans la chambre. Isoler le collier 200 écrans
cathodiques dans la région supérieure de la chambre où les gaz d'hydrogène et
d'oxygène collect pour éviter tout risque de formation d'arc à travers ces gaz
entre l'anode et la cathode.
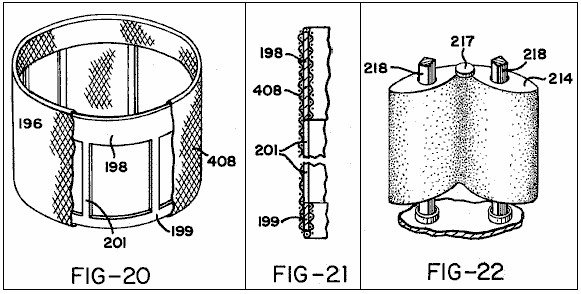
Chambre 195 de l'électrolyte est divisée par
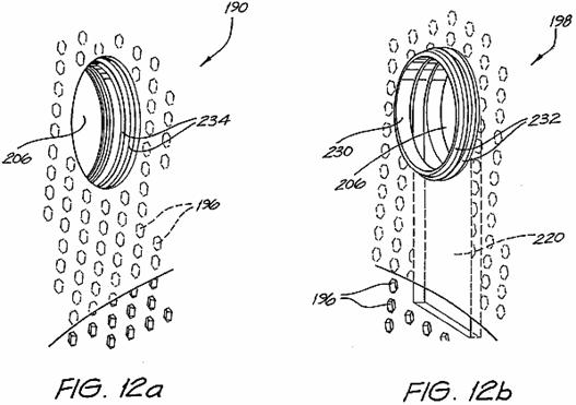
une membrane tubulaire 196 formé par le nylon tissé à mailles 408 tendue
sur un gabarit tubulaire 197 formé d'une tôle d'acier très mince. Comme le plus clair illustré sur la Fig.20
et Fig.21 ancien 197 a des parties supérieure et de bord
inférieur 198, 199 reliés par des portions de bandes espacées sur la
circonférence 201. Le matériau en
filet de nylon 408 peut être simplement plié autour de la partie
supérieure et isolants inférieurs 182, 183 ainsi que le premier est
électriquement isolé de tous les autres composants de la cellule. Matériau 408 a une taille de maille
qui est si petite que les ouvertures de maille ne passeront pas de bulles de
plus de 0,004 pouce de diamètre et le matériau peut donc servir de barrière
contre le mélange de l'hydrogène et de l'oxygène généré à la cathode et
l'anode, respectivement, tout en permettant la électrolytique passage du courant
entre les électrodes. La partie de
bordure supérieure 198 de la membrane ex-197 est suffisamment
profond pour constituer une barrière solide à travers la profondeur de la
chambre de collecte de gaz au-dessus du niveau de la solution d'électrolyte de sorte
qu'il n'y aura pas de mélange d'hydrogène et d'oxygène à l'intérieur de la
partie supérieure de la chambre.
L'eau douce est admise dans la section extérieure
de la chambre 195 par l'intermédiaire d'une buse d'entrée 211 formée
dans la plaque supérieure de fermeture 178. La solution d'électrolyte passe de
l'extérieur vers les sections internes de la chambre 195 à travers la
membrane de maille 408.
Buse 211 comporte un passage d'écoulement 212 qui s'étend à une
soupape d'admission d'électrolyte 213 commandé par un flotteur 214 dans
la chambre 195 de vanne 213 comprend une douille 215 montée
à l'intérieur d'une ouverture s'étendant vers le bas à travers la plaque de
fermeture supérieure 179 et la bride périphérique 185 de
l'isolateur supérieur 182 et fournir un siège de soupape qui coopère
avec l'aiguille de soupape 216 aiguille 216 repose sur un plot 217
sur l'extrémité supérieure du flotteur 214 de sorte que lorsque la
solution d'électrolyte est au niveau requis, le flotteur se soulève l'aiguille
disque contre le siège de soupape. Le
flotteur coulisse verticalement sur une paire de tiges de section carrée de
glissement 218 s'étendant entre les isolateurs supérieur et inférieur 182
et 183. Ces tiges, qui peut être
formé de polytétrafluoréthylène s'étendent à travers des trous appropriés 107,
par l'intermédiaire du flotteur.
La profondeur du flotteur 214 est choisie de
telle sorte que la solution d'électrolyte remplit seulement environ 75 % de la
chambre 195, ce qui laisse la partie supérieure de la chambre comme un
espace de gaz qui peut s'adapter à la dilatation du gaz produit due au
chauffage à l'intérieur de la cellule.
Comme l'électrolyse de la solution d'électrolyte à
l'intérieur de la chambre 195 se poursuit, le gaz hydrogène est produit
à la cathode et de l'oxygène gazeux est produit à l'anode. Ces gaz bulle vers le haut dans la partie
supérieure de la chambre 195 où elles restent séparées dans des
compartiments interne et externe définie par la membrane et il est à noter que
la solution d'électrolyte pénètre dans la partie de la chambre qui est rempli
avec de l'oxygène plutôt que de l'hydrogène de sorte qu'il est pas de risque de
fuite de l'hydrogène à travers la buse d'entrée d'électrolyte.
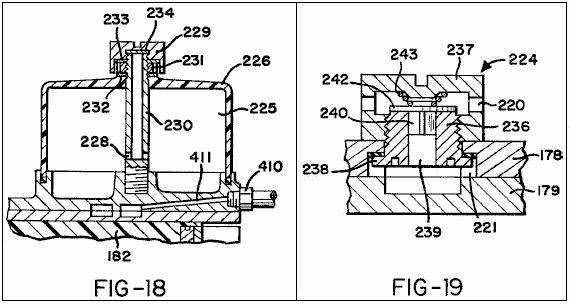
Les faces de butée des plaques supérieure de
fermeture 178, 179 ont qui correspond à des rainures annulaires formant
à l'intérieur de la fermeture supérieure de collecte de gaz intérieure et
extérieure de passages 221, 222 passage externe 222 est
circulaire et il communique avec le compartiment d'hydrogène de la chambre 195
par l'intermédiaire de huit orifices 223 s'étendant vers le bas à
travers la plaque supérieure de fermeture 179 et la bride périphérique
de l'isolant adjacent à la partie supérieure 182 bandes de cathode 192
de l'hydrogène gazeux s'écoule vers le haut à travers les orifices 223 dans
le passage 222 et de là vers le haut à travers une soupape à une voie 224
(Fig.19) dans un réservoir 225 fourni par un boîtier en
matière plastique 226 boulonnée à la plaque supérieure de fermeture 178
par l'intermédiaire d'un plot central 229 et scellé par un joint
d'étanchéité 227 de la partie inférieure du boîtier 114 est
chargé avec de l'eau. Goujon 229 est
creux et son extrémité inférieure comporte un orifice transversal 228 de
sorte que, lors du retrait d'un capuchon de fermeture 229 à partir de
son extrémité supérieure, il peut être utilisé en tant que filtre, de nature à
verser de l'eau dans le réservoir 225.
Cap 229 s'adapte sur un écrou 231 qui fournit l'action de
serrage sur le logement en plastique 226 et les joints élastiques
232, 233 et 234 sont équipés entre l'écrou et la couverture, entre le
bouchon et l'écrou et entre le bouchon et l'extrémité supérieure du goujon 229.
Soupape à une voie 224 comprend une douille 236
qui fait saillie vers le bas dans l'hydrogène de passage annulaire 221 et
comporte un élément de tête de soupape 237 vis monté à son extrémité
supérieure pour fournir une action de serrage sur la plaque supérieure de
fermeture 178 entre l'élément de tête et une bride 238 à
l'extrémité inférieure douille 236 manchon 236 comporte un
alésage central 239, l'extrémité supérieure reçoit le diamant section
transversale tige d'un élément de soupape 240, qui comprend également
une portion de plaque de soupape 242 sollicité contre l'extrémité supérieure
de la douille par le ressort de compression 243, élément de soupape 240
est soulevé contre l'action du ressort 243 par la pression de
l'hydrogène gazeux à l'intérieur de passage 221 pour permettre le
passage du gaz à l'intérieur de la tête de soupape 237 et ensuite à
travers les orifices 220 dans cet élément dans le réservoir 225.
L'hydrogène est retiré du réservoir 225 par
l'intermédiaire d'un acier inoxydable du tube tordu 241 qui communique
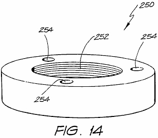
avec un passage 409 passage 409 s'étend jusqu'à un orifice 250
qui s'étend vers le bas à travers les plaques de dessus et de fermeture de
fond 178, 179 et supérieur isolant 182 dans un conduit
d'hydrogène 244 s'étendant verticalement à l'intérieur de la pièce
moulée de l'enveloppe 171 de tube 244 est de section transversale
triangulaire. Comme cela sera expliqué
ci-dessous, le passage de l'hydrogène à partir de ce conduit dans une chambre
de mélange définie dans le mélange et de distribution de gaz unité 38 qui
est boulonnée au boîtier 171.
L'oxygène est retiré de la chambre 195 par l'intermédiaire du passage
annulaire intérieur 221 dans la fermeture supérieure. Passage 221 n'est pas circulaire mais
présente une configuration festonnée de manière à s'étendre autour de l'entrée
d'eau. L'oxygène pénètre à travers huit
orifices 245 prolongés à travers la plaque supérieure de fermeture 179
et la partie de rebord annulaire de l'isolateur supérieur 182 de
l'oxygène s'écoule vers le haut à partir de passage 222 à travers une
soupape à une voie 246 et à un réservoir 260 fourni par un
boîtier en matière plastique 247.
L'agencement est similaire à celui de retrait de l'hydrogène et ne sera
pas décrit en détail. Il suffit de dire
que le fond de la chambre est chargée avec de l'eau et de l'oxygène est prélevé
dans un tube tordu 248, un passage de sortie 249 dans la plaque
supérieure de fermeture 178, et un orifice qui s'étend vers le bas à
travers les plaques de fermeture 178, 179 et supérieur isolant 182 dans
une section transversale conduit d'oxygène triangulaire 251 s'étendant
verticalement dans une enveloppe 171 hydrogène opposé disposé conduit 244
l'oxygène est également délivrée à la chambre de mélange et de livraison
l'unité 38 de mélange de gaz.
Le tube à pression 63 de détection de
l'interrupteur 62 est reliée par l'intermédiaire d'un raccord fileté
conique 410 et un passage 411 dans la plaque de fermeture
supérieure 178 directement à l'atome d'hydrogène passage annulaire 222. Si la pression dans le passage s'élève
au-dessus d'un niveau prédéterminé, le commutateur 62 est actionné à
déconnecter le condensateur C2 de la ligne négative commune 54. Cela supprime le signal négatif de la
capacité C2 qui est nécessaire pour maintenir un fonctionnement continu
du circuit de génération d'impulsions pour générer des impulsions de
déclenchement de thyristor T1 et ces impulsions de déclenchement cesse
donc. Le transformateur TR1 continue
à rester en service pour charger le dumping condensateur C5, mais parce
que le thyristor T1 ne peut pas être déclenché le dumping condensateur C5
restera simplement facturé jusqu'à ce que la pression d'hydrogène dans le
passage 222, et donc dans la chambre 195 est inférieur au niveau
prédéterminé et des impulsions de déclenchement sont appliquées une fois de
plus au thyristor T1. Pression
commutateur actionné 62 commande ainsi le taux de production de gaz
selon la vitesse à laquelle il est retiré.
La raideur des ressorts de commande pour soupapes d'échappement de gaz 224,
246 doit bien entendu être choisi pour permettre l'échappement de l'hydrogène
et de l'oxygène dans les proportions dans lesquelles elles sont produites par
électrolyse, à savoir dans les proportions 2 : 1 en volume.
Réservoirs
225, 260 sont fournis à titre de précaution. Si une contre-pression soudaine ont été développés
dans les tuyaux de refoulement cela ne pourrait briser le boîtier en plastique 226,
247 et n'a pas pu être transmis dans la cellule électrolytique. Commutateur 62 serait alors
fonctionner pour arrêter la génération de gaz à l'intérieur de la cellule.
Les connexions électriques de la bobine secondaire
du transformateur 89 à l'anode et la cathode sont présentés sur la Fig.14. Une extrémité de la bobine 89 est
prolongée comme un fil 252 qui s'étend dans un trou borgne dans la face
interne de l'anode où elle est serrée par une vis sans tête 253 vissée
dans un trou taraudé prolongé verticalement dans l'anode en dessous de
collerette 200. A de nylon
conique brancher 254 est monté au-dessus de la vis 253 pour
assurer l'étanchéité contre la perte d'huile à partir de l'intérieur de
l'anode. L'autre extrémité de la bobine 89
est prolongée comme un fil 255 passe à travers une douille de laiton
256 dans l'isolateur inférieur 183, puis à l'horizontale à partir
enveloppe 171 entre le fond 176 et le disque isolant 183 isolant.
Comme représenté plus clairement sur la Fig.23,
le laiton douille 256 présente une tête 257 et la bride est munie
à son extrémité inférieure d'un écrou 258 de sorte qu'il est fermement
serrée en position. Joints 259, 261 sont disposées sous la
tête bride 257 et au-dessus écrou 258 respectivement.
À
l'endroit où le fil 255 est étendu horizontalement à quitter l'enveloppe
la face supérieure du disque 176 et la face inférieure de l'isolant 183
sont rainurés pour recevoir et serrer sur le fil. Disque isolant 176 et 183 sont
également étendues radialement vers l'extérieur à cet endroit pour former des
pattes qui s'étendent en-dessous de boîtier 171 et d'assurer une bonne
isolation du fil au travers de la périphérie extérieure de l'enveloppe.
L'oxygène est retiré de la chambre 195 par l'intermédiaire du passage
annulaire intérieur 221 dans la fermeture supérieure. Passage 221 n'est pas circulaire mais
présente une configuration festonnée de manière à s'étendre autour de l'entrée
d'eau. L'oxygène pénètre à travers huit
orifices 245 prolongés à travers la plaque supérieure de fermeture 179
et la partie de rebord annulaire de l'isolateur supérieur 182 de
l'oxygène s'écoule vers le haut à partir de passage 222 à travers une
soupape à une voie 246 et à un réservoir 260 fourni par un
boîtier en matière plastique 247.
L'agencement est similaire à celui de retrait de l'hydrogène et ne sera
pas décrit en détail. Il suffit de dire
que le fond de la chambre est chargée avec de l'eau et de l'oxygène est prélevé
dans un tube tordu 248, un passage de sortie 249 dans la plaque
supérieure de fermeture 178, et un orifice qui s'étend vers le bas à
travers les plaques de fermeture 178, 179 et supérieur isolant 182 dans
une section transversale conduit d'oxygène triangulaire 251 s'étendant
verticalement dans une enveloppe 171 hydrogène opposé disposé conduit 244
l'oxygène est également délivrée à la chambre de mélange et de livraison
l'unité 38 de mélange de gaz.
Le tube à pression 63 de détection de
l'interrupteur 62 est reliée par l'intermédiaire d'un raccord fileté
conique 410 et un passage 411 dans la plaque de fermeture
supérieure 178 directement à l'atome d'hydrogène passage annulaire 222. Si la pression dans le passage s'élève
au-dessus d'un niveau prédéterminé, le commutateur 62 est actionné à
déconnecter le condensateur C2 de la ligne négative commune 54. Cela supprime le signal négatif de la
capacité C2 qui est nécessaire pour maintenir un fonctionnement continu
du circuit de génération d'impulsions pour générer des impulsions de
déclenchement de thyristor T1 et ces impulsions de déclenchement cesse
donc. Le transformateur TR1 continue
à rester en service pour charger le dumping condensateur C5, mais parce
que le thyristor T1 ne peut pas être déclenché le dumping condensateur C5
restera simplement facturé jusqu'à ce que la pression d'hydrogène dans le
passage 222, et donc dans la chambre 195 est inférieur au niveau
prédéterminé et des impulsions de déclenchement sont appliquées une fois de
plus au thyristor T1. Pression
commutateur actionné 62 commande ainsi le taux de production de gaz
selon la vitesse à laquelle il est retiré.
La raideur des ressorts de commande pour soupapes d'échappement de gaz 224,
246 doit bien entendu être choisi pour permettre l'échappement de
l'hydrogène et de l'oxygène dans les proportions dans lesquelles elles sont
produites par électrolyse, à savoir dans les proportions 2 : 1 en volume.
Réservoirs
225, 260 sont fournis à titre de précaution. Si une contre-pression soudaine ont été développés
dans les tuyaux de refoulement cela ne pourrait briser le boîtier en plastique 226,
247 et n'a pas pu être transmis dans la cellule électrolytique. Commutateur 62 serait alors
fonctionner pour arrêter la génération de gaz à l'intérieur de la cellule.
Les connexions électriques de la bobine secondaire
du transformateur 89 à l'anode et la cathode sont présentés sur la Fig.14. Une extrémité de la bobine 89 est
prolongée comme un fil 252 qui s'étend dans un trou borgne dans la face
interne de l'anode où elle est serrée par une vis sans tête 253 vissée
dans un trou taraudé prolongé verticalement dans l'anode en dessous de
collerette 200. A de nylon
conique brancher 254 est monté au-dessus de la vis 253 pour
assurer l'étanchéité contre la perte d'huile à partir de l'intérieur de
l'anode. L'autre extrémité de la bobine 89
est prolongée comme un fil 255 passe à travers une douille de laiton
256 dans l'isolateur inférieur 183, puis à l'horizontale à partir
enveloppe 171 entre le fond 176 et le disque isolant 183 isolant.
Comme représenté plus clairement sur la Fig.23,
le laiton douille 256 présente une tête 257 et la bride est munie
à son extrémité inférieure d'un écrou 258 de sorte qu'il est fermement
serrée en position. Joints 259, 261 sont disposées
sous la tête bride 257 et au-dessus écrou 258 respectivement.
À
l'endroit où le fil 255 est étendu horizontalement à quitter l'enveloppe
la face supérieure du disque 176 et la face inférieure de l'isolant 183
sont rainurés pour recevoir et serrer sur le fil. Disque isolant 176 et 183 sont
également étendues radialement vers l'extérieur à cet endroit pour former des
pattes qui s'étendent en-dessous de boîtier 171 et d'assurer une bonne
isolation du fil au travers de la périphérie extérieure de l'enveloppe.
Comme mentionné ci-dessus de l'hydrogène et de l'oxygène gaz généré dans la
cellule électrolytique 41 et recueillies dans des conduits 244, 251 est
livré à une chambre de mélange de l'unité de mélange et de distribution 38. Plus précisément, ces gaz sont livrés à partir des
canaux 244, 251 du gaz par les soupapes d'échappement 283, 284 (Fig.15)
qui sont maintenus en position sur les ports de décharge 285, 286 des
conduits au moyen d'un ressort à lame 287 les extrémités extérieures du
printemps 287 en prise avec les vannes 283, 284 et la partie
centrale du ressort est courbé vers l'intérieur par un goujon de serrage 288
vissée dans un trou taraudé dans un bossage 289 formé dans le
boîtier de la pile 171.
Valve
283 est détaillé dans Fig.28 et Fig.29 et la vanne 284 est
de construction identique. Valve 283 comprend
un corps de soupape intérieure 291 ayant une partie de capuchon 292 et
une portion annulaire d'extrémité annulaire 293 qui occupe un siège de
soupape annulaire 294. Soupape disque 295
est sollicité contre le siège de soupape par un ressort de clapet 296 réagissant
contre la partie de capuchon 292. un couvercle de soupape extérieure 297
s'adapte autour de l'élément intérieur 291 et est engagée par le
ressort 287 pour forcer l'élément intérieur fermement dans une douille
dans la paroi du boîtier de la pile de façon à couvrir l'orifice d'évacuation
de l'hydrogène 285 la portion de bague d'extrémité 293 de
l'intérieur lits membres de corps sur un joint d'étanchéité 298 à
l'intérieur de la douille.
Pendant le fonctionnement normal de l'appareil, les
vannes 283, 284 agissent comme de simples soupapes unidirectionnelles
par des mouvements de leurs plaques de soupape chargés à ressort. Toutefois, si une pression excessive de gaz
devrait se poser dans la cellule électrolytique ces vannes seront forcés de
retourner contre l'action du ressort de maintien de 287 pour fournir le
soulagement de la pression. L'excès de
gaz s'échappant s'écoule ensuite dans l'atmosphère par le mélange et de
distribution unité 38 comme décrit ci-dessous. La pression à laquelle les vannes 283, 284
seront déloger pour soulager la pression peut être ajustée par le réglage
approprié du goujon 288, qui cadre est maintenu par un écrou 299.
La construction du mélange de gaz et de l'unité de
distribution 38 est représenté sur la Fig.30 et Fig.40. Il comprend une partie supérieure du corps 301
qui porte un ensemble de filtre à air 302, une partie de corps
intermédiaire 303, qui est boulonné au carter de la cellule
électrolytique 41 par six plots 304 et successives des parties
inférieures du corps 305, 300, dont le dernier est boulonnée sur le
collecteur d'admission du moteur par quatre plots 306.
L'assemblage vissé entre la partie de corps
intermédiaire 303 et l'enveloppe de la cellule électrolytique est rendue
étanche par un joint d'étanchéité 307 entoure. Cette connexion des vannes 283, 284 qui
délivrent de l'hydrogène et de l'oxygène directement dans une chambre de
mélange 308 (Fig.34) définie par la partie de corps 303. Les gaz peuvent se mélanger ensemble au sein
de cette chambre et le mélange d'hydrogène et de l'oxygène résultant passe le
long de petit diamètre passage horizontal 309 à l'intérieur de la partie
de corps 303 qui passage est traversé par un membre de l'élément de
soupape rotatif 311 de valve 311 est en forme de cône et est
maintenu dans un boîtier de soupape conique correspondante par un ressort 312
(Fig.38) la réaction contre une bague 313 qui est vissée dans
la partie de corps 303 et sert de support pour la tige de soupape
rotatif de membre 314 de valve 311 comporte un orifice de soupape
diamétral 315 et peut être entraîné en rotation pour faire varier la
mesure dans laquelle cet orifice est aligné avec le passage 309 de
manière à faire varier la section transversale efficace de l'écoulement à
travers ce passage. Comme cela sera
expliqué ci-dessous, les positions de l'élément de soupape est commandé en
rotation par rapport à la vitesse du moteur.
Passage 309 s'étend jusqu'à l'extrémité
inférieure de plus grand diamètre de passage vertical 316 qui s'étend
vers le haut à une vanne solénoïde libéré 310 incorporé dans un ensemble
de vanne et généralement désigné en tant que jet 317.
Assemblage 317 comprend un corps principal 321
(Fig.32) fermée à sa partie supérieure par un bouchon 322 lorsque
l'ensemble est serré sur la partie de corps 303 par deux pions de
serrage 323 pour former une chambre à gaz 324 à partir de
laquelle le gaz est passé à travers des buses à jet 318 dans deux
perçages verticaux ou gorge 319 (Fig.31) dans la partie de corps 303
de la face inférieure du corps 321 a une ouverture taraudée dans
laquelle est montée une vis filetée extérieurement soupape siège de soupape 325,
310 un élément de soupape 326 est sollicité vers le bas à l'encontre
siège 325 par un ressort 327 qui réagit contre la coiffe 322,
327. Spring entoure une tige
cylindrique 328 de l'élément de soupape 326 qui proviennent
saillie vers le haut à travers une ouverture dans la capsule 322 de
sorte qu'il peut être actionné par une électrovanne 56 qui est monté
immédiatement au-dessus de la soupape en partie supérieure du corps 301.
Electro-aimant 56 est constitué d'une enveloppe isolante extérieure 366
qui a deux brides de montage 367.
Ce boîtier maisons les enroulements de cuivre constituant la bobine 55. Ceux-ci sont enroulés sur une bobine en
matière plastique 369 disposé autour d'un noyau central en acier doux 371
Le noyau a une bride inférieure 372 et la bobine et les bobines sont
maintenues serrées dans le corps isolant par le biais fermeture 373 actionné
par une bride 372 de serrage d'un écrou de serrage 374 qui est
monté à l'autre extrémité du noyau.
Partie supérieure du corps 301 de l'unité 38
est tubulaire, mais d'un côté, il dispose d'une face interne conformée pour
s'adapter au profil extérieur du boîtier de solénoïde 366 et des brides
de montage 367. Deux vis de
fixation dans les trous de vis 375 à cette face et engager les fentes 376
dans le montage brides 367 de sorte que la hauteur au-dessus de la
soupape solénoïde 310 peut être ajustée.
Les deux bornes 377 sont connectées dans le circuit électrique
par des fils (non représentés) qui peuvent être étendus dans l'unité 38 par
l'intermédiaire de l'ensemble de filtre à air.
Quand l'électrovanne 56 est excitée son
noyau magnétisé attire la tige de valve 328 et la vanne membre 326 est
soulevé jusqu'à ce que la tige 328 vient buter contre le rebord
inférieur 372 du noyau de solénoïde.
Ainsi-valve 310 est ouverte lorsque le commutateur d'allumage est
fermé et se ferme sous l'influence du printemps 327 lorsque le
commutateur d'allumage est ouvert. Le
réglage vertical de la position commande le solénoïde levage de l'élément de
soupape 326 et par conséquent le débit de carburant maximum à travers
l'unité 38.
Cellule électrolytique 41 produit de
l'hydrogène dans un rapport de 2 : 1 pour fournir un mélange qui est par
lui-même entièrement combustible.
Cependant, tel qu'il est utilisé dans le cadre de moteurs à combustion
interne actuels du volume d'hydrogène et d'oxygène nécessaire pour le
fonctionnement normal est inférieure à celle d'un mélange air-carburant
normal. Ainsi, une application directe
sur un tel moteur seulement de l'hydrogène et de l'oxygène dans la quantité
nécessaire pour satisfaire la demande d'énergie se traduira par une condition
de vide dans le système. Afin de
remédier à cet état de fourniture de vide est fait pour attirer l'air d'appoint
dans la gorge 319 par l'intermédiaire de l'ensemble de filtre à air 302
et la partie supérieure du corps 301.
Haut-partie de corps 301 a un seul passage
intérieur 328 à travers lequel l'air d'appoint est fourni à la double
gorge 319. il est fixé à la partie de corps 303 par des goujons
de serrage 329 et un joint d'étanchéité 331 est prise en sandwich
entre les deux parties de corps. La
quantité d'air d'appoint admis est contrôlé par un clapet de soupape d'air 332
disposé dans le passage 328 et monté de manière rotative sur un
arbre 333 sur lequel il est fixé par des vis 334. Le clapet est entaillé pour s'adapter autour
de boîtier électro-aimant 366 de l'arbre 333 s'étend à travers la
paroi de la partie de corps 301 et en dehors de cette paroi, il est
équipé d'un support 335 qui porte un cadre réglable à vis 336 et
un ressort de rappel 337.
Printemps 337 fournit un biais de rotation sur l'axe 333 et
pendant le fonctionnement normal du moteur, il suffit détient rabat 332 dans
une position déterminée par l'engagement de la vis de réglage 336 avec
une bride 338 de la partie de corps 301 cette position est celle
dans laquelle le clapet se ferme presque complètement passage 328 pour
permettre seulement une petite quantité d'air de maquillage pour entrer, ce
petite quantité étant réglable par réglage approprié de vis à vis 336, 336 est
équipé d'un ressort 339 de sorte qu'il tiendra sa création.
Bien que les volets 332 servent normalement
à régler la quantité d'air de maquillage admis à l'unité 38, il sert
aussi une soupape de décharge de pression si les pressions excessives sont
constitués, soit en raison d'une production excessive de gaz d'hydrogène et
d'oxygène ou par combustion d'gaz dans le collecteur d'admission du
moteur. Dans les deux cas, la pression
de gaz appliquée sur les rabats 332 qui peut provoquer la rotation de
manière à ouvrir le passage 328 et permettent au gaz de s'échapper à
travers le filtre à air. On voit que
dans Fig.32 rabat arbre 333 de montage est décalé par rapport au
centre de passage 328 de telle sorte que la pression interne tend à
ouvrir le clapet et donc exactement l'inverse de la vanne d'air dans un
carburateur à essence classique.
Air ensemble de filtre 302 comprend un fond
annulaire pan 341 qui s'adapte parfaitement sur la partie supérieure de
la partie de corps supérieure 301 et l'élément de filtre en forme de
dôme 342 a eu lieu entre un cadre interne 343 et un treillis
extérieur couvrant 344.
L'ensemble est maintenu en position par un fil et montage oeillet 345
et l'écrou de serrage 346.
La partie de corps 305 de l'unité 38 (Fig.31) qui est
fixée à la partie de corps 303 par des goujons de serrage 347,
comporte un appareil de papillon des gaz pour contrôler la vitesse du
moteur. Il a deux trous verticaux 348,
349 servant suites de la gorge double qui a commencé dans la partie de
corps 303 et ceux-ci sont équipés de clapets d'étranglement 351, 352 fixé
à un papillon commun axe de la vanne 353 par des vis 354. fixant deux extrémités de l'arbre 353 sont
prolongés à travers la paroi de la partie de corps 305 de projeter vers
l'extérieur de celui-ci. Une extrémité
de cet arbre est muni d'un support 355 par l'intermédiaire de laquelle
il est relié comme dans un carburateur conventionnel à un câble de papillon des
gaz 356 et également à une transmission automatique coup de pied vers le
bas contrôle tringlerie 357. Un
ressort de rappel 358 agit sur l'arbre 353 pour solliciter
l'accélérateur rabats orientés vers des positions fermées, tel que déterminé
par l'engagement d'une vis de réglage 359 porté par le support 355 avec
une plaque 361 en saillie de la partie de corps 303.
L'autre extrémité du papillon tige de soupape 353
comporte un levier 362 de l'extrémité extérieure est reliée à un fil
de liaison 407 au moyen de laquelle une liaison de commande est
constituée de la tige de soupape 314 de l'élément de soupape 311 par
l'intermédiaire d'un autre levier 406 relié à l'l'extrémité extérieure
de la tige de soupape. Cette connexion
de commande est tel que l'élément de soupape 311 est positionnée à tout
moment de transmettre une quantité de mélange de gaz approprié pour le régime
du moteur tel que déterminé par le réglage du papillon des gaz. Le réglage initial de l'élément de soupape 311
peut être ajustée par le choix entre deux trous de connexion 405 dans
le levier 406 et par flexion de la liaison 407.
La partie de corps 303 est fixé à la partie
de corps inférieure 300 de l'unité 38 par quatre goujons de
serrage 306. La partie de corps
inférieur comporte deux orifices 364, 365 qui forment des prolongements
des deux gorges et qui divergent dans la direction vers le bas de façon à
diriger l'hydrogène, mélange d'oxygène et d'air livrés à travers ces gorges
vers l'extérieur vers les deux rives du bras de mer de cylindres. Etant donné que ce combustible est sec, une
petite quantité de vapeur d'huile est ajoutée à elle par l'intermédiaire d'un
passage 403 dans la partie de corps 305 pour fournir une
lubrification de cylindre supérieur. Passage 403 reçoit des vapeurs
d'huile à travers un tube 404 relié à une prise sur le capot moteur
exploité. Il s'acquitte de la
vapeur d'huile vers le bas sur une partie de la face supérieure soulagé 368 de
la partie de corps 300 entre les trous 364, 365. La vapeur empiète sur la partie du visage
soulagé et est déviée dans les deux trous à tirer des gaz dans le moteur.
En illustré mélange et de distribution de gaz unité
38, on voit que le passage 309, le passage vertical 316,
la chambre 324 et les buses 318 constituent des moyens de passage
de transfert par l'intermédiaire de laquelle le mélange d'hydrogène passe dans
le conduit d'écoulement de gaz des moyens comprenant les deux gorges par
l'intermédiaire duquel elle passe dans le moteur. Les moyens de passage de transfert a une
soupape de dosage de gaz comprenant de l'élément de soupape 311 et la
soupape à solénoïde est disposé dans le moyen de passage de transfert entre la
vanne de dosage et le moyen de conduit d'écoulement de gaz. La soupape de dosage de gaz est réglé pour
donner un débit maximal à travers le moyen de passage de transfert à réglage de
la manette des gaz complète des clapets d'étranglement 351, 352. Le solénoïde vanne agit comme une vanne
marche / arrêt de sorte que lorsque le contacteur d'allumage est ouvert,
l'alimentation de gaz le moteur est positivement coupure empêchant ainsi toute
possibilité de combustion spontanée dans les cylindres entraînant le moteur à
fonctionner continuer à courir. Il agit
également à piéger le gaz dans la cellule d'électrolyse et à l'intérieur de la
chambre de mélange de l'unité de mélange et distribution de façon que le gaz
sera disponible immédiatement sur le redémarrage du moteur.
L'immersion condensateur C5 détermine un rapport entre le temps de
charge de temps de décharge qui sera en grande partie indépendant de la
fréquence du pouls et la fréquence du pouls déterminée par le transistor
d'oscillation T1 doit être choisie de telle sorte que le temps de
décharge n'est pas assez long pour produire une surchauffe de l'transformateur
bobines et plus particulièrement de la bobine secondaire 89 du
transformateur TR2. Les
expériences indiquent que des problèmes de surchauffe sont rencontrés au taux
d'impulsions en dessous de 5000 et que le système va se comporter un peu comme
un système CC, avec pour conséquence une réduction des performances à des taux
supérieurs à environ 40.000 d'impulsions.
Un taux d'environ 10.000 impulsions par minute d'impulsion sera presque
optimale. Avec l'entrée d'onde en dents
de scie et des impulsions de sortie fortement dopés du circuit oscillateur
préféré le rapport cyclique des impulsions produites à une fréquence de 10000
impulsions par minute est d'environ 0,006.
Cette forme d'impulsion permet de minimiser les problèmes de surchauffe
dans les composants du circuit de l'oscillateur aux fréquences élevées
impliquées. Un cycle de service allant
jusqu'à 0,1, qui peuvent résulter d'une entrée d'onde carrée, serait faisable,
mais à un taux de 10 000 impulsions par minute d'impulsion certains des
composants du circuit oscillateur serait alors nécessaire pour résister aux
entrées exceptionnellement élevées de chaleur.
Un cycle de fonctionnement d'environ 0,005 serait un minimum qui
pourrait être obtenue avec le type de circuit illustrée de l'oscillateur.
De la description qui précède, on peut voir que la
cellule d'électrolyse 41 convertit l'eau en hydrogène et oxygène à
chaque fois que l'interrupteur d'allumage 44 est fermé pour activer le
solénoïde 51, et cet hydrogène et l'oxygène sont mélangés dans la
chambre 308 de fermeture de l'interrupteur d'allumage est activé aussi
solénoïde 56 pour permettre l'entrée du mélange d'hydrogène et d'oxygène
dans la chambre 319, où il se mélange avec l'air admis dans la chambre
de soupape d'air rabat 332 comme décrit ci-dessus, la vanne d'air de
rabat 332 peut être configuré pour admettre de l'air en une quantité
selon les besoins pour éviter une condition de vide dans le moteur.
En fonctionnement, le câble d'accélérateur 356 entraîne
le support 355 pour pivoter autour de l'arbre de soupape d'étranglement 353,
qui tourne rabat 351 pour contrôler la quantité de mélange
hydrogène-oxygène, l'air entrant dans le moteur. Dans le même temps l'arbre de 353 agit
par l'intermédiaire de la liaison représentée sur la Fig.37 pour
commander la position de l'arbre 314, l'arbre 314 et qui ajuste
la quantité de mélange hydrogène-oxygène disponible pour le mélange avec
l'air. Comme le montre la Fig.30,
le support 355 peut également être relié à un arbre 357 qui est
relié à la transmission du véhicule.
Arbre 357 est un type commun de l'arbre utilisé pour descendre
passer à la vitesse de passage lorsque le papillon a été avancé au-delà d'un
point prédéterminé. Ainsi, il est prévu
un système de génération de carburant compact qui est compatible avec les
moteurs à combustion interne existants et qui a été conçu pour s'adapter à une
voiture ordinaire.
Demande de brevet
APPAREIL CELLULAIRE D'EAU FRACTURE
S'il vous plaît noter que ceci est un
extrait reformulé par le brevet et les schémas ont été légèrement adapté. Il
décrit un dispositif de séparation d'eau en hydrogène et d'oxygène des gaz
d'électrolyse au moyen d'électrodes qui sont placées à l'aide à l'extérieur
de la cellule.
RÉSUMÉ
Dispositif de cellule de fracture comprenant une
cellule capacitive de fracture 20, comprenant un récipient 21 ayant
des parois 21a et 21b en non matière électriquement conductrice destiné
à contenir un liquide diélectrique 26, et à distance des électrodes 22
et 23 positionnées à l'extérieur conteneur 21 avec du liquide
diélectrique 26 entre les électrodes, et un mécanisme (8a et 8b sur
la Fig.1 et Fig.2) pour appliquer des impulsions de
tension positives et négatives pour chacun des électrodes 22 et 23 en
utilisation, chaque fois que l'un d'une impulsion de tension positive et une
impulsion de tension négative est appliqué à l'une des deux électrodes, l'autre
d'une impulsion de tension positive et une impulsion de tension négative est
appliquée à l'autre des deux électrodes, créant ainsi un champ électrique
alternatif à travers le diélectrique liquide pour provoquer la rupture du
liquide diélectrique 26.
L'appareil peut être utilisé pour générer de l'hydrogène gazeux.
APPAREIL DE FRACTURE DE
CELLULE
La présente invention concerne un dispositif de
cellule à la rupture et à un procédé de génération de gaz combustible à partir
de ces appareils à la rupture de la cellule.
En particulier, mais pas exclusivement, l'invention concerne un appareil
et un procédé pour fournir un gaz combustible à partir de l'eau.
Classiquement, les principales méthodes de division
d'une espèce moléculaire dans ses constituants atomiques composants ont été
soit purement chimique ou purement électrolytique :
Purement réactions chimiques impliquent toujours réactifs " tiers
" et ne comportent pas l'interaction de (1) une influence électrique
externe appliquée, et (2) une substance simple.
Électrolyse conventionnelle implique le passage d'un courant électrique
à travers un milieu (l'électrolyte), comme étant le produit en cours de transit
d'ions entre les électrodes de la cellule . Lorsque les ions sont attirés vers
la cathode ou l'autre ou l'anode d'une cellule d'électrolyse classique, qu'ils
reçoivent ou donnent des électrons au contact de l'électrode respective
soit. Ces échanges d'électrons
constituent le courant lors de l'électrolyse.
Il n'est pas possible d'effectuer l'électrolyse classique à un degré
utile, sans le passage de ce courant; il s'agit d'une caractéristique du
procédé.
Un certain nombre de dispositifs ont été récemment
décrits qui prétend à effectuer " rupture " de, en particulier, de
l'eau à l'aide d'un phénomène électrostatique de résonance. En particulier un dispositif connu et le
processus de production d'oxygène et d'hydrogène à partir d'eau est décrit dans
US-A-4936961. Dans ce dispositif connu
un soi-disant combustible eau cellulaire " condensateur " est prévu,
dans lequel deux disposés concentriquement espacées plaques de "
condensateur " sont placées dans un récipient d'eau, la mise en contact de
l'eau, et qui sert de diélectrique entre le " condensateur "
plaques. La " capacité " est
en effet une résistance de charge-dépendante qui commence à conduire après un
petit courant de déplacement commence à couler.
Le " condensateur " fait partie d'un circuit de charge
résonnant comprenant une inductance en série avec le " condensateur
". Le " condensateur "
est soumis à une pulsation, de la tension de charge électrique unipolaire, qui
soumet les molécules d'eau à l'intérieur de la " capacité " d'un
pulsatoire champ électrique entre les plaques de condensateur. Le " condensateur " reste chargé
pendant l'application de la tension de charge pulsée provoque la liaison
électrique covalente de l'hydrogène et d'oxygène dans les molécules d'eau à se
déstabiliser, résultant en hydrogène et d'oxygène est libéré de l'molécules
comme gaz élémentaires.
Ces dispositifs connues des fractures ont, jusqu'à
présent, toujours en vedette, dans le cadre de leurs caractéristiques, le
contact physique d'un ensemble d'électrodes avec de l'eau ou tout autre support
à fracturer. La principale méthode pour
limiter le flux de courant à travers la cellule est la fourniture d'un réseau
d'alimentation électrique à haute impédance, et la forte dépendance de
l'exécution dans le domaine temporel des ions à l'intérieur de l'eau (ou un
autre moyen), la tension appliquée étant effectivement " éteint "
dans chaque cycle avant le transport d'ions peuvent se produire à n'importe
quel degré significatif.
Lors de l'utilisation d'un tel système connu, il
n'y a évidemment une limite supérieure pour le nombre de migrations d'ions, des
captures d'électrons, et des perturbations de molécule-à-atome consécutives qui
peuvent se produire au cours de n'importe quelle application donnée momentanée
d'une tension externe. Afin de s'acquitter efficacement de tels
dispositifs nécessitent des mécanismes de limitation du courant et très précis
sophistiqués commutation.
Une caractéristique commune de tous ces dispositifs
de rupture connus décrits ci-dessus, ce qui les amène à se comportent comme si
elles étaient des cellules d'électrolyse classiques à un moment donné dans le
temps après l'application de la tension externe, est qu'ils ont des électrodes
en contact réel avec l'eau ou un autre milieu.
La présente invention vise à fournir un autre
procédé de production d'une fracture de certaines espèces moléculaires simples,
par exemple l'eau.
Selon un aspect de la présente invention, il est
prévu un dispositif de cellule de rupture comprenant une cellule de fracture
capacitif comprenant un récipient ayant des parois faites de non matière
électriquement conductrice destiné à contenir un liquide diélectrique, et
espacée des électrodes positionnées à l'extérieur du récipient avec le
diélectrique liquide entre les électrodes, et un mécanisme pour appliquer des
impulsions de tension positive et négative de chacune des électrodes de telle
sorte que, chaque fois que l'un d'une impulsion de tension positive et une
impulsion de tension négative est appliquée à l'une des deux électrodes,
l'autre impulsion de tension est appliquée à l'autre électrode, créant ainsi un
champ électrique alternatif à travers le diélectrique liquide pour provoquer la
rupture du diélectrique liquide.
Dans l'appareil de la présente invention, les
électrodes ne sont pas en contact avec le liquide diélectrique qui doit être
rompue ou perturbée. Le liquide qui doit
être fracturé est simple diélectrique d'un condensateur. Aucun élément purement ohmique de la
conductance existant au sein de la cellule et de la fracture, en cours d'utilisation,
aucun courant ne circule du fait d'un mécanisme transporteur d'ions dans la
cellule. La rupture ou perturbation du
diélectrique liquide nécessaire est effectuée par le champ électrique appliqué
pendant que seulement un courant de déplacement simple, se produit à
l'intérieur de la cellule.
De préférence, le liquide diélectrique comprend de
l'eau, par exemple, l'eau distillée, l'eau du robinet ou de l'eau deutérée.
Idéalement chaque électrode comprend une électrode bipolaire.
Le mécanisme pour appliquer alternativement
des impulsions positives et négatives, fournit des tensions de pas
alternativement aux deux électrodes avec une courte période de temps au cours
de chaque cycle de la tension de charge dans lequel aucune étape de tension est
appliquée à chaque électrode. En général, des
tensions de pas de plus de 15 kV, typiquement d'environ 25 kV, de part et
d'autre d'un potentiel de référence, par exemple, terre, sont appliqués aux
électrodes. En effet, les trains
d'impulsions alternées ayant des valeurs positives et négatives sont appliquées
aux électrodes, les impulsions appliquées aux différentes électrodes étant
" déphasé ". Dans le cas où
chaque électrode comprend une électrode bipolaire, chaque électrode bipolaire
comprenant des première et seconde électrodes " plaques " isolées
électriquement l'une de l'autre, un train d'impulsions positives est agencé
pour être appliqué à une plaque d'électrode de chaque électrode bipolaire et un
train d'impulsions négatives est agencé pour être appliqué à l'autre plaque
d'électrode de chaque électrode bipolaire.
Une plaque d'électrode d'une électrode bipolaire forment un premier
ensemble avec une plaque d'électrode de l'autre électrode bipolaire et l'autre
plaque d'électrode d'une électrode bipolaire forme un second ensemble avec
l'autre plaque d'électrode de l'autre électrode bipolaire. Pour chaque ensemble, une impulsion positive
est appliquée à une plaque d'électrode et une impulsion négative est appliquée
simultanément à l'autre plaque d'électrode.
Par commutation alternativement l'application d'impulsions positives et
négatives de l'un à l'autre ensemble de plaques d'électrodes, un "
alternatif " champ électrique est généré à travers le matériau diélectrique
contenu dans le récipient. Les trains
d'impulsions sont synchronisées de sorte qu'il existe un court intervalle de
temps entre la suppression d'impulsions d'un ensemble plaque électrode et
l'application d'impulsions à l'autre ensemble de plaques d'électrodes.
Selon un autre aspect
de la présente invention, il est proposé un procédé de génération de gaz
comprenant, en appliquant des impulsions de tension positives et négatives en
alternance aux électrodes (positionné de chaque côté de, mais pas en contact
avec un diélectrique liquide), les impulsions de tension étant appliqué de
telle sorte que, chaque fois que l'un d'une impulsion de tension positive et
une impulsion de tension négative est appliquée à l'une des deux électrodes,
l'autre d'une impulsion de tension positive et une impulsion de tension
négative est appliquée à l'autre des deux électrodes, la tension appliquée
générer des impulsions d'un champ électrique alternatif à travers le liquide
diélectrique provoquant la rupture diélectrique du liquide en milieux gazeux. De préférence, les tensions d'au moins 15
kV, par exemple 25 kV, de part et d'autre d'une valeur de référence, par
exemple terre, sont appliqués à travers le diélectrique liquide pour générer le
champ électrique alternatif.
Un mode de réalisation
de l'invention va maintenant être décrite à titre d'exemple uniquement, avec
référence particulière aux dessins annexés, dans lesquels :

Fig.1 est un schéma
de circuit d'un appareil de cellule de fracture selon l'invention ;

Fig.2 montre plus en
détail une partie du schéma de circuit de la Fig.1 ;

Fig.3 montre les
différentes formes d'onde à différentes parties du schéma de circuit dans Fig.1
;

Fig.4 est un
diagramme schématique d'une cellule à la rupture pour utilisation dans un
appareil de rupture de la cellule selon l'invention,

Fig.5 montre des
trains d'impulsions appliquées à des électrodes de l'appareil de rupture de
cellules selon l'invention.
Si un champ électrique
est appliqué à travers une paire de plaques d'électrodes disposés de part et
d'autre d'une cellule contenant de l'eau, la rupture des molécules d'eau se
produit. Cette perturbation donne des noyaux d'hydrogène et des ions HO-. Une telle perturbation moléculaire est de peu
d'intérêt en termes de l'obtention d'un résultat utilisable par la
cellule. Une zone de protons riche
existe aussi longtemps que le champ existe rapidement et rétablit l'équilibre
ionique produit lorsque le champ est supprimé.
Un effet secondaire
notable, cependant, est que les ions hydroxyles (qui vont migrer vers le + ve
plaque chargée) sont dépouillés des électrons à mesure qu'ils approchent de la
limite de la cellule. Tout ion chargé négativement se présentent
ce comportement dans un puits de potentiel suffisamment forte, mais les ions OH
ont une forte tendance à cette dissociation.
Il en résulte, momentanément, dans une région de charge négative près de la
limite de cellules positives. Ainsi, sur
les côtés opposés de la cellule active, il existe des noyaux d'hydrogène (zone
de protons et d'électrons libres) (déplacées de la zone de charge -ve), les
deux tendant à augmenter la densité au plus près des plaques chargées.
Si, à ce stade, la
charge est retiré des plaques, il ya une tendance pour les charge-zones pour se
déplacer, mais très lentement, vers le centre de la cellule active. Les taux d'électrons libres et de noyaux
d'hydrogène ions transit sont, cependant, environ deux ordres de grandeur plus
grand que soit H30+ ions ou OH ions.
Si les charges sont maintenant remplacés sur
les plaques, mais avec une polarité opposée, l'aspect intéressant et
potentiellement utile du procédé est révélé.
Migration hydrogène de noyau est accéléré dans la direction de la nouvelle
plaque ve et la migration des électrons libres a lieu vers la nouvelle + ve
plaque. Là où il ya une concentration
suffisante de ces deux espèces, y compris les accumulations dues à des
changements de polarité précédentes, l'hydrogène monoatomique est formé avec la
libération d'une certaine énergie thermique.
Association moléculaire normale se produit et gaz H2 bulles hors de la
cellule.
Radicaux existants
aussi OH sont encore dépouillés de noyaux d'hydrogène et de contribuer au
processus. Dynamique, O-- ions naissants
perdent rapidement leur charge d'espace électronique au champ + et formes
monoatomiques d'oxygène ve, la formation de la molécule diatomique et de même
barbotage hors de la cellule.
Ainsi, l'application en continu d'un fort
champ électrique, en changeant la polarité de chaque cycle, est suffisante pour
perturber l'eau en ses éléments gazeux constitutifs, l'utilisation d'une petite
fraction de l'énergie nécessaire à l'électrolyse ou chimiques énergétique
classiques, et produisant de l'énergie thermique de l'enthalpie de formation
des liaisons diatomiques dans l'hydrogène et l'oxygène.

Appareil pour réaliser
le procédé ci-dessus est décrit ci-dessous.
En particulier, un circuit électronique pour réaliser l'invention est
montré dans le schéma de principe simplifié de la Fig.1. Sur la Fig.1 une fréquence de
répétition des impulsions (PRF) générateur 1 comprend une horloge de
multivibrateur astable fonctionne à une fréquence qui est programmé pour
n'importe quelle application, mais capable de faire varier dans une fourchette
d'environ 5-30 kHz. Le générateur 1
lecteurs, en déclenchant avec le bord de fuite de sa forme d'onde, une largeur
d'impulsion (PW) minuterie 2.
La sortie de la
minuterie 2 est un train d'impulsions régulières dont la largeur est
déterminée par le réglage de la minuterie 2 et dont la fréquence de
répétition est fixé par le générateur PRF 1.
Une grille 3 comprend une horloge
circuit simple 555 du type qui produisent une forme d'onde (voir Fig.3 (a))
ayant une période de 1 à 5 ms, par exemple, 2 ms comme le montre la Fig.3
(a). Le cycle de
fonctionnement de cette forme d'onde est variable de 50 % à environ 95 %. La forme d'onde est appliqué à une entrée de
chacun d'une paire de AND GATES 5a et 5b et aussi à un compteur binaire
à division par deux 4. La sortie
du compteur 4 est représenté sur la Fig.3b.
Le signal provenant du compteur de division
par deux 4 est appliquée directement à la AND GATE 5b servant de
phase 2 driver circuits 7a, mais est inversé avant l'application sur la
AND GATE 5a de la phase-l servant de circuit de conducteur 7a. La sortie de la AND GATE 5a est donc
((CLOCK et (NOT (CLOCK) / 2)) et la sortie de la AND GATE 5b est
((CLOCK) et (CLOCK / 2)), les formes d'onde, qui sont appliquées à de trains
d'impulsions portes 6a et 6b, étant représentées en Fig.3c et Fig.3d.
Trains de 5-30 impulsions kHz sont appliqués
à conduire amplificateurs 7a et 7b en alternance, avec un petit "
DE " période au cours de laquelle aucune impulsion n'est appliquée aux
amplificateur. La durée de chaque
période " arrêt " est fonction du rapport cyclique initial de la minuterie
3. La raison de la courte période
" DE " dans les formes d'onde d'attaque est d'empêcher l'arc de
couronne locale comme les phases changent avec chaque cycle.
Les amplificateurs
d'entraînement 7a et 7b utilisent chacune un transistor de BC182L 10
(voir Fig.2), petit torique 2 : 1 impulsion transformateur 11 et
un BUZ11 puissance MOSFET 12 et s'appliquent paquets d'impulsions aux
bornes des enroulements primaires de leur 25 kV ligne-sortie respective
transformateurs 8a et 8b pour produire une tension alternative de haute
fréquence EHT à leurs enroulements secondaires.
Les enroulements
secondaires sont " levées " de la masse du système et fournissent,
après une rectification simple demi-onde, le champ appliqué pour une
application à la cellule 20 (voir Fig.4).
Cellule 20 comprend un récipient 21
ayant des parois 21a, 21b d'un matériau électriquement isolant, par
exemple, un matériau thermoplastique, tel que le méthacrylate de méthyle,
typiquement espacé d'environ 5 mm, et les électrodes de la cellule bipolaire
généralement désigné par 22 et 23, et typiquement construite à partir
d'une feuille d'aluminium, placé à l'extérieur des parois 21a et 21b. Chaque électrode de cellule est bipolaire comprend
une paire de plaques d'électrodes 22a et 22b (ou 23a et 23b) de
chaque côté de la cellule 20 séparées l'une de l'autre par une couche
électriquement isolante 24 (ou 25), par exemple, de matière
plastique de polycarbonate épaisse d'environ 0,3 mm.
Les plaques
d'électrodes 22a et 23a sous forme d'un ensemble (ensemble A) de
plaques d'électrodes positionnées sur des côtés opposés du récipient 21 et
les plaques d'électrodes 22b et 23b forment un autre ensemble de plaques
d'électrodes positionnées sur des côtés opposés du récipient 21 une
couche isolante 25, par exemple, d'un matériau de polycarbonate,
semblable à la couche 24a ou 24b isolant peut être positionné entre
chaque électrode de la cellule bipolaire 22 (ou 23) et sa paroi 21a
du conteneur adjacent (ou 21b).
Un électrolyte liquide, de préférence l'eau, est placé dans le récipient
21.
En cours d'utilisation, un train
d'impulsions positives est appliqué à des plaques d'électrodes 22a et 23b et
un train d'impulsions négatives est appliquée sur les plaques d'électrode 23a
et 22b. La synchronisation des impulsions
est représenté schématiquement sur la Fig.5, qui illustre le fait que,
pour l'ensemble A (ou de l'ensemble B), chaque fois qu'une
impulsion positive est appliquée à l'électrode plaque 22a (ou 23b),
une impulsion négative est également appliquée à l'électrode plaque 23a (ou
22b). Cependant, les impulsions
appliquées à l'ensemble de plaques d'électrode A sont " hors phase
" avec les impulsions appliquées à la plaque d'électrode fixé B. Dans chaque train d'impulsions, la durée de chaque
impulsion est inférieur à l'intervalle entre des impulsions successives.

En faisant en sorte que
les impulsions de la série de plaques d'électrode B à être appliqués
dans les périodes où aucune impulsion n'est appliquée à la plaque d'électrode
ensemble A, la situation se présente lorsque des paires d'impulsions
sont appliquées successivement sur les plaques d'électrodes de différents jeux
de plaques d'électrodes, il n'y étant un court intervalle de temps lorsque
aucune impulsion n'est appliquée entre chaque application successive
d'impulsions de paires de plaques d'électrodes.
En d'autres termes, en regardant la Fig.5, des impulsions P1
et Q1 sont appliqués à la fois aux plaques d'électrodes 22a et 23a. Les impulsions P1 et Q1 sont de la
même durée d'impulsion et, à la fin de leur durée, il ya un temps court la
période t avant R1 et S1 impulsions sont appliquées à des plaques
d'électrodes 23b et 22b.
Les impulsions R1 et
S1 sont de la même durée d'impulsion que les impulsions P1 et Q1 et,
à la fin de leur durée, il ya un laps de temps t avant la impulsions
suivant P2 et Q2 sont appliqués à des plaques d'électrodes 22a et 23a. On notera que chaque fois une impulsion d'un
signe est appliqué à l'une des plaques d'électrode d'un ensemble, une impulsion
de signe opposé est appliquée sur l'autre plaque d'électrode de cet ensemble.
De plus, en passant de
l'un à l'autre plaque d'électrode fixé les polarités appliquées à travers le
récipient sont commutés à plusieurs reprises pour résultat une "
alternatif " champ électrique étant créé dans l'eau " de diélectrique
liquide " dans le récipient.
Brevet WO 9 528 510 26 Octobre 1995 Inventeur: Spiro Ross Spiros
AMÉLIORATION
DES SYSTÈMES D'ÉLECTROLYSE ET LA
DISPONIBILITÉ
DE L'ÉNERGIE D'AU-DESSUS-UNITÉ
Cette demande de brevet montre les détails d'un
système d'électrolyse qui dit-on, produit une plus grande production de la
puissance d'entrée nécessaire à son fonctionnement.
RÉSUMÉ
Un système d'énergie en boucle pour la production
de l'énergie en excès disponible pour effectuer des travaux est décrit. Le système comprend une unité de cellule
d'électrolyse 150 de recevoir une alimentation en eau pour libérer
séparée de l'hydrogène gazeux 154 et de l'oxygène 156 par
électrolyse entraîné par une tension continue 152 appliqué sur les
anodes et les cathodes de l'unité de cellules 150. A du récepteur de l'hydrogène gazeux 158 reçoit
et stocke respectifs de l'hydrogène gazeux libéré par l'unité de pile 150 et
un récepteur de gaz d'oxygène 160 reçoit et stocke l'oxygène gazeux
libéré par l'unité de cellules 150 a du dispositif d'expansion de gaz 162
se dilate les gaz stockés à récupérer le travail de détente, et un
dispositif de combustion de gaz 168 de mélanges et brûle l'hydrogène
gazeux expansé et de l'oxygène gazeux pour récupérer le travail brûlés. Une proportion de la somme du travail de
détente et le travail de combustion alimente l'électrolyse de l'unité de pile
pour retenir la pression du gaz de fonctionnement dans les récepteurs de gaz 158,
160 de telle sorte que le système d'énergie autonome, et il ya un excès
d'énergie disponible à partir de la somme des énergies.
DOMAINE TECHNIQUE DE
L'INVENTION
La présente invention se rapporte à la génération
de gaz d'hydrogène et de l'oxygène gazeux à partir de l'eau, soit sous forme
d'un mélange ou sous forme de gaz séparées, par le processus de l'électrolyse,
et concerne en outre des applications pour l'utilisation du gaz libéré. Des modes de réalisation de l'invention
concernent en particulier à un appareil pour la génération efficace de ces gaz,
et d'utiliser des gaz dans un moteur à combustion interne et une pompe à
implosion. L'invention concerne
également un système de production d'énergie en boucle fermée où l'énergie
moléculaire latente est libérée comme une forme de " énergie libre "
de sorte que le système peut être autonome.
Il est fait référence à propriété commune demande
de brevet internationale PCT / AU94 / 000532, dont la date de dépôt
international du 6 Septembre de 1994.
Arrière-plan
La technique de l'électrolyse de l'eau en présence
d'un électrolyte tel que l'hydroxyde de sodium (NaOH) ou d'hydroxyde de
potassium (KOH) à libérer de l'hydrogène et de l'oxygène gazeux (H2, 02) est
bien connue. Le procédé consiste à appliquer une différence de potentiel en
courant continu entre deux ou plusieurs paires d'électrodes anode / cathode et
la prestation de l'énergie minimum nécessaire pour rompre les liaisons HO (c.
68,3 kcal par mole @ STP).
Les gaz sont produits dans les proportions
stoechiométriques pour O2 : H2 de 1 : 2 respectivement libérer de l'anode (+)
et la cathode (-).
On peut se référer aux
textes suivants:
"Modern Electrochemistry, Volume 2,
John O'M. Bockris and Amulya K.N. Reddy, Plenum Publishing Corporation",
"Electro-Chemical Science, J. O'M. Bockris and D.M. Drazic, Taylor
and Francis Limited" and
"Fuel Cells, Their Electrochemistry, J. O'M. Bockris and S.
Srinivasan, McGraw-Hill Book Company".
Une discussion de
travaux expérimentaux en matière de processus d'électrolyse peut être obtenu à
partir de " Hydrogen Energy, partie A, hydrogène Conférence sur l'économie
de l'énergie Miami, Miami Beach, Floride, 1974, édité par T. Nejat Veziroglu,
Plenum Press ". Les documents
présentés par J. O'M. Bockris aux pages 371 à 379, par F.C. Jensen et FH
Schubert aux pages 425 à 439 et de John B. Pangborn et John C. Sharer aux pages
499 à 508 sont d'une importance particulière.
Sur une grande échelle,
la quantité de gaz produit dépend d'un certain nombre de variables, y compris
le type et la concentration de la solution électrolytique utilisée, la paire
d'électrodes de surface anode / cathode, la résistance électrolytique (ce qui
équivaut à conductivité ionique, qui est un fonction de la température et de la
pression), la densité de courant obtenue et anode / cathode différence de
potentiel. L'énergie totale délivrée doit être suffisante pour dissocier les
ions de l'eau pour générer des gaz d'hydrogène et d'oxygène, tout en évitant le
placage (oxydation / réduction) du matériaux métalliques ou non métalliques
conductrices à partir duquel les électrodes sont construites.
DESCRIPTION DE
L'INVENTION
L'invention concerne un
système d'énergie en boucle pour la production de l'énergie en excès disponible
pour effectuer le travail, ledit système comprenant :
Unité de cellule
d'électrolyse recevoir une alimentation en eau pour la libération de
l'hydrogène gazeux et le gaz séparé de l'oxygène par électrolyse en raison
d'une tension continue appliquée entre les anodes et les cathodes de la cellule
respective ;
Un récepteur de gaz
d'hydrogène pour recevoir et stocker le gaz d'hydrogène libérés par la cellule
d'électrolyse ;
Un récepteur de gaz
d'oxygène pour recevoir et stocker le gaz de l'oxygène libéré par la cellule
d'électrolyse ;
Une chambre d'expansion
de gaz pour permettre la détente des gaz stockés afin de récupérer le travail
de détente ; et
Un mécanisme de gaz de
combustion pour mélanger et brûler les gaz hydrogène et oxygène expansé pour
récupérer le travail de combustion; et dans lequel une proportion de la somme
du travail de détente et le travail de combustion alimente l'électrolyse de la
cellule d'électrolyse afin de maintenir la pression du gaz de fonctionnement
dans les gaz hydrogène et oxygène récepteurs de telle sorte que le système
d'énergie autonome, il ya un excès énergie disponible.
L'invention décrit en
outre un procédé pour la production d'un excès d'énergie disponible pour
effectuer un travail par le procédé d'électrolyse, ledit procédé comprenant les
étapes consistant à: électrolyser l'eau en une tension continue de libérer de
l'hydrogène gazeux et le gaz séparé de l'oxygène; recevoir séparément et
stocker les gaz d'hydrogène et d'oxygène de manière à être auto-pression;
expansion séparément le gaz stocké pour récupérer l'énergie de l'expansion ;
brûler les gaz détendus pour récupérer l'énergie de combustion; et
l'application d'une portion de la somme du travail de détente et le travail de
la combustion en tant que tension CC à conserver la pression du gaz de
fonctionnement et maintenir l'électrolyse, l'existence d'un excès d'énergie
disponible pour ce faire.
L'invention concerne également un moteur à
combustion interne fonctionnant à l'hydrogène et de l'oxygène comprenant :
Au moins un cylindre et
Au moins un piston à
mouvement alternatif dans le cylindre ;
Un orifice d'entrée de
gaz d'hydrogène en communication avec le cylindre pour recevoir une
alimentation sous pression d'hydrogène ;
Un orifice d'entrée de
gaz d'oxygène en communication avec le cylindre destiné à recevoir une
alimentation en oxygène sous pression ; et
Un orifice
d'échappement en communication avec le cylindre et dans lequel le
moteur peut être actionné d'une manière à deux temps, de sorte que, dans la
partie supérieure de la course, de l'hydrogène gazeux est introduit par
l'orifice d'entrée respectif vers le cylindre entraînant le piston vers le bas,
de l'oxygène gazeux, puis est fournie à travers l'orifice d'entrée respectif
vers le cylindre pour entraîner le cylindre en outre vers le bas, après quoi
l'auto-détonation se produit et le piston se déplace vers le bas de la course
et de nouveau vers le haut avec l'orifice d'échappement ouvert pour faire
sortir la vapeur d'eau résultant de la détonation.
L'invention concerne également une pompe à
implosion comprenant ;
Une chambre de
combustion interposée, et en communication avec,
Un réservoir supérieur
et un réservoir inférieur séparés par une distance verticale à travers
laquelle de l'eau à pomper, cette chambre de réception de l'hydrogène et de
l'oxygène mélangé à une pression suffisante pour soulever un volume d'eau de la
distance à partir de là vers le réservoir supérieur, le gaz dans l'chambre
étant alors allumé pour créer un vide dans la chambre à puiser de l'eau du
réservoir inférieur pour remplir la chambre, après quoi un cycle de pompage est
établie et peut être répété.
L'invention concerne également un agencement empilé
parallèle de plaques de cellules pour une unité d'électrolyse de l'eau, les
plaques de cellules formant alternativement une anode et une cathode de l'unité
d'électrolyse, et le dispositif comprenant de l'hydrogène gazeux séparé et des
orifices de sortie de gaz de l'oxygène respectivement reliés aux pôles de la
cellule anodique et les plaques de cellule de cathode et s'étendant
longitudinalement le long de la pile de plaques. Ces orifices de sortie sont disposés de façon
à être isolé à partir des plaques d'anode et de cathode.
DESCRIPTION DES DESSINS
Figs.1a-16 de noter la
demande internationale ne. PCT/AU94/000532 sont reproduites pour faciliter la
description de la présente invention, mais désignées aux présentes par Figs.la-6
:
Fig.1a et Fig.1a
montrer un exemple de réalisation d'une plaque de cellule :

Fig.2a et Fig.2b
montrer une plaque de cellule complémentaire de

Fig.3 montre le
détail des perforations et le portage des plaques de la cellule de Figs.1a,
1b, 2a et 2b :

Fig.4 montre un
agencement empilé éclatée des plaques de la cellule de Figs.1a, 1b, 2a et 2b
:

Fig.5a représente une
vue schématique du système de séparation de gaz de Fig.4 :

Fig.5b montre une
représentation stylisée de Fig.5a :

Fig.5c montre un
circuit électrique équivalent de Fig.5a et

Fig.6 représente un
système de collecte de gaz pour une utilisation avec le système de séparation
de la banque de cellules de Fig.4 et Fig.5a.

Les dessins restants sont :
Fig.7a et Fig.7b
sont des vues d'une première plaque de cellule :

Fig.8a et Fig.8b
sont des vues d'une seconde plaque de cellule :

Fig.9 montre le
détail de la marge de la première plaque de cellule de bordure :

Fig10 montre un
agencement empilé éclatée des plaques de cellules représenté sur la Fig.7a
et Fig.8a :

Fig.11 est une vue en
coupe transversale de trois des plaques de cellules empilées représentées sur
la Fig.10 dans le voisinage d'un orifice de gaz :

Fig.12a et Fig.12b
représentent respectivement les détails des première et seconde plaques de
cellules dans le voisinage d'un orifice de gaz :

Fig.13 est une vue en coupe transversale d'une unité de cellule
de quatre plaques de cellules empilées dans le voisinage d'un arbre
d'interconnexion :

Fig.14 montre une vue
en perspective d'un écrou de verrouillage utilisé dans le dispositif représenté
sur la Fig.13 :

Fig.15 montre un
système d'électrolyse idéalisée :

Figs.16-30 sont des
graphiques à l'appui du système de Fig.15 et la disponibilité de
sur-unité d'énergie :















Figs. 31a à 31e montrer un
moteur à combustion interne d'hydrogène / oxygène gaz axée :



Figs. 32a-32c montrer une
pompe à implosion entraîné par un gaz :

DESCRIPTION
DÉTAILLÉE ET LE MEILLEUR MODE D'EXÉCUTION
Fig.lA et Fig.2A montrer des modes de réalisation d'un premier et
second type de plaque de cellule 90, 98 comme une vue d'extrémité. Fig.1b et la Fig.2b sont des
vues partielles en coupe transversale le long des lignes médianes respectives,
comme illustré. Numéros de référence
communs ont été utilisés le cas échéant.
Les plaques 90, 98 peuvent avoir la fonction de l'une d'une anode
(+) ou une cathode (-), comme il deviendra apparent. Chaque disque comprend une électrode 92 qui
est perforée de trous de forme hexagonale 96. Le disque 92 est réalisé en acier ou
carbone liées par une résine ou d'un matériau de polymère conducteur. Le disque 92 est logé dans une
couronne circulaire ou le manchon 94.
La fonction des perforations 96 est de maximiser la zone de
surface du disque de l'électrode 92 et de réduire le poids sur les
constructions solides de 45 %.
A titre d'exemple, pour
un disque de diamètre 280 mm, l'épaisseur du disque doit être de 1 mm afin de
permettre à la densité de courant (qui varie entre 90 A / cm2 2650 - 100 A / 2940 cm2 de l'anode ou
cathode) d'être optimale . Si le diamètre de la plaque est augmentée, ce qui
augmente par conséquent la surface, il est nécessaire d'augmenter l'épaisseur
de la plaque, afin de maintenir l'uniformité de la conductance de la densité de
courant désirée.
Les perforations
hexagonales d'un disque de 1 mm ont une distance de 2 mm entre les logements,
deux fois l'épaisseur de la plaque, afin de maintenir la même surface totale
avant la perforation, et de 1 mm de la perforation suivante adjacente pour
permettre le densité de courant soit optimale. Une distance (plat à plat) de 1
mm entre les perforations hexagonales est nécessaire, car une plus petite
distance se traduire par des pertes thermiques et d'une distance supérieure,
ajouter à la masse totale de la plaque.
Le manchon 94 est
constitué d'un matériau en PVC et comprend un certain nombre de trous d'arbre 100,
102 également espacées. Les trous sont pour le passage des arbres
d'interconnexion prévus dans un agencement empilé de plaques 90, 98 formant
le conducteur commun pour les plaques d'anode et de cathode respectifs. Les deux autres trous supérieurs 104,106 supportent
chacun un conduit respectivement à la sortie de flux de gaz d'oxygène et
d'hydrogène. Les autres trous 108,
110 au bas de la douille 94 sont prévus pour l'entrée de l'eau et de
l'électrolyte sur les plaques de cellules respectives 90, 98.
Fig.3 montre une vue
agrandie d'une partie de la plaque de cellule 90 représenté sur la Fig.la. Le trou d'orifice 104 est raccordé à
perforations hexagonales 96 à l'intérieur du manchon 94 par un
canal interne 112. Un agencement
similaire est en place pour l'autre trou d'orifice 106, et pour les
trous d'eau / électrolyte d'alimentation 108, 110.
Si c'est le cas, que
les gaz hydrogène et oxygène sont libérés pour être maintenue séparée (c.-à-pas
à être formée comme un mélange), alors il est nécessaire de séparer les gaz
tels qu'ils sont produits. Dans l'art
antérieur ceci est obtenu par l'utilisation de diaphragmes qui empêchent le
passage des gaz et d'isoler efficacement l'eau / électrolyte sur chaque face de
la membrane. Transfert ionique est ainsi
facilitée par la nature du matériau conducteur de la membrane (c'est à dire une
eau - diaphragme - chemin de l'eau). Il
en résulte une augmentation de la résistance ionique et, partant, une
diminution de l'efficacité.
Fig.4 montre un
agencement empilé éclatée de quatre plaques de la cellule, étant une
alternative empilement de deux plaques (anode) de la cellule 90 et les
deux plaques (cathode) de la cellule 98, les deux extrémités de
l'agencement empilé de plaques de cellules délimite une unité de cellule unique
125.
Interposé entre chaque
plaque de cellule adjacente 90, 98 est une séparation en PTFE 116. Bien que non représenté sur la Fig.4,
l'unité de cellule comprend de l'hydrogène et du gaz d'oxygène des conduits
séparés qui passent respectivement à travers l'agencement empilé de plaques de
cellule par l'intermédiaire des trous d'orifices 106, 104 respectivement. De la même manière, des conduits sont prévus
pour l'alimentation en eau / électrolyte, passant respectivement à travers les
trous 108, 110 à la partie inférieure des plaques respectives 90, 98. Seules deux paires d'anode / plaques de
cellule de cathode sont présentés. Le
nombre de ces plaques peut être considérablement augmenté par unité de cellule 125.
Également non
représenté sont le interconnexion arbres conducteurs qui relient électriquement
plaques de la cellule commune alternatives.
La raison en ayant un trou de grand diamètre dans une plaque de cellule
adjacente à un trou de plus petit diamètre dans la plaque de cellule suivante,
est de telle sorte qu'un arbre d'interconnexion passe à travers le trou de plus
grand diamètre, et d'établir une connexion électrique (par exemple isolé par un
tube en PVC ) plutôt que la formation d'une connexion électrique entre des
plaques alternées (commun) de la cellule.
Fig.4 est une vue
éclatée d'une unité de cellules 125 de l'arrangement. Une fois entièrement construit, tous les éléments sont empilés en
contact intime. La fixation mécanique
est réalisée par l'utilisation de l'un des deux adhésifs tels que (a)
"PUR-fect LOK" (TM) 34-9002, qui est un uréthane d'adhésif thermofusible
réactive avec un ingrédient principal de méthylène Bispheny / Dirsocynate
(MDI), et (b) "MY-T-BOND" (TM) qui est un solvant adhésif à base de
PVC. Les adhésifs sont
l'hydroxyde de sodium résistant, ce qui est nécessaire parce que l'électrolyte
contient 20 % d'hydroxyde de sodium.
Dans ce cas, le rapport eau / électrolyte réside uniquement dans la zone
comprise à l'intérieur de la douille de plaque de cellule 94. Ainsi, la seule voie pour l'entrée d'eau /
électrolyte est par les canaux inférieurs 118, 122 et la seule sortie
pour les gaz est par les canaux supérieurs 112, 120. Dans un système construit et testé par
l'inventeur, l'épaisseur des plaques de la cellule 90, 98 est égal à 1
mm (2 mm sur le pourtour de la douille car PVC 94), avec un diamètre de
336 mm. L'unité de cellule 125 est
segmenté à partir de la cellule voisine par un isolant PVC disque de
segmentation 114. Un disque de
segmentation 114 est également placé au début et à la fin de la banque
de cellule entière. Si il n'y aura pas
de séparation des gaz libérés, les membranes PTFE 116 sont omis et le
manchon 94 n'est pas nécessaire.
La membrane de PTFE 116
est fibreuse et a 0,2 à 1,0 micron interstices. Un type approprié est de type catalogue code J, fourni par Tokyo Roshi
International Inc (Advantec). L'eau / électrolyte remplit les interstices et
les flux de courant ionique uniquement via l'eau - il n'y a pas apport de flux
ionique à travers le matériau lui-même en PTFE.
Ceci conduit à une réduction de la résistance à l'écoulement ionique. La matière de PTFE a aussi un " point de
bulle " qui est une fonction de la pression, donc par réglage des
pressions relatives de chaque côté des feuilles de séparation de PTFE, les gaz
peuvent être " forcés " à travers les interstices pour former un
mélange, ou maintenue autrement séparé.
D'autres avantages de cet agencement incluent un moindre coût de la
construction, l'amélioration de l'efficacité opérationnelle et une plus grande
résistance aux pannes.
Fig.5a est stylisé,
et a explosé, vue schématique d'un réseau linéaire de trois unités de cellules
connectées en série 125. Pour plus de clarté, seuls six axes
d'interconnexion 126-131 sont présentés.
Les tiges 126 à 131 passent à travers les trous d'arbre
respectifs 102,100 dans les différentes plaques de cellules à 90, 98 agencement
empilé. La polarité fixé à chacun des
arbres d'extrémités exposées, dont l'alimentation en courant continu est
connectée est également indiqué. Les
tiges 126 à 131 ne courent pas sur toute la longueur des trois banques
de cellules 125. La
représentation est similaire à l'agencement représenté sur la Fig.8 et
Fig.7a. Un tiers de la pleine
tension de la source à courant continu apparaît aux bornes de chaque anode /
cathode paire de plaque de cellule 90, 98.
En outre, les conduits
de gaz 132,133, respectivement pour l'hydrogène et de l'oxygène, qui
passent à travers les trous d'orifices 104, 106 dans les plaques de la
cellule sont montrés aussi 90,98.
De la même manière, des conduits d'eau / électrolyte 134, 135, en
passant par les trous d'orifices de l'eau 108, 110 dans les plaques de
la cellule sont montrés aussi.
Fig.5b montre en
particulier comment la différence de potentiel par rapport à la banque de
cellules du milieu 125 change. Autrement dit, la plaque 90a
maintenant électrode fonctionne comme une cathode (à savoir relativement plus
négatif) pour générer de l'hydrogène, et la plaque 98a électrode
fonctionne alors comme une anode (c'est à dire relativement plus positif) pour
générer de l'oxygène. C'est le cas
pour chaque unité de cellule de remplacement. Les flèches représentées dans Fig.5b indiquent l'électron et le
circuit courant ionique. Fig.5c est une
représentation de circuit électrique équivalent de la Fig.5b, où les
éléments résistifs représentent la résistance ionique entre les plaques anode /
cathode adjacentes. Ainsi, on peut voir que les unités de cellules sont
connectées en série.
En raison de la
variation de la fonction de plaques de cellules 90a et 98a, les gaz
libérés sont complémentaires à chaque, d'où des canaux respectifs 112 sont
reliées à la conduite de gaz en face de 132, 133. En pratique, cela peut être réalisé par la
simple inversion des pôles de la cellule 90, 98.
Fig.6 montre les
trois unités de cellules 125 de la Fig.5a relié à un dispositif
de collecte de gaz. Les unités de
cellules 125 sont situés à l'intérieur d'un réservoir 140 qui est
rempli avec de l'eau / électrolyte jusqu'au niveau indiqué h. L'eau est consommée comme les processus
d'électrolyse produit, et offre la reconstitution est fourni par l'entrée 152. Le niveau de l'eau/électrolyte h peut
être consulté via le voyant 154.
En fonctionnement normal, les différents courants de l'hydrogène et de
l'oxygène sont produites et transmises des unités de cellules 125 à
l'augmentation des colonnes respectives 142, 144. Autrement dit, la pression de l'électrolyte
sur les côtés opposés de la membrane en PTFE 116 est égalisée, donc les
gaz ne peut pas mélanger.
Les colonnes 142,
144 sont également remplis de l'eau / électrolyte, et comme il est consommé
au niveau des plaques d'électrodes, dépôt de réapprovisionnement électrolyte
est fourni par l'intermédiaire de la circulation à travers les conduits d'eau /
électrolyte 134, 135. La
circulation est provoquée par l'entraînement par les gaz libérés, et par la
nature de l'inducteur circulatoire des conduits et des colonnes.
L'étendue supérieure de
la cuve 140 forme deux tours de lavage 156, 158, respectivement,
pour la collecte de gaz d'oxygène et d'hydrogène. Les gaz passent une colonne respective 142,
144, et à partir des colonnes via des ouvertures à un point dans les
chicanes entrelacés 146. Le point
où les gaz quittent les colonnes 142, 144 est en dessous du niveau de
l'eau h, qui sert à régler tout écoulement turbulent et l'électrolyte
entraîné. Les chicanes 146 situé
au-dessus du niveau h gommage du gaz de l'électrolyte entraîné, et le
gaz épuré sort ensuite par les colonnes de sortie de gaz respectives 148,150
et donc à un récepteur de gaz. Le
niveau h dans le réservoir 140 peut être régulé par tout moyen
approprié, y compris un interrupteur à flotteur, à nouveau avec de l'eau de
réapprovisionnement étant alimenté par la conduite d'entrée 152.
Les gaz libérés sont
toujours séparé de la solution eau / électrolyte en raison de la différence de
densité. En raison de la hauteur
relative de l'ensemble respectif de chicanes, et en raison de la différence de
masse volumique entre les gaz et l'eau / électrolyte, il n'est pas possible
pour les gaz d'hydrogène et d'oxygène libéré à mélanger. La présence de la totalité du volume d'eau
dans le réservoir 140 maintient les plaques de la cellule dans un état
immergé, et sert en outre à absorber le choc de tous les détonations internes
qui pourraient se produire.
Dans le cas où un
mélange de gaz est nécessaire, tout d'abord les deux clapets de retenue 136,
137 situés respectivement dans la sortie de gaz de l'oxygène conduit 132
et de l'eau / électrolyte orifice d'entrée 134 sont fermés. Ceci bloque le chemin d'accès de sortie pour
le gaz d'oxygène et force l'entrée de l'eau / électrolyte de passer à la
conduite d'entrée 134 par l'intermédiaire d'un aller-simple clapet
anti-retour 139 et la pompe 138, l'eau / électrolyte dans le
réservoir 140 est sous pression du fait de sa profondeur (en volume), et
la pompe 138 fonctionne de façon à augmenter la pression de l'eau /
électrolyte se produisant sur l'anode plaques de cellules 90, 98a être à
une pression accrue par rapport à l'eau / électrolyte sur l'autre côté de la
membrane 116.
Cette différence de
pression est suffisante pour provoquer le gaz oxygène de migrer à travers la
membrane, ainsi l'oxygène mélangé et d'hydrogène sont libérées par le conduit
de sortie de gaz 133 et la colonne 144. Comme il n'y a pas de chemin de retour
pour l'eau / électrolyte fourni par la pompe 138, la pression sur les
plaques de cellules 90, 98a va augmenter plus loin, et à un point où la
différence est suffisante pour que le rapport eau / électrolyte peut également
passer à travers la membrane 116 en général, la différence de pression
dans la plage de 1,5 à 10 psi est nécessaire pour permettre le passage de gaz,
et une différence de pression dans la plage de 10 à 40 psi pour l'eau /
électrolyte.
Bien que seulement
trois unités de cellules 125 sont montrées, un nombre quelconque
clairement, connectés en série, peut être réalisée.
Des modes de
réalisation de la présente invention seront maintenant décrits. Le cas échéant, les mêmes références
numériques ont été utilisées.
Fig.7a et Fig.7b
illustrent un premier type de plaque de cellule 190, respectivement, une
vue en bout et une vue en coupe transversale agrandie selon la ligne VIIb--VIIb. La plaque de cellule 190 diffère de la
plaque de cellule précédente 90 représenté dans la Fig.1a et la Fig.1b
dans un certain nombre d'aspects importants.
La région du disque d'électrode 192 a reçue dans le manchon 194
est maintenant perforé. La fonction
de ces perforations est de réduire encore le poids de la plaque de cellule 190. Les trous d'arbre 200, 202 passent à
nouveau à travers le disque d'électrode 192, mais c'est aussi le cas des
trous supérieurs 204, 206 à travers lesquelles les conduits pour la
sortie de flux d'hydrogène libéré et passer les gaz d'oxygène. Les orifices de fond 208, 210, prévues
pour l'entrée de l'eau et des électrolytes, maintenant aussi se trouvent dans
la région de la coïncidence manchon 194 avec la marge de bord perforée
du disque d'électrode 192. Les canaux 212, 218 communiquant
respectivement avec le trou d'orifice 204 et la fourniture trou 210 sont
également représentées.
Fig.8a et
Fig.8b montrent un second type de plaque de cellule 198 comme un compagnon
de la première plaque de la cellule 190, et que les mêmes points de vue
respectifs. La seconde plaque de cellule
198 est quelque peu similaire à la plaque de cellule 98 déjà montré
à la Fig.2a et la Fig.2b.
Les différences entre les deux sont les mêmes que les différences
respectives entre la plaque de cellule représentée sur la Fig.1a et la Fig.1b
et celui représenté sur la Fig.7b et Fig.7a. La disposition des canaux respectifs 220,
222 par rapport à l'orifice 206 et le trou d'alimentation en eau 208
sont présentés également.
Dans la fabrication des
plaques de cellules 190, 198, le manchon 94 est moulé par
injection à partir de matière plastique PVC formée sur le bord du disque de
l'électrode de bord 192.
Le procédé de moulage
par injection dans la avantageux d'interconnexion formant des grappes à
l'intérieur des perforations formant dans la région 196 du disque 192
a eu lieu à l'intérieur du manchon 194, ancrant ainsi fermement le
manchon 194 sur le disque 192.
Fig.9 est une vue
similaire à la Fig.3, mais pour le dispositif de portage et de
perforations modifié (représenté en traits mixtes où couverte par le manchon)
de la région du disque 192 à l'intérieur et immédiatement à l'extérieur
de la douille 194.
Fig.10 montre une
unité de cellules 225 sous la forme d'un empilement alterné de éclatée
des première et seconde plaques de cellules 190, 198, une grande partie
de la même manière que la Fig.4.
Seules deux paires de plaques de cellules anode / cathode sont
représentés, mais le nombre de ces plaques peut être considérablement augmenté
par unité de cellule 225 de la membrane 216 est de préférence de
type fibre de silice QR-HE avec l'alternative étant PTFE. Les deux sont disponibles à partir de Tokyo
Roshi International Inc. (Advantec) du Japon.
Tapez QR-SE est un matériau hydrophobe ayant 0,2 à 1,0 interstices
micron, et est capable de fonctionner à des températures allant jusqu'à 1,0000
C. L'unité de cellule 225 peut être
combiné avec d'autres de ces unités de cellules 225 pour former une
banque de cellules interconnectés de la même manière que représenté sur la Fig.5A,
Fig.5B et Fig.5C.
En outre, les unités de
cellules peuvent être mises à profit dans un dispositif de collecte des gaz,
tel que celui représenté sur la Fig.6.
Le fonctionnement du système de séparation de gaz en utilisant les
nouvelles plaques de cellules 190, 198 est de la même manière que celle
décrite précédemment.
Fig.11 est une vue
agrandie en coupe transversale de trois plaques de la cellule au voisinage de
l'orifice d'oxygène 204. Les
plaques de cellules comprennent deux du premier type de plaque 190 représentée
sur la Fig.7a constituant une plaque positive, et un seul des le
deuxième type de plaque 198 représentée dans la Fig.8a représente
une plaque négative. L'emplacement des
canaux respectifs 212 pour chacune des plaques de cellules positives 190
est représenté comme étant une représentation en pointillés. Les manchons respectifs 194 des trois pôles
de la cellule sont formées à partir de matières plastiques de PVC moulés comme
décrit précédemment, et dans la région qui forme le périmètre de l'orifice 204
a une configuration particulière de savoir si une plaque de cellule est
positif ou négatif. Dans le cas présent,
les plaques de cellules positives 190 ont un pied à bride 230 qui,
dans la construction assemblés, forment la limite contiguë de l'orifice de gaz 204. Chaque pied 230 comporte deux nervures
circonférentielles 232 qui engagent des rainures circonférentielles 234
qui correspond à la douille 194 de la plaque négative 198.
Le résultat de cet
agencement est que la partie métallique exposée des plaques de cellules
négatives 198 toujours sont isolés à partir de l'écoulement de gaz
d'oxygène libéré à partir des plaques de cellules positives 190, ce qui
évite la possibilité d'une explosion spontanée par le mélange de l'hydrogène
séparé et d'oxygène gaz. Cet agencement
permet de surmonter la production indésirable de gaz, soit de l'oxygène ou de
l'hydrogène gazeux dans l'orifice de gaz.
Dans le cas de
l'orifice de gaz 206 portant l'hydrogène gazeux, la disposition relative
des plaques de la cellule est inversée de telle sorte que le pied à bride
maintenant est formé sur le manchon 194 de l'autre type de plaque de
cellule 198, ce qui représente l'agencement inverse à celle représenté
sur la Fig.11.
Fig.12a et Fig.12b
montrent des vues de côté en perspective de plaques de cellules adjacentes,
avec Fig.12a représente une plaque de cellule positif 190 et Fig.12b
représente une plaque de cellule négative 198 de l'orifice de gaz 206
est ainsi formée pour transporter le gaz d'hydrogène. La relation d'accouplement entre le pied à
bride 230 et le bord de la douille 194 de la plaque de cellule
positif 192 d'extrémité peut être vu, en particulier l'interaction entre
les nervures 232 et les rainures 234.
Fig.13 est une vue en
coupe transversale de quatre plaques de cellules formées dans un agencement
empilé délimité par deux plaques de segmentation 240, formant ensemble
une unité de cellules 242. Ainsi,
il existe deux plaques de cellules positives 190 et deux plaques de
cellules négatives 198 en agencement alterné. La section transversale est prise dans le
voisinage d'un trou d'arbre 202 par le biais de laquelle un arbre
conducteur négatif 244 passages.
L'arbre 244 est donc en contact intime avec les disques
d'électrodes 192 des plaques de cellules négatives 198. Les électrodes de disques 192 des
plaques de cellules positives 190 ne s'étendent pas à contacter l'arbre 244. Le manchon 194 de l'alternance
négative plaques de la cellule 198 fois avoir une forme de pied à bride 246,
bien que dans ce cas, les forme complémentaire nervures et des rainures sont
formées uniquement sur la manche de plaques de cellules négatifs 198, et
non sur la chemise 194 des plaques de cellules positives 190. Les plaques de segmentation 240 servent
à délimiter les plaques empilées forment une unité de cellule unique 242,
avec ceux des unités de cellules 242 étant empilées selon un réseau
linéaire pour former une banque de cellules, comme l'a montré dans la Fig.5a.
Un écrou de tige
filetée 250 agit comme une entretoise entre les électrodes adjacentes de
liaison avec l'arbre 244. Fig.14
est une vue en perspective de l'écrou d'arbre de 250 montrant le fil
252 et trois évidements 254 pour le serrage des écrous, des vis
ou comme.
Dans l'ensemble Fig.11
à Fig.13, le matériau de la membrane de séparation 216 n'est pas
représentée, mais est situé dans les espaces 248 entre les plaques de
cellules adjacentes 190, 198, s'étendant vers les bords des disques
d'électrode 192 dans la zone des orifices de gaz 204, 206 ou les
trous d'arbre 200, 202.
Système d'électrolyse
de l'hydrogène et du gaz oxygène incorporant un système de séparation de gaz,
comme cela a été décrit ci-dessus, peut donc être utilisé pour établir des
magasins respectifs à haute pression de gaz.
Autrement dit, les gaz hydrogène et oxygène séparés libérés par le
procédé d'électrolyse sont stockés dans des récepteurs de gaz séparés ou les
récipients sous pression. La pression
dans chaque augmentera avec l'afflux continu de gaz.
Fig.15 montre un
système d'électrolyse idéalisée, comprenant une cellule d'électrolyse 150 qui
reçoit une alimentation en eau pour être consommé. Le procédé d'électrolyse est commandé par un
potentiel de courant continu (Es) 152.
La différence de potentiel appliquée à la cellule 150 doit donc
être suffisante pour électrolyser l'eau en hydrogène et oxygène gazeux dépend,
entre autres, le PC de pression de l'eau et la pression de PB de gaz agissant
sur la surface de l'eau, en même temps que la température Tc de l'eau. Les gaz d'hydrogène et d'oxygène libérés
séparées, par une fonction d'amorçage, sont mis sous pression à une valeur
élevée lors de l'entreposage dans des récipients sous pression respectifs 158,160,
en étant porté par des conduites de gaz 154, 156.
Le magasin sous
pression de gaz, puis sont transmis à un dispositif de conversion d'énergie qui
convertit le flux de gaz sous pression en énergie mécanique (par exemple un
dispositif de chute de pression 162).
Cette énergie mécanique récupérée WM est disponible pour être utilisée
pour fournir un travail utile. Le WM
énergie mécanique peut également être converti en forme électrique, encore une
fois d'être disponible pour utilisation.
Les gaz résultants sont
transmis épuisé par des lignes 164,166 pour une chambre de combustion 168
Ici, les gaz sont brûlés pour produire de la chaleur QR, avec la vapeur
d'eau, produit de déchet étant. Le QR de
la chaleur récupérée peut être recyclée dans la cellule d'électrolyse pour
aider à maintenir la température de fonctionnement de la cellule intéressante.
La chambre de
combustion décrit ci-dessus 168 peut en variante être une pile à
combustible. Le type de pile à
combustible peut varier de piles à combustible à l'acide phosphorique au moyen
de piles à combustible à carbonate fondu et les cellules à oxyde solide. Une pile à combustible génère de la chaleur
(QR) et de l'énergie électrique (WE), et peut donc fournir de la chaleur à la
cellule 150 ou pour compléter ou remplacer l'alimentation en courant
continu (Es) 152.
Typiquement, ces piles
à combustible peuvent être du type LaserCell TM développée par le Dr Roger
Billings, la cellule PEM disponible auprès de Ballard Power Systems Inc. Canada
ou la pile à combustible en céramique (oxyde solide) développée par Ceramic
Fuel Cells Ltd, Melbourne, en Australie.
Il est, bien entendu,
nécessaire de reconstituer le magasin sous pression de gaz, ce qui nécessite la
consommation d'énergie électrique continue.
Le WE de l'énergie électrique récupérée est supérieure à l'énergie
requise pour conduire l'électrolyse à la température élevée et est utilisé pour
remplacer la source d'énergie électrique externe 152, complétant ainsi
la boucle de l'énergie lorsque le système est initialement amorcé et a
commencé.
Le présent inventeur a
déterminé qu'il existe des combinaisons de pression et de température où
l'efficacité du procédé d'électrolyse devient avantageuse appréciée en fonction
de l'énergie totale récupérés, soit en énergie mécanique grâce à un flux de gaz
à haute pression ou énergie thermique par vertu de combustion (ou à l'aide
d'une pile à combustible), en ce qui concerne l'énergie électrique consommée, à
la mesure de l'énergie récupérée dépasse l'énergie nécessaire pour maintenir
l'électrolyse à la pression et à la température de fonctionnement. Cela a été justifié par
l'expérimentation. Cette notion a été
appelé " sur-unité ".
" Sur-unité " systèmes peuvent
être classés comme relevant essentiellement de trois types de phénomènes
physiques :
(i) Un dispositif électrique qui
produit 100 watts d'énergie électrique en sortie après 10 Watts d'énergie
électrique est entrée fournissant ainsi 90 Watts de overunity énergie
(électrique).
(ii) Un dispositif électro-chimique
tel qu'un dispositif d'électrolyse où 10W est de l'énergie électrique d'entrée
et 8 Watts est sortie étant la valeur thermique de la sortie du gaz hydrogène
et oxygène. Au cours de ce
processus, 2 Watts d'énergie électrique convertie en énergie thermique est
perdue en raison de l'inefficacité spécifiques du système d'électrolyse. Pression - comme l'énergie sur-unité - est
incontestablement produite pendant le processus d'hydrogène et d'oxygène génération
de gaz lors de l'électrolyse. La
pression est un produit de la retenue des deux gaz séparés. La loi de conservation de l'énergie (comme
mentionné dans " Fondations chimie expérimentale ", édité par Parry,
RW; Steiner, LE; Tellefsen, RL;.. Dietz, PM Chap 9, pp 199-200, Prentice-Hall,
New Jersey "et " Une science expérimentale ", édité par
Pimentel, GC, chap. 7, pp. 115-117, WH Freeman & Co. à San Francisco) est
en équilibre où les 10 watts de l'entrée est égale à la production d'énergie
thermique de 8 watts plus les 2 watts de pertes. Toutefois, ce droit se termine à ce
point. La présente invention utilise
l'énergie supplémentaire apparente étant la pression qui est un sous-produit du
procédé d'électrolyse pour obtenir sur-unité.
(iii) Un dispositif
électro-chimique qui produit un excès d'énergie thermique, après un apport
d'énergie électrique à de tels dispositifs utilisés à la " fusion
froide", par exemple, 10 watts d'énergie électrique en entrée et 50 watts
d'énergie thermique en sortie.
La présente invention
représente la découverte de moyens par lesquels le deuxième phénomène mentionné
précédemment peut être réalisée d'aboutir à " sur-unité " et à la
réalisation de l'énergie " libre ".
Comme indiqué précédemment, c'est le processus de l'énergie moléculaire
latente libératrice. La séquence
d'événements suivante décrit la base de la disponibilité de l'énergie
sur-unité.
Dans une deuxième
plaque simple (anode / cathode) de la cellule d'électrolyse, une différence de
tension appliquée de 1,57 Volts CC tire 0,034 ampères par cm2 et les résultats
de la libération de l'hydrogène et de l'oxygène gazeux à partir de la plaque
d'électrode correspondante.
L'électrolyte est maintenu à une température constante de 400 C, et est
ouvert à la pression atmosphérique.
L'inefficacité d'une
cellule électrolytique est due à sa résistance ionique (environ 20 %), et
produit un sous-produit de l'énergie thermique.
La résistance diminue, de même que la tension continue minimale nécessaire
pour conduire l'électrolyse, lorsque la température augmente. L'énergie globale nécessaire pour dissocier
les électrons de liaison de la molécule d'eau diminue également lorsque la
température augmente. En effet,
l'énergie thermique agit comme un catalyseur pour réduire les besoins en
énergie pour la production d'hydrogène et d'oxygène des gaz à partir de la
molécule d'eau. L'amélioration de
l'efficacité peuvent être obtenus par l'intermédiaire d'une combinaison de
l'énergie thermique et l'électrolyte lui-même NaOH deux agissant pour réduire
la résistance de l'écoulement de courant ionique.
Thermique "
craquage " de la molécule d'eau est connu pour se produire à 1,5000 C, de
sorte que les électrons de liaison sont dissociés, puis la molécule d'eau
«séparé» en ses éléments constitutifs sous forme gazeuse. Ce craquage thermique permet alors l'énergie
thermique pour devenir un consommable.
L'isolation peut être introduit pour économiser l'énergie thermique,
mais il y aura toujours des pertes d'énergie thermique.
En conséquence, l'énergie
thermique est à la fois un catalyseur et d'un consommable (au sens que
l'énergie thermique excite les électrons de liaison à un état plus élevé
d'énergie) dans le processus d'électrolyse.
Un résultat de la procédure ci-dessus est que l'hydrogène est produit à
partir de l'énergie thermique en raison de l'énergie thermique permet de
réduire les besoins en énergie d'ensemble du système d'électrolyse.
En se référant au
graphique intitulé " Débit à une température donnée " montré dans Fig.16,
il a été calculé que, à une température de 2,0000 C, 693 litres d'hydrogène /
oxygène gaz mélangé (2 : 1) seront produites.
La teneur en hydrogène de ce volume est de 462 litres. A une teneur en énergie de 11 BTU par litre
d'hydrogène, ce qui donne alors une quantité d'énergie de 5082 BTU (11 x
462). Utilisation du BTU : facteur de
conversion de kilowatt de 3413 : 1, 5082 BTU de gaz d'hydrogène assimilent à
1,49 kW. Comparez cela avec l kW pour
produire 693 litres d'hydrogène / oxygène (y compris 463 litres d'hydrogène). L'utilisation de cet appareil identifie donc
que l'énergie thermique, par l'intermédiaire du processus de l'électrolyse, est
converti en un atome d'hydrogène. Ces
inefficacités, c'est à dire la température a augmenté et NaOH électrolyte,
réduire la température à un point situé à environ 10000 C où la résistance
ionique réduit à zéro, et la quantité volumétrique des gaz produits par kWH
augmente.
L'abaissement de la
tension continue nécessaire pour conduire l'électrolyse par voie de
températures plus élevées est démontrée dans le graphique de la Fig.17,
intitulé " L'effet de la température sur la cellule de tension ".
Les données Fig.16 et Fig.17 ont deux
sources. Des tensions de cellule
obtenue à partir de 0 C jusqu'à et y compris 1000 C ont été ceux obtenus par un
système d'électrolyse tel que décrit ci-dessus.
Tensions cellulaires obtenues à partir de 1500 C jusqu'à 2,0000 C sont
des calculs théoriques présentés par une autorité reconnue dans ce domaine, le
professeur J. O'M. Bockris. Plus précisément,
ces résultats ont été présentés en " Hydrogen Energy, partie A, économie
de l'hydrogèn ", Conférence de Miami énergie, Miami Beach, Floride, 1974,
édité par T. Nejat Veziroglu, Plenum Press, pp. 371-379. Ces calculs apparaissent sur la page 374.
Par inspection de la Fig.17
et la Fig.18 (intitulée " Débit de l'hydrogène et de l'oxygène à 2
: 1 "), on peut voir que l'augmentation de température dans la cellule, la
tension nécessaire pour dissocier la molécule d'eau est réduite, en tant que
est l'exigence globale d'énergie. Il en
résulte alors un débit de gaz plus élevé par kWH.
Comme limitée par la limite des matériaux
dans le système, la température acceptable pour l'exploitation du système est
10000 C. Ce niveau de température ne
doit cependant pas être considéré comme une restriction. Cette température est basé sur les limites des
matériaux actuellement disponibles dans le commerce. Plus précisément, ce système peut utiliser
des matériaux tels que la fibre de silice comprimé pour le manchon autour de la
plaque d'électrolyse et la silice hydrophobe de fibres (réf. QR-100HE fourni
par Tokyo Roshi International Inc., également connu sous le nom " Advantec
") pour la membrane (comme décrit précédemment) qui sépare les plaques de
disque d'électrolyse. Dans le procédé
d'assemblage des cellules, le matériau de la membrane et les plaques
d'électrolyse à manches 190,198 sont collées les unes aux autres à
l'aide de colle de silice résistant aux hautes températures (par exemple le
produit " Aremco " " Ceramabond 618 " qui a une
spécification de tolérance de fonctionnement de 1, 0000 C).
Pour la cellule
d'électrolyse décrite ci-dessus, avec l'électrolyte à 1,0000 C et utilisant de
l'énergie électrique à la vitesse de 1 kWH,
167 litres d'oxygène et de 334 litres d'hydrogène par heure seront
produites.
La membrane en fibre de
silice 116 discuté précédemment sépare les flux d'oxygène et du gaz
d'hydrogène par le mécanisme de séparation par densité, et de produire un
magasin séparé de l'oxygène et de l'hydrogène à la pression. La pression des gaz produits peut varier de 0
à 150 000 atmosphères. A des pressions
plus élevées, la séparation par densité peut pas se produire. Dans ce cas, les molécules de gaz peuvent
être magnétiquement séparées l'une de l'électrolyte si nécessaire.
En ce qui concerne les
expériences menées par MM Hamann et Linton (SD Hamann et M. Linton, Trans.
Faraday Soc. 62,2234-2241, en particulier, à la page 2240), cette recherche a
prouvé que des pressions plus élevées peuvent produire le même effet que plus
en ce que la température augmente à mesure que la conductivité de température
et / ou pression augmente. A des
pressions très élevées, la molécule d'eau se dissocie à des températures basses. La raison en est que l'électron de liaison
est plus facilement éliminé lorsque sous haute pression. Le même phénomène se produit lorsque les
électrons de liaison sont à une température élevée (par exemple de 1,5000 C),
mais à de faibles pressions.
Comme le montre la Fig.15,
les gaz d'hydrogène et d'oxygène sont séparés dans des courants de gaz
indépendants se déversant dans des récipients sous pression séparés 158, 160
capables de résister à des pressions allant jusqu'à 150 000
atmosphères. La séparation des deux gaz
élimine ainsi le risque de détonation.
Il convient également de noter que des pressions élevées peuvent
faciliter l'utilisation de températures élevées à l'intérieur de l'électrolyte
en raison de la pression plus élevée élève le point d'ébullition de l'eau.
L'expérimentation montre
que 1 litre d'eau peut produire 1850 litres d'hydrogène / oxygène (dans un
rapport de 2 : 1) un mélange de gaz après la décomposition, cette différence
significative (1 : 1850) est la source de la pression. Dénuder les électrons de liaison de la molécule
d'eau, qui convertit ensuite le liquide à l'état gazeux, libère de l'énergie
qui peut être utilisée comme cela se produit lorsque la pression dans un espace
confiné.
Une discussion de
travaux expérimentaux par rapport aux effets de la pression dans les processus
d'électrolyse peut être obtenu à partir de " Hydrogen Energy, partie A,
hydrogène Conférence sur l'économie de l'énergie Miami, Miami Beach, Floride,
1974, édité par T. Nejat Veziroglu, Plenum Press ". Les documents présentés par F.C. Jensen et FH
Schubert aux pages 425 à 439 et de John B. Pangborn et John C. Sharer aux pages
499 à 508 sont d'une importance particulière.
L'attention doit être
attirée sur le matériel publié ci-dessus; spécifiquement à la page 434,
troisième alinéa, où il est fait référence à " Fig.7 montre l'effet de la
pression sur la tension de cellule ...". Fig.7 à la page 436 (" Effet
de la pression sur SFWES cellule unique ") indique que si la pression
augmente, alors il en va de la tension CC minimum.
Ces citations ont été
fournis à des fins de familiarisation et ne pas fait démontrable et
empirique. L'expérimentation par
l'inventeur indique que les faits pression augmentée (jusqu'à 2450 psi), en
fait, abaisse la tension continue minimale.
Ce fait maintenant
démontrable, où la croissance de la pression diminue effectivement la tension
minimale CC, est en outre illustrée par les conclusions de MM Nayar, Ragunathan
et Mitra en 1979 qui peuvent être référencés dans leur article: "
Développement et l'exploitation d'une haute densité de courant haute pression
avancé cellule d'électrolyse ".
Nayar, M.G .; Ragunathan, P. et Mitra, S.K.
International Journal of Hydrogen Energy (Pergamon Press Ltd), 1980, vol. 5,
pp. 65-74. Leur tableau 2 à la page 72 souligne expressément ce qui suit:.
" Pour une densité de courant (EAM) de 7000 et à une température de 800 C,
le tableau montre les tensions de cellules identiques à des pressions de 7,6 kg
/ cm 2 et 11,0 kg / cm2. Mais à des
densités de courant de 5000, 6000, 8000, 9000 et 10 000 (à une température de
800 C), les tensions de cellule étaient inférieurs à une pression de 11,0 kg /
cm2 à une pression de 7,6 kg / cm2 ".
La présente invention a donc considérablement améliore sur l'appareil
utilisé par M. MG Nayar et al, au moins dans les domaines des matériaux de
plaque de cellule, la densité de courant et la configuration de la cellule.
Dans la forme préférée
des disques d'électrodes 192 sont en acier doux perforé, polymère
conducteur ou liés à la résine des plaques de cellules de carbone
perforées. Le diamètre des trous
perforés 196 est choisi pour être le double de l'épaisseur de la plaque,
afin de maintenir la même superficie totale de la surface avant la
perforation. Le nickel a été utilisée
dans le système de l'art antérieur mentionné.
Ce matériau a une résistance électrique plus élevée que l'acier doux ou
de carbone, la présente invention fournissant une capacité de tension
inférieure par cellule.
Le système de l'art
antérieur mentionné précédemment cite une densité de courant minimum (après
conversion de l'ASM à ampères par centimètre carré) À 0,5 ampères par cm2. La présente invention fonctionne à la
densité de courant idéal, établi par expérimentation, pour réduire au minimum
la tension de cellule qui est 0,034 ampères par cm2.
En comparaison avec le
système mentionné ci-dessus, un mode de réalisation de la présente invention
fonctionne de manière plus efficace en raison d'une amélioration de la densité
de courant par un facteur de 14,7, l'utilisation d'un meilleur matériau de
plaque de cellule conductrice qui réduit en outre la tension de cellule, une
tension de pile inférieure de 1,49 à 800 C au lieu de 1,8 volts à 800 C, et une
configuration de cellule compacte et efficace.
Afin d'étudier plus
avant les conclusions de MM. MG Nayer, et al, l'inventeur a effectué des
expériences en utilisant des pressions beaucoup plus élevées. Pour Nayer, et al, la pression était de 7,6
kg / cm2 à 11,0 kg / cm2, alors que les pressions d'invention étaient de 0 psi
à 2450 psi dans un système d'électrolyse mélange hydrogène / oxygène.
Ce système
d'électrolyse a été exécuté à partir de la bobine secondaire d'un
transformateur mis à peu près à 50 A maximum et avec une tension de 60 Volts en
circuit ouvert. De plus, ce système
d'électrolyse est conçu avec une surface réduite, afin qu'il puisse être logé
dans un conteneur hydraulique à des fins de test. La surface réduite par la suite provoqué
l'efficacité de la production de gaz à baisser par rapport à (soit plus
efficaces) les prototypes précédents. Le
débit de gaz a été observée à environ 90 litres par heure à 700 C dans ce
système, par opposition à 310 litres par heure à 700 C obtenu à partir de
prototypes précédents. Toutes les données et les graphiques
suivants ont été pris dans le tableau figurant à Fig.19.
En se référant à la Fig.20
(intitulée " volts par augmentation de la pression "), on peut voir
que, sous une pression de 14,7 psi (soit 1 atmosphère), la tension mesurée en
38.5V et à une pression de 2450 psi, la tension mesurée par 29.4V. Cela confirme les conclusions de Nayar et al
qu'une pression accrue abaisse la tension du système. En outre, ces expériences contredisent la
conclusion tirée par FC Jensen et FH Schubert (" Hydrogen Energy, partie
A, hydrogène Conférence sur l'économie de l'énergie Miami, Miami Beach,
Floride, 1974, édité par T. Nejat Veziroglu, Plenum Press ", pp 425-439,
en particulier la Fig.7 à la page 434) étant que "... que la pression de
l'eau est électrolysée augmente, il en va de la tension minimale DC trop
". Comme les expériences de
l'inventeur sont à jour et démontrable, l'inventeur présente aujourd'hui ses
conclusions que l'état actuel de la technique et non la conclusions de Schubert
et Jensen préalablement accepté.
En se référant à la
figure 21 (intitulé " ampères par augmentation de la pression "), on
peut voir que, sous une pression de 14,7 psi (soit 1 atmosphère étant Test n °
1), le courant a été mesuré comme 47.2A et à une pression de 2450 psi (test n °
20), le courant a été mesurée en 63A.
En se référant à la
figure 22 (intitulé " kilowatts par augmentation de la pression "),
l'examen de la puissance de test essai n ° 1 (1,82 kW) à travers de Test Run n
° 20 (1,85 kW) indique qu'il n'y a eu aucune augmentation importante de l'apport
de l'énergie requise à des pressions plus élevées afin de maintenir le débit de
gaz suffisant.
En se référant à la
figure 23 (intitulé " Résistance (Ohms) par augmentation de la pression
"), la résistance a été calculée à partir de Test Run n ° 1 (0,82 ohms) pour
tester l'essai n ° 20 (0,47 ohms). Ces
données indiquent que les pertes dues à la résistance dans le système
d'électrolyse à des pressions élevées sont négligeables.
Convention actuellement
acceptée veut que dissous hydrogène, due à de fortes pressions au sein de
l'électrolyte, provoquerait une augmentation de la résistance parce que
l'hydrogène et l'oxygène sont de mauvais conducteurs de flux ionique. Le
résultat net de ce qui serait que ce serait diminuer la production de gaz.
Ces essais indiquent que
les ions trouver leur chemin dans les molécules de H2 et O2 compris dans la
solution et que des pressions plus élevées, la séparation par densité toujours
amener les gaz de se séparer de l'eau et de faciliter la circulation des gaz
dans les plaques d'électrolyse. Une analogie très descriptif de ce phénomène
est l'endroit où l'ion est de la taille d'un ballon de football et les
molécules de gaz sont chacune de la taille d'un terrain de football permettant
ainsi à l'ion d'une grande aire de manoeuvre dans laquelle de contourner la
molécule.
En se référant à la figure 24 (intitulé
" pression différentielle (Augmentation) "), on peut voir que le
mélange hydrogène / oxygène a provoqué une augmentation significative de la
pression sur chaque essai successif de Test Run n ° 1 à n ° 11 Test test
Fonctionne indiqué par la suite que le mélange hydrogène / oxygène dans la
solution d'électrolyte implosion au point de conception (soit sur la surface de
la plaque).
En se référant à nouveau à la table de la
figure 19, on peut noter le temps écoulé entre la température initiale à la
température finale dans l'essai n ° essai 12 était d'environ la moitié du temps
pris dans l'essai l'essai n ° 10 Le temps écoulé réduite de moitié (à partir de
400 C à 700 C) est due à la pression plus élevée provoquant le mélange
hydrogène / oxygène qui par la suite à la détonation à l'intérieur du système
implose en libérant ainsi de l'énergie thermique.
En se référant au
tableau ci dans Fig.25 (intitulé " Analyse Débit par augmentation de la
pression "), ces résultats ont été portés sur des tests de débit jusqu'à
200 psi et les données de la figure 24.
Ces résultats se traduisent par les données de la figure 25 concernant
les taux d'écoulement de gaz par augmentation de pression. En référence à la figure 25, on peut voir
que, sous une pression de 14,7 psi (1 atmosphère), un taux de production de gaz
de 88 litres par kWH est atteint. À 1890 psi, le système produit 100 litres par
kWH. Ces résultats permettent de
conclure que des pressions plus élevées n'affectent pas le taux du système de
production de gaz, le taux de production de gaz reste constante entre les
pressions de 14,7 psi (1 atmosphère) et 1890 psi.
Déduire de l'ensemble
des données qui précèdent, une pression accrue ne pas nuire à la performance
des cellules (taux de production de gaz) dans les systèmes de séparation où les
gaz d'hydrogène et d'oxygène sont produits séparément, ni comme un mélange
combiné. Par conséquent, dans un système
d'électrolyse ci-joint selon l'invention, la pression peut être autorisé à
mettre en place à un niveau prédéterminé et reste à ce niveau par
l'intermédiaire continu (à la demande) reconstitution. Cette pression est l'énergie sur-unité car elle a été obtenue dans le
cours normal de l'opération d'électrolyse sans apport d'énergie
supplémentaire. Cette énergie sur-unité
(c'est à dire la pression produite) peut être utilisé pour maintenir la
fourniture d'énergie électrique requise pour le système d'électrolyse, ainsi
que de fournir un travail utile.
Les formules suivantes
et les données ultérieures ne prennent pas en compte les gains d'efficacité
apparents obtenus par augmentation de la pression dans ce système d'électrolyse
tels que les facteurs d'efficacité obtenus mis en évidence par la recherche
Hamann et Linton déjà cité. En conséquence, l'énergie sur-unité doit
donc être considéré comme revendications conservatrices et que ce fait plus
d'unité d'énergie serait en effet produire des pressions beaucoup plus basses.
Cette énergie sur-unité
peut être formalisé par le biais de l'utilisation d'une formule de pression
comme suit: E = (P - PO) V qui est l'énergie (E) en joules par seconde qui
peuvent être extraites à partir d'un volume (V) qui est cubique mètres par
seconde du gaz à une pression (P) mesurée en Pascals et où P0 est la pression
ambiante (à savoir une atmosphère).
Afin de formuler
disponibles énergie totale sur-unité, nous allons d'abord utiliser la formule
ci-dessus, mais ne prendra pas en compte les pertes d'efficacité. La formule est basée sur un débit de 500
litres par kWH à 1,0000 C. Lorsque les gaz sont produits dans le système
d'électrolyse, elles sont autorisées à auto-compriment jusqu'à 150 000
atmosphères qui va alors produire un volume (V) de 5,07 x 10^-8 m3 / s.
Travail [Joules / s] = ((150-1) x 108) 5,07
x 10^-8 m3 / s = 760,4 Watts
Les graphiques en Figs.27-29 (Over-Unity en
wattheures) indiquent sur-unité d'énergie disponible hors pertes
d'efficacité. Cependant, dans un
environnement de travail normal, on rencontre des inefficacités que l'énergie
est convertie d'une forme à une autre.
Les résultats de ces calculs indiquent la
quantité d'énergie trop surproduit l'unité après que le système d'électrolyse a
été fournie avec une de ses kWH nécessaires pour maintenir le fonctionnement de
la production de 500 Iph de l'hydrogène et de l'oxygène (à part dans un rapport
de 2 : 1 ).
Les calculs suivants
utilisent la formule indiquée ci-dessus, y compris le facteur d'efficacité. Les
pertes que nous allons intégrer seront de 10 % les pertes dues au dispositif de
conversion d'énergie (convertir la pression en énergie mécanique, qui est
représenté par le dispositif 162 dans Fig.15) et 5 % de perte en
raison de la génératrice à courant continu.
Nous fournir un total de 650 watt-heures qui résulte de gaz sous
pression.
Revenant sur les 1 kWh,
ce qui est nécessaire au fonctionnement de l'électrolyse, ce 1 kWH est converti
(lors de l'électrolyse) à l'hydrogène et de l'oxygène. Les 1 kWH d'hydrogène et de l'oxygène est
introduit dans une pile à combustible.
Après conversion de l'énergie électrique à la pile à combustible, on se
retrouve avec 585 watts-heures en raison d'un facteur d'efficacité de 65% dans
la pile à combustible (35 % de pertes thermiques sont réintroduites dans
l'unité d'électrolyse par l'intermédiaire de 150 Qr en Fig.15).
Fig.30 montre graphiquement le total de l'énergie disponible d'unité combinant
une pile à combustible à la pression dans le système d'électrolyse dans une
plage allant de 0 à 150 k Atmospheres.
Les données ont été compilées Fig.30 utilisant les formules
citées précédemment où les résultats watt-heures sont basées sur l'intégration
des 1 kWH nécessaires pour conduire le système d'électrolyse, en tenant compte
de toutes les inefficacités dans le système d'électrolyse idéalisée (compléter
la boucle) et puis en ajoutant de l'énergie de sortie du système d'électrolyse
sous pression avec la sortie de la pile à combustible. Ce graphique indique ainsi le seuil de rentabilité
de l'énergie (à environ de 66 kAtmospheres) où le système d'électrolyse
idéalisé devient autonome.
Afin d'intensifier ce
système pour des applications pratiques, telles que les centrales électriques
qui produisent 50 MW d'énergie électrique disponible (à titre d'exemple),
l'énergie d'entrée requise pour le système d'électrolyse sera de 170 MW (qui
est continuellement en boucle).
Les réserves de gaz à
haute pression peut être utilisé avec un moteur à combustion interne à
hydrogène / oxygène, comme le montre la Fig.31a à 31e. Les réserves de gaz à haute pression peuvent
être utilisés avec des types de moteurs à combustion ayant une course
d'expansion, y compris en rotation, de turbines, de moteurs Wankel et
orbitales. Un cylindre d'un moteur à
combustion interne est représentée, mais il est habituellement, mais pas
nécessairement toujours le cas, il y aura d'autres cylindres en décalage les
uns des autres dans le temps de leur course moteur. Le cylindre 320 loge une tête de
piston 322 et la manivelle 324, avec l'extrémité inférieure de la
manivelle 324 est reliée à un arbre 326. La tête de piston 322 présente des
anneaux conventionnels 328 d'étanchéité de la périphérie de la tête de
piston 322 de l'alésage du cylindre 320.
Une chambre 330,
située au-dessus du sommet de la tête de piston 322 reçoit une
alimentation de réglage séparé de l'hydrogène gazeux et de l'oxygène gazeux par
l'intermédiaire d'orifices d'entrée respectifs 332, 334. Il existe également un orifice d'échappement 336
évacuer le gaz de la chambre 330.
Le cycle de fonctionnement du moteur
commence comme représenté sur la Fig.31a, avec l'injection de
l'hydrogène gazeux sous pression, typiquement à une pression de 5000 psi à 30
000 psi, en provenance d'un réservoir de ce gaz (non représentée). L'orifice de gaz oxygène 334 est fermé
à ce stade, comme l'est l'orifice d'échappement 336. Par conséquent, comme représenté sur la Fig.31b,
la pression du gaz pousse la tête de piston 322 vers le bas, entraînant
ainsi l'arbre 326. La course est indiquée par la distance
" A ".
A ce moment, l'entrée d'oxygène 334 est
ouvert pour un flux d'oxygène sous pression, à nouveau typiquement à une
pression de 5000 psi à 30 000 psi, le débit volumétrique est une moitié de
l'hydrogène déjà injecté, de sorte que l'hydrogène et de l'oxygène gazeux à
l'intérieur la chambre 330 est la proportion de 2 : 1.
Attentes
conventionnelles lors de l'injection d'un gaz dans un espace confiné (par
exemple, comme un cylindre fermé) sont que les gaz ont un effet de
refroidissement sur lui-même et par la suite son environnement immédiat (par
exemple, les systèmes de refroidissement / réfrigération). Ce n'est pas le cas avec de l'hydrogène. L'inverse s'applique lorsque l'hydrogène,
comme il est injecté, se réchauffe et se réchauffe ensuite ses environs
immédiats. Cet effet, étant l'inverse
d'autres gaz, ajoute à l'efficacité de l'équation énergétique globale lors de
la production sur-unité d'énergie.
Comme représenté sur la
Fig.31c, la tête de piston 322 est déplacé plus loin d'une
course, comme le montre la distance " B ", à laquelle il est
auto-détonation du mélange d'hydrogène et d'oxygène. Hydrogène et d'oxygène entrées 332, 334 sont
fermés à ce moment, comme c'est le gaz d'échappement 336. Comme le montre la Fig.31d, la tête de
piston est entraîné plus loin vers le bas par une course supplémentaire, comme
le montre la distance " C ", pour une course totale
représentée par la distance " D ". Le déplacement du piston supplémentaire se
produit en vertu de la détonation.
Comme représenté sur la
Fig.31e, l'orifice d'échappement 336 est maintenant ouverte, et
en raison de l'énergie cinétique de l'arbre 326 (ou à cause de l'action
des autres des pistons reliés à l'arbre), la tête de piston 322 est
entraîné vers le haut , épuisant ainsi le flux de déchets par l'orifice
d'échappement 336 jusqu'à ce que la situation de Fig.31e est
réalisé de sorte que le cycle peut se répéter.
Un avantage particulier
d'un moteur à combustion interne réalisé conformément à l'agencement représenté
sur Figs.31a à 31e est qu'aucune course de compression est nécessaire,
et ni est un système d'allumage nécessaire pour allumer les gaz de travail, et
non les gaz sous pression brûlent spontanément lorsqu'ils sont fournis dans la
proportion de correction et dans des conditions de haute pression.
Énergie mécanique utile
peut être extraite à partir du moteur à combustion interne, et être utilisé
pour effectuer des travaux. Il est clair
que l'alimentation de gaz sous pression doit être réapprovisionné par le processus
d'électrolyse afin de permettre le travail mécanique de continuer à faire. Néanmoins, l'inventeur pense qu'il devrait
être possible de propulser un véhicule avec un moteur à combustion interne du
type décrit dans Figs.31a à 31e, avec ce véhicule ayant un magasin des
gaz générés par le procédé d'électrolyse, et toujours être possible
d'entreprendre des trajets de longueur régulière avec le véhicule portant une
alimentation de gaz dans des récipients sous pression (d'une manière quelque
peu similaire à, et de la taille, des réservoirs d'essence dans les moteurs à
combustion interne classiques).
Lors de l'application
sur-unité de l'énergie sous forme de gaz d'hydrogène et d'oxygène sous pression
de ce moteur à combustion interne pour le but de fournir acceptable variant
(c'est à dire la distance parcourue), les gaz stockés sous pression tels que
mentionnés ci-dessus peuvent être nécessaires pour surmonter le problème de
l'inertie de masse (par exemple stop-start conduite). L'inclusion de gaz comprimé stocké facilite
également le variant (c'est à dire la distance parcourue) du véhicule.
L'énergie sur-unitaire
(selon cet argument) pour un véhicule moyen de passagers taille sera fourni à
un taux constant entre 20 kW et 40 kW.
Dans le cas d'une énergie fournie véhicule sur-unité, une alimentation
en eau (par exemple similaire à un réservoir d'essence en fonction) doit être
transporté dans le véhicule.
Il est clair que
l'énergie électrique est consommée dans la production des gaz. Cependant, il est également revendiquée par
l'inventeur que d'un système d'énergie sur-unité peut fournir l'énergie
nécessaire permettant ainsi de surmonter le problème de la consommation de
combustibles fossiles, soit dans des moteurs à combustion interne
conventionnels ou à la production de l'électricité pour conduire le processus
d'électrolyse par le charbon, générateurs de pétrole ou de gaz naturel.
L'expérimentation par
l'inventeur montre que si 1,850 litres d'un mélange de gaz hydrogène / oxygène
(dans un rapport de 2 : 1) a explosé, le produit obtenu est de 1 litre d'eau et
1850 litres de vide si la valeur thermique des gaz d'hydrogène et d'oxygène
mélange se dissipe. A la pression
atmosphérique, en mélange 1 litre d'hydrogène / oxygène (2 : 1) contient 11 BTU
d'énergie thermique. En explosant, cette
quantité de chaleur est facilement dissipée à un taux mesuré en microsecondes
qui provoque ensuite une implosion (différentiel inverse de 1850 : 1). Les tests effectués par l'inventeur à 3
atmosphères (gaz hydrogène / oxygène à une pression de 50 psi) ont prouvé que
l'implosion complète ne se produit pas. Cependant, même si le récipient est chauffé
à implosion (ou s'échauffe) à 400 C, implosion totale encore se produire.
Cette fonction
disponible d'implosion idiosyncrasique peut être utilisé par une pompe en
profitant de cette action. Une telle pompe nécessite obligatoirement un système
de gaz d'électrolyse tel que décrit ci-dessus, et particulièrement illustré sur
la Fig.6.
Fig.32a-32c montrent
l'utilisation d'implosion et ses cycles dans un dispositif de pompage 400. La pompe 400 est initialement amorcée
à partir d'une entrée d'eau 406.
L'entrée d'eau 406 puis est Se fermé et l'entrée de gaz hydrogène
/ oxygène 408 est ouvert.
Comme le montre la Fig.32b,
le gaz mélangé d'hydrogène / oxygène forces de l'eau vers le haut par une voie
clapet 410 et le tube de sortie 412 dans le réservoir supérieur 414. Le non-retour Vannes 410, 416 ne sera
pas permettre à l'eau de retomber dans le cylindre 404 ou le premier
réservoir 402. Cette force
correspond à la levée de l'eau sur une distance. La soupape d'admission de gaz 408 est
alors fermé, et la bougie d'allumage 418 fait exploser le mélange de gaz
qui provoque l'implosion (sous vide).
Pression atmosphérique force l'eau dans le réservoir 402 à
travers le tube 420.
Fig.32c montre l'eau
ayant été transférés dans le cylindre de la pompe 404 par l'action
précédente. L'implosion est donc en
mesure de " lift " de l'eau du réservoir inférieur 402 sur une
distance qui est approximativement la longueur du tuyau 420.
La capacité de levage
de la pompe à implosion est donc à peu près la somme des deux distances
mentionnées. Ceci termine le cycle de
pompage, qui peut ensuite être répété après le réservoir 402 a été
rempli.
Avantages significatifs
de cette pompe sont qu'il n'a pas de diaphragmes, roues, ni pistons ainsi
essentiellement n'ayant pas de pièces mobiles (autres que les solénoïdes et un
moyen de clapets anti-retour). En tant
que tel, la pompe est sensiblement exempt d'entretien par rapport à la
technologie de la pompe de courant.
Il est prévu que cette
pompe avec les précédents attributs et avantages positifs évidents dans le
pompage de fluides, semi-liquides et de gaz peut remplacer toutes les pompes
généraux connus et les pompes à vide avec des avantages importants pour
l'utilisateur final de cette pompe.
Ceci est très
intéressant d'un brevet qui décrit un système simple pour résoudre le problème
difficile de stocker le mélange de gaz hydrogène / oxygène produit par
électrolyse de l'eau. Généralement, ce
HHO mélange de gaz est trop dangereux pour être compressées et stockées comme
le propane et le butane sont, mais ce brevet indique que le gaz HHO peut être
converti en une forme plus bénigne simplement par barbotage dans un liquide
hydrocarboné. Henry parle
automatiquement de térébenthine dans le brevet, ce qui suggère fortement qu'il
utilise lui-même, et par conséquent, il serait sans doute un bon choix pour
tous les tests du processus.
Ce brevet est âgé de
plus de 120 ans. Par conséquent, il doit
être testé avant d'être utilisés avec précaution. Les tests doivent être effectués avec une
extrême prudence, en prenant toutes les précautions contre les blessures ou des
dommages si le mélange exploser. Il
convient de souligner que la qualité du gaz HHO frais est très explosif, avec
une vitesse de front de flamme trop rapide pour être contenue par des pare
classiques flashback commerciales. Il
est toujours nécessaire d'utiliser un barboteur à contenir une inflammation
accidentelle du gaz sortant de la cellule d'électrolyse, comme indiqué ici :

David Quirey de la
Nouvelle-Zélande montre sa version souple de cette disposition qu'il a
découvert de façon indépendante et qui est montré dans le chapitre 10. Si ce brevet est correct (comme il semble
l'être), puis le gaz modifiée produite par le processus doit pouvoir être
utilisé dans n'importe quel brûleur à gaz conventionnel ou moteur.
Lettres brevet US 308
276 18 Novembre 1884 Inventeur: Henry M. Paine
PROCESSUS DE FABRICATION ILLUMINANT GAZ
Pour tout ce qu'il
peut-être concerner :
Il sait que j'ai, Henry M. Paine, un citoyen
des États-Unis, demeurant à Newark, dans le comté d'Essex et l'état du New
Jersey, ai inventer certaines améliorations nouvelles et utiles dans le
processus de fabrication éclairage-gaz ; et je déclare ce qui suit pour être
une description complète, claire et exacte de l'invention, tel qu'il permettra
aux autres versée dans l'art auquel il appartient, pour faire et utiliser le
même, référence étant dut le dessin ci-joint et sur les lettres et les chiffres
de référence marqué à ce sujet, qui font partie de cette spécification.
La présente invention
concerne les procédés de fabrication de gaz éclairant, comme l'a expliqué et
ensemble ici. Jusqu'à présent, il est toujours apparu nécessaire pour garder
les gaz constitutifs d'eau séparés les uns des autres du point de production au
point d'ignition, comme l'hydrogène et étant de l'oxygène présent dans les
bonnes proportions pour une réunion complète, forme un mélange hautement
explosif. Par conséquent, les deux gaz
ont soit préservés dans les supports distincts et seulement a réuni au moment
de l'allumage, ou bien l'hydrogène seul a été sauvé l'oxygène pour soutenir la
combustion provient de plein air et le gaz d'hydrogène ainsi obtenu a été
carburer par lui-même en passant par un hydrocarbure liquid, qui offre une
luminosité à la flamme.
J'ai découvert que les
mélanges gazeux obtenu par la décomposition de l'eau par électrolyse peut être
utilisé avec une sécurité absolue si elle est adoptée par un hydrocarbure
volatil ; et mon invention comprend le nouveau gaz ainsi obtenus et le
processus décrit ici pour traiter le mélange de gaz, par laquelle il est
restitué sans danger pour l'utilisation et l'entreposage dans les mêmes
conditions que prévalent dans l'utilisation du gaz de houille ordinaire et se
transforme en un gaz hautement luminiferous.

Dans le dessin
ci-joint, qui montre l'altitude sectionnel, un appareil adapté pour la
réalisation de mon invention, G est un producteur pour générer les
mélanges gazeux, de préférence par la décomposition de l'eau par un courant
électrique. A est un réservoir
partiellement rempli de térébenthine, camphène ou autre fluide d'hydrocarbure
comme indiqué par B. Les deux
bâtiments sont reliés par le tube C, dont l'extrémité se termine
au-dessous de la surface de la térébenthine et a un embout large C',
avec nombreuses petites perforations, afin que le gaz s'élève par le biais de
la térébenthine en amende diffuse ou bulles afin qu'elle peut être portée
intimement en contact avec les hydrocarbures.
Au-dessus de la surface
de la térébenthine, il peut y avoir une membrane E, de grillage ou en
tôle perforée, et au-dessus, une couche de laine ou autres fibres gardés
suffisamment bien tassés à capture toutes les particules du fluide
d'hydrocarbures qui peut être mécaniquement tenu en suspension, mais pas trop
pour permettre le libre passage des gaz.
Le tuyau F, mène les mélanges gazeux hors directement vers les
brûleurs ou au titulaire.
Je suis conscient que
les hydrocarbures ont été utilisés dans le fabricant de gaz à l'eau de la
vapeur, et, comme indiqué ci-dessus, hydrogène a été de carburer gaz seul ;
mais je ne suis pas au courant de toute tentative visant à traiter les mélanges
gazeux explosif de cette manière.
Des expériences ont
démontré que la quantité d'essence de térébenthine ou autre volatile
hydrocarbures absorbés par les gaz dans ce processus est très faible et que la
consommation de l'hydrocarbure ne semble pas porter n'importe quel rapport fixe
au volume des gaz mixtes le traverse. Je n'essayez pas, cependant expliquer
l'action de l'hydrocarbure sur les gaz.
Ce que j'ai réclamer
comme mon invention et le désir de garantir par lettres patentes, est :-
Le processus décrit ici
de fabrication de gaz, qui consiste à décomposer l'eau par électrolyse et
conjointement en passant les mélanges gazeux constituant de l'eau ainsi
obtenue, grâce à un hydrocarbure volatil, sensiblement comme et aux fins
énoncées.
Brevet américain 6 960
975 1 Novembre 2005 Inventeur: Boris Volfson
ENGIN SPATIAL PROPULSÉ PAR LA PRESSION
D'INFLATION ÉTAT VIDE
RÉSUMÉ
Un engin spatial propulsé par la pression inflationniste état vide est
fourni comprenant un bouclier supraconducteur creux, un écran intérieur, une
source d'alimentation, une structure de soutien, supérieure et inférieure
signifie pour générer un champ électromagnétique et un contrôleur de modulation
du flux. Un bouclier de supraconducteur
refroidi creux est excité par un champ électromagnétique résultant dans
vortices quantifiés d'ions de treillis projetant un champ gravitomagnetic qui
constitue une anomalie de courbure de l'espace-temps à l'extérieur de l'engin
spatial. Le déséquilibre de
courbure de l'espace-temps, la courbure de l'espace-temps est le même que la
gravité, fournit pour la propulsion du véhicule spatial. L'engin spatial, entouré de l'anomalie de
l'espace-temps, peut-être se déplacer à une vitesse approchant le
caractéristique de la vitesse de la lumière pour les paramètres régionaux mis à
jour le.
Références de brevet US :
3626605 Dec., 1971 Wallace.
3626606 Dec., 1971 Wallace.
3823570 Jul.,
1974 Wallace.
5197279 Mar.,
1993 Taylor.
6353311 Mar.,
2002 Brainard et al.
Autres références :
M.T. French, "To the Stars by Electromagnetic Propulsion", http://www.mtjf.demon.co.uk/antigravp2.htm#cforce.
Evgeny Podkletnov, "Weak Gravitational Shielding Properties of Composite
Bulk YBa2Cu33O(7-x) Superconductor Below 70K
Under E.M. Field", LANL database number cond-mat/9701074, v. 3, 10 pages,
Sep. 16, 1997.
N. LI & D.G. Torr, "Effects of a Gravitomagnetic Field on Pure
Superconductors", Physical Review, vol. 43, p. 457, 3 pages, Jan. 15,
1991.
Evgeny Podkletnov, Giovanni Modanese "Impulse Gravity Generator
Based on Charged YBa2Cu33O7-y Superconductor with Composite Crystal
Structure", arXiv.org/physics database, #0108005 vol. 2, 32 pages, 8
figures, Aug. 30, 2001.
S. Kopeikin & E. Fomalont, "General Relativistic Model for
Experimental Measurement of the Speed of Propagation of Gravity by VLBI",
Proceedings of the 6th European VLBI Network Symposium Jun. 25-28, 2002,
Sean M. Carroll, "The Cosmological Constant", http://pancake.uchicago.edu/˜ carroll/encyc/, 6
pages.
Chris Y. Taylor and Giovanni Modanese, "Evaluation of an Impulse
Gravity Generator Based Beamed Propulsion Concept", American Institute of
Aeronautics and Astronautics, Inc., 2002.
Peter L. Skeggs, "Engineering Analysis of the Podkletnov Gravity
Shielding Experiment", Quantum Forum, Nov. 7, 1997, http://www.inetarena'.com/˜ noetic/pls/podlev.html).
CONTEXTE DE
L'INVENTION
L'existence d'un champ
gravitationnel magnétique-comme a été bien établi par les physiciens pour la
relativité générale et cosmologie théories gravitationnelles. Les conséquences de l'effet de gravité
électromagnétiquement touchés pourraient être importantes et ont de nombreuses
applications pratiques, notamment dans l'exploration aéronautique et spatiale.
Il y a des méthodes
connues pour la conversion d'électromagnétisme dans une force propulsive qui
génère potentiellement une grande poussée propulsive. Selon ces méthodes, la poussée de la machine
est produite par la rotation, alternatifs à des masses de la manière suivante :
Poussée centrifuge, Poussée d'élan et impulsion Poussée. (" Vers les
étoiles par Propulsion électromagnétique ", M. T. Français,
http://www.mtjf.demon.co.uk/antigravp2.htm#cforce).
Toutefois, la propulsion électromagnétique
dans un espace ambiant ou l'espace qui n'est pas artificiellement modifié,
n'est pas pratique pour les voyages interstellaires à cause des grandes
distances impliquées. Aucun voyage
interstellaire n'est réalisable sans une certaine forme de distorsion de
l'espace. À son tour, aucune
modification de l'espace n'est possible sans la déformation correspondante du
temps. Gravitomagnetic modification de
l'espace, résultant de l'anomalie de courbure de l'espace-temps qui pourrait
propulser le véhicule spatial, pourrait être une approche faisable
d'astronautique futures.
Dans les années 1940,
H. B. G. Casimir s'est avéré que le vide n'est ni particule, ni sans
champ. C'est une source de zéro-point-fluctuation (ZPF) des champs tels que le
champ de gravitomagnetic sous vide. Champs ZPF
conduisent à des conséquences physiques réels et mesurables telles que la force
de Casimir. Les quantifié processus
électromagnétiques faites à la main, telles que celles survenant dans les supraconducteurs,
affectent les ZPFs de même quantifiés.
La raison la plus probable est l'électron-positon création et
annihilation, dans la partie correspondant à le " effet de polarisation
" installé par Evgeny Podkletnov en expliquant l'effet de gravitomagnetic
aurait été observée par lui en 1992. (" Faible blindage propriétés de
composites en vrac YBa2Cu33O(7-x) supraconducteur au-dessous de 70 K sous E.M.
champ gravitationnel ", Evgeny Podkletnov, LANL de base de données numéro
cond-mat/9701074, c. 3, 10 pages, 16 sept. 1997).
L'enquête de
gravitomagnetism, cependant, a commencé bien avant Podkletnov. Dans la Pat aux
États-Unis. N ° 3 626 605, Henry Wm. Wallace décrit un appareil expérimental
pour la production et la détection d'un champ gravitationnel secondaire. Il
montre également comment un champ gravitomagnetic instationnaire peut être
utilisé pour protéger l'arrière-plan principal d'un champ de
gravitoélectriques.
Dans la Pat aux États-Unis. N ° 3 626 606,
Henry Wm. Wallace fournit une variante de son expérience antérieure. Un type semiconducteur III-V, dont les deux
composantes ont non appariées de spin nucléaire, est utilisé comme un détecteur
électronique pour le domaine gravitomagnetic.
L'expérience montre que le matériau dans son circuit de champ
gravitomagnetic a hystérésis et des effets de rémanence des matériaux analogues
à magnétique.
Dans la Pat aux États-Unis. N ° 3 823 570,
Henry Wm. Wallace propose une variation supplémentaire de son expérience. Wallace
démontre que, en alignant le spin nucléaire des matériaux ayant un nombre
impair de nucléons, un changement dans la chaleur spécifique se produit.
Dans la Pat aux
États-Unis. N ° 5 197 279, James R. Taylor révèle où les enroulements de
solénoïde génèrent un champ électromagnétique qui, sans la conversion en un
champ de gravitomagnetic, génère la poussée nécessaire à la propulsion du
moteur de Propulsion électromagnétique.
Dans la Pat aux
États-Unis. N ° 6 353 311 B1, John P. Brainard et al. proposent une théorie
controversée du champ universel des Flux de particules et afin de prouver de
façon empirique, prévoir un dispositif de type moteur ombragé. Ce dispositif vise également pour extraire l'énergie de ce domaine
hypothétique.
Dans les années 1980,
Sidney Coleman et F. de Luca a noté que le postulat de Einsteinean d'un univers
homogène, tandis que correct ignore en général, quantifiée fluctuation locale
de la pression de vide inflationniste d'état, cette fluctuation provoquant des
catastrophes cosmiques locales . Alors que les particules sans masse se
propagent à travers de grandes parties de l'univers à la vitesse de la lumière,
ces bulles de l'anomalie, en fonction de leur densité vide relative faible ou
élevée, provoquer une augmentation locale ou diminuer les valeurs de la propagation
de ces particules. Les scientifiques
sont en désaccord sur la possibilité et les moyens possibles, pour créer
artificiellement des modèles de ce genre d'anomalies.
Dans les années 1990,
Ning Li et D. G Torr décrit une méthode et les moyens pour transformer un champ
électromagnétique dans un champ de gravitomagnetic. Li et Torr a suggéré que, dans les conditions appropriées, la minuscule
force champs d'atomes supraconductrices peut " couple ", préparation
en force jusqu'au point où ils peuvent produire une force de répulsion ("
Effects of un Gravitomagnetic Field sur les supraconducteurs Pure ", Li N.
et D. G. Torr, Physical Review, Volume 43, Page 457, 3 pages, 15 janvier 1991).
Une série d'expériences, réalisées dans les
années 1990 par Podkletnov et R. Nieminen, aurait entraîné une réduction des
poids des objets placés dessus un disque supraconducteur lévitation, tournant,
soumis à des champs magnétiques à haute fréquence. Ces résultats appuient substantiellement
l'expansion de la Einstainean physique offerte par Li & Torr. Podkletnov et
Giovanni Modanese ont fourni un certain nombre d'intéressantes théories quant à
pourquoi l'effet de réduction de poids aurait pu se produire, citant les effets
de la gravitation quantique, plus précisément, une modification locale de la
constante cosmologique. La constante
cosmologique, dans des circonstances ordinaires, est le même partout. Mais, selon Podkletnov et Modanese, au-dessus
d'une lévitation, rotation disque supraconducteur exposé aux champs magnétiques
de haute fréquence, il est modifié. (" Impulse gravité générateur basé sur
chargée YBa2Cu33O7-y supraconducteur avec Composite Structure cristalline
", Evgeny Podkletnov, Giovanni Modanese, base de données arXiv.org/physics
#0108005 volume 2, 32 pages, 8 chiffres, 30 août 2001).
Dans le document de
juillet 2004, Ning Wu fit l'hypothèse que décroissance exponentielle de la
champ de jauge de gravitation, caractéristique de la dépression instable telle
que celle créée par Podkletnov et Nieminen, est à l'origine de la gravitation
blindage des effets (effets gravitationnels de blindage en théorie de jauge de
gravité, Ning Wu, arXiv : hep-th/0307225 v 1 23 juillet 2003, 38 pages figures
incl. 3Juillet 2004).
En 2002, Edward
Fomalont et Sergei Kopeikin mesuré la vitesse de propagation de la gravité. Ils
ont confirmé que la vitesse de propagation de gravité correspond à la vitesse
de la lumière. (" General Relativistic Model for mesure expérimentale de
la vitesse de Propagation de la gravité par VLBI ", S. Kopeikin et E.
Fomalont, actes du 6e européen VLBI réseau Symposium 2002 de 25-28 juin, Bonn,
Germany, 4 pages).
Théorie des cordes
unifie la gravité avec toutes les autres forces connues. Selon la théorie des cordes, toutes les
interactions sont transportées par des particules fondamentales, et toutes les
particules sont juste minuscules boucles d'espace se formant à la courbure de
l'espace-temps. Gravité et espace courbé
sont la même chose, se propageant à la vitesse de la lumière caractéristique de
la courbure particulière. À la lumière
de la découverte de Fomalont et Kopeikin, on peut conclure que s'il y a un
changement dans la vitesse de propagation de la gravité dans la courbure de
l'espace-temps, puis la vitesse de la lumière au sein de la localité serait
également touchée.
En relativité générale,
toute forme d'énergie affecte le champ gravitationnel, alors la densité
d'énergie vide devient un ingrédient potentiellement crucial. Traditionnellement, le vide est censé pour
être le même partout dans l'univers, alors la densité d'énergie sous vide est
un numéro universel. Le Lambda constante
cosmologique est proportionnelle à la pression de vide :
![]()
Où :
G est la constante de
gravitation de Newton et
c est la vitesse de la
lumière
(" La cosmologique
Constant ", Sean, http://pancake.uchicago.edu/ ˜carroll/encyc /, 6
pages). Des théories plus récentes, permettant cependant de fluctuations de vide
locales où même les constantes " universels " sont affectés :
![]()
Les lois de la physique
analyse définissant la constante cosmologique, une conclusion peut être tirée
que si une lévitation, disque supraconducteur rotatif, soumis à des champs
magnétiques de haute fréquence affecte la constante cosmologique dans une
localité, il affecterait également la densité d'énergie vide. Selon la théorie de la relativité générale,
l'attraction gravitationnelle est expliquée comme le résultat de la courbure de
l'espace-temps étant proportionnelle à la constante cosmologique. Ainsi, la variation de l'attraction
gravitationnelle des particules subatomiques de la dépression provoquerait une
anomalie locale dans la courbure de l'espace-temps de Einsteinean.
Temps est la quatrième
dimension. Lorentz et Einstein a montré
que l'espace et le temps sont intrinsèquement liés. Plus tard dans sa vie, Einstein fit
l'hypothèse que temps fluctue localement et universellement. Ruggero Santilli,
reconnu pour l'élargissement de la théorie de la relativité, a développé la
théorie d'isocosmology, qui permet des taux variables de temps. Temps est également un champ de force
uniquement détecté à une vitesse supérieure de vitesse de la lumière. L'énergie de ce champ de force se développe
comme ses baisses de vitesse de propagation en approchant la vitesse de la
lumière. Pas n'importe quelle vitesse de
la lumière : la vitesse de la lumière des paramètres régionaux. Si les conditions des paramètres régionaux
ont été modifiées, cette modification affecterait le taux ambiant ou les taux
heure locale par rapport au taux en dehors de la locale touchée. Le champ électromagnétique généré
gravitomagnetic pourrait être une tel modificateur de paramètres régionaux.
Analyse de l'expansion
de la Einstainean physique offerte par Li & Torr, on pourrait conclure que
la gravité, le temps et vitesse de la lumière pourraient être modifiés par
l'application de la force électromagnétique d'un supraconducteur.
En créant une anomalie
de courbure de l'espace-temps associée baisse pression inflationniste état vide
autour d'un engin spatial, avec la plus faible densité de pression de vide
située directement en face du véhicule, une condition pourrait être créée où
gravité associée à la densité abaissée sous vide tire le véhicule vers l'avant
dans l'espace-temps modifiés.
En créant une anomalie
de courbure de l'espace-temps associée à la tension élevée d'inflationniste
état vide autour de l'engin spatial, avec le point de la plus forte densité de
pression de vide situé directement derrière le véhicule, une condition pourrait
être créée, où une force de répulsion associée à densité élevée sous vide
pousse le véhicule spatial vers l'avant dans l'espace-temps modifiés. D'après l'équation constante cosmologique susmentionnée, ré-écrit comme
:
![]()
Il est clair que
l'augmentation de la densité de la pression de vide pourrait conduire à une
augmentation substantielle de la vitesse de la lumière. Si l'engin spatial se déplace dans l'anomalie
lorsque la vitesse de la lumière locale est supérieure à la vitesse de la
lumière du vide ambiant, et que ce véhicule s'approche de cette vitesse de la
lumière locale, l'engin spatial puis éventuellement dépasserait la
caractéristique de la vitesse de la lumière pour l'espace ambiant.
La lévitation et en
tournant le disque supraconducteur, Podkletnov utilisé pour protéger l'objet de
l'expérience de l'attraction produite par l'énergie du vide, était excité
extérieurement par les bobines externe alimenté. Système de Podkletnov est donc stationnaire
par définition et ne conviennent pas pour un voyage dans l'air ou de
l'espace. Même si le disque supraconducteur
est fait partie du métier, et si elle est alimentée par l'énergie disponible
sur le métier, l'anomalie qui en résulte est à sens unique, ne pas envoûtant et
ne fournit la vitesse variable de l'environnement (VSL) lumineux pour les
bateaux de plaisance.
Dans un récent article
(2002), Chris Y. Tailor et Modanese proposent d'employer un impulseur de
gravité mise en scène, d'un endroit à l'extérieur, un faisceau anormal vers un
vaisseau spatial, ce faisceau agissant comme un champ de force de répulsion
produisant de propulsion du satellite. (" Evaluation of une impulsion
gravité générateur Concept basé sur poutres Propulsion ", Chris Y. Taylor
et Giovanni Modanese, Institut américain d'aéronautique et astronautique, Inc.,
2002, 21 pages, 10 chiffres). Les
auteurs de l'article, cependant, n'a pas pris en compte les puissants processus
quantifiés de la dispersion de champ, qui limiterait considérablement la
distance de propagation de la force de répulsion. Au mieux, la mise en œuvre de ce concept
pourrait aider à l'accélération et de décélération à courte distance de
l'impulseur de gravité et seulement le long de la ligne droite du voyage. Si le but du voyage est une mission
d'exploration de l'espace plutôt que le trajet de la navette, le système
proposé est de peu d'utilité.
Seulement un engin autonome, équipé avec le
générateur de gravité interne et la source d'énergie interne alimentant ce
générateur, aurait la souplesse nécessaire pour explorer de nouvelles
frontières de l'espace. La modification
de la courbure de l'espace-temps autour de l'engin spatial permettrait l'engin
spatial s'approcher de la caractéristique de la vitesse de la lumière pour la
mis à jour le paramètre régional, cette vitesse de la lumière, quand observée
depuis un emplacement dans l'espace ambiant, étant potentiellement plusieurs
fois supérieure à la vitesse de la lumière ambiante. Puis, sous les énergies locales suffisantes,
c'est-à-dire les énergies disponibles sur l'engin spatial, très grandes
distances intergalactiques pourraient être réduits à des distances planétaires
classiques.
Dans " The First Men in the Moon "
(1903), H. G. Wells prévoit des méthodes de propulsion gravitationnelle
lorsqu'il décrit la gravité repoussant " cavorite ". Le matériel découvert par le professeur Cavor, agit
comme un " bouclier de gravité ", permettant aux véhicules de Cavor
atteindre la lune. Prof. Cavor construit
une grande gondole sphérique entourée de tous côtés cavorite volets pouvant
être fermés ou ouvert. Lorsque le professeur Cavor fermé tous les volets face
au sol et a ouvert les volets face à la lune, la nacelle a décollé pour la
lune.
Jusqu'à aujourd'hui, aucun cavorite n'a été
découvert. Cependant, des
recherches récentes dans le domaine de la supraconductivité, nanomatériaux et
état quantique du vide, y compris celle de Li, Torr, Podkletnov et Modanese, a
entraîné de nouveaux renseignements importants sur l'interaction entre un champ
gravitationnel et les états de la matière à l'échelle quantique. Cette nouvelle recherche s'ouvre la
possibilité d'utiliser de nouveaux matériaux supraconducteurs
électromagnétiquement excité autorisant les états stables de l'énergie, les
matériaux utiles non seulement pour contrôler les champs gravitationnels
locales, mais aussi dans la création de nouveaux champs de gravitomagnetic.
CONTEXTE DE L'INVENTION : OBJETS ET
AVANTAGES
Il y a quatre objets de
cette invention :
L'objet premier est de
fournir une méthode pour générer une anomalie de pression inflationniste état
vide qui mène à propulsion électromagnétique.
Le deuxième objet est
de fournir un véhicule spatial capable de propulsion électromagnétique
généré. La mise en œuvre de ces deux
objets conduit au développement de l'engin spatial propulsé par déséquilibre
gravitationnel avec tirant, densité et/ou antigravité en poussant, le véhicule
spatial vers l'avant.
Le troisième objet est
de fournir une méthode pour générer une anomalie de pression inflationniste
état vide, plus précisément, l'augmentation locale du niveau de densité de
dépression associée à la grande courbure de l'espace-temps. La vitesse de la lumière dans une telle
anomalie serait supérieure à la vitesse de la lumière dans l'espace ambiant.
Le quatrième objet est
de fournir le véhicule spatial capable de générer une anomalie externe
inégalement répartie tout autour de ce véhicule, plus précisément l'anomalie
avec le niveau élevé de densité sous vide.
L'anomalie est formée de telle sorte que la gravité tire le véhicule
spatial vers l'avant dans l'espace-temps modifiés à une vitesse approchant
éventuellement le spécifique de la vitesse de la lumière pour ce lieu mis à
jour le. Si la densité de la dépression
des paramètres régionaux est modifiée pour être sensiblement plus élevé que du
vide ambiant, la vitesse du véhicule pourrait éventuellement être supérieure à
la vitesse de la lumière ambiante.
RÉSUMÉ DE
L'INVENTION
Cette invention
concerne des appareils automoteurs par les propriétés artificiellement
modifiées de la pression inflationniste état vide à une vitesse approchant
éventuellement le spécifique de la vitesse de la lumière pour ce lieu mis à
jour le. En outre, cette invention
concerne des dispositifs capables de générer l'anomalie de l'espace-temps
caractérisé par la densité élevée de dépression. Les dispositifs combinant ces capacités
peuvent être capables de se déplacer à des vitesses nettement supérieures à la
vitesse de la lumière dans l'espace ambiant.
Le dispositif de cette
invention est un engin spatial. La
coquille extérieure de l'engin spatial est formée par un disque creux, sphère
ou la forme tridimensionnelle évidée similaire, faite d'un matériau
supraconducteur, ci-après un bouclier supraconducteur creux. Un écran intérieur
est disposé à l'intérieur du bouclier supraconducteur creux. L'écran intérieur
est fourni pour protéger l'équipage et de la vie-soutien matériel à
l'intérieur.
Une structure d'appui, haut signifie pour
générer un champ électromagnétique et des moyens plus bas pour générer un champ
électromagnétique sont éliminés entre le blindage supraconducteur creux et
l'écran intérieur. Un contrôleur de
modulation du flux est disposé à l'intérieur de l'écran intérieur soit
accessible à l'équipage.
Énergie électrique est générée dans une
source de puissance disposée à l'intérieur du bouclier supraconducteur
creux. L'énergie électrique
est transformée en un champ électromagnétique dans le supérieur moyen pour
générer un champ électromagnétique et des moyens plus bas pour générer un champ
électromagnétique.
Moteurs électriques,
également disposés à l'intérieur du bouclier supraconducteur creux,
convertissent l'énergie électrique en énergie mécanique.
L'énergie mécanique et
le champ électromagnétique, faire pivoter le bouclier supraconducteur creux et
la partie supérieure et les moyens plus bas pour générer un champ
électromagnétique, uns contre les autres.
Le champ
électromagnétique est converti en un champ de gravitomagnetic dans le bouclier
supraconducteur creux.
Le champ
gravitomagnetic, propagé vers l'extérieur, perpendiculairement aux parois du
creux bouclier supraconducteur, constitue une anomalie de pression
inflationniste état vide dans la zone de propagation. L'anomalie de pression inflationniste état
vide se compose d'une superficie de relativement plus faible densité de pression
de vide en face de l'engin spatial et une zone de densité relativement plus
élevée de dépression derrière le véhicule.
La différence dans la
densité de la pression de vide propulse le véhicule spatial de l'avant de cette
invention.
BRÈVE
DESCRIPTION DES DESSINS
Fig.1 est une vue en
coupe par le plan avant prise le long de l'axe central d'un engin spatial
fourni par la méthode et le dispositif de cette invention.

Fig.2A et Fig.2B sont des diagrammes, présentés comme les vues en
perspective, montrant quelques-uns des processus physiques résultant d'une
application dynamique d'un champ électromagnétique d'un bouclier de
supraconducteur creux. Qu'une seule
ligne de tourbillons quantifiés, montré hors échelle, est présentée à titre
d'illustration.


Fig.3A et Fig.3B ont des diagrammes, présentés comme les vues en
perspective, montrant une anomalie de densité de dépression associée à une
pression abaissée d'état vide inflationniste et une anomalie de densité de
dépression associée à la tension élevée d'état vide inflationniste,
respectivement. Les deux anomalies sont
indiquées sur le fond de courbure universel d'état vide inflationniste.


Fig.4A et Fig.4B sont diagrammes, présentés comme les vues en
perspective, font preuve d'une anomalie de l'espace-temps associée baisse
pression inflationniste état vide et une anomalie de l'espace-temps associée à
la tension élevée d'état vide inflationniste, respectivement. Les deux
anomalies sont visibles sur le fond de l'espace-temps universels.


Figs.5A, 5B, 6, 7A, et 7B sont les diagrammes d'espace-temps des
anomalies de courbure générés par l'engin spatial de l'invention actuelle, ces
anomalies prévoyant la propulsion de l'engin spatial.

DESSINS - CHIFFRES DE RÉFÉRENCE
# 1 bouclier creux
supraconducteur
# 2 blindage interne
# 3 coque supérieure
# 4 coque inférieure
# 5 la structure de support
# 6 élément rotatif supérieur
# 7 de l'élément tournant
inférieur
# 8 des moyens supérieurs
pour générer un champ électromagnétique
# 9 inférieure des moyens
pour générer un champ électromagnétique
# 10 lignes de flux
# 11 source d'alimentation
# 12 Matériel vie appui-
# 13 Contrôleur de modulation de flux
# 14 membres d'équipage
# 15 dans le sens horaire vecteur de mouvement de bouclier
# 16 dans le sens antihoraire vecteur de mouvement EMF
# 17 grille de 17 fils
# 18 dans le sens horaire
tourbillons quantifiés d'ions du réseau
# 19 vecteur champ
gravitomagnetic extérieur
# 20 dans le sens antihoraire
vecteur de mouvement de bouclier
# 21 dans le sens horaire
vecteur de mouvement EMF
# 22 dans le sens antihoraire
tourbillons d'ions du réseau quantifié
# 23 vers l'intérieur vecteur
champ gravitomagnetic
# 24 densité de pression 24
sous vide anomalie associée à la pression réduit de l'état de vide inflationniste
# 25 courbure universelle de
l'état de vide inflationniste
# 26 densité de pression 26
sous vide anomalie associée à une pression élevée de l'état de vide
inflationniste
# 27 espace-temps anomalie
associée à la pression réduit de l'état de vide inflationniste
# 28 espace-temps anomalie
associée à une pression élevée de l'état de vide inflationniste
# 29 espace-temps universel
# 30 sensiblement en forme de
goutte courbure d'espace-temps anomalie associée à la pression réduit de l'état
de vide inflationniste
# 31 espace-temps sensiblement en forme de
goutte anomalie associée à une pression élevée de l'état de vide inflationniste
# 32 sensiblement en forme d'oeuf
espace-temps anomalie associée à la pression réduit de l'état de vide
inflationniste
# 33 zone de la
plus faible densité de la pression de vide
# 34 sensiblement en forme d'oeuf
espace-temps anomalie associée à une pression élevée de l'état de vide
inflationniste
# 35 zone de
densité de la pression de vide le plus élevé
DESCRIPTION DE LA RÉALISATION PRÉFÉRÉE ACTUELLEMENT
Fig.1 est une vue en
coupe par le plan avant prise le long de l'axe central d'un engin spatial
fourni par la méthode et le dispositif de cette invention. Un bouclier supraconducteur creux 1
forme une coque externe protectrice de l'engin spatial. Le bouclier de supraconducteur creux 1
peut-être être façonné comme un disque creux, sphère ou la figure géométrique
tridimensionnelle similaire, formé par la rotation bidimensionnelle d'une
courbe autour de l'axe central.
Dans le mode de
réalisation préféré, le bouclier creux supraconducteur 1 est constitué d'un
supraconducteur tel que YBa2Cu33O7-y, ou comme un supraconducteur à haute
température avec une structure cristalline composite refroidi à la température
d'environ 400 K. L'homme du métier
pourra envisager l'utilisation d'un grand nombre d'autres supraconducteurs à
basse et haute température, le tout dans le cadre de la présente invention.
Un blindage interne 2 est disposé à
l'intérieur du blindage supraconducteur creux 1 Le blindage interne 2
est constitué d'une coquille supérieure 3 et une coquille inférieure 4,
les coques 3 et 4 accolés les uns aux autres. Exécuté à partir de matériaux isolants tels que de
la céramique en mousse, le blindage interne 2 de protéger l'environnement
à l'intérieur du blindage de champ électromagnétique et des températures
extrêmes.
Une structure de
support 5 est disposé entre le bouclier supraconducteur creux 1 et 2,
l'écran intérieur, concentrique à l'écran supraconducteur creux. La structure de support 5 est
constitué d'un élément rotatif supérieur 6 et un élément tournant
inférieur 7.
L'élément rotatif
supérieur 6 est monté pivotant à l'intérieur du bouclier supraconducteur
creux 1 et peut envelopper la coque supérieure 3. L'élément inférieur rotatif 7 est
monté pivotant à l'intérieur du bouclier supraconducteur creux 1 et peut
envelopper la coque inférieure 4.
Même si le mode de réalisation préféré a deux éléments rotatifs, l'homme
de l'art peut envisager un seul élément rotatif, ou trois ou plusieurs éléments
de rotation, le tout dans le cadre de la présente invention.
Des moyens supérieurs
pour générer un champ électromagnétique 8 sont disposés entre le
bouclier supraconducteur creux 1 et la coque supérieure 3. Les moyens supérieurs pour générer un champ
électromagnétique 8 sont fixés à l'élément rotatif supérieur 6, à
une distance de champ électromagnétique pour être pénétrée par le
supraconducteur creux blindage 1.
Des moyens inférieurs
destinés à générer un champ électromagnétique 9 sont disposés entre le
bouclier supraconducteur creux 1 et la coque inférieure 4. Les moyens inférieurs pour générer un champ
électromagnétique 9 sont fixés à l'élément tournant inférieur 7,
à une distance de champ pénétrable électromagnétique au supraconducteur creux
blindage 1.
Les moyens supérieurs pour générer un champ
électromagnétique 8 et les moyens inférieurs pour générer un champ
électromagnétique 9 pourraient être des bobines d'électro-aimants ou
électrovannes. Dans le processus de
fonctionnement du véhicule dans l'espace, le champ électromagnétique identifié
par des lignes de flux 10, et de façon variable de manière contrôlable
est appliquée au blindage supraconducteur creux 1.
Les moteurs électriques
sont disposés à l'intérieur du blindage supraconducteur creux le long de son
axe central..
Une source
d'alimentation 11 est disposé à l'intérieur du blindage supraconducteur
creux 1 et peut être disposé à l'intérieur de la coque inférieure 4. La source d'alimentation 11 est relié
électriquement avec les moyens supérieurs pour générer un champ
électromagnétique 8, les moyens inférieurs pour générer un champ
électromagnétique 9, et les moteurs électriques. Les moyens supérieurs pour générer un champ
électromagnétique 8, les moyens inférieurs pour générer un champ
électromagnétique 9 et les moteurs électriques assurent la rotation de
l'élément tournant supérieur 6 et l'élément tournant inférieur 7. La source d'alimentation 11 peut être
une puissance nucléaire générateur.
Équipements de vie support
12 est disposé à l'intérieur du blindage interne 2, et peut être
disposé à l'intérieur de la coque inférieure 4. L'équipement de soutien de vie 12 peut
comprendre l'oxygène, l'eau et la nourriture.
Unité de commande de
modulation de flux 13 est disposé à l'intérieur du bouclier interne 2,
et peut être disposé à l'intérieur de la coque supérieure 3. Le contrôleur de modulation de flux 13 est
en communication avec les moyens supérieurs pour générer un champ
électromagnétique 8, les moyens inférieurs pour générer un champ
électromagnétique 9, la source d'alimentation 11, et les moteurs
électriques.
Le contrôleur de
modulation de flux 8 peut être exécuté comme un ordinateur ou un
microprocesseur. Le contrôleur de
modulation de flux 8 est pourvu d'une capacité de moduler les paramètres
de performance des moyens supérieurs pour générer un champ électromagnétique 8,
les moyens inférieurs pour générer un champ électromagnétique 9, la
source d'alimentation 11, et les moteurs électriques.
Un équipage 14 peut
être situé à l'intérieur de la coquille supérieure 3 de la visière
interne 2 et peut être constitué d'une ou plusieurs des
astronautes. L'équipage comporte un
accès libre à l'équipement d'entretien de la vie 12 et le contrôleur de
modulation de flux 8. Homme de
l'art peut envisager un entièrement automatisé, métier sans pilote, qui est
également dans la portée de cette invention.
Une personne versée
dans l'art, peut aussi envisager le mode de réalisation (non représenté),
également dans le cadre de la présente invention, où le blindage
supraconducteur creux est susceptible de pivoter, et la structure de support
avec les moyens pour générer un champ électromagnétique est fixé à l'extérieur
de la visière interne.
Fig.2A et la Fig.2B
sont des diagrammes montrant les résultats de la turbulence électromagnétique
quantifié à l'intérieur de la coquille supraconducteur du bouclier
supraconducteur creux fourni par le mouvement de rotation relatif du bouclier
supraconducteur creux supérieurs contre les moyens destinés à générer un champ
électromagnétique.
Fig.2A montre le
mouvement dans le sens horaire de rotation relative du bouclier supraconducteur
creux, cette motion identifiée par un vecteur de mouvement dans le sens horaire
de bouclier 15, et le mouvement relatif de rotation anti-horaire de
moyens supérieurs pour générer un champ électromagnétique, cette motion
identifiée par un contre-EMF dans le sens horaire vecteur de mouvement 16.
Le champ
électromagnétique, de manière contrôlable et de manière variable appliqué par
les moyens supérieurs pour générer un champ électromagnétique, dont les
positions sont identifiées par divers une grille métallique 17, pour le
blindage supraconducteur creux (non représenté), provoque une turbulence
électromagnétique quantifié à l'intérieur du blindage supraconducteur
creux. Cette turbulence est représentée
par une pluralité de sens horaire quantifié tourbillons d'ions du réseau 18. Une seule ligne des aiguilles d'une montre
quantifié tourbillons d'ions du réseau 18, (pas à l'échelle), est
représenté à titre d'illustration.
Chacune des aiguilles d'une montre quantifié tourbillons d'ions
réticulaires 18 génère un champ gravitomagnetic identifié par un vecteur
de champ gravitomagnetic 19 orientées orthogonalement vers l'extérieur
loin de l'écran supraconducteur creux.
Fig.2B montre le mouvement relatif de sens anti-horaire de rotation de l'écran
supraconducteur creux, cette motion identifiée par un mouvement de bouclier
vecteur sens antihoraire 20, et le mouvement de rotation par rapport
horaire de moyens supérieurs pour générer un champ électromagnétique, cette
motion identifiée par un dans le sens horaire vecteur de mouvement EMF 21.
Le champ électromagnétique, de manière
contrôlable et de manière variable appliqué par les moyens supérieurs pour
générer un champ électromagnétique déterminé par la grille métallique 17,
pour le blindage supraconducteur creux (non représenté), provoque une
turbulence électromagnétique quantifié à l'intérieur du blindage
supraconducteur creux, cette turbulence représentée par une pluralité des
anti-horaire tourbillons quantifiés d'ions treillis 22. Seule ligne de tourbillons dans le sens
antihoraire quantifiés d'ions du réseau 22, (pas à l'échelle), est
montré pour fins d'illustration seulement. Chacun des sens antihoraire quantifié
tourbillons d'ions treillis 22 génère un champ gravitomagnetic identifié
par un vecteur de champ intérieur gravitomagnetic 23 dirigé
orthogonalement vers le bouclier supraconducteur creux.
Les conditions électriques pour fournir
l'effet Li-Torr sont les suivantes :
Podkletnov a rapporté l'utilisation de
courant à haute fréquence de 105 Hz. Il a également
utilisé 6 bobines magnétiques @ 850 Gauss chacun. L'efficacité du système rapporté a atteint
100 % et le champ total dans le disque de la Podkletnov était d'environ 0,5
Tesla. La perte de poids maximale
déclarée par Podkletnov était de 2,1 %.
Le mode de réalisation
préféré du dispositif de la présente invention est capable de loger 2-3
astronautes et par conséquent est prévu pour être d'environ 5 mètres de
diamètre à l'endroit le plus large.
L'accélération du véhicule spatial le plus pratique est fixée à 9,8 m /
s / s, à condition que la gravité de bord est similaire à celle de la surface
de la Terre.
Les moyens pour générer
un champ électromagnétique peut être constitué de bobines magnétiques 124. Dans le même efficacité de 100 % rapporté par
Podkletnov, le champ total nécessaire fournir l'accélération de s / s 9,8 m /
est de 5000 Tesla, soit environ 40 Tesla par bobine. Skeggs suggère que le dispositif Podkletnov,
sur 850 Gauss développé sur la surface de la bobine, le champ affectant le
supraconducteur et provoquant la gravitomagnetism est à seulement 400 Gauss
(" Analyse Ingénierie de l'Expérience Podkletnov Gravity "
protecteur, Peter L. Skeggs, Quantum Forum, 7 novembre 1997,
http://www.inetarena.com/~noetic/pls/podlev.html, 7 pages). Cela se traduit par 47 % d'efficacité de
l'appareil.
Dans ce véhicule spatial -Efficace de 47 %,
le champ total requis atteint les 9,8 m accélération s / s / est d'environ 10
600 Tesla, ou 85,5 Tesla par chacun des 124 bobines. Il faut noter qu'à ce rythme, d'accélération,
il faudrait près d'un an pour le véhicule spatial pour atteindre la vitesse de
la lumière.
Il faut aussi noter que
Skeggs a détecté un écart entre les estimations Li-Torr et les résultats
pratiques de Podkletnov. Si les
résultats expérimentaux de Podkletnov sont erronées alors que les estimations
Li-Torr sont en effet applicable au véhicule spatial de cette invention, les
besoins en énergie pour atteindre la vitesse recherchée seraient sensiblement
plus élevé que l'estimation ci-dessus de 10.600 Tesla.
Podkletnov a conclu
que, pour que le vide anomalie de densité de pression à avoir lieu, le
dispositif lié à la Terre doit être dans l'état de Meissner lévitation. Comme le sont tous les organes de l'espace,
le véhicule spatial est un sujet à l'état de pression inflationniste à vide et
la force gravitationnelle, qui, dans la localité de la migration de l'Univers
en expansion, dans n'importe quelle direction linéaire unique, sont
sensiblement en équilibre. Ainsi, par le
véhicule spatial, l'exigence de Meissner lévitation n'est plus nécessaire.
La propagation du champ
gravitomagnetic identifié par le vecteur de champ gravitomagnetic extérieur 19
et le vecteur champ gravitomagnetic intérieur 23 causerait processus quantifiés
exotiques en particules subatomiques de la dépression qui incluent la
polarisation de particules, des anomalies du champ zpf, et la transformation de
matière-énergie par E=mc2. La
combinaison de ces processus se traduirait par l'anomalie
gravitationnelle. Selon la théorie de la
relativité générale, l'attraction gravitationnelle est expliquée comme le
résultat de la courbure de l'espace-temps étant proportionnelle à la constante
de gravitation. Ainsi, la variation de
l'attraction gravitationnelle de particules subatomiques du vide provoquerait
une anomalie locale de la courbure de l'espace-temps Einsteinean.
La gravité est la même
chose que l'espace courbé, se propageant à la vitesse de la lumière
caractéristique de la courbure d'espace-temps particulier. Lorsque l'espace courbé est affectée, il
existe une variation de la vitesse de propagation de la pesanteur à l'intérieur
de la courbure anomalie de l'espace-temps.
La vitesse locale de la lumière, selon Fomalont et Kopeikin toujours
égale à la vitesse locale de propagation de la gravité, est également affecté
dans la localité de l'espace-temps courbe anomalie.
Création de courbure
anomalies spatio-temporelles adjacentes à, ou autour, du véhicule spatial, ces
anomalies caractérisées par la pesanteur locale et le changement de vitesse à
vide, a été l'objet principal de la présente invention.
Fig.3A représente un
schéma d'une densité de pression de vide anomalie associée à la pression
abaissée de l'inflation état de vide 24 sur le fond de la courbure
universelle de l'inflation état de vide 25. La densité de la pression de vide anomalie
associée à la pression abaissée de l'inflation état de vide 24 est
formée par une multitude de vecteurs de terrain gravitomagnétique vers
l'intérieur. Selon l'équation constante cosmologique,
![]()
où :
La constante
cosmologique Lambda, est proportionnelle à l'énergie du vide pression
rho-lambda, G est la constante de Newton de la gravitation, et c est la
vitesse de la lumière, donc la courbure de l'espace-temps est proportionnelle à
la constante gravitationnelle. Selon la
théorie de la relativité générale, la variation de la densité de la dépression
est proportionnelle à la variation de l'anomalie de courbure de
l'espace-temps. En remplaçant les
rho-lambda avec la densité de la pression de vide, P fois le kappa de
coefficient d'énergie du vide et en remplaçant c avec :
Delta-distance/delta-temps,
nous obtenons l'équation :
![]()
et peut maintenant
construire un diagramme pression de vide de la courbure de la densité.
La courbure de la
densité de dépression anomalie associée à une pression inflationniste réduit de
l'état de vide 24 est représenté ici comme une surface aplatie
représentant de la pression réduite de l'état de vide inflationniste. Cette anomalie est le résultat du processus
quantifiés exotiques dans les particules subatomiques causées par la turbulence
apparaissant dans le quantifié blindage supraconducteur creux. Les axes XYZ représentent les trois
dimensions de l'espace et de l'axe P représente la densité de la
pression de vide.
Fig.3B représente un
schéma d'une anomalie de la densité de la pression de vide associé à une
pression élevée de l'inflation état de vide 26 sur le fond de la
courbure universelle de l'inflation état de vide 25. La densité de la pression de vide anomalie
associée à la pression élevée de l'inflation état de vide 26 est formée
par une multitude de vecteurs de champ gravitomagnétique vers l'extérieur. L'anomalie est montrée ici comme une surface
convexe représentant la pression élevée de l'état de vide inflationniste. Les diagrammes de la Fig.3A et la Fig.3B
sont pas à l'échelle avec les tailles d'anomalies exagérées pour plus de
clarté.
Fig.4A et Fig.4B
représentent des schémas d'un espace-temps anomalie associée à la pression
inflationniste réduit de l'état de vide 27, et un espace-temps anomalie
associés à une pression élevée de l'état de vide inflationniste 28,
respectivement, chacun sur le fond d'un diagramme de 29 temps universel
espace.
L'ensemble de Julia
quaterised Qn+1 = Qn2 + C0 est
supposé être une représentation mathématique précise de l'espace-temps
universel. Le quaternion générique Q0 appartient à l'ensemble de
Julia associé au quaternion C, et n tend vers l'infini. Si l'on suppose que la
valeur quaternionique C0 est associée à l'espace-temps universel 29,
C1 est la valeur de quaternion C pour l'espace-temps
anomalie associée à la pression d'inflation réduit état de vide 27, et C2
est la valeur de quaternion C pour l'espace-temps anomalie associée à une
pression élevée de l'inflation état de vide 28, alors nous pouvons
construire deux schémas.
Le schéma de la Fig.4A
montre l'espace-temps anomalie associée à la pression d'inflation réduit état
de vide 27 comme un ensemble de Julia quaterised contenu dans un espace
à 4 dimensions : Qn+1 = Qn2 + C1
sur le fond de l'espace-temps universel 29 représenté par Qn+1 =
Qn2 + C0.
Le schéma de la Fig.4B
montre l'espace-temps anomalie associée à une pression élevée de l'inflation
état de vide 28 comme un ensemble de Julia quaterised Qn+1 =
Qn2 + C2, également sur le fond de
l'espace-temps universel 29 représenté par Qn+1 = Qn2
+ C0. Sur les deux
diagrammes, les axes XYZ représentent les trois dimensions de l'espace,
et l'axe des t représente le temps.
Les schémas ne sont pas à l'échelle: la taille des anomalies sont
exagérées pour plus de clarté, et les moitiés de quaterised ensembles de Julia,
classiquement associés à l'hypothétique Anti-Univers, sont omis.
Fig. 5A, 5B, 6,
7A, et 7B représentent des schémas simplifiés des anomalies de courbure
spatio-temporels générés par le véhicule spatial de la présente invention, ces
anomalies pour fournir la propulsion du véhicule spatial. Dans chaque cas, l'anomalie de la pression
d'inflation état de vide est constituée d'une zone de densité de la pression de
vide relativement faible en avant de l'engin spatial et une zone de densité
relativement élevée de la pression d'aspiration derrière le véhicule
spatial. En raison de la pression
inférieure de l'état de vide inflation est associée à une plus grande densité
et de la pression plus élevée est associée à la plus grande force de répulsion,
le véhicule spatial est poussé à se déplacer à partir de la zone de densité de
la pression de vide relativement élevé vers la zone de densité de la pression
de vide relativement faible.
Fig. 5A illustre le
premier exemple de modification de la courbure de l'espace-temps. Cet exemple montre une anomalie
spatio-temporel sensiblement en forme de goutte associé à la courbure de la
pression d'inflation réduit état de vide 30 adjacente au blindage
supraconducteur creux 1 de l'engin spatial. L'anomalie 30 est assurée par la
propagation d'un champ rayonnant orthogonalement gravitomagnetic loin de la
face de l'écran supraconducteur creux 1 gravitomagnetic. Ce champ peut être fournie par le mouvement
dans le sens horaire par rapport à des moyens supérieurs pour générer un champ
électromagnétique, et le mouvement relatif dans le sens antihoraire du champ
supraconducteur creux, comme observé de dessus du véhicule spatial.
Dans cet exemple, la
différence entre l'espace-temps courbure dans l'espace-temps sensiblement en
forme de goutte-anomalie associée à la pression abaissée de l'état de vide
d'inflation et de l'air ambiant courbure espace-temps, l'espace-temps courbure
étant la même que la gravité, le déséquilibre se traduit par gravité, avec la
gravité de traction du véhicule spatial avant.
Fig. 5B illustre le
deuxième exemple de modification de la courbure de l'espace-temps. Cet exemple montre un espace-temps
sensiblement en forme de goutte anomalie associée à une pression élevée de
l'état de vide d'inflation 31 adjacente au blindage supraconducteur
creux 1 de l'engin spatial.
L'anomalie 31 est assurée par la propagation d'un champ rayonnant
orthogonalement gravitomagnetic de l'arrière du blindage supraconducteur
creux. Ce champ gravitomagnetic peut
être fournie par le mouvement dans le sens antihoraire par rapport des moyens
inférieurs destinés à générer un champ électromagnétique, et un mouvement
relatif dans le sens horaire de la matière supraconductrice creux, tel
qu'observé depuis le dessous du véhicule spatial.
Dans cet exemple, la
différence entre l'espace-temps courbure dans l'espace-temps sensiblement en
forme de goutte-anomalie associée à la pression élevée de l'état de vide
d'inflation et de l'air ambiant courbure espace-temps, l'espace-temps courbure
étant la même que la gravité, le déséquilibre se traduit par gravité, avec la
force de répulsion de poussée du véhicule spatial avant.
Fig. 6 illustre le
troisième exemple de modification de la courbure d'espace-temps. Cet exemple montre la formation de
l'espace-temps sensiblement en forme de goutte anomalie associée à la pression
abaissée de l'inflation état de vide 30 combiné avec l'espace-temps
sensiblement en forme de goutte anomalie associée à une pression élevée de
l'inflation état de vide 31.
Cette combinaison d'anomalies pourra être fourni par le mouvement vers
la droite relative des moyens supérieurs pour générer un champ
électromagnétique et un mouvement relatif dans le sens horaire de la matière
supraconductrice creux, combiné avec le mouvement vers la droite relative des
moyens inférieurs destinés à générer un champ électromagnétique, comme observé
de dessus du véhicule spatial.
Dans cet exemple, la
différence entre l'espace-temps courbure dans l'espace-temps sensiblement en
forme de goutte anomalie associée à la pression abaissée de l'état de vide
d'inflation et de l'espace-temps courbure de l'espace-temps sensiblement en
forme de goutte anomalie associée à surélevée pression d'inflation état de
vide, l'espace-temps courbure étant la même que la gravité entraîne le
déséquilibre de gravitation, de la gravité de traction, et la force de
répulsion de poussée, le véhicule spatial avant.
Fig. 7A illustre le
quatrième exemple de modification de la courbure de l'espace-temps. Cet exemple montre la formation d'un
espace-temps sensiblement en forme d'oeuf anomalie associée à la pression
abaissée de l'état de vide 32 autour de l'inflation blindage
supraconducteur creux 1 de l'engin spatial. L'anomalie 32 est assurée par la
propagation de la densité de champ gravitomagnetic inégalement répartie, ce
champ gravitomagnetic rayonnement dans toutes les directions
perpendiculairement à partir de la distance de blindage supraconducteur
creux. La propagation du champ
gravitomagnetic inégalement répartie mène à l'espace-temps de la même courbure
anomalie inégalement répartie. Ce champ
gravitomagnetic inégalement répartie peut être fourni par le mouvement
relativement plus rapide dans le sens horaire des moyens supérieurs pour
générer un champ électromagnétique par rapport à la matière supraconductrice
creux, combiné avec le mouvement de contre-aiguilles d'une montre relativement
lente des moyens inférieurs destinés à générer un champ électromagnétique,
comme observé depuis le dessus du véhicule spatial.
Une zone de la plus
faible densité de la pression à vide 33 de l'espace-temps sensiblement
en forme d'oeuf anomalie associée à la pression de vide réduit d'inflation état
32 se trouve directement en face de l'engin spatial.
Dans cet exemple, la
variation dans l'espace-temps courbure dans l'espace-temps sensiblement en
forme d'oeuf anomalie associée à la pression abaissée de l'état de vide
inflation, l'espace-temps courbure étant la même que la gravité, se traduit par
un déséquilibre de gravitation, de la gravité tirer le véhicule spatial en
avant dans l'espace-temps modifié.
Fig. 7B illustre le cinquième exemple de modification de la courbure de
l'espace-temps, également dans le but de fournir une propulsion dans
l'espace-temps modifié. Cet exemple
montre la formation d'un espace-temps sensiblement en forme d'oeuf anomalie
associée à la pression élevée de l'état de vide 34 autour de l'inflation
blindage supraconducteur creux 1 de l'engin spatial. L'anomalie 34 est assurée par la propagation
de la densité de champ gravitomagnetic inégalement répartie, ce champ
gravitomagnetic rayonnement dans toutes les directions perpendiculairement à
partir de la distance de blindage supraconducteur creux. La propagation du champ gravitomagnetic
inégalement répartie mène à l'espace-temps de la même courbure anomalie inégalement
répartie. Ce champ gravitomagnetic
inégalement répartie peut être fourni par le mouvement de contre-aiguilles
d'une montre relativement lente des moyens supérieurs pour générer un champ
électromagnétique par rapport à la matière supraconductrice creux, combiné avec
le mouvement relativement plus rapide dans le sens horaire des moyens
inférieurs destinés à générer un champ électromagnétique, comme observé depuis
le dessus du véhicule spatial.
Une zone de la densité
la plus élevée de pression de vide 35 de l'espace-temps sensiblement en
forme d'oeuf anomalie associée à la pression élevée de l'inflation état vide 34
est situé directement derrière le véhicule spatial.
Dans cet exemple, la
variation dans l'espace-temps courbure dans l'espace-temps sensiblement en
forme d'oeuf anomalie associée à la pression élevée de l'état de vide
inflation, l'espace-temps courbure étant identique à la gravité, se traduit par
un déséquilibre de gravitation, de la répulsion force de poussée du véhicule
spatial vers l'avant dans l'espace-temps de modification à des vitesses
approchant la vitesse de la lumière caractéristique de cette zone
modifiée. Cette vitesse de la lumière
pourrait être beaucoup plus élevée que la vitesse de la lumière dans l'espace
ambiant.
En créant des anomalies
alternatives et de moduler leurs paramètres, l'équipage du véhicule spatial
serait dilater et se contracter temps et l'espace à la demande. Le véhicule
spatial, émettant une pression modification de vide, commandable modulée champ
gravitomagnetic dans toutes les directions, se déplacer rapidement dans
l'espace-temps inégale anomalie qu'il a créé, tiré en avant par gravité ou
poussé par la force de répulsion. La
zone de taux de temps de l'anomalie est prévu d'avoir plusieurs limites
quantifiées plutôt qu'une seule limite subite qui affecte l'espace et du temps
dans la proximité immédiate du véhicule.
Débit, taux de temps, et direction dans l'espace peuvent être déplacées
à la demande et d'une manière rapide. La
vitesse de la lumière modulée pourrait rendre le véhicule de l'espace approprié
pour voyage interstellaire. En raison de
la commande de débit de temps dans la isospace nouvellement créée, les
accélérations seraient progressivement et les angles de déviation seraient
relativement lisse. Le blindage de
gravité serait mieux protéger les pilotes des effets néfastes de la gravité
lors des accélérations rapides, les changements de direction, et les arrêts
brusques.
***************************
Si vous trouvez l'idée de générer un champ
gravitationnel, difficile de se réconcilier avec, puis examiner les travaux de
Henry Wallace qui était un ingénieur chez General Electric, il y a environ 25
ans, et qui a développé certaines inventions incroyables concernant la physique
sous-jacente du champ gravitationnel. Peu de gens ont
entendu parler de lui ou de son travail.
Wallace a découvert
qu'un champ de force, similaire ou connexe pour le champ gravitationnel,
résulte de l'interaction des masses en mouvement relativement. Il a construit des machines qui ont démontré que ce
domaine pourrait être généré par la filature des masses de matière élémentaire
ayant un nombre impair de nucléons--c'est-à-dire un noyau ayant une valeur
multiple demi-entier de h-bar, le quantum de moment angulaire. Wallace utilisé bismuth ou matériel de cuivre
pour ses organes rotatifs et concentrateurs de domaine " kinnemassic
".
Mis à part les
avantages immenses pour l'humanité qui pourraient résulter d'une meilleure
compréhension de la nature physique de la gravité et les autres forces
fondamentales, inventions de Wallace pourraient avoir une valeur pratique
énorme dans la lutte contre la gravité ou de conversion des champs de force
gravitationnelles en énergie pour faire un travail utile. Alors, pourquoi personne n'a entendu de lui
? On pourrait penser que le découvreur
de connaissances importantes tel que celui-ci serait salué comme un grand
savant et nominé pour le prix de dynamite.
Serait-ce que son
invention ne fonctionne pas ? Toute
personne peut obtenir les brevets.
Étudiez-les--Wallace--General Electric--une description détaillée des
opérations--mesures d'effets--dessins et modèles--il est authentique. Si vous êtes à portée de main avec les
outils, puis vous pouvez même construire vous-même. Il ne fonctionne pas.
Henry a obtenu deux brevets dans ce domaine
:
Brevet américain #3626605-- " Méthode
et appareil permettant de générer un champ de Force gravitationnel secondaire
", 14 décembre 1971 et
Brevet américain #3626606-- " Méthode
et appareil permettant de générer un champ de Force dynamique ", 14
décembre 1971.
Il a également été accordé nous brevet
#3823570-- " Pompe à chaleur " (basé sur la technologie similaire aux
deux inventions ci-dessus), 16 juillet 1973.
Brevet américain 642 434 12 novembre 1932 Inventeur: Charles N. Pogue
CARBURATEUR
Ce brevet décrit un dessin de carburateur
qui a été en mesure de produire des chiffres très haute mpg en utilisant de
l'essence disponible aux Etats-Unis dans les années 1930, mais qui n'est plus
disponible en tant que l'industrie pétrolière ne veut pas de carburateurs mpg
haute fonctionnelle pour être accessible au public.
DESCRIPTION
Cette invention se
rapporte à un dispositif permettant d'obtenir un contact intime entre un gaz et
un liquide à l'état gazeux, en particulier à un tel dispositif, qui peut servir
d'un carburateur pour moteurs à combustion interne.
Carburateurs couramment
utilisés pour fournir un mélange combustible de l'air et de combustible liquide
pour moteurs à combustion interne comprend un bol dans lequel une fourniture du
combustible est maintenue dans la phase liquide et un jet de carburant qui
s'étend du combustible liquid dans un passage à travers lequel l'air est aspiré
par la succion des cylindres moteur. Sur l'aspiration, ou course d'admission des
cylindres, l'air est aspiré au-dessus et autour du jet de carburant et une
charge de combustible liquide est aspirée, démembrée et partiellement vaporisée
pendant son passage aux cylindres moteur.
Cependant, j'ai constaté que dans ces carburateurs, une quantité
relativement importante de combustible liquide atomisé n'est pas vaporisée et
pénètre dans le cylindre moteur sous forme de gouttelettes microscopiques. Une fois une telle accusation est allumée
dans le cylindre moteur, seule la partie du combustible liquide qui a été
transformée en l'état (moléculaire) vaporeux, combine avec l'air pour donner un
mélange explosif. La portion restante
de combustible liquide qui est aspiré dans les cylindres du moteur et reste
sous forme de petites gouttelettes, ne pas exploser et transmettre la puissance
au moteur, mais brûle avec une flamme et augmente la température du moteur
supérieure à celle à laquelle le moteur fonctionne plus efficacement,
c'est-à-dire 160 F à 180 F.
Selon cette invention, un carburateur pour
moteurs à combustion interne est fourni dans lequel substantiellement tout le
carburant liquid entrant dans le cylindre du moteur sera dans la phase gazeuse
et, par conséquent, capable de conjuguer avec l'air pour former un mélange qui
va exploser et de répandre un maximum de puissance au moteur, et qui ne sera
pas brûler et indûment augmenter la température du moteur.
Un mélange d'air et le
liquide combustible en véritable phase de vapeur dans le cylindre du moteur est
obtenu par vaporisés tous, ou une grande partie du combustible liquide dont il
est introduite dans la tubulure d'admission du moteur. Préférence cela dans une chambre de vaporisation,
et le combustible vaporeux " sec " est tiré de la partie supérieure
de cette chambre dans le collecteur d'admission sur l'apport ou la course
descendante du moteur. Le terme "
sec " utilisé ici se réfère au carburant dans la phase vaporeuse qui est
au moins effectivement indemnes de gouttelettes de combustible en phase
liquide, qui, sur l'allumage serait brûler plutôt que d'exploser.
Plus particulièrement,
l'invention comprend un carburateur qui incarnent une volatilisation de chambre
dans le fond, un constante du corps de combustible liquide est maintenu et dans
la partie supérieure dont il est toujours maintenu un approvisionnement en
carburant vaporisé " sec ", prêt pour l'admission dans le collecteur
d'admission du moteur. L'approvisionnement
en combustible liquide vaporisé est maintenue en tirant d'air à travers
l'approvisionnement en combustible liquide dans le fond de la chambre de
vaporisation et par atomisation en permanence une partie du combustible liquide
afin qu'il peut plus facilement passer dans la phase vapeur. Pour ce faire
préférablement une pompe double effet exploitée de la tubulure d'admission, ce
qui oblige un mélange du combustible liquide et air contre un plateau situé à
l'intérieur de la chambre. Pour obtenir
une vaporisation plus complète du carburant liquide, la chambre de vaporisation
et de l'air entrant sont de préférence chauffés par les gaz d'échappement du
moteur. Le carburateur aussi couvre les moyens pour fournir au départ un
mélange d'air et vaporisé de carburant afin que le démarrage du moteur ne sera
pas tributaire de l'existence d'une fourniture de vapeurs de carburant dans la
chambre de vaporisation.
L'invention sera décrite plus loin dans le
cadre de l'accompagnement dessins, mais cette divulgation et une description
plus doit être considérée comme une exemplification de l'invention et la même
chose n'est pas limité ainsi sauf comme le souligne dans les revendications.
Fig.1 est une vue en élévation d'un carburateur incorporant mon invention.

Fig.2 est une vue en
coupe verticale à travers le centre de Fig.1

Fig.3 est une vue en coupe horizontale à la ligne 3--3 de Fig.2.

Fig.4 est une vue en
coupe verticale agrandie à travers l'un des cylindres de la pompe et les
parties adjacentes du carburateur.

Fig.5 est une vue à plus grande échelle à travers la pompe à double effet
complet et montrant la soupape de distribution associée.

Fig.6 est une vue en coupe verticale agrandie à travers la buse de
pulvérisation pour fournir une charge de départ pour le moteur.

Fig.7 et Fig.8
sont des vues de détail en coupe de pièces 16 et 22 de Fig.6

Fig.9 et Fig.10 détail sont
des vues en coupe montrant l'entrée et la sortie des cylindres de la pompe de
pulvérisation.

En se référant aux
dessins, la référence numérique 1 désigne une chambre de vaporisation et
de combustible bol combinée dans laquelle un combustible liquide est maintenu
au niveau indiqué sur la Fig.1 par un flotteur 2 valve contrôlant
l'écoulement du combustible liquide par la conduite 3 qui relie le vide
réservoir ou d'un autre réservoir de carburant liquide.
La chambre de
vaporisation est entourée d'une chambre 4 à un qui les gaz d'échappement
chauds du moteur, entrent par le conduit 5 situé au fond de la
chambre. Ces gaz passent dans la chambre
de vaporisation et une chaleur dans la chambre, ce qui accélère la vaporisation
du combustible liquide. Les gaz passent
ensuite à travers le tuyau de sortie supérieure 6.
Chambre 4 pour
les gaz d'échappement chauds, est à son tour entouré par la chambre 7
dans laquelle de l'air pour vaporiser une partie du combustible liquide dans la
chambre 1 entre par une tubulure d'admission inférieur 8. Cet air passe vers le haut à travers la
chambre 4 par l'intermédiaire de laquelle les gaz d'échappement chauds
passent , et que l'air se réchauffe. Une
partie de l'air chauffé passe alors que le tuyau 9 en un aérateur 10,
situé dans la partie inférieure de la chambre de vaporisation et une immergé
dans le carburant liquide en elle.
L'aérateur 10 est constitué d'une chambre relativement plate qui
s'étend sur une partie substantielle du fond de la chambre et possède un grand
nombre de petits orifices 11 dans sa paroi supérieure. L'air chauffé entrant dans l'aérateur passe à
travers les orifices 11 sous forme de petites bulles qui passent alors
vers le haut par le carburant liquide.
Ces bulles, ainsi que la chaleur transmise à la chambre de vaporisation
par les gaz d'échappement chauds, provoquent une vaporisation d'une partie du
carburant liquide.
Une autre partie de
l'air de la chambre 7, passe à travers un raccord 12 dans le
passage 13, à travers laquelle l'air est aspiré directement de
l'atmosphère dans le collecteur d'admission.
Adopté le 13 est muni d'une soupape 14 qui est normalement
maintenu fermé par un ressort 14a, dont la tension peut être réglée au
moyen de la fiche filetée 14b.
Passage 13 présente un prolongement 13a vers le haut, qui
est situé dans une 13b de la soupape d'étranglement pour aider au
démarrage du moteur. Passage 13 passe
à travers la chambre de vaporisation 1 et qui a son extrémité intérieure
communiquant avec le passage 15 via le connecteur 15a qui est
fixé à la tubulure d'admission du moteur.
Passage 15 est pourvu de la vanne papillon usuelle 16 qui
commande la quantité de carburant admis dans les cylindres du moteur et, par
conséquent, de réguler la vitesse du moteur.
La partie de passage 13
qui passe à travers la chambre de vaporisation comporte une ouverture 17
normalement fermée par vanne 17a qui est maintenu contre son siège
par ressort 17b, dont la tension peut être réglée par un bouchon fileté 17c. Comme l'air est aspiré passé soupape 14 et
à travers le passage 13 sur l'admission ou aspiration course du moteur,
la vanne 17a est soulevé de son siège et une partie de la vapeur de
carburant à sec à partir de la partie supérieure de la chambre de vaporisation
est aspiré dans le passage 13 par l'ouverture 17 et se mêlent à
l'air avant d'entrer dans le passage 15.
Afin de réguler la
quantité d'air passant de la chambre 7 à aérateur 10 et dans le
passage 13, tuyau 9 et connexion 12 sont munis de vannes
appropriées 18 et 19 respectivement.
Valve 18 dans le tuyau 9 est synchronisée avec la vanne
papillon 16 dans le passage 15 de soupape 19 est de
préférence réglable et synchronisée avec la vanne papillon 16, comme
représenté, mais ce n'est pas essentiel.
Le fond du passage 15
est réalisé sous la forme d'un venturi 20 et une buse 21 de
combustible liquide atomisé et de l'air est situé au niveau ou au voisinage du
point de la plus grande restriction.
Buse 21 est de préférence alimenté en carburant à partir de
l'alimentation en combustible liquide dans le fond de la chambre de
vaporisation, et à cet effet, un élément 22 est fixé à l'intérieur de la
chambre de vaporisation par un bouchon fileté amovible 23 ayant une
extrémité à rebord inférieure 24 enfichable 22 s'étend à travers
une ouverture dans le fond de la chambre 1 et qui est vissée dans la
partie inférieure de l'élément 22.
Cela provoque la paroi inférieure de la chambre 1 pour être
solidement serrée entre l'extrémité inférieure de l'élément 22 et la
bride 24, l'élément 22 de retenue ainsi en toute sécurité, en
lieu.
Bouchon 23 est
muni d'une cuve de décantation 24 et s'étendant à partir de bol 24 sont
plusieurs petits passages 25 qui s'étendent latéralement, et un passage
vertical central 26. Les passages
latéraux 25 de registres avec des passages correspondants 27 situés
dans l'extrémité inférieure de l'élément 22 à un niveau inférieur que
celle à laquelle le carburant est dans la chambre 1, dans lesquelles le
combustible liquide est libre de passer dans le bol 24.
Passage vertical 26 communique
avec une buse verticale 28 qui se termine à l'intérieur de l'extrémité
inférieure de la buse 21 d'évasement.
Le diamètre extérieur de la buse 26 est inférieur au diamètre
intérieur de la buse 21 de telle sorte qu'un espace est prévu entre eux
pour le passage de l'air ou et des mélanges de vapeur. Buse 26 est également pourvu d'une
série d'orifices d'entrée 29, de l'air ou de l'air et des mélanges de
vapeur et d'une entrée d'admission de combustible 30 du combustible 30
communique avec une chambre 31 située dans l'élément 22 et
qui entoure la buse 28 chambre 30 est alimentée en un combustible
liquide par l'intermédiaire d'un passage 32 qui est commandé par une
soupape à pointeau 33, dont la tige, s'étend à l'extérieur du
carburateur et est munie d'un écrou moleté 34 à des fins de réglage.
L'extrémité supérieure
de l'élément creux 22 est réalisée pour fournir un espace 35 entourant
les buses 21 et 28. La paroi inférieure
du passage 13 est pourvu d'une série d'ouvertures 35a, pour
permettre aux vapeurs de pénétrer dans l'espace 35 à travers eux. Les vapeurs peuvent alors passer à travers
des entrées 29 dans la buse 28, et autour de l'extrémité
supérieure de l'embout 28 dans l'extrémité inférieure de la buse 21.
S'étendant à partir de
la chambre 31 du côté opposé passage 32, se trouve un passage 36 qui
communique avec un conduit 37 qui s'étend vers le haut à travers le
passage 13, et se raccorde par l'intermédiaire d'un prolongement latéral
39, avec le passage 15 au-dessus de la vanne papillon 16. La portion de conduit 37 qui s'étend à
travers le passage 13 est muni d'un orifice 39 à travers lequel
de l'air ou de l'air et les vapeurs de carburant peuvent être aspirées dans le
conduit 37 et se mêlent à atomiser le combustible liquide est aspiré à
travers le conduit. Pour aider en outre
en ce atomisation du carburant liquide passant par le conduit 37, le
conduit 40 est limitée à juste en dessous de l'orifice 39.
L'extrémité supérieure
du conduit 37 est en communication avec l'atmosphère à travers l'ouverture 41
à travers laquelle de l'air peut être aspiré directement dans la partie
supérieure du conduit. La proportion
d'air de vapeurs inflammables provenant par le conduit 37 est commandé
par une soupape à aiguille 42.
Comme la buse 21 pénètre
directement dans l'extrémité inférieure du passage 15, l'aspiration dans
le collecteur d'admission, à son tour, créer une aspiration sur la buse 21 ce
qui provoquera un mélange de carburant atomisé et d'air d'être aspiré
directement dans le collecteur d'admission.
Il se trouve à être souhaitable lors du démarrage du moteur, en
particulier par temps froid, quand il pourrait ne pas être une quantité
suffisante de vapeur dans la chambre de vaporisation, ou le mélange d'air et de
vapeur passant à travers le passage 13 pourrait être de " maigre
" pour provoquer un démarrage rapide du moteur. Dans ces moments, la fermeture de la vanne 13b
starter provoquera l'aspiration maximale à exercer sur la buse 21 et
le montant maximum de l'air et de carburant atomisé à tirer directement dans le
collecteur d'admission. Après que le
moteur a été démarré, seule une petite portion du mélange d'air et de vapeur
combustible nécessaire pour le bon fonctionnement du moteur est aspiré à
travers la buse 21, comme le volet de starter sera alors ouverte dans
une grande mesure et la quasi-totalité de l'air et de la vapeur mélange
nécessaire pour le fonctionnement du moteur sera tiré à travers l'extrémité
inférieure 20 du passage 15, autour de la buse 21.
Conduit 37 s'étendant
de la chambre de carburant de 31 à un point au-dessus du papillon 16 fournit
une quantité suffisante de carburant lorsque le moteur est au ralenti avec vale
16 fermé ou presque fermé.
Les enveloppes formant
des chambres 1, 4 et 7, sont pourvus des ouvertures nécessaires, pour
être ensuite fermées, de sorte que les différentes parties peuvent être
assemblées, et ensuite ajustés ou réparés.
La course d'admission
du moteur crée une aspiration dans le collecteur d'admission, ce qui provoque à
son tour l'air d'être tiré soupape à ressort passé 14 dans le passage 13
et, simultanément, une partie de la vapeur de carburant à sec à partir de
la partie supérieure de la chambre 1 de vaporisation est aspiré à
travers l'ouverture 17 soupape passé à mélanger 17a avec de l'air
se déplaçant à travers le passage. Ce mélange passe ensuite à travers le
passage 15 pour les cylindres du moteur et du collecteur d'admission.
La traction dans de la
vapeur de carburant à sec dans le passage 13 crée un vide partiel dans
la chambre 1, qui permet à l'air d'être aspiré dans la chambre 7
dans la chambre chauffée 4 d'où il passe à travers le cadre 12 et la
vanne 19, dans le passage 13 et par la conduite 9 et de la
vanne 18 dans l'aérateur 10, à partir duquel il migre vers le
haut à travers le combustible liquide dans le fond de la chambre pour vaporiser
le carburant une plus liquide.
Pour aider à maintenir
une fourniture de vapeur de carburant à sec dans la partie supérieure de la
chambre de vaporisation 1, le carburateur est pourvu de moyens pour
atomiser une partie du carburant liquide dans la chambre de vaporisation 1. Cette atomisation moyen est de préférence
constitué d'une pompe à double effet qui est actionné par la succion régnant
dans le collecteur d'admission du moteur.
La pompe à double effet
est constitué d'une paire de cylindres 43 qui ont leurs extrémités
inférieures qui se trouvent dans la chambre de vaporisation 1, et dont
chacun présente un piston de pompe à piston 44 monté dedans. Pistons 44 ont des tiges 45 s'étendant
à partir de leurs extrémités supérieures, en passant par les cylindres 46 et
47 ont pistons montés sur eux dans les cylindres 46.
Les cylindres 46 sont
reliés à chaque extrémité à une valve V de distribution qui relie les
cylindres tour à tour à la tubulure d'admission de sorte que la dépression dans
le collecteur entraîne les deux pistons 44 de fonctionner comme une
pompe à double effet de succion.
La distribution de
soupape V est constitué d'une paire de disques 48 et 49 entre
lesquelles se trouve une chambre pouvant osciller creux 50 qui est
constamment soumise à l'aspiration régnant dans le collecteur d'admission à
travers la connexion 51 comportant une vanne 52 en elle. Chambre 50 a une paire d'ouvertures
supérieures et une paire d'ouvertures inférieures. Ces ouvertures sont disposées de telle sorte
en ce qui concerne les conduits qui mènent aux extrémités opposées du cylindre 46
que l'aspiration du moteur en même temps une des forces piston 47 vers
le haut tout en forçant l'autre vers le bas.
La chambre 50 oscillant
a une extension en forme de T 53. Les branches de cette extension sont engagées
en alternance par les extrémités supérieures des tiges de piston 45, de
manière à amener la vanne V pour raccorder les cylindres 46 dans
l'ordre de la tubulure d'admission.
Printemps 54 provoque
une ouverture et une fermeture rapide des ports menant aux cylindres 46 de
sorte qu'à aucun moment l'aspiration du moteur est exercée sur les deux pistons
47. La tension entre les disques 48
et 49 et la chambre oscillant 50 peut être réglementé par vis 55.
La forme particulière
de la vanne de distribution V n'est pas revendiqué ici, donc une
description plus détaillée de l'opération n'est pas nécessaire. En ce qui concerne la présente invention
concerne toute forme de moyens pour communiquer un mouvement aux pistons 47 peut
être remplacé par la vanne V et ses parties associées.
Les vérins 43 sont
munies chacune d'entrées et de sorties 56 et 57, situées chacune
au-dessous du niveau de carburant dans la chambre 1. Les entrées 56 sont reliées à des
conduits qui s'étendent à l'horizontale et vers le haut 58 qui passent à
travers le carburateur à l'extérieur.
Les extrémités supérieures de ces conduits sont agrandies à 59 et
sont munis d'une fente s'étendant verticalement 60. Les extrémités élargies 59 sont
filetées à l'intérieur pour recevoir des fiches 61. La position de ces bouchons par rapport aux
fentes 60 détermine la quantité d'air qui peut passer à travers les
fentes 60 et dans le cylindre 43 sur la course d'aspiration des
pistons 44.
Les parois supérieures
des parties horizontales des conduits 58 ont une ouverture 62 pour
le passage du carburant liquide de la chambre 1. La mesure dans laquelle le carburant liquide
peut passer à travers ces ouvertures est contrôlée par des vannes aiguille 63,
dont la tige 64 passe à travers et à l'extérieur du carburateur et se
terminent par les écrous de réglage moletées 65.
La partie horizontale
de chaque conduit 58 est également muni d'un clapet anti-retour 66 (représenté
sur la Fig.10) qui permet à l'air d'être aspiré dans les cylindres par
l'intermédiaire des conduits 58, mais empêche le carburant liquide
d'être forcé vers le haut à travers les conduits de la course vers le bas de
pistons 44.
Points de vente 57 se
connectent avec des tuyaux horizontaux 67 qui se fondent en un seul
tuyau ouvert 68 qui s'étend vers le haut. L'extrémité supérieure ouverte
de ce tuyau se termine environ à mi-hauteur de la hauteur de la chambre de
vaporisation 1 et est muni d'une anse 69 qui porte une plaque
déflectrice 70 positionnée directement au-dessus de l'extrémité ouverte
du tube 68.
Les tubes horizontaux 67
sont munis de clapets anti-retour 71 qui permettent à l'air et de
combustible mélangé à être forcé à partir de cylindres 43 par les
pistons 44, mais qui empêche les vapeurs de carburant d'être aspiré à
partir de la chambre 1 dans les cylindres 43.
Lors de l'utilisation,
des pistons 44 sur le 'haut' coups, tirer une charge d'air et de
carburant liquide dans les cylindres 43, et sur la course «bas»,
décharger la charge dans un état atomisé par des canalisations 67 et 68,
contre dévier la plaque 70 qui en outre atomise les particules de
carburant liquide de sorte qu'ils aisément s'évaporent. Toutes les parties du combustible liquide qui
ne se vaporise pas, tomber vers le bas dans l'alimentation en combustible
liquide dans le fond de la chambre de vaporisation où ils sont soumis à
l'influence de la vaporisation des bulles d'air chauffé provenant de l'aérateur
10, et peut de nouveau passer dans les cylindres 43.
Comme indiqué
précédemment, le combustible vaporisé pour être introduit dans le collecteur
d'admission du moteur, est prise à partir de la partie supérieure de la chambre
de vaporisation 1. Pour s'assurer
que la vapeur dans cette partie de la chambre contient des gouttelettes non, ou
substantiellement pas, entraînées de combustible liquide, une chambre est
divisée en parties supérieure et inférieure par les parois 71 et 72 qui
convergent à partir de toutes les directions pour former une ouverture centrale
73 avec la chambre de vaporisation ainsi divisé en parties supérieure et
inférieure qui sont reliées uniquement par le relativement faible ouverture 73,
des gouttelettes entraînées par les bulles qui montent de l'aérateur 10,
entrera en contact avec la paroi inclinée 72 et être dévié dans le corps
principal de carburant liquide dans le fond de la chambre. De même, les gouttelettes de carburant
atomisé forcés de l'extrémité supérieure du tube 68 volonté, sur la
suppression de la plaque 70, être déviés dans le corps de combustible
liquide et pas passer dans la partie supérieure de la chambre.
Pour que la vitesse de
fonctionnement de la pompe de pulvérisation peut être réglée par la vitesse à
laquelle le moteur est en marche, et en outre, que la quantité d'air admise de
la chambre 7 à l'aérateur 10, et de passage 13 par la
connexion 12, peut être augmentée lorsque la vitesse du moteur augmente,
les vannes 18, 19 et 52 et la vanne papillon 16 sont tous reliés
par une liaison convenable l de sorte que lorsque la vanne papillon 16 est
ouverte pour augmenter la vitesse du moteur, les vannes 18, 19 et 52 sera
également ouvert.
Comme le montre la Fig.2,
le passage des gaz d'échappement provenant du moteur à la chambre de chauffage 4,
située entre la chambre de vaporisation et la chambre d'air 7, qui est
contrôlé par la vanne 74 d'ouverture et de fermeture de la vanne 74 est
commandée par un thermostat en fonction de la température à l'intérieur de la
chambre 4, par l'intermédiaire d'une tige de métal réglable 75 ayant un
coefficient de dilatation élevé, de sorte que la température optimale peut être
maintenue dans la chambre de vaporisation, indépendamment de la température
environnante.
De la description qui
précède, on comprendra que la présente invention propose un carburateur pour
alimenter les moteurs à combustion interne, un mélange co-mêlés de l'air et de
la vapeur de carburant liquide exempt de gouttelettes microscopiques de
carburant liquide qui brûlerait plutôt que d'exploser dans les cylindres et que
un approvisionnement de ce combustible sec vaporisé est maintenue en permanence
dans le carburateur.
Brevet américain 1 997 497 9
avril 1935 Inventeur: Charles
N. Pogue
CARBURATEUR
Ce brevet décrit un
dessin de carburateur qui a été en mesure de produire des chiffres très haute
mpg en utilisant de l'essence disponible aux Etats-Unis dans les années 1930,
mais qui n'est plus disponible en tant que l'industrie pétrolière ne veut pas
de carburateurs mpg haute fonctionnelle pour être accessible au public.
DESCRIPTION
Cette invention se
rapporte à un dispositif permettant d'obtenir un contact intime entre un gaz et
un liquide dans un éat véritablement vaporeux et particulièrement à un tel
dispositif, qui peut servir d'un carburateur pour moteurs à combustion interne
et une amélioration sur la forme de périphérique apparaît dans mon brevet no 1
: 938 497, accordée le 5 décembre 1933.
Dans les carburateurs
couramment utilisés pour fournir un mélange combustible de l'air et de
combustible liquide pour moteurs à combustion interne, une quantité
relativement importante de combustible liquide atomisé n'est pas vaporisée et
entre dans le cylindre de moteur plus ou moins sous la forme de gouttelettes
microscopiques. Quand une telle
accusation est enflammée dans le cylindre moteur, seule la partie du
combustible liquide qui a été transformée en le vaporeux, et par conséquent
l'état moléculaire, combine avec l'air pour donner un mélange explosif. La portion restante de combustible liquide
qui est aspiré par les moteur cylindres reste sous forme de petites
gouttelettes et n'explose pas conférant puissance au moteur, mais au lieu de
cela brûle avec une flamme et augmente la température du moteur supérieure à
celle à laquelle le moteur fonctionne plus efficacement, c'est-à-dire de 160 F
à 180 F.
Dans mon brevet
antérieur, il est montré et décrit une forme de carburateur en qui le
combustible liquide est vaporisé presque complètement avant son introduction
dans les cylindres du moteur et dans lequel, moyens sont fournis pour maintenir
une alimentation inverse de vapeur " sèche " disponible pour être introduit
dans le cylindre du moteur. Tel un
carburateur a été trouvé supérieur au standard type de carburateur mentionnée
ci-dessus et pour donner un meilleur rendement moteur avec beaucoup moins de
consommation de carburant.
C'est un objet de la
présente invention à fournir un carburateur dans lesquels le combustible
liquide est découpée et préparé à l'avance d'et indépendante de l'aspiration du
moteur et dans laquelle une réserve de vapeur sèche sera maintenue sous
pression, prêt pour être introduit dans le cylindre du moteur en
permanence. C'est aussi un objet de
l'invention d'un carburateur dans lequel la vapeur sèche est chauffée dans une
mesure suffisante avant d'être mélangé à l'alimentation d'air qui transporte
dans le cylindre du moteur, pour l'amener à élargir de sorte qu'il sera
relativement plus léger et sera plus intimement mélangé avec l'air, avant
l'explosion dans les cylindres du moteur.
J'ai trouvé que lorsque
la réserve de la fourniture de vapeur sèche est chauffé et étendue avant d'être
mélangé à l'air, une plus grande proportion de l'énergie potentielle du
carburant est obtenue et le mélange de vapeur d'air et de carburant va exploser
dans les cylindres du moteur sans tout brûler apparent du combustible qui se
traduirait par indûment élever la température de fonctionnement du moteur.
Plus particulièrement,
la présente invention comprend un carburateur dont vapeur combustible liquide
est passée d'une chambre principale de vaporisation sous au moins une légère
pression, dans et à travers une chambre chauffée où elle est causée à élargir
et dans lequel gouttelettes de combustible liquide sont vaporisés ou séparés de
la vapeur, de sorte que le carburant finalement introduit dans les cylindres du
moteur est dans la phase gazeuse vrai.
La chambre dans laquelle la vapeur combustible liquide est chauffée et
provoquée à se développer, est composé de préférence d'une série de passages
dans lequel les vapeurs et les gaz d'échappement des gaz du moteur passent dans
des chemins tortueux de telle manière que les gaz d'échappement sont introduits
dans la relation d'échange de chaleur avec la vapeur et céder une partie de
leur chaleur à la vapeur, provoquant ainsi le chauffage et l'expansion de la
vapeur.
L'invention sera décrite plus loin dans le
cadre de l'accompagnement dessins, mais cette divulgation et une description
plus doit être considérée simplement comme une exemplification de l'invention
et l'invention n'est pas limitée à la mode de réalisation décrit ainsi.
DESCRIPTION DES DESSINS
Fig.1 est une vue en coupe verticale à travers un carburateur qui incarnent
de mon invention.

Fig.2 est une vue en
coupe horizontale à travers la principale vaporisés ou la chambre de
pulvérisation, pris à la ligne 2--2 de Fig.1

Fig.3 est une vue en
élévation latérale du carburateur.

Fig.4 est une vue en
coupe de détail de l'une des buses d'atomisation et de ses parties associées

Fig.5 est une vue de
détail en coupe transversale montrant les moyens pour commander le passage de
gaz de la chambre de vapeur en expansion dans le collecteur d'admission du
moteur.

Fig.6 est une vue en
perspective de l'une des vannes représenté dans Fig.5

Fig.7 est une vue en
coupe transversale montrant les moyens de réglage de soupapes indiqués dans Fig.5
Fig.8 est une vue en
coupe transversale à la ligne 8--8 dans Fig.7
En se référant
maintenant aux dessins, la référence numérique 1 désigne une chambre de
vaporisation principale et pour le combustible liquide se trouve au bas de la
nébulisation, et communiquant avec, un chauffage à la vapeur et de la chambre 2
en expansion.
La chambre de
vaporisation est muni d'un double fond perforé 3 et est normalement
rempli de carburant liquide au niveau x.
L'air pénètre dans l'espace au-dessous du faux-fond 3 par le
conduit 4 vers le haut et passe à travers des perforations 5 dans
le faux-fond, puis remonte dans le combustible liquide, la vaporisation d'une
partie de celui-ci.
Pour maintenir le
niveau de carburant x dans la chambre 1, le carburant liquide
passe du réservoir de carburant ordinaire (non représenté) par la conduite 8
dans et à travers une paire de buses 9 qui ont leurs sorties se trouvent
dans la chambre 1, au-dessus du niveau du combustible liquide en
elle. La pompe 7 peut être de
n'importe quelle forme légitime, mais est de préférence du type à diaphragme,
comme ces pompes à essence sont maintenant de série sur la plupart des
voitures.
Les buses 9 sont
à filetage extérieur à leurs extrémités inférieures afin de faciliter leur
assemblage dans la chambre 1 et pour permettre de les retirer
facilement, pour nettoyage nécessaire.
Les extrémités
supérieures des buses 9 sont entourés par des tubes de venturi 10,
comportant un déflecteur 11, situé à leurs extrémités supérieures à
l'opposé des orifices de sortie des buses.
Le combustible liquide est forcé à partir de l'extrémité des buses 9
dans les portions restreintes des tubes de Venturi, provoque une circulation
rapide de l'air et de la vapeur dans la chambre à travers les tubes 10 et
amène l'air et de la vapeur en contact intime avec le combustible liquide, avec
le résultat que d'une partie du combustible liquide est vaporisé. La partie du combustible liquide qui est
vaporisé pas, frappe les déflecteurs 11 et est en outre brisé et déviée
vers le bas dans le courant ascendant de fluide et de la vapeur de l'air.
Pompe 7 est
régulée pour fournir une plus grande quantité de liquide combustible vers les
buses 9 de se vaporiser.
L'excédent tombe dans une chambre et provoque le liquide doit être
maintenue au niveau indiqué. Lorsque le
combustible liquide s'élève au-dessus de ce niveau, une soupape à flotteur 12
est soulevé, ce qui permet l'excès de carburant de s'écouler par le tuyau
de trop-plein 13 dans le tuyau 14 qui ramène au tube 6 sur
le côté aspiration de la pompe 7.
Une telle disposition permet une grande quantité de combustible liquide
à être distribué par la pompe 7 sans davantage de carburant est retiré
du réservoir de carburant que ce qui est réellement consommée et vaporisé dans
le moteur. Comme la vanne à flotteur 12
sera fixé à l'extrémité de la tubulure de sortie 13 dès que le
niveau de liquide descend en dessous du niveau indiqué, il n'y a pas de danger
de vapeur passant dans le conduit 14 et de là dans la pompe 7 et
interférer avec le fonctionnement normal.
L'extrémité supérieure
de la vaporisation et de la chambre d'atomisation 1 est ouverte et la
vapeur formée par barbotage d'air dans le carburant liquide dans le fond de la
chambre et que formée à la suite de la pulvérisation des buses à 9,
passent dans la chambre de chauffage et que l'expansion 2. Est clairement représenté sur la Fig.1,
l'enceinte 2 comporte une série de passages tortueux menant 15 et 16 du
bas vers le haut. La vapeur de carburant passe à travers des
passages 15 et les gaz d'échappement du moteur passe à travers des
passages 16, une entrée approprié 17 et la sortie 18 étant
prévu à cet effet.
La vapeur passant vers le haut dans un
sentier en zigzag à travers des passages 15, sera mis en relation
d'échange de chaleur avec les parois chaudes des passages 16 traversées
par les gaz d'échappement chauds. La longueur
totale des passages 15 et 16 est telle que l'une relativement grande
quantité de réserve de carburant liquide est toujours maintenu dans la chambre 2,
et par le maintien de la vapeur en relation d'échange de chaleur avec les gaz
d'échappement chauds pendant une période importante, la vapeur volonté absorber
une chaleur suffisante pour faire se dilater, ce qui fait que quand il est
retiré de la partie supérieure de la chambre 2, il est vrai dans la
phase vapeur, et en raison de l'expansion, relativement léger.
Une minuscules
gouttelettes de carburant liquide entraînées par la vapeur dans une chambre se
précipiter dans les passages inférieurs 15 et refluer dans une chambre,
ou bien être vaporisé par la chaleur absorbée par les gaz d'échappement lors de
son passage à travers la chambre 2.
L'extrémité supérieure du passage de vapeur 15
communique avec les ouvertures 19 adjacentes à l'extrémité
supérieure d'un tube de tirage vers le bas d'air 20 menant à la tubulure
d'admission du moteur. Les vannes 21
sont interposés dans les ouvertures 19, de sorte que le passage de
la vapeur à travers eux dans le tube d'air peut être commandé. Les soupapes 21
sont de préférence du type à boisseau tournant et sont commandés de la
manière décrite ci-dessous.
Des moyens appropriés
sont prévus pour amener la vapeur à être maintenu dans l'enceinte 2,
sous une pression supérieure à la pression atmosphérique, de sorte que lorsque
les vannes 21 sont ouvertes, la vapeur sera forcée dans le tube d'air 20
indépendant de l'aspiration du moteur.
De tels moyens peuvent comprendre une pompe à air (non représenté) pour
forcer l'air à travers le conduit 4 dans la chambre au-dessous du faux-fond 3, mais je
préfère simplement à fournir tube 4 avec une extrémité d'entrée en forme
d'entonnoir 22 et l'emplacement juste derrière le ventilateur du moteur
habituel 23. Ceci provoque l'air
de passer à travers le conduit 4 avec une force suffisante pour
maintenir la pression désirée dans la chambre 2, et l'air étant aspiré à
travers le radiateur par le ventilateur sera préchauffé avant son introduction
dans la chambre 1 et ne sera donc plus grandes quantités de vaporiser le
combustible liquide. Si on le désire, le
conduit 4 peut être entouré d'un chauffage électrique ou autre, ou les
gaz d'échappement du moteur peut être passée autour de lui pour préchauffer en
outre le passage de l'air à travers elle avant son introduction dans le
carburant liquide dans le fond de la chambre 1.
Tube d'air 20 est
munie d'une vanne papillon d'étranglement 24 et 24a de la soupape
d'étranglement, comme il est habituel avec les carburateurs utilisés pour les
moteurs à combustion interne.
L'extrémité supérieure du tube d'air 20 s'étend au-dessus de la
chambre 2 une distance suffisante pour recevoir un filtre à air et / ou
le silencieux, si on le souhaite.
A faible vitesse ou au
ralenti jet 25 a son extrémité supérieure en communication avec le
passage à travers le tube d'air 20 adjacent à la vanne d'étranglement 24
et son extrémité inférieure s'étend dans le carburant liquide dans le fond
de la chambre 1, pour fournir du carburant au moteur lors de la les
vannes sont dans une position telle à fermer les passages 19. Cependant, le passage à travers la marche au
ralenti jet 25 est si petit que, dans le fonctionnement normal,
l'aspiration sur elle n'est pas suffisante pour lever le carburant à partir de
la partie inférieure de la chambre 1.
Pour empêcher le moteur
de se retourner contre eux dans la chambre de vapeur 2, les extrémités
des passages 19 sont recouvertes d'un tamis à mailles fines 26 qui,
fonctionnant sur le principe de la lampe de mineur, empêchera la vapeur dans la
chambre 2 d'exploser en cas de retour de flamme , mais qui n'interfèrent
pas sensiblement avec le passage de la vapeur à partir de la chambre 2
dans le tube d'air 20 lorsque les vannes 21 sont ouvertes. Tube d'air 20 est de préférence sous
la forme d'un venturi avec la plus grande restriction étant au point où se
trouvent les ouvertures 19, de sorte que lorsque les vannes 21 sont
ouvertes, il y aura une force de traction sur la vapeur due à l'augmentation de
vitesse de l'l'air à la partie réduite de tube d'air 20 en face des
ouvertures 19, ainsi que d'une force d'expulsion sur eux en raison de la
pression dans la chambre 2.
Comme le montre la Fig.3,
le mécanisme de fonctionnement de soupapes 21 est reliée à l'organe de
commande de soupape d'étranglement 24, de sorte qu'ils sont ouverts et
fermés en même temps que l'ouverture et la fermeture de la soupape
d'étranglement, en veillant à ce que la quantité de vapeur fournie à le moteur,
en tout temps, être en rapport avec les exigences placées sur le moteur. A cet effet, chaque vanne 21 dispose
d'une extension ou d'exploitation tige 27, faisant saillie à travers
l'une des parois latérales de la vapeur de chauffage et de la chambre en
expansion 2 presse-étoupes 28 de construction ordinaire,
entourent les tiges 27 où ils passent à travers la paroi de la chambre,
pour empêcher une fuite de vapeur en ces points.
Utilisation bras 29 sont
rigidement fixés aux extrémités extérieures des tiges 27 et s'étendent
l'une vers l'autre. Les bras sont de
façon pivotante et réglable, reliés à une paire de biellettes 30, qui, à
leurs extrémités inférieures sont raccordées de manière pivotante à une liaison
de commande 31, qui à son tour, est relié de façon pivotante au bras 32
qui est rigidement fixée sur un prolongement extérieur 33 de la tige
de la soupape d'étranglement 24 de l'extension 33 est également
relié rigidement à lui, le bras 34 qui est relié à liaison de commande 35
menant des moyens pour accélérer le moteur.
Les moyens de réglage
de la connexion à partir des extrémités supérieures des liens 30 pour
les tiges de soupapes 27 de vannes 21, de sorte que la quantité
de vapeur délivrée par la chambre 2 peut être réglé pour provoquer le
fonctionnement plus efficace du moteur particulier sur lequel le carburateur
est attaché , comprend des glissières angulaires 36, dans laquelle les
extrémités supérieures des liens 30 sont fixés, et qui ne peut tourner
mais peut coulisser dans des glissières 37 situées dans les bras 29. Coulisses filetée 36 ont des trous à travers lesquels des vis 38
passe. Vis 38 sont montés à
rotation dans les bras 29, mais sont maintenues contre un mouvement
longitudinal de telle sorte que quand ils sont mis en rotation, des
diapositives 36 sera amené à se déplacer le long de chemins de guidage 37
et de modifier la position relative des liens 30 pour les tiges de
vanne 27, de telle sorte qu'une plus ou moins de mouvement et, par conséquent,
une ouverture plus ou moins grande des orifices 19 aura lieu lorsque la soupape
d'étranglement 24 est actionné.
Par mesure de sécurité, et pour un
fonctionnement plus efficace du moteur, la vapeur dans la chambre 2 ne
doit pas être chauffé ou étendue au-delà d'une quantité prédéterminée, et afin
de commander la mesure dans laquelle la vapeur est chauffée, et par conséquent,
la mesure dans laquelle il se dilate, une soupape 39 est situé dans le
passage d'échappement adjacent 16 vers l'entrée 17 de soupape 39
est de préférence theromstatically contrôlée, comme par exemple, par un
thermostat d'expansion tige 40, qui s'étend à travers la chambre 2. Cependant, d'autres moyens peuvent être
prévus pour réduire la quantité de gaz d'échappement chauds entrant dans le
passage 16 lorsque la température de la vapeur dans l'enceinte atteint
ou dépasse la valeur optimale.
Le carburateur a été
décrite en détail en relation avec un courant descendant type de carburateur,
mais il est bien entendu que son utilité n'est pas de se limiter à ce type
particulier de carburateur, et que la manière dont le mélange de l'air et la
vapeur est introduite dans les cylindres du moteur est sans importance en ce
qui concerne les avantages du carburateur sont concernés.
Le terme " vapeur
sèche " est utilisée pour définir la condition physique de la vapeur de
carburant liquide après élimination de gouttelettes de liquide ou le
brouillard, qui est souvent entraînée dans ce que l'on appelle habituellement
une vapeur.
De la description qui précède, on verra que
la présente invention propose un carburateur dans lequel le fractionnement du
combustible liquide pour une utilisation ultérieure est indépendante de
l'aspiration créée par le moteur, et que, après le combustible liquide est
brisé, elle est maintenue sous pression dans un espace chauffé pendant une
durée de temps suffisante pour permettre à toutes les particules de liquide
entraînées à être séparés ou vaporisés et pour permettre la vapeur sèche à
l'expansion avant son introduction dans et mélangé avec le volume principal du
passage d'air dans les cylindres du moteur.
Brevet US 2,026,798 7 Janvier 1936 Inventeur: Charles N. Pogue
CARBURATEUR
Ce brevet décrit une conception de
carburateur qui était en mesure de produire des chiffres très élevés mpg en
utilisant de l'essence disponible aux Etats-Unis dans les années 1930 mais qui
n'est plus disponible que l'industrie pétrolière ne veut pas carburateurs haute
mpg fonctionnels pour être à la disposition du public.
DESCRIPTION
La présente invention concerne carburateurs
adaptés pour une utilisation avec les moteurs à combustion interne et est une
amélioration sur les carburateurs indiquées dans mes brevets n ° 1938497.,
Accordés le 5 Décembre 1933 et 1997497 accordé le 9 Avril 1935.
Dans mes brevets
antérieurs, un contact intime entre tels que le carburant utilisé pour les
moteurs à combustion interne, et un gaz tel que l'air, est obtenu en faisant le
gaz à bulle à travers un corps de liquide.
Le liquide vaporisé passe dans une chambre de vapeur qui est de
préférence chauffé, et des gouttelettes de liquide sont renvoyés vers le corps
de liquide, de sorte que le carburant introduit dans la chambre de combustion
est libre de particules de liquide, et à l'état moléculaire de telle sorte que
un mélange intime avec l'air, on obtient pour donner un mélange explosif à
partir de laquelle l'énergie maximale plus proche contenue dans le combustible
liquide est obtenu. De plus, comme il
n'y a pas de particules de liquide introduits dans les chambres de combustion,
il n'y aura aucune combustion du combustible et, par conséquent, la température
du moteur ne peut pas être augmentée au-dessus de celle à laquelle elle
fonctionne le plus efficacement possible.
Dans mon brevet US
1.997.497, l'air qui est à bouillonner à travers le corps du combustible
liquide est forcé dans et à travers le carburant sous pression et la vapeur de
carburant et de l'air passe dans une chambre où ils sont chauffé et amené à se
développer. L'introduction de l'air sous
pression et l'expansion du mélange en phase vapeur assure une pression
suffisante est maintenue dans le chauffage à la vapeur et la chambre
d'expansion, pour amener au moins une partie de celui-ci à être expulsé de
celle-ci dans le collecteur d'admission dès que la soupape commander le passage
de son ouverture.
Conformément à la
présente invention, une amélioration des moyens sont prévus pour maintenir le
mélange en phase vapeur dans la chambre de chauffage à la vapeur sous une
pression prédéterminée, et pour réguler la pression de façon telle qu'il soit à
l'optimum pour les conditions particulières dans lesquelles le moteur est à fonctionner. Ces moyens comprennent de préférence une
pompe à piston actionnée par un moteur d'aspiration actionné pour forcer la
vapeur dans et à travers la chambre. La
pompe est munie d'une vanne de régulation de pression adapté de sorte que
lorsque la pression dans la chambre de vapeur de chauffage est supérieure à la
quantité prédéterminée, une partie du mélange de vapeur sera court-circuité du
côté de sortie au côté d'aspiration de la pompe, et ainsi être recyclé.
L'invention sera
décrite plus en détail en liaison avec les dessins annexés, mais en outre cette
divulgation et la description doit être considérée seulement comme un exemple
de l'invention, et l'invention n'est pas limitée à ce mode de réalisation de
l'invention.
DESCRIPTION DES DESSINS
Fig.1 est une vue en élévation latérale d'un carburateur selon l'invention.

Fig.2 est une vue en plan du carburateur

Fig.3 est une vue en coupe verticale agrandie.

Fig.4 est une vue en coupe transversale suivant la ligne 4--4 dans Fig.3

Fig.5 est une vue en coupe de détail en ligne 5--5 dans Fig.3

Fig.6 est une vue en
coupe transversale à travers le moteur de la pompe et de commande, prise
suivant la ligne 6--6 dans Fig.2

Fig.7 est une vue en
coupe longitudinale à travers la pompe prise sur la ligne 7--7 dans Fig.2

Fig.8 est une vue en
coupe longitudinale d'une partie du cylindre de pompe, montrant le piston en
élévation.

Dans les dessins, une chambre de
vaporisation et une atomisation est situé au fond du carburateur et possède une
sortie à son sommet pour le passage de la vapeur de carburant et d'air dans une
chambre primaire à la vapeur de chauffage 2.
La chambre de
vaporisation 1 est muni d'un double fond perforé 3 et est
normalement rempli de carburant liquide au niveau indiqué sur la Fig.1. L'air est introduit par la conduite 4
dans l'espace au-dessous du faux-fond 3, et ensuite à travers les
perforations 5 dans le faux-fond qui la décompose en une multitude de
fines bulles qui passent vers le haut à travers le combustible liquide
au-dessus du faux-fond.
Le combustible liquide
pour maintenir le niveau indiqué dans la chambre 1 passe du réservoir de
carburant ordinaire (non représenté) par la conduite 6, et est forcée
par la pompe 7 par le conduit 8 par l'intermédiaire d'une paire
de buses 9 ayant leurs sorties se trouvent dans la chambre 1,
au-dessus de l'niveau du carburant liquide dans elle. Pompe 7 peut être de n'importe quelle
forme légitime, mais est de préférence du type à diaphragme, comme ces pompes à
essence sont maintenant de série sur la plupart des voitures.
Les buses 9 sont
à filetage extérieur à leurs extrémités inférieures afin de faciliter leur
assemblage dans la chambre 1 et leur permettent d'être facilement
enlevés pour nettoyage devient nécessaire.
Les extrémités
supérieures des buses 9 sont entourés par des tubes de venturi 10 ayant
des chicanes 11 situées à leurs extrémités supérieures à l'opposé des
orifices de sortie des buses, comme cela est représenté et décrit en détail
dans mon brevet US 1.997.497. Le
combustible liquide est forcé à partir de l'extrémité des buses 9 dans
les portions restreintes des tubes de Venturi, provoque une circulation rapide
de l'air et de la vapeur dans la chambre à travers les tubes 10 et amène
l'air et de la vapeur en contact intime avec le combustible liquide, avec de
sorte qu'une partie du combustible liquide est vaporisé. Des parties non vaporisée du combustible
liquide frappent les déflecteurs 11 et sont ainsi brisés plus haut et
déviée vers le bas dans le courant ascendant de fluide et de la vapeur de
l'air.
Pompe 7 est
régulée pour fournir une plus grande quantité de combustible liquide à des
buses 9 de se vaporiser. Le
carburant liquide en excès tombe dans une chambre de liquide qui provoque la y
être maintenu au niveau indiqué. Lorsque
le combustible liquide s'élève au-dessus de ce niveau, le flotteur ouvre la
vanne 12 et le carburant en excès s'écoule par le tuyau de trop-plein 13
dans le conduit 14 qui mène au conduit de retour 6 sur le
côté aspiration de la pompe 7.
Une telle disposition permet une grande quantité de combustible liquide
à faire circuler par la pompe 7 sans davantage de carburant est retiré
du réservoir de carburant que ce qui est réellement vaporisé et consommé par le
moteur. Comme la vanne à flotteur 12 sera
fixé sur l'extrémité de la tubulure de sortie 13 dès que le niveau de liquide
descend en dessous du niveau indiqué, il n'y a pas de risque de passage de la
vapeur dans le tuyau 14 et de là dans la pompe 7 pour interférer
avec le fonctionnement normal.
La quantité de
carburant liquide vaporisé par des buses 9 et par le passage de l'air à
travers la masse de liquide est suffisante pour fournir un mélange en phase
vapeur convenablement enrichi pour l'introduction dans le passage menant au collecteur
d'admission du moteur, à travers laquelle le volume principal de l'air passe.
La vapeur formée par
barbotage d'air dans le carburant liquide dans le fond de la chambre 1
et qui formé par la pulvérisation au niveau des buses 9, passage de la
partie supérieure de cette chambre dans la chambre de chauffage principal 2. Comme il est clairement représenté sur la Fig.1,
la chambre 2 comprend un temps relativement long passage en spirale 15
à travers lequel le mélange sous forme vapeur passe progressivement vers
l'intérieur à une sortie centrale 16 à laquelle est relié un conduit 17
menant à une pompe à piston 18 qui force le mélange sous forme de
vapeur sous pression dans le conduit 19 menant à un orifice d'entrée
central 20 d'une chambre de chauffage secondaire 21, qui, comme
la chambre de chauffage principale, comporte un temps relativement long en
spirale. Le mélange en phase vapeur passe graduellement vers l'extérieur à
travers la chambre en spirale 21 et 22 pénètre dans un tube d'air
d'aspiration par le bas, ce qui conduit à la tubulure d'admission du moteur, à
travers un orifice de sortie 23 commandée par une vanne boisseau rotatif
24.
Pour éviter que le
moteur de retour de flamme dans la chambre de vapeur 2, les extrémités
du passage 19 sont recouverts d'un tamis à mailles fines 25, qui,
fonctionnant sur le principe de la lampe de mineur, empêche la vapeur dans la
chambre 2 de l'explosion dans le cas d'un retour de flamme, mais
n'interfère pas sensiblement avec le passage de la vapeur à partir de la
chambre 21 dans le tube d'air 22 lorsque la soupape 24 est
ouverte.
Le tube d'air 22 est
de préférence sous la forme d'un venturi avec la plus grande constriction étant
à ce moment où la sortie 23 se trouve, de sorte que lorsque la soupape 24
est ouverte, il y aura une force de traction sur le mélange en phase vapeur
du fait de la vitesse accrue de l'air à la partie rétrécie du tube de sortie
d'air en face 23, ainsi que d'une force d'expulsion sur elle du fait de
la pression maintenue dans la chambre 21 par la pompe 18.
Les deux chambres de
chauffe en spirale primaire et secondaire 15 et 21 et la partie centrale
du tube d'air 22 sont enfermés par un boîtier 26 comportant une
entrée 27 et une sortie 28 pour un fluide de chauffage approprié,
tel que les gaz provenant de la tubulure d'échappement.
Pompe 18, qui
sert à forcer le mélange sous forme de vapeur à partir de la chambre de
chauffage primaire 2 dans et à travers la chambre secondaire 21,
comprend une chambre de travail 29 de piston creuse 30, pourvue
d'une entrée 31 contrôlée par la vanne 32, et un orifice de
sortie 33 commandée par une vanne 34 l'extrémité de la chambre de
travail 29 à laquelle est raccordé le conduit 17, qui effectue le
mélange en phase vapeur à partir de la chambre de chauffage principal 2,
présente une soupape d'admission 35, et l'extrémité opposée de la
chambre de travail a un orifice de sortie 36 commandée par une vanne 37
positionnée dans une chambre auxiliaire 38, qui est relié à tuyau de
sortie 19 qui conduit le mélange en phase vapeur sous pression à la
chambre de chauffage secondaire 21.
Chacune des soupapes 32,
34, 35 et 37 est du type à sens unique. Ils sont présentés comme étant des
clapets actionnés par gravité, mais on comprendra que ressort ou d'autres types
de valves à sens unique peuvent être utilisés si on le souhaite.
Un côté du piston 30
est formée avec une crémaillère 39 qui est reçu dans une rainure 39a
de la paroi formant le cylindre de la pompe. La crémaillère 39 est en prise avec un
pignon droit d'actionnement 40 porté sur une extrémité de l'arbre 41 et
fonctionnant dans un logement 42 formé sur le cylindre de la pompe. L'autre extrémité de l'arbre 41 porte
un pignon droit 43, qui vient en prise et est actionné par une
crémaillère 44 réalisée sur un piston 46 d'un moteur à double
effet 47. La construction
particulière du moteur à double effet 47 n'est pas importante, et il
peut être d'un type à vide utilisée pour le fonctionnement des essuie-glaces
sur les voitures, dans ce cas, un tuyau souple 48 pourrait être relié à
la tubulure d'admission du moteur pour fournir le vide nécessaire au
fonctionnement du piston 45.
Sous l'influence du
moteur à double effet 47, le piston 30 de la pompe a un mouvement
de va et vient dans la chambre de travail 29. Le mouvement du piston vers la gauche sur la
figure 7 a tendance à comprimer le mélange en phase vapeur dans la
chambre de travail entre l'extrémité du piston et l'orifice d'entrée du tuyau 17,
et provoque une soupape 35 à être forcée fermement contre l'ouverture d'entrée. D'une manière analogue, les vannes 32 et
34 sont forcés ouverte et le mélange sous forme vapeur dans la partie de la
chambre de travail est forcé à travers l'entrée 31 dans l'extrémité du
piston 30, à l'intérieur du piston, où il déplace le mélange en phase
vapeur y et la force dans l'espace entre l'extrémité de droite du piston et
l'extrémité droite de la chambre de travail.
Le passage du mélange sous forme de vapeur dans l'extrémité droite de la
chambre de travail est complétée par le vide partiel créé là où le piston se
déplace vers la gauche. Au cours de ce
mouvement du piston, la soupape 37 est maintenue fermée et empêche tout
retour d'aspiration du mélange sous forme de vapeur à partir de la chambre de
chauffage secondaire 21.
Lorsque le moteur 47,
les revers piston 30 se déplace vers la droite et le mélange en phase
vapeur à l'extrémité droite de la chambre de travail est forcé passé vanne 37
par la conduite 19 dans la chambre de chauffage secondaire 21. Dans le même temps, un vide est créé derrière
piston 30 qui conduit à l'extrémité gauche de la chambre de travail
étant remplie de nouveau avec le mélange en phase vapeur à partir de la chambre
de chauffage primaire 2.
Comme le fonctionnement
de la pompe 47 varie en fonction de la dépression créée dans la tubulure
d'admission, il doit être réglée de telle sorte que le mélange en phase vapeur
est pompé dans la chambre de chauffage secondaire à une vitesse suffisante pour
maintenir une pression plus grande, il est nécessaire que. Afin que la pression régnant dans la chambre
de travail peut à tout moment être maintenue à la valeur optimale, un tuyau 50
comportant une vanne de régulation de pression réglable 51 est
montée entre les conduites d'entrée et de sortie 17 et 19 de valve 51
permettra à une partie de la mélange de vapeur évacuée par la pompe à
contourner vers l'entrée 17 de sorte qu'une pression prédéterminée par
le siège de soupape 51 volonté en tout temps être maintenue dans la
deuxième chambre de chauffage 21.
Tube d'air 22 est
munie d'une vanne papillon des gaz 52 et une vanne d'étranglement 53,
comme il est habituel avec les carburateurs adaptés pour être utilisés avec des
moteurs à combustion interne. Les tiges
d'exploitation 54, 55 et 56 pour les valves 52, 53 et 24 respectivement,
s'étendent à travers le boîtier 26 un bras d'actionnement 57 est
fixé rigidement à l'extrémité extérieure de la tige 55 et est reliée à
une tige 58 qui s'étend vers le tableau de bord de la voiture , ou tout
autre endroit commode pour le conducteur. L'extrémité extérieure de la tige 56
de soupape 24 qui commande la sortie 23 de la chambre de
chauffage secondaire 21 a une extrémité d'un bras de manoeuvre 59 fixé
solidement à elle. L'autre extrémité est
reliée à pivotement à un lien 60 qui s'étend vers le bas et se raccorde
de façon pivotante à une extrémité d'un levier coudé 61, rigidement
fixée à l'extrémité de la tige 54 de la soupape d'étranglement 52. L'autre extrémité du levier coudé est relié à
un tige de commande 62 qui, comme la tige 58, s'étend à un
endroit commode pour le conducteur. Des
vannes 24 et 52 sont reliées pour un fonctionnement simultané de sorte
que lorsque le papillon des gaz 52 est ouvert pour augmenter la vitesse
du moteur, la vanne 24 est également ouverte pour admettre une plus
grande quantité du mélange en phase vapeur chauffée de la chambre de chauffage
secondaire 21.
Bien que la dépression
créée par la pompe 18 d'ordinaire va créer un vide suffisant dans la
chambre de chauffage primaire 2 l'air d'être aspiré dans et vers le haut
à travers le corps de combustible liquide dans le fond de la chambre une
vaporisation à provoquer, dans certains cas, il peut être souhaitable d'prévoir
des moyens supplémentaires pour forcer l'air dans et à travers le liquide, et
dans de tels cas, une pompe auxiliaire peut être prévu à cet effet, ou le
conduit d'air 4 peut être muni d'une admission en forme d'entonnoir qui
est placé derrière la soufflante du moteur 63 qui est habituellement
placé derrière le radiateur du moteur.
La description qui précède
a été donnée à propos d'un type de carburateur à courant descendant, mais il
est bien entendu que l'invention n'est pas limitée à l'utilisation avec ce type
de carburateur et que la manière dont le mélange d'air et de la vapeur est
introduite dans le les cylindres du moteur est sans importance en ce qui
concerne les avantages du carburateur sont concernés.
Avant le carburateur
est mise en service, la vanne de régulation de pression 51 dans le
conduit de dérivation 50 est ajustée de telle sorte que la pression la
mieux adaptée aux conditions dans lesquelles le moteur doit être actionné, est
maintenu dans la chambre de chauffage secondaire 21. lorsque la vanne 51 est ainsi défini
et que le moteur démarré, la pompe 18 va créer un vide partiel dans la chambre
de chauffage primaire 2 et amener l'air d'être aspiré par le conduit 4
à bulles vers le haut à travers le combustible liquide dans le fond de la
vaporisation et de la chambre d'atomisation 1 avec le résultat de la
vaporisation d'une partie du carburant liquide.
Dans le même temps, la pompe 7 est mis en fonctionnement et le
combustible liquide est pompé depuis le réservoir de carburant par les
injecteurs 9 qui se traduit par une quantité supplémentaire de carburant
est vaporisé. La vapeur résultant de
cette atomisation du carburant liquide et le passage d'air à travers la masse
du liquide, va passer dans et à travers une chambre en spirale où ils seront
chauffés par les produits de combustion dans la chambre formée par l'enveloppe
entourant le 26 la vapeur de carburant et d'air progressivement passer
vers l'intérieur à travers la sortie 16 et par le conduit 17 à la
pompe 18 qui les forcera dans la chambre de chauffage secondaire 21 dans
laquelle ils sont maintenus à la pression prédéterminée par la soupape de
régulation de pression 51 le mélange sous forme vapeur est en outre
chauffé dans la chambre 21 et passe en spirale vers l'extérieur à la
sortie de la soupape à commande 23 qui débouche dans le tube d'air 22
qui conduit le volume principal de l'air au collecteur d'admission du
moteur.
Le chauffage du mélange
sous forme vapeur dans les chambres de chauffage 2 et 21, a tendance à
provoquer leur expansion, mais l'expansion dans la chambre 21 est
empêchée en raison de la soupape de régulation de pression 51. Cependant, dès que le mélange en phase vapeur
chauffé passe soupape 24 et est introduit dans l'air circulant à travers
le tube d'admission 22, il est libre de se dilater et de ce fait devenue
relativement faible de sorte qu'un mélange plus intime avec l'air est obtenue
avant le mélange est éclatée dans les cylindres du moteur. Ainsi, on verra que la présente invention
fournit non seulement un moyen dans lequel le mélange en phase vapeur à partir
de la chambre de chauffage 21 est forcé dans l'air passant à travers le
tube d'air 22 par une force positive, mais il est également chauffée à
un degré tel que après qu'il a quitté la chambre 21 il augmentera dans
une mesure telle à avoir une densité inférieure à ce qu'elle serait si elle est
introduite directement dans la chambre de vaporisation et une atomisation dans
le tube d'air 22.
La majorité des
particules de liquide entraînées par le mélange en phase vapeur quittant une
chambre sont séparés dans la première moitié la plus externe de la spirale de la
chambre de chauffage primaire 2 et drainés dans le corps de combustible
liquide dans le réservoir de liquide 1.
Toutes les particules qui ne sont pas ainsi séparé, sera réalisée sur le
mélange en phase vapeur et en raison de la circulation de ce mélange et
l'application de chaleur, sera vaporisé avant le mélange sous forme vapeur est
introduite dans le tube d'air 22 de la chambre de chauffage secondaire 21
ainsi que "sèche "vapeur est introduit dans les cylindres du
moteur et une combustion dans les cylindres du moteur de particules liquides du
carburant, ce qui aurait tendance à augmenter la température du moteur
au-dessus de son niveau le plus efficace, est évitée.
Alors que les plus
complètes avantages de l'invention sont obtenus en utilisant à la fois un
primaire et la chambre de chauffage secondaire, la chambre de chauffage
primaire peut, si on le désire, être éliminé et le mélange en phase vapeur
pompée directement à partir de la vaporisation et de la chambre 1
d'atomisation dans la chambre de chauffage en spirale 21.
De la description qui précède, on verra que
la présente invention fournit une amélioration par rapport au carburateur
décrit dans mon brevet US 1997497, en ce qu'il est possible de maintenir le
mélange en phase vapeur dans la chambre de chauffage 21 sous une
pression prédéterminée, et que, dès que le mélange sous forme vapeur est
introduite dans l'alimentation principale d'air passant dans le collecteur
d'admission du moteur, il se dilate et atteint une densité à laquelle il se
forme un mélange intime avec l'air. En
outre, l'introduction du mélange sous forme de vapeur dans le courant d'air
dans le tube 22, provoque une certaine turbulence qui tend également à
donner un mélange plus intime des molécules de vapeur avec l'air.
IVOR NEWBERRY : HAUTE MPG
CARBURATEUR
Brevet US 2,218,922 22 Octobre 1940 Inventeur: Ivor B. Newberry
VAPORISATEUR POUR MOTEURS A
COMBUSTION
Ce
brevet décrit une conception de carburateur qui était en mesure de produire des
chiffres très élevés mpg en utilisant de l'essence disponible aux Etats-Unis
dans les années 1930 mais qui n'est plus disponible que l'industrie pétrolière
ne veut pas carburateurs haute mpg fonctionnels pour être à la disposition du
public.
DESCRIPTION
Cette
invention se rapporte à alimenter les dispositifs de vaporisation pour des
moteurs à combustion et plus particulièrement, concerne des améliorations dans
des dispositifs du type dans lequel il est prévu d'utiliser les gaz
d'échappement des moteurs comme un moyen de chauffage pour faciliter la
vaporisation du carburant.
Un but de l'invention est de fournir un dispositif
qui va conditionner le carburant d'une manière telle que son énergie
potentielle peut être pleinement utilisée, assurant ainsi un meilleur rendement
du moteur et une économie de la consommation de carburant, et en empêchant la
formation de dépôts de carbone dans les cylindres du moteur et la production de
monoxyde de carbone et d'autres gaz indésirables.
Un autre but est de fournir un dispositif qui est
conçu de telle sorte que le carburant est livré à des cylindres du moteur dans
un état hautement vaporisé, sec et augmentée, cet objet envisager un dispositif
qui est disponible comme un pot d'échappement, dans lequel la vaporisation et
l'expansion des composants liquides est effectuée à des pressions
sous-atmosphériques et avant leur mélange avec le composant de l'air.
Un autre objet encore est de fournir un dispositif
qui va conditionner les composants du carburant, de telle manière qu'ils soient
uniformément et intimement mélangés sans l'utilisation d'un carburateur.
Un autre objet encore est de fournir un dispositif
qui permette l'utilisation de différents grades inférieurs et peu coûteux de
carburant.
DESCRIPTION DES DESSINS
Fig.1 est une vue en élévation de l'appareil tel qu'il
est appliqué au moteur d'un véhicule à moteur.

Fig.2 est une vue agrandie de l'appareil, partiellement en élévation et
partiellement en coupe.

Fig.3 est une section suivant la ligne 3--3
dans Fig.2

Fig.4 est une section suivant la ligne 4--4 dans Fig.3

Fig.5 est une coupe partielle suivant la ligne 5--5
dans Fig.3

Fig.6 est une section suivant la ligne 6--6 dans Fig.4

DESCRIPTION
Le
dispositif tel que représenté, comporte des boîtiers similaires 8 et 9 qui
sont fixés ensemble comme une unité et qui sont formées pour fournir des
chambres de vaporisation 10 et 11, respectivement, étant entendu que le
nombre d'enveloppes peut être modifiée. Deux séries de
nervures 12 sont formées dans chacune des chambres de vaporisation, les
nervures de chaque série étant espacées les unes des autres de manière à
fournir des passages de branche 13 et étant espacées les côtes de la
série adjacente à fournir des passages principaux 14 dont la branche
passages communiquent.
Les chambres de vaporisation sont fermées par des
plaques de recouvrement 15. Les
plaques de couverture comportent des chicanes 16 qui sont supportés dans
les espaces entre les nervures 12.
Les déflecteurs s'étendent à travers les passages principaux 14 et
dans, mais pas aux extrémités de la branche 13 de fournir des passages
d'des chemins tortueux. Sortie 10a de
la chambre 10 est reliée par un conduit 17 vers l'entrée 11a de
la chambre 11 de sortie 18 de la chambre 11, est relié par
un conduit 19 avec la chambre 20, qui est situé à l'extrémité
inférieure du tube 21 qui est à son tour reliée à l'extension et à
mélanger 22, 22a de la tubulure d'admission du moteur. Extension 22 contient une soupape 23
qui est relié par un levier 23a (Fig.1) et la tige 23b de
la manette des gaz classique (non représenté).
Le combustible liquide est introduit dans la
chambre de vaporisation 10 par la buse 24 qui est reliée par le
conduit 25 à un réservoir 26 dans lequel le niveau de carburant
est maintenu par flotteur commandé par vanne 27, le combustible étant
amené au réservoir par la conduite 28.
Conformément
à l'invention, les nervures 12 sont creuses, chacune étant formée pour
fournir une cellule 29. Les cellules
dans une série de nervures ouvertes d'un côté dans une chambre d'entrée 30,
tandis que les cellules de la série de compagnon ouverts sur un côté dans une
la chambre de sortie 31 les cellules des deux séries de nervures
ouvertes à leurs dos dans une chambre de raccordement 32, qui est situé
derrière les nervures et qui est fermée par une plaque de recouvrement 33. Enveloppes 8 et 9 sont disposés
bout-à-bout de sorte que le la chambre de sortie de 9 communique avec la
chambre d'entrée de 8, les gaz provenant du collecteur d'échappement 34 est
introduit dans la chambre d'entrée du boîtier 9 par l'extension 34a.
\Les gaz d'échappement entrent dans la série de cellules à la droite du
boîtier, passer à travers les cellules dans la chambre de raccordement à
l'arrière, puis entrer dans la chambre d'entrée de l'enveloppe 8 Ils
passent successivement par les deux séries de cellules et entrer échappement
tuyau 35 les gaz d'échappement quittent la chambre de sortie 31,
et le chemin le long duquel ils voyagent est clairement indiqué par les flèches
dans la Fig.6. Comme les gaz
passent à travers les enveloppes 8 et 9, la vitesse est réduite à un
degré tel qu'un pot d'échappement (silencieux) ou un autre dispositif de
silencieux est rendu inutile.
Il
est évident que lorsque le moteur fonctionne à une température normale, le
carburant liquide introduit dans la chambre 10 sera vaporisée
immédiatement en contact avec les parois chaudes de nervures 12. La vapeur ainsi produite est divisé en deux
courants, dont l'un est causée entrer chacun des passages de dérivation à un
côté du boîtier et l'autre est amené à entrer dans chacun des passages de
dérivation au niveau du côté opposé de l'enveloppe. Les deux flux de vapeur de fusion lors de
leur passage autour de la chicane finale et entrent conduit 17, mais
sont à nouveau divisées et chauffé d'une manière similaire comme ils traversent
boîtier 9. Chacun des flux de
vapeur est constamment en contact avec les parois chauffées du hautement 12. nervures ce passage de la vapeur à travers
les enveloppes provoque la vapeur à chauffer à un degré tel qu'un gaz très sec
est produit vaporisé. A cet égard, on
notera que les chambres de vaporisation sont maintenus sous un vide et que la
vaporisation est effectuée en l'absence d'air.
La conversion du liquide en vapeur très étendu est ainsi assurée. Le
débit des gaz d'échappement à travers les enveloppes 8 et 9 est dans la
direction opposée à l'écoulement de la vapeur.
La vapeur est chauffée par étapes et est introduit dans la chambre 20
à sa température la plus élevée.
L'air qui est mélangé avec la vapeur de
combustible, entre dans le conduit 21 après passage à travers un filtre
classique 36, la quantité d'air étant régulé par la vanne 37. L'invention envisage également le chauffage
de l'air avant son entrée dans la chambre de mélange 20. Pour a cet effet, une enveloppe 39 est
formée autour du tuyau 21 la veste comporte une chambre 40 qui
communique avec la chambre 32 du boîtier 9 par le conduit
d'entrée 41 et avec la chambre correspondante de l'enveloppe 8
par la tubulure de sortie 42 une partie des gaz d'échappement est ainsi
amené à passer à travers la chambre 40 pour chauffer l'air qui passe
dans le conduit 21 sur le chemin de la chambre de mélange. Valve 37 est reliée à la vanne 23 par
les bras 43 et 43a et de liaison 44 de sorte que le volume d'air
admis dans la chambre de mélange est augmenté en proportion que le volume de
vapeur est augmenté. Comme la vapeur de
carburant et de l'air sont toutes deux chauffées à une température élevée et
sont dans un état hautement expansé quand ils entrent dans la chambre de
mélange, ils s'unissent facilement pour donner un mélange uniforme,
l'utilisation d'un carburateur ou d'un dispositif semblable à cet effet être
inutile.
De ce qui précède il est évident que les composants
du mélange de carburant sont chauffés séparément, avant leur entrée dans la
chambre 20 de mélange pour la vapeur qui est produite est sec (ne
contenant pas de gouttelettes de carburant liquide) et les très étendu, une
combustion complète est assurée.
L'énergie potentielle représentée par la vapeur peut donc être
entièrement utilisée, assurant ainsi un meilleur rendement du moteur et une
économie dans la consommation de carburant.
Dans le même temps, la formation de dépôts de carbone dans les chambres
de combustion et la production de monoxyde de carbone et d'autres gaz
d'échappement est empêchée indésirables.
Le dispositif présente l'avantage supplémentaire que, du fait de la
haute température à laquelle le carburant est chauffé avant son entrée dans les
chambres de combustion, différentes qualités inférieures et peu coûteux de
carburant peuvent être utilisées avec des résultats satisfaisants.
Brevet US 2,982,528 2 mai 1940 Inventeur : Robert S. Shelton
SYSTÈME DE VAPEUR DE CARBURANT
Ce brevet décrit une conception de
carburateur qui était en mesure de produire des chiffres très élevés mpg en
utilisant de l'essence disponible aux Etats-Unis dans les années 1930 mais qui
n'est plus disponible que l'industrie pétrolière ne veut pas carburateurs haute
mpg fonctionnels pour être à la disposition du public.
DESCRIPTION
La présente invention concerne des
améliorations dans les systèmes de vapeur de carburant qui doivent être
utilisées pour les moteurs à combustion interne.
Un objet de la présente
invention est de fournir un système d'alimentation en vapeur qui fournira une
grande économie de carburant depuis environ huit fois le kilométrage qui est
obtenue par le moteur à combustion classique, est fournie par l'utilisation de
ce système.
Un autre objet de
l'invention est de fournir un système d'alimentation en vapeur qui est muni
d'un réservoir pour contenir le carburant liquide, qui est chauffé à fournir de
la vapeur à partir de laquelle le
moteur à combustion interne fonctionne.
Avec les objets et
avantages ci-dessus et d'autres en vue, l'invention comprend les nouveaux
détails de construction, l'agencement et la combinaison des parties décrites
plus en détail ci-dessous, et selon illustré dans les dessins annexés.
DESCRIPTION DES DESSINS
Fig.1 est une vue en élévation d'un système d'alimentation de vapeur mettant
en oeuvre l'invention.

Fig.2 est une vue agrandie, partiellement en
coupe, montrant la partie formant carburateur du système représenté sur la Fig.1.

Fig.3 est une vue en
coupe transversale suivant la ligne 3--3 de Fig.2

Fig.4 est une vue en coupe transversale suivant la ligne 4--4 de Fig.2

Fig.5 est une vue en
coupe transversale suivant la ligne 5--5 de Fig.2

Les numéros de référence figurant dans les
dessins se rapportent toujours au même point dans chacun des dessins. Le système d'alimentation de vapeur 10 comprend
un conduit 11 qui est relié au réservoir de carburant à une extrémité et
à un carburateur 12 à l'extrémité opposée. Dans le conduit 11, il s'agit d'un
filtre à carburant 13 et une pompe électrique à carburant 14 de
fil 15 des motifs de la pompe et du fil 16 relie la pompe à une
jauge à carburant 18 sur lequel est monté un interrupteur 17 qui
est relié à une batterie 19 du moteur par fil 20.
La jauge de carburant / commutateur est de
construction classique et est du type décrit dans les brevets US 2894093, US
2825895 et
Carburateur 12 comporte
une cuvette circulaire en forme de dôme ou d'un réservoir 21 qui est
muni d'une ouverture à rebord 22 situé au centre de sorte que le réservoir
21 est monté sur un col tubulaire 23 d'un apratured collerette 24
sur l'extrémité inférieure de la gorge 23 est positionné sur
l'entrée 25 collecteur d'un moteur à combustion interne 26 et des
fixations 27 pour fixer la collerette du collecteur dans une position
fixe.
Un contrôle de la
vapeur de la vanne papillon 28 est monté de manière pivotante dans
l'extrémité inférieure de la gorge 23 et la vanne 28 commande
l'entrée de la vapeur dans le moteur et ainsi de contrôler sa vitesse.
Pompe à carburant 29,
ayant une entrée 30, est monté dans le fond du réservoir 21 de
sorte que l'orifice d'entrée 30 communique avec l'intérieur du
réservoir. Un tube de poussée ou
alimentation 31 relié à la pompe 29 pénètre dans la gorge 23 de
sorte que par l'intermédiaire d'une liaison 32 qui est reliée à la pompe
29 et à une tringlerie de soupape de commande 28 et la pédale
d'accélérateur du moteur, le combustible brut peut être forcé dans la gorge 23
pour démarrer le moteur quand il est froid.
L'extrémité supérieure
de la gorge 23 est retournée sur elle-même pour fournir une portion
creuse en forme de bulbe à l'intérieur 33 d'un réservoir 21 thermoplongeur
34 est positionné dans le fond du réservoir et le fil 35 motifs
chauffage. Un thermostat 36 est
monté dans la paroi du réservoir et s'étendant dedans. Fil 37 relie le thermostat au
dispositif de chauffage 34 et le fil 38 reliant le thermostat à
la commande du thermostat 39 de fil 40 relie la commande de
l'interrupteur d'allumage 41 qui à son tour est relié à la batterie 19
par des fils 20 et 42.
Une paire de
relativement espacés parallèles perforé chicanes plaques 43 et 44, sont
reliés à la partie en forme de bulbe 33 sur l'extrémité supérieure de la
gorge 23, et une deuxième paire de déflecteurs perforés 45 et 46
s'étendent vers l'intérieur à partir de la paroi du réservoir 21 parallèle
à chaque autre et parallèlement à chicane plaques 43 et 44.
Les déflecteurs sont
disposés en quinconce les uns aux autres de telle sorte que la plaque
déflectrice 45 est compris entre les plaques de chicane 43 et 44 et
le déflecteur 46 s'étend au-dessus de la plaque de chicane 44.
De plaque d'arrêt 45
présente une ouverture centrale 47 et le déflecteur 46 présente
une ouverture centrale 48 qui a un plus grand diamètre que l'ouverture 47. Le dôme supérieur 49 du réservoir 21,
s'étend dans une entrée d'air tubulaire 50 qui s'étend vers le bas dans
la gorge 23 et un support anneau 51 est positionné à l'extérieur
de la partie supérieure en forme de dôme, aligné verticalement avec l'apport 50
d'un filtre à air 52 est monté sur la bague de montage 51 par
un accouplement 53, de même que la procédure habituelle, et un
croisillon 54 est monté à l'extrémité supérieure de bague de montage 51
pour briser l'air qui entre dans l'anneau de 51 filtre à air 52.
En fonctionnement, avec
12 carburateur monté sur le moteur à combustion interne à la place d'un
carburateur conventionnel, le contacteur d'allumage est mis sous tension 41. Actuel de la batterie 19 entraînera la
pompe 14 pour déplacer l'essence liquide dans le réservoir 21 jusqu'à
ce que l'interrupteur à flotteur 18 coupe la pompe lorsque le
combustible liquide A a atteint le niveau B dans le
réservoir. La commande 39 est
ajustée de sorte que le thermostat 36 fonctionnera chauffage 34 jusqu'à
ce que le combustible liquide a atteint une température de 105 F à laquelle le
temps de chauffage 34 est coupé.
Lorsque le combustible liquide a atteint la température adéquate, la
vapeur sera disponible pour suivre le parcours indiqué par les flèches sur la Fig.2.
Le moteur est alors
lancée et si la pédale est actionnée, la pompe 29 va provoquer carburant
brut de liquide d'entrer dans le collecteur d'admission 25 jusqu'à ce
que la vapeur du carburateur est aspiré dans le collecteur d'amener le moteur à
fonctionner. Comme le combustible est
consommé, la pompe 14 va de nouveau être actionnée et chauffage 34 sera
exploité par thermostat 36.
Ainsi, le fonctionnement tel que décrit va continuer aussi longtemps que
le moteur est en marche et que le commutateur d'allumage est tourné sur 41. Réservoir 21 tiendra de 4 à 6 pintes
(2 à 4 litres) de carburant liquide et que seule la vapeur du carburant
chauffée fera le carburateur 12 à faire tourner le moteur, le moteur
fonctionnera pendant une longue période avant plus de carburant dans le
réservoir 21.
Chicanes 43, 44, 45
et 46 sont disposés en quinconce pour éviter les éclaboussures de liquide
dans le carburant du carburateur. Le
niveau B du carburant dans le réservoir 21 est maintenue
constante par un interrupteur 18 et avec tous les éléments correctement
fermés, le système de vapeurs de carburant 10 fera fonctionner le moteur
de manière efficace.
Valve 28 commander
l'entrée de la vapeur dans le collecteur d'admission 25, contrôle la
vitesse du moteur de la même manière que la soupape de régulation dans un
carburateur conventionnel.
Brevet US 3,294,381 27 Décembre 1966 Inventeur: Harold Schwartz
CARBURATEUR
Ce brevet décrit un dessin de carburateur
qui a été en mesure de produire des chiffres très haute mpg utilisant l'essence
disponible aux États-Unis à l'époque, mais qui n'est plus disponible car
l'industrie pétrolière ne veut pas de carburateurs mpg haute fonctionnelle pour
être accessible au public.
DESCRIPTION
Cette invention se rapporte à une
construction de carburateur. Un objet de
la présente invention est de fournir un carburateur dont le carburant est
traité par les gaz d'échappement d'un moteur chaud avant d'être combinés avec l'air
et être introduit dans le moteur.
Un autre objet de l'invention est de fournir
un carburateur comme caractérisé plus haut, qui fait circuler le carburant des
fumées chargées de manière à libérer des globules extraordinairement élevés du
carburant, assurant ainsi que le seul combustible finement divisé et préchauffé
de consistance du brouillard est alimentée à la tubulure d'admission du moteur.
Le carburateur présent, lorsqu'il est
utilisé pour l'alimentation du moteur six cylindres d'une voiture populaire,
amélioré les miles par gallon de performance dans des conditions normales de
conduite à l'aide d'une note commune de carburant, de plus de 200 %. Cette augmentation de l'efficacité a été
obtenue par le préchauffage du carburant et de le garder sous faible pression
imposée par succion appliquée du carburateur dans le but de maintenir le niveau
de carburant pendant le fonctionnement du moteur. Cette basse pression dans le carburateur
provoque une augmentation de vaporisation du carburant dans le carburateur et
augmente l'efficacité de fonctionnement.
Cette invention a également pour ses objets
; pour fournir un carburateur qui est positif dans l'opération, facile à
utiliser, facilement installé dans sa position de travail, faciles à enlever du
moteur économique de la fabrication, de conception relativement simple et
facilité d'entretien et de la supériorité générale.
L'invention comprend également de nouveaux
détails de construction et roman des combinaisons et des arrangements de
pièces, qui apparaîtra plus pleinement dans le cadre de la description qui suit
et qui est basé sur les dessins annexés.
Cependant, les dessins et la description qui suit simplement décrit un
mode de réalisation de la présente invention et sont donnés uniquement comme
une illustration ou un exemple.
DESCRIPTION DES DESSINS
Dans les dessins, tous les numéros de
référence s'appliquent les mêmes pièces dans chaque dessin.
Fig.1 est une vue en plan en partie brisée d'un carburateur construit
conformément à la présente invention, illustrée avec une alimentation en
carburant, système d'alimentation et de retour.

Fig.2 est une vue en
coupe verticale du carburateur prise sur le plan de la ligne 2--2 dans Fig.1

Fig.3 est une élévation latérale partielle et vue en coupe partielle du
carburateur, montrant des détails de structure supplémentaires

Le carburateur est
monté de préférence sur le tube d'air habituel hotte 5 qui reçoit un
écoulement d'air à travers le filtre à air.
Tube 5 est muni d'un étranglement ou papillon soupape qui
contrôle le flux et comporte un passage venturi écoulement croissante. Ces traits communs de l'alimentation en
carburant dans le collecteur d'admission du moteur ne sont pas représentés
puisque ces caractéristiques sont bien connus et ils sont également décrits
dans ma demande de brevet en instance n ° de série 182 420 maintenant
abandonné. La présente carburateur
incarne améliorations par rapport à la divulgation de la demande antérieure.
La présente carburateur
comprend un boîtier 6 monté sur le tube d'air 5, et conçu pour
contenir un bassin peu profond de carburant 7, une terminaison d'entrée
de carburant 8 dans une buse de pulvérisation 9, un collecteur de
gaz d'échappement 10 à la conduite des gaz d'échappement chauffés pour
rejeter à la pulvérisation de carburant qui sort de la buse 9 et destiné
à chauffer le réservoir de carburant en dessous de 7. Des moyens de 11 à frotter le mélange
carburant-vapeurs pour éliminer les grosses gouttelettes de carburant à partir
du mélange (les gouttelettes tombent dans la piscine 7 ci-dessous), un
tube de buse 12 pour recevoir le mélange épuré et passer le mélange sous
l'action de venturi dans le tube d'air 5 où il est combiné avec de l'air
et rendu prêt pour l'injection dans le collecteur d'admission du moteur. Tube de collecte 13 est relié à une
sortie 14 pour l'établissement de la piscine du combustible en excès 7
pendant le fonctionnement du carburateur.
Le système relié au
carburateur est représenté sur la Fig.1, et comprend un réservoir de carburant
15, une pompe à carburant généralement classique 16 pour aspirer
le carburant du réservoir et la diriger vers l'entrée 8, un filtre à
carburant 17, et une pompe 18 reliée à série entre le réservoir
de carburant et la sortie 14 de mise sous tube d'aspiration 13 et
de tirer l'excès de carburant du carburateur à cuve 15 en arrière de
re-circulation vers l'entrée 8.
Carburateur logement 6
peut être circulaire, tel qu'illustré et assez plat par rapport à son diamètre,
afin d'avoir un grand fond plat 20 qui, avec le cylindrique mur 21,
détient la piscine de combustible 7.
Couvercle 22 entoure la partie supérieure du boîtier. Le bas 20 et couvercle 22 ont
aligné les ouvertures centrales à travers lequel le tuyau d'aspiration 5
se prolonge, cette pipe formant l'intérieur du boîtier, créant un espace
annulaire interne 23.
L'entrée de combustible
8 est relié pour couvrir 22 par une liaison amovible. Buse de pulvérisation 9 s'étend à
travers le couvercle. Bien que le dessin
montre trous de pulvérisation d'émission de 24 agencés pour fournir une
pulvérisation vers la buse 7, la buse peut être formée de sorte que la
pulvérisation est directionnel comme souhaité pour réaliser la prise mutuelle
la plus efficace du combustible pulvérisé avec le gaz de chauffage fournis par
le collecteur 10 .
Le collecteur est
représenté comme un tube 25 qui présente et fin 26 s'étendant à
partir de la chambre de remontée de chaleur classique (non représenté) du
moteur, la flèche 27 indiquant le débit de gaz d'échappement dans le
tuyau 25 Le tube peut entourer la partie inférieure du boîtier 6,
pour chauffer le réservoir de carburant 7 par transfert de chaleur à
travers la paroi du boîtier. Le tube
collecteur est représenté avec une extrémité d'évacuation 28 qui s'étend
dans le boîtier dans une direction vers l'intérieur et vers le haut vers la
buse 9 de sorte que les gaz d'échappement s'écoulant dans le tuyau se
mélangent avec le combustible pulvérisé et le chauffer à la sortie de la buse.
Le carburant lavage
moyen 11 est représenté comme une chambre incurvée 29 situé à
l'intérieur logement 6, muni d'une série de chicanes parois 30 qui
causent le carburant brouillard des fumées chauffé à suivre un chemin sinueux
et intercepter les gouttelettes plus lourdes de carburant qui a ensuite
descendent les faces des parois de chicane, à travers des ouvertures 31 dans
la paroi de fond 32 de la chambre de lavage 29 dans l'espace
intérieur 23 du boîtier 6 au-dessus du niveau de la piscine de
combustible 7.
Tube de collecte 13 est
également représenté en tant que portée par le couvercle du boîtier 22 et
peut être ajusté de telle sorte que son extrémité inférieure ouverte est ainsi
espacée du boîtier inférieur 20 pour régler la profondeur du bassin 7,
qui est de préférence au-dessous de la paroi de fond 32 de l'épuration 29
étant donné que cette chambre tuyau est soumis à l'aspiration de la pompe 18
par la sortie 14 et le filtre 17, le niveau du réservoir 7
est maintenu par le carburant en excès étant retourné vers le réservoir 15
par la pompe 16.
On verra que la surface
de la piscine 7 est non seulement soumis à l'action dans le tube venturi
5, mais aussi à l'aspiration de la pompe 18, comme il attire
l'excès de carburant de retour au réservoir de carburant 15. Ainsi, la surface de la piscine est à
l'quelque peu inférieure à la pression atmosphérique, ce qui augmente le taux
de vaporisation de la surface de la piscine, la vapeur résultante se combinant
avec le flux de la chambre de lavage au tube de courant descendant 5.
Brevet
américain 3 653 643 4 avril
1972 Inventeur: Oliver M.
Tucker
CARBURATEUR
Ce brevet décrit un
dessin de carburateur qui a été en mesure de produire des chiffres très haute
mpg utilisant l'essence disponible aux États-Unis à l'époque, mais qui n'est
plus disponible car l'industrie pétrolière ne veut pas de carburateurs mpg
haute fonctionnelle pour être accessible au public.
RÉSUMÉ
Un carburateur, y
compris un logement ayant un réservoir de liquide dans le fond, une entrée
d'air dans la partie supérieure du boîtier, un tuyau de refoulement
coaxialement monté dans le boîtier et clôturant court de la partie supérieure
du boîtier et une volatilisation poreux filtrer beaucoup de remplissage du
réservoir. Un déflecteur est monté
concentriquement dans le boîtier et s'étend partiellement dans le filtre de
vaporisation dans le réservoir pour dévier l'air entrant par le filtre. Le niveau de combustible liquide dans le
réservoir est maintenu au-dessus du fond de la cloison, afin que l'air qui
entre dans le carburateur par le biais de l'entrée doit passer par le
combustible liquide et vapeur filtre dans le réservoir avant des rejeter par la
sortie. Une prise d'air secondaire est
fournie dans la partie supérieure du boîtier pour contrôler le rapport
carburant / air du combustible vaporisé en passant dans le tuyau de
refoulement.
CONTEXTE DE
L'INVENTION
Il est généralement
bien connu que le combustible liquide doit être vaporisé afin d'obtenir une
combustion complète. Combustion
incomplète du carburant dans les moteurs à combustion interne est des
principales causes de la pollution atmosphérique. Dans un carburateur automobile typique, le
combustible liquide est atomisé et injecté dans le flux d'air dans un collecteur
d'environ 3,14 pouces carrés en coupe transversale. Dans un huit cylindres moteur 283 pouces
cubes à environ 2 400 tr/min a besoin 340 000 pouces cubes d'air par
minute. La vitesse de l'air dans le
collecteur d'admission à cette vitesse de moteur sera d'environ 150 pieds par
seconde et il faudra donc environ 0,07 secondes pour une particule de carburant
pour délaisser le carburateur à la chambre de combustion et le carburant
restent dans la chambre de combustion environ 0,0025 secondes.
Il est concevable que
dans ce laps de temps, une vaporisation complète du carburant n'est pas atteint
et en conséquence, une combustion incomplète se produit, résultant en plus de
polluants atmosphériques. Les particules
de combustible liquide si ne pas vaporisé, peuvent se déposer sur les parois du
cylindre et diluer la pellicule d'huile lubrifiante là, favorisant la
combustion de l'huile lubrifiante partielle et en ajoutant à la suite du
problème de la pollution. Destruction du
film d'huile lubrifiante de combustion peut également augmenter l'usure
mécanique des cylindres et pistons.
RÉSUMÉ DE
L'INVENTION
Le carburateur de cette
invention fournit pour la combustion complète des combustibles liquides dans un
moteur à combustion interne, avec une diminution correspondante de la pollution
atmosphérique dans les gaz d'échappement.
Ceci est réalisé par l'alimentation en gaz complètement sec ou vaporisé
dans la chambre de combustion. Au départ,
l'air primaire est filtré avant de passer par un filtre de préchauffage qui est
immergé dans le liquid combustible tiré d'un réservoir dans le
carburateur. Le filtre de vaporisation
fractionne en permanence l'air primaire en petites bulles, augmentant ainsi la
surface disponible pour l'évaporation du carburant liquide. L'air secondaire est ajouté au mélange
air-combustible enrichi à travers un filtre à air secondaire avant l'admission
du mélange air-carburant dans les chambres de combustion du moteur. Filtration initiale des deux l'air primaire
et secondaire supprime toutes les particules étrangères qui peuvent être
présentes dans l'air, et qui pourrait causer une usure accrue au sein du
moteur. Le carburateur assure
également la livraison d'un gaz sec et pur au moteur en raison de la séparation
par gravité toute particule liquide ou la saleté de l'air primaire combustible
enrichi.
Autres objets et
avantages deviendront évidentes de la description détaillée suivante lue
conjointement avec le dessin ci-joint, dans lequel la seule figure montre une
vue en perspective transversale du carburateur de cette invention.

DESCRIPTION DE L'INVENTION
Le carburateur 40 décrit ici est
conçu pour être utilisé avec un moteur à combustion interne où de l'air est
aspiré à travers le carburateur pour vaporiser le carburant dans le carburateur
avant son admission dans le moteur.
À cet égard, le débit
de carburant liquide, un gaz ou de l'huile, pour le carburateur est commandé au
moyen d'un assemblage de soupape à flotteur 10 relié à une source de
combustible liquide par la conduite de carburant 12 et du carburateur 40
par un tube de liaison 14.
L'l'écoulement de carburant liquide à travers l'assemblage de soupape à
flotteur 10 est commandé par un flotteur 16, monté pivotant à
l'intérieur d'une chambre à flotteur 18 et relié fonctionnellement à une
soupape à flotteur 20.
Conformément à
l'invention, le carburant liquide admis dans le carburateur 40 à travers
le tuyau 14, est complètement évaporée par l'air primaire pour le moteur
à l'intérieur du carburateur et mélangé avec l'air secondaire avant l'entrée
dans un tube de distribution 100 qui est reliée au collecteur 102 du
moteur. Plus précisément, le carburateur
40 comprend un boîtier cylindrique ou un moule 42, comportant une
paroi de fond 44, qui forme un réservoir de carburant et le filtre de
liquide 46. Un filtre de
vaporisation 48 est positionné dans le réservoir 46 et s'étend
vers le haut à une certaine distance de la paroi de fond 44 de la le
boîtier 42 de vaporisation 48 filtre est utilisé pour rompre en
continu l'air primaire dans un grand nombre de petites bulles qui passe dans le
carburant liquide dans le réservoir 46 ce qui augmente la surface
spécifique par volume d'air disponible pour l'évaporation du combustible
liquide , comme décrit plus en détail ci-dessous. Ce filtre 48 est formé d'un matériau
squelettique tridimensionnelle qui est lavable et n'est pas soumise à la
dégradation dans les conditions de fonctionnement à l'intérieur du
carburateur. Filtre en matière plastique
sous forme de mousse de polyuréthane cellulaire ayant environ 10 à 20 pores par
pouce a été utilisé avec succès dans le carburateur.
Logement 42 est
fermé en haut par un capot ou couvercle 50 qui peut être maintenu en
place par tout moyen approprié. Le
capuchon a un diamètre plus grand que le diamètre du boîtier 42 et
comprend un rebord descendant 52 et un déflecteur descendant 54 de
la bride 52 est agencée de manière concentrique et dépasse vers
l'extérieur au-delà des côtés du boîtier 42 pour former une entrée d'air
primaire 56 du déflecteur 54 est concentriquement positionné à
l'intérieur de logement 42 afin de créer une chambre d'air primaire 58
et une chambre de mélange centrale 60.
L'air primaire est
aspiré dans le logement 42 à travers l'entrée d'air 56 et est
filtrée par le filtre à air primaire 62 qui est monté de manière
amovible dans l'espace entre la bride 52 et l'extérieur de la paroi du
boîtier 42 par l'intermédiaire d'un écran 64 le filtre à air
primaire 62 peut être faite du même matériau de filtrage du filtre de
vaporisation 48.
Lorsque l'air primaire
pénètre dans la chambre d'air primaire 58, il est dévié à travers le
carburant liquide dans le réservoir 46 par l'intermédiaire de la chicane
cylindrique 54. Cette chicane
s'étend vers le bas à partir de la hotte 50 suffisamment loin pour pénétrer
dans la partie supérieure du filtre de vaporisation 48. Le primaire l'air doit passer vers le bas de
la chicane 54 et à travers à la fois le combustible et le liquide de
vaporisation filtre 48 avant d'entrer dans la chambre de mélange 60.
Le niveau du liquide
dans le réservoir de carburant 46 est maintenue au-dessus du bord
inférieur du déflecteur 54 au moyen de l'assemblage de soupape à
flotteur 10. Le fonctionnement de
l'assemblage de soupape à flotteur 10 est bien connue. Chambre à flotteur 18 se trouve à peu
près au même niveau que le réservoir 46 et le flotteur 16 pivote
en réponse à une baisse du niveau du carburant liquide dans la chambre de
flotteur et ouvre la soupape à flotteur 20.
L'une des
caractéristiques importantes de la présente invention est l'efficacité de
l'évaporation du combustible liquide par le flux d'un grand nombre de bulles à
travers le réservoir. Cela est censé
être causé par la rupture continue jusqu'à des bulles lors de leur passage à
travers le filtre de vaporisation 48.
Il est bien connu que le taux d'évaporation provoquée par une bulle
d'air passant sans encombre à travers un liquide, est relativement lente en
raison de l'la tension de surface de la bulle.
Cependant, si la bulle est continue brisée, la tension superficielle de
la bulle est réduit et un processus d'évaporation continue se produit. Ce phénomène est considéré comme étant la
cause de la vitesse élevée d'évaporation du combustible liquide dans le
carburateur de la présente invention.
Une autre caractéristique
du carburateur de la présente invention est sa capacité à fournir un gaz sec à
la chambre de mélange centrale 60 dans le logement 42 depuis le
flux d'air primaire dans la chambre de mélange centrale 60 est
verticalement vers le haut, la force de gravitation permettra d'éviter les
gouttelettes d'carburant liquide à partir de l'augmentation suffisamment élevée
dans le carburateur pour entrer dans le tube de distribution 100. La distribution de gaz sec pour le tube de
distribution augmente l'efficacité de la combustion et de réduire ainsi la
quantité de gaz ou de polluants imbrûlés qui sont épuisés dans l'air par le
moteur.
Des moyens sont prévus
pour admettre de l'air secondaire dans la chambre de mélange centrale 60 pour
obtenir le rapport air-carburant correct requis pour une combustion
complète. Ces moyens sont sous la forme
d'un ensemble de filtre à air secondaire 80 monté sur un tube d'entrée 82
prévue dans l'ouverture 84 dans le capot 50. Le filtre à air secondaire montage 80 comprend
une plaque supérieure 86, une plaque inférieure 88, et un filtre
à air secondaire 90 placé entre les plaques 86 et 88 du filtre à
air secondaire 90 est empêché d'être aspiré dans le tube d'entrée 82 au
moyen d'un tamis cylindrique 92 qui forme une continuation d'un tube 82,
l'air secondaire passe à travers la périphérie extérieure du filtre à air
secondaire 90, à travers l'écran 92 dans le tube 82 et le
flux d'air secondaire à travers le tube 82 est commandé par
l'intermédiaire d'une vanne papillon 94 comme cela est généralement
compris dans l'art.
Le mélange complet de
l'air sec enrichi en gaz primaire avec l'air secondaire entrant dans le boîtier
42, est réalisé au moyen de déflecteur 96 positionné au niveau de
l'extrémité du tube 82 du déflecteur 96 comprend un certain
nombre d'ailettes 98 qui sont torsadés pour donner un vers l'extérieur
l'écoulement d'air dévié circulaire dans la chambre de mélange centrale 60 et
en créant ainsi une augmentation de la turbulence de l'air secondaire, car il
combine avec l'air primaire enrichi en combustible. Le déflecteur empêche l'apparition de la
cavitation à l'extrémité supérieure du tube de sortie 100.
L'écoulement du mélange
air-carburant vers le moteur est commandée par l'intermédiaire d'un papillon
des gaz 104 prévue dans le tube de sortie ou de livraison 100. Le fonctionnement de la vanne d'étranglement 104
et la vanne papillon 94 sont tous deux commandés de manière
classique.
LE
FONCTIONNEMENT DU CARBURATEUR
L'air primaire est
aspiré dans le logement 42 à travers l'entrée d'air primaire 56 et
passe vers le haut à travers le filtre d'air primaire 62, où
sensiblement toutes les particules étrangères sont éliminées de l'air
primaire. L'air primaire filtré s'écoule
ensuite vers le bas à travers la chambre d'air primaire 58, en vertu de
chicane 54, par l'intermédiaire carburant réservoir de filtre 46,
et vers le haut dans le centre de la chambre de mélange 60. Tout l'air primaire passe à travers le filtre
de vaporisation 48 prévue dans le réservoir 46. Le filtre de vaporisation 48 tombe en
continu le flux d'air primaire dans des milliers de petites bulles, ce qui
réduit la tension de surface et en augmentant la surface de l'air disponible
pour l'évaporation du combustible liquide.
Etant donné que la surface extérieure de chaque bulle est constamment
brisée par le filtre de vaporisation 48 et est en contact constant avec
le carburant liquide en tant que la bulle passe à travers le filtre de
vaporisation 48, il existe une grande possibilité pour l'évaporation du
carburant avant d'entrer dans l'le centre de la chambre de mélange 60 vers
le haut de l'écoulement vertical de l'air primaire enrichi en combustible dans
la chambre de mélange central, en sorte qu'aucun des gouttelettes de carburant
liquide sont réalisées dans le tube de distribution 100.
L'air primaire enrichi
en combustible est mélangé intimement avec l'air secondaire qui entre dans le
tube 82 par l'intermédiaire du système de déviation 96 qui
augmente la turbulence de l'air primaire et secondaire à l'intérieur de la
chambre de mélange central et évite la cavitation ne se produise dans le tube
de distribution 100. L'combustible enrichi complètement mélangé
air primaire et l'air secondaire passent ensuite à travers le tube de
distribution 100 dans le collecteur d'admission du moteur.
Brevet US 4 177 779 11 décembre 1979 Inventeurr: Thomas H. Ogle
SYSTÈME D'ÉCONOMIE DE CARBURANT POUR UN
MOTEUR À COMBUSTION INTERNE
Ce brevet décrit un dessin de carburateur
qui a été en mesure de produire des chiffres très haute mpg utilisant l'essence
disponible aux États-Unis à l'époque, mais qui n'est plus disponible car
l'industrie pétrolière ne veut pas de carburateurs mpg haute fonctionnelle pour
être accessible au public.
RÉSUMÉ
Un système d'économie
de carburant pour une combustion interne de moteur qui, lorsqu'il est installé
dans un véhicule automobile, surmonte la nécessité d'un carburateur classique,
la pompe à essence et le réservoir de carburant. Le système fonctionne en utilisant le vide de
moteur pour dessiner ses vapeurs provenant d'un réservoir de vapeur à travers
un conduit de vapeur d'un égaliseur de vapeur qui est placé directement
au-dessus de la tubulure d'admission du moteur.
Le réservoir de vapeur est construit en acier résistant, ou formes
similaires, pour résister à la grande dépression et inclut une valve d'air
d'admission couplée pour le contrôle de la pédale d'accélérateur. L'égaliseur de vapeur assure la distribution
du mélange correct d'air et de vapeur des cylindres du moteur à combustion et
comprend également sa propre vanne d'air couplé pour le contrôle à la pédale
d'accélérateur. Le système utilise des
filtres vapeur-retardant dans le conduit de vapeur, le réservoir de vapeur et
la vapeur d'égaliseur pour livrer le mélange vapeur/air correct pour le bon
fonctionnement. Le réservoir de vapeur
et le combustible qu'il contient, sont chauffés par passer le liquide de
refroidissement moteur dans une gaine dans le réservoir. En raison des mélanges de carburant
extrêmement pauvre utilisés par la présente invention, pourrait résulter
d'économie d'essence supérieure à cent miles par gallon.
CONTEXTE DE
L'INVENTION
1. domaine de
l'Invention
La présente invention
correspond aux moteurs à combustion interne et, plus particulièrement, est
orientée vers un système d'économie de carburant pour une combustion interne de
moteur qui, lorsqu'elle est appliquée à un véhicule automobile, surmonte la
nécessité pour les carburateurs classiques, les pompes à carburant et les
réservoirs de carburant et permet la consommation de carburant améliorée à
atteindre.
2. description
de l'état de la technique
L'état de la technique
atteste des différentes approches au problème de l'augmentation de l'efficacité
des moteurs à combustion interne. En
raison de la hausse des prix du carburant et la popularité des véhicules à
moteur comme un mode de transport, une grande partie de l'effort dans ce
domaine est généralement dirigée vers l'amélioration de la consommation de
carburant pour véhicules à moteur. Avec
kilométrage accru, beaucoup de travail a été fait en vue de réduire les
émissions polluantes des véhicules à moteur.
Je suis conscient des
brevets des États-Unis suivants qui sont généralement orientés vers des systèmes
pour améliorer l'efficacité et/ou de réduire les émissions polluantes des
moteurs à combustion interne :
______________________________________
Chapin 1,530,882
Crabtree et al 2,312,151
Hietrich et al 3,001,519
Hall 3,191,587
Wentworth 3,221,724
Holzappfel 3,633,533
Dwyre 3,713,429
Herpin 3,716,040
Gorman, Jr. 3,728,092
Alm et al 3,749,376
Hollis, Jr. 3,752,134
Buckton et al 3,759,234
Kihn 3,817,233
Shih 3,851,633
Burden, Sr. 3,854,463
Woolridge 3,874,353
Mondt 3,888,223
Brown 3,907,946
Lee, Jr. 3,911,881
Rose et
al 3,931,801
Reimuller 3,945,352
Harpman 3,968,775
Naylor 4,003,356
Fortino 4,011,847
Leshner
et al 4,015,569
Sommerville 4,015,570
______________________________________
Le brevet Chapin. US
1.530.882 décrit un réservoir à carburant est entouré par une chemise d'eau,
celle-ci est incluse dans un système de circulation avec le radiateur du
véhicule automobile. L'eau chauffée dans
le système de circulation provoque le carburant dans le réservoir de carburant
pour vaporiser facilement. Aspiration du
collecteur d'admission entraîne l'air d'être aspiré dans le réservoir à air de
la bulle à travers le carburant pour aider à former la vapeur souhaitée qui est
ensuite tirée vers le collecteur de combustion.
Le brevet Buckton et
al U. 3759234 avance un système de
carburant qui fournit des vapeurs supplémentaires pour un moteur à combustion
interne au moyen d'une cartouche qui contient un lit de granules de charbon de
bois.
Le brevet Wentworth et
Hietrich et al US 3.221.724 et US 3.001.519 enseignent également des systèmes
de récupération de vapeur qui utilisent des filtres de granules de charbon de
bois ou similaires.
Le brevet Dwyre US
3,713,429 utilisations, en plus de la cuve de carburant normale et le
carburateur, un réservoir auxiliaire ayant une chambre en bas qui est conçu
pour recevoir le liquide de refroidissement du système de refroidissement du
moteur pour produire des vapeurs de carburant, tandis que le brevet Walker US
3,395,681 décrit un système d'évaporateur de carburant qui comprend un réservoir
de carburant destiné à remplacer le réservoir de carburant normale, et qui
comprend un conduit d'air pour aspirer l'air frais dans le réservoir.
Le brevet Fortino US
4,011,847 décrit un système d'alimentation en carburant dans lequel le
carburant est vaporisé par l'air atmosphérique principalement qui est libéré
au-dessous du niveau du carburant, tandis que le Crabtree brevet US 2,312,151
décrit un système de vaporisation comprenant un orifice de gaz et d'une entrée
d'air situé dans une chambre de vaporisation et qui comprend une série de
chicanes pour effectuer un mélange de l'air et de la vapeur à l'intérieur de la
cuve. Le brevet Mondt US 3,888,223
décrit également un réservoir de contrôle par évaporation pour améliorer le
fonctionnement et les émissions de démarrage à froid, tandis que Sommerville
brevet US 4.015.570 décrit un vaporisateur de combustible liquide qui est
destinée à remplacer la pompe à carburant et le carburateur conventionnel qui
est conçu pour changer mécaniquement combustible liquide à l'état de vapeur.
Alors que les brevets
précédents preuve une prolifération des tentatives pour augmenter l'efficacité
et / ou de réduire les émissions polluantes des moteurs à combustion interne,
aucun système pratique a encore trouvé sa place sur le marché.
OBJETS ET
RESUME DE L'INVENTION
Il est donc un objet
principal de la présente invention est de fournir un système nouveau et
amélioré d'économie de carburant pour un moteur à combustion interne qui permet
d'améliorer considérablement le rendement du moteur.
Un autre objet de la
présente invention est de fournir un système unique d'économie de carburant
pour un moteur à combustion interne qui fournit un moyen pratique, opératoires
et facilement réalisables pour augmenter considérablement la consommation
d'essence des véhicules à moteur classiques.
Un autre objet de la
présente invention est de fournir un système d'économie de carburant améliorée
pour moteurs à combustion interne qui permet également de réduire les émissions
de polluants.
Les objets de ce qui précède et d'autres sont
atteints conformément à l'un des aspects de la présente invention grâce à la
fourniture d'un système de vapeur de carburant pour un moteur à combustion
interne ayant un collecteur d'admission, qui comporte un réservoir contenant
des vapeurs d'essence, un égaliseur de vapeur monté sur et dans une
communication fluide avec le collecteur d'admission du moteur et une conduite
de vapeur qui relient le réservoir à la vapeur d'égaliseur pour livrer du
carburant de vapeur de la première à la dernière. L'égaliseur de vapeur comprend une première
vanne branchée dessus pour contrôler l'admission d'air à l'égaliseur de la
vapeur, alors que le réservoir a une deuxième vanne branchée dessus pour
contrôler l'admission d'air dans le réservoir. Une manette des gaz contrôle les
valves de premières et deuxième afin que l'ouverture de la première vanne
précède et excède l'ouverture de la deuxième vanne pendant le fonctionnement.
Conformément à d'autres aspects de la présente
invention, un filtre est placé dans le conduit de vapeur afin de retarder la
circulation des vapeurs d'essence dans le réservoir à la vapeur
d'égaliseur. Dans une forme préférée, le
filtre est composé de particules de carbone et peut-être inclure une collection
d'éponge de, par exemple, les fibres en néoprène. Dans un mode de réalisation préféré, le
filtre comporte un logement tubulaire sensiblement placé en série dans le
conduit de vapeur, le boîtier contenant une portion centrale comprenant un
mélange de carbone et en néoprène et fin de portions contenant du carbone,
positionné de chaque côté de la partie centrale.
Selon un autre aspect de la présente invention, un
second filtre est positionné dans l'égaliseur de vapeur pour retarder encore
l'écoulement de la vapeur de carburant à la tubulure d'admission moteur. Le second filtre est placé en aval de la
première vanne et dans un format de prédilection, comprend des particules de
carbone montés sur une paire de cavités formées dans un organe de support
poreux. Le membre support poreux, qui
peut comprendre en néoprène, comprend une première partie encastrée positionnée
en face d'un orifice d'admission de vapeur dans l'égaliseur de vapeur qui le
conduit de vapeur est connecté, alors qu'une deuxième partie encastrée est
positionnée en face de la tubulure d'admission du moteur.
Conformément à d'autres aspects de la présente
invention encore, un troisième filtre est placé dans le réservoir pour
contrôler le débit de vapeur de carburant dans le conduit de vapeur proportionnel
au degré de vide dans le réservoir. Le
filtre comprend notamment un mécanisme pour réduire la quantité de vapeur de
carburant livré à la conduite de vapeur quand le moteur est au ralenti et
lorsque le moteur a atteint une vitesse constante. La manette des gaz agit pour fermer la
deuxième vanne lorsque le moteur est au ralenti et lorsque le moteur a atteint
une vitesse stabilisée, pour ainsi augmenter la pression de vide dans le
réservoir. Dans une forme préférée, le
troisième filtre comporte un cadre pivot monté à l'intérieur du réservoir et
mobile entre les premières et deuxième positions de fonctionnement. La première position de fonctionnement
correspond à une position ouverte de la deuxième vanne, tandis que la deuxième
position de fonctionnement correspond à un état fermé de la deuxième
vanne. Le réservoir comporte un orifice
de sortie de vapeur dont une extrémité de la vapeur conduit est connecté, tel
que la deuxième position de fonctionnement du cadre place le troisième filtre
en communication avec l'orifice de sortie de vapeur.
Plus particulièrement, le troisième filtre dans une
forme préférée comprend des particules de carbone prise en sandwich entre deux
couches d'un matériau spongieux filtre, qui peut comprendre en néoprène et
écrans pour soutenir la composition multicalque dans le cadre pivotant. Un conduit est positionné sur le troisième
filtre pour placer dans directe communication fluide avec l'orifice de sortie
de vapeur lorsque la structure est en position de deuxième service.
Conformément à d'autres aspects de la présente
invention, un conduit est connecté entre le couvre-culasse du moteur et
l'égaliseur de vapeur pour diriger le coup-par huile à l'égaliseur de vapeur
afin de minimiser le bruit de soupape.
Le réservoir inclut également de préférence un conduit en cuivre placé
dans le fond des choses, qui est connecté en série avec le système de
refroidissement du véhicule à moteur, pour le chauffage du réservoir et
générant plus de vapeur. Un sous-produit
bénéfique du système de circulation réduit la température afin d'améliorer le
fonctionnement à haute efficacité de fonctionnement du moteur.
BRÈVE DESCRIPTION DES
DESSINS
Divers objets, les caractéristiques et les
avantages connexes de la présente invention seront mieux appréciées que la même
devenir mieux comprise de la description détaillée suivante de la présente
invention lorsque examinée en liaison avec les dessins qui l'accompagne, dans
lequel :
Fig.1 est une vue en
perspective qui illustrent les différentes composantes qui constituent un mode
de réalisation préféré de la présente invention comme installé dans un véhicule
automobile ;

Fig.2 est une vue en
coupe de l'une des composantes de la réalisation préférée, illustré à la Fig.1
prises le long de la ligne 2--2

Fig.3 est une vue en
coupe de la citerne de la vapeur illustrée à la Fig.2 prises le long de
la ligne 3--3

Fig.4 est une vue en
coupe élargie illustrant en détail une des composantes de la citerne de vapeur
illustrée à la Fig.3 prises le long de la ligne 4--4

Fig.5 est un point
de vue, vue en coupe partiellement illustrant un composant de filtre de la
citerne de la vapeur illustrée à la Fig.2

Fig.6 une vue en
coupe d'un autre composant de la réalisation préférée de la présente invention
est illustrée à la Fig.1 prises le long de la ligne 6--6

Fig.7 est un côté
partielle, vue en coupe partielle de la vapeur d'égaliseur illustré dans la Fig.6
prises le long de la ligne 7--7

Fig.8 est une vue de
côté illustrant la tringlerie de vitesse de la vapeur d'égaliseur illustré à la
Fig.7 prises le long de la ligne 8--8

Fig.9 est une vue en
coupe longitudinale d'un autre composant de filtre de la réalisation préférée,
illustré à la Fig.1

Fig.10 un avis d'un
autre composant de la présente invention

Fig.11 est une vue en
perspective éclatée, qui illustre les principales composantes de la portion de
filtre de l'égaliseur de vapeur de la présente invention.

DESCRIPTION DÉTAILLÉE DE LA RÉALISATION PRÉFÉRÉE
En se référant
maintenant aux dessins, où les parties sont numérotées de la même dans chaque
dessin, et plus particulièrement à la figure 1 qui illustre un mode de
réalisation préféré de la présente invention tel qu'il est installé dans un
véhicule automobile.
Le mode de réalisation
préféré comprend comme composants principaux un des réservoirs de vapeur de
carburant 10, dans lequel la vapeur de carburant est stocké et généré
pour la livraison ultérieure au moteur à combustion interne 20 sur la
partie supérieure du réservoir de carburant en phase vapeur 10 est
montée une soupape de commande d'admission d'air 12 dont la structure et
le fonctionnement sera décrit plus en détail ci-dessous.
La moteur à combustion 20 comprend un collecteur d'admission norme 18
monté sur le collecteur d'admission 18 est une chambre de vapeur de
l'égaliseur 16 connecté entre le réservoir de vapeur de carburant 10 et
la chambre de vapeur de l'égaliseur 16 est un conduit de vapeur ou tuyau
14 de la conduite des vapeurs de l'intérieur du réservoir 10 vers
la chambre 16.
Le numéro de référence 22
indique généralement une soupape de commande d'admission d'air qui est
monté sur la chambre d'égalisation de vapeur 16. Ainsi, le système est muni de deux soupapes
de commande d'admission d'air distincts 12 et 22 qui sont couplés
respectivement par l'intermédiaire de câbles 24 et 26 à la manette des
gaz pour le véhicule à moteur qui peut prendre la forme d'une pédale
d'accélérateur standard 28 les soupapes de commande d'admission d'air 12
et 22 sont synchronisés de telle manière que l'ouverture de l'entrée d'air
soupape de commande 22 de l'égalisation de vapeur 16 précède
toujours et dépasse l'ouverture de la soupape de commande d'admission d'air 12
du réservoir de carburant en phase vapeur 10, pour des raisons qui
apparaîtront plus clairement par la suite.
Le système de
refroidissement du véhicule comprend de façon classique un radiateur 30 pour
le stockage de liquide de refroidissement qui circule à travers le moteur 20
dans le mode bien connu. Une paire
de tuyaux 32 et 34 sont de préférence couplés dans les conduites de
chauffage normales du moteur 20 de manière à diriger un liquide de
refroidissement chauffé par le moteur 20 à un serpentin de chauffage 36,
de préférence réalisé en cuivre, qui est positionné à l'intérieur de réservoir
de vapeur 10 I ont trouvé que le système de circulation d'eau constitué
par des tuyaux 32, 34 et 36 a trois fonctions distinctes. Tout d'abord, il évite que le réservoir de
vapeur d'atteindre les basses températures auxquelles il peut être soumis par
ailleurs à la suite de la pression de vide poussé et le débit d'air à travers
elle. D'autre part, le liquide de
refroidissement chauffé sert à améliorer la vaporisation du carburant stocké à
l'intérieur de la cuve 10 en augmentant sa température. En troisième lieu, le liquide de
refroidissement, après avoir quitté la cuve 10 par le conduit 34,
a été refroidie au point où le moteur 20 peut alors être exécuté à des
températures de fonctionnement inférieures à sensiblement augmenter encore
l'efficacité et de prolonger la durée de vie du moteur.
Inclus en série avec le
conduit de vapeur 14 est une unité de filtration 38 qui est conçu
pour retarder l'écoulement de vapeur de carburant à partir du réservoir 10 à
l'égaliseur de vapeur 16. La
structure précise de l'unité de filtre 38 va être décrit plus en détail
ci-dessous. Une soupape de réglage de
pression 40 est positionné en amont de l'unité de filtre 38 dans
le conduit 14 et agit comme un réglage fin de la vitesse de ralenti du
véhicule. Situé de l'autre côté de
l'unité de filtre 38 dans le conduit 14 est une sécurité vanne
d'arrêt 42, qui comprend une valve unidirectionnelle. Démarrage du moteur 20 va ouvrir la
soupape 42 pour permettre à la pression d'aspiration du moteur à
transmettre à la cuve 10, mais, par exemple, un retour de flamme se
ferme la vanne pour empêcher une explosion possible. Le réservoir 10 peut également être
munie d'un drain 44 positionné au fond de la cuve.
Positionnée sur le côté
de la chambre de vapeur de l'égaliseur 16 est une liaison de l'amorce 46
qui peut être commandé par un tableau de bord monté amorce bouton de
commande 48 relié au réservoir 10 par le conduit 47 un
conduit 50 s'étend à partir de l'ouverture de l'huile de reniflard 52
dans un couvercle de soupape 54 du moteur 20 à l'égaliseur de
vapeur 16 à nourrir le coup-de l'huile pour le moteur comme un moyen
pour éliminer vanne bruit. Ceci est
considéré nécessaire en raison de l'extrême maigre mélange de vapeur de
carburant et de l'air introduit dans les cylindres de combustion du moteur 20,
conformément à la présente invention.
En se référant
maintenant à la Fig.2 et la Fig.3, le réservoir de vapeur de
carburant 10 de la présente invention est illustrée plus en détail dans
les vues en coupe orthogonales et on voit à comprendre une paire de parois
latérales 56 et 58 qui sont de préférence constitué d'acier robuste
plaque (par exemple 0.5 pouce d'épaisseur) afin de résister à la pression de
vide poussé développés à l'intérieur. réservoir 10 comprend en outre une
paroi supérieure 60 et la paroi de fond 62 et des parois avant et
arrière 64 et 66, respectivement.
Dans la paroi avant 64
du réservoir 10 est disposé un raccord 68 pour l'accouplement
du tuyau de chauffage 32 avec le conduit de cuivre interne 36 du
réservoir 10 est également pourvu d'une paire de plaques planes de
support 70 et 72 orientées verticalement, qui sont positionnés un peu à
l'intérieur de la partie les parois 56 et 58 et sont sensiblement
parallèles entre eux. Des plaques de
support 70 et 72 prêtent à l'intégrité structurelle et la cuve 10 est
également prévu avec une pluralité d'ouvertures 74 (Fig.2) au
fond d'eux pour permettre la communication de fluide à travers elle. Le fond du réservoir 10 est
généralement rempli avec de un à cinq gallons de carburant, et les parois du
réservoir 10 ainsi que les plaques 70 et 72 définissent trois
chambres de réservoir 76, 78 et 80 qui sont, de par les ouvertures 74,
en communication de fluide avec une autre.
Dans la paroi supérieure
60 du réservoir 10 est formée une ouverture 82 pour placer
une extrémité de conduit de vapeur 14 en communication fluidique avec la
chambre intérieure 76 du réservoir 10. Une seconde ouverture 84 est
positionnée dans la paroi supérieure 60 du réservoir 10 au-dessus
de laquelle le entrée de la soupape de commande d'air 12 est
positionné. L'ensemble de soupape 12
comprend une paire de vannes à papillon classiques 86 et 88 qui sont
couplés par l'intermédiaire d'une tige de commande 90 à un bras de commande
92 bras de commande 92 est, à son tour, pivote sous la commande
d'un câble 24 et est mobile entre un solide position de la ligne
indiquée sur la Fig.2 par la référence 92 et une position en
pointillés de la ligne indiquée sur la Fig.2 par la référence 92'.
Bielle 90 et les
vannes 86 et 88 sont tourillonnés dans un carter 94 ayant une
plaque de base 96 qui est montée sur un couvercle 98. Comme on le voit sur la Fig.1, la
plaque de base 96 comprend plusieurs ports petite d'admission d'air ou
des ouvertures 100 formées sur les deux côtés des vannes à papillon 86
et 88, qui sont utilisés dans un but de devenir plus claire par la suite.
Bielle 90 est
également journalisé dans une bride 102 qui est monté pour couvrir 98,
tandis qu'un ressort de rappel 104 pour le bras de commande 92 est
journalisé pour couvrir 98 par bride 106.
S'étendant à travers la
chicane et le soutien des plaques 70 et 72 à partir des chambres
latérales 78 et 80 de la cuve 10 pour être en communication
fluidique avec les ouvertures 100 sont une paire de conduits d'air 108
et 110 ayant chacune une soupape à clapet 112 et 114 placés aux
extrémités, pour le contrôle de l'air et de l'écoulement de vapeur à travers
elle. Les vannes 112 et 114 anche
co-operage avec les petites ouvertures 100 formées dans la plaque de
base 96 pour fournir la quantité appropriée d'air dans le réservoir 10
alors que le moteur tourne au ralenti et le robinet à papillon 86 et 88 sont
fermées.
Monté sur la paroi
avant 64 du réservoir 10 est un élément de support de pivot 132
pour recevoir de façon pivotante un élément de filtre qui est indiqué
généralement par la référence numérique 134 et est illustré dans une vue
en perspective avec arrachement partiel, vue sur la Fig.5. L'élément unique filtre pivotant 134 comprend
un élément de châssis 136 ayant un tronçon de réception de broche 138
s'étendant le long d'un élément latéral de celui-ci. Le matériau de filtre réelle contenue dans
la trame 136 comprend une couche de particules de carbone 148 qui
est prise en sandwich entre une paire de couches de matériau de filtration
analogue à une éponge qui peut être, par exemple, être réalisées en
néoprène. Les couches de néoprène 144
et 146 et particules de carbone 148 sont maintenus en place par haut
et en bas des écrans 140 et 142 qui s'étendent dans, et sont garantis
par, élément de châssis 136, un tuyau en caoutchouc à paroi épaisse 150
ayant un anneau central 151 est fixé à la partie supérieure de
l'écran 140 de façon à s'accoupler avec l'ouverture 82 de la
paroi supérieure 60 (voir Fig.2) lorsque l'assemblage de filtre 134
est dans sa position active illustrée en trait plein sur la Fig.2. Dans cette dernière position, on peut noter
que le conduit de vapeur 14 attire les fumées de vapeur directement à
partir de l'élément de filtre 134, plutôt que de la partie interne 76
du réservoir 10. Par
opposition, lorsque l'élément de filtre 134 se trouve dans sa position
de fonctionnement alternatif, indiqué en pointillés sur la Fig.2, le
conduit de vapeur 14 attire les vapeurs essentiellement des parties
intérieures 76, 78 et 80 du réservoir 10.
La Fig.4 est une
vue agrandie de l'un des ensembles de soupape à clapet 114 qui illustre
la manière selon laquelle la soupape s'ouvre et se ferme en réponse à la
pression de vide créée particulier dans le réservoir 10 vannes 112 et
114 sont conçus pour admettre l'air juste assez dans le réservoir 10 à
partir des ouvertures 100 au ralenti du moteur pour empêcher le moteur
de caler.
En se référant
maintenant à la Fig.6, Fig.7 et Fig.8, la chambre de
vapeur de l'égaliseur 16 de la présente invention est considéré comme
comprenant des parois avant et arrière 152 et 154, respectivement, une
paroi supérieure 156, une paroi latérale 158, et un autre la
paroi latérale 160 de la chambre de vapeur de l'égaliseur 16 est
fixé à la tubulure 18, comme par une pluralité de boulons 162 qui
peut être sous positionné un joint d'étanchéité conventionnel 164.
Dans la paroi
supérieure 156 de l'égaliseur de vapeur 16 est formée une
ouverture 166 pour faire communiquer l'extrémité de sortie du conduit de
vapeur 14 avec une chambre de mélange et 168 adjacente à la
mélange d'égalisation et d'égalisation de chambre 168 dans la paroi 154
est formée une autre ouverture 170, qui communique avec l'air
extérieur par l'intermédiaire de l'ouverture 178 formée dans la partie
supérieure du boîtier 176 la quantité d'air admise par les ouvertures 178
et 170 est commandé par une soupape papillon 172. Papillon soupape classique 172 est mis
en rotation par une tige de commande 180 qui, à son tour, est couplé à
un bras de commande 182 du câble 26 est reliée à l'extrémité du
bras de commande 182 de la plus éloignée de l'axe et agit contre la
sollicitation du ressort 184 de rappel, dont le dernier est tourillonné
à la plaque latérale 152 de l'égaliseur de vapeur 16 par
l'intermédiaire d'une verticale le numéro de référence 188. La bride 186 indique généralement une
tringlerie d'actionnement de soupape à papillon, comme illustré plus clairement
sur la Fig.8, et qui est de conception classique qui peut être apprécié
par l'homme de l'art.
Positionnée au-dessous
de la chambre de mélange et d'égalisation 168 est une unité de filtre
qui est indiqué généralement par la référence 188. L'unité de filtre 188, qui est
représenté en vue éclatée sur la Fig.11, comprend un couvercle supérieur
en matière plastique cannelé 190 et un couvercle en plastique cannelé
inférieur 192 positionné de manière adjacente à la partie supérieure et
inférieure 190 et 192 recouvre est une paire d'éléments de maille de
tamis de 194 et 196, respectivement.
Positionnée entre les éléments du maillage de l'écran 194 et 196 est
un élément de support 198 qui est de préférence formée d'un matériau de
filtre semblable à une éponge, comme, par exemple, le néoprène. L'élément de support 199 est formée
sur ses surfaces supérieure et inférieure, une paire de récipients 200 et
202, dont les diamètres sont de taille similaire à l'ouverture 166 dans
la plaque supérieure 156 et les ouvertures formées dans le collecteur
d'admission 18 qui sont respectivement indiqué par les numéros de
référence 210 et 212 sur la Fig.6.
Placé dans les
récipients 200 et 202 sont des particules de carbone 204 et 206,
respectivement, pour des fins de commande et de retard de vapeur.
En se référant maintenant
à la Fig.9, l'unité de filtre 38 monté dans le conduit de vapeur 14
est illustré dans une vue en coupe longitudinale et est vu comme comprenant
un tuyau cylindrique souple externe 214 qui est adaptée pour se
connecter avec le tuyau 14 à ses deux extrémités par une paire
d'adaptateur les éléments 216 et 218 contenu dans le tuyau flexible
externe 214 est un récipient cylindrique 220, de préférence de
plastique, qui loge en son centre, d'un mélange de fibres de carbone et de
filtrage de néoprène 222. Aux
deux extrémités de mélange 222 sont déposées des particules de carbone 224
et 226, tandis que l'ensemble du bloc de filtrage est maintenue à
l'intérieur du récipient 220 par des écrans d'extrémité 228 et 230 qui
permettent le passage des vapeurs à travers lui tout en maintenant les
particules de carbone 224 et 226 en place.
Fig.10 illustre une
forme de la soupape de réglage de pression 40 qui est placé à
l'intérieur de la ligne 14. Cette
vanne commande simplement la quantité de fluide qui peut passer par le conduit 14
par l'intermédiaire d'un élément de soupape rotatif 41.
En fonctionnement, la
vanne de réglage de pression 40 est d'abord réglée pour obtenir un
ralenti aussi lisse que possible pour le véhicule à moteur particulier, dans
lequel le système est installé. La vanne
d'arrêt d'urgence 42, qui est fermé lorsque le moteur est arrêté,
retient généralement assez de vapeur entre elle et l'égaliseur de vapeur 16 pour
démarrer le moteur 20.
Initialement, la prise arrière vannes 12 sur le réservoir 10 sont
complètement fermées, tandis que les les soupapes d'admission d'air 22 à
l'égaliseur 16 sont ouvertes pour admettre une charge d'air à la vapeur
avant l'égalisation de la vapeur à partir du réservoir, forçant ainsi la vapeur
pré-existant dans l'égaliseur de la vapeur dans le collecteur. Les petites
ouvertures 100 formés dans la plaque de base 96 sur le réservoir 10
admettent juste assez d'air pour actionner le roseau vannes pour permettre
la vapeur et de l'air suffisante pour être tiré par un conduit de vapeur 14 et
de l'égaliseur 16 au moteur 20 pour fournir ralenti
régulier. L'air devant vannes 22 sont
toujours mis en avant des soupapes d'air arrière 12 et les liens 24
et 26 sont couplés à la pédale des gaz 28 de telle sorte que le
degré d'ouverture des vannes avant 22 dépasse toujours le degré
d'ouverture des vannes arrière 12.
Lors du démarrage
initial du moteur 20, en raison de l'état de fermeture des soupapes
arrière 12, une pression de vide poussé est créé à l'intérieur de la
cuve 10 qui entraîne l'ensemble de filtre 134 disposé dans le
réservoir 10 pour atteindre sa position de fonctionnement indiqué par le
trait plein sur la Fig.2. De
cette manière, une quantité relativement faible de vapeur est tirée directement
de filtre 134 à travers le conduit de vapeur 14 à moteur pour
permettre à ce dernier de fonctionner sur un mélange extrêmement maigre.
Lors de l'accélération
initiale, la prise d'air avant de soupape 22 s'ouvre davantage, tandis
que l'ensemble de papillon arrière 12 va commencer à ouvrir. Cette dernière action se réduire la pression
de vide à l'intérieur de la cuve 10 de sorte que l'ensemble de filtre 134
sera abaissé à sa position de fonctionnement alternatif est illustré en
pointillé sur la Fig.2. Dans
cette position, l'extrémité inférieure de l'ensemble de filtre 134 peut
en fait reposer sur le carburant liquide contenu dans le réservoir 10. Par conséquent, lors de l'accélération,
l'ensemble de filtre 134 est déplacé hors de communication de fluide
directe avec l'ouverture 82 de telle sorte que le conduit de vapeur 14
tire alors la vapeur de carburant et d'air à partir de l'ensemble du
réservoir 10 pour fournir un mélange de combustion riche du moteur, qui
est nécessaire lors de l'accélération.
Lorsque le véhicule atteint une vitesse
constante, et l'opérateur facilite la pédale d'accélérateur 28,
l'ensemble de vanne papillon arrière 12 se ferme, mais l'entrée d'air
avant 22 reste ouvert jusqu'à un certain degré. La fermeture de l'entrée d'air arrière 12 augmente
la pression de vide à l'intérieur de la cuve 10 à l'endroit où
l'ensemble de filtre 134 est tiré jusqu'à sa position de fonctionnement
initiale. Comme illustré, dans cette
position, l'ouverture 82 est sensiblement en alignement avec l'ouverture
151 du tuyau 150 de placer l'unité de filtre 134 en
communication fluidique directe avec le conduit de vapeur 14, ce qui
réduit ainsi la quantité de vapeur et le mélange de l'air introduit dans le
moteur. Toute vapeur alimenté par la
conduite 14 tandis que le filtre 134 est dans cette position est
censé être tiré directement sur l'unité de filtre lui-même.
J'ai été en mesure
d'obtenir des chiffres extrêmement élevés mpg avec le système de la présente
invention installé sur un moteur d'une voiture 1971 de fabrication américaine
classique V-8. En fait, les taux de
kilométrage de plus de cent miles par gallon US ont été obtenus avec la
présente invention. La présente
invention élimine le besoin de pompes conventionnelles de carburant, les
carburateurs et les réservoirs de carburant, faisant plus que contrebalancer
quels que soient les composants de la présente invention peut par ailleurs
ajouter au coût d'une voiture. Le système peut être construit avec des
composants et des techniques aisément disponibles, et peut être fourni sous
forme de kit, ainsi que l'équipement d'origine.
Bien entendu, de
nombreuses modifications et variations de la présente invention sont possibles
à la lumière des enseignements ci-dessus.
Par exemple, bien que décrite en liaison avec le fonctionnement d'un
véhicule automobile, la présente invention peut être appliquée de façon
universelle pour tous les moteurs à quatre temps dont le fonctionnement dépend
de la combustion de combustibles fossiles.
Par conséquent, il doit être compris que dans la portée des
revendications annexées, l'invention peut être mise en pratique autrement que
comme spécifiquement décrite ici.
Brevet américain 7 151 332 19 décembre 2006 InventEUr: Stephen Kundel
MOTEUR AYANT ALTERNATIF ET FAISANT TOURNER
DES AIMANTS PERMANENTS
Ce brevet décrit un moteur alimenté principalement
par les aimants permanents. Ce système utilise un châssis basculant pour
positionner les aimants mobiles afin qu'elles fournissent une force de rotation
continu sur l'arbre de sortie.
RÉSUMÉ
Un moteur qui a un rotor supporté pour la rotation autour d'un axe, et
au moins une paire d'aimants de rotor espacées angularité autour de l'axe et
pris en charge sur le rotor, au moins un aimant à mouvement alternatif et un
actionneur pour déplacer l'aimant alternatif cycliquement vers et loin de la
paire d'aimants de rotor et tournant en conséquence les aimants de rotor par
rapport à l'aimant à mouvement alternatif.
Références de brevet US :
0561144 Juin, 1896 Trudeau
1724446 Août, 1929
2790095 Avril,
1957 Peek et al.
3469130 Septembre,
1969 Jines et al.
3703653 Novembre, 1972 Tracy
3811058 Mai, 1974 Kiniski
3879622 Avril, 1975 Ecklin
3890548 Juin, 1975 Gray
3899703 Août, 1975 Kinnison
3967146 Juin, 1976 Howard
3992132 Novembre, 1976 Putt
4011477 Mars, 1977 Scholin
4151431 Avril, 1979 Johnson
4179633 Décembre, 1979 Kelly
4196365 Avril, 1980 Presley
4267647 Mai, 1981 Anderson et al.
4629921 Décembre, 1986 Gavaletz
4751486 Juin, 1988 Minato
5402021 Mars, 1995 Johnson
5594289 Janvier, 1997 Minato
5634390 Juin, 1997 Takeuchi et al.
5751083 Mai,
1998 Tamura et al.
5925958 Juillet,
1999 Pirc
6169343 Janvier, 2001 Rich, Sr.
6343419 Février, 2002 Litman et al.
6841909 Janvier, 2005 Six
20020167236 Novembre, 2002 Long
20040140722 Juillet, 2004 Long
CONTEXTE
DE L'INVENTION
Cette invention concerne le domaine des
moteurs. Plus particulièrement, ce qui a
trait à un moteur dont le rotor est entraîné par l'attraction mutuelle et de la
répulsion des aimants permanents sur le rotor et d'un oscillateur.
Différents types de moteurs sont utilisés
pour piloter une charge. Par exemple,
moteurs hydrauliques et pneumatiques utilisent le flux de liquide sous pression
et gaz, respectivement, à conduire un rotor relié à une charge. Ces moteurs doivent être munis constamment
d'un fluide sous pression d'une pompe entraînée par l'énergie convertie en
puissance de rotation par un moteur, comme un moteur à combustion interne. Le plusieurs processus de conversion d'énergie, les
pertes de flux et les pertes par pompage diminuent le rendement des systèmes
moteurs de ce type.
Moteurs électriques
conventionnels emploient la force exercée sur un conducteur placé dans un champ
magnétique actuel. Dans un moteur de CC,
le champ magnétique est fourni par aimants permanents ou par des bobines de
champ enroulées autour de pôles clairement définis de champ sur un stator. Les conducteurs dont la force est développée
sont situés sur un rotor et alimentés en courant électrique. La force induite dans l'enroulement sert à
appliquer le couple du rotor, dont la magnitude varie en fonction de
l'amplitude du courant et de la force du champ magnétique. Cependant, du flux de fuite, intervalles
d'air, les effets de la température et la force contre électromotrice réduisent
l'efficacité du moteur.
Dipôle permanent
aimants ont un pôle nord magnétique, un pôle sud magnétique et champ magnétique
entourant chaque pôle. Chaque pôle
magnétique attire un pôle de polarité magnétique opposée. Deux pôles magnétiques de la même polarité se
repoussent mutuellement. Il est
souhaitable qu'un moteur soit élaboré tel que son rotor est entraîné par
l'attraction mutuelle et de la répulsion des pôles d'aimants permanents.
RÉSUMÉ DE L'INVENTION
Un moteur selon la
présente invention comprend un rotor supporté pour la rotation autour d'un axe,
une première paire d'aimants de rotor dont la première et deuxième rotor
aimants espacement angulairement autour de l'axe et pris en charge sur le
rotor, un aimant à mouvement alternatif et un actionneur pour déplacer l'aimant
alternatif cycliquement vers et loin de la première paire d'aimants de rotor et
cycliquement tournant la première paire d'aimants de rotor par rapport à
l'aimant à mouvement alternatif.
Préférence le moteur comprend une deuxième paire d'aimants de rotor pris
en charge sur le rotor, espacé selon l'axe de la première paire d'aimants de
rotor, la deuxième paire comprenant un aimant rotor troisième et un quatrième
aimant rotor espacée angulairement autour de l'axe de l'aimant du rotor
troisième. L'aimant alternatif se trouve
axial entre les paires d'aimant de première et deuxième rotor et l'actionneur
cyclique déplace l'aimant alternatif vers et loin de la première et deuxième
paire d'aimants de rotor.
Les aimants sont des
aimants dipolaires permanents de préférence.
Les pôles de l'aimant alternatif sont disposés tels qu'ils sont
confrontés dans les directions latérales opposées.
Le moteur peut être
démarré en tournant manuellement le rotor autour de son axe. Rotation continue en utilisant l'actionneur
pour déplacer l'aimant alternatif vers la première paire d'aimants de rotor et
loin la deuxième paire d'aimants de rotor en rotation du rotor apporte le pôle
de référence de l'aimant du rotor premier plus près pour le pôle opposé de
l'aimant à mouvement alternatif et le pôle opposé de l'aimant du rotor deuxième
plus proche du pôle de référence de l'aimant à mouvement alternatif. Puis l'actionneur déplace l'aimant alternatif
vers la deuxième paire d'aimants de rotor et loin de la première paire
d'aimants de rotor lorsque la rotation du rotor apporte le pôle de référence de
l'aimant du rotor troisième plus près pour le pôle opposé de l'aimant à
mouvement alternatif et le pôle opposé de l'aimant du rotor quatrième plus près
vers le pôle de référence de l'aimant à mouvement alternatif.
Un moteur selon cette
invention ne nécessite aucune source d'énergie pour dynamiser une bobine de
champ, car les champs magnétiques du rotor et oscillateur sont produits par des
aimants permanents. Une pile de 9 volts
CC a été appliquée à un actionneur de commutation de mécanisme d'alterner la
polarité d'un solénoïde à la fréquence du rotor. Le solénoïde est suspendu au-dessus d'un
aimant permanent du mécanisme déclencheur, telles que la rotation du rotor et
la polarité alternée d'un solénoïde provoque l'actionneur à osciller l'aimant
alternatif à une relation de phase et de fréquence qui est plus efficace par
rapport à la rotation du rotor.
Le moteur est léger et
portable et nécessite seulement une batterie c. disponible dans le commerce de
CC portable pour alimenter un actionneur pour l'oscillateur. Aucuns électronique moteur d'entraînement n'est nécessaire. Fonctionnement du moteur est pratiquement
silencieux.
Divers objets et les
avantages de cette invention deviendront évidentes à celles du métier de la
suivante description détaillée de la réalisation préférée, quand lue à la
lumière des dessins annexés.
BRÈVE DESCRIPTION DES DESSINS
Ceux-ci et autres
avantages de la présente invention seront apercevra à celles versées dans l'art
de la description détaillée suivante d'un mode de réalisation préféré lorsqu'à
la suite des dessins annexés dans lequel :

Fig.1A est une vue
de côté d'un moteur selon cette invention ;

Fig.1B est une vue en
perspective du moteur de la Fig.1A

Fig.2 est une vue de
dessus de la moteur de Fig.1A et Fig.1B montrant les aimants de rotor
disposés horizontalement et les aimants alternatif situés près d'une extrémité
de leur gamme de voyage

Fig.3 est une vue de
dessus du moteur de la Fig.2 montre les aimants de rotor a tourné moitié
révolution de la position illustrée à la Fig.2 et les aimants alternatif
situés près de l'extrémité opposée de leur gamme de voyage

Fig.4 est un
diagramme schématique d'un premier état de l'assemblée de commutation
actionneur du moteur de Fig.1

Fig.5 est un
diagramme schématique d'un deuxième état de l'assemblée de commutation
actionneur du moteur de Fig.1

Fig.6 vue en coupe
transversale d'un arbre de douille est alignée sur l'arbre du rotor montrant un
pont et un doigt de contact contact avec plaques de l'Assemblée de commutation

Fig.7 une vue isométrique montrant les doigts contact de commutation
sécurisée sur bras de pivotement et assise sur les connecteurs de pont de
l'Assemblée de commutation

Fig.8 est
isométrique croix vue en coupe montrant un pilote qui comprend un solénoïde et
un aimant permanent pour osciller le bras en réponse à la rotation de l'arbre
du rotor

Fig.9 est une vue de dessus d'un autre arrangement les aimants de rotor, dans
lequel ils sont disposées horizontalement et pivote de 90 degrés de la position
illustrée à la Fig.2, et les aimants alternatif sont situés près de fin
de leur aire de déplacement

Fig.10 est une vue de dessus indiquant l'aimant du rotor de la Fig.9
tourné moitié révolution de la position indiquée dans la Fig.9 et les
aimants alternatif situés près de l'extrémité opposée de leur gamme de
déplacement ; et

Fig.11 une vue de dessus du moteur montre un troisième arrangement des aimants
du rotor, qui se sont inclinés par rapport à l'axe et les aimants alternatif.

Fig.12 est un graphique montrant le déplacement angulaire de l'arbre du rotor 10
et déplacement linéaire des aimants à mouvement alternatif

Fig.13 est une vue de dessus d'une paire d'aimants de rotor disposé
horizontalement et alternatifs à des aimants situés près d'une extrémité de
leur gamme de voyage

Fig.14 est une vue de
dessus du moteur du Fig.13 montrant les aimants de rotor a tourné demie
révolution de la position indiquée sur la Fig.13 et les aimants
alternatif situés près de l'extrémité opposée de leur aire de répartition du
voyage ; et

Fig.15 est un point de
vue de croix vue en coupe d'une autre incarnation du moteur selon la présente
invention.
DESCRIPTION DÉTAILLÉE DE LA RÉALISATION PRÉFÉRÉE

Un moteur conformément
à la présente invention, illustré sur la Fig.1A et la Fig.1B
comporte un arbre de rotor supporté en rotation 10 autour de l'axe 11
sur des paliers 12 et 14 situés sur des supports verticaux 16 et
18 d'une trame. Un mécanisme
d'oscillation comprend des bras de l'oscillateur 20, 22 et 24 monté
pivotant sur des paliers 26, 28 et 30 respectivement, solidaire d'un support
horizontal 32, qui est fixé à chaque extrémité axiale des supports
verticaux 16 et 18. Les bras
oscillants 20, 22 et 24 sont formés avec des trous traversants 15 alignés
avec l'axe 11 de l'arbre de rotor 10, les trous permettant la
rotation de l'arbre du rotor et de pivotement d'oscillation du bras, sans
produire une interférence entre le rotor et les bras.
S'étendant dans des
directions diamétralement opposées à partir de l'axe du rotor 11 et
fixée à l'arbre du rotor 10, sont quatre plaques 33 axialement
espacés mutuellement le long de l'axe du rotor, chaque plaque de support des
aimants permanents fixé à la plaque et tournant avec l'arbre du rotor.
Chaque bras pivotant de
l'oscillateur 20, 22 et 24 du support de mécanisme d'oscillateur aimants
permanents situés entre les aimants de l'arbre du rotor. Hélicoïdale retour hélicoïdal de compression des ressorts 34 et 35
s'appliquent à l'opposé des forces dirigées à l'oscillateur bras 20 et 24 car
ils pivotent autour de leurs supports pivotants respectifs 26 et 30,
respectivement. Du point de vue de la Fig.1A
et Fig.1B, quand le printemps 34 est comprimé par le déplacement
du bras oscillant, le ressort exerce une force sur le droit à l'oscillateur
bras 20 qui tend à le ramener à son point mort, la position de
départ. Quand le printemps 35 est
comprimé par le déplacement du bras 24, le ressort applique une force à
la gauche pour armer 24 tendant à le ramener à sa position de départ
neutre.
Les bras oscillants 20, 22 et 24 oscillent
autour de leurs paliers supportés 26, 28 et 30, tels qu'ils se déplacent
en réponse à un actionneur 36, qui comprend un bras d'actionnement 38,
fixé par des paliers 39, 40 et 41 pour les bras de l'oscillateur 20 ,
22 et 24, respectivement. Actionneur 36
entraîne le bras d'actionnement 38 pour un mouvement alternatif
linéaire vers la gauche et vers la droite à partir de la position représentée
sur la Fig.1A et la Fig.1B.
Les paliers 39, 40 et 41, permettent aux bras de l'oscillateur 20,
22 et 24 de pivot et la jambe de force à traduire sans interférence
mutuelle. Des paires de roues de
guidage 37a et 37b espacées le long de bras d'actionnement 38,
comprennent chacun une roue située sur un côté opposé du bras d'actionnement 38
de l'autre roue de la roue-paire, pour guider le mouvement linéaire de la
jambe de force et le maintien des bras de l'oscillateur 20, 22 et 24 sensiblement
dans un plan vertical comme ils oscillent.
En variante, les bras oscillants 20, 22 et 24 peuvent être
remplacés par un mécanisme qui permet aux aimants sur les bras de l'oscillateur
à un mouvement alternatif linéaire avec le bras de l'actionneur 38 au
lieu de pivoter au-dessus de l'arbre de rotor 10 à 26, 28
et 30.

Fig.2 montre une première disposition des aimants de rotor permanents 42-49
qui tournent autour de l'axe 11 et sont fixées à l'arbre de rotor 10,
et les pistons des aimants permanents 50 - 52 qui se déplacent le long
de l'axe 11 et sont fixées aux bras oscillants 20, 22 et 24. Chaque aimant a un pôle de polarité de référence et
un pôle de polarité opposée à celle de la polarité de référence. Par exemple, les aimants du rotor 42, 44,
46 et 48, situées sur un côté de l'axe 11, ont chacun un axe nord,
pôle positif ou référence 54 faisant face à un actionneur 36 et
au sud, le pôle négatif ou en face de 56 l'opposé de l'actionneur. De même, la rotation des aimants 43, 45,
47 et 49, diamétralement opposées aux aimants de rotor 42, 44, 46 et 48,
ont chacune un pôle sud dirigé vers l'actionneur 36 et un pôle nord
tournée à l'opposé de l'actionneur. Les
pôles nord 54 des pistons aimants 50 - 52 visage vers la droite
du point de vue selon Fig.2 et Fig.3 et leurs pôles sud 56 visage
vers la gauche.

Fig.4 montre un
ensemble de commutation situé dans la zone de l'extrémité gauche de l'arbre de rotor
10. Un cylindre 58, de
préférence formée de PVC, est fixé à l'arbre du rotor 10 du cylindre 58
comporte des plaques de contact 59 et 60, de préférence en laiton,
qui se trouvent sur sa surface extérieure, aligné angulairement et s'étendant
sur environ 180 degrés autour de l'axe 11, comme représenté sur la Fig.5. Cylindre 58 comporte des plaques de
contact 61 et 62, de préférence en laiton, qui se trouvent sur sa
surface extérieure, aligné angulairement, s'étendant sur environ 180 degrés
autour de l'axe 11, et décalés axialement par rapport au contact avec
les plaques 59 et 60.
Une alimentation CC 64,
a ses bornes positive et négative connectées électriquement par l'intermédiaire
des doigts de contact 66 et 68, pour communiquer avec les plaques 61
et 62, respectivement. Un troisième
doigt de contact 70, représenté en contact avec la plaque 61,
relie la borne 72 d'un solénoïde 74 électriquement à la borne
positive de la source d'alimentation 64 par le contact du doigt 66 et
la plaque de contact 61. Une
quatrième contact du doigt 76, représenté en contact avec la plaque 62,
reliant la borne 78 du solénoïde 74 électriquement à la borne
négative de l'alimentation 64 par le contact du doigt 68 et la
plaque de contact 62. Une
cinquième doigt de contact 80, axialement alignée avec la plaque de
contact 59 et décalés axialement par rapport à la plaque de contact 61,
est également reliée à la borne 78 de solénoïde 74.
De préférence, le bloc
d'alimentation CC 64 est une pile de neuf volts, ou un adaptateur d'alimentation
CC, dont l'entrée peut être un 120 volts, source d'alimentation de 60 Hz
classique. Le mécanisme d'alimentation
en énergie à courant continu et commutation décrit en référence aux Figs.4 à
7, peut être remplacé par une source d'alimentation CA connectée
directement aux bornes 72 et 78 du solénoïde 74. Étant donné que les cycles de courant
d'entrée, la polarité de l'électroaimant 74 en alternance, le bras
d'actionnement 38 se déplace par rapport à un aimant permanent toroïdal 90
(représenté sur la Fig.8), et les pistons des aimants 50 - 52 la
pareille sur les bras oscillants 20, 22 et 24 qui sont entraînés par le
bras d'actionneur 38.

Fig.5 montre l'état
de l'ensemble de commutation lorsque l'arbre de rotor 10 a tourné
d'environ 180 degrés à partir de la position représentée sur la Fig.4. Lorsque l'ensemble de commutation est dans
l'état représenté sur la Fig.5, alimentation en courant continu 64 a
ses bornes positive et négative connectées électriquement par des doigts de
contact 66 et 68 de communiquer avec les plaques 59 et 60,
respectivement. Contactez doigt 70,
montré en contact avec la plaque 60, relie la borne 72 de
l'électroaimant 74 électriquement à la borne négative de l'alimentation 64
par le contact du doigt 68 et le contact plaque 60. Contactez doigt 80, montré en contact
avec la plaque 59, relie la borne 78 de l'électroaimant 74 électriquement
à la borne positive par le contact du doigt 66 et le contact plaque 59. Contactez doigt 76, axialement aligné
avec la plaque de contact 62 et décalée axialement du contact plaque 60,
reste connecté à la borne 78 de l'électroaimant 74 de cette
manière, la polarité de l'électroaimant 74 change comme le rotor 10 tourne
à travers chaque demi-révolution.

Fig.6 montre en
coupe transversale, le cylindre 58 qui est aligné avec et entraîné par
l'arbre de rotor 10, un doigt de contact 70, et les plaques de
contact 59 à 62 de l'ensemble de commutation, qui tournent avec l'arbre
du rotor et le cylindre autour de l'axe 11.

Comme l'illustre la Fig.7,
les bras espacés axialement 82 sont supportés sur un arbre de liaison 71,
de préférence en Teflon ou autre matériau auto-lubrifiant, afin de faciliter le
pivotement des bras autour de l'axe de l'arbre 71. Chaque doigt de contact 66, 68 , 70, 76 et
80 est situé à l'extrémité d'un bras 82, 84 et des ressorts de
traction, fixé à chaque bras 82, pousser les doigts de contact 66,
68, 70, 76 et 80 en permanence vers un engagement avec les plaques de
contact 59 – 62.

Fig.8 illustre le
dispositif d'actionnement 36 pour un mouvement alternatif du bras
d'actionnement 38 en réponse à la rotation de l'arbre de rotor 10 et
la polarité de l'alternance de l'électro-aimant 74. L'actionneur 36 comprend
l'électro-aimant 74, l'aimant permanent toroïdal 90, une araignée
souple élastique 92 destiné à supporter l'électro-aimant au-dessus du
plan de l'aimant, et un panier ou d'un cadre 94, dans laquelle le
croisillon est fixé. Le bras
d'actionnement 38 est fixé au solénoïde 74. La polarité de l'électro-aimant 74 changements
que l'arbre de rotor 10 tourne, ce qui provoque l'électro-aimant et
l'actionneur bras 38 à mouvement alternatif en raison de la polarité de
l'alternance de l'électro-aimant par rapport à celle de l'aimant permanent
toroïdal 90. Étant donné que les
changements de polarité des électrovannes, le bras d'actionnement 38 effectue
un mouvement alternatif de manière linéaire en raison des forces alternatives
d'attraction et de répulsion de l'aimant 74 par rapport aux pôles de
l'aimant 90 le bras d'actionnement 38 est fixé sur les bras
oscillants 20, 22 et 24 causant les faire pivoter, et les aimants
alternatifs de 50 à 52, fixés sur les bras de l'oscillateur, à un
mouvement alternatif. En variante, les
aimants alternatifs de 50 à 52 peuvent être fixés directement sur le
bras 38, de sorte que les aimants 50 - 52 réciproque et sans
nécessité d'une composante oscillante intermédiaire.
Il est important de
noter à ce stade de la description que, lorsque les deux aimants se rapprochent
de leurs pôles de même polarité se font face mais légèrement décalée, il existe
une tendance pour les aimants de tourner à l'opposé de l'autre aimant. Par conséquent, dans le mode de réalisation
préféré de la présente invention, la position angulaire à laquelle l'ensemble
de commutation de l'actionneur 36 changements entre les états de la Fig.4
et la Fig.5 est légèrement déphasé par rapport à la position angulaire
de l'arbre de rotor 10 à aider à propulser élingue ou le bras
d'actionnement 38 dans le sens inverse à la position souhaitée de
l'arbre du rotor. Le décalage de phase optimale est d'environ 5-8 degrés. De cette façon, on profite de la tendance de
chaque aimant du rotor en rotation autour de son propre champ magnétique
lorsqu'il est légèrement décalé par rapport à l'aimant alternatif respectif, et
la force de répulsion entre pôles de même des pistons des aimants et des
aimants du rotor est optimisée pour propulser l'aimant de rotor sur l'axe du
rotor 11, ce qui augmente l'efficacité globale du moteur.

Fig.12 est un graphique représentant le déplacement angulaire de l'arbre 96
du rotor 10 et le déplacement linéaire 98 des aimants à
mouvement alternatif 50-52. Point 100 représente la fin de la plage de
déplacement des aimants alternatifs de 50 à 52 représentés sur les Fig.2
et Fig.9, et le point 102 représente l'extrémité opposée de la
plage de déplacement des aimants alternatifs de 50 à 52 représentés sur
les Fig.3 et Fig.10. Point 104 représente la position
angulaire des aimants de rotor 42 à 49 lorsque, dans le plan horizontal
représenté sur les Fig.2 et Fig.9, et le point 106 représente
la position angulaire des aimants de rotor 42 à 49 mis en rotation quand
une demi-rotation par rapport au plan horizontal représenté sur la Fig.3
et la Fig.10. De préférence, les pistons
aimants 50 - 52 et aimants de rotor de 42 à 49 sont en opposition
de phase: les pistons aimants plomb et les aimants du rotor accusent de
plusieurs degrés. Les aimants
alternatifs 50 - 52 atteignent les extrémités respectives de leur gamme
de voyage avant de rotation du rotor se déplace les aimants du rotor de 42 à
49 dans le plan horizontal.
Lorsque les pôles de
référence 54 et 56 des pôles opposés des aimants de rotor 42 à 49 et
les aimants alternatifs de 50 à 52 sont disposés comme représenté sur la
Fig.2 et la Fig.3, la position du rotor est stable lorsque les
aimants du rotor sont dans un plan horizontal.
La position du rotor est instable dans une autre position angulaire, et
il se déplace vers la stabilité horizontale à partir de n'importe quelle
position instable, et est moins stable lorsque les aimants de rotor 42 à 49 sont
dans un plan vertical. Le degré de
stabilité de l'arbre de rotor 10 est une conséquence de l'attraction et
la répulsion mutuelle des pôles des aimants de rotor 42 à 49 et les
aimants alternatifs de 50 à 52 et la proximité relative entre les
pôles. Dans la Fig.2, le
mouvement alternatif magnets 50 - 52 sont situés à une première
extrémité de voyage. Dans la Fig.3,
les pistons aimants 50 - 52 ont un mouvement alternatif à l'extrémité
opposée de voyage, et les aimants du rotor ont tourné d'un demi-tour de la
position représentée sur la Fig.2.
Lorsque le rotor est à l'arrêt, la rotation
peut être facilement démarré manuellement par l'application d'un couple dans
les deux sens. Actionneur 36 maintient
la rotation du rotor après qu'il se connecte à la source d'alimentation. La rotation de l'arbre du rotor 10 autour
de l'axe 11 est favorisée par le mouvement cyclique des aimants
alternatifs de 50 à 52, leur emplacement axial entre les paires
d'aimants de rotor 42 à 43, 44 - 45, 46-47 et 48 - 49, la disposition de
leurs pôles en relation avec les pôles des aimants du rotor et de la relation
de fréquence et de phase de leur mouvement alternatif par rapport à la rotation
des aimants du rotor. Actionneur 36
maintient le rotor en rotation 10 et le bras actionneur 38 oscillant
à la même fréquence, la relation de phase étant tel que décrit en référence à
la Fig.12.
Avec les aimants de
rotor 42 et 49 comme représenté sur la Fig.2, en vue de dessus,
les pôles nord 54 des aimants du rotor sur le côté gauche de l'axe 11,
la face d'une première direction axiale 110, c'est à dire, vers
l'actionneur 36, et les pôles nord 54 des aimants du rotor sur le
côté droit de l'axe 11 visage dans la direction opposée axiale 112,
loin de l'actionneur 36. Lorsque
les aimants de rotor de 42 à 49 sont situés dans la Fig.2, les
pôles Nord 54 de pistons aimants 50 - 52 sont adjacents les pôles
sud 56 aimants de rotor 45, 47 et 49, et les pôles sud 56 de
pistons aimants 50 - 52 sont adjacents les pôles nord 54 de rotor
aimants 44, 46 et 48.

En outre, lorsque
l'arbre de rotor 10 tourne vers la position représentée sur la Fig.2,
les aimants alternatifs 50 - 52 sont situés à ou près de l'une des
extrémités de leur voyage axiale, de sorte que les pôles nord 54 de
piston aimants 50 - 52 sont situé à proximité des pôles sud 56 de
l'aimant de rotor 45, 47 et 49, respectivement, et relativement plus
éloignés des pôles nord des aimants de rotor 54 43, 45 et 47, respectivement.
De la même façon, les pôles sud 56 d'aimants à pistons 50-52 sont
situés à proximité des pôles nord de l'aimant de rotor 44, 46 et 48,
respectivement, et relativement plus éloignés des pôles sud des aimants de
rotor 42, 44 et 46, respectivement.
Avec les aimants du
rotor 42 et 49 en rotation dans un plan horizontal, une demi-révolution
de la position de la Fig.1B, en vue de dessus comme le montre la Fig.3,
les pôles nord des aimants 54 de piston 50 - 52 sont situés au
voisinage du sud pôles des aimants de rotor 42, 44 et 46, et les pôles
sud 56 de pistons aimants 50 - 52 sont situés au voisinage des
pôles nord 54 aimants de rotor 43, 45 et 47, respectivement. Lorsque l'arbre de rotor 10 se trouve,
comme illustré sur la Fig.3, les aimants alternatifs 50 - 52 sont
situés à ou près de l'extrémité opposée de leur voyage axiale de celle de la Fig.2,
de telle sorte que les pôles nord des aimants de 54 à mouvement
alternatif 50 - 52 sont situées à proximité des pôles sud 56 de
l'aimant de rotor 42, 44 et 46, respectivement, et relativement plus
éloignés des pôles nord des aimants de rotor 44, 46 et 48,
respectivement. De même, lorsque l'arbre
de rotor 10 se trouve, comme illustré sur la Fig.3, les pôles sud
56 de pistons aimants 50 - 52 sont situés près des pôles nord de
l'aimant du rotor respectivement 43, 45 et 47, et relativement plus
éloignés des pôles sud de aimants du rotor respectivement 45, 47 et 49.
En fonctionnement, la rotation de l'arbre du
rotor 10 dans les deux sens angulaire est démarré manuellement ou avec un
démarreur-actionneur (non représenté). L'actionneur à
mouvement alternatif 36 des causes des aimants 50-52 à osciller
ou aller et venir à la même fréquence que la fréquence de l'arbre de rotor 10
en rotation, à savoir un cycle de mouvement alternatif par cycle de
rotation, de préférence avec la relation de phase illustré sur la Fig.12. Lorsque les pistons des aimants 50-52 sont
situées comme représenté sur la Fig.2, l'arbre de rotor 10 aura
terminé sur un demi-tour à partir de la position de la Fig.3 à la
position de la Fig.2.
La rotation du rotor 10
est facilitée par attraction mutuelle entre les pôles nord 54 des
aimants alternatifs 50 - 52 et les pôles sud 56 des aimants de
rotor 43, 45, 47 et 49 qui sont alors plus proche respectivement aux
pôles nord de la réciprocité des aimants 50 - 52, et l'attraction
mutuelle entre les pôles sud d'aimants alternatifs 50 - 52 et les pôles
nord des aimants de rotor 42, 44, 46 et 48 qui sont alors plus proche
respectivement aux pôles nord des aimants alternatifs.
Supposons que l'arbre
de rotor 10 est en rotation dans le sens antihoraire, vu de l'actionneur
36, et les aimants de rotor 42, 44, 46 et 48 sont situés
au-dessus des aimants de rotor 43, 45, 47 et 49 avec l'arbre de rotor 10
disposé de telle sorte que les aimants alternatifs 50 - 52 sont à
peu près à mi-chemin entre les positions représentées sur la Fig.2 et la
Fig.3 et se déplaçant vers la position représentée sur la Fig.2,
que la rotation se poursuit, le pôle sud de chaque aimant alternatif 50 - 52
applique une attraction vers le bas à l'pôle nord 54 de la plus
proche des aimants du rotor 44, 46 et 48, et le pôle nord 54 de
chaque aimant alternatif 50 - 52 attire vers le haut le pôle sud 56 de
l'aimant le plus proche du rotor 45, 47 et 49. Cette attraction mutuelle de la pôles
entraîne le rotor en rotation dans le sens antihoraire pour poursuivre la
position de la Fig.2.
Ensuite, les aimants
alternatifs de 50 à 52 commencent à se déplacer vers la position
représentée sur la Fig.3, et l'inertie du rotor surmonte la force
constante diminution de l'attraction entre les pôles qui se déplacent
mutuellement à part, ce qui permet de l'arbre de rotor 10 de poursuivre
sa rotation dans le sens antihoraire dans l'plan vertical où aimants de rotor 43,
45, 47 et 49 sont situés au-dessus des aimants de rotor 42, 44, 46 et 48. Comme l'arbre du rotor 10 tourne
au-delà du plan vertical, les aimants alternatifs de 50 à 52 continuent
à se déplacer vers la position de la Fig.3, le pôle sud 56 de
chaque aimant alternatif 50 - 52 attire vers le bas le pôle nord de
l'aimant le plus proche du rotor 43, 45 et 47, et le pôle nord 54 de
chaque aimant alternatif 50 - 52 attire vers le haut le pôle sud 56 de
la plus proche aimant de rotor 42, 44 et 46, entraînant le rotor 10 en
rotation dans le sens antihoraire à la position de la Fig.3. Inertie du rotor maintient la rotation en
sens inverse, les aimants alternatifs 50 - 52 commencent à se déplacer
vers la position représentée à la Fig.2, et l'arbre du rotor 10 revient
au plan vertical où aimants du rotor 43, 45, 47 et 49 sont situés
au-dessus des aimants de rotor 42, 44, 46 et 48, ce qui achève une
révolution complète.

Fig.9 et Fig.10 montrer un second arrangement de moteur, dans lequel
les pôles des aimants du rotor 142 à 149 sont parallèles à et font face
à la même direction que celles des aimants alternatifs 50 - 52. Le fonctionnement du moteur agencé comme
représenté sur la Fig.9 et la Fig.10 est identique au
fonctionnement décrit en référence aux Fig.2 et Fig.3. Dans le mode de
réalisation de la Fig.9 et la Fig.10, les pôles des aimants
alternatifs 50 - 52 face plus directement les pôles des aimants de rotor
de 142 à 149 dans l'agencement de la Fig.2 et la Fig.3. Les forces d'attraction et de répulsion entre
les pôles ne sont plus dans le mode de réalisation de la Fig.9 et la Fig.10,
par conséquent, plus le couple est développé. La valeur du couple est une
fonction de l'intensité des forces magnétiques, et la distance sur laquelle les
forces fonctionnent.

Fig.11 montre un
troisième mode de réalisation du moteur dans lequel la partie extérieure
radiale des plaques de rotor 33' sont en biais par rapport à l'axe 11
de telle sorte que les pôles des aimants de rotor 42 à 49 sont
inclinés par rapport aux pôles des pistons aimants 50 - 52. Fonctionnement du moteur agencé comme représenté sur la Fig.11
est identique au fonctionnement décrit en référence à Fig.2 et Fig.3.

Fig.13 et Fig.14 montrer un quatrième mode de réalisation de
l'automobile, dans lequel chacun des deux aimants à pistons 50 et 51 est
située sur un côté axial opposé de la paire d'aimants de rotor 44 et 45 de
fonctionnement du moteur agencé comme représenté sur la Fig.13 et la Fig.14
est identique de l'opération décrite en référence à la Fig.2 et la Fig.3.
Le sens de rotation de
la sortie peut être dans n'importe quelle direction angulaire en fonction de la
direction du couple de démarrage.
Le moteur peut produire un mouvement
alternatif de sortie sur le bras d'actionnement 38 à la place de la
sortie de rotation décrit ci-dessus lors de la déconnexion bras d'actionnement 38
de l'actionneur 36, et la connexion d'une manivelle ou d'un
dispositif fonctionnellement similaire, dans le trajet d'entraînement entre
l'actionneur et l'arbre de rotor 10.
Le vilebrequin transforme la rotation de l'arbre de rotor 10 à un
mouvement alternatif de l'actionneur 30 dans ce cas, l'arbre de rotor 10
est entraîné en rotation dans les deux sens par la source d'alimentation,
et la sortie est prise sur le bras à mouvement alternatif 38, qui reste
relié en entraînement les bras oscillants 20, 22 et 24 les pistons
aimants 50, 51 et 52 entraînent les bras oscillants 20, 22
et 24.

Dans la perspective de
la vue en coupe transversale représentée sur la Fig.15, un carter
extérieur 160 contient un moteur selon la présente invention fonctionne
sensiblement le même que le mode de réalisation du moteur plus efficace
représenté sur la Fig.1A et la Fig.1B, mais présentant un aspect
commercial. Le rotor comporte des disques
162 et 164, qui sont reliés par un tambour externe 166 en
matériau non magnétique. La surface
supérieure 167 du tambour 166 forment un bouclier magnétique
entourant le rotor. Monté sur le disque
inférieur 164 sont incurvées aimants de rotor 168 et 170, qui
s'étendent angulairement sur un arbre de rotor 172, qui est fixée au
rotor. Des aimants montés sur le disque
supérieur 162, sont incurvées rotor 174 et 176, qui s'étendent de
manière angulaire autour de l'arbre de rotor 172. La référence 178, sont des pôles et
les pôles opposés sont 180. Manchon 182 tourne avec le rotor.
Un piston à mouvement alternatif 184,
qui se déplace verticalement mais ne tourne pas, soutient l'aimant alternatif 186,
188 et dont le pôle pôle opposé référence 190 s'étendent angulairement
autour de l'axe du piston 184.
Un électroaimant 192,
comparable à l'aimant 90 de l'actionneur 36 illustré à la Fig.8,
se trouve un électro-aimant adjacent 194, comparable à solénoïde 74 de
la Fig.4 et la Fig.5. La
polarité des électrovannes 194 alterne lors de la rotation du
rotor. En termes simples, comme une
conséquence de la polarité de l'alternance de l'électro-aimant 194, le
piston alternatif 184 de va et vient qui, à son tour, continue de faire
avancer le rotor de manière plus efficace, à l'aide des forces d'attraction et
de répulsion entre les aimants du piston 186 et des aimants de rotor 168,
170 , 174 et 176 comme décrit ci-dessus et représentée sur l'une des
différentes formes de réalisation utilisant des Fig.2, Fig.3, Fig.9, Fig.10,
Fig.11, Fig.13 et Fig.14. Bien
entendu, de même que la polarité de l'alternance de l'électro-aimant peut
mettre le moteur en mouvement, ne peut donc la rotation du rotor, comme décrit
ci-dessus. Un capteur photoélectrique 196
et bague 198 peut être utilisé, comme une alternative au mode de
réalisation mécanique décrit dans la Fig.4 à laFig.7, pour
déterminer la position angulaire du rotor de façon à alterner la polarité de
l'électro-aimant 194 avec le rotor à correspondent à la phase et le
cycle représenté sur la Fig.12.
Brevet US 5 455 474 3 octobre 1995 InventEUr: Charles
Flynn
CONSTRUCTION DE MOTEUR MAGNÉTIQUE
Ce brevet donne des détails d'un moteur à
aimant permanent qui utilise l'électro-aimant de blindage pour atteindre une
rotation continue. La puissance d'entrée
est très faible, avec même une pile de 9 volts, être en mesure de faire
fonctionner le moteur. La puissance de
sortie est substantielle et opération jusqu'à 20 000 tr/min est possible. Construction est également très simple et bien dans
les capacités du bricoleur moyen. Il
devrait se rendre compte que la puissance de ce moteur est livré depuis les
aimants permanents et non à partir de l'entrée de la petite batterie utilisée
pour prévenir des champs magnétiques de lock-up.
RÉSUMÉ
La présente invention
est un moteur à aimants permanents positionnée de sorte qu'il y a une
interaction magnétique entre eux. Une
bobine placée dans l'espace entre les aimants permanents est utilisée pour
contrôler l'interaction magnétique.
Cette bobine est connectée à une source électrique contrôlé et
potentiels commutation afin que l'interrupteur de fermeture place une tension
sur le serpentin et affecte l'interaction magnétique entre les aimants
permanents engendre un mouvement de rotation de l'arbre de sortie.
Références de brevet US :
3096467
Brushless d. c. motor with permanent magnet rotor July, 1963 Angus et
al. 318/138
3569806
Starting Arrangement for Solid-State Motor March, 1971
Brailsford 318/254
3670189
Gated Permanent Magnet Motor June, 1972
3796039
Electric Micromotor March,
1974 Lucien 310/268
3883633
Commutatorless Motor May, 1975 Kohler 310/152
4151431
Permanent Magnet Motor April,
1979 Johnson 310/12
4187441
High-power-density Brushless DC Motor February, 1980 Oney 310/112
4758756
Vernier-type Electrodynamic Machine July,
1988 Pouillange 310/152
4875110
Rotary-head Apparatus with Motor Magnet October,
1989 Kazama 310/268
4972112
Brushless DC Motor November,
1990 Kim 310/181
5179307
Direct Current Brushless Motor January, 1993 Porter 310/268
Références étrangères :
DE210005 July,
1960 310/181
JP0025153 February,
1982 310/181
JP01521078 September,
1982 310/152
JP0002840 January, 1987 310/152
CONTEXTE DE L'INVENTION
La présente invention
est une amélioration sur les inventions divulguées dans les demandes de brevet
07/322 121 et 07/828, 703. Les
dispositifs divulguées dans ces demandes se rapportent aux moyens de production
d'énergie utile à l'aide d'aimants permanents comme la source motrice. Ceci est également vrai de la présente
invention qui représente une amélioration importante sur les constructions
connues et l'autre qui est plus simple à construire, peut être faite pour être
autonome à partir, est plus facile à régler, et est moins susceptible d'avoir
déréglé. La construction actuelle est
aussi relativement facile à contrôler, est relativement stable et produit une
quantité incroyable d'énergie de sortie tenant compte de la source d'énergie
qui est utilisée au volant. La
construction actuelle utilise des aimants permanents comme la source d'énergie
mais montre de conduite nouveau moyen de contrôler l'interaction magnétique
entre les membres de l'aimant d'une manière qui est relativement robuste,
produit une quantité importante d'énergie de sortie et de couple et dans un
dispositif susceptible d'être utilisé pour générer des quantités substantielles
d'énergie qui est utile pour de nombreuses raisons différentes.
La présente invention
réside a une structure de support fixe avec un ou plus fixée à aimants
permanents comme un aimant permanent annulaire monté dessus avec les visages de
pôle de l'aimant permanent sur des faces opposées de l'aimant. L'appareil a un ou plus relativement plat bobines positionnées autour du
bord de l'un des visages de l'aimant, et un arbre s'étend à travers l'aimant
permanent avec un ou plusieurs autres aimants attaché à elle. Les aimants permanents espacées et l'aimant
permanent fixe ont leurs polarités arrangées pour produire une interaction
magnétique entre eux. Le dispositif
comprend également un circuit pour sélectivement et successivement énergisant
les bobines pour contrôler l'interaction magnétique entre les aimants de façon
à produire la rotation entre eux. Diverses
méthodes peuvent être utilisées pour contrôler l'application de l'énergie à des
bobines dont une minuterie ou un mécanisme de contrôle monté sur l'axe de
rotation. Cette conception est possible départ autonome ou comme à démarrer avec
l'aide initiale d'établir la rotation.
OBJETS DE L'INVENTION
C'est un objet principal de la présente
invention pour enseigner la construction et le fonctionnement d'un dispositif
relativement simple, de type moteur à l'aide d'aimants permanents de manière
unique pour générer de rotationnels ou d'autres formes de mouvement.
Un autre objet est d'enseigner la
construction et l'exploitation d'une relativement simple, moteur-comme le
dispositif ayant roman signifie pour accouplement et/ou de découplage des
aimants permanents relativement mobiles pour produire le mouvement.
Un autre objet doit fournir roman signifie
pour contrôler le couplage et découplage d'aimants relativement mobiles.
Un autre objet est de
rendre la génération d'énergie de rotation moins cher et plus fiable.
Un autre objet est
d'enseigner une nouvelle façon de produire de l'énergie en faisant varier les
forces d'interaction magnétique entre les aimants permanents.
Un autre objet est de
fournir un moyen peu coûteux de produire de l'énergie.
Un autre objet est de fournir une substitut
source d'énergie pour une utilisation dans des endroits où sont utilisés des
moteurs conventionnels, des générateurs et des moteurs.
Ces objets et autres
avantages de la présente invention deviendront évidentes après avoir examiné
les spécifications détaillées suivantes de préférentielles en conjonction avec
les dessins annexés.
BRÈVE DESCRIPTION DES DESSINS

Fig.1 est une vue de
côté d'un appareil magnétique construite selon la présente invention.

Fig.2 est une vue
éclatée de l'appareil indiqué dans Fig.1.

Fig.3 est une vue de
côté fragmentaire d'un des aimants amovibles et l'aimant fixe, dans une
position de l'appareil.

Fig.4 une vue est
similaire à la Fig.3, mais montrant la relation entre les autres aimants
amovibles et l'aimant fixe dans la même position de rotation de l'appareil.

Fig.5 une vue
fragmentaire est similaire à la Fig.3, mais montrant une interaction de
répulsion entre les aimants permanents relativement mobiles.

Fig.6 une vue est
semblable à la Fig.4 pour la condition indiquée dans Fig.5.

Fig.7 une vue
latérale montre un autre mode de réalisation qui est capable de produire une
plus grande énergie et le couple.

Fig.8 une vue
d'élévation fragmentaire est semblable à la Fig.3 pour l'installation
des Fig.7.

Fig.9 une vue est
similaire à la Fig.4 pour la construction montrée Fig.7.

Fig.10 une vue est
semblable à la Fig.3 pour le périphérique indiqué dans la Fig.7,
mais avec la polarité de l'un des aimants permanent fixes inversés.

Fig.11 une vue
fragmentaire est similaire à Fig.4 pour l'appareil, comme le montre Fig.7
et Fig.10.

Fig.12 est une vue
altitudinal de côté d'un autre mode de réalisation de l'appareil.

Fig.13 est un schéma
de circuit schématique du circuit pour les dispositifs de Figs.1, 7 et 12.

Fig.14 est une vue en
perspective d'un autre mode de réalisation.

Fig.15 est une réalisation simplifiée de l'appareil, montrant l'utilisation
d'une rotation aimant et une bobine placée dans le plan entre les aimants
rotatifs et fixes.

Fig.16 est une réalisation simplifiée de l'appareil, montrant l'utilisation
d'un aimant mobile et trois bobines disposées dans un plan entre les aimants
rotatifs et fixes.

Fig.17 est une vue de côté d'une bobine à air avec une tension appliquée à
travers elle et montrant, en pointillé, le domaine de la bobine.

Fig.18 est une vue similaire à Fig.17 mais montrant la bobine à air
positionnée adjacents à un côté d'un aimant permanent, montrant en pointillé le
champ magnétique de l'aimant permanent avec aucun électrique potentiel appliqué
sur le serpentin de l'air.

Fig.19 est une vue
similaire à Fig.18 avec un potentiel électrique appliqué sur le
serpentin de l'air, montrant en pointillés esquisse les formes de l'electric
field de la bobine à air et le champ magnétique de l'aimant permanent.

Fig.20 une vue
latérale est similaire à Fig.19 mais montrant un deuxième aimant
permanent placé au-dessus de la première à un aimant permanent et montrant en
pointillé les champs magnétiques des deux aimants permanent lorsque aucun
potentiel électrique n'est branché sur le serpentin de l'air.

Fig.21 est une vue similaire à Fig.20 mais avec les aimants permanents
dans une position relative différente et avec une tension appliquée à la bobine
à air, dit vue montrant les formes du champ électromagnétique de la bobine à
air et les formes modifiées des champs magnétiques des deux aimants permanent ;
et



Fig.22 à Fig.25 ressemblent aux Fig.21 et montrer le
champ électromagnétique de la bobine à air et les champs magnétiques des
aimants dans quatre différentes positions relatives des aimants permanents.
DESCRIPTION
DÉTAILLÉE
Dans les dessins, le
numéro 10 se réfère à un dispositif construit selon la présente
invention. Le dispositif 10 comprend
une structure de base fixe, y compris une plaque supérieure 12, une
plaque inférieure messages 14 et espacés de 16-22, reliée entre
elles.

Monté sur la plaque
supérieure 12 est un fixe à un aimant permanent 24 affichés
annulaire en forme qui a son pôle nord adjacente à la surface supérieure de la
plaque 12 et son pôle Sud, à l'opposé de plaque 12.

En se référant à la Fig.2, l'aimant
permanent 24 est représenté comme ayant sept bobines 26-38 monté
à plat sur sa surface supérieure. Sept bobines
sont représenté, les bobines 26 à 38 et que les connexions électriques
réalisées à travers la plaque 12 d'autres éléments de circuit, qui
seront décrits plus loin en relation avec la Fig.13. Un autre élément 40 est monté sur la
surface supérieure de la plaque inférieure 14 et un élément similaire 42
est monté sur la face inférieure de la plaque 12.
Un arbre 44,
(représentée orienté verticalement pour plus de commodité) s'étend à travers
des trous alignés dans les éléments 42, 12 et 24. L'extrémité inférieure de l'arbre 44 est
relié à disque 46 qui possède une paire d'ouvertures courbes 48 et 50
montrées diamétralement opposées l'une à autres, un peu à partir du bord du
disque 46 le but de ces ouvertures 48 et 50 sera expliqué plus
tard.
L'arbre 44 est
également relié à un autre disque 52, qui est situé sur l'arbre de
manière à être positionné de manière adjacente aux bobines 26 à 38. Disque 52 comporte une paire d'aimants
permanents 54 et 56 monté sur ou en elle disposée diamétralement opposée
à l'autre. Aimants 54 et 56 ont
leur pôles nord et sud orientées comme indiqué sur la Fig.2, c'est à
dire avec les pôles nord indiqués sur leurs faces inférieures et leurs pôles
sud sur les deux côtés. Ceci est fait de
sorte qu'il y aura une attraction magnétique mutuelle et le couplage entre les
aimants 54 et 56 et l'aimant fixe 24. La polarité des aimants 54 et 56 et /
ou de l'aimant 24 peut également être inversée si on le souhaite pour
des fins de produire répulsion magnétique relative entre eux.
En se référant à
nouveau à la Fig.2, la plaque inférieure 40 est représentée ayant
une série de photo-transistors 58 à 70 monté sur sa surface supérieure
et espacées, comme indiqué. Ces
phototransistors sont positionnées sous les centres des bobines 26 à 38 qui
sont montés sur l'aimant 24, un nombre égal d'émetteurs infrarouges 72
à 84 sont montés sur la surface inférieure de l'élément 42 alignées
avec les phototransistors. Il existe sept émetteurs infra rouge de 72
à 84 représentés, dont chacune est en alignement avec l'un respectif des
sept phototransistors 58 à 70 et l'une des sept bobines 26 à 38. Cet agencement est tel que lorsque l'arbre 44
et les éléments qui s'y rattachent, y compris les disques 46 et 52,
tournent par rapport aux autres éléments, y compris l'aimant 24, les
ouvertures incurvées 48 et 50 passent sous les émetteurs infrarouges et
provoquent des phototransistors pour basculer pendant un intervalle de temps
prédéterminé. Cela établit une
séquence de circuits sous tension qui alimente les bobines 26 à 38, un à
la fois, ce qui, à son tour, provoque une interruption momentanée de
l'interaction magnétique entre des aimants permanents 54 et 56 et
l'aimant 24.
Lorsqu'une bobine est
monté sur le dessus d'un aimant permanent comme aimant permanent 24 et
excité, il agit de manière à concentrer le flux dans un champ magnétique
symétrique résultant dans un domaine non-symétrique quand un autre aimant
permanent est supérieure à la bobine de l'aimant 24. Ces résultats à forces inégales ou non
uniformes produites lorsque la bobine est excitée, ce qui provoque un couple de
rotation entre les deux aimants permanents, qui tente de déplacer l'un des
aimants permanents par rapport à l'autre.

Fig.3 indique la position où l'un des aimants 54 est situé
immédiatement au-dessus de l'un des enroulements hélicoïdaux, disons, 26. Dans cette position, il y aurait un couplage
magnétique entre les aimants 54 et 24 dans la mesure où il n'y a pas de
tension aux bornes de la bobine 26.
Cependant , si une tension est placé à travers la bobine 26, il
interrompt le couplage magnétique entre les aimants 54 et 24 où se
trouve la bobine. Cela signifie que s'il
ya un couple développé, il sera élaboré pour chaque côté de la bobine 26. Sans mettre la bobine 26, il y aura
plein attraction entre les aimants 24 et 54 et aucune force de rotation
sera produite.

En se référant à la Fig.4,
on a représenté les positions relatives des aimants mobiles 54 et 56 pour
une position du disque 52, par exemple, l'aimant 54 est
représenté situé immédiatement au-dessus de la bobine 26 alors que
l'aimant 56 est représenté à cheval sur des portions de bobines 32 et
34. Si, dans cette position, la
bobine 32 est excitée, mais les bobines 34 et 26 ne sont pas sous
tension, le couplage magnétique entre l'aimant 56 et l'aimant 24 est
orientée selon un angle indiqué par la flèche illustrée sur la Fig.4, et
ce couplage attrayant tendra à se déplacer disque 52 vers la droite. Depuis bobine 26 n'est pas sous
tension, il est plein de couplage entre l'aimant 54 et l'aimant 24,
mais cela n'a aucun effet, car il n'a pas de force directionnelle. Dans le même temps, la bobine 38 qui
est la prochaine bobine sur laquelle l'aimant 54 se déplace, n'est pas
non plus sous tension et si elle n'a pas d'effet de rotation sur le disque 52.
Comme le disque 52 continue à
tourner, différentes bobines dans le groupe 26 à 38 sont alimentés en séquence
de continuer à produire une force de couplage magnétique en rotation entre le
disque 52 et l'aimant 24. Il convient de
noter, cependant, que l'ensemble de la force de rotation est produit par
interaction entre les aimants permanents et aucun de la force de rotation est
produite par des bobines ou par tout autre moyen. Les bobines sont alimentées en séquence
simple à contrôler où se produit l'interaction magnétique, et cela est fait de
façon à provoquer le disque 52 à tourner. Il doit être également entendu que l'un, deux
ou plus de deux aimants permanents, tels que les aimants permanents 54 et 56
peuvent être montés sur le disque rotatif 52, et la forme et la
taille du disque rotatif 52 peut être ajustée en conséquence pour tenir
compte le nombre d'aimants permanents monté dans elle. En outre, le disque 52 peut être
construit en un matériau non magnétique, la seule exigence étant que la
structure suffisant soit prévu pour supporter les aimants permanents lors de la
rotation. Cela signifie que le disque 52
ne sont pas obligatoirement être construits à tour comme représenté sur le
dessin.

Fig.5 et Fig.6
sont similaires à Fig.3 et Fig.4 mais montrer une construction où les
aimants permanents 54 et 56 sont retournées de sorte qu'au lieu d'avoir
leur pôle nord face à aimant 24 ils ont leurs pôles sud face aimant 24
mais sur le côté opposé de la les bobines telles que les bobines 26 à 38. La construction et le fonctionnement du
dispositif modifié illustré par la Fig.5 et la Fig.6 est
similaire à celle décrite ci-dessus sauf que, au lieu de produire des forces
d'attraction magnétique entre les aimants 54 et 56 et l'aimant 24,
les forces de répulsion magnétiques sont produits, et ceux-ci les forces de
répulsion peuvent également être utilisés d'une manière similaire pour produire
la rotation de l'élément 52, quelle que soit sa construction.

Fig.7 montre une
variante de réalisation qui comprend tous les éléments représentés sur la Fig.1
et la Fig.2 mais comporte en plus un second aimant permanent
stationnaire 102 qui est monté au-dessus de disque rotatif 52 et
a ses éléments de bobine, tels que les membres de la bobine 26A-38A montés
sur sa face inférieure. Aimant 102 fonctionne
avec les aimants 54 et 56 est similaire à l'aimant 24 et peut
fonctionner exactement de la même manière, c'est à dire en produisant la force
d'attraction entre les éléments d'aimants ou par la production de forces de
répulsion entre eux, chacun étant utilisé pour produire un mouvement de
rotation relatif entre le rotor et le stator.
Il est également envisagé de rendre la construction représentée sur la Fig.7
de manière à produire des forces d'attraction entre les aimants 54 et 56
sur un côté de celui-ci et coopérant forces de répulsion qui s'ajoutent aux
forces de rotation produites à générer sur le côté opposé.

Fig.8 et Fig.9
sont similaires à la Fig.3 et la Fig.4 mais d'illustrer la
relation entre les aimants 54 et 56 et les éléments 24 et 102 situées
sur les côtés opposés. Ces chiffres
montrent une forme d'interaction entre les aimants rotatifs 54 et 56 et
les aimants fixes 24 et 102 situés comme indiqué sur la Fig.7. Dans cette construction, le dispositif produit une force de rotation
intéressant que.

Fig.10 et Fig.11 sont similaires à la Fig.8 et la Fig.9,
sauf que, dans ces figures les forces d'attraction et de répulsion étant
produite sont présentés en association avec les aimants fixes sur les côtés
opposés des aimants rotatifs. On notera
également que les bobines étant alimentées sur des côtés opposés du disque 52
sont alimentés dans un arrangement différent.

Fig.12 est une vue de
côté similaire à la Fig.7, mais montrant la manière dont plusieurs
éléments magnétiques stationnaires et rotatifs, tels que les disques 24 et
102 peuvent être montés sur le même arbre, dans presque n'importe quel
nombre de répétition des groupes pour augmenter la quantité de couple produit
par le dispositif. Dans la Fig.12,
la même source d'énergie et la même disposition de circuit peuvent être
utilisés pour alimenter les phototransistors et les émetteurs infrarouges. Toutefois, selon que des forces d'attraction
ou de répulsion sont utilisés pour produire la rotation ou une combinaison
d'entre eux, dépend de l'ordre dans lequel les bobines associées aux éléments
magnétiques stationnaires sont excités.

Fig.13 est un schéma
de circuit pour le dispositif représenté sur la Fig.1 et la Fig.2,
qui montre les connexions de circuit pour les bobines 26 à 38 et des
éléments de circuit qui leur sont associés.
Un circuit similaire peut être utilisée pour la construction représentée
sur la Fig.7 et la Fig.12.
Le circuit comprend
également des connexions aux différents phototransistors et infra rouges
émetteurs.
Dans la Fig.13, le circuit 120 est
représenté comprenant une source d'alimentation 122 qui peut être une
source d'alimentation de la batterie, une alimentation en courant alternatif
redressé ou un courant alternatif ou une alimentation pulsée. Le côté positif 124 de l'alimentation
électrique 122 est représenté comme étant connecté à un côté de chacune
des bobines 26 à 38, la bobine 26 et les circuits qui lui sont
associés est représentée en trait gras et comportant des connexions d'un côté
d'une résistance 128 et à une côté des phototransistors 58 à 70. Le côté opposé de la bobine 26 est reliée à
une borne du MOSFET 126 Le côté opposé de la résistance 128 est
reliée à un côté de l'émetteur infrarouge 72, ainsi que sur les côtés
correspondants de l'ensemble des autres émetteurs infrarouges 74-84. Les côtés opposés des émetteurs infrarouges 72
à 84 sont reliées par le plomb à 130 du côté de la borne négative 132
de la source d'alimentation 122 avec le circuit tel que représenté,
les émetteurs infrarouges 72 à 84 sont tous en permanence sous tension
et produisent de la lumière qui peut être détecté par les phototransistors
respectifs 58 à 70 lorsque l'une des ouvertures 48 ou 50 passe
entre eux. Lorsque cela se produit, le
phototransistor 58 effectuera respectif et, ce faisant, appliquera une
tension positive sur le MOSFET associé 126, tournant sur le MOSFET, et
provoquant la tension de la source à 122 également être appliquée aux
bornes de la bobine 26. Le
circuit de ce est de la source 122 à travers la bobine 26, à
travers le transistor MOSFET à 126 et 134 à travers la tête vers le côté
opposé de la source 122. Lorsque
la tension d'alimentation est appliquée aux bornes de la bobine 26, il a
pour effet de limiter ou d'empêcher la communication entre magnétique selon
l'un des aimants 54 ou 56 se trouve être positionné de manière adjacente
à la bobine 26 qui est dans l'espace entre cet aimant 54 ou 56 et
l'aimant 24. Ce circuit est
indiqué en caractères gras dans la . Par Fig.13 correctement
synchronisation et de contrôle de l'application de la tension aux différentes
bobines 26 à 38 de la manière décrite, le couplage magnétique entre les
aimants 54 et 56 et l'aimant 24 peut être contrôlée avec
précision et de provoquer l'attraction magnétique entre l'aimant angulaire 54
(ou 56) et de l'aimant 24, qui angulaire attraction (ou de
répulsion) est dans une direction pour provoquer la rotation des pièces
rotatives de la structure représentée sur les Figs.1, 2, 7 et 12. Il convient de comprendre que chacune des
bobines 26 à 38 est contrôlé de la même manière, c'est-à-aura une tension
apparaissant à travers lui au moment approprié pour contrôler la direction de
l'accouplement magnétique de manière à produire la rotation. Les parties tournantes continuent à tourner et la vitesse de rotation
peut être maintenue à n'importe quelle vitesse souhaitée. Différents moyens peuvent être utilisés pour
contrôler la vitesse de rotation, par exemple par la commande du cadencement de
la CC ou autre tension appliquée aux différentes bobines, par exemple en
utilisant une source de courant alternatif ou impulsionnel à la place d'une
source de courant continu ou en chargeant le dispositif pour limiter sa vitesse
de rotation.
Il est particulièrement important de noter
que l'énergie nécessaire pour faire fonctionner l'appareil est minime, puisque
très peu d'énergie électrique n'est établi lorsque la tension est appliquée à
travers les différentes spires lorsqu'ils sont excités.
Une équation bien connue, utilisée pour art
moteur conventionnel, est :
Puissance (en watts) = Vitesse x couple/
9,55
Par conséquent,
W = S x T / 9,55
Cette équation a
restreint l'application sur le périphérique présent parce que dans le
dispositif actuel, le couple est censé être constante alors que la vitesse est
la variable. La même équation
peut être réécrite :
T = 9,55 x W / S ou
S = 9,55 X W / T
Ces équations, le cas
échéant, signifie que lorsque la vitesse augmente, le nombre de watts divisé
par le couple doit également augmenter, mais par un facteur de 9,55. Ainsi si le couple est constant ou presque
constant, que la vitesse augmente, la puissance de sortie doit augmenter et à
un rythme très rapide.
Il doit être entendu
que le présent dispositif peut être fait pour avoir un certain nombre d'aimants
fixes et rotatives disposées en relation d'empilement d'augmenter la puissance
de sortie (voir Fig.12) et il est également possible d'utiliser un
nombre quelconque de bobines monté sur les différents aimants fixes. Dans les constructions représentées sur les Figs.1,
7 et 12 sept bobines sont représentés montés sur chacun des aimants fixes,
mais plus ou moins les bobines peuvent être utilisées sur chaque aimant fixe en
fonction de la puissance et les autres exigences du dispositif. Si le nombre de bobines est changée, le nombre
de sources de lumière et des photodétecteurs ou des transistors change en
conséquence. Il est également important
de noter que le moment de la mise sous tension des différents phototransistors
est important. La synchronisation doit
être tel que celui illustré sur la Fig.4, par exemple, lorsque l'une des
bobines tels que la bobine 32 est excitée pour empêcher le couplage dans
une direction entre l'aimant 56 et l'aimant 24, la bobine 34 adjacente
ne soit pas sous tension. Les raisons en sont déjà expliqué.

Fig.14 montre un
autre mode de réalisation 140 de ce moteur. Cela comprend un aimant permanent
stationnaire 142 qui a une surface supérieure plane 144 et une
surface inférieure 146 qui est hélicoïdale sur la circonférence de sorte
que l'élément 142 dans l'épaisseur varie d'un endroit d'épaisseur
maximale à 148 à un endroit d'épaisseur minimale de 150. L'épaisseur de l'organe 142 est montré
variant uniformément. Près de la
position de la partie la plus épaisse 148 de l'aimant permanent 142 et
adjacente à la surface 144 est une bobine à air 152 illustré
formé par une pluralité d'enroulements.
Un élément d'arbre 154 est tourillonné par le palier 156 pour
permettre la rotation par rapport à l'aimant permanent fixe 142 et est
relié à un disque rotatif 158. Le
disque comprend quatre aimants permanents espacés, 160, 162, 164 et 166 montés
sur ou à l'intérieur. Les aimants
permanents 160 à 166 sont disposés pour tourner à proximité de l'aimant
permanent fixe 142, mais avec la bobine 152 placée entre
eux. Bobine 152 est reliée à un
circuit semblable à celui représenté sur la Fig.13 et de sorte que le
circuit ne sera pas décrit à nouveau.
Les principes de
fonctionnement du dispositif 140 représenté sur la Fig.14 sont
similaires à celles décrites ci-dessus en relation avec la Fig.1 et
d'autres figures. Il est important de
noter, cependant, que les aimants permanents 160 à 166 tournent par
rapport à l'aimant permanent 142 en raison de l'augmentation du couplage
entre les deux et l'aimant permanent du fait de l'augmentation de l'épaisseur
périphérique de l'aimant permanent.
Ainsi, l'élément 158 pivote dans le sens anti-horaire, comme
indiqué, et à chaque fois l'un des aimants 160 à 166 se déplace dans une
position adjacente à la partie la plus épaisse 148 de l'aimant permanent
fixe 142 de la bobine 152 auront tension appliquée à travers elle
, sinon il y aurait une tendance à l'élément 158 pour arrêter ou réduire
la force de rotation. Afin de surmonter
ce la bobine 152 est excité chaque fois que l'un des aimants permanents 160-166
est dans la position indiquée. Le
disque rotatif 158 est relié par l'arbre 154 sur le disque 168
qui comporte quatre ouvertures 170, 172, 174 et 176 correspondant à
l'emplacement des aimants permanents en rotation 160 à 166 de sorte que
chaque fois que l'un des aimants permanents se déplace vers une position
adjacente à la partie la plus épaisse 148 de l'arrêt permanent aimant 142
de la bobine 152 est excitée, ce qui permettra de réduire ou
d'éliminer le couplage entre les aimants rotatifs et fixes qui, autrement, ralentir
les parties en rotation vers le bas.
Le circuit relié à la
bobine 152 comprend les mêmes éléments de base décrits ci-dessus en
liaison avec la Fig.13 consiste à faire varier une cellule
photo-électrique 178, un émetteur infrarouge 180 et un transistor
MOS 182 relié à un circuit tel que celui représenté sur la Fig.13. Le moment de la mise sous tension de la
bobine 152 est important et doit être telle que la bobine est mis sous
tension tant que les aimants permanents respectifs 160-166 déplacer vers
une position dans l'alignement ou l'alignement substantiel avec la partie plus
épaisse 148 de l'aimant permanent stationnaire142.

Fig.15 montre une
forme simplifiée de base 190 du présent dispositif, qui comprend un
élément rotatif 52A ayant une seule partie formant aimant permanent
monté sur elle 54A. Le dispositif
comporte également un aimant permanent 24A stationnaire avec une seule
bobine 26A de l'air placé dans l'espace entre les éléments 52A et 24A
de la manière déjà décrite. La
construction de 190 n'est pas auto-démarrage ainsi que les modes de
réalisation préférés tels que mode de réalisation 10, mais les parties
rotatives tournent en continu une fois le dispositif a commencé comme faisant
tourner manuellement les parties tournantes.
La construction 190 aura d'autres parties, comme décrit
ci-dessus, mais la sortie de la construction sera inférieure à la puissance
produite par les autres constructions.
Fig.16 montre une
autre version simplifiée du dispositif 200, dans lequel l'élément 52B
est similaire à la rotation de l'élément correspondant 52A représenté
sur la Fig.15. Cependant, la
structure fixe comprenant l'aimant permanent possède trois enroulements 24B
26B, 28B et 30B situées à des intervalles espacés adjacents à la surface
supérieure de celui-ci. La construction
représentée sur la Fig.16 va produire plus de puissance que la
construction représentée sur la Fig.15, mais inférieure à celle des
autres constructions telles que celles représentées sur les Figs.1, 2, 7 et
12. De toute évidence, beaucoup d'autres variations des constructions
indiquées dans la demande sont également possibles, y compris les constructions
ayant plus ou moins de bobines, plus ou moins en rotation parties magnétiques,
plus ou moins de membres rotatifs tels que disque 52 et plus ou moins de
membres fixes, comme les aimants 24 et 142.
Figs.17-25 illustrer certains des principes de soulignement de la présente
invention.

Fig.17 montre une
bobine d'air 210, disposé dans l'espace, avec un potentiel électrique
appliqué à travers elle. Grâce à la
tension d'excitation appliquée, la bobine de champ 210 de l'air
électro-magnétique s'étend de manière sensiblement égale dans l'espace
au-dessus et au-dessous de la bobine comme représenté sur dont regorge indiqué.

Fig.18 montre la
bobine à noyau d'air 210 positionné de manière adjacente à un côté (le
côté nord) de l'aimant permanent 212 en Fig.18 aucune tension
n'est appliquée aux bornes de la bobine à noyau de l'air 210, et donc la
bobine ne produit pas un champ électro-magnétique dans la Fig.17. Dans ces conditions, la bobine 210 de
l'air n'a pas d'effet sur le champ magnétique de l'aimant permanent 212 et
le champ de l'aimant permanent est sensiblement tel que représenté par les
lignes en pointillés sur la Fig.18.

Fig.19 est similaire à Fig.18, sauf que dans
Fig.19 l'air bobine 210 a un potentiel électrique appliqué à travers
elle et donc a un champ électromagnétique établi témoigne encore une fois
pointée le contour.
Le champ de la bobine à
noyau d'air 210 électro-magnétique modifie le champ magnétique de
l'aimant permanent 212 de la manière représentée. Si la bobine 210 est placée en contact
avec, ou à proximité de la surface de l'aimant permanent et il est mis sous
tension afin que sa polarité est opposée à celle de l'aimant permanent, le
champ produit est similaire à celle représentée sur la Fig.19. A noter que le champ de la bobine 210 et
le champ de l'aimant permanent 212 directement en dessous de la bobine à
noyau d'air 210 sont en opposition et agissent donc à s'annuler. Bobine 210 serait définie à produire
une force contre-magnétomotrice qui agit de façon à annuler le champ de
l'aimant permanent 212 dans la région où la bobine de l'air 210 existe,
et la quantité de matière dans cette région de l'aimant permanent 212 qui
est annulée est le reste de la différence de force magnétomotrice entre la
région de l'aimant permanent 212 et la force magnétomotrice de compteur
de la bobine de l'air 210 est à noter que, étant donné que le champ de
l'aimant permanent 212 est uniquement modifiée dans la région de la
bobine de l'air 210, la caractéristiques géométriques du champ
magnétique de l'aimant permanent 212 peut être modifiée de manière
sélective sur la base de la taille de la bobine 210, le nombre de
bobines d'air 210 et la quantité de contre-force magnétomotrice est
produit par la bobine à noyau d'air 210.

Fig.20 est similaire à la Fig.19, sauf qu'un second aimant permanent 214
est placé à un emplacement espacé au-dessus de la bobine à air 210 sur
la Fig.20 aucune tension n'est appliquée aux bornes de la bobine 210 de
l'air et donc la bobine de l'air 210 ne doit pas avoir un électro-champ
magnétique. Ainsi, la Fig.20
montre seulement l'effet conjugué des champs des aimants permanents 212 et
214. Etant donné que les aimants
permanents 212 et 214 sont positionnées de sorte que leurs respectives
nord et le pôle sud sont rapprochées, il y aura une force d'attraction entre
eux à l'emplacement de la bobine de l'air 210.

Fig.21 est une vue similaire à la Fig.20, mais avec un potentiel
électrique appliqué aux bornes du bobinage de l'air 210 et à l'aimant
permanent supérieur 214 déplacée à la gauche par rapport à sa position
dans la Fig.20. Notons que dans
la Fig.21 la forme du champ de la bobine sans fer 210 électromagnétique
est concentrée et un peu décalé vers la droite et vers le haut. Ce déplacement du champ électro-magnétique
concentre le couplage magnétique entre les aimants 212 et 214 vers la
gauche ce qui augmente la tendance de l'aimant permanent supérieur 214 de
se déplacer vers la gauche. Un couplage
magnétique beaucoup plus faible se produit entre l'extrémité droite des aimants
permanents 212 et 214, et donc la force tendant à déplacer l'aimant
permanent 214 sur la droite est très inférieure à la force tendant à la
déplacer vers la gauche. Ceci est
illustré par la taille des flèches représentées sur la Fig.21.



Figs. 22-25 montrer quatre
positions différentes de la tige à aimant permanent 214 par rapport à
l'aimant permanent inférieur 212.
Fig.22 raison de la position de la tige à aimant permanent 214
par rapport à la bobine de l'air 210 il ya une concentration de la
force de couplage magnétique qui tend à déplacer l'aimant permanent supérieur 214
vers la gauche. Cette force augmente
en Fig.23 et Fig.24 jusqu'à ce que l'aimant permanent supérieur 214 atteint
la position représentée sur la Fig.25 où l'ensemble de l'accouplement
magnétique est orienté sensiblement à la verticale entre les aimants permanents
212 et 214, et dans cette position il n'y a que peu ou aucun couple à la
suite de couplage énergétique entre les aimants permanents 212 et 214 tendant
à les déplacer par rapport à l'autre.
Les principes illustrés
sur les Figs.17-25 sont au cœur de la présente invention et d'expliquer
où l'énergie vient de produire un mouvement relatif entre les aimants
permanents.
Le présent dispositif
est d'application depuis de très nombreuses fins et des applications
différentes, y compris presque tous les cas où un moteur ou moteur
d'entraînement est nécessaire et où la quantité d'énergie disponible et / ou
requis pour produire la force motrice peut varier peu à zéro. Le demandeur a réalisé des dispositifs du
type décrit ici peut tourner à une vitesse très élevée de l'ordre de grandeur
de 20 000 RPM et à couple important. Les
autres vitesses inférieures peuvent également être produites, et le dispositif
de l'objet peuvent être faites pour être auto départ comme c'est le cas des
constructions représentées dans les Figs.1, 2, 7 et 12. En raison de la faible puissance nécessaire
pour faire fonctionner le dispositif demandeur a été capable de fonctionner
même en utilisant une batterie disponible dans le commerce comme une batterie
de neuf volts.
Cette demande de brevet
couvre un appareil qui est censé avoir une puissance beaucoup plus élevée que
la puissance d'entrée nécessaire à l'exécution et il n'a aucuns pièces mobiles.
Demande de brevet WO2009065210 28 mai 2009 Inventeur : Richard Willis
GÉNÉRATEUR ÉLECTRIQUE
RÉSUMÉ
Un générateur électrique comprenant une
bobine à induction avec un aimant de première position adjacente à la première
extrémité de la bobine d'induction afin d'être dans l'influence
électromagnétique de la bobine d'induction quand il est activé et pour la
création d'un champ magnétique autour d'au moins la première extrémité de la
bobine d'induction. Il y a aussi un
deuxième aimant placé à proximité de la seconde extrémité de la bobine
d'induction afin d'être dans le champ électromagnétique de la bobine
d'induction lorsque la bobine d'induction est excitée et pour la création d'un
champ magnétique autour d'au moins la seconde extrémité de la bobine
d'induction. Un circuit d'entrée
d'alimentation alimente la bobine d'induction.
Une minuterie est placée dans le circuit d'entrée afin de créer des
impulsions électriques et le contrôle de leur calendrier. Un circuit de sortie de puissance est
alimenté par la bobine d'induction.
DOMAINE DE
L'INVENTION
La présente invention
se rapporte à un générateur de courant électrique et plus particulièrement à un
générateur de courant électrique " au-dessus-unité ".
CONTEXTE DE
L'INVENTION
Classiquement,
l'électricité est produite dans un certain nombre de façons, y compris les
combustibles fossiles alimenté générateurs électromécaniques, charbon alimenté
des générateurs électromécaniques, générateurs électromécaniques de debit d'eau
alimenté, générateurs de type de réacteur nucléaire et ainsi de suite. Dans chaque cas, il y a un certain nombre
d'inconvénients liés à ces méthodes, surtout inefficacité et aussi la rareté
d'une source d'alimentation.
Récemment, les
générateurs magnétiques ont été développés qui produisent l'énergie électrique
du champ magnétique de la terre.
Fondamentalement, un champ magnétique est rapidement allumé et éteint,
ou sinon plus d'un champ magnétique est sélectivement allumé et éteints, en
alternance, d'influencer un plus grand champ magnétique dans un appareil
électromagnétique sélectivement connecté à un circuit de sortie de courant
électrique. Un courant électrique qui en
résulte est produit dans le circuit de sortie de puissance.
Il y a des circuits de
même magnétique génératrices qui produisent plus de puissance électrique que
celui qui est appliqué au circuit. Bien
que cela semble en contradiction avec les lois de la physique, il docs pas,
dans le cas contraire, ces circuits générateur magnétique ne fonctionnerait
pas. Ces circuits générateur magnétique
fonctionnent, sur le principe de base que le continuum espace-temps est très
énergique, y compris les domaines de l'énergie tels que le champ magnétique
terrestre.
Il faut comprendre que
les champs électriques et champs magnétiques n'ont pas une existence
indépendante. Un domaine purement
électromagnétiques dans un système de coordonnées peut apparaître comme un
mélange de champs électriques et magnétiques dans un autre système de
coordonnées. En d'autres termes, un
champ magnétique peut tourner au moins partiellement dans un champ électrique,
ou vice versa.
Il est aussi bien connu
qu'un système qui est loin de l'équilibre dans ses échanges d'énergie avec son
environnement peut régulièrement et librement recevoir l'énergie
environnementale et il se dissiper dans les charges externes. Un tel système, peut avoir un Coefficient de
Performance ("COP") supérieure à 1.
Pour un COP supérieur à 1, un système d'alimentation électrique doit
prendre tout, ou partie de son énergie d'entrée, de son environnement externe
actif. En d'autres termes, le système
doit être ouvert pour recevoir et convertissent l'énergie de son environnement
externe, par opposition à simplement convertir l'énergie d'une forme à une
autre.
La nous brevet 6 362
718 publiée le 26 mars 2002 à Patrick et al., révèle un générateur
électromagnétique sans pièces mobiles.
Ce générateur électromagnétique comprend un aimant permanent monté dans
un noyau magnétique rectangulaire en forme d'anneau ayant un chemin magnétique
d'un côté de l'aimant permanent et un second chemin magnétique de l'autre côté
de l'aimant permanent. Une première
entrée de bobine et une première bobine de sortie s'étendent autour de
certaines parties de la première voie magnétique, avec la première bobine
d'entrée étant au moins partiellement placée entre l'aimant permanent et la
première spire de la sortie. Une seconde
entrée de bobine et une deuxième bobine de sortie s'étendent autour de
certaines parties de la deuxième voie magnétique, avec la deuxième bobine d'entrée
étant au moins partiellement placée entre l'aimant permanent et la deuxième
bobine de sortie. Les bobines d'entrée
sont alternativement pulsés par un circuit de commutation et de commande et de
fournissent des impulsions de courant induites dans les bobines de sortie. Conduire le courant électrique par
l'intermédiaire de chacune des bobines d'entrée réduit à un niveau de flux de
l'aimant permanent dans le chemin de l'aimant autour duquel s'étend la bobine
d'entrée.
Dans une autre
réalisation du générateur électromagnétique Patrick et al., le noyau magnétique
comprend des plaques espacées-apart circulaires, avec des messages et des
aimants permanents s'étendant en alternance entre les plaques. Une bobine de sortie s'étend autour de chacun
de ces postes. Bobines d'entrée s'étendant autour de certaines parties des
plaques sont pulsés pour provoquer l'induction de courant dans les bobines de
sortie.
Les problèmes apparents avec le générateur
magnétique électrique est divulguée en nous brevet 6 362 718 semblent être
double. Tout d'abord, il est plus cher
à produire que nécessaire, car il a quatre bobines. Deuxièmement, même si elle a apparemment
atteint un Coefficient de Performance de plus de 3,0, un beaucoup plus grand
Coefficient de Performance est facilement réalisable. C'est censé être en raison de la configuration
physique spécifique des chemins magnétiques.
C'est un objet de la
présente invention de fournir un générateur électrique ayant un Coefficient de
Performance significativement supérieur à 1.
RÉSUMÉ DE L'INVENTION
Conformément à un
aspect de la présente invention, il n'y a révélé un nouveau générateur
électrique comprenant une bobine d'induction.
Il y a un premier aimant placé à côté de la première extrémité de la
bobine d'induction afin d'être dans le champ électromagnétique de la bobine
d'induction lorsque la bobine d'induction est excitée et pour la création d'un
champ magnétique autour d'au moins la première extrémité de la bobine
d'induction. Il y a aussi un deuxième
aimant placé à proximité de la seconde extrémité de la bobine d'induction afin
d'être dans le champ électromagnétique de la bobine d'induction lorsque la
bobine d'induction est excitée et pour la création d'un champ magnétique autour
d'au moins la seconde extrémité de la bobine d'induction. Un circuit d'entrée d'alimentation alimente
la bobine d'induction. Un dispositif de
chronométrage est placé dans le circuit de puissance d'entrée afin de créer des
impulsions électriques et pour contrôler le moment de ces impulsions
électriques à la bobine d'induction. Un
circuit de sortie de puissance est alimenté par la bobine d'induction.
Autres avantages, les
caractéristiques et les caractéristiques de la présente invention, ainsi que
modalités de fonctionnement et les fonctions des éléments connexes de la structure
et la combinaison d'éléments et d'économies de fabrication, devient plus
apparent lors de l'examen de la description détaillée qui suit et des
revendications annexées en ce qui concerne les dessins annexés qui sont
décrites ici :
BRÈVE
DESCRIPTION DES DESSINS
Les caractéristiques
nouvelles qui sont censées être caractéristique du générateur électrique selon
la présente invention, quant à sa structure, l'organisation, l'utilisation et
la méthode de fonctionnement, ainsi qu'il sont plus objectifs et avantages,
seront mieux compris d'après les dessins suivants dans lesquels un mode de
réalisation préféré de l'invention est désormais illustré à titre
d'exemple. Il est expressément entendu,
toutefois, que les dessins sont aux fins d'illustration et de la description
seulement et ne visent pas tant qu'une définition des limites de
l'invention. Dans les dessins annexés :

Fig.1 est un schéma électrique de la première réalisation préférée de la
génératrice électrique.

Fig.2 constitue un bloc diagramme schématique de la première réalisation
préférée du générateur électrique de Fig.I.

Fig.3 est une forme
d'onde de l'oscilloscope prise sur le circuit de puissance d'entrée après le
mécanisme de minuterie.

Fig.4 est une forme
d'onde de l'oscilloscope prise sur le circuit de puissance de sortie avant la
première série de diodes immédiatement après la bobine.

Fig.5 une forme
d'onde de l'oscilloscope est prise sur le circuit de puissance de sortie à la
charge ; et,

Fig.6 est un schéma
électrique de la seconde réalisation préférée de la génératrice électrique.
DESCRIPTION DÉTAILLÉE DES
MODES DE RÉALISATION PRÉFÉRÉS
Se référant à la Fig.1
par Fig.6 des dessins, on notera que Fig.1 à Fig.5 illustrent
un premier mode de réalisation préféré du générateur électrique de la présente
invention, et Fig.6 illustre une deuxième réalisation préférée du
générateur électrique de la présente invention.

On se réfère maintenant
à la Fig.1 à Fig.5, qui montre un premier mode de réalisation
préféré du générateur électrique de la présente invention, comme indiqué par la
référence numérique générale 20. Le générateur électrique 20 comprend une bobine d'induction 30 dont
une première extrémité 31 et une deuxième extrémité 32. La bobine d'induction 30 comprend de
préférence un noyau 34 qui est fabriqué à partir de n'importe quel type
approprié de matériau, tel que de la ferrite, mumétal, permalloy, cobalt, tout
matériau métallique non-perméable, ou de tout autre type approprié de
matériau. La bobine 30 est
enroulée avec du fil de cuivre qui peut être d'une taille unique ou de
plusieurs tailles selon la taille du noyau de ferrite 34.
Il existe un premier
aimant 40 positionné de manière adjacente à la bobine d'induction 30,
de préférence à la première extrémité 31 de manière à se situer dans le
champ électromagnétique de la bobine d'induction 30 lorsque la bobine
d'induction 30 est sous tension.
Le premier aimant 40 est un aimant permanent dont le pôle Nord
orienté vers la première extrémité 31 de la bobine d'induction 30. Dans le premier mode de réalisation préféré,
le premier aimant 40 est fixe par rapport à la bobine d'induction 30,
et encore plus préférentiellement est en entrer en contact avec, ou est encore
fixé à la première extrémité 31 de la bobine d'induction 30 la
taille de la bobine et le fil de cuivre utilisé pour enrouler la bobine dépend
également de la taille du premier aimant 40 le premier aimant 40 est
là à créer un champ magnétique autour d'au moins la première extrémité 31 du
premier aimant 30.
Il existe aussi un
deuxième aimant 50 positionné de manière adjacente à la bobine
d'induction 30, de préférence à la seconde extrémité 32 de la
bobine d'induction 30, mais à une distance d'environ 1,0 cm ou plus à
partir du noyau de la bobine 34, mais dans le champ électromagnétique de
la bobine d'induction 30 lorsque la bobine d'induction 30 est
sous tension. L'écart entre la seconde
extrémité 32 de la bobine d'induction 30 et le deuxième aimant 50
peut être une lame d'air ou peut être un vide.
Le deuxième aimant 50
est un aimant permanent qui a son pôle Nord orienté vers la seconde
extrémité 32 de la bobine d'induction 30. Dans le premier mode de réalisation préféré,
le deuxième aimant 50 est fixe par rapport à la bobine d'induction 30. La taille de la bobine et le fil de cuivre
utilisé pour enrouler dépend également de la taille du second aimant 50 le
deuxième aimant 50 est là pour créer un champ magnétique autour d'au
moins la deuxième extrémité 32 de la bobine d'induction 30.
Comme on peut le voir
sur la Fig.1, le premier aimant 40 est positionné de sorte qu'il
est pôle nord est tourné vers la première extrémité 31 de la bobine
d'induction et son pôle Sud est tournée à l'opposé de la première extrémité 31
de la bobine d'induction 30.
La première partie d'extrémité 31 de la bobine d'induction 30 crée
un champ magnétique Sud quand il est excité.
De cette manière, le pôle nord du premier aimant 40 et le pôle
sud de la première extrémité 31 de la bobine d'induction s'attirent.
De la même façon, mais
à l'opposé, le deuxième aimant 50 est positionné de sorte qu'il est pôle
nord est face à la seconde extrémité 32 de la bobine d'induction et son
pôle sud est face à la seconde extrémité 32 de la bobine d'induction 30. La seconde extrémité 32 de la la
bobine d'induction 30 crée un champ magnétique nord lorsque la bobine
d'induction 30 est sous tension.
De cette manière, le pôle nord du second aimant 50 et le pôle
nord de la deuxième extrémité 32 de la bobine d'induction se repoussent
les uns les autres.
Une section de circuit
d'entrée d'alimentation, comme indiqué par la référence numérique générale 60, est de fournir de l'énergie à la bobine
d'induction et se compose d'une source d'énergie électrique 62. Dans le premier mode de réalisation préféré,
comme cela est illustré, la source de courant électrique 62 d'entrée
comprend une source de courant continu, en particulier une batterie 62,
mais plus ou en variante peut comprendre un condensateur (non représenté). La source d'énergie électrique peut aller de
moins de 1,0 volt à plus de 1.000.000 volts, et peut aller de moins de 1,0
ampères à plus de 1 million d'ampères.
En variante, il est envisagé que la source d'énergie électrique peut
être une source de courant alternatif d'entrée (non représenté).
Un redresseur d'entrée 64
qui est de préférence, mais pas nécessairement, un redresseur pleine onde 64,
66 a une entrée reliée électriquement à la source d'énergie électrique 62
et possède une sortie 68 d'une première diode 70 est reliée à
son extrémité 70a positif aussi à une borne 68a de la sortie 68
du redresseur 62. Une seconde
diode 72 est reliée à son extrémité 72a négatif à l'autre borne 68b
de la sortie 68 du redresseur 62.
Il existe également un
mécanisme de réglage 80 dans la section de circuit d'alimentation
d'entrée 60, qui, comme illustré, est
connecté électriquement en série avec la première diode 70. Ce mécanisme de réglage à la fois de créer
des impulsions électriques et de commande, le temps de ces impulsions
électriques qui sont alimentés à l'la bobine d'induction 30, les
impulsions sont essentiellement des formes d'ondes en dents de scie, comme on
peut le voir sur la Fig.3.
Dans le premier mode de réalisation préféré,
le dispositif de temporisation 80 est un temporisateur d'emploi sous la
forme d'un ensemble de " points " du système d'allumage d'un
véhicule, car ils peuvent résister à des niveaux de tension et de courant
élevées. En variante, il est
envisagé que le mécanisme de synchronisation peut être un circuit électronique
de temporisation. Il est également
envisagé qu'une unité TGBT à partir d'un poste de soudage MIG pourrait être
utilisée comme la base de l'appareil de distribution 80. On a trouvé qu'un dispositif de temporisation
qui fournit une rupture physique dans sa configuration " DE "
fonctionne bien en tant que courants de fuite ne peut pas revenir en arrière
dans le circuit à ce moment-là. Le
mécanisme de distribution peut être de n'importe quelle conception appropriée
pour autant qu'elle puisse répondre à la mise en place des aimants 50 dans
le rotor 52 dans le deuxième mode de réalisation préféré représenté sur
la Fig.6.
Lorsque le dispositif
est en cours d'utilisation, les champs magnétiques créés par le premier aimant 40
et le deuxième aimant 50 en liaison avec la bobine 30, sont
chacun en forme de champignon peu, et oscille d'avant en arrière, par rapport à
leur taille, d'une manière correspondant pour la synchronisation des impulsions
électriques à partir du circuit d'entrée d'alimentation 60, comme contrôlé par le mécanisme de
temporisation 80.
Le circuit d'entrée
d'alimentation 60 a un / allumer hors 88
pour permettre la déconnexion de l'alimentation électrique de la bobine
d'induction 30. L'interrupteur
marche / arrêt 88 peut également se trouver dans n'importe quel autre
endroit approprié dans le circuit d'entrée d'alimentation 60.
Une section de circuit
de puissance de sortie, indiqué par la référence numérique générale 90, est destiné à recevoir la puissance de la
bobine d'induction et comprenant une charge électrique 92, qui, dans le
premier mode de réalisation préféré est une batterie 92, mais peut en
outre ou en variante, comprendre un condensateur (non représenté), ou n'importe
quel autre dispositif approprié de la charge électrique.
La partie de circuit de
sortie de puissance 90 comporte
également un redresseur de sortie 94 ayant une entrée 96 d'une
sortie 98 reliée électriquement à la charge électrique 92 par
l'intermédiaire d'une paire d'avant diodes polarisées 100a, 100b, qui
empêchent la charge électrique 92 à partir de la mise sous tension de la
bobine d'induction 30. A la
première diode 102 est connectée électriquement à son extrémité 102a positif
à une 94a de borne de l'entrée du redresseur 94 et est relié
électriquement à sa borne négative 102b à une extrémité de la bobine
d'induction 30. Une seconde diode
104 est reliée à son extrémité négative 104a à l'autre borne 94b
de l'entrée du redresseur 94 et est relié électriquement à son
extrémité 104b positif à l'autre extrémité de la bobine d'induction 30. la sortie de la bobine, pris avant les diodes
102, 104 est représenté en Fig.4.
-------------------------------------------------------------
Remarque : Il
est très probable qu'il y ait une erreur matérielle dans la figure 1 parce que,
comme il est tiré l'entrée du pont est le point 98 et non 96 comme indiqué. Si
tel est le cas, les deux ponts de diodes sont identiques et la section de
sortie doivent être établis comme suit :

même si elle est loin d'être
évident pourquoi les diodes 102 et 104 sont nécessaires que leur fonction
semble être fournies par les diodes du pont de sortie.
-------------------------------------------------------------
La sortie de la charge
électrique 92 du circuit de sortie de puissance 90 peut varier de moins de 1 volt à plus de
1.000.000 volts, et peut aller de moins de un ampère à plus de 1 million
d'ampères. Comme on peut le voir sur la Fig.5,
la sortie de la charge électrique 92 comprend généralement deux
impulsions qui ont des composantes positives et négatives en forme de pic.
Comme on peut
facilement le voir sur la Fig.1 et la Fig.2, le circuit
d'alimentation d'entrée 60 est connecté
électriquement en parallèle avec la bobine d'induction 30 et la partie
de circuit de puissance de sortie 90 est
reliée électriquement en parallèle avec la bobine d'induction 30.
Les différentes diodes
et redresseurs dans le générateur électrique 20
peut être de n'importe quelle tension appropriée d'environ 12 volts à plus de
1.000.000 volts, et peuvent avoir une reprise lente ou une récupération rapide,
comme on le souhaite. En outre, les différentes diodes et redresseurs peuvent
être configurées dans d'autres formats appropriés. Il peut aussi y avoir des
condensateurs supplémentaires dans le circuit de puissance de sortie adjacent à
la charge électrique 92 afin d'augmenter la puissance de sortie avant
l'évacuation supplémentaires.
Il a été trouvé que le
réglage de la synchronisation à six cent impulsions par minute (10 Hz) fournit
une forme d'onde dans la partie de circuit de sortie de puissance 90 qui comprend en général en forme de pic des
impulsions avec une durée d'environ 20 nanosecondes. On pense que le flux des
impulsions électriques qui sont entrés dans la bobine d'induction 30 se
déplace rapidement dans les deux sens dans la bobine d'induction 30, qui
est semblable au flux des impulsions de puissance en créant son propre écho du
champ magnétique. Les différentes
oscillations électromagnétiques dans la bobine fournissent une fréquence
beaucoup plus élevée dans le circuit de sortie de puissance 90 par rapport à la partie de circuit d'entrée de
puissance 60.

On se réfère maintenant
à la Fig.6, qui montre un deuxième mode de réalisation préféré du
générateur électrique de la présente invention, comme indiqué par la référence
numérique générale 220. Le second
mode de réalisation préféré générateur électrique est similaire au premier mode
de réalisation préféré, le générateur électrique 20
à l'exception que le second aimant comprend plusieurs aimants mobiles
250, typiquement huit aimants permanents 250. Ces aimants sont montés sur une roue 252,
qui est libre de tourner. Idéalement, ces aimants sont montés de façon
identique les uns aux autres sur le disque de rotor 252. Si on le souhaite, il peut y avoir n'importe
quel nombre approprié d'aimants montés dans le rotor. Par conséquent, au moins
un aimant de rotor 250 sera à l'intérieur du champ électromagnétique de la
bobine d'induction 230 lorsque la bobine est excitée. Les aimants du rotor peuvent être de
n'importe quelle résistance appropriée et n'importe quel type approprié de
l'aimant, et ils peuvent être montés sur le dispositif de rotation par tout
moyen approprié, tel qu'un adhésif approprié, ou moulée dans le disque si le
rotor est en matière plastique. Dans la
pratique, le disque de rotor est entraîné autour par le champ magnétique de la
bobine d'induction quand il est excité.
Il est également possible que le premier aimant à un aimant de rotor de
la même manière que celle décrite pour le second aimant 250.
Comme on peut le comprendre à partir de la
description ci-dessus et des dessins annexés, la présente invention fournit un
générateur électrique ayant un coefficient de performance supérieur à 1,0. et
plus particulièrement, un générateur électrique qui a un coefficient de
performance significativement supérieure à 1,0.
Un générateur électrique ayant un coefficient de performance
significativement supérieure à 1,0 est à l'heure actuelle, inconnu dans l'art
antérieur.
Demande de brevet
GÉNÉRATEUR IMMOBILE
RÉSUMÉ
Un générateur électrique à semi-conducteurs
comportant au moins un aimant permanent, couplée magnétiquement à un noyau
ferromagnétique pourvu d'au moins un trou pénétrant dans le volume; le trou et
l'aimant étant placés de telle sorte que
le trou d'interception du flux de l'aimant permanent couplé dans le noyau ferromagnétique. Une première bobine de fil est enroulé autour
du noyau ferromagnétique dans le but de déplacer le flux couplée à aimant
permanent à l'intérieur du noyau ferromagnétique. Un deuxième fil est acheminé à travers le
trou traversant le volume du noyau ferromagnétique, dans le but d'intercepter
ce flux magnétique en mouvement, ce qui induit une force électromotrice de
sortie. Une tension de
changement appliquée sur les causes premières de la bobine de fil couplés flux
de l'aimant permanent de se déplacer à l'intérieur du noyau par rapport au trou
traversant le volume de base, induisant ainsi une force électromotrice le long
de fil passant à travers le trou dans la ferromagnétique noyau. L'action mécanique d'un générateur électrique
est donc synthétisé sans l'utilisation de pièces en mouvement.
CONTEXTE
La présente invention
concerne un procédé et un dispositif pour générer de l'énergie électrique en
utilisant des moyens à l'état solide.
Il est connu depuis
longtemps que le déplacement d'un champ magnétique à travers un fil va générer
une force électromotrice (EMF), ou de la tension, le long du fil. Lorsque ce fil est relié à un circuit
électrique fermé, un courant électrique, capable d'effectuer un travail, qui
est entraîné à travers ce circuit fermé par la force électromotrice induite.
Il a également connu
depuis longtemps que ce courant électrique résultant provoque le circuit fermé
pour devenir entouré d'un champ magnétique induit secondaire, dont la polarité
s'oppose au champ magnétique primaire qui a induit d'abord le FEM. Cette opposition magnétique crée répulsion mutuelle comme un aimant
mobile se rapproche d'un tel circuit fermé, et une attraction mutuelle qui
aimant mobile s'éloigne du circuit fermé.
Ces deux actions ont tendance à ralentir ou faire " glisser "
sur les progrès de l'aimant en mouvement, provoquant le générateur électrique
d'agir comme un frein magnétique, dont l'effet est directement proportionnelle
à la quantité de courant électrique produit.
Historiquement, les moteurs à gaz, les
barrages hydroélectriques et les turbines à vapeur nourris ont été utilisés
pour surmonter cette action de freinage magnétique qui se produit dans les
générateurs mécaniques. Une grande
quantité d'énergie mécanique est nécessaire pour produire une grande quantité
d'énergie électrique, étant donné que le freinage magnétique est généralement
proportionnelle à la quantité de puissance électrique générée.
Il a longtemps été ressenti le besoin d'un
générateur qui réduit ou élimine l'interaction de freinage magnétique bien
connu, tout en générant néanmoins énergie électrique utile. Le besoin de sources pratiques, économiques
et puissants de l'énergie renouvelable reste urgent. Lorsque les champs magnétiques à l'intérieur
d'un générateur sont amenés à se déplacer et à interagir par des moyens autres
que la force mécanique appliquée, l'énergie électrique peut être fournie sans
la nécessité de consommer des ressources naturelles limitées, donc avec
beaucoup plus grande économie.
Résumé de
l'invention
Il est connu depuis
longtemps que la source de magnétisme dans un aimant permanent est un courant
électrique à l'intérieur de la filature atomes de certains éléments
ferromagnétiques, persistant indéfiniment en accord avec les règles quantiques
bien définies. Ce courant atomique
entoure chaque atome, ce qui provoque chaque atome d'émettre un champ
magnétique, comme un électroaimant miniature.
Ce courant atomique
n'existe pas dans les aimants seul. Il
existe également en fer métallique ordinaire, et dans n'importe quel élément ou
alliage métallique qui peut être " magnétisé ", c'est-à-dire,
n'importe quel matériau qui présente le ferromagnétisme. Tous les atomes ferromagnétiques et
magnétiques " métaux " contiennent de tels électro-aimants atomiques
quantiques.
Dans les matériaux
ferromagnétiques spécifiques, l'axe d'orientation de chaque électro-aimant
atomique est flexible. L'orientation du
flux magnétique à la fois interne et externe à la matière, pivote
facilement. Ces matériaux sont appelés
magnétique " doux ", en raison de cette flexibilité magnétique.
Matériaux magnétiques
permanents sont magnétiquement " dur ". L'axe d'orientation de chacun est fixé en
place à l'intérieur d'une structure cristalline rigide. Le champ magnétique total produit par ces
atomes ne peut pas se déplacer facilement.
Cette contrainte aligne le champ d'aimants ordinaires en permanence,
d'où le nom " permanent ".
L'axe de circulation du
courant circulaire dans un atome ferromagnétique peut diriger l'axe du
magnétisme dans un autre atome ferromagnétique, à travers un processus appelé
" échange de spin ". Cela
donne un matériau magnétique doux, comme le fer brut, la capacité utile de
viser, se concentrer et réorienter le champ magnétique émis par un aimant permanent
magnétiquement dur.
Dans la présente
invention, un domaine semi-rigide de l'aimant permanent est envoyé dans un
matériau magnétiquement souple " soft " magnétique. position
apparente de l'aimant permanent, observé à partir de points dans le matériau
magnétique doux, aura pour effet de déplacer, vibrer, et semblent changer de
position lorsque l'aimantation du matériau magnétique doux est modulée par des
moyens auxiliaires (un peu comme le soleil, vu sous l'eau, apparaît à se
déplacer lorsque l'eau est agitée). Par
ce mécanisme, le mouvement requis pour la génération de l'électricité peut être
synthétisé à l'intérieur d'un matériau magnétique doux, sans nécessiter de
mouvement physique ou une force mécanique appliquée.
La présente invention
synthétise le mouvement virtuel d'aimants et de leurs champs magnétiques, sans
la nécessité d'une action mécanique ou de pièces mobiles, pour produire le
générateur électrique décrit ici. La
présente invention décrit un générateur électrique où le freinage magnétique
connu comme l'expression de la loi de Lenz, ne s'oppose pas les moyens par
lesquels l'énergie du champ magnétique est amené à se déplacer. Le mouvement aimanté synthétisé est produit sans résistance soit
mécanique ou électrique. Ce mouvement
aimanté synthétisé est aidé par les forces générées conformément à la loi de
Lenz, afin de produire une accélération du mouvement aimanté synthétisé, au
lieu de " freinage magnétique " physique commune à actionnés
mécaniquement générateurs électriques. En raison de
cette interaction magnétique original, le générateur statique à l'état solide
de la présente invention est un générateur robuste, ne nécessitant qu'une
faible force électrique de fonctionner.
Brève
description des dessins
Les dessins annexés
illustrent uniquement des modes de réalisation typiques de la présente
invention et ne sont par conséquent pas être considérés comme limitant sa
portée, car l'invention englobe d'autres modes de réalisation tout aussi
efficaces.

Fig.1 est une vue
éclatée du générateur de la présente invention.

Fig.2 est une vue en
élévation en coupe du générateur de la présente invention.

Fig.3 est un diagramme schématique de l'action magnétique se produisant dans
le générateur de Fig.1 et Fig.2.

Fig.4 est un schéma
de circuit illustrant un procédé de fonctionnement du générateur électrique de
la présente invention.
Description détaillée de l'Invention
Fig.1 représente une
vue partiellement éclatée d'un mode de réalisation d'un générateur électrique
de cette invention. Les numéros
de référence s'appliquent également dans Fig.2 et Fig.3.

Chiffre 1 représente un aimant
permanent avec son pôle Nord pointant vers l'intérieur vers le noyau
ferromagnétique doux de l'appareil. De
même, le chiffre 2 indique aimants permanents (préférence de la même
taille, forme et composition), avec leurs pôles Sud destinées vers l'intérieur
vers le côté opposé, soit en face de la surface de l'appareil. Les lettres
" S " et " N " désignent ces pôles
magnétiques dans les dessins. Autres
configurations et polarités magnétiques peuvent être utilisées avec succès ; le
modèle montré simplement illustre une méthode efficace d'ajouter des aimants au
noyau.
Les aimants peuvent
être formés de n'importe quel matériau magnétique polarisé. En ordre décroissant d'efficacité, les
matériaux à un aimant permanent plus désirables sont néodyme-fer-bore ("
plume "), Samarium Cobalt, alliage AlNiCo, ou " céramique
". Strontium-baryum ou
plomb-Ferrite. Des principaux facteurs
déterminant la composition de matériaux à un aimant permanent sont l'intensité
du flux magnétique du type matériel particulier. Dans un mode de réalisation de l'invention,
ces aimants peuvent aussi être substitués avec un ou plusieurs électro-aimants
produisant le flux magnétique nécessaire.
Dans un autre mode de réalisation de l'invention, un biais superposé de
courant CC peut être appliqué pour le fil de sortie pour générer le flux requis
de magnétique, remplacer ou augmenter les aimants permanents.
Chiffre 3
indique le noyau magnétique. Ce noyau
est une composante essentielle du générateur.
Le noyau détermine la capacité de puissance de sortie, le type d'aimant
optimale, l'impédance électrique et la gamme de fréquences d'utilisation. Le noyau peut être n'importe quelle forme,
composé de n'importe quel matériau ferromagnétique, formé par tout procédé
(frittage, casting, adhésif collage, ruban à remontage automatique,
etc..). Un large éventail de formes,
matériaux et procédés est connu dans l'art de faire des noyaux magnétiques. Matériaux communs efficaces comprennent des
alliages métalliques amorphes (tel que vendus sous la marque " Metglas
" par Metglas Inc., Conway, L.C.), alliages nanocristallins, ferrites de
manganèse et de zinc ainsi que ferrites de tout élément approprié, y compris
n'importe quelle combinaison de ferrites magnétiquement " dures " et
" douces ", en poudre des métaux et alliages ferromagnétiques,
lamelles " aciers " cobalt et/ou de fer et de silicium et de
fer. Cette invention utilise avec succès n'importe quel matériau
ferromagnétique, tout en fonctionnement comme l'a soutenu. Dans un mode de réalisation de l'invention et aux
fins d'illustration, un noyau circulaire " Tore " est illustré. Dans un mode de réalisation de l'invention,
la composition peut être collée en poudre, couramment disponible auprès de
nombreux fabricants de fer.
Indépendamment du type de noyau, le noyau
est préparé avec des trous, qui, fils peuvent passer. les trous sont forés ou
formés pour pénétrer le volume ferromagnétique de la core. Le noyau toroïdal 3 montre, comprend des
trous radiaux pointant vers un centre commun.
Si, par exemple, les tiges de fil rigide devaient être inséré à travers
chacun de ces trous, ces tiges seraient réunirait au point central de l'âme,
produisant un aspect semblable à une roue à rayons. Si une base carrée ou rectangulaire (non
illustré) est utilisé, ces trous sont préférablement orientés parallèlement à
côtés plats de la core, causant des tiges raides insérées dans les trous pour
former un motif de grille carrée, comme les tiges croisent dans la zone
intérieure " fenêtre " encadrée par le noyau. Alors que dans d'autres variantes de l'invention, ces trous peuvent
prendre tout comportement ou orientations possibles d'orientation, une simple
rangée de trous radiaux est illustrée à titre d'exemple.
Chiffre 4
représente un fil, ou un faisceau de fils qui captent et transporter la
puissance de sortie du générateur. En
général, ce fil est composé de cuivre isolé, bien que d'autres matériaux comme
l'aluminium, fer, matériau diélectrique, polymères et matériaux
semi-conducteurs peut-être être substitués.
Il peut être vu dans les Fig.1 et Fig.2, qui fil 4
passe alternativement à travers des trous voisins formés en base 3. Le chemin emprunté par fil 4 ondule
lors de son passage dans la direction opposée dans chaque trou adjacent. Si un nombre pair de trous est utilisé, le
fil émergera du même côté de la base sur laquelle il est entré. Une fois que tous les trous sont remplis, la
paire de fils fin résultante peut être tordue ensemble ou même résilié, formant
les bornes de sortie du générateur au chiffre 5. Sortie fil 4, peut aussi faire plusieurs passes dans chaque trou
dans le coeur. Bien que le modèle de
l'enroulement n'est pas nécessairement ondulatoire, cette forme de base est
indiquée à titre d'exemple. Il
existe plusieurs styles de connexion efficace.
Cette illustration montre la plus simple.

La référence numérique 6 sur la Fig.1,
Fig.2 et Fig.3, les points d'une représentation partielle de
l'enroulement d'entrée, ou bobine d'induction servant à déplacer les champs des
aimants permanents, dans le noyau.
Typiquement, cette bobine de fil entoure le noyau, enveloppant autour de
lui. Pour le tore montré, bobine d'entrée
6 ressemble à enroulements extérieurs d'un inducteur toroïdal typique -
un composant électrique commun. Par souci de
clarté, seules quelques spires de la bobine 6 sont présentés dans chacun
des Fig.1, Fig.2 et Fig.3.
Dans la pratique, cette bobine peut couvrir l'ensemble du noyau, ou des
sections spécifiques de la base, y compris, ou non, y compris les aimants.
La Fig.2 montre
le même générateur électrique de la figure 1, en regardant transparente "
vers le bas " par l'intermédiaire d'en haut, de sorte que les positions
relatives des trous de carottage (en traits pointillés), la trajectoire du fil
de sortie 4, et la position des aimants (zones blanches pour les aimants
sous le noyau et les zones hachurées vertes pour les aimants au-dessus du noyau
éclos) sont en clair. Les quelques
spires représentatifs de la bobine d'entrée 6 sont indiqués en rouge sur
la Fig.2.
Le générateur illustré,
utilise un noyau de huit trous percés radialement. L'espacement entre ces trous est égale. Comme le montre, chaque trou est déplacé de
45 degrés de chaque Il est attenant à trous.
Les centres de tous les trous se trouvent sur un plan commun se trouvant
à mi-chemin vers le bas de l'épaisseur de l'âme verticale. Noyaux de toute forme ou taille peuvent avoir
aussi peu que deux ou autant que des centaines de trous et un nombre similaire
d'aimants. D'autres variantes existent,
tels que les générateurs de multiples rangées de trous, des motifs en zigzag et
en diagonale, ou quatre fils de sortie moulé directement dans le matériau de
noyau. Dans tous les cas, l'interaction
magnétique de base représenté sur la Fig.3 se produit pour chaque trou
dans le noyau comme décrit ci-dessous.

Fig.3 montre le même
plan, vu de côté. La courbure de l'âme
est représentée aplatie sur la page à des fins d'illustration. Les aimants sont représentés de manière
schématique, en saillie à partir de la partie supérieure et inférieure de
l'âme, et notamment des flèches indiquant la direction du flux magnétique
(têtes de flèches indiquent pôle Nord de l'aimant).
Dans la pratique, les
extrémités libres, seules polaires des aimants du générateur peuvent être
laissés " en l'état " à l'air libre, ou ils peuvent être fournis avec
un chemin ferromagnétique commun reliant les pôles Nord et Sud seules ensemble
comme un " terrain " magnétique.
Le chemin de retour commun est généralement réalisé en acier, en fer ou
en un matériau similaire, sous la forme d'un boîtier logeant le dispositif
ferreux. Il peut servir l'objectif
supplémentaire d'un châssis de protection.
Le rendement magnétique peut également être un autre noyau ferromagnétique
d'un générateur électrique similaire empilé sur le dessus du générateur
illustré. Il peut y avoir une pile de
générateurs, le partage des aimants communs entre les noyaux de générateur. Tous ces ajouts sont sans incidence directe
sur le principe de fonctionnement du générateur lui-même, et ont donc été
exclus de ces illustrations.
Deux exemples de
schémas de flux sont présentés dans la Fig.3. Chaque exemple est donné dans un espace entre
les bobines d'entrée partielles représentées schématiquement 6. Un marqueur de polarité positive ou négative
indique la direction du courant d'entrée, appliquée à travers la bobine
d'entrée. Ce courant appliqué produit des " moduler " flux magnétique,
qui est utilisé pour synthétiser le mouvement apparent des aimants permanents,
et est représenté par une flèche à double queue horizontale (a) le long
du noyau 3. Chaque exemple montre
cette flèche double-queue (a) pointant vers la droite ou vers la gauche,
en fonction de la polarité du courant appliqué.
Dans les deux cas, le
flux entrant dans le noyau vertical (b, 3) à partir de l'extérieur des
aimants permanents (1,2) est balayé le long de l'intérieur du coeur,
dans la direction de la flèche à deux queues (a), qui représente le flux
magnétique de l'bobine d'entrée. Ces
flèches courbes (b) dans l'espace entre les aimants et les trous,
peuvent être vus à se déplacer ou de coude (a -> b), comme s'ils
étaient des ruisseaux ou des jets d'objet de l'air à un vent changeant.
Le mouvement de
balayage résultant des champs des aimants permanents, provoque leur flux (b)
de se brosser avant en arrière sur les trous et les 4 fils qui passe à
travers ces trous. De même que dans un
générateur mécanique, lorsque les brosses de flux magnétique ou de "
coupes " de côté à travers un conducteur de cette façon, une tension est
induite dans le conducteur. Si une
charge électrique est connectée à travers les extrémités de ce fil conducteur
(de numérique 5 sur la Fig.1 et Fig.2), un courant circule
à travers la charge par l'intermédiaire de ce circuit fermé, fournissant de
l'énergie électrique en mesure d'effectuer le travail. Entrée d'un courant alternatif à travers la
bobine d'entrée 6, génère un champ magnétique alternatif (a)
amener les champs d'aimants permanents 1 et 2 de commande (b)
dans le noyau 3, induisant une puissance électrique par l'intermédiaire
d'une charge (fixé à bornes 5) , comme si les aimants fixes (1,2)
étaient eux-mêmes se déplacer physiquement.
Toutefois, aucun
mouvement mécanique est présent.
Dans un générateur mécanique, induite
courant alimentant une charge électrique, revient à travers le fil de sortie 4,
ce qui crée un champ magnétique induit secondaire, exerçant des forces qui
s'opposent sensiblement le champ magnétique initial induire la FEM origine. Etant donné que les courants de charge
induisent leurs propres champs magnétiques secondaires, en opposition à la loi
initiale de l'induction de cette façon, la source de l'induction d'origine
nécessite de l'énergie supplémentaire pour se rétablir et continuer à générer
de l'électricité. Dans les générateurs
mécaniques, le mouvement induisant l'énergie des champs magnétiques du
générateur est actionné physique, nécessitant une forte force motrice (comme
une turbine à vapeur) pour restaurer la requête les champs magnétiques CEM
génératrices de contre l'effet de freinage de la production induite par champs
magnétiques (le champ induit par c et le champ inducteur b), en
opposition mutuelle destructive, qui doit finalement être surmontés par la
force physique, qui est généralement produit par la consommation d'autres
sources d'énergie.
Le générateur
électrique de la présente invention n'est pas actionné par une force
mécanique. Il utilise le champ magnétique secondaire
induit de manière à ne pas provoquer opposition, mais au contraire, l'addition
et de l'accélération résultant du mouvement du champ magnétique. Parce que la présente invention n'est pas actionné
mécaniquement, et parce que les champs magnétiques n'agissent pas pour détruire
les uns les autres en opposition mutuelle, la présente invention ne nécessite
pas la consommation des ressources naturelles dans le but de produire de
l'électricité.
Champ magnétique induit
de la génératrice présente, résultant d'un courant électrique circulant à travers
la charge et retour à travers le fil de sortie 4, est celle d'une boucle
fermée qui entoure chaque trou dans le noyau.
Les champs magnétiques induits créent un flux magnétique sous la forme
de boucles fermées à l'intérieur du noyau ferromagnétique. Le champ magnétique " entoure "
chaque trou dans le noyau qui supporte le fil de sortie 4. Ceci est similaire au filetage d'une vis
" encerclant " l'arbre de la vis.
Dans ce générateur, le
champ magnétique à partir de la sortie 4 entoure le fil immédiatement
chaque trou formé dans le noyau (c).
Depuis fils 4 peut prendre une direction opposée à travers chacun
des trous voisins, la direction du champ magnétique qui en résulte également
être opposée. Le sens des flèches (b)
et (c) sont, à chaque trou, s'oppose, dirigé dans des directions
opposées, puisque (b) est le flux induire et (c) est le flux
induit, chaque opposées l'une à l'autre, tout en générant de l'électricité.
Cependant, cette opposition magnétique est
effectivement dirigée contre les aimants permanents qui s'injectent leur flux
dans le noyau, mais pas la source du champ d'entrée magnétique alternatif 6. Dans la présente générateur à l'état solide,
le flux de sortie induite (4, c) est réalisé pour s'opposer aux aimants
permanents (1,2) non la source de flux d'entrée (6, a) qui est
synthétise le mouvement virtuel de ces aimants (1,2) par son action sur
le noyau de magnétisation 3.
Le présent générateur emploie aimants comme
la source de pression motrice qui entraîne le générateur, car ils sont l'entité
opposé ou " poussée contre " par la réaction adverse provoquée par la
sortie de courant qui alimente une charge.
Les expériences montrent que les aimants permanents de haute qualité
peuvent être magnétiquement " poussé contre " de cette façon pendant
de très longues périodes de temps, avant de se démagnétiser ou " passé
".
Fig.3 illustre induire des flèches de flux représentatifs (b) dirigés
contre opposée flux représentatif induite (c). Dans les matériaux généralement utilisés
pour former noyau 3, les champs circulant dans des directions
mutuellement opposées ont tendance à s'annuler, de même que des nombres
positifs et négatifs d'amplitude égale à la somme de zéro.
Sur le côté restant de chaque trou, en face
de l'aimant permanent, sans opposition mutuelle a lieu. Flux induit (c) provoquée par le
courant de charge du générateur reste présent.
Toutefois, induisant flux des aimants permanents (b) n'est pas
présent car aucun aimant est présent, de ce côté, pour fournir le flux
nécessaire. Cela laisse le flux
induit (c) entourant le trou, ainsi que des flux d'entrée (a) à
partir des bobines d'entrée 6, continuant son chemin le long de l'âme,
de chaque côté de chaque trou.
Sur le côté de chaque
trou dans le noyau, où un aimant est présent, l'action (b) et la
réaction (c) annuler le flux magnétique sensiblement les uns les autres,
en étant dirigé dans des directions opposées à l'intérieur du noyau. De l'autre côté de chaque trou, où aucun
aimant est présent, l'entrée de flux (a) et le flux de réaction (c)
partagent un sens commun. Flux
magnétique additionne dans ces zones, où induits magnétique (c) facilite
le flux d'entrée (a). C'est
l'inverse de l'action du générateur typique, où le flux induit (c) est
généralement s'oppose à " l'entrée " flux provenant de l'induction.
Étant donné que l'interaction magnétique est
une combinaison d'opposition de flux magnétique et l'accélération du flux
magnétique, il n'y a plus un freinage magnétique global ou un effet
d'opposition totale. Le freinage et
l'opposition est contrebalancée par une accélération simultanée magnétique dans
le noyau. Etant donné que le mouvement
mécanique est absent, l'effet électrique équivalent est compris entre la

Dans un mode de
réalisation de la présente invention, la Fig.4 illustre un circuit
typique de fonctionnement utilisant le générateur de la présente
invention. Un signal d'entrée d'onde
carrée à partir d'un circuit de commutation de transistor, est appliquée aux
bornes d'entrée (S), à la première (a) d'un transformateur abaisseur
de tension 11. L'enroulement
secondaire (b) du transformateur d'entrée peut être un seul transformer,
en série avec un condensateur 12 et la bobine d'entrée générateur 13 (c),
formant un circuit résonnant série. La
fréquence de l'onde appliquée carré (S) doit soit de correspondance, ou
être un sous-harmonique entier de la fréquence de résonance de ce circuit
d'entrée du transformateur-condensateur-inductance 3-élément.
Générateur 13 enroulement de sortie
(d) est connectée à une charge résistive à travers l'interrupteur 14. Lorsque l'interrupteur 14 est fermé,
l'énergie produite est dissipée en L, ce qui est une charge résistive, par
exemple, et une lampe à incandescence ou dispositif chauffant résistif.
Une fois que la
résonance d'entrée est obtenue, et la fréquence d'onde carrée appliqué à S
est telle que l'impédance réactive combinée de l'inductance totale (b + c)
est égale en grandeur à l'impédance réactive opposées de la capacité 12,
les phases électriques du courant à travers, et tension aux bornes, la bobine (c)
d'entrée générateur 13 va de 90 degrés à l'écart de débit en quadrature
de résonance. Puissance absorbée de la
source d'énergie d'entrée carré appliqué à S va maintenant être à un
minimum.
Dans ces conditions,
l'énergie présente résonance à l'entrée du générateur peut être mesurée par la
connexion d'une sonde de tension entre les points de test (v), situé de
l'autre côté de la bobine d'entrée de générateur, avec une sonde de courant
autour du point (I) situé en série avec la bobine d'entrée (c) du
générateur. Le produit de vecteur
instantané de ces deux mesures indique l'énergie qui circule à l'entrée du
générateur, en fin de compte déplaçant les champs des aimants permanents afin
de créer induction utile. Cette situation perdure jusqu'à ce que les
aimants ne sont plus aimantée.
Il sera évident pour l'homme de l'art que d'un carré (ou autre)-ondes peuvent être appliquées directement sur les bornes d'entrée du générateur (c) sans l'utilisation d'autres composants. Bien que cela reste efficace, les effets de re-générer avantageuses peuvent pas être réalisées dans toute leur étendue avec une telle excitation directe. Utilisation d'un circuit résonant, en particulier à l'inclusion d'un condensateur 12, comme le suggère, facilite la remise en circulation de l'énergie dans le circuit d'entrée, produisant une excitation efficace et généralement une réduction de la puissance d'entrée nécessaire que les charges sont appliquées.
Entrez... La connexion
de Mallory
Mark McKay, PE 3/2/06

E.V. Gray Version 2.0 type moteur EMA6 1977 – courtoisie Dr Peter
Lindemann
Envisager la désormais classique photo de 1977
(ci-dessus) de M. E.V. Gray démontrant son moteur EMA6 aux investisseurs au
pavillon sportif à Burbank, en Californie. Cette photo a été prise par Tom
Valentine, qui a écrit une série d'articles informatifs sur la saga EV Gray. Dr
Peter Lindemann a reçu ce film original de M. Valentine pour soutenir la
recherche de Peter pour son livre « L'énergie libre Secrets de froid
électricité ».
Dans une tentative fructueuse pour extraire des informations techniques
supplémentaires de cette photo historique Dr Lindemann a arrangé pour l'avoir
amélioré numériquement. L'un des objectifs de cet effort était de décrypter
l'écriture sur le condensateur de rangement Gray directement sous le moteur.
Elle se lisait :
MALLORY
MADE IN
TYPE TVC-606
5.0 MFD 5000 VDC
Mallory est un nom bien connu dans le
domaine de l'électronique. Quand on pense Mallory aujourd'hui généralement
pensent-ils de la prime gros condensateurs filtre électrolytique bleu qui a
dominé la puissance linéaire haut de gamme approvisionnent le marché dans les
années 70 et 80. À son apogée, le P.R. Mallory Company était une maison de
pouvoir nous fait des composants électriques. Non seulement ont-ils fait
plusieurs gammes de condensateurs, mais ils ont également fait des chargeurs de
batterie, résistances, rhéostats, redresseurs, commutateurs, convertisseurs
UHF, filtres de bruit, fer à souder conseils et composants spéciaux de
Television. Leur catalogue de 1955 a été long de 60 pages.
M. P.G. Mallory a
commencé en 1916 avec l'invention de la pile mercure. En 1965 la société a
développé la pile alcaline Duracell bien connue.

La compagnie de
condensateur en Amérique du Nord (NACC) a son siège à Indianapolis, Indiana.
Aujourd'hui, NACC continue de fabriquer et de commercialiser des condensateurs
de Mallory dans ses installations modernes de fabrication et entrepôt situées à
Greencastle, Indiana et Glasgow, Kentucky.

Condensateurs
de Mallory et Duracell piles de réserve de pièces expérimentales de l'auteur
Une autre invention
importante de Mallory, très par rapport à la technologie EV Gray, a été le
développement des années 1920 de la "Elkonode", dos plus connu alors
comme tout simplement le "vibreur". Aujourd'hui cet appareil est à peine connu du tout. En son temps, il a
servi comme un sous-système essentiel dans les convertisseurs DC au début. Elles étaient
utilisées pour élever les niveaux de basse tension des batteries de stockage
pour les niveaux de fonctionnement requis par tubes à vide, qui était de 200 à
500 Vcc. Cette composante
électromécanique maintenant oubliée était l'équivalent fonctionnel des deux
transistors de puissance push pull dans une alimentation à découpage moderne. À
l'époque, quand il vint à électronique mobile il y avait deux choix.
Convertisseur de puissance 1) A vibrateur basée, ou 2) un convertisseur de base
de dynamo-moteur lourd. Pour les applications en-dessous de 30 watts,
l'approche de vibrateur était plus petit, plus léger, moins cher et plus
efficace que l'alternative. Par conséquent, les militaires avaient un intérêt
sérieux cette technologie, mais c'est à la demande du marché de masse pour
autoradios petit tube à vide où l'argent réel a été effectuée.
Les P.G. Mallory Co.
presque complètement dominé le marché de vibrateur électrique haut de gamme
depuis 40 ans et a été responsable de presque toutes les améliorations de
performances dans les années 40 et 50. Mais, toutes les bonnes choses doivent
se terminer. Cette ligne de produit lucrative est venu à un crissement stopper
en 1957 avec le développement du signal basse tension et transistors de
puissance. Mais Mallory a toujours réussi à garder un tranchant dans bon nombre
de ses autres domaines de marché pendant plusieurs années après que.

C'est donc sans grande surprise, quand on lit dans l'article Scagnetti
EV Gray de 1973 :
Le Moteur qui Travaille Tout Seul
Par Jack
Scagnetti de ' Sonder l'inconnu ', en juin 1973.
" Mallory Electric Corporation de
Carson City (
contribution majeure vers la conception du
système électronique ' pulsé '. "
Il est tout assez évident que M. Gray avait
un énorme investissement en composantes de type Mallory. Si son invention est-elle devenue principale
flux puis le Co. Mallory aurait eu premier coup à un énorme nouveau marché
automobile. Chaque véhicule neuf aurait
besoin entre $300 - $600 d'une valeur de condensateurs de stockage HV robustes,
sans oublier de mentionner un investissement de deux fois plus que beaucoup de
convertisseurs de puissance vibrateur ou leurs produits de remplacement
équivalent à l'état solide, laquelle Mallory fait aussi.
Il est très facile de voir comment M. Gray
pourrait avoir convaincu quelques cadres de Mallory comment il serait dans leur
meilleur intérêt à aider financièrement, ou au moins de lui fournir un petit
don de matériel de leur division Vibrapack à M. Grays Irvine CA.
impressionnantes démonstrations " pratiques " étaient connues pour
être très efficace pour convaincre les professionnels de la techniques qu'il
était à quelque chose de gros, fournissant qu'il n'avait jamais autorisé la
possibilité de faire de ces présentations à un décideur réel. Très probablement certains inspiré et
perspicace de 3e niveau personnel personne réussi à lui fixer vers le haut avec
une charge de ramassage de convertisseurs de vibrateur excédentaires qui ont
été, ou serait, complètement obsolète.

Exemples de la
ligne de P.R. Mallory de "Vibrapacks" (convertisseurs) du catalogue
de 1955.
Tous les modèles ont une puissance de 30
Watt sauf celui à l'extrême droite qui est évalué à 60 Watts
Mais cette histoire a une tournure importante dedans.....
La société Mallory qui a donné à M. Gray
assez d'argent pour faire mention de celui-ci dans l'article du magazine
ci-dessus n'était pas le P. G. Mallory & Company Inc., mais la compagnie
électrique de Mallory de Carson City, Nevada, les concepteurs et les fabricants
d'une multitude de systèmes d'allumage automobile OEM et après-vente.



Un petit
échantillon de nom de marque Mallory moderne après avoir marché d'allumage
produits 2006
M. Marion Mallory était
le genre rare d'individu indépendant qui serait de lancer une entreprise le
vendredi 13 en février 1925. Il était un
inventeur autodidacte avec une éducation de grade 4, qui n'a pas seulement été
brillante à son métier, mais avait aussi ce qu'il faut pour gérer une
entreprise. Si il a déjà rencontré M.
Gray face à face les deux hommes auraient beaucoup en commun, en particulier du
point de vue " pratique " d'énergie créatrice. M. Mallory fait son argent dans une variété de véhicules à moteur, motor
cycle et systèmes d'allumage par marine.
Ans, il était le principal fournisseur de la Ford Motor Company pour les
distributeurs d'allumage et leurs mises à niveau. Il a reçu environ 30 brevets américains et 10
internationaux pour une multitude d'améliorations significatives dans la
technique d'allumage, tant dans les systèmes électriques et mécaniques. Il était sacrément bon Business, mais sa
faiblesse personnelle a été la course automobile de haute performance. Le marché des pièces de voiture de course
n'est pas très grand, mais l'activité, qu'il prend en charge est très
addictive. Marion parrainé trois équipes
par année dans les différentes classes des courses d'automobiles
professionnels. Il a également été dit
que M. Mallory a cherché et embauché des techniciens et des ingénieurs créatifs
comme esprit. Il méprisait aussi la
mentalité de Syndicat ouvrier qui était devenu tellement contradictoire dans la
région de Detroit entre les années 50 et 60.
M. Mallory enfin eu
marre avec les demandes étouffantes et contre-productif de l'United Auto
Workers Union. Dans un geste rare de
l'individualisme, il décide de prendre des dispositions pour déplacer sa
société toute entière, lock, stock et, bobines d'allumage à Carson City,
NV. En ce moment,
Compte tenu de la
chronologie des événements, il est fort probable que M. Gray n'a jamais
rencontré Marion Mallory. Il est presque
certain que la connexion à la société Mallory était entièrement entre M. Gray
et Mallory " Boot ". Ceci a
été également facilité par le fait que ces deux hommes étaient à peu près le
même âge avec M. Gray en 5 ans de plus.
Pour l'ensemble de leur
activités, carrières Marion et Mallory " Boot " étaient toujours à la
recherche de systèmes d'allumage améliorée, tant pour les bonnes pratiques
commerciales et, bien sûr, un désir pour le sport, les voitures les plus
rapides à l'hippodrome. Leur base de
connaissances et l'expérience sur le terrain couvert toutes les approches de
conception du système d'allumage, tant dans les domaines électriques et mécaniques. Il est intéressant de noter qu'ils développé
et fabriqué des systèmes magnéto ainsi que les systèmes traditionnels de
distributeur. Comprendre que ces deux technologies sont très différents les uns
aux autres.


Dans les cercles de voiture de course, il a toujours été connu que
système capacitif de allumages de décharge sont de loin supérieurs aux limites
du système

Verre hydrogène Thyratrons des années 40
De " générateurs d'impulsions "
Radiation Laboratory du MIT 1948
Deux nouvelles
technologies sont nécessaires pour obtenir des systèmes de CD sur le sol.
1) une méthode pour
stimuler la tension de la batterie 6 ou 12 V DC stockage de l'intervalle de 400
à 500 volts avec un courant disponible d'au moins 100 mA (40-50 Watts).
2) Un composant ou
technique qui remplacerait le volumineux, fragile, et la puissance thyratron
faim qui a agi comme le commutateur maître de commande de synchronisation.

Mallory moderne " 2006 "
condensateur décharge composants d'allumage
Les deux solutions est
venu à la même époque. Transistors de
puissance sont devenus disponibles pour l'industrie aérospatiale en 1954. Ces permis le développement de début mode
commuté pousser-tirer les blocs d'alimentation dont les productions ont été
bien au-delà de ce qui pourrait livrer un vibrateur puissance mécanique
(jusqu'à 90 Watts au départ).
Convertisseurs de transistor complète étaient disponibles pour l'amateur
au début de 1958. Ainsi, nous pouvons
supposer que les transistors de puissance de prototype étaient disponibles pour
l'industrie dans environ 1955.



Publicité au début pour un 90 Watt (pulsé)
amateur 12V convertisseur DC 450V
Du magazine
" QST " janvier 1958
(Notez la
réduction de la taille par rapport à la Vibrapack de Watt 60)
La deuxième percée
critique est venu avec l'invention du Thyristor ou Silicon Controlled Rectifier
(SCR) par Bell Labs en 1957. General
Electric rapidement acheté les droits pour cette technologie prometteuse et ne
tarde pas à mettre en production. La
fabrication des redresseurs de puissance à l'état solide et des transistors
était déjà bien avancé, donc, un SCR à l'aide de l'équipement de production
existant de construction était un ' slam-dunk '. Selon le manuel de SCR GE 1964 3ème édition,
le modèle C35 était déjà dans le domaine depuis 1958.

Silicium redresseur commandé disponible pour
l'industrie militaire en 1958
Avec ces nouveaux composants de
semi-conducteurs à portée de main Marion & " Boot " Mallory
étaient au large et en cours d'exécution.
Leur première piste de course de bêta-test système d'allumage CD a été
introduit en quantités limitées à l'automne 1961. Leur premier après que les modèles de
production de marché n'a pas atteint les distributeurs jusqu'en 1964. Il a fallu 3 ans de développement détaillé et
d'attente pour le marché SCR se calment avant de décider sur une conception de
la production finale. Alors que les
principes fondamentaux de fonctionnement d'un circuit d'allumage de CD est
droite avant obtenir un circuit de longue durée qui fonctionnera bien lorsqu'il
est exposé aux température, la tension et vibrations extrêmes est une autre
question. À l'époque du patrimoine
industriel de notre pays nouveaux produits ne étaient pas généralement se
précipita, moitié cuit, pour les revendeurs en raison de certains morts-ligne
imaginaire imposée par les compteurs de haricots dans le département marketing.

Ainsi, pendant la période de 1960 à 1970 où
M. Gray aurait pu aller quand il avait besoin de quelques rare expertise
technique appliquée sur batterie exploité systèmes d'impulsions haute tension
? La solution semble presque évidente.
Nous avons sans doute que M. Gray et Mallory
" Boot " étaient sur une base de prénom. Ils peuvent ont déjà mis au
point une sorte de relation alors que la compagnie était toujours à
Il a été souligné, de sources
bien informées, que tous l'après les allumages marché de Mallory utilisé des
transistors de puissance pour les 6-12 v à section convertisseur 450V. Alors, nous nous demandons pourquoi était M. Gray vibrateur obsolète qui
utilisent encore emballe en 1973 ? " Boot " serait ont certainement
fourni M. Gray avec les équipements les plus modernes, ainsi que le SCR et
bobine d'allumage composants dans un petit, autonome, coutume machinée et
paquet hors mis sur écoute.
Nous soupçonnons que " Boot " n'a
fourni ces systèmes complets de CD transistors et que M. Gray avec impatience
attend avec impatience la taille réduite, durée de vie accrue et amélioration
de l'efficacité que les nouveaux appareils semi-conducteurs promis. Surtout après avoir constamment à se battre
avec les vibrateurs qui gardé brûler au cours de ses essais préliminaires. Mais, génération d'énergie radiante (RE) a
ses propres défis spéciaux pour traiter.
Un problème technique majeur est ce qu'il faut faire avec l'impulsion
magnétique Electro (EMP) semblable à l'effet qui se produit quand un circuit RE
atteint un certain niveau de puissance.
Si tout ce surplus d'énergie n'est pas correctement shunté au système
commun (si tout va bien après avoir fait un travail sérieux), il échappe les conducteurs
du circuit de facturer chaque objet métallique dans les 20 pieds environ du
générateur. Une multitude
d'étincelles bleutée éclateront de tout objet métallique dans une salle, en
raison de la haute tension induite.
C'est certainement un intéressant spectacle de lumière, avec l'éclairage
éteint, mais dévastateurs pour n'importe quel près de transistor ou IC ayant
n'importe quel niveau de fils branchés dessus.
Transistors et IC qui
est stockés dans des caisses ou des pochettes de protection métalisées semble
survivre.

Si c'était le cas, alors nous pouvons
imaginer comment déçu M. Gray aurait pu se quand ses nouveaux convertisseurs
transistorisée a commencé à l'échec, voire catastrophique. Heureusement, et nous le pensons vraiment
Il semble que M. Gray a
été obligé de revenir en arrière et utiliser les modules échec enclin vibrateur
obsolète qu'il partit avec. Selon le
premier brevet, elles étaient utilisées pour la conversion de tension CC
primaire. Nous soupçonnons que les ingénieurs de Mallory ont été engagés pour
aider M. Gray marier le pack vibromasseur au système SCR. L'ajout de SCR n'a aidé à résoudre le
problème de l'échec en réduisant l'arc-boutement actuelle à travers les
contacts de vibrateur. Ce n'est pas une
interface simple et nécessite certains savoir-faire électronique
expérimenté. Le défi est
d'équilibrer la capacité limitée du vibreur à l'impédance minimale de la
capacité de stockage SCR.

Schémas de
câblage pour deux P.R. Mallory Vibrapacks
Modèle 60 Watt
sur la gauche-modèle 30 Watt à droite
D'autres chercheurs
soutiennent que M. Gray jamais eu l'intention d'utiliser des transistors en
premier lieu. C'est parce qu'un RE théorie affirme que le processus non
classique commence aux minutes arcs formés au cours de la réalisation et la
rupture des contacts vibrateur. Ce problème technique est toujours ouvert
pour le débat et la vérification expérimentale.

Cependant, nous sommes tous d'accord que le circuit CD SCR est toujours
un sous-système essentiel à la technologie EV Gray, mais il n'est pas toute
l'histoire pour un processus complet de plus de l'unité (UO). De plus, nous croyons que M. Gray n'a pas divulguer
le noyau de son " secret " à " Démarrer " ou quelqu'un
d'autre à la compagnie électrique de Mallory.
Il semblerait que " Boot ", en raison de son unique éducation
individualiste, respecté les droit de M. Gray à ses propres créations. " Boot " a été évidemment loin assez voyante de voir certains
potentiel dans cette entreprise, sans oublier de mentionner une toute nouvelle
classe de machines de course future des entreprises une plus grande. Une des raisons principales de cette attitude
éclairée était que " Boot " n'avait pas à composer avec un Conseil de
direction à courte vue d'administration dont les membres étaient plus
préoccupés par les prochains trimestres, les chances de prix de l'action que la
prise de risque sur l'âge, évolution des technologies.
Le sous-système de CD du moteur Gray n'était pas
divulgué dans brevet # 3 890 548. M.
Gray mentionne l'utilisation de bobines d'allumage dans le texte du brevet,
mais eux n'a pas montré dans le diagramme schématique. La solution la plus simple pour aider à
protéger son " secret " a été d'éliminer simplement le sous-système
de CD depuis le schéma. Puisque M. Gray
tentait seulement de dévoiler un nouveau type de moteur d'impulsion dans ce
premier brevet. L'omission d'un
alimentation " mineures " puissance " caractéristique "
n'allait pas à dire quoi que ce soit pour les examinateurs de brevets. Mais, le diable est dans les détails, surtout quand on essaie de
reconstituer cette technologie a perdu 30 ans plus tard.
Il y a une bonne possibilité que M. Gray retournait une faveur à "
Boot " en ne divulguant ne pas les conceptions de circuit CD
exclusives. Ils aurait très bien pu
avoir un accord verbal et une joint-venture sur cette question. " Boot " n'a pas besoin de connaître
l'énergie libre de M. Gray " Secret ". Son morceau de marge élevée de l'action a
été enfermé dans parce que chaque nouveau moteur EV Gray aurait besoin de 18 ou
plus complètes CD alimentations, y compris les détails de construction brevetée
des bobines d'allumage Mallory. Les succès de M. Gray allait être le succès
de " Boot " Mallory – BIG TIME.
Une situation gagnant-gagnant classique.
Il n'est pas étonnant que " Boot " fait volontiers les
contrôles à cet inventeur inconnu et non instruit de la Californie. Tandis que le P.R. Mallory Company sans le
savoir allait tirer certains avantages de cette percée de la compagnie
électrique de Mallory allait toucher le jackpot.
Comme une observation purement spéculative, il peut avoir été "
Boot " Mallory qui clued M. Gray en sur comment écrire des brevets et de
tenter de protéger sa forme de propriété intellectuelle, les avocats de grandes
entreprises. Ce qu'il faut voir l'et
quoi ne pas montrer, ce qu'il faut dessiner et quoi ne pas dessiner et quoi
dire le reste du temps. Avec cette technologie, ça allait qu'être une frénésie
dès avant le premier coup de bêta-test la rue et " Boot " il savait. M. Gray a probablement reçu une vie temps
d'information sur la façon de garder des secrets, faire de l'argent et couvrir
ses avoirs d'un homme qui avait été là et vu comment les grandes entreprises
fonctionne vraiment privilégiée.
Nous savons tous que M. Gray a subi un revers
majeur lorsque son centre de recherche a été perquisitionné en 1974 par les
agents de l'Office de District Attorneys Los Angles pour fraude en valeurs
mobilières présumés. Mais, en 1977,
comme le montre la photo ci-dessus, M. Gray avait récupéré assez pour recevoir
son premier brevet, générer, déboguer et démontrer son deuxième génération de
moteur. Ce qui généralement ne connaît
pas, dans les cercles d'énergie libre, c'est que M. Gray a subi une perte
beaucoup plus grande lorsque " Boot " Mallory a été tué dans un
accident de voiture en 1978 à l'âge de 48 ans.
Il a été toujours connu pour être un peu d'un pied de plomb.
Allé, a été l'appui financier, technique et morel.
Autant que nous pouvons observer qu'il semble que le moteur EV Gray n'a pas
développer considérablement bien au-delà du modèle de EMA6 (ci-dessus). Les femmes survivantes de Mallory a vendu
l'entreprise à Super magasins d'Irvine, en Californie en 1979. M. Gray a
continué à chercher un bon niveau d'investissement en capital afin qu'il puisse
contrôler et fabriquer son carburant-moins moteurs internes. Il a aussi amélioré sa démonstration de
popping-bobine et mis à jour à un processus continu qui fait allusion à des
possibilités de l'anti-gravité, très impressionnantes. Il a également eu des rumeurs que M. Gray
presque n'a recueilli assez d'argent pour commencer la production.
Malheureusement, nous savons aussi que dix ans plus
tard M. Gray est décédé dans des circonstances non résolues à Sparks, NV en
avril 1989. Sparks est juste est de Reno, NV qui se trouve à environ 50 km au
nord de Carson City, Nevada. Certains
chercheurs soutiennent que la raison principale pourquoi M. Gray a établi ses
multiples laboratoires dans cette ville a été en raison de l'expérience
technique inestimable de certains des techniciens Mallory retraités qui vivent
encore dans la zone.

Nous avons aussi été conduit à croire qu'il s'agissait de " Boot
" Mallory, qui a fait les premières introductions formelles entre M. Gray
et l'inventeur de la voiture remplaçant M. Paul M. Lewis, créateur de la "
Fascination ". Vous pouvez
imaginer l'énergie créatrice possible qui pourrait avoir coulé entre ces trois
individus uniques alors qu'ils étaient assis autour de la table de dîner
partage une foule de rêves ambitieux et régimes.
Aujourd'hui, les fragments vendus et revendus le P.R. Mallory et la
compagnie électrique de Mallory ont souffert, comme tant d'entreprises
américaines, de la brûlure désormais commune et insidieuse de la
mondialisation. Les deux organisations
sont externaliser leurs activités de fabrication en Chine, leurs bureaux
d'études en Inde et leurs efforts de R & D au
En conclusion nous pouvons dire est que cette saga est vraiment un vital
perdu l'occasion pour le monde, ils étaient donc sacrément proches. Si cette histoire avait été différente nous
très probablement ne serait pas être ruiner notre pays dans une vaine tentative
pour garantir des réserves de pétrole en Irak.
Nous aurions pu facilement les colonies permanentes sur Mars et ne pas
se soucier d'effets en cours de gaz à effet de serre. Ce grand pays pourrait ont réinvestis les
milliers de milliards de nos dollars du pétrole dans notre propre économie,
plutôt que de fournir des styles de vie excessivement luxuriantes pour une
poignée de dirigeants privilégié clan moyen-orientale.
Remarque : Ce document fait partie d'une
série produite par M. McKay dans le cadre de son enquête sur le travail d'Edwin
Gray senior et il invite ses lecteurs à communiquer avec lui s'ils ont des commentaires
constructifs ou des questions concernant le travail de M. Gray. Adresse de messagerie de M. McKay est mmckay@tycoint.com.
Intéresser
l'appareillage de démonstration
24
octobre 2006
Il s'agit de la photo classique des appareils de
démonstration " Popping bobine " de E.V. Gray. Cela se trouvent sur
le site web de Peter Lindemann. Cette
photo a été prise par Tom Valentine en 1973. M. Gray est l'homme au centre et
Fritz Lens (son nouveau beau-père) se trouve sur la droite. L'homme sur la gauche est inconnu (probablement Richard Hackenburger VP
of Engineering).

Pendant
des années, sur tout on pourrait dire sur cette photo me qu'il y avait une
bonne quantité d'équipement impliquée dans ces manifestations. La source d'énergie semble être une batterie
automobile de 12 volts à grande commune.
Composants identifiables sont le transformateur d'air fait sur mesure et
le multimètre de 630-A Triplett, tout le reste des détails techniques est caché
par les boîtes d'instrument en Plexiglas noirs.
En soi, cette photo ne donne pas beaucoup d'informations.
En
2004, un ancien investisseur de E.V. Gray s'avancèrent et Peter Lindemann et
John Bedini a présenté avec une période collection d'instantanés
historiques. Cinq de ces photos ont
le même appareil qui a été montré à M. Valentine dans la photo ci-dessus. La situation était différente, mais
l'équipement et la mise en page semble être le même. On suppose que ces nouvelles photos de
l'investisseur ont été prises à la boutique de M. Grays à Van Nuys, CA. Ces photos ont été développées en janvier et
juin de 1974, alors qu'ils auraient pu être prises dans les prochains mois de
la photo de 1973 de la Saint-Valentin. En observant ces photos qu'on peuvent
extraire des informations techniques supplémentaires sur cette nouvelle
technologie.
Les Photos de l'investisseur :

Investisseur Photo
#013C
Vue d'ensemble
Il s'agit d'une belle photo de l'appareil de toute
manifestation d'un bout de la table montrant la batterie d'alimentation, deux
bobines saccadés et une vue de l'extrémité du transformateur de l'air. Malgré la mise au point limitée, cette photo
montre que les bobines saccadés sont branchées en parallèle, puisque tous les
deux les fils blancs sur la gauche se terminent sur la borne négative de la
batterie. Également connecté à la
batterie est un élément qui semble être un analogue comptage shunt de courant -
un dispositif haute résistance actuelle de faible valeur. Cependant, il n'y a pas de compteur relié à ce composant, car il y
aurait dans une application normale. Cela donne à
penser qu'il est utilisé simplement comme une résistance de limitation actuelle
de faible valeur. Il est douteux que
cette composante devait jamais être utilisé à titre de mesure. Sa sortie aurait été une impulsion de tension
très court qui ne pourrait être enregistrée ou observée sur un de
l'instrumentation de test illustrée dans aucune de ces photos.
On croit que les deux fils noir sur la droite du
transformateur air sont déconnectées et suspendu tout droit vers le sol. Comparer cette situation à la photo de Tom Valentine où ces fils noir
lourds sont connectés à deux des boîtes noires.
Il semble être le fil noir quatre à droite des
électro-aimants. Les deux fils noirs plus gros sont pensés
pour vous connecter à l'essuie-glace arrière de l'interrupteur bipolaire à
couteau. Il n'est pas connue avec
certitude où les petits fils noirs restants connectent, mais probablement à un
jeu supplémentaire d'électro-aimants garé sous le transformateur d'air comme
sur la photo #013B. Si oui, alors il
était probablement une démonstration d'accompagnement qui ont montré ce qui
arriverait si une charge supplémentaire a été ajoutée au circuit.

Photo de l'investisseur
#012D
Éclater un serpentin
avec la deuxième installation de démonstration sur le " Droit "
Cette photo est prise au même endroit quelque temps
auparavant où les circonstances sont légèrement différentes. La petite table blanche et son équipement
traitant qui est montré à l'avenir juin 1974 photos ne sont pas prédéfinis. Cette photo (1974 Jan) a été développée 6
mois avant la Photo #013C. L'équipement
sur la grande table semble être dans la même position relative. Ce que révèle cette photo, c'est qu'il y a
une deuxième manifestation " Popping Bobine " qui aura lieu à l'autre
extrémité (côté droit) de la table.
Il est proposé que cette Assemblée totale des
"Boîtes Noires" (une douzaine ou plus de sous-systèmes) pris en
charge par deux manifestations différentes et indépendantes, une démo de "
Popping Bobine " sur la gauche et une autre similaire " Popping
Bobine " démo sur la droite. Les
photos disponibles permettent une meilleure analyse technique de l'équipement
de démonstration sur le côté gauche de la table. On ne sait pas savoir quelles étaient les
différences réelles entre ces deux démonstrations, mais il est évident que les
bobines étant sautés ont des différences de taille évidente. Sur la photo #012D la bobine dans les airs
est environ deux fois la taille des électro-aimants montré à l'autre bout de la
table en photo #013C. La photo de Tom
Valentine montre un ensemble d'électro-aimants (au repos dans le coin inférieur
droit) qui sont au moins quatre fois la taille des bobines utilisées pour la
démonstration qui a été mises en place sur le côté gauche de la table. Toutefois, la bobine lancée ci-dessus n'est
pas le même (soit 50 % plus petit) comme montrée sur la photo de Tom Valentine,
même s'il est alimenté par le même équipement bobine.
On pense que la démo sur le droit a quelque chose à
voir avec une puissance plus élevée ou une méthode plus avancée de récupération
d'énergie. Très probablement, la démo
sur la gauche était destinée à faire la première introduction technique à
l'idée de base d'un concept de moteur de répulsion, alors que la démo sur le
droit a quelques progrès important de génie pour afficher.
Photo #012D est sombre mais il aide montre que les
deux fils blancs de l'interrupteur bipolaire de couteau pour la démo de gauche
se connectent aux deux boîtes de taille égale au milieu de la table, un seul
fil par boîte.

Investisseur Photo #013B
Source d'alimentation de 120 v c.a. explorées
Ce juin 1974 photo est une belle vue de l'équipement
de démonstration " gauche ".
La grande question ici est l'équipement supplémentaire sur la petite
table blanche. Ici, nous voyons
certains éléments identifiables, un transformateur de néon, un
auto-transformateur Variac 2KW, un magnétophone à cassettes et un bornier de
type barrière. La question est : quel
est ce genre de choses supplémentaire pour ?
Il semble que cette configuration est une variante
de la démonstration de son équipement normal, comme on le voit sur la photo de
Tom Valentine. Il semble que le
transformateur d'Air est déconnecté du système et a été remplacé par la
puissance fournie par l'équipement sur le tableau blanc. Très probablement il s'agissait d'une
tentative de démontrer qu'aucune alimentation pourrait être convertie en "
Électricité froid ". Il est
important de noter les variations de cette disposition du circuit en question,
car il fournit des indices quant à la fonction des diverses boîtes noires.
Tout d'abord, notez que les deux fils blancs qui
vont au commutateur bipolaire couteau maintenant ont été connectés à une borne
de la boîte noire, alors qu'un cavalier rouge se connecte au précédent point de
connexion des fils blancs. Comparez cela
à la façon dont ces fils blancs sont connectés sur la photo de Tom Valentine.
Il n'est pas tous ensemble clairement comment le
transformateur néon et un auto-transformateur sont connectés, mais une approche
standard serait d'avoir le transfo variable contrôle la tension d'entrée au
transformateur néon. Ce thyristor a la capacité
d'augmenter sa tension de sortie de 25 % au-dessus de son entrée. Si ce transformateur néon était une unité
commune du mA 30 15KV ensuite la tension de sortie RMS pourrait avoir été
réglée à un maximum de 18 KV. C'est
comparable à la sortie d'une bobine d'allumage auto. La tension de crête potentielle aurait été
d'environ 25 kV. Toutefois, il est peu
probable qu'ils fonctionnaient à cette haute tension pour très longtemps à
cause de la taille, la disposition et la construction des conducteurs temporaires.
Depuis une seule paire de conducteurs (chasubles
jaunes et noirs) chute au-dessous du sommet de la table blanche, qu'il est
proposé, c'est là une pile de diode haute tension sous la table sur une étagère
qui fonctionne en mode demi-onde. Mode pleine onde servait alors quatre fils
seraient vu quitter le haut du tableau (qui est toujours une possibilité).
L'utilisation
d'impulsions CC est très claire dans le brevet moteur Gray. Il a souvent été demandé pourquoi M. Gray n'a
pas utilisé la pleine onde rectification dans son alimentation pour profiter de
l'augmentation de l'efficacité.
Apparemment, cet équipement n'a pas un goût pour la droite tension
CC. Cette notion est renforcée par
l'utilisation de l'alimentation de rectification demi-onde montrée photo
#013B. Cette situation favorable à
l'idée que M. Gray ont pu condensateurs reliés en série, sans péréquation
résistances, ainsi pulsatoire CC auraient été nécessaire de les recharger.
Photo #013B montre la meilleure vue de l'équipement
de démonstration pour la démonstration de " Droit ". Il semble être composé de cinq boîtes
noires, deux plus petits, deux grands et un petit plat. Si un commutateur de couteau a été utilisé
pour lancer la bobine saccadése, il n'est pas visible sur ces photos. Un transformateur d'air semble être absent de
cette collection de matériel. Toutefois,
de considérer l'objet cylindrique, vu sous la grande table en photos #012D et
#013D. C'est environ la taille d'une
gallon de peinture peut et est doté d'une bande jaune sur le dessus. Trois fils noirs (et éventuellement une
quatrième) peuvent être vu conduisant à ce dispositif. Il est proposé que c'est
le transformateur d'air utilisé pour cet équipement. Il a un plus grand diamètre (8 pouces) que
le transformateur d'air qui est utilisé pour la démonstration de la "
Gauche " (4 pouces). On croit que
la batterie automobile vue à l'extrémité gauche de la grande table est la
principale source de puissance pour les deux manifestations. Un multimètre de 630-A Triplett peut être vu
en fixant à l'extrême droite du tableau.
Examiner
le transformateur d'air dans sa configuration déconnecté. Remarquez comment les deux conducteurs noirs
roulent sur la bobine à l'étage. Ceci
peut seulement être réalisé avec deux couches distinctes. Le chef d'orchestre le plus proche fait partie de
la première couche. De ce constat, la
polarité relative du transformateur d'air peut être déterminée.
Le noyau du transformateur air semble être environ
4 pouces de diamètre, par rapport aux blocs de soutien 2 pouces x 4
pouces. Il semble être d'une
construction double couche comme une sorte de tuyau a été glissée sur un
autre. Le tuyau intérieur ressemble à Gray PVC électrique, mais plus mince
(pourrait être conduite annexe 20). Le tube extérieur
est un matériel brun foncé qui n'est pas un matériau de construction moderne
courant. Il est plus proche d'un
matériau composite fibre plus âgé qui servait pour tuyau d'égout dans les
années 50. Pourquoi la nécessité pour
les deux coeurs imbriqués ? L'amorçage
du noyau est que les grandes d'un problème pour un tel transformateur de
petites ouvertures ? La force de
l'isolation du fil bougie (présumé) est près de 50KV et devrait être beaucoup
pour les tensions de fonctionnement prévues.
De plus il semble y avoir une lourde couche de ruban noir isolant entre
le noyau et les enroulements lourds.
Il a été proposé que le ruban noir couvre une seule
couche de #16 AWG magn.

Investisseur Photo #013C
Séance Photo groupe
Cette
photo est trop floue pour extraire des détails supplémentaires, (par rapport à
la photo #013C). Cependant la caméra 35
mm qui est menée par le parlementaire sur le droit est suffisamment
claire. Notez également l'appareil photo
instantané de Flash Cube assis à côté de l'autotransformateur. Les caméras sont en abondance dans ce
portrait. Ceci suggère que cette
collection particulière de photos (juin 1974) était le résultat d'un événement
planifié où certains investisseurs pouvaient prendre tous les clichés qu'ils
voulaient. On croit qu'il s'agissait
d'un événement rare. C'est pourquoi nous
pouvons être assurés que l'équipement affiché à cette époque avait été assaini
personnellement par M. Gray pour s'assurer qu'aucun des principes fondamentaux
de son " Secret " seraient divulgués.
Le Monsieur bien habillé, sur la gauche, semble
tenir un autre magnétophone à cassettes avec un microphone en plastique noir
détenu dans ses doigts.

Photo de l'investisseur
#013D
Compter les virages sur
le transformateur d'Air
C'est sur la meilleure photo disponible montrant la
disposition générale des deux bobines démonstrations à éclater. Beaucoup des détails essentiels sont cachés dans cette présentation,
mais certains des interconnexions sous-système peuvent être déterminé.
La tablette inférieure du tableau blanc affiche ce qui
semble être un condensateur de " bouton de porte " HV connecté à
chasubles jaune et noir. Il est plus probable qu'il s'agit d'une
diode HV.
Remarque : Ce document fait partie d'une
série produite par M. McKay dans le cadre de son enquête sur le travail d'Edwin
Gray senior et il invite ses lecteurs à communiquer avec lui s'ils ont des
commentaires constructifs ou des questions concernant le travail de M.
Gray. Adresse de messagerie
de M. McKay est mmckay@tycoint.com.
Secrets de la EMA4 et les
commutateurs de contrôle de EMA5 (encore en suspens)
Mark McKay, PE
Alors que les
révélations techniques fournies par le démontage des électro-aimants
personnalisés de M. Gray sont importantes, les observations recueillies auprès
des collecteurs de contrôle EMA4 et EMA5 sont encore plus intéressant (et
compliqué).
Avant la reprise de la
EMA5 & de EMA4, on pensait que l'appareil cylindrique blanc branché sur la
partie arrière de la EMA6 était une simple minuterie commutateur rotatif
positionnel. Selon le brevet 4 595 975 un commutateur
comme dispositif figurait dans le diagramme schématique. Il semble être une sorte d'interrupteur rotatif
mécanique qui contrôle temporisé des impulsions de puissance s'écouler à
travers les anodes de la CSET. Ainsi, lorsque le brevet et les photos sont
examinés ensemble l'arrangement semble plausible.



Le EMA6 – avec
commutateur de contrôle sur l'extrême gauche allégée de EMA4 moteur sur tableau
arrière
Il s'avère que les
moteurs EMA4 et EMA5 ont révélé une composante beaucoup plus complexe pour les
chercheurs d'examiner. Ces commutateurs
ont été construits de telle manière qu'ils contenaient de façon que plus de
contacts que ce qui seraient nécessaire pour simple retour positionnel. Les unités fournies avec chaque moteur ont
été conçues pour être à peu près les mêmes, mais ils étaient câblés
différemment. Câbles de commande de plus
ont été utilisés et la EMA5 qu'avec la EMA4.
Cela serait cohérent avec le fait que le EMA4 avait seulement une paire
d'électro-aimant à impulsion tandis que le EMA5 était de trois. Le commutateur EMA5 utilisé 9 de ses 15
contacts et était relié avec 7 fils de commande. Le commutateur EMA4 également utilisé 9 de ses contacts mais était
uniquement lié à 3 fils de commande.

Un examen d'usure sur le commutateur contact
avec des surfaces, d'un arc électrique et du chauffage, présentaient presque
aucun signe de dégradation possible. La conclusion de ce constat, c'est que quel que
soit l'énergie traversé ces dispositifs doivent avoir été à un niveau très bas.
Ceci étant, au moins deux ou trois ordres de magnitude inférieure à ce qui seraient
nécessaire pour le stator et le rotor d'impulsion des bobines à la fois.
Estimations des niveaux de cours classiques de moins de 1 mA à 200 Volts ont
été proposés comme étant une limite supérieure. M. Wooten ont examiné ces
moteurs d'un point de vue mécanique, grâce à son expertise professionnelle et a
signalé que chaque moteur semble avoir enregistré au moins plusieurs centaines
d'heures de fonctionnement. Pourtant,
vous ne conclurait jamais qui utilisent beaucoup en regardant les surfaces de
contact seuls. Il est possible que les commutateurs peuvent ont été remplacés,
avant d'être mis hors service, qui est seulement une petite chance.

Norman Wooten
affichant que les complexités de la Non-Disclosed du commutateur de la Gray
EMA5
Timing moteur lors de la Conférence 2001 de
KeelyNet – courtoisie Dr Peter Lindemann

Constatant l'absence d'usure, la nouvelle
croyance est que les commutateurs fournissent que tous deux contrôlent les
signaux positionnels et de cadencement pour convertisseur d'énergie de M. Gray.
Ils étaient commute un air de défi pas directement la puissance prime qui est
allé à des bobines du stator et du rotor. De plus en plus, ces signaux de
synchronisation était plus complexes que jamais pensé. Dans le récupéré moteurs
la section commutateur et les électro-aimants de moteurs ont été câblés
indépendamment.
Constatant l'absence d'usure, la nouvelle
croyance est que les commutateurs fournissent que tous deux contrôlent les
signaux positionnels et de cadencement pour convertisseur d'énergie de M. Gray.
Ils étaient commute un air de défi pas directement la puissance prime qui est
allé à des bobines du stator et du rotor. De plus en plus, ces signaux de
synchronisation était plus complexes que jamais pensé. Dans le récupéré moteurs
la section commutateur et les électro-aimants de moteurs ont été câblés
indépendamment.
Il y a 15 contacts et deux bagues
collectrices d'aluminium indépendante dans chaque sous-ensemble de
commutateur. Trois de ces contacts
sont rectangulaires (1,25 x 0,75 pouces) barres qui sont trois fois plus larges
que les contacts restants de tige de cuivre de diamètre 6 mm en cuivre. Pour les deux moteurs, il semble être deux
modèles de calendrier général qui se dégagent lorsque l'on examine les
relations de l'espacement angulaire de ces contacts.
1.) les trois contacts
rectangulaires grands et 6 des contacts plus petits sont également espacées de
40 degrés indépendamment de l'autre autour de la circonférence de l'anneau de
fixation. Ceux-ci fourniraient un
ensemble continu de train espacés régulièrement de courtes impulsions,
proportionnelles à la vitesse du moteur, avec chaque troisième impulsion ayant
trois fois la largeur d'impulsion des autres. Mais, ce n'est pas ce qui a été câblé pour
aller à la convertisseur d'énergie.
2.) il est également un
motif répété avec trois contacts en cluster. Ce groupe est composé de deux petits et un
grand contact. Celles-ci semblent être
associés à la “ cuisson “ des électro-aimants lorsque l'essuie-glace est
d'environ 6 degrés au-delà de point mort haut.



L'essuie-glace arrière arbre rotatif en
aluminium abrite un métallisé ressort " brosse " qui relie chaque
contact à l'anneau de glissement dans un ordre séquentiel. Une deuxième
bague en aluminium a été installée, mais n'a pas été utilisée dans le
EMA4. Si la bague de glissement ont été
considéré comme un circuit commun, puis le modèle de calendrier illustré à la
figure 01 serait le résultat. Encore une fois, pas tous les contacts ont
été utilisés dans chaque moteur. Il
s'agit en effet déroutant. Circuit apparemment différente configurations ont
été planifiées qui aurait pu utiliser tous ces contacts.

Oscillogramme 01 pour collecteurs de
contrôle pour la EMA4 et EMA5 EV Gray Moteurs
M. Gray a utilisé une technique de
construction qui n'est pas généralement considérée en équipements
rotatifs. Il y a trois ensembles de
bagues collectrices dans chacun de ces deux moteurs. Un assembly est utilisé dans le
sous-ensemble de collecteur et a deux bagues collectrices partage un
essuie-glace de la commun. Les deux autres
assemblées de bagues collectrices sont utilisées pour mener la puissance
d'impulsion à travers les électro-aimants de rotor. On est à l'avant et l'autre est à l'arrière du moteur. Tous les trois de ces assemblées de bagues
collectrices ont une conception interne rare.
C'est parce que l'essuie-glace et le " pinceau " tournent
autour de l'intérieur d'une bague collectrice stationnaire. C'est tout le contraire à 98 % de toutes les
autres machines industrielles dans le monde qui utilisent des bagues
collectrices. Presque toujours, les
bagues collectrices sont attachés à l'axe de rotation et les contacts ou les
" brosses " sont fixes.
L'avantage évident de cette approche commune est qu'il permet les
brosses être remplacé facilement lorsqu'ils sont usés. Un autre avantage important est que les
" brosses " peuvent facilement accueillir quelques imperfections dans
la rondeur des bagues collectrices qui frottent contre eux. C'est parce que les balais sont montés dans
les supports de ressort qui leur permettent de se déplacer de nouveau et
quatrième. Toutefois, dans la
conception de M. Gray, un remplacement de brosse ou de lave-nécessiterait
beaucoup plus démontage. En outre, il
n'apparaît pas que cette conception pourrait permettre pour autant déviation de
tolérance que l'arrangement standard de brosse et bague collectrice
pouvez. Nous ne savons pas ce qui a été
la raison spécifique de l'application qui favorisé ce genre de solution ; Il
n'est certainement pas évident en regardant les moteurs seuls.
M. Wooten soutient qu'il pourrait avoir conçu un système beaucoup mieux
pour obtenir le pouvoir dans le rotor, ainsi que plusieurs autres améliorations
majeurs du système mécanique. Jusqu'à
présent personne n'a contesté sa réclamation.
Il est intéressant de noter que le point
mort haut (PMH), la position selon laquelle les électro-aimants sont carrément
alignés entre eux, a lieu quand l'essuie-glace est dès le premier contact petit
rond dans le cluster de trois contacts, plutôt que le contact rectangulaire
plus grand. M. Gray a désigné ce lieu
comme 0°. Il a été proposé qu'une certaine quantité de déplacement angulaire
est nécessaire entre les opposées des électro-aimants lorsqu'elles opèrent dans
le mode de la répulsion pour s'assurer que les forces générées sont concentrées
dans une seule direction. Peut-être M.
Gray a déterminé que l'angle optimal, pour ce moteur de taille, est d'environ
6°. Le déplacement angulaire réelle de
travail pourrait être ajusté. Peut-être
c'était juste un point de référence commode et n'avait rien à voir avec la
fonction du moteur.

Selon les informations
de la veste, les conducteurs de contrôle partant de le les commutateurs sont
évalués à 25KV. Pourtant, leur diamètre est équivalent à fil
domestique du commun #14 AWG THHN (diamètre 0.12 pouces). C'est beaucoup plus petit que le fil typique
électronique haute tension qui a ce genre de tension nominale. Ce fil était probablement un câble
spécialisés et coûteux en son temps.
Le petit espacement entre l'essuie-glace et
les contacts dans les grappes de trois suggère que M. Gray n'utilisent des
tensions de commande classique qui avaient un différentiel supérieur à
200V. Si le flux d'électrons classique
ont participé puis tensions supérieures à cela auraient causé un arc électrique
à l'attaque et bords de fuite des contacts que l'essuie-glace s'est approché et
a reculé de leur part. Encore une fois
un arc n'a pas été observé. Alors, quel
était le but du câble cher haute tension ?
Une des propositions sont que toutes les tensions de commande connectées
pour les commentateurs étaient élevées à une valeur élevée et leurs différences
se situait à moins de 200 volts. Cela
signifie que le commutateur entier était " flottant " à certains
potentiel élevé au-dessus du sol.
L'ensemble de la construction en nylon de l'Assemblée de commentateur
suggère qu'il pourrait avoir facilement ont appuyé ce genre d'opération de
haute tension (5KV à 20KV). Les collecteurs
sur le EMA4, EMA5 et EMA6 sont tous monté presque indépendante et externe de la
propre moteur. Cette caractéristique de
construction implique un besoin d'un haut degré d'isolement entre le moteur et
le collecteur. Dans l'affirmative,
alors c'est une possibilité réelle que le collecteur fonctionner à quelque
haute tension flottante.
L'objet de divers signaux de synchronisation
a été examinée intracommunautaires énergie libre mais jusqu'à présent qu'aucune
conclusion générale n'ont été apportées qui expliquerait comment ils touchés
fonctionnement du circuit du convertisseur de l'énergie.
Il semble que le
convertisseur d'énergie nécessaire des flux de données au moins deux, dont une
partie seulement a été la simple information de position. Le reste de ces fermetures contact courts
sont supposés pour être des signaux qui pourraient préparer le convertisseur
d'énergie pour sa prochaine impulsion ou, peut-être, facilitent une sorte de
cycle de régénération d'énergie. Il y a quatre contacts entre chaque position
du TDC ; donc il y a des dispositions pour que quatre changements d'État par
chaque impulsion de puissance. Pas tous d'entre eux ont été utilisés à
l'époque, ces moteurs ont été mis hors service, mais ils auraient pu être.
M. Wooten, dans sa
vidéo, de 2001, affirme que les compartiments de commutateur étaient remplis de
" Luberplate ". C'est le nom commercial de prime qualité
blanche graisse au lithium machine.
Étant donné que M. Gray ne semblait pas épargner aucune dépense dans la
construction de ce sous ensemble, alors ce qui pourrait avoir observé Norm
aurait pu être une isolation spéciale haute tension Teflon/silicium composée
utilisé dans le domaine des X-rayons. Cela aurait
aide à prolonger le différentiel de tension des signaux de commande de M. Gray
peut-être 500 volts ou plus. Cependant
l'enduisant de graisse d'isolation (ou n'importe quel genre de graisse) sur le
déplacement des contacts électriques est une entreprise risquée. C'est parce qu'il est difficile de
construire un système qui sera sûrement essuyer la graisse tout éteint les
contacts juste avant le contact avec et toujours fournir une connexion
cohérente de faible résistance.
Les deux commutateurs
ont été construits afin que les contacts sont logés dans un anneau amovible en
nylon. Cet anneau a été installé dans
un plus grand creusé de cylindre qui a agi comme un logement afin que toute la
collection de 15 contacts peut être réglée ensemble en ce qui concerne la
position de l'arbre. Une vis de réglage
machine autorisée pour un large éventail de chronométrer les ajustements
d'angle (-40° à +40°). Avec une valeur
de -16°, en fonction des notes écrites sur le collecteur, le moteur à impulsion
irait vers l'arrière. Probablement pas
au couple complet, mais cela montre que ces moteurs étaient réversibles.
Après que la reprise
des EMA4 et des EMA5 moteurs à l'idée que les convertisseurs d'énergie M. Gray
ont été simple saleté vient d'être remis en cause. La pensée révisée est que la technologie
basse énergie de la M. Gray sont peut-être simple, mais la technologie de
puissance plus élevée semble maintenant plus complexe.

EMA4 Vue arrière EMA4
Vue de face
Photos des moteurs EMA4 et EMA5 sont
la courtoisie de M. Norman Wooten via KeelyNet
Remarque : Ce document fait partie d'une série
produite par M. McKay dans le cadre de son enquête sur le travail d'Edwin Gray
senior et il invite ses lecteurs à communiquer avec lui s'ils ont des
commentaires constructifs ou des questions concernant le travail de M. Gray. Adresse
de messagerie de M. McKay est mmckay@tycoint.com
E. V. Gray Séries Historiques
Commençant par
le moteur de démarrer
Mark McKay, PE

Le
moteur de démarrer retrouvés dans 2000 EMA4 et EMA5 Motors en
2000
E. V. Gray a commenté
une fois à John Bedini que ses premières expériences de l'énergie libre ont été
menées avec modifiés hors les moteurs industriels de l'étagère. Il est supposé
que, lorsque M. Gray a finalement obtenu adéquat de financement il ensuite
construire une série de moteurs faits sur commande qui pourrait mieux tirer
profit des propriétés uniques de son électricité non-classique " froid ". Ces conceptions expérimentales portaient les
numéros de modèle EMA1 par l'intermédiaire de EMA6. Le EMA4-E2 et le EMA6 sont ses plus bien
savoir constructions et est toujours associées aux travaux de M. Gray. Cependant, il y ont des autres modèles
transitoires construits.
Il peut y avoir un
exemple de récupération d'un moteur de série de pré-EMA qui pourrait avoir
servi d'un banc d'essai fonctionnel et très probablement un modèle de
démonstration investisseur précoce (vers 1963 à 1969).
En 2000, amis de Norman
Wooten découvert deux moteurs de EV Gray originales dans un magasin quelque
part au Texas (probablement Grande Prairie, Texas, où M. Gray avait établi un
magasin en 1986). Il s'agissait de la
EMA4 et les prototypes de EMA5. M.
Wooten acquis ces bouts de l'histoire de l'édifice éternel de la terre. Il a ensuite emmenés dans sa boutique où ils
ont été soigneusement démontés. Plus
tard, il a produit une vidéo hautement recommandée de ses observations à la
Conférence de 2001 Keely en Floride.
Cette cassette instructive est fournie par Clear-Tech à http://www.free-energy.cc/index.html
en formats DVD et VHS. Au moment où le
moteur " démarrer " était considéré comme négligeable et donc pas
regardé très étroitement.
Après analyses
mécaniques considérables de la EMA4 et EMA5, M. Wooten est venu à la conclusion
que cet équipement ne contenait aucuns évident d'énergie libre de secrets. Les convertisseurs d'énergie vitale qui avaient
alimenté ces moteurs uniques sont introuvables. Quelques années plus tard, il a décidé de
vendre cette collection.

Bride adaptateur personnalisé ajouté à
l'avant du moteur
M. Allan Francoeur de Penticton, BC, long
temps d'énergie libre chercheur et inventeur, a acheté le lot entier pour US $5
000 en 2003. Ces documents comprenaient
les moteurs d'évaluation de deux prototypes (EMA4 et EMA5), un de M. Gray
avancé bobine popping (partiel) des installations et un 1940 modifié non
descript moteur industriel. On a supposé,
à l'époque, que cette humble machine à la recherche est un générateur de haute
tension (5KV) utilisé par M. Gray charger vers le haut de ses condensateurs de
stockage pour des expériences de moteurs.
Plus tard, il a été proposé que c'était un moteur à courant continu
utilisé pour le démarrage de gros moteurs expérimentaux de M. Gray, ainsi il
enfin devenu connu comme simplement le " démarrage moteur ". Le moteur de démarrer pourrait également ont été
considéré comme un dyno-moteur. À ce
titre, il aurait pu agir comme une charge dynamique pour évaluer le rendement
des convertisseurs d'énergie de M. Gray.
Un certain nombre de raisons cet auteur
prétend que cette pièce d'équipement était un travail réel moteur pulse EV Gray
avant la construction des modèles personnalisés EMA
Son sens du spectacle dit tout
M. Gray a passé argent grave pour avoir
cette simple façon habillée vers le haut moteur au-delà de toute nécessité de
haut banc pratique. S'il voulait cacher
les détails de son câblage interne de l'investisseur occasionnel visitent, puis
quelques tôle forte épaisseur aurait été une solution rentable. Pourtant, ce moteur " démarrer " a
été doté d'un sur-mesure trois trois couleurs (rouge, blanc et bleu) anodisé
alu capot ensemble. La grande section
rouge a été dotée d'une douzaine petites ouïes usinées. Ces trois morceaux de bonbons pour les yeux
non fonctionnel a probablement coûté lui valait 50 fois ce que le moteur, mais
peut avoir été pensé assez important à l'époque, pour aider à faire avancer ses
efforts de développement des affaires au début.
Il s'avère que le
moteur de démarrage n'est pas un moteur mais un générateur d'excitateur 5 kW
CC, vers 1940, utilisé pour alimenter la bobine de champ pour un plus grand
générateur (75kW à 150 kW). Le stator
saillant 4 pôles est équipé de doubles bobines de champ qui fonctionnent dans
une configuration composée de plaie. Il
a également un indépendant coffret de bagues collectrices qui sont connectés à
des bobines de l'induit et permettent donc de règlement externe. Il semble étrange, comparativement aux générateurs modernes, parce qu'il
a un commutateur, comme un moteur à courant continu, ainsi que deux tournants
supplémentaires comme un moteur à courant alternatif. Avec l'avènement des redresseurs de
puissance à l'état solide les bagues collectrices et les bars de commutateur en
petits groupes électrogènes ont été complètement éliminées, ainsi vous rarement
(voire jamais) Voir ce genre de construction.
Excitateurs montés à l'extérieur ont également été éliminées dans le
plus grand générateur définit aussi bien pour la plupart les mêmes
raisons. Cette même conception a été
également appelée un " générateur de trois fils ". Ils ont été utilisés dans les années 20 aux
asymétrique à trois fils alimentation CC moteur de combinaison et charges
d'éclairage.

Côté monté rhéostat de 2 ohms 200 watt et
attaché le câblage
Détails
de la modification
M. Gray a fait un rétro-ajustement
personnalisé à l'extrémité avant du moteur. Cette modification était censée
être une plaque adaptatrice qui permettrait aux boîtes de vitesses différentes
bride montée à joindre. Il a également
installé une sonde magnétique simple entre deux des bobines du stator. Le moteur de démarrer a été également reconfiguré
pour recevoir sa puissance grâce à un câble AWG #4 (voir la discussion sur le
câble pour le EMA4). Il y a un 2 Ohm
rhéostat 100 watt attaché à côté de la démarrer moteur qui a un AWG #14 câble
va une bague collectrice et les autres vont ailleurs (non relié). Fil rouge grand retour (sol?) était relié
directement à l'image de générateur une fois qu'il a obtenu l'intérieur du
boîtier. Ayant puissance prime à
voyager dans le cadre d'une génératrice ou un moteur est un air de défi pas une
pratique électrique traditionnelle. À
l'exception de la modification du câblage électrique des bobines du stator, la
sonde et le capot, le reste du moteur semble être un type standard. Il y avait deux condensateurs de suppresseur
associés avec les bagues collectrices qui ressemblent aux condenseurs de
distributeur automobile des années 50. Il semblaient être l'équipement d'origine et
n'avaient pas été remplacés. Une des
brosses bague collectrice semble avoir été remplacé une fois.

Vue arrière de
le " Moteur Démarreur "
La récupération et l'analyse simple de démarrer moteur ne fait que
renforcer ce qui a déjà été suspecté sur la technologie de M. Gray :
1.) il n'existe aucun processus d'au-dessus-unité évidente dans ce
convertisseur rotatif. (Mais cela ne signifie pas qu'il n'y a aucun)
2.) cet appareil a été conçu
pour avoir tous le stator et les bobines du rotor impulsé au même moment. Il s'agit d'une fonction opérationnelle qui
semble commune dans les systèmes moteurs de M. Gray.
3.) considérations de tension
appliquée : certainement le potentiel de tension classique efficace de
l'énergie qui ont transité de cet appareil ne dépasse pas 600 v et la plupart
n'ai probablement pas au-delà de 300 volts.
M. Gray dépassaient ces paramètres, compte tenus de l'âge de ces
enroulements générateurs d'excitateur, il aurait pu pousser une défaillance de
l'isolation. L'opération classique
typique de dynamo excitateur comme ceci a été généralement 120 V CC à 50
ampères.
Réflexions
Intéressantes :
Pourquoi M. Gray toujours accrochait ce
moteur de démonstration de prototype au début (pour une quinzaine d'années) en
premier lieu ? Techniquement, il
semblerait que c'était une relique de son développement en cours, par rapport
aux moteurs avancés évaluation EMA4 et EMA5.
Il a certainement payé beaucoup d'argent d'avoir cet équipement expédié
de son Van Nuys, boutique de CA au
Le schéma pour le
" démarrage moteur " ci-dessous est la meilleure tentative de
l'auteur, avec démontage du moteur complètement, pour montrer la mis à jour le
câblage interne.

Sonde
magnétique placé à côté de l'enroulement de Stator
Vraisemblablement utilisé pour signaler la
position angulaire
Al Francoeur a pris
bien soin de cet exemple plus ancien de la technologie de M. Gray. Il a été réparé, lubrifié, nettoyé jusqu'à
et maintenant un nouveau travail de peinture de sport. Tout ce qui est nécessaire est un
convertisseur d'énergie impulsion reproduction EV Gray pour ramener le "
Moteur Démarreur " à vie.
Si une percée n'est
jamais re-découverte qui déverrouille les secrets des méthodes utilisées pour
créer le " Électricité froid " alors cet excitateur mis à jour le
moteur pourrait bien finir par comme une pièce recommandé dans le Smithsonian.
Cela aurait pu être ce que M. Gray compte tout au long.
Vue arrière de la " Moteur Démarreur
" Vue de l'enroulement de Stator composé et les
bagues collectrices

Une Compilation des
courriels de M. Tad Johnson et autres recherches collègues concernant les
expériences avec le dispositif de conversion d'énergie “ ED Gray “
À partir de : Tad Johnson <h2opowered@c...>
Objet : ERE produites par
Accident
Date: Thu, 13 février 2003
Tad Johnson : Jetez un
coup d'oeil au bas de la page expliquant les " problèmes " Jochen a
trouvé lors de la cuisson ce 300KV générateur de Marx. Semble pour être ce que nous sommes après car
il n'arrive pas à l'éliminer par mise à la terre et d'autres moyens. A ussi le
coup d'oeil à la conduction totale fois (64 microseconde) avec des temps de
montée et la chute sensiblement inférieures éventuellement dans la gamme de
microseconde de 5-10.
http://www.kronjaeger.com/hv/hv/pro/marx/index.html
"La décharge semble pour induire des
énormes tensions transitoires dans le sol et/ou secteur conduit. Cela a entraîné un interrupteur brûlés et un
différentiel détruits. Mise à la terre du générateur de Marx séparément et le
découplage du sol charge de tension avec une résistance aident un peu. Cela
peut se pour révéler un problème majeur, car le générateur de Marx fournit
naturellement une étape énorme tension avec un temps de montée, probablement de
l'ordre de la microseconde, et le rejet subséquent produit une impulsion de
courant de même raide qui peut être 1000 a ou plus. "

© 2000-2002 Jochen
Kronjaeger
hv@Kronjaeger.com
Dernière modification : 2002-09-08
Tim Martin : " Avez-vous un plan permettant d'ajuster facilement la
fréquence des impulsions ? Je pense qu'il est important de régler précisément
l'appareil afin de discerner les effets spécifiques".
Tad Johnson : " La
fréquence est réglable dans une mesure au moyen d'ajustement de la distance de
l'éclateur et la taille de chapeau. Les bouchons que j'utilise sont 500pF
fréquence devrait donc être dans la gamme KHz selon combien ampérage de
l'alimentation électrique se recharge la pile avec. Viens de recevoir
aujourd'hui les résistances HV. Tout ce que j'ai laissé pour faire est de
construire la CSET et comprendre le circuit de charge. Hydrogène ou écart
magnétiquement trempé sur la sortie pourrait être ajouté plus tard pour
fréquence encore plus élevée et plus de protection contre les inversions de
courantes ".
Objet : dossier ajouté Salut les gens,
Date :
Sat Feb 15, 2003
Jani V : J'ai pensé que vous aimeriez voir ma version sur circuit de Ed Gray
dans le dossier " romisrom " j'ai juste créé, donc quelques photos de
celui-ci, je vais ajouter un schéma complet avec des données de composant dès
que je suis capable de dessiner...
Tad, j'espère que de la
photo " convtube " vous trouverez quelques conseils pour votre CSET.
-Jani-

Objet: CSET conception
Date: Sun Feb 16, 2003
Tad Johnson : " Merci pour
l'information. J'allais il construit de la même façon même si je devais
utiliser 1,25 pouces acrylique j'ai déjà pour centrer le tube en cuivre. J'ai quelques nouvelles infos sur mon
alimentation, que je vais poster bientôt.
On dirait que le temps de montée sera environ 10 nanosecondes avec une
largeur d'impulsion de 50 microsecondes et un temps de chute de 40
microsecondes sans un circuit tailbiter ou résistif de charge d'environ 0,1 Ohm
à aiguiser le temps de chute.
J'ajouterai ceci plus tard. Fréquence devrait être environ de 25 kHz en
ce moment ".
Objet:
Tesla/Gray mise à jour des informations de périphérique
Date:
Thu Feb 27, 2003
Tad Johnson : "
Mon Gray dispositif est maintenant opérationnel, bien que j'ai bêtement frits
quelques transformateurs signe néon en train d'essayer à l'énergie de grille de
collection de boucle retour à l'alimentation sans une certaine forme de circuit
de l'isolement. Il semble que je suis
maintenant au stade où Gary Magratten a été en essayant de faire face à une
grande impulsion d'énergie et ensuite mesurer.
Paramètres actuels du circuit sont :
2000V CA @ 19,2 Khz @
20mA en un pont ondulaire 12kV/40mA/100 nanosecondes dans un 2 scène générateur
de marx à l'aide de 400pF / 30KV "
poignée de porte " condensateur en céramique dans un éclateur magnétiquement trempé à
l'aide de points de l'aiguille en laiton dans le CSET de billes en acier
inoxydable sur fileté des tiges de laiton.
Grille de collection est 316 acier inoxydable tube 2 pouces de diamètre.
Total de l'impulsion de
sortie est large avec une hausse d'environ 10 nanosecondes 54 microsecondes et
environ 42 nanosecondes tombent de temps.
Je pense à l'énergie de
sortie en cours d'exécution dans le secondaire d'un transformateur de four à
micro-ondes de 3KV pour alimenter une charge de tension plus faible, bien que
je ne sais pas comment gérera le secondaire du transformateur. Ce capteur, surtout compte tenu de la
fréquence. Une autre option serait
d'augmenter la taille du condensateur sur la portion de générateur de marx du
circuit afin de réduire la fréquence à quelque chose autour de 60-120 Hz et
ensuite l'utiliser sous une forme plus conventionnelle.
Photos et schémas à
venir bientôt. Toutes les idées sont très appréciées
".
Tad



Date:
Fri Feb 28, 2003
Tim Martin :
J'ai quelques questions. Est-il possible
de mesurer en toute sécurité la tension et la fréquence de la sortie de la CSET
?
Tad Johnson : Oui, j'ai obtenu les données ci-dessous en faisant une résistance
de 50 Megaohm pour la mesurer, bien que j'hésite à le raccorder à la portée de
3500 dollar à elle pour le moment. J'ai
plus de courage de le faire après que je vérifie l'info garantie à ce
sujet. Toutes les données jusqu'à
présent a été prise sur une valeur true RMS RLC. Quel est l'appel de courant CA du
transformateur signe néon ?
Tim Martin : Doit être
1,5 Amp par la fiche. Mais je vais le vérifier avec mon vrai RMS
puissance-meter(5amp max sur le meter).
Ne serait-il pas possible de vider la sortie de la CSET dans une
batterie acide de plomb grande ?
Tad Johnson : Oui, même si elle me dit " froid bouillira " à cette
tension. Semble être dur sur la
batterie, mais je n'ai pas beaucoup de connaissances à ce sujet. Je voudrais descendre la tension avant de le
raccorder à la batterie pour éviter une défaillance prématurée.
Tim Martin : Le transformateur de signe néon fonctionnerait correctement si
connecté à un petit onduleur CC/CA sur la batterie de 12 volts ?
Tad Johnson : Cela devrait fonctionner.
Objet : Gray Circuit Images
Date : Sat Mar 1, 2003
Tad Johnson : Nouvelles images téléchargées
montrant le circuit Gray exécutant après être à l'écoute. Des problèmes avec longues courses parce que
les résistances ne sont pas cotés pour plus de 10 watts sur le générateur de Marx,
ils commencent à avoir un peu chaud. Les images
montrent un transformateur de néon 120V CA/60Hz/1,5A alimentation informatiques
puisque mes deux autres convertisseurs 12V CC fumaient en raison du manque de
jugement. Aucun lien avec la grille de
la CSET n'était présent lors de ce test car j'étais surtout tuning la pile de
Marx à l'alimentation de néons de 120V.
Fréquence a. 5-1 kHz sur ce test.
Nouvelle alimentation a
obtenu ici aujourd'hui alors je vais essayer la version 12V CC recharge la pile
de Marx à des fréquences plus élevées (20 kHz).
Flash sur l'appareil photo, il est difficile de voir l'arc à travers les
lacunes, mais il est là. Coût total de
l'ensemble du dispositif est maintenant environ dollars américains $145.
Objet: Re: [ElectroRadiantResearch] Re: Gray
Circuit Images
Date: Sun Mar 2, 2003
Tim Martin : J'ai remarqué dans vos photos
que vous n'avez pas un noyau d'air grand haute tension comme Gray et Magratten
utilisés dans leurs circuits. Est-ce
inutile ?
Tad Johnson : On me dit que la base
aérienne est un pas vers le bas pour exécution de 120V CA/60 Hz lampes et
autres charges résistives puisque les charges résistives ne se soucient
fréquence. Je n'ai pas construit
une base aérienne démissionner encore, mais je pourrais si je ne peux pas
obtenir un moteur construit bientôt.
Tim Martin : Qu'avez-vous dit que la
claire " Plexiglas " est fabriquée ?
Plexiglas réel dans ces dimensions est assez cher.
Tad Johnson : Il est en acrylique qui s'oppose à tout 50kV dans cette dimension
1,125 po. d'épaisseur. Très peu
coûteux. 1,5 pieds x 1,5 pieds carrés est de 20 dollars. J'ai utilisé environ la moitié d'un.
Objet: Grille énergie
Date:
Sun Mar 2, 2003
Tad Johnson : Résultats
intéressants après l'exécution du circuit de Gray pour quelques heures: ERE ne
manifeste pas si il ya pas de résistance sur la fin de l'éclateur de la
CSET. Répétez puissance nulle si aucune
résistance en place. La plus grande
résistance, plus l'effet semble se manifester.
Avec 300 Ohm ou plus de résistance de la grille commence à remettre un
montant effrayant de puissance. Assez
pour fumer une 50 watts, 500 ohm en moins de 30 secondes. Mon entrée était de 12 watts au total de la
paroi. La sortie de la grille de CSET
n'est pas mesurable. Mise à la terre est
également en train de devenir un problème car je ne peux pas courir la fin de
la CSET retour à la terre avec une résistance entre les deux. En outre, l'énergie venant de la grille
semble être dommageables, malgré les tours rapides et chutes fois contrairement
à d'autres informations là-bas. Si
quelqu'un a des idées claires sur la mesure de cette intensité élevée, de
l'énergie à haute tension, je serais très heureux d'entendre comment le faire. Nous avons besoin d'une mesure précise puissance de sortie à ce
stade. Je suis confiant déjà
avec mes mesures d'entrée.
Objet: Re:
[ElectroRadiantResearch] Re: Grille énergie
Date:
Mon Mar 3, 2003
Tim Martin : Il semble
que Lindemann a raison de dire que l'un des problèmes Gray avait traitait avec
l'abondance de la puissance.
Tad Johnson : Oui, mais nous
allons voir comment beaucoup de puissance. C'est ce que je suis
après. Si il est possible pour une petite alimentation de 12 watts pour voir un
gain d'au moins deux fois, puis de faire le circuit de la demande, je suis
intéressé par sera facile (petite puissance motrice, scooter, etc).
Tim Martin : Pensez-vous que la sortie de CSET se comporte différents que
l'électricité " normale "? Ce
que je suis curieux de savoir votre déclaration en ce qui concerne la
résistance supplémentaire augmentant l'effet.
Tad Johnson : Il semble que il DOIT y avoir une résistance à la fin de la CSET
pour que la grille de CSET pour rendre l'énergie. cela semble être le
«regroupement des" effet Lindemann parlait, et que Tesla avait connu. Il se peut que lorsque cette impulsion HV
frappe la résistance est comme il frappe un mur de briques et explose à
l'extérieur dans le réseau (chemin de moindre résistance).
Tim Martin : Aussi, je crois que la fréquence prévaudra si oui ou non l'effet
est nuisible. Faites attention!
Tad Johnson :Je suis peut être aussi prudent que je peux, mais j'ai déjà eu un
petit incident.
Tim Martin : Une autre chose que vous pouvez essayer est de placer une ampoule
à incandescence de 100 watts normale sur la sortie de la CSET sans fermer le
circuit. L'unité de transmission de
puissance de fil est un phénomène lié à.
Tad Johnson : Oui, cela fonctionne avec une ampoule au néon, j'ai déjà couru
néons hors énergie de la grille. ils brillent magnifiquement à sa luminosité.
Objet: Fwd: Re: [alfenergy] Grille énergie
Date:
Sun Mar 2, 2003
Willard : Je peux
suggérer de mettre une chaîne d'ampoules en série comme une charge. 5 ampoules
de 100 watts chacun, par exemple,.
Tad Johnson : Je vais essayer même si je dois vraiment obtenir en quelque sorte
un ampèremètre sur elle et la portée.
J'ai dû laisser tomber la tension baisse de 2920 à 1460 juste pour que
je puisse diminuer l'effet suffisant pour travailler avec les composants que j'utilise
sans elle les détruire. Compteur
surcharge en essayant de mesurer la tension de grille sur le réglage doublé du
générateur de Marx. J'utilise un 100 Megaohm, sonde 100 watt HV
qui devrait être plus que suffisant pour ces tensions. Très étrange.
Objet: Re: [alfenergy] Écart magnétique trempé
Date:
Tue Mar 4, 2003
Peter : L'écart trempé magnétique est
nécessaire pour éviter continu arc. Est-ce vrai?
Tad Johnson : Non, il contribue à étancher l'arc, et apporter les temps de
revenir à quelque chose de plus normal. La forme d'onde selon les calculs est d'environ 10
nanosecondes hausse, 50 microsecondes de large, avec un temps de chute de long,
c'est la façon dont fonctionnent générateurs de Marx. Pour réduire le temps de
chute de nouveau dans la gamme de 20 nanosecondes nous avons besoin de couper
la fin de l'impulsion. Vous pouvez le faire en tuant prématurément l'arc ou
vous pouvez mettre une charge de faible résistance à la sortie de l'éclateur
(circuit queue-mordeur), ou vous pouvez faire les deux. Mon objectif était une
hausse de 10 nanosecondes, 20 impulsion de microseconde, 20 nanosecondes
automne, avec une pause de 500 microsecondes entre les impulsions.
Objet: Re: [alfenergy] pour Tad
Date:
Wed Mar 5, 2003
Membre inconnu : Je suis
en train de reconstruire votre circuit afin de mieux comprendre le
fonctionnement de la CSET. Le circuit
original construit par Gray lui-même avait une entrée puissante. Batteries lourdes ont été utilisés pour
alimenter le circuit. Vous utilisez seulement une petite und
courant une résistance beaucoup plus élevée à la CSET.
Tad Johnson : Oui, mon idée est de garder la consommation d'énergie aussi
faible que possible, mais encore voir l'effet.
Et j'ai vraiment vu avec une alimentation 9-12 watts, il est là. Je suis
maintenant Ampoules néon de l'énergie de réseau en site isolé, cela ne devrait
pas être possible car cela signifierait un gain d'énergie d'au moins 100%, ou 9
watts supplémentaires pour faire un total de 18 watts pour l'ensemble du circuit.
http://www.amazing1.com/voltage.htm Au bas de la page, vous verrez le type
d'alimentation que j'utilise actuellement (MINIMAX2)
ATTENTION! Haute tension expérimentateurs. Transformateurs
de Haute Tension
|
Modules de faible coût pouce de taille peuvent être batterie alimenté
et utilisé pour des recherches expérimentales dans : pistolets de Plasma,
choc baguettes, Anti gravité, aéroglisseur, bobines Tesla, Ion Guns, champs
de Force, pyrotechnie électrique, pistolets paralysants, etc. |
|
MINIMAX5
- 7000 Volt avec IOG9
Plans..............................$29.95
MINIMAX4
- 4000 Volt avec IOG9 Plans..............................$19.95
MINIMAX3
- 3000 Volt avec IOG9 Plans..............................$17.95
MINIMAX2
- 2000 Volt avec IOG9 Plans..............................$14.95
MINIMAX1
- 1000 Volt.......................................................$9.95
Sac de cinq unités de 2000 à 3000 volts-certains
nécessitant mineures de réparation, d'autres plus.
MINIBAG1
- Comprend le schéma de base..............................$19.95
Membre inconnu : J'ai essayer de copier votre circuit, à l'aide d'une taille
moyenne 6, la fourniture par un LASER HeNe 5kV. La sortie (grille de puissance)
je reçois, est cependant tout petit petit.
Tad Johnson : C'est très bien, mon alimentation, que j'utilise maintenant est
la seule 1460V @ 8 mA !! Mais cette
tension est doublée dans le générateur de Marx.
Le générateur de Marx est utilisé au lieu du grand commutateur
condensateur et tube d'aspiration dans les brevets Gray. Ceci élimine le besoin de coûteux et
compliqué de techniques de commutation étant donné que le générateur de Marx
s'allume en moins de 50 nS et hors en ce autant de temps que si vous exécutez
plus gros condensateurs. casquettes 400pF @ 1460V @ 8mA me donne 500 Hz. Mais 1900pF dans cette même fourniture seulement me donne environ 1 à 2
Hz, mais beaucoup plus élevé pouls ampérage lorsque l'écart est déclenché. Si plus d'intensité dans l'alimentation
(comme 20mA) puis ce taux serait évidemment beaucoup plus élevé et beaucoup plus
contrôlable.
http://home.earthlink.net/~jimlux/hv/marx.htm [Annexe 1]
http://members.tm.net/lapointe/MarxMain.html [Annexe 2]
http://www.kronjaeger.com/hv/hv/src/marx/index.html [Annexe 3]
Tad Johnson : Les condensateurs proviennent de :
http://www.alltronics.com/capacito.htm
Le 30KV 400pF sont US $12,50 chaque.
Le 6.5KV 1500pF sont 99 cents chacun.
Les moins chères fonctionnent tout aussi bien, sinon mieux ! Si vous voulez vraiment une impulsion de grande
puissance acheter le 14uF 20KV, de condensateurs de 2800 joule !

CERAMIC
HI-VOLTAGE TRANSMITTING CAP
400pF @ 30KV, TC N4700. Made by TDK.
20P007 $12.50
SANGAMO
ENERGY DISCHARGE CAPACITOR
14 uF 20KV 2800
Joule 14" x 8" x 24" --- Mineral oil filled
20P002
$250.00
Membre inconnu : Peut-être il ya un secret que je n'ai pas encore vu. Mon JEUC
n'est pas une pipe, mais une cage ronde faite par fil de cuivre soudé
ensemble. Si une énergie rayonnante
mesurable est faite, celui-ci que je suppose doit être remarqué par la petite
grille CSET que j'ai.
Tad Johnson : Vous VERREZ énergie sur cette grille, indépendamment de sa
conception. J'utilise un tube inox, mais
pas de cuivre, d'aluminium ou quoi que ce soit d'autre dois travailler
aussi. Plusieurs couches de métaux
différents (cuivre à l'intérieur, de l'aluminium devraient dehors augmenter la
puissance ainsi). Propecia peut aussi, déplacez l'écart CSET
d'allumage dans le tube comme Passer dit.
Je l'ai fait aussi, mais j'étais paresseux.
Ceci devrait permettre de maximiser l'énergie sur le réseau. Utilisez un couple de lampes au néon pour
fonctionner hors de la grille. 220VAC @ 10mA est ce que mes ampoules sont,
j'utilise deux en série et ils s'illuminent à pleine luminosité hors énergie de
réseau en site isolé. Une grille de
plomb, une à la masse. Ils s'allument pour moitié de la luminosité vient de
toucher la grille et non à la terre.
J'essaie de comprendre ce que je faisais quand j'ai couru la résistance
de 50 Watt à travers la sortie de grille afin d'obtenir aussi chaud que ça
devenait. Cette sortie circuit de grille
varie considérablement en fonction de la façon dont il est réglé de sorte qu'il
ya beaucoup de choses à tester encore.
Je veux vraiment essayer une alimentation flyback bientôt si. http://www.electronicsic.com/fly.htm

Membre inconnu : Peut-être que mon éclateur trempé ne fonctionne pas. Comment
est la vôtre édifiés?
Tad Johnson : J'ai utilisé un bloc de plastique sur les deux côtés et a utilisé
un peu Forstner (12 mm) à base d'un trou dans le plastique, puis j'ai utilisé
de la colle pour coller l'aimant céramique dans le trou sur les deux morceaux
de plastique. Ensuite, j'ai utilisé un
routeur pour faire une fente pour que je puisse régler la distance de l'aimant
des électrodes d'écart. Les aimants
Twist l'arc et le coupent tôt, ce qui nous donne un rapide temps de descente.
Membre inconnu : Avez-vous joint la résistance R4 à l'intérieur du tube de CSET
ou à l'extérieur? Est-il un type de
haute tension ou un normal?
Tad Johnson : À l'extérieur et il est un résistance, construite par Panasonic,
extérieur et il est un normal 10K, 3watts commandé de Digikey. Les mêmes
résistances sont utilisées dans la pile de Marx. J'ai aussi essayé un HVR-1 X,
diode de 12KV/550mA (THV512T est le nouveau numéro de pièce). Cela fonctionne
bien aussi.
http://www.electronicsic.com/diode.htm
Diodes de
Puissance (utilisation au micro-ondes)
![]()
|
THV512T 12KV - 550mA
$3.20 each |
|
|
|
|
|
Replacement For : |
HVR-1X-3 12KV -
550mA |
|
HVR-1X-4
9KV - 550mA |
|
Autres diodes que j'ai acheté étaient VG3, carte
VG6 et VG12 de http://www.amazing1.com/parts.htm
|
22KV HV Diode For KILOVOLT MAGNIFIERS |
$3.95 |
|
|
3KV HV Diode - Used LGU4, IOG3, etc. |
$1.95 |
Objet: Gray Modifications du circuit
Date:
Wed Mar 5, 2003
Tad Johnson : J'ai terminé mes modifications
de circuits selon suggestions. J'ai triplé la capacité de la banque Marx, installé
l'écart de CSET dans le centre de la grille de collecte et ajouté un bouchon
25nF sur la sortie de la grille de CSET en ligne avec la charge. Les lampes s'allument au moins aussi deux fois plus lumineux comme ils
le faisaient avant. Mais ce qui est
vraiment excitant pour moi était que je vais travailler sur l'écart Marx alors
je suis allé à la banque à court de bouchon.
A l'instant je court-circuité cette banque de bouchons j'ai senti la
" vague d'énergie " qui fait poussé ma chemise dans le sens de
l'explosion.
Quelqu'un at-il vu ce
lors de l'évacuation d'une banque de plafonnement et d'être de proximité? Anomalie très étrange. Qui me fait croire que Tesla doit avoir
travaillé avec tension beaucoup plus élevée et la capacité beaucoup plus élevé
que ce circuit afin de se sentir cette vague constamment à chaque tir de
l'écart. C'est évidemment ce que nous cherchons à reproduire.
Objet: Re: [alfenergy] Gap magnétiquement trempé
Date:
Thu Mar 6, 2003
Alan Francoeur : J'ai
testé la fonction d'un entrefer trempé.
J'ai utilisé un générateur de Marx à créer de courtes impulsions
HV. L'éclateur est simples deux
extrémités d'un fil de cuivre face à face avec une distance d'environ 2
mm. J'ai utilisé un vice et mettre un
aimant néodyme puissant de chaque côté de la mâchoire de l'étau. L'écart entre les deux aimants était environ 17 mm. (les aimants
attirent mutuellement) l'arrangement était de sorte que vous pouvez facilement
supprimer le vice avec aimants sans changer l'éclateur. Sans aimants un arc s'est produit plusieurs
fois après une étincelle et la fréquence de l'étincelle changeait à tout moment
et il y avait un petit intervalle sans étincelles, partiellement. De celle vue que je peux conclure l'éclateur sans
aimant ne fonctionne pas si bien en raison de la fréquence d'allumage
inférieure et les arcs naturels.
Tad Johnson : Oui, j'ai trouvé
moi-même ainsi. C'est pourquoi j'aime
tellement l'entrefer.
Alan Francoeur : Avec les aimants, fréquence de l'étincelle était plus élevé,
et il n'y n'avait aucun arc debout du tout.
Chaque fois qu'un arc aimait à se produire l'arc obtenu soufflées comme
une bougie dans le vent. Lorsque je me
connecte une petite ampoule au néon (8 watts) entre le vice, qui était faite
d'acier et en quelque sorte servi de grille et au sol la lumière néon allumé
chaque semaine et la fréquence de l'arche un peu changé aussi le bruit de
l'Arche a changé ! Et cela bien
qu'il n'y a aucun contact galvanique entre le générateur de Marx et l'ampoule
au néon.
Tad Johnson : Je ne comprends pas pourquoi la fréquence change lorsque vous
connectez une charge à la grille, mais j'ai vu cela aussi bien.
Alan Francoeur : Mais j'ai aussi mesuré le courant circulant au sol après
l'éclateur mentionné. Cela a été fait par une résistance de 50 ohms une
HV-sonde et un oscilloscope.
Tad Johnson : J'ai fais une nouvelle sonde HV, 1G Ohm sera la taille. Un peu élevé, mais j'ai beaucoup de problèmes
avec le 100M ohms un j'utilise maintenant.
Alan Francoeur : Sans aimants : la durée de l'étincelle pourrait être
difficilement mesurée mais semblait être de plus de 500 nanosecondes. Avec aimants : la durée de l'étincelle était
certainement plus courte et la photo sur le champ d'application a été plus
claire. La durée de temps était 100
microsecondes à 200 nanosecondes.
Tad Johnson : Grande ! C'est ce que nous
recherchons.
Alan Francoeur : Dans les deux cas, vous voyez une impulsion positive à haute
tension qui dépasse la capacité de l'écran de la portée. Suit alors une petite
impulsion négative, comme la moitié d'une sinusoïde. Après cela, il y a des
oscillations rapides. Peut-être que cette photo ne montre pas le vrai débit du
courant, en raison des capacités parasites de la résistance utilisée.
Tad Johnson : La sonnerie est ce qui a été déconner mon compteur de fréquence
jusqu'à moi. Je ne pourrais pas obtenir
la bonne fréquence d'impulsions mesurées. Inductances peuvent être utilisés au
lieu des résistances pour réduire les pertes, bien que la sortie sera
évidemment différente et il fallait être rectifiées ou aiguisé vers le haut.
Alan Francoeur : Une autre enquête a été, qui à l'aide d'aucun aimant, une
décharge multiples pourrait se produire (nombreux rejets minuscules). Avec l'aimant, il y avait toujours une
décharge. Peut-être que vous avez la
même expérience.
Tad Johnson : Oui, exactement. C'est
pourquoi Tesla a également utilisé ces aimants autour de l'écart. Il tentait
pour une décharge plus petite et plus serrée de l'énergie.
Alan Francoeur : Tad, avez-vous essayé de mettre des aimants à l'intérieur du
tube de Gray ? C'est pourquoi vous ne
devrez pas avoir un éclateur distinct et peut-être plus de puissance à
l'intérieur du tube Gray.
Tad Johnson :Je n'ai pas encore essayé, mais je peux l'essayer bientôt.
Objet:
Progrès
Date:
Thu Mar 13, 2003
Tad Johnson : Aucun
progrès sur le Gray circuit cette semaine que j'ai ont travaillé sur
l'obtention d'un tour de fabriquer des pièces et faire mieux un travail de
qualité, donc je n'ai pas été financièrement en mesure d'acheter la résistance
de l'HV pour mesure ni le Thyratron ou susciter des tubes. J'ai tiré mon
dispositif d'amélioration de combustion hydrogène hors de la boutique puisque
les prix des carburants deviennent ridicules. Voiture obtient déjà 33 mi/gal,
mais 38-40 serait mieux. Je vais mettre des photos de lui quand je le faire
fonctionner à nouveau.
Objet: Re:
[ElectroRadiantResearch] Succès ???
Date:
Fri Mar 21, 2003
Jani V. : Le week-end
dernier j'ai finalement eu la chance de tester ma machine Ed Gray et je pense
que l'Electro-Radiant-événement, qui se manifeste à la fois. Quand j'ai couru l'épreuve, ampoule 40 W
flashé devant le tas de charge, qui ont été recueilli pour les grilles,
décharge cependant l'éclateur de sécurité (Test1a schématique, regarder mon
dossier romisrom). J'ai essayé de
reproduire le Radiant-événement, mais il n'a pas de manifester à nouveau. Je pense que la tige de l'interrupteur
rotatif brûlé en quelque sorte parce que c'est déclenchée près de deux meg ohms
de résistance!!! Je dois aussi faire
la résistance carbone différente parce qu'il n'est pas très stable, la gamme de
résistance entre 50 à 500 ohms en fonction de la température. J'ai également ajouté dans l'éclateur un puissant aimant NIB pour couper
l'arc plus rapide. Je pense que cette étincelle magnétiquement trempée est
très importante de produire ERE. De
toute façon, test doit être refait pour s'assurer qu'il était avant que
manifester ni quelque autre forme de libération... malheureusement mes tests
est très lent car je vis dans un autre endroit à cause de mon travail et mon
équipement de test sont un autre endroit.
Ainsi, il peut prendre
un certain temps.
Tad Johnson : Félicitations!, ressemble à une série de tests réussis. Vous devriez obtenir une puissance constante hors
de la grille une fois que le circuit est à l'écoute et stabilisé. 300 ohms sur
la fin de la CSET semblent être parfait dans ma dernière série de tests. Continuez le bon travail, peu importe comment
lent, il va, il vaut la peine pour l'humanité.


Objet:
Progrès
Date:
Sun Mar 30, 2003
Tad : Que je n'ai pas
envie de faire une grande partie sur l'appareil Gray pendant quelques semaines
depuis que j'ai vu une relation de la mine se désagrège après 8 ans d'être avec
cette femme. Je suis impatient de voir les progrès réalisés par Joseph et par
les pairs sur leurs circuits et trouverez j'espère que certains « lecteur »
pour travailler sur mon système à nouveau bientôt.
Remarque : Ce document fait
partie d'une série produite par M. McKay dans le cadre de son enquête sur le
travail d'Edwin Gray senior et il invite ses lecteurs à communiquer avec lui
s'ils ont des commentaires constructifs ou des questions concernant le travail
de M. Gray. Adresse de messagerie
de M. McKay est mmckay@tycoint.com
Conversation entre Mark Gray et
Mark McKay le 18 mai 2007
Mark Gray est le
sixième enfant de E.V. Gray, né à in1958 en Californie du Sud. Pour ces dernières années, il a été gérant de
magasin pour un atelier de réparation de district scolaire qui gère plus de 200
autobus. Il est un parent célibataire
qui vit avec ses trois jeunes enfants adultes (deux filles et un garçon).
Mark Gray a été employé
par son père, E.V. Gray, pour la plupart du temps entre 1979 et au début de
1988. Pendant ce temps, il a servi en
qualité d'assistante générale. Il a
voyagé et travaillé à sept endroits différents, y compris un voyage de deux
semaines en Israël.
Sous la direction de
son père, il a participé à la construction de la plupart des " Trigger
charrettes " (les systèmes de convertisseur sous l'impulsion de moteurs)
qui sont affichées dans la vidéo de promotion de ZTEX 1896. Il a également aidé à obtenir des pièces de
fournisseurs personnalisés, vidéo enregistrée de la technologie, assiste avec
diverses manifestations, a conduit le camion de la compagnie et signe des
contrats de licence. Voici quelques
exemples de la multitude des tâches qu'il a fait durant son mandat de service.
Mark se séparèrent en
bons termes, de son père au début de 1988 quand financement manqué en raison
des différences entre E.V. Gray et certains investisseurs, sur le contrôle et
l'avenir de la technologie. Ces différences
ont été renforcées quand un contact de gouvernement présumé, intéressé par un
éventuel programme de R&D sur l'aspect de commutation/de déclenchement de
la technologie, venu dans l'image fin 1987-début 1988.
Tandis que Mark a eu
une exposition énorme à son père plus tard sa compréhension détaillée des
principes fonctionnement sous-jacent de la technologie (1979-1988), a presque
disparue. Il a fait ce qu'il a été dit
de le faire et a été dûment indemnisé pour ses services, mais jamais eu
profondément impliqué dans le fonctionnement de la technologie. Depuis vingt ans, Mark a été complètement
divorcé de la technologie de son père et a oublié presque tout ce qu'il savait
à ce sujet. Il regrette de ne pas avoir
payé plus d'attention et de ne pas avoir pris un intérêt réel dans les "
écrous et boulons " des processus.
Mark était plus disposé
à partager ces anecdotiques Tid-Bits techniques qui pourraient avoir une
incidence sur la redécouverte de cette technologie perdue.
Le Mark I (Convertisseur de commutation Élément Tube)

Le boîtier cylindrique
en verre est une couverture Colman lanterne à gaz
● COMMENTAIRE : Cela limite vraiment l'ampleur de la pression interne
de ce gaz peut jamais avoir été présent.
La taille des embouts pourrait supporter des pressions jusqu'à 6000 psi. Avec un tel verre mince envelopper tout plus
de 3 psi serait difficile. " Il ne
voulait pas payer le prix fort pour une enceinte usiné ".
● toutes les connexions électriques ont été
faites à partir de la partie supérieure
COMMENTAIRE : Je ne
vois que deux connexions électriques en haut de cet appareil (le conducteur
central noir et le conducteur blanc avec le grand connecteur à une seule broche
jaune. Par conséquent, la " Grille
" est connectée à rien, sauf s'il est connecté à l'un des. électrodes.
● l'écart était réglable
● intérieur du gaz a été présumé être l'azote
d'une maison d'alimentation de soudage
COMMENTAIRE : M. E. V.
Gray était très familier avec les gaz de soudage. " Il ne s'est pas impliqué dans tout ce
qui exotique " (se référant à S6F)
● Objet des grilles: " Peut-être pour
dissimuler quelque chose qu'il ne voulait pas que les gens voient? "
COMMENTAIRE : Comme une composante de série
supplémentaires, peut-être une bobine de fréquence radio à haute tension?
● Y at-il une connexion électrique à la
" grilles "? - "Je ne me
souviens pas"
●
" Les électrodes sont faites de titane ou de tungstène. Quelle que soit la matière Russie est célèbre
pour. " [Titanium]
Ignitrons installés sur le " Rouge Motor Charrier "
Le Mark II "Silver cylindre" (Ignitron)
● Il
s'agit d'un arrêt de l'appareil commercial de plateau qui a un cylindre
métallique sur 2 pouces de diamètre et 6 pouces de long.
● Les isolateurs terminaux ont été faites de
verre
● C'est un dispositif à deux bornes
seulement, avec les fils reliés à la partie supérieure et la partie inférieure.
● Les brides rondes ont été faits sur des pièces d'extrémité pour
fixer les dissipateurs de chaleur à ailettes d'aluminium supplémentaires qui
étaient attachés autour de la périphérie.
● Le groupe dans le centre était un collier
de radiateur pour tenir l'ensemble. Parfois, deux colliers de serrage ont été
utilisés.
● Ces unités n'ont parfois usure ou de
défaillance. De nouvelles unités ont été stockés sur le plateau
● Ces dispositifs contenant du mercure et des
unités donc retraités ont été traités avec respect dans le stockage.
● Lorsque ces unités arquées en vous pourrait
voir un éclair bleu à travers la vitre borne..
COMMENTAIRE : Il semble que ces appareils
sont de classe A Ignitrons. Ils sont de
la bonne taille, bon facteur de forme et contiennent du mercure. Cependant un Ignitron est un trois, ou plus,
le dispositif terminal. Il fonctionne un
peu comme un thyratron courant très élevé.
S'il n'y avait pas les connexions de contrôle de l'allumeur, puis un
usage aurait pu être un éclateur distance fixe et juste overvoltaged jusqu'à ce
qu'il a tiré. Un avantage de cette
approche serait une surface de Mercure propre après chaque impulsion. Le taux observé d'impulsion dans la vidéo
1986 est de l'ordre de 2 Hz.
Il est difficile de
garrot ces ignitrons étaient un remplacement pour le CSET ou composants en plus
de la CSET. Jusqu'à présent, la
meilleure explication soutient l'idée que les ignitrons remplacés la fonction
des éclateurs rotatifs qui étaient dans la section de collecteur d'EV Premiers
modèles à moteur de Gray. En 1986, la
promotion de la vidéo montrera que E.V. Gray utilisé plusieurs de ces
dispositifs pour ses moteurs (jusqu'à six par panier). E.V. Gray probablement développé un nouveau
système où la complexité de la vieille extrémité avant étincelle rotatif
tableau de l'écart n'était plus nécessaire, ce qui réduit considérablement les
coûts de fabrication par moteur.
Fil
d'aimant pour les bobines Popping
● Tous les fils pour la construction des bobines de fil était de
projectiles aimant de cuivre standard
● Une entreprise a été confiée à la
machine les formes de bobines d'aluminium ou en plastique (Normalement Nylon). Une autre
entreprise a été embauché pour enrouler les bobines. " Nous avons essayé
de liquider quelques-uns de nos propres bobines. Mais pas beaucoup "
Fil utilisé dans des endroits spéciaux
“ Ce fil il y avait le
silicone remplie fil cher qui a dû être utilisé à cet égard " montrant la
photo du convertisseur de chargeur de batterie et les fils venant de la
capacité de stockage.
COMMENTAIRE : Dans le
Cannady Interview il a été noté la façon dont " Électricité froide "
serait détruire l'isolation des conducteurs. apparemment E.V. Griay a trouvé
une solution provisoire à ce problème en utilisant un fil spécial dans les
endroits où il a été nécessaire.
Un voyage au vendeur de condensateur
Mark Gray a raconté une
expérience qu'il avait quand il a été chargé de retourner des condensateurs
défectueux à un fournisseur personnalisé en Californie du Sud.
La connexion interne
entre la borne de condensateur externe et les plaques internes avait ouvert
parce que le calibre du fil est trop faible, l'amenant ainsi à coup sûr. Pour explorer cette plainte de première main,
le vendeur a ouvert une unité défectueuse, avec un ouvre-boîte. Depuis la connexion avait été séparé à ce
moment il y avait encore une charge importante encore à gauche dans
l'unité. Il y avait un accident inattendu
déchargé qui a provoqué une forte détonation.
Apparemment, le vendeur a rapidement fait des modifications de
réparation pour tous les condensateurs retournés sans frais. Marc rapporte que les plaques étaient Gray
avec des couches d'un matériau blanc en entre eux. L'unité entière a été rempli d'un gel épais
et clair. Mark Gray affirme qu'il
rappelle des valeurs de 500 mF à 5 KV.
COMMENTAIRE : Ce type
de construction implique un condensateur basse de la plaque d'inductance plutôt
que l'inductance plus roulé dessins. La charge stockée résiduelle implique une
construction à faible perte. Je ne sais
pas sur le diélectrique, il aurait pu être un matériau poly standard. Un autre autorité prétend E.V. Gray utilisé
Mica. Je ne sais pas ce que le mica
couleur est lorsqu'il est installé dans un grand condensateur. " Électricité froide " est également connue pour ses rejets
bruyants.
Le " Déclenchement
Charrier ”


Mark Gray affirme que le cœur et l'âme de
l'EV Gray Technologie est le " Déclenchement Charrier ". C'est l'alimentation qui était la source de
l'énergie anormale pour toutes les manifestations de projectiles. Ce qui est intéressant à propos de ce
système, c'est qu'il fonctionne à partir de 220
COMMENTAIRE : Certains chercheurs ont
proposé que l'E. V. Gray Technologie a nécessité l'utilisation de batteries
plomb-acide cellule humide pour la production de " Électricité froide
". Apparemment, ce n'est pas le
cas avec l'existence de ce charrier.
Cependant, les qualités globales OU de cette technologie peut être
altérée par l'utilisation de l'alimentation secteur. Mais à l'époque, E.V. Gray cherche des
clients militaires qui pourraient bénéficier des fonctionnalités de propulsion
de cet équipement.
Déclenchement Charrier Opération : "
Tournez lentement le Auto-transformateur jusqu'à ce que les tubes ont commencé
à tirer, puis regarder le voltmètre.
Quand il est arrivé à 5000 volts je rapidement baisser le
Auto-transformateur et tirer le projectile."
COMMENTAIRE: Dans le fond sonore de la vidéo
de démonstration, nous entendons environ 20 pops avant le projectile est prêt
pour le lancement. Il semble E.V. Gray
décharge un condensateur dans un autre condensateur. Une fois cette opération de charge est
terminée il décharge l'énergie anormale collectées par le biais de ses bobines
opposées à lancer un projectile. Je ne sais pas
ce qu'il a utilisé pour un commutateur de décharge.
Si Mark Gray lisait un
mètre de tension analogique alors nous pouvons être sûr que l'anormal "
électricité froide ", lorsqu'il est stocké dans un condensateur, peut être
observée comme une tension classique positif.
Ceci est très cohérent avec la description de Tom Bearden de "
l'énergie de masse négative " - si les deux phénomènes sont liés à
tous. Les photos précédentes montrent
E.V. Gray avec un analogue Triplett 630-A multimètre pour mesurer la tension de
" boîtes noires " qui sont supposés être des condensateurs de
stockage dans ses manifestations précoces " Popping Coil " (1973).
Si les Pops nous
entendons (20 ou plus par lancement) sont parmi les quatre Ignitrons sur le
dessus du panier, alors il est raisonnable de supposer que la tension
d'alimentation continue de la source était de plus de 5 KV. Si les Ignitrons ont été connectés afin
qu'ils s'auto-déclencheur en raccordant l'allumeur à l'anode, alors il y aurait
une rupture sur coup pouls à chaque fois que la différence de tension entre
l'anode et la cathode atteint environ 1500 V CC. Cela signifie que la tension
d'alimentation de la source était au moins pas inférieure à 8 kV.
Comme il s'agissait d'un effort concerté
visant à refuser l'auto-transformateur après avoir atteint 5 kV, je dirais que
EV Gray charge ses condensateurs personnalisés droit à leurs limites de
conception.
Condensateurs auxiliaires :

COMMENTAIRE : Sur cette photo, noter le
"projectile panier" sur la gauche. Six types de projectile
différentes sont lancées à partir de cette plate-forme de démonstration. Le fond de ce panier contient un réseau de banque
de condensateur assez important. Vous
pouvez voir que 70% de la charrette.
Cela signifie qu'il ya environ 9 grands condensateurs au premier rang. Si deux lignes sont utilisées, alors un total
de 18 condensateurs sont nécessaires. Je suppose que ce genre d'énergie stockée était nécessaire pour soutenir
les manifestations " Hover " ou le grand lancement de 71 lb.
Mark Gray affirme que
ce panier était La possession de E V Gray au moment de sa mort. Il prévoit de
se renseigner auprès des membres de la famille de l'endroit où cette pièce
d'équipement est allé.
COMMENTAIRE : C'est mon
avis que si ce panier a été sauvé de la seule façon voyage à l'excédent
re-vendeur, alors qui a jamais il ne pourrait pas le rendre opérationnel. Selon Mark Gray, son père a passé ses
derniers jours de démonter cet appareil. Ce système serait élevé sur la liste des choses à
faire en premier.
“ Divisez le positif? ”
Lorsqu'on lui a demandé si son père jamais lui a
parlé du processus de conversion de l'énergie fondamentale Mark Gray a rappelé
une expérience où son père lui a dit " L'énergie commence à partir de la
borne positive [du condensateur de stockage / dipôle] alors partie de celui-ci
remonte à la batterie d'alimentation et une partie de celui-ci va de la charge
".
COMMENTAIRE : Ce type de topologie est représentée
dans le brevet 4.595.975, mais le sens technique réelle est quiconque
conjecture.
Le " Projectile
sans fil ”
Mark Gray affirme que certains investisseurs
potentiels seraient demander " À quoi sert ce système si vous devez avoir
des fils reliés à projectile? Cela ne va pas au travail ". Donc, il a développé cet appareil de
démonstration pour montrer que les projectiles n'ont pas vraiment besoin de
fils. En fait, ils sont nécessaires pour
une courte distance, au-delà de laquelle l'amplitude des forces de répulsion
diminue rapidement. La
configuration ci-dessus fourni un contact glissant qui est dans la petite tour
en noir et blanc sur le côté gauche du cylindre noir Agrandir l'. Cette disposition permet à environ 6-8
"de Voyage avant le contact électrique est cassé. En ce moment, la masse voyager a reçu plus de
l'impulsion de choc qu'il va obtenir.
Les bobines de repousser noirs sont composés de fils de bobinage en cuivre
qui est d'environ 2 pouces de profondeur.
L'extérieur est recouvert de vinyle noir électriciens de bande. Mark a également déclaré qu'il était
difficile de se reconnecter le contact glissant à cause de la rotation après un
tir. Apparemment, il a pris un manche à
balai et une échelle pour se reposer la démo.
COMMENTAIRE : La
tension mesurable de l'énergie qui a propulsé le petit cylindre noir sur le
dessus avec le (soucoupe en plastique blanc sur le fond) a été, dit-on 5
kV. Maintenant, regardez la longueur de
la piste d'arc [environ 12 pouces] de la petite tour de contact (à gauche)
après le décollage. Pensez à ce type de
tension n'a été générée à ce stade.
L'état des piles de
stockage avant un essai ou de démonstration pour un Moteur Charrier
" Quand un Moteur Charrier a été préparé pour
un test (ou de démonstration), les deux ensembles de batteries ont été
complètement chargées. "
COMMENTAIRE : Voilà pour l'idée d'avoir à démarrer avec une batterie
morte. Cette théorie vient de
l'idée que le plomb sulfite est le moyen qui pourrait avoir converti une
impulsion électrique classique dans " Électricité froide "
Une autre démonstration d'électricité froid en utilisant le "
moteur démarrer "

Le cadran rond blanc instrument assis sur le dessus
de la " moteur demarrer " sur le Multi-manifestation panier est un
thermomètre. L'autre instrument de
cadran rond couchée sur la table juste en dessous du rhéostat ronde est un
indicateur de RPM mécanique. [Biddle
Compteur]
L'importance de l'éclateur
E.V. Gray dit Mark Gary que l'éclateur est très important.
COMMENTAIRE : Un grand nombre d'autres chercheurs pense aussi.

Le Moteur Violet

Un Groupe de
Photo de Famille
Moteur Noms :
Alors que la plus
ancienne e.V. Moteurs Gray étaient comptés, les versions les plus récentes dans
les années 80 ont été nommées en fonction de la couleur. Il a été le moteur Rouge, Le moteur Bleu, Le
moteur Pourpre, le moteur Blanche et le moteur noir. Chacun avait pour but de démontrer un aspect
particulier de cette technologie ou parer des questions communes qui avaient
constamment apparus au fil des ans.
Passons à la souche de l'Expert :
Une fois, un chercheur professionnel, du
MIT, a été autorisé à examiner le matériel tandis que le développement se
déroulait dans Canyon Country, CA, (Peut-être pour certains examens de
l'investisseur). Il a des accords de vol
de quitter le lundi suivant et a eu le week-end et un jour pour son enquête. Apparemment, il n'y avait pas de
restrictions sur ce qu'il pouvait regarder.
Cet homme a été accusé d'être l'un des co-inventeurs qui ont développé
les premiers produits répulsifs anti-requins.
Il a examiné et observé pour l'ensemble au moins un jour et a ensuite
fait un commentaire à l'effet: " Si je ne peux pas comprendre cela, alors
tout de ma formation académique est sans valeur ". Il a travaillé tout au long du week-end et
a quitté le lundi suivant sans aucune explication classique provisoire.
COMMENTAIRE : Il vous serait agréable de
voir si cette personne serait accorder une entrevue téléphonique. Je suis sûr qu'il ne parlait pas beaucoup de
son expérience quand il est retourné à
La Demande de
Brevet WO 2006/045333 A1 4 mai
2006 Inventeur Mike Brady
MACHINE À
AIMANTS PERMANENTS
RÉSUMÉ
L'invention concerne un
moteur magnétique répulsive, qui comprend: un arbre (26) qui peut
tourner autour de son axe longitudinal, un premier ensemble (16)
d'aimants (14) disposé autour de l'arbre (26) dans un rotor (10)
pour une rotation avec l'arbre, et un second ensemble (42) d'aimants (40)
disposés dans un stator (32) entourant le rotor. Le second ensemble d'aimants coopérant avec
le premier jeu d'aimants, et les aimants des deux séries sont au moins
partiellement projeté de façon à concentrer leur intensité de champ magnétique
dans la direction de l'entrefer entre le rotor (10) et le stator (32).
CONTEXTE
La présente invention
concerne un moteur magnétique répulsive, ou un mécanisme d'entraînement. Un tel mécanisme peut être utile pour
entraîner un générateur électrique, un véhicule, un navire, un aéronef, ou
analogue.
Les sources d'énergie
traditionnelles sont basées sur les combustibles fossiles ou de sources
d'énergie secondaires comme le nucléaire, ou de l'électricité obtenue par
n'importe quel moyen, pour sa source d'énergie motrice. Toutes ces sources de puissance présentent des
inconvénients tels que soit la cause de la pollution, ce qui nécessite le
transport ou la transmission sur de longues distances avec le point
d'utilisation, et d'être coûteux à l'achat.
Ainsi, il existe un besoin pour une source d'énergie qui est sensiblement
en fonctionnement, ce qui nécessite aucune alimentation externe sensiblement
exempt de pollution, et qui est facile à entretenir.
SOMMAIRE
La présente invention
concerne un moteur magnétique répulsive, qui comprend: un arbre qui peut
tourner autour de son axe longitudinal, un premier ensemble d'aimants qui sont
disposés autour de l'arbre et qui tournent avec l'arbre, et un second ensemble
d'aimants disposés dans un stator entourant l'rotor, où le deuxième ensemble
d'aimants réagit avec le premier jeu d'aimants, les deux ensembles étant
partiellement écran magnétique afin de diriger leur champ magnétique dans un
espace entre les deux ensembles d'aimants.
Ainsi, l'interaction
d'au moins une partie des aimants des premier et second ensembles pousser
l'arbre en rotation.
L'interaction peut être la force nette de
pôles magnétiques se repoussent l'un l'autre comme poussant ainsi les aimants
l'un de l'autre, cependant, étant donné que les aimants du rotor peuvent être
déplacées par cette force de poussée, l'arbre est sollicité en rotation dans
une position dans laquelle le répulsif la force est moins.
Le rotor peut être
sensiblement en forme de disque et le premier ensemble d'aimants peut être
situé dans une région périphérique du rotor qui tourne avec l'arbre. Le stator peut être sous la forme d'une paire
de bras alignés avec le rotor. Ces bras
de stator peuvent être déplacés par rapport à l'autre et à distance du rotor,
afin de permettre à l'espace entre le rotor et le stator pour être fixé de
façon sélective. L'écart peut être réglé
manuellement, par exemple, par une roue à main ou automatiquement, par exemple
par un système de poids qui se déplacent de manière centrifuge et forment ainsi
un contrôle de la vitesse de rotation qui agit automatiquement, c'est à dire le
plus petit de l'écart, plus les forces de répulsion entre les aimants du rotor
et du stator.
Tant le
rotor et le stator peuvent avoir plus d'un jeu d'aimants. Les aimants peuvent être placées dans des douilles
qui s'étendent en direction de la circonférence du rotor. Ces douilles peuvent être sensiblement
cylindrique et disposé dans un plan qui est perpendiculaire à l'axe
longitudinal de l'arbre du rotor. Ces
douilles peuvent également être disposés selon un angle aigu par rapport à la
tangente à la circonférence du disque de rotor, où l'embouchure de la douille
cylindrique est situé. De même, les
supports d'aimants de stator peuvent être inclinées par rapport à la
circonférence intérieure du stator. Ces
angles peuvent être compris entre 18 degrés et 40 degrés, mais de préférence
entre 30 degrés et 35 degrés.
Ces douilles peuvent avoir un revêtement de douille
constitué au moins partiellement d'un matériau de blindage magnétique. La garniture de douille peut revêtir la
totalité de l'étendue des prises de sorte que seule l'ouverture à l'extérieur
reste sans revêtement. Dans un autre
mode de réalisation de l'invention, la paroi de l'écran magnétique peut porter
un pourcentage important de l'ensemble de la garniture de prise, par exemple,
50% de la paroi de la douille.
Les aimants peuvent être Nd-Fe-B de dimensions qui
s'adaptent parfaitement à l'intérieur des parois des douilles. Ces aimants peuvent être de forme
cylindrique et ont un diamètre de 37 mm, une longueur de 75 mm et une force
magnétique de 360 000 gauss. La
garniture de douille, blindage magnétique et l'aimant peuvent tous avoir un
trou à travers elles pour recevoir une broche de fixation, de préférence
positionnée de sorte qu'elle est parallèle à l'axe longitudinal de l'arbre.
Le nombre de prises de courant dans le rotor et le stator
correspondant sont identiques de sorte qu'il n'y a pas une relation un-à-un
entre les prises de courant dans le rotor et les prises de courant dans le
stator correspondant. De même, le
nombre d'aimants dans des ensembles rotor / stator supplémentaire peut être
différent des premiers ensembles rotor / stator, afin que les deux ensembles
sont de registre à un moment donné. Des sockets peuvent être soit laissées vides
dans le rotor ou le stator correspondant, ou les deux. Le moteur peut avoir une ou plusieurs paires
de rotor / stator de ce type disposés en une pile. Il est préférable que les aimants de rotors
adjacents soient hors d'alignement, c'est à dire en quinconce ou décalées par
rapport à l'autre.
DESCRIPTION
DES DESSINS

Fig.1 est une vue en
perspective qui montre un disque de rotor.

Fig.2 est une vue en
perspective illustrant un empilement de rotors Fig.1 dans un agencement
assemblé.

Fig.3 est une vue en
perspective montrant un bras gauche d'un stator.

Fig.4 est une vue en
perspective montrant un bras droit d'un stator

Fig.5 est une vue en
perspective illustrant une pile de stators ou de la Fig.3 et la Fig.4
dans une position de montage.

Fig.6 est une vue en
perspective montrant une garniture de douille d'un stator ou un rotor.

Fig.7 est une vue en
perspective montrant l'un des aimants.

Fig.8 est une vue en
perspective montrant un mode de réalisation du moteur de répulsion magnétique
couplé à un générateur électrique.
DESCRIPTION DES MODES DE REALISATION PREFERES
En se référant à la Fig.1, un rotor
sensiblement en forme de disque 10, est fait d'un matériau non
magnétique. Le rotor 10 comporte
une pluralité de zones magnétiques de réception 12, à condition dans ce
pour la réception des aimants 28 (représenté sur les figures suivantes)

d'un premier ensemble de 16 aimants. Les zones de
réception 12 sont sous la forme d'une extension circonférentielle,
espacées, sensiblement cylindrique et les douilles 18 qui sont situées
dans un plan qui est perpendiculaire à l'axe de rotation 10 du rotor et
dans une région périphérique du disque.
Dans la zone des prises
de courant 18, le rotor 10 comporte aussi des trous traversants 20
dans son surfaces latérales 22, s'étendant parallèlement à l'axe de
rotation du rotor. Le rotor 10,
présente également un orifice central 24, pour recevoir l'arbre 28 qui
est représenté dans les figures suivantes.
Les douilles 18 sont de préférence inclinés selon un angle aigu
par rapport à la tangente à la circonférence du disque de rotor 10, à
l'embouchure des douilles 18.
Idéalement, cet angle est compris entre 18 et 40 degrés, et de
préférence entre 30 et 35 degrés. Dans
une forme de réalisation particulièrement préférée, l'angle est 34 degrés.

Comme le montre la Fig.2, les
douilles 18, reçoivent (ou comportent) un revêtement douille 28 (représenté
plus en détail sur les figures suivantes) qui est au moins partiellement
constitué d'un matériau de blindage magnétique, qu'ils soient métalliques ou
non métalliques, par exemple, graphite.
La garniture de douille 28, couvre la totalité de l'étendue des
douilles 18, de sorte que seule l'ouverture à l'extérieur reste
découverte.
Dans l'ensemble de
rotor 30 de la Fig.2, trois disques rotors 10, ont été
empilées dans une rangée sur l'arbre 26. La connexion entre les disques de rotor 10
et l'arbre 26, ainsi que entre les disques de rotor eux-mêmes, peut
être établie par l'intermédiaire d'des moyens qui sont largement connues de
liaison. En général, le moteur peut
comporter un nombre quelconque de disques de rotor 10, et les stators
correspondants 32, étant
donné que l'effet de l'utilisation de plusieurs disques de rotor 10 en
parallèle, est cumulatif. Cependant, il
peut être utile pour le bon fonctionnement du moteur 1, de disposer les
disques de rotor 10 de sorte que les aimants des disques de rotor
adjacents sont disposés en quinconce, ou décalés par rapport à l'autre.

En se référant à la Fig.3
et la Fig.4, un stator 32 est représenté. Ce stator est constitué d'un matériau non
magnétique. Le bras gauche 34,
et le bras droit 36, se combinent pour former le stator 32. Chacun des bras, 34 et 36, a
une forme sensiblement semi-circulaire et est dimensionné de manière à enfermer
le disque de rotor correspondant 10 dans la direction radiale, tout en
laissant un espace entre le stator 32 et le disque de rotor 10. Les bras 34 et 36 d'un stator 32,
peut être déplacé par rapport à l'autre et leur disque de rotor 10 correspondant,
de sorte que l'écart entre les bras et le rotor disque peut être fixé à des
valeurs différentes.
Le stator 32 comporte
plusieurs aimant recevoir zones 38, prêts à accepter les aimants 40,
(qui sont représentés sur un chiffre plus tard) de l'aimant fixé 42. Ces zones de réception sont à nouveau sous
la forme d'une extension circonférentielle, prises sensiblement cylindrique 44
qui sont positionnée dans un plan qui est perpendiculaire à l'axe
longitudinal de l'arbre 26 dans la région des douilles 44, le
stator 32 comporte des trous traversants disposés en 46 c'est
surfaces latérales 48, ces trous s'étendant parallèlement à l'axe
longitudinal de l'arbre 26.
Ces douilles 44 sont encore inclinés
à un angle aigu par rapport à une tangente à la circonférence intérieure du
stator 32 à l'ouverture de la bouche de l'sockets 44. cet angle
est de préférence entre 18 et 40 degrés et de manière davantage
préférée, entre 30 et 35 degrés.
L'angle des douilles 18 et 44, et le positionnement
relatif entre eux, doit être ajustée pour permettre un bon rendement du moteur.

Fig.5 montre un
ensemble de stator constitué de trois stators conçu pour s'adapter à l'ensemble
du rotor de la Fig.2. Comme
décrit en référence aux douilles 18 de la Fig.2, les douilles 44
reçoit (ou comportent) un revêtement douille 50 (représenté plus en
détail sur les figures suivantes), qui est au moins partiellement constitué
d'un matériau de blindage magnétique.
La garniture de douille 50, couvre la totalité de l'étendue des
douilles 44 de sorte que seule l'ouverture à l'extérieur reste
découverte.

En se référant à la Fig.6,
une garniture de douille 28, 50 du disque de rotor 10, le stator
ou 32, qui est représenté plus en détail. La garniture de douille 28, 50 est
formée pour s'insérer dans les douilles 18, 44 et peut être réalisée
entièrement en un matériau qui possède des propriétés de blindage
magnétique. Dans une forme de
réalisation préférée, la garniture de douille 28, 50 est réalisé en graphite
diamagnétique et est partiellement entouré par un blindage supplémentaire 52
d'un matériau présentant de fortes propriétés de criblage magnétique, par
exemple, acier inoxydable. Dans le mode
de réalisation représenté sur la Fig.6, l'écran 52 entoure
environ 50% de la surface du revêtement de support.
Ainsi, en recouvrant au
moins partiellement les douilles 18, 44 d'un matériau de blindage
magnétique, le champ magnétique des aimants insérés 14, 40 est, pour
ainsi dire, porté axialement par la douille 18, 44, plutôt que dissipée
sur les aimants.
En outre, des trous 54 à travers les
garnitures de douilles 28, 50 sont prévus et ceux-ci correspondent
respectivement à la traversant des trous 20 et 46 dans le disque de
rotor 10 et le stator 32.
Ainsi, une goupille de retenue 56 peut être inséré après l'aimant
14, 40 a été mise en prise 18, 44 pour effectuer une fixation
détachable de l'aimant 14, 40 de la garniture de douille 28, 50 et
la douille 18, 44 de manière à empêcher l'expulsion des sources magnétiques
en cours de fonctionnement.

Fig.7 montre une source magnétique typique 14,40 utilisé dans cette
conception du moteur. Les sources
magnétiques 18, 40 peuvent être des aimants naturels, des aimants ou
électro-induites. La source magnétique
par exemple, est un aimant Nd-Fe-B qui a les dimensions nécessaires en vue de
s'adapter parfaitement dans la douille 18, 44 et la doublure de support 28,
50, respectivement. Dans un mode de
réalisation préféré, la source magnétique 18, un aimant 44 est
sensiblement de forme cylindrique avec un diamètre de 37 mm, une longueur de 75
mm et offre 360.000 gauss. Cependant,
la source magnétique 18, 44 peuvent être de forme différente pour
cylindrique et peuvent avoir des caractéristiques différentes. Dans tous les cas, la source magnétique 18,
44 doit avoir un trou traversant 58 pour recevoir la goupille de
retenue 56.

Le moteur de l'aimant représenté sur la Fig.8
est monté sur le châssis 60 et est couplé à un générateur électrique 62. Dans ce mode de réalisation particulier, le
moteur comporte trois disques rotor 10 du type déjà décrit. Ils sont montés sur un seul arbre tournant 26
et sont entraînés par trois stators 32, comme déjà décrit, l'arbre 26
entraînant en rotation autour de son axe longitudinal. Arbre 26 peut être relié à une boîte
de vitesses afin d'obtenir un avantage mécanique. Les bras de stator peut être déplacé par un
moteur pas à pas 64.
Le nombre de logements ménagés dans les disques de
rotor 10 et les stators 32 correspondantes peut être différente
pour qu'il n'y ait pas de un-à-un entre les douilles 18 dans le disque
de rotor 10 et les douilles 44 dans le stator 32 correspondant. De la même façon, le nombre des sources
magnétiques dans le stator 32 et le disque de rotor 10 peut être
différente de telle sorte qu'une partie des sources magnétiques 14, 40 sont
hors d'alignement à un moment donné. Des
sockets peuvent être vides, c'est à dire sans source magnétique, soit dans le
disque de rotor ou le stator 10, 32, ou les deux.
Les prises 18 des disques de rotor 10 peuvent
être décalés, c.à décalées par rapport aux prises de rotors adjacents, ou ils
peuvent s'aligner dans le registre.
Ainsi, le moteur à aimant peut être réglée par le temps, le
positionnement relatif des sources magnétiques 14 des disques de rotor
adjacents 10.
Ainsi, l'interaction d'au moins une partie des sources magnétiques 14,
40 du premier et second ensembles 16, 42 engage l'arbre 26 en
rotation. Lorsque l'arbre commence à
tourner, la pluralité d'interactions simultanées arbre 26 provoque la
rotation de continuer.
Comme mentionné précédemment, le moteur peut avoir des disques de rotor
et de stator 10 nombre fixe correspondant 32. Bien que l'ajustement précis des éléments du moteur
est importante, on peut imaginer d'autres modes de réalisation couverts par la
présente invention.
Brevet US 4,179,633 18th Décembre 1979 Inventeur: Donald A. Kelly
LECTEUR DE
DISQUE MAGNÉTIQUE
RÉSUMÉ
Ce lecteur de disque à
un aimant permanent se compose de deux éléments de base magnétiques, un grand
disque plat conduit contenant une série uniforme de segments identiques aimant,
et un deuxième volant magnétique signifie comprenant plusieurs paires
magnétiques oscillants d'en face de l'aimant identique segments. Le mécanisme magnétique simule l'action d'un
mécanisme d'échappement horloge en ce que les couples aimant oscillant
uniformément oscillent entre les segments d'aimant de disque pour induire la
rotation du disque continue. Toutes les
paires d'aimant oscillant multiples sont oscillés par un moteur, ou les moteurs
qui fournissent un mouvement excentrique via un réducteur de réduction
appropriés. Les petits moteurs à
courant continu sont alimentés par plusieurs baies de cellules solaires
photovoltaïques en silicium à un certain endroit commode sur le toit.
Références de
brevet US :
Convertisseur de couple
magnétique 4 082 969 avril 1978 Kelly 310/103
Transmission magnétique
4 100 441 juillet 1978 Landery 310/103
CONTEXTE DE
L'INVENTION
À l'heure actuelle, le
lecteur de disque magnétique a atteint le stade de développement où les couples
aimant oscillant tournera le disque segmenté magnétique lorsque les
oscillations se fait manuellement. La
rotation du disque est lisse et continu quand l'oscillation manuelle est
uniforme et continue, et la vitesse de disque peut être augmentée comme
l'oscillation est augmenté.
Étant donné que le
fonctionnement adéquat du concept magnétique/mécanique-conversion a été prouvé
avec un prototype fonctionnel, une auto pratique et économique et/ou
oscillation externe signifie pour le magnétique oscillant paires doivent
maintenant être mis au point. Le lecteur
de disque magnétique a été con¸u pour automatique actionné au moyen d'un
multi-lobe cam et arrangement de la tige de poussée, mais cette approche n'a
pas été prouvée réussie à ce jour.
Un inconvénient pour le
type d'actionnement automatique du lecteur de disque magnétique est que le
disque est immobilisée avec une sortie de basse vitesse fixe qui dépend de
l'interaction naturelle champ magnétique entre les segments impliqués d'aimant
qui interagissent.
Une came de multi-lobe
moyen diamètre déplacement direct a été utilisée pour le premier prototype,
mais cela n'a pas fonctionné en raison de la résistance élevée de rotation
imposée par les angles de lobe de came haute.
Une came de lobe multiples déplacements périphériques, direct a été
également essayée, mais cela n'a pas réussi en raison de la résistance de lobe
de came modérée et suffisante au déplacement de la tige de poussée.
Autres configurations
de lobe de came sont étant planifié et mis au point pour s'assurer qu'aucun
compromis possible à l'oscillation mécanique automatique actionnée n'est
négligé. Une autre approche possible à
actionnement indépendant pour le lecteur de disque magnétique est par
l'application d'un commutateur magnétique niveau twin qui est directement relié
à l'arbre d'entraînement de disque. Les
segments de commutateur magnétique attirent tour à tour correspondants aimants
radiaux sur tiges de traction qui sont pivotés sur chacune des plaques
oscillation des paires magnétiques.
Auto-actionnement des unités disque
magnétique peut être souhaitable pour certaines applications d'alimentation
autonome, la sortie de faible vitesse fixe ne constitue pas attrayant et
prometteur pour un large éventail d'applications d'alimentation
domestique. En raison de
l'inflexibilité de sortie de vitesse du type auto-actionné d'unité, le
développement d'une vitesse variable, extérieurement oscillée type d'unité de
disque est nécessaire pour répondre à la demande croissante d'énergie
alternative et auxiliaire signifie pour de nombreuses applications.
L'adéquation entre un
grand disque magnétique et moteurs électriques petits solaires powered CC est
un arrangement presque idéal depuis un seul ou de série de précision de petits
moteurs à courant continu peut être facilement alimenté par les modestes
tableaux de cellules photovoltaïques en silicium situés à un emplacement
commode sur le toit. Petit haut
rendement, roulement à billes CC moteurs est disponibles qui, lorsqu'il est
connecté aux lecteurs de réduction de matériel adapté, peut tourner un simple
mécanisme excentrique avec suffisamment de puissance et de vitesse variable,
provoque des oscillations d'une série de quatre à six magnétiques oscillants
paires d'aimants du stator.
Cette série de paires
oscillants magnétiques est tous connectée avec linkage droite pour transmettre
le mouvement alternatif de l'arbre moteur oscillant aux autres arbres
oscillants de la série. Il s'agit d'une plus souhaitable multiples
arrangement conduite plutôt que séparée CC petit moteurs puisque le
synchronisme est automatiquement assuré, plutôt que des exigences de
synchronisation électrique plus complexes et moins fiables. Parce qu'il n'y a aucun synchronisme
immobilisé pour ce type d'oscillation externe signifie, l'oscillation
magnétique plusieurs paires doivent être du type minimum d'interférences, en ce
qu'ils ne doivent pas se coincer dans les segments d'aimant de disque. Bien que le bon fonctionnement de l'unité de
disque magnétique exige que les couples aimant oscillant doivent entrer dans
aimant segment interférence cercle du disque, moyens de déviation s'ajoutent à
toutes les plaques d'oscillation pour s'assurer que le disque rotatif en
continu sera facilement contourner toutes les paires d'aimant oscillant.
L'unité de disque
magnétique grand sera composé d'un disque circulaire non magnétique base, sur
lequel plusieurs segments d'aimants permanents de haute énergie sont
équidistants autour du bord du disque.
L'arbre d'entraînement du disque tourne sur roulements à billes de
précision et peut être choisi pour tourner dans un plan vertical ou
horizontal. Le disque est l'élément
moteur de l'entraînement magnétique, et il peut être relié à la charge ou d'un
générateur électrique.
Les multiples paires
d'aimant oscillant constituent l'élément moteur de la machine d'entraînement de
disque et sont constitués de plaques d'oscillation de plat, non magnétique, sur
lequel des aimants haute énergies identiques sont fixés à chaque extrémité de
ces plaques d'oscillation. Les segments
de l'aimant sont placés avec les pôles opposés exposés sur les côtés, par
rapport à l'autre, afin qu'un couple de pôle Nord-Sud réagit sur des segments
du disque magnétique. Sens du disque
conduit de rotation dépend de la polarité des aimants du disque en ce qui
concerne les paires magnétiques oscillants.
Les paires magnétiques
oscillants fera un retour complet et retours oscillation entre deux segments
d'aimant de disque local adjacent afin qu'un effet de rechange " tirer et
pousser " est induit sur le magnétique segmentée disque. La base synchronisme entre les segments du
disque magnétique et les multiples paires d'aimant oscillant simule étroitement
l'action d'un mécanisme d'échappement horlogerie en ce qui concerne l'action de
" cogging " naturelle entre les fonctionnement des composants.
Cet arrangement de
lecteur de disque magnétique générale assure la rotation lisse et continue pour
le disque entraînée avec un optimum d'énergie magnétique échange entre les
stations de l'oscillation et le disque magnétique cause de près face du pôle à
l'exposition de visage de pôle. On
pense maintenant que ce présent type de lecteur de disque magnétique est proche
d'un maximum théorique de rendement de conversion possible, surtout en
comparaison avec d'autres types d'arrangements magnétiques et mécaniques tels
que ver magnétique et disques ver, épi couples, couples mitre et tous les types
de dispositifs magnétiques infère, linéaires.
L'attractivité de la
base disque magnétique et oscillantes paires, c'est qu'un facteur de levier
presque idéale est introduit dans des arrangements de conversion magnétique et
mécanique. En termes simples, beaucoup
moins d'énergie est nécessaire pour osciller les paires oscillants que celle
qui est produite du visage près de pôle à pôle visage interaction magnétique
entre les composants magnétiques fonctionnent.
L'alternance et
uniforme " tirer et pousser " force imposée par les couples aimant
oscillant sur les segments d'aimant de disque ne produit aucun retour direct ni
la réaction de force de compteur sur les segments conduite d'aimant oscillant
qui est la clé principale pour une commande de conversion de magnétique et
mécanique utile et pratique. L'arrière
ou la force en faisant réagir sur les paires d'aimant oscillant est prise
directement par les pivots fixes des plaques oscillation, avec un minimum de
charge peine infligée à l'entraînement des couples aimant oscillant.
Tous les autres types
de dispositifs rotatif magnétique et mécanique conversion, à l'exception
peut-être du ver et du type de disque de ver, produisent une force de réaction
en retour indésirables sur la composante motrice et le rendement inefficace qui
en résulte. Le ver magnétique et unités
de disque de ver ne sont pas avérées pour être suffisamment intéressant pour
des applications commerciales en raison de la très haute énergie magnétique
permanente nécessaire et en raison de la basse vitesse de sortie de ces
mécanismes.
Lorsque la
configuration des comparaisons de tous les types de dispositifs de conversion
de magnétique et mécanique possible on notera que la combinaison d'un disque
magnétique pilotée par plusieurs paires d'aimants oscillant se démarquer comme
un arrangement pratique et utile de conversion magnétique permanent. L'incitatif pour le développement de ce
lecteur de disque magnétique est le fruit direct de la décevante performance
globale des efforts de conversion de l'énergie solaire et les frustrations
rencontrent avec les coûts des composants, l'efficacité de conversion et un
manque de moyens de stockage d'énergie appropriée. Alors que l'énergie solaire a été largement
salué pour son futur potentiel comme source d'énergie alternative viable,
ingénieurs relativement peu parlent de coût/efficacité globale relativement
pauvre en raison de jours-à-bout de ciel couvert durant les mois d'hiver quand
l'énergie est le plus nécessaire, surtout aux latitudes nordiques.
En raison des
perspectives de conversion de l'énergie solaire moins qu'adéquate pour la
grande majorité des propriétaires américains, autre alternes, petite échelle,
de manière décentralisée, sources d'énergie doivent être explorés et développés
sur une base de programme crash. Si
cela n'est pas fait dans les prochaines décennies en raison de l'augmentation
alarmante du taux des frais d'énergie, nous devons accepter l'alternative d'un
niveau de vie très réduite.
Ce lecteur de disque
magnétique représente une solution pratique pour l'application de magnétisme
permanent dans le développement et le mercantilisme d'un système décentralisé,
silencieuse, sans combustible, ménage taille puissance alternative. La puissance de sortie d'une unité de disque
magnétique individuel peut être petit, la puissance de sortie est constante et
ne dépend pas généralement sur l'intensité de la source d'énergie externe,
comme présentent des systèmes d'énergie solaire.
RÉSUMÉ DE
L'INVENTION
L'unité d'entraînement
de disque magnétique se compose d'un grand disque de conduite en métal non
magnétique sur lequel plusieurs aimants permanents sont équidistants autour de
la jante. L'arbre d'entraînement de disque
tourne sur roulements à billes tourillon pris en charge et peut s'articulent
dans presque toutes les positions classiques et peuvent être équipé par toute
pratique grand diamètre.
Les paires identiques
d'aimant oscillant sont la composante motrice du lecteur de disque et se
composent de plat, assiettes non magnétique sur lequel, paires d'aimants
identiques sont fixés sur les deux côtés des plaques oscillation. Ces paires d'aimants ont des faces de pôle opposé face à face. Sens du disque de rotation est déterminé par la
polarité des aimants du disque par rapport à la polarité des couples aimant
oscillant.
La paire oscillante
d'aimants effectuez une complète en arrière oscillation tandis que chaque rotor
disque aimant passe par. Ceci produit
une traction sur l'aimant de disque comme il approche l'aimant de l'oscillateur
et puis lorsque l'oscillateur éloigne l'aimant, une force de pression est
appliquée à l'aimant sur le disque en rotation par le deuxième aimant de la
paire oscillante d'aimants. La
synchronisation du disque et les couples aimant oscillant doit être maintenue
pour une rotation continue et sans heurt du disque. Ce mouvement est similaire
à l'action d'un mécanisme d'échappement horloge.
La méthode de déplacement oscillants paires
d'aimants est un ou plusieurs moteurs CC à énergie solaire. Ces moteurs
conduisez les tiges de Poussée qui sont en contact avec des roulements à billes
montés sur les plaques d'oscillation.
Puisque les excentriques doivent se déplacer à une vitesse relativement
lente, réducteurs de réduction approprié doivent être utilisés entre les
moteurs et les culbuteurs.
Afin de maintenir une synchronisation
correcte de tous les composants oscillants, liens droites servent à connecter
tous les arbres d'oscillation entraînée à l'arbre moteur d'oscillation. Quatre ou cinq stations d'oscillation
peuvent être pilotées depuis un arbre d'oscillation pilote afin qu'un lecteur
de disque avec un grand nombre de stations d'oscillation nécessitera plusieurs
moteurs C.C. pour piloter tous les autres axes d'oscillation.
Il est important que l'oscillation identique
multiples, plaques et leurs couples aimant être légèrement plus courte en
largeur que l'espace entre deux segments d'aimant disque adjacent, pour qu'une
force de traction et pousser optimale est induite sur les segments d'aimant de
disque local. Un côté du couple aimant
oscillant " tire " sur l'aimant permanent du disque et puis l'autre
aimant oscillateur " pousse " aimant permanent du disque, comme il a
été déplacé en place par l'oscillation.
Toutes les paires d'aimant oscillant
oscillent sur barres fixes, ou les arbres, et tous les excentriques et les CC
moteur lecteurs restent fixés sur une plaque de base. Les autres extrémités des tiges ou arbres
oscillante doivent être soutenues par une certaine forme de support pour
maintenir les plaques d'oscillation parallèle pour les segments d'aimant de
disque. Chaque excentrique qui
se déplace d'un roulement à billes sur les bras sur les plaques d'oscillation
doit faire un tour complet de 360 degrés au sein de l'arc de déplacement
angulaire entre deux segments d'aimant disque rotor adjacents. Deux petites pivot supports sont fixés aux
extrémités des plaques oscillation pour permettre ces plaquettes à osciller
librement avec un minimum de friction extrêmes, non magnétique.
La relation
fondamentale de rotation entre les paires magnétiques oscillants et le disque
magnétique segmenté, aura une incidence sur la démultiplication de réduction
requise pour le lecteur réducteur couplé aux petits moteurs CC. Oscillation assez rapide est nécessaire pour maintenir une vitesse de
disque raisonnablement acceptable qui est nécessaire pour la plupart des
applications de puissance. La taille des
excentriques qui oscillent les couples aimant oscillant sera déterminée par
l'arc oscillant complet nécessaire et l'avantage mécanique requise par la
plaque d'oscillation pour provoquer la rotation optimale de l'unité
d'entraînement de disque magnétique.
Magnétique
fonctionnement du lecteur de disque approprié nécessite des aimants de traction
des paires d'aimants oscillants pour entrer dans le cercle des interférences du
disque dans la zone de champ magnétique mutuelle entre les deux aimants en
interaction locales sur le bord du disque.
Depuis le disque tournera en continu, la phase de retrait des "
tirant " aimants apporte les " pousser " les aimants du couple
sur l'ingérence de l'entourage du disque dans la zone de champ magnétique
mutuelle, pour une interaction efficace avec le segment de disque magnétique adjacente.
Tous les segments de
l'aimant sur les plaques d'oscillation qui forment les couples magnétiques
doivent être en ligne avec les segments correspondants d'aimant disque afin de
maintenir une interaction optimale entre eux.
Parce qu'il n'y a pas naturel,
serrure-dans le synchronisme pour ce type de lecteur de disque magnétique, les
multiples paires d'aimant oscillant magnétique doivent être du type minimum
d'interférences, qui consiste à ajouter des déflecteurs en plastique pour les
plaques d'oscillation pour empêcher les aimants traction du couple de
brouillage dans les segments d'aimant de disque. Puisque les paires aimant oscillant doivent
jamais confiture dans le disque et arrêter sa rotation, les déflecteurs en
plastique permettra aux plaques d'oscillation et couples aimant à être déviée
loin de tous les segments d'aimant de disque.
Les aimants permanents
sélectionnés pour les deux composants du lecteur de disque doit être
uniformément identiques et avoir le produit le plus élevé possible de l'énergie
ou l'induction magnétique plus la coercivité.
Deux de ces propriétés magnétiques jouera un rôle important dans la
détermination de la valeur réelle de l'unité d'entraînement de disque
magnétique. À l'heure actuelle, les
aimants permanents de terres rares / cobalt offrent le plus possible de
propriétés magnétiques pour cette application, mais leur coût est très élevé et
actuellement pas considéré comme rentable pour le lecteur de disque
magnétique. Étant donné que les coûts
jouera également un rôle majeur dans la valeur concurrentielle du lecteur de
disque, les aimants sélectionnés doivent montrer le rapport coût/efficacité
possible plus élevé, ainsi que de la longue durée de vie.
Rectangulaire en
céramique aimants permanents avec des faces grand pôle plat sont préférés pour
les prototypes de lecteur de disque, et il n'y a pas de limite théorique à la
taille des deux composants qui interagissent.
Une limite pratique à la taille réelle des composants est imposée par le
poids et les restrictions de coût matière plus d'espace disponible, mais
presque n'importe quel nombre de pratique et la taille des aimants uniformément
identiques peuvent servir à fabriquer du lecteur de disque magnétique.
Il sera avantageux
d'accumuler chaque station d'aimant de disque en grappes de jusqu'à sur douze à
vingt quatre aimants individuels qui sont disposés sur une longueur de quatre
ou cinq unités et largeurs doubles ou triples selon le diamètre du disque. Une unité de disque de grand diamètre est
toujours souhaitable, puisque le couple de sortie pour l'unité de disque dépend
de la force magnétique tangentielle produite par toutes les stations de couple
aimant oscillant multipliées par le rayon du disque.
La grande vitesse de disque de diamètre est relativement lente,
en 20 à 30 tours par minute gamme, de sorte que la vitesse de sortie de disque
doit être renforcé pour un utile 750-1200 rpm plage de vitesse, par un
dispositif d'entraînement de la courroie.
La sortie du lecteur de disque magnétique est le mieux adapté pour faire
fonctionner un générateur électrique ou alternateur pour produire de l'énergie
électrique pour divers usages domestiques.
Un avantage d'utiliser des cellules photovoltaïques
solaires au silicium sur un emplacement sur le toit exposé en tant que source
de puissance, est qu'ils sont capables de fournir une partie de la FEM dans des
conditions non-soleil ou un ciel couvert.
Avec l'exposition de plein soleil l'énergie électrique produite se
déroulera le lecteur de disque magnétique à sa vitesse maximale possible, avec
des niveaux d'ensoleillement réduites produisant une réduction proportionnelle
correspondant à la vitesse de sortie de disque.
Une option viable existe pour l'utilisation d'un plus
grand nombre de cellules photoélectriques au silicium que ce ne serait
normalement nécessaire pour le fonctionnement complet de la lumière du
soleil. Le nombre de cellules
sélectionnées serait capable de faire tourner le lecteur de disque magnétique à
pleine vitesse dans des conditions de ciel couvert, avec tout plein courant de
soleil excès contourné les batteries de stockage. Cette option est un accord souhaitable, car
le disque sera assuré de la pleine puissance électrique d'entrée chaque jour,
avec une puissance disponible de la batterie pour compenser la perte de toutes
les conditions du ciel diurne sombres.
L'objet principal de l'invention est de fournir la sortie
la plus élevée de couple pour le grand disque entraîné à partir de l'entrée de
couple la plus faible possible pour les multiples paires d'aimants oscillants,
en tant que moyens d'une puissance utile élévateur de tension pour des
applications de production d'énergie électrique.
Un autre objet de l'invention est de fournir une source
d'énergie élévateur de tension qui peut être fabriqué à des coûts compétitifs,
ne nécessite aucun combustible et est non polluant et sans bruit en courant
continu.
Il est un autre objet de l'invention est de fournir une
source d'énergie naturelle qui a une durée de vie extrêmement longue, avec un
maximum d'efficacité de fonctionnement, la résistance à la dégradation de
l'élément, avec un minimum de pièces de rechange et d'entretien.
Les différentes caractéristiques de l'invention avec sa
géométrie de la conception de base seront plus apparents à partir de la
description suivante et des dessins qui illustrent le mode de réalisation
préféré. Il doit être entendu que des
variantes peuvent être apportées aux composants spécifiques, sans s'écarter de
l'esprit et de la portée de l'invention telle que décrite et illustrée.
En se référant aux dessins :

Fig.1 est un sommet,
vue externe du lecteur de disque magnétique.

Fig.2 est une vue de
côté externe de l'unité de disque magnétique.

Fig.3 est une vue de
dessus agrandie d'un couple aimant oscillant.

Fig.4 est un sommet,
vue cassable de plusieurs paires d'aimants oscillant relié avec lien.
DESCRIPTION
DU MODE DE REALISATION PREFERE
L'invention 1, est composé de deux
éléments de base: un grand disque mené 2, et plusieurs paires d'aimants
oscillants 3, qui sont étroitement liés et monté sur une plaque de base
commune 4.

Multiples, des aimants
permanents identiques 2a, sont espacés de façon égale sur la périphérie
du grand axé sur le disque 2, par le biais de soutien angles 2b
et chevrons 2c, qui sont fixés sur le disque 2, avec du matériel
standard.
Un arbre de
transmission 5, est fixé sur le disque 2, au moyen d'un
concentrateur 2d et pris en charge par deux roulements à billes 6. Un des roulements à billes 6, est
monté dans un trou dans la plaque de base 4, tandis que l'autre
roulement à billes 6, est placé dans une boîte-base 7, qui est
fixé à la plaque de base 4, avec le matériel standard.

Les multiples paires d'aimant oscillant 3,
sont une 3a plaque plane et non magnétique, avec l'autre pôle aimant
segments 3b et 3c, respectivement, fixée sur le côté de la plaque
d'oscillation plate 3a. Pivot deux
supports 3d, sont attachés au haut et au bas de la plaque plane 3 a
qui pivotent l'oscillation plaque 3a, sur la tige de pivot 8. Une extrémité de la tige de pivot 8,
est monté sur la plaque de base 4, et l'extrémité opposée est soutenue
par un support en forme de Z allongé 8a.

Un bras 9, est attaché à une face plane de
la la plaque plate 3a, qui prend en charge la broche 10a, qui
transporte le roulement à billes 10, comme il roule sur le disque
excentrique 11. Le disque
excentré 11, est fixé à l'arbre de vitesse lente des engins réduction
unité 12, qui est entraînée par le moteur CC petit 13. Un ressort de traction retour 14, est
relié à la 3a la plaque oscillation, par oeillet 3e. L'autre extrémité du ressort de tension de
retour 14, est conservé par le post 15, qui est pressé dans la
plaque de base 4. Les moteurs 13,
sont alimentés par plusieurs baies de cellules solaires photovoltaïques au
silicium 16. Fils electrical 16a,
conduire l'électricité solaire convertie aux moteurs 13, avec n'importe
quel excès de courant stockée dans les batteries 16b.
Les stations d'oscillation moteur moteur deviennent les stations
principales de cette invention 1, de quel esclave de trois à cinq
stations d'oscillation sont conduites. Le mouvement
alternatif est transmis par la droites liens 17, qui sont épinglés aux
bras lien 18, qui à leur tour peuvent être fixées à la 3a les
plaques.
Toutes les stations d'oscillation esclave doivent
être ajustée précisément à exactement la même position angulaire que le
capitaine station d'oscillation de conduite afin que toutes les stations sont
synchronisées pour permettre le bon fonctionnement du disque rotatif 2.
Pour les très grands disques 2, avec
nombreux aimants disque, plusieurs stations d'oscillation de maître, avec un
nombre fixe de stations d'oscillation d'esclave sera nécessaires. Toutes les
stations de conduite oscillation maître devra être synchronisée électriquement
pour maintenir la synchronisation globale, avec tous les excentriques 11,
définie selon le même angle au démarrage du disque.
Chaque extrémité de l'arbre d'entraînement 5, peut
être relié avec un agencement d'entraînement par courroie élévateur de vitesse,
qui n'est pas représenté ici.
Déflecteurs en plastique 19, sont ajoutés de
chaque côté de l'oscillation plaques 3a, à côté de la aimants opposés
segments 3b et 3c, leur position exacte en fonction du sens de rotation
du disque 2. Ceux-ci agissent comme un dispositif pour
les aimants anti-brouillage .
Champ magnétique de polarisation des angles 3f et 3g (Fig.3),
sont requises pour les côtés de plaques 3a, afin d'assurer une "
tirer-pousser " séquence optimale sur le grand disque d'entraînement 2,
comme les paires d'oscillation magnétique 3, sont actionnés. L'angle de polarisation 3f, est
adapté à l'aimant tronçon 3b, tandis que l'angle de polarisation est
adapté à 3g segment d'aimant 3c.
Aucun des composants de charge qui sont externes à
l'appareil, comme un générateur électrique ou alternateur, sont présentées dans
le cadre de cette invention, depuis une variété de dispositifs de charge et les
arrangements sont possibles pour le lecteur de disque magnétique.
Brevet US 2,030,759 11 février 1936
Inventeur: Bob Neal
UNITÉ DE
COMPRESSEUR
La présente invention
concerne la construction d'un compresseur, et plus particulièrement à un moteur
et d'un compresseur actionné par un fluide combiné.
L'objet principal de
l'invention est la fourniture d'un compresseur de ce caractère, dans lequel est
disposé un vilebrequin frontal automatiquement et les égaliseurs de fluide dans
un réservoir de stockage, ce qui permet au moteur de fonctionner à la pression
du réservoir de réserve constant, de sorte que à actionner un équipement
supplémentaire, les pistons du moteur étant également automatiquement
équilibrées et mises en suspension lorsque le moteur est en marche.
Un autre objet de
l'invention est de fournir un moteur qui est actionné par de l'air sous
pression, l'air étant fourni par les compresseurs qui sont dans une banque de
la construction du moteur.
Un autre objet de cette
invention est la fourniture d'un moteur de ce type de construction en tant que
nouveau le moteur et les compresseurs sont exploités à partir de la même
vilebrequin, qui est du type automatiquement équilibrée, de sorte que le
rendement élevé est atteint.
Un autre objet encore
de l'invention est la fourniture d'un moteur de ce caractère, qui est
relativement simple de construction, parfaitement fiable et efficace dans son
fonctionnement, robuste, durable, et peu coûteux à fabriquer.
Avec ces objets et
d'autres en vue, l'invention consiste en les caractéristiques de construction,
la combinaison et l'agencement des pièces comme cela sera décrit plus en détail
ici, illustré par les dessins annexés qui décrivent le mode de réalisation
préféré de l'invention.

Dans les dessins, la Fig.1 est une
vue en perspective du moteur construit conformément à l'invention.

Fig.2 est une vue en
coupe transversale verticale à travers la partie de compresseur du moteur.

Fig.3 est une vue en
coupe verticale à travers la partie de puissance du moteur.

Fig.4 est une vue en
élévation détaillée du vilebrequin du moteur.

Fig.5 est une vue en coupe transversale agrandie à travers l'un des appareils
de chauffage électriques pour le moteur.

Fig.6 est une vue
verticale, longitudinale et transversale à travers le réservoir de stockage
d'air, y compris l'égaliseur.
Les mêmes numéros de
référence sont utilisés pour chaque pièce individuelle en chaque point de vue
dans chaque dessin.

En se référant aux
dessins en détail, le moteur dans son ensemble, compose d'un bloc de cylindre 10
ayant à l'intérieur, la série de cylindres de compression 11 et les
cylindres de puissance 12. Le
bloc 10 est du type en V et les extrémités supérieures des cylindres
sont fermées par les chefs amovibles 13 et 14 qui sont maintenus en
place par des boulons de tête classiques 15. Dessous bloc 10 est le cas de la
manivelle 16, qui a des plaques amovibles 17 sur les côtés
opposés, tenus en place par des attaches 18, et assis de façon pour être
étanche. Le bloc 10 est chambrée
pour fournir une 19 chemise d'eau entourant les cylindres, tandis qu'à
l'extrémité avant du bloc sont des pompes à eau 20, l'eau circulant à
travers le tuyau d'entrée 21 qui débouche dans l'enveloppe et la sortie
d'eau de l'enveloppe à travers l'orifice de sortie tuyau 22. Outre les pompes 20, est un fan 23
qui fonctionne de la même courroie 24 qui entraîne les pompes.
Travailler à
l'intérieur des cylindres 11, les pistons à mouvement alternatif 25,
les tiges 26 coulissant dans les presse-étoupe 27 et de traverses
fixes 28 qui coulissent sur leur support des guides 29 qui sont
fixés sur les parois du carter de vilebrequin 16. Ces crosses 28 sont munis de manetons
30, formant une liaison pivot avec les bielles 31, qui sont
reliés à leurs manivelles 33 par leurs paliers 32 les manivelles 33
font partie d'un compteur équilibré vilebrequin 34, qui est monté en
charge 35 attaché au carter 16, l'arbre étant muni de paliers
nécessaires 36.

Les extrémités intérieures des cylindres 11
sont équipés de têtes d'extrémité intérieure 37, qui sont pourvus
d'orifices d'admission d'air 38 muni de contrôles d'entrée ressort à
billes 39, l'air entrant par les passages 40 qui débouchent à
l'extérieur du bloc 10. Glandes 27
sont montés dans l'dirige 37.
Les têtes 13 et 37 sont fournis avec
les sorties d'air comprimé 41 et 42, qui sont équipées avec des
contrôles ressort à billes 43. Les têtes 13
sont également prévus avec les entrées d'air centrale 44, qui sont
équipées avec des contrôles de printemps 45. Accouplements 46 Fixez le des sorties
d'air 41 et 42 de leurs tuyaux d'alimentation de sortie 47 et 48. Ces tubes mènent à un conduit principal 49
qui est situé dans le canal central 50 du bloc 10.

A l'extrémité arrière du bloc 10,
monté sur l'arbre 36, il s'agit d'un volant conventionnel 51.

Travailler dans les cylindres 12 sont
les pistons 52, avec leurs tiges de piston 53 coulissant par
presse-étoupe 54 et fixe dans les crosses 55 qui glissent le long
de leur montage guide 56, montés sur les parois intérieures du carter 16. Les crosses 55 ont manetons 57,
qui fournit une articulation de pivotement pour les tiges de liaison 58 qui
sont reliées par leurs roulements 59 à 60 leurs manivelles de l'arbre de
manivelle 34, les extrémités intérieures des cylindres 12 est
fermée par des têtes internes 61 et leurs glandes associées 54.
Sur les cylindres 12 sont diaporamas
de vannes 62 qui sont la diapositive vannes 63, ceux-ci étant
actionnés par des tringles de jet 64 actionnés par des cames 65 et
les vannes de contrôle de l'admission et de l'échappement de l'air dans et hors
des cylindres 12, à travers les ports 66 et 67, et ces vannes 63
sont fournies avec des orifices 68 pour la fourniture d'air sous
pression à partir de l'entrée commune des passages 69 à une conduite 70
provenant d'un réservoir de stockage d'air comprimé 71.
Le fond du carter de
moteur 16 est équipé d'une plaque amovible 72 qui est fixée en
place par des attaches 73, et lorsque cette plaque est supprimée, il permet
l'accès à l'arbre de la manivelle 34 et les paliers pour le moteur,
ainsi que d'autres parties à l'intérieur du carter de vilebrequin.

Débouchant dans les cylindres 11 sont
les passages 74 d'un système de lubrification (non représenté). L'air réservoir de stockage comprimé 71 comporte
à l'intérieur une double vérification buse de sortie 75, supporté par le
membre 76 menant à cet égaliseur est un tuyau d'entrée d'air 77 qui
relie par l'intermédiaire de sa section à soupape 78 vers le réservoir
d'air comprimé 79. Dans l'égaliseur
75 , sont la balle de ressort vérifie espacées 80 et 81, l'une
étant pour le côté entrée et l'autre pour le côté de sortie de
l'égaliseur. Ce tuyau 77 est
raccordé à la conduite principale 49, tandis qu'une conduite 82 raccorde
à la conduite 70. Le réservoir est également muni d'une
soupape automatique de décharge 83 et cette vanne peut être de tout type
approuvé.

Placé autour les tubes 70 qui relient
les passages à l'air 69 (Fig.3) sont des unités de chauffage
électrique 84 pour chauffer l'air pressurisé au-dessus de la température
de congélation lors de la livraison du réservoir 71 vers les cylindres 12. Pris en charge sur le bloc 10 est un
générateur électrique 85 qui est entraîné à partir de l'arbre 34 (Fig.2)
par l'intermédiaire d'une courroie 24 (Fig.1) et ce générateur
est inclus dans un circuit électrique qui comporte également les dispositifs de
chauffage 84 de sorte que ceux-ci fonctionnent à partir du courant
fourni par le générateur.
Le réservoir de
stockage d'air comprimé 71 par l'égaliseur est construit de telle sorte
qu'il est possible de pomper de l'air dans elle, tandis qu'il contient une
pression d'air de 200 livres par pouce carré, tandis que les compresseurs sont
seulement pompage à 15 livres par pouce carré de pression (atmosphérique). Une source de pression de l'air extérieur
peut être couplé avec le réservoir pour augmenter la pression provenant des
cylindres 11 du moteur.
Brevet US 4,292,804 6 Octobre 1980 Inventor: Leroy K. Rogers
PROCEDE ET
APPAREIL DE FONCTIONNEMENT
UN MOTEUR DE
GAZ COMPRIME
RÉSUMÉ
La présente invention
concerne un procédé et un appareil pour faire fonctionner un moteur comportant
un cylindre contenant un piston à mouvement alternatif entraîné par un gaz
comprimé. L'appareil comprend une
source de gaz comprimé reliée à un distributeur qui achemine le gaz comprimé
dans le cylindre. Une vanne est prévue
pour admettre du gaz comprimé dans le cylindre lorsque le piston est en
position de point mort haut environ.
Dans un mode de
réalisation de la présente invention, le moment de l'ouverture de la soupape
est avancé de sorte que le gaz sous pression est admis dans le cylindre
progressivement plus avant la position de point mort haut du piston lorsque la
vitesse du moteur augmente.
Dans un autre mode de
réalisation de la présente invention, un actionneur de soupape est prévue, qui
augmente la longueur de temps pendant laquelle la vanne reste ouverte pour
admettre le gaz comprimé dans le cylindre lorsque la vitesse du moteur
augmente.
Encore un autre mode de
réalisation de la présente invention concerne un appareil pour adapter un
moteur à combustion interne pour un fonctionnement conventionnel de gaz
comprimé.
États-Unis Références
de brevets:
3881399 mai.1975 Sagi
et al. 91/187.
3885387 mai. 1975 Simington
60/407.
4018050 avril 1977 Murphy
60/412.
DESCRIPTION
CONTEXTE ET
RESUME DE LA PRESENTE INVENTION
La présente invention
concerne un procédé et un appareil pour faire fonctionner un moteur à l'aide
d'un gaz comprimé comme fluide moteur.
Plus particulièrement, la présente invention concerne un appareil pour
adapter un moteur à combustion interne préexistant pour le fonctionnement d'un
gaz comprimé.
Air pollution is one of the most serious
problems facing the world today. One of
the major contributors to air pollution is the ordinary internal combustion
engine which is used in most motor vehicles today. Various devices, including many items
required by legislation, have been proposed in an attempt to limit the
pollutants which an internal combustion engine exhausts to the air. However, most of these devices have met with
limited success and are often both prohibitively expensive and complex. A clean alternative to the internal
combustion engine is needed to power vehicles and other machinery.
Un gaz comprimé, de
préférence de l'air, de fournir un fluide moteur idéal pour un moteur, car il
permettrait d'éliminer les polluants habituels épuisés par un moteur à
combustion interne. Appareil pour
convertir un moteur à combustion interne pour fonctionnement à l'air comprimé
est décrit dans le brevet US. 3885387 délivré le 27 mai 1975 à Simington. Le brevet décrit un appareil Simington
comprenant une source d'air comprimé et un actionneur de valve rotatif qui
ouvre et ferme une pluralité de soupapes à champignon mécaniques. Les vannes d'air comprimé à une séquence
synchronisée pour les cylindres d'un moteur par l'intermédiaire d'adaptateurs
situés dans les orifices des bougies d'allumage. Cependant, la vitesse de sortie d'un moteur
de ce type est limitée par la vitesse de rotation des valves mécaniques et du
fait que la longueur de temps pendant laquelle chacune des soupapes reste
ouverte ne peut pas être modifiée lorsque la vitesse du moteur augmente.
Un autre appareil pour
la conversion d'un moteur à combustion interne pour un fonctionnement à la
vapeur ou de l'air comprimé est décrit dans le brevet US. 4102130 délivré le 25
Juillet, 1978 à Stricklin. Le brevet
décrit un dispositif Stricklin qui change le calage des soupapes d'un moteur à
quatre temps classique, tel que les soupapes d'admission et d'échappement
ouvertes une fois pour chaque tour du moteur à la place de une fois par
révolution de l'autre moteur. Une vanne
d'inversion est prévu, qui délivre de la vapeur vive ou à air comprimé, les
soupapes d'admission et est ensuite inversé pour permettre aux soupapes
d'échappement pour fournir de la vapeur ou de l'air expansé à
l'atmosphère. Une vanne d'inversion de
ce type n'offre toutefois pas un dispositif fiable permettant de faire varier
la quantité de fluide moteur injecté dans les cylindres lorsque l'on souhaite
augmenter la vitesse du moteur. En
outre, un dispositif du type décrit dans le brevet Stricklin nécessite
l'utilisation de plusieurs vannes de commutation si les cylindres dans un
moteur à plusieurs cylindres devaient être tiré de manière séquentielle.
Par conséquent, il est
un objet de la présente invention est de fournir un procédé fiable et un
appareil pour faire fonctionner un moteur ou la conversion d'un moteur pour un
fonctionnement avec un gaz comprimé.
Un autre objet de la
présente invention est de fournir un procédé et un appareil qui est efficace
pour délivrer une quantité sans cesse croissante de gaz comprimé à un moteur
lorsque la vitesse du moteur augmente.
Un autre objet encore
de la présente invention est de fournir un procédé et un appareil qui
fonctionne en utilisant un moteur à gaz comprimé, à une vitesse suffisante pour
conduire une automobile classique à des vitesses d'autoroute.
Il est encore un autre
objet de la présente invention est de fournir un procédé et un dispositif qui
est facilement adaptable à un moteur à combustion interne classique, pour
convertir le moteur à combustion interne pour un fonctionnement avec un gaz
comprimé.
Un autre objet de
l'invention est de fournir un procédé et un appareil qui utilise des gaz
détendu froid, épuisé d'un moteur à gaz comprimé, à l'exploitation d'une unité
de climatisation et / ou un refroidisseur d'huile.
Ceux-ci et d'autres
objets sont réalisés par le procédé et l'appareil de la présente invention pour
faire fonctionner un moteur ayant au moins un cylindre contenant un piston à
mouvement alternatif et en utilisant du gaz comprimé en tant que fluide
moteur. L'appareil comprend une source
de gaz comprimé, un distributeur connecté pour acheminer le gaz comprimé dans
le cylindre ou les cylindres. Une vanne
est prévue pour l'admission du gaz comprimé dans le cylindre lorsque le piston
est dans une position de à peu près mort haut à l'intérieur du cylindre. Une évacuation est prévu pour évacuer le gaz
détendu du cylindre lorsque le piston revient à peu près à la position de point
mort haut.
Dans un mode de
réalisation préféré de la présente invention, un dispositif est prévu pour
faire varier la durée de chaque cycle du moteur pendant laquelle la vanne reste
ouverte pour admettre le gaz comprimé dans le cylindre, en fonction de la
vitesse du moteur. Dans un autre mode de
réalisation préféré de la présente invention, un appareil pour faire avancer le
calage de l'ouverture de la soupape est agencé de manière à admettre le gaz
sous pression dans le cylindre progressivement de plus en plus avant la
position de point mort haut du piston, comme la vitesse de du moteur augmente.
D'autres
caractéristiques de la présente invention comprennent une vanne pour commander
la quantité de gaz sous pression admis dans le distributeur. En outre, une partie du gaz qui a été élargi
dans le cylindre et évacué par la soupape d'échappement, est fourni à un
compresseur pour comprimer à nouveau et renvoyée à la source de gaz
comprimé. Un train d'engrenages peut
être engagé pour entraîner le compresseur de manière sélective à différentes
vitesses de fonctionnement, en fonction de la pression maintenue à la source
d'air comprimé et / ou de la vitesse du moteur. Encore en outre, une seconde partie du gaz
d'échappement est utilisé pour refroidir un fluide de lubrification pour le
moteur ou à l'exploitation d'une unité de climatisation.
Dans un mode de
réalisation préféré de la présente invention, la soupape d'admission de gaz
comprimé dans le cylindre est actionné électriquement. Dispositif pour faire varier la durée de
chaque cycle du moteur, sur laquelle la soupape d'admission reste ouverte, tant
que la vitesse du moteur augmente, comporte un élément rotatif dont augmente à
mesure que la vitesse du moteur augmente la longueur efficace, ce qui provoque
un premier contact sur la rotation élément à être relié électriquement à un
deuxième contact sur l'élément rotatif, pour une période de chaque cycle du
moteur plus longue. Le second contact
actionne la soupape amenant à rester dans une position ouverte pendant une
période de chaque cycle du moteur plus longue, que la vitesse du moteur
augmente.
Encore d'autres
caractéristiques de la présente invention comprennent une plaque d'adaptation
pour supporter le distributeur au-dessus du collecteur d'admission d'un moteur
classique à combustion interne après un carburateur a été enlevée pour
permettre à l'air d'entrer dans les cylindres du moteur par l'intermédiaire du
collecteur d'admission et des soupapes d'admission classiques. Une autre plaque d'adaptation est disposée
sur un passage d'échappement du moteur à combustion interne pour réduire la
surface de section transversale du passage d'échappement.
BREVE
DESCRIPTION DES DESSINS
Modes de réalisation
préférés d'un procédé et un appareil pour faire fonctionner un moteur selon la
présente invention vont être décrits avec référence aux dessins annexés, dans
lesquels des composants ont les mêmes numéros de référence à chacun des
dessins.
Fig.1 est une
représentation schématique d'un appareil selon la présente invention disposée
sur un moteur :

Fig.2 est une vue de
côté d'un mode de réalisation d'un actionneur de soupape selon la présente
invention.

Fig.3 est une vue en
coupe transversale prise le long de la ligne 3-3 de Fig.2.

Fig.4 est une vue en
coupe transversale d'un deuxième mode de réalisation d'un actionneur de soupape
selon la présente invention.

Fig.5 est une vue
prise le long de la ligne 5-5 de la Fig.4.

Fig.6 est une vue en
coupe transversale d'un troisième mode de réalisation d'un actionneur de
soupape selon la présente invention ;

Fig.7 est une vue
prise le long de la ligne 7-7 de la Fig.6.

Fig.8 est une vue en
coupe transversale d'une unité de transmission pour entraîner un compresseur
selon la présente invention.

DESCRIPTION
DETAILLEE DES MODES DE REALISATION PREFERES
En référence à la Fig.1, un bloc
moteur 21 (représenté en pointillés) ayant deux rangées de cylindres
dont chaque banc de cylindres dont les pistons 22, 20 à mouvements
alternatifs qui en eux d'une manière classique (dont une seule est représentée
en traits interrompus). Pendant que le
moteur illustré est un moteur V-8, il sera évident que la présente invention
s'applique à un moteur comportant un nombre quelconque de cylindres avec les
pistons et le moteur V-8 est utilisée à des fins d'illustration. Un réservoir de gaz comprimé 23 est
prévue pour stocker un gaz comprimé à haute pression. Il peut également être souhaitable d'inclure
un petit compresseur électrique ou à gaz pour fournir du gaz comprimé pour compléter
le gaz comprimé contenu dans le réservoir 23. Dans un mode de réalisation préféré, le gaz
comprimé est de l'air qui peut être obtenu à partir de n'importe quelle source
appropriée.

Une conduite 25 transporte
le gaz retiré de la cuve 23 quand une vanne d'arrêt 27 est ouvert
conventionnel. En outre, une
électrovanne 29 de préférence actionné par un commutateur de moteur à
clé appropriée (non représentée) est également placé sur la ligne 25. En fonctionnement normal, la vanne 27 est maintenue ouverte en
permanence avec l'électrovanne 29 fonctionnant comme un fermeture
sélective vanne pour démarrer et arrêter le moteur 21.
Une vanne de réglage 31
approprié est disposé en aval de l'électrovanne 29 et est relié par
une liaison 33 à une commande des gaz 35 qui est actionné par un
opérateur par tout dispositif approprié, tel qu'une pédale de commande (non
représenté). La ligne 25 entre
dans une extrémité d'un distributeur 33 et est relié à une extrémité
d'un tube 35 qui est fermée à l'autre extrémité. Une pluralité de trous, qui sont égal au
nombre de cylindres du moteur 21, sont prévus de chaque côté du tube 35
le long de la longueur de la conduite 35.
Lorsque la présente
invention est utilisée pour adapter un moteur à combustion interne
conventionnel pour un fonctionnement au gaz comprimé, une plaque d'adaptation 36
est prévu pour supporter le distributeur 33 dans une relation
espacée à partir de l'ouverture d'admission d'habitude dans le collecteur
d'admission du moteur après un carburateur conventionnel a été retiré. De cette manière, l'air est autorisé à
pénétrer dans le moteur à combustion interne à travers les passages habituelles
et d'être admis dans les cylindres par les soupapes d'admission approprié (non
représenté). La plaque adaptatrice 36
est fixée au bloc moteur 21 et le distributeur 33 par tout
dispositif convenable, par exemple des boulons.
Chacun des trous dans
le tube 35 est relié de manière étanche au fluide à une seule ligne 37. Chaque ligne 37 transporte le gaz
comprimé à un seul cylindre 20.
Dans un mode de réalisation préféré, chacune des lignes 37 est
2.1 pouce de hauteur un tube en plastique de pression fixé par l'intermédiaire
de connecteurs appropriés pour le distributeur 33 et le tuyau 35 chacune
des lignes 37 est connectée à une soupape 39 qui est fixé dans
une ouverture ménagée dans la partie supérieure de chacun des cylindres 20. Dans le cas d'une conversion d'un moteur à
combustion interne classique, les soupapes 39 peuvent être facilement vissé
dans un trou taraudé dans le cylindre 20 généralement fourni pour une
bougie d'allumage du moteur à combustion interne. Dans un mode de réalisation préféré, les
vannes 39 sont des vannes actionnées électrovannes afin de fournir une
ouverture et une fermeture rapide et fiable des vannes 39.
Chacune des soupapes 39
est excité par un dispositif d'actionnement de soupape 41 à travers
l'un d'une pluralité de fils 43.
L'actionneur de valve 41 est entraîné par un arbre du moteur
proche de l'entraînement pour un distributeur classique d'un moteur à
combustion interne. Autrement dit, un
arbre 55 de l'actionneur de valve 41 est entraîné en synchronisme
avec le moteur 21 à une moitié de la vitesse du moteur 21.

Un premier mode de
réalisation de l'actionneur de la vanne 41 (Fig.2 et Fig.3),
reçoit de l'énergie électrique par l'intermédiaire d'un fil 45 qui est
alimenté d'une manière appropriée par une batterie, et une bobine le cas
échéant (non représenté) comme cela est classique dans un moteur à combustion
interne. Le fil 45 est relié à
un poste central 47 par un écrou 49. Le poste 47 est reliée à une plaque
conductrice 51 disposée dans un logement 53 de l'actionneur de
valve 41. Dans le boîtier 53,
l'arbre 55 comporte un élément isolant 57 fixé à une extrémité de
l'arbre 55 et tourne avec elle, lorsque l'arbre 55 est entraîné
par le moteur 21 une première extrémité d'un contact souple 59 est
continuellement poussée contre la plaque conductrice 51 pour recevoir de
l'électricité de la batterie ou une autre source appropriée. L'autre extrémité du contact 59 est
reliée à une douille conductrice 60 qui est en contact permanent avec un
ressort de contact polarisé 61 qui est disposé à l'intérieur du manchon 60. Le contact 61 est pressé par un
ressort 63 qui pousse le contact 61 vers une paroi latérale du
boîtier 53.

En référence à la Fig.3,
une pluralité de contacts 65 sont espacées les unes des autres et sont
disposés autour de la périphérie du boîtier 53 au même niveau que le
contact par ressort 61. Chaque
contact 65 est électriquement reliée à un poteau 67 qui s'étend à
l'extérieur du boîtier 53, le nombre de contacts 65 est égal au
nombre de cylindres dans le moteur 21 l'un des fils 43, qui
actionnent les soupapes 39, est fixée à chacun des montants 67.
En fonctionnement,
lorsque l'arbre 55 tourne en synchronisme avec le moteur 21,
l'élément isolant 57 de rotation et de l'électricité est finalement
remis à des paires successives de contacts 65 et les fils 43 par
l'intermédiaire du ressort de contact 61 et le contact flexible 59. De cette manière, chacune des soupapes
électriques 39 est activé et est ouverte dans la séquence synchronisée
adéquate pour admettre du gaz comprimé à chacun des cylindres 20 pour
entraîner les pistons 22 sur une course vers le bas.
Le mode de réalisation
illustré sur la Fig.2 et la Fig.3 est efficace pour amener
chacune des soupapes 39 de rester ouvert pendant une période de temps
d'admettre du gaz comprimé suffisante pour chacun des cylindres 20 du
moteur 21 suffisamment longue pour entraîner le moteur 21. La longueur de chacun des contacts 65 autour
de la périphérie du boîtier 53 est suffisante pour permettre à la
vitesse du moteur d'augmenter lorsque cela est souhaité par l'opérateur par
déplacement de la tringlerie de papillon des gaz 35 qui actionne la
tringlerie 33 d'ouvrir davantage la vanne de régulation 31 pour
admettre le gaz comprimé plus à partir du réservoir 23 vers le
distributeur 33. Cependant, il a
été trouvé que la quantité d'air admis par les soupapes 39 pour
l'utilisation de la première forme de réalisation de l'actionneur de la vanne 41
(Fig.2 et Fig.3) est sensiblement supérieur à celui
nécessaire pour faire fonctionner le moteur 21 à une vitesse de
ralenti. Par conséquent, il peut être
souhaitable de fournir un dispositif d'actionnement de soupape 41 qui
est capable de faire varier la durée de chaque cycle du moteur au cours de
laquelle les électrovannes 39 sont actionnés, soit rester ouverte pour
admettre du gaz comprimé, en tant que la vitesse du moteur 21 est
variée.

Un deuxième mode de
réalisation d'un actionneur de vanne 41 qui est capable de faire varier
la durée de chaque cycle du moteur sur lequel chacune des soupapes 39 reste
ouverte pour admettre du gaz comprimé aux cylindres 20 qui dépendent de
la vitesse du 21 moteur va être décrit en référence à la Fig.4 et
Fig.5 dans lequel des éléments correspondant à ceux de la Fig.2
et Fig.3 portent les mêmes numéros de référence. Le fil 45 provenant de la source
d'électricité est fixé à la borne 47 par l'écrou 49. Le poste 47 comporte une bague de
contact annulaire 69 reliée électriquement à une extrémité de la tige 47
et disposé à l'intérieur du logement 53. L'arbre 55 tourne à une demi la
vitesse de rotation du moteur comme dans le mode de réalisation de Fig.2
et Fig.3.

A une extrémité supérieure de l'arbre 55,
une section cannelée 71 reçoit un élément coulissant isolant 73. La section cannelée 71 de l'arbre 55
maintient l'élément isolant 73 en toute sécurité, lorsqu'il tourne avec
l'arbre 55, mais permet à l'élément isolant 73 de coulisser
axialement le long de la longueur de la partie cannelée 71 environs de
l'arbre 55, un manchon conducteur 72 est disposé dans un alésage 81
dans une surface supérieure de l'élément isolant 73 généralement
parallèle à la section cannelée 71 a de contact 75, sollicité
vers la bague de contact annulaire 69 par un ressort 77, est
disposé à l'intérieur de la douille conductrice 72 et en contact avec
elle. Les manches 72 contacts
aussi conducteurs un des conducteurs 79 à une base de l'alésage 81.
Le conducteur 79 s'étend
à la surface supérieure de l'élément isolant 73 à proximité d'une
périphérie extérieure de l'élément isolant 73 lorsque le conducteur 79
est relié électriquement à un contact souple 83. Le contact souple 83 relie l'un après
l'autre, avec une série de contacts radiaux 85 qui sont positionnées sur
une surface intérieure supérieure du boîtier 53. Un faible ressort 87 disposé
autour de la partie cannelée 71 en prise avec un élément de butée 89 fixée
sur l'arbre 55 et l'élément isolant 73 pour solliciter légèrement
l'élément isolant 73 en direction de la surface intérieure supérieure du
boîtier 53 pour assurer un contact souple entre le contact 83 et
la surface intérieure supérieure du boîtier 53. Comme on le voit mieux sur la Fig.5,
les contacts radiaux 85 sur la surface intérieure supérieure du boîtier 53
sont disposées généralement en la forme de rayons radiaux s'étendant depuis
le centre du boîtier 53 avec le nombre de contacts étant égal au nombre
de cylindres 20 dans le moteur 21. Le nombre de degrés couverts par chacun des
contacts radiaux 85 augmente progressivement lorsque la distance à
partir de la centre de la surface intérieure supérieure du boîtier 53 augmente.
Dans le fonctionnement
du dispositif de la Fig.4 et Fig.5, que l'arbre 55 tourne,
l'électricité circule le long d'un chemin à travers le fil 45 à travers
poste 47 de l'élément de contact annulaire 69 qui est en contact
constant avec le ressort de contact biaisée 75. Le courant électrique passe à travers le manchon conducteur 72 au
conducteur 79 et ensuite au contact souple 83. Comme le contact flexible 83 tourne
avec l'élément isolant 73 et l'arbre 55, l'extrémité du contact
flexible 83 vient en prise successivement chacun des les contacts
radiaux 85 sur la face intérieure supérieure du boîtier 53. Tant que la vitesse de l'arbre 55 augmente,
l'élément isolant 73 et le contact 83 souple attachée à elle, se
déplacent vers le haut le long de la partie cannelée 71 de l'arbre 55
en raison de la radiale composant des cannelures dans la direction de
rotation sous l'influence de la force centrifuge. Comme l'élément isolant 73 se déplace
vers le haut, le contact souple 83 est pliée de telle sorte que la
pointe de contact 83 s'étend en outre vers l'extérieur radialement à
partir du centre du logement 53 (comme on le voit en traits mixtes sur
la Fig.4). En d'autres termes,
la longueur effective de contact souple 83 augmente à mesure que la
vitesse du moteur 21 augmente.
Comme le contact
flexible 83 est courbée et la pointe de contact 83 se déplace
vers l'extérieur, la pointe reste en contact avec chacun des contacts radiaux 85
pour une durée de chaque cycle du moteur plus longue en raison de la
largeur angulaire croissante des contacts radiaux avec une distance croissante
du centre du logement 53 de cette manière, la longueur de temps pendant
laquelle chacune des soupapes 39 reste ouverte est augmentée lorsque la
vitesse du moteur est augmentée. Ainsi,
une plus grande quantité de gaz comprimé ou de l'air est injecté dans les
cylindres que la vitesse augmente. A
l'inverse, les diminutions de vitesse et l'élément isolant 73 se déplace
vers le bas le long de la section cannelée 71, une quantité minimale
d'air est injecté dans le cylindre en raison de la longueur plus courte de
contact radial individuel 85 qui est en contact avec le contact flexible
83. De cette manière, la
quantité de gaz comprimé qui est utilisé au cours de la marche au ralenti du 21
moteur est à un minimum tandis que la quantité de gaz sous pression qui est
nécessaire pour augmenter la vitesse du moteur 21 à un niveau approprié
pour piloter un véhicule sur une route est facilement disponible.

On voit sur la Fig.6 et Fig.7,
est une troisième forme de réalisation d'un actionneur de vanne 41 selon
la présente invention. Ce mode de
réalisation comprend un élément isolant incurvé 91 ayant c'est première
extrémité apte à pivoter, en étant fixé par tout dispositif approprié, tel que
la vis 92 sur l'arbre 55 pour co-rotation avec l'arbre 55. La vis 92 est vissée dans un trou taraudé
dans l'l'élément isolant 91 de telle sorte que une languette 94 à
une extrémité de la vis 92 coopère avec une rainure 96 prévue
dans l'arbre 55. De cette
manière, l'élément isolant 91 tourne positivement à l'arbre 55. Toutefois, lorsque l'arbre 55 tourne
vite, l'l'autre extrémité 98 de l'élément isolant 91 est autorisé
à pivoter vers l'extérieur sous l'influence de la force centrifuge en raison de
la rainure 96 prévue dans l'arbre 55. Un ressort 93, relié entre la seconde
extrémité 98 de l'élément 91 et l'arbre 55 engage l'la
seconde extrémité de l'élément 91 vers le centre du boîtier 53.

Un contact 99 similaire
au contact 59 (Fig.2) est agencé de telle sorte que l'une des
extrémités de la pièce de contact 99 est en contact constant avec la
plaque conductrice 51 située centralement à l'intérieur du boîtier 53. L'autre extrémité du contact 99 en
prise avec un conducteur le manchon 101 dans l'alésage 102 disposé. Un élément de contact 95 est disposé
dans le manchon conducteur 101 en contact permanent avec le manchon 101. l'alésage 102 est disposée
généralement parallèle à l'arbre 55 à proximité de la seconde extrémité
de l'élément isolant 91. La
courbe de contact 95 est sollicité par un ressort 97 vers
l'intérieur de la surface supérieure du boîtier 53 pour un contact
sélectif avec chacun de la pluralité de contacts radiaux 85 qui
augmentent la longueur de l'arc en direction de la surface périphérique
extérieure du boîtier 53 (Fig.6).
Lorsque le dispositif
représenté sur la Fig.6 et Fig.7 est en fonctionnement, lorsque
l'arbre 55 tourne l'élément d'isolation courbé 91 tourne avec
l'arbre 55 et la seconde extrémité 98 de l'élément isolant 91 a
tendance à pivoter autour de l'arbre 55 en raison de centrifuge
vigueur. Ainsi, la longueur effective
des contacts 95 augmente, c'est-à-comme l'élément isolant incurvé 91 pivote
davantage vers l'extérieur, le nombre de degrés de rotation sur laquelle le
contact 95 est en contact avec chacun des contacts radiaux 85 sur la
surface intérieure supérieure du boîtier 53 augmente ce qui permet à
chacune des soupapes 39 de rester ouvert pendant une période de chaque
cycle du moteur, qui à son tour, permet au gaz comprimé plus entrer dans le
cylindre respectif 20 pour augmenter davantage la vitesse du moteur 21
plus.
En référence à la Fig.1,
une liaison mécanique 104 d'avance qui est relié à la tringlerie de
papillon des gaz 35, fait avancer le début de l'ouverture de chaque
soupape 39, de telle sorte que le gaz comprimé est injecté dans le
cylindre respectif en outre avant que le piston 22 dans le cylindre
respectif 20 atteint une position de point mort haut lorsque la vitesse
du moteur est augmentée en déplaçant la tringlerie de papillon des gaz 35. L'avance liaison 104 est similaire à
une avance mécanique standard classique utilisé sur un moteur à combustion
interne. En d'autres termes, la liaison
104 fait varier la relation entre les positions angulaires d'un point
situé sur l'arbre 55 et un point situé sur le boîtier 53 contenant
les contacts. En variante, une avance à
vide classique pourrait aussi être utilisé.
En faisant avancer le moment de l'ouverture des vannes 39, la
vitesse du moteur peut être augmentée plus facilement.
Le fonctionnement du
cycle du moteur conforme à la présente invention va maintenant être
décrite. Le gaz comprimé injecté dans
chaque cylindre du moteur 21 entraîne le piston 22 vers le bas
respectif pour faire tourner un vilebrequin classique (non représenté). Le mouvement du piston vers le bas provoque
le gaz comprimé se développer rapidement et laisser refroidir. Lorsque le piston 22 commence à se déplacer vers le haut dans le
cylindre 20, une soupape d'échappement approprié (non représenté), agencé
pour fermer un passage d'échappement, qui est ouvert par tout dispositif
approprié. Le gaz détendu est ensuite
expulsé à travers le passage d'échappement.
Lorsque le piston 22 commence à se déplacer vers le bas, de plus,
une soupape d'admission s'ouvre adapté à admettre de l'air ambiant dans le
cylindre. La soupape d'admission se
ferme et l'air ambiant est comprimé sur le mouvement ultérieur vers le haut du
piston jusqu'à ce que le piston atteint approximativement la position de point
mort haut au cours de laquelle le gaz comprimé est à nouveau injecté dans le
cylindre 20 pour entraîner le piston 22 vers le bas et le cycle
recommence.
Dans le cas de l'adaptation d'un moteur à
combustion interne conventionnel pour un fonctionnement au gaz comprimé, une
pluralité de plaques 103 sont disposées, de préférence sur une extrémité
des passages d'échappement, afin de réduire la taille de l'orifice de sortie
des passages d'échappement du moteur à combustion interne conventionnel. Dans le mode de réalisation illustré, une
seule plaque comportant une ouverture au centre est boulonné à la voie de
passage d'échappement à l'extérieur sur chaque rive du moteur V-8, tandis que
l'autre plaque unique présentant deux ouvertures en elle, est disposé avec une
ouverture au-dessus de chacun des intérieur passages d'échappement sur chaque
rive du moteur V-8. Une ligne 105 est
convenablement fixé à chacune des plaques d'adaptation pour transporter les gaz
d'échappement à un endroit approprié.
Dans un mode de réalisation préféré, la ligne d'échappement 105 sont
fabriqués à partir de 1,5 pouces tube en plastique.
Dans un mode de réalisation préféré, les
lignes d'échappement 105 d'une banque du moteur V-8 sont recueillies
dans une conduite 107 et envoyés à une entrée d'un compresseur 109. La pression du gaz d'échappement provenant
du moteur 21 selon la présente invention est d'environ 25 psi. De cette manière, le compresseur 109 n'a
pas à retirer les gaz d'échappement dans le compresseur depuis le gaz évacué à
partir du moteur 21 est à une pression positive. La pression positive du fluide entrant
augmente l'efficacité et réduit l'usure sur le compresseur 109. Le gaz d'échappement est comprimé dans le
compresseur 109 et est retourné à travers une ligne 111 et un
clapet anti-retour 113 vers le réservoir de stockage de gaz comprimé 23. Le clapet anti-retour 113 empêche
l'écoulement du gaz comprimé stocké dans le réservoir 23 vers le
compresseur 109.
Un capteur de pression approprié 115 est
disposé à une extrémité supérieure du réservoir 23 et envoie un signal
le long d'une ligne 117 lorsque la pression dépasse un niveau
prédéterminé et, lorsque la pression tombe au-dessous d'un niveau
prédéterminé. La ligne 117 commande
un embrayage à commande électrique 119 placé à l'extrémité avant du
compresseur 109. L'embrayage 119
est actionné pour engager et désengager le compresseur 109 à une
poulie d'entraînement 121. En
outre, le signal porté par la ligne 117 actionne une valve appropriée 123
disposé sur le logement du compresseur 125 à évacuer l'air entrant
dans le carter de compresseur 125 de la ligne 107 lorsque
l'embrayage 119 est désengagé du compresseur 109 de la poulie
d'entraînement 121.
Dans un mode de réalisation préféré, lorsque
la pression du réservoir 23 est atteint environ 600 psi, l'embrayage 119
est débrayé et le compresseur 109 est désactivé et la vanne 123 est
ouverte pour évacuer le gaz expansé délivrée au compresseur 109 de la
ligne 107 à l'atmosphère. Lorsque la
pression dans le réservoir 23 tombe au-dessous d'environ 500 psi, le
capteur 115 envoie un signal pour engager l'embrayage 119 et
fermer la vanne 123, en faisant ainsi travailler le compresseur 109 pour
alimenter le réservoir 23 avec un gaz comprimé.
La poulie 121 qui
entraîne le compresseur 109 par l'intermédiaire de l'embrayage 119 est
entraînée par une courroie 127 qui est entraînée par une poulie 129 qui
opère à travers une boîte d'engrenages 131. En référence à la Fig.1 et la Fig.8,
une seconde poulie 133 sur l'la boîte de vitesses est entraînée par une
courroie 135 à une poulie 137 disposée sur un arbre
d'entraînement 139 du moteur 21.
La poulie 137 entraîne un arbre cannelé 140 qui présente
un premier pignon 141 et un second pignon plus grand 143 placé
sur elle, qui tourne avec l'arbre cannelé 140 le déplacement de l'arbre
cannelé 140 permet axial des pignons 141 et 143 le long de
l'arbre 140.

En fonctionnement
normal (comme on le voit sur la Fig.8), le premier pignon 141 en
prise avec une troisième roue dentée 145 disposée sur un arbre 147 qui
entraîne la poulie 129. Les
arbres 140 et 147 sont disposés dans des paliers appropriés 149 placés
à chaque extrémité de celui-ci. Lorsque
la vitesse du moteur 21 tombe en dessous d'un niveau prédéterminé, un
capteur approprié 151 sensible à la vitesse de l'arbre d'entraînement 139
du moteur 21 génère un signal qui est transmis par une ligne 153 à
un actionneur à solénoïde 155 disposé à l'intérieur de la boîte de
vitesses 131. L'actionneur à
solénoïde 155 se déplace les premier et second pignons 141, 143 axialement
le long de l'arbre cannelé 140 vers la droite comme on le voit sur la
Fig.8 de sorte que la deuxième, plus grande roue dentée 143 en prise
avec un quatrième pignon plus petit 157 qui est disposé sur l'arbre 147. Le rapport entre le second pignon 143 à
la quatrième roue dentée 157 est de préférence d'environ 3 à 1.
De cette façon, lorsque
la vitesse du moteur 21 tombe en dessous du niveau prédéterminé tel que
détecté par le capteur 151 (niveau prédéterminé qui est insuffisante
pour entraîner le compresseur 109 à une vitesse suffisante pour générer
des 500-600 livres de pression qui est de préférence en le réservoir 23),
l'actionneur à solénoïde 155 est excité pour faire coulisser les roues
dentées 143, 141 axialement le long de l'arbre cannelé 140 de
sorte que la deuxième, plus grande roue dentée 143 en prise avec la
quatrième, plus petit pignon 157 pour entraîner la poulie 129 et
donc le compresseur 109 à un taux plus élevé, afin de générer la
pression désirée. Lorsque la vitesse
du moteur augmente au-dessus du niveau prédéterminé, ce qui, dans un mode de
réalisation préféré est d'environ 1500 tours par minute, l'actionneur à
solénoïde 155 est désactivé par le capteur 151, déplaçant de ce
fait les roues dentées 143 et 141 vers la gauche comme on le voit sur la
Fig.8 de sorte que la première roue dentée 141, de nouveau en
prise avec la troisième roue dentée 145 pour effectuer un rapport de 1 à
1 entre l'arbre de sortie 139 du moteur 21 et la poulie 129.
L'autre rive du moteur V-8 a ses ports
d'échappement disposées avec adaptateur plaques 103 semblables à ceux de
la première banque. Cependant, les gaz
d'échappement à partir de cette banque du moteur 21 ne sont pas
recueillies et circule à travers le compresseur 109. Dans un mode de réalisation préféré, une
partie des gaz d'échappement est collecté dans une ligne 159 et
introduite dans une chambre agrandie 161.
Un second fluide est introduit par une conduite 163 dans la chambre 161
pour être refroidi par le gaz d'échappement émanant de refroidir le moteur 21
dans la ligne 159. Le second
fluide dans la ligne 163 peut être soit le liquide de transmission
contenue dans une boîte de vitesses associée au moteur 21 ou d'une
partie de l'huile utilisée pour lubrifier le moteur 21 une seconde
portion des gaz d'échappement à partir de la seconde banque du moteur V-8 est
retiré de la ligne 159 à la ligne 165 et utilisé comme fluide de
travail dans un système de conditionnement d'air ou de tout autre utilisation
appropriée.
Il convient de noter
que l'agencement particulier utilisé pour la collecte et la distribution du gaz
évacué à partir du moteur 21 pourrait être déterminée par l'utilisation
à laquelle le moteur est utilisé. En
d'autres termes, il peut être avantageux pour ordonner le tube d'échappement de
telle sorte qu'une proportion plus ou moins importante des gaz d'échappement
est dirigé à travers le compresseur 109. Il convient également de noter que, puisque
les lignes d'échappement 105 sont des tubes en plastique, un réarrangement
des lignes à d'autres fins est à la fois simple et peu coûteux.
Lors du fonctionnement
du moteur de la présente invention, le moteur 21 est démarré par
l'excitation de l'électrovanne 29 et un appareil de départ approprié
(non représenté), par exemple un démarreur électrique classique tel qu'il est
utilisé sur un moteur à combustion interne.
Le gaz comprimé à partir de la pleine réservoir 23 s'écoule à
travers la ligne 25 et une quantité variable de gaz comprimé est admis
dans le distributeur 33 par commande de la vanne de régulation 31 par
la liaison 33 et la tringlerie de papillon des gaz de l'opérateur
actionné 35. Le gaz comprimé est
distribué à chacune des lignes 37 qui mènent aux cylindres individuels 20. Le gaz comprimé est admis à chacun des
cylindres 20 en synchronisation avec la position des pistons dans les
cylindres par l'ouverture des vannes 39 de l'actionneur de soupape 41.
Lorsque l'on souhaite
augmenter la vitesse du moteur, l'opérateur déplace la tringlerie de papillon
des gaz 35 qui reconnaît à la fois une plus grande quantité de gaz
comprimé vers le distributeur 33 de la cuve 23 en ouvrant
davantage la vanne de régulation 31.
Le moment de l'actionneur de soupape 41 est également avancée à
travers la liaison 104. Encore en
outre, comme la vitesse du moteur 21 augmente, la longueur effective du
contact rotatif 83 (Fig.4) ou 95 (Fig.6) augmente
de ce fait en contact électrique avec une partie plus large de l'un des
contacts fixes radiales 85 pour provoquer chacune des soupapes 39 de
rester ouvert pendant une période plus longue de chaque cycle du moteur à
admettre une plus grande quantité de gaz sous pression à chacun des vérins 20.
Comme on peut le voir,
la combinaison de la soupape de réglage 31, l'avance mécanique 104,
et l'actionneur de valve 41, se combinent pour produire un système de
gaz comprimé qui est rapide et efficace adaptable à différentes vitesses de
fonctionnement. Cependant, les trois
contrôles doivent pas être utilisés simultanément. Par exemple, l'avance mécanique 104 peut
être utilisé sans l'aide d'un des actionneurs de soupapes variable 41,
mais le fonctionnement à haute vitesse du moteur peut ne pas être aussi
efficace. En augmentant la durée de
chaque cycle du moteur au cours de laquelle chacune des soupapes 39 reste
ouverte pour admettre le gaz comprimé à chacun des cylindres 20 que la
vitesse augmente, la conservation de gaz sous pression pendant le
fonctionnement à basse vitesse et un fonctionnement efficace à grande vitesse
sont à la fois possible.
Après que le gaz sous pression admis dans le
cylindre 20 a forcé le piston 22 vers le bas dans le cylindre
pour entraîner l'arbre 139 du moteur 21, le piston 22 se
déplace vers le haut dans le cylindre 20 et force le gaz détendu à
travers une soupape d'échappement (non montré) à travers la plaque d'adaptation
103 (si utilisé) et dans la ligne d'échappement 105. Les gaz d'échappement frais peut alors être
recueilli dans un arrangement approprié pour être comprimé et renvoyé dans le
réservoir 23 ou utilisé pour n'importe quel but désiré y compris
l'utilisation en tant que fluide de travail dans un système de conditionnement
d'air ou dans un liquide de refroidissement pour l'huile.
En utilisant le
dispositif et le procédé de la présente invention pour adapter un moteur à
combustion interne pour un fonctionnement ordinaire de gaz comprimé, on peut
voir que des économies considérables de poids sont obtenues. Par exemple, le système de refroidissement
comprenant un radiateur normal, le ventilateur, les tuyaux, etc peut être
éliminé étant donné que le gaz comprimé est refroidi lorsqu'il se dilate dans
le cylindre. En outre, il n'y a pas des
explosions à l'intérieur du cylindre pour générer de la chaleur. D'autres réductions de poids sont obtenues
en utilisant un tube en plastique pour les lignes qui transportent le gaz
comprimé entre le distributeur et les cylindres et pour les lignes
d'échappement. Une fois de plus, le
tube lourd n'est pas nécessaire car il n'y a que peu ou pas la chaleur produite
par le moteur de la présente invention.
En outre, le bruit généré par un moteur selon la présente invention est
considérablement inférieure à celle générée par un moteur à combustion interne
normal puisqu'il n'y a pas d'explosions ayant lieu dans les cylindres.
Brevet US 3,744,252 10
Juillet 1973 Inventeur: Eber
Van Valkinburg
SYSTÈME D'ALIMENTATION MOBILE FERMÉ
UTILISANT DES FLUIDES COMPRESSÉS
RÉSUMÉ
L'énergie emmagasinée dans un fluide élastique sous pression est utilisé
d'une manière contrôlée pour mettre sous pression un fluide non élastique et à
maintenir cette mise en pression. Le fluide sous
pression inélastique est étranglé à la roue d'une machine motrice. Seule une partie de l'énergie de sortie du
moteur d'entraînement est utilisé pour faire circuler le fluide non élastique
de façon à maintenir un équilibre volumique à peu près constante dans le
système.
DESCRIPTION
L'objectif de l'invention est de fournir un système
de puissance en boucle fermée qui utilise l'énergie d'expansion d'un fluide
élastique comprimé, tel que l'air, pour pressuriser et maintenir sous pression
tout au long du cycle de fonctionnement du système, un second non-élastique et
incompressible fluide, tel que de l'huile.
Le fluide sous pression non-élastique est libérée de façon contrôlée par
un papillon des gaz à la turbine en rotation d'une turbine ou analogue,
comportant un arbre de sortie. Cet
arbre est relié à une pompe pour le fluide non-élastique qui maintient
automatiquement la circulation nécessaire nécessaire au fonctionnement de la
machine motrice, et maintient un équilibre volumique proche dans le système
entre les deux fluides qui sont séparées par un piston libre à ajustement automatique
dispositifs. La pompe pour le fluide
non-élastique comprend un by-pass automatique pour le fluide non-élastique qui
élimine la possibilité de la pompe affamés qui dépend de l'écoulement du fluide
non-élastique à basse pression de l'échappement de la turbine. D'autres caractéristiques et avantages de
l'invention apparaîtront au cours de la description détaillée qui suit.
BREVE DESCRIPTION DES
FIGURES DES DESSINS

Fig.1 est une vue en
coupe transversale partiellement schématique d'un système de puissance motrice
de fermeture selon l'invention.

Fig.2 est une vue en
perspective d'un premier moteur rotatif utilisé dans le système.

Fig.3 est une coupe verticale partielle agrandie
à travers la force motrice pris perpendiculairement à son axe de rotation.

Fig.4 est une coupe
verticale agrandie prise sur la ligne 4-4 de la Fig.1.

Fig.5 est une
section similaire prise sur la ligne 5-5 de la Fig.4.
DESCRIPTION
DÉTAILLÉE

Se référant aux dessins en détail, dans
lequel les mêmes numéros de réfèrent aux passages mêmes dans chaque dessin, le
chiffre 10 désigne l'approvisionnement en bouteille ou réservoir pour un
fluide élastique comprimé, tel que l'air.
De préférence, l'air dans la bouteille 10 est compressé à environ 1.500
livres par pouce carré. L'air comprimé
de la bouteille 10 est assurée par une soupape 11 à la chambre 12
d'un réservoir à haute pression 13 sur un côté d'un piston libre 14
dans l'alésage de ce réservoir de régulation de pression appropriée. Le piston libre 14 sépare la chambre 12
pour air comprimé d'une seconde chambre 15 pour un fluide
inélastique, comme l'huile, du côté opposé du piston libre. Le piston libre 14 peut se déplacer
axialement dans l'alésage du réservoir cylindrique 13 et est constamment
à réglage automatique là pour maintenir un bon équilibre volumétrique entre les
deux liquides séparés du système. Le
piston libre a la capacité de maintenir les deux fluides, l'air et l'huile,
complètement séparés pendant le fonctionnement du système.
La soupape de
régulation 11 fournit l'air comprimé à la chambre 12 sous une
pression d'environ 500 livres par pouce carré.
Le fluide de travail d'inélastique, huile, qui remplit la chambre 15 du
réservoir haute pression 13 est maintenu inférieurs à 500 psi pression
par la force d'expansion de l'élastique de l'air comprimé dans la chambre 12
sur le piston libre 14.
L'huile dans la chambre 15 est livré à un moteur 16, comme
une turbine huile, grâce à un approvisionnement de réglementer ou throttle valve
17 qui contrôle le volume d'huile sous pression, remis à l'auteur principal.
La turbine 16 incarne
un stator consistant en un cercle d'emboîtage 18 et fin recouvrement
plaques 19 s'est joints à elle d'une manière fluide - serré. Elle incarne plus une roue d'étape simple ou pluriel ou rotor ayant des
roues à pales 20, 21 et 22 dans l'incarnation illustrée. Les lames périphériques 23 de ces
roues de turbine recevront le fluide du motif de la chambre sous pression 15
à travers des buses connectés en série 24, 25 et 26, connecté
généralement tangentiellement à travers l'anneau de stator 18, comme
illustré à la Fig.3. La première
buse 24 illustré schématiquement à la Fig.1 est connectée
directement à la sortie du papillon 17.
Les buses successives, 25 et 26 livrer le fluide sous pression en
série sur les pales 23 les roues de turbine, 21 et 22, toutes les
roues de turbine étant convenablement couplés à une centrale sortie axiale ou
l'arbre de travail 27 de la turbine 16.

Blocs de contre-pression
d'étanchéité 28, en fibre, sont contenus dans des cavités 29 de
cercle d'emboîtage 18 à éviter le mélange avec de l'échappement de
fluide et de travail à chaque étape de la turbine. Un bloc d'étanchéité de contre-pression 28
est en fait seulement nécessaire dans la troisième étape entre l'entrée 26
et d'échappement 31, en raison de la répartition de la pression,
mais un tel bloc peut être inclus dans chaque étage, comme illustré sur la Fig.1. La surface supérieure, comprenant une partie
de face inclinée 30 de chaque bloc 28, réagit avec le fluide sous
pression afin de maintenir le bloc de fibre étanche à l', roue de turbine à
aubes adjacentes; et le long de la pente sur le bloc d'augmenter son aire de
surface supérieure, plus grande sera la pression d'étanchéité poussée contre la
périphérie de la roue.
Qui part de la dernière
étape de la turbine 16 est un travail tuyère d'éjection de fluide 31,
qui délivre le fluide de travail, de l'huile, dans une chambre d'alimentation
en huile ou d'un réservoir 32 d'un réservoir à basse pression 33 qui
peut être boulonnée sur le couvercle d'extrémité adjacente à basse pression la
plaque 19 de la turbine, comme indiqué en 34. L'huile pénétrant dans la chambre de
réservoir 32 à partir de la phase d'échappement de la turbine est à une
pression d'environ 3 à 5 psi. Dans une
seconde chambre 35 du réservoir à basse pression 33 séparée de la
chambre 32 par un déplacement automatique de l'air ou d'auto-ajustement
de piston libre 36 comprimé à une pression d'équilibre de 3-5 psi est
maintenue par une seconde vanne de régulation de pression 37. La soupape de régulation de pression 37 est
reliée à la conduite d'alimentation d'air comprimé 38 qui s'étend à
partir de la vanne de régulation 11 de la chambre à haute pression 12
pour l'air comprimé.
Dans la chambre 32 est
une pompe à engrenages 39 ou analogue ayant son arbre d'entrée relié par
un accouplement 40 à l'arbre de turbine 27. Réduction approprié engrenage 41 de
la pompe peut être prévu à l'intérieur, comme représenté, ou de toute autre
manière conventionnelle, à démultiplier la vitesse de rotation provenant de
l'arbre de turbine. La pompe 39 est
alimentée avec de l'huile dans la chambre 32 remplie délivré par la buse
ou le conduit d'échappement 31 de la turbine. La
pompe, comme illustré, présente des conduits de sortie ou de livraison jumeaux 42
ayant chacun un clapet anti-retour à pression 43 qui y est raccordé
et délivrant chacun un même volume d'huile sous pression à la chambre à haute
pression 15 à une pression d'environ 500 psi. La pompe 39 a aussi entrées de fluide
jumeaux. La pompe utilisée est de
préférence de type connu sur le marché comme "Hydreco Tandem pompe à
engrenages," Modèle n ° 151515, L12BL, ou équivalent. Dans certains modèles, d'autres types de
pompes peuvent être utilisées y compris les pompes ayant une seule entrée et
une sortie. La pompe illustrée fonctionnera dans le sens
horaire ou anti-horaire et fournira 14,1 gpm à 1800 tours par minute et 1500
psi. Par conséquent, dans l'application
actuelle de la pompe 39, il sera opérationnel à beaucoup moins de
capacité et sera sous aucune pression excessive.


Etant donné que la
pompe est fonction de son alimentation en fluide de la livraison de l'huile à
basse pression de la turbine 16 dans la chambre 32, un
fonctionnement automatique de dérivation de dispositif de vanne à manchon 44
est prévu pour l'huile, comme indiqué sur la Fig.1, Fig.4 et
Fig.5. Ce dispositif comprend un
manchon ou un tube extérieur 45 ayant une extrémité fixée de manière
rigide directement au piston 46 à la connexion mobile 36. Ce manchon 45 est muni de fentes 47
entre ses extrémités. Un manchon
intérieur 48 coopérant en prise de façon télescopique et coulissante
dans le manchon 45 et a une paroi d'extrémité fermée 49 et des
orifices ou fentes 50 entre ses extrémités, comme illustré. Le manchon 48 communique avec l'un
des conduits de distribution 42 par l'intermédiaire d'un coude 51 et
le manchon 48 est également reliée à l'extrémité adjacente de la pompe 39,
comme illustré.
Tant que la chambre 32
est rempli d'huile à basse pression suffisante pour équilibrer la pression
de l'air dans la chambre basse 35 sur le côté opposé du piston libre 36,
tel piston est positionné comme représenté sur la Fig.1 et la Fig.4
de sorte que la les fentes 47 et 50 des deux manchons 45 et 48 sont
en dehors de l'enregistrement et par conséquent, aucun chemin d'écoulement
existe à travers eux. Dans de telles
circonstances, l'huile de la chambre 32 va entrer dans la pompe et sera
livré par les deux conduits 42 à la pression requise à la chambre 15. Si l'approvisionnement en pétrole de la
turbine 16 à la chambre 32 diminuent de sorte que la pompe 39 peut
ne pas être fourni de manière adéquate, puis la chute de pression résultante
dans la chambre 32 entraîne le piston libre 36 de se déplacer
vers la gauche dans la Fig.1 et d'amener les fentes 47 dans
l'enregistrement ou l'enregistrement partiel avec les encoches 50, comme
représenté sur la Fig.5. Ce sera
instantanément établir un by-pass de l'huile d'un conduit 42 à travers
le coude 51 et les tubes 48 et 45 et leurs emplacements
enregistrement à la chambre d'huile 32 pour maintenir cette chambre
remplie et bien sous pression à tout moment.
Dispositif de by-pass est complètement automatique et répond à une
diminution de l'offre de pétrole à partir de la turbine dans la chambre 32,
tant que la pression requise de l'air comprimé de 3-5 psi est maintenu dans la
chambre 35.
En bref, en résumé, le
système fonctionne comme suit. Le
fluide non élastique et non compressible sous pression, de l'huile, à partir de
la chambre 15 est étranglé dans la turbine 16 par l'utilisation
de la soupape d'étranglement 17 dans un poste de commande. La rotation résultante de l'arbre 27 produit
de l'énergie mécanique ou le travail nécessaire pour alimenter une
instrumentation donné, tel qu'une hélice.
Un élément relativement limité de cette énergie de travail est utilisé
par l'intermédiaire du raccord 40 pour entraîner la pompe 39 qui
maintient le débit volumique nécessaire de l'huile à partir de la turbine de
nouveau dans la chambre à haute pression 15, avec le by-pass automatique
44 entrant en action en cas de besoin.
L'ultime source
d'énergie pour le système d'alimentation fermé est l'élastique fluide, l'air
comprimé, dans la citerne ou bouteille 10 qui, à travers les valves de
régulation 11 et 37, maintient une pression constante dans le degré
requis dans chacune des chambres de 12 et 35. Comme indiqué, la pression d'air dans la
chambre de haute pression 12 sera environ 500 livres par pouce carré et
dans la basse pression chambre 35 sera environ 3-5 livres par pouce
carré
On peut observer à la Fig.1
que le réservoir 33 est élargi par rapport à la cuve 13 pour
compenser l'espace occupé par la pompe et les composants associés. Les volumes utilisables des deux réservoirs
sont approximativement égaux.
Dans une réalisation du
dispositif de l'invention, les deux libre pistons 14 et 36 et les
alésages de réservoir qui les reçoivent sont de 8 pouces de diamètre. Les diamètres approximatifs des roues à
pales de turbine sont de 18 pouces. La
pompe 39 est environ 10 pouces de long et 5 pouces de diamètre. Le réservoir 13 est d'environ 21
pouces long entre ses murs fin couronné.
Le réservoir 33 est 10 pouces de diamètre adjacente à la pompe 39.
Brevet US 4,428,193 31 Janvier 1984 Inventeur: Josef Papp
CARBURANT GAZ
INERTE, APPAREILS DE PRÉPARATION DE COMBUSTIBLE ET
SYSTÈME
PERMETTANT D'EXTRAIRE LE TRAVAIL UTILE DU COMBUSTIBLE
RÉSUMÉ
Un carburant de gaz
inerte composée essentiellement d'un mélange précis et homogène d'hélium, néon,
argon, krypton et xénon. Appareils pour
la préparation du combustible comprend une chambre de mélange, tube à permettre
le mouvement de chaque gaz inerte dans et à travers les différentes étapes de
l'appareil, une pluralité de bobines électriques pour produire des champs
magnétiques, une jauge d'ion, ionises, tubes cathodiques, filtres, un polarise
et un générateur de haute fréquence. Un
moteur pour extraire le travail utile du combustible a au moins deux bouteilles
fermées pour le carburant, chaque cylindre étant défini par une tête et un
piston. Une pluralité d'électrodes s'étendent dans chaque chambre, certaines
contenant une matière radioactive niveau.
La tête a une dépression concave généralement face à une dépression
généralement semi torique à la surface du piston. Le piston est axialement mobile par rapport
à la tête d'une première position à un deuxième position et inversement, quel
mouvement linéaire est converti en un mouvement rotatif par un
vilebrequin. Système électrique du
moteur comprend des bobines et condensateurs qui entourer chaque cylindre, un
générateur électrique et circuit pour contrôler le débit de courant au sein du
système.
CONTEXTE
DE L'INVENTION
Cette invention se rapporte aux moteurs alternatifs
fermées, c'est-à-dire celles qui ne nécessitent pas une alimentation d'air et
n'émettent pas de gaz d'échappement, et plus particulièrement à ces moteurs
utilisant des gaz inertes comme combustible.
Elle concerne aussi ces combustibles gaz inerte et appareil de
preparation.
Moteurs à combustion interne disponible souffrent
actuellement de plusieurs inconvénients.
Ils sont inefficaces dans leur utilisation de l'énergie présente dans
leurs carburants. Le combustible
lui-même est généralement un dérivé du pétrole avec un prix de plus en plus et
parfois limitées. La combustion de ces
combustibles normalement entraîne les polluants qui sont rejetés dans
l'atmosphère. Ces moteurs ont besoin
d'oxygène et, par conséquent, ne conviennent pas particulièrement dans des
environnements, tels que sous l'eau ou l'espace extra-atmosphérique, dans
laquelle l'oxygène gazeux relativement non disponible. Actuellement les moteurs à combustion
interne sont, en outre, relativement complexe avec un grand nombre de pièces
mobiles. Des unités plus grandes, comme
les centrales électriques fossile, échappent certains des inconvénients du
moteur à combustion interne présents, mais pas, entre autres, ceux de la
pollution, prix du carburant et la disponibilité du carburant.
Plusieurs sources d'énergie alternatives ont été
proposées, comme le soleil (au moyen de dispositifs de puissance solaire
directe), la fission nucléaire et la fusion nucléaire. En raison de l'absence d'acceptation par le public, coût, autres
polluants, problèmes techniques, ou absence de développement, ces sources n'ont
pas totalement résolu le problème. En outre, la
préparation du combustible pour la fission nucléaire et de réacteurs de fusion
nucléaire a été jusqu'ici un processus complexe qui exige des appareils
coûteux.
RÉSUMÉ DE L'INVENTION
Parmi les plusieurs
objets de la présente invention peut être noté la fourniture d'un moteur qui
est efficace ; la fourniture d'un moteur ne nécessitant pas de fréquents
ravitaillement ; la fourniture d'un moteur qui ne développe aucun polluant dans
l'opération ; la fourniture d'un moteur qui convient particulièrement pour une
utilisation dans un environnement dépourvu d'oxygène libres ; la fourniture
d'un moteur qui ne nécessite aucun oxygène en fonctionnement ; la fourniture
d'un moteur ayant un nombre relativement restreint de pièces en mouvement ; la
fourniture d'un moteur d'une construction relativement simple ; la fourniture
d'un moteur qui peut être utilisé dans des applications légères et robustes ;
la fourniture d'un moteur qui est relativement peu coûteux à faire fonctionner
; la fourniture d'un combustible qui utilise des composants largement
disponibles ; la fourniture d'un combustible qui est relativement peu coûteuse
; la fourniture d'un combustible qui n'est pas un dérivé du pétrole ;
fourniture d'appareils relativement simples et peu coûteux pour la préparation
des gaz inertes pour utilisation comme combustible ; la fourniture de ces
appareils qui mélange de gaz inertes dans les rapports précises, prédéterminées
; et la fourniture de ces appareils qui élimine les contaminants du mélange de
gaz inerte. Autres objets et
fonctionnalités seront en partie apparente et en partie souligné ci-après.
Brièvement, sous un
aspect, le moteur de la présente invention comporte une tête ayant une
dépression concave généralement dedans, la tête définissant une extrémité d'une
chambre, un piston ayant une dépression généralement semi toroïdale dans sa
face supérieure, le piston définissant l'autre extrémité de la chambre et une
pluralité d'électrodes qui s'étend dans la chambre pour l'excitant et enflammer
le fluide de travail. Le piston peut se
déplacer le long de son axe vers et loin de la tête, provoquant le volume de la
chambre de modifier, selon la position du piston par rapport à la tête.
Dans un autre aspect,
le moteur de la présente invention comporte une tête qui définit une extrémité
de la chambre, un piston qui définit l'autre extrémité de la chambre, une
pluralité de magnétiques bobines enroulées autour de la chambre pour générer
des champs magnétiques à l'intérieur de la chambre et au moins quatre électrodes
pénétrant dans la chambre pour l'excitant et enflammer le fluide de
travail. Les bobines magnétiques sont
généralement coaxiales avec la chambre.
Les électrodes sont généralement espacés d'équidistantes de l'axe de la
chambre et chaque normalement positionnées de 90 degrés des électrodes
adjacentes. Lignes entre les paires
opposées des électrodes se coupent généralement sur l'axe de la chambre pour
définir un point focal.
Dans un autre aspect,
le moteur de la présente invention comporte une tête qui définit une extrémité
d'une chambre, un piston qui définit l'autre extrémité de la chambre, au moins
deux bobines électriques enroulées autour de la chambre pour générer des champs
magnétiques à l'intérieur de la chambre et une pluralité d'électrodes qui
s'étend dans la chambre pour l'excitant et enflammer le fluide de travail. Les serpentins électriques sont généralement
coaxiales avec la chambre. Et le fluide
de travail comprend un mélange de gaz inertes.
Le dispositif de la
présente invention pour la préparation d'un mélange de gaz inertes pour utilise
comme un combustible comprend une chambre, bobines électriques pour générer
prédéterminé de champs magnétiques à l'intérieur de la chambre, tube adapté à
être connecté aux sources de présélectionnés gaz inertes pour l'écoulement des
gaz provenant des sources à la chambre et ioniseurs pour l'ionisation des gaz.
Le carburant de la présente invention comprend un mélange de gaz inertes, dont
environ 36 % hélium, environ 26 % de néon, environ 17 % d'argon, environ 13 %
de krypton et environ 8 % au xénon en volume.
BRÈVE DESCRIPTION DES DESSINS
Fig.1 est une
élévation latérale d'un moteur de cette invention :
Fig.2 est une
élévation arrière d'un moteur de cette invention :

Fig.3 est une vue de
dessus d'un moteur de cette invention :

Fig.4 est une vue en
coupe généralement le long de la ligne 4--4 de Fig.3 d'un moteur
de cette invention :

Fig.5est une vue en coupe transversale d'un cylindre d'un moteur selon
l'invention :

Fig.6 est un plan de
la base d'une tête de cylindre d'un moteur de la présente invention :

Fig.7 est une vue en
élévation d'une tige d'électrode d'un moteur de la présente invention :

Fig.8 est une
élévation, avec parties arrachées, d'un type d'électrode utilisée dans un
moteur de cette invention :

Fig.9 est une vue prise suivant la ligne 9-9 de la Fig.8 :

Fig.10 est une vue en coupe transversale d'un second type d'électrode
utilisée dans un moteur de la présente invention :

Fig.11 est une vue
en coupe transversale similaire à la Fig.5 montrant le piston dans sa
position la plus haute :

Fig.12 est une vue en
coupe transversale similaire à la Fig.5 montrant un cylindre de
remplacement utilisé dans un moteur de la présente invention :

Fig.12A est une vue en coupe transversale similaire à la Fig.5 et
la Fig.12, mais à une échelle réduite et avec des parties arrachées,
montrant un mode de réalisation supplémentaire d'une tête de cylindre d'un
moteur utilisé dans la présente invention :

Fig.13A et Fig.13B
sont des diagrammes schématiques de circuits électriques d'un moteur de la
présente invention :

Fig.14 est un diagramme schématique d'un système d'allumage à haute
tension pour un moteur alternatif selon la présente invention :

Fig.15 est un
diagramme schématique d'une unité de commutation électronique pour un moteur de
cette invention :
Fig.16 est un
diagramme schématique d'une unité de commutation / régulateur électronique pour
un moteur de cette invention :

Figs.17A-17D sont des
schémas de principe d'un mélangeur de carburant de la présente invention :




Fig.18 est un diagramme schématique de la partie de chambre de mélange
du mélangeur de combustible représenté sur la Figs.17A-17D :

Figs.19A-19E sont des schémas d'une partie du circuit
électrique du mélangeur de carburant indiquées dans Figs.17A-17D :





Figs.20A-20F sont des diagrammes schématiques du reste
du circuit électrique du mélangeur de carburant indiquées dans Figs.17A-17D :






Remarque: Les caractères
de référence correspondants indiquent des parties correspondantes dans
l'ensemble des vues des dessins.
DESCRIPTION D'UN MODE DE RÉALISATION PRÉFÉRÉ

En se référant aux dessins, on a représenté sur la Fig.1 un moteur 11
à deux cylindres, comprenant un bloc 13 de préférence en un matériau
amagnétique tel que l'aluminium, une tête non magnétique 15, et une
paire de têtes de cylindre 17A et 17B d'un matériau magnétisable tel
comme l'acier au carbone de 0,1 à 0,3% de.
On voit également sur la Fig.1 est un volant 19 fixé à un
vilebrequin 21, un générateur 23, une bobine à haute tension 25,
un distributeur 27 fixé par un dispositif de transmission représenté sur
la partie à 29 sur le vilebrequin, et un câble électrique 31 qui
est reliée au distributeur et à deux cylindres.
Câble 31 (voir Fig.2) est également relié électriquement à
une unité de commutation 33, qui comprend de préférence une pluralité de
redresseurs commandés au silicium (SCR) ou des transistors. Également représenté sur la Fig.2 est
une deuxième connexion électrique du câble dans les cylindres, qui connexion
est indiqué généralement à 35.
S'agissant de la Fig.3, on a représenté un démarreur 37 ainsi
que d'une vue plus claire des connexions 35 à chaque cylindre.

Une coupe transversale
du moteur est représentée sur la Fig.4.
Les culasses ont associé avec eux, pistons marqués 39A et 39B,
respectivement, les têtes et les pistons définissent extrémités opposées d'une
paire de chambres ou cylindres 41A et 41B respectivement. Les pistons sont constitués d'un matériau
magnétisable. Bien que seulement deux
chambres sont représentées, le moteur peut comporter un nombre quelconque. Il est préférable, toutefois, pour des
raisons exposées ci-après, qu'il y ait un nombre pair de cylindres. Les pistons 39A et 39B se déplacent
axialement par rapport à la tête correspondante d'une première position (la
position de piston 39A dans la Fig.4) à une seconde position (la
position du piston 39B) et en arrière, chaque piston étant connecté au
vilebrequin de manière appropriée 21.
Comme le montre la Fig.4, cette connexion approprié peut inclure
un connexion de la tige (" CR "), un maneton (" WP "), et
une partie inférieure de piston ou piston de puissance (" LP "). Les tiges de liaison et / ou des pistons
d'alimentation doivent être en un matériau non magnétisable. Quand un piston de séparation est utilisé,
les pistons 39A et 39B sont convenablement reliés à des parties
inférieures de piston LP par boulonnage, le montage de la presse à ressort, ou
similaire. Pistons 39A et 39B sont
fixés à 180 degrés les uns des autres par rapport au vilebrequin de sorte que
quand un piston est au point mort haut (PMH), l'autre aura au point mort bas
(BDC) et vice-versa. D'autres paires de
cylindres peuvent être ajoutés comme désiré mais les pistons de chaque paire
doivent être fixés au vilebrequin de 180 degrés l'une de l'autre. Bien entendu, la position relative de chaque
piston par rapport à son siège respectif détermine le volume de la chambre.

Solidaire du corps de
piston 43 sont des parois qui forment les parois des chambres. De préférence, un ensemble de soufflet
étanche à l'air 45, de construction similaire à celui vendu sous la
désignation ME 197-0009-001 par la Société Belfab de Daytona Beach, en
Floride. Sont bien ancrés entre les
parois 43 et culasses 17A et 17B respectivement pour former un
joint étanche à l'air entre chaque piston et la tête de cylindre. Bien que les parois 43 et le piston 39
peuvent être constitués d'une pièce magnétisable, une construction
préférable et plus efficace a des parois séparées de piston 43 et 39 constitués
d'un matériau non magnétisable. La
durée pendant laquelle un moteur de fonctionner est donnée en fonction de
l'efficacité de son système d'étanchéité.
Des moyens, tels que les soufflets 45, pour fermer hermétiquement
les cylindres optimisera ladite longueur de temps. Un tel joint hermétique doit être fixé entre
les parois 43 et culasses 17 pour former un joint étanche à l'air
entre eux. Ce joint étanche à l'air
peut être le système représenté à soufflet ou d'un autre système d'étanchéité
tel qu'un système d'étanchéité à l'huile.
Corps de cylindre 47
(voir Fig.4), en matériau non magnétique tel que l'acier inoxydable,
s'étendent à partir du point d'attache de chaque soufflet à la tête de cylindre
à la base des pistons correspondants, formant manchons, pour chaque piston,
dans lequel chaque piston se déplace.
Trois ensembles de bobines électriques 49A, 49B, 51A, 51B et 53A, 53B,
sont enroulés autour de manchons 47, et donc autour des chambres 41A
et 41B, respectivement, pour générer des champs magnétiques dans les
chambres, les bobines étant généralement coaxiale avec leur respectif
chambres. Chacune de ces bobines a une
inductance d'environ 100 mH. Il est
préférable que le fil de calibre 14 à 19 être utilisée pour enrouler les
bobines et que les bobines être revêtue d'un revêtement approprié, comme
durcisseur # 9615 de Furane Plastics, Inc., Los Angeles, Californie, ou le
revêtement vendu par la Epoxylite Corp de South El Monte, Californie, sous
l'appellation commerciale Epoxylite 8683.
Chaque chambre est également entouré par une paire de condensateurs, C1A,
C1B et C2A, C2B enroulés autour d'elle, les condensateurs C1A, C1B ayant
une capacité d'environ 1,3 microfarads et condensateurs C2A, C2B ayant
une capacité d'environ 2,2 microfarads.
Les bobines et les condensateurs sont enrobés d'époxyde durcie de
matériau de fibre de verre 55. La
résine époxyde et le durcisseur commercialisé sous les dénominations EPI Bond
121 et # 9615 durcisseur par Furane Plastics, supra, sont satisfaisantes, mais
d'autres matériaux qui époxy restent stables à des températures jusqu'à à 200
degrés F serait aussi probablement acceptable.
Il est préférable qu'une petite quantité de graphite tel que celui vendu
sous la dénomination commerciale Asbury 225 par Asbury Graphite, Inc. de Rodeo,
Calif., être inclus dans l'enrobage de résine époxy pour empêcher les
particules nucléaires formés dans la chambre de s'échapper de l'appareil. Dix à 15% de graphite à l'époxy en poids est plus que suffisant.

A typical cylinder is shown in section in Fig.5,
showing the piston in its fully extended position with respect to the head and
showing many details on a somewhat larger scale than that of Fig.4. A set of seals 57, made of a material
such as that sold under the trade designation Teflon by the DuPont Company of
Delaware, is positioned between the cylinder head and wall 43 to prevent
escape of the working fluid from chamber 41. A filler tube 59 with a ball valve at
its lower end is used in filling the chamber with the working fluid but is
closed during operation of the engine.
La tête de cylindre comporte une dépression concave généralement celui-ci,
indiqué en 61, qui définit l'extrémité supérieure de la chambre. Une pluralité d'électrodes d'excitation et
de l'allumage du fluide de travail s'étendant à travers la culasse dans la
chambre. Deux de ces électrodes,
présentés dans la section sur la Fig.5 et marqués 63 et 65, ont
des points de tungstène 75, tandis que les deux autres, marqués 67 et
69 (voir Fig.6 pour électrode 69) sont des conteneurs
appelés, respectivement, l'anode et la cathode. Les électrodes sont généralement espacés de
façon équidistante par rapport aux axes de leurs chambres et sont généralement
coplanaires les unes aux autres, leur plan commun étant perpendiculaire aux
axes de leurs chambres. Chaque
électrode est positionnée à 90 degrés à partir des électrodes adjacentes et
dans ce mode de réalisation sont généralement positionnés de sorte qu'une ligne
de l'anode à la cathode et d'une ligne entre les deux autres électrodes se
croisent en un point focal sur l'axe général de la chambre. La distance radiale de chaque électrode du
point focal est fixé pour une raison discuté ci-dessous. La construction générale d'électrodes 63
et 65 est représentée sur la Fig.6 à la Fig.9. Ces électrodes sont une tige conductrice 71
(voir Fig.7), de préférence en laiton ou en cuivre; une plaque
conductrice, généralement rectangulaire 73 (voir la Fig.6, Fig.8
et Fig.9); et le point 75 de tungstène monté à une base
conductrice 77 généralement perpendiculaire à la plaque (voir Fig.8
et Fig.9).

La construction de l'anode et de la cathode est représenté sur la Fig.10. Chacune comprend une tige conductrice 79 et
un conteneur 81. Le conteneur de
cathode est essentiellement de l'aluminium pur. Si on le désire, des alliages d'aluminium avec,
par exemple, moins de 5 % de cuivre, 1 % de manganèse et 2 % de magnésium
peuvent être utilisés. Dans un mode de
réalisation, le récipient de la cathode contient environ quatre grammes de
thorium-232 et est rempli avec de l'argon.
Dans ce même mode de réalisation, le récipient de l'anode est en cuivre
ou en laiton et contient environ deux grammes de rubidium-37, et environ trois
grammes de phosphore-15 scellés hermétiquement dans de l'huile minérale. Dans un deuxième mode de réalisation, la
cathode reste aluminium, mais elle contient au moins deux grammes de
rubidium-37, en plus des environ quatre grammes de thorium-232, soit de l'argon
ou de l'huile minérale. Dans ce second
mode de réalisation, l'anode est en aluminium et contient également au moins 4
grammes de phosphore-15 et au moins 2 grammes de thorium-232 dans de l'argon ou
de l'huile minérale. En variante, on peut utiliser mésothorium
pour le thorium, le strontium-38 peut être utilisé pour le rubidium et le
soufre-16 peut être utilisé pour le phosphore.
Tiges 71 et 79 s'étendent à travers la tête de cylindre 17 à
l'extérieur où les connexions électriques sont faites pour les électrodes. Chaque tige est entourée par l'un des quatre
manchons isolants 83, la partie inférieure de chacun d'entre eux étant
évasée vers l'extérieur pour asseoir solidement dans la culasse.

The piston has a generally semi-toroidal
depression in its upper surface (see Fig.4, Fig.5 and Fig.11)
and carries a conductive discharge point 85 of copper, brass or bronze
generally along the axis of the chamber. When the piston is generally extended,
the discharge point is a substantial distance from the electrodes. But when the piston is in its upper position
(see Fig.11), the discharge point is positioned generally between all
four electrodes and close to them, there being gaps between the electrodes and
the discharge point. When the piston is in this upper position, the electrodes
extend somewhat into the semi-toroidal depression in the piston's upper surface
and the chamber is generally toroidal in shape. The volume of the chamber shown
in Fig.11 can be from approximately 6.0 cubic inches (100 cc) or
larger. Given the present state of the
art, 1500 cubic inches (25,000 cc) appears to be the upper limit. A plurality of ports 87 and one-way
valves 89 return working fluid which escapes from the chamber back into
it, so long as a sealing system such as bellows 45 is used.
An alternative cylinder head/piston arrangement is shown in Fig.12. The main difference between this arrangement
and that of Fig.5 is that the chamber walls, here labelled 43' are
integrally formed with the head. As a
result seals 57 are carried by the piston rather than by the head, the
attachment of bellows 45 is somewhat different, and the fluid-returning
valves and ports are part of the piston rather than of the head. Otherwise
these arrangements are substantially the same.
Preferably, the cylinders of both arrangements are hermetically sealed.

Un mode de réalisation
supplémentaire d'un agencement de culasse / piston utilisé dans la présente
invention est représenté sur la Fig.12A. Dans cette configuration, un manchon conique
17C camarades entre culasse 17 et le piston 39, une
pluralité de joints 57 sont fournis, et les électrodes 67 et 69 ont
une forme quelque peu différente. En
outre, dans ce mode de réalisation, une chambre 90 est prévue dans la
culasse 17 pour le stockage de fluide de travail supplémentaire, à
savoir, le but de la chambre 90 est de prolonger le temps de
fonctionnement entre le ravitaillement en faisant circuler le fluide de
travail, à savoir. le mélange de gaz inertes décrit, entre le cylindre 41 et
la chambre 90 en fonction des besoins de sorte que les réactions dans le
cylindre 41 ne soient pas affectés.
Pour ce faire, ce mode de réalisation comprend en outre un double sens
de circulation vanne 90B, une vanne 90C du relief, et un conduit
ou passage 90D pour l'évacuation et la chambre de 90 remplissage,
un conduit ou passage 90E pour l'évacuation et le remplissage de cylindre
41, un passage 90F entre la chambre 90 et le cylindre 41,
dans lequel la soupape à deux voies 90B est disposée, 90G un
capteur et une pluralité de petits trous d'allégement pression 90H. Trous de secours 90H servent à
soulager la pression sur soufflet 45 que le piston passe de BDC à TDC.
Dans les grands moteurs
trous 90H doit être remplacé par des vannes à sens unique. Soupape à deux voies 90B est soit
commandé par capteur 90G ou est actionné manuellement, comme souhaité,
afin de permettre la circulation des gaz entre la chambre 90 et le
cylindre 41. Lui-même le capteur
détecte une condition nécessitant l'ouverture ou la fermeture de la vanne 90B,
et les signaux qui conditionnent de la soupape. Par exemple, le capteur peut mesurer 90G pression
dans le cylindre 41 alors que le piston est au point mort haut. Une pression de cylindre prédéterminé peut
provoquer un ressort à comprimer, ce qui provoque la vanne pour ouvrir ou
fermer selon les besoins. Une
modification ultérieure de la pression de la bouteille sera alors provoquer un
changement de la vanne. Un autre
capteur (non représenté) a pu mesurer l'emplacement physique du piston par un
interrupteur de déclenchement physique ou une cellule photoélectrique, ou il
pourrait mesurer la distance angulaire de point mort haut sur le distributeur
ou le vilebrequin. Le capteur doit maintenir la pression du gaz
dans la chambre 90 à une atmosphère plus ou moins 5 %, et au point mort
haut, le cylindre 41 doit être également à cette pression. Si le gaz est perdue par le système, il est plus
important de maintenir la pression convenable dans le cylindre 41. En variante, un petit passage entre le
cylindre 41 et la chambre 90 peut fonctionner de manière passive
pour accomplir de façon satisfaisante le même résultat. De ce qui précède, on peut voir que ce mode
de réalisation utilise le centre évidé de la tête de cylindre pour le stockage
de fluide de travail supplémentaire, qui fluide est mis en circulation entre la
chambre 90 et le cylindre 41 à travers un système de soupape
comprenant vanne 90B et capteur 90G avec le piston mobile amener
les gaz à circuler.
Le circuit électrique de moteur 11 comprend (voir Fig.13A) une
24V batterie B1, un interrupteur d'allumage SW1, un interrupteur
de démarrage SW2, le démarreur 37, un commutateur principal de
circuit SW4, un transformateur abaisseur de tension 93 (par
exemple, un 24 V à 3,5 V transformateur), un commutateur SW6 pour
fournir de l'énergie à la bobine d'allumage 25 (représenté sur la Fig.13A
et Fig.13B que deux bobines d'allumage séparées 25A et 25B),
et plusieurs diodes de découplage.
La circuiterie de la Fig.13A
comprend également une source de tension à haute fréquence ou oscillateur 95
d'alimentation en tension variant rapidement à travers deux régulateurs
électroniques de courant 97A, 97B (voir Fig.13B de régulateur 97B)
pour les électrodes anodique et cathodique de chaque cylindre, et un
distributeur haute tension 99 pour la distribution de 40.000V impulsions
pour les cylindres. Distributeur 99 a deux essuie 99A
et 99B et fournit trois impulsions à chaque cylindre par cycle. Essuie-glace 99A et 99B sont de 180
degrés hors de phase avec l'autre et chacun fonctionne pour fournir des
impulsions de son cylindre respectif du TDC à 120 degrés par la suite. Plus impulsions sont souhaitables et donc un
meilleur arrangement de distribution (représentée sur la Fig.14) peut
être utilisé. L'agencement représenté
sur la Fig.14 comprend deux bobines d'allumage 101, 103, d'une
simple distributeur 105 et une paire de circuits d'allumage magnétiques 107
et 109, décrit ci-dessous. Bien sûr,
beaucoup d'autres systèmes d'allumage pourraient également être
développés. Par exemple, un seul
circuit peut être utilisé à la place de circuits 107, 109, bobines d'induction
supplémentaires pourraient être ajoutées aux bobines d'allumage pour aider au
démarrage ou à une résistance pourrait être ajoutée aux bobines d'allumage pour
assurer une sortie de 40.000 volts constant quel que soit le régime du moteur. En outre, un distributeur à l'état solide peut être
utilisé à la place du distributeur mécanique marqué 99.

En revenant à la Fig.13A, pour les moteurs de plus de 1,000 hp une
source de haute fréquence 95 peut être utilisé pour contrôler le régime
du moteur. La fréquence de sortie est commandée par une
pédale de pied semblable à une pédale d'accélérateur d'un véhicule
classique. La fréquence de sortie varie
à travers un intervalle d'environ 2,057 MHz à 27,120 MHz environ avec un
courant de sortie d'environ 8,4 ampères.
La vitesse du moteur 11 est commandée par la fréquence de sortie
de la source 95. Le courant
haute fréquence, tel que décrit ci-dessous, est dirigée à chaque cylindre à son
tour par un circuit décrit ci-dessous.
Pour les moteurs de production de 300 à 1000 hp (non représentée), une
source de haute fréquence ayant une sortie constante de 27,120 MHz avec un
courant constant de 3,4 ampères qui est alimenté en permanence pour tous les
cylindres peut être utilisé. Dans ce
cas, un auto-transformateur, tel que celui vendu sous la dénomination
commerciale Variac par la radio Société Générale, commandé par une pédale de
commande fait varier la tension de chaque cylindre 5 à 24 volts CC à 4,5
ampères, en utilisant l'énergie de la batterie ou l'alternateur. Le courant continu à partir de la mise sous
tension Variac de cylindre à cylindre par deux petites unités de commutation
électronique qui sont à leur tour contrôlés par les grandes unités de
commutation électronique. Pour les
petits moteurs (non représentés), un générateur de haute fréquence peut fournir
une sortie constante de 27,120 MHz avec un courant constant de 4,2 ampères
pendant les cylindres à partir seulement.
Contrôle de la vitesse serait atteint par un Variac comme décrit
ci-dessus, qui commande la tension continue alimentant les cylindres tour à
tour dans une plage de 5 à 24 volts pour un courant de 5,2 ampères. Dans ce cas, une fois que le moteur est en
marche, la pleine tension nécessaire pour allumer la (petite) quantité de gaz
est obtenu à partir des électrodes dans l'autre cylindre de la paire.
Le circuit comprend également des Fig.13A le générateur, un régulateur
de tension et le relais 111, cinq unités électroniques de commutation 113,
115, 117, 119 et 121, les électrodes 63 et 65 associé à la chambre 41A
(ci-après chambre 41A est parfois dénommé " A "
cylindre et la chambre 41B est parfois désigné sous le nom de " B
" cylindre), l'anode 67, la cathode 69, les bobines
magnétiques 49A, 51A et 53A, les condensateurs C1A et C2A, et
plusieurs diodes de découplage. Les
unités électroniques de commutation peuvent prendre une variété de formes. Par exemple, une forme simple (voir Fig.15)
comprend une paire de thyristors 123 et 125. L'unité de commutation est reliée à la
borne IN de la ligne correspondante sur le côté de l'entrée et à la borne OUT
de la ligne correspondante sur le côté de sortie. Quand une tension de 3,5 volts est fournie
par la batterie à travers un distributeur, par exemple, à la borne externe, les
conduites 125 RCS, complétant ainsi un circuit à travers l'unité de
commutation. A l'inverse, lorsque 3,5 volts sont
appliqués à la borne d'arrêt, RCS 123 conduit et le circuit est
rompu. De même, le circuit pour les
régulateurs 97A et 97B (voir Fig.16) comprend deux RCS 127 et
129 et un transistor PNP 131.
Dans ce circuit quand RCS 127 est fermée sur, il oblige
transistor 131 en conduction, complétant ainsi le circuit à travers la
régulateur. Lorsque RCS 129 est
fermée, le circuit à travers le transistor 131 est cassé. Un certain nombre d'autres configurations
peut être utilisé à la place de ceux de Fig.15 et Fig.16 et pas tous
utiliserait RCS. Par exemple, une
triode peut être utilisé pour remplacer les deux thyristors principaux, ou
transistors pourrait être utilisé à la place de RCS.
Une paire de distributeurs basse tension 135
et 137 sont également représentées dans Fig.13A. Les distributeurs 135 et 137 fournissent
des impulsions de déclenchement pour l'unité de commutation électronique et des
Fig.13A et Fig.13B. Bien sûr, les
distributeurs à l'état solide peuvent également remplacer les distributeurs
mécaniques 135 et 137.
En outre, le circuit de moteur comprend (voir Fig.13B) cinq unités
électroniques de commutation 143, 145, 147, 149 et 151 correspondant aux
unités 113, 115, 117, 119 et 121 de la Fig.13A, les électrodes
63 et 65 de la " B "cylindre, anode 67, la cathode 69,
bobines électriques 49B, 51B et 53B, condensateurs C1B et C2B, et
diverses diodes de découplage. Le
circuit de Fig.13B est généralement le même que celui des parties
correspondantes de la Fig.13A, de sorte que la description de l'une de
la plus grande partie s'applique à la fois.
Bien sûr, si plus de deux cylindres sont utilisés, chaque paire de
cylindres se serait associé à eux, un circuit tel que celui représenté sur la Fig.13A
et Fig.13B. La circuiterie de la Fig.13A
est relié à celui de Fig.13B par les lignes L1-L17.
Le fluide de travail et le carburant pour le moteur sont la même et se
composent d'un mélange de gaz inertes, qui mélange se compose essentiellement
de l'hélium, néon, argon, krypton et xénon.
Il est préféré que le mélange contiennent 35,6 % hélium, néon de 26,3 %,
16,9 % argon, krypton de 12,7 % et 8,5 % au xénon en volume, elle ayant été
calculé que ce mélange particulier donne l'exploitation maximale du temps sans
ravitaillement. Généralement, le
mélange initial peut contenir, en volume, environ 36 % hélium, environ 26 % de
néon, environ 17 % d'argon, environ 13 % de krypton et environ 8 % au xénon. Ce résulte du mélange d'un calcul qui égalise
le prix total pour chacun des gaz utilisés après que compenser le fait qu'un
gaz inerte, le radon à savoir, n'est pas utilisé. Ce qui précède est confirmé par un
clignotement spectroscopique, décrites ci-dessous, qui se produit pendant le
processus de mélange. Si un des gaz
dans le mélange a moins que le pourcentage prescrit, il sera devenu trop
excité. De même, si un des gaz n'a plus
que le pourcentage prescrit, ce gaz sera excité sous. Ces pourcentages ne varient pas avec la
taille du cylindre.
Fonctionnement du moteur est la suivante :
À température ambiante, chaque cylindre est rempli d'une charge d'une
atmosphère du mélange carburant d'environ 6 pouces cubes (100 cm³) /cylinder
(dans le cas le plus petit moteur) au moyen de l'entonnoir 59. Les tubes de remplissage sont alors branchés
et les cylindres sont installés sur le moteur, comme illustré à la Fig.4,
un piston étant dans la position maximale et l'autre étant en position
complètement rentrée. Pour démarrer le
moteur, les interrupteurs d'allumage et de démarrage sont fermés, comme c'est
le commutateur SW6. Cela
provoque le démarreur lancer le moteur, ce qui provoque à son tour au bras des
distributeurs pour faire pivoter. Le
départ est amorcé, par exemple, lorsque les pistons sont dans les positions
indiquées à la Fig.4. Bobine
d'allumage 25 et distributeur 99 (voir Fig.13A) génèrent
une impulsion de 40 000 volts qui est fournie à électrode 65 de chambre 41A. Par conséquent, un potentiel élevé momentané
existe entre électrodes 63 et 65 et les plaques sur chaque. Le point de rejet sur piston 39 a
jouxte ces électrodes en ce moment et les étincelles se produisent entre une ou
plusieurs des électrodes et du point de décharge à partiellement excite, par
exemple ioniser, le mélange de combustible gazeux.
Le mélange de carburant gazeux dans le cylindre 41A est plus excité par
les champs magnétiques mis en place dans la chambre par bobine 49A. Cette bobine est reliée au côté sortie de 121
d'unité de commutation électronique et, par le biais de commutation unité 113,
à la batterie et la génératrice. En ce
temps, c'est-à-dire, entre environ 5 degrés avant TDC et TDC, distributeur 135
fournit un signal de blocage à unité 121. Tout courant présent sur le côté d'entrée de
l'unité 121, donc, passe par l'unité 121 à dynamiser bobine 49A. Par ailleurs, courant de haute fréquence de
l'oscillateur 95 est assurée par régulateur 97A pour habitude
d'enrouler 49A. Ce courant
traverse le régulateur et relais 97A parce que le signal de
déclenchement fourni par le distributeur 135 de l'unité 121 est
également fourni au relais 97A. Le courant de commutation 121 d'unité
et de l'oscillateur 95 est également fourni à l'anode et la
cathode. On a calculé que cela
provoque des rayons radioactifs (rayons x) de circuler entre l'anode et la
cathode, ainsi une nouvelle excitante du mélange gazeux.
Pendant que le démarreur continue de tourner la manivelle, piston 39A
commence à la baisse, piston 39B commence le déplacement vers le haut et
faire pivoter les bras d'essuie-glace des distributeurs. (Naturellement, un
distributeur à semi-conducteurs n'aurait pas tourner. Le distributeur pourrait utiliser les
cellules photo, lumière ou lumière réfléchie, plutôt que des points de
contact). Après 45 degrés de rotation,
distributeur 135 fournit une impulsion de déclenchement électronique
commutation unité 119, complétant ainsi un circuit à travers l'unité 119. L'entrée à 119 de l'unité est
connectée au même sens que le courant d'alimentation à bobine 49A.
L'achèvement du circuit par le biais de 119 de l'unité, par conséquent,
causes bobine 51A à être alimentés de la même manière que la bobine 49A. Après un supplémentaire 45 degrés de
rotation, portes distributeur 135 la commutation électronique 117 unité
qui complète un circuit pour les mêmes lignes.
La borne de sortie de l'unité 117 est connectée sur la bobine de 53A,
et si cette bobine est excitée quand l'unité 117 est fermée sur. Tous les trois bobines du " A
" cylindre restent sous tension et, par conséquent, générant des champs
magnétiques dans la chambre 41A jusqu'au piston 39 a atteint BDC.
Lorsque le piston 39A se déplace de TDC à la BDC, deux impulsions 40.000
volts supplémentaires (pour un total de trois) sont fournis à partir de
distributeur 99 à la " A " cylindre. Ces impulsions sont espacées d'environ 60
degrés. Si plusieurs impulsions sont
souhaités, le dispositif représenté sur la Fig.14 peut être
utilisé. Dans ce cas, les solénoïdes ont
généralement indiqué au 107A, 107B et 109A, 109B sont sous
tension pour créer un certain nombre de rapides impulsions à haute tension qui
sont fournis, comme indiqué sur la Fig.14 pour les cylindres,
distributeur 105 fonctionnement à fournir des impulsions seulement une
de la paire de cylindres à la fois.
Lorsque le piston 39A
atteint BDC, distributeur 135 envoie une impulsion aux bornes
d'unités DE réduction électroniques de commutation 121, 117 et 119,
respectivement, faisant que les trois bobines 49A, 51A et 53A pour être
mis hors tension. À peu près au même moment, soit entre
environ 5 degrés avant TDC et TDC pour piston 39B, distributeur 137 fournit
une impulsion de déclenchement aux bornes d'unités électroniques de commutation
113 et 115. Les entrées d'alimentation
aux unités 113 et 115 proviennent de la génératrice régulateur 111 et
au travers de la pile, et dont les sorties sont reliées directement à des
bobines 49A et 53A. Par conséquent, lorsque les unités 113 et 115 sont
déclenchés SUR, bobines 49A et 53A sont redynamisée. Mais dans cette partie du cycle, les bobines
sont alimentées avec la polarité opposée, provoquant une inversion du champ
magnétique dans la chambre 41A.
Notez que 51A de la bobine n'est pas excitée du tout pendant
cette partie du cycle. Condensateurs C1A
et C2A sont également facturés au cours de la partie de la BDC au PMH du
cycle. (Au cours de la partie de TDC au
BDC du cycle, ces condensateurs sont chargés et / ou déchargés par les mêmes
courants que celles qui sont fournies à l'anode et de la cathode, car ils sont
directement reliés à eux).
Lorsque le piston 39A se déplace vers le haut, les électrodes 63 et
65 servent de points de pick-up afin d'effectuer une partie du courant hors
de la chambre 41A, ce courant étant généré par les gaz excités dans la
chambre. Ce courant est transférée par
la ligne L7 de l'unité de commutation électronique 151 est de
même de l'impulsion de déclenchement qui gated sur les unités 113 et 115 est
également fourni à partir de distributeur 137 par la ligne L12 de
grille sur l'unité 151 de commutation, de sorte que le courant provenant
des électrodes de la chambre 41A passe par l'unité 151 de
l'anode, la cathode et les condensateurs de chambre 41B, ainsi que par
des unités de commutation 147 et 149 pour les bobines 49B, 51B et 53B. Ainsi, on peut voir que l'électricité
produite dans un cylindre pendant une partie du cycle est transférée à l'autre
cylindre pour aider à l'excitation du mélange gazeux dans le second. Notez que cette électricité est régulée pour
maintenir un courant constant dans le moteur. Il est à noter, que vingt-quatre
volts provenant du générateur est toujours présente sur les électrodes 63 et
65 pendant le fonctionnement de fournir de pré-excitation des gaz.
De ce qui précède on peut voir que les distributeurs 135 et 137, en
liaison avec les unités de commutation électronique 113, 115, 117, 119, 121,
143, 145, 147, 149 et 151 constituent les moyens de bobines d'excitation
individuelle 49A, 49B, 51A, 51B, 53A et 53B. Plus particulièrement, ils constituent les
moyens de dynamiser toutes les bobines d'un cylindre donné de l'autre cylindre
lorsque le piston du premier cylindre se déplace de TDC à la BDC et
l'exploitation pour alimenter seulement deux (soit moins que la totalité) des
bobines de l'alternateur lorsque ce piston se déplace de la BDC au TDC. En outre, ces éléments constituent les moyens
pour exciter les bobines avec une polarité déterminée lorsque le piston de ce
cylindre se déplace du point mort haut à la BDC et pour exciter les première et
troisième bobines avec la polarité opposée lorsque ce piston se déplace du
point mort haut à la BDC.
Comme on peut le constater, les unités 121 et 151 de commutation avec
les distributeurs 135 et 137 constituent les moyens pour fermer un
circuit de circulation du courant de la chambre 41A à 41B chambre
pendant la partie BDC au TDC du cycle de la chambre 41A et de fermeture
d'une circuit de circulation de courant à partir de la chambre 41B à 41A chambre
pendant la partie de TDC au BDC du cycle de la chambre 41A. Oscillateur 95 constitue le moyen
pour fournir une tension électrique variable dans le temps pour les électrodes
de chaque cylindre, et l'oscillateur 95, des distributeurs 135 et 137,
des régulateurs 97A et 97B, ensemble, constituent les moyens pour
fournir la tension variant au cours du temps d'une partie prédéterminée du
cycle de chaque piston. En outre, le
distributeur 99 ainsi que les bobines d'allumage 25A et 25B constituent
les moyens d'alimentation en haute tension des impulsions vers les cylindres à
des moments prédéterminés au cours du cycle de chaque piston.
Le cycle de piston 39B est exactement la même que celle du piston 39A
à l'exception de la différence de phase de 180 degrés. Pour chaque cylindre, il est calculé que
l'excitation tel que décrit ci-dessus amène les gaz de se séparer en couches,
la plus basse du gaz de poids atomique dans le mélange, à savoir l'hélium,
étant disposé généralement au centre de chaque chambre, le néon formation de la
couche suivante, et ainsi de suite jusqu'à ce que nous atteignons xénon qui est
en contact physique avec les parois de la chambre. Le courant d'entrée (alimentation) pour ce
faire est le potentiel calculée du mélange de gaz. Etant donné que l'hélium se trouve dans le
centre de la chambre, le point focal des décharges d'électrode et les décharges
entre l'anode et la cathode se trouve dans la couche d'hélium lorsque le piston
est près de PMH. Lorsque le piston se
déplace légèrement en dessous TDC, les électrons de électrodes 63 et 65 ne
seront plus de frapper la pointe du piston, mais plutôt se croisent dans le
centre du cylindre (c'est ce qu'on appelle " électron focal point et la
collision des particules ") comme volonté les alpha, bêta et gamma et les
rayons issus de l'anode et de la cathode.
Bien sûr, l'hélium est en cet endroit précis et est fortement ionisé à
ce moment-là. Ainsi, les électrodes
ensemble avec la source d'énergie électrique connectée à celle-ci constituent
les moyens pour ioniser le gaz inerte.
On a calculé
que la suite de toutes les interactions ci-dessus, une décharge d'allumage se
produit dans l'hélium qui se divise en un atome d'hydrogène dans un volume non
supérieure à 2 x 10^-6 ou 3 millimètres cubes à une température d'environ 100
000 000 ° F. Bien entendu, cette
température est limitée à un très petit espace et la stratification des gaz
isole les parois des cylindres de celui-ci.
Cette chaleur excite l'hélium adjacent de sorte qu'un plasma se
produit. Par conséquent, il existe une réaction
minute de fusion dans l'hélium consistant en la conversion d'énergie d'un seul
atome d'hélium, ce qui libère de l'énergie suffisante pour entraîner le piston
dans cette chambre vers BDC avec une force de même ampleur que celle générée
dans un cylindre d'un conventionnel moteur à combustion interne. Électrodes 63 et 65 s'étendent dans
la couche d'argon tandis que chaque piston est dans sa BDC PMH de sa course de
manière à ramasser une partie du courant circulant dans cette couche. Il peut
prendre un ou deux cycles pour les gaz dans les cylindres de devenir
suffisamment excités pour l'allumage de se produire.
Une fois que l'allumage ne se produit, le fonctionnement électrique du moteur
se poursuit comme précédemment, sans que le fonctionnement du moteur de
démarreur. Distributeur 99 délivre
trois impulsions par cycle (ou plus, si le système d'allumage magnétique de la Fig.14
est utilisé) pour chaque cylindre; et distributeurs 135 et 137 continuent
de fournir " sur " et " de " déclenchement des impulsions
aux unités de commutation électronique.
La vitesse de rotation du moteur, comme cela est expliqué ci-dessus,
régie par la fréquence du courant à partir de l'oscillateur 95 (ou dans
le cas de petites unités de puissance, de la tension continue alimentant les
cylindres du Variac).
En raison de la petite
quantité de carburant consommée à chaque cycle, on a calculé que un cylindre
peut fonctionner à 1200 tours par minute environ 1000 heures, sinon plus, sur
une seule charge de gaz. Notez que même
à 1200 tours par minute, il y aura une chaleur intense se produisant seulement
0,002 % du temps. Cela signifie que la puissance d'entrée doit être appliquée
que de façon sporadique. Cette
puissance peut être fournie à un cylindre de l'autre cylindre de la paire par
l'intermédiaire d'unités de commutation électronique qui, dans le cas des
thyristors, sont eux-mêmes déclenchés par une basse tension (par exemple 3,5 V)
courant. Ainsi, étant donné que la
puissance électrique générée dans un cylindre est utilisé pour exciter les gaz
dans l'autre cylindre de la paire, il est pratique que les cylindres jumelés
comme discuté ci-dessus. Les
condensateurs sont, bien sûr, utilisé pour stocker cette énergie pour une
utilisation pendant la partie appropriée du cycle de chaque cylindre.
De ce qui précède, il
devrait être apprécié que le moteur de la présente invention présente plusieurs
avantages par rapport aux réacteurs à fusion actuellement proposées, telles que
la taille plus petite, les exigences énergétiques plus faibles, etc, mais ce
sont les bases de ces avantages? D'une
part, les réacteurs de fusion actuellement proposés utilisent de l'hydrogène et
ses isotopes en tant que combustible au lieu de gaz inertes. On peut supposer que c'est parce que
l'hydrogène nécessite moins de puissance de l'excitation. Si cela est vrai, la puissance d'entrée qui
est nécessaire pour faire fonctionner les réacteurs d'hydrogène rend la
puissance d'excitation presque négligeable.
Par exemple, pour maintenir un réacteur à hydrogène à partir d'un
court-circuit, le gaz d'hydrogène doit être séparé des parois du réacteur
pendant qu'il est à l'état de plasma.
Cette séparation est réalisée par le maintien d'un vide à proximité du
réacteur et de la concentration du gaz dans le centre du réacteur (typiquement
un tore) par un champ magnétique continu, intense. En conséquence, la
séparation nécessite une grande quantité d'énergie d'entrée.
Dans la présente
invention, d'autre part, l'énergie d'excitation plus élevé de combustible est
plus que compensée par le fait que l'énergie d'entrée pour le fonctionnement
peut être réduit au minimum par la manipulation des caractéristiques uniques
des gaz inertes. Tout d'abord, l'hélium
est le gaz inerte utilisé pour la fusion de la présente invention. L'hélium est d'abord isolé à partir des
parois du récipient par la superposition des autres gaz inertes, qui
stratification causée par la différence de potentiel d'excitation (en raison
des différentes masses atomiques) des différents gaz inertes, ladite excitation
étant provoquée par l'action de des électrodes, anode et cathode dans un champ
magnétique. Cette excitation provoque
des gaz chaque être excité en proportion inverse de leurs numéros atomiques, les
gaz plus légers étant excitées par conséquent plus . L'hélium, par conséquent, constitue le
noyau central avec les quatre autres gaz formant des couches, dans l'ordre,
autour de l'hélium. L'hélium est
secondairement isolé à partir des parois du récipient par un vide modéré (par
rapport à la dépression dans les réacteurs de l'hydrogène), qui est provoquée
en partie par l'effet " d'étouffement " des bobines et en partie par
l'élargissement de la chambre de combustion lorsque le piston se déplace de TDC
à la BDC. (Excité, les gaz sont à une
atmosphère au PMH). Deuxièmement,
l'argon, le gaz du milieu de cinq, est un bon conducteur électrique et est un
excellent conducteur lorsque (comme expliqué ci-dessous), il est polarisé au
cours du processus de mélange. En
plaçant les électrodes de telle sorte qu'elles se trouvent dans la couche de
l'argon, de l'énergie électrique peut être prélevée sur un cylindre destiné à
être utilisé dans l'autre. Pendant le
mouvement d'un piston au point mort haut de BDC, les gaz sont amenés à circuler
dans le cylindre par le changement de la polarité des bobines, qui se produit à
la BDC.
Au cours de cette
circulation, les gaz restent en couches, à l'origine des atomes d'argon à être
relativement proches les uns des autres, de manière à optimiser la conductivité
de l'argon. Cette optimisation de
conductivité est encore améliorée par un effet d'étouffement doux qui est dû à
des champs magnétiques. La circulation
des résultats de l'argon hautement conductrices dans une coupe en continu des
lignes de force magnétique de telle sorte que le courant circule à travers les
électrodes. Cette production de
l'électricité est similaire à la rotation du fil de cuivre de couper les lignes
de force magnétique dans un générateur classique, sauf que le fil de cuivre
tournant est remplacé par rotation, de l'argon hautement conducteur. La quantité d'électricité qui peut être
produite de cette manière est une fonction du nombre de lignes de champ
magnétique sont disponibles à découper.
Si l'une des bobines, ou tous trois des bobines ou deux bobines
adjacentes ont été mis sous tension, il n'y aurait qu'un seul champ avec
l'électricité produite à chaque extrémité.
En excitant le haut et le bas de la bobine, deux champs distincts sont
produits, avec de l'électricité produite à quatre points.
Un système à cinq
bobine, s'il y avait suffisamment d'espace, serait de produire trois champs
avec le haut, le bas et moyen bobines sous tension. Six points pour la production d'électricité
en résulteraient. Le nombre de bobines
qui peut être installée sur un cylindre donné est une fonction de contraintes
d'espace. La recombinaison des atomes
de gaz au cours de la phase de TDC BDC à cause du rayonnement de l'énergie
électrique qui fournit également une partie mineure de l'électricité que
l'électrode prend. Électrodes
supplémentaires non mise à la terre dans chaque cylindre se traduirait par plus
d'électricité étant prélevé. Il est à noter que pendant la phase de BDC au PMH,
l'anode et la cathode sont également dans la couche d'argon et, comme les
électrodes, ils prennent de l'électricité, qui charge les condensateurs autour
du cylindre. Troisièmement, les gaz
inertes restent un mélange et ne se combinent pas à cause de l'exhaustivité des
couches électroniques. Ils sont donc
bien adaptés à un cycle dans lequel ils sont continuellement organisées et
réorganisées. Quatrièmement, comme les
atomes d'hélium sont consommés, les autres gaz ont la capacité d'absorber la
charge de la consommation de gaz de sorte que la charge totale du mélange reste
le même.
La deuxième base de ces
avantages de la présente moteur sur les réacteurs de fusion proposés concerne
le fait que les réacteurs d'hydrogène développer la chaleur qui produit de la
vapeur à tourner des turbines pour produire de l'électricité. Cela nécessite de l'énergie d'entrée énorme
sur une base continue. La présente
invention fonctionne selon un cycle fermé, en utilisant les pistons et le
vilebrequin, qui ne nécessite pas un plasma continu, mais plutôt une courte
durée rare (6.10 secondes) de plasma qui nécessite donc beaucoup moins
d'énergie d'entrée. Dans la présente
invention, un plasma qui dure plus de 6.10 secondes n'est pas nécessaire parce
que la pression suffisante est générée par le fait que le temps pour tourner le
moteur. Un plasma d'une durée plus
longue pourrait endommager le moteur si la chaleur était suffisamment intense
pour être transmis à travers les couches de gaz inerte à la paroi des
cylindres. Une accumulation de chaleur
dans le moteur similaire peut se produire si la fréquence de récurrence est
augmentée. Une telle augmentation peut
être utilisée pour augmenter la puissance du moteur par la taille, mais au prix
de l'addition d'un système de refroidissement, en utilisant des composants plus
coûteux de moteur, et l'augmentation de la consommation de carburant. Notez que même si des couches de gaz inertes
isoler les parois du cylindre, il pourrait y avoir une légère augmentation de
la température des couches de gaz après un certain nombre de cycles, c'est à
dire, après un certain nombre d'allumages.
Attendu que les
réacteurs de fusion d'hydrogène ne peuvent pas produire directement la
puissance en entraînant un piston (à cause de la dépression nécessaire), la
présente invention utilise les gaz inertes en couches à transmettre la
puissance du plasma pour chaque gaz, à son tour jusqu'à ce que la puissance est
appliquée à un piston, qui peut être facilement traduit en un mouvement
rotatif. Les gaz couches amortissent
aussi le piston de la pleine force de l'allumage. En outre, les champs à l'intérieur de
l'extension du cylindre subissant provoquent des gaz à se rétrécir, en prenant
de ce fait une partie de la pression générée par l'explosion et la prévention
de la rupture de la paroi des cylindres.
En se reportant
maintenant à la Fig.17A à Fig.17D, il est montré un appareil 201 pour
la préparation du mélange de carburant pour moteur 11. Pour la commodité de l'appareil 201 est
appelé un mélangeur mais il doit être entendu que l'appareil ne se mélange pas les
gaz qui forment le combustible mais effectue également de nombreuses autres
fonctions vitales ainsi. Les cinq gaz
inertes constitutifs sont introduits dans des proportions prédéterminées
précises. Les extraits mélangeurs, des
filtres et neutralise les gaz non-inertes et d'autres contaminants qui peuvent
être présents dans le mélange gazeux.
Il augmente également la capacité potentielle d'atomes de gaz, libère
les gaz de krypton et de xénon, polarise les gaz d'argon, ionise les gaz d'une
manière telle que l'ionisation est maintenue jusqu'à ce que le gaz a été
utilisé et autrement les prépare pour une utilisation comme combustible dans
moteur 11. En particulier, le mélangeur rend plus
facile les gaz à exciter au cours du fonctionnement du moteur. Le
mélange ne signifie pas une combinaison unification ou atomique ou moléculaire
des gaz en raison des gaz inertes peuvent pas se combiner chimiquement, en
général, en raison du caractère complet de l'enveloppe extérieure
d'électrons. Pendant le mélange, les
différents gaz forment un mélange homogène.
Le mélange des gaz inertes dans les cinq appareil 201 est quelque
peu analogue à la préparation d'un mélange de produits chimiques liquides en
cinq parties par titrage. Dans un tel
mélange, les proportions des différents produits chimiques sont déterminées
avec précision en observant visuellement le point de fin de chaque réaction
lors de la titration. Dans l'appareil 201,
de façon visible, spectroscopie flash de lumière accompagne le point final souhaité
de l'introduction de chaque nouveau gaz atteint son bon, proportion
précalculées. (Chaque gaz possède son
propre affichage distinctif, caractéristique spectroscopique). Les points d'extrémités sont calculées
théoriquement et sont déterminés par les tensions prédéfinies sur chacun d'un
groupe de têtes ionisants dans l'appareil, comme décrit ci-dessous.

Table de mixage 201 comprend (voir Fig.17A) un orifice
d'admission, indiqué généralement en 203, qui pendant le fonctionnement
est reliée à une source 205 de gaz d'hélium, un manomètre 206, un
tube de verre 207 comportant une pluralité de branches B10-B25 pour
l'écoulement de l'gaz à travers le mélangeur, une pluralité de vannes V1-V11
dans les branches, qui soupapes peuvent être ouvertes ou fermées, si
nécessaire, trois réservoirs de gaz 209, 211 et 213 pour stocker de
petites quantités de l'hélium, de l'argon et le gaz de néon, respectivement, un
rayonnement ionisant et unité de filtrage 215 pour filtrer les gaz et
les contaminants non-inertes indésirables dans le mélange de carburant, pour
réguler la charge de l'électron d'un atome de gaz et à absorber les électrons à
écoulement libre, une circulation du flux de gaz de la pompe 217, deux
têtes d'ionisation 219 et 221, et trois qualité vannes de régulation et
d'échappement V12-V14. Le
mélangeur comprend en outre (voir Fig.17B) un tube à décharge à haute
fréquence 225, un tube à rayons cathodiques non-orienté 227, deux
autres têtes d'ionisation 229 et 231, deux réservoirs de gaz
supplémentaires 233 et 235 pour stocker de petites quantités de xénon et
krypton, une bobine magnétique quadruple 237, un groupe de vannes V15-V24,
les vannes V23 et V24 étant le contrôle de la qualité et des soupapes
d'échappement, et une pluralité d'autres branches de tubes de verre B26-B32.
En ce qui concerne Fig.17C,
mélangeur 201 comprend également ionisant supplémentaire dirige 239,
240 et 241, d'autres vannes V25-V46, V39A et V40A, les vannes
V29 et V32 étant contrôle de la qualité et de soupapes d'échappement et
soupape V39A étant un clapet anti-retour, un vide et manomètre 242 entre
vannes V35 et V36, les tuyauteries de dérivation B34-B49 (branche
B39 composé de deux parties B39A et B39B), une paire d'orifices
d'entrée 243 et 245 qui, en fonctionnement sont connectés à des sources 247
et 249 de l'argon et de néon respectivement, jauges 250A et 250B,
une chambre d'allumage 251, une chambre d'hydrogène et de rétention de
l'oxygène 253 contenant n ° 650 de la poussière d'acier dans un filtre
de soie, une jauge d'ions 255 (qui peut être un type RG 75K ion Gauge de
Instruments verre, Inc. Pasadena, CA.) pour éliminer l'excès de gaz inertes
dans le mélange, les bobines intérieure et extérieure du tube de verre 257
et 259 qui entourent une chambre de mélange 261, un tube à rayons X
focalisé 263 pour soumettre le mélange s'écoulant à travers elle à 15-20
alpha millirems rayonnement et 120-125 millirems rayonnement bêta, un tube à
rayons cathodiques dirigé 265, deux bobines magnétiques jumeaux
parallèles 266 et 267, et une bobine magnétique concentrant 269. Il est important que les bobines 266 et
267 soient immédiatement adjacente chambre 261 et de mélange (voir Fig.17D)
le mélangeur comprend également trois autres ionisant tête 271, 273 et 275,
deux orifices d'entrée 277 et 279 qui en fonctionnement sont reliées à
des sources 281 et 283 du krypton et du xénon, respectivement, jauges 284A
et 284B, un tube à décharge à haute fréquence 285, une bobine
magnétique parallèle double 287 entourant un polariseur 289 pour
polariser l'argon, ledit polariser contenant des particules métalliques fines
qui sont polarisées par les bobines 287 et qui, à son tour polarisent
argon, une chambre de rétention secondes d'hydrogène 291, une paire de
branches de tubage B50 et B51, deux filtres 293 et 295 et une
pluralité de vannes V47-V59, vannes de V57 et V59 étant contrôle
de la qualité et d'échappement.
Bobines de tubes de
verre interne et externe 257 et 259 et la chambre 261 de mélange
sont présentés en coupe dans la Fig.18.
Bobines de verre intermédiaires 257 et 259 sont deux bobines
magnétiques 297 et 299 ayant une inductance d'environ 130 mH. Une bobine de culasse 301 est
positionné dans un demi-cercle autour chambre 261 mélange. L'intérieur chambre de mélange 261 se
trouvent une paire d'écrans 303 et 305, des isolants 307 et 309,
et une paire de éclateurs indiqué généralement en 311 et 313. A haute fréquence amplitude modulée fournit
la source 120 V CA, 60 Hz, 8,4 ampères, 560 watts, 27, 120 à 40 000 MHz
de plus ou moins 160 kHz courant par des fils très isolées 315 et 317 de
la chambre. Ces fils sont environ douze
jauge, comme ceux utilisés comme câbles de bougies sur les moteurs à combustion
interne. De plus 95 volts courant
continu est alimenté par une petite (par exemple de seize à dix-huit
manométrique) fil isolé 319 Comme décrit ci-dessous, les gaz devant être
mélangés et préparés écoulement à travers la chambre 261 et qui y sont
traités de manière appropriée par l'action des différents domaines présents
dans la chambre.

Les bobines magnétiques, les chefs d'ionisation et la pompe 217, ainsi
que les interconnexions électriques nécessaires, sont schématiquement sur la Fig.19A
à Fig.19E. Plus particulièrement,
la tête 239 et 241 sont représentés dans Fig.19A, comme la pompe 217
est ionisants. Chaque tête comporte
deux électrodes avec un espace entre eux pour provoquer l'ionisation du gaz
s'écoulant à travers la tête, les électrodes étant reliées à une source
d'alimentation électrique. Pompe 217
est reliée directement à une source de puissance (CA ou CC tel que requis
par la pompe étant notamment utilisés).
Les connexions entre le circuit et que le Fig.19A et Fig.19B sont
présentés sur un bouchon 321, étant entendu que ce bouchon approprié
représente un un-à-un raccordement entre les lignes de Fig.19A et ceux
de Fig.19B.
Les chefs d'ionisation
restantes et toutes les bobines magnétiques sont présentés dans Fig.19B. Pour plus de clarté, les bobines sont
présentés sous une forme non conventionnelle.
Bobine quadruple 237 (affiché en haut de Fig.19B) a un
côté de chaque enroulement connecté en commun, mais les autres côtés sont
reliés à des lignes différentes. Bobine
223 est constitué de deux enroulements en parallèle. Les bobines 297 et 299, celles autour
de la chambre de mélange, sont représentés de recouvrement, étant entendu que
la bobine 297 est en fait l'intérieur de la bobine 299. Yoke bobine 301, comme représenté,
s'étend à mi-chemin du fond vers le haut de bobines 297 et 299. Jumelles bobines magnétiques parallèles 267
sont connectés en parallèle les uns avec les autres, des deux côtés de la
bobine de focalisation 269 étant connectées à un noeud de bobines 267. Même les bobines 287 sont reliées en
parallèle. Les connexions entre les
lignes de Fig.19B et ceux de Fig.19C et Fig.19D sont présentés
comme des bouchons 323 et 325, bien que d'autres connexions appropriées
one-to-one pourraient certainement être apportées. Fig.19C montre les
lignes d'interconnexion entre Fig.19B et Fig.19E. Une prise 327 ou d'autres connexions
appropriées one-to-one relie les lignes de Fig.19C et Fig.19E.
Une pluralité de sources d'énergie, comme le
variacs mentionné ci-dessus, des tensions et des courants appropriés ainsi que
une pluralité de relais 329, et bouchons 331 sont présentés sur Fig.19D
et Fig.19E. Les liens entre
ces deux figures est représenté comme un plug 333. Il est à noter que le variacs peut être
ajustée par l'opérateur comme nécessaire pour fournir les tensions désirées
pour les bobines ci-dessus et les chefs ionisants. Il faut également se rendre compte que les
relais désirés peuvent être fermés ou ouverts selon les besoins de la connexion
ou de la déconnexion des deux parties du connecteur correspondant 331. Autrement dit, par l'utilisation de bouchons
331, l'opérateur peut contrôler l'excitation de la tête d'ionisation et
magnétique bobines comme désiré. Prises
331 sont également une aide en vérifiant que chaque composant est en
état de fonctionnement, juste avant son utilisation. Bien entendu, la manipulation des sources
d'énergie et les relais ne doit pas nécessairement être effectuée manuellement;
il pourrait être automatisée.

Le circuit reste pour le mélangeur est représenté sur Fig.20A à Fig.20F. Pour plus de commodité, les bouchons 335,
337, 339, 341, 343, 345 et 347 sont représentés par la connexion du circuit
représenté sur les différentes figures, bien que d'autres connexions
appropriées one-to-one peuvent être utilisés.
Le châssis de l'appareil est représenté sur ces figures en traits
interrompus et est mis à la terre.
L'alimentation électrique de l'appareil est représenté en partie sur la Fig.20A
et Fig.20D et comprend une entrée 349 (voir Fig.20D) qui est
relié à 120 volts, 60 Hz au cours de l'opération et une entrée 351 qui
est reliée à l'générateur à haute fréquence mentionnée ci-dessus ou une autre
source appropriée de courant d'environ 27.120 MHz. Le bloc d'alimentation comprend une paire de
tuners 353, de nombreux circuits RLC, une triode 355, une pentode
357 avec un écran ZnS, un transformateur variable 359, une
commande d'entrée 361, un deuxième transformateur variable 363 (voir
Fig.20A) qui, conjointement avec un filtre 365 forme un 2,0 volts
(crête à crête) d'alimentation 367, une pentode 369, un
transformateur variable 371, et un réseau de résistances indiqué
généralement en 373. Exemples de
tensions de l'alimentation pendant le fonctionnement sont les suivants: l'anode
de triode 355 à 145 V, la grille de contrôle à 135 V et la cathode à -25
V. La tension au sommet de
l'enroulement du transformateur 359 droite est -5 V. L'anode de la pentode 357 est à 143
V, la grille du haut est relié à la terre (comme l'écran ZnS), la grille de
fond est relié au transformateur 359, et l'électrode de commande est de
143 V. L'entrée de fournir 367 est
de 143 volts CA tandis que sa sortie, comme indiqué ci-dessus, est 2 V (crête à
crête). L'anode de la pentode à 369 est
de 60 V, les grilles à -1,5 V, l'électrode de commande à 130 V, et la cathode
est sensiblement à la masse. La sortie
du réseau de résistances 373, marqué 375, est à 45 V.
On voit également sur Fig.20D chambre
à étincelles est 251. Chambre
d'allumage 251 comprend une petite quantité de thorium, indiqué en 377,
et une pluralité de plaques de cuivre parallèles 379. Quand les gaz dans le mélangeur atteindre
l'ionisation proprement dite, les particules alpha émises par le thorium montré
comme des éclairs de lumière dans la chambre d'allumage.
Quant à Fig.20B, ionisant et de
l'unité de filtrage 215 comprennent une paire de conducteurs supports 381
pour une pluralité de conducteurs 383, dit prend en charge et
conducteurs étant connectés à une source de tension, isolant support 385 pour
les conducteurs supplémentaires 387 et un écran de ZnS 388 qui
émet de la lumière lorsque les impuretés du mélange combustible gazeux. unité 215 comprend aussi une deuxième série
de conducteurs entrelacés indiqué généralement à 389, un tube à cathode
froide 391 et un tube à rayons x indiquent généralement à 393. Également montré sur Fig.20B est un
réseau RLC 395 qui dispose d'une sortie sur une ligne 397 qui
sont à 35 V, cette tension est acheminée au tube à rayons x.
Tube à décharge à haute
fréquence 255 (voir Fig.20C) présente une électrode conductrice 399
à une extrémité de laquelle un courant élevé fréquence est appliquée pour
exciter les gaz dans le mélangeur, et une électrode / dispositif de chauffage 401
à l'agencement d'autre part, une tension de 45 V est appliqué à une entrée 402
du tube. Il est souhaitable que
d'une petite quantité de mercure, indiqué à 403, inclus dans le tube 225
pour favoriser l'évacuation du gaz d'hélium. Les bobines magnétiques 237 sont
disposés dans celui-ci une paire de conducteurs généralement parallèles 405 à
laquelle un signal de haute fréquence est appliquée. Lorsque le gaz s'écoule à travers les
bobines 237 etentre les conducteurs parallèles 405, par
conséquent, il est soumis à la combinaison d'un champ magnétique à courant
continu de la bobine haute fréquence et des ondes à partir des conducteurs, les
conducteurs, qui agissent comme des antennes d'émission. Le champ magnétique à haute fréquence
résultante amène les atomes de devenir instable, ce qui permet au moteur de
changer de niveau quantique d'un atome donné avec beaucoup moins d'énergie
d'entrée qu'il est normalement nécessaire.
Le volume de chaque atome du gaz sera également plus faible. Est également représenté sur la Fig.20C cathode
est non dirigée tube à rayons 227.
Les grilles des tubes 227 sont à 145 V, l'électrode de commande
est à la masse, tandis que l'anode est de 35 V à 80 V (crête à crête). Le but de la cathode non-orienté tube à
rayons 227 consiste à ajouter de photons du mélange gazeux. Pour générer ces photons, le tube 227 possède
un revêtement à deux couches de ZnS indiqué généralement en 407. Chambre 261, décrit ci-dessus, est
également représentée schématiquement sur la Fig.20C, avec un réseau RLC
409.
L'alimentation de la
console (voir les moitiés inférieures de Fig.20E et Fig.20F) comprend
également deux penthodes 411 et 413, un transformateur 415, et un
tube de diode 417. L'électrode
de pentode 411 de commande est à 5 V à 40 V (pic à pic), les grilles
sont à 145 V, l'anode est de 100 V, et la cathode est de 8 à 30 V (crête à
crête). L'électrode de la pentode 413
de commande est à 115 V, tandis que les grilles et la cathode sont à -33
V. L'anode d'un tube 413 est
relié au transformateur 415. On
voit également sur la Fig.20E sont un relais 419 associé à
mesurer ions 255, et concentré tube à rayons X 263 associé à la
tête d'ionisation 240. L'entrée
supérieure au tube 263 est à 45 V à 80 V (crête à crête).
En ce qui concerne Fig.20F, on a représenté des tubes 265 et 285. Réalisé tube cathodique 265 est connecté comme une pentode tuyau 227. Haute fréquence tube à décharge 285 comprend
un écran au phosphore et est relié à une source de haute fréquence. Également montré sur Fig.20F est une
triode 421 avec son anode à 30 V, la cathode est à terre, et sa grille
de commande à -60 V; une pentode 423 avec son anode à 135 V à 1000 V
crête à crête, dont la cathode est à la masse, l'électrode de commande à 143 V,
les grilles à 20 V; et un transformateur 425 Il doit être entendu que
divers agencements de composants électriques autres que celles décrites ci-dessus
pourraient être conçues pour remplir les mêmes fonctions.
Le fonctionnement du mélangeur est mieux
comprise en se référant aux Fig.17A à Fig.17D et est le suivant : Avant et pendant l'opération, le mélangeur,
et en particulier la chambre 261 est hermétiquement fermé et
évacué. Pour commencer le
processus de mélange, l'hélium est admis dans le mélangeur via le port
d'admission 203. Ensuite, un
vide est de nouveau attirée, par une pompe à vide (non représenté) relié à la
vanne V38, pour vider la chambre.
Ce balayage est répété plusieurs fois pour nettoyer complètement les
tuyauteries de dérivation de la table de mixage. Le mélangeur est maintenant prêt. Les têtes à côté de la chambre de mélange
d'ionisation 261 sont reliés à une tension correspondant à environ 36 %
de la tension d'ionisation totale calculée, le courant continu est autorisé à
circuler à travers les bobines magnétiques 297 et 299 autour de la
chambre 261, et un courant à haute fréquence est autorisé à passer à
travers la chambre de mélange. L'hélium
est ensuite lentement admis, via le port 203, dans le mélangeur. De orifice 203, l'hélium passe par la
tête d'ionisation 219 dans le serpentin de tube de verre 259. Cette bobine de verre, étant à l'extérieur
des bobines magnétiques 297 et 299, se trouve dans la partie divergente
d'un champ magnétique. Le courant
d'hélium lentement à travers la bobine de verre 259 est légèrement
excité. De la bobine 259, de
l'hélium traverse branche B45 à ionisation tête 275 et à partir
de là, par la branche B28, à la tête d'ionisation 229 (voir Fig.17B). De la tête 229, le gaz s'écoule à
travers le tube à rayons non dirigée cathode 227 à haute fréquence de
décharge 225. La haute fréquence
de décharge 225, avec un élément de chauffage, les rejets, sépare ou
totalement neutralise la charge de toutes les particules radioactives et / ou
cosmiques qui sont à l'atome d'hélium en plus des protons, des neutrons et des
électrons.
Le gaz sort de décharge
225 par la branche B26 et passe à haute fréquence de décharge 285. La fréquence de décharge haute 285,
sans élément de chauffage, perturbe la fréquence d'oscillation qui lie les
atomes de gaz ensemble. Cela prépare
les atomes d'hélium de telle sorte que les électrons peuvent être plus
facilement séparés du noyau pendant le processus d'excitation et de l'allumage
dans le moteur. Déchargeur 285 comprend
un écran de phosphore ou de dépôt (semblable au revêtement d'un tube à rayons
cathodique) qui rend le tube de décharge visible. De éclateur 285, l'hélium traverse
dirigée cathode ray tube 265 et concentre tube à rayons X 263 dirigée
tube à rayons cathodiques 265 produit des rayons cathodiques qui
oscillent longitudinalement d'avant en arrière au-dessous et le long du tube de
transport de gaz. Après cela, l'hélium
traverse successivement branche B21, tête d'ionisation 221,
branche B23, bobine magnétique parallèle double 266, et la
branche B25 dans la chambre 261 à l'hélium s'écoule lentement
dans et à travers l'appareil 201 de mélange. Les atomes d'hélium ionisé deviennent à la
suite de excitation par une force magnétique, les vibrations à haute fréquence
et charge acquise par les chefs d'ionisation.
Lorsque l'hélium
suffisant est entré dans l'appareil, l'énergie d'ionisation (qui est d'environ
36 % du total) est totalement absorbé. Un flash
spectroscopique de la lumière dans les signaux de la chambre de mélange que la
quantité précise, bon d'hélium a été autorisés à entrer. L'entrée de l'hélium est ensuite
immédiatement stoppée par la fermeture de la vanne V3.
La prochaine étape dans
la préparation du carburant consiste à ajouter au mélange de néon. Le potentiel sur la tête d'ionisation
pertinentes, en particulier la tête 241 (voir Fig.17C), est
soulevé par l'addition d'environ 26 % ce qui conduit à un total d'environ 62 %
du nombre total calculé de potentiel V31 et la vanne est ouverte,
permettant ainsi au néon d'entrer lentement le mélangeur via le port 245 Ce
gaz passe par branche B36, tête d'ionisation 241, et la branche B35
directement dans la chambre de mélange.
Depuis l'hélium admis
précédemment est complètement chargée, le néon absorbe tout le potentiel
d'ionisation accrue. Dès que le néon
acquiert le supplément, un flash spectroscopique de la lumière se produit et
l'opérateur ferme la vanne V31.
De la même manière, le potentiel sur la tête d'ionisation est augmenté par
l'addition d'environ 17 %, pour un total d'environ 79 % du potentiel total
calculé, puis la vanne V30 est ouverte pour admettre de l'argon dans le
mélangeur via le port 243. Ce
gaz passe par branche B34, tête d'ionisation 239, et la branche B33
dans la chambre de mélange 261.
Encore une fois, le bon niveau d'argon a été admis, il émet un flash
spectroscopique de la lumière et l'opérateur ferme la vanne V30. Ensuite, le potentiel sur la tête
d'ionisation est augmenté par l'addition d'environ 13 % pour donner un total
d'environ 92 % du potentiel total calculé et la vanne V58 (voir Fig.17D)
est ouverte pour admettre le krypton dans le système. Le gaz krypton passe par branche B51,
tête d'ionisation 271 et la branche B48 dans la chambre 261. Après l'émission d'un flash spectroscopique
de la lumière par le gaz, l'opérateur ferme la vanne V58. Enfin, le potentiel sur la tête d'ionisation
est augmenté par l'addition d'environ 8 %, ce qui amène le potentiel
d'ionisation de la pleine à 100 % de la tension d'ionisation et la vanne V56
calculée est ouverte pour admettre le xénon dans le mélangeur via le port 279. Ce gaz passe par branche B50, tête
d'ionisation 273 et la branche B47 à la chambre de mélange. Quand la bonne quantité de gaz a été admis,
un flash spectroscopique de la lumière se signaler à l'opérateur de fermer la
vanne V56. Notez qu'il existe
deux filtres / ensembles absorbants, marqué 253 et 291. Unité 253 est relié aux néon et de
l'argon entrée branches B33 et B35 pendant que l'unité 291 est
connecté à krypton et du xénon entrée branches B47 et B48. Ces deux unités absorbent résidu d'hydrogène
et d'immobiliser la vapeur d'eau créée lorsque la pompe fait circuler les gaz
et génère des états de vide.
Après tous les gaz sont admis dans les
proportions désirées, toutes les vannes sont fermées. (Le mélange dans la
chambre de mélange et dans le tube adjacent est à une pression d'une atmosphère
à ce moment). Une fois cela fait, les
vannes de l'intervalle du système sont tous ouverts (mais les soupapes
d'admission et d'échappement restent fermées) pour permettre au mélange de
circuler dans le tube comme suit: branche B44, bobines magnétiques 267
et 269, à la tête d'ionisation 240, branche B29, la tête
d'ionisation 231, branche B24, tête d'ionisation 219, la
pompe 217, branches B15 et B39A, jauge d'ionisation 255,
branches B38 et B42, tête d'ionisation 275, branche B28,
tête d'ionisation 229, tube à rayons non dirigée cathode 227,
quadruple bobine magnétique 272, tête d'ionisation 221, branche B23,
double bobine magnétique parallèle 266, branche B25 et de la
chambre 261. Lorsque ce circuit
est d'abord ouvert le mélange, la pression du mélange gouttes 40-50 % parce que
certains des tubes avaient été sous vide.
Pompe 217 est ensuite commencé à provoquer les gaz d'être
lentement et uniformément mélangés.
En raison de l'espace
mort dans le tube et le temps de réaction du conducteur, il peut se produire
que les proportions des gaz ne sont pas exactement celles énoncées
ci-dessus. Ceci est corrigée au cours de
l'étape de circulation. Comme le gaz
s'écoule à travers la jauge d'ionisation 255, le gaz en excès est
éliminé du mélange de sorte que les proportions correctes sont obtenues. Pour ce faire la grille de calibre 255 est
soumis à 100 % de l'énergie d'ionisation et est chauffé à environ 165 degrés
F. Cette température de 165 degrés F
est liée à la température d'ébullition de xénon de -165 degrés F en grandeur
mais de signe opposé. Le xénon est le
plus lourd des cinq gaz inertes dans le mélange. Comme le flux de mélange gazeux à travers la
jauge d'ionisation 255, les atomes de gaz qui sont au-delà de leurs
pourcentages prescrits sont brûlées à partir du mélange et de leur charge est
acquis par les atomes de gaz restants de la grille de la jauge
d'ionisation. Parce que les gaz sont
soumis à une dépression, la jauge d'ionisation est en mesure de régler les
pourcentages de gaz très précisément.
(Remarque: Les étapes décrites dans les deux derniers paragraphes sont
répétées si les gaz finis sont rejetées dans l'étape finale de contrôle de la
qualité décrit ci-dessous).
L'étape suivante
consiste à purifier le mélange de telle sorte que seuls les cinq gaz inertes
restent, en absorbant tous les électrons libres et la régulation de la charge
électrique dans le mélange. Pour ce
faire, le circuit se compose des éléments suivants est ouvert : Branche B44,
bobine magnétique 267, bobine magnétique 269, tête d'ionisation 240,
branche B29, tête d'ionisation 231, branche B24, tête
d'ionisation 219, la pompe 217, branches B15 et B39 ,
bobine magnétique 287 (voir Fig.17D) polariseur 289,
branche B17, ionisants et de l'unité de filtrage 215, le tube
branches B16, B42 et B41, tube à rayons X 263, branche B21,
tête d'ionisation 221, branche B23, magnétique bobine 266,
branche B25, et la chambre de mélange 261. Les gaz devraient compléter ce circuit au moins trois fois.
La dernière étape nécessaire pour préparer le mélange pour la mise en bouteille
est la polarisation de l'argon. Le
circuit nécessaire pour le faire se compose des éléments suivants: chambre de
mélange 261, branche B44, bobine magnétique 267, bobine
magnétique 269, tête d'ionisation 240, tube cathodique 265,
branche B40, bobine de tuyau 257, branches B49 et B30,
tête d'ionisation 231, branche B24, tête d'ionisation 219,
la pompe 217, branches B15 et B39, double bobine magnétique
parallèle 287 (voir Fig.17D), polariseur 289, branche B17,
ionisants et de l'unité de filtrage 215, branches B16, B42 et
B20, tête d'ionisation 229, tube cathodique 227, bobine
magnétique 237, tête d'ionisation 221, branche B23 et
bobine magnétique 266. Cela
aussi est répété au moins trois fois.
La clé de la polarisation de l'argon est polariseur 289 et double bobine
magnétique parallèle 287 qui l'entoure. Le polariseur 289 est un flacon en
verre qui est remplie avec du fer doux en poudre fine, qui peut être facilement
magnétisé. Le flacon est rempli, en
effet, le noyau de fer de bobines. Les
particules de fer s'alignent avec les lignes de force magnétique, les lignes
rayonnent à partir du centre vers les pôles nord et sud. Le mélange de gaz ionisé est forcé à travers
la poudre de fer magnétisé au moyen de pression de la pompe à vide et, de ce
fait la polarisation de gaz d'argon.
Les filtres 293 et 295 sont disposés comme illustré afin de
filtrer des particules métalliques à partir du gaz.
Le mélange est
maintenant à double vérifiée au moyen de la chambre d'allumage 251, à la
pression atmosphérique, car la réaction de fusion dans le moteur est démarré à
une atmosphère. Parce que les gaz dans
les appareils 201 de mélange sont à un vide partiel, gaz suffisantes
doivent être pompés dans la chambre d'allumage 251 pour atteindre la
pression atmosphérique. Pour ce faire,
les vannes V33, V36 et V40A sont fermés et pompe de circulation 217 pompes
des gaz dans l'appareil de mélange par des branches B15 et B39A, par
clapet V39A dans la chambre d'allumage 251 jusqu'à ce que le vide
et manomètre 242 indique que les gaz dans la chambre d'allumage 251 sont
à pression atmosphérique. Valve V34
est alors fermé. La chambre d'allumage
est semblable à une chambre à brouillard.
Six ou plus grande capacité plaques de condensateur en laiton sont
espacées huitième à 1/8 pouces à 1/4 pouces séparé dans la chambre. Un petit récipient en plastique maintient le
thorium 232. Un côté de la chambre est
équipée d'une fenêtre en verre épais à travers lequel des étincelles dans la
chambre peut être observée. Un
potentiel est placée sur les plaques de cuivre dans la chambre et le courant
circulant entre les plaques est mesurée.
Si ce courant correspond
exactement au courant d'ionisation, le mélange est acceptable. Une différence de plus de 5 % n'est pas
acceptable. Une différence plus faible
peut être corrigée par la recirculation du gaz dans le mélangeur et en
particulier grâce à la jauge d'ionisation 255 de la manière décrite
précédemment dans l'étape de circulation.
Un second test est alors
donné les gaz qui passent le premier test.
Un courant à haute fréquence est calculée progressivement imposé sur les
plaques de condensateur de la chambre d'allumage. Cette excitation provoque neutrons sont émis
par le thorium 232 qui, si le mélange est satisfaisant, peut être facilement
considéré comme un mince filet de lumière dans la chambre. Si le mélange n'est pas satisfaisante, les
rejets de lumière ne peuvent être vus et le circuit à haute fréquence seront
court-circuit et éteindre avant que la fréquence souhaitée soit atteinte.
Pour en bouteille le
mélange, la vanne V33 est ouverte et les vannes V36 et V40 sont
fermées. Au cours de la mise en
bouteille polariseur 289, double bobine magnétique parallèle 287,
unité d'ionisation 215 et jauge d'ions 255 sont électriquement
sous tension (tous les circuits électriques sont déjà hors tension) pour
améliorer la stabilité du mélange. Les
gaz préparés sont retirés de l'appareil de mélange par branches B24 et B16,
unité d'ionisation 215, branche B17, filtres 293 et 295,
polariseur 289, double bobine magnétique parallèle 287, branche B39,
jauge d'ions 255, vérifiez V39A de soupape, branche B38 et
chambre à étincelles 251. Si
vous le souhaitez, après la mise en bouteille du mélangeur peut être évacué par
ouverture des vannes V12, V13, V14, V23, V24, V29, V32, V57 et V59. Bien sûr, on peut également automatiser le
processus de préparation du combustible à être continue de sorte qu'il ne
serait jamais nécessaire pour évacuer le gaz.
Dans le fonctionnement du
dispositif 201 de mélange, certains facteurs opérationnels doivent être
considérés. D'une part, aucun des
appareils électriques peuvent être sans la pompe étant en fonctionnement, car
un appareil électrique qui est peut endommager gaz adjacent qui ne circule pas.
D'autre part, il est à noter que la cathode dirigée tube à rayons 265,
non dirigée tube à rayons cathodiques 227 et concentre le tube à rayons
X 263 ont des fonctions différentes en différents points du processus de
mélange. Dans un mode, ils fournissent
un rayonnement de la cathode chaude, ce qui peut se produire que dans le
vide. Lorsque les gaz s'écoulent à
travers ces dispositifs, ils fournissent une décharge à cathode froide. Par exemple, au cours de la polarisation de l'argon
et de l'étape de circulation, ciblée tube à rayons X 263 est sous vide
et affecte les gaz s'écoulant à travers la tête d'ionisation 240 par
l'intermédiaire d'un rayonnement de la cathode chaude. Lors de l'introduction des différents gaz
dans l'appareil de mélange 201 et pendant l'étape de recirculation, les
gaz s'écoulent à travers concentré tube à rayons X 263, ce qui affecte
les gaz par l'intermédiaire d'une décharge à cathode froide.
Il est préférable que chaque composant électrique
commutable dans un appareil de mélange 201 est branché sur un circuit
distinct en dépit du fait que l'un des pôles de chaque câblé pourrait être
communément. Dans un circuit de masse
commun si un appareil est allumé, toutes les autres unités peuvent également
tourner sur parce que les gaz de l'appareil sont conductrices. En outre, si une unité sur un circuit commun
ont été mis sous tension avec un courant à haute fréquence, les autres seraient
également touchés. Dans la même veine,
le courant à haute fréquence ne peut pas être utilisé lorsque les tubes
cathodiques, les tubes à rayons X ou les rejets sont chauffés et sous vide
parce que les filaments de chauffage seront brûler.
Enfin, la source de courant, les redresseurs
variables et les instruments de mesure électriques doivent être situés à plus
de dix pieds de appareils de mélange 201 parce que le courant à haute
fréquence est nocif pour les redresseurs, provoquant à l'épuisement ou
court-circuit.
Il est à espérer qu'un bref résumé des concepts
utilisés par l'inventeur dans le développement de l'invention ci-dessus sera
utile pour le lecteur, étant entendu que ce résumé est en aucun cas destinés à
limiter les revendications qui suivent ou qui influent sur leur validité. Le premier principe est celui de
l'utilisation d'un mélange de gaz inerte à environ une atmosphère au PMH (à
feu) en tant que combustible dans un procédé de production d'énergie
thermonucléaire. La seconde notion est
la superposition des différents gaz inertes, qui superposition est conçu pour
limiter l'énergie d'entrée dans les couches les plus internes lors de la
pré-excitation et de l'allumage, pour assurer l'isolation thermique des parois
du récipient pendant et après l'allumage, pour transmettre la puissance obtenue
à partir de le contact à travers les couches à leur tour au piston, pour
absorber la pression engendrée lors de l'allumage afin de protéger les parois
du cylindre, et pour fournir un positionnement prévisible ordonnée de la couche
de l'argon pendant la partie BDC au PMH du cycle du moteur. Le troisième principe de la présente
invention implique l'utilisation de courant électrique produit dans un cylindre
d'une paire d'exécuter des fonctions dans l'autre cylindre de ladite paire. Ce concept comprend les sous-concepts de
générer un courant électrique par recombinaison atomique et de génération
électrique en place résultant de la rotation des gaz inertes en couches à
l'intérieur de chaque cylindre en raison du changement de la polarité des
bobines qui entourent la BDC, du placement judicieux des bobines qui produisent
lignes de champ magnétique qui sont coupés par un conducteur parfait près
(argon polarisée), et de mouvement de ladite près conducteur parfait à travers
le champ magnétique.
Les quatrième et cinquième concepts de la présente
invention sont la transformation de réactions thermonucléaires durée rapides,
intenses, mais de courtes en pression qui est transmise à partir du gaz inerte
au gaz inerte jusqu'à ce qu'elle crée de l'énergie cinétique linéaire à piston,
dont l'énergie est convertie en énergie cinétique de rotation par un
vilebrequin, et l'utilisation d'un générateur entraîné par l'arbre à fournir du
courant à des bobines de champ espacées au cours de la partie BDC au PMH du
cycle de chaque cylindre.
Le concept sixième préoccupations de pré-excitation
suffisante du carburant de gaz inerte et plus particulièrement implique des
sous-concepts de pré-excitation du carburant dans le processus de mélange, de
manipulation des courants dans les bobines entourant chaque cylindre, de
décharger les condensateurs entourant chaque cylindre à des moments
prédéterminés dans le cycle, de provoquer un courant de particules électriques
à circuler entre les électrodes et un point de décharge conductrice sur le
piston, d'émettre des rayons alpha, bêta et gamma à partir d'une anode et d'une
cathode contenant un matériau faiblement radioactifs au piston de décharger
stade, de l'accélération des rayons alpha, bêta et gamma par l'application d'un
champ, et de situer des plaques de condensateur 90 degrés par rapport à l'anode
et à la cathode pour ralentir les neutrons et refléter générés lors de
l'allumage à haute tension. Le septième
notion comprend la fourniture d'une fission allumage minute, de type pastille,
la chaleur à partir de ce qui provoque une fusion de la minute à la suite de la
forme de la chambre d'allumage et la disposition, à la suite de la collision
des alpha, les rayons bêta et gamma et les particules électriques à un point
focal en conjonction avec la décharge des condensateurs qui entourent le
cylindre à travers les électrodes, et en raison de l'augmentation du champ
magnétique dans la direction du mouvement de chaque piston.
Brevet américain 3 977 191 31 août 1976 Inventeur: Robert G. Britt
EXPANSION ATOMIQUE OPTIQUE RÉFLEXE
ALIMENTATION (AEROPS) MOTEUR
RÉSUMÉ
Un moteur est fourni qui permettra de
réduire considérablement la pollution atmosphérique et le bruit en fournissant
une source d'alimentation de moteur système scellé qui n'a pas d'évacuation ni
apport de ports. Le moteur comporte une
chambre de pression creux sphérique qui est fournie avec une surface
réfléchissante du miroir. Un mélange de
gaz nobles dans la chambre est alimenté en courant par des électrodes, et elles
sont dérivées de l'expansion du mélange gaz contre un piston.
RÉSUMÉ DE
L'INVENTION
Un expansion atomique
réflexe optique puissance source (AEROPS) moteur, d'un vilebrequin central
entouré d'un carter. Le carter a un nombre
de cylindres et un certain nombre de pistons, situé à l'intérieur des
cylindres. Les pistons sont reliés au
vilebrequin par un certain nombre de bielles.
Comme le vilebrequin tourne, les pistons se déplacent dans un mouvement
alternatif dans les cylindres. Un
assemblage consistant en un certain nombre de chambres de pression sphériques
creux, avoir un certain nombre d'électrodes et des tubes creux, avec ailettes
de refroidissement est monté sur le dessus de chaque cylindre. Les joints nécessaires sont fournis selon les besoins pour sceller les
assemblys moteur complet de la pression atmosphérique. Une méthode est prévue pour charger
l'assembly de chambre de pression sphériques creux et le carter moteur avec des
mélanges de gaz noble à travers une série de tubes et valves. Une source d'impulsions moyenne tension est
appliquée à deux des électrodes s'étendant dans chacune des chambres de
pression sphériques creux.
Lorsqu'une source d'impulsions haute tension
est appliquée d'un commutateur électrique distributeur rotatif à autres
électrodes s'étendant dans chacune des chambres de pression sphériques creux
dans un ordre d'allumage continu, décharges électriques ont lieu régulièrement
dans les différentes chambres de pression sphériques creux. Lorsque les décharges électriques ont lieu, photons
de haute énergie sont libérés sur beaucoup de différentes fréquences
électromagnétiques. Les photons grève
les atomes de divers gaz mixtes, par exemple, xénon, krypton, hélium et
mercure, à différentes fréquences électromagnétiques auxquelles chacun est
sélectivement sensible, et les atomes sont excités. Les premiers photons émis sont reflétées
dans la masse des atomes excités par une surface réfléchissante du miroir à
l'intérieur, mur de toute chambre de pression sphériques creux particulière et
cela déclenche des photons plus à être sorti de ces atomes. Ils traduisent également et frapper d'autres atomes dans l'excitation et
la libération d'énergie de photon. Les électrons
orbitant autour les protons de chaque atome excité dans une chambre de pression
sphériques creux augmentent vitesse et étendre vers l'extérieur du centre par
l'intermédiaire de la force centrifuge entraînant les atomes agrandir en
taille. Par conséquent, une onde de
pression est développée, d'élargir les gaz et la pression du gaz augmente.
Car les gaz se dilate,
l'augmentation de la pression est appliquée au sommet des pistons dans les
cylindres différents ont tiré de façon sélective par le distributeur
électrique. La force appliquée
périodiquement aux pistons est transmise aux bielles qui tourner le vilebrequin
pour produire le pouvoir rotatoire.
Robinets de commande des gaz et tuyaux de raccordement constituent une
voie de contournement entre s'opposer à des chambres de pression sphériques
creux de chaque section de moteur, fournissant ainsi un moyen de contrôler la
vitesse du moteur et la puissance. Le
moyen par lequel les atomes excités sont retournées à la normale minimale
d'énergie fondamental et le niveau de pression minimale, est fourni en
perturbant la décharge électrique entre les électrodes de moyenne tension, en
refroidissant les atomes lorsqu'ils traversent un assemblage de transfert de
chaleur et par l'augmentation dans le volume au-dessus les pistons au bas de
leur course de puissance. Le moteur
AEROPS tel que décrit ci-dessus fournit un scellé source de puissance unité qui
n'a aucune émission d'admission et d'échappement de l'air atmosphérique. Le moteur AEROPS est donc libre de la
pollution.
BREF OBJECTIF
DE L'INVENTION
Cette invention a trait
à l'élaboration d'un moteur de source (AEROPS) de puissance optique réflexe
d'expansion atomique, ayant les avantages d'une plus grande sécurité, économie
et efficacité sur ceux divulgués dans l'état de la technique. L'objet principal de cette invention est de
fournir une nouvelle technologie de puissance de moteur qui permettra de
réduire considérablement la pollution atmosphérique et le bruit, en fournissant
une source d'alimentation de moteur système scellé qui n'a pas d'évacuation ni
apport de ports. Puissance du moteur est
fournie en élargissant les atomes de divers mélanges de gaz noble. La pression des gaz augmente périodiquement
pour piloter les pistons et le vilebrequin dans le moteur de produire une puissance
rotative sûre. Les objets et les autres avantages de cette invention vont
devenir mieux compris à ceux du métier compte tenu des dessins annexés.
BRÈVE
DESCRIPTION DES DESSINS
Fig.1 est une vue
altitudinale de l'Assemblée de chambre de pression sphériques creuses, y
compris les sources des mélanges de gaz et de l'alimentation électrique :

Fig.2 est un point
de vue altitudinal de la course de puissance de moteur principal :

Fig.3 est un point
de vue altitudinal de la course de compression du moteur principal :

Fig.4 est une vue arrière altitudinale d'un six cylindres AEROPS :

Fig.5 est une vue de dessus du moteur six cylindres AEROPS :

Fig.6 est un schéma
électrique de la source de moyenne tension :

Fig.7 est un schéma
électrique de la source de haute tension :

DESCRIPTION DÉTAILLÉE

Se référant à la Fig.1,
des dessins, le moteur AEROPS comprend une chambre de pression sphériques creux
1 ayant une électrode de haute tension isolante 2 montée sur le
dessus, une électrode isolée de moyenne tension 3 montée sur la droite,
et un bon isolant au sol électrode 4 monté sur la gauche, comme illustré
dans ce point de vue particulier.
Électrodes, 2, 3 et 4 s'étendent à travers la paroi de la chambre
de pression sphériques creux 1 et chaque électrode forme un joint de
pression. Une pluralité de tubes creux 5
disposés selon un modèle cylindrique s'étendent à travers la paroi de la
chambre de pression sphériques creux 1 et chaque tube creux est soudée à
la chambre de pression pour former un joint de pression. Les extrémités opposées de tubes creux 5
s'étendent à travers la plaque de montage MP et sont soudés même pour
former un joint de pression. Une
pluralité d'ailettes de transfert thermique 6 sont soudés à intervalles
le long de ladite tubes creux 5.
Une surface de miroir réfléchissant lumineux 7 est fournie sur la
paroi intérieure de la chambre de pression sphériques creux 1. Périodiquement, une source de haute tension 8
est connectée aux électrodes haute tension isolés 2 et 4. Une source de moyenne tension 9 d'une
décharge de condensateur est connectée aux électrodes moyenne tension isolés 3
et 4. Une source de mélanges de gaz
noble 10, par exemple, xénon, krypton, l'hélium et mercure est appliquée
sous pression dans la chambre de pression sphériques creux 1 à travers
la soupape régulatrice de pression 11 et clapet 12.

Se référant maintenant
à Fig.2 des dessins, l'ensemble complet 13 illustré à la Fig.1
est monté sur le dessus de la bouteille 14 via MP de plaque de
montage. Les joints nécessaires ou
autres moyens sont fournis pour sceller le moteur et de prévenir la perte de
gaz dans l'atmosphère. Le piston 15 agrave
cylindre 14 a plusieurs anneaux 16 qui scellent contre la paroi
intérieure du cylindre. Le piston 15
est relié au vilebrequin 17 par bielle 18. La source des mélanges de gaz noble 10 est
appliquée sous pression dans le carter moteur 21 à travers la soupape
régulatrice de pression 11, clapet 12 et tube capillaire 19. Le piston 15 est maintenant équilibré
entre les pressions de gaz égal. En
supposant que le moteur est en marche et le piston 15 passe juste
"Top-Dead-Centre" ("TDC"), une source de tension moyenne
d'un système de décharge de condensateur 9 (Fig. 6, un article seul
condensateur typique) est appliquée aux électrodes 3 et 4. Une source d'impulsions haute tension d'une
bobine d'allumage standard 8 (comme indiqué dans la Fig.7) est
appliquée aux électrodes 2 et 4 et les gaz dans la chambre de pression
sphériques creux 1 sont ionisés et faits électriquement
conductrices. Une décharge électrique a
lieu entre 3 et 4 par les gaz dans la chambre de pression sphériques
creux 1 électrodes.
La décharge électrique
libère des photons de haute énergie sur beaucoup de différentes fréquences
électromagnétiques. Les photons grève
les atomes de divers gaz, par exemple, xénon, krypton, hélium et mercure à
différentes fréquences électromagnétiques à laquelle chaque atome est
sélectivement sensible et les atomes de chaque gaz sont excités. Les premiers photons émis sont reflétés dans
la masse des atomes excités par la surface réfléchissante du miroir 7. Cela déclenche des photons plus à être sorti
de ces atomes et ils sont reflétées de même de la surface du miroir 7 et
frapper d'autres atomes dans l'excitation et plus de photons sont libérées en
cours de réaction en chaîne. Les
électrons orbitant autour les protons de chaque atome excité augmentent vitesse
et étendre vers l'extérieur dans un nouveau modèle orbital en raison d'une
augmentation de la force centrifuge.
Par conséquent, une onde de pression est développée dans les gaz comme
étendre les atomes et la pression totale des gaz au sein de la pression
sphérique creuse chambre 1 augmente.
Car les gaz se dilate, ils passent à travers les tubes creux 5 et
appliquent une pression sur le dessus du piston 15. La pression pousse le piston 15 et la
force et du mouvement du piston est transmis par l'intermédiaire de la bielle 18
au vilebrequin 17 tournant dans le sens horaire. À ce stade de l'opération, la course de
puissance est terminée et le condensateur dans le système de décharge de
condensateur de moyenne tension 9 est déchargé. Les atomes excités retournent à la normale
état fondamental et les gaz retournent à la pression normale. Le condensateur dans le système de décharge
de condensateur de moyenne tension 9 est rechargé pendant la période de
temps entre les traits de puissance (TDC).

Se référant maintenant à Fig.3 des
dessins, la course de compression du moteur est indiquée. Dans ce cycle de moteur, les gaz au-dessus du
piston sont forcés dans la chambre de pression sphériques creux à travers les
tubes de l'Assemblée de transfert de chaleur.
Les gaz sont refroidis car la chaleur est menée sur les ailettes de
l'Assemblée de transfert de chaleur et emportée par un jet d'air en passant par
les ailettes. Un exemple est illustré à
la Fig.4, la pompe à air centrifuge P fournissant un jet d'air
sur comme les nageoires.

Certains des éléments de base de l'invention
énoncée à la Fig.1, Fig.2 et Fig.3 figurent désormais dans la Fig.4
et Fig.5 qui montrent tous les détails d'un moteur six cylindres opposés
horizontalement de AEROPS.
Se référant maintenant à la Fig.4 et Fig.5
des dessins. Fig.4 est une vue de
la partie arrière du moteur montrant le vilebrequin, l'axe central et deux des
cylindres opposés horizontalement. En
autant que l'arrière R moyen M sections et avant F du
moteur possèdent des caractéristiques identiques, seule la section de moteur
arrière R sera élaborée sur en détail afin d'éviter la répétition et
dans l'intérêt de la simplification. Le
vilebrequin 17 a se compose de trois manivelles espacées de 120 degrés
dans un cercle de 360 degrés, comme illustré.
Les deux bielles 18A et 18B sont connectés à la même
manivelle. Leurs extrémités opposées se connecter aux
pistons 15A et 15B, situés dans des cylindres 14A et 14B
respectivement. Chaque piston a
pression étanchéité bagues 16A et 16B.
Les assemblées de chambre de pression sphériques creux consistant en 1A
et 1D sont montées sur des cylindres de 14A et 14B par
l'intermédiaire de montage plaques MP.
Les joints nécessaires
sont fournis selon les besoins pour sceller les assemblys moteur complet de la
pression atmosphérique.

La source des mélanges
de gaz 10A est appliqué sous la soupape de régulation de la pression à
la pression de 11A et traverse clapet anti-retour 12A, au moyen
de clapet 12B pour la chambre de pression sphériques creux 1A et
clapet 12C à la pression sphérique creuse chambre 1D. Le réseau de flux de gaz constitué de tubes
capillaires ci-dessous point 19 a représente le flux de gaz vers
l'arrière de la section R du moteur.
La section médiane M et la section F du front ont tous
deux des réseaux d'écoulement de gaz identiques à celui composé de tubes
capillaires ci-dessous point 19A, tandis que le réseau d'écoulement de
gaz ci-dessus est commun à toutes les sections du moteur. Papillon des gaz 20A et la forme de
tubes reliant une dérivation variable entre pression sphérique creuse chambres 1A
et 1D à la vitesse de moteur de contrôle et de puissance. Sections du moteur R, M et F ont ce
réseau de gaz de dérivation. Les trois
papillons ont leurs arbres de contrôle ligués ensemble. Une source d'impulsions moyenne tension 9A est connectée aux
électrodes de moyenne tension 3A et 3D.
Dans un mode de réalisation particulière la moyenne tension est de 500
volts. Une source d'impulsions haute tension 8A est connectée à
l'électrode 2A travers le distributeur comme indiqué. Électrode 4A est connectée à un
terrain d'entente. Pompes centrifuges à
air P forcent l'air à travers la chaleur transfert nageoires 6A et 6b
pour refroidir les gaz qui circule dans les tubes 5A et 5B.
Fig.5 est une vue de dessus du moteur AEROPS montrant les six cylindres et
arrangement de vilebrequin consistant en l'arrière R moyen M
sections et avant F. Le
vilebrequin 17 a est monté sur roulements B et une garniture
multiples S est fournie ainsi que les joints nécessaires à d'autres
endroits pour prévenir la perte de gaz dans l'atmosphère. La pression sphérique creuse chambres 1A, 1B,
1C, 1D, 1E et 1F sont indiquées en détail avec des électrodes haute tension
2A, 2B, 2C, 2D, 2E, 2F et moyenne tension électrodes 3A, 3B, 3C, 3E
et 3F. La commune au sol électrodes
4A, 4B, 4C, 4D, 4E, 4F n'apparaissent pas dans la Fig.5, mais
sont typiques du terrain électrodes 4A et 4D, illustré à la Fig.4.
Il est à noter que les manivelles sur vilebrequin 17A sont disposées de
manière à fournir des cylindres directement opposées plutôt qu'un moteur
conventionnel cylindres décalés.

Fig.6 est un schéma
électrique de la source de moyenne tension 9A. L'opération complète du convertisseur
s'explique comme suit : la tension de la batterie 12 V CC est appliqué au
transformateur T1, ce qui provoque des courants de passer à travers des
résistances R1, R2, R3 et R4.
Puisqu'il n'est pas possible pour ces deux chemins d'être exactement
égale à la résistance, la moitié de l'enroulement primaire de T1 aura un
courant un peu plus élevé. En supposant
que le courant qui traverse la partie supérieure de la moitié de l'enroulement
primaire est légèrement plus élevé que le courant qui traverse la partie
inférieure, les tensions développées dans les enroulements de deux commentaires
(les extrémités connectées à R3 et R2) ont tendance à tourner le
transistor Q2 sur et transistor Q1 au large. La conduction accrue de Q2 provoque
supplémentaire courant de circuler à travers la partie inférieure de
l'enroulement primaire du transformateur.
L'augmentation du courant induit des tensions dans les enroulements de
rétroaction qui pousse plus loin Q2 en conduction et Q1 en
coupure, transmission d'énergie en même temps à l'enseignement secondaire de T1. Lorsque le courant qui traverse la partie
inférieure du primaire enroulement du T1 atteint un point où il peut
augmenter n'est plus en raison de la résistance du circuit primaire et
saturation du noyau du transformateur, le signal appliqué à transistor de la
rétroaction bobinage tombe à zéro, éteignant ainsi Q2. Le courant dans cette partie de
l'enroulement primaire tombe immédiatement, provoquant un effondrement du champ
sur les enroulements de T1. Cet
effondrement dans le flux du champ, recoupant tous les enroulements du transformateur,
développe les tensions dans les bobinages du transformateur qui sont opposées à
la polarité de la tension développée par le champ d'origine. Cette nouvelle tension maintenant disques Q2 en coupure et
disques Q1 en conduction. Le
domaine s'effondrent en même temps fournit la puissance aux enroulements
secondaires L1, L2, L3, L4, L5 et L6.
La tension de sortie de chaque enroulement est connectée par le biais de
redresseurs de résistances R5, R6 et R7 et diode D1, D2, D3, D4, D5
et D6, respectivement, auquel cas les condensateurs C1, C2, C3, C4, C5
et C6 sont chargés avec un potentiel de moyenne tension de la polarité
indiquée. La tension de sortie est
mises à disposition aux points 3A, 3B, 3C, 3D, 3E et 3F qui sont reliés
à des électrodes de moyenne tension respectives sur le moteur, illustré à la Fig.4
et Fig.5.

Se référant maintenant à Fig.7 des
dessins, un système d'allumage conventionnel " Kettering " fournit
une source d'impulsions haute tension 8A environ 40 000 volts à un
distributeur, qui fournit une sortie tension sélective à 2A, 2B, 2C, 2D, 2E
et 2F, qui sont reliés à des électrodes haute tension respectives sur le
moteur, illustré à la Fig.4 et Fig.5.
Le serveur de distribution est entraînée par le vilebrequin du moteur 17A
(Fig.5) à un rapport de démultiplication mécanique un à un.
Se référant à nouveau à
la Fig.4 et Fig.5 des dessins, le fonctionnement du moteur est la
suivante : en supposant qu'une source de mélanges de gaz rares, par exemple,
xénon, krypton, l'hélium et mercure est appliquée sous pression à la pression
sphérique creuse chambres 1A, 1B, 1C, 1D, 1E et 1F et en interne dans le
carter, 21A, à travers la soupape régulatrice de pression 11A et
cocher vannes 12A, 12B et 12C ; et la source de moyenne tension 9A
est appliquée aux électrodes 3A, 3B, 3C, 3D, 3E et 3F ; et une source
d'impulsion haute tension 8A est appliquée à l'électrode 2A par
le distributeur de chronométrage, les mélanges de gaz dans la chambre de
pression sphériques creux 1A est ionisé et une décharge électrique se
produit immédiatement entre 4A et 3A électrodes.
Photons de haute
énergie sont libérés sur beaucoup de différentes fréquences
électromagnétiques. Les photons grève
les atomes de divers gaz, par exemple, xénon, krypton, hélium et mercure à
différentes fréquences électromagnétiques auxquelles chacun est
particulièrement sensible et les atomes de chaque gaz sont excités. Les premiers photons émis sont reflétées
dans la masse des atomes excités par la surface interne de miroir réfléchissant
à l'intérieur le mur de la chambre de pression sphériques creux 1A. Cela déclenche des photons plus à être sorti
de ces atomes et ils figurent de même de la surface du miroir et de frapper
d'autres atomes dans l'excitation et plus de photons sont libérées en cours de
réaction en chaîne. Les électrons
orbitant autour les protons de chaque atome excité dans la chambre de pression
sphériques creux 1A augmentent de la vitesse et étendre vers l'extérieur
dans un nouveau modèle orbital en raison d'une augmentation de la force
centrifuge. Par conséquent, une onde de
pression est développée dans les gaz comme les atomes développez et augmente la
pression totale des gaz dans la chambre de pression sphériques creux 1A.
Comme les gaz se dilatent lorsqu'ils passent à
travers le tube creux 5A application de pression sur la partie
supérieure du piston 15A. La
pression appliquée au piston 15A est transmis par la bielle 18A à 17A
du vilebrequin tournant dans le sens des aiguilles d'une montre. Comme le vilebrequin tourne 17A, il
pousse le piston 15B par l'intermédiaire de la bielle 18B dans le
sens d'une course de compression, ce qui oblige les gaz sur le haut du piston
par l'intermédiaire des tubes creux 5B dans le creux sphérique chambre
de pression 1D. Comme les gaz
passent à travers le tube creux 5A et 5B de la chaleur contenue dans les
gaz est amené dans la ailettes de transfert de chaleur 6A et 6B, où il
est dissipée par un jet d'air passant à travers lesdites ailettes de l'air
pompes centrifuges P. A ce point
de fonctionnement de la course de puissance du piston 15A est terminée
et que le condensateur dans le système de décharge du condensateur à moyenne
tension 9A est déchargé. Les
atomes excités reviennent à l'état normal du sol et les gaz reviennent au
niveau de la pression normale. Le
condensateur dans le système de décharge du condensateur à moyenne tension 9A
est rechargée durant la période de temps entre les coups de piston de
puissance 15A.
Le cycle de la course de puissance ci-dessus se produit
exactement le même dans les autres cylindres que l'ordre d'allumage à haute
tension par rapport à la progression de la position du commutateur de
distribution. Dans la mesure où le
moteur délivre AEROPS six temps moteur par tour de vilebrequin unique, le
vilebrequin entraîne le rotor du distributeur à un rapport de une à une de
l'arbre. La haute tension ordre
d'allumage complet est de 1, 4, 5, 2, 3, 6, tandis que la haute tension est
appliquée aux électrodes 2A, 2B, 2C, 2D, 2E et 2F respectivement. Un moyen de contrôler la vitesse du moteur
et la puissance est fournie par une pluralité de vannes de régulation et
d'étranglement des tubes de liaison, qui forment un pontage entre les creux
opposés des chambres de pression sphériques de chaque section de moteur.
Le moteur AEROPS comme décrit ci-dessus fournit une
source d'alimentation de l'unité scellée qui n'a pas d'entrée d'air
d'échappement, ni émission atmosphérique et est donc exempt de pollution.
Récemment, des
informations supplémentaires sur le périphérique de Floyd Sweet, a été libéré
au public par un associé de Floyd qui va juste par son petit nom de « Maurice »
et qui, ayant atteint l'âge de soixante-dix ans a décidé qu'il est temps de
libérer ces informations supplémentaires.
Maurice dit : après avoir observé les
observations faites durant l'année écoulée concernant le dispositif Sweet-ADV
de l'énergie, j'ai décidé de " sortir de la menuiserie " et expliquer
ce qui n'est fondamentalement pas connus concernant Floyd Sweet ("
flammèche ") et son dispositif d'énergie.
N'oubliez pas que j'ai 70 ans, tout à fait
informatiquement illettré, mes antécédents étant principalement politique
Science (diplôme d'études supérieures) ; consulte les législatures d'État ;
Santé mentale (ancien directeur exécutif de cinq cliniques) ; et, l'acquisition
de capital-risque pour haute tech. matériel (équipement médical) et divers
projets. Mon histoire est très inhabituel et
étrange, mais, néanmoins vrai ! À mon
âge, j'ai personne pour impressionner par ce que je vais vous dire. Mon seul intérêt est de corriger l'erreur si
possible et faire connaître certains renseignements !
N'oubliez pas, que je n'ai jamais eu un
enseignement en électronique. Il
s'agissait d'un vrai avantage pour moi car je n'avais pas tout principe
électrique que je devais apprendre UN dans tout ce qui nous a dit Floyd. Malheureusement, un de mes frères qui formés
depuis 35 ans dans l'électronique a été " soufflé " quand Floyd lui a
dit que " il avait besoin inverser les concepts qu'il a appris sur
l'action d'un électron et la traiter comme si c'était positif ". Donc, pour la modélisation de Sparky, les
électrons ont été coulant et agissant dans la direction opposée à ce qui était
normalement modélisé par un physicien formé.
Voir ce que je veux dire ? Le doyen de la School of Science du MIT qui
a vérifié que Sparky possédaient un diplôme MSEE et arrive troisième de sa
classe de plus de deux cents.
Espérons que les chercheurs sincères sera en
mesure d'obtenir des informations utiles dans ce que j'ai tenter d'expliquer à
l'avenir qui leur permettront de reproduire ce que Floyd avait. À cet égard, un jour après que Floyd avait à
plusieurs reprises m'a demandé : "
Qu'est ce périphérique Maurice? " et j'ai à plusieurs reprises lui a donné
la mauvaise réponse, disant que c'était un dispositif de l'énergie, j'ai enfin
compris que ce qui était important pour lui était qu'il considérait que le
périphérique soit une MACHINE de temps - son accent n'était pas sur l'énergie. Il m'a
dit jamais d'oublier que le plus important était que l'appareil était un "
Time Machine ".
Maurice attire l'attention sur le fait que Floyd Sweet a obtenu son
diplôme en 1969 comme un M.S.E.E. de l'Institut de technologie du
Maurice dit : John, mes deux frères et moi avons
été impliqués avec dans le domaine de la haute technologie réalisé en environ
1988 que mon frère, qui était un médecin (médecin, frère), était intéressé par
des dispositifs d'énergie négative pour le traitement du corps physique
(similaire aux Machines de fréquences Rife/Tesla). John avait auparavant travaillé à la NASA
avec Floyd Sweet. John vit en
Californie, à proximité de Floyd (Sherman Oaks).
Mon frère médecin et moi avons été vorstellen
Floyd par John et nous avons attendu patiemment le temps où nous pouvions voir
le dispositif de l'aire tegmentale ventrale.
Nous l'avons vu sur la table dans sa maison au cours de visites diverses,
mais il ne fonctionnait pas. Floyd a
été comme beaucoup d'inventeurs qui ont joué le jeux avec vous. Chaque fois que nous conduirait à 13 heures
pour lui voir la réflexion, nous avons pu voir le fonctionnement du dispositif,
mais il aurait une excuse pour ne pas mettre en
Lors d'une visite, j'ai regardé Floyd et il a été " montrer "
son aimant de barre de Ferrite de baryum.
L'aimant est environ 1/2 pouce d'épaisseur, 7 pouces long et large de 3
pouces. Il avait un petit morceau de métal qui se tenait debout sur le dessus de
l'aimant à un angle de 45 degrés. Je me
souviens bien, il a affirmé que l'angle de 45 degrés était nécessaire dans le
traitement de l'aimant afin qu'il pouvait capter des ondes scalaires. Les aimants fonctionnaient
principalement comme une « barrière » pour les ondes scalaires. En outre, si
vous avez placé un morceau de minces " souple " (type de ruban) métal
plaque sur le dessus de l'aimant, au milieu du métal " ruban " serait
" aspiré vers le bas " plat au milieu de l'aimant et les deux
extrémités du métal " ruban " pourraient être s'inclina en place à
chaque extrémité de l'aimant. Aussi,
j'ai compris depuis un autre inventeur qui nous introduit plus tard à Floyd,
que la conception de " huit " (flux flux?) sur le dessus de l'aimant
a joué un rôle important dans le fonctionnement de l'aimant - je ne sais pas
vraiment sur le concept et ne peut pas relayer des informations
supplémentaires.
Sur une autre visite, Floyd a démontré le flux
qui coule de l'aimant. Il avait un
écran de télévision et il placerait l'aimant par l'écran et on pouvait voir
toutes les belles couleurs du flux telle qu'elle a traversé l'écran du moniteur. Mon frère électronique m'a dit que Floyd lui
avait dit qu'il avait un moyen de traiter l'aimant en étalonnant l'angle de
l'onde scalaire en utilisant le moniteur TV.
Une note de côté, c'est que Floyd heureux en disant aux gens, quand ils
ont demandé comment il a traité ses aimants, ils devraient obtenir les aimants
réel chaud tout d'abord. Cela
apparemment " foiré " le magnétisme, et il a aimé faire cela pour une
raison étrange !
Enfin, après 12 voyages à travers le désert de Californie, Floyd a accepté
de nous montrer l'appareil en fonctionnement.
Pour sa défense, Floyd
prétendait-il que sur certains plus tôt prévu démonstrations que ses aimants
avaient été " pulvérisés " par des tremblements de terre
artificielles à venir à travers le Mexique.
Il a conçu quelque type de tampon non contrôlé dans l'appareil qui a
éliminé le problème, mais, c'était un problème en cours pendant un certain
temps. Cela me rappelle maintenant que
je dois ouvrir une parenthèse car j'ai besoin de vous parler de gouvernement
(ou de qui?) implication avec nous.
Lorsque nous avons commencé à visiter les Floyd,
nos téléphones étaient tous " tapés " - je ne sais pas par qui. Mon frère électronique travaillé à temps
plein avec la garde nationale aérienne et sa spécialité était électronique
sécurité, chiffrement, etc. déprendre de SAC bases dans notre région et les
États environnants. En outre, il avait
mise en place la " salle blanche " pour le Président des États-Unis quand
il a visité notre état. Je mentionne
cela parce que même mon frère électronique était douteux au début que nous
étions tous surveillés. Une fois, mon
frère médecin avait sa conversation téléphonique préalable complète lue sur lui
quand il a répondu au téléphone (vingt minutes plus tard) - je pense que
c'était probablement une sorte de " vis-up " par celui qui
surveillait nos téléphones. Mon plus
gros reproche correspondait le matin 03 appel, puis un " raccrocher "
lorsque vous avez répondu - pour quelle raison je ne sais pas autrement que
pour des fins de harcèlement.
Je vous donne les informations ci-dessus afin que
vous puissiez comprendre la gravité de ce que nous avons participé avec.
Dispositif d'énergie Floyd a été principalement
trois choses :
(1) Il était un dispositif de guérison - électricité
négative - temps négatif. En théorie,
vous pouvez re-définir le modèle de votre ADN avec cette source d'énergie et
donc de nettoyer le corps de toutes les impuretés que vos ancêtres ont acquis
au fil du temps. En outre, vous pouvez
tuer la maladie actuelle (virus / bactéries) dans le corps en utilisant les
bonnes fréquences, et cela n'a pas déranger les autres cellules du corps. C'est pourquoi Floyd besoin de mon
frère médecin pour l'aider à arriver au protocole médical approprié pour l'utilisation
de sa technologie. En outre, si vous notez dans les dépenses de
personnel attachement de cet e-mail, un seul poste de dépenses est pour les
matériaux liés au sida dans lequel Floyd et mon frère médecin, ont un réel
intérêt. Mon frère médecin avait conclu
un accord avec Floyd à la construction de trois interféromètres médicaux qui
devraient tous un plasma de gaz noble à l'intérieur. En fait, j'ai été témoin de l'un de ces
appareils en fonctionnement. A la fin
de la (longue d'environ 20 pouces) la structure en forme de tube, vous pouvez
ressentir une pulsation émise à la fin du tube sur n'importe quelle partie du
corps que vous vouliez traité. Mon
frère médecin avait ordonné deux interféromètres de Floyd qui étaient d'environ
4 pieds de long.
(2) Le dispositif d'énergie VTA est probablement
pire arme du monde. Floyd a affirmé que
Nicola Tesla comme, vous pourriez causer des tremblements de terre
"artificiels" - en plus de détruire des bâtiments. Si j'ai bien compris de gens dans le monde
de l'intelligence, qui nous dé-briefés après avoir vu l'appareil fonctionne,
trois pays ont ce qu'on appelle le "canon Tesla"; Russie, en Amérique
et je n'ai jamais trouvé qui est le pays tiers était. Comme mentionné précédemment, cette source
d'énergie est ce que l'équipement VTA de Floyd désactivé pendant plusieurs mois
jusqu'à ce qu'il obtienne son " tampon " intégré dans son
dispositif. En outre, c'est pourquoi le
gouvernement fédéral a eu un tel intérêt dans ce que nous faisions avec Floyd
pendant le temps que nous avons passé avec lui.
(3) Le dispositif était une source d'énergie pour
la maison (il pouvait changer l'énergie négative en énergie positive). Il est également une source d'énergie pour la
voiture et de nombreuses autres fins. Le
coût de construction de ces dispositifs d'énergie n'était que d'environ US $
200.00 - incroyable!
Description de
l'appareil VTA:
Le jour où nous avons enfin pu voir le dispositif
d'exploitation, mon frère médecin et moi avons finalement convaincu mon frère
électronique pour nous accompagner à Sherman Oaks, en Californie pour voir la
démonstration. Mon frère médecin, et
j'avais fait tous les voyages préliminaires pour voir Floyd moins notre frère
de l'électronique parce qu'il était littéralement une " Thomas l'incrédule
", étant fortement impliqué dans le domaine de l'électronique et complète
des théories de Maxwell de l'électronique, etc Oui, on peut dire qu'il était
électroniques personne traditionnelle.
Mais, pour cette raison, nous avions besoin de mon frère électronique à
notre démolisseur dans le cas où le dispositif n'a pas été ce qu'il a été
dépeint comme. Nous avons eu un autre
témoin "Gary", un de mes associés qui était d'apporter dans le financement
de capital de risque si le dispositif s'est avéré être aussi bon que
revendiquée.
Le jour où nous avons assisté à l'exploitation de l'appareil VTA est un
jour que je n'oublierai jamais. Pour
voir réellement un travail de l'appareil, qui coûte seulement 200 dollars à
faire et qui pourrait créer toute l'énergie propre que vous avez besoin, était
" génial ". Je sais que j'ai été " modifié " depuis
sachant qu'un tel dispositif existait. Maintenant,
pour une brève description de l'appareil :
Ce ne sont pas des mesures exactes mais seulement des
approximations. Le dispositif était sur ce que je crois être " Plexiglas "
(acrylique). Rien n'était caché. Vous pouvez tout voir, en haut et en bas à
travers le plastique. La structure de
verre Plexi était d'environ 18 pouces carré.
Nous avons été autorisés à ramasser l'appareil et le porter autour salon
de Floyd de sorte que vous pouvez voir qu'il n'y avait pas d'autres connexions
électriques à elle.
En plus de la vitrine Plexi il y avait trois
bobines toroïdales plaies avec de fines enroulements de fil de cuivre
verni. Il y avait deux barreaux
magnétiques de ferrite de baryum (à. 7 pouces x 3 pouces x 1/2 pouce). Présent est un voltmètre qui s'affiche 120V
lorsque l'appareil a été allumé. En
outre, il y avait un ampèremètre qui mesure les courants électriques circulant
quand Floyd mis des choses différentes sur-et-de lors de la manifestation. Les éléments utilisés pour la charge
démonstration inclus la partie du brûleur de la cuisinière, d'un sèche-cheveux,
d'un ventilateur, et cinq cent watts lumières globe. Ce qui est fascinant pour moi sur la démo
lumière était que les lumières avaient une lueur comme les plafonniers dans
votre cuisine - un aspect très doux COOL.
Pas l'apparence d'une ampoule lumineuse traditionnelle telle que vous
avez dans votre lampe sur un support traditionnel de la nuit.
J'ai oublié de mentionner que le dispositif a été
lancé par la fixation d'une pile de 9 volts qui, je crois, commencé le flux
magnétique en mouvement. Floyd puis
connectez la "queue de cochon" sur l'appareil et il deviendrait une
seule unité d'énergie circulaire.
Comme Floyd mis plus de charge sur l'appareil, la
température ambiante autour de l'appareil (bobines) serait de commencer à
obtenir plus faible. De plus, selon la
quantité de charge que vous avez ajouté, le dispositif commencerait à perdre
une partie de son poids et vous alors eu lévitation commencent à avoir
lieu. Je tiens à souligner à ce stade
que sur une réunion avec Floyd, son épouse Rose, a utilisé des jurons en
racontant comment, un jour, Floyd a gardé ajoutant plus-et-plus de charge de
l'appareil et il a presque " ramené ". Le complexe d'appartements il a vécu en à
Sherman Oaks. Il éteint l'équipement,
sortit sur son patio et a prétendu que c'était un tremblement de terre en
Californie! Ses
voisins n'ont jamais savoir ce qu'il avait dans son appartement. À cet égard,
je n'ai jamais su ce que la grande pièce d'équipement était dans sa
chambre. Il littéralement tendu entre
le plafond et le sol. Il était si lourd
que le plancher était courbée en contrebas et et que " big sucker "
avait un grognement quand il était sur - Je n'ai jamais savoir de quoi il
s'agissait. Il était grand comme une
sorte de transformateur.
Le Reste de L'histoire:
Vous vous demandez probablement ce que l'article
sur Ron Brandt est sur. C'est une
longue histoire, mais après je me suis déplacé Ron et son laboratoire tout le
chemin de la bouche du parc national de Zion pour " quelque part "
Oregon lui cacher - qu'il utilisait " Tachyon Beams " avec son
matériel médical et après seulement quelques minutes, les " hélicoptères
noirs " se présentaient -. soooo à la demande de mon frère médecin, je me
suis déplacé à Ron de l'Oregon a l'époque je pensais que Ron était un "
vrai flocon " parce que quand je l'ai aidé à transmettre son courrier
d'une petite ville dans sud de l'Utah...
il m'a demandé comment épeler le mot " électrique " pour qu'il
puisse mettre en l'adresse complète du " Brandt électrique " en
outre, Ron dit qu'il était seulement ici sur cette terre jusqu'en 2012 - Il est
désormais 1987-1988 - et puis il avait laisser aller sur une autre
planète! Je voulais maintenant de tirer mon
frère médecin qui m'a fait entrer dans cette chose mobile-Ron! mon frère
médecin m'a dit que Ron devait aller vite car Ron lui avait dit qu'un
tremblement de terre venait à l'prochains jours - Droit!
Eh bien, devinez ce qui est arrivé quelques jours
plus tard? Le plus grand tremblement de
terre depuis de nombreuses années dans ce lieu particulier a eu lieu et il a
même essuyé les sources d'eau chaude dans les stations le long de la Virgin
River qui traverse le parc national de Zion et à travers la petite ville de la
Vierge où Ron a vécu. I depuis
découvert que Ron avait inventé l'équipement de tremblement de terre avec
(l'inventeur de la télévision) de Philo T. Farnsworth petit-fils et de six mois
à venir, ils avaient effectivement prédit le grand tremblement de terre en
Californie précédente et leur prédiction était hors de seulement six minutes! Le gouvernement insiste sur le fait qu'ils
veulent de l'équipement, de sorte que c'est l'une des raisons pour tout le
monde " se cachent ".
Maintenant, pourquoi je vous donne toutes ces informations préliminaires
concernant Ron Brandt? Eh bien, il semble que Ron a un moteur à aimant qui
pèse seulement 75 kilos et qui peut générer une puissance équivalente à celle
d'un moteur à combustion interne de 300 chevaux. En outre, le moteur peut être un rétro-fit
dans une voiture existante sans la nécessité de concevoir une toute nouvelle
voiture. C'est le propos, je vais vous
expliquer plus tard au sujet de Ron qui ne pouvaient même pas épeler le mot
" électrique " et Floyd qui a été placé 3ème dans toutes les inventions
à venir jamais sur MIT - Tout ce que je peux dire, c'est "WOW"!
ÉVÉNEMENTS ENTOURANT LA MORT DE
FLOYD :
Je vais maintenant laisser à vous de décider si
oui ou non Floyd est mort de causes naturelles ou a été tué par une personne,
un groupe, ou un gouvernement.
À l'été 1994, mon frère médecin, tout à coup
" évanoui " à une de nos réunions de capital-risque et a été
transporté à l'hôpital. Après une IRM
de la tête, il a été découvert qu'il avait une tumeur au cerveau et il était de
la pire espèce (de croissance très rapide).
Cela semblait impossible que mon frère médecin a toujours suivi son corps
tous les jours comme il l'a fait une expérience sur lui-même de temps en temps
avec certains médicaments. Avant le 11
Novembre 1994, mon médecin frère était mort.
Il nous a dit avant sa mort que " ils " (celui qui " ils
" ont été) avaient réussi à placer la tumeur cancéreuse la plus forte
croissance dans son cerveau - Comment? - Je n'ai aucune idée! Je n'ai jamais
su. Ce qui est important dans le
domaine de l'énergie libre, c'est que mon frère médecin était en contact
quotidien avec Floyd et ses associés en ce qui concerne les dispositifs
d'énergie. Je n'étais pas si important
que cela et, fondamentalement, ne accompagné mon frère médecin, à des réunions
et la nature des " s'est perdu dans le travail du bois ". Intellectuellement, je n'étais pas vraiment
une menace pour quiconque. Je n'étais
là que lors des réunions pour aider à acquérir le capital-risque.
Le jour même que mon médecin frère est mort, ma
électronique frère et moi étions à la maison de John, (l'associé de Floyd de la
NASA) qui, pour une raison étrange, avait suivi mes frères et moi à notre ville
d'accueil où nous vivions, ont acheté une maison et a pris résidence. Nous n'avons pas me plaindre car il
était notre intermédiaire auprès Floyd.
Mais le mouvement semble encore étrange pour moi. La raison de mon électronique frère et moi
étions avec John, c'est que John avait organisé une conférence téléphonique
avec Floyd et nous, pour voir s'il y avait une possibilité pour Floyd de faire
un certain type de dispositif d'énergie qui pourraient alimenter le moteur à
aimant que Ron Brandt avait. Mes frères
et moi avons eu tous les droits contractuels à moteur à aimant de Ron qui
pourraient être utilisés dans n'importe quelle voiture. Je me suis dit que maintenant, je ne peux
vraiment savoir comment " vrai " Ron (qui ne pouvait même pas épeler
le mot " électrique ") était quand je l'ai jumelé avec Floyd du MIT. Je ne pouvais
pas croire ce que j'ai entendu que Floyd et Ron parlaient aux niveaux les plus
élevés électroniques - "? Qui le " enfer " est Ron Je
pensais. Floyd convenu qu'il n'aurait
aucun problème à faire le prototype de moteur à aimant de Ron pour alimenter la
voiture.
Floyd a principalement travaillé avec mon frère
électronique sur ce projet comme Floyd nécessaire tubes à vide vieux que mon
frère avait l'électronique à acquérir pour l'appareil et mon frère
l'électronique a été un véritable " banc " personne qui Floyd
semblait favoriser cours universitaires Electrical Engineers.
Au printemps de 1995, alors que Floyd a travaillé
sur notre dispositif d'énergie pour la voiture, John (de la NASA) et Floyd ont
été exaltés qu'il devait y avoir une annonce de la Maison Blanche concernant
l'appareil VTA énergie Floyd. Il semble
que Floyd était un ami passé du sénateur John Glen (l'ancien astronaute de la
NASA) et qu'il avait donné Glen un des dispositifs d'énergie. Malheureusement,
Glen a donné l'appareil au ministère de l'Énergie, qui, selon Floyd, est décédé
le dispositif à General Motors. Floyd
était furieux et comme je l'ai entendu Floyd a ensuite va poursuivre GM pour
deux cents millions de dollars. Pour
autant que je sais Floyd n'a jamais eu l'appareil vers l'arrière. Je me souviendrai toujours de l'extrême
déception sur les visages de Floyd et John quand ils ont réalisé que le voyage
à Washington DC pour l'annonce, n'allait pas avoir lieu.
En Juillet 1995, Floyd nous fait savoir que l'appareil de l'énergie était
fini et nous avons à en prendre possession.
Floyd vivait maintenant à Desert Palms, en Californie et c'est là que
nous ramasser. Après mûre réflexion,
nous avons décidé de ne pas mieux à bord d'un avion avec le dispositif que nous
n'étions pas sûrs des effets magnétiques sur les instruments de l'avion à
l'avoir transporté - il était une nouvelle technologie qui a encore beaucoup de
questions sans réponse. Au lieu de cela, nous avons décidé de conduire notre
voiture pour Desert Palms et remettez le périphérique en nous-mêmes.
Floyd nous a appelé la veille de notre départ et
nous a demandé s'il pouvait garder l'appareil pour un couple de jours
supplémentaires. Il a dit qu'il avait
«quelqu'un» à venir (je pensais qu'il avait dit la Chine) et voulait leur
montrer le dispositif. Nous
avons dit ok, nous aurions l'intention de le ramasser quand il a été fait.
Un jour plus tard, au moment sur 7h00 du Pacifique, il y avait un appel
affolé de la femme de Floyd Violet (la femme de Floyd Rose était mort et qu'il
avait remarié) à la maison de mon frère électronique. Mon frère électronique n'était pas à la
maison et ma belle-sœur, sa femme, a pris l'appel de Violet. Violet a été très traumatisée quand elle a
dit à ma belle-sœur que Floyd était mort.
Il y avait beaucoup de cris se
passe en arrière-plan. Les gens qui
étaient là ont affirmé qu'ils étaient du FBI et que l'équipement de Floyd leur
appartenait. Rose était extrêmement
confuse avec la mort de Floyd et les gens qu'elle n'avait jamais vu avant de
prendre tout l'équipement de sa maison de camionnettes d'attente. Elle a demandé à ma sœur-frère ce qu'il faut
faire et ma belle-sœur n'avait aucune idée comme elle n'était pas au courant de
ce que mes frères et j'ai dû aller sur!
Violet a également déclaré que sur 17h00 la nuit
précédente, deux hommes qu'elle n'avait jamais vu auparavant, ont montré
jusqu'à voir Floyd. Floyd
était avec eux pour une période de temps et puis ils sont partis. Vers 20h00,
Floyd a été d'avoir une tasse de café quand il est tombé de la chaise sur le
sol. Elle a appelé une ambulance et
quand ils sont arrivés, ils ne la laisserait pas monter avec eux. Violet était âgé de 75 ans et ne pas
conduire. Une vingtaine de minutes plus
tard, l'ambulance a rappelé à Violet et lui a dit qu'ils ne pensaient pas Floyd
allait "faire" !! Si je comprends bien, le corps de Floyd a été
incinéré. Combien de temps après, je ne
sais pas. Le résultat final pour mes
frères et moi, c'est que l'ensemble de nos équipements d'énergie que Floyd a
fait pour nous a été pris - Par qui ??
Qui étaient les deux hommes qui ont rencontré
Floyd quelques heures avant sa mort?
Tout a été mis dans le café de Floyd par ces hommes? Violet dit qu'elle n'avait jamais
vu auparavant et ils avaient l'air étrange!
Pourquoi pourrait Violet pas aller avec son mari dans l'ambulance? Je l'ai vu
arriver plusieurs fois lorsque la famille est autorisé, en particulier là où
l'âge est concerné!
Comment le FBI (si c'est ce qu'ils étaient) ne
savait que Floyd était mort et se présentent très tôt le matin (environ 6h00)
quelques heures seulement après sa mort tard dans la nuit?
VOUS SOYEZ LE JUGE - TOUT CE QUE JE SAIS EST QUE TOUS NOS APPAREILS
D'ÉNERGIE (MÉDICAL ET MOTEUR DE VOITURE-AIMANT) ONT DISPARU!!! OÙ SONT-ILS ET
QUI SONT LES RESPONSABLES DE LA PRENDRE??
Voici quelques-uns des
faits connus sur le dispositif d'énergie Floyd :
L'invention est un dispositif unifié champ et donc combine deux effets
électromagnétiques et gravitationnelles dans la même unité. Pour une entrée de puissance minime de 0,31
milliwatt, l'unité produit plus de 500 watts de puissance de sortie, ce qui est
un gain d'énergie de plus de 1,5 millions.
Le prototype, n'a pas de pièces mobiles, est d'environ 6 pouces x 6
pouces x 4 pouces de taille et robinets d'une source d'énergie
inépuisable. À ce jour, jusqu'à un
kilowatt d'énergie a été produite dans des essais réels, qui n'exigeaient que
la puissance d'entrée minuscule de rendre le dispositif fonctionne.
Notre énergie normale au jour le jour est " énergie positive ". L'énergie produite par le dispositif de
Floyd est " énergie négative ", mais en dépit de cela, il les
pouvoirs de l'équipement ordinaire, produisant une lumière et de chaleur
normale. Un dispositif de ce type doit
avoir un impact majeur sur le monde tel que nous le connaissons, parce que :
1. Il
peut être facilement construit. Les
composants sont tout à fait ordinaire et le coût des matériaux utilisés dans le
prototype de démonstration était seulement quelques centaines de dollars
américains et il a été construit en seulement quelques heures, en utilisant des
outils et des équipements simples.
2. Les
résultats des tests sont tellement impressionnant qu'il ne peut être question
d'erreurs de mesure lorsque le gain d'énergie est de l'ordre de 1,5 millions de
fois.
3. Il démontre avec une précision de laboratoire que la " loi "
de conservation de l'énergie ne semble pas s'appliquer lors de l'opération de
cet appareil, qui est quelque chose que la plupart des scientifiques ont du mal
à accepter.
L'appareil dispose de très haute performance. Quand une onde sinusoïdale de 1
milliwatt-60Hz est alimenté en elle, la mise en puissances de 500 watts
d'ampoules standards de lumière tension secteur, produisant à la fois chaleur
et la lumière. Le dispositif comprend
une boucle à rétroaction positive afin de gain est elle dépend directement de
la charge de sortie et la puissance d'entrée reste inchangé. Donc, pour augmenter la puissance de sortie,
tout ce qui est nécessaire est de connecter les ampoules ou des équipements
d'éclairage supplémentaires sur la sortie.
Quand un moteur est relié en outre les ampoules, le moteur reçoit
parfaitement bien sous charge et les ampoules restait aussi brillante que
jamais. Parce que c'est un dispositif
" d'électricité froid ", les fils d'alimentation de la charge peuvent
être très diamètre beaucoup plus petit que ce qui serait normal pour la charge
et ces fils de fonctionner froid en tout temps. Lorsque la puissance frappe la résistance
des filaments des ampoules, il se transforme en " électricité chaud "
classique et les filaments effectuer exactement de la même manière qu'ils le
font lorsqu'il est alimenté par " électricité chaud ".
En 1988, Floyd a
produit un document qu'il considère comme très important. Le texte qui suit est une tentative de
reproduire le contenu de son style très mathématique de présentation. Si vous n'êtes pas dans des présentations
mathématiques compliquées, alors il suffit de déplacer sur le passé et ne vous
inquiétez pas sur le matériel technique suivant, ou encore, prendre une écrémé
rapide à travers elle et ne vous embêtez pas avec les mathématiques. Floyd dit :
Ce qui
est considéré comme " espace vide " contient en fait presque tout
dans l'univers. Il est le foyer de toutes sortes de champs d'énergie invisibles et
grouille de toutes sortes de forces très réelles.
Chaque type de matière produit un champ d'énergie et les champs d'énergie
interagissent les uns avec les autres de plusieurs façons compliquées, la
production de toutes sortes d'effets supplémentaires. Ces champs d'énergie sont les «trucs» de
l'espace, ou comme il est parfois décrit, " le vide virtuel ". L'espace est rempli de toutes sortes de
choses, mais parce qu'il ne contient pas d'air, nous avons tendance à penser qu'il
n'y a rien du tout en elle. La plupart des gens pensent que " vide "
signifie " sans air ", mais lorsque les scientifiques parlent de
l'espace comme " le vide ", ils ne signifient pas que du tout, et ils
utilisent le mot " vide " pour décrire à décrire (parlant vaguement)
la place qui est entre les étoiles et les planètes de l'univers, et Floyd se
réfère à ce vaste lieu comme " le vide ", donc s'il vous plaît ne
pense pas que cela ait quelque chose à voir avec l'air, comme il le fait pas
vraiment.
Floyd dit : Nous pensons tous que nous savons ce qu'est la lumière, mais
la réalité est que la particule de lumière n'est rien de plus qu'une grande
ingérence dans le champ électromagnétique.
À moins qu'il interagit avec la matière ou avec un autre champ, un champ
électromagnétique avec pas être modifié d'aucune façon par le vide. Les champs électromagnétiques sont un
élément fondamental de la structure du vide lui-même. L'univers entier est imprégné par un champ
magnétique constant. Ce champ est
constitué d'innombrables nombre de pôles nord et sud des aimants dans une
dispersion complètement aléatoire.
Einstein a souligné que E = mc2, qui est une façon de dire que l'énergie
et la matière sont interchangeables (ou sont les deux faces différentes de la même
chose). L'énergie partout dans
l'univers est telle que de nouvelles particules de matière pop à l'existence et
retombent dans leur forme d'énergie milliers de milliards de fois par seconde. En fait, ils existent depuis très peu de
temps que de les appeler des " particules " n'est pas vraiment
approprié, alors peut-être " particules virtuelles " pourraient être
une meilleure description.
Cependant, si nous générons un champ magnétique mobile, il modifie la
nature aléatoire de cette énergie dans la petite partie du vide où nous arrive
d'être, et l'énergie du vide devient beaucoup moins aléatoire et permet une
très grande quantité d'énergie à vide pour être entraînés dans nos équipements
et nous faisons ce que nous considérons comme " travail utile " -
produire de la chaleur et de la lumière, des moteurs équipant les véhicules,
etc. Cela a été prouvé dans des
expériences de laboratoire au cours de la semaine du 19 Juin 1988 et il est le
principe de fonctionnement sous-jacent de mon dispositif " Phase-conjugué
vide Triode ".
L'énergie produite par ce dispositif est " énergie négative "
qui est l'inverse de l'énergie avec laquelle nous sommes familiers. L'étincelle provoquée par un court-circuit
dans un système d'énergie négative est trop lumineux et froid et il produit un
sifflement à peine audible sans force explosive. Fusion de fils ne se produit pas et
ce type de courant négatif traverse le corps humain avec seulement le sentiment
d'un refroidissement.
Fils
qui transportent beaucoup d'énergie négative sont frais en tout temps et de
façon fils minuscules peuvent nourrir l'équipement avec des centaines de watts
de puissance. Cela a été démontré en laboratoire que la source d'énergie est illimité
comme c'est le vide de l'espace virtuel lui-même.
La Nature de l'espace:
L'espace lui-même est la capacité de s'adapter à de l'énergie. Considérons un instant, l'illustration
suivante :
Un signal (énergie) est transmis à partir du
point " A " au point " B ", qui sont séparées par une
distance finie. Prenons trois périodes
de temps :
1. Le signal est lancé à partir du point A.
2. Le signal réside dans l'espace entre le point A et le point B.
3. Le
signal arrive au point B.
Si 3. se produit en même temps que 1. on dit que le signal a parcouru à
vitesse infinie. Si tel était le cas,
alors le signal n'a jamais résidé dans l'espace intermédiaire et donc il doit y
avoir aucun espace entre le point A et le point B et ainsi de deux points A et
B doivent être au même endroit. Pour
l'espace réel d'exister entre les deux points, il est nécessaire qu'un signal
se déplaçant entre eux doit se " perdu " à ces deux points, c'est
hors de contact avec les deux points pour une période de temps limitée.
Maintenant, nous savons que pour l'espace réel d'exister entre deux points,
un passage du signal entre eux doit se déplacer à une vitesse finie entre eux
et si elle ne peut pas faire cela, alors il ne peut pas y avoir d'espace entre
eux. Si l'espace ne peut pas accueillir
un signal transitant entre deux points, alors il n'a aucune fonction et aucune
réalité. Nous restent ensuite avec
l'espace réel, l'accueil du vide réel et le virtuel - espace qui prend en
charge une vitesse de signal fini et non nul.
Un argument similaire s'applique à l'impédance de l'espace. Un moyen ne peut accueillir l'énergie
positive si le support résiste à un degré raisonnable. Ni une source infiniment fort ni un ressort
infiniment faibles peuvent absorber l'énergie par compression. Ni une masse infiniment grand ni
l'infiniment petit de masse peuvent absorber ou accueillir énergie transmise
par une collision et le même est vrai pour l'espace. L'énergie ne peut entrer dans un espace de
zéro impédance plus qu'une force peut supporter une masse de valeur zéro. De même, l'énergie ne pouvait pas entrer
dans l'espace qui a une impédance infinie.
Il s'ensuit donc que l'espace réel doit avoir :
1.
vitesse de propagation finis et
2. fini
impédance.
Une autre façon de regarder, c'est au lieu de considérer la vitesse de
propagation d'un signal à travers l'espace, pour tenir compte de la longueur du
temps " t " dont il reprend le signal de passer par cette partie de
l'espace. On peut penser d'une section
de l'espace comme étant, disons, 1 nanoseconde large si elle prend une
nanoseconde de signal 1 à la parcourir.
Autrement dit, l'énergie ou le signal entrant dans cette partie de
l'espace, laisse encore 1 nanoseconde plus tard. Vitesse de propagation du signal dans l'espace
dans lequel nous vivons est à la vitesse de la lumière.
Description générale du transfert d'énergie :
Considérer l'énergie coulant rectiligne en palier sur toute une ligne de
transmission. L'énergie n'est pas
" sait " la largeur du canal à travers lequel il passe. Si le flux d'énergie atteint un point où la
conductivité du canal diminue, mais la taille et la forme du canal restent les
mêmes, pas comme beaucoup d'énergie peut débit et certains obtient reflète en
arrière le long du canal. L'énergie
actuelle " saura pas " si la conductivité a changé, ou (b) la
géométrie a changé. L'énergie actuelle
peut changer de direction très facilement, et donc que ce qui la concerne, les
changements causés par (a) est équivalent au changement causé par (b).
Le canal à travers lequel les flux d'énergie a la largeur et la hauteur
et la largeur, divisé par la hauteur est appelé le " aspect ratio "
du canal. Énergie actuel a un aspect
ratio, et si cet allongement est obligé de changer, alors partie de l'énergie
qui coule reflétera afin de garder les proportions globalement inchangée.
Le ratio d'aspect de l'énergie actuel est un peu comme l'allongement de
l'espace lui-même. Bien que
l'allongement de l'espace lui-même peut changer, c'est vitesse fondamentale de
" C ", la vitesse de la lumière dans l'espace ne peut pas vraiment
changer. Cette vitesse est notre façon
de visualiser les temps de retard lorsque l'énergie réside dans une région de
l'espace. Espace uniforme possède
seulement deux paramètres :
(1)
Rapport l / h et
(2)
Temps de retard
Rapport l / h définit la forme (mais pas l'ampleur) de n'importe quel
flux d'énergie qui entre dans une région donnée de l'espace. Vitesse ou la longueur de définir le temps
pendant lequel cette énergie peut être logée dans une région de l'espace.

Fait un voyage de flux d'énergie libre grâce à une interface, ou fait une
grande partie de celui-ci se reflète ?
Espace a des zones calmes à travers laquelle glisse énergie pratiquement
irréfléchie. Il a
également des zones bruyantes où l'énergie actuelle devient incohérent,
rebondit et se divise en dehors. Ces
zones bruyantes dans l'espace ont soit rapidement changement de géométrie ou
changeantes impédance.
Énergie Électromagnétique :
La vitesse d'écoulement de l'énergie à travers une surface peut être
calculée à l'aide de " E " le champ électrique et " H "
l'intensité du champ magnétique. Le
flux d'énergie dans l'espace est E x H par unité de surface (surface
transversale de c' est " conduit ") et la densité d'énergie est E x H
/ C, où C est la vitesse de la lumière dans l'espace.
S'il arrive d'être deux signaux d'exactement la même force, en passant
par l'autre dans des directions opposées, de telle sorte que leurs champs de
" H " s'annulent, alors si chacun a un effectif de E/2 et H/2, la
densité d'énergie sera E x H / 2C et il aura l'apparence d'un champ électrique
constant. De la même façon, si les
champs E s'annulent, le résultat apparaît être un champ constant de " H
".
La physique moderne est basée sur l'hypothèse erronée qu'electromagnetics
contient deux types d'énergie : électrique et magnétique. Cela conduit à la vision Baroque de la
réalité physique. Selon cet avis,
l'énergie semble être associée avec le carré de l'intensité de champ, et non un
avis plus raisonnable qu'il est directement à l'intensité de champ. Il faut se rappeler que ni Einstein ni les
physiciens modernes ont été, ou sont, familier avec le concept de "
énergie actuelle " décrite ici.
Cependant, leur travail survit encore en ignorant le concept actuel de
l'énergie, électromagnétisme scalaire, les œuvres de Tom Bearden,
kaluza-Klein et autres qui contestent les interprétations de Heaviside des
équations de Maxwell.
Le Sophisme du Courant de Déplacement :
La théorie électromagnétique classique propose que lorsqu'un courant
électrique passe sur un fil dans un condensateur, il s'étend à travers la
plaque, produisant une charge électrique sur la plaque qui à son tour, conduit
à un champ électrique entre les plaques du condensateur. Le concept précieux de continuité est alors
retenu en postulant un déplacement actuel " après Maxwell ". Ce courant est une manipulation du champ
électrique " E " entre les plaques du condensateur, le terrain ayant
les caractéristiques du courant électrique, complétant ainsi le flux
d'électricité dans le circuit. Cette
approche permet aux lois de Kirchoff et autres concepts précieux à conserver
même si à première vue, il semble qu'au condensateur il y a une pause dans le
flux continu du courant électrique.
La faiblesse de ce modèle s'affiche lorsque nous remarquons que nous
remarquons que le courant est entré le condensateur à un seul point sur la
plaque de condensateur. Ensuite, nous
nous retrouvons avec la difficulté majeure d'expliquer comment la charge
électrique coulant le fil soudainement se répartit uniformément sur la plaque
de condensateur ensemble à une vitesse supérieure à la vitesse de la
lumière. Cette situation paradoxale est
créée par un défaut dans le modèle de base.
Travaux en logique à grande vitesse réalisée par Ivor Catt a montré que
le modèle de capacitance localisé est défectueux et courant de déplacement est
un artefact du modèle défectueux.
Depuis n'importe quel condensateur se comporte de façon similaire à une
ligne de transmission, il convient de ne plus postuler un courant pour le
condensateur de déplacement qu'il est nécessaire de le faire pour une ligne de
transmission. La suppression du "
courant de déplacement " de la théorie électromagnétique repose sur des
arguments qui sont indépendantes du différend classique sur la question de
savoir si le courant électrique provoque l'électromagnétique champ ou vice
versa.
Le Champ Électrique dû au
Mouvement :
De tous les champs connus ; électrique, magnétique, gravitationnel et
motional E-champ, les seuls à être incapables d'être protégé contre la sont
E-champ motionnel induit et le champ gravitationnel. La nature du champ électrique
induite par l'affectif est tout à fait unique.
Afin de comprendre cela plus en
détail, il faut commencer par jeter quelques idées d'induire en erreur. Lorsque le flux magnétique est déplacée
perpendiculairement à travers un conducteur, une force électromotrice ("
f.e.m. ") est électromagnétiquement induite " dans " le chef
d'orchestre. " À l'intérieur "
est une phrase qui vient de l'idée commune de la comparaison de l'intensité de
courant électrique dans un fil à l'écoulement de l'eau dans un tuyau. Il s'agit d'une comparaison plus
trompeuse. Le lieu véritable phénomène
peu a été considéré comme impliquant la production d'un spatialement-electric
répartis sur le terrain. Nous pouvons
voir que les origines du modèle sont susceptibles d'avoir découlant de
l'opération baptisée " coupe de flux " qui est un terme plus
trompeur. Une
meilleur terme " time-varying flux modulation " n'implique pas une
séparation des lignes de champ.
Vraiment, lignes de champ toujours forment des boucles fermées et sont
exprimées mathématiquement comme intégrales curvilignes.
C'est une erreur d'utiliser la terme " ablation " qui implique
la séparation de variables dans le temps qui n'est pas en fait jamais
présente. Un champ électrique induite
par l'affectif est en fait créé au sein de l'espace occupé par le flux
magnétique mobile décrit ci-dessus. Le
domaine est-il si un conducteur est présent dans l'espace. En ce qui concerne une définition, nous
pouvons dire que, lorsque le flux magnétique d'intensité vecteur B-bar est
déplacée sur une région de l'espace avec une vitesse vecteur V-bar, un champ
électrique induit électromagnétiquement vecteur B x V apparaît dans l'espace à
angle droit par rapport à B-bar et bar-V.
C'est pourquoi :
E
= B-bar x V-bar . . . . . . . . . . . . . . . . . . . (1)
C'est
ce champ qui est liée à la gravité et qui est pratiquement unshieldable. Ce
champ peut s'appeler le champ électrique dû au mouvement. Selon Tom Bearden, " Il
semble que les particules chargées dans l'atome agissent comme de petits
aimants et leur mouvement dans l'espace entourant l'atome créerait ce champ
électrique dû au mouvement ".
Les champs créés par les deux charges positives et négatives seraient
annulent dans une certaine mesure, mais en raison de la grande vitesse orbitale
de l'électron négatif par rapport à celle du proton positif, le champ induit de
l'électron domineraient le champ résultant.
Le champ produit par suite de
ces accusations varie proportionnellement au carré inverse de la distance comme
le fait de la gravité. Le champ produit
par le mouvement de translation des charges varie inversement que le cube de la
distance. Ce concept réunit totalement
les théories de champ électromagnétiques et gravitationnels et les comptes pour
les forts et les force faible au sein de l'atome.
Champ Super-Position et la
Triode Sous Vide :
Induction électromagnétique avec aucun champ magnétique mesurable n'est
pas nouveau. Il est bien connu que,
dans l'espace qui entoure un correctement enroulé bobine toroïdale, il n'y a
pas de champ magnétique. C'est en
raison de la superposition des champs.
Toutefois, lorsque le courant alternatif est en pleine progression grâce
à un transformateur, un champ électrique entoure. Lorsque nous appliquons le principe de la
Super-position pour la triode à vide, il devient plus évident, fonctionne de
l'appareil.
Le principe de la Super-position stipule que " afin de calculer
l'intensité résultante des champs superposés, chaque champ doit être traitée
individuellement comme si les autres n'étaient pas présents " la
résultante est produite par l'addition vectorielle de chacun des domaines
considérés isolément. Considérons un
instant, la construction de la triode qui comprend deux bobines bi-Pilar situés
dans les champs des deux aimants conditionnés.
Lorsque le courant dans une moitié des conducteurs dans les bobines
(c'est-à-dire juste un brin des enroulements jumeaux dans chaque bobine) est en
augmentation, tant le courant et le champ magnétique de suivre la règle de
droit. Le E-champ motionnel résultant
serait vertical à la fois et dirigée vers l'intérieur. Dans le même temps, le courant dans l'autre
volet de chaque enroulement est en baisse et actuel et le champ magnétique
également suivent la règle de droite.
Le E-champ motionnel résultant redevient vertical à la fois et dirigé
vers l'intérieur. L'intensité de champ
combiné qui en résulte est donc double l'intensité produite par l'un des
conducteurs a examiné sur ses propres. Exprime
mathématiquement, c'est :
E = (B x
V) + (-B x -V) ou
E = 2 (B x V) . . . . . . . . . . . . . . . . . . .
. . . . (2)
Où:
E correspond à l'intensité de champ électrique
B est l'intensité du champ magnétique et
V est la vitesse de dérive des électrons
(B x V), le premier terme de l'équation, représente le flux du champ
magnétique lorsque les électrons sont déplacent dans une seule direction, alors
que (-B x -V), le second terme de l'équation, définit le flux du champ
magnétique lorsque les électrons sont déplacent dans l'autre sens. Cela indique que l'intensité du champ est
directement proportionnel au carré du courant requis par la charge placée sur
l'appareil. Cela est dû à sa relation
proportionnelle avec la valeur virtuelle du champ magnétique indique quelle
théorie est proportionnelle au courant.
Lectures de l'électromètre étaient toujours fermer à parabolique,
indiquant que la source était de capacité infinie. De plus, il a été déterminé grâce à
l'expérience, que le champ magnétique ne change pas avec la température. En outre, il n'y a aucune raison mais
identifié, qui nous amènerait à croire que vitesse de dérive des électrons
change. Il a été trouvé remarquable que
la triode vide s'exécute environ 20 degrés F au-dessous d'ambiant.
Force Électromotrice Induite - Énergie Positive :
Quand
une f.e.m. (" force électromotrice ") est appliquée à un circuit
métallique fermé, flux actuels. La f.e.m. le long d'un tracé fermé " C "
dans l'espace est défini comme le travail par charge d'unité (c'est-à-dire W /
Q) fait par les champs électromagnétiques sur une charge de petit test déplacé
le long de la voie C. Travail étant que
l'intégrale de la ligne de Force ("F"), le travail par charge d'unité
est l'intégrale de la ligne de force par unité de charge (en Newton par
Coulomb) nous avons :

Le produit scalaire "(F/Q) x
dtdl" est le produit de(F/Q) x Cosθ x dl où θ représente l'angle entre les vecteurs F/Q et dl.
La force électrique par charge d'unité est l'intensité de champ
électrique ("E") en volts par mètre.
La force magnétique par charge d'unité est V x B où " V "
indique la vitesse de la charge d'essai en mètres par seconde et " B
" indique la densité du flux magnétique en webers par mètre carré. En ce qui concerne le plus petit angle θ entre V et B, le produit vectoriel de V et B est un
vecteur ayant l'ampleur VBSinθ. La direction du vecteur V x B
est perpendiculaire au plan qui contient des vecteurs V et B conformément à la
règle droite (c'est-à-dire, V x B est dans la direction du pouce, tandis que
les doigts curl par l'angle θ de V vers B). La force totale
par charge d'unité étant E + VB, la f.e.m. total en ce qui concerne les champs
est :

Il ressort de l'équation (4) que la f.e.m. dépend de la vitesse vers
l'avant, avec laquelle la charge de test se déplace le long de la voie C. Ceci, cependant, n'est pas le cas.
Si V et dl dans l'équation (4) ont le même sens, alors leur produit scalaire
associé est zéro. Ainsi, seule la composante de V qui n'est pas aligné avec dl
(c'est-à-dire, avec θ = 0), peut
contribuer à la f.e.m. Ce composant a
de valeur que si le chemin différentiel longueur dl a un mouvement
latéral. Alors, V dans l'équation (4),
représente le mouvement latéral de dl, s'il ya lieu. Les champs E et B dans l'équation (4) pourraient
bien être représentés comme des fonctions du temps ainsi que les fonctions des
coordonnées spatiales. En outre, la
vitesse V de chaque chemin différentiel longueur dl, peuvent varier avec le
temps. Cependant, équation (4) exprime
correctement l'e.m.f. ou tension glisser le long du chemin C en fonction du
temps. Ce composant de la f.e.m. consistant en la ligne intégrale V x B est le
champ électrique dû au mouvement car elle n'a valeur que lorsque le chemin C
est, se déplaçant dans un champ magnétique, qui traversent les lignes de flux
magnétique. Pour les tracés
stationnaires, il n'y a aucun champ électrique dû au mouvement, et la chute de
tension est tout simplement l'intégrale du champ électrique " E
". Générer des dispositifs qui
séparent les frais, e.m.f.s et un exemple familier est une batterie qui utilise
les forces chimiques pour séparer les frais.
D'autres exemples incluent le chauffage d'un thermocouple, exposition
d'une cellule photovoltaïque à lumière incidente ou le frottement ensemble de
matériel différent pour produire la séparation des charges
électrostatiques. Les champs électriques sont également produites par des champs
magnétiques variables. Ce principe est
déjà exploité de façon extensive dans la production d'électricité par les
entreprises de services publics.
L'intégrale de la ligne d'intensité de champ électrique " E "
sur un chemin fermé, " C " est égale à -dφ/dt où φ représente le
flux magnétique sur toute surface " S " ayant le chemin d'accès
" C " comme c' est le contour fermé.
Le côté positif de la surface S et la direction de la ligne intégrale
autour le contour C, sont liés par la règle de droite (les doigts recourbés
sont orientés de façon à pointer vers la boucle dans le sens de l'intégration
et le pouce étendu souligne le côté positif de la surface S). Le flux magnétique φ correspond à l'intégrale de surface de densité de
flux magnétique " B " comme indiqué ici :

Dans
l'équation (5), la surface différentielle vecteur " ds " a une
superficie de ds et en direction, il est perpendiculaire au plan du ds,
projetant sur le côté positif de cette surface. Le dérivé de
temps partiel de φ est défini
comme :

Ceci est dénommé le courant magnétique qui traverse la surface
S. Pour un déplacement S de surface,
les limites de la surface intégrale dans l'équation (6) sont fonctions du
temps, mais l'équation s'applique toujours.
Il est important de préciser à ce stade, que lorsque nous évaluons la
valeur de dφ/dt sur une surface qui se déplace à proximité de l'activité
du champ magnétique, nous traitons la surface comme si c'était stationnaire
pour l'instant à l'étude. Le dérivé de
temps partiel de φ, est la
vitesse de changement de flux par la surface S, en raison seulement de la
densité de champ magnétique changeant B.
Toute augmentation de φ en raison du mouvement de la surface dans le champ B, n'est pas
inclus dans ce calcul.
Poursuivre
cette discussion nous amène à constater qu'un champ électrique doit être
présent dans toutes les régions contenant un champ magnétique
instationnaire. Cela se traduit par
l'équation suivante :

Dans
cette équation, φ est le flux magnétique dans Weber sur le côté positif de
n'importe quelle surface ayant chemin C comme son contour. Combinant les
équations (7) et (4), nous sommes en mesure de calculer la f.e.m. sur un chemin
fermé C comme indiqué ici :

ou sous
une autre forme :

Ainsi, la f.e.m. sur un chemin fermé, est composé en général de deux
composants. Le composant dφ/dt est la f.e.m. variationnelle et le deuxième volet est le champ
électrique dû au mouvement. Dans
l'équation (9), (V x B) dl peut, au moyen d'une identité de vecteur, remplacer
par B x (V x dl) A. V est la vitesse sur le côté de d: le vecteur V x dl a
grandeur Vdl et une direction perpendiculaire aux surfaces ds balayés dehors
par le mouvement dl de longueur dans le temps dt. Laisser Bn désigne le composant b normal de
ce domaine, nous pouvons voir que la quantité -B x (V x dl) devient - BnVdl et
équation 9 peut être récrite comme :

De toute évidence, l'intégrale de BnV autour du contour fermé C avec une
vitesse sur le côté d'amplitude V pour chaque longueur dl parcouru, est
simplement la vitesse de variation du flux magnétique à travers la surface
délimitée par C. Ce
changement est directement due au passage du chemin C par le biais de lignes de
flux magnétique. Par conséquent,
l'expression complète pour f.e.m. dans l'équation (10) est la vitesse de
variation du flux magnétique sur toute surface S, délimité par le chemin fermé
C, en raison du champ magnétique changeant et le mouvement de la trajectoire à
travers le champ magnétique. Équation (10) peut être écrite :
![]()
Remarque
: La distinction entre les équations (7)
et (11) est qu'équation (7) contienne seulement la f.e.m. variationnelle tandis
que l'équation (11) est la somme des valeurs des f.e.m. variationnelle et
dynamiques. Dans l'équation (7), le
temps partiel, dérivée du flux magnétique φ est le taux de flux changer
pour cause uniquement au champ magnétique instationnaire, tandis que l'équation
(11) comprend le dérivé de temps total du taux du flux de changer en raison du
champ magnétique et un chemin instationnaire passage de C à travers le champ
magnétique. Si le tracé fermé C n'est pas en passant par le biais de lignes de flux
magnétique, puis équations (7) et (11) sont équivalentes.
Il est également important de signaler que dφ/dt dans l'équation (11) ne signifie pas
nécessairement le taux total de temps de changement dans le flux φ sur la surface S.
Par exemple, le flux sur la surface S est délimité par le contour fermé
C de la partie gauche du circuit électrique illustré à la Fig.1.

Le flux
est changeant comme la bobine n'est vidée par la rotation du cylindre, comme
illustré. Cependant, puisque B est
statique, il n'y a aucune f.e.m. variationnelle et puisque les conducteurs ne
sont pas moduler les lignes de champ, il n'y a aucune f.e.m. motional. Ainsi, dφ/dt dans l'équation (11) est
nul, même si le flux est en évolution avec le temps. Notez que dφ/dt a été défini comme
représentant la partie droite de l'expression dans l'équation (10) et
dφ/dt ne doit pas être interprété plus largement que cela.
Dans
l'application des équations présentes, il est nécessaire que toutes les
densités de flux et mouvements sont désignées pour un seul spécifié le système
de coordonnées. En particulier, les
vitesses sont tous à l'égard de ce système seul et pas considérées comme
vitesses relatives entre les conducteurs ou les lignes mobiles du flux. Le système de coordonnées est choisi
arbitrairement et les amplitudes des champs variationnelles et motional
dépendent de la sélection.
Exemple
1 :
Un générateur électrique fondamental est illustré à la Fig.2 :

Les
conducteurs parallèles, fixes, séparés par la distance " l ", ont un
voltmètre fixe connecté à travers eux.
Le circuit est complété par un conducteur mobile connecté aux conducteurs
parallèles au moyen de deux contacts glissants. Ce fil est
connecté à y = 0 à t = 0, et il se déplace vers la droite à une
vitesse constante V = Vay. Le flux
appliqué B est représenté par des points sur la Fig. 2 et a une magnitude de B
= BOCosBy Coswt ax. Les
vecteurs d'unité dans la direction des axes de coordonnées sont respectivement
d'ax, ay et az.
Solution : Let S désigne la
surface rectangulaire plane délimitée par le circuit électrique fermé, avec un
côté positif retenu que le côté face à vous.
La f.e.m. en sens anti-horaire autour du circuit est dφ/dt avec φ signifiant le flux magnétique sur le côté positif de S (comme ds = 1 dy
ax). Le produit scalaire B x ds est BO
l CosBy, dy Coswt ; intégration de y = 0 et y = y donne :
![]()
Avec y1 qui dénote la position instantanée y du fil mobile. La
f.e.m. anti-horaire se trouve en remplaçant y par vt et en évaluant dφ/dt. Le
résultat est :
![]()
Le composant variationnelle (transformateur) est déterminé à l'aide de
l'équation (12) et wBOl/BsinBy sinwt
où y = vt. Il s'agit de la première composante sur la
droite de l'équation (13).
Remarque : y1 a été
traité comme une constante lors de l'évaluation de la dérivée partielle de
temps de φ.
Le champ électrique dû au mouvement correspond à l'intégrale de la ligne
de V x B le long du chemin du conducteur mobile. Comme V x B est -BO vcosBy1 coswt
ax et
As dl est dz ax, évaluation de l'intégrale -BO vcosBy1
coswt dz de Z = 0 et Z = 1 implique un champ électrique dû au mouvement du -BO lvcosBv1
coswt. Cette composante résultant de la
modulation des lignes du flux par le chef du mouvement. Si le voltmètre ne
consomme aucun courant, n'on peut aucun force électromagnétique sur les
électrons libres du fil. Par
conséquent, la f.e.m. le long du chemin des conducteurs métalliques y compris
le chef d'orchestre émouvant, est égale à zéro.
Exemple 2 :
Supposons
que le chef d'orchestre avec les robinets coulissants est stationnaire (V = 0)
et il se trouve à y = y1. En
outre, supposons que le champ magnétique B est produit par un système de
mouvement des conducteurs qui ne figurent pas sur la Fig.2 et ces conducteurs
voyageant avec une vitesse constante V = Vay. Au temps t = 0, le champ magnétique B est BO sinBy ax. Déterminer la tension à travers le voltmètre.
Solution : Il n'y a aucun champ électrique dû au mouvement parce que les
conducteurs figure 2 sont au repos (immobile) à l'égard de notre système de
coordonner sélectionnés. Toutefois, le champ magnétique à des points fixé par
rapport au système de coordonnées change avec le temps et par conséquent, il y
a une f.e.m. variationnelle Depuis le champ de B au temps t = 0 est BO
sinBy axet a une vitesse de V = Vay, on peut calculer que le B-champ en
fonction du temps est BOsin[B(y-vt)] ax. Ceci est vérifié en notant qu'un observateur
situé au temps t = 0, qui se déplace à la vitesse constante (V = Vay) de
l'actuel mouvement, aurait une coordonnée y de y = y + Vt et une expression
différente en conséquence pour B. Il observerait un champ constant où la
densité de courant magnétique est :
![]()
La f.e.m. anti-horaire peut être arrivé à en prenant la valeur négative
d'une intégrale de l'expression ci-dessus pour la surface rectangulaire
délimitée par le circuit électrique positive face à vous, avec les limites du
zéro et y. La
f.e.m. résultant est égale à :
![]()
qui est la tension à travers le compteur.
Induite
par le champ motionnel - énergie négative :
La théorie classique, dit que les champs électriques et champs
magnétiques sont des choses différentes.
Considérons un instant, un privilège assorti d'un champ électrique
autour d'elle. Si la charge est
déplacée, puis développe un champ magnétique et le coût de déménagement
constitue un courant. Si un observateur
devait se déplacer avec la charge, puis il verrait aucun mouvement relatif,
aucun courant et pas de champ magnétique.
Un observateur immobile verrait motion, courant et un champ
magnétique. Il semblerait qu'un champ magnétique est un champ électrique observé dans
un référentiel motional. De même, si
nous prenons une masse avec un champ de gravité autour d'elle, et nous nous
dirigeons la masse et créer un courant de mass, un nouveau champ est également
créé. C'est un autre type de champ de
gravité avec aucune source et aucun récepteur.
Il s'appelle le " domaine de Protational " et est également
connu sous le nom de " L'effet Lense-Thirring ". Ce champ et ses principes qui
constitueront la base pour les futurs dispositifs anti-gravitationnels (voir
les figures 1 à 4).

Au sein de la sont confinée de la boîte vide Triode, le continuum
espace-temps est renversé par les champs qui sont produits en présence de
quanta de flux spatiale cohérente excité.
Ces quanta ont été attirés par la forme et finalement extraite le vide
virtuel, la mer de Diac infiniment imprescriptible. Pour une formule mathématique plus
détaillée voir le livre de Tom Bearden "The Phase conjugué Vacuum
Triode" (23 avril 1987). Une grande partie de la théorie qui s'applique
probablement à la triode à vide a été développée dans le domaine de l'optique
de la conjugaison de phase.
En ce qui concerne les phénomènes d'au-dessus-unité, il est important de
noter que tant que l'énergie positive est présente dans un régime de temps
s'écoulant positivement, puis de l'unité et les gains de puissance
au-dessus-unité ne sont pas possibles. La
somme des pertes en raison de la résistance, impédance, friction, hystérésis
magnétique, courants de Foucault et les pertes de dérive des machines
tournantes réduira toujours l'efficacité globale inférieure à l'unité pour un
système fermé. Les
lois de conservation de l'énergie s'appliquent toujours à tous les
systèmes. Toutefois, l'E-champ
motionnel induit modifie le système sur lequel ces lois doivent être
appliquées. Puisque la triode vide
opère dans plus de quatre dimensions et fournit un lien entre la réalité
multidimensionnelle de l'état quantique et de la mer de Dirac, nous sommes
maintenant traiter avec un système ouvert et pas le "système fermé"
au sein duquel tous les conservation et lois thermodynamiques ont été
développés.
Pour parvenir à l'unité, la somme de toutes les pertes magnétiques et
ohmiques doit être égale à zéro. Pour
atteindre cet État, l'énergie négative et temps négatif doivent être
créées. Lorsque cela est réalisé, toute
résistance ohmique devient énergie zéro et tous puis coule le long de
l'extérieur des conducteurs sous la forme d'un champ de l'espace. L'énergie négative est tout à fait capable
d'allumer les lumières incandescentes, exécutant des moteurs et effectuer
toutes les fonctions d'énergie positive testés jusqu'à présent. Quand exécuter en parallèle avec
une énergie positive Toutefois, annulation (annihilation) de s'opposer à des
types de puissance se produit. Cela a
été entièrement testé dans le laboratoire.
Une
fois que l'unité a été réalisée et a ouvert la porte à la mer de Dirac,
au-dessus-unité est affectée en chargeant le portail ouvert de plus en plus,
qui l'ouvre au-delà du point où la communication directe / interaction avec le
noyau de l'atome lui-même est atteint.
Sortie de la triode vide n'est pas proportionnelle à l'excitation
d'entrée que la sortie produite par l'appareil est directement proportionnelle
à la charge qui est placée sur elle. Cette charge est la seule variable dépendante pour
la sortie de l'appareil. Tension de
sortie de la triode et fréquence reste toujours constante en raison de la
climatisation du E-champ dû au mouvement dans les aimants permanents et le
signal de petite excitation réglementé qui est fourni par un petit
oscillateur. Règlement reste constante
et la sortie de la triode se penche sur une condition en phase (cosθ = 1 Kvar = 1) dans toutes les caractéristiques de
charge.
la triode sous vide est un dispositif à semi-conducteur composé d'aimants
conditionnés capables de produire un champ motionnel. Ce champ ouvre la porte à la mer de Dirac
d'ou énergie négative se jette dans les bobines réceptrices de la triode. Les bobines sont enroulées avec un fil très
petit diamètre, mais malgré cela, ils sont capables de produire plus de 5 kW de
puissance utile. C'est en soi, est un
indicateur clair que le type d'énergie électrique recueilli par l'appareil
n'est pas une énergie électrique conventionnelle. Le calibre des fils utilisés dans la
construction de l'appareil ne serait pas capable de transporter ces grands
courants sans gain de chaleur excessive, cependant, les bobines de la triode
effectivement parcourue refroidisseur lors du chargement 5 kilowatts.
Les aimants fondamentaux ont été
cassés sans les forces de liaison qui contraint les dispositifs stationnaires
unipolaire : le flux magnétique uniforme. Ils sont maintenant en mesure de
simplement soutenir masse, comme l'a démontré avec l'illustration de
transformateur en acier. Ils peuvent maintenant facilement être fait d'adopter
un champ motionnel dynamique en appliquant une petite quantité d'excitation.
Plus précisément, 1 milliampère à 10 volts (10 milliwatts) d'excitation à 60 Hz
permet les spires de la triode pour recevoir de la mer de Dirac, à plus de 5
000 watts d'énergie négative utilisable. Il n'a pas encore été déterminé
comment beaucoup plus d'énergie peuvent être supprimés sans problème.
Il y a une demande de
brevet qui a quelques idées très intéressantes et les revendications. Il a été
autour depuis longtemps, mais il n'a pas été remarqué jusqu'à tout récemment. Personnellement, j'ai l'impression que c'est
plus un concept plutôt qu'un dispositif solidement la base prototype a fait ses
preuves, mais c'est seulement mon impression et vous devez faire votre propre
idée sur la question.
Demande de Brevet GB 2130431A 31 mai 1984 Inventeur: Meguer Kalfaian
PROCÉDÉ ET
DISPOSITIF POUR PRODUIRE UN MOUVEMENT PERPÉTUEL À HAUTE PUISSANCE
RÉSUMÉ
Les énergies statiques perpétuelles, telle que fournie par l'électron (auto
essorage) et de l'aimant permanent (push et pull) sont combinées pour former
une fonction dynamique. Les électrons
émis à partir d'une bobine chauffée F sont pris au piège en permanence
dans le centre du champ magnétique d'un aimant cylindrique M5. Un deuxième aimant M6, dans la
polarité opposée aux poteaux des électrons provoque inclinaison polaire et la
précession. Cette précession émet un
champ électromagnétique puissant à une bobine L placé entre l'aimant
cylindrique et une chambre à vide C - enroulé dans une direction
perpendiculaire à l'axe polaire des électrons.
Par ailleurs, le rayonnement électromagnétique est émis sous forme de la
lumière cohérente. La source d'origine
des électrons est arrêtée après la provocation policière.
SPÉCIFICATION
Procédé et dispositif
pour produire un mouvement perpétuel à haute puissance. Cette invention se rapporte aux méthodes et
moyens de production de mouvement perpétuel.
L'objet de l'invention est, donc, pour produire des mouvement perpétuel
utile à des fins utilitaires.
BRÈVE
RÉALISATION DE L'INVENTION
L'électron a acquis une
rotation libre dès le début de sa naissance à l'époque de la création de la
matière et représente une énergie perpétuelle.
Mais auto essorage seul,
sans mouvement du pôle n'est pas fonctionnelle, et donc, l'énergie utile ne
peuvent pas provenir de lui. De même,
l'aimant permanent représente une source d'énergie perpétuelle, mais puisque
ses pôles sont stationnaires, énergie utile ne peut être dérivé.
Toutefois, les
caractéristiques de ces deux types d'énergies statiques diffèrent les unes des
autres, et donc les deux types d'énergies peuvent être combinés de telle
manière que, la sortie combinée peut être convertie en perpétuel mouvement du
pôle.
Dans un mode
exemplaire, une chambre à vide cylindrique ayant un filament et une cathode à
l'intérieur, est enfermée dans la centrale du champ magnétique d'un aimant
permanent cylindrique, la magnétisation dont peut être dans une direction le
long de l'axe longitudinal, ou du centre à la surface circonférentielle externe
du cylindre. Lorsque le courant
traverse le filament, les électrons émis par la cathode sont compressés dans un
faisceau au centre de la chambre cylindrique par le champ magnétique de
l'aimant cylindrique. Ainsi, quand le
courant qui traverse le filament est coupé, les électrons du faisceau resteront
définitivement coincés dans le champ magnétique.
Dans un tel arrangement, les pôles des électrons sont alignés
uniformément. Lorsqu'un deuxième aimant
permanent est maintenu contre la poutre en repoussant de polarité, les pôles
des électrons sont poussés et inclinés de leur axe polaire longitudinal
normal. Dans une telle orientation inclinée les électrons maintenant commencent
à vaciller (précession) en mouvements gyroscopiques, tout comme une toupie
lorsqu'elle est inclinée sur le côté. La fréquence de
cette vacillant (résonance de précession) repose sur les intensités de champ
des deux aimants, similaires à la résonance de la corde de violon par rapport à
son tronçon de ligatures. Les
mouvements polaires des électrons rayonnent un champ électromagnétique, qui
peuvent être collecté par une bobine et ensuite converti en un type désiré de
l'énergie. En raison de l'électrons
uniformément alignés, le champ de résultat est cohérent, et la puissance de
sortie est élevée.
Exemples observés dont s'inspire l'invention
:
L'appareil peut être décrite par des
exemples d'une toupie en mouvement de sautillement. Ainsi, se référant à l'illustration de la
figure 1, supposons que la toupie T est faite de matériau magnétique,
comme l'attestent leurs signes de pôle (soufre et azote). Même si le haut est magnétique, le mouvement de
rotation ne rayonne pas de n'importe quel type de champ, qui peut être reçu et
converti en un type utile d'énergie. Cela est dû au fait connu que, rayonnement
est créé uniquement lorsque les pôles de l'aimant sont en mouvement, et dans ce
cas, les pôles sont stationnaires.

Si un aimant que M1 est tenue d'une
direction perpendiculaire à l'axe longitudinal de la polaire du dessus, comme
illustré à la Fig.2, que l'axe polaire de haut va être incliné comme
indiqué et continuer à filer dans celui inclinant direction. Lorsque l'aimant M1 est supprimé,
cependant, haut va essayer de retrouver sa posture verticale originale, mais ce
faisant, il va osciller en mouvement gyroscopique, comme illustré à la Fig.3. Plus vite le dessus tourne, puis rapidement
le mouvement vacillant seront.

La raison pour laquelle le sommet s'incline angulaire, mais n'oscille pas
lorsque l'aimant M1 est tenue de direction horizontale, est que, la
traction unilatérale empêche le haut de s'éloigner du champ magnétique
circulaire gratuite vaciller. Au lieu de
tenir l'aimant M1 du côté de la partie supérieure, nous pouvons
également tenir l'aimant d'une direction au dessus, comme illustré à la Fig.4. Dans ce cas, toutefois, les signes polaires
entre l'aimant et le dessus sont orientés dans comme signes, afin qu'au lieu de
tirer l'action, il n'y a pousser l'action entre l'aimant et le haut -
provoquant angulaire incliner de haut, comme illustré à la Fig.4. L'action de poussée du champ magnétique par
dessus la partie supérieure est maintenant égaliser au sein d'une zone
circulaire, afin que le haut trouve liberté à osciller en rotation
gyroscopique.
Le point important dans ce qui précède étant donné
l'explication est que, haut essaye d'obtenir sa position verticale initiale,
mais il est empêché de le faire par simple pression à la baisse constante du
champ magnétique statique d'aimant M2.
Donc, tant que la partie supérieure est en rotation, il va osciller dans
un état stable. Puisqu'il n'y a maintenant, mouvement du
pôle dans le mouvement vacillant de haut, ce mouvement vacillant peut
facilement être converti en énergie utile.
Pour faire cette conversion en énergie perpétuelle, toutefois, le haut
doit être filature perpétuellement.
Nature a déjà fourni un perpétuellement toupie magnétique, qui
s'appelle, " l'électron " - garanti de tourner pour toujours, à un
taux de 1,5 x 10^23 (9223372036,854775807 milliards tours par seconde).
BRÈVE DESCRIPTION DES DESSINS

Fig.1 illustre un magnétique spinning top, utilisé pour décrire les
principes de base de l'invention.

Fig.2 illustre un top contrôlé permettant de décrire les principes de
base de l'invention.

Fig.3 et Fig.4 illustrer les toupies en sautillement des états
permettant de décrire les principes de base de l'invention.

Fig.5 montre comment un électron peut être conduit dans un état
vacillant sous le contrôle d'aimants permanents.

Fig.6 est un arrangement pratique pour obtenir le mouvement perpétuel.

Fig.7 montre un arrangement atomique naturel pour obtenir la résonance
précession.

Fig.8 montre un type différent d'électrons aimant permanent de piégeage,
à celui utilisé dans Fig.6.

Fig.9 est une modification de Fig.6; et

Fig.10 est une modification de l'électron aimants de piégeage, utilisés
en Fig.6.
MEILLEURE MANIÈRE DE RÉALISER L'INVENTION
Se référant à l'illustration exemplaire de la Fig.4, la toupie T
pivote à la base B par gravité.

Dans le cas de l'électron, cependant, il doit être fermement maintenue entre
certaines forces magnétiques. Ainsi, en
se référant à l'illustration de la Fig.5, supposons qu'un électron e est
placé au centre d'un aimant cylindrique M4. La direction de l'aimantation de l'aimant M4 et
l'orientation polaire de l'électron e sont marquées dans le dessin. Dans ce cas, quand un aimant permanent que M3
est placé à l'extrémité ouverte de l'aimant cylindrique M4, l'électron e
sera precess, d'une manière, tel que décrit par le biais de la toupie. La difficulté de cet arrangement est que,
électrons ne peuvent être séparés en plein air, et une chambre à vide est nécessaire,
comme suit :
wing:

Fig.6 montre une chambre à vide C, qui contient un cylindrique
enroulé filament F, branché sur la batterie B1 au moyen du
commutateur S1. Ainsi, lorsque
l'interrupteur que S1 est en marche, le filament F est éclairé,
et il libère des électrons. L'extérieur
de la chambre à vide que C est monté à un aimant permanent cylindrique M5,
qui compresse les électrons émis dans un faisceau au centre de la chambre. Lorsque le faisceau est formé, l'interrupteur
est éteint, afin que le faisceau d'électrons est piégé en permanence au centre
de la chambre.
Le piégeage permanent
des électrons dans la chambre C représente un stockage permanent de
l'énergie statique. Ainsi, lorsqu'un
aimant permanent M6 est placé pour incliner les orientations polaires
des électrons uniformément polarisées dans le faisceau, ils commencent à
précession perpétuellement à une fréquence de résonance, tel que déterminé par
les forces de champ des aimants M5 et M6. Les électrons de précession du faisceau
rayonnera de champ électromagnétique en quadrature progressivement dans une
direction perpendiculaire à l'axe polaire des électrons. Ainsi, une bobine L peut être placée
entre l'aimant M5 et la chambre à vide C, pour recevoir le champ
rayonné de la poutre. La sortie peut
ensuite être utilisée dans différents modes pour des raisons pratiques, par
exemple, rectifié pour l'utilisation de puissance CC.
L'aimant cylindrique d'électron former le
faisceau M5, qui peut aussi être appelé un aimant de mise au point, est
indiqué comme étant bipolaire le long de l'axe longitudinal. La direction de la magnétisation, cependant,
peut être dès l'ouverture du centre à la périphérie de l'aimant, comme en
témoigne l'aimant M7, Fig.8 mais l'aimant précession que M6 seront
nécessaires dans les deux cas.

Dans l'arrangement de la Fig.6, j'ai inclus une grille de contrôle
actuelle G. S'il n'est pas
indispensable pour le fonctionnement de l'arrangement montré, il peut être
relié à un B2 potentiel négatif élevé par le commutateur S2 juste
avant de passer le S1 en position DE, alors qu'au cours de la période de
refroidissement du filament, il se produira aucune évasion des électrons de la
poutre à la cathode. En outre, la
grille que g peut être commuté sur au cours de la période de chauffage de la
cathode, afin que les électrons ne sont pas libérés par la force de la cathode
au cours de la période de chauffage et ne provoquant ainsi aucun dommage à la
cathode, ou à incandescence.
Résonance précession biologique
Résonance précession
électronique se produit dans les tissus vivants d'importance, comme observé
dans les essais de laboratoire. Cela
s'appelle ESR (résonance de Spin électronique) ou PMR (RPE). En matière de tissus, cependant, l'électron
de précession est emprisonné entre deux électrons, comme illustré à la Fig.7,
et les orientations polaires sont indiquées par les signes polaires et les
ombres, pour la clarté du dessin.

Simulation
L'arrangement des Fig.7 peut être simulé artificiellement d'une manière
comme sur la Fig.9, dans lequel, l'aimant de piégeage d'électrons est
une paire de parallèles espacées aimants M8. Dans la pratique, cependant, la structure de
cette paire d'aimants M8 sont modifiables. Par exemple, une deuxième paire d'aimants M8
peut se faire entre les deux paires, afin que les directions des domaines
transverses entre les deux paires traversent mutuellement perpendiculaires à
l'axe longitudinal de la chambre à vide.
Le champ interne irradiant les surfaces de ces deux paires d'aimants
peut-être être en forme circulaire et les deux paires peuvent être rassemblés,
soit par physique, contactez les uns aux autres, soit séparés les uns des
autres.
Modifications
Se référant aux régimes de la Fig.6, Fig.9 et Fig.10, lorsque l'électron
est en précession gyroscopique mouvement, le champ rayonné dans une direction
parallèle à l'axe polaire de l'électron, est une seule onde progressive
tire-bouchon qui lorsque transformées à fréquence de la lumière, le rayonnement
produit l'effet de la lumière.

Considérant que, le champ dans une direction perpendiculaire à l'axe de
l'électron produit un rayonnement électromagnétique en quadrature
progressivement. Ainsi, au lieu
d'utiliser la sortie de précession électronique à des fins énergétiques, il
peut-être être utilisée pour le rayonnement de champ de lumière ou d'ondes
électromagnétiques, comme indiqué par les flèches dans la Fig.9. Dans ce cas, la sortie sera rayonnement
cohérent de champ.
En référence à la
disposition des Fig.6, l'émission d'électrons est montrée dans le centre
du champ magnétique de l'aimant se concentrant M5. Il peut être pratiquement souhaitable,
cependant, que ces électrons sont injectés dans le centre du champ de l'aimant
cylindrique d'un pistolet, comme le montre un arrangement exemplaire de Fig.10. Dans ce cas, la chambre à vide C est
flasquée sur le côté droit, pour monter une cathode émettant électron 1
(le filament n'est ne pas affiché) et un pistolet d'électron-accélération
courbé 2. La partie centrale de
cette bride est en retrait pour le confort du montage un aimant
électron-inclinaison (comme illustré), aussi près que possible pour le faisceau
d'électrons. En fonctionnement, lorsque
le courant traverse le filament, et une tension positive est appliquée (non
illustré) à la sortie de 2, les électrons émis de la cathode sont
accélérés et injectés dans le centre du champ de l'aimant 11. En supposant que l'extrémité ouverte du
pistolet 2 chevauche légèrement l'extrémité ouverte du champ central
cylindrique de l'aimant de M1, et la tension d'accélération positive
appliquée au pistolet 2 est très faible, les électrons accélérés vont
entrer dans le centre du champ de l'aimant de M1 et voyager à l'autre
bout du champ. En raison de
l'accélération de la faible vitesse des électrons, mais elles ne peuvent pas se
répandre hors du champ et y demeurer en permanence bloqués qui y sont.
En ce qui concerne la
direction dans laquelle est placée la bobine L1, son enroulement doit
être dans une direction perpendiculaire à l'axe longitudinal de la poutre à
laquelle les axes polaires des électrons sont alignés uniformément en
parallèle. Dans un mode de pratique, la
bobine L1 peut être enroulée sous la forme d'une surface d'enroulement
autour d'une forme tubulaire montée au-dessus de la chambre sous vide
cylindrique.
En ce qui concerne le
fonctionnement de l'appareil comme indiqué ci-après, l'illustration de la Fig.
7 qui représente le champ sortie dans une direction parallèle à l'axe
polaire de l'électron est singulier par étapes, et elle produit l'effet de la
lumière lorsque la fréquence de précession est à une fréquence de lumière. Considérant que, la sortie dans une
direction perpendiculaire à l'axe polaire de l'électron est en quadrature par
étapes, qui se manifeste dans transmission pratiqué de champ électromagnétique.
En ce qui concerne les
références expérimentales, un article intitulé " la résonance magnétique à
haute pression " dans le" Scientific American "par George B.
Benedek, page 105 illustre un noyau de précession et indique la direction du
champ électromagnétique rayonnement par le noyau de précession. La même technique est également utilisée
dans les appareils médicaux " Résonance magnétique nucléaire " maintenant
utilisé dans nombreux hôpitaux d'imagerie des tissus malades (voir " Haute
technologie " novembre décembre 1982.
Voir aussi la technique de détection de résonance de Spin électronique,
dans lequel électrons (appelées " radicaux libres ") sont
transformées par l'application du champ magnétique extérieur à l'affaire de
tissu. Dans l'ensemble de ces
pratiques, les bobines de détection de champ électromagnétique sont dirigé
perpendiculaire aux axes des précession électrons ou les noyaux polaires.
En ce qui concerne la
production de lumière par un électron de précession, dans une direction
parallèle à l'axe polaire de l'électron de précession, voir qu'une référence
expérimentale intitulée " électrons libres font puissant nouveau laser
" publié dans " Haute Technologie ", février 1983 page 69.
En ce qui concerne
l'aspect de la production et de stockage les électrons dans une chambre à vide,
c'est un fait connu par la pratique que les électrons sont pris au piège dans
le champ central d'un aimant permanent cylindrique, et ils resteront piégés
aussi longtemps que l'aimant reste en position.
En ce qui concerne les performances d'obtenir une
résonance précession de l'électron, l'exemple simple d'une toupie vacillant est
suffisante, comme preuve de l'efficacité opérationnelle.
Demande de Brevet US
20090096219 16 avril 2009 Inventeurs: Annis et Eberly
MÉTHODES ET
APPAREILS DE GÉNÉRATION D'ÉNERGIE
BASÉ SUR LA
COMMUTATION DE FLUX MAGNÉTIQUE
RÉSUMÉ
Méthodes et appareils
produisent de l'électricité par le biais de l'exploitation d'un circuit basé
sur une voie unique de flux magnétique.
Membre magnétisable fournit le chemin d'accès de flux. Une ou plusieurs bobines conductrices sont
enroulés autour du membre, et une réticence ou un appareil de commutation de
flux est utilisé pour contrôler le flux.
Lorsqu'il est assuré, les appareils de commutation provoque une
inversion de la polarité (direction) du flux magnétique de l'aimant permanent
par le membre, induisant ainsi en alternance électrique courant dans chaque
bobine. L'appareillage de
commutation de flux peut être immobile ou rotation. Dans les modes de réalisation immobiles,
deux ou quatre commutateurs réticence sont exploités afin que le flux
magnétique d'un ou plusieurs aimants permanents stationnaire est renversé par
le membre magnétisable. Dans les autres
modes de réalisation, l'appareillage de commutation de flux comprend un corps
composé de matériaux de haute perméabilité et de faible perméabilité, telle que
lorsque le corps est tourné, le flux de l'aimant est dans l'ordre inversé par
le membre magnétisable.
DOMAINE DE
L'INVENTION
La présente invention
se rapporte aux méthodes et aux appareils dans lesquels le flux magnétique d'un
ou plusieurs aimants permanents est inversé à plusieurs reprises en polarité
(direction) par un chemin de flux unique autour duquel il est enroulé une
bobine conductrice ou bobines en vue d'induire l'électricité dans les bobines.
CONTEXTE DE
L'INVENTION
Les méthodes
électromécaniques et électromagnétiques impliquées dans les alternateurs et les
générateurs électriques motional sont bien connus. Générateurs et alternateurs emploient souvent des aimants permanents et
ont généralement un rotor et un stator et une bobine ou bobines dont un EMF
(force électromotrice) induite. La physique en
participant à la production électrique est décrite par l'équation de générateur
V = ∫ (vxB) .dl.
Aimants permanents
faits de matériaux qui ont une haute sous la contrainte, une haute densité de
flux magnétique un motif magnétique haute force (mmf), et aucun altération
significative de la force magnétique au fil du temps ne sont désormais
courants. Les exemples incluent les
aimants ferrite en céramique (Fe2O3) ; cobalt de samarium-cobalt (SmCO5) ; combinaisons
de néodyme, fer et bore ; et d'autres.
Des chemins pour les
transformateurs magnétiques sont souvent construits de matériaux ferreux
laminés ; inductances emploient souvent des ferrites, qui sont utilisés pour
l'exploitation de fréquence plus élevée pour les deux appareils. Matériaux magnétiques de haute performance
pour les utilisent comme les chemins d'accès magnétiques dans un circuit
magnétique sont maintenant disponibles et sont bien adaptés pour la commutation
(rapide) de flux magnétique avec un minimum de courants de Foucault. Un exemple est le matériel de noyau
nanocristallin FINEMET® nanocrystalline core de Hitachi du Japon.
Selon Moskowitz,
"Aimant Permanent Manuel de Conception et d'Application" 1995, page
52, flux magnétique peuvent être considérée comme des lignes de flux qui en
sortent toujours et entrez les surfaces des matériaux ferromagnétiques à angle
droit, qui ne peut rendre vrais virages à angle droit, qui voyagent uniquement
dans des chemins droits ou incurvés, qui suivent la distance la plus courte, et
qui suivent le chemin de la plus faible réluctance.
Un interrupteur "
réticence " est un dispositif qui peut considérablement augmenter ou
diminuer (généralement augmenter) la réticence (résistance à la force motrice
magnétique) d'une piste magnétique d'une manière directe et rapide, puis
restaurez-le à sa valeur initiale (généralement inférieur) d'une manière
directe et rapide. Un commutateur de
réticence a généralement des caractéristiques analogiques. En revanche, un interrupteur
marche/électrique généralement a une caractéristique numérique, comme il n'y a
pas d'électricité " cordeau ".
Avec l'état actuel de la technique, les interrupteurs de réticences ont
cordeau flux magnétique. Réticence
commutateurs peuvent être exécutées mécaniquement, tel quant au déplacement de
keeper cause pour créer un vide d'air ou électriquement par plusieurs moyens,
ou par d'autres moyens. Un moyen
électrique est celle de l'utilisation de bobines de contrôle enroulées autour
des chemins de flux.
Un autre moyen
électrique est le placement dans le chemin d'accès du flux de certaines classes
de matériaux qui changent (augmentent généralement) leur réticence à la demande
d'électricité. Un autre moyen
électrique est de saturer une région du commutateur matériel afin que la réticence
augmente à celle de l'air en y insérant les fils électriques conducteurs le
matériel tel que décrit par Konrad et Brudny dans " An Améliorée Méthode
pour Air Gap Virtuel Longueur Calcul " dans IEEE Transactions on
Magnetics, Vol. 41, no 10, octobre 2005.
La littérature brevet
décrit un certain nombre de constructions qui ont été conçus pour faire varier
la quantité de flux magnétique dans les chemins de flux alternatif en divisant
démesurément le flux d'un aimant permanent stationnaire ou aimants entre ou
parmi les chemins d'accès de flux alternatif à plusieurs reprises dans le but
de produire de l'électricité.
L'augmentation du flux dans un chemin magnétique et la diminution
correspondante dans les chemins d'accès des autres fournissent la base pour
induire l'électricité quand les bobines sont enroulés autour des chemins. La physique en participant à la production
électrique de ces constructions est décrite par l'équation de transformateur V
= - ∫dB/dt.ds. Une variété de
réticence moyens de commutation ont été utilisées pour provoquer le flux d'être
augmenté/diminué vers un autre chemin particulier avec une
diminution/augmentation correspondante dans l'autre voie et de le faire à
plusieurs reprises. Un moyen de
commutation de flux le long d'autres chemins d'accès entre les pôles opposés
d'un aimant permanent ont inclus le principe de transfert de flux décrit par R.
J. Radus, Engineers' Digest, juillet 1963.
Un résultat de fournir
des chemins de flux alternatif d'une géométrie et une perméabilité généralement
semblables est que, sous certaines conditions, l'autre chemin d'accès
sélectionné en premier ou le chemin d'accès sélectionné pour la majorité du
flux restera un " chemin préféré " qu'il conservera plus de flux et
l'autre voie, malgré les chemins ayant la même réticence. (Il n'y a pas une
égalisation automatique du flux entre des parcours similaires).
Moskowitz, "
Aimant Permanent Design and Application Handbook " 1995, page 87 aborde
cet effet en ce qui concerne l'utilisation industrielle des aimants permanents
à soulever et à libérer le fer et d'acier en tournant l'aimant permanent sur et
(presque) arrêt via la réticence de commutation qui se compose de l'électrique
pulsé de bobines enroulées autour des chemins de flux magnétique (les
commutateurs de réticence).
Des résultats
expérimentaux avec quatre barres rectangulaires de fer (perméabilité relative =
1000) placés ensemble dans un carré avec une barre à un aimant permanent
(surfacique mesurée à un pôle = 5000 Gauss) entre deux des barres adverses à
peu près dans un centre de position a montré que la suppression et le
remplacement de celui de la fin bars qui est parallèle à la barreau aimanté se
traduira par environ 80 % du flux restant dans la barre qui est resté en
contact. De plus, les résultats ont
montré que le chemin d'accès préféré doit éprouver une augmentation de
réticence sur dix fois de celle de l'autre chemin disponible avant sa condition
de flux disproportionnée va céder et transférer à l'autre chemin.
Pat Flynn
RÉSUMÉ DE
L'INVENTION
La présente invention
se rapporte aux méthodes et appareils pour la production d'électricité par le
biais de l'exploitation d'un circuit basé sur une voie unique de flux
magnétique. Membre magnétisable fournit
le chemin d'accès de flux. Une ou
plusieurs bobines conductrices sont enroulés autour du membre, et une réticence
ou les appareils de commutation de flux est utilisé pour contrôler le flux. Lorsqu'il est assuré, les appareils de
commutation provoque une inversion de la polarité (direction) du flux
magnétique de l'aimant permanent par le membre, induisant ainsi en alternance
électrique courant dans chaque bobine.
Selon l'invention, le flux appareils de
commutation peut être immobile ou rotation.
Dans les modes de réalisation immobiles, quatre réticence interrupteurs
sont actionnés par une unité de contrôle qui provoque une première paire de
commutateurs pour ouvrir (réticence croissante), alors qu'une autre paire de
commutateurs à proximité (réticence décroissante). La première paire est fermée alors que
l'autre paire est ouvert et ainsi de suite.
Cette 2 x 2 d'ouverture et de fermeture de cycle se répète et, comme il
le fait, le flux magnétique de le permanent magnet(s) stationnaire est inversé
en polarité via le membre magnétisable, causant l'électricité dans les bobines
conductrices. Une incarnation
immobile alternative utilise deux interrupteurs de réticence et deux lacunes
d'air ou d'autres matériaux.
Dans les autres modes
de réalisation, le flux, appareils de commutation comprend un corps composé de
matériaux de haute perméabilité et de faible perméabilité, telle que lorsque le
corps est tourné, le flux de l'aimant est dans l'ordre inversé par le membre
magnétisable. Dans le mode de
réalisation préféré, le corps est cylindrique ayant un axe central, et le corps
tourne autour de l'axe. Le cylindre est
composé d'un matériau de haute perméabilité à l'exception de l'article de
matériau de faible perméabilité qui divise le cylindre en deux demi
cylindres. Au moins une bobine
conductrice est enroulée autour du membre magnétisable, telle que quand le
corps tourne un courant électrique est induite dans la bobine. Le corps peut être tourné par les forces
mécaniques, électromécaniques ou autres.
Procédé de génération
de courant électrique, comprend les étapes de fournissant un membre
magnétisable avec une bobine conductrice plaie therearound et séquentiellement
inverser le flux d'un aimant permanent par le membre, induisant ainsi un
courant électrique dans la bobine.
BRÈVE DESCRIPTION DES DESSINS

Fig.1 est un diagramme schématique d'un circuit magnétique selon l'invention.

Fig.2 est une vue en
perspective d'une réalisation de l'invention, fondée sur les commutateurs
immobile de flux magnétique.

Fig.3 est un dessin d'un commutateur de flux immobile après l'invention de
détail.

Fig.4 est un dessin de détail d'un commutateur à réluctance selon
l'invention.

Fig.5 est un détail de dessin d'un commutateur de flux immobile alternatif
selon l'invention qui utilise des lacunes d'air ou d'autres matériaux.

Fig.6 est un diagramme schématique d'un système utilisant un commutateur
rotatif flux selon l'invention.

Fig.7 est un dessin de détail d'un commutateur de flux rotatif selon
l'invention.

Fig.8 est un diagramme schématique d'un circuit conforme à l'invention
utilisant deux aimants permanents et un seul trajet de flux.

Fig.9 indique une
possible réalisation matérielle de l'appareil avec les composants de la Fig.8,
y compris une unité de commande de commutateur de réticence.

Fig.10 spectacles et tableau d'interconnectés génératrices électriques selon
l'invention.
DESCRIPTION DÉTAILLÉE DES MODES DE
RÉALISATION PRÉFÉRÉS

Fig.1 un diagramme schématique d'un circuit magnétique selon l'invention
utilise un commutateur flux immobile.
Le circuit comprend les composants suivants : un aimant permanent 102,
chemin de flux unique 104, des bobines, 106, 108 et quatre
réticence passe 110, 112, 114, 116.
Sous le contrôle de l'unité 118, réticence commutateurs 110,
114 ouvrir (réticence croissante), tandis que des commutateurs, 112, 116
close (réticence décroissante).
Réticence bascule 110, 114 puis fermer, tandis que des
commutateurs, 112, 116, ouverte et ainsi de suite. Cette 2 x 2 d'ouverture et de fermeture de
cycle se répète et, comme il le fait, le flux magnétique d'un aimant permanent
stationnaire 102 s'inverse à polarité par trajet simple flux 104,
causant l'électricité en bobines conductrices 106, 108.
Une forme efficace d'aimant permanent 102
est un " C " dans lequel les polonais sont en proximité des uns
des autres et s'engager avec le commutateur de flux. Le seul flux est porté par un membre magnétisable 100,
également en forme de " C " avec les extrémités qui sont à proximité
d'un de l'autre et aussi s'engager avec le commutateur de flux. En cela et en autres modes de réalisation,
la 2 x 2 cycle de commutation s'effectue en même temps. À ce titre, circuit de commande 118 est
prise de préférence avec une horloge piloté par quartz, alimentation des
compteurs numériques, des tongs, des forfaits de porte, ou similaires,
d'ajuster le temps de montée, tomber temps, bourdonnements et autres effets
parasites. L'étage de sortie du circuit
de commande peut utiliser FET (Transistor à effet de champ interrupteurs) pour
router des signaux analogiques ou numériques pour les commutateurs de réticence
au besoin.

Fig.2 est un point
de vue d'une éventuelle réalisation matérielle de l'appareil en utilisant les
composants de la Fig.1, montrant leur position relative à un autre.
Réticence passe 110, 112, 114, 116, peut être mis en œuvre différemment,
comme décrit ci-dessous, mais habituellement occupent la même position relative
au sein de l'appareil.

Fig.3 est un détail
de dessin de l'interrupteur de flux immobile.
Les segments reliant 120, 122, 124, 126 doit être faite d'un
matériau ferromagnétique haute perméabilité.
Le volume central 128 peut être un trou traversant, offrant un
espace d'air, ou il peut être rempli de verre, en céramique ou autre matériau
de faible perméabilité. Un chef Super- d'orchestre ou toute autre
structure démontrant l'effet Meissner peut aussi retenir.
Dans la réalisation représentée dans la Fig.2
et Fig.3, réticence passe 110, 112, 114, 116 sont mises en œuvre
avec une structure à l'état solide facilitant l'opération immobile. Le commutateur de réticence immobile actuellement
privilégiée est décrite par Toshiyuki Ueno & Toshiro Higuchi, dans le livre
" enquête sur les propriétés dynamiques du dispositif de contrôle de Flux
magnétique composé de stratification de magnétostrictif matériau matériau
piézoélectrique ", l'Université de Tokyo 2004, la totalité de qui est
intégrée aux présentes par référence.
Comme illustré à la Fig.4, ce commutateur est fait d'un stratifié
d'un MGM (géant magnétostrictifs matériel 42), un alliage TbDyFe, collé
sur les deux côtés par un matériau PZT (piézoélectrique) 44, 46 à
laquelle l'électricité est appliquée.
La demande d'électricité à la LUN crée souche sur MGM, ce qui provoque
sa réticence à augmenter.

Autres dispositions sont applique, y compris
celles indiquées dans en attendant US Patent Application Serial no
2006/0012453, dont le contenu entier est intégré aux présentes par
référence. Ces commutateurs divulguées
dans cette référence sont basé sur le magnétoélectrique (moi) matériaux de
cristaux liquides sous forme de magnetorestrictive et effets piézoélectriques. Les propriétés de moi matériaux sont décrits, par
exemple, à Ryu et al., " Magnétoélectrique effet en Composites de
Magnetorestrictive et piézo-électriques ", Journal d'électrocéramique,
Vol. 8, 107-119
Filipov et al., "
Magnétoélectrique effets à Piezoresonance en ferromagnétique-ferroélectrique
couches Composites ", abrégé, réunion de la société physique américaine
(mars 2003) et Chang et coll., " Magnéto-bande de Stacked Nanographite
rubans ", résumé, réunion de la Société Physique Américaine (mars 2003). Tout le contenu de chacun de ces documents
sont également intégrées aux présentes.
Autres solutions de rechange incluent les
matériaux qui peuvent séquentiellement chauffée et autorisé à cool (ou refroidi
et ont s'échauffer ou activement chauffé et refroidi) au-dessus et au-dessous
de la température de Currie, modulant ainsi les réticences. Gadolinium est un candidat depuis son point de
Currie est à température ambiante.
Supraconducteurs à haute température sont les autres candidats, dont le
matériau étant refroidi dans une chambre isotherme à température sensiblement
égal à ou près du point de Currie. Micro-ondes ou autres sources d'énergie
peuvent servir en conjonction avec l'unité de contrôle à effectuer ce
changement. Selon comment rigidement
les commutateurs sont contenues, expansion-limitant davantage " jougs
" peuvent ou peuvent ne pas être nécessaires autour du bloc meilleur vu à
la Fig.4.

Fig.5 est un détail de dessin d'un commutateur de flux immobile alternatif
selon l'invention qui utilise des lacunes d'air ou d'autres matériaux. Cette réalisation utilise le deux
électrovannes réticence commutateurs 110, 114 et deux lacunes 113,
115, tels que lorsque les interrupteurs sont activés de manière prescrite,
le flux de l'aimant 102 est bloqué le long des segments de commutateur
contenant les commutateurs et forcé à travers les segments contenant du fossé,
renversant ainsi le flux à travers le membre magnétisable 100. Lors de l'activation des deux interrupteurs
réticence 110, 114, le flux, qui cherchent un chemin d'accès de réticence
significativement plus faible, se retourne vers le chemin original contenant
les commutateurs de réticence (non désactivé), renversant ainsi le flux à
travers le membre 100. Notez que les
commutateurs de flux peuvent également être électromagnétiques pour saturer les
régions locales du commutateur telle que la réticence augmente pour que de
l'air (ou matériel d'écart), créant un espace virtuel comme indiqué par Konrad
et Brudny dans le contexte de l'Invention.
Plus particulièrement, les appareils selon
ce mode de réalisation de commutation de flux utilise un aimant permanent ayant
un pôle Nord ' n'et du pôle Sud pour s'opposer à la relation à travers un écart
définissant un volume. Membre
magnétisable avec extrémités " A " et " B " est pris en charge
en s'opposant à la relation sur un espace de partage le volume, et un
commutateur de flux comprend un bloc stationnaire dans le volume ayant quatre
côtés, 1-4, avec deux côtés opposés, interfacées à N et S, respectivement et
avec les deux autres parties adverses étant reliés à A et B,
respectivement. Le bloc est composé
d'un matériau magnétisable segmenté par deux commutateurs électriques de flux
magnétique et deux lacunes rempli d'air ou autre matériau (x). Une unité de contrôle dans la communication avec les commutateurs de
flux électrique est fonctionnelle, pour :
a) laisser passivement
un chemin d'accès de flux par défaut par le biais de côtés 1-2 et 3-4, puis
b) établir activement
un trajet de flux à travers des côtés 2-3 et 1-4, et
c) répéter a) et b) sur
une base séquentielle.

Comme alternative à un
commutateur de flux immobile, un interrupteur rotatif flux peut servir à mettre
en œuvre le 2 x 2, alternant les séquences.
Se référant à la Fig.6 et Fig.7, cylindre 130 avec écart
de flux 132 est tournée par un motif moyen 134. Cela provoque les moitiés du cylindre 130
pour fournir deux ponts simultanées et distinctes des flux magnétique
(c-à-d., une condition de réticence " fermée " switch), dans lequel
une fin donnée membre magnétisable 136 est jumelée à un des pôles d'un
aimant permanent stationnaire 138.
En même temps, l'autre extrémité du transporteur de chemin d'accès de
flux unique 136 est jumelée avec le pôle opposé de stationnaire à un
aimant permanent 138.
Fig.7 est une vue de
détail du cylindre. Chaque rotation de
90° du cylindre entraîne les premiers ponts de flux pour être cassé (une
condition d'interrupteurs réticence " ouvert ") et une deuxième série
de ponts de flux doit être créé dans lequel la fin donnée de membres 136 est
alors comblée au pôle opposé de stationnaire à un aimant permanent 138. Une rotation complète du cylindre 130 provoque
quatre de ces inversions. Chaque
inversion du flux dans le chemin d'accès de flux unique 2 provoque un
courant électrique à être induite dans la conduite de serpentins 140, 142. Dans cette réalisation, il est important de
maintenir un espacement précis et cohérent entre chacun des " moitiés
" de cylindre (rotatif) 130 par rapport aux pôles d'un aimant
permanent 138 et les extrémités du transporteur de chemin d'accès de
flux 136 comme les ponts de flux magnétique sont fournis par le cylindre
130 comme il tourne.
Cylindre rotatif 130
est faite d'un matériau à haute perméabilité magnétique est complètement
divisé par l'écart de flux 132.
Un matériau préféré est un matériau nanocristallin tels que FINEMET ®,
fabriqué par Hitachi. L'écart de flux 132
peut être air, verre, céramique ou tout matériel présentant une
perméabilité magnétique faible. Un
supraconducteur ou toute autre structure démontrant l'effet Meissner peut
également être utilisé.
Une forme efficace de
membre magnétisable 136 est un " C " dans laquelle ses
extrémités opposées sont arrondies par un rayon même comme cylindre 130 et
sont à proximité le plus proche possible avec cylindre rotatif 130. Aimant permanent 138 est aussi de
préférence en forme de C dans lequel les pôles opposés sont arrondies par un
rayon même comme cylindre 130 et sont à proximité le plus proche
possible avec cylindre rotatif 130.
Considérations de
fabrication et d'assemblage peuvent dicter des autres formes.

Bien que les modes de réalisation décrits
jusqu'ici utilisent un aimant permanent unique, autres modes de réalisation
sont possibles selon l'invention utilisant une pluralité d'aimants permanents
tout en générant néanmoins un chemin d'accès de flux unique. Fig.8 représente un circuit utilisant deux aimants
permanents et un chemin d'accès de flux unique. Fig.9 montre une possible réalisation
matérielle de l'appareil, basé sur les composantes de la Fig.8, y
compris une réticence interrupteur contrôle unité 158.

Sous le contrôle de l'unité 158,
réticence commutateurs 150, 152 ouvrir (réticence croissante), tandis
que des commutateurs, 154, 156 close (réticence décroissante). Réticence bascule 150, 152 puis
fermer, tandis que des commutateurs, 154, 156, ouverte et ainsi de
suite. Cette 2 x 2 d'ouverture et de
fermeture de cycle se répète et, comme il le fait, le flux magnétique des
aimants fixes 160, 162 s'inverse à polarité via le membre magnétisable,
causant l'électricité en bobines conductrices 166, 168.
Dans la mise en œuvre
de ce mode de réalisation préféré, les aimants sont disposés avec leurs pôles N
et S inversés. Le membre magnétisable est disposé entre les deux aimants, et il
y a quatre commutateurs de flux, SW1-SW4, deux entre chaque extrémité du
membre et les pôles de chaque aimant.
Les commutateurs de réticence sont implémentés avec les structures
décrites ci-dessus en ce qui concerne les Fig.1 à Fig.3.
Pour ajouté
particularité, assumer le premier aimant a des pôles Nord et Sud, N1 et S1, le
deuxième aimant a des pôles Nord et Sud, N2 et S2 et le membre a deux
extrémités A et B. en supposant que SW1 est situé entre N1 et A, SW2 est
entre A et S2, SW3 est entre N2 et B et SW4 est entre B et S1, la
coopérative de circuits de contrôle pour activer SW1 et SW4, puis
activer SW2 et SW3 et répéter ce processus de manière séquentielle. Comme pour les autres modes de réalisation
décrit ci-après, pour des raisons d'efficacité, la commutation s'effectue en
même temps.
Dans tous les modes de réalisation décrits
ci-après, le matériau utilisé pour la permanent magnet(s) peut être soit une
aimant assemblées, soit une seule unité magnétisée. Matériaux préférés sont les aimants ferrite
en céramique (Fe203), samarium cobalt (SmCO5) ou combinaisons de néodyme, fer
et bore. Le chemin d'accès de flux
unique est exécuté par un matériau ayant une haute perméabilité magnétique ou
construit de manière à minimiser les courants de Foucault. Ce matériel peut être un fer feuilleté ou ensemble
en acier ou un noyau de ferrite, tels que ceux utilisés dans les
transformateurs. Un matériau préféré
est un matériau nanocristallin tels que FINEMET ®. La bobine conductrice ou les bobines sont
enroulés autour de la matière transportant que le chemin d'accès de flux unique
autant tourne comme nécessaire pour atteindre la tension, courant ou les
objectifs de puissance. Aimant ordinaire, standard, isolé cuivre fil
(moteur) est suffisante et acceptable.
Matériaux supraconducteurs peuvent également être utilisés. Au moins certains de l'électricité induite
dans les bobines conductrices peuvent être reversé dans l'unité de commande de
commutateur. Dans ce mode de
fonctionnement, à partir des impulsions électriques peut-être être fournie
d'une substance chimique ou de la batterie solaire, comme l'exige.

Bien que dans les modes
de réalisation de la Fig.2 et Fig.6 l'aimant et le transport de flux des
matériaux sont plates éléments situés dans des plans orthogonaux avec transport
de flux matériel se trouvant à l'extérieur le volume décrit par l'aimant, le
chemin d'accès de flux peut être disposé « dans » le volume de l'aimant ou
configuré selon un angle. L'échelle
physique des éléments peut également varier afin de profiter des techniques de
fabrication ou d'autres avantages. Fig.10,
par exemple, montre un tableau des circuits magnétiques, chacune ayant une ou
plusieurs bobines qui peuvent être en combinaisons série, parallèle ou
série-parallèle, dépendant de la tension ou les exigences actuelles. Dans chaque cas, les aimants peuvent être
placés ou fabriqués à l'aide de techniques communs à l'industrie de la
microélectronique. Si flux mécanique
commutateurs sont utilisés, ils ont peuvent être fabriqué en utilisant des
techniques de type MEMs. Si immobiles
commutateurs sont utilisés, les matériaux peuvent être placés ou déposés. Les chemins sont préférence enroulés à
l'avance puis choisis et placés dans la position comme montré. L'incarnation illustrée à la Fig.9 est
également favorable à la miniaturisation et de la réplication.
Brevet
Américain 6 800 955 5 octobre
2004 Inventeur: William McDavid
jnr.
Dispositif de Conversion d'Énergie par Fluide
Remarque : Le libellé de ce brevet a été modifié pour la rendre plus facile
à comprendre. Dans ce brevet, William
rapporte des sections de sa conception selon le sens de circulation à travers le
boîtier et donc il appelle la première section la chambre "en aval"
et la chambre suivante comme la chambre "en amont". Bien que l'eau pourrait être utilisée, ce
brevet décrit essentiellement un générateur d'éolienne de haute
efficacité. Pour les dimensions : un
pouce = 25,4 mm.
Résumé
Un dispositif de
conversion d'énergie de propulsion liquide qui convertit l'énergie dans un
fluide en mouvement en énergie mécanique.
Un châssis cylindrique rigide de chicanes toroïdales constitue une
chambre annulaire ou en forme d'anneau " en amont " et une chambre
annulaire " en aval ", chacune des chambres ayant des côtés ouverts
pour permettre l'entrée du fluide. Les
baffles toroïdales créent un vortex en amont de la route dans une chambre de
vortex central en amont et un vortex d'extraction en aval en rotation dans le
sens inverse dans une chambre de vortex central en aval. Un ensemble de volets battants entourent les
chambres de vortex et ces laissez le liquide d'entrer chaque chambre uniquement
dans le sens de rotation du vortex et empêchent le fluide de sortir par les
côtés de l'appareil. Le tourbillon
volant traverse et tourne, une turbine placée dans une ouverture centrale entre
les deux chambres. Les pales de la
turbine sont tournées par l'élan de rotation du fluid moteur vortex, ainsi que
la portance générée par chaque pale d'éolienne, ainsi que l'élan supplémentaire
conférée par l'inversion de vortex.
Références de brevet US :
McDavid, Jr. US
6,710,469
McDavid, Jr. US
6,518,680
Walters US 5,664,418
Description:
CONTEXTE DE L'INVENTION
1. Domaine Technique de l'Invention
La présente invention
se rapporte généralement à la production d'électricité et dispositifs de
conversion d'énergie et plus particulièrement à un dispositif de conversion d'énergie
de propulsion liquide qui convertit l'énergie du vent ou l'eau qui coule en une
énergie mécanique ou électrique.
2. Description de l'Art Connexe
L'utilisation
du vent ou l'eau qui coule pour alimenter pour divers utilise remonte à
plusieurs siècles. Dans les temps
modernes, l'eau et le vent ont servi à produire de l'électricité. Les centrales hydroélectriques ont été
utilisés pour générer de grandes quantités d'énergie électrique pour une large
diffusion. Cependant, cette
technique nécessite principaux changements environnementaux permanents dans les
zones où sont construits deux barrages et réservoirs augmentent. Éoliennes, en général, ont été utilisés pour
effectuer des travaux de mécanique, ou pour produire de l'électricité,
seulement sur une échelle limitée. Avec la
demande toujours croissante des sources d'énergie supplémentaires, ou autres,
toutes les sources possibles reçoivent plus d'examen minutieux. Ceci est particulièrement vrai pour les
sources qui sont non polluantes et inépuisables. Fluide hydroélectrique et éolienne systèmes
fournissent des sources, et la capture d'énergie accrue contre le vent et l'eau
a reçu mûre réflexion.
Toutefois,
les dispositifs de production d'électricité hydroélectrique et éolienne
commerciale qui sont actuellement utilisées ont plusieurs inconvénients. Éoliennes, en particulier, sont coûteux,
inefficace, dangereux, bruyant et désagréable d'être autour. Pour capturer un grand volume de vent, les
éoliennes existantes sont très grandes.
En conséquence, ils ne peuvent être répartis dans des centres de
population, mais doivent être installées à quelque distance de là. Puis, comme les barrages avec des
générateurs hydroélectriques, l'énergie électrique qu'ils génèrent doit être
transmise, à un coût considérable et avec des pertes d'énergie considérables,
dans les centres de population où l'énergie est nécessaire.
Il serait souhaitable
de distribuer des unités plus petites hydraulique et éolienne dans les centres
de population. Par exemple, il serait
souhaitable d'avoir une unité éolienne pour chaque structure du bâtiment, ainsi
distribuer la capacité de production sur l'ensemble de la zone et
l'approvisionnement en énergie moins vulnérable à des événements locaux tels
que les tempêtes ou les tremblements de terre.
Telle production distribuée également résoudrait l'objection plus
courante et valide pour l'éolienne, à savoir, que le vent ne souffle pas tout
le temps. Dans une vaste région
géographique, toutefois, presque toujours vent quelque part. Par conséquent, avec les génératrices
éoliennes qui sont réparties dans toute la région, puissance pourrait être
généré dans les zones où le vent souffle et puis transmise au reste du réseau
électrique. Cependant, avec la
technologie existante, adapté pour la distribution dans une zone de population
de plus petites unités ne sont pas suffisamment efficaces pour fournir une
quantité suffisante d'énergie pour alimenter une structure telle qu'un bâtiment
de la maison ou au bureau. En outre,
ces unités sont visuellement gênant et bruyant, ce qui les rend impropre à
l'usage dans des contextes très peuplées résidentiels ou autres.
Appareils
de production d'électricité éolienne utilisent généralement une hélice montée
sur l'axe horizontal d'un générateur qui, à son tour, est monté au sommet d'une
tour. Il s'agit d'un dessin ou modèle inefficace parce que l'énergie est
extraite du vent en réduisant la vitesse du vent qui passe dans l'hélice. Cela crée une poche de lent air galop derrière
l'hélice, qui souffle de vent ambiant autour.
Par conséquent, seulement la partie extérieure de l'hélice utilisent le
vent efficacement.
Pour
contrer cet effet, conceptions de moulin à vent modernes utilisent extrêmement
longues pales. L'utilisation de telles
lames massives, cependant, a ses propres inconvénients. Tout d'abord, les hélices sont connus pour
tuer ou blesser des milliers de grands oiseaux chaque année. Deuxièmement, les lames massives peuvent
être dangereux si l'appareil n'arrive pas structurellement et l'hélice se
déchaîne. Dans ce cas, l'hélice peut
voler à une distance considérable et causer de graves dommages ou des blessures
à quelque chose ou quelqu'un sur son passage.
Troisièmement, la conception de l'hélice contient un déséquilibre gravitationnel
inhérent. Les pales montées sur un côté
du moyeu de l'hélice sont opposent à la gravité, tandis que les lames
descendants de l'autre côté du moyeu sont en baisse avec gravité. Ce déséquilibre crée beaucoup de vibrations
et de stress sur le périphérique. Par
conséquent, le dispositif doit être structurellement augmenté, à grands frais,
pour résister aux vibrations et contraintes et éviter ainsi les fréquent
entretien et/ou le remplacement.
Par conséquent, il
serait avantageux d'avoir un dispositif de conversion d'énergie de propulsion
liquide qui permet de surmonter les insuffisances des dispositifs
existants. Un tel dispositif pourrait
utiliser l'énergie éolienne ou l'énergie de l'écoulement de l'eau pour fournir
l'énergie mécanique ou électrique. La
présente invention porte un tel dispositif.
RÉSUMÉ DE
L'INVENTION
Un des aspects, la
présente invention est un dispositif de conversion de l'énergie fluide-propulsé
pour la conversion d'énergie dans un fluide en mouvement en énergie mécanique. Le dispositif comprend un châssis rigide
cylindrique qui a une " en amont " annulaire (annulaire) chambre et
une chambre annulaire " en aval ".
Chacune des chambres a des côtés qui sont ouvertes pour permettre
l'entrée de la fluide en mouvement. Une
première série de chicanes sont montés longitudinalement dans la chambre en
amont, et ceux-ci créer un tourbillon volant qui tourne dans le sens premier,
lorsque le fluide en mouvement entre dans la chambre en amont par les côtés de
la chambre en amont. Un ensemble de
volets à charnières sont placés dans les ouvertures entre ces chicanes,
création d'une chambre centrale vortex centrée sur l'axe longitudinal de
l'appareil.

This
first set of louvers permits entry of the moving fluid into the upstream
central vortex chamber only when the fluid is rotating in the first
direction. They also prevent the fluid
from exiting from the upstream central vortex chamber through the sides of the
device. The device also includes a floor
of the upstream annular chamber which slopes upwards towards the downstream
chamber as the floor approaches the central longitudinal axis of the device.

Ce plancher en pente
provoque le vortex en voiture à couler en " aval " (vers le haut pour
l'air) par le biais de la chambre en amont de vortex central et passe à travers
un guichet central situé entre la chambre annulaire en amont et l'aval chambre
annulaire. Un arbre de transmission
longitudinal est monté au centre dans l'ouverture centrale et une turbine est
montée sur l'arbre d'entraînement dans l'ouverture centrale. La turbine est en rotation par le vortex de
disque comme disque de vortex passe par l'ouverture centrale.

L'appareil peut
également inclure une deuxième série de chicanes, monté longitudinalement dans
la chambre " en aval " (supérieure pour l'air) qui a pour effet de
créer un vortex d'extraction qui tourne dans le sens inverse, lorsque le fluide
en mouvement entre dans la chambre en aval par le biais de côtés ouverts de la
chambre en aval. En outre, une deuxième
série de persiennes battantes peut-être être positionnée dans les ouvertures
entre les deuxièmes de chicanes, encerclant une chambre tourbillon central en
aval. La deuxième série des persiennes
autorise l'entrée du fluide en mouvement dans la chambre de vortex central en
aval que lorsque le liquide est en rotation dans le sens opposé au sens de
l'écoulement dans le carrossage " en amont ". Ces persiennes également empêchent le
liquide sortir de la chambre de vortex central en aval par les côtés de
l'appareil. De cette manière, la
turbine tourne par le vortex de lecteur car le vortex lecteur passe par la
turbine et change de direction pour correspondre à la direction du vortex
d'extraction.
Pour
haut-vent ou lorsqu'il est alimenté par l'écoulement de l'eau, le moteur vortex
vortex et extraction peut tourner dans le même sens. La première série de la forme de volets battants la
chambre tourbillon central en amont et le second jeu de forme de persiennes
battantes la chambre tourbillon central en aval. La première série des persiennes autorise
l'entrée du vent ou l'eau dans la chambre en amont de vortex central uniquement
lorsque le fluide est en rotation dans la première direction.
BRÈVE
DESCRIPTION DES DESSINS
L'invention
est mieux comprise et ses nombreux objets et avantages devient plus apparents à
ceux du métier par référence aux dessins suivants, en conjonction avec le
mémoire descriptif ci-joint, dans lequel :

FIG.1 est une vue en
perspective d'une première application de la présente invention que convertis
éolienne en énergie mécanique ou électrique ;

FIG.2 est une vue en
haut de la page plan de réalisation de Fig.1

FIG.3 est une vue de
côté altitudinal de réalisation de Fig.1

FIG.4 est une vue en
coupe de l'incarnation de la Fig.1 prises le long de la ligne 4 — 4 de
la Fig.3 avec un générateur électrique pour produire de l'énergie
électrique ;

FIG.5 une vue en
perspective d'un volant d'inertie remplie de liquide est compatible avec la
présente invention ;

FIG.6 est une vue en
plan haut du volant de la Fig.5 remplie de liquide

FIG.7 est une vue en
coupe d'une application de la présente invention que convertit l'énergie de
l'écoulement d'eau à l'énergie électrique ;

FIG.8 est une vue en
perspective de l'incarnation de la Fig.1 avec les chicanes
longitudinales tirées en fantôme pour que le diviseur central annulaire (pont
intermédiaire) et la turbine sont visibles

FIG.9 est une vue en
coupe horizontale de l'incarnation de la Fig.1 prises le long de la
ligne 9 — 9 de Fig.8

FIG.10 est une vue en
perspective d'une deuxième réalisation de la présente invention que transforme
l'énergie éolienne à une énergie mécanique ou électrique, avec les chicanes
longitudinales dessiné en fantôme pour qu'un ensemble de charnières auvents
longitudinaux sont visibles ; et

FIG.11 est une vue en
coupe horizontale de l'incarnation de la Fig.10 prises le long de la
ligne 11 — 11.
Dans les dessins,
comme ou semblable éléments sont désignés par des chiffres de référence
identique tout au long des divers points de vue, et les différents éléments
affichée ne proviennent pas nécessairement à l'échelle.
DESCRIPTION
DÉTAILLÉE DES MODES DE RÉALISATION

Fig.1 est une vue en
perspective d'une application de la présente invention qui convertit l'énergie
éolienne en énergie mécanique ou électrique.
Le dispositif de conversion de l'énergie 10 comprend un
stationnaire cowling 11 entourant un en amont (plus bas) en forme
d'anneau ou en forme de beigne chambre 12 et un en aval (en haut) en
forme d'anneau chambre 13. Le
capot peut être construites en tout autre matériau rigide approprié tel que le
bois, plastique, métal, ou similaire.
Le capot peut être construit à partir d'un matériau transparent, ce qui
rend le dispositif visuellement discrète.
Dans la réalisation préférée de la présente invention, le capot est
cylindrique et est construit dans un plastique de haute qualité, protégé par
ultraviolet.
Le capotage 11 comporte
une série de chicanes longitudinales qui sont incurvées et disposées dans un
motif toroïdal. En amont des
déflecteurs 14a sont montés dans la chambre annulaire amont 12 et
aval chicanes 14b sont montées dans la chambre annulaire aval 13. Dans la réalisation préférée de la présente
invention, environ six cloisons longitudinales toroïdaux sont montés dans
chaque chambre. La fonction de chicanes
pour orienter le vent dans chaque chambre.
La rétrécissement transversale entre les chicanes provoque l'air
accélérer lorsqu'il se déplace vers le centre de l'appareil, en créant deux
tourbillons de grande vitesse (un vortex en amont de la route et un vortex
d'extraction en aval). Bien que
l'invention est décrite ici principalement sous forme d'un cylindre orientés
verticalement, il faut comprendre que le dispositif peut être installé dans
d'autres positions, comme une orientation horizontale, qui se traduit par le
dispositif ayant une chambre annulaire en amont et une chambre annulaire en
aval qui sont à la même hauteur. Par
ailleurs, comme indiqué ci-dessous dans le cadre de la Fig.7, l'appareil
peut-être être inversé lorsqu'il est utilisé dans l'eau car l'eau Vortex
déplacent plus facilement vers le bas plutôt que vers le haut.
Dans le
mode de réalisation illustré à la Fig.1, dans lequel basse vitesse
éolienne est la source d'énergie d'entrée, en amont des déflecteurs 14a
et les chicanes en aval 14b sont courbés dans des directions
opposées. Les baffles donc créent deux
tourbillons de haute vitesse qui tournent dans des directions opposées. Comme décrit ci-dessous dans le cadre de la Fig.4,
la direction de l'écoulement vortex est inversée dans une turbine située entre
la chambre annulaire en amont 12 et la chambre annulaire en aval 13,
ce qui accroît la turbine électrique de rotation supplémentaire. Dans la réalisation de hydro-électrique dans
lequel l'eau qui coule est la source d'énergie d'entrée et dans des conditions
de vent à grande vitesse telles que lorsque l'appareil est monté sur un
véhicule, les chicanes en amont et les chicanes en aval peuvent être arrondies
dans la même direction. Dans ces modes
particuliers de réalisation, par conséquent, les déflecteurs de créent deux
tourbillons de haute vitesse qui tournent dans le même sens. L'appareil peut être converti d'un appareil
peu-vent à un appareil de haut-vent par dépose de la chambre d'annulaire en
aval anti-rotation 13 et son remplacement par une chambre annulaire en
aval qui crée un vortex tournant dans la même direction que le vortex en
voiture.
Dans la réalisation
préférée de la présente invention, maille en plastique (non illustrée) peut
entourent l'entrée et sortie des ouvertures du capot 11 pour empêcher
les oiseaux, les animaux ou débris de pénétrer dans l'appareil 10. En outre, l'appareil cesse de fonctionner
structurellement, toute pièce cassée est contenues par la maille au lieu de
voler dehors dans le voisinage et causant des dommages ou des blessures.

Fig.2 est une vue en
plan supérieur de l'incarnation de la Fig.1. La partie supérieure du capot 11 comprend
une ouverture centrale 21 à travers lequel l'air dans le tourbillon
d'extraction s'arrête l'appareil. Dans
le mode de réalisation préféré, le tourbillon d'extraction quitte l'appareil
tourne dans une direction Counter-cyclonique (dans le sens horaire dans
l'hémisphère Nord), afin qu'il se dissipe au lieu de créer potentiellement
dangereux tourbillons. La
turbine 22 est visible à travers l'ouverture. La turbine tourne autour d'un arbre de
transmission central 23.

Fig.3 est une vue de
côté-altitudinal de réalisation de la Fig.1 illustrant le profil du
capot 11, la chambre annulaire en amont 12, la chambre annulaire
en aval 13 et les chicanes 14a et 14b. Le capot peut être monté sur une base 31 et
la base 31 peut également servir pour encadrer des ensembles mécaniques
supplémentaires comme un volant moteur ou un générateur électrique.

Fig.4 est une vue en
coupe de l'incarnation de la Fig.1 prises le long de la ligne 4 — 4 de
Fig.3 avec un volant d'inertie 41 installé dans la base 31 avec
un générateur électrique 42 pour produire de l'électricité. Vent ambiant coulées en même temps dans la
chambre annulaire en amont 12 à travers amont chicanes 14a et
dans la chambre annulaire en aval 13 grâce à l'aval des déflecteurs 14b
par les côtés du capot 11. Les
déflecteurs de guident le vent ambiant vers le centre de l'appareil 10. Un sol en pente parabolique (pont) 43 de
la chambre annulaire en amont 12 provoque le vent de pénétrer en aval de
la turbine montée au Centre 22 qui tourne sur l'arbre de transmission
central 23. L'appareil 10 produit
puissance en guidant le flux de vent ambiant dans deux tourbillons de haute
vélocité disposés en amont et en aval de la turbine qui convertit les flux du
vent en énergie mécanique en tournant l'arbre 23. Haut régime et couple élevé sont produites
par la turbine due à trois facteurs principaux :
(1) chaque pale de la
turbine a la forme d'une boule qui capture l'élan de rotation du vortex en
voiture ;
(2) chaque pale de la
turbine est en forme de coupe transversale d'une surface portante qui génère
l'ascenseur dans le sens de rotation de la turbine ; et
(3) dans des conditions
de vent faible, l'inversion du sens de la rotation du vortex ajoute une force
supplémentaire à la turbine dans le sens de rotation.
Le grand volant 41 peut-être
être attaché à l'arbre d'entraînement à la turbine rotative 23. Dans un mode de réalisation, le volant peut
être un aimant permanent, entouré d'enroulements en cuivre. Le volant peut servir aussi bien comme un
dispositif de stockage d'énergie interne en raison de son moment cinétique et
une dynamo pour le générateur 42 de monté sous le pont 43 de la chambre
annulaire en amont 12. Un
régulateur électronique à semi-conducteurs (non illustré) peut-être être utilisé
pour contrôler l'intensité du courant électrique. Le régulateur maintient une charge nulle
jusqu'à atteindre une vitesse de rotation prédéfinie (tr/min). La charge est ensuite augmentée afin de
produire de l'électricité tout en maintenant la vitesse de rotation de la
turbine au niveau présélectionné.

En Fig.5 montre
une vue en perspective d'une autre incarnation du volant 41. Dans cette réalisation, le volant (voir
fantôme) comprend une creuse coquille en forme de disque 51 qui est
remplie d'un fluide comme l'eau. La
structure illustrée comprend également un ventilateur de refroidissement 52 dans
le moyeu du volant qui tourne avec l'arbre d'entraînement 23 et le
volant moteur pour produire un flux d'air de refroidissement qui sert à refroidir
la génératrice adjacente 42 (Fig.4 et Fig.7). Le placement du ventilateur dans le moyeu du
volant crée un cales dont 53 de chambre annulaire le fluide. Au sein de la chambre, il y a un ensemble de
cloisons radiales 54 s'étendant de la paroi intérieure de 55 à 56 mur
extérieur de la chambre. Chacune
des cloisons radiales comprend des portails à battants ou trappes 57. Dans la version de l'exemple montrée ici,
chaque cloison radiale possède trois portails à battants.
Pendant
l'accélération du volant 41, ces portes 57 s'ouvrent dans le sens
de rotation opposé. Cela permet le
liquide s'écouler à travers les cloisons radiales 54, réduisant
l'inertie de la start-up. Le liquide
puis vient lentement à la vitesse en raison de frictions avec les murs intérieurs
et extérieurs, 55 et 56 de la chambre annulaire et le mouvement des
cloisons radiales à travers le fluide. Pendant la
décélération du volant, les portes fermer en raison de l'élan vers l'avant du
fluide. Cela crée des cloisons radiales
solides et provoque le volant-moteur à fonctionner comme un volant moteur
solid. Le moment angulaire du volant
moteur puis contribue à maintenir la vitesse angulaire de l'arbre
d'entraînement 23 lorsque l'alimentation électrique du vent dépose.

Fig.6 est une vue en
plan haut du volant remplie de liquide 41 de Fig.5, montrant les
pales du ventilateur de refroidissement 52 dans le moyeu du volant, la
chambre annulaire 53, les cloisons radiales 54, et la position de
gates 57 dans le fermé (décélération).
Ainsi, le volant
remplie de liquide 41 est particulièrement bien adapté pour une
utilisation avec ce dispositif de conversion d'énergie 10 de la présente
invention. Le volant remplie de liquide
permet rapide mise en rotation de l'arbre d'entraînement 23 en réduisant
l'inertie de démarrage, mais résiste à la décélération comme un volant moteur
solide. Ces fonctionnalités peuvent
accroître de manière significative l'efficacité d'un appareil éolienne ou
hydraulique qui fonctionne avec différents niveaux de puissance d'entrée. En retournant simplement le volant, le
volant remplie de liquide peut être utilisé avec les systèmes qui tournent dans
le sens horaire ou antihoraire. Une
fonction supplémentaire, poids à l'expédition est très réduite car le liquide
peut être ajouté au point d'utilisation.

Se référant à nouveau à
la Fig.4, un diviseur central annulaire (pont intermédiaire) 44 divise
la chambre annulaire en amont 12 de la chambre annulaire en aval 13. Le haut des pentes pont intermédiaire de la
turbine, entraînant le vent ambiant entrant dans la chambre annulaire en aval à
l'écoulement de la turbine. Cela crée
une zone de pression d'air réduite du côté aval de la turbine 22 qui
augmente le débit d'air de la chambre annulaire en amont 12 à travers la
turbine. Chaque pale de la turbine 22
est une aile incurvée qui reçoit l'impulsion de rotation de la rotation du
vortex en voiture, l'inversion de la direction de vortex et la portance
aérodynamique générée par l'aile dans le sens de rotation de la turbine.
Dans la réalisation
préférée de la présente invention, la turbine 22 et volant 41 peuvent
être en métal. Pièces supplémentaires,
tout en métal peuvent être enduits avec, par exemple, plastique, chrome ou
peinture pour éviter la corrosion. Comme
indiqué plus haut, le volant peut être un aimant permanent ou peut-être un
volant remplis de liquide. Tous les
roulements comme portant 45 peuvent être les roulements
magnétiques-répulsion-lévitation afin qu'il n'y a aucun contact physique entre
les éléments mobiles et fixes de l'appareil.
La base 31 peut être monté sur une plaque de support 46 et/ou
un renfort de support 47, selon la structure sur laquelle est monté le
dispositif et l'orientation de l'appareil.
L'arbre de transmission
central 23 peut également conduire le ventilateur de refroidissement 52
qui aspire l'air de refroidissement par ventilation 49 dans la
plaque de soutien et dirige l'air à travers le générateur 42. L'air chaud peut se fermer par persiennes 50
dans le pont parabolique 43 de la chambre annulaire en amont 12 où
il mélange ensuite la conduite de la circulation d'air dans la chambre
annulaire en amont pour dégivrer l'intérieur de l'appareil et la turbine 22.
L'appareil 10 peut
varier dans ses dimensions, en fonction de l'application spécifique pour lequel
il est utilisé. Par exemple, les
dimensions d'un dispositif d'éolienne qui est monté sur le toit d'une maison
peuvent être entre 40 pouces et 48 pouces de diamètre et entre 60 pouces et 78
pouces de hauteur. Dans cette configuration,
la turbine 22 a un diamètre environ la moitié du diamètre de l'extérieur
du capot 11 (soit environ 20 à 24 pouces de diamètre). Plus grandes versions peuvent être utilisées
pour les grands bâtiments tels que des usines ou des immeubles de bureaux avec
une augmentation économies d'échelle. Par exemple, un
immeuble de bureaux peut utiliser un dispositif, c'est-à-dire 20 pieds de
diamètre et 20 pieds de haut avec une turbine qui est de 10 pieds de
diamètre. Un dispositif monté sur
véhicule (par exemple, pour une voiture de tourisme), conçu pour des conditions
de haut-vent, peut-être environ 24 pouces de diamètre et de 6 pouces de
hauteur. Le générateur et le volant
moteur, le cas échéant, peuvent être montés à l'intérieur du contour du véhicule
ou sur un porte-bagage. Une petite
version hydro-électrique de l'appareil qui est placé dans un ruisseau ou une
rivière en cours d'exécution peut-être avoir des dimensions semblables à
l'appareil monté sur véhicule. En
outre, depuis la sortie de la version hydroélectrique est dirigée vers le bas,
un déflecteur peut-être être utilisé dans des étendues peu profondes d'eau pour
prévenir l'érosion du lit de la rivière.
Il est à noter que lors
de la présente invention est orientée verticalement, la turbine 22, le
générateur de 42 et le volant 41 tournent autour d'un axe
vertical. Les structures portantes ne
sont donc pas soumis aux vibrations et contraintes produites par les effets de
la gravité dans des dispositifs d'état de la technique dans lesquels les
hélices tournent autour d'un axe horizontal.
En outre, le rendement de conversion exceptionnel vent est réalisé à
partir de la présente invention car elle détourne et accélère l'écoulement du
vent ambiant en tourbillons qui ont plusieurs fois la vitesse de l'écoulement
du vent ambiant lorsqu'ils atteignent la turbine. En outre, l'accélération de la circulation
d'air dans les alvéoles annulaires en amont et en aval crée une zone de basse
pression qui tire l'air dans l'appareil d'une section transversale efficace qui
est supérieure à la section transversale physique de l'appareil. En conséquence, la présente invention
propose un dispositif de conversion de l'énergie éolienne nouveaux et améliorés
qui est plus silencieux, plus sûr, plus efficace et plus rentable que les
dispositifs existants.

Se référant maintenant
à la Fig.7, il montre une vue en coupe d'une version de la présente
invention qui convertit l'énergie de l'écoulement d'eau à l'énergie électrique
(c'est-à-dire un dispositif hydro-électrique).
Il y a trois différences principales entre l'incarnation
hydro-électrique de l'incarnation basse-éolienne de Fig.1 à Fig.4. Tout d'abord, l'amont chicanes 14a et
la courbe de 14b de chicanes en aval dans la même direction. Les baffles donc créent deux tourbillons de
haute vitesse qui tournent dans le même sens.
Il s'agit d'une conception plus efficace lorsque le liquide s'écoulant à
travers le dispositif est un fluide incompressible tels que de l'eau. Deuxièmement, l'appareil fonctionne plus
efficacement lorsqu'il est inversé et installé à la verticale, car des
tourbillons de l'eau se déplacent vers le bas en raison de la force de
gravité. La troisième différence est le
rapport entre la hauteur de l'appareil pour le diamètre de l'appareil. Tel que noté ci-dessus, l'incarnation de
l'hydro-électrique de l'appareil peut avoir une hauteur plus courte par rapport
à son diamètre et peut avoir une hauteur égale ou inférieure à son diamètre.

Fig.8 est une vue en
perspective de l'incarnation de la Fig.1 avec le toroïdal longitudinale
chicanes 14a et 14b dessinés dans fantôme afin que le diviseur central
annulaire (pont intermédiaire) 44 et la turbine 22 peuvent être
vu.

Fig.9 est une vue en
coupe horizontale de l'incarnation de la Fig.1 prises le long de la
ligne 9 — 9 de Fig.8.
Dans cette perspective, on peut constater que la chambre annulaire en
amont 12 est divisée en une série de petites chambres 12a par 12f
par le toroïdal longitudinale chicanes 14a. Les extrémités intérieures des cloisons
longitudinales définissent une chambre centrale vortex 12g (illustré par
un cercle en pointillés) dans lequel le vortex en amont est formé, et d'où le
vortex en amont entrent dans la turbine 22. La chambre centrale vortex 12g a un
diamètre approximativement égal au diamètre de la turbine.

Fig.10 est une vue en
perspective d'une deuxième application de la présente invention que convertit
l'énergie éolienne à une énergie mécanique ou électrique, avec la longitudinale
chicanes 14a et 14b dessiné en fantôme pour qu'un ensemble de charnières
persiennes longitudinales 61a et 61b peuvent être vu. Les volets battants sont montés dans les
ouvertures entre les cloisons longitudinales.
Les persiennes peuvent être montés dans une configuration circulaire
comprise entre le bord extérieur des cloisons longitudinales à l'intérieur bord
des chicanes. Dans la version indiquée,
les persiennes sont longitudinalement montés à l'intérieur bord des chicanes,
autour du périmètre du tourbillon central chambre 12g. Chacun des persiennes est articulé sur un
côté (c'est-à-dire, du côté au vent que le vent pénètre par les chicanes) afin
que le volet peut être ouvert vers la chambre de vortex central par la force du
vent entrant. La largeur de chaque persienne
est légèrement supérieure à la distance entre les persiennes afin que chaque
persienne chevauche légèrement le bord articulé de la persienne suivante. Cela empêche les persiennes d'ouverture vers
l'extérieur.

En Fig.11 Il
montre une vue en coupe horizontale de l'incarnation de la Fig.10 prises
le long de la ligne 11 — 11. Au
cours de l'opération, vent qui souffle dans la direction indiquée à l'extérieur
de l'appareil de conversion d'énergie est canalisée par les cloisons
longitudinales toroïdales 14a en amont les chambres 12a et 12b. Les déflecteurs de bloquent le vent d'entrer
dans les autres chambres 12c par l'intermédiaire de 12f. Le vent traverse les chambres 12a et 12b
et entre dans la chambre de vortex central 12g en ouvrant les persiennes
battantes longitudinales 61a, qui sont montées entre les chicanes dans
les ouvertures définissant les chambres 12a et 12b. Les persiennes restants restent fermés,
empêchant le vent de sortir par les côtés de l'appareil. Ainsi, les persiennes activés par le vent
sont, en effet, les valves anti-retour permettant au vent de circuler dans la
chambre de vortex central par les côtés de l'appareil, mais ne laissant le vent
sortir par le haut de la chambre et par l'intermédiaire de la turbine 22.

Se référant à nouveau à
la Fig.10, on peut voir que les auvents longitudinaux 61 a monté
dans la chambre en amont de 12 sont articulés sur le côté opposé de
persiennes 61b monté dans la chambre en aval de 13. C'est parce que le tourbillon dans la
chambre en aval tourne dans la direction opposée de la vortex dans la chambre
en amont et l'aval de chicanes toroïdal 14b entonnoir le vent dans les
aérateurs 61b dans la direction opposée. Comme les volets persiennes 61b dans
la chambre en aval 13 servent de valves anti-retour permettant au vent
de circuler dans le tourbillon central de 61a dans la chambre en amont
de 12, chambre à travers les côtés de l'appareil, mais ne laissant le
vent sortir par le haut de la chambre et hors de l'appareil. Cette configuration permet de maintenir la
force de l'amont et les tourbillons en aval pendant le fonctionnement de
l'appareil.
Il faut reconnaître
qu'une certaine mesure du rendement de conversion énergétique améliorée
peut-être être obtenus dans une configuration dans laquelle il y a toroidal
chicanes 14a et volets à charnières 61a seulement en amont
annulaire chambre 12, parce que cela fait en sorte que tous le vent ou
tout autre fluide entrant dans les côtés des flux en amont de chambre par
l'intermédiaire de la turbine. L'ajout
de chicanes toroïdales 14b dans la chambre annulaire en aval 13 offre
des performances améliorées supplémentaires, particulièrement lorsque le sens
de rotation du vortex en aval se trouve en face de la direction du vortex en
amont. Rendement de conversion optimale
de l'énergie est fournie par un appareil ayant configuré opposées toroïdal
chicanes 14a et 14b et persiennes opposées à charnières 61a et 61b,
pour les deux l'amont annulaire la chambre 12 et la chambre annulaire en
aval 13.
Il doit être entendu
que même si de nombreuses caractéristiques et avantages de la présente
invention ont été énoncées dans la description qui précède, la divulgation est
illustrative seulement, et peut être modifiée en détail, notamment dans le
domaine de la taille, la forme et la disposition des parties dans les respect
des principes de l'invention dans la mesure indiquée par la large signification
générale des conditions dans lesquelles sont exprimées les revendications
annexées.
Les liens
suivants se connectent à divers papiers et documents d'intérêt scientifique.
Comme les ressources sur le Web sont très enclins à changer et disparaître, si
vous téléchargez un de ces à lire, je vous suggère de les stocker sur votre disque
local au cas où ils ne sont plus disponibles à une date ultérieure. Si, pour une raison quelconque, le site
Web http://www.free-energy-info.co.uk ne est pas disponible, alors vous pouvez
essayer http://www.free-energy-info.com,
http://www.free-energy-info.tuks.nl ou http://www.free-energy-devices.com qui sont des sites miroirs.
http://www.free-energy-info.tuks.nl/P1.pdf 4 Mb
http://www.free-energy-info.tuks.nl/P2.pdf 360 Kb Water arc explosions
http://www.free-energy-info.tuks.nl/P3.pdf
388 Kb Plasma electrolysis
http://www.free-energy-info.tuks.nl/P4.pdf 321 Kb Cold water fog explosions
http://www.free-energy-info.tuks.nl/P5.pdf 151 Kb Engine operation with hydrogen added to the fuel
http://www.free-energy-info.tuks.nl/P6.pdf 63 Kb Bubbles and steam electricity
http://www.free-energy-info.tuks.nl/P7.pdf 600 Kb Stan Meyer’s Water Fuel Cell
http://www.free-energy-info.tuks.nl/P8.pdf 3.5 Mb Stan Meyer’s Water Fuel Cell
http://www.free-energy-info.tuks.nl/P9.pdf 303 Kb Water as Fuel by Stan Meyer
http://www.free-energy-info.tuks.nl/P10.pdf 68 Kb Solar Hydrogen Production
http://www.free-energy-info.tuks.nl/P11.pdf 328 Kb Passive Cooling
http://www.free-energy-info.tuks.nl/P13.pdf 347 Kb A Solar Ice-maker
http://www.free-energy-info.tuks.nl/P14.pdf 711 Kb Smart-Skin Shielding Technology
http://www.free-energy-info.tuks.nl/P15.pdf 215 Kb Physics for Engineers
http://www.free-energy-info.tuks.nl/P16.pdf 2.5 Mb Fuel Cell Handbook
http://www.free-energy-info.tuks.nl/P17.pdf 62 Kb Prof. Kanarev’s Low-current Electrolysis
http://www.free-energy-info.tuks.nl/P18.pdf 8 Mb Principles of Ultra Relativity by Shinichi Seike
http://www.free-energy-info.tuks.nl/P21.pdf 754 Kb The Theory of Anti-gravity
http://www.free-energy-info.tuks.nl/P22.pdf 13.3 Mb Physics Without Einstein by Dr Harold Aspden
http://www.free-energy-info.tuks.nl/P23.pdf 6.9 Mb Modern Aether Science by Dr Harold Aspden
http://www.free-energy-info.tuks.nl/P24.pdf 10 Mb Unified Physics by Dr Harold Aspden
http://www.free-energy-info.tuks.nl/P25.pdf 1.5 Mb Permanent Magnet Motor Design
http://www.free-energy-info.tuks.nl/P26.pdf 402 Kb The Sea of Energy by Thomas Henry Moray
http://www.free-energy-info.tuks.nl/P31.pdf 14.5 Mb Tesla’s Science of Energy by Dr Thomas Valone
http://www.free-energy-info.tuks.nl/P32.pdf 605 Kb High Voltage, High Frequency Alternating Currents
by Nikola Tesla
http://www.free-energy-info.tuks.nl/P33.pdf 632 Kb “Prodigal Genius” biography of Nikola Tesla
http://www.free-energy-info.tuks.nl/P34.pdf 488 Kb Damped Waves by Nikola Tesla
http://www.free-energy-info.tuks.nl/P41.pdf 3.2 Mb Electrogravitics Systems by Dr Thomas Valone
http://www.free-energy-info.tuks.nl/P42.pdf 2.5 Mb Zero-Point Energy Extraction by Dr Thomas Valone
http://www.free-energy-info.tuks.nl/P63.pdf 181 Kb Scalar Waves by Konstantin Meyl
http://www.free-energy-info.tuks.nl/P65.pdf 592 Kb EsotericScience.com Presentation
http://www.free-energy-info.tuks.nl/P66.pdf 450 Kb The Genesis Project
http://www.free-energy-info.tuks.nl/Lodge.pdf 27 Mb. Modern Views of Electricity by Sir Oliver Lodge
http://www.free-energy-info.tuks.nl/Lodge2.pdf 9 Mb. The Ether of Space by Sir Oliver Lodge
http://www.free-energy-info.tuks.nl/Lodge3.pdf 22 Mb. The Nature and Properties of Negative Electricity
by Sir Oliver Lodge
http://www.free-energy-info.tuks.nl/TeslaBook.pdf 36 Mb. The Inventions, Researches and Writings
of Nikola
Tesla by Thomas Commerford Martin
http://www.free-energy-info.tuks.nl/DonKelly.pdf 13 Mb.
The 'Manual of Free Energy Devices and Systems'
by
Donald A. Kelly
http://www.free-energy-info.tuks.nl/Blitz.pdf 30 Mb. Ultrasonics by Jack Blitz
http://www.free-energy-info.tuks.nl/Magnetos.pdf 9.5 Mb. Magnetos Simply Explained by F. H. Hutton
http://www.free-energy-info.tuks.nl/TeslaPatents/TeslaPatents.pdf 100 Mb. All of Tesla’s published patents
http://www.free-energy-info.tuks.nl/Magnetic_Motor.pdf 511 Kb Magnetic Motors by Lawrence Tseung
http://www.free-energy-info.tuks.nl/Maxwell.pdf 2.2 Mb The Electromagnetic Field by James Clerk Maxwell
http://www.free-energy-info.tuks.nl/Davson.pdf 46.7 Mb Davson’s book on Karl Schappeller’s work
http://www.free-energy-info.tuks.nl/Newman.pdf 97 Mb The Energy Machine of Joseph Newman
http://www.free-energy-info.tuks.nl/Combine.pdf 2.1 Mb Radiant Energy and Over-Unity by Dan Combine
http://www.free-energy-info.tuks.nl/Rodin.pdf 3 Mb The Rodin Solution Project by Marko Rodin
http://www.free-energy-info.tuks.nl/SEG.pdf 594 Kb Magnetic Gravity Research by Roschin and Godin
http://www.free-energy-info.tuks.nl/Stan_Meyer_Full_Data.pdf 3.8 Mb Technical Brief by Stan Meyer
http://www.free-energy-info.tuks.nl/LTseung.pdf 3.2 Mb Over-unity Devices by Lawrence Tseung
http://www.free-energy-info.tuks.nl/Smith.pdf 2.0 Mb. Resonant Energy Methods by Donald Lee Smith
http://www.free-energy-info.tuks.nl/Cottrell.pdf 2.8 Mb. How Gravity Works by Maurice Cottrell
http://www.free-energy-info.tuks.nl/Davidson.pdf 4.5 Mb. Shape Power by Dan Davidson
Videos
http://www.free-energy-info.tuks.nl/Meyer.wmv 4.6 Mb
http://www.free-energy-info.tuks.nl/Newman.avi 53 Mb
http://www.free-energy-info.tuks.nl/pyramid.avi 25 Mb
http://www.free-energy-info.tuks.nl/stage1.wmv 1.9 Mb
http://www.free-energy-info.tuks.nl/stage2.wmv 1.9 Mb
http://www.free-energy-info.tuks.nl/stage3.wmv 3.7 Mb
http://www.free-energy-info.tuks.nl/WFCrep2.wmv 1 Mb
http://www.free-energy-info.tuks.nl/stan.wmv 4.5 Mb
http://www.free-energy-info.tuks.nl/WFCrep.wmv 5.3 Mb
http://www.free-energy-info.tuks.nl/Bills.avi 17 Mb
http://www.youtube.com/watch?v=-6MDHF39XmU&NR