Un Guide Pratique à Auteur des Appareils Libre D'énergie: Patrick J. Kelly

Le chapitre 8: Alimentez des Moteurs plus Peu

Nous avons été élevés avec l'idée que c'est nécessaire de brûler un combustible pour produire pouvoir que nous pouvons utiliser. Du charbon, coke, bois de construction, paraffin/kerosene, petrol/gasoline, gas-oil, propane, etc., vendu de l'est nous à pour nous brûler dans ordre à “obtenez” énergie. Pendant que c'est parfaitement vrai que brûler ces choses résultera en énergie dans une forme que nous trouvons commode d'utiliser dans chauffer en effet, pendant que refroidir, propulser des moteurs, etc., ce qui est évité avec soin est le fait que ce n'est pas à tout nécessaire de brûler un combustible pour courir les choses que nous voulons propulser. Ce ‘le fait ' gênant a été dissimulé et été maintenant nié pour plus de cinquante années (très étonnamment, par les gens qui veulent nous vendre ces combustibles pour brûler–est-ce que vous pensez peut-être qu'ils peuvent avoir quelque motif pour ceci, autre que nos meilleurs intérêts au sujet de lequel ils est-ce qu'aucun doute n'est, très inquiet?).

Ce chapitre est au sujet de ‘alimentez moins de moteurs '. Parler strictement, ils ne sont pas auto - propulsés mais comme ils ne brûlent pas de combustible de tout gentil, dans langue ordinaire ils peuvent être décrits comme ‘' auto - propulsé. De la même façon qu'un panneau solaire dans lumière du soleil n'utilise aucun combustible et toujours met dehors pouvoir électrique, ces moteurs sortent l'énergie de l'environnement et nous fournissent le pouvoir mécanique. Dans fait réel, le pouvoir n'est jamais “usagé en haut” mais juste a converti d'une forme dans un autre. Dans le cas de notre panneau solaire sûr, quelques 17% de la radiation du soleil (principalement ultraviolet) est converti dans pouvoir électrique et 83% vont pour chauffer et autres pertes, mais comme nous ne devons fournir la lumière du soleil, et le panneau solaire verse dehors l'électricité que nous voulons sans nous avoir pour faire n'importe quoi le faire se passent, nous ne nous soucions pas de sa extrêmement basse efficacité vraiment beaucoup. Aussi loin que nous sommes intéressés, l'électricité qui coule du panneau est “énergie libre.”

Il étonne vraiment que nous avons été persuadés que nous devons brûler un combustible pour obtenir le pouvoir. Prenez le cas d'un yacht de la navigation de déplacement lourd. Le capitaine peut voyager, en utilisant son moteur diesel intérieur:



Cela égale avec la pensée que vous avez besoin de brûler un combustible pour obtenir le pouvoir comme le yacht parfaitement avance, poussé par le moteur qui est propulsé en brûlant le combustible diesel. Mais, cela qui si le capitaine décide d'éteindre le moteur et mettre les voiles?:


Maintenant, le même bateau, peser exactement le même avec le même équipage, continue maintenant le voyage à la même vitesse, mais aucun combustible n'est brûlé. La chose vraiment intéressante est que pendant que nous savons parfaitement bien ceci, et nous sommes informés que les gens ont navigué le droit autour du monde dans bateaux qui n'ont pas de moteurs, il ne paraît pas nous venir à l'esprit que cela montre décisivement que ce n'est pas nécessaire de brûler un combustible pour propulser quelque article de matériel ou forme de transport.

Dans le cas de notre yacht, l'énergie vient du soleil qui chauffe l'atmosphère irrégulièrement, en causant des vents de souffler et le yachtman utilise les voiles pour faire ces vents propulser son bateau à travers l'eau. Donc, un voilier est propulsé par le soleil réellement bien que nous ne pensions pas au sujet de lui ce chemin habituellement.

Il y a grand nombre d'hydro électrique “centrales électriques” où l'électricité est ‘a produit ' par machines conduites par pression de l'eau. Dans fait réel, aucun pouvoir n'est ‘a produit ' à tout, mais au lieu, l'énergie potentielle du corps d'eau est convertie dans électricité en ayant la chute de l'eau et file l'arbre d'une machine. Donc, comment est-ce que l'eau est arrivée à la première place là-bas? Bien, il est venu de pluie. Et comment est-ce que la pluie a obtenu là-bas? Il a augmenté dû à évaporation causée par la chaleur du soleil là-bas. Donc, la ligne inférieure est encore ces ‘hydro électriques propulsent les postes ' sont propulsés par le soleil.

Les moulins à vent sont aussi propulsés par le soleil. Mais, et ici est la chose vraiment intéressante, si j'affirme que c'est parfaitement possible pour un moteur à air comprimé pour produire le pouvoir mécanique avec brûler tout combustible, alors il y a une réaction immédiate et forte où les gens diront “Impossible–c'est mouvement perpétuel!!” Ils impliquent ce mouvement perpétuel est impossible mais ne fournit jamais toutes évidences rationnelles pour supporter cette implication. Est-ce que le Monde a filé sur son axe pour millions d'années, donc quand est-ce qu'ils attendent qu'il arrête exactement? Toutes les planètes dans le système solaire ont gravité pour millions d'années, comment long est-ce qu'ils doivent graviter avant qu'ils puissent être considérés pour être dans mouvement perpétuel? Pourquoi est-ce que les gens sont alors donc a opposé à l'idée de mouvement perpétuel? Vraisemblablement, parce que le mouvement perpétuel montre clairement qu'un combustible ne doit être a brûlé à ‘produisez ' propulsent et ce ne serait pas bon pour gens qui vendent des combustibles, et donc, nous sommes tout dits d'un âge tôt que le mouvement perpétuel est “impossible.”

Bien, cela n'importe pas ici comme nous allons regarder des moteurs à air comprimé qui fuient la chaleur du soleil. C'est, elles sont des chaleur pompes qui sont un fait de l'ingénieur bien accepté et ils travaillent sur les principes scientifiques standards complètement acceptés. Un productions du réfrigérateur ordinaires trois ou quatre fois comme beaucoup de pouvoir de la chaleur comme la conduite du pouvoir électrique il, et ce pourrait être deux fois cet effectif s'il avait été utilisé correctement. C'est un Coefficient De Performance (” COP ”) de 3 ou 4 qui sont supposés être “impossible” mais malheureusement, tous les réfrigérateurs travaillent comme ceci et vous ne pouvez pas dire exactement que les réfrigérateurs n'existent pas, seulement parce que leur performance ne paraît pas aller parfaitement dans avec quelques théories.

Réellement, il y a aucun magique a impliqué ici comme l'énergie supplémentaire est sorti du contenu de la chaleur de l'air dans la localité immédiate. Le réfrigérateur n'opère pas dans isolement et il y a un échange de la chaleur avec les alentours de l'air il. Ces causes d'énergie extérieures la performance COP>1. Dans passer, tous les appareils COP>1 opèrent en sortant l'énergie dans d'une source externe (habituellement le zéro point champ d'énergie) et aucun d'eux ne cassent réellement le ‘gouverne ' de science. Mais, assez de cela.

Les gens qui ne veulent pas de moteurs auto - propulsés ont utilisé dans le monde aujourd'hui, épinglez leurs espoirs sur une ignorance soutenue de Construire des faits concernant pompes de la chaleur. Un moteur à air comprimé autonome fuit le pouvoir du soleil réellement de même que les voiliers, moulins à vent et centrales électriques hydro électriques font. Les gens désolés, aucun magique ici, seulement Génie marécage - standard. De l'aveu général, les très peu de gens savent ou se rendent compte des implications de ce Génie standard:
  1. Tout le travail fait dans comprimer de l'air dans un réservoir est converti dans chaleur et alors a perdu à l'atmosphère, donc l'énergie dans l'air comprimé à l'intérieur du réservoir est le même comme cela produit en chauffant atmosphérique de cet air, mais comme plus de lui est maintenant dans le réservoir, il y a la capacité supplémentaire pour travail être fait. Cette énergie supplémentaire a été nourrie dans l'air en chauffant atmosphérique avant l'air a été comprimé.

    Tout le travail fait dans comprimer de l'air dans un réservoir est converti dans chaleur et alors a perdu à l'atmosphère, donc l'énergie dans l'air comprimé à l'intérieur du réservoir est le même comme cela produit en chauffant atmosphérique de cet air, mais comme plus de lui est maintenant dans le réservoir, il y a la capacité supplémentaire pour travail être fait. Cette énergie supplémentaire a été nourrie dans l'air en chauffant atmosphérique avant l'air a été comprimé.

  2. Si l'air froid allongé qui laisse le moteur est utilisé pour refroidir l'air de la prise du compresseur, alors il y aura un gain ajouté quand il se réchauffe à l'intérieur du cylindre, en s'arrêtant la chaleur de l'environnement local.

  3. Si la chaleur de compression est transférée au récipient de l'air qui nourrit le moteur et pas temps donné dissiper, alors il y a un gain du pouvoir supplémentaire pour le moteur.

  4. Si à l'air comprimé est permis d'étendre rapidement, il y a une goutte marquée dans température. Le Leroy le Rogers moteur dessin, montré dans ce chapitre plus tard, utilise ce fait pour créer la climatisation pour une voiture conduit par un moteur à air comprimé.
OK alors, dans contour général, l'énergie disponible d'un réservoir d'air comprimé vient de la chaleur contenue dans l'atmosphère directement, bien que nous toujours imagine que l'énergie dans le réservoir a été mise en notre pompant énergique là.

Vérifions ceci dehors en jetant un coup d'oeil sur quelques-uns des moteurs qui utilisent ceux-ci principe pour fournir le combustible moins d'opération, commencer avec le dessin de Bob Neal. Le brevet plein pour le dessin de Bob est inclus dans l'Appendice.


Le dessin de Bob Neal est un moteur fluide - opéré combiné et compresseur où l'opération du moteur garde le ré - fournissant le réservoir de l'air comprimé:


C'est une vue de la perspective du moteur et ce:


est une vue de l'échantillon transversale verticale à travers la partie du compresseur du moteur. Dans son brevet, Bob a évité toute mention directe du fait que son dessin du moteur est alimentez moins. Cette sorte de déclaration n'est pas populaire avec les Examinateurs Brevetés égalise si c'est parfaitement vrai.


Scott Robertson.   Le système de Bob Neal pourrait faire avec quelque explication supplémentaire, si ici est une idée de Scott Robertson dont le site web est http://www.aircaraccess.com/index.htm, pour un système du compresseur actif possible qui utilise un feuille ventilateur,:


Pendant que cela regarde compliqué plutôt, dans réalité ce n'est pas vraiment. Amenons les sections différentes dans ordre:


En premier, vous avez un moteur de l'air ordinaire, fourni avec l'air comprimé d'un réservoir de la pression. Ce moteur épuise son (froid, allongé) air à l'atmosphère. Le moteur propulse deux compresseurs qui entre eux gardent le réservoir plein d'air comprimé.


Le premier compresseur est un ‘simple feuillette le ventilateur ' écrivent à la machine qui produit un grand volume d'air de basse pression. Est-ce que la grande question est “comment est-ce que vous vous mettez ce grand volume d'air de basse pression dans un réservoir qui a de l'air comprimé stressant à l'intérieur de lui?”. Bien ce apparemment la tâche impossible est exécutée par le deuxième compresseur aidé par une ruse, dessin extrême simple,:


Ici, l'air de basse pression est nourri dans la région de basse pression marquée dans rose. Le séparer de la région stressante est un bouchon du métal marqué dans vert. Mettez dans ce bouchon est une bague de cinq valves de l'air à sens unique marquée dans rouge. Ces valves à sens unique ont laissé l'air de basse pression dans la région stressante à cause d'un jet ultra-rapide d'air produit par le ‘jet promenade compresseur '. À première vue, cela paraît impossible, mais c'est réellement seulement une candidature d'une technique De l'ingénieur standarde. Le jet de l'air ultra-rapide est dirigé à travers une lance spécialement façonnée, en créant une zone de basse pression locale autour du jet:


L'air de basse pression à point “A” courants à travers la bague de cinq valves à sens unique dans la basse région de la pression disque - façonnée “B” et est fait sauter dans la région stressante “C” par le jet de l'air puissant qui déchire à travers la bague beignet - façonnée marqué dans jaune. Les causes du jet de l'air ultra-rapides la basse bague de la pression “B” par son mouvement rapide qui crée un tourbillon dû à la forme et placer de la bague beignet - façonnée a marqué dans jaune. Cet arrangement intelligent permet à grands volumes d'air de basse pression d'être tiré dans un réservoir qui contient de l'air stressant.

Vous noterez aussi que le deux étape compresseur qui produit ce jet ultra-rapide d'air, a sa région du fonctionnement à l'intérieur du réservoir réellement. Cela veut dire que la chaleur de compression est utilisée chauffer l'air à l'intérieur du réservoir et élever sa pression, en rehaussant l'opération plus loin. Il devrait être porté dans esprit qui la nouvelle entrée de l'air le système a été chauffé par le soleil et été contenu l'énergie qui propulse le système.



Le Moteur de Leroy Rogers.
Le moteur Rogers montré qu'ici ne fait pas de demandes à opération spectaculaire, mais malgré cela, Leroy a admis dans une entrevue que ce moteur a une plus grande production en effet que l'entrée appliquée, pourvu que le moteur ne soit pas laissé juste tic-tac partout. Ce moteur est comme le brevet 3,744,252 Américain “Système du Pouvoir du Motif Fermé Utilising Compressed Fluides” par Eber Van Valkinburg montré dessous. Cependant, les Rogers font breveter montré ici a l'avantage distinct qu'il utilise des moteurs disponibles en magasin et aisément matériel disponible et il n'y a rien vraiment exotique ou difficile au sujet du moteur Rogers qui une personne ne pourrait pas obtenir d'un fournisseur de la valve ou obtenir qu'une compagnie de l'invention du métal construise.

Cependant, pendant que Leroy a affirmé que son dessin était autonome quand aller plus de 30 milles par heure, un trait du dessin clé est sa très haute unité du compresseur de la performance qu'il a omis des détails brevetés et lequel il est peu disposé à divulguer. Les présents moteurs du véhicule du jour sont sous s'est embrayé et court à assez bas accélère. Ces mêmes moteurs opèrent beaucoup à plus haut plus efficacement accélère, si l'engrenage différent est donné à eux. Avec le moteur Rogers, l'air contenu dans le réservoir stressant est suffisant pour conduire les pistons et en bas. L'air peut être pompé arrière dans le réservoir stressant par un compresseur qui a un beaucoup plus haut engrenage et beaucoup de capacité inférieure par coup du piston. L'air allongé qui sort du moteur est à beaucoup de température inférieure que l'air environnant et s'il avait capturé dans un réservoir plus jaune clair et usagé comme l'entrée du compresseur, recharger le réservoir de l'air alors est plus effectif, à condition que le réservoir absorbe la chaleur de l'environnement environnant, en l'élevant est température à l'intérieur du réservoir et donner une augmentation supplémentaire à la pression du réservoir ainsi, sur et au-dessus de la compression fournie par le compresseur.

Un trait vraiment agréable du dessin de Leroy est qu'il l'envisage comme être un adaption d'un moteur du véhicule ordinaire et il fournit un montant considérable de détail pratique comment les adaption peuvent être emportés.

Bien que Leroy n'ait pas divulgué les détails pleins de son compresseur, il a été signalé qu'utiliser un RotoVerter (comme décrit dans Chapitre 2) conduire le compresseur baisseraient les exigences du pouvoir du compresseur conduisent à l'ampleur qu'un adaption du moteur de ce genre devraient être autonomes. Le RotoVerter fournit un gain d'énergie majeur dans lui est propre droit et est convenu aux charges de la mécanique impérieuses tel que le compresseur et lui en particulier en particulier ‘aime ' candidatures de charge constante tel qu'un compresseur.

Le moteur adapté montré dans le brevet est comme ceci:




Ce brevet montre comme les détails pratiques de courir un moteur sur l'air comprimé peuvent être négociés avec. Ce qui il ne montre pas est détails de l'origine des courants d'énergie réels et les effets de comprimer de l'air et le laisser alors étend. Ces choses ne sont pas rencontrées dans nos vies journalières normalement et donc nous n'avons pas de toucher intuitif immédiat pour comme les systèmes aiment ceux-ci opéreront. Entrez en les vigueurs d'expansion. Pendant que c'est assez bien connu que laisser un gaz comprimé étendre le causes refroidir, l'effet pratique s'est rarement rendu compte.


Le brevet de compresseur de Leroy est montré ici :


Brevet Américain 4,693,669 Compresseur pour les moteurs d'auto

Inventor: Rogers Sr., Leroy K. (Rte. 13, P.O. Box 815-DD, Briarcliff Rd., Fort Myers, FL, 33908)
Date de parution : 15 septembre 1987


Résumé :
Un compresseur pour livrer l'air surchargé à un moteur, en comprenant un compresseur axial enveloppé, un compresseur radial qui est trouvé en aval du compresseur axial et d'une habitation. L'habitation est composée de quatre sections, en incluant une section qui est une hautement convergence, ‘frustoconical’ le conduit de transition qui dirige favorablement le renvoi du compresseur axial à l'arrivée du compresseur radial et d'une section de cône creuse, extrêmement convergente, épuisée tout de suite en aval du compresseur radial qui converge dans le port épuisé du compresseur. Un déflecteur d'écoulement annulaire est fourni à diriger le renvoi du compresseur radial dans le cône épuisé.


Description :
Les compresseurs transmettent la pression supplémentaire à l'air ou à la mixture aérienne/du combustible d'un moteur pour que les cylindres reçoivent un plus grand poids par volume d'unité de mixture aérienne ou aérienne/du combustible que serait autrement fourni. Par conséquent, l'efficacité volumétrique et la puissance à la sortie du moteur sont a

Selon les pratiques préalables, les compresseurs comprennent généralement un téléphone aérien simple qui force l'air ou une mixture aérienne/du combustible dans les cylindres d'un moteur. D'habitude le téléphone aérien est conduit par un train de matériel qui est raccordé au vilebrequin du moteur avec un rapport de vitesse d'entre environ 6 à 1. Ces types préalables de compresseurs ont été utilisés abondamment dans les moteurs courant et les moteurs d'avion radiaux. Pourtant, en raison de leurs hautes vitesses opérantes et leurs trains de matériel, ces compresseurs ont été considérés trop compliqué, trop lourd et trop coûteux pour l'utilisation avec les moteurs de production en série comme sont trouvés dans les voitures et les camions.

Récemment, certains fabricants automobiles ont offert des moteurs turbocharged qui se développent aux gaz d'échappement du moteur par une turbine pour conduire un compresseur centrifuge. Bien que les turbocompresseurs de suralimentation soient avantageux dans cela la turbine peut livrer de grandes quantités de pouvoir du compresseur, leurs vitesses opérantes extrêmes exigent des rapports spéciaux, une lubrification et une maintenance. En plus, les turbocompresseurs de suralimentation exigent ducting spécial, comme l'activité de pontage, qui ajoute seulement à leur prix et exigences de maintenance. Par conséquent, les turbocompresseurs de suralimentation sont seulement offerts comme les options chères dans les voitures.

De plus, il y a l'intérêt actuel pour un nouveau type de moteur automobile qui opère des réservoirs de gaz comprimé pour effectuer l'échange de ses pistons. Un exemple d'un tel moteur peut être trouvé dans les Etats-Unis. Tout prêt. No. 4,292,804 de publié au même inventeur de la présente invention. Dans le brevet référé, au moins une portion du gaz d'échappement partiellement développé des cylindres est dirigée vers un compresseur où il est recomprimé et rendu ensuite aux réservoirs d'entreposage d'où il est à l'origine venu. Il serait désirable qu'au moins certains, si pas toute la recompression susmentionnée du gaz d'échappement pourrait être accomplie avec un compresseur conduit de ceinture, rotatif qui est facilement fabriqué et maintenu, soient encore capables de fournir la recompression ample.


Objectifs de l'Invention :
En conséquence, un objet de la présente invention est de fournir un compresseur convenable à améliorer la performance de moteurs de voitures, hélicoptères ou le pareil, que le compresseur est bon marché pour produire et facile de maintenir.

C'est un autre objet de la présente invention de fournir un compresseur qui fournit l'augmentation suffisante sans recours aux vitesses opérantes extrêmes et évite en conséquence les complications coûteuses associées à l'opération de grande vitesse.

C'est encore un autre objet de la présente invention de fournir un compresseur relativement compact et léger qui est bon marché pour fabriquer et maintenir.

Un autre objet de la présente invention est de fournir un compresseur conduit de ceinture ayant un design qui fournit la compression superchargeante aux vitesses relativement bas opérantes.

C'est toujours un autre objet de la présente invention de fournir un compresseur qui peut être tout à fait sans hésiter désassemblé et rassemblé pour les buts de maintenance de prix basse et de réparation.

Toujours un autre objet de la présente invention est de fournir un compresseur qui peut être construit des parties productibles de masse pour ainsi réduire le prix de sa fabrication.

C'est toujours un autre objet de la présente invention de fournir un compresseur conduit de ceinture qui fournit la compression superchargeante sans recours à un plus grand nombre de stades de compresseur.

Pourtant un autre objet de la présente invention est de fournir un compresseur rotatif pour un gaz a fait marcher le moteur, que compresseur est facilement fabriqué et maintenu, encore capable de fournir la recompression ample du liquide de trajet recirculant.


Résumé de l'Invention :
Ceux-ci et ceux-là objets sont accomplis selon la présente invention qui fournit un compresseur comprenant une habitation ayant une arrivée et une issue, un compresseur axial enveloppé et un compresseur radial rotatably monté dans l'habitation, un peu profond extrêmement convergent, frustoconical le conduit de transition pour favorablement diriger le renvoi du compresseur axial à l'arrivée du compresseur radial.

Conformément à un aspect de plus de l'invention, le susdit - le compresseur décrit comprend davantage un cône épuisé à un endroit en aval du compresseur radial et d'un déflecteur d'écoulement pour diriger le renvoi du compresseur radial au cône épuisé.

Dans la personnification favorisée, l'habitation lui-même comprend quatre sections : une section d'habitation cylindrique de devant qui définit une arrivée axialement dirigée; une section ducting deuxième, cylindrique entourant le compresseur axial; une section d'habitation arrière définissant le conduit de transition aussi bien que l'arrivée et casing pour le compresseur radial; et la section de cône épuisée qui définit à son terminus l'issue de l'habitation. Pour conduire le puits de compresseur, une roue de poulie double-pistée est protégée à la fin avancée du puits commun, que roue de poulie est adaptée pour recevoir une ou plusieurs ceintures de trajet de la roue de vilebrequin du moteur. Une ouverture latérale dans la section d'habitation de devant fournit à la connexion les ceintures de trajet.

Avec l'arrangement révélé, la compression peut être accomplie pour supercharger des buts sans recours à un grand nombre de stades de compresseur ou faire haut marcher des vitesses. Supplémentairement, le design du compresseur révélé évite le besoin pour les girouettes de guide entre le compresseur axial et le compresseur radial. La section de cône épuisée évite aussi favorablement l'accumulation d'arrière pression contre le compresseur radial. Le design est aussi très simple et donc bon marché pour fabriquer et maintenir.

D'autres objets, avantages et caractéristiques originales de la présente invention deviendront évidents de la description détaillée suivante de l'invention quand considéré dans la conjonction avec le dessin d'accompagnement.


Description brève des Dessins :
Une personnification favorisée de la présente invention est décrite dans le plus grand détail en ce qui concerne l'accompagnement tirant où comme l'ours d'éléments comme les nombres de référence et où :


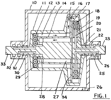
Fig.1 est un profil trans-à éléments d'un compresseur construit conformément à la personnification favorisée de la présente invention;




Fig.2 est un profil du compresseur deFig.1;




Fig.3 est une vue frontale du pousseur du compresseur de Fig.1;




Fig.4 est une vue trans-à éléments la ligne emportée 4 - 4 de Fig.1;




Fig.5 est une vue trans-à éléments la ligne emportée 5 - 5 dans Fig.1;




Fig.6 est une vue trans-à éléments la ligne emportée 6 - 6 dans Fig.1;




Fig.7 est une vue perspective d'un segment du pousseur du compresseur de Fig.1; et




Fig.8 est un profil partiel du compresseur de Fig.1 avec un adaptateur.



Description Détaillée de la Construction Favorisée :



Se rapportant à Fig.1 et Fig.2, un compresseur 10 est fourni à fournir l'air surchargé à un moteur automobile ou au pareil, pour que le moteur reçoive un plus grand poids par volume d'unité d'air ou une mixture du combustible/aérienne que serait autrement fournie. Conformément à une personnification favorisée de la présente invention, le compresseur 10 comprend une habitation 12 fait d'avoir une arrivée axialement dirigée 14 pour recevoir l'air ambiant et une issue axialement dirigée 16 pour livrer l'air surchargé à la consommation du moteur automobile. Monté pour qu'il puisse tourner dans l'habitation 12 est un puits 18 sur lequel sont protégés un compresseur axial 24 et un compresseur radial 26, qui est placé en aval du compresseur axial. Une roue de poulie 28 est protégée à une fin avancée 30 du puits pour recevoir des ceintures de trajet 31, qui conduisent les ceintures raccordent le puits 18 à une roue de poulie sur le vilebrequin du moteur (non montré). Les ceintures de trajet 31 livrent le moment de torsion au puits 18 comme exigé pour conduire les compresseurs 24 et 26 du compresseur 10.

La clôture 12 est construite de quatre sections qui sont de préférence verrouillées ensemble aux connexions flanged dans d'un bout à l'autre le rapport. Ces sections incluent la section 32 d'habitation de devant, la section 34 de conduit de compresseur axiale, la section 36 d'habitation arrière et la section 38 de cône épuisée. Le puits 18 s'étend le long de l'axe longitudinal de la clôture 12.


La section 32 de clôture de devant est un cylindre creux qui s'étend en avant d'un soutien d'un rapport de devant 40. La section 32 de clôture de devant entoure la fin avancée 30 du puits 18 et de la roue de poulie associée 28. À c'est en avant la fin, la section 32 de clôture de devant définit l'arrivée 14 pour recevoir l'air d'une source externe (non montré).

Référence particulièrement à Fig.2, la section 32 de clôture de devant inclut une ouverture latérale 44 sur un côté pour loger la connexion des ceintures de trajet 31 à la roue de poulie 28. La section 32 de clôture de devant inclut aussi un boudin avancé 46 pour loger la connexion de filtres à air, carburateurs, pelles aériennes ou le pareil en amont du compresseur 10 selon la disposition particulière de locomotive.

Il doit être compris que dans la disposition ordinaire de locomotive, le compresseur 10 reçoit l'air ou une mixture du combustible/aérienne d'une source externe par son arrivée 14, comprime la mixture aérienne ou du combustible/aérienne et le livre ensuite à la consommation du moteur.


Référence de nouveau à Fig.1, la roue de poulie 28 est ajustée d'interférence sur la fin avancée 30 de puits 18 et de 134 clé est utilisé pour fermer la roue de poulie 28 dans l'endroit. La roue de poulie 28 est de préférence un design d'empreintes doubles qui est convenable pour l'attachement de ceintures de trajet de jumeau, bien qu'une roue de poulie de type de ceinture simple soit adéquate. La roue de poulie 28 est de préférence de grandeur pour que le rapport de ce soit le diamètre en ce qui concerne le diamètre de la roue de trajet du vilebrequin du moteur fournit un rapport se préparant efficace dans la gamme d'entre environ deux et une moitié à quatre et une moitié. Ainsi à paresseux, quand le moteur automobile court à environ 700 tr-min, le compresseur 10 court à environ 2,400 tr-min et à la croisière, quand le moteur dirige environ 2,500 tr-min, le compresseur 10 retourne de préférence dans la gamme de 6,000 à 8,000 tr-min. Il doit être noté cela bien que le diamètre de la roue de poulie 28 puisse être considérablement réduit pour accomplir un rapport se préparant désiré, la roue d'empreintes doubles 28 présents un total de somme suffisant de région de surface pour éviter slippage des ceintures 31.

La section adjacente suivante d'habitation 12 est le conduit de compresseur axial 34 qui est un cylindre court coaxialement disposé du compresseur axial 24. De préférence, le conduit de compresseur axial 34 est construit de l'aluminium d'ensemble des acteurs, avec les surfaces intérieures 48 usiné pour assurer le déblayage uniforme entre le conduit 34 et le linceul 50 du compresseur axial 24. Comme avec d'autres sections de l'habitation 12, le conduit de compresseur axial 34 est fourni avec les boudins 52 et 54 pour effectuer la connexion aux sections de clôture adjacentes. Le conduit de compresseur axial 34 air de guides délivré de la section 32 d'habitation de devant vers le compresseur axial 24.


Référence maintenant à Fig.1 et Fig.4, un rapport de devant soutient 40 est placé entre la section 32 de clôture de devant et le conduit de compresseur axial 34. Le rapport de devant soutient 40 inclut annulus extérieur 56 et trois bras radiaux 58. Entre ces bras sont des passages définis 60 pour admettre que l'air pour traverser le rapport soutient 40. Annulus extérieur 54 est protégé par les verrous raccordant un boudin arrière 64 de la section 32 de clôture de devant et du boudin 52 du conduit de compresseur axial 34. Selon cet arrangement, le soutien de rapport de devant 40 est de façon très raide protégé à l'habitation 12 pour que les charges et les chocs au puits 18 puissent être transférés par le soutien du rapport de devant 40 à la clôture 12.

Dans la personnification favorisée, annulus extérieur 56 du rapport soutient 40 étend dans la région de l'arrivée 14 de la section 32 de clôture de devant d'une telle façon que c'est le bord intérieur 68 coïncide avec le bord intérieur 70 du linceul 50 du compresseur axial 24. De cette manière, annulus extérieur 56 contribue à la guide de l'écoulement d'air vers le compresseur axial 24.

Raceway extérieur 74 de l'assemblage de rapport de rouleau de devant 76 est protégé entre le rapport de devant soutient 40 et une plaque de provision de rapport 78, qui est protégé par les verrous amovibles 80. Dans cette personnification favorisée, l'assemblage de rapport de devant 76 a du cacheté, le type de grande vitesse. Un assemblage de rapport convenable commercialement disponible est commercialisé sous la référence : modelez Fafnir 405KDD. De préférence, raceway plus bas 82 de l'assemblage de rapport de devant 76 est protégé au puits 18 avec un ajustement avec serrage. Une entretoise 84 est fournie sur un côté de plus bas raceway 82, qu'entretoise 84 juxtapose aussi un moyeu que 86 du compresseur axial 24 pour placer le compresseur axial 24 à une distance prédéterminée en aval du rapport soutient 40. De même une entretoise 88 est fournie de l'autre côté de plus bas raceway 84 et il juxtapose la roue de poulie 28 afin d'à l'espace à part la roue de poulie 28 du rapport de devant soutient 40 pour garantir qu'il y a le déblayage suffisant entre eux.

Il devrait être apprécié que la plaque de provision de rapport 78 permet l'approche prête à l'assemblage de rapport de devant 76 pour les buts de maintenance ou de réparation. Pour assurer l'entretien de l'assemblage de rapport de devant 76, une noix 90 et une machine à laver de serrure 92 sur la fin avancée 30 du puits 18 est desserré et enlevé ensemble avec la roue de poulie 28 et l'entretoise 88. Alors les verrous 42 et la plaque de provision de rapport 76 sont enlevés, en quittant l'assemblage de rapport entier 76 exposé pour l'entretien et-ou l'enlèvement.

La section 36 de clôture arrière est raccordée par les verrous à en aval la fin du conduit de compresseur axial 34. De préférence, la section 36 de clôture arrière est construite d'une section simple d'aluminium d'ensemble des acteurs et inclut des côtes longitudinales externes 94 pour améliorer la rigidité structurelle de la section 34 de clôture arrière. Les murs de la section 36 de clôture arrière définissent trois éléments du compresseur 10 : un conduit de transition extrêmement conique 96 qui dirige favorablement la production du compresseur axial à une arrivée 98 du compresseur radial 26; l'arrivée 98 du compresseur radial 26, lui-même; et un casing 100 pour le compresseur radial 26.

Le conduit de transition 96 est une portion creuse, conique ayant un angle de demi-apex (du generatrix à l'axe de symétrie) d'environ 35 °. L'angle est choisi tel que l'arrivée au compresseur radial 26 est comme près que possible à l'issue du compresseur axial, sans provoquer le revers-pressurise indu. Dans la personnification favorisée, le conduit de transition 96 commence une distance courte en aval du compresseur axial 24 et des fins au départ de l'arrivée 98 du compresseur radial 26. On croit que la forme extrêmement conique du conduit de transition 96 afflue le plus haut volume d'air étant renvoyé des portions plus radialement outwardes du compresseur axial 24. On cela croit affluant l'action promeut un régime d'écoulement favorable à l'arrivée 98 du compresseur radial 26 pour qu'il n'y ait aucun besoin pour les girouettes de guide d'arrivée pour le compresseur radial 26. On y croit aussi que la forme extrêmement conique du conduit de transition 96 affecte en amont des conditions d'écoulement au compresseur axial 24 d'une telle façon que c'est la performance est amélioré. Il a aussi été constaté qu'il n'y a aucun besoin pour un stator (ou la girouette de guide de sortie) pour le compresseur axial 24.

Essentiellement, on y croit que le conduit de transition 96 exécute les fonctions des girouettes de sortie de compresseurs axiaux et de girouettes de guide d'arrivée de compresseurs radiaux, mais sans les pertes de pression communément associées à eux. En évitant ces pertes de pression et l'amélioration attendue de la performance du compresseur axial, admet que le compresseur 10 pour transmettre un plus haut rapport de pression général que serait autrement accompli sans le conduit de transition 96. Par conséquent, la compression adéquate est accomplie aux vitesses opérantes modérées sans recours à une banque de plusieurs compresseurs axiaux. Il devrait être compris pourtant, qu'en raccordant le compresseur 10 à un gazole relativement lentement retournant ou à un très grand moteur, il peut être désirable d'inclure au moins deux compresseurs axiaux pour promouvoir le rapport de pression général du compresseur. Dans de tels cas, la présente invention inclurait alors le placement d'un conduit de transition en aval d'au moins le dernier compresseur axial.

À l'arrivée 98 du compresseur radial 26, les murs de la clôture arrière 36 sont cylindriques et coaxialement placé autour du puits 18. Cela shold être noté que dans la personnification favorisée, la transition de surface 102 du conduit de transition 96 à l'arrivée 98 est contournée - de.

La portion casing 100 de la section 36 d'habitation arrière suit de près le contour défini par les bords de lame 104 du compresseur radial 26 dans un proche, la manière considérablement cachetante comme est bien connue dans l'art de compresseurs radiaux. La portion casing 100 de l'air de canaux de la section 78 de clôture arrière entre les lames tournantes du compresseur radial 26 pour que les lames puissent transmettre le travail à l'air passager. La portion casing 100 définit aussi une issue de renvoi 106 pour le compresseur radial 26.

Juste au-delà de l'issue de renvoi 106 du compresseur radial 26, les surfaces intérieures de la section 36 de clôture arrière commencent à se courber tout de suite intérieurement pour fournir une transition dans la section adjacente suivante de l'habitation 12, le cône épuisé 38. De cette manière, les surfaces intérieures à la portion de queue de la section 36 d'habitation arrière et ceux de la portion avancée du cône épuisé 92 définissent à l'intérieur un déflecteur d'écoulement 108. Dans la personnification favorisée, le déflecteur d'écoulement 108 est de près et concentriquement placé autour de l'issue 106 du compresseur radial 26 pour que l'air étant renvoyé du compresseur radial 26 n'ait pas l'opportunité de se diffuser de façon significative avant son arrivée au déflecteur d'écoulement annulaire 108. Le déflecteur d'écoulement annulaire 108 dirige la production du compresseur radial 26 dans le cône épuisé 38 en fournissant une transition lisse de surface de l'intérieur de la section 36 de clôture arrière à l'intérieur du cône épuisé 38.

Le cône épuisé 38 est une section extrêmement convergente, creuse, conique placée tout de suite en aval du compresseur radial 26 pour recevoir la production du compresseur radial 26 du déflecteur d'écoulement annulaire 108. Dans la personnification favorisée, le cône épuisé 38 est une section simple d'aluminium d'ensemble des acteurs qui est rejoint à en aval la fin de la section 36 de clôture arrière à une articulation de flanged 110. De préférence, le cône épuisé 92 converge selon un angle de demi-apex d'environ 35 ° et définit le port épuisé 16 à son terminus. La section 112 enfilée au port épuisé 16 permet l'attachement de ducting externe approprié (non montré) le fait de causer la consommation du moteur.

Pendant l'opération du compresseur 10, l'espace entouré par le cône épuisé 92 prévient le fait d'accumuler d'une arrière pression élevée qui pourrait autrement survenir et porter atteinte à l'opération et à l'efficacité du compresseur radial 26. L'espace fermé du cône épuisé 92 est aussi du volume suffisant pour absorber des pouls et faire la moyenne des conditions d'écoulement mal assurées ainsi promouvoir une production lisse et continue du compresseur 10.


Référence maintenant à Fig.1 et Fig.6, le cône épuisé 38 inclut un arrière portant le soutien 114 qui comprend des membres 116 qui s'étendent radialement vers l'intérieur des murs extérieurs du cône épuisé 38. À un endroit intérieur radial près du puits 18, les membres 116 convergent pour former un cupped annulus qui sert d'une clôture 118 pour l'assemblage de rapport d'arrière 120. La clôture 118 est ouverte vers le visage arrière du compresseur radial 24 pour faciliter le démantèlement du compresseur 10. L'assemblage de rapport d'arrière 120 est le même type et la grandeur que l'assemblage de rapport de devant 76. La course intérieure 122 de l'assemblage de rapport 120 est mise dans l'endroit sur le puits 18 par les entretoises 124 et 126 dans la conjonction avec une noix 128 et une machine à laver 130 sur vers l'arrière la fin 132 du puits 18. Dans cette personnification favorisée, les membres 116 sont formés pour être intrinsèque avec les murs du cône épuisé 38.


Se rapportant à Fig.1 et Fig.5, sur la rotation, le compresseur axial 24 air d'attractions par l'arrivée 14 et transmet une compression de quantité initiale à l'air comme il force l'air dans le conduit de transition 96 de la section 36 d'habitation arrière. Dans la personnification favorisée, le compresseur axial 24 comprend un moyeu 86, le linceul 50 et une série de dix (10) lames tout aussi espacées, radiales 136. Idéalement, chaque lame 136 augmentations dans la corde d'une racine 138 à un bout 140 et inclut un bord traînant 142 et un principal bord 144, où ces bords sont les deux légèrement courbés. Les lames augmentent progressivement dans le terrain d'environ 12 ° à la racine 138 à environ 36 ° aux bouts 140. Pourtant, les valeurs particulières de terrain et d'autres aspects géométriques des lames 136 pourraient être variées conformément à de différentes vitesses opérantes ou d'autres paramètres comme seraient évidents à un adroit dans le d'art approprié et familier avec cette divulgation.

Le compresseur axial 24 est de préférence construit d'un simple, jetez la section en aluminium avec les visages 143 et 145 du moyeu 86 étant usiné pour les buts d'accomplir le fait de placer exact, axial du compresseur axial 24 sur le puits 18 quant à la clôture 12. Les visages 146 et 148 du linceul 72 sont aussi usinés l'appartement. Supplémentairement, la périphérie extérieure 150 du linceul est usinée pour assurer le déblayage uniforme entre le linceul et les surfaces intérieures adjacentes 48 du conduit de compresseur axial 34. De préférence, le compresseur axial 24 est protégé au puits 18 par un ajustement avec serrage sur une portion marchée 152 du puits 18. Les entretoises 84 et 154 placent axialement le compresseur axial 24 quant au soutien du rapport de devant 40 et au compresseur radial 26, respectivement.

Les machines d'épreuve de balance dynamiques du type conventionnel peuvent être utilisées pour évaluer la balance du compresseur axial 24 avant son installation. Si un déséquilibre est découvert, la matière peut être enlevée à la périphérie extérieure 150 du linceul 50 afin d'accomplir la balance nécessaire.


Référence maintenant à Fig.1, Fig.3, et Fig.7, le compresseur radial 26 est construit d'une section simple d'aluminium d'ensemble des acteurs et inclut un moyeu 156 et des lames courbées 158. Interposé entre chaque paire de lames 158 sont un deuxième ensemble des lames 160 qui terminent sauf de la consommation 162 du compresseur radial 26 pour que la consommation 162 ne soit pas pleine par les deux ensembles des lames. En conséquence, le compresseur radial 26 caractéristiques tant un grand nombre total de lames qu'une consommation de relativement petit diamètre, l'annonce ces caractéristiques améliorent la performance du compresseur 26. Dans la région de la consommation 162, les lames 158 présents principaux bords 164 et subissent un tortillon dans la direction de rotation afin de prévenir un angle favorable d'attaque à la consommation 162.

De préférence, le compresseur radial 26 est placé sur la section 128 marchée du puits 18 avec un ajustement avec serrage et fermé contre slippage rotationnel par des 166 clé. L'entretoise 124 assure le déblayage entre le visage arrière du compresseur radial 26 et de l'assemblage de rapport d'arrière 120.

Le puits 18 est construit d'un acier durci et est enfilé aux deux fins 30 et 132 pour recevoir des noix 90 et 128, respectivement. En plus de la portion marchée centrale 152, qui reçoit les compresseurs 24 et 26, le puits 18 aussi les caractéristiques ont marché des portions 170 et 172 pour recevoir le front et les assemblages de rapport d'arrière 76 et 120, respectivement. L'arrangement marché du puits 18 y facilite l'assemblage et le démantèlement la portion marchée 152 du plus grand diamètre est au centre trouvé sur le puits 18 et toutes les portions marchées sont plus grandes que le diamètre du fait d'enfiler aux fins 30 et 132.

Notez s'il vous plaît que le rapport soutient 40 et 114 sont dans une position fixée quant à la clôture 12 et que les compresseurs 24 et 26 sont tenus dans la position entre les soutiens du rapport 22 et 40 par les entretoises 84, 124 et 154, qui ont prédéterminé des longueurs. Par conséquent, le placement des compresseurs 24 et 26 quant à l'axe longitudinal de l'habitation 12 est fixé par les entretoises et pas par l'endroit axial du puits 18 quant à la clôture 12. Notez s'il vous plaît aussi que les portions marchées 152, 170 et 172 du puits 18 sont chacun fournies avec les longueurs supplémentaires pour que les composantes respectives (les assemblages de rapport et les compresseurs) puissent chacun être situées sur une relativement large gamme d'endroits dans les portions marchées respectives. Ainsi, le puits 18 n'a pas besoin d'être placé exactement le long de l'axe longitudinal de l'habitation 12 pour accomplir l'assemblage nécessaire du compresseur 10. Par exemple, si les noix 90 et 128 avaient été serrées différemment qu'ils apparaissent dans Fig.1, alors le puits 18 pourrait avoir été déplacé légèrement dans la direction axiale d'où il est montré dans Fig.1. Pourtant, le fait de placer relatif des composantes différentes sur le puits 18, c'est-à-dire, la roue de poulie 28, les compresseurs 24 et 26 et les assemblages de rapport 76 et 120, serait resté le même quant à eux et l'habitation 12. Cette caractéristique atténue le processus de fabrication et en conséquence, réduit des prix. Il réduit aussi la quantité de travail exigé pour le réassemblage après la réparation.

Dans l'opération, le compresseur 10 est convenablement raccordé à c'est l'issue 16 à une consommation d'un moteur automobile, avec les ceintures de trajet 31 du vilebrequin du moteur étant attaché à la roue de poulie 28 du compresseur 10. Alors, comme le moteur est fait marcher, le moment de torsion est transféré par les ceintures de trajet 31 à la roue de poulie 28 pour conduire les compresseurs 24 et 26. Sur la rotation, le compresseur axial 24 air d'attractions par l'arrivée 14, transmet une quantité initiale de compression à l'air et le renvoie dans le conduit de transition 96 avec un tourbillon. En raison c'est le design, on croit que le compresseur axial 24 déplace un plus grand volume d'air dans la région de ses bouts de lame 140 qu'à c'est des endroits plus radialement intérieurs. En conséquence, il y a une plus grande de masse d'air situé à la région annulaire extérieure derrière le compresseur axial 24 qu'à la région annulaire intérieure. Comme on fait que le renvoi du compresseur axial 24 quitte le conduit de compresseur axial 34, l'extrêmement convergent, on croit que le conduit de transition 96 provoque annulus extérieur d'air qui est renvoyé du compresseur axial 24 affluer. On croit que cette action a deux résultats favorables. D'abord, l'action afflue fait un régime d'écoulement être établi à l'arrivée 98 du compresseur radial 26 tel que l'on évite entièrement le besoin pour une girouette de guide. Deuxièmement et de l'importance égale, l'affluant on croit que l'action, en conjonction avec le grand volume d'espace entouré par le conduit de transition 96, affecte la performance du compresseur axial 24 favorablement, pour qu'un plus haut rapport de pression en soit obtenu.

Puisque le rapport de pression général du compresseur 10 est le produit des rapports de pression des deux compresseurs, il peut être vu que l'augmentation dans la performance du compresseur axial 24 résultats dans une amélioration correspondante de la performance générale du compresseur. Il devrait aussi être noté que l'effacement de girouettes de guide d'arrivée pour le compresseur radial 26 et des girouettes de sortie pour le compresseur axial 24 simplifie beaucoup le design de la section 36 d'habitation arrière et fournit donc des économies dans les prix de fabrication. Il évite aussi les pertes de pression associées à de telles girouettes de guide, qui sont souvent tout à fait significatives.

Sur le départ du conduit de transition 96, l'écoulement pré-tourbillonné d'air entre dans l'arrivée 98 du compresseur radial 26 et ensuite dans le compresseur 26 lui-même. En passant par le compresseur radial 26, l'air est tourné et fait tournoyer tel que l'écoulement d'air est centrifugement renvoyé avec une composante accélérée radiale substantielle, après quoi l'écoulement résultant est soudainement tourné par le déflecteur d'écoulement annulaire 108 et fait entrer dans le cône épuisé 38. Comme auparavant expliqué, le grand volume d'espace entouré par le cône épuisé 38 incite des conditions d'écoulement derrière le compresseur radial 26 tel que l'on évite d'arrières pressions élevées, les pressions qui pourraient autrement diminuer la performance du compresseur radial 26. Les pouls dans la production du compresseur radial 26 sont aussi modérés. L'air est alors livré dans un état comprimé au port épuisé 16 du cône épuisé 38. L'air surchargé coule alors en bas le système de consommation approprié du moteur jusqu'à ce qu'il atteigne le cylindre ou les cylindres du moteur.


En ce qui concerne l'application du compresseur 10 au réservoir aérien a actionné des moteurs, comme révélé aux Etats-Unis. Tout prêt. No. 4,292,804, le compresseur 10 fonctions dans la même manière que décrit ci-dessus, mais est raccordé au moteur différemment. Dans le moteur actionné du réservoir aérien, au moins une des tubulures d'échappement des moteurs livre l'air partiellement développé à une ligne raccordée à l'arrivée 14 du compresseur 10. Se rapportant à Fig.8, dans la plupart de telles applications, cette ligne aura d'un plus petit diamètre que la clôture 12 à l'arrivée 14 du compresseur, tel qu'un adaptateur 173 est nécessaire. L'adaptateur 173 comprend une plaque annulaire 174 fait d'avoir une ouverture enfilée 176 de grandeur pour recevoir le fait d'accoupler, a enfilé la fin 178 de la ligne 180. La plaque 174 est protégée au boudin 36 de la section 32 d'habitation de devant par une pluralité de verrous. Parce que l'air venant de la ligne 180 est d'habitude moins que la capacité complète du compresseur, l'air supplémentaire est présenté par l'ouverture latérale 44 le long du côté de la section d'habitation de devant 32. Dans cette application, l'ouverture 44 sert ainsi d'un port de prise d'air aussi bien qu'un moyen pour loger les ceintures de trajet 31 et doit donc être de grandeur sur les critères supplémentaires que cela pas être si grande quant au revers l'écoulement de l'air entrant à la ligne 180. Sur le passage de l'air par le compresseur, l'air est dirigé par le port épuisé 16 et dans une ligne convenable raccordée à cela, que la ligne peut mener directement au moteur ou aux réservoirs d'entreposage du moteur. Si dirigé vers les réservoirs, ce réair comprimé est utilisé pour compléter le fait de recharger voulu des réservoirs d'entreposage.

Il doit être apprécié que les économies dans le prix de fabriquer le compresseur 10 sont accomplies par la raison que la clôture 12, le rapport soutient 40 et 114, le compresseur axial 24 et le compresseur radial 26 est tout construit des rôles en aluminium donnés et exige seulement une quantité minimale du fait d'usiner. De plus, les assemblages de rapport de rouleau 76 et 120 sont des composantes commercialement disponibles et le compresseur 10 est facilement rassemblé. Ces aspects réduisent davantage le prix de fabrication et rendent le compresseur révélé bon marché pour maintenir et réviser. Ce qui est plus important, le compresseur 10, malgré son design simple, fournit le fait de supercharger aux vitesses relativement bas opérantes. Avec c'est des vitesses opérantes plus basses, la longévité du compresseur 10 est prolongée et le risque de cela subissant l'échec mécanique est réduit. On évite aussi le besoin pour les designs de rapport spéciaux et la lubrification. En conséquence, le compresseur 10 est extrêmement convenable pour la production en série et pour l'utilisation dans les voitures, les camions, les hélicoptères ou le pareil.



Le Tourbillon Tube.
Les site web ici montrent “le tourbillon tube” lesquels sont des appareils complètement passifs sans parties en mouvement:


Cet appareil fait des choses que vous n'attendriez pas. Air comprimé à une température de, dites, soixante-dix Centigrade des degrés est nourri dans la chambre circulaire où la forme de la chambre le cause de former une spirale rapidement comme il sort le tube:


Il y a un gain d'énergie dans un tourbillon, comme peut être vu dans un ouragan ou tornade, mais la chose vraiment intéressante ici est le changement dramatique dans température causée par le changement dans pression comme l'air étend. La proportion de gain de la chaleur chauffer la perte est contrôlée par la proportion des dimensions des ouvertures qui sont pourquoi il y a une lance réglable sur la petite ouverture.

L'air qui sort à travers la grande ouverture est plus haut volume beaucoup que l'air qui sort à travers la petite ouverture et il étend très rapidement, en produisant une goutte massive dans température. La densité de cet air froid est maintenant beaucoup de plus haut que l'entrée de l'air la chambre du tourbillon. Ainsi il y a eu les deux une goutte dans température et une augmentation dans densité. Ceux-ci caractérise de l'expansion est fait l'usage de dans le Leroy Rogers moteur dessin où quelques-uns du gaz d'échappement de l'air allongé du moteur est comprimé et est passé au réservoir de l'air principal en arrière. Pendant que le compresseur élève la température de l'air comme il pompe l'air dans le réservoir en arrière, il n'arrive pas à sa température originale à l'instant.

Cela résulte en la température de l'air à l'intérieur du réservoir qui laisse tomber comme le moteur opère. Mais, la température du réservoir baissée cause un afflux de chaleur de son environnement immédiat, en élevant encore la température du réservoir totale. Ce chauffage de l'air refroidi cause la pression du réservoir d'augmenter plus loin, pendant que donner un gain d'énergie, politesse de l'environnement local. C'est important de comprendre qu'il prend moins d'énergie pour comprimer de l'air que l'énergie cinétique qui peut être produite en laissant cet air comprimé étend encore. C'est une situation pratique, politesse de l'environnement local et n'est pas une infraction de la loi de Conservation d'Énergie. C'est aussi un trait qui n'a pas cependant été exploité à tout grand degré et lequel attend pour être utilisé par tout inventeur aventureux ou experimenter juste.



Le Moteur de Eber Van Valkinburg.
Eber présente un moteur de la coutume basé sur ces principes. Son moteur utilise de l'air comprimé et a comprimé de l'huile manipuler des pressions dans le système et fournir un moteur qui est auto - propulsé. Dans l'Appendice une copie légèrement ré - rédigée de l'Eber Van Valkinburg est faites breveter qui remarques qui “a entreposé l'énergie dans un fluide élastique comprimé est utilisé dans une manière contrôlée pressuriser un fluide rigide et maintenir la telle pressurisation. Le fluide rigide pressurisé est étranglé au rotor d'un déménageur principal. Seulement une portion de l'énergie de la production du déménageur principal est utilisée pour circuler le fluide rigide donc comme maintenir une balance volumétrique presque constante dans le système”.





Le Moteur de Richard Clem.
Le Moteur Clem est basé sur un principe entièrement différent, et un qui n'est pas presque très souvent parlé. Les ouragans ou “tornades” comme ils sont appelés quelquefois, est grandes masses de l'air tournantes de pouvoir incroyable qui développe dans régions chaudes qui sont plus de huit degrés Nord ou Vers le sud de l'équateur. La distance de l'équateur est essentielle comme la rotation du Monde est eu besoin de leur donner leur rotation initiale. Ils développent sur eau qui est à une température de vingt-huit Centigrade des degrés habituellement ou plus haut comme cela permettent à l'air d'absorber assez d'énergie de la chaleur être commencé. C'est pourquoi il y a un distinct “saison de l'ouragan” dans ces régions, depuis à certains temps de l'année la température d'océan n'est pas juste haut assez pour déclencher un ouragan.

Ce qui ne s'est pas rendu compte généralement est qu'un ouragan développe l'énergie en excès dû à son tourbillonnant mouvement circulaire. La génération de ce pouvoir supplémentaire a été observée et a documenté par Viktor Schauberger d'Autriche qu'aussi a utilisé ses observations à grand effet. Je pense que ce qui Schauberger dit rend des gens inconfortable comme ils paraissent penser que n'importe quoi “peu orthodoxe” doit être étrange et trop particulier d'être mentionné. C'est plutôt étrange comme tout qui sont impliqués ici est une observation simple de comme notre environnement travaille réellement. Un ouragan est plus large au sommet qu'à le fond et cela concentre le pouvoir à la base de la tourbillonnant masse d'air. Cela a effilé la rotation est appelée un “tourbillon” lequel est juste un nom simple pour décrire la forme, mais toute mention de “pouvoir du tourbillon” (le pouvoir à la base de cette rotation) paraît rendre beaucoup de gens inconfortable lequel est très particulier.

Laisser cela de côté, la question est “est-ce que nous pouvons utiliser ce gain d'énergie de l'environnement pour nos propres buts?.” La réponse peut être bien “Oui.” Peut-être ce principe est utilisé par Richard Clem. En 1992, Richard Clem de Texas, a démontré un moteur auto - propulsé d'un type exceptionnel. Ce moteur qu'il avait développé pour vingt années ou plus, pèse approximativement 200 livres (90 kilos) et a produit un 350 cheval-vapeur mesuré sur la période pleine d'une épreuve auto - propulsée de neuf jours de façon continue. Bien que ce moteur qui court de 1,800 à 2,300 tr/min soit convenu à propulser un générateur électrique surtout, Richard a installé on dans une voiture, et a estimé qu'il courrait pour 150,000 milles sans tout besoin pour attention et sans tout gentil de combustible. Richard a dit que sa voiture du prototype était arrivée à une vitesse de 105 mph. Juste après avoir reçu la consolidation pour produire son moteur, Richard est mort soudainement et de façon inattendue à approximativement 48 années d'âge, le certificat de la mort qui a “crise cardiaque” écrit sur lui comme la cause de mort. Réglage remarquablement commode pour les compagnies de l'huile qui auraient perdu des montants majeurs d'argent à travers ventes du combustible réduites si le moteur de Richard était allé dans production.

Le moteur est exceptionnel dans cela c'est un dessin du style de la turbine rotatif qui court à une température de 300OF (140OC) et à cause de cette haute température, utilise de l'huile de la cuisine comme son fluide opérationnel, plutôt que l'eau comme l'huile a un beaucoup plus haut point d'ébullition. À un coup d'oeil rapide, cela ressemble à un appareil impossible comme il paraît être un moteur purement mécanique qui aura une efficacité du fonctionnement qui est moins que 100% précisément.

Dans contour général, l'huile est pompée à travers une pipe et dans la fin étroite du rotor conique. Le moteur a commencé en étant tourné par un moteur du starter externe jusqu'à ce qu'il arrive à la vitesse à qu'il produit assez de pouvoir pour être soutenez sa propre opération. Le filage rapide du cône, causes l'huile courir le long de rainures de la spirale a coupé dans le visage intérieur du cône et sort à travers lances à angle placées à la grande fin du cône:


La pression du fonctionnement produite par la pompe est 300 à 500 psi. Richard n'a pas essayé de faire breveter son moteur comme USA Brevet 3,697,190 “Pompe de Résistance Conique Tronquée” a accordé en 1972 comme une pompe d'asphalte liquide est si proche ce Richard feutre en détail qu'il y avait la différence insuffisante pour il être accordé un brevet:



Là paraît être étendue considérable pour n'importe qui qui souhaite construire ou fabriquer ce moteur et c'est capable de suppléant comme un appareil de chauffage aussi bien qu'appareil pour produire le pouvoir mécanique. Cela suggère cette purification de l'eau pourrait être un supplémentaire “supplémentaire” option pour ce moteur.


Prof. Alfred Evert   d'Allemagne a produit une analyse de l'opération du Moteur Clem et turbines dans cette catégorie générale. Son site web ici a beaucoup de renseignements sur le sujet.



Le Moteur de Josef Papp.
Le Hongrois, Josef Papp, a inventé un système du moteur exceptionnel qui sincèrement paraît être très presque “alimentez moins.” Son dessin modifie un moteur du véhicule existant pour opérer sur un montant fixe de gaz. C'est-à-dire, le moteur n'a aucune prise de l'air et aucun gaz d'échappement et par conséquent, aucune entrée ou valves du gaz d'échappement. Les cylindres du moteur contiennent un mélange de gaz qui ont un Nombre Atomique 19 au-dessous, spécifiquement, 36% hélium, 26% néon, 17% argon, 13% krypton, et 8% xénon par volume. Le système du contrôle cause le gaz contenu d'étendre conduire les pistons en bas les cylindres et alors contracter pour sucer les pistons en haut les cylindres en arrière. Cela convertit le moteur dans une une coup version où il y a deux coups du pouvoir par révolution de chaque cylindre efficacement.

Une petite quantité de matière radioactive est utilisée dans le moteur, et j'ai vu il a suggéré que le moteur devrait être masqué pour protéger l'utilisateur de radiation. Je ne suis pas sûr que c'est correct, mais si c'est, alors il suggère qu'une matière à conversion d'énergie a lieu en effet. Il paraît très improbable que le montant mineur de matière radioactive dans le moteur lui-même pourrait causer toute radiation considérable. Le brevet décrit la matière comme “de bas niveau” lequel suggère à moi, matière aucun plus de dangereux que la peinture lumineuse qui était utilisée sur les mains d'horloges et montres.

Les moteurs convenables doivent avoir un nombre égal de cylindres comme ils opèrent dans les paires. Le premier prototype de Josef était un quatre cylindre, 90 cheval-vapeur moteur Volvo. Il a enlevé la prise et composants du gaz d'échappement et a remplacé la tête du moteur avec son propre dessin. Pendant une épreuve de trente-cinq minutes dans une pièce fermé, le moteur a produit une 300 production du cheval-vapeur constante à 4,000 tr/min. Le pouvoir électrique eu besoin de courir le moteur a été produit par l'alternateur du moteur standard qui était aussi capable de charger la pile de la voiture en même temps. De façon intéressante, un moteur de ce type, complètement à part avoir zéro émissions de la pollution (autre que chaleur), est assez capable de fonctionnement sous eau.

Josef, un dessinateur et ex pilotent, a émigré de Hongrie à Canada en 1957 où il vivait jusqu'à sa mort en avril 1989. Il y a l'évidence solide que Josef a construit un moteur de plus de 100 cheval-vapeur (75 kilowatts) c'était " fuelled " par un mélange d'inerte (ou “noble”) gaz. Sans gaz d'échappement ou système refroidissant, il avait le moment de rotation énorme à bas tr/min même (livres de 776 pieds à seulement 726 tr/min dans on a certifié l'épreuve). Douzaines d'ingénieurs, scientifiques, investisseurs et un juge Fédéral avec une origine de l'ingénieur ont vu le moteur qui travaille dans fermé partage un logement pendant des heures. Cela n'aurait pas été possible si le moteur avait utilisé le combustible du fossile. Il n'y avait aucun gaz d'échappement et aucune provision visible pour tout gaz d'échappement absolument. Le moteur a couru la fraîcheur à approximativement 60°C (140°F) sur sa surface, comme témoigné par plusieurs observateurs fiables. Tout que ces gens ont été convaincus de la performance du moteur. Ils ont tous manqué de découvrir un canular. Recherche progressive aux États-Unis (totalement indépendant de Papp) a prouvé ces gaz inertes décisivement, électriquement a déclenché de plusieurs façons, peut exploser avec violence fantastique et parution de l'énergie en effet, le métal fondant part et pistons arrogants avec les grandes pulsations de la pression. Quelques-uns des gens qui exécutent ce travail, ou qui l'ont évalué, est éprouvé des physiciens du plasma. Le travail de laboratoire contemporain a établi ces gaz inertes peuvent être faits pour exploser

Dans une démonstration 27e le 1968 octobre dans le désert Californien, Cecil Baumgartner, représenter la gestion du sommet du TRW corporation aérospatiale et autres ont témoigné la détonation d'un des cylindres du moteur. Dans vue du public pleine, seulement quelques centimètres cubiques du mélange du gaz inerte ont été injectés dans le cylindre qui utilise une seringue hypodermique. Quand le gaz a été déclenché électriquement, les murs de l'acier épais du cylindre ont été éclatés ouvert dans un chemin dramatique. William White, Edmund Karig, et James Green, les observateurs de l'Underseas Guerre Laboratoire Naval avaient scellé la chambre plus tôt afin que Papp ou autres ne pourraient pas insérer d'explosifs comme partie d'un canular. En 1983, une épreuve de la certification indépendante a été effectuée sur un des moteurs Papp. Joseph Papp a été publié trois brevets États-Unis pour son processus et moteurs:

USA 3,680,431 sur 1972 " Méthode de 1er aoûts et Moyens pour Forces " Explosives Génératrices dans qu'il affirme la nature générale du mélange du gaz inerte nécessaire de produire parution explosive d'énergie. Il suggère aussi plusieurs des déclenchant sources qui peuvent être impliquées. Il paraît ce Papp n'offre pas révélation pleine ici, mais il n'y a aucun doute que les autres qui ont examiné ce brevet et suivis son contour ont déjà été capables d'obtenir des détonations explosives dans les gaz inertes.

USA 3,670,494 sur 1972 " Méthode de 20e juins et Moyens de Convertir l'Énergie Atomique dans Utilisable Énergie " Cinétique et

USA 4,428,193 sur 1984 " Combustible du Gaz Inerte de 31er janviers, Appareil de la Préparation du Combustible et Système pour Extraire Travail Utile du Combustible ". Ce brevet montré ici, est très détaillé et fournit les renseignements en construire et opérant des moteurs de ce type. Il donne aussi le détail considérable sur appareil pour produire le mélange optimum du gasses nécessaire.

Au temps d'écrire, une vidéo tissu - basée d'un des Papp prototype moteurs qui courent sur un lit de l'épreuve, peut être trouvé à ici bien qu'il doive être dit que beaucoup de que le métrage est de qualité très pauvre, eu été pris il y a grand nombre d'années. La vidéo est particulièrement intéressant dans cela quelques-uns des démonstrations incluez des exemples où un cylindre transparent est utilisé pour montrer l'explosion d'énergie. Encadrez l'opération par - cadre sur la vidéo originale montre énergie qui est développée à l'extérieur du cylindre aussi bien qu'à l'intérieur du cylindre qui paraît suggérer que le zéro point que le champ d'énergie est impliqué. J'ai été contacté par un homme qui a assisté à quelques-uns des démonstrations du moteur couru par Papp récemment et il affirme pour le fait que le moteur a exécuté exactement comme décrit.

Le Brevet de Papp les USA 4,428,193 sont montrés dans plein dans l'Appendice.


Josef n'a jamais réussi à recevoir son design de locomotive dans la production commerciale avant sa mort, essentiellement en raison de l'opposition d'intérêts matériels. Pourtant, ses principes de design ont été ramassés et avancés par John Rohner et Haik Biglari.

Le "Processus de Transition de Plasmic” est le sujet d'attente de brevets différente par PlasmERG Inc d'Iowa. John Rohner a fondé cette compagnie en 2008 pour être les moyens de disséminer, développer et autoriser cette technologie à d'autres fabricants automobiles pour leur propre utilisation. Ce processus s'est à l'origine appelé le "Moteur de Papp" a vraiment couru en 1982 et a été alors perdu jusqu'à ce que John et son partenaire Haik Biglari ne l'aient retrouvé et aient appliqué la science moderne au système pour expliquer le processus et aient classé leurs brevets, à présent l'attente. Le processus original a été fondé sur les informations à l'origine faites breveter par dernier Joseph Papp, dont les brevets ont maintenant expiré. John Rohner, un ingénieur de design de nouveau produit bien connu, a été à l'origine contacté en 1979 par son frère Robert, avec un schéma pour le contrôleur que Papp avait conçu. Malheureusement, John était occupé de plusieurs autres projets donc il l'est retourné à son frère Tom.

PlasmERG a conçu deux moteurs aux Propres fabricants d'équipement pour utiliser. On est un opposé, de 2 cylindres, 120 moteur de pouce cubique qui produit environ 300 cheval-vapeur. Le deuxième est un 360 moteur de pouce cubique de 6 cylindres qui peut produire environ 1,500 cheval-vapeur. Ces moteurs sont co-developed avec une société soeur au Canada. John Rohner a personnellement fourni l'investissement total à ce développement. Comme la compagnie bouge vers la fabrication, ils cherchent des partenaires d'investissement par le stock commercial pour l'investissement. Leur première usine commerciale coûtera environ 10 millions de dollars.

Une stratégie alternative est de créer des licences pour la voiture existante et les fabricants de moteur de camion jusqu'à ce qu'ils puissent financer leur propre production. Le plan actuel est de fournir 500 à 1,000 sites d'essai dans les nations en développement pour le fait de pomper d'eau et la génération de pouvoir comme les sites "humanitaires" d'essai. Cela devrait admettre que le temps devait faire comprendre la production et les brevets accomplis.

Le temps de course attendu d'un moteur d'une charge inerte simple du gaz est plus de 3 mois d'opération continue et le gaz rechargent devrait coûter moins que les Etats-Unis $50 . John souligne que le moteur PlasmERG n'est pas, (de même que le moteur de Papp original n'était pas), un "moteur Circulé de Plasma". Le plasma n'est pas retenu et "a circulé" comme certaines personnes ont supposé. Ce qui arrive vraiment est que le plasma est recréé avec chaque coup de pouvoir et revient ensuite à un gaz public régulier sur chaque coup de retour, dont le nom “la Transition de Plasmic” est tiré.

Le pouvoir initial et la création de plasma pour l'expansion, est produit par un événement de fusion avec un effet indésirable d'un événement de fission "chaotique" limité provoquant un "plasmic la transition” qui est contenue dans un moteur de vilebrequin tournant cacheté de 2 cycles.

Il y a deux parallèles à la Transition Plasmic et à la production de pouvoir de ce moteur. Le premier est la foudre naturelle, qui utilise un processus de Transition Plasmic presque de façon identique semblable; et le deuxième est la vapeur qui fournit le même moment de torsion sur les caractéristiques d'événement de vitesse rotationnelles. Il n'y a rien dans l'opération de moteur de combustion intérieure ordinaire qui est comparable avec n'importe lequel de ces processus. La partie la plus cruciale de l'opération automobile de PlasmERG est le Système de Contrôle Électronique (ECS), en comprenant les éléments suivants:
  • Ordinateurs petits programmables

  • Générateur de pouvoir de radiofréquence

  • L'étincelle de haut voltage enroule le chauffeur d'amorce

  • Les changements de voltage de bobines électromagnétiques différents fournissant basé (le fait d'appuyer) ou la variable (la vitesse de locomotive) les voltages pour tout le cylindre ou la chambre de réaction les bobines électromagnétiques

  • "Sur" contrôleur fournissant le CC au convertisseur de CC de 12 volts

  • Conversion d'accélérateur de locomotive au CC voltage variable programmé

  • Liaison de communications d'inter-contrôleur

  • Le soutien d'instrument en faveur du comité d'utilisateur et du port d'action qui reçoit des ordres du comprenant d'utilisateur, mais non limité aux choses comme la Course, le Début, Étrangle la position, Tient la vitesse, l'application de Breake, le Breake les contributions automobiles dures, différentes et alimente des informations à conteneurs.

Le site Internet du PlasmaERG est ici mais il a besoin de l'Explorateur Internet pour afficher correctement comme il a des problèmes d'étalage importants quand Firefox est utilisé.

Le 2011/0113772 A1 américain breveté d'application de John Rohner appelé “le Moteur de Processus de Transition de Plasmic” peut être téléchargé de www.freepatentsonline.com ou de www.free-energy-info.tuks.nl. Il montre un moteur de 2 cylindres comme un exemple de l'opération:





Le Moteur de Robert Britt.
a conçu un moteur très semblable à cela de Josef Papp, et un brevet Américain pour un moteur qui opère sur gasses inerte a aussi été accordé à lui. William remarques Lyne que ce dessin du moteur peut être reproduit utiliser un Chevy “Monza” moteur de 6 cylindres ou un VolksWagen moteur de 4 cylindres. Les têtes sont enlevées et les nouvelles têtes se sont dépouillées utiliser le “métal du pot” usagé pour “faux chrome” coupe automobile. Cet alliage contient l'aluminium, étamez, zinc et peut-être antimoine et est particulièrement convenable comme les entrailles des cavités peut être poli au haut reflectivity spécifié dans les brevets.

Une copie pleine du brevet de Robert Britt les USA 3,977,191 sont dans l'Appendice.



Le Moteur à Air Plasma de Heinrich Klostermann.
Les deux Josef Papp et Robert Britt spécifié gaz inerte pour l'exploitation, mais Heinrich Klostermann souligne que l'air ordinaire est tout à fait suffisant. Sa vidéo se trouve à l'adresse ici à ce moment. Son brevet est :


Brevet US 7,076,950                   18 juillet 2006                 Inventeur: Heinrich Klostermann

Moteur à Explosion et Générateur Utilisant des Gaz Non-combustibles

Abstrait:
Moteur et générateur à explosion interne ayant une chambre d'explosion, un élément mobile formant une paroi de la chambre, une charge de gaz non combustible scellée à l'intérieur de la chambre, des moyens pour allumer de façon répétée le gaz d'une manière explosive pour entraîner l'élément mobile à partir d'un Position du volume minimum à une position de volume maximal, des moyens pour ramener l'élément mobile de la position de volume maximal à la position de volume minimum, et des moyens couplés à l'élément mobile pour fournir de l'énergie électrique en réponse à l'explosion du gaz. Dans un mode de réalisation divulgué, l'élément mobile est un piston relié à un vilebrequin, et il est ramené à la position de volume minimum par un volant sur le vilebrequin. Dans un autre mode de réalisation, deux pistons sont reliés dos à dos dans une chambre hermétiquement fermée pour empêcher la perte du gaz explosif. Dans un mode de réalisation, l'énergie électrique est produite par un générateur connecté au vilebrequin, et dans l'autre il est produit par une bobine positionnée à proximité d'un aimant qui se déplace avec les pistons.



Autres Références :
Mallove et al., Infinite Energy, Sept./Oct. 2003, vol. 9, No 51, New Energy Foundation, Inc., Concord, NH, USA.

La Description :


CONTEXTE DE L'INVENTION

1.Domaine d'invention
La présente invention concerne généralement des moteurs et des générateurs et, plus particulièrement, un moteur à explosion interne et un générateur utilisant des gaz non combustibles.

2. Art Connexe
Un moteur à explosion interne est généralement semblable en principe à un moteur à combustion interne, sauf qu'il utilise des gaz non combustibles tels que l'air, l'oxygène, l'azote ou le gaz inerte au lieu des gaz combustibles utilisés dans les moteurs à combustion interne. Avant le fonctionnement, le gaz pour faire fonctionner un moteur à explosion interne est placé dans la chambre d'explosion du moteur et la chambre est scellée. Pendant le fonctionnement, le gaz dans la chambre d'explosion est comprimé à plusieurs reprises, ionisé, explosivement expansé et contracté pour déplacer un piston ou un rotor ou un autre dispositif mobile pour convertir l'énergie cinétique en énergie mécanique ou électrique. Une fois que le gaz a été chargé dans la chambre d'explosion, le moteur peut fonctionner pendant de longues périodes de temps sans carburant supplémentaire. Il n'y a pas besoin de consommation de carburant à chaque cycle de fonctionnement, comme dans un moteur à combustion interne, et il n'y a pas d'échappement. Des exemples de moteurs à explosion interne de l'art antérieur sont trouvés dans le brevet des Etats-3,670,494 et 4,428,193.

OBJETS ET RÉSUMÉ DE L'INVENTION
En général, un objet de l'invention est de fournir un moteur et un générateur d'explosion internes nouveaux et améliorés. Un autre but de l'invention est de fournir un moteur à explosion interne et un générateur du caractère ci-dessus qui surmonte les limitations et les inconvénients des moteurs et des générateurs qui ont été fournis jusqu'ici. Ces objets et d'autres objets sont atteints conformément à l'invention en fournissant un moteur à explosion interne et un générateur qui a une chambre d'explosion, un élément mobile formant une paroi de la chambre, une charge de gaz non explosif scellée à l'intérieur de la chambre, Enflammer le gaz d'une manière explosive pour entraîner l'élément mobile d'une position de volume minimum à une position de volume maximal, des moyens pour ramener l'élément mobile de la position de volume maximal à la position de volume minimum et des moyens couplés à l'élément mobile Pour fournir de l'énergie électrique en réponse à une explosion du gaz. Dans un mode de réalisation divulgué, l'élément mobile est un piston relié à un vilebrequin, et il est ramené à la position de volume minimum par un volant sur le vilebrequin. Dans un autre, deux pistons sont reliés dos à dos dans une chambre hermétiquement fermée pour empêcher la perte du gaz explosif. Dans un mode de réalisation, l'énergie électrique est produite par un générateur connecté au vilebrequin, et dans l'autre il est produit par une bobine positionnée à proximité d'un aimant qui se déplace avec les pistons.



DESCRIPTION BRÈVE DES DESSINS



La figure 1 est une vue en plan de dessus d'un mode de réalisation d'un moteur à explosion interne et d'un générateur incorporant l'invention.





La figure 2 est une vue en coupe transversale, prise le long de la ligne 2-2 de la figure 1.





La figure 3 est une vue en coupe transversale, prise le long de la ligne 3-3 sur la figure 2.





La figure 4 est un schéma de circuit du mode de réalisation de la figure 1.





La figure 5 est une vue en coupe de ligne médiane d'un autre mode de réalisation d'un moteur à explosion interne et d'un générateur incorporant l'invention.




         

Les figures 6A et 6B sont des vues en coupe transversale, prises le long des lignes 6A-6A et 6B-6B de la figure 5.





Les figures 7 et 8 sont des vues en coupe agrandie de la ligne médiane des ensembles de soupape et de fiche pour l'orifice de chargement de gaz dans les modes de réalisation des figures 1 et 5.


DESCRIPTION DÉTAILLÉE





Comme illustré sur les figures 1 à 3, le moteur 11 comprend un piston 12 dans un cylindre 13, avec des bagues 14 assurant une étanchéité entre le piston et la paroi intérieure du cylindre. L'extrémité supérieure ou extérieure du cylindre est obturée par une plaque d'extrémité ou tête 16 et une chambre d'explosion 17 est formée entre la culasse et le piston. Un orifice d'entrée 18 est formé dans la culasse pour introduire une charge de gaz dans la chambre d'explosion et l'admission de gaz à travers l'orifice est commandée par un ensemble de soupape 19. Le piston est relié à un vilebrequin 21 par une bielle 22 , Et le vilebrequin comporte un contrepoids ou un volant 23. En fonctionnement, le piston est entraîné vers le bas par l'explosion du gaz dans la chambre et renvoyé à la position de tir par l'énergie stockée dans le volant. L'extrémité inférieure du cylindre 13 est fermée par un carter de vilebrequin 24. Le vilebrequin est relié à l'arbre 26 d'un générateur 27 situé à l'extérieur du carter de carter moteur par un accouplement 28. Comme on le verra plus loin, le générateur peut également être entraîné en tant que Moteur pour le démarrage du moteur.

Dans le mode de réalisation illustré, l'ensemble de soupape 19 est un clapet anti-retour unidirectionnel qui permet au gaz de passer dans la chambre d'explosion sans sortir de celle-ci par l'orifice d'entrée 18. L'ensemble de soupape est représenté plus en détail sur la figure 7 et comprend un corps Ou la douille 31 avec un alésage ou passage axial 32. L'extrémité interne du corps de soupape est vissée dans l'orifice et un capuchon 33 est vissé sur l'extrémité externe agrandie du corps. Le capuchon comprend un passage 34, la communication entre ce passage et le passage 32 étant commandée par une bille 36 qui est reçue dans un siège 37 sur le côté intérieur du capuchon. La bille est poussée vers une position fermée contre le siège par un ressort 38 qui est contraint entre la bille et un épaulement 39 à l'extrémité intérieure du corps de soupape. Un joint d'étanchéité 41 assure une étanchéité entre la partie extérieure du corps et la tête.

Des électrodes sont montées dans la tête pour allumer le gaz dans la chambre. Une électrode haute fréquence 43 est positionnée axialement dans la chambre et reliée à un générateur radiofréquence 44 pour ioniser le gaz pour former un plasma. Les électrodes 46-49 sont espacées autour de l'électrode 43, l'électrode 46 étant connectée à l'enroulement secondaire 50 d'une bobine d'étincelle 51 et les électrodes 47-49 étant connectées à un condensateur 52. Une broche de contact 53 fait saillie de la face du piston en alignement Avec l'électrode 43.

Le piston 12 et la plaque d'extrémité ou la tête 16 sont réalisés en un matériau ferromagnétique tel que l'acier inoxydable Grade-416 et le cylindre 13 est réalisé en un matériau non ferreux tel que l'acier inoxydable Grade-303. Une bobine 54 est placée autour de la partie extérieure du cylindre et couplée magnétiquement au piston pour former un générateur de réluctance.



Des moyens sont prévus pour détecter lorsque le piston est dans son point mort haut (TDC) ou position de volume minimum. Ce moyen comprend un aimant 56 qui est monté sur le contrepoids ou la partie de volant 23 du vilebrequin 21 et un commutateur à effet Hall 57 qui est monté dans une position stationnaire dans le carter moteur et actionné par l'aimant quand il vient à proximité du commutateur.

La puissance pour faire fonctionner le générateur 27 en tant que moteur pour démarrer le moteur est fournie par des batteries 59 qui, dans le mode de réalisation illustré, sont montées à l'intérieur du boîtier d'un contrôleur pour le générateur 61. Les batteries sont connectées au moteur par un démarrage normalement ouvert Interrupteur 62.

Les batteries alimentent également le générateur de radiofréquence 44 et les électrodes 46-49 qui enflamment le gaz dans la chambre, l'excitation de ces électrodes étant commandée par un relais 63. L'application de puissance au générateur de radiofréquence est commandée Par un commutateur Marche / Arrêt 64 et l'excitation de la bobine de relais 65 est commandée par l'interrupteur Marche / Arrêt et par l'interrupteur à effet Hall 57 qui est connecté entre l'interrupteur Marche / Arrêt et la bobine de relais.

Le relais comporte un premier ensemble de contacts 66 qui commutent le condensateur 52 entre la source d'alimentation et les électrodes 47-49 et un deuxième ensemble de contacts 67 qui relient l'enroulement primaire 68 de la bobine d'étincelle 51 à la source d'alimentation. Les batteries sont chargées avec le courant produit dans la bobine 54 par le générateur de réluctance. Cette bobine est reliée à l'entrée d'un redresseur de puissance 69 et la sortie du redresseur est reliée aux batteries.

Avant l'opération, une charge d'air est introduite dans la chambre d'explosion par le clapet anti-retour 19 et l'orifice d'entrée 18. Pour démarrer le moteur, l'interrupteur 64 est fermé, alimentant ainsi le générateur de radiofréquence 44 et l'enroulement primaire de la bobine d'étincelle 51 Et l'application d'un courant de charge au condensateur 52, et le commutateur de démarrage 62 est fermé pour alimenter le générateur 27 en tant que moteur de démarrage. Le gaz dans la chambre est ionisé par la puissance RF appliquée à l'électrode 43 pour former un plasma.

Comme le piston fait sa course vers le haut, l'air est comprimé et chauffé, et vers le point mort haut, l'air est ionisé par le. Puissance de radiofréquence appliquée à l'électrode 43 pour former un plasma. Lorsque le piston est au point mort haut ou près du point mort haut, l'interrupteur à effet Hall 57 se ferme, en activant la bobine de relais 65. Lorsque la bobine de relais est alimentée, les contacts 66 appliquent la charge qui s'est accumulée sur le condensateur 52 aux électrodes 47-49 et Des contacts 67 ouverts pour interrompre le courant dans l'enroulement primaire de la bobine d'étincelle 51, produisant une décharge à haute tension entre l'électrode d'étincelle 46 et la broche de contact 53 sur le piston.

L'étincelle provenant de l'électrode 46 et le courant provenant des électrodes 47-49 s'écoulant à travers l'air ionisé enflamment l'air, provoquant son explosion et produisant une onde de pression semblable à la foudre avec de l'ultraviolet, de l'ozone et de la chaleur. Cette onde de pression entraîne le piston vers le bas, tournant le vilebrequin 21 et le générateur 27, stockant de l'énergie mécanique dans le volant et produisant de l'énergie électrique du générateur.

Après que le piston ait atteint sa position de volume maximal ou de point mort bas (BDC), l'énergie mécanique stockée dans le volant entraîne le vilebrequin pour continuer à tourner, entraînant ainsi le piston vers le point mort haut. La même charge d'air est allumée encore et encore pendant une période prolongée, et dans la mesure où l'air est perdu au-delà des segments de piston, il est automatiquement réapprovisionné par l'air entrant dans la chambre à travers le clapet anti-retour. Ainsi, avec le piston sur sa course descendante, si la pression dans la chambre descend au-dessous du niveau réglé par le ressort 38, la bille 36 s'éloigne de son siège, permettant à l'air d'entrer dans la chambre par l'orifice d'entrée. Pendant le mouvement ascendant, la pression dans la chambre maintient la bille fermement contre le siège, scellant l'air dans la chambre.



Le mode de réalisation de la figure 5 comprend un moteur à piston libre 71 qui a une paire de chambres d'explosion 72, 73 aux extrémités opposées d'un cylindre 74. Ce moteur diffère du mode de réalisation de la figure 1 en ce qu'il n'a pas de vilebrequin. Cependant, le mécanisme de production d'énergie est le même, et des numéros de référence identiques désignent des éléments correspondants dans les deux modes de réalisation. Les extrémités extérieures du cylindre sont fermées par des plaques d'extrémité ou têtes 16 et les volumes des deux chambres varient d'une manière opposée ou complémentaire lorsqu'un ensemble à piston à deux extrémités 76 est entraîné en va-et-vient dans le cylindre.

L'ensemble piston comprend une paire de pistons 12 qui sont reliés l'un à l'autre par un manchon 77, avec des bagues 14 assurant une étanchéité entre les pistons et le cylindre. Les pistons ont des broches de contact centrales 53 et chacune des chambres d'explosion comporte un orifice d'entrée 18 et des électrodes 43, 46-49 pour ioniser et allumer le gaz.

Comme dans le mode de réalisation de la figure 1, le piston 12 et les plaques d'extrémité 16 sont constitués d'un matériau ferromagnétique et le cylindre 74 est réalisé en un matériau non ferreux tel que l'acier inoxydable non ferreux ou l'aluminium nickelé. Le manchon 77 est réalisé en un matériau non ferreux tel que l'aluminium. Des bobines 54 sont placées autour des portions extérieures du cylindre et couplées magnétiquement avec les pistons pour former des générateurs de réluctance.

Le manchon 77 porte des aimants 56 qui actionnent des interrupteurs à effet Hall 57 montés à l'extérieur du cylindre 74 pour déterminer quand les pistons sont au niveau de leurs positions de point mort haut (TDC) ou à proximité de celles-ci. Un contact de masse 78 porté par le manchon 77 fait un contact coulissant avec la paroi du cylindre pour maintenir les pistons et les broches de contact 53 au potentiel de la terre. L'ensemble à piston comprend également un aimant permanent relativement grand 81 qui est porté par le manchon 77 à mi-distance entre les pistons. Une structure de noyau ferro-magnétique 82 fournit un couplage de flux entre l'aimant 81 et les bobines statoriques 83, 84 qui sont situées à l'extérieur du cylindre.



La structure de noyau comprend une paire de noyaux 86, 87 généralement en forme de C, dont chacun a une paire de bras internes relativement courts 86a, 87a qui viennent en butée contre les surfaces supérieure et inférieure du cylindre 74 et un bras extérieur 86b, 87b qui est espacé Latéralement du cylindre. Les extrémités des bras intérieurs qui viennent en butée contre le cylindre ont une courbure concave qui correspond à la courbure convexe de la paroi extérieure du cylindre et les bobines 83, 84 sont enroulées autour des bras extérieurs des noyaux. Les noyaux sont formés en deux sections, avec une fente 88 à travers les bras extérieurs pour faciliter l'assemblage.

Des tôles en acier 89 sont noyées dans la paroi du cylindre en contact avec les bras courts des noyaux pour compléter le circuit magnétique. Les tôles sont scellées hermétiquement dans la paroi du cylindre et, dans un mode de réalisation actuellement préféré, elles sont des piles de tôles d'acier au silicium d'une épaisseur de 0,005 pouce et une couche de nickelage de moins de 0,001 pouce d'épaisseur scellant les piles. Les bobines de stator peuvent être utilisées à la fois comme enroulements d'un moteur pour démarrer le moteur et ensuite comme enroulements d'un générateur dans lequel un courant électrique est produit lorsque l'ensemble de piston oscille en va-et-vient dans le cylindre.

Comme le cylindre est scellé hermétiquement, tout gaz fuyant au-delà des anneaux des pistons restera dans le moteur, plutôt que d'être perdu à l'environnement extérieur comme dans le mode de réalisation de la figure 1. En plus de l'air, des gaz appropriés à utiliser dans la forme de réalisation de la figure 5 comprennent des gaz inertes, de l'oxygène et des mélanges de tels gaz.



Avec le gaz hermétiquement scellé dans le moteur, il n'est pas nécessaire de reconstituer le gaz aussi souvent qu'il le serait si le moteur n'était pas scellé et l'orifice d'entrée 18 peut être fermé avec l'ensemble de bouchon 91 de la figure 8 plutôt que la vanne Assemblage 19 de la figure 7, si on le souhaite. En variante, une source de gaz peut être reliée à l'orifice d'entrée par l'intermédiaire de l'ensemble de soupape 19 pour le remplissage automatique du gaz dans les chambres comme dans le mode de réalisation de la figure 1.

L'ensemble de fiche 91 comprend un corps ou une douille 92 avec un intérieur creux 93 qui est rempli d'un insert en caoutchouc 94. L'extrémité interne du corps de vanne est vissée dans l'orifice et un chapeau 96 est vissé sur l'extrémité externe agrandie du Corps pour retenir l'insert dans la fiche. Un joint d'étanchéité 97 assure une étanchéité entre la partie agrandie du corps de bouchon et la plaque d'extrémité ou tête 16. Le fonctionnement et l'utilisation du mode de réalisation de la figure 5 est similaire à celui décrit ci-dessus en relation avec le mode de réalisation de la figure 1. Une charge du gaz explosif est introduite dans les chambres d'explosion à travers les orifices d'entrée et les enroulements statoriques 83, 84 sont excités pour entraîner l'aimant 81 et le reste de l'ensemble piston vers l'arrière et vers l'avant dans le cylindre. Lorsque chacun des pistons s'approche de sa position de point mort haut, le gaz dans la chambre d'explosion est comprimé, puis ionisé et allumé de sorte qu'il explose et entraîne l'ensemble de piston vers l'autre extrémité du cylindre. Lorsque l'aimant porté par l'ensemble de piston se déplace d'avant en arrière dans l'espace dans la structure de noyau, le flux alternatif qu'il produit est couplé aux bobines 83, 84 pour produire le courant de sortie dans les enroulements de générateur.

L'invention a un certain nombre de caractéristiques et d'avantages importants. Il peut utiliser des mélanges combustibles explosifs tels que l'air, des gaz inertes et d'autres gaz non combustibles qui peuvent être rapidement dilatés et contractés plusieurs fois pour convertir l'énergie cinétique en énergie électrique et / ou mécanique. Le moteur peut avoir une ou plusieurs chambres d'explosion avec un piston formant une paroi mobile pour changer le volume de chacune.

Le gaz de fonctionnement est préchargé dans les chambres, les orifices d'entrée sont scellés et le moteur peut fonctionner avec la même charge de gaz sur de longues périodes de temps et de multiples expansions et contractions explosives à diverses fréquences, par ex. 30-60 cycles par seconde ou plus, sans ajouter de gaz dans les chambres.

Dans un mode de réalisation décrit, la perte de gaz due à une fuite est empêchée en enfermant le moteur dans une enceinte hermétiquement scellée. Dans un autre cas, un clapet anti-retour dans l'orifice d'entrée permet au gaz dans les chambres de se réapprovisionner automatiquement lorsque la pression dans les chambres tombe en dessous d'un niveau prédéterminé. L'étanchéité hermétique est particulièrement importante et souhaitable si le moteur est utilisé dans des environnements tels que l'espace ou sous l'eau où les gaz de réapprovisionnement peuvent ne pas être facilement disponibles.

L'invention permet une large gamme de flexibilité de conception et peut fournir des alimentations compactes allant de quelques kilowatts à plusieurs mégawatts, et elle peut être utilisée dans une grande variété d'applications.

Il ressort de ce qui précède qu'un moteur et un générateur d'explosion interne neufs et améliorés ont été prévus. Bien que seuls certains modes de réalisation actuellement préférés aient été décrits en détail, comme cela apparaîtra à l'homme de l'art, certains changements et modifications peuvent être apportés sans sortir du cadre de l'invention tel que défini par les revendications suivantes.



Réclamations :
L'invention revendiquée est la suivante :

1. Moteur à explosion et générateur, comprenant une chambre d'explosion, un organe mobile formant une paroi de la chambre, une charge d'air scellée à l'intérieur de la chambre, une vanne unidirectionnelle en communication avec la chambre pour admettre de l'air supplémentaire dans la chambre Si la pression dans la chambre tombe en dessous d'un niveau prédéterminé, des moyens pour allumer de façon répétée l'air dans la chambre de manière explosive pour entraîner l'élément mobile d'une position de volume minimum à une position de volume maximum, des moyens pour ramener l'élément mobile de La position de volume maximal à la position de volume minimum, et des moyens couplés à l'élément mobile pour fournir de l'énergie électrique en réponse à une explosion de l'air.

2. Moteur et générateur selon la revendication 1, dans lequel l'élément mobile est un piston.

3. Moteur et générateur selon la revendication 2, dans lequel les moyens pour ramener l'élément mobile à la position de volume minimal comprennent un volant d'inertie sur un vilebrequin relié au piston.

4. Moteur et générateur selon la revendication 3, dans lequel le moyen pour fournir de l'énergie électrique comprend un générateur connecté au vilebrequin.

5. Moteur et générateur selon la revendication 1, dans lequel les moyens pour ramener l'élément mobile à la position de volume minimal comprennent une seconde chambre d'explosion comportant un élément mobile relié au premier élément nommé, une charge d'air scellée à l'intérieur de la seconde chambre et Des moyens pour enflammer l'air dans la seconde chambre de manière explosive.

6. Moteur et générateur selon la revendication 1, comprenant un boîtier hermétique enfermant la chambre d'explosion et empêchant la perte d'air de la chambre.

7. Moteur et générateur selon la revendication 1, dans lequel l'élément mobile est fabriqué en un matériau ferromagnétique, et le moyen pour fournir de l'énergie électrique comprend une bobine qui est couplée magnétiquement à l'élément mobile.

8. Moteur et générateur selon la revendication 1, dans lequel les moyens pour allumer l'air comprennent des moyens pour appliquer de l'énergie RF à la chambre pour ioniser l'air et former un plasma, et des moyens pour allumer le plasma.

9. Moteur et générateur selon la revendication 8, comprenant des électrodes dans la chambre pour chauffer l'air ionisé.

10. Moteur à explosion et générateur, comprenant un cylindre, un piston mobile dans le cylindre pour former une chambre d'explosion de volume variable, une charge d'air scellée à l'intérieur de la chambre, des moyens pour admettre de l'air atmosphérique dans la chambre si la pression dans la chambre La chambre descend au-dessous d'un niveau prédéterminé, des moyens d'allumage périodique et explosif de l'air dans la chambre pour entraîner le piston entre des positions de volume minimum et maximum, un vilebrequin entraîné par le piston et un générateur connecté au vilebrequin pour fournir de l'énergie électrique en réponse Au mouvement du piston.

11. Moteur et générateur selon la revendication 10, comprenant un volant sur le vilebrequin.

12. Moteur et générateur selon la revendication 10, dans lequel les moyens pour allumer l'air comprennent des moyens pour appliquer de l'énergie RF à la chambre pour ioniser l'air et former un plasma, et des moyens pour allumer le plasma.

13. Moteur et générateur selon la revendication 12, comprenant un commutateur actionné magnétiquement en réponse à la position du piston pour délivrer l'étincelle lorsque le piston est à ou près de la position de volume minimum.

14. Moteur et générateur selon la revendication 10, dans lequel les moyens pour admettre de l'air atmosphérique dans la chambre comprennent un clapet anti-retour.

15. Moteur et générateur selon la revendication 10, dans lequel le piston est fabriqué en matériau ferro-magnétique et est couplé magnétiquement avec une bobine positionnée à l'extérieur du cylindre.

16. Moteur et générateur selon la revendication 10, comprenant des moyens pour alimenter le générateur en tant que moteur pour déplacer le piston pour démarrer le moteur.

17. Moteur à explosion et générateur, comprenant un cylindre, une paire de pistons reliés entre eux pour se déplacer de concert à l'intérieur du cylindre pour former une paire de chambres d'explosion de volume variable, une charge de gaz non combustible scellée à l'intérieur de chacune des chambres , Des soupapes de retenue pour réapprovisionner le gaz dans les chambres par admission de gaz supplémentaire dans les chambres lorsque la pression dans les chambres tombe en dessous d'un niveau prédéterminé, des moyens pour allumer alternativement le gaz non combustible dans les deux chambres de manière explosive pour entraîner les pistons entre Des positions de volume de chambre maximum minimal, un aimant couplé aux pistons pour le mouvement avec les pistons et une bobine positionnée à l'extérieur du cylindre à proximité de l'aimant pour produire de l'énergie électrique en réponse au mouvement des pistons.

18. Moteur et générateur selon la revendication 17, dans lequel le gaz non combustible est choisi dans le groupe constitué par l'air, le gaz inerte, des combinaisons d'extrémités de ceux-ci.

19. Moteur et générateur selon la revendication 17, dans lequel les moyens pour allumer le gaz dans chacune des chambres comprennent des moyens pour appliquer de l'énergie RF à la chambre pour ioniser le gaz et former un plasma, et des moyens pour allumer le plasma.

20. Moteur et générateur selon la revendication 19, comprenant des commutateurs sensibles aux positions des pistons pour allumer le plasma lorsque les pistons sont à ou près des positions de volume minimum.

21. Moteur et générateur selon la revendication 19, comprenant des électrodes dans les chambres pour chauffer le gaz ionisé.




Michael Eskeli.
En avril 1989, Michael Eskeli a été ennuyé par un article du journal publié dans le Dallas Times Héraut qui a fait des remarques sur l'échec de science de monter avec systèmes du pouvoir de l'alternative qui ne comptent pas sur les produits du pétrole pour opérer. Michael a répondu dans une lettre à l'Éditeur, en affirmant qu'il tient des brevets pour combustible moins de générateurs du pouvoir, travaillez des pompes de la chaleur gratuitement, et autres articles apparentés, 56 brevets ont publié dans le mi 70s.

Michael tient beaucoup de brevets un de qui sont montrés dans Chapitre 14 comme un combustible travail - libre moins d'appareil de chauffage. Cependant, comme je ne suis pas informé de tout prototype du fonctionnement qui est montré, je dois recommander que vous considérez les renseignements suivants comme “une idée” plutôt qu'un fait prouvé. Aussi loin que je suis informé, dans les 1970s, le Bureau Breveté Américain n'a pas demandé voir un prototype actif avant d'accorder un brevet, surtout si le brevet avait été en rapport avec un appareil basé sur les principes De l'ingénieur acceptés.

Cependant, comme la demande de Michael est pour les appareils moi - propulsés, sa demande paraît trop importante d'être ignoré, prototype ou aucun prototype, comme gens compétents qui lisent ceci les principes suggérés peuvent comprendre bien et être dans une place pour construire un appareil auto - propulsé en conséquence. Si c'est le cas, alors je devrais apprécier les renseignements de la réaction sur toutes reproductions prospères et les méthodes de la construction utilisées vraiment.

Comme je le comprends, les appareils moi - propulsés de Michael sont Pompes de la Chaleur où l'énergie supplémentaire coule de la chaleur contenues dans l'air, politesse des effets chauffants de lumière du soleil. Le génie standard, mais avec un dessin qui utilise cette énergie disponible pour fournir le pouvoir de la production mécanique pratique pour les véhicules et les générateurs électriques.

L'Eskeli fait breveter que j'ai été capable de localiser est:

3,650,636 Compresseur du Gaz rotatif
3,719,434 Compresseur de l'Éjecteur rotatif
3,748,054 Turbine de la réaction
3,748,057 Compresseur rotatif avec Refroidir
3,758,223 Turbine du Rotor de la réaction
3,761,195 Comprimant Centrifugeuse
3,795,461 Compresseur avec Refroidir
3,809,017 Chaleur et Générateur de la Vapeur
3,834,179 Turbine avec Chauffer et Refroidir
3,854,841 Turbine
3,861,147 Turbine de Rotor Seul scellée
3,874,190 Turbine de Rotor Seul scellée
3,879,152 Turbine
3,889,471 Turbine Double Fluide de rotor double
3,895,491 Turbine avec les Rotors Doubles
3,919,845 Turbine de Rotor fluide - Seul double
3,926,010 Chaleur rotative Exchanger
3,931,713 Turbine avec Régénération
3,933,007 Comprimant Centrifugeuse
3,933,008 Chaleur à plusieurs étapes Exchanger
3,937,034 Gaz Compressor - Expander
3,938,336 Turbine avec Chauffer et Refroidir
3,939,661 Générateur du pouvoir
3,949,557 Turbine
3,961,485 Turbine avec Intensif de la Chaleur
3,962,888 Chaleur Exchanger
3,972,194 Machine thermodynamique du Type de la Girouette
3,972,203 Chaleur rotative Exchanger
3,981,702 Chaleur Exchanger
3,986,361 Turbine avec Régénération
4,003,673 Pressuriser fluides
4,005,587 Chaleur rotative Exchanger avec Refroidir et Régénération
4,012,164 Rotor avec Recirculation
4,012,912 Turbine
4,030,856 Rotor avec les Lances du Jet
4,044,824 Chaleur Exchanger
4,047,392 Chaleur du Rotor double Exchanger
4,050,253 Machine thermodynamique
4,057,965 Machine thermodynamique avec Pas Type Chaleur Addition
4,060,989 Machine thermodynamique avec la Chaleur du Pas - Type Exchangers
4,068,975 Pressuriser fluides
4,077,230 Chaleur rotative Exchanger avec Refroidir
4,106,304 Compresseur thermodynamique
4,107,944 Pompe de la chaleur avec Deux Rotors
4,107,945 Compresseur thermodynamique
4,124,993 Machine de la réfrigération
4,167,371 Méthode de Pressurisation Fluide
4,178,766 Méthode du Compresseur thermodynamique
4,574,592 Pompe de la chaleur avec le Liquid - Gas Fluide actif

Et il y a vraisemblablement 7 autres n'ont pas inscrit ici, élever le total aux 56 ont mentionné par Michael. Je n'ai pas les compétences pour dire lequel de ceux-ci peut être auto - propulsé en lisant les renseignements brevetés qui généralement ne mentionnent rien le long de ces lignes juste (le personnel de Bureau Breveté qui ne croit pas que COP>1 existe). Pratiquement en de ces brevets peut aller parfaitement la description de Michael, donc je choisirai les brevets suivants pour reproduire ici:

4,107,944 Pompe de la chaleur avec Deux Rotors (continuer 4,005,587 et 4,047,392)
4,012,912 Turbine
3,931,713 Turbine avec Régénération



*********************


Les USA Font breveter 4,107,944                    1978 de 22e aoûts                      Inventeur: Michael Eskeli


POMPE DE LA CHALEUR AVEC DEUX ROTORS



RÉSUMÉ

Une méthode et appareil pour chauffage générateur et refroidir en circulant un fluide actif dans couloirs a porté par les rotors, en comprimant le fluide actif dans eux et enlevant la chaleur du fluide actif dans un chaleur déménagement chaleur exchanger et chaleur additionneuse dans le fluide actif dans un chaleur addition chaleur exchanger, tout ont porté dans les rotors. Le fluide actif est scellé dans, et peut être un gaz convenable, tel qu'azote. Un exchanger de la chaleur fluide actif est aussi fourni pour échanger la chaleur dans le rotor entre deux ruisseaux de travailler fluide. Dans un arrangement, l'unité utilise deux rotors, les deux rotation; dans un arrangement alternatif, un des rotors peut être tenu stationnaire. Les candidatures incluent climatisation et candidatures chauffantes

Les USA Font breveter des Références:
2,490,064 Machine thermodynamique - Le décembre 1949 - Kollsman
2,490,065 Machine thermodynamique - Le décembre 1949 - Kollsman
2,520,729 Machine pour produire l'Énergie de la Chaleur - L'août 1950 - Kollsman
2,597,249 Moteur thermodynamique - Le mai 1952 - Kollsman
3,470,704 Appareil thermodynamique et Méthode - Oct 1969 - Kantor
3,834,179 Turbine avec Chauffer et Refroidir - Le septembre 1974 - Eskeli
3,861,147 Turbine de Rotor Seul scellée - Le janvier 1975 - Eskeli
3,889,471 Turbine Double Fluide de rotor double - Le juin 1975 - Eskeli
3,895,491 Turbine avec les Rotors Doubles - Le juillet 1975 - Eskeli
3,919,845 Turbine de Rotor fluide - Seul double - Nov 1975 - Eskeli
3,931,713 Turbine avec Régénération - Le janvier 1976 - Eskeli
4,005,587 Chaleur rotative Exchanger avec Refroidir - Le février 1977 - Eskeli
4,044,824 Chaleur Exchanger - L'août 1977 - Eskeli


Références de la croix aux Candidatures Apparentées:
Cette candidature est une candidature continuation - dans - partie de " Chaleur du Rotor Double Exchanger " a classé Nov. 18, 1973, Ser. No. 407,665, maintenant Pat Américain. No. 4,047,392.

Cette candidature est aussi un continuation - dans - partie de " Pompe " de la Chaleur le 30 juin 1975, Ser, a classé. No. 591,881, maintenant a abandonné.

Et cette candidature est aussi un continuation - dans - partie de " Chaleur Rotative Exchanger avec Refroidir et la Régénération " a classé Oct. 1, 1975, Ser. No. 618,456, maintenant Pat Américain. No. 4,005,587.


ORIGINE DE L'INVENTION
Cette invention est en rapport avec les appareils pour transfert de la chaleur d'une température inférieure à une plus haute température généralement en utilisant un fluide actif joint dans un rotor de la centrifugeuse comme un fluide intermédiaire pour transporter la chaleur.

Les pompes de la chaleur ont été sues dans le passé mais complexe et cher, et habituellement utilise un fluide actif qui s'est évaporé et est condensé qui résultats dans efficacité pauvre, et donc haut coût de l'énergie.


RÉSUMÉ DE L'INVENTION
C'est un objet de cette invention pour fournir appareil qui est bas dans coût de l'initiale et a la haute efficacité thermique donc le coût réducteur du pouvoir a exigé pour le courir. C'est supplémentaire l'objet de cette invention fournir un appareil et traiter où les pertes qui normalement se produisent dans les portées et les cachets, dû à frottement, est sollicité au fluide actif sa circulation, donc dans effet qui élimine la perte du pouvoir dû aux telles pertes du frottement. Aussi, c'est un objet de cette invention pour fournir le rotor un exchanger de la chaleur fluide actif pour réduire des vitesses du rotor eues besoin.


DESCRIPTION BRÈVE DES DESSINS


Fig.1 est une section en colère de l'appareil.




Fig.2 est une vue de la fin de l'appareil.




Fig.3 est une section en colère axiale d'une autre forme de l'appareil.


DESCRIPTION D'INCARNATIONS PRÉFÉRÉES


Fig.1 montre une section en colère axiale de l'appareil où 10 sont la base, 11 sont le premier rotor, 12 sont le deuxième rotor, 13 sont un cachet et 14 sont la portée arbre 15 secondaire, 16 sont passage fluide dans le deuxième rotor, 17 sont l'ouverture fluide active qui peut être une lance, 18 sont en premier chauffent l'exchanger pour déménagement de la chaleur de fluide actif, 19 sont transfert de la chaleur conduit fluide en premier, 20 sont exchanger de la chaleur fluide actif, dans cet exemple formé de tôle comme soufflets, 21 sont des girouettes, 22 sont deuxième exchanger de la chaleur pour addition de la chaleur à fluide actif, 23 portent l'arbre 24 secondaire, 25 et 26 sont entrée et sortent pour deuxième transfert de la chaleur fluide, 27 et 28 sont entrée et sortent pour en premier transfert de la chaleur fluide, et 29 sont une girouette dans passage périphérique.



Dans Fig.2 une vue de la fin de l'unité montrée dans Fig.1 est illustrée. Où 10 sont bas, 11 sont rotor en premier, 17 sont des ouvertures fluides, 12 sont deuxième rotor, 16 sont deuxième rotor passages fluides avec les girouettes, 30 indiquent direction de rotation, 24 sont arbre du rotor en premier, et 21 sont des girouettes.



Dans Fig.3, les rotors sont arrangés différemment, mais exécute les mêmes fonctions, approximativement, comme dans l'unité de Fig.1. Où 40 sont rotor en premier, 41 sont exchanger de la chaleur pour déménagement de la chaleur de premier fluide en premier, 42 sont arbre du rotor en premier, 43 et 44 sont entrée et sortent pour en premier transfert de la chaleur fluide, 45 sont conduit, 46 sont exchanger de la chaleur fluide actif, 47 sont des ouvertures fluides qui peuvent être des lances, 48 sont deuxième rotor, 49 sont deuxième exchanger de la chaleur pour la chaleur additionneuse au fluide actif, 50 portent et scellent, 51 sont deuxième arbre du rotor, 52 et 53 sont entrée et sortent pour deuxième transfert de la chaleur fluide.

Dans opération, les rotors sont causés de tourner et les cavités du rotor sont remplies d'un fluide actif convenable qui est un gaz habituellement tel qu'azote, air ou autre gazeux ou substance du vapour. Faire référence à Fig.1, le deuxième rotor tourne habituellement plus rapide que le premier rotor, et le fluide actif est comprimé par force centrifuge dans les passages 16, et dans dans une certaine mesure le premier rotor après que la chaleur est enlevée dans la chaleur exchanger 18, avec telle chaleur qui est transportée par le premier transfert de la chaleur fluide hors de l'appareil alors. Le fluide actif alors laissez-passer le long du passage 29 périphérique et chaleur des parutions dans la chaleur exchanger 20 après que le fluide est étendu contre force centrifuge dans les girouettes 21 et dans la chaleur exchanger 22 où la chaleur est ajoutée au fluide actif. Après expansion, les laissez-passer fluides actifs le long de passage de centre et reçoit la chaleur de chaleur exchanger 20, donc compléter son cycle du travail.

L'opération de l'unité dans Fig.3 est semblable, mais le deuxième rotor tourne habituellement plus lentement que le premier rotor, et le deuxième rotor peut être gardé stationnaire, si a désiré. Notez qui si le deuxième rotor est tenu stationnaire, on peut utiliser de l'eau sale comme le deuxième transfert de la chaleur fluide; normalement, le fluide du transfert de la chaleur doit être libre de solids qui rassemblera dans l'exchanger de la chaleur dû à force centrifuge et bloquer l'exchanger de la chaleur dans exchangers de la chaleur tournant, et en ayant un exchanger de la chaleur stationnaire, l'eau ordinaire peut être utilisée, tel qu'eau d'une tour refroidissante.

Dans l'unité de Fig.1, l'entrée du pouvoir est au deuxième rotor normalement, et au premier rotor est permis de tourner librement. Dans tel usage, les diamètres du rotor sont sélectionnés fournir, avec la perte du frottement dans les portées, pour la vitesse eue besoin différentiel entre les deux rotors. Avec le deuxième rotor qui tourne la poussée plus rapide, nécessaire pour le fluide actif est fourni pour garder le fluide circuler actif. Alternativement, la différentielle de la vitesse peut être maintenue en utilisant une transmission du pouvoir entre les deux rotors, tel qu'une boîte de transmission. Dans l'unité de Fig.3, la deuxième vitesse du rotor est plus lent que la vitesse du premier rotor, et où les diamètres du rotor sont convenables, le deuxième rotor peut être tenu stationnaire, en fournissant la poussée eue besoin pour le fluide actif pour sa circulation.

L'exchanger de la chaleur fluide actif 20 et 46, emploi force centrifuge et densité du gaz variable obtenir l'échange de la chaleur entre les deux ruisseaux du fluide actifs. Le gaz chaud dans le passage périphérique est du gaz plus léger, et plus froid entre les plis de l'exchanger de la chaleur est plus froid, donc le gaz froid est déplacé par le gaz du briquet par force centrifuge. De la même façon, le gaz froid à centre déplace du gaz chaud entre plis au passage de centre. Les autres types d'exchangers de la chaleur peuvent être utilisés pour la chaleur exchangeur 20, y compris pipes de la chaleur, que les disques de la tôle, et finned tuber ont rempli d'un liquide.

Le rotor peut être enfermé dans un réservoir à vide, si a désiré, réduire frottement sur rotor surfaces externes. L'usage de la chaleur fluide active que les exchanger 20 réduiront le rotor exigé s'hâte pour obtenir des différentielles de la température exigées entre les deux fluides du transfert de la chaleur qui alors réduisent des pertes du frottement sur le rotor qui peut éliminer le besoin pour un réservoir à vide.

Les plusieurs modifications de cet appareil peuvent être faites, et les types différents d'exchangers de la chaleur ont utilisé. Aussi, travailler des passages radiaux fluides peut être courbé dans les plusieurs directions, un être l'inclinaison pour les girouettes montré comme article 21 dans Fig.2. En utilisant la girouette incline et a incliné passages, on peut ajuster le montant d'échange du travail entre le fluide actif et le rotor. Les lances 47 sont placées habituellement donc comme décharger pour produire quelque moment de rotation sur le premier rotor en arrière, et les lances semblables peuvent aussi être utilisées dans passages 21 de l'unité montrés dans Fig.1. Plus loin, la chaleur que les exchanger 22, de Fig.1, peuvent être montés sur un membre stationnaire, si a désiré, dans manière montrée dans Fig.3, et chaleur que les exchanger 18 peuvent être montés dans rotor 12, si a désiré. Les plusieurs composants des unités peuvent être échangés, comme désiré.


*********************



 US Brevet 4,012,912                    1977 de 22e mars                      Inventeur: Michael Eskeli

TURBINE


RÉSUMÉ

Une méthode et appareil pour la génération de pouvoir où un fluide actif sont comprimés dans passages du rotor de l'extension extérieurs, et alors est passé dans les autres passages du rotor avec accompagner expansion et décélération, avec existence du travail produite par le décélérant fluide, vers l'intérieur. La chaleur peut être ajoutée dans le fluide actif près la périphérie du rotor, et dans les rotors fermé, la chaleur est enlevée du fluide actif après expansion. Un régénérateur peut aussi être utilisé, est monté sur le rotor, en échangeant la chaleur entre deux ruisseaux du fluide actif. Pendant la décélération, les passages fluides actifs sont courbés en arrière, pendant que les passages fluides actifs pour accélération sont habituellement radiaux. Le fluide actif peut être ou un liquide ou un gaz, et le fluide chauffant et le fluide refroidissant peuvent être aussi ou un liquide ou un gaz.


Les USA Font breveter des Références:
3,761,195 comprimant Centrifugeuse - Le Sept 1973 - Eskeli
3,834,179 turbine avec Chauffer et Refroidir - Le Sept 1974 - Eskeli
3,926,010 Chaleur rotative Exchanger - Le décembre 1975 - Eskeli



Références de la croix aux Candidatures Apparentées:
Cette candidature est une candidature continuation - dans - partie de " Turbine, " Ser. No. 566,373, en a maintenant classé 4-9-75 Pat Américain. No. 3,949,557.


ORIGINE DE L'INVENTION
Cette invention raconte pour propulser des générateurs où un fluide actif est circulé d'un plus haut niveau d'énergie pour baisser le pouvoir égal, générateur d'énergie.

Dans mon Pat Américain plus tôt. Nos. 3,874,190 et 3,854,841, j'ai décrit un turbines du type fermé et ouvertes, et utiliser le dessin de la centrifugeuse. Ces turbines ont utilisé des lances du revers avancées dans le rotor; dans l'appareil a divulgué ici, les telles lances ont été remplacées par les autres méthodes.


RÉSUMÉ DE L'INVENTION
C'est un objet de cette invention fournir une étape de la turbine du type de la centrifugeuse du rotor seule où girouettes ou nageoires, avec les contours convenables, sont utilisées pour extraire le pouvoir du fluide actif, en utilisant ou un type ouvert ou un rotor du type fermé.


DESCRIPTION BRÈVE DES DESSINS




Fig.1 est une section en colère et



Fig.2 est une vue de la fin d'un rotor du type fermé.



Fig.3 est une section en colère et



Fig.4 est une vue de la fin d'un rotor du type ouvert.



Fig.5 est une section en colère d'une unité utiliser un rotor du type fermé et utiliser aussi un régénérateur.


DESCRIPTION D'INCARNATIONS PRÉFÉRÉES




Faire référence à Fig.1, là est montré une section en colère d'une forme de l'unité. Où 10 sont le rotor qui est supporté par les portées 16 et 22, arbre 17 et en base 21. 12 sont un exchanger de la chaleur de la provision de la chaleur et 15 sont exchanger de la chaleur refroidissant, 14 et 11 sont girouettes ou nageoires, 18 et 19 sont entrée du caloporteur et sortent, 20 sont un mur de séparation, 23 et 24 sont entrée fluide chauffante et sortent, et 13 sont un passage fluide actif qui peut être utilisé pour régler le courant de travailler fluide dans le rotor.



Fig.2 est une vue de la fin de l'unité montrée dans Fig.1. Où 10 sont le rotor, 17 l'arbre, 19 sont un passage du caloporteur, 21 sont la base, 14 sont girouettes placées afin qu'ils inclinent loin de la direction de rotation comme indiqué par flèche 25, en passant l'inwards fluide actif simultanément, 12 sont l'exchanger de la chaleur chauffant, et 15 sont l'exchanger de la chaleur refroidissant.



Dans Fig.3, un rotor pour une unité qui utilise le cycle ouvert est utilisé, où le fluide actif entre et laisse le rotor. Ici, 30 sont le rotor, 31 sont la girouette située dans un passage qui étend des extérieurs, 32 sont le passage fluide, 33 sont une girouette dans le passage pour lien intime fluide actif, 34 sont la sortie fluide active, 35 sont l'arbre du rotor, 36 sont un rotor diviseur interne et 37 sont l'entrée fluide active dans le rotor.



Fig.4 montre une vue de la fin de l'unité de Fig.3 où 30 sont le rotor, 35 sont l'arbre, 31 sont des girouettes dans les passages pour fluide en partance, et est montré ici être courbé en arrière, quand le rotor tourne dans la direction montrée par flèche 38. Après ouvertures 32 passagères, l'inwards des laissez-passer fluide actif guidé par les girouettes 33, et partir par sortie 34 alors. Les girouettes 33 sont courbées comme indiqué, avec la courbure qui est loin de la direction de rotation, donc le fluide actif fournit la poussée contre les composants du rotor comme il décélère quand inwards passager vers le centre du rotor.



Dans Fig.5, un rotor avec un régénérateur est montré, et aussi l'arbre du rotor est arrangé afin qu'il peut être gardé stationnaire si a désiré. 50 sont le rotor qui est supporté par les portées 56 et 63 et arbre 57. Les girouettes 51 peuvent être radiales ou courbées comme désiré, et les girouettes 54 sont courbées dans une manière semblable aux girouettes 33 dans Fig.4. 52 sont un exchanger de la chaleur régénérateur, en échangeant la chaleur entre les ruisseaux fluides actifs qui coulent dans les passages 53 et 61. La chaleur de la provision de la chaleur exchanger 55 et chaleur refroidissante que les exchanger 62 sont attachés à l'arbre, afin que l'arbre peut être gardé stationnaire ou peut être tourné à une vitesse différente que le rotor 50. 58 et 59 sont l'entrée et points de la sortie pour le fluide chauffant pendant que 64 et 65 sont l'entrée et points de la sortie pour le fluide refroidissant, et 66 sont une ouverture.

Quand opérer, le rotor tourne, et un fluide actif dans le rotor passe des extérieurs dans passage 11, et est comprimé par force centrifuge, et a accéléré à une vitesse tangentielle qui peut être le même comme cela pour la périphérie du rotor. Dans un rotor fermé tel qu'est montré dans Fig.1, la chaleur est ajoutée dans le fluide actif près la périphérie du rotor, et alors le fluide actif a décéléré dans les passages fluides 14 vers l'intérieur de l'extension vers centre du rotor, avec les passages qui sont courbés loin de la direction de rotation en arrière comme montré dans Fig.2. Comme le fluide actif est décéléré dans les passages à rallonges intimes, le travail associé par telle décélération est transféré dans le rotor et cela fournit la poussée et moment de rotation pour tourner le rotor. Après décélération et expansion, le fluide actif est refroidi dans la chaleur exchanger 15 et alors est passé aux passages à rallonges extérieurs donc compléter son cycle du fonctionnement.

L'opération de l'unité de Fig.3 est semblable, mais le fluide actif entre le rotor en en ouvrant 37 de sources externes. Pour l'unité montrée dans Fig.3, l'exchanger de la chaleur de l'addition de la chaleur est omis; pour cette unité, il y a une goutte de la pression entre entrée 37 et en sort 34. Un exchanger de la chaleur semblable à cela montré dans Fig.1, article 12, peut être utilisé dans l'unité de Fig.3, et alors l'entrée et pression de la sortie pour le fluide actif peuvent être le même, si a désiré.

L'opération de l'unité montrée dans Fig.5, est semblable à cela décrit pour les autres unités. Le rotor tourne, et par force centrifuge, comprime le fluide actif dans les passages 51, et alors les gains fluides actifs chauffent dans l'exchanger de la chaleur régénérateur, avec l'existence de la chaleur fournie par un autre ruisseau fluide actif qui revient de la haute fin de la température de l'unité. Le fluide actif est étendu et a décéléré dans les passages 54 et la chaleur est ajoutée dans la chaleur exchanger 55. Alors les laissez-passer fluides actifs à travers l'exchanger de la chaleur régénérateur et alors est refroidi dans l'exchanger de la chaleur refroidissant et alors est passé dans passages 51 donc compléter son cycle.

Les plusieurs composants des unités montrés peuvent être échangés pour faire des formes supplémentaires de l'appareil. Comme distingué, l'unité de Fig.3 peut être fournie un exchanger de la chaleur semblable à cela montré dans Fig.1 pour la chaleur additionneuse dans le fluide actif près la périphérie du rotor. Plus loin, un régénérateur peut être fourni les unités de Fig.1 et Fig.3, si a désiré, entre l'extension extérieure et le fonctionnement à rallonges intime passages fluides. Aussi, la bobine refroidissante de Fig.5, l'article 62 peut être éliminé, et le fluide actif pris dans l'unité d'à l'extérieur de l'unité, si a désiré.

Les ouvertures 32, de 13 et 66 peuvent être faits des lances, si a désiré, et la lance a orienté dans les directions différentes comme désiré. En particulier, ces lances peuvent être placées donc comme décharger le tangentially fluide actif en arrière, si a désiré.

Le régénérateur de Fig.5 est montré pour être effilé. Cette bougie peut être comme montré, ou la bougie peut être rendue tel que le diamètre de la portion du régénérateur est plus petit à la fin qui a la chaleur exchanger 55, que la fin qui a la chaleur exchanger 62. Aussi, le régénérateur peut être fait sans une bougie.

Passages que 53 et 61 sont fournis des girouettes habituellement, comme indiqué dans Fig.5, prévenir mouvement tangentiel du fluide actif.

Les candidatures pour ce générateur du pouvoir sont ce rencontrées dans génération du pouvoir normalement.

Le fluide actif est un gaz pour les unités tel que ceux montrés dans Fig.1 et Fig.5 habituellement, mais le fluide actif peut être aussi un liquide pour une unité tel que montré dans Fig.3. Le chauffage et fluides refroidissants peuvent être ou gaz ou liquides, comme désiré.

Les exchangers de la chaleur pour chauffer et refroidir sont montrés pour être fait de tuyauterie du finned. Autres formes d'exchangers de la chaleur pour la chaleur additionneuse et pour enlever la chaleur peut être utilisé. L'exchanger de la chaleur régénérateur est montré pour être fait de tôle; les autres formes d'exchangers de la chaleur peuvent aussi être utilisées.


*********************


US Brevet 3,931,713                    1976 de 13e janviers                      Inventeur: Michael Eskeli

TURBINE AVEC RÉGÉNÉRATION


RÉSUMÉ
Une méthode et appareil pour pouvoir générateur en passant un motivant fluide d'un plus haut niveau d'énergie à un niveau d'énergie inférieur à côté de comprimer le fluide dans un centrifugeuse type rotor en premier et décharger les lances de via fluides près la périphérie du premier rotor, en avant dans la direction de rotation à un deuxième rotor qui est une turbine de la réaction du type du courant intime, en traversant le fluide un exchanger de la chaleur du type de la régénération pour transférer la chaleur du lien intime fluide dans alors l'en partance fluide après qui le fluide est refroidi dans un exchanger de la chaleur à sa température originale et est encore passé extérieur donc compléter son cycle. La chaleur est ajoutée au fluide près la périphérie du deuxième rotor, ou la chaleur peut être ajoutée près la périphérie du premier rotor, ou les deux. En outre, le fluide peut être fourni à l'unité de source extérieure, et est revenu à tel à l'extérieur de source, et le refroidissement peut donc soit éliminé de l'unité. Plus loin, l'entrée fluide d'une source extérieure peut être à une pression élevée. Les fluides utilisés peuvent être gazeux qui est normal pour une unité du type fermé ou ils peuvent être des liquides à entrée pour l'unité du type ouverte.


Les USA Font breveter des Références:
2,490,064 Machine thermodynamique - Le décembre 1949 - Kollsman
2,514,875 U - Passage Turbine du Gaz - Le juillet 1950 - Kollsman
2,597,249 Moteur thermodynamique - Le mai 1952 - Kollsman
3,236,052 Turbines du Gaz de cycle fermé - Le février 1966 - Guin
3,530,671 Turbines de l'Air régénératrices - Le septembre 1970 - Kolodziej


Cette candidature est une candidature continuation - dans - partie de " Turbine avec Rotors Doubles, " Ser. No. 405,628, en a classé 10/11/73, et utilise matière d'un Pat Américain antérieur. No. 3,834,179, " turbine avec Chauffer et Refroidir ".


ORIGINE DE L'INVENTION
Cette invention est en rapport avec les appareils pour pouvoir générateur en réponse à un couler fluide d'un plus haut niveau d'énergie généralement à un niveau d'énergie inférieur qui traverse une turbine pour produire le pouvoir.

Il y a eu des plusieurs types de précédemment turbines dans quelques-uns de qu'un fluide est accéléré dans un lances stationnaires seules ou multiples et alors passé aux girouettes est monté sur une roue du rotor tournante où l'énergie cinétique a contenu par le fluide en mouvement est converti pour propulser par décélération du fluide.

Ces turbines conventionnelles ont une haute perte d'énergie dû à frottement fluide, surtout entre girouettes du rotor et le fluide où la différentielle de la vélocité est habituellement grande, normalement. Aussi, ces turbines exigent souvent le complexe girouettes de la turbine façonnées qui rendent l'unité cher.


RÉSUMÉ DE L'INVENTION
C'est un objet de cette invention fournir une turbine pour génération du pouvoir dans que la chaleur est convertie pour propulser, dans une manière effective et économe, et avec haute efficacité thermique. C'est aussi un objet de cette invention pour fournir des un moyen pour transférer la chaleur du motivant ou travaille fluide qui est le premier fluide pendant son passage de périphérie du rotor à centre du rotor dans le premier fluide qui passe du centre du rotor vers la périphérie du rotor. Ce transfert de la chaleur améliore l'efficacité de la turbine, et réduit les rotational nécessaires s'hâtent du rotor, en autorisant la construction du rotor moins chère.


DESCRIPTION BRÈVE DES DESSINS




Fig.1 est une section en colère d'une forme de l'appareil, et



Fig.2 est une vue de la fin de l'unité montrée dans Fig.1.



Fig.3 est une section en colère d'une autre forme de l'appareil.



Fig.4 est un détail de lances du rotor.



Fig.5 est un diagramme du pression - enthalpy du premier fluide avec cycle actif illustré pour le premier fluide.



DESCRIPTION DES INCARNATIONS PRÉFÉRÉES



Fig.1 montre une section en colère d'une forme de la turbine. Dans cette forme, le premier fluide est scellé dans le rotor avec un deuxième fluide qui fournit la chaleur au premier fluide, et un troisième fluide qui refroidit le premier fluide, être circulé de sources externes.

Le premier fluide est accéléré et a comprimé dans le premier rotor, et après décharge des lances du premier rotor, dans le deuxième rotor où il reçoit la chaleur du deuxième fluide, et après décélération et expansion les premiers laissez-passer fluides dans rapport de l'échange de la chaleur avec le premier extérieur coulant fluide afin que la chaleur est transférée du lien intime fluide à en premier l'en partance en premier fluide. Refroidir est fourni pour le premier fluide pour apporter la première température fluide à une initiale alors a prédéterminé la valeur.

Dans Fig.1, 10 sont la boîte, 11 sont le premier rotor, 12 sont le troisième exchanger de la chaleur fluide, 13 sont la girouette qu'aussi sert comme un membre de l'échange de la chaleur, 14 sont un mur chaleur - conducteur, 15 sont une girouette, 16 sont une lance, 17 sont le deuxième rotor, 18 sont le deuxième heat - exchanger fluide, 19 sont une girouette, 20 sont le conduit deuxième - fluide, 21 sont une portée combinée et scellent, 22 sont une portée combinée et scellent, 23 sont un deuxième arbre du rotor pour la distribution de pouvoir, et pour support du deuxième rotor, 24 et 25 sont provision et reviennent pour le troisième - fluide, 26 sont une prise d'air qui ouvre dans la boîte dans qu'une source à vide peut être connectée, 34 sont un mur de séparation, 27 sont des girouettes qui servent aussi comme membres du chaleur - échange, 28 sont un passage premier - fluide, 30 sont une portée combinée et scellent, 31 et 32 sont l'entrée deuxième - fluide et points de la sortie, et 33 sont le premier arbre du rotor.



Fig.2 montre une vue de la fin de l'unité de Fig.1 où 10 sont la boîte, 11 sont le premier rotor, 17 sont le deuxième rotor, 16 sont les lances premier - fluides, 18 sont un exchanger de la chaleur, 19 sont des girouettes, 20 sont un conduit, 13, 14 et 27 forme un exchanger de la chaleur pour le premier - fluide et 23 sont le deuxième arbre du rotor.


Fig.3 montre une autre forme de la turbine où le premier fluide est fourni à la turbine de sources extérieures donc éliminer l'exchanger de la chaleur troisième - fluide. 50 sont le premier rotor, 51, 52 et 53 forme un exchanger de la chaleur pour le premier - fluide, 55 et 58 sont des exchangers de la chaleur chauffants pour la chaleur additionneuse au premier - fluide et peut utiliser une seconde - fluide à la même température ou à une température différente comme le fluide chauffant, 54 sont des girouettes dans premier rotor, 56 sont en premier les lances fluides ont orienté pour décharger en avant, 57 sont le deuxième rotor, 59 sont des girouettes, 60 sont un conduit pour le deuxième - fluide, 61, 62 et 72 sont des portées, 64, 65, 69 et 70 sont entrées et sorties pour le deuxième - fluide, 63 sont le deuxième arbre du rotor, 71 sont arbre du rotor en premier, 66 sont la base, pendant que 67 et 68 sont la sortie et l'entrée pointe pour le premier - fluide.



Fig.4 montre un détail des lances premier - fluides où 34 sont mur sur que les lances 16 sont montées, 35 sont la direction approximative de partir du premier - fluide, et 36 indiquent direction de rotation de premier rotor.



Dans Fig.5, un diagramme du pression - enthalpy pour le premier fluide est montré, avec le cycle actif pour le premier fluide où 80 sont l'axe de la pression et 81 sont axe de l'enthalpy, 82 sont l'entropie constante règle, 83 sont des lignes de la pression constantes, et pour le cycle, compression avec déménagement de la chaleur, ou sans déménagement de la chaleur, se produit de 84 à 85, la chaleur est ajoutée de revenir fluide de 85 à 86 en premier, la compression supplémentaire est de 86 à 87, alors expansion de 87 à 88 et 89, et déménagement de la chaleur au premier - fluide de 89 à 84, donc compléter le cycle. La chaleur est ajoutée entre 87 et 88 normalement, du deuxième - fluide. L'addition de la chaleur entre 85 et 86, et le déménagement de la chaleur entre 89 et 84 peut être à constante ou pression variable comme désiré; la pression peut être variée en augmenter ou diminuant le diamètre de commodément le premier - fluide à exchanger de la chaleur premier - fluide, faire l'exchanger de la chaleur effilé.

Dans opération, les rotors sont remplis à une pression désirée avec un convenable en premier fluide, et le premier rotor est causé de tourner. Le premier fluide est comprimé avec déménagement de la chaleur en premier, et alors est passé dans rapport de l'échange de la chaleur avec le lien intime fluide avec addition de chaleur en premier, et après ce le premier fluide est comprimé plus en outre et est accéléré et après cette compression, le premier fluide est passé par lances montées sur le premier rotor avance dans la direction de rotation après que le premier fluide entre le deuxième rotor étend des passages pour décélération vers l'intérieur, avec existence de la chaleur ajoutée au premier - fluide dans le deuxième rotor passages intimes pour réduction de densité du premier - fluide. Après inwards passager et décélérer, le premier fluide est passé dans rapport de l'échange de la chaleur avec l'en partance en premier fluide, et après cela, le premier fluide peut être décéléré plus en outre, et alors le premier fluide entre les passages à rallonges extérieurs du premier rotor donc compléter le cycle.

L'opération de la turbine ouverte de Fig.3 est semblable à cela décrit, mais le premier fluide est fourni de sources externes, et est revenu à source externe dite, avec refroidir être effacé alors, alors.

Le travail entré au premier rotor est le travail a exigé pour accélérer le premier - fluide, et la production du travail par le deuxième rotor est le travail de décélération reçu par le deuxième rotor. La production du travail par la turbine est le travail différentiel de ces deux rotors.

Les rotational s'hâtent du deuxième rotor peut être plus haut que les rotational s'hâtent du premier rotor. Pour prévoir courant intime du premier fluide dans le deuxième rotor, la densité fluide est réduite en ajoutant la chaleur au premier fluide dans le deuxième rotor non plus, ou aussi dans le premier rotor.

L'addition de chaleur du lien intime en premier fluide à l'en partance en premier augmentations fluides la température du premier fluide pendant partie dernier de compression et pendant expansion, et donc a l'effet d'améliorer l'efficacité thermique de la turbine. Aussi, un autre effet est la réduction dans le rotational eu besoin hâtez-vous pour les rotors de la turbine, donc réduire la force exigée pour les rotors, et rendre les rotors plus économe faire et opérer.

Les fluides actifs pour cette turbine sont des gaz pour habituellement le premier - fluide, et liquides pour la seconde et troisièmes fluides. La seconde gazeuse et troisièmes fluides peuvent aussi être utilisés, et le premier fluide peut être un liquide dans quelques exemples. Aussi, le premier fluide peut subir un changement de la phase dans la turbine, si donc a désiré, quand utiliser un fluide convenable. Les candidatures pour cette turbine incluent service de la génération du pouvoir normal qui utilise plusieurs sources de la chaleur.

Le premier arbre du rotor et le deuxième arbre du rotor sont connectés par un appareil de la transmission du pouvoir normalement afin qu'une partie du pouvoir a produit par le deuxième rotor est utilisé pour tourner le premier rotor. Commencer de l'unité est par un appareil initial.

Les girouettes des rotors peuvent être faites courbé si a désiré. Dans beaucoup d'exemples, les premières girouettes du rotor peuvent être courbées pour augmenter la compression d'en arrière le premier - fluide, et les girouettes du deuxième rotor peuvent aussi être courbées, améliorer la performance, et convenir le dessin et le fluide a sélectionné. Dans ce rapport, les nageoires pour l'exchangers de la chaleur sont considérées pour être des girouettes.

Le diagramme du pression - enthalpy montré dans Fig.5, est approximatif seulement. Ce diagramme peut être varié, en dépendant du montant de chaleur ont ajouté dans le deuxième rotor, ou dans le premier rotor, et selon l'emplacement spécifique du deuxième fluide et troisièmement exchangers de la chaleur fluide. En particulier, la chaleur peut être ajoutée au premier - fluide pendant expansion faire le premier - fluide réellement augmentation dans température; cela améliorera l'efficacité thermique totale de la turbine normalement. Aussi, le déménagement de la chaleur par le troisième fluide peut être conduit dans les places autre que cela montré dans Fig.1, comme désiré.

Il devrait aussi être noté que l'addition de la chaleur au premier fluide peut être de sources autre que le deuxième fluide, et de la même façon, quelques autres moyens peuvent être utilisés pour refroidir le premier - fluide autre que les troisièmes fluide. Les telles sources chauffantes peuvent inclure électricité, ou les autres rotors sont montés dans proximité à cette turbine; ceux-ci ne changeront pas l'esprit de cette invention.

Le mécanisme de l'exchanger de la chaleur pour transférer la chaleur du lien intime fluide à en premier l'en partance en premier le fluide peut aussi être localisé dans le deuxième rotor, et aussi l'entrée et sort pour le premier - fluide dans la turbine peut être dans le deuxième rotor. Les tels arrangements ne sont pas montrés dans les dessins spécifiquement depuis qu'ils sont considérés être dans les capacités d'un dessinateur habile, vu les descriptions données ici.

Beaucoup de ces renseignements sur Michael Eskeli est pris, avec la gentille autorisation de Scott Robertson, de son site web ici.



Le Générateur de l'Eau - Pompe auto – propulsé de James Hardy:
Répété ici de Chapitre 2, un appareil qui a besoin d'être dans cette liste d'appareils moi - propulsés est le générateur de l'eau - jet simple extrême. Il y a une vidéo sur Google qui montre le générateur commandé, électrique à une eau pompe électrique auto - propulsée à l'emplacement: ici.

C'est un appareil très simple où le jet d'eau de la pompe est dirigé à une eau roue simple qui dans tour, rotations un alternateur électrique, propulser la pompe et une ampoule électrique, démontrer l'énergie libre. Ce qui est de note particulière est la simplicité complète de cet appareil. Il utilise des parties disponibles en magasin presque exclusivement et peut être construit par presque quelqu'un.

Il devrait être noté que la mise en oeuvre montrée dans cette vidéo utilise le plus de base de lames de la turbine qui doivent avoir une très basse efficacité, et toujours le pouvoir de la production produit est bien précité le niveau a eu besoin de soutenir sa propre opération. Les lames de la turbine conventionnelles bien façonnées données de beaucoup de plus haute efficacité paraîtraient élever la performance plus loin, pendant qu'on penserait qu'utiliser une Turbine Tesla avec ses disques simples devrait donner une performance vraiment spectaculaire. Cependant, cela peut très bien ne soyez pas le cas un l'irrégulier, a battu la promenade de la roue mènera dehors énergie supplémentaire comme dans le cas du Chas volant Campbell et le John volant Bedini. Comme c'est, avec sa présente forme de construction, cet appareil est déjà capable de produire le pouvoir supplémentaire autres morceaux courus capables de matériel des principaux standard.




C'est une plate-forme du développement clairement et il bénéficierait d'avoir les régions qui contiennent de l'eau, complètement clos, et la diversion électrique de principaux propulse à l'alternateur de la production opéré par un changement.




Initialement, le générateur a jusqu'à vitesse, conduite par les principaux provision électrique. Alors, quand il court normalement, le rapport des principaux est enlevé et le motor/generator motor/generator soutient et est aussi capable de propulser au moins une ampoule. La production du générateur est courant des principaux normal d'un alternateur disponible en magasin standard. La génération du pouvoir pourrait obtenir à peine en plus de simple que ce.


Arthur Cahill et John Scott   ont fait breveter un système de la chaleur - pompe qui sort l'énergie de la chaleur de l'environnement environnant et usages qui d'énergie produire l'et-ou mécanique énergie électrique pour propulser une maison. Pourquoi la plupart des gens ont un réfrigérateur ils ne sont pas généralement informés que c'est une chaleur pompe et déplace trois fois comme beaucoup de chaleur d'à l'intérieur du réfrigérateur comparé au pouvoir de l'entrée nécessaire (COP=3 mais pourrait être jusqu'à COP=11 quand a utilisé différemment).

Ce système de la chaleur - pompe paraît courir sans toute forme d'entrée d'énergie, mais l'énergie vient du soleil qui chauffe l'environnement environnant indirectement et il y a aucun magique a impliqué. Prêtez-vous attention à, quand le système court et fournit pouvoir, généralement, sans le besoin pour tout combustible, l'utilisateur peut être pardonné pour en penser à comme un combustible moins ou système auto - propulsé bien que parler strictement, ce n'est pas le cas. Les inventeurs ont fait des allocations pour conditions exceptionnelles où les conditions de l'environnement ne peuvent pas fournir la différence de la température a eu besoin de faire le système opérer comme projeté. Un combustible liquide ou gazeux est fourni avec un brûleur pour fournir la différence de la chaleur si ces conditions sont rencontrées.

Est un extrait ici de leur brevet:
 
US Brevet 4,309,619 1982 de 5e janviers Inventeurs: Arthur Cahill & John Scott
LE SYSTÈME D'ÉNERGIE SOLAIRE


RÉSUMÉ
Un appareil dynamique, autonome et auto - perpétuant pour la production de force du motif en combinant des principes cryogéniques et thermodynamiques dans un système, garder les systèmes séparé, deux ouvert à atmosphère, l'autre fermé, a scellé, a pressurisé et utiliser des fluides composés spéciaux qui quand a exposé à la chaleur de température atmosphérique, alors, alternativement à la froideur d'un condenseur liquide ou climatisé, en premier s'évapore, alors condense. L'expansion rapide pendant évaporation produit un haut vapour de la pression qui opère un moteur et un générateur qui sont une partie intégrante du système fermé. La condensation rapide réduit la pression sur radicalement en arrière le sur côté du moteur, et le moteur opère sur la différence entre les deux pressions, en produisant électricité, ou, le moteur peut être utilisé comme une promenade directe pour véhicules ou matériel. Les sauvegardes encastrées et alternatives sont une partie des systèmes, en assurant l'opération soutenue en dépit de conditions adverses.


Les USA Font breveter des Références:
2,969,637 - Convertir solaire à énergie de la mécanique - Le janvier 1961 - Rowekamp
3,495,402 - Propulsez le système - Le février 1970 - Yates
3,995,429 - Pouvoir générateur qui utilise des différentielles de la température de l'environnement - Décembre 1976 - Disparaît
4,110,986 - Utiliser énergie solaire porté par un fluide - Le septembre 1978 - Tacchi
4,214,170 - Propulsez le système de la génération - Le juillet 1980 - Leonard


ORIGINE DE L'INVENTION

1. Champ de l'Invention
Cette invention est en rapport avec un cycle fermé, a scellé, a pressurisé, énergie qui produit le système, utilising les sciences de thermodynamique et cryogénie convertir le liquide dans gaz, alors en arrière à liquide.

2. Description de l'Art Antérieur
Il n'y a aucun art antérieur exact, comme les cryogénies ont été utilisées pour climatisation et buts de la réfrigération à l'origine, et les efforts thermodynamiques ont été dirigés dans la région de bas océan de l'efficacité systèmes de la conversion d'énergie thermiques. Quelques tentatives ont été faites combiner quelque forme de cryogénie et thermodynamique, sans succès notable, utiliser de l'eau de mer pour évaporation principalement et condenser. En n'utilisant aucun combustible et exigeant peu dans la région de labour, ceux-ci océan que les systèmes de la conversion d'énergie thermiques sont de nécessité, bas systèmes de la pression et exige grande mer qui va plates-formes pour supporter les turbines énormes et exchangers de la chaleur qui sont nécessaire de produire le pouvoir électrique raisonnable, en résultant en les coûts du capital excessifs pour production électrique minime, depuis tel les postes ont la capacité d'entretenir une petite portion de la populace le long des littoraux seulement. Aucun de ces inventions ne sert ou bénéficie la populace dans son ensemble, pendant que les ours entiers le fardeau de financer à travers impôts, ou subventions du gouvernement.

Propositions chauffer des gaz et des gaz de la fraîcheur dans un effort pour améliorer l'efficacité de maison qui chauffe et systèmes refroidissants, a été avancé précédemment, quelque fonctionnement sur le principe de la pompe de la chaleur. Les tout telles propositions antérieures et inventions ont eu une chose dans commun, ils tout le bouchon dans la ligne électrique de la Compagnie de l'Utilité obtenir l'électricité nécessaire de courir le système.

Dans cryogénie la connaissance qui certains liquides, quand chauffé, changez dans un haut vapour de la pression qui est le coeur de toute la climatisation et systèmes de la réfrigération a été des grand nombre d'années connues pour. Les thermodynamiques ont été innovées par les Français de 19e siècles physicien Nicolas Carnot. Les tentatives ont été avancées pendant les années pour harnacher un ou l'autre et quelquefois les deux, pour le but de chauffer et refroidir, qui résulte en l'invention de la pompe de la chaleur dans une année beaucoup plus tôt, mais toujours aucun des systèmes n'a imaginé pour usage par le public général a été capable d'opérer sans l'usage d'une source extérieure d'électricité, ou, alimentez, tel qu'huile, ou le gaz a tiré des chaudières, en résultant en une consommation considérable de combustible et un effet cataclysmique sur l'environnement du monde.


RÉSUMÉ DE L'INVENTION
Conformément à la présente invention, l'appareil opérera dans lumière du soleil chaude; jours nuageux sans lumière du soleil; pendant orages; pendant tempêtes de neige; pendant changements dans température de jour à nuit; pendant changements dans temps d'hiver, sauter, à été, tomber; quand c'est froid, même en dessous zéro; pour le pouvoir produit cette énergie produite est quand une forme des changements fluide composée, en premier à vapour, alors en arrière à liquide, par candidature de températures contrôlées dans le cycle scellé. Donc, en combinant cryogénie et thermodynamique dans un système, garder les deux séparé, un ouvert à atmosphère et l'autre fermé, a scellé et a pressurisé, et en utilisant des fluides composé pour la région donné spécifiquement, ou climat, ces fluides, quand exposé à températures atmosphériques, conformément aux théories cinétiques de matière, gaz et chaleur, fournissez l'énergie cinétique pour opérer un moteur. Le condenseur peut être liquide non plus ou l'air a refroidi, bien que pour l'incarnation représentée ici, le condenseur soit air refroidi.

En général, il y a jusqu'à une 2.5 augmentation PSI approximative associée avec chaque degré de montée de la température dans la plupart des fluides cryogéniques et gaz. Cependant, utiliser des fluides commercialement disponibles, voici quelques exemples:


Vous observerez ce R-13 à 80° F. les produits alimentaires 521 psi., ou 35.4 fois pression atmosphérique et à 125° F. produisez milliers de psi. À 95° F. R-22 produit 185 psi., ou une poussée sur un piston du diamètre de cinq pouces de 3,633.4 livres. Même à 30° F., avec R-22 une poussée de 583.2 livres est obtenue. R-13 à 30° F. les produits alimentaires 263 psi. ou 5,112.7 livres de poussée sur un piston du diamètre de cinq pouces. Les pressions sont en utilisant le Casco Perpetuating Système D'énergie là, utilising liquides formulés de propriétaire pour la région et températures être rencontré. Il n'est pas projeté que chacun de ces fluides mentionnés sera utilisé dans la présente invention; les comparaisons qui sont faites avec les liquides populaires et bien connus ici, pour les buts de la comparaison seulement.


L'INVENTION
La présente invention est en rapport avec un appareil pour fournir le pouvoir libre à pollution pour opérer un générateur pour le produire de pouvoir électrique, ou, fournir le pouvoir comme une promenade directe à un arbre, transmission, prise, différentiel ou le tel, l'invention qui est indépendant de sources extérieures de pouvoir tel qu'électricité fournie par une Compagnie de l'Utilité Publique. Cela ne sera pas considéré mouvement perpétuel, comme sera expliqué dans le texte plus tard.



Liquides de propriétaire, spécifiquement composés pour produire les résultats désirés dans une région donné, ou climat, sous pression dans le réservoir les garder dans un état liquide, veuillez, quand a dirigé à travers tubes exposés à température atmosphérique, changez d'un état liquide dans un état gazeux (d'ici sur connu sous le nom de vapeur), telle conversion qui résulte en expansion terrible, donc produire de la haute vapeur de la pression avec qui conduire le moteur, ou turbine.

C'est un objet général de cette invention pour fournir une pollution appareil libre pour utilisation publique qui produira le pouvoir électrique ou, pouvoir de la promenade direct. Un objet est produire le pouvoir électrique avec qui à la chaleur, fraîcheur, cuisinier, course appareils électriques et allume une maison. Un autre objet de l'invention est fournir l'industrie une pollution moyens libres à pas seul chaleur, fraîcheur et usines légères, mais fournir le pouvoir de la promenade électrique ou direct avec qui opérer le matériel d'usine. Un encore avancez l'objet de l'invention est fournir une pollution source libre de pouvoir pour propulser voitures, trains, camions, autobus, matériel, vapeurs, avions, et autres formes de transport, sans l'usage de combustibles du fossile comme la source du pouvoir fondamentale. C'est aussi un objet de la présente invention pour fournir les moyens par lequel les individus peuvent produire le pouvoir électrique pour leur propre usage, et comme une petite production du pouvoir, vendez le pouvoir électrique à leur surplus à la compagnie de l'utilité de l'électricité locale. Un objet supplémentaire de l'invention est fournir un appareil autonome, petit qui fournit le pouvoir ample du moteur pour opérer une voiture ou autre transport ou fournir le pouvoir électrique suffisant à une maison ou usine, sans devant boucher l'appareil dans une Utilité Publique provision électrique.


DESCRIPTION BRÈVE DU DESSIN



Fig.1 est une vue schématique partialement coupée du système:

DESCRIPTION DÉTAILLÉE D'UNE INCARNATION PRÉFÉRÉE
Dans le dessin, Fig.1, l'invention est montrée dans une incarnation préférée pour usage de maison. La pompe 39 liquide, pompes le fluide cryogénique du réservoir 38 liquide pressurisé, dans liquide ligne 40, où la gravité fluide nourrit dans éclat chaudière 8. Pompez-en aussi 39 prévient la pression d'éclat chaudière 8 d'entrer le réservoir 38 liquide pressurisé en arrière, et depuis la pression dans vapeur la ligne 10 et ligne 40 liquide sont égales, la gravité fluide cryogénique nourrit en bas liquide ligne 40 dans vapeur ligne 10. Les nageoires sur éclat la chaudière 8 est chauffée à température atmosphérique par l'air ruisseau 4 qui convertis le fluide dans vapeur ligne 10, à l'intérieur d'éclat chaudière 8 dans haute vapeur de la pression. Maintenir la pression pendant le passage de vapeur au moteur 15, vapeur ligne 10 d'éclat la chaudière 8 est logée à l'intérieur du four 9 qui est épuisé quand nécessaire par décharge 12 de ventilateur 11 centrifuge.

Température constante dans four 9 et éclat la chaudière 8 est maintenue par l'admission d'atmosphère fraîche par air ruisseau 4 qui traverse l'éclat du finned chaudière 8 et en haut à travers four 9. Le ventilateur 11 centrifuge est contrôlé pour épuiser de l'air dans four 9 thermostatiquement lequel a refroidi en dessous une température prédéterminée. Toute pression en excès dans vapeur la ligne 10 est par passé à travers chèque valve 13 et saigne la ligne 14 dans le collecteur du gaz d'échappement boîte 18, donc, un a pressurisé, le système fermé est maintenu, lequel, une fois a chargé, à moins qu'un accident endommage ou ruptures une ligne, ne doit être rempli. Contraignez dans la collection du gaz d'échappement la boîte 18 sera moins que la pression d'entrée de vapeur ligne 10 à moteur 15, parce que le condenseur 24 est à une pression inférieure, comme est retour de la vapeur tube 19, que PSI est entré à moteur 15 de vapeur ligne 10, créer une succion sur le dos du collecteur du gaz d'échappement boîte 18 de cette façon.

Courant atmosphérique 29 qui a été refroidi par evaporator glacière 27 courants sur les surfaces du finned de condenseur 24, baisser la température de la vapeur dans condenseur 24 en dessous un point de la condensation prédéterminé à l'instant, donc tourner la vapeur à un liquide, telle conversion et réduction de l'instant de volume dans condenseur 24 qui cause une réduction de la pression au dos de moteur 15 en arrière. Cela a condensé des égouts liquides vers le bas dans bobine du liquide retour 35, où il est pompé dans le réservoir 38 liquide pressurisé par liquide pompe 36 immédiatement.

Pendant que sous pression dans réservoir 38 liquide pressurisé, le fluide est maintenu dans un état liquide sans se soucier de température extérieure, jusqu'à ce que ce soit ré - circulé dans le système par liquide pompe 39 en arrière, à travers liquide ligne 40 montrer rapidement la chaudière 8, où il convertit encore dans vapeur.

La capacité d'evaporator glacière 27 et en emballer 28 est suffisant pour refroidir de l'air de la prise ruisseau 29 à une température prédéterminée en dessous température atmosphérique à tout temps donné, même avec montée de l'humidité le soir, ou pendant orages, ou juste pendant haut temps de l'humidité. Cette différentielle de la température est maintenue comme les montées de la température atmosphériques et chutes, avec un liquide de l'antigel qui est ajouté à l'eau dans la glacière de l'evaporator quand les températures tombent 32° F. au-dessous, l'empêcher de geler.

Air chaud supplémentaire augmenter de l'air le ruisseau 4 est obtenu en dirigeant le gaz d'échappement de l'air chaud rassemblé dans l'air du gaz d'échappement chaud collecteur 26, par ventilateur 41 centrifuge, à travers T Assemblée 42. Courant de l'air à travers T l'Assemblée 42 est dirigée et contrôlé par le contrôle de l'air chaud mécanisme 44 qui règle le courant douche froide 43 pour épuiser à travers sortie 45 dans l'atmosphère non plus ou ou bien, remettez en circulation de l'air courant 29 à travers T 42 restreint, comprimer de cette façon et plus loin air du chauffage courant 29 avant de l'injecter à travers éclat chaudière 8. Le contrôle de l'air chaud mécanisme 44 aussi contrôles ventilateur 1 et persiennes 3, sélectionner la chaleur optimum de l'un et l'autre T Assemblée 42 ou Venturi 2 variable, perpétuer le système.

L'evaporator la glacière 27 a une eau d'entrée pipe 34 quelles provisions eau froide de la provision de l'eau de la maison normale, ou bien, (ni l'un ni l'autre montré). L'eau inférieure que le réservoir 33 est gardé à un niveau constant d'eau par flotteur valve 32. L'eau est pompée par pompe 31 en haut tube 30 dans l'eau du sommet réservoir 25, où il traverse à travers le fond perforé de réservoir 25 sur à l'emballage 28, garder l'emballage 28 mouillé constamment qui air des fraîcheurs courant 29 comme il est tiré à travers en emballer 28 et sur les nageoires de condenseur 24 par le vide partiel dans le gaz d'échappement de l'air chaud collecteur 26, la telle existence à vide partielle créée par ventilateur 41 centrifuge qui épuise l'air de l'air du gaz d'échappement chaud collecteur 26 légèrement plus rapide qu'air courant 29 peut le remplacer.

Aussi long qu'il y a de l'air plus chaud sur la chaudière de l'éclat 8 côté du système que le condenseur plus frais 24 côté du système, cet appareil continuera à opérer et produire le pouvoir de l'et/ou de l'électricité. La chaleur qui remet en circulation système et l'usage de trois sous-systèmes séparés, distincts dans le système, on a scellé, permis le système le perpétuer. Comme mentionné au-dessus, cet appareil ne sera pas considéré mouvement perpétuel, pour quelque part dans les gammes de différentielles de la température et conditions du temps, il peut y avoir un non la terre d'homme en bas où le système pourrait fermer, alors le venturi variable 2, conjointement avec moteur et évente 1 et persiennes 3, viendra dans usage sur un signal de contrôleur de l'air chaud 44 et 12 voltage automatiquement contrôleur 23, et soit utilisé pour une période de temps. Le moteur et évente 1 forces un air ruisseau 4 montant à travers le Venturi variable 2, avec l'air ruisseau 4 contrôlé par l'air chaud contrôleur 44 et contrôleur 23 de 12 volts, ajuster des persiennes 3. Comme air le ruisseau 4 est forcé à travers la restriction de Venturi variable 2, air que le ruisseau 4 est comprimé comme il canalise en haut les murs du rétrécissement du Venturi variable 2, telle compression qui cause l'air de chauffer, donc vaincre des deadlocked possibles ou des températures identiques entre le condenseur 24 et air courant 4.

Cette montée de la température légère dans l'air le ruisseau 4 permettra au système de le perpétuer jusqu'à la température atmosphérique elle-même change assez pour autoriser une opération soutenue. Depuis ventilateur et le moteur 1 est couru par pouvoir de la pile de provision 23 de 12 volts, bien que les piles soient chargées pendant opération constamment, les piles peuvent être épuisées à cause d'un temps étendu le ventilateur et le moteur 1 est couru, alors, ou, si pour toute autre raison le système commence à courir vers le bas, un petit brûleur 7, opérer sur liquide ou combustible 6 gazeux, à travers ligne 5 et valve 48, est allumé par étincelle mécanisme 47 et provisions la chaleur nécessaire à support et perpétue le système jusqu'à température atmosphérique et la condensant température autorise le système à opérer normalement. Chaleur en argile tirée que les serviteurs 46 sont arrangés sur le foyer dans brûleur 7, retenir la chaleur.

Le système cryogénique est chargé en remplissant de liquide sous pression à travers remplissez la pipe 37. Le ré - chargement, si nécessaire, est fait le même chemin. Le moteur 15 promenade des tours arbre 16 qui tours générateur 17, produire le pouvoir électrique (110V ou 220V) par contrôle électrique système 20 quels laissez-passer l'électricité dans trois canaux:

Un: À contrôleur 23 de 12 volts, courir les parties électriques du système et garder les piles ont chargé.
Deux: À la maison 22, fournir l'électricité avec qui cuire, appareils de la course, lumière, chaleur et fraîcheur la maison.
Trois: Tout rester de l'électricité est channelled à travers utilité mètre 21 dans la ligne électrique d'une compagnie de l'utilité locale ailleurs pour vente et usage.



Le "Hidro" Générateur de Force de soi de James Kwok.
Un tout à fait différent style de générateur a été construit, évalué, fait breveter et à ce temps est disponible commercialement pour un nombre limité d'acheteurs de grande utilisation d'échelle. Ce design manifeste encore une fois, le pratique la nature de tirer les grandes quantités d'énergie de l'environnement local. Les versions commerciales sont offertes dans trois grandeurs standard : 50 kilowatts, 250 kilowatts et 1 mégawatt et partenaires autorisants sont cherchés.

Le générateur que James a conçu peut être vu au site Internet de Panacea et sur le propre site Internet de James à www.hidroonline.comdont les deux ont des clips vidéos expliquant comment le design travaille. La méthode est fondée sur de différentes pressions à de différentes profondeurs d'eau, gravité et sur l'exubérance de récipients remplis d'air. Le design demande une structure remplie d'eau d'une hauteur, une source d'air comprimé et d'un système de poulie.

Le système ne compte pas sur le vent, le temps, la lumière du soleil, le combustible d'aucun type et il peut opérer tout le temps, le jour ou la nuit, sans provoquer n'importe quelle sorte de pollution ou de hasard. Si je le comprends correctement, le système général regarde quelque chose comme cela :


Il y a un récipient grand, vertical rempli de l'eau. Il contient quatre réservoirs de haute pression; les réservoirs 1 et 2 sont fixés dans la position pendant que les réservoirs 3 et 4 sont montés sur un système de guidage qui leur permet de bouger en haut et en bas verticalement, avec leur mouvement en conduisant le générateur de production.

Le système est commencé quand une source externe d'air comprimé nourrit certains dans le réservoir 2, où la pression levée passe l'air comprimé dans le réservoir 3, en levant c'est l'exubérance et ainsi en provoquant une force droite. Les réserves aériennes sont coupées et les réservoirs 3 et 4 sont libérés.

Comme le réservoir 3 est extrêmement flottant, il monte rapidement à la surface, en fournissant la puissance de sortie. Le réservoir 4 y a la pression d'air basse et donc c'est le poids le fait couler rapidement, en fournissant aussi la puissance de sortie. Quand les réservoirs 3 et 4 atteignent la fin de leurs mouvements, un système de pipes, loquets et valves raccorde le réservoir 4 pour pressuriser le réservoir 2 et le réservoir 3 pour pressuriser le réservoir 1.

Parce que le réservoir 3 est maintenant monté à une profondeur beaucoup moindre d'eau, la pression extérieure sur cela a réduit très considérablement. C'est la pression intérieure est maintenant plus grand que la pression à l'intérieur du réservoir 1, ainsi quand ils sont raccordés par une pipe, les écoulements d'air du réservoir 3 et dans le réservoir 1, uniquement en raison de la différence de pression entre eux. Cela ne laisse le réservoir 3 plus dans un état flottant et ainsi quand il est libéré de nouveau, il coule en bas sous la gravité.

Les deux réservoirs bougeants échangent leurs mouvements plusieurs fois, tous les deux étant repressurisés par les réserves d'air comprimé au fond de la structure. Si, à la différence de James, vous n'avez pas fait les mathématiques pour le système, vous supposeriez que la quantité de pouvoir produit par un système comme cela serait moins que la quantité de pouvoir devait le faire opérer. Pourtant, c'est sans doute très loin de la réalité comme l'excès considérable le pouvoir est gagné par les forces naturelles de l'environnement local qui font le système opérer.


Patrick Kelly
http://www.free-energy-info.tuks.nl


闽ICP备2022006709号