A Practical Guide to Free-Energy Devices                                                                             Author: Patrick J. Kelly

Chapter 5: Energy-Tapping Pulsed Systems

Note: If you are not at all familiar with basic electronics, you might find it easier to understand this chapter if you read chapter 12 first.


One very interesting feature of free-energy devices is that although various devices which appear to be completely different and have different apparent applications, the background operation is often the same.   It is clear that a sharp positive going DC electric pulse interacts with the surrounding energy field, making large quantities of free-energy available for anyone who has the knowledge of how to gather and use that extra energy.

Let me stress again that “over-unity” is an impossibility.   Over-unity suggests that more energy can be taken out of a system than the total energy which goes into the system.   This is not possible as you can’t have more than 100% of anything.   However, there is another perfectly valid way of looking at the operation of any system, and that is to rate the output of the system relative to the amount of energy that the user has to put in to make it work.   This is called the “Coefficient Of Performance” or “COP” for short.   A COP = 1 is when all of the energy put in by the user is returned as useful output.   A COP>1 is where more useful energy comes out of the device than the user has to put in.   For example, a sailing boat in a good breeze transports people along without the need for the energy of movement to be supplied by the crew.   The energy comes from the local environment and while the efficiency is low, the COP is greater than 1.   What we are looking for here is not something to tap wind energy, wave energy, sunlight energy, river energy, thermal energy or whatever but instead we want something which can tap the invisible energy field which surrounds us all, namely the “zero-point energy” field.

For this, let us look at pulsing circuits used by a wide range of people in a number of apparently quite different devices.   An electrical “pulse” is a sudden voltage rise and fall with very sharply rising and falling voltages.   However, pulses are seldom generated as isolated events when working with practical devices, so it is probably better to think of a train of pulses, or a “waveform” with very sharp rising and falling edges.   These can be called oscillators or signal generators and are so commonplace that we tend not to give them a second thought, but the really important factors for using an oscillator for zero-point energy pick-up is the quality of the signal. Ideally, what is needed cab a perfect square wave with no overshoot, and the voltage level never going below zero volts, or a complex waveform, also with very sharp attack and decay times.   These waveforms are a good deal more difficult to generate than you might imagine.

Even in these days of sophisticated solid-state electronic devices, the best method of creating a really sharp voltage pulse is still considered to be a spark gap, especially one which has the spark chopped off suddenly by the use of a strong magnetic field at right angles to the spark gap.   For an example of this style of operation, consider the following device.

Frank Prentice’s COP=6 Pulsed Aerial System.
Electrical Engineer Frank Wyatt Prentice of the USA invented what he described as an ‘Electrical Power Accumulator’ with an output power six times greater than the input power (COP = 6). He was granted a patent in 1923 which says:

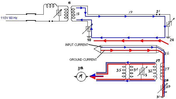
In the development of my WIRELESS TRAIN CONTROL SYSTEM for railways, covered by my United States Letters Patent Number 843,550, I discovered that with an antenna consisting of one wire of suitable diameter supported on insulators, three to six inches above the ground and extending one half mile, more or less in length, the antenna being grounded at one end through a spark gap, and energised at the other end by a high frequency generator of 500 watts input and having a secondary frequency of 500,000 Hz, would produce in the antenna, an oscillatory frequency the same as that of the earth currents and thus electrical power from the surrounding media was accumulated along the length of the transmission antenna and with a closed oscillatory loop antenna 18 feet in length run parallel with the transmission antenna at a distance of approximately 20 feet, it was possible to obtain by tuning the loop antenna, sufficient power to light to full candle power a series bank of 50 sixty-watt carbon lamps. Lowering or raising the frequency of 500,000 Hz resulted in a diminishing of the amount of power received through the 18 foot antenna.

Likewise, raising the transmission antenna resulted in a proportionate decrease of power picked up on the receiving antennae and at 6 feet above the earth no power whatsoever was obtainable without a change of voltage and frequency.

It is the objective of my generic invention to utilise the power generated by the earth, by the means described here and illustrated in the drawings. The two drawings show simple and preferred forms of this invention, but I wish it to be understood that no limitation is necessarily made as to the exact and precise circuits, shapes, positions and structural details shown here, and that changes, alterations and modifications may be made when desired within the scope of my invention and as specifically pointed out in the claims.



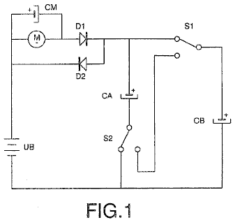
Referring particularly to Fig.1, 1 and 2 are alternating current feed wires supplying 110 volts 60 cycles per second to a high-frequency generator. 3 is a switch with poles 4 and 5, while 6 and 7 are the connections to the high-frequency transformer 8, which is used to step-up the frequency to 500 kHz and the voltage to, say, 100 kV. 9 is an inductor, 10 is a spark gap, 11 is a variable capacitor, 12 is the primary winding and 13 the secondary winding of transformer 8. The secondary winding is connected to ground through variable capacitor 16, and wire 17. Wire 14 connects transformer 8 to the main transmission antenna 19 which is supported along it’s length on insulators 20. Spark gap 21 is positioned between the main transmission antenna 19 and the ground 24, passing through connecting wire 22 and variable capacitor 23. The main transmission antenna 19, can be any desired length.



In Fig.2, 25 is a closed oscillating loop antenna of any desired length. For greatest efficiency, it is run parallel with the main transmission antenna 19 of Fig.1. Wire 26 is connected to the secondary winding 27 of a step-down transformer which winding then goes to ground 31 through variable capacitor 29. The primary winding 32 of the step-down transformer has variable capacitor 33 connected across it and it feeds directly into winding(s) 34 of frequency transformer(s) which supply current through winding(s) 35 to a motor “M” or other electrical load(s).

Having described the drawings, I will now describe the operation of my invention. Operate switch 3 to connect the input power. Adjust spark gap 10 and variable capacitor 11 so that 100,000 volts at a frequency of 500,000 cycles per second is delivered to step-up transformer 8 of Fig.1. Next, adjust spark gap 21 of the transmission antenna 19 so that all (voltage) peaks and nodes are eliminated in the transmission of the 100,000 volts along the antenna by the current surges across spark gap 21. The high-frequency alternating current flowing through spark gap 21 passes through variable capacitor 23 to ground 24 and from there, back through the ground to earthing point 18, through variable capacitor 16 and back to winding 13 of transformer 8. As the 500,000 Hz current is the same as the earth-generated currents and in tune with it, it naturally follows that accumulation of earth currents will amalgamate with those for transformer 8, providing a reservoir of high-frequency currents to be drawn upon by a tuned circuit of that same 500 kHz frequency, such as that shown in Fig.2, where the antenna 25 is turned to receive a frequency of 500 kHz, which current then passes through transformer 27, any frequency-adjusting transformer(s), and on to power the load(s) 38.



The return of current through the earth from transmission antenna 19, is preferable to return through a wire as the ground return current picks up more earth currents than a wire does. I also prefer under certain conditions, to use a single antenna wire in place of the closed loop antenna shown in Fig.2. Under certain operational requirements, I have had improved performance by having the transmission antenna elevated and carried on poles many feet above the earth, and with that arrangement it is necessary to use a different voltage and frequency in order to accumulate earth currents.


This system of Frank’s effectively applies very sharply pulsed DC pulses to a long length of wire supported in a horizontal position not far above the ground.   The pulses are sharp due to both the spark gap on the primary side of the transformer, along with the spark-gap on the secondary (high voltage) side of the transformer.   An input power of 500 watts gives a 3 kW power output from what appears to be an incredibly simple piece of equipment.



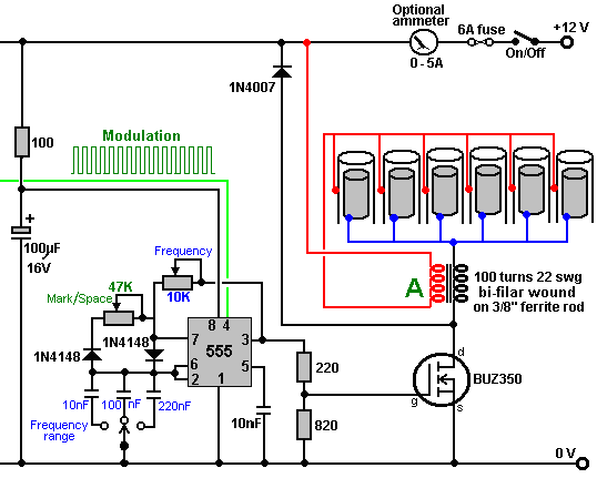
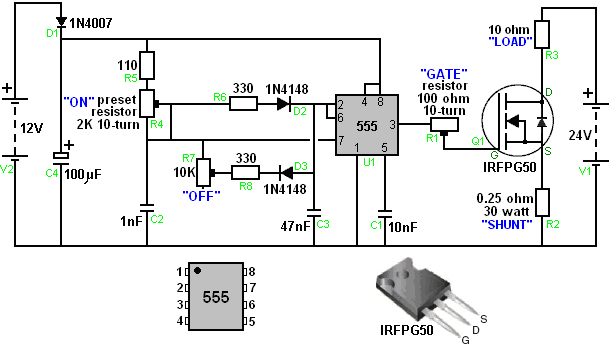
Dave Lawton.   A solid-state semiconductor circuit which has proved successful in producing pulses like this is shown as part of Dave Lawton’s replication of Stan Meyer’s Water Fuel Cell.   Here, an ordinary NE555 timer chip generates a square wave which feeds a carefully chosen Field-Effect Transistor the BUZ350 which drives a water-splitter cell via a combined pair of choke coils at point “A” in the diagram below.

Stan Meyer used a toroidal ferrite ring when he was winding these choke coils while Dave Lawton uses two straight ferrite bars, bridged top and bottom with thick iron strips.   Chokes wound on straight ferrite rods have been found to work very well also.   The effects are the same in all cases, with the waveform applied to the pipe electrodes being converted into very sharp, very short, high-voltage spikes.   These spikes unbalance the local quantum environment causing vast flows of energy, a tiny percentage of which happens to flow into the circuit as additional power.   The cell runs cold, and at low input current, quite unlike an ordinary electrolysis cell where the temperature rises noticeably and the input current needed is much higher.





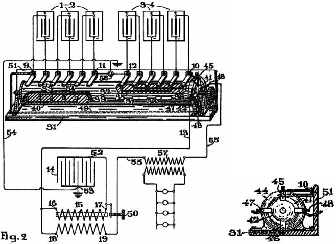
John Bedini uses this same pulsing of a bi-filar wound coil to produce the same very short, very sharp voltage spikes which unbalance the local energy field, causing major flows of additional energy.   The figure shown here is from his US patent 6,545,444.



John has produced and generously shared, many designs, all of which are basically similar and all using a 1:1 ratio bi-filar wound transformer.   This one uses a free-running rotor with permanent magnets embedded in it’s rim, to trigger sharp induced currents in the windings of the coil unit marked “13b” which switches the transistor on, powering winding “13a” which powers the rotor on its way.   The pick-up coil “13c” collects additional energy from the local environment, and in this particular circuit, feeds it into the capacitor.   After a few turns of the rotor (dictated by the gear-down ratio to the second rotor), the charge in the capacitor is fed into a second “on-charge” battery.



The rotor is desirable but not essential as the coils marked 1 and 2 can self-oscillate, and there can be any number of windings shown as 3 in the diagram.   Winding 3 produces very short, sharp, high-voltage spikes, which is the essential part of the design.   If those sharp pulses are fed to a lead-acid battery (instead of to a capacitor as shown above), then an unusual effect is created which triggers a link between the battery and the immediate environment, causing the environment to charge the battery.   This is an amazing discovery and because the voltage pulses are high-voltage courtesy of the 1:1 choke coils, the battery bank being charged can have any number of batteries and can be stacked as a 24-volt bank even though the driving battery is only 12 volts.   Even more interesting is the fact that charging can continue for more than half an hour after the pulsing circuit is switched off.

It can be tricky to get one of these circuits tuned properly to work at peak performance, but when they are, they can have performances of COP>10.   The major snag is that the charging mechanism does not allow a load to be driven from the battery bank while it is being charged.   This means that for any continuous use, there has to be two battery banks, one on charge and one being used.   A further major problem is that battery banks are just not suitable for serious household use.   A washing machine draws up to 2.2 kilowatts and a wash cycle might be an hour long (two hours long if a “whites” wash and a “coloureds” wash are done one after the other which is not uncommon).   During the winter, heating needs to be run at the same time as the washing machine, which could well double the load.

It is recommended that batteries are not loaded much beyond their “C20” rate, that is, one twentieth of their Amp-Hour nominal rating.   Say that 85 Amp-Hour deep-cycle leisure batteries are being used, then the recommended draw rate from them is 85 Amps divided by 20, which is 4.25 amps.   Let’s push it and say we will risk drawing double that, and make it 8.5 amps.   So, how many batteries would we need to supply our washing machine assuming that our inverter was 100% efficient?   Well, 2,200 watts on a 12-volts system is 2,200 / 12 = 183 amps, so with each battery contributing 8.5 amps, we would need 183 / 8.5 = 22 large, heavy batteries.   We would need twice that number if we were to treat them right, plus twice that again for household heating, say 110 batteries for an anyway realistic system.   That sheer size of battery banks is not realistic for your average householder or person living in an apartment.   Consequently, it appears that the Bedini pulse-charging systems are not practical for anything other than minor items of equipment.

However, the really important point here is the way that when these short pulses are applied to a lead-acid battery, a link is formed with the environment which causes large amounts of energy to flow into the circuit from outside.   This is extra “free-energy”.   Interestingly, it is highly likely that if the pulses generated by Dave Lawton’s water-splitter circuit shown above, were fed to a lead-acid battery, then the same battery-charging mechanism is likely to occur.   Also, if a Bedini pulse-charging circuit were connected to a water-splitting cell like the Lawton cell, then it is highly probable that it would also drive that cell satisfactorily.   Two apparently different applications, two apparently different circuits, but both producing sharp high-voltage pulses which draw extra free-energy from the immediate environment.



The Tesla Switch.   It doesn’t stop there.   Nikola Tesla introduced the world to Alternating Current (“AC”) but later on he moved from AC to very short, sharp pulses of Direct Current (“DC”).   He found that by adjusting the frequency and duration of these high-voltage pulses, that he could produce a whole range of effects drawn from the environment - heating, cooling, lighting, etc.   The important point to note is that the pulses were drawing energy directly from the immediate environment.   Leaving aside the advanced equipment which Tesla was using during those experiments and moving to the simple-looking 4-battery Tesla Switch, we discover the same background operation of sharp voltage pulses drawing free-energy from the environment.

I seriously doubt that this circuit had anything to do with Tesla, but instead it probably originated with Carlos Benitez. Strictly speaking, this particular version was probably produced by the staff of the Electrodyne Corp. of America. This circuit (shown in "The Manual of Free-Energy Devices and Systems" Vol.1, 1986) was tested by them for a period of three years:


Please understand that the car batteries which they used in their circuit had become “conditioned” during their years of testing and they each had a voltage of 36 volts even though they were manufactured as 12-volt batteries. This circuit is a lot more subtle than it appears. The 1N1183 diodes are an essential part of the operation because those diodes break down when they are supposedly blocking current flow, and instead, they pass through them sharp voltage pulses. Those battery-charging pulses are the reason why the diodes appear to be connected backwards and supposedly blocking current flow to the positive contacts of the batteries.

I suggest that this circuit is abandoned and instead the Benitez method of feeding charging pulses directly to both the batteries and the load be used instead. There has to be battery recharging. If you doubt this, then do the math:

The load is powered by current which flows from two batteries in series (72 volts) into two batteries in parallel (36 volts). The batteries are lead-acid types which have an efficiency of only 50%, that is, they waste half of all of the charging energy fed into them. Let’s work an example: Say the two batteries in series provide 10 amps for a one-second period. Both of those batteries lose 10 amp-seconds of power.

That 10 amps divides equally and 5 amps flows into each of the two batteries for a period of one second. That would be 5 amp-seconds of additional power IF it were not for the 50% efficiency of the battery. So only 2.5 amp-seconds of that power can be recovered from that battery, which in the next second is expected to supply 10 amp-seconds of power.

So, effectively, we have 2.5 amp-seconds of recoverable power received for every 10 amp-seconds of actual power expended. This means that the battery will run down unless some form of battery charging takes place during the operation. Consequently, a battery charging system needs to be part of the “Load”.

Carlos Benitez used switching of only once per hour and he added charging power to both the batteries and the load which was being power by his circuit. He did that like this:


As there were no readily available electronic components back then, Carlos used an induction coil to produce the voltage spikes needed for charging the batteries. The equivalent nowadays is the much cheaper and easier to build “Joule Thief” circuit as described in chapter 6:


Here is a solid-state version of the circuit:


Here, six 2N3055 transistors (or the more convenient version the TIP3055) are switched On and Off by six audio transformers (possibly the Radio Shack #273-1380 transformers). The 8-ohm transformer primary windings are connected in series and driven by a square-wave generator through a large capacitor. This circuit is shown in red in the circuit diagram above. When the square wave is positive, transformers 1, 2 and 3 have their primary windings loaded by a forward-biased diode which limits the voltage across them to a maximum of about 0.7 volts and that keeps their operation short when they switch On. The other three transformers 4, 5 and 6 have the diodes across their primary windings positioned to block a positive voltage and so their transistors remain Off.

When the output voltage of the square-wave generator goes negative, the situation is reversed and transformers 4, 5 and 6 switch on briefly while transformers 1, 2 and 3 remain Off. The diodes across the primary windings are 1N4148 diodes which have a very fast switching time which can be very important for circuits of this type. The other diodes are 1N1183 which are rated at 50 volts and 40 amps.


A Three Battery Switching System.
Continuing the Tesla Switch style of operation, it is possible to get the same effect as the Tesla Switch circuit, using only three batteries (or three capacitors). Discussed almost a century ago by Carlos Benitez in his patents, and more recently described by John Bedini, just three batteries can be used if more complicated circuit switching is used. Carlos points out that there has to be an energy loss due to wires heating up and batteries not being 100% efficient. He overcomes these problems with some very clever circuitry which is covered in the following section. However, it is not at all certain that this is actually the case as experimentation indicates that it is possible for this kind of battery switching to maintain the battery charge levels far beyond the expected.

Here is an untested suggestion for how it might be possible to produce a portable, self-powered powerful light. There are many possible variations on this, and the following description is just intended as an indication of how a three battery switching system might be constructed. If you are not familiar with simple electronics, then I suggest that you study the basic electronics tutorial of chapter 12.

Battery charging can be accomplished in various different ways. Obviously, the more the electrical loading can be reduced, the lesser the need for recharging. Two methods for doing this involve passing the same electrical current repeatedly through the load, as shown here:


The switching for this arrangement can be implemented in various different ways, but essentially, in Stage 1, batteries ‘B1’ and ‘B2’ provide twice the voltage of batteries ‘B3 ‘ and ‘B4’, causing current to flow through the load ‘L’ and into batteries ‘B3’ and ‘B4’, driven by the voltage difference which is normally, the same as the voltage of any one of the batteries on its own. Each of the batteries ‘B3’ and ‘B4’ receive only half of the current supplied by batteries ‘B1’ and ‘B2’, and so, there is, not surprisingly, an energy loss. However, for half of the time, batteries ‘B3’ and ‘B4’ are receiving charging current instead of supplying current to the load.

In Stage 2, the batteries are swapped around and the process repeated with batteries ‘B3’ and ‘B4’ supplying current to the load and batteries ‘B1’ and ‘B2’. Tests have shown that with this arrangement, the load ‘L’ can be powered for longer than if all four batteries were connected in parallel and used to supply the load directly. With this system, each battery receives half of the load current for half of the time.

An alternative method which uses the same principle, but three batteries instead of four, and where each battery receives all of the load current for one third of the time, is like this:


Here, the batteries are switched around sequentially, with two of them in series causing current flow through the load ‘L’ and into the third battery. There is, of course, an overall energy loss, and so, additional energy from an external source needs to introduced to keep the load powered continuously. However, as with the four-battery system, the load ‘L’ can be kept powered longer by the batteries arranged like this than would occur if all three batteries were connected in parallel and used to power the load directly.

As before, the switching for a system of this kind can be implemented in various different ways. For long-term reliability, solid-state switching is preferred, and as NPN transistors are low-cost and readily available, they are shown here in one of the preferred configurations:

As each inter-battery connection is different for each of the three stages of operation of this circuit, it is necessary to have four switches for each stage. In order to establish the necessary details for connection of the transistors, as this circuit does not have the normal positive and negative rails, the (nominal) current flow directions need to be examined. These are shown here:


Obviously, the current flows from the higher series-connected voltage to the lower single battery voltage. The twelve virtual switches are numbered from ‘S1’ to ‘S12’ respectively, and if each represents an NPN transistor, then we also need to ensure that the current flow direction is correct for the transistor and to identify a higher voltage point which can be used to feed current into the base of each transistor. These details are listed here:


The suggested switching arrangement therefore, looks like this:


While the above diagram shows each stage with permanently connected base resistors, that is, of course, only to display the conceptual arrangement. Each resistor is passed through an opto-isolator and each set of four opto-isolators are driven by one of three separate outputs of equal duration. One possible arrangement for this could be as indicated below.

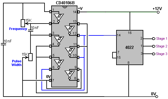
The CD4022 Divide-by-Eight chip can be arranged to divide by three rather than eight, by connecting its pin 7 to pin 15. The physical chip connections are:


The chip needs a clock signal in order to function. There are many different ways of generating a clock signal, and the one shown here is very cheap, simple and has adjustable frequency and adjustable Mark/Space ratio, although, as the signal is to be used to trigger the action of a Divide-By-Three chip, there is no need for this clock signal to have a 50% Mark/Space ratio. The chip supply current is so tiny, that it really does not matter what the Mark/Space ratio is:


Using this circuit as the clock signal, the opto-isolator circuit could be:


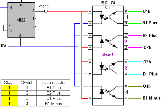
There are various opto-isolators available and while the rather expensive high-speed varieties are tempting, since we have to provide three sets of four, the ISQ-74 quad chip seems very suitable for this application although it is slower:


The overall circuit for the opto switching is then:














The output transistors are expected to switch 1 amp and so the TIP132 NPN and matching TIP137 transistors have been selected. These are cheap, Darlington transistors with current gains in excess of 1000 which means that the base current requirements are about 1 milliamp, which suggests that the base transistors could be 8.2K for a 12V system. These transistors can switch 12A at up to 100V and have a power dissipation of 70 watts, indicating that they will be running so far below their capability that they should run cool.

With this kind of circuit, it is desirable to have a fairly large current flow (relative to the battery capacity) in order to give a marked difference between the discharging and charging cycles for each battery.

Using a 104 mm x 50 mm board size which will slot directly into a standard plastic slotted-side box, a stripboard layout (where the red circles indicate a break in the copper strip on the underside of the board) for the transistor switching section might be:


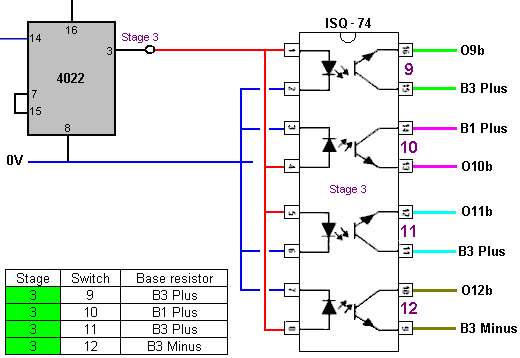
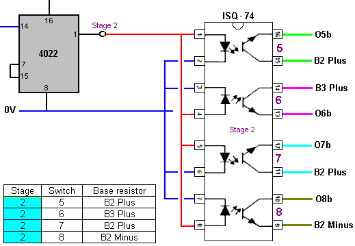
Each base resistor has an output link (O1b through O12b) which is connected through it’s opto-isolator to the destination shown in the “Base” column in the table. Each set of three NPN transistors and one PNP transistor are switched together via a single ISQ-74 quad opto isolator chip. Each of the three ISQ-74 chips is powered in turn by one of the outputs from the CD4022 Divide-by-Three connected chip, which driven by the CD40106B hex Schmitt inverter chip wired as a clock as shown above. It is expected that a suitable clocking frequency would be about 700 Hz. A possible layout for the clock, Divide-by-Three and twelve opto-isolators on a 104 mm x 50 mm strip board, is shown here:


The timing and switching circuits form part of the load which is being switched. However, if we assume that there will be a power loss when running this system, then we should consider the very clever designs of Carlos Benitez in 1915.


The Self-powered Free-Energy Generators of Carlos Benitez.
The Mexican Civil Engineer Carlos Benitez devised what is essentially the 3-battery switch discussed above. He was working at a time when solid-state electronics was not available and so his design is all the more impressive for that. Here is some of his patent information:


Carlos Benitez Patent GB 17,811       13th May 1915

System for the Generation of Electric Currents


I, Carlos F. Benitez, Civil Engineer, 141 Ocampo Street, Guadalajara, Mexico, do hereby declare the nature of this invention:

The invention relates to a new process for obtaining electric currents under unusually simple, economic and practical conditions. I use synthetically in combination: apparatus for the production of electric currents for charging one or several capacitors whose collectors or inner coatings are connected to one of the terminals of the primary winding of one or several induction coils and the other coatings of those capacitors are alternately grounded through the primary winding of a transformer, or connected through the transformer primary to the above collectors, appropriate means for collecting the currents produced in the secondary windings of these transformers and for applying charging to the above collectors, and an appropriate means for discharging those collectors, and for the application of all or part of its energy to the successive replication of the process already described, in this way, increasing the generation of electrical energy, or maintaining a constant, pre-determined electrical output.

Furthermore, the invention consists of a new combination of parts from which are derived advantages which will be fully understood by the consideration of the two different cases illustrated in the accompanying drawing, in which:

1 is a bank of capacitors.
2 is a rotating commutator to make and break the circuit connections at the appropriate instants.
3 is the primary winding of a transformer or induction coil.
4 is the secondary winding of that transformer or induction coil.
5 is a second bank of capacitors.
6 is an oscillator spark gap.
7 is the primary winding of a second transformer.
8 is the secondary winding of that transformer.
9 is a third bank of capacitors.
70 is the primary winding of a third transformer
71 is the secondary winding of that transformer.
10 is a fourth transformer.
11 is a series of incandescent lamps.
12 is an electric motor.
(a), (b), (c), (d), (e) and (f) are mercury-vapour converters or cathodic valves, allowing electric current flow only in the direction shown by the arrows.


The capacitor bank 1, is connected through wire 13 to a source of electric current, providing the initial charge to capacitor bank 1. This initial charge is used to start the system running and can be disconnected at any time by means of switch 14.

Wire 15 connects the inner leaves of capacitor bank 1 with poles 16 and 17 of the commutator 2, and it’s pole 18 is connected via wire 19 to one of the terminals of transformer primary winding 3, whose other end is connected through wire 20 to the outer leaves of capacitor bank 1. The secondary winding 4, of this transformer, is connected by wire 21 to the inner plates of capacitor bank 5, and by wire 22, to the outer plates of capacitor bank 5. In the same manner, wires 23 and 24 pass those connections on to the two sides of the primary winding 7 of the second transformer. Wire 23 also contains an oscillator spark gap 6, and wires 21, 22, 25, 26 and 72 contain the one-way cathode valves a, b, c, d, e and f. The secondary winding 8, of this second transformer, connects to the inner plates of capacitor bank 9, whose outer plates are connected to ground through the primary winding 70 of the third transformer. The secondary winding 71, of this third transformer is also connected through wire 72, to the inner plates of capacitor bank 9. Wires 27 and 28 also connect these inner plates to commutator poles 29 and 30, which form a change-over switch through commutator contact 31 which is connected to the inner plates of capacitor bank 1 through wire 32. Switches 33 and 34, allow the connection or disconnection of the primary winding of transformer 10, whose secondary winding supplies current to the incandescent lamps 11 and motor 12. Finally, one of the ends of primary winding 3 is connected through wire 35 to both pole 36 and pole 37 of the commutator 2, and their corresponding commutator contact 38 is connected to ground by wire 39.

As the construction and use of all of these components (with the exception of the commutator) is perfectly understood, it would be pointless to describe them. The commutator 2, is enclosed in a tank 40, whose end walls 41 and 42 support the ends of the contact-mounting bar 43, and the bearings of the rotating shaft 44. The contact bar is made of a non-conducting material to which are immovably attached, the copper contact strip brushes 16, 17 and 18, 36, 37 and 38, and 29, 30 and 31. Secure contact between these brushes and the rotating cylinders mounted on shaft 44 is ensured by the rotating lever arm 47 and its associated weight 48.

The three rotating cylinders mounted on shaft 44, are made of a non-conducting material and have a conducting strip around their centre. This strip has two conducting spurs running outwards, one to the right and one to the left, positioned 180 degrees apart around the circumference of the cylinder. When shaft 44 is rotated, this causes the central contact (for example, 18) to connect first to one of its associated contacts (say, 17) and then disconnect and connect to the other contact (say, 16) forming a change-over switching mechanism.

The switching strips on the central cylinder are positioned 90 degrees around the circumference when compared to the position of the switching strips on the two outer cylinders which are aligned with each other.

This can be seen in the diagram, where in the shaft position shown, 38 and 36 are connected and 31 and 30 are connected, while 18 is not connected to either 16 or 17.

When shaft 44 is rotated through 90 degrees, 18 will be connected to 17, while 31 and 38 will both be isolated.

When shaft 44 is rotated through an additional 90 degrees, brush 18 will be isolated while brush 38 will be connected to 37 and brush 31 will be connected to 29.

When shaft 44 is rotated through an additional 90 degrees, brush 18 will be connected to brush 16, while brushes 31 and 38 will be isolated.

[Note: if the diagram is correctly proportioned, there will be four positions in each rotation where the three central brushes are not connected to any of the outer brushes, producing the switching sequence Make, Break, Make, Break, Make, Break, Make, Break for each revolution. These breaks in the switching sequence have been shown to have a significant effect when batteries are being charged.]

Shaft 44 is elongated and projects through the end wall 42, so that a belt drive 45, or other suitable method, may be used to rotate the shaft, driven by motor 12 or possibly by crank handle 46. The tank 40, is filled with oil or any other insulating liquid, in order to prevent sparking between the brushes, which would lower the efficiency of the system.

This system is operated as follows:

With the commutator in the position shown in the drawing, that is, with brush 36 connected to 38 and brush 30 connected to 31, and supposing capacitor bank 1 is connected through wire 13 to a source of electric power (say, a Wimshurst Machine), switch 14 being closed, electric current passes through wire 13 to charge capacitor bank 1, causing a current to flow through wire 20, primary winding 3, wire 35, brush 36, brush 38 and wire 39 to earth. This current flow through primary winding 3 induces an inverse current in secondary winding 4, which flows through wire 21, charging capacitor bank 5 and then a direct induced current flowing through conductor 22, charging capacitor bank 5.

The current flow to both sets of plates in capacitor bank 5, charges it and creates a spark across the spark gap 6, causing a very sharp current pulse through primary winding 7. This in turn, causes a considerable number of high-frequency oscillating current flows in the secondary winding 8 and these pass along wires 25 and 26, and via diodes c and d, thus charging capacitor bank 9 and causing a corresponding set of high-frequency pulses to flow to ground through the primary winding 70. This induces current flow in the secondary winding 71, which flows through diodes e and f, and onwards via wire 72, further boosting the charge on capacitor bank 9.

Therefore, capacitor bank 1 being charged by an external source, capacitor bank 9 will be charged indirectly and successively re-charged several times, resulting in a quantity of electricity considerably greater than that of capacitor bank 1. By this means, the system can be self-powered with no need for the power source used to start it, which means that switch 14 can be opened.

When shaft 44 rotates through 90 degrees, brush 17 connects with brush 18, while brushes 31 and 38 are both disconnected. This causes capacitor bank 1 to be completely discharged through transformer primary 3, causing the already described process by which capacitor bank 9 receives a substantially larger electrical charge. This results in capacitor bank 1 being totally discharged and capacitor bank 9 being highly charged with a great deal of electricity. Consequently, if we now close switch 33 and rotate shaft 44 through another 90 degrees, the following situation results:
  1. Brushes 17 and 18 will be disconnected.
  2. Brushes 37 and 38 become connected which in turn connects the outer plates of capacitor bank 1 to ground. Brushes 29 and 31 are connected, which then connects the inner plates of capacitor bank 9 to the inner plates of capacitor bank 1.
  3. Part of the high charge on capacitor bank 9 will flow as an electric current, through wire 32 and into capacitor bank 1.
  4. This current flow from the inner plates of capacitor bank 9 causes an immediate matching negative charge to flow from ground through primary winding 70, to offset the charge imbalance.
  5. This induces a current flow in the secondary winding 71, which passes additional electrical power to the outer plates of both capacitor bank 9 and capacitor bank 1, and that further intensifies the current flow through primary winding 70 quite considerably.
  6. Further, as capacitor bank 1 has just been newly charged, it drives additional current through primary winding 3, causing new induced currents which will, as before, produce much increased charge on the inner plates of both capacitor bank 5 and capacitor bank 9, as described earlier.
If shaft 44 is rotated through a further 90 degrees, then a connection between brushes 16 and 18 will be made and all other circuits will be opened, causing capacitor bank 1 to be discharged again, thus repeating the entire process described above provided that shaft 44 is rotated continuously.

This system produces a constantly increasing supply of electric current flowing through wire 32, and so, switch 34 can be closed, allowing transformer 10 to provide the electrical power to run motor 12 which maintains shaft 44 in continuous rotation, making the system self-powered with no requirement for any form of outside power supply. Additional transformers inserted in wire 32 can be used to power additional equipment.

Without employing the high-frequency currents described above, similar results may be attained by means of the arrangement shown at the lower right hand side of the following drawing:


Here, primary winding 50 is connected as shown by the dashed lines, with wires 19 and 20 of the former arrangement, and wire 53 connects to both wire 27 and wire 28. This arrangement has primary winding 50 connected through its end 51 to wire 20 and so is permanently connected to the outer plates of capacitor bank 1, and its other end 52 being connected to wire 35 will be intermittently connected to ground. Wire 53 being connected to wires 27 and 28 will intermittently connect together, the inner plates of capacitor bank 54 and the inner plates of capacitor bank 1.

With this arrangement, both ends of the secondary winding 55 are connected through diodes 56 and 57, to wire 53. The outer plates of capacitor bank 54 are permanently connected through primary winding 58 to ground. Both ends of the secondary 59 are connected through diodes 60 and 61, back to wire 53. As a result, if capacitor bank 1 is charged, it drives a current through wire 20 and so, through primary winding 50, and on to ground through wires 35 and 39. This induces current in secondary winding 55 which gets stored in the inner plates of both capacitor bank 54 and capacitor bank 1, as in this moment, the circuit is closed between brushes 29 and 31, and so, wire 53 is connected to wire 32. On receiving these new charges, both capacitor bank 1 and capacitor bank 54 will create new induced electric currents flowing through primary windings 50 and 58. These multiple charging pulses will decrease with time until they are insignificant, at which time, due to the rotation of shaft 44, the connection between brushes 29 and 31 and between brushes 36 and 38 will no longer be maintained, and instead, brushes 18 and 17 will become connected, discharging capacitor bank 1 through primary coil end 50 which is a very strong discharge, charging capacitor bank 54 as wire 53 is now disconnected from wire 32. This, in turn, causes powerful current flow through primary winding 58, further charging capacitor bank 54 which then feeds capacitor bank 1 when shaft 44 rotates further, making the system both self-powered and capable of supplying useful electrical power to other equipment.

It should be clearly understood that the use of mercury-vapour converters or cathodic valve diodes as described, are not in any manner indispensable in the system as those devices can be replaced by a suitable arrangement of capacitors which would receive separately, the direct and inverse currents of the secondaries.

When a bell is struck just once, it vibrates many times, passing those vibrations to the air and so, making the sound which we hear. The bigger the bell, the slower the vibrations and the lower the pitch of the note which we hear. The same thing happens when a sharp voltage pulse is applied to a coil of wire as just one pulse causes many vibrations in the coil. Like the bell, the frequency of the vibrations depends on the structure of the coil and not on how it is pulsed, although, like a bell, a sharp pulse for a coil or a sharp blow for a bell, produces a greater effect.

You will notice here that Carlos uses the resonant ‘ringing’ of an air-core coil to get an energy gain which is then used as positive feedback to further charge a capacitor bank. A single sharp pulse generated by one spark, causes a large number of coil oscillations, each of which contributes output power, producing an energy gain. The ringing frequency is liable to be around 3 MHz. It is also worth noting that with this design, electricity generation can be achieved without any battery and just the manual turning of a Wimshurst electrostatic generator and the initial operation of the commutator shaft 44.

Carlos also produced another design, this time working with batteries (although he tended to think in terms of 60-volt battery banks rather than 12-volt batteries) and his patent includes what we tend to call “the Tesla Switch” nowadays. However, instead of switching it rapidly, Carlos uses a switching time interval of one hour. The lower voltage overcomes the need for the switching contacts to be submerged in oil. The problem with lead-acid batteries is that they are only 50% efficient. In practical terms, you only get out of a charged battery half of the current fed into it when it is being charged. So, if you just switch four batteries and power a load that way, the batteries will definitely discharge. In the case of the Electrodyne Inc. staff, they used fast switching and interconnecting diodes which break down when reverse-biased, passing a sharp voltage spike to the batteries at a rate of perhaps, 400 times per second. Benitez, working before electronic components were readily available, chose to use the standard technology of his day - an induction coil which produces at least 10 pulses per second, and through a step-up transformer winding on the induction coil, feeds power to both the load and the drive battery, using an arrangement like this:






Carlos Benitez Patent 14,311       17th August 1916

System for the Generation of Electric Currents


I, Carlos F. Benitez, Civil Engineer, 141 Ocampo Street, Guadalajara, Mexico, do hereby declare the nature of this invention:

The invention which forms the object of this Patent of Addition, relates to new improvements in the system for the generation of electric currents, described in the main patent No. 17,811 and in the patent of addition No. 5591, filed 14th April 1915.

The system may be still further simplified and improved by the addition of batteries, which, suitably adjusted in conjunction with system previously described, can be charged and discharged alternately, producing an excess of electrical energy which can be used in any desired manner.

In other words, in this arrangement, I use in combination: two batteries connected in series and two batteries connected in parallel, these pairs being used so that the discharge of one pair is used to charge the other pair, and vice versa.

Another object of this new arrangement is to allow the use of low voltages, small capacity capacitors and additional facilities for starting the system.

The advantages of such an improvement will be better understood by considering the following drawing which illustrates one method of carrying out the invention:


In the diagram, 1, 2, 3 and 4 are batteries which, when charged from some external source, will maintain their charges indefinitely, in the following manner:

With the connections established as shown in the diagram, that is, with batteries 1 & 2 connected in series through switch 5 (switch 6 being open), batteries 3 & 4 are connected in parallel through switch 7 (switch 8 being open). Under these conditions, assuming that the four batteries are similar, having similar voltages, batteries 1 & 2 being in series will have a combined voltage greater than batteries 3 & 4 which are connected in parallel, and so, a load connected between them will have a current flowing from batteries 1 & 2 and into batteries 3 & 4.

In other words, if wire 13 is connected to the positive terminal of the battery 1 & 2 combination, and to the positive poles 10 and 32 of the battery 3 & 4 combination, then an electric current will be established between the two sets of batteries, until their voltages match. Of course, the current provided by batteries 1 & 2 would produce a smaller charge in the batteries 3 & 4, but that current can be increased by any of the methods described in my earlier patents (No. 17,811/14), and by these means it is always possible to alternately charge and discharge the battery pairs from each other, keeping a constant, pre-determined charge, and furthermore, producing an excess of electrical energy which can be used for any chosen purpose.

With these objectives in view, and using as an illustration, the arrangement shown in Figure 1 of the Patent of Addition No. 5591/15, wire 13 connects to capacitor 14. The primary winding 15 of an ordinary induction coil provided with an interrupter, is connected by its ends 16 and 17, to wire 13. The ends 18 and 19 of the secondary winding of that induction coil 15 are connected to connections 20 and 21 of capacitor (or bank of capacitors) 22. Connections 20 and 21 are also connected through spark gap 23, to ends 24and 25 of the primary winding 26 of a high-frequency transformer. The ends 28 and 29 of the secondary winding 27 of that transformer are connected to ends 16 and 17 of the induction coil 15. Finally, wires 30 are connected across capacitor 14 and they are used to power external loads such as the incandescent lamps shown in the diagram.

This arrangement being made, the electrical energy stored by batteries 1 & 2, passing through terminal 9, wire 13, primary winding 15, terminal 10 of battery 4, pole 31 of switch 7 and terminal 32 of battery 3, will go back through terminal 12 of battery 3 to the battery 1 & 2 combination.

As a consequence of the current passing through primary winding 15, high-voltage current is produced in its secondary winding and collected in capacitor 22, discharging through spark gap 23, generates high-frequency currents in the high-frequency transformer primary and secondary coils 26 and 27. As coil ends 28 and 29 are connected to coil ends 16 and 17, this greatly augments the current flow provided by batteries 1 & 2 and so the storage batteries 3 & 4 now receive adequate charging current to keep them fully charged as well as driving additional loads via wires 30.

Under these conditions, as the voltage in one of the batteries is decreasing while the other is increasing, after some hours, both voltages match and it is then impossible to produce any current flow unless switches 5, 6, 7 and 8 are operated, reversing the functions of the batteries and allowing the process to continue entirely as before with batteries 1 & 2 being connected in parallel and batteries 3 & 4 being connected in series.

When the resistance of the primary winding of transformer 15 is not high, it is possible to simplify the above circuit by obtaining the high-frequency currents directly from induction coil 15, in which case, ends 18 and 19 of the secondary winding are connected directly to ends c and 17 of the same coil and the second bank of capacitors 22 and the high-frequency transformer 26/27 can be omitted. Under these conditions, the breaker or interrupter which is part of the induction coil construction, acts as a spark gap, and capacitor 14 discharges in the form of oscillations through the primary winding 15 of the same coil, thus directly increasing the amount of electrical energy furnished by the accumulators.


An essential part of this design which is not indicated clearly in the patent, is that what was common practice a hundred years ago, namely, that the input power connection to point 17 of the primary of the (step-up) transformer 15, is fed through an “interrupter” contact. This connection opens when the coil 16-to-17 is energised, causing the insulated iron wire bundle core of the coil to become magnetised, and attract the pivoted arm of the interrupter, which breaks the current to the coil very sharply, causing high frequency resonant oscillations in both windings of the transformer 15, which generates the excess power which runs the system and its additional loads. In Benitez’s day, door bells used this style of interrupter to produce a hammering action on a metal bell. These were very cheap, very simple and very reliable.

As I understand it then, the voltage difference between the two pairs of batteries, charge capacitor 14 and apply power to the primary winding 16-17 of step-up transformer 15. This causes a current to flow in this winding, making the core attract the pivot arm of the interrupter in the same way that a relay operates. This breaks the current flow very sharply, causing a powerful back-EMF pulse in the primary winding. The primary winding has a resonant frequency, very considerably lowered by the presence of the iron core which itself is a low-frequency material, and the coil oscillates at its resonant frequency, not for just one cycle but for many cycles. Each of those cycles generates a high voltage in the secondary winding 18-19 and every one of those cycles contributes high-voltage power to the system. That power is fed to three outlets. Firstly, it flows back to provide charging power to one of the battery pairs. Secondly, it adds additional power to the capacitor driving its own primary winding. Thirdly, it provides power for the load which is shown as a series of lamps connected in parallel.

That is just for the first interrupter pulse. The broken current through the primary winding 16-17 causes its core to cease to be an electromagnet and so it ceases to attract the pivot arm of the interrupter and while that seems very quick in human terms, it is very slow compared to the multiple oscillations ringing in the winding. When the pivot arm returns to its starting position, it establishes the current flow through the primary winding once again. However, the charge on the capacitor powering the primary winding has been boosted by those resonant oscillations in the secondary winding and so is more highly charged than when the interrupter contact opened previously. This process continues repeatedly, providing battery charge and power to the load.

According to Carlos, there is a slight overall drain on the battery system and so, after about an hour, the switches are operated, changing the series-connected batteries to become parallel-connected and the parallel-connected batteries to become series-connected. This timing seems odd as switching the batteries over much more frequently only requires batteries with a much lower capacity.

As we are not familiar with induction coils and interrupters now that solid-state electronics is available, we can get constructional and operational information from that period in the book “Wireless Telegraph Construction for Amateurs” by Alfred Powell Morgan, published in 1913, which is available as a free download from here.

For example, the interrupter details include:
“Some means of charging the capacitor is necessary. An induction coil is the most practical for the amateur. The induction coil consists of a primary coil of wire wound around a central iron core and surrounded by a secondary coil consisting of many thousands of turns of carefully insulated wire. The primary coil is connected to a source of direct current which also includes an interrupter to “make” and “break” the current in rapid succession. Every “make” of the circuit and consequent magnetisation of the core, induces a momentary inverse current in the secondary winding, and every “break” and corresponding demagnetisation induces a momentary direct current. Normally, the induced currents would be equal, but by means of a capacitor connected across the interrupter, the circuit when “made” requires considerable time for the current and magnetisation of the core to reach a maximum value, while when broken, the demagnetisation and current drop are nearly instantaneous. The value of the induced electromotive force in a circuit, varies with the speed at which the magnetic lines of force cut the circuit, and so, the induced e.m.f. at “break” becomes high enough to leap across a spark gap.

The formulas connected with induction coils depend on conditions which are never met in actual practice and cannot be relied on. To construct a coil of a given size, it is necessary to use dimensions obtained empirically. Therefore, the amateur should stick closely to the lines or hints given here, or which appear in some up to date book on induction coil building.

For a long time, the induction coil was an expensive, inefficient instrument, until wireless telegraphy demanded of it more rigid and efficient design and construction. It was the aim of manufacturers to produce the longest possible spark length with a minimum amount of secondary wire. As a result of this demand, wireless coils are now made with a core of larger diameter and give heavier and thicker sparks. The secondary in this case, is short and uses wire of large cross-sectional area in order to reduce the resistance and minimise the heating.


No one part of an induction coil may be developed to its maximum efficiency without seriously influencing and lowering the efficiency of the other parts. The following suggestions regarding the construction are given so that they may prove to be a useful guide for the amateur coil builder. The parts will be considered in their natural order of construction.

Core: Some experimenters who are not quite familiar with the principles of magnetism, think that if an induction coil were provided with a closed core like that of a transformer, then the efficiency of the coil would be materially increased. But that is not the case because then the magnetisation and demagnetisation of the iron cannot take place rapidly enough in a closed core when an interrupted direct current is used instead of an alternating current.

The core of an induction coil is therefore always straight. For the same reason, it is never solid but instead is always made up of a bundle of soft iron wires in order that rapid changes in magnetism may take place. The wires are always of as high a permeability (magnetic conductance) as possible so as to create a strong magnetic field. Swedish or Russian iron of good quality is the best as its hysteresis losses are small. The smaller the diameter of the wire, the less will be the eddy current losses and consequent heating, but the permeability is also reduced and the core will not be so effective, as the amount of iron is thereby decreased and the oxidised surface increased. No. 22 gauge wire is the best size for the average core.

Wires of a good quality may be purchased already cut to various lengths. To buy them in this form will save a great deal of the labour required when building a core. If the wires are not quite straight, they may be straightened by rolling them, one at a time, between two boards. It is best to re-anneal the wires. To do this, place the wires in an iron pipe and plug the ends of the pipe with clay. Then lay it in a coal fire until the whole mass reaches a red heat. The fire is then allowed to die out gradually, with the pipe and wires remaining in the ashes until cool. When cool, remove them from the pipe and rub each one with emery paper until bright. After this cleaning, the wires are dipped in hot water and then dried. They are then dipped in a good quality varnish and allowed to dry again.

The varnish provides a resistance to the flow of eddy currents in the core and reduces those losses very considerably. A strong paper tube having an internal diameter equal to the diameter of the finished core is made by rolling the paper on a form and cementing it with shellac. When it is perfectly dry, the tube is removed and the wires packed tightly inside it. The following table gives the core dimensions for practical coils of different sizes:

CORE DIMENSIONS

Primary Winding: The ratio of the number of primary turns of an induction coil to the number of secondary turns, bears no relation to the ratio of the primary and secondary currents. It has been found in practice, that two layers of wire wound tightly on the core, form the best primary. The primary should always be thoroughly covered with shellac or other insulating varnish. Since there is almost no ventilation in the primary, the wire must be large enough to avoid all heating. A table containing the various sizes of primary wires is given here:

PRIMARY WINDINGS

In large coils, the inductance of the primary causes a “kick-back” and sparks are liable to pass between the adjacent turns. For this reason, it is always a good idea to use double cotton covered wire and to further thoroughly insulate it by soaking the primary and core in a pan of melted paraffin wax and allowing the wax to harden with them inside it. Afterwards, the pan is slightly warmed to loosen the cake of paraffin and the excess wax removed by scraping with a blunt instrument so as to avoid damaging the wires. Paraffin wax contracts when it hardens and the proper method for impregnating a porous substance is to allow it to soak and become set in it upon cooling.

A good method of reducing the “kick back” as well as the size of the capacitor connected across the interrupter, is to make the primary with a number of turns of smaller diameter wire wound in parallel, the effect being to produce a conductivity equal to a wire of large diameter and at the same time, make a more compact winding of the primary on the core. This method of winding is very desirable in large coils, as it reduces the cross-section of the primary and allows the secondary to be placed nearer to the core where the magnetic field is the strongest.

The primary winding should cover nearly the whole length of the core, since there is no advantage in carrying the core very far beyond the end of the primary as most of the magnetic lines of force bend at the end of the primary winding and return without passing through the extreme ends of the core.

Insulating Tube:   The successful operation of an induction coil without breaking down when heavily stressed, depends largely on the insulating tube which separates the primary and the secondary windings. Hard rubber tubes are perhaps the best. A tube may easily be built up of several layers of half inch sheet hard rubber by steaming it so as to soften it, and then wrapping it around a former. The tube should fit tightly on the primary and be about one inch (25 mm) shorter than the core. After the tube is in place, it is poured full of beeswax and rosin in order to fill all interstices and prevent sparks due to the capacitor effect of the windings from jumping from the inside of the tube to the primary.

Secondary:   A coil used as a radio telegraph transmitter must have wire of a large cross-sectional area in its secondary, so as to produce a heavy disruptive discharge. Number 34 and number 32 gauges are generally used for small coils and number 30 and number 28 gauge for large coils. Silk covered wire is the usual practice, but enamelled wire is coming into use. Cotton covered wire takes up too much space and has poor insulating qualities.

Enamelled wire is insulated with a coating of cellulose acetate, which has a dielectric strength of about twice that of cotton and it takes up much less room than silk covered wire, giving a great saving in space and a greater number of turns may be wound in the secondary without increasing its mean distance from the core.

When winding enamelled wire, it must be taken into consideration that the insulation of enamelled wire is rigid and has no give. Consequently, to allow for expansion, enamelled wire must be wound more loosely than fibre or silk covered wire. The occasional insertion of a layer of paper in the winding gives room for expansion and does not add greatly to the diameter. The length of the secondary is generally not more than half the length of the core.

Coils producing sparks up to 2 inches (50 mm) in length, may be wound in two sections or in layer windings, but the layer winding is not recommended for coils giving sparks over one inch in length. It is best in a coil of this type, to insert an occasional layer of paper. The paper should be well shellacked or paraffined and be a good grade of linen. It should project about one quarter of an inch (6 mm) from the ends of the secondary as shown in this cross-section:


This insertion of paper increases the insulation and reduces the possibility of sparks jumping from layer to layer when the layers are very long. The secondaries of large coils are made up of “pies” or “pancakes” from one eighth (3 mm) to three eighths of an inch (9 mm) in thickness. The “pies” are separated from each other by a triple thickness of blotting paper which has been thoroughly dried and then soaked in melted paraffin. When each “pie” is completed, it is tested for continuity and rejected if not perfect. They are connected in series:


If connected as shown in example “A”, where the inside of one section is connected to the outside of the next section, the maximum voltage which can exist between the adjacent sections in this case is equal to the e.m.f. generated by one “pie” and is equal throughout. Connecting as shown in case “B” where the outside of one coil is connected to the inside of the next one, the voltage ranges from zero at the points where they are connected, to twice the e.m.f. developed by any one section. This is the better method and every second coil is turned around horizontally to allow for the reversed direction of current flow.

After the secondary is assembled, the coil should be submerged in an airtight tank containing melted paraffin wax. The tank is then connected to a vacuum pump and the air pumped out. This causes any air bubbles in the windings to be pumped out. After standing for a while, the vacuum is released and the air pressure then causes the bubble gaps to be filled with paraffin wax.

SECONDARY DIMENSIONS

It should be noted that the very experienced Alfred Morgan flatly contradicts the standard theory of symmetrical transformer operation when he states that “the ratio of the number of primary turns of an induction coil to the number of secondary turns, bears no relation to the ratio of the primary and secondary currents”. That is a highly significant statement.

Carlos Benitez added an extension to his patent, saying:

The advantages of such an improvement will be better understood by considering the drawing left with the Provisional Specification and this additional drawing, as they illustrate two different methods of carrying out the invention, but in practice, far better results can be attained by the use of the commutator shown here:





As the resistance offered to the passage of the electric currents by the primary of the transformers is not high, it is possible to simplify the former arrangement, obtaining the high-frequency currents directly from the same induction coil 15, in which case the poles 18, 19, of the secondary of said coil must be respectively connected to the poles 16, 17, of the primary of the same said coil, and the second battery of capacitors 22 and high-frequency transformer 26, 27, can be omitted. Under these conditions, the breaker or interrupter employed in said induction coils, acts as a spark-gap and capacitor 14 discharges in the form of oscillations through the primary and secondary of the same coil, thus directly increasing the amount of electrical energy furnished by the accumulators.

Each one of the poles of the accumulators forming batteries 1-2 and 3-4 are connected to the poles of commutator 31. This commutator consists of a rotary cylinder 32, provided with the paths 33, 34, 35, 36, 37, 38, 39 and 40, each properly isolated and positioned on the surface of the cylinder in such a way as to connect alternately in series or in parallel, the different units composing batteries 1-2 and 3-4.

Cylinder 32 has two conductive paths 41, 42, which can be better seen in the cross-sectional view. The cylinder passes through a ring 44, fixed to the same base of the apparatus 31, and it has contacts 45, 46, 47 and 48. Pole 45 of this ring is connected to pole 10 of battery 3-4, and its pole 46 is connected through wire 49 to pole 9 of battery 1-2. Pole 47 is connected through wire 13 to pole 16 of the primary of a transformer, and pole 48 is connected through wire 55 to the back contact stud 50 of an ordinary breaker.

A back wall 51, fixed to the same base of the commutator, is provided with the metallic strips or brushes that can be clearly seen in the figure, in contact with the cylinder 32, and connected respectively to each one of the poles of the accumulators; and finally, the rotative shaft of the cylinder has a handle or pulley 52 for rotating the commutator.

Capacitor 14 of the induction coil is connected as usual by its pole 52 to pole 17 of the primary of the same transformer, and its other pole 53 instead of being connected to the back contact stud 50 of the breaker, as is generally the case, is grounded through wire 54 and pole 56 of the commutator.

Under these conditions, when the circuit is broken by the interruptor, capacitor 14 is charged and immediately afterwards discharges via primary 15 of the transformer, the secondary of the transformer, wire 55, pole 48, path 41 of the commutator, and battery 3-4 which is connected in parallel.

As a consequence of the passage of the electric current produced by this discharge through the primary 15 of the transformer, induced currents are produced in its secondary and one of these currents, the inverse passing through pole 19 is immediately utilised for the charging of the same said battery in parallel. The direct current that is produced when the discharge of capacitor 14 is finished, passing through pole 18 and entering the primary 15 through pole 16, produces a new charge in the same capacitor 14, that again discharges in identical manner, and the same phenomena are reproduced several times in the beats or intervals of breaks and makes produced by the interruptor.

On the other hand, if the pole 56 of the commutator is not grounded, each time that capacitor 14 receives a new charge, the neutral fluid of its outer coating is influenced through its dielectric and an induced electric current is forced to move via wire 54 and pole 56. In other words, this extra energy equally increases the normal output of battery 1-2.

By these means, the current given by the accumulators connected in series, is properly increased by the induced currents produced in the secondary of the induction coil, and by the rapid chargings and dischargings of the capacitor produced in manner described above, and the accumulators connected in parallel thus receiving a proper amount of current, can be fully charged while the first battery is discharging. However, as the first battery is discharging, its voltage is progressively decreasing, and in order to maintain in the circuit, a given current for the charging of the second battery, the resistance of the circuit must be reduced accordingly.

In order to attain this result without touching the wiring, the back contact stud 50 of the breaker can be adjusted in order to secure a proper resistance through the interruptor in accordance with the decreasing voltage, and in this manner it is always possible to maintain a given current in the circuit until the very last limit of energy in the discharging battery is attained.

Better results in every respect can still be obtained by the use of a closed core type of transformer combined with an electrolytic interrupter, since with these interrupters there is practically no lost time in the intervals between breaks and makes, and the resistance of such devices can be easily adjusted at a distance whenever the operator may desire.

Once the limit of energy in the discharging battery is attained, the connections of the accumulators must be reversed, and with this object in view, the commutator shown in the figure can be used, and cylinder 32 must be revolved until paths 37, 38, 39 and 40 come in contact with the brushes connecting the poles of the accumulators, and contacts 45, 47, are connected through path 42. By so doing, the functions of both batteries are at once reversed and accumulators 3-4 being now connected in series, they will discharge through pole 10, via poles 45, 47, wire 13, primary 15, wire 55, pole 48 (now in connection with pole 46 through path 41), wire 49 and pole 9 of battery 1-2, which is now connected in parallel through paths 39, 40.

In other words, the working conditions can be thus completely reversed by the simple operation of the commutator, and a continuous current can be maintained through wire 55, in which the primary 57 of an ordinary transformer, or any other suitable device, can be inserted in series in order to profit the surplus of the electrical energy thus obtained, without impairing in the least, the running of the mechanism.

Obviously, a mechanism can be made to produce and automated operation of the commutator from time to time, in accordance with the capacity of the accumulators, and so, for a given weight of batteries, greater power can be secured by this process, with smaller capacities, than with larger units since the same 4 volts can be obtained from a 60 Amp-Hour accumulator, as with a 10 Amp-Hour capacity accumulator.

I desire also to explain clearly that the arrangements shown are entirely illustrative. In practice, the accumulators composing each battery can be connected as described or a suitable combination of series-parallel can be arranged in each group, and that the conditions of the several apparatus employed can be varied in accordance with the particular conditions of power that must be satisfied.


Carlos Benitez also produced another very clever design, still using four batteries and a very slow switching rate, although no longer using the series and parallel switching which we think of as the Tesla Switch. In this design, he shows a remarkable high-frequency power-gain system where 400 watts of input power produces 2400 watts of output power (COP=6):




Carlos Benitez GB Patent 121,561       24th December 1918

New Process for the Generation of Electrical Energy


I, Carlos Benitez, Civil Engineer, of 141, Ocampo Street, in Guadalajara, Mexico, do hereby declare the nature of this invention and in what manner the same is to be performed, to be particularly described and ascertained in, and by, the following statement:

This invention relates to a new utilisation of the high frequency currents or electrical oscillations, by means of which, a constant production of electrical energy can be secured, under unusually simple, economic and practical conditions.

Such results are attained by means of the procedure disclosed in present applicant’s English Patent specification No. 14,311, filed on October 9th, 1915, but in order to obtain a better utilisation the high-frequency currents and the automatic operation of the mechanisms employed in such a procedure, I have invented a novel arrangement of parts from which is derived several other advantages that will be here described and set forth.

Two batteries are used, one of which has already been charged. This charged battery discharges through a circuit which utilises the greater part of this power and the remainder drives an oscillating circuit connected to the second battery. This oscillating circuit contains a rectifier which directs the electrical oscillations in such a manner that they are forced to pass constantly through the second battery from the positive to the negative terminal. As the number of oscillations per second in that circuit can be varied at will, the current intensity developed by those oscillations can be regulated so that the second battery is fully charged in the same period of time during which the first battery is discharged. Therefore, it is only a matter of reversing the connections to the two batteries in order to obtain the continuous production of electrical energy.

The invention is illustrated here:


This circuit shows the circuit connections of the arrangement and a perspective view of a commutator. Figure 2 is a lateral view of a part of the same apparatus, and figures 3 and 4 are parts of the same machine, whose location and use will be explained later.

The figure shows two battery banks 1 & 2 and 3 & 4, both of which are connected in series. Their positive poles 23 and 25 are connected to terminals 17 and 20 of the commutator, through the ammeters 22 and 24. The commutator is a cylinder 5, mounted on a rotating shaft 6, which passes through two supports 7 and 8. The cylinder is provided with conductive paths 9, 10, 11 and 12 insulated from the cylinder 5. It also has conductive paths 14 and 15 which can be seen better in Figure 2 and which make contact with brushes 17 & 18 and 19 & 20, properly insulated and fixed to ring 16 which encircles cylinder 5 and is fastened to the base of the apparatus. These brushes connect to the batteries and terminal 17 is connected to the positive pole 23 of battery 1 & 2. Terminal 20 is connected to the positive pole 25 of battery 3 & 4 through ammeter 24. Terminal 18 connects through wire 26 to terminal 27 of a DC motor whose terminal 28 connects through the variable resistor 29 and wire 30 with terminal 31 of the commutator. Finally, terminal 19 is connected through wire 32 to terminals 33 and 34 of an electrolytic rectifier whose other two rectifiers 35, 36 connect via wire 37, to brush 38 of the commutator.

This apparatus is also provided with terminal 39 which is alternately connected to the negative poles of the batteries through the brushes which can be seen in the figure, in contact with cylinder 5. Under these conditions, the apparatus 40 and 41, which are employed to provide a practical output independent of the running of the “plant”, and which are connected to both terminals 31 and 39, will be alternatively in circuit with the discharging battery, and thus, part of the power produced by the battery discharging, is used by this apparatus without impairing the normal running of the whole mechanism, as explained below.

On the other hand, an alternator 42, is coupled to the motor 27-28, which in this manner can be rotated at the speed needed to attain the desired frequency. Both terminals of the alternator are connected through the inductive resistance 43, with the poles 44,45 of the primary winding of a step-up transformer, whose secondary winding 46,47, connected to capacitor 48, will finally produce the high-voltage alternating currents needed to charge the capacitor. However, the use of this motor and alternator is not essential in this process as the same results could be attained if the primary 44,45 of the transformer, were connected through an ordinary interrupter to the discharging battery.

The terminals 49,50 of capacitor 48 are connected through an arc lamp of the Poulsen type 51,52, or through an adequate spark-gap with the rectifiers 33, 34, 35 and 36, and with the battery under charge (3 & 4 in this case). Extending into the arc chamber are the poles of a strong electromagnet, the coils of which are in series with the arc, so that their excitation current is the arc current.

Connected in this manner, the strong magnetic field which exists between the poles of the magnets, acts on the arc, and owing to this action, combined with the influence of the voltage developed by the secondary of the transformer 46,47, it happens that this action and influence being about equal in value, are each of them alternately greater than the other, so that the voltage across the arc automatically rises and falls. Therefore, when the action of the magnetic field is greater than the voltage produced by the secondary winding of the transformer has not enough power to pass across the arc and so the capacitor 48 is charged to a higher voltage. But, an instant later the action decreases in value and the capacitor discharges again across the arc.

On the other hand, owing to the oscillatory nature of the circuit (which is arranged with proper values of capacity, inductance and resistance), the charging and discharging of the capacitor can occur several million times per second if desired, and in this manner, a current of a great number of amperes can be obtained through the oscillating circuit, even with a small amount of electricity stored in the capacitor.

In the same manner, one gallon of water could produce a flow of one thousand gallons per second through a pipe if such a pipe were connected with two different vessels and the gallon of water could be forced through the pipe by a piston which could transfer that gallon of water from one vessel to the other one thousand times per second. Obviously, what can be easily performed with electricity is not so feasible with water.

In other words, the small amount of electrical power taken by the DC motor 27,28, appears (with a small loss) at the alternator 42, and that power is delivered to the transformer primary 44,45. Again, the inductive action of this transformer produces at the secondary 46,47, a similar amount of power (diminished slightly due to the efficiency of the transformer), and finally, the capacitor is charged with a small amount of electricity which is then converted into oscillitatory energy. Obviously, if such electric power, instead of being stored by the capacitor, had simply been rectified and used to charge one of the batteries, such power would produce only a very small effect on the battery and the entire discharge of one battery would never cause the complete charge of the second battery.

Contrary to that, if that same power is stored in capacitor 48, and that capacitor is properly connected to an oscillatory circuit in which one of the batteries can be joined, and furthermore, if by means of a rectifier, the high-frequency currents produced in such an oscillatory circuit are forced to pass from the positive to the negative pole through the battery, it is obvious to state that it is always possible to secure by these means, the number of amperes required to charge the battery in the available time. That is to say, with a small number of coulombs stored in capacitor 48, it is possible to produce in the oscillatory circuit, a great number of amperes, if that same small number of coulombs are forced to pass and repass through the circuit, thousands or millions of times per second, just as was explained in the water analogy.

On the other hand, the values of the above named quantities: capacity, resistance, inductance and voltage can be varied within very wide limits, and therefore it is always possible to attain the required conditions in each case, in order to produce a given number of oscillations per second: The capacity of the capacitor can be adjusted to a certain value by increasing or reducing the inter-meshed surface area of its plates. The resistance of the circuit can be adjusted to the required value by varying the length of the arc in the Poulsen lamp, or varying the number of lamps connected in series or parallel in the circuit. The inductance of the circuit can be varied by winding part of the circuit on an insulating frame, in such a manner as to obtain the number of turns required to produce the desired inductance, and finally, the charging voltage can be regulated by increasing or decreasing the number of turns in the secondary winding of the transformer or by varying the diameter of the wire used in the coil. In order to obtain a better efficiency from alternator 42, it is convenient to use the resonance coil or adjustable inductive resistor 43. By so doing, it is possible to adjust the resistance in order to obtain a state of resonance in the circuit, and in that state, the current produced by the alternator will be in phase with the impressed E.M.F., therefore the effective watts will be a maximum in the primary and secondary circuits.

The variable resistor 29, which is placed in the circuit which connects each battery with motor 27,28, is used to adjust the current of the discharging battery to a fixed value, since it is important to obtain a constant number of revolutions per second of the alternator 42.

The commutator is also provided with voltmeters 56 and 57, and by means of the switches 58 and 59, the circuits connecting both poles of each battery, can be closed and the voltage of the discharging current may be determined when desired. Finally, by means of switch 60 connected across the terminals of the apparatus 40 and 41, the apparatus may be switched off when not required.


It is easy to understand the whole operation of this mechanism. Suppose initially that battery 1-2 has been charged and that cylinder 5 has been rotated to the position shown in the drawing. Battery 1-2 will immediately discharge via battery terminal 23, ammeter 22, wire 21, contacts 17-18, wire 26, motor 27-28, variable resistor 29, wire 30, rotary transformers 40 and 41, (or through any other apparatus which may be used instead of those transformers in order to use part of the current flowing from the battery), pole 39, and commutator path 9-12, through which the whole discharging circuit is closed.

As a result of this discharge from the battery, the electrical power produced will be dissipated in three ways: A first part is wasted in overcoming the internal resistance of the various components in the circuit. A second part is used to power the DC motor 27-28, and the third part powers the apparatus connected to poles 31-39 of the commutator, that is, the useful equipment powered in addition to the running of the system.


It is well known how the mechanical power developed by the rotary motion of motor 27-28 can be converted to electrical energy by alternator 42, and in the same manner, it is well known how such electrical energy of low voltage can be transformed into one of high voltage using a transformer, and it is well known too, how such high voltage electrical energy can be converted into oscillatory energy, and how the alternating currents produced by such oscillations can be rectified in order to produce a direct current. However, all such combinations of apparatus arranged to charge a battery while another similar battery is discharging, was perfectly unknown before this invention, and a short consideration of the calculations involved in determining the different values of capacitance, resistance, inductance and voltage required by the various combined circuits of a small working plant of this kind, may be useful in giving an idea of the procedure which can be followed in general practice.

Suppose that both of the batteries are accumulators with a voltage of 60 volts each and a capacity of 40 AHr. Under such conditions, if battery 1-2 discharges at the rate of 40 amperes, it will be fully discharged in one hour. [Please note that this is not so and is only being stated here for discussion purposes. A lead-acid battery will be damaged if discharged at a rate greater than the “C20” rate which is the rated AHr value over a period of 20 hours, and so, a lead-acid battery of 40 AHr should not be discharged at more than 40 / 20 = 2 amps. Also, batteries are highly non-linear and discharging a 40 AHr battery at 40 amps will result in a fully discharged battery in a lot less than one hour.] The power developed over that time period will be 60 volts x 40 amps = 2,400 watts.

On the other hand, in order to charge battery 3-4 fully in one hour it is necessary to provide a current of at least 40 amps. Suppose that in order to develop such a current, it is desired to take from the power produced by the discharging battery only a portion, say 40 amps x 10 volts = 400 watts. With this objective in view, the DC motor should be arranged so as to create a current of 40 amps causing a drop of 10 volts on the line.

Suppose that the electrical efficiency of the DC motor is 95%, then the desired 400 watt output will not be attained but instead will be reduced to 400 x 0.95 = 380 watts.

Then, suppose that the electrical efficiency of alternator 42 is 95% then that will reduce the output to just 361 watts. Then, if this 361 watts is passed to the transformer and that transformer has an efficiency of say, 89%, then the resulting energy output will be further reduced to just 321 watts, and that is the amount of power passed to the oscillating circuit in order to obtain the required 40 amps of current.

Now, suppose that the frequency of alternator 42 is 500 Hz. As is well known, with an alternating generator, a high voltage is obtainable twice in each cycle and so there will be 1000 voltage peaks per second. As capacitor 48 discharges at the instant of maximum voltage, it will discharge 1000 times per second. Therefore, the quantity of electrical energy which must be stored in it can be calculated as follows: Suppose that the oscillating circuit has an impedance of 15 ohms. As the required current is 40 amps, the required voltage to develop such current will be 40 amps x 15 ohms = 600 volts. But in order to produce 600 volts from the discharge of the capacitor, it is necessary to get it charged up to 1200 because the average voltage during discharge is V / 2.

If the energy produced by the transformer secondary is assumed equal to 321 watts and the voltage required for the charge of the capacitor is 1200 volts, then the current delivered by the secondary will be 321 watts / 1200 volts which is 0.267 amps.

On the other hand, as the frequency of the alternator is 1000 peaks per second, then in one thousandth of a second the secondary has to deliver to the capacitor 0.000267 coulombs which is 267 microcoulombs.

Hence, the capacity of capacitor 48 must be adjusted to store that amount of electricity, and its value can be determined by Q = K x V where K is the capacity of the capacitor in microfarads when Q is given in microcoulombs and V is the maximum voltage, and so, K = 267 / 1200 which is 0.222 microfarads.

It is also well known that if you want to produce an oscillatory discharge through a circuit, the capacitance, resistance and inductance of the circuit must be arranged so that the square root of 1000 x L millihenrys / K microfarads is greater than the resistance of the circuit in ohms (K being the capacitance of the capacitor).

It has been supposed that the resistance of the oscillatory circuit is 15 ohms. Using 20 ohms in the above equation will allow a suitable value of inductance to be calculated, one which will satisfy the required conditions for the production of the oscillatory discharge in the circuit, and so the inductance in millihenrys is 400 x K / 4000 or 400 x 0.222 / 4000 which is 0.0222 millihenries, or equal to 22,200 centimetres of wire.

It is possible to determine the number of oscillations per second which can be achieved in any such circuit, and that is given by Hz = 5033000 / the square root of L x K where L is in centimetres and K is in microfarads. And so, knowing the inductance and the capacitance we get Hz = 5033000 / sqrt(22200 x 0.222) which is 71900 Hz. That represents 72 oscillations in each of the 1000 sparks per second.

The current strength developed by these oscillations can be determined from the formula below which uses the Voltage V in volts, the resistance of the circuit R in ohms, the inductance L in henrys, and the capacitance K in farads:

Current = V / sqrt(R x R + (6.28 x Hz x L – 1/(6.28 x Hz x K)2) or in our case:

Current = 600 / √ 15 x 15 + (6.28 x 71900 x 0.0000222 – (1/(6.28 x 71900 x 0.00000222)))2

Which works out as 40 amps, meaning that the impedance of the oscillating circuit is equal to the resistance in ohms of that circuit, since the inductive reactance and the capacitative reactance are so combined that the resultant value of the total reactance is equal to zero, and the only voltage required to produce the current of 40 amps is that needed to overcome the ohmic resistance of the circuit which is 15 ohms. This also means that the E.M.F. is in phase with the current, and therefore, the watts are a maximum.

Hence, there can be no doubt that battery 3-4 will be fully charged during the period when battery 1-2 is discharging, especially since the charging current can be further increased at will, even without taking more power from the discharging battery. In fact, it is easy to increase the number of turns in the transformer secondary 46-47 in order to increase the voltage. Obviously, as the amount of power delivered to the primary 44-45 of this apparatus is always 321 watts, if the voltage is increased, the quantity of electricity which the capacitor 49 receives will be reduced accordingly. Consequently, the value of that capacitor must also be reduced and so the number of oscillations per second will also be increased. Finally, by increasing the voltage, the current intensity is increased proportionately.

Therefore, it is always possible to combine, in the manner described, the values of resistance, inductance, capacitance and voltage in the oscillating circuit, so as to obtain the required current strength to fully charge one of the batteries during the period when the other battery is discharging.

Once this battery charging has been attained, if the plant is to continue in operation, then the batteries need to be swapped over by altering their connections to the circuit. To accomplish this, cylinder 5 is rotated until the conductive paths 11 and 12 come into contact with the brushes which are connected to the negative poles of the batteries, and then, battery 3-4 which is fully charged will be connected with the motor 27-28, and its discharge will now be produced by this path: battery terminal 25, ammeter 24, commutator poles 20 and 18 (now connected together due to the rotation of the cylinder 5 through 90 degrees), wire 26, motor 27-28, variable resistor 29, wire 30, apparatus 40 and 41, and commutator path 11 which closes the circuit to the negative pole of battery 3-4.


In other words, the motor 27-28, apparatus 40 and 41, and alternator 42, will still be operating in exactly the same way as described above, and in the same manner, the high-frequency currents are still developed, producing the same current intensity which is now passing via terminal 50 of capacitor 48, arc-lamp 51-52, diode 34, wire 32, commutator contacts 19-17, wire 21, ammeter 22, and positive terminal 23 of battery 1-2 (which is now connected to contact 38 of the commutator through path 12), wire 37, diode 36, inductor 55, and capacitor terminal 49; also through duplicate path from capacitor terminal 49, diode 33, wire 32, commutator contacts 19-17, wire 21, ammeter 22, positive terminal 23 of battery 1-2, commutator path 12, commutator pole 38, wire 37, diode 35, arc lamp 52-51, and capacitor terminal 50.

It is obvious to state that this same procedure can be repeated indefinitely by the simple altering of the battery connections from time to time in accordance with the battery capacity and the rate of discharge. Only 400 watts is taken from the discharging battery for battery recharging, leaving 40 amps at 50 volts (2000 watts) available for doing continuous useful work.

The patent continues with a description of how a modified clock can be made to move the commutator once every hour. This is a brilliant 2 kilowatt, self-powered, free-energy design. However, operating the design as described would not be realistic. Batteries nowadays have limited operational lives offering, typically, between 400 and 1000 charge/discharge cycles within the C20 discharge current limits. Exceeding the C20 discharge rate will reduce the battery life by a major amount, that amount being determined by the degree of abuse which the battery suffers. If we ignore that factor and say that our batteries will manage 1000 cycles, at the proposed rate of say, one hour discharge and one hour charging time, then battery replacement is liable to be required in just 500 hours of operation. That is, within three weeks of continuous operation.

The essential, rapid switching of this circuit is performed by the spark-gap but in contrast to that, the commutator switching of the batteries does not require high speed operation. It is feasible then, to replace the commutator with simple solid-state switching and swap the batteries over every second or two. That way, the batteries are never discharged and long battery life can be expected.




Bozidar Lisac.
Recently, a patent application has been lodged on what is effectively the Ron Cole one-battery switch and the Tesla Switch. I must admit to being highly doubtful about the notion of using capacitors as an energy source (unless the switching frequency is so high that the capacitors have insufficient time for their voltage to drop significantly), I am including the re-worded patent here. Some experimenters have reported overall battery energy gains with switching speeds of 0.5 Hz or less, which means that in circuits of that type, mechanical switching should give a reasonable switch contact life. This patent has needed a fair degree of attention as the person writing it does not have a full grasp of English and confused the word "load" with the word "charge". Let me say again, that the following patent application is included here primarily for interest sake, rather than being the definitive way of making a circuit of this type.

Patent Application US20080030165 7th February 2008 Inventor: Bozidar Lisac


METHOD AND DEVICE FOR SUPPLYING A LOAD WITH ELECTRIC ENERGY RECOVERY



ABSTRACT
In the invention an electric current circulates from the battery UB, through the electric motor M, and the diode D1 charges the capacitors CA and CB, connected in parallel, which, once charged, are connected in series, giving rise to a difference in voltage in relation to the battery, causing half the charge of the capacitors to be returned to the battery through the diode D2, whilst with a new parallel connection, the capacitors recharge, this charge being equal to that which had been previously transferred from the capacitors to the battery, so that by means of the cyclic connection of the capacitors in parallel and series the energy is transferred from the battery to the capacitors and from the capacitors to the battery, thus considerably extending the range of the battery and operation of the motor.

OBJECT OF THE INVENTION
This invention relates to a method and device enabling the electrical energy with which a charge is supplied to be recovered using a self-rechargeable electricity source in which, which by means of a circuit, the current circulating from an accumulator or battery through a load, e.g. a motor, is fully returned to the same, thereby considerably extending its range.

More specifically, two capacitors that are connected cyclically from parallel to serial and vice versa are charged through a motor during the connections in parallel, whilst in series connection, when its voltage doubles, they return the electricity, recharging the battery. This source represents a closed system which does not require an energy supply from the outside, except to compensate for the losses produced, the range of the battery being limited by the number of charges and discharges that the same technically permits.

BACKGROUND TO THE INVENTION
A load, such as an electric motor, is connected to a battery or accumulator with a certain charge, which will be progressively discharged by it, this discharge being directly proportional to the connection time and to the current circulating through the motor. It is therefore necessary to supply fresh energy from an external source to recharge it. Systems that enable the energy consumed by the load to be reused are not known in the state of the art.

DESCRIPTION OF THE INVENTION
A first aspect of the invention relates to a method for supplying a load with recovery of electrical energy, which comprises supplying a load with electrical energy deriving from the first electrical energy accumulator, and returning at least a proportion of that electrical energy after it passes through the load to the first accumulator for the purpose of recovering the energy supplied.

The electrical energy, after passing through the load, is recovered by second electrical energy accumulator, from where it is transferred to the first accumulator, giving rise to cyclic transfer of electrical energy between the first and second energy accumulators.

The recovery of energy from the second accumulator and transfer to the first accumulator may be achieved without passing the energy through the load. In another alternative implementation, the energy is recovered from the second accumulator and passed to the first accumulator through the load, in which case the polarity of the load is reversed during the recovery of energy through the load.

The transfer of energy is brought about by cyclically connecting two or more electrical energy accumulators between parallel and serial connections.

A second aspect of the invention relates to a device for supplying a load with recovery of electrical energy, which comprises a first electrical energy accumulator and a second electrical energy accumulator, where the load is connected between the first and second accumulators. The device may be provided in one embodiment with a unidirectional connection device, for example, a diode which is connected in parallel to the load, causing circulation of the electrical energy recovered after passing through the load, and via which the electrical energy is returned to the first accumulator.

The first electrical energy accumulator may be a battery. The second electrical energy accumulator might be two or more capacitors with switching to cyclically connect them between parallel and serial connection configurations.

The invention constitutes a self-rechargeable source of electrical energy which enables the range of a battery to be considerably extended so that the current circulating from the same through a motor charges two capacitors connected in parallel, up to the voltage level of the battery, by means of contacts. These capacitors, once charged, are connected in series, producing double their voltage, and they then return the energy to the battery, thereby extending its range. Once the losses have been compensated for, the duration of the extended range depends on the charging and discharging properties of the capacitors.

The existence of the difference in voltage between the battery and the capacitors connected both in parallel and in series, and which give rise to the displacement of energy from the battery to the capacitors and vice versa, is used to supply the motor connected between the battery and the capacitors, comprising the self-rechargeable source of electrical energy.

When connected in parallel, the capacitors are charged through a motor and a diode, and when connected in series, they are charged through another diode, the voltage of the motor being half that of the battery. On the other hand, if the motor is connected between the battery and the serially-connected capacitors, the latter, which are charged in parallel through a diode and are discharged by means of the motor and the other diode, will supply the motor with a voltage equal to that of the battery, whilst a capacitor connected in series to the winding of the motor guarantees its operation without loss of power.

Instead of the two capacitors, two batteries connected in series and another two connected in parallel may be used, between which batteries a motor is connected, the current circulating in this case from the batteries connected in series through the motor to the batteries connected in parallel. The serially-connected batteries are then connected in parallel, by means of switching contacts, and the other two parallel-connected batteries are then connected in series, reversing the direction of the current, whilst the connections of the motor are inverted by means of the simultaneous switching of other contacts in order to maintain the polarity and direction of rotation of the motor.

In one possible embodiment of the invention, another two capacitors and a transformer with two primary windings, or a motor with two windings are added to the device previously described, each pair of capacitors cyclically switching from parallel to serial connection and vice versa so that during the parallel connection cycles, two of the capacitors are charged through one of the windings up to the voltage level of the battery at the same time that the other two capacitors are connected in series, double their voltage and are discharged by means of a second winding to the battery.

The reduced level of energy losses brought about mainly by the dissipation of heat and in the capacitors, as well as by the charge factor of the batteries, is compensated for from an external source, and because the sum of the current circulating through a winding of the motor or transformer charging two of the capacitors and the current simultaneously circulating from the other two capacitors through the second winding, recharging the battery, plus the current which is supplied from the external source, is equal to zero, because of the work carried out by the motor or the loads which are connected to the alternating voltage induced in the secondary of the transformer, no discharge of the battery takes place.

DESCRIPTION OF THE DRAWINGS
In order to supplement the description now being given, and with the aim of contributing to a better understanding of the characteristics of the invention, according to a preferred practical embodiment, a set of drawings is attached as an integral part of this description, in which, for informative and non-restrictive purposes, the following is shown:

Fig.1 shows a practical circuit in which, by means of switching, two capacitors connected in parallel are charged from a battery through a motor and a diode, and after the contacts are switched, they are connected in series, thereby discharging the battery through another diode.



Fig.2 shows a practical circuit in which, through switching, the two capacitors are connected in parallel and are charged from a battery through a diode, and after the switching of the contacts they are connected in series, thereby charging the battery through the motor and the other diode.



Fig.3 shows the connection of the two batteries in series, connected through a motor to another two batteries connected in parallel, and which, by means of contacts, switch alternatively, this giving rise to effects similar to those described in relation to the use of the capacitors.



Fig.4 shows the electrical diagram corresponding to the connection between the battery and the two pairs of capacitors of a transformer with two primary and one secondary winding, in which an alternating voltage is induced which is rectified, filtered and converted to a sinusoidal voltage.



Fig.5 shows the electrical diagram of an alternating current motor with two windings connected between the battery and two pairs of capacitors.



Fig.6 shows the electrical diagram of a direct current motor with two windings connected between the battery and two pairs of capacitors, in which two switch contacts ensure their correct polarisation and direction of rotation.


PREFERRED EMBODIMENT OF THE INVENTION
In a preferred embodiment shown in Fig.1, the load consists of a direct current motor M, the battery UB, and the second accumulator which consists of a pair of capacitors CA and CB. The capacitors CA and CB are connected to each other in parallel by means of two switches S1 and S2. These capacitors are charged through the motor M and diode D1 to a voltage level equal to that of the battery UB, the charge being Q = (CA+CB)UB, and while these capacitors are being charged, the motor M is rotating.


When both capacitors are fully charged, they are connected in series by the switch contacts S1 and S2. This produces a voltage which is twice the value of the voltage of the battery UB, resulting in the charge which is given by Q = 2 x UB x (CA+CB) / 2 which is Q = (CA+CB)UB, which shows that once charged, the charge Q of both capacitors is identical both in parallel and in series.

Diodes D1 and D2 ensure that current flow through the motor M is only ever in one direction. Immediately after capacitors CA and CB are connected in series, they return half of their charge through diode D2. Switches S1 and S2 then connect the capacitors CA and CB in parallel. In this arrangement, they start off with half of the battery voltage. They charge immediately, regaining the battery voltage through the motor M and the diode D1.

By means of repeated cyclic switching of the capacitors CA and CB from parallel to serial connection mode, the current circulating from the battery UB through the motor M to the capacitors, and from these to the battery, recharging it and extending its range, constitutes a self-rechargeable source of electrical energy.


In a second practical embodiment shown in Fig.2, the motor M is connected between the battery UB and the capacitors CA and CB by means of the diode D2. The capacitors are charged directly through the diode D1 and are discharged through the motor M and the diode D2, the values of the charges on the capacitors CA and CB previously described in the example shown in Fig.1 remain unchanged, the difference in this circuit is that the voltage applied to the motor M is the full battery voltage in this case.

The charging rate of the capacitors CA and CB is determined by the intensity of the current flowing through the motor M, to which is connected in parallel, the capacitor CM which guarantees that the operation of the motor is maintained at maximum power. It is possible to substitute a battery, preferably a rapid charge battery, for capacitor CM.


In another embodiment shown in Fig.3, the first and second accumulators consist of pairs of batteries B1, B2 and B3, B4. Therefore, in this embodiment, two pairs of batteries are used instead of the capacitors CA and CB. Batteries B and B2 are connected to the switches S1 and S2, and the pair of batteries B3 and B4 are connected to the switches S3 and S4. The switches S1 to S4, connect the pairs of batteries with which they are associated, into series or parallel configurations, depending on the position of the switches.

While the batteries B1 and B2 are connected in parallel, the other two batteries B3 and B4 are connected in series, and the motor M rotates as a result of the difference in voltage between the batteries, as it is connected between both pairs of batteries. At the same time, the current circulating through the motor from the serial connected batteries recharges the two parallel-connected batteries. The switches S1 to S4, which connect the batteries B1 and B2 in series and the batteries B3 and B4 in parallel then switch, thus reversing the direction of the current flow, and at the same time, the switches S5 and S6 change positions in order to maintain the correct polarity for the motor and its direction of rotation.

The two capacitors and the batteries may be switched by means of any mechanical, electromechanical, electrical, electronic or other element that meets the conditions described with the purpose of obtaining a self-rechargeable electrical energy source. These switching operations may be controlled by any known method, for example, a programmable electronic circuit.

In the preferred embodiments previously described, the load consists of a direct current motor, but as an expert in the field may understand, the load may also consist of any type of resistive
(?) and/or inductive load.


Another preferred embodiment is shown in Fig.4, where a transformer T with two primary windings L1 and L2 is connected between the battery UB and the two pairs of capacitors C1 and C2, plus C3 and C4, causing the two capacitors C1 and C2 to switch their connections from parallel to serial and back again by means of the contacts S1 and S2, and causing the capacitors C3 and C4 to switch by means of contacts S3 and S4, so that during the cycles of connection of the capacitors C1 and C2 in parallel, the latter are charged via the winding L1 up to the voltage level of the battery, whilst at the same time the capacitors C3 and C4 are connected in series and provide double their voltage, the battery being discharged by means of the winding L2, in which case the charging and discharging currents to circulate in the same direction. On the other hand, during the cycles of connection in parallel of the capacitors C3 and C4, which are charged through the winding L2 up to the battery voltage level, the capacitors C1 and C2 are connected in series to provide double their voltage and are discharged into the battery through the winding L1. The direction of the charging and discharging current therefore changes, thus inducing in the secondary winding L3 an alternating voltage whose frequency depends on the speed of switching of the contacts mentioned, and after being rectified by means of the bridge of diodes P and filtered by the capacitor CP, the resultant DC voltage is converted to a sinusoidal voltage by means of a circuit K.

The connection in parallel of one pair of capacitors and the connection in series of the other pair take place at the same time. Therefore the sum of the current circulating from the battery through one of the windings, charging two of the capacitors, and the current circulating from the other two capacitors through the other winding to the battery, is approximately zero.

From an external energy source FE the minimum energy losses caused essentially by dissipation of heat and in the capacitors, as well as by the charging factor of the battery, are compensated for, with the result that the sum of the current circulating from this source external to the battery and the charging and discharging currents of the capacitors is equal to zero. Therefore the battery is not discharged and its range does not depend on the work developed by the motors or the loads connected to the secondary winding L3 of the transformer T, since the greater the power of the loads, the higher the intensity of the charging and discharging currents of the capacitors.


Fig.5 shows another embodiment in which an alternating current motor M is connected to two windings L1 and L2 so that during the connections in parallel of the capacitors C1 and C2, the latter are charged by means of the winding L1 at the same time that the capacitors C3 and C4, connected in series, are discharged by means of the winding L2 to the battery UB, the charging and discharging current circulating through the windings in the same direction. The capacitors C1 and C2 are then connected in series and the capacitors C3 and C4 are connected in parallel. The direction of the charging and discharging current of the capacitors is therefore reversed, thus producing at terminals of the motor an alternating voltage with a frequency that depends on the speed of switching of the contacts. The energy losses caused are compensated for from an external source FE, the sum of the current circulating from this source to the battery and the currents circulating through the two windings during charging and discharging of the capacitors being equal to zero. The battery is therefore not discharged as a result of the work developed by the motor.


Fig.6 shows the connection of a direct current motor M to two windings L1 and L2 between the battery UB and the two pairs of capacitors C1 and C2 plus C3 and C4, so that during the connections in parallel two of the capacitors are charged by means of the winding L1, and during the simultaneous connections in series, the other two capacitors are charged by means of the winding L2 to the battery. Coinciding with the switching of the contacts S1, S2, S3 and S4, which connect to each pair of capacitors from parallel to serial and vice versa, the contacts S5 and S6 switch, polarising the windings of the motor so that the charging and discharging currents of the capacitors circulate in the same direction, producing a direct voltage. The sum of the current supplied from the external source FE and the charging and discharging currents of the capacitors is equal to zero, and thus there is no battery discharge



Don Smith.
Don Smith is a very talented American who has understood all of Tesla's work and has produced literally dozens of practical devices based on his understanding. You will find more specific details in chapter 3, but in broad outline, a twelve-volt battery can be used to generate the pulsing magnetic field needed to nudge the local environment into providing massive amounts of electrical energy. The device described in detail in chapter 3, has an output of around 160 kilowatts, which is far, far more than any individual would need. In other words, it is a device which could easily power your home, and considering that an electric car needs about 65 kilowatts, one could easily power a vehicle, making it into a fuel-less mode of transport. This is not magic, just standard electrical theory being applied correctly for a change.

The key component in many of Don's devices is the humble, commercial power supply used to drive neon sign displays. This module produces some 9,000 volts at a frequency of 35,100 Hz (cycles per second). As Don points out, when you double the pulsing frequency and double the pulsing voltage, the available power goes up by a factor of sixteen times, because the effect of both of these things is squared. You will recall that Bob Boyce is pulsing his toroid very sharply at 42,000 Hz and that high frequency has a major effect on the power produced in his system.

Don then boosts his working voltage further with a step-up transformer called a Tesla Coil. This brings us into an area of massive power. People have the very mistaken idea that a Tesla Coil can only produce voltage and not current. The reality is that if the primary coil is positioned in the centre of the secondary coil, then the voltage and current produced will be roughly the same, and that is a very, very high level of power. One device of Don's looks like this:


This prototype is actually more complicated than it needs to be. It uses three very high-voltage capacitors which are not necessary if you opt for a slightly different method of construction. However, in this version, the twelve-volt battery (which is not shown), powers a true sine-wave inverter in order to provide the mains voltage and frequency needed by the neon-tube driver circuit. The voltage limitations of the capacitors, in particular, the 8,000-volt output storage capacitors, make the 9,000 volt output of the neon-tube driver too much for safe usage. To deal with this, Don uses a Variac-style variable transformer to lower the voltage supplied to the neon-tube driver circuit, and this lets him limit the output voltage to the 8,000 volts of the output storage capacitors.

A key detail is that the wire length in the turns of the short primary winding of the Tesla Coil is exactly one quarter of the wire length of the turns in the long secondary winding. This makes the coils resonate which is a vital factor in the operation. The final, exact tuning, can be done by sliding the primary coil to a slightly different position. In this prototype, Don chose to do the final fine tuning by attaching a small capacitor across each of the windings. This is not necessary.

In the prototype shown above, Don then uses four diodes to rectify the output to DC to feed the storage capacitors. This results in an 8,000 volt supply which can provide 20 amps of current. That is an output power of 160 kilowatts, and is limited by the output capacitor voltage rating.

Don points out that it is not necessary to do it that way and instead, a step-down transformer can be used to lower the output voltage and boost the available current. If this is done, then the voltage limitations disappear (provided that you are using very high-voltage cables) and so no Variac is needed and no high-voltage capacitors are needed either.

There are two options. Either you can aim for a mains-voltage, mains-frequency, AC output, or you can produce a DC output and use an off-the-shelf inverter to run any mains equipment powered by the device. With the first option, Don connects a single resistor across the primary of the step-down transformer and that drags the frequency down to the wanted level, provided that the resistor has the right value:


The alternative method which aims for a DC output does not need to alter the frequency:


In both of these cases, the twelve volt driving battery can be charged continuously by part of the output power, and there are various ways of doing that. However, care needs to be taken that the battery is not overcharged as the input power is very low.

You will notice the similarity between Bob Boyce's toroid system and Don Smith's Tesla Coil system. In each case, a very carefully wound circular winding is pulsed at high frequency, and in each case, substantial amounts of excess electrical power becomes available, flowing in from the surrounding environment, courtesy of the pulsating magnetic field.

Tariel Kapanadze produced a similar style of device which is self-powered and produces a mains electricity output. He has demonstrated this for a TV documentary. Further details are in chpater 3.



Walter Ford’s High-powered Crystal Set
In the 1961 edition of the Electronics Experimenter’s Handbook, there is an interesting circuit from Walter B. Ford for a high-power crystal set capable of powering a 2.5-inch loudspeaker:



He says: Here’s a pint-sized crystal radio with enough power to drive a 2.5” speaker. This little unit's selectivity is far better than you would expect to find in a crystal receiver and volume is equal to that obtained with sets using a transistor. No external power source is required.

The unusual selectivity of this radio is due to its special double-tuned circuit. A pair of diodes connected as a voltage-doubler provides the extra power to operate the small speaker. An output jack is provided for headphone listening and for connecting the set to an amplifier.

Construction: The model was built on a 2.5” x 4.5" wooden chassis with a 3.5" x 4.5” metal front panel. However, size is not critical, and other materials can be substituted if desired.

Two standard ferrite loopsticks, L2 and L3, are used. Both must be modified by the addition of a second winding. L1 and L4, respectively. Each of the added windings consists of 22 turns of No. 24 cotton-covered wire wound on a small cardboard tube as shown in the picture. (Actually, any wire size from No. 22 to No. 28 with cotton or enamel insulation will do the job).

The diameter of the cardboard tube should be slightly larger than L2 and L3 so that L1 and L4 will slip overL2 and L3 easily.

Resistor R1 is used only for feeding the set into an amplifier; it should be omitted for both earphone and loudspeaker opera¬tion. Trimmer capacitor C2 should be sol¬dered across the stator terminals of two-gang variable capacitor C1a/C1b as shown. The speaker and output transformer can be mounted wherever convenient.

If a metal chassis is used, then be sure to insulate the aerial and earth connection sockets from the chassis. When all of the parts have been mounted on the chassis, wire them together follow¬ing the schematic and pictorial diagrams. Be sure that diodes D1 and D2 and capacitors C3 and C4 are connected correctly, paying attention to their polarity.

While this is interesting, what appears to be a key factor is contained in the drawings, where he states that the only important thing is that it is essential for the two sets of coils to be mounted perpendicular to each other:







Alignment and Operation.
To align the receiver, connect it to an antenna and ground. The optimum length of the antenna varies with location, but 50 feet will usually be suitable in areas which receive several broadcast stations. Next, plug a high-impedance earphone into jack J1. Tune a station near the high frequency end of the broadcast band – say, 1500 kHz – and adjust the trimmer capacitors on variable capacitor C1a/C1b to get the loudest signal.

Trimmer capacitor C2 should then be adjusted for the best selectivity and volume over the entire broadcast band. Finally, Coils L1 and L4 can be moved to their optimum positions by sliding them backwards and forwards over coils L2 and L3. If a nearby station interferes with the reception of a weaker station, tune the slug of L2 to get minimum interference. For loudspeaker operation, simply unplug the earphone. Strong local stations should be received at fair volume.

How It Works:
The receiver employs a double-tuned circuit feeding a crystal diode voltage-doubler/detector which drives a small loudspeaker. Radio frequency signals picked up by the antenna system are induced into coil L2 from coil L1. The desired signal is selected by the tuned circuit C1a/L2 and coupled through capacitor C2 to a second tuned circuit C1b/L3, which improves the selectivity by narrowing the radio frequency bandpass. The twice-tuned signal is then induced into coil L4 from coil L3.

The positive half of the radio frequency signal appearing across L4, passes through the 1N34A germanium diode D2 to charge capacitor C4. The negative half of the signal passes through diode D1 to charge capacitor C3. The polarity of the charges on C3 and C4 are such that the effective voltage is doubled. This voltage appears across the primary of output transformer T1 which converts the high-impedance signal to a low-impedance output suited to the loudspeaker.

While this looks like a very good design for a crystal set, the fact that it is insisted that the coil pairs must be mounted at right angles to each other raises an interesting parallel with the work which states that if the high-frequency excitation field is at right angles to the output coil, then there will be a free-energy inflow into the circuit from the local environment. Perhaps this crystal set design gains extra power to drive it’s loudspeaker from an inflow of environmental energy.



The "FLEET" ("Forever Lead-out Existing Energy Transformer") device is a self-powered electrical generator which has no moving parts and which can be constructed cheaply. It has been developed by a Hong Kong based team of people: Mr Lawrence Tseung, Dr. Raymond Ting, Miss Forever Yuen, Mr Miller Tong and Mr Chung Yi Ching. It is the result of some years of thought, research and testing and it has now reached an advanced stage of testing and demonstration and is nearly ready for commercial production.

Mt Tseung has applied his "Lead-out" theory to the category of low-power circuits known as the "Joule Thief" circuits. These circuits originated with an article by Mr Z. Kaparnik, in the "Ingenuity Unlimited" section of the November 1999 edition of the "Everyday Practical Electronics" magazine.

The initial circuit allowed the very last energy to be drawn from any ordinary dry-cell battery, and used to light a white Light-Emitting Diode ("LED") for use as a small torch. It allows a battery which is considered to be fully discharged, to drive the circuit until the battery voltage drops right down to 0.35 volts. The initial circuit uses a bi-filar coil wound on a ferrite ring or "toroid". Bi-filar means that the coil is wound with two separate strands of wire side by side, so that each adjacent turn is part of the other coil. A coil of that type has unusual magnetic properties. The Joule Thief circuit is like this:


It is important to notice how the coil is wound and how it is connected. It is called a "toroid" because it is wound on a ring. The ring is made of ferrite because that material can operate at high frequencies and the circuit switches On and Off about 50,000 times per second ("50 kHz"). Notice that while the wires are wound side by side, the start of the red wire is connected to the end of the green wire. It is that connection which makes it a "bi-filar" coil instead of just a two-strand coil.

This "Joule Thief" circuit was then adapted by Bill Sherman and used to charge a second battery as well as lighting the Light-Emitting Diode. This was achieved by adding just one more component - a diode. The diode used was a 1N4005 type because that was to hand at the time, but Bill suggests that the circuit would work better with a very fast-acting Schottky-type diode, perhaps a 1N5819G type.

The circuit produced by Bill is:



When driven by a 1.5 single cell battery, this circuit produces about 50 volts with no load and can supply 9.3 milliamps of current when the output is short-circuited. This means that you could charge a 6-volt battery using a 1.5 volt battery.

“Gadgetmall” of the www.overunity.com Joule Thief forum has taken the circuit further and found a very interesting situation. He has modified the circuit and used a “batt-cap” which is a very high capacity, very low-loss capacitor. This is his circuit:



He has added an additional winding to his one-inch (25 mm) diameter ferrite toroid, and he uses that to power a 1 watt LED. Why he has done this is not immediately clear to me, except possibly, that it shows when the circuit is operating. He runs the circuit driven by a small rechargeable battery, which feeds 13 milliamps into the circuit, for a period of fourteen hours. At the end of that time, the batt-cap has gathered enough energy to fully recharge the driving battery in a minute or two, and then power a heater winding of nichrome wire (as used in mains-powered radiant heaters) for four and a half minutes. Alternatively, that amount of extra power could boil a kettle of water. The really interesting thing about this is that the driving battery gets recharged every time and so the circuit is self-sustaining although it is not a powerful circuit.


However, Jeanna has developed the circuit significantly as she shows in her series of videos:

Video 1
Video 2
Video 3
Video 4
Video 5
Video 6

Her main point is that using the collector of the transistor as the power take-off point of the circuit, is inefficient as that draws a lot of input current without a corresponding increase in output current. She adds a 74-turn secondary winding on top of her two 11-turn Joule Thief bi-filar windings, and that appears to give a far better power output. She uses the very small AAA size 1.2V battery and further drops the output (because “the light is too blinding”) by putting a resistor in series with the battery and using many LEDs in series. She has recorded the following results:

With no resistor, the output voltage is 58V peaks at 62.5 kHz (open circuit output, with no load at all)
With a 10 ohm resistor, the output voltage is 49V peaks at 68 kHz.
With a 33 ohm resistor, the output voltage is 25V at 125 kHz.


‘LidMotor’ states that Jeanna also produced a Joule Thief circuit which could light a 15-watt straight fluorescent tube for about five hours when being driven by a single AA battery. He states that he was not satisfied with that level of lighting and here he shows a version (which he thinks is Jeanna’s design and which Jeanna thinks is his design) driving a 10-watt Compact Fluorescent Light which has had the ballast circuitry removed. The build uses an expensive 3.25 inch (83 mm) outer diameter ferrite toroid, and the lighting from a single AA battery looks like this:



The ferrite ring is wound like this:



The main winding is 300 turns of AWG #30 enamelled copper wire with a diameter of 0.255 mm. Please notice the gap between the ends of that winding. That gap is important as high voltage is developed between the two ends of the winding and if the winding were continued all the way round the toroid, then the insulating enamel coating the wire would be liable to burn out due to the very high voltage difference between the first and last turns, causing a short-circuit. The two other windings are with AWG #24 enamelled copper wire which has a diameter of 0.511 mm and those two windings are positioned closely side by side in the middle of the gap between the ends of the 300-turn winding. The circuit is like this:



The optional 25 ohm wire-wound variable resistor wastes power but creates a voltage drop across it, reducing the voltage reaching the circuit and so, dimming the light progressively, all the way down to zero. The base resistor “R” has been set at 22 ohms by ‘Lidmotor’ who says that it really should be 100 ohms but he has lowered it to get brighter lighting. Please note which side of the 3-turn and 13-turn windings are connected in the circuit as the direction of winds is very important for those two windings.

It is not uncommon for people to comment on the faint whistling sound make by a Joule Thief circuit (especially a low-voltage version like this). It is my experience that the sound is caused by the transistor resonating with the frequency of oscillation of the circuit, the TIP3055 being particularly prone to this. I suggest therefore, that bolting on a heat sink (which is most definitely not needed to dissipate heat produced by this circuit) will alter the resonant frequency of the transistor/heat sink combination and so stop the whistling.


However, Mr Tseung has taken the Joule Thief circuit and modified it to become a circuit with a very serious output, moving it into a completely different category.

As a first step towards what the team calls their "Fleet" device, the toroid has been enlarged to a much greater diameter. The coil is now wound on a section of plastic pipe, 170 mm (6.5 inches) in diameter and 45 mm (1.75 inch) deep:



This section of pipe is "bi-filar" wound with two wires side by side as already described for the Joule Thief construction. As before, the start of one wire is connected to the end of the other wire. Then, the winding is given a layer of electrical tape to hold it in place and to provide an easy working surface for a second winding.

The wire used for the winding is the widely available red and black pair of wires, sometimes called "figure of eight" because the cut end of the wires looks like the numeral 8. The wire should be able to carry 2.5 amps. It must be side-by-side wire and not one of the twisted varieties. It looks like this:



The second winding is made in the same way but the connections are slightly different. As before, the end of the first wire is connected to the start of the second wire, but that connection is then insulated and not used in the following circuitry. This just connects the two windings one after the other, known technically as being connected "in series" and is the equivalent of making the winding with just a single strand of wire. The completed coil may look like this:



This particular design is still in it's early stages and so many different coils sizes and constructions are being tested:



The arrangement is for the inner winding of the toroid to be oscillated by the Joule Thief circuit already described. This causes a pulsating magnetic field to envelope the outer winding of the toroid, producing an electrical output which is capable of doing useful work. The really important thing about this arrangement, is the fact that the amount of power coming out of the circuit is very much greater than the amount of power needed to make the circuit operate. The additional power is led out of the local environment and drawn into the circuit, becoming available to do useful work.

The overall circuit then looks like this:



While the outer winding is shown here with thicker wire of a different colour, this is only to make the arrangement easier to understand. In reality, the outer winding is with exactly the same wire as the inner winding, and it will normally go all the way around the toroid. The total amount of wire needed to make the windings is about 70 metres and so it is normal to buy a full 100 metre reel of the twin-core wire, which allows both windings to be made and leaves spare wire for other things.

For those of you who are very technically minded, the output waveform looks like this:



and the voltage pulses in this output are occurring about 290,000 times per second.

What has worked better for me is using a bridge of four diodes rather than a single diode:



I have used this circuit, driven by a 1.5 volt battery, to charge 12-volt batteries, but the best results are in the five to six volt range. I have used this circuit to confirm COP>1 by charging one small 12V lead-acid battery with and identical battery, swapping the batteries over and repeating the process several times. The result was that both batteries gained genuine, usable power. I suspect that the effect would have been much greater if I had charged two or more batteries in parallel. The toroid was an 8-inch diameter, 10 mm by 12 mm off cut from a plastic pipe which happened to be to hand and the wire used was plastic covered 6-amp equipment wire, again, because it was to hand at the time. Winding the toroid and setting up the circuit was done in a single evening.

Overall, this is a very simple, cheap and easily constructed COP>10 device which has the potential of providing large amounts of free, useable, electrical power. With further development, it may well be possible to produce a version which could deliver the power needed by a whole household. It is also likely that these devices will become available for purchase a quite a low cost. All in all, this is a very important device and full credit must go to the development team who have carried the research to this point and who are continuing to refine the design to produce more and more power.


There are various circuits which I have shown which use the well-known “Joule Thief” circuit as part of the design. These devices have worked well for me. However, in 2014, Sucahyo stated that some people found that pulse-charging batteries for a few times, caused those batteries to then have “surface charge” where the battery voltage rose without there being a corresponding genuine charge inside the battery. That is something which I have never experienced myself but that might be because I didn’t discharge and recharge batteries a sufficient number of times for me to experience the effect. Sucahyo uses this circuit:




which looks rather complicated with two of the transistors connected upside down and protection diodes connected between transistor collector and base. Sucahyo says that he has used this circuit for four years now without experiencing any surface charge effects.

My preferred form of Joule thief uses a bi-filar coil of 0.335 mm diameter wire wound on a paper cylinder formed around a pencil and only 100 mm (4 inches) long, as that produces a very cheap and lightweight circuit. As I understand it, the Joule Thief produces a rapid stream of high voltage spikes of very short duration. Those spikes cause the local environment to feed static energy into both the circuit and the circuit’s load device (typically an LED or a battery).

While I have never experienced surface charge from a Joule Thief circuit, I tested some old Digimax 2850 mAHr test batteries which had been sitting unused for more than a year. These did indeed show a surface charge effect when load tested. The first test used one battery to drive the circuit and charged three batteries in series using this circuit:



But no matter how long the circuit operated, it would not charge the output battery above 4.0 volts which is 1.33 volts per battery. The load test results were terrible with the voltages at one hourly intervals being 3.93V, 3.89V, 3.84V, 3.82V and 3.79V after only five hours of powering the load. That is ridiculous performance as those batteries managed 22 hours of load powering with the solar panel design.

Perhaps the batteries were damaged. So I overcharged them with a main operated charger, reaching 4.26 volts which is 1.42 volts per battery and the hourly load testing results were 4.21, 4.18, 4.16, 4.15, 4.13, 4.12, 4.10, 4.08, 4.07, 4.07, 4.06, 4.05, 4.03, 4.03, 4.02, 4.01, 4.00 (after 17 hours), 3.99, 3.99, 3.98, 3.97, 3.97, 3.96, 3.96, 3.95 after 25 hours and 3.90 after 33 hours. Clearly, there is nothing wrong with the batteries so the effect must be a factor of the charging.

Feeding static electricity into a capacitor converts it into normal “hot” electricity, but we want a very simple circuit, so the next step was to add in a 100 volt 1 microfarad capacitor which looks like this:


making the circuit:



With the battery on charge removed, the voltage on the capacitor reaches 22 volts. Charging the same batteries with this circuit reached 4.14 volts and produced load results of 4.09, 4.05, 4.01, 3.98, 3.96, 3.93, 3.90, 3.88, 3.85, 3.83, 3.81 and 3.79 volts after 12 hours which is much better than the 5-hour total previously experienced. However, obviously, something better is needed.

The next step is to use a diode bridge of 1N4148 diodes instead of the single diode, giving this circuit:




Without the charging battery connected, this circuit gives 28 volts on the capacitor and the battery charging is good, giving load testing results of 4.18, 4.16, 4.15, 4.13, 4.11, 4.10, 4.08, 4.08, 4.06, 4.05, 4.04, 4.03, 4.02, 4.00, 3.99, 3.98, 3.97, 3.96, 3.95, 3.95, 3.94, 3.94, 3.93, 3.93, and 3.93 volts after powering the load for 24 hours. This seems to be a very satisfactory result for such a minor alteration.

If two 1.2V batteries are used to drive the circuit, without a battery on charge, then the voltage on the capacitor reaches 67 volts, but that is not necessary for charging a 12-volt battery. Although the change is slight, the circuit operation is changed considerably. The capacitor does not discharge instantly and so, for some of the time between the sharp Joule Thief pulses, the capacitor supplies extra charging current to the battery on charge. This does not mean that the battery being charged is charged much faster and you can expect that full charging will take several hours. I have not yet tested it, but I would expect that by using two or more of these circuits simultaneously, should increase the rate of charge;



There is no need to restrict the battery on charge to a nominal 3.6 volts in any of these circuits as a single 1.2 volt drive battery can easily charge a 4.8 volt battery or larger. The value of the capacitor has a considerable effect and I suggest a one microfarad capacitor is a good choice. It has been argued that the two additional diodes on each side of the battery being charged are not necessary, although I have shown them to isolate the two circuits from each other.



LaserSaber’s Joule Thief Lighting Circuits.
Another very successful variation on the basic Joule Thief was put into the Public Domain on 4th October 2012. Details are on his web site www.laserhacker.com. His variation is extremely simple, both in concept and construction:


and in his video he demonstrates it lighting a mains-voltage LED bulb (seen above), a mains filament bulb, a halogen bulb and a compact fluorescent bulb with the ballast still in place, that is, as is sold in shops without any modification. The circuit is:


This “Super Joule Ringer 3.0” circuit is unusual in that the feedback to the base of the 2N3055 transistor is through the load (the bulb). The circuit is a high-frequency DC inverter which could hardly be any more simple, but please be aware that the high-frequency output voltage spikes are not sine wave, nor are they voltage controlled, and so this is not a circuit for driving things like TV sets. The transistor oscillates at high frequency governed by the characteristics of the 72-turn primary winding of the transformer. The output voltage level is a combination of the battery voltage and the turns ratio of the transformer.

To raise the output voltage, the number of turns in the secondary can be increased. The number of turns is not specified, other than to say that the turns are laid close, side-by-side along the whole length of the 8-inch (200 mm) long ferrite rod, using enamelled coper wire of 0.32 mm diameter (28 AWG or 30 swg). Using arithmetic, that would suggest that there are some 600 turns wound directly on to the ferrite rod. The ferrite rod itself has a diameter of 0.625 inches (15.88 mm) which makes it an item which is likely to be difficult to find. However, I strongly suspect that the diameter of the ferrite rod is not at all critical.

Both of the coils are wound on the ferrite rod in the same direction, the secondary being wound first, placing it underneath the primary which is wound with 72 turns of insulated wire of 1.63 mm diameter (14 AWG or 16 swg). No current draw is indicated and it seems likely that it is quite high there being just two helical coils in the drive section. The bulbs demonstrated in his video are:



Please be very careful with lighting. Incandescent bulbs produce lighting which has frequencies in the red part of the spectrum and those are healthy bulbs. Compact Fluorescent bulbs often called “CFL” produce ultra-violet light as well as flicker and you should be four or five feet away from them if you don’t want adverse medical effects from the lighting. Light-Emitting Diodes or “LED” bulbs are highly dangerous in spite of the fact that they give excellent lighting levels for low current draw. They produce none of the beneficial red end of the visible spectrum and instead they have a high output in the blue end of the spectrum. The result is lighting which has long-term damaging effects on the retina of the eye, leading to macular degeneration and eventual blindness. The drug Lutein is essential to combat the effect but LED lights should be avoided is at all possible.


The Ed Gray Power System
The power tube presented to the public by Edwin Gray snr. operates by generating a series of very short, very sharp pulses using a spark gap. This device is reputed to have a power output which is one hundred times that of the power input. Ed Gray and his electric pulse motor are very famous, but as far as I am aware, nobody has successfully replicated this claimed performance. Further, an in-depth examination of the background details by Mr Mark McKay have turned up a number of facts which present a very different picture, and while it is perfectly correct to say that spark-gap pulses generate a good waveform for shocking the local zero-point energy field into the sort of imbalance which can provide a massive power inflow into a device or circuit, we need to be careful to get the full facts in this case.


First, let us put the whole thing in its proper perspective. In May 1973, Cal-Tech in the US performed an independent assessment of an engine provided to them by Edwin Gray. They measured the input and the output and certified that the output power was 275 greater than the input power. This demonstrates clearly that excess power can be drawn into an engine and provide a performance which can power both the engine as well as doing additional useful work.

Having said that, it needs to be made clear that Edwin Gray did not build that small motor, did not understand how it worked, nor did he ever disclose the design in any of the patents which he obtained afterwards. We need to follow the sequence of events and notice when each thing happened. The history is as follows:

In 1957, a Russian immigrant to the USA, one Alexei Poppoff, showed Edwin Gray a circuit which he said that he had been shown by Nikola Tesla. Edwin Gray did not understand the circuit and had no idea how to create anything useful based on it. He then joined up with his next-door neighbour Marvin Cole, who held a Masters degree in Mechanical Engineering and who, unlike Gray, was able to understand the circuitry.

In 1958, Ed Gray left the Los Angles area in a hurry.

From 1958 to 1972 Marvin Cole, working alone, designed and built ever more powerful prototype engines, and it was a small one of these which was tested by Cal-Tech.   In this period, Marvin also developed ever more powerful power supplies, which are the really important item in all of this.

In 1967, Ed Gray rejoins Marvin Cole and together from 1967 to 1972, they solicited venture capital and promoted the technology.

Early in 1972, Marvin Cole disappeared and never saw Gray again. It is not clear if he was intimidated, died, or just did not want to be involved in all the publicity and effort needed to turn the prototype engines into a commercial product. No matter what the reason, the result was that Edwin Gray was suddenly disconnected from the brains behind the project, and that left him in a very difficult position. He didn't want to let go of the dream of becoming rich through this spectacular development, and so he tried to continue the development on his own.

As already mentioned, in May of the following year (1973), Gray had a small Marvin Cole motor independently third-party tested at the famous Cal-Tech laboratory in Los Angles, where a measured input of just 27 watts produced a measured output of 10 horsepower (7460 watts). The objective was to provide solid evidence of a new technology which was capable of changing the world and so would attract investors. To further boost his image and convince potential investors, in that same year of 1973, Edwin staged demonstrations which jumped electromagnets up into the air, showing the strength of the power which drove the Marvin Cole engines.

It is very important to understand that all of Edwin Gray's patents were applied for after the departure of Marvin Cole. These do not disclose the technology tested by Cal-Tech and it must be understood that Edwin was very much afraid of revealing anything important in any of the patents in case some other person would understand the things which were a mystery to him and snatch away the prize of commercial success. Try watching Peter Lindemann’s informative video here for considerable additional information.



Marvin Cole's power system produced "cold electricity" which could power lights and other devices. It was frequently demonstrated that the output was not conventional electricity and powered light bulbs which were placed under water and at the same time, it was quite safe for a hand to be put into that same water along with the lit bulb. The glass of the conventional bulbs used in these demonstrations would have shattered when placed under water if they had been powered by conventional "hot electricity" as the sudden change in temperature would have broken the glass. Powered as they were by "cold electricity", they ran cool and so there was no stress on the glass when submerged in water.

Peter Lindemann points out that Ed Gray’s power conversion tube circuit is effectively a copy of Nikola Tesla’s circuit for doing the same thing:


This was disclosed by Tesla in his ‘Philadelphia and St Louis’ lecture in 1893 and shows how loads can be powered when a high voltage source is pulsed by a magnetically-quenched sparks - this creates DC pulses of very short duration.


The diagram above, illustrates the difference between the Magnetic field generated around a conductor fed with a pulse of Direct Current and the Radiant Energy waves created by that pulse.   If a sharp current pulse is driven down a vertical wire, it causes two different types of field.   The first field is magnetic, where the lines of magnetic force rotate around the wire.   These lines are horizontal, and rotate clockwise when viewed from above.   The magnetic field remains as long as the current flows down the wire.

The second field is the Radiant Energy wave. This wave will only occur if the current pulse is in one direction, i.e. it will not occur if the wire is fed with alternating current.   The wave radiates out horizontally from the vertical wire in every direction in the form of a shock wave.   It is a one-off event and does not repeat if the current in the wire is maintained.   The Radiant Energy briefly unbalances the zero-point energy field and that causes an energy flow as the field moves back into equilibrium again.   A tiny fraction of this massive, brief energy flow can be picked up and that collected energy is more than 100 times greater than the energy needed to generate the spark which triggered the energy flow in the first place.   This is the energy which the tube was designed to collect.   Consequently, the tubes are fed with a train of high-intensity, short-duration, DC pulses to generate repeated waves of Radiant Energy.   It is the pick-up of the resulting excess energy which allows the motors run without the need for the batteries to be charged by any conventional source of current.

The Radiant energy wave is not restricted to a single plane as shown in the diagram above, which is intended to indicate the difference between the electromagnetic field circling around the wire, and the Radiant Energy field which radiates away from the wire.   Both of these fields occur at all points along the full length of the wire as shown here:


Radiant Energy, when converted to electrical power, produces a different kind of electrical power to that produced by batteries and by the mains supply.   Power a motor with conventional electricity and it gets hot under load.   Power the same motor by Radiant Energy electricity and under load the motor gets cold.   Really overload it by stalling it and the motor housing is likely to be covered with frost.   That is why this form of electricity is referred to as “cold” electricity.

In his book “Cold War Secrets - HAARP and Beyond”, Gerry Vassilatos quotes research work done in this area by Tesla and others:


Tesla’s Experiments:   In 1889 Tesla began experimenting with capacitors charged to high voltages and discharged in very short time intervals.   These very short pulses produced very sharp shockwaves which he felt across the front of his whole body.   He was aware that closing a switch on a high-voltage dynamo often produced a stinging shock.   This was believed to be static electricity and it occurred only at switch-on and only for a few milliseconds.   However, in those few milliseconds, bluish needles of energy stand out from the electrical cables and they leak to ground, often through the bodies of any people standing nearby, causing immediate death if the installation is large.   While the generators of that time were rated at some thousands of volts, these discharges were millions of volts in intensity.   The generator problem was eliminated by the used of highly insulated switches which were provided with a very large ground connection.


Tesla was intrigued by this phenomenon which appeared to match the effect of his capacitor discharges.   He calculated that the voltages produced were hundreds of times greater than could be supplied by the capacitor or generator.   It was clear that the power supplied was being amplified or augmented in some way, but the question was, from where was the extra energy coming?

Tesla continued to investigate through experiments, taking precautions against the high voltages being produced.   He was soon able to produce these shockwaves whenever he wanted to.   The shockwaves produced a stinging sensation no matter where he stood in his laboratory, and hands and face were particularly sensitive to the wave.   These waves radiated out and penetrated metal, glass and every other kind of material.   This was clearly not an electromagnetic wave, so he called the new wave ‘Radiant Electricity’.

Tesla searched the literature to find references to this radiant energy but he could not find much.   In 1842, Dr. Joseph Henry had observed that steel needles were magnetised by a Leyden Jar spark discharge located on a different floor of the building.   The magnetising wave had passed through brick walls, oak doors, heavy stone and iron flooring and tin ceilings to reach the needles located in a vault in the cellar.

In 1872, Elihu Thomson took a large Ruhmkorrf Spark Coil, attached one pole of the coil to a cold-water pipe and the other pole to a metal table top.   This resulted in a series of massive sparks which electrified the metal door knob of the room and produced the stinging shockwaves which Tesla was investigating.   He found that any insulated metal object anywhere in the building would produce long continuous white sparks discharging to ground.   This discovery was written up briefly in the Scientific American journal later that year.

Tesla concluded that all of the phenomena which he had observed, implied the presence of “a medium of gaseous structure, that is, one consisting of independent carriers capable of free motion - besides the air, another medium is present”.   This invisible medium is capable of carrying waves of energy through all substances, which suggests that, if physical, its basic structure is much smaller than the atoms which make up commonplace materials, allowing the stream of matter to pass freely through all solids.   It appears that all of space is filled with this matter.

Thomas Henry Moray demonstrated this energy flow passing through glass and lighting standard electric light bulbs.   Harold Aspden performed an experiment known as the “Aspden Effect” which also indicates the presence of this medium.   Harold made this discovery when running tests not related to this subject.   He started an electric motor which had a rotor mass of 800 grams and recorded the fact that it took an energy input of 300 joules to bring it up to its running speed of 3,250 revolutions per minute when it was driving no load.

The rotor having a mass of 800 grams and spinning at that speed, its kinetic energy together with that of the drive motor is no more than 15 joules, contrasting with the excessive energy of 300 joules needed to get it rotating at that speed.   If the motor is left running for five minutes or more, and then switched off, it comes to rest after a few seconds.   But, the motor can then be started again (in the same or opposite direction) and brought up to speed with only 30 joules provided that the time lapse between stopping and restarting is no more than a minute or so.   If there is a delay of several minutes, then an energy input of 300 joules is needed to get the rotor spinning again.

This is not a transient heating phenomenon.   At all times the bearing housings feel cool and any heating in the drive motor would imply an increase of resistance and a build-up of power to a higher steady state condition.   The experimental evidence is that there is something unseen, which is put into motion by the machine rotor.   That “something” has an effective mass density 20 times that of the rotor, but it is something that can move independently and take several minutes to decay, while the motor comes to rest in a few seconds.

Two machines of different rotor size and composition reveal the phenomenon and tests indicate variations with time of day and compass orientation of the spin axis.   One machine, the one incorporating weaker magnets, showed evidence of gaining strength magnetically during the tests which were repeated over a period of several days.

This clearly shows that there is an unseen medium which interacts with everyday objects and actions, and confirms Tesla’s discovery.   Tesla continued to experiment and determined that a very short uni-directional pulse is necessary to generate the radiant energy wave.   In other words, an alternating voltage does not create the effect, it has to be a DC pulse.   The shorter the pulse time and the higher the voltage, the greater the energy wave.   He found that using a capacitor and an arc discharge mechanism with a very powerful permanent magnet placed at right angles to the spark, improved the performance of his equipment by a major factor.

Additional experiments showed that the effects were altered by adjusting the duration of the electrical pulse.   In each instance, the power of the radiated energy appeared to be constant irrespective of the distance from his apparatus.   The energy was in the form of individual longitudinal waves.   Objects placed near the equipment became powerfully electrified, retaining their charge for many minutes after the equipment was switched off.

Tesla was using a charging dynamo as a power source and he found that if he moved his magnetic discharger to one side of the dynamo, the radiant wave was positive.   If he moved the magnetic discharger towards the other side of the dynamo, the radiant wave became negative in sign.   This was clearly a new electrical force which travelled as light-like rays, showing them to be different in nature to the electromagnetic waves of Maxwell.

Investigating the effects of adjusting the duration of the pulses, Tesla found that a pulse train which had individual pulses with durations exceeding 100 microseconds, produced pain and mechanical pressures.   At this duration, objects in the field visibly vibrated and were even pushed along by the field.   Thin wires subjected to sudden bursts of the radiant field, exploded into vapour.   When the pulse duration was reduced to 100 microseconds or below, the painful effect was no longer felt and the waves are harmless.

With a pulse duration of 1 microsecond, strong physiological heat was felt.   With even shorter pulse durations, spontaneous illuminations capable of filling rooms with white light, were produced.   Even shorter pulses produced cool room penetrating breezes with an accompanying uplift in mood and awareness.   These effects have been verified by Eric Dollard who has written about them in some detail.

In 1890, Tesla discovered that if he placed a two-foot long single-turn deep copper helix coil near his magnetic disrupter, the thin-walled coil developed a sheath of white sparks with long silvery white streamers rising from the top of the coil.   These discharges appeared to have much higher voltages than the generating circuit.   This effect was greatly increased if the coil was placed inside the disrupter wire circle.   The discharge seemed to hug the surface of the coil with a strange affinity, and rode up its surface to the open end.   The shockwave flowed over the coil at right angles to the windings and produced very long discharges from the top of the coil.   With the disrupter charge jumping one inch in its magnetic housing, the coil streamers were more than two feet in length.   This effect was generated at the moment when the magnetic field quenched the spark and it was wholly unknown at that time.

This train of very short uni-directional pulses causes a very strange field to expand outwards.   This field resembles a stuttering electrostatic field but has a far more powerful effect than would be expected from an electrostatic charge.   Tesla was unable to account for the enormous voltage multiplication of his apparatus using any of the electrical formula of his day.   He therefore presumed that the effect was entirely due to radiant transformation rules which would have to be determined through experimental measurements.   This he proceeded to do.

Tesla had discovered a new induction law where radiant shockwaves actually auto-intensified when encountering segmented objects.   The segmentation was the key to releasing the action.   Radiant shockwaves encountered a helix and “flashed over” the outer skin, from end to end.   This shockwave did not pass through the windings of the coil but treated the surface of the coil as a transmission path.   Measurements showed that the voltage increase along the surface of the coil was exactly proportional to the length travelled along the coil, with the voltage increase reaching values of 10,000 volts per inch of coil.   The 10,000 volts which he was feeding to his 24 inch coil were being magnified to 240,000 volts at the end of his coil.   This was unheard of for simple equipment like that.   Tesla also discovered that the voltage increase was mathematically linked to the resistance of the coil winding, with higher resistance windings producing higher voltages.

Tesla then began to refer to his disrupter loop as his special “primary” and to the long helical coil as his special “secondary” but he never intended anyone to equate these terms to those referring to electromagnetic transformers which operate in a completely different way.

There was an attribute which baffled Tesla for a time.   His measurements showed that there was no current flowing in the long copper ‘secondary’ coil.   Voltage was rising with every inch of the coil, but there was no current flow in the coil itself.   Tesla started to refer to his measured results as his “electrostatic induction laws”.   He found that each coil had its own optimum pulse duration and that the circuit driving it needed to be ‘tuned’ to the coil by adjusting the length of the pulses to give the best performance.

Tesla then noticed that the results given by his experiments paralleled the equations for dynamic gas movements, so he began wondering if the white flame discharges might not be a gaseous manifestation of electrostatic force.   He found that when a metal point was connected to the upper terminal of the ‘secondary’ coil, the streamers were directed very much like water flowing through a pipe.   When the stream was directed at distant metal plates, it produced electronic charges which could be measured as current at the receiving site but in transit, no current existed.   The current only appeared when the stream was intercepted.   Eric Dollard has stated that this intercepted current can reach several hundred or even thousands of amps.

Tesla made another remarkable discovery.   He connected a very heavy U-shaped copper bar directly across the primary of his disrupter, forming a dead short-circuit.   He then connected several ordinary incandescent filament bulbs between the legs of the U-shaped bar.   When the equipment was powered up, the lamps lit with a brilliant cold white light.   This is quite impossible with conventional electricity, and it shows clearly that what Tesla was dealing with was something new.   This new energy is sometimes called “cold electricity” and Edwin Gray snr. demonstrated how different it is by lighting incandescent-filament bulbs directly from his power tube, submerging them in water and putting his hand in the water.   Cold electricity is generally considered to be harmless to humans.   Ed Gray’s power tube operates by generating radiant electricity waves by using a spark gap, and collecting the energy using three encasing copper cylinders surrounding the spark gap.   The cylinders are drilled with many holes as that enhances the pick-up and the load is driven directly from the current in the cylinders.   When lighting bulbs, Ed used an air-cored transformer made of just a few turns of very heavy wire.   I, personally, am aware of two people who have independently reproduced Ed’s power tube.

Tesla viewed the streamers coming off his coils as being wasted energy so he tried to suppress them.   He tried a conical coil but found that this accentuated the problem.   He then tried placing a copper sphere at the top of his coil. This stopped the streamers but electrons were dislodged from the copper sphere, creating really dangerous conditions.   This implied that metals generate electron flows when struck by the coil streamers (as had been seen when the streamers had been aimed at remote metal plates and current was generated as a result).

Tesla designed, built and used large globe lamps which required only a single external plate for receiving the radiant energy.   No matter how far away these lamps were from the radiant source, they became brilliantly lit, almost to the level of an arc lamp and far, far brighter than any of the conventional Edison filament lamps.   By adjusting the voltage and the pulse duration of his apparatus, Tesla could also heat or cool a room.

Tesla’s experiments suggest that a method of extracting free-energy is to use a Tesla coil which has a metal spike instead of the more common metal sphere at the end of the ‘secondary’ coil. If the Tesla coil is fed with sufficiently short uni-directional pulses and the ‘secondary’ coil pointed at a metal plate, then it should be possible to draw off serious levels of power from the metal plate, just as Tesla discovered. This has been confirmed by Don Smith who uses two metal plates separated by a layer of plastic dielectric, forming a capacitor. He states that a well designed Tesla coil is capable of producing currents as high as the voltages and he demonstrates a hand-held 28 watt Tesla Coil played on the first plate producing a substantial continuous spark discharge between the second plate and ground. I estimate that the spark produced would have to be thousands of volts at a significant current, which puts it in the kilowatt range, like most of Don's other devices.   Don's video   Don's patent is in Chapter 3 and here is Don's pdf document in which he explains many of his high-power designs.


Don also points out that the positioning of the primary coil relative to the secondary coil of a Tesla Coil determines the amount of current which can be provided. Contrary to most opinion, it is possible to have Tesla Coil current as high as the voltage. Don always stresses that you have the option of picking the electrical component (as conventional science has done) which leads to "heat death" while the alternative option of selecting the magnetic component makes "the world your oyster". With a magnetic ripple imposed on the zero-point energy field, which Don prefers to call the 'ambient background energy', you can make as many electric conversions as you wish, without depleting the magnetic event in any way. In other words, you can draw off serious amounts of current from capacitor plates positioned at right angles to the magnetic flow, and every additional pair of plates gives you an additional source of major current without any need to increase the magnetic disturbance in any way. With his single metal plate, Tesla mentioned currents of a thousand amps being available. Please remember that a Tesla Coil produces seriously high voltages and is not a toy. Great care is needed around a Tesla Coil so, when it is running, keep well away from it.

Don also states that the collection and transfer of energy requires temporary storage which occurs as the capacitors and coils of a resonant circuit are cycled on and off. The frequency at which the capacitors and coils are pumped, determines the amount of electrical energy that moves onwards. The amount of Energy transferred relates directly to the density of lines of magnetic flux present. The Kinetic Energy formula is helpful in establishing the amount of energy present. This formula points to mass multiplied by the square of the velocity. In the case of electrical energy, intensity of voltage and amperes multiplied by cycles per second, replace velocity. Note that the "acceleration" of the Voltage and the Amperage, increases in a non-linear fashion as the Law of Squares applies, with each unit of increase causing a squaring of the flux lines present. In resonant air-core coil energy transfer, the increase in flux lines present disturbs more electrons than previously and this results in greater output energy than input energy being present and available.

Energy stored, multiplied by the cycles per second, is the energy being pumped by the system. Capacitors and inductors (coils) temporarily store electrons.

Capacitor formula:  W = 0.5 x C x V2 x Hz  where:

	W is the energy in Joules (Joules = Volts x Amps x seconds)
	C is the capacitance in Farads
	V is the voltage
	Hz is the cycles per second

Inductor formula:  W = 0.5 x L x A2 x Hz  where:

	W is the energy in Joules
	L is the inductance in Henrys
	A is the current in amps
	Hz is the frequency in cycles per second

Both one Henry and one Farad equal one volt. The higher the frequency, including the squaring of the flux lines, causes a large increase in the amount of energy being produced. This, combined with the use of a resonant energy induction system (all electrons moving in the same direction at the same time), make the move into COP>1 practical.

The damping process of conventional electrical power generation, has all of the available electrons bouncing randomly, mostly cancelling out each other, and so the useful energy available is only a very small percentage of the energy which is present. In a resonant induction system, a very high percentage of the energy present is useful. When resonant, (ohms-impedance-Z) becomes zero and all of the energy present becomes available, undegraded. Ohms is load or wasted energy and amperes is the rate of that wasting.

Now, apply this information to an air-core coil resonant transformer energy system. L-1 and L-2 coils are now present. L-1 has fewer turns and is several times the diameter of L-2. Input from a 12-volt 'gelcel' high-voltage laser module, produces 8,000 volts with low (wasted energy) amperage into 4 turns of coil L-1. Each turn of L-1 then acquires 2,000 volts of resonant potential. Each turn of L-2 is then exposed to an electric flux of 2,000 volts. Each turn at the bottom end of L-2 acquires 2,000 volts. The flux lines are squared and are additive as the voltage and amperage progress towards the top end of L-2's many turns.

A huge number of flux lines which were not previously present, occur at the top end of L-2. These flux lines excite the electrons nearby in it's earth and air and groundings. This high level of excitement above the ambient, causes a large number of electrons to become available, electrons which previously, were not part of the energy present. At this point, large amounts of excess energy is present. This COP>1 device produces energy at radio frequencies in the megahertz range and this allows it to be small in size and yet produce large amounts of energy. A megawatt sized unit will sit comfortably on a breakfast table. The energy is changed to direct current, and then, to the desired working frequency.

The energy powering these devices is drawn from the surrounding energy field and is not conventional electricity and it does not flow through the wire of the ‘secondary’ coil, but instead, it runs along the outside of the coil and through space to strike the surface of the metal plate, where it generates conventional electric current. Thomas Henry Moray demonstrated that this energy flowing along the outside of the wire can pass through glass without being affected in any way.

In his 1995 paper Don Smith presents the following diagram:


While Tesla’s experiment used a metal plate, he patented (US 512,340) a coil type which he said is very effective in picking up this radiant energy. This "pancake" coil type goes by the rather impressive name of “bi-filar serial-connected coil”, which, despite it's impressive name is not difficult to wind using two separate strands of wire as shown here:


If a strong magnetic field is positioned across the spark gap as shown above, it sharpens the cut-off of the spark and enhances the uni-directional character of the pulse of current.   It should be remembered that if a very short sharp pulse of uni-directional current such as is produced by a spark jumping across a spark gap as in the arrangement shown above, occurs in a conductor, then a strong wave of radiant energy radiates out in a plane at right angles to the pulse of current.

This radiant energy wave is quite different from the electromagnetic field generated around the wire carrying the pulse of current. In the Tesla coil arrangement shown above, it should be possible to gather additional free energy through one or more co-axial (like layers of an onion) cylindrical coils around the spark gap leads. These coils will work better if they are wound as bi-filar, serially-connected coils. The reason for this is that the self induction of the coils can be zero at any particular frequency because a Tesla pancake (or cylindrical) coil can act as a resonant coil at one particular frequency. This effect is because the capacitance between adjacent turns of the coil is dramatically altered by the raised voltage difference produced by the winding method, and as a result, the combined capacitance of all the turns along with the coils self inductance, gives a result where the coil appears to have just magnetic and resistance characteristics and no self-inductance at all, as pointed out in Tesla’s US 512,340 patent.

Tesla was granted US Patent 685, 957 “Apparatus for the Utilisation of Radiant Energy” in which he shows various ways of handling the energy collected by the metal plate.   It is likely that the pick-up techniques shown in the patent of Hermann Plauston, which is in the Appendix, would also work very effectively with this collected energy.   Old patents sometimes mention a “condenser” which is the original term for what is nowadays called a “capacitor”.

After careful consideration and many experiments, Tesla concluded that the radiant rays which he was utilising, radiated out so rapidly that electrons were unable to keep up with them.   The rays were being carried via a medium consisting of extremely mobile, almost mass-less particles, very much smaller than electrons and which, because of their size and speed, could pass easily through most materials.   In spite of their small size, their extreme speed caused them to have considerable momentum.   A fact which is very difficult to come to terms with is that these rays seem to propagate outwards instantly, with no time delay at all, as if transmitted through matter which is wholly incompressible.   It is sometimes called “Radiant Energy” or “RE” for short and appears to have no net charge in conventional terms.   This is a unique feature of the universe, with unique characteristics, which if utilised, provides a whole host of new applications and capabilities.

Tesla considered that this newly discovered field acted like a fluid.   A hundred and fifteen years later, the cover story of the December 2005 edition of the ‘Scientific American’ journal states that experimental models hint that space-time could be a kind of fluid.   It has taken a long time for modern science to start catching up with Tesla.   In actual fact, it was Michael Faraday (1781 - 1867) who came up with the idea in the first place.


The Alberto Molina-Martinez Generator.   US patent application US 20020125774 of 6th March 2002, shows a self-powered electrical generator.   Like that used by Bob Boyce, this is a toroidal (ring-shaped) frame with several windings on it, as shown in the diagram below.   Once it has been powered up with AC mains frequency voltage, it produces so much power that it can supply it’s own input power requirement as well as powering other loads such as lightbulbs.   This patent application is shown in full in the Appendix.

It is said that the Toroid device built by Stephen Mark and shown in web videos, is a replication of this generator design.   This forum is dedicated to replicating Stephen Mark’s device and considerable progress has been made.   This group is operating on the basis that instead of a metallic toroid core as shown here, that a Mobius-loop toroidal wire core is used.   At this point in time, their efforts have not yet produced a circuit which exhibits a COP>1 performance

You will notice that very many different devices, aimed at doing different things, all operate by generating very sharp DC pulses

So, a wide range of different devices have the same background technique for making them work.   Meyer used the pulsing for water-splitting in a hydroxy gas cell. Bedini uses the pulsing to charge batteries with cold electricity.   Tesla used the pulsing to charge batteries, provide heating, cooling and lighting.   Boyce uses pulsing to obtain electrolysis at 1,200% of Faraday’s stated maximum rate of electrolysis.   Gray used the pulsing to capture cold electricity to drive a powerful electric motor.   Many different applications all based on using very short, very sharp, high-voltage pulses.





Alfred Hubbard.  At Portage Bay on Lake Union, Seattle, Washington in America, Alfred Hubbard, an acquaintance of Nikola Tesla, demonstrated in 1919 a self-powered electricity generator design. The generator was about 14 inches (350 mm) tall and 11 inches (280 mm) in diameter. It powered a 35 H.P. electric motor, which pushed an 18-foot boat which contained no batteries, continuously around the bay for several hours. This demonstration was witnessed by thousands and ended because the wiring was beginning to overheat. It was said that the cable used contained seven strands of 0.09-inch (2.286 mm) diameter. Each of those strands would be able to carry 12 amps and so if this is correct, the cable had a current-carrying capacity of about 84 amps. The diameter of the wire including the insulation was said to be 0.34 inches (8.5 mm). The inner core was said to be made of a pipe containing 16 iron rods with 43 turns of wire around it, which if correct, would suggest 43 turns in 14 inches or 3 turns per inch, implying a cylindrical coil with the turns side by side, touching each other.

However, a great deal of misleading information, not to mention a good deal of speculation has been spread around concerning the Hubbard design, which Alfred took three years to develop. Several years after the demonstration, when Hubbard was employed by the Radium Company, he said that radium was used in the device, which is something which I personally, find very hard to believe, and strongly suspect that Hubbard was persuaded to say that by his employers who were selling radium at that time.

Hubbard made a sketch of one of his smaller generators which was used for ordinary household electrical appliances and that showed a very simple design which had eight cylindrical primary coils each of which was wound on a solid iron bar and connected in series. These primary coils surrounded a slightly larger secondary coil of some 35 turns wound around a hollow tube filled with metal bars or wires (presumably of soft iron). This smaller device was about six inches (150 mm) tall (maximum wire diameter 4 mm including the insulation) and about five inches (125 mm) in diameter. Each core had only one layer of thick insulated wire and not many turns were used.

I understand that when a patent was applied for, the patent application was seized and a spurious “Of National Security Importance” order slapped on it, acting as an unlawful gag order on Hubbard, prohibiting him from ever developing, using, showing or selling it or anything akin to it. The US Patent Office is a privately owned commercial company, and while they will probably be using the design themselves, they certainly have no intention of ever allowing the public to have access to it as energy freedom is a major step towards complete freedom. Consequently, we know next to nothing about Hubbard’s successful design.

The general arrangement might have been something vaguely like this:


In Joseph Cater’s book “The Awesome Life Force” he attempts to explain the theory of its operation, but it must be clearly understood that what Cater says is just speculation on his part as Hubbard’s actual design was never disclosed publicly.

What Cater says is certainly plausible, and even if it is not Hubbard’s design, it is worth investigating and experimenting with. The mechanism put forward by Cater is based on the well-known and widely accepted graph of the magnetisation of soft iron versus applied levels of magnetic force. This graph is highly non-linear and the central section of the graph rises steeply, indicating that there is a considerable increase in the magnetisation of the iron for relatively little increase in energy input.

Cater stresses that the input waveform should be pulsating DC. The method of applying pulsing DC is then, almost the same as for the Clemente Figuera design shown in chapter 3, with an offset base level of DC current flow which needs to be maintained at all times.

Here is the magnetisation graph for soft iron:


Fig. 29 shows a graph of the magnetisation of an iron core plotted against ampere turns per unit length. The term “ampere turns” is the number of turns of the coil per unit length of the coil multiplied by the number of amps of current flowing through the coil.

The steep section of the curve appears to start at around 3.5 Tesla, and so, a constant DC current in the magnetising (Hubbard primary) coil needs to provide that level of magnetisation at all times, and the applied pulsing DC half-sinewave waveform applied on top of that and since the induced EMF in a coil is directly proportional to the rate of change of magnetic flux, it follows that the higher the frequency of this sine wave supply, the better. Using a ramp waveform might well be more effective.

Normal working transformers have ampere-turns which are well below this critical point. The additional EMF induced in the coils by the magnetisation of the iron offsets the natural inductive impedance of the coils. This is why transformers have such a high degree of efficiency. If any material other than iron or special steel were used for the core, the efficiency would drop significantly. Hubbard used part of the output power to provide the input power, and so he only needed to provide input power for less than a second to get the device running. The power supply might well be of this nature:



Here, instead of letting the high frequency rectified sine wave (or ramp generator signal) reach zero volts, and additional DC current supply is maintained, and while the signal generator pulses add to the overall voltage applied to the device, the voltage is never allowed to reach zero.

There is possibly another factor which could contribute to the success of the Hubbard device. At that time, the only insulated wire available had thick and heavy insulation. This means that adjacent turns of wire in the coil were separated by a distance equal to twice the thickness of the insulation. Consequently, the gap resulted in a cancellation of magnetic effects produced by electrons flowing in the wire. Since inertia is dependent on the ability to generate a magnetic field, the inertial properties of the electrons would be almost nullified.

There is an optimum distance between the wires which would produce the maximum effect. It seems likely that the thick insulation on Hubbard’s wire produced this optimum distance. Most of the resultant magnetic field was that which encircled both wires and that would be the weaker part of the field. This means that a relatively low EMF could accelerate a larger number of electrons to a high velocity during a very short period of time. As the electrons leave the coil, inertia returns. This would result in a backup of a high concentration of electrons in the coil. Since electrostatic repulsion is not affected, electrons would be ejected from the coil at a high velocity despite their increased inertia. This would produce an output of both high voltage and high amperage:


Joseph Cater’s Version of the Hubbard Generator.
Although containing conflicting information, there is what appears to be an implementation of the Hubbard coil system, or perhaps a very closely related device from Joseph H. Cater. As usual, information on it is limited and not particularly clear, so the following is just my attempt to piece together some information from different sources. Much of this information comes from a document which has Geoff Egel’s name on it and although it seems likely that Geoff is quoting some other source, my thanks goes to him for sharing what we have here. The diagrams give the names of various minor websites none of which exist any longer and so these have been removed as they have no useful purpose any longer. Here is an original diagram from this information:


As it seems to me that there are many conflicting details in this information, I am presenting it here in pretty much the same form in which it reached me. You will notice that the composite central coil is now presented as the secondary rather than the primary. It should be stressed that Hubbard never disclosed his design publicly and so this, and similar information elsewhere, has to be considered to be guesswork.


The Self-powered Generator of André Coutier
Some twelve years after Hubbard’s public demonstration, on 12th January 1933, André Coutier was awarded patent FR739458 which is entitled Self-generating Electrical Generator. This design is so similar to the Hubbard device that it seems very likely that it IS the Hubbard device under a different name.

Description
The apparatus is composed of a closed magnetic circuit (Fig.1)


consisting of one soft iron central core coil, surrounded by a number of smaller diameter soft-iron cored coils. While the diagram shows six coils, that is not a fixed number. The smaller diameter coils have the same number of wire turns wound around them and so each of those small coils produces the same current as that which flows in the coil wound around the large inner coil. The cross-sectional core areas of the satellite coils is set to be the same as the cross-sectional area of the central coil core.

The overall design is very simple as shown here:


According to the patent, each of the surrounding coils has an output current equal to that of the central coil. So, if a current of say, 1 amp, is fed to the central coil, then each of the six surrounding coils will have an output current of 1 amp. As the six output coils are wired in parallel, the output current should be 6 amps, giving a COP value of 6 or if you prefer, an electrical efficiency of 600%.

No system is 100% efficient as there are some losses from the wire resistance, the heating of the wire, eddy currents flowing sideways in the iron cores, etc. in each coil. So, the overall efficiency will be less than 600% but the overall energy gain will still be substantial. The voltage remains essentially unchanged but please remember that as the current increases, so must the wire diameter in order to carry that increased current.

Coutier uses three of these coil sets as part of his arrangement and he then takes off a controlled amount from the output to provide the needed input for the system:


The output is alternating current. Coutier chooses to use an isolating transformer in his feedback control which feeds the necessary input current to his oscillator circuit. He also uses a mechanical vibrator as his oscillator as way back in 1933 there were no readily available semiconductors. His overall circuit diagram uses infinity symbols to indicate Alternating Current and it looks like this:


An attempted translation of the patent text is:

The device consists of a closed magnetic circuit (fig. 1) consisting of one central core of soft iron, in the shape of a cylinder. There are N similar satellite cores, set parallel to the central core and placed in a circle around the central core. The central core is an inductive coil with the number of turns required to achieve saturation of the magnetic circuit with the chosen inductive current. Each of the satellites coils has the same number of turns as there are in the central core coil.

Given the particular provision of the magnetic circuit, each of the satellite coils is an isolated transformer and so the current induced in each of the satellite windings has the same power as the central coil current. Thus, the unit produces a multiplication of electrical energy. As the output energy exceeds the initial input energy, we see immediately the opportunity to use some of the output energy to provide the necessary input energy on a continuous basis.

The device used for the industrial model of the perpetual self-powered electricity generator, established for use in industry, maritime and river navigation, and traction on railways, is shown schematically in Fig.2.

Three multiplier devices (there can be any number of these devices) are combined in series, so that the core e of one circuit is powered by electricity from the combined satellite circuits f, of the previous device. The satellite coils of set 1 feed the central coil of set 2. Similarly, the set 2 satellite circuits feed the central coil of set 3.

Each unit with 6 satellites (there can be any number of satellites) determine the factor of power amplification of each set, and in this case it is 6. With the three coil sets shown, the power amplification is 6 x 6 x 6 = 216 times the input power.

It is easy, using an output power tap and the rheostat h, to provide the energy required as the input current. The coil i is magnetically linked to coil j, as they are mounted on the same core and they form a 1-to-1 ratio transformer. The output of coil j is used to operate a buzzer k whose AC coil output is used to feed the central coil e of the first power multiplier circuit.

The device also includes two batteries l and m - which are intended to deal with any eventuality. One battery can be charged while the other is available for use if there is an accidental stop of the generator.

Claims
Multiplication of electrical energy carried out by induction of satellite windings, grouped in a circle around an inductive central winding. The sum of the cross-sectional areas of the satellite cores is equal to the cross-sectional area of the central core. Self-generating perpetual electrical energy is achieved by taking energy from the last multiplier and using it to provide the input current.



Floyd Sweet’s VTA.   Another device in this category of pulsed devices which tap external energy was produced by Floyd (“Sparky”) Sweet.   The device was dubbed “Vacuum Triode Amplifier” or “VTA” by Tom Bearden and the name has stuck, although it does not appear to be a particularly accurate description.   There is very little practical information available on this device, though there is a video of it in operation on the web.


The device was capable of producing more than 1 kW of output power at 120 Volts, 60 Hz and is self-powered.   The output is energy which resembles electricity in that it powers motors, lamps, etc. but as the power increases through any load there is a temperature drop instead of the expected temperature rise.

When it became known that he had produced the device he became the target of serious threats, some of which were delivered face-to-face in broad daylight.   It is quite possible that the concern was due to the device tapping zero-point energy, which when done at high currents opens a whole new can of worms.   One of the observed characteristics of the device was that when the current was increased, the measured weight of the apparatus reduced by about a pound.   While this is hardly new, it suggests that space/time was being warped.   The German scientists at the end of WWII had been experimenting with this (and killing off the unfortunate people who were used to test the system) - if you have considerable perseverance, you can read up on this in Nick Cook’s inexpensive book “The Hunt for Zero-Point” ISBN 0099414988.

Floyd found that the weight of his device reduced in proportion to the amount of energy being produced.   But he found that if the load was increased enough, a point was suddenly reached where a loud sound like a whirlwind was produced, although there was no movement of the air.   The sound was heard by his wife Rose who was in another room of their apartment and by others outside the apartment.   Floyd did not increase the load further (which is just as well as he would probably have received a fatal dose of radiation if he had) and did not repeat the test.   In my opinion, this is a potentially dangerous device.   It should be noted that a highly lethal 20,000 Volts is used to ‘condition’ the magnets and the principles of operation are not understood at this time.   Also, there is insufficient information to hand to provide realistic advice on practical construction details.

On one occasion, Floyd accidentally short-circuited the output wires.   There was a bright flash and the wires became covered with frost.   It was noted that when the output load was over 1 kW, the magnets and coils powering the device became colder, reaching a temperature of 20 degrees Fahrenheit below room temperature.   On one occasion, Floyd received a shock from the apparatus with the current flowing between the thumb and the small finger of one hand.   The result was an injury akin to frostbite, causing him considerable pain for at least two weeks.

Observed characteristics of the device include:

1. The output voltage does not change when the output power is increased from 100W to 1 kW.
2. The device needs a continuous load of at least 25W.
3. The output falls in the early hours of the morning but recovers later on without any intervention.
4. A local earthquake can stop the device operating.
5. The device can be started in self-powered mode by briefly applying 9 Volts to the drive coils.
6. The device can be stopped by momentary interruption of the power to the power coils.
7. Conventional instruments operate normally up to an output of 1 kW but stop working above that output level, with their readings showing zero or some other spurious reading.

It appears that Floyd’s device was comprised of one or two large ferrite permanent magnets (grade 8, size 150 mm x 100 mm x 25 mm) with coils wound in three planes mutually at right angles to each other (i.e. in the x, y and z axes).   The magnetisation of the ferrite magnets is modified by suddenly applying 20,000 Volts from a bank of capacitors (510 Joules) or more to plates on each side of it while simultaneously driving a 1 Amp 60 Hz (or 50 Hz) alternating current through the energising coil.   The alternating current should be at the frequency required for the output.   The voltage pulse to the plates should be applied at the instant when the ‘A’ coil voltage reaches a peak.   This needs to be initiated electronically.

It is said that the powering of the plates causes the magnetic material to resonate for a period of about fifteen minutes, and that the applied voltage in the energising coil modifies the positioning of the newly formed poles of the magnet so that it will in future, resonate at that frequency and voltage.   It is important that the voltage applied to the energising coil in this ‘conditioning’ process be a perfect sinewave.   Shock, or outside influence can destroy the ‘conditioning’ but it can be reinstated by repeating the conditioning process.   It should be noted that the conditioning process may not be successful at the first attempt but repeating the process on the same magnet is usually successful.   Once conditioning is completed, the capacitors are no longer needed.   The device then only needs a few milliwatts of 60 Hz applied to the input coil to give up to 1.5 kW at 60 Hz at the output coil.   The output coil can then supply the input coil indefinitely.

The conditioning process modifies the magnetisation of the ferrite slab.   Before the process the North pole is on one face of the magnet and the South pole on the opposite face.   After conditioning, the South pole does not stop at the mid point but extends to the outer edges of the North pole face, extending inwards from the edge by about 6 mm.   Also, there is a magnetic ‘bubble’ created in the middle of the North pole face and the position of this ‘bubble’ moves when another magnet is brought near it.

The conditioned slab has three coil windings:

1. The ‘A’ coil is wound first around the outer perimeter, each turn being 150 + 100 + 150 + 100 = 500 mm long (plus a small amount caused by the thickness of the coil former material).   It has about 600 turns of 28 AWG (0.3 mm) wire.

2. The ‘B’ coil is wound across the 100 mm faces, so one turn is about 100 + 25 + 100 + 25 = 250 mm (plus a small amount for the former thickness and clearing coil ‘A’).   It has between 200 and 500 turns of 20 AWG (1 mm) wire.

3. The ‘C’ coil is wound along the 150 mm face, so one turn is 150 + 25 + 150 + 25 = 350 mm (plus the former thickness, plus clearance for coil ‘A’ and coil ‘B’).   It has between 200 and 500 turns of 20 AWG (1 mm) wire and should match the resistance of coil ‘B’ as closely as possible.

Coil ‘A’ is the input coil. Coil ‘B’ is the output coil. Coil ‘C’ is used for the conditioning and for the production of gravitational effects.


At time of writing, information and photographs of the original device can be found on this website where a paper by Michael Watson gives much practical information.   For example, he states that an experimental set up which he made, had:
The ‘A’ coil with a resistance of 70 ohms and an inductance of 63 mH,
The ‘B’ coil, wound with 23 AWG wire with a resistance of 4.95 ohms and an inductance of 1.735 mH, and
The ‘C’ coil, also wound with 23 AWG wire, with a resistance of 5.05 ohms and an inductance of 1.78 mH.





Rosemary Ainslie.
As Kevin Ashton states in his book How To Fly A Horse, 16th April 1958 saw the death of the scientist Rosalind Franklin at the age of thirty-seven. Rosalind was a talented X-ray crystallographer working on the problem of how viruses reproduce (essentially, how life works, as her work was understanding the mechanics of life). The following day the World’s Fair opened in Brussels with the main attraction being a scale model of a virus. That model was built by Rosalind as she was dying.

She held a research position at the University of London, and later, an appointment, at Birkbeck College, where she studied the tobacco mosaic virus. For a long time, the only people who knew what she had really accomplished were the three men who had secretly stolen her work: James Watson, Francis Crick, and Maurice Wilkins. Watson and Crick were researchers at Cambridge University. Wilkins had been at King’s College. All three men wanted to be first to answer the question of the age: what is the structure of DNA, the acid that carries the information of life, and how does it work?

Rosalind Franklin was educated at Cambridge University’s Newnham College. Had she been born a few generations earlier, she would not have been admitted to Cambridge. Even when women were admitted, the university believed that women were not equal to men and despite being placed first in the university’s entrance exam for chemistry, Franklin could not be a member of the university or an undergraduate. Women could not earn a degree. The number of women allowed to attend Cambridge was capped at five hundred, to ensure that ninety percent of students were men. Science, while pretending to be dispassionate and rational, has long been an active oppressor of women. Britain’s ‘Royal Society’ of scientists barred women for almost three hundred years, on grounds including the argument that women were not “legal persons”.

This disgraceful attitude was, and still is, widespread. Lise Meitner discovered nuclear fission only to see her collaborator Otto Hahn receive the 1944 Nobel Prize for her work. Things have changed little since then. This is not because women have less aptitude for science than men have. For example, Rosalind Franklin took better pictures of DNA than anyone had taken before, then used a complex mathematical equation called the “Patterson function” to analyse them. The equation, developed by Arthur Lindo Patterson in 1935, is a classic technique in X-ray crystallography. The two main properties of electromagnetic waves are their intensity, or “amplitude,” and their length, or “phase”. The image created by an X-ray shows amplitude but not phase, which can also be a rich source of information. The Patterson function overcomes this limitation by calculating the phase based on the amplitude. In the 1950s, before computers or even calculators, this work took months. Franklin had to use a slide rule, pieces of paper, and hand calculations to work out the phases for every image, each one of which represented a slice of the three-dimensional crystal molecule which she was analysing. While Rosalind Franklin was concluding this work, without her consent or knowledge, Maurice Wilkins showed her data and pictures to James Watson and Francis Crick. Watson and Crick leapt to the conclusion which Franklin was diligently proving, that the structure of DNA was a double helix. They published it, and shared the Nobel Prize with their secret source, Wilkins. When Rosalind Franklin died, they still did not credit her.

This attitude to women scientists does not appear to have changed much and the reluctance of humans as a whole to accept anything new in science is widespread. Not only science is opposed to women. The very successful book Fifty Shades of Grey was published under the name “E L James” as the author Erika Mitchell stated that she wanted her pen name to avoid implying that the author was a woman. Is it a major stretch of imagination that the highly successful Harry Potter series of books by Joanne Rowling was published under the name “J K Rowling” which also avoids any indication of gender?

I, personally, was never in any doubt that Rosemary Ainslie would encounter fanatical opposition to her scientific paper, not just because “scientists” (for want of a better word) are unwilling to accept her simple system with vastly more power output than the user’s power input, but also because of the (highly offensive) opposition to women scientists.

Rosemary Ainslie has produced a pulsed heater system which has been measured at a performance of COP = 17. This is a recent design and as far as I am aware, has not yet been replicated by other people. Panacea-bocaf.org are working with Rosemary's original developers to produce an independent implementation of the heater. At this point in time, the heater has been built to a prototype testing scale for laboratory examination and measurement and not been produced in the kilowatt range, which, hopefully, will come at a later date.

Panacea have produced a 250-page document describing the research, the testing, the theory, etc. and that can be downloaded free using this link.

As that document contains the details which scientists need to see for serious testing and development, it may be a little technical for some people, so Panacea have produced a simplified version aimed at the average home-build investigator and that can be downloaded free using this link.

In very broad outline, the circuit produces the same very short, very sharp voltage pulses that are the basis for so many "free-energy" devices. The circuit used looks very simple but in spite of that, the way that it operates is not at all simple. The circuit is shown below and to a quick glance, it looks like a standard 555 timer chip circuit, used in many existing applications. However, if the circuit is operated as a 555 pulsing circuit, then the output is not COP>1.

Looking more closely, we notice that the link between the output of the 555 chip on pin 3 and the input gate pin of the Field-Effect Transistor, is unusual as it is not the usual voltage divider between pin 3 and the 0-volts ground line. Instead, the gate is directly coupled to the 555 chip output by a single, low-resistance preset resistor.

Normally, an NE555 chip struggles to reach 50,000 cycles per second and a large number of 555 chips on the market can't even operate at even that frequency. To get Rosemary's circuit into it's COP>1 operation, the resistor marked "GATE" is adjusted very slowly to find the point at which the circuit becomes unstable, over-rides the normal operation of the 555 chip and starts oscillating at the resonant frequency of the overall circuit, forcing the 555 chip to become a feedback component. The circuit then produces the sharp, short voltages spikes at more than ten times the operating speed of the 555 chip and pulsing the 10-ohm heating element marked "LOAD" at about 500,000 pulses per second.

That rate of operation is clearly well outside the possible performance of an NE555 chip, besides which, the timing elements of the chip should be producing a much lower frequency, as indeed it does before the "GATE" resistor adjustment causes the circuit to break out of its normal design-mode operation and start the high-speed spike generating, resonant performance. The circuit used is shown here:


As Panacea-bocaf are working to test and develop this circuit further, it would be a good idea to download their free documentation on the design and keep an eye on their progress in this field. The two documents give very considerable detail on the work which has already been done, and of course, you can yourself, experiment with this circuit and see what results and adjustments you can discover yourself.


Dr Oleg V. Gritskevitch of Vladivostok in Russia, the holder of some seventy patents, designed and fully tested an electrical generator along the same lines as Joseph Cater’s device mentioned above. It uses no fuel and has given a DC output of 220 volts at 6,800 amps (1.5 megawatts) for more than two years. As built by Dr Gritskevitch, this is not a home-builder’s ideal project as massive electrical input is needed to get the device started, and his prototype weighs 900 kilograms (nearly 2,000 lbs). Details are given on the very good RexResearch web site but in broad outline, the device is a toroidal pipe some two metres (6’-6”) in diameter, coated on the inside with barium titinate and filled with ultra-pure distilled water mixed with ‘heavy water’. Inside the toroid are electromagnetic coils and surrounding it, copper pipes carrying cooling water to keep the temperature down to 50 degrees Centigrade. Also inserted into the toroid at intervals around the circumference are electrical contacts.

The device is started by giving the water a massive high-voltage discharge of some 100,000 volts at 50 mA for three to five minutes. This power input gets the water ionised and circulating. The circulation is maintained by the electromagnetic coils and the power output is around COP=100.

Oleg died without ever getting funding for his design (a typical method of blocking free-energy devices from reaching the market). A more detailed description of the device and it’s operation comes direct from Oleg:



This is a description of the construction and operation of Oleg V. Gritskevitch’s hydro-magnetic dynamo, which is an example of a very powerful new energy system. The prototype in Armenia has averaged some 1,500 kilowatts of power over a period of several years.

Oleg was born on 14 August 1936 and grew up in Vladivostok, Russia. He married and has a son Boris. Gritskevitch was a physicist by education. He worked in the Far-East branch of the USSR Academy of Sciences. Since 1985 he worked independently as an inventor. He has more than 70 patents on inventions ranging from household engineering up to high technologies, which he has been trying to apply in our country although he encountered major difficulties in this. After numerous attempts to obtain the patents, he became convinced that the information had become widely known. Therefore he received the state certificates of know-how (a French way of patenting), for all his inventions.

Introduction
During the 1999 Symposium of the Institute for New Energy, he lectured on his hydro-magnetic dynamo. This paper is his attempt to explain the construction and operation of his dynamo. To protect his secrets from investigators, he, on occasion, provided misleading information. For example, the drawing accompanying the Russian patent mentioned below, shows a cylinder across the toroid to mislead readers. The real dynamo has the toroid alone, without the cylinder. Even its name “hydro-magnetic dynamo” is somewhat deliberately misleading.

Oleg stated that he had some familiarity with the new energy field. Nearly all purported new energy devices are fairly small electrical generators. The dynamo may be the only new electrical generator which most nearly meets all the requirements of an ideal large-scale electrical generator. Oleg claimed that his dynamo really is the single most valuable invention the world has ever known.

Alexander V. Frolov of St. Petersburg recommended Oleg to contact Dr. Patrick Bailey of the Institute for New Energy since Patrick has lots of contacts who could possibly help with patenting his invention of a new source of energy in USA.

Oleg worked on the theory and creation of the electrostatic generator-converter the “Hydro-Magnetic Dynamo” for about 20 years. The first primitive equipment was created when Oleg worked in the Academy of Sciences. During that time, various changes were introduced in the generator and in the theory of how it works. As a result, it is now ready for manufacture, installation, and applications in industry.

Oleg made the first public report on his work in 1991 at a symposium in Volgodonsk city. His report received positive reactions and reviews from the experts in the nuclear industry in USSR. That same year, he was accepted into the International Nuclear Society. During those years he offered development of this technology to different state bodies and private enterprises. But the answer from everybody was “It is a very interesting and important project, but we cannot fund it.

Eventually, Oleg tried to transfer this technology to the USA through the embassy in Moscow. The former ambassador to the USSR, Dr. J. Matlock knows about it. He wanted to meet Oleg, but at that time there were forces opposed to the carrying out of his plans. So he started to look for other possible investors. He was ready to consider any offers of co-operation, joint patenting, sale of technological information, creation of a joint venture, etc. etc. Oleg was awarded some 70 Russian patents covering a wide range of important technical topics.

History
This project was the result of one article in the August 1972 issue of a popular Russian magazine Tehnika Molodiozhi. The article written by A. Kaldamasov was entitled Ball Lightning in a Liquid. The article came to the attention of Michail Razovsky and Oleg in 1974. Oleg’s group of volunteers and enthusiasts was looking for a new source of energy and so this article served as a starting point for the understanding of chemical-physical processes occurring in water. During the period 1976 to 1978 one year was spent in the radiological lab of the Vladivostok city hospital, including Vladilen Bulgakov, radiology physician, and Michail Razovsky, theoretician in the plasma physics field and others, assembling a device, which was supposed to separate water into oxygen and hydrogen more efficiently. During the experiments, instead of the expected results, it produced electricity very efficiently! The input power during the experiment was one 800-watt water pump. The output was 1,400 watts (COP=1.75). This device was assembled using plastic pipes connected with hoses, where the water was circulating in a loop. This then led to the idea of creating the second device as a generator-toroid.

The second generator was assembled in the workshop of the Ocean Research Institute in Vladivostok (Director Academician Viktor Ilichov), and in the summer of 1990 it was transported to the testing station of the Ministry of Electronics Industry in Vladivostok. This lab was well equipped with all necessary sets of instruments. At the same time, patent papers were filed in the USSR State Committee of Inventions. In the spring of 1991 the State Commission, led by Yurii Lebedev, chairman of the Innovation Council and Chairman of the Russian Federation Council of Ministers, arrived in Vladivostok. This commission arrived to the town for two reasons: to recommend a financial request for manufacturing the dynamo; and to classify this energy source as a “Discovery”. (document #14-451).

After the next change in Russian government the financing for the project was terminated. The first article on the dynamo was published in the Russian magazine (Tehnika Molodyozhi 1990, #3, March issue, Page 17, entitled “Innovator’s Ideas”.

Several Armenian physicists, after reading that article, sent Oleg a letter asking to meet with him in Vladivostok for negotiations about the dynamo. They arrived in March 1991 and ran tests on the second generator, which was operational at that time. Oleg flew to Armenia, and work on the third generator started at the end of 1991. It was completed at the end of 1992. It was operating and producing energy until January 1997, when it was destroyed during the war. Some people were also killed and other people moved to the USA. This version of dynamo created an output which averaged 6,800 amperes at 220 volts DC (1.496 megawatts). It’s input power was only approximately 1% of the output power.

Oleg was an invited speaker of the Meeting of the Alternative Energy Institute (Dr. Hal Fox) in Salt Lake City in August 1999. The official announcement about his speech had several mistakes (for example, the name of Armenia was changed to Romania).

Dynamo Theory
The Hydro-Magnetic Dynamo is a large-scale, emission-free electrical generator, which does not require external fuelling. The dynamo is capable of powering large transportation vehicles such as buses, trucks, ships, locomotives, and aeroplanes. Doubt remains about making dynamos compact enough to power cars.

While three experimental prototypes have been built with Russian and Armenian expertise and equipment, a fourth demonstration prototype needs to be built with more modern Western engineering expertise and equipment to verify the dynamo’s performance claims and to further explore the dynamo’s potential capabilities.

The claimed performance is as follows:
Dynamos are scaleable from 100 kilowatts to 1,000 megawatts. One 1000-megawatt dynamo is about the size of a two-car garage. For comparison, Hoover Dam’s 17 generators have a total capacity of 2,000 megawatts. A dynamo can reliably run continuously for 25 years or more with little or no maintenance, no external fuel source, and no pollution. If a dynamo’s output is 1,000,000 watts, its total input power is approximately 10,000 watts and so the dynamo’s energy efficiency is about 10,000%.

The source of the dynamo’s huge electrical output is a nuclear reaction, which is not generally known to mainstream science. However, it is known that the dynamo produces alpha particles, which are helium nuclei, made from fused deuterium, an isotope of hydrogen with one proton and one neutron. The electrons missing from the helium nuclei are what seem to provide a copious ‘sink’ of electricity, and that is the secret of the dynamo’s ability to generate an exceptionally large amount of electricity. It is also known that the dynamo uses high-density charge clusters. High-density charge clusters are thought by some theorists, to be the basis of plasma-injected transmutation of elements and the neutralisation of radioactive materials. Unlike hot fusion and fission reactors, the dynamo does not accumulate any radioactive components.

The result of the dynamo’s processes is conversion of electrostatic fields to direct current. It should be noted that a clear understanding of terms like “Coulomb’s conversion” and “liquid Van de Graff generator” is very important.

Schematically, the dynamo is an electrostatic transformer, or in other words an electrostatic voltage multiplier. One version of the dynamo uses lasers to start up. There were three dynamo prototypes built. The first two small experimental prototypes were built in Vladivostok, Russia. The third and last prototype generated electricity continuously, (except when turned off to incorporate improvements), from 1992 to January 1997 in Armenia.

As mentioned above, the Armenian prototype generated a direct current of 6,800 amperes at 220 volts which is about 1.5 megawatts. Minimum power output has been 500,000 watts, and maximum power output has been 2,500,000 watts during winter experiments due to better cooling. The Armenian prototype dynamo’s toroid weighed 900 kilograms and had a diameter of approximately 2 meters. Cooling water is circulated through copper pipes wrapped around the toroid. The heat is expelled from the cooling water with a heat exchanger. The working temperature was typically 36 degrees Centigrade.

After a dynamo is assembled, the water is literally ‘jump-started’ (by discharging a large bank of capacitors) to get it circulating inside the toroid. The starting impulse pressure is as high as 400 atmospheres. The dynamo’s controls are temporarily set to generating a modest amount of electricity sufficient to sustain itself, possibly even while being transported from the factory to the place of its future operation. The control circuits are simple as only sensors and a control computer are used. We do not need any technical-maintenance personnel.

For the Armenian prototype dynamo, two 10-Farad capacitor-batteries were used to provide the initial water motion (acceleration and excitation of water). The capacitors were 20 kilograms each, with diameters of 50 centimetres, and were borrowed from Russian military radar stations. Using a total of 20,000 Joules, 100,000 Volts at 0.05 Amperes of current were applied to the Armenian dynamo for 3 to 5 minutes to ionise and polarise the water, which then started the generation of electricity.

The reason for the very high voltage provided by the large Russian radar capacitors, when starting the generator, appears to be to polarise the crystals of barium titanate. One comparison is with the electronic ignition on a gas stove. Once the barium titanate crystals are polarised, the generator is running.

After these capacitors had been used to ‘jump-start’ the Armenian prototype dynamo, a bank of buffer batteries sustained continuous operation when water motion and ionising began. This battery bank contained 8 powerful 12-volt, 150-ampere lead batteries. The Armenian dynamo’s sustaining input power was 14,400 watts. The nominal maximum output power was about 1,500,000 watts. On one occasion, the output current was accidentally increased to 40,000 amperes for almost a minute. Fortunately, the power was reduced to a safe level before the water started to boil. Internal coils (windings) provide the control of water velocity and therefore control dynamo power. The faster the water is moving, the more electricity the dynamo generates. Once the water stops circulating around the toroid, the dynamo must be ‘jump-started’ again to a minimum power level before it can sustain its electricity generation using it’s own output power.

The following is a condensed summary, with some editing and additional commentary, of the “Description” of the dynamo’s Russian patent IPC H 02 K 44/00 “Method of Deriving Electrical Energy and Realisation of Gritskevich's MHD-Generator”: The dynamo is a sealed polystyrene toroid filled with ultra-pure distilled water with heavy water (deuterium oxide) added. The movement of water inside the closed loop and the use of the unique properties of water as a polar liquid, cause a release of electrical energy as an outcome of a rupture of the hydrogen bonds. Additional electrical energy is drawn from nuclear reactions and micro-cavity processes. The liquid is ionised, polarised, and moving around the toroid at start-up time by a running magnetic field with the help of stimulating electromagnetic windings.

Electrostatic generator-transformer “Hydro-magnetic dynamo”. (“GT HMD”) works due to the process of amplification and maintenance of a stationary (oscillating in particular) electromagnetic field by hydrodynamic movements of the conductive medium. The stator (i.e. the toroid) is made of materials with a high dielectric permittivity. Liquid rotor is a recombined water (‘pure’ water with high-molecular compounds), which moves due to the high-voltage discharges and running electromagnetic field.

The main processes in GT HMD are:
A principle of Van-der-Graff's electrostatic generator, where the solid insulating tape was changed to the liquid one.
A perpetual washout of the surface electrons from the spacer layer takes place;
The Coulomb’s transformations take place;
A single-turn low-frequency generator works as a coaxial turn with 4 resonance points and energy carrying substance inside it that has very high resonance properties;
The electrostatic breakdowns of cavitation-vacuum structures in water take place.
The polar liquid (pure water) consists of dipoles only, i.e. strictly oriented charged molecules. During the interaction of ionized pure water with the layer BaTiO3 the electrostatic field of above 10 million volts/cm is formed. During this process the breakdown of physical vacuum takes place.

The electrostatic field, coupled with the action of the BaTiO3 layer (if we apply electrical filed to BaTiO3, then this layer creates the sound vibrations of about 25,000 Hz, this vibration helps to break down the water molecules) and facilitates the further break down of the molecular-atomic structures of water. Also, due to the perpetual electrostatic discharges, the breakdown of the cavitation-vacuum structures occurs and the cold fusion nuclear reaction continues. With this fusion the energy of 500 kJ/mole is liberated in a vacuum and an energy of 6 kJ/mole is liberated in water. Thus, new hydrogen bonds form in vacuum with the energy liberation of about 20 kJ/ mole. Due to this process the acceleration of ionisation of polar liquid takes place. In addition, the constant ‘washing out’ of the incomplete electron bindings from the layer of barium titanate occurs and free electrons form. Due to this process, the polar liquid transforms into an ordered flow of electrons and negative ions, which can be described very simply, as an ionic-electric current.

Work on construction of the experimental generator started in September 1991 in Armenia and came to an end in March 1992. The active working weight of the prototype of dynamo (torus + water) was about 900 Kg. The diameter of the torus was about 2 meters. The torus was made from impact-resistant optic polysterol. This torus consisted of two halves, which were turned on the merry-go-round machine.

The monocrystallic barium titanate BaTiO3 was sprayed on the internal surface of torus, its dielectric permittivity was 6000. The thickness of the layer was about 1 micron. The water was purified to the specific resistance of 18,000,000 Ohm/cm.

As we mentioned above, to start the dynamo two condenser jars of 10 Farad each were used. The energy of a starting battery constituted 20,000 Joules, the voltage was 100,000 Volts and the current was 0.05 Ampere to provide the initial movement of water (acceleration and disturbance).

The electrodes were made of metal tubes with diameter of about 5 mm. The dynamo is started using these electrodes. A total of 32 of these electrodes were installed evenly spaced around the circumference of the toroid. The toroid’s cooling system formed a closed circuit of copper piping with purified water circulated through it. The copper tubes used in this system were covered with glass insulation. They also were the turns of load winding. The temperature of toroid was maintained not higher than 50 Celsius degrees.

An average output power was 220 volts x 6,800 ampere = 1,490 kilowatts. The current was DC. Periodically the power could be increased to 2,500 Kw when sufficient cooling of the generator could be provided. The additional power was drawn from four resonant windings. This alternating current, after rectification, was used to charge the back-up battery. Thus, the total output power constituted more than 1,500,000 watts. The low-frequency voltage was obtained from the load windings and the direct current was obtained from the stabilisation chamber.

It should be noted that the high-voltage discharges of the 32 electrodes, ionise the partially pre-ionised water further. By means of the stimulation windings, a circulating magnetic field is created which moves the water in one direction inside the toroid. An electromotive force is created by the electromagnetic induction in a separate set of windings. As we already mentioned, during the movement of the water stream, free electrons are created, and an additional energy gets emitted because of the water’s friction against the coating layer on the inside surface of the toroid, because of electrostatic breakdowns of cavity-vacuum structures, and because of the ongoing nuclear reaction.

If the dynamo’s output is 1,000,000 watts, it’s total input power is approximately 10,000 watts. So therefore the dynamo’s energy efficiency is about 10,000%.

In addition to the barium titanate deposited on the teflon-coated inner surface of the polystyrene toroid, the water itself also contains tiny barium titanate crystals which are suspended in the water. Ultrasound at 25,000 cycles per second is propagated through the water to form micro-bubbles on the surfaces of the suspended barium titanate crystals. Again due to the barium titanate's piezoelectric action, very high electrostatic fields are also developed within the micro-bubbles at the surface of the crystals. The electrons from the nuclear reaction are added to the electrons generated at the toroid's interior surface. The total amount of mono-crystalline barium titanate in the Armenian dynamo was nearly 1000 grams. Satellites, locomotives, heavy trucks, airplanes, and ships are obvious transportation applications.

Dynamo Economics
The dynamo’s production cost is estimated at $500 per kilowatt which is very competitive when compared to nuclear power’s capital costs of $5,000 per kilowatt, windmill capital costs of $4,000 per kilowatt, etc. A well-run nuclear power plant can generate power for 1.5 cents per kilowatt-hour, coal 1.8 cents, natural gas 3.4 cents, and oil 4.1 cents, on average. The dynamo’s operating cost would be approximately 0.1 cent per kilowatt-hour with no external fuel needed and without any pollution being created.

these dynamos could replace all nuclear power plants, solar installations, wood-burning furnaces, hydro-electric generation, etc. A recent IEEE Spectrum article stated that the world’s demand for electricity increases by approximately 500 megawatts every day. To put this in perspective, that is the equivalent of building another Hoover Dam every four days to keep up with the world’s increasing electricity demand. Or, a dynamo manufacturing company would have to build another 500-megawatt dynamo every single day to keep up with world electricity increased demand (in addition to replace all existing generators fuelled by hydro, nuclear, and fossil fuels.)


The text of the patent application mentioned above is not in English although the abstract of the patent number WO 01/15305 A1 has been translated into English:





Patrick Kelly

http://www.free-energy-info.tuks.nl





闽ICP备2022006709号