Eine Praktische Anleitung zum Energie Kostenlos Geräte                                                                             Autor: Patrick J. Kelly

Kapitel 2 : Verschieben Gepulsten Systemen


Hinweis: Wenn Sie überhaupt nicht vertraut mit Grundlagen der Elektronik sind, können Sie finden es einfacher, dieses Kapitel zu verstehen, wenn Sie Kapitel 12 lesen Sie zuerst.


Es gibt drei Kategorien von gepulsten System, und wir werden die jeweils wiederum betrachten. Dies sind Drive-gepulsten Systemen, Energie-Tapping gepulsten Systemen und der Schwerkraft freien Energie pulsierende Systeme. Hier werden wir auf Systemen, bei denen ein elektrischer Impuls verwendet, um das Gerät zu veranlassen, durch die Schaffung eines temporären Magnetfeld durch elektrischen Strom durch eine Spule fließt oder "Elektromagneten", wie sie oft genannt wird verursacht betrieben wird, zu suchen. Viele dieser Systeme sind eher subtil in der Weise, dass sie funktionieren. Ein sehr gut bekanntes Beispiel hierfür ist:

Der Motor / Generator von Robert Adams 
Der verstorbene Robert Adams, ein Elektroingenieur aus Neuseeland entwickelt und gebaut mehrere Sorten von Elektromotor mit Permanentmagneten im Rotor und gepulste Elektromagnete auf dem Rahmen des Motors (das so genannte "Stator", weil es sich nicht bewegt). Er fand, dass, wenn sie richtig konfiguriert wurden, wird der Ausgang von seiner Motoren ihrer Eingangsleistung überschritten mit großem Vorsprung (800%).


Das Diagramm der seinen Motor soll die prinzipielle Arbeitsweise zeigen, wird hier gezeigt:


Wenn ein Motor so gebaut wird, dann wird es sicherlich zu arbeiten, aber es wird nie 100% erreichen Effizienz geschweige denn die 100%-Marke. Es ist nur mit einer bestimmten Konfiguration, die kaum publik, dass eine hohe Fahrleistungen erreicht werden kann. Während Robert verschiedenen Konfigurationen gezeigt hat, um Verwechslungen zu vermeiden werde ich beschreiben und erklären nur einer von ihnen. Verdanke ich einige von Roberts Freunden und Kollegen für die folgenden Informationen und ich möchte meinen Dank aussprechen für ihre Hilfe und Unterstützung in bringen Sie diese Informationen.

In erster Linie können hohe Leistung nur mit dem geschickten Einsatz von Macht Sammlung Spulen erreicht werden. Diese Spulen müssen exakt positioniert werden und ihre Macht Sammlung nur sehr kurzer Bogen von Betrieb, indem sie an, und trennen sie von, Ausgangskreis genau zum richtigen Zeitpunkt, so dass die Gegen-EMK, wenn die Stromaufnahme abbricht beschränkt, tatsächlich trägt zum Antrieb des Rotors, die Beschleunigung auf dem Weg und Anheben der Gesamtwirkungsgrad des Motors / Generators als Ganzes.

Weiter ist die Form der Magnete verwendet wichtig wie die Länge zu Breite Verhältnis des Magneten ändert das Muster seine Magnetfelder. In direktem Gegensatz zu der Darstellung oben gezeigt, müssen die Magnete als viel länger als ihre Breite (oder im Falle von zylindrischen Magneten, viel länger als ihr Durchmesser).

Ferner ist eine gute Menge Experimente gezeigt, dass die Größe und Form der den Elektromagneten und Sondenspulen einen großen Einfluss auf die Leistung hat. Die Querschnittsfläche des Kerns der Mach-Kollektion-Spulen sollte das Vierfache der Querschnittsfläche der Permanentmagnete im Rotor. Das Gegenteil gilt für die Kerne der Antriebsspulen als ihre Kerne sollte eine Querschnittsfläche von nur einem Viertel der Rotormagnet Querschnittsfläche haben.

Ein weiterer Punkt, der fast nie erwähnt wird, ist die Tatsache, dass große Schaltung Gewinne nicht erreicht werden, wenn die Antriebsspannung hoch ist. Die minimale sollte 48 Volt, aber je höher die Spannung ist, desto größer der Energiegewinn sein, sollte so Spannungen in den 120 Volt (Netzspannung gleichgerichtet US) bis 230 Volt (gleichgerichtete Netzspannung anderswo) betrachtet werden. Neodym-Magnete sind nicht für den Antrieb Spannungen unter 120 Volt empfohlen.

Es gibt mehrere wichtige Schritte in der Art und Weise, wie der Motor / Generator von Robert Adams funktioniert, und es ist wichtig für Sie, jeden der Schritte zu verstehen.

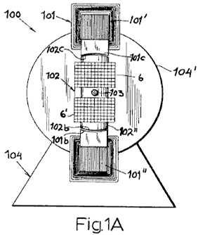
Schritt 1: Ein Rotormagnet wird vom Eisenkern eines Stator- "Antriebs" -Elektromagneten angezogen. Wenn es sich dem Antriebselektromagneten nähert, bewegen sich die Magnetkraftlinien vom Statormagneten über die Elektromagnetantriebsspule. Dies erzeugt einen elektrischen Strom in der Elektromagnet-Antriebsspule und dieser Strom wird zu der Batterie zurückgeführt, die den Motor / Generator mit Strom versorgt:


Beachten Sie, dass die Bewegung des Rotors dadurch verursacht wird, dass die Permanentmagnete von den Eisenkernen der Antriebselektromagnete angezogen werden und nicht von irgendeinem elektrischen Strom. Der elektrische Strom fließt zurück in die Batterie und wird durch die Bewegung des Rotors verursacht, die wiederum von den Permanentmagneten verursacht wird.

Schritt 2: Wenn sich der Rotor weit genug dreht, richten sich die Magnete exakt auf die Kerne der Antriebselektromagnete aus. Der Rotor dreht sich aufgrund seiner Trägheit weiter, aber wenn wir nichts dagegen tun, wird die Anziehung des Rotormagnets zum Elektromagnetkern des Antriebes bewirken, dass er langsamer wird und dann zurück zum Kern der Antriebsspule gezogen wird. Wir wollen das verhindern, also speist man eine kleine Menge Strom in die Elektromagnetspulen des Antriebs ein - gerade genug Strom, um das Zurückziehen der Rotormagnete zu stoppen. Dieser Strom ist NICHT, um die Rotormagnete wegzudrücken, es ist gerade genug, um zu verhindern, dass der Rotor verlangsamt wird:


Schritt 3: Wenn sich der Rotormagnet weit genug wegbewegt hat, wird der den Antriebs-Elektromagneten zugeführte Strom abgeschaltet. Wie bei jeder Spule wird, wenn der Strom abgeschaltet wird, eine große Rückwärtsspannungsspitze erzeugt. Diese Spannungsspitze wird gleichgerichtet und zur Batterie zurückgeführt.

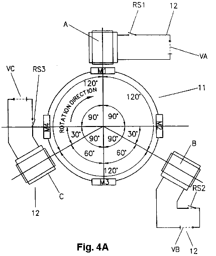
Das System erzeugt bisher einen sich drehenden Rotor für eine sehr geringe Stromaufnahme von der Batterie. Aber wir wollen, dass das System uns mit überschüssiger elektrischer Leistung versorgt, deshalb werden vier zusätzliche Elektromagnete um den Rotor hinzugefügt. Diese Ausgangsspulen sind auf einer nichtmagnetischen Scheibe montiert, die gedreht werden kann, um den Spalt zwischen den Antriebsspulen und den Ausgangsspulen einzustellen. Wie die Rotormagnete sind die Ausgangsspulen gleichmäßig um den Umfang des Rotors in 90-Grad-Intervallen angeordnet:


Schritt 4: Überraschenderweise sind die Ausgangsspulen für die meiste Zeit ausgeschaltet. Das klingt verrückt, aber es ist definitiv nicht verrückt. Wenn die Ausgangsspulen getrennt sind, erzeugen die sich nähernden Rotormagneten eine Spannung in den Ausgangsspulenwicklungen, jedoch kann kein Strom fließen. Da kein Strom fließt, wird kein magnetisches Feld erzeugt und so ziehen die Rotormagnete nur direkt zu den Ausgangsspulen-Eisenkernen. Die maximale Ausgangsspulenspannung liegt vor, wenn die Rotormagnete mit den Ausgangsspulenkernen ausgerichtet sind. Zu diesem Zeitpunkt ist der Ausgangsschalter geschlossen und ein starker Stromimpuls wird abgezogen und dann wird der Schalter wieder geöffnet, wodurch der Ausgangsstrom unterbrochen wird. Der Ausgangsschalter ist nur für etwa drei Grad der Drehung des Rotors geschlossen und für die nächsten siebenundachtzig Grad ist er wieder ausgeschaltet, aber die Öffnung des Schalters hat einen großen Effekt. Der Schalter, der geöffnet wird, unterbricht den Strom, der in den Ausgangsspulen fließt, und verursacht eine große umgekehrte Spannungsspitze, die ein Hauptmagnetfeld verursacht, das den Rotor auf seinen Weg drückt. Diese Spannungsspitze wird gleichgerichtet und an die Batterie zurückgegeben.

Die Gleichrichtung jedes möglichen Ersatzspannungsimpulses, wie beschrieben, führt 95% des Antriebsstroms zu der Batterie zurück, was dies zu einem äußerst effektiven Motor / Generator macht. Die Leistung kann weiter verbessert werden, indem der Satz der Ausgangsspulen gedreht wird, um ihre optimale Position zu finden und dann die Scheibe an ihrem Platz zu verriegeln. Bei richtiger Einstellung hat dieser Generator einen Ausgangsstrom, der achtmal größer ist als der Eingangsstrom.

Beachten Sie, dass die Kerne der "Generator" Sondenspulen sehr viel breiter als die Kerne der Antriebsspulen sind. Beachten Sie auch die Anteile der Magnete, wobei die Länge wesentlich größer ist als die Breite oder Durchmesser. Die vier Generatorwicklungen auf einer einzigen Scheibe so dass sie um einen Winkel um die optimale Arbeitsposition, bevor sie in Position verriegelt und die beiden Ansteuerspulen werden getrennt montiert gehalten von der Disk zu finden bewegt werden kann. Beachte auch, dass die Leistung Sondenspulen viel breiter im Vergleich zu ihrer Länge als die Antriebsspulen sind. Dies ist eine praktische Funktion, die näher erläutert wird später.

Die Gleichstrom-Eingangsspannung dargestellt durch Roberts Maßgeschneiderte Schütz Schalter, der direkt auf der Welle des Motors / Generators angeordnet ist. Dies ist ein mechanischer Schalter, die eine einstellbare ermöglicht EIN / AUS-Verhältnis, das als "Mark / Space Ratio" bekannt ist oder, wenn der "EIN"-Periode von besonderem Interesse, die "Duty Cycle" ist. Robert Adams zeigt an, dass, wenn der Motor läuft und um seine optimale Leistung eingestellt worden ist, dann der Markierungs / Freiraum-Verhältnis eingestellt ist zur Minimierung der An-Zeit und im Idealfall um es bis auf etwa 25%, so daß für drei Viertel der Zeit, die Eingangsleistung tatsächlich abgeschaltet. Es gibt verschiedene Wege zur Erreichung dieses Schalten, während immer noch eine sehr scharfe Kurve und Ausschalten der Stromversorgung.

Robert betrachtet mechanischen Schalten des Treiberstroms an eine sehr gute Option sein, obwohl er nicht über den Kontakt zur Macht einen Transistor, um den eigentlichen Schaltvorgang zu tun und so zu verringern, den Strom durch die mechanischen Kontakte von einer gegenüberliegenden Hauptfaktor. Seine Gründe seiner Präferenz für mechanische Schaltelemente sind, dass es sehr scharfe Schaltmittel gibt, benötigt keine elektrische Leistung, um es zu betreiben, und es Strom ermöglicht, in beide Richtungen fließen. Der Stromfluss in beiden Richtungen ist wichtig, weil Robert produziert verschiedene Wege, um den Motor in Strom zurück in die Antriebsbatterie zu füttern, so dass sie den Motor für längere Zeit ohne Senkung der Spannung kaum noch zu fahren. Seine bevorzugte Methode der Umschaltung wird hier gezeigt:





Diese Schaltzahnrad arbeitet wie folgt: Die Taktscheibe fest mit der Antriebswelle des Motors und seine Position geschraubt wird so eingestellt, dass die elektrische Einschalt-tritt, wenn der Rotormagnet genau mit dem Antrieb Spulenkern ausgerichtet. Anpassung dieses Timing wird durch Lösen der Verriegelungsmutter, Drehen der Scheibe sehr leicht und Einspannen der Platte in Position erneut durchgeführt. Eine Federscheibe eingesetzt wird, um die Anordnung dicht zu halten, wenn die Vorrichtung in Betrieb ist. Die Scheibe hat eine sternförmige Stück Kupfer Bogensatz in seiner Oberfläche und zwei Silber-bestückte, Kupfer Arm "Bürsten" Folie über die Oberfläche des Kupfers Stern.

Einer dieser beiden Bürsten ist in Position und gleitet über die Kupfer Stern nahe der Antriebswelle befestigt, so dass eine permanente elektrische Verbindung zu ihr. Die zweite Bürste gleitet alternativ auf der nichtleitenden Oberfläche der Scheibe und dann über den leitenden Arm des Kupfers. Die zweite Bürste ist, so daß seine Position einstellbar ist und montiert, da das Kupfer Arme verjüngen, das das Verhältnis der "An"-Zeit ändert, um dem "Aus"-Zeit. Der eigentliche Schaltvorgang wird durch Strom durch die erste Bürste erreicht, durch das Kupfer Arm und dann durch die zweite Bürste. Die Bürste Arme in der Abbildung oben gezeigt setzen auf die Elastizität des Kupfers Arm, um eine gute Bürste-Kupfer-elektrische Verbindung herzustellen. Es könnte bevorzugt, um eine starre Bürstenarm, schwenken verwenden und eine Feder, einen sehr guten Kontakt zwischen der Bürste und dem Kupfer-star jederzeit zu gewährleisten.

Die Anpassung der EIN auf AUS Zeit, oder "Mark / Space Ratio" oder "Duty Cycle", wie die technischen Leute es beschreiben, könnte man vielleicht mit einigen Beschreibung zu tun. Wenn die beweglichen Bürste nahe dem Zentrum der Scheibe positioniert ist, dann, wegen der Verjüngung der Kupfer Arme, ist der Teil des nicht-leitenden Scheibe dass es gleitet über kürzere und der Teil des leitenden Kupfer Arm mit dem die Verbindung länger ist, als die beiden Gleitbahnen etwa gleich lang sind, ist der Strom auf etwa gleicher Länge wie er ausgeschaltet ist, wobei ein Zeichen / Zwischenraum-Verhältnis von etwa 50% wie hier dargestellt:


Wenn stattdessen die bewegliche Bürste in der Nähe der Außenkante der Scheibe positioniert ist, dann wegen der Verjüngung des Kupfer Arm, ist der EIN Weg kürzer und die nichtleitenden AUS Pfad sehr viel längeren, etwa dreimal so lang als aUS Weg, was ein Verhältnis von etwa 25%. Da die beweglichen Bürste kann irgendwo zwischen diesen beiden Extremen positioniert werden, kann das Verhältnis auf einen beliebigen Wert zwischen 25% und 50% eingestellt werden.


Die beiden Bürsten können auf der gleichen Seite der Antriebswelle oder auf gegenüberliegenden Seiten liegen, wie dargestellt. Ein wichtiges Merkmal ist, dass die Bürsten touch in einer Position, wo die Disc-Oberfläche immer in Bewegung ist direkt weg von der Bürste, Montage verursacht keine ziehen, um direkt entlang des Arms und keinerlei seitliche Belastung auf die Bürste. Der Durchmesser der Vorrichtung ist in der Regel ein Zoll (25 mm) oder weniger.

Sie werden auch feststellen, dass der Ausgang geschaltet wird, obwohl das Diagramm nicht gibt keinen Hinweis, wie oder wann, dass der Wechsel stattfindet. Sie werden feststellen, dass das Diagramm Winkel auf sie für die optimale Positionierung der Mach-Kollektion-Spulen, gut, ein Adams Motor Builder mit einem Forum ID "Maimariati", die einen Coefficient Of Performance von 1.223 erreicht geprägt hat, festgestellt, dass die optimale Schaltfrequenz für seinen Motor ist an bei 42 Grad und Aus bei 44,7 Grad. Dass winzige 2,7 Grad Teil des Rotors wiederum gibt eine beträchtliche Leistung und Schneiden des Ausgangsstroms aus an diesem Punkt bewirkt die Gegen-EMK der Wicklungen, um dem Rotor einen erheblichen zusätzlichen Schub auf seinem Weg. Seine Leistungsaufnahme beträgt 27,6 Watt und die Ausgangsleistung 33,78 Kilowatt

Nun zu einigen praktischen Details. Es wird vorgeschlagen, dass eine gute Länge für die Macht Aufnehmerspulen mit der "Büroklammer-Test" ermittelt werden kann. Dies erfolgt, indem eines der Permanentmagnete im Rotor verwendet, und Messen der Entfernung, bei der die Magneten gerade beginnt, um ein Ende einer 32 mm (1,25 Zoll) Büroklammer vom Tisch anzuheben getan. Die optimale Länge jeder Wicklung von Ende zu Ende ist genau der gleiche wie der Abstand, in dem die Büroklammer beginnt zu heben.


Das Kernmaterial in den Elektromagneten verwendet werden können von verschiedenen Typen einschließlich fortschrittlichen Materialien und Legierungen wie 'Somalloy' oder 'Metglas' sein. Die Netzleitung Sondenspule Proportionen sind wichtig als ein Elektromagnet immer weniger wirksam als ihre Länge zunimmt, und schließlich wird der Teil am weitesten von der aktiven Ende kann tatsächlich ein Hindernis für den effektiven Betrieb zu sein. Eine gute Spulenform ist eine, die man nicht erwarten würde, mit der Ringbreite ist, vielleicht 50% größer als die Spule Länge:

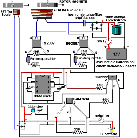
Entgegen dem, was man erwarten würde, weist die Einrichtung in Energie aus der lokalen Umgebung besser, wenn das Ende der Ertrag Spule vom Rotor am weitesten entfernt ist links unbeeinflusst von irgendeinem anderen Teil der Vorrichtung und der gleiche gilt für den Magneten gegenüberliegenden es. Das heißt, dass die Spule des Rotors an einem Ende und haben nichts an dem anderen Ende, das heißt, keine zweiten Rotors hinter der Spule. Die Geschwindigkeit, mit der die Spannung aufgebracht wird, und aus diesem entfernt, den Spulen ist sehr wichtig. Mit sehr scharfen Spannung steigt und fällt, wird zusätzliche Energie aus der umgebenden Umwelt Energiefeld gezogen. Wenn Sie Transistorschaltung, dann IRF3205 FET hat sich sehr gut und ein passender Treiber für die FET ist der MC34151.

Bei Verwendung eines Hall-Effekt-Halbleiter, um die Zeitsteuerung zu synchronisieren, die sagen UGN3503U die sehr zuverlässig ist, dann ist die Lebensdauer des Hall-Effekt-Vorrichtung ist sehr verbessert, wenn sie mit einem 470-Ohm-Widerstand zwischen ihr und der positiven Versorgungsleitung vorgesehen ist, und ein ähnlicher 470 Ohm-Widerstand zwischen ihr und der negativen Leitung. Diese Widerstände in Reihe mit dem Hall-Effekt-Gerät effektiv "schweben" und schützen es von Spannungsspitzen.


Hier werden zwei Elektromagneten durch die Batterie über Roberts Kommutators 4-Arm, die auf der Rotorwelle montiert ist angetrieben. Einige der Empfehlungen von Robert gegeben sind das Gegenteil von dem, was man erwarten würde. Zum Beispiel sagt er, dass ein einzelner Rotor Konstruktion mehrere elektrisch effizienter sein, dass man, wenn mehrere Rotoren auf einer einzigen Welle montiert sind tendiert. Robert ist gegen den Einsatz von Reed-Schalter und er empfiehlt, einen seiner Kommutatoren.

Zu einem bestimmten Zeitpunkt, empfahl Robert die Verwendung von Standard-Trafo Unterlegscheiben für den Bau der Kerne der Elektromagnete. Dies hat den Vorteil, dass bei der Anpassung Spulen zum Halten der Spulenwicklungen leicht erhältlich sind und können weiterhin für Sondenspulen verwendet werden. Später, schwang Robert auf den Einsatz von festen Kerne aus den alten PO Serie 3000 Telefon-Relais und schließlich sagte, dass Elektromagneten Kerne sollten massivem Eisen sein.


Die Diagramme von Robert dargestellt zeigen die Magnete auf dem Rand des Rotors und nach außen angeordnet ist. Wenn dies getan ist, dann ist es wichtig, dass die Magnete im Rotor fest an mindestens fünf der sechs Flächen angebracht ist und die Möglichkeit der Verwendung eines Rings aus nicht magnetischem Material, wie beispielsweise Klebeband um die Außenseite sollte berücksichtigt werden. Das Bauweise eignet sich auch für die Straffung der Rotor durch eine absolut solide Konstruktion, obwohl es vielleicht bemerkt, dass der Motor würde besser laufen und leiser, wenn sie in einem Karton, der die Luft abgepumpt davon hatte eingeschlossen wurden. Wenn das geschehen ist, dann gibt es keinen Luftwiderstand, und weil Ton kann nicht durch ein Vakuum übergeben, wird leiseren Betrieb gebunden führen.

Während dies ein wenig kompliziert klingen mag, es gibt keinen Grund, warum es sein sollte. Alles, was benötigt wird, ist zwei Scheiben und einer zentralen Scheibe, die die Dicke der Magnete ist, mit Schlitzen darin geschnitten, die genaue Größe der Magnete. Die Montage beginnt mit der unteren Scheibe, Magneten und mittleren Scheibe. Diese werden zusammen, wahrscheinlich mit Epoxidharz verklebt, und dass hält die Magnete sicher auf vier Flächen wie hier gezeigt:


Hier werden die Magnete auf der unteren Fläche, den rechten und linken Seiten, und dem ungenutzten Polfläche befestigt ist, und wenn die obere Platte angebracht wird, die oberen Flächen sind ebenfalls gesichert und es ist das Minimum von Luftturbulenz, wenn die Rotor dreht:


Es gibt eine "Beste Stimmung-Einstellung" zur Positionierung des Leistungs Sondenspulen und es wird gefunden, dass diese in der Regel zwei oder drei Millimeter entfernt von dem Rotor ist. Wenn das der Fall ist, dann wird es Raum für eine Außenband von Klebeband auf der Felge des Rotors um einen zusätzlichen Schutz gegen den Ausfall des Magneten Befestigungsverfahren bereitzustellen.

High-Power-Versionen der Motor / Generator brauchen, um in einer Metall-Box, die geerdet ist eingeschlossen werden, da sie durchaus in der Lage Erzeugung eine beträchtliche Menge von Hochfrequenz-Wellen, die Geräte wie Oszilloskope beschädigen und können TV Empfangsstörungen sind. Es würde wahrscheinlich eine Verbesserung in der Leistung als auch eine Verringerung der Schall, wenn die luftdichte Box war und hatte die Luft aus ihm heraus gepumpt. Wenn das geschehen ist, dann gibt es keinen Luftwiderstand so der Rotor dreht, und da Ton nicht durch ein Vakuum passieren, ist leiser Betrieb möglich.

Erfahrene Läufer Bauherren nicht wie die radialen Magneten Bauweise wegen der Spannungen an den Magneten Anlagen, wenn hohe Drehzahlen erreicht werden. Es sollte nicht nötig zu sagen, aber es ist offensichtlich eine wichtige Voraussetzung, um Ihre Hände weit weg von der Rotor, wenn der Motor läuft, wie es durchaus möglich ist, durch die High-Speed-Bewegung verletzt werden, wenn man nicht aufpasst halten. Bitte beachten Sie, dass diese Präsentation darf nicht als eine Empfehlung, dass Sie oder bauen Sie verwenden kein Gerät dieser Art sein, und es muss betont werden, dass dieser Text, gemeinsam mit dem gesamten Inhalt dieses eBook, soll für Information zur Verfügung gestellt und keine Zusicherungen oder Gewährleistungen werden von dieser Präsentation impliziert. Sollten Sie sich entscheiden zu konstruieren, testen oder verwenden Sie ein beliebiges Gerät, dann tun Sie dies auf eigenes Risiko und keine Haftung beimisst jemand anderes, wenn Sie jede Art von Verletzungen oder Sachschäden durch eigene Aktionen zu unterstützen.

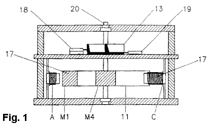
Aufgrund der mechanischen Belastungen während der Drehung verursacht wird, fühlen sich einige Konstrukteure erfahrenen daß die Magnete in den Rotor eingebettet werden sollen, wie hier, wo sie gehalten werden, sowie frei von der Felge eines Rotors, der aus einem zähen Werkstoff hergestellt ist gezeigt. Dies ist, so dass der äußere Streifen des Materials die Magnete Loslösung und immer gefährliche High-Speed-Geschosse, die im besten Fall die Elektromagnete zu zerstören und im schlimmsten Fall könnte jemand ganz schlecht verletzen würde verhindert:


Es muss daran erinnert, dass die Anteile der Magnete für die Magnetlänge sind, mehr als der Durchmesser sein, so dass in solchen Fällen, wo Ringmagneten zugewandt verwendet werden sollen, werden die Magnete zylindrisch sein und der Rotor benötigt, um eine signifikante haben Dicke, die auf den Magneten, die lokal verfügbar sind abhängen. Die Magnete sollte ein fest in ihre Löcher Push-fit und sicher in Position geklebt.

Robert Adams hat diese Bauweise verwendet als gut. Wenn jedoch eine Anordnung wie dieses verwendet wird, dann gibt es eine erhebliche seitliche Zug auf den Rotor als es den Elektromagneten Kern erreicht werden, die dazu neigt, die Magnete ziehen des Rotors.


Es ist wichtig, dass der Rotor sollte vollkommen symmetrisch und mit der Mindesthöhe der Lagerreibung möglich. Dies fordert präzise Konstruktion und entweder Rollen-oder Kugellager. Die Bauweise oben gezeigt hat den entscheidenden Vorteil, daß es ein offenes Ende sowohl mit dem Magneten und den Spulen hat und es wird angenommen, um den Zustrom von Umweltenergie in die Vorrichtung zu erleichtern.

Es kann meiner Unwissenheit zeigt hier sein, aber ich habe ein Problem mit dieser Version. Die Schwierigkeit wie ich es sehen ist, dass der Magnet / Kernzug und der folgenden Treiberpulse Schub, wenn die Spule mit Strom versorgt wird, bilden ein "Drehen Paar" wie sie versuchen, sowohl die Achse in der gleichen Richtung drehen. Dies stellt eine erhebliche Belastung auf den Achslagern, normalerweise durch den Radius des Rotors größer ist als der Abstand von dem Rotor auf den Achslagern amplifiziert. Diese Belastung wird in den zehn Kilogramm Bereich liegen und angewendet wird und vielleicht 40-mal pro Sekunde umgekehrt. Für mich scheint das wie ein Schwingungsbelastung und wird direkt an der "perfekt ausbalanciert" Rotorbetrieb gesucht entgegen. Die radiale Magnetanordnung Regel von Robert Adams gezeigt, hat keine dieser Art von Laden überhaupt, weil die Spulen genau entgegengesetzt jeweils anderen und ihre Lasten heben sich gegenseitig genau. Die Wahl ist natürlich bis zum Baumeister und seine Einschätzung der Vor-und Nachteile der verschiedenen Bauweisen.

Robert Adams hat einige zusätzliche Anmerkungen zu seinem Motor- / Generatorentwurf produziert:


DER ADDENDUM DES ADAMS-MOTORHANDBUCHS 1996
Von Dr. Robert G. Adams, Neuseeland.

Sobald ein Adams Motorengenerator fertiggestellt und erfolgreich gelaufen ist, sollte der Leser eine Effizienzanalyse durchführen, sollte er konventionelle Messinstrumente nur als GUIDE verwenden. An dieser Stelle verweise ich den Leser auf den Abschnitt "Festgelegte Methoden zur Prüfung von Elektromotoren und Transformatoreneffizienz" sowie andere relevante Informationen in diesem Update. Beim Lesen dieses Abschnitts wird es dem Leser klar werden, dass die Niederlassungslehre von THERMODYNAMIKEN und Testprozeduren, die das konventionelle Messinstrument verwenden, NICHT MIT DER WAHRHEIT KOMPUTIEREN, entweder mit konventionellen Motoren oder mit dem Adams Motor.

Die Frage lautet: "Wie kann ein elektrisches Gerät in der Größenordnung von 70 - 90% Wirkungsgrad arbeiten und dennoch eine Kühlanlage benötigen, sei es ein Motor oder ein Transformator, ohne den das Gerät zerfällt?"

Wenn ein Adams-Motor mit einer herkömmlichen Maschine mit einer Nennleistung von 70 - 90% belastet werden kann, wird die Adams-Vorrichtung Um das 3-fache des konventionellen Motors zu betreiben, und es ist außerdem nicht erforderlich, verschwendete Energie mit einem Kühlventilator zu bestrahlen.

Die korrekte Methode beim Testen eines geschalteten Reluktanzmotors besteht darin, Iav x E x Duty Cycle, beschrieben wurde, bestätigt durch die Neuseeland Electricity Department 1976 und Lucas Electrical Industries, Research Division, Vereinigtes Königreich 1976.

Wenn Sie einen Adams Motor konstruieren, der gut zu laufen scheint und unter Last ohne Heißbetrieb arbeitet, dh in der Größenordnung von 20 - 15 Grad oder weniger über Umgebungstemperatur von 20 Grad, dann wird er, wenn Berechnungen korrekt durchgeführt werden, Über die Einheit hinaus zu arbeiten.

Kalorimetrische Testanalysen, wie sie in diesem Addendum beschrieben werden, sind eine teure, zeitaufwändige Übung, sie ist komplex zu berechnen und erfordert erhebliche Erfahrung und Kompetenz. Dieses Verfahren ist nicht für diejenigen, die nicht sehr, sehr gut mit den oben genannten Voraussetzungen.



NEUE WISSENSCHAFT

DER ADAMS SUPER-POWER MULTI-POLAR MAGNET


Ich habe seit vielen Jahren die Existenz von vier Pole, die in jedem Magneten interagieren, theoretisiert. Es besteht kein Zweifel, daß zwei Pole das, was in klassischen Texten beobachtet und gelehrt wird, beherrschen.

Da aber meine Entdeckung von Technikmagneten zur Bildung von vier Polen - und damit eine Vervierfachung der Energie - sicherlich etwas Licht auf die Theorie über die Existenz von vier Polen gelegt wurde, Bruce Cathie und ich werden dies weiter untersuchen, wenn es die Zeit erlaubt.

Ein rechteckiger oder Würfelmagnet, wenn er in die Adams-Technologie konstruiert wird, wird zu einer Einheit, die aus vier Doppelpolen besteht, wobei jede Seite einen Nord- und einen Südpol enthält, getrennt durch einen Nullwirbel in der Mitte jedes der vier Doppelpole und alle Anzeige ähnlicher Energien.

Ironischerweise, aber nicht unerwartet, ist dieser Super-Zweipolmagnet ein sehr wertvoller Zusatz zur weiteren Weiterentwicklung der Adams-Motortechnologie. Die Energie, die an den Rändern jeder der vier Flächen herrscht, ist sehr hoch - 25 Prozent der Gesamtenergie des gesamten Gesichts.

Die gegenwärtigen Labormagneten sind ungefähr drei Viertel eines Würfels, Der Rand eines Gesichts wird einen fünf Kilogramm großen Stahl- oder Eisenblock in der Luft halten. Wenn die gesamte Fläche des Magneten am Metall befestigt ist, ist eine Kraft von mehr als 20 kg erforderlich, um sie zu entfernen. In meiner Präsentation an die NEXUS-Konferenz, riet ich, Tests in diesem Monat durchgeführt werden, um die Belastung, die erforderlich, um den Magneten zu entfernen.

Der würfelgroße Magnet wurde an einer Stahlplatte an einem Deckensparren befestigt, und mit Hilfe einer Kette wurde zuerst ein 15 Kilogramm großer Block an ihm befestigt; Dann ein 4,7-kg-Block mit einem Nylonseil hinzugefügt; Dann wurde ein weiterer 200-Gramm-Block angebracht; Dann einen vierten 200-Gramm-Block. Der Magnet hing noch schnell, ein 100-Gramm-Block wurde hinzugefügt; Dann ... warten Sie darauf ... CRASH auf den Boden. Der Magnet war noch an seinem Anker auf dem Dachsparren befestigt!

Ein Magnet, etwa drei Viertel-Zoll-Würfel, wiegt nur 60 Gramm. Mit einem Gewicht von über 20 kg in der Luft. 333.333 mal sein Eigengewicht? Wird das endlich irgendwie einen Effekt auf die geschlossenen Ignoranten der konventionellen Wissenschaft haben?

Der Weg muss nun sicherlich klar sein, dass Raum- / Schwerkraft-Energie über elektromagnetische Kräfte von Permanentmagneten nicht unmöglich oder schwierig zu nutzen ist. Die Raum- / Schwerkraft-Energien sind sauber, unerschöpflich und frei. Die Adams technolo¬gy hat dies bewiesen und lässt keine Gründe für Streit.

Einsteins sakrosankte Theorien der Relativität und die Gesetze der Thermodynamik sind die bemerkenswertesten und unerklärlichsten Abweichungen, die jemals in der wissenschaftlichen Geschichte aufgezeichnet wurden. Diese drakonischen falschen Lehren haben dazu beigetragen, den Prozess der Wissenschaft zu einer freien, sauberen Energie zu behindern.


KLASSISCHE THEORIE UND ADAMS-TECHNIK

Die klassische Theorie des Magnetismus aus den Lehrbüchern schreibt das Phänomen der Bewegung von Elektronen innerhalb der Atome von Molekülen zu. Es gibt Beweise, dass die Orbitalelektronen in einem Atom nicht nur um den Atomkern drehen, sondern auch jedes einzelne Elektron um eine Achse durch sein Zentrum rotiert, Es wird angenommen, daß in hochmagnetischen Materialien jedes Atom viel mehr Elektronen aufweist, die sich in einer Richtung drehen, als in einer anderen,

In dem submikroskopischen Bereich, d. H. Der "Domäne", erzeugen viele dieser Atome mit Elektronenspin in einer Richtung ein Magnetfeld, das das Feld wirksam ergänzt, das durch die sich drehenden Elektronen erzeugt wird. Jede Domäne wird somit ein winziger Magnet. Wenn die Domänen in einem zufälligen Zustand sind, ist die Substanz als Ganzes kein Magnet. Die Anwendung eines externen Magnetfeldes wird die Domänen neu orientieren und einen Magneten in der oben beschriebenen Weise erzeugen.

Wenn die Anwendung einer äußeren magnetischen Kraft angewendet wurde und alle Domänen ausgerichtet worden sind, ist der Zustand der MAGNETISCHEN SÄTTIGUNG erreicht, und jede weitere Verstärkung der Stärke des äußeren Kraftfeldes wird die Magnetisierung nicht weiter erhöhen, mit dem Aufkommen Der Adams Permanent Magnet Technology, ist es nicht ein weiterer Beweis dafür, dass konventionelle Textlehren das Stadium erreicht haben, in dem sie umgeschrieben werden sollen?

Aus den Beobachtungen bestimmter Laborexperimente mit Kugellagern ergibt sich nach Ansicht des Entdeckers, daß die Wahlen in konjugierten Paaren zirkulieren und eine Drehung entgegen der Rotation haben, und daß der Spin viermal größer ist als der der Umlaufrotation Sub1; Ich nehme auch zur Kenntnis, daß herkömmliche Texte es vorziehen, die Richtung des Spins nicht zu bezeichnen, noch die Geschwindigkeit relativ zu der Umlaufbewegung.

Ich gehe daher nicht davon aus, daß "in hochmagnetischen Materialien jedes Atom viel mehr Elektronen in einer Richtung dreht, als in einem anderen, so fühle ich, dass ein solcher Zustand im Lichte meiner Entdeckungen nicht zutreffen kann.

Auch angesichts des enormen Energieanstiegs durch die angewandte Technologie von Adams sei zu reden. Sind künstliche wissenschaftliche Gesetze wieder verletzt? Wenn das magnetische Material gesättigt wird, wenn es einer externen Energiequelle ausgesetzt wird, muss die Adams-Technologie dann Gating Space / Gravitationsenergie sein.

Es gibt überwältigende Beweise, dass Raum- / Schwere-Energie konzentriert, fokussiert und / oder durch Permanentmagneten vergrßert werden kann.

© 1995 Robert Adams
Whakatane, Neuseeland



STÄNDIGE MAGNETE UND EFFIZIENZ

DIESER BERICHT BEZIEHT EINEN EIGENEN MERKMALE VON STÄNDIGEN MAGNETEN ENTDECKT EINIGE 19 JAHRE, VON ROBERT ADAMS VON NEUSEELAND UND ZULETZT VALIDIERT:

EIN LÄNGES UND IN DEPTH-PROGRAMM DER PRÜFUNG VIELER MAGNETE VON VERSCHIEDENEM ENERGIEPRODUKT UND ZUSAMMENSETZUNGEN IN ADAMS-MOTOREN WURDE JEDOCH ABGESCHLOSSEN.

DIESER BERICHT SCHÄTZT DIE FRÜHEREN ÄHNLICHEN PRÜFUNGEN, DIE WÄHREND DES JAHRES 1976 UND 1979 WÄHREND DES JAHRES 1994-1995 WÄHREND DES VERGANGENEN JAHRES VORGESEHEN WURDEN.

Wie ich mit DR zusammenarbeite. HAROLD ASPDEN DES VEREINIGTEN KÖNIGREICHS IN OBEN UND ANDERE RECHTSSACHEN, BEI DR. ASPDEN UND SELBST HABEN BESCHLIESSEN, DASS DIESER NACHRICHTENBERICHT IN DEN NEXUS-LESERARENA ZURÜCKZUWEISEN IST, DA UNSERE KOLLEKTIVEN ERGEBNISSE DER EXTENSIVEN TESTAALYZEN, DIE IN DER HÖCHSTEN ZEIT VORGESCHRIEBEN HABEN, BESTÄTIGT HABEN.

ZUSÄTZLICH ZU DEN OBEN GENANNTEN, ICH ANFANG DIESES JAHRES VON EINEM JAPANISCHEN UNTERNEHMEN BEAUFTRAGTE MAN EINEN ADAMS MOTOR UNTER EINBEZIEHUNG IHRER Y.T SUPERMAGNETE MIT BLICK ZUR STEIGERUNG DER EFFIZIENZ DER ADAMS MOTOR ZU BAUEN. DIESES PROGRAMM WURDE ORDNUNGSGEMÄß DURCHGEFÜHRT. DIE ERGEBNISSE WAREN WIE ICH, ALSO VORAUSGESAGT HATTE GAB ES KEINE ZUNAHME DER ÜBERSCHÜSSIGE ENERGIE GEFUNDEN.

DIESER BERICHT IST WICHTIG VON ZWEI VERSCHIEDENEN ASPEKTEN. ERSTE SCHRITTE ERRICHTLICHE ANSPRÜCHE DURCH BESTIMMTE INVENTOREN, INGENIEURE UND WISSENSCHAFTLER ALLE, DASS KRAFTSTOFFE MAGNETE, DIE IN ELEKTRISCHEN MOTOREN GEBAUT WERDEN, SEHR HOHE EFFIZIENZ ODER ÜBER UNIT. DIESER BEMERKUNG IST NICHTS MEHR ALS EINEN ANNAHME, DER LETHARGISCH ÜBER DEN JAHREN ANGENOMMEN WERDEN. ZWEITES SPEICHERT ES VIELE MENSCHEN, DASS ES ZEIT UND ENTTÄUSCHUNGSMITTEL UNTER BERÜCKSICHTIGUNG DER HOHEN EFFIZIENZ VON MAGNETEN DES HOHEN ENERGIEPRODUKTES ERZEUGT, WIE MÖGLICH VON BESTIMMTEN MÄDCHEN ANGEGEBEN HAT. ICH WÜRDE DAS LESER IN DIESEM PUNKT ZU MEINEM PAPIER VERÖFFENTLICHT IM NEXUS MAGAZIN, APRIL - MAI 1993 AUSGABE, SEITE 47.

REGEL NR. 1: KEIN MAGNET, IRRESPECTIVE VON IHNEM INEREREM ENERGIEZÄHLER KANN JEDOCH DIE EFFIZIENZERGEBNISSE EINES ELEKTRISCHEN MOTORS ERHALTEN.

REGEL NR. 2: EINGANG LEISTUNGSBEDARF STEIGT PROPORTIONAL DAS ENERGIEPRODUKT DER MAGNET/S VERWENDET, DIE AUTOMATISCH JEDE MÖGLICHKEIT EINER STEIGERUNG BRICHT IN EFFIZIENZ. FÜR MEHR EFFIZIENZ MUSS MAN NACHGEHEN, DIE VERBESSERUNG DER ANDERE WICHTIGEN LOGISCHE FAKTOREN, Z. B. MASCHINENDESIGN, ETC.

HINWEIS: DIE GESETZE DES PERMANENTMAGNETEN, WIE DIE GESETZE DES UNIVERSUMS, ZEIGEN SIE AUF BESTIMMTE KONSTANTE INHÄRENTEN EIGENSCHAFTEN, VON DENEN ZEIGT, DASS EFFIZIENZ KONSTANT BLEIBT, WENN MAGNETE IN EINEM KÜNSTLICHEN GERÄT, UNABHÄNGIG VON DER MAGNET ENERGIEPRODUKT ANGENOMMEN WERDEN.

FÜR ERFOLGREICHE HOHER EFFIZIENZ ES FÜHRT WIRD VORGESCHLAGEN, DASS MAN BEISEITE DIE BEDEUTUNG VON MAGNETEN IN BEZUG AUF EFFIZIENZ UND KONZENTRIERT SICH BÜRSTEN AUF MATERIALIEN, ELEKTRISCHE UND MECHANISCHE KONSTRUKTION IN DEN REST DER MASCHINE UND NATÜRLICH DER ANSICHT, DASS EINFALLSREICHTUM EIN ERSTER BESTANDTEIL IN DIESER ÜBUNG IST.

IN DEN 1970ER JAHREN ENTDECKTE ICH AUF DEM MAGNETEN DER NIEDRIGEREN ENERGIEPRODUKT FÜR HÖHERE ENERGIEARTEN IN MEINE GEPULSTE ELEKTROMOTOR/GENERATOR, DAS GAB ES EINE ERHÖHUNG DER AUSGANGSLEISTUNG, ABER KEINE ÄNDERUNG DER MOTOREFFIZIENZ ÄNDERN. GAB ES IN DEN FRÜHEN SIEBZIGER JAHREN, VIEL REDEN UND SPEKULATIONEN ÜBER HÖHERE EFFIZIENZ MIT DEM AUFKOMMEN VON STÄRKEREN MAGNETEN ÜBER DIE HORRIZON IN NAHER ZUKUNFT ERSCHEINEN. ALS SCHLIEßLICH SAMARIUM-COBOLT AUF DER SZENE IN DEN USA KAM, WAR ES JEDOCH EIN LANGER WEG VON IMMER AN ANDERER STELLE IN DER REGEL ZUR VERFÜGUNG.

ALS ICH SCHLIEßLICH EIN PASSENDES SET VON SAMARIUM-COBOLT MAGNETEN ERHALTEN, ICH IN MEINEM MOTOR INSTALLIERT UND WAR NICHT ÜBERRASCHT ZU FINDEN, WIEDER EINMAL, DASS DIE MASCHINENLEISTUNG ERHÖHT ABER DIE EFFIZIENZ NOCH UNVERÄNDERT.

IN DER LETZTEN ZEIT HABE ICH EIN PROGRAMM MIT MEHRERE VERSCHIEDENE ARTEN VON MAGNETEN DER UNTERSCHIEDLICHEN PRODUKT ENERGIEKENNZAHLEN, VON EIN PAAR HUNDERT GAUSS, MEGAGAUSS SUPER POWER MAGNETE DURCHGEFÜHRT. JETZT, WO MEIN PROGRAMM AUF VIELE VERSCHIEDENE MAGNETE ÜBERPRÜFUNG ABGESCHLOSSEN IST, UMFASST DIE STÄRKSTEN MAGNETE ZUR VERFÜGUNG, ICH EINGEWEIHT BIN, IN DER WELT AUF DEM LAUFENDEN, ES HAT SICH HERAUSGESTELLT, DASS MEINE URSPRÜNGLICHE ENTDECKUNG IM JAHR 1976 DIE TATSACHE BESTÄTIGT, DASS DAS ENERGIEPRODUKT VON MAGNETEN ÜBERHAUPT WEITER KEINEN EINFLUSS HAT DIE ERGEBNISSE/ERGEBNIS EIN PERMANENTMAGNET ELEKTROMOTOR WIRKUNGSGRAD. ES WERDEN VIEL ENTTÄUSCHUNG, EINE MENGE LEUTE DA DRAUßEN ZU ERFAHREN, DASS MAGNET ENERGIEPRODUKT EFFIZIENZ IN IRGENDEINER WEISE NICHT REGIEREN WIRD.

ES IST EIN TROST JEDOCH FÜR UNS ALLE, INSOFERN GIBT ES ZWEI SEHR BEDEUTENDE VORTEILE BEI DER VERWENDUNG VON SUPER-POWER-MAGNETEN. MAN IST DIE HOHE REDUZIERUNG DER LAUTSTÄRKE UND DIE ZWEITE IST DIE GLEICH HOHE REDUKTION IN GEWICHT. DIESE BEIDEN FAKTOREN TRAGEN OBWOHL NICHT ELEKTRISCHE WIRKUNGSGRADE PER SE, UM DIE GESAMTEFFIZIENZ IN DEM SINNE, DASS IHRE VERWENDUNG BEI DER HERSTELLUNG VON ELEKTROMOTOREN UND GENERATOREN PRODUKTIONSKOSTEN, WOBEI MATERIAL MINIMIERT UND ARBEITSKRÄFTE WERDEN DRASTISCH REDUZIERT, DAHER LEICHTER, KLEINER UND BILLIGER MOTOREN UND GENERATOREN PRODUZIEREN.

MIT DEM EINSATZ VON SUPERMAGNETE IN ZUKÜNFTIGEN MASCHINEN, IST VERSPRECHEN VON IRGENDWO UM DIE REIHENFOLGE DER HÄLFTE VON EINEM KILO PS MÖGLICH - SEHR GUTE NACHRICHT FÜR TRAGBARE STROMERZEUGER.



ERRICHTETE METHODEN DER ELEKTRISCHEN PRÜFUNG
MOTOR UND TRANSFORMATOR EFFIZIENZ

In diesem Abschnitt fordere ich die in Wissenschaft und Industrie genutzte Methode in Bezug auf die Prüfung von Effizienz von Elektromotoren und Leistungstransformatoren auf. Die genannten Verfahren liegen in Form der wohlbekannten und veralteten Niederlassungslehren vor. Die Einrichtung wird nicht versuchen, meine Herausforderung anzunehmen, weil sie voll und ganz weiß, dass meine Ansprüche bewiesen sind.

Diese überholten Methoden haben ewig im Laufe der Jahrhunderte gedauert und als Evangelium genommen, das nie in Frage gestellt werden kann. Es ist an der Zeit, dass diese überholten Methoden überprüft werden. Mit neuen Energiegeräten über den Horizont, Anwendung der Einrichtung Testverfahren für diese nicht und kann nicht genaue Ergebnisse nicht mehr als sie für heutige konventionelle Geräte zu tun.

Es ist schon lange her, dass die Einrichtung Wissenschaft und Industrie gleichermaßen in dieser Angelegenheit, insbesondere in Bezug auf Elektromotoren und Transformatoren, in die Pflicht genommen wird. Testergebnisse von Hochschulen und Betriebseinrichtungen neuer Energiegeräte, denen ich begegnet bin, sind nicht das Papier wert, auf dem sie geschrieben sind. Beginnen wir mit Leistungstransformatoren. Eine einfache Vorrichtung ohne bewegliche Teile, Forderungen von über 98% Wirkungsgrad!

Ich stelle eine Frage. Warum bei großen Leistungstransformatoren, wie sie für die nationalen Netzsysteme verwendet werden und die Ratings in der Größenordnung von 98% Wirkungsgrad beanspruchen, müssen sie in große Tanks mit speziellem Transformatorkühlöl eingetaucht werden, um den Transformator an einem sicheren Betriebstemperatur? Und außerdem ist der Transformatorkessel mit umlaufenden Öltricks um den äußeren Umfang herum ausgestattet, die ihrerseits das heiße Umlauföl kühlen und so auch in vielen Fällen diese Transformatoren eine Umwälzpumpe benötigen? 98% Wirkungsgrad? Wenn der so beanspruchte Transformator tatsächlich in der Größenordnung von 98% Wirkungsgrad wäre, müsste er sicher nicht in einen Öltank mit seinen Hilfsvorrichtungen eingetaucht werden, um ihn kühl zu halten!

Jetzt Elektromotoren.

Ich frage die gleiche Frage. Weshalb bieten Motorenhersteller, die einen Wirkungsgrad von 90% erreichen, Kühlventilatoren in ihren Maschinen mit ihren damit verbundenen Verlusten, um die Maschine in einer sicheren Betriebstemperatur zu halten? Einfach wegen der Wärme, die in der Maschine durch inhärente Ineffizienzverluste erzeugt wird? Was 90% Wirkungsgrad? Wenn der / die Gebläse / s nicht zur Verfügung gestellt wurden, würde sich die Maschine durch die übermßige erzeugte Wärme sicher selbst zerstören.

So viel zur Einrichtung Lehren der Effizienz Ratings von Elektromotoren und Leistungstransformatoren. Ich habe über viele Jahre Kerben von Wechselstrom- und Gleichstrom-Elektromotoren erworben und getestet und nicht einen einzigen gefunden, der den Angaben der Hersteller entspricht.


ELEKTRISCHE MOTORTEMPERATUR ZU EFFIZIENZ

Nachdem ich in den letzten 30 Jahren auf dem Gebiet der Elektromotoren-Erfindungen tätig war und die Effizienzansprüche von Herstellern und Motoren-Erfindern gleichermaßen untersucht habe, habe ich in keiner ihrer Literaturen über technische Spezifikationen und Wirkungsgrade, irgendeine Bezugnahme auf die Temperatur von Wobei die Maschinen unter Vollastbedingungen arbeiten.

Man kann fragen - hat dieser wichtigste Faktor aus den Augen verloren oder ist es bequem Seite-treppenartig?

Letzteres vermute ich.

Sie können fragen - warum?

Wäre die Antwort darauf, daß, um die Betriebstemperatur des Motors in Frage zu stellen, vielleicht die Frage nach der wirklichen Effizienz der Maschine auftauchen würde?

Es ist zu beachten, dass die angegebenen Wirkungsgrade ungenau und irreführend sind, wenn der Vitalfaktor der Temperatur der Maschine, die unter Vollast läuft, nicht angegeben ist. Es muss auch bedacht werden, dass der Gleichstromwiderstand der inneren Wicklungen mit Temperaturerhöhung zunimmt.

Ausgehend von meinen Erfahrungen in der Kalorimetrie habe ich verschiedene Werte von Wechselstrom- und Gleichstrommotoren überprüft und festgestellt, dass sie alle hinsichtlich der Genauigkeit fehlerhaft sind, was darauf hinweist, dass die Temperatur der Maschine, die unter Vollast läuft, nicht berücksichtigt wurde.


KONVENTIONELLE ELEKTROMOTOREN

Herkömmliche Elektromotoren, ob Wechselstrom oder Gleichstrom, in der Arbeitskraft sind abträglich niedrig in ihrer Effizienz, einschließlich derer, die in der Größenordnung von 60-90% beansprucht werden.

Und hier ist warum:
Wenn ein herkömmlicher Motor mit einem beanspruchten Wirkungsgrad von beispielsweise 70% und 10 Watt Leistung und einem Motor von mehr als Einheit und 10 Watt Leistung beide gleichmäßig in einer Umgebungstemperatur von 20° C belastet werden, kann der herkömmliche Motor nach 20 Minuten Betrieb, Eine Temperatur von über 100° C erreicht haben; Der unkonventionelle Motor (über den Einheitsmotor hinaus), am Ende von 20 Minuten, kaum 38° C erreicht hätte.

Die & ldquor; belastete Betriebstemperatur "von Motoren um die Größenordnung von Einheit und darüber hinaus ist derart, dass sie kein Kühlgebläse benötigen, und sie brauchen auch nicht aus Metall konstruiert zu werden, um den enormen Energieverlust zu zerstreuen, wie bei herkömmlichen Maschinen. Auch hier besteht ein offensichtlicher Vorteil, da Volumen und Gewicht wesentlich reduziert sind.

Kalorimetrie ist eine anspruchsvolle und kritische Wissenschaft. Es erfordert eine zeitlose Befolgung seiner Prinzipien und Gebote und eine fast religiöse Teilnahme an der Diagnose, die von seiner Natur gefordert wird. Und so wurden viele hundert Stunden Arbeit und erhebliche Gelder auf die "Endlösung" angewandt, und Skepsis kann einen Bogen nehmen und in der Tat zumindest einen Teil der Kredit für die Ergebnisse akzeptieren - es ist Gebet beantwortet worden, wenn auch "volte Gesicht". Alle Kalorimeter-Testanalysen und Temperaturparameterforschung, die ich selbst in den vergangenen Jahren sowohl am Adams-Motor als auch an verschiedenen Motorentypen durchgeführt habe, haben sich stark für Beweise ausgesprochen, um die Tatsache zu unterstützen, dass diese Methoden der Skeptiker Des Tests der Adams-Maschine und andere, sind überholt und grob ungenau. Es ist fast obligatorisch, seine Skeptiker, wenn auch aus keinem anderen Grund, als für den Spaß herauszufordern: aber es gibt niemanden, den ich kenne, um Kalorimetrie herauszufordern.

Ich habe jahrelang bemüht, Menschen zu erklären, die es wirklich besser wissen sollten, dass die Temperatur von Elektromotoren bei der Arbeit von höchster Bedeutung ist und elektrische Parameter keine Folge haben oder gar in Betracht gezogen werden müssen. Auch konventionelle mathematische / elektrische Messungen gelten nicht für geschaltete Reluktanzmotoren; Wenn sie angewendet werden, durch eine genaue genaue Temperaturmessung der Maschine fehlerhaft.

WERTIGE HINWEISE ZUR REPLIKATION


1) Nur reines Eisen für Stator / Antriebswicklungen verwenden, nicht aus Stahlblech.

2) Windstatoren mit einem Widerstand im Bereich von 10 bis 20 Ohm jeweils für ein kleines Modell

3) Für 2) oben, Spannung / s zwischen 12 und 36 verwenden.

4) Für kleine Maschine bilden Schütz Sternscheibe 1 Zoll maximaler Durchmesser.

5) Halten Sie Verkabelung kurz und von niedrigem Widerstand.

6) Für kleine Maschinen-Sicherung / Halter 500m.a. Auf 1 Amp.

7) Schalter für Komfort und Sicherheit montieren.

8) Verwenden Sie kleine Lager. Verwenden Sie keine abgedichteten Lager, da diese mit einem dichten Fett verpackt sind, das zu starkem Widerstand führt.

9) Verwenden Sie nur silberne Kontakte für Impulsschalter.

10) Bei Verwendung von Hochenergie-Produktmagneten wird Schwingung ein ernstes Problem, wenn Konstruktionsmaterialien und -designs fehlerhaft sind.

11) Luftspalt ist nicht kritisch; Jedoch verringert die Verringerung das Drehmoment und erhöht auch die Eingangsleistung im Verhältnis zueinander.

12) Für höhere Drehzahl, niedrigeren Strom, in Reihe geschaltete Statoren empfohlen.

13) a) Wenn Maschinenstatorwicklungen einen niedrigen Widerstand aufweisen und hohen Strom bei höherer Eingangsspannung zeichnen, ist es ratsam, einen Schalttransistor zu installieren, der Funkenbildung an Punkten vollständig beseitigt.
13) b) Beim Berechnen der Eingangsleistung muß jedoch die Transistorschalterbelastung vom Gesamteingang subtrahiert werden.

14) a) Punkte Abstimmung und Druck sind von entscheidender Bedeutung; Das Experiment zeigt optimale Einstellungen an.
14) b) Wenn jedoch alle elektronischen Schaltvorgänge bevorzugt werden, d.h. unter Verwendung von Photo, magnetischem, Hall-Effekt usw., dann wird das vorstehend unter a) vollständig eliminiert.

15) Wenn Sie ein großes Modell mit großen Super-Power-Magneten konstruieren, beachten Sie Folgendes:

Je größer das magnetische Energieprodukt ist, desto größer ist die für den Antrieb der Maschine erforderliche Leistung, desto größer das Drehmoment, desto größer das Vibrationsproblem, Kosten usw. Lesen Sie den Abschnitt "Dauerhafte Magnete und Effizienz" von Dr. Robert Adams 1996 "Auch veröffentlicht in NEXUS April / Mai 1996 Issue).



ADAMS MOTOR

ANALYSEBERICHT (PHD.SYSTEMS ENGINEERING SCIENTIST) DETROIT, OHIO

Dies ist eine "Vax" -Computersystemanalyse zusammen mit Computergraphen der Parameter und Analysen, die von dem obigen Wissenschaftler durchgeführt wurden, was die Gültigkeit verschiedener Ansprüche, die der Erfinder gemacht hat, bestätigt. Die Graphen sind sehr umfangreich und daher von erheblichem Wert, um Konstruktionsarbeiten, insbesondere des Motors, des "Adams" -Motorgenerators zu unterstützen. Die folgende Analyse sind Ergebnisse des ursprünglichen Mark I Adams Motorgenerators, aufgenommen in einem magnetischen Anziehungsmodus.

ALLGEMEINER ANALYSEBERICHT EMPFANG
DURCH DAS ERFOLG

Hinweis zu Batterietests:
I have done a battery charging test and I enclose the results for your examination. As you can see, the input battery voltage stayed virtually constant over the time involved, while the output battery voltage climbed considerably. Are you interested in what the device I was using between the two batteries was? It was a "conventional" RESISTOR. Yes, I actually duplicated your battery charging curves using a resistor, not an Adam's Machine. I hope you find this informative.

Simulation läuft:
Ich schließe einige Ausdrucke aus meinem Simulationsprogramm ein, in denen einige der in Ihrer Literatur beschriebenen Funktionen bestätigt werden. Die Kurven mit Winkel auf der horizontalen Achse zeigen 1/4 einer Umdrehung um 1 Grad-Inkremente. Die Kurven mit der Geschwindigkeit auf der horizontalen Achse zeigen den Effekt auf die Änderungen der Drehzahlveränderungen. Wie Sie aus dem Drehmoment-Winkel-Diagramm sehen, wird ein positives Drehmoment in jedem Zyklus, wie Sie feststellen, zweimal angewendet. Das EFFICIENCY VS SPEED PLOT zeigt den "Resonanzeffekt" eher dramatisch, denkst du nicht? (Hierbei ist der hellere schraffierte Bereich der Bereich von ÜBER-EINHEIT) Das TORQUE-SPEED PLOT ist durchaus interessant, da die Schnittlinie der Lastlinie mit welcher Drehzahl der Motor läuft. Die gezeigten simulierten Spulenspannungs- und Spulenstromverläufe ähneln denen, die in meinem Anwendungsbereich beobachtet wurden (und nach Ihren Diagrammen), was die grundlegende Gültigkeit der von mir entwickelten Simulationsgleichungen bestätigt. Der BATTERY CURRENT VS ANGLE PLOT zeigt den Stromfluss wieder in die Batterie, wieder, wie Sie angegeben haben.

Ist es nicht interessant, dass die Simulationen Operationsgebiete unter bestimmten Bedingungen zeigen, die über einheitliche Ergebnisse führen? Vielleicht müssen wir nicht so viel von "konventioneller" Physik werfen, wie Sie denken. Vielleicht "über Einheit" wurde in der konventionellen Physik die ganze Zeit verborgen und wir haben es einfach nicht gesehen, weil wir nicht in der richtigen Weise mit Augen gesehen haben, um zu sehen.

7/8/93
L.L. PH.D
Detroit,
Toledo,
Ohio












BESONDERER BERICHT ÜBER EINEN NEUEN REVOLUTIONÄREN MOTORGENERATOR
DER ADAMS THERMO-MOTORGENERATOR - MARKIERUNG 022/3

Neue ETHER-ENERGIEVORRICHTUNGEN sind nun Realität, und der Elfenbeinturmschutz der Gesetze der Thermodynamik und der Einsteinschen Relativität ist bis heute außer Kraft gesetzt.

Die Forschung und Entwicklung in diesem neuen, weit verbreiteten Feld ist schnell an Schwung gewachsen. Zu diesen neuen Vorrichtungen gehören Elektromotoren / Generatoren und Halbleitereinheiten, Gegenwärtige Methoden der Stromerzeugung sind für den Schrott-Haufen bestimmt.

Das wissenschaftliche Establishment hat sein imposantes Gebäude der Quantenelektrodynamik auf der Grundlage sekundärer Ergebnisse aus Elektrizität und Elektromagnetik entwickelt, die bereits in Aktion sind.

Von diesen beobachteten Aktionen bilden sie ein hypothetisches Bild, dessen theoretische Modelle konsequent für MOST-elektromagnetische Vorrichtungen zuverlässig gedient haben, aber nicht alle, als diese dogmatischen Gesetze von heutigen Erfindern konzipiert wurden und die Wissenschaftler diese neuen revolutionären elektromagnetischen Geräten, die ETHER ENERGY Gating, mit einer Ausnahme Tesla am Ende des letzten Jahrhunderts, die unterdrückt wurde.

Wenn das wissenschaftliche Establishment Dogma in Bezug auf Newtons Gesetze der Thermodynamik und EINSTEIN Relativität richtig wäre, dann keines dieser neuen Energie-Geräte, einschließlich UFOs, erfunden worden sein könnte.

Einstein sakrosankt Relativitätstheorie und die Gesetze der Thermodynamik sind die bemerkenswertesten und unerklärliche Abweichungen jemals in der Wissenschaftsgeschichte aufgezeichnet. Diese drakonischen falschen Lehren haben sich auf einen Großhandel Maßstab instrumental den Fortschritt der Wissenschaft gegenüber freien saubere Energie in einer viel versprechenden Ära in behindern, die die fossilen Brennstoff Magnaten da hatte lachen den ganzen Weg zur Bank.

Es gibt überwältigende Beweise dafür, dass Ether / Raumenergie konzentriert werden kann, fokussiert und / oder durch Permanentmagneten vergrößert. Ich für meinen Teil, das in meinem ursprünglichen Motor-Generator bewährt haben, 4-polig Super Power-Magneten, die Adams Thermo Motor / Generator und andere Erfindungen und elektromagnetische Entdeckungen noch nicht bekannt. Mein Erfolg Wärme aus Ether / Raumenergie manifestiert innerhalb der Statoren der Mark 022/3 Adams Thermo Elektromotor und erfolgreich nutzbar zu machen, diese Energie in Ausfällen, hat sich als ein sehr wichtiges und spannendes Ereignis für eine Welt für saubere Energie wirtschaftlich am Verhungern sein.

Die "ADAMS THERMO Motor-Generator" ist nur eine der neuen Energie-Geräten am Horizont mit enormem Potenzial. Die Vorrichtung ist so als eine Veranschaulichung seiner Fähigkeit benannt, zusätzlich zu sehr effiziente elektrische oder mechanische Stromversorgung, auch Wassererwärmung, sowohl auf beispiellos wirtschaftlich Zahlen geben.

Wärme ist eine Quelle der immense Energieverlust in herkömmlichen Motoren. Es war dieser Hauptfaktor im Auge, die mich dazu veranlasst zuerst einen Motor zu erfinden, die diese Energieverschwendung überwinden würde und damit die Geburt des ursprünglichen Adams Motor Generator Mark 001 (1968). Ironischerweise dagegen über den dazwischenliegenden Jahren ein großer Teil meiner geistigen Forschung ging in die Idee der Äther Energie schneidend, in Form von Wärme, in meiner ursprünglichen Maschine. Mit dieser Aufgabe prominentesten in meinem Kopf, ich grübelte ständig über die Idee, einen Motor zu erfinden, das wäre, zusätzlich zu machen einen sehr hohen Wirkungsgrad, innerhalb der Maschine ätherische Energie in Form von Wärme bereitzustellen, die ich dann nutzen könnte durch Art und Weise des Heizwassers.

Um dies zu erreichen fühlte ich eine dringende Nachricht die meisten meiner Bemühungen in die Gestaltung eines einzigartigen Rotor zu lenken als mit, im Laufe der Jahre, fand kaum eine Chance, wenn überhaupt, von der Menge des Elektromotors Statorsysteme verbessern, wie versucht wurde durch viele, mit höchstens nur wenig zeigen, wenn überhaupt, Verbesserung der von höherer Effizienz gewinnt.

Zwei einzigartige technische Faktoren kam recht schnell in den Sinn und wurden ordnungsgemäß in diesem Rotor umgesetzt. Die Ergebnisse der ersten Probeläufe waren weit über meine Erwartungen; für die Größe und elektrischen Parameter der Maschine, die Energie aus dem Ether in Form von Wärme gated war massiv und spontan. Diese Ergebnisse waren sehr spannend.

Um eine solche Maschine bauen erfordert viel Erfahrung und Geschick bei der Gestaltung von unkonventionellen neuen Energie-Geräte, zusätzlich zu dem Erfordernis der Erfahrung in der Wissenschaft der Thermodynamik, Kalorimetrie und Wasserheizungsanlagen. Alle Maßnahmen müssen ausgeübt werden ausgeschlossen und / oder Verluste zu reduzieren, da diese viele sind und kann hoch sein und umfassen die folgenden:

Conduction, Strahlung, windage, Lager, Magnetik, Transistor-Schalt, hohe Ventilationsverlust bei Statorpol steht aufgrund der hohen Geschwindigkeiten von 2500 - 4000 Umdrehungen pro Minute des Rotors zu erheblichen Kühleffekt - dh unwiederbringlichen Verlust von ETHER Energie und Wärmeisolierung Verluste in Stator Jacken, Haltetank und Rohrschaltung.

Die einzigartige Rotor, kurz beschrieben, besteht aus vier Neodym-Magneten und wird nur durch zwei 180 ° Statoren mit einem großen Luftspalt von 1,25 mm, hat einen Rotordurchmesser von 140 mm und 19 mm in der Breite und die Ständerflächen klein sind nur 15mm Durchmesser getrieben .

Die hohe Wärmeenergie bezeichnet, das aus Ether / SPACE gated, konzentriert sich auf die Statorwicklungen. Die Art und Weise, in der diese Wärmeenergie aus dem Stator genutzt wird, ist einzigartig und sehr effizient, und das Ergebnis ist eine Maschine, die für den industriellen Einsatz mechanischer Energie entwickelt und liefert Warmwasser zusätzlich eine Weltneuheit in seiner Klasse. Es stellt ein Segen für die Industrie, Krankenhäuser, Einrichtungen und Zweifamilienhäusern gleichermaßen. Für eine bestimmte Anwendung kann es für die Stromversorgung Generation zusätzlich Warmwasser zur Bereitstellung an Wirtschaftsfiguren von ungeahnter entworfen werden. Die Anwendungen sind vielfältig und für den Verbraucher das Plus ist seine schiere Wirtschaft, ob Sie ein kleines Power-Boot oder ein Seeschiff nehmen - Treibstoffkosten und Gewicht auf den Knochen aufgeschlitzt würde nicht die reduzierten Brandgefahr zu erwähnen und wie bei Krankenhäusern , Produktionsanlagen, Mühlen, Bergbau und Industrie im allgemeinen würden die gleichen Vorteile gelten.

Die Maschine, wegen seiner einzigartigen freien Wasserheizung Vorteil wird, natürlich, von größerem Volumen als ein herkömmlicher Motor aufgrund der erforderlichen Einbaukriterien der zugehörigen Baugruppe erforderlich, um diese primäre Quelle der freien Energie zu nutzen.

Die Aussicht, nun in der Lage zu sein, diese Energien von magnetischen Kräften zu nutzen, bietet uns eine große neue saubere Energiequelle frei für die Aufnahme.


KALORIMETRISCHER TEST, TRANSISTORSCHALTER
VERLUSTLEISTUNG UND STROMAUFNAHME
UND ÄTHER-ENERGIE-AUSGANG
Insgesamt Transistorschalter Ableitung       45 Watt.
Gesamtstromaufnahme                                 33 Watt.
Ether Energieabgabe von heißem Wasser 137 Watt.


Jetzt 45 Watt des Transistorschalters ist die Gesamtverlustleistung sowohl von der Maschine und Schalter, so dass wir mit einem Paradoxon, dass elektrische Berechnung Gesamteingangsleistung = 33 Watt gegenüber 45 Watt des Transistors Gesamteingangs konfrontiert (kalorimetrisch gemessen). Mir dies zeigt an, dass ätherische Energie irgendwie den Schaltkreis eintritt, wie es weit heißer, als es sollte für die Menge an Strom, die sie schaltet wird. Diese Möglichkeit sollte nicht als ätherische Energie bewegt ignoriert werden und sammelt auf beiden Isolatoren und Leiter gleichermaßen und gemeinsam in einer Art und Weise völlig fremd die Art und Weise, in der Strom, wie wir sie kennen, in einer elektrischen Schaltung fließt.

Es gibt Anzeichen dafür, in dieser einzigartigen Maschine zeigt, die wir haben viel spannendes Lernen voraus in diesem neuen Bereich der Energie anzeigt. Zum Beispiel werde ich zitieren die Anomalie von meinem Tag Buch 2.6.96 datiert im Anschluss:

Während eines Testlaufs auf dem oben genannten Datum, wie es üblich ist, wurden Stichproben von der Wassertemperatur 'Stator Jacken genommen und es wurde während der einstündigen Testlauf, dass der Nordpol genommen hatte nun die höhere Wärmepotenzial aus dem Südpol gefunden - mit einem Unterschied, jedoch; statt der üblichen 2 bis 3 Grad Abweichung von einem Tag zum anderen zwischen den beiden Polen, bei dieser Gelegenheit den Nordpol bei einer Temperatur von 33 Grad darüber hinaus, dass durch die SÜDPOL angezeigt wurde, betrieben wird. Es gab keine elektrische Instrumente und Variationen auch immer in dieser Zeit des Testlaufs und außerdem gab es kein Zeichen von Variation der Maschinenleistung. Diese anomale Entdeckungen sind nicht neu für mich; sie überzeugen mich einfach weiter, dass "es sehr wahrscheinlich ist, dass bei einigen oder allen Zeiten in der Zukunft, ist die jeder von uns jemals über die Natur wissen nichts" (Dr. Robert Adams 1996).

HINWEIS:
UNLOADED LEISTUNGSTEST - Es ist zu beachten, dass die skizzierte Testlauf wurde freilaufend durchgeführt, das heißt, die Maschine wurde angewandt, ohne mechanische oder elektrische Last betrieben wird. Bei Anwendung von Belastung ist jedoch Eingangsleistungssteigerung minimal, wo ether Wärmeenergie steigt dramatisch proportional.

Eine neue Maschine mit höherer Leistung, größere Abmessungen und der zu erwartenden Verbesserung der Effizienz ist, derzeit im Bau. Die Ergebnisse seiner Leistung wird interessant sein zu sehen, und sie werden auch international zu gegebener Zeit veröffentlicht.

LITERATUR-EMPFEHLUNGEN:
MODERN AETHER SCIENCE von Dr. Harold Aspden (zum Herunterladen von www.free-energy-info.com)

PHYSIK OHNE EINSTEIN von Dr. Harold Aspden - Saberton Publikationen, P. O. Box 35, Southampton S016, 7RB, U. K. (zum Herunterladen von www.free-energy-info.com

DIE COSMIC Puls des Lebens von Trevor J. Constable. Border Sciences Research Foundation, Gaberville, Kalifornien, ISBN 0-945685-07-6 U.S.A.

THERMODYNAMIK UND FREE ENERGY von Peter A. Lindeman. 28 Williams Boulevard. Tijeras, New Mexico, 87159, USA.



DAS ÜBERMÄßIGE EINHEIT ABNEIGUNG MOTOR EXPERIMENT

Man kann ein Adams Motor bauen und zu beweisen, dass eine Über Einheit Betrieb ist eine Realität. Allerdings sind die meisten akademischen Forschern würde dies erachten eine Verschwendung von Zeit zu sein, da es als eine "Kurbel" Verfolgung als Versuch angesehen wird, ein "Perpetuum mobile" Maschine zu schaffen.

Meine Aufgabe, experimentell, daher ist etwas viel einfacher zu präsentieren, die in einer Schule Physiklabor montiert und getestet werden können, oder zu Hause einen Standard-Transformator-Kit kostet ein paar Dollar verwenden. Alles, was man dann braucht, ist ein Instrument zu lesen Ampere und Volt und eine variable Netzspannungsversorgung.

Ich habe diesen Versuch, mich zu überzeugen, dass, was ich sagte bei dem Treffen Denver in Colorado hält. Ich bin froh, dass ich das Experiment tat, weil es mir gesagt, etwas Neues und wichtig.

Ich hatte gedacht, dass es, um freie Energie von ferromagnetism zugreifen zu können, müsste ich den Magnetkern über dem "Knie" der BH-Kurve an die Macht, wo der Magnetismus durch das Atom Elektron aufbaut Spins wird eher in die Ausrichtung gezwungen, als nur Spiegeln um 180°. Hier muss ich vorsichtig sein, weil ich eine sehr gründliche Ausbildung in ferromagnetism haben, und ich sollte Terminologie nicht vertraut Leser vermeiden.

Es muss jedoch gesagt werden, dass es für jeden, der realen Forschung auf freie Energie aus ferromagnetism beteiligt kein Weg ist, es sei denn, diese Person, die Physik des Subjekts versteht. Der Hit und verpassen Ventures von denen, die Permanentmagnet "freie Energie" Maschinen bauen und erhalten sie anomal arbeiten nur andere Führung mit dem richtigen Training ausgestattet uns darauf, die Forschung zu nehmen. Ich sage "nur", weil dies eine einfache Situation ist. Diejenigen, mit dem Wissen, wollen nicht glauben, dass "freie Energie" ist möglich. Diejenigen ohne Wissen können ihren Fall nicht beweisen, weil sie die wissenschaftliche Sprache nicht sprechen kann, das gilt. Wenn jedoch einmal auf den Duft und den Glauben an, was möglich ist, aber nicht zu wissen, warum, diese "Experten" auf Magnetismus wird schnell bei der Förderung der Technologie in der realen Geschäftswelt bewegen.

Also, hier habe ich an einer Einführungsstunde zu Punkt zielen oder experimentieren und diese zu sichern, empfehle ich diejenigen, dies versuchen, über die grundlegenden Prinzipien des Magnetismus zu lesen, wie von einem Ingenieur erklärt - kein Physiker! Das beste Buch, das ich kenne, zu diesem Zweck eine wird von einem Professor verfasst, die einer der Prüfer meiner Doktor war These. Sein Buch sagt dem Leser, in einer einfachen Sprache, wie Magnetismus entwickelt als Domänen ihre Wirkung neu ausrichten und weiter sein Buch den Leser über anomale Energieaspekte erzählt, einschließlich der ungelösten Rätsel der extrem hohen Verlust Anomalien (Faktor 10 größer ist als die Theorie voraussagt). Ich beziehe mich auf eine in Studenten Paperback-Ausgabe verkauft Buch von der Van Nostrand Company (Princeton, New Jersey), im Jahr 1966 veröffentlicht und von F. Brailsford unter dem Titel Autor: Physikalische Grundlagen der Magnetism ".

Wenn der Leser an einer Universität gehört, und das Buch aus der Bibliothek zugegriffen werden kann, dann, dass Leser, ich fühle mich, nachdem das folgende Experiment durchgeführt wird, können nun Sinn der "freien Energie" Chancen zu nutzen, die Welt des Magnetismus zu konfrontieren. Das Brailsford Buch ist natürlich nicht notwendig, als Vorstudie für das Experiment, aber es kann in helfen weiter zu denken. Tatsächlich als beiseite, ich erwähnen, dass, wenn ich mit einem unserer gegenseitigen Mitarbeiter hier in U.K. vor kurzem über die Floyd Süße Gerät sprach, war ich erfreut zu hören, dass er auch eine Kopie des Brailsford Buch hat.

Das Experiment ist denkbar einfach, wenn man die Energiefrage beteiligt. Nehmen Sie einen Standard-Transformator-Kit und montieren die Lamellen so, dass es ist, was im Kern praktisch ein Luftspalt ist. Seien Sie bereit, den Kern teilweise mit unterschiedlicher Breite Lücken wieder zusammenzusetzen. Ich schneide Stücke von Karte von 0,25 mm Dicke und durchgeführt, das Experiment in zehn Wiederholungsmontagestufen, mit 0 bis 9 Kartendicken.

Die Idee des Experiments ist in einen angeregten Kern Zustand, in dem zu erstellen gibt es eine bekannte Menge an Energie im Luftspalt gespeichert. Wenn der Wechselstromfrequenz 60 Hz bedeutet dies, dass in 1 / 240. einer zweiten Menge von Energie wird als Induktivität Energie versorgt, die die Bedürfnisse des Luftspalts zu erfüllen. Beachten Sie, dass ich konsequent Schätzungen aus Energie, die von unserer "freien Energie" Perspektive Worst-Case waren. Daher wird die zusätzliche Energie zugeführt, die als Induktivität in den ferromagnetischen Kern selbst, anstatt den Luftspalt gespeichert wird, wird ignoriert. Der Plan ist, dass die Energie mit der mechanischen Energie zu vergleichen, die wir aus dem Spalt nehmen könnte, wenn die Pole dabei waren gebildet zusammen zu schließen und als ob in einem Elektromagneten arbeiten. Lehrbücher sagen uns, dass die Energie, die durch die Flussdichte in der Lücke, die mechanisch zur Verfügung stehende Energie repräsentiert bestimmt. So müssen wir für jede Luftspaltdicke, um den Fluss zu messen, die den Luftspalt durchquert. Wir tun dies, indem rund um den Teil des Kerns eine Suchspule Umwickeln die auf der Seite des Luftspaltes ist, entfernt von der Magnetspule und die Spannung in dieser Suchspule induziert wird. Es kann, indem eine separate Suchspule auf der Magnetisierungsspule Seite des Spaltes überprüft werden, dass der Fluss den Spalt überqueren und den Testsuchspule verbindet, ist nahezu die gleiche, aber etwas weniger als die auf der Magnetisierungsseite. Also, in unserem Worst-Case-Analyse können wir uns auf die mechanische Energie aus dem schwächeren Fluss in der Testsuchspule gemessen berechnet verlassen. Das Flußmittel muß kleiner sein als der Fluss in dem Spalt.

Durch Einstellen Dicken den Strom zu aufeinanderfolgenden Spalt um sicherzustellen, dass die Spannung durch die Testsuchspule erfaßt wird, immer gleich ist, dann wissen wir, dass der Lückenenergie als mechanische Arbeit Inkrementen linear mit der Spaltdicke. Für jede solche Messung wir den aktuellen Datensatz in der Magnetspule registriert.

Wenn wir nun den Strom durch die Spannung gemessen multiplizieren, so dass für das Windungsverhältnis zwischen der Magnetisierungswicklung und der Testsuchspule, können wir die volt-amp Eingang finden, die in Abwesenheit von Verlusten die Reaktanz oder induktiver Strom ist. Dies ermöglicht es, die Leistung potenziell verfügbaren mechanisch von einem solchen Luftspalt zu vergleichen, wenn es in einem Reluktanzmotor Struktur waren, im Vergleich mit der Blindleistung, dieses Potenzial zur Einrichtung geliefert.

Es wird festgestellt, dass die mechanische Leistung wesentlich größer als die Eingangsleistung ist, wodurch gezeigt wird, dass "freie Energie" zu erwarten ist.

Nun muss man nicht einmal über die Berechnungen sorgen müssen die Blindleistung zu finden, indem Volt und Ampere multipliziert und damit für das Spulenverhältnis dreht. Es genügt, die Kurve der Strom für verschiedene Luftspaltdicken zu zeichnen. Da der Fluss die Lücke Amplitude festgesetzt hat, überquert, wie durch einen konstanten Spannungswert gemessen wird, bedeutet, dass lineare Erhöhung der mechanischen Leistung mit Luftspalt, so dass, wenn der Strom mit einer Rate, die Kurven nach oben mit zunehmender Luftspalt zu erhöhen würden wir eine sehen Diskrepanz einen Verlust darstellt, aber wenn es Kurven nach unten, dann das bedeutet, dass es eine "freie Energie" Quelle ist.

Das Experiment ist sehr positiv in die Kurve nach unten zeigt, und gibt so die "freie Energie" Antwort, aber zu meiner Überraschung, mit der Spulenanordnung in Fig. 2, fand ich, dass die "freie Energie" deutlich unter dem Knie des B-H-Kurve bei ganz normalen Flussdichten erhältlich ist! Selbst bei einem Fünftel der magnetischen Sättigungsniveaus der Überschuss kann freie Energiepotential der Eingangsleistung nicht überschreiten und eine doppelt-Einheit Faktor Leistung. Es ist daher kein Wunder, dass bei höheren Flussdichten eine für eine 700% Leistung zielen kann, wie die Adams Motor gezeigt hat.

Bei näherer Betrachtung ist der Grund dafür ist natürlich, dass Magnetismus durch eine Spule auf einem Magnetkern fortschreitet als Fluß um die Kernschaltung aufgrund eines "Knock-on-Effekt" durch interne Domäne Fluss Rotation eingerichtet. Dies ist wichtig und wird in der Regel auf eine Flußleckage Reaktionszugeschrieben, da sonst Magnetismus entfernt von einer magnetisierenden Spule konnten nicht die Biegungen in den Kern gelangen. Das Flußmittel Rotation, die über dem Knie des B-H-Kurve dominant ist, für ein System mit einer Magnetspule koextensiv mit der Länge des Kerns gebracht wirksam bei niedrigen Stromdichten, wenn die Spule umfasst nur einen Teil des Kerns.

Ich betrachte das Experiment nur als eine entscheidende Experiment beschrieben, um die Lebensfähigkeit von Over-Unity-performing beweisen Reluktanzantriebssystems Motoren und glauben, es sollte mit der Elektrotechnik in allen betroffenen Lehrlabors zum Standard geworden und schließlich, als Physiker die Äthers in seinem neuen Licht zu sehen, auch in allen Physiklabors High School.




GESCHALTETE RELUKTANZMOTOREN

Am 16. April 1993 veröffentlichte die ersten Tage des New Energy Symposium in Denver, auf denen die Teilnehmer über die "freie Energie" Motor der Neuseeländer Robert Adams gehört, die Financial Times in U.K. einen Artikel über "geschalteten Reluktanzmotoren". Dieser Artikel beschreibt, wie ein UK-Unternehmen Switched Reluktanzantrieben Begrenzte der Weltmarktführer in diesem Bereich geworden ist.

Die Bedeutung dieser als einer Nachricht ist, dass es eine schnelle Konvergenz auf dem Übergangspunkt, an dem war die Elektronik benötigt, um den Reluktanzmotor zu steuern, so billig ist, dass er, dass die Induktionsmotoren vorausgesagt wird, wird bald in großem Umfang ersetzt werden.

Diejenigen von uns, interessieren sich für die "freie Energie" Thema sollte dies als die Tür für die neue Energietechnologien zu öffnen, basierend auf den Prinzipien des Adams-Motor verwendet. Es gibt ein Zeitfenster, das durch die Ankunft des herkömmlichen geschalteten Reluktanzmotor an der Break-even geöffnet wurde, wo sie den herkömmlichen Motor auf einer Kostenvergleichsbasis ersetzen können. Diese neue Art von Motor ist eine, die auf dem magnetischen Zug verlässt sich über die Pole des Antriebsmoments zur Einrichtung steht. Es ist nicht eine Kraft Wechselwirkung zwischen Magnetfeld und Strom in einer Wicklung zu benötigen. Dementsprechend ist dies die Technik des Adams Motor, der die zusätzliche Pull ermöglicht durch die "freie Energie 'angetrieben gezogen durch die ferromagnetische Fluß-Drehung des Quanten zugegriffen werden soll, dreht.

Im Lichte des Berichts in der Financial Times und der jüngsten Aufmerksamkeit der Medien auf die Adams Motor in Australien habe ich bei meiner Rückkehr aus der Denver Sitzung des Adams Motor, um die Aufmerksamkeit der U.K. Energiewirtschaft Magazin 'Electric Review' gezeichnet. Als Ergebnis auf neue Technologie, um ihre Reporter veröffentlichte ein Artikel mit dem Titel in 9. Juli 1993 Ausgabe 'Reluktanzmotor 100% -plus Effizienz hat ".

Der Artikel sollte U.K. Engineering Interesse an der "freien Energie" Möglichkeit zu wecken, da ich das Designmerkmal gezeigt haben, durch die man die "freie Energie" Quelle verstehen kann und so seine Eingabe berechnen. Wie könnte der führenden britischen geschalteter Reluktanz Experte "zu diesem Vorschlag konsultiert zu erwarten hat gezögert, dass man einräumen könnte über 100% in elektrische Erzeugungseffizienz gehen, aber im Licht des nächsten Kommentar fragt man sich, wenn ein Riss jetzt geöffnet hat in die Einrichtung Abwehr.

*********

Wann immer Kugelumlaufanordnung Lager für eine Anwendung wie diese, bitte beachten Sie, dass "geschlossene" Lager wie diese nicht geeignet sind, wie geliefert:


Dies ist, weil diese Art des Lagers ist in der Regel mit dichten Fett, das völlig zerstört seine freie Bewegung, macht es noch schlimmer als ein Lager als ein einfaches Loch-und-Wellen-Anordnung gepackt. Doch trotz dieser, ist der geschlossene oder "versiegelt" Lager populär wie die Magneten, um Schmutz und Staub anziehen neigen und wenn das Gerät nicht in einem Stahl-Box eingeschlossen, wie es für den hohen Power-Versionen, dann hatte das Siegel wird als ein Vorteil sein. Die Art und Weise, mit der Fettfüllung umzugehen ist, um das Lager in einer isopropyal Lösemittelreiniger des Herstellers Fett zu entfernen, und dann, wenn es ausgetrocknet ist, schmieren die Lager mit zwei Tropfen von hoher Qualität dünnen Öl einweichen. Wenn es beabsichtigt ist, den Motor / Generator in einem geerdeten, versiegelt zu beherbergen Stahlkasten dann eine alternative Art der Lagerung, die geeignet sein könnte, ist eine offene Konstruktion wie folgt:


insbesondere, wenn die Luft aus der Verpackung entfernt wird. Einige Konstrukteure bevorzugen Keramiklager die angeblich immun gegen Schmutz verwenden. Ein Lieferant ist hier aber wie bei allem anderen, haben diese Entscheidungen durch den Baumeister gemacht werden und wird von seinen Meinungen beeinflusst werden.

Ich bin nicht sicher, woher es kam, aber hier ist ein Schaltplan, der einen Transistor-Laufwerk und die Rückkehr der EMK der Antriebsspulen zum Fahrersitz Stromversorgung. Mit diesem Verfahren können etwa 95% des Ansteuerstroms zurückgegeben werden, Absenken des Stromverbrauchsfensters enorm:


Die Diode Zuführen der Leistung zurück zu der Versorgungsspannung ist ein Shotky Typ wegen seiner Hochgeschwindigkeitsbetrieb. Es muss in der Lage, die Pulsspitzenleistung handhaben und so sollte eine der robusteren Art sein. Was diese Schaltung nicht hat, ist der sehr wichtige Einschalten der Ausgangsspulen Schaltung. Ein weiterer Punkt ist die fremden, dass die FET-Sensor mit zwei Sensoren anstatt einer und mit einer zusätzlichen Batterie angeordnet ist. Während es muss zugegeben werden, dass die Stromaufnahme des FET sollte sehr niedrig sein werden, es scheint immer noch nicht viel Grund, ein zweites Netzteil haben. Eine andere Besonderheit in diesem Diagramm ist die Positionierung der Antriebsspulen. Mit ihnen als versetzt gezeigt, hat es die Wirkung der sie in einem Winkel relativ zu den Magneten des Rotors. Es ist überhaupt nicht klar, ob dies ist ein modernes Betriebssystem Technik oder nur schlechte Zeichnung - ich bin geneigt, letzteres anzunehmen, obwohl ich keine Beweise für diese andere als die Schaltung Design und der geringen Qualität der ursprünglichen Zeichnung, die verbessert werden gehabt haben deutlich auf der Abbildung oben zu gelangen.

Die Spule Generatorausgang sollte in einen Kondensator, bevor sie an, was Ausrüstung, die durch das Gerät mit Strom versorgt werden weitergegeben zugeführt werden. Dies liegt daran, die Energie aus der lokalen Umgebung gezogen wird und nicht konventionelle Energie. Speicherung in einem Kondensator wandelt es zu einer normalen Version des elektrischen Leistung, eine Eigenschaft, die auch von Don Smith und von John Bedini erwähnt wurde, obwohl ihre Geräte ganz andere in Betrieb sind.

Der Gleichstromwiderstand der Spulenwindungen ist ein wichtiger Faktor. Der Gesamtwiderstand sollte entweder 36 Ohm oder 72 Ohm für einen kompletten Satz von Spulen zu sein, ob sie Antriebsspulen oder Leistung Sondenspulen sind. Spulen können parallel oder in Reihe oder in Reihe / parallel geschaltet werden. So konnte für 72 Ohm mit vier Spulen, die Gleichstrom-Widerstand jeder Spule 18 Ohm für Reihe geschalteten, 288 Ohm für parallel geschaltet sind, oder 72 Ohm für eine Verbindung in Reihe / parallel, wo zwei Paare von Spulen in Reihe dann verdrahtet sein parallel.

Um mit der Beurteilung der Drahtdurchmesser und Länge, die Sie nutzen könnten helfen, ist hier eine Tabelle von einigen der gängigsten Größen sowohl in American Wire Gage und Standard Wire Gauge:


Bisher haben wir nicht die Erzeugung der Zeitimpulse diskutiert. Eine beliebte Wahl für einen Zeitablauf System eine Schlitzscheibe auf der Rotorachse angeordnet und Erfassen der Schlitze mit einem "optischen"-Schalter verwendet. Die "optische" Teil des Schalters wird in der Regel durch UV Übertragung und Empfang durchgeführt und als Ultraviolett nicht sichtbar für das menschliche Auge, der Beschreibung des Schaltmechanismus als "optische" ist nicht ganz korrekt. Die eigentliche Erkennung Mechanismus ist sehr einfach, wie kommerzielle Geräte leicht zugänglich für die Durchführung der Aufgabe sind. Das Sensorgehäuse enthält sowohl eine UV-LED den Übertragungsstrahl zu erzeugen, und einen UV-Widerstand, diesen durchgelassenen Strahl zu detektieren.

Hier ist ein Beispiel für ein ordentlich konstruiert Timing-Mechanismus von Ron Pugh hat für seine sechs-Magnet Rotorbaugruppe:


Dieses Gerät geschieht zu einem der von hier nach ihrem Produktnamen Codenummer erbracht wird: OP-5490-14327-00. Da die geschlitzte Scheibe dreht, kommt einer der Schlitze gegenüber dem Sensor und ermöglicht dem UV-Strahl, um durch an den Sensor weitergeben. Das senkt den Widerstand der Sensoreinrichtung und diese Änderung wird dann verwendet, um den Ansteuerimpuls aus welchem Zeitdauer der Schlitz verlässt der Sensor klare auszulösen. Sie werden bemerken, die ausgewogene Befestigungsmethode von Ron verwendet werden, um zu vermeiden, dass eine unausgewogene Rotorbaugruppe. Es können zwei Scheiben Timing, einen für die Ansteuerimpulse und eines zum Schalten der Leistung Sondenspulen in die und aus der Schaltung sein. Die Schlitze in der Stromaufnahmebereich Taktscheibe wird sehr schmal wie der Schalter-EIN-Periode ist nur etwa 2,7 Grad beträgt. Für einen sechs Zoll Durchmesser Disc, wo 360 Grad stellt eine Umfangslänge 18,85 Zoll (478,78 mm) a 2,7 Grad Steckplatz nur 9/64 Zoll (3,6 mm) breit sein. Die Anordnung für eine axiale Magnetrotor Set-up so sein könnte:


Also zur Erinnerung, sind die Dinge, die notwendig sind für das Erhalten einer Adams Motorleistung in den schweren Halterung sind:
  1. Eine Leistung von COP> 1 kann nur erreicht werden, wenn es Macht Aufnehmerspulen sind.

  2. Die Rotormagnete müssen länger sein als sie breit sind, um die korrekte Form zu gewährleisten Magnetfeld und der Rotor muss vollkommen symmetrisch und mit Lager als reibungsarme wie möglich.

  3. Der Gesichtsbereich der Rotormagnete muss Vierfache der Antriebselemente Spulenkerne und einem Viertel der Fläche des Kerns des Leistungs Sondenspulen sein. Dies bedeutet, dass, wenn sie kreisförmig sind, dann ist die Antriebsspule Kerndurchmesser bis die Hälfte des Durchmessers des Magnets und der Magnet Durchmesser muss die Hälfte des Durchmessers des Stromaufnahmebereich Kern sein sein muss. Zum Beispiel, wenn ein kreisförmiger Rotormagneten ist 10 mm breit, dann ist die Antriebskern sollte 5 mm im Durchmesser und die Mach-Kollektion-Kern 20 mm quer liegen.

  4. Die Treiberspannung muss ein Minimum von 48 Volt und vorzugsweise eine viel höher als jene sein.

  5. Nicht verwenden Neodym-Magneten, wenn die Ansteuerungsspannung kleiner als 120 Volt.

  6. Die Antriebsspulen sollte nicht gepulst, bis sie genau mit den Magneten des Rotors ausgerichtet sind, obwohl dies nicht gestattet und hat keine die schnellste Rotordrehzahl werden.

  7. Jede vollständige Satz von Spulen sollte einen Gleichstromwiderstand von entweder 36 Ohm oder 72 Ohm und 72 Ohm definitiv wenn die Ansteuerungsspannung ist 120 Volt oder höher.

  8. Sammeln Sie die Leistung in großen Kondensatoren, bevor Sie sie an die Macht Ausrüstung.

Es kann auch möglich sein, die Leistung weiter zu steigern, indem Sie die Coil-Shorting Technik in der in diesem Kapitel auf der RotoVerter gezeigt.

Wenn Sie die originalen Zeichnungen und eine Erklärung über den Betrieb des Motors, dann zwei Publikationen aus dem späten Robert Adams hier wo die Preise in Australischen Dollar notiert sind gekauft werden, so dass die Bücher schauen sehr viel teurer als sie tatsächlich sind.

Die Website hier ist ein Ort für Adams Motor-Enthusiasten und können Informationen, die hilfreich sein könnten haben.

hier ist eine wirklich beeindruckende Sammlung von gut informierten praktisches Material auf den Aufbau und die Verwendung eines Adams Motor mit Details von Sensoren und wie sie funktionieren, Kernmaterialien und ihre Leistungen und wie suchen Sie den "sweet spot" - sehr empfehlenswert Website.


Im Jahr 1999 fanden zwei australischen Männer, John Christie und Ludwig Briten Robert Adams 'Design und patentiert, nannte es die Lutec. Ihr Patent wurde 2003 erteilt und in der Erwägung, dass das Patent von Robert Adams und Harold Aspden 1995 wurde im Ort, es ist mir nicht klar, wie die Lutec Patent konnte ausgegeben worden. Allerdings ist es ermutigend, um eine erfolgreiche Umsetzung der Robert-Design zu sehen. Sie erreichten COP = 5 zu einem Netto einem Kilowatt Leistung, machte aber den großen Fehler, zu versuchen, produzieren und verkaufen die Generatoren, die in die Gewinne der Ölgesellschaften geschnitten hätte, und als Ergebnis, sie nicht mehr die Einheiten bieten und soweit ich informiert bin, nie verkauft man. Die Idee war, dass diese 1 Kilowatt-Module könnten gestapelt werden, auf der Oberseite des anderen, um höhere Leistungen zu erzeugen.



Hier ist eine Wieder formuliert Auszug aus ihren Patent:


Patent: US 6,630,806               7 Oktober 2003               “Erfinder”: Ludwig Brits und John Christie

System zur Steuerung einer Drehvorrichtung
Zusammenfassung
Ein System zum Steuern einer Drehvorrichtung, wobei das System umfasst eine Steuerung und eine Drehvorrichtung, die einen Stator und einen Rotor hat, wobei der Controller mit der Drehvorrichtung verbunden ist, um Drehung der Drehvorrichtung zu steuern, und wobei die Steuerung angepasst ist, um periodisch ist Energie der Erregerspulen der Vorrichtung, um ein Magnetfeld mit einer Polarität, die den Rotor in einer einzigen Richtung zu drehen und bewirkt, wobei die Steuerung abgeschaltet zu schaffen, so wie zum Entregen der Erregungsspule, wenn andere Kräfte, wobei andere als die Kräfte von der Erregerspule ergibt, erzeugen eine resultierende Kraft, die eine Drehung des Rotors in dieser Richtung bewirkt.

Beschreibung:

GEBIET DER ERFINDUNG

Die vorliegende Erfindung bezieht sich auf Motoren, die zur Erzeugung eines Drehmoments und Generatoren, die zur Erzeugung von Elektrizität verwendet werden, eingesetzt werden.

HINTERGRUND DER ERFINDUNG
Ein typischer Elektromotor besteht aus einem Stator und Rotor. Der Betrieb eines Elektromotors beruht auf dem Prinzip, dass ein elektrischer Strom durch einen Leiter ein Magnetfeld erzeugt, wird die Richtung des Stromes in einer elektromagnetischen, wie eine Drahtspule bestimmt die Position der Magneten Pole und gleiche Magnetpole abstoßen basierend und entgegengesetzte magnetische Pole ziehen.

Der Stator, der in der Regel als die Feldstruktur wird ein konstantes magnetisches Feld im Motor. Typischerweise wird das Magnetfeld durch Permanentmagneten, die Feldmagnete genannt werden und in gleichmäßigen Abständen um den Rotor angeordnet etabliert. Der Rotor bzw. Anker besteht typischerweise aus einer Reihe von gleichmäßig beabstandeten Spulen, die in der Lage, mit Energie versorgt, um ein Magnetfeld und damit Nord- oder Südpolen zu erzeugen sind.

Indem die Spulen erregt die interagierenden Magnetfelder des Rotors und des Stators produzieren Drehung des Rotors. Um sicherzustellen, dass die Drehung in einer einzigen Richtung auftritt, wird ein Kommutator typischerweise an die Wicklungen der Spulen des Rotors verbunden ist, um die Richtung des an die Spulen angelegten Strom ändern. Wenn die Richtung des Stroms nicht umgekehrt wurde, würde der Läufer in einer Richtung zu drehen, und dann seine Richtung umzukehren, bevor eine vollständige Rotationszyklus abgeschlossen werden konnte.

Die obige Beschreibung ist typisch einen Gleichstrommotor. AC-Motoren haben keine Kommutatoren, weil Wechselstrom seine Richtung unabhängig. Für eine typische Wechselstrommotor, wie einen Induktionsmotor der Rotor hat keine direkte Verbindung mit der externen Stromquelle. Wechselstrom fließt um Feldspulen im Stator und erzeugt ein rotierendes Magnetfeld. Diese rotierende Magnetfeld induziert einen elektrischen Strom in dem Rotor, was zu einer weiteren Magnetfeldes. Dieses induzierte Magnetfeld vom Rotor in Wechselwirkung mit dem Magnetfeld des Stators verursacht der Rotor zu drehen.

Ein elektrischer Generator ist effektiv das Gegenteil von einem Elektromotor. Anstatt die Stromversorgung der Spulen entweder des Stators oder des Rotors wird der Rotor oder Anker durch durch einen "Primärantrieb" erzeugte physikalische Kräfte gedreht wird. In der Tat ein Generator ändert mechanische Energie in elektrische Energie.


ZUSAMMENFASSUNG DER ERFINDUNG
Die vorliegende Erfindung zielt auf die Schaffung eines verbesserten Drehvorrichtung, die mit verbessertem Wirkungsgrad arbeitet, verglichen mit konventionellen Drehvorrichtungen gerichtet. Die vorliegende Erfindung betrifft auch ein System zum Steuern einer Drehvorrichtung, die in der Lage, elektrische und / oder mechanische Energie zu erzeugen.

Gemäß der vorliegenden Erfindung wird zur Steuerung einer Drehvorrichtung, wobei das System umfasst eine Steuerung und eine Drehvorrichtung, die einen Stator und einen Rotor hat, wobei die Steuereinheit ist mit der Drehvorrichtung verbunden ist, um die Drehung der Drehvorrichtung zu steuern, ein System und mit der Steuereinheit angepasst ist, um periodisch mit Energie zu versorgen, wobei mindestens eine Erregerspule des Gerätes, um ein Magnetfeld mit einer Polarität, die den Rotor dazu veranlasst, in einer einzigen Richtung drehen, und bei dem der Regler abgeschaltet, so zu erstellen, wie zum Entregen der Erregungsspule wenn andere Kräfte, wobei andere als die von dem erregten Erregerspule resultierenden Kräfte erzeugen eine resultierende Kraft, die eine Drehung des Rotors in der einzigen Richtung induziert.

Vorzugsweise die Steuerung angepasst ist, um die Erregerspule für einen Zeitraum, in dem die resultierende Kraft aus den anderen Kräften wirkt, um den Rotor in der entgegengesetzten Richtung dreht, wobei die durch die Erregerspule aufgebrachte Kraft überwindet, größer ist als die resultierende Kraft zu versorgen. Der Regler ist vorzugsweise zum Ausschalten zum Abschalten der Erregerspule, bevor der resultierenden Kraft null angepasst. Die Steuerung vorzugsweise ausgelegt ist, schalten Sie zum Abschalten der Erregerspule für einen Zeitraum, bevor die resultierende Kraft Null ist, und um wieder zu ermöglichen EMF durch andere Kräfte induziert, um den Rotor zu drängen, in der einzigen Richtung zu drehen, bevor die resultierende Kraft Null ist . Vorzugsweise schließt die resultierende Kraft Kräfte aus Gegen-EMK.

Die Erregerspule kann geeignet durch die Steuerung um einen vorgegebenen Winkel von einer vollständigen Umdrehung des Rotors erregt werden. Alternativ kann die Erregerspule dazu ausgelegt ist, durch die Steuerung für eine vorbestimmte Zeitspanne für jede Umdrehung des Motors erregt wird. Vorzugsweise dann wird jeder Erregerspule mehr als einmal während einer einzigen Umdrehung (Zyklus) des Rotors erregt wird. Jedes Erregerspule kann jedesmal, wenn die resultierende Kraft eine Kraft auf den Rotor in entgegengesetzter Richtung erregt werden. Jedes Erregerspule kann durch einen durch die Steuereinrichtung angelegten periodischen Impuls erregt wird. Die periodische Impulse sind vorzugsweise alle mit dem gleichen Vorzeichen.

Jeder der Erregerspulen erregt werden, wenn die resultierende Kraft in der entgegengesetzten Richtung und dann für eine Dauer von weniger als der Zeitraum, in dem die resultierende Kraft ändert sich von Null auf ein Maximum und wieder auf Null.

In einer Ausführungsform weist der Stator zumindest eine Erregerspule. Der Rotor kann mindestens einen Magnetfeldgenerator, der in der Lage ist, ein Magnetfeld, das mit dem Magnetfeld, das durch jede Erregerspule erzeugt, wenn sie erregt wirkt erzeugen, um eine Kraft anzuwenden, um den Rotor in einer Richtung zu drehen ist. Jedes Erregerspule umfasst vorzugsweise einen magnetischen Wechselwirkung Verfahren, das dazu geeignet ist, entweder abstoßen oder anziehen des Magnetfeldgenerators.

In einer anderen Ausführungsform ist die magnetische Wechselwirkung Mittel angepasst ist, um den Magnetfeldgenerator zu gewinnen. Die magnetische Wechselwirkung Mittel können einen Eisenkörper oder Körper einer anderen Substanz, die von einem Magneten angezogen wird, umfassen. Der Magnetfeldgenerator kann ein Permanentmagnet sein. Die magnetische Wechselwirkung Mittel kann ein Eisenkern oder ein Permanentmagnet sein. Vorzugsweise der Magnetfeldgenerator einen Permanentmagneten aufweist oder das Element von einem Magneten angezogen.

Der Stator weist vorzugsweise eine Vielzahl von Erregerspulen gleichmäßig um den Rotor herum beabstandet sind. Jedes Erregerspule ist vorzugsweise ein Elektromagnet. Vorzugsweise jeder Erregerspule enthält die magnetische Wechselwirkung Mittel durch seine Spule. Vorzugsweise weist der Rotor eine Vielzahl von gleichmäßig beabstandeten Magneten.

In einer Ausführungsform umfasst der Rotor eine Vielzahl von gleichmäßig beabstandeten Permanentmagneten, die alle die gleiche Polarität haben kann. Die gleichmäßig verteilten Magnetfeldgeneratoren können erregbare Spulen simuliert Magnete sein. Vorzugsweise sind die Pole der Magnetfelderzeugungsmittel sind alle gleich. Die von erregten Erregerspulen erzeugten magnetischen Pole können die gleichen wie die für die Magnetfeldgeneratoren sein.

Die Magnetfeldgeneratoren für den Ständer kann Permanentmagnete sein. Vorzugsweise weist der Rotor mehrere Erregerspulen und einen Kommutator. Der Rotor kann ein Anker und der Stator eine Feldwicklung ist. Vorzugsweise ist das Rotormagnetfeld-Generator wird durch eine externe Stromversorgung an Gleichstrom oder Wechselstrom erregt wird. Die Stator-Magnetwechselwirkungsvorrichtung kann durch Spulen, die auf Gleich- oder Wechselstrom gespeist werden.

Gemäß einer Ausführungsform der Stator wenigstens eine Induktionsspule, die ausgelegt ist, um einen Strom in ihm von der Magnetfeldgenerator des Rotors induziert haben. Jede Induktionsspule kann getrennt voneinander Erregerspule sein. Jede Induktionsspule kann auch eine Erregerspule sein. Jedes Erregerspule geeignet ist, mit einer Ausgangsschaltung, wodurch Strom in jeder Erregerwicklung induziert wird, ist an die Ausgangsschaltung angeschlossen werden kann.

Es wird bevorzugt, daß die Schaltschaltung dazu ausgebildet ist, Strom in den Induktionsspulen induzierte korrigieren und daß die Gleichrichter tritt unmittelbar vor jeder Erregerspule von der Stromversorgung erregt wird. Vorzugsweise Strom an der Ausgangsschaltung ausgegeben wird, geeignet ist, verwendet, um ein elektrisches Gerät ausgeführt werden. Der Regler umfaßt vorzugsweise einen Schaltkreis, der angepasst ist, um jede Erregungsspule mit einer Ausgangsschaltung zu verbinden, wenn kein Strom erzeugt, um die Erregerspule zu erregen, und der Controller einen Schaltkreis. Die Steuereinrichtung kann ein Drehschalter mit wenigstens einem Kontakt, der mit jedem Magnetfeldgenerator ausgerichtet ist und mit wenigstens einem Kontakt mit den Permanentmagneten des Rotors ausgerichtet sein.

Der Drehschalter kann die gleiche Anzahl von Kontakten, wenn die Anzahl von Magnetfeldgeneratoren aufweisen; wobei üblicherweise Magneten. Jeder Kontakt kann eine Breite, die mit vertikalen Höhe und verjüngen sich von der Oberseite zur Unterseite in der Breite variiert. Idealerweise weist der Drehschalter einstellbar Bürsten, die sich vertikal bewegt werden sollen. Der Drehschalter und der Rotor kann auf koaxiale Mittelachse angeordnet und an einer gemeinsamen axialen montiert. Vorzugsweise der Rotor Schalter in einer separaten Kammer aus dem Rotor montiert ist.

In einer Ausführungsform ist jede Erregerspule so angeordnet, daß eine benachbarte Magneten abstoßen, wenn sie erregt. Jedes Erregerspule geeignet ist, durch Gegen-EMK nur für eine vorbestimmte Periode jedes Zyklus, nachdem der Strom an die Erregerspule abgeschaltet auftritt erregt werden.

In einer weiteren Ausführungsform wird jeder Erregerspule angepasst ist, den Magnetfeldgenerator des Rotors zu gewinnen. Die vorliegende Erfindung sieht eine Reihe von Variationen auf die Komponenten, aus denen die oben beschriebenen Systeme. Beispielsweise der Strom, Spannung, Magnetfeld erzeugt wird, kann die Anzahl der Pole des Magneten für den Rotor / Stator alle unterschiedlich und entsprechend den Zeitpunkt der Umschaltung der Erregerwicklungen zu bewirken. Die Drehvorrichtung kann eine größere Anzahl von auf dem Stator / Feldwicklung als in der Rotor / Anker oder umgekehrt erzeugt magnetische Pole. In einer Ausführungsform ist die Anzahl der Pole auf diese beiden dieselben sind.

Es ist bevorzugt, dass das Umschalten der Erregerspulen, die durch die Steuerung gesteuert wird, angepasst ist, um den Einfluss der Gegen-EMK erzeugt maximieren. Es wird bevorzugt, dass die Erregerspulen effektiv mit einem gepulsten elektrischen Strom von Mindestdauer, die Dauer ist genug, um die Drehung des Rotors zu gewährleisten, und eine gewünschte Ausgangsdrehmoment oder Strom zur Verfügung gestellt.


KURZE BESCHREIBUNG DER ZEICHNUNGEN
Bevorzugte Ausführungsformen der vorliegenden Erfindung werden nun beispielhaft nur mit Bezug auf die beigefügten Zeichnungen beschrieben, in denen:


Fig.1 zeigt eine Querschnittsvorderansicht einer Drehvorrichtung als Steuer daher in Übereinstimmung mit einer ersten Ausführungsform der Erfindung;






Fig.2 zeigt eine Draufsicht des Controllers in Fig.1 dargestellten.






Fig.3 zeigt eine Seitenansicht der Steuereinheit in Fig.1 gezeigten






Fig.4A zeigt eine schematische Ansicht eines Systems zum Steuern Drehvorrichtung gemäß der ersten Ausführungsform der vorliegenden Erfindung;






Fig.4B zeigt eine schematische Ansicht der Drehvorrichtung in Fig.4A gezeigten;






Fig.5 zeigt eine graphische Darstellung der Kraft über der Winkelposition des Permanentmagneten M1 des in Fig.4A gezeigten Systems;






Fig.6 zeigt eine Reihe von vier Kurven der Eingangsstrom gegen eine Winkelbewegung eines jeden Permanentmagneten des Systems in Fig.4A gezeigten;






Fig.7 zeigt eine graphische Darstellung der Eingangsspannung gegenüber der Eingangsstrom für jede Spule der Drehvorrichtung in dem System von Fig.4A gezeigten;






Fig.8 zeigt eine schematische Darstellung der Variation der natürlichen magnetische Anziehung gegen Winkelverschiebung der einen Rotor mit einem einzigen Permanentmagneten und einen Stator mit einer einzigen Erregerspule in Übereinstimmung mit einer zweiten Ausführungsform der vorliegenden Erfindung;






Fig.9 zeigt eine graphische Darstellung der Magnetfeld-zu-Winkelverschiebung in Übereinstimmung mit der zweiten Ausführungsform der vorliegenden Erfindung;






Fig.10 zeigt eine graphische Darstellung der induzierten Induktions gegen Winkelbewegung des Permanentmagneten in Übereinstimmung mit der zweiten Ausführungsform der vorliegenden Erfindung; und






Fig.11 zeigt eine weitere graphische Darstellung der induzierten Induktions elektromagnetische Kraft gegen die Winkelverschiebung der Permanentmagneten in Übereinstimmung mit der zweiten Ausführungsform der vorliegenden Erfindung.


DETAILLIERTE BESCHREIBUNG DER ZEICHNUNGEN


Wie in Fig.4A nach der ersten Ausführungsform der Erfindung wird ein System bereitgestellt, bestehend aus einem Rotor 11 mit vier Permanentmagneten M1, M2, M3, M4, die gleichmäßig um 90° gegeneinander beabstandet sind gezeigt. Das System beinhaltet einen Stator 12, der aus drei Elektromagneten Erregerspulen A, B, C, die voneinander 120° voneinander beabstandet sind.

Jede der Spulen A, B, C wird in einer Schaltung mit einer Stromversorgung von 54 Volt und einem Schalter RS1, RS2, RS3 verbunden. Jeder der Kontakte RS1, RS2, RS3 sind Teil eines Drehschalters 13 mit Kontakten 14, 15, 16, 17, die voneinander um 90° in Bezug auf eine benachbarte Kontakt beabstandet sind.

Der Drehschalter 13 ist mit Kontaktbürsten 18, 19 vorgesehen und ist auf einer Achse 20, die gleich oder gemeinsam mit der Achse des Rotors 11 montiert ist.

     

Jeder der Kontakte 14, 15, 16, 17 ist speziell mit einem trapezförmig ausgebildet, wobei die beiden nicht parallelen Seiten, die aus einer geraden Seite 21 und eine verjüngte Seite 22 auf, die nach außen von der Oberseite 23 zur Unterseite 24 hin verjüngt. das Ergebnis ist, daß jeder Kontakterhöhungen einer Breite sich von der Oberseite zur Bodenseite 24


Die Bürste 18 ist in der Lage, sich vertikal relativ zu den Kontakten 14, 15, 16, 17 bewegt werden, während die Bürste 19 ist in ständigem Kontakt mit der Basis. Obwohl Fig.1 zeigt nur den Drehschalter 13 mit einer einzigen Reihe von vier Kontakte 14, 15, 16, 17, für den in Fig.4A gezeigten Drei Wicklungsstatorabschnitt Es wäre in der Tat vorzugsweise drei Kontaktgabe auf dem Achse 20. Jede Kontaktscheibe hätte Kontakte für eine jeweilige eine der Spulen A, B, C, aber jede Bürste für die anderen Platten um 30° bzw. 60° versetzt sein.


Eine Beschreibung des Betriebs des in Fig.1 bis Fig.4A gezeigten Systems wird nun nachstehend angegeben werden. Wenn davon ausgegangen, dass die Magnete M1, M2, M3, M4 werden anfänglich als in Fig.4A mit Magnet M1 gegenüberliegenden Ende der Spule A gezeigten Ausrichtung schließt Spule A erregt, wenn einer der Magneten M1 bis M4 Teil gegen fluchten und für eine vorbestimmte Zeit, nachdem der Permanentmagnet vorbeigefahren ist.

Wie in Fig.6 gezeigt, eine Spule durch Kontakt RS1 erregt, um eine elektrische Verbindung durch den Drehschalter 13. Dies geschieht durch einen der Kontakte 14 bis 17 in Kontakt mit Bürste 18. Zu diesem Zeitpunkt ausgerichtet ist, wird der Strom aus der angelegten Stromquelle VA und weiterhin angewendet werden, bis die Bürste 18 nicht mehr in Kontakt mit einem der Kontakte 14 bis 17.

Für die drei Spulen / Vierpol-Anordnung der ersten Ausführungsform ist es bevorzugt, dass die Bürsten in eine vertikale Position, wo die Breite jedes Kontakts ist ausreichend für jeden der Schalter RS1 bewegt wird, RS2 und RS3, um 12° 51’ 50” geschlossen werden der Drehbewegung des Rotors 11. Nach dieser Zeit sind die Schalter RS1 bis RS3 geöffnet sind und kein Strom mehr an irgendeiner der Spulen A bis C zugeführt, wenn der an jede der Spulen abgeschaltet a Gegen-EMK in jede der Spulen A bis C induziert und dann zurück durch EMF Element Z ergibt Strom repräsentiert, die in jede der Spulen für eine zusätzliche kleine Zeitdauer, nachdem die Kontakte RS1 bis RS3 geöffnet gehalten. Durch Umschalten der Spulen A bis C in der oben beschriebenen Weise der Rotor 11 dazu gebracht werden können mit einer geringeren Menge an Eingangsstrom auf den Stator dreht, als erforderlich wäre, wenn Strom wurde konstant auf den Spulen A bis C geliefert werden,

Tabelle 1 unten zeigt die resultierende Kraft auf den Rotor 13 für Winkelpositionen der Magnete M1 bis M4 für Winkelverschiebungen des Magneten von 5° bis 30°.


Wie gezeigt, wenn die Magnete des Rotors 13 werden 50 zu einem Zeitpunkt an den Laufwechsel von Gegenuhrzeigersinn Kraft von 5° bis 15° zu einer Kraft im Uhrzeigersinn von 15° bis 30° gedreht ist die resultierende Kraft. Bei 0°, 15° und 30° die resultierende Kraft auf den Rotor ist 0, so daß, wenn die Permanentmagneten des Rotors in jeder dieser Orientierungen ausgerichtet würde es keine resultierende Kraft auf den Rotor im Uhrzeigersinn oder entgegen dem Uhrzeigersinn zu drängen.


Wie in Fig.5 gezeigt, eine graphische Darstellung der Grße der resultierenden Kraft auf den Rotor aufgetragen gegen Winkelverschiebung des Rotors zeigt eine sinusförmige Kurve mit einem Zyklus von 30°. Für eine volle 360° - Drehung des Rotors würde der Rotor 12 Zyklen der Veränderung der resultierenden Kraft zu erfahren.

Welche Tabelle 1 und Fig.5 zeigen ist, dass, wenn eine zusätzliche Kraft aufgebracht wird, um den Rotor im Uhrzeigersinn oder gegen den Uhrzeigersinn zu drehen, der Rotor nicht in der Lage, kontinuierlich in eine Richtung drehen können. Wenn es gewünscht ist, den Rotor im Uhrzeigersinn zu drehen, dann muß die Kraft des gegen den Uhrzeigersinn resultierende Kraft, die von 0 bis 15° eintritt, 30° bis 45°, 60° bis 75° usw. durch das gesamte 360º - Drehung des Rotors zu überwinden, .

Da jede der Spulen A bis C einen Eisenkern besitzt, selbst wenn die Spulen nicht die natürliche magnetische Anziehungskraft zwischen jedem Magneten und der Eisenkerne Ergebnisse in jedem Magneten M1 bis M4 Versuch, in eine Richtung zum nächsten Eisenkern bewegen auftretenden erregt. Immer wenn ein Magnet gegenüber einem Eisenkern die magnetische Anziehung am größten ist, und es gibt keine Kraft von diesem Magneten angelegt, um den Rotor im Uhrzeigersinn oder gegen den Uhrzeigersinn zu bewegen. Ebenso, wenn ein Magnet in der Mitte zwischen benachbarten Eisenkernen positioniert sind, gibt es auch eine resultierende Kraft aus 0, der keine resultierende Kraft übersetzt, die auf den Rotor ausgeübt, um diesen in beide Richtung zu rotieren, indem dieser Magnet.

Wie in Fig.5 und Tabelle 1 gezeigt, wenn Magneten M1 ist 5° im Uhrzeigersinn bewegt wird, gibt es eine natürliche Anziehung zwischen den Magneten M1 und Eisenkern Spule A, um den Magneten M1 in einer Richtung entgegen dem Uhrzeigersinn zu ziehen. Wenn die von den anderen Magneten aufgebracht resultierenden Kräfte ausreichen, um die Anziehungskraft zwischen Permanentmagneten M1 und dem Eisenkern der Spule A zu überwinden waren der Rotor immer noch gelingt, den Uhrzeigersinn zu bewegen. Jedoch, wie in Tabelle 1 die Winkelposition der anderen Magneten M2 bis M4 führt insgesamt zu einer gegen den Uhrzeigersinn resultierende Kraft gezeigt. Um die resultierende Kraft zu überwinden, ist es notwendig, einen Pol X an Spule A der gleichen Polarität an Magneten M1 zu erzeugen und somit schieben M1 entfernt Spule A.

Wie in Fig.5 die Stärke der magnetischen Abstoßwirkung zwischen Spule und Magnet A gezeigt M1 muß ausreichen, um die resultierende Kraft, die den Rotor gegen den Uhrzeigersinn bewegen überwinden.

Ein Strom kann an die Spule A für eine Winkelverschiebung von 15° der Magnet M1 angewendet werden, aber es ist bevorzugt, dass Spule A nur 12° 51' 50" Winkelverschiebung des Magneten M1 erregt wird. Durch Anlegen von Strom an eine Spule für diesen Zeitraum der Winkelverschiebung eine minimale Menge an Strom zugeführt wird, um ein um die im Gegenuhrzeigersinn resultierende Kraft, die 0° bis 15° der Winkelverschiebung des Magneten M1 auftritt überwinden Spule.


Obwohl Strom angelegt, um eine länger als dieser Zeit wurde festgestellt, dass durch Anlegen von Strom für diesen Zeitraum eine Gegen-EMK in Spule A, die zur abstoßende Kraft fügt induzierte angewendet, um M1 durch die Spule A. Jedes Mal, wenn die Magnetspule wird eine der Magneten M1 bis M4 ist mit Spule A bei 0° ausgerichtet ist, ist die Spule A 12° 51' 50" der Winkelverschiebung dieser Magnet erregt wird. So wie in Fig.6 gezeigt ist, endet Strom bis angewandt wird, um ein bei 0 bis 12° 51’ 50” und von 90° bis 102° 51' 50", und von 180° bis 192° 51' 50" und von 270° bis 282° 51' 50".

Eine ähnliche Schaltmuster auf Spulen B und C. Zum Beispiel Spule B angewendet wird erregt, wenn Magneten M2 hat 30° bis, wenn es 42° 51' 50” bewegt und ebenso Spule C erregt bewegt wird, wenn Magnet M3 hat 60° verschoben 72° 51' 50". Es wird bevorzugt, dass der Rotor einen Durchmesser von 230 mm, und daß jede Spule einen Widerstand von 6,8 Ohm.


Fig.7 zeigt eine graphische Darstellung der Eingangsspannung gegenüber der Eingangsstrom für einen Spulenwiderstand von 6,8 Ohm und für einen vierpoligen Rotor, die 230 mm im Durchmesser ist. Die genaue zeitliche Abfolge zum Umschalten Spulen und ausgeschaltet wird in Abhängigkeit von den Parametern der Drehvorrichtung und dem Controller. Dementsprechend durch Verändern der Eingangsspannung, den Spulenwiderstand und die Gesamtimpedanz der Eingangsschaltung für jede Spule die Dauer, während der eine Spule muss eingeschaltet werden zu ändern. In der Tat, es gibt viele Faktoren, die die zeitliche Abfolge des Schaltens der Spulen auf verändern können, und einige von diesen sind nachfolgend zusammengefasst:

Der Stator
Die Variablen umfassen die Wahl des Materials bei der Konstruktion des Ständereisenkerns verwendet wird, die Anzahl der Stator-Eisenkerne und deren Positionierung sowie die physikalische Grße, Querschnittsfläche und Form des Ständereisenkerne.

Rotor
Die physikalische Größe und Magnetstärke und Form des polarisierten Dauermagnetkörper wie im Rotor enthalten ist, wobei die Anzahl von polarisierten Permanent magnetisierte Körper im Rotor der Positionierung und der Abstand der gleiche, die Verwendung aller gleichen Polaritäten der Permanentmagnet enthaltenen Körper oder die Verwendung von alternierenden Polaritäten der Permanentmagnetkörper.

Statorspule
Die physikalische Größe der Spulen auf dem Stator-Eisenkern angeordnet ist, der Art der Draht zum Wickeln der Spulen, wie beispielsweise Kupfer, Silber, Aluminium oder andere. Die Form und die Querschnittsflächen der Wickeldraht, wie rund, quadratisch, dreieckig, rechteckig und andere; die Anzahl von Windungen und Lagen gewickelt auf der Spule und folglich Ohm Widerstand; Das Verfahren zum Wickeln auf eine Spulenhalterung, einzige Wicklung, Doppelwicklung Doppelwicklung derselben Richtung Doppelwicklung entgegengesetzte Richtung, von links nach rechts oder von rechts nach links, verwoben Wicklung, egal ob die obigen Beispiele würden auf einem einzigen Spulenhalter gewickelt werden.

Drehzahl des Rotors
Dies kann durch die Länge des gerichteten (Eingang) Gleichstrom (auf und Trennzeit) und / oder der Steuerung der Versorgungsspannung benutzt, um die Statorspulen zuzuführen gesteuert werden.

Andere Variationen, die an dem System vorgenommen werden können, schließen die folgenden:
a. Die Spulen können in Reihe, parallel oder einer Reihe parallel geschaltet werden.
b. Erst dann, wenn die Nord / Süd-Anordnungen der Permanentmagneten in dem Rotor, die einer geraden Anzahl von Permanentmagneten erforderlich sind Zahlen von Paaren von Statorwicklungen des Stators positioniert verwendet, aber nicht notwendigerweise gleichmäßig. Ferner wird die Richtung Gleichstrom versorgt, um die Statorspulen in der Nord-Süd-Anordnung über synchronisiert werden müssen, was bedeutet, dass das Magnetfeld, wie in der Ständerspule (n) benötigt werden, müssen entsprechende Polarität zu der Statorspule (n), Eisenkernende sein, die den Permanentmagneten zugewandt ist.
c. Bei Verwendung von Permanentmagneten, die alle von derselben Polarität sind, dann ist jede Anzahl von Permanentmagneten in dem Rotor verwendet werden, vorausgesetzt, es ist genügend Platz, um sie in gleichmäßigen Abständen auf dem Rotor enthält.
d. Die Abstände zwischen den Permanentmagneten müssen genau zu sein, wenn sie zu nahe beieinander gerichteten Gleichstrom wird weniger wirksam, wenn sie zu weit auseinander das volle Potenzial wird nicht erreicht werden.
e. es ist möglich, verschiedene Kombinationen von Permanentmagneten und Stator Spule Eisenkernen ähnlich, aber nicht beschränkt auf die folgenden haben:
      i. Drei Magneten im Rotor, Stator von ein bis drei, die Spulen verwendet werden können.
      ii. Fünf Permanentmagneten im Rotor, Stator von eins bis fünf, die Spulen verwendet werden können.
      iii. Neun Permanentmagneten im Rotor kann ein bis drei oder neun Stator-Ankern verwendet werden.
      iv. Die Ausgabe variiert mit den einzelnen Kombinationen.
      v. Unabhängig von den Rotor enthalten sogar oder unebene Zahlen von Permanentmagneten, die Stator kann mit nur ein Statorspule und Stator Eisenkern und noch werden hocheffiziente, aber mit reduzierten Gesamtleistung.
f. Den Stator und Rotor sollten von nicht magnetischen Materialien wie Holz, Kunststoff, Bronze und ähnliche nicht-magnetischen Materialien erfolgen.

Obwohl Schalt ist in seiner bevorzugten Form durch eine mechanische Drehschalters durchgeführt, es kann auch durch Festkörperelektronik oder anderen Schaltgeräten durchgeführt werden. Die Länge der EIN-Periode für jede Spule ist die physikalische Länge-Verhältnis. Wenn die Bürsten in Kontakt mit dem leitenden Teil des Drehschalters und dem nicht-leitenden Teil. Dieses Verhältnis wird als die Frequenz oder die Anzahl der Verhältnisse in einer Sekunde bezeichnet. Das von der Drehvorrichtung erzeugten Ausgangs können mechanische und elektrische gleichzeitig sein oder kann im Wesentlichen elektrische oder überwiegend mechanisch sein. Der Grund dafür wird unter Bezugnahme auf die zweite Ausführungsform, bei welcher angenommen wird, den Stator erläutert eine einzige Erregerspule mit einem Eisenkern und der Rotor einen einzigen Permanentmagneten.


Als Permanentmagnet des Rotors ist sehr langsam von Hand im Uhrzeigersinn gedreht, ist es möglich, den Punkt zu bestimmen, wo die natürliche magnetische Anziehungskraft zwischen Permanentmagneten des Rotors und des Stators Eisenkern auftritt. Wenn die Vorderkante des Permanentmagneten Punkt A erreicht hat, wie in Fig.8 gezeigt, beginnt der Natur die magnetische Anziehung und exponentiell zunimmt, bis die Mitte des Permanentmagneten am Punkt B gegenüber dem Eisenkern 30 ausgerichtet, wenn der Permanentmagnet gedreht weg vom Punkt B das Natürliche Magnetische Anziehung bei einem Maximum an Punkt B und dann von diesem maximalen, bis die Hinterkante des Permanentmagneten Punkt C erreicht hat, wo es dann nicht mehr exponentiell abnehmen.

Wenn der Rotor im Uhrzeigersinn bewegt wird mit einer konstanten Geschwindigkeit und einem Oszilloskop mit dem Stator verbunden Spirale ist es möglich, die Bewegung des Permanentmagneten, der zwischen den Punkten A und B und dann zwischen Punkt B und Punkt C zu beobachten, wie in Fig.9 gezeigt.


Eine induzierte Induktionskurve wird dann auf dem Oszilloskop sichtbar und diese induzierte Induktion erzeugt eine Sinuswellenkurve 31. Ferner wird die induzierte Induktion zwischen Punkt A und Punkt B ist eine negativ verlaufende induzierte Induktion in diesem Fall und die induzierte Induktion zwischen Punkt B und Punkt C ist eine positiv verlaufende induzierte Induktion in diesem Fall. Es wird auch angemerkt, dass die negative gehenden und ins Positive gehenden induzierten Induktionskurven sind genau die gleichen, aber entgegengesetzt zueinander.

Wenn der Permanentmagnet beginnt, eine negative gehenden Induktions in der Statorspule bei 0° des Sinuswellenkurve 31 zu veranlassen, ist die Induktion induziert dann auf 0 bei 90° Grad der Sinuswellenkurve die induzierte Induktion maximal ist und geht dann zurück auf 0, wenn der Permanentmagnet mit Punkt B ausgerichtet sind, oder bei 180° der Sinuswellenkurve, wenn der Permanentmagnet beginnt, von seiner Ausrichtung mit Punkt B weg zu bewegen oder ist bei 180° der Sinuswellenkurve .

Wenn der Permanentmagnet beginnen, weg von seiner Ausrichtung mit dem Punkt B zu bewegen und in Richtung Punkt C bewegt die jetzt positiv verlauf induzierte Induktion ist zunächst bei 0 bei 180° der Sinuswellenkurve, dann bei maximal 270° der Sinus Wellenkurve und dann wieder auf 0 zu 360° der Sinuswellenkurve. Es sollte beachtet werden, dass 0° und 360° des Sinuswellenkurve sind nicht notwendigerweise die gleichen wie Punkt A für 0° und dem Punkt C um 360° des Sinuswellenkurve ist. Die Punkte A und C sind durch die Festigkeit der Rotoren Permanentmagneten und der Querschnittsfläche und / oder die Form des Ständereisenkerns bestimmt.

Die negativ verlaufende induzierte Induktion zwischen 0° und 180° der Sinuskurve erzeugt eine elektromagnetische Kraft in der Ständerwicklung und die Eisenkern mit entgegengesetzter Polarität. Der Eisenkernende dem Rotor zugewandt ist, von entgegengesetzter Polarität zu dem Permanentmagneten in diesem Fall, wie in Fig.10 gezeigt. Die positiv verlauf induzierte Induktion zwischen 180° und 360° der Sinuswellenkurve erzeugt eine elektromagnetische Kraft in der Ständerwicklung und Eisenkern der gleichen Polarität in der Eisenkernende des Rotors gegenüber, von der gleichen Polarität wie die Permanentmagneten in diesem Fall. Wenn der Permanentmagnet Punkt A erreicht die natürliche magnetische Anziehung zwischen dem Permanentmagneten und dem Stator-Eisenkern ist ganz gering und beginnt, zum Punkt B zu bewegen, wenn die induzierte Induktion dann beginnt ebenfalls bei 0° des Sinuswellenkurve auftreten, dass irgendwo zwischen Punkt A und Punkt B, der natürliche magnetische Anziehungs bereits zugenommen hat.


Wenn der Dauermagnet bei 0° des Sinuskurve und wird in Richtung Punkt B oder 180° der Sinuskurve bewegt, wird das negativ werdende induzierte Induktion in der Statorspule Herstellung eines elektromagnetische Kraft (Feld) in der Stator-Eisenkern mit dem Eisenkern Ende der Rotor einer entgegengesetzten Polarität zu dem Permanentmagneten und bei Null-Effekt bei 0° der Sinuswellenkurve, als auf eine maximale Wirkung mit Blick auf 90° der Sinuswellenkurve und dann zurück Null-Effekt bei 180° des Sinuswellenkurve.

Der Dauermagnet wird dann bei Punkt B. Es fluchten die magnetische Anziehungskraft ist proportional mit dem Abstand, und dies erhöht exponentiell beim Bewegen von Punkt A zu Punkt B. Es Statoreisenkerns fixiert und stationär in Punkt B. Daher wird es der Permanentmagnet, die in Richtung Punkt B bewegt

Zum Beispiel, wenn der Stator-Eisenkern war ein polarisierter Permanentmagnet der gleichen Stärke, aber entgegengesetzter Polarität zu dem Permanentmagneten, würde die magnetische Anziehungskraft, mindestens viermal höher, da der Abstandsfaktor wie zuvor erläutert. Darüber hinaus würde dies auch wegen der Verdopplung der magnetischen Kraft zwischen der magnetischen Nord- und Süd-Anordnung auftreten. Daraus folgt, daß die magnetische Anziehung zwischen dem Permanentmagneten und dem Eisenkern zugewandten Ende der Rotor dramatisch zunimmt, wenn die induzierte Induktion in der Statorspule erzeugt eine elektromagnetische Kraft von der entgegengesetzten Polarität an der Stator-Eisenkernende der dem Rotor gegen wie beschrieben über. Die Erhöhung folgt der Sinuskurve ausgehend von 0° bis 90° der Sinuswelle und der obige Effekt nimmt von 90° wieder auf 180° der Sinuswellenkurve.

Eine Kombination Kurve der natürlichen magnetischen Anziehung und die induzierte Induktion in der Ständerwicklung, wodurch eine elektromagnetische Kraft an der Stator-Eisenspulenende des Rotors entgegengesetzter Polarität 33 zugewandt ist, in Fig.10 von 0° bis 180° abgebildet. 180° bis 360° des Stände Spule und Rotor gleiche Polaritäten 34 gezeigt. Wenn der Permanentmagnet am Punkt B ausgerichtet sind und ein Gleichstrom an die Statorspule nur für einen kurzen Zeitraum, der am Punkt B wird der Gleichstrom wird nur lange genug, um die natürliche magnetische Anziehungskraft zwischen Permanentmagneten und Eisen des Stators zu überwinden angewendet geliefert Kernende dem Rotor zugewandt. Die gerichtete Gleichstrom als zu der Statorspule zugeführt wird, Herstellen einer gleicher Polarität an der Eisenkernende dem Rotor zugewandten und somit Abstoßen des Permanentmagneten vom Punkt B zum Punkt C. Die natürliche magnetische Anziehungskraft hat sich damit auf natürliche magnetische Abstoßung verändert aufgrund der gleich Polarität des Statoreisenkerns Ende des Rotors gegenüber.

Die Länge der "EIN" Zeitraum über ausreichend, um die natürliche magnetische Anziehung überwunden zu sein und könnte, so lange, bis die Hinterkantenpunkt C erreicht, wo die natürliche magnetische Anziehungskraft aufhört zu sein. Allerdings gibt die positiv verlaufenden induzierten Induktion in der Ständerwicklung, wie durch den Permanentmagneten erzeugt erzeugt eine elektromagnetische Kraft in der Ständer oder Eisenkernende dem Rotor zugewandt, wodurch eine gleiche Polarität wie der Permanentmagnet ab 180° der Sinuswellenkurve oder Punkt B und Null in diesem Augenblick. Bei 270° der Sinuswellenkurve ist es bei einem Maximum, und dann endet bei Null bei 360° des Sinuswellenkurve. Mit anderen Worten bei 270° der Sinuswelle die Kraft bei maximaler Abstoßung und es ist Induktion in der Statorwicklung in Abhängigkeit von der Drehzahl des Rotors induziert. Die Wirkung der Variation der Drehzahl des Rotors wird durch die Kurven 35 in Fig.11 gezeigt.


Wie in Fig.11 unabhängig von der Drehzahl des Rotors gezeigt die induzierte Induktion in der Statorwicklung auf einem Maximum bei 270° der Sinuswellenkurve. Die Einschaltdauer kann zurück zu dem Punkt, wo die induzierte Induktions groß genug ist, um die elektromagnetische Abstoßung hin zu 360° der Sinuswellenkurve hinaus Punkt C. Daher die größere der Rotordrehzahl je kürzer die Periode des Eingangs tragen gebracht werden Gleichstrom zu sein hat, aufgrund der hohen induzierten Induktion der Statorspule, wie zuvor beschrieben. Wenn die "EIN" Periode abgeschaltet ist es die "abgeschnitten" Punkt genannt. Vom Punkt abgeschnitten, um 360° der Sinuswellenkurve die Abstoßung durch Gegen-EMK erzeugt die induzierte Induktion in der Statorspule wie zuvor erläutert.

Während der EIN-Zeit kann der zwischen dem Stator-Eisenkern an dem Punkt B und dem Permanentmagneten erzeugten magnetischen Abstoßungskraft als eine kombinierte Abstoßungskraft betrachtet werden. Ein Teil dieser Kraft wird von natürlichen magnetische Abstoßung des Dauermagneten und einige von der Eingangsgleichstrom zu der Statorspule zugeführt wird produziert. Deshalb, wenn die induzierte magnetische Kraft, wie durch den Eingangsgleichstrom in der Statorspule erzeugt wird, gleich dem des Permanentmagneten mit der gleichen Polarität, dann die Hälfte dieses Abstoßungskraft zwischen der EIN-Periode und dem Punkt abgeschnitten hergestellt, in diesem Fall ist von der natürlichen magnetische Abstoßung des Dauermagneten als Reaktion auf das induzierte magnetische Kraft, wie durch den Eingangsgleichstrom zu der Statorspule zugeführt wird. Die Eingangsgleichstrom zu der Statorspule zugeführt erzeugt die magnetische Abstoßungskraft und ist die einzige externe Beiträge zum Gesamtsystem für die gesamte Bewegung zwischen Punkt A und Punkt C.

Die gesamte Eingabe lassen sich zusammenfassen als:
a. Die kombinierte natürliche Anziehungskraft und die elektromagnetische Kraft zeigen die induzierte Induktion in die Statorspule zwischen hergestellt A nach Punkt B.
b. Die kombinierte magnetische Abstoßung Kraft zwischen den Permanentmagneten und Eisenkern Stator mit Blick auf den Rotor während bei und den Cut off Punkt.
c. Die elektromagnetische Abstoßung (siehe Induktion induziert, wie bereits erläutert) zwischen den Cut off Punkt und Punkt C.
d. Die elektromagnetische Abstoßung von Gegen-EMK produziert, wie schattiert 36 der Fig.11 vertreten.

In einer weiteren Ausführungsform der vorliegenden Erfindung Stator hat zwei Spulen, die um 180° zueinander positioniert, und der Rotor hat drei Dauermagneten im Abstand von 120° auseinander. Da gemäß Tabelle 2 unten von 0 bis 30° die resultierenden zwingen fordert der Rotor gegen den Uhrzeigersinn. Bei 30° ist die Kraft 0 und von 30° bis 90° ist die resultierende Kraft im Uhrzeigersinn. Von 90° bis 120° die resultierende Kraft gegen den Uhrzeigersinn. Dies schließt einen vollen Zyklus, die dreimal, während eine 360° Drehung des Rotors wiederholt wird.


Mit der obigen Anordnung der Pole und Spulen, wenn es erwünscht ist, den Rotor im Uhrzeigersinn zu bewegen, würde Strom benötigen, um den Spulen des Stators zugeführt, um die im Gegenuhrzeigersinn Kraft zu überwinden, wenn es sich gegen den Uhrzeigersinn, aber wie oben erläutert, Strom braucht nicht zu der Spule zugeführt, um die Spule für den gesamten Zeitraum, in dem die resultierende Kraft gegen den Uhrzeigersinn zu erregen.

Zur Bequemlichkeit und der Einfachheit halber wurden die obigen Ausführungsbeispiele, Permanentmagnete auf dem Rotor und Wicklungen auf dem Stator beschränkt jedoch die Grundidee der Erfindung ändert sich nicht, wenn die Permanentmagnete von Spulen, die mit Energie versorgt werden, um die entsprechenden Magnetpole erzeugen ausgetauscht.

In ähnlicher Weise für einen Wechselstrom Drehvorrichtung ein rotierendes Magnetfeld, das durch die Statorwicklung bzw. vom Rotor / Ankerwicklung erzeugten könnte in ähnlicher Weise geschaltet werden, um die Strommenge erforderlich, um die Drehung des Motors zu halten in einer Richtung zu reduzieren und den Einfluß von Rück maximieren EMK auf die Aufrechterhaltung der Drehung des Motors in einer einzelnen Richtung.

Die vorstehenden Grundsätze gelten auch für Generatoren in denen Spulen erregt werden, um ein Magnetfeld zu erzeugen anzuwenden. In einer solchen Situation werden die Spulen für eine Zeit ausreichend, um eine Drehung in der einzigen Richtung zu erhalten und um den Einfluss der Gegen-EMK, die der Drehung des Rotors / Anker in einer Richtung zu halten neigt maximieren geschaltet.

Durch die Verwendung des obigen Konzepts ist es möglich, einen Ausgang, der mechanischen und elektrischen gleichzeitig sein können herzustellen. Strom in den Ständerwicklungen erzeugt werden, können als eine Ausgabe verwendet werden, und ebenso die durch den Rotor erzeugte Drehmoment kann verwendet werden, um eine mechanische Leistung zu liefern. Ebenfalls nur die eine oder die andere Form der Ausgabe verwendet werden kann.





Die 'Reduzierten Reaktions' Generator von Tewari Paramahamsa
Im April 2015, der berühmte 80-jährige indische Wissenschaftler Tewari (www.tewari.org) für seine Verwendung der Homopolargenerator, große Mengen an Wasserstoff für die kommerzielle Nutzung erzeugen bekannte, gab sein erfolgreiches 20-Kilowatt, self-powered Generator-Design und seinen entsprechenden Patentanmeldung, unten gezeigt, wurde veröffentlicht. Hier ist ein Bild eines Prototypen, der von vier gefederten Riemen zusammengehalten wird. Die Spulen sind an Ort und Stelle innerhalb des Rahmens gehalten und Permanentmagnete innerhalb dieser Rahmen gesponnen:


Das Funktionsprinzip ist einfach und elegant. Die Leistungsausgangsleiter sind derart angeordnet, dass die Hälfte des magnetischen Feldes durch den Ausgangsstrom erzeugt wird (das heißt, das magnetische Feld, das den Motor dreht der Rotor gegenüberliegt) ist in eine Richtung und die andere Hälfte in der entgegengesetzten Richtung, , Aufhebung der Wirkung des ersten Halbjahres. Das Ergebnis ist eine Anordnung, bei der Erhöhung der Ausgangsleistung hat keine nennenswerten Auswirkungen auf die Eingangsleistung. Mit anderen Worten hat der Lenz Gesetz Schleppwirkung wirksam zu überwinden. Tiwari ist auf unsere herzlichsten Glückwünsche für das, was er erreicht hat. Vernünftig, hat Tiwari nichts über 20 Kilowatt mit eigener Stromversorgung Ausgang erwähnen, sondern legt die Gestaltung zukunfts als eine Verbesserung in der Gestaltung der bestehenden Generatoren - und es ist ganz sicher, dass. Hier ist seine Patentanmeldung:

US-Patentanmeldung 2015/0084467               26 März 2015             Erfinder: Tewari Paramahamsa


Reduzierte Reaktions Rotary Wechselstromgenerator


Zusammenfassung:

Eine reduzierte Reaktionswechselstromgenerator, der einen hohlen Statorkern eine zylindrische Rotor innerhalb des Stators, einer frei drehenden Welle mit dem Rotor verbunden ist, eine erste Gruppe von Magneten in der der Südpol jedes Magneten an der Oberfläche des Rotors gekoppelt ist, und der Nordpol jedes Magneten wird die innere Oberfläche des hohlen Statorkern zugewandt sind, wird ein zweiter Satz von Magneten, in dem sich der Nordpol jedes Magneten wird zu der Oberfläche des Rotors und der Südpol jedes Magneten gekoppelt mit der inneren Oberfläche zugewandt der Hohl Statorkern und einem Satz von Siliziumstahlstücke an der Außenfläche des Rotors der einzelnen Siliziumstahlstücken bestehen gekoppelt benachbart und in Längsrichtung in Übereinstimmung mit jedem einzelnen Magnet innerhalb der ersten Gruppe von Magneten und jedem einzelnen Magneten innerhalb der positionierte zweite von Magneten gesetzt.

Beschreibung:

HINTERGRUND DER ERFINDUNG
Michael Faraday entdeckt die Prinzipien der elektromagnetischen Induktion und erfand die drehende elektrische Generator 1832. Der Generator wurde als unipolar Generator, Azyklische Generator und Festplatten-Generator bekannt. Dieser Generator betrieben nach dem Prinzip, dass die Spannung in einem Leiter in relativer Bewegung zu einem externen Magnetfeld induziert. Außerdem, wenn der Leiter als geschlossener Kreislauf ausgebildet ist und in einer Relativbewegung mit einem externen Magnetfeld, wird ein Strom induziert wird, durch diesen Kreis fließt. Der induzierte Strom selbst wird ein induziertes Magnetfeld den Leiter umgebenden erzeugen. Die Richtung des induzierten Stromes ist von Fleming rechte Hand-Regel, die besagt, dass die durch den Strom in dem Leiter induziert erzeugte Magnetfeld wird das externe Magnetfeld, das den Strom in dem Leiter induziert abstoßen bestimmt. Als solches ist das induzierte Magnetfeld den Leiter umgibt und die äußere Magnetfeld gegenseitig abstoßen, so daß ein Drehmoment auf den Leiter, der eine Bewegung relativ zu dem externen Magnetfeld, das Leiters entgegen erstellen. Faradayschen Generator und alle nachfolgenden Generatoren gemeinsam, die Produktion dieses Zählers oder rückdrehmoment.

Die Effizienz eines elektrischen Generators wird durch mechanische und elektrische Einschränkungen geregelt. Die mechanischen Einschränkungen sind seitlich und Reibung der Rotor und Lager des Generators. Die elektrischen Einschränkungen umfassen elektrischen Impedanz innerhalb der Wicklungen des Generators sowie die oben beschriebene Zähler oder rückdrehmoment.

Eine Kraftmaschine mit einem Generator verbunden ist, um die Drehung des Rotors des Generators, was zur Herstellung von entweder einem direkten oder einem Wechselstrom im Leiter des Generators und einer Back-Drehmoment, das die Drehung von der Antriebsmaschine verursacht Zähler führen. Die Kraftmaschine kann durch Dampf, Wind oder Wasser versorgt werden. Daher kann das Problem mit Standard-Generatoren besteht darin, daß ihre Effizienz gering ist, da rückdrehmoment infolge der Strömung innerhalb des Generators Leiterwicklungen induziert wird.

DEFINITIONEN
Die folgenden Definitionen werden für den Kunden bereitgestellt und sind nicht als Einschränkung der vorliegenden Erfindung angesehen werden.

Flemings Linke Hand-Regel bezieht sich auf den Effekt, dass, wenn ein Strom in einem Leiter und einem äußeren Magnetfeld über diesem Stromfluss angelegt wird, der Leiter eine Kraft senkrecht zu sowohl dem äußeren Magnetfeld und der Richtung des Stromflusses auftreten. Die Hand-Regel Linker können verwendet werden, um drei zueinander orthogonale Achsen mit Hilfe des Daumens, um eine mechanische Kraft repräsentieren repräsentieren, um die ersten Finger eines Magnetfeldes und den Mittelfinger, um den aktuellen repräsentieren, wobei jeder Finger in rechten Winkeln zueinander positioniert zu repräsentieren.

Synchrongenerators bezieht sich auf einen elektrischen Generator, der mit der gleichen Geschwindigkeit wie der Antriebsmechanismus, der auch als die Synchrondrehzahl bekannt macht. Ein Synchrongenerator erzeugt einen Wechselstrom und Spannung bei einer Frequenz proportional zu der Drehgeschwindigkeit und der Anzahl der Erregerpole im Inneren des Generators.

Asynchrongenerator bezieht sich auf einen Wechselstromgenerator, das die Prinzipien nutzt der Induktion zur Erzeugung von Energie. Asynchrongeneratoren arbeiten durch ihre mechanisch Rotor schneller dreht als die synchrone Drehzahl, was negativen Schlupf..

Kohlenstoffarmer Stahl bezieht sich auf Stahl, der weniger Kohlenstoff als andere Stähle. Dieser Stahl ist von Natur aus leichter für die Kaltverformung aufgrund seiner weich und dehnbar Natur.

Kornorientiertes Elektrostahl bezieht sich auf Stahlblech für Laminierungen in Leistungstransformatoren mit einem Siliziumgehalt von 3% oder weniger verwendet.

ZUSAMMENFASSUNG DER ERFINDUNG
Es ist die primäre Aufgabe der vorliegenden Erfindung, die obigen Probleme durch Bereitstellen eines reduzierten Reaktions rotierende Wechselstromgenerator, der Verbesserung der Leistungseigenschaften in Standardwechselstromgeneratoren derzeit nicht überwinden.

Um dieses Ziel zu erreichen, nach einer Ausführungsform der vorliegenden Erfindung eine verringerte Reaktionswechselstromgenerator offenbart, der einen hohlen Ständerkern mit einer sich in Längsrichtung positioniert Blätter mit einem magnetischen Material hoher Permeabilität laminiert umfasst Achse, einschließlich der Schichtstoffplatten in Längsrichtung eingebettet Schlitze der ein Leiterwicklung ist parallel zu der Achse, einem zylindrischen Rotor konzentrisch angelegt und im Inneren des hohlen Ständerkern aus einem hochpermeablen magnetischen Material und einem mit dem Rotor durch eine externe Quelle gekoppelt ist und angetrieben wird, um den Rotor frei drehen Welle positioniert relativ zum Hohl Statorkern. Der Generator eine erste Gruppe von Magneten in der der Südpol jedes Magneten an der Oberfläche des Rotors und dem Nordpol jedes Magneten gekoppelt ist, die Innenfläche des Hohl Statorkern zugewandt sind, eine zweite Gruppe von Magneten aufweist, in dem der Nordpol jedes Magneten wird zu der Oberfläche des Rotors und der Südpol jedes Magneten gekoppelt ist, die innere Oberfläche des hohlen Ständerkern und einen Satz von Siliziumstahlstücke an der Außenfläche des Rotors aus einzelnen Silizium-Stahl bestehen gekoppelt zugewandt Stücke, die benachbart zu und in Längsrichtung in Übereinstimmung mit jedem einzelnen Magnet innerhalb der ersten Gruppe von Magneten und jedem einzelnen Magneten innerhalb der zweiten Gruppe von Magneten.

Zusätzlich zu dem Vorstehenden können andere Merkmale, Aufgaben und Vorteile der vorliegenden Erfindung werden aus der folgenden Beschreibung offensichtlich.

KURZE BESCHREIBUNG DER ZEICHNUNGEN
Die folgende detaillierte Beschreibung, die lediglich beispielhaft gegeben ist, wird am besten in Verbindung mit den beigefügten Zeichnungen ersichtlich, in denen:

Fig.1 zeigt einen Längsquerschnitt einer reduzierten Reaktionswechselstromgenerator gemäß einer bevorzugten Ausführungsform der vorliegenden Erfindung;

Fig.2 zeigt eine Querschnittsendansicht einer reduzierten Reaktionswechselstromgenerator gemäß einer bevorzugten Ausführungsform der vorliegenden Erfindung;

Fig.3 zeigt eine Mittelquerschnittsansicht einer reduzierten Reaktionswechselstromgenerator gemäß einer bevorzugten Ausführungsform der vorliegenden Erfindung;

Fig.4 zeigt einen Längsquerschnitt der Strömung der Magnetfelder von dem ersten Satz von Magneten ausgeh innerhalb einer reduzierten Reaktionsgenerators gemäß einer beispielhaften Ausführungsform der vorliegenden Erfindung;

Fig.5 und Fig.6 zeigen die Wechselwirkung zwischen dem magnetischen Fluss von den Nordpolen der ersten Gruppe von Magneten und des magnetischen Flusses von einem induzierten Strom in der Leiterwicklung gemäß einer beispielhaften Ausführungsform der vorliegenden Erfindung resultiert Ursprung;

Fig.7 zeigt einen Längsquerschnitt der Strömung der Magnetfelder von der zweiten Gruppe von Magneten innerhalb eines reduzierten Reaktionsgenerator gemß einem Ausführungsbeispiel der vorliegenden Erfindung ausgeht; und

Fig.8 und Fig.9 zeigen die Wechselwirkung zwischen dem magnetischen Fluss mit Ursprung von den Südpolen des zweiten Satzes von Magneten und des magnetischen Flusses von einem induzierten Strom in dem Leiter resultierende Wicklung gemäß einer beispielhaften Ausführungsform der vorliegenden Erfindung.


DETAILLIERTE BESCHREIBUNG DER ERFINDUNG
Die vorliegende Erfindung betrifft einen reduzierten Reaktions rotierende Wechselstromgenerator, der Verbesserung der Leistungseigenschaften in Standardwechselstromgeneratoren nicht lieferbar.


Fig.1 zeigt einen Längsquerschnitt einer reduzierten Reaktionswechselstromgenerator gemäß einer bevorzugten Ausführungsform der vorliegenden Erfindung. Wie in Fig.1 gezeigt, ist die Induktionsmaschine 100 eine Welle 101, einen Rotor 102, einen Stator 103, einen ersten Satz von Magneten 104, einen zweiten Satz von Magneten 105 (nicht gezeigt) aufweist, eine Leiterwicklung 106 und Siliziumstahlstücke 107.

Der Rotor 102 ist ein Zylinder aus hochpermeablen magnetischen Material unter Verwendung eines herkömmlichen bekannten Verfahrens, das für eine sichere und dauerhafte Verbindung unter normalen Betriebsbedingungen liefert direkt an der Welle 101 angebracht. Der Rotor 102 ist so dimensioniert, dass vollständig innerhalb des Stators 103 eingeschlossen werden, während die Welle 101 über ein oder beide Enden des Stators 103 erstreckt.

Die Welle 101 ist innerhalb des Stators 103 befestigt ist, um damit die Welle 101 und der Rotor 102 angebracht ist, sich frei in dem Stator 103 zu drehen, wenn die Welle 101 wird durch eine externe Antriebsquelle angetrieben wird. Die externe Antriebsquelle ist mit einem Ende der Welle 101, die über den Stator 103. Die externe Antriebsquelle kann entweder mit einer variablen Drehzahl oder mit einer synchronen Geschwindigkeit angetrieben werden erstreckt gekoppelt. Als solche ist die Antriebsquelle kann ein Wechselstrom auf der Basis Quelle oder eine Gleichstrom, basierend Quelle sein. Die Antriebsquelle kann auch ein nicht-elektrisch basierten Antriebsquelle, wie einem Wasserkraft, Wind oder einem Verbrennungs basierend Quelle. Die Mittel zum Koppeln der Antriebsquelle auf die Welle 101 wird in Abhängigkeit von der Art der Antriebsquelle und jedes herkömmlich bekannte Mittel hierfür geeigneten Antriebsquelle Typ sein.

In einer beispielhaften Ausführungsform ist die Welle mit 30 mm Durchmesser aus Stahl 1018, der Rotor 370 mm Durchmesser aus Stahl 1018 und der Stator hat eine 570 mm Durchmesser.

Bestimmungen auf der zylindrischen Oberfläche des Rotors 102 zur Halterung der ersten Gruppe von Magneten 104 und für die Montage des zweiten Satzes von Magneten 105 in der Nähe jedes der Enden des Rotors 102. Es werden auch Vorkehrungen zur Montage von gemacht die Silizium-Stahlstücke 107 auf dem Rotor an Positionen in der Nähe der Mitte des Rotors.

Der erste Satz von Magneten 104 und der zweite Satz von (nicht gezeigten) Magneten 105 sind an den Enden des Rotorzylinders 102 unter Verwendung eines beliebigen herkömmlichen Verfahrens bekannt, eine sichere und dauerhafte Verbindung unter normalen Betriebsbedingungen befestigt ist. Jedes Ende des Rotors 102 enthält eine der ersten Gruppe von Magneten 104 und eine der zweiten Gruppe von Magneten 105, für insgesamt vier Magneten. Der erste Satz von Magneten 104 sind mit ihren Nordpolen gegenüber dem Stator 103 und ihre Südpole an den Rotor 102. Der zweite Satz von Magneten 105 (nicht gezeigt) sind mit ihren Südpolen dem Stator zugewandten 103 und ihrem Nordpol orientiert gekoppelt orientierten mit dem Rotor 102 gekoppelt Die Magnete können Permanentmagnete oder Elektromagnete sein.

In einer beispielhaften Ausführungsform die Permanentmagnete Neodym-Magneten mit einem maximalen Energieprodukt (BH max) von 48 bis 50 MGOe. Darüber hinaus ist in einem weiteren Ausführungsbeispiel sind die Elektromagnete radial Pol und mit dem Rotor in einer allgemein in der Industrie bekannten Weise angebracht.

Die Silizium-Stahlstücke 107 sind auch mit einem beliebigen herkömmlichen Verfahren bekannt, um eine sichere und dauerhafte Verbindung unter normalen Betriebsbedingungen des Rotors 102 angebracht. Es gibt einen einzelnen Siliziumstahlstück 107 entsprechend jedem Magneten der ersten und zweiten Sätze von Magneten 104 auf den Rotor 102 jedes Siliziumstahlstück 107 befestigt ist, in Übereinstimmung mit seinem entsprechenden Magnet Verlassen eines vorgegebenen Abstand 109 zwischen dem Siliziumstahlstücks und positioniert ihre entsprechenden Magneten. Jedes Siliziumstahlstück 107 besteht aus Silizium-Stahl, die eine Spezialität Stahl zugeschnitten, um eine kleine magnetische Hysterese-Bereich und eine hohe magnetische Permeabilität haben, ist zusammen. Eine hohe magnetische Permeabilität wird als eine magnetische Sättigungspegel über 1,8 Tesla festgelegt.

In einer beispielhaften Ausführungsform sind die ersten und zweiten Sätze von Magneten 104, 105 und der Silizium-Stahlstücke 107 sind jeweils so dimensioniert, daß etwa die gleiche Fläche und die Entfernung 109 zwischen dem Siliziumstahlstück und einem entsprechenden Magneten nicht mehr als die Länge der Magnet in der Axialebene.

Der Rotor 102 und die angebrachten Magneten 104, 105 und Stahlstücke 107 sind jeweils so bemessen, um für einen Luftspalt 108 mit einer vorbestimmten Größe zwischen den äußeren Oberflächen der beiliegenden Magneten 104, 105 und die Silizium-Stahlstücke 107 und der Innenfläche bereitzustellen des Stators 103. Der Luftspalt wird so gewählt, um eine freie Drehung des Rotors 102 und die daran angeschlossenen ersten und zweiten Satz von Magneten 104, 105 in dem Stator 103 sowie der effizienten Fluss des Magnetflusses in den und aus dem Stator 103 bereitzustellen über den Luftspalt 108. In einer beispielhaften Ausführungsform ist in einem Bereich von 3 mm bis 10 mm der Luftspalt 108.

Der Stator 103 ist in Längsrichtung angeordnet Siliziumstahllaminaten mit Körnern entlang des Pfades des Magnetflusses, betritt und verlässt den Stator orientiert zusammen 103. Der Stator 103 umfasst auch das in Längsrichtung ausgerichteten Schlitzen in dem die Leiterwicklung 106 gelegt wird, die Leiterwicklung 106 derart, daß durch die sich drehenden Magnetflusses ausgehend von den ersten und zweiten Satz von Magneten 104 an den Motor 102 angebracht geschnitten werden positioniert.

In einer beispielhaften Ausführungsform ist der Stator aus einem magnetisch inerten Material, wie PVC Rohrleitungen, mit geeigneter Festigkeit zu kornorientiertem Stahlblechlamellen unterstützt.

In einer beispielhaften Ausführungsform ist der magnetische Fluss von den ersten und zweiten Magneten ausgeh etwa 10.000 Gauss.


Fig.2 zeigt eine Stirnquerschnittansicht einer reduzierten Reaktionswechselstromgenerator gemäß einer bevorzugten Ausführungsform der vorliegenden Erfindung. Wie in Fig.2 des ersten Satzes von Magneten 104, die mit ihren Nordpolen gegenüber dem Stator 103 und ihre Südpole an den Rotor 102 verbunden gezeigt sind, die an gegenüberliegenden Positionen in-line an einem Ende des Rotors 102 angeordnet.

In ähnlicher Weise sind der zweite Satz von Magneten 105 mit ihren Südpolen dem Stator zugewandten 103 und ihrem Nordpol zu dem Rotor 102 verbunden ist, die an gegenüberliegenden Positionen in-line auf dem gleichen Ende des Rotors 102 in einem neunzig Grad versetzt von der ersten Reihe positioniert des Magneten 104. Eine identische ersten Satz von Magneten 104 und dem zweiten Satz von Magneten 105 sind mit dem anderen Ende des Rotors 102 an ähnlichen Positionen gekoppelt.


Fig.3 zeigt eine Mittelquerschnittsansicht einer reduzierten Reaktionswechselstromgenerator gemäß einer bevorzugten Ausführungsform der vorliegenden Erfindung. Wie in Fig.3 gezeigt, ein einzelner Siliziumstahlstück 107 ist in Längsrichtung in Übereinstimmung mit jedem Magneten der ersten und zweiten Sätze von Magneten 104 angeordnet ist, 105 (nicht gezeigt). Die Position jedes Siliziumstahlstück 107 sieht einen vorbestimmten Abstand 108 zwischen einer Siliziumstahlstücks 107 und seiner entsprechenden Magneten.

In einer beispielhaften Ausführungsform gleich der Längslänge des Magneten ist der Abstand zwischen einem Siliziumstahlstücks 107 und seiner entsprechenden Magnet.


Unter erneuter Bezugnahme auf Fig.1 wird eine elektromagnetische Kraft (EMK) in der Leiterwicklung 106 innerhalb des Stators 103 eingebettet, wenn der magnetische Fluß aus dem ersten Satz von Magneten 104 und aus dem zweiten Satz von Magneten 105 Schnitt durch den Leiter ausgeht Wicklung angelegt 106, wenn der Rotor 102 dreht. Gesehen in Richtung des Pfeils C in Fig.1, mit dem Rotor 102 dreht sich im Uhrzeigersinn und der magnetischen Flussausgeh in vertikaler Richtung nach oben von den Nordpolen der ersten Gruppe von Magneten 104, der Strom als Folge von erzeugten die induzierte elektromagnetische Kraft wird von links zu reisen, um in der Leiterwicklung 106 rechts 110.

Die Stromrichtung ist nach Lenz-Gesetz, das, wenn ein elektrischer Strom in einem Leiter induziert wird, ist wie die Richtung des induzierten Stromes, dass seine magnetische Wirkung wird die Aktion, die Anlass zu der induzierte Strom gibt entgegen erklärt. Als solche ist die Richtung der induzierten Strom 110 zu einer Drehmoment um so die Drehung des Rotors 102. Insbesondere widersetzen, gesehen in Richtung des Pfeils C in Fig.1, die Wechselwirkung zwischen dem Gegenuhrzeigersinn Magnetfeld den Leiter umgebenden infolge der induzierten elektromagnetischen Kraft und der aufwärts Magnetfluß von den Nordpolen ausgeht ersten Paar von Magneten 104 wird ein Drehmoment entgegen dem Uhrzeigersinn gegen die Drehung des Rotors 102 zu erstellen.


Fig.4 zeigt einen Längsschnitt der Strömung von Magnetfeldern aus dem ersten Satz von Magneten ausgeh innerhalb einer reduzierten Reaktionsgenerator. Wie in Fig.4 gezeigt, der magnetische Fluss 401 von den Nordpolen der ersten Gruppe von Magneten 104 ausgeh wandert senkrecht nach oben, über den Luftspalt 108 und in den Stator 103 als den magnetischen Fluss 401 dreht sich mit dem Rotor 102 in Bezug auf die Stator 103 dieser rotierenden Magnetfluss 401 in den statischen Stator 103 schneidet seitlich über die Leiterwicklung 106 innerhalb des Stators 103 eingebettet und induziert einen Strom in der Leiterwicklung 106.

Innerhalb des Stators 103 wird ein Teil des magnetischen Flusses 402 nun innerhalb der Kornstanz innerhalb des Ständers 103 eingefangen und strömt in Längsrichtung in dem Bemühen, zu einem entsprechenden Südpol des ersten Satzes von Magneten 104. Dieser Teil des magnetischen Flusses 402 zurückkehren ist nun statische relativ zu dem Stator 103 und dem eingebetteten Leiterwicklung 106 wie dieser Teil des magnetischen Flusses 402 durchströmt und tritt aus dem Stator 103 ohne seitliche Bewegung relativ zu den eingebetteten Leiterwicklung 106 und somit ohne Induzieren eines Stroms in die Leiterwicklung 106.

Außerhalb des Stators 103, kreuzt ein Teil des magnetischen Flusses 403, den Luftspalt 108 und der Oberfläche eines entsprechenden Stahlstücks 107. Der Stahlteil 107 konzentriert den Magnetfluss 403 in dem Luftspalt 108 eine effizientere und speziell Weges erreicht für den Magnetfluss 403, der einen entsprechenden ersten Satz von Magneten 104. Die Magnetfluss 403 verläuft durch das Stahlstück 107 und kehrt zu einer entsprechenden Südpol des ersten Satzes von Magneten zurück 104, wodurch die Magnetflussschleife zwischen Nord und Süd Schließ Pole jedes Magneten der ersten Gruppe von Magneten 104.


Fig.5 und Fig.6 zeigen die Wechselwirkung zwischen dem magnetischen Fluss von den Nordpolen der ersten Gruppe von Magneten und des magnetischen Flusses von einem induzierten Strom in der Leiterwicklung ergeb Ursprung. In beiden Fig.5 und Fig.6 wird der Strom 110 in der Leiterwicklung 106 durch die Drehung des Rotors 102 induziert wird, wird von der Seite kommenden gezeigt. Darüber hinaus wird in Übereinstimmung mit der Anwendung des rechten Handregel der Magnetfluß 501 die Leiterwicklung 106 als Folge des induzierten Stroms 110 umgibt, wird als eine Drehung im Gegenuhrzeigersinn gezeigt.

In Fig.5 wird der magnetische Fluß aus dem ersten Satz von Magneten Ursprung durchquert den Luftspalt nach oben und die Interaktion mit dem magnetischen Fluß des Leiters umgebenden Wicklung dargestellt. Wie in Fig.5 gezeigt, wird das Magnetfeld 401 die aus dem ersten Satz von Magneten 104 auf der rechten Seite der Leiterwicklung 106 durch die Überlagerung des magnetischen Feldes 501 in der Leiterwicklung 106, die in der gleichen Richtung induziert verstärkt. Jedoch wird das Magnetfeld 401 die aus dem ersten Satz von Magneten 104 ist auf der linken Seite der Leiterwicklung 106 durch die Überlagerung des magnetischen Feldes 501 in der Leiterwicklung 106, die in die entgegengesetzte Richtung induziert geschwächt. Als Folge dieser Wechselwirkung, die Netto-Magnetfeld in dem Luftspalt 108 über den Oberflächen der ersten Gruppe von Magneten 104 führt zur Anwendung einer gegen den Uhrzeigersinn Drehmoment 502 zu dem Rotor 102, der die Drehung des Rotors entgegen 102. Dies ist im Einklang mit Lenz-Gesetz und wird durch die rechte Hand-Regel, die zeigt, dass ein Leiter, der in einem nach oben gerichteten Magnetfeld und einen Strom in der induzierten Richtung (von der Seite kommenden) bestätigt eine Gegenuhrzeigersinn Kraft erleben.


In Fig.6, ist der Teil des Magnetflusses, die nach unten durch den Luftspalt und durch ein Siliziumstahlstück von dem Stator zurück geleitet wird, die Interaktion mit dem induzierten magnetischen Fluss den Leiter umgebende Wicklung dargestellt. Wie in Fig.6 gezeigt, das Magnetfeld 403 geleitet nach unten durch das Siliziumstahlstück 107 ist auf der linken Seite der Leiterwicklung 106 verstärkt durch die Überlagerung des magnetischen Feldes 501 in der Leiterwicklung 106, die in der gleichen Richtung induziert. Jedoch wird das magnetische Feld 403 auf der rechten Seite der Leiterwicklung 106 durch die Überlagerung des magnetischen Feldes 501 in der Leiterwicklung 106, die in die entgegengesetzte Richtung induziert geschwächt. Als Ergebnis wird auf der Oberfläche des Siliziumstahlstück 107, das magnetische Feld 403 entwickelt ein Gradient von links nach rechts, wodurch ein Drehmoment im Uhrzeigersinn 602, die die Drehung des Rotors 102. Dies ist in Übereinstimmung mit Lenz'schen unterstützt und durch die rechte Hand-Regel, die zeigt, daß eine Leiterwicklung 106 in einer nach unten gerichteten Magnetfeld 403 und einen Strom 110 in der induzierten Richtung (aus der Seite heraus kommen) eine Kraft im Uhrzeigersinn erfahren bestätigt.

Daher wird als Ergebnis dieser Konfiguration ist der Leiterwicklung 106 innerhalb des Stators 103 eingebettet ist an zwei Stellen von jedem magnetischen Fluss von dem Nordpol des ersten Satzes von Magneten 104. Insbesondere Ursprung ein erstes Mal zu schneiden, wenn das magnetische Feld 401 tritt in den Stator 103 in einer Aufwärtsrichtung und ein zweites Mal, wenn das Magnetfeld 403 verlässt den Stator 103 in einer Richtung nach unten durch eine Siliziumstahlstück 107. Der Nettoeffekt ist, dass die durch das Magnetfeld 403 erzeugt ein Drehmoment im Uhrzeigersinn durch das Siliziumleitet Stahlteile 107 teilweise die durch das Magnetfeld 401 mit Ursprung von den Nordpolen der ersten Gruppe von Magneten 104. Dies führt zu einer teilweisen Aufhebung des Rückdrehmomentreaktion durch die Wirkung von Law-Reaktion und Ergebnisse Lenz'schen verursacht erzeugten Drehmoment entgegen dem Uhrzeigersinn hebt in einem entsprechenden Anstieg in der Effizienz der Maschine, weil die externe Antriebsquelle muss ein geringeres Drehmoment, um das reduzierte Reaktions der Maschine überwinden liefern.


Fig.7 zeigt einen Längsquerschnitt der Strömung der Magnetfelder von dem zweiten Satz von Magneten ausgeh innerhalb einer reduzierten Reaktionsgenerator. Wie in Fig.7 gezeigt, ist der Magnetfluss 701 in den Südpol des zweiten Satzes von den Magneten 105 fließt wandert senkrecht nach unten aus dem Stator 103 und über den Luftspalt 108, wie der magnetische Fluss 701 dreht sich mit dem Rotor 102 in Bezug auf Der Stator 103 dieser rotierenden Magnetfluss 701 verlßt den statischen Stator 103 schneidet seitlich über die Leiterwicklung 106 innerhalb des Stators 103 eingebettet und induziert einen Strom in der Leiterwicklung 106.

Innerhalb des Stators 103, ein Teil des magnetischen Flusses 702 strömt in Längsrichtung entlang der Kornstanz innerhalb des Stators 103 von einer Position, wo der Magnetfluss 702 in den Stator 103. Dieser Teil des magnetischen Flusses 702 ist statisch relativ zu dem Stator 103 und zu der Leiterwicklung 106 im Stator eingebettet 103. Daher kann dieser Teil des magnetischen Flusses 702 eintritt, und fließt durch den Stator 103 ohne seitliche Bewegung relativ zu den eingebetteten Leiterwicklung 106 und daher ohne Induzieren eines Stroms im Leiter Wicklung 106.

Außerhalb des Stators 103, ein Teil des magnetischen Flusses 703 fließt von einem Nordpol des zweiten Satzes von Magneten 105, durch einen entsprechenden Siliziumstahlstück 107, nach oben über den Luftspalt 108 und in den Stator 103. Die Siliziumstahlstück 107 konzentriert den Magnetfluss 703 in dem Luftspalt 108 eine effizientere und speziell Pfad für den magnetischen Fluss 703 ausgehend von einem entsprechenden zweiten Satz von Magneten 105. Die Magnetfluss 703 besteht die Stahlstück 107 und tritt in den Stator 103, wodurch das Schließen des Magnetflussschleife zwischen den Süd- und Nord-Pole jedes Magneten der zweiten Gruppe von Magneten 105.

Fig.8 und Fig.9 zeigen die Wechselwirkung zwischen dem magnetischen Fluss mit Ursprung von den Südpolen des zweiten Satzes von Magneten und des magnetischen Flusses von einem induzierten Strom in der Leiterwicklung resultiert. In beiden Fig.8 und Fig.9 ist der Strom 110 in der Leiterwicklung 106 durch die Drehung des Rotors 102 induziert wird, geht in die Seite gezeigt. Darüber hinaus wird in Übereinstimmung mit der Anwendung des rechten Handregel der Magnetfluß 801 die Leiterwicklung 106 als Folge des induzierten Stroms 110 umgibt, wird als eine Drehung im Uhrzeigersinn gezeigt.


In Fig.8 ist der Magnetfluss von der zweiten Gruppe von Magneten Ursprung durchquert den Luftspalt nach unten und die Interaktion mit den magnetischen Fluss den Leiter umgebende Wicklung dargestellt. Wie in Fig.8 gezeigt, ist das magnetische Feld 701 die aus dem zweiten Satz von Magneten 105 auf der rechten Seite der Leiterwicklung 106 durch die Überlagerung des magnetischen Feldes 801 in der Leiterwicklung 106, die in der gleichen Richtung induziert verstärkt. Jedoch wird das magnetische Feld 701 die aus dem zweiten Satz von Magneten 105 auf der linken Seite der Leiterwicklung 106 durch die Überlagerung der magnetischen Felder 801 in der Leiterwicklung 106, die in die entgegengesetzte Richtung induziert geschwächt. Als Folge dieser Wechselwirkung, die Netto-Magnetfeld in dem Luftspalt in den Oberflächen der zweiten Gruppe von Magneten 105 führt zur Anwendung einer gegen den Uhrzeigersinn Drehmoment 802 zu dem Rotor 102, der die Drehung des Rotors 102 gegenüberliegt . Dies ist in Übereinstimmung mit der Lenzschen Gesetzes und wird durch die rechte Hand-Regel, die zeigt, dass ein Leiter, der innerhalb eines nach unten gerichtetem Magnetfeld und einen Strom in der induzierten Richtung (in Richtung in die Seite) wird ein Gegenuhrzeigersinn Kraft erfahren bestätigte.


In Fig.9 wird der Teil des Magnetflusses die ursprünglich durch die Stahlstücke 107 geführt, über den Luftspalt 108 und in den Stator in Wechselwirkung mit dem induzierten magnetischen Fluss den Leiter umgebende Wicklung dargestellt. Wie in Fig.9 gezeigt ist, das magnetische Feld 703 geleitet aufwärts durch ein Stahlstück 107 und über den Luftspalt 108 ist an der linken Seite der Leiterwicklung 106 verstärkt durch die Überlagerung des magnetischen Feldes 801 in der Leiterwicklung 106 induzierten in die gleiche Richtung. Jedoch wird das magnetische Feld 703 auf der rechten Seite der Leiterwicklung 106 durch die Überlagerung des magnetischen Feldes 801 in der Leiterwicklung 106, die in die entgegengesetzte Richtung induziert geschwächt. Als Ergebnis wird auf der Oberfläche des Siliziumstahlstück 107, das magnetische Feld 703 entwickelt ein Gradient von links nach rechts, wodurch ein Drehmoment im Uhrzeigersinn 902, die die Drehung des Rotors 102. Dies ist in Übereinstimmung mit der Lenzschen Regel unterstützt und durch die rechte Hand-Regel, die zeigt, daß eine Leiterwicklung 106 in einer nach oben gerichteten Magnetfeld 703 und einen Strom 110 in der induzierten Richtung (in Richtung in die Seite hinein) wird eine Kraft im Uhrzeigersinn erfahren bestätigt.

Daher wird als Ergebnis dieser Konfiguration und wie oben für den ersten Satz von Magneten beschrieben, der Leiter in dem Stator integriert ist an zwei Stellen von jedem Magnetfeldabschluß am Südpol des zweiten Satzes von Magneten abgeschnitten. Genauer gesagt, ein erstes Mal, wenn das Magnetfeld 701 verlässt den Stator 103 in einer Richtung nach unten und ein zweites Mal, wenn das Magnetfeld 703 in den Stator 103 in einer Richtung nach oben durch eine Siliziumstahlstück 107. Der Nettoeffekt ist, dass das Drehmoment im Uhrzeigersinn durch das Magnetfeld 703 durch die Silizium-Stahlstücke 107 umgeleitet erzeugt die durch das Magnetfeld 701 endet am Südpol des zweiten Satzes von Magneten 105. Dies führt zu einer teilweisen Aufhebung des Rückdrehmomentreaktion erzeugten Drehmoment entgegen dem Uhrzeigersinn teilweise aufhebt durch die Wirkung der Reaktionsgesetz Lenzschen und führt zu einer entsprechenden Erhöhung der Effizienz der Maschine verursacht wird, weil die externe Antriebsquelle muss ein geringeres Drehmoment, um das reduzierte Reaktions der Maschine überwinden liefern.




Die Niederspannungs-Rotor von 'Lidmotor'
Ein sehr erfahrener Entwickler, dessen YouTube-ID "Lidmotor" (weil er macht Motoren von den Deckeln von Gläsern) hat ein kurzes Video hier zeigt eine sehr einfache Rotor-Design mit einem seiner Glasdeckeln auf einem einzigen Lager montiert:


Der weiße Deckel hat vier Magneten daran befestigt Abstand gleichmäßig um den Deckel zu neunzig - Grad-Intervallen. Ihnen gegenüber ist eine Luftspule auf einem nichtmagnetischen Träger und Dübel Wunde mit 400 Windungen '30–Gauge’ Draht auf einer Kunststoffspule angebracht. Als 'Lidmotor' ist Amerikaner, ist die Spurweite '30–Gauge’ Draht wahrscheinlich American Wire Gauge # 30 sein, mit einem Durchmesser von 0.255 mm, im Gegensatz zu der Europäischen Standard Wire Gauge 30, die einen Durchmesser von 0,315 mm hat. Eine Luftspule hat keine Auswirkungen auf die vorbeifahrenden Rotormagneten, wenn es nicht die Strom. Ein Ausgangsspuleziehen auf dem Rotor führen, wenn Strom aus der Spule gezogen, und so zeitgesteuerte Schaltausgangwie von Robert Adams verwendet würden benötigt, um nicht nur zu überwinden, die Drag werden, aber um den Rotor auf dem Weg sowie zu schieben.

Es sind zwei sehr wichtige Eigenschaften dieses Antriebskonzept. Eine davon ist die Tatsache, dass ein Supercap (10 - Farad 2,3 V) wird verwendet, um den Rotor anzutreiben, und wenn mit einer Gebühr von nur 0,5 V bis 1,0 V versorgt wird, kann der Rotor für bis zu 30 Minuten zu drehen. Das sehr lange Zeit ist wahrscheinlich ein Merkmal der zweite wichtige Punkt ist, dass er die eine LED über den Reedschalter verwendet, um die Leistung der Spule platziert hat sein. Wenn der Reed-Schalter öffnet, tritt ein Gegen-EMK- Spannungsspitze und die LED geht , dass die Spannungsimpuls wieder in die 100% effizient Supercap, erholt die meisten der aktuellen verwendet, um den Rotor zu fahren. Dies ist das gleiche Verfahren wie von Robert Adams in seinem Motorkonstruktionen verwendet. Lidmotor präsentiert seine Schaltung wie diese:


Während die Schaltung zeigt, die den Betrieb des Magnetreedschalterals 180 Grad um von der Spule, die Fotografie zeigt, daß der Schaltmagnet 90 ist ein Grad weg. Keines der anderen Magnete können verwendet werden. Der Reed -Schalter-Betrieb wird eingestellt, um die beste Leistung zu erhalten. Dies wird durch Bewegen des Schalters hin und her entlang der Bewegungsbahn des Magneten, um die Umschaltung durchzuführen getan früher oder später auftreten. Das Ziel ist, den Rotormagneten auf seinem Weg durch Pulsen der Spule nur sehr kurz nach der Rotormagnet hat die Mitte der Spule geleitet schieben. Die Länge der Zeit, die der Reed- Schalter geschlossen ist, kann durch Bewegen des Schalters näher an der Magnetschalterfür einen längeren Schließzeit , oder ferner für eine kürzere Verschlußschaltereingestellt werden. Es ist auch möglich, die Schließzeitdurch die Positionierung des Schalters über den Weg des Magnet Reise oder parallel dazu verändert.

Wenn Sie nicht mit einem Reedschalter vertraut sind, ist es nur eine Glasröhre, mit einem inerten Gas gefüllt und mit zwei sich überlappenden Metallstreifen in der Röhre:


Das externe Magnetfeld magnetisiert die Streifen und sie gemeinsam springen durch magnetische Anziehung und Frühjahr wieder auseinander, wenn das Magnetfeld bewegt sich weg. Diese Schalter sind in verschiedenen Größen und die kleinste Version neigt unzuverlässig zu sein und hat eine sehr geringe maximale Strombelastbarkeit. Die größeren Versionen sind viel robuster.

Lidmotor der Schaltung ist sehr einfach und sehr effektiv, auch wenn der Rotor minimalem Gewicht und keine signifikante ziehen haben. Man fragt sich, ob das Hinzufügen einer zweiten Spule und einer Diode Fütterung der Superkondensator, wenn das System nicht selbstlauf werden.


Der Trägheitsantrieb und Elektrisches Generationssystem der Phemax.
Phemax Technologies, Inc. entwickelt haben, was sie als ihre "nachhaltigen Verkehrssystems", die auf ihren trägen-Antrieb Generation Rad, das, was sie '3-D Coraxial Hybrid Induction "(CHI), in denen" Coraxial rufen nutzt basiert beschreiben " bezieht sich auf ihre "kombinierte Radial-Axial" Technik, bei Antrieb durch einen radialen gepulsten Magnetsystem und Leistungsentnahme wird unter Verwendung eines axial orientierten Magneten / Spulensystem versehen ist.

Taiwan Erfinder Tajen (David) Chi, sagt, dass sein Unternehmen "Phemax Technologies Inc." demonstriert ihre Technologie im September 2010 zu einem expo, nach denen sie ermöglichen interessierten und qualifizierten Parteien zu ihren Räumlichkeiten zur Lizenzierung Gespräche kommen.


Ihr Gerät kann an die Stelle des Batterie-Komponente eines Elektrofahrzeugs oder es kann verwendet werden, um zu ergänzen und lädt die Batterie Bank im Fahrzeug. In der September-Ausstellung, werden sie den Besuchern ihre 2 kW Testwagen fahren. David beabsichtigt, ihre Testdaten ins Internet zu stellen. Mit einer Drehantriebskraft von 1 NM bei 500 UpM, kann ein einzelner Inertial-Antrieb Generation Rad herzustellen 1 KW von axialen Zeugungskraft.

David sagte auch, dass ein 150W Ausgang von seinem Motor tatsächlich produziert zwischen 180 und 200 Watt mechanische Leistung, während ein 1500W Ausgang erzeugt eine mechanische Leistung von 1800 bis 2000 Watt (96 Volt bei 20 Ampere), wie von einem Wattmeter, Geschwindigkeit gemessen Meter, Drehmomentmesser und Oszilloskopen. Er sagt, dass diese Messungen von Michael Hseuh, Vice President und Chief Technology Officer wurden.

Keramik-Basis und Kohlenstoff-basierten Ultrakondensatoren werden verwendet, um etwas von der Ausgangsleistung an den Eingang, um zu halten laufender Maschine kontinuierlich ohne die Notwendigkeit für eine Stromversorgung, wenn der Motor läuft, und dessen Ausgabe Bereitstellen zurückzukehren. Beim Fahren eines Fahrzeugs von diesem Gerät gespeist wird die mechanische Antriebsmoment über ein stufenlos variables Getriebe vorgesehen.

Zu diesem Zeitpunkt haben Phemax Technologies, Inc. eine 150-Watt und 2 kW Prototypen, die sie planen, im September 2010 zu demonstrieren. Er sagt, dass sie in der Regel laufen diese Prototypen für acht Stunden jeden Tag in ihrem Labor. Das zentrale Prinzip der Phemax Technologies Inc. Prozess ist, was sie "CORAXIA", die für "kombiniertes Radial-Axial" Hybrid Induktion, abgekürzt "CHI", die David Nachnamen steht nennen. Darüber hinaus nennen dies die "3-D Coaxial Hybrid Induction System". Sie erklären, dass ihre elektromagnetische 3-D Anordnung des Rades ermöglicht sowohl Radialflussmaschine Antriebs-und Axialfluss Generation mit nur einem einzigen Rotor und zwei separaten Statoren. Da die radiale elektrische Antrieb dreht, ermöglicht die mechanische Energie aufgrund der Trägheit des Rades und dem Boden Kraftübertragungsmechanismus die Räder eines Fahrzeugs, um Elektrizität zu erzeugen, wie sie sich drehen.

Es gibt zwei Videos zeigt das Gerät Elektrizität erzeugt, befindet sich: hier und hier

Eine andere Anwendung ist, wo die elektrische Leistung von der Vorrichtung verwendet wird, um einen Wasserstoff / Sauerstoff-Gasgemisch aus Wasser unter Verwendung eines Unterwasser Plasmabogen zu erzeugen:

David sagt, er sei in diesem Bereich Autodidakt. Er hat drei Patente: Taiwan Patent M352472, M372891 und M382655 (die nicht in englischer Sprache). Von seiner Suche des Patents Index, das Internet und YouTube, sagte David hat er noch nicht ein Patent oder experimentelle Aufbau ähnlich dem, was sie entwickelt haben, gesehen.

Dieser Motor / Generator ist ungewöhnlich, dass es verwendet gepulst Rotorantrieb auf Magneten am Umfang des Rotors angebracht ist und gleichzeitig, nimmt er elektrische Energie von einer Spule / Magnetanordnung an der Seite montiert zugewandt des Rotors wie hier dargestellt:








Der grundlegende Antrieb / Generator-Einheit kann auf einer einzigen Welle zu einer erhöhten Kraft geben repliziert werden, noch ohne erhöhte Reibungsverluste zwischen dem Antrieb und der Stromerzeugung:


Es ist ungewöhnlich, um zu sehen, diese Technik verwendet, da es schwierig sein kann, um die Interaktion zwischen den verschiedenen magnetischen Feldern zu vermeiden. Allerdings hat David vollständig erfolgreich dabei diese und die Anordnung hat keine Übertragungsverluste zwischen dem Antriebsmotor und dem Generator, da diese integrale Bestandteile des Systems sind.

Dieses System ist in der Lage Antreiben eines batterielosen Klimatisierungseinheit und einer 5 kW PBeweis der Vorstellung Prototyp ist hier gezeigt:


Dieses Gerät ist auch in der Lage zu fahren elektrische Beleuchtung und mit einem 5 Kilowatt self-powered-Ausgang, kann es Macht die meisten Bedürfnisse des Haushalts. Eine typische Waschmaschine verfügt über eine 2,25 Kilowatt maximale elektrische Auslosung ebenso wie die durchschnittliche Trockner. Die meisten Fan-Heizungen sind 3 Kilowatt oder weniger, wenn sie auf volle Leistung.

Wenn ein Wind-Generator ist bereits vorhanden, dann mit der mechanischen Leistung des Generators, um die Achse eines dieser CHI-Generatoren führt zu einer sehr hohen Leistung Stromerzeugung System drehen.

Kontakt: Tajen (David) Chi, Taiwan   e-mail: chitajen@gmail.com

Anfragen an: Phemax Technologies Inc., Michelle Chen, Leiter Marketing und Business Development.   Tel: 886-2-2371-5622   e-mail: michelle@phemax.com


Die Strom-Generator von Raymond Kromrey
Besteht das Ziel, Elektrizität von einem rotierenden Magnetfeld zu erzeugen, hat es immer eine Suche nach irgendeinem Verfahren nach entweder reduzierenden oder Eliminieren insgesamt die Bremswirkung auf den Rotor, wenn elektrischer Strom von dem Generator gezogen wird. Ein Design, das sehr begrenzte Drag by Stromaufnahme verursacht haben behauptet, ist die Kromrey Design. Die wichtigsten Merkmale dieser Konstruktion werden als:

1. Es hat fast konstanten elektrischen Leistung selbst wenn die Drehzahl des Rotors um mehr als 35% verändert wird.
2. Es kann weiter mit seinem elektrischen Ausgang kurzgeschlossen betreiben, ohne Erwärmung des Rotors oder verursacht eine Bremswirkung.
3. Die Effizienz der Produktion (elektrische Leistung durch die Antriebskraft unterteilt) hoch ist.
4. Die Häufigkeit der es Wechselstrom-Ausgangsleistung kann, dass durch die Ausrüstung, die es Befugnisse erforderlich angepasst werden.
5. Der Rotor kann jedenfalls von 800 rpm bis 1.600 rpm geschleudert werden.
6. Die einfache Bauweise ermöglicht Herstellungskosten um etwa 30% geringer als bei anderen Generatoren.
7. Dieser Generator ist zum Zuführen von Energie bei oder oberhalb der Ebene 1 Kilowatt empfohlen.


Hier ist das Patent für dieses Gerät:

Patent US 3,374,376                 19. März 1968                  Erfinder: Raymond Kromrey

ELEKTRISCHEN GENERATOR


Meine Erfindung bezieht sich auf einen elektrischen Generator, der magnetischen Energie in elektrische Energie unter Verwendung von zwei Komponenten, die sich relativ zueinander, dh ein Stator und ein Rotor, der eine mit Elektromagneten oder Permanentmagneten, die eine Spannung in einer Wicklung zu induzieren, die einen Teil der eine Ausgangsschaltung, die an der anderen Komponente.

Konventionellen Generatoren dieses Typs verwendet, welche eine Wicklung zu bilden, deren Leiter Schleifen in verschiedenen axialen Ebenen, so daß gegenüberliegende Teile jedes Schleifendurchlauf durch das Feld eines jeden Polpaars, zweimal pro Umdrehung. Wenn die Schlaufen offener Kreis, dann fließt kein Strom in der Wicklung und keine Reaktion Drehmoment entwickelt, so dass der Rotor frei, bei der maximalen Geschwindigkeit der Antriebseinheit einzuschalten. Sobald der Ausgangswicklung über eine Last verbunden ist, oder kurzgeschlossen ist, neigt der resultierende Stromfluß, um die Bewegung des Rotors in einer Weise, die von der Intensität des Stromes abhängt und dies macht es erforderlich, Kompensieren umfassen verzögern geschwindigkeitsabhängigen Regeleinrichtungen, wenn es notwendig, eine ziemlich konstante Ausgangsspannung aufrechtzuerhalten. Außerdem unterwirft der variable Reaktionsdrehmoment den Rotor und seine Übertragung zu erheblichen mechanischen Belastungen und Schäden.

Es ist daher die allgemeine Aufgabe dieser Erfindung, einen elektrischen Generator, der keine der genannten Nachteile aufweist. Eine weitere Aufgabe ist es, einen Generator, dessen Rotor variiert sehr wenig in der Geschwindigkeit zwischen offenen Schaltungsbetrieb und Stromabgabe Betrieb. Ein weiteres Ziel ist es, einen Generator, dessen Ausgang Spannung nicht stark von Schwankungen seiner Rotordrehzahl dargelegt werden.

Ich habe gefunden, dass diese Ziele durch Drehen einer langgestreckten ferromagnetischen Element, wie beispielsweise ein stabförmiges Weicheisenkern Anker und einem Paar Polstücke, die einen Luftspalt enthält, ein Magnetfeld zu erzeugen erreicht werden kann. Jedes der äußeren Enden des Ankers trägt eine Wicklung, im Idealfall, diese Wicklungen in Reihe geschaltet sind, und diese Spulen Bestandteil eines Ausgangskreises verwendet, um eine Last zu treiben. Da der Anker sich relativ zum Luftspalt, ist der magnetische Kreis zeitweise abgeschlossen und der Anker erfährt periodischen remagnetisations mit aufeinanderfolgenden Umkehrungen der Polarität.

Wenn die Ausgangsschaltung offen ist, die mechanische Energie des Rotors (weniger eine kleine Menge benötigt wird, um die Reibung der rotierenden Welle zu überwinden) durch die Arbeit der Magnetisierung, die wiederum als Wärme abgeleitet wird absorbiert aufgebracht. In der Praxis jedoch ist der resultierende Anstieg der Temperatur des Ankers kaum spürbar, besonders, wenn der Ankerteil des kontinuierlich luftgekühlten Rotoranordnung ist. Wenn der Ausgang geschlossen ist, wird ein Teil dieser Arbeit in elektrische Energie als der Stromfluss durch die Wicklung umgewandelt widersetzt sich der Magnetisierungsstrom Wirkung des Feldes und erhöht die scheinbare magnetische Reluktanz des Ankers, und so die Geschwindigkeit des Generators im wesentlichen unverändert bleibt wenn die Ausgangsschaltung offen oder geschlossen ist.

Da der Anker nähert seine Position der Ausrichtung mit dem Spalt, neigt die konstanten Magnetfeldes, um die Drehung des Ankers zu beschleunigen, Unterstützen der Antriebskraft aufgebracht. Nach den Anker tritt durch den Spalt gibt es eine verzögernde Wirkung. Wenn der Rotor Fahrt aufnimmt, überwindet das Schwungrad Wirkung von seiner Masse diese Schwankungen in der aufgebrachten Drehmoment und eine sanfte Rotation erlebt wird.

In einer praktischen Ausführungsform dieser Erfindung umfasst der Magnetflusspfad zwei axial beabstandete Magnetfelder Durchqueren der Rotorachse und im wesentlichen im rechten Winkel dazu. Diese Felder werden durch jeweilige Polpaare Zusammenwirken mit zwei axial beabstandeten Ankern der bereits beschriebenen Art erzeugt. Es ist zweckmäßig, diese beiden Anker so anzuordnen, dass sie in einer gemeinsamen axialen Ebene liegen und in ähnlicher Weise die beiden feldbildenden Polpaare liegen auch in einer einzigen Ebene. Die Anker sollte laminierten zu minimieren Wirbelströme, so dass sie aus hochpermeablem (typischerweise Weicheisenkern)-Folien, deren Prinzip Dimension senkrecht zu der Rotorachse hat. Die Folien können durch Nieten oder andere geeignete Verfahren durchgeführt.

Wenn die ferromagnetischen Elemente Bestandteil des Rotors sind, dann wird die Ausgangsschaltung die üblichen Strom sammelnden Mittel, wie Slip-Ringe oder Kommutatorsegmenten, je nachdem, ob Gleich-oder Wechselstrom Stromausgang erwünscht ist. Die Quelle der Koerzitivkraft im Stator enthält, vorteilhaft, ein Paar von entgegengesetzt angeordneten, bügelförmigen Magnete des permanenten oder elektrisch erregten Typ, dessen Enden bilden die Polstücke oben erwähnt. Wenn Elektromagnete im Magnetkreis verwendet, so können sie von einer externen Quelle oder durch Gleichstrom aus dem Ausgangskreis des Generators selbst erregt werden.

Ich habe festgestellt, dass die Anschlussspannung der Ausgangsschaltung nicht proportional zu variieren, um der Rotorgeschwindigkeit wie erwartet werden könnte, sondern vielmehr fällt er bei einer erheblich langsameren Rate mit abnehmender Rotordrehzahl. Ja, in einer bestimmten geprüfte Einheit, fiel diese Spannung nur etwa die Hälfte seiner ursprünglichen Wert, wenn die Rotordrehzahl zu einem Drittel fallengelassen wurde. Diese nicht-lineare Beziehung zwischen Klemmenspannung und Antreiben Rate erzeugt einen im Wesentlichen konstanten Laststrom und somit elektrische Leistung über einen weiten Drehzahlbereich, zumindest unter bestimmten Lastbedingungen, da der induktive Widerstand der Wicklung proportional zur Frequenz (und somit , zur Rotordrehzahl) so abfallen schneller als die Klemmenspannung im Falle einer Geschwindigkeitsreduzierung mit einer resultierenden Verbesserung des Leistungsfaktors des Lastkreises.

Wenn der Magnetkreis enthält nur einen einzigen Polpaar pro Luftspalt, wird der Fluss in der Drehanker induziert seine Richtung zweimal ändern, so daß pro Umdrehung jeder Umdrehung einen vollständigen Zyklus von 360 elektrischen Grad erzeugt. Im allgemeinen wird die Zahl der elektrischen Grad pro Umdrehung gleich 360-mal die Zahl der Polpaare, wobei sich, dass diese Anzahl sein soll, da ungeraden mit den geraden Zahlen es nicht möglich wäre, haben alternierende Pole in ihrer Polarität längs des Weges des Anker und zur gleichen Zeit, um die Nord-und Südpol von jedem Paar an diametral gegenüberliegenden Stellen haben. In jedem Fall ist es wichtig, die Dimension gekrümmte zugewandten Flächen der Polpaare derart um so zu vermeiden, dass der Anker um eine Brücke zwischen angrenzenden Pole, so ist es notwendig, um die Summe der Bögen durch diese Flächen überspannt machen ( in der Ebene der Drehung) gleich deutlich weniger als 360 ° elektrisch.

Die Erfindung wird nun in größerem Detail beschrieben werden, wobei Bezug auf die beigefügten Zeichnungen Bezug genommen, in denen:


Fig.1 und Fig1A. zeigen eine erste Ausführungsform meiner Erfindung, im axialen Schnitt und in einer Querschnittsansicht entlang der Linie IA - IA genommen gezeigt - jeweils der Fig.1.




Fig.2 und Fig.3 sind perspektivische Ansichten, die zwei andere Ausführungsformen.





Fig.4 und Fig.5 veranschaulichen schematisch zwei Ausgangs Schaltungsanordnungen, eine für einen Gleichstrom-Ausgang und einen für einen Wechselstrom-Ausgang.


Fig.6 ist eine einigermaßen schematische Darstellung einer Anordnung zum Vergleichen der Ausgaben eines herkömmlichen Generator und einen Generator nach der vorliegenden Erfindung.


Der Generator 100 in Fig.1 gezeigt und umfasst einen Fig.1A Stator 101 und einen Rotor 102, der ein Paar von laminierten Anker 102' und 102'' weist auf einer Welle 103 getragen, die sich frei in Lagern in den Endplatten montiert drehen kann 104' und 104'', eines Generators Gehäuse 104, das aus nicht-magnetischen Material hergestellt ist (z. B. Aluminium), der starr mit dem Stator befestigt.


Welle 103 ist mit einer Quelle von Antriebskraft schematisch angedeutet durch einen Pfeil 110 gekoppelt. Der Stator 101 weist ein Paar von jochförmigen laminierten Elektromagneten 101' und 101", dessen Enden bilden zwei Paare von koplanaren Polstücke, bezeichnet jeweils 101a, 101b (Nordmagnetpol) und 101c, 101d (South magnetischen Pol). Die Polschuhe konkave Flächen, zugewandte das kostenlose konvexen Flächen 102a, 102d des Ankers 102' und 102b, 102c des Ankers 102". Diese Flächen, deren Konkavitäten sind alle auf der Achse der Welle 103 zentriert ist, erstrecken sich über Kreisbögen von etwa 20-Grad bis 25-Grad jeder in der Ebene der Drehung (Fig.1A), so daß die Summe dieser Bögen summiert über 90-Grad geometrisch und elektrisch.



Die Statormagneten 101’, 101”, die über eine geeignete Quelle von konstanter Gleichspannung (nicht dargestellt) verbunden sind, 109’, 109” werden von Erregerwicklungen 109” umgeben. Ähnliche Wicklungen, die jeweils aus zwei in Reihe geschalteten Spulen 106a, 106d und 106b, 106c besteht, umgibt den Rotor Anker 102' und 102" bezeichnet. Diese Spulen Teil einer Ausgangsschaltung, die ferner ein Paar von Bürsten 107', 107" die durch Arme 108’, 108” am Gehäuse 104 mit gegenseitiger Isolierung Bürsten 107’, 107” durchgeführt, mit einem Paar von Segmenten S zusammenwirken 105', 105" (siehe auch Fig.4), die von einer Scheibe getragen aus Isoliermaterial 105, montiert auf der Welle 103.



Durch die Reihenschaltung von Spulen 106a-106d zwischen den Segmenten 105' und 105", wie in Fig.4 dargestellt ist, gibt die Wechselspannung in diesen Spulen induzierten zu einer gleichgerichteten Ausgangsspannung an Bürsten 107' und 107". Die unidirektionalen Strom von diesen Bürsten an eine Last geliefert (nicht dargestellt) kann mit herkömmlichen Mitteln geglättet werden, dargestellt durch den Kondensator 112 in Fig.4.



Fig.2, zeigt eine modifizierte Generator 200, dessen Gehäuse 204 unterstützt einen Stator 201 im wesentlichen aus zwei bleibende Stabmagnete 201' und 201", die sich parallel zu der Antriebswelle 203 (auf der gegenüberliegenden Seite davon), wobei jeder dieser Magnete starr und jeweils mit einem Paar von Schuhen Sohle 201a, 201c und 201b, 201d sind. Rotor 202 ist ein Paar von laminierten Anker 202' und 202", ähnlich denen der vorherigen Ausführung, dessen Ausgang Spulen 206a, 206b, 206c und 206d sind seriell zwischen einer Schleifringabdeckung 205' verbunden ist, abgestützt auf der Welle 203 durch die Vermittlung von einer isolierenden Scheibe 205 und ein anderer Anschluss geerdet ist hier durch die Welle 203 selbst repräsentiert. Schleifringabdeckung 205' wird mittels Pinsel 207 am Halter 208 kontaktiert, wobei der Ausgang dieser Bürste wobei ein Wechselstrom mit einer Frequenz von der Drehzahl des Rotors bestimmt.



Fig.3 zeigt einen Generator 300, die im Wesentlichen ähnlich zu dem Generator 100 in Fig.1 und Fig.1A dargestellt ist. Es ist in der Welle 303 trägt ein Paar von laminierten Weicheisenkern Anker 302', 302", die in den Luftspalten eines Paares von Elektromagneten 301', 301" drehen kann", die Wicklungen 309' und 309" haben. Der Kommutator 305 wieder kooperiert mit einem Paar von Bürsten 307, ist von denen nur eine sichtbar ist in Fig.3. Diese Bürste, die an einem Arm 308 getragen, elektrisch mit einer Bürste 313, die mit einer Schleifringabdeckung 314 positioniert eingreift an einer Extremität der Welle 303 verbunden ist, die trägt auch zwei weitere Schleifringe 315', 315", die in leitendem Kontakt mit dem Ring 314 sind jedoch von der Welle isoliert ist. Zwei weitere Bürsten 316', 316" an die Ringe 315', 315" und jeweils mit Wicklungen 309' und 309" verbunden. Die anderen Enden dieser Wicklungen mit einem analogen System von Bürsten und Schleifringe auf der Spitze der angeschlossenen die gegenüberliegende Welle, und so angeordnet, dass die beiden Kommutatorbürsten effektiv überbrückt über den Wicklungen 309' und 309", die parallel sind. Daher wird in dieser Ausführungsform die Statormagnete vom Generatorausgang selbst erregt werden, wobei es sich versteht, dass die Magnete 301' und 301" (hergestellt, beispielsweise aus Stahl statt Weicheisen) einen Rest-Koerzitivkraft ausreicht, um zu induzieren eine erste Ausgangsspannung. Natürlich führen die Schaltungen von den Bürsten 307, um die Windungen 309', 309" kann Filterung wie in Verbindung mit Fig.4 beschrieben.



Fig.6 zeigt eine Testschaltung entwickelt, um die Ausgänge eines Generators dieser Konstruktion, wie die Einheit 100 der Fig.1 und Fig.1A vergleichen, mit einem herkömmlichen Generator 400 von dem Typ mit einer schleifenförmigen Anker 402, die in die rotiert Spalt eines Statormagnet 401, der mit Erregerwicklungen 409', 409" versehen ist. Die beiden Generatoren von einer gemeinsamen Welle 103, die ein Schwungrad trägt, 117 miteinander verbunden. Diese Welle wird über eine Kupplung 118 mit einem Antriebsmotor 111, der die Antriebe gekoppelt Rotoren 402 und 102 beider Generatoren gemeinsam, wie durch Pfeil 110 angedeutet. zwei Batterien 120 und 420, die in Reihe mit den Schaltern 121 und 421, stellen die Verfahren zum Zuführen von Gleichstrom an den Statorwicklungen 109', 109" und 409', 409" der beiden Generatoren.

Das gleichgerichtete Ausgangssignal des Generators 100 ist an eine Last 122, die hier als drei Glühlampen in Reihe geschaltet gezeigt geliefert, und mit einem kombinierten Verbrauch von 500 Watt. Generator 400, bietet Strom in einer identischen Belastung 422. Zwei Energiezähler 123 und 423 haben ihre Spannung und Strom im Nebenschluß jeweils Wicklungen und in Reihe mit ihrer zugehörigen Lasten 122 und 422 verbunden, um die elektrische Energie von jedem Generator geliefert zu messen.

Wenn die Kupplung 118 in Eingriff steht, die Welle 113 mit seinen Schwungrad 117 ist mit einer ersten Fahrgeschwindigkeit von 1.200 UpM gebracht. An diesem Punkt wird der Schalter 421 in dem Erregerkreis des herkömmlichen Generator 400, geschlossen. Die Lampen 422 Licht sofort und die entsprechende Wattmeter 423 zeigt eine anfängliche Leistung von 500 Watt. Allerdings fällt diese sofort ausgegeben als das Schwungrad 117 durch die Bremswirkung des Magnetfeldes auf den Anker 402 abgebremst wird.

Als nächstes wird das Verfahren wiederholt, jedoch mit Schalter 421 geöffnet und Schalter 121 geschlossen. Diese fällt ab Generator 100 und die Lampen 122 aufleuchten, Wattmeter 123 zeigt eine Leistung von 500 Watt, die konstant für eine unbestimmte Zeit bleibt, da es keine nennenswerte Verlangsamung des Schwungrades 117. Wenn die Kupplung 118 freigesetzt wird und die Rotordrehzahl allmählich abnimmt, ist die Ausgabe des Generators 100 noch im wesentlichen 500 Watt bei einer Drehzahl von 900 Umdrehungen pro Minute. und bleibt so hoch wie 360 Watt, wenn die Geschwindigkeit weiter gesunken auf 600 Umdrehungen pro Minute. In einem ähnlichen Versuch mit einem Generator des permanentmagnetartigen, wie das bei 200 in Fig.2 gezeigt, wurde eine im Wesentlichen konstante Ausgangsspannung über einen Bereich von 1600 bis 640 UpM beobachtet.


Der COP=3.18 Magnetischer Motor der Teruo Kawai.
Im Juli 1995 wurde ein Patent Teruo Kawai für einen Elektromotor gewährt. In der Patentschrift ist Teruo besagt, dass eine gemessenen elektrischen Eingang 19,55 Watt eine Leistung von 62,16 Watt erzeugt wird, und dass ein COP von 3,18. Die wichtigsten Abschnitte dieses Patents sind im Anhang enthalten.




Bei diesem Motor wird eine Reihe von Elektromagneten in einem Ring angeordnet, um die aktive Stator bilden. Die Rotorwelle hat zwei Eisen-Discs drauf montiert. Diese Scheiben haben Permanentmagneten verschraubt sie, und sie haben breite Schlitze in sie schneiden ihre magnetische Wirkung verändern. Die Elektromagnete sind mit dem Pulsen über eine optische Disc Anordnung auf der Welle montiert gesteuert gepulst. Das Ergebnis ist eine sehr effiziente Elektromotor, dessen Ausgang als im Überschuß seiner Eingangs gemessen worden. Der vollständige Patent ist im Anhang.


Die Batterielose Wasserpumpe Generator von James Hardy.
Es ist ein Video über Google, die einen interessanten self-powered Wasser-Pumpe angetrieben, elektrischen Generator zeigt hier.

Dies ist eine sehr einfache Vorrichtung, wo der Wasserstrahl aus der Pumpe bei einem einfachen Wasser-Rad, das wiederum einen elektrischen Generator dreht benötigte Spannung für die Pumpe und eine elektrische Glühlampe, demonstriert freien Energie gerichtet ist.



Anfänglich wird der Generator bis zu Geschwindigkeit, durch die elektrische Stromversorgung angetrieben hat. Dann wird, wenn es normal läuft, wird der Netzanschluss entfernt und der Motor / Generator sich erhält und ist auch in der Lage, Leistung mindestens eine Glühbirne. Die Generatorleistung ist normal Netzstrom aus einem Standard off-the-shelf Lichtmaschine.

James hat Patentanmeldung US 2007/0018461 A1 im Jahr 2007 auf seinem Entwurf veröffentlicht. In dieser Anwendung weist er darauf hin, dass ein großer Vorteil seines Entwurfs der niedrige Geräuschpegel erzeugt, wenn der Generator läuft. In den Video-und den Bildern oben weist der Demonstration geöffnetem Gehäuse eingerichtet, um zu zeigen, wie der Generator arbeitet, aber während der normalen Verwendung, die Fächer vollständig abgedichtet.

In seinem Dokument zeigt James das gesamte System wie dieses:


WasserradDas Gehäuse ist in drei separate Abteilungen unterteilt. Das erste Fach hat eine starke Achswelle durchzogen ist, auf Kugel-oder Rollenlager gelagert - möglicherweise keramischen für diese Umgebung. Die Lager sind, indem sie durch Spritzschutz, die das Wasser (oder anderen Flüssigkeiten) fernzuhalten ihnen bedeckt geschützt. Ein Wasserrad fast jeder Art auf der Welle montiert ist und eine hohe Kapazität Wasserpumpe lenkt einen Strom von Flüssigkeit auf das Wasserrad, das Anschlagen der Paddel senkrecht um die maximale Wirkung bereitzustellen.

Dieser erste Abteil abgedichtet ist, um die gesamte Flüssigkeit darin enthalten und die Unterseite ist effektiv ein Sumpf für die Flüssigkeit. Ein Rohr nahe dem Boden des Abteils befindet speist die Flüssigkeit zu der Pumpe, die in der zweiten Kammer befindet. Die Pumpe fördert die Flüssigkeit durch eine Düse, wenn er nur auf das Wasserrad. Während fast jeder Düse funktionieren wird, ist es üblich, ein, die einen konzentrierten Strahl von Flüssigkeit erzeugt, um die größtmögliche Wirkung zu erzeugen wählen. Man würde erwarten, dass je größer der Durchmesser des Wasserrades, desto stärker das System wäre. Allerdings könnte, der nicht unbedingt der Fall, wie andere Faktoren, wie das Gesamtgewicht der Drehglieder Einfluss auf die Leistung. Experimentieren sollten die effektivste Kombination für eine bestimmte Pumpe zeigen.

Die Drehwelle ist ein drittes Lager an der Seite des abschließenden Kammer unterstützt angegeben. Der Schaft hat dann einen großen Durchmesser Riemenscheibe darauf montierten, das Riemenantriebssystem einen viel kleineren Riemenscheibe auf der Welle des Generators gelagert ist. Dies erhöht die Geschwindigkeit, mit welcher der Generator Welle gedreht wird. Wenn die Pumpe arbeitet mit Netzspannung, dann wird der Generator ein, die Netzspannung Wechselstrom generiert werden. Wenn die Pumpe auf, sagen wir, 12 Volt, dann wird der Generator ein, die 12 Volt Gleichstrom erzeugt werden. Das Diagramm oben zeigt die Anordnung für eine Netzspannung System als das ist wahrscheinlich die bequemste. Wenn ein 12-Volt-System gewählt wird, dann der Wechselrichter kann weggelassen werden.

Der Generator wird durch Drücken der "Schließer" Druckknopf-Schalter mit der Aufschrift "A" in der Abbildung gestartet. Dieser übergibt die Batterie bis zum 1-Kilowatt-Wechselrichter, die dann erzeugt Wechselstrom Netzspannung. Der Schalter mit der Aufschrift "B" ist ein "Wechsel"-Schalter, und zum Starten, es ist so eingestellt, dass es das Netzteil durchläuft Schalter "A" an der Pumpe. Dies bewirkt, dass die Pumpe ein-und leiten einen leistungsstarken Strahl von Flüssigkeit am Wasserrad und zwingt ihn herum und so die Stromversorgung des Generators. Wenn der Generator aufsteht auf volle Geschwindigkeit, die Taste "B" umgedreht wird, Freischalten des Wechselrichters und Zuführen der Generatorleistung hin zu der Pumpe, indem sie es läuft und Liefern zusätzlicher Leistung an die Ausgangsleistung Buchsen auf der Oberseite des Gehäuses angebracht ist. Der Druckknopf losgelassen wird, Abtrennen der Batterie, die nicht mehr benötigt wird. Schalten Sie "C" ist ein gewöhnlicher Ein/Aus Netzschalter, die erforderlich, wenn Sie den Generator abschalten wollen, ist.

Ein großer Vorteil dieses Generators ist, dass die wichtigsten Komponenten gekauft werden können vorgefertigte und so nur sehr einfache konstruktive Fähigkeiten und leicht verfügbaren Materialien benötigt werden. Ein weiterer Vorteil ist, dass, was geschieht gesehen werden kann. Wenn die Pumpe nicht arbeitet, dann ist es eine einfache Aufgabe zu entdecken, warum. Wenn der Generator nicht läuft, dann können Sie sehen, dass und sortieren das Problem. Jede Komponente ist einfach und unkompliziert.

James legt nahe, dass eine geeignete Pumpe die 10.000 Gallonen pro Stunde "Torpedo Pump" von Cal Pump, Website ist hier:





Der COP=10.000 Motor/Generator-Patent von Georges Mourier
Dieses Patent vom Franzosen Georges Mourier ist bemerkenswert, dass es deutlich in der Patentschrift, dass es eine Coefficient Of Performance von 10.000 mit einer Leistungsaufnahme von nur 10 Watt eine Leistung von 100 Kilowatt, die die massive Opposition der USA angesichts Patentamt Ansprüche der Ausgangsleistung größer als der Input benötigt, um das Ausgangssignal zu erzeugen, ist wenig sehr erstaunlich. Dieses Patent enthält eine ganze Menge Mathematik, wo Georges geht darum zu zeigen, warum es eine Leistungsverstärkung. Dies kann von den meisten Menschen ignoriert werden, da der Punkt auf das konzentrieren, wie man eine Power-Verstärkung Motor / Generator zu bauen.




US Patent 4,189,654               19. Februar 1980               Erfinder: Georges Mourier

Elektrische Maschine, die als Generator oder als Verstärker




ABSTRAKT
Die Erfindung betrifft eine elektrische Maschine. Der Stator 1 ist eine Verzögerungsleitung, in der Form eines Tiefpaßfilters in dem Beispiel, durch die Induktivität 11 und Kondensatoren 12 zwischen diesen Induktivitäten und dem gemeinsamen Leiter 13 verbunden ausgebildet. Der Rotor 2 umfaßt ableitenden Elementen 22 in den Schaltungen 26, getrennten im Beispiel eingearbeitet, und mit einem gemeinsamen Punkt 25. Es wird in Bewegung gesetzt durch einen Motor. Die Maschine arbeitet wie ein High-Gain-Verstärker mit einem breiten Band von Hochfrequenz-Signalen, die an dem Eingang 14 des Stators, von dem Ausgang 15 durch die Entkopplung Zone 30 abgetrennt. Hohe Kräfte sind erhältlich. Anwendung auf Anlagen zur Prüfung von Vibrationen von Industrieanlagen und High-Power-Langwellen Funkübertragung.


BESCHREIBUNG
Die Erfindung betrifft eine elektrische Maschine, die als Generator und als Verstärker. Die Maschine umfasst einen festen Teil oder Stator, in dem ein bewegliches Teil im Folgenden unter dem Begriff "Rotor", in Analogie zu dem Fall, der Maschinen nach dem Stand der Technik, bei dem die Bewegung in Frage ist eine Drehbewegung bewegt bezeichnet, obwohl dies Bewegung kann außer einer Drehung und insbesondere einer geradlinigen Translation in dem Fall der Erfindung.

Der Stator besteht aus einer Leitung mit zwei Leitern, die zwei Eingangsanschlüsse und zwei Ausgangsanschlüsse hat, es ist Rotors Widerstandselemente umfaßt unter Bedingungen, die später ausführlich beschrieben werden wird.

Im Betrieb wird eine Welle zwischen den Eingangsanschlüssen und den Ausgangsanschlüssen in Frage in dieser Leitung ausbreitet. Elektrische Maschinen sind aus der US-Patent 3.875.484, in dem der Stator umfasst Induktivitäten und Kapazitäten in einer Übertragungsleitung eingearbeitet, wie bei den Maschinen dieser Erfindung entlang der es propagiert wird im Betrieb, eine elektrische Welle, aber im Gegensatz zu dem Fall von bekannten die Erfindung hat dieser Leitung nur ein Paar von Anschlüssen, an die die von der Wechselstromquelle verbunden sind. Das Anlegen der Spannung dieser Quelle zwischen diesen Terminals bewirkt, dass die Drehung des Rotors der Maschine, die, da sie als Motor arbeitet, der keine Ausgabe. Aufgrund der Struktur, eine kurze Angabe darüber, welche bereits oben angegeben, wird die Maschine dieser Erfindung beabsichtigt im Gegenteil, als Generator oder als ein Verstärker betrieben, es hat einen Ausgang, der durch das andere Paar von Klemmen der Stator, wobei der Rotor durch einen äußeren Motor angetrieben.

Ein besseres Verständnis der Erfindung gehen aus der nachfolgenden Beschreibung unter Bezugnahme auf die begleitenden Figuren, die repräsentieren gehabt werden:


FIG.1, schematisch, um die Statoranordnung und dem Rotor einer Maschine, welche die Erfindung angewendet wird;





Fig.2 und Fig.3, schematisch eine Ausführungsform einer elektrischen Schaltung des Stators einer Maschine gemäß der Erfindung und das dazugehörige Diagramm;




Fig.4, schematisch eine Rotorstruktur der Maschinen der Erfindung;






Fig.5, eine schematische Darstellung einer Variante der Maschine nach der Erfindung mit einem Stator gemäß dem Design der Fig.2;






Fig.7 und Fig.8, schematische Ansichten zweier Ausführungsvarianten der Maschine der Erfindung, die als Verstärker;






Fig.6 und Fig.9, zwei Modifikationen der Maschine der Erfindung, die als Generatoren.





Fig.1 zeigt schematisch eine Maschinenstruktur, auf die die Erfindung angewendet wird, in dem der Stator 1 und der Rotor 2 umfassen Pole in der Richtung ausgerichtet der x entlang dem der Rotor Bewegung erfolgt. Diese Pole sind als 10 und 20 gekennzeichnet und werden mit der gleichen horizontalen Abstand bzw. Teilung p sowohl im Rotor und Stator wiederholt. Referenzen 11 und 21 sind die induktiven Wicklungen, durch welche die Kopplung zwischen einem Pol des Rotors und einem Pol des Stators, wenn sie im Verlauf ihrer Bewegung auszurichten.

Vsn und Vrn sind die Momentanwerte der Spannungen an den Enden dieser Wicklungen und Isn und Irn sind die Ströme in den Spulen vor dieser Ausrichtung, wobei n die Nummer der Stange in jedem Teil der Maschine. Um die Notationen zu vereinfachen, wird dieser Index-Nummer 'n' weggelassen werden, wenn die Erwähnung der Spannungen und Ströme in Frage werden. φ bezeichnet den Magnetfluss und M der Koeffizient der Gegeninduktivitäten dieser Kopplung. Es werden dann die folgenden bekannten Gleichungen:


wo Ls und Lr sind die Werte der Induktivitäten 11 und 21 und φs und φr der magnetische Fluss in diese Wicklungen sind.

In diesen Gleichungen, die Mengen ω und ω' sind die Kreisfrequenzen der Ströme in den Stator und der Rotor jeweils; ω = 2πf, wo f ist die entsprechende Frequenz. Gleich Phase Unterschiede zwischen zwei aufeinanderfolgenden Polen der Stator und Rotor, dem Impulse - ω und ω' in der Beziehung:


wo β in Übereinstimmung mit der üblichen Definition der konstante Ausbreitungsrichtung des Magnetfeldes Welle entlang des Stators, und u die Geschwindigkeit, mit der sich der Rotor vor dem Stator in Richtung der Bezugsachse o - x im Falle der Maschine der Ausführungsform Fig.1.


Wenn Λ ist die Wellenlänge und vφ die Phasengeschwindigkeit im Stator.

In der Ausführungsform der Maschine dieser Erfindung mit einem Stator in Form einer Übertragungsleitung Lowpass-Filter mit einer Leistung von 15 Eingabe 14 und die Induktivitäten 11 kostenlos ansammeln Elemente 12 zwischen diese Induktivitäten und einem gemeinsamen Leiter 13 montiert werden, wie in Fig.2 und Fig.3 dargestellt, es wird hinzugefügt, um die vorstehenden Gleichungen den folgenden Gleichung:


wo α ist gleich βp und Cs der Wert der Kondensatoren 12 (Fig.2) ist enthalten in der Konstruktion des Filters, es wird beobachtet, dass die, die es mit den Notationen der abgerufen wird Fig.3:


Es wird auch hinzugefügt:


die Gleichung für ein Rotor gebaut, wie in Fig.4, durch separate ohmsche Schaltungen gezeigt von denen, die vorstehenden, Kupplung Induktivität 21, einen Widerstand 22 des Wertes umfasst neben Rr.

Durch den Wegfall der Größenklassen von Flussmittel, Spannung und Strom zwischen der homogenen Gleichungen (1), (2), (3), (4), (6) und (7) und durch das Ersetzen ω' mit es ist Ausdruck von Gleichung (5) entnommen wird eine Gleichung in β deren Wurzeln haben ein Imaginärteil, woraus sich ergibt, dass die Variation bezüglich der Zeit der Welle entlang des Stators propagiert in Richtung o --- x der erhaltenen Fig.1, dessen Amplitude proportional in Übereinstimmung mit der konventionellen Notation, um exp j(ωt-βx), erfährt eine Amplifikation im Rahmen dieser Ausbreitungsrichtung.

Die betreffende Gleichung lautet:


und unter der Annahme, dass α klein ist, das heißt, dass die Maschine eine Vielzahl von Phasen in dem elektro-technischen Sinne des Wortes hat, wird deren Wurzeln durch ihre relative Differenz z von einem Referenzwert gewählt berechnet werden gleich ω / u, die nur wenig verschieden ist, unter den Bedingungen des Betriebs der Maschinen der Erfindung von der Menge β1 oben definiert, es wird erhalten:


Die vorstehende Verhältnis ω / u ist nichts anderes als der Wert β in synchronen Maschinen, bei denen ω 'ist null (Gleichung 5). In den Maschinen dieser Erfindung ist ω' ungleich Null: Diese Maschinen arbeiten in dem asynchronen Weise.

Die Gleichung in z geschrieben.


im konkreten Fall eine Koppelung Koeffizienten


es hat zwei Wurzeln mit Imaginärteil. Die Maschine kann noch ein Signal an den Eingang des Stators angewendet. Die Größenordnung dieser Verstärkung ist unten als Beispiel dargestellt. Der Ausdruck dieser Wurzeln ist:


mit:

die folgenden Zahlenwerte für eine bestimmte Anzahl von Werten entsprechen γ. Die verstärkte Welle entspricht der Wurzel Z+.


Gewinn "g" in der Energie pro Längeneinheit des Stators ist nach Gleichung (9) ist:


Im gegebenen Beispiel erreicht dieser Gewinn der Maximalwert für die Welle, Z + für γ zwischen 0,1 und 0,3 entspricht. Der Imaginärteil von z ist dann in der Nähe von 0,15, die für g, in Bezug auf ein Stator gibt dessen Länge 5 Wellenlängen beträgt (X = 5), ca. 40 Dezibel. Es wird beobachtet werden, dass die entsprechende Konstante β Vermehrung unterscheidet sich nur geringfügig in absoluten Werten vom Konstante ω/u, synchrone Operation entspricht. Die Maschine dieser Erfindung funktioniert unter Bedingungen, die nur geringfügig unterscheiden von synchronen Betriebsbedingungen.

Die Welle, die durch den Stator wird verstärkt in der Weise einer elektromagnetischen Welle, die entlang der Verzögerungslinie von Wave propagieren Rohre in hyper Frequenz beschrieben, unter anderem von J. R. Pierce in der "Travelling Wave Tube" beschäftigt weitergegeben wird Van Nostrand Co, 1950. Die Verstärkung erfolgt, wie bei dieser Röhren in ein breites Band um die zentrale Frequenz.

In der vorstehenden Bestimmungen ist der Rotor, für eine einfache Beschreibung, mit einer Struktur mit Polen (in den Abbildungen-Referenz 20) vertreten. Mit dem Bereich der Erfindung kann der Rotor in Form der bekannten Eichhörnchen-Käfig Struktur von Asynchronmaschinen. Die oben genannten Berechnungen bleiben gültig, den Begriff der Widerstand geben und auf den Begriff der Induktivität der Signifikation haben sie in diesem Fall.

Die vorstehenden Eigenschaften wurden eingerichtet, durch Vereinfachung der Hypothesen, die eine klarere Darstellung zu ermöglichen. Diese Eigenschaften gelten generell für alle Maschinen deren Stator und Rotor hätte die angegebene elektrische Struktur, auch im Falle einer Operation, die von diese Hypothesen in der Nachbarschaft der synchrone Frequenz abweichen würde. Darüber hinaus wurde der Fall einer Kupplung Induktivität zwischen Rotor und Stator mit einem gegenseitigen M erörtert. Im Rahmen der Erfindung könnte diese Kopplung auch elektrostatische Natur zwischen den Leitern der Stator und Rotor sein; ähnliche Gleichungen durch Substitution für den Koeffizienten M der Koeffizient des elektrostatischen Einflusses zwischen den Leitern in Frage, für die Menge Lr eingeholt werden würde, Cr, die Kapazität der einzelnen Schaltung des Rotors und nach Interversion zwischen Ls und Cs. Vr (Gleichung 7) stellt in diesem Fall den Spannungsabfall an den Klemmen der Kapazität des Rotors.

Die Maschine dieser Erfindung ist auch geeignet für den Betrieb als Generator, wie unten zu sehen sein wird. Hier erhalten Sie einige Verkörperungen der Struktur der Maschine dieser Erfindung.


Fig.5 zeigt eine erste Änderung der Struktur bestehend aus einem Stator gemäß dem Tiefpassfilter-Diagramm der Fig.2. Der Rotor ist ein Eichhörnchen-Käfig, die Verweis-Ziffern 32 und 33 sind die Bars und die Stirnseiten. In Betrieb wird es durch einen Rotor (nicht abgebildet) angetrieben, das es in die Richtung des Pfeils um Achse X wie am Rotor üblich und Stator der Maschine dreht. Eine Quelle der Wechselspannung 40 auf Eingang 14 des Stators angewendet wird, und auf die Ausgabe 15 angewendet ist eine Belastung 36, von denen die Impedanz der Wellenwiderstand der Linie entspricht der Stator gehört. In dieser Anordnung der Revolution um die X-Achse trennt eine Entkopplung Zone 30 Eingang und Ausgang des Stators. Darüber hinaus in dieser Zone und jegliches Risiko einer Kopplung zwischen ein- und Ausgang des Stators durch die Schaltungen des Rotors zu vermeiden, es erfolgt Dämpfung Gerät als notwendig, eine Verkörperung von denen unten angegeben ist.

Die verschiedenen Elemente des Filters Konstituierung des Stators sind gedämpft durch die Widerstände 16 und 18, die miteinander verbunden sind, wie in der Abbildung zwischen den Wicklungen 11 und der Dirigent 13 gemeinsame an die Klemmen an den Kondensatoren, 17 und 19.

Eine solche Maschine arbeitet als Verstärker das Signal an den Eingang des Stators mit einem Gewinn die Größenordnung von 40 Db in der obigen Zahlenbeispiel ist angewendet. Solche Maschinen können als Bezugsquellen für High-Power-Vibrator für die Prüfung von Industrieanlagen aller Art verwendet werden. Sie haben den Vorteil, über die derzeit bekannten Anlagen dieser Art zu vermeiden, die steilen Vorderkanten und die hohen Frequenzen, die ihr Spektrum führen. Ausgangsleistungen von 100 Kilowatt erhalten Sie mit 10 Watt am Eingang, mit Frequenzen bis zu 50kHz angewendet. Die gleiche Maschine kann verwendet werden als einem Hochleistungsverstärker im Hörfunk.


Fig.7 und Fig.8 Geben Sie zwei weitere Änderungen der Anordnung der Stromkreise des Rotors in dem gleichen Referenznummern die gleichen Komponenten wie in den obigen Zahlen anzugeben. Die Kopplung zwischen Rotor und Stator ist in Fig.8 elektrostatische. Es tritt zwischen 34 und 35, wenn sie im Verlauf der Drehung des Rotors gegenüberliegen Leitern.


In Fig.7, 110 und 112 Benennen Sie die zwei Bestandteile des der Self-inductances, verbunden mit einem jeden der Pole 10 des Stators und 210 und 212 die Teile des Self-inductances von jeder Pole 20 des Rotors. In Fig.7 und Fig.8 ist eine gemeinsame Dirigent und 26 zeigt alle Elemente jeder Pol des Rotors zugeordnet. Die Änderung der Fig.8 ist ein Beispiel des Aufbaus des Gerätes 30 in der Zone 31 Dämpfung gegeben. Eine Schiene 38 ist über den Widerstand 37 und über einen Kontakt (nicht gezeigt) der Schaltungen des Rotors entlang dieser Schiene 38 geerdet, wenn sie durch die Zone 30 passieren.

Die gleiche Maschine ist geeignet für den Betrieb als Generator (Fig.6 und Fig.9).


Fig.6 eine Maschine, deren Stator als ein verbundenen Hochpaßfilter: jede Polwicklung ist an einem Ende mit dem gemeinsamen Leiter 13 und am anderen Ende mit zwei Kondensatoren 12 verbunden, wie oben gezeigt. Der Filter weist eine so konstruierte Phasengeschwindigkeit die sehr schnell variiert mit der Frequenz und in der Richtung entgegengesetzt zu der des Flusses von elektrischer Energie (inverse Welle). Der Rotor hat eine Geschwindigkeit eher dem des Phasengeschwindigkeit schließen während die Energie fließt zurück zu der Last 36 in die entgegengesetzte Richtung. Die stromaufwärtige Seite (für die Energie) des Filters endet an den Wellenwiderstand des Filters 42. Ein Generator ist auf diese Weise mit einer Frequenz, die innerhalb eines breiten Bandes von der Drehzahl des Rotors bestimmt wird, erhalten wird. In dem Beispiel in der Figur gezeigt, weist der Rotor einen Käfig-struktur.


Maschine nach Fig.9 unterscheidet sich von der Fig.6 durch die Zugabe von ergänzenden Kondensatoren 120, die parallel zu den Induktivitäten 11. Die Schaltung so erhaltenen eine inverse Welle Bandpassfilter. Die Breite seines Bandpassfilter ist durch die jeweiligen Werte der Kondensatoren 12 und 120 bestimmt. Die Phasengeschwindigkeit bleibt rasch Variable als Funktion der Frequenz. Die Maschine als Generator arbeitet, deren Frequenz, abhängig nur sehr geringfügig von der Geschwindigkeit der Rotation des Rotors.




Die "RotoVerter" Macht Beschallungssystem.
Nicht alle gepulsten Antriebssysteme verwendet Permanentmagnete als Teil ihrer Antriebsmechanismus. Zum Beispiel die RotoVerter von Hector D Peres Torres von Puerto Rico und die entworfen von mehreren unabhängigen Forschern reproduziert wurde, produziert mindestens 10-mal mehr Leistung als die Eingangsleistung, nutzt Standard-Drei-Phasen-Elektromotoren anstelle von Magneten. Dieses System wurde von mehreren unabhängigen Forschern reproduziert worden und es erzeugt einen erheblichen Leistungsgewinn beim Fahren Geräte, die einen elektrischen Motor betreiben möchten. Zu diesem Zeitpunkt wird die Website: http://panacea-bocaf.org/rotoverter.htm hat erhebliche Einzelheiten über das Gerät zu konstruieren, wie das zu tun http://www.scribd.com/doc/2965018/HighEfficiencyForElectricMotors. Die Umrisse Details sind wie folgt:


Das Ausgabegerät ist ein Generator, der von einem dreiphasigen Netz-powered, 3 HP bis 7,5 PS-Motor (diese beiden Geräte können Standard-"Asynchron-Käfig" Motoren sein) angetrieben wird. Der Antriebsmotor ist in einem stark nicht-standard Art und Weise betrieben. Es ist ein Motor mit 240V sechs Wicklungen wie unten gezeigt. Diese Wicklungen sind in Reihe geschaltet, um eine Anordnung, die 480 Volt benötigt, um es anzutreiben sollte, sondern es wird mit 120 Volt der Einphasen-Wechselstrom zugeführt. Die Eingangsspannung für den Motor, sollte immer ein Viertel der Bemessungsbetriebsspannung sein. Ein virtuelles dritte Phase unter Verwendung eines Kondensators, die einen 90-Grad-Phasenverschiebung zwischen der angelegten Spannung und dem Strom erzeugt geschaffen.


Das Ziel ist es, die Motorwicklungen stimmen zu resonanten Betrieb zu geben. Ein Start-up-Kondensator in der Schaltung mit dem Druckknopf-Schalter verbunden gezeigt, um den Motor zu bekommen bis zu beschleunigen, an welchem Punkt der Schalter losgelassen wird, so dass der Motor mit einem viel kleineren Kondensator Ort laufen. Obwohl der Betriebskondensator als fester Wert dargestellt ist, in der Praxis muss der Kondensator angepasst, während der Motor läuft, zu resonanten Betrieb zu geben. Dazu wird eine Bank von Kondensatoren üblicherweise aufgebaut, wobei jeder Kondensator mit eigener Ein / Aus-Schalter, so dass unterschiedliche Kombinationen von Schalterschließvorgängen eine breite Palette verschiedener Gesamtwerten der Kapazität ergeben. Mit den sechs Kondensatoren oben gezeigt, kann ein beliebiger Wert von 0,5 Mikrofarad auf 31,5 Mikrofarad schnell geschaltet werden, um die richtige Resonanz Wert zu finden. Diese Werte erlauben kombinierten Werte von 0,5, 1,0, 1,5, 2,0, 2,5, 3,0, 3,5, ....., indem Sie die entsprechenden Schalter auf EIN oder AUS sein. Sollten Sie einen Wert größer als diese, dann verdrahten einen 32-Mikrofarad-Kondensator statt und verbinden die Substitution box über sie zu höheren Werten schrittweise auf den optimalen Wert des Kondensators zu benutzen finden zu testen. Die Kondensatoren müssen leistungsfähige, ölgefüllten Einheiten mit einer hohen Nennspannung ist - mit anderen Worten, groß, schwer und teuer. Wobei die Leistung in einem dieser Systeme behandelt ist groß und eine einzurichten ist nicht ohne einen gewissen Grad an physikalischen Gefahr. Diese Systeme wurden eingestellt werden, self-powered, aber dies wird nicht empfohlen, vermutlich wegen der Möglichkeit einer galoppierenden mit der Ausgangsleistung Aufbau schnell und Steigerung der Antriebsleistung, bis der Motor ausbrennt.

Die Yahoo EVGRAY Group bei Einsetzung Kasten EVGRAY verfügt über eine große Anzahl von Mitgliedern, von denen viele sind sehr bereit, Beratung und Unterstützung anbieten. Eine einzigartige Jargon hat auf diesem Forum, wo der Motor nicht einen Motor genannt gebaut, aber wird als "Prime Mover" oder "PM" für kurze, was zu Verwirrung als "PM" kann dazu führen, bezeichnet in der Regel steht für "Permanent Magnet". RotoVerter auf "RV" abgekürzt, während "DCPMRV" steht für "Direct Current Permanent Magnet RotoVerter" und "trafo" ist ein Nicht-Standard-Abkürzung für "Transformator". Einige der Beiträge in dieser Gruppe kann es schwierig sein zu verstehen, die aufgrund ihrer technischen Charakters und der umfangreichen Verwendung von Abkürzungen, aber Hilfe ist immer dort zur Verfügung.

Um einige weitere praktische Konstruktionsdetails für dieses System zu bewegen. Der Motor (und Lichtmaschine) als die beste für diese Anwendung ist die "Baldor EM3770T" 7,5 PS Einheit. Die Spezifikation Zahl ist 07H002X790, und es ist eine 230/460 Volt 60 Hz 3-Phasen, 19/9.5 amp, 1770 rpm, Leistungsfaktor 81, Gerät.

Die Baldor Website ist www.baldor.com und die folgenden Angaben sollten sorgfältig durch, bevor Sie versuchen eine Adaption eines teuren Motors berücksichtigt werden. Die folgenden konstruktiven Fotografien werden hier mit freundlicher Genehmigung des Ashweth der EVGRAY Gruppe vorgestellt.

Die Endplatte des Antriebsmotors entfernt werden muss und der Rotor herausgehoben. Beträchtliche Sorgfalt ist erforderlich, wenn dies zu tun, wenn der Rotor ist schwer und es darf nicht über den Statorwicklungen gezogen werden, wie zu tun, das wäre zu beschädigen.


Das zweite Ende-Platte wird dann entfernt und auf dem gegenüberliegenden Ende des Statorgehäuses:


Der Lüfter entfernt wird, da es nicht nötig ist und gerade verursacht unnötige Luftwiderstand, und der Rotor wird in die entgegengesetzte Richtung um die Art und Weise sie entfernt wurde eingefügt. Das heißt, das Gehäuse ist nun umgekehrt relativ zu dem Rotor, da der Rotor um 180 Grad gedreht, bevor sie ersetzt worden. Der gleiche Teil der Welle des Rotors durch den gleichen Endplatte nach wie vor die Endplatten wurden ebenfalls vertauscht. Die Endplatten in Position geschraubt und die Rotorwelle gesponnen, um zu bestätigen, dass es sich nicht dreht, so frei wie zuvor.

Um die Reibung auf ein absolutes Minimum zu reduzieren, müssen die Motorlager zu einem außergewöhnlichen gereinigt werden. Es gibt verschiedene Möglichkeiten, dies zu tun. Einer der besten ist es, einen Vergaser Spray von Ihrem lokalen Kfz-Zubehör Shop zu nutzen. Sprühen Sie in den Lagern zu waschen alle verpackten Fett. Das Spray verdampft, wenn für ein paar Minuten. Wiederholen Sie dies, bis die Welle dreht sich perfekt, dann legte ein (und nur ein) Tropfen Leichtöl an jedem Lager und verwenden Sie keine WD40 wie es ein Rückstand Film hinterlässt. Das Ergebnis sollte eine Welle, die absolut perfekt spinnt sein.

Der nächste Schritt ist, um die Wicklungen der beiden Einheiten zu verbinden. Der Motor (der "Prime Mover") wird für 480-Volt-Betrieb verdrahtet. Dies wird durch Verbinden Wicklungsanschlüsse 4 bis 7, 5 bis 8 und 6 bis 9 als unten erfolgen. Das Diagramm zeigt 120 Volt Wechselstrom als die Stromversorgung. Denn die RotoVerter Design macht der Motor bei einer viel niedrigeren als den Eingang Motors Designern bestimmungsgemäßer Betrieb. Wenn der Motor in der üblichen Weise betrieben wurden, wäre eine 480-Volt-3-Phasen-Versorgung an den Klemmen 1, 2 und 3 verbunden werden und es gäbe keine Kondensatoren in der Schaltung werden.



Es wird vorgeschlagen, dass die Rangierung der Motorwicklungen mehr ordentlich durch Entfernen des Klemmkastendeckels und Bohren durch sie die Verbindungen außerhalb zu externen Anschlüsse durchführen getan, gebrückt ordentlich zu zeigen deutlich, wie die Anschlüsse für jedes Gerät vorgenommen wurden, und ermöglichen eine einfache Änderungen sollte es beschlossen, die Rangierung aus irgendeinem Grund ändern.





Das gleiche wird für die Einheit, die als Generator verwendet werden soll, erfolgen. Um den zulässigen Stromverbrauchsbereich erhöhen, werden die Wicklungen Einheit verbunden, um die niedrigere Spannung zu den Wicklungen parallel geschaltet geben, wie unten mit Klemmen 4,5 und 6 zusammen umreiften, 1 verbunden 7, 2 verbunden gezeigt 8 und 3 bis 9 verbunden. Man erhält einen dreiphasigen Ausgang an den Klemmen 1, 2 und 3. Dies kann als ein 3-Phasen-Wechselstrom-Ausgang oder als drei einphasigen Wechselstrom-Ausgänge verwendet werden, oder als ein Gleichstrom-Ausgang durch Verdrahtung es wie hier dargestellt:




Der Motor und der Generator sind dann sicher in exakter Ausrichtung angebracht und miteinander gekoppelt sind. Das Umschalten der Richtung des Gehäuses des Antriebsmotors ermöglicht gesamte Rangierung auf der gleichen Seite der beiden Einheiten, wenn sie gekoppelt sind, zusammen zu sein, die einander zugewandt:


Die Antriebswelle kann aus einem Wechselrichter von einer Batterie über ein Solarpanel aufgeladen angetrieben werden. Das System, wie muss 'tunen' und getestet. Es geht darum, die besten 'ab' Kondensator, der in die Schaltung für ein paar Sekunden werden beim Start-up eingeschaltet, und die beste 'running' Kondensator.

Um zusammenzufassen: Diese Vorrichtung nimmt einen Low-Power 110 Volt AC-Eingang und ergibt ein viel höherer Leistung, die elektrische Leistung zum Antreiben sehr viel höhere Belastungen als die Eingabe könnte Leistung verwendet werden können. Die Ausgangsleistung ist viel höher als die Eingangsleistung. Dies ist freie Energie unter welchem Namen Sie gerne für sie gelten. Ein Vorteil, der hervorgehoben werden sollte, ist, dass sehr wenig in der Art der Konstruktion benötigt wird, und off-the-shelf-Motoren eingesetzt werden. Auch wird keine Kenntnisse der Elektronik benötigt, die macht dies eine der am einfachsten zu freien Energie Geräte zur Verfügung in der heutigen Zeit zu konstruieren. Ein kleiner Nachteil ist, dass die Abstimmung der "Prime Mover" Motor an seinem Laden und die meisten Lasten hängt haben verschiedene Ebenen des Strombedarfs von Zeit zu Zeit. A 220 Volt Wechselstrom Motor kann auch verwendet werden, wenn das der örtlichen Netzspannung werden.

Wenn eine Lichtmaschine wird durch die RotoVerter Motors (der "Prime Mover") angetrieben wird, sondern auch wenn die Welle gedreht wird rasch keine Ausgangsspannung, so ist es wahrscheinlich, dass der Generator etwa unbenutzten gesessen für eine lange Zeit und verloren hat die magnetischen Eigenschaften, die es braucht beim Hochfahren. Um dies zu beheben, schließen Sie jedes der drei Ausgangswicklungen, ein zu einer Zeit, über eine Autobatterie für etwa fünf Sekunden, um etwas Magnetismus entwickeln und die Lichtmaschine wird dann funktionieren. Dies ist eine einmalige Sache erst nach einer langen Zeit der Inaktivität benötigt.

Es ist nicht wesentlich, die RotoVerter genau wie oben gezeigt zu konstruieren, aber das ist die häufigste Form der Konstruktion. Der Muller Motor bereits erwähnt, kann eine 35 Kilowatt Leistung, wenn präzise konstruiert, wie Bill Muller hatten. Eine Option ist es daher, ein Verwenden Baldor Motors gebrückt als "Prime Mover" Antriebsmotor und haben es fahren einem oder mehreren Muller Motor Stil Rotoren, um die Ausgangsleistung zu erzeugen:





Kraftverstärkung durch die Spule Kurzschließvorrichtungen.
Die RotoVerter Ausgang und die Muller Motor / Generator (und möglicherweise die Adams Motorleistung) sehr wesentlichen durch eine Technik, die von "Kone" der Moderator der EVGRAY Yahoo Forum bereits erwähnt entwickelten erhöht werden. Die Technik ist, um einen toten Kurzschluss über jedem Ausgangsspule platzieren, so wie das Magnetfeld dieser Spule ein Maximum erreicht. Dies wird fünfmal in schneller Folge durchgeführt und kann die Ausgangsleistung um geschätzte Faktor 100 zu steigern.

An der Oberfläche scheint es, komplette Wahnsinn, einen Kurzschluss über die sehr Ausgang, die Sie wie die ganze Sinn der Übung erzeugen sind platzieren. Allerdings ist es nicht so verrückt wie es scheint. Am Scheitelpunkt enthält der Spule selbst eine große Menge an Energie, und wenn ein Kurzschluß über ihn gelegt wird, ist das Ergebnis sehr ungewöhnlich. Die Wirkung von Kurzschließen einen Eisenkerndrossel Spule hat von Ron Pugh von Kanada wurde mit einem Prüfstand mit diesen Geräten nachgewiesen:



Hier wird eine Vorrichtung zur Messung von Magnetfeldern Abfühlen des Magnetfelds der Spule als die Rotormagnete vorbei an der Spule zu bewegen. Die Messung wird mit der Spule arbeitet normal und dann wieder getan, mit der Spule kurzgeschlossen. Die Ergebnisse sind in diesen Oszilloskop dargestellt Anzeigen:



Überraschenderweise wird das Magnetfeld durch den Kurzschluß rückgängig gemacht. Wenn wir bedenken, gerade die erste Hälfte des Zyklus:



Sie werden bemerken, dass, wenn das offene Spule eine sehr starke positiv Position (relativ zu einer Nordmagnetpol) hat, die kurzgeschlossene Spule ein starkes Lesung der entgegengesetzten Polarität aufweist. Daher wird in jedem gegebenen Fall in der Nähe der Spitze, dort ist das Potenzial für ein großes Ummagnetisierung wenn die Spule sollten aus dem roten Bereich in den blauen Bereich ausgeschaltet werden und wieder zurück. Man könnte sich vorstellen, dass, wenn die Spule Kurzschluss sehr schnell durchgeführt wurden, dass es ein Ergebnis wie dieses:



Allerdings ist dies nicht wirklich möglich mit einem Ferritkerntrafo Spule, da es nicht in der Lage, es Magnetisierung schnell genug umkehren, um diesen Effekt zu erzeugen. Spulen mit Eisenkern könnte sich bis zu 3.000 Auflösungen pro Sekunde, obwohl 1000 würde wahrscheinlich eine realistische Zahl wäre. Für höhere Frequenzen könnte ein Ferritkern benutzt werden und für noch höhere Frequenzen wieder ein Eisen-Staub Epoxy-eingekapselten Kern benötigt wird. Für unbegrenzte Frequenzen wird eine Luftspule verwendet.

In der RotoVerter / Muller Motor Beispiel, wo Kone großen Energiekonzerne Gewinne gezeigt hat, ist die Anordnung anders als Ron Pugh Bank-Test Beispiel. Erstens, die Magnete auf dem Rotor vorliegenden beiden Pole auf die Spule, wie sie vorbeigehen, mit einer vollständigen, auch Sinuswellenausgang. Zweitens nutzt Kone eine Luftspule und er hat die schnelle Umschaltung implementiert, um die Vorteile dieser Spule Typ annehmen:



Dieser Screenshot zeigt genau die gleiche Wirkung mit den oszillierenden Impulse stürzen auf, wo genau die negative Spur hätte damals während jeder der kurzgeschlossen Perioden. Die Anzeige zeigt eine 20-Volt Spitze-zu-Spitze-Wellenform mit jeder vollständige Zyklus Sinuswelle unter 2 Millisekunden.

Anstelle der ursprünglichen allmähliche magnetischen Anlass zu einem einzigen Peak gibt es nun fünf sehr scharfen Ummagnetisierungen, von denen jeder wesentlich größer, dass die ursprüngliche Spitze sind. Es ist die Änderung des magnetischen Flusses in der Mach-Kollektion-Spule, die die Ausgangsleistung erzeugt, so ist ersichtlich, daß mit diesem zusätzlichen Schalteinrichtung, eine massive Zunahme der Flussänderung in der Ausgangsspule wurde hergestellt werden. Dieser Anstieg ist sowohl eine größere magnetische Schaukel und eine viel größere Rate der Änderung des Flusses und als der Rotor an einem gewissen 1800 rpm Spinnen und hat viele Magneten darin, die gesamte magnetische Kraft erhöht, indem ein wesentlicher Faktor. Bitte beachten Sie, dass in den folgenden Diagrammen Kone produziert, der Rotormagnet einen Südpol, die Mach-Kollektion-Spule ersten, von einem Nordpol vorbei die Spule gefolgt erreicht hat. Dies erzeugt eine ausgezeichnete Sinuswellenausgang in der Spule.

Das zusätzliche Schaltelement durch eine mechanische Bürste und Kontaktsystem durchgeführt und der Strom für die Schaltung zur Erfassung kurzgeschlossene Spule eingesetzt ist:



und wenn die Spule nicht kurzgeschlossen wird, ist der Schaltkreis:



Doug Konzen wurde die Entwicklung dieser Schaltung und großzügig teilt seine Ergebnisse frei. Seine Website ist hier und seine neueren praktische Schaltung:



Es ist ein Video im Internet, wo Coil-Kurzschluss am Ausgang von einer Replikation von John Bedinis Fenster Motor verwendet wird. Johns Fensterhebermotor ist ein Zylinder mit Magneten darin montiert ist, innerhalb einer großen Spule durch eine gepulste Motor gedreht:



Der Motor kann ein Selbstläufer sein, aber für die Spule Kurzschließen Demonstration, es war nur kurz von Hand gesponnen, Herstellung Spannungsimpulse von etwa 16 Volt. Wenn die Spule kurzschließend eingeschaltet wird, steigt diese Impulse bis etwa 440 Volt, obwohl die Spule kurzgeschlossen nicht die optimalen fünfmal zu Spitzenzeiten (welche vermutlich die Spannungsimpulse bis etwa 1600 Volt angehoben haben). Das Oszilloskop zeigt der Test auf Video gezeigt werden:



Mir wurde gesagt, dass diese Spule Kurzschließen Technik in der Industrie verwendet, aber prüfen, ein "Geschäftsgeheimnis" sein. Details John Bedinis Fenster Motor finden Sie unter www.fight-4-truth.com/Schematics.html.




Das Magnetische Kupplungssystem von Raoul Hatem.
Im Allgemeinen hat das RotoVerter sehr geringen Eingangsleistung, wenn nicht geladen und über eine 90% ige Senkung des Energieverbrauchs, wenn unter Last. Die ideale Situation ist, wo es eine konstante Belastung als die Abstimmung des RotoVerter ist in gewissem Maße von der Belastung abhängig. Doch die RotoVerter Leistung sehr wesentlichen durch Verwendung der Techniken von Raoul Hatem 1955 eingeführt erhöht werden, was die konventionelle Wissenschaft nicht akzeptieren, weil nach aktuellen Theorie hat eine solche Energiegewinn als "unmöglich" und so, kann nicht passieren, egal Welche Beweise gibt es (web site):



Raoul Hatem die ketzerische Aussage ist, dass mit Spinnen Magneten zieht Energie aus der Umgebung, so dass ein System zur COP> 1 (überhaupt der Spinnerei Magneten John Searle-Systeme gehört?) Haben. Seine Methode ist, einen Motor (ob RotoVerter oder nicht), um eine schwere Rotorscheibe mit 36 leistungsstarken Seltenerdmagnete Spin darauf montierten verwenden. Dann kann unter Verwendung eines identischen schweren Platte mit Magneten an einem Generator angeordnet, um eine magnetische Kopplung zwischen dem Motor und dem Generator geben geben nicht nur Koppeln, sondern ein Energiegewinn sowie:



Die schwere Rotors liefert einige Schwungmoment, das mit dem Betrieb des Systems zu bewahren. Selbst mit einem Motor, wie oben dargestellt, gibt es einen Energiegewinn nach einem aktuellen Video-Darstellung der Wirkung hier wo ein einfaches System erzeugt 144 Watt von überschüssigem nachgewiesen Macht. Allerdings sind die wirklich großen Gewinne bekam, wenn mehrere Generatoren nur durch einen Motor angetrieben werden. Im Vorbeigehen kann es bemerkt werden, dass es zwei separate Energiegewinn Systeme, die hier. Erstens wirkt die rotierende Magnetfeld direkt auf die überschüssigen Elektronen in der lokalen Umgebung, zieht sie in das System ebenso wie das fluktuierende magnetische Feld der Sekundärwicklung des Transformators jeder tut. Zweitens werden die Rotoren erhalten einen schnellen Strom der Ansteuerimpulse, und als Chas Campbell hat gezeigt, zieht das in überschüssige Energie aus dem Gravitationsfeld.

Wie auch immer, werden Sie feststellen, dass die starken Magneten verwendet ihre Nordpole nach außen haben an einem Rotor während der benachbarten Rotor hat die Südpol nach außen. Die sehr starke Anziehungskraft zwischen diesen entgegengesetzten Polen bewirken, dass der Generator Disc in Schritt mit dem Motor Scheibe drehen. Dieser Prozess ermöglicht es viele Generatoren durch nur einen Motor angetrieben werden, wie hier gezeigt und im Bild oben:



Zur Vereinfachung der Zeichnung zeigt die Abbildung oben nur acht Magnete pro Rotorscheibe, aber sie werden in der Photographie bemerken (und im Video), dass es drei abgestuften Reihen von Magneten an jedem Rotor:



Sie werden auch feststellen, dass Richtung der Abstufung an jedem zweiten Rotorscheibe wird in der Reihenfolge umgekehrt für die Magnete sich gegenseitig in ihrer Position übereinstimmen, wie sie in entgegengesetzte Richtungen rotieren.

Während diese Art der Anordnung ergibt einen großen Anstieg der Leistung im Vergleich zur Eingangsleistung kann die Situation weiter verbessert werden durch Abrufen einige der Leistungsaufnahme durch elektronische Schaltungen.



Das COP=3.3 Gepulste Schwungrad des Lawrence Tseung.
Lawrence wurde präsentiert seine Theorie der Führen-Aus-Energie, die diese überschüssige Energie zeigt ist aus der Umgebung angesaugt, wenn es eine Auswirkung. Das Verfahren zur Herstellung dieses Effektes von ihm gefolgt ist, eine Reifenunwucht erstellen und zeigen, dass überschüssige Energie erzeugt wird. Es sollte betont werden, dass Energie nie erschaffen oder zerstört und so, wenn er mehr Energie in seinem Gerät als die Energie, die er benutzt, um Macht misst, Energie wird nicht erstellt, sondern stattdessen in der lokalen Umgebung gezogen werden. Lawrence hat vor kurzem ein Prototyp der Öffentlichkeit gezeigt:



Dieses einfache Gerät wurde gezeigt, dass 3,3-mal so viel Leistung wie die Eingangsleistung erforderlich, damit es funktionieren müssen. Dies ist ein früher Prototyp, der im Oktober 2009 und Lawrence gezeigt wurde und seine Helfer arbeiten, um mehr erweiterte Modelle, die Kilowatt überschüssige elektrische Leistung haben zu produzieren.

Herr Tseung Bemerkungen:. "Die Lee-Tseung Führen-Aus Energie Theorie” wurde zum ersten Mal der Welt am 20. Dezember 2004 im Tai Po, in Hong Kong bekannt Das Führen-Aus Energie Theorie besagt im Wesentlichen, dass man Führen-Aus (oder bringen-in) Energie aus der Umgebung zu einem Führen-Aus Energy Machine. Die gesamte Energie wird gleich der Summe der zugeführten Energie sowie die Führen-Aus Energy. Zum Beispiel, wenn die zugeführte Energie ist 100 Einheiten und die Führen-Aus Energie ist 50 Einheiten, des Geräts insgesamt eingesetzten Energie werden 150 Einheiten sein. Dies bedeutet, dass die abgegebene Energie kann mehr als die zugeführte Energie von 100 Einheiten von der Person, die das Gerät zur Verfügung gestellt werden.

Wenn wir die kleinen Verlust von Energie, die durch weniger als 100% Wirkungsgrad der Vorrichtung selbst verursacht ignorieren, dann die Ausgabe wird die gesamte Energie der 150 Einheiten liegen. Wenn wir 50 der abgegebenen Energie Einheiten und Rückkopplung 100 der Ausgabe-Einheiten als die zugeführte Energie, dann ist das zugeführte Energie kann wieder Führen-Aus weitere 50 Einheiten der überschüssige Leistung Energie für uns zu nutzen. So kann ein Führen-Aus Energy Machine kontinuierlich Führen-Aus Verschmutzung-freie, nahezu unerschöpflich und schnell verfügbare Energie für uns zu nutzen. Wir brauchen nicht alle fossilen Brennstoffe verbrennen oder verschmutzen unsere Umwelt. Die beiden Beispiele Führen-Aus Energie, die wir Zugang sind Gravitations-und Electron-Motion Energie.

Das Führen-Aus Energie Theorie nicht gegen das Gesetz der Erhaltung der Energie. Das Gesetz von der Erhaltung der Energie wurde als Hindernis für den so genannten "Overunity" verwendet worden. Die Patentämter und das wissenschaftliche Establishment routinemäßig entlassen eine Erfindung als zugehörig zur unmöglich "Perpetuum Mobile"-Kategorie, wenn der Erfinder nicht identifizieren kann die Energiequelle seiner Erfindung.

Wir haben die Hilfe von Herrn Tong Po Chi, um eine 60 cm Durchmesser Führen-Aus Energie Maschine im Oktober 2009 zu produzieren. Der Ausgang dieser Vorrichtung Energie größer ist als die Eingangs-Energie um einen Faktor von 3 mal. Diese Ergebnisse werden durch Spannungs-und Strommesser Messung der Input-und Output Energien bestätigt.

Die Tong Rad an zwei Open Shows in Hong Kong (Inno Carnival 2009 und Inno Design Tech Expo) im November und Dezember 2009 gezeigt worden. Mehr als 25.000 Menschen haben es gesehen. ‘The Better Hong Kong Radio Show’ hat Video aufgezeichnet ist, die Diskussionen in chinesischen durchgeführt. Zu diesem Zeitpunkt ist die Tong Rad am Radio Studio für Experten zu sehen und zu untersuchen mit ihren eigenen Instrumenten. "

Die Tong Rad hat einen Durchmesser von 600 mm und dieser großen Größe wird als wichtig. Es hat 16 Permanentmagnete auf seine Felge und 15 Luftspulen herum auf dem Stator montiert ist. Es gibt einen Positionssensor. Die Spulen geschaltet als Antriebsspulen oder als Energie-Sammlung Spulen handeln:



Mit dieser Anordnung kann, wenn die Positionen der Schalter als zehn der fünfzehn Spulen abgebildet gezeigt, dann wirken sie als Antriebsspulen. Der Sensor wird so eingestellt, dass die Ansteuerschaltung einen kurzen Erregungsimpuls liefert, um diese Spulen nur nach die Magnete ihre genaue Ausrichtposition mit den Spulen geleitet. Dies bewirkt, dass sie ein Magnetfeld, das die Magneten abstößt erzeugen, Schieben des Rotors herum.

Der Puls ist sehr kurz, so sehr wenig Energie benötigt wird, um dieses Pulsieren zu erreichen. Wie bereits erwähnt, kann eine beliebige Anzahl von Spulen geschaltet, diese Antriebskraft bereitzustellen. Mit diesem speziellen Radkonstruktion von Herrn Tong ist die beste Zahl gefunden zu zehn Antriebsspulen sein.

Die Mach-Kollektion wird durch das Sammeln der Strom in einigen der Spulen erzeugten erreicht, wie die Magnete an ihnen vorbei zu bewegen:



In dieser besonderen Anordnung sammeln fünf der Spulen Energie während zehn sorgen für den Antrieb. Aus Gründen der Einfachheit zeigt das Diagramm die fünf Sammlung Spulen nebeneinander und während das funktionieren würde, das Rad besser ausgeglichen, wenn die Antriebsspulen gleichmäßig rund um die Felge angeordnet sind. Aus diesem Grund würden diese Umschaltung tatsächlich ausgewählt zu fünf Sätze von zwei Antriebsspulen durch einen Mach-Kollektion-Spule als das eine perfekt symmetrische Schub auf das Rad ergibt gefolgt geben.

Die beiden Abbildungen oben sind separat, um deutlich zu machen, wie der Antrieb Schalt-und die Mach Kollektion Schaltung angeordnet werden angezeigt. Das komplette Design Anordnung und die ausgewogene Switching sind in der folgenden Abbildung, die, wie das gesamte Design auf dieser speziellen Implementierung des Rad-Design umgesetzt zeigt gezeigt. Der Sensor kann eine Spule Zuführen eines Halbleiter-Schaltkreis sein, oder es kann ein magnetischer Halbleiter als ein Hall-Effekt-Vorrichtung, die auch einspeisen kann ein Halbleiter-Schaltung sein. Eine Alternative wäre ein Reed-Schalter, der einen einfachen mechanischen Schalter eingeschlossen in einem Inertgas in einem winzigen Glashülle ist. Geeignete Schaltkreise werden beschrieben und im Kapitel 12 erläutert dieses eBuch.



Herr Tseung bemerkt, dass die großen Radgröße aufgrund der Tatsache, dass die Pulse Kraft Zeit, um den Impuls, das Rad und Führen-Aus Energie aus der Umwelt in das System zu vermitteln braucht ist. Wenn Sie diese eigentliche Rad sehen wollen, können Sie Dr. Alexandra Yuan in ayuan (bei) hkstar (Punkt) com per e-mail einen Termin vereinbaren. Die Tong Rad an der Bessere Hong Kong Radio Studio in Causeway Bay, Hong Kong. Sagen Sie einfach, dass Sie das Führen-Aus Energy Machine sehen wollen. Die Demonstration kann in Englisch oder Chinesisch sein. Idealerweise sollte es eine Gruppe von mindestens sechs Besuchern mit einem oder mehreren, ein Diplom-Ingenieur oder Wissenschaftler sein, und Sie sind herzlich eingeladen, Ihre eigenen Kameras und / oder Test-Ausrüstung mitbringen. Es ist geplant, eine Version, die eine 300-Watt-Ausgang, und ein anderer hat mit einem 5 Kilowatt Leistung zu produzieren. Educational Kits sind ebenfalls geplant.

An, um diese besondere Gestaltung replizieren entscheiden, zu heben dann den Ausgangsleistungspegel man in Erwägung ziehen, eine weitere Reihe von Spulen um das Rad und entweder ihre Verwendung als fünfzehn zusätzliche Energie Mach-Kollektion Spulen oder alternativ Pulsen des Rades zweimal so oft könnte. Hinzufügen eines oder mehrerer zusätzlicher Rotorscheiben zu derselben Drehwelle ist auch eine Option und das hat den Vorteil der Erhöhung der Rotorgewicht und Verbesserung der Wirkung der Impulse auf dem Rotor.

Der Durchmesser des Drahtes verwendet, um die Spulen zu wickeln ist eine Wahl der Konstruktion, die einen weiten Anwendungsbereich hat. Je dicker der Draht, desto größer der Strom und die größere der Impuls an dem Rad gegeben. Die Spulen werden in der Regel parallel verbunden, wie in den Diagrammen.

Aufgrund der Art, magnetische Feldstärke fällt mit dem Quadrat der Entfernung ist es allgemein gutes Design Praxis betrachtet, die Spulen eineinhalb mal so breit wie sie tief sind zu machen, wie in den Diagrammen oben angegeben, dies ist aber nicht ein kritischer Faktor. Dieser Entwurf ist natürlich beschrieben eine Version des Adams Motors am Beginn des Kapitels. Obwohl Motoren dieser Art auf viele verschiedene Arten aufgebaut werden kann, hat der Bau von Herrn Tong verwendet einige deutliche Vorteile, so ist hier ein wenig näher, wie ich verstehe, der Bau durchgeführt werden.



Es gibt zwei Seitenteilen, die zusammen durch sechzehn Querschnitt Balkenwerk gebunden sind, von denen jedes anstelle von zwei Schrauben an jedem Ende gehalten wird. Dies erzeugt eine starre Struktur, während die Bauweise ist so einfach wie möglich ist, mit leicht verfügbaren Materialien, die mit den grundlegendsten von Handwerkzeugen gearbeitet wird. Die Konstruktion ermöglicht auch der Motor komplett auseinander, ohne jede Schwierigkeit aufgenommen, transportiert als "flat-pack"-Paket und dann montiert an einem neuen Standort. Es erleichtert auch die Menschen, die den Motor auseinander, nachdem eine Demonstration teilgenommen, um sich zu vergewissern, dass es keine versteckten Stromquelle sehen wollen.



Jeder der horizontalen Balken eine sichere Montageplattform für einen Elektromagneten und es ist damit verbundenen Schalter. Bei der Umsetzung von Herrn Tong, scheint es nur der einen Rotor, wie oben beschrieben konfiguriert mit sechzehn Permanentmagnete montiert in seiner Felge dargestellt sein. Die Magnetpole dieser Magneten ausgerichtet sind alle in der gleichen Richtung. Das heißt, sind die magnetischen Pole nach außen alle entweder Süd oder alle Nordpole. Es ist nicht entscheidend, ob sich die nach außen gerichteten Pole Nord oder Süd, wie Robert Adams verwendet beide Anordnungen mit großem Erfolg, aber gesagt haben, dass die meisten Menschen, die Nordpole nach außen bevorzugen.

Robert hat immer gesagt, dass ein Rotor genug war, aber seine Techniken waren so ausgeklügelt, dass er in der Lage Kilowatt überschüssige Energie aus einem einzigen kleinen Rotor Extrakt wurde. Für uns gerade erst anfangen zu experimentieren und testen einen Motor dieser Art, erscheint es sinnvoll, mit dem, was Herr Tong erlebt hat Erfolg bleiben. Allerdings ist dieser Build von Herrn Tong nicht seine endgültige Motor, sondern nur eines in einer Reihe von kontinuierlich verbessert Motoren.

Das folgende Diagramm zeigt eine Anordnung, die drei Rotoren an einer einzigen Welle hat und während Sie können wählen, diese mit nur einem Rotor zu konstruieren, wenn das Kreuz Holz lange genug, dann ein oder zwei zusätzliche Rotoren hinzugefügt werden können sehr leicht an einer späteren Zeitpunkt.



Hier werden nur zwei der Cross Timbers gezeigt. Die Elektromagnetspulen von Herrn Tong verwendeten Luft-Kern als diese Art die geringste Wirkung auf die vorbeifahrenden Magneten haben. Allerdings neigen Elektromagnete mit Kernen, viel mehr Leistung für jede gegebene Strom durchflossen sein. In der Theorie sollte der Kern der Längen der isolierten Eisendraht vorgenommen werden, das würde Verlustleistung durch Wirbelströme fließen in den Kern zu reduzieren, aber Robert tatsächlich empfiehlt massivem Metall-Kerne, und als er der erfahrenste Mensch in diesem Gebiet war, die Aufmerksamkeit zu dem, was er sagte sinnvoll erscheint.

Das Kernmaterial muss ein Metall, das leicht und kraftvoll magnetisiert sein, aber was nicht behalten, der seinen Magnetismus, wenn der Strom nicht mehr fließt. Nicht viele Metalle haben diese Eigenschaften und Weicheisen wird in der Regel empfohlen. Heutzutage ist weiches Eisen nicht immer leicht zugänglich und so eine bequeme Alternative ist die zentrale Schraube eines Maueranker, die hervorragende Eigenschaften verfügt:



Der Schaft des Bolzens kann ganz einfach mit einer Metallsäge gekürzt werden, aber sicher sein, zu entfernen (oder Datei unten) den Kopf der Schraube wie die Zunahme des Durchmessers hat einen deutlichen Einfluss auf die magnetischen Eigenschaften des Elektromagneten Kern, wenn es links an Ort und Stelle. Der Bolzen oben gezeigt ist ein M16 x 147 mm Mauerwerk Ankerbolzen mit einer Schraube Durchmesser von 10 mm. Manche Marken von Trocken-Tinte fühlte White-Board Marker haben einen starren Körper, die 10 mm Schraube passt genau und bieten eine ausgezeichnete Röhre für den Bau eines Elektromagneten Spule.

Mit einem Kern in den Elektromagneten, erhält der Rotor zusätzliche Drehkraft. Zunächst werden die Magnete auf dem Rotor zu den Elektromagneten angezogen Kerne, was dem Rotor eine Drehkraft, welche benötigt keine Strom versorgt werden. Wenn die Rotormagnete an ihrem engsten Punkt zu den Elektromagneten Kerne sind, werden die Wicklungen kurz eingeschaltet und daß verleiht den Rotormagneten ein starker Impuls auswärts, wodurch der Rotor zu drehen.

Es gibt viele verschiedene Designs von einfachen Treiberschaltungen und es ist wahrscheinlich einen Versuch wert verschiedene Arten zu sehen, welche am besten funktioniert mit Ihrem speziellen Aufbau des Motors. In gleicher Weise gibt es viele Arten von Schaltungen zur Sammlung Ausziehen einige der überschüssigen Leistung erzeugt. Die einfachste davon ist nur eine Diodenbrücke, vielleicht Zuführen einer Batterie und Aufladen bis zur Verwendung zu einem späteren Zeitpunkt. Wenn Sie mit der Schaltung zur Erfassung von anspruchsvollen bekommen und nur die Macht ergreifen off für eine sehr kurze Zeit im richtigen Moment, das Abschneiden der Stromaufnahme, bewirkt eine Back-EMF magnetischen Impuls in der Sammlung Elektromagneten, die es auf die geben verursacht Rotor ein zusätzliches Laufwerk Push - sowohl aktuelle Kollektion und Rotor-Laufwerk in ein kombiniertes Paket.



Hier sind zwei der einfachen Schaltungen möglich, ein für Antriebs-und einer für Strom-Sammlung. Die Ansteuerschaltung Transistor wird durch eine Spannung in der Spule durch eine graue Rotormagneten vorbei erzeugt geschaltet. Der Transistor speist dann einen großen Strom Impuls an den schwarzen Spule, Antreiben des Rotors auf dem Weg. Die Neon und die Diode sind dazu da, den Transistor und einen physikalischen Layouts für diese Schaltung schützen könnte:



Das 1K variablen Widerstand eingestellt wird, um die beste Leistung zu geben und die On / Off-Schalter ist optional. Weiter fortgeschrittene Schaltungen kann auch versucht werden, und die Leistung im Vergleich. Generell würde ich erwarten, eine drei-Rotor-Version, um eine bessere Leistung als ein einzelner Rotor Umsetzung geben, aber Experimente benötigt wird.


Das Magnetische System der Art Porter.
Technik verwendet einen Elektromagneten mit einem Ringmagnet auf dem Kern montiert. Wenn die Spule so wird das Feld des Permanentmagneten zu erweitern, um gepulste, sagt Art, dass sein Vorbild 2,9 mal die Feldstärke des Permanentmagneten erzeugt auf seinen eigenen. Wenn die Spule in der Richtung, die das Feld des Permanentmagneten gegenüberliegt gepulst wird, ist das resultierende Magnetfeld Null.

Dies ist eine sehr schwerwiegende Veränderung des Magnetfelds, die in verschiedenen Anwendungen verwendet werden kann. Eine, die Kunst hat implementiert wird unter Verwendung der Anordnung an die Macht eine Kurbelwelle des Motors. Kunst zeigt verschiedene Motors baut einschließlich dieser::


Mit dieser Anordnung, Art besagt, dass 95% der Motorleistung kommt vom Permanentmagneten. Art der Website ist hier und er hat eine sehr interessante, lange Video zeigt alle Details hier.

In dem Video, versucht Art dem Ohmschen Gesetz in einem Versuch, um die Operation zu analysieren anzulegen, und ist verwirrt, wenn das Oszilloskop Ablesungen nicht übereinstimmen seinen Ohm'schen Gesetz Berechnungen. Er denkt, dass es einen Widerspruch zwischen dem Oszilloskop und Ohm-Gesetz, das er immer wieder betont, ist ein Gesetz der Natur, und er kommt zu dem Schluss, dass einer von ihnen falsch sein muss. In der Tat sind weder falsch, weil das Ohmsche Gesetz gilt nur für Gleichstrom Stromfluss in resistive Schaltungen und Kunst ist nicht mit stetigen Gleichstrom oder einer ohmschen Last.

Aufbringen kurzen Gleichstromimpulsen zu einer erheblichen Drahtspule ist das Äquivalent von Wechselstrom Aufbringen dieser Induktor. Ohmsche Gesetz nicht aufgrund der Induktivität der Spule anzuwenden. Es ist ein Power Factor beteiligt und der EMK-Spannung Impulse, so das Oszilloskop Lesungen sind das, was benötigt wird, um die Eingangs-und Ausgangsleistungen zu berechnen.

Diese Anordnung ist nahezu identisch mit dem in der Charles Flynn-Magnet-Motor in Kapitel 1 beschrieben, und ganz in den Techniken von Robert Adams in einem richtig abgestimmt Adams Motor verwendet wie zu Beginn dieses Kapitels gezeigt schließen. Meiner Meinung nach, wäre die Wirkung, die Kunst nutzt am besten genutzt, wenn eine große Mach-Kollektion Spule gegen Ende des Elektromagneten Kern angeordnet ist und die Antriebsspule an der Spule (hoch) Resonanzfrequenz gepulst als dass die Leistungsaufnahme zu minimieren werden und maximiert die Ausgangsleistung. Stacking diese Einheiten in einer Bank könnte auch produzieren eine sehr beträchtliche überschüssige elektrische Leistung. Unser Dank geht an Kunst und seine Kollegen für die gemeinsame Nutzung ihrer Forschungsarbeit frei für andere zu replizieren und weitere Fortschritte.


Gleichstrom-Motorleistungsfähigkeit
Kommerziell erhältliche Gleichstrom-Motoren sind bewusst so gestaltet und hergestellt, extrem schlechte Performance haben. Meiner Meinung nach, ist der Grund dafür, dass eine durchdachte Elektromotor könnte leicht tun, weg mit der Notwendigkeit für den Einsatz von Verbrennungsmotoren in Fahrzeugen und das wäre nicht gerecht, die Ölfirmen oder ihre Besitzer, die New World Order Kartelle. Schlimmer noch, Elektromotoren mit COP>1 den Weg für self-powered-Freie-Energie-Systeme und das würde nie tun!

Peter Lindemann-Video: video hat vor kurzem auf dem Netz gesetzt worden, und ich empfehle, dass Sie alle es sehen. Ich habe gerade erst gesehen, und es stellt die grundlegenden Fakten sehr schön. In kurzen Überblick, wirken heute Motoren sowohl als Motor und als Generator von elektrischer Energie, aber sie sind bewusst so gewickelt, dass die Stromerzeugung verwendet wird, um die Leistungsaufnahme zu widersetzen und so ein komplett lahmgelegt Ausgang. Während des Zweiten Weltkriegs, ein deutscher Ingenieur einen Standard-Elektromotor neu verkabelt und machte es self-powered, dh, sie und lief produziert mechanische Leistung, ohne die Notwendigkeit für eine Eingangsleistung wenn einmal damit begonnen hatte. Das zeigt das Potenzial eines richtig konstruiert Elektromotor mit der gleichen Größe und allgemeine Aufbau eines kommerziellen Elektromotor.

Vermutlich hat er, dass durch Hinzufügen von zusätzlichen Bürsten und über einige der Wicklungen in Generatorbetrieb mit ihren Ausgang Versorgung der Antriebswicklungen, die asymmetrisch angeordnet waren. Es gab auch ein anderer Mann, der self-powered Neuverkabelung eines Motors erreicht, aber keiner von diesen Männern ihre Informationen öffentlich bekannt.

Die con Arbeit, die auf uns seit vielen Jahrzehnten laufen jetzt um den Motor in so konzipiert, dass die magnetischen Felder im Inneren des Motors einander gegenüberliegen wickeln. Wenn ein Strom durch eine Spule aus Draht geleitet wird, speichert er Energie in diesem Spule, und wenn der Stromfluss unterbrochen wird, muss diese Energie wieder ausströmen der Spule, und es wird hierzu in der umgekehrten Richtung. Dies wird manchmal als Back-EMF ("Electro-Motive Force"), obwohl viele Leute sind nicht glücklich mit dieser Beschreibung. Doch egal, wie Sie es nennen, es ist die Energie in der Spule und die gespeicherte Energie verwendet werden, um nützliche Arbeit zu tun. Aber, wählen die Automobilhersteller, um den Motor zu wickeln, so dass anstelle des Extrahierens dass Nutzleistung, sie es, einen großen Teil der Eingangsleistung zu widersetzen, wodurch eine schwache Motor, aufheizt aufgrund der Energieverschwendung zu verwenden.

Beiträger "UFOpolitics" darauf hin, dass eine bewusste mis-Design von Elektromotoren hat in den letzten 130 Jahren, wurde uns als der einzige Weg zu machen und zu betreiben solche Motoren vorgestellt. Er sagt, dass, weil die Wicklungen in einer symmetrischen Art und Weise angeordnet sind, dass eine Bremswirkung erzeugt wird welche die Ausgangsleistung des Motors verringert, indem alles von 50% bis 90%. Das ist ein richtig gewickelt Motor würde nichts von zweimal zehn Mal die Ausgangsleistung für den gleichen Eingang Macht haben. Diese mis-Design garantiert, dass heute Motoren sind immer weniger als 100% effizient und immer erwärmen sich bei laufen. Diese mis-Design wird unter Verwendung symmetrischen Wicklungen in dem Motor verursacht.

Normmotor Verdrahtung ist ziemlich unterschiedlich und der Killer Effekt wird durch zwei Wicklungen aufweist, die einander gegenüberliegen, gleichzeitig mit fließenden Ströme in entgegengesetzten Richtungen angetrieben verursacht. Dies bewirkt eine vollständige Konflikt zwischen den Magnetfeldern und das zerstört die Effizienz des Motors: Ein sehr erfahrener Experimentator eine Thread auf der energetischen-forum, beide begannen, dies zu erklären und zu neuen und weiterentwickelten Bauweise zu zeigen und Fragen zu beantworten und ermutigen Replikationen und Weiterentwicklungen. Das Forum ist: hier und ist definitiv sehenswert, vor allem, wenn Sie sich gut mit mechanischen Vorrichtungen sind. Der Experimentator nutzt das Forum ID "UFOpolitics" und er hat ein animiertes Video in einem Versuch, die grundlegenden Probleme mit den heutigen Gleichstrom Elektromotoren erklären produziert: video. Er weist darauf hin, dass ein Problem Wicklung in der gewöhnlich Gleichstrom -Motor wie folgt aussieht und ist definitiv sehenswert, vor allem, wenn Sie sich gut mit mechanischen Vorrichtungen sind. Der Experimentator nutzt das Forum ID "UFOpolitics" und er hat ein animiertes Video in einem Versuch, die grundlegenden Probleme mit den heutigen Gleichstrom Elektromotoren erklären produziert:


Der Eingangsstrom für jede Wicklung in durch ein einziges Paar Bürstenkontakte zugeführt. Die erzeugte elektrische Leistung "Ec" nicht extrahiert und gezwungen ist, die aufgenommene Energie "Ea" widersetzen, so dass nur noch ein Bruchteil der Antriebsleistung zur eigentlichen Ausführung des Motors. Es ist wahrscheinlich, dass ein Motor dieser Art nur bei 25% seines potentiellen Effizienz arbeiten.

"UFOpolitics" produziert und eine einfache Möglichkeit, dieses Problem zu überwinden, während mit den vorhandenen Motorgehäuse, Magnete und Pinsel Kontakte demonstriert. Er tut dies, indem man das erzeugte elektrische Energie als eine nützliche Leistung und so verhindern, dass nutzbare Leistung gegen des Motors Betrieb verwendet. Um dies umzusetzen, fügt er ein zusätzliches Paar von Bürsten und re-Winde die Motorspulen wie diese:


Hier ist ein Paar Bürsten an der Oberseite und ein Paar an der Unterseite des "Anker" (das Bit, das im Motorgehäuse rotiert und stellt die mechanische Leistung). Die Spulen aufgewickelt, um eine Serie von getrennten vertikalen Spulen zu bilden, eine Verbindung zu einem Endgerät Bürste an der Oberseite und ein Bürstenklemme unten wie oben gezeigt.

Die Eingangsleistung zwischen den Anschlüssen auf der linken und fließt durch die Spule in braun gezeigt. Der Stromfluß ein Magnetfeld erzeugt, eine Drehung aufgrund der Dauermagnete mit "N" (für einen Magneten, der seinen Nordpol gegenüber den Spulen hat) und "S" (für einen Magneten, der seinen Südpol gegenüber den Spulen hat). Der schwarze Zick-Zack-Linie repräsentiert den Widerstand gegen den Stromfluss des Drahtes und Bürstenkontakte.

Die Spule im grünen rechts gezeigt stellt denjenigen gleichen Spule zu einem späteren Zeitpunkt, wenn es von der Energieversorgung und gedreht wurde getrennt, bis sie diese Position, wobei an diesem Punkt, die darin gespeicherte Energie ausgeschaltet wird als nützliche Ausgang über Erreichens die rechte Hand Paar von Bürsten. Dies ist jedoch nur ein erläuterndes Diagramm und zeigt nicht die sehr wichtig, dass die Entladespule dürfen nicht unmittelbar vor einer Antriebsspule, denn wenn ja, dann das Entladen von Energie ein Magnetfeld, welches mit dem Magnetfeld stören verursachen würde, der die Antriebsspule und erzeugen ein großes Problem.

Richtig, das noch einmal zu sagen, jeder eine Spule befindet sich auf der linken Seite mit Strom versorgt, um den Anker herum fahren und bieten die Abtriebswelle mit Einschalten des Geräts ("Drehmoment"). Dann trennt, daß eine Drehung dieses Spule von der Eingangsleistung, so dass die Spule mit Energie, die nirgends muss weg belastet. Daß geladene Spule weiterhin runde bis er den zweiten Satz von Bürsten, die es durch eine Last entladen und nützliche Arbeit ermöglichen trifft.

Der eigentliche Clou der Adaption des Motors wird am besten von oben der vertikalen Rotor gesehen. Wenn Sie zum Beispiel ein fünf-polig Gleichstrom-Motor auseinander zu nehmen und entfernen Sie die Wicklungen, so könnte die Welle und Ankerkörper wie folgt aussehen:


Wenn Sie einen asymmetrischen Schleifringläufer, gehen die Wicklungen wie diese:


Der Start des Drahtes an den oberen und dann nach unten geführt durch die Öffnung "A" und zurück nach oben durch die Öffnung "B" gesichert. Für den kleinen Radio Shack Motor, würde diese Wicklung 25 Umdrehungen der Nr. 30 AWG (beschrieben als Radio Shack 'red' Draht, mit einem Kupferdraht Durchmesser von 0,255 mm) sein. Falls sie neu Wickeln eines Motorankers, bitte verstehen, dass jede Drahtwindung den engen gezogen werden, um eine dichte, feste und stabile Spule, die nicht schwingen wird unnötig, wenn der Anker dreht machen muss.

Das Ende des Drahtes "ENDE" wird nicht geschnitten, sondern wird nach unten durch die Öffnung "A" und dieses Mal, bis durch die Öffnung "C" übernommen. Aus Gründen der Übersichtlichkeit sind diese weiterhin abwechselnd in einer anderen Farbe dargestellt, aber bitte, dass es das gleiche Einzelstrang Draht überall verwendet wird:


Die endgültige Drahtwindung untergeht Durchgangsöffnung "A" und endet an dem anderen Ende des Körpers des Ankers. In diesen Ansichten verläuft der Draht nach unten in dem Papier, wobei jede Windung einen Zylinder bildet. Diese Ansicht kann Ihnen ein besseres visuelles Bild von dem, was die Spulen aufgewickelt:


Der nächste Schritt ist, um den Beginn und das Ende Drahtenden dieser V-förmige Doppel-Spule mit den "Kollektor" Schleifringe, die Strom durch die Spule genau im richtigen Moment verging ermöglichen verbinden. Wieder von einem Ende des Ankers gesehen, sind die Anschlüsse wie folgt:


Die Kommutator Schleifringe weiter oben auf der Antriebswelle verbunden ist und der Beginn des Wickeldrahts (zuvor in dunkelgrünen gezeigt) ist an der Oberseite Kommutator Sektor in der hier gezeigten Stellung verbunden. Das Abschlussende des Drahtes mit dem entsprechenden Sektor Kommutator am anderen Ende der Welle verbunden ist - das heißt, der Bereich direkt in einer Linie mit dem oberen Bereich nur auf den Beginn des Drahtes verbunden ist.

Damit ist der erste von fünf identischen V-förmige Spulen. Am nächsten Spule in gleicher Weise gewickelt. Der Anker gedreht wird ein Sektor gegen den Uhrzeigersinn, so daß Sektor "D" ersetzt "A" an der Spitze und der nächsten Spule wird mit der Draht oben beginnend und hinunter durch die Öffnung "D" gewickelt und nach oben durch die Öffnung "E" Wiederholen des gleichen Anzahl von Windungen, und dann, ohne Abschneiden des Drahtes der nächste Satz von Drähten gewickelt hinunter Durchgangsöffnung "D" und zurück nach oben durch die Öffnung "F" sind. Der Beginn der Draht wird dann an den Kommutator Sektor, der zwischen Öffnungen "A" und "E" und das Ende mit dem entsprechenden Sektor Kommutator an dem anderen Ende der Welle verbunden überspannt.

Für jedes der verbleibenden drei Wicklungen ist die Welle gedreht einer Position entgegen dem Uhrzeigersinn und dieselbe Wicklung und Verbindungsvorgang durchgeführt. Wenn der Vorgang abgeschlossen, egal welche Öffnung an der Oberseite des Ansicht entlang der Welle platziert ist, werden die Wicklungen und Kommutator Sektor für die Drahtverbindungen identisch sein.

3-polige Motoren
Die Wicklungsanordnung ist geringfügig unterschiedlich für Motoren, die drei Pole (oder ein Vielfaches von drei Polen, wie 6, 9, 12, etc. Pole) haben. Für die sehr einfache 3-polige Motoren, sieht der Anker wie diese:


und mit dieser Art von Anker, sind die Winde um die drei Arme, wie diese:


Und wie zuvor werden die Kommutatorsektoren Oben am unteren dupliziert, so dass getrennte Eingangs-und Ausgangsschaltungen für jede der drei Spulen. Die Wicklungen haben viele Windungen, Füllen des verfügbaren Raum und jede Wicklung mit dem Schleifring Sektor direkt gegenüber diesem verbunden ist, wie folgt:


Der Start für jede Wicklung zum Kommutator Schleifring Sektor an der Oberseite des Ankers angeschlossen und die Oberfläche wird mit dem Schleifring Sektor direkt darunter verbunden, das heißt, der Bereich, in demselben Winkel wie die obere eine, wo das ist starten des Drahtes verbunden ist. Dies ermöglicht die Bürsten, die gegen den Schleifring Sektoren drücken, um mit beiden Enden jeder Spule wiederum verbinden, wenn der Anker gedreht wird. Drei poligen Motoren sind besonders leistungsstark und Motoren mit sechs Polen kann mit Paaren von benachbarten Sektoren zusammengelegt, um drei größere Bereiche geben, wieder aufgewickelt werden. Neun Pole Motoren können drei benachbarte Sektoren gewickelt als einzige Spule, um die gleiche Wirkung wie ein Drei-Pol-Motor bereitzustellen, und zwölf Pole Motoren kann vier benachbarten Sektoren gewickelt als einzige Spule.

Die Positionierung der Bürsten ist wichtig. Mit den dreipoligen und fünf-Polanordnungen werden die Bürsten mit den Lücken zwischen den Magneten, die den Anker umgibt ausgerichtet. Jedoch kann die erneute Wunde Motors abgestimmt 'werden für verbesserte vermindertem Drehmoment und Antriebsstrom durch Anpassung des Motorgehäuses um etwas Einstellung der Position der Bürste und Kommutator Schleifringe relativ zu den Spulen zu ermöglichen. Diese Einstellung muss nur gering, wie die Winkelbewegung der Bürsten klein sein wird. Es ist natürlich wichtig, dass die oberen und unteren eingestellten Positionen genau um den gleichen Winkelbetrag zu bewegen, so daß jede obere Kommutator Schleifring Sektors bleibt genau über ihm entsprechenden unteren Schleifring Sektors ist. Mit anderen Worten, der Kommutator Schleifring Sektor an der Oberseite und Unterseite jeder Spule, muss exakt vertikal ausgerichtet, so dass die elektrischen Verbindungen hergestellt sind und im exakt gleichen Zeitpunkt zerbrochen

Der Kommutator und Bürste Anordnung sind hier in den Diagrammen der UFOpolitics gezeigt:


Die Kommutatorbürste Aufschrift "G" (für "Generator") nimmt die Energie in jeder Spule gespeichert und übergibt sie an eine elektrische Last. Die Kommutatorbürste Aufschrift "M" (für "Motor") speist Energie in der Spule von der Batterie, die den Antrieb des Motors ist. Die roten und blauen Streifen rund um den Anker sind zwei Permanentmagnete. Der Magnet in rot angezeigt hat seinen Südpol dem Anker zugewandten und den Magneten blau angezeigt hat seinen Nordpol dem Anker zugewandten. Dies erzeugt ein Magnetfeld fließt horizontal über dem Anker. Das Fünf-Pol-Anordnung ist wie folgt:


Dabei steht die Bezeichnung "R / S" für "Radio Shack", die eine Kette von Läden in Amerika ist. Im Forum ist, dass manchmal "RS" geändert und sollte nicht mit den großen Elektronik-Steckdose "Radio Spares", deren Markenzeichen ist "RS" verwechselt werden. UFOpolitics hat vorgeschlagen, dass das billige 5-poliger Gleichstrom-Motor erhältlich Radio Shack von Experimentatoren verwendet werden soll, um sich mit re-Wicklung Gleichstrom Motorspulen. Als ein billiges Produkt, nicht die Motoren nicht haben eine besonders hohe Verarbeitungsqualität, aber sie sind geeignete Motoren für Experimente. Forum Mitglieder teilen die Details, wie mit ihnen umgegangen Anpassung dieser und anderen Motoren.

Ich muss zugeben, dass Motorwicklungen und Betrieb, mich zu verwirren neigen und ich manchmal fällt es schwer zu verstehen, was UFOpolitics ", wenn er über die verschiedenen Wicklung Strategien redet bedeutet. Allerdings scheint es ziemlich klar, in diesem frühen Stadium Forum Entwicklung, dass sein Ziel, zwei Dinge zu produzieren:

1. Ein sehr starker Elektromotor, die zu schweren Formen des Straßenverkehrs sowie für andere praktische Anwendungen verwendet werden kann, und

2. Ein leistungsstarker Motor / Generator-Kombination, die nützlich erzeugte elektrische Energie produzieren kann.

Während 'UFOpolitics "sehr geduldig gehen durch viele der möglichen Variationen auf, wie ein Gleichstrom-Motor gewickelt und angeschlossen werden können, und zeigt verschiedene Mitglieder des Forums, wo sie nicht einige ihrer Wicklungen richtig positioniert bekommen haben, hat er auch einige der gezeigten besten Möglichkeiten zum Verbinden einer Wunde wieder Motors als Fahrer oder "Prime Mover" wie manche es nennen dergleichen verwendet wird, und eine erneute Wunde Motor, der als elektrischer Generator verwendet wird. Er zeigt zwei wichtige Möglichkeiten für die Herstellung einen sehr effektiven Motor / Generator-Kombination, wie hier gezeigt:


Es muss klar sein, dass diese Regelungen nicht herkömmlichen Anordnungen und die re-Wunde Motoren arbeiten in einer anderen Weise zu den Motoren haben "von der Stange". Aus diesem Grund ist es erforderlich, die elektrische Ausgabe zu isolieren, um Strom durch die Last verhindern die den Betrieb des Motor / Generator-Kombination. Dies kann durch Anordnen einer Diode in jeder der Ausgangsleitungen und Aufladen einer Kondensatorbank, die dann verwendet wird, was zu füttern ist angetriebene Last erfolgen. Wenn ich es richtig verstehe, bewirkt dann Zuführen keine kalten Strom in einem Kondensator erzeugt den Strom auf konventionelle heißen Strom geworden. Es ist nicht klar, ob diese Aktion ist Teil dieser Vereinbarung, obwohl die gezeigten Schaltung verwendet werden soll. Dies ist die zweite Version:


'UFOpolitics' Kommentare zu diesen Regelungen wie folgt: Als wir den Eingang des Motor zu erregen, wird der Generator zu starten Erzeugung von Energie und dass zusätzliche Energie wird durch die Motorleistung Seite fließen, weil sie in Serie hier verbunden sind. Zwei Gleichrichter muss an beiden Ausgängen, positive und negative, angeschlossen werden, um zu vermeiden Rückfluss von Schließen des Stromkreises durch die Last.

Da der Motor beschleunigt, erhöht der Generator die Energie fließen, die dann läuft durch den Motor vermehren die Ausgabefelder und wenn der Ausgang belastet wird dann ein 'Engagement' der beiden Maschinen auftritt, wie sie sich gegenseitig durch ihre Outputflüsse auszugleichen starten. Es sollte verstanden werden, dass die Ausgabe sollte Kondensator in einem dedizierten Reservoir Banked sein.

Bei der Gestaltung eines Generator für eine bestimmte bestehende asymmetrische Motor Maschine, muss es klar sein, dass Generator Wechselwirkungen berücksichtigt werden sollten als "Counter Rotation" laufen werden die Motor Maschine ursprünglich Drehung konzipiert (das ist einfach durch Verschieben Pinsel-Linien, die Stator getan Winkelhalbierenden Winkel zur gegenüberliegenden derjenigen für einen Motor oder alternativ erforderlich, Einstellen der Zeitsteuerung rückwärts). Dies wird definitiv verbessern die assisted Rotation der beiden Maschinen, wenn sie zusammen in diesem von Angesicht zu Angesicht Modus angeschlossen.


Wie finde ich nicht die Forum Kommentare einfach zu verstehen, empfehle ich, dass Sie das Forum besuchen und lesen Sie die Beiträge, wie Sie gut verstehen können, die Gespräche leichter zu verfolgen als ich.

Auf dem Forum "Sanskara316" Staaten "Ich habe wieder aufgewickelt einen kleinen 3-Volt-3-poligem Motor. Ich habe eine fast tot, 6-Volt-Blei-Säure-Batterie zur Stromversorgung des Motors. Diese Batterie sitzt nur bei rund 4 Volt und wenn man ihnen eine Last, auch eine kleine LED, es ist Spannung auf 1 Volt. Die Re-Wunde Motor begann sehr langsam - kaum drehen, dann nach ein oder zwei Minuten fing es an zu schneller zu drehen, und ich bemerkte, dass die Spannung an der Batterie langsam Klettern. Ich verband eine kleine LED-Taschenlampe zur Erzeugung Seite und es leuchtet. Nun ist die Batteriespannung unter Last liegt bei etwa 2 + Volt. Es ist seit einer Stunde läuft jetzt und die Maschine kreischt eine Menge. Es ist die Konditionierung des Akkus und das Messgerät kann nicht zeigen, was wirklich geschieht. Der Motor zieht 300 ma? - Das ist nicht möglich, da die Batterie gerade nicht über diese Macht. " Um die 'UFOpolitics "bemerkt:" Nun, ich bin froh, dass du einige der' Effekte 'erlebt ... diese re-Wunde Motoren zu tun überholen Batterien ... denken Sie daran, das Radiant-Energy übernimmt die Maschine ... so Radiant Energy kommt durch den Eingang auch ... das ist der Grund, warum wir hohe Volt-Ampere Lesen auf einen Meter .. . diese Motoren in sehr kleinen Mengen von Strom und Volt. Im Inneren des Motors, jede Spule ist 'Self-Elektromagnetisch-Pulsed', weil sie von der Stromquelle-auto trennen, dann die nächste Spule in der Sequenz von der ersten Spule unterstützt, wenn es um seine nächste Position gedreht hat, und so weiter. Der Kommutator Umschalten zu einem "Self-Oscillator" für jeden unabhängig stromlosen Spule. "

'Prochiro' sagt: "Ich habe auch die Akku-Aufladung Ereignisse, die 'Sanskara316' angedeutet repliziert. Ich begann mit einem 12-Volt 4 Ampere-Stunden-Batterie, die ich mit einer anderen Schaltung verwendet hatte vor zwei Wochen hatte es nicht, nachdem Sie es für Stunden wieder aufgeladen. Es wurde bei 12,40 Volt sitzen. Ich nahm meinen besten laufenden Re-Wunde Motor, steckte es in direkten und es lief. Die Batteriespannung sank auf 12,24 Volt und blieb auf diesem Niveau für 30 Sekunden. Die Batteriespannung begann dann auf 1/100 eines Volts pro Minute ansteigen. Wenn es bei 12,27 Volt betrug, I den Motor (die gesamte Betriebsdauer war weniger als 5 Minuten) abgetrennt. Ich habe dann lassen Sie es für 5 Minuten ruhen. Am Ende der fünf Minuten war die Batteriespannung auf 12,43 Volt erhöht und noch jetzt bei dieser Spannung. Man denke nur, was ein größerer Motor würde auf einem großen Batteriebank tun. Jeder muss diesen Test zu dokumentieren, wie es was UFOpolitics sagte beweist. "

New Gleichstrom motoren und besonders günstige Motoren werden Bürsten, die sich nicht paaren müssen sauber mit den Kommutator Schleifring Sektoren und so, wenn die Änderung gemacht wurde, läuft der Motor für einige Zeit haben, können die Bürsten in zu tragen, und das erhöht die Effizienz der elektrischen Verbindungen, die wiederum verbessert die Leistung des Motors. Wenn Sie zum Erstellen und Testen einer dieser Motoren wünschen, dann können Sie Hilfe und Unterstützung im Forum mit Ihren Fragen zu finden antwortete und zahlreiche Videos und Fotos aus verschiedenen Experimentatoren um Ihnen zu helfen.




Direkte Gekoppelte Motoren

Zeigt Rob Ellis eine sehr stark gebaut Anordnung, die eine 100-Watt-Motor Antrieb einer 500-Watt-Generator und die Ausgangsleistung des Generators Kräfte der Antriebsmotor und verfügt über 400-Watt ersparen zum Antrieb anderem:


Dies ist bei YouTube eine beliebte Art von Freie-Energie-Gerät angezeigt und ist heute .. jedoch hier erwähnt werden, müssen zwei Punkte. Erstens, ich vermute, daß die angeführten 400 Watt ist ein berechneter Wert, der Motor ist wahrscheinlich ein gewöhnlicher Handelseinheit, wird es symmetrisch gewickelt werden, die keine Ausgabe daraus gezogen, um die Eingangsleistung zu widersetzen zwingt, so dass es so ineffizient, dass seine Effizienz nie, nie, mehr als 100%. Wenn das der Fall ist, dann ist die 100-Watt-Motor nicht in der Lage, um den Generator (das wird wohl auch in der sehr ineffektiv symmetrischen Stil gewickelt), um seine volle Leistung fahren.

Zweitens scheint es ein Schwungrad an jedem der Zwischengetriebe Wellen, und wenn das so ist, dann werden die Trägheitseffekte jener Schwungräder wird Energie von dem umgebenden Gravitationsfeld zu zeichnen, die Verbesserung der Gesamtleistung und damit eine Replikation des Chas Campbell-Design in Kapitel 4.

Doch gerade weil der 100-Watt-Motor einen Generator antreibt, der bei 500 Watt ausgelegt ist, bedeutet dies nicht zwangsläufig, dass der Motor den Generator noch fahren kann, wenn die Generatorleistung tatsächlich 500 Watt beträgt.



Der Infinity SAV Motor / Generator
Ein Motor / Generator, der deutlich zeigt, dass er eine beträchtliche Leistung ausgibt und seine eigene Eingangsleistung erzeugt YouTube.


Ich verstehe sicher nicht ihre Aussage, dass das Drehen eines Magneten an einer Spule nicht eine Kraft hervorbringt, die dem vorbeifahrenden Magneten entgegensetzt. Allerdings, wenn dieses südkoreanische Video echt ist und es sicherlich zu sein scheint, dann ist es ein sehr ermutigender Schritt vorwärts. Diese besondere Design hat 25 Reihen von 10 Neodym-Magneten Spinnen Vergangenheit 250 bi-filar Spulen von Draht und es wird gezeigt, powering sich während der Beleuchtung 100 Glühbirnen, treibt einen Ventilator und betreibt eine Heizung.


Die Gleichpoligen oder "N-Maschine"”.
Dieses Gerät wurde die Idee von Michael Faraday 1831 und hat eine interessante Art der Bedienung und eine bemerkenswert große Ausgabe.


Das Funktionsprinzip ist denkbar einfach:


Wenn ein Kupfer Scheibe gedreht wird in einem magnetischen Feld, dann eine Kraft zwischen der Welle und dem äußeren Rand (oder irgendeine Zwischenstellung) entwickelt. Es wurde dann festgestellt, dass die Vorrichtung weiterhin ausgeführt, selbst wenn sich der Magnet zu dem Kupfer Scheibe befestigt und dreht sich mit ihm - was nicht intuitiv klar ist. Die Leistungsabgabe ist mit der Fähigkeit zur Extraktion 1000 A, aber mit einer niedrigen Spannung von weniger als 1 Volt enorm. Die Zapfwelle kann von einer Seite der Scheibe in der Nähe der Welle anstatt eine Kupfer Welle integral mit der Kupferscheibe verfügen. Dieses Gerät arbeitet mit einem Magneten, nur um das Kupfer Scheibe befestigt und dreht damit.

Das sieht wie eine sehr tragfähige Ausgangspunkt, um ein Gerät, das selbst ausführen kann und nützliche zusätzliche Ausgabe zu entwickeln, da ein Motor, um die Disc dreht nicht verlangen, werden auch nur im Entferntesten wie 1000A, es zu fahren. Der Haken ist, ist es sehr schwierig, zuverlässige Schleifkontakte kann große Ströme über längere Zeiträume bereitstellen. Das zweite Bild zeigt die Scheibe mit ihrem äußeren Rand in einem Bad von Quecksilber eingetaucht. Dies ist ausreichend für eine kurze Demonstration bei niedriger Leistung, aber nicht realistisch für eine ernsthafte Arbeitsgerät.

Es könnte nur möglich sein, einen angemessenen Gerät durch die Annahme, dass die aktuelle Ausgabe wird nicht so etwas wie 1000A sein zu bekommen. Langlebige Bürsten konnte aus massivem Kupfer bar vorgenommen werden und gegen die Kupfer-Disc in passenden Paare gefedert, so dass die Bürste stößt einander gegenüberliegen und so nicht erzeugen eine seitliche Belastung. Dies konnte in mehreren Sätzen für jede Scheibe hergestellt wird, also etwa vier oder acht pro Scheibe, so dass der effektive elektrische Widerstand zwischen den Bürsten und der Scheibe verringert und die mögliche Stromverbrauchsfensters erhöht.

Ähnliche mehrere Bürsten konnte mit der zentralen Welle Zylinders aufgebracht werden. Mehrere Disks könnte dann auf einer nicht-leitenden, nicht-magnetischen Welle und ihrer Bürsten in Reihe geschaltet, wie gezeigt montiert werden, um die Ausgangsspannung zu erhöhen:



Es wird gesagt, dass Professor Tewari in Indien homopolare Generatoren verwendete, um Wasserstoff aus Wasser zu extrahieren, und dass Busdienste mit Wasserstoff als Treibstoff betrieben wurden, aber das habe ich nicht getan schaffte es, eine Bestätigung dafür zu finden. Die Hauptschwierigkeit bei der Verwendung des Designs besteht in der Schwierigkeit, die sehr hohen Niederspannungsströme zu erzeugen, die erzeugt werden, ohne ein Major zu erzeugen Widerstandsfaktor, der ein ernstes Problem ist. Bruce DePalma gelang es, dieses Problem zu überwinden, aber er gab seine Entwicklung dem US-Militär zu.

Jedoch, wenn dies geschehen ist, ist die Streichbremse ein ernsthaftes Problem. Im Jahr 1987, drei der Borderlands Science Team experimentierte Michael Know, Peter Lindemann und Chris Carson mit diesem Entwurf und festgestellt, dass eine viel befriedigender Version produziert werden könnte. Ihre Version erzeugt Sägezahn Wechselstrom Gleichstrom statt und daher wird das Ergebnis konnte direkt in einen Aufwärts-Transformator gespeist werden. Ihre Gestaltung hat vier Ferritmagneten zwischen zwei Metallscheiben verklebt, und für eine zusätzliche mechanische Festigkeit, Kupferdraht gewickelt um die äußeren Ränder der Magneten um Magnete außen fliegen, wenn die Verklebung ausfallen sollte verhindern. Deren Anordnung ist wie folgt:


Dies scheint die "Gesetze" der konventionellen Strom zu widersprechen, da es eine sehr geringen Widerstand Kurzschluss direkt über die Bürsten, die den Hörer des Wechselstrom Ausgangsspannung. Der Ausgangsstrom von einem kleinen Prototyp wurde auf 100 Ampere geschätzt. Die Frequenz des Wechselstrom ist direkt proportional zu der Drehzahl des Motors, aber die Ausgangsspannung war fast unabhängig von der Drehzahl des Motors, wodurch nur sehr geringfügig mit viel größerer Geschwindigkeit. Es wurde auch gefunden, dass die Inbetriebnahme der Bürsten bei 90 ° voneinander auf dem Metall Welle des Motors die gleiche Leistung trotz der Kontakte fast berühren einander gab. Dieses Design scheint ein erhebliches Potenzial für den Bau in einem größeren Format und weitere Untersuchungen haben.

Während der Betrieb dieser Vorrichtungen auf den ersten Blick möglich ist, muss es verstanden werden, dass Kupfer einige sehr ungewöhnliche Eigenschaften hat, wenn sie gegenüber Magnetfeldern werden. Dass ein sich drehender Zylinder Kupfer eine große seitwärts gerichtete Kraft auf einen Permanentmagneten in der Nähe davon angeordnet werden kann ausübt erläutert. Das funktioniert nicht mit sich drehenden Zylinder aus anderen Metallen geschehen.

Nikola Tesla nahm Faraday-Design 1831 weiter, wie aus seiner 1889 US-Patent Nr. 406968 zu sehen. Er bemerkte, dass auf jede Art von nützlichen Leistung aus dem Gerät zu bekommen wäre eine Kupferscheibe mit sehr großem Durchmesser oder eine Scheibe, die sehr schnell gesponnen wird, erforderlich. Eine große Kupferscheibe würde eine unbequeme Größe sein und eine hohe Drehgeschwindigkeit macht es sehr schwierig, eine gute, lang anhaltenden, gleitenden Kontakt an der Außenkante der Scheibe zu erhalten. Er wies auch darauf hin, dass Strom durchflossen von der Welle aus an den äußeren Rand, wenn das Magnetfeld, das durch die Scheibe wurde in einer Richtung, aber , wenn die Richtung des Magnetfeldes umgekehrt wäre, dann würde der Stromfluss von der Außenkante nach innen sein an der Welle. Die gleiche Änderung der Richtung des Stromflusses geschieht auch, wenn die Drehrichtung der Scheibe umgekehrt wird.

Mit diesen Fakten und erhebliche Einfallsreichtum, Tesla vorgeschlagen, eine Anordnung, die Zapf ist von der Achse allein durch Verwendung von zwei separaten Kupferplatten und Magnetfeldern, die in entgegengesetzte Richtungen bewegt. Diese Anordnung hat den Vorteil, dass sie eine Ausgangsspannung, die die Summe der zwei getrennten Spannungen hat. Dieses Grundkonzept verwendet vier Ringmagneten und zwei Scheiben aus Kupfer, Messing oder Eisen. Beide Scheiben sind eine breite Flansch gegeben, wie hier gezeigt:


Die hier dargestellte Schaltung ist durch den Spalt zwischen den Scheiben und Tesla gebrochen behandelt, dass durch die Verwendung eines flexiblen Metallband, die die beiden Scheiben zusammen:


Während es möglich ist, den Gurt zu verwenden, um eine der Scheiben zu fahren, hat Tesla nicht nutzen diese Methode. Der Riemen überwindet die Notwendigkeit für einen gleitenden Kontakt an der Außenkante der Scheiben und damit die beiden Schleifkontakte sind an den Achsen, die ein leicht zu einem gleitenden Kontakt haben, ist. Tesla zeigt den Kontakt gegen das Ende der Achsen so, dass nur eine Drehbewegung in Bezug auf den stationären Kontakt, aber selbst wenn der Kontakt gedrückt gegen die Außenfläche der Achse, würde der Verschiebebewegung noch relativ langsam. Trotz dieses clevere Design von Tesla, ich habe noch nie von jemandem bauen diese Art von Generator trotz der großen Ströme, die es erzeugen kann, gehört.

Ein Entwickler, der es vorzieht, anonym zu bleiben, sagt "Für Leute, die ein Interesse an homopolaren Generatoren haben, wie sie von Tewari, Trombly-Kahn, DePalma und anderen experimentiert wurden:"

Was wäre, wenn es eine andere Konfiguration für die Entwicklung eines homopolaren Generators gäbe als die Standardmethode, ein Magnetfeld parallel zu einer rotierenden Welle und durch eine leitende rotierende Scheibe zu betreiben? Obwohl jemand diesen alternativen Typ eines homopolaren Generators formuliert haben mag, habe ich nie gelesen, noch bin ich mir dessen bewusst, dass jemand diese Idee entwickelt oder einen solchen homopolaren Generator konstruiert hat, der unten erwähnt wird. Die folgenden Designinformationen sind Public-Domain-Informationen und somit ist es jedem freigestellt, ein Gerät zu konstruieren und / oder diese Informationen zu nutzen, wie sie es wünschen, ohne Lizenzgebühren zu verlangen. Im Prinzip ist es nicht komplexer als das Faraday-Modell.

Nachdem ich Tewari und de Palma etwas über diese oben erwähnten Geräte studiert und einige ihrer Unzulänglichkeiten gelernt habe, habe ich mich gefragt, warum es zu diesem Zeitpunkt (seit dem Zeitalter des Neodymmagneten, das zu ihrer Zeit noch nicht verfügbar war) ist ) niemand hat ihre Verwendung in einer alternativen Konfiguration in Betracht gezogen. Neodym-Magnete können in sogenannten "Lichtbogenmagneten" verwendet werden. Diese Magnete sind so konstruiert, dass sie auf Trommeln oder Zylindern montiert werden können, um als Pole an einem Rotor in einem Motor oder Generator zu dienen. Der Faraday-Dynamo- oder Standard-Homopolargenerator wurde so hergestellt, dass das Magnetfeld parallel zur rotierenden Achse durch eine rotierende und leitende Scheibe verläuft. Mit Lichtbogenmagneten können wir sie so montieren, dass das Feld nun senkrecht zur Achse ist, also auf einer Trommel, die um die Achse kreisförmig ist, wobei ein Magnetfeld nach außen und das andere nach innen zur Achse gerichtet ist. Nehmen wir an, der Nordpol geht nach außen und der Südpol nach innen zur Achse und biegt sich dann aus den Enden der Trommel, wie hier in Fig.1 gezeigt.


An dieser Stelle ist es interessant festzustellen, dass die Achse als ein Magnet dient und da der Südpol aus den Enden der Trommel herausgeführt ist, ist die Achse selbst ein Magnet, der an jedem Ende der Achse einen Südpol hat. Wo der Nordpol in der Achse sein könnte, überlasse ich der Debattiergesellschaft. Ein röhrenförmiger Leiter ist über oder unter den Magneten angeordnet (die Magnete können auf diese Weise schwierig zu montieren sein, da sie nicht auf diese Weise montiert werden wollen), die Ladung (auch als Raumladung bezeichnet) wird sich bis zu den Enden von a trennen leitendes Rohr oder Kupferblech, das über oder unter dem Satz von Magneten gewickelt ist, wobei Bürsten an den Enden den Strom abgreifen können, wenn das Gerät gedreht wird.


Diese neue Anordnung eröffnet vielfältige Möglichkeiten. Es kann eine längere Trommel ermöglichen - das Hinzufügen zusätzlicher Trommelsegmente von Magnetsätzen, die die Spannung erhöhen sollten. Es sollte auch möglich sein, Magnete auf der Trommel zu montieren, die abwechselnd Magnetpole haben - ähnlich wie bei einem gewöhnlichen Motor - und die Verdrahtung über die Polflächen hin zu Mehrfachspannungen verwenden, was natürlich nicht als gleichpolig, sondern als polypolar angesehen werden kann . Der Grund dafür ist, die Spannung so weit zu erhöhen, dass keine exotischen Bürsten mehr berücksichtigt werden müssen, da höhere Spannungen erreicht werden können.

Für diejenigen, die mit dieser Form des homopolaren Generators nicht vertraut sind, besteht der Grund für das Drehen des Leiters mit dem Feld darin, die Wirkung der elektromotorischen Gegenkraft des Generators zu überwinden oder einen unerwünschten Effekt des Lenzschen Gesetzes zu umgehen.

Während ich nicht über die Werkzeugmaschinen verfüge, um einen guten homopolaren Generator zu bauen, konnte ich Teile, die ich zusammenbaute, zu einem Proof-of-Concept-Generator machen. Ich konnte zu meiner Zufriedenheit beweisen, dass dieser Röhrengenerator funktioniert, aber ich kann nicht sagen, wie gut. Ich habe Grund zu der Annahme, dass es sich genauso bewähren sollte wie der Standard Faraday Dynamo. Jeder mit den Werkzeugen ist frei, um sein eigenes zu machen. Ich würde gerne das Ergebnis Ihrer Arbeit erfahren. Hier sind ein paar Bilder von meiner Konstruktion:





Der Bauherr sagt, dass seiner Meinung nach die Spannung erhöht wird, wenn das Gerät mit einem längeren Zylinder gebaut wird, der mehr Magnete enthält, und so sind die gleitenden Bürsten, die den Ausgangsstrom wegnehmen, weiter auseinander. Er ist auch der Meinung, dass, wenn der Durchmesser des Gerätes erhöht wird, auch die Ausgangsspannung erhöht wird. Er verfügt weder über die notwendige Ausrüstung noch über die notwendigen finanziellen Mittel, um dies weiter zu entwickeln, aber er lädt Sie ein, dieses Design zu entwickeln und das Design weiter zu entwickeln.

Meiner Meinung nach sollte es möglich sein, gewöhnliche rechteckige Magnete zu verwenden, die so positioniert sind, dass sie sich entlang ihrer inneren Enden berühren und über ihre gesamte Länge einen kleinen Spalt an der oberen Seite haben. Es sollte möglich sein, sie sicher auf einem nichtmagnetischen Zylinder zu befestigen, bevor Kupferblech um sie gewickelt wird, um den Kupferzylinder des Geräts zu bilden.


Patrick Kelly
http://www.free-energy-info.tuks.nl
http://www.free-energy-info.com
http://www.ffree-energy-info.co.uk
http://www.free-energy-devices.com





闽ICP备2022006709号