Una Guía Práctica al Autor de Dispositivos de Libre-energía: por Patrick J. Kelly

Capítulo 1: Poder de imán

Traducido por Javier Espinosa


¿Qué es un imán permanente? Si tomas un trozo de conveniente material como acero 'suave', ponerlo dentro de una bobina de alambre y conducir una fuerte corriente eléctrica a través de la bobina, pues convierte el acero en un imán permanente. ¿Qué longitud de tiempo necesita el corriente en la bobina para hacer el imán? Menos de una centésima de segundo. ¿Cuánto tiempo el imán resultante puede soportar su propio peso contra la gravedad? Años y años. ¿No te parece extraño? Ver cuánto tiempo usted puede apoyar el peso de su propio cuerpo contra la gravedad antes de que te cansas. ¿Años y años? No. ¿Meses, entonces? No. ¿Días, incluso? No.

Si no puedes hacerlo, cómo puede el imán? ¿Sugiere que un solo pulso por minuto una fracción de segundo puede bombear suficiente energía en la pieza de acero para poder durante años? Eso no parece muy lógico, ¿verdad? Entonces, ¿cómo funciona el imán hacerlo?

La respuesta es que el imán no en realidad ejerce ningún poder en absoluto. De la misma manera que un panel solar no pone ningún esfuerzo en la producción de electricidad, la energía de un imán fluye desde el medio ambiente y no desde el imán. El pulso eléctrico que crea el imán, alinea los átomos dentro del acero y crea un magnético "dipolo" que tiene el mismo efecto que el eléctrico "dipolo" de una batería. Se polariza el ambiente cuántica que lo rodea y causa grandes corrientes de flujo de energía alrededor de sí mismo. Uno de los atributos de este flujo de energía es lo que llamamos "magnetismo" y que permite el imán para pegarse a la puerta de su refrigerador y desafiar la gravedad durante años.


Foto de ShenHe Wang



El Motor/Generador de Imán Permanente de ShenHe Wang
La foto anterior, es la de un hombre chino, ShenHe Wang, que ha diseñado y construido un generador eléctrico de cinco kilovatios de capacidad. Este generador es alimentado por imanes permanentes y no utiliza combustible para funcionar. Usa partículas magnéticas suspendidas en un líquido. Debería haber sido expuesto al público en la Expo Mundial de Shanghai del 1 de mayo al 31 de octubre del 2010, pero el gobierno chino intervino y no se lo permitió. En su lugar, sólo le permitieron mostrar una versión del tamaño de un reloj de pulsera (ver la imagen más adelante), que demostraba que el diseño funcionaba, pero que no sería de ningún uso práctico en la generación de energía.


Prototipo del Motor de ShenHe Wang mostrado en
la Expo Mundial de Shanghai 2010 (Izquierda)


La mayoría de los inventores no parecen darse cuenta de esto, pero casi todos los gobierno se oponen a que la gente en general pueda disponer de cualquier dispositivo serio de energía libre (aunque esos gobiernos están felices de poder usar esos dispositivos para su beneficio). Su objetivo es dominar y controlar a la gente común y un factor importante para esto es controlar el suministro y el costo de la energía. Un segundo método utilizado en todas partes es el de controlar el dinero, y sin que casi nadie lo note, los gobiernos logran quitarle cerca del 78% de sus ingresos a la gente, sobre todo por métodos ocultos como impuestos indirectos, tasas, tarifas, etc, etc, etc.

Si quieres saber más sobre el motor de Shenhe Wang, visite www.yourstrawman.com, pero por favor entienda que la razón por la que los dispositivos de energía libre no están a la venta en la tienda de la esquina, tiene que ver con el control político y los intereses creados de tipo financiero, y no tiene nada que ver con la tecnología. Todos los problemas tecnológicos han sido resueltos, literalmente miles de veces, pero los beneficios han sido suprimidos por aquellos que están en el poder.

Dos de los generadores de 5 kilovatios del Sr. Wang, completaron con éxito en abril del 2008 los 6 meses del período de "Confiabilidad y Seguridad" definido como obligatorio por el gobierno chino. Un gran consorcio chino ha comenzado a comprar en China, plantas de generación de electricidad que se alimentan con carbón, para remodelarlas con versiones grandes del Generador no contaminante de Wang. Parte de la información sobre la construcción del motor de Wang está disponible aquí


Aspecto físico de los elementos del Motor de ShenHe Wang


El motor consta de un rotor que tiene cuatro brazos y que se encuentra en un recipiente poco profundo de líquido que tiene una suspensión coloidal de partículas magnéticas en él (Ver diagramas más adelante).

Hay una patente sobre el motor, pero no está en inglés y lo que revela no es de mayor importancia.

La intención del Sr. Wang era a regalar el diseño de su motor de todos los países del mundo e invitamos a fabricarlo ellos mismos. Esta actitud muy generosa, no tiene en cuenta los muchos intereses financieros en cada país, de los cuales, el del gobierno respectivo seguro será uno de los mayores, y se opondrá a la introducción de cualquier dispositivo que se alimente con energía libre y que, por consiguiente, vaya a destruir los flujos continuos de ingresos para ese gobierno. Incluso es posible que a usted no le permitan ir a China, comprar uno de esos motores y traerlo consigo para usarlo en su casa.

No es fácil de configurar los imanes permanentes en un patrón que pueda proporcionar una fuerza continua en una sola dirección, ya que suele haber un punto en el que las fuerzas de atracción y repulsión se equilibran, generando así una posición en la que el rotor se frena y permanece detenido. Hay varias maneras de evitar que esto ocurra. Es posible modificar el campo magnético desviándolo mediante un componente de hierro dulce.

Hay muchos otros diseños de motor de imán permanente, pero antes de mostrar algunos de ellos, vale la pena comentar cual es el trabajo útil que puede realizar el eje de un motor de imán permanente. Con un motor de imán permanente hecho en casa, donde se usaron componentes baratos y la calidad de la mano de obra no era de la más alta calidad (aunque eso no sea lo que siempre ocurre con las cosas “hechas en casa”), la fuerza del eje puede que no sea tan grande.



Diagrama del Motor de ShenHe Wang (Corte Lateral)





Detalle de piezas del Motor de ShenHe Wang


La generación de energía eléctrica es siempre el objetivo común, y eso puede lograrse haciendo que los imanes permanentes pasen frente a bobinas de alambre. Cuanto más cerca de las bobinas de alambre pasen los imanes, mayor será la potencia generada en ellas. Desafortunadamente, hacer esto genera un “frenado magnético” que será tanto mayor cuanto mayor sea la cantidad de corriente eléctrica que se extraiga de las bobinas.


El Motor/Generador de Imán de Ecklin y Brown
Hay muchas formas de reducir este “frenado” del eje de rotación. Una forma es usar un generador eléctrico semejante al de Ecklin-Brown, donde el eje de rotación no mueve bobinas que pasan frente a imanes, sino que mueve una pantalla magnética que, alternativamente, bloquea y restaura el flujo del campo magnético a través de las bobinas generadoras de corriente. Un material disponible comercialmente llamado "mu-metal", es particularmente bueno como material de blindaje magnético y el motor Ecklin-Brown utiliza una pieza de este material, con forma de “signo más”.

A John W. Ecklin le concedieron la patente de EE.UU. número 3.879.622 el 29 de marzo de 1974. La patente es sobre un motor-generador magneto-eléctrico que produce una potencia mayor que la que se necesita para hacerlo funcionar. Hay dos estilos de operación. La principal ilustración de la primera, se muestra en la siguiente lámina.



Diagrama del 1er estilo de operación del motor de John W. Ecklin


Aquí, la idea (inteligente) es utilizar un pequeño motor de baja potencia para hacer girar un blindaje magnético para anular el frenado de dos imanes. Esto provoca un campo magnético fluctuante que se utiliza para hacer girar un disco generador.

En el diagrama anterior, el motor en el punto "A" hace girar el eje y las tiras de blindaje en el punto "B". Estas tiras rectangulares de mu-metal, crean un camino muy conductivo para las líneas de fuerza magnética cuando están alineadas con los extremos de los imanes, así que efectivamente anulan en ese momento el efecto de frenado de los imanes en el área del punto 'C'. En el punto "C", una barra metálica, suspendida entre cuatro resortes es jalada hacia la izquierda cuando el imán de la derecha está blindado y el imán de la izquierda no está blindado. Cuando el eje motor gira un poco más, la barra metálica es jalada hacia la derecha cuando el imán de la izquierda está blindado y el imán de la derecha no lo está. Esta oscilación se hace pasar por un acoplamiento mecánico al punto "D" donde es utilizado para hacer girar un eje que mueve un generador.

Como el esfuerzo necesario para girar el escudo magnético es relativamente bajo, se afirma que la potencia de salida excede la de entrada, así que puede utilizarse para alimentar el motor que hace girar el escudo magnético.

El segundo método para explotar la idea se muestra en la patente según el diagrama de la siguiente lámina.



Diagrama del 2do estilo de operación del motor de John W. Ecklin


Aquí, la misma idea del blindaje se utiliza para producir un movimiento de vaivén que se convierte luego en dos movimientos de rotación para mover dos generadores. El par de imanes 'A' se colocan en una cápsula y son presionados uno contra el otro por dos resortes. Cuando el blindaje magnético 'B' se interpone entre los imanes, los resortes quedan totalmente extendidos. Cuando un pequeño motor eléctrico (no mostrado en el diagrama) mueve el escudo magnético y este deja de interponerse entre los dos imanes, estos se repelen fuertemente debido al enfrentamiento de dos polos iguales (en este caso, el Norte). Esto comprime los resortes y a través de las barras conectoras 'C', se mueven los ejes de dos generadores, que producen potencia eléctrica de salida.

Una modificación de esta idea es el Generador de Ecklin-Brown. En esta configuración, la disposición del blindaje magnético móvil proporciona una salida eléctrica directa en vez de un movimiento mecánico.



Diagrama del Generador de Ecklin-Brown


Aquí, se utiliza el mismo motor y arreglo de blindaje magnético rotativo, pero las líneas de fuerza magnéticas son bloqueadas para evitar que fluyan a través de una pieza central en forma de Doble T. Esta pieza con forma de Doble T, está hecha de laminas de acero silicio (acero para transformadores) y tiene una o dos bobinas montadas en ella.

El dispositivo funciona como lo muestra la siguiente lámina.



En la posición mostrada a la izquierda, las líneas de flujo magnético fluyen hacia abajo a través de las bobinas colectoras. Cuando el eje del motor ha girado noventa grados, se produce la situación de la derecha, en ella, las líneas de flujo magnético fluyen hacia arriba a través de las bobinas colectoras. Las líneas de fuerza magnéticas y su dirección se representan en el diagrama en flechas azules. Esta inversión del flujo magnético ocurre cuatro veces por cada rotación del eje del motor.

Aunque el diseño de Ecklin-Brown asume se usa un motor eléctrico para hacer girar el escudo mu-metal, no parece haber ninguna razón por la cual esta rotación no pueda hacerse con un motor de imán permanente.

Las formas toroidales son claramente importantes en muchos dispositivos que tiran en energía adicional del ambiente. Sin embargo, el generador Ecklin-Brown parece un poco complicado para la construcción de viviendas, el principio se puede utilizar con un estilo mucho más simple de construcción donde los núcleos de las bobinas de salida son barras rectas de material adecuado como el hierro 'suave' o tal vez los anclajes masony más fácilmente disponibles:



Si utiliza las anclas de mampostería, asegúrese de cortar el extremo cónico que altera el efecto magnético de una manera indeseable. Usando una sierra de mano y un tornillo de banco, cortando el final es algo muy fácil de hacer y que permite una bobina helicoidal ordinaria ser herida directamente sobre el eje o en una simple bobina que se desliza hacia el eje. Con cualquier dicha bobina, el voltaje producido aumentos como el número de vueltas en la bobina aumenta. La corriente máxima depende del grosor del hilo como la más gruesa el cable, mayor será la corriente que puede llevar sin el recalentamiento.



Podemos usar un imán ordinario o un conjunto de imanes en cada extremo de la base recta para causar un fuerte campo magnético que fluyen a través del núcleo de la bobina. A medida que el motor gira los dos brazos de detección pasan alternativamente entre el imán en un extremo de la base y luego el imán en el otro extremo de la base, creando un campo magnético fluctuante pasando por la bobina.

El dibujo muestra una bobina de salida, pero podría haber dos bobinas:



O podría haber cuatro bobinas



Las bobinas pueden ser conectadas en paralelo para aumentar la corriente de salida, o pueden ser conectadas en serie (en una configuración de cadena) para aumentar la tensión de salida. Mientras que los dibujos muestran los escudos conectados directamente al eje de accionamiento del motor (un tramo corto de mangas plásticas de un pedazo de alambre probablemente se utilizaría para ayudar con la alineación del eje del motor y el eje de blindaje) no tiene por qué el blindaje no debe estar en un eje separado montado en rodamientos y conducido por un arreglo correa y la polea de la rueda.

Con un eje de blindaje separado, permite un eje largo y duro para ser utilizado y que permite que haya imanes y bobinas adicionales. El resultado podría ser así:







El Motor de Imán Permanente de Howard Johnson
Volviendo a los motores de imanes permanentes, uno de los nombres más importantes en este campo es Howard Johnson. Howard construyó, demostró y logró que le diesen la patente de EE.UU. 4.151.431, el 24 de abril de 1979, en una oficina de patentes muy escéptica respecto a su diseño de un motor de imán permanente. El utilizó imanes muy poderosos y también muy caros, de Cobalto/Samario, para aumentar la potencia de salida y hacer en la primavera de 1980 una demostración para la revista Ciencia y Mecánica, de los principios funcionales del motor. La configuración de su motor se muestra en la lámina siguiente.


El punto, tal como lo expone Howard, es que el flujo magnético de su motor está siempre desequilibrado, produciendo así una fuerza de rotación continua. Los imanes del rotor se unen en pares escalonados, conectados por un núcleo no magnético. Los imanes del estator se colocan en un soporte cilíndrico de mu-metal (cilindro magnético, en el diagrama). El Mu-metal tiene una alta capacidad para conducir el flujo magnético (y es caro). La patente establece que el imán de la armadura mide 3,125 pulgadas (79,4 mm) de largo y los imanes del estator son de 1 pulgada (25,4 mm) de ancho, 0,25 pulgadas (6 mm) de profundidad y 4 pulgadas (100 mm) de largo. También establece que los pares de imanes del rotor no se fijan a 120 grados de separación, sino que están un poco escalonados para suavizar las fuerzas magnéticas del rotor.

También afirma que el espacio de aire entre los imanes del rotor y el estator son un compromiso ya que, cuanto mayor sea la separación, más suave será el funcionamiento pero menor la potencia. Por lo tanto, se debe escoger una separación que maximice la potencia, generando un nivel aceptable de vibración.

Howard considera que los imanes permanentes son unos superconductores a temperatura ambiente. Aparentemente para Johnson, la dirección del espín de los electrones que componen los materiales magnéticos, está distribuida aleatoriamente, de modo que su campo magnético neto es casi cero, hasta que los espines de los electrones se alinean por el proceso de magnetización, con lo cual se crea un campo magnético global permanente que se mantiene gracias al flujo eléctrico súper-conductivo.

La disposición de los imanes se muestra en la lámina siguiente, junto con las separaciones entre imanes correspondientes al diagrama mostrado en la patente de Howard.



Esquema de Montaje de Imanes del Motor de Howard Johnson


Howard hizo medidas de las fuerzas de campo magnético y muestran éstos en la mesa siguiente:





Un artículo sobre este esquema se puede ver en: aquí.




El Carousel Motor/Generador de Imán Permanente:
La Patente de EE.UU. 5.625.241, incluida en el Apéndice, presentan los detalles específicos de un generador eléctrico simple accionado solo por imanes permanentes. Este generador puede utilizarse también como un motor. La construcción no es especialmente complicada, como se muestra en la siguiente lámina.



Diagrama del "Carrusel" Moto-Generador de Imán Permanente


Se utiliza una disposición en la que los imanes permanentes están asociados con un conjunto de bobinas intercaladas alrededor del rotor. La operación es auto-alimentada y el detalle de la configuración de los imanes se muestra en la lámina siguiente:



Detalle del Montaje de Imanes del Moto Generador Carrusel


La disposición física del dispositivo no es especialmente complicada como lo muestra la siguiente figura:



Corte Lateral del Moto-Generador Carrusel


Se trata de una patente que definitivamente vale la pena leer, teniendo en cuenta, sobre todo que explicación que en ella hacen sus autores, Harold Ewing, Russell Chapman y David Porter, es bastante sencilla. Esto generador que aparentemente es muy eficiente, parece haber sido pasado por alto hasta hoy.

Resulta bastante claro que los motores de imanes permanentes son una opción totalmente viable para el constructor casero, y que son capaces de generar altos niveles de potencia de salida durante largos períodos de tiempo. Sin embargo, hay que tener en cuenta que los motores que utilizan solo imanes permanentes, son muy difíciles de ajustar, y que, aunque eso no es imposible, los motores el los que se produce un desbalance dinámico de los campos magnéticos usando piezas móviles de materiales especiales como el mu-metal, o pulsos eléctricos aplicados a bobinas (tales como el motor de Charles Flynn o el motor de Stephen Kundel), son mucho más viables para el constructor que está empezando


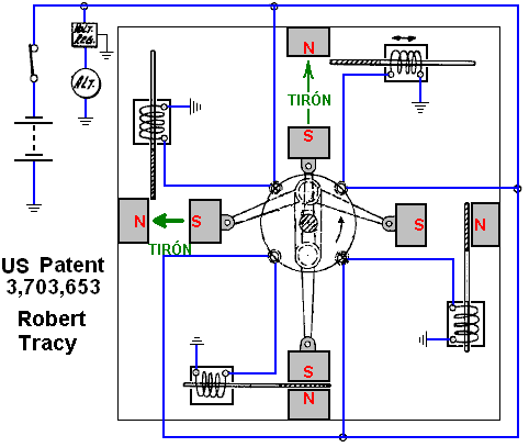
El Motor de Imán Permanente de Robert Tracy
Algunas personas han optado por los motores de imanes permanentes en los que el campo es anulado en el momento oportuno por un componente móvil del propio motor. A Robert Tracy le concedieron la patente de EE.UU. número 3.703.653 el 21 de noviembre 1972, por un "Motor Reciprocante mediante Conversión de Movimiento”. Su dispositivo utiliza escudos magnéticos colocados entre pares de imanes permanentes en el punto apropiado de la rotación del eje del motor, tal como se muestra en la imagen que se muestra más adelante.



Motor de Imán Permanente de Robert Tracy



El Motor de Electroimán de Ben Teal
Los motores de este tipo son capaces entregar una potencia de salida considerable. El motor es muy simple, y fue originalmente hecho por Ben Teal usando madera como principal material de construcción. En junio de 1978, fue galardonado con la patente de EE.UU. número 4.093.880. Él encontró que, usando sus manos, no podía detener el giro del eje del motor, a pesar de lo simple del diseño.





Vista superior y lateral del Motor de Electroimán de Ben Teal


El funcionamiento del motor es sumamente simple y consta sólo de cuatro conmutadores hechos de metal elástico, que son accionados por una leva montada sobre el eje del rotor (Mecanismo Temporizador). Cada interruptor alimenta solo su electroimán cuando este tiene que jalar del cigueñal y se desconecta cuando ha completado la tracción. El motor resultante es muy poderoso y muy simple. Se puede obtener mas potencia, apilando una o más unidades adicionales sobre el mismo eje. El diagrama mostrado más adelante, tiene dos unidades acopladas una sobre otra. Sólo se necesita un conjunto de cuatro conmutadores y una leva, independientemente de la cantidad de unidades acopladas que se utilicen, ya que los solenoides correspondientes de cada unidad están cableados en paralelo, pues jalan todos al mismo tiempo.

La potencia suministrada por el motor Ben Teal, es una indicación de la fuerza potencial de un motor de imán permanente que opera de un modo bastante similar al mover escudos magnéticos para obtener un movimiento de vaivén.

La colocación de una resistencia y un condensador en paralelo con cada interruptor, suprime las chispas y a la vez alimenta de corriente a la batería cuando el contacto se abre, lo cual extiende de forma considerable la duración de la batería usada para alimentar las bobinas.


El Motor de Imán de los Jines
A James E. Jines y James W. Jines les adjudicaron el 23 de septiembre de 1969, la patente de EE.UU. 3.469.130 titulada "Medios para Apantallar y Des-Apantallar Imanes Permanentes y Motores Magnéticos Utilizando a estos mismos", la cual se encuentra en el Apéndice. Este diseño de motor de imán utiliza el blindaje selectivo de los imanes impulsores para producir una fuerza continua en una dirección. También tiene una arreglo mecánica para ajustar progresivamente el blindaje, a fin de ajustar la potencia del motor.





Este es un diseño muy interesante de motor magnético, especialmente ya que no requiere ningún material que no esté disponible fácilmente en muchos proveedores. También tiene la ventaja de no necesitar ningún tipo de ajuste exacto o equilibrar las fuerzas magnéticas para que pueda funcionar.


El Motor de Imán Parmenante de Stephen Kundel
El diseño del motor de Stephen Kundel se muestra con todo detalle en su patente que aparece en el Apéndice. Utiliza un movimiento oscilante sencillo para posicionar los " imanes del estator, de forma que estos proporcionen una fuerza rotacional continua al eje de salida:



Motor de Imán Permanente de Stephen Kundel


Aquí, el brazo amarillo (38), oscila a derecha e izquierda, empujado por una bobina de solenoide (74). No hay razón evidente por la cual este movimiento oscilante no pueda lograrse mediante una articulación mecánica conectada al eje giratorio de salida (10). Los tres brazos (20, 22 y 24), que pivotan en sus extremos superiores, son empujados a una posición central por los muelles (34 y 35). Los imanes (50, 51 y 52), son movidos por estos brazos, provocando una rotación continua del eje de salida (10). El movimiento de estos imanes evita que se llegue a la posición de equilibrio de las fuerzas magnéticas , y que el motor se quede bloqueado en una sola posición.



Las figuras 2 y 3 muestran la posición de los imanes cuando se mueve el motor. La Figura 3 muestra la posición de ellos cuando el eje de salida está en un punto de su rotación 180 grados (media vuelta) más adelante que lo que muestra la Figura 2.

Algunas otras configuraciones más potentes de imanes permanentes, basadas en este diseño básico, se muestran en la patente completa, la cual aparece en el Apéndice.

Este diseño no parece atraer a muchos constructores a pesar del hecho que debe ser uno de los motores de imán más fáciles de configurar y hacer trabajo. El nivel de potencia de salida puede ser tan grande como quieres como pueden agregar capas adicionales de imanes. El funcionamiento es muy simple y, quizás, se aprecia más fácilmente si se considera sólo una palanca. El brazo de palanca tiene sólo dos puestos de trabajo. En una posición que actúa sobre un conjunto de imanes del rotor y actúa en la segunda posición en un segundo conjunto de imanes del rotor. Así que, a su vez miraremos cada conjunto. Si hay dos imanes cerca uno del otro, uno fijo en la posición y el otro libre para moverse así:


Los imanes tienen una fuerte atracción entre ellos debido a los polos norte y sur atrae mutuamente. Sin embargo, como los dos polos sur se repelen mutuamente, el movimiento del imán se aproxima no directamente a lo largo de las flechas verdes aparece pero está inicialmente en la dirección indicada por la flecha roja. Esta situación continúa con el imán móvil acercándose que arregló el imán y el tirón entre los cada vez más fuerte todo el tiempo. Pero, la situación cambia inmediatamente el movimiento alcanza imán es el punto más cercano al imán fijo. Impulso comienza a realizarlo pasado, pero en ese momento la dirección del tirón entre los imanes empieza a oponerse al movimiento hacia adelante del imán móvil:


Si el imán fijo permanece en esa posición, entonces el imán móvil oscilan brevemente y detenerse justo enfrente del imán fijo así:


Las fuerzas de atracción entre los dos imanes está ahora totalmente horizontal y no hay ninguna fuerza sobre el imán móvil para provocar que se mueva. Esto es una cosa simple, entendida por quien ha examinado los imanes permanentes con el fin de ver lo que hacen. Stephen Kundel es consciente de esto, y entonces mueve el imán "fijo" rápidamente fuera del camino antes de que el tirón de la dirección de retroceso ralentiza el movimiento del imán. Él mueve el imán hacia un lado y otro en posición así se desliza:


El nuevo imán está mucho más cercano al imán móvil y así que tiene una influencia mucho mayor en él. Los polos del imán nuevo coinciden con los polos del imán móvil que les lleva a empujar apart muy fuertemente, conduciendo el imán móvil en adelante en la dirección en que se movía. El imán móvil se mueve muy rápido y así sale de la gama de los imanes fijos muy rápidamente, en ese momento, los imanes "fijos" del estator se volvió a su posición original donde actúan de la misma manera en el siguiente imán móvil conectado al rotor.

Esta muy simple operación sólo requiere una pequeña fuerza para mover los imanes del estator lateralmente entre sus dos posiciones, mientras que la fuerza entre los imanes del estator y los imanes del rotor puede ser alta, produciendo energía rotacional considerable al eje en que se unen los discos de rotor.

La eficiencia del sistema es impulsada aún más porque cuando los imanes del estator están en la primera posición que se muestra, el segundo imán "fijo" no está inactivo, pero en cambio, actúa sobre el imán del próximo disco del rotor:


Para esto, los imanes Unidos a disco Rotor 2 debe colocarse de forma que sus polos son el reverso de los conectados a disco 1. Stephen utiliza un altavoz a tambalear la barra horizontal en el cual se montan los imanes del estator, al revés y remite como un altavoz tiene ese mecanismo ya construido en él. Motor de imán permanente de Don Kelly también utiliza esta idea muy simple de mover los imanes del estator del camino en el momento oportuno.


El Motor de Imán Permanente de Charles Flynn
La patentes de los EE.UU. 5.455.474 del 3 de octubre de 1995, se muestra en su totalidad en el Apéndice, y da detalles de este interesante diseño. Dice: "Este invento se relaciona con un método para producir energía útil usando imanes como la fuerza impulsora, representa una mejora importante con respecto a las construcciones conocidas y es sumamente sencilla de construir. Se puede hacer que arranque por si misma, es más fácil de ajustar, y es poco propensa a desajustarse. La presente construcción también es relativamente fácil de controlar, es relativamente estable y produce una cantidad increíble de energía de salida, considerando la fuente de alimentación de energía que utiliza.

La presente construcción usa imanes permanentes como fuente de energía propulsora, pero muestra una forma novedosa de controlar la interacción magnética o acoplamiento entre los imanes que la componen. De una manera relativamente robusta, produce una sustancial cantidad de energía de salida y de torque y es un dispositivo capaz de ser utilizado para generar grandes cantidades de energía”. La patente describe más de un motor. El primero es así cuando se ve de lado:



Vista lateral del Motor de imán permanente de Charles Flynn


La vista en perspectiva que aparece más adelante, muestra claramente las diferentes partes.



Vista en perspectiva de los componentes delMotor de Charles Flynn


Esta construcción es relativamente simple y sin embargo su operación es muy poderosa. La potencia es proporcionada por tres imanes, que se muestran sombreados en azul y amarillo. El imán inferior tiene forma de un disco con los polos ubicados en las grandes caras circulares y planas. Este es el imán del estator que no se mueve. Ubicado justo encima de él, hay un disco de material no magnético (sombreado en gris) y que tiene dos imanes montados. Este disco es el rotor y está unido al eje central vertical.

Normalmente, el rotor no giraría, pero entre los dos discos hay un anillo de siete bobinas que se utilizan para modificar los campos magnéticos y producir una poderosa rotación. La alimentación de estas bobinas es muy simple y es hace mediante pulsos que se generan cuando el rayo de luz ultravioleta de uno de los diodos emisores de luz (LEDs) pasa a través de una de las ranuras del disco de temporización, conectado al eje del motor. Los LEDs y los foto-transistores están alineados con los centros de las siete bobinas. La posición y el ancho de la ranura controla qué foto-transistor se enciende y por cuánto tiempo permanece encendido. Esta es una configuración muy ordenada y compacta. La parte realmente interesante del diseño es cómo modificar las bobinas de los campos magnéticos para generar la potencia de salida del dispositivo. La orientación de los polos de los imanes puede invertirse, siempre y cuando esto se haga en los tres imanes.


Aquí se muestra la situación cuando uno de los imanes del rotor ha girado hasta que está justo encima de una de las bobinas que todavía no está encendida. El polo Sur del imán del rotor, es atraído hacia el polo Norte que es la totalidad de la cara superior del imán del estator, tal como se muestra por las tres flechas del diagrama. Si se aplica un voltaje a la bobina, entonces este acoplamiento magnético se interrumpe y altera.

Cualquier torque que se genere como resultado de la activación de la bobina, se generará hacia cualquiera de los lados de ésta. Si la bobina no es activada, entonces habrá una atracción máxima entre los imanes y no se generará ninguna fuerza de rotación. Usted se dará cuenta que hay dos imanes que rotan (un número par) y siete bobinas (un número impar), de modo que cuando uno de los imanes del rotor está justo encima de una bobina, los otros no lo están. Este escalonamiento de las dos posiciones es esencial para la generación de un torque rotativo suave, continuo y arranque sólo, sin necesidad de hacer girar inicialmente el eje de forma manual.


El diagrama anterior muestra lo que pasa en un momento determinado, con los dos imanes que están montados en el disco del rotor, para explicar el funcionamiento de las bobinas. En la figura izquierda, el imán 56 se superpone a la bobina 32 y a la bobina 34. Entonces, la bobina 32 se enciende y se rompe el vínculo magnético del lado izquierdo del imán 56. Pero, la bobina 34 no se enciende, por lo que la atracción entre el imán 56 y el imán del disco debajo de las bobinas, permanece. A pesar de que esta atracción está en un ángulo hacia abajo, crea un empuje en el rotor hacia la derecha, como lo muestra la flecha roja.

Mientras esto sucede con uno de los imanes del rotor, la situación del otro imán es la que se muestra en la figura de la derecha. Aquí, el imán 54 está justo encima de la bobina 36, que no está encendida, así que no hay fuerza impulsora en ninguna dirección - a sólo una fuerza hacia abajo, jala al imán de rotor hacia el imán del estator q esta debajo de las bobinas. La bobina adyacente 38, tampoco esta activada, así que no tiene ningún efecto sobre la rotación.

Este método de operación es muy parecido al del diseño del motor de Robert Adams que se describe en el siguiente capítulo. Es importante entender que este esquema de operación no tiene nada que ver con el de las bobinas activadas por pulsos eléctricos de John Bedini, donde la rotación de un disco es generada por los pulsos eléctricos aplicados a una bobina, que a su vez, repele a un imán del rotor. En lugar de eso, aquí la bobina actúa como un escudo o blindaje magnético, y por tanto se le da la mínima potencia posible para que haga su trabajo. La bobina es, en efecto, un escudo o blindaje magnético que no tiene partes móviles, así que es un mecanismo muy inteligente para superar la tendencia de que los imanes de rotor se acoplen con los del estator e impidan la rotación.

En cualquier momento, seis de las siete bobinas de este diseño están inactivas, por lo que sólo se alimenta una bobina a la vez. Esto implica que el drenaje de corriente es muy pequeño. Es importante entender que la potencia de este motor, la generan los imanes permanentes que tiran uno hacia el otro. Cada uno de los dos imanes aplica una tracción horizontal al rotor cada séptimo de vuelta es decir, cada 51,1 grados de rotación. Como las bobinas son un número impar, el rotor recibe un tirón magnético cada 25,5 grados de rotación, primero desde uno de los imanes del rotor y luego desde el otro.

De esto se deduce que la potencia del motor se puede aumentar mediante la adición de más imanes. El primer paso en esta búsqueda de potencia adicional, es añadir un segundo imán de disco y un segundo juego de bobinas al otro lado del rotor, de modo que haya un segundo tirón sobre los imanes del rotor. Esto tiene la ventaja adicional de que la atracción del imán de disco superior, balancea la atracción ejercida por el inferior, generando un empuje horizontal más fuerte y equilibrado, como se muestra en la siguiente lámina.



Vista lateral del Motor de Charles Flynn cuando se usa
un segundo juego de bobinas e imán de disco


La activación de bobinas cuando hay una capa adicional encima del rotor, se muestra en el próximo diagrama.



Diagrama de activación de bobinas
cuando se usan dos juegos de Bobinas e Imán de Disco.


Esto produce un mayor empuje horizontal. Aunque este diseño tiene un rendimiento óptimo, Charles sugiere un esquema de construcción mucho más simple, haciendo un anillo de imanes circulares de Neodimio que se consiguen normalmente, en lugar de un imán de disco grande, y usando bobinas circulares del mismo diámetro que los imanes, montadas encima de ellos. Este esquema permite que se construyan rotores de mayor diámetro, lo cual permitirá obtener mayor potencia en el eje de salida. El diagrama correspondiente a este esquema se muestra más adelante.



Esquema simplificado sugerido, usando imanes cilíndricos
de Neodimio y bobinas sobre ellos, en lugar de imán de disco.


Para aumentar aún más la potencia del eje de salida, se pueden añadir conjuntos adicionales de imanes y bobinas (Módulos Motrices) como se muestra en la imagen correspondiente que aparece más adelante.



Diagrama de un motor de Charles Flynn, con varios
módulos dobles acoplados sobre el mismo eje


Se debe recordar que la sección de temporización mostrada anteriormente podría ser sustituida por un circuito temporizador NE555 que genere un flujo constante de pulsos On/Off. Cuando esos pulsos se usan para alimentar las bobinas, el motor gira sincronizándose con la frecuencia de los pulsos. Esto permite tener un control de velocidad del motor, así como evitar la necesidad de un posicionamiento preciso del disco ranurado para que la luz del LED respectivo active al fototransistor correspondiente en el instante apropiado. Si se toma este enfoque, entonces la sección de temporización mostrada anteriormente se eliminaría.

El circuito electrónico que Charles especifica para alimentar las bobinas que bloquean los campos magnéticos de los imanes permanentes, utiliza MOSFET de canal N y es muy simple. En la imagen mostrada más adelante, se puede ver el circuito usado para activar una de las bobinas.

Tan sólo se utilizan cinco componentes. La corriente a través de la bobina está controlada por un transistor. En este caso, es un Transistor de Efecto Campo llamado normalmente "FET" (Field Effect Transistor). Se utiliza el FET más comúnmente usado, el llamado FET de "canal N", que es el aproximadamente equivalente a un transistor NPN, como se describe en el Capítulo 12. Un FET de este tipo se bloquea (deja de conducir corriente) cuando la tensión en su "compuerta" (marcado con "g" en el diagrama) es de 2,5 voltios o menos. Y se enciende (conduce corriente) cuando el voltaje en su compuerta es de 4,5 voltios o más.

En este circuito queremos que el FET se encienda cuando el disco de temporización del motor esté en la posición correcta y que esté bloqueado el resto del tiempo. Esto se logra haciendo brillar la luz de un diodo emisor de luz o "LED" a través de una ranura en el disco de temporización que gira con el eje del motor. Cuando la ranura está enfrente al LED correspondiente a la bobina que debe encenderse, la luz pasa a través de la ranura e ilumina un dispositivo sensible a la luz. Charles Flynn ha optado por utilizar un fototransistor, pero una foto-resistencia como la ORP12, se podría utilizar en su lugar.



Circuito electrónico sugerido por Charles
Flynn para activar las bobinas


Cuando la luz brilla en el dispositivo "Opto1" del del circuito, su resistencia baja dramáticamente, levantando el aumentando el voltaje en la compuerta del FET y encendiéndolo. Cuando la ranura del disco temporizador pasa más alla del LED, la luz se corta, la resistencia de Opto1 aumenta y hace que el voltaje en la compuerta del FET baje, apagandolo. Esta configuración hace que la bobina del motor se encienda y se apague justo en los momentos adecuados, para darle un poderoso movimiento rotatorio al eje del motor. En este circuito, la resistencia "R1" está ahí para asegurar que la corriente que fluye por el LED no sea excesiva. La resistencia "R2" tiene un valor bajo comparado con el de la resistencia de "Opto1" cuando este no recibe luz. Esto hace que el voltaje en la compuerta del FET se mantenga muy bajo en esa condición, y que el mismo se mantenga apagado.

Como se puede ver, este es un circuito muy simple. Sin embargo, como se usa uno de estos circuitos para cada bobina (o para cada par de bobinas, si hay un número par de bobinas en la unidad), el circuito descrito en la patente luce muy complicado. Pero es realmente muy simple. La resistencia "R1" es usada para limitar el flujo corriente por todos los LEDs usados y no sólo de un LED. Aunque se podría usar, por supuesto, una resistencia para cada LED, si se desea. El circuito para activar dos bobinas (sin mostrar el disco temporizacor) se vería como lo muestra la siguiente lámina.



Circuito electrónico sugerido por Charles
Flynn para activar dos bobinas


La sección dentro de la línea punteada verde, es el circuito adicional que se usa para la segunda bobina. Para cada bobina adicional, debe agregarse otra sección semejante al circuito, y entonces, el motor estará listo para funcionar. Si, como sería normal, se usan varias capas de imanes para obtener más potencia, entonces las bobinas ubicadas una sobre la otra. Se conectarían en paralelo como se muestra en la figura siguiente:



Conexión del circuito de Charles Flynn
a un motor con 4 Módulos Motrices


La conexión de varias bobinas "en serie" como se muestra, reduce el número de componentes electrónicos necesarios y esto asegura que los pulsos a cada una de estas bobinas se aplican justo en el mismo instante. También es posible conectar estas bobinas en paralelo. La decisión depende básicamente de la resistencia de las bobinas. Los diagramas de la patente mostrados en las láminas anteriores, parecen indicar que hay un espacio grande entre los LEDs y los dispositivos ópticos. Esta no es probablemente la situación real, ya que la mayoría de la gente haría que este espacio fuese lo mas pequeño posible, decidirían guardar el hueco entre el LED y el dispositivo ligero dependiente lo menos posible, sea mucho mayor que el grosor del disco temporizador.

En su patente, Charles Flynn comenta que este motor de imán puede ser usado para casi cualquier aplicación donde se requiera un motor y donde la cantidad de energía requerida para generar la fuerza impulsora, pueda variar poco o nada. Charles ha producido motores de éste tipo que son capaces de girar a muy alta velocidad (20.000 rpm) y con la torsión sustancial. También se pueden lograr velocidades menores y se puede hacer que el motor arranque por si solo. Debido a la baja potencia requerida para hacer funcionar el dispositivo, Charles ha sido capaz de hacer funcionar el motor con sólo una batería normal de nueve voltios.

Una aplicación que parece muy apropiada para este motor, es el calentador de Frenette que aparece en el Capítulo 14. El uso de este motor para hacer girar los discos dentro del tambor del calentador, da lugar a un calentador que pareciera estas alimentado solo por una batería de 9 voltios. Sin embargo, aunque esto puede ser lo aparente, la realidad es que la potencia proviene de los imanes permanentes y no de la batería. La corriente de la batería sólo se usa para anular el tirón de frenado de los imanes y no para alimentar el motor.

Aunque el uso de un disco temporizador es una configuración adecuada, es también posible usar un circuito electrónico en vez del disco temporizador mecánico, los dispositivos Opto y los LEDs. Lo que se necesita aquí es un dispositivo que produzca una serie de pulsos de voltaje que puedan usarse para aplicar a la compuerta del FET, voltajes menores de 2.5 y mayores de 4.5 voltios. Parece que el conocido chip (circuito integrado) temporizador 555 sería apropiado para esto, además de poderse alimentar con la batería de 9 voltios. Sin embargo, debemos energizar más de un juego de bobinas. Si por ejemplo tenemos que energizar cuatro juegos de bobinas, necesitamos activar cuatro FETs, uno tras otro. En ese caso, podríamos usar un chip "divisor por 8" como el 4022. Este chip se puede configurar para que divida por cualquier valor entre 2 y 8. Todo lo que se necesita para seleccionar el valor divisor, es una conexión entre dos pines (patas) del chip.



Circuito Temporizadór con chips 555 y 4022


El voltaje de salida en los pines marcados como "1", "2", "3" y “4", suben uno tras otro como se muestra en el diagrama correspondiente. De este modo, cada uno de los pines de salida se conectaría a la compuerta de cada FET, y estos se encenderían en ese mismo orden.

Las conexiones para producir las diferentes divisiones con el chip 4022, son las siguientes:

Para dividir por 7, unir pines 10 y 15 Para dividir por 6, unir pines 5 y 15 Para dividir por 5, unir pines 4 y 15 Para dividir por 4, unir pines 11 y 15 Para dividir por 3, unir pines 7 y 15 Para dividir por 2, unir pines 3 y 15

Cuando se usa un circuito así, la rata de pulsos del chip 555 se ajusta a un valor muy bajo, por ejemplo, medio segundo, de modo que el eje de motor pueda arrancar solo. Una vez que esto ocurre, la rata de pulsos se aumenta gradualmente para acelerar el motor. Una ventaja de este método es que permite el control de velocidad, y si el motor se usa para mover un calentador de Frenette, entonces el control de velocidad también actuará como control de temperaturas del calentador.

Una posible configuración del chip 555 se muestra en la próxima lámina.



Posible configuración del Chip 555 con ajuste de velocidad y ancho de pulso


Este circuito permite controlar la velocidad, y cuando esta ha alcanzado el valor apropiado, se puede ajustar el ancho de pulso para que el consumo de corriente sea mínimo a esa velocidad. Por supuesto, hay muchos otros circuitos apropiados para ser usados en lugar de este, y en el Capítulo 12 veremos algunos de ellos, así como la explicación como funciona cada circuito y la forma de construirlos.

En caso de que resulte difícil encontrar imanes circulares con los polos las caras opuestas, como los sugeridos anteriormente, también es posible usar imanes y bobinas rectangulares como se muestra en la figura siguiente.



Posible reemplazo del disco magnético del estator de Charles Flynn
Usando una disco no magnético con imanes rectangulares pegados a él.


Aunque esta configuración no es magnéticamente tan eficiente como la del imán circular, tiene la ventaja de permitir construir un rotor del tamaño que se desee.

Idealmente, a diferencia del estator mostrado en la imagen anterior, debería haber un número impar de imanes, o si no, un numero impar de bobinas. Alternativamente, si se usa un número par de imanes en el estator, el rotor debería tener un número impar de imanes para permitir el autoarranque. Hay que notar, que si se va a usar un sistema electrónico de generación de pulsos para activar las bobinas, es mucho más simple tener un número par de imanes en el estator y arrancar el motor manualmente. Esto se debe a que si hay un número impar de imanes en el estator, los Opto Sensores no están exactamente uno frente al otro y por tanto, las bobinas no deben encender a la vez (ya que se asume que el rotor tiene solo dos imanes separados 180 grados uno del otro). Con un número par de imanes en el estator, las bobinas que están separadas por 180 grados, pueden conectarse juntas, pues deben energizarse justo al mismo tiempo.

Cuando se usa el disco temporizador ranurado, las ranuras están exactamente una frente a la otra y su tamaño debe ser igual al ancho de los imanes del rotor, pero las bobinas que están “casi” una frente a otra, no son energizadas justo al mismo tiempo, aunque sus pulsos de activación posiblemente se superpongan parcialmente en tiempo. Este podría ser compensado electrónicamente usando generando un retardo con un “monoestable” (ver capitulo 12) para el bobina correspondiente al otro lado del disco.

El objetivo de cada bobina es única y exclusivamente, anular el campo magnético del imán permanente que tiene debajo. El campo magnético producido por la bobina depende de la corriente que fluye por ella, del número de vueltas de alambre que tenga, y del área de la bobina. La corriente que fluye depende del diámetro del alambre y del voltaje aplicado a la bobina. Probablemente es mejor montar sólo un imán en el estator y experimentar con la bobina hasta que el flujo de corriente y el campo magnético generado, logren hacer que gire el rotor libremente. Cualquiera que sea la bobina resultante, debería servir para todos los imanes, aunque la fuerza de cada uno de ellos pueda ser ligeramente diferente.




El Dispositivo Magnético de Steorn
La compañía irlandesa Steorn, ha producido un sistema que es casi idéntico al motor de imán de Charles Flynn que acabamos de describir. Ellos llaman a su dispositivo "Orbo" y su funcionamiento es casi igual. El avance hecho por Steorn es que ellos han ideado un sistema de enmascaramiento magnético muy inteligente usando bobinas bobinadas en toroides o anillos de ferrita. Este es un método efectivo de “encender” y “apagar” la atracción magnética. Cuando por la bobina circula suficiente corriente, se genera un campo magnético circular que se mueve en espiral dentro del toroide y que no sale fuera de este. Este campo no genera ninguna atracción en imanes externos. No hace ninguna diferencia si la dirección del flujo de corriente de la bobina es invertido, ya que el campo magnético que resulta sólo gira a lo largo del toroide en dirección contraria, y realiza exactamente el mismo bloqueo magnético que si girase al revés. Si no hay flujo de corriente por la bobina, entonces no se afecta el campo magnético del anillo de ferrita y los imanes permanentes en el rotor son fuertemente atraídos, haciéndolo girar.

En su sitio web, Steorn ilustra su diseño como se muestra en la figura siguiente.



El ORBO, el motor de Steorn


Está construido con cuatro pares de anillos de ferrita que forman el estator y están ubicados a 90 grados unos de otros. Sobre estos anillos se ha bobinado alambre de cobre para construir unas bobinas que son energizadas por pulsos, que se sacan de una batería, mediante un mecanismo temporizador. El rotor tiene incrustados ocho pares de pequeños imanes permanentes, también ubicados en ángulos de 90 grados.

De forma semejante al motor de Adams descrito en el Capitulo 2, la corriente de las bobinas es ajustada al nivel mínimo requerido para que el rotor gire libremente. Entonces, se activa el mecanismo temporizador y el rotor del motor empieza a girar. Los imanes de rotor son fuertemente atraídos a sus anillos de ferrita correspondientes montados en los postes del estator y estoe acelera el rotor.

Si no se aplica ninguna corriente a las bobinas, entonces el rotor oscilará hacia delante y hacia atrás un corto tiempo, antes de pararse con los imanes ubicados tan cerca de los anillos de ferrita como sea posible. Para prevenir esto, el circuito temporizador detecta cuando los imanes alcanzan los anillos de ferrita, y hace circular por las bobinas la corriente minima para anular el campo magnético de los anillos de ferrita. La inercia del rotor hace que este gire más allá, hasta estar más cerca del próximo par de anillos de ferrita, que del que acaba de pasar. En ese momento, se corta la corriente de las bobinas y la atracción de los anillos de ferrita vuelve a operar. Este esquema es idéntico a uno de los modos de operación del motor de Adams.

El siguiente paso es también idéntico al del motor de Adams, pues se le han agregado unas pequeñas bobinas colectoras para convertir un poco de la energía magnética rotativa en energía eléctrica, y con ella recargar la batería activadora, alimentar otro equipo semejante, o ambas cosas.

LA configuración de Steorn para hacer esto, es añadir al rotor un disco adicional con imanes permanentes, y colocar unas bobinas de alambre frente a ellos, como se hace en cualquier generador. El diagrama mostrado por Steorn, utiliza la energía recogida para recargar la batería.


Videos con la presentación de este tipo de motor pueden encontrarse en:   aquí,  aquí   y   aquí


El 28 de octubre de 2015, Steorn anunció su más reciente producto llamado el Cubo de Energía que se parece a esto:


Esta caja contiene una batería de iones de litio, un circuito de recarga y un puerto de salida USB-C. Esta es la última versión de la familia de los puertos USB y es capaz de suministrar 2,1 amperios a 5 voltios, que es capaz de recargar una tableta de ordenador o un teléfono móvil. Si la batería se agota, entonces el circuito de recarga interna puede recargar la batería interna dos veces al día. El precio de venta es asombrosamente alta en €1.200 y que es probable que animar a la gente para ofrecer un rendimiento equivalente a un precio mucho más bajo, lo que supongo que tiene que ser visto como algo bueno.


Tendemos a pensar en este estilo de motor impulsado por imanes es de baja potencia. Este se debe probablemente a que los prototipos hechos para demostrar los principios de funcionamiento, suelen ser pequeños. Estos motores pueden ser muy poderosos y el mostrado en la foto siguiente, diseñado y construido por el Sr. Sung en China, tiene una potencia de 20 kilovatios o 15 caballos de vapor.



El Sr. Sung con su motor.


Y este otro diseño que tiene un mayor diámetro y aproximadamente 144 imanes, tiene una salida reportada de 225 caballos de vapor:



Motor de 144 electroimanes y 225 CV de potencia


Usted notará que cada anillo de electroimanes (bobinas) está desplazado ligeramente con respecto al anterior, lo cual proporciona poderosos pulsos magnéticos de 64 imanes, uno cada 22.5 grados de rotación, así que no es de extrañarse que el motor tenga una enorme potencia en su eje. Algunas bobinas pueden ser usadas como recolectoras de energía si las condiciones de trabajo no requieren la potencia máxima en eje, de manera que se pueda recargar la batería que activa el sistema. El cilindro rotativo interior (rotor), tiene imanes permanentes montados en él.




El Motor de Imán de George Soukup
Solía haber un vídeo interesante en el Internet, mostrando un motor de imán formado por un cilindro de madera en el que se montaban imanes permanentes en una configuración forma de "V", tal como se muestra en la imagen siguiente.



Esquema de montaje de imanes del Motor de George Soukup


Este montaje de imanes (el Norte de los imanes se muestra en color azul y el Sur en color rojo), tiene un punto en el que se pasa de un espaciamiento grande a uno pequeño, lo cual hace que la rotación se pare allí.

La implementación mostrada en este vídeo, tiene los imanes en V bastante más espaciados, como se muestra en la imagen siguiente.



Variante del montaje de imanes del Motor de George Soukup


El ángulo de la V es mucho menos pronunciado, con una separación interior casi cuatro veces mayor que la separación con el anillo exterior. También parece que el último par imanes internos tiene una separación mayor que el resto de los imanes montados.

El alojamiento donde encaja el rotor, tiene un aspecto muy simple, con doce agujeros cilíndricos equidistantes y distribuidos circularmente alrededor hueco donde gira el rotor. En ellos se montan barras cilíndricas con zonas magnetizadas como Norte y Sur distribuidas a lo largo de ellas. EN las fotografías se puede ver que George tiene doce cavidades para alojar hasta doce pilas de imanes del estator, a pesar de que sólo utiliza cinco de ellos para sus demostraciones.



La separación entre el borde del alojamiento y el tambor de imanes del rotor, es bastante grande. El rodamiento que sostiene la parte trasera del eje, esta embutido en la parte trasera del alojamiento.



El frente está compuesto por dos láminas de acrílico. Una para sostener los imanes del estator en su sitio y otra sujetar el rodamiento de la parte delantera del eje del rotor.



Como no hay ningún comentario en el video, es un poco difícil recoger todos los detalles, pero parece que la colocación de imanes del estator permite que el motor venza el punto neutro típico de un motor con una configuración de imanes en V. El vídeo muestra varias configuraciones, incluso la asimétrica mostrada aquí donde se usan cuatro o cinco imanes consecutivos y las ranuras restantes se dejan vacías.






El Motor/Generador de Imán de Dietmar Hohl
Si quieren hacer un motor simple de este tipo, entonces la información proporcionada por Dietmar Hohl les muestra como lograrlo. Él usa para el estator imanes de neodimio de 20 mm de diámetro y 10 mm de espesor, apilado en pares según se muestra en la próxima figura.



La imagen muestra una configuración de compuerta magnética hecha sobre una lámina de MDF (Tabla de Fibra de Densidad Media) de 30 mm de espesor. Los agujeros taladrados en la lámina de MDF son de 20.1 mm de diámetro y deben ser lo bastante profundos para alojar dos de los imanes de 10 mm de espesor, uno sobre otro. Los agujeros se taladran en un ángulo de 63 grados con la horizontal o 27 grados con la vertical, como se prefiera ver. Los imanes insertaos a un lado de la tabla, tienen sus Polos Norte hacia arriba, mientras que los del otro lado, tienen su Polo Sur hacia arriba. Dietmar muestra seis agujeros para colocar tornillos que sujeten la lámina de MDF a una tabla más grande o a una mesa. Ellos no forman parte del sistema magnético y pueden ser omitidos. Un vídeo de una versión de este diseño en acción, puede ser encontrado en aquí.

La compuerta funciona hacienda rodar un grupo de diez imanes apilados uno sobre otro, a lo largo de la pista con los imanes colocados en forma de V, y que pase suavemente a través de la unión con el siguiente juego de imanes colocados en V. Puede haber tantos de estos arreglos de imanes en V como usted quiera, y la pila de imanes seguirá rodando. Este es uno de los pocos diseños de compuerta magnética que opera como si fuese el tambor de un rotor.

Los imanes se colocan en ángulo a fin de usar el borde de sus campos magnéticos, y se apilan en pares a fin de aumentar su poder. La potencia del motor depende de la fuerza de los imanes, de cuan cerca esté el estator cilíndrico de la compuerta en forma de V, y del número de imanes apilados en el estator. Si decide construir uno de estos motores, entonces se sugerimos que se haga las cosas fáciles y que la curvatura del tambor del rotor sea lo menor posible, haciéndolo lo suficientemente grande para acomodar tres o cuatro configuraciones en V a lo largo del mismo. Usando las dimensiones de Dietmar, un tambor en el que se monten dos “V” de imanes, tendrá 216.5 mm (8.5”) de diámetro, un tambor con tres “V” de imanes tendrá 325 mm (12.8”) de diámetro y uno con cuatro “V” a lo largo, tendrá 433 mm (17”) de diámetro. Estas dimensiones incluyen los 30 mm (1 3/16”) de espesor de la tira de material que sostiene los imanes, así que el diámetro interior del tambor será de 60 mm menos en cada caso.

Al hacer el tambor del motor, es posible usar un material flexible para sostener los imanes. Esto permite que la tira de material pueda colocarse sobre una superficie plana mientras se taladran los huecos, y que luego se monte sobre un tambor rígido con un diámetro 60 mm que los mencionados anteriormente. Se puede hacer una guía para que la perforación de los agujeros sea más fácil, tal como se muestra en la siguiente imagen.



Ésta guía tiene un trozo de tubo de cobre insertado en el ángulo correcto, a fin de dirigir la mecha del taladro en el ángulo apropiado. Este motor ha sido construido con éxito por Jes Ascanius de Dinamarca, usando imanes de 10 mm que tenia a la mano, y después con imanes cuadrados que se pusieron en agujeros redondos, sin cuidar de que tuviesen la inclinación adecuada. Este prototipo se hizo para una prueba de concepto, sólo se requirió una hora para construirlo usando materiales que se tenía a mano, y funcionó apropiadamente.



El diseño de Dietmar usando pares de imanes montados en ángulo, requiere gran cantidad de los mismos. Para una sola “V”, hacen falta 58 imanes. Para una versión con 2 “V”, 106 imanes. Para una versión de 3 “V”, 154 imanes y para una versión de 4 “V”, 202 imanes. Si a esto se le agrega los imanes del estator, se deben sumar 10 imanes adicionales por cada pila de imanes del estator. Si el estator tiene por ejemplo 12 pilas de imanes, habría que sumarle 120 imanes más a cada una de las cantidades anteriores. La potencia del motor es posible que aumente a medida que aumente el diámetro, ya que la palanca ejercida por los imanes del estator para hacer girar el rotor, aumenta (si se duplica el diámetro, casi se duplica la potencia).



Simples Motores de Imán Permanente
Es muy difícil utilizar el poder de los imanes permanentes para hacer un motor alimentado por ellos solos. El diseño de Dietmar Hohl se muestra más arriba es uno de los muy pocos que puede ser fácilmente fabricado y probado en el hogar. El problema es que casi todos los imanes tienen un campo magnético simétrico, mientras que lo que se necesita para un motor de imán de propulsión es un campo magnético asimétrico. En consecuencia, los imanes tienen que combinarse de maneras que distorsionan su forma normal de campo. Usted se dará cuenta que en el motor Hohl, los imanes de la unidad están en ángulo y que es una característica importante de la utilización de imanes en los motores.

Escuelas enseñan que el campo que rodea a un imán de barra es la siguiente:


Esto es deducido por dispersión de limaduras de hierro sobre una hoja de papel que se llevó a cabo cerca del imán. Por desgracia, eso no es una deducción correcta como las limaduras de hierro distorsionan el campo magnético por su presencia, cada convirtiéndose en un imán de miniatura en su propio bien. Medición más cuidadoso que muestra el campo realmente producido por una barra de imán es así:


Hay muchas líneas de fuerza magnética, aunque estos diagramas muestran sólo dos de ellos. En realidad, las líneas de fuerza en la esquinas en abanico en tres dimensiones, con líneas curvas, circulares que fluye por encima de la parte superior del imán, líneas circulares por debajo de la cara inferior del imán. Estas líneas de fuerza son más o menos en la forma de un balón de fútbol con la esquina del imán en el centro de la fútbol. En realidad, hay muchas capas de estas líneas de fuerza magnética, así que es como tener toda una serie de balones de fútbol poco a poco cada vez más grandes de todo centradas en la esquina del imán. Es extremadamente difícil trazar esas líneas y mostrar con claridad. El libro de Howerd Johnston “The Secret World of Magnets” (El mundo secreto de Imanes). le dará una buena idea de las líneas reales de fuerza alrededor de un imán de barra. La disposición de estas líneas de fuerza magnética no es generalmente conocida y si 'líneas magnéticas de las imágenes de la fuerza' de Google que sólo encontrará la ficción se enseña en las escuelas. Sin embargo, el hecho importante es que existe un campo magnético giratorio en cada esquina de un imán de barra típica. Se deduce entonces que si una fila de imanes se coloca en un ángulo, entonces habrá un campo neto resultante en una sola dirección. Por ejemplo, si los imanes se rotan cuarenta y cinco grados hacia la izquierda, entonces el resultado sería así:


Con este arreglo, las esquinas opuestas de los imanes, como se muestra aquí, están más abajo y así que debe haber una fuerza magnética neta empujando a la derecha justo encima del conjunto de los imanes. Sin embargo, la situación no es tan simple y sencillo como se puede imaginar. Las líneas adicionales de fuerza magnética que no se ha demostrado en el diagrama anterior, actuar más allá de los imanes e interactúan, creando un campo magnético compuesto complejo. Con frecuencia se encuentra después de cuatro o cinco imanes que debe dejarse antes de la línea de imanes se continúa en un corto espacio.

   

Dos chicos; Anthony y Andreas, han usado este arreglo de imán para crear una pista magnética y tienen un montón de diversión, enviando un imán deslizamiento entre dos de estas filas de imanes en ángulo. Inicialmente, se utilizan los imanes de cerámicos más baratos y tiene un movimiento muy satisfactorio cuando se utiliza un imán de neodimio como el componente móvil:


Usted notará que han logrado una fila de 18 imanes de cerámica a cada lado de la pista y los resultados que obtienen son muy buenos. Tienen tres vídeos en la web en el momento actual:

Video 1

Video 2

Video 3

El imán móvil se compone de cuatro 12 mm x 12 imanes de neodimio mm x 12 mm (o centímetro por centímetro por centímetro) conectados al norte - sur - norte - sur - norte - sur - norte - sur:


No han revelado los detalles de lo que están utilizando (accidentalmente en lugar de por la intención). Los imanes de cerámica del estator son 48 mm x 20 mm x 10 mm con los polos en cada una de las principales caras. Ellos posicionan cada imán con su polo hacia la pista y los imanes a 45 grados de ángulo. Hay una brecha de 15 mm entre los imanes del estator y los imanes móviles en ambos lados de la pista. Tiras de madera dirigen los imanes móviles.

Imanes de neodimio tienen características muy diferentes a los de los imanes de cerámica (y no es solo fuerza del campo magnético). No es inusual para experimentadores encontrar que los dispositivos funcionan bien con un tipo de imán, pero no con el otro tipo. Aquí los desarrolladores también han intentado utilizando dos conjuntos de cinco imanes de neodimio en ángulo a cada lado de la pista y el resultado fue un empuje más potente en sus movimiento de los imanes.


Los imanes se sostienen en pie en esta foto, por espigas de madera clavadas en la tabla base. Éstos utilizaron para evitar cualquier material de sujeción del imán que podría alterar el campo magnético.

El siguiente paso sería para que ellos alimentar un motor usando su técnica de pista magnética. Sin embargo, esto se ha intentado muchas veces y la conclusión es que es MUY difícil cambiar la pista magnética directamente en uno de los que forma un círculo completo. Por lo tanto, sugiero la siguiente disposición:


Aquí, un rotor de disco simple tiene cuatro imanes (del tipo utilizado para bajar la pista magnética) conectada a la parte inferior del disco y coloca de modo que se mueven a través de cuatro sets cortos de cuatro, o en el exterior, cinco en ángulo los imanes del estator a medida que gira el disco. No importa si el eje del rotor es horizontal o vertical. Si el disco gira bien, entonces juegos de dos bobinas de aire-core pick-up pueden situarse entre cada una de las matrices de imán del estator para que la electricidad se genera como el paso de los imanes del rotor por sobrecarga. Si un constructor decide adjuntar dos discos de rotor en el eje uno rotor, entonces los dos rotores deben colocarse para que el eje del rotor empuja cada 45 grados de la rotación en lugar de cada 90 grados como se muestra aquí. Este estilo de motor es definitivamente en el ámbito de la persona promedio a construir debe estar inclinados a hacerlo.

Ha pedido que diga cómo personalmente iría sobre la construcción de un prototipo de esta naturaleza. Como tengo muy limitadas habilidades de la construcción, lo haría así:

Para el cojinete, elegiría a un equipo de enfriamiento del ventilador, ya que estos tienen muy buena rodamientos y si uno no es la mano dentro de un viejo, equipo obsoleto, entonces ellos pueden comprar muy barato. El diámetro del ventilador no es importante. Estos ventiladores generalmente verá algo como esto:


Como la parte del ventilador que gira alrededor de no proyecto normalmente por encima de la estructura fija, un disco de espaciamiento de madera o de plástico es necesario para proporcionar la separación. El disco está pegado al centro del ventilador usando quizás, impacto Evostick, resina de epoxy o super glue. Entonces se parecería a esto:



Entonces, una hoja cuadrada de madera puede atornillarse en el espaciador, así:


Y como tengo esperanzas en la creación de dispositivos mecánicos de buena calidad, entonces sostener un lápiz muy constantemente contra un apoyo y dar a la madera una vuelta, para que el lápiz dibuja un círculo perfecto exactamente centrado en el cojinete del ventilador. Luego, marcando la madera y el espaciador para que cabe ninguna duda sobre cual camino ronda la madera se une en el espaciador, desenrosque la madera y cortar alrededor de la línea de lápiz muy cuidadosamente, alisar los bordes del disco suavemente con papel de lija fino. Atornillar el disco en su lugar, una vuelta debe confirmar que el borde del disco permanece constantemente en su lugar con no dudando del borde. En realidad, si el disco no es perfecto, no es un problema grave como es los imanes del rotor que deben colocarse con precisión, y por eso, otra línea de lápiz puede ser producido por girando el disco cuando se ha determinado la posición deseada.

Imanes permanentes varían enormemente en tamaño y fuerza, así que cuando se compran los imanes, es una cuestión de prueba utilizando una pista del tipo utilizado por Anthony y Andreas. El estator imanes son ángulo de unos 45 grados a la pista y con sólo cuatro de cada lado, se trata de encontrar el espacio entre los dos conjuntos de imanes en ángulo que empuja los imanes del estator más lejos a lo largo de la pista.

Si bien es interesante ver un motor permanente rotar por sí solo, realmente queremos que haga un trabajo útil, por lo que montamos bobinas de salida para que los imanes del rotor pasen sobre ellas durante la rotación:


Un método efectivo para conectar las bobinas de salida proviene de Denis Sabourin de Francia. Las bobinas se enrollan como bobinas bi-filares, es decir, se enrollan con dos longitudes idénticas de alambre una al lado de la otra para cada vuelta, utilizando 50 gramos de alambre de 0,19 mm de diámetro. Luego, se conectan en pares y los pares se colocan en paralelo de esta manera:


Se ha encontrado que este método de conexión es muy efectivo para bobinas que tienen imanes que se mueven más allá de ellos y la salida de coutput se puede usar para alimentar a un ladrón Joule para cargar baterías:







El Motor/Generador de Imán de Muammer Yildiz
Muammer Yildiz ha desarrollado un motor de imán permanente poderoso, lo patentó, y lo demostró al personal y los estudiantes de una universidad holandesa. Durante la demostración, la potencia mecánica de salida fue estimada en 250 vatios e inmediatamente después de que la demostración, el motor fue completamente desmontado para mostrar que no había ninguna fuente de alimentación escondida. Hay un video que muestra esta demostración en este sitio de Internet: aquí



Por favor note que lo que sigue es una traducción automática que se ha intentado hacer a partir del texto original en alemán de su patente, así que seguramente sea perfecta aunque es probable que su contenido sea bastante exacto.


Patente EP 2,153,515         El 17 de Febrero de 2010         Inventor: Muammer Yildiz

DISPOSITIVO QUE TIENE UN ARREGLO DE IMANES


EXTRACTO
El dispositivo tiene un eje de salida (5) apoyado de modo que gira dentro de un estator interior (2), que está rodeado por el rotor (1), que a su vez también está rodeado por un estator externo (3). El rotor (1) está firmemente conectado al eje de salida del motor (5). El estator externo tiene imanes dipolares (6) que están situados en la superficie interior de un cilindro circular (9). Estos imanes exteriores están espaciados uniformemente alrededor de la superficie del cilindro circundante.


DESCRIPCIÓN
Esta invención es un dispositivo para generar un campo magnético alternante que interactúa con un campo magnético estacionario. La interacción de un campo magnético estacionario con un campo magnético alternante ha sido usada durante algún tiempo, por ejemplo en motores de corriente continua sin escobillas y en la levitación magnética.

Un objetivo de esta invención, es proporcionar un dispositivo mejorado para generar un campo magnético alternante que interactúe con un campo magnético estacionario. Esto se logra tal como se explica en la Reclamación 1, por el arreglo especial de los imanes bipolares del estator interior, el rotor y el estator externo que crea un efecto magnético que mantiene al rotor flotando libremente entre el estator interior y el estator externo, comportándose como si fuese un rodamiento magnético.

Sorprendentemente, se ha mostrado que durante la rotación del rotor, la disposición especial de los imanes bipolares del estator interior, del rotor y del estator externo, generan un campo magnético alternante que permite un movimiento del rotor casi totalmente libre de pérdidas, ya que gira entre el estator interior y el estator externo. Este efecto muy útil puede ser usado para una variedad de aplicaciones técnicas, por ejemplo, un rodamiento con una fricción particularmente baja como este, es ideal para apoyar un eje que tiene que girar a la alta velocidad.



En la descripción siguiente, cuando se usan términos matemáticos, y sobre todo términos geométricos, como “paralelo", “perpendicular”, "plano", "cilindro", "ángulo", etc. tal como suele hacerse al producir dibujos técnicos, hay que entender que en la práctica tales cosas nunca se consiguen, debido a las tolerancias industriales de los componentes. Es por lo tanto importante darse cuenta de que esta descripción se refiere a la situación ideal, que nunca se podrá conseguir. Así que, el lector debe entender que las tolerancias generalmente aceptadas se aplicarán en la práctica.

El eje de salida gira alrededor de un eje imaginario, llamado “el centro del eje”. El eje en sí mismo se construye preferiblemente como un cilindro recto, transversalmente circular.

En una de las implementaciones preferidas de esta invención, los imanes se proyectan ligeramente fuera de la superficie del estator interno. Esto se hace también, tanto en el rotor como en el estator externo. Una superposición parcial de dos imanes, se consigue cuando un plano perpendicular al centro del eje, pasa por ambos imanes. Se considera que los dos imanes se superponen si esta situación ocurre.

Una superposición parcial de tres imanes ocurre cuando un perpendicular plano al centro del eje, atraviesa a cada uno de los tres imanes. El grado de superposición no afecta la descripción y la cantidad de superposición de cualquiera de los dos o tres imanes, puede variar entre el 1 % y el 100 %. En este último caso, los imanes se superponen completamente.

En una de las implementaciones preferidas de este invento, los imanes del estator interior y del rotor son capaces de alinearse completamente. Además, el estator externo está construido de modo que pueda girar alrededor del centro del eje, de modo que la proporción de contacto entre los imanes del rotor y los imanes del estator externo pueda ser ajustada para dar cualquier nivel de superposición entre el 0 % y el 100 %.

Así, se tienen tres cilindros imaginarios. Uno formado por los imanes del estator interior, un segundo cilindro formado por los imanes de rotor cuando ellos giran alrededor del centro del eje, y un tercer cilindro formado por los imanes del estator externo. Los ejes de estos tres cilindros son el mismo que el del eje de salida.

Idealmente, el rotor tendrá la forma de un tambor o una taza, es decir, un cilindro hueco transversalmente circular o un pedazo de tubo que tenga uno de sus extremos cubierto por un disco circular. En el centro del disco, el rotor tiene un agujero por el cual para el eje. El disco también puede tener un cuello que es usado para sujetar el rotor al eje por medio de una tuerca que pase por el eje del motor o por tornillos que enrosquen en el cuello. Cualquiera que sea el método usado, debe fijar firmemente el tambor con imanes del rotor al eje del motor. El uso de tornillos que enrosquen en el cuello del rotor, tiene la ventaja de permitir que este sea desmontado para mantenimiento o reparación. La sección de cilindro hueco del rotor, se configura para que es haya un pequeño espacio de aire entre él y los estatores interno y externo.

El cilindro hueco del rotor tiene dos, o más, imanes permanentes montados en el. Estos están uniformemente espaciados alrededor de la circunferencia del cilindro de rotor y colocados en forma paralela al eje motor. El estator externo tiene forma cilíndrica y rodea al rotor, dejando un pequeño espacio de aire entre ellos. Su eje está alineado con el eje del motor. Idealmente, los imanes montados por dentro del cilindro del estator externo, están alineados con el eje del motor y las caras de sus polos son perpendiculares al centro del eje. Es decir que, una línea imaginaria que se dibuje en forma perpendicular a las caras de los polos Sur y Norte de estos imanes, apuntará hacia el centro del eje del motor, y una de las caras de ese imán estará frente al rotor.

También es posible que los imanes del estator externo para ser en forma de vara y formen un anillo completo alrededor de la cara interior del cilindro del estator externo. Si se hace así, entonces los anillos magnéticos deben ser separados unos de otros por espaciadores no magnéticos y la longitud total del estator externo será cubierta por estos anillos magnéticos y espaciadores. En este caso, los estatores interior y exterior se montan de forma fija, uno respecto al otro, mediante soportes u otros métodos de montaje.

Idealmente, el rotor es mantenido en posición por los campos magnéticos de los dos estatores “y flota libre” entre ellos. Este es el método preferido. Sin embargo, es posible que el eje del motor sea igual de largo que el dispositivo completo y que sea soportado en sus extremos por unos rodamientos normales.

Una construcción posible, es hacer que ambos estatores sean piezas separadas. Éstos tienen que ubicarse de forma exactamente simétrica con relación al eje del motor. Las partes del estator externo, también pueden disponerse de forma que se le pueda hacer un ajuste rotativo respecto al estator interior que siempre tiene una posición fija. Otra opción con este arreglo particular, es hacer que distancia de los componentes del estator externos sea ajustable, de modo que la separación entre el rotor y los imanes de estator externo pueda ser a ajustada manualmente.

Un ángulo "alfa" se define como el ángulo entre el eje magnético de un imán del estator interior y una tangente a la circunferencia del estator interior en ese punto. Un ángulo "beta" se define como el ángulo entre el eje magnético de un imán de rotor y una tangente a la circunferencia del rotor en ese punto. Un ángulo "gamma" se define como el ángulo entre el eje magnético de un imán del estator externo y una tangente a la circunferencia del estator externo en ese punto. En una de las implementaciones preferidas de esta invención, cada uno de estos ángulos se encuentra entre 14 y 90 grados.

Es muy ventajoso que los imanes tanto del estator interior como del externo, tengan una sección transversal de forma rectangular o trapezoidal, cuando se les ve cortados por un plano perpendicular al centro del eje. También es muy conveniente si los imanes de rotor tienen un corte transversal circular, cuando se les ve cortados por un plano que sea perpendicular al centro del eje. Otros imanes, con secciones transversales no simétricas como por ejemplo trapezoidal, triangular, o de formas irregulares, también pueden ser usados.

Es importante que todos los imanes del estator interior tengan formas idénticas. Del mismo modo, es importante que todos los imanes del estator externo tengan formas idénticas. También es importante que todos los imanes de rotor tengan la misma forma. Sin embargo, los polos Norte y Sur de los distintos imanes, no se posicionarán de forma idéntica, tal como se describe más adelante.

Los imanes del estator interior, el rotor y el estator externo tienen una orientación magnética que hace que ellos se repelan unos a otros en cada posición angular del rotor. Por ejemplo, los imanes del estator interior pueden tener sus polos Norte mirando hacia afuera y en este caso, los imanes en el rotor tendrán sus polos Norte mirando hacia adentro, hacia el estator interior. Del mismo modo, los imanes del estator externo tendrían entonces sus polos Sur mirando hacia adentro, a fin de repeler el polo Sur de los imanes del rotor, que miran hacia fuera.

Más características, detalles y ventajas de la invención, aparecen en la siguiente descripción y en los correspondientes dibujos, asociados a una implementación de esta invención.



Fig.1 (a y b) es una representación esquemática del dispositivo.





Fig.2a es una vista oblicua del estator con el eje de los imanes paralelo al eje del motor. La Fig.2b es una vista del estator interior con sus imanes montados radialmente respecto al centro del eje



Fig.3 Muestra dos posibles un arreglos de imanes del estator interior



Fig.4 una vista en corte del estator interior, a lo largo de la línea A--A indicada en la Fig.12b



Fig.5a es una vista del dispositivo de fijación, perpendicular al centro del eje y la Fig.5b es una vista del dispositivo de fijación, en la dirección del centro del eje





Fig.6 es una vista en perspectiva del rotor.



Fig.7a es una vista esquemática del estator interior y del rotor. Fig.7b es un diagrama de los posibles ángulos del eje magnético de los imanes en el rotor.



Fig.8a muestra el arreglo magnético del rotor, a lo largo de la dirección X - Y indicada en la Fig.16. Fig.8b es una vista detallada del rotor mostrado en la Fig.8a.



Fig.9a a 9h muestra los ángulos de los grupos de imanes instalados en el rotor, cuando son vistos de lado. Estos se muestran con mayor detalle en una descripción más adelante.



Fig.10 muestra las posiciones de los grupos de imanes embutidos en el rotor. Estas se dan con mayor detalle más adelante.



Fig.11 muestra un corte lateral del arreglo de imanes en el estator externo (3), interno (2) y en el rotor (1).



Fig.12a muestra la configuración del cilindro central y las aletas del estator interno, antes de que sus imanes sean instalados entre las aletas.



Fig.12b muestra la disposición de los imanes del estator interno, vistos desde arriba del eje del motor.



Fig.13 muestra la disposición de los imanes del estator interno. Esta es una vista lateral del de la superficie del estator interno y de su eje. Es decir, que el cuadrado aquí mostrado, es en realidad la superficie cilíndrica del estator interno, vista de lado. En esta vista, no se muestran las aletas entre los imanes, a fin de enfatizar la disposición de los imanes entre si.


DESCRIPCIÓN DETALLADA




Fig.1 muestra una representación esquemática del dispositivo que tiene un estator interior (2), un rotor (1) y un estator externo (3), que están montados coaxialmente alrededor del centro (50) de un eje de forma cilíndrica que gira (5). El estator interior cilíndrico (2) tiene a cada extremo, una tapa con forma de disco circular (13) en la que están montados unos rodamientos (11). Los rodamientos (11), mantiene la posición del estator interior (2) con relación al eje (5). El eje del motor (5) está normalmente hecho de un material no magnético como el plástico, (no acero) y típicamente tiene un diámetro de 10 a 40 mm y una longitud de 100 a 400 mm.

El estator interno (2) tiene un núcleo (12) con imanes (8) montados en su superficie externa. El estator interno (2) se mantiene fijo mediante un dispositivo (4), que está unido a su vez al encapsulado del motor (que no se muestra en el diagrama), para que así se mantenga totalmente inmóvil.

El rotor 1 consiste en dos tambores cilíndricos, y cada uno de ellos es la imagen especular del otro. Cada uno de ellos tiene una sección en forma de tubo cilíndrico, y otra en forma de disco circular que se sujeta al eje del motor (5) por medio de tornillos (10). Cada uno de los tambores del rotor, tiene imanes (7) montados sobre él. Estos imanes (7), son colocados en cinco sitios distintos de cada tambor, y tienen un de sus polos magnético apuntando en forma radial hacia el eje (hacia adentro del motor), y el otro hacia afuera.

Los tambores de rotor se colocan de modo que haya un espacio cilíndrico de aire entre ellos y el estator interior (2). Este espacio de aire, es por lo general del orden de 3 a 50 mm. Aunque las dos mitades del rotor estén separadas por el mecanismo de fijación del estator interno (4), las mitades de rotor se colocan de modo que los imanes dentro de ellos estén equilibrados y así no se genere ninguna fuerza irregular cuando se hace girar el eje (5) a alta velocidad. En los extremos de los tambores del rotor, hay unos imanes (700), ya que el objetivo de este diseño es tener el rotor suspendido magnéticamente.

El estator externo (3) está formado por dos medios cilindros, separados (9). Cada uno de estos medios cilindros (9), contiene imanes (6) montados en su cara interior. Aunque cada sección del estator externo consista en un medio cilindro hueco, los extremos externos del encapsulado del estator externo tienen forma de disco completo, a través de cuyo centro pasa el eje del motor (5), con lo cual forma un encapsulado completo, en lugar de dejar los extremos del dispositivo al aire. Hay un espacio de aire entre las caras de los imanes montados en la superficie interior del estator externo (6) y las caras de los imanes montados en el rotor (7). Estos juegos de imanes están uno enfrente al otro y el espacio de aire entre ellos es también típicamente de 3 a 50 mm. Los imanes en cada uno de los estatores son paralelos al centro del eje (50). Las dos mitades del estator externo están construidas de modo que puedan ser movidas con relación al estator interior, para así ajustar la superposición magnética. Este ajuste del estator externo se puede hacer cuando el motor está funcionando.

Los imanes designados como (6), (7) y (8), son imanes de dipolo y preferiblemente son imanes permanentes, hechos por ejemplo con Sm/Co (Samario/Cobalto) y/o Nd/Fe/B (Neodimio/Hierro/Boro). Tambien es posible que uno o mas de esto imanes sea un electroimán. La densidad de flujo magnético de los imanes (6), (7) y (8) es deseable que esté entre 0.4 y 1.4 Tesla.

El suporte del estator interno, debe ser hecho preferiblemente de un material no magnético como el aluminio, con un grosor de pared de 2 a 10 mm.



La Fig.12a muestra el soporte del estator interior hecho de un material no magnético (como aluminio o cobre). El soporte (12) tiene un cilindro circular (120) a cuya superficie externa están sujetas unas aletas radiales (121). Cada una de estas aletas se extiende a todo lo largo del soporte cilíndrico central (120), desde su base hasta el tope superior. Las aletas están distribuidas uniformemente sobre la circunferencia de cilindro, formando surcos (122). El cilindro (120) tiene un agujero central a lo largo del cual pasa el eje del motor (5). Ambos superficies extremas del cilindro central (120) estan preparadas para que en ellas se monte unos rodamientos (11). El diámetro del núcleo del estator interno (12) es típicamente de 50 a 500 mm con una longitud de 100 a 300 mm. La grosor de las aletas (121), generalmente no es mayor de 100 mm y por lo general suele ser aproximadamente el 20 % de la longitud de las aletas (121).



Fig.12b muestra una representación esquemática del estator interior (2). El estator interior está formado por el núcleo con aletas (12), los imanes (8) y las tapas de los extremos (13). Los imanes (8) son de igual longitud pero esta es a su vez menos que la longitud del núcleo del estator (12). Estos imanes forman la superficie externa del estator, están fijados en los surcos entre las aletas. El primer imán 8-1 se coloca tocando la tapa inferior (13 abajo). Los otros imanes (8) se colocan desplazándolos axialmente una distancia “V” a lo largo del centro del eje (50). El desplazamiento de los imanes se distribuye uniformemente hasta llegar al último imán (8-10) que debe quedar tocando la tapa superior del estator (13 arriba). El desplazamiento axial “V” es la distancia “W” dividida entre “n – 1”, donde “n” es el número de imanes. Así que, el desplazamiento “V” varía con el número de imanes usados. En un arreglo típico, el valor de “V” es el 5 % de la longitud de los imanes (8).

Las tapas de los extremos (13) tienen un diámetro de 50 a 500 mm y un grosor de 5 a 20 mm. Una longitud típica para los imanes (8) es 100 mm. Las dimensiones de estos imanes se escogen de forma que cuando se les monta en los surcos (122), el estator interior (2) tenga una superficie externa bastante uniforme.



La Fig.13 muestra una vista lateral de la superficie externa del estator interior (2). Aquí, diez imanes (8) están montados con un espaciamiento uniforme. La parte de cada imán que se “hunde” en el cuerpo del estator, apunta hacia el eje del motor (50), así que son menos anchos en la parte más cercana al eje del motor que en la superficie externa del estator. El primer imán (8-1) se coloca con su extremo izquierdo alineado con la base (125) del núcleo del estator interior (12). Los otros nueve imanes (8-2 a 8-10), son cada uno desplazados una distancia “V” respecto al anterior, hasta llegar al último imán (8-10), que se apoya en la otra cara del núcleo del estator (126).



Fig.14 muestra un corte transversal por el estator interior (2) a lo largo del plano A--A de la figura Fig.12b. El estator interior (2) tiene un cilindro hueco (120), por cual pasa el eje central (5). Las aletas corren a lo largo de la superficie externa del cilindro (121). El cilindro hueco (120), tiene típicamente un diámetro de 100 mm y una longitud de 170 mm. En los canales formados entre las aletas (121), se colocan los imanes (8). Cuando se ven desde el plano A--A, estos imanes tienen una sección transversal en forma de trapezoide. Los imanes tienen dos polos magnéticos y se colocan de modo que el eje magnético (80) que atraviesa ambos polos, sea radial respecto al centro del eje (5). Un ángulo α [alfa] formado por la intersección del eje del dipolo magnético (80) de un imán (8) y la tangente (81) a las aletas (121), puede tener un valor entre 14 y 90 grados. En el caso mostrado en la Fig. 14, el ángulo Alfa es de 90 grados.



La Fig.15a muestra el dispositivo de fijación del rotor interno (4) en una posición perpendicular al centro del eje (50). El dispositivo de fijación (4), tiene un cilindro hueco interior (40) con un radio más pequeño y un anillo de fijación externo (41) con el radio más grande. El cilindro hueco interior (40) y el anillo de fijación externo (41) están unidos. El cilindro hueco (40) se usa para en su centro y fijar el estator interior (2) por medio de tornillos (10). El anillo de fijación externo (41) es la parte de un contenedor (no mostrado en este diagrama), que mantiene todo el dispositivo firmemente sujeto a la superficie en que se apoya el motor.



Fig.15b muestra el dispositivo de fijación del estator interno (4), en una corte perpendicular al centro de eje (50). El plato de soporte (41) tiene en su periferia, cuatro tornillos (10) para fijarlo a la carcasa que protege a todo el motor. Además, en el centro de este plato hay cilindro hueco (40) que tiene en su circunferencia, varios tornillos 10 para fijar el estator interior, el cual se ubica axialmente en dicho cilindro.



La Fig.16 es una vista del rotor (1), que es sujetado con abrazaderas al eje (5) por medio de los tornillos (10). El rotor (1) consiste en dos tambores separados, sujetos a un eje hueco central. Montados en su superficie externa hay una serie de imanes (7) embutidos en agujeros circulares. El rotor está construido usando un material no magnético como aluminio o cobre. La distancia entre los dos tambores del rotor es 15 mm y tienen un diámetro externo de 165 mm, una altura de 70 mm y un grosor de pared de 26 mm. Cada tambor del rotor tiene una tapa superior en forma de disco (102), en la que hay dos o más imanes (700) embutidos. Estos están colocados uniformemente alrededor de la circunferencia del disco como se muestra en el diagrama. El eje que atraviesa los polos magnéticos de los imanes (700), es paralelo al centro del eje (50).



La Fig17a es representa una posible disposición de los imanes del rotor (1), vistos desde un corte perpendicular al eje del motor (50). El eje del dipolo magnético (70) de los imanes del rotor (7) está en un plano que es radial respecto al centro del eje (50). El ángulo β [Beta] entre el eje dipolo magnético (70) y la tangente (71) al perímetro exterior del cilindro hueco (101) del rotor (1), puede tener valores comprendidos entre 14 y 90 grados.



La Fig.17b es una representación esquemática de las posibles orientaciones de los imanes del rotor (7) cuando son vistos en un corte paralelo al centro del eje (50). El rotor (1) se sujeta al eje (5) por los tornillos (10) y se mantiene rígidamente en su posición. El eje (5) pasa a través de un cojinete de bolas, ubicado en el interior del estator (2) y así puede girar libremente con respecto a este. El rotor tiene dos secciones en forma de tambor, o de campana, que rodean el estator interior. El rotor (1) tiene una sección cilíndrica hueca (101), y otra que se une a la anterior, en forma de cilindro sólido (102). Como el estator interno está inmóvil y no puede rotar debido al dispositivo de anclaje (componente 4 de la Fig. 1), el cilindro hueco del rotor (101) gira alrededor del estator interno. El cilindro hueco (101) del rotor (1), está separado del estator interior (2) por un espacio de aire (G1) también cilíndrico. El cilindro hueco (101) del rotor (1), tiene imanes (7) embutidos en agujeros. La superficie superior (102) del rotor (1) también tiene agujeros en ella y éstos se utilizan para instalar los imanes (700) en ella.



La Fig.18a muestra las superficies exteriores de las dos mitades del tambor del rotor (1), pero aplanadas en lugar de vistas desde una perspectiva cilíndrica. Esta superficie es perpendicular al eje del eje (50) y en ella se colocan imanes (7) formando varias filas (701 a 708). Cada una de estas filas está ligeramente desplazada en relación a la fila junto a ella, lo que resulta en una disposición de los imanes (7) en zig-zag.



La Fig.18b muestra, en detalle ampliado, el posicionamiento de los imanes (7) mostrados en Fig.18a. Los centros de los imanes (7) en las filas (705 y 706) tienen una separación “f” constante entre sus bordes. La distancia entre dos filas adyacentes (por ejemplo la 705 y 706), se elige de manera que la disposición sea la que muestra la Fig.18b con separación magnética constante de longitud “d” entre los bordes de los imanes de filas adyacentes. Por ejemplo, los imanes 7051 y 7052 están separados entre si por las mismas distancias que los imanes 7061 y 7062 de la fila adyacente 706. Además, los centros de los imanes 7051, 7052 y 7061 forman un triángulo isósceles. Esta relación se mantiene para todos los imanes en las siete series, desde la 701 a la 708. Aunque los imanes (7) se muestran en los diagramas como ser circulares, bien podrían ser otras formas tales como cuadrada o hexagonal.

Los rangos de la longitud “d”, van aproximadamente de 3 a 50 mm. Una distancia que suele preferirse a nivel práctico, es la de 5 mm. Los rangos de distancia “f” oscilan entre los 10 y los 70 mm.



La Fig.19a muestra una sección longitudinal del alojamiento mecánico del dispositivo, es decir, una sección paralela al centro del eje (50). El alojamiento mecánico incluye la pieza de soporte (4) para la sujeción del estator interior (2) a fin de evitar su rotación, una montura (19) para guiar las mitades móviles del estator externo (3), y una varilla rotativa roscada (14) que puede moverse las dos mitades del estator externo (3) respecto al rotor y/o el estator interior (2). La varilla roscada (14) tiene dos secciones de rosca, y cada una de ellas enrosca al reves que la otra (una enrosca en sentido de las agujas del reloj y la otra al revés). La rotación de este eje hace que las dos mitades de la carcasa del estator exterior se muevan de manera simétrica en direcciones opuestas, hacia el interior o hacia el exterior. Los dispositivos de guía (19) están montados en el eje de la varilla (14) y por lo que sólo se mueven en un plano. Las secciones cilíndricas exteriores (9) del encapsulado del estator externo (3) están firmemente unidas a las tapas de los extremos (19). Normalmente, este alojamiento mecánico tiene una altura de 400 a 600 mm, una anchura de 400 mm y una profundidad de 530 mm.



La Fig.19b es un corte trasversal del estator externo (3), en un plano perpendicular al centro del eje (50). El estator externo (3) tiene dispuesto dentro de el, un anillo de sujetadores no magnéticos (18), entre los cuales se aseguran los imanes (6). Por razones de claridad, sólo se muestran algunos de los imanes (6), aunque estos imanes están montados en toda la circunferencia del estator exterior (3). El tamaño de los imanes (6) y los sujetadores no magnéticos (18), se elige de manera que formen un cilindro hueco cuyo eje central se encuentra en la misma posición del centro del eje del motor (50). El eje del dipolo magnético (60) de los imanes (6) es perpendicular al centro del eje del motor (50). El ángulo γ [Gamma] entre el eje del dipolo magnético (60) y la tangente (61) a la periferia exterior del hueco cilíndrico del estator externo (3), oscila entre 14 y 90 grados. El estator externo (3) está conectado al bloque de montaje (4), que incluye las columnas de soporte (20)



La Fig.20 es una vista en perspectiva del alojamiento mecánico para el dispositivo. Detalles prácticos adicionales están disponibles en la patente.




El Motor de Imán Permanente de Donald Kelly
En 1979, al Sr. Donald Kelly se le concedió una patente sobre un diseño de motor de imán permanente. El comenta que, aparte de que es muy difícil generar energía suficiente para mover mecánicamente los imanes del estator y lograr una rotación continua, la velocidad de giro resultante es muy baja. Por estas razones, Donald ha optado por mover ligeramente los imanes del estator usando pequeños motores de corriente continua. Su diseño se incluye aquí, ya que es un concepto que es relativamente fácil de entender. La idea general no es diferente a la de Stephen Kundel, que hace oscilar los imanes del estator con un solenoide, como se mostró anteriormente en este capítulo. El objetivo aquí es usar una pequeña corriente eléctrica para generar una rotación más potente de lo que se podría lograr usando esa misma corriente para mover el motor, y así, producir lo que es en efecto, una multiplicación de energía mediante el uso de imanes permanentes. Una copia ligeramente modificada de su patente se muestra en el apéndice.

La estrategia de operación es simple. Ocho juegos de imanes están montados sobre brazos oscilantes. Estos tienen dos posiciones principales. En la primera posición, los imanes oscilantes atraen a los imanes montados en el rotor. Cuando se mueve el rotor debido a esta atracción y llega a un punto donde está a punto de recibir una atracción hacia atrás (frenado) por parte de los imanes oscilantes, la posición de los brazos oscilantes se altera de manera que el primer conjunto de imanes balancines se mueven, quedando en una posición donde tienen poco efecto debido a su mayor distancia respecto a los imanes del rotor. Este movimiento de balance, también mueve los imanes de polaridad opuesta más cerca de los del rotor, repeliéndolos y logrando así “empujar“ el rotor un poco mas allá de donde estaba antes de la oscilación.

En este diseño, la atracción y el empuje se aplican a los diferentes conjuntos de imanes. Si los imanes 1, 3, 5, etc, están siendo jalado (atraídos), entonces los imanes 2, 4, 6, etc, están siendo empujados (repelidos) pero, a pesar de esto, la tracción y empuje se aplican a cada imán de rotor a medida que pasa. La potencia necesaria para hacer funcionar los motores eléctricos es mínima, comparada con la potencia que es suministrada al motor por los imanes del rotor y el estator.



En lugar de usar dos pequeños motores, sería posible hacer funcionar los balancines utilizando pequeños solenoides y si el motor se utiliza para alimentar un generador eléctrico, entonces el diseño se podría convertirse en auto-alimentado, usando algo de la potencia de salida para generar algo de electricidad y usarla para alimentar el dispositivo que se use para mover los brazos oscilantes. El dibujo de arriba muestra sólo una capa del motor, pero puede haber tantas capas como se quiera, cada uno de ellas acoplada a un único eje de salida. Cada capa adicional, aumentara la potencia del motor.




El "Perendev" Motor de Imán de Mike Brady
Uno de los motores de imanes permanentes más ampliamente conocido es el motor "Perendev", que captura la imaginación de la mayoría de la gente. Se dice que decenas de estos motores han sido fabricados y vendidos como moto-generadores, con una salida no menor a los 100 kilovatios. Por lo que yo sé, esto no ha sido confirmado, ni tampoco ha habido pruebas independientes realizadas con el motor, aparte de de una pequeña prueba hecha por Sterling Allan.



Sin embargo, permítanme subrayar una vez más que es muy difícil conseguir cualquier motor que funcione solamente con imanes permanentes, y que es mucho más fácil comenzar con algo como el motor de Adams, que se muestra en el Capítulo 2, o como el motor de Charles Flynn mostrado anteriormente en este capítulo. Tenga en cuenta también, que los imanes utilizados en este diseño, son imanes no estándar, así que serán difíciles de conseguir y probablemente muy costosos debido a eso, y al blindaje magnético especializado que utilizan.

La patente de Mike, número WO-2006/045333-A1 con fecha 04 de mayo del 2006, se muestra en el Apéndice. A mediados del 2010, las muchas dificultad que tuvo Mike para poder producir comercialmente su diseño, hicieron que sus patrocinadores financieros se pusiesen bastante descontentos con la situación. Si Mike está teniendo dificultades para replicar su invento (al igual que Howard Johnson con su motor de imán), entonces un recién llegado a este campo harían bien en seguir con los motores magnéticos que utilizan el movimiento de los imanes del estator, como Don Kelly, Kundel Esteban y otros, o los motores de imán con blindaje mecánico o eléctrico, tales como el motor de Charles Flynn, el de Robert Tracy, o de los Jines.


Protección Magnética Producida por Pasi Mäkilä
Un método de bloquear un campo magnético con materiales sencillos, viene formar Pasi Mäkilä de Finlandia. Su video que muestra esto es a www.youtube.com/watch?v=14ayyu9PVSI y se concentra en la colocación de blindaje alrededor de un imán cilíndrico:


Sin embargo, cuando se utiliza como blindaje general, una serie de capas de acero plano y de aluminio se puede utilizar y mientras Pasi utiliza chapa de aluminio de 1,5 mm de espesor y de acero galvanizado de 1 mm de espesor, sugiere el uso de hojas delgadas. Se sugiere el uso de cuatro capas de acero con una hoja de aluminio entre las láminas de acero y tal vez una o más capas de aluminio en el exterior. El objetivo principal de Pasi es compartir esta disposición para permitir que la gente haga los motores de imanes permanentes. Una disposición que bien puede ser vale la pena probar es utilizar el blindaje para bloquear el arrastre hacia atrás de los imanes del rotor que pasan los imanes del estator, tal vez de esta manera:


Con esta disposición, los polos Sur de los imanes del rotor son atraídos a los polos Norte expuestas de los imanes de estator, haciendo que el rotor gire. Tan pronto como pasa un rotor del Sur el estator polo norte, el estator blindaje bloquea el tirón inversa que normalmente frenar el rotor hacia abajo.

Tenemos entonces la repulsión del polo norte del imán de estator y el polo norte del imán del rotor. Para bloquear eso, un pequeño tramo de blindaje se coloca al lado del extremo norte polo del imán del rotor. Probablemente sería una ventaja para ejecutar el estator polo norte de blindaje en la parte superior y la parte inferior del imán del rotor y causar graves bloqueo magnético.

Este diseño del motor magnético es sólo una sugerencia y que aún no ha sido construido y probado.



La Sugerencia de Doble Rotor.
Cuando usted está considerando blindar los imanes con hierro o acero, tienes que recordar que los imanes del refrigerador pegan a los refrigeradores porque los frigoríficos están hechos de acero. Esto demuestra el hecho de que hay una atracción entre imanes y hierro o acero. En consecuencia, si un imán se blinda con acero para que bloquea la totalidad del campo magnético del imán, un segundo imán será atraído a ese metal que blinda la material. En youtube hay en la actualidad, un vídeo de "magneticveil" donde propone el uso de esta función de protección simple en la construcción de un motor de imán.

Sugiere usando dos rotores dirigido juntos. Los rotores tienen imanes alrededor de sus bordes exteriores, pero para efectos de la explicación, aquí se muestran sólo un par de imanes:



Cada imán es atraída por el material protector del metal entre los rotores. Esto provoca que los rotores para girar en la dirección indicada por las flechas rojas. Los imanes son atraídos por el punto más cercano al escudo que pueden alcanzar como se muestra aquí:



En este punto usted esperaría los rotores detengan y bloqueo en posición estacionaria. Sin embargo, la idea interesante es ajustar la forma del escudo así:



Al final de la pantalla, su anchura es reducida y afilada para que el campo magnético del imán detrás de él coincide exactamente con la atracción del imán en el lado cercano del escudo. Esto tiene el efecto de dar una zona neutral en la punta del escudo, con un atractivo ni una repulsión en esa región. Depende del grado de disminución gradual en la fuerza de los imanes, el espesor y el material del escudo y el espaciado entre los imanes y el escudo, y necesita ser descubierto por el experimento.

Esta zona neutral se detiene allí, siendo un gran tirón entre los imanes y el escudo, y así impulso continúa los rotores más allá del final del escudo. Esto produce una situación como esta:



Aquí, los imanes han superado el escudo y se repele mutuamente fuertemente. Están más allá de los ejes de los rotores, la fuerza repelente produce un efecto de giro en cada rotor. Esta es la situación con sólo un par de imanes, pero cada rotor tendrá muchos imanes en él. Esto produce un efecto de giro adicional. Considerar sólo un par de imanes, en la misma posición como nuestro primer diagrama:



La atracción entre los imanes "A" y el escudo, agrega a la rotación causada por el impulso entre los imanes sin blindaje. Este arreglo de imanes y el escudo debería permitir la rotación continua de los rotores y el motor puede ser detenida por quitar el escudo.

Cabe señalar que este arreglo utiliza los imanes en el modo de repulsión. Es decir, los polos de exteriores de los imanes en ambos rotores son las mismas. Ha habido informes de motores de imán permanente donde los imanes fueron en el modo de repulsión, y mientras que estos motores funcionaron bien, se encontró que después de tres meses, los imanes perdieron su magnetización. Si es posible, los imanes pueden usarse en su modo de atracción. Esto no es posible en el arreglo anterior de doble rotor, así si uno se está construyendo, que puede ser una buena idea para organizar la construcción física de tal manera que los imanes del rotor pueden ser quitados fácilmente. Esto permite remagnetisation de los imanes, o alternativamente, su reemplazo si se utilizan tipos muy baratos.






El Motor de Imán Permanente de Victor Diduck
En EE.UU. el número de solicitud de patente US2007/0296284 de 27 de diciembre de 2007, en ella se muestra un diseño convincente de un potente motor de imán permanente. Aquí está una de las realizaciones de esa patente - uno que se parece bastante fácil de construir.

Motor Magnético

Resumen:
Un motor magnético que tiene un conjunto de accionamiento magnético acoplado magnéticamente a un conjunto de esclavos magnética. El conjunto de accionamiento tiene al menos un imán de accionamiento. En una realización, el imán de accionamiento está montado en un carenado. En otra realización, el imán de accionamiento está montado sobre una rueda motriz. El conjunto de esclavo tiene al menos una rueda esclavo montado sobre un eje esclavo. Al menos un imán esclavo está montado en la rueda esclavo. En una forma de realización de esclavos imanes se montan en ranuras que corre diagonalmente a través de la cara de la rueda esclavo. En otra realización, los imanes de esclavos están montados en las muescas cortadas en la rueda esclavo. El imán de accionamiento se acopla magnéticamente al imán de esclavos con los postes dispuestos en una orientación como - caras -como. La brecha entre el imán conductor y el imán esclavo se puede ajustar con el fin de optimizar el acoplamiento magnético entre ellos el. La rueda de esclavos y su eje de esclavos son obligados a girar por el acoplamiento magnético entre el imán conductor y el imán esclavo. El eje esclavo puede estar acoplado a un dispositivo de salida tal como un generador eléctrico.


ANTECEDENTES DE LA INVENCIÓN
Ha habido un número de intentos para motores magnéticos perfectos; por ejemplo, la Patente de EE.UU. N º 4.151.431, expedida a Howard Johnson. Sin embargo , en la mayoría de estos dispositivos no se han alcanzado los modelos de trabajo. Con el fin de hacer que un motor de imán permanente operar es necesario para llevar a cabo una función de conmutación equivalente al logrado en motores eléctricos por los cepillos, conmutadores, alternando los medios actuales, u otros. En los motores de imanes permanentes fugas magnéticas debe ser blindado para reducir pérdida de energía en forma de energía por corrientes de Foucault. Se requiere una combinación adecuada de los materiales, geometría y concentración magnética con el fin de ser capaz de construir un motor magnético que puede funcionar de forma continua.

RESUMEN DE LA INVENCIÓN
Se proporciona un motor magnético que comprende un conjunto de accionamiento magnético acoplado magnéticamente a un conjunto de esclavos magnética. El conjunto de esclavos magnético incluye un eje esclavo giratorio sobre el cual está montado al menos una rueda giratoria esclavo. Tras la rueda esclavo está montado al menos un imán esclavo. El conjunto de accionamiento magnético incluye al menos un imán de accionamiento que está acoplado magnéticamente al imán esclavo en una orientación como - caras – como. Como resultado del acoplamiento magnético entre el imán conductor y el imán esclavo, fuerzas magnéticas producidas entre el imán de accionamiento acoplado y el imán esclavo accionar la rueda esclavo giratorio, haciéndolo girar y por lo tanto haciendo que el eje esclavo para girar. El eje esclavo está acoplado a un dispositivo de salida tal como el inducido de un generador eléctrico.

El conjunto de esclavos está acoplado a un marco. Las ruedas de esclavos están fijados al eje de modo que las ruedas giran juntos. Cada rueda esclavo ha incorporado en su superficie una pluralidad de imanes de esclavos establecido en hendiduras cortadas en la rueda esclavo. Un polo de cada imán esclavo está expuesta y orientada hacia fuera de la superficie de la rueda esclavo, y el otro polo del imán se enfrenta a la rueda esclavo. O bien el polo norte o el polo sur de los imanes de esclavos pueden mirar hacia afuera, siempre y cada imán tiene el mismo polo hacia el exterior.

En una realización, las muescas en las ruedas de esclavos para recibir la forma de esclavos imanes separados, ranuras paralelas corriendo de un lado de la superficie de la rueda de esclavo a la otra para la recepción de los imanes de esclavos. El ángulo de cada ranura a través de la superficie de la rueda esclavo es preferiblemente de aproximadamente 35 grados con respecto a la horizontal. La dirección de orientación de las ranuras de la otra de las ruedas de esclavos es también aproximadamente 35 grados fuera de la horizontal, pero en la dirección opuesta a la de la primera rueda.

En otra realización, las muescas en las ruedas de esclavos para recibir los imanes esclavos son muescas cortadas en la rueda de esclavo a intervalos medidos y iguales a lo largo de los bordes de la rueda, siendo preferidos los intervalos de 45 grados.

En esta forma de realización "carenado" de la invención, el conjunto de accionamiento magnético comprende un par de carenados no magnéticos que rodean y encierran cada una de las ruedas de esclavos sustancialmente. Cada par de carenados forma una superficie semi - circular que tiene un diámetro ligeramente mayor que el diámetro de su respectiva rueda esclavo. La curvatura cóncava de los carenados se enfrenta a las ruedas de esclavos. Montado en la superficie convexa de los carenados hay una pluralidad de imanes permanentes de accionamiento. Los imanes de accionamiento están montados de forma que muestran a los imanes de esclavos el mismo polo como los imanes de esclavos presentes a los imanes de accionamiento; es decir, - como caras - como: de norte a norte o de sur a sur. Ni los carenados ni sus imanes de accionamiento giran.

En las diversas realizaciones, la brecha entre los imanes de accionamiento y los imanes de esclavos es ajustable.

BREVE DESCRIPCIÓN DE LOS DIBUJOS
Otras características y ventajas de la invención serán evidentes a partir de la siguiente descripción detallada tomada en conjunto con los dibujos adjuntos, donde:


Fig.1 es una vista en perspectiva de la encarnación de la carcasa del motor magnético con volantes adjunta.






Fig.2 es parcialmente desmontado vista en perspectiva de la encarnación de la carcasa del motor magnético.






Fig.3 es un esquema de colocación del imán en la carcasa.






Fig.4 es un diagrama esquemático de la rueda de un esclavo de la encarnación de capots mostrando la posición de los imanes permanentes.






Fig.5 es un diagrama esquemático de la otra rueda de esclavo de la encarnación de capots mostrando la posición de los imanes permanentes.

DESCRIPCIÓN DETALLADA DE LA INVENCIÓN En los varios embodiments de la invención que generalmente se proporciona un conjunto impulsor magnético y un montaje magnético esclavo, con un campo magnético tal que cuando hace girar el conjunto impulsor de acoplamiento el conjunto impulsor a la Asamblea esclavo causas la Asamblea esclava girar. El acoplamiento es totalmente magnético, donde sin cadenas, engranajes, poleas, unidades de gusano u otros acopladores físicos son necesarios.


Fig.1 y Fig.2 muestran una primera plasmación de la invención, contemplada en el presente como la encarnación de la "cubierta". En esta encarnación la Asamblea magnética esclava del motor magnético 101 comprende dos ruedas sólidas esclavo no magnético 102 y 202, visto más claramente en la Fig.2. Las ruedas del esclavo están montadas sobre un eje auxiliar 201. Fig.1 muestra a una encarnación en cuales mosca-ruedas opcionales 301, 401 se montan en el eje del esclavo 201. Mosca-montar las ruedas pueden ser convenientemente en o cerca de los extremos del eje del esclavo. Un dispositivo 1301 para generar corriente eléctrica es siempre que está acoplado directamente al eje del esclavo, o indirectamente junto a través de un volante, como se muestra en la Fig.1, o aunque algún otro elemento de la Asamblea magnética esclava.

Salvo elementos observados en el presente, la invención está fabricada de un material no magnético. Pheotic materiales de plástico o de cerámicos son actualmente recomendado: para las ruedas de esclavo y ruedas, pero una amplia variedad de materiales no magnéticos es aceptable siempre y cuando el material no crear o agravar las corrientes de Foucault. El diámetro de las ruedas de esclavo en los modelos actualmente en funcionamiento es aproximadamente 10 pulgadas (250 mm) y la anchura aproximadamente 5 pulgadas (125 mm). Las dimensiones óptimas de las ruedas del esclavo se determinará por la aplicación específica de la invención.

Como se ve en la Fig.2, la rueda de cada esclavo tiene una pluralidad de surcos corriendo de un lado a otro. Una tal ranura se señala 701. Las ranuras de una rueda están orientadas a un ángulo de unos 35 grados al borde de la rueda auxiliar, mientras que los surcos de la segunda rueda se orientan en unos 35 grados a la orilla opuesta, como puede verse claramente en la Fig.2.

     

Fig.4 y Fig.5 demuestran la orientación de los surcos y la colocación de los imanes de esclavo. Los rectángulos 104 y 105 representan las superficies de las ruedas del esclavo como si fuera plana puesta. Las ranuras en la pendiente 104 de esclavo de la rueda hacia abajo de izquierda a derecha en un ángulo de unos 35 grados con la horizontal. Las ranuras en la pendiente 501 de esclavo de la rueda hacia arriba de izquierda a derecha en un ángulo de unos 35 grados con la horizontal. En la Fig.4, surcos 204, 404, 604 y 804 son representativos de las ranuras de la rueda de un esclavo. Surcos 205, 405, 605 y 805 de la rueda auxiliar representado en la Fig.5 son representativos de las ranuras en la otra rueda de esclavo.

Imanes esclavo se caben en las ranuras. En la Fig.4, representante auxiliar imanes son 304, 504, 704, 904, 1004 y 1104. La posición preferida de los imanes de esclavo es que dos ranuras adyacentes tienen imanes colocados en sus extremos como se muestra con 704 en surcos 204 y 404, 504 y 304. La ranura siguiente 604 tiene un imán único esclavo 904 centralmente colocado. Se repite este patrón de dos ranuras con imanes de final y el tercero con un imán central. La encarnación preferida tiene un total de 9 surcos y 15 imanes esclavo por rueda de esclavo. Fig.5 muestra que el mismo patrón se utiliza en la segunda rueda de esclavo, por ejemplo en la manera en que esclavo imanes 305, 505, 706, 905, 1005 y 1105 se colocan en ranuras 205, 405, 605 y 805.

En la encarnación preferida, el polo norte del imán de cada esclavo enfrenta hacia fuera de la ranura; Sin embargo, con el polo sur hacia el exterior produce resultados igualmente satisfactorios. Los imanes pueden ser pegados en su lugar o de lo contrario fijados firmemente para que no cambie. El atractivo obliga a producir si polos opuestos se permite hacer contacto magnético requiere aproximadamente 1200 pies-lb para superar estos imanes. Imanes esclavo y unidad son imanes permanentes y tienen el mismo Polo hacia el exterior, produciendo fuerzas repulsivas del orden de un medido gauss 38.

La Asamblea de la impulsión magnética de la encarnación "carcasa" comprende emparejados capots de concha de almeja 601a, 601b y 501a, 501b, mejor visto en Fig.2, que demuestra los capots en posición abierta, exponiendo las ruedas esclavo. Fig.1 muestra los capots en posición cerrada, en el que opera la invención. Manivelas 1001, 1101 operan gusano-unidades para proporcionar para abrir y cerrar los carenados para ajustar la distancia entre los carenados y las ruedas de esclavos y, por tanto, la brecha entre los imanes de disco y los imanes de esclavo.

Fig.1 muestra también imanes de disco 701, 801 colocados en la superficie externa de capots 501a y 601a respectivamente. Una pluralidad de ferro-magnético pernos 901 penetrar la cubierta cubierta a través de los orificios roscados. Estos pernos modificar el campo magnético y eliminan puntos muertos. La colocación de los imanes de disco y los pernos se analiza más adelante.

De Fig.1 puede verse que la curvatura de los capots de concha de almeja emparejados combinada resulta en ellos casi rodea su rueda respectiva esclavo en la posición cerrada. Es decir, cada miembro de un par de cubierta rodea algo menos de 180 grados de la circunferencia de la rueda auxiliar para que cuando se yuxtaponen en posición cerrada, juntos rodean casi 360 grados de la circunferencia de la rueda auxiliar


Fig.3A y Fig.3B representan un patrón para el montaje de los imanes de esclavo en la superficie exterior, o convexa, de un par de carenados. La cifra representa las transportador-mitades 103, 703 como si plana puesta. Las líneas de guía se encuentran en la figura para indicar las líneas longitudinales de disección 403 y líneas horizontales 503 dividiendo cada transportador en octavos.

Con respecto a la media cubierta en Fig.3A, dos imanes de tracción permanente, 203, 303 están pegadas a la superficie exterior de la carcasa en línea 403 diseccionar la cubierta longitudinalmente. Un imán de la unidad 203 se coloca aproximadamente una octava parte de la forma de un extremo. El segundo imán unidad 303 se coloca tres octavos del camino desde el extremo opuesto. Ferro-magnético pernos 603 se insertan en la cubierta a través de los orificios roscados. El propósito de los pernos es modificar el campo magnético para eliminar puntos muertos.

Con respecto al carcasa del medio muestra en Fig.3B, imán de accionamiento 803 se coloca tres octavos del camino desde un extremo e imán de accionamiento 903 se coloca un octavo (¿dieciseisavo?) del camino desde el otro extremo. Otra vez, ferro-magnético pernos 603 se proporcionan para la eliminación de puntos ciegos en el campo magnético.

El diámetro a través de cada rueda del esclavo es aproximadamente de 10 pulgadas (250 mm). El diámetro medido desde la parte inferior de la ranura 404 es 9 pulgadas (225 mm). En consecuencia, la longitud del arco desde el fondo de un surco en el fondo de un surco adyacente es Pi pulgadas (es decir, 3,14 pulgadas o 80 mm).

Los imanes de disco son pegados o de lo contrario fijados firmemente a las superficies exteriores o cóncavas de los capots. Suponiendo que los imanes de esclavos han sido montados en los surcos de las ruedas del esclavo con el Polo Norte hacia hacia afuera, el polo norte del imán de cada unidad se fija contra la superficie de la cubierta así como polos cara uno al otro. Como los carenados se mueven hacia las ruedas esclavo girando las manivelas 1101, 1001 los imanes de disco repelen los imanes esclavo, causando que giran las ruedas de esclavo.

Ajuste de la distancia entre los carenados y las ruedas del esclavo mediante manivelas 1101, 1001 ajusta la fuerza de la interacción de los campos de la impulsión imanes e imanes de esclavos y, por tanto, el esfuerzo de torsión en las ruedas de esclavo.

Como se muestra en la Fig.1, mosca-ruedas 301, 401 puede montarse opcionalmente en el eje del esclavo. La posición preferida es en o cerca del extremo del eje.

Esclavo eje 201 gira así como resultado de la fuerza magnética de los capots se aplica a las ruedas del esclavo. Este eje puede acoplarse a una salida como la armadura de un generador de 1301, directamente o a través de un volante, como se muestra. Alternativamente, el motor magnético podría sí mismo conduce una bomba hidráulica de una transmisión, reduciendo así los componentes de transmisión números y la complejidad general de transmisiones. Muchas aplicaciones para este motor evidente una vez que se realiza mediante el uso de tracción permanente muy fuerte potencia útil imanes puede generarse.

Es posible variar las dimensiones de las ruedas del esclavo. En la actualidad, el diámetro recomendado: es de aproximadamente 10 pulgadas (250 mm) y una anchura de 5 pulgadas (125 mm). El motor puede funcionar con el eje del esclavo 201 vertical u horizontal. Mientras que el aluminio es un material adecuado para el motor, el uso de un material duro de plástico o de cerámica también se han utilizado con éxito. Pheotic plástico es actualmente recomendado.

Mediante el uso de dos ruedas de esclavo en lugar de sólo uno, cualquier puntos muertos en una rueda será compensados por la otra rueda. El límite superior o el número de ruedas esclavo aún se desconoce. El límite inferior es uno.


El Motor de Imán Permanente de Harold Miller y Andrew Colson
Un motor de imán permanente muy grande, muy pesado y más caro puede verse que operan en estos lugares:
YouTube 1
YouTube 2
YouTube 3

Este es un potente motor, de arranque automático y tiene un foro de desarrollo aquí:
Energetic forum


Este es un diseño de movimiento alternativo y, en teoría, el movimiento alternativo no es tan eficaz como un sistema puramente de rotación como el Charles Flynn o los diseños Robert Adams. Sin embargo, aquí es un extracto de la patente:

Patente de EE.UU. 8.487.484        16 de junio 2013        Inventores: Harold Miller Jr & Andrew Colson Jr


Dispositivo de Accionamiento de Imán Permanente y el Método Operativo


Abstracto:

Un aparato de accionamiento magnético incluye portadores primero y segundo imán que llevan disposiciones de imanes permanentes primero y segundo. Un soporte de imán intermedio situado entre el primer y segundo soportes de imanes lleva tercera disposición de imanes permanentes. Los soportes de imanes están dispuestos para la rotación relativa entre sí de manera que las disposiciones de imanes producen interacciones magnéticas que dan lugar a fuerzas de carrera de potencia haciendo que las soportes de imanes para someterse a un movimiento relativo alternativo en direcciones primera y segunda porciones de carrera durante zona de la energía de la rotación relativa. Las interacciones magnéticas imparten sustancialmente ninguna fuerza de trazo potencia durante porciones zona muerta de la rotación relativa. Las zonas muertas incluyen posiciones de rotación relativa soporte de imán en el que los polos magnéticos opuestos están mutuamente alineados coaxialmente, pero producen un equilibrio equitativo de empujar y tirar las fuerzas magnéticas. El aparato puede ser sincronizado de modo que las zonas muertas coinciden con el punto muerto superior y punto muerto posiciones movimiento alternativo relativo del fondo.

Descripción:

ANTECEDENTES DE LA INVENCIÓN

1. Campo de la invención

La presente invención se refiere a las unidades mecánicas que convierten las fuerzas de entrada (o pares aplicados a una unidad de entrada) a las fuerzas o pares de salida (entregados a una salida del convertidor). Más particularmente, la invención se refiere de movimiento alternativo sistemas de accionamiento que realizan la fuerza o conversión de par por medio de las interacciones del campo magnético entre los imanes permanentes.

2. Descripción de la Técnica Anterior
A modo de antecedente, hay numerosas patentes, solicitudes de patentes publicadas y otras publicaciones que proponen el uso de imanes permanentes para accionar dispositivos de pistón de accionamiento, tales como convertidores de movimiento, transmisores de potencia, motores y otros aparatos. En muchos casos, los dispositivos propuestos reflejan las concepciones que han probablemente nunca han construido y que sería poco probable que produzca beneficios prácticos si es que alguna vez se construyeron. Esto no quiere decir que tales revelaciones son inoperantes. De hecho, muchos sistemas de accionamiento de imán permanente se han construido, y solo hay que consultar el popular sitio web YouTube para ver varios videos que muestran este tipo de dispositivos.

Sin embargo, nadie, al parecer, se ha dirigido a la construcción de la unidad de imán permanente desde el punto de vista de un diseñador de motor que tiene en cuenta los principios básicos de funcionamiento del motor alternativo. Un requisito aparentemente no reconocido es la necesidad de relajarse periódicamente los componentes de accionamiento con el fin de facilitar el movimiento de vaivén continuo. En lo que se sabe, este problema no ha sido abordado hasta la fecha y puede ser una razón por unidades de pistón de imanes permanentes han permanecido en gran medida el dominio de los aficionados y manitas.


RESUMEN
Un avance en la técnica es proporcionada por un aparato de accionamiento magnético que tiene una nueva disposición de imán que es particularmente adecuado para la operación de movimiento alternativo. En una realización, el aparato de accionamiento magnético incluye portadores primero y segundo imán que llevan disposiciones de imanes permanentes primero y segundo. Un soporte de imán intermedio se coloca entre el primer y segundo soportes de imanes, y lleva a una tercera disposición de imán permanente. El soporte de imán intermedio y el primer y segundo soportes de imanes están dispuestos para la rotación relativa entre sí (la rotación relativa). Durante dicha rotación relativa, las disposiciones de imanes producen interacciones magnéticas que dan lugar a fuerzas de propulsión. Las fuerzas de carrera de potencia hacen que el soporte de imán intermedio y el primer y segundo soportes de imanes para someterse a un movimiento alternativo con relación a otra (movimiento alternativo relativo) en direcciones primera y segunda porciones de accidente cerebrovascular durante zona de la energía de la rotación relativa. Las interacciones magnéticas imparten sustancialmente ninguna fuerza de trazo potencia durante porciones zona muerta de la rotación relativa. Las zonas muertas abarcan posiciones rotacionales relativas de los soportes de imanes en el que los polos magnéticos opuestos de la primera, segunda y tercera disposiciones de imanes permanentes están mutuamente alineados coaxialmente pero producen un equilibrio substancialmente igual de empuje y tire de fuerzas magnéticas. La rotación relativa y el movimiento alternativo relativo entre el soporte de imán intermedio y el primer y segundo soportes de imanes se pueden sincronizar de forma que las zonas muertas se producen próxima al punto muerto superior y el punto muerto posiciones alternativo relativo inferiores de los soportes de imanes (que es donde la relajación de se desea fuerzas de carrera de potencia), y de modo que las fuerzas de carrera de potencia se producen entre el punto muerto superior y punto muerto posiciones movimiento alternativo relativo de fondo (que es donde se desea la fuerza magnética máxima).

En una forma de realización del aparato de accionamiento magnético, existe una zona de transición en cada transición entre una de las zonas muertas y una de las zonas de potencia. Cada zona de transición representa un período de transición entre los soportes de imanes que experimentan sustancialmente ninguna fuerza de trazo de energía y fuerzas sustancialmente carrera máxima potencia.

En una forma de realización del aparato de accionamiento magnético, la primera disposición de imán permanente, la segunda disposición de imán permanente y la tercera disposición de imán permanente comprenden cada uno un conjunto de imanes dispuestos en un patrón de imán. Los imanes están orientados en sus respectivos soportes de imanes para presentar un primer polo magnético en un primer lado portador de imán y un segundo polo magnético en una segunda cara del soporte imán. Cada patrón de imán puede tener un número par de imanes. En cualquier lado de soporte de imán dado, puede haber un número igual de polos N y S dispuestos en al menos una primera agrupación n-imán que tiene polos magnéticos n adyacentes de una primera polaridad y al menos un segundo grupo n-imán que tiene n adyacente magnética polos de una segunda polaridad, con "n" es un número par.

En una forma de realización del aparato de accionamiento magnético, la primera soporte de imán tiene un lado interior que se enfrenta a un primer lado del soporte de imán intermedio para formar una primera zona de interacción magnética, y el segundo soporte de imán tiene un lado interior que se enfrenta a un segundo lado de el soporte de imán intermedia para formar una segunda zona de interacción magnética. En esta configuración, las fuerzas de carrera de potencia se impartirán cuando todos los polos magnéticos opuestos en la primera y segunda zonas de interacción magnética están coaxialmente alineados en las porciones de la zona de alimentación de relativa rotación soporte de imán para ya sea mutuamente repeler o atraer entre sí. En particular, las fuerzas de carrera de potencia producirán movimiento alternativo relativo en una primera dirección cuando opuestos polos magnéticos en la primera zona de interacción magnética están todos alineados coaxialmente para repeler mutuamente mientras se opone a los polos magnéticos en la segunda zona de interacción magnética están todos alineados coaxialmente a mutuamente se atraen entre sí. Por el contrario, las fuerzas de carrera de potencia producirá un movimiento relativo alternativo en una segunda dirección cuando opuestos polos magnéticos en la primera zona de interacción magnética están todos alineados coaxialmente para atraer mutuamente mientras se opone a los polos magnéticos en la segunda zona de interacción magnética están todos alineados coaxialmente para repeler mutuamente El uno al otro. Las zonas de potencia también se pueden extender a cierta distancia de rotación a cada lado de las posiciones de alineación coaxial.

En una forma de realización del aparato de accionamiento magnético, cada zona muerta incluye una posición de rotación relativa de los soportes de imanes en el que uno medio de los polos magnéticos opuestos en la primera y segunda zonas de interacción magnética están alineados coaxialmente para repeler mutuamente entre sí y la otra mitad de los polos magnéticos opuestos en la primera y segunda zonas de interacción magnética están coaxialmente alineados para atraer mutuamente. Las zonas muertas también pueden extenderse a cierta distancia de rotación a cada lado de las posiciones de alineación coaxial.

En una forma de realización del aparato de accionamiento magnético, un eje principal se puede extender a través de cada uno de los soportes de imanes. El eje principal puede tener un eje longitudinal central y puede ser giratorio alrededor de, y capaz de movimiento alternativo a lo largo de, el eje longitudinal. Una primera porción de extremo del eje principal se puede adaptar para acoplamiento operativo a un componente de entrada que hace girar el eje principal. Una segunda porción de extremo del eje principal se puede adaptar para acoplamiento operativo a un componente de salida que es accionado por el movimiento alternativo del eje principal. El eje principal puede estar acoplado de forma giratoria en o bien el soporte de imán intermedio o el primer y segundo soportes de imanes, que la rotación del eje principal alrededor de su eje longitudinal, de tal produce la rotación relativa entre el soporte de imán intermedio y el primer y segundo soportes de imanes. El eje principal puede acoplarse axialmente a ya sea el soporte de imán intermedio o el primer y segundo soportes de imanes, de manera que el movimiento alternativo del eje principal a lo largo de su eje longitudinal produce el movimiento alternativo relativo entre el soporte de imán intermedio y el primer y segundo soportes de imanes de la primera y segunda direcciones de accidente cerebrovascular. Por ejemplo, el soporte de imán intermedio puede ser fijado a un eje principal, tanto para el movimiento alternativo y la rotación con el mismo, y el primer y segundo soportes de imanes puede no estar conectado operativamente al eje principal en absoluto.

En una forma de realización del aparato de accionamiento magnético, los portadores primero y segundo imán pueden estar dispuestas para el posicionamiento ajustable hacia y lejos del soporte de imán intermedio con el fin de ajustar la fuerza de las interacciones magnéticas. La posición de los primer y segundo soportes de imanes se puede ajustar hacia o lejos del soporte de imán intermedio por un sistema de posicionamiento soporte de imán de motor.

En otro aspecto de la materia divulgada, un aparato de convertidor de par de accionamiento magnético se proporciona mediante la combinación de un aparato de accionamiento magnético, como se describe aquí, con un componente de entrada y un componente de salida. El componente de entrada puede estar acoplado a cualquiera de los soporte de imán intermedio o el primer y segundo soportes de imanes para producir la rotación relativa entre el soporte de imán intermedio y el primer y segundo soportes de imanes. El componente de salida puede estar acoplado a cualquiera de los soporte de imán intermedio o el primer y segundo soportes de imanes de modo que el movimiento alternativo relativo entre el soporte de imán intermedio y el primer y segundo soportes de imanes en la primera y segunda direcciones de carrera acciona el componente de salida.

En una forma de realización del aparato convertidor de par conductor magnético, el aparato de accionamiento magnético puede incluir un eje principal que se extiende a través de cada uno de los soportes de imanes. El eje principal se puede describir como anteriormente, que tiene un eje longitudinal central y siendo giratoria alrededor de, y capaz de movimiento alternativo a lo largo de, el eje longitudinal. Una primera porción de extremo del eje principal está acoplado al componente de entrada, que hace girar el eje principal. Una segunda porción de extremo del eje principal está acoplado al componente de salida, que es accionado por el movimiento alternativo del eje principal. Como se mencionó anteriormente, el eje principal se puede acoplar de manera giratoria a ya sea el soporte de imán intermedio o el primer y segundo soportes de imanes, tales que la rotación del eje principal alrededor de su eje longitudinal produce la rotación relativa entre el soporte de imán intermedia y la primera y segunda soportes de imanes. Del mismo modo, el eje principal se puede acoplar axialmente a ya sea el soporte de imán intermedio o el primer y segundo soportes de imanes, de manera que el movimiento alternativo del eje principal a lo largo de su eje longitudinal produce el movimiento alternativo relativo entre el soporte de imán intermedio y el primer y segundo soportes de imanes en la primera y segunda direcciones con accidente cerebrovascular.

En una forma de realización del aparato convertidor de par de accionamiento magnético, un dispositivo de sincronización se utiliza para sincronizar el eje principal con respecto a sus posiciones de rotación y movimiento alternativo de manera que las zonas muertas coinciden con el eje principal de estar cerca del punto muerto superior y las posiciones de punto muerto inferior . Por ejemplo, el eje principal se puede sincronizar de modo que las zonas muertas se centran en el punto muerto superior y las posiciones de punto muerto inferior. Alternativamente, el eje principal se puede sincronizar de modo que las zonas muertas se ajustan dinámicamente en posición o el tamaño.

En una forma de realización del aparato convertidor de par de accionamiento magnético, el dispositivo de sincronización puede ser proporcionado por el componente de entrada, el componente de salida, y un sistema de sensor / de realimentación para controlar el componente de entrada basado en el posicionamiento del componente de salida.

En una forma de realización del aparato convertidor de par de accionamiento magnético, el componente de entrada puede incluir un motor de accionamiento giratorio y el componente de salida puede incluir un cigüeñal conectado al árbol principal por una barra de conexión. En ese caso, el sistema de realimentación / sensor puede incluir un sensor dispuesto para detectar la rotación del cigüeñal y un controlador operable para controlar el motor de accionamiento giratorio en respuesta a una señal de posición del cigüeñal desde el sensor.

En otro aspecto de la materia divulgada, un aparato de accionamiento magnético está realizado como un aparato de soporte de dos imán en lugar de un aparato de soporte de tres imán. El aparato de soporte de dos imán incluye oponerse portadores primero y segundo imán en lugar de la primera, segunda e intermedia soportes de imanes previstos en el aparato de soporte de tres imán. Los dos soportes de imanes opuestos llevan, respectivamente, disposiciones de imanes que están configurados para producir interacciones magnéticas, cuando los soportes de imanes opuestos se someten a rotación relativa opuesta. Las interacciones magnéticas producen fuerzas de carrera de potencia que hacen que los soportes de imanes opuestos a someterse a un movimiento relativo alternativo en direcciones primera y segunda porciones de carrera durante zona de la energía de la rotación relativa. Las interacciones magnéticas producen sustancialmente ninguna fuerza de trazo potencia durante porciones zona muerta de la rotación relativa. Las zonas muertas comprenden posiciones rotacionales relativas de los soportes de imanes en oposición a los polos magnéticos de las disposiciones de imanes opuestos están mutuamente alineados coaxialmente pero producen un equilibrio equitativo de tira y afloja fuerzas magnéticas. La rotación relativa y el movimiento alternativo relativo entre los soportes de imanes están sincronizados de modo que las zonas muertas se producen cerca del punto muerto superior y punto muerto posiciones movimiento alternativo relativo inferiores de los soportes de imanes, por lo que las zonas de potencia se producen entre el punto muerto superior y el punto muerto inferior posiciones alternativo relativo.

En otro aspecto de la materia divulgada, un conjunto de dispositivo de accionamiento magnético plural puede ser alimentado por uno o más componentes de entrada para conducir un componente de salida única. Cada conjunto de aparato de accionamiento magnético plural puede incluir dos o más aparatos de accionamiento de soporte de tres imán, dos o más aparatos de accionamiento de soporte de dos imán, o cualquier combinación deseada de uno o más aparatos de soporte de tres imán y uno o más vehículo de dos imán aparato.

En otro aspecto de la materia divulgada, se proporciona un método de accionamiento magnético. En un ejemplo de realización del método, se proporcionan soportes de imanes opuestos que llevan, respectivamente, disposiciones de imanes opuestos. Se induce la rotación relativa entre los soportes de imanes opuestos para producir interacciones magnéticas. Las interacciones magnéticas producen fuerzas de carrera de potencia que hacen que los soportes de imanes opuestos a someterse a un movimiento relativo alternativo en direcciones primera y segunda porciones de carrera durante zona de la energía de la rotación relativa. Las interacciones magnéticas producen sustancialmente ninguna fuerza de trazo potencia durante porciones zona muerta de la rotación relativa. Las zonas muertas abarcan posiciones rotacionales relativas de los soportes de imanes en oposición a los polos magnéticos de las disposiciones de imanes opuestos están mutuamente alineados coaxialmente pero producen un equilibrio equitativo de tira y afloja fuerzas magnéticas. La rotación relativa y el movimiento alternativo relativo de los soportes de imanes pueden sincronizarse para lograr un efecto deseado. Por ejemplo, la sincronización puede incluir temporización de la rotación relativa y el movimiento alternativo relativo de los soportes de imanes de modo que las zonas muertas se centran en el punto muerto superior y punto muerto posiciones movimiento alternativo relativo de fondo, y de manera que las zonas de potencia se producen entre el punto muerto superior y punto muerto posiciones alternativo relativo del fondo. Alternativamente, la sincronización de temporización puede incluir la rotación relativa y el movimiento alternativo relativo de los soportes de imanes de modo que las zonas muertas se ajustan dinámicamente en posición o el tamaño.

En otro aspecto de la materia divulgada, un aparato de accionamiento magnético ha opuestas soportes de imanes que llevan, respectivamente, disposiciones de imanes opuestos. Las disposiciones de imanes opuestos tienen polos magnéticos opuestos y están configurados para producir interacciones magnéticas cuando los soportes de imanes opuestos se someten a la rotación relativa. Las interacciones magnéticas producen fuerzas de carrera de potencia que hacen que los soportes de imanes opuestos a someterse a un movimiento relativo alternativo en direcciones primera y segunda porciones de carrera durante zona de la energía de la rotación relativa. La rotación relativa incluye además zonas muertas de rotación en el que los polos magnéticos opuestos de las disposiciones de imanes opuestos están mutuamente alineados coaxialmente para definir un número igual de misma polaridad y de polaridad opuesta oponiéndose pares de polos


BREVE DESCRIPCIÓN DE LOS DIBUJOS
Las anteriores y otras características y ventajas serán evidentes a partir de la siguiente descripción más particular de realizaciones de ejemplo, como se ilustra en los dibujos adjuntos, en los cuales:


FIG. 1 es una vista en perspectiva esquemática que muestra un aparato de soporte de la unidad magnética de tres imán ejemplo, en una primera posición operativa;






FIG. 2 es una vista esquemática en perspectiva que muestra el aparato de accionamiento magnético de la Fig.1 en una segunda posición de funcionamiento;






FIG. 3 es una vista en perspectiva esquemática que muestra el aparato de accionamiento magnético de la Fig.1 en una tercera posición operativa;






FIG. 4 es una vista en perspectiva esquemática que muestra el aparato de accionamiento magnético de la Fig.1 en una cuarta posición operativa;






FIG. 5 es un diagrama de temporización que muestra una temporización ejemplo del aparato de accionamiento magnético de la Fig.1;




















FIGS. 6A-6H se temporización más diagramas que muestran una temporización ejemplo del aparato de accionamiento magnético de la Fig.1;






FIG. 7 es una vista en perspectiva que muestra una construcción de ejemplo del aparato de accionamiento magnético de la Fig.1 en combinación con un componente de entrada y un componente de salida para proporcionar un aparato de convertidor de par de accionamiento magnético;






FIG. 8 es una vista en perspectiva que muestra otro ejemplo de la construcción del aparato de accionamiento magnético de la Fig.1 en combinación con un componente de entrada y un componente de salida para proporcionar un aparato de convertidor de par de accionamiento magnético;






FIG. 9 es una vista en planta superior que muestra la construcción ejemplo aparato de accionamiento magnético de la Fig.8;




FIG. 10A es una vista en sección transversal tomada a lo largo de la línea 10A-10A en la Fig.9;


FIG. 10B es una vista en sección transversal tomada a lo largo de la línea 10B-10B de la Fig.9;


FIG. 10C es una vista en sección transversal tomada a lo largo de la línea 10C-10C de la Fig.9;


FIG. 10D es una vista en sección transversal tomada a lo largo de la línea 10D-10D de la Fig.9;


FIG. 10E es una vista en sección transversal tomada a lo largo de la línea 10E-10E en la Fig.9;


FIG. 10F es una vista en sección transversal tomada a lo largo de la línea 10F-10F en la Fig.9;






FIG. 11 es una vista en vista lateral parcial / parcial en sección transversal de la construcción ejemplo aparato de accionamiento magnético de la Fig.8, con la sección transversal a lo largo de la línea 11-11 en la Fig.9;






FIGS. 12A y 12B son vistas en perspectiva ampliada que muestra un componente de acoplamiento de salida de la construcción ejemplo aparato de accionamiento magnético de la Fig.8;





















FIGS. 13A-13H son vistas en perspectiva que muestran la primera, segunda e intermedia soportes de imanes de la construcción ejemplo aparato de accionamiento magnético de la Fig.8, con el primer y segundo soportes magnéticos que se fijan contra la rotación y el movimiento alternativo, y el soporte de imán intermedia se muestra en varias posiciones de giro y movimiento alternativo;






FIG. 14 es una vista en perspectiva que muestra una modificación de la construcción ejemplo aparato de accionamiento magnético de la Fig.8 en el que la posición de la primera y segunda soportes de imanes se puede ajustar;






FIG. 15 es una vista en perspectiva esquemática que muestra un ejemplo de dos imán construcción de aparatos soporte de la unidad magnética en una primera posición de funcionamiento;






FIG. 16 es una vista en perspectiva esquemática que muestra la construcción de aparatos de accionamiento magnético de la Fig.15 en una segunda posición de funcionamiento;






FIG. 17 es una vista en perspectiva esquemática que muestra la construcción de aparatos de accionamiento magnético de la Fig.15 en una tercera posición operativa;






FIG. 18 es una vista en perspectiva esquemática que muestra la construcción de aparatos de accionamiento magnético de la Fig.15 en una cuarta posición operativa;






FIG. 19 es una vista en perspectiva que muestra una construcción ejemplo aparato de accionamiento magnético con varios conjuntos de soportes magnéticos de conducción un componente de salida común; y






FIG. 20 es una vista en perspectiva que muestra otra construcción ejemplo aparato de accionamiento magnético con varios conjuntos de soportes magnéticos conducción de un componente de salida común.



DESCRIPCIÓN DETALLADA DE LA ENCARNACIÓN DE EJEMPLO
Volviendo ahora a los dibujos, que no están necesariamente a escala, los mismos números de referencia se utilizan para representar elementos iguales en todas las diversas vistas. Como se describirá a continuación en conexión con diversas formas de realización alternativas, un aparato de accionamiento magnético, como se describe en el presente documento se puede usar para convertir una entrada de rotación recibido de una fuente de alimentación de entrada a una salida de movimiento alternativo que puede utilizarse para conducir una carga. La entrada de rotación puede ser continua o intermitente, uni-direccional o bi-direccional. La salida de movimiento alternativo puede comprender un ciclo repetitivo de golpes de reciprocidad. El aparato de accionamiento magnético utiliza disposiciones de imanes permanentes que están configurados cada uno en un patrón seleccionado imán para crear interacciones magnéticas como las disposiciones de imanes se giran uno respecto al otro por la fuente de potencia de entrada. Estas interacciones magnéticas entregan alternativo de energía en cada dirección de la carrera recíproca (carreras de potencia). Ventajosamente, las interacciones magnéticas también producen zonas muertas bien definidas de sustancialmente ninguna fuerza magnético neto que se puede hacer que se produzca cerca del final de cada carrera recíproca. Durante cada zona muerta, las fuerzas magnéticas netos entregados por las disposiciones de imanes permanentes esencialmente "se apagan". Esto permite que las fuerzas de trazo potencia se relajen y se quedan inactivas entre las carreras de potencia momentáneamente, lo que garantiza el funcionamiento de vaivén continuo lento.


Volviendo ahora a la Fig 1 a la figura 4, vistas esquemáticas de un ejemplo de tres imán aparato de soporte de la unidad magnética 2 se muestran con el fin de ilustrar los principios generales de funcionamiento del tema que se describe aquí. En la realización ilustrada, el extremo de la izquierda del aparato de accionamiento magnético 2 tiene una primera soporte de imán 4 que lleva una primera disposición de imán permanente 6 con un conjunto de imanes 6A permanente. El extremo derecho del aparato de accionamiento magnético 2 tiene un segundo soporte de imán 8 que lleva una segunda disposición de imán permanente 10 con un conjunto de imanes 10A permanente. Un soporte de imán intermedia 12 se coloca entre el primer y segundo soportes de imanes y lleva a una tercera disposición de imán permanente 14 con un conjunto de imanes permanentes 14A.

Los soportes de imanes 4, 8 y 12 tienen respectivos primer y segundo lados 4A / 4B, 8A / 8B y 12A / 12B que definen una dimensión de espesor soporte de imán. Aunque los soportes de imanes 4, 8 y 12 se muestran como en forma de disco, otras configuraciones de soporte de imán también se pueden utilizar (por ejemplo, poligonal, en forma de estrella, etc.). Los soportes de imanes 4, 8 y 12 se pueden fabricar utilizando cualquier metal adecuado o material no metálico de resistencia y rigidez suficiente para soportar las fuerzas magnéticas, incluyendo, pero no limitado a, aluminio, titanio, acero inoxidable, polímeros, materiales compuestos reforzados con fibras, etc. En el caso de los metales, se prefiere que el material sea sustancialmente no magnético (tal como aluminio o titanio) o sólo ligeramente magnético (tal como acero inoxidable). Los materiales que son más magnéticos (tales como acero dulce) también pueden utilizarse siempre que se entiende que estos materiales pueden influir en los campos magnéticos de los imanes 6A, 10A y 14A.

El 6A imanes, 10A y 14A se ilustran como imanes de disco que están magnetizados axialmente de manera que tenga una polaridad norte magnético en una cara del imán y una polaridad magnética Sur en la cara imán opuesto. Cada 6A imán, 10A y 14A tiene un eje longitudinal central que se extiende entre sus polos norte y sur. Este eje representa los principales eje del campo magnético de los imanes 6A, 10A y 14A. Cualquier material de imán permanente adecuado puede ser utilizado para fabricar los imanes 6A, 10A y 14A. Preferiblemente, se utilizan imanes con fuertes propiedades de campo magnético, tales como imanes de tierras raras de neodimio-hierro-boro que comprenden (NeFeB) o cobalto samario (SmCo). Aunque menos deseable debido a su intensidad de campo magnético inferior, otros tipos de imanes también se podrían usar, incluyendo los imanes alnico que comprenden aluminio, níquel y cobalto además de hierro, o imanes cerámicos que comprenden material de ferrita. Diferentes formas de imán también se pueden usar. Por ejemplo, en lugar de la 6A imanes, 10A y 14A de ser en forma de disco, los imanes podrían ser esférica, en forma de riñón, plátano en forma, etc. Además, en lugar de ser cada uno de los imanes 6A, 10A y 14A un solo imán , algunos o todos de los imanes podrían ser implementadas como una pila coaxial de dos o más imanes con sus polos magnéticos alineados para la atracción mutua.

Los soportes de imanes 4, 8 y 12 pueden llevar a sus respectivos imanes 6A, 10A y 14A de cualquier manera adecuada. Por ejemplo, cada soporte de imán 4, 8 y 12 se formó con el imán de transporte de recortes de tamaño y forma adecuados. Si los imanes son como se muestra en Figs.1-4 forma de disco, el soporte de imán 4 puede estar formado con cuatro escotaduras circulares 4C que reciben la 6A cuatro imanes. Del mismo modo, el soporte de imán 8 puede estar formada con cuatro escotaduras circulares 8C que reciben los cuatro imanes 10a, y el soporte de imán 12 puede estar formado con cuatro escotaduras circulares 12C que reciben los cuatro imanes 14A. Si se desea, el espesor de los imanes 6A, 10A y 14A desde una cara a la otra imán puede seleccionarse para que coincida con el espesor de los soportes de imanes 4, 8 y 12. Alternativamente, los imanes 6A, 10A y 14A podrían ser más grueso o más delgada que la dimensión de espesor de sus respectivos soportes de imanes 4, 8 y 12. Cualquier técnica de retención de imán adecuado puede ser utilizado para retener el imanes 6A, 10A y 14A en su posición. Por ejemplo, la forma de realización de la figura 8 a figura 12b (descrito en más detalle a continuación) muestra una técnica de ejemplo para fijar los imanes 6A, 10A y 14A en los soportes de imanes 4, 8 y 12 usando placas de imán de retención.

La primera disposición de imán permanente 6, la segunda disposición de imán permanente 10, y de la tercera disposición de imanes permanentes 14 están configurados para producir el cambio de interacciones magnéticas cuando una entrada giratorio (no mostrado en Figs.1-4) imparte la rotación relativa entre el soporte de imán intermedio 12 y el primer y segundo imán portadores 4 y 8. En Figs.1-4, la rotación relativa entre el soporte intermedio imán 12 y el primer y segundo soportes de imanes 4 y 8 está representado por las flechas "A", "B" y "DO". En la figura 1, el soporte de imán intermedio 12 y el primer y segundo soportes de imanes 4 y 8 se muestran en una primera posición de rotación relativa. En la figura 2, el soporte intermedio imán 12 y el primer y segundo imán portadores 4 y 8 se muestran en una segunda posición de rotación relativa siguiente 180 ° de rotación relativa entre el soporte intermedio imán 12 y el primer y segundo soportes de imanes 4 y 8 . Fig.3 y Fig.4 muestran posiciones rotacionales relativas que son a medio camino entre las posiciones rotacionales relativas de Fig.1 y Fig.2.

Hay varias maneras de que el aparato 2 de accionamiento magnético puede ser construido para facilitar la rotación relativa entre el soporte de imán intermedio 12 y el primer y segundo soportes de imanes 4 y 8. Por ejemplo, el soporte de imán intermedio 12 podría acoplarse a un componente de entrada y girar por sí mismo, mientras que el primer y segundo soportes de imanes 4 y 8 permanecen fijos contra el giro. Por el contrario, el primer y segundo soportes de imanes 4 y 8 podrían acoplarse a un componente de entrada y girar juntos, mientras que el soporte de imán intermedio 12 permanece fijo contra la rotación. El primer y segundo soportes de imanes 4 y 8 o bien podría girar en la misma dirección o en direcciones opuestas. Una alternativa adicional sería la de hacer girar el soporte de imán 12 intermedio en una dirección mientras que la rotación de los primer y segundo soportes de imanes 4 y 8 en la dirección opuesta. Un ejemplo de la primera enfoque se describe en más detalle a continuación en relación con las construcciones mostradas en la figura 7 y en las figuras 8 to12B. En estas construcciones, el soporte de imán intermedio 12 está montado en un eje principal que es libre de girar independientemente de los primer y segundo soportes de imanes 4 y 8. El primer y segundo soportes de imanes 4 y 8 están fijados contra la rotación por un conjunto estructural de soporte .

También hay varias formas en que el aparato de accionamiento magnético 2 se puede construir para facilitar el movimiento alternativo relativo entre el soporte intermedio imán 12 y el primer y segundo soportes de imanes 4 y 8. Por ejemplo, el soporte de imán intermedio 12 podría acoplarse a un componente de salida para provocar el movimiento alternativo mientras que el primer y segundo soportes de imanes 4 y 8 permanecen fijos contra el movimiento alternativo. Por el contrario, el primer y segundo soportes de imanes 4 y 8 ambos podrían acoplarse a un componente de salida para hacer que el movimiento alternativo mientras que el soporte de imán intermedio 12 permanece fija contra el movimiento alternativo.

Un ejemplo de la primera enfoque se describe en más detalle a continuación en relación con las construcciones mostradas en la figura 7 y en las figuras 8 a 12B. En estas construcciones, el soporte de imán intermedio 12 está montado sobre un eje principal, que es libre para corresponder independientemente de los primer y segundo soportes de imanes 4 y 8. El primer y segundo soportes de imanes 4 y 8 están fijados contra el movimiento alternativo por un conjunto estructural de soporte.

Cabe señalar que cualquier soporte de imán que está adaptada para corresponder con el fin de producir el movimiento alternativo relativo entre el soporte de imán intermedio 12 y el primer y segundo soportes de imanes 4 y 8 también puede ser adaptado para girar con el fin de producir la rotación relativa entre el intermedio soporte de imán y el primer y segundo soportes de imanes. Del mismo modo, cualquier soporte de imán que se fija contra el movimiento alternativo también puede ser fijado contra el giro. Por ejemplo, como se describe en más detalle a continuación en relación con las construcciones mostradas en la Fig.7 y en Figs.8-12B, el soporte de imán intermedio 12 se puede adaptar tanto a girar y oscilar mientras que el primer y segundo soportes de imanes 4 y 8 siendo resistente al giro y el movimiento alternativo. Por el contrario, el primer y segundo soportes de imanes 4 y 8 podrían adaptarse tanto a girar y correspondo mientras que el soporte de imán intermedio 12 permanece fijo contra la rotación y el movimiento alternativo. Como una alternativa adicional, cualquier soporte de imán que está adaptado para movimiento alternativo puede ser fijada contra la rotación, y viceversa. Por ejemplo, el soporte de imán intermedio 12 podría ser adaptado para corresponder pero no gire mientras que el primer y segundo soportes de imanes 4 y 8 están adaptados para girar pero no corresponder. Por el contrario, el primer y segundo soportes de imanes 4 y 8 podrían adaptarse para corresponder pero no gire mientras que el soporte de imán intermedio 12 está adaptado para girar pero no corresponder.

En la realización de Figs.1-4, el número de imanes 6A, 10A y 14A en cada disposición de imán permanente respectivo 6, 10 y 14 es de cuatro. Los imanes 6A, 10A y 14A están espaciados por igual unos de otros y están dispuestos simétricamente alrededor de los centros de sus respectivos soportes de imanes 4, 8 y 12 en un modelo poligonal de cuatro lados (correspondiente al número de imanes) que es cuadrada y equilibrada . Cada patrón de imán en cualquier 4A dado la cara del soporte imán / 4B, 8A / 8B o 12A / 12B incluye un primer par de polos magnéticos adyacentes de una primera polaridad (por ejemplo, N-polaridad) y un segundo par de polos magnéticos adyacentes de un segundo polaridad (por ejemplo, S-polaridad). En los cuadrados patrones de cuatro de imán mostrados en Figs.1-4, un dos primeros lados opuestos de cada patrón de imán tienen polos magnéticos de la primera polaridad y un segundo dos lados opuestos del patrón de imán tienen polos magnéticos de la segunda polaridad. polos magnéticos que son diagonales entre sí en cada patrón de imán cuadrado son de polaridad opuesta. Como se discute en más detalle a continuación, disposiciones de imanes con más de cuatro imanes se pueden construir también.

En cada uno de Figs.1-4, la segunda 4B lado de la primera soporte de imán 4 se enfrenta a la primera 12A lado del soporte de imán intermedia 12 para formar una primera 15A zona de interacción magnética. La primera 8A lado del segundo soporte de imán 8 se enfrenta a la segunda parte 12B del soporte de imán intermedia 12 para formar una segunda 15B zona de interacción magnética. Con esta configuración de imán, las interacciones magnéticas cambiantes producidos por soporte de imán rotación relativa imparten fuerzas de trazo potencia a los soportes de imanes 4, 8 y 12 que producen la salida de movimiento alternativo antes mencionado. En particular, las fuerzas de carrera de potencia se impartirán cuando todos los polos magnéticos opuestos en cada uno de los primero y segundo magnético zonas de interacción 15A y 15B están alineados con ya sea mutuamente repeler o atraer entre sí.

Las fuerzas de trazo potencia producen un movimiento relativo alternativo entre los soportes de imanes 4, 8 y 12 en una primera dirección desde la oposición polos magnéticos en el primer 15A zona de interacción magnética todo se repelen mutuamente mientras se opone a los polos magnéticos en la segunda zona de interacción magnética 15B toda atraer mutuamente El uno al otro. Por el contrario, las fuerzas de carrera de potencia producen el movimiento alternativo relativo entre los soportes de imanes 4, 8 y 12 en una segunda dirección cuando opuestos polos magnéticos en la primera 15A zona de interacción magnética todo atraer mutuamente mientras se opone a los polos magnéticos en la segunda zona de interacción magnética 15B todos se repelen mutuamente.

Los soportes de imanes 4, 8 y 12 se puede decir que estar en porciones "zona de potencia" de su rotación relativa en las que las interacciones magnéticas producen las fuerzas de carrera de potencia antes descritos. Hay una zona de potencia para cada dirección de movimiento de la energía. posiciones de la zona de alimentación del aparato de accionamiento magnético 2 se ejemplifican por Fig.1 y Fig.2. Fig.1 ilustra el aparato de accionamiento magnético 2 en el centro de una primera zona de la energía en el que las interacciones magnéticas producen fuerzas de carrera de potencia en una primera dirección. El soporte de imán intermedio 12 y el primer soporte de imán 4 son empujadas aparte debido a cada polo magnético en 12A lado del soporte de imán intermedia siendo mutuamente alineado coaxialmente con un polo magnético opuesto de la misma polaridad en el lado 4B de la primera soporte de imán. Esta fuerza de empuje está representada por las flechas "D". Como puede verse, los soportes de imanes 4 y 12 están colocados de forma giratoria de tal manera que hay dos N-N interacciones y dos interacciones S-S en la zona 15A interacción magnética. Al mismo tiempo, el soporte de imán intermedio 12 y el segundo soporte de imán 8 se tiran juntos debido a cada polo magnético en el lado 12B del soporte de imán intermedia siendo mutuamente alineado coaxialmente con un polo magnético opuesto de polaridad opuesta en 8A lado de la segunda soporte de imán. Esta fuerza de tracción está representada por las flechas "E". Como puede verse, los soportes de imanes 8 y 12 están colocados de forma giratoria de modo que hay dos interacciones N-S y dos S-N interacciones en la zona de interacción magnética 15B.

Fig.2 ilustra el aparato de accionamiento magnético 2 en el centro de una segunda zona de la energía en el que las interacciones magnéticas producen fuerzas de carrera de potencia en una segunda dirección. Como se señaló anteriormente, este estado sigue 180° de la rotación relativa (desde la posición mostrada en la Fig.1) entre el soporte intermedio imán 12 y el primer y segundo soportes de imanes 4 y 8. El soporte de imán intermedio 12 y el portador primera imán 4 se tiran juntos debido a cada polo magnético en 12A lado del soporte de imán intermedia siendo mutuamente alineados coaxialmente con un polo magnético opuesto de polaridad opuesta en el lado 4B de la primera soporte de imán. Esta fuerza de tracción está representada por las flechas "E". Como puede verse, los soportes de imanes 4 y 12 están colocados de forma giratoria de modo que hay dos interacciones N-S y dos S-N interacciones en el 15A zona de interacción magnética. Al mismo tiempo, el soporte de imán intermedio 12 y el segundo soporte de imán 8 se empujan aparte debido a cada polo magnético en el lado 12B del soporte de imán intermedia siendo mutuamente alineado coaxialmente con un polo magnético opuesto de la misma polaridad en 8A lado de la segunda soporte de imán. Esta fuerza de empuje está representada por las flechas "D". Como puede verse, los soportes de imanes 8 y 12 están colocados de forma giratoria de modo que hay dos N-N interacciones y dos interacciones S-S en la zona de interacción magnética 15B.

Cabe señalar que las zonas de potencia extenderse más allá de las posiciones de alineación coaxial de los polos magnéticos que se muestran en la Fig.1 y la Fig.2, de modo que cada zona de alimentación tiene un rango de rotación o "anchura" que se extiende por una parte de una revolución del imán portador de la rotación relativa. Cada zona de la energía será por lo tanto comenzar antes de los polos magnéticos opuestos de las disposiciones de imanes 6, 10 y 14 se hace girar en alineación coaxial mutua y terminará después de la posición de alineamiento coaxial mutuo. fuerzas carrera de potencia se pueden generar en cualquier posición de rotación relativa dada de los soportes de imanes 4, 8 y 12 dentro de cada zona de la energía.

Las disposiciones de imanes 6, 10 y 14 se puede decir que sea en porciones "zona muerta" de su rotación relativa cuando hay sustancialmente ninguna fuerza de trazo de energía que actúan sobre los soportes de imanes 4, 8 y 12. En las disposiciones de cuatro imán 6, 10 y 14 de Figs.1-4, hay una zona muerta bien definido centrado entre cada zona de la energía bien definido, y cada ciclo de movimiento alternativo relativo comprende dos zonas de potencia separadas por dos zonas muertas. Existen las zonas muertas cuando opuestos polos magnéticos de la primera soporte de imán 4, el segundo soporte de imán 8 y el soporte de imán intermedio 12 están mutuamente alineados coaxialmente pero producen un equilibrio substancialmente igual de empuje y tire de fuerzas magnéticas. En las zonas muertas, una media de los polos magnéticos opuestos en la primera y segunda zonas de interacción magnética 15A y 15B están alineados para repeler mutuamente entre sí y la otra mitad de los polos magnéticos opuestos en la primera y segunda zonas de interacción magnética están alineados a atraer mutuamente. Las zonas muertas se efectúan cuando el giro relativo entre el soporte de imán intermedio 12 y el primer y segundo soportes de imanes 4 y 8 está a medio camino entre las posiciones de giro que producen los tiempos de potencia dentro de cada zona de potencia. Las zonas muertas son galope en las posiciones rotacionales relativas mostradas en la Fig.3 y la Fig.4.

El centro de la zona muerta se muestra en la Fig.3 corresponde a 90° de soporte de imán rotación relativa de la posición de giro zona de potencia de la Fig.1. El centro de la zona muerta se muestra en la Fig.4 corresponde a 90° de soporte de imán rotación relativa de la posición de giro zona de potencia de la Fig.2. En ambas de estas posiciones de zonas muertas, los polos magnéticos opuestos en cada 15A zona de interacción magnética y 15B están mutuamente alineadas coaxialmente, pero sus polaridades son tales como para crear fuerzas magnéticas netos de sustancialmente cero como resultado de dos de los polos magnéticos opuestos han de de la misma polaridad y los otros dos polos magnéticos opuestos han de polaridad opuesta. En particular, en cada uno de la Fig.3 y la Fig.4, los soportes de imanes 4, 8 y 12 están colocados de forma giratoria de tal manera que hay una interacción NN, una interacción SS, una interacción NS y una interacción SN en cada 15A zona de interacción magnética y 15B. Al igual que las zonas de potencia, las zonas muertas extenderse más allá de las posiciones de alineación coaxial de los polos magnéticos, de manera que cada zona muerta tiene un rango de rotación o "anchura" que se extiende por una porción de una revolución de la rotación relativa soporte de imán. Cada zona muerta será por lo tanto comenzar antes de los polos magnéticos opuestos de las disposiciones de imanes 6, 10 y 14 se hace girar en alineación coaxial, y terminará después de la posición de alineación coaxial.

En una implementación prototipo del aparato de accionamiento magnético 2, que fue construido de acuerdo con la Fig.8 a Fig.12b (discutido en más detalle a continuación), los cuatro imanes 6A, 10A y 14A de cada portador respectivo imán 4, 8 y 12 se llevaron a cabo con un diámetro de 3 pulgadas, 1 pulgada de espesor, grado N52 imanes de neodimio de disco de K & J Magnetics, Inc. (una pulgada = 25,4 mm). Cada 6A imán, 10A y 14A fue axialmente magnetizado y fue calificado por el fabricante como producir un empuje máximo / pull fuerza de aproximadamente 360 libras. El 6A imanes, 10A y 14A se dispone en sus respectivos soportes de imanes 4, 8 y 12 de modo que los centros de imán eran de 2,75 pulgadas de los centros de soporte de imán. La longitud de la carrera del soporte de imán movimiento alternativo relativo fue de 5,5 pulgadas. Al final de cada carrera, la separación entre los soportes de imanes juntos más cercanos resultó en una separación mínima entre imanes opuestos (cara polar a cara polar) de 1,125 pulgadas. A mitad de carrera, la separación entre los soportes de imanes era igual, y dio lugar a una separación máxima entre los imanes opuestos (cara polar de cara polar) de 3,875 pulgadas. En las pruebas realizadas en este prototipo, las zonas de alimentación y las zonas muertas cada abarcaron aproximadamente 90° de soporte de imán rotación relativa en todas las posiciones alternativo relativo. se esperan resultados similares para otras implementaciones aparato de accionamiento magnético en el que las disposiciones de imanes tienen cada uno cuatro imanes dispuestos en un patrón equilibrado imán cuadrado.

La rotación relativa y el movimiento alternativo relativo entre el soporte de imán intermedio 12 y el primer y segundo soportes de imanes 4 y 8 pueden ser sincronizados de forma que las zonas muertas y las zonas de potencia se producen a porciones seleccionadas de soporte de imán un movimiento relativo alternativo. La Fig.1 muestra una zona de la energía que se centra en la proximidad de el punto medio de una primera carrera de potencia en una primera dirección. La Fig.2 muestra otra zona de la energía que se centra en la proximidad de el punto medio de una segunda carrera de trabajo en la dirección opuesta. La Fig.3 muestra una zona muerta que se centra entre el final de la carrera de potencia de la Fig.1 y el comienzo de la carrera de potencia de la Fig.2. Esto puede ser referido como el punto muerto posición movimiento alternativo relativo inferior de los soportes de imanes 4, 8 y 12. La Fig.4 muestra otra zona muerta que se centra entre el final de la carrera de potencia de la Fig.2 y el comienzo de la potencia accidente cerebrovascular de la Fig.1. Esto puede ser referido como el punto muerto posición rotación relativa parte superior de los soportes de imanes 4, 8 y 12.


La Fig.5 muestra un disco de temporización que representa otra manera de ver la sincronización se muestra en la Fig.1 a la Fig.4. En esta ilustración, tanto el soporte de imán rotación relativa y el movimiento alternativo relativo soporte de imán se expresan en términos angulares. La sincronización es tal que por cada grado de rotación relativa soporte de imán, hay un grado de movimiento alternativo relativo soporte de imán. Las zonas muertas son galope en el 0° del punto muerto superior y 180° punto muerto posiciones alternativo relativo del fondo, y las zonas de alimentación están a medio galope entre las zonas muertas. Se apreciará que la expresión de la movimiento alternativo relativo soporte de imán en forma angular es permisible debido a que el movimiento alternativo relativo representa el movimiento periódico. Utilizando una expresión angular del movimiento alternativo relativo es más conveniente que el del desplazamiento relativo soporte de imán real ya que este último es específico de la implementación. Por ejemplo, si el movimiento alternativo relativo de los soportes de imanes 4, 8 y 12 representa un movimiento armónico simple, la ecuación estándar: D = A cos (θ) da el soporte de imán relativa desplazamiento "d". En esta ecuación, la θ ángulo es el movimiento alternativo relativo soporte de imán en forma angular, y el valor de "A" es el máximo soporte de imán desplazamiento relativo de la posición de mitad de carrera que se produce en θ = 0° y θ = 180°. Otras ecuaciones gobiernan los diferentes tipos de movimiento periódico. Por ejemplo, si el movimiento alternativo relativo de los soportes de imanes 4, 8 y 12 se comporta como un pistón acoplado a un cigüeñal a través de una varilla de conexión (como lo hace en la forma de realización de Figs.8-12B a continuación), el desplazamiento relativo portador imán dada por la ecuación estándar d = r cos (θ) + (sen L2-R2 (θ) 2) 1/2. En esta ecuación, la θ ángulo es el movimiento alternativo relativo soporte de imán en forma angular, el valor "d" es el desplazamiento relativo soporte de imán con respecto al eje de cigüeñal, "r" es la longitud del brazo de manivela, y "l" es la longitud de la biela.

Como se ha indicado, la Fig.5 muestra un esquema de sincronización en el que, por cada grado de rotación relativa soporte de imán, hay un grado de movimiento alternativo relativo soporte de imán. En la posición de 0° marcada "TDC", los soportes de imanes 4, 8 y 12 se encuentran en la posición de punto muerto superior en relación de reciprocidad y están posicionados en rotación en el centro de una primera zona muerta. A aproximadamente 45° de rotación relativa / movimiento alternativo de los soportes de imanes 4, 8 y 12, al final de la primera zona muerta se alcanza y la transición soportes de imanes en una primera zona de la energía que produce fuerzas de carrera de potencia en una primera dirección. El centro de esta zona de la energía es aproximadamente en la posición de rotación / movimiento relativo alternativo 90°. A aproximadamente 135° de rotación relativa / movimiento alternativo de los soportes de imanes 4, 8 y 12, al final de la primera zona de potencia se alcanza y la transición soportes de imanes en una segunda zona muerta. En la posición 180° marcada "BDC", los soportes de imanes 4, 8 y 12 se encuentran en la posición de punto muerto inferior en relación de reciprocidad y están situados en el centro de rotación de la segunda zona muerta. A aproximadamente 225° de rotación relativa / movimiento alternativo de los soportes de imanes 4, 8 y 12, al final de la segunda zona muerta se alcanza y la transición soportes de imanes en una segunda zona de la energía que produce fuerzas de carrera de potencia en una segunda dirección. El centro de esta zona de la energía es aproximadamente en la posición de rotación / movimiento relativo alternativo 270°. A aproximadamente 315° de rotación relativa / movimiento alternativo de los soportes de imanes 4, 8 y 12, al final de la segunda zona de potencia se alcanza y la transición soportes de imanes de nuevo a la primera zona muerta. El 0° posición TDC se alcanza de nuevo después de otro 45° de rotación relativa / movimiento alternativo de los soportes de imanes 4, 8 y 12.

Como se señaló anteriormente, las posiciones de inicio y finalización de las zonas de alimentación y las zonas muertas son aproximados. Esto es debido a la transición de la zona de la energía a la zona muerta y de la zona muerta a la zona de alimentación no se produce instantáneamente. Ventajosamente, sin embargo, estas zonas de transición (designados como zonas de "flip" en la Fig.5) se han determinado a ser bastante corta, y no exceder de aproximadamente 5° de la rotación relativa / movimiento alternativo en el prototipo de aplicación descrita anteriormente de la unidad magnética aparato 2. Cada zona de transición representa un período de transición entre los soportes de imanes 4, 8 y 12 experimentan sustancialmente no hay fuerzas de carrera de potencia y las fuerzas sustancialmente de carrera máxima potencia. Cabe señalar que la caracterización de las zonas muertas como la producción de "sustancialmente ninguna fuerza de movimiento de la energía" no significa necesariamente hay exactamente cero fuerza neta dentro de las zonas muertas. Sin embargo, no se han observado fuerzas zona muerta superior a más de varias libras, y fueron órdenes de magnitud menores que las fuerzas de carrera de potencia en la implementación prototipo del aparato de accionamiento magnético 2. Por otra parte, estas muy pequeñas fuerzas zona muerta se producen lejos de la centros de zonas muertas, y no tienen ningún efecto sobre el funcionamiento recíproco del aparato de accionamiento magnético 2.

Como se describe a continuación en relación con la construcción ejemplo mostrado en la Figs.8-12B, la sincronización se muestra en la Figs.1-5 puede ser establecida y mantenida por un sistema de realimentación que controla el movimiento alternativo relativo entre los soportes de imanes 4, 8 y 12 y utiliza esta información para controlar la rotación relativa de los soportes de imanes. Alternativamente, se podría proporcionar un sistema de sincronización mecánico en el que la rotación relativa y el movimiento alternativo relativo entre los soportes de imanes 4, 8 y 12 se sincronizan mediante una disposición de acoplamiento mecánico. Si se desea, la sincronización puede ser ajustada de modo que el soporte de imán rotación relativa es avanzado o retardado con respecto al soporte de imán un movimiento relativo alternativo. Por ejemplo, las posiciones relativas de rotación de la zona muerta se pueden desplazar de manera que las zonas muertas se centran ya sea antes o después de las posiciones de movimiento alternativo relativo TDC y BDC. Al igual que en un motor de automóvil, la rotación relativa soporte de imán puede ser dinámicamente avanzado y retrasado para ajustar las posiciones de la zona muertas de acuerdo con la velocidad del soporte de imán un movimiento relativo alternativo. También sería posible avanzar y retardar la rotación relativa soporte de imán con respecto al soporte de imán movimiento alternativo relativo en momentos seleccionados durante cada revolución de la rotación relativa de forma dinámica. Esto tendrá el efecto de ajustar el tamaño de las zonas muertas en relación con las zonas de potencia. Por ejemplo, si se desea disminuir la anchura de la zona muerta, mientras que el aumento de la anchura de la zona de alimentación, la rotación relativa soporte de imán puede ser dinámicamente retardado (ralentizado) dentro de las zonas de alimentación y de forma dinámica avanzada (acelerado) dentro de las zonas muertas. Del mismo modo, si se desea para aumentar la anchura de la zona muerta, mientras que la disminución de la anchura de la zona de alimentación, la rotación relativa soporte de imán puede ser dinámicamente avanzada (acelerado) dentro de las zonas de alimentación y de forma dinámica retardado (ralentizado) dentro de las zonas muertas.
















Las figuras 6A-6H presenta vistas adicionales del ciclo de rotación / alternativo relativo de los soportes de imanes 4, 8 y 12 utilizando el esquema de sincronización se muestra en Figs.1-5. Cada una de las figuras 6A-6H muestra una 45° de incremento de las posiciones de giro y un movimiento relativo alternativo de los soportes de imanes 4, 8 y 12. La parte central de cada figura muestra la posición de un movimiento relativo alternativo soporte de imán (en forma angular). La parte de la mano izquierda de cada figura representa las posiciones rotacionales relativas del primer soporte de imán 4 y el soporte de imán intermedia 12. La alineación de los imanes opuestos en la primera zona de interacción magnética 15A (ver Figs.1-4) también se muestra, como son las polaridades de cada par de imanes opuestos (es decir, las polaridades de los imanes 14A en la primera 12A lado del soporte de imán intermedio 12 y las polaridades de la 6A imanes en el segundo lado 4B de la primera soporte de imán 4). La parte de la derecha de cada figura representa las posiciones rotacionales relativas de la segunda soporte de imán 8 y el soporte de imán intermedio 12. La alineación de los imanes opuestos en la segunda zona de interacción magnética también se muestra 15B (ver Figs.1-4), como son las polaridades de cada par de imanes opuestos (es decir, las polaridades de los imanes 14A en el segundo lado 12B del soporte de imán intermedio 12 y las polaridades de los imanes 10A en la primera 8A lado del segundo soporte de imán 8).

Como una guía de interpretación, la parte izquierda de las figuras 6A-6H es una vista mirando desde el segundo lado de la primera 4B soporte de imán 4 hacia la primera 12A lado del soporte de imán intermedia 12. La parte de la derecha de las Figuras 6A-6H es una vista mirando desde el segundo lado 12B del soporte de imán intermedio 12 hacia la primera 8A lado del segundo soporte de imán 8. En las posiciones en las que los imanes opuestos se superponen (es decir, las figuras 6A, 6C, 6E y 6G ), la letra (S o N) en el centro de cada par imán representado es la polaridad de la 14A imán en el soporte de imán intermedio 12, y la carta de desplazamiento (S o N) es la polaridad de su 6A imán opuestos o 10A en el primero o segundo soporte de imán 4 u 8. en las posiciones en las que los imanes opuestos no se superponen (es decir, Figs.6B, 6D, 6F y 6H), los imanes 14a del soporte de imán intermedio 12 se muestran como por encima de la oponerse a los imanes 6A o 10A de los primeros o segundos soportes de imanes 4 o 8. en una línea similar, cuando se discuten a continuación las polaridades de pares de imanes opuestos, la primera polaridad será la de un imán 14A del soporte de imán intermedio 12 y el segunda polaridad será la de un imán 6A de la primera soporte de imán 4 o un imán 10A del segundo soporte de imán 8 (dependiendo de si la primera o segunda 15A zona de interacción magnética o 15B se está discutiendo). Cuando imán polaridades par se enumeran a continuación, van a empezar en el cuadrante superior izquierdo de cada disposición de imanes y continuar en sentido horario.


La Fig.6A muestra los soportes de imanes 4, 8 y 12 en una posición de 0° rotación relativa / reciprocidad. En esta posición, las interacciones magnéticas en la primera zona 15A interacción magnética son S-N, S-S, N-S y N-N. Las interacciones magnéticas en la segunda zona de interacción magnética 15B son N-N, N-S, S-S y S-N. En cada zona de interacción magnética 15A y 15B, la mitad de los pares de imanes opuestos están alineados coaxialmente para la atracción mutua y la otra mitad está alineado coaxialmente por repulsión mutua. Por lo tanto, la figura 6A representa una zona muerta que está a medio galope en el 0° TDC posición alternativo relativo de los soportes de imanes 4, 8 y 12. Como puede verse, esta zona muerta es de aproximadamente 90° de ancho.


Fig.6B muestra los soportes de imanes 4, 8 y 12 en una posición de 45° giro relativo / reciprocidad. En esta posición, la rotación relativa de los soportes de imanes 4, 8 y 12 está a medio camino entre los puntos medios de zona muerta y zona de potencia posiciones rotacionales. Los soportes de imanes 4, 8 y 12 son, pues, en una zona de transición en el que las fuerzas magnéticas están cambiando de la condición sustancialmente neta cero de una zona muerta a la condición de fuerza magnética completa de una zona de potencia.


Fig.6C muestra los soportes de imanes 4, 8 y 12 en una posición de 90° giro relativo / reciprocidad. En esta posición, las interacciones magnéticas en la primera zona 15A interacción magnética son N-N, S-S, S-S y N-N. Todos los pares de imanes opuestos en esta zona de interacción magnética están coaxialmente alineados con polaridades como para que el primer soporte de imán 4 y el imán intermedia de soporte 12 se repelen entre sí con la máxima fuerza de empuje. Las interacciones magnéticas en la segunda zona de interacción magnética 15B son S-N, N-S, N-S y S-N. Todos los pares de imanes opuestos en esta zona de interacción magnética están coaxialmente alineados con polaridades opuestas, de modo que el segundo soporte de imán 8 y el soporte de imán intermedio 12 se atraen entre sí con la máxima fuerza de tracción. por lo tanto Fig.6C representa una primera zona de la energía que se galope en la posición de movimiento alternativo relativo 90° de los soportes de imanes 4, 8 y 12. Como puede verse, esta zona de la energía es de aproximadamente 90° de ancho.


Fig.6D muestra los soportes de imanes 4, 8 y 12 en una posición de 135° rotación relativa / reciprocidad. En esta posición, la rotación relativa de los soportes de imanes 4, 8 y 12 está a medio camino entre los puntos medios de zona muerta y zona de potencia posiciones rotacionales. Los soportes de imanes 4, 8 y 12 son, pues, en una zona de transición en el que las fuerzas magnéticas están cambiando de la condición de fuerza magnética completa de una zona de alimentación a la condición sustancialmente neta cero de una zona muerta.


Fig.6E muestra los soportes de imanes 4, 8 y 12 en una posición de 180° rotación relativa / reciprocidad. En esta posición, las interacciones magnéticas en la primera zona 15A interacción magnética son N-N, N-S, S-S y S-N. Las interacciones magnéticas en la segunda zona de interacción magnética 15B son S-N, S-S, N-S y N-N. En cada zona de interacción magnética 15A y 15B, la mitad de los pares de imanes opuestos están alineados coaxialmente para la atracción mutua y la otra mitad está alineado coaxialmente por repulsión mutua. Por lo tanto, Fig.6E representa una zona muerta que se centra en el BDC posición 180° movimiento alternativo relativo de los soportes de imanes 4, 8 y 12. Como puede verse, esta zona muerta es de aproximadamente 90° de ancho.


Fig.6F muestra los soportes de imanes 4, 8 y 12 en una posición de 225° rotación relativa / reciprocidad. En esta posición, la rotación relativa de los soportes de imanes 4, 8 y 12 está a medio camino entre los puntos medios de zona muerta y zona de potencia posiciones rotacionales. Los soportes de imanes 4, 8 y 12 son, pues, en una zona de transición en el que las fuerzas magnéticas están cambiando de la condición sustancialmente neta cero de una zona muerta a la condición de fuerza magnética completa de una zona de potencia.


Fig.6G muestra los soportes de imanes 4, 8 y 12 en una posición de 270° rotación relativa / reciprocidad. En esta posición, las interacciones magnéticas en la primera zona 15A interacción magnética son S-N, N-S, N-S y S-N. Todos los pares de imanes opuestos en esta zona de interacción magnética están coaxialmente alineados con polaridades opuestas, de modo que la primera soporte de imán 4 y el soporte de imán intermedio 12 se atraen entre sí con la máxima fuerza de tracción. Las interacciones magnéticas en la segunda zona de interacción magnética 15B son N-N, S-S, S-S y N-N. Todos los pares de imanes opuestos en esta zona de interacción magnética están coaxialmente alineados con polaridades como para que el segundo soporte de imán 8 y el imán intermedio portador 12 se repelen entre sí con la máxima fuerza de empuje. por lo tanto Fig.6G representa una zona de la energía que se centra en la posición de un movimiento relativo alternativo 270° de los soportes de imanes 4, 8 y 12. Como puede verse, esta zona de la energía es de aproximadamente 90° de ancho.


Fig.6H muestra los soportes de imanes 4, 8 y 12 en una posición de 315° rotación relativa / reciprocidad. En esta posición, la rotación relativa de los soportes de imanes 4, 8 y 12 está a medio camino entre los puntos medios de zona muerta y zona de potencia posiciones rotacionales. Los soportes de imanes 4, 8 y 12 son, pues, en una zona de transición en el que las fuerzas magnéticas están cambiando de la condición de fuerza magnética completa de una zona de alimentación a la condición sustancialmente neta cero de una zona muerta.


Volviendo ahora a la Fig.7, el aparato de accionamiento magnético 2 se muestra en un ejemplo 2A construcción en el que el soporte de imán intermedio 12 está adaptado para la rotación y el movimiento alternativo mientras que el primer y segundo soportes de imanes 4 y 6 están adaptados para permanecer fijo contra la rotación y el movimiento alternativo . En la construcción 2A aparato de accionamiento magnético, un eje principal 16 está dispuesto para extenderse a través de taladros centrales 4D, 8D y 12D que se forman, respectivamente, en los soportes de imanes 4, 8 y 12. El eje principal 16 es sustancialmente recto y tiene una longitudinal central eje 18 que es sustancialmente paralela a los ejes longitudinales (y ejes de campo magnético) de los imanes 6A, 10A y 14A.

El eje principal 16 está dispuesto para la rotación simultánea y el movimiento alternativo. Una primera porción de extremo 20 del eje principal 16 está adaptado para el acoplamiento operativo a un componente de entrada 21, que se muestra esquemáticamente en la Fig.7, que de forma giratoria impulsa el eje principal. Por ejemplo, como se describe en más detalle a continuación en relación con Figs.8-12B, el componente de entrada 21 puede ser proporcionado por un motor de accionamiento rotativo. Una segunda porción de extremo 22 del eje 16 está adaptado para el acoplamiento operativo a un componente de salida que es accionado por el movimiento alternativo del eje principal 18. En la Fig.7, un ejemplo rotatorio componente de salida 23, que puede ser implementado como un cigüeñal, se se muestra esquemáticamente. Alternativamente, un componente de salida de movimiento alternativo, tal como un pistón neumático o hidráulico, puede ser dispuesto para ser accionado por el movimiento alternativo del eje principal 18. La adición de los componentes de entrada y salida 21 y 23 a la 2A accionamiento magnético construcción aparato forma una magnética del aparato de convertidor de par que convierte un par de entrada aplicado por el componente de entrada a un par de torsión de salida suministrada por el componente de salida 23.

El eje principal 16 está acoplado de forma giratoria en la abertura central 12D del soporte de imán intermedio 12, pero está libre para girar dentro de las aberturas 4D central y 8D de la primera y segunda soportes de imanes 4 y 8. La forma giratoria acopladas soporte de imán intermedio 12 gira con el eje principal 16, pero los portadores primero y segundo imán de forma no giratoria acopladas 4 y 8 no girará, y preferiblemente se fija contra la rotación. De esta manera, la rotación del eje principal 16 alrededor de su eje longitudinal 18 por el componente de entrada 21 producirá la rotación relativa entre el soporte intermedio imán 12 y el primer y segundo soportes de imanes 4 y 8. El eje principal 16 también está acoplado axialmente a la abertura central 12D del soporte de imán intermedio 12, pero es libre de movimiento alternativo a través de las aberturas centrales 4D y 8D de la primera y segunda soportes de imanes 4 y 8. el soporte de imán intermedio acoplado axialmente 12 se mueve alternativamente con el eje principal 16, pero no la -axially junto portadores primero y segundo imán 4 y 8 no harán lo mismo, y preferiblemente se fija contra el movimiento alternativo. De esta manera, el movimiento alternativo del eje principal 16 a lo largo de su eje longitudinal 18 producirá el movimiento alternativo relativo entre el soporte intermedio imán 12 y el primer y segundo soportes de imanes 4 y 8 en las direcciones primera y segunda con accidente cerebrovascular.


Volviendo ahora a Figs.8-12B, el aparato de accionamiento magnético 2 se muestra en un ejemplo adicional 2B construcción que utiliza la disposición de rotación / movimiento alternativo del eje principal se describe en conexión con el ejemplo 2A construcción de la Fig.7. Como en el caso de la Fig.7, Figs.8-12B representan un aparato de convertidor de par de accionamiento magnético debido a que la construcción de aparatos de accionamiento magnético 2B está acoplado a los componentes de entrada y de salida, a saber, un motor de entrada 36 y un conjunto de cigüeñal 40 (ambos de que se describen en más detalle a continuación). En la construcción 2B aparato de accionamiento magnético, el soporte de imán intermedia 12 es de nuevo de forma giratoria y axialmente acoplado al árbol principal 16 mientras que el primer y segundo soportes de imanes 4 y 8 no están acoplados al eje principal de ninguna manera. Como se muestra en Figs.10A-10C, el primer y segundo soportes de imanes 4 y 8 son de diámetro mayor que el soporte de imán intermedio 12. Esto permite que los soportes de imanes 4 y 8 para ser convenientemente fijado a un conjunto estructural de soporte 24 (ver Fig.8) que sostiene y posiciona el primer y segundo soportes de imanes a una distancia deseada. El conjunto de bastidor de soporte 24 también lleva el árbol principal 16.

El conjunto de bastidor de soporte 24 está construida con un conjunto de cuatro conjuntos de carrete longitudinales 26 que interconectan el primer y segundo soportes de imanes 4 y 8, pero no el soporte de imán intermedia 12. Los montajes de bobina 26 también montar un conjunto de placas estabilizadoras 28, 30 y 32 que están orientadas sustancialmente en paralelo a los soportes de imán 4 y 8. Como se muestra en la Figs.10A y 10C-10E, cada conjunto de carrete 26 puede incluir una varilla alargada 26A que se extiende a través de aberturas formadas en los soportes de imanes 4 y 8 correspondiente, y en las placas de estabilización 28, 30 y 32. cada conjunto de carrete 26 también puede incluir un conjunto de espaciadores 26B que se montan en la varilla alargada 26A entre cada par de soportes de imanes adyacentes y / o placas de estabilización con el fin de correctamente espacio estos componentes. Como puede verse en las figuras 8 y 9, cada conjunto de carrete 26 se muestra que tiene cuatro espaciadores 26B, uno entre la placa estabilizadora 28 y el primer soporte de imán 4, el segundo entre la primera soporte de imán 4 y el segundo soporte de imán 8 , el tercero entre el segundo soporte de imán 8 y la placa de estabilización 30, y el cuarto entre la placa estabilizadora 30 y la placa de estabilización 32. los extremos de la 26A barras alargadas están roscados para recibir miembros de retención 26C que sujetan el bastidor de soporte 24 junto . Se apreciará que otros arreglos para espaciar los diversos soportes de imanes y la estabilización de las placas también se pueden usar, tales como varillas de separación separados conectados entre cada par de componentes espaciados.


Como se muestra mejor en la figura 11, la placa de estabilización 28 se encuentra adyacente a la primera soporte de imán 4 y se utiliza para soportar el eje principal 16 próxima a su primera porción de extremo 20. En particular, la placa 28 de estabilización lleva un conjunto de acoplamiento de entrada 34 en un lado de una abertura central 28A que aloja el eje principal 16. la entrada de montaje 34 de acoplamiento está configurado internamente para soportar el eje principal 16 de baja fricción movimiento alternativo al tiempo que imparte las fuerzas de rotación a la misma. El motor 36 está conectado a la unidad de acoplamiento de entrada 34 para servir como un componente de entrada de rotación que hace girar el eje principal 16 durante el funcionamiento del aparato de accionamiento magnético 2. La placa de estabilización 30 se encuentra adyacente a la segunda soporte de imán 8 y se usa para soportar el eje principal 16 cerca de su segundo extremo 22. En particular, la placa 30 de estabilización tiene una abertura central 30A que soporta un cojinete de bolas de montaje 38 para soportar de forma giratoria el eje principal 16. la placa de estabilización 32 se encuentra adyacente a la placa 30. estabilizar tiene una gran abertura central 32A que aloja el eje principal 16, así como componentes del conjunto de cigüeñal 40, que está montado en el exterior de la estabilización de la placa 32. el conjunto de cigüeñal 40 sirve como un componente de salida giratorio que está impulsado por el movimiento alternativo del el eje principal 16 durante el funcionamiento del aparato de accionamiento 2B construcción magnética.

Como se muestra mejor en las figuras 8, 9 y 11, cada uno de los soportes de imanes 4, 8 y 12 incluye un par respectivo de placas de imán de retención 42, 44 y 46 con el fin de asegurar su respectivos imanes 6A, 10A y 14A en su posición. Las placas de imán de retención 42, 44 y 46 pueden estar formados de cualquier material que no afecte adversamente a las interacciones magnéticas entre los imanes 6A, 10A y 14A. Ellos se pueden fijar, respectivamente, a los soportes de imanes 4, 8 y 12 usando cualquier técnica de montaje adecuado, tal como con tornillos 48 de la máquina avellanados, como se muestra en figuras 10A, 10B y 10C.

Como puede verse en la figura 11, el orificio central 12D del soporte de imán intermedio 12 está fijado sobre el árbol principal 16 para la rotación y el movimiento alternativo con él, por ejemplo, usando una disposición de acoplamiento eje enchavetado (no mostrado). Como también se muestra en la figura 11, el orificios 4D central y 8D de la primera y segunda soportes de imanes 4 y 8 están espaciados desde el eje principal 16 de manera que el eje principal es libre de girar y oscilar con respecto a la primera y segunda soportes de imanes .

Como puede verse en las figuras 8, 9 y 11, las placas de soporte 28 y 32 pueden incluir miembros 50 para fijar el bastidor de soporte 24 a una superficie de soporte de montaje (no mostrados). El motor de entrada 36 puede incluir su vez, miembros 52 para fijar el motor una superficie de soporte de montaje (no se muestra). El motor de entrada 36 puede estar conectado operativamente al conjunto de acoplamiento de entrada 34 de cualquier manera adecuada, tal como mediante el uso de una conexión de acoplamiento con brida 54. El conjunto de acoplamiento de entrada 34 incluye una carcasa de base 56 que puede ser atornillado o de otra manera fija a la parte exterior de la placa de soporte 28. Como se muestra en la figura 11, el conjunto de acoplamiento de entrada 34 incluye además una unidad de bola-spline 58 cuyo diámetro exterior está conectado de forma giratoria a la carcasa de la base 56 a través de un balón de montaje 60. el cojinete de diámetro interior de la bola- unidad de spline 58 incluye filas longitudinales plurales de elementos de cojinetes de bolas 62 dispuesto para aplicarse estrías longitudinales 64 que se pueden formar en la proximidad de la primera porción de extremo 20 del eje principal 16. el balón elementos de apoyo 62 fuerzas impartir rotación al árbol principal 16 mientras que corresponde permitiendo que el eje de corresponder ida y vuelta con una fricción mínima. Un tubo de tapa de brida 66 se monta en la cara de extremo del conjunto de bola-spline 58, y se utiliza para llevar a un lado de la conexión de acoplamiento con brida 54. El otro lado de la conexión de acoplamiento de brida se une al eje de salida del motor 36. el tubo de cubierta 66 es lo suficientemente largo para acomodar el movimiento alternativo de la primera porción de extremo 20 del eje principal 16 en ella.

Continuando con la referencia a las figuras 8, 9 y 11, el cigüeñal de montaje 40 puede estar configurado con un par de placas de soporte de cigüeñal 68 que son transportados por la placa de estabilización 32. Las placas de soporte de cigüeñal 68 están provistos de cojinetes principales (no mostrados) que llevar de manera giratoria un cigüeñal 70. El cigüeñal 70 incluye un par de contrapeso / manivela miembros de brazo 72. Como se muestra en la figura 9, una porción central de cada miembro de brazo de contrapeso / manivela 72 tiene un muñón principal 73 se extiende hacia fuera que es montado de forma giratoria en el cojinete principal de una de las placas de soporte del cigüeñal 68. Como se muestra adicionalmente en la figura 9, y también en la figura 11, el extremo del brazo de manivela de cada miembro de brazo de contrapeso / manivela 72 soporta un extremo de una varilla de conexión Diario 74. La varilla de conexión revista 74 está unido a un extremo de una varilla de conexión 76 a través de una disposición de cojinete adecuado.

El otro extremo de la biela 76 está unido de manera giratoria a un conjunto de acoplamiento del eje principal 78 a través de una conexión de horquilla. Como se muestra adicionalmente en Figs.12A y 12B, el conjunto de acoplamiento 78 está montado de forma giratoria a la segunda porción de extremo 22 del eje principal 16 de manera que el eje principal es libre de girar en relación con el conjunto de acoplamiento. El conjunto de acoplamiento 78 puede estar configurado con una carcasa tubular 80 en el que se inserta un cojinete adecuado 82 (por ejemplo, un cojinete Oilite brida) que recibe la segunda porción de extremo 22 del eje principal 16. Un tornillo 84 (figura 11) que hilos para publicar diámetro reducido en la porción de eje principal segundo extremo 22 se pueden utilizar para retener el conjunto de acoplamiento 78 en el eje principal 16 durante el movimiento alternativo del eje principal. El conjunto de acoplamiento 78 incluye una horquilla 86 que está fijada a la barra de conexión 76 con una disposición de perno de horquilla bushed 88. Se verá a partir de figuras 11, 12A y 12B que el conjunto de acoplamiento 78 permite la libre rotación del eje principal 16 en su segunda porción de extremo 22, debido al cojinete 82. al mismo tiempo, el conjunto de acoplamiento 78 transmite el movimiento recíproco del árbol principal 16 en su primera y segunda direcciones de carrera a través de la biela 76 al cigüeñal 70, lo que provoca el cigüeñal gire. Como puede verse en la figura 9, un extremo de salida 82 del cigüeñal 70 puede estar conectado a una carga de salida deseada (no se muestra).

Como se señaló anteriormente, en una implementación prototipo del aparato convertidor de par de accionamiento magnético se muestra en la Figs.8-12B, los cuatro imanes 6A, 10A y 14A en cada portador respectivo imán 4, 8 y 12 se llevaron a cabo con un diámetro de 3 pulgadas, 1 pulgada de espesor, grado N52 imanes de neodimio de disco de K & J Magnetics, Inc. Cada imán 6A, 10A y 14A fue axialmente magnetizado y fue calificado por el fabricante como producir un empuje máximo / pull fuerza de aproximadamente 360 libras. El 6A imanes, 10A y 14A se dispone en sus respectivos soportes de imanes 4, 8 y 12 de modo que los centros de imán eran de 2,75 pulgadas de los centros de soporte de imán. La longitud de la carrera del soporte de imán movimiento alternativo relativo fue de 5,5 pulgadas. La longitud del brazo de manivela proporcionada por la porción de brazo de la manivela del contrapeso / elementos de brazo de manivela 72 fue de 2,75 pulgadas. La longitud de la varilla de conexión 76 era de 10 pulgadas. Los soportes de imanes 4, 8 y 12 fueron de 1 pulgada de espesor y los retenedores magnéticos 42, 44 y 46 fueron de 0,25 pulgadas de espesor. Al final de cada carrera, el espacio de separación entre el más cercano junto conjunto de opuestos retenedores de imán (es decir, 42/44 o 46/44) fue 0,625 pulgadas, de modo que la separación mínima entre imanes opuestos (cara polar a cara polar) era 0.625+ (2 × 0,25) = 1,125 pulgadas. A mitad de carrera, el espacio de separación entre cada conjunto de retenedores opuestos del imán (es decir, 42/44 y 46/44) fue 3,375 pulgadas, por lo que la separación máxima entre los imanes opuestos (cara polar de cara polar) fue 3.375+ (2 × 0,25) = 3,875 pulgadas.

El aparato convertidor de par de accionamiento magnético se muestra en la Figs.8-12B puede sincronizarse de cualquier manera adecuada, de modo que la rotación del eje principal 16 se mide el tiempo con respecto a la rotación del cigüeñal 70 (como impulsado por el movimiento alternativo del eje principal). Como se muestra en las figuras 8 y 9, un dispositivo 90 de sincronización de ejemplo puede incluir un sensor 92 que vigila la posición del cigüeñal (por ejemplo, un codificador rotativo), y una señal portadora de circuito de realimentación 94 que proporciona una señal de posición del cigüeñal a un controlador servo programable 96 (por ejemplo, implementado como un dispositivo digital programable) que controla el motor de entrada 36 (a través de un circuito de control 97) de acuerdo con la señal de posición. Cualquiera de los diversos sistemas de controlador servo robótica existentes se pueden utilizar para este propósito. Otros tipos de dispositivo de sincronización también podría ser utilizado para sincronizar el funcionamiento del aparato convertidor de par de accionamiento magnético ilustrado, incluyendo pero no limitado a, un sistema de sincronización mecánico que acopla mecánicamente de entrada giratorio del motor de accionamiento de entrada a salida de potencia rotativa del cigüeñal.

El concepto de la sincronización de un aparato de accionamiento magnético, como se describe aquí se discutió anteriormente. En el aparato de convertidor de par de accionamiento magnético de Figs.8-12B, el controlador servo 96 está programado para controlar la posición de giro del eje principal en base a la posición angular del cigüeñal 70, que corresponde a través de una relación matemática definible a la posición de movimiento alternativo del eje principal (véase la discusión de la figura 5 arriba). Como se señaló anteriormente, las zonas muertas magnéticos se pueden hacer para que coincida con el eje principal 16 estar cerca de su punto muerto superior y las posiciones de movimiento alternativo del punto muerto inferior, y por lo que las zonas de potencia magnéticos se producen entre estas posiciones. Como se ha señalado también, el controlador servo 96 podría también ser programado para sincronizar la rotación del eje principal 16 de modo que las zonas muertas son dinámicamente avanzado o retardado con respecto al punto muerto superior y las posiciones de movimiento alternativo del punto muerto inferior, o para variar la posición o tamaño de las zonas muertas.

Figs.13A-13H ilustran las posiciones de rotación y el movimiento alternativo del soporte de imán intermedio 12 con respecto a la primera y segunda soportes de imanes 4 y 8 durante dos golpes recíprocos del aparato convertidor de par de accionamiento magnético ilustrado. En estas figuras, el eje principal 16 está sincronizada por el controlador de servo 96 de manera que las dos zonas muertas se centran en los 0° y 180° posiciones movimiento alternativo del eje principal, y de manera que las zonas de potencia se centran en el 90° y 270° posiciones de movimiento alternativo °. así Figs.13A-13H se corresponde con la disposición de temporización se muestra en las figuras 6A-6H, respectivamente. Cada zona muerta y cada zona de la energía es de aproximadamente 90 ° de ancho.

Fig.13A muestra el soporte de imán intermedio 12 en la posición de movimiento alternativo TDC 0° y en medio de una primera zona muerta. Fig.13B muestra la posición de 45° el movimiento alternativo del soporte de imán intermedio 12 en el que el soporte de imán intermedia está en la transición de la primera zona muerta y en una primera zona de alimentación. Fig.13C muestra la posición de movimiento alternativo 90° del imán intermedio 12 en el que el soporte de imán intermedia está en el medio de la primera zona de potencia. Fig.13D muestra la posición de 135° el movimiento alternativo del soporte de imán intermedio 12 en el que el soporte de imán intermedia está en la transición de la primera zona de la energía y en una segunda zona muerta. Fig.13E muestra el BDC posición movimiento alternativo 180° del soporte de imán intermedio 12 en el que el soporte de imán intermedia está en el medio de la segunda zona muerta. Fig.13F muestra la posición de 225° el movimiento alternativo del soporte de imán intermedio 12 en el que el soporte de imán intermedia está en la transición de la segunda zona muerta y en una segunda zona de potencia. Fig.13G muestra la posición de movimiento alternativo 270 ° del imán intermedio 12 en el que el soporte de imán intermedia está en el medio de la segunda zona de potencia. Fig.13H muestra la posición de 315° el movimiento alternativo del soporte de imán intermedio 12 en el que el soporte de imán intermedia está en la transición de la segunda zona de la energía y de volver a la primera zona muerta.


Fig.14 ilustra una construcción 2C aparato de accionamiento magnético adicional en la que se proporciona soporte de imán espaciamiento capacidad de ajuste. Esta construcción es sustancialmente similar a la construcción de 2B Figs.8-12B, excepto que la posición de la primera y segunda soportes de imanes 4 y 8 son dinámicamente ajustable durante el funcionamiento con el fin de cambiar su separación con respecto al soporte de imán intermedio 12, y de esta manera ajustar la fuerza de las interacciones magnéticas. Para conseguir este efecto, los conjuntos de carrete 26 se pueden modificar mediante la eliminación de los elementos de separación 26B en cada lado de la primera y segunda soportes de imanes 4 y 8 para exponer el varillas 26A roscado. El primer y segundo soportes de imanes 4 y 8 pueden entonces ser modificados para que puedan recibir las varillas 26A roscado. La rotación de la varilla roscada 26A será de este modo volver a la posición de los primer y segundo soportes de imanes 4 y 8 hacia o desde el soporte de imán intermedio 12 (dependiendo de la dirección de rotación de varilla). Si es necesario, elementos de separación adicionales (no mostrados) pueden ser añadidos para mantener las posiciones de las placas de estabilización 28, 30 y 32 respecto a la otra. miembros de rotación de la barra, tales como poleas 98, pueden estar montados en un extremo de cada varilla roscada 26A. Los miembros de rotación de la varilla puede ser accionado por un mecanismo de accionamiento adecuado. Por ejemplo, si se usan las poleas 98, el mecanismo de accionamiento puede incluir un motor de accionamiento 100 acoplado a las poleas 98, como por medio de una correa de transmisión 102. La unidad de motor 100 puede estar conectado a un sistema de control adecuado (no mostrado ) que ajusta la posición de los primer y segundo soportes de imanes 4 y 8 siempre que se desee para relajar las fuerzas de interacción magnéticas, tales como en el momento de puesta en marcha.

Aunque cada una de las realizaciones del aparato de accionamiento magnéticos mencionados anteriormente se basan en disposiciones de imanes permanentes con cuatro imanes cada una, otras disposiciones de imanes también serían posibles. Los ejemplos incluyen, pero no se limitan a, disposiciones de imanes que comprenden ocho imanes, doce imanes, dieciséis imanes, los imanes, veinte veinticuatro imanes, etc. Como el régimen de cuatro imán ilustradas, estas disposiciones de imanes alternativos pueden ser configurados como un imán simétrica patrón que define una forma poligonal correspondiente al número de imanes en cada disposición. disposiciones de imanes que tienen dos (o más) patrones de imán poligonales en una relación anidada también serían posibles. A cada lado portador de imán, el patrón de imán puede comprender N-imán agrupaciones de n polos magnéticos adyacentes de la misma polaridad en cada agrupación. De esta manera, soporte de imán rotación relativa producirá el cambio de interacciones magnéticas cada vez que los polos magnéticos opuestos se forma giratoria avanzaron en alineamiento coaxial mutuo. Como en el caso de las disposiciones de cuatro imán descritos anteriormente, habrá soporte de imán posiciones de rotación relativas en el que todos los polos magnéticos opuestos en la zona de interacción magnética entre dos soportes de imanes opuestos están alineados coaxialmente, ya sea en las relaciones NN o NS. En otras posiciones de rotación relativas soporte de imán, los polos magnéticos opuestos en la zona de interacción magnética entre dos soportes de imanes opuestos serán alineadas coaxialmente en ambas relaciones NN y NS, con el número de relaciones NN y NS en igualdad de condiciones. En general, se espera que estas características será producido por cualquier disposición de imán que tiene un número par de imanes, un número igual de polos N y S en cualquier lado soporte de imán dado, y en el que los polos N y S están dispuestos en agrupaciones de imán tiene un número par de imanes adyacentes de igual polaridad.

Aunque las construcciones aparato de accionamiento magnéticos descritos hasta ahora tienen tres soportes de imanes 4, 8 y 12 dispuestos para formar zonas duales de interacción magnética 15A y 15B, otras construcciones también serían posibles. Por ejemplo, un aparato de accionamiento magnético de acuerdo con la presente descripción puede estar construido con dos soportes de imanes opuestos dispuestos para formar una sola zona de interacción magnética. Al igual que en las construcciones anteriores, los disposiciones de imanes opuestos están configurados para producir interacciones magnéticas cuando los soportes de imanes opuestos se someten a la rotación relativa.

Figs.15-18 ilustran un ejemplo magnética 2D construcción de aparatos unidad que representa una realización única zona de interacción magnética que utiliza dos soportes de imanes. En la unidad de construcción 2D aparato magnético, no es sólo el primer soporte de imán 4 y el soporte de imán intermedio 12 proporciona una única zona de interacción magnética 15A. El segundo soporte de imán 8 y la segunda zona 15B interacción magnética no están presentes. Las interacciones magnéticas en la zona de interacción magnética 15A durante la rotación relativa de los soportes de imanes opuestos 4 y 12 (ver las flechas "A" y "B") producen fuerzas de carrera de potencia que hacen que los soportes de imanes para someterse a un movimiento relativo alternativo en direcciones primera y segunda con accidente cerebrovascular durante las partes de la zona de alimentación de la rotación relativa.

Las zonas de potencia se ilustran en las Fig.15 y Fig.16, y se caracterizan por oposición a los polos magnéticos de las disposiciones de imanes opuestos 6 y 14 están mutuamente alineados coaxialmente y producir el máximo empuje o tire de fuerzas magnéticas. En particular, la figura 15 muestra una primera zona de potencia, donde los soportes de imanes 4 y 12 se repelen unas de otras (ver las flechas "D"), y la figura 16 muestra una segunda zona de potencia, donde los soportes de imanes se atraen uno hacia el otro (ver las flechas "E"). Las interacciones magnéticas producen sustancialmente ninguna fuerza de trazo potencia durante porciones zona muerta de la rotación relativa. Las posiciones zona muerta se ejemplifican en Figs.17 y 18, y se caracterizan por oposición a los polos magnéticos de las disposiciones de imanes opuestos 6 y 14 están mutuamente alineados coaxialmente pero produciendo un equilibrio substancialmente igual de empuje y tire de fuerzas magnéticas. Como en las realizaciones anteriores, la rotación relativa y el movimiento alternativo pueden estar sincronizados de modo que las zonas muertas coinciden con el punto muerto superior y punto muerto posiciones movimiento alternativo relativo inferiores de los soportes de imanes 4 y 12, y de modo que se producen las zonas de potencia cuando el aparato de accionamiento magnético está entre el punto muerto superior y el punto muerto posiciones alternativo relativo del fondo. Del mismo modo, la rotación relativa y el movimiento alternativo puede ser sincronizado de modo que dichas zonas muertas son dinámicamente ajustable en posición o el tamaño.


Se apreciará que las construcciones adicionales aparato de accionamiento magnético se pueden implementar usando varios conjuntos de soportes de imanes. Un ejemplo de configuración se muestra por el 2E construcción de aparatos de arrastre magnético de la Fig.19. El 2E construcción de aparatos de accionamiento magnético se basa en la unidad magnética construcción de aparatos 2A de la Fig.7, excepto que hay dos conjuntos de soportes de imanes, cada uno compuesto por la primera, segunda e intermedia soportes de imanes 4, 8 y 12, montado en el principal eje 16. Como en la construcción 2A aparato de accionamiento magnético, un componente de accionamiento de entrada 21 está acoplado a la primera porción de extremo 20 del eje principal 16. la segunda porción de extremo 22 del eje principal 16 está acoplado operativamente a una única salida giratorio 23 , tal como un cigüeñal.


La Fig.20 muestra otra 2F construcción de aparatos de arrastre magnético que también se basa en la unidad magnética construcción de aparatos 2A de la Fig.7, excepto que hay dos ejes principales 16, cada uno con su propio conjunto de portadores de primera, segunda e intermedia del imán 4, 8 y 12. cada eje principal 16 tiene su propio componente de accionamiento de entrada 21 acoplada a la porción de extremo primera eje 20. Sin embargo, la segunda porción de extremo 22 de cada eje principal 16 está acoplado a una única salida giratorio 23, tal como un cigüeñal.

Se apreciará que las realizaciones de Figs.19 y 20 podrían tener cualquier número de conjuntos de soporte de imán. Como se muestra, cada conjunto portador de imán podría tener tres soportes de imanes que forman dos zonas de interacción magnética. Alternativamente, algunos o todos de los conjuntos de imán podría basarse en la forma de realización de Figs.15-18, con dos soportes de imanes formando una zona de interacción magnética.


Patrick Kelly
www.free-energy-info.tuks.nl
www.free-energy-info.com
www.free-energy-info.tuks.co.uk














闽ICP备2022006709号