哈罗德·米勒和安德鲁·科尔森的永磁电机
第一章:磁能
哈罗德·米勒和安德鲁·科尔森的永磁电机
在这个地点可以看到一台运行着的、非常巨大而又笨重、并且相当昂贵的永磁电机:
这是一台强大的、自启动的电机,而且它在这里还有一个开发论坛:20583-miller-colson-magnetic-motor.html

这是一个往复式运行设计,理论上讲,往复运动远不如纯粹的旋转系统有效——如查尔斯·弗林或罗伯特·亚当斯的设计。不过,这里是这个专利的摘录:
美国专利 8,487,484 2013年7月16日 发明人:小哈罗德·米勒和小安德鲁·科尔森
永磁驱动的装置及其运行方法
永磁驱动的装置及其运行方法
摘要:
一种磁驱动装置,包括第一和第二磁载体携带第一和第二永磁配置。一种位于第一和第二磁载体之间的中间磁载体携带一个第三永磁配置。磁载体配置为彼此相对旋转,使得磁配置产生磁的相互作用导致动力冲程力使磁载体在第一和第二冲程方向在相对旋转的力区部分期间经历相对往复运动。在相对旋转的死区部分期间,磁相互作用实质上没有赋予动力冲程力。死区包括磁载体相对旋转位置,它与磁极相对,相互同轴对齐,但产生一个推力和拉力大致相等平衡的磁力。装置可以同步,使死区与上死点和下死点相对往复运动位置一致。
描述:
发明背景
1. 本发明领域
本发明涉及的机械驱动将输入力或扭矩(应用于驱动输入)转化为输出力或扭矩(传递驱动输出)。更具体地说,本发明是关于往复运动驱动系统的,其执行力或扭矩是通过永磁体之间的磁场相互作用来转换的。
2. 现有技术的描述
通过背景的方式,有许多专利、发布的专利申请和其它文献提出使用永磁去激励往复运动驱动装置——如运动转换器、动力传送器、电机和其它装置。在许多情况下,所提出的设备表达的理念可能从未被实施过,而如果它们曾经被制做过,则不像是产生过实际用处。这并不是说,这种披露是无效的。实际上,许多永磁驱动系统已做成,你只需查询流行的YouTube网站,去看看各种视频,就描绘了这样的设备。
然而,似乎,没有人从心存往复式发动机运行的基本原理的发动机设计师的角度走近永磁驱动结构。一个明显未被认可的要求是需要定期松弛驱动组件,以利于持续的往复运动。就我所知,这个问题至今没有得到解决,而原因之一可能是为什么永磁往复驱动在很大程度上仍然停留在爱好者和空忙的及修补匠的范畴。
概要
技能中的进步是由具有一个新颖的、特别适于往复运动运行的磁配置的磁驱动装置提供的。在一个实施中,磁力驱动装置包括第一和第二磁载体,携带第一和第二永磁配置。中间磁载体置于第一和第二磁载体之间,并携带第三永磁配置。中间磁载体和第一和第二磁载体被配置成彼此相对旋转(相对旋转)。在这样的相对旋转期间,磁配置产生磁相互作用,导致动力冲程力。相对旋转的力区部分期间,在第一和第二冲程方向中,动力冲程导致中间磁载体和第一和第二磁载体携带去承受彼此相对的往复动作(相对往复运动)。相对旋转的死区部分期间,磁相互作用实质上没有传达动力冲程力。死区包围磁载体的相对旋转位置,在这里与第一、第二和第三永磁配置的磁极相对,互为同轴对齐,但实质上产生相等的、平衡的、推和拉的磁力。中间磁载体和第一和第二磁载体之间的相对旋转和相对往复运动可以同步,使得死区发生在接近磁载体相对往复运动位置上死点和下死点处(这是动力冲程要求松弛的地方),所以动力冲程力量发生在上死点和下死点相对往复运动位置之间(这是需要最大磁力的地方)。
在磁驱动装置的一个实施例中,一个死区和一个力区之间每一个过渡都存在一个过渡区。每个过渡区代表磁载体之间的过渡周期,实质上没有承受动力冲程力和实质上的最大动力冲程力。
在磁驱动装置的一个实施例中,第一永磁铁配置、第二永磁配置和第三永磁配置,每个都包含一套一种磁体模式的磁配置。磁体以其各自的磁载体对存在于第一磁载体边上的第一磁极和第二磁载体边上的第二磁极为导向。每个磁模式可以有偶数个磁体。在任意给定的磁载体侧上,可以有同等数量的N极和S极配置——至少在第一个n-磁体编组具有第一极性的n个相邻磁极,以及至少在一个第二个n-磁体编组具有第二极性的n个相邻磁极,以“n”为一个偶数。
在磁驱动装置的一个实施例中,第一磁载体有一个内侧面,面向中间磁载体的第一个侧边,形成第一个磁相互作用区,而第二磁载体有一个内侧面,面向中间磁载体的第二个侧边,构成第二个磁相互作用区。在这个设置中,动力冲程力将被传达,当第一和第二磁相互作用区里的所有相反的磁极,在既相互排斥又相互吸引的相对磁载体旋转的力区部分中同轴对齐。尤其是,在第一个的磁相互作用区的相反磁极全部同轴对齐为相互排斥、同时在第二磁相互作用区的相反磁极全部同轴对齐为相互吸引的时候,动力冲程力将在第一方向产生相对往复运动。相反,在第一个的磁相互作用区的相反磁极全部同轴对齐为相互吸引、同时在第二磁相互作用区的相反磁极全部同轴对齐为相互排斥的时候,动力冲程力将在第二方向产生相对往复运动。力区也可在同轴对齐的位置的两边延续一定的旋转距离。
在磁驱动装置的一个实施例中,每个死区包括一个磁载体的相对旋转位置,其中在第一和第二磁相互作用区的相反磁极的一半全部同轴对齐为相互排斥、而在第一和第二磁相互作用区的相反磁极的另一半全部同轴对齐为相互吸引。死区也可在同轴对齐的位置的两边延续一定的旋转距离。
在磁驱动装置的一个实施例中,主轴可以通过每个磁载体延展。主轴可以有一个中央纵轴,并可游移旋转、以及能够沿纵轴往复运动。主轴的第一端部可适配于运行连接到一个旋转主轴的输入部件上。主轴的第二端部可以适配于运行连接到一个输出部件,它由主轴的往复运动驱动。主轴能可旋转连接到中间磁载体或第一和第二磁载体,这样主轴的旋转由于其纵轴在中间磁载体和第一和第二磁载体之间产生相对旋转。主轴可轴向连接到中间磁载体或第一和第二磁载体,使得主轴的往复运动沿其纵向轴在中间磁载体和第一和第二磁载体之间、以第一和第二冲程方向产生相对往复运动。例如,中间磁载体可以固定到主轴,既可以为了往复运动,又可以随其旋转,而第一和第二磁载体不一定非要运行连接到主轴。
在磁驱动装置的一个实施例中,第一和第二磁载体可以配置为朝向和远离中间磁载体的可调定位,以调节磁相互作用的强度。第一和第二磁载体的位置可通过动力驱动磁载体定位系统调整向着或远离中间磁载体。
在披露主题的另一方面,通过结合一种磁驱动装置作为在这里的披露,提供了一种磁驱动转矩转换装置,具有一个输入组件和一个输出组件。输入组件可以连接到中间磁载体或第一和第二磁载体,以在中间磁载体和第一和第二磁载体之间产生相对旋转。输出组件可连接到中间磁载体或第一和第二磁载体,使中间磁载体和第一和第二磁载体之间以第一和第二冲程方向的相对往复运动激励输出组件。
在磁驱动转扭变换器装置的一个实施例中,磁驱动装置可以包括一个主轴,它通过每个磁载体延伸。主轴可以如前所述,有一个中央纵轴,并可游移旋转,以及能沿纵轴往复运动。主轴的第一端部连接到输入组件,转动主轴。主轴的二端部连接到输出组件,它由主轴的往复运动驱动。如上所述,主轴可旋转地连接到中间磁载体或第一和第二磁载体,使得主轴旋转由于其纵轴在中间磁载体和第一和第二磁载体之间产生相对旋转。同样,主轴可轴向连接到中间磁载体或第一和第二磁载体,使得主轴的往复运动沿其纵轴在中间磁载体和第一和第二磁载体之间以第一和第二冲程方向产生相对往复运动。
在磁驱动转扭变换器装置的一个实施例中,同步装置用于主轴与其相关的旋转和往复运动的位置同步,其得死区与主轴一致,靠近上死点和下死点位置。例如,可使同步主轴,使死区集中在上死点和下死点位置。或者,可同步主轴,使死区位置或大小得到动态调整。
在磁驱动转扭变换器装置的一个实施例中,同步装置可通过输入组件、输出组件和一个传感器/反馈系统提供,作为基于输出组件定位的输入组件控制。
在磁驱动转扭变换器装置的一个实施例中,输入组件可包括一个旋转驱动电机,而输出组件可包括一个通过连接杆连接到主轴的曲轴。在这种情况下,传感器/反馈系统可包括一个配置的传感器去辨识曲轴的旋转,而一个可操作的控制器去控制旋转驱动电机,以响应传感器的曲轴位置信号。
在披露标的物的另一个方面,磁驱动装置体现为一个二磁载体的装置,而不是一个三磁载体的装置。二磁载体装置包括相反的第一和第二磁载体,而不是三磁载体装置中提供的第一、第二和中间磁载体。两个相对的磁载体各自携带相对的磁体配置,它们被设置成当相对磁载体经历相对旋转时产生磁相互作用。磁相互作用产生动力冲程力导致相对的磁载体在在相对旋转的力区部分以第一和第二冲程方向经历相对往复运动。在相对旋转的死区部分过程中,磁相互作用基本上没有产生动力冲程力。死区由磁载体的相对旋转位置构成,其中相反的磁配置的相反磁极相互同轴对齐,但产生一个大致相等平衡的推和拉的磁力。磁载体之间的相对旋转和相对往复运动同步,使得死区存在于靠近上死点和下死点,磁载体的相对往复运动位置,所以力区存在于上死点和下死点之间——相对于往复运动的位置。
在披露标的物的另一个方面,一组多个的磁驱动装置可以由一个或多个输入组件供电,去驱动一个单个的输出组件。每组多个的磁驱动装置可包括两个或更多的三磁载体驱动装置、两个或更多的二磁载体驱动装置、或任何所需的一个或多个三磁载体装置的组合和一个或多个二磁载体装置。
在披露标的物的另一个方面,提供了一种磁驱动的方法。在这个方法的一个示范性实施中,提供了相反的磁载体,各自携带相反的磁配置。相对旋转在相反的磁载体之间感应,产生磁相互作用。磁相互作用产生动力冲程力,使得相反的磁载体在相对旋转力区部分的期间以第一和第二冲程方向经历相对往复运动。在相对旋转的死区部分期间,磁相互作用实质上不产生动力冲程力。死区包含磁载体的相对旋转位置,其中相反磁配置的相反磁极相互同轴对齐,但产生一个实质上相等平衡的推和拉的磁力。磁载体的相对旋转和相对往复运动可以同步,以达到所需效应。例如,同步可包括定时磁载体的相对旋转和相对往复运动,使死区集中在上死点和下死点相对于往复运动位置,以便力区发生在上死点和下死点相对往复运动位置之间。另外,同步可包括定时磁载体的相对旋转和相对往复运动,使死区动态调整位置或大小。
在披露标的物的另一个方面,磁驱动装置以相反磁载体分别携带相反的磁配置。相反的磁配置具有相反磁极并设置相反磁载体经历相对旋转时产生磁相互作用。磁相互作用产生动力冲程力导致相反的磁载体在相对旋转的力区部分期间以第一和第二冲程方向经历相对往复运动。相对旋转还包括旋转死区,其中相反磁配置的相反磁极相互同轴对齐,以界定同极性的相同数目和相反极性的相对极对。
图示简要说明
前述的和其它的特点以及优势将由于下面的范例实施的更具体的说明而显现出来,如附图中所示,其中:

图.1是一幅透视示意图,显示出一个在第一运行位置的范例三磁载体磁驱动装置;

图.2是一幅透视示意图,显示出图.1的一个在第二运行位置的磁驱动装置;

图.3是一幅透视示意图,显示出图.1的一个在第三运行位置的磁驱动装置;

图.4是一幅透视示意图,显示出图.1的一个在第四运行位置的磁驱动装置;

图.5是一个定时图示,显示了图.1的磁驱动装置的范例定时;








图.6A至图.6H是进一步的定时图示,显示了图.1的磁驱动装置的范例定时;


图.8是一幅透视图,显示了图.1的磁驱动装置的另一个范例结构与一个输入组件和一个输出组件结合,以提供一个磁驱动转矩变换器的装置;

图.9是一幅俯视图,显示了图.8的磁驱动装置的结构;

图.10A是一幅图.9中沿10A线至10A线所取的截面图;

图.10B是一幅图.9中沿10B线至10B线所取的截面图;

图.10C是一幅图.9中沿10C线至10C线所取的截面图;

图.10D是一幅图.9中沿10D线至10D线所取的截面图;

图.10E是一幅图.9中沿10E线至10E线所取的截面图;

图.10F是一幅图.9中沿10F线至10F线所取的截面图;

图.11是图.8的范例磁驱动装置结构的部分侧视图/局部剖视图,是以图.9中沿线11至线11所取的截面视图;

图.12A和图.12B是放大的透视图,显示了图.8的范例磁驱动装置结构的一个输出耦合组件;








图.13A至图.13H是透视视图,显示了图.8的范例磁驱动装置结构的第一、第二和中间磁载体,以被固定第一和第二磁载体对旋转和往复运动,而中间磁载体在不同的各种旋转和往复运动位置中显示;

图.14是一幅透视图,显示了图.8的范例磁驱动装置结构的改型,其第一和第二磁载体的位置是可调的;

图.15是一幅透视示意图,显示了一个在第一运行位置的范例二磁载体磁驱动装置结构;

图.16是一幅透视示意图,显示了在第二运行位置的图.15的磁驱动装置结构;

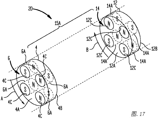
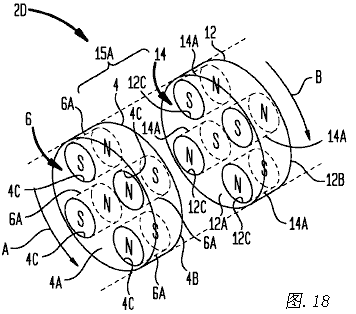
图.17是一幅透视示意图,显示了在第三运行位置的图.15的磁驱动装置结构;

图.18是一幅透视示意图,显示了在第四运行位置的图.15的磁驱动装置结构;


图.20是一幅透视示意图,显示了另一个范例磁驱动装置结构,拥有多组套磁载体,驱动一个公有的输出组件。
范例实施详述
现在转到图示,不必按比例——如涉及的数字,将用于表示所有的各个视图中的元素。如将在下面连同各种可供替代的实施方式所描述的,于此所披露的磁驱动装置可用于转换一个从输入电源收到的旋转输入为一个往复运动输出,它可用于驱动负载。旋转输入可连续或间歇、单向或双向。往复运动输出可由往复冲程的重复周期组成。磁驱动装置使用永磁配置,它们在每个选定的磁模式里设置成在磁配置通过输入功率源而彼此之间相对旋转时产生磁相互作用。这些磁相互作用在每个往复冲程方向(动力冲程)传递往复运动功率。有利的是,磁相互作用也产生清晰可辨的、基本上没有净磁力的死区,这可以使它发生在靠近每一次往复运动冲程的末尾。在每个死区期间,由永磁配置传递的净磁力实质上是“关闭”的。这使得动力冲程力立刻松弛,并在动力冲程之间静止,从而确保平滑连续的往复运动运行。

现在谈到图.1至图.4,范例三磁载体磁驱动装置2的图解视图显示,是为了说明于此披露的标的物的一般原理。在图解的实施方案中,磁驱动装置2的左侧端有一个第一磁载体4,携带具有一组永磁6A的第一永磁配置6。磁驱动装置2的右端有一个第二磁载体,携带具有一组永磁10A的第二永磁配置10。中间磁载体12被置于第一和第二磁载体之间,并携带具有一组永磁14A的第三永磁配置14。
磁载体4、8和12各自具有第一和第二侧边4A/4B、8A/8B和12A/12B,界定磁载体的厚度尺寸。虽然磁载体4、8和12都显示为圆盘形,其它形状的磁载体也是可以用的(如多边形、星形,等)。磁载体4、8和12可用任何适用的金属或有足够强度和刚度的非金属材料焊接,以处理磁力,包括——但不限于铝、钛、不锈钢、高分子材料、纤维增强复合材料等。用金属时,材料最好大体上是无磁性的(如铝或钛),或只有轻度磁性(如不锈钢)。更多磁性的材料(如低碳钢)也可以用——假如你明白这些材料可能会影响磁体6A、10A和14A的磁场。
磁体6A、10A和14A图示为圆盘磁体,为轴向磁化,使得在一个磁面上是北磁极而相对的磁面上是南磁极。每个6A、10A和14A磁体都有一个中央纵轴线,在其南北两极之间延伸。这个轴表示磁体6A、10A和14A的主磁场。任何合适的永磁材料均可用于构造磁体6A、10A和14A。最好,将被使用的是具有强磁性质的磁体,例如稀土磁体包括钕铁硼(NeFeB)或钐钴(SmCo)。虽然由于它们较低的磁场强度而不太理想,但也可使用其它类型的磁体,包括铝镍钴磁铁,包括铝,镍和钴中除铁,或陶瓷磁体包括铁氧体材料。虽然由于其较低的磁场强度而不太可取,还可以用其它类型的磁体,包括由除铁外还有铝、镍和钴组成的铝镍钴磁体,或由铁氧体材料组成的陶瓷磁体。也可以用不同形状的磁体。例如,替换磁体6A、10A和14A的圆盘形,磁体可以是球形、肾形、香蕉形的,等等。此外,而不是每一个6A、10A和14A磁体作为一个单个的磁体,部分或全部的磁体均可实现为两个或多个磁体与其对齐的磁极同轴堆叠而相互吸引。
磁载体4、8和12可以任何适当的方式携带其各自的6A、10A和14A磁体。例如,每个4、8和12磁载体可用合适的大小和形状的磁体携带裁切构成。如果磁体如图.1至图.4中所示是圆盘形的,磁载体4可用四个圆形裁切的4C构成,接收四个磁体6A。同样,磁载体8可用四个圆形裁切的8C构成,接收四个磁体10A;而磁载体12可用四个圆形裁切的12C构成,接收四个磁体14A。如果需要,磁体6A、10A和14A的厚度从一个磁面到另一个是可选的,以匹配磁载体4、8和12的厚度。另外,磁体6A、10A和14A可以比其各自的磁载体4、8和12的厚度尺寸更厚或更薄。任何合适的磁体固位技术均可用于固定磁体6A、10A和14A就位。例如,图.8到图.12B的实施(下面有更详尽的说明)显示了一个范例技术——在磁载体4、8和12上用磁体护圈板上固定磁体6A、10A和14A。
第一永磁配置6、第二永磁配置10和第三永磁配置14被设置成中间磁载体12和第一和第二磁载体4和8之间的一个旋转输入(在图.1到图.4中没显示),赋予相对旋转时产生变化的磁相互作用。图.1到图.4中,中间磁载体12和第一和第二磁载体4和8之间的相对旋转用箭头“A”、“B”和“C”表示。图.1中,中间磁载体12和第一和第二磁载体4和8显示在第一相对旋转位置。图.2中,中间磁载体12和第一和第二磁载体4和8显示在第二相对旋转位置,在中间磁载体12和第一和第二磁载体4和8之间接着的180°的相对旋转。图.3和图.4显示相对的旋转位置,是图.1和图.2的相对旋转位置之间的中途。
把磁驱动装置2做成便于在中间磁载体12和第一和第二磁载体4和8之间相对旋转有很多方法。例如,中间磁载体12可以连接到输入组件并通过其自身旋转,同时第一和第二磁载体4和8对旋转保持固定。相反,第一和第二磁载体4和8可连接到输入组件并一起旋转,同时中间磁载体12保持固定,防止旋转。第一和第二磁载体4和8可以同向旋转,也可以反向旋转。另一种选择是在一个方向上旋转中间磁载体12,同时在相反方向旋转第一和第二磁铁载体4和8。第一种途径的一个例子在下面图.7和图.8到12B中连同所示的结构有更详细的描述。这些结构中,中间磁载体12安装到主轴,独立于第一和第二磁载体4和8自由旋转。第一和第二磁载体4和8通过支架组件固定,防止旋转。
还有各种方法把磁驱动装置2建造成便于中间磁载体12和第一和第二磁载体4和8之间的相对往复运动。例如,中间磁载体12可以耦合到输出组件,产生往复运动,而第一和第二磁载体4和8保持防止往复运动的固定。相反,第一和第二磁载体4和8均可连接到输出组件产生往复运动,而中间磁载体12保持对往复运动的固定。
第一种途径的范例的更详细的说明连同建构显示在图.7和图.8到图.12B中。这些结构中,中间磁载体12安装在一个主轴上,可以自由地、不依赖于第一和第二磁载体4和8地往复运动。第一和第二磁载体4和8由支架组件固定,防止往复运动。
应该指出的是,任何适于往复运动的磁载体要在中间磁载体12和第一和第二磁载体4和8之间产生相对往复运动,也适合于旋转,以在中间磁载体和第一和第二磁载体之间产生相对旋转。同样,任何防止往复运动固定的磁载体也可以对旋转固定。例如,如下面更详细描述连同构造显示在图.7和图.8至图.12B中,中间磁载体12即可适用于旋转,也可适用于往复运动,而第一和第二磁载体4和8保持对旋转和往复运动的固定。相反,第一和第二磁载体4和8即可适用于旋转,也可适用于往复运动,而中间磁载体12保持对旋转和往复运动的固定。作为另一种选择,任何适用于往复运动的磁载体可以对旋转固定,反之亦然。例如,中间磁载体12可适用于往复运动而不适用于旋转,而第一和第二磁载体4和8适用于旋转而不适用于往复运动。相反,第一和第二磁载体4和8可适用于往复运动而不适用于旋转,而中间磁载体12适用于旋转而不适用于往复运动。
在图.1到图.4的实施中,磁体6A、10A和14A在每个相应的永磁配置6、10和14的数目是四。磁体6A、10A和14A彼此间距相等,并对称地围绕配置在各个磁载体4、8和12的中心,以四面多边形模式(对应于磁体数),是方形的和平衡的。在任何特定的磁载体边4A/4B、8A/8B或12A/12B上的每一种磁模式均包括一个第一极性(例如,北极)的相邻磁极的第一对,和一个第二极性(例如,南极)的相邻磁极的第二对。图.1到图.4所示的方形四磁模式中,每个磁模式的第一个两个对边具有第一极性的磁极,而磁模式的第二个两个对边具有第二极性的磁极。每个方形磁模式中的磁极互为对角为相反极。如下面更详细的讨论,还可以建造多于四个磁体的磁配置。
在图.1到图.4的每张图里,第一磁载体4的第二边4B面向中间磁载体12的第一边12A,去构成一个第一磁相互作用区15A。第二磁载体8的第一边8A面向中间磁载体12的第二边12B,构成一个第二磁相互作用区15B。以此磁设置,由磁载体相对旋转产生的变化的磁相互作用把动力冲程力赋予给磁载体4、8和12,产生上面提到的往复输出。尤其,当每个第一和第二磁相互作用区15A和15B里的相反磁极对齐为即互相排斥又互相吸引时,动力冲程力将被赋予。
当相反磁极在第一磁相互作用区15A里全部互为相互排斥、而相反磁极在第二磁相互作用区15B里全部互为相互吸引时,动力冲程力在磁载体4、8和12之间以第一方向产生相对往复运动。相反,当相反磁极在第一磁相互作用区15A里全部互为相互吸引、而相反磁极在第二磁相互作用区15B里全部互为相互排斥时,动力冲程力在磁载体4、8和12之间以第二方向产生相对往复运动。
当磁相互作用产生上述动力冲程力时,磁载体4、8和12可以说成是在其相对旋转的“力区”部分。每个动力冲程方向都有一个力区。磁驱动装置2的力区位置由图.1和图.2例示。图.1说明了在第一力区中央的磁驱动装置2,于此,磁相互作用以第一方向产生动力冲程力。中间磁载体12和第一磁载体4被推离——由于中间磁载体的边12A上的每个磁极与第一磁体的边4B上的同极性的相反磁极互为同轴对齐。这个推力用箭头“D”表示。如可以看到的,磁载体4和12为可转动定位,使得磁相互作用区15A里有两个N-N相互作用和两个S-S相互作用。同时,中间磁载体12和第二磁载体8被拉到一起——由于中间磁载体的边12B上的每个磁极与第二磁载体的边8A上相反极性的相反磁极互为同轴对齐。这个拉力用箭头“E”表示。如可以看到的,磁载体8和12为可转动定位,使得磁相互作用区15B里有两个N-S相互作用和两个S-N相互作用。
图.2说明了在第二力区中央的磁驱动装置2,于此,磁相互作用以第二方向产生动力冲程力。如上文所指出的,这种状态接着中间磁载体12和第一和第二磁载体4和8之间的相对旋转的180°(从图.1中所示的位置看)。中间磁载体12和第一磁载体4被拉到一起——由于中间磁载体的边12A上的每个磁极与第一磁载体的边4B上相反极性的相反磁极互为同轴对齐。这个拉力用箭头“E”表示。如可以看到的,磁载体4和12为可转动定位,使得磁相互作用区15A里有两个N-S相互作用和两个S-N相互作用。同时,中间磁载体12和第二磁载体8被推离开来——由于中间磁载体的边12B上的每个磁极与第二磁载体的边8A上同极性的相反磁极互为同轴对齐。这个推力用箭头“D”表示。如可以看到的,磁载体8和12为可转动定位,使得磁相互作用区15B里有两个N-N相互作用和两个S-S相互作用。
应该指出的是,力区延伸到图.1和图.2中所示的磁极的同轴对齐位置的另一头,使每个力区都有一个旋转范围或“宽度”,转动磁载体相对旋转的一个旋转部分。每个力区将由此在磁配置6、10和14的相反磁极旋转进入互为同轴对齐之前启动,并继互为同轴对齐的位置之后结束。动力冲程力将在每个力区内的磁载体4、8和12的所有特定的相对旋转位置产生。
当磁载体4、8和12上基本没有动力冲程力起作用时,磁配置6、10和14可以说成是在其相对旋转的“死区”部分里。图.1到图.4的四磁配置6、10和14中,每个清晰可辨的力区之间有一个清晰可辨的死区,而每个相对往复运动周期由两个独立的力区通过两个死区组成。当第一磁载体4、第二磁载体8和中间磁载体12的相反极互为同轴对齐时,死区存在,但产生一个实质上相等平衡的磁推力和磁拉力。死区里,第一和第二磁相互作用区15A和15B中的一半的相反磁极互为排斥对齐,而第一和第二磁相互作用区的另一半的相反磁极互为吸引对齐。当中间磁载体12和第一和第二磁载体4和8之间相对旋转到旋转位置之间——那在每个力区内产生动力冲程——的半途时,死区生效。死区在图.3和图.4里所示的相对旋转位置被减速。
图.3所示的死区中央对应于磁载体从图.1的力区旋转位置相对旋转90°。图.4所示的死区中央对应于磁载体从图.2的力区旋转位置相对旋转90°。在这些死区位置里,每个磁相互作用区15A和15B里的相反磁极互为同轴对齐,但其极性就像产生实质上为零的净磁力——由于两个相反磁极成为同极性而另外两个相反磁极成为相对极性。特别是,在图.3和图.4的每一张图里,磁载体4、8和12可旋转定位,使得每个磁相互作用区15A和15B里有一个N-N相互作用、一个S-S相互作用、一个N-S相互作用和一个S-N相互作用。像力区,死区延伸到磁极的同轴对齐位置的另一边, 这样每个死区都有一个旋转范围或“宽度”,转动相对磁载体旋转的一个周期的一部。每个死区从而将在磁配置6、10和14的相反磁极旋转进入同轴对齐之前开始,并在同轴对齐的位置之后结束。
磁驱动装置2的一个原型实施中,是依照图.8到图.12B建造的(下面有更详细的讨论),分别每个磁载体4、8和12上的四个磁体6A、10A和14A是用K&J磁材公司的3英寸直径、1英寸厚(1英寸=25.4毫米)、N52级的圆盘钕磁做的。每个磁体6A、10A和14A均为同轴极化,并由生产商额定为产生一个近似于30磅的最大推/拉力。磁体6A、10A和14A各自配置在其磁载体4、8和12上,使得磁体中心离载体中心为2.75英寸。磁载体相对往复运动的冲程长度是5.5英寸。在冲程末端,最靠在一起的磁载体之间的分隔在1.125英寸的相对磁体(极面对极面)之间产生了一个最小的间距。在冲程中段,磁载体之间的分隔相等,并在3.875英寸的相对磁体(极面对极面)之间产生一个最大间距。在这台原型机的测试中,力区和死区每个转动近似磁载体相对旋转的90°——在整个相对往复运动的位置上。其它的磁驱动装置的实施理应得到相同的结果,其中每种磁配置都有四个磁体以一个平衡方形磁体模式的布置。
中间磁载体12和第一和第二磁载体4和8之间的相对旋转和相对往复运动可以同步,使得死区和力区出现在磁载体相对往复运动的所选部分。图.1显示了第一方向位于最接近第一动力冲程中点的力区中心。图.2显示了另一个相反方向位于最接近第二动力冲程中点的力区中心。图.3显示一个死区,以图.1的动力冲程末端和图.2的动力冲程开始处之间为中心。这可以称为下死点位置相对往复运动的磁载体的4、8和12。这可以称为磁载体4、8和12的下死点相对往复运动位置。图.4显示另一个死区,它以图.2的动力冲程末端和图.1的动力冲程开始处之间为中心。这可以称为磁载体4、8和12的上死点相对旋转位置。

图.5显示了一个定时盘,表示另一种方式观看显示在图.1到图.4的同步。在这个图示里,磁载体相对旋转和磁载体相对往复运动均用带角的术语表示。同步就是相对磁载体旋转的每一度,有一个相对磁载体往复运动的度。死区在0°的上死点和180°的下死点相对往复运动位置慢跑,而力区在死区之间慢跑。允许用带角的术语表示磁载体相对往复运动是值得赞赏的——因为相对往复运动表现为周期性运动。用相对往复运动的带角表达比用实际磁载体相对位移合适,因为后者是具体实施。例如,如果磁载体4、8和12的相对往复运动表现为简谐运动,标准方程为:d=A cos(θ),得磁载体相对位移“d”。在这个方程中,角θ是带角术语的磁载体相对往复运动,而值“A”是发生在θ=0°和θ=180°的中间冲程位置的磁载体相对位移最大值。其它方程规定不同类型的周期运动。例如,如果磁载体4、8和12的相对往复运动行为像一个经过连杆连接到曲轴的活塞(因为它确实在下面的图.8到图.12B的实施中),磁载体相对位移将通过标准方程式得出:d=r cos(θ)+(l2−r2 sin(θ)2)1/2。在这个方程中,角θ是磁载体相对往复运动的角的术语,值“d”是磁载体对于曲轴轴心的相对位移,“r”是曲轴臂长,而“l”连杆长。
照规定,图.5显示了一个同步方案,这里,对于相对磁载体的每一度,都有一度相对磁载体往复运动。在0°的位置标记了“上死点”,磁载体4、8和12是在上死点相对往复运动位置里,并且是在第一死区中央旋转定位的。在磁载体4、8和12的相对旋转/往复运动的大约45°处,到达了第一死区的末端,磁载体过渡到第一力区,以第一方向产生动力冲程力。力区中央在大约90°相对旋转/往复运动位置处。在磁载体4、8和12的相对旋转/往复运动的大约135°处,到达了第一力区的末端,磁载体过渡到第二死区。在180°的位置标记了“下死点”,磁载体4、8和12是在下死点相对往复运动位置里,并且是在第二死区中央旋转定位的。在磁载体4、8和12的相对旋转/往复运动的大约225°处,到达了第二死区的末端,磁载体过渡到第二力区。以第二方向产生动力冲程力。这个力区的中央在大约270°相对旋转/往复运动位置上。在磁载体4、8和12的相对旋转/往复运动的大约315°处,到达了第二力区的末端,磁载体过渡回到第一死区。磁载体4、8和12的相对旋转/往复运动的另一个45°后,再次到达0°上死点位置。
如上面所指出的,力区和死区的开始和结束是近似的。这是因为从力区到死区和从死区到力区的转变不是突然发生的。然而,有利的是,这些过渡区(在图.3中命名为“翻转”区)确定为是相当短的,而在上述的磁驱动装置2的原型实施中,不超过约5°的相对旋转/往复运动。每个过渡区表现为磁载体4、8和12经历实质上无动力冲程力和实质上最大动力冲程力之间的一个过渡周期。值得注意的是,描述死区的特性以“实质上没有动力冲程力”产生,并不一定意味着死区内完全是零净力。然而,超过数磅的死区力一直没有被观察到,而且在磁驱动装置2的原型实施中,数量级低于动力冲程力。此外,很少的这些死区力远离死区中心,对磁驱动装置2的往复运行没有影响。
如下有关图.8至图.12B所示的范例结构所述,可以建立图.1至图.5所示的同步,并通过反馈系统维持,监测磁载体4、8和12之间的相对往复运动,并用这个信息控制磁载体的相对旋转。或者,可以提供一个机械定时系统,其中磁载体4、8和12之间的相对旋转和相对往复运动同步——用一个机械轴节配置。如果需要,可调整同步,以便磁载体相对旋转前移或迟滞相关磁载体相对往复运动。例如,可转移死区相对旋转位置,使得死区在上死点和下死点相对往复运动位置之前或之后居中。如汽车发动机中,根据磁载体相对往复运动速度,磁载体相对旋转可动态提前和滞后调节死区位置。还可以在相对旋转的每个旋转周期期间在选定的时间点上动态地提前和延迟磁载体相对旋转的相关磁载体相对往复运动。这将对调整死区相对力区的大小有影响。例如,如果希望减小死区宽度的同时增加力区宽度,磁载体相对旋转可以在力区内动态延迟(减速),而在死区内动态提前(加速)。同样,如果希望增加死区宽度的同时减小力区宽度,磁载体相对旋转可以在力区内动态提前(加速),而在死区内动态延迟(减速)。








图.6A到图.6H显示了图.1到图.5所示的磁载体4、8和12使用的同步方案的相对旋转/往复运动周期的附加视图。图.6A到图.6H中的每一幅图显示了一个磁载体4、8和12的相对旋转和往复运动位置的45°增量。每个图的中央部分显示磁载体相对往复运动的位置(带角的术语)。每张图的左边描绘了第一磁载体4和中间磁载体12的相对旋转位置。还显示了第一磁相互作用区15A(见图.1到图.4)中相反磁体的对齐,作为每一对相对的磁体的极性(即中间载体12的第一边12A上的磁体14A的极性,和第一磁载体4的第二边4B上的磁体6A的极性)。每张图的右边描绘了第二磁载体8和中间磁载体12的相对旋转位置。还显示了第二磁相互作用区15B(见图.1到图.4)中相反磁体的对齐,作为每一对相对的磁体的极性(即中间载体12的第二边12B上的磁体14A的极性,和第二磁载体8的第一边8A上的磁体10A的极性)。
作为一个解释性的指引,图.6A到图.6H的左边部分是从第一磁载体4的第二边4B看向中间磁载体12的第一边12A的视图。图.6A到图.6H的右边部分是从中间磁载体12的第二边12B看向第二磁载体8的第一边8A的视图。在相反磁体重叠的位置(即图.6A、图.6C、图.6E和图.6G)中,每个所描绘的磁体对的中心处的字母(S或N)是中间磁载体12上的磁体14A的极性,而偏移字母(S或N)是其在第一或第二磁载体4或8上的相反磁体6A或10A的极性。而在相反磁体重叠的位置(即图.6B、图.6D、图.6F和图.6H)中,中间磁载体12的磁体14A显示为上面第一或第二磁载体4或8的相反磁体6A或10A。同理,下面讨论相反磁体对的极性时,第一极性将是中间磁载体12的一个磁体14A,而第二极性将是第一磁载体4的一个磁体6A、或第二磁载体8的一个磁体10A(取决于正在讨论的是第一还是第二磁相互作用区15A或15B)。当下面枚举磁体对的极性时,它们将在每个磁体配置的左上象限中开始,并以顺时针顺序继续。

图.6A显示了处于0°相对旋转/往复运动位置的磁载体4、8和12。在这个位置,第一磁相互作用区15A中的磁相互作用是S-N、S-S、N-S和N-N。 第二磁相互作用区15B中的磁相互作用是N-N、N-S、S-S和S-N。在每个磁相互作用区15A和15B中,一半的相反磁体对被同轴对齐以相互吸引,而另一半被同轴对齐以相互排斥。因此,图.6A描绘了一个死区,在磁载体4、8和12的0°上死点相对往复运动位置处慢跑。正如可以看到的,这个死区大约为90°宽。

图.6B显示处于45°相对旋转/往复运动位置的磁载体4、8和12。在这个位置中,磁载体4、8和12的相对旋转是死区的中点和力区旋转位置之间的半途。磁载体4、8和12从而处于一个过渡区域中,其中的磁力是从死区的实质上的净零状态转变为力区的全磁力状态。

图.6C显示了处于90°相对旋转/往复运动位置的磁载体4、8和12。在这个位置,第一磁相互作用区15A中的磁相互作用是N-N、S-S、S-S和N-N。这个磁相互作用区中的所有相反磁体对以同极性同轴对齐,使得第一磁载体4和中间磁载体12以最大推力彼此排斥。第二磁相互作用区15B里的磁相互作用是S-N、N-S、N-S和S-N。这个磁相互作用区中的所有相反磁体对以相反极性同轴对齐,使得第二磁载体8和中间磁载体12以最大拉力彼此吸引。图.6C因此描绘了一个力区,在磁载体4、8和12的90°相对往复运动位置慢跑。如可以看出的,这个力区约为90°宽。

图.6D显示处于135°相对旋转/往复运动位置的磁载体4、8和12。在这个位置中,磁载体4、8和12的相对旋转是死区的中点和力区旋转位置之间的半途。磁载体4、8和12从而处于一个过渡区域中,其中的磁力是从力区的全磁力状态转变为死区的实质上的净零状态。

图.6E显示了处于180°相对旋转/往复运动位置的磁载体4、8和12。在这个位置,第一磁相互作用区15A中的磁相互作用是N-N、N-S、S-S和S-N。第二磁相互作用区15B里的磁相互作用是S-N、S-S、N-S和N-N。在每个磁相互作用区15A和15B中,一半的相反磁体对被同轴对齐以相互吸引,而另一半被同轴对齐以相互排斥。因此,图.6E描绘了一个死区,在磁载体4、8和12的180°上死点相对往复运动位置处慢跑。正如可以看到的,这个死区大约为90°宽。

图.6F显示处于225°相对旋转/往复运动位置的磁载体4、8和12。在这个位置中,磁载体4、8和12的相对旋转是死区的中点和力区旋转位置之间的半途。磁载体4、8和12从而处于一个过渡区域中,其中的磁力是从死区的实质上的净零状态转变为力区的全磁力状态。

图.6G显示了处于270°相对旋转/往复运动位置的磁载体4、8和12。在这个位置,第一磁相互作用区15A中的磁相互作用是S-N、N-S、N-S和S-N。这个磁相互作用区中的所有相反磁体对以相反极性同轴对齐,使得第一磁载体4和中间磁载体12以最大拉力彼此吸引。第二磁相互作用区15B里的磁相互作用是N-N、S-S、S-S和N-N。这个磁相互作用区中的所有相反磁体对以同极性同轴对齐,使得第二磁载体8和中间磁载体12以最大推力彼此排斥。图.6G因此描绘了一个力区,在磁载体4、8和12的270°相对往复运动位置慢跑。如可以看到的,这个力区约为90°宽。

图.6H显示处于315°相对旋转/往复运动位置的磁载体4、8和12。在这个位置中,磁载体4、8和12的相对旋转是死区的中点和力区旋转位置之间的半途。磁载体4、8和12从而处于一个过渡区域中,其中的磁力是从力区的全磁力状态转变为死区的实质上的净零状态。

现在谈到图.7,磁驱动装置2显示为范例结构2A,其中间磁载体12适配睛旋转和往复运动,而第一和第二磁载体4和6适配于对旋转和往复运动保持固定。磁驱动装置结构2A中,主轴16配置成延伸穿过中央孔4D、8D和12D,分别构成于磁载体4、8和12。主轴16实质上是笔直的,而中央纵轴18实质上平行于磁体6A、10A和14A的纵轴线(和磁场轴)。
主轴16是为同时旋转和往复运动配置的。主轴16的第一端部20适配于运行连接到输出组件21,图.7中概略所示,可旋转驱动主轴。例如,如下面图.8至图.12B的更详尽的描述,输入组件21可由一个旋转驱动电机提供。主轴16的第二端部22适配于运行连接到一个输出组件,它由主轴18的往复运动驱动。图.7中,范例旋转输出组件23可以实施为一个机轴,如概略图中所示。或者,一个往复输出组件,如一个风动的或液压的活塞,可配置为由主轴18的往复运动所驱动。增加输入和输出组件21和23到磁驱动装置结构2A,构成一个磁驱动转矩变换器,转换由输入组件施加的输入扭矩为由输出组件23传递的输出扭矩。
主轴16可旋转连接到中间磁载体12的中心开口12D,但可以在第一和第二磁载体4和8的中心开口4D和8D内自由旋转。可旋转连接的中间磁载体12与主轴16一起旋转,但非可旋转连接的第一和第二磁载体4和8将不旋转,并最好被固定以防止旋转。以这种方式,主轴16的旋转由输入组件21围绕其纵轴18上,将在中间磁载体12和第一和第二磁载体4和8之间产生相对旋转。主轴16还轴向连接到中间磁载体12的中心开口12D,但自由地往复运动通过第一和第二磁载体4和8的中心开口4D和8D。轴向连接的中间磁体载体12与主轴16往复运动,但非轴向连接的第一和第二磁载体4和8将不会有往复运动,并最好被固定而不能往复运动。这样,主轴16的往复运动沿其纵轴18将在中间磁载体12与第一和第二磁载体4和8之间以第一和第二冲程方向产生相对往复运动。

现在转到图.8到图.12B,磁驱动装置2显示为在另一示例结构2B中,用撰述的旋转/往复运动主轴配置与图.7的示例结构2A结合。正如在图.7的情况下,图.8至图.12B描绘了一个磁驱动转矩变换器装置因为磁驱动装置结构2B连接到输入和输出的组件,即,输入电机36和曲轴装配40(两者在下面都有详细描述)。磁驱动装置结构2B中,中间磁载体12还是可旋转和轴向地连接到主轴16,而第一和第二磁载体4和8不以任何方式连接到主轴。如图.10A到图.10C所示,第一和第二磁载体4和8比中间磁载体12的直径更大。这使得磁载体4和8便于固定到一个支架总成24上(见图.8),以所需间距固定和定位第一和第二磁载体。支架总成24还承载主轴16。
支架总成24与一组四个的纵向线筒总成26构建在一起,互相连接第一和第二磁载体4和8,但不连中间磁载体12。线筒总成26还安装了一组稳定盘28、30和32,大致导向平行于磁载体4和8。如图.10A和图.10C至图.10E中所示,每个线筒总成26可包括一根细长杆26A,延伸穿过磁载体4和8中和稳定盘28、30和32中形成的相应孔。每个线筒总成26还可包括一套间隔装置26B,安装在每对的磁载体和/或稳定盘之间的细长杆26A上,以适当间隔这些组件。如在图.8和图.9中所能看到的,每个线筒总成26显示为有四个间隔装置26B,一个在稳定盘28和第一磁载体4之间,第二个在第一磁载体4和第二磁载体8之间,第三个在第二磁载体8和稳定盘30之间,而第四个在稳定盘30和稳定盘32之间。细长杆26A的端部攻有螺纹,接收锁紧件26C,把支架24固定在一起。要知道,用其它配置间隔各种磁载体和稳定盘也是可以的,例如连接在每对间隔部件之间的单独的间隔杆。

如图.11中最佳的示意,稳定盘28位于第一磁载体4的相邻处,并用于支撑主轴16接近结束其第一端部20。尤其是,稳定盘28在中心开口28A的一侧上携带了容纳主轴16的输入耦合组件34。输入耦合组件34内部配置为支承主轴16低摩擦往复运动,同时赋予其旋转力。电机36连接到输入耦合组件34,去起一个旋转输入组件的作用,它在磁力驱动装置2的运行过程中旋转主轴16。稳定盘30位于毗邻第二磁载体8处,并被用于支承主轴16靠近其第二端部22。特别是,稳定盘30有一个中央开口30A,支承滚珠球轴承组件38可旋转地支承主轴16。稳定盘32置于毗邻稳定盘30处。它有一个大型中央开口32A,可容纳主轴16以及曲轴组件40的元件,它安装在稳定盘32的外面。曲轴组件40起着旋转输出组件的作用,它是由磁驱动装置结构2B的运行期间的主轴16的往复运动驱动的。
如图.8、图.9和图.11中最佳的示意,每个磁载体4、8和12都包括相应的一对磁体固定盘42、44和46,以便将它们各自的磁体6A、10A和14A固定在就位。磁体固定盘42、44和46可以由不会在磁体6A、10A和14A之间的磁相互作用有不利影响的任何材料构成。可以用任何适当的安装技术把它们分别固定到磁载体4、8和12,例如用埋头螺钉48,如图.10A、10B和10C所示。
如图.11所能看到的,中间磁载体12的中心孔12D固定在主轴16上,用于与其一起旋转和往复运动,例如,用栓槽轴联器配置(未显示)。同样如图.11中所示,第一和第二磁载体4和8的中心孔4D和8D与主轴16隔开,使得主轴相对于第一和第二磁载体自由旋转和往复运动。
如图.8、图.9和图.11中所能看到的,支承盘28和32可包括用于固定支架24支承表面(未显示)的安装构件50。输入电机36也可包括固定电机的一个支承面(未显示)的安装构件52。输入电机36可以以任何合适的方式运行连接到输入联接组件34——如通过使用法兰联轴节连接54。输入连接组件34包括基座壳体56,可用螺栓或用其它方式固定到支撑盘28的外侧。如图.11所示,输入连接组件34还包括一个滚珠花键装置58,其外径经由滚珠轴承组件60可旋转地连接到基座壳体56。滚珠花键装置58的内径包括多个纵列的滚珠轴承元件62,滚珠轴承元件62配置成关联相应的纵向花键64,使构成紧邻主轴16的第一端部20。滚珠轴承元件62赋予旋转力到主轴16,并使得轴以最小的摩擦来回往复运动。法兰盖管66安装到滚珠花键装置58的端面,并且用于承载法兰联轴节连接54的一个边。法兰联轴节连接的另一边连接到电机36的输出轴。盖管66的长度足以适配主轴16的第一端部20于其中的往复运动。
参见图.8、图.9和图.11,曲轴总成40可用由稳定盘32携带的一对曲轴支承盘68来设置。曲轴支承盘68拥有可旋转携带曲轴70的主轴承。曲轴70包括一对衡重/曲臂组件72。如图.9中所示,每个衡重/曲臂组件72的中部有一个向外延伸的主轴颈73,可转动地安装到曲轴支承盘68的其中一个主轴承上。如图.9中以及图.11中又示,每个衡重/曲臂组件72的曲臂端支承连杆曲颈74的一端。连杆曲颈74通过一个合适的轴承配置连接到连杆76的一端。
连杆76的另一端通过一个U形夹连接物可转动连接到主轴连接组件78。如图.12A和图.12B中又示,连接组件78可转动安装到主轴16的第二端部22,以使得主轴相对于连接组件自由旋转。连接组件78可用一个管状外壳80设置,里面嵌入一个合适的轴承82 (即,法兰多孔轴承),接纳主轴16的第二端部22。拧上螺栓84(图.11),减小主轴第二端部22直径,可用来在主轴往复运动过程中保持连接组件78在主轴16上。连接组件78包括U形夹86,它用瓦式U形夹螺栓装置88(用针)固定到连接杆76。从图.11、图.12A和图.12B可以看出,连接组件78使得主轴16在其第二端部22由于有轴承82而自由旋转。同时,连接组件78将以其第一和第二冲程方向通过连杆76将主轴16的往复运动传递到曲轴70,从而导致曲轴旋转。如在图.9中可以看到的,曲轴70的输出端82可连接到一个所需的输出负载(未显示)。
如先前指出的,在图.8至图.12B中的磁驱动转矩变换器装置的原型实施里,在每个各自的磁载体4、8和12上的四个磁体6A、10A和14A是用K&J磁材公司的3英寸直径、1英寸厚的N52级的盘形钕磁实现的。每个磁体6A、10A和14A为轴向磁化,并被厂家额定为产生约360磅的最大推/拉力。磁体6A、10A和14A配置在其各自的磁载体4、8和12上,以便磁体中心距离磁载体中心为2.75英寸。磁载体相对往复运动的冲程长度为5.5英寸。曲轴臂长由衡重/曲臂组件72的曲臂部分得出,为2.75英寸。连杆76的长度为10英寸。磁载体4、8和12为1英寸厚,而磁体承盘42、44和46为0.25英寸厚。每个冲程结束,最靠近在一起的相反磁体承盘(即,42/44或46/44)组之间分隔间隙为0.625英寸,使得相反磁体(极面对极面)之间的最小间隔为0.625+(2×0.25)= 1.125英寸。在中间冲程,每组相反磁体承盘(即,42/44或46/44)之间的分隔间距为3.375英寸,使得相反磁体(极面对极面)之间的最大间隔为3.375+(2×0.25)=3.875英寸。
在图.8至图.12B中所示的磁驱动转矩变换器装置可用任何适当的方式同步,以使主轴16的旋转与相关的曲轴70的旋转正时(如由主轴的往复运动所驱动)。如图.8和图.9所示,范例同步装置90可包括传感器92,它监测曲轴位置(即,旋转编码器),而载信号反馈电路94提供曲轴位置信号给可编程伺服控制器96(即,实施为一个可编程数字装置),根据位置信号控制输入电机36(通过控制电路97)。目前所有的各种机器人伺服控制系统均可用于此目的。其它类型的同步装置也可用于所示的磁驱动转矩变换器装置的同步运行,包括——并不仅限于——机械定时系统,机械偶合输入驱动电机的旋转输入到曲轴的旋转输出。
同步磁驱动装置的理念如这里披露的,已经在上面讨论过。图.8至图.12B的磁驱动转矩变换器装置中,伺服控制器96编程控制主轴的旋转位置——基于曲轴70的角坐标,它通过定义数学关系对应主轴的往复运动位置(参见上面图.5的讨论)。如前面指出的,磁死区可以建得主轴16一致,在靠近其上死点和下死点往复运动位置,因此磁力区出现在这些位置之间。如还指出的,伺服控制器96还可编程同步主轴16的旋转,使得死区动态提前或延迟相关上死点和下死点往复运动位置——或者改变位置、或死区的大小。
图.13A至图.13H描绘了中间磁载体12相对于第一和第二磁载体4和8在所示的磁驱动转矩变换器装置的两个往复冲程期间的旋转和往复运动位置。这些图中,主轴16通过伺服控制器96同步,使得两个死区以主轴在0°和180°和往复运动位置为中心,并使力区以往复运动位置在90°和270°为中心。图.13A至图.13H从而分别对应于图.6A至图.6H所示的定时配置。每个死区和每个力区约为90°宽。
图.13A显示了中间磁载体12在0°上死点往复运动位置和在第一死区的中间。图.13B显示了中间磁载体12的45°往复运动位置,这里中间磁载体是脱离第一死区过渡进入第一力区之处。图.13C显示了中间磁载体12的90°往复运动位置,这里中间磁载体在第一力区的中间。图.13D显示了中间磁载体12的135°往复运动位置,这里中间磁载体是脱离第一力区并过渡进入第二死区之处。图.13E显示了中间磁载体12的180°往复运动位置,这里中间磁载体在第二死区的中间。图.13F显示了中间磁载体12的225°往复运动位置,这里中间磁载体是脱离第二死区并过渡进入第二力区之处。图.13G显示了中间磁载体12的270°往复运动位置,这里中间磁载体在第二力区的中间。图.13H显示了中间磁载体12的315°往复运动位置,这里中间磁载体是脱离第二力区并过渡进入第一死区之处。

图.14描绘了另一个磁驱动装置结构2C,这里提供磁载体间距调整功能。这种结构大致与图.8至图.12B的结构2B类似,除了第一和第二磁载体4和8的位置在运行中动态可调之外,要改变其相对于中间磁载体12的间距,而由此调节磁相互作用的强度。要达到这样的效果,线筒组件26的修改可通过移动在第一和第二磁载体4和8的每一侧上的间距组件26B,去裸露螺杆26A。第一和第二磁载体4和8于是可以被修改,以使它们接收螺杆26A。螺杆26A的转动将从而重定位第一和第二磁载体4和8靠近或离开中间磁载体12(取决于螺杆的旋转方向)。如果需要,可以增加补充的间隔组件去维持稳定盘28、30和32互为相对的定位。杆旋转组件——如皮带轮98,可安装到每个螺杆26A的一端。杆旋转组件可由适当的驱动机制驱动。例如,如果用了皮带轮98,驱动机制可包括连接到皮带轮98的驱动电机100,例如通过驱动皮带102的方式。驱动电机100可连接到一个适当的控制系统(未显示),调节第一和第二磁载体4和8的定位——每当需要磁相互作用力松驰时——如在启动时间。
虽然每个磁驱动装置实施上面讨论的是基于每个为四个磁体的永磁休配置,但其它的磁体配置也是可以的。例如包括——但并不限于:由八个磁体、十二个磁体、十六个磁体、二十个磁体、十二四个磁体,等等组成的磁体配置。像图示的四磁配置,这些间隔磁体配置可设置成对称磁体图案,在每种配置中界定多边形对应于磁体数。磁配置具有两个(或更多个)以一种嵌套关系的多边形磁体图案也是可以的。在磁载体的每一边上,磁体图案可由n个磁体编组构成,每组中有n个同极的相邻磁极。这样,磁载体相对旋转将在每次相反磁极转动前进进入互为同轴对齐时产生改变的磁相互作用。正如在前述的四磁配置的情况下,将有磁载体相对旋转位置——其中所有在磁相互作用区里任意两个相反磁载体之间的相反磁极以NN或NS的关系同轴对齐。在其它磁载体相对旋转位置中,磁相互作用区中任意两个相反磁载体之间的相反磁极将以NN和NS的关系同轴对齐,并以NN和NS的关系的数目相等。一般情况下,预计这些特性将出现于任何具有偶数磁体——在任何给定的磁载体边上有一个同等数目的N和S极,而其中N和S极配置成有着偶数个同极性的相邻磁体的磁体编组的磁体配置。
虽然迄今披露的磁驱动装置结构有三个磁载体4、8和12的配置去形成双磁相互作用区15A和15B,而其它结构也是可以的。例如,根据目前披露的,磁驱动装置可用两个相反磁载体配置构建,形成一个单一的磁相互作用区。如先前的结构,相反磁体配置设置成在相反磁载体经历相对时产生磁相互作用。
图.15至图.18描绘了范例磁驱动装置结构2D,表现了一个用两个磁载体的单磁相互作用区的实施。在磁驱动装置结构2D中,只有第一磁载体4和中间磁载体12提供了单磁相互作用区15A。没有出现第二磁载体8和第二磁相互作用区15B。磁相互作用区15A中的磁相互作用在相反磁载体4和12(参见箭头“A”和“B”)的相对旋转期间,产生动力冲程力,使磁载体在相对旋转的力区部分以第一和第二冲程方向经历相对往复运动。旋转的功率区部分期间。
图.15和图.16中描绘的力区以及特性在于相反磁配置6和14的相反磁极互为同轴对齐,并产生最大的推或拉的磁力。特别是,图.15显示了第一力区的磁载体4和12彼此排斥分离(见箭头“D”),而图.16显示了第二力区的磁载体彼此吸引拉近(见箭头“E”)。在相对旋转的死区部分期间,磁相互作用基本上不产生动力冲程力。死区位置在图.17和图.18中示出,而其特性在于相反磁配置6和14的相反磁极互为同轴对齐,但产生一个基本相等平衡的推和拉的磁力。如前面实施的,相对旋转和往复运动可以同步,使得死区与磁载体4和12的上死点和下死点相对往复运动位置重合,而使得当磁驱动装置处于上死点和下死点相对往复运动位置之间时,力区出现。同样,相对旋转和往复运动可以同步,使得所述死区在位置或大小上是动态可调的。

要注意的是,用多组磁载体可以实施附加的磁驱动装置结构。一个示例设置由图.19的磁驱动装置结构2E所展示。磁驱动装置结构2E基于图.7的磁驱动装置结构2A,除了两组磁载体,每组包括第一、第二和中间磁载体4、8和12,安装在主轴16上。如在磁驱动装置结构2A中,输入驱动部件21连接到主轴16的第一端部20。主轴16的第二端部22可运行作地连接到单个旋转输出23,例如曲轴。

图.20显示了另一种磁驱动装置结构2F,它也是基于图.7的磁驱动装置结构2A,除了有两个主轴16,每个都有着其自己的一组第一、第二和中间磁载体4、8和12。每个主轴16以其自己的输入驱动部件21连接到第一轴端部20。然而,每个主轴16的第二端部22连接到一个单个的旋转输出23,例如曲轴。
要注意的是,图.19和图.20的实施可用任意数量的磁载体组。如示,每个磁载体组可有三个磁载体,构成两个磁相互作用区。或者,一些或全部磁体组可基于图.15至图.18的实施,以两个磁载体构成一个磁相互作用区。
上一篇
维克多·迪都克的永磁电机
下一篇
贝迪尼磁动机
上一篇:维克多·迪都克的永磁电机
下一篇:贝迪尼磁动机