回热涡轮机
本帖最后由 能量海 于 2017-8-10 13:51 编辑
第八章:无燃油引擎
摘要
这种方法和装置产生功率是通过从一个较高能级传送一种激发流体到较低能级,以压缩离心机型第一转子里的流体,并经由第一转子的外缘附近的喷嘴排出流体,继续向着旋转方向向前到达向心式反作用涡轮机的第二转子,然后传送流体通过回热式热交换器,将热量从内流流体转移到外流流体,其后,流体在热交换器中被冷却到原始温度,并再次向外传送,从而完成其周期。热量被添加到靠近第二转子的外缘的流体,或热量被添加到靠近第一转子的外缘,或两者皆添加。另外,可以从外部源供给流体到装置,再返回到这个外部源,而冷却则可以从这个设备中省略。而且,外部源输入的流体可以加压。所用的流体可以是气态的,这通常用于封闭型的设备,或者也可以是液态用于开放式设备。
美国专利文献:
2,490,064 热力机 1949年12月 柯尔斯曼
2,514,875 U形通道燃气涡轮 1950年7月 柯尔斯曼
2,597,249 热力引擎 1952年5月 柯尔斯曼
3,236,052 闭循环燃气轮机 1966年 吉恩
3,530,671 回热式空气涡轮机 1970年9月 科沃杰伊
这个申请是序列号405,628,归档号10/11/73的“双转子涡轮”的申请的延续申请部分,并使用了前美国专利3,834,179的“制冷和加热涡轮机”的材料。
本发明的背景
本发明一般涉及的设备是用于产生功率的,这个设备是流体从较高能级向较低能级流动传递穿过一个产生功率的涡轮机而生成功率的。
现有各种不同的类型的涡轮机,其中的一些是流体在单个或多个固定喷嘴中加速,然后传递给安装在旋转的转子轮上的导叶,这里的由运动流体包含的动能通过流体的减速被转换为功率。
这些常规的涡轮机通常由于流体摩擦而有着很高的能量损失,尤其是转子导叶和流体之间,这里的速差通常是很大的。此外,这些涡轮机通常需要复杂形状的涡轮叶片,使得设备昂贵。
本发明摘要
本发明的一个目的是提供一种产生功率的涡轮机,它把热量转化为功率,以一种高效而经济的方式,具有很高的热效率。本发明还有一个目的是提供一种装置,用于把第一流体的激发或工作流体在其从转子外缘到转子中心传递期间进行热迁移进入由转子中心传递到转子外缘的第一流体。这种热迁移提高了涡轮机的效能,并降低了转子所需的旋转速度, 使得转子的制造成本更低。
图示简述
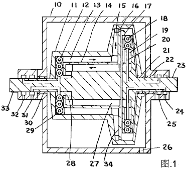
图.1 是装置其中一种形式的横截面,
图.2 是图.1所示装置的端视图。
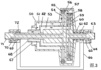
图.3是装置的另一种形式的横截面。
图.4是转子喷嘴的细部。
图.5 是有着工作循环图示的第一流体的压焓图。
优选实施的描述
图.1 所示的是一种形式的涡轮机的横截面。在这种形式中,第一流体被密封在转子内,并用第二流体供给热量给第一流体,而循环自外部源的第三流体冷却第一流体。
第一流体在第一转子内被加速并压缩,而从第一转子的喷嘴排出后,进入第二转子,在那里它从第二流体接收热量,而在减速和膨胀后,第一流体与向外流动的第一流体流进入热交换关系,以使热量从内流第一流体向外流第一流体迁移。冷却于是被提供给第一流体,以使第一流体温度达到一个初始预定值。
在图.1中,10是外壳,11是第一转子,12是第三流体热交换器,13是同时充当热交换组件的导叶,14是导热壁,15是导叶,16是喷嘴,17是第二转子,18是第二流体热交换器,19是导叶,20是第二流体管,21 是轴承和密封圈组合,22是轴承和密封圈组合,23 是用于传递功率和支承第二转子的第二转子轴,24和 25用于第三流体的供应和返回,26是壳体中可以连接真空源的开口处,34隔离壁,27是同样作为热交换组件的导叶,28 是第一流体通道,30是轴承和密封圈组合,31和32 是第二流体的出入点,而33是第一转子轴。
图.2 所示是图.1设备的端视图,其中10是外壳,11是第一转子,17是第二转子,16是第一流体喷嘴,18 是热交换器,19是导叶,20是管道,13、14和27 组成一个第一流体的热交换器,而23是第二转子轴。
图.3所示是另一种形式的涡轮机,其中的第一流体是由外部来源供给到涡轮机的,从而省略了第三流体热交换器。50是第一转子;51、52和53组成用于第一流体的热交换器;55和58 是用于给第一流体加热的加热热交换器,并能在同样的温度下使用第二流体,或者在不同的温度下作为加热流体;54是第一转子内的导叶;56是第一流体喷嘴定向继续前行的方向;57是第二转子;59是导叶;60是第二流体的管道;61、62 和72是轴承;64、65、69 和70是第二流体的出入口;63是第二转子轴;71是第一转子轴线;66是底座;而67和68是第一流体的出入点。
图.4所示是第一流体喷嘴的细部,其中34 是喷嘴16 安装其上的壁,35第一流体离开的近似方向,而36 指示出第一转子的旋转方向。
在图.5中,显示的是第一流体的压焓图,有着第一流体的工作循环,这里80 是压力轴,而81是焓轴,82 是等熵线,83是等压线,而对于循环周期,有散热压缩或无散热压缩,存在于从84到85,热的增加是在从85到86的返回第一流体,而且压缩是从86到87,接着从87到88和89是膨涨,而89到84是散热到第一流体,从而完成循环周期。热通常是添加在87和88之间,即从第二流体。85和86之间是增热,而89和84之间的散热可以按要求在恒定的压力下;可以通过增大或减小第一流体到第一流体热交换器的直径,塑造热交换器的锥形变化,方便地改变压力。
运行中,转子被用恰当的第一流体充以所需压力,造成第一转子旋转。第一流体首次以散热被压缩,然后与热补充的内流第一流体进入热交换关系,接着第一流体被进一步压缩和加速,在这次压缩后,第一流体通过安装在第一转子上的喷嘴向旋转方向传送,把热量添加到第二转子内流通道里的第一流体,以降低第一流体密度。传递内流和减速后,第一流体与外流第一流体进入热交换关系,并且在这之后,第一流体可以进一步减速,然后在第一流体进入第一转子的向外延伸的通道,从而完成循环。
图.3的开放式涡轮机的运行是与所描述的相似的,不同的是第一流体是从外部源供给的,并随后返回到上述的外部源,而冷却则被省去。
第一转子的输入功是必须加速第一流体的功,而第二转子的输出功从第二转子所受到的减速的功。涡轮机的输出功是这两个转子的功差。
第二转子的转速可以高于第一转子的转速。为使得第二转子内的第一流体的向内流动,就要通过给第二转子内——或者也在第一转子内的第一流体补充热来降低流体密度。
从内流第一流体到外流第一流体热量的补充在压缩的后半期和膨涨期提高了第一流体的温度,并因而使改善涡轮机热效率起了作用。此外,另一个结果是降低了对涡轮机转子的所需旋转速度,从而降低了转子的所需强度,使转子可以更经济地制造和运行。
一般用气体作为这台涡轮机的工作流体,而第二和第三流体则用液体。第二和第三流体也可以用气态的。 此外,如果需要的话,在使用一种适宜的流体时,第一流体可以在涡轮内经历一个相变。这种涡轮机的应用包括使用各种热源作为标准的发电服务。
第一转子轴和第二转子轴通常通过动力传递装置连接,使第二转子产生的功率部分用于旋转第一转子。设备的启动是由启动装置进行的。
如果需要,转子导叶可以弯曲。在许多情况下,第一转子叶片可以后弯以增加第一流体的压缩,而第二转子叶片也可以弯曲以提高性能,并以配合设计和所选的流体。说此而论,换热器的鳍翼可以作为叶片。
图.5所示的压焓图只是近似的。此图可以有所不同,依赖于第二转子里、或第一转子里添加的热量,还因第二流体和第三流体加热器的具体位置而定。尤其是膨涨期间,热被添加到第一流体,实际上提高了温度;通常,这将提高涡轮机的总体热效率。此外,如果需要的话,通过第三流体的散热可有数处,而非像图.1所示那样。
还应注意的是,第一流体的热量补充可以来自其它来源,而非第二流体,同样,一些其它手段也可用于冷却第一流体,而非第三流体。这样的加热源可以包括电力,或其它安装在这种涡轮机附近的转子,这不会改变本发明的精神。
用于从内流第一流体向外流第一流体热迁移的热交换器机制也可置于第二转子内,而进出涡轮机的第一流体的入口和出口也可以在第二转子内。这种配置在附图中没有具体显示,因为这是一个熟练的设计师的基本素质——鉴于此中给出的描述。
这里有关迈克尔•爱斯科里的大部分资料,在得到斯科特•罗伯逊(Scott Robertson)的仁慈的允许后,均取自他的网站 http://www.aircaraccess.com。
第八章:无燃油引擎
美国专利 3,931,713 1976年1月13日 发明人:迈克尔•爱斯科里
回热涡轮机
回热涡轮机
摘要
这种方法和装置产生功率是通过从一个较高能级传送一种激发流体到较低能级,以压缩离心机型第一转子里的流体,并经由第一转子的外缘附近的喷嘴排出流体,继续向着旋转方向向前到达向心式反作用涡轮机的第二转子,然后传送流体通过回热式热交换器,将热量从内流流体转移到外流流体,其后,流体在热交换器中被冷却到原始温度,并再次向外传送,从而完成其周期。热量被添加到靠近第二转子的外缘的流体,或热量被添加到靠近第一转子的外缘,或两者皆添加。另外,可以从外部源供给流体到装置,再返回到这个外部源,而冷却则可以从这个设备中省略。而且,外部源输入的流体可以加压。所用的流体可以是气态的,这通常用于封闭型的设备,或者也可以是液态用于开放式设备。
美国专利文献:
2,490,064 热力机 1949年12月 柯尔斯曼
2,514,875 U形通道燃气涡轮 1950年7月 柯尔斯曼
2,597,249 热力引擎 1952年5月 柯尔斯曼
3,236,052 闭循环燃气轮机 1966年 吉恩
3,530,671 回热式空气涡轮机 1970年9月 科沃杰伊
这个申请是序列号405,628,归档号10/11/73的“双转子涡轮”的申请的延续申请部分,并使用了前美国专利3,834,179的“制冷和加热涡轮机”的材料。
本发明一般涉及的设备是用于产生功率的,这个设备是流体从较高能级向较低能级流动传递穿过一个产生功率的涡轮机而生成功率的。
现有各种不同的类型的涡轮机,其中的一些是流体在单个或多个固定喷嘴中加速,然后传递给安装在旋转的转子轮上的导叶,这里的由运动流体包含的动能通过流体的减速被转换为功率。
这些常规的涡轮机通常由于流体摩擦而有着很高的能量损失,尤其是转子导叶和流体之间,这里的速差通常是很大的。此外,这些涡轮机通常需要复杂形状的涡轮叶片,使得设备昂贵。
本发明摘要
本发明的一个目的是提供一种产生功率的涡轮机,它把热量转化为功率,以一种高效而经济的方式,具有很高的热效率。本发明还有一个目的是提供一种装置,用于把第一流体的激发或工作流体在其从转子外缘到转子中心传递期间进行热迁移进入由转子中心传递到转子外缘的第一流体。这种热迁移提高了涡轮机的效能,并降低了转子所需的旋转速度, 使得转子的制造成本更低。
图示简述

图.1 是装置其中一种形式的横截面,

图.2 是图.1所示装置的端视图。

图.3是装置的另一种形式的横截面。


图.5 是有着工作循环图示的第一流体的压焓图。
优选实施的描述

图.1 所示的是一种形式的涡轮机的横截面。在这种形式中,第一流体被密封在转子内,并用第二流体供给热量给第一流体,而循环自外部源的第三流体冷却第一流体。
第一流体在第一转子内被加速并压缩,而从第一转子的喷嘴排出后,进入第二转子,在那里它从第二流体接收热量,而在减速和膨胀后,第一流体与向外流动的第一流体流进入热交换关系,以使热量从内流第一流体向外流第一流体迁移。冷却于是被提供给第一流体,以使第一流体温度达到一个初始预定值。
在图.1中,10是外壳,11是第一转子,12是第三流体热交换器,13是同时充当热交换组件的导叶,14是导热壁,15是导叶,16是喷嘴,17是第二转子,18是第二流体热交换器,19是导叶,20是第二流体管,21 是轴承和密封圈组合,22是轴承和密封圈组合,23 是用于传递功率和支承第二转子的第二转子轴,24和 25用于第三流体的供应和返回,26是壳体中可以连接真空源的开口处,34隔离壁,27是同样作为热交换组件的导叶,28 是第一流体通道,30是轴承和密封圈组合,31和32 是第二流体的出入点,而33是第一转子轴。

图.2 所示是图.1设备的端视图,其中10是外壳,11是第一转子,17是第二转子,16是第一流体喷嘴,18 是热交换器,19是导叶,20是管道,13、14和27 组成一个第一流体的热交换器,而23是第二转子轴。

图.3所示是另一种形式的涡轮机,其中的第一流体是由外部来源供给到涡轮机的,从而省略了第三流体热交换器。50是第一转子;51、52和53组成用于第一流体的热交换器;55和58 是用于给第一流体加热的加热热交换器,并能在同样的温度下使用第二流体,或者在不同的温度下作为加热流体;54是第一转子内的导叶;56是第一流体喷嘴定向继续前行的方向;57是第二转子;59是导叶;60是第二流体的管道;61、62 和72是轴承;64、65、69 和70是第二流体的出入口;63是第二转子轴;71是第一转子轴线;66是底座;而67和68是第一流体的出入点。

图.4所示是第一流体喷嘴的细部,其中34 是喷嘴16 安装其上的壁,35第一流体离开的近似方向,而36 指示出第一转子的旋转方向。

在图.5中,显示的是第一流体的压焓图,有着第一流体的工作循环,这里80 是压力轴,而81是焓轴,82 是等熵线,83是等压线,而对于循环周期,有散热压缩或无散热压缩,存在于从84到85,热的增加是在从85到86的返回第一流体,而且压缩是从86到87,接着从87到88和89是膨涨,而89到84是散热到第一流体,从而完成循环周期。热通常是添加在87和88之间,即从第二流体。85和86之间是增热,而89和84之间的散热可以按要求在恒定的压力下;可以通过增大或减小第一流体到第一流体热交换器的直径,塑造热交换器的锥形变化,方便地改变压力。
运行中,转子被用恰当的第一流体充以所需压力,造成第一转子旋转。第一流体首次以散热被压缩,然后与热补充的内流第一流体进入热交换关系,接着第一流体被进一步压缩和加速,在这次压缩后,第一流体通过安装在第一转子上的喷嘴向旋转方向传送,把热量添加到第二转子内流通道里的第一流体,以降低第一流体密度。传递内流和减速后,第一流体与外流第一流体进入热交换关系,并且在这之后,第一流体可以进一步减速,然后在第一流体进入第一转子的向外延伸的通道,从而完成循环。
图.3的开放式涡轮机的运行是与所描述的相似的,不同的是第一流体是从外部源供给的,并随后返回到上述的外部源,而冷却则被省去。
第一转子的输入功是必须加速第一流体的功,而第二转子的输出功从第二转子所受到的减速的功。涡轮机的输出功是这两个转子的功差。
第二转子的转速可以高于第一转子的转速。为使得第二转子内的第一流体的向内流动,就要通过给第二转子内——或者也在第一转子内的第一流体补充热来降低流体密度。
从内流第一流体到外流第一流体热量的补充在压缩的后半期和膨涨期提高了第一流体的温度,并因而使改善涡轮机热效率起了作用。此外,另一个结果是降低了对涡轮机转子的所需旋转速度,从而降低了转子的所需强度,使转子可以更经济地制造和运行。
一般用气体作为这台涡轮机的工作流体,而第二和第三流体则用液体。第二和第三流体也可以用气态的。 此外,如果需要的话,在使用一种适宜的流体时,第一流体可以在涡轮内经历一个相变。这种涡轮机的应用包括使用各种热源作为标准的发电服务。
第一转子轴和第二转子轴通常通过动力传递装置连接,使第二转子产生的功率部分用于旋转第一转子。设备的启动是由启动装置进行的。
如果需要,转子导叶可以弯曲。在许多情况下,第一转子叶片可以后弯以增加第一流体的压缩,而第二转子叶片也可以弯曲以提高性能,并以配合设计和所选的流体。说此而论,换热器的鳍翼可以作为叶片。
图.5所示的压焓图只是近似的。此图可以有所不同,依赖于第二转子里、或第一转子里添加的热量,还因第二流体和第三流体加热器的具体位置而定。尤其是膨涨期间,热被添加到第一流体,实际上提高了温度;通常,这将提高涡轮机的总体热效率。此外,如果需要的话,通过第三流体的散热可有数处,而非像图.1所示那样。
还应注意的是,第一流体的热量补充可以来自其它来源,而非第二流体,同样,一些其它手段也可用于冷却第一流体,而非第三流体。这样的加热源可以包括电力,或其它安装在这种涡轮机附近的转子,这不会改变本发明的精神。
用于从内流第一流体向外流第一流体热迁移的热交换器机制也可置于第二转子内,而进出涡轮机的第一流体的入口和出口也可以在第二转子内。这种配置在附图中没有具体显示,因为这是一个熟练的设计师的基本素质——鉴于此中给出的描述。
这里有关迈克尔•爱斯科里的大部分资料,在得到斯科特•罗伯逊(Scott Robertson)的仁慈的允许后,均取自他的网站 http://www.aircaraccess.com。
上一篇
涡轮机
下一篇
詹姆士·哈代自供电水射流发电机
上一篇:涡轮机
下一篇:詹姆士·哈代自供电水射流发电机