卡洛斯·贝尼特斯对专利的扩充
本帖最后由 能量海 于 2018-3-16 10:14 编辑
第五章: 脉冲能量激发系统
卡洛斯·贝尼特斯对专利的扩充
这种改进的优点通过参考图示配合临时说明书和这个补充的绘图可以更好地理解,因为它们说明了实施本发明的两种不同的方法,但是实际上,通过使用此处所示的换向器可以获得好得多的结果:
由于通过变压器的初级提供给电流通过的电阻不高,因此可以简化前面的配置,直接从相同的感应线圈15获得高频电流,在这种情况下,所述线圈的次级的极18、19必须分别连接到同一所述线圈的初级的极16、17,而电容器22的第二电池和高频变压器26、27可以省略。在这些条件下,在所述感应线圈中使用的断路器或断续器起到一个火花隙的作用,而电容器14通过同一线圈的初级和次级以振荡形式放电,因此由蓄电池直接增加了电能的量。
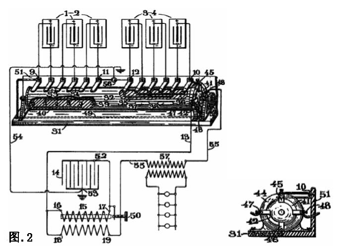
构成电池1-2和3-4的蓄电池的每个极连接到换向器31的极。这个换向器由旋转筒32构成,拥有路径33、34、35、36、37、38、39和40,每一路径适当地隔离并筒表面上就位,从而以串联或并联的方式交替地连接不同的装置,组成电池1-2和3-4。
筒32有两个导电路径41、42,这在横截面图中可以更好地看到。该筒穿过环44,固定在设备31的相同基座上,而它具有触点45、46、47和48。这个环的极45连接到电池3-4的极10,而其极46通过导线49连接到电池1-2的极9。极47通过导线13连接到变压器初级的极16,而极48通过导线55连接到普通断路器的后触柱50。
固定在换向器的同一基座上的后壁51——有着在图中可清晰看到的金属条或电刷——与筒32接触,并分别连接到蓄电池的每个极;最后,筒的旋转轴有一个用于旋转换向器的手柄或皮带轮52。
感应线圈的电容器14仍然通过其同一变压器初级的极52连接到极17,而其另一极53不是连接到断路器的后触柱50,而是通常那样通过换向器的导线54和极56接地。
在这种条件下,电路被中断器断开时,电容器14被充电,并随之立即通过变压器初级15、变压器的次级、导线55、极48、换向器的路径41、以及并联连接的电池3-4放电。
由于这个放电产生的电流通道过变压器初级15,在其次级产生感应电流,而其中一个翻转通过极19的电流立即被用于对同样所述的并联电池进行充电。当电容器14的放电完成时,产生的直流电通过极18,并通过极16进入初级15,在同一电容器14中产生新的电荷,再次以相同的方式放电,而相同的现象在中断或间隔中断中重复数次,并由断续器使之产生。
另一方面,如果换向器的极56未接地,则每当电容器14接收到新的电荷时,其外部涂层的中性流体受到影响通过其电介质,而感应电流被迫通过导线54和极56运动,换言之,这个额外的能量同样增加了电池1-2的通常输出。
通过这些手段,由串联连接的蓄电池给出的电流通过在感应线圈的次级中产生的感应电流适当地增加,和通过以上述方式产生的电容器的快速充电和放电以及并联连接的蓄电池,从而接收适量的电流,可以在第一电池正在放电时充分充电。然而,随着第一个电池放电,其电压逐渐下降,并且为了在电路中维持,有一个给第二个电池充电的给定电流,电路的电阻必须相应地减小。
为了达到这个结果而不触及布线,断路器的后触柱50可以调整,以保证适当的电阻通过断续器与降低的电压一致,并以这种方式在电路中始终能维持一个给定电流,直到获得放电电池中的最后能量。
通过闭合铁芯类型的变压器与电解断续器相结合的使用一直能获得各方面都不错的结果——由于这些断续器在占和空之间几乎没有损耗时间,而这种装置的电阻可以每当操作者需要时都可以很容易地调整距离。
一旦放电电池达到能量极限,蓄电池的连接必须反转,为此目的,可以使用图中所示的换向器,而筒32必须旋转,直到路径37、38、39和40与连接蓄电池的电极的电刷接触,而且触点45、47通过路径42连接。这样,两个电池的功能立即反转,并且蓄电池3-4现在被串联连接,它们将通过极10、经柱45、47、导线13、初级15、导线55、极48(现在通过路径41与极46连接、导线49和电池1-2的极9——它们现在通过路径39、40并联连接。
换句话说,通过换向器的简单操作,运行条件可以完全逆转,而连续电流可以通过导线55维持——其中可以串联插入一台普通变压器的初级57——或者任何其它适当的装置,以便从而获得于多余的电能而丝毫不会损害机构的运行。
显然,根据蓄电池的容量,可以制造一种机制来随时产生和自动操作换向器,因此,对于一定重量的电池,通过这个过程可以用而较小的容量确保较大的功率——而不是用较大的设备,因为可以从一个60安培小时的蓄电池得到相同的4伏——就像用一个10安培小时的蓄电池一样。
我希望还清楚地解释了所示配置完全是说明性的。实际上,蓄电池组成每个电池可以如所述的连接,或者可在每组中配置串并联的适当组合,而多个装置的状况的采用可以根据必须的电力的特定的、必须合适的条件的不同而不同。
第五章: 脉冲能量激发系统
卡洛斯·贝尼特斯对专利的扩充
这种改进的优点通过参考图示配合临时说明书和这个补充的绘图可以更好地理解,因为它们说明了实施本发明的两种不同的方法,但是实际上,通过使用此处所示的换向器可以获得好得多的结果:
由于通过变压器的初级提供给电流通过的电阻不高,因此可以简化前面的配置,直接从相同的感应线圈15获得高频电流,在这种情况下,所述线圈的次级的极18、19必须分别连接到同一所述线圈的初级的极16、17,而电容器22的第二电池和高频变压器26、27可以省略。在这些条件下,在所述感应线圈中使用的断路器或断续器起到一个火花隙的作用,而电容器14通过同一线圈的初级和次级以振荡形式放电,因此由蓄电池直接增加了电能的量。
构成电池1-2和3-4的蓄电池的每个极连接到换向器31的极。这个换向器由旋转筒32构成,拥有路径33、34、35、36、37、38、39和40,每一路径适当地隔离并筒表面上就位,从而以串联或并联的方式交替地连接不同的装置,组成电池1-2和3-4。
筒32有两个导电路径41、42,这在横截面图中可以更好地看到。该筒穿过环44,固定在设备31的相同基座上,而它具有触点45、46、47和48。这个环的极45连接到电池3-4的极10,而其极46通过导线49连接到电池1-2的极9。极47通过导线13连接到变压器初级的极16,而极48通过导线55连接到普通断路器的后触柱50。
固定在换向器的同一基座上的后壁51——有着在图中可清晰看到的金属条或电刷——与筒32接触,并分别连接到蓄电池的每个极;最后,筒的旋转轴有一个用于旋转换向器的手柄或皮带轮52。
感应线圈的电容器14仍然通过其同一变压器初级的极52连接到极17,而其另一极53不是连接到断路器的后触柱50,而是通常那样通过换向器的导线54和极56接地。
在这种条件下,电路被中断器断开时,电容器14被充电,并随之立即通过变压器初级15、变压器的次级、导线55、极48、换向器的路径41、以及并联连接的电池3-4放电。
由于这个放电产生的电流通道过变压器初级15,在其次级产生感应电流,而其中一个翻转通过极19的电流立即被用于对同样所述的并联电池进行充电。当电容器14的放电完成时,产生的直流电通过极18,并通过极16进入初级15,在同一电容器14中产生新的电荷,再次以相同的方式放电,而相同的现象在中断或间隔中断中重复数次,并由断续器使之产生。
另一方面,如果换向器的极56未接地,则每当电容器14接收到新的电荷时,其外部涂层的中性流体受到影响通过其电介质,而感应电流被迫通过导线54和极56运动,换言之,这个额外的能量同样增加了电池1-2的通常输出。
通过这些手段,由串联连接的蓄电池给出的电流通过在感应线圈的次级中产生的感应电流适当地增加,和通过以上述方式产生的电容器的快速充电和放电以及并联连接的蓄电池,从而接收适量的电流,可以在第一电池正在放电时充分充电。然而,随着第一个电池放电,其电压逐渐下降,并且为了在电路中维持,有一个给第二个电池充电的给定电流,电路的电阻必须相应地减小。
为了达到这个结果而不触及布线,断路器的后触柱50可以调整,以保证适当的电阻通过断续器与降低的电压一致,并以这种方式在电路中始终能维持一个给定电流,直到获得放电电池中的最后能量。
通过闭合铁芯类型的变压器与电解断续器相结合的使用一直能获得各方面都不错的结果——由于这些断续器在占和空之间几乎没有损耗时间,而这种装置的电阻可以每当操作者需要时都可以很容易地调整距离。
一旦放电电池达到能量极限,蓄电池的连接必须反转,为此目的,可以使用图中所示的换向器,而筒32必须旋转,直到路径37、38、39和40与连接蓄电池的电极的电刷接触,而且触点45、47通过路径42连接。这样,两个电池的功能立即反转,并且蓄电池3-4现在被串联连接,它们将通过极10、经柱45、47、导线13、初级15、导线55、极48(现在通过路径41与极46连接、导线49和电池1-2的极9——它们现在通过路径39、40并联连接。
换句话说,通过换向器的简单操作,运行条件可以完全逆转,而连续电流可以通过导线55维持——其中可以串联插入一台普通变压器的初级57——或者任何其它适当的装置,以便从而获得于多余的电能而丝毫不会损害机构的运行。
显然,根据蓄电池的容量,可以制造一种机制来随时产生和自动操作换向器,因此,对于一定重量的电池,通过这个过程可以用而较小的容量确保较大的功率——而不是用较大的设备,因为可以从一个60安培小时的蓄电池得到相同的4伏——就像用一个10安培小时的蓄电池一样。
我希望还清楚地解释了所示配置完全是说明性的。实际上,蓄电池组成每个电池可以如所述的连接,或者可在每组中配置串并联的适当组合,而多个装置的状况的采用可以根据必须的电力的特定的、必须合适的条件的不同而不同。
