浮力·詹姆斯·夸克的“海德洛”自驱动发电机
本帖最后由 能量海 于 2017-8-8 03:16 编辑
第四章:重力脉冲系统
浮力
虽然我们都知道用于转换波能成电能的浮力,我们似乎忽视了在远离大海的地方利用非常强大的浮力(由重力引起的)作为直接工具的理念。这绝对是错的,因为这样的系统可以产生可观的能量。一个这样的系统是:
詹姆斯•夸克的“海德洛”(水力)自驱动发电机(The “Hidro” Self-Powered Generator of James Kwok)
这个设计再次证明了从本地环境可以汲取到大量的实用性能源。商业版提供了三种标准尺寸规格:50千瓦,250千瓦和1兆瓦,而且目前正在寻求授权合伙人。詹姆斯的这台发电机可以在Panacea-bocaf.org 网站:
hidrofreeenergysystem.htm,和詹姆斯自己的网站上http://www.hidroonline.com/看到,两者都有视频剪辑介绍这个设计是如何工作的。该方法是基于在不同的水深、重力下的不同的压力,和充满空气的容器的浮力。该系统不依赖于风、天气、阳光,任何类型的燃料,而能在任何时间运行,无论白天还是晚上,不会导致任何形式的污染或危险。这种特殊的设计需要一定高度的充水构造,一个压缩空气源和一个滑轮系统,而不希望以任何批判的方式的话,它似乎比它所需要的要复杂得多。如果,不像詹姆斯,如果你还没有完成系统的数学,你会臆断通过这样的系统产生的功率值将小于令其运行所需的功率值。然而,这绝对与实际情况大相径庭,因为相当多的剩余功率是通过本地环境的自然力汲取的,正是它们使系统运转。这里所示的是詹姆斯专利申请的一部分:
图.1 是本发明的发电系统的实施之一的剖视图。这里,能量产生系统10由一个水箱形式的容器11和可以绕其纵轴旋转的轴12组成。轴12有着螺旋槽13,并在下端连接着轴承16,这使得它能够绕其纵轴随意旋转。
轴的上端相连着是一个飞轮系统的发电机的17。轴12的转动能可以通过棘轮轮齿系统20转移到发电机。浮力充气胶囊14有着一个导向机构15,这是以一种金属线或杆的形式使之协助浮标14的平滑垂直移动。
位于容器11的下部有第一空气储存器18而第一空气储存器19则位于容器11的上部。第一储存器18通过空气进气口21从大气中吸入空气。一旦第一储存器中的压力达到预定值时,活塞22就被启动,迫使空气通过软管23进入浮力胶囊14,当它膨胀时,开始通过水箱11向上移动,因为浮标14的密度已经小于水箱11里的流体25(如淡水或海水)。这反过来导致轴12的旋转,并激活发电机17,由此发电。
当浮标14到达其行程上限时,浮标里的空气会被强制流过第二软管24并进入第二空气储存器19。当浮标的空气被除去,它在重力作用下,以及在配重(未显示)的协助下,通过容器11向下移动。浮标14的向下运动,导致轴12旋转,驱动发电机17,从而产生电力。
如果第二储存器19中的压力变得过高,存储在第二储存器19中的空气可以通过风管26排放到大气中。或者,空气可从第二储存器19通过第三软管27流入到第一储存器18,这样当浮标14到达其行程的下限时,不必汲取太多的空气进入第一储存器18,并必须再次用第一储存器18的空气充胀。
软管23、24和27有着单向阀28,以确保空气只能从一个方向流入穿过系统10。容器11可以根据需要设有通风设备29,也可以设有高台楼梯30和入口平台31,以便根据需要进行维护。系统还可具有太阳能收集设备32,以生成至少部分所需的能源去驱动器活塞22和单向阀28。太阳能收集设备32所产生的能量还可用于给照明或灯标33供电,以标明系统10的位置。
图.2显示了充气胶囊34组成的浮标14的配置。这个图解说明了充气胶囊34的壁在充气35时放气36时的形状。空气通过软管23进入和通过软管24退出胶囊34。
浮标14还有一个附加的套筒37。这个套筒具有与轴12的螺旋槽13啮合的突起,从而使浮标相对于轴12移动时令轴旋转。套筒37有着配重38,如不锈钢配重之类的,以使得浮标放气时向下运动。
图.3显示了第一空气储存器18的一个版本。空气通过空气入口21被抽入储存器18。储存器包括一个关联弹簧40的活塞22,活塞22设有密封件41,以防止空气泄漏。
图.4所示的是第一空气储存器18的另一种结构。在这个实施中,储存器18被封装在装有流体25的容器11中。空气通过进气口21进入储存器18,并保存在腔室46中。储存器有一个活塞22,而活塞22向储存器18左侧的运动迫使腔室46中的空气通过出气口43排出。
图.5显示的实施是有一对浮标14的。每个浮标只与其自身的轴12关联,并各自独立地在容器11内上下移动。
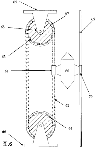
在图.6中,展示的是本发明的一个备选实施例,其中浮标60的连接方法61是以一个柱形套筒的形式,并以导向链62穿过其间。链62是一个无端回线,并置于上部跟踪装置63和下部跟踪装置64上,两者都是滑轮。上部滑轮63可通过托架65固定于容器(未标出)的上壁(未标出),而下部滑轮64可通过托架66固定于容器(未标出)的下壁(未标出)。
当浮标60下移时,连接机构61包含与链62的链环啮合的棘齿。因此,随着浮标60下移,链62也移动,从而使上部和下部滑轮以顺时针方向旋转。上部和下部64滑轮具有对应于链环62的形状的一系列凹口67。这样,链62坐入凹口67并爪住跟踪装置(63、64),从而确保的跟踪装置(63、64)的旋转。
图.6所示的本发明的实施例中,工作轴68与上部滑轮63关联,这样,上部滑轮的旋转导致工作轴68的旋转。工作轴68位于基本上与浮标60行进的方向垂直。工作轴驱动发电机发电。
图.9所示为出该发电系统74的替代实施例。该系统是由具有加注了流体的“湿”腔室76和一个或多个没有液体的“干”腔室(在例中为一对干腔室77、78)的容器75组成的。这些干腔室可用任何合适的材料合成,如混凝土、钢、玻璃纤维、塑料或任何材料的组合。
该系统还有一对浮标79,每个都有一个可放气的气囊状结构。浮标有着导轨89,以确保浮标在容器75内平滑地上下移动。
在本发明的这个实施中,空气储存器86位于容器75的底座上。空气通过入口87进入储存器86,而空气通过阀88被排出浮标79。排出的空气即可以排放到大气中,也可以回收到储存器86。
每个浮标被设计成与一条链或绳索80的一端连接。配重82与链或绳索80的另一端连接。链或绳索80有一组滑轮81,这样当浮标膨胀并充满空气时,浮力大于配重82,因而浮标在容器内升起。
当浮标79放气,配重82重于浮力,所以浮标在容器75内下沉。此处所示的实施例中,配重82位于干腔室77、78内。这有几个原因,包括,通过把配重82置于干腔室77、78内,配重82的下行速度是加快的,因而通过系统74而产生的能量也是增长的。
配重82与第二根绳索或链条83相联,使得配重82的垂直运动导致第二绳索或链条83绕着一对链轮84旋转。由第二绳索或链条83的旋转所产生的旋转能量被转移到能量产生装置85(诸如涡轮机一类的),以生成功率(如,电功率)。
这个项目需要考虑的另一件事是当充满水后整体结构的重量。总重动辄许多吨,因此发电机底部的基础需要非常坚固。另外,其时还提到压缩空气,给人的印象是压缩空气或气体钢瓶。为连续运行,你可预期使用气泵。不管是否使用气泵,都要考虑空气软管的直径。大多数人以为气体可以很容易地沿着管道流动。其实并非如此。如果你想要感受一下由管道引起的紧缩,那么取一条6毫米直径的一米长塑料管并试着吹它。即使你费了九牛二虎之力,也只有很少量的空气通过。网址natural-gas-pipe-sizing-d_826.html 显示了下面的这个表格:
注意所有这些管子的载流能力的主要差异的变化在仅仅从10英尺(3米)长到适中的20英尺(6米)长,而这种长度是许多应用中所需要的。另外,看看数据,也就是说,直径0.5英寸(标称值)直径的管。以其只有10英尺长,要花整整两分钟去泵浦仅仅一立方英尺的空气通过。由此可见,像“海德洛”这样的项目,就需要相当大直径的管道。
有可能建造一个简单得多的“海德洛”版本,就象这样:
可以建造一个简单的液力、浮力发电机,具有两个或更多个水平的、浸没在水中的旋转轴,以这样一种方式,它们被实际地定位,一个在另一个上方。每个轴都有一个——最好是两个或更多个链齿轮安装其上。这些链轮中的每一个都与一个连续的链环啮合,链环还与垂直定位在上方的链轮啮合。这些垂直链环为一系列相同的水桶构成一个传动带样式的支架。垂直带的一侧,水桶的开口朝上,而另一边桶的开口向下。一台气泵直接置于水桶组的底下,这一组水桶是向下开口的。气泵产生一股向上运动的气体射流,被上升的水桶所收纳,取代了水桶里的水。这产生了由桶的浮力引起的强大的向上的推力,而这个推力使桶上移,即转动了水平轴,又带动另一个充满水的桶进入气泵上方的位置。齿轮系统传输由此产生的旋转力矩给发电机,生产通用的电力。
这是一台发电机,通过浸没在水箱或其它适当的重质液体里的充满空气的容器而产生浮力,导致主动轴的旋转。发电机轴连续的、强大的旋转是通过使用一台或多台常规市售的空气泵产生的。空气泵用于填充一系列一端开口的容器,并连接到由两个牢固的连锁链环创建的有效传动带配置上,与链轮啮合安装在两个轴上,非此即彼、或两者都可用于提取的有用功,最好用于驱动一台电力发电机,但不一定仅限于这个功能,因为任何强大的扭矩都有许多有用的应用。
目标是提供一个发电系统,形式非常简单,能够理解,用最少的培训的人就可以操作和维护。此外,系统使用现成的元件,从而避免可观的制造成本,而且是一台不需要任何种类的复杂的机制或高精密设备的装置,并可以用范围广泛的市售品来运行。
图.1是一个简化的局部示意剖视图,显示从一端看到的发电机的主要组成部分。
图.2是概要性原理截面视图,以最简形式显示了发电机的前视图。
图.3是概要性原理截面视图,显示了多于一组水桶的发电机的前视图。
图.4是方案视图的透视图,显示了一个简化的供气系统,由水箱的上方运行。
图.1说明了最简形式的发电机的总体观念,用轻质刚性桶捕获气泵的上升气流。 在这个图中,水箱1装有水或其它合适的流体2。流体表面3,用于标示说明实际上桶10处于其轨道运动顶端的翻越过程中,其定位以使得桶的一个边缘在离开水的表面,让桶内捕获的空气逃逸到大气中,而水填满整个桶,这样做时只引起很小的湍流。这是可取的,但不是必须的,因为一旦桶开始其向下运动,任何桶内捕获的空气都会向上逃逸, 向上定位其开口端,虽然这会导致水箱里不必要的湍流。透视图展示了一种可能的桶的形状,但可以有许多不同的桶的形状,包括柔性膜型或者铰接板型,它们在折叠状态下向下运动时能大大地减小穿过水中的阻力。
水桶8、9和10附着于两条牢固的锁链30上,它与安装在上轴4的上链轮6啮合,而下链轮7安装在下轴5上。虽然在图.1里看不到,其实是有两个上链轮6、两个下链轮7和两条连锁环30的,尽管这些都能在图.2里看到。
水箱由坚实的板14支承,它本身又由一系列坐落一个牢固的基础16上的柱子15支承,在水箱底下为安装和维护气泵设备提供了操作空间。由于淡水每立方米重1000公斤, 用于操作的发电机系统的重量是很可观的,因此必须要考虑核定所需基础去支承水箱及其内容。尽管图.1展示了一个薄壁的水箱,但水箱还有许多不同的形式可以利用,包括土堰及塑料膜样式、或表面重修的报废的通风井。
图.1的水箱假定下轴5是穿过水箱1的壁取出的,用的配置类似于用于给船用螺旋桨或其它交通工具提供动力的主动轴。虽然那一类的配置使得主动轴便于接近地面,而图.2显示了简单得多的配置,其输出功率的取出是用非常简单的连锁链,而链轮的方法用于桶的支承(链条30,和链轮6和7)。一般而言,任何设计越是简单明了,其实践中的运行就越好,而且所有的维护成本就变得越低。
再次参考图.1,当活动时,气泵11产生气流12,急遽向上流动。这个气流12,一旦生成,不必去推水压,因为立刻在泵的喷嘴上方是一个急遽上升的空气柱,其维持即靠泵11的输出速度,又靠水和空气的相对比重(水比空气重数百倍)造成的自然的向上运动。在静水里这个气柱通常径直向上流动,但应该发现,水中的湍流往往把上升的空气推离其垂直路径,可以把挡板绕着泵放置,以使得气流被迫留在由桶的上升举起的水的同一区域内。
上升的空气进入最下面的上升桶并被收集在里面,迫使水从桶的底部开口处出来。如果在下一个桶移动到它与气泵之间前,上升桶未完全充满空气,捕获的空气会随着桶的上升和由于深度变浅使水的压力降低而扩张。任何一个桶都有着大量的空气在其中,由于浮力而产生一个非常可观的向上的力,空气比水约轻一千倍。
上升侧上的每个桶增加向上的力,而因此连锁30需要有相当的强度。锁链的每一侧上的桶重匹配,而因此轻桶的主要优势是降低移动件的惯性质量。穿过水的运动速度相对较慢,但这从输出主动轴和发电机的输入轴之间的传动装置得到了补偿。通过在垂直链添加更多的桶,相应地增加水的深度,可增加系统的功率。增加功率的其它方法还包括增加每个桶的内部的体积和/或增加气泵或所用的泵所产生的流动速率。图.3所示的是另一种简单的方法,并讨论如下。替代气泵的是使用一种压缩的、无污染的气体——也许是空气——气罐。
各图所示的桶是刚性的,形状非常简单,为了便宜、结实、轻质和长期耐水,可能由塑料成型工艺制成。当然,这会有许多可能的变型,包括使用刚性铰链板,用强力柔性膜密封,使桶在下降通道折叠和变得流线形,而一旦它们转入其开始向上运动时就打开。有很多的办法可以提供这种运动,但刚性桶的极致简约是否值得牺牲,这是一个见仁见智的事情。
图.2显示了从侧面看去的发电机原理布局图。相同的数字适用于已在图.1所见的元件。图.2所见配置是最简单、 基本的单个组的桶。内侧的上升桶8掩盖了外侧下降桶9的视界,而在这个视角里下降桶9只有很少的一部分能够看到。图.1显示桶长约为桶宽的一倍半, 但这个,当然,只是众多选择之一。桶的大小和形状与性能和用于任何一组桶的气泵数有关,而那个选择取决在当地用合理的价格可以买到什么。沿着桶8的一节并列地使用两个或三个也很寻常,虽然图.2中只显示了一个泵。
图.2还显示了动力输出的一个简单的方法,即一个大直径的链轮16安装在上轴4上,并驱动一个直径小得多的链轮18,它安装在发电机19的驱动轴上,发电机安装在牢固地连接到水箱1顶部的板20上。
图.3显示了不增加用水水深而增加系统的功率的一个可能的配置。这里,轴4和5延伸到足以让另一组桶驱动它们,极大地增加了扭矩。而图.3显示了额外的一组桶,是的,当然,没理由为什么那儿就不应该有三组或更多组桶并列。然而应当指出的是,桶组之间显示的隔板在那儿不只是为了减少水漩,而且还需要去支承对于延伸轴来说是必不可少的轴承,因为没有它们,用于轴的杆径不得不显著加大,以避免沿其长度的不必要的弯曲。而第二组桶已经与显示出与第一组完全成一线排列,把它们互相相对偏置是有利的,这样使得输出扭矩更大,即便在桶的循环周期里的不同点上桶的排空和填充。
图.4显示了一个进一步简化的方法,这里空气从水面上方泵入。大多数人关心的问题是气泵上方的水压压力是一个主要的要克服的障碍,而且在发电机运行期间将是一个连续的反作用力。如果空气从水箱底下注入,那么最初时,必须要克服此压头。然而,一旦建立空气流,水涡流垂直雪茄形区域由上升气流创建。这种三维环形涡流立刻抵消了气嘴上方的局部的水压,而且几乎是把空气从泵里吸出来,初始化后,空气的引导已经完成。
实现这一理想效果还有另一种方式,而不必对所有的水压去泵浦,而那是用了一个可移动的气管,如图.4所示。最初,气泵启并下降一个短距离进入水中。相对水压不大而水涡流可以很容易形成。然后非常缓慢地降低管子,以使得涡流在逐渐降低的深度维持,其间,尽管增加了水压,泵也不必去克服那个水压。当管子达到运行深度,然后转动它,把它带到上升桶的下面。这种配置的主要优点是水箱尽可能地简单,没有漏水的可能,因此废井可以修改成能源发电机。或者,可以竖立土堰形成地上储罐,也许用塑料薄膜密封。这种方法还避免了在工作区域上方——这里要安放和维护气泵或压缩气缸——需要支承罐和水的重量。水涡流的创建可以通过绕着管的出口加一个罩来协助,如图中所示,但是这是一个可选件。
第四章:重力脉冲系统
浮力
虽然我们都知道用于转换波能成电能的浮力,我们似乎忽视了在远离大海的地方利用非常强大的浮力(由重力引起的)作为直接工具的理念。这绝对是错的,因为这样的系统可以产生可观的能量。一个这样的系统是:
詹姆斯•夸克的“海德洛”(水力)自驱动发电机(The “Hidro” Self-Powered Generator of James Kwok)
这个设计再次证明了从本地环境可以汲取到大量的实用性能源。商业版提供了三种标准尺寸规格:50千瓦,250千瓦和1兆瓦,而且目前正在寻求授权合伙人。詹姆斯的这台发电机可以在Panacea-bocaf.org 网站:
hidrofreeenergysystem.htm,和詹姆斯自己的网站上http://www.hidroonline.com/看到,两者都有视频剪辑介绍这个设计是如何工作的。该方法是基于在不同的水深、重力下的不同的压力,和充满空气的容器的浮力。该系统不依赖于风、天气、阳光,任何类型的燃料,而能在任何时间运行,无论白天还是晚上,不会导致任何形式的污染或危险。这种特殊的设计需要一定高度的充水构造,一个压缩空气源和一个滑轮系统,而不希望以任何批判的方式的话,它似乎比它所需要的要复杂得多。如果,不像詹姆斯,如果你还没有完成系统的数学,你会臆断通过这样的系统产生的功率值将小于令其运行所需的功率值。然而,这绝对与实际情况大相径庭,因为相当多的剩余功率是通过本地环境的自然力汲取的,正是它们使系统运转。这里所示的是詹姆斯专利申请的一部分:
美国 2010/0307149 A1 2010年12月9日 发明人:詹姆斯•夸克
水力能发电系统
图.1 是本发明的发电系统的实施之一的剖视图。这里,能量产生系统10由一个水箱形式的容器11和可以绕其纵轴旋转的轴12组成。轴12有着螺旋槽13,并在下端连接着轴承16,这使得它能够绕其纵轴随意旋转。
轴的上端相连着是一个飞轮系统的发电机的17。轴12的转动能可以通过棘轮轮齿系统20转移到发电机。浮力充气胶囊14有着一个导向机构15,这是以一种金属线或杆的形式使之协助浮标14的平滑垂直移动。
位于容器11的下部有第一空气储存器18而第一空气储存器19则位于容器11的上部。第一储存器18通过空气进气口21从大气中吸入空气。一旦第一储存器中的压力达到预定值时,活塞22就被启动,迫使空气通过软管23进入浮力胶囊14,当它膨胀时,开始通过水箱11向上移动,因为浮标14的密度已经小于水箱11里的流体25(如淡水或海水)。这反过来导致轴12的旋转,并激活发电机17,由此发电。
当浮标14到达其行程上限时,浮标里的空气会被强制流过第二软管24并进入第二空气储存器19。当浮标的空气被除去,它在重力作用下,以及在配重(未显示)的协助下,通过容器11向下移动。浮标14的向下运动,导致轴12旋转,驱动发电机17,从而产生电力。
如果第二储存器19中的压力变得过高,存储在第二储存器19中的空气可以通过风管26排放到大气中。或者,空气可从第二储存器19通过第三软管27流入到第一储存器18,这样当浮标14到达其行程的下限时,不必汲取太多的空气进入第一储存器18,并必须再次用第一储存器18的空气充胀。
软管23、24和27有着单向阀28,以确保空气只能从一个方向流入穿过系统10。容器11可以根据需要设有通风设备29,也可以设有高台楼梯30和入口平台31,以便根据需要进行维护。系统还可具有太阳能收集设备32,以生成至少部分所需的能源去驱动器活塞22和单向阀28。太阳能收集设备32所产生的能量还可用于给照明或灯标33供电,以标明系统10的位置。
图.2显示了充气胶囊34组成的浮标14的配置。这个图解说明了充气胶囊34的壁在充气35时放气36时的形状。空气通过软管23进入和通过软管24退出胶囊34。
浮标14还有一个附加的套筒37。这个套筒具有与轴12的螺旋槽13啮合的突起,从而使浮标相对于轴12移动时令轴旋转。套筒37有着配重38,如不锈钢配重之类的,以使得浮标放气时向下运动。
浮标14附着在导杆15上,而且浮标有一双臂39在导杆15上滑动,并辅助浮标的平滑垂直运动。
图.3显示了第一空气储存器18的一个版本。空气通过空气入口21被抽入储存器18。储存器包括一个关联弹簧40的活塞22,活塞22设有密封件41,以防止空气泄漏。
当压力——如静水压力——在箭头42的方向上施加时,活塞移动到储存器18的左侧压紧弹簧40,并迫使空气通过出口43排出。电机44用于使活塞22的运动反转。储存器18可以固定在容器的底部。
图.4所示的是第一空气储存器18的另一种结构。在这个实施中,储存器18被封装在装有流体25的容器11中。空气通过进气口21进入储存器18,并保存在腔室46中。储存器有一个活塞22,而活塞22向储存器18左侧的运动迫使腔室46中的空气通过出气口43排出。
活塞22由电机47旋转开了螺旋槽的轴48而驱动的。电机通过棘轮和轮齿机构49连接到轴,它有一个加压弹簧密封件50在容器11的内表面上。致动器51可用于控制单向阀28的开与合,以及电机47的驱动。
图.5绘出的是根据本发明的实施之一的一个能源产生系统的剖视图:
图.5绘出的是根据本发明的实施之一的一个能源产生系统的剖视图:
图.5显示的实施是有一对浮标14的。每个浮标只与其自身的轴12关联,并各自独立地在容器11内上下移动。
在图.6中,展示的是本发明的一个备选实施例,其中浮标60的连接方法61是以一个柱形套筒的形式,并以导向链62穿过其间。链62是一个无端回线,并置于上部跟踪装置63和下部跟踪装置64上,两者都是滑轮。上部滑轮63可通过托架65固定于容器(未标出)的上壁(未标出),而下部滑轮64可通过托架66固定于容器(未标出)的下壁(未标出)。
当浮标60下移时,连接机构61包含与链62的链环啮合的棘齿。因此,随着浮标60下移,链62也移动,从而使上部和下部滑轮以顺时针方向旋转。上部和下部64滑轮具有对应于链环62的形状的一系列凹口67。这样,链62坐入凹口67并爪住跟踪装置(63、64),从而确保的跟踪装置(63、64)的旋转。
图.6所示的本发明的实施例中,工作轴68与上部滑轮63关联,这样,上部滑轮的旋转导致工作轴68的旋转。工作轴68位于基本上与浮标60行进的方向垂直。工作轴驱动发电机发电。
图.9所示为出该发电系统74的替代实施例。该系统是由具有加注了流体的“湿”腔室76和一个或多个没有液体的“干”腔室(在例中为一对干腔室77、78)的容器75组成的。这些干腔室可用任何合适的材料合成,如混凝土、钢、玻璃纤维、塑料或任何材料的组合。
该系统还有一对浮标79,每个都有一个可放气的气囊状结构。浮标有着导轨89,以确保浮标在容器75内平滑地上下移动。
在本发明的这个实施中,空气储存器86位于容器75的底座上。空气通过入口87进入储存器86,而空气通过阀88被排出浮标79。排出的空气即可以排放到大气中,也可以回收到储存器86。
每个浮标被设计成与一条链或绳索80的一端连接。配重82与链或绳索80的另一端连接。链或绳索80有一组滑轮81,这样当浮标膨胀并充满空气时,浮力大于配重82,因而浮标在容器内升起。
当浮标79放气,配重82重于浮力,所以浮标在容器75内下沉。此处所示的实施例中,配重82位于干腔室77、78内。这有几个原因,包括,通过把配重82置于干腔室77、78内,配重82的下行速度是加快的,因而通过系统74而产生的能量也是增长的。
配重82与第二根绳索或链条83相联,使得配重82的垂直运动导致第二绳索或链条83绕着一对链轮84旋转。由第二绳索或链条83的旋转所产生的旋转能量被转移到能量产生装置85(诸如涡轮机一类的),以生成功率(如,电功率)。
***
尽管它的机械复杂性,海德洛设计提供了一个有着数万千瓦过剩能的商用发电机,表明浮力是一个产生功率的重要方法,是根据这样的事实,水是比空气重数百倍。由于它的重量,在水中的运动速度很慢,但可以非常强大。使用转换浮动的垂直运动为旋转动力的螺旋槽的方法,因为这样在轴旋转和沿轴运动之间有着非常高的比率。当你考虑到这样一个事实,即轴的一个完整的旋转,只需向上方的下一个线性位置直接浮动上移一截,你就可以理解了。圈数的比率与完整的浮动运动的关系取决于在传动轴上开槽的角度。 这个项目需要考虑的另一件事是当充满水后整体结构的重量。总重动辄许多吨,因此发电机底部的基础需要非常坚固。另外,其时还提到压缩空气,给人的印象是压缩空气或气体钢瓶。为连续运行,你可预期使用气泵。不管是否使用气泵,都要考虑空气软管的直径。大多数人以为气体可以很容易地沿着管道流动。其实并非如此。如果你想要感受一下由管道引起的紧缩,那么取一条6毫米直径的一米长塑料管并试着吹它。即使你费了九牛二虎之力,也只有很少量的空气通过。网址natural-gas-pipe-sizing-d_826.html 显示了下面的这个表格:
注意所有这些管子的载流能力的主要差异的变化在仅仅从10英尺(3米)长到适中的20英尺(6米)长,而这种长度是许多应用中所需要的。另外,看看数据,也就是说,直径0.5英寸(标称值)直径的管。以其只有10英尺长,要花整整两分钟去泵浦仅仅一立方英尺的空气通过。由此可见,像“海德洛”这样的项目,就需要相当大直径的管道。
有可能建造一个简单得多的“海德洛”版本,就象这样:
可以建造一个简单的液力、浮力发电机,具有两个或更多个水平的、浸没在水中的旋转轴,以这样一种方式,它们被实际地定位,一个在另一个上方。每个轴都有一个——最好是两个或更多个链齿轮安装其上。这些链轮中的每一个都与一个连续的链环啮合,链环还与垂直定位在上方的链轮啮合。这些垂直链环为一系列相同的水桶构成一个传动带样式的支架。垂直带的一侧,水桶的开口朝上,而另一边桶的开口向下。一台气泵直接置于水桶组的底下,这一组水桶是向下开口的。气泵产生一股向上运动的气体射流,被上升的水桶所收纳,取代了水桶里的水。这产生了由桶的浮力引起的强大的向上的推力,而这个推力使桶上移,即转动了水平轴,又带动另一个充满水的桶进入气泵上方的位置。齿轮系统传输由此产生的旋转力矩给发电机,生产通用的电力。
这是一台发电机,通过浸没在水箱或其它适当的重质液体里的充满空气的容器而产生浮力,导致主动轴的旋转。发电机轴连续的、强大的旋转是通过使用一台或多台常规市售的空气泵产生的。空气泵用于填充一系列一端开口的容器,并连接到由两个牢固的连锁链环创建的有效传动带配置上,与链轮啮合安装在两个轴上,非此即彼、或两者都可用于提取的有用功,最好用于驱动一台电力发电机,但不一定仅限于这个功能,因为任何强大的扭矩都有许多有用的应用。
目标是提供一个发电系统,形式非常简单,能够理解,用最少的培训的人就可以操作和维护。此外,系统使用现成的元件,从而避免可观的制造成本,而且是一台不需要任何种类的复杂的机制或高精密设备的装置,并可以用范围广泛的市售品来运行。
图.1是一个简化的局部示意剖视图,显示从一端看到的发电机的主要组成部分。
图.2是概要性原理截面视图,以最简形式显示了发电机的前视图。
图.3是概要性原理截面视图,显示了多于一组水桶的发电机的前视图。
图.4是方案视图的透视图,显示了一个简化的供气系统,由水箱的上方运行。
图.1说明了最简形式的发电机的总体观念,用轻质刚性桶捕获气泵的上升气流。 在这个图中,水箱1装有水或其它合适的流体2。流体表面3,用于标示说明实际上桶10处于其轨道运动顶端的翻越过程中,其定位以使得桶的一个边缘在离开水的表面,让桶内捕获的空气逃逸到大气中,而水填满整个桶,这样做时只引起很小的湍流。这是可取的,但不是必须的,因为一旦桶开始其向下运动,任何桶内捕获的空气都会向上逃逸, 向上定位其开口端,虽然这会导致水箱里不必要的湍流。透视图展示了一种可能的桶的形状,但可以有许多不同的桶的形状,包括柔性膜型或者铰接板型,它们在折叠状态下向下运动时能大大地减小穿过水中的阻力。
水桶8、9和10附着于两条牢固的锁链30上,它与安装在上轴4的上链轮6啮合,而下链轮7安装在下轴5上。虽然在图.1里看不到,其实是有两个上链轮6、两个下链轮7和两条连锁环30的,尽管这些都能在图.2里看到。
水箱由坚实的板14支承,它本身又由一系列坐落一个牢固的基础16上的柱子15支承,在水箱底下为安装和维护气泵设备提供了操作空间。由于淡水每立方米重1000公斤, 用于操作的发电机系统的重量是很可观的,因此必须要考虑核定所需基础去支承水箱及其内容。尽管图.1展示了一个薄壁的水箱,但水箱还有许多不同的形式可以利用,包括土堰及塑料膜样式、或表面重修的报废的通风井。
图.1的水箱假定下轴5是穿过水箱1的壁取出的,用的配置类似于用于给船用螺旋桨或其它交通工具提供动力的主动轴。虽然那一类的配置使得主动轴便于接近地面,而图.2显示了简单得多的配置,其输出功率的取出是用非常简单的连锁链,而链轮的方法用于桶的支承(链条30,和链轮6和7)。一般而言,任何设计越是简单明了,其实践中的运行就越好,而且所有的维护成本就变得越低。
再次参考图.1,当活动时,气泵11产生气流12,急遽向上流动。这个气流12,一旦生成,不必去推水压,因为立刻在泵的喷嘴上方是一个急遽上升的空气柱,其维持即靠泵11的输出速度,又靠水和空气的相对比重(水比空气重数百倍)造成的自然的向上运动。在静水里这个气柱通常径直向上流动,但应该发现,水中的湍流往往把上升的空气推离其垂直路径,可以把挡板绕着泵放置,以使得气流被迫留在由桶的上升举起的水的同一区域内。
上升的空气进入最下面的上升桶并被收集在里面,迫使水从桶的底部开口处出来。如果在下一个桶移动到它与气泵之间前,上升桶未完全充满空气,捕获的空气会随着桶的上升和由于深度变浅使水的压力降低而扩张。任何一个桶都有着大量的空气在其中,由于浮力而产生一个非常可观的向上的力,空气比水约轻一千倍。
上升侧上的每个桶增加向上的力,而因此连锁30需要有相当的强度。锁链的每一侧上的桶重匹配,而因此轻桶的主要优势是降低移动件的惯性质量。穿过水的运动速度相对较慢,但这从输出主动轴和发电机的输入轴之间的传动装置得到了补偿。通过在垂直链添加更多的桶,相应地增加水的深度,可增加系统的功率。增加功率的其它方法还包括增加每个桶的内部的体积和/或增加气泵或所用的泵所产生的流动速率。图.3所示的是另一种简单的方法,并讨论如下。替代气泵的是使用一种压缩的、无污染的气体——也许是空气——气罐。
各图所示的桶是刚性的,形状非常简单,为了便宜、结实、轻质和长期耐水,可能由塑料成型工艺制成。当然,这会有许多可能的变型,包括使用刚性铰链板,用强力柔性膜密封,使桶在下降通道折叠和变得流线形,而一旦它们转入其开始向上运动时就打开。有很多的办法可以提供这种运动,但刚性桶的极致简约是否值得牺牲,这是一个见仁见智的事情。
图.2显示了从侧面看去的发电机原理布局图。相同的数字适用于已在图.1所见的元件。图.2所见配置是最简单、 基本的单个组的桶。内侧的上升桶8掩盖了外侧下降桶9的视界,而在这个视角里下降桶9只有很少的一部分能够看到。图.1显示桶长约为桶宽的一倍半, 但这个,当然,只是众多选择之一。桶的大小和形状与性能和用于任何一组桶的气泵数有关,而那个选择取决在当地用合理的价格可以买到什么。沿着桶8的一节并列地使用两个或三个也很寻常,虽然图.2中只显示了一个泵。
图.2还显示了动力输出的一个简单的方法,即一个大直径的链轮16安装在上轴4上,并驱动一个直径小得多的链轮18,它安装在发电机19的驱动轴上,发电机安装在牢固地连接到水箱1顶部的板20上。
图.3显示了不增加用水水深而增加系统的功率的一个可能的配置。这里,轴4和5延伸到足以让另一组桶驱动它们,极大地增加了扭矩。而图.3显示了额外的一组桶,是的,当然,没理由为什么那儿就不应该有三组或更多组桶并列。然而应当指出的是,桶组之间显示的隔板在那儿不只是为了减少水漩,而且还需要去支承对于延伸轴来说是必不可少的轴承,因为没有它们,用于轴的杆径不得不显著加大,以避免沿其长度的不必要的弯曲。而第二组桶已经与显示出与第一组完全成一线排列,把它们互相相对偏置是有利的,这样使得输出扭矩更大,即便在桶的循环周期里的不同点上桶的排空和填充。
图.4显示了一个进一步简化的方法,这里空气从水面上方泵入。大多数人关心的问题是气泵上方的水压压力是一个主要的要克服的障碍,而且在发电机运行期间将是一个连续的反作用力。如果空气从水箱底下注入,那么最初时,必须要克服此压头。然而,一旦建立空气流,水涡流垂直雪茄形区域由上升气流创建。这种三维环形涡流立刻抵消了气嘴上方的局部的水压,而且几乎是把空气从泵里吸出来,初始化后,空气的引导已经完成。
实现这一理想效果还有另一种方式,而不必对所有的水压去泵浦,而那是用了一个可移动的气管,如图.4所示。最初,气泵启并下降一个短距离进入水中。相对水压不大而水涡流可以很容易形成。然后非常缓慢地降低管子,以使得涡流在逐渐降低的深度维持,其间,尽管增加了水压,泵也不必去克服那个水压。当管子达到运行深度,然后转动它,把它带到上升桶的下面。这种配置的主要优点是水箱尽可能地简单,没有漏水的可能,因此废井可以修改成能源发电机。或者,可以竖立土堰形成地上储罐,也许用塑料薄膜密封。这种方法还避免了在工作区域上方——这里要安放和维护气泵或压缩气缸——需要支承罐和水的重量。水涡流的创建可以通过绕着管的出口加一个罩来协助,如图中所示,但是这是一个可选件。
